KR20080098319A - 압축-착화 내연기관에서 환원제를 발생시키는 방법 및 장치 - Google Patents
압축-착화 내연기관에서 환원제를 발생시키는 방법 및 장치 Download PDFInfo
- Publication number
- KR20080098319A KR20080098319A KR1020080040065A KR20080040065A KR20080098319A KR 20080098319 A KR20080098319 A KR 20080098319A KR 1020080040065 A KR1020080040065 A KR 1020080040065A KR 20080040065 A KR20080040065 A KR 20080040065A KR 20080098319 A KR20080098319 A KR 20080098319A
- Authority
- KR
- South Korea
- Prior art keywords
- engine
- fuel
- combustion
- reducing agent
- combustion chamber
- Prior art date
- Legal status (The legal status is an assumption and is not a legal conclusion. Google has not performed a legal analysis and makes no representation as to the accuracy of the status listed.)
- Granted
Links
Images
Classifications
-
- F—MECHANICAL ENGINEERING; LIGHTING; HEATING; WEAPONS; BLASTING
- F01—MACHINES OR ENGINES IN GENERAL; ENGINE PLANTS IN GENERAL; STEAM ENGINES
- F01N—GAS-FLOW SILENCERS OR EXHAUST APPARATUS FOR MACHINES OR ENGINES IN GENERAL; GAS-FLOW SILENCERS OR EXHAUST APPARATUS FOR INTERNAL-COMBUSTION ENGINES
- F01N3/00—Exhaust or silencing apparatus having means for purifying, rendering innocuous, or otherwise treating exhaust
- F01N3/08—Exhaust or silencing apparatus having means for purifying, rendering innocuous, or otherwise treating exhaust for rendering innocuous
- F01N3/10—Exhaust or silencing apparatus having means for purifying, rendering innocuous, or otherwise treating exhaust for rendering innocuous by thermal or catalytic conversion of noxious components of exhaust
- F01N3/18—Exhaust or silencing apparatus having means for purifying, rendering innocuous, or otherwise treating exhaust for rendering innocuous by thermal or catalytic conversion of noxious components of exhaust characterised by methods of operation; Control
- F01N3/20—Exhaust or silencing apparatus having means for purifying, rendering innocuous, or otherwise treating exhaust for rendering innocuous by thermal or catalytic conversion of noxious components of exhaust characterised by methods of operation; Control specially adapted for catalytic conversion
- F01N3/206—Adding periodically or continuously substances to exhaust gases for promoting purification, e.g. catalytic material in liquid form, NOx reducing agents
- F01N3/2066—Selective catalytic reduction [SCR]
- F01N3/2073—Means for generating a reducing substance from the exhaust gases
-
- F—MECHANICAL ENGINEERING; LIGHTING; HEATING; WEAPONS; BLASTING
- F01—MACHINES OR ENGINES IN GENERAL; ENGINE PLANTS IN GENERAL; STEAM ENGINES
- F01N—GAS-FLOW SILENCERS OR EXHAUST APPARATUS FOR MACHINES OR ENGINES IN GENERAL; GAS-FLOW SILENCERS OR EXHAUST APPARATUS FOR INTERNAL-COMBUSTION ENGINES
- F01N3/00—Exhaust or silencing apparatus having means for purifying, rendering innocuous, or otherwise treating exhaust
- F01N3/08—Exhaust or silencing apparatus having means for purifying, rendering innocuous, or otherwise treating exhaust for rendering innocuous
- F01N3/10—Exhaust or silencing apparatus having means for purifying, rendering innocuous, or otherwise treating exhaust for rendering innocuous by thermal or catalytic conversion of noxious components of exhaust
- F01N3/18—Exhaust or silencing apparatus having means for purifying, rendering innocuous, or otherwise treating exhaust for rendering innocuous by thermal or catalytic conversion of noxious components of exhaust characterised by methods of operation; Control
- F01N3/20—Exhaust or silencing apparatus having means for purifying, rendering innocuous, or otherwise treating exhaust for rendering innocuous by thermal or catalytic conversion of noxious components of exhaust characterised by methods of operation; Control specially adapted for catalytic conversion
-
- B—PERFORMING OPERATIONS; TRANSPORTING
- B01—PHYSICAL OR CHEMICAL PROCESSES OR APPARATUS IN GENERAL
- B01D—SEPARATION
- B01D53/00—Separation of gases or vapours; Recovering vapours of volatile solvents from gases; Chemical or biological purification of waste gases, e.g. engine exhaust gases, smoke, fumes, flue gases, aerosols
- B01D53/34—Chemical or biological purification of waste gases
- B01D53/46—Removing components of defined structure
- B01D53/54—Nitrogen compounds
- B01D53/56—Nitrogen oxides
-
- F—MECHANICAL ENGINEERING; LIGHTING; HEATING; WEAPONS; BLASTING
- F01—MACHINES OR ENGINES IN GENERAL; ENGINE PLANTS IN GENERAL; STEAM ENGINES
- F01N—GAS-FLOW SILENCERS OR EXHAUST APPARATUS FOR MACHINES OR ENGINES IN GENERAL; GAS-FLOW SILENCERS OR EXHAUST APPARATUS FOR INTERNAL-COMBUSTION ENGINES
- F01N9/00—Electrical control of exhaust gas treating apparatus
-
- F—MECHANICAL ENGINEERING; LIGHTING; HEATING; WEAPONS; BLASTING
- F02—COMBUSTION ENGINES; HOT-GAS OR COMBUSTION-PRODUCT ENGINE PLANTS
- F02D—CONTROLLING COMBUSTION ENGINES
- F02D35/00—Controlling engines, dependent on conditions exterior or interior to engines, not otherwise provided for
- F02D35/02—Controlling engines, dependent on conditions exterior or interior to engines, not otherwise provided for on interior conditions
- F02D35/025—Controlling engines, dependent on conditions exterior or interior to engines, not otherwise provided for on interior conditions by determining temperatures inside the cylinder, e.g. combustion temperatures
-
- F—MECHANICAL ENGINEERING; LIGHTING; HEATING; WEAPONS; BLASTING
- F02—COMBUSTION ENGINES; HOT-GAS OR COMBUSTION-PRODUCT ENGINE PLANTS
- F02D—CONTROLLING COMBUSTION ENGINES
- F02D41/00—Electrical control of supply of combustible mixture or its constituents
- F02D41/02—Circuit arrangements for generating control signals
- F02D41/021—Introducing corrections for particular conditions exterior to the engine
- F02D41/0235—Introducing corrections for particular conditions exterior to the engine in relation with the state of the exhaust gas treating apparatus
- F02D41/027—Introducing corrections for particular conditions exterior to the engine in relation with the state of the exhaust gas treating apparatus to purge or regenerate the exhaust gas treating apparatus
-
- F—MECHANICAL ENGINEERING; LIGHTING; HEATING; WEAPONS; BLASTING
- F02—COMBUSTION ENGINES; HOT-GAS OR COMBUSTION-PRODUCT ENGINE PLANTS
- F02D—CONTROLLING COMBUSTION ENGINES
- F02D41/00—Electrical control of supply of combustible mixture or its constituents
- F02D41/30—Controlling fuel injection
- F02D41/38—Controlling fuel injection of the high pressure type
- F02D41/40—Controlling fuel injection of the high pressure type with means for controlling injection timing or duration
- F02D41/402—Multiple injections
- F02D41/405—Multiple injections with post injections
-
- F—MECHANICAL ENGINEERING; LIGHTING; HEATING; WEAPONS; BLASTING
- F01—MACHINES OR ENGINES IN GENERAL; ENGINE PLANTS IN GENERAL; STEAM ENGINES
- F01N—GAS-FLOW SILENCERS OR EXHAUST APPARATUS FOR MACHINES OR ENGINES IN GENERAL; GAS-FLOW SILENCERS OR EXHAUST APPARATUS FOR INTERNAL-COMBUSTION ENGINES
- F01N2430/00—Influencing exhaust purification, e.g. starting of catalytic reaction, filter regeneration, or the like, by controlling engine operating characteristics
- F01N2430/08—Influencing exhaust purification, e.g. starting of catalytic reaction, filter regeneration, or the like, by controlling engine operating characteristics by modifying ignition or injection timing
- F01N2430/085—Influencing exhaust purification, e.g. starting of catalytic reaction, filter regeneration, or the like, by controlling engine operating characteristics by modifying ignition or injection timing at least a part of the injection taking place during expansion or exhaust stroke
-
- F—MECHANICAL ENGINEERING; LIGHTING; HEATING; WEAPONS; BLASTING
- F01—MACHINES OR ENGINES IN GENERAL; ENGINE PLANTS IN GENERAL; STEAM ENGINES
- F01N—GAS-FLOW SILENCERS OR EXHAUST APPARATUS FOR MACHINES OR ENGINES IN GENERAL; GAS-FLOW SILENCERS OR EXHAUST APPARATUS FOR INTERNAL-COMBUSTION ENGINES
- F01N2610/00—Adding substances to exhaust gases
- F01N2610/03—Adding substances to exhaust gases the substance being hydrocarbons, e.g. engine fuel
-
- Y—GENERAL TAGGING OF NEW TECHNOLOGICAL DEVELOPMENTS; GENERAL TAGGING OF CROSS-SECTIONAL TECHNOLOGIES SPANNING OVER SEVERAL SECTIONS OF THE IPC; TECHNICAL SUBJECTS COVERED BY FORMER USPC CROSS-REFERENCE ART COLLECTIONS [XRACs] AND DIGESTS
- Y02—TECHNOLOGIES OR APPLICATIONS FOR MITIGATION OR ADAPTATION AGAINST CLIMATE CHANGE
- Y02T—CLIMATE CHANGE MITIGATION TECHNOLOGIES RELATED TO TRANSPORTATION
- Y02T10/00—Road transport of goods or passengers
- Y02T10/10—Internal combustion engine [ICE] based vehicles
- Y02T10/12—Improving ICE efficiencies
-
- Y—GENERAL TAGGING OF NEW TECHNOLOGICAL DEVELOPMENTS; GENERAL TAGGING OF CROSS-SECTIONAL TECHNOLOGIES SPANNING OVER SEVERAL SECTIONS OF THE IPC; TECHNICAL SUBJECTS COVERED BY FORMER USPC CROSS-REFERENCE ART COLLECTIONS [XRACs] AND DIGESTS
- Y02—TECHNOLOGIES OR APPLICATIONS FOR MITIGATION OR ADAPTATION AGAINST CLIMATE CHANGE
- Y02T—CLIMATE CHANGE MITIGATION TECHNOLOGIES RELATED TO TRANSPORTATION
- Y02T10/00—Road transport of goods or passengers
- Y02T10/10—Internal combustion engine [ICE] based vehicles
- Y02T10/40—Engine management systems
Landscapes
- Engineering & Computer Science (AREA)
- Chemical & Material Sciences (AREA)
- Combustion & Propulsion (AREA)
- Mechanical Engineering (AREA)
- General Engineering & Computer Science (AREA)
- Chemical Kinetics & Catalysis (AREA)
- Health & Medical Sciences (AREA)
- Toxicology (AREA)
- Biomedical Technology (AREA)
- General Chemical & Material Sciences (AREA)
- Oil, Petroleum & Natural Gas (AREA)
- Analytical Chemistry (AREA)
- Environmental & Geological Engineering (AREA)
- Exhaust Gas After Treatment (AREA)
- Electrical Control Of Air Or Fuel Supplied To Internal-Combustion Engine (AREA)
Abstract
Description
| 매개변수 작동 조건 |
| 초기 압력, bar 1.0 초기 온도, K 323 잔여량, mole% 39.5 주연료 부가량, mg 1.7 등가율 0.5 엔진 속도 1500 rpm IMEP, bar 4.73 최종 O2 질량% 11.3 CA10, deg.aTDC -11.9 CA50, deg.aTDC 4.4 NO 질량 분율 @ 40 deg.aTDC 6.0E-05 NO2 질량 분율@ 40 deg.aTDC 2.5E-05 |
Claims (20)
- 선택적 촉매 환원 촉매를 통과하는 배기 가스 유동을 적용한 압축-착화 내연기관에서 환원제를 발생시키는 방법에 있어서,분사 개시시에 실린더 내의 연소 가스의 온도가 1100K 이하인 연소에 이어서 일어나는 팽창 행정 동안 상기 내연기관의 연소 챔버 내에 다량의 엔진 연료를 분사하는 단계를 포함하는 압축-착화 내연기관에서 환원제를 발생시키는 방법.
- 제1항에 있어서,상기 분사 개시는 엔진 속도와 부하 및 상기 실린더 내 연소 가스 온도를 포함한 엔진 작동 조건의 기설정된 보정(calibration)에 근거하는 것을 특징으로 하는 압축-착화 내연기관에서 환원제를 발생시키는 방법.
- 제1항에 있어서,상기 연소에 이어서 일어나는 상기 팽창 행정 동안 상기 내연기관의 연소 챔버 내에서의 상기 다량의 엔진 연료는 엔진 속도와 부하(load)를 포함하는 엔진 작동 조건을 충족시키기 위한 각각의 엔진 사이클 동안 분사된 다량의 연료의 약 1%와 동일한 양으로 이루어지는 것을 특징으로 하는 압축-착화 내연기관에서 환원제를 발생시키는 방법.
- 제1항에 있어서,상기 팽창 행정 동안 상기 엔진의 상기 연소 챔버 내에 상기 다량의 엔진 연료를 분사하는 단계는 매 X 사이클 마다 다량의 연료를 분사하는 단계를 포함하고,상기 양(quantity)은 엔진 속도와 부하를 포함하는 엔진 작동 조건을 충족하기 위한 각각의 엔진 사이클 동안 분사된 상기 연료의 약 X%로 이루어지는 것을 특징으로 하는 압축-착화 내연기관에서 환원제를 발생시키는 방법.
- 제1항에 있어서,환원제를 발생시키는 단계는 산화된 탄화수소 종 중 하나와 직쇄형 올레핀(a straight-chain olefin)을 구비하는 활성종 NOX 환원제를 발생시키는 단계를 더 포함하는 것을 특징으로 하는 압축-착화 내연기관에서 환원제를 발생시키는 방법.
- 제5항에 있어서,상기 산화된 탄화수소 종은 아세트알데히드 및 포름알데히드 중 하나를 포함하는 것을 특징으로 하는 압축-착화 내연기관에서 환원제를 발생시키는 방법.
- 제1항에 있어서,환원제를 발생시키는 단계는 알켄 탄화수소 종을 발생시키는 단계를 더 포함하는 것을 특징으로 하는 압축-착화 내연기관에서 환원제를 발생시키는 방법.
- 제7항에 있어서,상기 알켄 탄화수소 종은 1-옥텐(1-octene), 1-노넨(1-nonene), 1-디켄(1-decene), 및 1-도데켄(1-dodecene) 중 하나를 포함하는 것을 특징으로 하는 압축-착화 내연기관에서 환원제를 발생시키는 방법.
- 제1항에 있어서,상기 분사 개시시에 상기 실린더 내의 연소 가스의 온도가 1100K 이하인 연소에 이어서 일어나는 상기 팽창 행정 동안 상기 내연기관의 연소 챔버 내에 상기 다량의 엔진 연료를 분사하는 단계는 상기 연소 챔버의 배기 밸브의 개방 전에 약 9 msec(milliseconds) 시기 동안 상기 연소 챔버 내에 있는 연료를 더 포함하는 것을 특징으로 하는 압축-착화 내연기관에서 환원제를 발생시키는 방법.
- 제1항에 있어서,상기 분사 개시시에 상기 실린더 내의 연소 가스 온도가 670K 내지 1100K 사이의 범위 내에 있는 상기 연소에 이어서 일어나는 상기 팽창 행정 동안 상기 내연기관의 상기 연소 챔버 내에 상기 다량의 엔진 연료를 분사하는 단계를 더 포함하는 것을 특징으로 하는 압축-착화 내연기관에서 환원제를 발생시키는 방법.
- 엔진으로부터 직접 배기 가스 유동을 수용하는 장치에 탄화수소 선택적 촉매 환원 촉매를 제공하는 단계;연소에 이어서 일어나는 팽창 행정 동안 엔진 연료와 실린더 내 연소 가스는 활성종 환원제를 발생시키며, 분사 개시시에 실린더 내 배기 가스 온도가 1100K 이하인 상기 내연기관의 연소 챔버 내에 다량의 엔진 연료를 분사하는 단계; 및활성종 환원제를 사용하여 상기 탄화수소 선택적 촉매 환원 촉매를 통과한 비활성가스로 NOX 방출물(emission)을 환원시키는 단계;를 포함하는 화학양론적으로 희박 작동 엔진의 NOX 배출을 감소시키는 방법.
- 제11항에 있어서,상기 엔진 연료가 상기 연소 챔버의 배기 밸브 개방 전에 약 9 msec의 시기 동안 상기 연소 챔버 내에 실질적으로 잔류하도록 상기 다량의 엔진 연료를 분사하는 단계를 더 포함하는 것을 특징으로 하는 화학양론적으로 희박 작동 엔진의 NOX 배출을 감소시키는 방법.
- 제11항에 있어서,상기 연소에 이어서 일어나는 상기 팽창 행정 동안 상기 실린더 내 연소 가스 온도가 1100K 이하인 상기 연소 챔버 내에 상기 다량의 엔진 연료의 상기 분사 개시는 엔진 속도와 부하 및 상기 실린더 내 연소 가스 온도를 포함하는 엔진 작동 조건의 기설정된 보정에 근거하는 것을 특징으로 하는 화학양론적으로 희박 작동 엔진의 NOX 배출을 감소시키는 방법.
- 제13항에 있어서,상기 연소 챔버 내에 다량의 연료를 분사하는 단계는 매 X 사이클마다 다량의 연료를 분사하는 단계를 더 포함하되, 상기 연료량은 엔진 속도와 부하를 포함하는 상기 엔진 작동 조건을 충족시키기 위해 각각의 엔진 사이클에 분사된 연료량의 약 X%와 동일한 양으로 이루어지는 것을 특징으로 하는 화학양론적으로 희박 작동 엔진의 NOX 배출을 감소시키는 방법.
- 제11항에 있어서,배기 가스에서의 상기 활성종 환원제는 아세트알데히드와 포름알데히드 중 하나를 포함하는 것을 특징으로 하는 화학양론적으로 희박 작동 엔진의 NOX 배출을 감소시키는 방법.
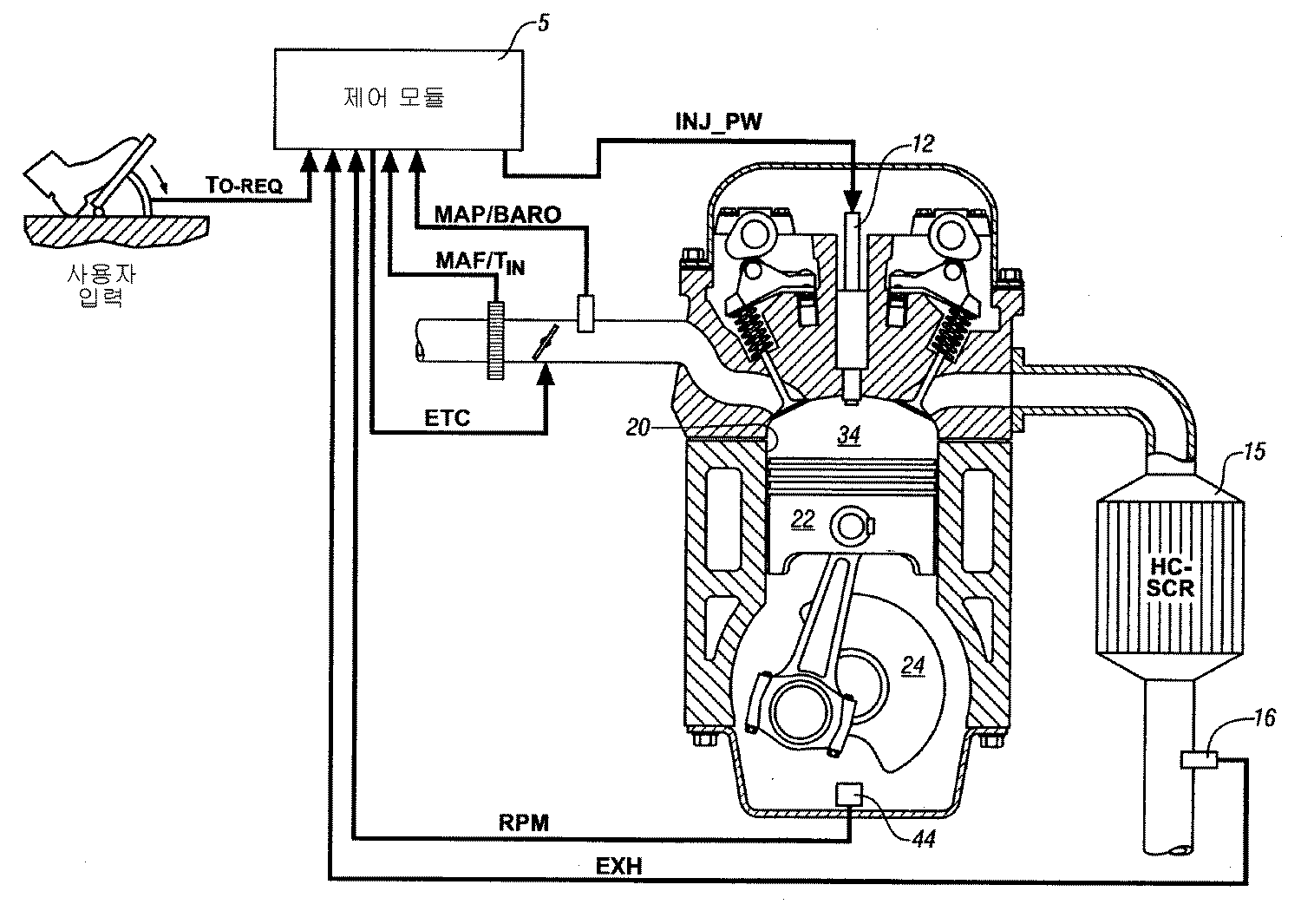
- 다수개의 센서와 엑추에이터를 가진 직접 연료 분사, 압축 착화 내연기관;상기 내연기관의 배기 매니폴드에 직접적으로 유체식으로 연결되고 이를 통해서 배기 가스를 흐르게 하는 장치에 조립된 탄화수소 선택적 촉매 환원 촉매;상기 센서로부터의 입력을 모니터하고 상기 엑추에이터를 제어하기 위한 기계 코드로 단순화된 기설정된 프로그램을 수행하는 전기적 장치를 포함하는 제어 모듈을 포함하되,상기 제어 모듈은 상기 분사 개시시에 상기 실린더 내 연소 가스의 온도가 1100K 이하인 연소에 이어서 일어나는 팽창 행정 동안 상기 내연기관의 연소 챔버 내에 다량의 연료를 분사하기 위한 엔진 연료 분사기를 제어하는 것을 특징으로 하는 장치.
- 제16항에 있어서,상기 팽창 행정 동안 상기 연료가 상기 내연기관의 연소 챔버의 배기 밸브의 개방 전에 약 9 msec의 시기 동안 상기 연소 챔버 내에 있는 상기 내연기관의 상기 연소 챔버 내에 상기 다량의 연료를 분사하도록 상기 연료 분사기를 제어하는 상기 제어 모듈을 더 포함하는 것을 특징으로 하는 장치.
- 제16항에 있어서,상기 탄화수소 선택적 촉매 환원 촉매는 알루미나 촉매, 실버-알루미나 촉매(silver-alumina catalyst), 바륨 제올라이트 촉매(barium zeolite catalyst), 및 나트륨-이트리아 제올라이트 촉매(sodium-yttria zeolite catalyst) 중 하나를 포함하는 것을 특징으로 하는 장치.
- 제16항에 있어서,연소에 이어서 일어나는 팽창 행정 동안 상기 연소 챔버 내에서 활성종 환원 제를 발생시키기 위해 상기 분사 개시시에 실린더 내 연소 가스의 온도가 1100K 이하인 상기 내연기관의 상기 연소 챔버 내에 상기 다량의 연료를 분사하는 엔진 연료 분사기를 제어하는 상기 제어 모듈을 더 포함하는 것을 특징으로 하는 장치.
- 제19항에 있어서,상기 활성종 환원제는 아세틸알데히드와 포름알데히드 중 하나를 구비하는 산화된 종의 환원제를 포함하는 것을 특징으로 하는 장치.
Applications Claiming Priority (2)
| Application Number | Priority Date | Filing Date | Title |
|---|---|---|---|
| US11/744,396 US7877986B2 (en) | 2007-05-04 | 2007-05-04 | Method and apparatus for generating a reductant in an exhaust gas of a compression-ignition engine |
| US11/744,396 | 2007-05-04 |
Publications (2)
| Publication Number | Publication Date |
|---|---|
| KR20080098319A true KR20080098319A (ko) | 2008-11-07 |
| KR100986715B1 KR100986715B1 (ko) | 2010-10-11 |
Family
ID=39938575
Family Applications (1)
| Application Number | Title | Priority Date | Filing Date |
|---|---|---|---|
| KR1020080040065A Expired - Fee Related KR100986715B1 (ko) | 2007-05-04 | 2008-04-29 | 압축-착화 내연기관에서 환원제를 발생시키는 방법 및 장치 |
Country Status (4)
| Country | Link |
|---|---|
| US (1) | US7877986B2 (ko) |
| KR (1) | KR100986715B1 (ko) |
| CN (1) | CN101298847A (ko) |
| DE (1) | DE102008021708B4 (ko) |
Families Citing this family (6)
| Publication number | Priority date | Publication date | Assignee | Title |
|---|---|---|---|---|
| FR2948148B1 (fr) * | 2009-07-15 | 2011-06-24 | Inst Francais Du Petrole | Procede et systeme pour controler la regeneration active d'un filtre a particules diesel |
| WO2011132322A1 (ja) * | 2010-04-22 | 2011-10-27 | トヨタ自動車株式会社 | 内燃機関の制御装置 |
| US20120079813A1 (en) * | 2010-10-05 | 2012-04-05 | Gm Global Technology Operations, Inc. | OPERATING METHODS FOR SELECTIVE CATALYTIC REDUCTION OF NOx |
| SE535474C2 (sv) * | 2010-12-02 | 2012-08-21 | Scania Cv Ab | Reduktionsmedelslagringssystem med uppvärmningsanordning |
| US9394834B2 (en) * | 2012-07-16 | 2016-07-19 | Ford Global Technologies, Llc | Method and device for controlling an internal combustion engine |
| CN104624049A (zh) * | 2014-12-12 | 2015-05-20 | 李可文 | 具有润滑作用的柴油机尾气还原剂、其应用及制备方法 |
Family Cites Families (14)
| Publication number | Priority date | Publication date | Assignee | Title |
|---|---|---|---|---|
| JP2845103B2 (ja) | 1992-09-28 | 1999-01-13 | トヨタ自動車株式会社 | 内燃機関の排気浄化装置 |
| JPH10318030A (ja) | 1997-05-22 | 1998-12-02 | Kawasaki Heavy Ind Ltd | 脱硝用還元剤の供給方法 |
| DE19746855A1 (de) * | 1997-10-23 | 1999-04-29 | Fev Motorentech Gmbh & Co Kg | Verfahren zur Abgasnachbehandlung bei Kolbenbrennkraftmaschinen mit Kraftstoff-Direkteinspritzung |
| US6029623A (en) * | 1997-12-10 | 2000-02-29 | Exxon Research And Engineering Co. | NOx reductant generation in a compression-ignition engine by hydrocarbon injection during the expansion stroke |
| US6295809B1 (en) * | 1999-07-12 | 2001-10-02 | Ford Global Technologies, Inc. | Emission control system with a catalyst |
| DE10054877A1 (de) * | 2000-11-06 | 2002-05-29 | Omg Ag & Co Kg | Abgasreinigungsanlage für die selektive katalytische Reduktion von Stickoxiden unter mageren Abgasbedingungen und Verfahren zur Abgasreinigung |
| JP3981915B2 (ja) * | 2001-04-03 | 2007-09-26 | 日産自動車株式会社 | 排気ガス浄化システム |
| JP3885545B2 (ja) * | 2001-10-12 | 2007-02-21 | 日産自動車株式会社 | 内燃機関の排気浄化装置 |
| US7082753B2 (en) * | 2001-12-03 | 2006-08-01 | Catalytica Energy Systems, Inc. | System and methods for improved emission control of internal combustion engines using pulsed fuel flow |
| US20040083722A1 (en) * | 2002-11-06 | 2004-05-06 | Ford Global Technologies, Inc. | Diesel aftertreatment systems |
| FR2856432B1 (fr) * | 2003-06-23 | 2005-09-30 | Renault Sa | Procede de controle d'un systeme de motorisation a moteur diesel et piege a oxydes d'azote |
| US6848413B1 (en) * | 2003-12-04 | 2005-02-01 | Mack Trucks, Inc. | Method for homogenous charge compression ignition start of combustion control |
| US7128035B2 (en) * | 2005-03-10 | 2006-10-31 | General Motors Corporation | Method and apparatus for engine torque disturbance reduction during cranking |
| US7287372B2 (en) * | 2005-06-23 | 2007-10-30 | Caterpillar Inc. | Exhaust after-treatment system with in-cylinder addition of unburnt hydrocarbons |
-
2007
- 2007-05-04 US US11/744,396 patent/US7877986B2/en not_active Expired - Fee Related
-
2008
- 2008-04-28 CN CNA2008100966083A patent/CN101298847A/zh active Pending
- 2008-04-29 KR KR1020080040065A patent/KR100986715B1/ko not_active Expired - Fee Related
- 2008-04-30 DE DE102008021708.5A patent/DE102008021708B4/de not_active Expired - Fee Related
Also Published As
| Publication number | Publication date |
|---|---|
| US20080271434A1 (en) | 2008-11-06 |
| KR100986715B1 (ko) | 2010-10-11 |
| CN101298847A (zh) | 2008-11-05 |
| US7877986B2 (en) | 2011-02-01 |
| DE102008021708A1 (de) | 2009-01-29 |
| DE102008021708B4 (de) | 2015-03-12 |
Similar Documents
| Publication | Publication Date | Title |
|---|---|---|
| US7650747B2 (en) | Method and apparatus for exhaust gas purifying using hydrocarbon-selective catalytic reduction | |
| US7469531B2 (en) | Method and apparatus to control injection of a reductant into an exhaust gas feedstream | |
| US7426825B2 (en) | Method and apparatus for urea injection in an exhaust aftertreatment system | |
| CN102084096B (zh) | 用于内燃发动机中NOx控制的被动氨选择性催化还原 | |
| CN101149011B (zh) | 将还原剂注入废气馈送流的设备 | |
| CN101929374B (zh) | 用于在内燃机中控制NOx的被动氨选择性催化还原 | |
| CN102084097B (zh) | 用于内燃发动机中NOx控制的被动氨选择性催化还原 | |
| CN101825009B (zh) | 内燃发动机的排气后处理方法 | |
| US9038606B1 (en) | Dual fuel injection system | |
| US8677734B2 (en) | Method of producing ammonia effective to control aftertreatment conditions of NOx emissions | |
| US8216521B2 (en) | Method and apparatus for ammonia formation in a catalytic converter | |
| CN110857642B (zh) | 维持高被动烟炱氧化同时使用多给料位置进行def给料 | |
| CN107060967B (zh) | 用于控制联接至排气后处理系统的内燃机的方法和设备 | |
| KR100986715B1 (ko) | 압축-착화 내연기관에서 환원제를 발생시키는 방법 및 장치 | |
| US20140157760A1 (en) | Method of operating a diesel engine system having lnt and scr aftertreatment devices | |
| CN101769210A (zh) | 用于控制火花点燃直喷发动机操作的方法和装置 | |
| US10400700B2 (en) | Segmented calibration for aftertreatment optimization in internal combustion engine system | |
| CN107654304A (zh) | 进气冲程期间用于改进催化剂起燃的双喷射 | |
| CN109790778B (zh) | 内燃机系统 | |
| US10393043B2 (en) | System and method for adapting combustion to mitigate exhaust overtemperature | |
| GB2491149A (en) | Regenerating a lean NOx trap | |
| JP2021195891A (ja) | 排気浄化システム | |
| Gui | 9.1 DIESEL ENGINE AS PRIME POWER FOR AGRICULTURE |
Legal Events
| Date | Code | Title | Description |
|---|---|---|---|
| A201 | Request for examination | ||
| PA0109 | Patent application |
St.27 status event code: A-0-1-A10-A12-nap-PA0109 |
|
| PA0201 | Request for examination |
St.27 status event code: A-1-2-D10-D11-exm-PA0201 |
|
| P11-X000 | Amendment of application requested |
St.27 status event code: A-2-2-P10-P11-nap-X000 |
|
| P13-X000 | Application amended |
St.27 status event code: A-2-2-P10-P13-nap-X000 |
|
| PG1501 | Laying open of application |
St.27 status event code: A-1-1-Q10-Q12-nap-PG1501 |
|
| D13-X000 | Search requested |
St.27 status event code: A-1-2-D10-D13-srh-X000 |
|
| D14-X000 | Search report completed |
St.27 status event code: A-1-2-D10-D14-srh-X000 |
|
| E902 | Notification of reason for refusal | ||
| PE0902 | Notice of grounds for rejection |
St.27 status event code: A-1-2-D10-D21-exm-PE0902 |
|
| T11-X000 | Administrative time limit extension requested |
St.27 status event code: U-3-3-T10-T11-oth-X000 |
|
| P11-X000 | Amendment of application requested |
St.27 status event code: A-2-2-P10-P11-nap-X000 |
|
| P13-X000 | Application amended |
St.27 status event code: A-2-2-P10-P13-nap-X000 |
|
| E701 | Decision to grant or registration of patent right | ||
| PE0701 | Decision of registration |
St.27 status event code: A-1-2-D10-D22-exm-PE0701 |
|
| GRNT | Written decision to grant | ||
| PR0701 | Registration of establishment |
St.27 status event code: A-2-4-F10-F11-exm-PR0701 |
|
| PR1002 | Payment of registration fee |
St.27 status event code: A-2-2-U10-U11-oth-PR1002 Fee payment year number: 1 |
|
| PG1601 | Publication of registration |
St.27 status event code: A-4-4-Q10-Q13-nap-PG1601 |
|
| PN2301 | Change of applicant |
St.27 status event code: A-5-5-R10-R13-asn-PN2301 St.27 status event code: A-5-5-R10-R11-asn-PN2301 |
|
| FPAY | Annual fee payment |
Payment date: 20130924 Year of fee payment: 4 |
|
| PR1001 | Payment of annual fee |
St.27 status event code: A-4-4-U10-U11-oth-PR1001 Fee payment year number: 4 |
|
| FPAY | Annual fee payment |
Payment date: 20141001 Year of fee payment: 5 |
|
| PR1001 | Payment of annual fee |
St.27 status event code: A-4-4-U10-U11-oth-PR1001 Fee payment year number: 5 |
|
| FPAY | Annual fee payment |
Payment date: 20150917 Year of fee payment: 6 |
|
| PR1001 | Payment of annual fee |
St.27 status event code: A-4-4-U10-U11-oth-PR1001 Fee payment year number: 6 |
|
| FPAY | Annual fee payment |
Payment date: 20160921 Year of fee payment: 7 |
|
| PR1001 | Payment of annual fee |
St.27 status event code: A-4-4-U10-U11-oth-PR1001 Fee payment year number: 7 |
|
| LAPS | Lapse due to unpaid annual fee | ||
| PC1903 | Unpaid annual fee |
St.27 status event code: A-4-4-U10-U13-oth-PC1903 Not in force date: 20171005 Payment event data comment text: Termination Category : DEFAULT_OF_REGISTRATION_FEE |
|
| PC1903 | Unpaid annual fee |
St.27 status event code: N-4-6-H10-H13-oth-PC1903 Ip right cessation event data comment text: Termination Category : DEFAULT_OF_REGISTRATION_FEE Not in force date: 20171005 |
