KR101823552B1 - Measuring apparatus for rail and measuring method using the same - Google Patents

Measuring apparatus for rail and measuring method using the same Download PDF

Info

Publication number
KR101823552B1
KR101823552B1 KR1020160076610A KR20160076610A KR101823552B1 KR 101823552 B1 KR101823552 B1 KR 101823552B1 KR 1020160076610 A KR1020160076610 A KR 1020160076610A KR 20160076610 A KR20160076610 A KR 20160076610A KR 101823552 B1 KR101823552 B1 KR 101823552B1
Authority
KR
South Korea
Prior art keywords
rail
sensor
plate
coupling
hole
Prior art date
Legal status (The legal status is an assumption and is not a legal conclusion. Google has not performed a legal analysis and makes no representation as to the accuracy of the status listed.)
Expired - Fee Related
Application number
KR1020160076610A
Other languages
Korean (ko)
Other versions
KR20170142696A (en
Inventor
이근호
이근영
Original Assignee
(주)호승이앤씨
Priority date (The priority date is an assumption and is not a legal conclusion. Google has not performed a legal analysis and makes no representation as to the accuracy of the date listed.)
Filing date
Publication date
Application filed by (주)호승이앤씨 filed Critical (주)호승이앤씨
Priority to KR1020160076610A priority Critical patent/KR101823552B1/en
Publication of KR20170142696A publication Critical patent/KR20170142696A/en
Application granted granted Critical
Publication of KR101823552B1 publication Critical patent/KR101823552B1/en
Expired - Fee Related legal-status Critical Current
Anticipated expiration legal-status Critical

Links

Images

Classifications

    • EFIXED CONSTRUCTIONS
    • E01CONSTRUCTION OF ROADS, RAILWAYS, OR BRIDGES
    • E01BPERMANENT WAY; PERMANENT-WAY TOOLS; MACHINES FOR MAKING RAILWAYS OF ALL KINDS
    • E01B35/00Applications of measuring apparatus or devices for track-building purposes
    • E01B35/06Applications of measuring apparatus or devices for track-building purposes for measuring irregularities in longitudinal direction
    • E01B35/08Applications of measuring apparatus or devices for track-building purposes for measuring irregularities in longitudinal direction for levelling
    • GPHYSICS
    • G01MEASURING; TESTING
    • G01BMEASURING LENGTH, THICKNESS OR SIMILAR LINEAR DIMENSIONS; MEASURING ANGLES; MEASURING AREAS; MEASURING IRREGULARITIES OF SURFACES OR CONTOURS
    • G01B5/00Measuring arrangements characterised by the use of mechanical techniques
    • G01B5/24Measuring arrangements characterised by the use of mechanical techniques for measuring angles or tapers; for testing the alignment of axes
    • GPHYSICS
    • G01MEASURING; TESTING
    • G01BMEASURING LENGTH, THICKNESS OR SIMILAR LINEAR DIMENSIONS; MEASURING ANGLES; MEASURING AREAS; MEASURING IRREGULARITIES OF SURFACES OR CONTOURS
    • G01B5/00Measuring arrangements characterised by the use of mechanical techniques
    • G01B5/30Measuring arrangements characterised by the use of mechanical techniques for measuring the deformation in a solid, e.g. mechanical strain gauge
    • GPHYSICS
    • G01MEASURING; TESTING
    • G01DMEASURING NOT SPECIALLY ADAPTED FOR A SPECIFIC VARIABLE; ARRANGEMENTS FOR MEASURING TWO OR MORE VARIABLES NOT COVERED IN A SINGLE OTHER SUBCLASS; TARIFF METERING APPARATUS; MEASURING OR TESTING NOT OTHERWISE PROVIDED FOR
    • G01D11/00Component parts of measuring arrangements not specially adapted for a specific variable
    • G01D11/24Housings ; Casings for instruments
    • G01D11/245Housings for sensors
    • EFIXED CONSTRUCTIONS
    • E01CONSTRUCTION OF ROADS, RAILWAYS, OR BRIDGES
    • E01BPERMANENT WAY; PERMANENT-WAY TOOLS; MACHINES FOR MAKING RAILWAYS OF ALL KINDS
    • E01B2201/00Fastening or restraining methods
    • E01B2201/04Fastening or restraining methods by bolting, nailing or the like

Landscapes

  • Physics & Mathematics (AREA)
  • General Physics & Mathematics (AREA)
  • Engineering & Computer Science (AREA)
  • Architecture (AREA)
  • Civil Engineering (AREA)
  • Structural Engineering (AREA)
  • Machines For Laying And Maintaining Railways (AREA)

Abstract

본 발명은 일측 레일(10)의 하부를 둘러 고정됨과 아울러, 힌지결합부(101)가 형성되고, 상호 간격을 두고 설치되는 한 쌍의 레일 고정부재(100)와, 상기 일측 레일(10)의 침하에 대응하여 힌지구동하도록, 양단이 각각 한 쌍의 상기 레일 고정부재(100)의 힌지결합부(101)에 힌지결합하는 센서 케이싱(200)과, 한 쌍의 상기 레일 고정부재(100)의 각도변화를 측정하도록, 상기 센서 케이싱(200)에 설치되는 각도센서;를 포함하고, 상기 레일 고정부재(100)는, 상기 레일(10)의 하측 플랜지(11)의 저면 및 외측을 덮어 지지하는 외측 지지부재(110)와, 상기 외측 지지부재(110)에 결합함과 아울러, 상기 힌지결합부(101)를 형성하도록 상기 레일(10)의 하측 플랜지(11)의 내측을 덮어 지지하는 내측 지지부재(120);를 철도레일의 진행방향 변위측정장치에 있어서, 상기 내측 지지부재(120)는, 본체판(121); 상기 레일(10)의 하측 플랜지(11)의 내측을 덮어 지지하도록 상기 본체판(121)에서 하측으로 연장형성된 단차판(122); 상기 외측 지지부재(110)에 결합하도록, 상기 단차판(122)에서 전방으로 연장형성된 저판(123); 상기 본체판(121) 및 저판(123)의 양측에 형성된 한 쌍의 측판(124);을 포함하고, 근각볼트(300)가 결합하여 상기 힌지결합부(101)를 형성하도록, 상기 본체판(121)에는 사각형 구조의 본체 결합공(127)이 형성된 것을 특징으로 하는 철도레일의 진행방향 변위측정장치를 제시함으로써, 콘크리트 재질의 침목 구조에 대하여도 적용이 가능하고, 레일의 변위를 직접적으로 측정하므로 데이터의 신뢰도가 높음은 물론, 야간시간의 좁은 공간에서의 작업이 용이하고, 종류가 다른 철도레일에 대하여도 효과적으로 적용이 가능하도록 한다.The present invention is characterized in that a pair of rail fixing members 100 which are fixed around the lower portion of one side rail 10 and formed with a hinge coupling portion 101 and are spaced apart from each other, A sensor casing 200 hinged to both ends of the hinge joint portions 101 of the pair of rail fixing members 100 so as to be hinge-driven in response to the settling, And an angle sensor provided on the sensor casing 200 for measuring an angle change, wherein the rail fixing member 100 covers the bottom and outer sides of the lower flange 11 of the rail 10 An inner supporting member 110 which is coupled to the outer supporting member 110 and which supports the inner side of the lower flange 11 of the rail 10 to form the hinge engaging portion 101, And a member (120) for measuring a displacement of the rail in the traveling direction of the rail, 120, the body plate 121; A step plate 122 extending downward from the main plate 121 to cover the inside of the lower flange 11 of the rail 10; A bottom plate 123 extending forwardly from the step plate 122 to engage with the outer support member 110; And a pair of side plates 124 formed on both sides of the body plate 121 and the bottom plate 123. The body plate 121 and the bottom plate 123 are coupled to each other to form the hinge- 121, a body coupling hole 127 having a rectangular structure is formed. By showing the apparatus for measuring the displacement of the rail in the traveling direction, the present invention can be applied to a concrete railroad tie structure, Therefore, it is easy to work in a narrow space of night time as well as high reliability of data, and it can be effectively applied to railroad rails of different kinds.

Description

철도레일의 진행방향 변위측정장치 및 이를 이용한 변위측정방법{MEASURING APPARATUS FOR RAIL AND MEASURING METHOD USING THE SAME}TECHNICAL FIELD [0001] The present invention relates to a displacement measuring apparatus for measuring a moving direction displacement of a railway rail,

본 발명은 건설 분야에 관한 것으로서, 상세하게는 철도레일의 변위측정에 관한 것이다.BACKGROUND OF THE INVENTION 1. Field of the Invention The present invention relates to the field of construction and, more particularly, to displacement measurement of railway rails.

철도는 일반적으로 자갈도상 위에 진행방향으로 다수의 침목(20)이 설치되고, 그 침목(20) 위에 한 쌍의 레일(10)이 설치되는 구성을 취한다(도 1).The railway generally has a structure in which a plurality of treadmills 20 are installed on the gravel road in the traveling direction and a pair of rails 10 are installed on the treadmill 20 (Fig. 1).

지반의 침하 등의 이유로 레일(10)에 변위가 발생하는 경우, 탈선 기타 사고의 우려가 있으므로, 레일(10)의 변위를 지속적으로 측정하여야 한다.When displacement occurs in the rail 10 due to settlement of the ground or the like, there is a risk of derailing or other accidents, so the displacement of the rail 10 should be continuously measured.

종래에는 나무 재질의 침목(20)에 일정 간격을 두고 받침대(31)를 설치하고, 그 위에 진행방향을 따라 센서(30)를 설치하여 레일(10)의 변위를 측정하는 방식을 취하여 왔다.Conventionally, a method has been employed in which a pedestal 31 is provided at a predetermined interval in a wooden railroad tie 20, and a sensor 30 is provided on the pedestal 31 along the traveling direction to measure the displacement of the rail 10.

그런데, 이러한 종래의 방식은 다음과 같은 문제가 있었다.However, such a conventional method has the following problems.

첫째, 과거에는 나무 재질의 침목(20)을 사용하였으므로, 받침대(31)를 앵커 등에 의해 침목(20)에 고정할 수 있었으나, 최근에는 콘크리트 재질의 침목이 주류를 이루므로, 센서의 설치 자체가 불가능하다는 점이다.First, in the past, since the wooden sleepers 20 are used, the pedestal 31 can be fixed to the sleepers 20 by using an anchor. However, since the concrete sleepers are the mainstream in recent years, It is impossible.

둘째, 레일(10) 자체의 변위를 직접적으로 측정하는 것이 아니고, 침목(20)의 변위를 측정하여 레일(10)의 변위를 간접적으로 추정하는 방식이므로, 측정된 데이터의 신뢰도가 낮다.Second, since the displacement of the rail 10 is indirectly estimated by measuring the displacement of the railroad tie 20, it is not reliable to measure the displacement of the rail 10 itself.

셋째, 레일의 진행방향 변위뿐만 아니라, 진행방향의 변위(양측 레일의 높이 차이 발생 여부) 또한 기차의 안정적인 운행을 위하여 반드시 측정해야 할 항목임에 불구하고, 종래기술에 의해서는 이를 측정할 수 없다는 점이다.Third, although not only the displacement direction of the rail, but also the displacement of the traveling direction (whether there is a difference in the height of both rail) is an item that must be measured for stable operation of the train, It is a point.

이러한 문제를 해소하고자, 본 출원인은 다음과 같은 2건의 발명을 출원하여 등록받은바 있다.In order to solve such a problem, the present applicant has filed and registered two inventions as follows.

도 2 내지 6은 한국특허출원 제10-2013-0041014호에 관한 것이다.Figures 2 to 6 relate to Korean Patent Application No. 10-2013-0041014.

도 2 이하에 도시된 바와 같이, 철도레일의 진행방향 변위측정장치는 기본적으로, 일측 레일(10)의 하부를 둘러 고정됨과 아울러, 상호 간격을 두고 설치되는 한 쌍의 레일 고정부재(100); 한 쌍의 레일 고정부재(100) 사이에 설치되는 센서 케이싱(200); 한 쌍의 레일 고정부재(100)의 각도변화를 측정하도록, 센서 케이싱(200)에 설치되는 각도센서;를 포함하여 구성된다.As shown in FIG. 2 and subsequent drawings, the traveling direction displacement measuring apparatus of the railway rail is basically composed of a pair of rail fixing members 100 that are fixed to the lower portion of the one side rail 10 and are spaced apart from each other. A sensor casing 200 installed between the pair of rail fixing members 100; And an angle sensor installed on the sensor casing 200 for measuring an angle change of the pair of rail fixing members 100. [

즉, 한 쌍의 레일 고정부재(100)를 일측 레일(10)의 하부를 둘러 고정하되 상호 간격을 갖도록 하고, 그 한 쌍의 레일 고정부재(100) 사이에 센서 케이싱(200)을 설치한 후, 그 센서 케이싱(200)에 설치된 각도센서에 의해 일측 레일(10)의 진행방향 각도변화(높이 변화)를 측정하도록 한 것이다.That is, a pair of rail fixing members 100 are fixed around the lower side of one rail 10, and the sensor casing 200 is installed between the pair of rail fixing members 100 (Change in height) of the one-side rail 10 is measured by an angle sensor provided in the sensor casing 200. [0051] As shown in FIG.

레일 고정부재(100)는, 레일(10)의 하부를 둘러 고정되는 구조이면 어느 것이나 관계없으나, 레일(10)의 저면에 면접촉되어 지지되는 저면 지지부(110); 저면 지지부(110)의 외측에서 상측으로 연장형성됨과 아울러, 레일(10)의 하측 플랜지(11)의 외면을 덮어 지지되는 외측 지지부(120); 저면 지지부(110)의 내측에서 상측으로 연장형성됨과 아울러, 레일(10)의 하측 플랜지(11)의 내면과 간격을 갖도록 형성된 내측 지지부(130); 레일(10)의 하측 플랜지(11)의 내면과 내측 지지부(130) 사이의 간격을 유지하도록 설치된 내측 간격부재(131); 내측 지지부(130)의 상측에서 외측으로 연장형성됨과 아울러, 레일(10)의 하측 플랜지(11)의 상면과 간격을 갖도록 형성된 상측 지지부(140); 레일(10)의 하측 플랜지(11)의 상면과 상측 지지부(140) 사이의 간격을 유지하도록 설치된 상측 간격부재(141);를 포함하는 구성을 취하는 경우, 레일(10)의 하부를 둘러싸는 안정적인 지지구조를 이룰 수 있다는 점, 내측 지지부(130) 및 상측 지지부(140)와 레일(10)의 하측 플랜지(11) 사이의 간격이 별도의 내측 간격부재(131) 및 상측 간격부재(141)에 의해 조절되므로 다양한 규격의 레일에 적용할 수 있다는 점 등의 효과가 추가된다(도 4).The rail fixing member 100 includes a bottom surface supporting portion 110 which is in contact with the bottom surface of the rail 10 in a surface-contact manner, regardless of whether the rail fixing member 100 has a structure in which the bottom portion of the rail 10 is fixed. An outer supporting portion 120 extending upward from the outside of the bottom supporting portion 110 and covering the outer surface of the lower flange 11 of the rail 10; An inner supporting part 130 formed to extend upward from the inside of the bottom supporting part 110 and spaced from the inner surface of the lower flange 11 of the rail 10; An inner spacing member 131 installed to maintain a distance between the inner surface of the lower flange 11 of the rail 10 and the inner support 130; An upper supporting portion 140 formed to extend outward from the upper side of the inner supporting portion 130 and to be spaced from the upper surface of the lower flange 11 of the rail 10; And an upper spacing member 141 installed to maintain a distance between the upper surface of the lower flange 11 of the rail 10 and the upper support 140. The upper surface of the lower flange 11 of the rail 10, The spacing between the inner support portion 130 and the upper support portion 140 and the lower flange 11 of the rail 10 is different from that between the inner spacing member 131 and the upper spacing member 141 So that it can be applied to rails of various sizes and the like (FIG. 4).

센서 케이싱(200)은, 각도센서가 내부에 설치된 본체(210); 본체(210)의 양측에서 외측으로 연장형성되어, 센서 결합부재(221)에 의해 케이싱 결합부(320)에 결합하는 센서 결합부(220);를 포함하는 구성을 취하는 것이 안정적인 측정을 위하여 바람직하다(도 5).The sensor casing 200 includes a main body 210 having an angle sensor installed therein; And a sensor coupling portion 220 extending outward from both sides of the main body 210 and coupled to the casing coupling portion 320 by the sensor coupling member 221 is preferable for stable measurement (Fig. 5).

기차의 운행 중 자갈이 튀어 센서 케이싱(200)에 부딪힘으로써 안정적인 측정을 방해할 수 있는데, 센서 케이싱(200)의 본체(210)가 원통형 구조를 취하는 경우, 위와 같은 문제를 최소화할 수 있다.When the main body 210 of the sensor casing 200 takes a cylindrical structure, it is possible to minimize the above-mentioned problems.

상측 지지부(140) 및 센서 결합부(220)에는 결합공이 형성되고, 볼트-너트 구조 등에 의한 센서 결합부재(221)는 결합공에 공통으로 결합하며, 상측 지지부(140)와 센서 결합부(220)의 사이에는 스프링, 고무 패드 등의 진동 저감부재(400)가 설치되는 경우, 기차의 운행에 의해 발생하는 진동이 각도센서에 전달되는 것을 최소화함으로써, 더욱 안정적인 변위측정을 가능하게 한다(도 2).The upper supporting portion 140 and the sensor connecting portion 220 are formed with coupling holes and the sensor coupling member 221 formed by a bolt-nut structure or the like is commonly coupled to the coupling hole. The upper supporting portion 140 and the sensor coupling portion 220 (See Fig. 2 (a)), vibration transmitted from the vehicle to the angle sensor is minimized when the vibration reduction member 400, such as a spring or a rubber pad, ).

여기서, 스프링, 고무 패드 등의 진동 저감부재(400)는 볼트-너트 구조 등에 의한 센서 결합부재(221)를 둘러싸도록 설치하는 것이 구조적 안정성을 위하여 바람직하다(도 2).Here, it is preferable for the vibration reducing member 400 such as a spring or a rubber pad to surround the sensor coupling member 221 by a bolt-nut structure (Fig. 2) for structural stability.

그런데 이는 변위측정장치에 힌지부가 형성되어 있지 않으므로, 양측 레일(10)의 상대 변위에 의한 각도 변화를 정확히 측정하는데 한계가 노출되어, 다음과 같은 별도의 출원을 하게 되었다.However, since the hinge portion is not formed in the displacement measuring device, the limitation is precisely measured to accurately measure the angle change due to the relative displacement of the both side rails 10, and the following separate application has been made.

도 6 내지 11은 한국특허출원 제10-2013-0110417호에 관한 것이다.6 to 11 relate to Korean Patent Application No. 10-2013-0110417.

도 6 이하에 도시된 바와 같이, 본 발명에 의한 철도레일의 진행방향 변위측정장치는 기본적으로, 일측 레일(10)의 하부를 둘러 고정됨과 아울러, 힌지결합부(101)가 형성되고, 간격을 두고 설치되는 한 쌍의 레일 고정부재(100); 일측 레일(10)의 침하에 대응하여 힌지구동하도록, 양단이 각각 한 쌍의 레일 고정부재(100)의 힌지결합부(101)에 힌지결합하는 센서 케이싱(200); 한 쌍의 레일 고정부재(100)의 각도변화를 측정하도록, 센서 케이싱(200)에 설치되는 각도센서;를 포함하여 구성된다.6, the apparatus for measuring the displacement of the rail in the traveling direction according to the present invention basically comprises a lower portion of the one side rail 10 fixed to the lower portion thereof, a hinge coupling portion 101 formed thereon, A pair of rail fixing members (100) installed and installed; A sensor casing (200) hinged to the hinge joint portions (101) of the pair of rail fixing members (100) at both ends so as to be hinge driven in response to the settlement of the one side rail (10); And an angle sensor installed on the sensor casing 200 for measuring an angle change of the pair of rail fixing members 100. [

즉, 한 쌍의 레일 고정부재(100)를 일측 레일(10)의 하부를 둘러 고정하되 상호 간격을 갖도록 하고, 그 한 쌍의 레일 고정부재(100) 사이에 센서 케이싱(200)을 힌지결합한 후, 그 센서 케이싱(200)에 설치된 각도센서에 의해 일측 레일(10)의 진행방향 각도변화(높이 변화)를 측정하도록 한 것이다.That is, a pair of rail fixing members 100 are fixed to surround the lower portion of one side rail 10, and the sensor casing 200 is hinged between the pair of rail fixing members 100 (Change in height) of the one-side rail 10 is measured by an angle sensor provided in the sensor casing 200. [0051] As shown in FIG.

레일 고정부재(100)는, 레일(10)의 하부를 둘러 고정되는 구조이면 어느 것이나 관계없으나, 레일(10)의 하측 플랜지(11)의 저면 및 외측을 덮어 지지하는 외측 지지부재(110); 외측 지지부재(110)에 결합함과 아울러, 레일(10)의 하측 플랜지(11)의 내측을 덮어 지지하는 내측 지지부재(120);를 포함하고, 힌지결합부(101)는 내측 지지부재(120)에 형성된 구성을 취하는 경우, 레일(10)의 하부를 둘러싸는 안정적인 지지구조를 이룰 수 있다는 효과가 있다(도 8 내지 10).The rail fixing member 100 includes an outer supporting member 110 that covers the bottom and outer sides of the lower flange 11 of the rail 10 regardless of whether the rail fixing member 100 has a structure in which the lower portion of the rail 10 is fixed. And an inner support member 120 coupled to the outer support member 110 and covering the inner side of the lower flange 11 of the rail 10. The hinge engagement portion 101 includes an inner support member 120, it is possible to achieve a stable support structure surrounding the lower portion of the rail 10 (Figs. 8 to 10).

외측 지지부재(110)는, 레일(10)의 저면에 면접촉되어 지지하는 저면 지지부(111); 저면 지지부(110)의 외측에서 상측으로 연장형성됨과 아울러, 레일(10)의 하측 플랜지(11)의 외측을 덮어 지지하는 외측 지지부(112);를 포함하는 구성을 취하는데, 이는 레일(10)의 하측 플랜지(11)를 더욱 안정적으로 둘러싸는 구조가 되므로, 구조적 안정성 측면에서 바람직하다.The outer support member (110) includes a bottom support portion (111) supported in surface contact with the bottom surface of the rail (10); And an outer supporting portion 112 extending upward from the outside of the bottom supporting portion 110 and covering the outer side of the lower flange 11 of the rail 10. This is because the rail 10 is formed of a non- The flange 11 of the lower flange 11 is more stably surrounded, which is preferable in terms of structural stability.

저면 지지부(111)의 전후방에서 하측으로 절곡부(113)가 절곡형성되는 경우, 상하방향 하중에 의해 저면 지지부(111)가 파손되는 것을 방지할 수 있다는 효과가 추가된다.When the bent portion 113 is bent from the front side to the rear side of the bottom supporting portion 111, the bottom supporting portion 111 can be prevented from being damaged by the vertical load.

내측 지지부재(120)는, 저면 지지부(111)에 결합하는 몸통부(121); 레일(10)의 하측 플랜지(11)의 내측을 덮어 지지하도록 몸통부(121)에 형성된 단차부(122);를 포함하는 구성을 취하는데, 이는 위와 마찬가지로 레일(10)의 하측 플랜지(11)를 더욱 안정적으로 둘러싸는 구조가 되므로, 구조적 안정성 측면에서 바람직하다.The inner support member 120 includes a body 121 to be coupled to the bottom support 111; And a stepped portion 122 formed on the body portion 121 so as to cover the inside of the lower flange 11 of the rail 10. This is because the lower flange 11 of the rail 10, So that it is preferable in terms of structural stability.

저면 지지부(111) 및 몸통부(121)에는 상하방향으로 결합공(131)이 형성되고, 결합공(131)에 공통으로 결합한 볼트-너트 등의 결합부재(130)에 의해 외측 지지부재(110) 및 내측 지지부재(120)가 상호 결합하는 구성을 취하는 경우, 레일(10)의 하측 플랜지(11)의 내측을 상하에서 압박하면서 고정하는 구조가 되므로, 구조적 안정성 측면에서 바람직하다.The bottom support part 111 and the body part 121 are provided with coupling holes 131 in the vertical direction and are connected to the outer supporting members 110 (110) by a coupling member 130 such as a bolt- And the inner supporting member 120 are mutually engaged, the inner side of the lower side flange 11 of the rail 10 is fixed while being pressed while being vertically pressed, which is preferable in terms of structural stability.

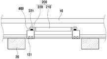
몸통부(121)의 상부에 외측으로 단차진 구조의 상측연장부(123)가 형성되고, 힌지결합부(101)는 상측연장부(123)에 형성된 구성을 취하는 경우, 위 결합공(131) 또는 결합부재(130)와의 저촉을 피하여, 센서 케이싱(200)의 안정적인 힌지구동을 이룰 수 있다는 장점이 추가된다.An upper extension part 123 having a stepped structure is formed on the upper part of the body part 121 and a hinge coupling part 101 is formed on the upper extension part 123, Or the engagement with the coupling member 130 can be avoided so that stable hinge driving of the sensor casing 200 can be achieved.

센서 케이싱(200)은, 각도센서가 내부에 설치된 본체(210); 본체(210)의 양측에서 외측으로 연장형성되어, 힌지결합부(101)에 힌지결합하는 센서 결합부(220);를 포함하는 구성을 취하는 것이 안정적인 측정을 위하여 바람직하다(도 11).The sensor casing 200 includes a main body 210 having an angle sensor installed therein; And a sensor coupling portion 220 extending outward from both sides of the main body 210 and hinged to the hinge coupling portion 101 (Fig. 11).

기차의 운행 중 자갈이 튀어 센서 케이싱(200)에 부딪힘으로써 안정적인 측정을 방해할 수 있는데, 센서 케이싱(200)의 본체(210)가 원통형 구조를 취하는 경우, 위와 같은 문제를 최소화할 수 있다.When the main body 210 of the sensor casing 200 takes a cylindrical structure, it is possible to minimize the above-mentioned problems.

힌지결합부(101) 및 센서 결합부(220)에는 체결공(231)이 형성되고, 체결공(231)에 공통으로 결합한 볼트-너트 등의 체결부재(230)에 의해 힌지결합부(101) 및 센서 결합부(220)가 상호 결합하는 구성을 취하는 경우, 안정적인 결합구조 및 힌지구동구조를 이룰 수 있다는 장점이 추가된다.A coupling hole 231 is formed in the hinge coupling portion 101 and the sensor coupling portion 220 and the hinge coupling portion 101 is fixed by a coupling member 230 such as a bolt- And the sensor coupling portion 220 are combined with each other, there is added an advantage that a stable coupling structure and a hinge driving structure can be achieved.

그런데 위 종래기술의 경우에도, 그 실시 중 다음과 같은 문제점이 노출되었다.However, even in the case of the above prior art, the following problems were exposed during its operation.

첫째, 변위측정장치의 대상이 되는 철도레일은 지속적으로 사용되는 것이므로, 그 철도레일에 대하여 변위측정장치를 설치하는 작업은 기차의 운행이 잠시 멈춘 야간시간을 이용하여 신속히 수행하여야 한다는 점, 철도레일을 운행하는 기차에 대한 영향을 최소화해야 하므로, 변위측정장치와 철도레일 사이의 간격이 매우 좁다는 점 등의 특수성이 있다.First, since the railway rail which is the object of the displacement measurement device is continuously used, the operation of installing the displacement measurement device on the railway rail must be performed promptly by using the nighttime in which the operation of the train stops temporarily, The distance between the displacement measuring device and the railway rail is very narrow, and so on.

위 종래기술에 의한 변위측정장치는 내측 지지부재(120), 외측 지지부재(110) 및 센서 케이싱(200) 상호의 결합 시, 스패너 등의 공구 2개를 양손에 들고, 한 쪽의 공구에 의해 너트를 잡은 상태에서, 다른 한 쪽의 공구에 의해 볼트를 조이는 작업을 해야 하므로, 야간시간에 좁은 공간에서의 작업이 어렵다는 문제가 그것이다.When the inner support member 120, the outer support member 110, and the sensor casing 200 are coupled to each other, two pieces of tools such as a spanner are held in both hands, and one of the tools The problem is that it is difficult to work in a small space at night time because the bolt must be tightened by the other tool while the nut is caught.

둘째, 현재 철도레일은 2종류(50㎏/m, 60㎏/m)가 사용되는데, 그 종류에 따라 레일의 하측 플랜지의 폭 및 양측 레일 사이의 간격이 다르다.Second, two types of railway rails (50 kg / m, 60 kg / m) are currently used. The width of the lower flange of the rail and the distance between the two rail are different depending on the type.

위 종래기술에 의한 변위측정장치는 이러한 현실에 대한 고려가 없으므로, 레일의 종류에 따라 별도로 제작한 장치를 사용해야 하므로 경제적이지 못하다는 문제가 그것이다.The displacement measuring apparatus according to the prior art does not have such a realistic consideration, and therefore it is not economical to use a separately manufactured apparatus according to the type of the rail.

위 도면부호들은 당해 종래기술에 대한 설명에 관하여 한정되는 것으로 한다.The above reference numerals are to be limited with respect to the description of the prior art.

한국특허출원 제10-2013-0041014호Korean Patent Application No. 10-2013-0041014 한국특허출원 제10-2013-0110417호Korean Patent Application No. 10-2013-0110417

본 발명은 상기와 같은 문제점을 해결하기 위하여 도출된 것으로서, 콘크리트 재질의 침목 구조에 대하여도 적용이 가능하고, 레일의 변위를 직접적으로 측정하므로 데이터의 신뢰도가 높음은 물론, 야간시간의 좁은 공간에서의 작업이 용이하고, 종류가 다른 철도레일에 대하여도 효과적으로 적용이 가능한 철도레일의 진행방향 변위측정장치 및 이를 이용한 변위측정방법을 제시하는 것을 그 목적으로 한다.SUMMARY OF THE INVENTION It is an object of the present invention to solve the above-mentioned problems and to provide a concrete structure which can be applied to a concrete structure of a concrete material. Since the displacement of a rail is directly measured, The present invention has been made in view of the above problems, and it is an object of the present invention to provide a device for measuring the displacement of a railway track in a traveling direction which can be effectively applied to railway rails of different kinds.

상기 과제의 해결을 위하여, 본 발명은 일측 레일(10)의 하부를 둘러 고정됨과 아울러, 힌지결합부(101)가 형성되고, 상호 간격을 두고 설치되는 한 쌍의 레일 고정부재(100)와, 상기 일측 레일(10)의 침하에 대응하여 힌지구동하도록, 양단이 각각 한 쌍의 상기 레일 고정부재(100)의 힌지결합부(101)에 힌지결합하는 센서 케이싱(200)과, 한 쌍의 상기 레일 고정부재(100)의 각도변화를 측정하도록, 상기 센서 케이싱(200)에 설치되는 각도센서;를 포함하고, 상기 레일 고정부재(100)는, 상기 레일(10)의 하측 플랜지(11)의 저면 및 외측을 덮어 지지하는 외측 지지부재(110)와, 상기 외측 지지부재(110)에 결합함과 아울러, 상기 힌지결합부(101)를 형성하도록 상기 레일(10)의 하측 플랜지(11)의 내측을 덮어 지지하는 내측 지지부재(120);를 철도레일의 진행방향 변위측정장치에 있어서, 상기 내측 지지부재(120)는, 본체판(121); 상기 레일(10)의 하측 플랜지(11)의 내측을 덮어 지지하도록 상기 본체판(121)에서 하측으로 연장형성된 단차판(122); 상기 외측 지지부재(110)에 결합하도록, 상기 단차판(122)에서 전방으로 연장형성된 저판(123); 상기 본체판(121) 및 저판(123)의 양측에 형성된 한 쌍의 측판(124);을 포함하고, 근각볼트(300)가 결합하여 상기 힌지결합부(101)를 형성하도록, 상기 본체판(121)에는 사각형 구조의 본체 결합공(127)이 형성된 것을 특징으로 하는 철도레일의 진행방향 변위측정장치를 제시한다.In order to solve the above-described problems, the present invention provides a rail fixing device comprising: a pair of rail fixing members (100) fixed to a lower side of one side rail (10), provided with a hinge coupling portion (101) A sensor casing 200 hinged to both ends of the pair of rail fixing members 100 so as to be hinge-driven in response to the settlement of the one-side rail 10, And an angle sensor provided on the sensor casing 200 for measuring an angle change of the rail fixing member 100. The rail fixing member 100 is mounted on the lower flange 11 of the rail 10 And an outer supporting member 110 for supporting the lower flange 11 of the rail 10 so as to form the hinge coupling portion 101 And an inner support member (120) covering the inner side of the inner rail In the inner support member 120 includes a body plate 121; A step plate 122 extending downward from the main plate 121 to cover the inside of the lower flange 11 of the rail 10; A bottom plate 123 extending forwardly from the step plate 122 to engage with the outer support member 110; And a pair of side plates 124 formed on both sides of the body plate 121 and the bottom plate 123. The body plate 121 and the bottom plate 123 are coupled to each other to form the hinge- 121 is provided with a body coupling hole 127 having a rectangular structure.

상기 본체 결합공(127)은, 상기 본체판(121)의 일측에 형성된 일측 본체 결합공(127a); 시공오차를 보정하도록, 상기 일측 본체 결합공(127a)의 타측에 장공구조로 형성된 타측 본체 결합공(127b);을 포함하는 것이 바람직하다.The main body coupling hole 127 includes a main body coupling hole 127a formed on one side of the main plate 121; And a second body coupling hole 127b formed on the other side of the one body coupling hole 127a and having a long hole structure, so as to correct a construction error.

상기 내측 지지부재(120)의 저판(123)에는 원형 구조의 저면 관통공(126)이 형성되고, 상기 외측 지지부재(110)는, 상기 레일(10)의 저면에 면접촉되어 지지하는 저면 지지판(111); 상기 저면 지지판(111)의 외측에서 상측으로 연장형성됨과 아울러, 상기 레일(10)의 하측 플랜지(11)의 외측을 덮어 지지하는 외측 지지판(112);을 포함하고, 상기 저면 지지판(111)에는 사각형 구조의 저면 결합공(113)이 형성되며, 상기 저면 결합공(113) 및 저면 관통공(126)에 연통하여 상기 근각볼트(300)가 결합하는 것이 바람직하다.The bottom plate 123 of the inner support member 120 is formed with a bottom through hole 126 having a circular structure and the outer support member 110 is fixed to the bottom surface of the bottom plate 123, (111); And an outer supporting plate 112 extending upward from the outside of the bottom supporting plate 111 and covering the outside of the lower flange 11 of the rail 10, A bottom surface coupling hole 113 having a rectangular shape is formed and the angular bolt 300 is coupled with the bottom surface coupling hole 113 and the bottom surface through hole 126.

상기 외측 지지부재(110)를 침목에 고정하도록, 상기 저면 지지판(111)에는 앵커 결합공(114)이 형성된 것이 바람직하다.The anchor coupling hole 114 may be formed in the bottom support plate 111 to fix the outer support member 110 to the sleepers.

상기 센서 케이싱(200)은, 상기 각도센서가 내부에 설치된 통형 구조의 본체(210); 상기 본체(210)의 양측에서 외측으로 연장형성되어, 상기 힌지결합부(101)에 힌지결합하는 센서 결합부재(220);를 포함하고, 상기 센서 결합부재(220)에는 체결공(231)이 형성되고, 상기 체결공(231) 및 본체 결합공(127)에 공통으로 결합한 상기 근각볼트(300)에 의해 상기 힌지결합부(101) 및 센서 결합부(220)가 상호 결합하는 것이 바람직하다.The sensor casing (200) includes a tubular main body (210) having the angle sensor installed therein; And a sensor coupling member 220 extending outward from both sides of the main body 210 and hinged to the hinge coupling portion 101. The sensor coupling member 220 is provided with a coupling hole 231, And the hinge coupling part 101 and the sensor coupling part 220 are mutually coupled by the pincer bolt 300 commonly coupled to the coupling hole 231 and the body coupling hole 127.

상기 통형 구조의 본체(210)에는 센서 관통공(211)이 형성되고, 시공오차를 보정하도록, 상기 센서 결합부재(220)에는 장공 구조의 센서 결합홈(221)이 형성되며, 체결부재(240)가 상기 센서 관통공(211)을 관통하여 상기 센서 결합홈(221)에 결합함으로써, 상기 본체(210)와 상기 센서 결합부재(220)가 상호 결합하는 것이 바람직하다.A sensor through hole 211 is formed in the tubular structure body 210 and a sensor engagement groove 221 having a long hole structure is formed in the sensor engagement member 220 to correct a work error, Through the sensor through hole 211 and into the sensor engagement groove 221 so that the body 210 and the sensor engagement member 220 are coupled to each other.

본 발명은 상기 철도레일의 진행방향 변위측정장치를 이용한 철도레일의 진행방향 변위측정방법으로서, 일측 레일(10) 하부의 자갈을 제거하고, 상기 한 쌍의 레일 고정부재(100)를 상호 간격을 두고 각각 설치하는 단계; 상기 센서 케이싱(200)의 양단을 상기 한 쌍의 레일 고정부재(100)에 각각 힌지결합하는 단계; 상기 각도센서에 의해 상기 한 쌍의 레일 고정부재(100)의 각도변화를 측정함으로써, 상기 일측 레일(10)의 진행방향 변위를 측정하는 단계;를 포함하는 것을 특징으로 하는 철도레일의 진행방향 변위측정방법을 제시한다.The present invention relates to a method for measuring a displacement of a railway track in a traveling direction by using an apparatus for measuring the displacement of a railway track in the traveling direction of a railway, Respectively; Hinging both ends of the sensor casing (200) to the pair of rail fixing members (100); And measuring an angle change of the pair of rail fixing members (100) by the angle sensor to measure a displacement in the traveling direction of the one side rail (10). Measuring method is suggested.

본 발명은 콘크리트 재질의 침목 구조에 대하여도 적용이 가능하고, 레일의 변위를 직접적으로 측정하므로 데이터의 신뢰도가 높음은 물론, 야간시간의 좁은 공간에서의 작업이 용이하고, 종류가 다른 철도레일에 대하여도 효과적으로 적용이 가능한 철도레일의 진행방향 변위측정장치 및 이를 이용한 변위측정방법을 제시한다.The present invention can be applied to a concrete structure of a concrete material. Since the displacement of the rail is directly measured, the reliability of data is high, the work in a narrow space at night is easy, This paper proposes a moving direction displacement measuring device and a displacement measuring method using the same.

도 1은 종래의 철도레일의 변위측정장치의 사시도.
도 2 내지 6은 한국특허출원 제10-2013-0041014호의 도면.
도 7 내지 11은 한국특허출원 제10-2013-0110417호의 도면.
도 12 이하는 본 발명의 실시예를 도시한 것으로서,
도 12는 변위측정장치의 정면도.
도 13은 내측 지지부재의 정면도.
도 14는 내측 지지부재의 좌측면도.
도 15는 내측 지지부재의 우측면도.
도 16은 내측 지지부재의 평면도.
도 17은 내측 지지부재의 사시도.
도 18은 근각볼트의 사시도.
도 19는 외측 지지부재의 측면도.
도 20은 외측 지지부재의 평면도.
도 21은 센서 케이싱의 분해사시도.
1 is a perspective view of a displacement measuring apparatus of a conventional railway.
2 to 6 are views of Korean Patent Application No. 10-2013-0041014.
Figures 7 to 11 are views of Korean Patent Application No. 10-2013-0110417.
12 shows an embodiment of the present invention,
12 is a front view of the displacement measuring device.
13 is a front view of the inner supporting member.
14 is a left side view of the inner supporting member.
15 is a right side view of the inner supporting member.
16 is a plan view of the inner supporting member.
17 is a perspective view of the inner supporting member.
18 is a perspective view of a brace bolt;
19 is a side view of the outer support member.
20 is a plan view of the outer supporting member.
21 is an exploded perspective view of the sensor casing;

이하, 첨부도면을 참조하여 본 발명의 실시예에 관하여 상세히 설명한다.Hereinafter, embodiments of the present invention will be described in detail with reference to the accompanying drawings.

도 12 이하에 도시된 바와 같이, 본 발명에 의한 철도레일의 진행방향 변위측정장치는 기본적으로, 일측 레일(10)의 하부를 둘러 고정됨과 아울러, 힌지결합부(101)가 형성되고, 상호 간격을 두고 설치되는 한 쌍의 레일 고정부재(100)와, 상기 일측 레일(10)의 침하에 대응하여 힌지구동하도록, 양단이 각각 한 쌍의 상기 레일 고정부재(100)의 힌지결합부(101)에 힌지결합하는 센서 케이싱(200)과, 한 쌍의 상기 레일 고정부재(100)의 각도변화를 측정하도록, 상기 센서 케이싱(200)에 설치되는 각도센서;를 포함하고, 상기 레일 고정부재(100)는, 상기 레일(10)의 하측 플랜지(11)의 저면 및 외측을 덮어 지지하는 외측 지지부재(110)와, 상기 외측 지지부재(110)에 결합함과 아울러, 상기 힌지결합부(101)를 형성하도록 상기 레일(10)의 하측 플랜지(11)의 내측을 덮어 지지하는 내측 지지부재(120);를 철도레일의 진행방향 변위측정장치에 관한 것이다.12, the apparatus for measuring the displacement in the direction of travel of a railway rail according to the present invention basically comprises a lower portion of one rail 10 fixed to the rail, a hinge joint portion 101 formed thereon, A pair of rail fixing members 100 installed at both ends of the rail fixing member 100 so as to be hinged to correspond to the settling of the one side rail 10, And an angle sensor installed on the sensor casing 200 for measuring an angle change of the pair of rail fixing members 100. The rail fixing member 100 Is provided with an outer supporting member 110 for covering a bottom surface and an outer side of the lower flange 11 of the rail 10 and an outer supporting member 110 for coupling the outer supporting member 110 and the hinge coupling portion 101, (11) of the rail (10) so as to form the lower side flange And an inner support member (120) for measuring the displacement of the rail in the traveling direction.

여기서 내측 지지부재(120)는, 본체판(121); 레일(10)의 하측 플랜지(11)의 내측을 덮어 지지하도록 본체판(121)에서 하측으로 연장형성된 단차판(122); 외측 지지부재(110)에 결합하도록, 단차판(122)에서 전방으로 연장형성된 저판(123); 본체판(121) 및 저판(123)의 양측에 형성된 한 쌍의 측판(124);을 포함하고, 근각볼트(300)가 결합하여 힌지결합부(101)를 형성하도록, 본체판(121)에는 사각형 구조의 본체 결합공(127)이 형성된 것을 특징으로 한다.Here, the inner supporting member 120 includes a body plate 121; A step plate 122 extending downward from the main plate 121 to cover the inside of the lower flange 11 of the rail 10; A bottom plate 123 extending forwardly from the step plate 122 to engage with the outer support member 110; And a pair of side plates 124 formed on both sides of the main plate 121 and the bottom plate 123. The main plate 121 is provided with a pair of side plates 124, And a main body coupling hole 127 having a rectangular structure is formed.

근각볼트(300)는 머리부(301), 사각부(302) 및 숫나사부(303)로 구성되는데, 이러한 근각볼트(300)의 사각부(302)를 측판(124)의 사각형 구조의 본체 결합공(127)에 결합하고, 근각볼트(300)의 숫나사부(303)를 센서 케이싱(200)에 결합하도록 한 것이다.The rhythm bolt 300 is composed of a head part 301, a rectangular part 302 and a male screw part 303. The rectangular part 302 of the rhythm bolt 300 is inserted into the rectangular body- And the male screw portion 303 of the pincushion bolt 300 is coupled to the sensor casing 200. [

이 경우, 근각볼트(300)를 본체 결합공(127)에 삽입하는 것만으로, 근각볼트(300)가 일단 고정되므로, 위 종래기술과 달리 하나의 공구에 의해 볼트를 조이는 작업을 하면 되는바, 야간시간의 좁은 공간에서의 작업이 용이하다는 효과가 있다.In this case, only by inserting the pincer bolt 300 into the main body coupling hole 127, the pincer bolt 300 is once fixed, so that unlike the above-described conventional technique, the bolt can be tightened by one tool, It is easy to work in a narrow space at night.

또한 내측 지지부재(120)를 본체판(121), 단차판(122), 저판(123), 한 쌍의 측판(124)에 의한 판형 구조로 형성하므로, 제작 및 시공이 용이하고 경제적이라는 효과가 추가된다.Further, since the inner support member 120 is formed in a plate-like structure of the main plate 121, the step plate 122, the bottom plate 123, and the pair of side plates 124, it is easy and economical to manufacture and construct .

나아가, 다음과 같은 효과가 있다.Further, the following effects are obtained.

첫째, 침목과 관계없이 레일에 직접 설치하는 방식이므로, 콘크리트 재질의 침목 구조라 하더라도, 측정장치의 설치가 아무런 문제가 없다.First, since it is directly installed on the rail regardless of the sleeper, even if it is a concrete sleeper structure, the installation of the measuring device is not a problem.

둘째, 레일(10) 자체의 변위를 직접적으로 측정하는 방식이므로, 측정된 데이터의 신뢰도가 높다.Second, since the displacement of the rail 10 itself is directly measured, the reliability of the measured data is high.

셋째, 레일의 진행방향의 변위(양측 레일의 높이 차이 발생 여부)를 측정하므로, 기차의 안정적인 운행에 크게 기여할 수 있다.Third, since the displacement of the traveling direction of the rail (whether there is a difference in height between the two side rails) is measured, it can contribute to stable operation of the train.

넷째, 센서 케이싱(200)이 한 쌍의 레일 고정부재(100) 사이에 힌지결합하므로, 양측 레일(10)의 상대 변위 발생 시 센서 케이싱(200)이 안정적으로 힌지구동함에 따라, 센서의 파손 위험 없이 안정적으로 정확한 변위를 측정할 수 있다.Fourth, since the sensor casing 200 is hinged between the pair of rail fixing members 100, when the relative displacement of the both side rails 10 occurs, the sensor casing 200 stably hinges the sensor casing 200, It is possible to measure the accurate displacement without stably.

본체 결합공(127)은, 본체판(121)의 일측에 형성된 일측 본체 결합공(127a); 시공오차를 보정하도록, 일측 본체 결합공(127a)의 타측에 장공구조로 형성된 타측 본체 결합공(127b);을 포함하는 구조를 취하는 것이 바람직하다.The main body coupling hole 127 includes a main body coupling hole 127a formed on one side of the main plate 121; And the other body coupling hole 127b formed in the other side of the one body coupling hole 127a in a long hole structure so as to correct the installation error.

한 쌍의 레일 고정부재(100)는 일측 레일(10)에 대하여 상호 간격을 두고 설치되는 것이므로, 센서 케이싱(200)의 일단은 일측 레일 고정부재(100)의 내측 지지부재(120)의 본체판(121)의 일측 본체 결합공(127a)에 결합하고. 센서 케이싱(200)의 타단은 타측 레일 고정부재(100)의 내측 지지부재(120)의 본체판(121)의 타측 본체 결합공(127b)에 결합하게 된다(도 12,13).One end of the sensor casing 200 is connected to one end of the main supporting plate 120 of the one side rail fixing member 100 and the other end side of the main supporting plate 120 of the one side rail fixing member 100, (127a) of the main body (121). The other end of the sensor casing 200 is engaged with the other body coupling hole 127b of the main plate 121 of the inner support member 120 of the other rail fixing member 100 (Figs. 12 and 13).

여기서, 본체 결합공(127)이 위와 같이 일측 본체 결합공(127a) 및 장공구조의 타측 본체 결합공(127b)의 구조를 취하는 경우, 센서 케이싱(200)의 일단을 일측 본체 결합공(127a)에 결합한 상태에서, 센서 케이싱(200)의 타단을 타측 본체 결합공(127b)에 결합하면서 시공오차를 보정할 수 있다는 장점이 추가되는 것이다.When the body coupling hole 127 has the structure of the one body coupling hole 127a and the elongated hole body 127b as described above, one end of the sensor casing 200 is connected to the one body coupling hole 127a, The construction error can be corrected while the other end of the sensor casing 200 is coupled to the other body coupling hole 127b.

내측 지지부재(120)의 저판(123)에는 원형 구조의 저면 관통공(126)이 형성되고, 외측 지지부재(110)는, 레일(10)의 저면에 면접촉되어 지지하는 저면 지지판(111); 저면 지지판(111)의 외측에서 상측으로 연장형성됨과 아울러, 레일(10)의 하측 플랜지(11)의 외측을 덮어 지지하는 외측 지지판(112);을 포함하고, 저면 지지판(111)에는 사각형 구조의 저면 결합공(113)이 형성되며, 저면 결합공(113) 및 저면 관통공(126)에 연통하여 근각볼트(300)가 결합하는 구조를 취하는 것이 바람직하다(도 19,20).The bottom plate 123 of the inner support member 120 is formed with a bottom through hole 126 having a circular structure and the outer support member 110 includes a bottom support plate 111 supported in surface contact with the bottom surface of the rail 10, ; And an outer supporting plate 112 extending upward from the outer side of the bottom supporting plate 111 and covering the outer side of the lower flange 11 of the rail 10. The bottom supporting plate 111 has a rectangular It is preferable that the bottom surface engaging hole 113 is formed and the angular relief bolt 300 is coupled to the bottom surface engaging hole 113 and the bottom surface through hole 126 (Figs. 19 and 20).

이 경우, 근각볼트(300)의 숫나사부(303)가 상측을 향하도록, 저면 결합공(113) 및 저면 관통공(126)에 연통하여 근각볼트(300)를 삽입하여 고정한 상태에서, 내측 지지부재(120)의 저판(123)의 상면에 너트를 체결하면 되므로, 상술한 시공의 편의성을 얻을 수 있다.In this case, while the male screw portion 303 of the angular bolt 300 is upwardly inserted into the bottom engaging hole 113 and the bottom engaging hole 126 by inserting the angular bolt 300, The nut can be fastened to the upper surface of the bottom plate 123 of the member 120, so that the convenience of the above-described construction can be obtained.

또한, 저면 지지판(111)에 복수의 저면 결합공(113)이 상호 간격을 두고 형성되는 경우, 철도레일의 종류(50㎏/m, 60㎏/m)에 따라 레일(10)의 하측 플랜지(11)의 폭이 달라지더라도, 적절한 저면 결합공(113)을 선택하여 내측 지지부재(120)의 저판(123)의 저면 관통공(126)과 결합하면 되므로, 동일한 저면 지지판(111)을 사용할 수 있어 경제성 측면에서 유리하다.When a plurality of bottom surface coupling holes 113 are formed in the bottom support plate 111 at a distance from each other, the lower side flange 113 of the rail 10 is formed in accordance with the type of railway rail (50 kg / m, 60 kg / m) It is possible to select the appropriate bottom surface coupling hole 113 and to engage with the bottom surface through hole 126 of the bottom plate 123 of the inner support member 120 so that the same bottom surface support plate 111 can be used And is advantageous in terms of economy.

저면 지지판(111)에는 앵커 결합공(114)이 형성되는 경우, 외측 지지부재(110)를 나무 재질의 침목에 대하여 앵커에 의해 고정할 수 있다는 장점이 추가된다.When the anchor coupling hole 114 is formed in the bottom support plate 111, an advantage that the outer support member 110 can be fixed to the wooden sleepers by an anchor is added.

센서 케이싱(200)은, 각도센서가 내부에 설치된 통형 구조의 본체(210); 본체(210)의 양측에서 외측으로 연장형성되어, 힌지결합부(101)에 힌지결합하는 센서 결합부재(220);를 포함하여 구성된다.The sensor casing (200) includes a cylindrical body (210) having an angle sensor installed therein; And a sensor coupling member 220 extending outward from both sides of the main body 210 and hinged to the hinge coupling portion 101.

센서 결합부재(220)에는 체결공(231)이 형성되고, 체결공(231) 및 본체 결합공(127)에 공통으로 결합한 상기 근각볼트(300)에 의해 힌지결합부(101) 및 센서 결합부(220)가 상호 결합하는 구조를 취하므로, 상술한 시공의 편의성을 얻을 수 있다.The sensor engaging member 220 is formed with a fastening hole 231 and the fastening hole 231 and the body engaging hole 127 are formed integrally with the hinge engaging portion 101, (220) are mutually coupled to each other, the above-mentioned convenience of construction can be obtained.

통형 구조의 본체(210)에는 센서 관통공(211)이 형성되고, 센서 결합부재(220)에는 장공 구조의 센서 결합홈(221)이 형성되며, 볼트 등의 체결부재(240)가 센서 관통공(211)을 관통하여 센서 결합홈(221)에 결합함으로써, 본체(210)와 센서 결합부재(220)가 상호 결합하는 구조를 취하는 경우, 시공오차를 쉽게 보정할 수 있다는 장점이 추가된다.A sensor through hole 211 is formed in the main body 210 of the cylindrical structure and a sensor engagement groove 221 having a long hole structure is formed in the sensor engagement member 220. A fastening member 240 such as a bolt, When the body 210 and the sensor coupling member 220 are coupled to each other through the through hole 211 and the sensor coupling groove 221, the construction error can be easily corrected.

이하, 본 발명에 의한 철도레일의 진행방향 변위측정장치를 이용한 철도레일의 진행방향 변위측정방법에 관하여 설명한다.Hereinafter, a method of measuring the direction of displacement of a railway rail using the apparatus for measuring the direction of movement of a railway rail according to the present invention will be described.

일측 레일(10) 하부의 자갈을 제거하고, 한 쌍의 레일 고정부재(100)를 상호 간격을 두고 각각 일측 레일(10)의 하부를 둘러 설치한 후, 자갈을 원상태로 복귀시킨다.The gravel in the lower portion of the one side rail 10 is removed and the pair of rail fixing members 100 are disposed around the lower portion of the one side rail 10 at mutually spaced intervals and then the gravel is returned to the original state.

센서 케이싱(200)의 양단을 한 쌍의 레일 고정부재(100)에 각각 힌지결합한다.Both ends of the sensor casing 200 are hinged to the pair of rail fixing members 100, respectively.

센서 케이싱(200)에 설치된 각도센서에 의해 한 쌍의 레일 고정부재(100)의 각도변화를 측정함으로써, 일측 레일(10)의 진행방향 변위를 측정한다.The displacement of the one side rail 10 in the traveling direction is measured by measuring the angle change of the pair of rail fixing members 100 by the angle sensor provided on the sensor casing 200. [

이상은 본 발명에 의해 구현될 수 있는 바람직한 실시예의 일부에 관하여 설명한 것에 불과하므로, 주지된 바와 같이 본 발명의 범위는 위의 실시예에 한정되어 해석되어서는 안 될 것이며, 위에서 설명된 본 발명의 기술적 사상과 그 근본을 함께 하는 기술적 사상은 모두 본 발명의 범위에 포함된다고 할 것이다.It will be apparent to those skilled in the art that various modifications and variations can be made in the present invention without departing from the spirit or scope of the invention as defined in the appended claims. It is to be understood that both the technical idea and the technical spirit of the invention are included in the scope of the present invention.

10 : 레일 20 : 침목
100 : 레일 고정부재 101 : 힌지결합부
110 : 외측 지지부재 111 : 저면 지지판
112 : 외측 지지판 113 : 저면 결합공
114 : 앵커 결합공 120 : 내측 지지부재
121 : 본체판 122 : 단차판
123 : 저판 124 : 측판
126 : 저면 관통공 127 : 본체 결합공
130 : 결합부재 131 : 결합공
200 : 센서 케이싱 210 : 본체
211 : 센서 관통공 220 : 센서 결합부재
221 : 센서 결합홈 231 : 체결공
240 : 체결부재 300 : 근각볼트
10: rail 20: sleepers
100: rail fixing member 101: hinge coupling part
110: outer support member 111: bottom support plate
112: outer support plate 113: bottom surface engaging hole
114: anchor coupling hole 120: inner supporting member
121: body plate 122: step plate
123: bottom plate 124: side plate
126: bottom through hole 127: main body coupling hole
130: coupling member 131: coupling hole
200: Sensor casing 210: Body
211: sensor through hole 220: sensor coupling member
221: sensor coupling groove 231: fastening hole
240: fastening member 300: pinch bolt

Claims (7)

일측 레일(10)의 하부를 둘러 고정됨과 아울러, 힌지결합부(101)가 형성되고, 상호 간격을 두고 설치되는 한 쌍의 레일 고정부재(100)와, 상기 일측 레일(10)의 침하에 대응하여 힌지구동하도록, 양단이 각각 한 쌍의 상기 레일 고정부재(100)의 힌지결합부(101)에 힌지결합하는 센서 케이싱(200)과, 한 쌍의 상기 레일 고정부재(100)의 각도변화를 측정하도록, 상기 센서 케이싱(200)에 설치되는 각도센서;를 포함하고,
상기 레일 고정부재(100)는, 상기 레일(10)의 하측 플랜지(11)의 저면 및 외측을 덮어 지지하는 외측 지지부재(110)와, 상기 외측 지지부재(110)에 결합함과 아울러, 상기 힌지결합부(101)를 형성하도록 상기 레일(10)의 하측 플랜지(11)의 내측을 덮어 지지하는 내측 지지부재(120);를 철도레일의 진행방향 변위측정장치에 있어서,
상기 내측 지지부재(120)는,
본체판(121);
상기 레일(10)의 하측 플랜지(11)의 내측을 덮어 지지하도록 상기 본체판(121)에서 하측으로 연장형성된 단차판(122);
상기 외측 지지부재(110)에 결합하도록, 상기 단차판(122)에서 전방으로 연장형성된 저판(123);
상기 본체판(121) 및 저판(123)의 양측에 형성된 한 쌍의 측판(124);을 포함하고,
근각볼트(300)가 결합하여 상기 힌지결합부(101)를 형성하도록, 상기 본체판(121)에는 사각형 구조의 본체 결합공(127)이 형성되고,
상기 본체 결합공(127)은,
상기 본체판(121)의 일측에 형성된 일측 본체 결합공(127a);
시공오차를 보정하도록, 상기 일측 본체 결합공(127a)의 타측에 장공구조로 형성된 타측 본체 결합공(127b);을 포함하고,
상기 내측 지지부재(120)의 저판(123)에는 원형 구조의 저면 관통공(126)이 형성되고,
상기 외측 지지부재(110)는,
상기 레일(10)의 저면에 면접촉되어 지지하는 저면 지지판(111);
상기 저면 지지판(111)의 외측에서 상측으로 연장형성됨과 아울러, 상기 레일(10)의 하측 플랜지(11)의 외측을 덮어 지지하는 외측 지지판(112);을 포함하고,
상기 저면 지지판(111)에는 사각형 구조의 저면 결합공(113) 복수가 상호 간격을 두고 형성되며,
상기 저면 결합공(113) 및 저면 관통공(126)에 연통하여 상기 근각볼트(300)가 결합하는 것을 특징으로 하는 철도레일의 진행방향 변위측정장치.
A pair of rail fixing members 100 which are fixed to the lower side of the one side rail 10 and which are provided with a hinge engaging portion 101 and are spaced apart from each other; A sensor casing 200 hinged to both ends of a pair of the rail fixing members 100 so as to be hinge-driven so as to be hinge-driven, and a sensor casing 200 having a pair of rail fixing members 100 And an angle sensor installed in the sensor casing (200) for measurement,
The rail fixing member 100 includes an outer supporting member 110 for covering a bottom surface and an outer side of a lower flange 11 of the rail 10 and an outer supporting member 110 for coupling to the outer supporting member 110, An inner support member (120) covering an inner side of a lower flange (11) of the rail (10) so as to form a hinge joint part (101)
The inner support member (120)
A body plate 121;
A step plate 122 extending downward from the main plate 121 to cover the inside of the lower flange 11 of the rail 10;
A bottom plate 123 extending forwardly from the step plate 122 to engage with the outer support member 110;
And a pair of side plates (124) formed on both sides of the main plate (121) and the bottom plate (123)
A body coupling hole 127 having a rectangular structure is formed in the main plate 121 so that the pincer bolt 300 is coupled to form the hinge coupling portion 101,
The main body coupling hole (127)
A main body coupling hole 127a formed on one side of the main plate 121;
And a second body coupling hole (127b) formed in the other side of the one body coupling hole (127a) so as to correct the installation error,
The bottom plate 123 of the inner support member 120 is formed with a circular bottom hole 126,
The outer support member (110)
A bottom support plate 111 which is in surface contact with the bottom surface of the rail 10;
And an outer support plate 112 extending upward from the outside of the bottom support plate 111 and covering the outer side of the lower flange 11 of the rail 10,
A plurality of bottom surface coupling holes 113 having a rectangular shape are formed on the bottom support plate 111 at mutually spaced intervals,
And the angular bolt (300) is coupled to the bottom surface coupling hole (113) and the bottom surface through hole (126).
삭제delete 삭제delete 제1항에 있어서,
상기 외측 지지부재(110)를 침목에 고정하도록, 상기 저면 지지판(111)에는 앵커 결합공(114)이 형성된 것을 특징으로 하는 철도레일의 진행방향 변위측정장치.
The method according to claim 1,
Wherein an anchor coupling hole (114) is formed in the bottom support plate (111) so as to fix the outer support member (110) to the railroad tie.
제1항에 있어서,
상기 센서 케이싱(200)은,
상기 각도센서가 내부에 설치된 통형 구조의 본체(210);
상기 본체(210)의 양측에서 외측으로 연장형성되어, 상기 힌지결합부(101)에 힌지결합하는 센서 결합부재(220);를 포함하고,
상기 센서 결합부재(220)에는 체결공(231)이 형성되고, 상기 체결공(231) 및 본체 결합공(127)에 공통으로 결합한 상기 근각볼트(300)에 의해 상기 힌지결합부(101) 및 센서 결합부(220)가 상호 결합하는 것을 특징으로 하는 철도레일의 진행방향 변위측정장치.
The method according to claim 1,
The sensor casing (200)
A cylindrical body 210 having the angle sensor installed therein;
And a sensor coupling member 220 extending outward from both sides of the main body 210 and hinged to the hinge coupling part 101,
The sensor engaging member 220 is formed with a fastening hole 231 and the fastening hole 231 and the body fastening hole 127 are formed integrally with the hinge engaging portion 101, And the sensor coupling unit (220) are coupled to each other.
제5항에 있어서,
상기 통형 구조의 본체(210)에는 센서 관통공(211)이 형성되고,
시공오차를 보정하도록, 상기 센서 결합부재(220)에는 장공 구조의 센서 결합홈(221)이 형성되며,
체결부재(240)가 상기 센서 관통공(211)을 관통하여 상기 센서 결합홈(221)에 결합함으로써, 상기 본체(210)와 상기 센서 결합부재(220)가 상호 결합하는 것을 특징으로 하는 철도레일의 진행방향 변위측정장치.
6. The method of claim 5,
A sensor through hole 211 is formed in the main body 210 of the cylindrical structure,
A sensor engagement groove 221 having a long hole structure is formed in the sensor engagement member 220 so as to correct a construction error,
The main body 210 and the sensor coupling member 220 are coupled to each other by the coupling member 240 passing through the sensor through hole 211 and being engaged with the sensor coupling groove 221. [ Of the moving direction displacement measuring device.
제1항, 제4항 내지 제6항 중 어느 한 항의 철도레일의 진행방향 변위측정장치를 이용한 철도레일의 진행방향 변위측정방법으로서,
일측 레일(10) 하부의 자갈을 제거하고, 상기 한 쌍의 레일 고정부재(100)를 상호 간격을 두고 각각 설치하는 단계;
상기 센서 케이싱(200)의 양단을 상기 한 쌍의 레일 고정부재(100)에 각각 힌지결합하는 단계;
상기 각도센서에 의해 상기 한 쌍의 레일 고정부재(100)의 각도변화를 측정함으로써, 상기 일측 레일(10)의 진행방향 변위를 측정하는 단계;를
포함하는 것을 특징으로 하는 철도레일의 진행방향 변위측정방법.
A method of measuring displacement in the traveling direction of a railway track using a moving direction displacement measuring apparatus of a railway rail according to any one of claims 1 to 4,
Removing the gravel at the lower portion of the one side rail (10) and installing the pair of rail fixing members (100) at a distance from each other;
Hinging both ends of the sensor casing (200) to the pair of rail fixing members (100);
Measuring a change in the advancing direction of the one side rail (10) by measuring an angle change of the pair of rail fixing members (100) by the angle sensor
And measuring a displacement in the traveling direction of the railway rail.
KR1020160076610A 2016-06-20 2016-06-20 Measuring apparatus for rail and measuring method using the same Expired - Fee Related KR101823552B1 (en)

Priority Applications (1)

Application Number Priority Date Filing Date Title
KR1020160076610A KR101823552B1 (en) 2016-06-20 2016-06-20 Measuring apparatus for rail and measuring method using the same

Applications Claiming Priority (1)

Application Number Priority Date Filing Date Title
KR1020160076610A KR101823552B1 (en) 2016-06-20 2016-06-20 Measuring apparatus for rail and measuring method using the same

Publications (2)

Publication Number Publication Date
KR20170142696A KR20170142696A (en) 2017-12-28
KR101823552B1 true KR101823552B1 (en) 2018-01-30

Family

ID=60939786

Family Applications (1)

Application Number Title Priority Date Filing Date
KR1020160076610A Expired - Fee Related KR101823552B1 (en) 2016-06-20 2016-06-20 Measuring apparatus for rail and measuring method using the same

Country Status (1)

Country Link
KR (1) KR101823552B1 (en)

Cited By (1)

* Cited by examiner, † Cited by third party
Publication number Priority date Publication date Assignee Title
KR20250157759A (en) 2024-04-29 2025-11-05 주식회사 지오코리아이엔지 Apparatus for measuring displacement of railway track

Families Citing this family (3)

* Cited by examiner, † Cited by third party
Publication number Priority date Publication date Assignee Title
KR102196551B1 (en) * 2020-08-21 2020-12-29 유우준 Settlement displacement gauge
CN112308858B (en) * 2020-12-29 2021-05-04 南京派光智慧感知信息技术有限公司 Multidimensional intelligent monitoring method and system for states of railway track and track slab
CN115112065A (en) * 2022-07-06 2022-09-27 上海中船三井造船柴油机有限公司 Calibration tool and method for mounting hinge of explosion-proof door of marine low-speed diesel engine

Citations (3)

* Cited by examiner, † Cited by third party
Publication number Priority date Publication date Assignee Title
KR200432490Y1 (en) * 2006-09-22 2006-12-04 서울메트로 Clamp for fastening rail temperature sensor
KR101328516B1 (en) * 2013-04-15 2013-11-13 이근호 Measuring apparatus for rail and measuring method using the same
KR101468994B1 (en) * 2013-09-13 2014-12-04 이근호 Measuring apparatus for rail and measuring method using the same

Patent Citations (3)

* Cited by examiner, † Cited by third party
Publication number Priority date Publication date Assignee Title
KR200432490Y1 (en) * 2006-09-22 2006-12-04 서울메트로 Clamp for fastening rail temperature sensor
KR101328516B1 (en) * 2013-04-15 2013-11-13 이근호 Measuring apparatus for rail and measuring method using the same
KR101468994B1 (en) * 2013-09-13 2014-12-04 이근호 Measuring apparatus for rail and measuring method using the same

Cited By (1)

* Cited by examiner, † Cited by third party
Publication number Priority date Publication date Assignee Title
KR20250157759A (en) 2024-04-29 2025-11-05 주식회사 지오코리아이엔지 Apparatus for measuring displacement of railway track

Also Published As

Publication number Publication date
KR20170142696A (en) 2017-12-28

Similar Documents

Publication Publication Date Title
KR101468994B1 (en) Measuring apparatus for rail and measuring method using the same
KR101823552B1 (en) Measuring apparatus for rail and measuring method using the same
KR101348147B1 (en) Measuring apparatus for rail and measuring method using the same
KR101437604B1 (en) Measuring apparatus for rail and measuring method using the same
RU2517595C2 (en) Barrier structure for railway line
KR101328516B1 (en) Measuring apparatus for rail and measuring method using the same
KR102016442B1 (en) Fixing apparatus for measuring of rail
US2228652A (en) Highway guardrail
US9857207B2 (en) Apparatus for measuring displacement of railroad
KR102135562B1 (en) Constrution Structure Of Embedded Rail Track System And Fixing Block For The Same
KR101808668B1 (en) Measuring apparatus for rail and measuring method using the same
KR102013389B1 (en) Rail structure to prevent subsidence
KR101917739B1 (en) Measuring apparatus for rail
KR100948279B1 (en) Fill up type rail structure having rail adjusting device
JP5913033B2 (en) Railroad track crossing pavement board and its pavement structure
CA1206938A (en) Highway railway crossing and cap therefor
KR102074414B1 (en) Measuring apparatus for rail
KR101321970B1 (en) Rail level gauge
KR20100100007A (en) Device for gripping a measuring instrument of displacement of railroad track
JP5424149B2 (en) Planting installation structure
CN219886457U (en) Steel rail fixing structure for level crossing
JP5002775B2 (en) Rail safety fence post members
KR102232018B1 (en) Railroad rebuilding kit to construct double track railway for railbike
KR101926264B1 (en) Installation structure apparatus of railroad block sleeper
CN221701958U (en) Rail protection device for level crossing

Legal Events

Date Code Title Description
A201 Request for examination
PA0109 Patent application

St.27 status event code: A-0-1-A10-A12-nap-PA0109

PA0201 Request for examination

St.27 status event code: A-1-2-D10-D11-exm-PA0201

D13-X000 Search requested

St.27 status event code: A-1-2-D10-D13-srh-X000

D14-X000 Search report completed

St.27 status event code: A-1-2-D10-D14-srh-X000

E902 Notification of reason for refusal
PE0902 Notice of grounds for rejection

St.27 status event code: A-1-2-D10-D21-exm-PE0902

E13-X000 Pre-grant limitation requested

St.27 status event code: A-2-3-E10-E13-lim-X000

P11-X000 Amendment of application requested

St.27 status event code: A-2-2-P10-P11-nap-X000

P13-X000 Application amended

St.27 status event code: A-2-2-P10-P13-nap-X000

E902 Notification of reason for refusal
PE0902 Notice of grounds for rejection

St.27 status event code: A-1-2-D10-D21-exm-PE0902

P11-X000 Amendment of application requested

St.27 status event code: A-2-2-P10-P11-nap-X000

P13-X000 Application amended

St.27 status event code: A-2-2-P10-P13-nap-X000

E701 Decision to grant or registration of patent right
PE0701 Decision of registration

St.27 status event code: A-1-2-D10-D22-exm-PE0701

PG1501 Laying open of application

St.27 status event code: A-1-1-Q10-Q12-nap-PG1501

GRNT Written decision to grant
PR0701 Registration of establishment

St.27 status event code: A-2-4-F10-F11-exm-PR0701

PR1002 Payment of registration fee

St.27 status event code: A-2-2-U10-U11-oth-PR1002

Fee payment year number: 1

PG1601 Publication of registration

St.27 status event code: A-4-4-Q10-Q13-nap-PG1601

PN2301 Change of applicant

St.27 status event code: A-5-5-R10-R13-asn-PN2301

St.27 status event code: A-5-5-R10-R11-asn-PN2301

PR1001 Payment of annual fee

St.27 status event code: A-4-4-U10-U11-oth-PR1001

Fee payment year number: 4

PC1903 Unpaid annual fee

St.27 status event code: A-4-4-U10-U13-oth-PC1903

Not in force date: 20220125

Payment event data comment text: Termination Category : DEFAULT_OF_REGISTRATION_FEE

PC1903 Unpaid annual fee

St.27 status event code: N-4-6-H10-H13-oth-PC1903

Ip right cessation event data comment text: Termination Category : DEFAULT_OF_REGISTRATION_FEE

Not in force date: 20220125