KR100608704B1 - Wall Jet Exhaust in Kitchen Hood - Google Patents

Wall Jet Exhaust in Kitchen Hood Download PDF

Info

Publication number
KR100608704B1
KR100608704B1 KR1020040108799A KR20040108799A KR100608704B1 KR 100608704 B1 KR100608704 B1 KR 100608704B1 KR 1020040108799 A KR1020040108799 A KR 1020040108799A KR 20040108799 A KR20040108799 A KR 20040108799A KR 100608704 B1 KR100608704 B1 KR 100608704B1
Authority
KR
South Korea
Prior art keywords
hood
jet
wall jet
wall
exhaust
Prior art date
Legal status (The legal status is an assumption and is not a legal conclusion. Google has not performed a legal analysis and makes no representation as to the accuracy of the status listed.)
Expired - Fee Related
Application number
KR1020040108799A
Other languages
Korean (ko)
Other versions
KR20060070152A (en
Inventor
백승조
손상범
김동현
이제준
손휘창
송성배
Original Assignee
엘지전자 주식회사
Priority date (The priority date is an assumption and is not a legal conclusion. Google has not performed a legal analysis and makes no representation as to the accuracy of the date listed.)
Filing date
Publication date
Application filed by 엘지전자 주식회사 filed Critical 엘지전자 주식회사
Priority to KR1020040108799A priority Critical patent/KR100608704B1/en
Priority to AU2005244606A priority patent/AU2005244606B2/en
Priority to EP05027747.4A priority patent/EP1672285B1/en
Priority to CNB2005101369211A priority patent/CN100432545C/en
Publication of KR20060070152A publication Critical patent/KR20060070152A/en
Application granted granted Critical
Publication of KR100608704B1 publication Critical patent/KR100608704B1/en
Anticipated expiration legal-status Critical
Expired - Fee Related legal-status Critical Current

Links

Images

Classifications

    • FMECHANICAL ENGINEERING; LIGHTING; HEATING; WEAPONS; BLASTING
    • F24HEATING; RANGES; VENTILATING
    • F24CDOMESTIC STOVES OR RANGES ; DETAILS OF DOMESTIC STOVES OR RANGES, OF GENERAL APPLICATION
    • F24C15/00Details
    • F24C15/20Removing cooking fumes
    • FMECHANICAL ENGINEERING; LIGHTING; HEATING; WEAPONS; BLASTING
    • F24HEATING; RANGES; VENTILATING
    • F24FAIR-CONDITIONING; AIR-HUMIDIFICATION; VENTILATION; USE OF AIR CURRENTS FOR SCREENING
    • F24F7/00Ventilation
    • F24F7/04Ventilation with ducting systems, e.g. by double walls; with natural circulation
    • F24F7/06Ventilation with ducting systems, e.g. by double walls; with natural circulation with forced air circulation, e.g. by fan positioning of a ventilator in or against a conduit

Landscapes

  • Engineering & Computer Science (AREA)
  • Chemical & Material Sciences (AREA)
  • Combustion & Propulsion (AREA)
  • Mechanical Engineering (AREA)
  • General Engineering & Computer Science (AREA)
  • Ventilation (AREA)

Abstract

본 발명은 주방용 후드의 월제트 배기장치에 관한 것으로, 조리기 상부의 천장면에 대하여 수평방향으로 설치되고 그리스필터가 하면에 구비되는 후드 흡입부와, 상기 후드 흡입부의 상부에 설치되고 내부에 배기팬이 구비되는 배기덕트와, 상기 후드 흡입부의 하면보다 상부에 월제트 유로의 출구측 단부가 형성되도록 상기 후드 흡입부의 외주연부에 월제트 유도부재가 설치되어 공기의 유로를 제공하는 월제트 묘듈과, 상기 후드 흡입부의 내부에 상기 월제트 유로로 공기를 불어주기 위한 월제트용 급풍팬이 설치되어 구성된다. 이러한 본 발명은 후드 외주면으로 빠져 나가는 오염공기의 효과적인 포집이 가능하고, 작은 배기 풍량으로도 포집 효율이 증대되며, 조리자의 안면부를 통과하는 오염공기 방지로 조리의 쾌적성을 향상시킬 수 있을 뿐 아니라, 모듈형으로 제작된 형태는 좁은 설치 공간 및 유로로 기존 후드에 간편하게 장착할 수 있다.The present invention relates to a wall jet exhaust device for a kitchen hood, which is installed in a horizontal direction with respect to the ceiling surface of an upper part of a cooker, and a grease filter is provided on a lower surface, and an exhaust fan is installed on an upper portion of the hood suction part. A wall jet guide module provided with an exhaust duct provided at the outer periphery of the hood suction part such that an outlet side end of the wall jet flow path is formed above the bottom surface of the hood suction part and providing an air flow path; The inside of the hood suction unit is provided with a jet jet fan for blowing the air into the wall jet passage. The present invention enables effective collection of contaminated air that escapes to the outer circumferential surface of the hood, increases the collection efficiency even with a small amount of exhaust air, and improves the comfort of cooking by preventing contaminated air passing through the face of the cooker. The modular design allows for easy installation into existing hoods with a narrow installation space and flow path.

Description

주방용 후드의 월제트 배기장치{WALLJET VENTILATION APPARATUS FOR KITCHEN HOOD}WALLJET VENTILATION APPARATUS FOR KITCHEN HOOD}

도 1은 종래의 주방용 배기 후드의 측단면도.1 is a side cross-sectional view of a conventional kitchen exhaust hood.

도 2는 종래의 주방용 배기 후드의 개략 저면도.2 is a schematic bottom view of a conventional kitchen exhaust hood.

도 3 내지 도 6는 본 발명의 일 실시예에 의한 주방용 후드의 월제트 배기장치에 관한 도면으로서, 3 to 6 is a view of the exhaust jet apparatus of the kitchen hood according to an embodiment of the present invention,

도 3은 주방용 후드의 월제트 배기장치가 채용된 주방용 후드의 사시도.3 is a perspective view of a kitchen hood employing a wall jet exhaust device of the kitchen hood.

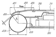
도 4는 주방용 후드의 월제트 배기장치의 종단면도.4 is a longitudinal sectional view of the wall jet exhaust of the kitchen hood;

도 5는 도 의 부분 확대도.5 is a partially enlarged view of FIG.

도 6은 주방용 후드의 월제트 배기장치의 횡단면도.6 is a cross-sectional view of the wall jet exhaust of the kitchen hood.

도 7은 본 발명의 다른 실시예에 의한 주방용 후드의 월제트 배기장치를 보인 평면도.Figure 7 is a plan view showing a wall jet exhaust device of the kitchen hood according to another embodiment of the present invention.

도 8 및 도 9는 본 발명의 또 다른 실시예에 의한 주방용 후드의 월제트 배기장치를 보인 종단면도.8 and 9 are longitudinal cross-sectional view showing a wall jet exhaust device of the kitchen hood according to another embodiment of the present invention.

도 10 내지 도 12는 본 발명에 의한 주방용 후드의 월제트 배기장치의 월제트 모듈의 변형예를 보인 종단면도.10 to 12 are longitudinal cross-sectional view showing a modified example of the wall jet module of the wall jet exhaust device of the kitchen hood according to the present invention.

도 13 내지 도 18은 상기한 바와 같은 본 발명에 의한 월제트 배기장치가 채 용된 주방용 후드와 일반 기존 주방용 후드의 성능을 비교하여 보인 도면으로서, 13 to 18 is a view showing a comparison of the performance of the kitchen hood employing the wall jet exhaust device according to the present invention as described above and the general existing kitchen hood,

도 13 및 도 14는 기존 후드와 본 발명의 제트 배기장치가 채용된 주방용 후드를 작동했을 때의 기류가시화 실험 결과를 각각 보인 사진 도면.13 and 14 are photographs showing the results of the airflow visualization experiments when the hood and the kitchen hood employing the jet exhaust device of the present invention, respectively.

도 15 및 도 17은 본 발명에 의한 월제트 배기장치가 채용된 주방용 후드와 기존 주방용 후드의 CFD 계산 결과를 각각 보인 유체 흐름도.15 and 17 are flow charts showing the CFD calculation results of the kitchen hood and the existing kitchen hood employing the wall jet exhaust device according to the present invention, respectively.

도 16 및 도 18은 도 15 및 도 17의 확대도.16 and 18 are enlarged views of FIGS. 15 and 17.

<도면의 주요부분에 대한 부호의 설명><Description of the symbols for the main parts of the drawings>

10 : 조리기 200 : 후드 흡입부10: cooker 200: hood suction

210,220 : 상,하면판 230 : 그리스필터210,220: Upper and lower plates 230: Grease filter

300 : 배기덕트 310 : 배기팬300: exhaust duct 310: exhaust fan

400 : 월제트 모듈 401 : 월제트 유로400: Waljet module 401: Waljet Euro

410 : 상면판 420 : 하면판410: top plate 420: bottom plate

411 : 만곡 안내판 411a : 수직부411: curved guide plate 411a: vertical portion

412,413 : 만곡 중간안내판 414 : 중간 안내부재412,413: curved intermediate guide plate 414: intermediate guide member

414a : 내측면 414b : 외측면414a: inner side 414b: outer side

414c : 하측면 430 : 월제트 유도부재414c: lower side 430: wall jet guide member

431 : 만곡 월제트 유도판 450 : 할로겐 램프431: curved wall jet guide plate 450: halogen lamp

500 : 월제트용 급풍팬500: wall jet fan

본 발명은 주방용 후드의 월제트 배기장치에 관한 것으로, 특히 기존 후드와 같은 크기로 작은 배출풍량으로도 후드 외주면으로 빠져나가는 오염공기를 후드 포집영역으로 효율적으로 유도하도록 하는 월제트(walljet) 장치를 후드 외주연부에 설치함으로써 포집효율을 향상시키고 조리 쾌적성을 향상시키기 위한 주방용 후드의 월제트 배기장치에 관한 것이다.BACKGROUND OF THE INVENTION 1. Field of the Invention The present invention relates to a wall jet exhaust device for a kitchen hood, and more particularly, to a wall jet device for efficiently inducing contaminant air that escapes to the hood outer circumferential surface with a small discharge air volume as a conventional hood to the hood collection area. The present invention relates to a wall jet exhaust device of a kitchen hood for improving collection efficiency and improving cooking comfort by being installed at the outer periphery of the hood.

일반적으로 가정의 주방 또는 상업용 주방의 조리대에서는 음식을 조리함에 따라 열 뿐 아니라, 연기, 냄새, 기름증기 등의 오염물질이 발생하게 되고, 이 오염물질은 자연대류에 의하여 부유하여 주방 또는 실내 전체에 확산되게 된다.In general, kitchen countertops at home or commercial kitchens not only heat, but also generate pollutants such as smoke, odors, and oil vapors as they are cooked, and these pollutants are suspended by natural convection, Will spread.

따라서 일반적으로 조리대의 상측에는 배기 후드가 설치되고 외측으로 연결되는 덕트가 연결되어, 팬을 가동함으로써 조리에 의하여 발생하는 오염물질을 배출하도록 하고 있다.Therefore, in general, an exhaust hood is installed on the upper side of the counter, and a duct connected to the outside is connected to discharge the pollutants generated by cooking by operating the fan.

그러나 상기와 같은 일반적인 배기 후드는 그 효율이 매우 떨어지는 문제점이 있었다.However, such a general exhaust hood has a problem that the efficiency is very poor.

이하, 도면에 의하여 설명하면 도 1은 종래의 주방용 배기 후드의 측단면도이고, 도 2는 종래의 주방용 배기 후드의 개략 저면도를 보인 것으로, 쿡탑(cook-top)이나 가스레인지와 같은 조리기(10)의 상부에 천장면에 대하여 수평방향으로 설치되며 그리스필터(21)가 설치되는 후드 흡입부(20)와, 상기 후드 흡입부(20)의 상부에 설치되고 원심팬과 모터로 된 배기팬(31)이 내부에 설치되어 상기 후드 흡입부(20)에서 흡입한 실내공기를 배출하는 배기덕트(30)로 구성되어 있다. 1 is a side cross-sectional view of a conventional kitchen exhaust hood, and FIG. 2 is a schematic bottom view of a conventional kitchen exhaust hood, and a cooker 10 such as a cook-top or a gas range is shown. ) Is installed in the horizontal direction with respect to the ceiling surface in the upper portion of the hood suction unit 20, the grease filter 21 is installed, the exhaust fan is installed on the hood suction unit 20, the centrifugal fan and the motor ( 31 is provided inside the exhaust duct 30 for discharging the indoor air sucked by the hood suction unit 20.

상기한 바와 같은 종래의 주방용 후드는 종래 쿡탑(cook-top)이나 가스레인지와 같은 조리기(10)에서 조리후 발생한 가스와 그리스 분진등의 오염공기가 주변공기보다 높은 온도로 인하여 자체부력으로 상승할 때 이를 포집하여 외부로 배출시키기 위하여 사용하고 있으며, 조리 시 발생하는 기름입자와 에어로졸 상태의 입자를 제거시키기 위한 그리스필터(21)가 조리공간 상부의 포집공간을 형성하는 후드 흡입부(20)의 하면에 설치되고, 오염공기를 흡입시키기 위한 구동력을 발생하는 원심 배기팬(31)이 상부에 설치되어 그리스필터(21)를 통과한 흡입공기가 원심 배기팬(31)을 통해 배기덕트(30)로 연결된 배관을 통해 배출되도록 되어 있다.In the conventional kitchen hood as described above, contaminated air such as gas and grease dust generated after cooking in the cooker 10, such as a conventional cook-top or a gas range, may rise due to their own buoyancy due to a higher temperature than the surrounding air. It is used to collect it and discharge it to the outside, and the grease filter 21 for removing oil particles and aerosol particles generated during cooking forms a collecting space at the upper portion of the cooking space. A centrifugal exhaust fan 31 is installed on the lower surface and generates driving force for sucking contaminated air, and the intake air passing through the grease filter 21 is passed through the centrifugal exhaust fan 31 through the centrifugal exhaust fan 31. It is to be discharged through the pipe connected to the furnace.

그러나 이와 같이 오염공기를 단순히 빨아내어 배출하는 후드방식의 경우 흡입면 근처의 공기는 잘 배출할 수 있으나, 흡입면에서의 거리의 제곱에 반비례하여 흡입성능이 떨어지므로 원심 배기팬의 단순한 풍량 증가에 의한 흡입면의 흡입속도가 크더라도 주방용 후드와 같이 열원에서의 거리가 큰 경우에는 흡입력과 포집 효율 사이에는 정비례하지 않게 되며, 특히 쿡탑(cook-top) 전면의 요리 그릴에서 조리할 경우 부력에 의한 상승기류는 보이언시 제트(buoyancy jet) 형태로 상부로 상승함에 따라 그 폭은 점차 증가하여 후드 하면의 그리스필터부를 벗어나게 되어 대부분의 오염공기는 조리자의 안면부가 위치하는 후드 전면 외주부로 빠져 나가게 된다.However, in the case of the hood type that simply sucks out the polluted air, the air near the suction surface can be discharged well, but the suction performance decreases in inverse proportion to the square of the distance from the suction surface. Even if the suction speed of the suction surface is large, if the distance from the heat source is large, such as a kitchen hood, there is no direct proportion between the suction force and the collection efficiency, especially when cooking on the cooking grill in front of the cooktop. As the rising air flows upward as a buoyancy jet, its width gradually increases to escape the grease filter part of the underside of the hood, and most of the contaminated air flows out to the outer periphery of the front of the hood where the face of the cooker is located. .

따라서, 상기한 바와 같은 종래의 주방용 후드는 적정 배기풍량보다 작은 유량으로 운전될 경우, 후드에 의해 포집되지 않고 빠져나가는 오염공기의 양이 증가하는 문제점이 있다. 그리고 적정 배기풍량이나 그 이상으로 동작되더라도 후드 와 외주면으로 올라오는 뜨거운 오염공기는 그리스필터부의 저항에 의하여 흡입속도가 약해져 완전 흡입되지 못하고, 자체 부력에 의해 후드 바깥으로 빠져나가서 주방을 오염시키는 문제점이 있었다.Therefore, when the conventional kitchen hood as described above is operated at a flow rate smaller than the proper exhaust air volume, there is a problem in that the amount of contaminated air that is not collected by the hood and escapes. And even if it is operated at the proper exhaust air volume or more, the hot polluted air rising to the hood and the outer circumferential surface is weakly sucked due to the resistance of the grease filter part, and it is not completely sucked. there was.

본 발명은 상기한 바와 같은 종래의 문제점 및 결함을 해소하기 위하여 창안한 것으로, 기존 후드와 같은 크기로 작은 배출풍량으로도 후드 외주면으로 빠져나가는 오염공기를 후드 포집영역으로 효율적으로 유도하도록 하는 월제트(walljet) 장치를 후드 외주연부에 설치함으로써 포집효율을 향상시키고 조리 쾌적성을 향상시킬 수 있게 되는 주방용 후드의 월제트 배기장치를 제공하고자 함에 목적이 있다.The present invention was devised to solve the above-mentioned problems and defects as described above, and the wall jet efficiently guides the contaminated air that escapes to the hood outer circumferential surface to a hood trapping area even with a small amount of exhaust air as the existing hood. It is an object of the present invention to provide a wall jet exhaust device for a kitchen hood, by installing a walljet device on the outer periphery of the hood, thereby improving collection efficiency and improving cooking comfort.

위와 같은 목적을 달성하기 위하여 본 발명에 의한 주방용 후드의 월제트 배기장치는 조리기 상부의 천장면에 대하여 수평방향으로 설치되고 그리스필터가 하면에 구비되는 후드 흡입부와, 상기 후드 흡입부의 상부에 설치되고 내부에 배기팬이 구비되는 배기덕트와, 상기 후드 흡입부의 하면보다 상부에 월제트 유로의 출구측 단부가 형성되도록 상기 후드 흡입부의 외주연부에 월제트 유도부재가 설치되어 공기의 유로를 제공하는 월제트 묘듈과, 상기 후드 흡입부의 내부에 상기 월제트 유로로 공기를 불어주기 위한 월제트용 급풍팬이 설치되어 구성된다.In order to achieve the above object, the wall jet exhaust device of the kitchen hood according to the present invention is installed in a horizontal direction with respect to the ceiling surface of the upper part of the cooker, and a hood suction part provided on the lower surface of the grease filter, and installed on the hood suction part. And an exhaust duct provided therein with an exhaust fan, and a Walzette guide member is provided at an outer periphery of the hood inlet so that an outlet side end of the wall jet passage is formed above the lower surface of the hood inlet. A wall jet module and a wall jet blowing fan are installed in the hood suction unit to blow air into the wall jet flow path.

이러한 본 발명 장치는 상기 월제트 유도부재가 구비되는 월제트 모듈을 상기 후드 흡입부와 별도로 제작하여, 이 월제트 모듈을 후드 흡입부의 외주연부에 조립한 형태로 구성될 수 있으며, 상기 월제트 모듈의 한 형태는 상,하면판과, 상기 상면판의 선단부에 고정되는 만곡 안내판과, 상기 상,하면판의 전방부에 고정되는 환형관 또는 환형봉과 같은 환형부재의 월제트 유도부재를 포함하여 상기 월제트 유도부재의 상부와 만곡 안내판의 단부 사이에 월제트 유로가 구비되고 상기 월제트 유도부재의 하부 일부가 상기 하면판보다 하측으로 돌출되도록 형성되어 구성된다.Such a device of the present invention may be configured in such a manner that the Wal-Jet module having the Wal-Jet induction member is manufactured separately from the hood suction part, and the Wal-Jet module is assembled to the outer periphery of the hood suction part. One form of the upper and lower plates, the curved guide plate is fixed to the front end of the upper plate, and the waltz guide member of the annular member such as an annular tube or annular rod is fixed to the front portion of the upper and lower plates A Wal-Jet flow path is provided between the upper portion of the Wal-Jet guide member and the end of the curved guide plate, and the lower portion of the Wal-Jet guide member is formed to protrude downward from the lower plate.

본 발명에 의한 주방용 후드의 월제트 배기장치의 다른 형태는 후드 흡입부의 상면판에 연장 형성된 만곡 안내판과 하면판 사이의 외주연부에 환형관 또는 환형봉과 같은 환형부재의 월제트 유도부재를 배치하여, 상기 월제트 유도부재의 상부와 만곡 안내판의 단부 사이에 월제트 유로가 구비되고 상기 월제트 유도부재의 하부 일부가 상기 후드 흡입부의 하면판보다 하측으로 돌출되도록 형성되어 구성될 수 있다.Another embodiment of the wall jet exhaust device of the kitchen hood according to the present invention is to arrange the wall jet guide member of the annular member such as an annular tube or an annular rod in the outer peripheral portion between the curved guide plate and the lower plate formed on the top plate of the hood suction portion, The wall jet flow path may be provided between the upper portion of the wall jet guide member and the end of the curved guide plate, and the lower part of the wall jet guide member may be formed to protrude downward from the lower plate of the hood suction part.

이와 같은 본 발명에 의한 주방용 후드의 월제트 배기장치는 후드 외주면으로 빠져 나가는 오염공기의 효과적인 포집이 가능하고, 작은 배기 풍량으로도 포집 효율이 증대되며, 조리자의 안면부를 통과하는 오염공기 방지로 조리의 쾌적성을 향상시킬 수 있을 뿐 아니라, 모듈형으로 제작된 형태는 좁은 설치 공간 및 유로에 접합하기 때문에 기존 후드에 간편하게 장착할 수 있다.The wall jet exhaust device of the kitchen hood according to the present invention can effectively collect polluted air that escapes to the outer circumferential surface of the hood, and the collection efficiency is increased even with a small amount of exhaust air, and cooking is prevented by preventing polluted air passing through the face of the cooker. In addition to improving comfort, the modular design allows easy installation into existing hoods because they are joined to a narrow installation space and flow path.

이하, 본 발명을 첨부한 도면에 실시예를 들어 상세히 설명하면 다음과 같다.Hereinafter, with reference to the accompanying drawings, the present invention will be described in detail as follows.

도 3 내지 도 6는 본 발명의 일 실시예에 의한 주방용 후드의 월제트 배기장 치에 관한 도면으로서, 도 3에는 주방용 후드의 월제트 배기장치가 채용된 주방용 후드의 사시도가 도시되고, 도 4에는 주방용 후드의 월제트 배기장치의 종단면도가 도시되어 있으며, 도 5에는 도 4의 부분 확대도가 도시되어 있다.3 to 6 are views of the wall jet exhaust device of the kitchen hood according to an embodiment of the present invention, Figure 3 is a perspective view of the kitchen hood employing the wall jet exhaust device of the kitchen hood, Figure 4 FIG. 5 is a longitudinal sectional view of the wall jet exhaust device of the kitchen hood, and FIG. 5 is a partially enlarged view of FIG.

이에 도시한 바와 같이, 쿡탑(cook-top)이나 가스레인지와 같은 조리기(10)(도1 참조)의 상부에 천장면에 대하여 수평방향으로 설치되고 그리스필터(230)가 하면에 구비되는 후드 흡입부(200)와, 상기 후드 흡입부(200)의 상부에 설치되고 배기팬(310)이 내부에 설치되는 배기덕트(300)와, 상기 후드 흡입부(200)의 외주연부에 월제트 유도부재(430)가 배치되어 공기를 하부로 불어주기 위한 월제트 유로(401)가 구비되고, 상기 월제트 유로(401)로 공기를 불어주기 위한 월제트용 급풍팬(500)이 설치되어 구성된다.As shown in the figure, a hood suction is installed horizontally with respect to the ceiling surface on the top of the cooker 10 (see Fig. 1), such as a cook-top or a gas range, and the grease filter 230 is provided on the lower surface. A portion 200, an exhaust duct 300 installed on the hood suction part 200 and an exhaust fan 310 is installed therein, and a waltzette guide member at an outer circumferential edge of the hood suction part 200. A 430 is disposed to provide a wall jet flow path 401 for blowing air downward, and a jet jet fan 500 for blowing air to the wall jet flow path 401 is installed.

상기 월제트 유도부재(430)는 후드 흡입부(200)의 외주연 전체영역, 즉 외주연 전방부, 양측부와 후방부에 설치되거나, 전방부와 양측부에 설치되거나, 전방부에만 설치될 수 있다.The wall jet guide member 430 may be installed at the entire outer circumferential area of the hood suction part 200, that is, the outer circumferential front part, both sides and the rear part, or may be installed at the front part and both side parts, or only at the front part. Can be.

도 3 내지 도 6에 도시된 월제트 배기장치의 일 실시예는 월제트 모듈(400)이 후드 흡입부(200)의 외주연 전방부에 설치된 구성으로 되어 있다.3 to 6, the wall jet exhaust apparatus illustrated in FIG. 6 has a configuration in which the wall jet module 400 is installed at the outer circumferential front portion of the hood suction unit 200.

도 7에 도시된 월제트 배기장치의 다른 실시예는 월제트 유도부재(430)가 후드 흡입부(200)의 외주연 전방부와 양측부에 설치된 구성으로 되어 있으며, 월제트 유도부재(430)의 내부에는 할로겐 램프와 같은 조명램프(450)가 설치된 구성으로 되어 있다.According to another embodiment of the wall jet exhaust apparatus illustrated in FIG. 7, the wall jet guide member 430 is installed at the outer circumferential front side and both sides of the hood suction unit 200, and the Wal jet guide member 430 is provided. The interior of the lighting lamp 450, such as a halogen lamp is installed.

여기서, 조명램프(450)는 월제트 유도부재(430)를 투명 또는 반투명재질 등의 투광성 재질로 형성하여 월제트 모듈(400)의 외관을 미려하게 하기 위한 것이다.Here, the illumination lamp 450 is to form a Wal-Jet induction member 430 made of a transparent material such as transparent or translucent material to enhance the appearance of the Wal-Jet module 400.

이하 도 3 내지 도 6를 참조하면, 상기 후드 흡입부(200)의 외주연 전방부에 월제트 유도부재(430)를 가지는 월제트 모듈(400)을 별도로 제작하여 조립한 구성으로 되어 있으며, 이 월제트 모듈(400)은 후드 흡입부(200)의 상,하면판(210),(220)에 고정되는 상,하면판(410),(420)과, 상기 상면판(410)의 선단부에 고정된 만곡 안내판(411)과, 상기 상,하면판(410),(420)의 전방부에 고정되는 환형관 또는 환형봉과 같은 환형부재의 월제트 유도부재(430)를 포함하여 상기 월제트 유도부재(430)의 상부와 만곡 안내판(411)의 단부 사이에 월제트 유로(401)가 구비되고 상기 월제트 유도부재(430)의 하부 일부가 상기 하면판(420)보다 하측으로 돌출되도록 결합되어 구성된다. 3 to 6, a WalJet module 400 having a WalJet guide member 430 is formed on the outer circumferential front of the hood suction part 200 and assembled separately. The wall jet module 400 includes upper and lower plates 410 and 420 fixed to the upper and lower plates 210 and 220 of the hood suction unit 200, and a tip portion of the upper plate 410. Including the fixed guide guide 411, the wall jet guide member 430 of the annular member such as an annular tube or an annular rod fixed to the front, the lower plate 410, 420 of the waltz guide The wall jet flow path 401 is provided between the upper portion of the member 430 and the end of the curved guide plate 411, and the lower portion of the wall jet guide member 430 is coupled to protrude downward from the lower plate 420. It is composed.

본 발명 장치의 변형예로서, 위와 같이 상기 월제트 모듈(400)을 별도로 제작하여 후드 흡입부(200)와 조립하는 대신 상기 월제트 모듈(400)의 상면판(410)과 만곡 안내판(411)이 후드 흡입부(200)의 상면판(210)과 일체로 이어진 형태로 형성하고, 상기 월제트 모듈(400)의 하면판(420)이 후드 흡입부(200)의 하면판(220)과 일체로 이어진 형태로 형성하여, 월제트 유도부재(430)를 그 외주연부에 결합하여 되는 구성도 이용할 수 있다.As a modification of the device of the present invention, instead of assembling the hood jet unit 200 by separately manufacturing the Waljet module 400 as described above, the top plate 410 and the curved guide plate 411 of the Waljet module 400. The lower surface plate 420 of the Waljet module 400 is integrally formed with the lower plate 220 of the hood suction unit 200. Formed in the form of a, it is also possible to use a configuration in which the Wal-Jet guide member 430 is coupled to the outer peripheral portion.

예를 들어 도 5와 같이 상기 월제트 모듈(400)은 길이 70mm 이내가 되도록 구성되고, 월제트 유도부재(430)는 하면판(220)으로부터 그 중심의 높이(h)와 그 지름(D)이 h/D = 0~0.25가 되도록 설치하고, 월제트 유도부재(430)와 만곡 안내판 (411)의 단부 사이의 간격(d)이 1.5~4mm가 되도록 형성된다.For example, as shown in FIG. 5, the walljet module 400 is configured to be within 70 mm in length, and the walljet guide member 430 has a height h and a diameter D of its center from the lower plate 220. The h / D is set to be 0 to 0.25, and the space d between the end of the waljet guide member 430 and the curved guide plate 411 is formed to be 1.5 to 4 mm.

상기 월제트용 급풍팬(500)은 도 4와 같이 후드 흡입부(200)의 상면판(210)에 형성한 통공(211)을 통하여 상부의 공기를 흡입하여 공급하거나, 도 8과 같이 배기팬(310)을 통해 빠져나가는 일부 공기를 회귀시켜 공급하도록 구성되며, 후드 흡입부(200)의 내부에는 월제트 유로 가이드(440)가 구비되어 구성된다.The wall jet blowing fan 500 sucks and supplies the upper air through the through-hole 211 formed in the upper plate 210 of the hood suction unit 200 as shown in Figure 4, or exhaust fan as shown in FIG. Part of the air exiting through the 310 is configured to return to supply, the inside of the hood suction unit 200 is provided with a Wal-Jet flow path guide 440 is provided.

이와 같이 후드 흡입부(200)에 설치된 월제트용 급풍팬(500)은 후드 흡입부(200) 상부의 공기를 흡입하거나 후드 흡입부(200) 하부의 그리스필터(230)를 통과한 공기 일부를 흡입하도록 설치될 수 있으며, 후자의 경우 흡입성능은 월제트용 급풍팬(500)의 풍량에 의해 미세하나마 증대되는 효과도 있다.As such, the wall jet blowing fan 500 installed in the hood suction unit 200 sucks air in the upper portion of the hood suction unit 200 or passes a portion of the air passing through the grease filter 230 under the hood suction unit 200. It may be installed to suck, in the latter case, the suction performance is increased by a minute amount by the air volume of the jet fan 500 for the jet.

상기한 바와 같은 본 발명에 의한 주방용 후드의 월제트 배기장치는 작은 간격(d)의 월제트 유로(401)를 통해 분사된 월제트(walljet)의 유체가 주변 고체면을 따라 흐르려는 코안다 효과(coanda effect)에 의해 월제트 유도부재(430)를 따라 빠르게 흐르게 됨으로써 월제트 유도부재(430)의 주위에 부압영역(마이너스 게이지압)이 인위적으로 형성되고, 이 월제트는 코안다 효과에 의해 원형봉을 따라 흐르면서 주위의 약한 모멘텀의 공기를 유입함과 동시에 제트 자체의 모멘텀을 점차 잃어감으로써 일정각도를 넘어선 하류영역에서 박리가 발생되며, 박리가 발생하더라도 발생 각도가 후드 흡입부(200)의 하부면 근처라면 박리된 이후의 제트 모멘텀이 하부의 오염공기 기류 모멘텀보다 크고 주흡입면의 기류에 끌려나가기 때문에 후드 포집면으로 원활한 배출이 이루어진다.As described above, the wall jet exhaust device of the kitchen hood according to the present invention has a Coanda effect in which fluid of the wall jet injected through the wall jet flow path 401 of a small distance d flows along the surrounding solid surface. As a result of the coanda effect, the negative pressure region (negative gauge pressure) is artificially formed around the wall jet inducing member 430, and the wall jet is artificially formed by the coanda effect. As the inflow of weak momentum of air flows along the circular rod and gradually loses the momentum of the jet itself, peeling occurs in a downstream region beyond a certain angle, and even if peeling occurs, the angle of incidence is generated by the hood suction part 200. If it is near the lower surface of, the jet momentum after peeling is larger than the contaminated air flow momentum at the lower side and is attracted to the airflow of the main suction surface, so that smooth discharge to the hood capture surface Is done.

도 5를 참조하면 상기 월제트의 박리가 발생하지 않고 월제트 유도부재(430) 을 따라 완전히 흐르거나, 최소한 후드 흡입부(200)의 하부면 근처에서 박리가 발생하도록 하는 월제트의 시작 각도(θ)는 월제트 유도부재(430)의 중심을 지나는 가상의 수직 기준선으로부터 30˚~ 60˚이고 월제트의 속도는 3~5m/s이다.Referring to FIG. 5, the starting angle of the wall jet does not occur when the wall jet is peeled off and flows completely along the wall jet guide member 430 or at least near the bottom surface of the hood suction part 200. θ) is 30 ° to 60 ° from the imaginary vertical reference line passing through the center of the wall jet guide member 430 and the speed of the wall jet is 3 to 5 m / s.

그리고, 도 9와 같이 월제트 유도부재(430)와 만곡 안내판(411)의 단부 사이의 간격(d)을 형성하고, 월제트 유도부재(430)와 후드 흡입부(200)의 하부면 사이에 일정한 간격(b)를 형성함으로써 하부의 간격(b)를 통해 경계층 흡입 효과(boundary layer suction effect)를 이용한 월제트의 박리현상을 억제시킬 수도 있다.And, as shown in Figure 9 to form a gap (d) between the end of the wall jet guide member 430 and the curved guide plate 411, between the wall jet guide member 430 and the lower surface of the hood suction unit 200 By forming a predetermined interval (b) it is possible to suppress the peeling phenomenon of the Wal-Jet using the boundary layer suction effect through the lower interval (b).

도 10 내지 도 12는 본 발명에 의한 월제트 배기장치의 변형예들을 보인 단면도로서, 도 10에 도시된 월제트 배기장치는 월제트 모듈(400)의 월제트 유도부재(430)와 만곡 안내판(411) 사이에 만곡 중간안내판(412)이 설치된 구성으로 되어 있다.10 to 12 are cross-sectional views showing modified examples of the Waljet exhaust apparatus according to the present invention. The Waljet exhaust apparatus illustrated in FIG. 10 includes a Walzette guide member 430 and a curved guide plate of the Waljet module 400. The curved intermediate guide plate 412 is provided between the 411.

도 11에 도시된 월제트 배기장치는 월제트 모듈(400)의 월제트 유도부재(430)에 환형부재 대신 만곡 월제트 유도판(431)이 설치되고, 만곡 안내판(411)과 월제트 유도판(431) 사이에 만곡 중간안내판(413)이 설치된 구성으로 되어 있다.In the Waljet exhaust apparatus illustrated in FIG. 11, a curved waltz guide plate 431 is installed in the waljet guide member 430 of the waljet module 400 instead of the annular member, and the curved guide plate 411 and the Waljet guide plate are installed. The curved intermediate guide plate 413 is provided between 431.

도 12에 도시된 월제트 배기장치는 월제트 모듈(400)의 만곡 안내판(411)에 수직부(411a)가 연장 형성되어 있으며, 월제트 유도부재(430)에 환형부재 대신 만곡 월제트 유도판(431)이 설치되어 있다. 만곡면으로 된 내측면(414a)과, 상측부가 만곡면이고 하측부가 수직면으로 된 외측면(414b)과, 하측면(414c)이 수평면으로 중간 안내부재(414)가 만곡 안내판(411)과 월제트 유도판(431) 사이에 설치된 구성 으로 되어 있다.12, the vertical jet 411a is formed on the curved guide plate 411 of the Waljet module 400, and the curved jet guiding plate instead of the annular member is disposed on the waltz guide member 430. 431 is provided. The inner side surface 414a of the curved surface, the outer side surface 414b of which the upper side is the curved surface, and the lower side the vertical surface, and the lower side surface 414c are horizontal planes, and the intermediate guide member 414 is the horizontal guide plate 411 and the wall. The jet guide plate 431 is provided.

도 13 내지 도 18은 상기한 바와 같은 본 발명에 의한 월제트 배기장치가 채용된 주방용 후드와 일반 기존 주방용 후드의 성능을 비교한 결과가 도시된 것으로, 도 13 및 도 14는 기존 후드와 본 발명의 제트 배기장치가 채용된 주방용 후드를 작동했을 때의 기류가시화 실험(배출풍량: 300CMH, 월제트 속도 4m/s, 유로 간격(d)=3.0mm) 결과의 사진을 각각 보인 것이고, 도 15 및 도 17은 본 발명에 의한 월제트 배기장치가 채용된 주방용 후드와 기존 주방용 후드의 CFD 계산(배출풍량: 300CMH, 월제트 속도 4m/s, 유로 간격(d)=2.5mm)결과를 각각 보인 도면이며, 도 16 및 도 18은 도 15 및 도 17의 확대도를 각각 보인 것이다.13 to 18 are the results of comparing the performance of the kitchen hood employing the wall jet exhaust device according to the present invention as described above and the conventional conventional kitchen hood, Figures 13 and 14 are the existing hood and the present invention Air flow visualization experiments when operating the kitchen hood employing the jet exhaust system (exhaust air flow rate: 300CMH, 4m / s of the monthly jet speed, flow path interval (d) = 3.0mm), respectively, and shows the picture, respectively 17 is a view showing the results of the CFD calculation (discharge air volume: 300CMH, wall jet speed 4m / s, flow path interval (d) = 2.5mm) of the kitchen hood and the existing kitchen hood employing the wall jet exhaust device according to the present invention, respectively 16 and 18 show enlarged views of FIGS. 15 and 17, respectively.

이러한 실험 결과와 같이 본 발명에 의한 월제트 배기장치가 채용된 주방용 후드는 후드 전방의 포집되지 않은 기류가 효과적으로 포집됨을 알 수 있다.As a result of the experiment, it can be seen that the kitchen hood employing the wall jet exhaust device according to the present invention effectively collects the uncollected airflow in front of the hood.

쿡탑(cook-top)이나 가스레인지와 같은 조리기에서 발생하는 그리스, 수증기, 열기 등을 포함한 주방 오염공기를 외부로 배출시키는 종래의 주방용 배기후드는 부력에 의해 상승하는 오염기류가 상부로 이동함에 따라 확산되고 그 폭이 후드의 밑면을 넘어서 후드 외주면 바깥으로 포집되지 못하고 빠져나감으로써 조리자에게 불쾌감을 주고 주방공기 전체를 오염시켰으나, 본 발명에 의한 주방용 후드의 월제트 배기장치는 포집공간을 벗어나서 후드 외주부로 빠져나가는 오염공기를 월제트(walljet) 효과로 인한 월제트 유도부재 주위의 부압영역으로 이끌어서 포집효율을 증대시키고, 배기풍량이 약한 상태에서도 월제트가 설치된 후드 외주면에 부압영역이 형성되어 후드 포집공간내에 오염공기를 머무르게 함으로써 오염공기 확산을 방지하며, 조리자의 안면부로 향하는 뜨거운 오염공기를 억제함으로써 조리 쾌적성을 향상시키는 이점이 있다.Conventional kitchen exhaust hoods that discharge kitchen polluted air, including grease, water vapor, and heat from cookers such as cook-tops and gas stoves, to the outside as the contaminated air flows upward by buoyancy. While spreading and spreading the width over the underside of the hood and not being captured outside the hood outer circumferential surface, it discomforts the cooker and contaminates the entire kitchen air. The condensed air that escapes to the outer circumference leads to the negative pressure area around the wall jet induction member due to the wall jet effect, thereby increasing the collection efficiency, and the negative pressure area is formed on the outer circumferential surface of the hood where the wall jet is installed even when the exhaust air is weak. By keeping contaminated air in the hood collection space, it prevents the spread of contaminated air There is an advantage of improving cooking comfort by suppressing hot contaminated air directed to the face portion of the.

Claims (13)

조리기(10) 상부의 천장면에 대하여 수평방향으로 설치되고 그리스필터(230)가 하면에 구비되는 후드 흡입부(200)와, A hood suction unit 200 installed horizontally with respect to the ceiling surface of the upper portion of the cooker 10 and provided with a grease filter 230 at a lower surface thereof; 상기 후드 흡입부(200)의 상부에 설치되고 내부에 배기팬(310)이 구비되는 배기덕트(300)와, An exhaust duct 300 installed at an upper portion of the hood suction part 200 and provided with an exhaust fan 310 therein; 상기 후드 흡입부(200)의 하면보다 상부에 월제트 유로(401)의 출구측 단부가 형성되도록 상기 후드 흡입부(200)의 외주연부에 월제트 유도부재(430)가 설치되어 공기의 유로를 제공하는 월제트 묘듈(400)과, The wall jet induction member 430 is installed at the outer circumference of the hood suction part 200 so that the outlet side end of the Wal jet flow path 401 is formed above the bottom surface of the hood suction part 200. Waljet module 400 to provide, 상기 후드 흡입부(200)의 내부에 상기 월제트 유로(401)로 공기를 불어주기 위한 월제트용 급풍팬(500)이 설치되어 구성된 것을 특징으로 하는 주방용 후드의 월제트 배기장치.Waltz exhaust device for a kitchen hood, characterized in that the inside of the hood suction unit 200 is provided with a jet jet fan 500 for blowing air to the wall jet flow path (401). 제 1 항에 있어서, 상기 월제트 묘듈(400)은 상기 후드 흡입부(200)의 상,하면에 결합되는 상,하면판(410),(420)과, 상기 상면판(410)의 선단부에 고정되는 만곡 안내판(411)을 포함하여 구성되고, The upper and lower plates 410 and 420 coupled to the upper and lower surfaces of the hood suction unit 200, and the distal end portions of the upper plate 410. Is configured to include a curved guide plate 411 is fixed, 상기 월제트 유도부재(430)는 상기 상,하면판(410),(420)의 전방부에 고정 설치되어 상기 월제트 유도부재(430)의 상부와 만곡 안내판(411)의 단부 사이에 상기 월제트 유로(401)가 형성되되 그 하부 일부가 상기 하면판(420)의 하측으로 돌출 형성되는 것을 특징으로 하는 주방용 후드의 월제트 배기장치.The wall jet guide member 430 is fixedly installed at the front of the upper and lower plates 410 and 420 so that the wall is disposed between the upper portion of the wall jet guide member 430 and the end of the curved guide plate 411. A jet flow path (401) is formed, the lower part of the wall jet exhaust apparatus of the kitchen hood, characterized in that the lower portion protrudes to the lower side of the plate (420). 삭제delete 제 1 항 또는 제 2 항에 있어서, 상기 월제트 유도부재(430)는 환형관인 것을 특징으로 하는 주방용 후드의 월제트 배기장치.According to claim 1 or 2, wherein the Waltjet induction member 430 is a wall jet exhaust device of the kitchen hood, characterized in that the annular tube. 제 2 항에 있어서, 상기 월제트 유로(401)는 상기 월제트 유도부재(430)와 상기 만곡 안내판(411)의 단부 사이에 일정한 간격(d)을 형성하여 구성된 것을 특징으로 하는 주방용 후드의 월제트 배기장치.The wall of the kitchen hood according to claim 2, wherein the wall jet flow path 401 is formed by forming a predetermined distance d between the wall jet guide member 430 and the end of the curved guide plate 411. Jet exhaust. 제 2 항에 있어서, 상기 월제트 유도부재(430)는 하면판(220)으로부터 그 중심의 높이(h)와 그 지름(D)이 h/D = 0~0.25가 되도록 설치되고, 상기 월제트 유도부재(430)와 상기 만곡 안내판(411)의 단부 사이의 간격(d)이 1.5~4mm가 되도록 형성하여 구성된 것을 특징으로 하는 주방용 후드의 월제트 배기장치.The wall jet guide member 430 is installed from the lower plate 220 such that the height h and the diameter D of the center thereof are h / D = 0 to 0.25. Waltz exhaust device of the kitchen hood, characterized in that formed so that the gap (d) between the guide member 430 and the end of the curved guide plate 411 is 1.5 ~ 4mm. 제 2 항에 있어서, 상기 월제트용 급풍팬(500)이 상기 후드 흡입부(200)의 상기 상면판(210)에 형성한 통공(211)을 통하여 상부의 공기를 흡입하도록 구성된 것을 특징으로 하는 주방용 후드의 월제트 배기장치.According to claim 2, The jet jet fan 500 is characterized in that configured to suck the upper air through the through-holes 211 formed in the upper plate 210 of the hood suction unit 200. Wall jet exhaust in the kitchen hood. 제 1 항 또는 제 2 항에 있어서, 상기 월제트용 급풍팬(500)이 상기 배기팬(310)을 통해 배출되는 일부 공기를 회류시켜 공급하도록 구성된 것을 특징으로 하는 주방용 후드의 월제트 배기장치.According to claim 1 or claim 2, The wall jet exhaust fan 500, the wall jet exhaust device of the kitchen hood, characterized in that configured to supply by flowing a part of the air discharged through the exhaust fan (310). 제 1 항 또는 제 2 항에 있어서, 상기 월제트 유도부재(430)는 환형관이고 월제트 시작 각도(θ)는 상기 월제트 유도부재(430)의 중심을 지나는 가상의 수직선을 기준으로 좌측으로 30˚~60˚이고, 월제트의 속도는 3~5m/s인 것을 특징으로 하는 주방용 후드의 월제트 배기장치.The method according to claim 1 or 2, wherein the Walzette guide member 430 is an annular tube and the Walzette start angle θ is leftward based on an imaginary vertical line passing through the center of the Walzette guide member 430. The wall jet exhaust device of the kitchen hood, characterized in that 30˚ ~ 60˚, the speed of the wall jet is 3 ~ 5m / s. 제 1 항 또는 제 2 항에 있어서, 상기 월제트 유도부재(430)는 상기 후드 흡입부(200)의 외주연 전방부에 설치되어 구성된 것을 특징으로 하는 주방용 후드의 월제트 배기장치.According to claim 1 or 2, wherein the wall jet guide member 430 is a wall jet exhaust device for a kitchen hood, characterized in that installed in the outer peripheral front portion of the hood suction unit (200). 제 1 항 또는 제 2 항에 있어서, 상기 월제트 유도부재(430)는 상기 후드 흡입부(200)의 외주연 전방부와 양측부에 설치되어 구성된 것을 특징으로 하는 주방용 후드의 월제트 배기장치.According to claim 1 or claim 2, The Wal-Jet induction member 430 is a wall jet exhaust device for a kitchen hood, characterized in that installed on the outer peripheral front portion and both sides of the hood suction portion (200). 제 4 항에 있어서, 상기 월제트 유도부재(430)은 투광성 재질로 형성되고, 그 내부에 조명램프(450)가 설치되어 구성된 것을 특징으로 하는 주방용 후드의 월제트 배기장치.The wall jet exhaust device according to claim 4, wherein the wall jet induction member (430) is formed of a light-transmissive material, and an illumination lamp (450) is installed therein. 제 5 항에 있어서, 상기 월제트 유도부재(430)와 상기 후드 흡입부(200)의 하부면 사이에 일정한 간격(b)를 형성하여 구성된 것을 특징으로 하는 주방용 후드의 월제트 배기장치.The apparatus of claim 5, wherein the wall jet exhaust device of the kitchen hood is formed by forming a predetermined distance (b) between the wall jet guide member (430) and the lower surface of the hood suction part (200).
KR1020040108799A 2004-12-20 2004-12-20 Wall Jet Exhaust in Kitchen Hood Expired - Fee Related KR100608704B1 (en)

Priority Applications (4)

Application Number Priority Date Filing Date Title
KR1020040108799A KR100608704B1 (en) 2004-12-20 2004-12-20 Wall Jet Exhaust in Kitchen Hood
AU2005244606A AU2005244606B2 (en) 2004-12-20 2005-12-19 Hood ventilation apparatus
EP05027747.4A EP1672285B1 (en) 2004-12-20 2005-12-19 Hood ventilation apparatus
CNB2005101369211A CN100432545C (en) 2004-12-20 2005-12-20 Hood ventilation apparatus

Applications Claiming Priority (1)

Application Number Priority Date Filing Date Title
KR1020040108799A KR100608704B1 (en) 2004-12-20 2004-12-20 Wall Jet Exhaust in Kitchen Hood

Publications (2)

Publication Number Publication Date
KR20060070152A KR20060070152A (en) 2006-06-23
KR100608704B1 true KR100608704B1 (en) 2006-08-08

Family

ID=35781382

Family Applications (1)

Application Number Title Priority Date Filing Date
KR1020040108799A Expired - Fee Related KR100608704B1 (en) 2004-12-20 2004-12-20 Wall Jet Exhaust in Kitchen Hood

Country Status (4)

Country Link
EP (1) EP1672285B1 (en)
KR (1) KR100608704B1 (en)
CN (1) CN100432545C (en)
AU (1) AU2005244606B2 (en)

Families Citing this family (8)

* Cited by examiner, † Cited by third party
Publication number Priority date Publication date Assignee Title
KR100741786B1 (en) * 2005-08-23 2007-07-24 엘지전자 주식회사 Exhaust hood
DE102007039635A1 (en) * 2007-03-20 2008-09-25 BSH Bosch und Siemens Hausgeräte GmbH Hood
DE102007039633A1 (en) * 2007-08-22 2009-02-26 BSH Bosch und Siemens Hausgeräte GmbH Housing of an extractor hood with an air outlet gap
DE102007039634A1 (en) * 2007-08-22 2009-02-26 BSH Bosch und Siemens Hausgeräte GmbH Housing of an extractor hood
KR101486268B1 (en) * 2013-01-01 2015-01-28 진남기 Various local exhaust hood suction device
CN106594831B (en) * 2016-12-16 2019-04-30 美的集团股份有限公司 Jet stream holds together cigarette device and fume extractor
CN106765389B (en) * 2016-12-20 2019-07-02 美的集团股份有限公司 Fume extractor
CN114763918B (en) * 2021-01-11 2023-07-25 宁波方太厨具有限公司 Range hood and control method thereof

Citations (4)

* Cited by examiner, † Cited by third party
Publication number Priority date Publication date Assignee Title
JPS60175934A (en) 1984-02-21 1985-09-10 Matsushita Electric Ind Co Ltd Air conditioner wind direction control device
US6336451B1 (en) 1996-04-04 2002-01-08 Roehl-Hager Hannelore Process and device for confining, retaining and sucking off fumes, dust or the like
KR100384700B1 (en) 2001-06-04 2003-05-23 주식회사 엑타 Hood for exhausting inside air in the kitchen
JP2004077073A (en) 2002-08-21 2004-03-11 Fuji Industrial Co Ltd Range hood fan

Family Cites Families (8)

* Cited by examiner, † Cited by third party
Publication number Priority date Publication date Assignee Title
DE2531862A1 (en) * 1975-07-17 1977-02-10 Karl Dipl Ing Schmitt Air purifying hood for domestic cooker - can be swing into wall cupboard when not in use and is balanced by counterweight
US4043319A (en) * 1975-09-18 1977-08-23 Jensen Donald D Exhaust hood
US4153044A (en) * 1978-01-23 1979-05-08 Nett Louis A Backshelf ventilating hood
DE3718686A1 (en) * 1987-06-04 1988-12-22 Philips Patentverwaltung COOKER HOOD, ESPECIALLY FOR KITCHEN
DE3918870C2 (en) * 1989-06-09 1995-06-29 Roehl Hager Hannelore Process and device for extracting vapors and vapors
DE4114329A1 (en) * 1991-05-02 1992-11-05 Standard Elektrik Lorenz Ag Extractor hood over cooker to remove steam and fumes - comprises hood open on underside and with discharge opening on top and equipped with fan
DE4203916C1 (en) * 1992-02-11 1993-04-29 Hannelore 8400 Regensburg De Roehl-Hager
IT1262058B (en) * 1993-02-03 1996-06-19 Valcucine Spa SUCTION HOOD FOR KITCHENS

Patent Citations (4)

* Cited by examiner, † Cited by third party
Publication number Priority date Publication date Assignee Title
JPS60175934A (en) 1984-02-21 1985-09-10 Matsushita Electric Ind Co Ltd Air conditioner wind direction control device
US6336451B1 (en) 1996-04-04 2002-01-08 Roehl-Hager Hannelore Process and device for confining, retaining and sucking off fumes, dust or the like
KR100384700B1 (en) 2001-06-04 2003-05-23 주식회사 엑타 Hood for exhausting inside air in the kitchen
JP2004077073A (en) 2002-08-21 2004-03-11 Fuji Industrial Co Ltd Range hood fan

Non-Patent Citations (1)

* Cited by examiner, † Cited by third party
Title
1003847000000

Also Published As

Publication number Publication date
AU2005244606A1 (en) 2006-07-06
CN100432545C (en) 2008-11-12
KR20060070152A (en) 2006-06-23
EP1672285B1 (en) 2017-03-22
AU2005244606B2 (en) 2007-07-12
CN1811279A (en) 2006-08-02
EP1672285A1 (en) 2006-06-21

Similar Documents

Publication Publication Date Title
CN107923631A (en) With the modular appliance for cooking region and fume extractor
CN101270892A (en) Top side range hood
KR20120040689A (en) Cenopt hood exhaust ventilition
CN1773174B (en) exhaust hood
KR100608704B1 (en) Wall Jet Exhaust in Kitchen Hood
CN208907648U (en) Hold together cigarette device and range hood
KR20110012038U (en) Apparatus for rangehood having subsidiary inhale hole in kitchen
KR20060087209A (en) Exhaust system for cookware
WO2015057072A1 (en) Kitchen air extraction canopy having a cavity with air guiding and directing delimiting wall
CN104633934B (en) Oil fume filtering device of gas water heater
JP2007333358A (en) Cooking table with ventilation device
JP4656866B2 (en) Range food
CN208139354U (en) A kind of novel center circle cellular type rectification plate of range hood
JP3126576U (en) Improved structure of ventilation fan
JP3906093B2 (en) Range hood fan
JP2006112717A (en) Range hood fan
JP2003194379A (en) Range hood fan
JP2007057225A (en) Range hood fan and cooking gas collecting exhaust method
JP6089209B2 (en) Range food
CN219572021U (en) Range hood with backward inclined high-speed airflow
CN103090435B (en) Flow guiding cover capable of improving smoke exhausting efficiency
WO2007013187A1 (en) Range hood fan, and cooking gas collection and discharge method
KR200380150Y1 (en) Hood device for the kitchen
KR20240002303A (en) And cooking appliance therewith
KR20240002302A (en) And cooking appliance therewith

Legal Events

Date Code Title Description
A201 Request for examination
PA0109 Patent application

St.27 status event code: A-0-1-A10-A12-nap-PA0109

PA0201 Request for examination

St.27 status event code: A-1-2-D10-D11-exm-PA0201

P11-X000 Amendment of application requested

St.27 status event code: A-2-2-P10-P11-nap-X000

P13-X000 Application amended

St.27 status event code: A-2-2-P10-P13-nap-X000

R15-X000 Change to inventor requested

St.27 status event code: A-3-3-R10-R15-oth-X000

R16-X000 Change to inventor recorded

St.27 status event code: A-3-3-R10-R16-oth-X000

D13-X000 Search requested

St.27 status event code: A-1-2-D10-D13-srh-X000

D14-X000 Search report completed

St.27 status event code: A-1-2-D10-D14-srh-X000

E902 Notification of reason for refusal
PE0902 Notice of grounds for rejection

St.27 status event code: A-1-2-D10-D21-exm-PE0902

E13-X000 Pre-grant limitation requested

St.27 status event code: A-2-3-E10-E13-lim-X000

P11-X000 Amendment of application requested

St.27 status event code: A-2-2-P10-P11-nap-X000

P13-X000 Application amended

St.27 status event code: A-2-2-P10-P13-nap-X000

E701 Decision to grant or registration of patent right
PE0701 Decision of registration

St.27 status event code: A-1-2-D10-D22-exm-PE0701

PG1501 Laying open of application

St.27 status event code: A-1-1-Q10-Q12-nap-PG1501

GRNT Written decision to grant
PR0701 Registration of establishment

St.27 status event code: A-2-4-F10-F11-exm-PR0701

PR1002 Payment of registration fee

St.27 status event code: A-2-2-U10-U11-oth-PR1002

Fee payment year number: 1

PG1601 Publication of registration

St.27 status event code: A-4-4-Q10-Q13-nap-PG1601

PN2301 Change of applicant

St.27 status event code: A-5-5-R10-R13-asn-PN2301

St.27 status event code: A-5-5-R10-R11-asn-PN2301

R18-X000 Changes to party contact information recorded

St.27 status event code: A-5-5-R10-R18-oth-X000

PR1001 Payment of annual fee

St.27 status event code: A-4-4-U10-U11-oth-PR1001

Fee payment year number: 4

R18-X000 Changes to party contact information recorded

St.27 status event code: A-5-5-R10-R18-oth-X000

PR1001 Payment of annual fee

St.27 status event code: A-4-4-U10-U11-oth-PR1001

Fee payment year number: 5

PR1001 Payment of annual fee

St.27 status event code: A-4-4-U10-U11-oth-PR1001

Fee payment year number: 6

PR1001 Payment of annual fee

St.27 status event code: A-4-4-U10-U11-oth-PR1001

Fee payment year number: 7

FPAY Annual fee payment

Payment date: 20130624

Year of fee payment: 8

PR1001 Payment of annual fee

St.27 status event code: A-4-4-U10-U11-oth-PR1001

Fee payment year number: 8

FPAY Annual fee payment

Payment date: 20140624

Year of fee payment: 9

PR1001 Payment of annual fee

St.27 status event code: A-4-4-U10-U11-oth-PR1001

Fee payment year number: 9

PN2301 Change of applicant

St.27 status event code: A-5-5-R10-R13-asn-PN2301

St.27 status event code: A-5-5-R10-R11-asn-PN2301

FPAY Annual fee payment

Payment date: 20150624

Year of fee payment: 10

PR1001 Payment of annual fee

St.27 status event code: A-4-4-U10-U11-oth-PR1001

Fee payment year number: 10

FPAY Annual fee payment

Payment date: 20160624

Year of fee payment: 11

PR1001 Payment of annual fee

St.27 status event code: A-4-4-U10-U11-oth-PR1001

Fee payment year number: 11

FPAY Annual fee payment

Payment date: 20170614

Year of fee payment: 12

PR1001 Payment of annual fee

St.27 status event code: A-4-4-U10-U11-oth-PR1001

Fee payment year number: 12

LAPS Lapse due to unpaid annual fee
PC1903 Unpaid annual fee

St.27 status event code: A-4-4-U10-U13-oth-PC1903

Not in force date: 20180728

Payment event data comment text: Termination Category : DEFAULT_OF_REGISTRATION_FEE

PC1903 Unpaid annual fee

St.27 status event code: N-4-6-H10-H13-oth-PC1903

Ip right cessation event data comment text: Termination Category : DEFAULT_OF_REGISTRATION_FEE

Not in force date: 20180728

PN2301 Change of applicant

St.27 status event code: A-5-5-R10-R13-asn-PN2301

St.27 status event code: A-5-5-R10-R11-asn-PN2301