JP7619981B2 - Scroll compressor and heat pump water heater - Google Patents

Scroll compressor and heat pump water heater Download PDF

Info

Publication number
JP7619981B2
JP7619981B2 JP2022094219A JP2022094219A JP7619981B2 JP 7619981 B2 JP7619981 B2 JP 7619981B2 JP 2022094219 A JP2022094219 A JP 2022094219A JP 2022094219 A JP2022094219 A JP 2022094219A JP 7619981 B2 JP7619981 B2 JP 7619981B2
Authority
JP
Japan
Prior art keywords
suction
oil
scroll
orbiting
back pressure
Prior art date
Legal status (The legal status is an assumption and is not a legal conclusion. Google has not performed a legal analysis and makes no representation as to the accuracy of the status listed.)
Active
Application number
JP2022094219A
Other languages
Japanese (ja)
Other versions
JP2023180698A (en
Inventor
敦 大沼
雅嗣 近野
Current Assignee (The listed assignees may be inaccurate. Google has not performed a legal analysis and makes no representation or warranty as to the accuracy of the list.)
Hitachi Global Life Solutions Inc
Original Assignee
Hitachi Global Life Solutions Inc
Priority date (The priority date is an assumption and is not a legal conclusion. Google has not performed a legal analysis and makes no representation as to the accuracy of the date listed.)
Filing date
Publication date
Application filed by Hitachi Global Life Solutions Inc filed Critical Hitachi Global Life Solutions Inc
Priority to JP2022094219A priority Critical patent/JP7619981B2/en
Publication of JP2023180698A publication Critical patent/JP2023180698A/en
Application granted granted Critical
Publication of JP7619981B2 publication Critical patent/JP7619981B2/en
Active legal-status Critical Current
Anticipated expiration legal-status Critical

Links

Images

Landscapes

  • Rotary Pumps (AREA)

Description

本発明は空調用や給湯用或いは冷凍用などの冷凍サイクル装置に使用されるスクロール圧縮機及びヒートポンプ式給湯機に関する。 The present invention relates to scroll compressors and heat pump water heaters used in refrigeration cycle devices such as air conditioning, hot water supply, and refrigeration.

空調用や給湯用或いは冷凍用などの冷凍サイクル装置に使用されるスクロール圧縮機としては、特許第6143862号公報(特許文献1)に記載されたものなどがある。この特許文献1のものには、台板に渦巻状のラップを立設した固定スクロールと、鏡板に渦巻状のラップを立設し前記固定スクロールと噛み合わされて旋回運動をすることにより吸込室または圧縮室を形成する旋回スクロールと、前記旋回スクロールに前記固定スクロール側への押付力を付与する背圧室と、この背圧室の背圧を調整するための背圧弁と、この背圧弁の入口側と前記背圧室を連通する背圧弁流入路と、前記背圧弁の出口側と前記吸込室または圧縮室を連通する背圧弁流出路を備えたスクロール圧縮機が記載されている。 Scroll compressors used in refrigeration cycle devices for air conditioning, hot water supply, refrigeration, etc. include those described in Japanese Patent No. 6143862 (Patent Document 1). This Patent Document 1 describes a scroll compressor that includes a fixed scroll with a spiral wrap standing on a base plate, an orbiting scroll with a spiral wrap standing on an end plate that engages with the fixed scroll and orbits to form a suction chamber or a compression chamber, a back pressure chamber that applies a pressing force to the orbiting scroll against the fixed scroll, a back pressure valve for adjusting the back pressure of the back pressure chamber, a back pressure valve inlet passage that connects the inlet side of the back pressure valve to the back pressure chamber, and a back pressure valve outlet passage that connects the outlet side of the back pressure valve to the suction chamber or the compression chamber.

また、前記背圧弁流出路の前記吸込室または圧縮室への流路出口部の少なくとも一部は、前記固定スクロールのラップ歯先の位置よりも歯底側に形成されると共に、前記背圧弁流出路における流路入口側の断面積よりも流路出口側の断面積を大きく形成することにより、前記背圧弁流出路の流路出口部の一部が、固定スクロールのラップ歯先の位置よりも歯底側となるようにすることが記載されている。 It also describes that at least a part of the flow passage outlet of the back pressure valve outflow passage to the suction chamber or compression chamber is formed closer to the tooth bottom than the position of the wrap tooth tip of the fixed scroll, and that by forming the cross-sectional area of the flow passage outlet side of the back pressure valve outflow passage larger than the cross-sectional area of the flow passage inlet side, a part of the flow passage outlet of the back pressure valve outflow passage is made closer to the tooth bottom than the position of the wrap tooth tip of the fixed scroll.

特許第6143862号公報Patent No. 6143862

特許文献1のものは、前記背圧弁流出路(給油経路)における流路出口側の断面積を流路入口側の断面積よりも大きく形成することにより、背圧室から吸込室または圧縮室に流入する油を、固定スクロールのラップ歯先側だけでなく、固定スクロール歯底と旋回スクロールのラップ歯先とのすき間へも供給することが記載されている。 Patent Document 1 describes how the cross-sectional area of the back pressure valve outlet passage (oil supply path) is made larger than the cross-sectional area of the flow passage inlet, so that oil flowing from the back pressure chamber into the suction chamber or compression chamber is supplied not only to the wrap tooth tip side of the fixed scroll, but also to the gap between the fixed scroll tooth base and the wrap tooth tip of the orbiting scroll.

しかし、スクロール圧縮機の構造上の制約から、給油経路における流路出口側の断面積を大きく形成しても、流路出口部から吸込室に流出する油の経路上に、スクロール圧縮機の吸込口が存在すると、吸込口から吸入された軸方向のガス流れにより、固定スクロールのラップ歯底側に向かう油の流れが押さえ付けられてしまい、固定スクロールのラップ歯底側への給油を十分に行うことができない。このため、固定スクロールのラップ歯底と旋回スクロールのラップ歯先との隙間への給油が不足してシール性が低下し、体積効率が低下することによりスクロール圧縮機の効率低下を招くという課題がある。 However, due to structural constraints of the scroll compressor, even if the cross-sectional area of the oil supply path on the outlet side of the flow passage is made large, if the suction port of the scroll compressor is on the path of the oil flowing from the outlet of the flow passage to the suction chamber, the axial gas flow sucked in from the suction port will suppress the flow of oil toward the wrap tooth bottom side of the fixed scroll, and oil cannot be sufficiently supplied to the wrap tooth bottom side of the fixed scroll. This causes an issue of insufficient oil supply to the gap between the wrap tooth bottom of the fixed scroll and the wrap tooth tip of the orbiting scroll, reducing sealing performance and reducing volumetric efficiency, which leads to a decrease in the efficiency of the scroll compressor.

本発明の目的は、固定スクロールのラップ歯底側への給油を確保し、固定スクロールのラップ歯底と旋回スクロールのラップ歯先との隙間のシール性を向上させて効率向上を図ることのできるスクロール圧縮機及びヒートポンプ式給湯機を得ることにある。 The object of the present invention is to provide a scroll compressor and a heat pump water heater that can ensure oil supply to the wrap tooth bottom side of the fixed scroll and improve the sealing of the gap between the wrap tooth bottom of the fixed scroll and the wrap tooth tip of the orbiting scroll, thereby improving efficiency.

上記目的を達成するため、本発明は、固定鏡板に渦巻状の固定ラップを立設した固定スクロールと、旋回鏡板に立設した渦巻状の旋回ラップを有し前記固定スクロールと噛み合わされて旋回運動をする旋回スクロールと、前記固定スクロール及び旋回スクロールを互いに噛み合わせて形成される吸込室及び圧縮室と、前記旋回スクロールを旋回運動させるためのクランク軸と、前記旋回スクロールの旋回ボス部に設けられ前記クランク軸の偏心ピン部に対し前記旋回スクロールを軸方向に移動可能でかつ回転自在に支持するための旋回軸受と、前記旋回ボス部には密閉容器内に貯留された潤滑油が導かれて吐出圧力に近い圧力となる旋回ボス部内空間と、前記旋回スクロールの背面で前記旋回ボス部内空間よりも外周側に設けられ吐出圧力と吸込圧力との間の圧力となる背圧室と、前記固定スクロールの固定鏡板外周側に設けられ、吸込パイプからの冷媒ガスが導かれる吸込口を備えるスクロール圧縮機であって、前記吸込口と前記吸込室との間の前記固定鏡板に設けられた吸込部と、前記吸込口における前記吸込パイプとは反対側に設けられ、吸込パイプからの冷媒ガスの流れを斜め流れに偏向させる壁部材と、前記旋回鏡板の外周側に設けられ、前記背圧室の油が導かれる給油凹部と、前記固定鏡板に設けられ、前記給油凹部の油を前記吸込部側に導く吸込溝と、前記吸込溝の出口側に形成され、前記吸込溝からの油の少なくとも一部を前記旋回ラップの歯先側に吐出させるためのテーパ形状部と、を備え、前記吸込溝の吸込部側開口部を前記壁部材の背面側に開口させ、前記壁部材が、前記吸込パイプから流入する冷媒ガスに対し、前記吸込溝から流出する油の傘となるように構成されていることを特徴とする。 In order to achieve the above object, the present invention provides a fixed scroll having a spiral fixed wrap standing on a fixed end plate, an orbiting scroll having a spiral orbiting wrap standing on a rotating end plate and meshing with the fixed scroll to perform orbital motion, a suction chamber and a compression chamber formed by meshing the fixed scroll and the orbiting scroll with each other, a crankshaft for orbiting the orbiting scroll, an orbiting bearing provided in the orbiting boss of the orbiting scroll for supporting the orbiting scroll axially movable and rotatably relative to the eccentric pin of the crankshaft, an internal space of the orbiting boss to which lubricating oil stored in a sealed container is introduced and which is held at a pressure close to the discharge pressure, a back pressure chamber provided on the back surface of the orbiting scroll and closer to the outer periphery than the internal space of the orbiting boss and which is held at a pressure between the discharge pressure and the suction pressure, and a fixed end plate of the fixed scroll. A scroll compressor having an intake port provided on the outer periphery of the plate and through which refrigerant gas is guided from a suction pipe, the scroll compressor is characterized in that it is provided with an intake section provided on the fixed end plate between the intake port and the suction chamber, a wall member provided on the opposite side of the intake port from the suction pipe and deflecting the flow of refrigerant gas from the suction pipe to an oblique flow, an oil supply recess provided on the outer periphery of the rotating end plate and through which oil from the back pressure chamber is guided, an intake groove provided on the fixed end plate and guiding the oil from the oil supply recess to the intake section side, and a tapered portion formed on the outlet side of the intake groove for discharging at least a portion of the oil from the intake groove to the tooth tip side of the rotating wrap, and the intake section side opening of the intake groove is opened on the back side of the wall member, and the wall member is configured to form an umbrella of oil flowing out of the suction groove against the refrigerant gas flowing in from the suction pipe.

本発明の他の特徴は、固定鏡板に渦巻状の固定ラップを立設した固定スクロールと、旋回鏡板に立設した渦巻状の旋回ラップを有し前記固定スクロールと噛み合わされて旋回運動をする旋回スクロールと、前記固定スクロール及び旋回スクロールを互いに噛み合わせて形成される吸込室及び圧縮室と、前記旋回スクロールを旋回運動させるためのクランク軸と、前記旋回スクロールの旋回ボス部に設けられ前記クランク軸の偏心ピン部に対し前記旋回スクロールを軸方向に移動可能でかつ回転自在に支持するための旋回軸受と、前記旋回ボス部には密閉容器内に貯留された潤滑油が導かれて吐出圧力に近い圧力となる旋回ボス部内空間と、前記旋回スクロールの背面で前記旋回ボス部内空間よりも外周側に設けられ吐出圧力と吸込圧力との間の圧力となる背圧室と、前記固定スクロールの固定鏡板外周側に設けられ、吸込パイプからの冷媒ガスが導かれる吸込口を備えるスクロール圧縮機であって、前記吸込口と前記吸込室との間の前記固定鏡板に設けられた吸込部と、前記吸込口における前記吸込パイプとは反対側に設けられ、吸込パイプからの冷媒ガスの流れを斜め流れに偏向させる壁部材と、前記旋回鏡板の外周側に設けられ、前記背圧室の油が導かれる給油凹部と、前記固定鏡板に設けられ、前記給油凹部の油を前記壁部材の上流側における前記吸込口に吐出する給油経路を設けていることにある。 Other features of the present invention include a fixed scroll having a spiral-shaped fixed wrap standing on a fixed end plate, an orbiting scroll having a spiral-shaped orbiting wrap standing on a orbiting end plate and meshing with the fixed scroll to perform orbital motion, a suction chamber and a compression chamber formed by meshing the fixed scroll and the orbiting scroll with each other, a crankshaft for orbiting the orbiting scroll, an orbiting bearing provided in the orbiting boss of the orbiting scroll for supporting the orbiting scroll axially movable and rotatable relative to the eccentric pin of the crankshaft, a space in the orbiting boss into which lubricating oil stored in a sealed container is introduced and the pressure in the orbiting boss is close to the discharge pressure, and A scroll compressor having a back pressure chamber that is located on the outer periphery of the space inside the rotating boss and has a pressure between the discharge pressure and the suction pressure, and an intake port that is located on the outer periphery of the fixed end plate of the fixed scroll and through which refrigerant gas is guided from a suction pipe, and the compressor has a suction section that is located on the fixed end plate between the suction port and the suction chamber, a wall member that is located on the opposite side of the suction pipe at the suction port and deflects the flow of refrigerant gas from the suction pipe to an oblique flow, an oil supply recess that is located on the outer periphery of the rotating end plate and through which oil from the back pressure chamber is guided, and an oil supply path that is located on the fixed end plate and discharges the oil from the oil supply recess to the suction port on the upstream side of the wall member.

本発明の更に他の特徴は、湯の沸き上げを行うヒートポンプユニット部と、湯を溜める貯湯タンクユニット部を備え、前記ヒートポンプユニット部は、スクロール圧縮機と、このスクロール圧縮機から吐出された高温高圧冷媒と被加熱媒体である水とを熱交換させる水-冷媒熱交換器と、この水-冷媒熱交換器から流出した冷媒を低温低圧に膨張させる膨張手段と、膨張手段から流出した低温低圧冷媒を蒸発させる空気側熱交換器とを備え、前記スクロール圧縮機は上述したスクロール圧縮機を採用しているヒートポンプ式給湯機にある。 Another feature of the present invention is that it is a heat pump water heater that includes a heat pump unit that heats up hot water and a hot water tank unit that stores hot water, the heat pump unit including a scroll compressor, a water-refrigerant heat exchanger that exchanges heat between the high-temperature, high-pressure refrigerant discharged from the scroll compressor and water, which is the medium to be heated, an expansion means that expands the refrigerant that flows out of the water-refrigerant heat exchanger to a low-temperature, low-pressure refrigerant, and an air-side heat exchanger that evaporates the low-temperature, low-pressure refrigerant that flows out of the expansion means, and the scroll compressor is a scroll compressor as described above.

本発明によれば、固定スクロールのラップ歯底側への給油を確保し、固定スクロールのラップ歯底と旋回スクロールのラップ歯先との隙間のシール性を向上させて効率向上を図ることのできるスクロール圧縮機及びヒートポンプ式給湯機を得ることができる効果がある。 The present invention has the effect of providing a scroll compressor and a heat pump water heater that can ensure oil supply to the wrap tooth bottom side of the fixed scroll and improve the sealing of the gap between the wrap tooth bottom of the fixed scroll and the wrap tooth tip of the orbiting scroll, thereby improving efficiency.

本発明のスクロール圧縮機の実施例1を示す縦断面図である。1 is a vertical cross-sectional view showing a first embodiment of a scroll compressor according to the present invention. 固定スクロールに旋回スクロールを配した状態を示す固定スクロールの下面図である。4 is a bottom view of the fixed scroll, showing a state in which the orbiting scroll is disposed on the fixed scroll. FIG. 図1に示す旋回スクロールの平面図である。FIG. 2 is a plan view of the orbiting scroll shown in FIG. 1 . 図3のH-H線矢視断面図である。4 is a cross-sectional view taken along line HH in FIG. 3. 図2のJ-J線矢視断面図である。3 is a cross-sectional view taken along line J-J in FIG. 2. 図1のS部で囲む背圧弁付近の部分拡大縦断面図である。FIG. 2 is a partially enlarged vertical cross-sectional view of the back pressure valve and its vicinity surrounded by a portion S in FIG. 1 . 本発明のスクロール圧縮機の実施例2を説明する図で、図5に相当する図である。FIG. 7 is a diagram for explaining a second embodiment of a scroll compressor according to the present invention, and corresponds to FIG. 5 . 本発明の実施例3を説明する図で、ヒートポンプ式給湯機のシステム概略図である。FIG. 11 is a diagram for explaining a third embodiment of the present invention, and is a system schematic diagram of a heat pump water heater.

以下、本発明のスクロール圧縮機の具体的実施例を、図面に基づいて説明する。なお、各図において、同一符号を付した部分は同一或いは相当する部分を示している。 Below, specific examples of the scroll compressor of the present invention will be described with reference to the drawings. Note that in each drawing, parts with the same reference numerals indicate the same or corresponding parts.

本発明のスクロール圧縮機の実施例1を図1~図6を用いて説明する。
まず、図1、図2により、本実施例のスクロール圧縮機の全体構成を説明する。図1は本発明のスクロール圧縮機の実施例1を示す縦断面図、図2は固定スクロールに旋回スクロールを配した状態を示す固定スクロールの下面図である。
A scroll compressor according to a first embodiment of the present invention will be described with reference to FIGS.
First, the overall configuration of the scroll compressor of the present embodiment will be described with reference to Figures 1 and 2. Figure 1 is a vertical sectional view showing a scroll compressor according to a first embodiment of the present invention, and Figure 2 is a bottom view of a fixed scroll showing a state in which an orbiting scroll is disposed on the fixed scroll.

スクロール圧縮機1は、密閉容器8内に、圧縮機構部1A及びモータ部7などを収容して構成されている。
前記圧縮機構部1Aは、フレーム4に固定された固定スクロール2に旋回スクロール3が噛み合わされて圧縮室10が形成され、前記モータ部7の回転により、クランク軸(回転軸)6を介して前記旋回スクロール3を旋回運動させることにより、前記圧縮室10の容積を減少させて圧縮動作を行う。
The scroll compressor 1 is configured by accommodating a compression mechanism section 1A, a motor section 7, and the like in a sealed container 8.
The compression mechanism 1A has a compression chamber 10 formed by engaging a rotating scroll 3 with a fixed scroll 2 fixed to a frame 4, and the rotation of the motor unit 7 causes the rotating scroll 3 to orbit via a crankshaft (rotating shaft) 6, thereby reducing the volume of the compression chamber 10 and performing a compression operation.

この圧縮動作に伴って、作動流体(冷媒)が吸込パイプ12から吸込口2sを経て吸込室16(図2参照)へ吸込まれ、吸込まれた作動流体は圧縮室10での圧縮行程を経て、吐出口2dから密閉容器8内の固定背面室である吐出空間11に吐出される。この吐出空間11に吐出された作動流体は、前記固定スクロール2の外周と前記フレーム4の外周に形成された通路(図示せず)を通って、モータ室9側に流れ、その後吐出パイプ13から密閉容器8外に吐出されるように構成されている。 As a result of this compression operation, the working fluid (refrigerant) is sucked from the suction pipe 12 through the suction port 2s into the suction chamber 16 (see Figure 2), and the sucked working fluid undergoes a compression stroke in the compression chamber 10 before being discharged from the discharge port 2d into the discharge space 11, which is the fixed back chamber in the sealed container 8. The working fluid discharged into this discharge space 11 flows through a passage (not shown) formed on the outer periphery of the fixed scroll 2 and the outer periphery of the frame 4 to the motor chamber 9 side, and is then discharged from the discharge pipe 13 to the outside of the sealed container 8.

前記固定スクロール2は、固定鏡板2a、この固定鏡板2aに渦巻状に立設された固定ラップ2b、前記固定鏡板2aの外周側に位置し、前記固定ラップ2bの先端面とほぼ同じ高さの固定鏡板面2uを有して固定ラップ2bを囲むように筒状に設けられた支持部2cを備えている。前記固定ラップ2bが立設された固定鏡板2aの表面は、固定ラップ2bの間にあるため、歯底と呼ばれる。 The fixed scroll 2 comprises a fixed end plate 2a, a fixed wrap 2b that is spirally attached to the fixed end plate 2a, and a support portion 2c that is located on the outer periphery of the fixed end plate 2a, has a fixed end plate surface 2u that is approximately the same height as the tip surface of the fixed wrap 2b, and is cylindrically provided to surround the fixed wrap 2b. The surface of the fixed end plate 2a on which the fixed wrap 2b is attached is called the tooth bottom because it is between the fixed wraps 2b.

前記固定鏡板面2uは、固定スクロール2の支持部2cが、旋回スクロール3の旋回鏡板3aと接する摺動面となっている。固定スクロール2は、前記支持部2cをボルト等により前記フレーム4に固定しており、固定スクロール2と一体に結合された前記フレーム4は溶接等の固定手段により前記密閉容器8に固定されている。 The fixed mirror plate surface 2u is a sliding surface where the support portion 2c of the fixed scroll 2 comes into contact with the rotating mirror plate 3a of the rotating scroll 3. The support portion 2c of the fixed scroll 2 is fixed to the frame 4 by bolts or the like, and the frame 4, which is integrally joined to the fixed scroll 2, is fixed to the sealed container 8 by a fixing means such as welding.

前記旋回スクロール3は、固定スクロール2に対向して配置され、固定スクロール2の固定ラップ2bと旋回スクロール3の旋回ラップ3bとが噛み合わされて、フレーム4内に旋回可能に設けられている。この旋回スクロール3は、円板状の旋回鏡板3aの表面である歯底から立設された渦巻状の旋回ラップ3b、及び前記旋回鏡板3aの背面中央に設けられた旋回ボス部(ボス部)3cを有する。また、前記旋回鏡板3aの外周部の前記固定スクロール2と接する表面は、旋回スクロール3の旋回鏡板上面3a1(図3参照)となっている。 The orbiting scroll 3 is disposed opposite the fixed scroll 2, and the fixed wrap 2b of the fixed scroll 2 and the orbiting wrap 3b of the orbiting scroll 3 are meshed together to be orbitable within the frame 4. The orbiting scroll 3 has a spiral orbiting wrap 3b erected from the tooth bottom, which is the surface of the disk-shaped orbiting mirror plate 3a, and an orbiting boss portion (boss portion) 3c provided in the center of the back surface of the orbiting mirror plate 3a. In addition, the surface of the outer periphery of the orbiting mirror plate 3a that comes into contact with the fixed scroll 2 is the orbiting mirror plate upper surface 3a1 of the orbiting scroll 3 (see FIG. 3).

前記旋回スクロール3の旋回ラップ3bの先端部(ラップ歯先)は前記固定スクロール2の歯底と微小すき間をもって相対するように構成されている。同様に、固定スクロール2の固定ラップ2bの先端部(ラップ歯先)も前記旋回スクロール3の歯底と微小すき間をもって相対するように構成されている。 The tip (wrap tooth tip) of the orbiting wrap 3b of the orbiting scroll 3 is configured to face the tooth bottom of the fixed scroll 2 with a small gap. Similarly, the tip (wrap tooth tip) of the fixed wrap 2b of the fixed scroll 2 is also configured to face the tooth bottom of the orbiting scroll 3 with a small gap.

前記圧縮機構部1A及びモータ部7等を収容している前記密閉容器8の底部には、冷凍機油としての潤滑油(以下、単に油ともいう)を溜める貯油部8dが設けられている。前記モータ部7はロータ7aとステータ7bにより構成され、前記ロータ7aには前記クランク軸6が一体に固定されている。このクランク軸6は前記フレーム4に主軸受14を介して回転自在に支持されている。 The bottom of the sealed container 8, which houses the compression mechanism 1A and the motor 7, is provided with an oil reservoir 8d for storing lubricating oil (hereinafter simply referred to as oil) as refrigeration oil. The motor 7 is composed of a rotor 7a and a stator 7b, and the crankshaft 6 is fixed integrally to the rotor 7a. The crankshaft 6 is rotatably supported by the frame 4 via a main bearing 14.

前記クランク軸6の先端には偏心したピン部(偏心ピン部)6aが設けられており、このピン部6aは、前記旋回スクロール3の旋回ボス部3cに設けられた旋回軸受15に挿入され、前記旋回スクロール3はクランク軸6の回転に伴い旋回可能に構成されている。 The tip of the crankshaft 6 is provided with an eccentric pin portion (eccentric pin portion) 6a, which is inserted into a revolving bearing 15 provided in the revolving boss portion 3c of the revolving scroll 3, so that the revolving scroll 3 can revolve with the rotation of the crankshaft 6.

前記旋回スクロール3の中心軸線は、前記固定スクロール2の中心軸線に対して所定距離だけ偏心した状態となる。5は、前記旋回スクロール3を前記固定スクロール2に対して、自転しないように拘束しながら相対的に旋回運動させるためのオルダムリングである。 The central axis of the orbiting scroll 3 is offset by a predetermined distance from the central axis of the fixed scroll 2. 5 is an Oldham ring for orbiting the orbiting scroll 3 relative to the fixed scroll 2 while restraining it from rotating on its axis.

前記密閉容器8は、中央の円筒状の胴部8aと、胴部8aの上部を塞ぐ蓋キャップ8bと、胴部8aの下部を塞ぐ底キャップ8cから構成されている。30は前記蓋キャップ8bに設けられた電源端子である。また、前記ロータ7aの上部にはカウンタウエイト35が、ロータ7aの下部にはカウンタウエイト36が設けられている。 The sealed container 8 is composed of a central cylindrical body 8a, a lid cap 8b that closes the upper part of the body 8a, and a bottom cap 8c that closes the lower part of the body 8a. 30 is a power terminal provided on the lid cap 8b. In addition, a counterweight 35 is provided on the upper part of the rotor 7a, and a counterweight 36 is provided on the lower part of the rotor 7a.

25は前記クランク軸6の下部を支持する副軸受で、この副軸受25は、軸受ブッシュ25aと、軸受ブッシュ25aを収容する副軸受ハウジング25bを備え、副軸受ハウジング25bは、前記密閉容器8の下部側に固定された副フレーム26に固定されている。 25 is a secondary bearing that supports the lower part of the crankshaft 6. This secondary bearing 25 includes a bearing bush 25a and a secondary bearing housing 25b that houses the bearing bush 25a. The secondary bearing housing 25b is fixed to a secondary frame 26 that is fixed to the lower side of the sealed container 8.

前記モータ部7により前記クランク軸6を回転させると、旋回スクロール3は、固定スクロール2の中心軸線を中心に、所定の旋回半径をもって旋回運動する。これにより、冷凍サイクルの冷媒(冷媒ガス)が吸込パイプ12から流入し、固定スクロール2に形成されている吸込口2sから、図2に示す吸込部17を通って、固定ラップ2bと旋回ラップ3bで形成された吸込室16に流入する。前記吸込部17は前記吸込口2sと前記吸込室16との間に形成され、前記吸込口2sからの冷媒ガス(流入ガス)を前記吸込室16に導くための空間である。 When the crankshaft 6 is rotated by the motor unit 7, the orbiting scroll 3 orbits with a predetermined orbital radius around the central axis of the fixed scroll 2. As a result, the refrigerant (refrigerant gas) of the refrigeration cycle flows in from the suction pipe 12, and flows from the suction port 2s formed in the fixed scroll 2 through the suction section 17 shown in Figure 2 into the suction chamber 16 formed by the fixed wrap 2b and the orbiting wrap 3b. The suction section 17 is formed between the suction port 2s and the suction chamber 16, and is a space for guiding the refrigerant gas (inflow gas) from the suction port 2s to the suction chamber 16.

冷媒ガスは吸込室16から圧縮室10に取り込まれ、旋回スクロール3の旋回運動と共に圧縮室10の容積は減少して冷媒ガスは圧縮される。圧縮された冷媒ガスは吐出口2dから吐出空間11に吐出され、その後モータ室9側に流れる。この過程で冷媒中に含まれている油は分離されて前記貯油部8dに溜まる。油を分離された冷媒は吐出パイプ13から、ヒートポンプ式給湯機や空調装置などの冷凍サイクルの凝縮器側に流出する。 Refrigerant gas is taken into the compression chamber 10 from the suction chamber 16, and as the orbiting scroll 3 orbits, the volume of the compression chamber 10 decreases and the refrigerant gas is compressed. The compressed refrigerant gas is discharged from the discharge port 2d into the discharge space 11, and then flows to the motor chamber 9 side. During this process, the oil contained in the refrigerant is separated and accumulates in the oil storage section 8d. The refrigerant from which the oil has been separated flows out from the discharge pipe 13 to the condenser side of the refrigeration cycle of a heat pump water heater, air conditioner, etc.

前記貯油部8dの油の流れについて説明する。前記クランク軸6の下端には、給油パイプ6cが設けられており、密閉容器8底部の貯油部8dに溜められた潤滑油は吐出圧力であり、この吐出圧力下の潤滑油は前記給油パイプ6cから流入して、前記クランク軸6内に軸方向に貫通するように形成されている給油穴6bを通って、前記ピン部6a上端の旋回ボス部3c内の空間である旋回ボス部内空間(旋回軸受室)19へ送られる。 The flow of oil in the oil reservoir 8d will now be described. An oil supply pipe 6c is provided at the lower end of the crankshaft 6, and the lubricating oil stored in the oil reservoir 8d at the bottom of the sealed container 8 is at discharge pressure. This lubricating oil under discharge pressure flows in from the oil supply pipe 6c and passes through an oil supply hole 6b formed in the crankshaft 6 so as to penetrate in the axial direction, before being sent to the swivel boss space (swivel bearing chamber) 19, which is the space within the swivel boss 3c at the upper end of the pin 6a.

なお、前記給油穴6bを流れる潤滑油の一部は、前記クランク軸6に設けられている横穴を介して副軸受25や主軸受14に供給され、副軸受25を潤滑した油は、密閉容器8底部の前記貯油部8dに戻る。前記主軸受14を潤滑した油は前記貯油部8dに戻されるか、背圧室18に流入する。 A portion of the lubricating oil flowing through the oil supply hole 6b is supplied to the auxiliary bearing 25 and the main bearing 14 through a horizontal hole provided in the crankshaft 6, and the oil that lubricates the auxiliary bearing 25 returns to the oil reservoir 8d at the bottom of the sealed container 8. The oil that lubricates the main bearing 14 returns to the oil reservoir 8d or flows into the back pressure chamber 18.

前記給油穴6bを流れるその他の大部分の潤滑油は、偏心ピン部6a上端の前記旋回ボス部内空間(旋回軸受室)19に達し、偏心ピン部6aの外周面に設けた油溝を通って旋回軸受15を潤滑する。この潤滑油は、その後、前記背圧室18に流入する。貯油部8dの吐出圧力の油が旋回ボス部内空間19に入り、その後旋回軸受15を通過することにより減圧し、圧縮機構部1Aの吸込側や前記圧縮室10側に流れるので、背圧室18の圧力は吐出圧力と吸込圧力の間の圧力(中間圧力)となっている。なお、前記旋回ボス部内空間19の圧力は吐出圧力に近い圧力となっている。 Most of the remaining lubricating oil flowing through the oil supply hole 6b reaches the swivel boss space (swivel bearing chamber) 19 at the upper end of the eccentric pin 6a, and lubricates the swivel bearing 15 through the oil groove provided on the outer circumferential surface of the eccentric pin 6a. This lubricating oil then flows into the back pressure chamber 18. Oil at the discharge pressure of the oil storage section 8d enters the swivel boss space 19, then reduces its pressure by passing through the swivel bearing 15, and flows to the suction side of the compression mechanism section 1A and the compression chamber 10, so that the pressure in the back pressure chamber 18 is between the discharge pressure and the suction pressure (intermediate pressure). The pressure in the swivel boss space 19 is close to the discharge pressure.

前記背圧室18に入った潤滑油は、前記オルダムリング5の潤滑、前記固定スクロール2と旋回スクロール3との摺動部の潤滑、及び前記各ラップ2b,3bの先端すき間などのシール(密閉)を行う。 The lubricating oil that enters the back pressure chamber 18 lubricates the Oldham ring 5, lubricates the sliding parts between the fixed scroll 2 and the orbiting scroll 3, and seals the gaps at the tips of the wraps 2b and 3b.

本実施例では、前記背圧室18に流入した潤滑油の一部は、旋回スクロール3の旋回鏡板3aの外周側に形成された給油ポケット(給油凹部)3dを介して前記吸込部17に供給され、ここから吸込室16側に流れるように構成されている。 In this embodiment, a portion of the lubricating oil that flows into the back pressure chamber 18 is supplied to the suction section 17 via an oil supply pocket (oil supply recess) 3d formed on the outer periphery of the rotating head plate 3a of the rotating scroll 3, and is configured to flow from here to the suction chamber 16 side.

また、前記背圧室18に流入した潤滑油の残りは、背圧弁27を有する圧縮室給油路28を介して圧縮室10側に流れるように構成されている。
背圧室18の油が前記吸込室16や圧縮室10に流れることにより、固定スクロール2と旋回スクロール3との摺動面、固定ラップ2bと旋回ラップ3bの摺動面、ラップ先端すき間などを潤滑すると共に、圧縮室間などのシールにも利用される。
The remainder of the lubricating oil that has flowed into the back pressure chamber 18 is configured to flow to the compression chamber 10 side via a compression chamber oil supply passage 28 having a back pressure valve 27 .
The oil in the back pressure chamber 18 flows into the suction chamber 16 and the compression chamber 10 to lubricate the sliding surfaces between the fixed scroll 2 and the orbiting scroll 3, the sliding surfaces between the fixed wrap 2b and the orbiting wrap 3b, and the gaps between the wrap tips, and is also used for sealing between the compression chambers, etc.

なお、図1において、21は吸込口2sの下方側に設けられた逆流防止弁で、モータ部7が停止したときに、圧縮室10内の圧縮された冷媒が前記吸込パイプ12側に流れないようにするためのものである。また、図1,図2に示すように、固定スクロール2の外周側には、前記給油ポケット3dに間歇的に連通すると共に吸込部17に常時連通する円弧状の吸込溝2rが形成されている。この吸込溝2rの出口側はテーパ形状部2kに形成されており、このテーパ形状部2kの開口部は前記逆流防止弁(壁部材)21の下部側(背面側)に設けられている。 In FIG. 1, 21 is a check valve provided below the suction port 2s, which prevents the compressed refrigerant in the compression chamber 10 from flowing to the suction pipe 12 when the motor unit 7 stops. As shown in FIG. 1 and FIG. 2, an arc-shaped suction groove 2r is formed on the outer periphery of the fixed scroll 2, which is intermittently connected to the oil supply pocket 3d and is constantly connected to the suction unit 17. The outlet side of this suction groove 2r is formed in a tapered portion 2k, and the opening of this tapered portion 2k is provided on the lower side (back side) of the check valve (wall member) 21.

図1に示す2eは固定スクロール2の固定鏡板2aに形成されたバイパス孔で、このバイパス孔2eは、図2に示すように、固定ラップ2b間の歯底で吐出口2dに近い圧縮室10であって、旋回ラップ3bの内線側圧縮室及び外線側圧縮室に開口する位置に、この例では4か所設けられている。また、各バイパス孔2eには、図1に示すように、バイパス弁22が設けられ、バイパス弁22はストッパ37に設けられたばね38により押圧されている。バイパス孔2eが開口している圧縮室10の圧力が吐出空間11の圧力よりも高くなる過圧縮条件になり、ばね38の押圧力よりも圧力差による力が大きくなるとバイパス弁22は開き、圧縮室10の冷媒ガスは吐出空間11にバイパスして吐出される。 2e shown in FIG. 1 is a bypass hole formed in the fixed end plate 2a of the fixed scroll 2. As shown in FIG. 2, the bypass hole 2e is provided in the compression chamber 10 at the tooth bottom between the fixed wraps 2b and close to the discharge port 2d, and in this example, four bypass holes 2e are provided at positions that open to the inner line side compression chamber and the outer line side compression chamber of the orbiting wrap 3b. Also, as shown in FIG. 1, each bypass hole 2e is provided with a bypass valve 22, which is pressed by a spring 38 provided on a stopper 37. When the pressure of the compression chamber 10 to which the bypass hole 2e is open becomes higher than the pressure of the discharge space 11, resulting in an overcompression condition, and the force due to the pressure difference becomes greater than the pressing force of the spring 38, the bypass valve 22 opens, and the refrigerant gas in the compression chamber 10 is bypassed and discharged to the discharge space 11.

図2は前記固定スクロール2と旋回スクロール3との噛み合い状態を説明する図で、旋回スクロール3については、旋回ラップ3bが断面で示され、旋回スクロール3の旋回鏡板3aの外周に相当する旋回鏡板縁3a2は細い線の円で示している。 Figure 2 is a diagram explaining the meshing state between the fixed scroll 2 and the orbiting scroll 3. For the orbiting scroll 3, the orbiting wrap 3b is shown in cross section, and the orbiting head edge 3a2, which corresponds to the outer periphery of the orbiting head 3a of the orbiting scroll 3, is shown as a thin-line circle.

この図2に示すように、固定ラップ2bと旋回ラップ3b間には三日月状の複数の圧縮室10(旋回内線側圧縮室、旋回外線側圧縮室)が形成され、旋回スクロール3を旋回運動させると、各圧縮室10は中央部の方向に移動するに従い、連続的にその容積が縮小されていく。 As shown in FIG. 2, multiple crescent-shaped compression chambers 10 (inner-side compression chambers and outer-side compression chambers) are formed between the fixed wrap 2b and the orbiting wrap 3b, and when the orbiting scroll 3 is orbited, the volume of each compression chamber 10 is continuously reduced as it moves toward the center.

16は吸込室で、流体を吸入している途中の空間である。この吸込室16は、旋回スクロール3の旋回運動の位相が進んで、流体の閉じ込みを完了した時点から圧縮室10となる。 16 is the suction chamber, which is the space in the process of sucking in the fluid. This suction chamber 16 becomes the compression chamber 10 when the phase of the orbiting motion of the orbiting scroll 3 advances and the trapping of the fluid is completed.

図1、図2に示すように、吸込パイプ12下方の前記吸込口2sの部分から前記吸込室16に向かって傾斜する(斜めの流路となる)ように、前記吸込部17を形成している固定鏡板2aの部分は傾斜部2t(図5参照)に構成されている。即ち、吸込部17は、吸込口2sの部分から下流側になるに従って広がるように形成されている。また、前記吸込口2sの下部には前記逆流防止弁21が設けられており、この逆流防止弁21が流れの壁(壁部材)となり、流れを吸込部17方向に導く作用もある。これらの構成により、吸込パイプ12から流入した冷媒ガスは、吸込口2sから吸込部17に向かう斜め流れとなるように構成されている。また、前記吐出口2dは固定スクロール2の固定鏡板2aの渦巻中心付近に穿設されている。 As shown in Figures 1 and 2, the portion of the fixed end plate 2a forming the suction section 17 is configured as an inclined portion 2t (see Figure 5) so that it is inclined (a diagonal flow path) from the suction port 2s portion below the suction pipe 12 toward the suction chamber 16. That is, the suction section 17 is formed so that it widens from the suction port 2s portion toward the downstream side. In addition, the check valve 21 is provided at the bottom of the suction port 2s, and this check valve 21 acts as a flow wall (wall member) and also has the effect of directing the flow toward the suction section 17. With these configurations, the refrigerant gas flowing in from the suction pipe 12 is configured to flow diagonally from the suction port 2s toward the suction section 17. In addition, the discharge port 2d is drilled near the center of the volute of the fixed end plate 2a of the fixed scroll 2.

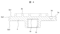
次に、前記背圧室18の油の一部を、給油ポケット3dを介して吸込部17に供給する部分の構成について、図1、図2を参照しつつ、図3~図5を用いて説明する。図3は図1に示す旋回スクロールの平面図、図4は図3のH-H線矢視断面図、図5は図2のJ-J線矢視断面図である。 Next, the configuration of the portion that supplies a portion of the oil in the back pressure chamber 18 to the suction portion 17 via the oil supply pocket 3d will be described with reference to Figures 3 to 5, as well as Figures 1 and 2. Figure 3 is a plan view of the orbiting scroll shown in Figure 1, Figure 4 is a cross-sectional view taken along line H-H in Figure 3, and Figure 5 is a cross-sectional view taken along line J-J in Figure 2.

図3、図4において、3a1は旋回スクロール3の旋回鏡板3aの上面(旋回鏡板上面)で、旋回スクロール3が固定スクロール2に押し付けられる際のスラスト面(旋回スラスト面)となる。3a2は旋回鏡板3aの外周縁で、旋回鏡板縁とする。3a3は前記旋回鏡板3aの下面(旋回鏡板下面)で、この旋回鏡板下面3a3の下側に前記背圧室18が形成される。 In Figures 3 and 4, 3a1 is the upper surface (upper surface of the rotating mirror plate) of the rotating scroll 3, which becomes the thrust surface (rotating thrust surface) when the rotating scroll 3 is pressed against the fixed scroll 2. 3a2 is the outer peripheral edge of the rotating mirror plate 3a, which is called the rotating mirror plate edge. 3a3 is the lower surface (lower surface of the rotating mirror plate) of the rotating mirror plate 3a, and the back pressure chamber 18 is formed below this lower surface 3a3 of the rotating mirror plate.

前記旋回鏡板上面3a1には渦巻状の旋回ラップ3bが立設されている。また、前記旋回鏡板上面3a1の外周側には、前記背圧室18の油が流入して油溜めとなる丸穴状の給油ポケット3dが形成されている。なお、図4に示す15は旋回軸受、19は前記クランク軸6のピン部6a上面と旋回スクロールとの間に形成される空間である旋回ボス部内空間(旋回軸受室)である。 A spiral-shaped orbiting wrap 3b is erected on the upper surface 3a1 of the orbiting mirror plate. A round oil supply pocket 3d is formed on the outer periphery of the upper surface 3a1 of the orbiting mirror plate, into which the oil from the back pressure chamber 18 flows and serves as an oil reservoir. In addition, 15 in FIG. 4 is an orbiting bearing, and 19 is an internal space of the orbiting boss (orbiting bearing chamber), which is a space formed between the upper surface of the pin portion 6a of the crankshaft 6 and the orbiting scroll.

前記給油ポケット3dは、図2に示すように、旋回スクロール3の旋回運動に伴い、掃引領域31内で、32の矢印で示す旋回運動方向に軌跡を描いて、背圧室18(図1参照)と吸込室16に連通した吸込溝2rとに間欠的に連通するように構成されている。 As shown in FIG. 2, the oil supply pocket 3d is configured to trace a trajectory in the direction of the orbiting motion indicated by the arrow 32 within the sweep region 31 in conjunction with the orbiting motion of the orbiting scroll 3, and to intermittently communicate with the back pressure chamber 18 (see FIG. 1) and the suction groove 2r that communicates with the suction chamber 16.

前記給油ポケット3dが背圧室18に連通している状態では、背圧室18内(圧力は吐出圧力と吸込圧力の中間の圧力)の油が前記給油ポケット3d内に溜められる。また、前記給油ポケット3dが、旋回スクロール3の旋回運動に伴い、前記吸込溝2r(圧力は吸込圧力)に連通すると、前記給油ポケット3d内の油が、圧力差により前記吸込溝2rを通って前記吸込室16に流入する。この動作を旋回スクロール3の旋回動作に伴って繰り返すことにより、前記背圧室18内の油は、順次吸込室16に移送される。前記給油ポケット3dの容積や個数を調整することにより、前記背圧室18から前記吸込室16への給油量を任意に調整することが可能となる。 When the oil supply pocket 3d is connected to the back pressure chamber 18, the oil in the back pressure chamber 18 (pressure is intermediate between the discharge pressure and the suction pressure) is stored in the oil supply pocket 3d. When the oil supply pocket 3d is connected to the suction groove 2r (pressure is suction pressure) with the orbiting motion of the orbiting scroll 3, the oil in the oil supply pocket 3d flows into the suction chamber 16 through the suction groove 2r due to the pressure difference. By repeating this operation with the orbiting motion of the orbiting scroll 3, the oil in the back pressure chamber 18 is transferred sequentially to the suction chamber 16. By adjusting the volume and number of the oil supply pockets 3d, it is possible to arbitrarily adjust the amount of oil supplied from the back pressure chamber 18 to the suction chamber 16.

なお、図2、図3に示す例では、前記給油ポケット(給油凹部)3dを丸穴状(円形)に形成したが、これに限るものではなく、前記給油ポケット3dを深さの浅いスリット状(溝)としても良い。給油ポケット3dをスリット状とすることにより、背圧室と間欠的に連通させるだけでなく、背圧室18と吸込部17に常時連通させることも可能になる。給油ポケット3dに代えて、背圧室18と吸込溝2rを常時連通するスリット状の連通溝(給油凹部)とした場合でも、背圧室18と吸込部17との圧力差により、背圧室18の油を吸込室16側に流入させることができる。また、スリット状の連通溝の深さ、幅、長さ或いは個数などを調整することにより給油量を調整することもできる。 2 and 3, the oil supply pocket (oil supply recess) 3d is formed in a round hole (circular shape), but this is not limited thereto, and the oil supply pocket 3d may be a shallow slit (groove). By making the oil supply pocket 3d slit-shaped, it is possible to not only intermittently communicate with the back pressure chamber, but also to constantly communicate with the back pressure chamber 18 and the suction section 17. Even if a slit-shaped communication groove (oil supply recess) that constantly communicates the back pressure chamber 18 and the suction groove 2r is used instead of the oil supply pocket 3d, the oil in the back pressure chamber 18 can flow into the suction chamber 16 due to the pressure difference between the back pressure chamber 18 and the suction section 17. The amount of oil supply can also be adjusted by adjusting the depth, width, length, or number of the slit-shaped communication groove.

次に、給油ポケット3dを有する旋回スクロール3により、背圧室18の油を吸込部17に供給する給油経路の構成を、図2を参照しつつ、図5を用いて説明する。
旋回スクロール3の旋回に伴って、給油ポケット3dは、図2に示すように、所定の掃引領域31を矢印32で示す方向に旋回運動する。また、固定スクロール2には、前記給油ポケット3dの掃引領域31から吸込部17に向けて延在する吸込溝2rが設けられている。更に、前記固定スクロール2の固定ラップ2b外周側には、常時背圧室18(図1参照)と連通して油が保持されている環状凹部24と湾状凹部23が形成されている。前記湾状凹部23は、旋回スクロールに形成されている前記給油ポケット3dの旋回運動範囲(掃引領域)の一部と重なる位置に設けられている。
Next, the configuration of the oil supply path that supplies oil from the back pressure chamber 18 to the suction portion 17 by the orbiting scroll 3 having the oil supply pocket 3d will be described using FIG. 5 while referring to FIG.
As the orbiting scroll 3 orbits, the oil supply pocket 3d orbits in a direction indicated by an arrow 32 in a predetermined sweep area 31, as shown in Fig. 2. The fixed scroll 2 is provided with a suction groove 2r extending from the sweep area 31 of the oil supply pocket 3d toward the suction portion 17. Furthermore, an annular recess 24 and a bay-shaped recess 23, which are always in communication with the back pressure chamber 18 (see Fig. 1) and hold oil, are formed on the outer periphery of the fixed wrap 2b of the fixed scroll 2. The bay-shaped recess 23 is provided at a position overlapping with a part of the orbital motion range (sweep area) of the oil supply pocket 3d formed in the orbiting scroll.

従って、前記給油ポケット3dは、前記吸込溝2rと前記湾状凹部23に対し、それぞれに重なる瞬間がある。給油ポケット3dを介して湾状凹部23と吸込溝2rは常時連通するわけではなく、旋回スクロール3の旋回動作に同期して、給油ポケット3dが湾状凹部23に臨んだときに油を汲み取り、給油ポケット3dが吸込溝2rへ臨んだときに吸込溝2rから吸込部17へ油を吐出する。 Therefore, there are moments when the oil supply pocket 3d overlaps with the suction groove 2r and the bay-shaped recess 23. The bay-shaped recess 23 and the suction groove 2r are not always in communication with each other via the oil supply pocket 3d. Instead, in synchronization with the orbiting motion of the orbiting scroll 3, the oil supply pocket 3d draws in oil when it faces the bay-shaped recess 23, and discharges oil from the suction groove 2r to the suction section 17 when it faces the suction groove 2r.

旋回スクロール3の一旋回当りの給油量は、給油ポケット3dの容積が上限となるため、過剰な油が吸込部17に供給されるのを抑制できる。このように、給油ポケット3dによって、背圧室18の油は、吸込部17へ少量だけ給油され、残りの油は圧縮室給油路28を介して圧縮室10へ供給される。 The amount of oil supplied per revolution of the orbiting scroll 3 is limited by the volume of the oil supply pocket 3d, which prevents excess oil from being supplied to the suction section 17. In this way, the oil supply pocket 3d supplies only a small amount of oil from the back pressure chamber 18 to the suction section 17, and the remaining oil is supplied to the compression chamber 10 via the compression chamber oil supply passage 28.

前記吸込溝2rの吸込部17側開口部は図2及び図5に示すように、逆流防止弁(壁部材)21の下部側(背面側)に開口し、逆流防止弁21が吸込溝2rから吐出する油の傘になる位置に設けられている。また、前記吸込溝2rの出口側はテーパ形状部2kに形成されており、図5に示すように、吸込溝2rから吸込部17に吐出する油は、水平方向だけでなく、上方側にも向かう流れが形成されるように構成されている。 As shown in Figures 2 and 5, the opening of the suction groove 2r on the suction section 17 side opens to the lower side (back side) of the check valve (wall member) 21, and is located at a position where the check valve 21 becomes an umbrella of oil discharged from the suction groove 2r. In addition, the outlet side of the suction groove 2r is formed into a tapered portion 2k, and as shown in Figure 5, the oil discharged from the suction groove 2r to the suction section 17 is configured to flow not only horizontally but also upward.

即ち、前記テーパ形状部2kから吐出される油は、旋回ラップ3bの歯底側(固定ラップ2bの歯先側)だけでなく、旋回ラップ3bの歯先側(固定ラップ2bの歯底側)にも十分に供給されるように構成されている。 In other words, the oil discharged from the tapered portion 2k is configured to be sufficiently supplied not only to the bottom side of the orbiting wrap 3b (the tip side of the fixed wrap 2b) but also to the tip side of the orbiting wrap 3b (the bottom side of the fixed wrap 2b).

しかし、前記吸込溝2rの出口側をテーパ形状部2kに形成するだけでは、上方側に向かって油が吐出されても、吸込パイプ12から吸入される冷媒の流れ(流入ガスの流れG)によって、下方に押し付けられてしまい、旋回ラップ3bの歯先側(固定ラップ2bの歯底側)に油が十分に供給されないという課題を見い出した。そこで、本実施例では、前記吸込溝2rの出口側をテーパ形状部2kに形成すると共に、吸込溝2rの吸込部17側開口部を逆流防止弁21の下部側に開口させて、逆流防止弁21が吸込溝2rから流出する油の傘になるように構成したものである。 However, we found that simply forming the outlet side of the suction groove 2r into a tapered portion 2k would push the oil downwards by the flow of refrigerant (flow of inflow gas G) sucked in from the suction pipe 12, and would not provide enough oil to the tooth tip side of the orbiting wrap 3b (tooth bottom side of the fixed wrap 2b). Therefore, in this embodiment, the outlet side of the suction groove 2r is formed into a tapered portion 2k, and the opening on the suction section 17 side of the suction groove 2r is opened to the lower side of the check valve 21, so that the check valve 21 becomes an umbrella for the oil flowing out of the suction groove 2r.

本実施例のように構成することにより、前記テーパ形状部2kから吐出される油は吸込パイプ12からの流入ガスにより下方に押さえ付けられるのを抑制することができる。従って、テーパ形状部2kから吐出される油を、旋回ラップ3bの歯先側(固定ラップ2bの歯底側)にも十分に供給することができる。従って、吸込室16や圧縮室10におけるの潤滑を良好にすると共に、シール性も向上できるため、圧縮途中の作動流体の漏れも抑制できるから、スクロール圧縮機の効率を向上できる効果が得られる。 By configuring as in this embodiment, the oil discharged from the tapered portion 2k can be prevented from being pressed downward by the inflow gas from the suction pipe 12. Therefore, the oil discharged from the tapered portion 2k can be sufficiently supplied to the tooth tip side of the orbiting wrap 3b (the tooth bottom side of the fixed wrap 2b). This improves lubrication in the suction chamber 16 and the compression chamber 10 and also improves sealing properties, thereby preventing leakage of the working fluid during compression, thereby improving the efficiency of the scroll compressor.

なお、前記テーパ形状部2kの開口端の位置は、本実施例では、前記逆流防止弁21の中心付近の下部に開口させている。即ち、前記テーパ形状部2kから吐出される油の上方側に向かう流れが、吸込口2sから流入するガス流れに対し、逆流防止弁21が傘として十分機能して、油が旋回ラップ3bの歯先側(固定ラップ2bの歯底側)にも十分供給されるように、前記テーパ形状部2kの開口端の位置を決める。例えば、逆流防止弁21の直径の40~60%の長さの部分が、テーパ形状部2kから吐出される油の傘として機能するように構成すると良い。 In this embodiment, the opening end of the tapered portion 2k is located at the bottom near the center of the check valve 21. That is, the opening end of the tapered portion 2k is located at a position such that the upward flow of the oil discharged from the tapered portion 2k causes the check valve 21 to function as an umbrella against the gas flow flowing in from the suction port 2s, and oil is sufficiently supplied to the tooth tip side of the swirling wrap 3b (the tooth bottom side of the fixed wrap 2b). For example, it is preferable to configure the check valve 21 so that a portion with a length of 40 to 60% of the diameter functions as an umbrella for the oil discharged from the tapered portion 2k.

また、旋回スクロール3の給油ポケット3dの径方向位置は、固定スクロール2に設けた吸込口2sの径方向位置と略同じ位置にすると、図2に示すように、吸込溝2rを固定ラップ2bに沿って円弧状に形成できるから製作が容易で、よりコンパクトに製作できる。 In addition, if the radial position of the oil supply pocket 3d of the orbiting scroll 3 is set to be approximately the same as the radial position of the suction port 2s provided in the fixed scroll 2, the suction groove 2r can be formed in an arc shape along the fixed wrap 2b as shown in Figure 2, making it easier to manufacture and more compact.

なお、前記吸込溝2rの出口側をテーパ形状部2kに形成したが、テーパ形状部2kの代わりに、1段または複数段の細かい段差でテーパ状に形成しても良い。このようにテーパ形状部2kを1段または複数段の段差で構成した段差形状部とすることにより、吐出される油の流れを乱流にして、拡散作用を助長することができる。 The outlet side of the suction groove 2r is formed as a tapered section 2k, but instead of the tapered section 2k, it may be formed as a taper with one or more fine steps. By making the tapered section 2k a step section with one or more steps in this way, the flow of the discharged oil can be made turbulent, promoting the diffusion action.

なお、本実施例では、逆流防止弁21を有する場合について説明したが、逆流防止弁を設けない場合には、前記テーパ形状部2kから吐出される油の傘となる壁部材を設けることにより同様の効果を得ることができる。この壁部材は、逆流防止弁21と同様に、吸込パイプ12から流入するガスの流れを、吸込口2sから吸込部17側に向かう斜め流れにするように設けると良い。 In this embodiment, the case where the check valve 21 is provided has been described, but if the check valve is not provided, the same effect can be obtained by providing a wall member that acts as an umbrella for the oil discharged from the tapered portion 2k. This wall member, like the check valve 21, should be provided so that the flow of gas flowing in from the suction pipe 12 flows obliquely from the suction port 2s toward the suction portion 17.

次に、図1に示す圧縮室給油路28の部分の構成について、図1、図2を参照しつつ、図6を用いて詳細に説明する。図6は図1のS部で囲む背圧弁27付近の部分拡大縦断面図である。
まず、前記背圧室18の機能について説明する。背圧室18は、固定スクロール2、旋回スクロール3及びフレーム4により囲まれた空間として形成され、この背圧室18には前述したように油が溜まっている。
Next, the configuration of the compression chamber oil supply passage 28 shown in Fig. 1 will be described in detail with reference to Fig. 1 and Fig. 2, and with reference to Fig. 6. Fig. 6 is a partially enlarged vertical cross-sectional view of the back pressure valve 27 and its vicinity surrounded by the portion S in Fig. 1.
First, a description will be given of the function of the back pressure chamber 18. The back pressure chamber 18 is formed as a space surrounded by the fixed scroll 2, the orbiting scroll 3, and the frame 4, and oil is stored in this back pressure chamber 18 as described above.

スクロール圧縮機1では、その圧縮作用により、固定スクロール2と旋回スクロール3を互いに引離そうとする軸方向の力(引き離し力)が発生する。この軸方向の力により、前記両スクロールが引き離される、いわゆる旋回スクロール3の離脱現象が発生すると、圧縮室10の密閉性が悪化し、圧縮機効率を低下させる。 In the scroll compressor 1, the compression action generates an axial force (pull-apart force) that tries to pull the fixed scroll 2 and the orbiting scroll 3 apart from each other. When this axial force causes the two scrolls to be pulled apart, a phenomenon known as the orbiting scroll 3 separation, the airtightness of the compression chamber 10 deteriorates, reducing the compressor efficiency.

そこで、旋回スクロール3の旋回鏡板3a背面側に、吐出圧力と吸込圧力の間の圧力となる背圧室18を設け、この背圧室18の圧力(背圧)により、前記引き離し力を打ち消すと共に、旋回スクロール3を固定スクロール2に押付けるようにしている。このときの押付力が大きすぎると、旋回スクロール3の旋回鏡板上面3a1(図4参照)と固定スクロール2の固定鏡板面2uとの摺動損失が増大し、圧縮機効率が低下する。 Therefore, a back pressure chamber 18 is provided on the back side of the orbiting head plate 3a of the orbiting scroll 3, where the pressure is between the discharge pressure and the suction pressure, and the pressure (back pressure) of this back pressure chamber 18 cancels the separating force and presses the orbiting scroll 3 against the fixed scroll 2. If the pressing force is too large at this time, the sliding loss between the orbiting head plate upper surface 3a1 (see Figure 4) of the orbiting scroll 3 and the fixed head plate surface 2u of the fixed scroll 2 increases, and the compressor efficiency decreases.

つまり、前記背圧には最適な値が存在し、小さすぎると圧縮室の密閉性が悪化して熱流体損失が増大し、大きすぎると摺動損失が増大する。従って、背圧を最適な値に維持することが、圧縮機の高性能化、高信頼性化において重要である。 In other words, there is an optimal value for the back pressure; if it is too low, the compression chamber will not be tightly sealed, increasing thermal fluid loss, while if it is too high, friction loss will increase. Therefore, maintaining the back pressure at an optimal value is important for improving the performance and reliability of the compressor.

この最適な背圧値を得るため、本実施例のスクロール圧縮機では、図1に示すように、前記背圧室18の背圧を調整するための背圧弁27を有する前記圧縮室給油路28が前記固定スクロール2の支持部2cに備えられている。背圧室18の油は、背圧弁27が開くと、圧縮室給油路28を通じて圧縮室10に流入する。 To obtain this optimal back pressure value, in the scroll compressor of this embodiment, as shown in FIG. 1, the compression chamber oil supply passage 28 having a back pressure valve 27 for adjusting the back pressure of the back pressure chamber 18 is provided in the support portion 2c of the fixed scroll 2. When the back pressure valve 27 opens, the oil in the back pressure chamber 18 flows into the compression chamber 10 through the compression chamber oil supply passage 28.

27aは、背圧弁27の弁座となる背圧弁ピース(弁座部品)で、固定スクロール2に圧入されている。29は背圧弁27とこの背圧弁を押圧するばね29bを収容する背圧弁収容空間であり、前記ばね29bはストッパ29aで支持されている。なお、図6に示す29cは止め栓であり、背圧弁流出路28bを設けるために形成された横穴の端部を密閉して塞ぐためのものである。 27a is a back pressure valve piece (valve seat part) that serves as the valve seat of the back pressure valve 27, and is press-fitted into the fixed scroll 2. 29 is a back pressure valve accommodating space that accommodates the back pressure valve 27 and the spring 29b that presses the back pressure valve, and the spring 29b is supported by a stopper 29a. 29c shown in FIG. 6 is a stopper plug that seals and blocks the end of the side hole formed to provide the back pressure valve outflow path 28b.

圧縮室給油路28は、背圧室18に開口された背圧弁流入路28a、圧縮室10に連通された背圧弁流出路28b及び前記背圧弁27を収容している背圧弁収容空間29により構成されている。また、前記背圧弁流入路28aは、前記背圧弁ピース27aを貫通する穴で構成されている。 The compression chamber oil supply passage 28 is composed of a back pressure valve inlet passage 28a that opens to the back pressure chamber 18, a back pressure valve outlet passage 28b that communicates with the compression chamber 10, and a back pressure valve housing space 29 that houses the back pressure valve 27. The back pressure valve inlet passage 28a is composed of a hole that penetrates the back pressure valve piece 27a.

ここで、図2により、本実施例における固定スクロール2の構成を説明する。
前記背圧弁流入路28a近傍の固定スクロール2には、固定鏡板面2uの内周側に位置する環状凹部24と、旋回鏡板3aの外周縁に位置する湾状凹部23が形成されている。前記環状凹部24は、旋回スクロール3の旋回鏡板3aが旋回運動するときの掃引範囲よりも大きい外径を有する環状、好ましくは円環状の部分として形成されている。
Here, the configuration of the fixed scroll 2 in this embodiment will be described with reference to FIG.
In the fixed scroll 2 near the back pressure valve inlet passage 28a, an annular recess 24 located on the inner periphery side of the fixed end plate surface 2u and a bay-shaped recess 23 located on the outer periphery edge of the orbiting end plate 3a are formed. The annular recess 24 is formed as an annular, preferably circular, portion having an outer diameter larger than the sweep range of the orbiting end plate 3a of the orbiting scroll 3 when it orbits.

前記湾状凹部23は、環状凹部24より内周側に位置し、固定ラップ2bの最外周部分に凹状、好ましくは湾状に食い込んだ形状に構成されている。この湾状凹部23は、常に旋回鏡板3aの外側まで広がっているため、背圧室18と常に連通しており、常に背圧室18の油が保持されている。これにより、圧縮室給油路28は、背圧室18の油を、湾状凹部23側の開口部から圧縮室10側に供給できる。 The bay-shaped recess 23 is located on the inner side of the annular recess 24 and is configured to have a concave shape, preferably a bay-shaped shape, embedded in the outermost part of the fixed wrap 2b. This bay-shaped recess 23 always extends to the outside of the rotating head plate 3a, so it is always in communication with the back pressure chamber 18 and oil in the back pressure chamber 18 is always retained. This allows the compression chamber oil supply passage 28 to supply oil from the back pressure chamber 18 to the compression chamber 10 side from the opening on the bay-shaped recess 23 side.

前記背圧弁27は、前記背圧弁流入路28aと前記背圧弁流出路28bを仕切るように配置されており、背圧室18の圧力(背圧)が所定値Pm以上になると開弁して、背圧は吐出圧Pdより低く維持される。これにより、背圧は、吸込圧力Psより高く吐出圧力Pdよりも低い圧力である中間圧力Pmになっている。また、圧縮室10による圧縮が開始され、背圧弁27が開くと、背圧室18の油が圧縮室10側に流入する。 The back pressure valve 27 is arranged to separate the back pressure valve inlet passage 28a from the back pressure valve outlet passage 28b, and opens when the pressure (back pressure) in the back pressure chamber 18 reaches a predetermined value Pm or higher, and the back pressure is maintained lower than the discharge pressure Pd. As a result, the back pressure is at an intermediate pressure Pm, which is higher than the suction pressure Ps and lower than the discharge pressure Pd. When compression by the compression chamber 10 begins and the back pressure valve 27 opens, the oil in the back pressure chamber 18 flows into the compression chamber 10.

つまり、前記背圧弁27は、背圧室18内の圧力がある値よりも高くなった場合に、該背圧室18内の流体を前記圧縮室10に逃がし、前記背圧室18の背圧を適正値に調整する機能を有している。 In other words, the back pressure valve 27 has the function of releasing the fluid in the back pressure chamber 18 to the compression chamber 10 when the pressure in the back pressure chamber 18 exceeds a certain value, thereby adjusting the back pressure in the back pressure chamber 18 to an appropriate value.

また、前記圧縮室10へ流入した油は、ラップ摺動面やラップ先端すき間などを良好に潤滑すると共に、圧縮室間などのシールに利用されて、シール性も向上できるため、スクロール圧縮機の効率を向上できる。 The oil that flows into the compression chamber 10 effectively lubricates the wrap sliding surfaces and the gaps at the ends of the wraps, and is also used to seal between the compression chambers, improving sealing performance and improving the efficiency of the scroll compressor.

圧縮室10に流入した油は、その後吐出口2dから吐出空間11に吐出される。この吐出された油の一部は、例えば、冷媒ガスと共に前記吐出パイプ13から冷凍サイクルへ吐出され、残りは密閉容器8内で冷媒ガスと分離されて密閉容器8底部の貯油部8dに貯溜される。 The oil that flows into the compression chamber 10 is then discharged from the discharge port 2d into the discharge space 11. A portion of this discharged oil is discharged, for example, together with the refrigerant gas from the discharge pipe 13 into the refrigeration cycle, and the remainder is separated from the refrigerant gas in the sealed container 8 and stored in the oil storage section 8d at the bottom of the sealed container 8.

なお、本実施例においては、背圧弁流出路28bは、吸込過程を完了して圧縮を開始した後の圧縮室10に連通している。また、前記背圧弁流出路28bの開口部は、図2に示すように、固定スクロール2の歯底中央に設けられ、旋回スクロールの旋回運動により旋回外線室と旋回内線室の両方に交互に連通するようにしている。従って、両方の圧縮室に油を供給することができ、何れかの圧縮室10で給油不足となる不具合も回避できる。 In this embodiment, the back pressure valve outlet passage 28b is connected to the compression chamber 10 after the suction process is completed and compression has begun. Also, as shown in FIG. 2, the opening of the back pressure valve outlet passage 28b is provided at the center of the tooth base of the fixed scroll 2, and is alternately connected to both the orbiting outer line chamber and the orbiting inner line chamber by the orbiting motion of the orbiting scroll. Therefore, oil can be supplied to both compression chambers, and the problem of insufficient oil supply in any of the compression chambers 10 can be avoided.

上述したように、本発明の実施例1によれば、背圧室18へ流入した油は、図5に示す給油ポケット3dにより、吸込室16側に供給する第1の給油路と、圧縮室給油路28を経由して圧縮室10へ供給する第2の給油路を備えているので、吸込室16及び圧縮室10の潤滑及びシールを良好に行うことができる。従って、スクロール圧縮機の潤滑性を向上してスクロール圧縮機の信頼性を向上できると共に、体積効率を向上できるから、スクロール圧縮機の効率向上も図ることができる効果が得られる。 As described above, according to the first embodiment of the present invention, the oil flowing into the back pressure chamber 18 is supplied to the suction chamber 16 side by the oil supply pocket 3d shown in FIG. 5, and is provided with a second oil supply passage that is supplied to the compression chamber 10 via the compression chamber oil supply passage 28, so that the suction chamber 16 and the compression chamber 10 can be well lubricated and sealed. Therefore, the lubricity of the scroll compressor can be improved to improve the reliability of the scroll compressor, and the volumetric efficiency can be improved, so that the efficiency of the scroll compressor can also be improved.

また、本実施例では、前記背圧弁27を有する第2の給油路を設けているので、背圧室18内の油の一部を、吸込室16を経由することなく、前記背圧弁27を介して圧縮室10に直接供給することができる。
即ち、前記背圧室18へ供給された油のうち第1の給油路により決定される量だけが吸込室に導入され、残りの油は第2の給油路を介して圧縮室10に導入される。
従って、前記第1の給油路と第2の給油路のそれぞれの給油量を調整することにより、吸込室16への給油量と圧縮室10への給油量をそれぞれ適切な量に制御することが可能となる。
In addition, in this embodiment, a second oil supply passage having the back pressure valve 27 is provided, so that a portion of the oil in the back pressure chamber 18 can be supplied directly to the compression chamber 10 via the back pressure valve 27 without passing through the suction chamber 16.
That is, of the oil supplied to the back pressure chamber 18, only the amount determined by the first oil supply passage is introduced into the suction chamber, and the remaining oil is introduced into the compression chamber 10 via the second oil supply passage.
Therefore, by adjusting the amount of oil supplied to each of the first oil supply passage and the second oil supply passage, it is possible to control the amount of oil supplied to the suction chamber 16 and the amount of oil supplied to the compression chamber 10 to appropriate amounts.

本発明のスクロール圧縮機の実施例2を、図7を用いて説明する。図7は本実施例2を説明する図で、図5に相当する図である。なお、図7において、図1~図6と同じ符号を付した部分は同様の部分を示しており、同様の部分の説明は基本的に省略し、異なる部分を中心に説明する。 A second embodiment of the scroll compressor of the present invention will be described with reference to FIG. 7. FIG. 7 is a diagram for explaining this second embodiment, and corresponds to FIG. 5. In FIG. 7, parts with the same reference numerals as in FIG. 1 to FIG. 6 indicate similar parts, and explanations of similar parts will basically be omitted, with the focus on different parts being explained.

本実施例2でも、実施例1と同様に、旋回スクロール3に給油ポケット3dが設けられ、この給油ポケット3dには背圧室18の油が間歇的に供給されている。本実施例2が実施例1と異なる点は、前記給油ポケット3dに供給された油を、逆流防止弁(壁部材)21の上方(上流側)における吸込口2sの部分に吐出する給油経路2mを備えている点である。 In this second embodiment, as in the first embodiment, an oil supply pocket 3d is provided in the orbiting scroll 3, and oil from the back pressure chamber 18 is intermittently supplied to this oil supply pocket 3d. This embodiment differs from the first embodiment in that it is provided with an oil supply path 2m that discharges the oil supplied to the oil supply pocket 3d to the suction port 2s above (upstream of) the check valve (wall member) 21.

本実施例によれば、前記給油経路2mを備えることにより、給油ポケット3dに供給された油を、前記給油経路2mを介して、吸込パイプ12下方の吸込口2sに油を吐出することができる。従って、給油経路2mから吸込口2sに吐出された油は、吸込パイプ12から吸い込まれた流入ガスと共に、固定スクロール2の傾斜部2tに沿って吸込部17へ流れるので、油を旋回ラップ3bの歯先側(固定ラップ2bの歯底側)にも十分供給できる。 According to this embodiment, by providing the oil supply path 2m, the oil supplied to the oil supply pocket 3d can be discharged to the suction port 2s below the suction pipe 12 via the oil supply path 2m. Therefore, the oil discharged from the oil supply path 2m to the suction port 2s flows along the inclined portion 2t of the fixed scroll 2 to the suction portion 17 together with the inflow gas sucked from the suction pipe 12, so that the oil can be sufficiently supplied to the tooth tip side of the orbiting wrap 3b (the tooth bottom side of the fixed wrap 2b).

また、本実施例2では、実施例1と同様に吸込溝2rとテーパ形状部2kも備えているから、給油ポケット3dの油を前記テーパ形状部2kから上方に向かって吐出する構成も有する。従って、実施例1と同様に、テーパ形状部2kから吐出される油についても旋回ラップ3bの歯先側(固定ラップ2bの歯底側)に供給することができる。 In addition, in this embodiment 2, as in the first embodiment, the suction groove 2r and the tapered portion 2k are also provided, so that the oil in the oil supply pocket 3d is discharged upward from the tapered portion 2k. Therefore, as in the first embodiment, the oil discharged from the tapered portion 2k can also be supplied to the tooth tip side of the orbiting wrap 3b (the tooth bottom side of the fixed wrap 2b).

従って、本実施例2によれば、実施例1と同様の効果が得られると共に、吸込室16や圧縮室10におけるの潤滑やシール性を更に良好にできるから、スクロール圧縮機の効率を更に向上できる。 Therefore, according to this embodiment 2, the same effects as those of the first embodiment can be obtained, and the lubrication and sealing properties in the suction chamber 16 and the compression chamber 10 can be further improved, thereby further improving the efficiency of the scroll compressor.

なお、図7に示す実施例2では、前記給油経路2mと、吸込溝2rとテーパ形状部2kを備える構成としているが、吸込溝2r下流のテーパ形状部2kを無くして吸込溝2rをその分延長する構成にしたり、或いは吸込溝2rも無くして、給油経路2mだけにしても、実施例1とほぼ同様の効果を得ることができる。 In the second embodiment shown in FIG. 7, the oil supply path 2m, the suction groove 2r, and the tapered portion 2k are included. However, the same effect as in the first embodiment can be obtained by eliminating the tapered portion 2k downstream of the suction groove 2r and extending the suction groove 2r accordingly, or by eliminating the suction groove 2r and leaving only the oil supply path 2m.

本変形例2によれば、給油ポケット3dから供給された油を、逆流防止弁21の上方(上流側)における吸込口2sの部分に吐出するように構成しているので、旋回ラップ3bの歯先側(固定ラップ2bの歯底側)にも油を十分に供給することができ、吸込室16や圧縮室10におけるの潤滑やシール性を良好にできる。 According to this second modification, the oil supplied from the oil supply pocket 3d is discharged to the suction port 2s above (upstream of) the check valve 21, so that sufficient oil can be supplied to the tooth tip side of the orbiting wrap 3b (the tooth bottom side of the fixed wrap 2b), improving the lubrication and sealing properties in the suction chamber 16 and compression chamber 10.

本発明の実施例3を、図8を用いて説明する。図8は本発明のスクロール圧縮機を用いたヒートポンプ式給湯機を示すシステム概略図である。
ヒートポンプ式給湯機は、湯の沸き上げを行うヒートポンプユニット部40と、湯を溜める貯湯タンクユニット部41で構成されている。
A third embodiment of the present invention will be described with reference to Fig. 8. Fig. 8 is a system schematic diagram showing a heat pump water heater using the scroll compressor of the present invention.
The heat pump water heater is composed of a heat pump unit 40 that heats up hot water and a hot water storage tank unit 41 that stores the hot water.

ヒートポンプユニット部40は、容量可変可能なスクロール圧縮機1と、スクロール圧縮機1から吐出された高温高圧冷媒と被加熱媒体である水とを熱交換させる水-冷媒熱交換器(凝縮器)42と、水-冷媒熱交換器42から流出した冷媒を低温低圧に膨張させる膨張弁やキャピラリチューブなどの膨張手段43と、膨張手段43から流出した低温低圧冷媒と送風ファン44によって送風される空気とを熱交換させて冷媒を蒸発させる空気側熱交換器(蒸発器)45とを備える。空気側熱交換器45から流出した冷媒ガスはスクロール圧縮機1へ吸入される。これらの機器は環状に接続されて冷凍サイクル(加熱サイクル)を構成している。 The heat pump unit 40 includes a scroll compressor 1 with a variable capacity, a water-refrigerant heat exchanger (condenser) 42 that exchanges heat between the high-temperature, high-pressure refrigerant discharged from the scroll compressor 1 and water, which is the medium to be heated, an expansion means 43 such as an expansion valve or a capillary tube that expands the refrigerant flowing out of the water-refrigerant heat exchanger 42 to a low temperature and low pressure, and an air-side heat exchanger (evaporator) 45 that exchanges heat between the low-temperature, low-pressure refrigerant flowing out of the expansion means 43 and air blown by a blower fan 44 to evaporate the refrigerant. The refrigerant gas flowing out of the air-side heat exchanger 45 is sucked into the scroll compressor 1. These devices are connected in a ring shape to form a refrigeration cycle (heating cycle).

また、スクロール圧縮機1の吐出部側の温度を検出する吐出冷媒温度検出部46、空気側熱交換器45から流出した冷媒の温度を検出する出口冷媒温度検出部47および外気温度を検出する外気温度検出部48を備える。前記各温度検出部46~48は制御部49に接続され、この制御部49は前記各温度検出部46~48で検出された温度に基づいて前記スクロール圧縮機1の容量や前記膨張手段43を制御する。なお、このヒートポンプ式給湯機における冷凍サイクルでは、冷媒として二酸化炭素が使用されている。 The scroll compressor 1 also includes a discharge refrigerant temperature detector 46 that detects the temperature on the discharge side of the scroll compressor 1, an outlet refrigerant temperature detector 47 that detects the temperature of the refrigerant flowing out of the air-side heat exchanger 45, and an outside air temperature detector 48 that detects the outside air temperature. Each of the temperature detectors 46 to 48 is connected to a control unit 49, which controls the capacity of the scroll compressor 1 and the expansion means 43 based on the temperatures detected by each of the temperature detectors 46 to 48. Note that carbon dioxide is used as the refrigerant in the refrigeration cycle of this heat pump water heater.

また,図8に示すように,水-冷媒熱交換器42には、貯湯タンク50の下部から低温の水が循環ポンプ51を駆動させることによって水配管52を介して供給され、水-冷媒熱交換器42で熱交換を行い、高温の湯になった後、貯湯タンク50上部に戻される。
一方、貯湯タンク50には、外部からの給水が該貯湯タンク50の下部から流入し、高温の湯が前記貯湯タンク50の上部から給湯され、台所や風呂などの用途に送られる。
As shown in FIG. 8 , low-temperature water is supplied to the water-refrigerant heat exchanger 42 from the bottom of the hot water storage tank 50 via water piping 52 by driving a circulation pump 51, and after heat exchange in the water-refrigerant heat exchanger 42 and becoming high-temperature water, the water is returned to the top of the hot water storage tank 50.
Meanwhile, water is supplied from the outside to the bottom of the hot water storage tank 50, and high-temperature hot water is supplied from the top of the hot water storage tank 50 and sent to the kitchen, bath, and other uses.

このように構成された本実施例3のヒートポンプ式給湯機は、前記スクロール圧縮機1として、上述した実施例1または実施例2に記載のスクロール圧縮機1を採用しているので、ヒートポンプ式給湯機の効率向上を図ることができる効果が得られる。 The heat pump water heater of this embodiment 3 configured in this manner employs the scroll compressor 1 described in the above-mentioned embodiment 1 or embodiment 2 as the scroll compressor 1, and therefore has the effect of improving the efficiency of the heat pump water heater.

なお、本発明は上述した実施例に限定されるものではなく、様々な変形例が含まれる。例えば、上記実施例では、スクロール圧縮機1として縦型のスクロール圧縮機としている場合について説明したが、横型のスクロール圧縮機にも同様に適用することが可能である。
また、上記した実施例は本発明を分かり易く説明するために詳細に説明したものであり、必ずしも説明した全ての構成を備えるものに限定されるものではない。
The present invention is not limited to the above-described embodiment, but includes various modified examples. For example, in the above embodiment, the scroll compressor 1 is a vertical scroll compressor, but the present invention can be applied to a horizontal scroll compressor in the same manner.
Furthermore, the above-described embodiment has been described in detail in order to easily explain the present invention, and the present invention is not necessarily limited to having all of the configurations described.

1…スクロール圧縮機、1A…圧縮機構部、
2…固定スクロール、2a…固定鏡板、2b…固定ラップ、2c…支持部、
2d…吐出口、2e…バイパス孔、2k…テーパ形状部、2m…給油経路、
2r…吸込溝、2s…吸込口、2t…傾斜部、
2u…固定鏡板面(スラスト支持面)、
3…旋回スクロール、3a…旋回鏡板、
3a1…旋回鏡板上面(旋回スラスト面)、3a2…旋回鏡板縁、
3a3…旋回鏡板下面、3b…旋回ラップ、3c…旋回ボス部、
3d…給油ポケット(給油凹部)、
4…フレーム、5…オルダムリング、
6…クランク軸、6a…偏心ピン部(ピン部)、6b…給油穴、6c…給油パイプ、
7…モータ部、7a…ロータ、7b…ステータ、
8…密閉容器、8a…胴部、8b…蓋キャップ、8c…底キャップ、8d…貯油部、
9…モータ室、10…圧縮室、11…吐出空間(固定背面室)、
12…吸込パイプ、13…吐出パイプ、14…主軸受、15…旋回軸受、
16…吸込室、17…吸込部、18…背圧室、
19…旋回ボス部内空間(旋回軸受室)、
21…逆流防止弁(壁部材)、22…バイパス弁、
23…湾状凹部、24…環状凹部、
25…副軸受、25a…軸受ブッシュ、25b…副軸受ハウジング、
26…副フレーム、27…背圧弁、27a…背圧弁ピース(弁座部品)、
28…圧縮室給油路、28a…背圧弁流入路、28b…背圧弁流出路、
29…背圧弁収容空間、29a…ストッパ、29b…ばね、29c…止め栓、
30…電源端子、31…旋回運動するときの掃引領域、32…旋回運動方向、
35,36…カウンタウエイト、37…ストッパ、38…ばね、
40…ヒートポンプユニット部、41…貯湯タンクユニット部、
42…水-冷媒熱交換器(凝縮器)、43…膨張手段、44…送風ファン、
45…空気側熱交換器(蒸発器)、46…吐出冷媒温度検出部、
47…出口冷媒温度検出部、48…外気温度検出部、49…制御部、
50…貯湯タンク、51…循環ポンプ、52…水配管。
1...Scroll compressor, 1A...Compression mechanism part,
2... fixed scroll, 2a... fixed end plate, 2b... fixed wrap, 2c... support portion,
2d: discharge port; 2e: bypass hole; 2k: tapered portion; 2m: oil supply path;
2r...suction groove, 2s...suction port, 2t...inclined portion,
2u: fixed end plate surface (thrust support surface),
3...rotating scroll, 3a...rotating head plate,
3a1: upper surface of the rotating head (rotating thrust surface), 3a2: edge of the rotating head,
3a3...lower surface of the rotating head plate, 3b...rotating wrap, 3c...rotating boss portion,
3d...oil supply pocket (oil supply recess),
4...Frame, 5...Oldham Ring,
6... crankshaft, 6a... eccentric pin portion (pin portion), 6b... oil supply hole, 6c... oil supply pipe,
7...motor section, 7a...rotor, 7b...stator,
8: sealed container, 8a: body, 8b: lid cap, 8c: bottom cap, 8d: oil storage section,
9: motor chamber, 10: compression chamber, 11: discharge space (fixed rear chamber),
12...suction pipe, 13...discharge pipe, 14...main bearing, 15...slewing bearing,
16...suction chamber, 17...suction section, 18...back pressure chamber,
19...Space inside the swivel boss (swivel bearing chamber),
21: check valve (wall member), 22: bypass valve,
23... bay-shaped recess, 24... annular recess,
25... Auxiliary bearing, 25a... Bearing bush, 25b... Auxiliary bearing housing,
26... sub-frame, 27... back pressure valve, 27a... back pressure valve piece (valve seat part),
28... compression chamber oil supply passage, 28a... back pressure valve inlet passage, 28b... back pressure valve outlet passage,
29: Back pressure valve accommodating space; 29a: Stopper; 29b: Spring; 29c: Stopper plug;
30: power supply terminal; 31: sweep area during pivoting; 32: pivoting direction;
35, 36 ... counterweight, 37 ... stopper, 38 ... spring,
40... heat pump unit section, 41... hot water tank unit section,
42...water-refrigerant heat exchanger (condenser), 43...expansion means, 44...blower fan,
45: air-side heat exchanger (evaporator), 46: discharge refrigerant temperature detection unit,
47: Outlet refrigerant temperature detection unit, 48: Outside air temperature detection unit, 49: Control unit,
50...hot water tank, 51...circulation pump, 52...water piping.

Claims (12)

固定鏡板に渦巻状の固定ラップを立設した固定スクロールと、旋回鏡板に立設した渦巻状の旋回ラップを有し前記固定スクロールと噛み合わされて旋回運動をする旋回スクロールと、前記固定スクロール及び旋回スクロールを互いに噛み合わせて形成される吸込室及び圧縮室と、前記旋回スクロールを旋回運動させるためのクランク軸と、前記旋回スクロールの旋回ボス部に設けられ前記クランク軸の偏心ピン部に対し前記旋回スクロールを軸方向に移動可能でかつ回転自在に支持するための旋回軸受と、前記旋回ボス部には密閉容器内に貯留された潤滑油が導かれて吐出圧力に近い圧力となる旋回ボス部内空間と、前記旋回スクロールの背面で前記旋回ボス部内空間よりも外周側に設けられ吐出圧力と吸込圧力との間の圧力となる背圧室と、前記固定スクロールの固定鏡板外周側に設けられ、吸込パイプからの冷媒ガスが導かれる吸込口を備えるスクロール圧縮機であって、
前記吸込口と前記吸込室との間の前記固定鏡板に設けられた吸込部と、
前記吸込口における前記吸込パイプとは反対側に設けられ、吸込パイプからの冷媒ガスの流れを斜め流れに偏向させる壁部材と、
前記旋回鏡板の外周側に設けられ、前記背圧室の油が導かれる給油凹部と、
前記固定鏡板に設けられ、前記給油凹部の油を前記吸込部側に導く吸込溝と、
前記吸込溝の出口側に形成され、前記吸込溝からの油の少なくとも一部を前記旋回ラップの歯先側に吐出させるためのテーパ形状部と、を備え、
前記吸込溝の吸込部側開口部を前記壁部材の背面側に開口させ、前記壁部材が、前記吸込パイプから流入する冷媒ガスに対し、前記吸込溝から流出する油の傘となるように構成していることを特徴とするスクロール圧縮機。
a crankshaft for causing the orbiting scroll to perform orbital motion; an orbiting bearing provided in an orbiting boss portion of the orbiting scroll for supporting the orbiting scroll axially and rotatably relative to an eccentric pin portion of the crankshaft; an orbiting boss inner space having a pressure close to a discharge pressure to which lubricating oil stored in a sealed container is introduced; a back pressure chamber provided on the back surface of the orbiting scroll and radially outward of the orbiting boss inner space, the back pressure chamber being a pressure between the discharge pressure and the suction pressure; and a suction port provided on the radially outward side of the fixed end plate of the fixed scroll to which a refrigerant gas from a suction pipe is introduced.
A suction portion provided on the fixed end plate between the suction port and the suction chamber;
a wall member provided on an opposite side of the suction pipe at the suction port, the wall member deflecting a flow of the refrigerant gas from the suction pipe into an oblique flow;
an oil supply recess provided on an outer circumferential side of the rotating head, into which oil from the back pressure chamber is guided;
a suction groove provided in the fixed end plate for guiding oil from the oil supply recess toward the suction portion;
a tapered portion formed on an outlet side of the suction groove for discharging at least a portion of the oil from the suction groove to a tooth tip side of the orbiting wrap,
a suction groove having an opening on the suction portion side that opens onto a rear surface side of the wall member, and the wall member is configured to act as an umbrella for oil flowing out of the suction groove against refrigerant gas flowing in from the suction pipe.
請求項1に記載のスクロール圧縮機であって、
前記吸込部を形成している前記固定鏡板に設けられ、前記吸込口側から前記吸込室側に向かって傾斜する傾斜部を備え、
前記壁部材は、吸込パイプからの冷媒ガスの流れを前記傾斜部側に偏向させることを特徴とするスクロール圧縮機。
The scroll compressor according to claim 1,
The fixed end plate forming the suction portion includes an inclined portion inclined from the suction port side toward the suction chamber side,
The scroll compressor, wherein the wall member deflects a flow of refrigerant gas from a suction pipe toward the inclined portion.
請求項2に記載のスクロール圧縮機であって、
前記吸込溝から吐出される油の少なくとも一部は前記傾斜部側に吐出されるように前記テーパ形状部が形成されていることを特徴とするスクロール圧縮機。
The scroll compressor according to claim 2,
The scroll compressor, wherein the tapered portion is formed so that at least a portion of the oil discharged from the suction groove is discharged toward the inclined portion.
請求項1に記載のスクロール圧縮機であって、
前記給油凹部は、前記旋回スクロールの旋回鏡板上面の外周側に形成された給油ポケットであることを特徴とするスクロール圧縮機。
The scroll compressor according to claim 1,
The scroll compressor according to claim 1, wherein the oil supply recess is an oil supply pocket formed on an outer circumferential side of an upper surface of a rotating head plate of the rotating scroll.
請求項1に記載のスクロール圧縮機であって、
前記壁部材は、前記吸込口に設けられた逆流防止弁であることを特徴とするスクロール圧縮機。
The scroll compressor according to claim 1,
The scroll compressor according to claim 1, wherein the wall member is a check valve provided at the suction port .
請求項5に記載のスクロール圧縮機であって、
前記吸込溝の吸込部側開口部を前記逆流防止弁の背面側に開口させ、前記逆流防止弁が、前記吸込パイプから流入する冷媒ガスに対し、前記吸込溝から流出する油の傘となるように構成されていることを特徴とするスクロール圧縮機。
The scroll compressor according to claim 5,
a check valve configured to act as an umbrella of oil flowing out of the suction groove against refrigerant gas flowing in from the suction pipe, the check valve being configured so that an opening of the suction groove on the suction portion side opens to a rear side of the check valve, the check valve acting as an umbrella of oil flowing out of the suction groove against refrigerant gas flowing in from the suction pipe.
請求項6に記載のスクロール圧縮機であって、
前記吸込溝における前記テーパ形状部の開口端の位置は、前記逆流防止弁の背面側であって、逆流防止弁の直径の40~60%の長さの部分が、前記テーパ形状部から吐出される油の傘として機能することを特徴とするスクロール圧縮機。
The scroll compressor according to claim 6,
A scroll compressor characterized in that an opening end of the tapered portion in the suction groove is located on the back side of the check valve, and a portion having a length of 40 to 60% of the diameter of the check valve functions as an umbrella for oil discharged from the tapered portion.
請求項7に記載のスクロール圧縮機であって、
前記吸込溝における前記テーパ形状部の開口端の位置は、前記逆流防止弁の中心付近の背面側に形成されていることを特徴とするスクロール圧縮機。
The scroll compressor according to claim 7,
a tapered portion of the suction groove having an opening end located on a rear surface side of the check valve near a center thereof;
請求項1に記載のスクロール圧縮機であって、
前記固定スクロールには、前記背圧室の背圧を調整するための背圧弁を有する圧縮室給油路が備えられ、この圧縮室給油路は、前記背圧室に開口される背圧弁流入路と、前記圧縮室に連通する背圧弁流出路を備えることを特徴とするスクロール圧縮機。
The scroll compressor according to claim 1,
the fixed scroll is provided with a compression chamber oil supply passage having a back pressure valve for adjusting the back pressure of the back pressure chamber, the compression chamber oil supply passage including a back pressure valve inlet passage opening into the back pressure chamber and a back pressure valve outlet passage communicating with the compression chamber.
固定鏡板に渦巻状の固定ラップを立設した固定スクロールと、旋回鏡板に立設した渦巻状の旋回ラップを有し前記固定スクロールと噛み合わされて旋回運動をする旋回スクロールと、前記固定スクロール及び旋回スクロールを互いに噛み合わせて形成される吸込室及び圧縮室と、前記旋回スクロールを旋回運動させるためのクランク軸と、前記旋回スクロールの旋回ボス部に設けられ前記クランク軸の偏心ピン部に対し前記旋回スクロールを軸方向に移動可能でかつ回転自在に支持するための旋回軸受と、前記旋回ボス部には密閉容器内に貯留された潤滑油が導かれて吐出圧力に近い圧力となる旋回ボス部内空間と、前記旋回スクロールの背面で前記旋回ボス部内空間よりも外周側に設けられ吐出圧力と吸込圧力との間の圧力となる背圧室と、前記固定スクロールの固定鏡板外周側に設けられ、吸込パイプからの冷媒ガスが導かれる吸込口を備えるスクロール圧縮機であって、
前記吸込口と前記吸込室との間の前記固定鏡板に設けられた吸込部と、
前記吸込口における前記吸込パイプとは反対側に設けられ、吸込パイプからの冷媒ガスの流れを斜め流れに偏向させる壁部材と、
前記旋回鏡板の外周側に設けられ、前記背圧室の油が導かれる給油凹部と、
前記固定鏡板に設けられ、前記給油凹部の油を前記壁部材の上流側における前記吸込口に吐出する給油経路を設けていることを特徴とするスクロール圧縮機。
a crankshaft for causing the orbiting scroll to perform orbital motion; an orbiting bearing provided in an orbiting boss portion of the orbiting scroll for supporting the orbiting scroll axially and rotatably relative to an eccentric pin portion of the crankshaft; an orbiting boss inner space having a pressure close to a discharge pressure to which lubricating oil stored in a sealed container is introduced; a back pressure chamber provided on the back surface of the orbiting scroll and radially outward of the orbiting boss inner space, the back pressure chamber being a pressure between the discharge pressure and the suction pressure; and a suction port provided on the radially outward side of the fixed end plate of the fixed scroll to which a refrigerant gas from a suction pipe is introduced.
A suction portion provided on the fixed end plate between the suction port and the suction chamber;
a wall member provided on an opposite side of the suction pipe at the suction port, the wall member deflecting a flow of the refrigerant gas from the suction pipe into an oblique flow;
an oil supply recess provided on an outer circumferential side of the rotating head, into which oil from the back pressure chamber is guided;
a fixed end plate having an oil supply passage for discharging oil from the oil supply recess to the suction port on the upstream side of the wall member;
請求項10に記載のスクロール圧縮機であって、
前記固定鏡板に設けられ、前記給油凹部の油を前記吸込部側に導く吸込溝と、
前記吸込溝の出口側に形成され、前記吸込溝からの油の少なくとも一部を前記旋回ラップの歯先側に吐出させるためのテーパ形状部を更に備え、
前記吸込溝の吸込部側開口部を前記壁部材の背面側に開口させ、前記壁部材が、前記吸込パイプから流入する冷媒ガスに対し、前記吸込溝から流出する油の傘となるように構成していることを特徴とするスクロール圧縮機。
The scroll compressor according to claim 10,
a suction groove provided in the fixed end plate for guiding oil from the oil supply recess toward the suction portion;
A tapered portion is formed on an outlet side of the suction groove for discharging at least a portion of the oil from the suction groove to a tooth tip side of the orbiting wrap,
a suction groove having an opening on the suction portion side that opens onto a rear surface side of the wall member, and the wall member is configured to act as an umbrella for oil flowing out of the suction groove against refrigerant gas flowing in from the suction pipe.
湯の沸き上げを行うヒートポンプユニット部と、湯を溜める貯湯タンクユニット部を備え、前記ヒートポンプユニット部は、スクロール圧縮機と、このスクロール圧縮機から吐出された高温高圧冷媒と被加熱媒体である水とを熱交換させる水-冷媒熱交換器と、この水-冷媒熱交換器から流出した冷媒を低温低圧に膨張させる膨張手段と、膨張手段から流出した低温低圧冷媒を蒸発させる空気側熱交換器とを備え、前記スクロール圧縮機は請求項1~11の何れか一項に記載のスクロール圧縮機を採用していることを特徴とするヒートポンプ式給湯機。 A heat pump water heater comprising a heat pump unit section that heats up hot water and a hot water storage tank unit section that stores hot water, the heat pump unit section comprising a scroll compressor, a water-refrigerant heat exchanger that exchanges heat between a high-temperature, high-pressure refrigerant discharged from the scroll compressor and water as a medium to be heated, an expansion means that expands the refrigerant flowing out of the water-refrigerant heat exchanger to a low-temperature, low-pressure refrigerant, and an air-side heat exchanger that evaporates the low-temperature, low-pressure refrigerant flowing out of the expansion means, the scroll compressor being the scroll compressor described in any one of claims 1 to 11.
JP2022094219A 2022-06-10 2022-06-10 Scroll compressor and heat pump water heater Active JP7619981B2 (en)

Priority Applications (1)

Application Number Priority Date Filing Date Title
JP2022094219A JP7619981B2 (en) 2022-06-10 2022-06-10 Scroll compressor and heat pump water heater

Applications Claiming Priority (1)

Application Number Priority Date Filing Date Title
JP2022094219A JP7619981B2 (en) 2022-06-10 2022-06-10 Scroll compressor and heat pump water heater

Publications (2)

Publication Number Publication Date
JP2023180698A JP2023180698A (en) 2023-12-21
JP7619981B2 true JP7619981B2 (en) 2025-01-22

Family

ID=89306874

Family Applications (1)

Application Number Title Priority Date Filing Date
JP2022094219A Active JP7619981B2 (en) 2022-06-10 2022-06-10 Scroll compressor and heat pump water heater

Country Status (1)

Country Link
JP (1) JP7619981B2 (en)

Citations (6)

* Cited by examiner, † Cited by third party
Publication number Priority date Publication date Assignee Title
JP2011052590A (en) 2009-09-02 2011-03-17 Hitachi Appliances Inc Scroll compressor, refrigeration cycle device, and heat pump water heater
JP2014080873A (en) 2012-10-15 2014-05-08 Hitachi Appliances Inc Scroll compressor
JP2014206060A (en) 2013-04-11 2014-10-30 日立アプライアンス株式会社 Scroll compressor
WO2014196314A1 (en) 2013-06-03 2014-12-11 日立アプライアンス株式会社 Scroll compressor and air conditioner using same
JP2017053279A (en) 2015-09-10 2017-03-16 ジョンソンコントロールズ ヒタチ エア コンディショニング テクノロジー(ホンコン)リミテッド Scroll compressor
US20180231002A1 (en) 2017-02-13 2018-08-16 Lg Electronics Inc. Scroll compressor

Family Cites Families (2)

* Cited by examiner, † Cited by third party
Publication number Priority date Publication date Assignee Title
JPH06317271A (en) * 1993-05-06 1994-11-15 Hitachi Ltd Hermetic scroll compressor
JP3584533B2 (en) * 1995-04-12 2004-11-04 株式会社日立製作所 Scroll compressor

Patent Citations (6)

* Cited by examiner, † Cited by third party
Publication number Priority date Publication date Assignee Title
JP2011052590A (en) 2009-09-02 2011-03-17 Hitachi Appliances Inc Scroll compressor, refrigeration cycle device, and heat pump water heater
JP2014080873A (en) 2012-10-15 2014-05-08 Hitachi Appliances Inc Scroll compressor
JP2014206060A (en) 2013-04-11 2014-10-30 日立アプライアンス株式会社 Scroll compressor
WO2014196314A1 (en) 2013-06-03 2014-12-11 日立アプライアンス株式会社 Scroll compressor and air conditioner using same
JP2017053279A (en) 2015-09-10 2017-03-16 ジョンソンコントロールズ ヒタチ エア コンディショニング テクノロジー(ホンコン)リミテッド Scroll compressor
US20180231002A1 (en) 2017-02-13 2018-08-16 Lg Electronics Inc. Scroll compressor

Also Published As

Publication number Publication date
JP2023180698A (en) 2023-12-21

Similar Documents

Publication Publication Date Title
CN101165350B (en) scroll compressor
JP6302813B2 (en) Scroll compressor and refrigeration cycle apparatus using the same
US8316664B2 (en) Refrigeration cycle apparatus and fluid machine used therefor
CN109996962B (en) Asymmetric scroll compressor
JP2012207655A (en) Rankine cycle apparatus
JP2011038480A (en) Scroll fluid machine
CN114026328B (en) Scroll compressor and air conditioner using the scroll compressor
JP4337820B2 (en) Scroll type fluid machinery
CN104105881B (en) scroll compressor
EP3594502B1 (en) Scroll compressor
JP7619981B2 (en) Scroll compressor and heat pump water heater
JP6143862B2 (en) Scroll compressor and air conditioner using the same
JP6061044B2 (en) Scroll compressor
JP7481640B2 (en) Scroll compressor and refrigeration device
JP7606947B2 (en) Scroll compressor and refrigeration cycle device using the same
WO2013160953A1 (en) Expansion device with integrated compression mechanism
JP7702647B2 (en) Scroll Compressor
JP7161139B1 (en) Scroll compressor and refrigeration cycle device
JP2011163256A (en) Scroll compressor
WO2022185956A1 (en) Compressor and refrigeration cycle device
JP2024112223A (en) Compressor
JP2014101804A (en) Scroll type compressor
JP2014009647A (en) Compressor
JP2007032293A (en) Scroll compressor
JP2015078665A (en) Scroll compressor

Legal Events

Date Code Title Description
A621 Written request for application examination

Free format text: JAPANESE INTERMEDIATE CODE: A621

Effective date: 20240325

A977 Report on retrieval

Free format text: JAPANESE INTERMEDIATE CODE: A971007

Effective date: 20240912

A131 Notification of reasons for refusal

Free format text: JAPANESE INTERMEDIATE CODE: A131

Effective date: 20240924

A521 Request for written amendment filed

Free format text: JAPANESE INTERMEDIATE CODE: A523

Effective date: 20240927

TRDD Decision of grant or rejection written
A01 Written decision to grant a patent or to grant a registration (utility model)

Free format text: JAPANESE INTERMEDIATE CODE: A01

Effective date: 20241224

A61 First payment of annual fees (during grant procedure)

Free format text: JAPANESE INTERMEDIATE CODE: A61

Effective date: 20250109

R150 Certificate of patent or registration of utility model

Ref document number: 7619981

Country of ref document: JP

Free format text: JAPANESE INTERMEDIATE CODE: R150