JP7592016B2 - 神経刺激システム - Google Patents
神経刺激システム Download PDFInfo
- Publication number
- JP7592016B2 JP7592016B2 JP2021534954A JP2021534954A JP7592016B2 JP 7592016 B2 JP7592016 B2 JP 7592016B2 JP 2021534954 A JP2021534954 A JP 2021534954A JP 2021534954 A JP2021534954 A JP 2021534954A JP 7592016 B2 JP7592016 B2 JP 7592016B2
- Authority
- JP
- Japan
- Prior art keywords
- stimulator
- nerve
- period
- equal
- stimulation
- Prior art date
- Legal status (The legal status is an assumption and is not a legal conclusion. Google has not performed a legal analysis and makes no representation as to the accuracy of the status listed.)
- Active
Links
Images
Classifications
-
- A—HUMAN NECESSITIES
- A61—MEDICAL OR VETERINARY SCIENCE; HYGIENE
- A61N—ELECTROTHERAPY; MAGNETOTHERAPY; RADIATION THERAPY; ULTRASOUND THERAPY
- A61N1/00—Electrotherapy; Circuits therefor
- A61N1/18—Applying electric currents by contact electrodes
- A61N1/32—Applying electric currents by contact electrodes alternating or intermittent currents
- A61N1/36—Applying electric currents by contact electrodes alternating or intermittent currents for stimulation
- A61N1/3605—Implantable neurostimulators for stimulating central or peripheral nerve system
- A61N1/36128—Control systems
- A61N1/36146—Control systems specified by the stimulation parameters
- A61N1/36167—Timing, e.g. stimulation onset
-
- A—HUMAN NECESSITIES
- A61—MEDICAL OR VETERINARY SCIENCE; HYGIENE
- A61N—ELECTROTHERAPY; MAGNETOTHERAPY; RADIATION THERAPY; ULTRASOUND THERAPY
- A61N1/00—Electrotherapy; Circuits therefor
- A61N1/02—Details
- A61N1/04—Electrodes
- A61N1/05—Electrodes for implantation or insertion into the body, e.g. heart electrode
- A61N1/0551—Spinal or peripheral nerve electrodes
-
- A—HUMAN NECESSITIES
- A61—MEDICAL OR VETERINARY SCIENCE; HYGIENE
- A61N—ELECTROTHERAPY; MAGNETOTHERAPY; RADIATION THERAPY; ULTRASOUND THERAPY
- A61N1/00—Electrotherapy; Circuits therefor
- A61N1/18—Applying electric currents by contact electrodes
- A61N1/32—Applying electric currents by contact electrodes alternating or intermittent currents
- A61N1/36—Applying electric currents by contact electrodes alternating or intermittent currents for stimulation
- A61N1/3605—Implantable neurostimulators for stimulating central or peripheral nerve system
- A61N1/36128—Control systems
-
- A—HUMAN NECESSITIES
- A61—MEDICAL OR VETERINARY SCIENCE; HYGIENE
- A61B—DIAGNOSIS; SURGERY; IDENTIFICATION
- A61B5/00—Measuring for diagnostic purposes; Identification of persons
- A61B5/40—Detecting, measuring or recording for evaluating the nervous system
- A61B5/4029—Detecting, measuring or recording for evaluating the nervous system for evaluating the peripheral nervous systems
- A61B5/4041—Evaluating nerves condition
-
- A—HUMAN NECESSITIES
- A61—MEDICAL OR VETERINARY SCIENCE; HYGIENE
- A61N—ELECTROTHERAPY; MAGNETOTHERAPY; RADIATION THERAPY; ULTRASOUND THERAPY
- A61N1/00—Electrotherapy; Circuits therefor
- A61N1/02—Details
- A61N1/04—Electrodes
- A61N1/05—Electrodes for implantation or insertion into the body, e.g. heart electrode
- A61N1/0551—Spinal or peripheral nerve electrodes
- A61N1/0556—Cuff electrodes
-
- A—HUMAN NECESSITIES
- A61—MEDICAL OR VETERINARY SCIENCE; HYGIENE
- A61N—ELECTROTHERAPY; MAGNETOTHERAPY; RADIATION THERAPY; ULTRASOUND THERAPY
- A61N1/00—Electrotherapy; Circuits therefor
- A61N1/18—Applying electric currents by contact electrodes
- A61N1/32—Applying electric currents by contact electrodes alternating or intermittent currents
- A61N1/36—Applying electric currents by contact electrodes alternating or intermittent currents for stimulation
- A61N1/3605—Implantable neurostimulators for stimulating central or peripheral nerve system
- A61N1/36128—Control systems
- A61N1/36135—Control systems using physiological parameters
-
- A—HUMAN NECESSITIES
- A61—MEDICAL OR VETERINARY SCIENCE; HYGIENE
- A61N—ELECTROTHERAPY; MAGNETOTHERAPY; RADIATION THERAPY; ULTRASOUND THERAPY
- A61N1/00—Electrotherapy; Circuits therefor
- A61N1/18—Applying electric currents by contact electrodes
- A61N1/32—Applying electric currents by contact electrodes alternating or intermittent currents
- A61N1/36—Applying electric currents by contact electrodes alternating or intermittent currents for stimulation
- A61N1/3605—Implantable neurostimulators for stimulating central or peripheral nerve system
- A61N1/36128—Control systems
- A61N1/36146—Control systems specified by the stimulation parameters
- A61N1/36167—Timing, e.g. stimulation onset
- A61N1/36178—Burst or pulse train parameters
Landscapes
- Health & Medical Sciences (AREA)
- Neurology (AREA)
- Neurosurgery (AREA)
- Engineering & Computer Science (AREA)
- Biomedical Technology (AREA)
- Nuclear Medicine, Radiotherapy & Molecular Imaging (AREA)
- Radiology & Medical Imaging (AREA)
- Life Sciences & Earth Sciences (AREA)
- Animal Behavior & Ethology (AREA)
- General Health & Medical Sciences (AREA)
- Public Health (AREA)
- Veterinary Medicine (AREA)
- Orthopedic Medicine & Surgery (AREA)
- Cardiology (AREA)
- Heart & Thoracic Surgery (AREA)
- Electrotherapy Devices (AREA)
Description
さらなる一実施形態では、第3の電極が、第1及び第2の電極よりも大きな表面積を有する。第3の電極は、例えばIPGケースであり得る。
本発明は、以下の態様を含む。
[項1]
神経を電気刺激するシステムであって、
神経を電気刺激する、互いに第1の距離、離間されている第1の刺激装置及び第2の刺激装置、並びに
a)第1の距離及び神経の活動電位の伝播速度の関数として時間間隔を設定する、
b)第1の刺激装置を第1の刺激期間にわたり活性化することにより、神経の電気活性を誘導する、及び
c)第1の期間の終了後に時間間隔が経過した後に、第2の刺激装置を第2の刺激期間にわたり活性化する
ために構成された制御装置
を含むシステム。
[項2]
時間間隔が、第1の距離を神経の活動電位の伝播速度で割った商とほぼ等しいか、又はそれより大きい第1の期間を含む、項1に記載のシステム。
[項3]
神経の活動電位の伝播速度がおよそ0.5mm/msである、項2に記載のシステム。
[項4]
第1の刺激装置と第2の刺激装置との間の第1の距離が、3mmとほぼ等しいか、又は3mmより大きい、項1から3のいずれか一項に記載のシステム。
[項5]
第1の期間が、6msとほぼ等しいか、又は6msより長い、項3又は4に記載のシステム。
[項6]
第1の刺激装置と第2の刺激装置との間の第1の距離が、5mm以上である、項1から5のいずれか一項に記載のシステム。
[項7]
第1の期間が、10msとほぼ等しいか、又は10msより長い、項3又は6に記載のシステム。
[項8]
第1の刺激装置と第2の刺激装置との間の前記第1の距離が、およそ6mmである、項1から7のいずれか一項に記載のシステム。
[項9]
第1の期間が、12msとほぼ等しいか、又は12msより長い、項3又は8に記載のシステム。
[項10]
第1の距離がおよそ6.4mmである、項1から9のいずれか一項に記載のシステム。
[項11]
第1の期間が、12.8msとほぼ等しいか、又は12.8msより長い、項3又は10に記載のシステム。
[項12]
前記時間間隔の設定が、前記第1の期間と刺激からの神経の回復を可能にするバッファ期間との合計である、項1から11のいずれか一項に記載のシステム。
[項13]
バッファ期間が、神経において誘導された電気活性の効果が前記第2の刺激装置の位置で既定閾値未満に下がる又は消失するために必要とされる時間の長さ以上である、項12に記載のシステム。
[項14]
バッファ期間が10ms以上である、項12又は13に記載のシステム。
[項15]
時間間隔が、最初の刺激期間の半分以下である、項1から14のいずれか一項に記載のシステム。
[項16]
第1の刺激装置及び第2の刺激装置のそれぞれが、1つ以上の電極を含む、項1から15のいずれか一項に記載のシステム。
[項17]
第1の刺激装置及び第2の刺激装置を神経に電気結合するための装着手段をさらに含み、装着手段が、神経を受容するための内径を有する開口部を画定する、項1から16のいずれか一項に記載のシステム。
[項18]
内径が5mmとほぼ等しいか、又は5mmより大きい、項17に記載のシステム。
[項19]
内径が13mmとほぼ等しいか、又は13mm未満である、項17又は18に記載のシステム。
[項20]
内径がほぼ7.5mmである、項17から19のいずれか一項に記載のシステム。
[項21]
システムが神経に装着されている、項1から20のいずれか一項に記載のシステム。
[項22]
システムが神経を包囲する、項1から21のいずれか一項に記載のシステム。
[項23]
神経が自律神経である、項21又は22に記載のシステム。
[項24]
神経が脾臓神経である、項21から23のいずれか一項に記載のシステム。
[項25]
神経が無髄である、項21又は22に記載のシステム。
[項26]
制御装置がさらに、
第2の刺激期間の終了後に時間間隔が経過した後に、工程b)を行うために構成されている、項1から25のいずれか一項に記載のシステム。
[項27]
制御装置がさらに、
工程c)及びd)を繰り返して、第1の刺激装置及び第2の刺激装置を交互に刺激するように構成されている、項25に記載のシステム。
[項28]
第1の刺激期間及び第2の刺激期間が互いにほぼ等しい、項1から27のいずれか一項に記載のシステム。
[項29]
第3の電極を含む、項16から28のいずれか一項に記載のシステム。
[項30]
第3の電極が、第1の電極及び第2の電極よりも大きな表面積を有する、項29に記載のシステム。
[項31]
第3の電極がIPGケースである、項30に記載のシステム。
[項32]
神経を電気刺激するシステムであって、
互いに第1の距離、離間されている、神経を第1の刺激部位で電気刺激する第1の刺激装置及び神経を第2の刺激部位で電気刺激する第2の刺激装置、
第1の刺激装置を第1の刺激期間にわたり活性化することにより第1の刺激部位及び第2の刺激部位で神経の電気活性を誘導し、
第2の刺激部位での誘導された電気活性の量が電気活性の閾値未満に下がった後にのみ、第2の刺激装置を活性化する
ように構成された制御装置
を含むシステム。
[項33]
神経を電気刺激する方法であって、
第1の刺激装置を神経の第1の刺激部位に配置する工程、
第2の刺激装置を神経の第2の刺激部位に配置する工程、
第1の刺激装置を第1の期間にわたり活性化し、それにより神経の電気活性を第1の刺激部位及び第2の刺激部位で誘導する工程、並びに
第2の刺激部位での誘導された電気活性の量が電気活性の閾値未満に下がった後にのみ、第2の刺激装置を第2の期間にわたり活性化する工程
を含む方法。
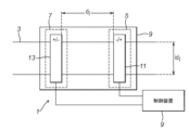
3 神経
5 第1の刺激装置
7 第2の刺激装置
9 制御装置
11 第1の電極
12 第3の電極
13 第2の電極
101 第1のタイミングシーケンス
102 第2のタイミングシーケンス
103 複合タイミングシーケンス
111 第1の電気刺激
112 第3の電気刺激
121 第2の電気刺激
122 第4の電気刺激
Claims (18)
- 神経を電気刺激するシステムであって、
神経を電気刺激する、互いに第1の距離、離間されている第1の刺激装置及び第2の刺激装置、並びに
工程a)第1の距離及び神経の活動電位の伝播速度の関数として時間間隔を設定する、
工程b)第1の刺激装置を第1の刺激期間にわたり活性化することにより、神経の電気活性を誘導する、及び
工程c)第1の期間の終了後に時間間隔が経過した後に、第2の刺激装置を第2の刺激期間にわたり活性化する
ために構成された制御装置
を含み、
時間間隔が、第1の距離を神経の活動電位の伝播速度で割った商と等しいか、又はそれより大きい第1の期間を含む、システム。 - 神経の活動電位の伝播速度が0.5mm/msである、請求項1に記載のシステム。
- 第1の刺激装置と第2の刺激装置との間の第1の距離が、3mmと等しい若しくは3mmより大きいか、5mmと等しい若しくは5mmより大きいか、6mmと等しい若しくは6mmより大きいか、又は6.4mmと等しい、請求項1又は2に記載のシステム。
- 第1の刺激装置と第2の刺激装置との間の第1の距離が、3mmと等しいか若しくは3mmより大きく、かつ第1の期間が、6msと等しい若しくは6msより長いか、
第1の刺激装置と第2の刺激装置との間の第1の距離が、5mm以上であり、かつ第1の期間が、10msと等しい若しくは10msより長いか、
第1の刺激装置と第2の刺激装置との間の第1の距離が、6mm以上であり、かつ第1の期間が、12msと等しい若しくは12msより長いか、又は
第1の刺激装置と第2の刺激装置との間の第1の距離が6.4mmであり、第1の期間が、12.8msと等しい若しくは12.8msより長い、請求項2に記載のシステム。 - 前記時間間隔の設定が、前記第1の期間と刺激からの神経の回復を可能にするバッファ期間との合計である、請求項1に記載のシステム。
- バッファ期間が、神経において誘導された電気活性の効果が前記第2の刺激装置の位置で既定閾値未満に下がる又は消失するために必要とされる時間の長さ以上である、請求項5に記載のシステム。
- バッファ期間が10ms以上である、請求項5又は6に記載のシステム。
- 時間間隔が、第1の刺激期間の半分以下である、請求項1から7のいずれか一項に記載のシステム。
- 第1の刺激装置及び第2の刺激装置のそれぞれが、1つ以上の電極を含む、請求項1から8のいずれか一項に記載のシステム。
- 第1の刺激装置及び第2の刺激装置を神経に電気結合するための装着手段をさらに含み、装着手段が、神経を受容するための内径を有する開口部を画定する、請求項1から9のいずれか一項に記載のシステム。
- 内径が5mmと等しい若しくは5mmより大きい、及び/又は
内径が13mmと等しい若しくは13mm未満である、及び/又は
内径が7.5mmである、請求項10に記載のシステム。 - システムが神経に装着されている、及び/又はシステムが神経を包囲する、請求項1から11のいずれか一項に記載のシステム。
- 神経が自律神経であり、及び/又は神経が脾臓神経である、請求項12に記載のシステム。
- 神経が無髄である、請求項12に記載のシステム。
- 制御装置がさらに、
第2の刺激期間の終了後に時間間隔が経過した後に、工程b)を行うために構成されている、請求項1から14のいずれか一項に記載のシステム。 - 制御装置がさらに、
工程b)及びc)を繰り返して、第1の刺激装置及び第2の刺激装置を交互に刺激するように構成されている、請求項14に記載のシステム。 - 第1の刺激期間及び第2の刺激期間が互いに等しい、請求項1から16のいずれか一項に記載のシステム。
- 第3の電極を含み、任意選択で、第3の電極が、第1の電極及び第2の電極よりも大きな表面積を有し、さらに任意選択で、第3の電極がIPGケースである、請求項9から17のいずれか一項に記載のシステム。
Priority Applications (1)
| Application Number | Priority Date | Filing Date | Title |
|---|---|---|---|
| JP2024107885A JP2024156669A (ja) | 2018-12-20 | 2024-07-04 | 神経刺激システム |
Applications Claiming Priority (3)
| Application Number | Priority Date | Filing Date | Title |
|---|---|---|---|
| US201862782825P | 2018-12-20 | 2018-12-20 | |
| US62/782,825 | 2018-12-20 | ||
| PCT/IB2019/060771 WO2020128748A1 (en) | 2018-12-20 | 2019-12-13 | Nerve stimulation system |
Related Child Applications (1)
| Application Number | Title | Priority Date | Filing Date |
|---|---|---|---|
| JP2024107885A Division JP2024156669A (ja) | 2018-12-20 | 2024-07-04 | 神経刺激システム |
Publications (3)
| Publication Number | Publication Date |
|---|---|
| JP2022514289A JP2022514289A (ja) | 2022-02-10 |
| JPWO2020128748A5 JPWO2020128748A5 (ja) | 2022-12-09 |
| JP7592016B2 true JP7592016B2 (ja) | 2024-11-29 |
Family
ID=69159810
Family Applications (2)
| Application Number | Title | Priority Date | Filing Date |
|---|---|---|---|
| JP2021534954A Active JP7592016B2 (ja) | 2018-12-20 | 2019-12-13 | 神経刺激システム |
| JP2024107885A Pending JP2024156669A (ja) | 2018-12-20 | 2024-07-04 | 神経刺激システム |
Family Applications After (1)
| Application Number | Title | Priority Date | Filing Date |
|---|---|---|---|
| JP2024107885A Pending JP2024156669A (ja) | 2018-12-20 | 2024-07-04 | 神経刺激システム |
Country Status (6)
| Country | Link |
|---|---|
| US (2) | US12036413B2 (ja) |
| EP (1) | EP3897818B1 (ja) |
| JP (2) | JP7592016B2 (ja) |
| CN (1) | CN113710311B (ja) |
| ES (1) | ES3015583T3 (ja) |
| WO (1) | WO2020128748A1 (ja) |
Families Citing this family (4)
| Publication number | Priority date | Publication date | Assignee | Title |
|---|---|---|---|---|
| US8934992B2 (en) | 2011-09-01 | 2015-01-13 | Inspire Medical Systems, Inc. | Nerve cuff |
| WO2019032890A1 (en) | 2017-08-11 | 2019-02-14 | Inspire Medical Systems, Inc. | SLEEVE ELECTRODE |
| US12390646B2 (en) | 2020-12-02 | 2025-08-19 | Inspire Medical Systems, Inc. | Implantable medical devices |
| KR20240044782A (ko) * | 2022-09-29 | 2024-04-05 | 서울대학교산학협력단 | 뇌심부 자극 장치 및 이의 제어 방법 |
Citations (2)
| Publication number | Priority date | Publication date | Assignee | Title |
|---|---|---|---|---|
| US20140046407A1 (en) | 2001-08-31 | 2014-02-13 | Bio Control Medical (B.C.M.) Ltd. | Nerve stimulation techniques |
| JP2015509442A (ja) | 2012-03-09 | 2015-03-30 | エンテロメディクス インコーポレイテッド | 医療用デバイスにおける使用のための安全特徴 |
Family Cites Families (23)
| Publication number | Priority date | Publication date | Assignee | Title |
|---|---|---|---|---|
| US4019518A (en) * | 1975-08-11 | 1977-04-26 | Medtronic, Inc. | Electrical stimulation system |
| CA1287879C (en) * | 1986-11-04 | 1991-08-20 | Thomas H. Thomson | Optimized nerve fiber stimulation |
| CA1313539C (en) * | 1987-02-02 | 1993-02-09 | Thomas H. Thomson | Nerve fiber stimulation using plural equally active electrodes |
| WO1997037721A1 (en) | 1996-04-04 | 1997-10-16 | Medtronic, Inc. | Techniques for adjusting the locus of excitation of electrically excitable tissue |
| US6600954B2 (en) * | 2001-01-25 | 2003-07-29 | Biocontrol Medical Bcm Ltd. | Method and apparatus for selective control of nerve fibers |
| US8571653B2 (en) * | 2001-08-31 | 2013-10-29 | Bio Control Medical (B.C.M.) Ltd. | Nerve stimulation techniques |
| US7162303B2 (en) * | 2002-04-08 | 2007-01-09 | Ardian, Inc. | Renal nerve stimulation method and apparatus for treatment of patients |
| US7860570B2 (en) * | 2002-06-20 | 2010-12-28 | Boston Scientific Neuromodulation Corporation | Implantable microstimulators and methods for unidirectional propagation of action potentials |
| US20080161878A1 (en) * | 2003-10-15 | 2008-07-03 | Tehrani Amir J | Device and method to for independently stimulating hemidiaphragms |
| US7295881B2 (en) * | 2003-12-29 | 2007-11-13 | Biocontrol Medical Ltd. | Nerve-branch-specific action-potential activation, inhibition, and monitoring |
| US20050246003A1 (en) * | 2004-04-28 | 2005-11-03 | Advanced Neuromodulation Systems, Inc. | Stimulation lead having pairs of stimulating electrodes spaced at different distances for providing electrical stimulation to different nerve tissues |
| US7881782B2 (en) * | 2005-04-20 | 2011-02-01 | Cardiac Pacemakers, Inc. | Neural stimulation system to prevent simultaneous energy discharges |
| AU2012203591A1 (en) * | 2006-10-13 | 2012-07-12 | Cyberonics, Inc. | Obstructive sleep apnea treatment devices, systems and methods |
| US9539425B2 (en) * | 2006-10-13 | 2017-01-10 | Intelect Medical, Inc. | Systems and methods for treating medical conditions by stimulation of medial thalamic region |
| US8019430B2 (en) * | 2007-03-21 | 2011-09-13 | Cochlear Limited | Stimulating auditory nerve fibers to provide pitch representation |
| US20130030497A1 (en) * | 2011-07-27 | 2013-01-31 | Medtronic, Inc. | Nerve stimulator for reduced muscle fatigue |
| US8588909B1 (en) * | 2012-06-12 | 2013-11-19 | Pacesetter, Inc. | Triggered mode pacing for cardiac resynchronization therapy |
| DE102014104414A1 (de) * | 2014-03-28 | 2015-10-01 | Roland Mäusl | Nervenstimulationsgerät |
| BR112017009053A2 (pt) * | 2014-11-03 | 2018-01-30 | Galvani Bioelectronics Limited | dispositivo para inibição da atividade neural de um nervo do seio carotídeo ou corpo carotídeo, método para tratamento de uma condição, forma de onda elétrica neuromodulatória, e, uso de um dispositivo de neuromodulação para o tratamento de uma condição. |
| US20160158551A1 (en) | 2014-12-05 | 2016-06-09 | Pacesstter, Inc. | System and method for dorsal root block during spinal cord stimulation |
| US11980465B2 (en) * | 2015-04-03 | 2024-05-14 | Medtronic Xomed, Inc. | System and method for omni-directional bipolar stimulation of nerve tissue of a patient via a bipolar stimulation probe |
| US11331489B2 (en) * | 2015-12-18 | 2022-05-17 | Medtronic, Inc. | High duty cycle electrical stimulation therapy |
| WO2018032105A1 (en) * | 2016-08-16 | 2018-02-22 | The Governing Council Of The University Of Toronto | Systems, methods, and kits for peripheral nerve stimulation |
-
2019
- 2019-12-13 WO PCT/IB2019/060771 patent/WO2020128748A1/en not_active Ceased
- 2019-12-13 EP EP19835739.4A patent/EP3897818B1/en active Active
- 2019-12-13 US US17/415,599 patent/US12036413B2/en active Active
- 2019-12-13 ES ES19835739T patent/ES3015583T3/es active Active
- 2019-12-13 JP JP2021534954A patent/JP7592016B2/ja active Active
- 2019-12-13 CN CN201980092711.7A patent/CN113710311B/zh active Active
-
2024
- 2024-06-13 US US18/742,863 patent/US20240350809A1/en active Pending
- 2024-07-04 JP JP2024107885A patent/JP2024156669A/ja active Pending
Patent Citations (2)
| Publication number | Priority date | Publication date | Assignee | Title |
|---|---|---|---|---|
| US20140046407A1 (en) | 2001-08-31 | 2014-02-13 | Bio Control Medical (B.C.M.) Ltd. | Nerve stimulation techniques |
| JP2015509442A (ja) | 2012-03-09 | 2015-03-30 | エンテロメディクス インコーポレイテッド | 医療用デバイスにおける使用のための安全特徴 |
Also Published As
| Publication number | Publication date |
|---|---|
| JP2022514289A (ja) | 2022-02-10 |
| ES3015583T3 (en) | 2025-05-06 |
| US12036413B2 (en) | 2024-07-16 |
| US20240350809A1 (en) | 2024-10-24 |
| JP2024156669A (ja) | 2024-11-06 |
| US20220080208A1 (en) | 2022-03-17 |
| CN113710311B (zh) | 2024-07-30 |
| WO2020128748A1 (en) | 2020-06-25 |
| EP3897818A1 (en) | 2021-10-27 |
| EP3897818B1 (en) | 2025-02-12 |
| CN113710311A (zh) | 2021-11-26 |
Similar Documents
| Publication | Publication Date | Title |
|---|---|---|
| JP2024156669A (ja) | 神経刺激システム | |
| US20240366948A1 (en) | Systems and methods for producing asynchronous neural responses to treat pain and/or other patient conditions | |
| US9872990B2 (en) | Method and apparatus for application of a neural stimulus | |
| AU2017201110B2 (en) | Method and apparatus for application of a neural stimulus | |
| AU2016269843B2 (en) | Motor fibre neuromodulation | |
| US8204603B2 (en) | Blocking exogenous action potentials by an implantable medical device | |
| US7450992B1 (en) | Method for controlling or regulating therapeutic nerve stimulation using electrical feedback | |
| US12220580B2 (en) | Variable amplitude signals for neurological therapy, and associated systems and methods | |
| JP2024508685A (ja) | 刺激内リクルートメント制御 | |
| US20140200622A1 (en) | Combination Device and Methods for Treating Congestive Heart Failure and Stroke | |
| JP2012228378A (ja) | 神経刺激装置および神経刺激装置の作動方法 |
Legal Events
| Date | Code | Title | Description |
|---|---|---|---|
| A521 | Request for written amendment filed |
Free format text: JAPANESE INTERMEDIATE CODE: A523 Effective date: 20221201 |
|
| A621 | Written request for application examination |
Free format text: JAPANESE INTERMEDIATE CODE: A621 Effective date: 20221201 |
|
| A977 | Report on retrieval |
Free format text: JAPANESE INTERMEDIATE CODE: A971007 Effective date: 20230922 |
|
| A131 | Notification of reasons for refusal |
Free format text: JAPANESE INTERMEDIATE CODE: A131 Effective date: 20230926 |
|
| A521 | Request for written amendment filed |
Free format text: JAPANESE INTERMEDIATE CODE: A523 Effective date: 20231208 |
|
| A02 | Decision of refusal |
Free format text: JAPANESE INTERMEDIATE CODE: A02 Effective date: 20240305 |
|
| A521 | Request for written amendment filed |
Free format text: JAPANESE INTERMEDIATE CODE: A523 Effective date: 20240704 |
|
| A911 | Transfer to examiner for re-examination before appeal (zenchi) |
Free format text: JAPANESE INTERMEDIATE CODE: A911 Effective date: 20240711 |
|
| TRDD | Decision of grant or rejection written | ||
| A01 | Written decision to grant a patent or to grant a registration (utility model) |
Free format text: JAPANESE INTERMEDIATE CODE: A01 Effective date: 20241105 |
|
| A61 | First payment of annual fees (during grant procedure) |
Free format text: JAPANESE INTERMEDIATE CODE: A61 Effective date: 20241119 |
|
| R150 | Certificate of patent or registration of utility model |
Ref document number: 7592016 Country of ref document: JP Free format text: JAPANESE INTERMEDIATE CODE: R150 |
|
| S531 | Written request for registration of change of domicile |
Free format text: JAPANESE INTERMEDIATE CODE: R313531 |
|
| R350 | Written notification of registration of transfer |
Free format text: JAPANESE INTERMEDIATE CODE: R350 |

