JP7580472B2 - 汎用ドリルガイドシステム - Google Patents

汎用ドリルガイドシステム Download PDF

Info

Publication number
JP7580472B2
JP7580472B2 JP2022546710A JP2022546710A JP7580472B2 JP 7580472 B2 JP7580472 B2 JP 7580472B2 JP 2022546710 A JP2022546710 A JP 2022546710A JP 2022546710 A JP2022546710 A JP 2022546710A JP 7580472 B2 JP7580472 B2 JP 7580472B2
Authority
JP
Japan
Prior art keywords
drill
stop
universal
wire
drill bit
Prior art date
Legal status (The legal status is an assumption and is not a legal conclusion. Google has not performed a legal analysis and makes no representation as to the accuracy of the status listed.)
Active
Application number
JP2022546710A
Other languages
English (en)
Other versions
JP2023513883A (ja
Inventor
シュワルツ クリストファー
コラオ アーニー
チェン ケフ
スコーメル ペテル
コーテ ラルフ
リトケ ロナルド
ラーセン スコット
スロカ ニコル
リーダー タマラ
Current Assignee (The listed assignees may be inaccurate. Google has not performed a legal analysis and makes no representation or warranty as to the accuracy of the list.)
Aesculap AG
Original Assignee
Aesculap AG
Priority date (The priority date is an assumption and is not a legal conclusion. Google has not performed a legal analysis and makes no representation as to the accuracy of the date listed.)
Filing date
Publication date
Application filed by Aesculap AG filed Critical Aesculap AG
Publication of JP2023513883A publication Critical patent/JP2023513883A/ja
Application granted granted Critical
Publication of JP7580472B2 publication Critical patent/JP7580472B2/ja
Active legal-status Critical Current
Anticipated expiration legal-status Critical

Links

Images

Classifications

    • AHUMAN NECESSITIES
    • A61MEDICAL OR VETERINARY SCIENCE; HYGIENE
    • A61BDIAGNOSIS; SURGERY; IDENTIFICATION
    • A61B90/00Instruments, implements or accessories specially adapted for surgery or diagnosis and not covered by any of the groups A61B1/00 - A61B50/00, e.g. for luxation treatment or for protecting wound edges
    • A61B90/03Automatic limiting or abutting means, e.g. for safety
    • AHUMAN NECESSITIES
    • A61MEDICAL OR VETERINARY SCIENCE; HYGIENE
    • A61BDIAGNOSIS; SURGERY; IDENTIFICATION
    • A61B17/00Surgical instruments, devices or methods
    • A61B17/16Instruments for performing osteoclasis; Drills or chisels for bones; Trepans
    • A61B17/1613Component parts
    • A61B17/1615Drill bits, i.e. rotating tools extending from a handpiece to contact the worked material
    • A61B17/1617Drill bits, i.e. rotating tools extending from a handpiece to contact the worked material with mobile or detachable parts
    • AHUMAN NECESSITIES
    • A61MEDICAL OR VETERINARY SCIENCE; HYGIENE
    • A61BDIAGNOSIS; SURGERY; IDENTIFICATION
    • A61B17/00Surgical instruments, devices or methods
    • A61B17/16Instruments for performing osteoclasis; Drills or chisels for bones; Trepans
    • A61B17/1613Component parts
    • A61B17/1633Sleeves, i.e. non-rotating parts surrounding the bit shaft, e.g. the sleeve forming a single unit with the bit shaft
    • AHUMAN NECESSITIES
    • A61MEDICAL OR VETERINARY SCIENCE; HYGIENE
    • A61BDIAGNOSIS; SURGERY; IDENTIFICATION
    • A61B17/00Surgical instruments, devices or methods
    • A61B17/16Instruments for performing osteoclasis; Drills or chisels for bones; Trepans
    • A61B17/1637Hollow drills or saws producing a curved cut, e.g. cylindrical
    • AHUMAN NECESSITIES
    • A61MEDICAL OR VETERINARY SCIENCE; HYGIENE
    • A61BDIAGNOSIS; SURGERY; IDENTIFICATION
    • A61B17/00Surgical instruments, devices or methods
    • A61B17/16Instruments for performing osteoclasis; Drills or chisels for bones; Trepans
    • A61B17/1662Instruments for performing osteoclasis; Drills or chisels for bones; Trepans for particular parts of the body
    • A61B17/1671Instruments for performing osteoclasis; Drills or chisels for bones; Trepans for particular parts of the body for the spine
    • AHUMAN NECESSITIES
    • A61MEDICAL OR VETERINARY SCIENCE; HYGIENE
    • A61BDIAGNOSIS; SURGERY; IDENTIFICATION
    • A61B17/00Surgical instruments, devices or methods
    • A61B17/16Instruments for performing osteoclasis; Drills or chisels for bones; Trepans
    • A61B17/1697Instruments for performing osteoclasis; Drills or chisels for bones; Trepans specially adapted for wire insertion
    • AHUMAN NECESSITIES
    • A61MEDICAL OR VETERINARY SCIENCE; HYGIENE
    • A61BDIAGNOSIS; SURGERY; IDENTIFICATION
    • A61B17/00Surgical instruments, devices or methods
    • A61B17/16Instruments for performing osteoclasis; Drills or chisels for bones; Trepans
    • A61B17/17Guides or aligning means for drills, mills, pins or wires
    • AHUMAN NECESSITIES
    • A61MEDICAL OR VETERINARY SCIENCE; HYGIENE
    • A61BDIAGNOSIS; SURGERY; IDENTIFICATION
    • A61B17/00Surgical instruments, devices or methods
    • A61B17/16Instruments for performing osteoclasis; Drills or chisels for bones; Trepans
    • A61B17/17Guides or aligning means for drills, mills, pins or wires
    • A61B17/1739Guides or aligning means for drills, mills, pins or wires specially adapted for particular parts of the body
    • A61B17/1757Guides or aligning means for drills, mills, pins or wires specially adapted for particular parts of the body for the spine
    • AHUMAN NECESSITIES
    • A61MEDICAL OR VETERINARY SCIENCE; HYGIENE
    • A61BDIAGNOSIS; SURGERY; IDENTIFICATION
    • A61B17/00Surgical instruments, devices or methods
    • A61B17/16Instruments for performing osteoclasis; Drills or chisels for bones; Trepans
    • A61B17/17Guides or aligning means for drills, mills, pins or wires
    • A61B17/1796Guides or aligning means for drills, mills, pins or wires for holes for sutures or flexible wires
    • AHUMAN NECESSITIES
    • A61MEDICAL OR VETERINARY SCIENCE; HYGIENE
    • A61BDIAGNOSIS; SURGERY; IDENTIFICATION
    • A61B17/00Surgical instruments, devices or methods
    • A61B17/56Surgical instruments or methods for treatment of bones or joints; Devices specially adapted therefor
    • A61B17/58Surgical instruments or methods for treatment of bones or joints; Devices specially adapted therefor for osteosynthesis, e.g. bone plates, screws or setting implements
    • A61B17/68Internal fixation devices, including fasteners and spinal fixators, even if a part thereof projects from the skin
    • A61B17/70Spinal positioners or stabilisers, e.g. stabilisers comprising fluid filler in an implant
    • A61B17/7074Tools specially adapted for spinal fixation operations other than for bone removal or filler handling
    • A61B17/7076Tools specially adapted for spinal fixation operations other than for bone removal or filler handling for driving, positioning or assembling spinal clamps or bone anchors specially adapted for spinal fixation
    • A61B17/7082Tools specially adapted for spinal fixation operations other than for bone removal or filler handling for driving, positioning or assembling spinal clamps or bone anchors specially adapted for spinal fixation for driving, i.e. rotating, screws or screw parts specially adapted for spinal fixation, e.g. for driving polyaxial or tulip-headed screws
    • AHUMAN NECESSITIES
    • A61MEDICAL OR VETERINARY SCIENCE; HYGIENE
    • A61BDIAGNOSIS; SURGERY; IDENTIFICATION
    • A61B17/00Surgical instruments, devices or methods
    • A61B17/56Surgical instruments or methods for treatment of bones or joints; Devices specially adapted therefor
    • A61B17/58Surgical instruments or methods for treatment of bones or joints; Devices specially adapted therefor for osteosynthesis, e.g. bone plates, screws or setting implements
    • A61B17/68Internal fixation devices, including fasteners and spinal fixators, even if a part thereof projects from the skin
    • A61B17/70Spinal positioners or stabilisers, e.g. stabilisers comprising fluid filler in an implant
    • A61B17/7074Tools specially adapted for spinal fixation operations other than for bone removal or filler handling
    • A61B17/7092Tools specially adapted for spinal fixation operations other than for bone removal or filler handling for checking pedicle hole has correct depth or has an intact wall
    • AHUMAN NECESSITIES
    • A61MEDICAL OR VETERINARY SCIENCE; HYGIENE
    • A61BDIAGNOSIS; SURGERY; IDENTIFICATION
    • A61B17/00Surgical instruments, devices or methods
    • A61B17/56Surgical instruments or methods for treatment of bones or joints; Devices specially adapted therefor
    • A61B17/58Surgical instruments or methods for treatment of bones or joints; Devices specially adapted therefor for osteosynthesis, e.g. bone plates, screws or setting implements
    • A61B17/68Internal fixation devices, including fasteners and spinal fixators, even if a part thereof projects from the skin
    • A61B17/84Fasteners therefor or fasteners being internal fixation devices
    • A61B17/846Nails or pins, i.e. anchors without movable parts, holding by friction only, with or without structured surface
    • A61B17/848Kirschner wires, i.e. thin, long nails
    • AHUMAN NECESSITIES
    • A61MEDICAL OR VETERINARY SCIENCE; HYGIENE
    • A61BDIAGNOSIS; SURGERY; IDENTIFICATION
    • A61B17/00Surgical instruments, devices or methods
    • A61B17/56Surgical instruments or methods for treatment of bones or joints; Devices specially adapted therefor
    • A61B17/58Surgical instruments or methods for treatment of bones or joints; Devices specially adapted therefor for osteosynthesis, e.g. bone plates, screws or setting implements
    • A61B17/88Osteosynthesis instruments; Methods or means for implanting or extracting internal or external fixation devices
    • A61B17/8897Guide wires or guide pins
    • AHUMAN NECESSITIES
    • A61MEDICAL OR VETERINARY SCIENCE; HYGIENE
    • A61BDIAGNOSIS; SURGERY; IDENTIFICATION
    • A61B17/00Surgical instruments, devices or methods
    • A61B17/56Surgical instruments or methods for treatment of bones or joints; Devices specially adapted therefor
    • A61B17/58Surgical instruments or methods for treatment of bones or joints; Devices specially adapted therefor for osteosynthesis, e.g. bone plates, screws or setting implements
    • A61B17/88Osteosynthesis instruments; Methods or means for implanting or extracting internal or external fixation devices
    • A61B17/92Impactors or extractors, e.g. for removing intramedullary devices
    • AHUMAN NECESSITIES
    • A61MEDICAL OR VETERINARY SCIENCE; HYGIENE
    • A61BDIAGNOSIS; SURGERY; IDENTIFICATION
    • A61B90/00Instruments, implements or accessories specially adapted for surgery or diagnosis and not covered by any of the groups A61B1/00 - A61B50/00, e.g. for luxation treatment or for protecting wound edges
    • A61B90/06Measuring instruments not otherwise provided for
    • AHUMAN NECESSITIES
    • A61MEDICAL OR VETERINARY SCIENCE; HYGIENE
    • A61BDIAGNOSIS; SURGERY; IDENTIFICATION
    • A61B90/00Instruments, implements or accessories specially adapted for surgery or diagnosis and not covered by any of the groups A61B1/00 - A61B50/00, e.g. for luxation treatment or for protecting wound edges
    • A61B90/03Automatic limiting or abutting means, e.g. for safety
    • A61B2090/033Abutting means, stops, e.g. abutting on tissue or skin
    • A61B2090/034Abutting means, stops, e.g. abutting on tissue or skin abutting on parts of the device itself
    • AHUMAN NECESSITIES
    • A61MEDICAL OR VETERINARY SCIENCE; HYGIENE
    • A61BDIAGNOSIS; SURGERY; IDENTIFICATION
    • A61B90/00Instruments, implements or accessories specially adapted for surgery or diagnosis and not covered by any of the groups A61B1/00 - A61B50/00, e.g. for luxation treatment or for protecting wound edges
    • A61B90/06Measuring instruments not otherwise provided for
    • A61B2090/062Measuring instruments not otherwise provided for penetration depth
    • AHUMAN NECESSITIES
    • A61MEDICAL OR VETERINARY SCIENCE; HYGIENE
    • A61BDIAGNOSIS; SURGERY; IDENTIFICATION
    • A61B90/00Instruments, implements or accessories specially adapted for surgery or diagnosis and not covered by any of the groups A61B1/00 - A61B50/00, e.g. for luxation treatment or for protecting wound edges
    • A61B90/08Accessories or related features not otherwise provided for
    • A61B2090/0801Prevention of accidental cutting or pricking
    • A61B2090/08021Prevention of accidental cutting or pricking of the patient or his organs

Landscapes

  • Health & Medical Sciences (AREA)
  • Surgery (AREA)
  • Life Sciences & Earth Sciences (AREA)
  • Orthopedic Medicine & Surgery (AREA)
  • Medical Informatics (AREA)
  • General Health & Medical Sciences (AREA)
  • Veterinary Medicine (AREA)
  • Engineering & Computer Science (AREA)
  • Biomedical Technology (AREA)
  • Heart & Thoracic Surgery (AREA)
  • Public Health (AREA)
  • Molecular Biology (AREA)
  • Animal Behavior & Ethology (AREA)
  • Nuclear Medicine, Radiotherapy & Molecular Imaging (AREA)
  • Oral & Maxillofacial Surgery (AREA)
  • Dentistry (AREA)
  • Neurology (AREA)
  • Pathology (AREA)
  • Surgical Instruments (AREA)
  • Drilling And Boring (AREA)
  • Earth Drilling (AREA)
  • Holo Graphy (AREA)

Description

本開示は、概して、脊椎固定のための汎用ドリルガイドシステムに関する。
脊椎結合は、損傷した椎骨を取り除き、取り除かれた椎骨に隣接する椎骨を移植片材料と一緒に結合させる処置である。脊柱は、結合の間、固定されなければならない。脊椎を固定するために、1つまたは複数の固定ロッドが、動きを制限するために椎骨に固定される。
固定ロッドは、椎骨に打ち込まれる骨スクリュを使用して椎骨に固定される。骨スクリュが椎体内に打ち込まれる前に、汎用ドリルガイドシステムの助けを借りて、侵襲を最小限にする方法で椎体内に穴が準備される。1つの考えられる処置では、ドリルチューブを小さな切開部に通し、椎体上の所望の進入点までナビゲートする。次に、皮質パンチをチューブに通して前進させ、骨の皮質層に開始穴を開ける。次に、皮質パンチをチューブから取り外し、ドリルビットを、チューブを通して開始穴まで前進させる。ドリルビットが開始穴と位置合わせされると、外科用ドリルの電源が入り、所望の直径および深さの穴を開ける。ねじ穴が開けられた後、ドリルガイドが取り外され、骨スクリュをねじ穴内に進めることができる。
ねじ穴を開ける場合は、穿孔深さを注意深く制御し、ドリルビットが椎体内にあまり深く入りすぎないようにする必要がある。穿孔深さを制御するための1つの選択肢は、ドリルビットの先端がドリルチューブの端部を越えてどれだけ患者内に延在するかを制限するために、ドリルチューブ上に何らかの種類のドリル止めを取り付けることである。しかしながら、この選択肢は、様々なサイズの複数のドリルビット及びドリルチューブが収容されなければならない場合には、実施するのが困難である。
ドリルビットを適切な位置に案内することは困難であり得る。したがって、いくつかのドリルビットは、ドリルビットがキルシュナーワイヤまたは「Kワイヤ」上を通過することを可能にする通路を有する。Kワイヤは、ドリルビットおよび他の器具をその位置に正確にナビゲートするために、所望の位置で骨に取り付けることができる。Kワイヤはナビゲーションに役立つが、周囲で他の器具を使用する場合には多くの課題がある。
穿孔が完了した後、ドリルチューブとドリルビットを所定の位置に残しつつ、ドリルガイドを操作側から取り外す必要がある場合がある。これは、ドリルビットの近位移動を制限するためにドリル止めがドリルビットと係合しているので、技術的な課題となり得る。従来の解決法では、ドリル止めが別工程でドリルガイドから取り外し/解除されるため、取り外す工程が複雑になり、したがって、処置時間が長くなる。
米国出願公開特許2014/7343553に開示の先行技術が知られている。
これに関連して、本開示は、汎用ドリルガイドの取り外しを容易にして処置時間を短縮することができる汎用ドリルガイドシステムを提供することを目的とする。
この目的は、本開示によれば、汎用ドリルガイドと、汎用ドリルガイドに挿入可能なドリルチューブと、ドリルチューブに挿入可能なドリルビットとを備える汎用ドリルガイドシステムによって達成される。汎用ドリルガイドは、ドリルビットの穿孔深さを制限するためにドリルビットの停止面/当接面に当接するように構成されたドリル止め(好まくは当接部の形態のストッパ)と、ロック方向と解除方向との間で回転可能なロックリングであって、ロック方向では、汎用ドリルガイドに挿入されたドリルチューブがロックリングによって係止され、解除方向では、ドリルチューブがロックリングから解除可能である、ロックリングと、ロックリングが解除方向に回転されるにつれ、ドリル止めがドリルビットの停止面から離れるように回動するように構成されたカム機構と、を備える。これにより、汎用ドリルガイドのロックリングが解除方向に回転され、汎用ドリルガイドをドリルチューブとドリルビットから近位方向に離すと、ドリル止めはドリルビットから自動的に回動する。つまり、ドリル止めによる近位方向のドリルビットの制限は、ロックリングが解除方向にある場合、自動的に中止される。従って、ドリルビットからドリル止めを解除する追加の工程が不要となり、ドリルガイドの取り外しが容易になる。これにより、処置時間が短縮される。
本開示の有利な実施形態は、サブクレームにおいて特許請求され、以下でより正確に説明される。
カム機構は、ロックリングに形成されたカムスロットと、ドリル止めのシャフトの遠位端部に形成されたカム追従ピンとを含む。
カムスロットおよびカム追従ピンは、ロックリングの時計回りの回転がドリル止めを反時計回りに同時に回転させ、ドリル止めがドリルビットの停止面から離れるように回動するように構成される。これにより、ドリル止めとロックリングの同時回転を容易に達成することができる。汎用ドリルガイドの解除工程を容易にすることができる。
さらに、圧縮ばねが、ロックリングに付勢力をかけ、ロックリングをロック方向に付勢する。
好ましくは、スイッチは、圧縮ばねの付勢力に逆らって、ロックリングをロック方向から解除方向に回転させるように手動で操作可能である。
ドリル止めは、ドリル止めのシャフトから横方向に延びる停止プレートを備える。停止プレートは、ドリルビットの停止面が停止プレートに当接するまで、ドリルビットの遠位部分が停止プレートを通過できるようにするためのスロット寸法を有するスロットを備える。このようにして、穿孔深さの制限が達成される。
汎用ドリルガイドは、ガイド本体を備える。ドリル止めのシャフトは、所望の穿孔深さを設定するために、ガイド本体に対して上昇または下降されるように構成される。
したがって、様々な穿孔深さを容易に選ぶことができる。
更に、汎用ドリルガイドは、ロック、特にばね式ロックを備えており、このロックは、ドリル止めのシャフトに係合して、付勢力をかけることによって、シャフトをガイド本体に対してロックするように構成されている。したがって、ドリル止めは、所望の穿孔深さを制限するためにガイド本体に対して適所に保持されることになる。
ドリル止めのシャフトは、ロックと係合するために、円周溝をさらに含む。
さらに、ロックは、ドリル止めのシャフトからロックを係合解除するために、内側に向けて押されるように構成された解除ボタンを含む。これにより、ドリル本体に対してドリル止めを上昇または下降させることにより、穿孔深さを選択することができる。所望の穿孔深さを選択した後、ドリル止めのシャフトにロックが再度係合してドリル止めを所定の位置に保持するように、解除ボタンが解除される。
好ましくは、汎用ドリルガイドは、選択された深さを示すための第1のセットの印及び第2のセットの印を含む。
より好ましくは、第1のセットの印は、ガイド本体上に垂直方向の一連のマーキングを含み、第2のセットの印は、ドリル止めのシャフト上に垂直方向の一連のマーキングを含む。従って、汎用ドリルガイドシステムでは、汎用ドリルガイドの2つの側面に2セットの印が設けられている。2つの異なる側面上に重複マーキングがあるこの構成は、外科医が汎用ドリルガイドの一方の側面のみしか見ることができない状況に対処する。これにより、使い勝手や人間工学を向上させることができる。
前述の概要および以下の詳細な説明は、図面に示される非限定的な例と併せてより良く理解されるであろう。
本開示の一態様による汎用ドリルガイドシステムの斜視図を示す。 図1の汎用ドリルガイドシステムと使用するためのドリルチューブのセットの正面図を示す。 図1の汎用ドリルガイドシステムと使用するためのドリルビットのセットの正面図を示す。 図1の汎用ドリルガイドシステムの先端斜視図を示す。 第1の状態のばね式ロックを示す、図1の汎用ドリルガイドシステムの先端側面図を示す。 第2の状態のばね式ロックを示す、図1の汎用ドリルガイドシステムの先端側面図を示す。 第1の位置におけるドリルチューブ捕捉部を示す、図1の汎用ドリルガイドシステムのドリルチューブ捕捉部の先端斜視図を示す。 第2の位置におけるドリルチューブ捕捉部を示す、図1の汎用ドリルガイドシステムのドリルチューブ捕捉部の先端斜視図を示す。 ドリルチューブを挿入する第1の工程中の、図1の汎用ドリルガイドシステムのドリルチューブ捕捉部の先端斜視図を示す。 ドリルチューブを挿入する第2の工程中の、図1の汎用ドリルガイドシステムのドリルチューブ捕捉部の先端斜視図を示す。 ドリルチューブを挿入する第3の工程中の、図1の汎用ドリルガイドシステムのドリルチューブ捕捉部の先端斜視図を示す。 ドリルチューブを挿入する最終工程の後の、図1の汎用ドリルガイドシステムのドリルチューブ捕捉部の先端斜視図を示す。 ロック方向における図1の汎用ドリルガイドシステムのドリルチューブ捕捉部の拡大先端斜視図を示す。 解除方向における図1の汎用ドリルガイドシステムのドリルチューブ捕捉部の拡大先端斜視図を示す。 ドリル止めがドリルビットと係合する位置にあるときの構成要素を示す、図1の汎用ドリルガイドシステムの構成要素の拡大斜視図を示す。 ドリル止めがドリルビットから解除された位置にあるときの構成要素を示す、図1の汎用ドリルガイドシステムの構成要素の拡大斜視図を示す。 図1の汎用ドリルガイドシステムの先端斜視図であり、ドリルチューブから取り外された状態の汎用ドリルガイドシステムを示す。 図1の汎用ドリルガイドシステムの別の先端斜視図であり、ドリルチューブから取り外されている汎用ドリルガイドシステムを示す。 本開示の別の態様による、中空ドリルビットおよびKワイヤの斜視図を示す。 本開示の別の態様による、中空ドリルビット、Kワイヤ、およびKワイヤ保持機構の拡大先端図を示す。 図17の中空ドリルビットKワイヤ、およびKワイヤ保持機構の拡大先端断面図を示す。 本開示の別の態様によるKワイヤの拡大斜視図であり、Kワイヤの中間部分を示す。 本開示の別の態様によるKワイヤ保持機構の拡大斜視図を示す。 本開示の別の態様による中空ドリルビット、Kワイヤ、およびKワイヤ保持機構の先端斜視図を示し、力保持スリーブは第1の位置で示される。 図21の中空ドリルビット、Kワイヤ、およびKワイヤ保持機構の先端斜視図を示し、力保持スリーブは第2の位置で示される。 本開示の別の態様による中空ドリルビット、Kワイヤ、およびKワイヤ保持機構の先端斜視図を示し、中空ドリルビットはドリルドライバに取り付けられている。 図23の中空ドリルビット、Kワイヤ、およびKワイヤ保持機構の別の拡大先端斜視図であり、いくつかの特徴は明瞭にするために透明で示されている。 本開示の別の態様によるドリル取り外しツールの斜視図を示す。 中空ドリルビットおよびKワイヤへの取り付け中の図25のドリル取り外しツールの先端斜視図を示す。 本開示の別の態様によるワイヤクランプの先端側面図であり、非クランプ状態のワイヤクランプを示す。 図27のワイヤクランプの先端側面図であり、ワイヤクランプをクランプ状態で示す。 図27のワイヤクランプの拡大された先端断面図を示す。 図25のドリル取り外しツールの構成要素の先端斜視図を示す。 図25のドリル取り外しツールの構成要素の別の先端斜視図を示す。 患者からドリルビットを取り外す最中を示す、図25のドリル取り外しツールの別の先端斜視図を示す。 本開示の別の態様によるKワイヤ保持モジュールを有する骨スクリュドライバの斜視図であり、骨スクリュドライバおよびKワイヤ保持モジュールは、Kワイヤ上を通る。 図33の骨スクリュドライバの遠位端部の拡大された先端側面図を示す。 図33の骨スクリュドライバの遠位端部の拡大先端斜視図を示す。 Kワイヤ上を前進する際の、図33のKワイヤ保持モジュールを備えた骨スクリュドライバの別の斜視図を示す。 図33のKワイヤ保持モジュールを備えた骨スクリュドライバの拡大先端斜視図であり、Kワイヤ保持モジュールの内部構成要素を示す。 第1の動作モードで示される、図33のKワイヤ保持モジュールの側面図を示し、分かりやすくするためにいくつかの構成要素が取り外されている。 第1の動作モードにおける図38のKワイヤ保持モジュール構成要素の拡大先端斜視図を示す。 第2の動作モードで示される図33のKワイヤ保持モジュールの側面図であり、分かりやすくするために一部の構成要素が取り外されている。 第2の動作モードにおける図40のKワイヤ保持モジュール構成要素の拡大先端斜視図を示す。 本開示の別の態様によるKワイヤ保持モジュールを有する代替の骨スクリュドライバの斜視図であり、骨スクリュドライバおよびKワイヤ保持モジュールは、Kワイヤ上を通る。 図42のKワイヤ保持モジュール付き骨スクリュドライバの斜視図を示し、第1の動作モードにおけるKワイヤ保持モジュールの内部構成要素を示す。 第1の動作モードにおける、図43のKワイヤ保持モジュールの内部構成要素の拡大斜視図を示す。 第2の動作モードにおける、図43のKワイヤ保持モジュールの内部構成要素の拡大斜視図を示す。 図25のドリル取り外しツールの拡大先端斜視図であり、ドリル取り外しツールを使用するための代替技術の1つの工程を示す。 図25のドリル取り外しツールの別の拡大先端斜視図を示し、代替技術の別の工程を示す。 図25のドリル取り外しツールの別の先端斜視図を示し、代替技術の別の工程を示す。 図25のドリル取り外しツールの別の先端斜視図を示し、代替技術の別の工程を示す。 図25のドリル取り外しツールの別の拡大先端側面図を示し、代替技術の別の工程を示す。 図25のドリル取り外しツールの別の拡大先端側面図を示し、代替技術の別の工程を示す。 図25のドリル取り外しツールの別の先端斜視図を示し、代替技術の別の工程を示す。 図25のドリル取り外しツールの別の先端斜視図を示し、代替技術の別の工程を示す。
発明の詳細な説明
以下のセクションでは、本開示による頸椎の固定に使用される様々な器具について説明する。
本開示において、「遠位」は、基本的に、「ユーザ/外科医から患者に向かう方向」を意味し、「近位」は、基本的に、「ユーザ/外科医に向かって患者から離れる方向」を意味する。
汎用ドリルガイドシステム
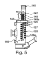
図1~3を参照すると、一例による汎用ドリルガイドシステム100が示されている。汎用ドリルガイドシステム100は、汎用ドリルガイド110を特徴とする。汎用ドリルガイド110は、管状ガイド本体120と、ガイド本体120から斜めに延びるハンドル130とを含む。ガイド本体120は、後述するように、ドリルビットを受け入れるための近位開口部123を画定する近位端部122を有する。ガイド本体120はまた、後述するように、ドリルチューブを受け入れるための遠位開口部125を画定する遠位端部124を有する。さらに、ガイド本体120は、ドリルビットがガイド本体120を通ってどれくらい進むかを制限することによって、穿孔深さを制限するドリル止め140を特徴とする。任意選択のナビゲーションスターユニット50が、図1の汎用ドリルガイド110に取り付けられており、これは、調整されて従来のナビゲーションシステムとともに使用することができる。
汎用ドリルガイドシステム100はまた、交換可能なドリルチューブ150のセットと、交換可能なドリルビット200のセットとを含む。交換可能なドリルチューブ150のセットは、第1のドリルチューブ150A、第2のドリルチューブ150B、および第3のドリルチューブ150Cを含む。交換可能なドリルビット200のセットは、第1のドリルビット200Aと、第2のドリルビット200Bと、第3のドリルビット200Cとを含む。しかしながら、ドリルチューブ150の数およびドリルビット200の数は、3つに限定されない。全てのドリルチューブ150A、150B及び150C、並びに全てのドリルビット200A、200B及び200Cは、汎用ドリルガイド110に接続可能である。
第1、第2、および第3のドリルビット200A、200B、および200Cは、中空であり、この説明の次のセクションで説明されるように、Kワイヤを保持するように設計された特徴を有する。第1、第2、および第3のドリルビット200A、200B、および200Cも、異なる穿孔直径を有する。各穿孔直径は、特定のサイズのねじ穴を椎体に開けるように構成される。第1、第2、および第3のドリルビット200A、200B、および200Cは、それぞれ、ドリルドライバに取り付けるための近位端部202と、穴を開けるための刃先を有する反対側の遠位端部204とを有する。また、第1、第2、および第3のドリルビット200A、200B、および200Cは、拡大直径部207に隣接する縮小直径部205を有し、急激な移行を形成する。この急激な移行は、近位端部202と遠位端部204との間に位置する停止面206を形成する。停止面206は、ガイド本体120のドリル止め140と協働して、穿孔中にドリルビットが椎体内を進むことができる距離を制限する。停止面206は、ドリルビット200A、200B、および200Cをドリル操作後に取り外す役割も果たす。これについては、別のセクションで説明する。
第1、第2、および第3のドリルチューブ150A、150B、および150Cは、穿孔中に、それぞれ第1、第2、および第3のドリルビット200A、200B、および200Cの前進をガイドするように設計されている。また、第1、第2、および第3のドリルチューブ150A、150B、および150Cは、穿孔中、第1、第2、および第3のドリルビット200A、200B、および200Cを軸方向に安定した状態に保つ。第1、第2、および第3のドリルチューブ150A、150B、および150Cの各々は、ガイド本体120に取り付けるための近位端部152と、穿孔位置において患者に挿入される反対側の遠位端部154とを有する。ドリルチューブ150A、150Bおよび150Cの各々の近位端部152は、後により詳細に記載されるように、ガイド本体120への取り付けを容易にする切り込み157を含む。
第1、第2、および第3のドリルチューブ150A、150B、および150Cは、それぞれ、第1、第2、および第3のドリルビット200A、200B、および200Cを受け入れるように特別にサイズ決めされた内径を有するドリルビット通路156を画定する。したがって、第1、第2、および第3のドリルビット200A、200B、および200Cは、それぞれ、第1、第2、および第3のドリルチューブ150A、150B、および150Cのみと共に作動するように設計される。第1、第2、第3のドリルチューブ150A、150B、150Cの各々、および第1、第2、第3のドリルビット200A、200B、200Cの各々には、選択されたドリルビットに対して適切なドリルチューブをユーザが選択するのを助けるための印が設けられている。任意の種類の印を使用することができる。システム100では、第1のドリルチューブ150Aと第1のドリルビット200Aは、整合印160Aを有し、第2のドリルチューブ150Bと第2のドリルビット200Bは、整合印160Bを有し、第3のドリルチューブ150Cと第3のドリルビット200Cは、整合印160Cを有する。印160A、160Bおよび160Cは、独特で互いに異なり、各ドリルチューブおよびドリルビットの円周の周りの異なる色の帯の形態で現れる。
図4を参照すると、ドリル止め140は、シャフト142と、シャフト142から横方向に延びる停止プレート144とを有する。停止プレート144は、第1、第2、および第3のドリルビット200A、200B、および200Cの遠位部分が停止プレート144を通過できるように十分に広いスロット寸法を有するスロット146を有する。スロット146は、第1、第2、および第3のドリルビット200A、200B、および200Cの停止面206の断面寸法よりも小さい。この構成では、停止プレート144は、第1、第2、および第3のドリルビット200A、200B、および200Cのそれぞれが、それぞれの停止面206が停止プレート144に当接するまで、停止プレート144を通って前進できるように構成されている。このようなとき、ドリルビットは選択されたドリル深さに達し、ガイド本体120を通るドリルビットがさらに前進することが妨げられる。
図5および図6を参照すると、ドリル止め140を上昇または下降させて、所望の穿孔深さ設定を設定することができる。ばね式ロック126がドリル止め140のシャフト142と解除可能に係合し、シャフト142をロックおよびロック解除する。シャフト142は、一側面に一連の円周溝143を有する。ばね式ロック126は、ばねの付勢力下でシャフト142の位置をロックするために、溝143のうちの1つと係合するように構成される。ばね式ロック126は、図5に示すように内側に押し込むことができるリリースボタン127を含む。リリースボタン127を内側に押すと、ばね式ロック126がシャフト142から外れ、シャフト142をガイド本体120に対して上昇または下降させて、深さ設定を設定することができる。深さ設定が一旦設定されると、図6に示すようにリリースボタン127が解除され、ばね式ロック126がばねの付勢力下でシャフト142と係合できるようにする。ばね式ロック126とシャフト142との係合は、ガイド本体120に対するシャフト142の垂直位置をロックし、深さ設定を固定する。
汎用ドリルガイド110は、選択された深さ設定の視覚的インジケータをユーザに提供する2セットの印をその外側に有する。第1のセットの印128は、ガイド本体120の側面に垂直方向の一連のマーキング128aを含む。第2のセットの印148は、シャフト142上の垂直方向の一連のマーキング148aを含む。マーキング128a、148aの各々は、ミリメートル単位または他の測定単位の深さに対応する固有の数字でラベル付けされる。マーキング128aは、マーキング148aとは異なる汎用ドリルガイド110の側に向けられる。2つの異なる側に重複してマーキングを配置することは、外科医が汎用ドリルガイド110の片側のみしか見ることができない状況に対応する。
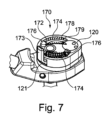
ガイド本体120は、第1、第2、および第3のドリルチューブ150A、150B、および150Cの各々が、クイックコネクト結合部/クイックフィット接続部により遠位開口部125に接続されることを可能にする自動ドリルチューブ捕捉部170を含む。自動ドリルチューブ捕捉部170によって、ユーザは、ドリルチューブ150A、150Bおよび150Cのうちの1つをガイド本体120内に挿入し、ガイド本体120上のどのロック機構にも触れることなく所定の位置にロックすることができる。ドリルチューブは、自動ロックと係合するまで、遠位開口部125に単純に挿入される。ドリルチューブ150A、150B、150Cの各々は、上述したように、ドリルビットの1つを収容するために異なる内径を有する。しかしながら、ドリルチューブ150A、150Bおよび150Cの全ては、ドリル止め140および自動ドリルチューブ捕捉部170と係合する同じ外形寸法を有する。したがって、ドリルチューブ150A、150Bおよび150Cの全ては、同じように自動ドリルチューブ捕捉部170と相互作用する。
図7および図8を参照すると、自動ドリルチューブ捕捉部170は、ガイド本体120の内側にばね式ロックリング172を備えている。ロックリング172は、ドリルチューブ150A、150Bおよび150Cのそれぞれに形成された切り込み157にスナップ嵌めされるように構成されている。ロックリング172は、ロック方向と解除方向との間でガイド本体120内を回転可能である。一対の圧縮ばね174は、ロックリング172に反時計回りの付勢力を加えて、ロックリング172をロック方向に付勢する。各圧縮ばね174は、ロックリング172の残りの部分から近位方向又は上方に延びるロックタブ176に当接している。
ロックタブ176及び圧縮ばね174は、一対のスロット178内に収容されている。各圧縮ばね174の一端はスロット178の端壁179に当接し、ばね174の他端はロックタブ176に当接する。この配置では、ユーザが手動でロックリング172を解除方向に回転させない限り、ロックリング172はロック方向に維持される。ロックリング172は、ロックリングに取り付けられているスイッチ173に時計回りの力を加えることによって回転させることができる。スイッチ173は、ガイド本体120内の細長い開口121を通って延在し、ガイド本体120の外側に露出している。
ロックリング172がロック方向にあるとき、図7に示すように、圧縮ばね174は、エネルギーを放出してロックタブ176をそれぞれのスロット178内で反時計回り方向に押し、ロックリング172を反時計回りに回転させる。ロックリング172が解除方向にあるとき、図8に示すように、ロックタブ176は時計回り方向に回転され、蓄積されたエネルギー下でそれぞれのスロット178内の圧縮ばね174を圧縮する。ユーザは、スイッチ173を時計方向に手動で回転させることによって、ロックリング172をロック方向から解除方向に移動させることができる。
図9A~図9Dは、ドリルチューブ、この例では第1のドリルチューブ150Aがガイド本体120に挿入され、ロックリング172によって所定の位置にロックされる一連の流れを示す。第2のドリルチューブ150Bおよび第3のドリルチューブ150Cがガイド本体120に挿入されるときにも、同じ流れが生じる。
ドリルチューブ150Aは、図9Aに示すように、遠位開口部125を通って、ガイド本体120に形成された通路129内に挿入される。ロックリング172は、最初はロック方向に配置される。ドリルチューブ150Aは、図9Bに示すように、ロックリング172に入るまで通路129内を前進する。ドリルチューブ150Aが進み続けると、ドリルチューブ150Aは、図9Cに示すように、ロックリング172の内面に接触する。ドリルチューブ150Aとロックリング172との間のこの接触は、ロックリング172をロック方向から回転させる。ロックリング172との接触は、通路129内に延びるロックリング172上の面取り部177で生じる。ドリルチューブ150Aの近位端部および側壁は、ドリルチューブ150Aが通路129内で近位方向に前進するときに、面取り部177に接触する。面取り部177の向きは、ドリルチューブ150Aの側壁が、圧縮ばね174の付勢力に逆らって、小さな距離/小さな角度でロックリング172を反時計回り方向に偏向させ、ばね174にさらなるエネルギーを蓄えるように構成される。この偏向は、図9Bで始まり、図9Cで続く。
ドリルチューブ150Aが通路129内にさらに進められると、ロックリング172は、図9Dに示されるように、ドリルチューブ150A内の切り込み157が面取り部177と位置が合うまで偏向されたままである。この位置合わせが生じると、ロックリング172を偏向させる力が一時的に解除され、圧縮ばね174が拡張し、緩和状態に戻ることを可能にする。この拡張によって、ロックリング172は、ロック方向に向かって回転して戻る。面取り部177は、圧縮ばね174の付勢力の下で、切り込み157内に半径方向内側に向かってスナップする。ロックリング172の軸方向寸法は、ドリルチューブ150Aの軸方向位置がガイド本体120に固定されてロックされるように、スロット157の軸方向寸法と実質的に等しい。
図10は、ロック方向におけるロックリング172を示す断面を示す。切り込み157と係合するロックリング172の部分は、円形である。図11は、解除方向におけるロックリング172を示す断面を示す。この状態では、ロックリング172のどの部分も切り込み157内まで延在していない。これら2つの図から分かるように、スイッチ173を圧縮ばね174の付勢力に逆らって反時計方向に回転させることによって、ガイド本体120からドリルチューブ150Aを取り外すことができる。この回転により、図11に示すように、切り込み157から面取り部177を移動させる。この状態では、ドリルチューブ150Aはもはやロックリング172によって軸方向に拘束されず、ガイド本体120から引き出すことができる。
ドリルビット200A、200B、200Cはそれぞれ、ドリルチューブ150A、150B、150Cの内径に対応する外径を有する。ドリルビット200A、200Bおよび200Cの各々は、ドリルチューブ150Aがガイド本体120に取り付けられているとき、ドリル止め140の上方からドリルチューブ150Aの遠位端部を越えて延びるのに十分な長さである。
穿孔が完了した後、ドリルチューブとドリルビットを所定の位置に残したまま、ドリルドライバと汎用ドリルガイド110を操作側から取り外す必要がある場合がある。これは、ドリル止め140が図1に示すようにドリルビットと係合しているので、技術的な課題となり得る。したがって、汎用ドリルガイド110は、汎用ドリルガイド110がドリルチューブから解除されるときに、ドリル止め140を反時計回りに、ドリルビットから離れるように回動させる機構を含む。これは、図12および図13に示すように、ロックリング172をドリル止め140のシャフト142と相互接続するカム機構190によって達成される。
ロックリング172は、シャフト142の底部のカム追従ピン145を駆動するカムスロット181を含む。この配置では、ロックリング172の時計回り(または図では左)の回転は、シャフト142およびドリル止め140を同時に反時計回り(または図では右)に回転させ、ドリル止め140をドリルビットから離れるように移動させ、ドリルチューブおよびドリルビットが患者の体内に残る一方、汎用ドリルガイド110は、ドリルチューブから離れて持ち上げられ得る。汎用ドリルガイド110をドリルチューブ150Aから離して持ち上げるプロセスを図14および図15に示す。
ロックリング172上のスイッチ173は、時計回りまたは左に向けて回転されることが図14から分かる。これにより、ドリル止め140が反時計回りまたは右に回動する。ドリル止めをドリルビット200Aから係合解除させる間、図15に示すように、汎用ドリルガイド110は、阻害されることなくドリルチューブ150Aおよびドリルビットから離れて持ち上げられることができる。
Kワイヤ保持付き中空ドリル
前述のように、第1、第2、および第3のドリルビット200A、200B、および200Cは、中空になっており、Kワイヤを保持するように設計された特徴を有する。ドリルビット200A、200Bおよび200Cは、一般に同じであるが、いくつかの違いがある。ドリルビット200A、200B、200Cの外径は異なり、各外径は異なるサイズの穴を開けるように構成されている。ドリルビット200Aの内径は、ドリルビット200B及び200Cの内径よりも小さく、ドリルビット200Aの内径は、直径1.0mmのKワイヤがドリルビット200Aを通過できるように構成されている。ドリルビット200B及び200Cの内径はより大きく、各々は、直径1.5mmのKワイヤがドリルビット200B、200Cを通過できるように構成されている。ドリルビット200A、200Bおよび200Cはまた、その外側に異なる色の印を有し、ユーザが各ドリルビットを対応するドリルチューブとペアにするのを助ける。
ここで図16を参照して、同じ説明がドリルビット200Bおよび200Cに適用されるという理解のもと、ドリルビット200Aを有するドリルビットアセンブリについて、より詳細に説明する。ドリルビット200Aは、Kワイヤ300とともに示されている。Kワイヤ300は、近位端部202から遠位端部204までドリルビット200Aを通って延びる通路208を通って延びる。Kワイヤ300は、近位端部302と、遠位端部304と、近位端部と遠位端部との間に延在するワイヤ本体306とを有する。遠位端部304は、選択された位置で骨内に穿孔できる鋭い尖った端部308を有する。Kワイヤ300が骨内に挿入されると、外科医は、中空骨スクリュ、ドリルビット、または他の器具をKワイヤ上に通し、それを選択された位置に前進させて手術を行うことができる。
Kワイヤ300は、ドリルビット200Aよりも著しく長い。従ってKワイヤ300は、Kワイヤの近位端部302が近位方向へ、ドリルビット200Aの近位端部202の外側に突出する状態で、ドリルビット200Aを貫通して延びることができる。同時にKワイヤ300は、Kワイヤの遠位端部304が遠位方向へ、ドリルビット200Aの遠位端部204の外側に突出する状態で、ドリルビット200Aを貫通して延びることができる。Kワイヤ300は、Kワイヤとドリルビットを一緒に骨内に挿入することを可能にするアセンブリとして、ドリルビット200Aの内側に取り外し可能に固定可能である。
図17および図18を参照すると、ドリルビットに内蔵されている保持機構290によって、穿孔中にKワイヤ300がドリルビット200Aの内側に取り外し可能に固定される。保持機構290は、穿孔中にドリルビット200Aに対してKワイヤが軸方向に前進すること防ぐために、Kワイヤ300と係合するように構成される。この保持はKワイヤ300およびドリルビット200Aが一緒に挿入され、骨内に同じ量だけ前進することを確実にする。保持機構290はまた、ドリルビット200Aに加えられたトルクをKワイヤ300に伝達することを可能にする。従って、保持機構が係合されると、Kワイヤ300とドリルビット200Aは一体となって回転する。トルクドライバは、Kワイヤ300とドリルビット200Aに一体でトルクを加えて、Kワイヤを骨にしっかりと挿入し、骨スクリュ用のパイロット穴を形成することができる。パイロット穴が開けられると、ドリルビット200AはKワイヤを骨内に残しながら、Kワイヤ300から係合解除され、患者から取り外され得る。
保持機構290はKワイヤ300の外側部分上のロック溝308と解除可能に係合するように構成された保持クリップ292を含む。本開示によるロック溝及び保持クリップは、様々な形態及び幾何学的形状を有することができる。例えば、ロック溝は、Kワイヤの一部の周囲に延在することができ、又はKワイヤを円周方向に完全に囲むことができる。保持クリップは、ドリルビットの外側にクリップ留めされるか、またはドリルビットと一体に形成することができる。保持クリップは、ドリルビット内でKワイヤが軸方向に変位することを制限するために、ロック溝内に押し込むことができる内向きに延びる保持端部を有することもできる。
保持クリップ292は、保持クリップをドリルビット200Aに取り付けるハブ部分294を有する。保持クリップ292はまた、ハブ部分294の反対側に保持端部296を有する。保持端部296は、ドリルビット200の側壁を通って半径方向内側に向かって突出し、Kワイヤ300のロック溝308と係合する。
本開示によるKワイヤは、トルクがドリルビット/保持クリップからKワイヤに伝達されることを可能にする幾何学的形状をロック溝内に有することができる。例えば、Kワイヤは、溝内のその外側の一部に、保持クリップの保持端上の平坦な縁部と係合する平坦な表面を有することができる。図19は、溝内に四面四角形の部分310を有するロック溝308を有するKワイヤ300の一例を示す。Kワイヤ300は、ドリルビット200Aのような、前述の例のいずれかによるドリルビットに形成された保持クリップと共に動作することができる。
本開示によるロック溝は、近位端壁および遠位端壁によって境界付けられ得る。近位端壁および遠位端壁は、周囲のドリルビットに対するKワイヤの軸方向の変位を制御する様々な幾何形状を有することができる。図19の例では、ロック溝308は、近位端壁312と遠位端壁314とを有する。遠位端壁314はKワイヤ300の長手方向軸301に対して実質的に垂直である。これは、保持クリップ292がロック溝308に係合されたときに保持クリップ292の保持端部296に当接することができる停止部316を形成し、それによってKワイヤ300が遠位方向に相対変位すること防止する。遠位端壁314とは対照的に、近位端壁312は、長手方向軸301に対して鋭角に延びる傾斜面318からなる。傾斜面318は傾斜した部分320を形成し、穿孔が完了した後にドリルビット200AをKワイヤ300から引き抜く間に、保持クリップ292の保持端部296が徐々に外側に偏向し、ロック溝308から摺動して外れることを可能にする。
保持クリップ292は、ロックモードおよび解除モードで動作可能である。ロックモードでは、保持端部296は、図18に示すように、ロック溝内で内側に向かって押圧保持される。これにより、穿孔中にドリルビット200に対するKワイヤ300の軸方向位置がロックされる。穿孔が完了した後、保持端部296上の内向きの力を取り除き、保持クリップ292を解除モードに留めることができる。解除モードでは、ドリルビットがKワイヤから完全に取り外されるまで、ドリルビット200をKワイヤ300に対して近位方向に移動させることが可能である。これにより、Kワイヤ300をその後の使用のために患者の体内に残したまま、ドリルビット200Aを患者から引き抜くことができる。
図20を参照すると、保持クリップ292は、ペンのポケットクリップと同様に、ドリルビットの丸い外側にクリップ留めするように構成された部分的に円筒形のハブ部分294を有する。保持クリップ292はまた、ハブ部分294と保持端部296との間に可撓性アーム295を有する。可撓性アーム295は、ドリルビットがKワイヤから引き出されるときに、保持端部296が蓄積されたエネルギーの下で半径方向外側にたわむことを可能にする。保持端部296は、ドリルビットがKワイヤから取り外されるとき、外側の位置に偏向されたままである。ドリルビットがKワイヤから取り外されると、保持端部296は、半径方向内側に向かってスナップして図20に示される緩和状態に戻る。
保持クリップの保持端部に半径方向内側に向かって力を加えて、保持クリップを押してロック溝との係合モードで保持することができる。内側向きの力は、多くの方法で加えることができる。図21および図22は、ドリルビット200’および可動スリーブ298’を備えたドリルビットアセンブリの別の例を示す。可動スリーブ298’は、第1の位置と第2の位置との間でドリルビット200’の外部上を摺動可能である。第1の位置(図21)では、スリーブ298’は保持端部296’を覆い、内側向きの力を加えて保持クリップ292’を係合モードに保持する。第2の位置(図22)では、スリーブ298’が保持端部296’から外れて動かされ、保持端部296’が外側に撓みKワイヤ300のロック溝から保持クリップ298’が外れることを可能にする。
他の例では、別個の器具を使用して、保持クリップをロックしてKワイヤと係合させることができる。図23および図24は、ドリルドライバ400によってドリルビット200Aの保持クリップ292が係合モードに維持される例を示す。ドリルドライバ400は、保持クリップ292の保持端部296上に固定され、保持クリップ292をKワイヤ300の四面ロック溝308内で係合モードに維持するために外力を加える。
ドリル取外しツール
図25~32を参照すると、一例によるドリル取り外しツール500が示される。ドリル取り外しツール500は、穴が開けられた後に骨から中空ドリルビットを取り外す一方で、Kワイヤを骨内の適所に残すように設計される。ドリルビットがKワイヤから取り外されると、骨スクリュをKワイヤの上で進め、ねじ穴内に進めることができる。ドリル取り外しツール500は、ドリルビット、ドリルチューブ、およびKワイヤの任意の組み合わせと使用することができる。この説明の目的のために、ドリル取り外しツール500は、先に説明した同じドリルビット200A、ドリルチューブ150AおよびKワイヤ300と共に使用して説明される。
ドリル取り外しツール500は、第1の支持端部510と、第2の支持端部520と、第1の支持端部510と第2の支持端部520との間に延在する歯付きラック530とを含む。第1の支持端部510はKワイヤ300を固定するように動作可能なワイヤクランプ540を含む。第2の支持端部520は、ドリルチューブ150Aの周囲にぴったりと嵌合するように構成されたC字型基部522を含む。ドリルビット取り外し部570は、第1の支持端部510と第2の支持端部520との間の歯付きラック530上で軸方向に変位可能である。
図26~図29を参照すると、ワイヤクランプ540は、非ロック状態においてKワイヤ300の露出端部上を通過し、続いて、ロック状態においてKワイヤ300をクランプするように構成される。ワイヤクランプ540は、第1の支持端部510から延在する中空ハウジング542を含む。中空ハウジング542は、近位端部546と、遠位端部548と、近位端部546と遠位端部548との間の収束部549とを有するクランプ通路544を画定する。近位端部546は雌ねじ547を有する。ノブ550は、ダイヤル552と、クランプ通路544内の雌ねじ547と嵌合する雄ねじ557を備えたシャフト554とを含む。ノブ550は、クランプピン560を軸方向に受け入れる貫通孔558を画定する。クランプピン560は、貫通路562と、その遠位端部566にくさび形コレット564とを画定する。コレット564は、遠位端部566に向かって徐々に減少する外径を有し、収束部549の形状に適合する円錐形状の突起を形成する。貫通路562は、Kワイヤ300を受け入れるように適合された内径を有する。
ノブ550は、ロック解除状態とロック状態との間でノブ軸551を中心に回転可能である。ノブ軸551は、貫通孔558および貫通路562と同軸上で整列する。図27は、ノブ550が非ロック状態にあることを示し、図28は、ノブがロック状態に回転された後の状態を示す。雌ねじ547および雄ねじ557は、ノブが回転されるときに、ノブ550の軸方向変位を促進する。クランプピン560は、ノブ550内で軸方向に固定され、ノブ550の遠位端部556は、コレット564に当接する。この配置では、ノブ550およびクランプピン560は、ノブが回転されると、クランプハウジング544内で軸方向に、かつ一体となって移動する。雌ねじ547および雄ねじ557は、ダイヤル552の時計回り方向CWの回転によって、ノブ550およびコレット564が、収束部549内に遠位方向に移動するように向けられる。収束部549のテーパ形状は、クランプピン560が遠位方向に移動するときにコレット564に内側向きの力を加え、Kワイヤ300をロック状態でロックするようにコレット564を圧縮する。
ドリル取り外しツール500はKワイヤ300、ドリルビット200A、およびドリルチューブの上に2段階で取り付け可能である。第1の段階では、ワイヤクランプ540がKワイヤに通される。ワイヤクランプ540をKワイヤ300に通すために、ノブ550は、コレット564がクランプ通路544の収束部549内で圧縮されないように、ロック解除状態まで反時計回りに回転される。一旦、Kワイヤ300の近位端部がワイヤクランプ540を通過すると、第2の支持端部520およびC字型基部522は、図26の湾曲した矢印で示される方向にドリルチューブ150Aの方へ回動される。C字型基部522は、C字型基部の開口523が、ぴったりとフィットしてドリルチューブ150Aを受け入れるまで回動される。
図30を参照すると、ドリルビット取り外し部570は、貫通スロット574を画定するフォーク形状のアンビル572を含む。貫通スロット574は、クランプ通路544および開口523と位置合わせされ、ドリル取り外しツール500の3つのすべての部分を通る直線通路を形成する。アンビル572は、貫通スロット574の上方に平坦なフォークリフト面576を有する。貫通スロット574およびフォークリフト面576は、先に述べたように、停止面206の下でドリルビット200Aと係合するように構成される。貫通スロット574は、ドリルビット200A上の縮小直径部205よりもわずかに大きいが、拡大直径部207よりも小さい直径を有する丸い端部575を有する。したがって、アンビル572は、フォークリフト面576が停止面206に対して下方または遠位に位置決めされた状態で、ドリルビット200Aの縮小直径部205を貫通スロット574内に受け入れるように構成される。この位置では、フォークリフト面576は、図32に示すように、停止面206において拡大直径部207に当接する。
ドリルビット取り外し部570は、アンビル572に接続されたスリーブ573を含む。スリーブ573は、ラック530を取り囲み、アンビル572をC字型基部522と相互接続する。ピニオンハウジング582は、スリーブ573の一方の側から延在し、ピニオン584を含む。ピニオン584は、ピニオンハウジング582とラック530との間の開口部を通してラック530の歯531と噛み合うか、または係合する複数のギア歯585を有する。ホイールハンドル586は、ピニオン584に取り付けられ、ピニオンハウジング582の外側に延在する。ホイールハンドル586およびピニオン584は、ピニオンハウジング582に対して一体となって回転可能である。この配置では、ホイールハンドル586を回転させて、ドリルビット取り外し部570をラック530に沿って上下に移動させることができる。
図30及び図31を参照すると、ばね式爪部587がラック530の歯531と解除可能に係合する。爪部587は、ばね588によって歯531と係合するように付勢されている。爪部587の歯531との係合は、ドリルビット取り外し部570がラック530に沿って変位した後に自動的に生じ、アンビル572の位置を維持するためにラック530に対するドリルビット取り外し部570の位置をロックするように働く。爪部587は、ばね588の付勢力に逆らって歯531との係合から外れて回動可能であり、爪部587を解除してドリルビット取り外し部570がラック530上で移動できるようにする。爪部587は、爪部587から延びるタブ589を押し下げることによって、歯531との係合から外れるように回動させることができる。必要に応じて、ばね588の強度は、爪部587をラック530に対して保持するが、ラチェットのようにホイールハンドル586が回されると、爪部587がラック530に沿って動くことを可能にするように設計され得る。あるいは、ばね588の強度は、ホイールハンドル586が回されたときには爪部587が歯531から外れず、ユーザがタブ589を押し下げたときにのみ歯531から外れるように選択することができる。
ピニオン584は、ホイールハンドル586を正面から見るときに、ラック530の左側に配置される。この配置では、時計回り方向CWへのホイールハンドル586を回転させることによって、アンビル572を上方に、または第1の支持端部510に向かって上昇させる。これにより、フォークリフト面576は、ドリルビット200Aの停止面206に接触して上向きにまたは近位方向に支え、ドリルビット200Aを近位方向に変位させる。従って、ドリルビット200Aを患者から取り外すために、Kワイヤ300を取り外さずに、ユーザは、まず、ワイヤクランプ540をロックしてKワイヤ300を軸方向に固定する。次いで、ユーザは、ホイールハンドル586を時計回りに回転させて、ドリルビット200AをKワイヤ300に対して近位方向に移動させる。これはKワイヤ300を変位させず、Kワイヤを所定の位置に保持しながら、ドリルビット200Aを患者から引き抜く効果を有する。ホイールハンドル586は、ドリルビット200Aの遠位端部204が患者から取り外されるまで回転される。ドリルビット200Aがもはや患者の体内にいなくなると、ワイヤクランプ540がロック解除され、C字型基部522がドリルチューブ150Aから取り外される。これにより、ドリル取り外しツール500はKワイヤ300に沿って再び移動することができる。次いで、ドリルビット200AもKワイヤ300から取外されるように、フォークリフト面576がドリルビット200Aを支持した状態で、ドリルビット取り外しツール500がKワイヤ300から外れて持ち上げられる。ドリルビット取り外しツール500がKワイヤ300から取り外された後、ドリルチューブ150Aは、任意の組織拡張器と同様に、患者から取り外され得る。この例では、ドリルチューブ150Aは、複数の入れ子式拡張器を通って延びており、最も外側の拡張器Dが図32に示されている。
代替のMIS技術では、ドリルビット200AをKワイヤ300なしで骨内に挿入することができる。このような場合、ドリルビット200Aを通してKワイヤ300を骨内に挿入するためにドリル取り外しツール500は使用され得る。この技術を開始するために、前述の実施形態のような汎用ドリルガイドがナビゲーションユニットに取り付けられ、調整される。ドリル止めの高さが設定され、適切なドリルチューブが汎用ドリルガイドに取り付けられる。次に、閉塞具を汎用ドリルガイドおよびドリルチューブに挿入し、所定の位置にロックする。次に、汎用ドリルガイドおよび閉塞具は、患者内の所望の穿孔位置まで挿入される。次に、閉塞具を汎用ドリルガイドおよびドリルチューブから取り外し、皮質パンチと交換する。皮質パンチは、皮質層に開始穴を形成するために使用され、次いで取り外される。次いで、適切なドリルビットをドライバに取り付け、汎用ドリルガイドに挿入し、ドリルチューブを通して前進させ、骨に穴をあける。ドリルビットが骨に挿入されると、汎用ドリルガイドがドリルチューブから取り外され、ドリルビットとドリルチューブはそのまま残される。
組織拡張器Dは、拡張器ハンドルに取り付けられ、ドリルチューブを取り囲む組織に接触するまで、ドリルチューブ上を前進する。次に、拡張器を押し、回転させて組織を拡張させる。次に、組織プロテクタPが拡張器上を前進する。次に、Kワイヤを、ドリルビットを通して骨に挿入することができる。
図46~52を参照すると、ドリルビット200Aを通してKワイヤ300を挿入するための1つのプロセスが示されている。第1の工程ではKワイヤ300がドリル取り外しツール500に取り付けられる。ノブ550は、ロック解除位置まで回転され、Kワイヤ300は、図46の矢印で示される方向にノブを通って挿入される。Kワイヤ300は、Kワイヤの長いマーキング303がドリル取り外しツール500によって完全に覆われるまで、ノブ550を通って前進する。Kワイヤ300がドリル取り外しツール500を通って適切な位置まで前進すると、ノブ550は、図47の矢印で示されるようにロック位置まで回転されてKワイヤをワイヤクランプ540内にロックする。
ドリル取り外しツール500及びKワイヤ300は、ドリルビット200Aの近位端部202の上方に配置される。次にKワイヤ300は、ドリルビット200A内に案内される。ドリル取り外しツール500の底部は、図48に示すように、ドリルビットがアンビル572の貫通スロット574内に受け入れられるまで、ドリルビット200Aおよび拡張器Dに向かって回動される。ドリル取り外しツール500は、アンビル572が停止面206の下に位置することを確認しながら回動される。ドリル取り外しツール500がドリルビット200Aおよび拡張器Dに取り付けられると、ノブ550は、図49に示される方向にロック解除位置まで回転される。
Kワイヤ300は、図50に示されるように、ドリルビット200A内へ下方に進められる。一旦長いマーキング303がドリルビット200Aによって完全に覆われると、ノブ550は、図51に示すようにロック位置まで回転される。次に、図52に示すように、ホイールハンドル586を回転させて、アンビル572を歯付きラック530に対して上方に移動させ、ドリルビット200Aを骨から引き出す。ドリルビット200Aが骨から引き出されると、ドリル取り外しツール500およびドリルビットを持ち上げて取り外すことができる。次に、図53に示すように、ドリルチューブ150Aおよび拡張器DをプロテクタPから取り外すことができる。
Kワイヤ保持付き骨スクリュドライバ
図33~図41を参照すると、一例による骨スクリュドライバ600を有する骨スクリュドライバセンブリが示されている。骨スクリュドライバ600は、Kワイヤが前方(すなわち、遠位)に前進することを防止しつつ、骨スクリュをKワイヤ上で前進させ、骨スクリュを骨内に進めるように設計される。これを達成するために、骨スクリュドライバセンブリはKワイヤ保持モジュール700を特徴とする。この説明の目的のために、骨スクリュドライバ600およびKワイヤ保持モジュール700は、先に説明したのと同じKワイヤ300と共に使用して説明される。
骨スクリュドライバ600は、近位端部602と、近位端部602の反対側の遠位端部604と、近位端部602と遠位端部604との間の長手方向貫通路606とを画定するシャフト601を有する。通路606は、骨スクリュドライバ600がKワイヤ300の近位端部上を通過しKワイヤ300の遠位端部に向かって前進することができるように構成される。近位端部602は、ハンドル603が取り付けられる取り付け機構(図示せず)を有する。取り付け機構は、六角形のシャフトを含むがこれに限定されない、ハンドルを受け入れるための任意の適切な構造とすることができる。ハンドル603は、従来のスクリュドライバのように、骨スクリュドライバ600を操作するユーザによって把持され、回転されるように構成される。遠位端部604は、椎弓根スクリュアセンブリのロッド受容構成要素内の雌ねじと嵌合するように構成された雄ねじ605を有する。シャフト601の回転を容易にし、雄ねじ605をロッド受け部品にねじ込むために、ノブ607がシャフト601に設けられている。
図34および図35を参照すると、遠位端部604はドライバ先端部610を有する。ドライバ先端部610は、骨スクリュの頭部に、同様に成形された凹部に嵌合するヘクサロビュラ延長部612を有する。ドライバ先端部610はまた、延長部612に対して近位に配置された一対の舌部614を有する。舌部614は、雄ねじ605がロッド受け部品の雌ねじにねじ入れされるときに、ロッド受け部品内の直径方向に対向したスロット内にスライドして入るように構成されている。この構成では、舌部614は、固定ロッドが配置される位置を占める。
Kワイヤ保持モジュール700は、近位端部712と、遠位端部714と、近位端部712と遠位端部714との間に延在する通路716とを有するハウジング710を含む。通路716は、骨スクリュドライバ600の通路606と位置合わせされる。この配置では、骨スクリュドライバ600およびKワイヤ保持モジュール700は、一体としてKワイヤ300上を進むことができる。図36は、埋め込まれたKワイヤ300上を前進する最中の(ハンドル603が取り付けられていない)骨スクリュドライバ600を示す。ドライバ先端部610は、Kワイヤ300の上を同様に通る中空多軸スクリュアセンブリ800とタブ保護スリーブ850とに固定される。
図37を参照すると、Kワイヤ保持モジュール700は、ハウジング710内に収容されたローラアセンブリ720を有する。ローラアセンブリ720は、係合解除モードおよび係合(または駆動)モードで動作可能である。係合解除モードでは、ローラアセンブリ720は、Kワイヤ保持モジュール700及び骨スクリュドライバ600がKワイヤ300の長さに沿って自由に進むことを可能にする。係合モードでは、ローラアセンブリ720はKワイヤ300と係合し、骨スクリュドライバ600が多軸スクリュアセンブリ800を遠位方向に前進すると、Kワイヤ300を、ハウジング710を介して近位方向に送る。
ローラアセンブリ720は、骨スクリュドライバ600のシャフト601に取り付けられた第1の平歯車722aと、第1の平歯車722aに嵌合した第2の平歯車722bとを有している。また、ローラアセンブリ720は、第4の平歯車722dと嵌合するシャフト601上の第3の平歯車722cを含む。第2の平歯車722bおよび第4の平歯車722dは、シャフト601と平行に延びる二次シャフト721に取り付けられている。二次シャフト721は、第5の平歯車722eと嵌合したウォームギヤ724を有する。第5の平歯車722eは、第5の平歯車722eに固定された第1のローラ726に取り付けられており、第5の平歯車722eと第1のローラ726とが一体となって回転するようになっている。第2のローラ728は、第1のローラ726とは反対側のKワイヤ300と係合する位置で第1のローラ726に隣接して配置されている。
図38~図41を参照すると、ローラアセンブリ720の係合および係合解除は、レバーアセンブリ730によって制御される。レバーアセンブリ730は、圧縮ばね734によって係合モードに向かって付勢されるばね式レバー732を含む。図38は、Kワイヤ300上を前進する直前のローラアセンブリ720の構成要素を示している。レバー732は、完全に拡張されたばね734によって係合モードに位置決めされる。このモードでは、第1および第2のローラ726、728は、互いに近接して配置され、それらの間の隙間はほとんどまたは全くない。ローラアセンブリ720をKワイヤ300の上で前進させるために、レバー732は、図40に示すようにKワイヤに向かって内側に押圧される。これにより、第1および第2のローラ726、728が離れるように動き、ローラアセンブリ720がKワイヤ300上を進むことができる。Kワイヤ300が第1および第2のローラ726、728の間に受け入れられると、レバー732を解除して、ローラをKワイヤと直接係合させるばね734の付勢の下でローラアセンブリ720を係合モードに戻すことができる。
多軸スクリュアセンブリ800は、骨スクリュドライバ600の近位端部602に時計回りのトルクを加えることによって、Kワイヤ300上で骨内に進められる。ローラアセンブリ720が係合モードにある状態で、スクリュドライバ600の近位端部602に時計回りのトルクが加えられると、ローラアセンブリ720は、ハウジング710を介してKワイヤ300を近位方向に送る。シャフト601の時計回りの回転により、第1の平歯車722aおよび第3の平歯車722cが時計回りに回転し、これにより第2の平歯車722cおよび第4の平歯車722dを介して二次シャフト721にトルクが付与される。二次シャフト721およびウォームギヤ724は、反時計回り方向に回転し、これにより、第5の平歯車722eにトルクが付与される。第5の平歯車722eは、第1のローラ726を第1の方向に駆動する。第2のローラ728は、Kワイヤ300に係合するように付勢され、第1の方向とは逆の第2の方向に回転する。第1及び第2のローラ726、728の外面は、Kワイヤ300の表面を把持して、Kワイヤをハウジング710に対して近位方向に引っ張り、その結果、Kワイヤ300は、多軸スクリュアセンブリ800が骨内に遠位方向に進められるときに、近位方向に送られる。
Kワイヤ300が遠位方向にハウジング710を通して送られることは、ラチェットホイール742および爪部744によって防止される。爪部744は、図39に示すように、ラチェットホイール742と係合して、シャフト601がハウジング710に対して反時計回りに回転されないようにする。これにより、ハウジング710は、Kワイヤを遠位側に送る逆方向に第1および第2のローラ726、728を回転させることになる。爪部744は、図41に示されるように、レバー732をばね724に対して内側に向けて押し付けることによって、ラチェットホイール742との係合から外れて回動され得る。これは、ローラアセンブリ720を非係合モードに切り替えてKワイヤ300を解除し、Kワイヤ300を遠位側に前進させる危険なしに、骨スクリュドライバ600およびKワイヤ保持モジュール700をKワイヤ300から取り外すことを可能にする。
本開示によるKワイヤ保持モジュールは、タッピングおよび駆動のための器具を含むがこれに限定されない、異なる種類の器具に着脱自在に接続可能なモジュラーユニットとすることができる。本実施例では、Kワイヤ保持モジュール700は、図33に示されるクイックフィット接続部650によって骨スクリュドライバ600に着脱可能に接続される。骨スクリュドライバ600のシャフト601は、六角ドライブ、1/4インチドライブ、または回転を制御するAOドライブとすることができるクイックフィット接続部650を使用して、ハウジング710内にスナップ嵌めされる。
本開示による骨スクリュドライバは、骨スクリュの挿入を補助するための様々なタイプの印を含むことができる。例えば、シャフト601は、汎用ドリルガイド110上のものと同様に、深さマーキングを提供する間隔を開けた線を有することができる。深さマーキングは、骨スクリュの先端が進む深さの視覚的表示をユーザに提供することができる。骨スクリュドライバはまた、滅菌を補助するための様々な特徴を含み得る。例えば、シャフト601は、オートクレーブ処理および洗浄中に蒸気がシャフト601の内部に入ることを可能にする一連の開口611を有する。
図42~図45は、別の実施形態による代替の骨スクリュドライバ900およびKワイヤ保持モジュール1000を示す。Kワイヤ保持モジュール1000は、Kワイヤ保持モジュール700に類似しているが、ピンチレバー1032およびピンチローラ1026、1028を特徴とする。ピンチレバー1032は、通常、図43及び図44に示すように、ピンチローラ1026、1028を離すために開位置にある。ピンチレバー1032は、図45に示されるように、閉位置に動かされて、Kワイヤ300に対してローラと係合することができる。ピンチレバー1032は、Kワイヤ300がピンチローラ1026、1028の間に配置された場合にのみ、閉じたままにすることができる(すなわち、駆動部を係合したままにすることができる)。
本明細書に記載の器具は、ステンレス鋼の様々な合金を含むがこれに限定されない様々な材料を使用して製造することができる。合金の等級は、所望の強度、硬度、耐食性、摩耗特性および他の性能基準に基づいて選択することができる。
したがって、添付の特許請求の範囲は、本開示の範囲内に入るそのようなすべての変形を包含することが意図される。
以下に、本明細書で開示する技術の特徴を列挙する。
(項目1)
汎用ドリルガイドシステム(100)であって、
汎用ドリルガイド(110)と、
前記汎用ドリルガイド(110)に少なくとも部分的に挿入可能なドリルチューブ(150)と、
前記ドリルチューブ(150)に挿入可能なドリルビット(200)と、を備え、
前記汎用ドリルガイド(110)は、
前記ドリルビット(200)の穿孔深さを制限するために、前記ドリルビット(200)の停止面(206)に当接するように構成されたドリル止め(140)と、
ロック方向と解除方向との間で回転可能なロックリング(172)であって、前記ロック方向では、前記汎用ドリルガイド(110)に挿入された前記ドリルチューブ(150)が前記ロックリング(172)によってロックされ、前記解除方向では、前記ドリルチューブ(150)が前記ロックリング(172)から解除可能である、前記ロックリング(172)と、
前記ロックリング(172)が前記解除方向に回転されるにつれて、前記ドリル止め(140)が前記ドリルビット(200)の前記停止面(206)から離れるように回動するように構成されたカム機構(190)と、
を備える、
汎用ドリルガイドシステム(100)。
(項目2)
前記カム機構(190)は、前記ロックリング(172)に形成されたカムスロット(181)と、前記ドリル止め(140)のシャフト(142)の遠位端部に形成されたカム追従ピン(145)とを含む、項目1に記載の汎用ドリルガイドシステム(100)。
(項目3)
前記カムスロット(181)および前記カム追従ピン(145)は、前記ロックリング(172)の時計回りの回転が前記ドリル止め(140)を反時計回りに同時に回転させ、前記ドリル止め(142)が前記ドリルビット(200)の前記停止面(206)から離れるように回動するように構成される、項目2に記載の汎用ドリルガイドシステム(100)。
(項目4)
圧縮ばね(174)が、前記ロックリング(172)に付勢力をかけ、前記ロックリング(172)を前記ロック方向に付勢する、項目1から3のいずれか1項に記載の汎用ドリルガイドシステム(100)。
(項目5)
スイッチ(173)は、前記圧縮ばね(174)の付勢力に逆らって、前記ロックリング(172)を前記ロック方向から前記解除方向に回転させるように手動で操作可能である、項目4に記載の汎用ドリルガイドシステム(100)。
(項目6)
前記ドリル止め(140)は、前記ドリル止め(140)のシャフト(142)から横方向に延びる停止プレート(144)を備え、前記停止プレート(144)は、前記ドリルビット(200)の前記停止面(206)が前記停止プレート(144)に当接するまで、前記ドリルビット(200)の遠位部分が前記停止プレート(144)を通過可能に構成されたスロット寸法を有するスロット(146)を備える、項目1から5のいずれかに記載の汎用ドリルガイドシステム(100)。
(項目7)
前記汎用ドリルガイド(110)は、ガイド本体(120)を備え、前記ドリル止め(140)の前記シャフト(142)は、前記ガイド本体(120)に対して上昇または下降されるように構成されている、項目1から6のいずれかに記載の汎用ドリルガイドシステム(100)。
(項目8)
前記汎用ドリルガイド(100)は、前記ドリル止め(140)のシャフト(142)に係合して、付勢力をかけることによって、前記シャフト(142)を前記ガイド本体(120)に対してロックするように構成されるロック(126)、特に、ばね式ロック(126)、を備える、項目1から7のいずれか1項に記載の汎用ドリルガイドシステム(100)。
(項目9)
前記ドリル止め(140)の前記シャフト(142)は、前記ロック(126)と係合する円周溝(143)を含む、項目8に記載の汎用ドリルガイドシステム(100)。
(項目10)
前記ロック(126)は、前記ドリル止め(140)の前記シャフト(142)から前記ロック(126)を係合解除するために、内側に向けて押されるように構成された解除ボタン(127)を含む、項目8又は9に記載の汎用ドリルガイドシステム(100)。
(項目11)
前記汎用ドリルガイド(110)は、選択された深さを示すための第1のセットの印(128)及び第2のセットの印(148)を含む、項目1から10のいずれか1項に記載の汎用ドリルガイドシステム(100)。
(項目12)
前記第1のセットの印(128)は、前記ガイド本体(120)上に垂直方向の一連のマーキング(128a)を含み、前記第2のセットの印(148)は、前記ドリル止め(140)の前記シャフト(142)上に垂直方向の一連のマーキング(148a)を含む、項目11に記載の汎用ドリルガイドシステム(100)。

Claims (12)

  1. 汎用ドリルガイドシステムであって、
    汎用ドリルガイドと
    前記汎用ドリルガイドに少なくとも部分的に挿入可能なドリルチューブと
    前記ドリルチューブに挿入可能なドリルビットと、を備え、
    前記汎用ドリルガイドは
    前記ドリルビットの穿孔深さを制限するために、前記ドリルビットの停止面に当接するように構成されたドリル止めと
    ロック方向と解除方向との間で回転可能なロックリングであって、前記ロック方向では、前記汎用ドリルガイドに挿入された前記ドリルチューブが前記ロックリングによってロックされ、前記解除方向では、前記ドリルチューブが前記ロックリングから解除可能である、前記ロックリングと
    を備え、
    前記ロックリングが前記解除方向に回転されるにつれて、前記ドリル止めが前記ドリルビットの前記停止面から離れるように回動するように構成されたカム機構をさらに備えることを特徴とする、
    汎用ドリルガイドシステム。
  2. 前記カム機構は、前記ロックリングに形成されたカムスロットと、前記ドリル止めのシャフトの遠位端部に形成されたカム追従ピンとを含む、請求項1に記載の汎用ドリルガイドシステム。
  3. 前記カムスロットおよび前記カム追従ピンは、前記ロックリングの時計回りの回転が前記ドリル止めを反時計回りに同時に回転させ、前記ドリル止めが前記ドリルビットの前記停止面から離れるように回動するように構成される、請求項2に記載の汎用ドリルガイドシステム。
  4. 圧縮ばねが、前記ロックリングに付勢力をかけ、前記ロックリングを前記ロック方向に付勢する、請求項1から3のいずれか1項に記載の汎用ドリルガイドシステム。
  5. スイッチは、前記圧縮ばねの付勢力に逆らって、前記ロックリングを前記ロック方向から前記解除方向に回転させるように手動で操作可能である、請求項4に記載の汎用ドリルガイドシステム。
  6. 前記ドリル止めは、前記ドリル止めのシャフトから横方向に延びる停止プレートを備え、前記停止プレートは、前記ドリルビットの前記停止面が前記停止プレートに当接するまで、前記ドリルビットの遠位部分が前記停止プレートを通過可能に構成されたスロット寸法を有するスロットを備える、請求項1から5のいずれかに記載の汎用ドリルガイドシステム。
  7. 前記汎用ドリルガイドは、ガイド本体を備え、前記ドリル止めのシャフトは、前記ガイド本体に対して上昇または下降されるように構成されている、請求項1から6のいずれかに記載の汎用ドリルガイドシステム。
  8. 前記汎用ドリルガイドは、前記ドリル止めのシャフトに係合して、付勢力をかけることによって、前記シャフトをガイド本体に対してロックするように構成されるロックを備える、請求項1から7のいずれか1項に記載の汎用ドリルガイドシステム。
  9. 前記ドリル止めの前記シャフトは、前記ロックと係合する円周溝を含む、請求項8に記載の汎用ドリルガイドシステム。
  10. 前記ロックは、前記ドリル止めの前記シャフトから前記ロックを係合解除するために、内側に向けて押されるように構成された解除ボタンを含む、請求項8又は9に記載の汎用ドリルガイドシステム。
  11. 前記汎用ドリルガイドは、選択された深さを示すための第1のセットの印及び第2のセットの印を含む、請求項1から10のいずれか1項に記載の汎用ドリルガイドシステム。
  12. 前記第1のセットの印は、ガイド本体上に垂直方向の一連のマーキングを含み、前記第2のセットの印は、前記ドリル止めのシャフト上に垂直方向の一連のマーキングを含む、請求項11に記載の汎用ドリルガイドシステム。
JP2022546710A 2020-02-06 2021-02-04 汎用ドリルガイドシステム Active JP7580472B2 (ja)

Applications Claiming Priority (3)

Application Number Priority Date Filing Date Title
US202062970850P 2020-02-06 2020-02-06
US62/970,850 2020-02-06
PCT/EP2021/052719 WO2021156395A1 (en) 2020-02-06 2021-02-04 Universal drill guide system

Publications (2)

Publication Number Publication Date
JP2023513883A JP2023513883A (ja) 2023-04-04
JP7580472B2 true JP7580472B2 (ja) 2024-11-11

Family

ID=74556670

Family Applications (3)

Application Number Title Priority Date Filing Date
JP2022546710A Active JP7580472B2 (ja) 2020-02-06 2021-02-04 汎用ドリルガイドシステム
JP2022546708A Active JP7580471B2 (ja) 2020-02-06 2021-02-04 ドリル取り外しツール
JP2022546711A Active JP7640566B2 (ja) 2020-02-06 2021-02-04 汎用ドリルガイドシステム

Family Applications After (2)

Application Number Title Priority Date Filing Date
JP2022546708A Active JP7580471B2 (ja) 2020-02-06 2021-02-04 ドリル取り外しツール
JP2022546711A Active JP7640566B2 (ja) 2020-02-06 2021-02-04 汎用ドリルガイドシステム

Country Status (6)

Country Link
US (1) US11759280B2 (ja)
EP (5) EP3861940B1 (ja)
JP (3) JP7580472B2 (ja)
CN (3) CN115279285A (ja)
ES (5) ES2992101T3 (ja)
WO (3) WO2021156396A1 (ja)

Families Citing this family (7)

* Cited by examiner, † Cited by third party
Publication number Priority date Publication date Assignee Title
US12262927B2 (en) * 2020-12-10 2025-04-01 K2M, Inc. Screw insertion instrument and methods of use
US20240090932A1 (en) * 2021-12-01 2024-03-21 Kevin T. Foley Guidewire Retention Mechanism
DE102022104674A1 (de) * 2022-02-28 2023-08-31 Aesculap Ag Medizinische Bohrvorrichtung und medizinisches Bohrsystem
CN114704214B (zh) * 2022-06-07 2022-09-02 西南石油大学 一种钻头紧固夹持结构及方法
US12329418B2 (en) 2022-07-26 2025-06-17 Globus Medical Inc. Minimally invasive surgery guide wire capturing instrumentation
DE102023118429A1 (de) * 2023-07-12 2025-01-16 Aesculap Ag Präparationsinstrument zum Präparieren eines Knochens
WO2025064874A1 (en) * 2023-09-20 2025-03-27 Paragon 28, Inc. Right angle drill, instrumentation, system and methods of use and assembly

Citations (4)

* Cited by examiner, † Cited by third party
Publication number Priority date Publication date Assignee Title
JP2007531590A (ja) 2004-03-30 2007-11-08 シンセス(ユーエスエイ) 深さ調整可能なドリルビット
US20140276880A1 (en) 2013-03-15 2014-09-18 Blackstone Medical, Inc. Locking assembly for a surgical drill bit guide
US20140343553A1 (en) 2013-05-14 2014-11-20 SpineDriver, LLC Driver kit and method for using same
WO2019118753A2 (en) 2017-12-15 2019-06-20 Medos International Sàrl Adjustable drill guides and related methods

Family Cites Families (35)

* Cited by examiner, † Cited by third party
Publication number Priority date Publication date Assignee Title
GB8708076D0 (en) * 1987-04-03 1987-05-07 British Aerospace Nose piece adaptors
WO1994017759A1 (en) * 1993-02-10 1994-08-18 Spine-Tech, Inc. Spinal stabilization surgical tool set
GB9325698D0 (en) * 1993-12-15 1994-02-16 Richardson James B Patient-operated orthopedic device
US6716215B1 (en) * 1999-10-29 2004-04-06 Image-Guided Neurologics Cranial drill with sterile barrier
GB0125749D0 (en) * 2001-10-26 2001-12-19 Black & Decker Inc Power tool
AUPR524901A0 (en) * 2001-05-24 2001-06-21 Hills Industries Limited Guide mechanism for power drill
US6827722B1 (en) * 2001-12-11 2004-12-07 Biomet, Inc. Method and apparatus for use of a guide wire capturing surgical instrument
US7357804B2 (en) * 2003-08-13 2008-04-15 Synthes (U.S.A.) Quick-release drill-guide assembly for bone-plate
JP2007516738A (ja) * 2003-10-23 2007-06-28 トランスワン インコーポレイティッド 背骨に対して最小の侵入処理を行うための道具及び道具キット
US7207995B1 (en) * 2004-01-29 2007-04-24 Biomer Manufacturing Corp. Method and apparatus for retaining a guide wire
US8109934B2 (en) * 2005-02-10 2012-02-07 Zimmer Spine, Inc. All through one drill guide for cervical plating
EP2151202B1 (de) * 2008-08-04 2011-02-16 BrainLAB AG Klemmhülse zum Klemmen eines kanülierten Bohrers und eines Führungsdrahtes
WO2011119225A1 (en) 2010-03-23 2011-09-29 Geisinger Clinic Diagnostic device for determining mechanical integrity of bone
CN103038009A (zh) * 2010-04-20 2013-04-10 L.S.施泰力公司 孔锯柄轴系统
US11039889B2 (en) * 2010-06-29 2021-06-22 Mighty Oak Medical, Inc. Patient-matched apparatus and methods for performing surgical procedures
KR20130127435A (ko) * 2010-10-07 2013-11-22 마이애미 디바이스 솔루션스, 엘엘씨 안내 부재를 가진 본 플레이트 조립체
WO2012122497A1 (en) * 2011-03-09 2012-09-13 Smith & Nephew, Inc. Multiple portal guide
DE102011001446B4 (de) * 2011-03-21 2022-06-23 Wolfcraft Gmbh Schnellwechseladapter für eine Lochsäge
AU2012282919B2 (en) * 2011-07-08 2017-04-13 Smith & Nephew, Inc. Orthopedic instruments
WO2013173360A1 (en) * 2012-05-14 2013-11-21 DePuy Synthes Products, LLC Bone access instrument
DE102012104207A1 (de) * 2012-05-15 2013-12-05 Ulrich Gmbh & Co. Kg Montagewerkzeug
EP3158952B1 (en) * 2012-09-14 2019-10-23 Synthes GmbH Multihole drill sleeve with protection sleeve
US10194967B2 (en) * 2012-09-21 2019-02-05 Atlas Spine, Inc. Minimally invasive spine surgery instruments: guide wire handle with a guide wire locking mechanism
US9949770B2 (en) * 2013-02-13 2018-04-24 DePuy Synthes Products, Inc. Pedicle screw engaging control instrument with a guidewire capturing system
US9433445B2 (en) * 2013-03-14 2016-09-06 DePuy Synthes Products, Inc. Bone anchors and surgical instruments with integrated guide tips
US9254160B2 (en) * 2013-03-14 2016-02-09 Aesculap Implant Systems, Llc Driver assembly with guidewire control mechanism
WO2015006296A1 (en) * 2013-07-09 2015-01-15 Stryker Corporation Surgical drill having brake that, upon the drill bit penetrating through bone, prevents further insertion of the drill bit
EP3035870A1 (en) 2013-08-19 2016-06-29 Smith & Nephew, Inc. Bone removal under direct visualization
US9427274B1 (en) * 2013-10-17 2016-08-30 Z'egist Solutions, LLC Surgical cutting system and method
US9427271B2 (en) * 2014-03-18 2016-08-30 Osteomed Llc Percutaneous exchange tube and method of use
US10080583B2 (en) * 2014-12-12 2018-09-25 Depuy Mitel, Llc Dilator for accessing a joint space
WO2016204711A1 (en) * 2015-06-16 2016-12-22 Spine Wave, Inc. Instrument and system for placing graft, implant and graft material for minimally invasive posterolateral fusion
JP2018532498A (ja) * 2015-10-14 2018-11-08 マイティ オーク メディカル、インコーポレイテッド 患者適合装置および外科手技の実施方法
AU2019231188B2 (en) * 2018-03-05 2021-02-11 Edge Surgical, Inc. Handheld devices for use in medical procedures
CN208644148U (zh) * 2018-04-24 2019-03-26 米沃奇电动工具公司 电钻台架

Patent Citations (4)

* Cited by examiner, † Cited by third party
Publication number Priority date Publication date Assignee Title
JP2007531590A (ja) 2004-03-30 2007-11-08 シンセス(ユーエスエイ) 深さ調整可能なドリルビット
US20140276880A1 (en) 2013-03-15 2014-09-18 Blackstone Medical, Inc. Locking assembly for a surgical drill bit guide
US20140343553A1 (en) 2013-05-14 2014-11-20 SpineDriver, LLC Driver kit and method for using same
WO2019118753A2 (en) 2017-12-15 2019-06-20 Medos International Sàrl Adjustable drill guides and related methods

Also Published As

Publication number Publication date
EP4099925B1 (en) 2023-07-19
ES2960328T3 (es) 2024-03-04
WO2021156396A1 (en) 2021-08-12
CN115066215A (zh) 2022-09-16
US11759280B2 (en) 2023-09-19
ES3032867T3 (en) 2025-07-28
JP2023513882A (ja) 2023-04-04
CN115066215B (zh) 2023-08-08
EP3861941A1 (en) 2021-08-11
ES2992101T3 (es) 2024-12-09
CN115279285A (zh) 2022-11-01
CN115052536A (zh) 2022-09-13
JP2023513884A (ja) 2023-04-04
ES3032939T3 (en) 2025-07-29
EP3861940A1 (en) 2021-08-11
EP4099923B1 (en) 2025-04-09
EP4099925A1 (en) 2022-12-14
CN115052536B (zh) 2023-06-02
EP3861940B1 (en) 2022-05-25
WO2021156394A1 (en) 2021-08-12
EP4099930B1 (en) 2025-04-02
ES2924757T3 (es) 2022-10-10
EP4099923A1 (en) 2022-12-14
WO2021156395A1 (en) 2021-08-12
EP4099930A1 (en) 2022-12-14
JP7580471B2 (ja) 2024-11-11
EP3861941B1 (en) 2024-08-21
JP7640566B2 (ja) 2025-03-05
US20210244424A1 (en) 2021-08-12
JP2023513883A (ja) 2023-04-04

Similar Documents

Publication Publication Date Title
JP7580472B2 (ja) 汎用ドリルガイドシステム
US11337736B2 (en) Driver instruments and related methods
US8123785B2 (en) Minimally invasive spinal stabilization system
EP4011306B1 (en) Screw insertion instrument
EP2288303B1 (en) Minimally invasive spinal stabilization system

Legal Events

Date Code Title Description
A521 Request for written amendment filed

Free format text: JAPANESE INTERMEDIATE CODE: A523

Effective date: 20221116

A621 Written request for application examination

Free format text: JAPANESE INTERMEDIATE CODE: A621

Effective date: 20240122

TRDD Decision of grant or rejection written
A977 Report on retrieval

Free format text: JAPANESE INTERMEDIATE CODE: A971007

Effective date: 20240925

A01 Written decision to grant a patent or to grant a registration (utility model)

Free format text: JAPANESE INTERMEDIATE CODE: A01

Effective date: 20241001

A61 First payment of annual fees (during grant procedure)

Free format text: JAPANESE INTERMEDIATE CODE: A61

Effective date: 20241029

R150 Certificate of patent or registration of utility model

Ref document number: 7580472

Country of ref document: JP

Free format text: JAPANESE INTERMEDIATE CODE: R150