JP7579697B2 - リチウムイオン二次電池 - Google Patents
リチウムイオン二次電池 Download PDFInfo
- Publication number
- JP7579697B2 JP7579697B2 JP2020215597A JP2020215597A JP7579697B2 JP 7579697 B2 JP7579697 B2 JP 7579697B2 JP 2020215597 A JP2020215597 A JP 2020215597A JP 2020215597 A JP2020215597 A JP 2020215597A JP 7579697 B2 JP7579697 B2 JP 7579697B2
- Authority
- JP
- Japan
- Prior art keywords
- ceramic
- electrode layer
- positive electrode
- negative electrode
- layer
- Prior art date
- Legal status (The legal status is an assumption and is not a legal conclusion. Google has not performed a legal analysis and makes no representation as to the accuracy of the status listed.)
- Active
Links
- HBBGRARXTFLTSG-UHFFFAOYSA-N Lithium ion Chemical compound [Li+] HBBGRARXTFLTSG-UHFFFAOYSA-N 0.000 title claims description 57
- 229910001416 lithium ion Inorganic materials 0.000 title claims description 57
- 239000000919 ceramic Substances 0.000 claims description 141
- WHXSMMKQMYFTQS-UHFFFAOYSA-N Lithium Chemical compound [Li] WHXSMMKQMYFTQS-UHFFFAOYSA-N 0.000 claims description 40
- 229910052744 lithium Inorganic materials 0.000 claims description 40
- 239000002131 composite material Substances 0.000 claims description 30
- 239000003792 electrolyte Substances 0.000 claims description 27
- 238000000926 separation method Methods 0.000 claims description 22
- 239000010936 titanium Substances 0.000 claims description 16
- RTAQQCXQSZGOHL-UHFFFAOYSA-N Titanium Chemical compound [Ti] RTAQQCXQSZGOHL-UHFFFAOYSA-N 0.000 claims description 15
- 229910052719 titanium Inorganic materials 0.000 claims description 10
- 229910018072 Al 2 O 3 Inorganic materials 0.000 claims description 6
- 229910000625 lithium cobalt oxide Inorganic materials 0.000 claims description 6
- BFZPBUKRYWOWDV-UHFFFAOYSA-N lithium;oxido(oxo)cobalt Chemical group [Li+].[O-][Co]=O BFZPBUKRYWOWDV-UHFFFAOYSA-N 0.000 claims description 6
- 229910052878 cordierite Inorganic materials 0.000 claims description 4
- JSKIRARMQDRGJZ-UHFFFAOYSA-N dimagnesium dioxido-bis[(1-oxido-3-oxo-2,4,6,8,9-pentaoxa-1,3-disila-5,7-dialuminabicyclo[3.3.1]nonan-7-yl)oxy]silane Chemical compound [Mg++].[Mg++].[O-][Si]([O-])(O[Al]1O[Al]2O[Si](=O)O[Si]([O-])(O1)O2)O[Al]1O[Al]2O[Si](=O)O[Si]([O-])(O1)O2 JSKIRARMQDRGJZ-UHFFFAOYSA-N 0.000 claims description 4
- 238000003475 lamination Methods 0.000 claims description 4
- 229910001275 Niobium-titanium Inorganic materials 0.000 claims description 2
- RJSRQTFBFAJJIL-UHFFFAOYSA-N niobium titanium Chemical compound [Ti].[Nb] RJSRQTFBFAJJIL-UHFFFAOYSA-N 0.000 claims description 2
- 238000010248 power generation Methods 0.000 claims description 2
- 230000002093 peripheral effect Effects 0.000 claims 1
- 239000011164 primary particle Substances 0.000 description 68
- 239000002245 particle Substances 0.000 description 52
- 239000000843 powder Substances 0.000 description 46
- 239000011148 porous material Substances 0.000 description 39
- 239000011230 binding agent Substances 0.000 description 26
- 239000002994 raw material Substances 0.000 description 26
- 238000000034 method Methods 0.000 description 23
- 239000002002 slurry Substances 0.000 description 21
- 238000001887 electron backscatter diffraction Methods 0.000 description 18
- 238000010304 firing Methods 0.000 description 18
- 229910032387 LiCoO2 Inorganic materials 0.000 description 15
- 239000004014 plasticizer Substances 0.000 description 15
- KMTRUDSVKNLOMY-UHFFFAOYSA-N Ethylene carbonate Chemical compound O=C1OCCO1 KMTRUDSVKNLOMY-UHFFFAOYSA-N 0.000 description 14
- 239000002270 dispersing agent Substances 0.000 description 14
- YEJRWHAVMIAJKC-UHFFFAOYSA-N 4-Butyrolactone Chemical compound O=C1CCCO1 YEJRWHAVMIAJKC-UHFFFAOYSA-N 0.000 description 11
- 238000002360 preparation method Methods 0.000 description 10
- YXFVVABEGXRONW-UHFFFAOYSA-N Toluene Chemical compound CC1=CC=CC=C1 YXFVVABEGXRONW-UHFFFAOYSA-N 0.000 description 9
- BJQHLKABXJIVAM-UHFFFAOYSA-N bis(2-ethylhexyl) phthalate Chemical compound CCCCC(CC)COC(=O)C1=CC=CC=C1C(=O)OCC(CC)CCCC BJQHLKABXJIVAM-UHFFFAOYSA-N 0.000 description 9
- 239000000203 mixture Substances 0.000 description 9
- 238000010298 pulverizing process Methods 0.000 description 8
- 239000008151 electrolyte solution Substances 0.000 description 7
- 239000011521 glass Substances 0.000 description 7
- 230000008569 process Effects 0.000 description 7
- KFZMGEQAYNKOFK-UHFFFAOYSA-N Isopropanol Chemical compound CC(C)O KFZMGEQAYNKOFK-UHFFFAOYSA-N 0.000 description 6
- 239000003125 aqueous solvent Substances 0.000 description 6
- 239000013078 crystal Substances 0.000 description 6
- 239000002612 dispersion medium Substances 0.000 description 6
- 238000007606 doctor blade method Methods 0.000 description 6
- 239000011159 matrix material Substances 0.000 description 6
- 239000012046 mixed solvent Substances 0.000 description 6
- 238000002156 mixing Methods 0.000 description 6
- 239000007774 positive electrode material Substances 0.000 description 6
- 229910020599 Co 3 O 4 Inorganic materials 0.000 description 5
- 229910012851 LiCoO 2 Inorganic materials 0.000 description 5
- FAPWRFPIFSIZLT-UHFFFAOYSA-M Sodium chloride Chemical group [Na+].[Cl-] FAPWRFPIFSIZLT-UHFFFAOYSA-M 0.000 description 5
- 239000000654 additive Substances 0.000 description 5
- 238000007600 charging Methods 0.000 description 5
- 238000001878 scanning electron micrograph Methods 0.000 description 5
- 238000009694 cold isostatic pressing Methods 0.000 description 4
- JBTWLSYIZRCDFO-UHFFFAOYSA-N ethyl methyl carbonate Chemical compound CCOC(=O)OC JBTWLSYIZRCDFO-UHFFFAOYSA-N 0.000 description 4
- XGZVUEUWXADBQD-UHFFFAOYSA-L lithium carbonate Chemical compound [Li+].[Li+].[O-]C([O-])=O XGZVUEUWXADBQD-UHFFFAOYSA-L 0.000 description 4
- 229910052808 lithium carbonate Inorganic materials 0.000 description 4
- 229910052751 metal Inorganic materials 0.000 description 4
- 239000002184 metal Substances 0.000 description 4
- RUOJZAUFBMNUDX-UHFFFAOYSA-N propylene carbonate Chemical compound CC1COC(=O)O1 RUOJZAUFBMNUDX-UHFFFAOYSA-N 0.000 description 4
- VAYTZRYEBVHVLE-UHFFFAOYSA-N 1,3-dioxol-2-one Chemical compound O=C1OC=CO1 VAYTZRYEBVHVLE-UHFFFAOYSA-N 0.000 description 3
- GEWWCWZGHNIUBW-UHFFFAOYSA-N 1-(4-nitrophenyl)propan-2-one Chemical compound CC(=O)CC1=CC=C([N+]([O-])=O)C=C1 GEWWCWZGHNIUBW-UHFFFAOYSA-N 0.000 description 3
- SBLRHMKNNHXPHG-UHFFFAOYSA-N 4-fluoro-1,3-dioxolan-2-one Chemical compound FC1COC(=O)O1 SBLRHMKNNHXPHG-UHFFFAOYSA-N 0.000 description 3
- 229920002799 BoPET Polymers 0.000 description 3
- 229910013063 LiBF 4 Inorganic materials 0.000 description 3
- 229910013191 LiMO2 Inorganic materials 0.000 description 3
- 230000008901 benefit Effects 0.000 description 3
- 230000015572 biosynthetic process Effects 0.000 description 3
- 230000008602 contraction Effects 0.000 description 3
- 238000007599 discharging Methods 0.000 description 3
- 230000006872 improvement Effects 0.000 description 3
- 238000004519 manufacturing process Methods 0.000 description 3
- 238000005259 measurement Methods 0.000 description 3
- 238000000465 moulding Methods 0.000 description 3
- 238000012856 packing Methods 0.000 description 3
- 229920002037 poly(vinyl butyral) polymer Polymers 0.000 description 3
- 239000002904 solvent Substances 0.000 description 3
- 229910052596 spinel Inorganic materials 0.000 description 3
- 239000011029 spinel Substances 0.000 description 3
- 229910052723 transition metal Inorganic materials 0.000 description 3
- 150000003624 transition metals Chemical class 0.000 description 3
- 238000004804 winding Methods 0.000 description 3
- BJWMSGRKJIOCNR-UHFFFAOYSA-N 4-ethenyl-1,3-dioxolan-2-one Chemical compound C=CC1COC(=O)O1 BJWMSGRKJIOCNR-UHFFFAOYSA-N 0.000 description 2
- 229910018871 CoO 2 Inorganic materials 0.000 description 2
- GWEVSGVZZGPLCZ-UHFFFAOYSA-N Titan oxide Chemical compound O=[Ti]=O GWEVSGVZZGPLCZ-UHFFFAOYSA-N 0.000 description 2
- 239000011149 active material Substances 0.000 description 2
- 239000011324 bead Substances 0.000 description 2
- UBEWDCMIDFGDOO-UHFFFAOYSA-N cobalt(II,III) oxide Inorganic materials [O-2].[O-2].[O-2].[O-2].[Co+2].[Co+3].[Co+3] UBEWDCMIDFGDOO-UHFFFAOYSA-N 0.000 description 2
- 239000004020 conductor Substances 0.000 description 2
- 239000000470 constituent Substances 0.000 description 2
- 229910052802 copper Inorganic materials 0.000 description 2
- 230000006866 deterioration Effects 0.000 description 2
- 238000009826 distribution Methods 0.000 description 2
- 238000011156 evaluation Methods 0.000 description 2
- 150000002642 lithium compounds Chemical class 0.000 description 2
- 230000014759 maintenance of location Effects 0.000 description 2
- QSHDDOUJBYECFT-UHFFFAOYSA-N mercury Chemical compound [Hg] QSHDDOUJBYECFT-UHFFFAOYSA-N 0.000 description 2
- 229910052753 mercury Inorganic materials 0.000 description 2
- 239000003960 organic solvent Substances 0.000 description 2
- 239000005518 polymer electrolyte Substances 0.000 description 2
- -1 polypropylene Polymers 0.000 description 2
- 238000003825 pressing Methods 0.000 description 2
- 230000001737 promoting effect Effects 0.000 description 2
- 229920005989 resin Polymers 0.000 description 2
- 239000011347 resin Substances 0.000 description 2
- 235000002639 sodium chloride Nutrition 0.000 description 2
- 239000011780 sodium chloride Substances 0.000 description 2
- 239000007784 solid electrolyte Substances 0.000 description 2
- OGIDPMRJRNCKJF-UHFFFAOYSA-N titanium oxide Inorganic materials [Ti]=O OGIDPMRJRNCKJF-UHFFFAOYSA-N 0.000 description 2
- 238000012935 Averaging Methods 0.000 description 1
- OKTJSMMVPCPJKN-UHFFFAOYSA-N Carbon Chemical compound [C] OKTJSMMVPCPJKN-UHFFFAOYSA-N 0.000 description 1
- OIFBSDVPJOWBCH-UHFFFAOYSA-N Diethyl carbonate Chemical compound CCOC(=O)OCC OIFBSDVPJOWBCH-UHFFFAOYSA-N 0.000 description 1
- 229910011001 Li2CO3 Raw Inorganic materials 0.000 description 1
- 229910002986 Li4Ti5O12 Inorganic materials 0.000 description 1
- 229910013870 LiPF 6 Inorganic materials 0.000 description 1
- 229910021314 NaFeO 2 Inorganic materials 0.000 description 1
- 229910003260 Nb2TiO7 Inorganic materials 0.000 description 1
- 239000004813 Perfluoroalkoxy alkane Substances 0.000 description 1
- 239000004743 Polypropylene Substances 0.000 description 1
- QTHKJEYUQSLYTH-UHFFFAOYSA-N [Co]=O.[Ni].[Li] Chemical compound [Co]=O.[Ni].[Li] QTHKJEYUQSLYTH-UHFFFAOYSA-N 0.000 description 1
- FBDMTTNVIIVBKI-UHFFFAOYSA-N [O-2].[Mn+2].[Co+2].[Ni+2].[Li+] Chemical compound [O-2].[Mn+2].[Co+2].[Ni+2].[Li+] FBDMTTNVIIVBKI-UHFFFAOYSA-N 0.000 description 1
- 229910052782 aluminium Inorganic materials 0.000 description 1
- 229910052787 antimony Inorganic materials 0.000 description 1
- QVGXLLKOCUKJST-UHFFFAOYSA-N atomic oxygen Chemical compound [O] QVGXLLKOCUKJST-UHFFFAOYSA-N 0.000 description 1
- 229910052797 bismuth Inorganic materials 0.000 description 1
- 238000009835 boiling Methods 0.000 description 1
- 229910052791 calcium Inorganic materials 0.000 description 1
- 229910052799 carbon Inorganic materials 0.000 description 1
- 230000008859 change Effects 0.000 description 1
- 238000006243 chemical reaction Methods 0.000 description 1
- 229910052804 chromium Inorganic materials 0.000 description 1
- 238000003776 cleavage reaction Methods 0.000 description 1
- 238000007906 compression Methods 0.000 description 1
- 230000006835 compression Effects 0.000 description 1
- 239000002482 conductive additive Substances 0.000 description 1
- 238000010280 constant potential charging Methods 0.000 description 1
- 238000005520 cutting process Methods 0.000 description 1
- 238000000354 decomposition reaction Methods 0.000 description 1
- 238000005238 degreasing Methods 0.000 description 1
- 238000010586 diagram Methods 0.000 description 1
- 238000001035 drying Methods 0.000 description 1
- 230000000694 effects Effects 0.000 description 1
- 238000007716 flux method Methods 0.000 description 1
- 229910052733 gallium Inorganic materials 0.000 description 1
- 229910052732 germanium Inorganic materials 0.000 description 1
- 229910052737 gold Inorganic materials 0.000 description 1
- 238000010438 heat treatment Methods 0.000 description 1
- 230000003301 hydrolyzing effect Effects 0.000 description 1
- 238000001027 hydrothermal synthesis Methods 0.000 description 1
- 238000010191 image analysis Methods 0.000 description 1
- 238000005470 impregnation Methods 0.000 description 1
- 229910052742 iron Inorganic materials 0.000 description 1
- BVPMZCWLVVIHKO-UHFFFAOYSA-N lithium cobalt(2+) manganese(2+) oxygen(2-) Chemical compound [O-2].[Mn+2].[Co+2].[Li+] BVPMZCWLVVIHKO-UHFFFAOYSA-N 0.000 description 1
- 229910002102 lithium manganese oxide Inorganic materials 0.000 description 1
- FRMOHNDAXZZWQI-UHFFFAOYSA-N lithium manganese(2+) nickel(2+) oxygen(2-) Chemical compound [O-2].[Mn+2].[Ni+2].[Li+] FRMOHNDAXZZWQI-UHFFFAOYSA-N 0.000 description 1
- 229910003002 lithium salt Inorganic materials 0.000 description 1
- 159000000002 lithium salts Chemical class 0.000 description 1
- 229910001496 lithium tetrafluoroborate Inorganic materials 0.000 description 1
- VLXXBCXTUVRROQ-UHFFFAOYSA-N lithium;oxido-oxo-(oxomanganiooxy)manganese Chemical compound [Li+].[O-][Mn](=O)O[Mn]=O VLXXBCXTUVRROQ-UHFFFAOYSA-N 0.000 description 1
- URIIGZKXFBNRAU-UHFFFAOYSA-N lithium;oxonickel Chemical compound [Li].[Ni]=O URIIGZKXFBNRAU-UHFFFAOYSA-N 0.000 description 1
- HAUKUGBTJXWQMF-UHFFFAOYSA-N lithium;propan-2-olate Chemical compound [Li+].CC(C)[O-] HAUKUGBTJXWQMF-UHFFFAOYSA-N 0.000 description 1
- 229910052749 magnesium Inorganic materials 0.000 description 1
- 239000011777 magnesium Substances 0.000 description 1
- ZLNQQNXFFQJAID-UHFFFAOYSA-L magnesium carbonate Chemical compound [Mg+2].[O-]C([O-])=O ZLNQQNXFFQJAID-UHFFFAOYSA-L 0.000 description 1
- 239000001095 magnesium carbonate Substances 0.000 description 1
- 229910000021 magnesium carbonate Inorganic materials 0.000 description 1
- 229910052748 manganese Inorganic materials 0.000 description 1
- 239000011572 manganese Substances 0.000 description 1
- 230000007246 mechanism Effects 0.000 description 1
- 239000000155 melt Substances 0.000 description 1
- 239000011812 mixed powder Substances 0.000 description 1
- 229910052750 molybdenum Inorganic materials 0.000 description 1
- 239000007773 negative electrode material Substances 0.000 description 1
- 229910052759 nickel Inorganic materials 0.000 description 1
- PXHVJJICTQNCMI-UHFFFAOYSA-N nickel Substances [Ni] PXHVJJICTQNCMI-UHFFFAOYSA-N 0.000 description 1
- 229910052758 niobium Inorganic materials 0.000 description 1
- 239000010955 niobium Substances 0.000 description 1
- AHKZTVQIVOEVFO-UHFFFAOYSA-N oxide(2-) Chemical compound [O-2] AHKZTVQIVOEVFO-UHFFFAOYSA-N 0.000 description 1
- 229910052760 oxygen Inorganic materials 0.000 description 1
- 239000001301 oxygen Substances 0.000 description 1
- 229910052763 palladium Inorganic materials 0.000 description 1
- 229920011301 perfluoro alkoxyl alkane Polymers 0.000 description 1
- 229910052697 platinum Inorganic materials 0.000 description 1
- 238000005498 polishing Methods 0.000 description 1
- 229920001155 polypropylene Polymers 0.000 description 1
- 229920001343 polytetrafluoroethylene Polymers 0.000 description 1
- 239000004810 polytetrafluoroethylene Substances 0.000 description 1
- 238000007639 printing Methods 0.000 description 1
- 238000005096 rolling process Methods 0.000 description 1
- 230000007017 scission Effects 0.000 description 1
- 229910052710 silicon Inorganic materials 0.000 description 1
- 229910052709 silver Inorganic materials 0.000 description 1
- 238000003980 solgel method Methods 0.000 description 1
- 239000000243 solution Substances 0.000 description 1
- 229910001220 stainless steel Inorganic materials 0.000 description 1
- 239000010935 stainless steel Substances 0.000 description 1
- 229910052712 strontium Inorganic materials 0.000 description 1
- 239000000126 substance Substances 0.000 description 1
- 230000002194 synthesizing effect Effects 0.000 description 1
- 229910052718 tin Inorganic materials 0.000 description 1
- 229910001428 transition metal ion Inorganic materials 0.000 description 1
- 229910052721 tungsten Inorganic materials 0.000 description 1
- 229910052720 vanadium Inorganic materials 0.000 description 1
- 229910052727 yttrium Inorganic materials 0.000 description 1
- 229910052725 zinc Inorganic materials 0.000 description 1
- 229910052726 zirconium Inorganic materials 0.000 description 1
Images
Classifications
-
- Y—GENERAL TAGGING OF NEW TECHNOLOGICAL DEVELOPMENTS; GENERAL TAGGING OF CROSS-SECTIONAL TECHNOLOGIES SPANNING OVER SEVERAL SECTIONS OF THE IPC; TECHNICAL SUBJECTS COVERED BY FORMER USPC CROSS-REFERENCE ART COLLECTIONS [XRACs] AND DIGESTS
- Y02—TECHNOLOGIES OR APPLICATIONS FOR MITIGATION OR ADAPTATION AGAINST CLIMATE CHANGE
- Y02E—REDUCTION OF GREENHOUSE GAS [GHG] EMISSIONS, RELATED TO ENERGY GENERATION, TRANSMISSION OR DISTRIBUTION
- Y02E60/00—Enabling technologies; Technologies with a potential or indirect contribution to GHG emissions mitigation
- Y02E60/10—Energy storage using batteries
-
- Y—GENERAL TAGGING OF NEW TECHNOLOGICAL DEVELOPMENTS; GENERAL TAGGING OF CROSS-SECTIONAL TECHNOLOGIES SPANNING OVER SEVERAL SECTIONS OF THE IPC; TECHNICAL SUBJECTS COVERED BY FORMER USPC CROSS-REFERENCE ART COLLECTIONS [XRACs] AND DIGESTS
- Y02—TECHNOLOGIES OR APPLICATIONS FOR MITIGATION OR ADAPTATION AGAINST CLIMATE CHANGE
- Y02P—CLIMATE CHANGE MITIGATION TECHNOLOGIES IN THE PRODUCTION OR PROCESSING OF GOODS
- Y02P70/00—Climate change mitigation technologies in the production process for final industrial or consumer products
- Y02P70/50—Manufacturing or production processes characterised by the final manufactured product
Landscapes
- Cell Separators (AREA)
- Secondary Cells (AREA)
- Battery Electrode And Active Subsutance (AREA)
Description
(a)セラミック正極層、セラミックセパレータ、セラミック負極層、及びセラミック絶縁層を含む発電シートが巻回されたロール状の形態を有し、かつ、全体として1つの一体焼結体を成している電池要素であって、
前記ロールの両側端部から離れた主要部を構成し、前記セラミック正極層と前記セラミック負極層が前記セラミックセパレータを介して向かい合う対向部と、
前記ロールの両側端部に沿った外周部を構成し、前記セラミック正極層及び前記セラミック負極層のいずれか一方を含み、かつ、他方を含まず、それにより前記セラミック正極層と前記セラミック負極層が交互に向かい合わない非対向部と、
を有する電池要素と、
(b)前記電池要素に含浸される電解液と、
(c)前記電池要素及び前記電解液が収容される外装体と、
を備えたリチウムイオン二次電池であって、
前記電池要素は、隣り合う前記発電シート間が離間して隙間を形成しており、かつ、前記非対向部における前記隣り合う発電シート間の離間距離Xが、前記対向部における前記隣り合う発電シート間の離間距離Yよりも大きい、リチウムイオン二次電池が提供される。
セラミック正極層14、セラミックセパレータ16、セラミック負極層18、セラミック絶縁層20、及び集電層21で構成されるロール状の一体焼結体(すなわち電池要素12)はいかなる方法で製造されたものであってもよいが、好ましくは、(1)セラミック正極層14、セラミックセパレータ16、セラミック負極層18、セラミック絶縁層20の各々に対応するグリーンシートを作製し、(2)正極グリーンシート及び/又は負極グリーンシートの片面に集電層21を形成し、(3)これらのグリーンシートを集電層21が外側になるように積層し、(4)得られたグリーンシート積層体を巻回及び焼成することにより製造される。
(1a)正極グリーンシートの作製
正極グリーンシートとしてのリチウム複合酸化物含有グリーンシートの作製は以下のように行うことができる。まず、リチウム複合酸化物で構成される原料粉末を用意する。この粉末は、LiMO2なる組成(Mは前述したとおりである)の合成済みの板状粒子(例えばLiCoO2板状粒子)を含むのが好ましい。原料粉末の体積基準D50粒径は0.3~30μmが好ましい。例えば、LiCoO2板状粒子の作製方法は次のようにして行うことができる。まず、Co3O4原料粉末とLi2CO3原料粉末とを混合して焼成(500~900℃、1~20時間)することによって、LiCoO2粉末を合成する。得られたLiCoO2粉末をポットミルにて体積基準D50粒径0.2μm~10μmに粉砕することによって、板面と平行にリチウムイオンを伝導可能な板状のLiCoO2粒子が得られる。このようなLiCoO2粒子は、LiCoO2粉末スラリーを用いたグリーンシートを粒成長させた後に解砕する手法や、フラックス法や水熱合成、融液を用いた単結晶育成、ゾルゲル法など板状結晶を合成する手法によっても得ることができる。得られたLiCoO2粒子は、劈開面に沿って劈開しやすい状態となっている。LiCoO2粒子を解砕によって劈開させることで、LiCoO2板状粒子を作製することができる。
負極グリーンシートとしてのチタン含有グリーンシートはいかなる方法で製造されたものであってもよい。例えば、LTO含有グリーンシートの作製は以下のように行うことができる。まず、チタン酸リチウムLi4Ti5O12で構成される原料粉末(LTO粉末)を用意する。原料粉末は市販のLTO粉末を使用してもよいし、新たに合成してもよい。例えば、チタンテトライソプロポキシアルコールとイソプロポキシリチウムの混合物を加水分解して得た粉末を用いてもよいし、炭酸リチウム、チタニア等を含む混合物を焼成してもよい。原料粉末の体積基準D50粒径は0.05~5.0μmが好ましく、より好ましくは0.1~2.0μmである。原料粉末の粒径が大きいと気孔が大きくなる傾向がある。また、原料粒径が大きい場合、所望の粒径となるように粉砕処理(例えばポットミル粉砕、ビーズミル粉砕、ジェットミル粉砕等)を行ってもよい。そして、原料粉末を、分散媒及び各種添加剤(バインダー、可塑剤、分散剤等)と混合してスラリーを形成する。スラリーには、後述する焼成工程中における粒成長の促進ないし揮発分の補償の目的で、LiMO2以外のリチウム化合物(例えば炭酸リチウム)が0.5~30mol%程度過剰に添加されてもよい。スラリーには造孔材を添加しないのが望ましい。スラリーは減圧下で撹拌して脱泡するとともに、粘度を4000~10000cPに調整するのが好ましい。得られたスラリーをシート状に成形してLTO含有グリーンシートを得る。シート成形は、周知の様々な方法で行いうるが、ドクターブレード法により行うのが好ましい。LTO含有グリーンシートの厚さは、焼成後に上述したような所望の厚さとなるように、適宜設定すればよい。
セパレータグリーンシートの作製は以下のように行うことができる。まず、MgO、Al2O3、ZrO2、SiC、Si3N4、AlN、及びコーディエライトから選択される少なくとも1種のセラミック粉末を用意する。このセラミック粉末にはガラスフリットを添加させてもよい。原料粉末の体積基準D50粒径は0.05~20μmが好ましく、より好ましくは0.1~10μmである。原料粉末の粒径が大きいと気孔が大きくなる傾向がある。また、原料粒径が大きい場合、所望の粒径となるように粉砕処理(例えばポットミル粉砕、ビーズミル粉砕、ジェットミル粉砕等)を行ってもよい。そして、原料粉末を、分散媒及び各種添加剤(バインダー、可塑剤、分散剤等)と混合してスラリーを形成する。スラリーには造孔材を添加しないのが望ましい。スラリーは減圧下で撹拌して脱泡するとともに、粘度を4000~10000cPに調整するのが好ましい。得られたスラリーをシート状に成形してセパレータグリーンシートを得る。シート成形は、周知の様々な方法で行いうるが、ドクターブレード法により行うのが好ましい。セパレータグリーンシートの厚さは、焼成後に上述したような所望の厚さとなるように、適宜設定すればよい。
セパレータグリーンシートの作製は、セパレータグリーンシートと同様のセラミック粉末を用いて同様の手順で行うことができる。ただし、正極グリーンシート又は負極グリーンシートと同一面内に配置して用いられる非対向部12x用の絶縁グリーンシートについては、バインダー及び可塑剤の配合割合を高くすることで、一体焼結体における非対向部の離間距離Xを、対向部の離間距離Yよりも大きくすることができる。
集電層は、導電性材料を含む層であれば特に限定されないが、焼成により金属層を形成するものが好ましい。集電層の形成は、正極グリーンシート及び/又は負極グリーンシートの片面に、金属ペースト(例えばAuペースト、Ptペースト、Pdペースト又はCuペースト)を塗布することにより行えばよい。金属ペーストの塗布はいかなる方法により行ってもよいが、印刷により行うのが高精度に制御された厚さの集電層を高い生産性で形成できる点で好ましい。
次いで、正極グリーンシート、セパレータグリーンシート、負極グリーンシート及び絶縁グリーンシートを適宜積み重ね、得られた積層体をプレスしてグリーンシート同士を圧着する。具体的には、図5A及び5Bに示されるように、負極グリーンシート18’及び絶縁グリーンシート20b’で構成される第一層、セパレータグリーンシート16’で構成される第二層、正極グリーンシート14’及び絶縁グリーンシート20b’で構成される第三層、及び絶縁グリーンシート20a’で構成される第四層を順に備えた積層体とすればよい。このとき、集電層21は積層体の外側表面となるように配置されるのが好ましい。また、正極グリーンシート14’と負極グリーンシート18’は端部を互いにずらすことで非対向部12x及び対向部12yを形成するのが好ましい。プレスは公知の手法により行えばよく特に限定されないが、CIP(冷間等方圧加圧法)により行われるのが好ましい。好ましいプレス圧は10~5000kgf/cm2であり、より好ましくは50~3000kgf/cm2である。こうして圧着されたグリーンシート積層体を所望の形状(例えばテープ状)ないしサイズに切り出すのが好ましい。
グリーンシート積層体を巻回し、この状態で、所望により脱脂した後、焼成することで、ロール状の一体焼結体が得られる。脱脂は300~600℃で0.5~20時間保持することにより行われるのが好ましい。また、焼成は650~900℃で0.01~20時間行うのが好ましく、より好ましくは700~850℃で0.5~10時間である。焼成時の昇温速度は50~1500℃/hが好ましく、より好ましくは200~1300℃/hである。特に、この昇温速度は、600~900℃の昇温過程で採用されるのが好ましく、より好ましくは600~800℃の昇温過程で採用される。こうして、セラミック正極層14、セラミックセパレータ16、セラミック負極層18、セラミック絶縁層20、及び集電層21で構成されるロール状の一体焼結体が得られる。
(1)LCOグリーンシート(正極グリーンシート)の作製
まず、Li/Coのモル比が1.01となるように秤量されたCo3O4粉末(正同化学工業株式会社製)とLi2CO3粉末(本荘ケミカル株式会社製)を混合後、780℃で5時間保持し、得られた粉末をポットミルにて体積基準D50が0.4μmとなるように粉砕してLCO板状粒子からなる粉末を得た。得られたLCO粉末100重量部と、分散媒(トルエン:イソプロパノール=1:1)100重量部と、バインダー(ポリビニルブチラール:品番BM-2、積水化学工業株式会社製)12重量部と、可塑剤(DOP:Di(2-ethylhexyl)phthalate、黒金化成株式会社製)4重量部と、分散剤(製品名レオドールSP-O30、花王株式会社製)2重量部とを混合した。得られた混合物を減圧下で撹拌して脱泡するとともに、粘度を4000cPに調整することによって、LCOスラリーを調製した。粘度は、ブルックフィールド社製LVT型粘度計で測定した。こうして調製されたスラリーを、ドクターブレード法によって、PETフィルム上にシート状に成形することによって、厚さ35μmのLCOグリーンシートを形成した。
まず、LTO粉末(体積基準D50粒径0.06μm、シグマアルドリッチジャパン合同会社製)100重量部と、分散媒(トルエン:イソプロパノール=1:1)100重量部と、バインダー(ポリビニルブチラール:品番BM-2、積水化学工業株式会社製)20重量部と、可塑剤(DOP:Di(2-ethylhexyl)phthalate、黒金化成株式会社製)4重量部と、分散剤(製品名レオドールSP-O30、花王株式会社製)2重量部とを混合した。得られた負極原料混合物を減圧下で撹拌して脱泡するとともに、粘度を4000cPに調整することによって、LTOスラリーを調製した。粘度は、ブルックフィールド社製LVT型粘度計で測定した。こうして調製されたスラリーを、ドクターブレード法によって、PETフィルム上にシート状に成形することによって、厚さ35μmのLTOグリーンシートを形成した。
炭酸マグネシウム粉末(神島化学工業株式会社製)を900℃で5時間熱処理してMgO粉末を得た。得られたMgO粉末とガラスフリット(日本フリット株式会社製、CK0199)を重量比4:1で混合した。得られた混合粉末(体積基準D50粒径0.4μm)100重量部と、分散媒(トルエン:イソプロパノール=1:1)100重量部と、バインダー(ポリビニルブチラール:品番BM-2、積水化学工業株式会社製)20重量部と、可塑剤(DOP:Di(2-ethylhexyl)phthalate、黒金化成株式会社製)4重量部と、分散剤(製品名レオドールSP-O30、花王株式会社製)2重量部とを混合した。得られた原料混合物を減圧下で撹拌して脱泡するとともに、粘度を4000cPに調整することによって、スラリーを調製した。粘度は、ブルックフィールド社製LVT型粘度計で測定した。こうして調製されたスラリーを、ドクターブレード法によって、PETフィルム上にシート状に成形することによって、厚さ35μmのMgOグリーンシートを形成した。このMgOグリーンシートは、セパレータグリーンシートとしてのみならず、対向部/非対向部共通用の絶縁グリーンシートAとしても用いるものである。
MgOグリーンシートにおけるバインダー、可塑剤及び分散剤の配合割合を、バインダー30重量部、可塑剤12重量部、及び分散剤1重量部に変更したこと以外は、上記(3)と同様にして、厚さ35μmのMgOグリーンシートを非対向部用の絶縁グリーンシートBとして形成した。
LTOグリーンシート(負極グリーンシート)の片面に、印刷機にてAuペースト(田中貴金属社製、製品名:GB-2706)を印刷した。印刷層の厚さは、焼成後0.2μmになるようにした。
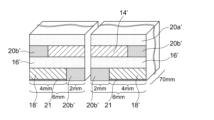
図5A及び5Bに示されるように各種グリーンシートを積層した。具体的には、第一層として負極グリーンシート18’(幅6mm×長さ70mm)、絶縁グリーンシートB20b’(幅4mm×長さ70mm)及び負極グリーンシート18’(幅6mm×長さ70mm)を隙間なく平行に並べて第一層を形成した。このとき負極グリーンシート18’は集電層21が底面に位置するようにした。第一層上にセパレータグリーンシート16’(幅16mm×長さ70mm)を載置して第二層とした。第二層上に、絶縁グリーンシートB20b’(幅4mm×長さ70mm)、正極グリーンシート14’(幅6mm×長さ70mm)及び絶縁グリーンシートB20b’(幅4mm×長さ70mm)を隙間なく平行に並べて第三層を形成した。第三層上に絶縁グリーンシートA20a’(幅16mm×長さ70mm)を載置した。こうして得られた積層体を積み重ねてCIP(冷間等方圧加圧法)により200kgf/cm2でプレスしてグリーンシート同士を圧着した後、図5A及びBに示される点線に沿ってトムソン刃で切断して、2本の積層テープ(幅6mm×長さ70mm)を得た。こうして積層テープをホットプレートにて60℃で加熱しながら、巻き軸に外径10mm及び厚さ2.0mmの寸法となるように捲回し、その端部をテープ糊で仮止めしてロール状積層体を得た。このロール状積層体を室温から60℃/分の昇温速度で600℃まで昇温して5時間脱脂した後、100℃/hで800℃まで昇温して10分間保持する焼成を行い、その後冷却した。こうして、正極層(LCO焼結体層)、セラミックセパレータ(MgOセパレータ)、負極層(LTO焼結体層)、集電層(Au層)、及びセラミック絶縁層(MgO絶縁層)からなる1つのロール状一体焼結体を得た。
図1A及び1Bに模式的に示されるようなコイン形リチウムイオン二次電池10を以下のとおり作製した。電池ケースを構成することになる正極缶と負極缶との間に、ロール状一体焼結体を収容し、電解液を充填した後に、ガスケットを介して正極缶と負極缶をかしめることによって封止した。こうして、直径12mm、厚さ54mmのコインセル形のリチウムイオン二次電池10を作製した。このとき、電解液としては、エチレンカーボネート(EC)及びγ-ブチロラクトン(GBL)を1:3の体積比で混合した有機溶媒に、LiBF4を1.5mol/Lの濃度となるように溶解させた液を用いた。
上記(6)で合成されたロール状一体焼結体、並びに上記(7)で作製されたコイン形リチウムイオン二次電池について、以下に示されるとおり各種の評価を行った。
LCO焼結体層をクロスセクションポリッシャ(CP)(日本電子株式会社製、IB-15000CP)により研磨し、得られた正極層断面(ロール軸と平行方向における正極層の層面に垂直な断面)を1000倍の視野(125μm×125μm)でEBSD測定して、EBSD像を得た。このEBSD測定は、ショットキー電界放出形走査電子顕微鏡(日本電子株式会社製、型式JSM-7800F)を用いて行った。得られたEBSD像において特定される全ての粒子について、一次粒子の(003)面と正極層の層面とがなす角度(すなわち(003)からの結晶方位の傾き)を傾斜角として求め、それらの角度の平均値を一次粒子の平均配向角度とした。その結果、正極層における一次粒子の平均配向角度は16°であった。
LCO及びLTO焼結体層並びにMgOセパレータをクロスセクションポリッシャ(CP)(日本電子株式会社製、IB-15000CP)により研磨し、得られた断面をSEM観察(日本電子製、JSM6390LA)して正極層、負極層及びセパレータの各々の厚さを測定した。その結果、正極層の厚さは約30μm、負極層の厚さは約30μm、セラミックセパレータの厚さは約20μm、正極層や負極層と同一面内にない単独の絶縁層の厚さ約20μmであった。
LCO又はLTO焼結体層並びにMgOセパレータをクロスセクションポリッシャ(CP)(日本電子株式会社製、IB-15000CP)により研磨し、得られた正極層又は負極層の断面を1000倍の視野(125μm×125μm)でSEM観察(日本電子製、JSM6390LA)した。得られたSEM像を画像解析し、全ての気孔の面積を正極又は負極の面積で除し、得られた値に100を乗じることにより気孔率(%)を算出した。その結果、正極層の気孔率は45%、負極層の気孔率は45%及びセラミックセパレータの気孔率は50%であった。
水銀ポロシメーター(島津製作所製、オートポアIV9510)を用いて水銀圧入法によりLCO又はLTO焼結体層の平均気孔径を測定した。その結果、正極層の平均気孔径は0.8μm、負極層の平均気孔径は0.5μm及びセラミックセパレータの平均気孔径は0.2μmであった。
ロール状一体焼結体をロール軸と平行な方向に切り出した断面をSEM(JEOL製、JSM-IT500)で観察して、非対向部12xにおける隣り合う発電シート22間の離間距離Xと、対向部12yにおける隣り合う発電シート22間の離間距離Yとを測定した。具体的には、離間距離Xは、各非対向部12xのロール軸方向における中央の位置(高さ)でSEM断面を積層方向に測定し、当該高さにおける全ての発電シート22間の隙間Gの距離を足し合わせ、その合計値を隙間Gの数(発電シート22の積層数から1を引いた数)で除した平均値として算出した。同様に、離間距離Yは、対向部のロール軸方向における中央の位置(高さ)でSEM断面を積層方向に測定し、当該高さにおける全ての発電シート22間の隙間Gの距離を足し合わせ、その合計値を隙間Gの数(発電シート22の積層数から1を引いた数)で除した平均値として算出した。なお、離間距離X及び離間距離Yのいずれにおいても、ロール芯部分に対応する内部空間は隙間Gとして算入しないものとした。
リチウムイオン二次電池に対して、0.2C定電流充電を行い、電圧2.7Vに到達した段階で定電圧充電に切り替え、充電電流が0.01mA以下になるまで充電した。引き続き0.2C定電流放電を1.5Vに到達するまで行った。このときの容量(すなわち0.2C放電容量)は2.0mAhであった。そこから上記同様の充電を行った。引き続き1.0C定電流放電を1.5Vに到達するまで行った。このときの容量(すなわち1.0C放電容量)は1.98mAhであった。0.2C放電容量に対する、1.0C放電容量の比に100を乗じて負荷放電特性を算出したところ、99%であった。
絶縁グリーンシートBにおけるバインダー、可塑剤及び分散剤の配合割合を、バインダー20重量部、可塑剤8重量部、及び分散剤1重量部に変更したこと以外は、例1と同様にして電池の作製及び評価を行った。
絶縁グリーンシートBにおけるバインダー、可塑剤及び分散剤の配合割合を、バインダー10重量部、可塑剤2.5重量部、及び分散剤1重量部に変更したこと以外は、例1と同様にして電池の作製及び評価を行った。
絶縁グリーンシートBにおけるバインダー、可塑剤及び分散剤の配合割合を、バインダー8重量部、可塑剤2重量部、及び分散剤1重量部に変更したこと以外は、例1と同様にして電池の作製及び評価を行った。
例1~4で得られた結果は表1に示されるとおりであった。
11 一次粒子
12 電池要素
12x 非対向部
12y 対向部
14 セラミック正極層
14’ 正極グリーンシート
16 セラミックセパレータ
16’ セパレータグリーンシート
18 セラミック負極層
18’ 負極グリーンシート
20 セラミック絶縁層
20a’, 20b’ 絶縁グリーンシート
21 集電層
22 発電シート
24 電解液
26 外装体
26a 正極缶
26b 負極缶
26c ガスケット
G 隙間
X 非対向部における発電シート間の離間距離
Y 対向部における発電シート間の離間距離
Claims (13)
- (a)セラミック正極層、セラミックセパレータ、セラミック負極層、及びセラミック絶縁層を含む発電シートが巻回されたロール状の形態を有し、かつ、全体として1つの一体焼結体を成している電池要素であって、
前記ロールの両側端部から離れた主要部を構成し、前記セラミック正極層と前記セラミック負極層が前記セラミックセパレータを介して向かい合う対向部と、
前記ロールの両側端部に沿った外周部を構成し、前記セラミック正極層及び前記セラミック負極層のいずれか一方を含み、かつ、他方を含まず、それにより前記セラミック正極層と前記セラミック負極層が交互に向かい合わない非対向部と、
を有する電池要素と、
(b)前記電池要素に含浸される電解液と、
(c)前記電池要素及び前記電解液が収容される外装体と、
を備えたリチウムイオン二次電池であって、
前記電池要素は、隣り合う前記発電シート間が離間して隙間を形成しており、かつ、前記非対向部における前記隣り合う発電シート間の離間距離Xが、前記対向部における前記隣り合う発電シート間の離間距離Yよりも大きく、
前記非対向部における前記隣り合う発電シート間の離間距離Xの、前記対向部における前記隣り合う発電シート間の離間距離Yに対する比が、1.3~10である、リチウムイオン二次電池。 - 前記非対向部における前記隣り合う発電シート間の離間距離Xが20μm以下である、請求項1に記載のリチウムイオン二次電池。
- 前記セラミック正極層が、リチウム複合酸化物焼結体で構成され、かつ、前記セラミック負極層が、チタン含有焼結体で構成される、請求項1又は2に記載のリチウムイオン二次電池。
- 前記リチウム複合酸化物がコバルト酸リチウムである、請求項3に記載のリチウムイオン二次電池。
- 前記チタン含有焼結体が、チタン酸リチウム又はニオブチタン複合酸化物を含む、請求項3又は4に記載のリチウムイオン二次電池。
- 前記セラミックセパレータが、MgO、Al2O3、ZrO2、SiC、Si3N4、AlN、及びコーディエライトからなる群から選択される少なくとも1種を含む、請求項1~5のいずれか一項に記載のリチウムイオン二次電池。
- 前記発電シートの厚さが、22~1080μmである、請求項1~6のいずれか一項に記載のリチウムイオン二次電池。
- 前記セラミック正極層の厚さが10~500μmであり、前記セラミック負極層の厚さが10~500μmである、前記セラミックセパレータの厚さが1~40μmである、請求項1~7のいずれか一項に記載のリチウムイオン二次電池。
- 前記非対向部が、
前記ロールの側端部の一方に沿った第一の外周部を構成し、前記セラミック正極層を含み、かつ、前記セラミック負極層を含まない第一の非対向部と、
前記ロールの側端部の他方に沿った第二の外周部を構成し、前記セラミック負極層を含み、かつ、前記セラミック正極層を含まない第二の非対向部と、
を含む、請求項1~8のいずれか一項に記載のリチウムイオン二次電池。 - 前記第一の非対向部における隣り合う前記セラミック正極層の間に、前記セラミック絶縁層、又は前記セラミックセパレータ及び前記セラミック絶縁層が介在されており、かつ、
前記第二の非対向部における隣り合う前記セラミック負極層の間に、前記セラミック絶縁層、又は前記セラミックセパレータ及び前記セラミック絶縁層が介在されている、請求項9に記載のリチウムイオン二次電池。 - 前記対向部は、ロール径方向に、前記セラミック正極層と前記セラミック負極層との間に前記セラミックセパレータが介在される積層単位が、隣り合う前記積層単位間に前記セラミック絶縁層を介在させながら繰り返される層構成を有する、請求項1~10のいずれか一項に記載のリチウムイオン二次電池。
- 前記電池要素のロール外周面には最外層として前記セラミック絶縁層が位置している、請求項1~11のいずれか一項に記載のリチウムイオン二次電池。
- 前記電池要素が、前記セラミック負極層の、前記セラミック正極層と反対側の表面に集電層をさらに備える、請求項1~12のいずれか一項に記載のリチウムイオン二次電池。
Priority Applications (1)
| Application Number | Priority Date | Filing Date | Title |
|---|---|---|---|
| JP2020215597A JP7579697B2 (ja) | 2020-12-24 | 2020-12-24 | リチウムイオン二次電池 |
Applications Claiming Priority (1)
| Application Number | Priority Date | Filing Date | Title |
|---|---|---|---|
| JP2020215597A JP7579697B2 (ja) | 2020-12-24 | 2020-12-24 | リチウムイオン二次電池 |
Publications (2)
| Publication Number | Publication Date |
|---|---|
| JP2022101165A JP2022101165A (ja) | 2022-07-06 |
| JP7579697B2 true JP7579697B2 (ja) | 2024-11-08 |
Family
ID=82271531
Family Applications (1)
| Application Number | Title | Priority Date | Filing Date |
|---|---|---|---|
| JP2020215597A Active JP7579697B2 (ja) | 2020-12-24 | 2020-12-24 | リチウムイオン二次電池 |
Country Status (1)
| Country | Link |
|---|---|
| JP (1) | JP7579697B2 (ja) |
Citations (8)
| Publication number | Priority date | Publication date | Assignee | Title |
|---|---|---|---|---|
| JP2002110216A (ja) | 2000-09-27 | 2002-04-12 | Sanyo Electric Co Ltd | 筒型二次電池 |
| JP2008293980A (ja) | 2007-05-25 | 2008-12-04 | Samsung Sdi Co Ltd | 電極組立体及びそれを用いた二次電池 |
| JP2008300349A (ja) | 2007-05-29 | 2008-12-11 | Samsung Sdi Co Ltd | リチウム二次電池 |
| JP2009043718A (ja) | 2007-07-17 | 2009-02-26 | Panasonic Corp | 二次電池および二次電池の製造方法 |
| JP2012517658A (ja) | 2009-02-09 | 2012-08-02 | ファルタ マイクロバッテリー ゲゼルシャフト ミット ベシュレンクテル ハフツング | ボタン電池とそれを製造する方法 |
| US20160329597A1 (en) | 2015-05-08 | 2016-11-10 | Samsung Sdi Co., Ltd. | Lithium battery |
| WO2019221140A1 (ja) | 2018-05-17 | 2019-11-21 | 日本碍子株式会社 | リチウム二次電池 |
| WO2020217579A1 (ja) | 2019-04-26 | 2020-10-29 | 日本碍子株式会社 | リチウム二次電池 |
-
2020
- 2020-12-24 JP JP2020215597A patent/JP7579697B2/ja active Active
Patent Citations (8)
| Publication number | Priority date | Publication date | Assignee | Title |
|---|---|---|---|---|
| JP2002110216A (ja) | 2000-09-27 | 2002-04-12 | Sanyo Electric Co Ltd | 筒型二次電池 |
| JP2008293980A (ja) | 2007-05-25 | 2008-12-04 | Samsung Sdi Co Ltd | 電極組立体及びそれを用いた二次電池 |
| JP2008300349A (ja) | 2007-05-29 | 2008-12-11 | Samsung Sdi Co Ltd | リチウム二次電池 |
| JP2009043718A (ja) | 2007-07-17 | 2009-02-26 | Panasonic Corp | 二次電池および二次電池の製造方法 |
| JP2012517658A (ja) | 2009-02-09 | 2012-08-02 | ファルタ マイクロバッテリー ゲゼルシャフト ミット ベシュレンクテル ハフツング | ボタン電池とそれを製造する方法 |
| US20160329597A1 (en) | 2015-05-08 | 2016-11-10 | Samsung Sdi Co., Ltd. | Lithium battery |
| WO2019221140A1 (ja) | 2018-05-17 | 2019-11-21 | 日本碍子株式会社 | リチウム二次電池 |
| WO2020217579A1 (ja) | 2019-04-26 | 2020-10-29 | 日本碍子株式会社 | リチウム二次電池 |
Also Published As
| Publication number | Publication date |
|---|---|
| JP2022101165A (ja) | 2022-07-06 |
Similar Documents
| Publication | Publication Date | Title |
|---|---|---|
| JP7189163B2 (ja) | リチウム二次電池 | |
| US11996544B2 (en) | Coin-shaped lithium secondary battery and IoT device | |
| JP7126028B2 (ja) | リチウムイオン二次電池 | |
| US20220238870A1 (en) | Lithium secondary battery and method for measuring state of charge of same | |
| US20230198110A1 (en) | Lithium ion secondary battery | |
| JP6901632B2 (ja) | コイン形リチウム二次電池及びIoTデバイス | |
| JP6985509B2 (ja) | リチウム二次電池 | |
| JP6966640B2 (ja) | リチウム二次電池 | |
| JP6966639B2 (ja) | リチウム二次電池 | |
| JP7022207B2 (ja) | リチウム二次電池 | |
| JP7104148B2 (ja) | リチウム二次電池 | |
| US20240021881A1 (en) | Coin-type lithium ion secondary battery | |
| US20230352757A1 (en) | Method for recycling lithium-ion secondary battery | |
| JP7579697B2 (ja) | リチウムイオン二次電池 | |
| JPWO2020217749A1 (ja) | リチウム二次電池 |
Legal Events
| Date | Code | Title | Description |
|---|---|---|---|
| A621 | Written request for application examination |
Free format text: JAPANESE INTERMEDIATE CODE: A621 Effective date: 20230720 |
|
| A977 | Report on retrieval |
Free format text: JAPANESE INTERMEDIATE CODE: A971007 Effective date: 20240527 |
|
| A131 | Notification of reasons for refusal |
Free format text: JAPANESE INTERMEDIATE CODE: A131 Effective date: 20240624 |
|
| A521 | Request for written amendment filed |
Free format text: JAPANESE INTERMEDIATE CODE: A523 Effective date: 20240726 |
|
| TRDD | Decision of grant or rejection written | ||
| A01 | Written decision to grant a patent or to grant a registration (utility model) |
Free format text: JAPANESE INTERMEDIATE CODE: A01 Effective date: 20241002 |
|
| A61 | First payment of annual fees (during grant procedure) |
Free format text: JAPANESE INTERMEDIATE CODE: A61 Effective date: 20241028 |
|
| R150 | Certificate of patent or registration of utility model |
Ref document number: 7579697 Country of ref document: JP Free format text: JAPANESE INTERMEDIATE CODE: R150 |
