JP7577643B2 - 撮像素子および撮像装置 - Google Patents

撮像素子および撮像装置 Download PDF

Info

Publication number
JP7577643B2
JP7577643B2 JP2021504891A JP2021504891A JP7577643B2 JP 7577643 B2 JP7577643 B2 JP 7577643B2 JP 2021504891 A JP2021504891 A JP 2021504891A JP 2021504891 A JP2021504891 A JP 2021504891A JP 7577643 B2 JP7577643 B2 JP 7577643B2
Authority
JP
Japan
Prior art keywords
voltage
pixel signal
unit
control unit
electrode
Prior art date
Legal status (The legal status is an assumption and is not a legal conclusion. Google has not performed a legal analysis and makes no representation as to the accuracy of the status listed.)
Active
Application number
JP2021504891A
Other languages
English (en)
Other versions
JPWO2020184149A1 (ja
JPWO2020184149A5 (ja
Inventor
三佐男 鈴木
Current Assignee (The listed assignees may be inaccurate. Google has not performed a legal analysis and makes no representation or warranty as to the accuracy of the list.)
Sony Semiconductor Solutions Corp
Original Assignee
Sony Semiconductor Solutions Corp
Priority date (The priority date is an assumption and is not a legal conclusion. Google has not performed a legal analysis and makes no representation as to the accuracy of the date listed.)
Filing date
Publication date
Application filed by Sony Semiconductor Solutions Corp filed Critical Sony Semiconductor Solutions Corp
Publication of JPWO2020184149A1 publication Critical patent/JPWO2020184149A1/ja
Publication of JPWO2020184149A5 publication Critical patent/JPWO2020184149A5/ja
Application granted granted Critical
Publication of JP7577643B2 publication Critical patent/JP7577643B2/ja
Active legal-status Critical Current
Anticipated expiration legal-status Critical

Links

Images

Classifications

    • HELECTRICITY
    • H04ELECTRIC COMMUNICATION TECHNIQUE
    • H04NPICTORIAL COMMUNICATION, e.g. TELEVISION
    • H04N25/00Circuitry of solid-state image sensors [SSIS]; Control thereof
    • H04N25/70SSIS architectures; Circuits associated therewith
    • H04N25/76Addressed sensors, e.g. MOS or CMOS sensors
    • H04N25/77Pixel circuitry, e.g. memories, A/D converters, pixel amplifiers, shared circuits or shared components
    • HELECTRICITY
    • H01ELECTRIC ELEMENTS
    • H01LSEMICONDUCTOR DEVICES NOT COVERED BY CLASS H10
    • H01L21/00Processes or apparatus adapted for the manufacture or treatment of semiconductor or solid state devices or of parts thereof
    • H01L21/02Manufacture or treatment of semiconductor devices or of parts thereof
    • H01L21/04Manufacture or treatment of semiconductor devices or of parts thereof the devices having potential barriers, e.g. a PN junction, depletion layer or carrier concentration layer
    • H01L21/18Manufacture or treatment of semiconductor devices or of parts thereof the devices having potential barriers, e.g. a PN junction, depletion layer or carrier concentration layer the devices having semiconductor bodies comprising elements of Group IV of the Periodic Table or AIIIBV compounds with or without impurities, e.g. doping materials
    • H01L21/30Treatment of semiconductor bodies using processes or apparatus not provided for in groups H01L21/20 - H01L21/26
    • H01L21/31Treatment of semiconductor bodies using processes or apparatus not provided for in groups H01L21/20 - H01L21/26 to form insulating layers thereon, e.g. for masking or by using photolithographic techniques; After treatment of these layers; Selection of materials for these layers
    • H01L21/3205Deposition of non-insulating-, e.g. conductive- or resistive-, layers on insulating layers; After-treatment of these layers
    • HELECTRICITY
    • H01ELECTRIC ELEMENTS
    • H01LSEMICONDUCTOR DEVICES NOT COVERED BY CLASS H10
    • H01L21/00Processes or apparatus adapted for the manufacture or treatment of semiconductor or solid state devices or of parts thereof
    • H01L21/70Manufacture or treatment of devices consisting of a plurality of solid state components formed in or on a common substrate or of parts thereof; Manufacture of integrated circuit devices or of parts thereof
    • H01L21/71Manufacture of specific parts of devices defined in group H01L21/70
    • H01L21/768Applying interconnections to be used for carrying current between separate components within a device comprising conductors and dielectrics
    • HELECTRICITY
    • H01ELECTRIC ELEMENTS
    • H01LSEMICONDUCTOR DEVICES NOT COVERED BY CLASS H10
    • H01L23/00Details of semiconductor or other solid state devices
    • H01L23/52Arrangements for conducting electric current within the device in operation from one component to another, i.e. interconnections, e.g. wires, lead frames
    • H01L23/522Arrangements for conducting electric current within the device in operation from one component to another, i.e. interconnections, e.g. wires, lead frames including external interconnections consisting of a multilayer structure of conductive and insulating layers inseparably formed on the semiconductor body
    • HELECTRICITY
    • H04ELECTRIC COMMUNICATION TECHNIQUE
    • H04NPICTORIAL COMMUNICATION, e.g. TELEVISION
    • H04N25/00Circuitry of solid-state image sensors [SSIS]; Control thereof
    • H04N25/70SSIS architectures; Circuits associated therewith
    • H04N25/76Addressed sensors, e.g. MOS or CMOS sensors
    • H04N25/77Pixel circuitry, e.g. memories, A/D converters, pixel amplifiers, shared circuits or shared components
    • H04N25/778Pixel circuitry, e.g. memories, A/D converters, pixel amplifiers, shared circuits or shared components comprising amplifiers shared between a plurality of pixels, i.e. at least one part of the amplifier must be on the sensor array itself
    • HELECTRICITY
    • H04ELECTRIC COMMUNICATION TECHNIQUE
    • H04NPICTORIAL COMMUNICATION, e.g. TELEVISION
    • H04N25/00Circuitry of solid-state image sensors [SSIS]; Control thereof
    • H04N25/70SSIS architectures; Circuits associated therewith
    • H04N25/76Addressed sensors, e.g. MOS or CMOS sensors
    • H04N25/78Readout circuits for addressed sensors, e.g. output amplifiers or A/D converters
    • HELECTRICITY
    • H10SEMICONDUCTOR DEVICES; ELECTRIC SOLID-STATE DEVICES NOT OTHERWISE PROVIDED FOR
    • H10FINORGANIC SEMICONDUCTOR DEVICES SENSITIVE TO INFRARED RADIATION, LIGHT, ELECTROMAGNETIC RADIATION OF SHORTER WAVELENGTH OR CORPUSCULAR RADIATION
    • H10F39/00Integrated devices, or assemblies of multiple devices, comprising at least one element covered by group H10F30/00, e.g. radiation detectors comprising photodiode arrays
    • H10F39/10Integrated devices
    • H10F39/12Image sensors

Landscapes

  • Engineering & Computer Science (AREA)
  • Multimedia (AREA)
  • Signal Processing (AREA)
  • Physics & Mathematics (AREA)
  • Condensed Matter Physics & Semiconductors (AREA)
  • General Physics & Mathematics (AREA)
  • Computer Hardware Design (AREA)
  • Microelectronics & Electronic Packaging (AREA)
  • Power Engineering (AREA)
  • Manufacturing & Machinery (AREA)
  • Solid State Image Pick-Up Elements (AREA)
  • Transforming Light Signals Into Electric Signals (AREA)

Description

本開示は、撮像素子および撮像装置に関する。
近年、赤外領域に感度を有する撮像素子(赤外線センサ)が商品化されている。例えば、特許文献1では、このような赤外線センサにInGaAs(インジウムガリウム砒素)等のIII-V族半導体を光電変換部として用いることが記載されている。この光電変換部において、赤外線が吸収されることで電荷が発生する。
国際公開WO2017/150167
このような撮像素子では、画質の低下を抑えることが望まれている。従って、画質の低下を抑えることが可能な撮像素子および撮像装置を提供することが望ましい。
本開示の一実施の形態に係る撮像素子は、複数のセンサ画素と、電圧制御部とを備えている。各センサ画素は、光電変換部と、光電変換部から出力された電荷に基づく画素信号を出力する読み出し回路とを含む。電圧制御部は、画素信号に基づく制御電圧を各光電変換部に印加する。
本開示の一実施の形態に係る撮像装置は、撮像素子と、画質制御回路とを備えている。撮像素子は、複数のセンサ画素を有している。各センサ画素は、光電変換部と、光電変換部から出力された電荷に基づく画素信号を出力する読み出し回路とを含む。画質制御回路は、画素信号に基づく制御電圧を各光電変換部に印加する。
本開示の一実施の形態に係る撮像素子および撮像装置では、画素信号に基づく制御電圧が各光電変換部に印加される。これにより、撮像素子で得られる画像データの画質が制御されるので、各光電変換部に固定電圧を印加した場合と比べて、画像データの輝度の大きさに応じた画質調整が行われ得る。
本開示の第1の実施形態に係る撮像素子の概略構成例を表す図である。 図1のセンサ画素の回路構成例を表す図である。 図1の撮像素子の斜視構成例を表す図である。 図3の撮像素子の断面構成例を表す図である。 (A)図1の撮像素子の膜電圧と保持可能な電荷との関係の一例を表す図である。(B)ADCのアナログレンジと画素信号の振幅との関係の一例を表す図である。 図1の撮像素子の膜電圧とノイズとの関係の一例を表す図である。 図1の撮像素子の画質調整手順の一例を表す図である。 図1の撮像素子の概略構成の一変形例を表す図である。 図1の撮像素子の概略構成の一変形例を表す図である。 ADCのアナログレンジと画素信号の振幅との関係の一例を表す図である。 図9の撮像素子の画質調整手順の一例を表す図である。 図9の撮像素子の概略構成の一変形例を表す図である。 図9の撮像素子の概略構成の一変形例を表す図である。 図1の撮像素子の概略構成の一変形例を表す図である。 図14のセンサ画素の回路構成例を表す図である。 ADCのアナログレンジと画素信号の振幅との関係の一例を表す図である。 図14の撮像素子の画質調整手順の一例を表す図である。 図14の撮像素子の概略構成の一変形例を表す図である。 図14の撮像素子の概略構成の一変形例を表す図である。 図2のセンサ画素の回路構成の一変形例を表す図である。 図15のセンサ画素の回路構成の一変形例を表す図である。 図2のセンサ画素の回路構成の一変形例を表す図である。 図15のセンサ画素の回路構成の一変形例を表す図である。 図3の撮像素子の断面構成の一変形例を表す図である。 図1の撮像素子の平面構成の一例を表す図である。 図25の撮像素子のA-A線での断面構成の一例を表す図である。 本開示の第2の実施形態に係る撮像装置の概略構成例を表す図である。 図27の撮像装置における撮像手順の一例を表す図である。 図27の撮像装置の概略構成の一変形例を表す図である。 車両制御システムの概略的な構成の一例を示すブロック図である。 車外情報検出部及び撮像部の設置位置の一例を示す説明図である。 内視鏡手術システムの概略的な構成の一例を示す図である。 カメラヘッド及びCCUの機能構成の一例を示すブロック図である。
以下、本開示を実施するための形態について、図面を参照して詳細に説明する。なお、説明は以下の順序で行う。

1.第1の実施の形態(撮像素子)…図1~図7
2.第1の実施の形態の変形例(撮像素子)…図8~図26
3.第2の実施の形態(撮像装置)…図27、図28
4.第2の実施の形態の変形例(撮像装置)…図29
5.応用例
応用例1(移動体)…図30、図31
応用例2(手術システム)…図32、図33
<1.第1の実施の形態>
[構成]
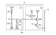
本開示の第1の実施形態に係る撮像素子1について説明する。図1は、撮像素子1の概略構成例を表したものである。撮像素子1は、例えば赤外線イメージセンサであり、例えば波長800nm以上の光に対しても感度を有している。撮像素子1は、光電変換素子を含む複数のセンサ画素11が行列状(マトリックス状)に2次元配置されてなる画素アレイ部10を備えている。センサ画素11は、例えば、図2に示したように、光電変換を行う画素回路14と、画素回路14から出力された電荷に基づく画素信号を出力する読み出し回路15とによって構成されている。
画素回路14は、例えば、フォトダイオードPDと、転送トランジスタTRGと、フローティングディフュージョンFDと、排出トランジスタOFGとを有している。転送トランジスタTRGおよび排出トランジスタOFGは、例えば、NMOS(Metal Oxide Semiconductor)トランジスタである。フォトダイオードPDは、本開示の「光電変換部」の一具体例に相当する。
フォトダイオードPDは、所定の波長の光(例えば、波長900nm~1700nmの赤外領域の波長の光)を吸収して、信号電荷を発生する光電変換部である。フォトダイオードPDは、例えば、III-V族半導体などの化合物半導体を含んで構成されている。フォトダイオードPDに用いられるIII-V族半導体としては、例えば、InGaP、InAlP、InGaAs、InAlAs、またはカルコパイライト構造の化合物半導体などが挙げられる。カルコパイライト構造の化合物半導体は、高い光吸収係数と、広い波長域に渡って高い感度が得られる材料であり、光電変換用のn型半導体材料として好ましく用いられる。フォトダイオードPDは、上述した化合物半導体の他、アモルファスシリコン(Si)、ゲルマニウム(Ge)、量子ドット光電変換膜、有機光電変換膜などを含んで構成されていてもよい。
フォトダイオードPDのカソードが、転送トランジスタTRGのソースに接続されており、フォトダイオードPDのアノードが、電圧Vtopが印加される電源線に接続されている。転送トランジスタTRGのドレインがフローティングディフュージョンFDに接続され、転送トランジスタTRGのゲートは画素駆動線12に接続されている。
転送トランジスタTRGは、フォトダイオードPDのカソードとフローティングディフュージョンFDとの間に接続されており、ゲート電極に印加される制御信号に応じて、フォトダイオードPDに保持されている電荷をフローティングディフュージョンFDに転送する。転送トランジスタTRGのドレインがフローティングディフュージョンFDに電気的に接続されており、転送トランジスタTRGのゲートは画素駆動線12に接続されている。
フローティングディフュージョンFDは、転送トランジスタTRGを介してフォトダイオードPDから転送された電荷を一時的に保持する浮遊拡散領域である。フローティングディフュージョンFDには、例えば、読み出し回路15が接続されるとともに、読み出し回路15を介して垂直信号線13が接続されている。フローティングディフュージョンFDは、読み出し回路15の入力端に接続されている。
排出トランジスタOFGでは、ドレインが、電圧Vdrが印加される電源線に接続され、ソースがフォトダイオードPDのカソードに接続されている。排出トランジスタOFGは、ゲート電極に印加される制御信号に応じて、フォトダイオードPDの電荷を初期化(リセット)する。
読み出し回路15は、例えば、リセットトランジスタRSTと、選択トランジスタSELと、増幅トランジスタAMPとを有している。リセットトランジスタRSTのソース(読み出し回路15の入力端)がフローティングディフュージョンFDに接続されており、リセットトランジスタRSTのドレインが電源線VDDおよび増幅トランジスタAMPのドレインに接続されている。リセットトランジスタRSTのゲートは画素駆動線12に接続されている。増幅トランジスタAMPのソースが選択トランジスタSELのドレインに接続されており、増幅トランジスタAMPのゲートがリセットトランジスタRSTのソースに接続されている。選択トランジスタSELのソース(読み出し回路15の出力端)が垂直信号線13に接続されており、選択トランジスタSELのゲートが画素駆動線12に接続されている。
リセットトランジスタRSTは、フローティングディフュージョンFDの電位を所定の電位に初期化(リセット)する。リセットトランジスタRSTがオン状態となると、フローティングディフュージョンFDの電位を電源線VDDの電位にリセットする。選択トランジスタSELは、読み出し回路15からの画素信号の出力タイミングを制御する。増幅トランジスタAMPは、画素信号として、フローティングディフュージョンFDに保持された電荷のレベルに応じた電圧の信号を生成する。つまり、増幅トランジスタAMPは、画素信号として、センサ画素11における受光量の応じた電圧の信号を生成する。増幅トランジスタAMPは、ソースフォロア型のアンプを構成しており、フォトダイオードPDで発生した電荷のレベルに応じた電圧の画素信号を出力する。増幅トランジスタAMPは、選択トランジスタSELがオン状態となると、フローティングディフュージョンFDの電位を増幅して、その電位に応じた電圧を、垂直信号線13を介して、後述の水平選択回路40に出力する。
なお、選択トランジスタSELが、電源線VDDと増幅トランジスタAMPとの間に設けられていてもよい。この場合、リセットトランジスタRSTのドレインが電源線VDDおよび選択トランジスタSELのドレインに接続されている。選択トランジスタSELのソースが増幅トランジスタAMPのドレインに接続されており、選択トランジスタSELのゲートが画素駆動線12に接続されている。増幅トランジスタAMPのソース(読み出し回路15の出力端)が垂直信号線13に接続されており、増幅トランジスタAMPのゲートがリセットトランジスタRSTのソースに接続されている。
撮像素子1は、例えば、図3に示したように、2つの基板(受光基板100および駆動基板200)を備えている。撮像素子1は、2つの基板(受光基板100および駆動基板200)を貼り合わせて構成された3次元構造を備えている。
受光基板100は、シリコン(Si)基板上に、複数のフォトダイオードPDが行列状に形成された基板である。受光基板100の上面(駆動基板200とは反対側の表面)が受光面100Aとなっている。駆動基板200は、Si基板上に、画素信号生成回路領域200Aおよび周辺回路領域200Bが形成された基板である。画素信号生成回路領域200Aには、複数の画素信号生成回路45が行列状に形成されている。各画素信号生成回路45は、センサ画素11のうちフォトダイオードPDを除いた回路である。周辺回路領域200Bには、画素信号を処理するロジック回路が形成されており、例えば、垂直駆動回路20、水平駆動回路30、水平選択回路40、システム制御回路50、膜電圧制御部60および電圧生成回路70が形成されている。つまり、撮像素子1は、画素アレイ部10、垂直駆動回路20、水平駆動回路30、水平選択回路40、システム制御回路50、膜電圧制御部60および電圧生成回路70を備えている。ロジック回路は、センサ画素11ごとの画素信号(デジタル値)を外部に出力する。
システム制御回路50は、マスタークロックに基づいて、垂直駆動回路20、水平駆動回路30、水平選択回路40および膜電圧制御部60などの動作の基準となるクロック信号や制御信号などを生成し、垂直駆動回路20、水平選択回路40および膜電圧制御部60などに対して与える。
垂直駆動回路20は、例えば、シフトレジスタなどによって構成され、複数の画素駆動線12を介して、複数のセンサ画素11の行走査の制御を行う。水平選択回路40は、例えば、画素アレイ部10の画素列(または垂直信号線13)ごとに、ADC40aおよびスイッチ素子40bが設けられた回路である。ADC40aは、画素信号をAD(Analog-to-Digital)変換する。ADC40aは、アナログレンジRを可変させることが可能となっており、外部から入力されたレンジ設定値に基づくアナログレンジRに設定する。なお、本実施の形態では、アナログレンジRはRaに設定されている。
ADC40aの入力端には垂直信号線13が接続されており、ADC40aの出力端にはスイッチ素子40bが接続されている。水平駆動回路30は、例えば、シフトレジスタなどによって構成され、水平選択回路40の各スイッチ素子40bを順番に駆動する。水平駆動回路30によって各スイッチ素子40bを順番に駆動することにより、垂直信号線13の各々を通して伝送される各画素信号が順番に水平信号線40cに出力され、DSP回路などに入力される。
膜電圧制御部60は、センサ画素11から得られる画素信号に基づいて、各フォトダイオードPDに印加する膜電圧Vfを制御する。膜電圧制御部60は、膜電圧Vfを制御するための制御信号を電圧生成回路70に出力する。電圧生成回路70は、膜電圧制御部60から入力された制御信号に基づいて、アナログの電圧(電圧VtopおよびVdr)を生成し、電源線を介して各フォトダイオードPDに印加する。つまり、膜電圧制御部60および電圧生成回路70は、センサ画素11から得られる画素信号に基づく膜電圧Vfを各フォトダイオードPDに印加することにより、画素信号から得られる画像データの画質を制御する。
図4は、撮像素子1の断面構成例を表したものである。撮像素子1において、受光基板100は、光電変換部(フォトダイオードPD)であるn型半導体膜21を有している。n型半導体膜21は画素アレイ部10の全面に形成されており、例えば、フォトダイオードPDに用いられる材料として上述した材料によって構成されている。なお、以下では、n型半導体膜21がInGaAsによって構成されているものとして、他の構成についての説明を行う。
受光基板100は、さらに、n型半導体膜21の、駆動基板200側の面に接するp型半導体層22をセンサ画素11ごとに有している。各p型半導体層22は、高濃度のp型半導体によって形成されており、例えば、p型InGaAsによって形成されている。p型半導体層22は、フォトダイオードPDの電極(第2電極)としての機能を有している。p型半導体層22には、オン状態の排出トランジスタOFGを介して所定の電圧Vdrが印加されたり、オン状態の転送トランジスタTRGおよびリセットトランジスタRSTを介して電源線VDDの電圧Vddが印加されたりする。受光基板100は、さらに、各p型半導体層22を互いに分離するn型半導体層23を有している。n型半導体層23は、各p型半導体層22と同一の層内に形成されており、例えば、n型InPによって形成されている。
受光基板100は、さらに、n型半導体膜21の、受光面100A側の面に接するn型半導体層24を有している。n型半導体層24は、n型半導体膜21よりも高濃度のn型半導体によって形成されており、例えば、n型InGaAs、n型InPまたはn型InAlAsによって形成されている。n型半導体層24は、n型半導体膜21で生成された電荷の逆流を防止するバリア層として機能する。受光基板100は、さらに、n型半導体層24の、受光面100A側の面に接する反射防止膜25を有している。反射防止膜25は、例えば、窒化シリコン(SiN)、酸化ハフニウム(HfO2)、酸化アルミニウム(Al23)、酸化ジルコニウム(ZrO2)、酸化タンタル(Ta2Ta5)、酸化チタン(TiO2)などによって形成されている。n型半導体層24は、n型半導体膜21を上下に挟む電極のうちの上側の電極(第1電極)としても機能する。上部電極には、所定の電圧Vtopが印加される。
受光基板100は、さらに、反射防止膜25の上に、カラーフィルタ26およびオンチップレンズ27を有している。カラーフィルタ26は、赤色光を選択的に透過させる複数のフィルタ26Rと、緑色光を選択的に透過させる複数のフィルタ26Gと、青色光を選択的に透過させる複数のフィルタ26Gとによって構成されている。複数のフィルタ26R,26G,26Bは、センサ画素11ごとに1つずつ設けられており、例えば、受光面100Aと平行な面内にベイヤー配列で配置されている。なお、図4には、フィルタ26Rが設けられたセンサ画素11が11Rと表記されており、フィルタ26Gが設けられたセンサ画素11が11Gと表記されており、フィルタ26Bが設けられたセンサ画素11が11Bと表記されている。なお、カラーフィルタ26は、必要に応じて省略され得る。
受光基板100は、さらに、p型半導体層22およびn型半導体層23の下側に、パッシベーション層28および絶縁層29を有している。受光基板100は、さらに、パッシベーション層28を貫通するとともにp型半導体層22に接する接続電極31と、絶縁層29を貫通するとともに接続電極31に接するバンプ電極32とを有している。一組の接続電極31およびバンプ電極32は、センサ画素11ごとに1つずつ設けられている。バンプ電極32は、駆動基板200の接続層43(後述)に接合されており、接続層43と電気的に接続されている。バンプ電極32は、例えば、受光基板100と駆動基板200とを互いに貼り合わせた際に、駆動基板200の接続層43に接合される。
駆動基板200は、支持基板41と層間絶縁層42とを含む。支持基板41は、例えばシリコン(Si)基板により構成されている。層間絶縁層42は、支持基板41と絶縁層29(受光基板100)との間に設けられている。層間絶縁層42には、例えば、受光基板100に近い位置から順に、複数の接続層43、複数の読み出し電極44、複数の画素信号生成回路45および複数の配線46が設けられている。複数組の接続層43、読み出し電極44、画素信号生成回路45および配線46がセンサ画素11ごとに一組ずつ設けられている。層間絶縁層42内の複数の層間絶縁層42が、例えば、各フォトダイオードPDから電荷の読み出しを行うためのROIC(Read Out IC)内に設けられている。駆動基板200は、層間絶縁層42のうち、周辺回路領域200Bに対応する箇所には、上述のロジック回路が設けられている。
図5(A)は、フォトダイオードPDに印加される膜電圧Vfと、フォトダイオードPDに保持可能な電荷Qsとの関係の一例を表したものである。図5(B)は、ADC40aのアナログレンジ(ダイナミックレンジ)と画素信号の振幅Vdとの関係の一例を表したものである。図5(B)には、ADC40aのアナログレンジがRaに設定されている場合が例示されている。
図5(A)から、フォトダイオードPD(n型半導体膜21)に対して印加する電圧(膜電圧Vf=Vtop-Vdr)を大きくするにつれて、フォトダイオードPD(n型半導体膜21)に保持可能な電荷Qsの量も大きくなることがわかる。フォトダイオードPD(n型半導体膜21)に保持される電荷Qsの量が増えるにつれて、画素信号の振幅Vdも大きくなる。ただし、これは、図5(B)に示したように、画素信号の振幅Vdの平均値Vdavg(後述)がADC40aのアナログレンジRaに対応する電圧Vdaを超えないことが肝要である。画素信号の振幅Vdの平均値VdavgがADC40aのアナログレンジRaに対応する電圧Vdaを超えた場合、ADC40aが飽和し、ADC40aの出力が一定値となる。
図6は、フォトダイオードPDに印加される膜電圧Vfと、フォトダイオードPDに生じるノイズ(暗電流)との関係の一例を表したものである。図6から、フォトダイオードPD(n型半導体膜21)に対して印加する電圧(膜電圧Vf=Vtop-Vdr)を大きくするにつれて、フォトダイオードPDに生じるノイズ(暗電流)のレベルが指数関数的に増加することがわかる。従って、高輝度のときは、光ショットノイズが支配的になるので、膜電圧Vfを高めに設定し、低輝度のときは、ノイズ(暗電流)が支配的になるので、膜電圧Vfを低めに設定することで、画質劣化が抑制され得る。

[画質調整]
次に、図7を参照して、撮像素子1の画質調整手順について説明する。図7は、撮像素子1の画質調整手順の一例を表したものである。システム制御回路50は、撮像指令を受けると、膜電圧設定指令を膜電圧制御部60に出力する。膜電圧制御部60は、膜電圧設定指令を受けると、まず、膜電圧VfをVfaに設定する(ステップS101)。具体的には、膜電圧制御部60は、Vtop(第1電圧)とVdr(第2電圧)との電位差(Vtop-Vdr)がVfaとなるように、VtopおよびVdrを設定する。例えば、膜電圧制御部60は、Vtopを+2Vに設定し、Vdrを+1Vに設定する。膜電圧制御部60は、VtopおよびVdrの設定値を電圧生成回路70に出力する。電圧生成回路70は、膜電圧制御部60から入力された設定値に基づいて、フォトダイオードPDのアノードに接続された電源線に対して、Vtop=+2Vの電圧を印加し、排出トランジスタOFGのドレインに接続された電源線に対して、Vdr=+1Vの電圧を印加する。
次に、膜電圧制御部60は、画素アレイ部10のうち対象領域の複数のセンサ画素11から得られた複数の画素信号の平均値Vdavgが所定の閾値Vth1(第1閾値)を超えているか否かを判定する(ステップS102)。閾値Vth1は、膜電圧VfがVfaに設定されているときに光ショットノイズが支配的か否かを判断するための閾値である。その結果、平均値Vdavgが所定の閾値Vth1を超えている場合には、膜電圧制御部60は、膜電圧Vfを、Vfb(Vfb>Vfa)に設定する(ステップS103)。つまり、膜電圧制御部60は、膜電圧Vfを、Vfaよりも相対的に大きくする。具体的には、膜電圧制御部60は、Vtop-VdrがVfbとなるように、平均値Vdavgに基づいて、VtopおよびVdrを設定する。例えば、膜電圧制御部60は、Vtopを+3Vに設定し、Vdrを+1Vに設定する。膜電圧制御部60は、VtopおよびVdrの設定値を電圧生成回路70に出力する。電圧生成回路70は、膜電圧制御部60から入力された設定値に基づいて、フォトダイオードPDのアノードに接続された電源線に対して、Vtop=+3Vの電圧を印加し、排出トランジスタOFGのドレインに接続された電源線に対して、Vdr=+1Vの電圧を印加する。
平均値Vdavgが所定の閾値Vth1以下の場合と、膜電圧VfをVfb(Vfb>Vfa)に設定した場合には、膜電圧制御部60は、平均値Vdavgが所定の閾値Vth2(第2閾値)(Vth2<Vth1)を下回っているか否かを判定する(ステップS104)。閾値Vth2は、画素信号がノイズに埋もれているか否かを判断するための閾値である。その結果、平均値Vdavgが所定の閾値Vth2を下回っている場合には、膜電圧制御部60は、膜電圧VfをVfc(Vfc<Vfa)に設定する(ステップS105)。つまり、膜電圧制御部60は、膜電圧Vfを、Vfaよりも相対的に小さくする。具体的には、膜電圧制御部60は、Vtop-VdrがVfcとなるように、平均値Vdavgに基づいて、VtopおよびVdrを設定する。一方、平均値Vdavgが所定の閾値Vth2以上となっている場合には、膜電圧制御部60は、電圧の設定値をそのままにしておく。システム制御回路50は、撮像終了指令を受けた場合には、撮像を終了するとともに、撮像素子1の画質調整も終了する(ステップS106)。システム制御回路50は、撮像終了指令を受けていない場合には、膜電圧制御部60に対して、再び、ステップS102からの実行を指示する。このようにして、撮像素子1の画質調整が行われる。
[効果]
本実施形態では、撮像素子1の出力(画素信号の振幅Vdの平均値Vdavg)に基づく膜電圧Vfを各フォトダイオードPD(n型半導体膜21)に印加することにより、画素信号から得られる画像データの画質が制御される。具体的には、撮像素子1の出力(画素信号の振幅Vdの平均値Vdavg)が閾値Vth1を超えたときに膜電圧Vfを相対的に大きくし、撮像素子1の出力(画素信号の振幅Vdの平均値Vdavg)が閾値Vth2を下回ったときに膜電圧Vfを相対的に小さくする。このように、本実施形態では、高輝度のときは、膜電圧Vfを相対的に大きくして、光ショットノイズの影響を低減し、低輝度のときは、膜電圧Vfを相対的に小さくして、S/N比を高くしている。これにより、画質劣化を抑制することができる。
また、本実施の形態では、電圧Vtopと電圧Vdrとの電位差(Vtop-Vdr)が膜電圧Vfとなるように、画素信号に基づいて電圧Vtopおよび電圧Vdrが生成される。このようにして生成された膜電圧Vfが、各フォトダイオードPD(n型半導体膜21)に印加されることにより、画質劣化を抑制することができる。
また、本実施の形態では、各画素回路14には、フォトダイオードPD(n型半導体膜21)と、転送トランジスタTRGと、排出トランジスタOFGとが設けられている。そして、排出トランジスタがオンしているときに、p型半導体層22にVdrが印加される。これにより、画素信号に基づいて、各フォトダイオードPD(n型半導体膜21)に膜電圧Vfが印加される。従って、画質劣化を抑制することができる。
<2.第1の実施の形態の変形例>
[[変形例A]]
上記実施の形態では、膜電圧制御部60および電圧生成回路70は、撮像素子1内に設けられていたが、例えば、図8に示したように、撮像素子1とは別体の画質制御回路2内に設けられていてもよい。この場合、膜電圧制御部60は、例えば、図8に示したように、撮像素子1の出力に基づいて、膜電圧Vfを設定してもよい。このようにした場合であっても、上記実施の形態と同様の効果を奏する。
[[変形例B]]
上記実施の形態において、撮像素子1は、例えば、図9に示したように、アナログレンジ制御部80を更に備えていてもよい。アナログレンジ制御部80は、膜電圧制御部60から入力される判定結果(つまり、撮像素子1の出力(画素信号の振幅Vdの平均値Vdavg))に基づいて、ADC40aのアナログレンジRを制御する。具体的には、アナログレンジ制御部80は、膜電圧制御部60から入力される判定結果(つまり、撮像素子1の出力(画素信号の振幅Vdの平均値Vdavg))に基づくレンジ設定値をADC40aに出力することにより、画素信号から得られる画像データの画質を制御する。
図10は、ADC40aのアナログレンジR(ダイナミックレンジ)と画素信号の振幅Vdとの関係の一例を表したものである。図10には、ADC40aのアナログレンジRがRaまたはRbに設定されている場合が例示されている。
図10に示したように、画素信号の振幅Vdの平均値VdavgがADC40aのアナログレンジRaに対応する電圧Vdaを超えている場合、ADC40aが飽和する。しかし、ADC40aのアナログレンジRをRaからRbに拡大することにより、画素信号の振幅Vdの平均値Vdavgが、ADC40aのアナログレンジRbに対応する電圧Vdbを下回り、ADC40aの飽和が解消する。従って、高輝度のときは、白とびを防ぐために、ADC40aのダイナミックレンジRを高めに設定し、低輝度のときは、ノイズ(暗電流)が支配的になるので、ADC40aのダイナミックレンジRを低めに設定することで、画質劣化が抑制され得る。
[画質調整]
次に、図11を参照して、本変形例に係る撮像素子1の画質調整手順について説明する。図11は、本変形例に係る撮像素子1の画質調整手順の一例を表したものである。なお、本変形例では、撮像素子1は、図7に記載の画質調整手順を実行するとともに、図11に記載の画質調整手順を実行する。
アナログレンジ制御部80は、まず、ADC40aのアナログレンジRをRaに設定する(ステップS201)。具体的には、アナログレンジ制御部80は、アナログレンジRをRaにする制御信号をADC40aに出力する。ADC40aは、アナログレンジ制御部80から、アナログレンジRをRaにする制御信号が入力されると、アナログレンジRをRaに設定する。
次に、アナログレンジ制御部80は、膜電圧制御部60から入力された判定結果が“Vdavg>Vth3”である場合、アナログレンジRをRb(Rb>Ra)に設定する(ステップS202,203)。つまり、アナログレンジ制御部80は、アナログレンジRを、Raよりも相対的に大きくする。閾値Vth3(第1閾値)は、膜電圧VfがVfaに設定されているときに画像が白とびをするか否かを判断するための閾値である。このとき、アナログレンジ制御部80は、アナログレンジRをRbにする制御信号をADC40aに出力する。ADC40aは、アナログレンジ制御部80から、アナログレンジRをRbにする制御信号が入力されると、アナログレンジRをRbに設定する。
アナログレンジ制御部80は、膜電圧制御部60から入力された判定結果が“Vdavg≦Vth3”である場合、または、アナログレンジRをRbに設定した場合には、平均値Vdavgと閾値Vth2との大小関係についての判定結果が膜電圧制御部60から入力されるのを待つ。このとき、アナログレンジ制御部80は、膜電圧制御部60から入力された判定結果が“Vdavg<Vth2”(Vth2<Vth3)である場合、アナログレンジRをRaに設定する(ステップS204,201)。つまり、アナログレンジ制御部80は、アナログレンジRを、Rbよりも相対的に小さくする。具体的には、アナログレンジ制御部80は、アナログレンジRをRaにする制御信号をADC40aに出力する。ADC40aは、アナログレンジ制御部80から、アナログレンジRをRaにする制御信号が入力されると、アナログレンジRをRaに設定する。
アナログレンジ制御部80は、膜電圧制御部60から入力された判定結果が“Vdavg≧Vth2”である場合、撮像終了指令が入力されていないときには、ステップS202を実行する(ステップS204,205)。アナログレンジ制御部80は、撮像終了指令が入力されたときには、アナログレンジRの設定を終了する(ステップS205)。このようにして、撮像素子1の画質調整が行われる。
[効果]
本変形例では、撮像素子1の出力(画素信号の振幅Vdの平均値Vdavg)に基づく膜電圧Vfを各フォトダイオードPD(n型半導体膜21)に印加することにより、画素信号から得られる画像データの画質が制御される。具体的には、撮像素子1の出力(画素信号の振幅Vdの平均値Vdavg)が閾値Vth1を超えたときに膜電圧Vfを相対的に大きくし、撮像素子1の出力(画素信号の振幅Vdの平均値Vdavg)が閾値Vth2を下回ったときに膜電圧Vfを相対的に小さくする。このように、本変形例では、高輝度のときは、膜電圧Vfを相対的に大きくして、光ショットノイズの影響を低減し、低輝度のときは、膜電圧Vfを相対的に小さくして、S/N比を高くしている。これにより、画質劣化を抑制することができる。
本変形例では、さらに、画素信号に基づくレンジ設定値をADC40aに出力することにより、画素信号から得られる画像データの画質が制御される。具体的には、撮像素子1の出力(画素信号の振幅Vdの平均値Vdavg)が閾値Vth3を超えたときにレンジ設定値を相対的に大きくし、撮像素子1の出力(画素信号の振幅Vdの平均値Vdavg)が閾値Vth2を下回ったときにレンジ設定値を相対的に小さくする。このように、本変形例では、高輝度のときは、レンジ設定値を相対的に大きくして、画像が白とびするのを抑制し、低輝度のときは、レンジ設定値を相対的に小さくして、S/N比を高くしている。これにより、画質劣化を抑制することができる。
[[変形例C]]
上記変形例Bでは、膜電圧制御部60、電圧生成回路70およびアナログレンジ制御部80は、撮像素子1内に設けられていたが、例えば、図12に示したように、撮像素子1とは別体の画質制御回路2内に設けられていてもよい。この場合、膜電圧制御部60は、例えば、図12に示したように、撮像素子1の出力に基づいて、膜電圧Vfを設定してもよい。このようにした場合であっても、上記実施の形態と同様の効果を奏する。
[[変形例D]]
上記変形例Bでは、膜電圧制御部60、電圧生成回路70およびアナログレンジ制御部80は、撮像素子1内に設けられていた。しかし、例えば、図13に示したように、膜電圧制御部60および電圧生成回路70が、撮像素子1とは別体の画質制御回路2内に設けられ、アナログレンジ制御部80が撮像素子1内に設けられていてもよい。
この場合、膜電圧制御部60は、例えば、図13に示したように、撮像素子1の出力に基づいて、膜電圧Vfを設定してもよい。また、アナログレンジ制御部80は、例えば、図13に示したように、電圧生成回路70の出力電圧(Vtop、Vdr)の値に基づいて、ADC40aのアナログレンジRを設定してもよい。
本変形例では、撮像素子1の出力に基づいて各フォトダイオードPD(n型半導体膜21)に印加される膜電圧Vfが設定され、各フォトダイオードPD(n型半導体膜21)に印加される電圧(Vtop、Vdr)の値に基づいて、ADC40aのアナログレンジRが設定される。これにより、画質劣化を抑制することができる。
[[変形例E]]
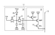
上記実施の形態において、撮像素子1は、例えば、図14に示したように、効率変換制御部90を更に備えていてもよい。効率変換制御部90は、膜電圧制御部60から入力される判定結果(つまり、撮像素子1の出力(画素信号の振幅Vdの平均値Vdavg))に基づいて、画素回路14の変換効率ηを制御する。具体的には、効率変換制御部90は、膜電圧制御部60から入力される判定結果(つまり、撮像素子1の出力(画素信号の振幅Vdの平均値Vdavg))に基づく制御信号を後述のスイッチ素子SWに出力することにより、画素信号から得られる画像データの画質を制御する。
図15は、本変形例に係るセンサ画素11の回路構成の一例を表したものである。本変形例に係るセンサ画素11において、画素回路14は、フローティングディフュージョンFDに接続されたスイッチ素子SWと、スイッチ素子SWを介してフローティングディフュージョンFDの容量(FD容量Cfd)と並列に接続された補助容量Ceとを有している。効率変換制御部90は、スイッチ素子SWのオンオフを制御することにより、画素回路14の変換効率ηを制御する。
図16は、ADC40aのアナログレンジRと画素信号の振幅Vdとの関係の一例を表したものである。図16には、ADC40aのアナログレンジRがRbに設定されている場合が例示されている。
効率変換制御部90の制御によってスイッチ素子SWがオンしている場合、互いに並列接続されたFD容量Cfdおよび補助容量Ceに蓄積された電荷によって生じる電圧が読み出し回路15に入力される。このときの画素回路14の変換効率ηをη1とする。効率変換制御部90の制御によってスイッチ素子SWがオフした場合、補助容量Ceは、フローティングディフュージョンFDから分離されるので、FD容量Cfdに蓄積された電荷によって生じる電圧が読み出し回路15に入力される。このときの画素回路14の変換効率η2は、η1/αとなる。ここで、αは、(Cfd+Ce)/Cfd)である。つまり、スイッチ素子SWをオフすることにより、変換効率ηが1/αだけ低くなる。例えば、補助容量CeがFD容量Cfdの2倍の容量となっている場合、変換効率η2は、変換効率η1の1/3倍となる。変換効率ηが低くなると、例えば、図16に示したように、変換効率ηが低くなった分だけ、画素信号の振幅Vdが小さくなる。そこで、例えば、スイッチ素子SWがオンしているときの平均値Vdavg1がADC40aのアナログレンジRの上限(Rb)に対応する電圧値Vdbよりも大きく、ADC40aが飽和している場合に、スイッチ素子SWをオフすることにより、スイッチ素子SWオフ時の平均値Vdavg2がVdavg1/αとなり、電圧値Vdbよりも小さくすることができる。従って、高輝度のときは、白とびを防ぐために、変換効率ηを低めに設定し、低輝度のときは、ノイズ(暗電流)が支配的になるので、変換効率ηを高めに設定することで、画質劣化が抑制され得る。
[画質調整]
次に、図17を参照して、撮像素子1の画質調整手順について説明する。図17は、撮像素子1の画質調整手順の一例を表したものである。なお、本変形例では、撮像素子1は、図7に記載の画質調整手順を実行するとともに、図17に記載の画質調整手順を実行する。
効率変換制御部90は、まず、画素回路14の変換効率ηをη1に設定する(ステップS301)。具体的には、効率変換制御部90は、画素回路14内のスイッチ素子SWに対して、スイッチ素子SWをオンさせる制御信号を出力する。スイッチ素子SWは、効率変換制御部90から、スイッチ素子SWをオンさせる制御信号が入力されると、オンする。これにより、FD容量Cfdと補助容量Ceとが互いに並列に接続される。
次に、効率変換制御部90は、膜電圧制御部60から入力された判定結果が“Vdavg>Vth3”である場合、変換効率ηをη2(η2<η1)に設定する(ステップS302,303)。このとき、効率変換制御部90は、スイッチ素子SWをオフさせる制御信号をスイッチ素子SWに出力する。スイッチ素子SWは、効率変換制御部90から、スイッチ素子SWをオフさせる制御信号が入力されると、オフする。つまり、効率変換制御部90は、平均値VdavgがVth3を超えたときにスイッチ素子SWをオフする。これにより、補助容量CeがフローティングディフュージョンFDから分離される。
効率変換制御部90は、膜電圧制御部60から入力された判定結果が“Vdavg≦Vth3”である場合、または、スイッチ素子SWをオフに設定した場合には、平均値Vdavgと閾値Vth2(Vth2<Vth3)との大小関係についての判定結果が膜電圧制御部60から入力されるのを待つ。このとき、効率変換制御部90は、膜電圧制御部60から入力された判定結果が“Vdavg<Vth2”である場合、変換効率ηをη1に設定する(ステップS304,301)。具体的には、効率変換制御部90は、スイッチ素子SWに対して、スイッチ素子SWをオンさせる制御信号を出力する。スイッチ素子SWは、効率変換制御部90から、スイッチ素子SWをオンさせる制御信号が入力されると、オンする。つまり、効率変換制御部90は、平均値VdavgがVth3よりも小さなVth2を下回ったときにスイッチ素子SWをオンする。これにより、FD容量Cfdと補助容量Ceとが互いに並列に接続される。
効率変換制御部90は、膜電圧制御部60から入力された判定結果が“Vdavg≧Vth2”である場合、撮像終了指令が入力されていないときには、ステップS302を実行する(ステップS304,302)。効率変換制御部90は、撮像終了指令が入力されたときには、変換効率ηの設定を終了する(ステップS305)。このようにして、撮像素子1の画質調整が行われる。
[効果]
本変形例では、撮像素子1の出力(画素信号の振幅Vdの平均値Vdavg)に基づく膜電圧Vfを各フォトダイオードPD(n型半導体膜21)に印加することにより、画素信号から得られる画像データの画質が制御される。具体的には、撮像素子1の出力(画素信号の振幅Vdの平均値Vdavg)が閾値Vth1を超えたときに膜電圧Vfを相対的に大きくし、撮像素子1の出力(画素信号の振幅Vdの平均値Vdavg)が閾値Vth2を下回ったときに膜電圧Vfを相対的に小さくする。このように、本変形例では、高輝度のときは、膜電圧Vfを相対的に大きくして、光ショットノイズの影響を低減し、低輝度のときは、膜電圧Vfを相対的に小さくして、S/N比を高くしている。これにより、画質劣化を抑制することができる。
本変形例では、さらに、画素信号に基づく制御信号をスイッチ素子SWに出力することにより、画素信号から得られる画像データの画質が制御される。具体的には、撮像素子1の出力(画素信号の振幅Vdの平均値Vdavg)が閾値Vth3を超えたときにスイッチ素子SWをオフし、撮像素子1の出力(画素信号の振幅Vdの平均値Vdavg)が閾値Vth2を下回ったときにスイッチ素子SWをオンする。このように、本変形例では、高輝度のときは、スイッチ素子SWをオフして、画像が白とびするのを抑制し、低輝度のときは、スイッチ素子SWをオンして、S/N比を高くしている。これにより、画質劣化を抑制することができる。
[[変形例F]]
上記変形例Eでは、膜電圧制御部60、電圧生成回路70および効率変換制御部90は、撮像素子1内に設けられていた。しかし、例えば、図18に示したように、膜電圧制御部60、電圧生成回路70および効率変換制御部90が、撮像素子1とは別体の画質制御回路2内に設けられていてもよい。この場合、膜電圧制御部60は、例えば、図18に示したように、撮像素子1の出力に基づいて、膜電圧Vfを設定してもよい。このようにした場合であっても、上記実施の形態と同様の効果を奏する。
[[変形例G]]
上記変形例Eでは、膜電圧制御部60、電圧生成回路70および効率変換制御部90は、撮像素子1内に設けられていた。しかし、例えば、図19に示したように、膜電圧制御部60および電圧生成回路70が、撮像素子1とは別体の画質制御回路2内に設けられ、効率変換制御部90が撮像素子1内に設けられていてもよい。
この場合、膜電圧制御部60は、例えば、図19に示したように、撮像素子1の出力に基づいて、膜電圧Vfを設定してもよい。また、効率変換制御部90は、例えば、図19に示したように、電圧生成回路70の出力電圧(Vtop、Vdr)の値に基づいて、画素回路14の変換効率ηを設定してもよい。
本変形例では、撮像素子1の出力に基づいてフォトダイオードPD(n型半導体膜21)に印加される膜電圧Vfが設定され、フォトダイオードPD(n型半導体膜21)に印加される電圧(Vtop、Vdr)の値に基づいて、画素回路14の変換効率ηが設定される。これにより、画質劣化を抑制することができる。
[[変形例H]]
上記実施の形態およびその変形例において、画素回路14は、例えば、図20、図21に示したように、排出トランジスタOFGが省略されてもよい。このとき、膜電圧制御部60は、n型半導体層24に印加する電圧Vtopと、転送トランジスタTRGがオンしているときにリセットトランジスタRSTによって印加されたp型半導体層22の電極Vdrとの電位差(Vtop-Vdr)が膜電圧Vfとなるように、画素信号に基づいて電圧Vtopを生成してもよい。
また、上記実施の形態およびその変形例において、画素回路14は、例えば、図22、図23に示したように、排出トランジスタOFGおよび転送トランジスタTRGが省略されてもよい。このとき、膜電圧制御部60は、n型半導体層24に印加する電圧Vtopと、リセットトランジスタRSTによって印加されたp型半導体層22の電極Vdrとの電位差(Vtop-Vdr)が膜電圧Vfとなるように、画素信号に基づいて電圧Vtopを生成してもよい。
本変形例では、これらのようにした場合であっても、上記実施の形態およびその変形例に係る撮像素子1と同様の効果を奏する。
[[変形例I]]
上記実施の形態およびその変形例A~Hでは、受光基板100と駆動基板200とが、バンプ接合されていた。しかし、上記実施の形態およびその変形例A~Hにおいて、受光基板100と駆動基板200とが、Cu-Cu接合されていてもよい。図24は、本変形例に係る撮像素子1の断面構成の一変形例を表したものである。
受光基板100は、パッシベーション層28、絶縁層29、複数の接続電極31および複数のバンプ電極32の代わりに、絶縁膜33、埋め込み層34、層間絶縁膜35,36、複数の電極37および複数のコンタクト電極38を有している。
絶縁膜33は、n型半導体層23と、各p型半導体層22の一部とを覆っており、各p型半導体層22と対向する箇所に開口を有している。絶縁膜33は、例えば、酸化シリコン(SiOx)または酸化アルミニウム(Al23)等の酸化物を含んで構成されている。複数の膜からなる積層構造により絶縁膜33を構成するようにしてもよい。絶縁膜33は、例えば、酸窒化シリコン(SiON),炭素含有酸化シリコン(SiOC),窒化シリコン(SiN)およびシリコンカーバイド(SiC)などのシリコン(Si)系絶縁材料により構成するようにしてもよい。絶縁膜33の厚みは、例えば数十nm~数百nmである。
複数の電極37は、絶縁膜33の各開口に1つずつ設けられており、p型半導体層22ごとに1つずつ設けられている。各電極37は、対応するp型半導体層22に接している。各電極37は、例えば、チタン(Ti),タングステン(W),窒化チタン(TiN),白金(Pt),金(Au),ゲルマニウム(Ge),パラジウム(Pd),亜鉛(Zn),ニッケル(Ni)およびアルミニウム(Al)のうちのいずれかの単体、またはそれらのうちの少なくとも1種を含む合金により構成されている。各電極37は、このような構成材料の単膜であってもよく、あるいは、2種以上を組み合わせた積層膜であってもよい。例えば、各電極37は、チタンおよびタングステンの積層膜により構成されている。各電極37の厚みは、例えば数十nm~数百nmである。
埋め込み層34は、各電極37を埋め込んで形成されている。埋め込み層34において、駆動基板200側の面は平坦になっている。埋め込み層34は、例えば、酸化シリコン(SiOx),窒化シリコン(SiN),酸窒化シリコン(SiON),炭素含有酸化シリコン(SiOC)およびシリコンカーバイド(SiC)等の無機絶縁材料により構成されている。
層間絶縁膜35,36は、埋め込み層34の、駆動基板200側の平坦面にこの順に積層されている。層間絶縁膜35,36は、例えば、無機絶縁材料により構成されている。この無機絶縁材料としては、例えば、窒化シリコン(SiN),酸化アルミニウム(Al23),酸化ケイ素(SiO2)および酸化ハフニウム(HfO2)等が挙げられる。層間絶縁膜35,36を同一の無機絶縁材料により構成するようにしてもよい。
複数のコンタクト電極38は、電極37ごとに1つずつ設けられている。各コンタクト電極38は、対応する電極37に接している。各コンタクト電極38の、駆動基板200側の面は、層間絶縁膜36から露出している。各コンタクト電極38の、駆動基板200側の面と、層間絶縁膜36の、駆動基板200側の面とは、同一の面内に配置されている。
駆動基板200は、複数の接続層43の代わりに、複数のコンタクト電極47を有している。駆動基板200は、さらに、層間絶縁膜48,49を有している。複数のコンタクト電極47は、読み出し電極44ごとに1つずつ設けられている。各コンタクト電極47は、対応する読み出し電極44に接している。
層間絶縁膜48,49は、層間絶縁層42の、受光基板100側の面にこの順に積層されている。層間絶縁膜48,49は、例えば、無機絶縁材料により構成されている。この無機絶縁材料としては、例えば、窒化シリコン(SiN),酸化アルミニウム(Al23),酸化ケイ素(SiO2)および酸化ハフニウム(HfO2)等が挙げられる。
各コンタクト電極47の、受光基板100側の面は、層間絶縁膜49から露出している。各コンタクト電極47の、受光基板100側の面と、層間絶縁膜49の、受光基板100側の面とは、同一の面内に配置されている。コンタクト電極38,47は、例えば、銅(Cu)により構成されている。コンタクト電極38とコンタクト電極47とが互いに接合されている。
図25は、本変形例に係る撮像素子1の平面構成の一例を表したものである。図26は、図25の撮像素子1のA-A線での断面構成の一例を表したものである。撮像素子1は、中央部の素子領域R1と、素子領域R1の外側に設けられ、素子領域R1を囲む周辺領域R2とを有している。素子領域R1は、撮像素子1において、n型半導体膜21(フォトダイオードPD)が設けられた箇所に対応している。撮像素子1は、素子領域R1から周辺領域R2にわたって設けられた導電膜51を有している。この導電膜51は、素子領域R1の中央部に対向する領域に開口を有している。素子領域R1のうち、導電膜51から露出された領域(導電膜51の開口に対向する領域)が、受光領域である。素子領域R1のうち、導電膜51で覆われた領域は、OPB(Optical Black)領域である。OPB領域は、受光領域を囲むように設けられている。OPB領域は、黒レベルの画素信号を得るために用いられる。
受光基板100において、絶縁膜33は、n型半導体層23と、各p型半導体層22の一部とを覆うとともに、n型半導体膜21(フォトダイオードPD)の側面を覆っている。受光基板100において、埋め込み層34は、絶縁膜33を介してn型半導体膜21の側面を覆っており、素子領域R1から周辺領域R2にわたって設けられている。周辺領域R2には、受光基板100を貫通し、駆動基板200に達する穴H1,H2が設けられている。
穴H1は、穴H2よりも素子領域R1に近い位置に設けられており、穴H1の側壁および底面は、導電膜51に覆われている。穴H1は、n型半導体膜21と駆動基板200の配線46とを接続するためのものであり、反射防止膜25、埋め込み層34、層間絶縁膜35および層間絶縁膜36を貫通して設けられている。
穴H2は、例えば、穴H1よりも受光基板100の端部に近い位置に設けられている。穴H2は、反射防止膜25、埋め込み層34、層間絶縁膜35および層間絶縁膜36を貫通し、駆動基板200の配線46に達している。穴H2を介して、外部と撮像素子1との電気的な接続が行われる。穴H1,H2は、駆動基板200に達していなくてもよい。例えば、穴H1,H2が、層間絶縁膜36に設けられた配線に達しており、この配線が駆動基板200の配線46に接続されていてもよい。
受光基板100において、層間絶縁膜36、層間絶縁膜35および埋め込み層34は、駆動基板200に近い位置にからこの順に設けられている。層間絶縁膜36、層間絶縁膜35および埋め込み層34は、素子領域R1から周辺領域R2にわたって設けられており、層間絶縁膜36および各コンタクト電極38が駆動基板200との接合面を構成している。受光基板100の接合面が素子領域R1および周辺領域R2に設けられており、素子領域R1の接合面と周辺領域R2の接合面とは、同一平面を構成している。
受光基板100に設けられた複数のコンタクト電極38のうち、周辺領域R2に設けられた複数のコンタクト電極38は、n型半導体膜21(フォトダイオードPD)との電気的な接続が無く、受光基板100と駆動基板200との接合のために設けられたダミー電極38Dである。
駆動基板200において、層間絶縁膜49、層間絶縁膜48および層間絶縁層42は、受光基板100に近い位置にからこの順に設けられている。層間絶縁膜49、層間絶縁膜48および層間絶縁層42は、素子領域R1から周辺領域R2にわたって設けられており、層間絶縁膜49および各コンタクト電極47が受光基板100との接合面を構成している。駆動基板200の接合面が素子領域R1および周辺領域R2に設けられており、素子領域R1の接合面と周辺領域R2の接合面とは、同一平面を構成している。
駆動基板200に設けられた複数のコンタクト電極47のうち、周辺領域R2に設けられた複数のコンタクト電極47は、n型半導体膜21(フォトダイオードPD)との電気的な接続が無く、受光基板100と駆動基板200との接合のために設けられたダミー電極47Dである。ダミー電極47Dは、ダミー電極38Dと対向する位置に設けられており、対向位置に設けられたダミー電極38Dに接合されている。これにより、周辺領域R2の強度を向上させることが可能となる。
導電膜51は、OPB領域から周辺領域R2の穴H1にわたって設けられている。導電膜51は、OPB領域に設けられた反射防止膜25の開口25Hにおいてn型半導体層24に接するとともに、穴H1を介して駆動基板200の配線46に接している。これにより、駆動基板200から導電膜51を介してn型半導体層24に電圧が供給される。導電膜51は、n型半導体層24への電圧供給経路として機能するとともに、遮光膜としての機能を有し、OPB領域を形成する。導電膜51は、例えば、タングステン(W),アルミニウム(Al),チタン(Ti),モリブデン(Mo),タンタル(Ta)または銅(Cu)を含む金属材料により構成されている。導電膜51上にパッシベーション膜52が設けられていてもよい。
<3.第2の実施の形態>
図27は、上記実施の形態、上記変形例B、上記変形例Eおよび上記変形例Hに係る撮像素子1(以下、「撮像素子1a」と称する。)を備えた撮像装置3の概略構成の一例を表したものである。
撮像装置3は、例えば、デジタルスチルカメラやビデオカメラ等の撮像装置や、スマートフォンやタブレット型端末等の携帯端末装置などの電子機器である。撮像装置3は、例えば、撮像素子1a、光学系141、シャッタ装置142、DSP回路143、フレームメモリ144、表示部145、記憶部146、操作部147および電源部148を備えている。撮像装置3において、撮像素子1a、シャッタ装置142、DSP回路143、フレームメモリ144、表示部145、記憶部146、操作部147および電源部148は、バスライン149を介して相互に接続されている。
撮像素子1aは、入射光に応じた画像データ(デジタル値)を出力する。光学系141は、1枚または複数枚のレンズを有して構成され、被写体からの光(入射光)を撮像素子1aに導き、撮像素子1aの受光面に結像させる。シャッタ装置142は、光学系141および撮像素子1aの間に配置され、撮像素子1aへの光照射期間および遮光期間を制御する。DSP回路143は、撮像素子1aから出力される画像データ(デジタル値)を処理する信号処理回路である。フレームメモリ144は、DSP回路143により処理された画像データを、フレーム単位で一時的に保持する。表示部145は、例えば、液晶パネルや有機EL(Electro Luminescence)パネル等のパネル型表示装置からなり、撮像素子1aで撮像された動画又は静止画を表示する。記憶部146は、撮像素子1aで撮像された動画又は静止画の画像データを、半導体メモリやハードディスク等の記録媒体に記録する。操作部147は、ユーザによる操作に従い、撮像装置3が有する各種の機能についての操作指令を発する。電源部148は、撮像素子1a、シャッタ装置142、DSP回路143、フレームメモリ144、表示部145、記憶部146および操作部147の動作電源となる各種の電源を、これら供給対象に対して適宜供給する。
次に、撮像装置3における撮像手順の一例について説明する。
図28は、撮像装置3における撮像動作のフローチャートの一例を表す。ユーザは、操作部147を操作することにより撮像開始を指示する(ステップS401)。すると、操作部147は、撮像指令を撮像素子1aに送信する(ステップS402)。撮像装置3において、撮像素子1aは、撮像指令を受けると、各種設定(例えば、上述の画質調整など)を行う(ステップS403)。その後、撮像素子1aは、所定の撮像方式での撮像を実行する(ステップS404)。なお、撮像装置3において、撮像素子1aは、必要に応じて、ステップS403およびステップS404を繰り返し実行する。
撮像素子1aは、撮像により得られた画像データをDSP回路143に出力する。ここで、画像データとは、フローティングディフュージョンFDに一時的に保持された電荷に基づいて生成された画素信号の全画素分のデータである。DSP回路143は、撮像素子1aから入力された画像データに基づいて所定の信号処理(例えばノイズ低減処理など)を行う(ステップS405)。DSP回路143は、所定の信号処理がなされた画像データをフレームメモリ144に保持させ、フレームメモリ144は、画像データを記憶部146に記憶させる(ステップS406)。このようにして、撮像装置3における撮像が行われる。
本実施の形態では、撮像素子1aが撮像装置3に適用される。これにより、撮像素子1aの画質調整を自動的に行うことができる。
<4.第2の実施の形態の変形例>
上記第2の実施の形態において、撮像装置3は、撮像素子1aの代わりに、上記変形例A、上記変形例C、上記変形例D、上記変形例F、上記変形例Gおよび上記変形例Hに係る撮像素子1(以下、「撮像素子1b」と称する。)を備えていてもよい。この場合、撮像装置3は、例えば、図29に示したように、画質制御回路2を備えていてもよい。このようにした場合であっても、上記適用例と同様、撮像素子1bの画質調整を自動的に行うことができる。
<5.応用例>
[応用例1]
本開示に係る技術(本技術)は、様々な製品へ応用することができる。例えば、本開示に係る技術は、自動車、電気自動車、ハイブリッド電気自動車、自動二輪車、自転車、パーソナルモビリティ、飛行機、ドローン、船舶、ロボット等のいずれかの種類の移動体に搭載される装置として実現されてもよい。
図30は、本開示に係る技術が適用され得る移動体制御システムの一例である車両制御システムの概略的な構成例を示すブロック図である。
車両制御システム12000は、通信ネットワーク12001を介して接続された複数の電子制御ユニットを備える。図30に示した例では、車両制御システム12000は、駆動系制御ユニット12010、ボディ系制御ユニット12020、車外情報検出ユニット12030、車内情報検出ユニット12040、及び統合制御ユニット12050を備える。また、統合制御ユニット12050の機能構成として、マイクロコンピュータ12051、音声画像出力部12052、及び車載ネットワークI/F(interface)12053が図示されている。
駆動系制御ユニット12010は、各種プログラムにしたがって車両の駆動系に関連する装置の動作を制御する。例えば、駆動系制御ユニット12010は、内燃機関又は駆動用モータ等の車両の駆動力を発生させるための駆動力発生装置、駆動力を車輪に伝達するための駆動力伝達機構、車両の舵角を調節するステアリング機構、及び、車両の制動力を発生させる制動装置等の制御装置として機能する。
ボディ系制御ユニット12020は、各種プログラムにしたがって車体に装備された各種装置の動作を制御する。例えば、ボディ系制御ユニット12020は、キーレスエントリシステム、スマートキーシステム、パワーウィンドウ装置、あるいは、ヘッドランプ、バックランプ、ブレーキランプ、ウィンカー又はフォグランプ等の各種ランプの制御装置として機能する。この場合、ボディ系制御ユニット12020には、鍵を代替する携帯機から発信される電波又は各種スイッチの信号が入力され得る。ボディ系制御ユニット12020は、これらの電波又は信号の入力を受け付け、車両のドアロック装置、パワーウィンドウ装置、ランプ等を制御する。
車外情報検出ユニット12030は、車両制御システム12000を搭載した車両の外部の情報を検出する。例えば、車外情報検出ユニット12030には、撮像部12031が接続される。車外情報検出ユニット12030は、撮像部12031に車外の画像を撮像させるとともに、撮像された画像を受信する。車外情報検出ユニット12030は、受信した画像に基づいて、人、車、障害物、標識又は路面上の文字等の物体検出処理又は距離検出処理を行ってもよい。
撮像部12031は、光を受光し、その光の受光量に応じた電気信号を出力する光センサである。撮像部12031は、電気信号を画像として出力することもできるし、測距の情報として出力することもできる。また、撮像部12031が受光する光は、可視光であっても良いし、赤外線等の非可視光であっても良い。
車内情報検出ユニット12040は、車内の情報を検出する。車内情報検出ユニット12040には、例えば、運転者の状態を検出する運転者状態検出部12041が接続される。運転者状態検出部12041は、例えば運転者を撮像するカメラを含み、車内情報検出ユニット12040は、運転者状態検出部12041から入力される検出情報に基づいて、運転者の疲労度合い又は集中度合いを算出してもよいし、運転者が居眠りをしていないかを判別してもよい。
マイクロコンピュータ12051は、車外情報検出ユニット12030又は車内情報検出ユニット12040で取得される車内外の情報に基づいて、駆動力発生装置、ステアリング機構又は制動装置の制御目標値を演算し、駆動系制御ユニット12010に対して制御指令を出力することができる。例えば、マイクロコンピュータ12051は、車両の衝突回避あるいは衝撃緩和、車間距離に基づく追従走行、車速維持走行、車両の衝突警告、又は車両のレーン逸脱警告等を含むADAS(Advanced Driver Assistance System)の機能実現を目的とした協調制御を行うことができる。
また、マイクロコンピュータ12051は、車外情報検出ユニット12030又は車内情報検出ユニット12040で取得される車両の周囲の情報に基づいて駆動力発生装置、ステアリング機構又は制動装置等を制御することにより、運転者の操作に拠らずに自律的に走行する自動運転等を目的とした協調制御を行うことができる。
また、マイクロコンピュータ12051は、車外情報検出ユニット12030で取得される車外の情報に基づいて、ボディ系制御ユニット12020に対して制御指令を出力することができる。例えば、マイクロコンピュータ12051は、車外情報検出ユニット12030で検出した先行車又は対向車の位置に応じてヘッドランプを制御し、ハイビームをロービームに切り替える等の防眩を図ることを目的とした協調制御を行うことができる。
音声画像出力部12052は、車両の搭乗者又は車外に対して、視覚的又は聴覚的に情報を通知することが可能な出力装置へ音声及び画像のうちの少なくとも一方の出力信号を送信する。図30の例では、出力装置として、オーディオスピーカ12061、表示部12062及びインストルメントパネル12063が例示されている。表示部12062は、例えば、オンボードディスプレイ及びヘッドアップディスプレイの少なくとも一つを含んでいてもよい。
図31は、撮像部12031の設置位置の例を示す図である。
図31は、車両12100は、撮像部12031として、撮像部12101,12102,12103,12104,12105を有する。
撮像部12101,12102,12103,12104,12105は、例えば、車両12100のフロントノーズ、サイドミラー、リアバンパ、バックドア及び車室内のフロントガラスの上部等の位置に設けられる。フロントノーズに備えられる撮像部12101及び車室内のフロントガラスの上部に備えられる撮像部12105は、主として車両12100の前方の画像を取得する。サイドミラーに備えられる撮像部12102,12103は、主として車両12100の側方の画像を取得する。リアバンパ又はバックドアに備えられる撮像部12104は、主として車両12100の後方の画像を取得する。撮像部12101及び12105で取得される前方の画像は、主として先行車両又は、歩行者、障害物、信号機、交通標識又は車線等の検出に用いられる。
なお、図31には、撮像部12101ないし12104の撮影範囲の一例が示されている。撮像範囲12111は、フロントノーズに設けられた撮像部12101の撮像範囲を示し、撮像範囲12112,12113は、それぞれサイドミラーに設けられた撮像部12102,12103の撮像範囲を示し、撮像範囲12114は、リアバンパ又はバックドアに設けられた撮像部12104の撮像範囲を示す。例えば、撮像部12101ないし12104で撮像された画像データが重ね合わせられることにより、車両12100を上方から見た俯瞰画像が得られる。
撮像部12101ないし12104の少なくとも1つは、距離情報を取得する機能を有していてもよい。例えば、撮像部12101ないし12104の少なくとも1つは、複数の撮像素子からなるステレオカメラであってもよいし、位相差検出用の画素を有する撮像素子であってもよい。
例えば、マイクロコンピュータ12051は、撮像部12101ないし12104から得られた距離情報を基に、撮像範囲12111ないし12114内における各立体物までの距離と、この距離の時間的変化(車両12100に対する相対速度)を求めることにより、特に車両12100の進行路上にある最も近い立体物で、車両12100と略同じ方向に所定の速度(例えば、0km/h以上)で走行する立体物を先行車として抽出することができる。さらに、マイクロコンピュータ12051は、先行車の手前に予め確保すべき車間距離を設定し、自動ブレーキ制御(追従停止制御も含む)や自動加速制御(追従発進制御も含む)等を行うことができる。このように運転者の操作に拠らずに自律的に走行する自動運転等を目的とした協調制御を行うことができる。
例えば、マイクロコンピュータ12051は、撮像部12101ないし12104から得られた距離情報を元に、立体物に関する立体物データを、2輪車、普通車両、大型車両、歩行者、電柱等その他の立体物に分類して抽出し、障害物の自動回避に用いることができる。例えば、マイクロコンピュータ12051は、車両12100の周辺の障害物を、車両12100のドライバが視認可能な障害物と視認困難な障害物とに識別する。そして、マイクロコンピュータ12051は、各障害物との衝突の危険度を示す衝突リスクを判断し、衝突リスクが設定値以上で衝突可能性がある状況であるときには、オーディオスピーカ12061や表示部12062を介してドライバに警報を出力することや、駆動系制御ユニット12010を介して強制減速や回避操舵を行うことで、衝突回避のための運転支援を行うことができる。
撮像部12101ないし12104の少なくとも1つは、赤外線を検出する赤外線カメラであってもよい。例えば、マイクロコンピュータ12051は、撮像部12101ないし12104の撮像画像中に歩行者が存在するか否かを判定することで歩行者を認識することができる。かかる歩行者の認識は、例えば赤外線カメラとしての撮像部12101ないし12104の撮像画像における特徴点を抽出する手順と、物体の輪郭を示す一連の特徴点にパターンマッチング処理を行って歩行者か否かを判別する手順によって行われる。マイクロコンピュータ12051が、撮像部12101ないし12104の撮像画像中に歩行者が存在すると判定し、歩行者を認識すると、音声画像出力部12052は、当該認識された歩行者に強調のための方形輪郭線を重畳表示するように、表示部12062を制御する。また、音声画像出力部12052は、歩行者を示すアイコン等を所望の位置に表示するように表示部12062を制御してもよい。
以上、本開示に係る技術が適用され得る移動体制御システムの一例について説明した。本開示に係る技術は、以上説明した構成のうち、撮像部12031に適用され得る。具体的には、撮像装置3は、撮像部12031に適用することができる。撮像部12031に本開示に係る技術を適用することにより、高画質な撮影画像を得ることができるので、移動体制御システムにおいて撮影画像を利用した高精度な制御を行うことができる。
[応用例2]
図32は、本開示に係る技術(本技術)が適用され得る内視鏡手術システムの概略的な構成の一例を示す図である。
図32では、術者(医師)11131が、内視鏡手術システム11000を用いて、患者ベッド11133上の患者11132に手術を行っている様子が図示されている。図示するように、内視鏡手術システム11000は、内視鏡11100と、気腹チューブ11111やエネルギー処置具11112等の、その他の術具11110と、内視鏡11100を支持する支持アーム装置11120と、内視鏡下手術のための各種の装置が搭載されたカート11200と、から構成される。
内視鏡11100は、先端から所定の長さの領域が患者11132の体腔内に挿入される鏡筒11101と、鏡筒11101の基端に接続されるカメラヘッド11102と、から構成される。図示する例では、硬性の鏡筒11101を有するいわゆる硬性鏡として構成される内視鏡11100を図示しているが、内視鏡11100は、軟性の鏡筒を有するいわゆる軟性鏡として構成されてもよい。
鏡筒11101の先端には、対物レンズが嵌め込まれた開口部が設けられている。内視鏡11100には光源装置11203が接続されており、当該光源装置11203によって生成された光が、鏡筒11101の内部に延設されるライトガイドによって当該鏡筒の先端まで導光され、対物レンズを介して患者11132の体腔内の観察対象に向かって照射される。なお、内視鏡11100は、直視鏡であってもよいし、斜視鏡又は側視鏡であってもよい。
カメラヘッド11102の内部には光学系及び撮像素子が設けられており、観察対象からの反射光(観察光)は当該光学系によって当該撮像素子に集光される。当該撮像素子によって観察光が光電変換され、観察光に対応する電気信号、すなわち観察像に対応する画像信号が生成される。当該画像信号は、RAWデータとしてカメラコントロールユニット(CCU: Camera Control Unit)11201に送信される。
CCU11201は、CPU(Central Processing Unit)やGPU(Graphics Processing Unit)等によって構成され、内視鏡11100及び表示装置11202の動作を統括的に制御する。さらに、CCU11201は、カメラヘッド11102から画像信号を受け取り、その画像信号に対して、例えば現像処理(デモザイク処理)等の、当該画像信号に基づく画像を表示するための各種の画像処理を施す。
表示装置11202は、CCU11201からの制御により、当該CCU11201によって画像処理が施された画像信号に基づく画像を表示する。
光源装置11203は、例えばLED(Light Emitting Diode)等の光源から構成され、術部等を撮影する際の照射光を内視鏡11100に供給する。
入力装置11204は、内視鏡手術システム11000に対する入力インタフェースである。ユーザは、入力装置11204を介して、内視鏡手術システム11000に対して各種の情報の入力や指示入力を行うことができる。例えば、ユーザは、内視鏡11100による撮像条件(照射光の種類、倍率及び焦点距離等)を変更する旨の指示等を入力する。
処置具制御装置11205は、組織の焼灼、切開又は血管の封止等のためのエネルギー処置具11112の駆動を制御する。気腹装置11206は、内視鏡11100による視野の確保及び術者の作業空間の確保の目的で、患者11132の体腔を膨らめるために、気腹チューブ11111を介して当該体腔内にガスを送り込む。レコーダ11207は、手術に関する各種の情報を記録可能な装置である。プリンタ11208は、手術に関する各種の情報を、テキスト、画像又はグラフ等各種の形式で印刷可能な装置である。
なお、内視鏡11100に術部を撮影する際の照射光を供給する光源装置11203は、例えばLED、レーザ光源又はこれらの組み合わせによって構成される白色光源から構成することができる。RGBレーザ光源の組み合わせにより白色光源が構成される場合には、各色(各波長)の出力強度及び出力タイミングを高精度に制御することができるため、光源装置11203において撮像画像のホワイトバランスの調整を行うことができる。また、この場合には、RGBレーザ光源それぞれからのレーザ光を時分割で観察対象に照射し、その照射タイミングに同期してカメラヘッド11102の撮像素子の駆動を制御することにより、RGBそれぞれに対応した画像を時分割で撮像することも可能である。当該方法によれば、当該撮像素子にカラーフィルタを設けなくても、カラー画像を得ることができる。
また、光源装置11203は、出力する光の強度を所定の時間ごとに変更するようにその駆動が制御されてもよい。その光の強度の変更のタイミングに同期してカメラヘッド11102の撮像素子の駆動を制御して時分割で画像を取得し、その画像を合成することにより、いわゆる黒つぶれ及び白とびのない高ダイナミックレンジの画像を生成することができる。
また、光源装置11203は、特殊光観察に対応した所定の波長帯域の光を供給可能に構成されてもよい。特殊光観察では、例えば、体組織における光の吸収の波長依存性を利用して、通常の観察時における照射光(すなわち、白色光)に比べて狭帯域の光を照射することにより、粘膜表層の血管等の所定の組織を高コントラストで撮影する、いわゆる狭帯域光観察(Narrow Band Imaging)が行われる。あるいは、特殊光観察では、励起光を照射することにより発生する蛍光により画像を得る蛍光観察が行われてもよい。蛍光観察では、体組織に励起光を照射し当該体組織からの蛍光を観察すること(自家蛍光観察)、又はインドシアニングリーン(ICG)等の試薬を体組織に局注するとともに当該体組織にその試薬の蛍光波長に対応した励起光を照射し蛍光像を得ること等を行うことができる。光源装置11203は、このような特殊光観察に対応した狭帯域光及び/又は励起光を供給可能に構成され得る。
図33は、図32に示すカメラヘッド11102及びCCU11201の機能構成の一例を示すブロック図である。
カメラヘッド11102は、レンズユニット11401と、撮像部11402と、駆動部11403と、通信部11404と、カメラヘッド制御部11405と、を有する。CCU11201は、通信部11411と、画像処理部11412と、制御部11413と、を有する。カメラヘッド11102とCCU11201とは、伝送ケーブル11400によって互いに通信可能に接続されている。
レンズユニット11401は、鏡筒11101との接続部に設けられる光学系である。鏡筒11101の先端から取り込まれた観察光は、カメラヘッド11102まで導光され、当該レンズユニット11401に入射する。レンズユニット11401は、ズームレンズ及びフォーカスレンズを含む複数のレンズが組み合わされて構成される。
撮像部11402は、撮像素子で構成される。撮像部11402を構成する撮像素子は、1つ(いわゆる単板式)であってもよいし、複数(いわゆる多板式)であってもよい。撮像部11402が多板式で構成される場合には、例えば各撮像素子によってRGBそれぞれに対応する画像信号が生成され、それらが合成されることによりカラー画像が得られてもよい。あるいは、撮像部11402は、3D(Dimensional)表示に対応する右目用及び左目用の画像信号をそれぞれ取得するための1対の撮像素子を有するように構成されてもよい。3D表示が行われることにより、術者11131は術部における生体組織の奥行きをより正確に把握することが可能になる。なお、撮像部11402が多板式で構成される場合には、各撮像素子に対応して、レンズユニット11401も複数系統設けられ得る。
また、撮像部11402は、必ずしもカメラヘッド11102に設けられなくてもよい。例えば、撮像部11402は、鏡筒11101の内部に、対物レンズの直後に設けられてもよい。
駆動部11403は、アクチュエータによって構成され、カメラヘッド制御部11405からの制御により、レンズユニット11401のズームレンズ及びフォーカスレンズを光軸に沿って所定の距離だけ移動させる。これにより、撮像部11402による撮像画像の倍率及び焦点が適宜調整され得る。
通信部11404は、CCU11201との間で各種の情報を送受信するための通信装置によって構成される。通信部11404は、撮像部11402から得た画像信号をRAWデータとして伝送ケーブル11400を介してCCU11201に送信する。
また、通信部11404は、CCU11201から、カメラヘッド11102の駆動を制御するための制御信号を受信し、カメラヘッド制御部11405に供給する。当該制御信号には、例えば、撮像画像のフレームレートを指定する旨の情報、撮像時の露出値を指定する旨の情報、並びに/又は撮像画像の倍率及び焦点を指定する旨の情報等、撮像条件に関する情報が含まれる。
なお、上記のフレームレートや露出値、倍率、焦点等の撮像条件は、ユーザによって適宜指定されてもよいし、取得された画像信号に基づいてCCU11201の制御部11413によって自動的に設定されてもよい。後者の場合には、いわゆるAE(Auto Exposure)機能、AF(Auto Focus)機能及びAWB(Auto White Balance)機能が内視鏡11100に搭載されていることになる。
カメラヘッド制御部11405は、通信部11404を介して受信したCCU11201からの制御信号に基づいて、カメラヘッド11102の駆動を制御する。
通信部11411は、カメラヘッド11102との間で各種の情報を送受信するための通信装置によって構成される。通信部11411は、カメラヘッド11102から、伝送ケーブル11400を介して送信される画像信号を受信する。
また、通信部11411は、カメラヘッド11102に対して、カメラヘッド11102の駆動を制御するための制御信号を送信する。画像信号や制御信号は、電気通信や光通信等によって送信することができる。
画像処理部11412は、カメラヘッド11102から送信されたRAWデータである画像信号に対して各種の画像処理を施す。
制御部11413は、内視鏡11100による術部等の撮像、及び、術部等の撮像により得られる撮像画像の表示に関する各種の制御を行う。例えば、制御部11413は、カメラヘッド11102の駆動を制御するための制御信号を生成する。
また、制御部11413は、画像処理部11412によって画像処理が施された画像信号に基づいて、術部等が映った撮像画像を表示装置11202に表示させる。この際、制御部11413は、各種の画像認識技術を用いて撮像画像内における各種の物体を認識してもよい。例えば、制御部11413は、撮像画像に含まれる物体のエッジの形状や色等を検出することにより、鉗子等の術具、特定の生体部位、出血、エネルギー処置具11112の使用時のミスト等を認識することができる。制御部11413は、表示装置11202に撮像画像を表示させる際に、その認識結果を用いて、各種の手術支援情報を当該術部の画像に重畳表示させてもよい。手術支援情報が重畳表示され、術者11131に提示されることにより、術者11131の負担を軽減することや、術者11131が確実に手術を進めることが可能になる。
カメラヘッド11102及びCCU11201を接続する伝送ケーブル11400は、電気信号の通信に対応した電気信号ケーブル、光通信に対応した光ファイバ、又はこれらの複合ケーブルである。
ここで、図示する例では、伝送ケーブル11400を用いて有線で通信が行われていたが、カメラヘッド11102とCCU11201との間の通信は無線で行われてもよい。
以上、本開示に係る技術が適用され得る内視鏡手術システムの一例について説明した。本開示に係る技術は、以上説明した構成のうち、内視鏡11100のカメラヘッド11102に設けられた撮像部11402に好適に適用され得る。撮像部11402に本開示に係る技術を適用することにより、高画質な撮影画像を得ることができるので、高画質な内視鏡11100を提供することができる。
以上、実施の形態およびその変形例、適用例および応用例を挙げて本開示を説明したが、本開示は実施の形態等に限定されるものではなく、種々変形が可能である。なお、本明細書中に記載された効果は、あくまで例示である。本開示の効果は、本明細書中に記載された効果に限定されるものではない。本開示が、本明細書中に記載された効果以外の効果を持っていてもよい。
また、例えば、本開示は以下のような構成を取ることができる。
(1)
各々が光電変換部と、前記光電変換部から出力された電荷に基づく画素信号を出力する読み出し回路とを含む複数のセンサ画素と、
前記画素信号に基づく制御電圧を各前記光電変換部に印加する電圧制御部と
を備えた撮像素子。
(2)
前記電圧制御部は、前記画素信号が第1閾値を超えたときに前記制御電圧を相対的に大きくし、前記画素信号が前記第1閾値よりも小さな第2閾値を下回ったときに前記制御電圧を相対的に小さくする
(1)に記載の撮像素子。
(3)
各前記センサ画素は、前記光電変換部を挟み込む第1電極および第2電極を更に有し、
前記電圧制御部は、前記第1電極に印加する第1電圧と、前記第2電極に印加する第2電圧との電位差が前記制御電圧となるように、前記画素信号に基づいて前記第1電圧および前記第2電圧を生成する
(1)または(2)に記載の撮像素子。
(4)
各前記センサ画素は、
前記光電変換部から転送された電荷を保持する電荷保持部と
前記第2電極に電気的に接続され、前記光電変換部から前記電荷保持部に電荷を転送する転送トランジスタと
前記第2電極に電気的に接続され、前記光電変換部の電荷を初期化する排出トランジスタと
を更に含み、
前記電圧制御部は、前記排出トランジスタがオンしているときに、前記第2電極に前記第2電圧を印加する
(3)に記載の撮像素子。
(5)
各前記画素は、
前記光電変換部を挟み込む第1電極および第2電極と、
前記光電変換部から転送された電荷を保持する電荷保持部と
前記第2電極に電気的に接続され、前記光電変換部から前記電荷保持部に電荷を転送する転送トランジスタと
を更に含み、
前記読み出し回路は、前記電荷保持部の電位を初期化するリセットトランジスタを有し、
前記電圧制御部は、前記第1電極に印加する第1電圧と、前記転送トランジスタがオンしているときに前記リセットトランジスタによって印加された前記第2電極の第2電圧との電位差が前記制御電圧となるように、前記画素信号に基づいて前記第1電圧を生成する
(1)または(2)に記載の撮像素子。
(6)
各前記画素は、前記光電変換部から転送された電荷を保持する電荷保持部を更に含み、
前記読み出し回路は、前記電荷保持部の電位を初期化するリセットトランジスタを有し、
前記電圧制御部は、前記第1電極に印加する第1電圧と、前記リセットトランジスタによって印加された前記第2電極の第2電圧との電位差が前記制御電圧となるように、前記画素信号に基づいて前記第1電圧を生成する
(1)または(2)に記載の撮像素子。
(7)
前記画素信号をAD(Analog-to-Digital)変換するAD変換回路と、
前記画素信号に基づくレンジ設定値を前記AD変換回路に出力するレンジ制御部と
を更に備えた
(1)ないし(6)のいずれか1つに記載の撮像素子。
(8)
前記レンジ制御部は、前記画素信号が第1閾値を超えたときに前記レンジ設定値を相対的に大きくし、前記画素信号が前記第1閾値よりも小さな第2閾値を下回ったときに前記レンジ設定値を相対的に小さくする
(7)に記載の撮像素子。
(9)
各前記センサ画素は、
前記光電変換部から転送された電荷を保持する電荷保持部と
前記光電変換部から前記電荷保持部に電荷を転送する転送トランジスタと
前記電荷保持部に接続されたスイッチ素子と、
前記スイッチ素子を介して前記電荷保持部の容量と並列に接続された補助容量と、
前記画素信号に基づいて前記スイッチ素子のオンオフを制御する変換効率制御部と
を更に備えた
(1)ないし(6)のいずれか1つに記載の撮像素子。
(10)
前記変換効率制御部は、前記画素信号が第1閾値を超えたときに前記スイッチ素子をオフし、前記画素信号が前記第1閾値よりも小さな第2閾値を下回ったときに前記前記スイッチ素子をオンする
(9)に記載の撮像素子。
(11)
各々が光電変換部と、前記光電変換部から出力された電荷に基づく画素信号を出力する読み出し回路とを含む複数のセンサ画素を有する撮像素子と、
前記画素信号に基づく制御電圧を各前記光電変換部に印加する画質制御回路と
を備えた
撮像装置。
本開示の一実施の形態に係る撮像素子および撮像装置によれば、画素信号に基づく制御電圧を各光電変換部に印加するようにしたので、各光電変換部に固定電圧を印加した場合と比べて、画像データの輝度の大きさに応じた画質調整を行うことができる。従って、画質の低下を抑えることができる。なお、本開示の効果は、ここに記載された効果に必ずしも限定されず、本明細書中に記載されたいずれの効果であってもよい。
本出願は、日本国特許庁において2019年3月11日に出願された日本特許出願番号第2019-043786号を基礎として優先権を主張するものであり、この出願のすべての内容を参照によって本出願に援用する。
当業者であれば、設計上の要件や他の要因に応じて、種々の修正、コンビネーション、サブコンビネーション、および変更を想到し得るが、それらは添付の請求の範囲やその均等物の範囲に含まれるものであることが理解される。

Claims (7)

  1. 各々が光電変換部と、前記光電変換部から出力された電荷に基づく画素信号を出力する読み出し回路とを含む複数のセンサ画素と、
    前記画素信号に基づく制御電圧を各前記光電変換部に印加する電圧制御部と、
    換効率制御部と
    を備え、
    各前記センサ画素は、
    前記光電変換部から転送された電荷を保持する電荷保持部と
    前記光電変換部から前記電荷保持部に電荷を転送する転送トランジスタと
    前記電荷保持部に接続されたスイッチ素子と、
    前記スイッチ素子を介して前記電荷保持部の容量と並列に接続された補助容量と
    を更に有し、
    前記変換効率制御部は、前記画素信号に基づいて前記スイッチ素子のオンオフを制御し、
    前記変換効率制御部は、前記画素信号が第1閾値を超えたときに前記スイッチ素子をオフし、前記画素信号が前記第1閾値よりも小さな第2閾値を下回ったときに前記スイッチ素子をオンする
    撮像素子。
  2. 前記電圧制御部は、前記画素信号が前記第1閾値を超えたときに前記制御電圧を、前記第2閾値を下回ったときの前記制御電圧と比べて相対的に大きくし、前記画素信号が前記第2閾値を下回ったときに前記制御電圧を、前記画素信号が前記第1閾値を超えたときの前記制御電圧と比べて相対的に小さくする
    請求項1に記載の撮像素子。
  3. 各前記センサ画素は、前記光電変換部を挟み込む第1電極および第2電極を更に有し、
    前記電圧制御部は、前記第1電極に印加する第1電圧と、前記第2電極に印加する第2電圧との電位差が前記制御電圧となるように、前記画素信号に基づいて前記第1電圧および前記第2電圧を生成する
    請求項1に記載の撮像素子。
  4. 各前記センサ画素は、前記光電変換部の電荷を初期化する排出トランジスタを更に含み、
    前記転送トランジスタは、前記第2電極に電気的に接続され、
    前記排出トランジスタは、前記第2電極に電気的に接続され、
    前記電圧制御部は、前記排出トランジスタがオンしているときに、前記第2電極に前記第2電圧を印加する
    請求項3に記載の撮像素子。
  5. 各前記センサ画素は、前記光電変換部を挟み込む第1電極および第2電極を更に含み、
    前記転送トランジスタは、前記第2電極に電気的に接続され、
    前記読み出し回路は、前記電荷保持部の電位を初期化するリセットトランジスタを有し、
    前記電圧制御部は、前記第1電極に印加する第1電圧と、前記転送トランジスタがオンしているときに前記リセットトランジスタによって印加された前記第2電極の第2電圧との電位差が前記制御電圧となるように、前記画素信号に基づいて前記第1電圧を生成する
    請求項1に記載の撮像素子。
  6. 各前記センサ画素は、前記光電変換部を挟み込む第1電極および第2電極を更に含み、
    前記読み出し回路は、前記電荷保持部の電位を初期化するリセットトランジスタを有し、
    前記電圧制御部は、前記第1電極に印加する第1電圧と、前記リセットトランジスタによって印加された前記第2電極の第2電圧との電位差が前記制御電圧となるように、前記画素信号に基づいて前記第1電圧を生成する
    請求項1に記載の撮像素子。
  7. 各々が光電変換部と、前記光電変換部から出力された電荷に基づく画素信号を出力する読み出し回路とを含む複数のセンサ画素を有する撮像素子と、
    前記画素信号に基づく制御電圧を各前記光電変換部に印加する画質制御回路と
    を備え、
    各前記センサ画素は、
    前記光電変換部から転送された電荷を保持する電荷保持部と
    前記光電変換部から前記電荷保持部に電荷を転送する転送トランジスタと
    前記電荷保持部に接続されたスイッチ素子と、
    前記スイッチ素子を介して前記電荷保持部の容量と並列に接続された補助容量と、
    前記画素信号に基づいて前記スイッチ素子のオンオフを制御する変換効率制御部と
    を更に有し、
    前記変換効率制御部は、前記画素信号が第1閾値を超えたときに前記スイッチ素子をオフし、前記画素信号が前記第1閾値よりも小さな第2閾値を下回ったときに前記スイッチ素子をオンする
    撮像装置。
JP2021504891A 2019-03-11 2020-02-21 撮像素子および撮像装置 Active JP7577643B2 (ja)

Applications Claiming Priority (3)

Application Number Priority Date Filing Date Title
JP2019043786 2019-03-11
JP2019043786 2019-03-11
PCT/JP2020/007045 WO2020184149A1 (ja) 2019-03-11 2020-02-21 撮像素子および撮像装置

Publications (3)

Publication Number Publication Date
JPWO2020184149A1 JPWO2020184149A1 (ja) 2020-09-17
JPWO2020184149A5 JPWO2020184149A5 (ja) 2023-02-22
JP7577643B2 true JP7577643B2 (ja) 2024-11-05

Family

ID=72427897

Family Applications (1)

Application Number Title Priority Date Filing Date
JP2021504891A Active JP7577643B2 (ja) 2019-03-11 2020-02-21 撮像素子および撮像装置

Country Status (6)

Country Link
US (1) US11838670B2 (ja)
JP (1) JP7577643B2 (ja)
CN (1) CN113330541B (ja)
DE (1) DE112020001187T5 (ja)
TW (1) TWI846824B (ja)
WO (1) WO2020184149A1 (ja)

Families Citing this family (1)

* Cited by examiner, † Cited by third party
Publication number Priority date Publication date Assignee Title
WO2022118538A1 (ja) * 2020-12-01 2022-06-09 ソニーセミコンダクタソリューションズ株式会社 受光素子及び電子機器

Citations (3)

* Cited by examiner, † Cited by third party
Publication number Priority date Publication date Assignee Title
JP2016134909A (ja) 2015-01-22 2016-07-25 キヤノン株式会社 撮像装置及びその制御方法
WO2017150167A1 (ja) 2016-02-29 2017-09-08 ソニー株式会社 固体撮像素子
JP2018098690A (ja) 2016-12-15 2018-06-21 キヤノン株式会社 撮像装置、撮像装置の駆動方法及び撮像システム

Family Cites Families (12)

* Cited by examiner, † Cited by third party
Publication number Priority date Publication date Assignee Title
CN1956490B (zh) * 2005-10-28 2012-06-20 索尼株式会社 固态成像器件、驱动固态成像器件的方法和成像设备
JP4375364B2 (ja) * 2006-07-14 2009-12-02 ソニー株式会社 固体撮像装置の駆動方法
JP5167677B2 (ja) 2007-04-12 2013-03-21 ソニー株式会社 固体撮像装置、固体撮像装置の駆動方法、固体撮像装置の信号処理方法および撮像装置
JP2012204938A (ja) * 2011-03-24 2012-10-22 Nikon Corp 撮像装置
US9137432B2 (en) * 2011-09-16 2015-09-15 Samsung Electronics Co., Ltd. Backside illumination image sensor, operating method thereof, image processing system and method of processing image using the same
JP6171997B2 (ja) * 2014-03-14 2017-08-02 ソニー株式会社 固体撮像素子およびその駆動方法、並びに電子機器
JP6541347B2 (ja) 2014-03-27 2019-07-10 キヤノン株式会社 固体撮像装置および撮像システム
CN104124256B (zh) * 2014-07-01 2017-06-20 上海奕瑞光电子科技有限公司 一种像素aec平板探测器
US9736406B2 (en) 2015-01-22 2017-08-15 Canon Kabushiki Kaisha Image capturing apparatus and control method thereof
WO2017057397A1 (ja) * 2015-09-30 2017-04-06 株式会社ニコン 撮像素子および電子カメラ
US10063797B2 (en) * 2016-12-22 2018-08-28 Raytheon Company Extended high dynamic range direct injection circuit for imaging applications
JP7053191B2 (ja) 2017-08-30 2022-04-12 株式会社オーク製作所 オゾン生成装置および紫外線照射装置

Patent Citations (3)

* Cited by examiner, † Cited by third party
Publication number Priority date Publication date Assignee Title
JP2016134909A (ja) 2015-01-22 2016-07-25 キヤノン株式会社 撮像装置及びその制御方法
WO2017150167A1 (ja) 2016-02-29 2017-09-08 ソニー株式会社 固体撮像素子
JP2018098690A (ja) 2016-12-15 2018-06-21 キヤノン株式会社 撮像装置、撮像装置の駆動方法及び撮像システム

Also Published As

Publication number Publication date
WO2020184149A1 (ja) 2020-09-17
CN113330541A (zh) 2021-08-31
TW202044571A (zh) 2020-12-01
DE112020001187T5 (de) 2022-03-17
US20220124277A1 (en) 2022-04-21
JPWO2020184149A1 (ja) 2020-09-17
TWI846824B (zh) 2024-07-01
US11838670B2 (en) 2023-12-05
CN113330541B (zh) 2025-03-18

Similar Documents

Publication Publication Date Title
JP7631384B2 (ja) 半導体素子および電子機器
JP7642528B2 (ja) 撮像素子および半導体素子
KR102653046B1 (ko) 수광 소자 및 전자 기기
JP7676319B2 (ja) 撮像装置および電子機器
KR102761019B1 (ko) 고체 촬상 장치 및 전자 기기
JP7634991B2 (ja) 半導体素子
JP7660642B2 (ja) 半導体素子
KR20230012667A (ko) 수광 소자, 수광 소자의 제조 방법, 촬상 소자 및 전자 기기
CN108475688A (zh) 受光元件、受光元件的制造方法、成像元件以及电子设备
JP7631226B2 (ja) 固体撮像装置および電子機器
CN114586338A (zh) 半导体装置、摄像元件和电子设备
JP7520499B2 (ja) 半導体素子および電子機器
JP7524160B2 (ja) 受光素子の製造方法
JP7577643B2 (ja) 撮像素子および撮像装置
US12335642B2 (en) Solid-state imaging device and electronic device
WO2021085290A1 (ja) 過光量検知回路、受光素子、および電子機器
JP7653788B2 (ja) 撮像素子および電子機器
WO2024253074A1 (ja) 光検出装置および電子機器
WO2024202672A1 (ja) 光検出装置および電子機器
WO2024181273A1 (ja) 光検出装置及び電子機器
WO2024154646A1 (ja) 光検出装置および光検出装置の製造方法
KR20240116912A (ko) 수광 장치

Legal Events

Date Code Title Description
A521 Request for written amendment filed

Free format text: JAPANESE INTERMEDIATE CODE: A523

Effective date: 20230214

A621 Written request for application examination

Free format text: JAPANESE INTERMEDIATE CODE: A621

Effective date: 20230214

A131 Notification of reasons for refusal

Free format text: JAPANESE INTERMEDIATE CODE: A131

Effective date: 20240319

A521 Request for written amendment filed

Free format text: JAPANESE INTERMEDIATE CODE: A523

Effective date: 20240507

A131 Notification of reasons for refusal

Free format text: JAPANESE INTERMEDIATE CODE: A131

Effective date: 20240813

A521 Request for written amendment filed

Free format text: JAPANESE INTERMEDIATE CODE: A523

Effective date: 20240903

TRDD Decision of grant or rejection written
A01 Written decision to grant a patent or to grant a registration (utility model)

Free format text: JAPANESE INTERMEDIATE CODE: A01

Effective date: 20240924

A61 First payment of annual fees (during grant procedure)

Free format text: JAPANESE INTERMEDIATE CODE: A61

Effective date: 20241023

R150 Certificate of patent or registration of utility model

Ref document number: 7577643

Country of ref document: JP

Free format text: JAPANESE INTERMEDIATE CODE: R150