JP7571129B2 - 動力付き円形外科用ステープラのためのアンビル保持及び解放機構 - Google Patents

動力付き円形外科用ステープラのためのアンビル保持及び解放機構 Download PDF

Info

Publication number
JP7571129B2
JP7571129B2 JP2022517422A JP2022517422A JP7571129B2 JP 7571129 B2 JP7571129 B2 JP 7571129B2 JP 2022517422 A JP2022517422 A JP 2022517422A JP 2022517422 A JP2022517422 A JP 2022517422A JP 7571129 B2 JP7571129 B2 JP 7571129B2
Authority
JP
Japan
Prior art keywords
anvil
trocar
assembly
shaft
tissue
Prior art date
Legal status (The legal status is an assumption and is not a legal conclusion. Google has not performed a legal analysis and makes no representation as to the accuracy of the status listed.)
Active
Application number
JP2022517422A
Other languages
English (en)
Other versions
JP2022549162A (ja
Inventor
アダムス・シェーン・アール
アダムス・トーマス・イー
ロス・ニコラス・ジェイ
シェルトン・ザ・フォース・フレデリック・イー
Current Assignee (The listed assignees may be inaccurate. Google has not performed a legal analysis and makes no representation or warranty as to the accuracy of the list.)
Cilag GmbH International
Original Assignee
Cilag GmbH International
Priority date (The priority date is an assumption and is not a legal conclusion. Google has not performed a legal analysis and makes no representation as to the accuracy of the date listed.)
Filing date
Publication date
Application filed by Cilag GmbH International filed Critical Cilag GmbH International
Publication of JP2022549162A publication Critical patent/JP2022549162A/ja
Application granted granted Critical
Publication of JP7571129B2 publication Critical patent/JP7571129B2/ja
Active legal-status Critical Current
Anticipated expiration legal-status Critical

Links

Images

Classifications

    • AHUMAN NECESSITIES
    • A61MEDICAL OR VETERINARY SCIENCE; HYGIENE
    • A61BDIAGNOSIS; SURGERY; IDENTIFICATION
    • A61B17/00Surgical instruments, devices or methods
    • A61B17/068Surgical staplers, e.g. containing multiple staples or clamps
    • A61B17/0682Surgical staplers, e.g. containing multiple staples or clamps for applying U-shaped staples or clamps, e.g. without a forming anvil
    • A61B17/0684Surgical staplers, e.g. containing multiple staples or clamps for applying U-shaped staples or clamps, e.g. without a forming anvil having a forming anvil staying above the tissue during stapling
    • AHUMAN NECESSITIES
    • A61MEDICAL OR VETERINARY SCIENCE; HYGIENE
    • A61BDIAGNOSIS; SURGERY; IDENTIFICATION
    • A61B17/00Surgical instruments, devices or methods
    • A61B17/11Surgical instruments, devices or methods for performing anastomosis; Buttons for anastomosis
    • A61B17/1114Surgical instruments, devices or methods for performing anastomosis; Buttons for anastomosis of the digestive tract, e.g. bowels or oesophagus
    • AHUMAN NECESSITIES
    • A61MEDICAL OR VETERINARY SCIENCE; HYGIENE
    • A61BDIAGNOSIS; SURGERY; IDENTIFICATION
    • A61B17/00Surgical instruments, devices or methods
    • A61B17/11Surgical instruments, devices or methods for performing anastomosis; Buttons for anastomosis
    • A61B17/115Staplers for performing anastomosis, e.g. in a single operation
    • A61B17/1155Circular staplers comprising a plurality of staples
    • AHUMAN NECESSITIES
    • A61MEDICAL OR VETERINARY SCIENCE; HYGIENE
    • A61BDIAGNOSIS; SURGERY; IDENTIFICATION
    • A61B90/00Instruments, implements or accessories specially adapted for surgery or diagnosis and not covered by any of the groups A61B1/00 - A61B50/00, e.g. for luxation treatment or for protecting wound edges
    • A61B90/08Accessories or related features not otherwise provided for
    • AHUMAN NECESSITIES
    • A61MEDICAL OR VETERINARY SCIENCE; HYGIENE
    • A61BDIAGNOSIS; SURGERY; IDENTIFICATION
    • A61B17/00Surgical instruments, devices or methods
    • A61B2017/00017Electrical control of surgical instruments
    • AHUMAN NECESSITIES
    • A61MEDICAL OR VETERINARY SCIENCE; HYGIENE
    • A61BDIAGNOSIS; SURGERY; IDENTIFICATION
    • A61B17/00Surgical instruments, devices or methods
    • A61B2017/00017Electrical control of surgical instruments
    • A61B2017/00115Electrical control of surgical instruments with audible or visual output
    • AHUMAN NECESSITIES
    • A61MEDICAL OR VETERINARY SCIENCE; HYGIENE
    • A61BDIAGNOSIS; SURGERY; IDENTIFICATION
    • A61B17/00Surgical instruments, devices or methods
    • A61B2017/00017Electrical control of surgical instruments
    • A61B2017/00137Details of operation mode
    • AHUMAN NECESSITIES
    • A61MEDICAL OR VETERINARY SCIENCE; HYGIENE
    • A61BDIAGNOSIS; SURGERY; IDENTIFICATION
    • A61B17/00Surgical instruments, devices or methods
    • A61B2017/00367Details of actuation of instruments, e.g. relations between pushing buttons, or the like, and activation of the tool, working tip, or the like
    • AHUMAN NECESSITIES
    • A61MEDICAL OR VETERINARY SCIENCE; HYGIENE
    • A61BDIAGNOSIS; SURGERY; IDENTIFICATION
    • A61B17/00Surgical instruments, devices or methods
    • A61B2017/00367Details of actuation of instruments, e.g. relations between pushing buttons, or the like, and activation of the tool, working tip, or the like
    • A61B2017/00398Details of actuation of instruments, e.g. relations between pushing buttons, or the like, and activation of the tool, working tip, or the like using powered actuators, e.g. stepper motors, solenoids
    • AHUMAN NECESSITIES
    • A61MEDICAL OR VETERINARY SCIENCE; HYGIENE
    • A61BDIAGNOSIS; SURGERY; IDENTIFICATION
    • A61B17/00Surgical instruments, devices or methods
    • A61B2017/0046Surgical instruments, devices or methods with a releasable handle; with handle and operating part separable
    • A61B2017/00473Distal part, e.g. tip or head
    • AHUMAN NECESSITIES
    • A61MEDICAL OR VETERINARY SCIENCE; HYGIENE
    • A61BDIAGNOSIS; SURGERY; IDENTIFICATION
    • A61B17/00Surgical instruments, devices or methods
    • A61B2017/00477Coupling
    • AHUMAN NECESSITIES
    • A61MEDICAL OR VETERINARY SCIENCE; HYGIENE
    • A61BDIAGNOSIS; SURGERY; IDENTIFICATION
    • A61B17/00Surgical instruments, devices or methods
    • A61B2017/00681Aspects not otherwise provided for
    • A61B2017/00725Calibration or performance testing
    • AHUMAN NECESSITIES
    • A61MEDICAL OR VETERINARY SCIENCE; HYGIENE
    • A61BDIAGNOSIS; SURGERY; IDENTIFICATION
    • A61B90/00Instruments, implements or accessories specially adapted for surgery or diagnosis and not covered by any of the groups A61B1/00 - A61B50/00, e.g. for luxation treatment or for protecting wound edges
    • A61B90/08Accessories or related features not otherwise provided for
    • A61B2090/0807Indication means
    • AHUMAN NECESSITIES
    • A61MEDICAL OR VETERINARY SCIENCE; HYGIENE
    • A61BDIAGNOSIS; SURGERY; IDENTIFICATION
    • A61B90/00Instruments, implements or accessories specially adapted for surgery or diagnosis and not covered by any of the groups A61B1/00 - A61B50/00, e.g. for luxation treatment or for protecting wound edges
    • A61B90/08Accessories or related features not otherwise provided for
    • A61B2090/0807Indication means
    • A61B2090/0808Indication means for indicating correct assembly of components, e.g. of the surgical apparatus
    • AHUMAN NECESSITIES
    • A61MEDICAL OR VETERINARY SCIENCE; HYGIENE
    • A61BDIAGNOSIS; SURGERY; IDENTIFICATION
    • A61B90/00Instruments, implements or accessories specially adapted for surgery or diagnosis and not covered by any of the groups A61B1/00 - A61B50/00, e.g. for luxation treatment or for protecting wound edges
    • A61B90/08Accessories or related features not otherwise provided for
    • A61B2090/0807Indication means
    • A61B2090/0811Indication means for the position of a particular part of an instrument with respect to the rest of the instrument, e.g. position of the anvil of a stapling instrument

Landscapes

  • Health & Medical Sciences (AREA)
  • Surgery (AREA)
  • Life Sciences & Earth Sciences (AREA)
  • Heart & Thoracic Surgery (AREA)
  • Molecular Biology (AREA)
  • Veterinary Medicine (AREA)
  • Engineering & Computer Science (AREA)
  • Biomedical Technology (AREA)
  • Nuclear Medicine, Radiotherapy & Molecular Imaging (AREA)
  • Medical Informatics (AREA)
  • Public Health (AREA)
  • Animal Behavior & Ethology (AREA)
  • General Health & Medical Sciences (AREA)
  • Pathology (AREA)
  • Oral & Maxillofacial Surgery (AREA)
  • Physiology (AREA)
  • Surgical Instruments (AREA)

Description

一部の外科手術(例えば、大腸外科手術、肥満外科手術、胸部外科手術など)において、患者の消化管の一部分(例えば、胃腸管及び/又は食道など)は、望ましくない組織を除去するために又は他の理由によって、切除される場合がある。組織を取り除いた後、端々吻合、端側吻合又は側々吻合により、消化管の残りの部分を相互に結合することができる。吻合により、吻合部位から、いかなる種類の漏れを生じることもなく、消化管の1つの部分から消化管の他の部分へと実質的に遮るもののない流路をもたらすことができる。
吻合を提供するために用いられ得る器具の1つの例として、円形ステープラがある。いくつかのそのようなステープラは、組織の層をクランプし、クランプした組織の層を切断し、かつクランプした組織の層を貫通してステープルを打ち込み、組織の層を切断した端部の近傍で組織を実質的に相互に封止して、解剖学的管腔の切断された2つの端部を接合するように動作可能である。円形ステープラは、組織を切断し、かつ実質的に同時にその組織を封止するように構成することができる。例えば、円形ステープラは、吻合においてステープルの環状アレイに対して内側である余分な組織を切断して、吻合で接合される解剖学的管腔どうしの実質的に滑らかな移行を提供し得る。円形ステープラは、観血手術において、又は内視鏡手術において用いられ得る。場合によっては、円形ステープラの一部分を、患者の身体に元々ある開口部を貫通して挿入する。
円形ステープラの例は、1993年4月27日に発行された米国特許第5,205,459号、発明の名称「Surgical Anastomosis Stapling Instrument」;1993年12月21日に発行された米国特許第5,271,544号、発明の名称「Surgical Anastomosis Stapling Instrument」;1994年1月4日に発行された米国特許第5,275,322号、発明の名称「Surgical Anastomosis Stapling Instrument」;1994年2月15日に発行された米国特許第5,285,945号、発明の名称「Surgical Anastomosis Stapling Instrument」;1994年3月8日に発行された米国特許第5,292,053号、発明の名称「Surgical Anastomosis Stapling Instrument」;1994年8月2日に発行された米国特許第5,333,773号、発明の名称「Surgical Anastomosis Stapling Instrument」;1994年9月27日に発行された米国特許第5,350,104号、発明の名称「Surgical Anastomosis Stapling Instrument」;1996年7月9日に発行された米国特許第5,533,661号、発明の名称「Surgical Anastomosis Stapling Instrument」;及び2014年12月16日に発行された米国特許第8,910,847号、発明の名称「Low Cost Anvil Assembly for a Circular Stapler」に記載されている。上に引用した米国特許の各々の開示内容は、参照により本明細書に組み込まれる。
一部の円形ステープラは、電動作動機構を含み得る。電動作動機構を備えた円形ステープラの例は、2015年3月26日に公開された米国特許出願公開第2015/0083772号、発明の名称「Surgical Stapler with Rotary Cam Drive and Return」;2015年3月26日に公開された米国特許出願公開第2015/0083773号、発明の名称「Surgical Stapling Instrument with Drive Assembly Having Toggle Features」;2015年3月26日に公開された米国特許出願公開第2015/0083774号、発明の名称「Control Features for Motorized Surgical Stapling Instrument」;及び、2015年3月26日に公開された米国特許出願公開第2015/0083775号、発明の名称「Surgical Stapler with Rotary Cam Drive」に記載されている。上に引用した米国特許出願公開の各々の開示内容は、参照により本明細書に組み込まれる。
様々な種類の外科用ステープル留め器具及び関連構成要素が製造及び使用されてきたが、本発明者ら以前の誰も、添付の特許請求の範囲に記載されている発明を製造又は使用したことがないと考えられる。
本明細書は、本技術を具体的に指摘し、かつ明確にこの技術を特許請求する、特許請求の範囲により完結するが、本技術は、以下のある特定の実施例の説明を添付図面と併せ読むことでよりよく理解されるものと考えられ、図面において同様の参照符号は同じ要素を特定する。
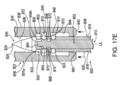
例示的な円形外科用ステープラの斜視図である。 電池パックがハンドルアセンブリから取り外され、アンビルがステープル留めヘッドアセンブリから取り外された状態での、図1の円形ステープラの斜視図である。 図1の円形ステープラのアンビルの斜視図である。 図1の円形ステープラのステープル留めヘッドアセンブリの斜視図である。 図4のステープル留めヘッドアセンブリの分解斜視図である。 シャフトアセンブリの各部分が互いに分離して示されている、図1の円形ステープラの分解斜視図である。 消化管の第1の区域内に位置する図3のアンビルと、消化管の第2の区域に位置する図4のステープル留めヘッドアセンブリとを、アンビルがステープル留めヘッドアセンブリから分離された状態で描いた断面側面図である。 消化管の第1の区域内に位置する図3のアンビルと、消化管の第2の区域に位置する図4のステープル留めヘッドアセンブリとを、アンビルがステープル留めヘッドアセンブリに固定された状態で描いた断面側面図である。 消化管の第1の区域内に位置付けられた図3のアンビルと、消化管の第2の区域に位置付けられた図4のステープル留めヘッドアセンブリとを、アンビルがステープル留めヘッドアセンブリに向かって後退し、それにより、アンビルとステープル留めヘッドアセンブリとの間に組織をクランプした状態で描いた断面側面図である。 消化管の第1の区域内に位置付けられた図3のアンビルと、消化管の第2の区域に位置付けられた図4のステープル留めヘッドアセンブリとを、ステープル留めヘッドアセンブリがクランプされた組織を切断してステープル留めするように作動された状態で描いた断面側面図である。 端々吻合で接合された、図7Aの消化管の第1の区域と第2の区域とを示す断面側面図である。 別の代表的な代替トロカールの遠位端の斜視図である。 トロカールの回路が開放状態にある、図8のトロカールの遠位端の断面側面図である。 図9Aの回路が閉鎖状態にある、図8のトロカールの遠位端の断面側面図である。 図1の円形ステープラのハンドルアセンブリのユーザインターフェース機構部の斜視図である。 別の例示的な円形外科用ステープラの斜視図である。 円形外科用ステープラの制御システムを含む、図11の円形ステープラの概略図である。 図12の制御システムを介して図11の円形ステープラを制御するための例示的な方法の概略図である。 例示的なアンビル、及びトロカールとロックアウトアセンブリとを含む例示的なステープル留めヘッドアセンブリの斜視図である。 図14のロックアウトアセンブリの概略図である。 図14のアンビル及びステープル留めヘッドアセンブリのトロカールの断面側面図であって、アンビルが組織の第1の部分内に位置付けられ、トロカールが、組織の第1の部分から離間された組織の第2の部分に位置付けられ、それによって、アンビルがトロカールから分離され、ロックアウトアセンブリがロックアウト構成にある、断面側面図である。 図14のアンビル及びステープル留めヘッドアセンブリのトロカールの断面側面図であって、トロカールが、アンビルに完全に挿入されているが、組織の第2の部分は組織の第1の部分から離間されている、断面側面図である。 図14のアンビル及びステープル留めヘッドアセンブリのトロカールの断面側面図である。 図14のアンビル及びステープル留めヘッドアセンブリのトロカールの断面側面図であって、アンビルが、組織の第1の部分と第2の部分を一緒にクランプ位置へと圧縮するように、ステープル留めヘッドアセンブリのアンビルに向かって近位に移動されている、断面側面図である。 組織の第1及び第2の部分を切断してステープル留めするためにステープル留めヘッドアセンブリが作動された後の、図14のアンビル及びステープル留めヘッドアセンブリのトロカールの断面側面図である。 図14のアンビル及びステープル留めヘッドアセンブリのトロカールの断面側面図であって、トロカール及びアンビルが、切断及びステープル留めの後で第1の組織解放位置に一体として遠位に前進され引き抜かれている、断面側面図である。 図14のアンビル及びステープル留めヘッドアセンブリのトロカールの断面側面図であって、アンビルが、第1の組織解放位置においてデッキ部材から分離されている、断面側面図である。 図14のアンビル及びステープル留めヘッドアセンブリのトロカールの断面側面図であって、トロカール及びアンビルが、切断及びステープル留めの後で第2の組織解放位置へと一体として遠位に前進され引き抜かれている、断面側面図である。 図14のアンビル及びステープル留めヘッドアセンブリのトロカールの断面側面図であって、アンビルの緊急解放を提供するために、組織の第1及び第2の部分が切断されステープル留めされる前に、第3の組織解放位置において、近位に引き抜かれたトロカールからアンビルが完全に分離されている、断面側面図である。 アンビルがトロカールから分離され、ロックアウトアセンブリがロックアウト構成にある、図16Aの詳細な部分を示す図である。 トロカールがアンビルに完全に挿入され、第1及び第2の保持機構が収縮位置にあり、ロックアウトアセンブリが非ロックアウト構成にある、図16Bの詳細な部分を示す図である。 作動ロッドを使用して第1及び第2の保持機構が拡張位置に移動されている、図16Cの詳細な部分を示す図である。 トロカールとアンビルが一体としてクランプ位置へと近位に引き抜かれるように、第1及び第2の保持機構が拡張位置にある、図16Dの詳細な部分を示す図である。 ステープル留めヘッドアセンブリが組織の第1及び第2の部分を切断してステープル留めするために作動されている、図16Eの詳細な部分を示す図である。 トロカールがアンビルに完全に挿入され、第1及び第2の保持機構が拡張位置にあり、作動ロッドが近位に引き抜かれる準備をされている、図16Fの詳細な部分を示す図である。 トロカールがアンビルに完全に挿入され、第1及び第2の保持機構が作動ロッドを使用して収縮位置に配されている、図16Gの詳細な部分を示す図である。 トロカールがアンビルに完全に挿入され、第1及び第2の保持機構が拡張位置にあり、作動ロッドが近位に引き抜かれる準備をされている、図16Hの詳細な部分を示す図である。 アンビルがトロカールから完全に分離された状態にある、図16Iの詳細な部分を示す図である。 図14のアンビル及びステープル留めヘッドアセンブリのトロカールを含む図11の円形ステープラを動作させる例示的な方法の概略図である。 別の例示的なアンビル及びステープル留めヘッドアセンブリのトロカールであって、トロカールは、アンビル内に完全に挿入され、第1及び第2の保持機構は収縮位置にあり、ロックアウトアセンブリは図16Bと同様の非ロックアウト構成にある、断面側面図である。 図19Aのアンビル及びステープル留めヘッドアセンブリのトロカールであって、トロカールは、アンビルに完全に挿入され、第1及び第2の保持機構は収縮位置にある、断面側面図である。
図面は、いかなる方式でも限定することを意図しておらず、本技術の様々な実施形態は、図面に必ずしも描写されていないものを含め、他の様々な方式で実施し得ることが企図される。本明細書に組み込まれ、本明細書の一部を成す添付の図面は、本技術のいくつかの態様を示しており、その説明と共に本技術の原理を説明するのに役立つものであるが、本技術は、示される厳密な配置に限定されないことが理解される。
本技術の特定の実施例の以下の説明は、その範囲を限定する目的で用いられるべきではない。本技術の他の実施例、特徴、態様、実施形態、及び利点が、実例として、本技術を実施する上で想到される最良の態様の1つである以下の説明により、当業者には明らかとなるであろう。理解されるように、本明細書に記載される技術は、いずれもその技術から逸脱することなく、他の異なる、かつ明らかな態様が可能である。したがって、図面及び説明は、限定的なものではなく、本質的に例示的なものと見なされるべきである。
本開示を明確にするために、本明細書において、「近位」及び「遠位」という用語は、遠位外科用エンドエフェクタを有する外科用器具を握持する外科医又は他の操作者に対して定義される。「近位」という用語は、外科医のより近くに配置された要素の位置を指し、「遠位」という用語は、外科用器具の外科用エンドエフェクタのより近くにかつ外科医からより遠くに配置された要素の位置を指す。また、図面を参照して「上」、「下」、「上側」、「下側」、「垂直」、「水平」などの空間的用語が本明細書で使用される限り、このような用語は例示的な記述目的にのみ使用されて、限定することも絶対であることも意図していないことが理解されるであろう。その点において、本明細書に開示されるものなどの外科用器具を、本明細書で図示及び記載するものに限定されない様々な向き及び位置で使用してもよいことが理解されよう。
I.例示的な円形外科用ステープル留め器具の概要
図1~図2は、患者の消化管の一部位のような解剖学的管腔の2つの断面どうしの間で、端々吻合、側々吻合又は端側吻合を提供するために用いられ得る、例示的な円形外科用ステープル留め器具(10)を示す。この例の器具(10)は、本体アセンブリ(例えば、ハンドルアセンブリ(100))と、ハンドルアセンブリ(100)から遠位に延びるシャフトアセンブリ(200)と、シャフトアセンブリ(200)の遠位端にあるステープル留めヘッドアセンブリ(300)と、ステープル留めヘッドアセンブリ(300)と解放可能に結合及び協働して組織をクランプ、ステープル留め、及び切断するように構成されたアンビル(400)と、を含む。器具(10)は、以下でより詳細に説明するように、ハンドルアセンブリ(100)内に収容されたモータ(160)に電力供給するように動作可能な取り外し式バッテリパック(120)を更に含む。
シャフトアセンブリ(200)は、ハンドルアセンブリ(100)から遠位に延び、予め成形された屈曲部を含む。いくつかの変形形態では、予め成形された屈曲部は、患者の結腸内にステープル留めヘッドアセンブリ(300)を位置付けることを容易にするように構成されている。使用できる様々な好適な曲げ角度又は曲率半径が、本明細書の教示を考慮することで当業者には明らかとなるであろう。いくつかの他の変形形態では、シャフトアセンブリ(200)は真っ直ぐであり、シャフトアセンブリ(200)には、予め形成された屈曲部が存在しない。様々な例示的な構成要素が、シャフトアセンブリ(200)に組み込まれ得るが、それについては後でより詳しく説明する。
ステープル留めヘッドアセンブリ(300)は、シャフトアセンブリ(200)の遠位端に配置される。図1~図2に示すように、また、後でより詳しく説明するように、アンビル(400)は、ステープル留めヘッドアセンブリ(300)に隣接して、シャフトアセンブリ(200)に取り外し可能に結合するように構成される。また、後でより詳しく説明するように、アンビル(400)及びステープル留めヘッドアセンブリ(300)は、3とおりに協働して組織を操作するように構成されているが、それには、組織をクランプすること、組織を切断すること、及び組織をステープル留めすることが含まれる。ハンドルアセンブリ(100)の近位端に設けられたノブ(130)は、ケーシング(110)に対して回転可能であり、アンビル(400)とステープル留めヘッドアセンブリ(300)との間で、組織を正確にクランプすることができるようになっている。ハンドルアセンブリ(100)の安全トリガ(140)が、ハンドルアセンブリ(100)の発射トリガ(150)から遠ざかるように枢動した場合、発射トリガ(150)は、組織が切断されステープル留めされるように作動され得る。
A.例示的なアンビル
図3で最も良く分かるように、本実施例のアンビル(400)は、ヘッド(410)とシャンク(420)とを備えている。ヘッド(410)は、複数のステープル成形ポケット(414)を画定する近位表面(412)を含む。ステープル成形ポケット(414)は、本実施例では2列の同心環状アレイに配置される。いくつかの他の変形形態では、ステープル成形ポケット(414)は、3列以上の同心環状アレイで配置される。ステープル成形ポケット(414)は、ステープルがステープル成形ポケット(414)内に打ち込まれると、ステープルを変形させるように構成されている。例えば、各ステープル成形ポケット(414)は、当該技術分野では既知のように、概ねU字形状のステープルを、B字形状に変形し得る。近位表面(412)は内縁部(416)で終焉し、それによってシャンク(420)の周りを囲む環状凹部(418)の外側の境界線が画定される。
シャンク(420)は孔(422)を画定し、一対の枢動ラッチ部材(430)を含む。ラッチ部材(430)は、遠位端(434)が、シャンク(420)の側壁を貫通して成形される横方向開口部(424)の近位端に位置付けられるように孔(422)内に位置付けられている。このようにして横方向開口部(424)は、遠位端(434)とラッチシェルフ(436)に対して、シャンク(420)によって画定される長手方向軸線から、径方向外側に反ることができるようにするクリアランスを提供する。しかしながら、ラッチ部材(430)は、遠位端(434)及びラッチシェルフ(436)を、シャンク(420)によって画定される長手方向軸線に向かって径方向内側に枢動するように、弾性的に付勢するように構成されている。このようにしてラッチ部材(430)は、保持クリップとしての役割を果たす。これによって、アンビル(400)は、後でより詳しく説明されるように、ステープル留めヘッドアセンブリ(300)のトロカール(330)の形態で、作動可能な閉鎖部材に取り外し可能に固定されることが可能となる。しかしながら、ラッチ部材(436)は、任意選択で設けられるものに過ぎないということが理解されるはずである。アンビル(400)は、他の任意の好適な構成要素、機構又は技術を用いて、トロカール(330)に取り外し可能に固定され得る。
B.例示的なステープル留めヘッドアセンブリ
図4及び図5に最もよく示されるように、本実施例のステープル留めヘッドアセンブリ(300)は、シャフトアセンブリ(200)の遠位端に結合されるものであり、本体部材(310)と、その中に摺動可能に収容されたステープルドライバ部材(350)と、を備える。本体部材(310)は、遠位に延びる円筒状内側芯部材(312)を含む。本体部材(310)は、シャフトアセンブリ(200)の外側シース(210)に不動に固定されており、したがって、本体部材(310)と外側シース(210)は、ステープル留めヘッドアセンブリ(300)のためのメカニカルグラウンドとして一緒に機能する。いくつかの変形例では、ステープル留めヘッドアセンブリ(300)は、例えば、参照によってその開示内容が本明細書に組み込まれる、2017年3月21日発行の米国特許第9,597,081号、発明の名称「Motor Driven Rotary Input Circular Stapler with Modular End Effector」に開示されているように、シャフトアセンブリ(200)の遠位端に解放可能に結合されるように構成されてもよい。
トロカール(330)は、本体部材(310)の内側芯部材(312)内に同軸的に位置付けられている。後でより詳しく説明するように、トロカール(330)は、ノブ(130)がハンドルアセンブリ(100)のケーシング(110)に対して回転するのに応答して本体部材(310)に対して遠位に及び近位に並進するよう動作可能である。トロカール(330)は、シャフト(332)と、ヘッド(334)とを備える。ヘッド(334)は、尖形状の先端部(336)と、内向きに延びる近位表面(338)とを含む。したがって、シャフト(332)は、ヘッド(334)のちょうど近位で外径が小さくなっていて、表面(338)が、シャフト(332)のその小さくなった外径とヘッド(334)の外径との間の移行を提供する。本実施例では、先端部(336)が尖形状であるが、先端部(336)は鋭利ではない。したがって、先端部(336)は、組織との偶発的な接触による組織への外傷を容易には引き起こさない。ヘッド(334)、及びシャフト(332)の遠位部分は、アンビル(400)の孔(422)に挿入されるように構成されている。近位表面(338)とラッチシェルフ(436)とは、アンビル(400)のシャンク(420)がトロカール(330)上に完全に着座した場合に、ラッチシェルフ(436)が近位表面(338)に係合するような、相補的な位置及び構成を有する。したがって、アンビル(400)は、ラッチ部材(430)によってもたらされるスナップ嵌めを介してトロカール(330)に固定される。
ステープルドライバ部材(350)は、後でより詳しく説明するように、モータ(160)の起動に応答して、本体部材(310)内で長手方向に作動するよう動作可能である。本実施例のステープルドライバ部材(350)は、ステープルドライバ(352)の遠位に提示される2列の同心環状アレイを含む。ステープルドライバ(352)は、アンビル(400)のステープル成形ポケット(414)の配置に対応するように配置されている。したがって、各ステープルドライバ(352)は、ステープル留めヘッドアセンブリ(300)が作動されると、対応するステープルを対応するステープル成形ポケット(414)の中に打ち込むように構成されている。本明細書に示されるステープルドライバ(352)及びステープル成形ポケット(414)の配置は、ステープルドライバ(352)とステープル成形ポケット(414)が互いに整列してステープルの適切な成形をもたらすように構成されるという条件で、任意の好適な様式で修正され得ることを理解されたい。ステープルドライバ部材(350)はまた、本体部材(310)の芯部材(312)を同軸的に受け入れるように構成されている孔(354)を画定する。スタッド(356)の環状アレイが、孔(354)を取り囲む遠位に提示された表面から遠位に突出している。
円筒状ナイフ部材(340)が、ステープルドライバ部材(350)内に、同軸的に位置付けられている。ナイフ部材(340)は、遠位に提示された、鋭利な円形の刃先(342)を含む。ナイフ部材(340)は、ステープルドライバ(352)の内側環状アレイにより画定される直径よりも小さい外径を、ナイフ部材(340)が画定するようにサイズ決めされている。ナイフ部材(340)はまた、本体部材(310)の芯部材(312)を同軸的に受け入れるように構成されている開口部を画定する。ナイフ部材(340)に形成された開口部(346)の環状アレイは、ステープルドライバ部材(350)のスタッド(356)の環状アレイを補完するように構成され、ナイフ部材(340)が、スタッド(356)と開口部(346)とを介してステープルドライバ部材(350)に不動に固定される。あくまで一例として、スタッド(356)は、当該技術分野において既知の技術を用いてナイフ部材(340)に熱かしめされ得る。ナイフ部材(340)とステープラドライバ部材(350)との間の他の好適な構造的関係については、本明細書の教示を考慮することで当業者には明らかとなるであろう。
デッキ部材(320)が、本体部材(310)の遠位端に不動に固定されている。デッキ部材(320)は、ステープル開口部(324)の2列の同心環状アレイを画定する、遠位に向けられたデッキ表面(322)を含む。ステープル開口部(324)は、上述のステープルドライバ(352)及びステープル成形ポケット(414)の配置に対応するように配置されている。したがって、各ステープル開口部(324)は、ステープル留めヘッドアセンブリ(300)が作動された場合に、対応するステープルドライバ(352)が対応するステープルを、デッキ部材(320)を貫通させて、対応するステープル成形ポケット(414)の中に打ち込む経路を提供するように構成されている。ステープル開口部(324)の配置は、上述のドライバ(352)及びステープル成形ポケット(414)の配置と対応するように修正され得ることを理解されたい。また、ステープル留めヘッドアセンブリ(300)が作動される前に、ステープルをステープル留めヘッドアセンブリ(300)内に収容するために、様々な構造及び技術が用いられ得るということも理解されたい。ステープルをステープル留めヘッドアセンブリ(300)内に収容するために用いられるそのような構造及び技術は、ステープル留めヘッドアセンブリ(300)が作動される前に、ステープルが、ステープル開口部(324)から誤って脱落するのを防ぎ得る。このような構造及び技術が取り得る様々な好適な形態については、本明細書の教示を考慮することで当業者には明らかとなるであろう。
図11に最もよく示されるように、デッキ部材(320)は、ナイフ部材(340)が画定する外径よりも、ほんのわずかに大きい内径を画定する。したがって、デッキ部材(320)は、ナイフ部材(340)が、刃先(342)がデッキ表面(322)の遠位となる点まで遠位に並進するのを可能にするように構成されている。
器具(10)のいくつかの変形形態では、ステープル留めヘッドアセンブリ(300)のトロカール(330)へのアンビル(400)の連結が、適切であるか及び/又は不適切であるかを示すように構成されている特徴部を伴う器具(10)を提供することが望ましい場合がある。例えば、アンビル(400)がトロカール(330)に適切に連結されていない場合、操作者は、不適切な連結を示す、可聴及び/又は触覚的フィードバックを受け取ってもよい。更に、アンビル(400)がトロカール(330)に適切に連結されている場合、操作者は、適切な連結を示す、可聴、触覚的、及び/又は視覚的フィードバックを受け取り得る。追加的にあるいは代替的に、アンビル(400)がトロカール(330)に適切に連結されない限り、構造はステープル留めヘッドアセンブリ(300)の発射を防ぐように構成されてよい。例えば、アンビル(400)がトロカール(330)に適切に連結されていない場合、ステープル留めヘッドアセンブリ(300)は発射を防ぎ得る。アンビル(400)がトロカール(330)に適切に連結されている場合、ステープル留めヘッドアセンブリ(300)の発射が可能であり得る。そのような機構には、様々なタイプの視覚的印、センサ、スイッチなどが含まれ得る。単なる例として、そのような機構には、その開示内容が参照により本明細書に組み込まれる、2019年6月4日発行の米国特許第10,307,157号、発明の名称「Surgical Stapler with Analis Seation Detection」、及びその開示内容が参照により本明細書に組み込まれる、2017年9月14日公開の米国特許出願公開第2017/0258471号、発明の名称「Methods and Systems for Performing Circular Stapling」において開示されたタイプのものが含まれ得る。
C.代表的なシャフトアセンブリ
図6は、シャフトアセンブリ(200)の様々な構成要素を示し、このシャフトアセンブリ(200)は、ステープル留めヘッドアセンブリ(300)の構成要素を、ハンドルアセンブリ(100)の構成要素に結合するものである。特に、かつ上に記したように、シャフトアセンブリ(200)は、ハンドルアセンブリ(100)と本体部材(310)との間に延びる外部シース(210)を含む。本実施例では、外部シース(210)は剛性があり、かつ上に記したように、予め形成された、湾曲区域を含む。
シャフトアセンブリ(200)は、トロカール作動ロッド(220)とトロカール作動バンドアセンブリ(230)とを更に含む。トロカール作動バンドアセンブリ(230)の遠位端は、トロカールシャフト(332)の近位端に不動に固定されている。トロカール作動バンドアセンブリ(230)の近位端は、トロカール作動ロッド(220)の遠位端に不動に固定されている。したがって、トロカール作動バンドアセンブリ(230)とトロカール作動ロッド(220)とが外部シース(210)に対して並進するのに応答して、トロカール(330)が長手方向に外部シース(210)に対して並進するということを理解されたい。トロカール作動バンドアセンブリ(230)は、トロカール作動バンドアセンブリ(230)が、長手方向に、外部シース(210)に対して並進させられるにつれて、トロカール作動バンドアセンブリ(230)が、シャフトアセンブリ(200)内の予め形成された湾曲部に沿って動き得るように曲がって構成されている。しかしながら、トロカール作動バンドアセンブリ(230)は、遠位方向及び近位方向の力を、トロカール作動ロッド(220)からトロカールシャフト(332)に伝えるのに十分な柱強度と引っ張り強さとを有する。トロカール作動ロッド(220)は剛性を有するものである。クリップ(222)は、トロカール作動ロッド(220)に不動に固定されており、かつ、クリップ(222)は、トロカール作動ロッド(220)がハンドルアセンブリ(100)内で長手方向に並進できるようにしている一方で、ハンドルアセンブリ(100)内の補完的特徴部と協働して、トロカール作動ロッド(220)がハンドルアセンブリ(100)内で回転するのを防止するように構成されている。トロカール作動ロッド(220)は、並目螺旋状螺合部(224)と細目螺旋状螺合部(226)とを更に含む。
シャフトアセンブリ(200)は、外部シース(210)内に、摺動可能に受け入れられるステープル留めヘッドアセンブリドライバ(240)を更に含む。ステープル留めヘッドアセンブリドライバ(240)の遠位端は、ステープルドライバ部材(350)の近位端に不動に固定されている。ステープル留めヘッドアセンブリドライバ(240)の近位端は、ピン(242)を介して駆動ブラケット(250)に固定されている。したがって、ステープル留めヘッドアセンブリドライバ(240)と駆動ブラケット(250)とが外部シース(210)に対して並進するのに応答して、ステープルドライバ部材(350)が長手方向に、外部シース(210)に対して並進するということを理解されたい。ステープル留めヘッドアセンブリドライバ(240)は、ステープル留めヘッドアセンブリドライバ(240)が長手方向に、外部シース(210)に対して並進するにつれて、ステープル留めヘッドアセンブリドライバ(240)が、シャフトアセンブリ(200)内の予め形成された湾曲部に沿って動き得るように曲がって構成されている。しかしながら、ステープル留めヘッドアセンブリドライバ(240)は、遠位方向の力を、駆動ブラケット(250)からステープルドライバ部材(350)に伝えるのに十分な柱強度を有する。
D.例示的なハンドルアセンブリ及びユーザ入力機構
図1に示されるように、ハンドルアセンブリ(100)はケーシング(110)を含み、ケーシングは、以下で更に詳細に示されるように、斜めに向けられたピストルグリップ(112)を画定する下部分と、ユーザインターフェース機構部(114)を支持し、バッテリパック(120)を受信する上部分と、を有する。ハンドルアセンブリ(100)は、アンビル(400)及びステープル留めヘッドアセンブリ(300)を作動させるように動作可能ないくつかの機構を更に含む。具体的には、ハンドルアセンブリ(100)は、回転可能なノブ(130)と、安全トリガ(140)と、発射トリガ(150)と、モータ(160)と、モータ起動モジュール(180)とを含む。ノブ(130)はナット(図示せず)を介してトロカール作動ロッド(220)に結合されており、並目螺旋状螺合部(224)はナットの内側のねじ係合機構部と選択的に係合し、細目螺旋状螺合部(226)はノブ(130)の内側のねじ係合機構部と選択的に係合する。これらの相補的構造は、トロカール作動ロッド(220)が最初に比較的遅い速度で近位方向に並進した後、ノブ(130)の回転に応じて比較的速い速度で近位方向に並進するように構成されている。
アンビル(400)が、トロカール(330)に結合されている場合に、ノブ(130)が回転すると、それに対応して、アンビル(400)がステープル留めヘッドアセンブリ(300)に対して並進することを理解されたい。ノブ(130)を第1の角度方向(例えば、時計回り)に回転させてアンビル(400)をステープル留めヘッドアセンブリ(300)に向けて後退させ、第2の角度方向(例えば、反時計回り)に回転させてアンビル(400)をステープル留めヘッドアセンブリ(300)から離れる方向に前進させることができることも理解されたい。したがって、ノブ(130)は、例えば、以下に記載される図7Cに示されるように、アンビル(400)とステープル留めヘッドアセンブリ(300)との対向する表面(412、322)間の間隙距離(d)を、好適な間隙距離(d)が達成されるまで調整するために用いられ得る。
発射トリガ(150)は、モータ(160)を起動することによってステープル留めヘッドアセンブリ(300)を作動させるように動作可能である。安全トリガ(140)は、ステープル留めヘッドアセンブリ(300)に対するアンビル(400)の長手方向位置に基づいて発射トリガ(150)の作動を選択的にブロックするように動作可能である。ハンドルアセンブリ(100)はまた、ステープル留めヘッドアセンブリ(300)に対するアンビル(400)の位置に基づいて、トリガ(140、150)の両方を選択的にロックアウトするように動作可能な構成要素を含む。例えば、安全トリガ(140)は、ステープル留めヘッドアセンブリ(300)に対するアンビル(400)の位置が事前定義された範囲に含まれるまで、係合位置から係合解除位置へと回転することを阻止され得る。したがって、アンビル位置が事前定義された範囲内に含まれるまで、発射トリガ(150)の作動が安全トリガ(140)によって阻止され、それによってステープル留めヘッドアセンブリ(300)の発射が抑止される。
本実施例の発射トリガ(150)は、参照によって本明細書に組み込まれる米国特許出願公開第2017/0258471号に開示されているパドルに類似し得る一体的な作動パドル(図示せず)を含む。パドルは、発射トリガ(150)が発射後位置まで枢動したときにモータ起動モジュール(180)(図1)のスイッチを作動させるように構成されている。モータ起動モジュール(180)は、バッテリパック(120)及びモータ(160)と連通しているので、モータ起動モジュール(180)は、パドルによるモータ起動モジュール(180)のスイッチの作動に応じて、バッテリパック(120)からの電力でモータ(160)を起動させるように構成されている。このように、モータ(160)は、発射トリガ(150)が枢動したときに起動される。後でより詳しく説明するように、このモータ(160)の起動により、駆動ブラケット(250)を介してステープル留めヘッドアセンブリ(300)が作動される。図示されていないが、単なる例として、モータ(160)は、例えば、上記の参照によって組み込まれる米国特許出願公開第2017/0258471号に開示されているように、モータ(160)の出力シャフトに結合されたギヤボックス、ギヤボックスの出力シャフトに結合されたロータリカム部材、及びロータリカム部材に結合されたカムフォロアを介して駆動ブラケット(250)に動作可能に結合されてもよい。
図1~図2に最もよく示されるように、ハンドルアセンブリ(100)は、上記のように、モータ(160)に電力供給するように動作可能なバッテリパック(120)を解放可能に受け入れるように更に構成されている。バッテリパック(120)及びハンドルアセンブリ(100)は、相補的な電気接点、ピン、及びソケット、並びに/又は、バッテリパック(120)がハンドルアセンブリ(100)と結合されたときに、バッテリパック(120)からハンドルアセンブリ(100)内の電動部品への電気的通信経路を提供する他の機構部を有し得ることを理解されたい。また、いくつかの変形形態では、バッテリバック(battery back)(120)をハンドルアセンブリ(100)から取り外すことができないように、バッテリパック(120)がハンドルアセンブリ(100)内に一体的に統合され得るということも理解されたい。
E.円形ステープル留め器具を用いた例示的な吻合手順
図7A~図7Eは、2つの筒状解剖学的構造(20、40)どうしの間の吻合(70)を形成するために用いられている器具(10)を図示している。あくまで一例として、管状解剖学的構造(20、40)は、患者の食道の区域、患者の結腸の区域、患者の消化管の他の区域、又は他の任意の管状解剖学的構造を含み得る。いくつかの変形形態では、患者の結腸の1つ以上の病変部分が除去され、図7A~図7Eの管状解剖学的構造(20、40)は結腸の残りの切断部分を示す。
図7Aに示すように、アンビル(400)は、一方の筒状解剖学的構造(20)内に位置付けられ、かつステープル留めヘッドアセンブリ(300)は、もう一方の筒状解剖学的構造(40)内に位置付けられる。管状解剖学的構造(20、40)が、患者の結腸の区域を含む変形形態では、ステープル留めヘッドアセンブリ(300)は、患者の直腸を介して挿入され得る。また、図7A~図7Eに示されている処置は開腹手術であるが、その処置は腹腔鏡手術としても実施され得るということも理解されるはずである。吻合(70)を腹腔鏡手術で形成するために器具(10)が用いられ得る様々な好適な方法が、本明細書の教示を考慮することで当業者には明らかとなるであろう。
図7Aに示すように、アンビル(400)は、シャンク(420)が筒状解剖学的構造(20)の開放切断端(22)から突き出すように筒状解剖学的構造(20)内に位置付けられる。本実施例では、巾着縫合糸(30)が、シャンク(420)の中央領域の周りに提供され、アンビル(400)の管状解剖学的構造(20)内での位置を大まかに確保する。いくつかの他の変形例では、巾着縫合糸(30)は、シャンク(420)の近位端の周りに締め付けられる。いくつかのそのような変形例では、シャンク(420)の近位端は、巾着縫合糸(30)をしっかりと捕捉するためのノッチ又は他の特徴部を含んでもよい。本実施例を続けると、ステープル留めヘッドアセンブリ(300)は、トロカール(330)が管状解剖学的構造(20)の開放切断端(42)から突出するように、管状解剖学的構造(40)内に位置付けられる。巾着縫合糸(50)が、シャフト(332)の中央領域周りに提供され、ステープル留めヘッドアセンブリ(300)の管状解剖学的構造(40)内での位置を大まかに確保する。ステープル留めヘッドアセンブリ(300)は、次いで、ステープル留めヘッドアセンブリ(300)が管状解剖学的構造(40)の遠位端に完全に着座することを確実にするために遠位に促される。
次に、図7Bに示すように、トロカール(330)を穴(422)に挿入することによって、アンビル(400)が、トロカール(330)に固定される。ラッチ部材(430)が、トロカール(330)のヘッド(334)に係合し、それによって、アンビル(400)とトロカール(330)との間のしっかりとした嵌合を提供する。次いで、操作者は、ピストルグリップ(112)を介して、ケーシング(110)を静止状態に保ちつつ、ノブ(130)を回転させる。このノブ(130)の回転により、トロカール(330)とアンビル(400)とが近位に後退する。図7Cに示すように、トロカール(330)及びアンビル(400)のこの近位後退によって、管状解剖学的構造(20、40)の組織は、アンビル(400)とステープル留めヘッドアセンブリ(300)との表面(412、322)間で圧縮される。これが発生すると、操作者は、ノブ(130)を旋回させながらノブ(130)を介して触覚的抵抗又はフィードバックを観察することができ、そのような触覚的抵抗又はフィードバックは、組織が圧縮されていることを示す。組織が圧縮されているとき、操作者は、ハンドルアセンブリ(100)のユーザインターフェース機構部(114)内でインジケータ針(522)の位置を視覚的に観察して、アンビル(400)及びステープル留めヘッドアセンブリ(300)の互いに対向する表面(412、322)間の間隙距離(d)が適切であるかどうかを判断し、調整が必要な場合にはノブ(130)を介して必要な調整を行うことができる。
操作者がノブ(130)を介して間隙距離(d)を適切に設定した後、操作者は、安全トリガ(140)をピストルグリップ(112)に向かって枢動させて、発射トリガ(150)の作動を可能にする。次いで、操作者は、発射トリガ(150)をピストルグリップ(112)に向かって枢動させ、したがってパドル(158)がモータ起動モジュール(180)のスイッチを作動させ、それによってモータを(160)を起動して回転させる。モータ(160)のこのような回転は、図7Dに示されるように、駆動ブラケット(250)を遠位に作動させ、それによってナイフ部材(340)及びステープルドライバ部材(350)を遠位に駆動することによって、ステープル留めヘッドアセンブリ(300)の作動(又は「発射」)を引き起こす。ナイフ部材(340)が遠位に並進するにつれて、ナイフ部材(340)の刃先(342)が、アンビル(400)の環状凹部(418)内、かつナイフ部材(340)の内部に位置付けられた余分な組織を切断する。
図3に示すように、本実施例のアンビル(400)は、環状凹部(418)内に位置付けられた脱離ワッシャ(417)を含む。ナイフ部材(340)が、図7Cに図示されている位置から図7Dに図示されている位置まで、完全に遠位方向の動作範囲いっぱいに動いた場合には、このワッシャ(417)は、ナイフ部材(340)によって破壊される。ステープラ(10)の機構は、ナイフ部材(340)がその遠位方向の動きの終端に到達するにつれて、増加する機械的利益を提供し、それによって、ワッシャ(417)を破壊するために必要な、より大きな力を提供するように構成され得る。もちろん、いくつかの変形形態では、脱離ワッシャ(417)は完全に省略され得る。ワッシャ(417)が含まれる変形形態では、ワッシャ(417)は、組織の切断を補助するためのナイフ部材(340)用のカッティングボードとしても役立ち得るということを理解されたい。
ステープルドライバ部材(350)が、図7Cに示されている位置から図7Dに示されている位置へと遠位に並進するにつれて、ステープルドライバ部材(350)は、ステープル(90)を、管状解剖学的構造(20、40)の組織を貫通して、アンビル(400)のステープル成形ポケット(414)の中に打ち込む。ステープル成形ポケット(414)は、例えば、打ち込まれたステープル(90)を「B字」形状又は三次元形状へと変形させ、その結果、成形されたステープル(90)は組織の端部を互いに固定し、それによって、管状解剖学的構造(20)を管状解剖学的構造(40)と結合する。
図7Dに示すように、操作者がステープル留めヘッドアセンブリ(300)を作動させた後、操作者はノブ(130)を回転させて、アンビル(400)をステープル留めヘッドアセンブリ(300)から離れる方へ遠位に駆動して間隙距離(d)を増加させ、表面(412、322)間の組織の解放を容易にする。次いで、操作者は、アンビル(400)がまだトロカール(330)に固定されている状態で、器具(10)を患者から取り外す。管状解剖学的構造(20、40)が患者の結腸の区域を含む例を再び参照すると、器具(10)は、患者の直腸を介して取り外され得る。器具(10)が取り外されると、筒状解剖学的構造(20、40)は、図7Eに示すように、吻合(70)部にあるステープル(90)の2列の環状配列によって、一緒に固定された状態で残される。吻合(70)の内径は、ナイフ部材(340)によって残された切断された縁部(60)によって画定される。
F.一体型回路を伴う代表的なトロカール
図8~図9Aは、上記の器具(10)に、トロカール(330)に代えて容易に組み込まれ得る、代表的なトロカール(450)を示す。本実施例のトロカール(450)は、以下で論じる相違点を除き、トロカール(330)とほぼ同様に動作するように構成されている。例えば、トロカール(450)は、ノブ(130)の回転に応答して遠位に並進するように動作可能である。以下でより詳細に論じるように、アンビル(400)はトロカール(450)に連結するように構成され、これにより、トロカール(450)の並進が直接、アンビル(400)に伝達される。
トロカール(450)は、シャフト(452)と、ヘッド(454)とを備える。ヘッド(454)は、尖形状の先端部(456)と、内向きに延びる近位表面(458)とを含む。したがって、シャフト(452)は、ヘッド(454)のちょうど近位で外径が小さくなっていて、表面(458)が、シャフト(452)のその小さくなった外径とヘッド(454)の外径との間の移行を提供する。本実施例では、先端部(456)が尖形状であるが、先端部(456)は鋭利ではない。したがって、先端部(456)は、組織との不注意な接触による組織への外傷を容易には引き起こさない。ヘッド(454)、及びシャフト(452)の遠位部分は、アンビル(400)の孔(422)に挿入されるように構成されている。近位表面(458)とラッチシェルフ(436)とは、アンビル(400)のシャンク(420)がトロカール(450)上に完全に着座した場合に、ラッチシェルフ(436)が近位表面(458)に係合するような、相補的な位置及び構成を有する。したがって、アンビル(400)は、ラッチ部材(430)によるスナップ嵌めを介して、トロカール(450)に固定される。
トロカール(450)は、シャフト(452)の一部の周囲でヘッド(454)に対して近位に配置される、電気接触面(460)を含む。接触面(460)は、ワイヤ(462)を介して器具(10)の制御回路(図示せず)と連通しており、本制御回路はステープル留めヘッド組立体(300)の発射を制御するように構成されている。接触面(460)は、トロカール(450)のシャフト(452)から電気的に絶縁されている。
本実施例のアンビル(400)は、アンビル(400)のシャンク(420)内に配置された電気接触面(464)を更に含む。接触面(464)は、アンビル(400)のシャンク(420)と電気的に接続している。接触面(460、464)、シャフト(452)、シャンク(420)、及びワイヤ(462)は、ステープル留めヘッド組立体(300)の発射を選択的に可能にする、電気回路の一部を形成するように構成されている。アンビル(400)の不在下では、又は適切にトロカール(450)に連結していないアンビル(400)では、トロカール(450)の先端部(456)がアンビル(400)の接触面(464)と接触しない故に、電気回路が図9Aに示される開放状態にある。図9Bに示されるように、アンビル(400)が適切にトロカール(450)に連結されている状態で、トロカール(450)の先端部(456)がアンビル(400)の接触面(464)と接触し、したがって、トロカール(450)のシャフト(452)とアンビル(400)の接触面(464)との間に電気連続性のための経路を提供する。なお、シャンク(420)はトロカール(450)の接触面(460)に接触し、それにより、シャンク(420)と接触面(460)との間に電気連続性のための経路を提供する。シャンク(420)はまた接触面(464)との電気連続性をなすが故に、また接触面(460)がワイヤ(462)との電気連続性をなすが故に、上記の接触は、図9Bに示される状態においてトロカール(450)のシャフト(452)とワイヤ(462)との間に電気連続性を提供することが理解されるべきである。これは、ステープル留めヘッド組立体(300)を発射可能にする回路を閉じる。本回路が閉じられるまで、ステープル留めヘッド組立体(300)は発射されることができない。換言すれば、本明細書の他の実施例におけるように、アンビル(400)が完全にトロカール(450)上に着座するまで、ステープル留めヘッド組立体(300)は発射され得ない。
G.ハンドルアセンブリの例示的なユーザインターフェース機構部
図10に最もよく示されるように、外科用ステープル留め器具(10)のハンドルアセンブリ(100)は、外科的処置の間にステープル留めヘッドアセンブリ(300)に関するアンビル(400)の位置付けを示す視覚的フィードバックを操作者に提供するように構成されたユーザインターフェース機構部(114)を更に含んでいる。したがって、操作者は、ノブ(130)を回転させながらユーザインターフェース機構部(114)を見ることでアンビル(400)とステープル留めアセンブリ(300)との間の適当な間隙距離(d)が得られたことを確認することができる。
本実施例のユーザインターフェース機構部(114)は、定線の印(502、504、506)、ステープルのグラフィカル表現(510、512)、及びチェックマークグラフィック(514)を含む、グラフィカルインジケータ(500)を含む。ユーザインターフェース機構部(114)は更に、窓(520)を画定しており、これを通じてインジケータ針(522)が視認され得る。いくつかの変形例では、ユーザインターフェース機構部(114)は、ステープル留めヘッドアセンブリ(300)のサイズに関連する直径、ステープル留めヘッドアセンブリ(300)内のステープルのサイズ、アンビル(400)とステープル留めヘッドアセンブリ(300)との間に画定された間隙のサイズ、及び/又は他の情報を示すことができるフィールド(530)を更に含む。あくまで一例として、フィールド(530)は、23mm、25mm、29mm、又は31mmのステープル留めヘッドアセンブリ(300)サイズを示してもよい。
操作者がノブ(130)を回転させてステープル留めヘッドアセンブリ(300)に対するアンビル(400)の長手方向位置を調節する際、操作者は、窓(520)を通してインジケータ針(522)の位置を観察することができる。最初に、インジケータ針(522)は、窓(520)の遠位端に、又はその近くに位置付けられてもよい。アンビル(400)が近位に移動し続けると、インジケータ針(522)は最終的に窓(520)に対して近位に移動する。操作者は、定線の印(502、504、506)との関係においてインジケータ針(522)の位置を見ることができる。最遠位及び最近位の印(502、506)は、ステープル留めヘッドアセンブリ(300)の作動を成功させるためのアンビル(400)とステープル留めヘッドアセンブリ(300)との間の許容可能な距離範囲である、「グリーンゾーン」の境界を表し得る。したがって、インジケータ針(522)が最遠位の印(502)に対して遠位にある場合、アンビル(400)とステープル留めヘッドアセンブリ(300)との間の距離は大きすぎ、インジケータ針(522)が最近位の印(506)に対して近位にある場合、アンビル(400)とステープル留めヘッドアセンブリ(300)との間の距離は小さすぎる。印(504)は、印(502)と印(506)との間に長手方向に位置付けられる。グラフィカル表現(510)は、(例えば、比較的厚い組織での使用に適した)比較的高く形成されたステープルを表す。一方、グラフィカル表現(512)は、(例えば、比較的薄い組織での使用に適した)比較的短く形成されたステープルを表す。よって、グラフィカル表現(510、512)は、組織の観測ないしは別の方法に基づいて、インジケータ針(522)と印(502、504、506)との間の適切な対応する空間的関係を選択することにより、所望の成形されたステープル高さを得るかどうか、またその方法に関する操作者の意思決定を容易にし得る。
本実施例では、窓(520)は、発光ダイオード(LED)(図示せず)により照明され、窓(520)内のインジケータ針(522)の視認を更に容易にする。加えて、ステープル留めヘッドアセンブリ(300)がステープル留め及び切断サイクルを完了すると、チェックマークグラフィック(514)が別のLED(図示せず)により照明される。したがって、操作者は、更にチェックマークグラフィック(514)の照明を頼りにして、ステープル留めと切断サイクルが完了したことを確認し、それによって、アンビル(400)を吻合(70)から離れる方へ遠位に前進させて組織を解放し、その後に器具(10)を患者から取り外すことが安全であることを確認することができる。
円形外科用ステープル留め器具(10)は、上記の参照によって組み込まれる米国特許出願公開第2017/0258471号の教示の少なくともいくつかに従って、更に構成され、また動作可能となり得る。
II.閉鎖、ステープル留め、及び切断を独立に制御される例示的な円形外科用ステープル留め器具
場合によっては、ステープル留めヘッドアセンブリ(300)の内部発射構成要素の動力作動に加えて、アンビル(400)の動力作動を呈する円形外科用ステープル留め器具(10)の変形形態を提供することが望ましいことがある。更に、そのような器具によって実施される結果的な閉鎖、ステープル留め、及び切断ストロークがユーザ入力に応答して互いに独立に制御され得るように、アンビル(400)、ステープルドライバ部材(350)、及びナイフ部材(340)の独立した動力作動を可能にする複数のアクチュエータを備えた、そのような器具(10)の変形例を提供することが望ましいことがある。
以下の教示は円形外科用ステープラの文脈で開示されているが、そのような教示は他のタイプの外科用ステープラにも適用され得ることが理解されよう。単に例として、そのような他のステープラには、その開示内容が参照により本明細書に組み込まれる、2018年8月14日発行の米国特許第10,045,780号、発明の名称「Application of Staples in Lower Anternal Bowel Rescence」に開示されているタイプの直角形外科用ステープラが含まれ得る。
A.独立して制御されるアクチュエータを有する円形外科用ステープル留め器具の概要
図11は、上記の種類の構成及び機能を示す例示的な円形外科用ステープル留め器具(600)を示す。器具(600)は、以下に別途記載される点を除いて、上述の器具(10)と同様である点は理解されよう。器具(10)と同様に、器具(600)は一般に、(ハンドルアセンブリ(610)の形態をなす)本体アセンブリと、ハンドルアセンブリ(610)から遠位に延びるシャフトアセンブリ(630)と、シャフトアセンブリ(630)の遠位端に配設されたステープル留めヘッドアセンブリ(640)と、ステープル留めヘッドアセンブリ(640)のトロカール(642)の形態をなす作動可能な閉鎖部材と解放可能に結合するように構成されたアンビル(650)と、を含む。アンビル(650)は、ステープル留めヘッドアセンブリ(640)の遠位に面するデッキ表面(644)に対して組織をクランプするために、ステープル留めヘッドアセンブリに対してトロカール(642)によって選択的に後退及び延出可能である。ステープル留めヘッドアセンブリ(640)は、クランプされた組織の中へと、アンビル(650)に対してステープルを遠位に排出するように、また、上述のナイフ部材(340)と類似した円筒状ナイフ部材(図示せず)によってクランプされた組織を切断するように、選択的に動作可能である。したがって、ステープル留めヘッドアセンブリ(640)とアンビル(650)は、ユーザ入力に応答して組織をクランプ、ステープル留め、及び切断するように動作可能なエンドエフェクタステープル留めアセンブリを画定するように協働する。
ハンドルアセンブリ(610)は、ピストルグリップ(614)を画定するケーシング(612)と、ケーシング(612)の遠位端に隣接してケーシング(612)の上側に配設されたユーザインターフェース(616)と、ケーシング(612)の近位端に回転可能に配設されたノブ(618)と、を含む。ユーザインターフェース(616)及びノブ(618)は、以下に別途記載されていることを除いて、上記のユーザインターフェース(114)及びノブ(130)と同様である。本実施例のケーシング(612)は、バッテリパック(120)と同様であり、かつケーシング(612)内に収容されたモータユニット(660)(図12を参照)に給電するように動作可能なバッテリパック(620)を解放可能に受け入れて保持するように構成された開放端近位空洞(図示せず)を含む。
本実施例のハンドルアセンブリ(610)は、安全部材(622)と、閉鎖トリガ(624)と、発射トリガ(626)と、を更に含み、これらはそれぞれピストルグリップ(614)に対して独立して移動可能である。閉鎖トリガ(624)の作動は、モータユニット(660)を起動してトロカールアクチュエータ(662)(図12を参照)の作動を開始し、それによって間に組織をクランプするための、アンビル(650)のステープル留めヘッドアセンブリ(640)に対する閉鎖を実現するように構成されている。発射トリガ(626)の作動は、モータユニット(660)を起動してステープルアクチュエータ(664)及びナイフアクチュエータ(666)の作動を開始し(図12を参照)、それによってクランプされた組織をステープル留め及び切断するように構成されている。図13に関連して以下でより詳細に説明するように、器具(600)は、発射トリガ(626)の回の作動に応答してステープルアクチュエータ(664)及びナイフアクチュエータ(666)の作動を独立して制御するように構成されている。このようにして、ステープル留めストロークの開始に対する切断ストロークの開始の正確なタイミングが達成され得る。
本実施例の安全部材(622)は、安全トリガ(140)と類似した枢動可能なトリガなどの突出部の形態をなしており、閉鎖トリガ(624)及び/又は発射トリガ(626)と直接的又は間接的に係合してそれらの作動を選択的に阻止するように構成されている。例えば、安全部材(622)は、アンビル(650)がトロカール(642)に完全に取り付けられたことを器具(600)が検知するまで、閉鎖トリガ(624)の作動を阻止するように構成されてもよい。追加的に、あるいは代替的に、安全部材(622)は、間に特定の間隙距離(d)(図7Cを参照)を規定する、ステープル留めヘッドアセンブリ(640)に対する所定の長手方向位置にアンビル(650)が配されるまで、発射トリガ(626)の作動を阻止するように構成されてもよい。
図12に概略的に示される器具(600)のアクチュエータ(662、664、666)は、器具(600)の対応する作動可能な構成要素をモータユニット(660)に動作可能に結合するように構成されている。特に、トロカールアクチュエータ(662)は、ステープル留めヘッドアセンブリ(640)のトロカール(642)をモータユニット(660)に動作可能に結合する。したがって、トロカールアクチュエータ(662)は、モータユニット(660)がトロカールアクチュエータ(662)に動作可能に係合されているとき、モータユニット(660)の起動に応答して、トロカール(642)を、またそれによってアンビル(650)を近位及び遠位に作動するように構成されている。トロカールアクチュエータ(662)は、器具(10)のトロカール作動バンドアセンブリ(230)と組み合わされたトロカール作動ロッド(220)に類似した細長い部材を含んでもよく、これはシャフトアセンブリ(630)内に並進可能に配設される。
ステープルアクチュエータ(664)は、トロカールアクチュエータ(662)とは独立してステープル留めヘッドアセンブリ(640)のステープルドライバ部材(図示せず)をモータユニット(660)に動作可能に結合する。したがって、ステープルアクチュエータ(664)は、モータユニット(660)がステープルアクチュエータ(664)と動作可能に係合されているとき、モータユニット(660)の起動に応答してステープルドライバ部材を、またそれによってステープル留めヘッドアセンブリ(640)内に収容されたステープル(図示せず)を遠位に作動するように構成されている。ステープルアクチュエータ(664)は、器具(10)のステープル留めヘッドアセンブリドライバ(240)に類似した細長い部材を含んでもよく、部材は、トロカールアクチュエータ(662)とは独立してシャフトアセンブリ(630)内に並進可能に配設される。
ナイフアクチュエータ(666)は、トロカールアクチュエータ(662)及びステープルアクチュエータ(664)とは独立してステープル留めヘッドアセンブリ(640)の円筒状ナイフ部材(図示せず)をモータユニット(660)に動作可能に結合する。したがって、ナイフアクチュエータ(666)は、モータユニット(660)がナイフアクチュエータ(666)に動作可能に係合されているとき、モータユニット(660)の起動に応答して、ナイフ部材を長手方向に作動するように構成されている。ナイフアクチュエータ(666)は、器具(10)のステープル留めヘッドアセンブリドライバ(240)に類似した細長い部材を含んでもよく、部材は、トロカールアクチュエータ(662)及びステープルアクチュエータ(664)とは独立してシャフトアセンブリ(630)内に並進可能に配設される。このようにして、アクチュエーター(662、664、666)は、モータユニット(660)と協働して、組織のクランプと、組織のステープル留めと、組織の切断とを独立して作動するように構成されている。
本実施例のハンドルアセンブリ(610)のノブ(618)は、トロカールアクチュエータ(662)と動作可能に結合されており、そのため、ノブ(618)はアンビル閉鎖緊急離脱機構として動作可能である。その点において、トロカールアクチュエータ(662)は、主にモータユニット(660)によって駆動されるが、例えば、モータユニット(660)が停止されるか、あるいは別様にトロカールアクチュエータ(662)から係合解除されると、ノブ(618)の回転に応答して長手方向に並進可能である。したがって、ノブ(618)は、アンビル(650)がステープル留めヘッドアセンブリ(640)に向かって部分的にあるいは完全に近位に後退したことに続いて回転され、それによって、アンビル(650)がステープル留めヘッドアセンブリ(640)から離れて遠位に延出し、例えば、間に捕捉された組織を解放することが可能となる。そのような変形形態では、ノブ(618)は、例えば、トロカール作動ロッド(220)のねじ付き部分(224、226)を含めて、器具(10)のノブ(130)との関連で上述されたものと類似した機構を介して、トロカールアクチュエータ(662)に結合されてもよい。しかしながら、トロカールアクチュエータ(662)がモータユニット(660)のみによって駆動されるようないくつかの変形形態において、ノブ(618)は器具(600)から省略されてもよいことが理解されよう。
器具(600)は、その開示が参照により本明細書に組み込まれる、2016年9月20日発行の米国特許第9,445,816号、発明の名称「Circular Stapler with Selectable Motorized and Manual Control」、2017年1月3日発行の米国特許第9,532,783号、発明の名称「Circular Stapler with Select Motorized and Manual Control,Including a Control Ring」、2017年3月21日発行の米国特許第9,597,081号、発明の名称「Motor Driven Rotary Input Circular Stapler with Modular End Effector」、2016年10月11日発行の米国特許第9,463,022号、発明の名称「Motor Driven Rotary Input Circular Stapler with Lockable Flexible Shaft」、2018年12月27日公開の米国特許出願公開第2018/0368836号、発明の名称「Surgical Stapler with Independently Actuated Drivers to Provide Varying Staple Heights」、及び/又は本明細書で確認される他の特許文献のうちのいずれか、の教示のうちの少なくともいくつかに従って更に構成され、動作可能となり得る。
B.円形外科用ステープル留め器具の例示的な制御システム
図12に概略的に示されるように、器具(600)は、器具(600)のトロカールアクチュエータ(662)、ステープルアクチュエータ(664)、及びナイフアクチュエータ(666)の作動を制御するように動作可能である制御システム(670)を更に含む。制御システム(670)は、制御モジュール(672)と、モータユニット(660)と、ユーザインターフェース(616)と、センサ(674)と、を含んでおり、これらは、制御モジュール(672)がモータユニット(660)、ユーザインターフェース(616)、及びセンサ(674)の各々と通信するように適切に構成配置されている。制御モジュール(672)はプロセッサを含んでおり、また、事前プログラムされた器具制御アルゴリズムを記憶し、ユーザインターフェース(616)及びセンサ(674)からの入力を受信するように動作可能である。これらの記憶された制御アルゴリズム及び受信された入力に基づいて、制御モジュール(672)は、組織をクランプ、ステープル留め、及び切断するために、トロカールアクチュエータ(662)、ステープルアクチュエータ(664)、及びナイフアクチュエータ(666)の作動を互いに独立して駆動するよう、パルス幅変調(PWM)を用いてモータユニット(660)を制御するように構成されている。
モータユニット(660)は、1つ以上のモータを含んでおり、トロカールアクチュエータ(662)、ステープルアクチュエータ(664)、及びナイフアクチュエータ(666)と動作可能に結合されている。いくつかの変形形態では、モータユニット(660)は、全ての3つのアクチュエータ(662、664、666)に動作可能に結合され、かつそれらを駆動するように構成された単一のモータを備えてもよい。そのような変形形態では、モータユニット(660)は、ギアアセンブリなどの1つ以上の動力伝達アセンブリ(図示せず)を介してアクチュエータ(662、664、666)と結合されてもよく、それらの様々な好適なタイプが、本明細書及び組み込まれた参考文献の教示を考慮すれば当業者には明らかとなろう。他の変形形態では、モータユニット(660)は、それぞれがアクチュエータ(662、664、666)のうちの対応する1つを駆動するための専用のものである3つのモータを備えてもよい。さらなる変形形態では、モータユニット(660)は2つのモータを備えてもよく、第1のモータは、トロカールアクチュエータ(662)を駆動するように構成され、第2のモータは、動力伝達アセンブリの援助を受けてステープルアクチュエータ(664)及びナイフアクチュエータ(666)を駆動するように構成される。モータユニット(660)は、他の変形形態において様々な他の数量及び構成配置のモータを備え得ることが理解されよう。
センサ(674)は、ステープル留めヘッドアセンブリ(640)、シャフトアセンブリ(630)、又はハンドルアセンブリ(610)内に配置されるか、あるいはそうでなければそれらに結合され、使用中に器具(600)の1つ以上の状態を監視するように動作可能である。例えば、センサ(674)は、アクチュエータ(662、664、666)及び/又はトロカール(642)などのそれらの隣接する構成要素のうちのいずれか1つ以上の並進を監視するように構成され得る。いくつかのそのような変形形態では、センサ(674)は、アクチュエータ(662、664、666)又はその隣接する構成要素のいずれか1つに直接装着されてもよい。他のそのような変形形態では、センサ(674)は、アクチュエータ(662、664、666)及びそれらの隣接する構成要素がセンサ(674)に対して移動するように、ステープル留めヘッドアセンブリ(640)、シャフトアセンブリ(630)、又はハンドルアセンブリ(610)内に不動に装着されてもよい。
いくつかの変形形態では、センサ(674)は、例えば、上記の参照によって組み込まれる米国特許第10,307,157号に開示されているように、トロカール(642)へのアンビル(650)の確実な取り付けを検知するように構成されてもよい。他の変形形態では、センサ(674)は、ステープル留めヘッドアセンブリ(640)の直径又はその中に収容されるステープル(図示せず)のサイズなど、シャフトアセンブリ(630)に結合された特定のステープル留めヘッドアセンブリ(640)のいくつかの特徴部を検知するように構成されてもよい。いくつかのそのような変形形態では、センサ(674)は、例えばその開示内容が参照によって本明細書に組み込まれる、2019年6月28日出願の米国仮特許出願第62/868,457号、発明の名称「Surgical Systems with Multiple RFID Tags」に開示されているように、ステープル留めヘッドアセンブリ(640)の上又はその中に配設されたタグ要素に記憶された電子情報の無線周波数認識(RFID)を介して、ステープル留めヘッドアセンブリ(640)のそのような特徴部を検知するように構成されてもよい。
更に他の変形形態では、センサ(674)はモータユニット(660)と直接通信してもよい。例えば、センサ(674)は、モータユニット(660)によって引き込まれる電流を監視するように動作可能な電流センサ又はモータユニット(660)の回転出力を監視するように動作可能なエンコーダを含むセンサアセンブリの形態をなしてもよい。更に、図12の線図には1つのセンサ(674)のみが示されているが、センサ(674)は複数のセンサを含んでもよく、各個々のセンサ(674)は、器具(600)の対応する1つ以上の状態に関して監視し制御モジュール(672)と通信するように構成されることが理解されよう。更に、センサ(674)は、本明細書の教示及び本明細書には記載されていない教示を考慮することによって当業者に容易に明らかとなる様々な好適なタイプのセンサを含み得ることが理解されよう。
ユーザ入力を受信し、ユーザ入力を制御モジュール(672)に通信するようにユーザインターフェース(616)が更に構成されていることを除いて、ユーザインターフェース(616)は上記のユーザインターフェース(114)と類似している。その点において、ユーザインターフェース(616)は、1つ以上のボタン、ダイヤル、他の作動可能要素、又は、実施される外科的処置若しくはステープル留めヘッドアセンブリ(640)に関する特定の情報を示すようにユーザによって選択可能である表示グラフィクスを含んでもよい。単なる例として、そのような情報は、以下のいずれか、すなわち、所望のステープル成形高さ、閉鎖中にアンビル(650)が作動されるべき、アンビル(650)とステープル留めヘッドアセンブリ(640)との間の対応する間隙、器具(600)によって発射される組織のタイプ若しくは公称厚さ、及び/又はステープル留めヘッドアセンブリ(640)の直径のうちのいずれかを含み得る。以下で更に詳細に説明されるように、例えば、そのような情報は、センサ(674)によって提供される情報と組み合わせて、アクチュエータ(662、664、666)のストローク及び/若しくは作動速度を調整するために、かつ/又は処置中の組織の最適なクランプ、ステープル留め、及び切断を確実にするようアクチュエータ(662、664、666)の動力作動の間のタイミング休止を調整するために、制御モジュール(672)によって使用され得る。
C.円形外科用ステープラを制御するための例示的な方法
図13は、図12に示される制御システム(670)を介して円形外科用ステープル留め器具(600)を制御するための例示的な方法(700)を示す。ステップ(702)において、器具(600)は、バッテリパック(620)によってエネルギー印加されることに応答して、例えば、器具(600)が製品包装から取り出された後にバッテリパック(620)がハンドルアセンブリ(610)の近位端に完全に挿入されたときに、電源投入される。包装からの取り出しの際、アンビル(650)は、トロカール(642)にすでに固定されており、完全に開放した状態にあり、ステープルリテーナ(図示せず)がデッキ表面(644)に固定されている。
本実施例において器具(600)が電源投入された後、制御モジュール(672)はステップ(704)においてアンビルストローク較正モードに入るが、これは、自動的に発生するか、あるいは、例えば、ユーザインターフェース(616)を介して提供されるユーザ入力に応答して発生し得る。この較正モードでは、トロカール(642)を近位に後退させ、それによってアンビル(650)をステープルリテーナに対して、あるいは代替的に、ステープルリテーナが取り外されている場合にデッキ表面(644)に対して閉鎖するために、制御モジュール(672)がモータユニット(660)を起動してトロカールアクチュエータ(662)を駆動する。制御モジュール(672)は、アンビル(650)がステープルリテーナ又はデッキ表面(644)と接触した際のモータユニット(660)の電流負荷の増加を、センサ(674)を介して検知することによって、アンビル(650)が閉鎖位置に到達したことを検知し得る。制御モジュール(672)は、この後退プロセスの間、アンビル(650)のストローク(すなわち、長手方向変位)を観察し、それをアンビル(650)の予想ストロークと比較する。この比較及び2つのストローク値の間に認められた差異に基づいて、制御モジュール(672)は次いで、外科処置の間に、モータユニット(660)をトロカールアクチュエータ(662)に対して起動し、それによって後のアンビル(650)の正確な作動を確実にするために実行される作動アルゴリズムを較正する。追加的にあるいは代替的に、アンビルストロークの較正は、アンビル(650)が組織をクランプするために後退されているときに、外科処置の間にリアルタイムで制御モジュール(672)によって実施され得る。アンビルストロークのそのような較正は、参照によってその開示内容が本明細書に組み込まれる、本願と同日出願の米国特許出願第[代理人整理番号END9128USNP1]号、発明の名称「Method for Calibrating Movements of Actuated Members of Powered Surgical Stapler」に更に詳細に記載されている。器具(600)の1つ以上の他の作動可能な部材のストロークが、外科処置の前又は外科処置の間に同様の様式で較正されてもよく、また、器具(600)のステープル留めストローク及び/又は切断ストロークを同様に較正するために、アンビル閉鎖ストロークの較正が制御モジュール(672)によって適用されてもよいことが理解されよう。
ステップ(706)において、制御モジュール(672)はステープル留めヘッドアセンブリ(640)の直径を決定する。上記のように、ステープル留めヘッドアセンブリ(640)は、シャフトアセンブリ(630)に解放可能に取り付けられてもよく、そのため、器具(600)によって処置される組織構造の管腔サイズに応じて、様々な直径のステープル留めヘッドアセンブリ(640)がシャフトアセンブリ(630)の遠位端に交換可能に結合されることができる。制御モジュール(672)は、例えば、センサ(674)が上述の様式でステープル留めヘッドアセンブリ(640)のサイズを検知するように構成されているとき、ユーザインターフェース(616)を介して提供されたユーザ入力及び/又はセンサ(674)によって提供された情報に基づいて、このサイズ決定を行うように構成されている。
ステップ(708)において、制御モジュール(672)は、ユーザインターフェース(616)を介して操作者によって選択される、組織内に成形されるステープルの所望の高さを示す入力をユーザインターフェース(616)から受信する。制御モジュール(672)は、選択されたステープル高さを達成するために、アンビル(650)の閉鎖位置においてアンビル(650)とステープル留めヘッドアセンブリ(640)のデッキ表面(644)との間に確立される対応する間隙距離(d)(図7Cを参照)に等しいものとしてこのステープル高さを扱う。
ステップ(704、706、708)は、図13において、特定の順序で実施されるものとして示されているが、これらのステップ(704、706、708)は、ステップ(702)における器具(600)の電源投入の後の、後述のステープルアクチュエータ(664)の作動前に、互いに対して様々な順序で実施され得ることが了解されよう。
ステップ(704、706、708)の完了後、操作者はアンビル(650)をトロカール(642)から取り外し、それに続いて、患者の第1の管状組織構造内にアンビル(650)を位置付け、またそれとは別に、患者の第2の管状構造内にステープル留めヘッドアセンブリ(640)を位置付ける。操作者は次いで、例えば、上記の図7A~図7Bに示されるように、患者体内のトロカール(642)にアンビル(650)を取り付けるが、この時点で制御モジュール(672)は、取り付けが行われたことをステップ(710)において検知する。そのような検知は、対応する信号を制御モジュール(672)に通信するセンサ(674)によって行われ得る。
ステップ(712)において、制御モジュール(672)は、閉鎖トリガ(624)が操作者によって作動されていることを検知する。制御モジュール(672)は次いでステップ(714)に進み、トロカールアクチュエータ(662)を駆動するようにモータユニット(660)に指示して、トロカール(642)を近位に作動させ、それによって、選択されたステープル高さ及び対応する間隙距離(d)が達成される閉鎖位置へとアンビル(650)を後退させる。いくつかの変形形態では、制御モジュール(672)は、トロカール(642)へのアンビル(650)の取り付けがステップ(710)において検知された後に発生する閉鎖トリガ(624)の作動に応答してのみ、トロカール(642)及びアンビル(650)の後退を開始するように構成され得る。操作者は、視覚的な印及び/又はユーザインターフェース(616)の表示グラフィクスを介して、アンビル(650)のその閉鎖位置に向かう後退を監視し得る。
追加的に、いくつかの変形形態では、制御モジュール(672)は、2つの連続する段階でアンビル閉鎖ストロークを通じてアンビル(650)を近位に後退させるようにモータユニット(660)を制御し得る。例えば、制御モジュール(672)は、アンビル閉鎖ストロークの第1の部分を通じてアンビル(650)を後退させるようにモータユニット(660)に指示してもよく、この時点で制御モジュール(672)は、所定の時間期間(例えば、数秒間)にわたってモータユニット(660)の起動を一時停止させる。この待機期間の終了時に、制御モジュール(672)はモータユニット(660)を再起動して、その閉鎖位置へのアンビル閉鎖ストロークの残りの部分にわたって引き続きアンビル(650)を後退させる。アンビル(650)の後退にそのような一時停止を含めることにより、アンビル(650)とデッキ表面(644)との間で圧縮されている組織は、少なくとも部分的に落ち着く(又は「広がる(creep)」)ことが可能となり得る。有利にも、この組織の落ち着きは、ステップ(708)においてユーザにより提供された目標ステープル高さ入力によって規定される完全閉鎖位置へと近位にアンビル(650)が前進するとき、トロカール(642)上にかかる軸方向伸張荷重及びモータユニット(660)の結果的な電流負荷の低減をもたらす。
ステップ(716)において、制御モジュール(672)は、アンビル閉鎖ストロークの完了後に発射トリガ(626)が操作者によって作動されたことを検知する。本実施例では、この作動の検知に応答して、制御モジュール(672)は、アンビル閉鎖ストロークの完了から測定された所定の期間の完了を観察し、その間、ステープルアクチュエータ(664)及びナイフアクチュエータ(666)は静止したままである。アンビル閉鎖後のこの待機期間により、クランプされた組織は、ステープル留めヘッドアセンブリ(640)が発射される前に完全に圧縮された状態へと落ち着く(又は「広がる」)ことが可能となり、それによって、それぞれのステープル留め及び切断シーケンスの間、ステープルアクチュエータ(664)及びナイフアクチュエータ(666)にかかる軸方向荷重並びに結果として生じるモータユニット(660)の電流負荷が低減される。この待機期間はいくつかの変形形態においては省略されてもよいことが理解されよう。
ステップ(718)で示される待機期間が完了すると、制御モジュール(672)は、ステップ(720)におけるステープルドライバ部材(図示せず)の遠位作動を開始して、クランプされた組織のステープル留めを始める。特に、制御モジュール(672)は、例えば、図7Dに示されているものと同様の方式で、ステープル留めヘッドアセンブリ(640)を通じて遠位にステープルドライバ部材を作動させ、それによって組織の中へとアンビル(650)に対してステープルを打ち込むために、モータユニット(660)を起動してステープルアクチュエータ(664)を稼働及び駆動させる。ステープルアクチュエータ(664)の作動を開始すると、制御モジュール(672)は、ステップ(722)において、モータユニット(660)がステープル留めストロークにわたってステープルアクチュエータ(664)を引き続き駆動する別の所定の期間を観察する。同時に、ステップ(724)において制御モジュール(672)は、ステープルドライバ部材がステープル留めヘッドアセンブリ(640)内の所定の長手方向位置に到達したことを検知するために、センサ(674)と通信する。そのような位置は、上述のステープルドライバ(352)と類似した個々のステープルドライバ(図示せず)がデッキ表面(644)に到達する点に対応してもよく、そのため、ステープルは、クランプされた組織内で少なくとも部分的に成形される。このプロセスは、その開示内容が参照によって本明細書に組み込まれる、本願と同日出願の米国特許出願 第[代理人整理番号 END9129USNP1]号、発明の名称「Method for Controlling Cutting Member Actuation for Powered Surgical Stapler」に更に詳細に記載されている。
ステップ(722)の所定の期間の完了を検知したこと及び/又はステープルドライバ部材が所定の長手方向位置に到達したことをステップ(724)において検知したことに応答して、制御モジュール(672)は次いで、ステップ(726)においてナイフ部材(図示せず)の遠位作動を開始して組織を切断し始める。特に、制御モジュール(672)は、例えば、図7Dに示されているものと同様の方式で、ステープル留めヘッドアセンブリ(640)を通じて遠位にナイフ部材を作動させ、それによって組織を切断するために、モータユニット(660)を起動してナイフアクチュエータ(666)を稼働及び駆動させる。
上記のように、ステープル留めストロークの開始に対する切断ストロークの開始を遅延させることは、ステープルとナイフアクチュエータ(662、664、666)との独立した作動によって可能になるため、組織切断が開始する前の組織内におけるステープルの少なくとも部分的な成形を確実にする。有利にも、このアプローチは、切断前に、クランプされた組織内にステープルが固定され、それによって、ナイフ部材が遠位に駆動されるときに、組織の横方向移動及び結果として生じるステープルの誤成形を防止することを可能にする。
ナイフ部材の遠位切断ストロークの終点は、上述のワッシャ(417)に類似したアンビル(650)内のワッシャ(図示せず)をナイフ部材が破断する点に対応し得る。遠位切断ストロークの完了時に、制御モジュール(672)は、ステップ(728)において、ステープル留めヘッドアセンブリ(640)の中へ戻るよう近位にナイフ部材を後退させるようにモータユニット(660)に指示する。いくつかの変形形態では、ナイフ部材の遠位伸張及び近位後退は、例えば、上記の参照によって組み込まれる米国特許出願公開第2017/0258471号に開示されているように、連続的でかつ一様な運動範囲にわたってモータユニット(660)に給電することによって達成され得る。他の変形形態では、制御モジュール(672)は、センサ(674)と通信して遠位切断ストロークの完了を検知し、その後に、モータユニット(660)に特定的に指示してナイフアクチュエータ(666)を代替的な方式で駆動させ、ナイフ部材を近位に後退させるようにプログラムされ得る。そのような変形形態のいずれにおいても、センサ(674)は、モータユニット(660)の回転出力を監視するように構成されたエンコーダを備え得る。
ナイフ後退ステップ(728)と同時にあるいはその後に、制御モジュール(672)は、ステップ(730)において、モータユニット(660)に指示してトロカールアクチュエータ(662)を遠位に駆動させ、それによってステープル留めヘッドアセンブリ(640)のデッキ表面(644)に対する所定の位置へと遠位にアンビル(650)を延出させる。この遠位延出は、ステープル留めされた組織をアンビル(650)とステープル留めヘッドアセンブリ(640)との間から解放することを可能にし、器具(600)は、アンビル(650)が依然としてトロカール(642)に取り付けられている状態で、患者から引き抜かれ得る。
III.アンビルの感知及び保持
ユーザが器具(10、600)を使用しながら視覚化なしで達成し得るいくつかのタスクがある。例えば、1つのそのようなタスクとしては、アンビル(400、650)がトロカール(330、450、642)の移動中に十分に保持されるように、アンビル(400、650)とトロカール(330、450、642)との間の十分な接続を確実にすることが挙げられ得る。別のタスクとしては、アンビル(400、650)を見失うことなく、器具(10)の発射後に器具(10)を開放することが挙げられ得る。更に別のタスクとしては、起こりそうにない現象である問題が使用中に生じた際にトロカール(330、450、642)からアンビル(400、650)を緊急解放することが挙げられ得る。
場合によっては、アンビル(400、650)が患者体内に配設されている間、アンビル(400、650)の位置を継続的に把握していることが有益であり得る。したがって、特定の外科処置の間に、あるいはその後であっても、トロカール(330、450、642)からアンビル(400、650)を完全に解放することは望ましくない場合がある。例えば、トロカール(330、450、642)からアンビル(400、650)を完全に解放することは、ユーザが、アンビル(400、650)の位置を特定し、その後に患者から「釣り上げる(fish out)」ことを必要とし得る。患者からアンビル(400、650)を釣り上げることは、処置の持続時間を増加させることになり得る。加えて、アンビル(400、650)が、不注意によってトロカール(330、450、642)から分離した場合、このことは、(例えば、ストローク/レート較正の目的で)閉鎖中にプロセッサによって取得されたすべてのデータを間違ったものにし得る。器具(10)を特に参照すると、閉鎖中及び/又は発射中に、アンビル(400)のラッチシェルフ(436)がトロカール(330)の近位表面(338)から分離されることは望ましくない。
したがって、発射が完了した後、アンビル(400、650)をデッキ表面(322、644)から離間させてアンビル(400、650)から組織を解放し、患者からの器具(10、600)の引き抜きを可能にすることが望ましい。場合によっては、これは、デッキ表面(322、644)からアンビル(400、650)を手探りで離間させてトロカール(330、450、642)を任意の距離だけ延出させることによって実施され得る。例えば、これは、ハンドルアセンブリ(100)の近位端に配設されたノブ(130)をユーザが手動で作動させることによって実施され得る。発射の完了時に、アンビル(400、650)が、デッキ表面(322、644)から離れた所定の距離まで延出され、その後に、器具(600)を患者から引き抜く準備が整ったというインジケーションがユーザに提供されることが望ましい。
A.例示的なステープル留めヘッドアセンブリ及びアンビル
図11~図12を参照して上述されたように、器具(600)は、本体アセンブリ(例えば、ハンドルアセンブリ(610))と、シャフトアセンブリ(630)と、ステープル留めヘッドアセンブリ(640)と、アンビル(650)と、を含む。ハンドルアセンブリ(610)は、器具(600)に電力供給するためのモータユニット(660)を含む。例えば、図11~図12を参照して上述されたように、モータユニット(660)は、1つ以上のアクチュエータ(例えば、アクチュエータ(662、664、666))に電力供給するための1つ以上のモータを含み得る。シャフトアセンブリ(630)は、ハンドルアセンブリ(610)から遠位に延びる。
図14~図17Hは、器具(600)と共に使用するように構成された例示的な代替のステープル留めヘッドアセンブリ(800)及び例示的な代替のアンビル(802)を示す。例えば、ステープル留めヘッドアセンブリ(800)がステープル留めヘッドアセンブリ(640)の代わりに使用されてもよく、アンビル(802)がアンビル(650)の代わりに使用されてもよい。ステープル留めヘッドアセンブリ(800)は、以下に別途記載される場合を除いて、ステープル留めヘッドアセンブリ(300、640)と同様であり得る。同様に、アンビル(802)は、以下に別途記載される場合を除いて、アンビル(400、650)と同様であり得る。ステープル留めヘッドアセンブリ(800)は、ステープル留めヘッドアセンブリ(640)と類似したシャフトアセンブリ(630)の遠位端に位置付けられる。ステープル留めヘッドアセンブリ(800)は、ステープルの少なくとも1つの環状アレイ(図示せず)を含むが、これは、環状アレイに形成されるステープル(90)と同様であり得る。ステープル留めヘッドアセンブリ(800)はまた、ステープルドライバ(図示せず)を含むが、これはステープルドライバ(352)と類似したものであってもよい。ステープルドライバ(352)は、ステープル(90)の少なくとも1つの環状アレイをアンビル(802)に対して打ち込み、ステープル(90)を変形させるように構成されている。
図14~図15に最も分かりやすく示されるように、ステープル留めヘッドアセンブリ(800)は、トロカール(804)と、ロックアウトアセンブリ(806)とを含んでいる。トロカール(804)は、シャフト(808)と、作動機構(810)と、少なくとも1つの保持機構(第1及び第2の保持機構(812、814)として示される)と、を含む。シャフト(808)は、トロカール(804)の長手方向軸線(LA)を規定する。トロカール(804)のシャフト(808)は、内側表面及び外側表面(818、820)を有する壁(816)を含んでいる。壁(816)の内側表面(818)は、シャフト(808)のルーメン(822)を画定している。シャフト(808)はまた、シャフト(808)を通って延びるアパーチャ(823)を含んでおり、アパーチャにより、第1及び第2の保持機構(812、814)はトロカール(804)のシャフト(808)を通って延びることが可能となる。シャフト(808)はまた、遠位端(826)に隣接する尖形状の先端部(824)を含んでいる。尖形状の先端部(336)と同様に、尖形状の先端部(824)は鋭利ではなく、組織との不注意な接触が原因で組織に外傷を容易に引き起こすことを意図するものではない。作動機構(810)は、図17A~図17Hを参照して以下により詳細に説明されるように、ルーメン(822)内で長手方向軸線(LA)に沿って移動して、収縮位置と拡張位置との間でトロカール(804)の第1及び第2の保持機構(812、814)を移動させるように構成されている。図14に示されるように、第1の保持機構(812)と第2の保持機構(814)とは、トロカール(804)のシャフト(808)の長手方向軸線(LA)に沿って離間されている。
図14に示されるように、アンビル(802)は、シャフト(828)と、シャフト(828)から遠位に延びるヘッド(830)と、を含む(図16A~図16Iを参照)。シャフト(828)は、内側表面及び外側表面(834、836)を有する壁(832)を含んでいる。壁(832)の内側表面(834)は、ルーメン(838)を画定している。壁(816)の内側表面(818)は、アンビル(802)のシャフト(828)の近位端(842)に隣接する外向きテーパ部分(840)を含む。アンビル(802)は少なくとも1つの内部凹部を含み得る。図示のように、アンビル(802)の内側表面(834)は、長手方向軸線(LA)に沿って互いから離間されている第1の内部凹部(844)と第2の内部凹部(846)とを含む。第1及び第2の内部凹部(844、846)が図示されているが、任意の好適な数、形状、及びサイズの内部凹部が想定される。例えば、第1及び第2の保持機構(812、814)が環状リングを含む場合、第1及び第2の内部凹部(844、846)は、環状リングを収容するように環状に付形され得る。図示されていないが、第1及び第2の内部凹部(844、846)は、壁(832)を完全に通って延び得る。作動機構(810)は、能動的なモータ駆動アクチュエータであってもよく、これは、アンビル(802)が器具(600)のトロカール(804)上へと完全に挿入されているときに、ユーザによって手動で起動されるか、あるいは自動的に起動されるものである。
図15に示されるように、制御モジュール(672)によって命令されるモータユニット(660)は、ロックアウトアセンブリ(806)が非ロックアウト構成に配されると、作動機構(810)を作動させてトロカール(804)を第1及び第2の保持機構(812、814)を移動させるように構成されている。作動機構(810)は、モータユニット(660)と動作可能に結合されている。第1のモータは、トロカール(804)に電力供給して作動機構(810)を移動させるように構成されている。第2のモータは、ステープルドライバ(図示せず)を駆動するステープルアクチュエータ(664)を駆動するように構成されている。作動機構(810)は、アンビル(802)のシャフト(828)の内側表面(834)内に形成されたそれぞれの第1及び第2の内部凹部(844、846)に対する第1及び第2の保持機構(812、814)の径方向変位をもたらす。弾性的に付勢される突出部(848)が図14に示されているが、第1及び第2の保持機構(812、814)が、弾性的に付勢される突出部(848)以外の様々な付勢機構を含み得ることが想到される。例えば、第1及び第2の保持機構(812、814)は、他の好適な弾性的に付勢される突出部の中でも、弾性的に付勢される環状リング(例えば、第1及び第2の環状リング)を含んでもよい。
図14~図15は、例示的なロックアウトアセンブリを示す。ロックアウトアセンブリ(806)は、アンビル(802)がトロカール(804)の中へと完全に挿入されているか否かを判定する。特に、ロックアウトアセンブリ(806)は、アンビル(802)がトロカール(804)に完全に結合されていないことに応答して、作動機構(810)が起動することを防止するように構成されている。逆に、ロックアウトアセンブリ(806)は、第1及び第2の保持機構(812、814)が拡張位置へと移動され得るように、アンビル(802)がトロカール(804)に結合したことに応答して、作動機構(810)の起動を可能にするように構成されている。図14は、トロカール(804)を、第1の電気接点(850)を含むものとして示し、アンビル(802)を、第2の電気接点(852)を含むものとして示している。第1及び第2の電気接点(850、852)は、トロカール(804)のシャフト(808)に対するアンビル(802)の装填、接続、及び後退を検知するように構成されている。図示のように、第1の電気接点(850)は、トロカール(804)のシャフト(808)の外側表面(820)上に配設され、第2の電気接点(852)は、アンビル(802)のシャフト(828)の内側表面(834)上に配設されている。図示のように、第1の電気接点(850)は、第1及び第2のワイヤ(856a、856b)にそれぞれ電気的に結合された第1及び第2の部分(854a、854b)を含む。第1の電気接点(850)が第1及び第2の部分(854a、854b)よりも多い又は少ない部分を含み得ることも想到される。ロックアウトアセンブリ(806)は、図14~図15において電気スイッチとして示されているが、ロックアウトアセンブリ(806)が1つ以上のセンサを含む様々な異なる機構を使用して実装され得ることも想到される。
図15は、図14のロックアウトアセンブリ(806)の一部分の概略図を示しており、絶縁部分(858)を含む第1の部分(854a)を示している。絶縁部分(858)は、様々な方法を用いてトロカール(804)の外側表面(820)に結合され得る。図14~図15に示されるように、電気信号(例えば、電流)は、第1のワイヤ(856a)を通じて第1の電気接点(850)へ、次いで第1の電気接点(850)から第2の電気接点(852)へ、次いで第2の電気接点(852)から第2のワイヤ(856b)へ、次いで、第2のワイヤから制御モジュール(672)へと通過させられ得る。代替的に、図9A~図9Bを参照して上述されたように単一のワイヤが利用されてもよく、電流は最初にトロカール(804)を通過し、第1のワイヤ(856a)の外に通過し得る。
B.例示的な方法
アンビル(802)をステープル留めヘッドアセンブリ(800)のトロカール(804)に結合する例示的な方法について、これから図16A~図17Hを参照して説明する。図16A及び図17Aは、アンビル(802)をトロカール(804)に結合する前に、トロカール(804)から長手方向軸線(LA)に沿って分離されたアンビル(802)を示す。図16Aは、図14のアンビル(802)及びステープル留めヘッドアセンブリ(800)のトロカール(804)の断面側面図を示し、アンビル(802)は組織の第1の部分(T1)内に位置付けられ、トロカール(804)は、長手方向軸線(LA)に沿って組織の第1の部分(T1)から離間した、組織の第2の部分(T2)に位置付けられている。特に、アンビル(802)のヘッド(830)の近位表面(860)は、デッキ表面(644)から圧縮前距離(dPC)に離間されている。収縮位置では、トロカール(804)のシャフト(808)は、モータユニット(660)を使用してアンビル(802)に対して長手方向軸線(LA)に沿って移動するように構成されている。
図17Aは、図16Aの詳細な部分を示し、ロックアウトアセンブリ(806)はロックアウト構成にある。特に、アンビル(802)はトロカール(804)と完全に結合されていないため、第1の電気接点(850)と第2の電気接点(852)とは整列されず、この電気スイッチは開放されることになる。電気スイッチが開放しているとき、電気信号は、第1の電気接点(850)から第2の電気接点(852)に通過することができない。結果として、トロカール(804)の第1及び第2の保持機構(812、814)がアンビル(802)と係合することが防止される。図17A~図17Hを参照して示され、説明されるように、作動機構(810)は作動ロッド(862)を含む。作動ロッド(862)の遠位部分(864)は、低減された断面積を有する第1及び第2の幅狭部分(866、868)を含む。第1の幅狭部分(866)と第2の幅狭部分(868)とは、斜行表面(870)によって境界付けられている。第1及び第2の保持機構(812、814)は、収縮位置においてそれぞれの第1及び第2の幅狭部分(866、868)内に少なくとも部分的に配設されるものとして示されており、トロカール(804)がアンビル(802)に対して長手方向軸線(LA)に沿って移動することが可能である。結果として、収縮位置において、第1の保持機構(812)は第1の内部凹部(844)から離間され、第2の保持機構(814)は第2の内部凹部(846)から離間される。
図16Bは、図14のアンビル(802)及びステープル留めヘッドアセンブリ(800)のトロカール(804)の断面側面図を示し、トロカール(804)はアンビル(802)に完全に挿入されている。例えば、トロカール(804)はトロカールアクチュエータ(662)を使用して遠位に前進され得る。図16Aと同様に、組織の第1の部分(T1)から長手方向軸線(LA)に沿って離間された組織の第2の部分(T2)である。特に、アンビル(802)のヘッド(830)の近位表面(860)は、デッキ表面(644)から圧縮前距離(dPC)に離間されている。図17Bは、図16Bの詳細な部分を示し、トロカール(804)はアンビル(802)の中に完全に挿入され、第1及び第2の保持機構(812、814)は収縮位置にある。アンビル(802)がトロカール(804)と完全に結合されているため、ロックアウトアセンブリ(806)は非ロックアウト構成にある。結果として、第1の電気接点(850)と第2の電気接点(852)とが整列され、それによって電気スイッチが閉鎖される。電気スイッチが閉鎖されているとき、電気信号は、第1の電気接点(850)から第2の電気接点(852)に通過することができる。収縮位置では、トロカール(804)の第1及び第2の保持機構(812、814)は、アンビル(802)の第1及び第2の内部凹部(844、846)から離間されている。第1及び第2の保持機構(812、814)は、収縮位置から拡張位置へとシャフト(808)の長手方向軸線(LA)に対して横断方向に移動する準備が完了しているが、まだ移動していない。図示のように、横断方向は、トロカール(804)のシャフト(808)の長手方向軸線(LA)に対して垂直である。しかしながら、他の横断方向も想定される。
図16Cは、図14のアンビル(802)及びステープル留めヘッドアセンブリ(800)のトロカール(804)の断面側面図を示している。図16A~図16Bと同様に、組織の第2の部分(T2)は組織の第1の部分(T1)から長手方向軸線(LA)に沿って離間されている。特に、アンビル(802)のヘッド(830)の近位表面(860)は、デッキ表面(644)から圧縮前距離(dPC)に離間されている。図17Cは、作動ロッド(862)を使用して第1及び第2の保持機構(812、814)が拡張位置に移動されている、図16Cの詳細な部分を示す。作動ロッド(862)は、モータユニット(660)を使用して駆動される。モータユニット(660)は、制御モジュール(672)からの信号を使用してトロカール(804)を並進させるトロカールアクチュエータ(662)とは別の駆動作動ロッド(862)であり得る。作動ロッド(862)の遠位部分(864)の斜行表面(870)は、第1及び第2の保持機構(812、814)と接触して、アンビル(802)の第1及び第2の内部凹部(844、846)の中へと第1及び第2の保持機構(812、814)を外向きに押圧する。拡張位置では、トロカール(804)の第1及び第2の保持機構(812、814)は、アンビル(802)のそれぞれ第1及び第2の内部凹部(844、846)の中に少なくとも部分的に配設される。特に、図示のように、トロカール(804)の第1の保持機構(812)は、第1内部凹部(844)内に少なくとも部分的に配設され、第2の保持機構(814)は、第2の内部凹部(846)内に少なくとも部分的に配設される。拡張位置では、トロカール(804)のシャフト(808)は、アンビル(802)のシャフト(828)と共に一体として長手方向軸線(LA)に沿って移動するように構成されている。
図16Dは、図14のアンビル(802)及びステープル留めヘッドアセンブリ(800)のトロカール(804)の断面側面図を示し、アンビル(802)のシャフト(828)は、組織の第1の部分(T1)と第2の部分(T2)とを互いに閉鎖位置へと圧縮するために、トロカールアクチュエータ(662)を使用してステープル留めヘッドアセンブリ(800)のアンビル(802)に向かって近位に移動している。図示のように、アンビル(802)のヘッド(830)の近位表面(860)は、デッキ表面(644)から圧縮前距離(d)に離間されており、これは圧縮前距離(dPC)よりも短い。図17Dは、トロカール(804)とアンビル(802)が一体として閉鎖位置へと近位に引き抜かれるように、第1及び第2の保持機構(812、814)が拡張位置にある、図16Dの詳細な部分を示す。
図16Eは、組織の第1及び第2の部分(T1、T2)を切断してステープル留めするように作動されたステープル留めヘッドアセンブリ(800)を示す。発射器具(600)は、患者の組織の第1及び第2の部分(T1、T2)を通してステープル(90)の少なくとも1つの環状アレイを押し込む。前述のように、発射トリガ(626)の作動は、モータユニット(660)を起動してステープルアクチュエータ(664)及びナイフアクチュエータ(666)(図12を参照)の作動を開始し、それによってクランプされた組織をステープル留めして切断するように構成されている。図13に関連して以下でより詳細に説明するように、器具(600)は、発射トリガ(626)の1回の作動に応答してステープルアクチュエータ(664)及びナイフアクチュエータ(666)の作動を独立して制御するように構成されている。図16Eは、組織の第1及び第2の部分(T1、T2)を切断してステープル留めするためにステープル留めヘッドアセンブリ(800)が作動された後の、図14のアンビル(802)及びステープル留めヘッドアセンブリ(800)のトロカール(804)の断面側面図を示す。図17Eは図16Eの詳細部分である。
発射後、アンビル(400、650)をデッキ表面(644)から離れた所定の距離まで移動させることが望ましい場合がある。例えば、器具(600)が既知の最大高さへと開放することが有益であり得る。追加的に、アンビル(400、650)の能動的な検知及び感知、並びに緊急時にアンビル(400、650)を解放するための手段を有すること、また器具(10、600)の発射が完了した際に組織を部分的に解放することが望ましい場合がある。アンビル(400、650)の検知及び感知と併せて機能し得る、能動的な電気機械式のアンビル保持及び解放システムを含むことが望ましい場合がある。図16F、図16H、及び図16Iの方法は、以下に記載されるように、閉鎖位置、第1の組織解放位置、及び/又は第2の組織解放位置の間でトロカール(804)の長手方向軸線(LA)に沿ってトロカール(804)を並進させることを含み得る。例えば、本方法は、トロカール(804)が依然としてアンビル(802)に結合されている間に、図16Fに示される第1の組織解放位置又は図16Hに示される第2の組織解放位置へとトロカール(804)を延出させることを含み得る。これにより、前述のようにユーザがアンビル(802)を釣り上げることが防止される。拡張位置では、トロカール(804)とアンビル(802)は、閉鎖位置、第1の組織解放位置、及び第2の組織解放位置の間で長手方向軸線(LA)に沿って一体として共に並進し得る。
図16Fは、図14のアンビル(802)及びステープル留めヘッドアセンブリ(800)のトロカール(804)の断面側面図を示し、トロカール(804)とアンビル(802)は、組織を切断してステープル留めした後に第1の組織解放位置へと、共に一体として遠位に前進し、引き抜かれている。第1及び第2の保持機構(812、814)は拡張位置に示されている。図17Fは、図16Fの詳細な部分を示し、トロカール(804)はアンビル(802)の中に完全に挿入され、第1及び第2の保持機構(812、814)は拡張位置にあり、作動ロッド(862)は近位に引き抜かれる準備が完了している。図示のように、閉鎖位置及び第1の組織解放位置は、クランプ距離(d)よりも大きい第1の距離(dTR1)だけ分離されている。
図16Gは、作動ロッド(862)が近位に引き抜かれた後の第1の組織解放位置にある、図14のアンビル(802)及びステープル留めヘッドアセンブリ(800)のトロカール(804)の断面側面図を示す。モータユニット(660)は、制御モジュール(672)からの信号を使用してトロカール(804)を並進させるトロカールアクチュエータ(662)とは別の駆動作動ロッド(862)であり得る。アンビル(802)は、第1の組織解放位置においてデッキ表面(644)から分離され、第1及び第2の保持機構(812、814)は収縮位置にある。特に、第1及び第2の保持機構(812、814)は、アンビル(802)がトロカール(804)の中に完全に挿入されていると判定した後に作動ロッド(862)を作動させることによって、収縮位置から拡張位置へと移動される。図17Gは、図16Gの詳細な部分を示し、トロカール(804)はアンビル(802)の中に完全に挿入され、第1及び第2の保持機構(812、814)は作動ロッド(862)を使用して収縮位置にある。図17Gに示されるように、第1及び第2の保持機構(812、814)はアンビル(802)から解放可能であり、取り外しを可能にしている。アンビル(802)の解放は、第1及び第2の解放量を有する。第1の組織解放位置は、ユーザによる組織からのアンビル(802)の取り外しを可能にする、アンビル(8020)の部分的開放であってもよい。第2の組織解放位置は、器具(600)に発生する予想外の問題が生じた場合の完全な解放である。部分的解放は、アンビル(802)を完全に解放するものではない。
図16Hは、第2の組織解放位置にある図14のアンビル(802)及びステープル留めヘッドアセンブリ(800)のトロカール(804)の断面側面図を示している。器具(600)は、図16F~図16Gに示される第1の組織解放位置で最初に停止することなく、第2の組織解放位置にアンビル(802)を移動させ得る。作動機構(810)は、第1及び第2の保持機構(812、814)を自動的に作動させて、第1及び第2の保持機構(812、814)を収縮位置に移動させ得る。第2の解放位置では、作動機構(810)は、第1及び第2の保持機構(812、814)を手動又は自動で作動させるように構成されている。第2の組織解放位置では、第1及び第2の保持機構(812、814)は、第1及び第2の保持機構(812、814)を収縮位置に移動させるためにモータ駆動され得る作動機構(810)を使用して自動的に作動され得る。閉鎖位置と第2の組織解放位置とは、第2の距離(dTR2)だけ分離されている。第1の距離(dTR1)は、第2の距離(dTR2)よりも短い。ボールねじアクチュエータ(図示せず)は、組織の第1及び第2の部分(T1、T2)の解放を制御するために、所望の距離に対応する所定の回転回数、回転するように構成される。
図16Iは、図14のアンビル(802)及びステープル留めヘッドアセンブリ(800)のトロカール(804)の断面側面図を示している。図17Iは、アンビル(802)がトロカール(804)から完全に分離された状態にある、図16Iの詳細な部分を示す。図示のように、第3の組織解放位置は、第1及び第2の距離(dTR1、dTR2)よりも長い第3の距離(dTR3)だけ分離されている。図示のように、第3の組織解放位置では、アンビル(802)は、組織の第1及び第2の部分(T1、T2)が切断されステープル留めされる前に、近位に引き抜かれたトロカール(804)から完全に分離される。言い換えれば、この第3の組織解放位置は、ユーザが組織の第1及び第2の部分(T1、T2)の切断及びステープル留めなしにアンビル(802)をトロカール(804)から完全に分離しようと試行する場合に用いられ得る。これによって、必要に応じてアンビル(802)の緊急解放が提供される。図示されていないが、ユーザが組織の第1及び第2の部分(T1、T2)の部分的な切断及びステープル留めの後に第3の組織解放位置を利用し得ることも想定される。
本方法はまた、トロカール(804)が完全に延出されていること、少なくとも1つのアンビル保持機構が拡張位置にあること、又は器具(600)の発射後にアンビル(802)を組織から取り外すためのクリアランスを設けるために、アンビル(802)が組織から離間されていることのうちの少なくとも1つの、視覚的インジケーション(例えば、グラフィカルインジケータ(500))を器具(600)上に提供することを含み得る。図10及び図11を参照して上述されたように、ハンドルアセンブリ(610)は、インジケータを含むユーザインターフェース(616)を含む。例えば、インジケータは、グラフィカルインジケータ(500)と同様であり得る。グラフィカルインジケータ(500)は、例えば、定線の印(502、504、506)、ステープルのグラフィカル表現(510、512)、及び/若しくはチェックマークグラフィック(514)、又は別の適切なグラフィカルインジケータを含んでよい。特に、インジケータは、条件に応じて状態を変化させる光(例えば、LED光)であり得る。グラフィカルインジケータ(500)は、トロカール(804)が完全に延出されたときの状態をユーザに示してもよい。加えて、グラフィカルインジケータ(500)は、トロカール(804)がアンビル(802)に取り付けられ、かつトロカール(804)がシャフトアセンブリ(630)に対して完全に延出されたときの状態をユーザに示してもよい。グラフィカルインジケータ(500)は、アンビル(802)が完全に延出されたトロカール(804)に取り付けられたときの状態をユーザに示してもよい。グラフィカルインジケータ(500)は、アンビル(802)が使用後に組織から取り外されるように十分に解放されたときの状態をユーザに示してもよい。加えて、グラフィカルインジケータ(500)は、ステープル(90)の発射後に使用後にアンビル(802)を組織から取り外すためにアンビル(802)が組織から離間されたときの状態をユーザに示してもよい。
図18は、図14のステープル留めヘッドアセンブリ(800)及びアンビル(802)を含む、図11の器具(600)を操作する例示的な方法(900)の概略図を示す。ステップ(902)は、トロカール(804)をアンビル(802)に結合することを含む。これは図16C及び図17Cに示されている。ステップ(904)は、アンビル(802)のヘッド(830)の近位表面(860)がデッキ表面(644)からクランプ距離(d)だけ離れるように、トロカール(804)とアンビル(802)との間で第1及び第2の部分(T1、T2)を圧縮することを含み、図16Dに示されるように、クランプ距離は圧縮前距離(dPC)よりも短い。
ステップ(906)は器具(600)を発射することを含む。本方法はまた、器具(600)のステープル(90)の少なくとも1つの環状アレイを発射した後に、器具(600)のアンビル(802)をデッキ表面(644)から離れた所定の距離まで移動させることを含む。例えば、アンビル(802)をデッキ表面(644)から離れた所定の距離まで移動させることは、ボールねじ(図示せず)の所定の回転数を用いて、アンビル(802)をデッキ表面(644)から離れた所定の距離まで移動させることを含み得る。ステップ(908)は、トロカール(804)が依然としてアンビル(802)に結合されている間に、図16Fに示される第1の組織解放位置又は図16Hに示される第2の組織解放位置へとトロカール(804)を延出させることを含み得る。ステップ(910)は、図17G、図17H、及び図17Iに示される収縮位置に第1及び第2の保持機構(812、814)を移動させることによって、アンビル(802)からトロカール(804)を分離することを含む。
C.例示的な代替のステープル留めヘッドアセンブリ及びアンビル
図19A~図19Bは、例示的な代替のステープル留めヘッドアセンブリ(1000)及び例示的な代替のアンビル(1002)の断面側面図を示す。ステープル留めヘッドアセンブリ(1000)は、図14~図17Iを参照して上述されたステープル留めヘッドアセンブリ(800)と同様である。同様に、アンビル(1002)は、図14~図17Iを参照して上述されたアンビル(802)と同様である。図17Bに類似した図19Aに示されるように、トロカール(1004)はアンビル(1002)の中に完全に挿入され、第1及び第2の保持機構(1012、1014)は収縮位置にある。第1及び第2の保持機構(1012、1014)は収縮位置にあるので、ロックアウトアセンブリ(1006)は非ロックアウト構成にある。
図17C及び図17Dとは異なり、作動機構(1010)は、作動ロッド(862)の代わりに電気機械式の機構(1062)を含む。電気機械式の機構(1062)は、収縮位置から拡張位置へと第1及び第2の保持機構(1012、1014)を外向きに押圧するように構成されている。電気機械式の機構(1062)は、ワイヤ(1064)を使用して制御モジュール(672)と電気通信する。拡張位置では、トロカール(1004)のシャフト(1008)は、アンビル(1002)と共に長手方向軸線(LA)に沿って一体として移動する。図19Bは、図19Aのアンビル(1002)及びステープル留めヘッドアセンブリ(1000)のトロカール(1004)の断面側面図を示し、トロカール(1004)はアンビル(1002)に完全に挿入され、第1及び第2の保持機構(1012、1014)は収縮位置にある。
IV.例示的な組み合わせ
以下の実施例は、本明細書の教示を組み合わせるか又は適用することができる様々な非網羅的な方法に関する。以下の実施例は、本出願における又は本出願の後の書類提出におけるどの時点でも提示され得る、いずれの特許請求の範囲の適用範囲をも限定することを目的としたものではない。権利放棄は一切意図されていない。以下の実施例は、単に例示的な目的で提供されているにすぎない。本明細書の様々な教示は、他の多くの方法で配置及び適用され得ることが企図される。また、一部の変形例では、以下の実施例において言及される特定の特徴部を省略してもよいことも企図される。したがって、以下に言及される態様又は特徴部のいずれも、本発明者ら又は本発明者らの権利承継人によって後日そうである旨が明示的に示されない限り、重要なものとして見なされるべきではない。本出願において又は本出願に関連するその後の書類提出において提示されるいずれの特許請求の範囲が、以下に言及されるもの以外の追加の特徴部を含む場合、それらの追加の特徴部は、特許性に関する何らかの理由で追加されたものと見なされるべきではない。
外科用器具であって、(a)モータユニットを含む本体アセンブリと、(b)本体アセンブリから遠位に延びるシャフトアセンブリと、(c)アンビルと、
(d)シャフトアセンブリの遠位端に位置付けられたステープル留めヘッドアセンブリであって、
(i)ステープルの少なくとも1つの環状アレイと、
(ii)ステープルの少なくとも1つの環状アレイをアンビルに対して駆動してステープルを変形させるように構成されたステープルドライバと、
(iii)トロカールであって、
(A)長手方向軸線を規定するシャフトと、
(B)モータユニットと結合された作動機構と、
(C)少なくとも1つの結合機構と、を備え、
モータユニットは、作動機構を作動させて、収縮位置と拡張位置との間でシャフトの長手方向軸線に対して横断方向にトロカールの少なくとも1つの結合機構を移動させるように構成されており、収縮位置において、トロカールのシャフトは、アンビルに対して長手方向軸線に沿って移動するように構成されており、
拡張位置において、トロカールのシャフトは、長手方向軸線に沿ってアンビルと共に移動するように構成されている、トロカールと、を備える、ステープル留めヘッドアセンブリと、を備える、外科用器具。
アンビルは少なくとも1つの内部凹部を含み、収縮位置において、トロカールの少なくとも1つの結合機構は、アンビルの少なくとも1つの内部凹部から離間され、拡張位置において、トロカールの少なくとも1つの結合機構は、アンビルの少なくとも1つの内部凹部内に少なくとも部分的に配設されている、実施例1に記載の外科用器具。
少なくとも1つの結合機構は、トロカールのシャフトの長手方向軸線に沿って離間された第1の結合機構及び第2の結合機構を含み、アンビルは少なくとも第1の内部凹部及び第2の内部凹部を含み、収縮位置において、第1の結合機構は第1の内部凹部から離間され、第2の結合機構は第2の内部凹部から離間され、拡張位置において、第1の結合機構はトロカールであり、第1の内部凹部内に少なくとも部分的に配設され、第2の結合機構は、第2の内部凹部内に少なくとも部分的に配設される、実施例1又は2に記載の外科用器具。
トロカールのシャフトはルーメンを含み、作動機構は、ルーメン内で長手方向軸線に沿って移動して、トロカールの少なくとも1つの結合機構を収縮位置と拡張位置との間で移動させるように構成されている、実施例1~3のいずれかに記載の外科用器具。
作動機構は作動ロッドを含み、作動ロッドの遠位部分は、低減された断面積を有する少なくとも1つの幅狭部分を含み、少なくとも1つの結合機構は、収縮位置において少なくとも1つの幅狭部分内に配設されて、トロカールがアンビルに対して長手方向軸線に沿って移動することを可能にするように構成されている、実施例1~4のいずれかに記載の外科用器具。
作動機構は、トロカールのシャフトが長手方向軸線に沿ってアンビルと共に移動するよう構成されるように、収縮位置から拡張位置へと外向きに少なくとも1つの結合機構を押圧するように構成された電気機械式の機構を含む、実施例1~4のいずれかに記載の外科用器具。
モータユニットは、独立した第1のモータ及び第2のモータを備え、第1のモータは作動機構を移動させるように構成され、第2のモータはステープルドライバを駆動するように構成されている、実施例1~6のいずれかに記載の外科用器具。
アンビルがトロカールと結合されていないことに応答して作動機構の起動を防止するように構成されたロックアウトアセンブリを更に備え、ロックアウトアセンブリは、少なくとも1つの結合機構が拡張位置に移動することが可能となるように、アンビルとトロカールとの結合に応答して、作動機構の起動を可能にするように構成されている、実施例1~7のいずれかに記載の外科用器具。
ロックアウトアセンブリは電気スイッチを備え、トロカールは第1の電気接点を含み、アンビルは第2の電気接点を含み、アンビルがトロカールと完全に結合されているときに、第1の電気接点と第2の電気接点は、電気スイッチが閉鎖されるように整列され、アンビルがトロカールと完全に結合されていないとき、第1の電気接点と第2の電気接点は、電気スイッチが開放されるように整列されない、実施例8に記載の外科用器具。
拡張位置において、トロカールとアンビルは、閉鎖位置と、第1の組織解放位置と、第2の組織解放位置との間で長手方向軸線に沿って一体として並進するように構成され、閉鎖位置と第1の組織解放位置との間の第1の距離は、閉鎖位置と第2の組織解放位置との間の第2の距離よりも短い、実施例1~9のいずれかに記載の外科用器具。
第1の組織解放位置において、作動機構は、少なくとも1つの結合機構を手動又は自動で作動させて、少なくとも1つの結合機構を収縮位置に移動させるように構成されている、実施例10に記載の外科用器具。
第2の組織解放位置において、作動機構は、少なくとも1つの結合機構を自動で作動させて、少なくとも1つの結合機構を収縮位置に移動させるように構成されている、実施例10又は11に記載の外科用器具。
本体アセンブリは、トロカールが完全に延出されたときをユーザに示すように構成されたインジケータを更に含む、実施例1~12のいずれかに記載の外科用器具。
本体アセンブリは、トロカールがアンビルに取り付けられ、かつトロカールが本体アセンブリに対して完全に延出されたときをユーザに示すように構成されたインジケータを更に含む、実施例1~12のいずれかに記載の外科用器具。
本体アセンブリは、ステープルの発射後にアンビルを組織から取り外すためにアンビルが組織から離間されたときをユーザに示すように構成されたインジケータを更に含む、実施例1~12のいずれかに記載の外科用器具。
外科用器具であって、(a)モータユニットを含む本体アセンブリと、(b)本体アセンブリから遠位に延びるシャフトアセンブリと、(c)アンビルと、
(d)シャフトアセンブリの遠位端に位置付けられたステープル留めヘッドアセンブリであって、
(i)ステープルの少なくとも1つの環状アレイと、
(ii)ステープルの少なくとも1つの環状アレイをアンビルに対して駆動してステープルを変形させるように構成されたステープルドライバと、
(iii)トロカールであって、
(A)長手方向軸線を規定するシャフトと、
(B)少なくとも1つの結合機構と、
(C)モータユニットに結合された作動機構と、を備え、
モータユニットは、作動機構を移動させて、収縮位置と拡張位置との間でトロカールの少なくとも1つの結合機構を移動させるように構成されており、収縮位置において、トロカールのシャフトは、アンビルに対して長手方向軸線に沿って移動するように構成されており、
拡張位置において、トロカールのシャフトは、長手方向軸線に沿ってアンビルと共に移動するように構成されている、トロカールと、
(iv)アンビルがトロカールに完全に結合されていないときに、収縮位置から拡張位置に作動機構を移動させるためのモータユニットによる電力使用を防止するように構成されたロックアウトアセンブリであって、アンビルがトロカールに完全に結合されているときに、モータユニットが作動機構を収縮位置から拡張位置に移動させることを可能にするように構成されている、ロックアウトアセンブリと、を含む、ステープル留めヘッドアセンブリと、を備える、外科用器具。
ロックアウトアセンブリは電気スイッチを含み、電気スイッチは第1の電気接点及び第2の電気接点を含み、トロカールは第1の電気接点を含み、アンビルは第2の電気接点を含み、アンビルがトロカールと完全に結合されているとき、第1の電気接点と第2の電気接点は、電気スイッチが閉鎖されるよう、整列されるように構成されており、アンビルがトロカールと完全に結合されていないとき、第1の電気接点と第2の電気接点は、電気スイッチが開放されるよう、整列されるように構成されていない、実施例16に記載の外科用器具。
第1の電気接点及び第2の電気接点は、トロカールのシャフトに対するアンビルの装填、接続、及び後退を検知するように構成されている、実施例16に記載の外科用器具。
外科用器具を操作する方法であって、(i)外科用器具を発射して、患者の組織を通してステープルの少なくとも1つの環状アレイを押し込むことと、(ii)外科用器具のステープルの少なくとも1つの環状アレイを発射した後に、外科用器具のアンビルを、アンビルのデッキから離れた所定の距離まで移動させることと、を含む、方法。
アンビルをデッキから離れた所定の距離まで移動させることは、ボールねじの所定の回転数を用いて、アンビルをデッキから離れた所定の距離まで移動させることを更に含む、実施例19に記載の方法。
アンビルを外科用器具のトロカールと結合するための方法であって、(i)アンビルが外科用器具のトロカールと完全に結合されていないときに、ロックアウトアセンブリを使用して、トロカールの少なくとも1つの結合機構がアンビルに係合することを防止することと、(ii)ロックアウトアセンブリを使用して、アンビルが外科用器具のトロカール内に完全に挿入されていると判定することと、(iii)アンビルがトロカールに完全に挿入されていると判定した後に、モータ駆動式の作動機構を起動することによって、収縮位置から拡張位置に少なくとも1つの結合機構を移動させることと、を含む、方法。
トロカールのうちの少なくとも1つが完全に延出されていること、少なくとも1つのアンビル保持機構が拡張位置にあること、又は外科用器具の発射後に組織からアンビルを取り外すためのクリアランスを設けるために、アンビルが組織から離間されていること、の視覚的インジケーションを外科用器具上に提供することを更に含む、実施例21に記載の方法。
少なくとも1つのアンビル保持機構を拡張位置に移動させた後、閉鎖位置と組織解放位置との間でトロカールの長手方向軸線に沿ってトロカールを並進させることと、組織解放位置において、少なくとも1つの結合機構を収縮位置に移動させるために制御モジュールを使用して、少なくとも1つの結合機構を自動で作動させることと、を更に含む、実施例19又は20に記載の方法。
V.その他
本明細書で述べる教示、表現、実施形態、実施例などのうちいずれか1つ以上は、本明細書で述べる他の教示、表現、実施形態、実施例などのうちいずれか1つ以上と組み合わせることができることもまた理解されたい。したがって、上記の教示、表現、実施形態、実施例などは、互いに対して単独で考慮されるべきではない。本明細書の教示を組み合わせることができる種々の好適な方法が、本明細書の教示を考慮することにより当業者には容易に明らかとなるであろう。このような修正例及び変形例は、特許請求の範囲に含まれることが意図される。
更に、本明細書の教示のうちの任意の1つ以上は、本願と同日に出願された米国特許出願第[代理人整理番号END9128USNP1]号、発明の名称「Method for Calibrating Movements of Actuated Members of Powered Surgical Stapler」、本願と同日に出願された米国特許出願第[代理人整理番号END9129USNP1]号、発明の名称「Method for Controlling Cutting Member Actuation for Powered Surgical Stapler」、本願と同日に出願された米国特許出願第[代理人整理番号END9130USNP1]号、発明の名称「Method for Controlling End Effector Closure for Powered Surgical Stapler」に開示された教示のうちの任意の1つ以上と組み合わされ得る。これらの米国特許出願のそれぞれの開示は、参照により本明細書に組み込まれる。
本明細書に参照により組み込まれると言及されるあらゆる特許、刊行物、又は他の開示内容の全部又は一部は、組み込まれた内容が本開示に記載されている既存の定義、見解、又は他の開示内容と矛盾しない範囲でのみ、本明細書に組み込まれることを理解されたい。したがって、必要な範囲で、本明細書に明示的に記載されている開示内容は、参照により本明細書に組み込まれたあらゆる矛盾する内容に優先するものとする。参照により本明細書に組み込まれると言及されているが、本明細書に記載されている既存の定義、見解、又は他の開示内容と矛盾する任意の内容又はその一部は、その組み込まれた内容と既存の開示内容との間に矛盾が生じない範囲においてのみ組み込まれる。
上記の装置の変形形態は、医療専門家によって行われる従来の医療処置及び手術に適用するだけでなく、ロボット支援医療処置及び手術にも適用することができる。ほんの一例として、本明細書の様々な教示は、Intuitive Surgical,Inc.(Sunnyvale,California)によるDAVINCI(商標)システムなどのロボット外科用システムに容易に組み込むことができる。
上述の変形形態は、1回の使用後に廃棄するように設計することができ、又はそれらは、複数回使用するように設計することができる。変形形態は、いずれか又は両方の場合においても、少なくとも1回の使用後に再利用のために再調整することができる。再調整は、装置の分解工程、それに続く特定の部品の洗浄又は交換工程、及びその後の再組立工程の任意の組み合わせを含み得る。特に、装置のいくつかの変形形態は分解することができ、また、装置の任意の数の特定の部分又は部品を、任意の組み合わせで選択的に交換又は除去することができる。特定の部品の洗浄及び/又は交換の際、装置のいくつかの変形形態を、再調整施設において、又は処置の直前にユーザによって、その後の使用のために再組み立てすることができる。当業者であれば、装置の再調整において、分解、洗浄/交換、及び再組立のための様々な技術を利用することができることを理解するであろう。かかる技術の使用、及び結果として得られる再調整された装置は、全て本出願の範囲内にある。
単に例として、本明細書に記載される変形形態は、処置の前及び/又は後に滅菌されてもよい。ある滅菌技術では、デバイスを、プラスチック製又はTYVEK製バックのような密閉された容器に入れる。次に、容器及びデバイスを、ガンマ線、X線、又は高エネルギー電子線など、容器を透過することができる放射線場に配置してもよい。放射線は、デバイス上及び容器内の細菌を死滅させることができる。次に、滅菌されたデバイスを、後の使用のために、滅菌容器内に保管してもよい。装置はまた、ベータ線若しくはガンマ線、エチレンオキシド、又は蒸気を含むがこれらに限定されない、当該技術分野で周知の任意の他の技術を用いて滅菌することができる。
本発明の様々な実施形態を示し記載したが、当業者による適切な修正により、本発明の範囲から逸脱することなく、本明細書に記載の方法及びシステムの更なる適合化を実現することができる。そのような可能な修正のいくつかが言及されており、他のものは当業者には明らかであろう。例えば、上記の実施例、実施形態、幾何学的形状、材料、寸法、比率、工程などは例示的なものであり、必須のものではない。したがって、本発明の範囲は、以下の特許請求の範囲の観点から考慮されるべきであり、本明細書及び図面に示され記載された構造及び動作の詳細に限定されないことが理解される。
〔実施の態様〕
(1) 外科用器具であって、
(a)モータユニットを含む本体アセンブリと、
(b)前記本体アセンブリから遠位に延びるシャフトアセンブリと、
(c)アンビルと、
(d)前記シャフトアセンブリの遠位端に位置付けられたステープル留めヘッドアセンブリであって、
(i)ステープルの少なくとも1つの環状アレイと、
(ii)ステープルの前記少なくとも1つの環状アレイを前記アンビルに対して駆動して前記ステープルを変形させるように構成されたステープルドライバと、
(iii)トロカールであって、
(A)長手方向軸線を規定するシャフトと、
(B)前記モータユニットと結合された作動機構と、
(C)少なくとも1つの結合機構と、を備え、前記モータユニットは、前記作動機構を作動させて、収縮位置と拡張位置との間で前記シャフトの前記長手方向軸線に対して横断方向に前記トロカールの前記少なくとも1つの結合機構を移動させるように構成されており、前記収縮位置において、前記トロカールの前記シャフトは、前記アンビルに対して前記長手方向軸線に沿って移動するように構成されており、前記拡張位置において、前記トロカールの前記シャフトは、前記長手方向軸線に沿って前記アンビルと共に移動するように構成されている、トロカールと、を備える、ステープル留めヘッドアセンブリと、を備える、外科用器具。
(2) 前記アンビルは少なくとも1つの内部凹部を含み、前記収縮位置において、前記トロカールの前記少なくとも1つの結合機構は、前記アンビルの前記少なくとも1つの内部凹部から離間され、前記拡張位置において、前記トロカールの前記少なくとも1つの結合機構は、前記アンビルの前記少なくとも1つの内部凹部内に少なくとも部分的に配設されている、実施態様1に記載の外科用器具。
(3) 前記少なくとも1つの結合機構は、前記トロカールの前記シャフトの前記長手方向軸線に沿って離間された第1の結合機構及び第2の結合機構を含み、前記アンビルは少なくとも第1の内部凹部及び第2の内部凹部を含み、前記収縮位置において、前記第1の結合機構は前記第1の内部凹部から離間され、前記第2の結合機構は前記第2の内部凹部から離間され、前記拡張位置において、前記第1の結合機構はトロカールであり、前記第1の内部凹部内に少なくとも部分的に配設され、前記第2の結合機構は、前記第2の内部凹部内に少なくとも部分的に配設される、実施態様1に記載の外科用器具。
(4) 前記トロカールの前記シャフトはルーメンを含み、前記作動機構は、前記ルーメン内で前記長手方向軸線に沿って移動して、前記トロカールの前記少なくとも1つの結合機構を前記収縮位置と前記拡張位置との間で移動させるように構成されている、実施態様1に記載の外科用器具。
(5) 前記作動機構は作動ロッドを含み、前記作動ロッドの遠位部分は、低減された断面積を有する少なくとも1つの幅狭部分を含み、前記少なくとも1つの結合機構は、前記収縮位置において前記少なくとも1つの幅狭部分内に配設されて、前記トロカールが前記アンビルに対して前記長手方向軸線に沿って移動することを可能にするように構成されている、実施態様4に記載の外科用器具。
(6) 前記作動機構は、前記トロカールの前記シャフトが前記長手方向軸線に沿って前記アンビルと共に移動するよう構成されるように、前記収縮位置から前記拡張位置へと外向きに前記少なくとも1つの結合機構を押圧するように構成された電気機械式の機構を含む、実施態様1に記載の外科用器具。
(7) 前記モータユニットは、独立した第1のモータ及び第2のモータを備え、前記第1のモータは前記作動機構を移動させるように構成され、前記第2のモータは前記ステープルドライバを駆動するように構成されている、実施態様1に記載の外科用器具。
(8) 前記アンビルが前記トロカールと結合されていないことに応答して前記作動機構の起動を防止するように構成されたロックアウトアセンブリを更に備え、前記ロックアウトアセンブリは、前記少なくとも1つの結合機構が前記拡張位置に移動することが可能となるように、前記アンビルと前記トロカールとの結合に応答して、前記作動機構の起動を可能にするように構成されている、実施態様1に記載の外科用器具。
(9) 前記ロックアウトアセンブリは電気スイッチを備え、前記トロカールは第1の電気接点を含み、前記アンビルは第2の電気接点を含み、前記アンビルが前記トロカールと完全に結合されているとき、前記第1の電気接点と前記第2の電気接点は、前記電気スイッチが閉鎖されるように整列され、前記アンビルが前記トロカールと完全に結合されていないとき、前記第1の電気接点と前記第2の電気接点は、前記電気スイッチが開放されるように整列されない、実施態様8に記載の外科用器具。
(10) 前記拡張位置において、前記トロカールと前記アンビルは、閉鎖位置と、第1の組織解放位置と、第2の組織解放位置との間で前記長手方向軸線に沿って一体として並進するように構成され、前記閉鎖位置と前記第1の組織解放位置との間の第1の距離は、前記閉鎖位置と前記第2の組織解放位置との間の第2の距離よりも短い、実施態様1に記載の外科用器具。
(11) 前記第1の組織解放位置において、前記作動機構は、前記少なくとも1つの結合機構を手動又は自動で作動させて、前記少なくとも1つの結合機構を前記収縮位置に移動させるように構成されている、実施態様10に記載の外科用器具。
(12) 前記第2の組織解放位置において、前記作動機構は、前記少なくとも1つの結合機構を自動で作動させて、前記少なくとも1つの結合機構を前記収縮位置に移動させるように構成されている、実施態様10に記載の外科用器具。
(13) 前記本体アセンブリは、前記トロカールが完全に延出されたときをユーザに示すように構成されたインジケータを更に含む、実施態様1に記載の外科用器具。
(14) 前記本体アセンブリは、前記トロカールが前記アンビルに取り付けられ、かつ前記トロカールが前記本体アセンブリに対して完全に延出されたときをユーザに示すように構成されたインジケータを更に含む、実施態様1に記載の外科用器具。
(15) 前記本体アセンブリは、前記ステープルの発射後に前記アンビルを組織から取り外すために前記アンビルが前記組織から離間されたときをユーザに示すように構成されたインジケータを更に含む、実施態様1に記載の外科用器具。
(16) 外科用器具であって、
(a)モータユニットを含む本体アセンブリと、
(b)前記本体アセンブリから遠位に延びるシャフトアセンブリと、
(c)アンビルと、
(d)前記シャフトアセンブリの遠位端に位置付けられたステープル留めヘッドアセンブリであって、
(i)ステープルの少なくとも1つの環状アレイと、
(ii)ステープルの前記少なくとも1つの環状アレイを前記アンビルに対して駆動して前記ステープルを変形させるように構成されたステープルドライバと、
(iii)トロカールであって、
(A)長手方向軸線を規定するシャフトと、
(B)少なくとも1つの結合機構と、
(C)前記モータユニットに結合された作動機構と、を備え、前記モータユニットは、前記作動機構を移動させて、収縮位置と拡張位置との間で前記トロカールの前記少なくとも1つの結合機構を移動させるように構成されており、前記収縮位置において、前記トロカールの前記シャフトは、前記アンビルに対して前記長手方向軸線に沿って移動するように構成されており、前記拡張位置において、前記トロカールの前記シャフトは、前記長手方向軸線に沿って前記アンビルと共に移動するように構成されている、トロカールと、
(iv)前記アンビルが前記トロカールに完全に結合されていないときに、前記収縮位置から前記拡張位置に前記作動機構を移動させるための前記モータユニットによる電力使用を防止するように構成されたロックアウトアセンブリであって、前記アンビルが前記トロカールに完全に結合されているときに、前記モータユニットが前記作動機構を前記収縮位置から前記拡張位置に移動させることを可能にするように構成されている、ロックアウトアセンブリと、を含む、ステープル留めヘッドアセンブリと、を備える、外科用器具。
(17) 前記ロックアウトアセンブリは電気スイッチを含み、前記電気スイッチは第1の電気接点及び第2の電気接点を含み、前記トロカールは第1の電気接点を含み、前記アンビルは第2の電気接点を含み、前記アンビルが前記トロカールと完全に結合されているとき、前記第1の電気接点と前記第2の電気接点は、前記電気スイッチが閉鎖されるよう、整列されるように構成されており、前記アンビルが前記トロカールと完全に結合されていないとき、前記第1の電気接点と前記第2の電気接点は、前記電気スイッチが開放されるよう、整列されるように構成されていない、実施態様16に記載の外科用器具。
(18) 前記第1の電気接点及び前記第2の電気接点は、前記トロカールの前記シャフトに対する前記アンビルの装填、接続、及び後退を検知するように構成されている、実施態様17に記載の外科用器具。
(19) 外科用器具を操作する方法であって、
(i)前記外科用器具を発射して、患者の組織を通してステープルの少なくとも1つの環状アレイを押し込むことと、
(ii)前記外科用器具のステープルの前記少なくとも1つの環状アレイを発射した後に、前記外科用器具のアンビルを、アンビルのデッキから離れた所定の距離まで移動させることと、を含む、方法。
(20) 前記アンビルを前記デッキから離れた前記所定の距離まで移動させることは、ボールねじの所定の回転数を用いて、前記アンビルを前記デッキから離れた前記所定の距離まで移動させることを更に含む、実施態様19に記載の方法。

Claims (18)

  1. 外科用器具であって、
    (a)モータユニットを含む本体アセンブリと、
    (b)前記本体アセンブリから遠位に延びるシャフトアセンブリと、
    (c)アンビルと、
    (d)前記シャフトアセンブリの遠位端に位置付けられたステープル留めヘッドアセンブリであって、
    (i)ステープルの少なくとも1つの環状アレイと、
    (ii)前記ステープルの前記少なくとも1つの環状アレイを前記アンビルに対して駆動して前記ステープルを変形させるように構成されたステープルドライバと、
    (iii)トロカールであって、
    (A)長手方向軸線を規定するシャフトと、
    (B)前記モータユニットと結合された作動機構と、
    (C)少なくとも1つの結合機構と、を備え、前記モータユニットは、前記作動機構を作動させて、収縮位置と拡張位置との間で前記シャフトの前記長手方向軸線に対して横断方向に前記トロカールの前記少なくとも1つの結合機構を移動させるように構成されており、前記収縮位置において、前記トロカールの前記シャフトは、前記アンビルに対して前記長手方向軸線に沿って移動するように構成されており、前記拡張位置において、前記トロカールの前記シャフトは、前記長手方向軸線に沿って前記アンビルと共に移動するように構成されている、トロカールと、を備える、ステープル留めヘッドアセンブリと、を備える、外科用器具。
  2. 前記アンビルは少なくとも1つの内部凹部を含み、前記収縮位置において、前記トロカールの前記少なくとも1つの結合機構は、前記アンビルの前記少なくとも1つの内部凹部から離間され、前記拡張位置において、前記トロカールの前記少なくとも1つの結合機構は、前記アンビルの前記少なくとも1つの内部凹部内に少なくとも部分的に配設されている、請求項1に記載の外科用器具。
  3. 前記少なくとも1つの結合機構は、前記トロカールの前記シャフトの前記長手方向軸線に沿って離間された第1の結合機構及び第2の結合機構を含み、前記アンビルは少なくとも第1の内部凹部及び第2の内部凹部を含み、前記収縮位置において、前記第1の結合機構は前記第1の内部凹部から離間され、前記第2の結合機構は前記第2の内部凹部から離間され、前記拡張位置において、前記第1の結合機構は、前記第1の内部凹部内に少なくとも部分的に配設され、前記第2の結合機構は、前記第2の内部凹部内に少なくとも部分的に配設される、請求項1に記載の外科用器具。
  4. 前記トロカールの前記シャフトはルーメンを含み、前記作動機構は、前記ルーメン内で前記長手方向軸線に沿って移動して、前記トロカールの前記少なくとも1つの結合機構を前記収縮位置と前記拡張位置との間で移動させるように構成されている、請求項1に記載の外科用器具。
  5. 前記作動機構は作動ロッドを含み、前記作動ロッドの遠位部分は、低減された断面積を有する少なくとも1つの幅狭部分を含み、前記少なくとも1つの結合機構は、前記収縮位置において前記少なくとも1つの幅狭部分内に配設されて、前記トロカールが前記アンビルに対して前記長手方向軸線に沿って移動することを可能にするように構成されている、請求項4に記載の外科用器具。
  6. 前記作動機構は、前記トロカールの前記シャフトが前記長手方向軸線に沿って前記アンビルと共に移動するよう構成されるように、前記収縮位置から前記拡張位置へと外向きに前記少なくとも1つの結合機構を押圧するように構成された電気機械式の機構を含む、請求項1に記載の外科用器具。
  7. 前記モータユニットは、独立した第1のモータ及び第2のモータを備え、前記第1のモータは前記作動機構を移動させるように構成され、前記第2のモータは前記ステープルドライバを駆動するように構成されている、請求項1に記載の外科用器具。
  8. 前記アンビルが前記トロカールと結合されていないことに応答して前記作動機構の起動を防止するように構成されたロックアウトアセンブリを更に備え、前記ロックアウトアセンブリは、前記少なくとも1つの結合機構が前記拡張位置に移動することが可能となるように、前記アンビルと前記トロカールとの結合に応答して、前記作動機構の起動を可能にするように構成されている、請求項1に記載の外科用器具。
  9. 前記ロックアウトアセンブリは電気スイッチを備え、前記トロカールは第1の電気接点を含み、前記アンビルは第2の電気接点を含み、前記アンビルが前記トロカールと完全に結合されているとき、前記第1の電気接点と前記第2の電気接点は、前記電気スイッチが閉鎖されるように整列され、前記アンビルが前記トロカールと完全に結合されていないとき、前記第1の電気接点と前記第2の電気接点は、前記電気スイッチが開放されるように整列されない、請求項8に記載の外科用器具。
  10. 前記拡張位置において、前記トロカールと前記アンビルは、閉鎖位置と、第1の組織解放位置と、第2の組織解放位置との間で前記長手方向軸線に沿って一体として並進するように構成され、前記閉鎖位置と前記第1の組織解放位置との間の第1の距離は、前記閉鎖位置と前記第2の組織解放位置との間の第2の距離よりも短い、請求項1に記載の外科用器具。
  11. 前記第の組織解放位置において、前記作動機構は、前記少なくとも1つの結合機構を手動又は自動で作動させて、前記少なくとも1つの結合機構を前記収縮位置に移動させるように構成されている、請求項10に記載の外科用器具。
  12. 前記第2の組織解放位置において、前記作動機構は、前記少なくとも1つの結合機構を自動で作動させて、前記少なくとも1つの結合機構を前記収縮位置に移動させるように構成されている、請求項10に記載の外科用器具。
  13. 前記本体アセンブリは、前記トロカールが完全に延出されたときをユーザに示すように構成されたインジケータを更に含む、請求項1に記載の外科用器具。
  14. 前記本体アセンブリは、前記トロカールが前記アンビルに取り付けられ、かつ前記トロカールが前記本体アセンブリに対して完全に延出されたときをユーザに示すように構成されたインジケータを更に含む、請求項1に記載の外科用器具。
  15. 前記本体アセンブリは、前記ステープルの発射後に前記アンビルを組織から取り外すために前記アンビルが前記組織から離間されたときをユーザに示すように構成されたインジケータを更に含む、請求項1に記載の外科用器具。
  16. 外科用器具であって、
    (a)モータユニットを含む本体アセンブリと、
    (b)前記本体アセンブリから遠位に延びるシャフトアセンブリと、
    (c)アンビルと、
    (d)前記シャフトアセンブリの遠位端に位置付けられたステープル留めヘッドアセンブリであって、
    (i)ステープルの少なくとも1つの環状アレイと、
    (ii)前記ステープルの前記少なくとも1つの環状アレイを前記アンビルに対して駆動して前記ステープルを変形させるように構成されたステープルドライバと、
    (iii)トロカールであって、
    (A)長手方向軸線を規定するシャフトと、
    (B)少なくとも1つの結合機構と、
    (C)前記モータユニットに結合された作動機構と、を備え、前記モータユニットは、前記作動機構を移動させて、収縮位置と拡張位置との間で前記トロカールの前記少なくとも1つの結合機構を移動させるように構成されており、前記収縮位置において、前記トロカールの前記シャフトは、前記アンビルに対して前記長手方向軸線に沿って移動するように構成されており、前記拡張位置において、前記トロカールの前記シャフトは、前記長手方向軸線に沿って前記アンビルと共に移動するように構成されている、トロカールと、
    (iv)前記アンビルが前記トロカールに完全に結合されていないときに、前記収縮位置から前記拡張位置に前記作動機構を移動させるための前記モータユニットによる電力使用を防止するように構成されたロックアウトアセンブリであって、前記アンビルが前記トロカールに完全に結合されているときに、前記モータユニットが前記作動機構を前記収縮位置から前記拡張位置に移動させることを可能にするように構成されている、ロックアウトアセンブリと、を含む、ステープル留めヘッドアセンブリと、を備える、外科用器具。
  17. 前記ロックアウトアセンブリは電気スイッチを含み、前記電気スイッチは第1の電気接点及び第2の電気接点を含み、前記トロカールは前記第1の電気接点を含み、前記アンビルは前記第2の電気接点を含み、前記アンビルが前記トロカールと完全に結合されているとき、前記第1の電気接点と前記第2の電気接点は、前記電気スイッチが閉鎖されるよう、整列されるように構成されており、前記アンビルが前記トロカールと完全に結合されていないとき、前記第1の電気接点と前記第2の電気接点は、前記電気スイッチが開放されるよう、整列されるように構成されていない、請求項16に記載の外科用器具。
  18. 前記第1の電気接点及び前記第2の電気接点は、前記トロカールの前記シャフトに対する前記アンビルの装填、接続、及び後退を検知するように構成されている、請求項17に記載の外科用器具。
JP2022517422A 2019-09-18 2020-09-01 動力付き円形外科用ステープラのためのアンビル保持及び解放機構 Active JP7571129B2 (ja)

Applications Claiming Priority (3)

Application Number Priority Date Filing Date Title
US16/574,299 US11185324B2 (en) 2019-09-18 2019-09-18 Anvil retention and release features for powered circular surgical stapler
US16/574,299 2019-09-18
PCT/IB2020/058133 WO2021053445A1 (en) 2019-09-18 2020-09-01 Anvil retention and release features for powered circular surgical stapler

Publications (2)

Publication Number Publication Date
JP2022549162A JP2022549162A (ja) 2022-11-24
JP7571129B2 true JP7571129B2 (ja) 2024-10-22

Family

ID=72428309

Family Applications (1)

Application Number Title Priority Date Filing Date
JP2022517422A Active JP7571129B2 (ja) 2019-09-18 2020-09-01 動力付き円形外科用ステープラのためのアンビル保持及び解放機構

Country Status (6)

Country Link
US (1) US11185324B2 (ja)
EP (1) EP3795095B1 (ja)
JP (1) JP7571129B2 (ja)
CN (1) CN114585313B (ja)
BR (1) BR112022004940A2 (ja)
WO (1) WO2021053445A1 (ja)

Families Citing this family (8)

* Cited by examiner, † Cited by third party
Publication number Priority date Publication date Assignee Title
US11185331B2 (en) 2019-09-18 2021-11-30 Cilag Gmbh International Method for controlling end effector closure for powered surgical stapler
US11464516B2 (en) 2019-09-18 2022-10-11 Cilag Gmbh International Method for calibrating movements of actuated members of powered surgical stapler
US11123074B2 (en) 2019-09-18 2021-09-21 Cilag Gmbh International Method for controlling cutting member actuation for powered surgical stapler
US11490891B2 (en) 2020-07-10 2022-11-08 Cilag Gmbh International Load sensor for circular surgical stapler
US11737758B2 (en) 2020-07-10 2023-08-29 Cilag Gmbh International Compression and firing force sensor for circular surgical stapler
US11547412B2 (en) * 2020-07-22 2023-01-10 Covidien Lp Surgical instruments and methods of assembly
US12458357B2 (en) 2021-06-09 2025-11-04 Covidien Lp Retractable trocar for circular stapling instruments
US12419638B1 (en) 2024-06-25 2025-09-23 Cilag Gmbh International Adaptive knife-based closure methods for surgical stapler

Citations (3)

* Cited by examiner, † Cited by third party
Publication number Priority date Publication date Assignee Title
JP2015536224A (ja) 2012-12-04 2015-12-21 エシコン・エンド−サージェリィ・インコーポレイテッドEthicon Endo−Surgery,Inc. 拡大特徴を有する経口円形アンビル導入システム
JP2019000631A (ja) 2017-06-09 2019-01-10 コヴィディエン リミテッド パートナーシップ ハンドヘルド電気機械式外科システム
JP2019513045A (ja) 2016-04-01 2019-05-23 エシコン エルエルシーEthicon LLC 輪郭形成可能なシャフトを備える外科用ステープル留めシステム

Family Cites Families (25)

* Cited by examiner, † Cited by third party
Publication number Priority date Publication date Assignee Title
US5333773A (en) 1991-08-23 1994-08-02 Ethicon, Inc. Sealing means for endoscopic surgical anastomosis stapling instrument
US5350104A (en) 1991-08-23 1994-09-27 Ethicon, Inc. Sealing means for endoscopic surgical anastomosis stapling instrument
GR920100358A (el) 1991-08-23 1993-06-07 Ethicon Inc Οργανο συρραφής χειρουργικής αναστομώσεως.
EP1377222B1 (en) 2001-04-03 2011-10-19 Tyco Healthcare Group LP Surgical stapling device
US7918377B2 (en) * 2008-10-16 2011-04-05 Ethicon Endo-Surgery, Inc. Surgical stapling instrument with apparatus for providing anvil position feedback
US8567655B2 (en) 2011-05-19 2013-10-29 Ethicon Endo-Surgery, Inc. Circular stapler with automatic locking mechanism
US9186148B2 (en) * 2012-01-05 2015-11-17 Ethicon Endo-Surgery, Inc. Tissue stapler anvil feature to prevent premature jaw opening
US9445816B2 (en) 2012-12-17 2016-09-20 Ethicon Endo-Surgery, Llc Circular stapler with selectable motorized and manual control
US9463022B2 (en) 2012-12-17 2016-10-11 Ethicon Endo-Surgery, Llc Motor driven rotary input circular stapler with lockable flexible shaft
US9597081B2 (en) 2012-12-17 2017-03-21 Ethicon Endo-Surgery, Llc Motor driven rotary input circular stapler with modular end effector
US9867612B2 (en) * 2013-04-16 2018-01-16 Ethicon Llc Powered surgical stapler
US10709452B2 (en) 2013-09-23 2020-07-14 Ethicon Llc Methods and systems for performing circular stapling
US10478189B2 (en) 2015-06-26 2019-11-19 Ethicon Llc Method of applying an annular array of staples to tissue
US9936949B2 (en) 2013-09-23 2018-04-10 Ethicon Llc Surgical stapling instrument with drive assembly having toggle features
US9713469B2 (en) 2013-09-23 2017-07-25 Ethicon Llc Surgical stapler with rotary cam drive
US9907552B2 (en) 2013-09-23 2018-03-06 Ethicon Llc Control features for motorized surgical stapling instrument
US20150083772A1 (en) 2013-09-23 2015-03-26 Ethicon Endo-Surgery, Inc. Surgical stapler with rotary cam drive and return
US10188386B2 (en) * 2015-06-26 2019-01-29 Ethicon Llc Surgical stapler with anvil state indicator
US10905415B2 (en) * 2015-06-26 2021-02-02 Ethicon Llc Surgical stapler with electromechanical lockout
US10307157B2 (en) 2015-06-26 2019-06-04 Ethicon Llc Surgical stapler with anvil seating detection
US10542992B2 (en) 2015-10-19 2020-01-28 Covidien Lp Loading unit with stretchable bushing
US10045780B2 (en) 2015-12-31 2018-08-14 Ethicon Llc Method of applying staples in lower anterior bowel resection
US10856867B2 (en) * 2016-04-01 2020-12-08 Ethicon Llc Surgical stapling system comprising a tissue compression lockout
US10828029B2 (en) 2017-06-27 2020-11-10 Ethicon Llc Surgical stapler with independently actuated drivers to provide varying staple heights
US20190200997A1 (en) * 2017-12-28 2019-07-04 Ethicon Llc Stapling device with both compulsory and discretionary lockouts based on sensed parameters

Patent Citations (3)

* Cited by examiner, † Cited by third party
Publication number Priority date Publication date Assignee Title
JP2015536224A (ja) 2012-12-04 2015-12-21 エシコン・エンド−サージェリィ・インコーポレイテッドEthicon Endo−Surgery,Inc. 拡大特徴を有する経口円形アンビル導入システム
JP2019513045A (ja) 2016-04-01 2019-05-23 エシコン エルエルシーEthicon LLC 輪郭形成可能なシャフトを備える外科用ステープル留めシステム
JP2019000631A (ja) 2017-06-09 2019-01-10 コヴィディエン リミテッド パートナーシップ ハンドヘルド電気機械式外科システム

Also Published As

Publication number Publication date
US11185324B2 (en) 2021-11-30
EP3795095C0 (en) 2023-09-06
BR112022004940A2 (pt) 2022-06-14
JP2022549162A (ja) 2022-11-24
CN114585313A (zh) 2022-06-03
US20210077093A1 (en) 2021-03-18
EP3795095B1 (en) 2023-09-06
CN114585313B (zh) 2026-01-27
WO2021053445A1 (en) 2021-03-25
EP3795095A1 (en) 2021-03-24

Similar Documents

Publication Publication Date Title
JP7566892B2 (ja) 動力付き外科用ステープラの作動部材の動作を較正するための方法
US11801055B2 (en) Method for controlling end effector closure for powered surgical stapler
JP7743679B2 (ja) 動力付き外科用ステープラの切断部材の作動を制御するための方法
JP7571129B2 (ja) 動力付き円形外科用ステープラのためのアンビル保持及び解放機構
US12102325B2 (en) Methods and systems for performing surgical stapling
US20220249088A1 (en) Surgical stapler with anvil seating detection
EP3395266B1 (en) Hysteresis removal feature in surgical stapling instrument
WO2014133774A2 (en) Jaw closure feature for end effector of surgical instrument
US11490891B2 (en) Load sensor for circular surgical stapler
WO2017053354A2 (en) Apparatus and method for radially bunching a bodily lumen
JP7313844B2 (ja) 反転可能な極性を有する外科用ステープラ

Legal Events

Date Code Title Description
A621 Written request for application examination

Free format text: JAPANESE INTERMEDIATE CODE: A621

Effective date: 20230802

A977 Report on retrieval

Free format text: JAPANESE INTERMEDIATE CODE: A971007

Effective date: 20240315

A131 Notification of reasons for refusal

Free format text: JAPANESE INTERMEDIATE CODE: A131

Effective date: 20240319

A521 Request for written amendment filed

Free format text: JAPANESE INTERMEDIATE CODE: A523

Effective date: 20240610

TRDD Decision of grant or rejection written
A01 Written decision to grant a patent or to grant a registration (utility model)

Free format text: JAPANESE INTERMEDIATE CODE: A01

Effective date: 20240910

A61 First payment of annual fees (during grant procedure)

Free format text: JAPANESE INTERMEDIATE CODE: A61

Effective date: 20241009

R150 Certificate of patent or registration of utility model

Ref document number: 7571129

Country of ref document: JP

Free format text: JAPANESE INTERMEDIATE CODE: R150