JP7555729B2 - カテーテル及び組織の視認性を改善するための表示マーカーの外観制御 - Google Patents

カテーテル及び組織の視認性を改善するための表示マーカーの外観制御 Download PDF

Info

Publication number
JP7555729B2
JP7555729B2 JP2020085739A JP2020085739A JP7555729B2 JP 7555729 B2 JP7555729 B2 JP 7555729B2 JP 2020085739 A JP2020085739 A JP 2020085739A JP 2020085739 A JP2020085739 A JP 2020085739A JP 7555729 B2 JP7555729 B2 JP 7555729B2
Authority
JP
Japan
Prior art keywords
visual marker
distal end
processor
map
visual
Prior art date
Legal status (The legal status is an assumption and is not a legal conclusion. Google has not performed a legal analysis and makes no representation as to the accuracy of the status listed.)
Active
Application number
JP2020085739A
Other languages
English (en)
Other versions
JP2020189089A (ja
Inventor
アミラム・シャイナー
アサフ・コーエン
イド・イラン
ノーム・セケル・ガフニ
Current Assignee (The listed assignees may be inaccurate. Google has not performed a legal analysis and makes no representation or warranty as to the accuracy of the list.)
Biosense Webster Israel Ltd
Original Assignee
Biosense Webster Israel Ltd
Priority date (The priority date is an assumption and is not a legal conclusion. Google has not performed a legal analysis and makes no representation as to the accuracy of the date listed.)
Filing date
Publication date
Application filed by Biosense Webster Israel Ltd filed Critical Biosense Webster Israel Ltd
Publication of JP2020189089A publication Critical patent/JP2020189089A/ja
Application granted granted Critical
Publication of JP7555729B2 publication Critical patent/JP7555729B2/ja
Active legal-status Critical Current
Anticipated expiration legal-status Critical

Links

Images

Classifications

    • AHUMAN NECESSITIES
    • A61MEDICAL OR VETERINARY SCIENCE; HYGIENE
    • A61BDIAGNOSIS; SURGERY; IDENTIFICATION
    • A61B34/00Computer-aided surgery; Manipulators or robots specially adapted for use in surgery
    • A61B34/20Surgical navigation systems; Devices for tracking or guiding surgical instruments, e.g. for frameless stereotaxis
    • AHUMAN NECESSITIES
    • A61MEDICAL OR VETERINARY SCIENCE; HYGIENE
    • A61BDIAGNOSIS; SURGERY; IDENTIFICATION
    • A61B18/00Surgical instruments, devices or methods for transferring non-mechanical forms of energy to or from the body
    • A61B18/04Surgical instruments, devices or methods for transferring non-mechanical forms of energy to or from the body by heating
    • A61B18/12Surgical instruments, devices or methods for transferring non-mechanical forms of energy to or from the body by heating by passing a current through the tissue to be heated, e.g. high-frequency current
    • AHUMAN NECESSITIES
    • A61MEDICAL OR VETERINARY SCIENCE; HYGIENE
    • A61BDIAGNOSIS; SURGERY; IDENTIFICATION
    • A61B34/00Computer-aided surgery; Manipulators or robots specially adapted for use in surgery
    • A61B34/10Computer-aided planning, simulation or modelling of surgical operations
    • AHUMAN NECESSITIES
    • A61MEDICAL OR VETERINARY SCIENCE; HYGIENE
    • A61BDIAGNOSIS; SURGERY; IDENTIFICATION
    • A61B34/00Computer-aided surgery; Manipulators or robots specially adapted for use in surgery
    • A61B34/25User interfaces for surgical systems
    • AHUMAN NECESSITIES
    • A61MEDICAL OR VETERINARY SCIENCE; HYGIENE
    • A61BDIAGNOSIS; SURGERY; IDENTIFICATION
    • A61B5/00Measuring for diagnostic purposes; Identification of persons
    • A61B5/02Detecting, measuring or recording for evaluating the cardiovascular system, e.g. pulse, heart rate, blood pressure or blood flow
    • A61B5/024Measuring pulse rate or heart rate
    • A61B5/0245Measuring pulse rate or heart rate by using sensing means generating electric signals, i.e. ECG signals
    • AHUMAN NECESSITIES
    • A61MEDICAL OR VETERINARY SCIENCE; HYGIENE
    • A61BDIAGNOSIS; SURGERY; IDENTIFICATION
    • A61B5/00Measuring for diagnostic purposes; Identification of persons
    • A61B5/06Devices, other than using radiation, for detecting or locating foreign bodies ; Determining position of diagnostic devices within or on the body of the patient
    • A61B5/061Determining position of a probe within the body employing means separate from the probe, e.g. sensing internal probe position employing impedance electrodes on the surface of the body
    • A61B5/062Determining position of a probe within the body employing means separate from the probe, e.g. sensing internal probe position employing impedance electrodes on the surface of the body using magnetic field
    • AHUMAN NECESSITIES
    • A61MEDICAL OR VETERINARY SCIENCE; HYGIENE
    • A61BDIAGNOSIS; SURGERY; IDENTIFICATION
    • A61B5/00Measuring for diagnostic purposes; Identification of persons
    • A61B5/06Devices, other than using radiation, for detecting or locating foreign bodies ; Determining position of diagnostic devices within or on the body of the patient
    • A61B5/065Determining position of the probe employing exclusively positioning means located on or in the probe, e.g. using position sensors arranged on the probe
    • A61B5/066Superposing sensor position on an image of the patient, e.g. obtained by ultrasound or x-ray imaging
    • AHUMAN NECESSITIES
    • A61MEDICAL OR VETERINARY SCIENCE; HYGIENE
    • A61BDIAGNOSIS; SURGERY; IDENTIFICATION
    • A61B5/00Measuring for diagnostic purposes; Identification of persons
    • A61B5/68Arrangements of detecting, measuring or recording means, e.g. sensors, in relation to patient
    • A61B5/6846Arrangements of detecting, measuring or recording means, e.g. sensors, in relation to patient specially adapted to be brought in contact with an internal body part, i.e. invasive
    • A61B5/6847Arrangements of detecting, measuring or recording means, e.g. sensors, in relation to patient specially adapted to be brought in contact with an internal body part, i.e. invasive mounted on an invasive device
    • A61B5/6852Catheters
    • AHUMAN NECESSITIES
    • A61MEDICAL OR VETERINARY SCIENCE; HYGIENE
    • A61BDIAGNOSIS; SURGERY; IDENTIFICATION
    • A61B5/00Measuring for diagnostic purposes; Identification of persons
    • A61B5/74Details of notification to user or communication with user or patient; User input means
    • A61B5/742Details of notification to user or communication with user or patient; User input means using visual displays
    • A61B5/743Displaying an image simultaneously with additional graphical information, e.g. symbols, charts, function plots
    • AHUMAN NECESSITIES
    • A61MEDICAL OR VETERINARY SCIENCE; HYGIENE
    • A61MDEVICES FOR INTRODUCING MEDIA INTO, OR ONTO, THE BODY; DEVICES FOR TRANSDUCING BODY MEDIA OR FOR TAKING MEDIA FROM THE BODY; DEVICES FOR PRODUCING OR ENDING SLEEP OR STUPOR
    • A61M25/00Catheters; Hollow probes
    • A61M25/01Introducing, guiding, advancing, emplacing or holding catheters
    • A61M25/0105Steering means as part of the catheter or advancing means; Markers for positioning
    • A61M25/0108Steering means as part of the catheter or advancing means; Markers for positioning using radio-opaque or ultrasound markers
    • GPHYSICS
    • G06COMPUTING OR CALCULATING; COUNTING
    • G06TIMAGE DATA PROCESSING OR GENERATION, IN GENERAL
    • G06T11/002D [Two Dimensional] image generation
    • G06T11/60Editing figures and text; Combining figures or text
    • GPHYSICS
    • G16INFORMATION AND COMMUNICATION TECHNOLOGY [ICT] SPECIALLY ADAPTED FOR SPECIFIC APPLICATION FIELDS
    • G16HHEALTHCARE INFORMATICS, i.e. INFORMATION AND COMMUNICATION TECHNOLOGY [ICT] SPECIALLY ADAPTED FOR THE HANDLING OR PROCESSING OF MEDICAL OR HEALTHCARE DATA
    • G16H20/00ICT specially adapted for therapies or health-improving plans, e.g. for handling prescriptions, for steering therapy or for monitoring patient compliance
    • G16H20/40ICT specially adapted for therapies or health-improving plans, e.g. for handling prescriptions, for steering therapy or for monitoring patient compliance relating to mechanical, radiation or invasive therapies, e.g. surgery, laser therapy, dialysis or acupuncture
    • GPHYSICS
    • G16INFORMATION AND COMMUNICATION TECHNOLOGY [ICT] SPECIALLY ADAPTED FOR SPECIFIC APPLICATION FIELDS
    • G16HHEALTHCARE INFORMATICS, i.e. INFORMATION AND COMMUNICATION TECHNOLOGY [ICT] SPECIALLY ADAPTED FOR THE HANDLING OR PROCESSING OF MEDICAL OR HEALTHCARE DATA
    • G16H40/00ICT specially adapted for the management or administration of healthcare resources or facilities; ICT specially adapted for the management or operation of medical equipment or devices
    • G16H40/60ICT specially adapted for the management or administration of healthcare resources or facilities; ICT specially adapted for the management or operation of medical equipment or devices for the operation of medical equipment or devices
    • G16H40/63ICT specially adapted for the management or administration of healthcare resources or facilities; ICT specially adapted for the management or operation of medical equipment or devices for the operation of medical equipment or devices for local operation
    • GPHYSICS
    • G16INFORMATION AND COMMUNICATION TECHNOLOGY [ICT] SPECIALLY ADAPTED FOR SPECIFIC APPLICATION FIELDS
    • G16HHEALTHCARE INFORMATICS, i.e. INFORMATION AND COMMUNICATION TECHNOLOGY [ICT] SPECIALLY ADAPTED FOR THE HANDLING OR PROCESSING OF MEDICAL OR HEALTHCARE DATA
    • G16H50/00ICT specially adapted for medical diagnosis, medical simulation or medical data mining; ICT specially adapted for detecting, monitoring or modelling epidemics or pandemics
    • G16H50/50ICT specially adapted for medical diagnosis, medical simulation or medical data mining; ICT specially adapted for detecting, monitoring or modelling epidemics or pandemics for simulation or modelling of medical disorders
    • AHUMAN NECESSITIES
    • A61MEDICAL OR VETERINARY SCIENCE; HYGIENE
    • A61BDIAGNOSIS; SURGERY; IDENTIFICATION
    • A61B18/00Surgical instruments, devices or methods for transferring non-mechanical forms of energy to or from the body
    • A61B18/04Surgical instruments, devices or methods for transferring non-mechanical forms of energy to or from the body by heating
    • A61B18/12Surgical instruments, devices or methods for transferring non-mechanical forms of energy to or from the body by heating by passing a current through the tissue to be heated, e.g. high-frequency current
    • A61B18/14Probes or electrodes therefor
    • A61B18/1492Probes or electrodes therefor having a flexible, catheter-like structure, e.g. for heart ablation
    • AHUMAN NECESSITIES
    • A61MEDICAL OR VETERINARY SCIENCE; HYGIENE
    • A61BDIAGNOSIS; SURGERY; IDENTIFICATION
    • A61B17/00Surgical instruments, devices or methods
    • A61B17/00234Surgical instruments, devices or methods for minimally invasive surgery
    • A61B2017/00238Type of minimally invasive operation
    • A61B2017/00243Type of minimally invasive operation cardiac
    • AHUMAN NECESSITIES
    • A61MEDICAL OR VETERINARY SCIENCE; HYGIENE
    • A61BDIAGNOSIS; SURGERY; IDENTIFICATION
    • A61B18/00Surgical instruments, devices or methods for transferring non-mechanical forms of energy to or from the body
    • A61B2018/00315Surgical instruments, devices or methods for transferring non-mechanical forms of energy to or from the body for treatment of particular body parts
    • A61B2018/00345Vascular system
    • A61B2018/00351Heart
    • AHUMAN NECESSITIES
    • A61MEDICAL OR VETERINARY SCIENCE; HYGIENE
    • A61BDIAGNOSIS; SURGERY; IDENTIFICATION
    • A61B18/00Surgical instruments, devices or methods for transferring non-mechanical forms of energy to or from the body
    • A61B2018/00571Surgical instruments, devices or methods for transferring non-mechanical forms of energy to or from the body for achieving a particular surgical effect
    • A61B2018/00577Ablation
    • AHUMAN NECESSITIES
    • A61MEDICAL OR VETERINARY SCIENCE; HYGIENE
    • A61BDIAGNOSIS; SURGERY; IDENTIFICATION
    • A61B34/00Computer-aided surgery; Manipulators or robots specially adapted for use in surgery
    • A61B34/10Computer-aided planning, simulation or modelling of surgical operations
    • A61B2034/101Computer-aided simulation of surgical operations
    • A61B2034/102Modelling of surgical devices, implants or prosthesis
    • AHUMAN NECESSITIES
    • A61MEDICAL OR VETERINARY SCIENCE; HYGIENE
    • A61BDIAGNOSIS; SURGERY; IDENTIFICATION
    • A61B34/00Computer-aided surgery; Manipulators or robots specially adapted for use in surgery
    • A61B34/20Surgical navigation systems; Devices for tracking or guiding surgical instruments, e.g. for frameless stereotaxis
    • A61B2034/2046Tracking techniques
    • A61B2034/2051Electromagnetic tracking systems
    • AHUMAN NECESSITIES
    • A61MEDICAL OR VETERINARY SCIENCE; HYGIENE
    • A61BDIAGNOSIS; SURGERY; IDENTIFICATION
    • A61B2505/00Evaluating, monitoring or diagnosing in the context of a particular type of medical care
    • A61B2505/05Surgical care
    • AHUMAN NECESSITIES
    • A61MEDICAL OR VETERINARY SCIENCE; HYGIENE
    • A61MDEVICES FOR INTRODUCING MEDIA INTO, OR ONTO, THE BODY; DEVICES FOR TRANSDUCING BODY MEDIA OR FOR TAKING MEDIA FROM THE BODY; DEVICES FOR PRODUCING OR ENDING SLEEP OR STUPOR
    • A61M25/00Catheters; Hollow probes
    • A61M25/01Introducing, guiding, advancing, emplacing or holding catheters
    • A61M25/0105Steering means as part of the catheter or advancing means; Markers for positioning
    • A61M2025/0166Sensors, electrodes or the like for guiding the catheter to a target zone, e.g. image guided or magnetically guided
    • GPHYSICS
    • G06COMPUTING OR CALCULATING; COUNTING
    • G06TIMAGE DATA PROCESSING OR GENERATION, IN GENERAL
    • G06T2210/00Indexing scheme for image generation or computer graphics
    • G06T2210/41Medical

Landscapes

  • Health & Medical Sciences (AREA)
  • Engineering & Computer Science (AREA)
  • Life Sciences & Earth Sciences (AREA)
  • Biomedical Technology (AREA)
  • Public Health (AREA)
  • Surgery (AREA)
  • General Health & Medical Sciences (AREA)
  • Medical Informatics (AREA)
  • Veterinary Medicine (AREA)
  • Animal Behavior & Ethology (AREA)
  • Heart & Thoracic Surgery (AREA)
  • Molecular Biology (AREA)
  • Physics & Mathematics (AREA)
  • Biophysics (AREA)
  • Nuclear Medicine, Radiotherapy & Molecular Imaging (AREA)
  • Pathology (AREA)
  • Human Computer Interaction (AREA)
  • Cardiology (AREA)
  • Epidemiology (AREA)
  • Robotics (AREA)
  • Primary Health Care (AREA)
  • Radiology & Medical Imaging (AREA)
  • Business, Economics & Management (AREA)
  • General Business, Economics & Management (AREA)
  • Anesthesiology (AREA)
  • Physiology (AREA)
  • Signal Processing (AREA)
  • Pulmonology (AREA)
  • Theoretical Computer Science (AREA)
  • Hematology (AREA)
  • General Physics & Mathematics (AREA)
  • Otolaryngology (AREA)
  • Plasma & Fusion (AREA)
  • Urology & Nephrology (AREA)
  • Data Mining & Analysis (AREA)
  • Databases & Information Systems (AREA)
  • Gynecology & Obstetrics (AREA)
  • Surgical Instruments (AREA)
  • Measurement And Recording Of Electrical Phenomena And Electrical Characteristics Of The Living Body (AREA)
  • Endoscopes (AREA)

Description

本発明は、概して、医療デバイスに関し、具体的には、医療処置中の医療デバイス及び組織の視認性を増加させるための方法及びシステムに関する。
心臓アブレーションなどの様々な医療システムは、処置に関連する医療パラメータを示す視覚マーカーを医師に表示する。
例えば、米国特許出願公開第2016/0128770号は、損傷形成を表現する情報を表すための方法及びシステムを記載する。このシステムは、電子制御ユニット(electronic control unit、ECU)を含む。ECUは、アブレーション記述パラメータ及び/又は位置信号メトリックの値を取得するように構成され、この値は、組織内の位置に対応する。ECUは、値を評価し、値に対応するパラメータ/メトリックに関連付けられた可視化スキームの視覚的指標をその値に割り当て、取得された値を示すマーカーで、視覚的指標を含むマーカーを生成するように更に構成されている。
米国特許出願公開第2018/0064504号は、物体にエネルギーを印加する品質を可視化するための可視化装置を記載する。物体上の場所においてエネルギーを印加する品質は、a)提供された物体の画像、及びb)印加されたエネルギーが物体を修正した深さを示す深さ値である提供された品質値に基づいて、視覚化され、物体上の場所における物体にエネルギーを印加する品質を表現する。
米国特許出願公開第2018/0020395号は、血管内可視化によって生体内で捕捉された画像及び治療カテーテルに関する視覚的検出及び/又は感知様式を強化又は促進するための様々な方法及び処理アルゴリズムを利用する、画像処理システムを記載する。
本明細書に記載される本発明の一実施形態は、患者の器官内の少なくとも1つのカテーテルの可視化を改善するための方法を提供し、本方法は、器官のマップ、及びマップ上に重ね合わされた少なくとも1つの第1の視覚マーカーを表示することを含む。カテーテルの遠位端の、マップ内に収まっている位置が、受信される。マップ上に表示されるのは、(i)受信された位置に従うカテーテルの遠位端、及び(ii)第1の視覚マーカーの代わりに、第1の視覚マーカーと比べて、マップ及び遠位端のうちの少なくとも1つの視認性を増加させる、少なくとも1つの第2の視覚マーカーである。
いくつかの実施形態では、第1の視覚マーカーの代わりに、第2の視覚マーカーを表示することは、遠位端の位置が、第1の視覚マーカーの既定の近傍内にあることを識別することに応答して実行される。他の実施形態では、本方法は、遠位端の位置がもはや既定の近傍内にないことを識別すると、第2の視覚マーカーの代わりに第1の視覚マーカーを再表示することを含む。更に他の実施形態では、第1の視覚マーカーの代わりに第2の視覚マーカーを表示することは、第1の視覚マーカーの少なくとも1つの属性を修正して、第2の視覚マーカーを生成することを含む。
一実施形態では、属性は、寸法、形状、不透明度、及び色からなるリストから選択される。別の実施形態では、器官は、心臓を含み、第1及び第2の視覚マーカーは、心臓の組織に適用される高周波(radiofrequency、RF)アブレーションの1つ又は2つ以上のパラメータを示す。
本発明の一実施形態によれば、患者の器官内の少なくとも1つのカテーテルの可視化を改善するためのシステムが付加的に提供され、本システムは、出力デバイス及びプロセッサを含む。プロセッサは、(a)出力デバイス上に、器官のマップと、マップ上に重ね合わされた少なくとも1つの第1の視覚マーカーと、を表示するように、(b)カテーテルの遠位端の、マップ内に収まる位置を受信するように、(c)(i)受信された位置に従うカテーテルの遠位端、及び(ii)第1の視覚マーカーの代わりに、第1の視覚マーカーと比べて、マップ及び遠位端のうちの少なくとも1つの視認性を増加させる、少なくとも1つの第2の視覚マーカーをマップ上に表示するように構成される。
本発明は、以下の「発明を実施するための形態」を図面と併せて考慮することで、より完全に理解されよう。
本発明の実施形態による、カテーテルベースの磁気位置追跡及びアブレーションシステムの概略的な描画説明図である。 本発明の実施形態による、器官のマップ上に重ね合わされたカテーテル及び視覚マーカーの概略的な描画説明図である。 本発明の実施形態による、器官のマップ上に重ね合わされたカテーテル及び視覚マーカーの概略的な描画説明図である。 本発明の実施形態による、器官のマップ上に重ね合わされたカテーテル及び視覚マーカーの概略的な描画説明図である。 本発明の一実施形態による、視覚マーカーを有するマップ内の組織及びカテーテルの視認性を増加させるための方法を概略的に示す、フローチャートである。
概論
心臓アブレーションシステムなどのいくつかの医療システムは、処置ワークフローを支援するために、操作ディスプレイ上に補足情報を表示してもよい。
以下に記載される本発明の実施形態は、アブレーション処置などの侵襲性医療処置中に、医療用カテーテル及び組織の視認性を増加させるための方法及びシステムを提供する。いくつかの実施形態では、患者の心臓内にアブレーションカテーテルを表示するシステムは、アブレーションカテーテルに電気的に結合されたプロセッサと、出力デバイスと、を備える。いくつかの実施形態では、プロセッサは、心臓の少なくとも一部のマップと、マップ上に重ね合わされ、心臓組織に適用される温度、持続時間、及び/又は接触力などのアブレーションパラメータを可視化する1つ若しくは2つ以上の視覚マーカーとを、出力デバイス上に表示するように構成される。マーカーは、典型的には、不透明な物体として表示される。
場合によっては、不透明マーカーは、医療用カテーテル及び/又は組織のうちのいくつかの1つ若しくは2つ以上の区分を視覚的に遮る場合があり、これは処置を実行するために必須である。
いくつかの実施形態では、プロセッサは、心臓内のカテーテル遠位端の1つ又は2つ以上の位置を示す電気位置信号を受信するように構成され、位置のうちの少なくとも1つは、マップ境界内に収まる。いくつかの実施形態では、プロセッサは、遠位端の現在位置が、不透明視覚マーカーのうちの少なくとも1つの既定の近傍内にあることを識別するように構成され、これは、不透明視覚マーカーが、遠位端の少なくとも1つの区分の視認性を遮る場合があることを意味する。かかる実施形態では、プロセッサは、例えば、不透明視覚マーカーの代わりに半透明(すなわちセミ透明の)視覚マーカーを表示することによって、その不透明視覚マーカーの視覚的外観を修正するように構成される。不透明視覚マーカーを半透明視覚マーカーと置き換えることにより、アブレーションシステムのユーザは、マーカーを通して以前に遮られた区分を見ることができ、アブレーション処置を首尾よく実行することができる。
いくつかの実用的な場合では、視覚マーカーの表示は、アブレーション処置のワークフローにとって重要であり得る。例えば、不透明な視覚マーカーを表示することは、アブレーション処置を正確に実行するために必須の情報をユーザに提供することができる。いくつかの実施形態では、ユーザが上記の視覚マーカーから離して遠位端を移動させた後、プロセッサは、半透明視覚マーカーに修正された1つ又は2つ以上の不透明視覚マーカーを再表示するように構成される。
開示された技術は、処置支援の明確な視覚情報を医師に提供することと、アブレーション処置において使用される組織及びカテーテルの視認性を改善することによって、患者の安全性及びアブレーション処置の品質を改善する。更に、開示された技術は、患者の器官上で実行された任意の種類の医療処置中に、任意の解剖学的マップ上に表示される任意の種類のタグ付け又は他の視覚マーカーに適用されてもよい。
システムの説明
図1は、本発明の一実施形態による、カテーテルベースの磁気位置追跡及びアブレーションシステム20の概略的な描画説明図である。システム20は、シャフト遠位端22を有するカテーテル21を備え、カテーテル21は、医師30によって、脈管系を介して患者28の器官、本実施例では心臓26、にナビゲートされる。いくつかの実施形態では、医師30は、カテーテル21の近位端に位置する遠隔操縦器32を使用して、遠位端22を操作しながら、シース23からシャフト遠位端22を挿入する。
ここで挿入図25を参照する。いくつかの実施形態では、システム20は、磁気センサ51(本明細書では磁気位置追跡センサ又は簡略化のためセンサ51とも呼ばれる)と、アブレーションカテーテル50とを備え、センサ51及びアブレーションカテーテル50は遠位端22に連結されている。
上記の実施形態では、カテーテル21は、例えば、心臓26の電気生理学的(electrophysiological、EP)マッピング及び心臓26の選択された組織をアブレーションするためなどの様々な処置に使用され得る。
いくつかの実施形態では、カテーテル21の近位端は、電気リード線及び/又はトレースを介して制御コンソール24に電気的に接続される。一実施形態では、コンソール24は、プロセッサ39及びインターフェース回路38を備え、インターフェース回路38は、プロセッサ39とシステム20の様々な構成要素並びにアセンブリとの間で信号を交換するように構成される。
いくつかの実施形態では、インターフェース回路38は、カテーテル21、及びシステム20の他のセンサから電気信号を受信するように構成されている。回路38は、心臓26の組織をアブレーションしたり、システム20の他の構成要素及びアセンブリを制御したりするために、カテーテル21を介して電力を印加するなど、電気信号を、プロセッサ38からシステム20の様々な構成要素及びアセンブリに送信するように更に構成される。
いくつかの実施形態では、システム20は、交番磁界を生成するように構成されている複数の(例えば、3つの)磁場発生器36を備える。磁場発生器36は、例えば、患者台29の下など、患者28の外部の既知の位置に配置される。
いくつかの実施形態では、コンソール24は、本実施例では、ディスプレイ27において、磁場発生器36及び出力デバイスを駆動するように構成される、駆動回路34を更に備える。
医療処置中、医師30は、心臓26内のカテーテル21の遠位端22をナビゲートする。いくつかの実施形態では、磁気センサ51は、磁場発生器36から放たれた磁場に応答して、心臓26内の遠位端22の現在位置を示す、差動信号又は位置信号として本明細書で称される、差動電気信号を生成するように構成される。
いくつかの実施形態では、プロセッサ39は、センサ51から受信した差動信号に基づいて、例えば、ディスプレイ27上に、システム20の座標系内の遠位端22の現在位置を表示するように構成される。
この位置検出方法は、例えば、Biosense Webster Inc.(Irvine,Calif.)が製造するCARTO(商標)システムにおいて実現されており、米国特許第5,391,199号、同第6,690,963号、同第6,484,118号、同第6,239,724号、同第6,618,612号及び同第6,332,089号、国際公開第96/05768号、並びに米国特許出願公開第2002/0065455(A1)号、同第2003/0120150(A1)号及び同第2004/0068178(A1)号に詳細に記載されており、それらの開示は全てが参照により本明細書に援用される。
プロセッサ39は通常、本明細書に記載される機能を実行するようにソフトウェアでプログラムされた汎用プロセッサを含む。ソフトウェアは、例えば、ネットワーク上で、コンピュータに電子形態でダウンロードすることができるか、又は代替として、又は更には、磁気メモリ、光学メモリ若しくは電子メモリなどの、非一時的実体的媒体上で提供及び/若しくは記憶されてもよい。
心臓マップ上に重ね合わされた視覚マーカーを表示する
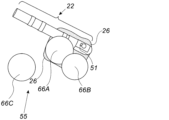
図2Aは、本発明の実施形態による、心臓26の解剖学マップ55の概略的な描画説明図である。いくつかの実施形態では、プロセッサ39は、本明細書では簡潔さのためにマップ55とも称される、解剖学マップ55上に重ね合わされた、視覚マーカー66A、66B、及び66Cなどの1つ又は2つ以上の視覚マーカーを表示するように構成される。本発明及び「特許請求の範囲」の文脈において、「視覚マーカー」という用語は、以下に詳細に記載されるように、心臓26の組織内の遠位端22をナビゲート及び位置決めすることにおいて、医師30を支援し得る補足情報を医師30に提供するように、例えば、ディスプレイ27上のプロセッサ39によって表示される任意の種類のタグを指す。
いくつかの実施形態では、視覚マーカー66A、66B、及び66Cの寸法及び形状は、心臓26の組織をアブレーションすることによって形成された損傷のそれぞれの寸法及び形状を示し得る。かかる実施形態では、色、形状、及び寸法などの視覚マーカー66A、66B、及び66Cの属性は、限定されるものではないが、アブレーションエネルギー、持続時間、接触力、及び温度などの、心臓26の組織に適用されるアブレーションパラメータによって判定されてもよい。
いくつかの実施形態では、プロセッサ39は、マップ55内にカテーテル21の遠位端22を表示するように構成される。図2Aの実施例では、視覚マーカー66A、66B、及び66Cは、不透明であり、円形形状を有する。したがって、視覚マーカー66A及び66Bは、遠位端22及び心臓26の少なくとも区分視認性を遮ることができるが、視覚マーカー66Cは、関心の組織及び/又は遠位端22から十分に遠く離れており、したがって不明瞭にならない。電気生理学的(EP)マッピング及び/又は組織アブレーション処置を行うために、医師30が、遠位端22及び心臓26のアブレーションされた組織の両方の高い視認性を有することが重要であることに留意されたい。
アブレーション処置中のカテーテル遠位端及び心臓組織の視認性を増加させる
図2Bは、本発明の実施形態による、心臓26の解剖学マップ55の概略的な描画説明図である。いくつかの実施形態では、カテーテル21を患者28の身体に挿入した後、プロセッサ39は、例えば、心臓26内の遠位端22の現在位置を示す位置信号を受信するように構成される。プロセッサ39は、上記の図1に記載されるように、磁気位置追跡システムの位置センサ51から、又は任意の他の好適なソースから位置信号を受信してもよい。
いくつかの実施形態では、プロセッサ39は、遠位端22の位置とマップ55上に表示された視覚マーカーの各々との間の距離を推定するように構成される。距離は、遠位端22の最も近い縁部とそれぞれの視覚マーカーとの間の最小距離、又は任意の他の好適な計算距離であってもよい。図2Bの例では、プロセッサ39は、遠位端22と視覚マーカー77Aとの間の最小距離である、距離80Aを推定するように構成されている。同様に、プロセッサ39は、遠位端22と視覚マーカー77Bとの間の距離80B、及び遠位端22と視覚マーカー66Cとの間の距離80Cを推定するように構成される。
いくつかの実施形態では、プロセッサ39は、視覚マーカーと遠位端22との間の許容された近接性を示す、閾値距離を保持する。遠位端22の現在位置が視覚マーカーの既定の近傍内にあることを識別することに応答して、プロセッサ39は、遠位端22の視認性を増加させるように、視覚マーカーの少なくとも1つの属性を修正するように構成される。属性は、寸法、形状、不透明度、色、位置、又は任意の他の好適な属性を含んでもよい。
例えば、以下の図2Cに図示される寸法の修正は、例えば、心臓26の表面上、及び/又は心臓26の組織の深さにおいて横方向であってもよい。形状は、円形から楕円形、又は任意の他の好適な形状に修正されてもよい。位置の変化は、心臓26の特定の組織(例えば、肺静脈の小孔)又は遠位端22の特定の要素(例えば、アブレーション電極)を可視化するように、1つ又は2つ以上の視覚マーカーにおいて使用されてもよい。不透明度における変化は、以下の実施例で詳細に説明され、図2Bに示される。
例えば、距離80A及び80Bは、プロセッサ39に記憶された前述の閾値距離を下回る。いくつかの実施形態では、プロセッサ39は、不透明視覚マーカー66A及び66Bの代わりに半透明視覚マーカー77A及び77Bを表示し、それによって遠位端22及び心臓の組織26の視認性を改善するように構成される。一実施形態では、視覚マーカー66A及び77Aは、実質的に同様の位置、サイズ、及び形状を有するが、異なるレベルの透明性を有し、これにより、視覚マーカー77Aの近傍内にある、遠位端22及び心臓26の組織の視認性の改善を可能にする。
距離80Cは、閾値距離よりも大きく、換言すれば、遠位端22は、視覚マーカー66Cの既定の近傍内にないことに留意されたい。この実施形態では、プロセッサ39は、マップ55内に不透明視覚マーカー66Cを表示し続けるように構成される。
更に、アブレーション処置中に、医師30は、遠位端22を視覚マーカー77A及び77Bから離れるように移動させることができる。いくつかの実施形態では、遠位端22の現在位置が、もはや視覚マーカー77A及び77Bの既定の近傍内に存在しないと識別すると、プロセッサ39は、半透明視覚マーカー77A及び77Bの代わりに不透明視覚マーカー66A及び66Bのうちの少なくとも1つを再表示するように構成される。
図2Cは、本発明の代替的な実施形態による、心臓26の解剖学マップ55の概略的な描画説明図である。いくつかの実施形態では、上記の図1に示されるように、遠位端22の視認性を遮る視覚マーカー66A及び66Bを表示する代わりに、プロセッサ39は、同じそれぞれの位置に、視覚マーカー88A及び88Bを表示するように構成される。
上記の図2Aの視覚マーカー77A及び77Bについて説明されたように、図2Cの実施例では、視覚マーカー88A及び88Bは、1つ又は2つ以上の属性の修正を有する視覚マーカー66A及び66Bに基づいてもよい。
いくつかの実施形態では、視覚マーカー88Aは、視覚マーカー66Aと同様であるが、そこからより小さい直径の円形形状を有してもよい。視覚マーカーの直径を減少させることにより、遠位端22の縁部と視覚マーカー88Aとの間の最小距離90Aは、上記の図2Bに記載される既定の閾値よりも大きい。この構成では、遠位端22は、視覚マーカー88Aの既定の近傍内にはなく、視覚マーカー66Aと比べて、心臓26のマップ及び遠位端22のうちの少なくとも1つの視認性を増加させる。いくつかの実施形態では、プロセッサ39は、重心(center of gravity、COG)89Aと遠位端22の最も近い縁部との間の距離を推定し、推定された距離に基づいて、プロセッサ39に記憶された所定の閾値距離以上の距離90Aを有するように、視覚マーカー88Aの直径を調節するように構成される。
いくつかの実施形態では、プロセッサ39は、COG89B及び視覚マーカー88Bの直径を設定することによって、マップ55上に視覚マーカー88Bを表示するように構成され、そのため遠位端22と視覚マーカー88Bとの間の最小距離90Bは、プロセッサ39に記憶された既定の閾値距離よりも大きい。
上記の図2Bに記載されているように、視覚マーカー66Cは、遠位端22から十分に離れ、したがってプロセッサ39は、視覚マーカー66Cの代わりに別の視覚マーカーを表示しなくてもよい。
図2Cに示される例示的な構成では、視覚マーカー88A、88B、及び66Cは、視覚マーカー66A及び66Bと比べて、マップ55及び遠位端22のうちの少なくとも1つの視認性を増加させるために、丸い形状であるが、異なるそれぞれの直径を有する。他の実施形態では、プロセッサ39は、心臓26の組織内の表示された視覚マーカーの貫入深さを修正するように構成される。深さの変化は、医師30が、異なる視点から心臓26の組織を見るために、マップ55を回転させ得るとき、前述の視認性を改善し得る。かかる実施形態では、プロセッサ39は、視覚マーカーの対称的円形形状を設定するように構成されているか、又は選択された寸法で、心臓26の特定の組織又は遠位端22の特定の要素を視覚化するための楕円形状の視覚マーカーを形成してもよい。
他の実施形態では、プロセッサ39は、マップ55上に重ね合わされた全ての視覚マーカーに同様の直径を設定するように構成される。例えば、図2Cの構成では、プロセッサは、視覚マーカー88Aの直径を、視覚マーカー88B及び66Cにも設定してもよい。
付加的に又は代替的に、プロセッサ39は、マップ55内に表示された視覚マーカーのうちの1つ若しくは2つ以上の形状、及び/又は不透明度、並びに/若しくはCOGを修正するように構成される。更に、プロセッサ39は、マップ55から1つ又は2つ以上の視覚マーカーを一時的に除去するように構成される。視覚マーカーのうちの少なくともいくつかは、医療処置のワークフロー内で使用されるため、プロセッサ39は、医療処置のワークフローに必須である任意の視覚マーカーを除去又はシフトし得ないことに留意されたい。
付加的に又は代替的に、プロセッサ39は、マップ55を横切る遠位端22の移動方向を横切ることができる、視覚マーカーのCOGを一時的にシフトするように構成される。視覚マーカーが医療処置のワークフローに必須である場合、プロセッサ39は、マップ55からそれぞれの視覚マーカーをシフト又は一時的に除去しなくてもよいことに留意されたい。
他の実施形態では、図2A~図2Cに示される視覚マーカーは、上記のアブレーションパラメータ以外の任意のパラメータを示し得る。例えば、遠位端22上に取り付けられた電極によって、心臓26の組織内で感知された電位、又は心臓26に適用されるべきアブレーションパラメータ、若しくは任意の他の好適なパラメータに基づく、推定された損傷サイズである。かかる実施形態では、視覚マーカーの表示を修正することによって、プロセッサ39は、心臓26の密に予めアブレーションされた組織における、遠位端22のナビゲーション及び配置で医師30を支援してもよい。
他の実施形態では、プロセッサ39又はシステム20に接続された任意の他のプロセッサは、ディスプレイ27以外の任意の出力デバイス上に視覚マーカーを表示してもよい。例えば、医師30は、マップ55及び/又は心臓26の任意の好適な解剖学的画像上に重ね合わされた視覚マーカー及び/又は関連情報を表示するように構成された、拡張現実(augmented reality、AR)ゴーグルを使用してもよい。追加的に又は代替的に、視覚マーカーの表示は、任意の他の好適な技術を使用して実装されてもよい。
表示された視覚マーカーのこの特定の構成は、本発明の実施形態によって対処される特定の問題を示すため、及び遠位端22並びに心臓26の選択された組織の可視化を強化するこれらの実施形態の適用を実証するために、例として図2A~図2Cに示される。しかしながら、本発明の実施形態は、この特定の種類の例示的な構成に限定されるものではなく、本明細書に記載される原理は、他の種類のユーザインターフェース及び表示システムにも、同様に適用され得る。
電気生理学的処置中のカテーテル遠位端の可視化を改善するための方法
図3は、本発明の実施形態による、電気生理学的処置中の、心臓26及びカテーテル21の遠位端55の視認性を増加させるための方法を模式的に示すフローチャートである。
本方法は、プロセッサ39が、ディスプレイ27などの出力デバイス上に、心臓26のマップ55、又は患者28の任意の他の器官を表示する、第1の表示工程100で開始する。いくつかの実施形態では、プロセッサ39は、マップ55上の視覚マーカー66A~66Cなどの1つ又は2つ以上の視覚マーカーを重ね合わせる。
位置受信工程102において、プロセッサ39は、磁気位置追跡システムのセンサ51から、医師30によって、又はシステム20の任意の他の好適な操作者によってナビゲートされる、遠位端22の現在位置を示す信号を受信する。いくつかの実施形態では、信号の少なくともいくつかは、マップ55の境界内に収まる1つ又は2つ以上の位置を示す。
近接識別工程104において、プロセッサ39は、遠位端22の既定の近傍内の視覚マーカー66A及び66Bなどの、1つ又は2つ以上の視覚マーカーを識別してもよい。いくつかの実施形態では、プロセッサ39は、閾値距離又は一式の基準及び/若しくは前述の既定の近傍を判定するアルゴリズムを保持してもよい。
視覚マーカー修正工程106において、プロセッサ39は、工程104で識別された視覚マーカーの少なくともいくつかの視覚的外観を修正してもよい。例えば、プロセッサ39は、不透明視覚マーカー66A及び66Bの代わりに半透明視覚マーカー77A及び77Bを表示してもよく、これは、別様に医療処置のワークフローに必須である遠位端22又は心臓26の組織の少なくとも1つの区分を不明瞭にし得る。
本発明の文脈及び「特許請求の範囲」では、「視覚マーカーのうちの少なくともいくつかの視覚的外観を修正する」、「不透明視覚マーカー66A及び66Bの代わりに半透明視覚マーカー77A及び77Bを表示する」という文、及び「第1の視覚マーカーの代わりに、第2の視覚マーカーを表示すること」という請求項の記載は、例えば、上記の図2Bに記載されるように、遠位端22及び心臓26の組織の可視化を改善するために、プロセッサ39によって視覚マーカー66A及び66Bに適用される同じ技術を指す。
方法を完結する第2の表示工程108において、遠位端22がマップ55から離れるように移動され、したがって、もはや修正された視覚マーカーの既定の近傍内になくなった後、プロセッサ39は、上記の工程100に記載されるように、視覚マーカーを再表示してもよい。換言すれば、遠位端55が1つ又は2つ以上の所与の視覚マーカーに近接しているとき、プロセッサ39は、上記工程106に記載されるように、1つ又は2つ以上の所与の視覚マーカーの視覚的外観(例えば、不透明度及びサイズ)を修正してもよいが、遠位端22が所与の視覚マーカーから十分に大きい距離を移動した後、プロセッサ39は、1つ又は2つ以上の所与の視覚マーカーの元の視覚的外観を再表示してもよい。例えば、視覚マーカーのうちの少なくとも1つであってもよい。
本明細書に記載される実施形態は、主に電気生理学的(EP)マッピング及び心臓アブレーション処置に対処するが、本明細書に記載される方法及びシステムはまた、視覚マーカーによって遮られる、関心領域に位置する組織及び/又は医療用具を有する任意の他の低侵襲性医療用途において使用することもできる。更に、本明細書に記載される実施形態は、任意の所与の空間を通してナビゲートし、及び1つの特定の狭い関心領域内で動作を実行しようと試みる操作者を有する任意の用途において使用されてもよい。開示された技術は、関心領域に関する任意の視覚的障害物に適用され得る。
したがって、上記に述べた実施形態は、例として引用したものであり、また本発明は、上文に具体的に示し説明したものに限定されないことが理解されよう。むしろ本発明の範囲は、上述の様々な特徴の組み合わせ及びその一部の組み合わせの両方、並びに上述の説明を読むことで当業者により想到されるであろう、また従来技術において開示されていないそれらの変形及び修正を含むものである。参照により本特許出願に援用される文献は、これらの援用文献においていずれかの用語が本明細書において明示的又は暗示的になされた定義と矛盾して定義されている場合には、本明細書における定義のみを考慮するものとする点を除き、本出願の一部とみなすものとする。
〔実施の態様〕
(1) 患者の器官内の少なくとも1つのカテーテルの可視化を改善するための方法であって、
前記器官のマップ、及び前記マップ上に重ね合わされた少なくとも1つの第1の視覚マーカーを表示することと、
前記カテーテルの遠位端の、前記マップ内に収まっている位置を受信することと、
(i)受信された前記位置に従う前記カテーテルの前記遠位端、及び(ii)前記第1の視覚マーカーの代わりに、前記第1の視覚マーカーと比べて、前記マップ及び前記遠位端のうちの少なくとも1つの視認性を増加させる、少なくとも1つの第2の視覚マーカーを、前記マップ上に表示することと、を含む、方法。
(2) 前記第1の視覚マーカーの代わりに、前記第2の視覚マーカーを表示することは、前記遠位端の前記位置が、前記第1の視覚マーカーの既定の近傍内にあることを識別することに応答して実行される、実施態様1に記載の方法。
(3) 前記遠位端の前記位置がもはや前記既定の近傍内にないことを識別すると、前記第2の視覚マーカーの代わりに前記第1の視覚マーカーを再表示することを含む、実施態様2に記載の方法。
(4) 前記第1の視覚マーカーの代わりに、前記第2の視覚マーカーを表示することが、前記第1の視覚マーカーの少なくとも1つの属性を修正して、前記第2の視覚マーカーを生成することを含む、実施態様1に記載の方法。
(5) 前記属性が、寸法、形状、不透明度、及び色からなるリストから選択される、実施態様4に記載の方法。
(6) 前記器官が、心臓を含み、前記第1の視覚マーカー及び前記第2の視覚マーカーが、前記心臓の組織に適用される高周波(RF)アブレーションの1つ又は2つ以上のパラメータを示している、実施態様1に記載の方法。
(7) 患者の器官内の少なくとも1つのカテーテルの可視化を改善するためのシステムであって、
出力デバイスと、
プロセッサと、を備え、前記プロセッサは、
前記出力デバイス上に、前記器官のマップ、及び前記マップ上に重ね合わされた少なくとも1つの第1の視覚マーカーを表示することと、
前記カテーテルの遠位端の、前記マップ内に収まっている位置を受信することと、
(i)受信された前記位置に従う前記カテーテルの前記遠位端、及び(ii)前記第1の視覚マーカーの代わりに、前記第1の視覚マーカーと比べて、前記マップ及び前記遠位端のうちの少なくとも1つの視認性を増加させる、少なくとも1つの第2の視覚マーカーを、前記マップ上に表示することと、を行うように構成されている、システム。
(8) 前記遠位端の前記位置が前記第1の視覚マーカーの既定の近傍内にあることを識別することに応答して、前記プロセッサが、前記第1の視覚マーカーの代わりに前記第2の視覚マーカーを表示するように構成されている、実施態様7に記載のシステム。
(9) 前記遠位端の前記位置がもはや前記既定の近傍内にないことを識別すると、前記プロセッサが、前記第2の視覚マーカーの代わりに前記第1の視覚マーカーを再表示するように構成されていることを含む、実施態様8に記載のシステム。
(10) 前記プロセッサが、前記第1の視覚マーカーの少なくとも1つの属性を修正することによって、前記第2の視覚マーカーを生成するように構成されている、実施態様7に記載のシステム。
(11) 前記プロセッサが、寸法、形状、不透明度、及び色からなるリストから前記属性を選択するように構成されている、実施態様10に記載のシステム。
(12) 前記器官が、心臓を含み、前記第1の視覚マーカー及び前記第2の視覚マーカーが、前記心臓の組織に適用される高周波(RF)アブレーションの1つ又は2つ以上のパラメータを示している、実施態様7に記載のシステム。

Claims (8)

  1. 患者の器官内の少なくとも1つのカテーテルの可視化を改善するためのプロセッサの作動方法であって、
    前記プロセッサが、前記器官のマップ、及び前記マップ上に重ね合わされた少なくとも1つの第1の視覚マーカーを表示することと、
    前記プロセッサが、前記カテーテルの遠位端の、前記マップ内に収まっている位置を受信することと、
    前記プロセッサが、(i)受信された前記位置に従う前記カテーテルの前記遠位端を、前記マップ上に表示すると共に、及び(ii)前記第1の視覚マーカーを表示せずに、前記第1の視覚マーカーと比べて、前記マップ及び前記遠位端のうちの少なくとも1つの視認性を増加させる、少なくとも1つの第2の視覚マーカーを、前記マップ上に表示することと、を含み、
    前記プロセッサが、前記第1の視覚マーカーを表示せずに、前記第2の視覚マーカーを表示することは、前記遠位端の前記位置が、前記第1の視覚マーカーの位置を基準として所定距離内に存在することを識別することに応答して実行され、
    前記第2の視覚マーカーは、半透明視覚マーカーであって、前記遠位端の前記位置が前記所定距離内に存在し、前記第2の視覚マーカーが前記遠位端と重なっても、前記遠位端を前記マップ上で視認でき、
    前記第1の視覚マーカーは、不透明視覚マーカーであり、前記遠位端の前記位置が前記所定距離外に存在する場合に、前記第1の視覚マーカーが前記マップ上で前記遠位端と重ならないように表示されるようになっている、プロセッサの作動方法。
  2. 前記プロセッサが、前記遠位端の前記位置がもはや前記所定距離内に存在しないことを識別すると、前記プロセッサが、前記第2の視覚マーカーを表示せずに前記第1の視覚マーカーを再表示することを含む、請求項に記載のプロセッサの作動方法。
  3. 前記プロセッサが、前記第1の視覚マーカーを表示せずに、前記第2の視覚マーカーを表示することが、前記プロセッサが、前記第1の視覚マーカーの少なくとも1つの属性を修正して、前記第2の視覚マーカーを生成することを含む、請求項1に記載のプロセッサの作動方法。
  4. 前記器官が、心臓を含み、前記第1の視覚マーカー及び前記第2の視覚マーカーが、前記心臓の組織に適用される高周波(RF)アブレーションの1つ又は2つ以上のパラメータを示しており、前記1つ又は2つ以上のパラメータは、アブレーションエネルギー、アブレーション持続時間、または、アブレーション温度である、請求項1に記載のプロセッサの作動方法。
  5. 患者の器官内の少なくとも1つのカテーテルの可視化を改善するためのシステムであって、
    出力デバイスと、
    プロセッサと、を備え、前記プロセッサは、
    前記出力デバイス上に、前記器官のマップ、及び前記マップ上に重ね合わされた少なくとも1つの第1の視覚マーカーを表示することと、
    前記カテーテルの遠位端の、前記マップ内に収まっている位置を受信することと、
    (i)受信された前記位置に従う前記カテーテルの前記遠位端を、前記マップ上に表示すると共に、(ii)前記第1の視覚マーカーを表示せずに、前記第1の視覚マーカーと比べて、前記マップ及び前記遠位端のうちの少なくとも1つの視認性を増加させる、少なくとも1つの第2の視覚マーカーを、前記マップ上に表示することと、を行うように構成されており、
    前記遠位端の前記位置が、前記第1の視覚マーカーの位置を基準として所定距離内に存在することを識別することに応答して、前記プロセッサが、前記第1の視覚マーカーを表示せずに前記第2の視覚マーカーを表示するように構成されており、
    前記第2の視覚マーカーは、半透明視覚マーカーであって、前記遠位端の前記位置が前記所定距離内に存在し、前記第2の視覚マーカーが前記遠位端と重なっても、前記遠位端を前記マップ上で視認でき、
    前記第1の視覚マーカーは、不透明視覚マーカーであり、前記遠位端の前記位置が前記所定距離外に存在する場合に、前記第1の視覚マーカーが前記マップ上で前記遠位端と重ならないように表示されるようになっている、システム。
  6. 前記遠位端の前記位置がもはや前記所定距離内に存在しないことを識別すると、前記プロセッサが、前記第2の視覚マーカーを表示せずに前記第1の視覚マーカーを再表示するように構成されていることを含む、請求項に記載のシステム。
  7. 前記プロセッサが、前記第1の視覚マーカーの少なくとも1つの属性を修正することによって、前記第2の視覚マーカーを生成するように構成されている、請求項に記載のシステム。
  8. 前記器官が、心臓を含み、前記第1の視覚マーカー及び前記第2の視覚マーカーが、前記心臓の組織に適用される高周波(RF)アブレーションの1つ又は2つ以上のパラメータを示しており、前記1つ又は2つ以上のパラメータは、アブレーションエネルギー、アブレーション持続時間、または、アブレーション温度である、請求項に記載のシステム。
JP2020085739A 2019-05-17 2020-05-15 カテーテル及び組織の視認性を改善するための表示マーカーの外観制御 Active JP7555729B2 (ja)

Applications Claiming Priority (2)

Application Number Priority Date Filing Date Title
US16/415,159 2019-05-17
US16/415,159 US10639106B1 (en) 2019-05-17 2019-05-17 Controlling appearance of displayed markers for improving catheter and tissue visibility

Publications (2)

Publication Number Publication Date
JP2020189089A JP2020189089A (ja) 2020-11-26
JP7555729B2 true JP7555729B2 (ja) 2024-09-25

Family

ID=70461396

Family Applications (1)

Application Number Title Priority Date Filing Date
JP2020085739A Active JP7555729B2 (ja) 2019-05-17 2020-05-15 カテーテル及び組織の視認性を改善するための表示マーカーの外観制御

Country Status (5)

Country Link
US (1) US10639106B1 (ja)
EP (1) EP3738510B1 (ja)
JP (1) JP7555729B2 (ja)
CN (1) CN111938816B (ja)
IL (1) IL274012B2 (ja)

Citations (1)

* Cited by examiner, † Cited by third party
Publication number Priority date Publication date Assignee Title
US20030074011A1 (en) 1998-09-24 2003-04-17 Super Dimension Ltd. System and method of recording and displaying in context of an image a location of at least one point-of-interest in a body during an intra-body medical procedure

Family Cites Families (23)

* Cited by examiner, † Cited by third party
Publication number Priority date Publication date Assignee Title
US5391199A (en) 1993-07-20 1995-02-21 Biosense, Inc. Apparatus and method for treating cardiac arrhythmias
ATE188108T1 (de) 1994-08-19 2000-01-15 Biosense Inc Medizinisches diagnose-, behandlungs- und darstellungssystem
US6690963B2 (en) 1995-01-24 2004-02-10 Biosense, Inc. System for determining the location and orientation of an invasive medical instrument
US6618612B1 (en) 1996-02-15 2003-09-09 Biosense, Inc. Independently positionable transducers for location system
JP4166277B2 (ja) 1996-02-15 2008-10-15 バイオセンス・ウェブスター・インコーポレイテッド 体内プローブを用いた医療方法および装置
US6239724B1 (en) 1997-12-30 2001-05-29 Remon Medical Technologies, Ltd. System and method for telemetrically providing intrabody spatial position
US6484118B1 (en) 2000-07-20 2002-11-19 Biosense, Inc. Electromagnetic position single axis system
WO2002065455A1 (en) 2001-02-15 2002-08-22 Spescom Datavoice (Pty) Limited Evaluation system and method for binary classification systems utilizing unsupervised database
US7729742B2 (en) 2001-12-21 2010-06-01 Biosense, Inc. Wireless position sensor
US20040068178A1 (en) 2002-09-17 2004-04-08 Assaf Govari High-gradient recursive locating system
RU2241245C2 (ru) 2003-01-30 2004-11-27 Майер Александр Александрович Способ переключения и управления солитонами в туннельно-связанных оптических волноводах слабым сигналом другой несущей частоты
US20060116576A1 (en) * 2004-12-01 2006-06-01 Scimed Life Systems, Inc. System and use thereof to provide indication of proximity between catheter and location of interest in 3-D space
US9204927B2 (en) 2009-05-13 2015-12-08 St. Jude Medical, Atrial Fibrillation Division, Inc. System and method for presenting information representative of lesion formation in tissue during an ablation procedure
US9468364B2 (en) 2008-11-14 2016-10-18 Intuitive Surgical Operations, Inc. Intravascular catheter with hood and image processing systems
US8900150B2 (en) * 2008-12-30 2014-12-02 St. Jude Medical, Atrial Fibrillation Division, Inc. Intracardiac imaging system utilizing a multipurpose catheter
RU2540090C2 (ru) 2009-06-04 2015-01-27 Конинклейке Филипс Электроникс Н.В. Устройство визуализации
CN102510735A (zh) * 2009-07-17 2012-06-20 计算机心脏股份有限公司 用于经放射外科减轻心律失常的心脏治疗套件、系统和方法
US10925511B2 (en) * 2014-07-24 2021-02-23 Cardiosolv Ablation Technologies, Inc. System and method for cardiac ablation
JP6638249B2 (ja) 2015-08-19 2020-01-29 ヤマハ株式会社 オーディオシステム
US10588692B2 (en) * 2015-11-06 2020-03-17 Biosense Webster (Israel) Ltd. Pulmonary vein isolation gap finder
US10524695B2 (en) * 2015-12-22 2020-01-07 Biosense Webster (Israel) Ltd. Registration between coordinate systems for visualizing a tool
US11010983B2 (en) * 2016-11-16 2021-05-18 Navix International Limited Tissue model dynamic visual rendering
US11246662B2 (en) * 2017-08-01 2022-02-15 Catheter Precision, Inc. Methods of cardiac mapping and model merging

Patent Citations (1)

* Cited by examiner, † Cited by third party
Publication number Priority date Publication date Assignee Title
US20030074011A1 (en) 1998-09-24 2003-04-17 Super Dimension Ltd. System and method of recording and displaying in context of an image a location of at least one point-of-interest in a body during an intra-body medical procedure

Also Published As

Publication number Publication date
CN111938816B (zh) 2025-05-02
IL274012A (en) 2020-11-30
US10639106B1 (en) 2020-05-05
EP3738510C0 (en) 2025-04-16
JP2020189089A (ja) 2020-11-26
IL274012B1 (en) 2023-03-01
IL274012B2 (en) 2023-07-01
EP3738510A1 (en) 2020-11-18
CN111938816A (zh) 2020-11-17
EP3738510B1 (en) 2025-04-16

Similar Documents

Publication Publication Date Title
JP7179453B2 (ja) アブレーションの計画と制御のための方法及び装置
JP2022146920A (ja) 解剖学的マップ上にオーバーレイされた複数のパラメータの可視化
US7892232B2 (en) Medical treatment device and associated method of operation
JP7555729B2 (ja) カテーテル及び組織の視認性を改善するための表示マーカーの外観制御
US20230404676A1 (en) Visualizing a quality index indicative of ablation stability at ablation site
US12387835B2 (en) Assessing lesions formed in an ablation procedure
US20240050017A1 (en) Visualizing and Clustering Multiple Electrodes of a High-Definition Catheter Projected on Tissue Surface
US12471987B2 (en) Presenting quality measures of tissue ablation in a blood vessel using a two-dimensional map
US12133689B2 (en) Displaying annotations on design line formed on anatomical map
US20220395215A1 (en) Visualization of electrical signals propagating over the surface of patient organ
JP2025540479A (ja) 解剖学的マップのサブボリュームにおける透明度レベルの動的変更
EP4526848A1 (en) Displaying orthographic and endoscopic views of a plane selected in a three-dimensional anatomical image

Legal Events

Date Code Title Description
A621 Written request for application examination

Free format text: JAPANESE INTERMEDIATE CODE: A621

Effective date: 20230421

A131 Notification of reasons for refusal

Free format text: JAPANESE INTERMEDIATE CODE: A131

Effective date: 20240116

A977 Report on retrieval

Free format text: JAPANESE INTERMEDIATE CODE: A971007

Effective date: 20240118

A601 Written request for extension of time

Free format text: JAPANESE INTERMEDIATE CODE: A601

Effective date: 20240416

A601 Written request for extension of time

Free format text: JAPANESE INTERMEDIATE CODE: A601

Effective date: 20240614

A521 Request for written amendment filed

Free format text: JAPANESE INTERMEDIATE CODE: A523

Effective date: 20240712

TRDD Decision of grant or rejection written
A01 Written decision to grant a patent or to grant a registration (utility model)

Free format text: JAPANESE INTERMEDIATE CODE: A01

Effective date: 20240813

A61 First payment of annual fees (during grant procedure)

Free format text: JAPANESE INTERMEDIATE CODE: A61

Effective date: 20240911

R150 Certificate of patent or registration of utility model

Ref document number: 7555729

Country of ref document: JP

Free format text: JAPANESE INTERMEDIATE CODE: R150