JP7549397B1 - Cylindrical parallel electrodes and electrolytic plating device using same - Google Patents

Cylindrical parallel electrodes and electrolytic plating device using same Download PDF

Info

Publication number
JP7549397B1
JP7549397B1 JP2023121192A JP2023121192A JP7549397B1 JP 7549397 B1 JP7549397 B1 JP 7549397B1 JP 2023121192 A JP2023121192 A JP 2023121192A JP 2023121192 A JP2023121192 A JP 2023121192A JP 7549397 B1 JP7549397 B1 JP 7549397B1
Authority
JP
Japan
Prior art keywords
connecting member
cylindrical
union
electrode
tank
Prior art date
Legal status (The legal status is an assumption and is not a legal conclusion. Google has not performed a legal analysis and makes no representation as to the accuracy of the status listed.)
Active
Application number
JP2023121192A
Other languages
Japanese (ja)
Other versions
JP2025017873A (en
Inventor
平和 中嶋
秀一郎 中嶋
睦雄 進藤
Original Assignee
有限会社サンコーテクニカ
Priority date (The priority date is an assumption and is not a legal conclusion. Google has not performed a legal analysis and makes no representation as to the accuracy of the date listed.)
Filing date
Publication date
Application filed by 有限会社サンコーテクニカ filed Critical 有限会社サンコーテクニカ
Priority to JP2023121192A priority Critical patent/JP7549397B1/en
Application granted granted Critical
Publication of JP7549397B1 publication Critical patent/JP7549397B1/en
Publication of JP2025017873A publication Critical patent/JP2025017873A/en
Active legal-status Critical Current
Anticipated expiration legal-status Critical

Links

Images

Landscapes

  • Electrolytic Production Of Non-Metals, Compounds, Apparatuses Therefor (AREA)

Abstract

【課題】筒型隔膜電極と上下の連通タンクとの連結部分の構造を改良して、人力で容易に着脱できかつ水密性を有する連結構造を備えた筒型並列電極、およびこれを用いた電解メッキ装置を提供する。【解決手段】本発明の実施例においては、筒型隔膜電極1と上下の連通タンク7、8との連結部分をユニオン接手を利用して接合している。ユニオン接手は、配管の直管部分を分断して、これを着脱可能かつ気密又は水密に連結する方法として用いられている。筒型隔膜電極1が上下連通タンク7、8に連結され、筒型隔膜電極1の両端にはユニオンネジ12が接合(固着)され、上部連通タンクの取り付け部と下部連通タンクの取り付け部には連結部材の直管部が溶接されており、ユニオンネジ12と連結部材とを第1パッキングを介在させ、ユニオンナット13を締め込むことで筒型隔膜電極1が上下連通タンクに水密に接合する。【選択図】図6[Problem] To provide a cylindrical parallel electrode having a connection structure that is easily attached and detached by human power and has watertightness by improving the structure of the connection part between the cylindrical diaphragm electrode and the upper and lower communicating tanks, and an electrolytic plating apparatus using the same. [Solution] In the embodiment of the present invention, the connection part between the cylindrical diaphragm electrode 1 and the upper and lower communicating tanks 7, 8 is connected using a union joint. The union joint is used as a method of dividing the straight pipe part of the piping and connecting it in a detachable and airtight or watertight manner. The cylindrical diaphragm electrode 1 is connected to the upper and lower communicating tanks 7, 8, union screws 12 are joined (fixed) to both ends of the cylindrical diaphragm electrode 1, the straight pipe part of the connecting member is welded to the mounting part of the upper communicating tank and the mounting part of the lower communicating tank, and the union screw 12 and the connecting member are connected with a first packing, and the cylindrical diaphragm electrode 1 is connected to the upper and lower communicating tanks in a watertight manner by tightening the union nut 13. [Selected Figure] Fig. 6

Description

本発明は電着塗装、電気分解等の電解処理に用いられる隔膜付き電極に関し、特に分解・組立を容易にした筒型並列電極とこれを用いた電解メッキ装置に関する。 The present invention relates to a membrane-equipped electrode used in electrolytic processes such as electrocoating and electrolysis, and in particular to a cylindrical parallel electrode that is easy to disassemble and assemble, and an electrolytic plating device that uses the same.

電解メッキ、電気分解等の電解処理に使用される電解槽には、隔膜付き電極(以下、隔膜電極という)が用いられることが多い。隔膜電極は、電極本体とイオン交換膜(電解液の正負イオンのバランス調整のために用いられる)が一体に構成されてなるもので、その形式・構造等は多種・多様である。本出願人は先に、新たな隔膜電極として、「メッキ用筒型並列電極」の提案を行っている(特許文献1)。 Electrolyzers used in electrolytic processes such as electrolytic plating and electrolysis often use electrodes with diaphragms (hereinafter referred to as diaphragm electrodes). Diaphragm electrodes are made up of an integrated electrode body and an ion exchange membrane (used to adjust the balance of positive and negative ions in the electrolyte), and come in a wide variety of types and structures. The applicant has previously proposed a new diaphragm electrode, called a "cylindrical parallel electrode for plating" (Patent Document 1).

本発明は、上記のメッキ用筒型並列電極の構造の改良に関するものである。先ず、このメッキ用筒型並列電極について説明する。図1は、先行技術の隔膜電極の構造を示す断面模式図である。この筒型隔膜電極1は、図1に見られるように、筒状の電極本体2の外側に、芯材2-1、筒状のイオン交換膜3と、さらにその外側に筒状の保護膜4が配される3層構造になっている。電極本体2は、導電性及び透水性を有する材料、例えば銅製金網からなっている。 The present invention relates to an improvement to the structure of the cylindrical parallel electrode for plating described above. First, this cylindrical parallel electrode for plating will be described. Figure 1 is a schematic cross-sectional view showing the structure of a membrane electrode of the prior art. As shown in Figure 1, this cylindrical membrane electrode 1 has a three-layer structure in which a core material 2-1, a cylindrical ion exchange membrane 3, and a cylindrical protective membrane 4 are arranged on the outside of the cylindrical electrode body 2. The electrode body 2 is made of a material that is conductive and permeable, such as a copper wire mesh.

イオン交換膜3は、多孔質のイオン交換樹脂の薄膜からなり、その厚みは0.3mm~0.5mmと極めて薄い。そのため、イオン交換膜3の変形・破損を防ぐ目的で、その外側の保護膜4で保護されている。保護膜4は透水性で、例えば多孔質の樹脂フィルムからなっている。 The ion exchange membrane 3 is made of a thin film of porous ion exchange resin, and is extremely thin, at 0.3 mm to 0.5 mm. Therefore, to prevent deformation or damage to the ion exchange membrane 3, it is protected by an outer protective film 4. The protective film 4 is water permeable, and is made of, for example, a porous resin film.

その上端には上部取り付け部5が、また、下端には下部取り付け部6が配されている。この取り付け部材が必要な理由は、筒型隔膜電極の強度が小さく、直接固定するのが難しいためである。
なお、詳細は省略するが電極本体2には導電部が設けられており、これが給電端子と接触することにより電極本体に電力が供給されるように構成されている。
At its upper end is disposed an upper mounting part 5, and at its lower end is disposed a lower mounting part 6. The reason why these mounting members are necessary is that the cylindrical diaphragm electrode has low strength and is difficult to fix directly.
Although details are omitted, the electrode body 2 is provided with a conductive portion, which is configured to supply power to the electrode body by contacting a power supply terminal.

なお、図1は、作図の都合上、縦横の縮尺比率が異なっているが、筒型隔膜電極1の大きさは、直径70mm程度、長さ1000mm程度である。この3層構造の筒型隔膜電極1は、図2に示す上下一対の上部連通タンク7、下部連通タンク8に連結されて、極液が供給される。すなわち、これらの連通タンクは、図2に示すフランジ10を介して、極液配管に固定されている。 Note that the scale ratio of the length and width in FIG. 1 is different for convenience of drawing, but the size of the cylindrical diaphragm electrode 1 is about 70 mm in diameter and about 1000 mm in length. This cylindrical diaphragm electrode 1 with a three-layer structure is connected to a pair of upper and lower communicating tanks 7 and 8 shown in FIG. 2, and the electrode liquid is supplied. In other words, these communicating tanks are fixed to the electrode liquid piping via the flange 10 shown in FIG. 2.

図2は、先行技術における筒型隔膜電極の取り付け構造を示す断面模式図である。筒型隔膜電極1(簡単するため3層構造は示していない)の上部取り付け部5は、上部連通タンク7の底面の孔部(上部連通タンク取り付け部とも称する)に連結され、下部取り付け部6は、下部連通タンク8の底面の孔部(下部連通タンク取り付け部とも称する)に連結されている。先行技術においては、その連結部(図中破線の円で囲んでいる部分)は、溶接接合されている。 Figure 2 is a schematic cross-sectional view showing the mounting structure of a cylindrical diaphragm electrode in the prior art. The upper mounting part 5 of the cylindrical diaphragm electrode 1 (the three-layer structure is not shown for simplicity) is connected to a hole in the bottom surface of the upper communication tank 7 (also called the upper communication tank mounting part), and the lower mounting part 6 is connected to a hole in the bottom surface of the lower communication tank 8 (also called the lower communication tank mounting part). In the prior art, the connection part (the part surrounded by the dashed circle in the figure) is welded.

また、筒型隔膜電極1の電極本体2には、電解電力を供給する必要があり、この例では、上部連通タンク7の上部に給電端子9を、各筒型隔膜電極ごとに配設し、タンク内に設けられた接触子(図示していない)に上部取り付け部5の導電部が接触することにより、電極本体2に電力が供給される。 In addition, electrolytic power must be supplied to the electrode body 2 of the cylindrical diaphragm electrode 1. In this example, a power supply terminal 9 is provided at the top of the upper communication tank 7 for each cylindrical diaphragm electrode, and power is supplied to the electrode body 2 by contacting the conductive part of the upper mounting part 5 with a contactor (not shown) provided inside the tank.

この筒型隔膜電極1を、近接して複数並列に配置する理由は、電解槽内の電解強度をなるべく一様にして、被メッキ物(ワーク)のメッキ厚みを均一にするためである。並列に配置する筒型隔膜電極の本数は、電解槽の幅に対応して増減される。また、複数の筒型膜状電極が並列に配列されたユニット(本明細書では、「筒型並列電極」という)は、電解槽の長手方向に直角になるように、所定の間隔で、多数配置される。 The reason for arranging multiple cylindrical diaphragm electrodes 1 in close proximity in parallel is to make the electrolytic strength in the electrolytic cell as uniform as possible, and to make the plating thickness of the object to be plated (workpiece) uniform. The number of cylindrical diaphragm electrodes arranged in parallel is increased or decreased according to the width of the electrolytic cell. In addition, a large number of units in which multiple cylindrical membrane electrodes are arranged in parallel (referred to as "cylindrical parallel electrodes" in this specification) are arranged at a specified interval so as to be perpendicular to the longitudinal direction of the electrolytic cell.

特開2020-45531号公報JP 2020-45531 A

特許文献1のメッキ用筒型並列電極を用いた電解槽では、槽内に複数の筒型隔膜電極が設置されているが、電解メッキの稼働中に筒型隔膜電極の一部が破損等する場合がある。かかる場合、特許文献1に記載の筒型並列電極では、筒型隔膜電極と上下の連通タンクとは水密性を確保するため堅牢に溶接されている。このため、破損が一部の筒型隔膜電極であっても新たな筒型並列電極と交換しなければならない、そのためには製作工場にあらたな筒型並列電極の配送を依頼する必要であり、復旧までに時間もコストもかかるという問題がある。 In the electrolytic cell using the cylindrical parallel electrodes for plating of Patent Document 1, multiple cylindrical diaphragm electrodes are installed in the cell, but there are cases where parts of the cylindrical diaphragm electrodes are damaged during electrolytic plating. In such cases, in the cylindrical parallel electrodes described in Patent Document 1, the cylindrical diaphragm electrodes and the upper and lower communicating tanks are firmly welded to ensure watertightness. For this reason, even if only part of the cylindrical diaphragm electrodes is damaged, they must be replaced with new cylindrical parallel electrodes, which requires the delivery of new cylindrical parallel electrodes from the manufacturing factory, resulting in the problem of time and cost required for recovery.

特許文献1に記載の筒型並列電極において、破損した一部の筒型隔膜電極を新たな筒型隔膜電極に交換することも考えられる。しかし、現場において電解液の入った電解槽内でかかる交換作業を行うには、フランジ10のボルトを外して、一列の筒型並列電極を外部に取り出し、別の作業箇所で、破損した筒型隔膜電極の切断・再取付けの作業を行わなければならない。また、溶接個所の水密性を検証しなければならず、これらの作業は専門性を有するものであることから、メッキ現場において行うことはほぼ不可能である。このため、一部の破損した筒型並列電極をその製造工場に輸送し、修理交換後、再配送してもらわなければならず、この間、電解メッキの操業が中断されるため、電解メッキ槽の稼働率が低下することが問題となる。 In the cylindrical parallel electrodes described in Patent Document 1, it is also possible to replace some of the damaged cylindrical diaphragm electrodes with new cylindrical diaphragm electrodes. However, to perform such replacement work in an electrolytic cell containing an electrolyte on-site, the bolts of the flange 10 must be removed, the row of cylindrical parallel electrodes must be taken out, and the damaged cylindrical diaphragm electrodes must be cut and reattached at another work site. In addition, the watertightness of the welded parts must be verified, and since these tasks require expertise, they are almost impossible to perform at the plating site. For this reason, some of the damaged cylindrical parallel electrodes must be transported to the manufacturing factory, repaired, and then redelivered. During this time, the electrolytic plating operation is suspended, which causes a problem of a decrease in the operating rate of the electrolytic plating cell.

もし、筒型隔膜電極と上下の連通タンクとの連結部分が、溶接等の専門知識を持たない人であっても容易に着脱できる構造であれば、作業者がゴムスーツやゴム手袋等を装着して、電解液の入った電解槽内で筒型隔膜電極を交換することが可能になる。これによりメッキ槽の稼働率が大幅に改善されることが期待できる。 If the connection between the cylindrical membrane electrode and the upper and lower connecting tanks could be easily attached and detached even by someone without specialized knowledge of welding, etc., workers would be able to replace the cylindrical membrane electrode in an electrolytic cell containing electrolyte while wearing rubber suits and gloves. This is expected to significantly improve the operating rate of the plating cell.

また、筒型並列電極の製造工場と電解メッキ工場とは、通常遠く離れた場所にあるため、メッキ工場の立ち上げに際して、多数の筒型並列電極を輸送車で輸送する必要がある(大型の電解槽では十数列の筒型並列電極が用いられる)。先行技術の筒型並列電極の場合、筒型隔膜電極と上下の連通タンクが一体となって、かなり大きな厚板状の構造体を形成している。 In addition, since the manufacturing plant for cylindrical parallel electrodes and the electrolytic plating plant are usually located far apart, a large number of cylindrical parallel electrodes must be transported by transport vehicle when setting up the plating plant (a large electrolytic cell uses more than a dozen rows of cylindrical parallel electrodes). In the case of the cylindrical parallel electrodes of the prior art, the cylindrical diaphragm electrode and the upper and lower communicating tanks are integrated to form a fairly large, thick plate-like structure.

また輸送に際しては、電極保護のため、各構造体をそれぞれに梱包する必要があり、梱包の費用が非常に大きくなる。また、梱包された構造体は嵩張るため、輸送車への積載数が制限され、輸送費が嵩むという問題もある。特に海外へ出荷する場合、従来技術では筒型並列電極の容積が大きいため、航空便が利用できず船便による輸送に限定され、復旧までに多大な時間を要するという問題がある。 Furthermore, when transporting, each structure must be individually packaged to protect the electrodes, resulting in extremely high packaging costs. In addition, the packaged structures are bulky, limiting the number that can be loaded onto a transport vehicle, which increases transportation costs. In particular, when shipping overseas, with conventional technology, the cylindrical parallel electrodes are so large in volume that air freight cannot be used and transportation is limited to sea freight, which results in a significant amount of time required for recovery.

これに対して、筒型隔膜電極と上下の連通タンクとの連結部分が、人力で容易に着脱できる構造であれば、筒状隔膜電極を束ねて梱包し、これと上下連通タンクが分離した状態で輸送し、メッキ工場において組立を行うことができ、梱包費及び輸送費の大幅な軽減が可能となると考えられる。 On the other hand, if the connection between the cylindrical diaphragm electrode and the upper and lower connected tanks could be easily attached and detached by hand, the cylindrical diaphragm electrode could be bundled and packed, and the upper and lower connected tanks could be transported separately, and assembly could be performed at the plating factory, which would enable a significant reduction in packaging and transportation costs.

そこで、本発明の課題は、特許文献1に提案された筒型並列電極において、筒型隔膜電極と上下の連通タンクとの連結部分の構造を改良して、人力で容易に着脱できかつ水密性を有する連結構造を提供することにある。 The objective of the present invention is to improve the structure of the connection between the cylindrical diaphragm electrode and the upper and lower communicating tanks in the cylindrical parallel electrodes proposed in Patent Document 1, and to provide a connection structure that can be easily attached and detached by hand and is watertight.

上記課題を解決するため本発明の筒型並列電極は、複数の筒型隔膜電極が、極液が流れる上部連通タンクと下部連通タンクに水密かつ着脱可能に連結している筒型並列電極において、
一端につばを備えた直管のつば付きユニオン管と、前記つば付きユニオン管の外周に摺動可能に装着され、内側に雌ネジが形成されたユニオンナットとを備えるA連結部材と、
直管のつば無しユニオン管と、前記つば無しユニオン管の外周に摺動可能に装着され、内側に雌ネジが形成されたユニオンナットとを備えるB連結部材と、
一端の外周に前記雌ネジと螺号する雄ネジが形成されたC連結部材と、
前記A連結部材と前記C連結部材との間に介装される第1パッキングと、
前記つば無しユニオン管の所望の位置に装着される第2のパッキングとを有し、
前記A連結部材の他端又は前記B連結部材の他端が、前記上部連通タンクの孔部と前記下部連通タンクの孔部に溶接され、
前記C連結部材の他端が、前記筒型隔膜電極の両端にそれぞれ固着され、
前記ユニオンナットの回旋により前記筒型隔膜電極が着脱可能に構成されていることを特徴とする。
In order to solve the above problems, the present invention provides a cylindrical parallel electrode in which a plurality of cylindrical diaphragm electrodes are watertightly and detachably connected to an upper communicating tank and a lower communicating tank through which an electrode liquid flows,
A connecting member A includes a flanged union pipe that is a straight pipe with a flange at one end, and a union nut that is slidably attached to the outer periphery of the flanged union pipe and has a female thread formed on the inside;
A B connecting member including a straight flangeless union pipe and a union nut slidably attached to the outer periphery of the flangeless union pipe and having a female thread formed on the inside;
A C-shaped connecting member having a male screw formed on the outer periphery of one end thereof, the male screw engaging with the female screw;
A first packing is interposed between the A connecting member and the C connecting member;
and a second packing attached to a desired position of the flangeless union pipe.
the other end of the A connecting member or the other end of the B connecting member is welded to a hole portion of the upper communication tank and a hole portion of the lower communication tank,
The other ends of the C-shaped connecting members are fixed to both ends of the cylindrical diaphragm electrode,
The cylindrical diaphragm electrode is configured to be detachable by rotating the union nut.

また、本発明の筒型並列電極は、上記C連結部材と上記A連結部材、又は上記C連結部材とB連結部材の組合せとなるように、上記3つの連結部材を上部連通タンクの孔部と、下部連通タンクの孔部と、筒型隔膜電極の上端及び下端に組合わせで配したことを特徴とする。これらの組合せは都合16通りの組合せとなる。 The cylindrical parallel electrode of the present invention is characterized in that the three connecting members are arranged in combination with the hole of the upper communicating tank, the hole of the lower communicating tank, and the upper and lower ends of the cylindrical diaphragm electrode, so as to form a combination of the C connecting member and the A connecting member, or the C connecting member and the B connecting member. There are a total of 16 possible combinations.

本発明の電解メッキ装置は、上記の筒型並列電極が、複数、電解槽内に配置され、前記極液を前記の上部連通タンクから下部連通タンクに循環させる極液循環手段と、前記筒型並列電極のそれぞれに電解用電力を供給する給電手段とを備えたことを特徴とするものである。 The electrolytic plating apparatus of the present invention is characterized in that a plurality of the cylindrical parallel electrodes are arranged in an electrolytic cell, and the apparatus is equipped with an electrode solution circulation means for circulating the electrode solution from the upper communicating tank to the lower communicating tank, and a power supply means for supplying electrolytic power to each of the cylindrical parallel electrodes.

本発明により、筒型隔膜電極と上下の連通タンクとの連結部分が、誰でも容易に着脱できるようになり、隔膜電極が破損等した場合に、作業者がゴムスーツやゴム手袋等を装着して、電解液の入った電解槽内で筒型隔膜電極を交換することが可能になり、これによりメッキ槽の稼働率が大幅に改善することが可能になった。 With this invention, the connection between the cylindrical diaphragm electrode and the upper and lower connecting tanks can be easily attached and detached by anyone, and if the diaphragm electrode is damaged, the worker can replace the cylindrical diaphragm electrode in an electrolytic cell containing electrolyte while wearing a rubber suit or rubber gloves, which makes it possible to significantly improve the operating rate of the plating cell.

また、本発明の筒型並列電極を製造工場から、遠隔地の電解メッキ工場に輸送する際に、筒型隔膜電極と上下の連通タンクとの連結部分が、誰でも容易に着脱できる構造であることから、筒状隔膜電極を束ねて梱包し、これと上下連通タンクが分離した状態で輸送し、メッキ工場において組立を行うことができる。これにより、梱包費及び輸送費を大幅に軽減することが可能となった。 In addition, when the cylindrical parallel electrodes of the present invention are transported from the manufacturing plant to a remote electrolytic plating plant, the connection between the cylindrical diaphragm electrodes and the upper and lower communicating tanks can be easily attached and detached by anyone, so the cylindrical diaphragm electrodes can be bundled and packed, and the upper and lower communicating tanks can be transported separately, and then assembled at the plating plant. This makes it possible to significantly reduce packaging and transportation costs.

本発明の実施例においては、筒型隔膜電極と上下の連通タンクとの連結部分をユニオン接手を利用して接合している。ユニオン接手は、配管の直管部分を分断して、これを着脱可能かつ気密又は水密に連結する方法として用いられている。 In an embodiment of the present invention, the connection between the cylindrical diaphragm electrode and the upper and lower communicating tanks is joined using a union joint. A union joint is used as a method of dividing a straight pipe section and removably connecting it in an airtight or watertight manner.

図3はユニオン接手の構造を説明するための図で、図3(a)は部品構成の断面模式図、図3(b)は連結後の断面模式図である。図3に見られるように、ユニオン接手はつば付きユニオン管11、雄ネジ部17が外周に形成されたユニオンネジ12、内面に雌ネジ部18が形成されたユニオンナット13、及び第1パッキング14(例えばオーリング)から構成される。 Figure 3 is a diagram for explaining the structure of the union joint, where Figure 3(a) is a schematic cross-sectional view of the component configuration, and Figure 3(b) is a schematic cross-sectional view after connection. As can be seen in Figure 3, the union joint is composed of a flanged union pipe 11, a union screw 12 with a male screw portion 17 formed on its outer periphery, a union nut 13 with a female screw portion 18 formed on its inner surface, and a first packing 14 (e.g., an O-ring).

つば付きユニオン管11は、一方の直管部15aの先端につば状突起部16が設けられてなるものである。ユニオンネジ12は、直管部15bの外周に雄ネジ部17が形成されてなる。ユニオンナット13はリング状の部品で、その内面に雌ネジ部18(ユニオンネジ12の雄ネジ部17と螺号する)及び肩部19が形成されている。 The flanged union pipe 11 has a flange-shaped protrusion 16 at the tip of one straight pipe section 15a. The union thread 12 has a male thread section 17 formed on the outer periphery of the straight pipe section 15b. The union nut 13 is a ring-shaped part, and has a female thread section 18 (that screws with the male thread section 17 of the union thread 12) and a shoulder section 19 formed on its inner surface.

つば付きユニオン管11とユニオンネジ12の先端面を、第1パッキング14を挟んで、突き合わせた状態で、ユニオンナット13の雌ネジ部18をユニオンネジ12の雄ネジ部17に螺号させて、ネジを締めてゆくと、ユニオンナット13の肩部19が、つば状突起部16を背面から押圧することになり、これにより両直管部の接合面の第1パッキング14が押し付けられて、気密又は水密が保持されることになる。 When the tip faces of the flanged union pipe 11 and union screw 12 are butted together with the first packing 14 sandwiched between them, the female threaded portion 18 of the union nut 13 is screwed into the male threaded portion 17 of the union screw 12 and the screw is tightened, the shoulder portion 19 of the union nut 13 presses against the flange-shaped protrusion 16 from the back, thereby pressing the first packing 14 against the joint surfaces of the two straight pipe sections, maintaining airtightness or watertightness.

なお、ユニオンナット13の胴部20は、ネジの締め込みが容易になるような形状になっている。例えば、ユニオンナット13の径が大きい場合には、胴部20は円筒状で、その外周全面に幅5mm程度の縦溝が形成され、滑り止めの機能を果たすように構成されている。また、ユニオンナット13の径が小さい場合には、スパナ等で締め込みやすいように、ユニオンナットの胴部20は、六角柱の形状になっている。 The body 20 of the union nut 13 is shaped to make it easy to tighten the screw. For example, when the diameter of the union nut 13 is large, the body 20 is cylindrical and has a vertical groove about 5 mm wide formed on the entire outer circumference, which is configured to function as an anti-slip device. When the diameter of the union nut 13 is small, the body 20 of the union nut is shaped like a hexagonal column so that it can be easily tightened with a wrench, etc.

図4は、本発明の第一実施例で、筒型隔膜電極1と上部連通タンク7とをユニオン接手で連結する連結部の構造を示す断面模式図である。上部連通タンク底板21の孔部には、つば付きユニオン管11の直管部15aが接合され、その先端につば状突起部16が取り付けられている。ユニオンナット13は、直管部15aが接合される前につば付きユニオン管の外周に装着されている。本明細書において、つば付きユニオン管11とユニオンナット13との組合せをA連結部材と称する。 Figure 4 is a cross-sectional schematic diagram showing the structure of the connection part that connects the cylindrical diaphragm electrode 1 and the upper communication tank 7 with a union joint in the first embodiment of the present invention. The straight pipe section 15a of the flanged union pipe 11 is joined to the hole in the bottom plate 21 of the upper communication tank, and a flange-shaped protrusion section 16 is attached to its tip. The union nut 13 is attached to the outer periphery of the flanged union pipe before the straight pipe section 15a is joined. In this specification, the combination of the flanged union pipe 11 and the union nut 13 is referred to as the A connection member.

筒型隔膜電極1の上端には、雄ネジ部17が形成されているユニオンネジ12の直管部15bが接合している。本明細書においては、かかるユニオンネジ12をC連結部材と称する。つば付きユニオン管11の先端と、A連結部材の先端を、第1パッキング14を挟んで突き合わせ、ユニオンナット13を締め込めば、筒型隔膜電極1が上部連通タンクの底面に水密かつ着脱可能に連結される。 The straight pipe section 15b of the union screw 12, which has a male thread section 17, is joined to the upper end of the cylindrical diaphragm electrode 1. In this specification, such union screw 12 is referred to as the C connecting member. When the tip of the flanged union pipe 11 and the tip of the A connecting member are butted together with the first packing 14 in between and the union nut 13 is tightened, the cylindrical diaphragm electrode 1 is watertightly and detachably connected to the bottom surface of the upper connecting tank.

同様に下部連通タンク上板22の孔部には、つば付きユニオン管11の直管部15aが溶接されており、ユニオンナット13が直管部15aが溶接される前につば付きユニオン管の外周に装着されている。筒型隔膜電極1の下端は、雄ネジ部17が形成されているユニオンネジ12の直管部15bが固着している。A連結部材の先端と、C連結部材の先端を、第1パッキング14を挟んで突き合わせ、ユニオンナット13を締め込めば、筒型隔膜電極1が下部連通タンクの底面に水密かつ着脱可能に連結されることになる。なお、筒型隔膜電極1は、その剛性が必ずしも高くないので、取り付け、取り外しの際に、ある程度の撓みを持たせることができる。したがって、上部連通タンク7と下部連通タンク8の間隔が固定されていても、筒型隔膜電極の着脱が可能である。 Similarly, the straight pipe section 15a of the flanged union pipe 11 is welded to the hole in the upper plate 22 of the lower communicating tank, and the union nut 13 is attached to the outer circumference of the flanged union pipe before the straight pipe section 15a is welded. The straight pipe section 15b of the union screw 12, which has a male screw section 17, is fixed to the lower end of the cylindrical diaphragm electrode 1. The tip of the A connecting member and the tip of the C connecting member are butted together with the first packing 14 in between, and the union nut 13 is tightened, so that the cylindrical diaphragm electrode 1 is watertightly and detachably connected to the bottom surface of the lower communicating tank. Note that the cylindrical diaphragm electrode 1 does not necessarily have high rigidity, so it can be given a certain degree of flexure when it is attached and removed. Therefore, even if the distance between the upper communicating tank 7 and the lower communicating tank 8 is fixed, the cylindrical diaphragm electrode can be attached and removed.

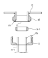
図5は、本発明の一実施例における筒型隔膜電極の構造を示す図である。図5に見られるように、筒型隔膜電極1の上部取り付け部5、下部取り付け部6には、ユニオンネジ12(C連結部材)が接合されている。図6は、本発明の一実施例で筒型隔膜電極1が上下連通タンクに連結された状態を示す図である。図6は、図5に示す筒型隔膜電極1の両端にはユニオンネジ12が接合(固着)され、上部連通タンクの取り付け部と下部連通タンクの取り付け部にはA連結部材の直管部15aが溶接されており、ユニオンネジ12とA連結部材とを第1パッキング14を介在させ、ユニオンナット13を締め込むことで筒型隔膜電極1が上下連通タンクに水密に接合している状態を示している。 Figure 5 is a diagram showing the structure of a cylindrical diaphragm electrode in one embodiment of the present invention. As shown in Figure 5, a union screw 12 (C connecting member) is joined to the upper mounting portion 5 and the lower mounting portion 6 of the cylindrical diaphragm electrode 1. Figure 6 is a diagram showing the state in which the cylindrical diaphragm electrode 1 is connected to the upper and lower connected tanks in one embodiment of the present invention. Figure 6 shows the state in which the union screw 12 is joined (fixed) to both ends of the cylindrical diaphragm electrode 1 shown in Figure 5, the straight pipe portion 15a of the A connecting member is welded to the mounting portion of the upper connected tank and the mounting portion of the lower connected tank, and the union screw 12 and the A connecting member are connected to the upper and lower connected tanks with the first packing 14 interposed therebetween, and the union nut 13 is tightened to show that the cylindrical diaphragm electrode 1 is watertightly connected to the upper and lower connected tanks.

図7は、本発明の第二の実施例における筒型隔膜電極1と上部連通タンク7とをユニオン接手で連結する連結部の構造を示す断面模式図である。図4に示す筒型隔膜電極1と上部連通タンク、下部連通タンクとをユニオン接手で連結する連結部の構造と、図7に示すそれらの連結部の構造の相違について説明する。 Figure 7 is a schematic cross-sectional view showing the structure of the connection part that connects the cylindrical diaphragm electrode 1 and the upper communication tank 7 with a union joint in a second embodiment of the present invention. The difference between the structure of the connection part that connects the cylindrical diaphragm electrode 1 and the upper communication tank and the lower communication tank with a union joint shown in Figure 4 and the structure of the connection part shown in Figure 7 will be explained.

図7(a)は部品構成の断面模式図、図7(b)は連結後の断面模式図である。図7に示すように、第二の実施例のユニオン接手は、つば無しユニオン管11―1、ユニオンネジ12、ユニオンナット13及び第2パッキング14―1とから構成される。 Figure 7(a) is a schematic cross-sectional view of the component configuration, and Figure 7(b) is a schematic cross-sectional view after connection. As shown in Figure 7, the union joint of the second embodiment is composed of a flangeless union pipe 11-1, a union screw 12, a union nut 13, and a second packing 14-1.

ここで、つば無しユニオン管11―1は、直管部15aのみからなり、実施例1のように直管部15aの先端につば状突起部16が設けられていない。第2パッキング14-1は、ゴム等を材料とする所定の幅を有するリング形状の弾性体であり、その両周縁には所定の長さのテーパが形成されている。 Here, the flangeless union pipe 11-1 consists only of a straight pipe section 15a, and does not have a flange-shaped protrusion 16 at the tip of the straight pipe section 15a as in Example 1. The second packing 14-1 is a ring-shaped elastic body made of rubber or other material with a predetermined width, and both edges of the packing are tapered to a predetermined length.

第2パッキング14-1は、つば無しユニオン管11-1の直管部15aに挿通され、直管部15aを締付て密着し、その摩擦力で所望の位置に固定されている。このため、容易に所定の位置からずれることはないが、第2パッキング14-1と直管部15aとの摩擦力を上回る力、例えばユニオンナット13の回旋による締め込み力により、第2パッキング14-1の位置がずれる(変わる)。 The second packing 14-1 is inserted into the straight pipe section 15a of the flangeless union pipe 11-1, tightens and presses against the straight pipe section 15a, and is fixed in the desired position by the frictional force. For this reason, it does not easily shift from its designated position, but the position of the second packing 14-1 can shift (change) if a force exceeds the frictional force between the second packing 14-1 and the straight pipe section 15a, for example, the tightening force caused by turning the union nut 13.

ユニオンナット13をユニオンネジ12に螺号させ締め込むことで、第2パッキング14-1の端部はユニオンネジ12に密着するなかで少しずつ、ずれながらユニオンナット13の肩部19と当接密着する。第2パッキング14-1と当接するユニオンネジの直管部15bの端部、及びユニオンナット13の肩部19は、第2パッキング14-1のテーパと、それぞれ密着して当接するように反対方向のテーパが形成されている。 By screwing the union nut 13 onto the union thread 12 and tightening it, the end of the second packing 14-1 comes into close contact with the shoulder 19 of the union nut 13 while gradually shifting as it adheres to the union thread 12. The end of the straight pipe section 15b of the union thread that abuts against the second packing 14-1 and the shoulder 19 of the union nut 13 are tapered in opposite directions so that they come into close contact with the taper of the second packing 14-1.

図8は、本発明の第二の実施例における上部連通タンク7の孔部にユニオンネジ12(C連結部材)の直管部15bを溶着し、筒型隔膜電極1の端部に、B連結部材のつば無しユニオン管11―1の直管部15aを固着し、C連結部材とB連結部材とにより上部連通タンク7と筒型隔膜電極1とを連結する構造を示す断面模式図である。上部連通タンク底板21の孔部には、雄ネジ部17が形成されているユニオンネジ12の他端が接合されている。 Figure 8 is a schematic cross-sectional view showing a structure in which the straight pipe portion 15b of the union screw 12 (C connecting member) is welded to the hole of the upper communication tank 7 in a second embodiment of the present invention, and the straight pipe portion 15a of the flangeless union pipe 11-1 of the B connecting member is fixed to the end of the cylindrical diaphragm electrode 1, connecting the upper communication tank 7 and the cylindrical diaphragm electrode 1 with the C connecting member and the B connecting member. The other end of the union screw 12, which has a male thread portion 17 formed thereon, is joined to the hole in the bottom plate 21 of the upper communication tank.

筒型隔膜電極1の両端には、つば無しユニオン管11―1である直管部15aが接合されている。ユニオンナット13は、つば無しユニオン管11-1の外周に装着されている。本明細書においては、つば無しユニオン管11―1とユニオンナット13との組合せをB連結部材と称する。 A straight pipe section 15a, which is a flangeless union pipe 11-1, is joined to both ends of the cylindrical diaphragm electrode 1. A union nut 13 is attached to the outer periphery of the flangeless union pipe 11-1. In this specification, the combination of the flangeless union pipe 11-1 and the union nut 13 is referred to as the B connection member.

リング状のパッキング14-1は、つば無しユニオン管11-1(直管部15a)挿通され、直管部15aに所定の位置で密着固定する。第2パッキング14-1の一端はユニオンナット13の肩部19と当接密着する。直管部15aをユニオンネジ12に嵌入し、ユニオンナット13を締め込めば、ユニオンネジ12の雄ネジ部17とユニオンナット13の雌ネジ部18との螺合により、リング状の第2パッキング14-1に形成されているテーパ部が、ユニオンナット13の肩部19、直管部15bのテーパ部と当接密着し、極液の漏れを防止する。筒型隔膜電極を下部連通タンクに連結する方法も、上記と全く同様である。第2パッキング14-1の直管部15aの位置(設置位置)が、ユニオンナット13の回旋(締め込み)により、直管部15aに密着するなかでずれるため、製造時における筒型隔膜電極の長さのばらつきを調整することができる。 The ring-shaped packing 14-1 is inserted into the flangeless union pipe 11-1 (straight pipe section 15a) and is fixed tightly to the straight pipe section 15a at a predetermined position. One end of the second packing 14-1 abuts and tightly contacts the shoulder 19 of the union nut 13. When the straight pipe section 15a is fitted into the union screw 12 and the union nut 13 is tightened, the male thread section 17 of the union screw 12 and the female thread section 18 of the union nut 13 screw together, causing the tapered section formed on the ring-shaped second packing 14-1 to abut and tightly contact the shoulder 19 of the union nut 13 and the tapered section of the straight pipe section 15b, preventing leakage of the electrode liquid. The method of connecting the cylindrical diaphragm electrode to the lower connecting tank is exactly the same as described above. The position (installation position) of the straight pipe section 15a of the second packing 14-1 shifts as it adheres to the straight pipe section 15a by rotating (tightening) the union nut 13, making it possible to adjust for variations in the length of the cylindrical diaphragm electrode during manufacturing.

第二の実施例の着脱可能な連結構造は、第一の実施例の着脱可能な連結構造よりも、筒型隔膜電極の製造時におけるバラつきを調整できるという顕著な効果がある。また、第一の実施例の連結構造よりも、筒型隔膜電極1に与えるストレス(引張力)を軽減できるという利点がある。 The detachable connection structure of the second embodiment has a more significant effect than the detachable connection structure of the first embodiment in that it can adjust variations that occur during the manufacture of the cylindrical diaphragm electrode. It also has the advantage of being able to reduce the stress (tensile force) applied to the cylindrical diaphragm electrode 1 more than the connection structure of the first embodiment.

第一の実施例の連結構造は、オーリングである第1パッキング14を挟んで、つば状突起部16と雄ネジ部17とを突き合わせ、ユニオンナット13を締め込むことで連結し、水密性を確保している。このため、筒型隔膜電極の長さは取替前のものと取り替えるものとがほぼ同じ長さでないと取り替えることができない。例えば、取替前の筒型隔膜電極よりも短い場合には、ユニオンナット13の締め込みにより、筒型並列電極が延長される。また、オーリングが圧縮され縮むので、これらが筒型隔膜電極1への引張力となる悪影響を及ぼす。 The connection structure of the first embodiment ensures watertightness by butting the flange-shaped protrusion 16 and the male thread 17 together and tightening the union nut 13, sandwiching the first packing 14, which is an O-ring. For this reason, the length of the cylindrical diaphragm electrode must be approximately the same as that of the old one before replacement. For example, if the new cylindrical diaphragm electrode is shorter than the old one, the cylindrical parallel electrodes are extended by tightening the union nut 13. In addition, the O-ring is compressed and shrunk, which has an adverse effect of exerting a tensile force on the cylindrical diaphragm electrode 1.

これに対して、第二の実施例による着脱可能な連結構造は、上述したように両端周縁にテーパが形成されたリング状の第2パッキング14-1に直管部15bが挿通され、ユニオンナット13を締め込むことでリング状の第2パッキング14-1が少しずつづれて、ユニオンナット13の肩部19のテーパ部に当接密着するとともに、ユニオンネジ12の直管部15bの端部に形成された逆テーパ部に当接密着する構造となっている。このため、筒型隔膜電極1の長さにバラつきがあっても、そのバラつきがリング状の第2パッキング14-1のずれにより調整される。また、ユニオンナット13の締め込みによる筒型隔膜電極1に引張力がかからないことから、筒型隔膜電極1にかかるストレス(引張力)が軽減される。 In contrast, in the detachable connection structure according to the second embodiment, the straight tube portion 15b is inserted into the ring-shaped second packing 14-1 with tapers formed on both ends as described above, and the ring-shaped second packing 14-1 is shifted little by little by tightening the union nut 13 so that it comes into close contact with the tapered portion of the shoulder portion 19 of the union nut 13 and also comes into close contact with the reverse taper portion formed at the end of the straight tube portion 15b of the union screw 12. Therefore, even if there is variation in the length of the cylindrical diaphragm electrode 1, the variation is adjusted by the shifting of the ring-shaped second packing 14-1. In addition, since no tensile force is applied to the cylindrical diaphragm electrode 1 by tightening the union nut 13, the stress (tensile force) applied to the cylindrical diaphragm electrode 1 is reduced.

即ち、第二の実施例の連結構造では、第2パッキング14-1の直管部15aに挿通密着させる位置がユニオンナット13の回旋により変わるので、筒型隔膜電極1の製造時の長さのバラつきがこれにより調整できる。また、第2パッキング14-1と直管部15bと肩部19との当接部はテーパが形成されていることから、当接部の面積が大きくなり、ユニオンナット13の締め込みにより当接部の第2パッキング14-1は横方向に広がることでより確実な水密性が確保できる。 That is, in the connection structure of the second embodiment, the position where the second packing 14-1 is inserted into the straight tube section 15a changes by rotating the union nut 13, so that the variation in length during manufacturing of the cylindrical diaphragm electrode 1 can be adjusted. Also, the contact area between the second packing 14-1, the straight tube section 15b, and the shoulder section 19 is tapered, so the area of the contact area is increased, and the second packing 14-1 at the contact area expands laterally when the union nut 13 is tightened, ensuring more reliable watertightness.

図9は、本発明の第一の実施例、第二の実施例に示すA連結部材、B連結部材、C連結部材を組合せて、筒型隔膜電極1を上部連通タンク7、下部連通タンク8に水密かつ着脱可能に連結する組合せを示した図である。
図9(a)は、上部連通タンク7の孔部にA連結部材の直管部15aを溶接し、筒型隔膜電極1の上部取り付け部5には、その一端にA連結部材のユニオンナット13の内側に形成されている雄ネジ部18と螺号する雄ネジ部17が形成されているC連結部材の他端が固着されている。A連結部材とC連結部材との間に第1パッキング14を介在させ、A連結部材のユニオンナット13を締め込むことにより、上部連通タンク7と筒型隔膜電極1の上部とが水密かつ着脱可能に連結する。
FIG. 9 is a diagram showing a combination of the A connecting member, B connecting member, and C connecting member shown in the first and second embodiments of the present invention, in which the cylindrical diaphragm electrode 1 is watertightly and detachably connected to the upper communicating tank 7 and the lower communicating tank 8.
9(a), the straight pipe portion 15a of the A connecting member is welded to the hole of the upper communicating tank 7, and the other end of the C connecting member, which has one end formed with a male thread portion 17 that screws into a male thread portion 18 formed on the inside of the union nut 13 of the A connecting member, is fixed to the upper mounting portion 5 of the cylindrical diaphragm electrode 1. A first packing 14 is interposed between the A connecting member and the C connecting member, and the union nut 13 of the A connecting member is tightened, thereby forming a watertight and detachable connection between the upper communicating tank 7 and the upper portion of the cylindrical diaphragm electrode 1.

下部連通タンク8の孔部にはC連結部材の直管部15bが溶接されている。筒型隔膜電極1の下部取り付け部6には、その一端にC連結部材の雄ネジ部17と螺号する雄ネジ部18が形成されているA連結部材又はB連結部材の他端である直管部15aが固着されている。A連結部材が固着されている場合は、A連結部材とC連結部材との間に第1パッキング14を介在させ、ユニオンナット13を締め込むことにおり、下部連通タンク8と筒型隔膜電極1とが、水密かつ着脱可能に連結する。B連結部材が固着されている場合は、B連結部材とC連結部材との間に第2パッキング14-1を介在させ、B連結部材のユニオンナット13を締め込むことにより、下部連通タンク8と筒型隔膜電極1の下部とが水密かつ着脱可能の連結する。 The straight pipe section 15b of the C connecting member is welded to the hole of the lower communication tank 8. The straight pipe section 15a, which is the other end of the A connecting member or B connecting member, is fixed to the lower mounting section 6 of the cylindrical diaphragm electrode 1, and has a male thread section 18 formed at one end that screws with the male thread section 17 of the C connecting member. When the A connecting member is fixed, the lower communication tank 8 and the cylindrical diaphragm electrode 1 are connected watertight and detachably by interposing the first packing 14 between the A connecting member and the C connecting member and tightening the union nut 13. When the B connecting member is fixed, the second packing 14-1 is interposed between the B connecting member and the C connecting member and tightening the union nut 13 of the B connecting member, thereby connecting the lower communication tank 8 and the lower part of the cylindrical diaphragm electrode 1 watertight and detachably.

図9(b)は、上部連通タンク7の孔部にはB連結部材の直管部15aが溶接されている。筒型隔膜電極1の上部取り付け部5には、一端にB連結部材のユニオンナット13の内側に形成されている雄ネジ部18と螺号する雄ネジ部17が形成されているC連結部材の他端が固着されている。B連結部材とC連結部材との間に第2パッキング14―1を介在させ、B連結部材のユニオンナット13を締め込むことにより、上部連通タンク7と筒型隔膜電極1の上部とが水密かつ着脱可能に連結する。 In Figure 9(b), the straight pipe section 15a of the B connecting member is welded to the hole in the upper communication tank 7. The other end of the C connecting member, which has a male thread section 17 formed at one end that screws into a male thread section 18 formed on the inside of the union nut 13 of the B connecting member, is fixed to the upper mounting section 5 of the cylindrical diaphragm electrode 1. By interposing a second packing 14-1 between the B connecting member and the C connecting member and tightening the union nut 13 of the B connecting member, the upper communication tank 7 and the upper part of the cylindrical diaphragm electrode 1 are watertightly and detachably connected.

下部連通タンク8の孔部にはC連結部材の直管部15bが溶接されている。筒型隔膜電極1の下部取り付け部6には、一端にC連結部材の雄ネジ部17と螺号する雄ネジ部18が形成されているA連結部材又はB連結部材の他端である直管部15aが固着されている。A連結部材が固着されている場合は、A連結部材とC連結部材との間に第1パッキング14を介在させ、ユニオンナット13を締め込むことにおり、下部連通タンク8と筒型隔膜電極1とが、水密かつ着脱可能に連結する。B連結部材が固着されている場合は、B連結部材とC連結部材との間にパッキング2を介在させ、B連結部材のユニオンナット13を締め込むことにより、下部連通タンク8と筒型隔膜電極1の下部とが水密かつ着脱可能の連結する。 The straight pipe section 15b of the C connecting member is welded to the hole of the lower communication tank 8. The straight pipe section 15a, which is the other end of the A connecting member or B connecting member, is fixed to the lower mounting section 6 of the cylindrical diaphragm electrode 1, and has a male thread section 18 at one end that screws with the male thread section 17 of the C connecting member. When the A connecting member is fixed, the first packing 14 is interposed between the A connecting member and the C connecting member, and the union nut 13 is tightened, so that the lower communication tank 8 and the cylindrical diaphragm electrode 1 are connected watertightly and detachably. When the B connecting member is fixed, the packing 2 is interposed between the B connecting member and the C connecting member, and the union nut 13 of the B connecting member is tightened, so that the lower communication tank 8 and the lower part of the cylindrical diaphragm electrode 1 are connected watertightly and detachably.

図9(c)は、上部連通タンク7の孔部にはC連結部材の端部が溶接されている。筒型隔膜電極1の上部取り付け部5には、その一端にC連結部材の雄ネジ部17と螺号する雄ネジ部18が形成されているユニオンナット13を構成要素とするA連結部材又はB連結部材の直管部15aが固着されている。A連結部材の場合は、A連結部材とC連結部材との間に第1パッキング14を介在させ、B連結部材の場合は、B連結部材とC連結部材の間に第2パッキング14-1を介在させ、ユニオンナット13を締め込むことにより、上部連通タンク7と筒型隔膜電極1の上部とが水密かつ着脱可能に連結する。 In Figure 9(c), the end of the C connecting member is welded to the hole in the upper communication tank 7. The straight tube section 15a of the A or B connecting member, which has a union nut 13 at one end with a male thread section 18 that screws with the male thread section 17 of the C connecting member, is fixed to the upper mounting section 5 of the cylindrical diaphragm electrode 1. In the case of the A connecting member, a first packing 14 is interposed between the A connecting member and the C connecting member, and in the case of the B connecting member, a second packing 14-1 is interposed between the B connecting member and the C connecting member, and the union nut 13 is tightened to connect the upper communication tank 7 and the upper section of the cylindrical diaphragm electrode 1 in a watertight and detachable manner.

下部連通タンク8の孔部にはA連結部材の直管部15aが溶接されている。筒型隔膜電極1の下部取り付け部6には、その一端にA連結部材の雄ネジ部18と螺号する雄ネジ部17が形成されているC連結部材の他端が固着されている。A連結部材とC連結部材との間に第1パッキングを介在させ、ユニオンナット13を締め込むことにおり、下部連通タンク8と筒型隔膜電極1の下部とが、水密かつ着脱可能に連結する。 The straight pipe portion 15a of the A connecting member is welded to the hole of the lower communication tank 8. The other end of the C connecting member, which has a male thread portion 17 formed at one end that screws into the male thread portion 18 of the A connecting member, is fixed to the lower mounting portion 6 of the cylindrical diaphragm electrode 1. A first packing is interposed between the A connecting member and the C connecting member, and the union nut 13 is tightened to connect the lower communication tank 8 and the lower portion of the cylindrical diaphragm electrode 1 in a watertight and detachable manner.

図9(d)は、上部連通タンク7の孔部にC連結部材の端部が溶接されている。筒型隔膜電極1の上部取り付け部5には、その一端にC連結部材の雄ネジ部17と螺号する雄ネジ部18が形成されているユニオンナット13を構成要素とするA連結部材又はB連結部材の直管部15aが固着されている。A連結部材の場合は、A連結部材とC連結部材との間に第1パッキング14を介在させ、B連結部材の場合は、B連結部材とC連結部材の間に第2パッキング14-1を介在させ、ユニオンナット13を締め込むことにより、上部連通タンク7と筒型隔膜電極1の上部とが水密かつ着脱可能に連結する。 In Figure 9(d), the end of the C connecting member is welded to the hole in the upper communication tank 7. The straight tube section 15a of the A or B connecting member, which has a union nut 13 at one end with a male thread section 18 that screws with the male thread section 17 of the C connecting member, is fixed to the upper mounting section 5 of the cylindrical diaphragm electrode 1. In the case of the A connecting member, a first packing 14 is interposed between the A connecting member and the C connecting member, and in the case of the B connecting member, a second packing 14-1 is interposed between the B connecting member and the C connecting member, and the union nut 13 is tightened to connect the upper communication tank 7 and the upper section of the cylindrical diaphragm electrode 1 in a watertight and detachable manner.

下部連通タンク8の孔部にはB連結部材の直管部15aが溶接されている。筒型隔膜電極1の下部取り付け部6には、一端にA連結部材の雄ネジ部18と螺号する雄ネジ部17が形成されているC連結部材の一端が固着されている。B連結部材とC連結部材との間に第2パッキング14-1を介在させ、ユニオンナット13を締め込むことにおり、下部連通タンク8と筒型隔膜電極1の下部とが、水密かつ着脱可能に連結する。 The straight pipe section 15a of the B connecting member is welded to the hole in the lower communication tank 8. One end of the C connecting member, which has a male thread section 17 at one end that screws into the male thread section 18 of the A connecting member, is fixed to the lower mounting section 6 of the cylindrical diaphragm electrode 1. The lower communication tank 8 and the lower part of the cylindrical diaphragm electrode 1 are connected watertightly and detachably by interposing a second packing 14-1 between the B connecting member and the C connecting member and tightening the union nut 13.

図9に示すA連結部材、B連結部材、C連結部材と、第1パッキング14,第2パッキング14-1の組合せの他、筒型隔膜電極1を上部連通タンク7、下部連通タンク8に水密かつ着脱可能に連結する組合せは、都合、16通りある。いずれの組合せであっても上下連通タンクと筒型隔膜電極とを水密かつ着脱可能に連結することができるが、上部連通タンク7と筒型隔膜電極1の上部との接合をA連結部材とC連結部材で連結した場合は、下部連通タンク8と筒型隔膜電極1の下部とをB連結部材とC連結部材で連結することが好適である。これは、A連結部材とC連結部材で連結し上部を固定しておき、自由度のあるB連結部材を下部に用いることにより、筒型隔膜電極をスムースに着脱することができるからである。 In addition to the combination of the A connecting member, B connecting member, and C connecting member with the first packing 14 and the second packing 14-1 shown in Figure 9, there are a total of 16 combinations for connecting the cylindrical membrane electrode 1 to the upper communicating tank 7 and the lower communicating tank 8 in a watertight and detachable manner. Any combination can connect the upper and lower communicating tanks and the cylindrical membrane electrode in a watertight and detachable manner, but if the upper communicating tank 7 and the upper part of the cylindrical membrane electrode 1 are connected with the A connecting member and the C connecting member, it is preferable to connect the lower communicating tank 8 and the lower part of the cylindrical membrane electrode 1 with the B connecting member and the C connecting member. This is because the cylindrical membrane electrode can be smoothly attached and detached by connecting the upper part with the A connecting member and the C connecting member and fixing the upper part, and using the flexible B connecting member for the lower part.

図10は、本発明の筒型並列電極と従来の筒型並列電極との輸送時における梱包面積の比較図である。従来の4列の筒型並列電極の梱包面積は、隔膜の乾燥を防ぐための保湿梱包ともに、約1.1平方メートルとなる。 Figure 10 is a comparison diagram of the packaging area during transportation between the cylindrical parallel electrodes of the present invention and conventional cylindrical parallel electrodes. The packaging area of the conventional four-row cylindrical parallel electrodes, including the moisturizing packaging to prevent the diaphragm from drying out, is approximately 1.1 square meters.

これに対して、本発明による筒型隔膜電極の着脱可能な筒型並列電極の保湿梱包面積は約0.48平方メートルとなり、保湿梱包面積が従来技術に比較して約半分の面積となる。これにより、筒型並列電極を電極製造工場から、遠隔地の電解メッキ工場に輸送する際に、筒型隔膜電極を束ねて梱包し、これと上下連通タンクが分離した状態で輸送し、メッキ工場において組立を行うことができ、梱包費及び輸送費を大幅に軽減することができる。 In contrast, the moisturizing packaging area of the removable cylindrical parallel electrodes of the cylindrical diaphragm electrode of the present invention is approximately 0.48 square meters, which is approximately half the moisturizing packaging area compared to the conventional technology. As a result, when the cylindrical parallel electrodes are transported from the electrode manufacturing factory to a remote electrolytic plating factory, the cylindrical diaphragm electrodes can be bundled and packaged, and the upper and lower communicating tanks can be transported separately, and assembly can be performed at the plating factory, which allows for a significant reduction in packaging and transportation costs.

先行技術の隔膜電極の構造を示す断面模式図である。FIG. 1 is a schematic cross-sectional view showing the structure of a prior art membrane electrode. 先行技術における筒型隔膜電極の取り付け構造を示す断面模式図である。FIG. 1 is a schematic cross-sectional view showing a mounting structure of a cylindrical diaphragm electrode in the prior art. 一般に用いられているユニオン接手の構造を説明するための図である。FIG. 1 is a diagram for explaining the structure of a commonly used union joint. 本発明の第一の実施例で、筒型隔膜電極と上部連通タンクとをユニオン接手で連結する連結部の構造を示す断面模式図である。FIG. 2 is a schematic cross-sectional view showing the structure of a connection portion that connects a cylindrical diaphragm electrode and an upper communication tank with a union joint in the first embodiment of the present invention. 本発明の第一の実施例における筒型隔膜電極の構造を示す図である。FIG. 2 is a diagram showing the structure of a cylindrical diaphragm electrode in a first embodiment of the present invention. 本発明の第一の実施例で筒型隔膜電極が上下連通タンクに連結された状態を示す図である。FIG. 2 is a diagram showing a state in which a cylindrical diaphragm electrode is connected to an upper and lower communicating tank in the first embodiment of the present invention. 本発明の第二の実施例で筒型隔膜電極と上部連通タンクとをユニオン接手で連結する連結部の構造を示す断面模式図である。FIG. 11 is a schematic cross-sectional view showing the structure of a connecting portion that connects a cylindrical diaphragm electrode and an upper communication tank with a union joint in a second embodiment of the present invention. 本発明の第二の実施例で筒型隔膜電極が上下連通タンクに連結された状態を示す図である。FIG. 11 is a view showing a state in which a cylindrical diaphragm electrode is connected to an upper and lower communicating tank in a second embodiment of the present invention. 本発明の第一の実施例、第二の実施例に示す連結部材の組合せの一例を示した図である。10A and 10B are diagrams showing an example of a combination of connecting members shown in the first and second embodiments of the present invention. 本発明の筒型並列電極と従来の筒型並列電極との輸送時における梱包面積の比較図である。FIG. 11 is a comparison diagram of packaging area during transportation between the cylindrical parallel electrode of the present invention and a conventional cylindrical parallel electrode.

1:筒型隔膜電極、2:電極本体、2-1:芯材、3:イオン交換膜、4:保護膜、
5:上部取り付け部、6:下部取り付け部、7:上部連通タンク、8:下部連通タンク、9:給電端子、10:フランジ、11:つば付きユニオン管、11―1:つば無しユニオン管、12:ユニオンネジ(C連結部材)、13:ユニオンナット、14:第1パッキング、14―1:第2パッキング、15a,15b:直管部、16:つば状突起部、17:雄ネジ部、18:雌ネジ部、19:肩部、20:胴部、21:上部連通タンク底板、22:下部連通タンク上板

1: cylindrical diaphragm electrode, 2: electrode body, 2-1: core material, 3: ion exchange membrane, 4: protective membrane,
5: upper mounting part, 6: lower mounting part, 7: upper communicating tank, 8: lower communicating tank, 9: power supply terminal, 10: flange, 11: flanged union pipe, 11-1: flangeless union pipe, 12: union screw (C connecting member), 13: union nut, 14: first packing, 14-1: second packing, 15a, 15b: straight pipe section, 16: flange-shaped protrusion, 17: male thread section, 18: female thread section, 19: shoulder section, 20: body section, 21: upper communicating tank bottom plate, 22: lower communicating tank top plate

Claims (6)

複数の筒型隔膜電極が、極液が流れる上部連通タンクと下部連通タンクに水密かつ着脱可能に連結している筒型並列電極において、
一端につばを備えた直管のつば付きユニオン管と、前記つば付きユニオン管の外周に摺動可能に装着され、内側に雌ネジが形成されたユニオンナットとを備えるA連結部材と、
直管のつば無しユニオン管と、前記つば無しユニオン管の外周に摺動可能に装着され、内側に雌ネジが形成されたユニオンナットとを備えるB連結部材と、
一端の外周に前記雌ネジと螺号する雄ネジが形成されたC連結部材と、
前記A連結部材と前記C連結部材との間に介装される第1パッキングと、
前記つば無しユニオン管の所望の位置に装着される第2パッキングとを有し、
前記A連結部材の他端又は前記B連結部材の他端が、前記上部連通タンクの孔部と前記下部連通タンクの孔部に溶接され、
前記C連結部材の他端が、前記筒型隔膜電極の両端にそれぞれ固着され、
前記ユニオンナットの回旋により前記筒型隔膜電極が着脱可能に構成されていることを特徴とする筒型並列電極。
In a cylindrical parallel electrode system, a plurality of cylindrical diaphragm electrodes are watertightly and detachably connected to an upper communicating tank and a lower communicating tank through which an electrode liquid flows,
A connecting member A includes a flanged union pipe that is a straight pipe with a flange at one end, and a union nut that is slidably attached to the outer periphery of the flanged union pipe and has a female thread formed on the inside;
A B connecting member including a straight flangeless union pipe and a union nut slidably attached to the outer periphery of the flangeless union pipe and having a female thread formed on the inside;
A C-shaped connecting member having a male screw formed on the outer periphery of one end thereof, the male screw engaging with the female screw;
A first packing is interposed between the A connecting member and the C connecting member;
and a second packing attached to a desired position of the flangeless union pipe.
the other end of the A connecting member or the other end of the B connecting member is welded to a hole portion of the upper communication tank and a hole portion of the lower communication tank,
The other ends of the C-shaped connecting members are fixed to both ends of the cylindrical diaphragm electrode,
4. The cylindrical parallel electrodes, wherein the cylindrical diaphragm electrode is configured to be detachable by rotating the union nut.
複数の筒型隔膜電極が、極液が流れる上部連通タンクと下部連通タンクに水密かつ着脱可能に連結した筒型並列電極において、
一端につばを備えた直管のつば付きユニオン管と、前記つば付きユニオン管の外周に摺動可能に装着され、内側に雌ネジが形成されたユニオンナットとを備えるA連結部材と、
直管のつば無しユニオン管と、前記つば無しユニオン管の外周に摺動可能に装着され、内側に雌ネジが形成されたユニオンナットとを備えるB連結部材と、
一端の外周に前記雌ネジと螺号する雄ネジが形成されたC連結部材と、
前記A連結部材と前記C連結部材との間に介装される第1パッキングと、
前記つば無しユニオン管の所望の位置に装着される第2パッキングとを有し、
前記A連結部材の他端又は前記B連結部材の他端が、前記筒型隔膜電極の両端にそれぞれ固着され、
前記上部連通タンクの孔部と前記下部連通タンクの孔部に前記C連結部材の他端がそれぞれ溶接され、
前記ユニオンナットの回旋により前記筒型隔膜電極が着脱可能に構成されていることを備えたことを特徴とする筒型並列電極。
In a cylindrical parallel electrode system, a plurality of cylindrical diaphragm electrodes are watertightly and detachably connected to an upper communicating tank and a lower communicating tank through which an electrode liquid flows,
A connecting member A includes a flanged union pipe that is a straight pipe with a flange at one end, and a union nut that is slidably attached to the outer periphery of the flanged union pipe and has a female thread formed on the inside;
A B connecting member including a straight flangeless union pipe and a union nut slidably attached to the outer periphery of the flangeless union pipe and having a female thread formed on the inside;
A C-shaped connecting member having a male screw formed on the outer periphery of one end thereof, the male screw engaging with the female screw;
A first packing is interposed between the A connecting member and the C connecting member;
and a second packing attached to a desired position of the flangeless union pipe.
the other end of the A connecting member or the other end of the B connecting member is fixed to both ends of the cylindrical diaphragm electrode,
the other end of the C-shaped connecting member is welded to the hole of the upper communication tank and the hole of the lower communication tank,
The cylindrical parallel electrode is configured so that the cylindrical diaphragm electrode can be attached and detached by turning the union nut.
複数の筒型隔膜電極が、極液が流れる上部連通タンクと下部連通タンクに水密かつ着脱可能に連結した筒型並列電極において、
一端につばを備えた直管のつば付きユニオン管と、前記つば付きユニオン管の外周に摺動可能に装着され、内側に雌ネジが形成されたユニオンナットとを備えるA連結部材と、
直管のつば無しユニオン管と、前記つば無しユニオン管の外周に摺動可能に装着され、内側に雌ネジが形成されたユニオンナットとを備えるB連結部材と、
一端の外周に前記雌ネジと螺号する雄ネジが形成されたC連結部材と、
前記A連結部材と前記C連結部材との間に介装される第1パッキングと、
前記つば無しユニオン管の所望の位置に装着される第2パッキングとを有し、
前記A連結部材の他端又は前記B連結部材の他端が、前記上部連通タンクの孔部に溶接され、前記C連結部材の他端が前記下部連通タンクの孔部に溶接され、前記筒型隔膜電極の上端に前記C連結部材の他端が固着され、下端に前記A連結部材の他端又は前記B連結部材の他端が固着され、
前記ユニオンナットの回旋により前記筒型隔膜電極が着脱可能に構成されていることを特徴とする筒型並列電極。
In a cylindrical parallel electrode system, a plurality of cylindrical diaphragm electrodes are watertightly and detachably connected to an upper communicating tank and a lower communicating tank through which an electrode liquid flows,
A connecting member A includes a flanged union pipe that is a straight pipe with a flange at one end, and a union nut that is slidably attached to the outer periphery of the flanged union pipe and has a female thread formed on the inside;
A B connecting member including a straight flangeless union pipe and a union nut slidably attached to the outer periphery of the flangeless union pipe and having a female thread formed on the inside;
A C-shaped connecting member having a male screw formed on the outer periphery of one end thereof, the male screw engaging with the female screw;
A first packing is interposed between the A connecting member and the C connecting member;
and a second packing attached to a desired position of the flangeless union pipe.
the other end of the A connecting member or the other end of the B connecting member is welded to a hole of the upper communicating tank, the other end of the C connecting member is welded to a hole of the lower communicating tank, the other end of the C connecting member is fixed to an upper end of the cylindrical diaphragm electrode, and the other end of the A connecting member or the other end of the B connecting member is fixed to a lower end of the cylindrical diaphragm electrode,
4. The cylindrical parallel electrodes, wherein the cylindrical diaphragm electrode is configured to be detachable by rotating the union nut.
複数の筒型隔膜電極が、極液が流れる上部連通タンクと下部連通タンクに水密かつ着脱可能に連結した筒型並列電極において、
一端につばを備えた直管のつば付きユニオン管と、前記つば付きユニオン管の外周に摺動可能に装着され、内側に雌ネジが形成されたユニオンナットとを備えるA連結部材と、
直管のつば無しユニオン管と、前記つば無しユニオン管の外周に摺動可能に装着され、内側に雌ネジが形成されたユニオンナットとを備えるB連結部材と、
一端の外周に前記雌ネジと螺号する雄ネジが形成されたC連結部材と、
前記A連結部材と前記C連結部材との間に介装される第1パッキングと、
前記つば無しユニオン管の所望の位置に装着される第2パッキングとを有し、
前記C連結部材の他端が前記上部連通タンクの孔部に溶接され、前記下部連通タンクの孔部に前記A連結部材の他端又はB連結部材の他端が溶接され、
前記筒型隔膜電極の上端に前記A連結部材の他端又はB連結部材の他端が固着され、下端に前記C連結部材の他端が固着され、
前記ユニオンナットの回旋により前記筒型隔膜電極が着脱可能に構成されていることを特徴とする筒型並列電極。
In a cylindrical parallel electrode system, a plurality of cylindrical diaphragm electrodes are watertightly and detachably connected to an upper communicating tank and a lower communicating tank through which an electrode liquid flows,
A connecting member A includes a flanged union pipe that is a straight pipe with a flange at one end, and a union nut that is slidably attached to the outer periphery of the flanged union pipe and has a female thread formed on the inside;
A B connecting member including a straight flangeless union pipe and a union nut slidably attached to the outer periphery of the flangeless union pipe and having a female thread formed on the inside;
A C-shaped connecting member having a male screw formed on the outer periphery of one end thereof, the male screw engaging with the female screw;
A first packing is interposed between the A connecting member and the C connecting member;
and a second packing attached to a desired position of the flangeless union pipe.
the other end of the C connecting member is welded to the hole of the upper communication tank, and the other end of the A connecting member or the other end of the B connecting member is welded to the hole of the lower communication tank,
The other end of the A connecting member or the other end of the B connecting member is fixed to the upper end of the cylindrical diaphragm electrode, and the other end of the C connecting member is fixed to the lower end of the cylindrical diaphragm electrode,
4. The cylindrical parallel electrodes, wherein the cylindrical diaphragm electrode is configured to be detachable by rotating the union nut.
請求項1又は2に記載の筒型並列電極が、複数、電解槽内に配置され、前記極液を前記の上部連通タンクから下部連通タンクに循環させる極液循環手段と、
前記筒型並列電極のそれぞれに電解用電力を供給する給電手段
とを備えたことを特徴とする電解メッキ装置。
a plurality of cylindrical parallel electrodes according to claim 1 or 2 arranged in an electrolytic cell; and an electrode solution circulating means for circulating the electrode solution from the upper communicating tank to the lower communicating tank;
and a power supply means for supplying power for electrolysis to each of said cylindrical parallel electrodes.
請求項3又は4に記載の筒型並列電極が、複数、電解槽内に配置され、前記極液を前記の上部連通タンクから下部連通タンクに循環させる極液循環手段と、
前記筒型並列電極のそれぞれに電解用電力を供給する給電手段とを備えたことを特徴とする電解メッキ装置。
a plurality of cylindrical parallel electrodes according to claim 3 or 4 arranged in an electrolytic cell; and an electrode solution circulating means for circulating the electrode solution from the upper communicating tank to the lower communicating tank;
and a power supply means for supplying power for electrolysis to each of said cylindrical parallel electrodes.
JP2023121192A 2023-07-26 2023-07-26 Cylindrical parallel electrodes and electrolytic plating device using same Active JP7549397B1 (en)

Priority Applications (1)

Application Number Priority Date Filing Date Title
JP2023121192A JP7549397B1 (en) 2023-07-26 2023-07-26 Cylindrical parallel electrodes and electrolytic plating device using same

Applications Claiming Priority (1)

Application Number Priority Date Filing Date Title
JP2023121192A JP7549397B1 (en) 2023-07-26 2023-07-26 Cylindrical parallel electrodes and electrolytic plating device using same

Publications (2)

Publication Number Publication Date
JP7549397B1 true JP7549397B1 (en) 2024-09-11
JP2025017873A JP2025017873A (en) 2025-02-06

Family

ID=92673210

Family Applications (1)

Application Number Title Priority Date Filing Date
JP2023121192A Active JP7549397B1 (en) 2023-07-26 2023-07-26 Cylindrical parallel electrodes and electrolytic plating device using same

Country Status (1)

Country Link
JP (1) JP7549397B1 (en)

Citations (4)

* Cited by examiner, † Cited by third party
Publication number Priority date Publication date Assignee Title
JP2001324067A (en) 2000-05-15 2001-11-22 Sekisui Chem Co Ltd Union fitting
JP2006169552A (en) 2004-12-13 2006-06-29 Astom:Kk Ion exchange membrane / electrode assembly
CN206768233U (en) 2017-05-31 2017-12-19 李彦廉 A kind of brown gas generator for car combustion engine
JP2022164691A (en) 2016-08-15 2022-10-27 バロン ホルヘ ガルセス Electrolysis cell in the form of capacitor of cylindrical plate

Patent Citations (4)

* Cited by examiner, † Cited by third party
Publication number Priority date Publication date Assignee Title
JP2001324067A (en) 2000-05-15 2001-11-22 Sekisui Chem Co Ltd Union fitting
JP2006169552A (en) 2004-12-13 2006-06-29 Astom:Kk Ion exchange membrane / electrode assembly
JP2022164691A (en) 2016-08-15 2022-10-27 バロン ホルヘ ガルセス Electrolysis cell in the form of capacitor of cylindrical plate
CN206768233U (en) 2017-05-31 2017-12-19 李彦廉 A kind of brown gas generator for car combustion engine

Also Published As

Publication number Publication date
JP2025017873A (en) 2025-02-06

Similar Documents

Publication Publication Date Title
US11283098B2 (en) System for high-temperature tight coupling of a stack having SOEC/SOFC-type solid oxides
JP6114407B2 (en) ELECTROLYSIS DEVICE AND ITS MANUFACTURING METHOD
US9920440B2 (en) Electrochemical stack device
US20080169648A1 (en) Pipe coupling
US9410257B2 (en) Tubular electrochemical cell
JP2006009969A (en) Flow path block for accumulated gas control device and its manufacturing method and accumulated gas control device
KR102436790B1 (en) pressure sensor
JP7549397B1 (en) Cylindrical parallel electrodes and electrolytic plating device using same
WO2016117264A1 (en) Redox-flow battery
JPH10208766A (en) Redox flow battery
JPS5827990A (en) Method of assembling filter press type electrolytic cell
US9318767B2 (en) Laminate assembly sealing method and arrangement
JP2009004254A (en) Assembly method of fuel cell stack
US20250354276A1 (en) Framing Structure For An Electrolyser
JP3723116B2 (en) Solid polymer membrane water electrolyzer
JPH08312846A (en) Sealing retaining wall for pipe-shaped member, sealing method, fluid part with the retaining wall, and fluid device with the fluid part
JP3487696B2 (en) Hydrogen / oxygen generator
EP2469637B1 (en) Laminate assembly sealing method and arrangement
TWI913547B (en) Framing structure for an electrolyser, electrochemical cell and the electrolyser for high pressure water electrolysis
CN207160144U (en) Compressed tanks and non-tower water feeder
DK182087B1 (en) An electrolysis cell stack, a method for detecting a leak and use of an electrolysis cell stack
CN223468458U (en) Flange type electrolytic tank medium inlet and outlet structure
JPH0515320U (en) Stacked secondary battery
US20250333858A1 (en) High pressure gasket for an electrolysis device
US20220243846A1 (en) Rotational fitting for low purity, high purity, and ultra high purity gas lines or process cooling and critical process cooling water systems

Legal Events

Date Code Title Description
A621 Written request for application examination

Free format text: JAPANESE INTERMEDIATE CODE: A621

Effective date: 20240304

A871 Explanation of circumstances concerning accelerated examination

Free format text: JAPANESE INTERMEDIATE CODE: A871

Effective date: 20240304

A131 Notification of reasons for refusal

Free format text: JAPANESE INTERMEDIATE CODE: A131

Effective date: 20240610

A521 Request for written amendment filed

Free format text: JAPANESE INTERMEDIATE CODE: A523

Effective date: 20240612

TRDD Decision of grant or rejection written
A01 Written decision to grant a patent or to grant a registration (utility model)

Free format text: JAPANESE INTERMEDIATE CODE: A01

Effective date: 20240801

A61 First payment of annual fees (during grant procedure)

Free format text: JAPANESE INTERMEDIATE CODE: A61

Effective date: 20240823

R150 Certificate of patent or registration of utility model

Ref document number: 7549397

Country of ref document: JP

Free format text: JAPANESE INTERMEDIATE CODE: R150