JP7539409B2 - マルチポジション回転要素を備えた器具送達デバイス - Google Patents

マルチポジション回転要素を備えた器具送達デバイス Download PDF

Info

Publication number
JP7539409B2
JP7539409B2 JP2021561970A JP2021561970A JP7539409B2 JP 7539409 B2 JP7539409 B2 JP 7539409B2 JP 2021561970 A JP2021561970 A JP 2021561970A JP 2021561970 A JP2021561970 A JP 2021561970A JP 7539409 B2 JP7539409 B2 JP 7539409B2
Authority
JP
Japan
Prior art keywords
rotating element
instrument
delivery device
housing
response
Prior art date
Legal status (The legal status is an assumption and is not a legal conclusion. Google has not performed a legal analysis and makes no representation as to the accuracy of the status listed.)
Active
Application number
JP2021561970A
Other languages
English (en)
Other versions
JP2022529068A (ja
JPWO2020214823A5 (ja
Inventor
スパタロ ジョセフ
カール バークホルツ ジョナサン
Current Assignee (The listed assignees may be inaccurate. Google has not performed a legal analysis and makes no representation or warranty as to the accuracy of the list.)
Becton Dickinson and Co
Original Assignee
Becton Dickinson and Co
Priority date (The priority date is an assumption and is not a legal conclusion. Google has not performed a legal analysis and makes no representation as to the accuracy of the date listed.)
Filing date
Publication date
Application filed by Becton Dickinson and Co filed Critical Becton Dickinson and Co
Publication of JP2022529068A publication Critical patent/JP2022529068A/ja
Publication of JPWO2020214823A5 publication Critical patent/JPWO2020214823A5/ja
Application granted granted Critical
Publication of JP7539409B2 publication Critical patent/JP7539409B2/ja
Active legal-status Critical Current
Anticipated expiration legal-status Critical

Links

Images

Classifications

    • AHUMAN NECESSITIES
    • A61MEDICAL OR VETERINARY SCIENCE; HYGIENE
    • A61BDIAGNOSIS; SURGERY; IDENTIFICATION
    • A61B17/00Surgical instruments, devices or methods
    • A61B17/34Trocars; Puncturing needles
    • A61B17/3415Trocars; Puncturing needles for introducing tubes or catheters, e.g. gastrostomy tubes, drain catheters
    • AHUMAN NECESSITIES
    • A61MEDICAL OR VETERINARY SCIENCE; HYGIENE
    • A61BDIAGNOSIS; SURGERY; IDENTIFICATION
    • A61B17/00Surgical instruments, devices or methods
    • A61B17/34Trocars; Puncturing needles
    • A61B17/3462Trocars; Puncturing needles with means for changing the diameter or the orientation of the entrance port of the cannula, e.g. for use with different-sized instruments, reduction ports, adapter seals
    • AHUMAN NECESSITIES
    • A61MEDICAL OR VETERINARY SCIENCE; HYGIENE
    • A61BDIAGNOSIS; SURGERY; IDENTIFICATION
    • A61B5/00Measuring for diagnostic purposes; Identification of persons
    • A61B5/15Devices for taking samples of blood
    • A61B5/150007Details
    • A61B5/150015Source of blood
    • A61B5/15003Source of blood for venous or arterial blood
    • AHUMAN NECESSITIES
    • A61MEDICAL OR VETERINARY SCIENCE; HYGIENE
    • A61BDIAGNOSIS; SURGERY; IDENTIFICATION
    • A61B5/00Measuring for diagnostic purposes; Identification of persons
    • A61B5/15Devices for taking samples of blood
    • A61B5/150992Blood sampling from a fluid line external to a patient, such as a catheter line, combined with an infusion line; Blood sampling from indwelling needle sets, e.g. sealable ports, luer couplings or valves
    • AHUMAN NECESSITIES
    • A61MEDICAL OR VETERINARY SCIENCE; HYGIENE
    • A61BDIAGNOSIS; SURGERY; IDENTIFICATION
    • A61B5/00Measuring for diagnostic purposes; Identification of persons
    • A61B5/15Devices for taking samples of blood
    • A61B5/153Devices specially adapted for taking samples of venous or arterial blood, e.g. with syringes
    • AHUMAN NECESSITIES
    • A61MEDICAL OR VETERINARY SCIENCE; HYGIENE
    • A61BDIAGNOSIS; SURGERY; IDENTIFICATION
    • A61B5/00Measuring for diagnostic purposes; Identification of persons
    • A61B5/15Devices for taking samples of blood
    • A61B5/153Devices specially adapted for taking samples of venous or arterial blood, e.g. with syringes
    • A61B5/154Devices using pre-evacuated means
    • AHUMAN NECESSITIES
    • A61MEDICAL OR VETERINARY SCIENCE; HYGIENE
    • A61MDEVICES FOR INTRODUCING MEDIA INTO, OR ONTO, THE BODY; DEVICES FOR TRANSDUCING BODY MEDIA OR FOR TAKING MEDIA FROM THE BODY; DEVICES FOR PRODUCING OR ENDING SLEEP OR STUPOR
    • A61M25/00Catheters; Hollow probes
    • A61M25/01Introducing, guiding, advancing, emplacing or holding catheters
    • A61M25/0105Steering means as part of the catheter or advancing means; Markers for positioning
    • A61M25/0113Mechanical advancing means, e.g. catheter dispensers
    • AHUMAN NECESSITIES
    • A61MEDICAL OR VETERINARY SCIENCE; HYGIENE
    • A61MDEVICES FOR INTRODUCING MEDIA INTO, OR ONTO, THE BODY; DEVICES FOR TRANSDUCING BODY MEDIA OR FOR TAKING MEDIA FROM THE BODY; DEVICES FOR PRODUCING OR ENDING SLEEP OR STUPOR
    • A61M25/00Catheters; Hollow probes
    • A61M25/01Introducing, guiding, advancing, emplacing or holding catheters
    • A61M25/06Body-piercing guide needles or the like
    • A61M25/0606"Over-the-needle" catheter assemblies, e.g. I.V. catheters
    • AHUMAN NECESSITIES
    • A61MEDICAL OR VETERINARY SCIENCE; HYGIENE
    • A61MDEVICES FOR INTRODUCING MEDIA INTO, OR ONTO, THE BODY; DEVICES FOR TRANSDUCING BODY MEDIA OR FOR TAKING MEDIA FROM THE BODY; DEVICES FOR PRODUCING OR ENDING SLEEP OR STUPOR
    • A61M25/00Catheters; Hollow probes
    • A61M25/01Introducing, guiding, advancing, emplacing or holding catheters
    • A61M25/06Body-piercing guide needles or the like
    • A61M25/0612Devices for protecting the needle; Devices to help insertion of the needle, e.g. wings or holders
    • AHUMAN NECESSITIES
    • A61MEDICAL OR VETERINARY SCIENCE; HYGIENE
    • A61MDEVICES FOR INTRODUCING MEDIA INTO, OR ONTO, THE BODY; DEVICES FOR TRANSDUCING BODY MEDIA OR FOR TAKING MEDIA FROM THE BODY; DEVICES FOR PRODUCING OR ENDING SLEEP OR STUPOR
    • A61M39/00Tubes, tube connectors, tube couplings, valves, access sites or the like, specially adapted for medical use
    • A61M39/02Access sites
    • A61M39/06Haemostasis valves, i.e. gaskets sealing around a needle, catheter or the like, closing on removal thereof
    • AHUMAN NECESSITIES
    • A61MEDICAL OR VETERINARY SCIENCE; HYGIENE
    • A61MDEVICES FOR INTRODUCING MEDIA INTO, OR ONTO, THE BODY; DEVICES FOR TRANSDUCING BODY MEDIA OR FOR TAKING MEDIA FROM THE BODY; DEVICES FOR PRODUCING OR ENDING SLEEP OR STUPOR
    • A61M39/00Tubes, tube connectors, tube couplings, valves, access sites or the like, specially adapted for medical use
    • A61M39/10Tube connectors; Tube couplings
    • A61M39/105Multi-channel connectors or couplings, e.g. for connecting multi-lumen tubes
    • AHUMAN NECESSITIES
    • A61MEDICAL OR VETERINARY SCIENCE; HYGIENE
    • A61MDEVICES FOR INTRODUCING MEDIA INTO, OR ONTO, THE BODY; DEVICES FOR TRANSDUCING BODY MEDIA OR FOR TAKING MEDIA FROM THE BODY; DEVICES FOR PRODUCING OR ENDING SLEEP OR STUPOR
    • A61M39/00Tubes, tube connectors, tube couplings, valves, access sites or the like, specially adapted for medical use
    • A61M39/10Tube connectors; Tube couplings
    • A61M39/1055Rotating or swivel joints
    • AHUMAN NECESSITIES
    • A61MEDICAL OR VETERINARY SCIENCE; HYGIENE
    • A61BDIAGNOSIS; SURGERY; IDENTIFICATION
    • A61B17/00Surgical instruments, devices or methods
    • A61B17/34Trocars; Puncturing needles
    • A61B17/3462Trocars; Puncturing needles with means for changing the diameter or the orientation of the entrance port of the cannula, e.g. for use with different-sized instruments, reduction ports, adapter seals
    • A61B2017/3466Trocars; Puncturing needles with means for changing the diameter or the orientation of the entrance port of the cannula, e.g. for use with different-sized instruments, reduction ports, adapter seals for simultaneous sealing of multiple instruments
    • AHUMAN NECESSITIES
    • A61MEDICAL OR VETERINARY SCIENCE; HYGIENE
    • A61MDEVICES FOR INTRODUCING MEDIA INTO, OR ONTO, THE BODY; DEVICES FOR TRANSDUCING BODY MEDIA OR FOR TAKING MEDIA FROM THE BODY; DEVICES FOR PRODUCING OR ENDING SLEEP OR STUPOR
    • A61M25/00Catheters; Hollow probes
    • A61M25/0021Catheters; Hollow probes characterised by the form of the tubing
    • A61M25/0023Catheters; Hollow probes characterised by the form of the tubing by the form of the lumen, e.g. cross-section, variable diameter
    • A61M25/0026Multi-lumen catheters with stationary elements
    • A61M25/003Multi-lumen catheters with stationary elements characterized by features relating to least one lumen located at the distal part of the catheter, e.g. filters, plugs or valves
    • A61M2025/0031Multi-lumen catheters with stationary elements characterized by features relating to least one lumen located at the distal part of the catheter, e.g. filters, plugs or valves characterized by lumina for withdrawing or delivering, i.e. used for extracorporeal circuit treatment
    • AHUMAN NECESSITIES
    • A61MEDICAL OR VETERINARY SCIENCE; HYGIENE
    • A61MDEVICES FOR INTRODUCING MEDIA INTO, OR ONTO, THE BODY; DEVICES FOR TRANSDUCING BODY MEDIA OR FOR TAKING MEDIA FROM THE BODY; DEVICES FOR PRODUCING OR ENDING SLEEP OR STUPOR
    • A61M25/00Catheters; Hollow probes
    • A61M25/0067Catheters; Hollow probes characterised by the distal end, e.g. tips
    • A61M25/0082Catheter tip comprising a tool
    • A61M25/0084Catheter tip comprising a tool being one or more injection needles
    • A61M2025/0089Single injection needle protruding axially, i.e. along the longitudinal axis of the catheter, from the distal tip
    • AHUMAN NECESSITIES
    • A61MEDICAL OR VETERINARY SCIENCE; HYGIENE
    • A61MDEVICES FOR INTRODUCING MEDIA INTO, OR ONTO, THE BODY; DEVICES FOR TRANSDUCING BODY MEDIA OR FOR TAKING MEDIA FROM THE BODY; DEVICES FOR PRODUCING OR ENDING SLEEP OR STUPOR
    • A61M39/00Tubes, tube connectors, tube couplings, valves, access sites or the like, specially adapted for medical use
    • A61M39/02Access sites
    • A61M39/06Haemostasis valves, i.e. gaskets sealing around a needle, catheter or the like, closing on removal thereof
    • A61M2039/062Haemostasis valves, i.e. gaskets sealing around a needle, catheter or the like, closing on removal thereof used with a catheter
    • AHUMAN NECESSITIES
    • A61MEDICAL OR VETERINARY SCIENCE; HYGIENE
    • A61MDEVICES FOR INTRODUCING MEDIA INTO, OR ONTO, THE BODY; DEVICES FOR TRANSDUCING BODY MEDIA OR FOR TAKING MEDIA FROM THE BODY; DEVICES FOR PRODUCING OR ENDING SLEEP OR STUPOR
    • A61M39/00Tubes, tube connectors, tube couplings, valves, access sites or the like, specially adapted for medical use
    • A61M39/10Tube connectors; Tube couplings
    • A61M2039/1072Tube connectors; Tube couplings with a septum present in the connector
    • AHUMAN NECESSITIES
    • A61MEDICAL OR VETERINARY SCIENCE; HYGIENE
    • A61MDEVICES FOR INTRODUCING MEDIA INTO, OR ONTO, THE BODY; DEVICES FOR TRANSDUCING BODY MEDIA OR FOR TAKING MEDIA FROM THE BODY; DEVICES FOR PRODUCING OR ENDING SLEEP OR STUPOR
    • A61M25/00Catheters; Hollow probes
    • A61M25/0021Catheters; Hollow probes characterised by the form of the tubing
    • A61M25/0023Catheters; Hollow probes characterised by the form of the tubing by the form of the lumen, e.g. cross-section, variable diameter
    • A61M25/0026Multi-lumen catheters with stationary elements
    • A61M25/003Multi-lumen catheters with stationary elements characterized by features relating to least one lumen located at the distal part of the catheter, e.g. filters, plugs or valves
    • AHUMAN NECESSITIES
    • A61MEDICAL OR VETERINARY SCIENCE; HYGIENE
    • A61MDEVICES FOR INTRODUCING MEDIA INTO, OR ONTO, THE BODY; DEVICES FOR TRANSDUCING BODY MEDIA OR FOR TAKING MEDIA FROM THE BODY; DEVICES FOR PRODUCING OR ENDING SLEEP OR STUPOR
    • A61M25/00Catheters; Hollow probes
    • A61M25/0067Catheters; Hollow probes characterised by the distal end, e.g. tips
    • A61M25/0082Catheter tip comprising a tool
    • A61M25/0084Catheter tip comprising a tool being one or more injection needles

Landscapes

  • Health & Medical Sciences (AREA)
  • Life Sciences & Earth Sciences (AREA)
  • Heart & Thoracic Surgery (AREA)
  • Public Health (AREA)
  • Veterinary Medicine (AREA)
  • Biomedical Technology (AREA)
  • Engineering & Computer Science (AREA)
  • Animal Behavior & Ethology (AREA)
  • General Health & Medical Sciences (AREA)
  • Hematology (AREA)
  • Biophysics (AREA)
  • Surgery (AREA)
  • Pathology (AREA)
  • Medical Informatics (AREA)
  • Molecular Biology (AREA)
  • Physics & Mathematics (AREA)
  • Pulmonology (AREA)
  • Anesthesiology (AREA)
  • Nuclear Medicine, Radiotherapy & Molecular Imaging (AREA)
  • Gastroenterology & Hepatology (AREA)
  • Infusion, Injection, And Reservoir Apparatuses (AREA)
  • Media Introduction/Drainage Providing Device (AREA)

Description

患者の血管系に針を挿入すると、さまざまな理由で、臨床医だけでなく患者にも不安を引き起こす傾向がある。採血は、針挿入の一般的な原因である。患者の血管系から血液を抜くために末梢静脈カテーテル(PIVC)を利用する試みがなされており、これにより、所与の患者が経験する針の挿入の数を減らすことができる。
IVカテーテルの一般的なタイプは、オーバーザニードルPIVCである。その名前が示すように、オーバーザニードルPIVCは、鋭い遠位先端を有する導入針の上に取り付け得る。鋭利な遠位先端は、患者の皮膚および血管系を刺し通すのに使用され得る。血管系へのPIVCの挿入は、針による血管系の穿刺に続き得る。針およびPIVCは、一般的に、針の斜面が患者の皮膚の反対側を向くように、患者の皮膚を通って血管系に浅い角度で挿入される。血管系内への針の配置が確認されると、臨床医は、血管系内の流れを一時的に遮断して、針を引き抜き、今後の採血および/または流体の注入のためにPIVCを所定位置に残し得る。
現在のPIVC採血アプローチにはいくつかの制限があるかもしれない。採血のためのPIVCの現在の使用は、特に患者の静脈内アクセスが困難な場合や、臨床医が容易にアクセスできない静脈がある場合は、時間がかかり、やや非効率的である。また、PIVCを介して得られた血液サンプルは、サンプルの品質に関する懸念から、廃棄する必要がある場合がある。さらに、採血にPIVCを現在使用していると、チューブがよじれる可能性がある。さらに、PIVCは、時間の経過とともに狭くなったり、つぶれたり、詰まったりして、PIVCの障害につながる可能性がある。
本明細書で特許請求される主題は、任意の不利益を解決する実施形態、または上記で説明されるもののような所定の環境でのみ動作する実施形態に限定されない。むしろ、この背景技術は、本明細書で記載された具体化したもののいくつかを実施し得る技術領域の一例を示すために適用されるにすぎない。
本開示は、一般に、静脈内カテーテルを介して器具を送達するための送達デバイスおよび関連するシステムおよび方法に関する。いくつかの実施形態では、器具は、ガイドワイヤ、プローブ、チューブ、ライトチューブ、または別の適切な器具を含み得る。いくつかの実施形態では、機具は、第1の端部および第2の端部を含み得る。
いくつかの実施形態では、送達デバイスは、ポートを含み得るハウジングを含み得る。いくつかの実施形態では、送達デバイスは、ハウジング内に配置され得る回転要素を含み得る。いくつかの実施形態では、回転要素は、回転要素の円周の少なくとも一部の周りに延び得るチャネルおよび溝を含み得る。いくつかの実施形態では、送達デバイスは、溝内および/または回転要素とハウジングとの間に配置され得る器具を含み得る。いくつかの実施形態では、ハウジングに対する回転要素の回転に応答して、器具は、ポートを通って前進することができる。
いくつかの実施形態では、送達デバイスは、ハウジングに対して静止していてもよいコネクターを含み得る。いくつかの実施形態では、コネクターは、一次流体経路と一次流体経路との流体連通における一次流体経路および複数の二次流体経路を含み得る。いくつかの実施形態では、コネクターは、ハウジングに固定され、および/または単一のユニットとしてハウジングと一体的に形成され得る。いくつかの実施形態では、コネクターは、ルアーアダプターを含み得る。
いくつかの実施形態では、回転要素は、ハウジングに対して第1の位置と第2の位置との間で回転するように構成され得る。いくつかの実施形態では、回転要素が第1の位置にあることに応答して、器具の第2の端部は二次流体経路と整列され得、チャネルは二次流体経路と整列されなくてもよく、器具の第1の端部は第1の場所または位置に配置することができる。いくつかの実施形態では、器具の第2の端部は、二次流体経路の特定の1つと位置合わせされ得る。
いくつかの実施形態では、回転要素が第2の位置にあることに応答して、チャネルは二次流体経路と整列され得、器具の第2の端部は二次流体経路と整列されなくてもよく、器具の第1の端部は第2の場所に配置することができる。
いくつかの実施形態では、回転要素の第2の位置から第1の位置への回転に応答して、器具は、ポートを通って遠位方向に前進され得る。いくつかの実施形態では、回転要素は、全回転または別の量未満の回転要素の回転に応答して、第1の位置から第2の位置に回転することができる。
いくつかの実施形態では、回転要素は、第1の位置、第2の位置、および第3の位置の間でハウジングに対して回転するように構成され得る。いくつかの実施形態では、回転要素が第3の位置にあることに応答して、器具の第2の端部を二次流体経路と整列させ、チャネルを二次流体経路と整列させ、器具の第1の端部を第3の場所に配置させることができる。
いくつかの実施形態では、回転要素の第2の位置から第1の位置への回転に応答して、器具は、ポートを通って遠位方向に前進され得る。いくつかの実施形態では、回転要素は、全回転の約4分の1または別の量の回転要素の回転に応答して、第1の位置から第3の位置に回転することができる。
いくつかの実施形態では、第1の位置は、患者から血液を収集するように構成された採血位置に対応し得る。いくつかの実施形態では、採血装置は、コネクターに結合され得る。いくつかの実施形態では、器具は、患者からの血液の収集を容易にし得るチューブを含み得る。いくつかの実施形態では、チューブは、可変の内径および/または可変の外径を含み得る。いくつかの実施形態では、第2の位置は、患者の血管系に流体を注入するように構成された注入位置に対応し得る。いくつかの実施形態では、流体注入装置をコネクターに結合することができる。いくつかの実施形態では、第3の位置は、チャネルおよびチューブをフラッシュするように構成されたフラッシュ位置に対応し得る。したがって、いくつかの実施形態では、送達デバイスは、単一のポートを介して、採血、注入、およびフラッシングを含む複数の機能を提供するように構成され得る。
いくつかの実施形態では、カテーテルシステムは、カテーテルアセンブリおよびカテーテルアセンブリに結合され得る送達デバイスを含み得る。いくつかの実施形態では、カテーテルアセンブリは、カテーテルアダプターおよび/またはカテーテルを含み得、これらは、カテーテルアダプターから遠位に延びることができる。いくつかの実施形態では、回転要素が第1の位置にあることに応答して、器具の第1の端部は、カテーテルの遠位端より遠位であり得る第1の場所に配置され得る。いくつかの実施形態では、回転要素が第2の位置にあることに応答して、器具の第1の端部は、カテーテルの遠位端に近位であり得る第2の場所に配置され得る。いくつかの実施形態では、回転要素が第3の位置にあることに応答して、器具の第1の端部は、カテーテルの遠位端の近位および/または第2の場所の遠位であり得る第3の場所に配置され得る。
いくつかの実施形態では、カテーテルシステムは、遠位端および近位端を含み得る延長チューブを含み得る。いくつかの実施形態では、延長チューブの遠位端は、カテーテルアダプターに結合され得る。いくつかの実施形態では、延長チューブの近位端は、送達デバイスのハウジングに結合され得る。いくつかの実施形態では、延長チューブの近位端は、ハウジングのポート内に統合され得、これは、延長チューブへの送達デバイスの手動接続を排除し得る。いくつかの実施形態では、延長チューブの遠位端は、カテーテルアダプターのポート内に組み込まれ得る。
いくつかの実施形態では、溝は、器具とほぼ等しいかわずかに大きい幅を含み得、これは、器具の支持を容易にし、および/または器具のねじれのリスクを低減し得る。いくつかの実施形態では、溝は、回転要素の円周から内側に延びることができる。いくつかの実施形態では、溝は、回転要素の円周から、および/または回転要素の回転の中心軸に向かって内向きに延びることができる。いくつかの実施形態では、器具の第2の端部は、例えば、溝内などの送達デバイス内に固定され得る。
いくつかの実施形態では、コネクターは、第1のポートおよび第2のポートを含み得る。いくつかの実施形態では、ハウジングは、突出部を含み得る。いくつかの実施形態では、回転要素は、上端および下端を含み得る。いくつかの実施形態では、上端はコネクターを含み得る。いくつかの実施形態では、回転要素は、上端および下端を通って延びることができる管腔を含むことができる。いくつかの実施形態では、回転要素は、管腔内に配置された上部セプタムおよび/または下部セプタムを含み得る。
いくつかの実施形態では、医療機器のコネクターへの接続に応答して、上部セプタムは、流体が上部セプタムの周りを流れることを可能にするために、下部セプタムに向かって移動するように構成され得る。いくつかの実施形態では、回転要素が第1の位置に回転することに応答して、下部セプタムが突出部に接触し、開口部に向かって移動することができ、下部セプタムは、管腔を上部チャンバーと上部チャンバーから密閉された下部チャンバーに分割することができ、上部チャンバーは、器具の第2の端部と流体連通することができ、器具は最初のポートを通って延びる場合があり、そして、器具の第1の端部は、特定の第1の場所に配置され得る。いくつかの実施形態では、第2のポートは、下部チャンバーと流体連通していてもよい。
いくつかの実施形態では、回転要素が第2の位置に回転されることに応答して、下部セプタムが開口部から離れるように移動することができ、器具の上部チャンバー、下部チャンバー、および第2の端部は、流体連通することができ、そして、器具の第1の端部は、特定の第2の場所に配置され得る。いくつかの実施形態では、管腔は、流体が上部セプタムの周りを流れるのを防ぐために、上部セプタムをハウジングに対して上方に押し上げることができるばねを含み得る。いくつかの実施形態では、送達デバイスは、回転要素の下端とハウジングとの間に配置されたチャネルを含み得る。いくつかの実施形態では、チャネルは、下部チャンバーと流体連通していてもよい。
実施形態の目的および利点は、少なくとも特許請求の範囲に特に指摘した要素、特徴、および組み合わせによって実現および達成されるであろう。上述の一般的な説明、および以下の詳細な説明は、共に、典型的であり、説明のためのものであり、特許請求の範囲に記載された発明を限定するものではないことが理解されるべきである。
例示的な実施形態が、添付の図面を用いて、追加の特性および詳細とともに記載され、説明される。
図1Aは、いくつかの実施形態による、例示的なカテーテルシステムの上方斜視図である。 図1Bは、いくつかの実施形態による、図1Aのカテーテルシステムの例示的な回転要素である。 図1Cは、いくつかの実施形態による、図1Aのカテーテルシステムの例示的な送達デバイスの拡大された部分断面図である。 図2Aは、いくつかの実施形態による、例示的な第1の位置にある回転要素を示す、図1Aのカテーテルシステムの送達デバイスの上面図である。 図2Bは、図1Aのカテーテルシステムの上面図であり、いくつかの実施形態による、第1の位置にある回転要素を示している。 図2Cは、いくつかの実施形態による、第1の位置にある回転要素を示す、図1Aのカテーテルシステムの送達デバイスの断面図である。 図3Aは、いくつかの実施形態による、例示的な第2の位置にある回転要素を示す、図1Aのカテーテルシステムの送達デバイスの上面図である。 図3Bは、図1Aのカテーテルシステムの上面図であり、いくつかの実施形態による、第2の位置にある回転要素を示している。 図3Cは、いくつかの実施形態による、第2の位置にある回転要素を示す、図1Aのカテーテルシステムの送達デバイスの断面図である。 図4Aは、いくつかの実施形態による、例示的な第3の位置にある回転要素を示す、図1Aのカテーテルシステムの送達デバイスの上面図である。 図4Bは、図1Aのカテーテルシステムの上面図であり、いくつかの実施形態による、第3の位置にある回転要素を示している。 図4Cは、いくつかの実施形態による、第3の位置にある回転要素を示す、図1Aのカテーテルシステムの送達デバイスの断面図である。 図5Aは、いくつかの実施形態による、図1Aのカテーテルシステムの送達デバイスの上面斜視図である。 図5Bは、いくつかの実施形態による、図1Aのカテーテルシステムの送達デバイスの断面図である。 図6Aは、いくつかの実施形態による、別のカテーテルシステムの上面斜視図である。 図6Bは、図6Aのカテーテルシステムの例示的な送達デバイスの断面図である。 図6Cは、図6Aのカテーテルシステムの送達デバイスの断面図であり、送達デバイスの例示的なコネクターおよび例示的な第1の位置にある例示的な回転要素に結合された例示的な医療機器を示す。 図6Dは、いくつかの実施形態による、第1の位置にある回転要素を示す、図6Aのカテーテルシステムの送達デバイスの拡大断面図である。 図7Aは、いくつかの実施形態による、例示的な第2の位置にある回転要素を示す、図6Aのカテーテルシステムの上面斜視図である。 図7Bは、図6Aのカテーテルシステムの送達デバイスの断面図であり、第2の位置にある回転要素を示している。 図7Cは、いくつかの実施形態による、第2の位置にある回転要素を示す、図7Bのカテーテルシステムの送達デバイスの拡大断面図である。 図8Aは、図6Aのカテーテルシステムの送達デバイスの断面図であり、第1の位置にある回転要素を示している。 図8Bは、図6Aのカテーテルシステムの送達デバイスの断面図であり、第2の位置にある回転要素を示している。 図8Cは、いくつかの実施形態による、図6Aのカテーテルシステムの例示的な送達デバイスの拡大部分断面図である。
本開示で使用される場合、「遠位」という用語は、ユーザーからより遠いカテーテルシステムまたはその構成要素の一部を指し、「近位」という用語は、ユーザーから近いカテーテルシステムまたはその構成要素の一部を指す。本開示で使用される場合、「ユーザー」という用語は、臨床医、医師、看護師、または他の任意の介護提供者を指し得、またサポート要員を含み得る。
ここで図1を参照すると、いくつかの実施形態では 送達デバイス10は、静脈内カテーテル12を介して器具11を送達するように構成され得る。いくつかの実施形態では、静脈内カテーテル12は、PIVC、末梢挿入中心静脈カテーテル(PICC)、正中線カテーテル、または別の適切なカテーテルを含み得る。いくつかの実施形態では、器具11は、ガイドワイヤ、プローブ、チューブ、ライトチューブ、または別の適切な器具を含み得る。
いくつかの実施形態では、送達デバイス10は、ポート15を含み得るハウジング14を含み得る。いくつかの実施形態では、送達デバイス10は、ハウジング14内に配置され得る回転要素16を含み得る。いくつかの実施形態では、例えば時計回りなどの第1の方向へのハウジング14に対する回転要素16の回転に応答して、器具11を遠位方向に前進させることができる。いくつかの実施形態では、器具11の第1の端部17は、前進および/または後退され得る。いくつかの実施形態では、例えば反時計回りなど、第1の方向とは反対の 方向へのハウジング14に対する回転要素16の回転に応答して、器具11は近位方向に引っ込められてもよい。
いくつかの実施形態では、回転要素16は、ルアーアダプターを含み得るコネクター18を含み得る。いくつかの実施形態において、ルアーアダプターは、無針コネクターに結合され得る。いくつかの実施形態では、コネクター18は、回転要素16に直接結合され得る無針コネクターを含み得る。いくつかの実施形態では、コネクター18に 結合された医療機器21は、静脈内カテーテル12の軸に沿って移動することができない。いくつかの実施形態では、医療機器21は、コネクター18と統合され得る。いくつかの実施形態では、医療機器21は、コネクター18を単一のユニットとして一体的に形成することができる。
いくつかの実施形態では、医療機器21は、採血デバイス、注入デバイス、または別の医療機器を含み得る。いくつかの実施形態では、採血装置は、注射器、真空管、採血管、ホルダー(例えば、図1Aに示されているように)などを含み得る。いくつかの実施形態では、ホルダーは、特定の採血装置のシールを穿刺するように構成されたカニューレを含み得る。いくつかの実施形態では、コネクター18は、回転要素16に結合され、および/または回転要素16と一体的に形成され得る。いくつかの実施形態では、コネクター18は、回転要素16を単一のユニットとして一体的に形成することができる。いくつかの実施形態では、医療機器21は、回転要素16と共に回転することができる。
いくつかの実施形態では、回転要素16の回転を介した送達デバイス10は、例えば、採血、注入、およびフラッシングのうちの1つまたは複数などの複数の目的に役立つことができる。さらに、いくつかの実施形態では、送達デバイス10は、採血が望まれるときはいつでも、真新しい送達デバイス10を接続する必要性を排除し得る。いくつかの実施形態では、送達デバイス10は、複数の目的を果たし、カテーテルアセンブリ20からデバイスを切断および接続する必要性を低減し得るので、送達デバイス10は、挿入部位からの静脈内カテーテル12の脱落のリスクを低減し得る。いくつかの実施形態では、患者は、送達デバイス10が、例えば、採血、注入、およびフラッシングなどの複数の目的に役立つことを知ることに新たな自信を感じることができる。
いくつかの実施形態では、送達デバイス10は、プライミング量を減らすことができる。いくつかの実施形態では、送達デバイス10は、器具11を介した薬物の注入を容易にして、加速された血液希釈を伴う血管系内の場所に薬物を送達することができる。いくつかの実施形態では静脈内カテーテル12の遠位端22は、1つまたは複数の拡散穴を含み得る。これらおよび他の実施形態において、薬物は、器具11を介して送達され得、一方、他の流体は、拡散穴(静脈内カテーテル12の遠位端22に配置され得る)を介して患者に送達され得、これは、血管系に送達される薬剤であり、薬剤の濃度が高いために静脈損傷のリスクを軽減する可能性がある。
いくつかの実施形態では、カテーテルシステム24は、カテーテルアセンブリ20およびカテーテルアセンブリ20に結合され得る送達デバイス10を含み得る。いくつかの実施形態では、カテーテルアセンブリ20は、カテーテルアダプター26および/または静脈内カテーテル12を含み得、これらは 、カテーテルアダプター26から遠位に延びることができる。
いくつかの実施形態では、送達デバイス10は、カテーテルアダプター26の近位端に直接結合され得る。これらおよび他の実施形態では、カテーテルアセンブリ20は、真っ直ぐなまたは統合されていないカテーテルアセンブリを含み得る。いくつかの実施形態では、カテーテルアセンブリ20は、統合されたカテーテルアセンブリを含み得る。さらに詳細には、いくつかの実施形態 では、カテーテルアセンブリ20のカテーテルアダプター26は、例えば、BD NEXIVA(商標)クローズドIVカテーテルシステム、BDNEXIVA(商標)DIFFUSICS(商標)クローズドIVカテーテルシステムまたはBecton Dickinson PEGASUS(商標)Safety Closed IVカテーテルシステムなどの一体型延長チューブを含み得る。
いくつかの実施形態では、カテーテルシステム24は、遠位端30および近位端32を含み得る延長チューブ28を含み得る。いくつかの実施形態では、延長チューブ28は短くてもよく、それは器具11をより短くすることを可能にし得る。いくつかの実施形態では、延長チューブ28の遠位端30は、カテーテルアダプター26に結合され得る。いくつかの実施形態では、延長チューブ28の近位端32は、送達デバイス10のハウジング14に結合され得る。いくつかの実施形態では、延長チューブ28の近位端32は、ハウジング14のポート15内に統合され得、これは、延長チューブへの送達デバイスの手動接続を排除し得る。いくつかの実施形態では、延長チューブ28の遠位端30は、カテーテルアダプター26のポート34内に統合され得る。いくつかの実施形態では、送達デバイス10は、ユーザーが開始する接続の数を減らすことができ、それは、ユーザーのストレスおよび汚染リスクを減らすことができる。さらに、いくつかの実施形態では、ユーザーは、無針コネクターの少数の選択に限定されず、採血経験が特定のコネクターに結び付けられることもない。
ここで図1Bを参照すると、いくつかの実施形態では、回転要素16は、回転要素16の円周の少なくとも一部の周りに延び得る支持面または 溝36を含み得る。いくつかの実施形態では、溝36は、器具11とほぼ等しいかわずかに大きい幅を含み得、これは、器具11の支持を容易にし、および/または器具11のねじれのリスクを低減し得る。いくつかの実施形態では、溝36の長さは、図1B示されるように、回転要素16の円周から内側に延びることができ、これは、器具11の支持を容易にし得る。いくつかの実施形態では、器具11は、溝36内に、および/または回転要素16とハウジング14との間に配置され得る。いくつかの実施形態では、回転要素16の上面は、突出部38を含み得、これは、ユーザーによって把持するように 構成されたユーザーインターフェース40に近接し得る。図1Bはまた、例示的なOリング50を示しており、これについては後でさらに詳細に説明する。
いくつかの実施形態では、送達デバイス10は、ユーザーインターフェース40のトルクを制限することができるトルクリミッターを含むことができる。いくつかの実施形態では、トルクリミッターは、スリップすることによって(例えば、摩擦板スリップクラッチ、磁性粒子、または磁気ヒステリシストルクリミッタのように)、または負荷を完全に切り離すことによって(例えば、剪断ピン、同期磁気、ボール戻り止め、または爪とばねのトルクリミッター)のように)トルクを制限し得る。さらに詳細には、いくつかの実施形態では、ユーザーインターフェース40は、所定の閾値未満のトルクに応答して、回転要素16に結合され、回転要素16と共に回転することができる。
いくつかの実施形態では、ユーザーは、ユーザーインターフェース40を握って回して、器具11を前進および/または後退させることができる。いくつかの実施形態では、閾値を超えるユーザーインターフェース40のトルクに応答して、ユーザーインターフェース40は、回転要素16から解放するか、または回転要素16に対して滑り、器具11が血管損傷、よじれ、および/または座屈を引き起こすのを防ぐことができる。いくつかの実施形態では、ユーザーインターフェース40が回転要素16から解放されるか、または回転要素16に対して滑るとき、ユーザーは、ユーザーインターフェース40を介して回転要素16を回転させることができない場合がある。いくつかの実施形態では、回転要素16は、トルクリミッターおよび/またはユーザーインターフェース40を含まなくてもよい。これらおよび他の実施形態では、突出部38は、ユーザーのためのグリップとして機能することができる。
いくつかの実施形態では、ハウジング14に対する回転要素16の回転は、ユーザーが回転要素16と物理的に相互作用するか、またはそれに触れることができる直接のユーザー入力を介して達成され得る。例えば、ユーザーの手は、突出部38および/またはユーザーインターフェース40をつかんで、回転要素16を回転させることができる。他の実施形態では、ハウジング14に対する回転要素16の回転は、機械的結合を介して駆動され得る。これらおよび他の実施形態では、ユーザーは、回転要素16と物理的に相互作用または接触してはならず、および/または回転要素16の回転は、ユーザーからの線形または非回転動作に応答して起こり得る。いくつかの実施形態では、デバイスは、ユーザーの線形または非回転動作を回転要素16の回転に変換することができる。いくつかの実施形態では、器具11は、回転許容接点を介して電源と結合することができる。いくつかの実施形態では、ハウジング14および/または回転要素16は、電池および/または電源スイッチを含み得る。
いくつかの実施形態では、回転要素16は、チャネル42を含み得る。いくつかの実施形態では、チャネル42の外側開口部は、例えば、図1Bに示されるように、器具11および/または溝36の上に配置され得る。いくつかの実施形態では、チャネル42の外側開口部は、器具11および/または溝36の下に配置され得る。いくつかの実施形態では、チャネル42の外側開口部は、溝36内に配置され得る。いくつかの実施形態では、回転要素16は、回転の中心軸44を中心に回転または回転することができる。いくつかの実施形態では、チャネル42の外側開口部は、溝36に近接していてもよい。
ここで図1Cを参照すると、いくつかの実施形態では、ハウジング14は、ほぼ円筒形の内面46を含み得、これにより、回転要素16のほぼ円筒形の外面がハウジング14に対して回転することができる。いくつかの実施形態では、ハウジング14は、一般に円筒形以外の別の形状である内面を含み得、回転要素16の外面は、回転要素16がハウジング14に対して回転することを可能にする他の形状に対応する形状を含み得る。いくつかの実施形態では、ハウジング14は、回転要素16がハウジング14の開口部48から出るのを防ぐことができる上部棚(図示せず)を含み得る。いくつかの実施形態では、送達デバイス10は、ハウジング14のほぼ円筒形の内面46と回転要素16のほぼ円筒形の外面との間に1つまたは複数のシールを含み得る。いくつかの実施形態では、シールは、1つまたは複数のガスケットおよび/または1つまたは複数のOリング50を含み得る。
図1B~1Cに示されるように、いくつかの実施形態では、特定のOリング50は環状であり得、回転要素16の円周の周りおよび回転要素16とハウジング14との間に延びる。いくつかの実施形態では、特定のOリング50は、チャネル42と、溝36とハウジング14との間で回転要素16の周りに延び、器具11の周りのポート15の外に延びる流体経路49とを含む、送達デバイス10の流体経路を送達デバイス10の外部環境から隔離することができる。いくつかの実施形態では、流体経路49は、近接していて、チャネル42と流体連通していてもよい。
ここで図2A~2Cを参照すると、いくつかの実施形態によれば、回転要素16は、第1の位置に示されている。いくつかの実施形態では、回転要素16が第1の位置にあることに応答して、器具11の第1の端部17は、(たとえば、図1Aに示されている、)静脈内カテーテル12の遠位端22の遠位にあり得る第1の場所または位置に配置され得る。いくつかの実施形態では、回転要素16が第1の位置にあるとき、器具11は、回転要素16の円周に巻き付くことなく、ポート15から直接延びることができる。他の実施形態では、回転要素16が第1の位置にあるとき、器具11は、回転要素16の円周の全部または一部を包み込むことができる。
いくつかの実施形態では、ハウジング14は、回転要素16が第1の位置にあるときに、回転要素16上の回転要素マーカー56と位置合わせされ得るハウジングマーカー54を含み得る。いくつかの実施形態では、ハウジングマーカー54および/または回転要素マーカー56は、くぼみ、突出部、文字などを含み得る。いくつかの実施形態では、ハウジングマーカー54および/または回転要素マーカー56は、戻り止めからの回転要素16の動きに対する抵抗を提供する戻り止めを含み得る。いくつかの実施形態では、回転要素16が第1の位置にあるとき、ハウジングマーカー54は、「描画」のための「D」または別の文字、くぼみ、戻り止め、突出、色などの特定の回転要素マーカー56と位置合わせされ得る。
いくつかの実施形態では、コネクター18は、一次流体経路58と、一次流体経路58と流体連通している複数の二次流体経路60とを含み得る。いくつかの実施形態では、回転要素16が第1の位置にあることに応答して、器具11の第2の端部62は、二次流体経路60と整列されてもよく、チャネル42は、二次流体経路60と整列されなくてもよく、器具11の第1の端部17は、第1の場所に配置することができる。図2Aに示されるように、例えば、回転要素16が第1の位置にあることに応答して、器具の第2の端部62が位置合わせされる二次流体経路60aは、流体連通していないか、またはチャネル42および/または流体経路49から流体的に隔離されている。いくつかの実施形態では、溝36と器具11の外面との間の空間は、流体が器具11の周りの溝36を通って二次流体経路60aから漏れないように密封され得る。さらに詳細には、いくつかの実施形態では、シールを器具11の第2の端部62の周りまたはハウジング14内に配置して、空間を満たし、流体が溝36の全部または一部に接触して流体経路49内を移動するのを防ぐことができる。いくつかの実施形態では、シールは、接着剤および/またはポッティング剤を含み得る。
いくつかの実施形態では、器具11の第1の端部17は移動可能であり得、一方、器具11の第2の端部62は固定され得る。例えば器具11の第2の端部62は、回転要素16が第1の位置にあるときに、溝36内に固定され、および/または二次流体経路60に近接し得る。いくつかの実施形態では、円周から内側に配置された溝36の一部は、スリットまたはトンネルの一部であり得る。いくつかの実施形態では、器具1は、溝36内に配置され 、器具11の両側で支持され得る。いくつかの実施形態では、溝36は、回転要素16の回転の中心軸44に向かって延びることができる。
いくつかの実施形態では、第1の位置は、患者から血液を収集するように構成された採血位置に対応し得る。いくつかの実施形態では、回転要素16が第1の位置にあるとき、血液は、患者から器具11を通って二次流体経路60a、一次流体経路58、および採血装置が含まれる、医療機器21に引き込まれ得る。いくつかの実施形態では、血液は、採取される血液サンプルのサイズを節約することができる送達デバイス10内の他の場所に移動することを防ぐことができる。いくつかの実施形態では、例えば、注射器、真空管、採血管、ホルダーなどの採血装置を コネクター18に結合することができる。いくつかの実施形態では、器具11は、患者からの血液の収集を容易にし得るチューブを含み得る。いくつかの実施形態では、チューブは、可変の内径および/または可変の外径を含み得る。
ここで図3A~3Cを参照すると、いくつかの実施形態によれば、回転要素16は、第2の位置に示されている。いくつかの実施形態では、第2の位置は、患者の血管系に流体を注入するように構成された注入位置に対応し得る。いくつかの実施形態では、流体注入装置を コネクター18に結合することができる 。いくつかの実施形態では、回転要素16は、ハウジング14に対して第1の位置と第2の位置との間で回転するように構成され得る。
いくつかの実施形態では、回転要素16が第2の位置にあることに応答して、器具11の第1の端部17は、静脈内カテーテル12の遠位端22に近位であり得る第2の場所または位置に配置され得る。いくつかの実施形態では、回転要素16が第2の位置にあることに応答して、チャネル42は二次流体経路60と整列され得、器具11の第2の端部62は二次流体経路60と整列されなくてもよく、器具11の第1の端部17は、第2の場所に配置することができる。いくつかの実施形態では、回転要素16が第2の位置にあるとき、器具11は、回転要素16の円周の全部、一部、または実質的な部分を包み込むことができる。
いくつかの実施形態では、回転要素16が第2の位置にあることに応答して、流体は、医療機器21から一次流体経路58を介して、二次流体経路60cを介して、延長チューブ28を介して、およびカテーテルアセンブリ20を介して流体経路49に注入され得る。いくつかの実施形態では、回転要素16が第2の位置にあることに応答して、流体が器具11に流入するのを防ぐことができ、これは、二次流体経路60と整列していなくてもよく、および/または二次流体経路60から密封されていてもよい。
いくつかの実施形態では、回転要素16の第2の位置から第1の位置への回転に応答して、器具11は、ポートを通って遠位方向に前進され得る。いくつかの実施形態では、回転要素16は、回転要素16の完全回転または別の量未満の回転に応答して、第1の位置から第2の位置に回転することができる。いくつかの実施形態では、回転要素16は、全回転または別の量よりも少ない回転要素16の反時計回りの回転に応答して、第1の位置から第2の位置に回転することができる。しかしながら、送達デバイス10の構成は逆にすることができ、いくつかの実施形態では、回転要素16は、全回転または別の量よりも少ない回転要素16の時計回りの回転に応答して、第1の位置から第2の位置に回転することができる。いくつかの実施形態では、回転要素16が第2の位置にあるとき、ハウジングマーカー54は、「注入」のための「I」または別の文字 、くぼみ、戻り止め、突出部などの特定の回転要素マーカー56と位置合わせされ得る。
ここで図4A~4Cを参照すると、いくつかの実施形態では、回転要素16は、ハウジング14に対して、第1の位置、第2の位置、および第3の位置の間で回転するように構成され得る。いくつかの実施形態では、第3の位置は、チャネル42および器具11をフラッシュするように構成されたフラッシュ位置に対応し得、これは、チューブを含み得る。したがって、いくつかの実施形態では、送達デバイス10は、例えば、ポート15などの単一のポートを介して、採血、注入、およびフラッシングを含む複数の機能を提供するように構成され得る。いくつかの実施形態では、溝36は、回転要素16が第3の位置にあるときにフラッシュされ得る。
いくつかの実施形態では、器具は、チューブを含み得、これは、チューブの長さに沿って変化する特性および形状を有し得る。いくつかの実施形態では、チューブの特性および形状は、チューブの剛性またはコンプライアンスを局所的に改善し、採血装置を血液で満たす時間を短縮し、サンプル分解(溶血など)のリスクを低減し、または静脈外傷および関連する下流の外傷を低減するために変化し得る。
いくつかの実施形態では、回転要素16が第3の位置にあることに応答して、器具11の第2の端部62は、二次流体経路60と整列され得、チャネル42は、二次流体経路60と整列され得、器具11の第1の端部17は、静脈内カテーテル12の遠位端22の近位にあり得、および/または第2の場所の遠位にあり得る第3の場所または位置に配置され得る。いくつかの実施形態では、回転要素16が第3の位置にあるとき、器具11は、回転要素16の円周の全部、一部、または実質的な部分を包み込むことができる。
いくつかの実施形態では、回転要素16の第3の位置から第1の位置への回転に応答して、器具11は、ポート15を通って遠位方向に前進され得る。いくつかの実施形態では、回転要素16は、回転要素16の反時計回りまたは時計回りの回転に応答して、全回転の約4分の1または別の量で、第1の位置から第3の位置に回転することができる。いくつかの実施形態では、回転要素16が第3の位置にあるとき、ハウジングマーカー54は、「フラッシュ」を表す「F」または別の文字、くぼみ、戻り止め、突出部などの特定の回転要素マーカー56と位置合わせされ得る。
いくつかの実施形態では、回転要素16が第3の位置にあることに応答して、流体は、医療機器21から一次流体経路58を介して、二次流体経路60bを介して、延長チューブ28を介して、およびカテーテルアセンブリ20を介して流体経路49にフラッシュされ得る。いくつかの実施形態では、回転要素16が第3の位置にあることに応答して、流体はまた、医療機器21から一次流体経路58、二次流体経路60d、および器具11を介してフラッシュされ得る。いくつかの実施形態では、送達デバイス10内のすべての流体経路は、回転要素16が第3の位置にあることに応答してフラッシュされるように構成され得る。
いくつかの実施形態では、回転要素16は、回転要素16がハウジング14に対して回転することが防止されているロック状態にあり得る。いくつかの実施形態では、医療機器のコネクター18への結合および/または手動ユーザー入力機能の起動は、回転要素16のロックを解除し、ハウジング14に対する回転を可能にし得る。いくつかの実施形態では、器具11は、回転要素16がロック状態にあるときに部分的または完全に格納され得る。いくつかの実施形態では、器具11の第1の端部は、回転要素16がロック状態にあるとき、第2の場所の近位にあり得る。いくつかの実施形態では、送達デバイス10は、医療機器21のコネクター18への結合に応答して回転要素16が回転することを可能にする自動化された受動的特徴 を含み得る。いくつかの実施形態では、器具11は、回転要素が「ロックされた」状態にあるときに、送達デバイス10から時期尚早に出るのを防ぐことができる。いくつかの実施形態では、送達デバイス10は、例えば、レバーまたはボタンなどの手動のユーザー入力機能を含み得、これは、回転要素16を回転させるか、または回転要素16の回転を防止する。
図1Aは、延長タブ28上のクランプを示しているが、いくつかの実施形態では、クランプは、延長チューブ28上になくてもよい。いくつかの実施形態では、回転要素16は、ハウジング14に対して、第1の位置、第2の位置、第3の位置、および第4の位置の間で回転するように構成され得る。いくつかの実施形態では、第4の位置は、器具11のチャネル42および第2の端部62が二次流体経路60と整列および/またはシールされていない、閉じたまたは密封された位置に対応し得る。いくつかの実施形態では、回転要素16が第4の位置にあることに応答して、送達デバイス10の1つまたは複数の流体経路は、送達デバイス10の外部環境から密封され得る。
いくつかの実施形態では、第4の位置は、第1の位置と第2の位置との間、または第2の位置と第3の位置との間に配置され得る。いくつかの実施形態では、回転要素16は、第1の位置、第2の位置、または第3の位置から時計回りまたは反時計回りに回転して、第4の位置に到達することができる。いくつかの実施形態では、回転要素16が第4の位置にあるとき、ハウジングマーカー54は、「閉じた」を表す「C」または別の文字、くぼみ、戻り止め、突出部などの特定の回転要素マーカー56と位置合わせされ得る。
ここで図5A~5Bを参照すると、いくつかの実施形態では、コネクター18は、ベース64と、ベース64から上方に延びる上部66とを含むことができる。いくつかの実施形態では、ベース64の上部66は、ルアースリップまたはルアーロック機能を備えたオスまたはメスのルアーアダプター、または別の適切なアダプターを含み得る。いくつかの実施形態では、ベース64は、ハウジング14に固定され、および/または単一のユニットとしてハウジング14と一体的に形成され得る。いくつかの実施形態では、二次流体経路60は、ベース64に沿って、および/またはベース64を通って延びて、一次流体経路58に接続することができる。
いくつかの実施形態では、ベース64は、1つまたは複数のシール68を含み得、これは、回転要素16が1つまたは複数の特定の位置に配置される場合、器具11の第2の端部62および/または器具11の第2の端部62に近接する溝36と整列するように構成され得る。例えば、回転要素が第1の位置にあるとき、特定のシール68をチャネル42と整列させて、チャネルを二次流体経路60からシールし、例えば、採血中に血液がチャネル42に流入するのを防ぐことができる。別の例として、回転要素が第2の位置にあるとき、特定のシール68を器具11の第2の端部62と位置合わせして、器具11を二次流体経路60からシールし、例えば、注入中に流体が器具を通って流れるのを防止することができる。いくつかの実施形態では、シール68は、器具11の溝36および/または第2の端部62を通る流体の流れを遮断するように構成された突出部を含み得る。
いくつかの実施形態では、回転要素16は、以下の1つまたは複数の間で回転することができる:第1の位置、第2の位置、第3の位置、および第4の位置。いくつかの実施形態では、注入は、溝36を通して起こり得、回転要素16は、チャネル42を含まなくてもよい。図5Bに示されるように、いくつかの実施形態では、別のOリング69がベース64の周りに配置され得る。いくつかの実施形態では、Oリング69は環状であり得、ベース64の円周の周りで、回転要素16とハウジング14との間に延びる。いくつかの実施形態では、Oリング69は、ハウジング14と回転要素16との間で流体が漏れるのを防ぐことができる。
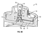
ここで図6Aを参照すると、いくつかの実施形態による、送達デバイス70が示されている。いくつかの実施形態において、送達デバイス70は、送達デバイス10を含み得るか、またはそれに対応し得る。いくつかの実施形態において、送達デバイス70は、1つ以上の含まれる構成要素および/または動作に関して、本開示の図1~5に開示される送達デバイス10と類似または同一であり得る。いくつかの実施形態では、ハウジング14は、第1のポート71および第2のポート72を含み得る。
いくつかの実施形態では、第2のポート72は、別の延長チューブ74の遠位端に結合され得る。いくつかの実施形態では、延長チューブ74の遠位端は、第2のポート72内に統合され得、これは、他の延長チューブへの送達デバイスの手動接続を排除し得る。いくつかの実施形態では、他の延長チューブ74の近位端は、注入デバイスなどの医療機器に結合され得るコネクター76を含み得る。いくつかの実施形態では、採血装置は、注入装置がコネクター76に結合されると同時に、コネクタ18―に結合され得る。
ここで図6Bを参照すると、いくつかの実施形態では、回転要素16は、上端78および下端80を含み得る。いくつかの実施形態では、上端78は、コネクター18および上部開口部81を含み得る。いくつかの実施形態では、回転要素16は、上端78および下端80を通って延びることができる管腔82を含むことができる。いくつかの実施形態では、回転要素16は、管腔82内に配置された上部セプタム84および/または下部セプタム86を含み得る。
いくつかの実施形態では、下部セプタム86は、先細になっている管腔82の部分に配置され得、下部セプタム86の底部は、下部セプタム86の上部よりも広くあり得、これは、下部セプタム86の望ましくない上向きの動きを防止し得る。いくつかの実施形態では、下部セプタム86の上部は、上部セプタム84の溝90内に適合するように構成された突出部88を含み得る。いくつかの実施形態では、下部ハウジング14の突出部92は、下部セプタム86の底部の溝94内に配置され得、これは、管腔82内での下部セプタム86のセンタリングを容易にし得る。
ここで図6Cを参照すると、いくつかの実施形態では、医療機器21のコネクター18への接続に応答して、上部セプタム84は、流体が上部セプタム84の周りを流れることを可能にするために下部セプタム86に向かって移動するように構成され得る。
ここで図6C~6Dを参照すると、いくつかの実施形態では、ハウジング14は、突出部94を含み得る。いくつかの実施形態では、回転要素16が第1の位置に回転することに応答して、下部セプタム86は、突出部94に接触し、上部開口部81に向かって移動し、下部セプタム86は、管腔82を上部チャンバー96と 上部チャンバー96から密封された下部チャンバー98とに分割することができ、上部チャンバー96は、器具11の第2の端部62と流体連通していてもよく、器具11は、第1のポート71を通って延びることができ、そして、器具11の第1の端部17は、特定の第1の場所に配置され得る。いくつかの実施形態では、第2のポート72は、下部チャンバー98と流体連通していてもよい。
いくつかの実施形態では、上部セプタム84が下部セプタム86に向かって移動するとき、上部チャンバー96は上部開口部81と流体連通していてもよい。いくつかの実施形態では、医療機器21がコネクター18から取り外されたとき、上部セプタム84が上部開口部81と流体連通していない場合がある。いくつかの実施形態では、上部チャンバー96は、上部セプタム84の下面と下部セプタム86の上面との間に配置され得る。いくつかの実施形態では、下部チャンバー98は、下部セプタム86の下面とハウジング14との間に配置され得る。
ここで図7A~7Cを参照すると、いくつかの実施形態では、回転要素16が第2の位置に回転されることに応答して、下部セプタム86は上部開口部81から離れて移動することができる。器具11の上部チャンバー96、下部チャンバー98、および第2の端部62は、流体連通していてもよい。そして、器具11の第1の端部17は、特定の第2の場所に配置され得る。いくつかの実施形態では、管腔82は、流体が上部セプタム84の周りを流れるのを防ぐために、上部セプタム84をハウジング14に対して上方に押し上げることができるばね100を含み得る。
図6Aおよび7Aは、延長タブ28上のクランプを示しているが、いくつかの実施形態では、クランプは、延長チューブ28上になくてもよい。いくつかの実施形態では、回転要素16は、別の位置の間でハウジング14に対して回転するように構成され得、これは、閉じた位置または密封された位置に対応し得る。いくつかの実施形態では、回転要素16が閉位置にあるとき、送達デバイス10の1つまたは複数の流体経路は、送達デバイス10の外部環境から密封され得る。一例として、回転要素16が閉位置にあるとき、上部セプタム84および/または下部セプタム86は、チャネル102および/または第2のポート72を密封し、第2のポート72と下部チャンバー98との間の流体連通を妨げることができる。
ここで図8Aを参照すると、いくつかの実施形態によれば、回転要素16は、第1の位置に示されている。ここで図8Bを参照すると、いくつかの実施形態によれば、回転要素16は、第2の位置に示されている。ここで図8Cを参照すると、いくつかの実施形態では、送達デバイス70は、ハウジング14のほぼ円筒形の内面46と回転要素16のほぼ円筒形の外面との間に1つまたは複数のシールを含み得る。いくつかの実施形態によれば、シールは、ガスケットおよび/またはOリング50を含み得る。
いくつかの実施形態では、送達デバイス70は、回転要素16の下端80とハウジング14との間に配置されたチャネル102を含み得る。いくつかの実施形態では、チャネル102は、回転要素16が第1の位置および/または第2の位置にあるとき、第2のポート72およびの下部チャンバー98と流体連通し得る。
本明細書で記載されるすべての例および条件付き文言は、読者が本発明および技術を促進するために本発明者によって提供される概念を理解することの助けとなるような教育的目的を意図しており、その具体的に列挙されている例および条件に限定されないものとして解釈されるべきである。本発明の実施形態について詳細に説明されているけれども、本発明の精神および範囲から逸脱することなく、さまざまな変更、置換、および改変が本明細書にされ得ることを理解されたい。

Claims (11)

  1. 静脈内カテーテルを介して器具を送達するための送達デバイスであって、
    ハウジングであって、ポートを備えるハウジングと
    コネクターであって、前記コネクターは
    一次流体経路と、
    前記一次流体経路と流体連通する複数の二次流体経路と、
    を備えたコネクターと、
    前記ハウジング内に配置され、前記コネクターに結合された回転要素であって、前記コネクターが前記回転要素を貫通しており、前記回転要素が、
    回転要素の円周の少なくとも一部の周りに延びる溝と、
    チャネルを備えた回転要素、および
    第1の端部および第2の端部を有する器具であって、前記器具が前記溝内および前記回転要素と前記ハウジングとの間に配置されている器具と、を備え、
    前記回転要素が、第1の位置と第2の位置との間で前記ハウジングに対して回転するように構成されており、
    前記回転要素が前記第1の位置にあることに応答して、前記器具の第2の端部が前記複数の二次流体経路と整列し、前記チャネルが前記複数の二次流体経路と整列しておらず、前記器具の第1の端部が第1の位場所に配置されており、
    前記回転要素が前記第2の位置にあることに応答して、前記チャネルが前記複数の二次流体経路と整列し、前記器具の第2の端部が前記複数の二次流体経路と整列せず、前記器具の第1の端部が第2の場所に配置されることを特徴とする送達デバイス。
  2. 前記回転要素の前記第2の位置から前記第1の位置への回転に応答して、前記器具が前記ポートを介して遠位方向に進められることを特徴とする請求項1に記載の送達デバイス。
  3. 前記回転要素が、1回転未満の回転に応答して、前記第1の位置から前記第2の位置に回転することを特徴とする請求項1に記載の送達デバイス。
  4. 前記回転要素が、前記第1の位置、前記第2の位置、および第3の位置の間で前記ハウジングに対して回転するように構成されており、前記回転要素が前記第3の位置にあることに応答して、前記器具の第2の端部が前記複数の二次流体経路と整列し、前記チャネルが前記複数の二次流体経路と整列し、前記器具の第1の端部が前記第3の位置に配置されることを特徴とする請求項1に記載の送達デバイス。
  5. 前記回転要素の前記第3の位置から前記第1の位置への回転に応答して、前記器具が前記ポートを介して遠位方向に進められることを特徴とする請求項4に記載の送達デバイス。
  6. 前記回転要素は、前記回転要素が1回転のうちの約4分の1回転することに応答して、前記第1の位置から前記第3の位置へと回転することを特徴とする請求項4に記載の送達デバイス。
  7. 前記器具は、チューブを備えることを特徴とする請求項1に記載の送達デバイス。
  8. 前記コネクターは、ルアーアダプターを備えることを特徴とする請求項1に記載の送達デバイス。
  9. 前記ポート内に一体化された延長チューブをさらに備えることを特徴とする、請求項1に記載の送達デバイス。
  10. 前記器具の前記第2の端部が前記溝内に固定されていることを特徴とする、請求項1に記載の送達デバイス。
  11. 前記溝は、前記円周から前記回転要素の回転中心軸に向かって内方に延びていることを特徴とする、請求項1に記載の送達デバイス。
JP2021561970A 2019-04-18 2020-04-16 マルチポジション回転要素を備えた器具送達デバイス Active JP7539409B2 (ja)

Applications Claiming Priority (5)

Application Number Priority Date Filing Date Title
US201962835935P 2019-04-18 2019-04-18
US62/835,935 2019-04-18
US16/849,280 US11724083B2 (en) 2019-04-18 2020-04-15 Instrument delivery device having a multi-position rotary element
US16/849,280 2020-04-15
PCT/US2020/028538 WO2020214823A1 (en) 2019-04-18 2020-04-16 Instrument delivery device having a multi-position rotary element

Publications (3)

Publication Number Publication Date
JP2022529068A JP2022529068A (ja) 2022-06-16
JPWO2020214823A5 JPWO2020214823A5 (ja) 2023-02-20
JP7539409B2 true JP7539409B2 (ja) 2024-08-23

Family

ID=72830801

Family Applications (1)

Application Number Title Priority Date Filing Date
JP2021561970A Active JP7539409B2 (ja) 2019-04-18 2020-04-16 マルチポジション回転要素を備えた器具送達デバイス

Country Status (11)

Country Link
US (1) US11724083B2 (ja)
EP (1) EP3955817B1 (ja)
JP (1) JP7539409B2 (ja)
KR (1) KR20210154194A (ja)
CN (2) CN111820998B (ja)
AU (1) AU2020260124B2 (ja)
ES (1) ES2960039T3 (ja)
MX (1) MX2021011898A (ja)
NZ (1) NZ781742A (ja)
SG (1) SG11202110805RA (ja)
WO (1) WO2020214823A1 (ja)

Families Citing this family (5)

* Cited by examiner, † Cited by third party
Publication number Priority date Publication date Assignee Title
US11724083B2 (en) * 2019-04-18 2023-08-15 Becton, Dickinson And Company Instrument delivery device having a multi-position rotary element
US20220218956A1 (en) * 2021-01-08 2022-07-14 Becton, Dickinson And Company Probe Delivery Device to Facilitate Advancement of a Probe Within an Intravenous Catheter
CN113331950B (zh) * 2021-06-29 2023-07-25 杭州德诺脑神经医疗科技有限公司 输送转盘、导管存列输送装置及导管控制器
WO2023133195A1 (en) * 2022-01-06 2023-07-13 Becton, Dickinson And Company Integrated catheter system for blood draw at the time of placement and with enabling feature for blood draw during indwell
CN116392709A (zh) * 2023-06-02 2023-07-07 生一科技(北京)有限公司 一种导丝和液体交换装置

Citations (6)

* Cited by examiner, † Cited by third party
Publication number Priority date Publication date Assignee Title
US6086008A (en) 1997-12-22 2000-07-11 Deka Products Limited Partnership Apparatus and method for permitting introduction and withdrawal of a catheter
US20080319387A1 (en) 2005-02-14 2008-12-25 Shai Amisar Method and Apparatus for Inserting a Catheter Device
EP2386327A1 (en) 2010-05-12 2011-11-16 F. Hoffmann-La Roche AG Device for adjusting the length of infusion tubing
WO2014062013A1 (ko) 2012-10-18 2014-04-24 주식회사 우영메디칼 약액 유량 제어장치
WO2015013251A1 (en) 2013-07-23 2015-01-29 Hollister Incorporated Urinary catheter deployment cassettes
WO2018152059A1 (en) 2017-02-16 2018-08-23 Clearflow, Inc. Devices and methods related to medical tubes

Family Cites Families (3)

* Cited by examiner, † Cited by third party
Publication number Priority date Publication date Assignee Title
NO860959L (no) * 1985-03-14 1986-09-15 Critikon Ltd Kateter for intravaskulaer bruk.
US20140012194A1 (en) * 2012-07-03 2014-01-09 Cook Medical Technologies Llc Three way valve for medical device
US11724083B2 (en) * 2019-04-18 2023-08-15 Becton, Dickinson And Company Instrument delivery device having a multi-position rotary element

Patent Citations (6)

* Cited by examiner, † Cited by third party
Publication number Priority date Publication date Assignee Title
US6086008A (en) 1997-12-22 2000-07-11 Deka Products Limited Partnership Apparatus and method for permitting introduction and withdrawal of a catheter
US20080319387A1 (en) 2005-02-14 2008-12-25 Shai Amisar Method and Apparatus for Inserting a Catheter Device
EP2386327A1 (en) 2010-05-12 2011-11-16 F. Hoffmann-La Roche AG Device for adjusting the length of infusion tubing
WO2014062013A1 (ko) 2012-10-18 2014-04-24 주식회사 우영메디칼 약액 유량 제어장치
WO2015013251A1 (en) 2013-07-23 2015-01-29 Hollister Incorporated Urinary catheter deployment cassettes
WO2018152059A1 (en) 2017-02-16 2018-08-23 Clearflow, Inc. Devices and methods related to medical tubes

Also Published As

Publication number Publication date
AU2020260124A1 (en) 2021-11-25
EP3955817C0 (en) 2023-09-20
CN111820998B (zh) 2025-09-05
CN111820998A (zh) 2020-10-27
SG11202110805RA (en) 2021-11-29
EP3955817B1 (en) 2023-09-20
ES2960039T3 (es) 2024-02-29
US11724083B2 (en) 2023-08-15
AU2020260124B2 (en) 2025-04-17
US20200330722A1 (en) 2020-10-22
MX2021011898A (es) 2021-10-26
BR112021019426A2 (pt) 2021-11-30
KR20210154194A (ko) 2021-12-20
JP2022529068A (ja) 2022-06-16
EP3955817A1 (en) 2022-02-23
NZ781742A (en) 2025-08-29
CA3133327A1 (en) 2020-10-22
WO2020214823A1 (en) 2020-10-22
CN212630865U (zh) 2021-03-02

Similar Documents

Publication Publication Date Title
JP7539409B2 (ja) マルチポジション回転要素を備えた器具送達デバイス
US12226595B2 (en) Instrument delivery device having a rotary element
US12097343B2 (en) Systems and methods to improve instrument guidance within an intravenous catheter assembly
US11969247B2 (en) Extension housing a probe or intravenous catheter
US20220001161A1 (en) Systems and methods to improve instrument guidance within an intravenous catheter assembly
JP2024175126A (ja) 流体透過性構造および関連デバイスを有する血管アクセス機器
US20250000406A1 (en) Instrument Delivery Devices, Systems, and Methods to Extend Through a Thrombus
CA3133327C (en) Instrument delivery device having a multi-position rotary element
AU2024204051B2 (en) Extension housing a probe or intravenous catheter
BR112021019426B1 (pt) Dispositivo introdutor de instrumento tendo um elemento rotativo multiposição

Legal Events

Date Code Title Description
A521 Request for written amendment filed

Free format text: JAPANESE INTERMEDIATE CODE: A523

Effective date: 20230210

A621 Written request for application examination

Free format text: JAPANESE INTERMEDIATE CODE: A621

Effective date: 20230210

A977 Report on retrieval

Free format text: JAPANESE INTERMEDIATE CODE: A971007

Effective date: 20231226

A131 Notification of reasons for refusal

Free format text: JAPANESE INTERMEDIATE CODE: A131

Effective date: 20240123

A521 Request for written amendment filed

Free format text: JAPANESE INTERMEDIATE CODE: A523

Effective date: 20240423

TRDD Decision of grant or rejection written
A01 Written decision to grant a patent or to grant a registration (utility model)

Free format text: JAPANESE INTERMEDIATE CODE: A01

Effective date: 20240716

A61 First payment of annual fees (during grant procedure)

Free format text: JAPANESE INTERMEDIATE CODE: A61

Effective date: 20240813

R150 Certificate of patent or registration of utility model

Ref document number: 7539409

Country of ref document: JP

Free format text: JAPANESE INTERMEDIATE CODE: R150