JP7369211B2 - 端末、基地局及び通信方法 - Google Patents
端末、基地局及び通信方法 Download PDFInfo
- Publication number
- JP7369211B2 JP7369211B2 JP2021572237A JP2021572237A JP7369211B2 JP 7369211 B2 JP7369211 B2 JP 7369211B2 JP 2021572237 A JP2021572237 A JP 2021572237A JP 2021572237 A JP2021572237 A JP 2021572237A JP 7369211 B2 JP7369211 B2 JP 7369211B2
- Authority
- JP
- Japan
- Prior art keywords
- terminal
- base station
- information
- frequency band
- report
- Prior art date
- Legal status (The legal status is an assumption and is not a legal conclusion. Google has not performed a legal analysis and makes no representation as to the accuracy of the status listed.)
- Active
Links
Images
Classifications
-
- H—ELECTRICITY
- H04—ELECTRIC COMMUNICATION TECHNIQUE
- H04W—WIRELESS COMMUNICATION NETWORKS
- H04W8/00—Network data management
- H04W8/22—Processing or transfer of terminal data, e.g. status or physical capabilities
- H04W8/24—Transfer of terminal data
-
- H—ELECTRICITY
- H04—ELECTRIC COMMUNICATION TECHNIQUE
- H04W—WIRELESS COMMUNICATION NETWORKS
- H04W52/00—Power management, e.g. Transmission Power Control [TPC] or power classes
- H04W52/04—Transmission power control [TPC]
- H04W52/30—Transmission power control [TPC] using constraints in the total amount of available transmission power
- H04W52/36—Transmission power control [TPC] using constraints in the total amount of available transmission power with a discrete range or set of values, e.g. step size, ramping or offsets
- H04W52/365—Power headroom reporting
-
- H—ELECTRICITY
- H04—ELECTRIC COMMUNICATION TECHNIQUE
- H04W—WIRELESS COMMUNICATION NETWORKS
- H04W52/00—Power management, e.g. Transmission Power Control [TPC] or power classes
- H04W52/04—Transmission power control [TPC]
- H04W52/30—Transmission power control [TPC] using constraints in the total amount of available transmission power
- H04W52/36—Transmission power control [TPC] using constraints in the total amount of available transmission power with a discrete range or set of values, e.g. step size, ramping or offsets
- H04W52/367—Power values between minimum and maximum limits, e.g. dynamic range
Landscapes
- Engineering & Computer Science (AREA)
- Computer Networks & Wireless Communication (AREA)
- Signal Processing (AREA)
- Databases & Information Systems (AREA)
- Mobile Radio Communication Systems (AREA)
Description
本発明は、無線通信システムにおける端末、基地局及び通信方法に関する。
LTE(Long Term Evolution)の後継システムであるNR(New Radio)(「5G」ともいう。)においては、要求条件として、大容量のシステム、高速なデータ伝送速度、低遅延、多数の端末の同時接続、低コスト、省電力等を満たす技術が検討されている(例えば非特許文献1)。
LTEシステム又はNRシステムにおいて、ネットワークはUE(User Equipment)に問合せを行い、UEの無線アクセス能力に係る情報を取得する(例えば非特許文献2)。UEの無線アクセス能力は、例えば、サポートする最大データレート、レイヤ2総バッファサイズ、サポートするバンドコンビネーション、PDCP(Packet Data Convergence Protocol)レイヤに係るパラメータ、RLC(Radio Link Control)レイヤに係るパラメータ、MAC(Medium Access Control)レイヤに係るパラメータ又は物理レイヤに係るパラメータ等を含む(例えば非特許文献3、非特許文献4及び非特許文献5)。
3GPP TS 38.300 V15.8.0(2019-12)
3GPP TS 38.311 V15.8.0(2019-12)
3GPP TS 38.101-1 V15.8.2(2019-12)
3GPP TS 38.101-2 V15.8.0(2019-12)
3GPP TS 38.101-3 V15.8.0(2019-12)
従来技術において、ネットワークがUEの無線アクセス能力に係る情報を取得するとき、ある周波数バンドにMPR(Maximum Power Reduction)に係る能力を示す情報要素が設定されない場合、ネットワークは当該周波数バンドにおける端末の能力を特定することができなかった。
本発明は上記の点に鑑みてなされたものであり、無線通信システムにおける端末能力をネットワークが特定することを目的とする。
開示の技術によれば、ある周波数バンドにおけるスペクトラム放射に係る要求仕様を示す1又は複数の値を通知する情報及び端末能力の報告を要求する情報を基地局から受信する受信部と、前記周波数バンドにおける変更されたMPR(Maximum Power Reduction)に係る動作をサポートするか否かを示す情報を前記報告に含めない場合、前記スペクトラム放射に係る要求仕様を示す値すべてをサポートする制御部と、前記報告を前記基地局に送信する送信部とを有する端末が提供される。
開示の技術によれば、無線通信システムにおける端末能力をネットワークが特定することができる。
以下、図面を参照して本発明の実施の形態を説明する。なお、以下で説明する実施の形態は一例であり、本発明が適用される実施の形態は、以下の実施の形態に限られない。
本発明の実施の形態の無線通信システムの動作にあたっては、適宜、既存技術が使用される。ただし、当該既存技術は、例えば既存のLTEであるが、既存のLTEに限られない。また、本明細書で使用する用語「LTE」は、特に断らない限り、LTE-Advanced、及び、LTE-Advanced以降の方式(例:NR)を含む広い意味を有するものとする。
また、以下で説明する本発明の実施の形態では、既存のLTEで使用されているSS(Synchronization signal)、PSS(Primary SS)、SSS(Secondary SS)、PBCH(Physical broadcast channel)、PRACH(Physical random access channel)、等の用語を使用する。これは記載の便宜上のためであり、これらと同様の信号、機能等が他の名称で呼ばれてもよい。また、NRにおける上述の用語は、NR-SS、NR-PSS、NR-SSS、NR-PBCH、NR-PRACH等に対応する。ただし、NRに使用される信号であっても、必ずしも「NR-」と明記しない。
また、本発明の実施の形態において、複信(Duplex)方式は、TDD(Time Division Duplex)方式でもよいし、FDD(Frequency Division Duplex)方式でもよいし、又はそれ以外(例えば、Flexible Duplex等)の方式でもよい。
また、本発明の実施の形態において、無線パラメータ等が「設定される(Configure)」とは、所定の値が予め設定(Pre-configure)されることであってもよいし、基地局10又は端末20から通知される無線パラメータが設定されることであってもよい。
図1は、本発明の実施の形態におけるネットワークアーキテクチャの構成例を示す図である。図1に示されるように、本発明の実施の形態における無線ネットワークアーキテクチャは、LTE-Advanced側において、4G-CU、4G-RU(Remote Unit、リモート無線局)、EPC(Evolved Packet Core)等を含む。本発明の実施の形態における無線ネットワークアーキテクチャは、5G側において、5G-CU、5G-DU等を含む。
図1に示されるように、4G-CUは、RRC(Radio Resource Control)、PDCP(Packet Data Convergence Protocol)、RLC(Radio Link Control)、MAC(Medium Access Control)、L1(レイヤ1、PHY層又は物理層)までのレイヤを含み、CPRI(Common Public Radio Interface)を介して4G-RUと接続されている。4G-CU及び4G-RUを含むネットワークノードをeNBという。
一方、5G側において、図1に示されるように、5G-CUは、RRCレイヤを含み、5G-DUとFH(Flonthaul)インタフェースを介して接続され、5GC(5G Core Network)とNGインタフェース(NG interface)を介して接続されている。また、5G-CUは、4G-CUとX2インタフェースで接続されている。4G-CUにおけるPDCPレイヤが、4G-5GのDC(Dual Connectivity)すなわちEN-DC(E-UTRA-NR Dual Connectivity)を行う場合の結合又は分離ポイントとなる。5G-CU及び5G-DUを含むネットワークノードをgNBという。また、5G-CUをgNB-CU、5G-DUをgNB-DUと呼んでもよい。
また、図1に示されるように、4G-RU間において、CA(Carrier Aggregation)が行われ、4G-RUと5G-DUとで、DCが行われる。なお図示しないが、UE(User Equipment)が、4G-RU又は5G-DUのRFを介して無線接続され、パケットを送受信する。
なお、図1は、LTE-NRのDCすなわちEN-DC(E-UTRA-NR Dual Connectivity)時の無線ネットワークアーキテクチャを示している。しかしながら、4G-CUをCU-DUに分離する場合、又はNRスタンドアロン運用する場合も、同様の無線ネットワークアーキテクチャが使用されてよい。4G-CUをCU-DUに分離する場合、RRCレイヤ及びPDCPレイヤに係る機能を4G-CUに移し、RLCレイヤ以下を4G-DUに含める構成としてもよい。なお、CU-DU分離によって、CPRIのデータレートが低減されてもよい。
なお、5G-CUに、複数の5G-DUが接続されていてもよい。また、複数の5G-CUにUEが接続することによって、NR-DC(NR-NR Dual Connectivity)が行われてもよく、複数の5G-DU及び単一の5G-CUにUEが接続することによってNR-DCが行われてもよい。なお、5G-CUは4G-CUを介さずに直接EPCと接続されてもよいし、4G-CUは5G-CUを介さずに直接5GCと接続されてもよい。
図2は、本発明の実施の形態における無線通信システムを説明するための図である。本発明の実施の形態における無線通信システムは、図2に示されるように、基地局10及び端末20を含む。図2には、基地局10及び端末20が1つずつ示されているが、これは例であり、それぞれ複数であってもよい。
基地局10は、1つ以上のセルを提供し、端末20と無線通信を行う通信装置である。無線信号の物理リソースは、時間領域及び周波数領域で定義され、時間領域はOFDMシンボル数で定義されてもよいし、周波数領域はサブキャリア数又はリソースブロック数で定義されてもよい。基地局10は、同期信号及びシステム情報を端末20に送信する。同期信号は、例えば、NR-PSS及びNR-SSSである。システム情報は、例えば、NR-PBCHにて送信され、報知情報ともいう。図2に示されるように、基地局10は、DL(Downlink)で制御信号又はデータを端末20に送信し、UL(Uplink)で制御信号又はデータを端末20から受信する。基地局10及び端末20はいずれも、ビームフォーミングを行って信号の送受信を行うことが可能である。また、基地局10及び端末20はいずれも、MIMO(Multiple Input Multiple Output)による通信をDL又はULに適用することが可能である。また、基地局10及び端末20はいずれも、CA(Carrier Aggregation)によるSCell(Secondary Cell)及びPCell(Primary Cell)を介して通信を行ってもよい。
端末20は、スマートフォン、携帯電話機、タブレット、ウェアラブル端末、M2M(Machine-to-Machine)用通信モジュール等の無線通信機能を備えた通信装置である。図2に示されるように、端末20は、DLで制御信号又はデータを基地局10から受信し、ULで制御信号又はデータを基地局10に送信することで、無線通信システムにより提供される各種通信サービスを利用する。
図3は、本発明の実施の形態における端末能力報告の例を説明するためのシーケンス図である。図3に示されるステップS1において、基地局10は、「UECapabilityEnquiry」すなわちUE能力の問合せを端末20に送信する。続くステップS2において、端末20は、「UECapabilityInformation」すなわちUE能力の報告を基地局10に送信する。「UECapabilityInformation」は、端末20がサポートするUE能力を含む。基地局10は、受信した「UECapabilityInformation」に基づいて、サポートされるUE能力を特定する。
例えば、「UECapabilityInformation」は、無線通信に関連する能力の通知に使用される情報要素「RF-Parameters」を含む。「RF-Parameters」は、MPR(Maximum Power Reduction)に係る能力を示す情報要素「modifiedMPR-Behaviour」を含む。「modifiedMPR-Behaviour」は、MPRが将来的に導入あるいは変更された場合に、いずれの仕様に対応するかを示すビットマップである。例えば、ある周波数バンドに対して設定された「modifiedMPR-Behaviour」の左端ビットが当該周波数バンドにおける第1の仕様に対応し、次のビットが当該周波数バンドにおける第2の仕様に対応する。
しかしながら、ある周波数バンドに「modifiedMPR-Behaviour」が設定されない場合、基地局10は当該周波数バンドにおける端末20の能力を特定することができなかった。
そこで、ある周波数バンドに「modifiedMPR-Behaviour」が設定されない場合、当該周波数バンドにおける端末20の能力が規定されるようにする。
図4は、本発明の実施の形態におけるスペクトラム放射に係るパラメータの例(1)を示す図である。図4に示される情報要素「AdditionalSpectrumEmission」によって、UL送信のスペクトラム放射に係る制限が基地局10から端末20に通知される。
図4に示される「AdditionalSpectrumEmission」は、「NR-NS-PmaxList」に含まれる。さらに「NR-NS-PmaxList」は、「MultiFrequencyBandListNR-SIB」に含まれる。さらに、「MultiFrequencyBandListNR-SIB」は、「FrequencyInfoUL-SIB」に含まれる。さらに、「FrequencyInfoUL-SIB」は、「UplinkConfigCommonSIB」に含まれる。さらに、「UplinkConfigCommonSIB」は、「ServingCellConfigCommonSIB」に含まれる。さらに、「ServingCellConfigCommonSIB」は、「SIB1」に含まれる。「SIB1」は、基地局10から端末20に送信される報知情報の一つである。なお、「AdditionalSpectrumEmission」は、報知情報である「SIB2」又は「SIB4」によって基地局10から端末20に送信されてもよい。なお、「AdditionalSpectrumEmission」は、周波数ごとに通知されてもよいし、周波数バンドごとに通知されてもよい。
図5は、本発明の実施の形態におけるスペクトラム放射に係るパラメータの例(2)を示す図である。図5に示されるように、情報要素「AdditionalSpectrumEmission」は、0から7までの整数値が設定可能である。
図6は、本発明の実施の形態におけるスペクトラム放射に係るパラメータの例(3)を示す図である。FR1(Frequency Range 1)において、ネットワークから通知される「Network signalling label」によって、スペクトラム放射に係る要求仕様を端末20は取得する。例えば、「Network signalling label」が「NS_04」である場合、図6に示される「NS_04」の行の要求仕様が適用され、NRバンドは「n41」、周波数帯域は「10,15,20,40,50,60,80,90,100」に対して、A-MPR(additional MPR)等が設定される。以下、「Network signalling label」を「NS値(NS value)」ともいう。
図7は、本発明の実施の形態におけるスペクトラム放射に係るパラメータの例(4)を示す図である。FR1において、図6で説明した「Network signalling label」は、情報要素「AdditionalSpectrumEmission」で通知される値と、図7に示されるNRバンドと「AdditionalSpectrumEmission」の値のマッピングとにより特定される。例えば、バンド「n1」の場合、値0に「NS_01」がマッピングされ、値1に「NS_100」がマッピングされ、値2に「NS_05」がマッピングされ、値3に「NS_05U」がマッピングされる。また、例えば、バンド「n83」の場合、値0に「NS_01」がマッピングされ、値1に「NS_17」がマッピングされ、値3に「NS_18」がマッピングされる。すなわち、「AdditionalSpectrumEmission」によって、適用される「Network signalling label」が通知される。
図8は、本発明の実施の形態におけるスペクトラム放射に係るパラメータの例(5)を示す図である。FR2(Frequency Range 2)において、ネットワークから通知される「Network signalling label」によって、スペクトラム放射に係る要求仕様を端末20は取得する。例えば、「Network signalling label」が「NS_201」である場合、図8に示される「NS_201」の行の要求仕様が適用され、NRバンドは「n258」、A-MPR等が設定される。
図9は、本発明の実施の形態におけるスペクトラム放射に係るパラメータの例(6)を示す図である。FR2において、図8で説明した「Network signalling label」は、情報要素「AdditionalSpectrumEmission」で通知される値と、図9に示されるNRバンドと「AdditionalSpectrumEmission」の値のマッピングとにより特定される。例えば、バンド「n258」の場合、値0に「NS_200」がマッピングされ、値1に「NS_201」がマッピングされる。
図10は、本発明の実施の形態における端末能力報告に係るパラメータの例(1)を示す図である。図10に示されるように、「FreqBandIndicatorNR」で示される周波数バンドに関連付けられた「modifiedMPR-Behaviour」は、例えば、8ビットのビットマップで構成される。「modifiedMPR-Behaviour」によって、ある周波数バンドにおけるMPR又はA-MPRが規定される。なお、「RF-Parameters」は、端末能力を基地局10に通知する情報要素であり、「UE-NR-Capability」に含まれる。「UE-NR-Capability」はさらに「UECapabilityInformation」に含まれ、図3に示されるように端末20から基地局10に報告される。
図11は、本発明の実施の形態における端末能力報告に係るパラメータの例(2)を示す図である。図11は「modifiedMPR-Behaviour」によって、ある周波数バンドにおけるMPRの仕様をビットマップによって通知する例である。
例えば、図11に示されるように、周波数バンドが「n41」である場合、ビットマップのうち左端のビットは、EN-DCにおける連続なイントラバンドのMPRに係る規定をサポートするか否かを示す。また、周波数バンドが「n41」である場合、ビットマップのうち左端のビットの次のビットは、EN-DCにおける不連続なイントラバンドのMPRに係る規定をサポートするか否かを示す。図11に示されるように、周波数バンドが「n71」である場合、ビットマップのうち左端のビットは、EN-DCにおける連続なイントラバンドのMPRに係る規定をサポートするか否かを示す。なお、上記ビットマップに含まれるビットの値は、「1」がサポートする、「0」がサポートしないと定義されてもよい。
図12は、本発明の実施の形態における端末能力報告に係る仕様の変更例を示す図である。図12に示されるように、「RF-Parameters」に含まれる「modifiedMPR-Behaviour」は、端末20がサポートするMPR又はA-MPRが、将来のリリースバージョンにて導入されるか又は変更された場合の通知に使用される。図10で説明したように、「modifiedMPR-Behaviour」は、周波数バンドごとに8ビットのビットマップを通知する情報要素である。
ここで、「RF-Parameters」に「modifiedMPR-Behaviour」が設定されていない場合、対応する周波数バンドにおいて、端末20は、図7及び図9で説明したすべてのNS値をサポートすると基地局10は特定してもよいし、端末20はすべてのNS値をサポートすると基地局10はみなしてもよいし、端末20はすべてのNS値をサポートすると基地局10は想定してもよい。なお、上記「すべてのNS値」は、特定のリリースバージョンに対応するNS値であってもよい。
例えば、周波数バンドが「n8」であって「RF-Parameters」に「modifiedMPR-Behaviour」が設定されていないUE能力報告を基地局10が受信した場合、基地局10は、UE能力報告を送信した端末20は、「NR_01」、「NR_100」、「NR_43」及び「NR_43U」のすべてをサポートすると特定してもよい。
また、例えば、周波数バンドが「n258」であって「RF-Parameters」に「modifiedMPR-Behaviour」が設定されていないUE能力報告を基地局10が受信した場合、基地局10は、UE能力報告を送信した端末20は、「NR_200」及び「NR_201」のすべてをサポートすると特定してもよい。
上述の実施例により、端末20がある周波数バンドにおいて変更されたMPRに係る動作をサポートするか否かを示す情報をネットワークに送信しない場合、ネットワークは当該周波数バンドにおいて、当該端末20がスペクトラム放射に係る1又は複数の要求仕様をすべてサポートすると特定することができる。これによって、MPRに関する仕様が変更されていない周波数バンドにおいて、スペクトラム放射に係る要求仕様を端末20が満たすことを規定することができる。
すなわち、無線通信システムにおける端末能力をネットワークが特定することができる。
(装置構成)
次に、これまでに説明した処理及び動作を実行する基地局10及び端末20の機能構成例を説明する。基地局10及び端末20は上述した実施例を実施する機能を含む。ただし、基地局10及び端末20はそれぞれ、実施例の中の一部の機能のみを備えることとしてもよい。
次に、これまでに説明した処理及び動作を実行する基地局10及び端末20の機能構成例を説明する。基地局10及び端末20は上述した実施例を実施する機能を含む。ただし、基地局10及び端末20はそれぞれ、実施例の中の一部の機能のみを備えることとしてもよい。
<基地局10>
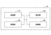
図13は、本発明の実施の形態における基地局10の機能構成の一例を示す図である。図13に示されるように、基地局10は、送信部110と、受信部120と、設定部130と、制御部140とを有する。図13に示される機能構成は一例に過ぎない。本発明の実施の形態に係る動作を実行できるのであれば、機能区分及び機能部の名称はどのようなものでもよい。
図13は、本発明の実施の形態における基地局10の機能構成の一例を示す図である。図13に示されるように、基地局10は、送信部110と、受信部120と、設定部130と、制御部140とを有する。図13に示される機能構成は一例に過ぎない。本発明の実施の形態に係る動作を実行できるのであれば、機能区分及び機能部の名称はどのようなものでもよい。
送信部110は、端末20側に送信する信号を生成し、当該信号を無線で送信する機能を含む。また、送信部110は、ネットワークノード間メッセージを他のネットワークノードに送信する。受信部120は、端末20から送信された各種の信号を受信し、受信した信号から、例えばより上位のレイヤの情報を取得する機能を含む。また、送信部110は、端末20へNR-PSS、NR-SSS、NR-PBCH、DL/UL制御信号等を送信する機能を有する。また、受信部120は、ネットワークノード間メッセージを他のネットワークノードから受信する。
設定部130は、予め設定される設定情報、及び、端末20に送信する各種の設定情報を格納する。設定情報の内容は、例えば、端末20のUE能力に応じた送受信設定に係る情報等である。
制御部140は、実施例において説明したように、端末20から受信した無線パラメータに関するUE能力報告の処理に係る制御を行う。また、制御部140は、スペクトラム放射に係る情報を端末20に通知する。制御部140における信号送信に関する機能部を送信部110に含め、制御部140における信号受信に関する機能部を受信部120に含めてもよい。
<端末20>
図14は、本発明の実施の形態における端末20の機能構成の一例を示す図である。図14に示されるように、端末20は、送信部210と、受信部220と、設定部230と、制御部240とを有する。図14に示される機能構成は一例に過ぎない。本発明の実施の形態に係る動作を実行できるのであれば、機能区分及び機能部の名称はどのようなものでもよい。
図14は、本発明の実施の形態における端末20の機能構成の一例を示す図である。図14に示されるように、端末20は、送信部210と、受信部220と、設定部230と、制御部240とを有する。図14に示される機能構成は一例に過ぎない。本発明の実施の形態に係る動作を実行できるのであれば、機能区分及び機能部の名称はどのようなものでもよい。
送信部210は、送信データから送信信号を作成し、当該送信信号を無線で送信する。受信部220は、各種の信号を無線受信し、受信した物理レイヤの信号からより上位のレイヤの信号を取得する。また、受信部220は、基地局10から送信されるNR-PSS、NR-SSS、NR-PBCH、DL/UL/SL制御信号等を受信する機能を有する。また、例えば、送信部210は、D2D通信として、他の端末20に、PSCCH(Physical Sidelink Control Channel)、PSSCH(Physical Sidelink Shared Channel)、PSDCH(Physical Sidelink Discovery Channel)、PSBCH(Physical Sidelink Broadcast Channel)等を送信し、受信部120は、他の端末20から、PSCCH、PSSCH、PSDCH又はPSBCH等を受信する。
設定部230は、受信部220により基地局10から受信した各種の設定情報を格納する。また、設定部230は、予め設定される設定情報も格納する。設定情報の内容は、例えば、UE能力に応じた送受信設定に係る情報等である。
制御部240は、実施例において説明したように、端末20の無線パラメータに関するUE能力報告に係る制御を行う。また、制御部140は、スペクトラム放射に係る制御を行う。制御部240における信号送信に関する機能部を送信部210に含め、制御部240における信号受信に関する機能部を受信部220に含めてもよい。
(ハードウェア構成)
上記実施形態の説明に用いたブロック図(図13及び図14)は、機能単位のブロックを示している。これらの機能ブロック(構成部)は、ハードウェア及びソフトウェアの少なくとも一方の任意の組み合わせによって実現される。また、各機能ブロックの実現方法は特に限定されない。すなわち、各機能ブロックは、物理的又は論理的に結合した1つの装置を用いて実現されてもよいし、物理的又は論理的に分離した2つ以上の装置を直接的又は間接的に(例えば、有線、無線などを用いて)接続し、これら複数の装置を用いて実現されてもよい。機能ブロックは、上記1つの装置又は上記複数の装置にソフトウェアを組み合わせて実現されてもよい。
上記実施形態の説明に用いたブロック図(図13及び図14)は、機能単位のブロックを示している。これらの機能ブロック(構成部)は、ハードウェア及びソフトウェアの少なくとも一方の任意の組み合わせによって実現される。また、各機能ブロックの実現方法は特に限定されない。すなわち、各機能ブロックは、物理的又は論理的に結合した1つの装置を用いて実現されてもよいし、物理的又は論理的に分離した2つ以上の装置を直接的又は間接的に(例えば、有線、無線などを用いて)接続し、これら複数の装置を用いて実現されてもよい。機能ブロックは、上記1つの装置又は上記複数の装置にソフトウェアを組み合わせて実現されてもよい。
機能には、判断、決定、判定、計算、算出、処理、導出、調査、探索、確認、受信、送信、出力、アクセス、解決、選択、選定、確立、比較、想定、期待、見做し、報知(broadcasting)、通知(notifying)、通信(communicating)、転送(forwarding)、構成(configuring)、再構成(reconfiguring)、割り当て(allocating、mapping)、割り振り(assigning)などがあるが、これらに限られない。たとえば、送信を機能させる機能ブロック(構成部)は、送信部(transmitting unit)や送信機(transmitter)と呼称される。いずれも、上述したとおり、実現方法は特に限定されない。
例えば、本開示の一実施の形態における基地局10、端末20等は、本開示の無線通信方法の処理を行うコンピュータとして機能してもよい。図15は、本開示の一実施の形態に係る基地局10及び端末20のハードウェア構成の一例を示す図である。上述の基地局10及び端末20は、物理的には、プロセッサ1001、記憶装置1002、補助記憶装置1003、通信装置1004、入力装置1005、出力装置1006、バス1007などを含むコンピュータ装置として構成されてもよい。
なお、以下の説明では、「装置」という文言は、回路、デバイス、ユニット等に読み替えることができる。基地局10及び端末20のハードウェア構成は、図に示した各装置を1つ又は複数含むように構成されてもよいし、一部の装置を含まずに構成されてもよい。
基地局10及び端末20における各機能は、プロセッサ1001、記憶装置1002等のハードウェア上に所定のソフトウェア(プログラム)を読み込ませることによって、プロセッサ1001が演算を行い、通信装置1004による通信を制御したり、記憶装置1002及び補助記憶装置1003におけるデータの読み出し及び書き込みの少なくとも一方を制御したりすることによって実現される。
プロセッサ1001は、例えば、オペレーティングシステムを動作させてコンピュータ全体を制御する。プロセッサ1001は、周辺装置とのインタフェース、制御装置、演算装置、レジスタ等を含む中央処理装置(CPU:Central Processing Unit)で構成されてもよい。例えば、上述の制御部140、制御部240等は、プロセッサ1001によって実現されてもよい。
また、プロセッサ1001は、プログラム(プログラムコード)、ソフトウェアモジュール又はデータ等を、補助記憶装置1003及び通信装置1004の少なくとも一方から記憶装置1002に読み出し、これらに従って各種の処理を実行する。プログラムとしては、上述の実施の形態において説明した動作の少なくとも一部をコンピュータに実行させるプログラムが用いられる。例えば、図13に示した基地局10の制御部140は、記憶装置1002に格納され、プロセッサ1001で動作する制御プログラムによって実現されてもよい。また、例えば、図14に示した端末20の制御部240は、記憶装置1002に格納され、プロセッサ1001で動作する制御プログラムによって実現されてもよい。上述の各種処理は、1つのプロセッサ1001によって実行される旨を説明してきたが、2以上のプロセッサ1001により同時又は逐次に実行されてもよい。プロセッサ1001は、1以上のチップによって実装されてもよい。なお、プログラムは、電気通信回線を介してネットワークから送信されてもよい。
記憶装置1002は、コンピュータ読み取り可能な記録媒体であり、例えば、ROM(Read Only Memory)、EPROM(Erasable Programmable ROM)、EEPROM(Electrically Erasable Programmable ROM)、RAM(Random Access Memory)等の少なくとも1つによって構成されてもよい。記憶装置1002は、レジスタ、キャッシュ、メインメモリ(主記憶装置)等と呼ばれてもよい。記憶装置1002は、本開示の一実施の形態に係る通信方法を実施するために実行可能なプログラム(プログラムコード)、ソフトウェアモジュール等を保存することができる。
補助記憶装置1003は、コンピュータ読み取り可能な記録媒体であり、例えば、CD-ROM(Compact Disc ROM)等の光ディスク、ハードディスクドライブ、フレキシブルディスク、光磁気ディスク(例えば、コンパクトディスク、デジタル多用途ディスク、Blu-ray(登録商標)ディスク)、スマートカード、フラッシュメモリ(例えば、カード、スティック、キードライブ)、フロッピー(登録商標)ディスク、磁気ストリップ等の少なくとも1つによって構成されてもよい。上述の記憶媒体は、例えば、記憶装置1002及び補助記憶装置1003の少なくとも一方を含むデータベース、サーバその他の適切な媒体であってもよい。
通信装置1004は、有線ネットワーク及び無線ネットワークの少なくとも一方を介してコンピュータ間の通信を行うためのハードウェア(送受信デバイス)であり、例えばネットワークデバイス、ネットワークコントローラ、ネットワークカード、通信モジュールなどともいう。通信装置1004は、例えば周波数分割複信(FDD:Frequency Division Duplex)及び時分割複信(TDD:Time Division Duplex)の少なくとも一方を実現するために、高周波スイッチ、デュプレクサ、フィルタ、周波数シンセサイザなどを含んで構成されてもよい。例えば、送受信アンテナ、アンプ部、送受信部、伝送路インターフェース等は、通信装置1004によって実現されてもよい。送受信部は、送信部と受信部とで、物理的に、または論理的に分離された実装がなされてもよい。
入力装置1005は、外部からの入力を受け付ける入力デバイス(例えば、キーボード、マウス、マイクロフォン、スイッチ、ボタン、センサ等)である。出力装置1006は、外部への出力を実施する出力デバイス(例えば、ディスプレイ、スピーカー、LEDランプ等)である。なお、入力装置1005及び出力装置1006は、一体となった構成(例えば、タッチパネル)であってもよい。
また、プロセッサ1001及び記憶装置1002等の各装置は、情報を通信するためのバス1007によって接続される。バス1007は、単一のバスを用いて構成されてもよいし、装置間ごとに異なるバスを用いて構成されてもよい。
また、基地局10及び端末20は、マイクロプロセッサ、デジタル信号プロセッサ(DSP:Digital Signal Processor)、ASIC(Application Specific Integrated Circuit)、PLD(Programmable Logic Device)、FPGA(Field Programmable Gate Array)等のハードウェアを含んで構成されてもよく、当該ハードウェアにより、各機能ブロックの一部又は全てが実現されてもよい。例えば、プロセッサ1001は、これらのハードウェアの少なくとも1つを用いて実装されてもよい。
(実施の形態のまとめ)
以上、説明したように、本発明の実施の形態によれば、ある周波数バンドにおけるスペクトラム放射に係る要求仕様を示す1又は複数の値を通知する情報及び端末能力の報告を要求する情報を基地局から受信する受信部と、前記周波数バンドにおける変更されたMPR(Maximum Power Reduction)に係る動作をサポートするか否かを示す情報を前記報告に含めない場合、前記スペクトラム放射に係る要求仕様を示す値すべてをサポートする制御部と、前記報告を前記基地局に送信する送信部とを有する端末が提供される。
以上、説明したように、本発明の実施の形態によれば、ある周波数バンドにおけるスペクトラム放射に係る要求仕様を示す1又は複数の値を通知する情報及び端末能力の報告を要求する情報を基地局から受信する受信部と、前記周波数バンドにおける変更されたMPR(Maximum Power Reduction)に係る動作をサポートするか否かを示す情報を前記報告に含めない場合、前記スペクトラム放射に係る要求仕様を示す値すべてをサポートする制御部と、前記報告を前記基地局に送信する送信部とを有する端末が提供される。
上記の構成により、端末20がある周波数バンドにおいて変更されたMPRに係る動作をサポートするか否かを示す情報をネットワークに送信しない場合、ネットワークは当該周波数バンドにおいて、当該端末20がスペクトラム放射に係る1又は複数の要求仕様をすべてサポートすると特定することができる。これによって、MPRに関する仕様が変更されていない周波数バンドにおいて、スペクトラム放射に係る要求仕様を端末20が満たすことを規定することができる。すなわち、無線通信システムにおける端末能力をネットワークが特定することができる。
また、本発明の実施の形態によれば、ある周波数バンドにおけるスペクトラム放射に係る要求仕様を示す1又は複数の値を通知する情報及び端末能力の報告を要求する情報を端末に送信する送信部と、前記報告を前記端末から受信する受信部と、前記報告に、前記周波数バンドにおける変更されたMPR(Maximum Power Reduction)に係る動作をサポートするか否かを示す情報が含まれない場合、前記スペクトラム放射に係る要求仕様を示す値すべてを前記端末がサポートすると判定する制御部とを有する基地局が提供される。
上記の構成により、端末20がある周波数バンドにおいて変更されたMPRに係る動作をサポートするか否かを示す情報をネットワークに送信しない場合、ネットワークは当該周波数バンドにおいて、当該端末20がスペクトラム放射に係る1又は複数の要求仕様をすべてサポートすると特定することができる。これによって、MPRに関する仕様が変更されていない周波数バンドにおいて、スペクトラム放射に係る要求仕様を端末20が満たすことを規定することができる。すなわち、無線通信システムにおける端末能力をネットワークが特定することができる。
また、本発明の実施の形態によれば、ある周波数バンドにおけるスペクトラム放射に係る要求仕様を示す1又は複数の値を通知する情報及び端末能力の報告を要求する情報を基地局から受信する受信手順と、前記周波数バンドにおける変更されたMPR(Maximum Power Reduction)に係る動作をサポートするか否かを示す情報を前記報告に含めない場合、前記スペクトラム放射に係る要求仕様を示す値すべてをサポートする制御手順と、前記報告を前記基地局に送信する送信手順とを端末が実行する通信方法が提供される。
上記の構成により、端末20がある周波数バンドにおいて変更されたMPRに係る動作をサポートするか否かを示す情報をネットワークに送信しない場合、ネットワークは当該周波数バンドにおいて、当該端末20がスペクトラム放射に係る1又は複数の要求仕様をすべてサポートすると特定することができる。これによって、MPRに関する仕様が変更されていない周波数バンドにおいて、スペクトラム放射に係る要求仕様を端末20が満たすことを規定することができる。すなわち、無線通信システムにおける端末能力をネットワークが特定することができる。
(実施形態の補足)
以上、本発明の実施の形態を説明してきたが、開示される発明はそのような実施形態に限定されず、当業者は様々な変形例、修正例、代替例、置換例等を理解するであろう。発明の理解を促すため具体的な数値例を用いて説明がなされたが、特に断りのない限り、それらの数値は単なる一例に過ぎず適切な如何なる値が使用されてもよい。上記の説明における項目の区分けは本発明に本質的ではなく、2以上の項目に記載された事項が必要に応じて組み合わせて使用されてよいし、ある項目に記載された事項が、別の項目に記載された事項に(矛盾しない限り)適用されてよい。機能ブロック図における機能部又は処理部の境界は必ずしも物理的な部品の境界に対応するとは限らない。複数の機能部の動作が物理的には1つの部品で行われてもよいし、あるいは1つの機能部の動作が物理的には複数の部品により行われてもよい。実施の形態で述べた処理手順については、矛盾の無い限り処理の順序を入れ替えてもよい。処理説明の便宜上、基地局10及び端末20は機能的なブロック図を用いて説明されたが、そのような装置はハードウェアで、ソフトウェアで又はそれらの組み合わせで実現されてもよい。本発明の実施の形態に従って基地局10が有するプロセッサにより動作するソフトウェア及び本発明の実施の形態に従って端末20が有するプロセッサにより動作するソフトウェアはそれぞれ、ランダムアクセスメモリ(RAM)、フラッシュメモリ、読み取り専用メモリ(ROM)、EPROM、EEPROM、レジスタ、ハードディスク(HDD)、リムーバブルディスク、CD-ROM、データベース、サーバその他の適切な如何なる記憶媒体に保存されてもよい。
以上、本発明の実施の形態を説明してきたが、開示される発明はそのような実施形態に限定されず、当業者は様々な変形例、修正例、代替例、置換例等を理解するであろう。発明の理解を促すため具体的な数値例を用いて説明がなされたが、特に断りのない限り、それらの数値は単なる一例に過ぎず適切な如何なる値が使用されてもよい。上記の説明における項目の区分けは本発明に本質的ではなく、2以上の項目に記載された事項が必要に応じて組み合わせて使用されてよいし、ある項目に記載された事項が、別の項目に記載された事項に(矛盾しない限り)適用されてよい。機能ブロック図における機能部又は処理部の境界は必ずしも物理的な部品の境界に対応するとは限らない。複数の機能部の動作が物理的には1つの部品で行われてもよいし、あるいは1つの機能部の動作が物理的には複数の部品により行われてもよい。実施の形態で述べた処理手順については、矛盾の無い限り処理の順序を入れ替えてもよい。処理説明の便宜上、基地局10及び端末20は機能的なブロック図を用いて説明されたが、そのような装置はハードウェアで、ソフトウェアで又はそれらの組み合わせで実現されてもよい。本発明の実施の形態に従って基地局10が有するプロセッサにより動作するソフトウェア及び本発明の実施の形態に従って端末20が有するプロセッサにより動作するソフトウェアはそれぞれ、ランダムアクセスメモリ(RAM)、フラッシュメモリ、読み取り専用メモリ(ROM)、EPROM、EEPROM、レジスタ、ハードディスク(HDD)、リムーバブルディスク、CD-ROM、データベース、サーバその他の適切な如何なる記憶媒体に保存されてもよい。
また、情報の通知は、本開示で説明した態様/実施形態に限られず、他の方法を用いて行われてもよい。例えば、情報の通知は、物理レイヤシグナリング(例えば、DCI(Downlink Control Information)、UCI(Uplink Control Information))、上位レイヤシグナリング(例えば、RRC(Radio Resource Control)シグナリング、MAC(Medium Access Control)シグナリング、報知情報(MIB(Master Information Block)、SIB(System Information Block))、その他の信号又はこれらの組み合わせによって実施されてもよい。また、RRCシグナリングは、RRCメッセージと呼ばれてもよく、例えば、RRC接続セットアップ(RRC Connection Setup)メッセージ、RRC接続再構成(RRC Connection Reconfiguration)メッセージ等であってもよい。
本開示において説明した各態様/実施形態は、LTE(Long Term Evolution)、LTE-A(LTE-Advanced)、SUPER 3G、IMT-Advanced、4G(4th generation mobile communication system)、5G(5th generation mobile communication system)、FRA(Future Radio Access)、NR(new Radio)、W-CDMA(登録商標)、GSM(登録商標)、CDMA2000、UMB(Ultra Mobile Broadband)、IEEE 802.11(Wi-Fi(登録商標))、IEEE 802.16(WiMAX(登録商標))、IEEE 802.20、UWB(Ultra-WideBand)、Bluetooth(登録商標)、その他の適切なシステムを利用するシステム及びこれらに基づいて拡張された次世代システムの少なくとも一つに適用されてもよい。また、複数のシステムが組み合わされて(例えば、LTE及びLTE-Aの少なくとも一方と5Gとの組み合わせ等)適用されてもよい。
本明細書で説明した各態様/実施形態の処理手順、シーケンス、フローチャート等は、矛盾の無い限り、順序を入れ替えてもよい。例えば、本開示において説明した方法については、例示的な順序を用いて様々なステップの要素を提示しており、提示した特定の順序に限定されない。
本明細書において基地局10によって行われるとした特定動作は、場合によってはその上位ノード(upper node)によって行われることもある。基地局10を有する1つ又は複数のネットワークノード(network nodes)からなるネットワークにおいて、端末20との通信のために行われる様々な動作は、基地局10及び基地局10以外の他のネットワークノード(例えば、MME又はS-GW等が考えられるが、これらに限られない)の少なくとも1つによって行われ得ることは明らかである。上記において基地局10以外の他のネットワークノードが1つである場合を例示したが、他のネットワークノードは、複数の他のネットワークノードの組み合わせ(例えば、MME及びS-GW)であってもよい。
本開示において説明した情報又は信号等は、上位レイヤ(又は下位レイヤ)から下位レイヤ(又は上位レイヤ)へ出力され得る。複数のネットワークノードを介して入出力されてもよい。
入出力された情報等は特定の場所(例えば、メモリ)に保存されてもよいし、管理テーブルを用いて管理してもよい。入出力される情報等は、上書き、更新、又は追記され得る。出力された情報等は削除されてもよい。入力された情報等は他の装置へ送信されてもよい。
本開示における判定は、1ビットで表される値(0か1か)によって行われてもよいし、真偽値(Boolean:true又はfalse)によって行われてもよいし、数値の比較(例えば、所定の値との比較)によって行われてもよい。
ソフトウェアは、ソフトウェア、ファームウェア、ミドルウェア、マイクロコード、ハードウェア記述言語と呼ばれるか、他の名称で呼ばれるかを問わず、命令、命令セット、コード、コードセグメント、プログラムコード、プログラム、サブプログラム、ソフトウェアモジュール、アプリケーション、ソフトウェアアプリケーション、ソフトウェアパッケージ、ルーチン、サブルーチン、オブジェクト、実行可能ファイル、実行スレッド、手順、機能などを意味するよう広く解釈されるべきである。
また、ソフトウェア、命令、情報などは、伝送媒体を介して送受信されてもよい。例えば、ソフトウェアが、有線技術(同軸ケーブル、光ファイバケーブル、ツイストペア、デジタル加入者回線(DSL:Digital Subscriber Line)など)及び無線技術(赤外線、マイクロ波など)の少なくとも一方を使用してウェブサイト、サーバ、又は他のリモートソースから送信される場合、これらの有線技術及び無線技術の少なくとも一方は、伝送媒体の定義内に含まれる。
本開示において説明した情報、信号などは、様々な異なる技術のいずれかを使用して表されてもよい。例えば、上記の説明全体に渡って言及され得るデータ、命令、コマンド、情報、信号、ビット、シンボル、チップなどは、電圧、電流、電磁波、磁界若しくは磁性粒子、光場若しくは光子、又はこれらの任意の組み合わせによって表されてもよい。
なお、本開示において説明した用語及び本開示の理解に必要な用語については、同一の又は類似する意味を有する用語と置き換えてもよい。例えば、チャネル及びシンボルの少なくとも一方は信号(シグナリング)であってもよい。また、信号はメッセージであってもよい。また、コンポーネントキャリア(CC:Component Carrier)は、キャリア周波数、セル、周波数キャリアなどと呼ばれてもよい。
本開示において使用する「システム」及び「ネットワーク」という用語は、互換的に使用される。
また、本開示において説明した情報、パラメータなどは、絶対値を用いて表されてもよいし、所定の値からの相対値を用いて表されてもよいし、対応する別の情報を用いて表されてもよい。例えば、無線リソースはインデックスによって指示されるものであってもよい。
上述したパラメータに使用する名称はいかなる点においても限定的な名称ではない。さらに、これらのパラメータを使用する数式等は、本開示で明示的に開示したものと異なる場合もある。様々なチャネル(例えば、PUCCH、PDCCHなど)及び情報要素は、あらゆる好適な名称によって識別できるので、これらの様々なチャネル及び情報要素に割り当てている様々な名称は、いかなる点においても限定的な名称ではない。
本開示においては、「基地局(BS:Base Station)」、「無線基地局」、「基地局装置」、「固定局(fixed station)」、「NodeB」、「eNodeB(eNB)」、「gNodeB(gNB)」、「アクセスポイント(access point)」、「送信ポイント(transmission point)」、「受信ポイント(reception point)、「送受信ポイント(transmission/reception point)」、「セル」、「セクタ」、「セルグループ」、「キャリア」、「コンポーネントキャリア」などの用語は、互換的に使用され得る。基地局は、マクロセル、スモールセル、フェムトセル、ピコセルなどの用語で呼ばれる場合もある。
基地局は、1つ又は複数(例えば、3つ)のセルを収容することができる。基地局が複数のセルを収容する場合、基地局のカバレッジエリア全体は複数のより小さいエリアに区分でき、各々のより小さいエリアは、基地局サブシステム(例えば、屋内用の小型基地局(RRH:Remote Radio Head)によって通信サービスを提供することもできる。「セル」又は「セクタ」という用語は、このカバレッジにおいて通信サービスを行う基地局及び基地局サブシステムの少なくとも一方のカバレッジエリアの一部又は全体を指す。
本開示においては、「移動局(MS:Mobile Station)」、「ユーザ端末(user terminal)」、「ユーザ装置(UE:User Equipment)」、「端末」などの用語は、互換的に使用され得る。
移動局は、当業者によって、加入者局、モバイルユニット、加入者ユニット、ワイヤレスユニット、リモートユニット、モバイルデバイス、ワイヤレスデバイス、ワイヤレス通信デバイス、リモートデバイス、モバイル加入者局、アクセス端末、モバイル端末、ワイヤレス端末、リモート端末、ハンドセット、ユーザエージェント、モバイルクライアント、クライアント、又はいくつかの他の適切な用語で呼ばれる場合もある。
基地局及び移動局の少なくとも一方は、送信装置、受信装置、通信装置などと呼ばれてもよい。なお、基地局及び移動局の少なくとも一方は、移動体に搭載されたデバイス、移動体自体などであってもよい。当該移動体は、乗り物(例えば、車、飛行機など)であってもよいし、無人で動く移動体(例えば、ドローン、自動運転車など)であってもよいし、ロボット(有人型又は無人型)であってもよい。なお、基地局及び移動局の少なくとも一方は、必ずしも通信動作時に移動しない装置も含む。例えば、基地局及び移動局の少なくとも一方は、センサなどのIoT(Internet of Things)機器であってもよい。
また、本開示における基地局は、ユーザ端末で読み替えてもよい。例えば、基地局及びユーザ端末間の通信を、複数の端末20間の通信(例えば、D2D(Device-to-Device)、V2X(Vehicle-to-Everything)などと呼ばれてもよい)に置き換えた構成について、本開示の各態様/実施形態を適用してもよい。この場合、上述の基地局10が有する機能を端末20が有する構成としてもよい。また、「上り」及び「下り」などの文言は、端末間通信に対応する文言(例えば、「サイド(side)」)で読み替えられてもよい。例えば、上りチャネル、下りチャネルなどは、サイドチャネルで読み替えられてもよい。
同様に、本開示におけるユーザ端末は、基地局で読み替えてもよい。この場合、上述のユーザ端末が有する機能を基地局が有する構成としてもよい。
本開示で使用する「判断(determining)」、「決定(determining)」という用語は、多種多様な動作を包含する場合がある。「判断」、「決定」は、例えば、判定(judging)、計算(calculating)、算出(computing)、処理(processing)、導出(deriving)、調査(investigating)、探索(looking up、search、inquiry)(例えば、テーブル、データベース又は別のデータ構造での探索)、確認(ascertaining)した事を「判断」「決定」したとみなす事などを含み得る。また、「判断」、「決定」は、受信(receiving)(例えば、情報を受信すること)、送信(transmitting)(例えば、情報を送信すること)、入力(input)、出力(output)、アクセス(accessing)(例えば、メモリ中のデータにアクセスすること)した事を「判断」「決定」したとみなす事などを含み得る。また、「判断」、「決定」は、解決(resolving)、選択(selecting)、選定(choosing)、確立(establishing)、比較(comparing)などした事を「判断」「決定」したとみなす事を含み得る。つまり、「判断」「決定」は、何らかの動作を「判断」「決定」したとみなす事を含み得る。また、「判断(決定)」は、「想定する(assuming)」、「期待する(expecting)」、「みなす(considering)」などで読み替えられてもよい。
「接続された(connected)」、「結合された(coupled)」という用語、又はこれらのあらゆる変形は、2又はそれ以上の要素間の直接的又は間接的なあらゆる接続又は結合を意味し、互いに「接続」又は「結合」された2つの要素間に1又はそれ以上の中間要素が存在することを含むことができる。要素間の結合又は接続は、物理的なものであっても、論理的なものであっても、或いはこれらの組み合わせであってもよい。例えば、「接続」は「アクセス」で読み替えられてもよい。本開示で使用する場合、2つの要素は、1又はそれ以上の電線、ケーブル及びプリント電気接続の少なくとも一つを用いて、並びにいくつかの非限定的かつ非包括的な例として、無線周波数領域、マイクロ波領域及び光(可視及び不可視の両方)領域の波長を有する電磁エネルギーなどを用いて、互いに「接続」又は「結合」されると考えることができる。
参照信号は、RS(Reference Signal)と略称することもでき、適用される標準によってパイロット(Pilot)と呼ばれてもよい。
本開示において使用する「に基づいて」という記載は、別段に明記されていない限り、「のみに基づいて」を意味しない。言い換えれば、「に基づいて」という記載は、「のみに基づいて」と「に少なくとも基づいて」の両方を意味する。
本開示において使用する「第1の」、「第2の」などの呼称を使用した要素へのいかなる参照も、それらの要素の量又は順序を全般的に限定しない。これらの呼称は、2つ以上の要素間を区別する便利な方法として本開示において使用され得る。したがって、第1及び第2の要素への参照は、2つの要素のみが採用され得ること、又は何らかの形で第1の要素が第2の要素に先行しなければならないことを意味しない。
上記の各装置の構成における「手段」を、「部」、「回路」、「デバイス」等に置き換えてもよい。
本開示において、「含む(include)」、「含んでいる(including)」及びそれらの変形が使用されている場合、これらの用語は、用語「備える(comprising)」と同様に、包括的であることが意図される。さらに、本開示において使用されている用語「又は(or)」は、排他的論理和ではないことが意図される。
無線フレームは時間領域において1つ又は複数のフレームによって構成されてもよい。時間領域において1つ又は複数の各フレームはサブフレームと呼ばれてもよい。サブフレームは更に時間領域において1つ又は複数のスロットによって構成されてもよい。サブフレームは、ニューメロロジ(numerology)に依存しない固定の時間長(例えば、1ms)であってもよい。
ニューメロロジは、ある信号又はチャネルの送信及び受信の少なくとも一方に適用される通信パラメータであってもよい。ニューメロロジは、例えば、サブキャリア間隔(SCS:SubCarrier Spacing)、帯域幅、シンボル長、サイクリックプレフィックス長、送信時間間隔(TTI:Transmission Time Interval)、TTIあたりのシンボル数、無線フレーム構成、送受信機が周波数領域において行う特定のフィルタリング処理、送受信機が時間領域において行う特定のウィンドウイング処理などの少なくとも1つを示してもよい。
スロットは、時間領域において1つ又は複数のシンボル(OFDM(Orthogonal Frequency Division Multiplexing)シンボル、SC-FDMA(Single Carrier Frequency Division Multiple Access)シンボル等)で構成されてもよい。スロットは、ニューメロロジに基づく時間単位であってもよい。
スロットは、複数のミニスロットを含んでもよい。各ミニスロットは、時間領域において1つ又は複数のシンボルによって構成されてもよい。また、ミニスロットは、サブスロットと呼ばれてもよい。ミニスロットは、スロットよりも少ない数のシンボルによって構成されてもよい。ミニスロットより大きい時間単位で送信されるPDSCH(又はPUSCH)は、PDSCH(又はPUSCH)マッピングタイプAと呼ばれてもよい。ミニスロットを用いて送信されるPDSCH(又はPUSCH)は、PDSCH(又はPUSCH)マッピングタイプBと呼ばれてもよい。
無線フレーム、サブフレーム、スロット、ミニスロット及びシンボルは、いずれも信号を伝送する際の時間単位を表す。無線フレーム、サブフレーム、スロット、ミニスロット及びシンボルは、それぞれに対応する別の呼称が用いられてもよい。
例えば、1サブフレームは送信時間間隔(TTI:Transmission Time Interval)と呼ばれてもよいし、複数の連続したサブフレームがTTIと呼ばれてよいし、1スロット又は1ミニスロットがTTIと呼ばれてもよい。つまり、サブフレーム及びTTIの少なくとも一方は、既存のLTEにおけるサブフレーム(1ms)であってもよいし、1msより短い期間(例えば、1-13シンボル)であってもよいし、1msより長い期間であってもよい。なお、TTIを表す単位は、サブフレームではなくスロット、ミニスロットなどと呼ばれてもよい。
ここで、TTIは、例えば、無線通信におけるスケジューリングの最小時間単位のことをいう。例えば、LTEシステムでは、基地局が各端末20に対して、無線リソース(各端末20において使用することが可能な周波数帯域幅、送信電力など)を、TTI単位で割り当てるスケジューリングを行う。なお、TTIの定義はこれに限られない。
TTIは、チャネル符号化されたデータパケット(トランスポートブロック)、コードブロック、コードワードなどの送信時間単位であってもよいし、スケジューリング、リンクアダプテーションなどの処理単位となってもよい。なお、TTIが与えられたとき、実際にトランスポートブロック、コードブロック、コードワードなどがマッピングされる時間区間(例えば、シンボル数)は、当該TTIよりも短くてもよい。
なお、1スロット又は1ミニスロットがTTIと呼ばれる場合、1以上のTTI(すなわち、1以上のスロット又は1以上のミニスロット)が、スケジューリングの最小時間単位となってもよい。また、当該スケジューリングの最小時間単位を構成するスロット数(ミニスロット数)は制御されてもよい。
1msの時間長を有するTTIは、通常TTI(LTE Rel.8-12におけるTTI)、ノーマルTTI、ロングTTI、通常サブフレーム、ノーマルサブフレーム、ロングサブフレーム、スロットなどと呼ばれてもよい。通常TTIより短いTTIは、短縮TTI、ショートTTI、部分TTI(partial又はfractional TTI)、短縮サブフレーム、ショートサブフレーム、ミニスロット、サブスロット、スロットなどと呼ばれてもよい。
なお、ロングTTI(例えば、通常TTI、サブフレームなど)は、1msを超える時間長を有するTTIで読み替えてもよいし、ショートTTI(例えば、短縮TTIなど)は、ロングTTIのTTI長未満かつ1ms以上のTTI長を有するTTIで読み替えてもよい。
リソースブロック(RB)は、時間領域及び周波数領域のリソース割当単位であり、周波数領域において、1つ又は複数個の連続した副搬送波(subcarrier)を含んでもよい。RBに含まれるサブキャリアの数は、ニューメロロジに関わらず同じであってもよく、例えば12であってもよい。RBに含まれるサブキャリアの数は、ニューメロロジに基づいて決定されてもよい。
また、RBの時間領域は、1つ又は複数個のシンボルを含んでもよく、1スロット、1ミニスロット、1サブフレーム、又は1TTIの長さであってもよい。1TTI、1サブフレームなどは、それぞれ1つ又は複数のリソースブロックで構成されてもよい。
なお、1つ又は複数のRBは、物理リソースブロック(PRB:Physical RB)、サブキャリアグループ(SCG:Sub-Carrier Group)、リソースエレメントグループ(REG:Resource Element Group)、PRBペア、RBペアなどと呼ばれてもよい。
また、リソースブロックは、1つ又は複数のリソースエレメント(RE:Resource Element)によって構成されてもよい。例えば、1REは、1サブキャリア及び1シンボルの無線リソース領域であってもよい。
帯域幅部分(BWP:Bandwidth Part)(部分帯域幅などと呼ばれてもよい)は、あるキャリアにおいて、あるニューメロロジ用の連続する共通RB(common resource blocks)のサブセットのことを表してもよい。ここで、共通RBは、当該キャリアの共通参照ポイントを基準としたRBのインデックスによって特定されてもよい。PRBは、あるBWPで定義され、当該BWP内で番号付けされてもよい。
BWPには、UL用のBWP(UL BWP)と、DL用のBWP(DL BWP)とが含まれてもよい。UEに対して、1キャリア内に1つ又は複数のBWPが設定されてもよい。
設定されたBWPの少なくとも1つがアクティブであってもよく、UEは、アクティブなBWPの外で所定の信号/チャネルを送受信することを想定しなくてもよい。なお、本開示における「セル」、「キャリア」などは、「BWP」で読み替えられてもよい。
上述した無線フレーム、サブフレーム、スロット、ミニスロット及びシンボルなどの構造は例示に過ぎない。例えば、無線フレームに含まれるサブフレームの数、サブフレーム又は無線フレームあたりのスロットの数、スロット内に含まれるミニスロットの数、スロット又はミニスロットに含まれるシンボル及びRBの数、RBに含まれるサブキャリアの数、並びにTTI内のシンボル数、シンボル長、サイクリックプレフィックス(CP:Cyclic Prefix)長などの構成は、様々に変更することができる。
本開示において、例えば、英語でのa, an及びtheのように、翻訳により冠詞が追加された場合、本開示は、これらの冠詞の後に続く名詞が複数形であることを含んでもよい。
本開示において、「AとBが異なる」という用語は、「AとBが互いに異なる」ことを意味してもよい。なお、当該用語は、「AとBがそれぞれCと異なる」ことを意味してもよい。「離れる」、「結合される」などの用語も、「異なる」と同様に解釈されてもよい。
本開示において説明した各態様/実施形態は単独で用いてもよいし、組み合わせて用いてもよいし、実行に伴って切り替えて用いてもよい。また、所定の情報の通知(例えば、「Xであること」の通知)は、明示的に行うものに限られず、暗黙的(例えば、当該所定の情報の通知を行わない)ことによって行われてもよい。
なお、本開示において、UECapabilityEnquiryは、端末能力の報告を要求する情報の一例である。UECapabilityInformationは、端末能力の報告の一例である。NS値は、スペクトラム放射に係る要求仕様を示す値の一例である。AdditionalSpectrumEmissionは、スペクトラム放射に係る要求仕様を示す値を通知する情報の一例である。modifiedMPR-Behaviourは、変更されたMPRに係る動作をサポートするか否かを示す情報の一例である。
以上、本開示について詳細に説明したが、当業者にとっては、本開示が本開示中に説明した実施形態に限定されるものではないということは明らかである。本開示は、請求の範囲の記載により定まる本開示の趣旨及び範囲を逸脱することなく修正及び変更態様として実施することができる。したがって、本開示の記載は、例示説明を目的とするものであり、本開示に対して何ら制限的な意味を有するものではない。
10 基地局
110 送信部
120 受信部
130 設定部
140 制御部
20 端末
210 送信部
220 受信部
230 設定部
240 制御部
1001 プロセッサ
1002 記憶装置
1003 補助記憶装置
1004 通信装置
1005 入力装置
1006 出力装置
110 送信部
120 受信部
130 設定部
140 制御部
20 端末
210 送信部
220 受信部
230 設定部
240 制御部
1001 プロセッサ
1002 記憶装置
1003 補助記憶装置
1004 通信装置
1005 入力装置
1006 出力装置
Claims (3)
- ある周波数バンドにおけるスペクトラム放射に係る要求仕様を示す1又は複数の値を通知する情報及び端末能力の報告を要求する情報を基地局から受信する受信部と、
前記周波数バンドにおける変更されたMPR(Maximum Power Reduction)に係る動作をサポートするか否かを示す情報を前記報告に含めない場合、前記スペクトラム放射に係る要求仕様を示す値すべてをサポートする制御部と、
前記報告を前記基地局に送信する送信部とを有する端末。 - ある周波数バンドにおけるスペクトラム放射に係る要求仕様を示す1又は複数の値を通知する情報及び端末能力の報告を要求する情報を端末に送信する送信部と、
前記報告を前記端末から受信する受信部と、
前記報告に、前記周波数バンドにおける変更されたMPR(Maximum Power Reduction)に係る動作をサポートするか否かを示す情報が含まれない場合、前記スペクトラム放射に係る要求仕様を示す値すべてを前記端末がサポートすると判定する制御部とを有する基地局。 - ある周波数バンドにおけるスペクトラム放射に係る要求仕様を示す1又は複数の値を通知する情報及び端末能力の報告を要求する情報を基地局から受信する受信手順と、
前記周波数バンドにおける変更されたMPR(Maximum Power Reduction)に係る動作をサポートするか否かを示す情報を前記報告に含めない場合、前記スペクトラム放射に係る要求仕様を示す値すべてをサポートする制御手順と、
前記報告を前記基地局に送信する送信手順とを端末が実行する通信方法。
Applications Claiming Priority (1)
| Application Number | Priority Date | Filing Date | Title |
|---|---|---|---|
| PCT/JP2020/002549 WO2021149246A1 (ja) | 2020-01-24 | 2020-01-24 | 端末、基地局及び通信方法 |
Publications (2)
| Publication Number | Publication Date |
|---|---|
| JPWO2021149246A1 JPWO2021149246A1 (ja) | 2021-07-29 |
| JP7369211B2 true JP7369211B2 (ja) | 2023-10-25 |
Family
ID=76991832
Family Applications (1)
| Application Number | Title | Priority Date | Filing Date |
|---|---|---|---|
| JP2021572237A Active JP7369211B2 (ja) | 2020-01-24 | 2020-01-24 | 端末、基地局及び通信方法 |
Country Status (5)
| Country | Link |
|---|---|
| US (1) | US20230345231A1 (ja) |
| EP (1) | EP4096262A4 (ja) |
| JP (1) | JP7369211B2 (ja) |
| CN (1) | CN114982262A (ja) |
| WO (1) | WO2021149246A1 (ja) |
Families Citing this family (2)
| Publication number | Priority date | Publication date | Assignee | Title |
|---|---|---|---|---|
| CN113906774A (zh) * | 2019-06-06 | 2022-01-07 | 株式会社Ntt都科摩 | 终端以及基站 |
| CN115004854A (zh) * | 2022-04-22 | 2022-09-02 | 北京小米移动软件有限公司 | 一种信息处理方法及其装置 |
Citations (2)
| Publication number | Priority date | Publication date | Assignee | Title |
|---|---|---|---|---|
| JP2013098592A (ja) | 2011-10-27 | 2013-05-20 | Ntt Docomo Inc | 移動通信方法及び無線基地局 |
| WO2016056556A1 (ja) | 2014-10-07 | 2016-04-14 | 株式会社Nttドコモ | ユーザ装置、移動通信システム、及び最大送信電力決定方法 |
Family Cites Families (5)
| Publication number | Priority date | Publication date | Assignee | Title |
|---|---|---|---|---|
| US8867436B2 (en) * | 2009-07-31 | 2014-10-21 | Qualcomm Incorporated | Support for optional system parameter values |
| GB2532399B (en) * | 2011-09-30 | 2016-08-03 | Samsung Electronics Co Ltd | Management of spectrum emission requirements |
| WO2015147617A1 (ko) * | 2014-03-28 | 2015-10-01 | 엘지전자 주식회사 | 무선 통신 시스템에서 단말에 의해 수행되는 d2d(device-to-device) 동작 방법 및 상기 방법을 이용하는 단말 |
| MX2019010971A (es) * | 2017-03-22 | 2019-12-11 | Ntt Docomo Inc | Terminal de usuario y metodo de comunicacion por radio. |
| US11343055B2 (en) * | 2017-11-27 | 2022-05-24 | Ntt Docomo, Inc. | User terminal and radio communication method for controlling channel state information |
-
2020
- 2020-01-24 EP EP20916223.9A patent/EP4096262A4/en active Pending
- 2020-01-24 WO PCT/JP2020/002549 patent/WO2021149246A1/ja not_active Ceased
- 2020-01-24 CN CN202080093780.2A patent/CN114982262A/zh active Pending
- 2020-01-24 JP JP2021572237A patent/JP7369211B2/ja active Active
- 2020-01-24 US US17/793,256 patent/US20230345231A1/en not_active Abandoned
Patent Citations (2)
| Publication number | Priority date | Publication date | Assignee | Title |
|---|---|---|---|---|
| JP2013098592A (ja) | 2011-10-27 | 2013-05-20 | Ntt Docomo Inc | 移動通信方法及び無線基地局 |
| WO2016056556A1 (ja) | 2014-10-07 | 2016-04-14 | 株式会社Nttドコモ | ユーザ装置、移動通信システム、及び最大送信電力決定方法 |
Non-Patent Citations (1)
| Title |
|---|
| Nokia Networks,Multiple NS/P-max handling,3GPP TSG-RAN WG2#91 R2-153460,インターネット<URL:http://www.3gpp.org/ftp/tsg_ran/WG2_RL2/TSGR2_91/Docs/R2-153460.zip>,2015年08月24日 |
Also Published As
| Publication number | Publication date |
|---|---|
| WO2021149246A1 (ja) | 2021-07-29 |
| EP4096262A1 (en) | 2022-11-30 |
| JPWO2021149246A1 (ja) | 2021-07-29 |
| US20230345231A1 (en) | 2023-10-26 |
| EP4096262A4 (en) | 2023-10-18 |
| CN114982262A (zh) | 2022-08-30 |
Similar Documents
| Publication | Publication Date | Title |
|---|---|---|
| JP7427694B2 (ja) | 端末、基地局、通信方法及びシステム | |
| JP2024024117A (ja) | 端末及び通信方法 | |
| JP2023156440A (ja) | 端末、基地局及び通信方法 | |
| JP7389132B2 (ja) | 端末、通信システム及び通信方法 | |
| JP7241172B2 (ja) | ユーザ装置及び基地局装置 | |
| JP7386223B2 (ja) | 端末、基地局装置、通信方法、及び無線通信システム | |
| JP7203199B2 (ja) | 端末、基地局及び通信方法 | |
| JP7369211B2 (ja) | 端末、基地局及び通信方法 | |
| WO2020157873A1 (ja) | ユーザ装置及び基地局装置 | |
| JP7386250B2 (ja) | 端末、基地局、通信方法、及びシステム | |
| WO2020246185A1 (ja) | 端末及び基地局 | |
| JP7373559B2 (ja) | ユーザ装置及び無線通信システム | |
| JP7422163B2 (ja) | 端末、基地局、及び通信方法 | |
| WO2020157874A1 (ja) | ユーザ装置及び基地局装置 | |
| JP7364679B2 (ja) | 端末、通信システム及び通信方法 | |
| JP7402235B2 (ja) | 端末、通信方法、及び無線通信システム | |
| JP7366144B2 (ja) | 端末、基地局、通信方法、及び通信システム | |
| JP7383031B2 (ja) | 端末、通信方法、及び無線通信システム | |
| WO2022208635A1 (ja) | 端末及び通信方法 | |
| JP7478233B2 (ja) | 端末、基地局及び通信方法 | |
| JP7677701B2 (ja) | 端末及び通信方法 | |
| WO2020161824A1 (ja) | ユーザ装置及び基地局装置 | |
| WO2020179037A1 (ja) | ユーザ装置及び基地局装置 | |
| JP7418961B2 (ja) | 基地局及び無線通信制御方法 | |
| WO2022264293A1 (ja) | 端末及び通信方法 |
Legal Events
| Date | Code | Title | Description |
|---|---|---|---|
| A621 | Written request for application examination |
Free format text: JAPANESE INTERMEDIATE CODE: A621 Effective date: 20220819 |
|
| TRDD | Decision of grant or rejection written | ||
| A01 | Written decision to grant a patent or to grant a registration (utility model) |
Free format text: JAPANESE INTERMEDIATE CODE: A01 Effective date: 20231003 |
|
| A61 | First payment of annual fees (during grant procedure) |
Free format text: JAPANESE INTERMEDIATE CODE: A61 Effective date: 20231013 |
|
| R150 | Certificate of patent or registration of utility model |
Ref document number: 7369211 Country of ref document: JP Free format text: JAPANESE INTERMEDIATE CODE: R150 |