JP7204151B2 - 遊技機 - Google Patents

遊技機 Download PDF

Info

Publication number
JP7204151B2
JP7204151B2 JP2020167121A JP2020167121A JP7204151B2 JP 7204151 B2 JP7204151 B2 JP 7204151B2 JP 2020167121 A JP2020167121 A JP 2020167121A JP 2020167121 A JP2020167121 A JP 2020167121A JP 7204151 B2 JP7204151 B2 JP 7204151B2
Authority
JP
Japan
Prior art keywords
unit
reception
frame
door frame
player
Prior art date
Legal status (The legal status is an assumption and is not a legal conclusion. Google has not performed a legal analysis and makes no representation as to the accuracy of the status listed.)
Active
Application number
JP2020167121A
Other languages
English (en)
Other versions
JP2021010750A5 (ja
JP2021010750A (ja
Inventor
高明 市原
渉 坂根
直哉 亀崎
Current Assignee (The listed assignees may be inaccurate. Google has not performed a legal analysis and makes no representation or warranty as to the accuracy of the list.)
Daiichi Co Ltd
Original Assignee
Daiichi Shokai Co Ltd
Priority date (The priority date is an assumption and is not a legal conclusion. Google has not performed a legal analysis and makes no representation as to the accuracy of the date listed.)
Filing date
Publication date
Application filed by Daiichi Shokai Co Ltd filed Critical Daiichi Shokai Co Ltd
Priority to JP2020167121A priority Critical patent/JP7204151B2/ja
Publication of JP2021010750A publication Critical patent/JP2021010750A/ja
Publication of JP2021010750A5 publication Critical patent/JP2021010750A5/ja
Application granted granted Critical
Publication of JP7204151B2 publication Critical patent/JP7204151B2/ja
Active legal-status Critical Current
Anticipated expiration legal-status Critical

Links

Images

Landscapes

  • Pinball Game Machines (AREA)
  • Display Devices Of Pinball Game Machines (AREA)

Description

本発明は、ぱちんこ遊技機(一般的に「パチンコ機」とも称する)や回胴式遊技機(一般的に「スロットマシン」とも称する)等の遊技機に関するものである。
従来、例えば特許文献1に見られるように、当りに当選したとき、多量の賞が獲得可能とされる特別遊技が行われる遊技機が知られている。
すなわち、この特許文献1に記載の遊技機では、まず、始動口への遊技球の入賞があるか否かを判断する。そして、この始動口への遊技球の入賞があったときは、当りの当落などが判定される判定処理を行う。またこの際、所定の表示器において特別図柄を所定の変動時間だけ変動表示させる。そして、所定の変動時間が経過したとき、当りに当選したことが示される表示態様にて上記特別図柄を停止表示させるとともに、大入賞口の開閉部材を動作させることで、遊技者に対して多くの賞が獲得可能とされる特別遊技を提供する。
特開2017-006393号公報
このような従来の遊技機では、遊技興趣の低下が懸念される。
この発明は、こうした実情に鑑みてなされたものであり、遊技興趣の低下が抑制されうる遊技機を提供することを目的とする。
手段1:判定を行う判定手段と、
前記判定手段の判定結果に基づいて特典を付与しうる特典付与手段と、
遊技者による操作を検出して受付ける受付手段と、
遊技者による操作の対象となる対象物が画像として表現された摸画像表示を表示可能な摸画像表示手段と、
遊技者による操作の受付けが許容される受付状態を発生可能であり、該受付状態において遊技者による操作が受付けされると、受付後変化を実行可能な受付状態実行手段と
を備え、
前記受付状態として、第1受付状態、第2受付状態、及び第3受付状態を含む複数の受付状態が用意されており、
前記第1受付状態において遊技者による操作が検出されたときには、該検出に応じた前記受付後変化の1つとして第1態様と第1受付音とをそれぞれ発生可能であるが、当該状態で遊技者による操作が検出されないときには前記第1態様及び前記第1受付音のいずれも発生することがないようになっており、
前記第2受付状態において遊技者による操作が検出されたときには、該検出に応じた前記受付後変化の1つとして第2態様と第2受付音とをそれぞれ発生可能であるが、当該状態で遊技者による操作が検出されないときには前記第2態様及び前記第2受付音のうち前記第2態様のみが発生しうるようになっており、
前記第3受付状態において遊技者による操作が検出されたときには、該検出に応じた前記受付後変化の1つとして第3態様と第3受付音とをそれぞれ発生可能であるが、当該状態で遊技者による操作が検出されない場合であっても、該状態で遊技者による操作が検出されたときと同様、前記第3態様及び前記第3受付音がいずれも発生しうるようになっており、
さらに、
前記第3受付状態で遊技者による操作が検出されずに前記第3態様及び前記第3受付音がいずれも発生するときには、該摸画像表示を視認し難くする表示を、該摸画像表示とは別の画像表示として表示可能であるが、前記第2受付状態で遊技者による操作が検出されずに前記第2態様及び前記第2受付音のうち前記第2態様のみが発生するときには、該摸画像表示を視認し難くする表示が、該摸画像表示とは別の画像表示として表示されることがないようになっており、
さらに、
前記判定手段による判定に用いられる判定情報を記憶可能な保留記憶手段と、
前記保留記憶手段により記憶される判定情報に基づいて複数の変動パターンのいずれかを選択し、該選択した変動パターンで図柄変動を実行可能な図柄変動実行手段と
を備え、
前記受付状態として、第4受付状態がさらに用意されており、
前記第4受付状態は、前記保留記憶手段により記憶される判定情報の数が所定数未満の状況にあるときに特定変動パターンで前記図柄変動が実行開始されたときには、該図柄変動が実行開始されてから特定時間が経過したときに発生しうるものであるが、前記保留記憶手段により記憶される判定情報の数が前記所定数以上の状況にあるときに前記特定変動パターンで前記図柄変動が実行開始された場合は、該図柄変動が実行開始されてから前記特定時間が経過しても発生しないようになっており、
さらに、
前記第1受付状態が発生する場合、当該発生する受付状態に関連する文字情報が、前記摸画像表示とは別の画像として表示されることがなく、前記第2受付状態及び前記第3受付状態のいずれかが発生する場合、当該発生する受付状態に関連する文字情報が、前記摸画像表示とは別の画像として表示されるが、前記第2受付状態で表示される文字情報と前記第3受付状態で表示される文字情報とは互いに異なる
ことを特徴とする遊技機。
この発明によれば、遊技興趣の低下が抑制されうる。
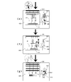
本発明の一実施形態であるパチンコ機の正面図である。 パチンコ機の右側面図である。 パチンコ機の左側面図である。 パチンコ機の背面図である。 パチンコ機を右前から見た斜視図である。 パチンコ機を左前から見た斜視図である。 パチンコ機を後ろから見た斜視図である。 本体枠から扉枠を開放させると共に、外枠から本体枠を開放させた状態で前から見たパチンコ機の斜視図である。 パチンコ機を扉枠、遊技盤、本体枠、及び外枠に分解して前から見た分解斜視図である。 パチンコ機を扉枠、遊技盤、本体枠、及び外枠に分解して後ろから見た分解斜視図である。 パチンコ機における外枠の正面図である。 外枠の右側面図である。 外枠を前から見た斜視図である。 外枠を後ろから見た斜視図である。 外枠を分解して前から見た分解斜視図である。 (a)は外枠における外枠側上ヒンジ部材の部位を、左枠部材を省略して下側から見た斜視図であり、(b)は(a)を分解して示す分解斜視図である。 (a)は外枠の外枠側上ヒンジ部材に対して本体枠の本体枠側上ヒンジ部材が取外されている状態を拡大して示す斜視図であり、(b)は外側上ヒンジ部材に本体側上ヒンジ部材が取付けられている状態を拡大して示す斜視図である。 外枠におけるロック部材の作用を示す説明図である。 パチンコ機における扉枠の正面図である。 扉枠の右側面図である。 扉枠の左側面図である。 扉枠の背面図である。 扉枠を右前から見た斜視図である。 扉枠を左前から見た斜視図である。 扉枠を後ろから見た斜視図である。 図19におけるA-A線で切断した断面図である。 図19におけるB-B線で切断した断面図である。 図19におけるC-C線で切断した断面図である。 扉枠を主な部材毎に分解して前から見た分解斜視図である。 扉枠を主な部材毎に分解して後ろから見た分解斜視図である。 (a)は扉枠における扉枠ベースユニットを前から見た斜視図であり、(b)は扉枠ベースユニットを後ろから見た斜視図である。 扉枠ベースユニットを主な部材毎に分解して前から見た分解斜視図である。 扉枠ベースユニットを主な部材毎に分解して後ろから見た分解斜視図である。 (a)は扉枠における演出操作ユニットの正面図であり、(b)は演出操作ユニットの右側面図である。 (a)は演出操作ユニットを前から見た斜視図であり、(b)は演出操作ユニットを後ろから見た斜視図である。 演出操作ユニットを、操作ボタンの中心軸の延びている方向から見た説明図である。 図34(a)におけるD-D線で切断した断面図である。 図34(b)におけるE-E線で切断した断面図である。 (a)は図34(b)におけるF-F線で切断した断面図であり、(b)は(a)におけるA部の拡大図である。 演出操作ユニットを主な部材毎に分解して前から見た分解斜視図である。 演出操作ユニットを主な部材毎に分解して後ろから見た分解斜視図である。 (a)は操作ボタンを分解して前から見た分解斜視図であり、(b)は操作ボタンを分解して後ろから見た分解斜視図である。 演出操作ユニットの装飾基板ユニットを分解して前から見た分解斜視図である。 図37の演出操作ユニットの断面図において操作ボタンを押圧した状態を示す説明図である。 (a)は演出操作ユニットを操作ボタンの中心軸の延びている方向から見た図において操作ボタンの一部を切欠いて操作ボタンの第一ボタン装飾部やボタンフレーム等によって隠そうとしている部位を示す説明図であり、(b)は演出操作ユニットの断面図において操作ボタンの第一ボタン装飾部やボタンフレーム等によって隠そうとしている部位を示す説明図である。 (a)は演出操作ユニットの外観を前から見た斜視図で示す説明図であり、(b)は演出操作ユニットの外観を操作ボタンの中心軸の延びている方向から見た説明図である。 (a)は扉枠における扉枠左サイドユニットの正面図であり、(b)は扉枠左サイドユニットを前から見た斜視図であり、(c)は扉枠左サイドユニットを後ろから見た斜視図である。 扉枠左サイドユニットを分解して前から見た分解斜視図である。 扉枠左サイドユニットを分解して後ろから見た分解斜視図である。 図47(a)におけるL-L線で切断した断面図である。 (a)は扉枠における扉枠右サイドユニットの正面図であり、(b)は扉枠右サイドユニットを前から見た斜視図であり、(c)は扉枠右サイドユニットを後ろから見た斜視図である。 扉枠右サイドユニットを分解して前から見た分解斜視図である。 扉枠右サイドユニットを分解して後ろから見た分解斜視図である。 図51(a)におけるM-M線で切断した断面図である。 (a)は図51(a)におけるN-N線で切断した断面図であり、(b)は図51(a)におけるO-O線で切断した断面図である。 (a)は扉枠における扉枠トップユニットの正面図であり、(b)は扉枠トップユニットを前から見た斜視図であり、(c)は扉枠トップユニットを後ろから見た斜視図である。 扉枠トップユニットを分解して前から見た分解斜視図である。 扉枠トップユニットを分解して後ろから見た分解斜視図である。 図56におけるP-P線で切断した断面図である。 遊技盤の正面図である。 遊技盤を主な構成毎に分解して前から見た分解斜視図である。 遊技盤を主な構成毎に分解して後ろから見た分解斜視図である。 表ユニットと裏ユニットを除いた遊技盤の正面図である。 図63の遊技盤を分解して前から見た分解斜視図である。 図63の遊技盤を分解して後ろから見た分解斜視図である。 遊技盤をパチンコ機に取付けた状態で機能表示ユニットの部位を正面から拡大して示す説明図である。 図63とは異なる形態の遊技パネルを、前構成部材、基板ホルダ、及び主制御ユニットと共に前から見た分解斜視図である。 図67を後ろから見た分解斜視図である。 主制御基板、払出制御基板及び周辺制御基板のブロック図である。 図69のつづきを示すブロック図である。 主基板を構成する払出制御基板とCRユニット及び度数表示板との電気的な接続を中継する遊技球等貸出装置接続端子板に入出力される各種検出信号の概略図である。 図69のつづきを示すブロック図である。 周辺制御MPUの概略を示すブロック図である。 液晶及び音制御部における音源内蔵VDP周辺のブロック図である。 パチンコ機の電源システムを示すブロック図である。 図75のつづきを示すブロック図である。 主制御基板の回路を示す回路図である。 停電監視回路を示す回路図である。 主制御基板と周辺制御基板との基板間の通信用インターフェース回路を示す回路図である。 払出制御部の回路等を示す回路図である。 払出制御入力回路を示す回路図である。 図81の続きを示す回路図である。 払出モータ駆動回路を示す回路図である。 CRユニット入出力回路を示す回路図である。 主制御基板との各種入出力信号、及び外部端子板への各種出力信号を示す入出力図である。 外部端子板の出力端子の配列を示す図である。 上皿側液晶表示装置の表示領域の描画を行う液晶モジュール回路を示す回路図である。 主制御基板から払出制御基板へ送信される各種コマンドの一例を示すテーブルである。 主制御基板から周辺制御基板へ送信される各種コマンドの一例を示すテーブルである。 図89の主制御基板から周辺制御基板へ送信される各種コマンドのつづきを示すテーブルである。 主制御基板が受信する払出制御基板からの各種コマンドの一例を示すテーブルである。 主制御側電源投入時処理の一例を示すフローチャートである。 図92の主制御側電源投入時処理のつづきを示すフローチャートである。 主制御側タイマ割り込み処理の一例を示すフローチャートである。 周辺制御部電源投入時処理の一例を示すフローチャートである。 周辺制御部Vブランク割り込み処理の一例を示すフローチャートである。 周辺制御部1msタイマ割り込み処理の一例を示すフローチャートである。 周辺制御部コマンド受信割り込み処理の一例を示すフローチャートである。 周辺制御部停電予告信号割り込み処理の一例を示すフローチャートである。 LOCKN信号履歴作成処理の一例を示すフローチャートである。 接続不具合判定処理の一例を示すフローチャートである。 接続回復処理の一例を示すフローチャートである。 上皿側液晶用トランスミッタICのINIT端子に対して接続確認信号を出力するタイミングを説明するタイミングチャートである。 特別図柄及び特別電動役物制御処理(ステップS114)についてその手順を示すフローチャートである。 第一始動口通過処理(ステップS5232)についてその手順を示すフローチャートである。 第二始動口通過処理(ステップS5234)についてその手順を示すフローチャートである。 第一特別図柄プロセス処理(ステップS5238)についてその手順を示すフローチャートである。 第一特別図柄通常処理(ステップS5280)についてその手順を示すフローチャートである。 大当り判定処理(ステップS5305)についてその手順を示すフローチャートである。 (A)は、大当り判定テーブルを示す図であり、(B),(C)は、図柄決定テーブルを示す図である。 第一特別図柄停止図柄設定処理(ステップS5281)についてその手順を示すフローチャートである。 第一変動パターン設定処理(ステップS5282)についてその手順を示すフローチャートである。 第一特別図柄変動処理(ステップS5283)についてその手順を示すフローチャートである。 第一特別図柄停止処理(ステップS5284)についてその手順を示すフローチャートである。 普通図柄及び普通電動役物制御処理(ステップS116)についてその手順を示すフローチャートである。 ゲート部通過処理(ステップS5402)についてその手順を示すフローチャートである。 普通図柄通常処理(ステップS5403)についてその手順を示すフローチャートである。 通常遊技状態にあるときに上記演出図柄変動開始処理で参照される演出パターン(変動演出)の判定テーブルT1を示す図である。 本実施形態に対する比較対象としての固定チャンネル方式による音制御の一例を示す図である。 固定チャンネル方式による音制御を実現するための音定義テーブルの一例を示す図である。 遊技状態、再生音及び再生チャンネルとの関係を示している。 演出タイムチャートの一例を示すタイミングチャートである。 本実施形態としての自動チャンネル方式による音制御の一例を示す図である。 自動チャンネル方式による音制御を実現するための音定義テーブルの一例を示す図である。 遊技状態、再生音及び優先順位との関係を示す図である。 演出タイムチャートの一例を示すタイミングチャートである。 周辺制御RAMに設けられたAUTOグループチャンネル制御用ワーク領域に格納されている自動チャンネル制御用ワーク情報の一例を示す図である。 音定義テーブルの一例を示す図である。 図128で例示した報知音の種類別に、報知内容や、報知態様、報知時間のほか、報知が終了される条件(解除条件)を示す図である。 (a)は、第1報知グループに属する一の報知音が再生されているときに、第1報知グループに属する別の報知音の出力条件(異常検出)が満たされたときの処理についてその一例を図である。(b)は、第2報知グループに属する一の報知音が再生されているときに、第2報知グループに属する別の報知音の出力条件(状態検出)が満たされたときの処理についてその一例を示す図である。(c)は、第3報知グループに属する一の報知音が再生されているときに、第3報知グループに属する別の報知音の出力条件(状態検出)が満たされたときの処理についてその一例を示す図である。 (a)は、第1報知グループに属する一の報知音が再生されているときに第2報知グループに属する報知音の出力条件(状態検出)が満たされたときの処理についてその一例を示す図である。(b)は、第2報知グループに属する一の報知音が再生されているときに第3報知グループに属する報知音の出力条件(状態検出)が満たされたときの処理についてその一例を示す図である。(c)は、第2報知グループに属する一の報知音が再生されているときに第1報知グループに属する報知音の出力条件(状態検出)が満たされたときの処理についてその一例を示す図である。(d)は、第3報知グループに属する一の報知音が再生されているときに第2報知グループに属する報知音の出力条件(状態検出)が満たされたときの処理についてその一例を示す図である。 遊技機の状態を報知する態様として、その一例を示すタイムチャートである。 遊技機の状態を報知する態様として、その一例を示すタイムチャートである。 遊技機の状態を報知する態様として、その一例を示すタイムチャートである。 遊技機の状態を報知する態様として、その一例を示すタイムチャートである。 遊技機の状態を報知する態様として、その一例を示すタイムチャートである。 遊技機の状態を報知する態様として、その一例を示すタイムチャートである。 演出進展下報知処理の内容について当該パチンコ機1の報知状態の別に説明する図である。 音量調整に関する処理についてその内容を説明する図である。 音量調整に関する処理についてその内容を説明する図である。 音量調整に関する処理についてその内容を説明する図である。 抑制下操作音出力処理が行われるときの各チャンネルの割り当て状況の一例を示すタイムチャートである。 刀演出操作ユニットを備えた遊技機の正面図である。 刀演出操作ユニットを備えた遊技機の右側面図である。 抜刀演出を実行可能な演出モードにおける演出パターンの選択テーブルの一例を示す図であり、(A)変動パターンの種別に応じた抜刀準備移行演出の有無を選択する選択テーブルの一例を示し、(B)抜刀本演出の有無を選択する選択テーブルの一例を示す。 オーラ部材が刀部(刀身部)自体に設けられる場合の刀装飾体の抜刀動作について説明する状態遷移図であり、(A)納刀状態、(B)第一抜刀状態、(C)第二抜刀状態を示す。 オーラ部材の動作について説明する縦断面図である。 オーラ部材が鞘部に設けられる場合の刀装飾体の抜刀動作について説明する状態遷移図であり、(A)納刀状態、(B)第一抜刀状態、(C)第二抜刀状態を示す。 オーラ部材の動作について説明する縦断面図である。 姫リーチ演出における演出表示装置の画面遷移及び刀装飾体の動作遷移を説明する図である。 姫リーチ演出における演出表示装置の画面遷移及び刀装飾体の動作遷移を説明する図である。 姫リーチ演出における演出表示装置の画面遷移及び刀装飾体の動作遷移を説明する図である。 多面的に使われる操作ボタンの操作演出を含むリーチ演出における演出表示装置の画面遷移、操作ボタンの状態遷移及び刀装飾体の動作遷移を説明する図である。 多面的に使われる操作ボタンの操作演出を含むリーチ演出における演出表示装置の画面遷移、操作ボタンの状態遷移及び刀装飾体の動作遷移を説明する図である。 多面的に使われる操作ボタンの操作演出を含むリーチ演出における演出表示装置の画面遷移、操作ボタンの状態遷移及び刀装飾体の動作遷移を説明する図である。 リーチ演出における演出表示装置の画面遷移、操作ボタンの状態遷移及び刀装飾体の動作遷移を説明する図である。 リーチ演出における演出表示装置の画面遷移、操作ボタンの状態遷移及び刀装飾体の動作遷移を説明する図である。 リーチ演出における演出表示装置の画面遷移、操作ボタンの状態遷移及び刀装飾体の動作遷移を説明する図である。 リーチ演出における演出表示装置の画面遷移、操作ボタンの状態遷移及び刀装飾体の動作遷移を説明する図である。 リーチ演出における演出表示装置の画面遷移、操作ボタンの状態遷移及び刀装飾体の動作遷移を説明する図である。 擬似連演出に用いられる刀装飾体の形態について説明する図である。 主制御基板によって抽選された変動パターンの変動演出(リーチ演出)に基づいて、周辺制御基板による抽選によってリーチ演出中に操作ボタン又は刀装飾体のいずれかが操作有効とされると決定した場合に、第1示唆パターンの操作前示唆演出が実行されるリーチ演出の遷移例を示す図である。 主制御基板によって抽選された変動パターンの変動演出(リーチ演出)に基づいて、周辺制御基板による抽選によってリーチ演出中に操作ボタン又は刀装飾体のいずれかが操作有効とされると決定した場合に、第1示唆パターンの操作前示唆演出が実行されるリーチ演出の遷移例を示す図である。 前述した第1示唆パターンと同様にリーチ演出中に操作ボタン又は刀装飾体のいずれかが操作有効とされると決定した場合に、第2示唆パターンの操作前示唆演出が実行されるリーチ演出の遷移例を示す図である。 操作前示唆演出として第2示唆パターンが行われたにも拘わらず、刀装飾体が操作有効とならずに一旦は操作ボタンが操作有効になり、その後に刀装飾体が操作有効になるステップアップパターンの操作前示唆演出について示す図である。 特定の操作関連演出に関して第1の演出態様を示す図である。 特定の操作関連演出に関して第1の演出態様を示す図である。 特定の操作関連演出に関して第2の演出態様を示す図である。 特定の操作関連演出に関して第2の演出態様を示す図である。 特定の操作関連演出に関して第2の演出態様を示す図である。 特定の操作関連演出に関して第2の演出態様を示す図である。 特定の操作関連演出に関して第3の演出態様を示す図である。 特定の操作関連演出に関して第3の演出態様を示す図である。 特定の操作関連演出に関して第3の演出態様を示す図である。 特定の操作関連演出に関して第3の演出態様を示す図である。 特定の操作関連演出の別例を示す図である。 タイマ演出の演出対象として「特定の操作関連演出」が設定されているときの演出についてその一例を説明する図である。 前兆演出として複数の種別(前兆演出A,B1,B2,C)が用意されているときの演出について、それら種別毎に演出内容の一例を説明するタイムチャートである。 特定の操作関連演出ではない前兆演出が行われるときの演出内容と、特定の操作関連演出としての前兆演出が行われるときの演出内容とについてそれらの演出例を示す図である。 前兆演出として特定の操作関連演出が行われるときの演出内容の別例を示す図である。 姫キャラクタが付加された態様(特定の演出態様)でボタン画像BTGが表示される演出例を示す図である。 特定の操作関連演出が行われる演出パターンにおいて、遊技者側に第1の操作態様と第2の操作態様との間での操作誤りが発生した場合における演出例を示す図である。 特定の操作関連演出が行われる演出パターンにおいて、遊技者側に第1の操作態様と第2の操作態様との間での操作誤りが発生した場合における演出例を示す図である。 刀装飾画像SYGを特別態様で表示するときの演出例を示す図である。 第一前兆演出が行われるときの演出例を示す図である。 第一前兆演出が行われるときの演出例を示すタイムチャートである。 自動演出機能によって期待度が示される演出の具体例を示す図である。 自動演出機能によって期待度が示される演出の具体例を示す図である。 自動演出機能によって期待度が示される演出の具体例を示す図である。 自動ボタン演出状態にあるときの操作統一化制御について説明するための図である。 自動ボタン演出状態にあるときの操作統一化制御について説明するための図である。 自動ボタン演出状態にあるときの操作統一化制御について説明するための図である。 自動ボタン演出状態にあるときの安定側自動演出処理について説明するための図である。 自動ボタン演出状態にあるときの安定側自動演出処理について説明するための図である。 自動ボタン演出状態にあるときの安定側自動演出処理について説明するための図である。 特定の可動装飾体が異常状態にある状況において新たな図柄変動が開始されるタイミングtm1が到来したときの処理内容を示すタイムチャートである。 特定の可動装飾体が異常状態にある状況において特別の演出パターンが開始されるタイミングtm11が到来したときの処理内容を示すタイムチャートである。 復元動作の実行中に新たな復元動作時期(図柄変動の開始タイミングや終了タイミングなど)が到来したときの態様を説明するためのタイムチャートである。 復元動作の実行中に新たな復元動作時期(図柄変動の開始タイミングや終了タイミングなど)が到来したときの態様を説明するためのタイムチャートである。 刀装飾体5001が原位置復帰されるまでの処理についてその一例を示すタイムチャートである。 非遊技状態と遊技実行状態との間で状態移行するときの表示例を示す図である。 特定の演出パターンの実行中、姫キャラクタが背景画像として大きく表示される期待演出が行われるときの表示例を示す図である。 図200に示した期待演出が行われている状態において、ヘルプ画像が表示されたときの表示例を示す図である。 遊技者による操作によってキャラクタ画像PGが表示位置を変えるように表示されるときの表示例を示す図である。 非遊技状態において演出制限期間を発生させるときの処理について、その一例を説明するためのタイムチャートである。 演出制限期間が早期終了されるときの処理について、その一例を説明するためのタイムチャートである。 特別期間(開店専用期間)にかかる処理についてその一例を示すタイムチャートである。 開店専用期間(特別期間)に設定されているときに遊技が開始されたときの処理についてその一例を示すタイムチャートである。 第1操作受付演出についてその一例を示すタイムチャートである。 第2操作受付演出についてその一例を示すタイムチャートである。 特別操作受付演出についてその一例を示すタイムチャートである。 受付許容音が含まれる音データのチャンネル割り当ての態様を示すタイムチャートである。 受付許容音が含まれる音データのチャンネル割り当ての態様を示すタイムチャートである。 低期待抑制受付演出が自動受付態様で実行されるときの演出内容についてその一例を示すタイムチャートである。 高期待抑制受付演出が自動受付態様で実行されるときの演出内容についてその一例を示すタイムチャートである。 高期待抑制受付演出が自動受付態様で実行されるときの演出内容についてその一例を示すタイムチャートである。 高期待抑制受付演出が自動受付態様で実行されるときの変形例についてその一例を示すタイムチャートである。 「非抑制操作受付演出(ここでは、非抑制・非自動受付演出)」の発生に際して、特定態様で第1許容音が出力される演出例を示すタイムチャートである。 高期待変動パターンに応じた演出において、「弱抑制態様」と「強抑制態様」とが順次発生する場合における演出例を示すタイムチャートである。 高期待変動パターンに応じた演出において、「弱抑制態様」と「強抑制態様」とが順次発生する場合における演出例を示すタイムチャートである。 高期待変動パターンに応じた演出において、「弱抑制態様」と「強抑制態様」とが順次発生する場合における演出例を示すタイムチャートである。 抑制・自動受付演出において「操作対象として刀装飾体5001が選択された場合」に現れる演出例(抑制下移動受付演出)を示すタイムチャートである。 変動パターン判定で変動パターン1が選択されたときに現れる演出内容を示すタイムチャートである。 変動パターン判定で変動パターン2が選択されたときに現れる演出内容を示すタイムチャートである。 変動パターン判定で変動パターン3が選択されたときに現れる演出内容を示すタイムチャートである。 「内在的受付演出」が、「BGM再生」の演出音が「非抑制態様」にされているなかで発生するときに現れる演出内容を示すタイムチャートである。 シナリオデータやブロックを用いて各種の表示演出を実現するときの処理手順についてその一例を概念として示すタイムチャートである。 演出受付期間(有効期間)の前後で操作検出がなかったときの処理についてその一例を示すフローチャートである。 図226に示した演出受付期間(有効期間)において「m+1」番目フレームで操作が開始された場合の処理についてその一例を示すフローチャートである。 図226に示した演出受付期間(有効期間)において「m-2」番目フレームで操作が開始された場合の処理についてその一例を示すフローチャートである。 図226に示した演出受付期間(有効期間)において「m-2」番目フレームで操作が開始された場合の処理についてその一例を示すフローチャートである。 図226に示した演出受付期間(有効期間)において「m-3」番目フレームから操作が開始された場合の処理についてその一例を示すフローチャートである。 フレーム内で「操作状態フラグをオン状態に操作(設定)する処理」が行われるタイミングを、「演出受付にかかる判定処理」よりも後に行うようにした場合における演出受付期間(有効期間)についてその一例を示すフローチャートである。 一体化摸画像について、その一例を示す図である。 有効期間が開始されてから終了されるまでの一体化摸画像についての表示例を示す図である。 有効期間が開始されてから終了されるまでの一体化摸画像についての表示例を示す図である。 第1の有効期間が発生するときの演出進展についてその一例を示す図である。 第1の有効期間が発生するときの演出進展についてその変形例を示す図である。 第1の有効期間が発生するときの演出進展についてその変形例を示す図である。 第1の有効期間が発生するときの演出進展についてその変形例を示す図である。 第2の有効期間が発生するときの演出進展についてその一例を示す図である。 第2の有効期間が発生するときの演出進展についてその変形例を示す図である。 第2の有効期間が発生するときの演出進展についてその変形例を示す図である。 第2の有効期間が発生するときの演出進展についてその変形例を示す図である。 第2の有効期間が発生するときの演出進展についてその変形例を示す図である。 一体化摸画像にかかる期待度を段階的に示唆する演出について、その変形例を説明する図である。 一体化摸画像について、その一例を示す図である。 一体化摸画像が表示される有効期間での演出進展例を示す図である。 一体化摸画像が表示される有効期間での演出進展例を示す図である。 一体化摸画像が表示される有効期間での演出進展例を示す図である。 第2受付許容状態が発生するときの演出内容についてその一例を示すタイムチャートである。 第1受付許容状態が発生するときの演出内容についてその一例を示すタイムチャートである。 第2受付許容状態が発生するときの演出内容についてその一例を示す図である。 第1受付許容状態が発生するときの演出内容についてその一例を示す図である。 第4受付許容状態が発生するときの演出内容についてその一例を示すタイムチャートである。 第5受付許容状態が発生するときの演出内容についてその一例を示すタイムチャートである。 判定の結果として第1条件が満たされて第1の受付期間(第1受付演出)が発生するときの演出内容についてその一例を示すタイムチャートである。 判定の結果として第2条件が満たされて第2の受付期間(第2受付演出)が発生するときの演出内容についてその一例を示すタイムチャートである。 判定の結果として第3条件が満たされて第3の受付期間(第3受付演出)が発生するときの演出内容についてその一例を示すタイムチャートである。 判定の結果として第4条件が満たされて第4の受付期間(第4受付演出)が発生するときの演出内容についてその一例を示すタイムチャートである。 判定の結果として第5条件が満たされて第5の受付期間(第5受付演出)が発生するときの演出内容についてその一例を示すタイムチャートである。 判定の結果として第6条件が満たされて第6の受付期間(第6受付演出)が発生するときの演出内容についてその一例を示すタイムチャートである。 判定の結果として第7条件が満たされて第7の受付期間(第7受付演出)が発生するときの演出内容についてその一例を示すタイムチャートである。 第1の受付期間(第1受付演出)が発生する変動パターンにおける演出例を示す図である。 第1の受付期間(第1受付演出)が発生する変動パターンにおける演出例を示す図である。 第2の受付期間(第2受付演出)が発生する変動パターンにおける演出例を示す図である。 第2の受付期間(第2受付演出)が発生する変動パターンにおける演出例を示す図である。 第4の受付期間(第4受付演出)が発生する変動パターンにおける演出例を示す図である。 第4の受付期間(第4受付演出)が発生する変動パターンにおける演出例を示す図である。 受付期間に関する演出の変形例である。 受付期間に関する演出の変形例である。 受付期間に関する演出の変形例である。 受付期間に関する演出の変形例である。 受付期間に関する演出の変形例である。 受付期間A(受付演出A)が発生するときの演出内容についてその一例を示すタイムチャートである。 受付期間B(受付演出B)が発生するときの演出内容についてその一例を示すタイムチャートである。 受付期間C(受付演出C)が発生するときの演出内容についてその一例を示すタイムチャートである。 受付期間D(受付演出D)が発生するときの演出内容についてその一例を示すタイムチャートである。 受付期間D(受付演出D)が発生するときの演出内容についてその一例を示すタイムチャートである。 受付期間A~Dの発生条件にかかる設定例を示すテーブルである。 受付期間A(受付演出A)が発生する変動パターンにおける演出例を示す図である。 受付期間B(受付演出B)が発生する変動パターンにおける演出例を示す図である。 受付期間C(受付演出C)が発生する変動パターンにおける演出例を示す図である。 受付期間D(受付演出D)が発生する変動パターンにおける演出例を示す図である。 受付期間Dの変形例を示す図である。 受付期間Dの変形例を示す図である。 受付期間Dの変形例を示す図である。 受付期間E(受付演出E)が発生する変動パターンにおける演出例を示す図である。 受付期間E内の演出例を示す図である。 第1B受付期間についてその一例を示すタイムチャートである。 第1B受付期間についてその一例を示すタイムチャートである。 第1B受付期間についてその一例を示すタイムチャートである。 第2B受付期間についてその一例を示すタイムチャートである。 第2B受付期間についてその一例を示すタイムチャートである。 第2B受付期間についてその一例を示すタイムチャートである。 第3B受付期間についてその一例を示すタイムチャートである。 第3B受付期間についてその一例を示すタイムチャートである。 第3B受付期間についてその一例を示すタイムチャートである。 第1B受付期間が発生する変動パターンの演出例を示す図である。 第1B受付期間が発生する変動パターンの演出例を示す図である。 第2B受付期間が発生する変動パターンの演出例を示す図である。 第3B受付期間が発生する変動パターンの演出例を示す図である。 第3B受付期間が発生する変動パターンの演出例を示す図である。 第1B受付期間が発生する変動パターンの別例を示す図である。 第3B受付期間が発生する変動パターンの別例を示す図である。 第1C受付期間についてその一例を示すタイムチャートである。 第1C受付期間についてその一例を示すタイムチャートである。 第1C受付期間についてその一例を示すタイムチャートである。 第2C受付期間についてその一例を示すタイムチャートである。 第2C受付期間についてその一例を示すタイムチャートである。 第2C受付期間についてその一例を示すタイムチャートである。 第3C受付期間についてその一例を示すタイムチャートである。 第3C受付期間についてその一例を示すタイムチャートである。 第3C受付期間についてその一例を示すタイムチャートである。 第1C受付期間が発生する変動パターンの演出例を示す図である。 第1C受付期間が発生する変動パターンの演出例を示す図である。 第2C受付期間が発生する変動パターンの演出例を示す図である。 第3C受付期間が発生する変動パターンの演出例を示す図である。 第3C受付期間が発生する変動パターンの演出例を示す図である。 第3C受付期間が発生する変動パターンの演出例を示す図である。 第1C受付期間が発生する変動パターンの別例を示す図である。 第3C受付期間が発生する変動パターンの別例を示す図である。 第3C受付期間が発生する変動パターンの別例を示す図である。 第1D受付期間についてその一例を示すタイムチャートである。 第1D受付期間についてその一例を示すタイムチャートである。 第1D受付期間についてその一例を示すタイムチャートである。 第2D受付期間についてその一例を示すタイムチャートである。 第2D受付期間についてその一例を示すタイムチャートである。 第2D受付期間についてその一例を示すタイムチャートである。 第1D受付期間が発生する変動パターンの演出例を示す図である。 第1D受付期間が発生する変動パターンの演出例を示す図である。 第1D受付期間が発生する変動パターンの演出例を示す図である。 第1D受付期間が発生する変動パターンの演出例を示す図である。 第2D受付期間が発生する変動パターンの演出例を示す図である。 第2D受付期間が発生する変動パターンの演出例を示す図である。 第2D受付期間が発生する変動パターンの演出例を示す図である。 第2D受付期間が発生する変動パターンの演出例を示す図である。 第1D受付期間が発生する変動パターンの別例を示す図である。 第1D受付期間が発生する変動パターンの別例を示す図である。 第1D受付期間が発生する変動パターンの別例を示す図である。 第2D受付期間が発生する変動パターンの別例を示す図である。 第2D受付期間が発生する変動パターンの別例を示す図である。
[1.パチンコ機の全体構造]
本発明の一実施形態であるパチンコ機1について、図面を参照して詳細に説明する。まず、図1乃至図10を参照して本実施形態のパチンコ機1の全体構成について説明する。図1は本発明の一実施形態であるパチンコ機の正面図である。図2はパチンコ機の右側面図であり、図3はパチンコ機の左側面図であり、図4はパチンコ機の背面図である。図5はパチンコ機を右前から見た斜視図であり、図6はパチンコ機を左前から見た斜視図であり、図7はパチンコ機を後ろから見た斜視図である。また、図8は本体枠から扉枠を開放させると共に、外枠から本体枠を開放させた状態で前から見たパチンコ機の斜視図である。図9はパチンコ機を扉枠、遊技盤、本体枠、及び外枠に分解して前から見た分解斜視図であり、図10はパチンコ機を扉枠、遊技盤、本体枠、及び外枠に分解して後ろから見た分解斜視図である。
本実施形態のパチンコ機1は、遊技ホールの島設備(図示しない)に設置される枠状の外枠2と、外枠2の前面を開閉可能に閉鎖する扉枠3と、扉枠3を開閉可能に支持していると共に外枠2に開閉可能に取付けられている本体枠4と、本体枠4に前側から着脱可能に取付けられると共に扉枠3を通して遊技者側から視認可能とされ遊技者によって遊技球が打込まれる遊技領域5aを有した遊技盤5と、を備えている。
パチンコ機1の外枠2は、図9及び図10等に示すように、上下に離間しており左右に延びている上枠部材10及び下枠部材20と、上枠部材10及び下枠部材20の両端同士を連結しており上下に延びている左枠部材30及び右枠部材40と、を備えている。上枠部材10、下枠部材20、左枠部材30、及び右枠部材40は、前後の幅が同じ幅に形成されている。また、上枠部材10及び下枠部材20の左右の長さに対して、左枠部材30及び右枠部材40の上下の長さが、長く形成されている。
また、外枠2は、左枠部材30及び右枠部材40の下端同士を連結し下枠部材20の前側に取付けられる幕板部材50と、上枠部材10の正面視左端部側に取付けられている外枠側上ヒンジ部材60と、幕板部材50の正面視左端側上部と左枠部材30とに取付けられている外枠側下ヒンジ部材70と、を備えている。外枠2の外枠側上ヒンジ部材60と外枠側下ヒンジ部材70とによって、本体枠4及び扉枠3が開閉可能に取付けられている。
パチンコ機1の扉枠3は、正面視の外形が上下に延びた四角形で前後に貫通している貫通口111を有した枠状の扉枠ベースユニット100と、扉枠ベースユニット100の貫通口111よりも下側で前面右下隅に取付けられており遊技球を遊技盤5の遊技領域5a内へ打込むために遊技者が操作可能なハンドルユニット300と、扉枠ベースユニット100の貫通口111よりも下側で前面下部に取付けられている皿ユニット320と、皿ユニット320の中央に取付けられており遊技領域5a内に遊技球が打込まれることで変化する遊技状態に応じて遊技者に参加型の演出を提示することが可能な演出操作ユニット400と、皿ユニット320の上側で扉枠ベースユニット100における貫通口111よりも左側の前面左部に取付けられている扉枠左サイドユニット530と、皿ユニット320の上側で扉枠ベースユニット100における貫通口111よりも右側の前面右部に取付けられている扉枠右サイドユニット550と、扉枠左サイドユニット530及び扉枠右サイドユニット550の上側で扉枠ベースユニット100における貫通口111よりも上側の前面上部に取付けられている扉枠トップユニット570と、を備えている。
パチンコ機1の本体枠4は、一部が外枠2の枠内に挿入可能とされると共に遊技盤5の外周を支持可能とされた枠状の本体枠ベース600と、本体枠ベース600の正面視左側の上下両端に取付けられ外枠2の外枠側上ヒンジ部材60及び外枠側下ヒンジ部材70に夫々回転可能に取付けられると共に扉枠3の扉枠側上ヒンジ部材140及び扉枠側下ヒンジ部材150が夫々回転可能に取付けられる本体枠側上ヒンジ部材620及び本体枠側下ヒンジ部材640と、本体枠ベース600の正面視左側面に取付けられる補強フレーム660と、本体枠ベース600の前面下部に取付けられており遊技盤5の遊技領域5a内に遊技球を打込むための球発射装置680と、本体枠ベース600の正面視右側面に取付けられており外枠2と本体枠4、及び扉枠3と本体枠4の間を施錠する施錠ユニット700と、本体枠ベース600の正面視上辺及び左辺に沿って後側に取付けられており遊技者側へ遊技球を払出す逆L字状の払出ユニット800と、本体枠ベース600の後面下部に取付けられている基板ユニット900と、本体枠ベース600の後側に開閉可能に取付けられ本体枠ベース600に取付けられた遊技盤5の後側を覆う裏カバー980と、を備えている。
本体枠4の払出ユニット800は、本体枠ベース600の後側に取付けられる逆L字状の払出ユニットベース801と、払出ユニットベース801の上部に取付けられており上方へ開放された左右に延びた箱状で図示しない島設備から供給される遊技球を貯留する球タンク802と、球タンク802の下側で払出ユニットベース801に取付けられており球タンク802内の遊技球を正面視左方向へ誘導する左右に延びたタンクレール803と、払出ユニットベース801における正面視左側上部の後面に取付けられタンクレール803からの遊技球を蛇行状に下方へ誘導する球誘導ユニット820と、球誘導ユニット820の下側で払出ユニットベース801から着脱可能に取付けられており球誘導ユニット820により誘導された遊技球を払出制御基板ボックス950に収容された払出制御基板951からの指示に基づいて一つずつ払出す払出装置830と、払出ユニットベース801の後面に取付けられ払出装置830によって払出された遊技球を下方へ誘導すると共に皿ユニット320における上皿321での遊技球の貯留状態に応じて遊技球を通常放出口850d又は満タン放出口850eの何れかから放出させる上部満タン球経路ユニット850と、払出ユニットベース801の下端に取付けられ上部満タン球経路ユニット850の通常放出口850dから放出された遊技球を前方へ誘導して前端から扉枠3の貫通球通路273へ誘導する通常誘導路861及び満タン放出口850eから放出された遊技球を前方へ誘導して前端から扉枠3の満タン球受口274へ誘導する満タン誘導路862を有した下部満タン球経路ユニット860と、を備えている。
本体枠4の基板ユニット900は、本体枠ベース600の後側に取付けられる基板ユニットベース910と、基板ユニットベース910の正面視左側で本体枠ベース600の後側に取付けられ内部に低音用の下部スピーカ921を有したスピーカユニット920と、基板ユニットベース910の後側で正面視右側に取付けられ内部に電源基板が収容されている電源基板ボックス930と、スピーカユニット920の後側に取付けられており内部にインターフェイス制御基板が収容されているインターフェイス制御基板ボックス940と、電源基板ボックス930及びインターフェイス制御基板ボックス940に跨って取付けられており内部に遊技球の払出しを制御する払出制御基板951が収容された払出制御基板ボックス950と、を備えている。
パチンコ機1の遊技盤5は、図9及び図10等に示すように、遊技球が打込まれる遊技領域5aの外周を区画し球発射装置680から発射された遊技球を遊技領域5aの上部に案内する外レール1001及び内レール1002を有した前構成部材1000と、前構成部材1000の後側に取付けられると共に遊技領域5aの後端を区画する平板状の遊技パネル1100と、を備えている。
本実施形態のパチンコ機1は、上皿321に遊技球を貯留した状態で、遊技者がハンドル302を回転操作すると、球発射装置680によってハンドル302の回転角度に応じた強さで遊技球が遊技盤5の遊技領域5a内へ打込まれる。そして、遊技領域5a内に打込まれた遊技球が、入賞口に受入れられると、受入れられた入賞口に応じて、所定数の遊技球が払出装置830によって上皿321に払出される。この遊技球の払出しによって遊技者の興趣を高めることができるため、上皿321内の遊技球を遊技領域5a内へ打込ませることができ、遊技者に遊技を楽しませることができる。
[2.外枠の全体構成]
パチンコ機1の外枠2について、図11乃至図16を参照して説明する。図11はパチンコ機における外枠の正面図であり、図12は外枠の右側面図である。また、図13は外枠を前から見た斜視図であり、図14は外枠を後ろから見た斜視図である。図15は、外枠を分解して前から見た分解斜視図である。図16(a)は外枠における外枠側上ヒンジ部材の部位を、左枠部材を省略して下側から見た斜視図であり、(b)は(a)を分解して示す分解斜視図である。外枠2は、遊技ホール等のパチンコ機1が設置される島設備(図示は省略)に取付けられるものである。
外枠2は、図示するように、上下に離間しており左右に延びている上枠部材10及び下枠部材20と、上枠部材10及び下枠部材20の両端同士を連結しており上下に延びている左枠部材30及び右枠部材40と、を備えている。上枠部材10、下枠部材20、左枠部材30、及び右枠部材40は、前後の幅が同じ幅に形成されている。また、上枠部材10及び下枠部材20の左右の長さに対して、左枠部材30及び右枠部材40の上下の長さが、長く形成されている。また、外枠2は、上枠部材10及び下枠部材20の左右両端面と、左枠部材30及び右枠部材40の左右方向の外側を向いた側面とが、同一面となるように組立てられている。
また、外枠2は、上枠部材10の正面視左端部側に取付けられている外枠側上ヒンジ部材60と、外枠側上ヒンジ部材60の下面に取付けられているロック部材66と、幕板部材50の正面視左端側上部と左枠部材30とに取付けられている外枠側下ヒンジ部材70と、を備えている。外枠2の外枠側上ヒンジ部材60と外枠側下ヒンジ部材70とによって、本体枠4及び扉枠3を開閉可能に取付けることができる。
また、外枠2は、左枠部材30及び右枠部材40の下端同士を連結し下枠部材20の前側に取付けられる幕板部材50と、幕板部材50の後側に取付けられていると共に両端が左枠部材30及び右枠部材40に夫々取付けられる幕板補強部材80と、幕板部材50の上面における左右中央から左寄りの位置に取付けられている平板状の左滑り部材81と、幕板部材50の上面における右端付近の位置に取付けられている平板状の右滑り部材82と、を備えている。幕板補強部材80は、中実の部材(例えば、木材、合板、等)によって形成されており、下枠部材20、左枠部材30、及び右枠部材40に、取付けられている。
更に、外枠2は、上枠部材10と左枠部材30、上枠部材10と右枠部材40、下枠部材20と左枠部材30、及び下枠部材20と右枠部材40を、夫々連結している連結部材85を備えている。また、外枠2は、右枠部材40の内側(左側面側)に取付けられており後述する施錠ユニット700の外枠用鉤703が係止される上鉤掛部材90及び下鉤掛部材91を、備えている。
[2-1.上枠部材]
外枠2の上枠部材10は、所定厚さの無垢(中実)の材料(例えば、木材、合板、等)によって形成されている。この上枠部材10は、左右両端における前後方向の中央に、上下に貫通しており左右方向中央側へ窪んだ係合切欠部11を備えている。この係合切欠部11内には、連結部材85の後述する左上連結部材85A及び右上連結部材85Bの上横固定部87が取付けられる。また、上枠部材10は、正面視左側端部の上面と前面に、一般面よりも窪んだ取付段部12を備えている。この取付段部12には、外枠側上ヒンジ部材60が取付けられる。
[2-2.下枠部材]
外枠2の下枠部材20は、所定厚さの無垢(中実)の材料(例えば、木材、合板、等)によって形成されている。この下枠部材20は、左右の長さ及び上下の厚さが、上枠部材10の左右の長さ及び上下の厚さと同じ寸法に形成されていると共に、前後の幅が、上枠部材10の前後の幅よりも長く形成されている。下枠部材20は、左右両端における前後方向の中央よりも後側寄りの位置に、上下に貫通しており左右方向中央側へ窪んだ係合切欠部21を備えている。この係合切欠部21内には、連結部材85の後述する左下連結部材85C及び右下連結部材85Dの下横固定部88が取付けられる。
また、下枠部材20は、左右両端の前面から後方へ窪んだ前端切欠部22を備えている。下枠部材20において、前端切欠部22の後端から下枠部材20の後面までの前後方向の幅が、上枠部材10の前後方向の幅と同じ寸法に形成されている。この下枠部材20は、外枠2に組立てた状態で、左右の前端切欠部22同士の間の部位が、幕板部材50内に挿入される。
[2-3.左枠部材及び右枠部材]
外枠2の左枠部材30及び右枠部材40は、一定の断面形状で上下に延びており、アルミ合金等の金属の押出形材によって形成されている。左枠部材30及び右枠部材40は、平面視において互いに対称の形状に形成されている。左枠部材30及び右枠部材40は、外枠2として組立てた時に、左右方向の外側となる側面において、前後方向中央に対して後寄りの位置から後端付近までの間に、内側へ窪んだ凹部31,41と、凹部31,41の反対側の側面から膨出しており内部が空洞に形成されている突出部32,42と、を備えている。この左枠部材30及び右枠部材40は、突出部32,42によって、強度・剛性が高められている。また、突出部32,42内には、連結部材85の後述する左上連結部材85A及び右上連結部材85Bの後側の下横固定部88が挿入されて取付けられる。
また、左枠部材30及び右枠部材40は、表面に上下に延びた複数の溝が形成されている。この複数の溝によって、パチンコ機1を遊技ホール等の島設備に設置したり運搬したりする等の際に、作業者の指掛りとなってパチンコ機1を持ち易くすることができると共に、パチンコ機1の外観の意匠性を高めることとができる。
[2-4.幕板部材]
外枠2の幕板部材50は、後側が開放された箱状に形成されている。幕板部材50は、上面における正面視左端付近に後方へ平板状に延出している後方延出部51と、後方延出部51の左端から遊技球が通過可能な大きさでU字状に切欠かれており上下に貫通している左排出孔52と、後方延出部51における左排出孔52の右側において遊技球が通過可能な大きさで上下に貫通している右排出孔53と、後方延出部51の後端を含む幕板部材50の上面の後端から上方へ平板状に延出している立壁部54と、立壁部54の上端付近から前方へ膨出しており前面が上方へ向かうに従って後方へ向かうように傾斜している返し部55と、を備えている。
幕板部材50は、後方延出部51の前側の上面と、後方延出部51の上面とに、外枠側下ヒンジ部材70が載置されるように、外枠側下ヒンジ部材70の後述する水平部71が取付けられる。また、幕板部材50の左排出孔52は、外枠2に組立てた状態で外枠側下ヒンジ部材70の後述する排出孔74と一致する位置に形成されている。また、右排出孔53は、外枠2に組立てた状態で外枠側下ヒンジ部材70よりも右側となる位置に形成されている。右排出孔53は、左排出孔52よりも大きく形成されている。
また、幕板部材50は、後方延出部51よりも右側の上面が、前端側が低くなるように傾斜している。また、幕板部材50は、上面における後方延出部51よりも右側の部位に左滑り部材81を取付けるための左取付部56と、上面における右端付近に右滑り部材82を取付けるための右取付部57と、を備えている。幕板部材50は、上面に、左滑り部材81及び右滑り部材82を介して本体枠4の下面が載置される。
この幕板部材50は、図示するように、前面に浅いレリーフ状の装飾が形成されている。また、幕板部材50は、図示は省略するが、箱状の内部が複数のリブによって格子状に仕切られており、強度・剛性が高められている。また、幕板部材50は、幕板補強部材80の前側半分を、内部に収容可能に形成されている。
[2-5.外枠側上ヒンジ部材]
外枠2の外枠側上ヒンジ部材60は、図示するように、水平に延びた平板状で外形が四角形の上固定部61と、上固定部61の前端から前方へ延出している平板状の前方延出部62と、前方延出部62の右端から前方へ向かうに従って前方延出部62の左右中央へ延びており上下に貫通している軸受溝63と、上固定部61の平面視左辺から下方へ延びている平板状の横固定部64と、前方延出部62の左端から前端を周って軸受溝63が開口している部位までの端辺から下方へ延びており横固定部64と連続している平板状の垂下部65と、を備えている(図16(b)等を参照)。
外枠側上ヒンジ部材60は、外枠2が組立てられた状態で、上固定部61が、上枠部材10の取付段部12の上面に載置されており、図示しないビスによって固定されている。また、前方延出部62は、上枠部材10の前端よりも前方へ延出している。また、横固定部64は、左枠部材30の外側側面の凹部31内に上側から挿入された状態で、ビスによって左枠部材30に固定されている。
この外枠側上ヒンジ部材60は、軸受溝63内に本体枠側上ヒンジ部材620の本体枠上ヒンジピン622を挿入させることで、外枠側下ヒンジ部材70と協働して本体枠4を開閉可能に支持することができる。この外枠側上ヒンジ部材60は、金属板をプレス成型により屈曲させて形成されている。
[2-6.ロック部材]
外枠2のロック部材66は、図16に示すように、左右が所定幅で前後に延びている帯板状のロック本体66aと、ロック本体66aの後端から右方へ突出している操作部66bと、ロック本体66aの後端から左方へ延びた後に斜め左前方へ延びている弾性変形可能な棒状の弾性部66cと、ロック本体66aの後端付近で上下に貫通している取付孔66dと、を備えている。このロック部材66は、合成樹脂によって形成されている。ロック部材66は、取付ビス67によって、外枠側上ヒンジ部材60における前方延出部62の下面に回動可能に取付けられる。
このロック部材66は、取付孔66dを通して、ロック本体66aの後端が、外枠側上ヒンジ部材60の前方延出部62における軸受溝63よりも後側の位置に取付けられる。また、ロック部材66を外枠側上ヒンジ部材60に取付けた状態では、ロック本体66aが、平面視で軸受溝63を遮ることができると共に、前端付近の右側面が、外枠側上ヒンジ部材60の垂下部65における軸受溝63の開口まで延びている部位と当接可能となるように前方へ延びている(図18を参照)。
また、ロック本体66aの後端から左方へ延びている弾性部66cの先端は、外枠側上ヒンジ部材60における垂下部65の内周面に当接している。このロック部材66は、弾性部66cの付勢力によって取付孔66dを中心に、前端が左方へ回動する方向に付勢されている。従って、通常の状態では、ロック部材66のロック本体66aの前端付近の右側面が、垂下部65に当接している(図18を参照)。この状態では、軸受溝63におけるロック本体66aよりも前側の部位に、本体枠側上ヒンジ部材620の後述する本体枠上ヒンジピン622を収容可能な空間が形成される。
このロック部材66は、操作部66bを操作することで、弾性部66cの付勢力に抗してロック本体66aを回動させることができる。そして、操作部66bの操作によって、ロック本体66aを、その前端が左方へ移動する方向へ回動させることで、平面視において軸受溝63からロック本体66aを後退させることができ、軸受溝63が全通している状態とすることができる。これにより、軸受溝63内に本体枠上ヒンジピン622を挿入したり、軸受溝63内から本体枠上ヒンジピン622を外したりすることができる。
[2-7.外枠側下ヒンジ部材]
外枠2の外枠側下ヒンジ部材70は、図示するように、水平に延びている平板状の水平部71と、水平部71の左辺において前後方向中央よりも後側の部位から上方へ立上っている平板状の立上り部72と、水平部71の前端付近から上方へ突出している外枠下ヒンジピン73と、水平部71を上下に貫通しており遊技球が一つのみ通過可能な大きさの排出孔74と、を備えている。この外枠側下ヒンジ部材70は、金属板をプレス成型により屈曲させて形成されている。
外枠側下ヒンジ部材70の水平部71は、平面視において、左辺を底辺とした台形に形成されている。外枠下ヒンジピン73は、円柱状で、上下方向中央よりも上部が、上端が窄まった円錐台状に形成されている。この外枠下ヒンジピン73は、水平部71の前端付近における左寄りの位置に取付けられている。排出孔74は、水平部71において、立上り部72の前後方向中央の部位と接し、水平部71の左辺から右方へ逆U字状に延びるように形成されている。この排出孔74は、幕板部材50の左排出孔52と、略同じ大きさに形成されている。
外枠側下ヒンジ部材70は、外枠2が組立てられた状態では、水平部71が、幕板部材50の左端付近の上面と後方延出部51上に載置されており、水平部71が、幕板部材50の上面を貫通する図示しないビスによって幕板補強部材80に固定されている。また、外枠2が組立てられた状態では、立上り部72が、左枠部材30の内側側面における突出部32よりも前側の部位に、図示しないビスによって取付けられている。この外枠側下ヒンジ部材70は、外枠下ヒンジピン73を、本体枠4の本体枠側下ヒンジ部材640における本体枠用下ヒンジ孔(図示は省略)に挿通させることで、外枠側上ヒンジ部材60と協働して本体枠4を開閉可能に取付けることができる。
また、外枠2が組立てられた状態では、排出孔74が、幕板部材50の左排出孔52と一致している。これにより、水平部71上の遊技球を、排出孔74及び左排出孔52を通して、幕板部材50の後側へ落下(排出)させることができる。詳述すると、外枠2に対して本体枠4を閉じる時に、外枠2と本体枠4との間に落下した遊技球が、本体枠4が閉じられるのに従って、外枠2と本体枠4との間が徐々に狭くなることから、間隔が広い後方側へ転動とすることとなり、排出孔74から排出させることができる。この際に、排出孔74が、パチンコ機1に組立てた状態で、外枠2に対して本体枠4を閉じた時に、本体枠4の後端と略同じとなる位置に形成されているため、外枠2と本体枠4との間に落下した遊技球を、排出孔74から排出させることで本体枠4よりも後側へ転動するのを阻止し易くすることができ、外枠側下ヒンジ部材70の部位に遊技球が留まり難くすることができる。
[2-8.連結部材]
外枠2の連結部材85は、上枠部材10と左枠部材30とを連結する左上連結部材85Aと、上枠部材10と右枠部材40とを連結する右上連結部材85Bと、下枠部材20と左枠部材30とを連結する左下連結部材85Cと、下枠部材20と右枠部材40とを連結する右下連結部材85Dと、がある。
連結部材85は、水平に延びた平板状の水平固定部86と、水平固定部86の左右側辺の何れか一方から上方へ延出している平板状の上横固定部87と、水平固定部86における上横固定部87が延出している部位と同じ側から下方へ延出している平板状の下横固定部88と、を備えている。この連結部材85は、平板状の金属板を屈曲させて形成されている。
左上連結部材85A及び右上連結部材85Bでは、水平固定部86の前後方向の中央から上横固定部87が上方へ延出していると共に、上横固定部87の前後両側から下横固定部88が下方へ延出している。つまり、左上連結部材85A及び右上連結部材85Bでは、下横固定部88が前後に離間して二つ備えられている。左上連結部材85A及び右上連結部材85Bの水平固定部86は、上枠部材10の下面に当接した状態で上枠部材10に固定される。また、左上連結部材85A及び右上連結部材85Bの上横固定部87は、上枠部材10の係合切欠部21内に挿入されて、上枠部材10の左右方向の端部に固定される。また、左上連結部材85A及び右上連結部材85Bの前側の下横固定部88は、左枠部材30及び右枠部材40の突出部32,42よりも前側の内側側面に夫々固定される。更に、左上連結部材85A及び右上連結部材85Bの後側の下横固定部88は、左枠部材30及び右枠部材40の突出部32,42内に挿入されて外側側面から捩じ込まれるビスにより左枠部材30及び右枠部材40に夫々固定される。
左下連結部材85C及び右下連結部材85Dでは、上横固定部87の後端が、水平固定部86の後端よりも後方へ突出していると共に、上横固定部87の水平固定部86よりも後方へ突出している部位の下端から下横固定部88が水平固定部86よりも下方へ延出している。また、左下連結部材85C及び右下連結部材85Dでは、上横固定部87の後端から水平固定部86と同じ側へ突出している屈曲部89を更に備えている。左下連結部材85C及び右下連結部材85Dの水平固定部86は、下枠部材20の上面に当接した状態で固定される。また、左下連結部材85C及び右下連結部材85Dの上横固定部87は、左枠部材30及び右枠部材40の突出部32,42よりも前側の内側側面に夫々固定される。更に、左下連結部材85C及び右下連結部材85Dの下横固定部88は、下枠部材20の係合切欠部21内に挿入されて下枠部材20の左右方向の端部面に夫々固定される。
[2-9.外枠側上ヒンジ部材のロック機構]
次に、本実施形態のパチンコ機1の外枠2において、外枠側上ヒンジ部材60におけるロック部材66による本体枠4の本体枠側上ヒンジ部材620に対するロック機構について、図17及び図18を参照して説明する。図17(a)は外枠の外枠側上ヒンジ部材に対して本体枠の本体枠側上ヒンジ部材が取外されている状態を拡大して示す斜視図であり、(b)は外側上ヒンジ部材に本体側上ヒンジ部材が取付けられている状態を拡大して示す斜視図である。図18は、外枠におけるロック部材の作用を示す説明図である。
外枠2におけるロック部材66は、外枠側上ヒンジ部材60の前方延出部62に取付けた状態(通常の状態)では、弾性部66cの先端が垂下部65の内周面と当接しており、ロック本体66aがく字状に屈曲した軸受溝63の一部を閉塞するようになっていると共に、ロック本体66aの先端部分が、軸受溝63の最深部分を閉塞した状態とはならず、軸受溝63の最深部分に本体枠4の本体枠側上ヒンジ部材620の本体枠上ヒンジピン622を挿入可能な空間が形成された状態となっている。
本実施形態における外枠側上ヒンジ部材60とロック部材66とを用いた本体枠上ヒンジピン622の支持機構は、本体枠上ヒンジピン622が軸受溝63の最深部分に挿入されてロック本体66aの前端の右側面が、右側の垂下部65と接近している状態(この状態ではロック本体66aの前端の右側面と右側の垂下部65との間に僅かな隙間があり当接した状態となっていない)である通常の軸支状態においては、屈曲している軸受溝63の最深部分に位置する本体枠上ヒンジピン622とロック本体66aの前端面との夫々の中心が斜め方向にずれて対向した状態となっている。
そして、この通常の軸支状態においては、重量のある本体枠4を軸支している本体枠上ヒンジピン622が軸受溝63の前端部分に当接した状態となっているので、本体枠上ヒンジピン622からロック本体66aの前端面への負荷がほとんどかかっていない。つまり、ロック部材66の弾性部66cに対し負荷がかかっていない状態となっている。なお、ロック本体66aの前端面が円弧状に形成されているため、ロック部材66を回動させるために操作部66bを回動操作した時に、ロック部材66がスムーズに回動するようになっている。また、図示では、ロック本体66aの前端面の円弧中心が、取付孔66dの中心(ロック部材66の回転中心)とされている。
従って、本体枠上ヒンジピン622がく字状に形成された軸受溝63の傾斜に沿って抜ける方向に作用力Fがかかって、ロック本体66aの円弧状の前端面に当接したとき、その作用力Fを、本体枠上ヒンジピン622と円弧状の前端面との当接部分に作用する分力F1(ロック本体66aの前端面の円弧の法線方向)と、本体枠上ヒンジピン622と軸受溝63の一側内面との当接部分に作用する分力F2と、に分けたときに、分力F1の方向が取付孔66d(取付ビス67)の中心(ロック部材66の回転中心)を向くため、ロック部材66のロック本体66aの前端が、右側の垂下部65から離れる方向に回転させるモーメントが働かず、本体枠上ヒンジピン622がロック部材66のロック本体66aの前端部と軸受溝63の一側内面との間に挟持された状態が保持される。
このため、通常の軸支状態、或は、本体枠上ヒンジピン622の作用力がロック部材66にかかった状態でも、ロック部材66の弾性部66cに常時負荷がかからず、合成樹脂で一体形成される弾性部66cのクリープによる塑性変形を防止し、長期間に亘って本体枠上ヒンジピン622の軸受溝63からの脱落を防止することができる。なお、仮に無理な力がかかってロック部材66のロック本体66aの前端部が右方へ移動する方向へ回転させられても、ロック本体66aの前端右側面が垂下部65に当接してそれ以上回転しないので、ロック部材66が前方延出部62の外側にはみ出ないようになっている。
なお、ロック本体66aの前端面の形状は円弧状でなくても、上記した分力F1の作用により回転モーメントが生じない位置又はロック部材66をその前端部が前方延出部62の外側に向って回転させる回転モーメントが生ずる位置にロック部材66の回転中心(取付ビス67により固定される軸)を位置させることにより、常時ロック部材66の弾性部66cに対しても負荷がかかることはないし、ロック部材66が回転してもロック本体66aの前端の右側面が垂下部65に当接するだけであるため、ロック部材66が前方延出部62の外側にはみ出ることもない。
外枠側上ヒンジ部材60の軸受溝63に、本体枠側上ヒンジ部材620の本体枠上ヒンジピン622を支持させる場合は、軸受溝63の開放されている側から軸受溝63内に本体枠上ヒンジピン622を挿入する。軸受溝63内に本体枠上ヒンジピン622を挿入すると、ロック部材66のロック本体66aの右側面に本体枠上ヒンジピン622が当接し、弾性部66cの付勢力に抗してロック本体66aの前端が左方へ移動するようにロック部材66が取付ビス67を中心に回動する。これにより、軸受溝63を閉鎖していたロック本体66aが後退して軸受溝63が開放され、軸受溝63の最深部(前端)へ本体枠上ヒンジピン622を移動させることができるようになる。
そして、軸受溝63の最深部に本体枠上ヒンジピン622を移動させると、本体枠上ヒンジピン622とロック部材66のロック本体66aとの当接が解除され、弾性部66cの付勢力によってロック本体66aの前端が右方へ移動するようにロック部材66が回動し、ロック部材66が通常の状態に復帰する。これにより、本体枠上ヒンジピン622が、軸受溝63内におけるロック本体66aの前端よりも前側の空間に収容された状態となり、本体枠上ヒンジピン622が、軸受溝63の最深部において回動可能な状態で保持(ロック)された状態となる。
軸受溝63内から本体枠上ヒンジピン622を取外す場合は、ロック部材66の操作部66bを操作して、ロック本体66aの前端が左方へ移動するようにロック部材66を回動させ、弾性部66cの付勢力に抗して軸受溝63からロック本体66aを後退させる。これにより、軸受溝63の最深部と開口部とが連通した状態となり、軸受溝63から本体枠上ヒンジピン622を取外すことができる。
[2-10.外枠側下ヒンジ部材の部位における防犯機構と球噛み防止機構]
本実施形態のパチンコ機1における外枠2の外枠側下ヒンジ部材70の部位における防犯機構と外枠2と本体枠4との間に遊技球が挟まれるのを防止するための球噛み防止機構について説明する。
外枠2は、組立てた状態では、幕板部材50の上面における正面視左端部に外枠側下ヒンジ部材70が取付けられている。外枠側下ヒンジ部材70の水平部71は、幕板部材50の上面の左端付近と後方延出部51の上面とに載置された状態で取付けられている。この幕板部材50には、上面の後端から上方へ立上っている立壁部54を備えている。これにより、外枠側下ヒンジ部材70と本体枠側下ヒンジ部材640との間の隙間を通して、本体枠4(パチンコ機1)の後側へピアノ線等の不正な工具を侵入させようとしても、不正な工具の先端が幕板部材50の上面の後端から上方へ延出している立壁部54に当接するため、不正な工具がこれ以上後側へ挿入されるのを阻止することができ、外枠側下ヒンジ部材70の部位を介して不正行為が行われるのを防止することができる。
また、立壁部54の上端に、前方へ延出している返し部55を備えているため、立壁部54に当接した不正な工具が上方へ曲がった場合、返し部55によって不正な工具の先端を更に前方へ折返させることができるため、本体枠4の後側に不正な工具が侵入させられるのを阻止することができ、外枠側下ヒンジ部材70の部位を介して不正行為が行われるのを確実に阻止することができる。
ところで、幕板部材50の上面の後端に上方へ延出している立壁部54を備えるようにした場合、外枠2に対して本体枠4を開いている状態で、遊技球が外枠側下ヒンジ部材70(水平部71)上に落下した場合、水平部71上の遊技球が、立壁部54の存在によって水平部71の後端から後方へ排出されないため、外枠2と本体枠4との間に挟まれてしまう虞がある。これに対して、本実施形態では、外枠側下ヒンジ部材70の水平部71と、幕板部材50の後方延出部51とに、遊技球が通過可能な排出孔74、左排出孔52、及び右排出孔53を備えているため、外枠側下ヒンジ部材70の水平部71上の遊技球を、排出孔74等から下方へ排出することができ、外枠2と本体枠4との間に遊技球が挟まれるのを低減させることができる。
従って、外枠2と本体枠4との間に遊技球が挟まれることで、外枠側下ヒンジ部材70の周りが破損したり、本体枠4が正常な状態で閉まらずに外枠2と本体枠4との間に隙間ができてしまい、その隙間を使って不正行為が行われてしまったりするのを防止することができる。
[3.扉枠の全体構成]
パチンコ機1の扉枠3について、図19乃至図30を参照して説明する。図19はパチンコ機における扉枠の正面図であり、図20は扉枠の右側面図であり、図21は扉枠の左側面図であり、図22は扉枠の背面図である。図23は扉枠を右前から見た斜視図であり、図24は扉枠を左前から見た斜視図であり、図25は扉枠を後ろから見た斜視図である。図26は図19におけるA-A線で切断した断面図であり、図27は図19におけるB-B線で切断した断面図であり、図28は図19におけるC-C線で切断した断面図である。図29は扉枠を主な部材毎に分解して前から見た分解斜視図であり、図30は扉枠を主な部材毎に分解して後ろから見た分解斜視図である。
扉枠3は、図29及び図30等に示すように、正面視の外形が上下に延びた四角形で枠状の扉枠ベースユニット100と、扉枠ベースユニット100の前面右下隅に取付けられているハンドルユニット300と、扉枠ベースユニット100の前面下部に取付けられている皿ユニット320と、皿ユニット320の中央に取付けられている演出操作ユニット400と、皿ユニット320の上側で扉枠ベースユニット100の前面左部に取付けられている扉枠左サイドユニット530と、皿ユニット320の上側で扉枠ベースユニット100の前面右部に取付けられている扉枠右サイドユニット550と、扉枠左サイドユニット530及び扉枠右サイドユニット550の上側で扉枠ベースユニット100の前面上部に取付けられている扉枠トップユニット570と、を備えている。
扉枠3の扉枠ベースユニット100は、詳細は後述するが、正面視の外形が上下に延びた長方形(四角形)で前後に貫通している貫通口111を有した板状の扉枠ベース110と、扉枠ベース110の後側に取付けられている枠状の補強ユニット130と、補強ユニット130の正面視左端側の上下両端に取付けられており本体枠4に対してヒンジ回転可能に取付けられる扉枠側上ヒンジ部材140及び扉枠側下ヒンジ部材150と、扉枠ベース110の後面に取付けられ貫通口111を閉鎖するガラスユニット190と、ガラスユニット190の後面下部を覆う防犯カバー200と、扉枠ベース110の後面に扉枠ベース110を貫通して前方に突出するように取付けられ開閉可能とされている扉枠3と本体枠4、及び本体枠4と外枠2との間を施錠するための開閉シリンダユニット210と、扉枠ベース110の後面下部に取付けられ遊技球を球発射装置680に送るための球送りユニット250と、扉枠ベース110の後面下部に取付けられ球発射装置680により発射されて遊技領域5a内に到達しなかった遊技球を受けて下皿322へ排出させるファールカバーユニット270と、を備えている。
扉枠3のハンドルユニット300は、詳細は後述するが、回転可能なハンドル302を遊技者が回転操作することで、上皿321内に貯留されている遊技球を、ハンドル302の回転角度に応じた強さで遊技盤5の遊技領域5a内に打込むことができるものである。
扉枠3の皿ユニット320は、詳細は後述するが、扉枠ベースユニット100における扉枠ベース110の前面において貫通口111の下側の部位に取付けられ、前面が前方へ膨出していると共に、左右方向中央の前端に演出操作ユニット400が取付けられる。皿ユニット320は、遊技領域5a内に打込むための遊技球を貯留する上皿321と、上皿321の下側に配置されており上皿321やファールカバーユニット270から供給される遊技球を貯留可能な下皿322と、上皿321に貯留されている遊技球を下皿322へ抜くための上皿球抜きボタン327と、球貸機に投入した現金やプリペイドカードの残金の範囲内で遊技者に遊技球を貸し出すための球貸ボタン328と、球貸機から貸出された遊技球の分を差し引いた現金やプリペイドカードを返却させるための返却ボタン329と、球貸機に投入した現金やプリペイドカードの残数等を表示する球貸返却表示部330と、演出提示時に遊技者の操作が受付可能とされている演出選択左ボタン331及び演出選択右ボタン332と、下皿322内の遊技球を皿ユニット320の下方へ排出するための下皿球抜きボタン333と、を備えている。
扉枠3の演出操作ユニット400は、皿ユニット320の正面視左右方向中央の前部に取付けられるものであり、遊技者が押圧操作することができると共に、遊技者に対して演出画像を提示することができるものである。この演出操作ユニット400は、詳細は後述するが、遊技者が操作可能な大型の操作ボタン410と、操作ボタン410内に遊技者側から視認可能に配置され演出画像を表示可能な扉枠側演出表示装置460と、を備えている。
扉枠3の扉枠左サイドユニット530は、詳細な内容は後述するが、皿ユニット320の上側で扉枠ベースユニット100における貫通口111よりも左側の前面左部に取付けられ、貫通口111(遊技領域5a)の左外側を装飾するものである。扉枠左サイドユニット530は、発光装飾可能な左ユニット装飾レンズ部材(図示は省略)を備えている。
扉枠3の扉枠右サイドユニット550は、詳細な内容は後述するが、皿ユニット320の上側で扉枠ベースユニット100における貫通口111よりも右側の前面右部に取付けられ、貫通口111(遊技領域5a)の右外側を装飾するものである。この扉枠右サイドユニット550は、扉枠左サイドユニット530よりも前方へ大きく突出しており、左右両面側に備えられている右ユニット左装飾部材554及び右ユニット右装飾部材557と、前端に備えられている右ユニット装飾レンズ部材561と、を備えている。扉枠右サイドユニット550は、右ユニット左装飾部材554、右ユニット右装飾部材557、及び右ユニット装飾レンズ部材561を発光装飾させることができる。
扉枠3の扉枠トップユニット570は、扉枠左サイドユニット530及び扉枠右サイドユニット550の上側で扉枠ベースユニット100の扉枠ベース110の前面における貫通口111の上側に取付けられ、扉枠3の上部を装飾するものである。扉枠トップユニット570は、詳細な内容は後述するが、左右に離間した一対の上部スピーカ573と、前面中央で前方へ突出しているトップ中装飾部材576と、トップ中装飾部材576の左右両側を装飾しているトップ左装飾レンズ部材579及びトップ右装飾レンズ部材580と、を備えている。扉枠トップユニット570は、トップ中装飾部材576、トップ左装飾レンズ部材579、及びトップ右装飾レンズ部材580を発光装飾させることができる。
[3-1.扉枠ベースユニットの全体構成]
扉枠3の扉枠ベースユニット100について、図31乃至図33を参照して詳細に説明する。図31(a)は扉枠における扉枠ベースユニットを前から見た斜視図であり、(b)は扉枠ベースユニットを後ろから見た斜視図である。図32は扉枠ベースユニットを主な部材毎に分解して前から見た分解斜視図であり、図33は扉枠ベースユニットを主な部材毎に分解して後ろから見た分解斜視図である。
扉枠ベースユニット100は、正面視左辺側が本体枠4の前面を閉鎖するように本体枠4に対して開閉可能(ヒンジ回転可能)に取付けられるものである。扉枠ベースユニット100は、前面下隅にハンドルユニット300が、貫通口111の下側前面に演出操作ユニット400が取付けられる皿ユニット320が、貫通口111の左外側前面に扉枠左サイドユニット530が、貫通口111の右外側前面に扉枠右サイドユニット550が、貫通口111の上外側前面に扉枠トップユニット570が、夫々取付けられるものである。
扉枠ベースユニット100は、図32及び図33に等に示すように、正面視の外形が上下に延びた長方形で前後に貫通している貫通口111を有した板状の扉枠ベース110と、扉枠ベース110の後側に取付けられている枠状の補強ユニット130と、補強ユニット130の正面視左端側の上下両端に取付けられており扉枠ベース110から前方へ突出して本体枠4の本体枠側上ヒンジ部材620及び本体枠側下ヒンジ部材640に回転可能に取付けられる扉枠側上ヒンジ部材140及び扉枠側下ヒンジ部材150と、扉枠ベース110の前面で貫通口111の正面視左側に取付けられており前面に複数のLEDが実装されている扉枠左サイド装飾基板160と、扉枠ベース110の後側に回動可能に取付けられておりガラスユニット190を着脱可能に取付けるためのガラスユニット取付部材170と、を備えている。
また、扉枠ベースユニット100は、扉枠ベース110の前面で正面視右下隅に取付けられておりハンドルユニット300を取付けるための筒状のハンドル取付部材180と、扉枠ベース110の後面に取付けられ貫通口111を閉鎖するガラスユニット190と、ガラスユニット190の後面下部を覆う防犯カバー200と、扉枠ベース110の後面に扉枠ベース110を貫通して前方に突出するように取付けられる開閉シリンダユニット210と、扉枠ベース110の後面下部に取付けられる球送りユニット250と、扉枠ベース110の後面下部に取付けられるファールカバーユニット270と、を備えている。
更に、扉枠ベースユニット100は、図示は省略するが、扉枠3に備えられている各種の装飾基板、球送ソレノイド255、ハンドル回転検知センサ307、ハンドルタッチセンサ310、単発ボタン操作センサ312、球貸ボタン328、返却ボタン329、球貸返却表示部330、演出選択左ボタン331、演出選択右ボタン332、振動モータ424、押圧検知センサ440、扉枠側演出表示装置460(液晶表示装置461)、上部スピーカ573、等と、本体枠4における基板ユニット900の扉枠用中継基板911との接続を中継するための扉本体中継基板を備えている。
[3-1a.扉枠ベース]
扉枠3における扉枠ベースユニット100の扉枠ベース110について、主に図31乃至図33を参照して詳細に説明する。扉枠ベース110は、正面視の外形が上下に延びた四角形(長方形)に形成されている。扉枠ベース110は、前後に貫通しており、正面視における内周形状が上下に延びた略四角形に形成された貫通口111を備えている。貫通口111は、内周を形成している上辺及び左右両辺が、扉枠ベース110の外周辺に夫々接近しており、内周を形成している下辺が、扉枠ベース110の下端から上下方向の約1/3の高さに位置している。従って、扉枠ベース110は、前後に貫通している貫通口111により全体が枠状に形成されている。この扉枠ベース110は、合成樹脂により一体成形されている。
扉枠ベース110は、前面における正面視右下隅に形成されており左端側が右端側よりも前方へやや突出するように傾斜しているハンドル取付座面112と、ハンドル取付座面112と貫通口111との間で正面視右端付近に後面から前方へ向かって窪み、開閉シリンダユニット210のシリンダ取付板金213が取付けられるシリンダ取付部113と、シリンダ取付部113において前後に貫通しており開閉シリンダユニット210のシリンダ錠211が挿通されるシリンダ挿通孔114と、シリンダ挿通孔114及びハンドル取付座面112の正面視左側で前後に貫通しており球送りユニット250の進入口251a及び球抜口251bを前方に臨ませるための球送り開口115と、を備えている。
また、扉枠ベース110は、扉枠ベース110の左右方向中央より左寄りで且つハンドル取付座面112と略同じ高さで前後に貫通しておりファールカバーユニット270の球放出口276を前方に臨ませる下皿用通過口116と、扉枠ベース110の正面視左端付近で貫通口111の下辺に隣接するように前後に貫通しておりファールカバーユニット270の貫通球通路273を前方に臨ませる上皿用通過口117と、貫通口111の内周に沿って後面から前方へ向かって窪み、ガラスユニット190のガラス枠191が挿入されるガラスユニット取付部118と、扉枠ベース110の左右両上隅において前後に貫通しており扉枠トップユニット570の上部スピーカ573の後端が挿通されるスピーカ挿通口119と、を備えている。
[3-1b.補強ユニット]
扉枠ベースユニット100の補強ユニット130について、図31及び図33等を参照して詳細に説明する。補強ユニット130は、扉枠ベース110の後側に取付けられることで扉枠ベース110を補強して、扉枠ベース110(扉枠3)の強度剛性を高めている。補強ユニット130は、扉枠ベース110の後面における上辺に沿って取付けられる左右に延びた上補強板金131と、扉枠ベース110の後面における貫通口111の下側に取付けられる左右に延びた中補強板金132と、扉枠ベース110の後面における正面視左辺に沿って取付けられる上下に延びた左補強板金133と、扉枠ベース110の後面における正面視右辺に沿って取付けられる上下に延びた右補強板金134と、右補強板金134の後面に取付けられており施錠ユニット700の扉枠用鉤702が係止される施錠係止部135と、を備えている。
補強ユニット130は、上補強板金131の左右両端が左補強板金133及び右補強板金134の夫々の上端にビスによって連結固定されており、中補強板金132の左端が左補強板金133にビスによって連結固定されている。中補強板金132の右端は、後述する開閉シリンダユニット210のシリンダ取付板金213を介して右補強板金134に連結固定されている。従って、補強ユニット130は、上補強板金131、中補強板金132、左補強板金133、及び右補強板金134等によって、枠状に形成されている。
補強ユニット130の上補強板金131、中補強板金132、左補強板金133、右補強板金134、及び施錠係止部135は、夫々金属板を適宜屈曲させて形成されている。中補強板金132は、扉枠ベース110の上皿用通過口117と対応する位置に、前後に貫通した切欠部132aが形成されている。
補強ユニット130は、詳細な図示は省略するが、各上補強板金131、中補強板金132、左補強板金133、及び右補強板金134において、夫々前後方向に屈曲された部位を有しており、その部位によって、強度剛性が高められていると共に、外部からのピアノ線やマイナスドライバー等の不正な工具の侵入を防止している。
[3-1c.扉枠側上ヒンジ部材]
扉枠ベースユニット100の扉枠側上ヒンジ部材140について、主に図31乃至図33等を参照して詳細に説明する。扉枠側上ヒンジ部材140は、扉枠ベース110に取付けられ上下に離間している一対の突出片141aを有した扉枠上ヒンジ軸ブラケット141と、扉枠上ヒンジ軸ブラケット141の一対の突出片141aを貫通しており、上端が本体枠側上ヒンジ部材620の扉枠用上ヒンジ孔623に挿入される円柱状の扉枠上ヒンジピン142と、扉枠上ヒンジピン142における一対の突出片141aの間の位置に取付けられている円盤状の鍔部材143と、鍔部材143と一対の突出片141aのうちの下側の突出片141aとの間に介装されていると共に扉枠上ヒンジピン142が挿通されており、扉枠上ヒンジピン142を上方へ付勢しているロックバネ144と、を備えている。
扉枠上ヒンジ軸ブラケット141は、図示は省略するが一対の突出片141aの後端同士を連結している平板状の取付片を有しており、側面視の形状が前方へ開放されたコ字状に形成されている。扉枠上ヒンジ軸ブラケット141は、一対の突出片141a同士を連結している取付片が、ビスによって扉枠ベース110の後面に取付けられている。
扉枠上ヒンジピン142は、上側の突出片141aよりも上方に突出している部位(上端)が、本体枠側上ヒンジ部材620の扉枠用上ヒンジ孔623に対して回転可能に挿入される。また、扉枠上ヒンジピン142は、図示は省略するが、下側の突出片141aよりも下方に突出している部位が水平方向に屈曲している。この屈曲している部位が下側の突出片141aの下面に当接することで、扉枠上ヒンジピン142の上方への移動を規制している。
鍔部材143は、Eリングとされており、扉枠上ヒンジピン142の外周に形成されている溝内に挿入保持されている。ロックバネ144は、扉枠上ヒンジピン142を挿通可能なコイルスプリングとされており、上端が鍔部材143に当接していると共に、下端が下側の突出片141aに当接している。このロックバネ144は、鍔部材143と下側の突出片141aとの間に、圧縮された状態で介装されており、鍔部材143を介して扉枠上ヒンジピン142を上方へ付勢している。
扉枠側上ヒンジ部材140は、扉枠上ヒンジピン142がロックバネ144により上方へ付勢された状態となっており、扉枠上ヒンジピン142における下端の水平に屈曲している部位が下側の突出片141aの下面に当接することで、これ以上の上方への移動が規制されている。この状態では、扉枠上ヒンジピン142の上端が、上側の突出片141aの上面よりも所定量上方に突出している。
扉枠側上ヒンジ部材140は、扉枠上ヒンジピン142における下端の水平に屈曲している部位を作業者が持って、ロックバネ144の付勢力に抗してその部位を下方へ引っ張ると、扉枠上ヒンジピン142を全体的に下方へ移動させることができ、扉枠上ヒンジピン142の上端を、上側の突出片141aの上面よりも下方へ没入させることができる。従って、扉枠側上ヒンジ部材140は、扉枠上ヒンジピン142の上端を、本体枠側上ヒンジ部材620の扉枠用上ヒンジ孔623に対して下方から挿入させたり、下方へ抜いたりすることができる。これにより、扉枠側上ヒンジ部材140の扉枠上ヒンジピン142の上端を、本体枠側上ヒンジ部材620の扉枠用上ヒンジ孔623に挿入させることで、扉枠3の正面視上部左端を、本体枠4に対してヒンジ回転可能に支持させることができる。
また、扉枠側上ヒンジ部材140は、扉枠上ヒンジピン142における扉枠上ヒンジ軸ブラケット141の一対の突出片141aにより支持されている部位が、後述する扉枠側下ヒンジ部材150の扉枠下ヒンジピン152と同軸上に支持されている。これにより、扉枠側上ヒンジ部材140と扉枠側下ヒンジ部材150とによって、扉枠3を本体枠4に対して良好な状態でヒンジ回転させることができる。
[3-1d.扉枠側下ヒンジ部材]
扉枠ベースユニット100の扉枠側下ヒンジ部材150について、主に図31及び図32等を参照して詳細に説明する。扉枠側下ヒンジ部材150は、扉枠ベース110に取付けられ前方に延出している平板状の延出片151aを有している扉枠下ヒンジ軸ブラケット151と、扉枠下ヒンジ軸ブラケットにおける延出片151aの前端部付近から下方に突出している円柱状の扉枠下ヒンジピン152(図21及び図22を参照)と、を備えている。
扉枠下ヒンジ軸ブラケット151は、水平に延びた平板状の延出片151aの後端から上方に延出した平板状の取付片(図示は省略)を有しており、側面視の全体形状が略L字状に形成されている。この扉枠下ヒンジ軸ブラケット151は、図示しない取付片がビスによって扉枠ベース110の後面に取付けられている。
扉枠下ヒンジピン152は、下端部が、下方へ向かうほど窄まる円錐台状に形成されている。この扉枠下ヒンジピン152は、後述する本体枠4における本体枠側下ヒンジ部材640の扉枠用ヒンジ孔644に、上方から回転可能に挿入される。扉枠下ヒンジピン152は、扉枠側上ヒンジ部材140の扉枠上ヒンジピン142と同軸上に配置されている。
この扉枠側下ヒンジ部材150は、扉枠下ヒンジピン152が本体枠側下ヒンジ部材640の扉枠用ヒンジ孔644に挿入されることで、扉枠3を本体枠4に対してヒンジ回転可能に支持することができる。
[3-1e.扉枠左サイド装飾基板]
扉枠ベースユニット100の扉枠左サイド装飾基板160について、主に図31及び図32等を参照して詳細に説明する。扉枠左サイド装飾基板160は、扉枠ベース110の前面において、貫通口111の正面視左側に取付けられている。扉枠左サイド装飾基板160は、扉枠ベース110における正面視左側のスピーカ挿通口119よりも下側の位置の高さから貫通口111の上下方向の中央付近の高さまで上下に延びている扉枠左サイド上装飾基板161と、扉枠左サイド上装飾基板161の下側の位置の高さから上皿用通過口117の下端と略同じ高さまで上下に延びている扉枠左サイド下装飾基板162と、を備えている。
扉枠左サイド装飾基板160の扉枠左サイド上装飾基板161及び扉枠左サイド下装飾基板162は、夫々前面に、前方へ光を照射可能な複数のLED161a,162aを備えている。これらLED161a,162aは、フルカラーLEDとされている。
扉枠左サイド装飾基板160は、扉枠3を組立てた状態で、後述する扉枠左サイドユニット530の後方に位置しており、前面に備えられた(実装された)複数のLED161a,162aを適宜発光させることで、扉枠左サイドユニット530の左ユニット装飾レンズ部材を発光装飾させることができる。
[3-1f.ガラスユニット取付部材]
扉枠ベースユニット100のガラスユニット取付部材170について、主に図31(b)等を参照して詳細に説明する。ガラスユニット取付部材170は、扉枠ベース110の後側に回動可能に取付けられておりガラスユニット190を着脱可能に取付けるためのものである。ガラスユニット取付部材170は、扉枠ベース110の後側で前後に延びた軸線周りに対して回転可能に取付けられる円盤状の基部171と、基部171から回転軸線に対して直角方向へ棒状に突出している突出部172と、を有している。
ガラスユニット取付部材170は、扉枠ベース110の後面における一対のスピーカ挿通口119の下側で、ガラスユニット取付部118よりも外側の部位に、夫々回転可能に取付けられている。
ガラスユニット取付部材170は、突出部172が基部171から上方へ突出するように回転させた状態とすることで、背面視において扉枠ベース110のガラスユニット取付部118よりも突出部172が外側に位置した状態となり、扉枠ベース110のガラスユニット取付部118に対してガラスユニット190を挿入したり、ガラスユニット取付部118からガラスユニット190を取外したりすることができる。
ガラスユニット取付部材170は、ガラスユニット190を扉枠ベース110のガラスユニット取付部118に挿入させた状態で、突出部172が基部171から下方へ突出するように回転させると、突出部172がガラスユニット190の取付片191aの後側と当接し、ガラスユニット190上部の後方への移動を規制した状態となり、ガラスユニット190を扉枠ベース110に取付けることができる。
ガラスユニット取付部材170は、扉枠ベース110に回転可能に取付けられる円盤状の基部171から突出部172が突出しているため、ガラスユニット取付部材170の重心位置が突出部172内に位置している。このことから、ガラスユニット取付部材170が自由に回転できる状態では、突出部172が基部171から下方へ突出した状態で安定することとなる。そして、ガラスユニット取付部材170では、突出部172が基部171から下方へ突出している回転位置の時に、突出部172によりガラスユニット190の後方への移動を規制させるようにしているため、ガラスユニット取付部材170に振動等が作用しても、突出部172が基部171から上方へ突出するように全体が回転することはなく、ガラスユニット190の後方への移動の規制が自然に解除されることはない。
なお、扉枠ベース110からガラスユニット190を取外す場合は、ガラスユニット取付部材170を、突出部172が基部171から上方へ突出するように回転させて、突出部172をガラスユニット190の取付片191aよりも外側へ移動させることで、ガラスユニット190の上部側を後方へ移動させることができるようになり、扉枠ベース110からガラスユニット190を取外すことができる。
[3-1g.ハンドル取付部材]
扉枠ベースユニット100のハンドル取付部材180について、主に図31乃至図33等を参照して詳細に説明する。ハンドル取付部材180は、扉枠ベース110の前面にハンドルユニット300を取付けるためのものである。ハンドル取付部材180は、図32及び図33等に示すように、前後方向へ延びた円筒状の筒部181と、筒部181の後端から筒部181の軸に対して直角方向外方へ延びた円環状のフランジ部182と、筒部181内に突出していると共に筒部181の軸方向全長に亘って延びており筒部181の周方向に対して不等間隔に配置された複数(本例では三つ)の突条183と、筒部181の外周面とフランジ部182の前面とを繋ぎ、筒部181の周方向に対して複数配置された補強リブ184と、を備えている。
ハンドル取付部材180は、フランジ部182の後面を、扉枠ベース110におけるハンドル取付座面112の前面に当接させた状態で、ビスによってハンドル取付座面112に取付けられる。
筒部181は、内径がハンドルユニット300におけるハンドルベース301の基部301aの外径よりも若干大きく形成されている。三つの突条183は、一つが筒部181内の上側に備えられており、残り二つが筒部181内の下側に備えられている。これら三つの突条183は、ハンドルベース301における三つの溝部301cと対応する位置に形成されている。従って、ハンドル取付部材180は、三つの突条183と、ハンドルベース301の三つの溝部301cとを一致させた状態でのみ、筒部181内にハンドルベース301の基部301aを挿入させることができ、扉枠ベース110に対してハンドルベース301(ハンドルユニット300)の回転位置を規制することができる。
なお、ハンドル取付部材180は、フランジ部182の後面に対して、筒部181の軸線が垂直に延びていることから、扉枠ベース110の傾斜したハンドル取付座面112に取付けることで、筒部181の軸線が右前方へ延びるように傾いた状態となり、ハンドルユニット300を同様に傾いた状態で扉枠ベース110に取付けることができる。
[3-1h.ガラスユニット]
扉枠ベースユニット100のガラスユニット190について、主に図31乃至図33等を参照して詳細に説明する。ガラスユニット190は、扉枠ベース110の貫通口111を、前方から後方が視認できるように閉鎖するものである。ガラスユニット190は、扉枠ベース110の貫通口111の内周形状よりも大きくガラスユニット取付部118に取付可能な枠状のガラス枠191と、ガラス枠191の枠内を閉鎖し外周がガラス枠191に取付けられている透明な二つのガラス板192と、を備えている。二つのガラス板192は、ガラス枠191の前端側と後端側とに夫々取付けられており、互いの間に空間が形成されるように前後に離間している(図26等を参照)。
ガラス枠191は、正面視左右上隅よりも下側の位置から外方へ平板状に延出している一対の取付片191aと、下端から下方へ突出していると共に下辺に沿って延びている帯板状の係止片191bと、を有している。ガラス枠191の取付片191aは、ガラスユニット取付部材170の突出部172と当接可能とされている。係止片191bは、扉枠ベース110と補強ユニット130の中補強板金132との間の空間内に挿入可能とされている(図26を参照)。
このガラスユニット190は、扉枠ベース110の後側から、ガラス枠191の係止片191bを、扉枠ベース110と補強ユニット130の中補強板金132との間の隙間に上方から挿入した上で、ガラス枠191の前端を扉枠ベース110のガラスユニット取付部118の後面に当接させ、ガラスユニット取付部材170を回転させてガラスユニット取付部材170の突出部172をガラス枠191の取付片191aの後面と当接させることで、扉枠ベース110に取付けられる。
ガラスユニット190を扉枠ベース110から取外す場合は、上記と逆の手順により、取外すことができる。これにより、ガラスユニット190は、扉枠ベース110に対して着脱可能となっている。
[3-1i.防犯カバー]
扉枠ベースユニット100の防犯カバー200について、主に図31乃至図33等を参照して詳細に説明する。防犯カバー200は、ガラスユニット190の後面下部を覆うように扉枠ベース110の後側に取付けられ、透明な合成樹脂により形成されている。防犯カバー200は、外周が所定形状に形成された平板状の本体部201と、本体部201の外周縁に沿って後方へ短く突出した平板状の後方突片202と、左右に離間して配置され本体部201よりも前方に突出し、扉枠ベース110の後側に係止可能とされている一対の係止片203と、を備えている。
防犯カバー200の本体部201は、扉枠ベース110に取付けた状態で下端がガラスユニット190の下端よりも下方へ突出するように形成されている。また、本体部201は、上端が、パチンコ機1に組立てた状態で、遊技盤5における遊技領域5aの下端に沿った形状に形成されている。詳述すると、本体部201の上端は、後述する前構成部材1000の内レール1002の一部、アウト誘導部1003、右下レール1004の一部、及び右レール1005に沿った形状に形成されており、パチンコ機1に組立てた状態で遊技領域5a内に突出しないように形成されている。
後方突片202は、本体部201の外周縁の略全周に亘って形成されている。従って、防犯カバー200は、本体部201と後方突片202とによって、後方へ開放された浅い箱状に形成されており、強度・剛性が高くなっている。また、後方突片202は、図33に示すように、本体部201の外周縁とは異なる本体部201の後面の一部からも後方に突出している。この本体部201の後面の一部から後方に突出している後方突片202は、パチンコ機1に組立てた状態で遊技盤5の前構成部材1000における外レール1001の一部と沿うように形成されている。
なお、後方突片202は、パチンコ機1に組立てた状態で、遊技盤5における外レール1001と内レール1002との間に位置する部位には形成されていない。これにより、外レール1001と内レール1002との間を通る遊技球(球発射装置680により発射された遊技球)が、防犯カバー200の後方突片202に当接することはなく、遊技領域5a内への遊技球の打込みを阻害することはない。
一対の係止片203は、扉枠ベース110の後側に弾性係止される。これにより、防犯カバー200は、扉枠ベース110に対して容易に着脱することができる。
防犯カバー200は、パチンコ機1に組立てた状態で、本体部201の前面がガラスユニット190の後面(ガラス枠191の後端)と当接し、本体部201の下辺から後方へ突出している部位を除いた後方突片202が、後述する前構成部材1000の防犯凹部1008内に挿入された状態となる。また、防犯カバー200は、本体部201の下辺から後方に突出している後方突片202が、前構成部材1000の下面と接するように前構成部材1000の前面よりも後方へ突出している状態となる。これにより、防犯カバー200と遊技盤5(前構成部材1000)との間が、防犯カバー200の後方突片202と前構成部材1000の防犯凹部1008とによって複雑に屈曲した状態となるため、遊技盤5の前面下方より防犯カバー200と前構成部材1000との間を通してピアノ線等の不正な工具を遊技領域5a内に侵入させようとしても、後方突片202や防犯凹部1008に阻まれることとなり、遊技領域5a内への不正な工具の侵入を阻止することができる。
[3-1j.開閉シリンダユニット]
扉枠ベースユニット100の開閉シリンダユニット210について、主に図31乃至図33等を参照して説明する。開閉シリンダユニット210は、正面視において扉枠ベース110の右端付近で貫通口111とハンドル取付座面112との間の位置のシリンダ取付部113に後側から取付けられ、後述する施錠ユニット700と協働して、扉枠3と本体枠4との開閉、及び、外枠2と本体枠4との開閉に使用されるものである。
開閉シリンダユニット210は、前面に鍵穴211aを有し前後に延びた円筒状のシリンダ錠211と、シリンダ錠211の後端に取付けられており鍵穴211aに挿入された鍵の回動操作を施錠ユニット700の鍵シリンダ710に伝達させる回転伝達部材212と、シリンダ錠211を扉枠ベース110(補強ユニット130)に取付けるシリンダ取付板金213と、を備えている。
シリンダ錠211は、対応する鍵(図示は省略)を鍵穴211aに差し込むことで、鍵を回転させることができるものであり、対応する鍵であれば、正面視において時計回り及び反時計回りの何れの方向へも所定角度回転させることができる。
回転伝達部材212は、後方が開放された円筒状(詳しくは、後方へ向かうに従って直径が大きくなる円錐筒状)に形成されており、中心軸を挟んで対向した位置に後端から前方へ向かって切欠かれた一対の切欠部212aを有している。この回転伝達部材212は、本体枠4における施錠ユニット700の鍵シリンダ710が後方から挿入されるように形成されており、施錠ユニット700の鍵シリンダ710の突起が一対の切欠部212a内に挿入されることで、回転伝達部材212(シリンダ錠211の鍵穴211aに挿入された鍵)の回転を、施錠ユニット700の鍵シリンダ710に伝達させて鍵シリンダ710を回転させることができる。
シリンダ取付板金213は、一枚の金属板を屈曲させて形成されており、平面視の形状が前方へ突出している凸形状に形成されている。詳述すると、シリンダ取付板金213は、正面視において上下に延びた長方形で平板状の前板部213aと、前板部213aの左右両辺から後方へ平板状に延出している一対の側板部213bと、一対の側板部213bの夫々の後辺から互いに遠ざかる方向へ平板状に延出している一対の取付板部213cと、を備えている。シリンダ取付板金213の前板部213aは、上下方向略中央の位置で後方からシリンダ錠211が貫通し、前板部213aの後面にシリンダ錠211の後端が取付けられる。シリンダ取付板金213の一対の取付板部213cは、正面視左側の取付板部213cが補強ユニット130の中補強板金132の右端部に取付けられ、正面視右側の取付板部213cが補強ユニット130の右補強板金134に取付けられる。これにより、シリンダ取付板金213によって、補強ユニット130の中補強板金132と右補強板金134とが連結される。
開閉シリンダユニット210は、扉枠ベースユニット100に組立てた状態では、シリンダ取付板金213の前板部213aから前方に突出しているシリンダ錠211の前端が、扉枠ベース110の後側からシリンダ挿通孔114に挿通されて扉枠ベース110の前方へ突出していると共に、シリンダ取付板金213の前板部213a及び一対の側板部213bが後方へ開放されている箱状のシリンダ取付部113内に収容されている。
[3-4.演出操作ユニットの全体構成]
扉枠3における演出操作ユニット400の全体構成について、主に図34乃至図41等を参照して詳細に説明する。図34(a)は扉枠における演出操作ユニットの正面図であり、(b)は演出操作ユニットの右側面図である。また、図35(a)は演出操作ユニットを前から見た斜視図であり、(b)は演出操作ユニットを後ろから見た斜視図である。図36は、演出操作ユニットを操作ボタンの中心軸の延びている方向から見た説明図である。図37は図34(a)におけるD-D線で切断した断面図であり、図38は図34(b)におけるE-E線で切断した断面図である。図39(a)は図34(b)におけるF-F線で切断した断面図であり、(b)は(a)におけるA部の拡大図である。図40は演出操作ユニットを主な部材毎に分解して前から見た分解斜視図であり、図41は演出操作ユニットを主な部材毎に分解して後ろから見た分解斜視図である。演出操作ユニット400は、皿ユニット320の正面視左右方向中央の前部に取付けられるものであり、遊技者が押圧操作することができると共に、遊技者に対して演出画像を提示することができるものである。
演出操作ユニット400は、外形が円形で外周縁を除いた中央側が透明に形成されており遊技者が押圧操作可能な操作ボタン410と、操作ボタン410の外周を囲み皿ユニットカバー326の演出操作ユニット取付部326aに取付けられる枠状のフレームユニット415と、操作ボタン410よりも後方に配置されており操作ボタン410の外周縁及びフレームユニット415を発光装飾させることが可能な装飾基板ユニット420と、フレームユニット415の後側に取付けられており操作ボタン410及び装飾基板ユニット420が前面に取付けられているベースユニット430と、操作ボタン410を通して遊技者側から視認可能にベースユニット430に取付けられており演出画像を表示可能な扉枠側演出表示装置460と、を備えている。
[3-4a.操作ボタン]
演出操作ユニット400の操作ボタン410について、主に図39乃至図42等を参照して詳細に説明する。図42(a)は操作ボタンを分解して前から見た分解斜視図であり、(b)は操作ボタンを分解して後ろから見た分解斜視図である。操作ボタン410は、外形が皿ユニット320の上下方向の高さよりも若干小さい直径の円形に形成されており、外周縁を除いた中央側が透明に形成されている。操作ボタン410は、外周が円形で中央側が前方へ膨出するように湾曲面状(球面の一部の形状)に形成されている透明なボタンレンズ411と、ボタンレンズ411の外周縁の前側に取付けられている円環状のボタンフレーム412と、ボタンフレーム412の後側にボタンレンズ411の外周縁を挟持するように取付けられている円筒状のボタンベース413と、を備えている。ボタンフレーム412及びボタンベース413は、光を通し難い部材によって形成されている。
ボタンレンズ411は、全体が略一定の厚さに形成されている。また、ボタンレンズ411は、表面側が凹凸の無い滑らかな湾曲面状に形成されている。ボタンレンズ411は、ボタンフレーム412の内周側となる位置に裏面から断面W字状に窪んだ状態で中央側(内側)へ所定長さで延びていると共に周方向に列設されている第一ボタン装飾部411aと、第一ボタン装飾部411aよりも外周側の位置に裏面から断面円弧状に窪んだ状態で中央側へ向かう軸線上に延びていると共に周方向に所定角度範囲内で列設されている複数(六つ)の第二ボタン装飾部411bと、を備えている。
ボタンレンズ411の第一ボタン装飾部411aは、図示するように、操作ボタン410に組立てた状態では、ボタンフレーム412の内周から中央側へ延びており、左右両側の一群が、上下両側の一群よりも中央側へ長く延びている。
ボタンレンズ411の複数の第二ボタン装飾部411bは、夫々が同一の円周上において円弧状に延びており、左右両側に夫々三つずつ形成されている。これらの第二ボタン装飾部411bは、ボタンフレーム412のフレーム開口部412aから臨むように形成されていると共に、前面側がボタンフレーム412の前面と略同一面上となるように前方へ突出している。
ボタンレンズ411は、第一ボタン装飾部411a及び第二ボタン装飾部411bの部位において、裏面に形成されている断面W字状や断面円弧状の凹凸により、光が屈折するレンズ効果が発揮されるため、後側が明瞭に見えないようになっている。
ボタンフレーム412は、円環状に形成されており、前後方向に貫通し周方向へ所定長さで円弧状に延びた複数(六つ)のフレーム開口部412aを備えている。六つのフレーム開口部412aは、左右両側に夫々三つずつ備えられており、ボタンレンズ411の六つの第二ボタン装飾部411bと対応している。このボタンフレーム412は、表面に金属光沢を有したメッキ層を備えている。
ボタンベース413は、前後方向に短く延びた略円筒状の本体部413aと、本体部413aの前端から外方へ突出している円環状のフランジ部413bと、フランジ部413bの後側から本体部413aの外周に沿って後方へ円柱状に突出しており周方向に略等間隔で複数(四つ)配置されているガイドボス部413cと、フランジ部413bの後側から本体部413aの外周に沿って後方へ帯板状に突出しており周方向に複数(三つ)配置されている検知片413dと、本体部413aよりも外側でフランジ部413bを前後に貫通していると共に外周に沿って所定長さで延びており周方向に複数(六つ)形成されているベース開口部413eと、本体部413aの前端から前方へ筒状に延出しており前端側がボタンレンズ411の内面に沿うように内側(中央側)へ窄まっている内側延出部413fと、を備えている。
ボタンベース413における内側延出部413fの外周面と、フランジ部413bの前面とにボタンレンズ411の外周縁及びボタンフレーム412が取付けられる。四つのガイドボス部413cは、本体部413aの周方向に対して、上下左右の四隅に相当する部位に夫々配置されている。これら四つのガイドボス部413cは、ベースユニット430におけるユニットベース431の保持孔431b内に夫々摺動可能に挿入される。三つの検知片413dは、本体部413aの周方向に対して、上側に二つ、下側に一つ、配されるように、周方向へ略等間隔に配置されている。これら三つの検知片413dは、操作ボタン410が押圧されると、ベースユニット430の押圧検知センサ440により検知される。
六つのベース開口部413eは、左右両側に夫々三つずつ備えられており、ボタンレンズ411の第二ボタン装飾部411b及びボタンフレーム412のフレーム開口部412aと対応している。ボタンベース413におけるベース開口部413eの部位では、本体部413a及び内側延出部413fの一部が、外周側から内側へ窪んでいる。内側延出部413fは、内側へ窄まっている前端の内径が、ボタンフレーム412の内径と略一致している。
この操作ボタン410は、前面が前方へ湾曲面状(略球面の一部の形状)に膨出していると共に、透明に形成されており、後側に配置されている扉枠側演出表示装置460の表示画面を前方から視認することができる。操作ボタン410は、四つのガイドボス部413cがベースユニット430におけるユニットベース431の保持孔431bに摺動可能に挿入されていると共に、ユニットベース431の保持孔に431bに挿入されている操作ボタンバネ438により前方へ付勢されている。操作ボタン410は、ベースユニット430の操作ボタンバネ438の付勢力により、外周縁の前面側がフレームユニット415に当接することで、前方へのこれ以上の移動が規制されており、操作ボタンバネ438の付勢力に抗して押圧操作することで、後端がベースユニット430の前面に当接するまで後方へ移動する。操作ボタン410は、押圧操作して後方へ移動させると、三つの検知片413dの少なくとも一つがベースユニット430の押圧検知センサ440に検知される。この押圧検知センサ440による検知片413dの検知によって、操作ボタン410が操作されたこととなる。
また、操作ボタン410は、演出操作ユニット400を組立てた状態で、透明なボタンレンズ411におけるボタンフレーム412の内周端から中央側へ延びるように全周に亘って形成されている第一ボタン装飾部411aによって、ボタンベース413の内周面と、ベースユニット430の操作ボタン内装飾部材432との間の隙間を、遊技者側から見え難くすることができる。
更に、操作ボタン410は、円筒状のボタンベース413の前端開口を、ボタンレンズ411とボタンフレーム412とで閉鎖しており、ボタンレンズ411の外周縁に取付けられているボタンフレーム412により、操作ボタン410の外径に対して、後方が視認可能な透明な部分が、外周から内側へ窄まったように形成されている。このボタンフレーム412の存在によっても、ボタンベース413の内周面と、ベースユニット430の操作ボタン内装飾部材432との間の隙間を、遊技者側から見え難くしている。
また、操作ボタン410は、演出操作ユニット400に組立てた状態では、筒状のボタンベース413(本体部413a)の後端が、装飾基板ユニット420の内周側を通して装飾基板ユニット420の前面よりも後方へ突出した状態となる。これにより、装飾基板ユニット420の操作ボタン左外装飾基板422及び操作ボタン右外装飾基板423に夫々実装されている第一LED422a,423a及び第二LED422b,423bから前方へ照射された光が、ボタンベース413の外側から内側へ漏れるのを防止することができると共に、ベースユニット430の操作ボタン左内装飾基板433、操作ボタン右内装飾基板434、操作ボタン上内装飾基板435、及び操作ボタン下内装飾基板436に実装されたLEDから前方へ照射された光がボタンベース413の内側から外側へ漏れるのを防止することができる。従って、装飾基板ユニット420の第一LED422a,423a及び第二LED422b,423bやベースユニット430の操作ボタン左内装飾基板433、操作ボタン右内装飾基板434、操作ボタン上内装飾基板435、及び操作ボタン下内装飾基板436に実装されたLEDが、発光装飾対象としている部位以外が発光装飾されてしまうのを防止することができ、見栄え良く発光装飾を行うことができる。
[3-4b.フレームユニット]
演出操作ユニット400のフレームユニット415について、主に図39乃至図41等を参照して詳細に説明する。フレームユニット415は、操作ボタン410の前方側から外周を囲むように、皿ユニット320における皿ユニットカバー326の演出操作ユニット取付部326aに前側から取付けられ、操作ボタン410の外側を装飾している。フレームユニット415は、外形が演出操作ユニット取付部326aの前端側に合せた形状に形成されている。
フレームユニット415は、皿ユニット320における皿ユニットカバー326の演出操作ユニット取付部326aに取付けられ円形の中央開口部416aを有する枠状のフレーム本体416と、中央開口部416aの左右両側でフレーム本体416に後側から取付けられる透光性を有した一対のフレームサイドレンズ417と、中央開口部416aの上側でフレーム本体416に前側から取付けられる透光性を有したフレームトップレンズ418と、を備えている。
フレーム本体416は、操作ボタン410の外径よりも小径で前後に貫通している円形の中央開口部416aと、中央開口部416aよりも左右両外側で前後に貫通していると共に中央開口部416aの周縁に沿って円弧状に延びており周方向に列設されている複数(六つ)の外周開口部416bと、中央開口部416aの上側前面において所定幅で切欠かれている切欠部416cと、を備えている。中央開口部416aは、操作ボタン410におけるボタンフレーム412のフレーム開口部412aの外周側の直径と略同じ大きさに形成されている。これにより、フレーム開口部412aの外周後側に操作ボタン410におけるボタンベース413のフランジ部413bの前端側が当接できるようになっている。
六つの外周開口部416bは、中央開口部416aの左右両外側に、夫々三つずつ備えられており、後側からフレームサイドレンズ417によって閉鎖されている。切欠部416cは、前後方向にも貫通しており、前側からフレームトップレンズ418が嵌込まれている。
また、フレーム本体416は、中央開口部416aの周縁よりも若干外側の位置から後方へ延出している略筒状の内側筒部416dを備えている。内側筒部416dは、中央開口部416aと外周開口部416bとの間の位置から後方へ延出しており、切欠部416cと対応している部位が切欠かれている。内側筒部416dは、演出操作ユニット400を組立てた状態では、装飾基板ユニット420の操作ボタン左外装飾基板422及び操作ボタン右外装飾基板423における夫々の第一LED422a,423aと第二LED422b,423bとの間に位置しており、第一LED422a,423aと第二LED422b,423bとの間を仕切っている(図38を参照)。
更に、フレーム本体416は、外周の左右両側上部において夫々外方へ延出しており、皿ユニット320の皿ユニットカバー326の演出操作ユニット取付部326aに取付けられる一対の取付部416eを備えている。フレーム本体416(演出操作ユニット400)は、一対の取付部416eと切欠部416cの左右両側の部位が、皿ユニット320における皿ユニットカバー326の演出操作ユニット取付部326aに取付けられる。
フレーム本体416は、中央開口部416aを間にして切欠部416c側(フレームトップレンズ418が取付けられる側)とは反対側で切欠部416cと同じ幅の部位を除いて、表面の略全体に金属光沢を有したメッキ層が形成されている。
フレームサイドレンズ417は、フレーム本体416の左右に夫々三つずつ形成されている外周開口部416bを後側から閉鎖している。フレームサイドレンズ417は、前面側が凹凸の無い滑らかな面に形成されており、後面側に中央開口部416aの周縁に沿った複数の凹凸が形成されている(図39及び図46を参照)。これら複数の凹凸によって光が屈折することで、フレームサイドレンズ417の後側が見えないようになっている。
フレームトップレンズ418は、フレーム本体416の切欠部416cに前側から嵌込まれるように、外形が略四角形に形成されている。フレームトップレンズ418は、前面側が滑らかに形成されている。また、フレームトップレンズ418は、後面側に中央開口部416aの周縁に沿ってジグザグ状に延びた複数の凹凸が中央開口部416aの半径方向に複数列設されている(図37及び図46を参照)。これら複数の凹凸によって光が屈折することで、フレームトップレンズ418の後側が見えないようになっている。
フレームユニット415は、演出操作ユニット400を組立てた状態で、一対のフレームサイドレンズ417が装飾基板ユニット420の操作ボタン左外装飾基板422及び操作ボタン右外装飾基板423における夫々の第二LED422b,423bの前方に位置すると共に、フレームトップレンズ418がベースユニット430のフレームトップレンズ装飾基板437の前方に位置し、それらに実装されている第二LED422b,423b等によって夫々が発光装飾可能となっている。
[3-4c.装飾基板ユニット]
演出操作ユニット400の装飾基板ユニット420について、主に図39乃至図43等を参照して詳細に説明する。図43は、演出操作ユニットの装飾基板ユニットを分解して前から見た分解斜視図である。装飾基板ユニット420は、フレームユニット415の下方でベースユニット430の前面に取付けられ、操作ボタン410の第二ボタン装飾部411b及びフレームユニット415のフレームサイドレンズ417を発光装飾させることができると共に、演出操作ユニット400に振動を付与させることができるものである。
装飾基板ユニット420は、上方側が開放されたC字状の基板ベース421と、基板ベース421における左右両側の前面に夫々取付けられている操作ボタン左外装飾基板422及び操作ボタン右外装飾基板423と、基板ベース421の前面下部に取付けられている振動モータ424と、振動モータ424の前側を覆うように基板ベース421の前面に取付けられているモータカバー425と、を備えている。
基板ベース421は、内周側が操作ボタン410のボタンベース413における筒状の本体部413aの外径よりも若干大きく形成されていると共に、外周側がボタンベース413におけるフランジ部413bの外径よりも大きく且つフレームユニット415の外径よりも小さく形成されている。
操作ボタン左外装飾基板422は、基板ベース421の前面に沿って円弧状に延びている。操作ボタン左外装飾基板422は、前面側に、基板ベース421の内周に沿って実装された複数の第一LED422aと、複数の第一LED422aよりも半径方向外側で基板ベース421の内周に沿って実装された複数の第二LED422bと、を備えている。操作ボタン右外装飾基板423は、基板ベース421の前面に沿って円弧状に延びている。操作ボタン右外装飾基板423は、前面側に、基板ベース421の内周に沿って実装された複数の第一LED423aと、複数の第一LED423aよりも半径方向外側で基板ベース421の内周に沿って実装された複数の第二LED423bと、を備えている。これら操作ボタン左外装飾基板422及び操作ボタン右外装飾基板423は、前後両面が白色とされている。
振動モータ424は、回転軸に偏芯した錘424aが取付けられており、この錘424aを回転させることで振動を発生させることができる。
装飾基板ユニット420は、演出操作ユニット400に組立てた状態では、基板ベース421の内側に、操作ボタン410におけるボタンベース413の筒状の本体部413a後端側が挿入されている。また、装飾基板ユニット420は、操作ボタン左外装飾基板422及び操作ボタン右外装飾基板423における夫々の第一LED422a,423aが操作ボタン410の第二ボタン装飾部411bの後方に位置し、夫々の第二LED422b,423bがフレームユニット415のフレームサイドレンズ417の後方に位置している。また、演出操作ユニット400に組立てた状態では、操作ボタン左外装飾基板422及び操作ボタン右外装飾基板423の夫々の第一LED422a,423aと、夫々の第二LED422b,423bとの間に、フレームユニット415の内側筒部416dが位置している(図38を参照)。
従って、装飾基板ユニット420は、操作ボタン左外装飾基板422及び操作ボタン右外装飾基板423における夫々の第一LED422a,423aからの光によって操作ボタン410の第二ボタン装飾部411bのみを発光装飾させることができると共に、夫々の第二LED422b,423bからの光によってフレームユニット415のフレームサイドレンズ417のみを発光装飾させることができる。
また、装飾基板ユニット420は、振動モータ424の錘424aを回転させることで、振動を発生させて、演出操作ユニット400全体を振動させることができる。
[3-4f.演出操作ユニットの作用効果]
演出操作ユニット400の作用効果について、主に図44乃至図46等を参照して詳細に説明する。図44は、図37の演出操作ユニットの断面図において操作ボタンを押圧した状態を示す説明図である。図45(a)は演出操作ユニットを操作ボタンの中心軸の延びている方向から見た図において操作ボタンの一部を切欠いて操作ボタンの第一ボタン装飾部やボタンフレーム等によって隠そうとしている部位を示す説明図であり、(b)は演出操作ユニットの断面図において操作ボタンの第一ボタン装飾部やボタンフレーム等によって隠そうとしている部位を示す説明図である。図46(a)は演出操作ユニットの外観を前から見た斜視図で示す説明図であり、(b)は演出操作ユニットの外観を操作ボタンの中心軸の延びている方向から見た説明図である。
本実施形態の演出操作ユニット400は、遊技盤5の遊技領域5a内に遊技球が打込まれることで変化する遊技状態に応じて演出画像を遊技者に見せることができると共に、遊技者に操作ボタン410の操作をさせて遊技者に提示した演出に遊技者を参加させて楽しませることができるものである。
演出操作ユニット400は、全高が、扉枠3の扉枠ベースユニット100における扉枠ベース110の貫通口111の下側の部位の高さと略同じ高さに形成されている。また、演出操作ユニット400は、全幅が、扉枠3の全幅の1/3よりも若干大きく形成されている。演出操作ユニット400は、正面視において、遊技領域5a(扉枠ベース110の貫通口111)の下側で左右方向の中央に配置されている。
演出操作ユニット400は、フレームユニット415のフレーム本体416の上部が、皿ユニット320における皿ユニットカバー326の演出操作ユニット取付部326aに取付けられている。演出操作ユニット400は、皿ユニット320に取付けた状態で、底面となる中継基板カバー442の脚部442aの下面が、皿ユニット320の皿ユニットカバー326における底板部326iの上面との間に、隙間が形成されている。つまり、演出操作ユニット400は、皿ユニット320に対して上部のみが取付けられており、吊下げられた状態に取付けられている。
また、演出操作ユニット400は、フレームユニット415の前面(フレーム本体416の中央開口部416aの前端内周により形成される面)が、演出操作ユニット取付部326aの前端開口の傾斜面と平行になるように取付けられている。これにより、演出操作ユニット400は、湾曲面状(略球面の一部の形状)に前方へ膨出している透明な操作ボタン410の中心軸線CLが、垂直線に対して63度の角度で、前方へ向かうに従って上方へ移動するように傾斜している。これにより、本パチンコ機1を用いて遊技を行うために本パチンコ機1の前で遊技者が着座すると、遊技者の頭部が皿ユニット320(演出操作ユニット400)の上方に配置されている遊技盤5における遊技領域5aの中央の前方に位置するため、操作ボタン410の中心軸線CLが、遊技者の頭部付近を通ることとなる。従って、遊技者が遊技領域5aから演出操作ユニット400(操作ボタン410)に視線を落すと、操作ボタン410がその正面視(中心軸線CLと平行な方向からの投影視)に可及的に近い状態で見えることとなり、操作ボタン410や操作ボタン410内の扉枠側演出表示装置460等を良好な状態で視認することができる。
演出操作ユニット400は、操作ボタン410の四つのガイドボス部413cがベースユニット430の四つの保持孔431bに夫々摺動可能に挿入されていると共に、操作ボタンバネ438により前方へ付勢されている。演出操作ユニット400は、通常の状態(操作ボタン410を押圧操作していない状態)では、操作ボタンバネ438の付勢力によって、操作ボタン410のボタンベース413のフランジ部413bの前端が、フレームユニット415のフレーム本体416の後面における中央開口部416a付近の部位に当接している。
演出操作ユニット400は、通常の状態では、操作ボタン410におけるボタンフレーム412の内周付近から中央側(中心軸線CL側)が、フレームユニット415におけるフレーム本体416の中央開口部416aから前方へ突出している。換言すると、操作ボタン410における湾曲面状(略球面の一部の形状)に前方へ膨出している透明なボタンレンズ411において、ボタンフレーム412の内周(内側)から前方へ突出している部位が、フレームユニット415のフレーム本体416の中央開口部416aから前方へ突出している(図37等を参照)。
因みに、本実施形態では、フレームユニット415におけるフレーム本体416の中央開口部416aの直径が約15cmとされており、操作ボタン410の中心軸線CL方向に対してボタンレンズ411(の前端)がフレームユニット415の前面から約4cm前方へ突出している。
通常の状態において、遊技者が演出操作ユニット400の操作ボタン410を押圧操作すると、操作ボタン410は操作ボタンバネ438の付勢力に抗して中心軸線CLに沿って後方へ移動する。そして、操作ボタン410の後端がベースユニット430のユニットベース431の前面に当接すると、後方への移動が規制されて操作ボタン410の後方への移動が停止する。遊技者が操作ボタン410を押圧操作する時には、湾曲面状(略球面の一部の形状)に前方へ膨出しているボタンレンズ411を押圧する。
この操作ボタン410は、従来のパチンコ機に備えられている演出用の操作ボタンと比較して、外径が非常に大きく形成されているため、ボタンレンズ411の中央部分から離れた周縁付近が押圧される可能性が高い。詳述すると、従来のパチンコ機における演出用の操作ボタンは、その中心軸線が垂直線と略平行に延びるように取付けられているのに対して、本実施形態の演出操作ユニット400の操作ボタン410は、中心軸線CLが垂直線に対して傾いて取付けられているため、遊技者が従来のパチンコ機と同様に上方から操作ボタン410を押圧すると、図44において白抜きの矢印で示すように、操作ボタン410の中心軸線CLから離れた部位を押圧することとなる。
ところで、従来のパチンコ機における演出用の操作ボタンは、遊技者が押圧操作する面が平坦な面に形成されていることから、押圧操作する部位を平坦な面としたまま操作ボタンを大きくした場合、操作ボタンの中央から外れた部位を押圧すると、その押圧された部位が先に後退するように押圧操作する面が傾いてしまい、操作ボタンが真直ぐに後退することができなくなって、操作ボタンを押圧操作することができなくなる虞がある。
これに対して、本実施形態の演出操作ユニット400の操作ボタン410は、遊技者が押圧操作する部位(ボタンレンズ411)が、前方へ膨出した湾曲面状(略球面の一部の形状)としているため、操作ボタン410の中央から離れた位置を押圧操作した場合、その力が操作ボタン410の全体に分散されて操作ボタン410が傾き難くなり、操作ボタン410が真直ぐに後方へ移動することができる。従って、操作ボタン410の前面側のどの位置を押圧操作しても、操作ボタン410が傾くことなくスムーズに後退することができるため、押圧操作を確実に検知させることができ、操作ボタン410を押圧操作する演出を十分に楽しませることができる。
また、演出操作ユニット400は、装飾基板ユニット420における基板ベース421の前面下部に振動モータ424が取付けられている上で、上述したように、演出操作ユニット400が吊下げられるように上部のみが皿ユニットカバー326の演出操作ユニット取付部326aに取付けられているため、振動モータ424により錘424aを回転させて振動を発生させると、取付けられている部位から最も離れた部位で振動が発生することから、演出操作ユニット400全体を大きく(強く)振動させることができ、演出操作ユニット400に触れている遊技者に対して振動を伝達させることができる。また、振動モータ424を、比較的遊技者が押圧操作し易い位置(図44において白抜きの矢印の位置)の直下に配置しているため、操作ボタン410を押圧操作している遊技者に対して強い振動を伝達させることができ、遊技者を驚かせて演出を楽しませることができる。
更に、演出操作ユニット400は、吊下げられたような状態で皿ユニットカバー326に取付けられていると共に、下面を形成している中継基板カバー442の脚部442aの下面と皿ユニットカバー326の底板部326iの上面との間に隙間が形成されているため、操作ボタン410を強く下方へ押圧したり叩いたりした時に、脚部442aの下面が底板部326iの上面に当接するまでの間、フレームユニット415の取付部416eや皿ユニットカバー326の演出操作ユニット取付部326a等が下方へ撓むことで衝撃を吸収することができる。また、脚部442aの下面が底板部326iの上面に当接した後では、演出操作ユニット400の下方への移動を規制し、フレームユニット415の取付部416eや皿ユニットカバー326の演出操作ユニット取付部326a等に無理な力が作用するのを回避させることができ、演出操作ユニット400等の破損を防止することができる。従って、演出操作ユニット400の操作ボタン410を押圧操作する演出を遊技者に提示した時等に、強い力で操作ボタン410が押圧操作されたり叩かれたりしても、操作ボタン410や演出操作ユニット400等が破損することはないため、破損による遊技の中断を回避させることができ、遊技者の興趣の低下を抑制させることができると共に、破損し難くすることで遊技ホール側の負担の増加を抑制させることができる。
なお、上述したように、遊技者が押圧操作する操作ボタン410のボタンレンズ411を、前方へ突出している湾曲面状(略球面の一部の形状)に形成しているため、平板状とした場合と比較して強度・剛性が高くなっていると共に、強く叩かれても、その衝撃をボタンレンズ411全体へ分散させることができ、破損し難くなっている。
また、演出操作ユニット400は、図46に示すように、ボタンレンズ411、フレームサイドレンズ417、フレームトップレンズ418、及び操作ボタン内装飾部材432が、透明な部材で構成されているため、それらの裏面側に形成されている第一ボタン装飾部411a、第二ボタン装飾部411b、第一ボタン内装飾部432f、及び第二ボタン内装飾部432g等の凹凸による装飾が、前方側(遊技者側)から視認することができる。また、それら凹凸の装飾が形成されている部位では、板厚が変化していることら光が複雑に屈折するため、凹凸の装飾が形成されている部位を通しては後側が視認し難くなっている。
演出操作ユニット400は、操作ボタン410のボタンレンズ411におけるボタンフレーム412の内周から中央側へ延びている第一ボタン装飾部411aを備えているため、この第一ボタン装飾部411aの凹凸の装飾によりボタンレンズ411の内側となる部位の外周縁の部位において後方を見え辛くすることができる。第一ボタン装飾部411aが形成されている部位の後方(中心軸線CL方向の後方)には、操作ボタン410のボタンベース413の本体部413aの内周面と操作ボタン内装飾部材432の周壁部432aの外周面との間の隙間が位置しているが、その隙間の前方に位置する第一ボタン装飾部411aによって前方側(遊技者側)から、操作ボタン内装飾部材432の外周の隙間を見え難くすることができる。これにより、押圧操作可能な操作ボタン410内に、位置が固定されている操作ボタン内装飾部材432を備えても、操作ボタン410の見栄えの悪化を防止することができ、操作ボタン410を見た遊技者が不快感を抱くのを防止することができると共に、透明な操作ボタン410内に操作ボタン内装飾部材432を問題なく配置することができ、操作ボタン410の見栄えを良くすることができる。
詳述すると、演出操作ユニット400は、操作ボタン410におけるボタンレンズ411の第一ボタン装飾部411a、第二ボタン装飾部411b、及びボタンフレーム412によって、ベースユニット430の操作ボタン内装飾部材432の外周よりも外側で後方側(奥側)にあるユニットベース431や装飾基板ユニット420等が、透明なボタンレンズ411を通して遊技者側から見えないように形成されている。具体的には、図45において、一点鎖線で囲んだクロスハッチの部位が、遊技者側から見えないようにしている。このように、操作ボタン410に第一ボタン装飾部411a、第二ボタン装飾部411b、及びボタンフレーム412等を備えているため、操作ボタン内装飾部材432の外側や奥側を見え難くして隠すことができ、操作ボタン410、ひいては、演出操作ユニット400全体の見栄えを良くすることができる。
また、演出操作ユニット400は、操作ボタン410におけるボタンレンズ411の第一ボタン装飾部411aが、操作ボタン410の中心軸線CLへ向かうように延びていると共に周方向に列設されているのに対して、操作ボタン410の内側後方に配置されている操作ボタン内装飾部材432の前板部432bに形成されている第二ボタン内装飾部432gが中心軸線CLを中心とした変八角形状に延びていると共に同心円状に列設されているため、図46に示すように、第一ボタン装飾部411aの凹凸線と第二ボタン内装飾部432gの凹凸線とが交差することとなり、幾何学的な装飾を遊技者に見せることができる。
また、演出操作ユニット400は、第一ボタン装飾部411aと第二ボタン内装飾部432gとが、前後方向(中心軸線CLの延びている方向)に離れているため、第一ボタン装飾部411aと第二ボタン内装飾部432gとによって奥行のある立体的な感じの幾何学模様を遊技者に見せることができ、操作ボタン410内を含む装飾を楽しませることができる。
更に、演出操作ユニット400では、第一ボタン装飾部411aと第二ボタン内装飾部432gとが前後方向に離れているため、遊技者の目の位置が移動すると、第一ボタン装飾部411aの凹凸線と、第二ボタン内装飾部432gの凹凸線との重なり具合が変化するため、動きのある装飾を遊技者に見せることができ、遊技者を楽しませることができる。
このように、演出操作ユニット400は、操作ボタン410の第一ボタン装飾部411aと操作ボタン内装飾部材432の第二ボタン内装飾部432gとによって、動きがあり立体感のある装飾を遊技者に見せることができるため、遊技者の関心を強く引付けることができ、訴求力の高いパチンコ機1とすることができる。
また、演出操作ユニット400は、操作ボタン410内(ボタンフレーム412の内側)で、操作ボタン内装飾部材432の後方には、操作ボタン左内装飾基板433、操作ボタン右内装飾基板434、操作ボタン上内装飾基板435、及び操作ボタン下内装飾基板436が配置されており、それらの前面に実装されている複数のLEDを発光させることで、操作ボタン410内の操作ボタン内装飾部材432を発光装飾させることができる。つまり、操作ボタン左内装飾基板433、操作ボタン右内装飾基板434、操作ボタン上内装飾基板435、及び操作ボタン下内装飾基板436によって、操作ボタン410内を発光装飾させることができる。これら操作ボタン左内装飾基板433、操作ボタン右内装飾基板434、操作ボタン上内装飾基板435、及び操作ボタン下内装飾基板436の前面に実装されているLEDは、図38に示すように、中心軸線CLの延びている方向から見て、操作ボタン410のボタンベース413における筒状の本体部413aの内側に配置されているため、それらからの光が本体部413aの外側に漏れることはなく、操作ボタン410内のみを良好に発光装飾させることができる。
また、演出操作ユニット400は、操作ボタン410の外周付近に位置するボタンフレーム412のフレーム開口部412aから臨む第二ボタン装飾部411bの後方に、装飾基板ユニット420における操作ボタン左外装飾基板422の第一LED422a及び操作ボタン右外装飾基板423の第一LED423aが配置されており、それら第一LED422a,423aを発光させることで、操作ボタン410の六つの第二ボタン装飾部411bを発光装飾させることができる。操作ボタン左外装飾基板422の第一LED422a及び操作ボタン右外装飾基板423の第一LED423aは、図38に示すように、操作ボタン410のボタンベース413における筒状の本体部413aと、フレームユニット415のフレーム本体416における筒状の内側筒部416dとの間に位置しており、第一LED422a,423aからの光が本体部413aの内側や内側筒部416dの外側へ漏れることはなく、操作ボタン410の第二ボタン装飾部411bのみを良好に発光装飾させることができる。
更に、演出操作ユニット400は、フレームユニット415におけるフレーム本体416の六つの外周開口部416bから臨むフレームサイドレンズ417の後方に、操作ボタン左外装飾基板422の第二LED422b及び操作ボタン右外装飾基板423の第二LED423bが配置されており、それら第二LED422b,423bを発光させることでフレームサイドレンズ417を発光装飾させることができる。操作ボタン左外装飾基板422の第二LED422b及び操作ボタン右外装飾基板423の第二LED423bは、フレームユニット415のフレーム本体416における筒状の内側筒部416dとフレーム本体416の外周との間に位置しており、第二LED422b,423bからの光が内側筒部416dの内側やフレーム本体416の外側へ漏れることはなく、フレームユニット415のフレームサイドレンズ417のみを良好に発光装飾させることができる。
また、演出操作ユニット400は、フレームユニット415のフレームトップレンズ418の後方に、ベースユニット430におけるフレームトップレンズ装飾基板437が配置されており、フレームトップレンズ装飾基板437の前面に実装されている複数のLEDを発光させることで、フレームトップレンズ418を発光装飾させることができる。ベースユニット430におけるユニットベース431のフレームトップレンズ装飾基板437が取付けられている部位の下側からは、フレームトップレンズ418の下端後方付近まで平板状の遮光壁部431cが前方へ突出しており、フレームトップレンズ装飾基板437のLEDからの光が操作ボタン410やフレームサイドレンズ417側へ漏れることはなく、フレームユニット415のフレームトップレンズ418のみを良好に発光装飾させることができる。
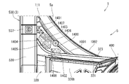
[3-5.扉枠左サイドユニット]
扉枠3の扉枠左サイドユニット530について、主に図47乃至図50を参照して詳細に説明する。図47(a)は扉枠における扉枠左サイドユニットの正面図であり、(b)は扉枠左サイドユニットを前から見た斜視図であり、(c)は扉枠左サイドユニットを後ろから見た斜視図である。図48は扉枠左サイドユニットを分解して前から見た分解斜視図であり、図49は扉枠左サイドユニットを分解して後ろから見た分解斜視図である。図50は図47(a)におけるL-L線で切断した断面図である。扉枠左サイドユニット530は、皿ユニット320の上側で扉枠左サイド上装飾基板161及び扉枠左サイド下装飾基板162(扉枠左サイド装飾基板160)の前側を覆うように扉枠ベースユニット100における貫通口111よりも左側の前面左部に取付けられるものである。扉枠左サイドユニット530は、扉枠ベース110の貫通口111の正面視左側を装飾するためのものである。
扉枠左サイドユニット530は、扉枠ベースユニット100における扉枠ベース110の前面で貫通口111の正面視左側に取付けられる上下に延びた帯板状の左ユニットベース531と、左ユニットベース531の前面に取付けられている透明な帯板状の左ユニット拡散レンズ部材532と、左ユニット拡散レンズ部材532の前方に配置されており前端部に多面体状の装飾を有している透光性を有する左ユニット装飾レンズ部材(図示は省略)と、左ユニット装飾レンズ部材の前側から左ユニットベース531の前面上部に取付けられており前方へ筒枠状に突出していると共に上下に延びている左ユニット上装飾ベース534と、左ユニット装飾レンズ部材の前側から左ユニットベース531の前面下部に取付けられており左ユニット上装飾ベース534よりも短く前方へ枠状に突出している左ユニット下装飾ベース535と、左ユニット上装飾ベース534及び左ユニット下装飾ベース535の前側から左ユニット装飾レンズ部材の前端側を覆うように左ユニットベース531の前側に取付けられている透明な左ユニット装飾カバー536と、左ユニット装飾カバー536の前側に取付けられている複数の飾り部材537と、を備えている。
扉枠左サイドユニット530の左ユニットベース531は、後側が開放された浅い箱状に形成されており、前面に前後に貫通している複数の開口部531aを有している。複数の開口部531aは、図示するように、円形状の穴と、上下に延びた四角形状の穴とがある。左ユニットベース531は、扉枠左サイド装飾基板160(扉枠左サイド上装飾基板161及び扉枠左サイド下装飾基板162)の前面に実装されているLED161a,162aが、複数の開口部531aから前方へ臨むように、扉枠ベース110の前面左側に取付けられる。左ユニットベース531の各開口部531aは、扉枠3に組立てた時に、扉枠左サイド装飾基板160の各LED161a,162aが上下方向の略中央に位置するように夫々形成されている。この左ユニットベース531は、不透光性の部材によって形成されている。
また、左ユニットベース531は、上記貫通口111を塞ぐように配設されるガラス板192から手前側に向けて立設された左側反射立壁部538(図5、図23を参照)を有している。この左側反射立壁部538では、平らな面状をなし上記貫通口111に対して臨むように設けられる内側面が光を反射可能な反射面として設けられている。なお、この反射面は、左側反射立壁部538の内側面これ自体を金属や樹脂などの反射用素材から設けることのほか、同内側面に対して反射用シールを取り付けることなどによっても設けることが可能である。そして後述するが、この左側反射立壁部538は、左ユニットベース531によって形成されて、上述した反射立壁部33の一部(左側部分)を担う部分となっている。
左ユニット拡散レンズ部材532は、透明な部材によって形成されており、上拡散レンズ部材532Aと下拡散レンズ部材532Bとに上下に分割されている。左ユニット拡散レンズ部材532は、左ユニットベース531における円形状の開口部531aと対応している正面視円形の円形レンズ部532aと、四角形状の開口部531aと対応している正面視四角形の角形レンズ部532bと、を備えている。扉枠左サイドユニット530は、扉枠3に組立てた状態で、円形レンズ部532a及び角形レンズ部532bの中央の直後に、扉枠左サイド装飾基板160の夫々のLED161a,162aが位置するように形成されている。
左ユニット拡散レンズ部材532の円形レンズ部532aは、前面及び後面が滑らかな凸レンズ状に形成されている。この円形レンズ部532aによって、後方に配置されているLED161a,162aからの光を、点状のまま前方へ照射させることができる。この円形レンズ部532aから前方へ照射された光によって、左ユニット装飾レンズ部材の円形装飾部を発光装飾させることができる。
左ユニット拡散レンズ部材532の角形レンズ部532bは、前面中央において円錐状に後方へ窪んだ中央拡散反射部532cと、前面における中央拡散反射部532cの外側に形成されている前面拡散レンズ部532dと、後面中央(中央拡散反射部532cの直後)において湾曲面状に後方へ膨出している入力レンズ部532eと、後面における入力レンズ部532eの外側で全体的に入力レンズ部532eから遠ざかるに従って前方へ移動するように傾斜している前方反射部532fと、を備えている。
角形レンズ部532bの前面拡散レンズ部532dは、中央拡散反射部532cを中心にした放射状に延びている線により周方向へ分割されている同心円弧状の複数の溝により形成されている。更に詳述すると、前面拡散レンズ部532dは、半径方向に沿って切断した時の断面形状に、溝の部分が後方へ円弧状に窪んでおり、溝と溝の間の山の部分が前方へ円弧状に膨出しており、前面が滑らかな波状に形成されている。また、前面拡散レンズ部532dは、周方向へ分割している放射状に延びた線を境に、溝の部分と山の部分とが周方向へ交互に位置するように形成されている。
角形レンズ部532bの前方反射部532fは、入力レンズ部532eを中心にした放射状に延びている線により周方向へ分割されている同心円弧状の複数の溝により形成されている。これら複数の溝は、後方から前方へ向かってV字状に窪んでおり、最深部が円弧状に形成されている。前方反射部532fは、半径方向に沿って切断した時の断面形状が、溝と溝との間の山の部分が後方へ尖った三角形状に形成されており、鋸状に形成されている。前方反射部532fは、中心から遠ざかるに従って溝及び山の部分が前方へ移動するように形成されている。また、前方反射部532fは、周方向へ分割している放射状に延びた線を境に、溝の部分と山の部分とが周方向へ交互に位置するように形成されている。この周方向へ分割している放射状に延びた線は、前面拡散レンズ部532dにおける放射状に延びた分割線と一致している。
この角形レンズ部532bは、扉枠3に組立てた状態で、入力レンズ部532eの直後に、扉枠左サイド装飾基板160の対応しているLED161a,162aが位置している。
角形レンズ部532bは、LED161a,162aから前方へ照射された光が、入力レンズ部532eから角形レンズ部532b内に入力される。この入力レンズ部532eは、後方へ湾曲面状(凸レンズ状)に膨出していることから、LED161a,162aから前方へ広がる光を、前方へ平行に進むように屈折させて、入力された光の略全てを円錐状の中央拡散反射部532cへ導くことができる。そして、中央拡散反射部532cへ導かれた光は、中央拡散反射部532cの傾斜している円錐面により、前後に延びた軸線に対して直角方向(扉枠左サイド装飾基板160の前面と平行な方向)へ拡散するように反射させられ、角形レンズ部532b内をその前面に沿って中央側から外側へ向かって進むこととなる。また、中央拡散反射部532cで反射した光は、角形レンズ部532bの前後方向の厚さ全体に亘って、中央側から外側(中央拡散反射部532cの中心線から遠ざかる方向)へ進む。
角形レンズ部532b内を扉枠左サイド装飾基板160の前面と略平行に中央側から外側へ向かって反射した光が、鋸状の前方反射部532fに到達すると、前方反射部532fの面により前方側へ反射する。この際に、前方反射部532fは、後面が中央拡散反射部532cから遠ざかるに従って前方へ移動するように傾斜していることから、角形レンズ部532bの前後方向の厚が、中央から遠ざかるに従って薄くなっている(図50を参照)。これにより、中央拡散反射部532cにおいて角形レンズ部532bの前後方向の厚さ全体に亘って外側へ向かって反射している光を、中心側から外側へ向かうに従って、前方反射部532fにより順次前方へ反射させることができる。
そして、前方反射部532fにより前方へ向かって反射させられた光は、前面拡散レンズ部532dを通って角形レンズ部532bから前方へ照射される。この際に、前面拡散レンズ部532dは、断面が波状に形成されているため、前方反射部532fで前方へ向かって反射させられた光を様々な方向へ拡散させることができ、角形レンズ部532bの前面から略均一に光を前方(左ユニット装飾レンズ部材の後面)へ照射させることができる。
この角形レンズ部532bは、前面拡散レンズ部532d及び前方反射部532fでは、同心円状の複数の溝を放射状に延びた複数の線で分割した上で、分割線を境に同心円弧状の複数の溝を半径方向へずらして、同心円弧状の溝を周方向において交互に配置するようにしているため、角形レンズ部532bの前面から前方へ照射される光が、同心円状の縞模様の濃淡を有した光となるのを回避させることができ、より濃淡の均一な光を前方へ照射させることができる。これにより、左ユニット装飾レンズ部材における角形レンズ部532bの前方の多面装飾部を略均一に発光装飾させることができる。
図示しない左ユニット装飾レンズ部材は、左ユニット装飾カバー536の前面に沿うように形成されている。左ユニット装飾レンズ部材は、左ユニット拡散レンズ部材532の円形レンズ部532aの前方の位置する部位に形成されている円形装飾部と、左ユニット拡散レンズ部材532の角形レンズ部532bの前方に位置する部位に形成されている多面装飾部と、を備えている。円形装飾部は、前面が窪み前後に短く延びた円柱状の部位の外周に三角形のリブを周方向に複数備えた形状に形成されている。多面装飾部は、上下に延びた直方体の前面に四角錘状の部位が上下方向に複数列設されていると共に、直方体の部位の左右両側に複数の三角形からなる多面体が上下方向に複数列設したような形状に形成されている。円形装飾部及び多面装飾部は、扉枠右サイドユニット550における右ユニット装飾レンズ部材561の円形装飾部561a及び多面装飾部561bと、同じ形状に形成されている。
左ユニット装飾レンズ部材は、透明な左ユニット装飾カバー536を通して前方側(遊技者側)から視認することができる。また、左ユニット装飾レンズ部材は、円形装飾部が左ユニット拡散レンズ部材532の円形レンズ部532aから前方へ照射された光により、多面装飾部が左ユニット拡散レンズ部材532の角形レンズ部532bから前方へ照射された光により、夫々発光装飾させられる。
左ユニット上装飾ベース534は、正面視の形状が上下に延びた四角形で、前後に延びた角筒状に形成されている。左ユニット上装飾ベース534は、外周における下面を構成する部位が、前端側から後端側へ向かうに従って下方へ突出するように傾斜していおり、その部位の下部が前後に貫通している。この左ユニット上装飾ベース534は、不透光性の部材によって形成されている。
左ユニット下装飾ベース535は、正面視の形状が、上方へ開放されているコ字状に形成されている。左ユニット下装飾ベース535は、前端における上下方向略中央から上側が、上方へ向かうに従って後方へ移動するように後端まで傾斜している。この左ユニット下装飾ベース535は、不透光性の部材によって形成されている。
左ユニット装飾カバー536は、扉枠左サイドユニット530の全高に亘って上下に延びている。左ユニット装飾カバー536は、上下方向の中間部が後方へ凹むように屈曲しており、左ユニット上装飾ベース534の前端に沿うように下部が後方へ折れ曲がっているく字状の部位と、左ユニット下装飾ベース535の前端に沿うように上部が後方へ折れ曲がっているく字状の部位と、上側のく字状の部位の下端と下側のく字状の部位の上端とを結んでいる直線状の部位と、で構成されている。
左ユニット装飾カバー536は、上下両端が左ユニット上装飾ベース534の前面と、左ユニット下装飾ベース535の前面とに夫々取付けられる。この左ユニット装飾カバー536は、透明な部材によって形成されており、後側に配置されている左ユニット装飾レンズ部材を前方側から視認することができる。
飾り部材537は、上下に短く延びており、上下方向へ所定間隔で左ユニット装飾カバー536の前面に取付けられている。飾り部材537は、不透光性の部材によって形成されている。
[3-6.扉枠右サイドユニット]
扉枠3の扉枠右サイドユニット550について、主に図51乃至図55等を参照して詳細に説明する。図51(a)は扉枠における扉枠右サイドユニットの正面図であり、(b)は扉枠右サイドユニットを前から見た斜視図であり、(c)は扉枠右サイドユニットを後ろから見た斜視図である。図52は扉枠右サイドユニットを分解して前から見た分解斜視図であり、図53は扉枠右サイドユニットを分解して後ろから見た分解斜視図である。図54は、図51(a)におけるM-M線で切断した断面図である。図55(a)は図51(a)におけるN-N線で切断した断面図であり、(b)は図51(a)におけるO-O線で切断した断面図である。扉枠右サイドユニット550は、皿ユニット320の上側で扉枠ベースユニット100の扉枠ベース110の前面における貫通口111の右側に取付けられるものである。
扉枠右サイドユニット550は、扉枠ベースユニット100における扉枠ベース110の前面で貫通口111の正面視右側に取付けられる上下に延びた箱状の右ユニットベース551と、右ユニットベース551の前面に取付けられている扉枠右サイド装飾基板552と、扉枠右サイド装飾基板552の前側で右ユニットベース551の前面における正面視中央より左側に取付けられており上下方向及び前後方向に延びている透明平板状の右ユニット左拡散レンズ部材553と、右ユニット左拡散レンズ部材553の左側面に取付けられており装飾が施されているシート状の右ユニット左装飾部材554と、右ユニット左装飾部材554の左側を覆うように右ユニット左拡散レンズ部材553に取付けられている透明平板状の右ユニット左カバー555と、を備えている。
また、扉枠右サイドユニット550は、扉枠右サイド装飾基板552の前側且つ右ユニット左拡散レンズ部材553の正面視右側で右ユニットベース551の前面における正面視中央より右側と右ユニット左拡散レンズ部材553とに取付けられており上下方向及び前後方向に延びている透明平板状の右ユニット右拡散レンズ部材556と、右ユニット右拡散レンズ部材556の右側面に取付けられており装飾が施されているシート状の右ユニット右装飾部材557と、右ユニット右装飾部材557の右側を覆うように右ユニット右拡散レンズ部材556に取付けられている透明平板状の右ユニット右カバーと558、を備えている。
更に、扉枠右サイドユニット550は、右ユニット左拡散レンズ部材553と右ユニット右拡散レンズ部材556との間に配置されており前方及び右方が開放された上下方向及び前後方向に延びた浅い箱状で不透光性の右ユニット左遮光部材559と、右ユニット右拡散レンズ部材556の左側で右ユニット左遮光部材559の開放されている右側を閉鎖するように取付けられている不透光性で平板状の右ユニット右遮光部材560と、を備えている。
また、扉枠右サイドユニット550は、右ユニット左拡散レンズ部材553及び右ユニット右拡散レンズ部材556の前端に取付けられており前端部に多面体状の装飾を有している透光性を有する右ユニット装飾レンズ部材561と、右ユニット装飾レンズ部材561の左右両側と右ユニット左拡散レンズ部材553及び右ユニット右拡散レンズ部材556の前端側を覆うように右ユニットベース551の前面に取付けられている前後に貫通した枠状の右ユニット装飾ベース562と、右ユニット装飾ベース562の前端開口を閉鎖するように右ユニット装飾ベース562の前側に取付けられている透明な右ユニットカバー563と、右ユニットカバー563の前側に取付けられている複数の飾り部材564と、を備えている。なお、図示は省略するが、扉枠右サイドユニット550は、右ユニットベース551を上下に貫通するように取付けられ、扉枠ベースユニット100の扉本体中継基板と、扉枠トップユニット570の扉枠トップユニット中継基板589とを接続するための接続ケーブルを備えている。
扉枠右サイドユニット550の右ユニットベース551は、正面視の形状が上下に長く延びた四角形で、前後に短く角筒状に延びており、前後方向の中央付近が閉鎖された箱状に形成されている。この右ユニットベース551は、不透光性の部材によって形成されている。
また、右ユニットベース551は、上記貫通口111を塞ぐように配設されるガラス板192から手前側に向けて立設された右側反射立壁部568(図6、図24を参照)を有している。この右側反射立壁部568では、平らな面状をなし上記貫通口111に対して臨むように設けられる内側面が光を反射可能な反射面として設けられている。なお、この反射面は、左側反射立壁部538の内側面と同様、右側反射立壁部568の内側面これ自体を金属や樹脂などの反射用素材から設けることのほか、同内側面に対して反射用シールを取り付けることなどによっても設けることが可能である。そして後述するが、この右側反射立壁部568は、右ユニットベース551によって形成されて、上述した反射立壁部33の一部(右側部分)を担う部分となっている。
扉枠右サイド装飾基板552は、上下に延びた帯板状に形成されている。扉枠右サイド装飾基板552は、前面における左右方向中央より左側に実装されている複数の左LED552aと、前面における左右方向中央より右側に実装されている右LED552bと、前面における左右方向中央に実装されている複数の中LED552cと、を備えている。扉枠右サイド装飾基板552の左LED552aは、右ユニット左拡散レンズ部材553を介して右ユニット左装飾部材554を発光装飾させためのものである。また、右LED552bは、右ユニット右拡散レンズ部材556を介して右ユニット右装飾部材557を発光装飾させるためのものである。中LED552cは、右ユニット装飾レンズ部材561を発光装飾させるためのものである。
扉枠右サイド装飾基板552は、前後両面が白色に形成されている。扉枠右サイド装飾基板552は、上側の扉枠右サイド上装飾基板552Aと、下側の扉枠右サイド下装飾基板552Bとに上下に分割されている。図示は省略するが、扉枠右サイド下装飾基板552Bは、扉枠ベースユニット100の扉本体中継基板に接続されており、扉枠右サイド上装飾基板552Aは、扉枠右サイド下装飾基板552Bに接続されている。
右ユニット左拡散レンズ部材553は、上下方向及び前後方向に延びた平板状の本体部553aと、本体部553aの後辺から正面視右方へ短く平板状に突出している後壁部553bと、後壁部553bの正面視右端側から左方へ四角形状に切欠かれており上下方向に所定間隔で複数形成されている切欠部553cと、本体部553aの正面視左面側において右ユニット左装飾部材554を収容可能に浅く窪んでいる収容凹部553dと、本体部553aの後端面から後方へ突出しており上下方向に複数備えられている入力レンズ部553eと、本体部553aの正面視右面側において各入力レンズ部553eが上下方向の中央となるように上下方向に複数配置されている側面反射部553fと、を備えている。
右ユニット左拡散レンズ部材553の本体部553aは、側面視の形状が、上下に延びた四角形の前端側の上隅がC面取り状に斜めに切欠かれていると共に、下辺が前方へ向かうに従って上方へ移動するように傾斜している形状に形成されている。また、本体部553aは、図55に示すように、後端側から前方へ向かうに従って、正面視右方へ移動するように全体が、扉枠右サイド装飾基板552の前面の垂直線に対して僅かに傾斜している。本体部553aの前端は、扉枠3に組立てた状態で、扉枠左サイドユニット530の前端よりも大きく前方へ突出している。
後壁部553bは、扉枠右サイドユニット550に組立てた状態で、その右端が、右ユニットベース551の左右方向略中央まで延びている。この後壁部553bの右端には、右ユニット右拡散レンズ部材556の後壁部556bの左端が当接する。
複数の切欠部553cは、上下方向へ所定間隔で複数形成されており、一部が扉枠右サイド装飾基板552の中LED552cと対応している。扉枠右サイドユニット550に組立てた状態では、複数の切欠部553cから扉枠右サイド装飾基板552の中LED552cが前方に臨んでおり、複数の中LED552cによって右ユニット装飾レンズ部材561を良好に発光装飾させることができる。
収容凹部553dは、底面が平坦面に形成されており、外周の形状が右ユニット左装飾部材554の外形形状に略一致している。これにより、右ユニット左装飾部材554を収容することができる。
複数の入力レンズ部553eは、本体部553aの後端面から上下方向へ所定間隔で後方へ突出している。具体的には、右ユニット左拡散レンズ部材553を上下方向へ6等分した時の夫々の上下方向略中央に形成されている。入力レンズ部553eは、詳細な図示は省略するが、上下に延びた四角形が後方へ突出した直方体の部位と、その直方体の部位の後面から球面状に湾曲するように前方へ向かって窪んでいる部位と、を有している。これら入力レンズ部553eは、扉枠右サイドユニット550に組立てた状態で、扉枠右サイド装飾基板552の左LED552aの直前に夫々位置している。これにより、左LED552aからの光を、本体部553a内で広く拡散されるように入力させることができる。
側面反射部553fは、上下方向に複数(六つ)備えられている。各側面反射部553fは、入力レンズ部553eを中心にした放射状に延びている線により周方向へ分割されている同心円弧状の複数の溝により形成されている。これら同心円弧状の複数の溝は、夫々の溝において、入力レンズ部553eに近い側の面が本体部553aの面に対して傾斜していると共に、入力レンズ部553eから遠い側の面が本体部553aの面に対して垂直に延びており、最深部が円弧状に形成されている。側面反射部553fは、入力レンズ部553eを中心とした半径方向に切断した時に断面形状が、溝と溝との間の山の部分が中心側へ向くような尖った三角形状に形成されており、全体が鋸状に形成されている。また、側面反射部553fは、複数の同心円弧状の溝を周方向に分割している放射状の線を境に、溝の部分と山の部分とが周方向へ交互に配置されるように形成されている。
この右ユニット左拡散レンズ部材553は、扉枠右サイド装飾基板552の左LED552aから前方へ照射された光が、入力レンズ部553eの後面から右ユニット左拡散レンズ部材553の本体部553a内へと入射される。この入力レンズ部553eの後端は、前方へ向かって湾曲状に窪んでいることから、その湾曲面により左LED552aからの光が広がるように屈折し、本体部553a内において、各入力レンズ部553eを中心として前方へ向かって放射状に拡散することとなる。
本体部553aは、全体が前方へ向かうに従って正面視右方へ移動するように、扉枠右サイド装飾基板552の前面から垂直に延びている線に対して僅かに傾斜しているため、扉枠右サイド装飾基板552の前面に実装されている左LED552aから照射されて入力レンズ部553eから本体部553a内に入射された光が、本体部553a内の平坦な左面に当ることとなる。しかしながら、左LED552aからの直接光は、本体部553aの左面に対する入射角度の関係で、本体部553aの左面から外部へ放射されることはなく、左面の内面で側面反射部553f側へ反射することとなる。
そして、入力レンズ部553eから本体部553a内に前方へ向かって入射された光は、鋸状の側面反射部553fに当ることで正面視左方へ反射し、本体部553aの左面から外方へ照射されることとなる。なお、本体部553aの右面(側面反射部553f)からも外方(正面視右方)へ光が照射されるが、本体部553aの右側に配置されている右ユニット左遮光部材559が白色の部材とされているため、右ユニット左遮光部材559の左面が明るく照らされることとなり、右ユニット左遮光部材559で反射した間接光が本体部553aを通って左方側へ照射されることとなる。従って、本体部553aの左面からは、本体部553a内において側面反射部553fにより左方へ反射された光と、側面反射部553fから右方へ照射されて右ユニット左遮光部材559の左面で左方へ反射して本体部553aを通過した光とが、左方へ照射されるため、本体部553aの左側に取付けられている右ユニット左装飾部材554を良好な明るさで発光装飾させることができる。
また、側面反射部553fでは、同心円状の複数の溝を放射状に延びた複数の線で分割した上で、分割線を境に同心円弧状の複数の溝を半径方向へずらして、同心円弧状の溝を周方向において交互に配置するようにしているため、本体部553aの左面から外方(左方)へ照射される光が、同心円状の縞模様の濃淡を有した光となるのを回避させることができ、より濃淡の均一な光を左方へ照射させることができる。これにより、本体部553aの左面の収容凹部553dに収容されている右ユニット左装飾部材554を、略均一に発光装飾させることができる。
なお、右ユニット左拡散レンズ部材553は、透明な部材により形成されているため、本体部553aの正面視左側(収容凹部553dが形成されている側)から、反対側に形成されている側面反射部553fの複数の同心円弧状の溝と放射状に延びている線とからなる模様を視認することができる。従って、右ユニット左装飾部材554において、透明な部分を形成した場合、その透明な部分を通して右ユニット左拡散レンズ部材553の側面反射部553fの模様が視認できることとなり、右ユニット左装飾部材554における透明な部分を側面反射部553fによって装飾することができる。
右ユニット左装飾部材554は、薄いシート状に形成されており、パチンコ機1のメーカーロゴや、遊技盤5において遊技者に提示する演出のコンセプトに沿ったロゴ、等の装飾が、透光性を有するように施されている。右ユニット左カバー555は、扉枠右サイドユニット550に組立てた状態で、右ユニット左装飾部材554の外面を保護している。
右ユニット右拡散レンズ部材556は、右ユニット左拡散レンズ部材553とは略左右対称に形成されており、同じような構成を備えている。詳述すると、右ユニット右拡散レンズ部材556は、上下方向及び前後方向に延びた平板状の本体部556aと、本体部556aの後辺から正面視左方へ短く平板状に突出している後壁部556bと、後壁部556bの正面視左端側から右方へ四角形状に切欠かれており上下方向に所定間隔で複数形成されている切欠部556cと、本体部556aの正面視右面側において右ユニット右装飾部材557を収容可能に浅く窪んでいる収容凹部556dと、本体部556aの後端面から後方へ突出しており上下方向に複数備えられている入力レンズ部556eと、本体部556aの正面視左面側において各入力レンズ部556eが上下方向の中央となるように上下方向に複数配置されている側面反射部556fと、を備えている。
右ユニット右拡散レンズ部材556の本体部556aは、側面視の形状が、上下に延びた四角形の前端側の上隅がC面取り状に斜めに切欠かれていると共に、下辺が前方へ向かうに従って上方へ移動するように傾斜している形状に形成されており、右ユニット左拡散レンズ部材553の本体部553aと外形が略同じ形状に形成されている。また、本体部556aは、図55に示すように、後端側から前方へ向かうに従って、正面視左方へ移動するように全体が、扉枠右サイド装飾基板552の前面の垂直線に対して僅かに傾斜している。本体部556aの前端は、扉枠3に組立てた状態で、扉枠左サイドユニット530の前端よりも大きく前方へ突出している。
後壁部556bは、扉枠右サイドユニット550に組立てた状態で、その左端が、右ユニットベース551の左右方向略中央まで延びている。この後壁部556bの左端には、右ユニット左拡散レンズ部材553の後壁部553bの右端が当接する。
複数の切欠部556cは、上下方向へ所定間隔で複数形成されており、一部が扉枠右サイド装飾基板552の中LED552cと対応している。これら複数の切欠部556cは、右ユニット左拡散レンズ部材553の複数の切欠部553cと対応した位置に形成されている。従って、扉枠右サイドユニット550に組立てた状態では、右ユニット左拡散レンズ部材553の切欠部553cと、右ユニット右拡散レンズ部材556の切欠部556cとで、前後に貫通している四角い開口部が形成され、その開口部から扉枠右サイド装飾基板552の中LED552cが前方に臨み、複数の中LED552cによって右ユニット装飾レンズ部材561を良好に発光装飾させることができる。
収容凹部556dは、底面が平坦面に形成されており、外周の形状が右ユニット右装飾部材557の外形形状に略一致している。これにより、右ユニット右装飾部材557を収容することができる。
複数の入力レンズ部556eは、本体部556aの後端面から上下方向へ所定間隔で後方へ突出している。具体的には、右ユニット右拡散レンズ部材556を上下方向へ6等分した時の夫々の上下方向略中央に形成されている。入力レンズ部556eは、詳細な図示は省略するが、上下に延びた四角形が後方へ突出した直方体の部位と、その直方体の部位の後面から球面状に湾曲するように前方へ向かって窪んでいる部位と、を有している。これら入力レンズ部556eは、扉枠右サイドユニット550に組立てた状態で、扉枠右サイド装飾基板552の右LED552bの直前に夫々位置している。これにより、右LED552bからの光を、本体部556a内で広く拡散されるように入力させることができる。
側面反射部556fは、上下方向に複数(六つ)備えられている。各側面反射部556fは、入力レンズ部556eを中心にした放射状に延びている線により周方向へ分割されている同心円弧状の複数の溝により形成されている。これら同心円弧状の複数の溝は、夫々の溝において、入力レンズ部556eに近い側の面が本体部556aの面に対して傾斜していると共に、入力レンズ部556eから遠い側の面が本体部556aの面に対して垂直に延びており、最深部が円弧状に形成されている。側面反射部556fは、入力レンズ部556eを中心とした半径方向に切断した時に断面形状が、溝と溝との間の山の部分が中心側へ向くような尖った三角形状に形成されており、全体が鋸状に形成されている。また、側面反射部556fは、複数の同心円弧状の溝を周方向に分割している放射状の線を境に、溝の部分と山の部分とが周方向へ交互に配置されるように形成されている。
この右ユニット右拡散レンズ部材556は、扉枠右サイド装飾基板552の右LED552bから前方へ照射された光が、入力レンズ部556eの後面から右ユニット右拡散レンズ部材556の本体部556a内へと入射される。この入力レンズ部556eの後端は、前方へ向かって湾曲状に窪んでいることから、その湾曲面により右LED552bからの光が広がるように屈折し、本体部556a内において、各入力レンズ部556eを中心として前方へ向かって放射状に拡散することとなる。
本体部556aは、全体が前方へ向かうに従って正面視左方へ移動するように、扉枠右サイド装飾基板552の前面から垂直に延びている線に対して僅かに傾斜しているため、扉枠右サイド装飾基板552の前面に実装されている右LED552bから照射されて入力レンズ部556eから本体部556a内に入射された光が、本体部556a内の平坦な右面に当ることとなる。しかしながら、右LED552bからの直接光は、本体部556aの右面に対する入射角度の関係で、本体部556aの左面から外部へ放射されることはなく、右面の内面で側面反射部556f側へ反射することとなる。
そして、入力レンズ部556eから本体部556a内に前方へ向かって入射された光は、鋸状の側面反射部556fに当ることで正面視右方へ反射し、本体部556aの右面から外方へ照射されることとなる。なお、本体部556aの右面(側面反射部556f)からも外方(正面視左方)へ光が照射されるが、本体部556aの左側に配置されている右ユニット右遮光部材560が白色の部材とされているため、右ユニット右遮光部材560の右面が明るく照らされることとなり、右ユニット右遮光部材560で反射した間接光が本体部556aを通って右方側へ照射されることとなる。従って、本体部556aの右面からは、本体部556a内において側面反射部556fにより右方へ反射された光と、側面反射部556fから左方へ照射されて右ユニット右遮光部材560の右面で右方へ反射して本体部556aを通過した光とが、右方へ照射されるため、本体部556aの右側に取付けられている右ユニット右装飾部材557を良好な明るさで発光装飾させることができる。
また、側面反射部556fでは、同心円状の複数の溝を放射状に延びた複数の線で分割した上で、分割線を境に同心円弧状の複数の溝を半径方向へずらして、同心円弧状の溝を周方向において交互に配置するようにしているため、本体部556aの右面から外方(右方)へ照射される光が、同心円状の縞模様の濃淡を有した光となるのを回避させることができ、より濃淡の均一な光を右方へ照射させることができる。これにより、本体部556aの右面の収容凹部556dに収容されている右ユニット右装飾部材557を、略均一に発光装飾させることができる。
なお、右ユニット右拡散レンズ部材556は、透明な部材により形成されているため、本体部556aの正面視右側(収容凹部556dが形成されている側)から、反対側に形成されている側面反射部556fの複数の同心円弧状の溝と放射状に延びている線とからなる模様を視認することができる。従って、右ユニット右装飾部材557において、透明な部分を形成した場合、その透明な部分を通して右ユニット右拡散レンズ部材556の側面反射部556fの模様が視認できることとなり、右ユニット右装飾部材557における透明な部分を側面反射部556fによって装飾することができる。
右ユニット右装飾部材557は、薄いシート状に形成されており、パチンコ機1のメーカーロゴや、遊技盤5において遊技者に提示する演出のコンセプトに沿ったロゴ、等の装飾が、透光性を有するように施されている。右ユニット右カバー558は、扉枠右サイドユニット550に組立てた状態で、右ユニット右装飾部材557の外面を保護している。右ユニット右装飾部材557及び右ユニット右カバー558は、右ユニット左装飾部材554及び右ユニット左カバー555とは、略左右対称に形成されている。また、右ユニット左装飾部材554と右ユニット右装飾部材557とに施される装飾は、同じ装飾であっても良いし、異なる装飾であっても良い。
右ユニット左遮光部材559は、側面視の形状が右ユニット左拡散レンズ部材553及び右ユニット右拡散レンズ部材556の側面視の形状と、略同じ形状に形成されている。右ユニット左遮光部材559は、前方及び右方が開放された浅い箱状に形成されている。右ユニット左遮光部材559は、上下方向及び前後方向に延びた平板状の本体部559aと、本体部559aの後辺から正面視右方へ短く平板状に突出している後壁部559bと、後壁部559bの正面視右端側から左方へ四角形状に切欠かれており上下方向に所定間隔で複数形成されている切欠部559cと、本体部559aの右面から右方へ延出していると共に後壁部559bから本体部559aの前端まで延びている平板状の複数の補強部559dと、を備えている。
右ユニット左遮光部材559の本体部559aは、側面視の形状が、上下に延びた四角形の前端側の上隅がC面取り状に斜めに切欠かれていると共に、下辺が前方へ向かうに従って上方へ移動するように傾斜している形状に形成されており、右ユニット左拡散レンズ部材553及び右ユニット右拡散レンズ部材556の本体部553a,556aと外形が略同じ形状に形成されている。
後壁部559bは、扉枠右サイドユニット550に組立てた状態で、その左端が、右ユニットベース551の左右方向略中央よりも右側へ延出している。この後壁部559bの右端には、右ユニット右遮光部材560の左面が当接する。
複数の切欠部559cは、上下方向へ所定間隔で複数形成されており、一部が扉枠右サイド装飾基板552の中LED552cと対応している。これら複数の切欠部559cは、右ユニット左拡散レンズ部材553及び右ユニット右拡散レンズ部材556の複数の切欠部553c,556cと対応した位置に形成されている。従って、扉枠右サイドユニット550に組立てた状態では、複数の切欠部559cから扉枠右サイド装飾基板552の中LED552cが前方に臨み、複数の中LED552cによって右ユニット装飾レンズ部材561を良好に発光装飾させることができる。
複数の補強部559dは、左右の幅と略同じ高さで上下方向に離間している一対の補強部559dを一組として、上下方向へ所定距離離間して三組備えられている。各組の補強部559dは、右ユニットカバー563に取付けられる飾り部材564の後方となる位置に夫々形成されている。これら複数の補強部559dによって、扉枠右サイドユニット550の全体の強度・剛性を高めている。
右ユニット右遮光部材560は、側面視の形状が、上下に延びた四角形の前端側の上隅がC面取り状に斜めに切欠かれていると共に、下辺が前方へ向かうに従って上方へ移動するように傾斜している形状に形成されており、右ユニット左遮光部材559における本体部559aと略同じ形状に形成されている。右ユニット右遮光部材560は、扉枠右サイドユニット550に組立てた状態で、浅い箱状に形成されている右ユニット左遮光部材559の右方へ開放されている右側開口を閉鎖している。
右ユニット左遮光部材559及び右ユニット右遮光部材560は、白色の部材によって夫々形成されている。右ユニット左遮光部材559及び右ユニット右遮光部材560は、図55に示すように、扉枠右サイドユニット550に組立てた状態で、夫々の本体部559a及び右ユニット右遮光部材560が、右ユニット左拡散レンズ部材553及び右ユニット右拡散レンズ部材556の本体部553a,556aと近接するように配置されている。これにより、右ユニット左遮光部材559の本体部559a及び右ユニット右遮光部材560同士が左右方向に離間しており、左右方向に所定幅で上下方向及び前後方向に延びた空間を形成している。この右ユニット左遮光部材559の本体部559a及び右ユニット右遮光部材560同士の間に形成された空間を通して、扉枠右サイド装飾基板552の中LED552cから前方へ放射された光が、右ユニット装飾レンズ部材561の後側に照射される。
また、右ユニット左遮光部材559及び右ユニット右遮光部材560は、不透光性の部材によって形成されており、扉枠右サイド装飾基板552における左LED552a、中LED552c、右LED552bから夫々前方へ照射される光が、互いに干渉するのを防止しており、右ユニット左装飾部材554、右ユニット右装飾部材557、及び右ユニット装飾レンズ部材561を、夫々対応している左LED552a、右LED552b、及び中LED552cによってのみ発光装飾させることができる。
更に、右ユニット左遮光部材559及び右ユニット右遮光部材560は、三組の補強部559dによって内部空間が上下方向へ四つに分割されているため、分割された夫々の空間の後側に配置されている扉枠右サイド装飾基板552の中LED552cによって、各空間同士の間で光が干渉しないようにすることができ、右ユニット装飾レンズ部材561の各空間の前方に位置している部位を、夫々独立して発光装飾させることができる。つまり、扉枠右サイドユニット550の前端側において、上下方向へ複数(四つ)の領域に分割して夫々を独立して発光装飾させることができる。
右ユニット装飾レンズ部材561は、右ユニット左拡散レンズ部材553及び右ユニット右拡散レンズ部材556の前端形状に沿った形状に形成されている。右ユニット装飾レンズ部材561は、正面視において円形状に形成されている円形装飾部561aと、上下に延びており複数の多面体が形成されている多面装飾部561bと、を備えている。円形装飾部561aは、前面が窪み前後に短く延びた円柱状の部位の外周に三角形のリブを周方向に複数備えた形状に形成されている。多面装飾部561bは、上下に延びた直方体の前面に四角錘状の部位が上下方向に複数列設されていると共に、直方体の部位の左右両側に複数の三角形からなる多面体が上下方向に複数列設したような形状に形成されている。
詳述すると、右ユニット装飾レンズ部材561は、複数の円形装飾部561a及び多面装飾部561bが、右ユニット左遮光部材559における三組の補強部559dによって四つに分割されている夫々の空間の前方に位置する部位において、上から三つの部位では、上下方向の中央に配置された円形装飾部561aの上下両側に一つずつ多面装飾部561bが配置され、最も下側の部位では、多面装飾部561bのみが配置されるように形成されている。
右ユニット装飾レンズ部材561は、右ユニット左拡散レンズ部材553及び右ユニット右拡散レンズ部材556の前端に取付けられている。右ユニット装飾レンズ部材561は、透明な右ユニットカバー563を通して前方側(遊技者側)から視認することができる。この右ユニット装飾レンズ部材561は、後方に配置されている扉枠右サイド装飾基板552の中LED552cによって、発光装飾させられる。
右ユニット装飾ベース562は、前後方向に貫通している筒枠状に形成されている。右ユニット装飾ベース562は、右ユニット左拡散レンズ部材553及び右ユニット右拡散レンズ部材556の前端及び上端の形状に沿った形状に形成されている。右ユニット装飾ベース562は、右ユニット左拡散レンズ部材553及び右ユニット右拡散レンズ部材556における前端付近の左右両外側と、右ユニット装飾レンズ部材561の左右両側を被覆可能に形成されている。扉枠右サイドユニット550に組立てた状態で、右ユニット装飾ベース562の前端よりも、右ユニット装飾レンズ部材561の前端が、僅かに前方へ突出している。この右ユニット装飾ベース562は、不透光性の部材によって形成されている。
右ユニットカバー563は、右ユニット装飾ベース562の前端開口を閉鎖可能に形成されている。この右ユニットカバー563は、透明な部材によって形成されており、後側に配置されている右ユニット装飾レンズ部材561を前方側から視認することができる。
飾り部材564は、上下に短く延びており、上下方向へ所定間隔で右ユニットカバー563の前面に取付けられている。飾り部材564は、不透光性の部材によって形成されている。三つの飾り部材564は、右ユニットカバー563(右ユニット装飾レンズ部材561)を上下方向へ四つに分割している。
扉枠右サイドユニット550は、扉枠3に組立てた状態で、扉枠左サイドユニット530よりも前方へ大きく板状に突出しており、皿ユニット320の上皿321前端よりも若干前方へ突出している。扉枠右サイドユニット550は、突出した左右両面側に備えられている右ユニット左装飾部材554及び右ユニット右装飾部材557と、前端に備えられている右ユニット装飾レンズ部材561と、を夫々独立して発光装飾させることができる。
扉枠右サイドユニット550は、板状で前方へ大きく突出していることから、本パチンコ機1を遊技ホールの島設備に設置すると、扉枠右サイドユニット550が右側に隣接しているパチンコ機との間で仕切りのような作用効果を発揮することができる。これにより、本パチンコ機1で遊技する遊技者に対して、個室で遊技しているように錯覚させることができ、周りの他の遊技者に気兼ねすることなくリラックスした雰囲気で遊技を行わせることができる。
また、扉枠右サイドユニット550は、前方へ大きく突出していることから、パチンコ機1が並んだ状態で設置される遊技ホールでは、本パチンコ機1の前方に位置していなくても、島設備に沿った横方向からでも視認することができ、多数のパチンコ機が列設されている遊技ホール内において本パチンコ機1を目立たせることができる。従って、扉枠右サイドユニット550の左右両面側の右ユニット左装飾部材554や右ユニット右装飾部材557を発光装飾させると、本パチンコ機1の前方近辺に位置していなくても、遠くから本パチンコ機1の存在を知らせることができ、遊技者に対する訴求力の高いパチンコ機1とすることができる。
更に、扉枠右サイドユニット550において、本パチンコ機1で球詰りやエラー等の不具合が発生した時に、左右両面側の右ユニット左装飾部材554や右ユニット右装飾部材557、及び右ユニット装飾レンズ部材561等を特有な態様で発光装飾させるようにすることで、遊技ホールの係員に対して、不具合の発生を直ち知らせて認識させることができ、不具合に対して素早い対応ができるようになることから、遊技者の遊技の中断を早期に解決させることができ、遊技者が苛立ちを覚えて遊技に対する興趣の低下を抑制させることができる。
[3-7.扉枠トップユニット]
扉枠3の扉枠トップユニット570について、主に図56乃至図59等を参照して詳細に説明する。図56(a)は扉枠における扉枠トップユニットの正面図であり、(b)は扉枠トップユニットを前から見た斜視図であり、(c)は扉枠トップユニットを後ろから見た斜視図である。図57は扉枠トップユニットを分解して前から見た分解斜視図であり、図58は扉枠トップユニットを分解して後ろから見た分解斜視図である。図59は、図56におけるP-P線で切断した断面図である。扉枠トップユニット570は、扉枠左サイドユニット530及び扉枠右サイドユニット550の上側で扉枠ベースユニット100の扉枠ベース110の前面における貫通口111の上側に取付けられるものである。
扉枠トップユニット570は、扉枠ベースユニット100の扉枠ベース110の前面における貫通口111の上側で左右方向の中央に取付けられる中央ベース571と、中央ベース571の左右両側に取付けられていると共に扉枠ベース110の前面に取付けられる一対のサイドベース572と、一対のサイドベース572の前面に夫々取付けられている一対の上部スピーカ573と、左右に延びていると共に左右方向中央が前方へ突出しており後方が開放されている箱状で一対の上部スピーカ573の前方位置で前後に夫々貫通している一対の開口部574a、及び一対の開口部574aよりも左右方向中央寄りの位置から中央付近まで夫々延びていると共に前後方向に夫々貫通しており上下に離間している複数(左右夫々三つ)のスリット574bを有しており中央ベース571及び一対のサイドベース572の前側に取付けられているユニット本体271と、一対の上部スピーカ573の前側に夫々配置されており一対の開口部574aを閉鎖するようにユニット本体271の後側に取付けられているパンチングメタルからなるスピーカカバー575と、を備えている。
ここで、図示は割愛するが、一対のサイドベース572(左側サイドベース572a,右側サイドベース572b)では、開口窓の設けられる側に向けてのみ開口された内部空間をそれぞれ有しており、これらの内部空間において、開口窓の外周内へと外周外から発光するように設けられる上記外周外発光部34(左側外周外発光部34a,右側外周外発光部34b)と、開口窓の外周内からの光をその外周外で検出する外周外光検出部35(左側外周外光検出部35a,右側外周外光検出部35b)とがそれぞれ設けられる構造となっている。
また、扉枠トップユニット570は、ユニット本体271の左右方向中央の前面に取付けられており透光性を有しているトップ中装飾部材576と、トップ中装飾部材576の後側に取付けられており前面に複数のLEDが実装されている扉枠トップ中装飾基板577と、ユニット本体271の前面に夫々取付けられており複数のスリット574bを夫々閉鎖していると共にトップ中装飾部材576の左右両端付近から開口部574aを跨いでユニット本体271の左右両端付近まで夫々延びている透明平板状の複数(左右夫々三つ)の導光部材578と、ユニット本体271の前面におけるトップ中装飾部材576の左右両側に夫々取付けられており複数(三つ)の導光部材578の前面を夫々覆っているトップ左装飾レンズ部材579及びトップ右装飾レンズ部材580と、トップ左装飾レンズ部材579及びトップ右装飾レンズ部材580の夫々の前方側からユニット本体271の前面に夫々取付けられておりトップ中装飾部材576の左右両側から開口部574aの中央側端部付近まで夫々延びているトップ中左装飾部材581及びトップ中右装飾部材582と、を備えている。
更に、扉枠トップユニット570は、ユニット本体271における左右両側面の内側に夫々取付けられており複数(三つ)の導光部材578における左右方向外側端部と対面する部位にLEDが夫々実装されている扉枠トップ左装飾基板583及び扉枠トップ右装飾基板584と、ユニット本体271の後側における左右方向中央の左右両側に夫々形成されている複数(三つの)スリット574bが貫通している部位に夫々取付けられている一対の基板ベース585と、一対の基板ベース585の前面に夫々取付けられておりユニット本体271のスリット574bの後方となる位置に複数のLED586a,587aが実装されている扉枠トップ中左装飾基板586及び扉枠トップ中右装飾基板587と、扉枠トップ中左装飾基板586及び扉枠トップ中右装飾基板587の前側でユニット本体271の後側に夫々取付けられている一対の遮光部材588と、を備えている。
また、扉枠トップユニット570は、ユニット本体271内で中央ベース571の前面に取付けられている扉枠トップユニット中継基板589と、扉枠トップユニット中継基板589の前面を覆うように中央ベース571に取付けられている中継基板カバー590と、ユニット本体271の上開口部574cを閉鎖するようにユニット本体271に取付けられている上カバー591と、ユニット本体271の下開口部574dを閉鎖するようにユニット本体271に取付けられている下カバー592と、を備えている。
扉枠トップユニット570の中央ベース571は、正面視の形状が左右に延びた四角形に形成されている。中央ベース571は、後方へ開放された箱状に形成されており、前面に複数の凹凸を備えている。一対のサイドベース572は、中央ベース571の左右両端に夫々取付けられる。一対の上部スピーカ573は、各サイドベース572の前面に夫々取付けられる。一対の上部スピーカ573は、扉枠トップユニット570に組立てた状態で、夫々の前面が、扉枠トップユニット570の左右方向中央に近い側が後方へ移動するように斜めに取付けられている。一対の上部スピーカ573は、広い周波数帯域で音を出力可能なフルレンジのコーン型スピーカである。
ユニット本体271は、正面視の形状が、左右に延びた四角形の左右両端付近の下部が下方へ膨出したような形状に形成されている。換言すると、ユニット本体271は、正面視の形状が、左右に延びた四角形を、下端辺側から上方へ窄まった台形で切欠いたような形状に形成されている。ユニット本体271は、平面視の形状が、左右に延びた四角形と、その四角形の前端辺側における左右方向中央を中心にして全幅(左右方向の長さ)の約1/2の部位を底辺とする前方へ突出した台形と、その台形の前端辺を長辺として前方へ短く突出した四角形と、を組合せた形状に形成されている。従って、ユニット本体271は、前面における左右方向中央で前方へ突出した部位の両側が、ユニット本体271の左右方向の端部と、前方へ突出した部位の前端の左右方向端部とを結んだ線よりも後方に位置している(窪んでいる)。
ユニット本体271は、前面における左右方向両端から前方へ突出している部位よりも外側の位置までの部位に、夫々前後に貫通している開口部574aが形成されている。また、ユニット本体271は、前面における前方へ台形に突出している部位の斜めに延びている部位に、上下方向に所定の高さで左右に延びていると共に前後方向に貫通している複数のスリット574bが形成されている。複数のスリット574bは、ユニット本体271の前面における前方へ斜めに延びている部位の前端付近から、開口部574a付近まで左右に延びている。また、複数のスリット574bは、ユニット本体271の左右方向中央の両側に、夫々三つずつ上下に離間して形成されている。
また、ユニット本体271は、上面における左右方向中央に後端から前方へ向かって四角く切欠かれた上開口部574cと、下面における左右方向に後端から前方へ向かって切欠かれた下開口部574dと、を備えている。ユニット本体271の上開口部574cは、上カバー591によって閉鎖される。また、下開口部574dは、下カバー592によって閉鎖される。
また、ユニット本体271は、左右両端に上下に延びたトップ左装飾部574e及びトップ右装飾部574fを備えている。トップ左装飾部574eは、その前面が、開口部574aの形成されている部位の前面と、前後方向が略同じ位置に形成されている。トップ右装飾部574fは、その前面が、開口部574aの形成されている部位の前面よりも前方へ位置するように形成されている。このユニット本体271は、不透光性の部材によって形成されている。
トップ中装飾部材576は、ユニット本体271の前面における左右方向中央において前方へ突出している部位の前端に取付けられる。トップ中装飾部材576は、正面視の形状が、略正方形の下辺の左右方向中央部が下方へ位置するように折れ曲がった変五角形と、変五角形の左右の辺の上端から左右方向外側へ延出した辺の先端と辺五角形の左右の辺の下端とを結んだ略直角三角形と、を組合せたような形状に形成されている。トップ中装飾部材576は、前面の変五角形の部位が、下方へ向かうに従って後方へ移動するように傾斜している。このトップ中装飾部材576は、全体が立体的な形状に形成されており、透光性を有している。
扉枠トップ中装飾基板577は、前面が、トップ中装飾部材576の変五角形の部位の前面と沿うように、下方へ向かうに従って後方へ移動するように傾斜した状態でトップ中装飾部材576の後側に取付けられる。扉枠トップ中装飾基板577は、前面に複数のLEDが実装されており、それらLEDを発光させることで、トップ中装飾部材576を発光装飾させることができる。
導光部材578は、透明な部材によって形成されている。導光部材578は、ユニット本体271の前面における前方へ突出した部位の前端よりも左右両外側の形状に沿った形状に形成されている。ユニット本体271の左右方向両端部に近い側を端部側、中央に近い側を中央側として説明すると、導光部材578は、端部側から中央側へ向かって左右に真っすぐに延びた直部578aと、直部578aの中央側の端部側から中央側へ向かうに従って前方へ移動するように半径の大きい円弧状に延びた円弧部578bと、で構成されている。導光部材578は、直部578aでは前後方向の奥行きが上下方向の高さよりも小さく形成されており、円弧部578bでは前後方向の奥行きが上下方向の高さよりも大きく形成されている。また、導光部材578は、直部578aでは上下方向の高さが一定に形成されており、円弧部578bでは上下方向の高さが中央側へ向かうに従って小さくなるように形成されている。導光部材578は、扉枠トップユニット570に組立てた状態で、直部578aがユニット本体271の開口部574aの直前に位置し、円弧部578bがユニット本体271のスリット574bを前方から閉鎖している。
導光部材578は、直部578aの後面に形成されている鋸状の凹凸からなる拡散反射部578cと、円弧部578bの後面側に形成されている複数の凹凸からなる拡散入力部578dと、を備えている。
導光部材578は、扉枠トップユニット570に組立てた状態で、左右方向両外側の端部が、扉枠トップ左装飾基板583又は扉枠トップ右装飾基板584のLED583a,584aと対面していると共に、拡散入力部578dが扉枠トップ中左装飾基板586又は扉枠トップ中右装飾基板587のLED586a,587aと対面している。この導光部材578は、左右方向両外側の端部から、扉枠トップ左装飾基板583又は扉枠トップ右装飾基板584のLED583a,584aからの光が入射されると、その光が直部578a内を中央側へ進むと共に、直部578aの後面に形成されている拡散反射部578cにより端部側から順次前方へ反射され、直部578aの前面全体から光が前方へ照射される。導光部材578の前方にはトップ左装飾レンズ部材579又はトップ右装飾レンズ部材580が配置されており、それらのうちの直部578aの前方となる部位が発光装飾させられる。
また、導光部材578は、円弧部578bの後面に形成されている拡散入力部578dから、扉枠トップ中左装飾基板586又は扉枠トップ中右装飾基板587のLED586a,587aからの光が入射されると、その光が拡散入力部578dの凹凸により円弧部578b内へ広く拡散され、円弧部578bの前面全体から光が前方へ照射される。これにより、トップ左装飾レンズ部材579又はトップ右装飾レンズ部材580における円弧部578bの前方に位置している部位を発光装飾させることができる。
このように、導光部材578は、扉枠トップ左装飾基板583及び扉枠トップ中左装飾基板586のLED583a,586a、又は、扉枠トップ右装飾基板584及び扉枠トップ中右装飾基板587のLED584a,587a、からの光を導いて、前方に配置されているトップ左装飾レンズ部材579又はトップ右装飾レンズ部材580の全体を良好(均一)な状態で発光装飾させることができる。
トップ左装飾レンズ部材579は、ユニット本体271の前面における左右方向中央より左側に配置される三つの導光部材578の前方を覆うように、ユニット本体271の前面に取付けられる。トップ左装飾レンズ部材579は、三つの導光部材578を夫々独立して前方から収容する三つの装飾レンズ部579aを有している。トップ左装飾レンズ部材579の装飾レンズ部579aは、導光部材578に倣った形状に形成されており、導光部材578の前面及び上下両面を被覆している。各装飾レンズ部579aの前面には、前方へ突出した四角錘台の凹凸が左右に列設されている。
トップ左装飾レンズ部材579は、扉枠トップユニット570におけるトップ中装飾部材576の左端から、ユニット本体271のトップ左装飾部574eの右端まで延びている。つまり、トップ左装飾レンズ部材579は、扉枠トップユニット570におけるトップ中装飾部材576よりも左側の略全体を装飾している。このトップ左装飾レンズ部材579は、三つの導光部材578を介して扉枠トップ左装飾基板583及び扉枠トップ中左装飾基板586のLED583a,586aによって発光装飾させられる。
トップ右装飾レンズ部材580は、ユニット本体271の前面における左右方向中央より右側に配置される三つの導光部材578の前方を覆うように、ユニット本体271の前面に取付けられる。トップ右装飾レンズ部材580は、三つの導光部材578を夫々独立して前方から収容する三つの装飾レンズ部580aを有している。トップ右装飾レンズ部材580の装飾レンズ部580aは、導光部材578に倣った形状に形成されており、導光部材578の前面及び上下両面を被覆している。各装飾レンズ部580aの前面には、前方へ突出した四角錘台の凹凸が左右に列設されている。
トップ右装飾レンズ部材580は、扉枠トップユニット570におけるトップ中装飾部材576の右端から、ユニット本体271のトップ右装飾部574fの左端まで延びている。つまり、トップ右装飾レンズ部材580は、扉枠トップユニット570におけるトップ中装飾部材576よりも右側の略全体を装飾している。このトップ右装飾レンズ部材580は、三つの導光部材578を介して扉枠トップ右装飾基板584及び扉枠トップ中右装飾基板587のLED584a,587aによって発光装飾させられる。
トップ中左装飾部材581は、ユニット本体271の前面における左側の開口部574aとトップ中装飾部材576との間で、トップ左装飾レンズ部材579の前方からユニット本体271の前面に取付けられる。トップ中左装飾部材581は、扉枠トップユニット570に組立てた状態で、トップ左装飾レンズ部材579の三つの装飾レンズ部579aの間を埋めるように取付けられており、前面の中央寄りがトップ左装飾レンズ部材579の前面よりも前方に突出している。このトップ中左装飾部材581は、不透光性の部材によって形成されている。
トップ中右装飾部材582は、ユニット本体271の前面における右側の開口部574aとトップ中装飾部材576との間で、トップ右装飾レンズ部材580の前方からユニット本体271の前面に取付けられる。トップ中右装飾部材582は、扉枠トップユニット570に組立てた状態で、トップ右装飾レンズ部材580の三つの装飾レンズ部580aの間を埋めるように取付けられており、前面の中央寄りがトップ右装飾レンズ部材580の前面よりも前方に突出している。このトップ中右装飾部材582は、不透光性の部材によって形成されている。
扉枠トップ左装飾基板583は、ユニット本体271内における左側面(トップ左装飾部574e)の内側に、LED583aが実装されている面を右方へ向けて取付けられている。扉枠トップ左装飾基板583は、ユニット本体271の左右方向中央より左側の前面に取付けられている三つの導光部材578の左端面と対向する位置にLED583aが実装されている(図59を参照)。三つのLED583aは、夫々独立して発光させることができる。扉枠トップ左装飾基板583のLED583aにより、三つの導光部材578の直部578aを介して、トップ左装飾レンズ部材579におけるユニット本体271の左側の開口部574aの前方に位置している部位を発光装飾させることができる。
扉枠トップ右装飾基板584は、ユニット本体271内における右側面(トップ右装飾部574f)の内側に、LED584aが実装されている面を左方へ向けて取付けられている。扉枠トップ右装飾基板584は、ユニット本体271の左右方向中央より右側の前面に取付けられている三つの導光部材578の右端面と対向する位置にLED584aが実装されている(図59を参照)。三つのLED584aは、夫々独立して発光させることができる。扉枠トップ右装飾基板584のLED584aにより、三つの導光部材578の直部578aを介して、トップ右装飾レンズ部材580におけるユニット本体271の右側の開口部574aの前方に位置している部位を発光装飾させることができる。
一対の基板ベース585は、ユニット本体271内における複数のスリット574bが形成されている部位の後側に取付けられるものである。一対の基板ベース585は、互いが略左右対称に形成されている。基板ベース585は、上下及び前後に延びた辺を有する側面視略正方形の側壁と、側壁の後辺から直角に左右方向外方へ延びた正面視四角形の後壁と、側壁の上辺の前端から側壁の上辺途中までを結んだ線を斜辺として側壁と後壁の上辺同士を結んでいる略直角三角形の上壁と、上壁とは反対側で側壁と後壁の下辺同士を結んでいる略直角三角形の下壁と、を備え、上下の斜辺同士の間が開放された三角柱状の箱状に形成されている。基板ベース585は、開放されている部位が、ユニット本体271によって閉鎖されるようにユニット本体271に取付けられる。この基板ベース585は、開放されている部位が閉鎖されるように、扉枠トップ中左装飾基板586又は扉枠トップ中右装飾基板587が取付けられる。
扉枠トップ中左装飾基板586は、ユニット本体271における左右中央より左側の後側に取付けられる基板ベース585において、箱状の開放されている部位を前方から閉鎖するように、基板ベース585に取付けられる。扉枠トップ中左装飾基板586は、基板ベース585の前面に取付けられることで、前面が、ユニット本体271の左右方向中央側へ向かうに従って前方へ移動するように、左右に延びた面に対して傾斜した状態となる。これにより、扉枠トップ中左装飾基板586は、扉枠トップユニット570に組立てた状態で、その前面が、ユニット本体271の左右方向中央より左側の三つのスリット574bが形成されている部位の面と略平行な状態となる。
扉枠トップ中左装飾基板586は、ユニット本体271の三つのスリット574bと対応している位置に、複数のLED586aが実装されている。これにより、扉枠トップ中左装飾基板586は、扉枠トップユニット570に組立てた状態で、ユニット本体271の中央より左側の三つのスリット574bから、複数のLED586aが前方に臨んだ状態となる。扉枠トップ中左装飾基板586は、複数のLED586aを発光させることで、導光部材578の円弧部578bを介して、トップ左装飾レンズ部材579のトップ中装飾部材576に近い部位を発光装飾させることができる。
扉枠トップ中右装飾基板587は、ユニット本体271における左右中央より右側の後側に取付けられる基板ベース585において、箱状の開放されている部位を前方から閉鎖するように、基板ベース585に取付けられる。扉枠トップ中右装飾基板587は、基板ベース585の前面に取付けられることで、前面が、ユニット本体271の左右方向中央側へ向かうに従って前方へ移動するように、左右に延びた面に対して傾斜した状態となる。これにより、扉枠トップ中右装飾基板587は、扉枠トップユニット570に組立てた状態で、その前面が、ユニット本体271の左右方向中央より右側の三つのスリット574bが形成されている部位の面と略平行な状態となる。
扉枠トップ中右装飾基板587は、ユニット本体271の三つのスリット574bと対応している位置に、複数のLED587aが実装されている。これにより、扉枠トップ中右装飾基板587は、扉枠トップユニット570に組立てた状態で、ユニット本体271の中央より右側の三つのスリット574bから、複数のLED587aが前方に臨んだ状態となる。扉枠トップ中右装飾基板587は、複数のLED587aを発光させることで、導光部材578の円弧部578bを介して、トップ右装飾レンズ部材580のトップ中装飾部材576に近い部位を発光装飾させることができる。
一対の遮光部材588は、扉枠トップ中左装飾基板586及び扉枠トップ中右装飾基板587とユニット本体271との間の位置で、ユニット本体271の前面後側に取付けられるものである。一対の遮光部材588は、不透光性の部材によって、互いが略左右対称に形成されている。遮光部材588は、ユニット本体271における三つのスリット574bと対応して列設されている扉枠トップ中左装飾基板586及び扉枠トップ中右装飾基板587の複数のLED586a,587aの上下の間を仕切っている。この遮光部材588により、各導光部材578の直後に位置しているLED586a,587aによってのみ、その導光部材578により光を前方へ誘導させることができ、トップ左装飾レンズ部材579及びトップ右装飾レンズ部材580の夫々の装飾レンズ部579a,580aを夫々独立させた状態で良好に発光装飾させることができる。
扉枠トップユニット中継基板589は、中央ベース571の前面に取付けられている。扉枠トップユニット中継基板589は、一対の上部スピーカ573、扉枠トップ中装飾基板577、扉枠トップ左装飾基板583、扉枠トップ右装飾基板584、扉枠トップ中左装飾基板586、及び扉枠トップ中右装飾基板587と、扉枠ベースユニット100の扉本体中継基板との接続を中継している。扉枠トップユニット中継基板589は、扉枠右サイドユニット550に備えられている図示しない接続ケーブルを介して、扉本体中継基板と接続されている。この扉枠トップユニット中継基板589は、前側が中継基板カバー590によって覆われている。
この扉枠トップユニット570は、左右方向中央において前方へ突出したトップ中装飾部材576を備えていると共に、トップ中装飾部材576の左右両側の前面が後方へ抉れているように湾曲しているため、トップ中装飾部材576のみが前方へ大きく突出しているように遊技者を錯覚させることができ、遊技者の関心を本パチンコ機1に対して強く引付けさせることができる。
また、扉枠トップユニット570は、中央に配置されているトップ中装飾部材576の左右両側を装飾しているトップ左装飾レンズ部材579及びトップ右装飾レンズ部材580を、トップ中装飾部材576の左右両側から、ユニット本体271の左右両端に形成されているトップ左装飾部574e及びトップ右装飾部574fまで延びるように形成している。これにより、扉枠トップユニット570によって、扉枠3の前面上部を全体的に装飾することができる。
この際に、扉枠トップユニット570では、トップ左装飾レンズ部材579及びトップ右装飾レンズ部材580が配置されている左右方向両端付近の夫々の後方に、パンチングメタルからなるスピーカカバー575により前面が保護された上部スピーカ573を備え、トップ左装飾レンズ部材579及びトップ右装飾レンズ部材580の上下に離間している三つの装飾レンズ部579a,580aの間からスピーカカバー575が前方へ臨むようにしているため、左右の上部スピーカ573から出力されるサウンドを、良好な状態で遊技者に聴かせることができ、良質なステレオサウンドを楽しませることができる。
また、扉枠トップユニット570は、トップ左装飾レンズ部材579及びトップ右装飾レンズ部材580の後側に備えられた複数の導光部材578により、扉枠トップ左装飾基板583、扉枠トップ右装飾基板584、扉枠トップ中左装飾基板586、及び扉枠トップ中右装飾基板587からの光を、トップ左装飾レンズ部材579及びトップ右装飾レンズ部材580に導くことができ、トップ左装飾レンズ部材579及びトップ右装飾レンズ部材580の前面全体を良好に発光装飾させることができる。従って、扉枠トップユニット570は、左右の上部スピーカ573の前方を含む扉枠3の上部の前面全体を発光装飾させることができる。
[3-8.扉枠の作用効果]
扉枠3の作用効果について説明する。本実施形態のパチンコ機1における扉枠3は、扉枠ベースユニット100における扉枠ベース110の前後に貫通している貫通口111を、従来のパチンコ機よりは上下及び左右方向へ大きくしており、貫通口111の拡大に合せて、皿ユニット320及び扉枠トップユニット570の上下方向の高さを小さくしていると共に、扉枠左サイドユニット530及び扉枠右サイドユニット550の左右方向の幅を小さくしている。これにより、貫通口111(ガラスユニット190)を通して、本体枠4に取付けられた遊技盤5(遊技領域5a)の前面を、可及的に広く遊技者(前方)から見えるようにすることができ、遊技領域5aの広い遊技盤5に対応している。
扉枠3は、貫通口111の下側において、前方へ膨出している皿ユニット320の左右方向中央に大きな半球面状の操作ボタン410を有した演出操作ユニット400(第二演出操作ユニット400A)を備え、演出操作ユニット400の左右両側における下半分(上皿321よりも下側の部分)の前面(皿前下装飾部326cの前面)を、後方へ抉れるように窪んだ形状(皿ユニット320の左右両端の前端と、演出操作ユニット400の左右両端の前端とを結んだ直線よりも、演出操作ユニット400の左右両側の前面が後方へ位置するように凹状に湾曲した形状)に形成されている。これにより、皿ユニット320の左右方向中央の前面に取付けられている演出操作ユニット400が前方へ大きく突出しているように見えるため、遊技者に対して演出操作ユニット400を目立たせて強調して見せることができ、演出操作ユニット400に強く注目させることができる。
扉枠3は、貫通口111よりも下側の皿ユニット320の前面に配置されている演出操作ユニット400を、大きな半球面状の透明な操作ボタン410が、斜め上前方を向くように傾けた状態で取付けているため、本パチンコ機1の前で遊技者が着座すると、操作ボタン410が遊技者の頭部(顔)を向いた状態となり、遊技者が視線を落として演出操作ユニット400を見ると、操作ボタン410が略正面に近い状態で見えることとなり、大きくて丸い操作ボタン410を強烈に視認させることができ、操作ボタン410を用いた演出に対して期待感を高めさせることができると共に、透明な操作ボタン410内に配置されている扉枠側演出表示装置460に表示される演出画像を良好な状態で視認させることができ、演出画像を十分に楽しませることができる。
また、扉枠3は、皿ユニット320の全高と略同じ直径の大きくて前方へ丸く膨出した操作ボタン410を備えているため、操作ボタン410を操作する際に、短い距離の手の移動で操作ボタン410の何れかの部位に触れることができ、操作ボタン410の「早押し」を比較的容易に行うことができる。また、大径で前方へ丸く膨出した操作ボタン410を、傾けた状態で取付けているため、従来のパチンコ機の操作ボタンのように上から押圧操作することができるだけでなく、左方や右方、或いは、前方からでも良好に操作することができ、操作性の良い操作ボタン410によって操作ボタン410を用いた演出をより楽しませることができる。
また、扉枠3は、皿ユニット320によって演出操作ユニット400を、吊り下げたような状態で取付けていると共に、演出操作ユニット400の下部に振動を発生させる振動モータ424を備えているため、遊技状態に応じて振動モータ424を回転させて振動を発生させると、操作ボタン410の上部に触れている遊技者の手に対して、強い振動を伝達させることができ、遊技者を驚かせて操作ボタン410を用いた演出をより一層楽しませることができる。
更に、扉枠3は、皿ユニット320の前面中央に、皿ユニット320の全高に亘る大きな操作ボタン410(演出操作ユニット400)を備えていることから、従来のパチンコ機と比較して上皿321の下にある下皿322が目立ち難くなるため、従来のパチンコ機を見慣れた遊技者に対して、明らかに異なっていると認識させ易くすることができ、遊技者の関心を強く引付けられる訴求力の高いパチンコ機1とすることができる。
また、扉枠3は、皿ユニット320の前面における演出操作ユニット400の左側に開口している下皿開口部326dに対して、下皿322を、演出操作ユニット400の後側へ回り込むように形成しているため、下皿開口部326dの大きさに対して、下皿322の容積を大きくすることができ、下皿322での遊技球の貯留数を十分に確保することができる。また、下皿322の後部が演出操作ユニット400の後側へ回り込んでいることから、遊技者が下皿322内に左手を入れたり、下皿開口部326dに左手の指を掛けたりした時に、指先が下皿322の後の壁に触れ難くなるため、遊技者に対して違和感を与え難くすることができ、遊技に対する興趣の低下を抑制させることができると共に、下皿開口部326dの大きさに比べて下皿322の容積が大きいことを触覚でも認識させることができる。
更に、扉枠3は、上皿321からの遊技球が下皿322に放出される下皿球供給口323cと下皿322の遊技球を皿ユニット320の下方のドル箱等に抜くための下皿球抜き孔322aとを、前後に直線状に配置すると共に、正面視において下皿開口部326dの右外側(演出操作ユニット400のフレームユニット415の左端よりも右側)に配置している。つまり、下皿球供給口323c及び下皿球抜き孔322aを、演出操作ユニット400、皿ユニットカバー326における演出操作ユニット取付部326a(下皿開口部326dの右外側)、下皿カバー340の前端側、等の後方に配置しているため、遊技者側から下皿球供給口323cや下皿球抜き孔322aが見えず、皿ユニット320(パチンコ機1)の外観をスッキリさせることができ、パチンコ機1の見栄えを良くすることができる。
また、扉枠3は、下皿322において、下皿球供給口323cの前方(真正面)の下方に下皿球抜き孔322aを配置しているため、下皿球抜き孔322aを開いた状態とすると、上皿321等から下皿322へ放出された遊技球が、下皿322に入ると直ぐに下皿球抜き孔322aから下方のドル箱等へ排出されることとなる。この際に、遊技者側からは、下皿球供給口323cや下皿球抜き孔322aが見えないため、上皿321等から下皿322を通ってドル箱へ排出される遊技球の流れも見ることができない。これにより、遊技者に対して上皿321の遊技球や上皿321が満タンな状態で払出装置830から払出された遊技球等が、直接ドル箱へ排出されているように錯覚させることができるため、遊技球が下皿322を通る煩わしさを感じさせ難くすることができ、遊技者を遊技(遊技球の打込操作や演出画像等)に専念させて興趣の低下を抑制させることができる。
また、扉枠3は、下皿322において、下皿球供給口323cの前方左寄りの位置に下皿球抜き孔322aを配置すると共に、下皿球抜き孔322aよりも右側の下皿322の立上った壁部を下皿球抜き孔322aの方向を向くように斜めに湾曲させているため、下皿球供給口323cから下皿322へ供給された遊技球を、直接的に下皿球抜き孔322aへ誘導したり、右側の壁部に反射させて間接的に下皿球抜き孔322aへ誘導したりすることができる。これにより、下皿球抜き孔322aが開いたままの状態では、下皿球供給口323cから下皿322に供給された遊技球が、下皿322における下皿球抜き孔322aよりも左側の領域(下皿第一領域A1)へ侵入することなく、下皿球抜き孔322aから下方へ排出させることができるため、下皿322内を流通する遊技球を遊技者に見せることなく下皿322の下方(ドル箱)へ遊技球を排出させることができ、上述と同様の作用効果を奏することができる。
また、扉枠3は、下皿322が前方へ臨む皿ユニットカバー326の下皿開口部326dを、演出操作ユニット取付部326a(演出操作ユニット400)と下スピーカ口326eとの間に備えているため、遊技者が下皿開口部326dに手を掛けたり、下皿322に手を入れたりしても、下スピーカ口326eの前方が遊技者の手によって遮られることはないため、本体枠4の基板ユニット900における下部スピーカ921からのサウンドを、良好に前方へ出力させることができ、本パチンコ機1によるサウンドを楽しませることができる。また、遊技者が下皿322に手を入れたり近付けたりすると、下スピーカ口326eから前方へ出力される下部スピーカ921からの重低音による振動を、遊技者に触覚的に感じさせることができ、遊技者を楽しませて興趣の低下を抑制させることができる。
また、扉枠3は、貫通口111の右側から板状で前方へ大きく突出している扉枠右サイドユニット550を備えていることから、本パチンコ機1を遊技ホールの島設備に設置すると、扉枠右サイドユニット550が右側に隣接しているパチンコ機との間で仕切りのような作用効果を発揮することができるため、本パチンコ機1で遊技する遊技者に対して、個室で遊技しているような感じに錯覚させることができ、周りの他の遊技者に気兼ねすることなくリラックスした雰囲気で遊技を行わせることができる。
更に、扉枠3は、板状で前方へ大きく突出している扉枠右サイドユニット550の前端や左右両面を、発光装飾させることができるため、パチンコ機1が並んだ状態で設置される遊技ホール内において、本パチンコ機1の前方に位置していなくても、島設備に沿った横方向から等の遠くからでも本パチンコ機1の存在を知らせることができ、遊技者に対する訴求力の高いパチンコ機1とすることができる。
また、扉枠3は、貫通口111の上側の扉枠トップユニット570において、左右方向中央で前方へ突出しているトップ中装飾部材576を備えると共に、トップ中装飾部材576の左右両側の前面を、後方へ抉れるように窪んだ形状(扉枠トップユニット570の左右両端の前端と、トップ中装飾部材576の左右両端の前端とを結んだ直線よりも、扉枠トップユニット570におけるトップ中装飾部材576の左右両側の前面が後方へ位置するように凹状に湾曲した形状)に形成されている。これにより、扉枠トップユニット570のトップ中装飾部材576のみが前方へ大きく突出しているように見えるため、遊技者に対してトップ中装飾部材576を目立たせて強調して見せることができ、トップ中装飾部材576に強く注目させることができる。
ところで、従来のパチンコ機における扉枠の上部には、左右に離間した一対の上部スピーカが備えられており二つの上部スピーカが目立っていた。これに対して、本実施形態の扉枠3は、貫通口111の上側に取付けられている扉枠トップユニット570において、左右両端にパンチングメタルからなるスピーカカバー575により前面が保護された一対の上部スピーカ573を備えた上で、中央のトップ中装飾部材576の左右両側からスピーカカバー575の前を通って左右方向両端まで延びたトップ左装飾レンズ部材579及びトップ右装飾レンズ部材580を備え、トップ左装飾レンズ部材579及びトップ右装飾レンズ部材580の前面全体を、発光装飾できるようにしている。これにより、扉枠3の前面上部を全体的に装飾することができるため、扉枠3の上部において、一対の上部スピーカ573が目立たなくなり、従来のパチンコ機とは明らかに異なる装飾が施されていることを一見して遊技者に認識させることができ、遊技者に対する訴求力の高いパチンコ機1とすることができると共に、一対の上部スピーカ573により良質なステレオサウンドを遊技者に楽しませることができる。
このように、本実施形態の扉枠3は、貫通口111より下側と上側において、皿ユニット320に取付けられている演出操作ユニット400と、扉枠トップユニット570のトップ中装飾部材576とが、夫々左右方向の中央で前方へ大きく突出しているため、左右方向中央を通る仮想線が目立つような上下において統一感のある装飾を遊技者に見せることができると共に、洗練された感じの装飾により他のパチンコ機よりも目立たせることができ、訴求力の高いパチンコ機1とすることができる。
また、扉枠3は、左右方向の中央において上下に配置されている扉枠トップユニット570のトップ中装飾部材576と演出操作ユニット400とを、前方へ突出させているため、トップ中装飾部材576及び演出操作ユニット400を発光装飾させると、扉枠3の前面の左右方向中央で上下に延びたような発光ラインを遊技者に見せることができ、遊技者の視線を左右方向中央に配置された演出操作ユニット400の操作ボタン410等に誘導させることができる。
[5.遊技盤の全体構成]
次に、パチンコ機1の遊技盤5の全体構成について、図60乃至図66等を参照して詳細に説明する。図60は、遊技盤の正面図である。図61は遊技盤を主な構成毎に分解して前から見た分解斜視図であり、図62は遊技盤を主な構成毎に分解して後ろから見た分解斜視図である。図63は表ユニットと裏ユニットを除いた遊技盤の正面図であり、図64は図63の遊技盤を分解して前から見た分解斜視図であり、図65は図63の遊技盤を分解して後ろから見た分解斜視図である。図66は、遊技盤をパチンコ機に取付けた状態で機能表示ユニットの部位を正面から拡大して示す説明図である。
遊技盤5は、遊技者がハンドルユニット300のハンドル302を操作することで遊技球が打込まれる遊技領域5aを有している。また、遊技盤5は、遊技領域5aの外周を区画し外形が正面視略四角形状とされた前構成部材1000と、前構成部材1000の後側に取付けられており遊技領域5aの後端を区画する板状の遊技パネル1100と、遊技パネル1100の後側下部に取付けられている基板ホルダ1200と、基板ホルダ1200の後面に取付けられており遊技球を遊技領域5a内へ打込むことで行われる遊技内容を制御する主制御基板1310を有している主制御ユニット1300と、を備えている。遊技パネル1100の前面において遊技領域5a内となる部位には、遊技球と当接する複数の障害釘が所定のゲージ配列で植設されている(図示は省略)。
また、遊技盤5は、主制御基板1310からの制御信号に基づいて遊技状況を表示し前構成部材1000の左下隅に遊技者側へ視認可能に取付けられている機能表示ユニット1400と、遊技パネル1100の後側に取付けられている周辺制御ユニット1500と、正面視において遊技領域5aの中央に配置されており所定の演出画像を表示可能な遊技盤側演出表示装置1600と、遊技パネル1100の前面に取付けられる表ユニット2000と、遊技パネル1100の後面に取付けられる裏ユニット3000と、を更に備えている。裏ユニット3000の後面に遊技盤側演出表示装置1600が取付けられていると共に、遊技盤側演出表示装置1600の後面に周辺制御ユニット1500が取付けられている。
遊技パネル1100は、外周が枠状の前構成部材1000の内周よりもやや大きく形成されていると共に透明な平板状のパネル板1110と、パネル板1110の外周を保持しており前構成部材1000の後側に取付けられると共に後面に裏ユニット3000が取付けられる枠状のパネルホルダ1120と、を備えている。
表ユニット2000は、遊技領域5a内に打込まれた遊技球を受入可能に常時開口している複数の一般入賞口2001と、複数の一般入賞口2001とは遊技領域5a内の異なる位置で遊技球を受入可能に常時開口している第一始動口2002と、遊技領域5a内の所定位置に取付けられており遊技球の通過を検知するゲート部2003と、遊技球がゲート部2003を通過することにより抽選される普通抽選結果に応じて遊技球の受入れが可能となる第二始動口2004と、第一始動口2002又は第二始動口2004への遊技球の受入れにより抽選される第一特別抽選結果又は第二特別抽選結果に応じて遊技球の受入れが何れかにおいて可能となる大入賞口2005と、を備えている。
また、表ユニット2000は、遊技領域5a内の左右方向中央でアウト口1126の直上に取付けられており第一始動口2002及び大入賞口2005を有している始動口ユニット2100と、始動口ユニット2100の正面視左方で内レール1002に沿って取付けられており複数の一般入賞口2001を有しているサイドユニット下2200と、サイドユニット下2200の正面視左端上方に取付けられているサイドユニット上2300と、遊技領域5a内の略中央に取付けられておりゲート部2003、及び第二始動口2004を有している枠状のセンター役物2500と、を備えている。
裏ユニット3000は、パネルホルダ1120の後面に取付けられ前方が開放されている箱状で後壁に四角い開口部3010aを有している裏箱3010と、裏箱3010の後面に取付けられており遊技盤側演出表示装置1600を着脱可能に取付けるためのロック機構3020と、を備えている。
更に、裏ユニット3000は、裏箱3010内の前端で正面視左辺側の上下方向中央から上寄りに取付けられている裏左中装飾ユニット3050と、裏箱3010内における開口部3010aの下方で裏箱3010の後壁付近に取付けられている裏下後可動演出ユニット3100と、裏箱3010内における開口部3010aの上方で正面視左側に取付けられている裏上左可動演出ユニット3200と、裏箱3010内で開口部3010aの正面視左側に取付けられている裏左可動演出ユニット3300と、裏箱3010内における開口部3010aの上方で左右方向中央から正面視右端までにかけて取付けられている裏上中可動演出ユニット3400と、裏箱3010内における開口部3010aの下方で裏下後可動演出ユニット3100の前方に取付けられている裏下前可動演出ユニット3500と、を備えている。
[5-1.前構成部材]
次に、前構成部材1000について、主に図64及び図65等を参照して説明する。前構成部材1000は、正面視の外形が略正方形とされ、内形が略円形状に前後方向へ貫通しており、内形の内周によって遊技領域5aの外周を区画している。この前構成部材1000は、正面視で左右方向中央から左寄りの下端から時計回りの周方向へ沿って円弧状に延び正面視左右方向中央上端を通り過ぎて右斜め上部まで延びた外レール1001と、外レール1001に略沿って前構成部材1000の内側に配置され正面視左右方向中央下部から正面視左斜め上部まで円弧状に延びた内レール1002と、内レール1002の下端の正面視右側で遊技領域5aの最も低くなった位置に形成されており後方へ向かって低くなるように傾斜しているアウト誘導部1003と、を備えている。
また、前構成部材1000は、アウト誘導部1003の正面視右端から前構成部材1000の右辺付近まで右端側が僅かに高くなるように直線状に傾斜している右下レール1004と、右下レール1004の右端から前構成部材1000の右辺に沿って外レール1001の上端の下側まで延びており上部が前構成部材1000の内側へ湾曲している右レール1005と、右レール1005の上端と外レール1001の上端とを繋いでおり外レール1001に沿って転動して来た遊技球が当接する衝止部1006と、を備えている。
また、前構成部材1000は、内レール1002の上端に回動可能に軸支され、外レール1001との間を閉鎖するように内レール1002の上端から上方へ延出した閉鎖位置と正面視時計回りの方向へ回動して外レール1001との間を開放した開放位置との間でのみ回動可能とされると共に閉鎖位置側へ復帰するように図示しないバネによって付勢された逆流防止部材1007を、備えている。
更に、前構成部材1000は、外レール1001及び内レール1002における下端から略垂直に延びた付近の部位の外側、アウト誘導部1003及び右下レール1004の下側、及び右レール1005の外側、の夫々の部位において、前端から後方へ窪んだ防犯凹部1008を備えている。この防犯凹部1008は、遊技盤5を本体枠4に取付けて、本体枠4に対して扉枠3を閉じた状態とすると、扉枠3における防犯カバー200の後方へ突出した後方突片202が挿入された状態となる。これにより、防犯カバー200と遊技盤5(前構成部材1000)との間が、防犯カバー200の後方突片202と前構成部材1000の防犯凹部1008とによって複雑に屈曲した状態となるため、遊技盤5の前面下方より防犯カバー200と前構成部材1000との間を通してピアノ線等の不正な工具を遊技領域5a内に侵入させようとしても、後方突片202や防犯凹部1008に阻まれることとなり、遊技領域5a内への不正な工具の侵入を阻止することができる。
また、前構成部材1000は、内レール1002の後端から後方へ突出している複数の位置決め突起1009を備えている。これら位置決め突起1009は、遊技パネル1100におけるパネル板1110に形成されている内レール固定孔1116に挿入させることで、内レール1002をパネル板1110の前面に位置決め固定することができる。
更に、前構成部材1000は、後面から後方へ突出している複数の取付ボス1010を備えている。複数の取付ボス1010は、遊技パネル1100におけるパネルホルダ1120の取付孔1128に挿入されることで、パネルホルダ1120(遊技パネル1100)との間を位置決めすることができる。
また、前構成部材1000は、正面視左下隅において下端から上方へ切欠かれている切欠部1011を備えている。この切欠部1011は、遊技パネル1100におけるパネルホルダ1120の切欠部1127と一致しており、遊技盤5を本体枠4に取付けた時に、これら切欠部1011,1127を貫通して下部満タン球経路ユニット860の通常誘導路861及び満タン誘導路862の前端開口が前方へ臨むようになっている。
[5-2.遊技パネル]
次に、遊技パネル1100について、主に図61及び図62、図64及び図65等を参照して説明する。遊技パネル1100は、外周が枠状の前構成部材1000の内周よりもやや大きく形成されていると共に透明な合成樹脂で形成されている平板状のパネル板1110と、パネル板1110の外周を保持しており前構成部材1000の後側に取付けられると共に後面に裏ユニット3000が取付けられる枠状のパネルホルダ1120と、を備えている。
遊技パネル1100のパネル板1110は、アクリル樹脂、ポリカーボネイト樹脂、ポリアリレート樹脂、メタクリル樹脂等の合成樹脂板や、ガラスや金属等の無機質板により形成されている。このパネル板1110の板厚は、パネルホルダ1120(遊技パネル1150)よりも薄く、障害釘を前面に植設したり表ユニット2000を取付けたりしても十分に保持可能な必要最低限の厚さ(8~10mm)とされている。なお、本例では、透明な合成樹脂板によってパネル板1110が形成されている。
パネル板1110は、遊技領域5a内において最も低い位置となる部位に下端から上方へ窪んだアウト凹部1111が形成されている。また、パネル板1110には、前後に貫通しており表ユニット2000を取付けるための開口部1112が複数形成されている。
また、パネル板1110は、外周近傍に配置され前後方向に貫通する丸孔からなる複数の嵌合孔1113と、左下部の外周近傍に配置され前後方向に貫通し上下方向に延びる長孔1114と、を備えている。これら嵌合孔1113及び長孔1114は、遊技領域5aよりも外側に配置されており、パネルホルダ1120との位置決めを行うものである。また、パネル板1110は、上辺の両端と下辺の両端に、前側が窪んだ段状の係合段部1115が夫々備えられている。これら係合段部1115は、パネル板1110の板厚の略半分まで切欠いた形態とされると共に、嵌合孔1113及び長孔1114と同様に、遊技領域5aよりも外側に配置されており、パネル板1110をパネルホルダ1120へ係合固定するためのものである。
また、パネル板1110は、所定位置に内レール固定孔1116が複数備えられている。この内レール固定孔1116に内レール1002の後側から突出する位置決め突起1009を嵌合固定させることで、内レール1002を所定の位置に固定することができる。
遊技パネル1100のパネルホルダ1120は、パネル板1110を包含する大きさで外形が略四角形状とされ、パネル板1110よりも厚く(本例では、約20mm)形成されている。パネルホルダ1120は、合成樹脂(例えば、熱可塑性合成樹脂)により形成されている。このパネルホルダ1120は、パネル板1110を着脱可能に保持し前面側から後方側に向かって凹んだ保持段部1121と、保持段部1121の内側において略遊技領域5aと同等の大きさで前後方向に貫通する貫通口1122と、を備えている。
パネルホルダ1120の保持段部1121は、前面からの深さがパネル板1110の厚さと略同じ深さとされており、保持段部1121内に保持されたパネル板1110の前面が、パネルホルダ1120の前面と略同一面となる。また、保持段部1121は、その前側内周面が、パネル板1110の外周面に対して所定量のクリアランスが形成される大きさに形成されている。このクリアランスにより、温度変化や経時変化により相対的にパネル板1110が伸縮しても、その伸縮を吸収できるようになっている。
また、パネルホルダ1120は、保持段部1121に保持されるパネル板1110に形成されている嵌合孔1113及び長孔1114と対応する位置に配置され、保持段部1121の前面から前方に向かって延びており、パネル板1110の嵌合孔1113及び長孔1114に嵌合及び挿通可能な複数の突出ピン1123を備えている。これらの突出ピン1123をパネル板1110の嵌合孔1113及び長孔1114に嵌合及び挿通することで、パネルホルダ1120とパネル板1110とを互いに位置決めすることができる。
更に、パネルホルダ1120は、パネル板1110の係合段部1115と対応する位置に、係合段部1115と係合する係合爪1124及び係合片1125を備えている。詳述すると、係合爪1124は、パネルホルダ1120の保持段部1121の上部に配置されており、パネル板1110における上側の係合段部1115と対応し、保持段部1121の前面から前方に向かって突出し、係合段部1115と弾性係合するようになっている。この係合爪1124は、先端がパネルホルダ1120の前面から突出しない大きさとされている。
パネルホルダ1120の係合片1125は、パネルホルダ1120の保持段部1121の下部に配置され、パネル板1110における下側の係合段部1115と対応している。この係合片1125は、保持段部1121の前面との間にパネル板1110の係合段部1115が挿入可能な大きさの隙間を形成した状態で、パネルホルダ1120の前面に沿って上側(中心側)に向かって所定量延びている。これら係合爪1124及び係合片1125にパネル板1110の係合段部1115を係合させることで、パネル板1110がパネルホルダ1120に対して着脱可能に保持される。
また、パネルホルダ1120は、遊技領域5a内において最も低い位置となる部位に前後に貫通しているアウト口1126を備えている。パネルホルダ1120は、アウト口1126の後面下側が、アウト口1126と同じ幅で下端まで前方へ窪んでいる。
更に、パネルホルダ1120は、正面視左下隅において下端から上方へ切欠かれている切欠部1127を備えている。この切欠部1127は、前構成部材1000の切欠部1011と一致しており、遊技盤5を本体枠4に取付けた時に、これら切欠部1011,1127を貫通して下部満タン球経路ユニット860の通常誘導路861及び満タン誘導路862の前端開口が前方へ臨むようになっている。
また、パネルホルダ1120は、前構成部材1000における複数の取付ボス1010と対応している位置に、前後に貫通した複数の取付孔1128を備えている。これら複数の取付孔1128に、前構成部材1000の取付ボス1010を挿入することで、パネルホルダ1120を前構成部材1000の後側に取付けることができると共に、前構成部材1000との間でパネルホルダ1120(遊技パネル1100)を位置決めすることができる。
また、パネルホルダ1120は、切欠部1127の上側で前後方向に貫通している四角い挿通孔1129を備えている。この挿通孔1129は、機能表示ユニット1400の後端が挿通される。
遊技パネル1100は、前構成部材1000の後側に取付けた状態では、前構成部材1000のアウト誘導部1003の後側にパネルホルダ1120のアウト口1126が開口した状態となる。これにより、遊技領域5aの下端へ流下した遊技球が、アウト誘導部1003によって後側のアウト口1126へ誘導され、アウト口1126を通って遊技パネル1100の後側へ排出される。
[5-2a.遊技パネルの第二実施形態]
次に、上記の遊技パネル1100とは異なる実施形態の遊技パネル1150について、主に図67及び図68を参照して詳細に説明する。図67は、図63とは異なる形態の遊技パネルを、前構成部材、基板ホルダ、及び主制御ユニットと共に前から見た分解斜視図である。図68は、図67を後ろから見た分解斜視図である。この遊技パネル1150は、所定厚さ(例えば、18mm~21mm)のベニヤ合板等の木質板材によって形成されている。この遊技パネル1150は、上記の遊技パネル1100のパネルホルダ1120と同じ厚さに形成されている。
遊技パネル1150は、外形が前構成部材1000の外形と略同形状に形成されている。遊技パネル1150は、正面視左右方向略中央の下部で前構成部材1000のアウト誘導部1003と対応した位置に前後方向へ貫通するアウト口1151を備えている。遊技パネル1150は、アウト口1151の後面下側が、アウト口1151と同じ幅で下端まで前方へ窪んでいる。
また、遊技パネル1150は、下端の正面視左側に前後方向へ横長に貫通すると共に下方へ開放され前構成部材1000の切欠部1011と同形状の切欠部1152と、切欠部1152の上側で上下方向に貫通しており機能表示ユニット1400の後端が挿通される四角い挿通孔1153と、を備えている。
また、遊技パネル1150は、前構成部材1000の内レール1002から後方へ突出している複数の位置決め突起1009と対応する位置に、位置決め突起1009を嵌合可能な前後に貫通している複数の内レール固定孔1154を備えている。また、遊技パネル1150は、前構成部材1000における複数の取付ボス1010と対応している位置に、前後に貫通した複数の取付孔1155を備えている。これら複数の取付孔1155に、前構成部材1000の取付ボス1010を挿入することで、遊技パネル1150を前構成部材1000の後側に取付けることができると共に、前構成部材1000との間で遊技パネル1150を位置決めすることができる。
更に、遊技パネル1150は、図示は省略するが、上記の遊技パネル1100におけるパネル板1110の開口部1112と同様に、表ユニット2000を取付けるための前後に貫通している複数の開口部が備えられている。
遊技パネル1150は、前構成部材1000の後側に取付けた状態で、前構成部材1000のアウト誘導部1003の後側にアウト口1151が開口した状態となる。これにより、遊技領域5aの下端へ流下した遊技球が、アウト誘導部1003によって後側のアウト口1151へ誘導され、アウト口1151を通って遊技パネル1150の後側へ排出される。
[5-3.基板ホルダ]
次に、基板ホルダ1200について、主に図64乃至図65等を参照して説明する。基板ホルダ1200は、上方及び前方が開放された横長の箱状に形成されており、底面が左右方向中央へ向かって低くなるように傾斜している。この基板ホルダ1200は、遊技盤5に組立てた状態で、遊技パネル1100の後側に取付けられている裏ユニット3000の下部を下側から覆うことができる。これにより、アウト口1126を通って遊技パネル1100の後側へ排出された遊技球、及び、表ユニット2000及び裏ユニット3000から下方へ排出された遊技球、を全て受けることができ、底面に形成された排出部1201から下方へ排出させることができる。
[5-4.主制御基板ユニット]
次に、主制御ユニット1300について、主に図64乃至図65等を参照して説明する。主制御ユニット1300は、基板ホルダ1200の後面に着脱可能に取付けられている。この主制御ユニット1300は、遊技内容及び遊技球の払出し等を制御する主制御基板1310と、主制御基板1310を収容しており基板ホルダ1200に取付けられる主制御基板ボックス1320と、を備えている。
主制御基板ボックス1320は、複数の封印機構を備えており、一つの封印機構を用いて主制御基板ボックス1320を閉じると、次に、主制御基板ボックス1320を開けるためにはその封印機構を破壊する必要があり、主制御基板ボックス1320の開閉の痕跡を残すことができる。従って、開閉の痕跡を見ることで、主制御基板ボックス1320の不正な開閉を発見することができ、主制御基板1310への不正行為に対する抑止力が高められている。
なお、主制御基板ボックス1320をはじめとした各種の基板ボックス930,950,1320,1520,3042はいずれも、外部からの目視確認が可能とされるように透過性をもった部材として設けられている。すなわち後述するが、この実施の形態にかかるパチンコ機1では、特に、上記払出制御基板ボックス950内の払出制御基板951や上記主制御基板ボックス1320内の主制御基板1310において不正抑制性能で劣る表面実装領域が設けられるようになっていることから、後述の不正対策に関わる各種の作用効果を得る上でこのような透過性を確保しておくことは重要である。
[5-5.機能表示ユニット]
次に、機能表示ユニット1400について、主に図64乃至図66等を参照して説明する。機能表示ユニット1400は、図示するように、遊技領域5aの外側で前構成部材1000の左下隅に取付けられている。機能表示ユニット1400は、遊技盤5をパチンコ機1に組立てた状態で、扉枠3の貫通口111を通して前方(遊技者側)から視認することができる(図66を参照)。この機能表示ユニット1400は、主制御基板1310からの制御信号に基づき複数のLEDを用いて、遊技状態(遊技状況)や、普通抽選結果や特別抽選結果等を表示するものである。
機能表示ユニット1400は、図66に示すように、遊技状態を表示する一つのLEDからなる状態表示器1401と、ゲート部2003に対する遊技球の通過により抽選される普通抽選結果を表示する四つのLEDからなる普通図柄表示器1402と、ゲート部2003に対する遊技球の通過に係る保留数を表示する二つのLEDからなる普通保留表示器1408と、第一始動口2002への遊技球の受入れにより抽選された第一特別抽選結果を表示する八つのLEDからなる第一特別図柄表示器1403と、第一始動口2002への遊技球の受入れに係る保留数を表示する二つのLEDからなる第一特別保留数表示器1404と、第二始動口2004への遊技球の受入れにより抽選された第二特別抽選結果を表示する八つのLEDからなる第二特別図柄表示器1405と、第二始動口2004への遊技球の受入れに係る保留数を表示する二つのLEDからなる第二特別保留数表示器1406と、第一特別抽選結果又は第二特別抽選結果が「大当り」等の時に、大入賞口2005の開閉パターンの繰返し回数(ラウンド数)を表示する三つのLEDからなるラウンド表示器1407と、を主に備えている。
この機能表示ユニット1400では、備えられているLEDを、適宜、点灯、消灯、及び、点滅、等させることにより、保留数や図柄等を表示することができる。
[5-6.周辺制御ユニット]
次に、周辺制御ユニット1500について、図62を参照して説明する。周辺制御ユニット1500は、裏ユニット3000の裏箱3010の後面に取付けられる遊技盤側演出表示装置1600の後側に取付けられている。周辺制御ユニット1500は、主制御基板1310からの制御信号に基いて遊技者に提示する演出を制御する周辺制御基板1510と、周辺制御基板1510を収容している周辺制御基板ボックス1520と、を備えている。周辺制御基板1510は、図示は省略するが、発光演出、サウンド演出、及び可動演出、等を制御するための周辺制御部と、演出画像を制御するための演出表示制御部と、を備えている。
[5-7.遊技盤側演出表示装置]
次に、遊技盤側演出表示装置1600について、図61乃至図62を参照して説明する。遊技盤側演出表示装置1600は、正面視において遊技領域5aの中央に配置されており、遊技パネル1100の後側に、裏ユニット3000の裏箱3010を介して取付けられている。詳述すると、遊技盤側演出表示装置1600は、裏箱3010の後壁の略中央の後面に対して、着脱可能に取付けられている。この遊技盤側演出表示装置1600は、遊技盤5を組立てた状態で、枠状のセンター役物2500の枠内を通して、前側(遊技者側)から視認することができる。この遊技盤側演出表示装置1600は、白色LEDをバックライトとしたフルカラーの液晶表示装置であり、静止画像や動画を表示することができる。
遊技盤側演出表示装置1600は、正面視左側面から外方へ突出している二つの左固定片1601と、正面視右側面から外方へ突出している右固定片1602と、を備えている。この遊技盤側演出表示装置1600は、液晶画面を前方へ向けた状態で、後述する裏箱3010の枠状の液晶取付部3010b内の正面視左内周面に開口している二つの固定溝3010cに、裏箱3010の斜め後方から二つの左固定片1601を挿入した上で、右固定片1602側を前方へ移動させて、右固定片1602をロック機構3020の開口部内に挿入し、ロック機構3020を下方へスライドさせることにより、裏箱3010に取付けられる。
[5-8.表ユニット]
次に、表ユニット2000について、図60乃至図62を参照して説明する。遊技盤5の表ユニット2000は、遊技パネル1100におけるパネル板1110に、前方から取付けられており、前端がパネル板1110の前面よりも前方へ突出していると共に、後端が開口部1112を貫通してパネル板1110の後面よりも後方へ突出している。
本実施形態の表ユニット2000は、遊技領域5a内に打込まれた遊技球を受入可能としており常時開口している複数の一般入賞口2001と、複数の一般入賞口2001とは遊技領域5a内の異なる位置で遊技球を受入可能に常時開口している第一始動口2002と、遊技領域5a内の所定位置に取付けられており遊技球の通過を検知するゲート部2003と、遊技球がゲート部2003を通過することにより抽選される普通抽選結果に応じて遊技球の受入れが可能となる第二始動口2004と、第一始動口2002又は第二始動口2004への遊技球の受入れにより抽選される第一特別抽選結果又は第二特別抽選結果に応じて遊技球の受入れが可能となる大入賞口2005と、を備えている。
複数の一般入賞口2001は、遊技領域5a内の下部に配置されている。第一始動口2002は、遊技領域5a内の左右方向中央でアウト口1126の直上に配置されている。ゲート部2003は、遊技領域5a内における正面視右上で衝止部1006の略直下に配置されている。第二始動口2004は、ゲート部2003の直下から正面視右寄りに配置されている。大入賞口2005は、第一始動口2002とアウト口1126との間に配置されている。
また、表ユニット2000は、遊技領域5a内の左右方向中央でアウト口1126の直上に取付けられており第一始動口2002及び大入賞口2005を有している始動口ユニット2100と、始動口ユニット2100の正面視左方で内レール1002に沿って取付けられており複数の一般入賞口2001を有しているサイドユニット下2200と、サイドユニット下2200の正面視左端上方に取付けられているサイドユニット上2300と、遊技領域5a内の略中央に取付けられており、ゲート部2003、及び第二始動口2004を有している枠状のセンター役物2500と、を備えている。
始動口ユニット2100は、遊技領域5a内において、左右方向中央の下端部付近でアウト口1126の直上に配置されており、パネル板1110に前方から取付けられている。この始動口ユニット2100は、第一始動口2002が、遊技球を一度に一つのみ受入可能な大きさで上方に向かって開口しており、大入賞口2005が、遊技球を一度に複数(例えば、4個~6個)受入可能な大きさで左右に延びており、遊技状態に応じて開閉可能に形成されている。
サイドユニット下2200は、遊技領域5a内において、始動口ユニット2100の左方で内レール1002に沿って円弧状に延びており、パネル板1110に前方から取付けられている。サイドユニット下2200は、常時遊技球を受入可能な複数の一般入賞口2001を有している。
サイドユニット上2300は、遊技領域5a内において、サイドユニット下2200の正面視左上方で上下方向中央からやや下寄りに前方からパネル板1110に取付けられている。サイドユニット上2300は、パネル板1110の前面に取付けた状態で、棚部の左端が内レール1002に接近しており、内レール1002に沿って流下してきた遊技球を、右方(遊技領域5aの左右方向中央)へ誘導させることができる。
センター役物2500は、遊技領域5a内において、始動口ユニット2100、及びサイドユニット下2200よりも上方で、正面視略中央やや上寄りに配置されており、遊技パネル1100のパネル板1110の前面に取付けられている。センター役物2500は、枠状に形成されており、枠内を通して遊技パネル1100の後方に配置された遊技盤側演出表示装置1600や裏ユニット3000に備えられている演出ユニット等を前方から視認することができる。センター役物2500は、ゲート部2003、及び第二始動口2004を有している。
枠状のセンター役物2500は、下辺を除いた全周が、遊技パネル1100のパネル板1110の前面よりも前方へ突出しており、遊技領域5a内に打込まれた遊技球が、枠内に侵入できないようになっている。
センター役物2500は、正面視左側の外周面に、遊技領域5a内の遊技球が進入可能に開口しているワープ入口2520と、ワープ入口2520に進入した遊技球を放出可能とされ枠内に開口しているワープ出口2522と、ワープ出口2522から放出された遊技球を左右方向に転動させた後に遊技領域5a内へ放出するステージ2530と、を備えている。ステージ2530の直下に始動口ユニット2100が配置されており、ステージ2530の中央から遊技球が下方へ放出されると、極めて高い確率で第一始動口2002に遊技球が受入れられる。
[5-9.裏ユニット]
次に、遊技盤5における裏ユニット3000について、図60乃至図62を参照して説明する。裏ユニット3000は、遊技パネル1100におけるパネルホルダ1120の後面に取付けられている。また、裏ユニット3000の後側に遊技盤側演出表示装置1600及び周辺制御ユニット1500が取付けられている。
裏ユニット3000は、パネルホルダ1120の後面に取付けられ前方が開放されている箱状で後壁に四角い開口部3010aを有している裏箱3010と、裏箱3010の後面で開口部3010aの下辺に沿って左右に延びた軸周りに回動可能に取付けられており演出駆動基板を収容している箱状の演出駆動基板ボックス3042と、を備えている。
また、裏ユニット3000は、裏箱3010内の前端で正面視左辺側の上下方向中央から上寄りに取付けられている裏左中装飾ユニット3050と、裏箱3010内における開口部3010aの下方で裏箱3010の後壁付近に取付けられている裏下後可動演出ユニット3100と、裏箱3010内における開口部3010aの上方で正面視左側に取付けられている裏上左可動演出ユニット3200と、裏箱3010内で開口部3010aの正面視左側に取付けられている裏左可動演出ユニット3300と、裏箱3010内における開口部3010aの上方で左右方向中央から正面視右端までにかけて取付けられている裏上中可動演出ユニット3400と、裏箱3010内における開口部3010aの下方で裏下後可動演出ユニット3100の前方に取付けられている裏下前可動演出ユニット3500と、を備えている。
裏ユニット3000の裏箱3010は、前方が開放されている箱状で後壁に四角く貫通している開口部3010aと、開口部3010aの周縁から間隔を開けて後方へ突出している平板枠状の液晶取付部3010bと、液晶取付部3010bにおける背面視左辺において枠内の内側から外方へ向かって窪んでおり遊技盤側演出表示装置1600の左固定片1601が挿入される二つの固定溝3010cと、液晶取付部3010bの背面視右辺の上下方向中央において後端から裏箱3010の後壁まで切欠かれロック機構3020が取付けられる切欠部3010dと、を備えている。
開口部3010aは、遊技盤側演出表示装置1600の表示画面と略同じ大きさに形成されている。また、液晶取付部3010bは、枠内に遊技盤側演出表示装置1600を嵌め込むことが可能な大きさに形成されている。裏箱3010は、後面における切欠部3010dの背面視左側にロック機構3020が上下にスライド可能に取付けられる。
また、裏箱3010は、前端から外方へ延出している平板状の固定片部3010eを備えている。この固定片部3010eは、前面が遊技パネル1100のパネルホルダ1120の後面に当接した状態で、パネルホルダ1120に取付けられる。裏箱3010は、各可動演出ユニット等を取付けるためのボスや取付孔等が適宜位置に形成されている。
裏ユニット3000は、裏下後可動演出ユニット3100、裏上左可動演出ユニット3200、裏左可動演出ユニット3300、裏上中可動演出ユニット3400、及び裏下前可動演出ユニット3500、等を適宜用いて、発光演出、可動演出、表示演出、等を行うことが可能であり、各種の演出によっても遊技者を楽しませることができ、遊技者の遊技に対する興趣が低下するのを抑制することができる。
[6.遊技内容]
次に、本実施形態のパチンコ機1による遊技内容について、図60等を参照して説明する。本実施形態のパチンコ機1は、扉枠3の前面右下隅に配置されたハンドルユニット300のハンドル302を遊技者が回転操作することで、皿ユニット320の上皿321に貯留された遊技球が、遊技盤5における外レール1001と内レール1002との間を通って遊技領域5a内の上部へと打ち込まれて、遊技球による遊技が開始される。遊技領域5a内の上部へ打ち込まれた遊技球は、その打込強さによってセンター役物2500の左側、或いは、右側の何れかを流下する。なお、遊技球の打込み強さは、ハンドル302の回転量によって調整することができ、時計回りの方向へ回転させるほど強く打込むことができ、連続で一分間に最大100個の遊技球、つまり、0.6秒間隔で遊技球を打込むことができる。
また、遊技領域5a内には、適宜位置に所定のゲージ配列で複数の障害釘(図示は省略)が遊技パネル1100(パネル板1110)の前面に植設されており、遊技球が障害釘に当接することで、遊技球の流下速度が抑制されると共に、遊技球に様々な動きが付与されて、その動きを楽しませられるようになっている。また、遊技領域5a内には、障害釘の他に、遊技球の当接により回転する風車(図示は省略)が適宜位置に備えられている。
センター役物2500の上部へ打込まれた遊技球は、センター役物2500の外周面のうち、最も高くなった部位よりも正面視左側へ進入すると、図示しない複数の障害釘に当接しながら、センター役物2500よりも左側の領域を流下することとなる。そして、センター役物2500の左側の領域を流下する遊技球が、センター役物2500の外周面に開口しているワープ入口2520に進入すると、ワープ出口2522からステージ2530に供給される。
ステージ2530に供給された遊技球は、ステージ2530上を転動して左右に行ったり来たりして前方へ放出される。ステージ2530の中央から遊技球が遊技領域5a内に放出されと、第一始動口2002の直上に位置していることから、高い確率で第一始動口2002に受入れられる。この第一始動口2002に遊技球が受入れられると、主制御基板1310及び払出制御基板951を介して払出装置830から所定数(例えば、3個)の遊技球が、上皿321に払出される。
ステージ2530を転動している遊技球が、中央以外から遊技領域5a内に放出されと、始動口ユニット2100へ向かって流下する。センター役物2500のステージ2530から遊技領域5a内に放出された遊技球は、始動口ユニット2100の第一始動口2002や、開状態の大入賞口2005等に受入れられる可能性がある。
ところで、センター役物2500の左側へ流下した遊技球が、ワープ入口2520に進入しなかった場合、サイドユニット上2300により左右方向中央側へ寄せられ、サイドユニット下2200の一般入賞口2001や第一始動口2002等に受入れられる可能性がある。そして、一般入賞口2001に遊技球が受入れられると、主制御基板1310及び払出制御基板951を介して払出装置830から所定数(例えば、10個)の遊技球が、上皿321に払出される。
一方、遊技領域5a内においてセンター役物2500の上部に打込まれた遊技球が、センター役物2500の外周面の最も高くなった部位よりも右側に進入する(所謂、右打ちする)と、その下流側に、ゲート部2003と第二始動口2004とが備えられている領域を流下することとなる。
そして、右打した遊技球が、ゲート部2003を通過すると、主制御基板1310において普通抽選が行われ、抽選された普通抽選結果が「普通当り」の場合、第二始動口2004が所定時間(例えば、0.3~10秒)の間、開状態となり、第二始動口2004への遊技球の受入れが可能となる。そして、第二始動口2004に遊技球が受入れられると、主制御基板1310及び払出制御基板951を介して払出装置830から所定数(例えば、4個)の遊技球が、上皿321に払出される。
本実施形態では、ゲート部2003を遊技球が通過することで行われる普通抽選において、普通抽選を開始してから普通抽選結果を示唆するまでにある程度の時間を設定している(例えば、0.01~60秒、普通変動時間とも称す)。この普通抽選結果の示唆は、遊技盤5の機能表示ユニット1400に表示される。第二始動口2004では、普通変動時間の経過後に開状態となる。
また、遊技球がゲート部2003を通過してから普通抽選結果が示唆されるまでの間に、遊技球がゲート部2003を通過すると、普通抽選結果の示唆を開始することができないため、普通抽選結果の示唆の開始を、先の普通抽選結果の示唆が終了するまで保留するようにしている。また、普通抽選結果の保留数は、4つまでを上限とし、それ以上については、ゲート部2003を遊技球が通過しても、保留せずに破棄している。これにより、保留が貯まることで遊技ホール側の負担の増加を抑制している。
本実施形態のパチンコ機1は、第一始動口2002及び第二始動口2004に遊技球が受入れられると、主制御基板1310において、遊技者に有利な有利遊技状態(例えば、「大当り」、「中当り」、「小当り」、「確率変動当り」、「時間短縮当り」、等)を発生させる特別抽選結果の抽選が行われる。そして、抽選された特別抽選結果を、所定時間(例えば、0.1~360秒、特別変動時間とも称す)かけて遊技者に示唆する。なお、第一始動口2002及び第二始動口2004に遊技球が受入れられることで抽選される特別抽選結果には、「ハズレ」、「小当り」、「2R大当り」、「5R大当り」、「15R大当り」、「確変(確率変更)当り」、「時短(時間短縮)当り」、「確変時短当り」、「確変時短無し当り」、等がある。
第一始動口2002及び第二始動口2004への遊技球の受入れにより抽選された特別抽選結果(第一特別抽選結果及び第二特別抽選結果)が、有利遊技状態を発生させる特別抽選結果の場合、特別変動時間の経過後に、大入賞口2005が所定の開閉パターンで遊技球の受入れが可能な状態となる。大入賞口2005が開状態の時に、大入賞口2005に遊技球が受入れられると、主制御基板1310及び払出基板によって払出装置830から所定数(例えば、10個、又は、13個)の遊技球が、上皿321に払出される。従って、大入賞口2005が遊技球を受入可能としている時に、大入賞口2005に遊技球を受入れさせることで、多くの遊技球を払出させることができ、遊技者を楽しませることができる。
特別抽選結果が「小当り」の場合、大入賞口2005が、所定短時間(例えば、0.2秒~0.6秒の間)の間、遊技球を受入可能な開状態となってから閉鎖する開閉パターンを複数回(例えば、2回)繰返す。一方、特別抽選結果が「大当り」の場合、大入賞口2005が、遊技球を受入可能な開状態となった後に、所定時間(例えば、約30秒)経過、或いは、大入賞口2005への所定個数(例えば、10個)の遊技球の受入れ、の何れかの条件が充足すると、遊技球を受入不能な閉状態とする開閉パターン(一回の開閉パターンを1ラウンドと称す)を、所定回数(所定ラウンド数)繰返す。例えば、「2R大当り」であれば2ラウンド、「5R大当り」であれば5ラウンド、「15R大当り」であれば15ラウンド、夫々繰返して、遊技者に有利な有利遊技状態を発生させる。
なお、「大当り」では、大当り遊技の終了後に、「大当り」等の特別抽選結果が抽選される確率を変更(「確変当り」)したり、特別抽選結果を示唆する演出画像の表示時間を変更(「時短当り」)したりする「当り」がある。
本実施形態では、第一始動口2002及び第二始動口2004への遊技球の受入れにより特別抽選の開始から抽選された特別抽選結果が示唆されるまでの間に、第一始動口2002及び第二始動口2004に遊技球が受入れられると、特別抽選結果の示唆を開始することができないため、先に抽選された特別抽選結果の示唆が完了するまで、特別抽選結果の示唆の開始が保留される。この保留される特別抽選結果の保留数は、第一始動口2002及び第二始動口2004に対して、夫々4つまでを上限とし、それ以上については、第一始動口2002及び第二始動口2004に遊技球が受入れられても特別抽選結果を保留せずに、破棄している。これにより、保留が貯まることで遊技ホール側の負担の増加を抑制している。
この特別抽選結果の示唆は、機能表示ユニット1400と遊技盤側演出表示装置1600とで行われる。機能表示ユニット1400では、主制御基板1310によって直接制御されて特別抽選結果の示唆が行われる。機能表示ユニット1400での特別抽選結果の示唆は、複数のLEDを、点灯・消灯を繰返して所定時間点滅させ、その後に、点灯しているLEDの組合せによって特別抽選結果を示唆する。
一方、遊技盤側演出表示装置1600では、主制御基板1310からの制御信号に基いて、周辺制御基板1510によって間接的に制御され演出画像として特別抽選結果の示唆が行われる。遊技盤側演出表示装置1600での特別抽選結果を示唆する演出画像は、複数の図柄からなる図柄列を、左右方向へ三つ並べて表示した状態で、各図柄列を変動させ、変動表示されている図柄列を順次停止表示させ、停止表示される三つの図柄列の図柄が、特別抽選結果と対応した組合せとなるように夫々の図柄列が停止表示される。特別抽選結果が「ハズレ」以外の場合は、三つの図柄列が停止して各図柄が停止表示された後に、特別抽選結果を示唆する確定画像が遊技盤側演出表示装置1600に表示されて、抽選された特別抽選結果に応じた有利遊技状態(例えば、小当り遊技、大当り遊技、等)が発生する。
なお、機能表示ユニット1400での特別抽選結果を示唆する時間(LEDの点滅時間(変動時間))と、遊技盤側演出表示装置1600での特別抽選結果を示唆する時間(図柄列が変動して確定画像が表示されるまでの時間)とは、異なっており、機能表示ユニット1400の方が長い時間に設定されている。
また、周辺制御基板1510では、遊技盤側演出表示装置1600による特別抽選結果を示唆するための演出画像の表示の他に、抽選された特別抽選結果に応じて、扉枠3における演出操作ユニット400の操作ボタン410や扉枠側演出表示装置460、センター役物2500の各種装飾体、裏ユニット3000の各種装飾体、裏下後可動演出ユニット3100、裏上左可動演出ユニット3200、裏左可動演出ユニット3300、裏上中可動演出ユニット3400、及び裏下前可動演出ユニット3500、等を適宜用いて、発光演出、可動演出、表示演出、等を行うことが可能であり、各種の演出によっても遊技者を楽しませることができ、遊技者の遊技に対する興趣が低下するのを抑制することができる。
[本実施形態と本発明の関係]
本実施形態における扉枠3は本発明の扉ユニットに、本実施形態における本体枠4は本発明の本体ユニットに、本実施形態の扉枠3における扉枠ベースユニット100の貫通口111は本発明の窓部に、本実施形態の扉枠3における皿ユニット320の皿ユニットカバー326は本発明の膨出部に、本実施形態の演出操作ユニット400及び第二演出操作ユニット400Aにおける操作ボタン410のボタンレンズ411は本発明の第一装飾体に、本実施形態におけるボタンレンズ411の第一ボタン装飾部411aは本発明の第一装飾部に、夫々相当している。
また、本実施形態におけるベースユニットの操作ボタン内装飾部材、扉枠側第二演出表示装置460Aにおけるスクリーンユニット470のメインスクリーン471及びサブスクリーン472は本発明の第二装飾体に、本実施形態における操作ボタン内装飾部材432の第二ボタン内装飾部432g、スクリーンユニット470の周縁装飾部472a、サブスクリーン装飾部材476、及び周縁装飾部材478は本発明の第二装飾部に、夫々相当している。
更に、本実施形態における操作ボタン左内装飾基板433、操作ボタン右内装飾基板434、操作ボタン上内装飾基板435、及び操作ボタン下内装飾基板436に実装されている各LEDとサブスクリーン装飾基板477のLED477aとは本発明の発光体に、本実施形態における扉枠側演出表示装置460は本発明の奥側装飾手段に、本実施形態におけるフレームユニット415、ベースユニット430のユニットベース431、及び第二ベースユニット450のユニットベース451は本発明のベース部に、夫々相当している。
[8.本実施形態の特徴的な作用効果]
このように、本実施形態のパチンコ機1によると、扉枠3における前方に膨出している皿ユニット320の前面に取付けられている演出操作ユニット400(或いは、第二演出操作ユニット400A)の操作ボタン410のボタンレンズ411を外方から見ると、第一ボタン装飾部411aと操作ボタン内装飾部材432の第二ボタン内装飾部432g(或いは、扉枠側第二演出表示装置460Aにおけるスクリーンユニット470の周縁装飾部472a、サブスクリーン装飾部材476、周縁装飾部材478、等)とが重なった装飾、第一ボタン装飾部411aと扉枠側演出表示装置460とが重なった装飾、等のこれまでにない遠近感のある装飾性に溢れた装飾を遊技者に見せることができるため、遊技者の関心を強く引付けることができ、他のパチンコ機との差別化を図ることが可能な訴求力の高いパチンコ機1とすることができる。
また、ボタンレンズ411(操作ボタン410)の移動方向に操作ボタン内装飾部材432(或いは、扉枠側第二演出表示装置460A(スクリーンユニット470))、及び扉枠側演出表示装置460等を配置していると共に、ユニットベース431(ユニットベース451)によりボタンレンズ411を遊技者の操作によって移動させることができるように支持されているため、遊技者がボタンレンズ411を操作(押圧)して移動させると、第一ボタン装飾部411aと第二ボタン内装飾部432g(或いは、周縁装飾部472a、サブスクリーン装飾部材476、周縁装飾部材478、等)とが近付いたり離れたりすることとなるため、第一ボタン装飾部411aと第二ボタン内装飾部432g(或いは、周縁装飾部472a、サブスクリーン装飾部材476、周縁装飾部材478、等)との距離の変化により第一ボタン装飾部411aと第二ボタン内装飾部432g(或いは、周縁装飾部472a、サブスクリーン装飾部材476、周縁装飾部材478、等)とが重なって見える装飾の遠近感を変化させることが可能となり、第一ボタン装飾部411aと第二ボタン内装飾部432g(或いは、周縁装飾部472a、サブスクリーン装飾部材476、周縁装飾部材478、等)とによる装飾(交差態様)を、遊技者自身によって変化させることができ、遊技者を楽しませて興趣の低下を抑制させることができる。
また、ボタンレンズ411の中央を、操作ボタン内装飾部材432(或いは、扉枠側第二演出表示装置460A)とは反対側となる外方へ膨出させていることから、第一装飾体と第二装飾体との間に空間が形成されることとなるため、遊技者から見た時に、ボタンレンズ411の第一ボタン装飾部411aまでの距離と、操作ボタン内装飾部材432の第二ボタン内装飾部432g(或いは、スクリーンユニット470の周縁装飾部472a、サブスクリーン装飾部材476、周縁装飾部材478、等)までの距離とが、より大きく異なることとなり、ボタンレンズ411を操作して移動させていない状態でも、遊技者の目の位置が移動すると、第一ボタン装飾部411aと第二ボタン内装飾部432g(或いは、周縁装飾部472a、サブスクリーン装飾部材476、周縁装飾部材478、等)との交差態様(重なり具合)が変化するため、動きのある装飾を遊技者に見せることができ、遊技者の関心を強く引付けることができる。
更に、透明なボタンレンズ411の外周縁に、中央へ向かう放射状の装飾を有した第一ボタン装飾部411aを備えているため、ボタンレンズ411における第一ボタン装飾部411aが備えられていない中央側を通して奥側の操作ボタン内装飾部材432(或いは、扉枠側第二演出表示装置460A)や扉枠側演出表示装置460を、良好に視認させることができると共に、第一ボタン装飾部411aの放射状の装飾によって遊技者の視線をボタンレンズ411の中央へ向けさせることができ、透明なボタンレンズ411の中央を通して操作ボタン内装飾部材432(或いは、扉枠側第二演出表示装置460A)や扉枠側演出表示装置460に対して遊技者の関心を強く向けさせることができる。
また、操作ボタン内装飾部材432に、中央を中心とした同心円状の複数の多角形の装飾を有した第二ボタン内装飾部432gを備えているため、外方から見た時に、ボタンレンズ411の第一ボタン装飾部411aの装飾と、操作ボタン内装飾部材432の第二ボタン内装飾部432gの装飾とが、互いに交差することとなり、第一ボタン装飾部411aと第二ボタン内装飾部432gとによる装飾の遠近感を確実に発揮させることができ、第一ボタン装飾部411aと第二ボタン内装飾部432gとによる装飾を目立たせて遊技者に対する訴求力の高いパチンコ機1とすることができる。
また、操作ボタン内装飾部材432の第二ボタン内装飾部432gの装飾に、中央を中心とした同心円状の複数の多角形の装飾を有するようにしているため、第二ボタン内装飾部432gの装飾によって遊技者の視線や関心を操作ボタン内装飾部材432の中央に見える扉枠側演出表示装置460へ向けさせることができ、扉枠側演出表示装置の装飾(演出画像)を楽しませることができる。
更に、操作ボタン左内装飾基板433、操作ボタン右内装飾基板434、操作ボタン上内装飾基板435、及び操作ボタン下内装飾基板436に実装されている各LED(或いは、サブスクリーン装飾基板477のLED477a)を発光させると、その光によって操作ボタン内装飾部材432(或いは、サブスクリーン装飾部材476)を発光装飾させることができると共に、更に、ボタンレンズ411も発光装飾させることができるため、第一ボタン装飾部411aや第二ボタン内装飾部432g(或いは、サブスクリーン装飾部材476)の装飾に加えて発光装飾によっても遊技者を楽しませることができる。この際に、第二ボタン内装飾部432g(或いは、サブスクリーン装飾部材476)によって操作ボタン左内装飾基板433、操作ボタン右内装飾基板434、操作ボタン上内装飾基板435、及び操作ボタン下内装飾基板436の各LED(或いは、LED477a)からの光を拡散させることができることから、第二ボタン内装飾部432gでは、操作ボタン左内装飾基板433、操作ボタン右内装飾基板434、操作ボタン上内装飾基板435、及び操作ボタン下内装飾基板436の各LED(或いは、LED477a)からの直接的な光により発光装飾させられるのに対して、第一ボタン装飾部411aでは、第二ボタン内装飾部432g(或いは、サブスクリーン装飾部材476)により拡散された間接的な光により発光装飾させられることとなり、第二ボタン内装飾部432g(サブスクリーン装飾部材476)が強く発光装飾されるのに対して第一ボタン装飾部411aが弱く発光装飾されるため、操作ボタン左内装飾基板433、操作ボタン右内装飾基板434、操作ボタン上内装飾基板435、及び操作ボタン下内装飾基板436の各LED(或いは、LED477a)を発光させた状態で、外方から第一ボタン装飾部411aと第二ボタン内装飾部432g(或いは、サブスクリーン装飾部材476)とを見ると、より遠近感が強調された装飾を遊技者に見せることができ、遊技者の関心を強く引付けさせられる訴求力の高いパチンコ機1とすることができる。
また、ボタンレンズ411の移動する方向に操作ボタン内装飾部材432(或いは、扉枠側第二演出表示装置460A)を配置しているため、ボタンレンズ411や操作ボタン内装飾部材432(或いは、扉枠側第二演出表示装置460A)の外周りよも外側の部位に、ボタンレンズ411が移動するためのスペースを確保する必要がなく、ボタンレンズ411や操作ボタン内装飾部材432(或いは、扉枠側第二演出表示装置460A)を外側に広げて、可及的に大きくすることが可能となり、大型化できることでボタンレンズ411や操作ボタン内装飾部材432(或いは、扉枠側第二演出表示装置460A)を目立たせることができる。また、上述したように、ボタンレンズ411の外側に、移動させるためのスペースを確保する必要がないため、ボタンレンズ411の外側の部位に、フレームユニット415を配置することで、パチンコ機1全体の装飾性を高めることができ、見栄えを良くして遊技者の関心を強く引付けられる訴求力の高いパチンコ機1とすることができる。
また、ボタンレンズ411の中央を外方へ膨出させていることから、遊技者がボタンレンズ411を叩いたりして表面の一部に衝撃を加えた場合、ボタンレンズ411を平坦な形状とした場合と比較して、加えられた衝撃力が、ボタンレンズ411の全体に分散し易くなるため、ボタンレンズ411を壊れ難く(破損し難く)することができる。従って、遊技中にボタンレンズ411が破損することで、遊技が中断してしまい、遊技者によっては苛立ちを覚えて興趣を低下させてしまうのを回避させることができると共に、ボタンレンズ411が破損し難くなることで、本パチンコ機1を設置している遊技ホール側の負担の増加を抑制させることができる。
更に、本実施形態のパチンコ機1によると、本体枠4内に配置されている遊技盤5の遊技領域5aを、前方から貫通口111を通して視認可能としている扉枠3において、貫通口111の下側で前方に膨出している皿ユニット320の皿ユニットカバー326に取付けられている演出操作ユニット400(第二演出操作ユニット400A)のユニットベース431(第二ベースユニット450)に、外径が10cm~30cmの範囲内である約15cmの円形状で遊技者が操作することで可動する(進退する)操作ボタン410と、操作ボタン410の透明なボタンレンズ411を通して前方から視認可能な操作ボタン内装飾部材432及び扉枠側演出表示装置460(扉枠側第二演出表示装置460A)と、操作ボタン410が枠内に配置される枠状のフレームユニット415と、を取付けていることから、従来のパチンコ機において遊技球の貯留皿が目立った位置に、可及的に大きな操作ボタン410を有した演出操作ユニット400(第二演出操作ユニット400A)が見えるため、遊技者に対して一見しただけで従来のパチンコ機とは異なっていることを認識させることができ、訴求力の高いパチンコ機1とすることができる。そして、フレームユニット415に透光性を有したフレームサイドレンズ417を備えると共に、フレームサイドレンズ417と隣接するように操作ボタン410(ボタンレンズ411)の外縁に透光性を有した第二ボタン装飾部411bを備え、フレームサイドレンズ417と第二ボタン装飾部411bの後側でユニットベース431(第二ベースユニット450)に取付けられた操作ボタン左外装飾基板422及び操作ボタン右外装飾基板423に第二ボタン装飾部411bを発光装飾させるための第一LED422a,423aと、フレームサイドレンズ417を発光装飾させるための第二LED422b,423bと、を備えた上で、フレームサイドレンズ417と第二ボタン装飾部411bとの間を仕切るフレーム本体416の内側筒部416dと、第二ボタン装飾部411bとボタンレンズ411の中央側とを仕切るボタンベース413の本体部413a及び内側延出部413fとを備えるようにしているため、内側筒部416dと本体部413a及び内側延出部413fとにより、第一LED422a,423aからの光がフレームサイドレンズ417やボタンレンズ411の中央側を照らしたり、第二LED422b,423bからの光が第二ボタン装飾部411bを照らしたりするのを防止することができ、隣接しているフレームサイドレンズ417と第二ボタン装飾部411bとを夫々独立させて発光装飾させることができる。従って、フレームサイドレンズ417や第二ボタン装飾部411bを、夫々くっきりと発光装飾させることができ、見栄えの良い発光演出を行うことができる。また、隣接しているフレームサイドレンズ417と第二ボタン装飾部411bとに対して、消灯、点灯、点滅、明るさ、色、等を適宜組合せることで、多彩なパターンの発光演出を行うことができ、遊技者を飽きさせ難くすることができると共に、遊技者を楽しませることができ、遊技者の遊技に対する興趣の低下を抑制させることができる。
また、操作ボタン410の第二ボタン装飾部411bを発光装飾させる第一LED422a,423aと、フレームユニット415のフレームサイドレンズ417を発光装飾させる第二LED422b,423bとを、一つの操作ボタン左外装飾基板422及び操作ボタン右外装飾基板423に備え、操作ボタン左外装飾基板422及び操作ボタン右外装飾基板423をユニットベース431(第二ベースユニット450)に取付けているため、第二ボタン装飾部411b(操作ボタン410)に基板を備えた場合と比較して、第二ボタン装飾部411bから第一LED422a,423aを可及的に遠ざけることができ、第一LED422a,423aからの光を十分に拡散させた状態で第二ボタン装飾部411bに照射させることができる。従って、第二ボタン装飾部411bを均一に発光装飾させることができるため、第二ボタン装飾部411bやフレームサイドレンズ417の発光装飾の見栄えを良くすることができ、遊技者の関心を強く引付けさせることができると共に、遊技者を楽しませることができ、遊技者の興趣の低下を抑制させることができる。
更に、操作ボタン左外装飾基板422及び操作ボタン右外装飾基板423を、ユニットベース431(第二ベースユニット450)に取付けているため、操作ボタン410の進退に伴って操作ボタン左外装飾基板422及び操作ボタン右外装飾基板423に接続されている配線が屈曲したり伸展したりすることはなく、疲労による配線の断線を無くすことができる。従って、操作ボタン410(第二ボタン装飾部411b)を可動させても、配線が断線することはないため、操作ボタン410の可動(操作)や、フレームサイドレンズ417及び第二ボタン装飾部411bの発光装飾を、問題なく遊技者に楽しませることができ、遊技者の興趣の低下を抑制させることができる。
また、操作ボタン410の透明なボタンレンズ411の外縁に第二ボタン装飾部411bが備えられていることから、透明なボタンレンズ411を通して後方の操作ボタン内装飾部材432及び扉枠側演出表示装置460(扉枠側第二演出表示装置460A)を見た時に、操作ボタン内装飾部材432及び扉枠側演出表示装置460(扉枠側第二演出表示装置460A)の外縁を第二ボタン装飾部411bが装飾している状態となり、パチンコ機1の見栄えを良くすることができる。そして、第一LED422a,423aや第二LED422b,423bを適宜発光させることで、後方に操作ボタン内装飾部材432及び扉枠側演出表示装置460(扉枠側第二演出表示装置460A)が見える透明なボタンレンズ411の外縁を装飾している第二ボタン装飾部411bやフレームサイドレンズ417を、上述したように、様々なパターンで発光装飾させることができるため、遊技者の関心を操作ボタン410や扉枠側演出表示装置460(扉枠側第二演出表示装置460A)に強く引付けさせることができ、発光演出や操作ボタン410の操作、及び扉枠側演出表示装置460(扉枠側第二演出表示装置460A)による演出画像等を楽しませて興趣の低下を抑制させることができる。
また、外縁に第二ボタン装飾部411bが備えられたボタンレンズ411(操作ボタン410)を、遊技者によって操作可能としているため、遊技者参加型演出の実行中に、操作ボタン410を遊技者に操作させるようにすることで、遊技者に対して操作ボタン410の操作(遊技者参加型演出)を楽しませることができ、遊技者の遊技に対する興趣の低下を抑制させることができる。そして、遊技者参加型演出の実行時に、操作ボタン410の第二ボタン装飾部411bやフレームユニット415のフレームサイドレンズ417を発光装飾させることで、遊技者の関心を操作ボタン410に引付けることができるため、遊技者に対して操作ボタン410の操作を促すことができ、遊技者を遊技者参加型演出に参加させて楽しませることができる。
更に、操作ボタン410の第二ボタン装飾部411bのみを第一LED422a,423aによって発光装飾可能としている不透光性の本体部413a及び内側延出部413fを備えていため、操作ボタン410における第二ボタン装飾部411bよりも中央側の部位が第一LED422a,423aによって発光装飾させられる(照らされる)ことはなく、操作ボタン410(ボタンレンズ411)の中央側が明るくなることで後方に配置されている操作ボタン内装飾部材432及び扉枠側演出表示装置460(扉枠側第二演出表示装置460A)が前方から見辛くなるのを防止することができる。従って、第二ボタン装飾部411bを良好な状態で発光装飾させることができると共に、透明なボタンレンズ411を通して後方の操作ボタン内装飾部材432及び扉枠側演出表示装置460(扉枠側第二演出表示装置460A)を良好な状態で視認させることができ、遊技者に対して装飾や発光演出等を十分に楽しませて遊技に対する興趣の低下を抑制させることができる。
また、内側筒部416dを、フレームサイドレンズ417を備えたフレームユニット415の後側から延びるようにしているため、フレームユニット415の後側では、フレームサイドレンズ417と操作ボタン410の第二ボタン装飾部411bとの間を内側筒部416dによって完全に仕切ることができる。一方、内側筒部416dにおける操作ボタン左外装飾基板422及び操作ボタン右外装飾基板423に近い側の端部(後端部)では、第一LED422a,423aや第二LED422b,423bからの光が拡散範囲よりも内側筒部416dの後端が、操作ボタン左外装飾基板422及び操作ボタン右外装飾基板423に近い側に位置しているため、操作ボタン左外装飾基板422及び操作ボタン右外装飾基板423の前面との間に隙間が形成されていても、第一LED422a,423aからの光がフレームサイドレンズ417を照らしたり、第二LED422b423bからの光が第二ボタン装飾部411bを照らしたりすることはない。従って、内側筒部416dによって光を確実に遮ることができ、上述した作用効果を確実に奏するパチンコ機1を具現化することができる。
また、ボタンベース413の本体部413a及び内側延出部413fを、操作ボタン410(ボタンレンズ411)の後側から延びるようにしているため、操作ボタン410の後側では、第二ボタン装飾部411bとボタンレンズ411の中央側との間を、本体部413a及び内側延出部413fによって完全に仕切ることができる。一方、本体部413aにおける操作ボタン左外装飾基板422及び操作ボタン右外装飾基板423に近い側の端部(後端部)では、操作ボタン左外装飾基板422及び操作ボタン右外装飾基板423よりも後方へ延びているため、第一LED422a,423aからの光が本体部413aの後端を潜ることはなく、操作ボタン410のボタンレンズ411の中央側への光の浸入を完全に遮断することができる。従って、第一LED422a,423aによって第二ボタン装飾部411bを良好な状態で発光装飾させることができると共に、透明なボタンレンズ411を通して後方の操作ボタン内装飾部材432及び扉枠側演出表示装置460(扉枠側第二演出表示装置460A)を良好な状態で視認させることができ、遊技者に対して装飾や発光演出等を十分に楽しませて遊技に対する興趣の低下を抑制させることができる。
また、前方から見た時に、操作ボタン410(ボタンレンズ411)の後方に配置された操作ボタン内装飾部材432(扉枠側第二演出表示装置460A)の外側の部位の前方に第二ボタン装飾部411bが位置することとなるため、ボタンレンズ411と操作ボタン内装飾部材432(扉枠側第二演出表示装置460A)との間の隙間から、操作ボタン内装飾部材432(扉枠側第二演出表示装置460A)の外側にあるの部材や後側(奥側)を第二ボタン装飾部411bによって見え難くすることができ、操作ボタン410の見栄えの悪化を防止することができる。また、この際に、第一LED422a,423aによって第二ボタン装飾部411bを発光装飾させると、第二ボタン装飾部411bの明るさに対して、操作ボタン内装飾部材432(扉枠側第二演出表示装置460A)の外側や後側が相対的に暗くなるため、操作ボタン内装飾部材432(扉枠側第二演出表示装置460A)の外側や後側にある部材を見え難くすることができる。従って、操作ボタン410、フレームユニット415、操作ボタン内装飾部材432及び扉枠側演出表示装置460(扉枠側第二演出表示装置460A)、等の見栄えをより向上させることができ、遊技者の興趣の低下を抑制させることができる。
また、操作ボタン410の外周形状を円形状としているため、操作ボタン410(ボタンレンズ411)の外縁に備えられている第二ボタン装飾部411bと、第二ボタン装飾部411bに隣接しているフレームサイドレンズ417が、円弧状に延びた形態となる。従って、第一LED422a,423aや第二LED422b,423bを適宜発光させることで、操作ボタン410の外縁を光がグルグル回るような発光演出や、操作ボタン410の内側から外側へ光が広がるような発光演出や、操作ボタン410の外側から内側へ光が収束するような発光演出、等を遊技者に見せることができるため、多彩な発光演出によって遊技者を飽き難くさせることができ、遊技者を楽しませて興趣の低下を抑制させることができる。
更に、本実施形態のパチンコ機1によると、扉枠3における皿ユニット320の皿ユニットカバー326に、貯留されている遊技球が遊技領域5a内に打込まれて遊技に用いられる上皿321を取付けると共に、上皿321の前側且つ下方に演出操作ユニット400(第二演出操作ユニット400A)を着脱可能に取付けて演出操作ユニット400(第二演出操作ユニット400A)の後方に所定広さの取付空間326jの残りの空間を形成し、その取付空間326jの残りの空間の左側に下皿本体325における下皿第一領域A1に対応する部位を配置すると共に、その部位から取付空間326jの残りの空間内に下皿本体325における下皿第二領域A2に対応する部位を延出させて遊技球を貯留可能な下皿322を取付けるようにしているため、前方から見た時に下皿322が小さく見えることとなり、下皿322を目立ち難くすることができ、相対的に演出操作ユニット400(第二演出操作ユニット400A)を目立ち易くすることができる。従って、本パチンコ機1を前方から見た時に、従来のパチンコ機では上皿と下皿とが上下に並んで見えていた位置に、演出操作ユニット400(第二演出操作ユニット400A)が見えるため、遊技者に対して一見しただけで従来のパチンコ機とは異なっていることを認識させることができ、遊技者の関心を強く引付けることが可能な訴求力の高いパチンコ機1とすることができる。
また、下皿322の下皿本体325における下皿第二領域A2の部位において、外周から上方へ延出した本体立壁部325bの上端から上方へ延出し、取付空間326jの残りの空間側への遊技球の移動を規制する下皿カバー340,340Aを備えているため、下皿322内の遊技球が演出操作ユニット400(第二演出操作ユニット400A)の後側に接触するのを阻止することができ、下皿322内に供給された遊技球や下皿322に貯留されている遊技球が、演出操作ユニット400(第二演出操作ユニット400A)の後側に当接したり押圧したりするのを防止することができる。従って、遊技球が演出操作ユニット400(第二演出操作ユニット400A)の後側に当接することはなく、遊技球によって演出操作ユニット400(第二演出操作ユニット400A)の後側が破損することはないため、演出操作ユニット400(第二演出操作ユニット400A)の破損により遊技が中断することで遊技者の興趣を低下させてしまうのを防止することができると共に、本パチンコ機1を設置している遊技ホール側の負担の増加を抑制させることができる。
また、下皿322の下皿本体325における下皿第二領域A2の部位に、本体立壁部325bと取付空間326jの残りの空間側へ遊技球が移動するのを規制する下皿カバー340,340Aとを備えているため、遊技球が下皿本体325から取付空間326jの残りの空間内へ侵入する(こぼれる)のを防止することがでる。従って、遊技球が取付空間326jの残りの空間内に侵入することで、遊技者が損した気分になったり、不快な気分になったりするのを防止することができ、遊技者の遊技に対する興趣の低下を抑制させることができる。
また、下皿カバー340,340Aによって、下皿322における下皿本体325の下皿第二領域A2の部位を覆っているため、下皿322内に供給され遊技球が、下皿322内で跳ねて飛び上がっても、取付空間326jの残りの空間側へ侵入するのを確実に防止することができ、上述した作用効果を確実に奏することができる。また、下皿カバー340,340Aによって下皿本体325の下皿第二領域A2の部位を覆っていることから、遊技者が、下皿本体325の下皿第一領域A1側(下皿開口部326d)から下皿第二領域A2の部位内に手を入れた時に、下皿カバー340,340Aにより指先等が取付空間326jの残りの空間側へ侵入するのを規制することができるため、指先等が上皿321の下面や演出操作ユニット400(第二演出操作ユニット400A)の後側等に触れて怪我をするのを防止することができ、遊技者に対して安全な状態で遊技させることができる。
更に、下皿カバー340,340Aと演出操作ユニット400(第二演出操作ユニット400A)との間に隙間を有しているため、下皿カバー340,340Aに遊技球の当接による衝撃や圧力等が作用しても、下皿カバー340,340Aから演出操作ユニット400(第二演出操作ユニット400A)へ伝達されることはなく、演出操作ユニット400(第二演出操作ユニット400A)の破損を確実に防止することができる。
また、下皿322の下皿本体325における下皿第二領域A2の部位において、下皿球供給口323cの前方に下皿球抜き孔322aを備えているため、下皿球抜き孔322aが開いている状態では、下皿球供給口323cから放出された遊技球をそのまま下皿球抜き孔322aに進入させて下方(ドル箱)へ排出させることができ、遊技球を下皿本体325の本体立壁部325bの前端側に到達し難くすることができる。たとえ、遊技球が下皿球抜き孔322aを飛び越えたとしても、上述したように下皿カバー340,340Aを備えていることから、遊技球が演出操作ユニット400(第二演出操作ユニット400A)の後側に当接するのを阻止することができるため、演出操作ユニット400(第二演出操作ユニット400A)の破損を防止することができ、遊技の中断を低減させて遊技者の遊技に対する興趣の低下を抑制させることができる。
また、下皿322の前端付近の下皿本体325の底壁部325aが、前方へ向かうほど高くなっているため、下皿本体325の本体立壁部325bの前端側へ向かう遊技球が、傾斜した底面を登ることとなり、遊技球の移動速度を減衰させることができる。従って、下皿カバー340,340Aに当接する遊技球の速度を遅くすることができるため、下皿カバー340,340Aによって遊技球が取付空間326jの残りの空間側へ移動するのを確実に規制することができると共に、遊技球が下皿カバー340,340Aや本体立壁部325bに当接した時の衝撃を小さくしてそれらが破損するのを抑制させることができる。
また、少なくとも下皿カバー340,340Aを別部材としているため、下皿カバー340,340Aが破損した時に、下皿カバー340,340Aを交換するだけで、容易に修復することができ、本パチンコ機1を設置している遊技ホール側の負担の増加を軽減させることができる。
更に、本実施形態のパチンコ機1によると、一般入賞口2001等に遊技球を受入させるような遊技が行われる遊技盤5の遊技領域5aの下方に、前面の左右方向中央が最も前方へ膨出した皿ユニット320の皿ユニットカバー326に備えた上で、その最も前方へ膨出した部位に演出操作ユニット400や第二演出操作ユニット400A着脱可能に取付けると共に、皿ユニットカバー326に上皿321と下皿322とからなる遊技球を貯留可能な貯留皿を備え、貯留皿(上皿321及び下皿322)に、正面視において演出操作ユニット400(第二演出操作ユニット400A)の外方に位置する下皿第一領域A1と正面視において演出操作ユニット400(第二演出操作ユニット400A)の後方となる取付空間326jの後部の空間内に位置する下皿第二領域A2とを有するようにしているため、前方から見た時に、演出操作ユニット400(第二演出操作ユニット400A)を目立たせることができると共に、貯留皿(上皿321及び下皿322)を小さく見せて目立ち難くすることができる。従って、従来のパチンコ機では上皿と下皿とが見えていた部位に目立つ演出操作ユニット400(第二演出操作ユニット400A)が見えるため、遊技者に対して従来のパチンコ機とは異なる遊技機であることを一見して認識させることができ、遊技者の関心を強く引付けることが可能な訴求力の高いパチンコ機1とすることができる。
また、皿ユニットカバー326の前面の左右方向中央に演出操作ユニット400(第二演出操作ユニット400A)が取付けられていることから、皿ユニットカバー326の表面における下皿322が開口している部位が小さくなるが、正面視において演出操作ユニット400(第二演出操作ユニット400A)の後方となる取付空間326jの後部の空間内に位置する下皿第二領域A2を有した下皿本体325の第一増設部325B、第二増設部325C、及び下皿カバー340,340Aを、備えているため、下皿322における前方から見えない範囲(下皿第二領域A2)にも遊技球を貯留することができる。従って、前方からの見た目に反して遊技球の貯留量を十分に確保することができるため、遊技者に対して、下皿322内における遊技球の残量を気にさせることなく遊技に専念させることができ、遊技を楽しませて興趣の低下を抑制させることができる。
更に、下皿第一領域A1を有している下皿本体325や本体部325Aに、下皿第二領域A2を有している下皿カバー340,340Aや第一増設部325B及び第二増設部325Cを取付けて(組合せて)下皿322を構成しているため、予め大きさの異なる複数の下皿カバー340,340Aや第一増設部325B及び第二増設部325C等を用意しておき、パチンコ機1のコンセプトや皿ユニットカバー326内の取付空間326jの広さ等に応じた大きさの下皿カバー340,340Aや第一増設部325B及び第二増設部325Cを取付けることで、下皿322の容積を最適なものとすることができる。また、上述したように、下皿カバー340,340Aや第一増設部325B及び第二増設部325Cを組替える(取替える)ことで、取付空間326jの後部の空間の広さに対応させることができ、この後部の空間の広さが演出操作ユニット400(第二演出操作ユニット400A)の後方への突出量に依存していることから、後方の突出量の異なる様々な演出操作ユニット400(第二演出操作ユニット400A)に対応可能な下皿322とすることができ、パチンコ機1の汎用性を高めることができる。
また、下皿322に、底壁部325aと、底壁部325aの外周端から立上った本体立壁部325bとを備えているため、下皿322が下方へ窪んだ容器状となり、遊技球を確実に貯留させることができる。また、下皿カバー340,340Aに、下皿本体325の本体立壁部325bの上端から立上ったカバー立壁部340aを有しているため、予め様々な形状の下皿カバー340,340Aを用意しておき、パチンコ機1のコンセプトや取付空間326jの後部の空間の広さ(形状)等に応じた形状の下皿カバー340,340Aを組合せる(取付ける)ことで、様々な形態に対応させることができ、上述と同様の作用効果を奏することができる。
また、下皿本体325と下皿カバー340,340Aとで構成されている下皿322において、下皿本体325の本体立壁部325bの上端に下皿カバー340,340Aを組合せて(取付けて)いることから、下皿322における遊技球が載置される部位が下皿本体325となるため、貯留により多くの遊技球の荷重がかかる部位に、下皿本体325と下皿カバー340,340Aとの境界(繋ぎ目、分割線PL)が位置することはない。従って、貯留された遊技球の荷重を下皿本体325でのみ受けることとなるため、多くの遊技球を貯留させても下皿本体325から下皿カバー340,340Aが引離されるような力が作用することはなく、下皿本体325から下皿カバー340,340Aが外れるのを防止することができる。
更に、本実施形態のパチンコ機1によると、一般入賞口2001等に遊技球を受入させるような遊技が行われる遊技盤5の遊技領域5aの下方且つ前方に、遊技球を貯留可能な上皿321と下皿322とを備えていると共に、左右方向中央に配置された演出操作ユニット400(第二演出操作ユニット400A)によって下皿322内の下皿球供給口323cと下皿球抜き孔322aとを含む下皿322の半分以上を前方(遊技者)から視認困難としている(見え難くしている)ため、パチンコ機1の外観をすっきりさせて見栄えを良くすることができ、遊技者の関心を強く引付けることが可能な訴求力の高いパチンコ機1とすることができる。また、演出操作ユニット400(第二演出操作ユニット400A)によって下皿球供給口323cから下皿球抜き孔322aへ向かう遊技球を視認困難としているため、遊技者に対して下皿322内における遊技球の流れに気付かせ難くして気が散るのを防止することができ、遊技に対する興趣の低下を抑制させることができる。
また、演出操作ユニット400(第二演出操作ユニット400A)によって、下皿球供給口323cから下皿球抜き孔322aへ遊技球を誘導する下皿322における底面の下皿球供給口323cと下皿球抜き孔322aとの間の部位、球誘導部322c及び緩衝部322d等の誘導手段により誘導されている遊技球を視認困難としているため、下皿球抜き孔322aを開いたままの状態とすると、下皿球供給口323cから下皿322に供給された遊技球が、誘導手段に誘導されてスムーズ(即座)に下皿球抜き孔322aから下方へ排出されることとなり、遊技者に対して下皿322を通ることなく遊技球が下皿322の下方(ドル箱)へ排出されているように錯覚させることができる。これにより、遊技者に対して、遊技球が下皿322を通る煩わしさを感じさせ難くすることができ、遊技者を遊技に専念させて興趣の低下を抑制させることができる。
更に、演出操作ユニット400(第二演出操作ユニット400A)によって、下皿球供給口323cや下皿球抜き孔322a等を含む下皿322の半分以上を前方から視認困難としていることから、蓋然的に、下皿球供給口323cや下皿球抜き孔322a等が演出操作ユニット400(第二演出操作ユニット400A)の後方に位置している。つまり、下皿322の半分以上を、演出操作ユニット400(第二演出操作ユニット400A)の後方へ回り込ませるようにしているため、前方から見える下皿322の大きさに対して、実際の下皿322の大きさ(容量)が大きくなっているため、見た目に比べて下皿322内における遊技球の貯留量を十分に確保することができる。
また、下皿球抜き孔322aが開いている状態では、下皿球供給口323cから下皿322内に放出された遊技球を、下皿322における底面の下皿球供給口323cと下皿球抜き孔322aとの間の部位、球誘導部322c及び緩衝部322d等の誘導手段によって下皿球抜き孔322aへスムーズに誘導して下皿322の下方(ドル箱)へ排出させることができるため、遊技球が下皿322内を回るように流通するのを防止することができ、下皿322内を流通する遊技球を前方(遊技者)から確実に視認困難な状態とすることができる。従って、遊技者に対して下皿322内における遊技球の流れに気付かせ難くすることができ、遊技者の気が散るのを防止して遊技に対する興趣の低下を抑制させることができる。
更に、下皿球抜き孔322aを開いたままの状態とすると、下皿球供給口323cから下皿322に供給された遊技球を、球誘導部322c等によって遊技者に気付かせることなく即座に下皿球抜き孔322aから下方へ排出させることができるため、遊技者に対して下皿322を通ることなく遊技球が下皿322の下方(ドル箱)へ排出されているように錯覚させることができる。これにより、遊技者に対して、遊技球が下皿322を通る煩わしさを感じさせ難くすることができ、遊技者を遊技に専念させて興趣の低下を抑制させることができる。
また、演出操作ユニット400(第二演出操作ユニット400A)によって、下皿322の平面視における遊技球の貯留領域(貯留面積)の半分以上を前方から視認困難としていることから、前方から見える下皿322の大きさに対して、実際の下皿322は、見える大きさの倍以上あるため、従来のパチンコ機の下皿と同様に、遊技球の貯留量を十分に確保することができる。
更に、本実施形態のパチンコ機1によると、一般入賞口2001等に遊技球を受入させるような遊技が行われる遊技盤5の遊技領域5aの正面視下方で前方へ膨出している扉枠3の皿ユニット320における皿ユニットカバー326の前面の左右方向中央に、皿ユニットカバー326の全高と同じ高さの大型の演出操作ユニット400(第二演出操作ユニット400A)を取付けるための演出操作ユニット取付部326aを備えていると共に、皿ユニットカバー326の前面における演出操作ユニット取付部326aの左右両側で上下方向略中央よりも下側の皿前下装飾部326cを、後方へ抉れるように凹んだ形状としているため、演出操作ユニット取付部326aに取付けられた演出操作ユニット400(第二演出操作ユニット400A)が、前方へ大きく突出しているように見せることができ、演出操作ユニット400(第二演出操作ユニット400A)を目立たせることができる。従って、従来のパチンコ機において上皿と下皿とが上下に並んで見えていた位置に、大型の演出操作ユニット400(第二演出操作ユニット400A)が強調された状態で見えるため、遊技者に対して一見しただけで従来のパチンコ機とは異なっていることを認識させることができ、訴求力の高いパチンコ機1とすることができる。そして、皿ユニットカバー326の前面における演出操作ユニット400(第二演出操作ユニット400A)の左右両外側で後方へ凹んでいる皿前下装飾部326cから、下皿322を後方へ窪ませていると共に一部を演出操作ユニット400(第二演出操作ユニット400A)の後方へ回り込ませており、下皿322内における遊技球の貯留量(下皿322の容積)を十分に確保することができるため、下皿322が遊技球で満杯になるのを気にしながら遊技しなくても良く、遊技者を遊技に専念させることができ、遊技を楽しませて興趣の低下を抑制させることができる。
また、下皿322の一部が演出操作ユニット400(第二演出操作ユニット400A)の後方へ回り込んでいるため、遊技者が前方から下皿322内に手を入れた時に、指先が下皿322の後壁(皿ユニットベース323の前面)や下皿カバー340等に触れ難くすることができる。これにより、遊技者に対して触覚でも遊技球の貯留量が十分に確保されていることを認識させることができると共に、下皿322内に遊技球が貯留されている状態では、下皿322内に多くの遊技球が貯留されていることを認識できるため、遊技者に対して満足感を付与させることができ、遊技を楽しませて興趣の低下を抑制させることができる。また、下皿322に入れた手の指先が、下皿322の後壁や下皿カバー340等に触れ難いことから、遊技者に対して従来のパチンコ機における下皿と同じような感覚を与えることができるため、従来のパチンコ機に慣れた遊技者に対して、違和感を与えてしまうのを低減させることができ、遊技者を安心させて遊技に対する興趣の低下を抑制させることができる。
更に、下皿322を、奥側(後方)へ行くほど広くなるように形成しているため、前側が小さくても、遊技球の貯留量を十分に確保することができる。換言すると、下皿322の前端側の部位を小さくしているため、下皿322が開口している皿ユニットカバー326の前面(皿前下装飾部326c)において、下皿322を目立ち難くすることができ、相対的に、演出操作ユニット400(第二演出操作ユニット400A)を目立ち易くすることができる。従って、下皿322における遊技球の貯留量を十分に確保しつつ演出操作ユニット400(第二演出操作ユニット400A)を備えることができ、遊技者に対する訴求力を高めることができると共に、遊技者を楽しませて興趣の低下を抑制させることができる。
また、下皿322における演出操作ユニット400(第二演出操作ユニット400A)の後方に回り込んでいる部位の側方及び上方を下皿カバー340で覆っているため、遊技者が下皿322内に手を入れた時に、指先等が皿ユニットカバー326の内面や演出操作ユニット400(第二演出操作ユニット400A)の後面等に触れて怪我をするのを防止することができ、遊技者に対して安全な状態で遊技させることができる。また、下皿カバー340により、下皿322から皿ユニットカバー326内へ遊技球が侵入する(こぼれる)のを防止することができる。
更に、演出操作ユニット400(第二演出操作ユニット400A)を、皿ユニットカバー326の前面の左右方向中央に配置しているため、遊技者側から演出操作ユニット400(第二演出操作ユニット400A)をより目立たせることができ、遊技者の関心を強く引付けることが可能な訴求力の高いパチンコ機1とすることができると共に、演出操作ユニット400(第二演出操作ユニット400A)による装飾を見え易くするとことができ、演出操作ユニット400(第二演出操作ユニット400A)の装飾や演出を楽しませて遊技者の興趣の低下を抑制させることができる。
また、下皿322に、上皿321と連通可能な下皿球供給口323cと、開閉可能に上下へ貫通している下皿球抜き孔322aと、を備えていることから、従来のパチンコ機における下皿と同じ機能を有しているため、従来のパチンコ機に慣れた遊技者が、本パチンコ機1で遊技した時に、下皿322の機能に対して戸惑うことはなく、従来と同じような感じで遊技を行うことができ、遊技者を遊技に専念させて遊技を楽しませることができる。また、下皿球供給口323cと下皿球抜き孔322aとを演出操作ユニット400(第二演出操作ユニット400A)の後方に夫々配置しているため、正面から見ると下皿球供給口323cと下皿球抜き孔322aとが、遊技者側から見えず、パチンコ機1の外観をすっきりさせて見栄えを良くすることができ、遊技者の関心を強く引付けることが可能な訴求力の高いパチンコ機1とすることができる。
更に、本実施形態のパチンコ機1によると、扉枠3における遊技領域5aが臨むの扉枠ベースユニット100の扉枠ベース110の貫通口111の下側で、前方に膨出している皿ユニット320の皿ユニットカバー326に取付けられている演出操作ユニット400(第二演出操作ユニット400A)のベースユニット430(第二ベースユニット450)に、遊技者に演出を提示可能な扉枠側演出表示装置460の外側を装飾している操作ボタン内装飾部材432(扉枠側第二演出表示装置460Aのスクリーンユニット470)を取付けると共に、操作ボタン内装飾部材432(スクリーンユニット470)の外周を囲むように外径が約15cmで中央がベースユニット430(第二ベースユニット450)から遠ざかる方向(外方)へ膨出している透明なボタンレンズ411を有した操作ボタン410を取付け、ボタンレンズ411の外周縁に第一ボタン装飾部411a、第二ボタン装飾部411b、及びボタンフレーム412を備えていると共に、ボタンレンズ411側からベースユニット430(第二ベースユニット450)側へ突出している筒状のボタンベース413を備えているため、第一ボタン装飾部411aやボタンベース413等によってボタンレンズ411と操作ボタン内装飾部材432(スクリーンユニット470)との間の隙間から操作ボタン内装飾部材432(扉枠側第二演出表示装置460Aのスクリーンユニット470)の外縁や奥側(後側)等が見えるのを低減させることができ、操作ボタン410の見栄えを良くすることができる。従って、操作ボタン410や内部に備えられた操作ボタン内装飾部材432や扉枠側演出表示装置460(扉枠側第二演出表示装置460A)等の見栄えをより向上させることができ、遊技者の興趣の低下を抑制させることができる。
また、操作ボタン410における第一ボタン装飾部411a、第二ボタン装飾部411b、ボタンフレーム412、及びボタンベース413によってボタンレンズ411と操作ボタン内装飾部材432(スクリーンユニット470)との間の隙間から操作ボタン内装飾部材432(スクリーンユニット470)の外縁や奥側等を見え難くすることができることから、操作ボタン410の外径を大きくすることでボタンレンズ411と操作ボタン内装飾部材432(スクリーンユニット470)との間の隙間が相対的に大きくなっても、第一ボタン装飾部411a等によって良好に隠すことができるため、見栄えの悪化を防止しつも、外径が約15cmの大型の操作ボタン410(ボタンレンズ411)を問題なく具現化することができる。従って、操作ボタン410や扉枠側演出表示装置460(扉枠側第二演出表示装置460A)を大型化することができるため、本パチンコ機1を目立たせることができ、遊技者の関心を強く引付けて訴求力の高いパチンコ機1とすることができる。
更に、ボタンレンズ411側からベースユニット430(第二ベースユニット450)側へ筒状に突出しているボタンベース413(本体部413a)を備えているため、ボタンレンズ411と操作ボタン内装飾部材432(スクリーンユニット470)の間の隙間を斜めから見た時に、ボタンベース413の内壁によって操作ボタン内装飾部材432(スクリーンユニット470)よりも外側にあるものを遮蔽して見えなくすることができ、操作ボタン410の見栄えをより一層良くすることができる。
また、透明なボタンレンズ411を、ベースユニット430(第二ベースユニット450)から遠ざかる方向(外方)へ膨出した立体形状(半球面体状)としていることから、ボタンレンズ411の外周縁付近の表面が、ボタンベース413の前端側の開口により形成される平面(ベースユニット430(第二ベースユニット450)とボタンレンズ411とが並んでいる方向と直交する平面、つまり、操作ボタン410の進退方向と直交する平面)に対して傾斜している状態となるため、遊技者側から見ると光が屈折し易くなる。従って、外周縁に備えられている第一ボタン装飾部411a、第二ボタン装飾部411b、及びボタンフレーム412とボタンベース413とを合せて、ボタンレンズ411と操作ボタン内装飾部材432(スクリーンユニット470)との間の隙間から操作ボタン内装飾部材432(スクリーンユニット470)の外縁や奥側等を見え難くすることができ、上述した作用効果を確実に奏することができる。
また、ボタンレンズ411を外方へ膨出した立体形状に形成していることから、操作ボタン410内の容積が大きくなるため、操作ボタン410内に配置される操作ボタン内装飾部材432や扉枠側演出表示装置460(扉枠側第二演出表示装置460A)を、より大きくしたり可動させ易くしたりすることが可能となり、操作ボタン410内により遊技者を楽しませられる扉枠側演出表示装置460(扉枠側第二演出表示装置460A)を備え易くすることができ、より遊技者を楽しませられるパチンコ機1を具現化することができる。
更に、ボタンレンズ411を立体形状に形成しているため、操作ボタン410に意匠性(装飾性)が付与されることとなるため、本パチンコ機1において操作ボタン410を目立たせて遊技者の関心を向けさせることができ、遊技するパチンコ機として本パチンコ機1を選択させ易くすることができる。
また、ボタンレンズ411の外周縁に備えられている第一ボタン装飾部411a、第二ボタン装飾部411b、及びボタンフレーム412において、ボタンフレーム412を不透明としているため、ボタンフレーム412の部位では、ボタンレンズ411と操作ボタン内装飾部材432(スクリーンユニット470)との間の隙間から操作ボタン410や操作ボタン内装飾部材432(スクリーンユニット470)等の奥側が見えるのを確実に隠すことができ、操作ボタン410等の見栄えの悪化を低減させて見栄えを良くすることができる。
また、ボタンレンズ411の外周端から内側へ所定幅で全周に亘って不透明なボタンフレーム412を備えており、第一ボタン装飾部411a及び第二ボタン装飾部411bと協働して、遊技者側から操作ボタン410におけるボタンベース413の本体部413aと操作ボタン内装飾部材432(スクリーンユニット470)との間の隙間を見え難くすることができるため、本体部413aと操作ボタン内装飾部材432(スクリーンユニット470)との間の隙間を大きくすることが可能となり、その分、操作ボタン410や扉枠側第二演出表示装置460Aのスクリーンユニット470が動くスペースを確保し易くすることができ、それらを良好に可動させることができる。
更に、ボタンレンズ411の外周を円筒状としているため、多角形状とした場合と比較して、外周に方向性が無くなることから操作ボタン410をスムーズに可動させ易くすることができる。従って、操作ボタン410を大型化しても問題なく押圧操作することができ、遊技者に対して操作ボタン410を用いる遊技者参加型演出を確実に楽しませて興趣の低下を抑制させることができる。
また、操作ボタン410を大型化していることから、遊技者に対して操作ボタン410を操作させる遊技者参加型演出を実行した時に、操作ボタン410の位置を確認しながら操作しなくても容易に操作ボタン410に触れて押圧操作させ易くすることができるため、遊技者に対して操作ボタン410を用いた遊技者参加型演出に参加させ易くすることができ、遊技者を楽しませて興趣の低下を抑制させることができる。
更に、操作ボタン410内に扉枠側演出表示装置460(扉枠側第二演出表示装置460A)を備えているため、遊技状態に応じて演出画像を提示することで、遊技者の関心を操作ボタン410内の扉枠側演出表示装置460(扉枠側第二演出表示装置460A)に強く引付けさせることができ、扉枠側演出表示装置460(扉枠側第二演出表示装置460A)による演出を楽しませることができると共に、扉枠側演出表示装置460(扉枠側第二演出表示装置460A)による演出画像や発光演出等により遊技者に対して操作ボタン410の操作を促すことができ、遊技者参加型演出に遊技者を積極的に参加させて楽しませることで興趣の低下を抑制させることができる。また、操作ボタン410内で演出が実行されることで、遊技者によっては何か良いことがあるのではないかと思わせることができ、遊技に対する期待感を高めさせて興趣の低下を抑制させることができる。
また、大型の操作ボタン410の透明なボタンレンズ411(第一ボタン装飾部411aよりも内側の部位)を通して扉枠側演出表示装置460(扉枠側第二演出表示装置460A)を視認することができるため、遊技者に対して本パチンコ機1の操作ボタン410が、従来のパチンコ機の操作ボタンとは明らかに異なるものであることを即座に認識させることができ、遊技者に対する訴求力の高いパチンコ機1とすることができると共に、遊技者の操作ボタン410や操作ボタン410内の扉枠側演出表示装置460(扉枠側第二演出表示装置460A)を用いた演出に対する期待感を高めさせることができ、遊技者の興趣の低下を抑制させることができる。
以上、本発明について好適な実施形態を挙げて説明したが、本発明はこれらの実施形態に限定されるものではなく、以下に示すように、本発明の要旨を逸脱しない範囲において、種々の改良及び設計の変更が可能である。
すなわち、上記の実施形態では、遊技機としてパチンコ機1に適用したものを示したが、これに限定するものではなく、パチスロ機や、パチンコ機とパチスロ機とを融合させてなる遊技機に、適用しても良く、この場合でも、上記と同様の作用効果を奏することができる。
また、上記の実施形態では、操作ボタン410におけるボタンレンズ411において、ボタンフレーム412の内周側となる部位に第一ボタン装飾部411aを形成したものを示したが、これに限定するものではなく、第一ボタン装飾部411aが形成されていないボタンレンズ411しても良い。
また、上記の実施形態では、操作ボタン410におけるボタンレンズ411の外周縁に不透明なボタンフレーム412を取付けたものを示したが、これに限定するものではなく、ボタンフレーム412を取付けずに、ボタンレンズ411におけるボタンフレーム412と対応する部位に、全周に亘って後側を隠すための装飾部を形成するようにしても良い。
更に、上記の実施形態では、操作ボタン410において、ボタンレンズ411の外周縁から操作ボタン内装飾部材432や扉枠側第二演出表示装置460Aの外周の全周を囲むようにベースユニット430(第二ベースユニット450)側へ筒状に突出したボタンベース413(本体部413a)を備えたものを示したが、これに限定するものではなく、操作ボタン内装飾部材432や扉枠側第二演出表示装置460Aの外周の全周に対して一部のみ囲むように少なくとも一つベースユニット430(第二ベースユニット450)側へ突出したものであっても良い。このボタンベース413の形状としては、ボタンレンズ411の外周に沿った形状としても良いし、ボタンレンズ411の外周に沿っていない形状としても良い。ボタンベース413は、少なくとも内壁側に装飾(シールの貼付けや印刷等による平面的な装飾、レリーフ等の凹凸による立体的な装飾)を有していても良い。更に、ボタンベース413は、透光性であっても良いし、不透光性であっても良い。また、ボタンベース413は、有色であっても良いし、無色透明であっても良い。また、ボタンベース413を透明とした場合、内壁側又は外壁側の少なくとも一方に、シボ、スリット、プリズム、等の光拡散加工を施すことが望ましい。
また、上記の実施形態では、下皿322が、皿ユニットカバー326の前面における演出操作ユニット400(第二演出操作ユニット400A)の左外側の部位からのみ後方へ窪んだ例を示したが、これに限定するものではなく、演出操作ユニット400(第二演出操作ユニット400A)の左右両側から後方へ窪み、演出操作ユニット400(第二演出操作ユニット400A)の後方において互いに繋がっているような下皿322としても良いし、演出操作ユニット400(第二演出操作ユニット400A)の右外側の部位からのみ後方へ窪み、一部が演出操作ユニット400(第二演出操作ユニット400A)の後方へ回り込んでいるようにしても良い。
更に、上記の実施形態では、皿ユニットカバー326の前面における下皿322が後方へ窪んでいる部位(皿前下装飾部326c)の形状(下皿322の前端の形状)を、後方へ湾曲面状に凹んだ例を示したが、これに限定するものではなく、多角柱面状、或いは、多面体状に凹んだ前面としても良い。
また、上記の実施形態では、皿ユニットカバー326の前面に演出操作ユニット400(第二演出操作ユニット400A)を取付けた例を示したが、これに限定するものではなく、「操作ダイヤル、タッチパネル等の操作装置を備えたもの」、「表面に装飾を有した回転体を備えたもの」、「装飾を有した装飾体と、装飾体を可動させる可動装置と、を備えたもの」、「遊技機のコンセプトに沿ったキャラクタ、アイテム、ロゴ、及びシーン(ジオラマ)等を立体的に摸した装飾体を備えたもの」、「遊技機のコンセプトに沿ったキャラクタ、アイテム、ロゴや、所定の摸様、等の装飾がシールや印刷等によって施されたもの」、等を備えたユニット或いはパネル等の部材を取付けても良い。また、取付空間326j(演出操作ユニット取付部326a)に取付けられる部材は、一つである必要はなく、複数(二つ以上)の部材を取付けても良い。例えば、取付空間326jの上半分に取付けられる部材と、取付空間326jの下半分に取付けられる部材とのように、別々の部材を取付けるようにしても良い。
また、上記の実施形態では、皿ユニットカバー326に、演出操作ユニット400(第二演出操作ユニット400A)を取付けるための前方へ開口した演出操作ユニット取付部326aを形成したものを示したが、これに限定するものではなく、演出操作ユニット400(第二演出操作ユニット400A)を取付けるための開口(演出操作ユニット取付部326a)を有していない皿ユニットカバー(例えば、パネル状のカバー部)とし、皿ユニットカバーの後方に、取付空間326j(或いは、取付空間326jの残りの空間)に相当する空間を形成する構成としても良い。なお、このような皿ユニットカバーの前面には、遊技機のコンセプトに沿ったキャラクタ、アイテム、ロゴ、所定の摸様、等の装飾を、シール、印刷、装飾部材の取付け、等によって施すことが望ましい。
更に、上記の実施形態では、下皿322の平面視における遊技球の貯留領域(貯留面積)の半分よりも若干大きい領域を、被覆部としての演出操作ユニット400(第二演出操作ユニット400A)により前方から視認困難に被覆する例を示したが、これに限定するものではなく、下皿322における遊技球の貯留領域の半分以下の領域を前方から視認困難とするようにしても良いし、下皿322の全体を前方から視認困難とするようにしても良い。
また、上記の実施形態では、操作ボタン410の第二ボタン装飾部411b、及びフレームユニット415のフレームサイドレンズ417を、周方向に対して部分的に備えた円弧状のものを示したが、これに限定するものではなく、第二ボタン装飾部411bやフレームサイドレンズ417が全周に亘って延びた円環状のものとしても良い。
また、上記の実施形態では、演出操作ユニット400における操作ボタン内装飾部材432の第二ボタン内装飾部432gとして、中央を中心とした同心円状の複数の多角形を有した装飾を示したが、これに限定するものではなく、第二ボタン内装飾部432gとして、中央を中心とした同心円状の複数の円形(楕円形を含む)を有した装飾としても良い。
更に、上記の実施形態では、操作ボタン410の透明なボタンレンズ411(前部材)を通して、後側に配置された操作ボタン内装飾部材432や扉枠側演出表示装置460、扉枠側第二演出表示装置460A等の後部材が常に視認できるようにしたものを示したが、これに限定するものではなく、前後(又は上下)に配置された、前部材及び後部材の少なくとも一方を、所定条件の充足により後側が視認可能となる可変光透過手段を有した構成としても良い。ここで、可変光透過手段としては、「マジックミラーのように、前側と後側の明るさの違いにより後側が視認可能となるもの」、「液晶フィルムのように、電源のON/OFFにより透明となったり不透明となったりして後側が視認可能となるもの」、等が挙げられる。なお、前部材と後部材とは、相対的に移動可能としても良いし、相対的に移動できないようにしても良い。
前部材及び後部材の少なくとも一方に可変光透過手段を有するようにすることで、通常の状態では、前部材のみが、或いは、前部材と後部材とが、視認可能な状態となっており、視認可能な部材の装飾を遊技者に見せることができる。そして、特別な状態では、所定条件を充足させることで、通常の状態では見えなかった後側の部材(後部材、或いは、後部材の後側に配置されている部材)が見えることで、前部材と後部材が、或いは、前部材と後部材と後部材の後側の部材とが、重なった装飾を見せることができる。従って、前部材と後部材とを用いて様々な装飾(装飾演出)を遊技者に見せることができ、遊技者を飽きさせ難くすることができると共に、遊技者を楽しませることができ、遊技者の興趣の低下を抑制させることができる。
具体的に詳述すると、例えば、前部材にマジックミラーのような可変光透過手段を有するようにした場合、通常の状態では、前部材の後側を暗くすることで、前部材の装飾のみを遊技者に視認させることができる。そして、前部材と後部材との間、或いは、後部材の後側、をLED等の発光部の光により明るくすると、前部材における可変光透過手段の充足条件が満たされて、前部材を通して後部材が視認できるようになり、前部材の装飾と後部材の装飾とが重なった装飾を遊技者に見せることができる。
或いは、前部材を透明とし、後部材にマジックミラーのような可変光透過手段を有するようにした場合、通常の状態では、前部材を通して後部材の表面が見えるため、前部材の装飾と後部材の表面とによる装飾を遊技者に見せることができる。そして、後部材の後側を、LED等の発光部の光により明るくすると、後部材における可変光透過手段の充足条件が満たされて、後部材を通して後側が視認できるようになり、前部材及び後部材を通して、後部材の後側の部材(例えば、表示装置、キャラクタ等の装飾体)を遊技者に見せることができる。
更には、前部材と後部材の両方に、マジックミラーのような可変光透過手段を有するようにした場合、通常の状態では、前部材の装飾のみを遊技者に見せることができ、前部材と後部材との間を、LED等の発光部の光により明るくすると、前部材における可変光透過手段の充足条件が満たされて、前部材を通して後部材の表面が視認できるようになり、前部材と後部材とによる装飾を遊技者に見せることができる。一方、後部材の後側を、LED等の発光部の光により明るくする(或いは、前部材と後部材との間と後部材の後側とを同時に、LED等の発光部の光により明るくする)と、前部材及び後部材における夫々の可変光透過手段の充足条件が夫々満たされて、前部材及び後部材を通して、後部材の後側の部材(例えば、表示装置、キャラクタ等の装飾体)を遊技者に見せることができる。これにより、発光部の光により明るくする部位を適宜選択することで、視認可能となる範囲を多段階に変化させることができ、多彩な装飾を遊技者に楽しませることができる。
なお、上記の具体例では、可変光透過手段を、マジックミラーのようなものとしていることから、後側を暗くしている状態では、鏡のように見えるため、前部材や後部材の表面においてキラキラした装飾を遊技者に見せることができる。
また、上記の具体例では、可変光透過手段を、マジックミラーのようなものとして説明したが、液晶フィルムのようなものとした場合でも、同様の作用効果を奏することができる。また、液晶フィルムのようなものを可変光透過手段とした場合、不透明な状態でも光を透過させることができる(透光性を有している)ため、前部材と後部材との間や後部材の後側を、LED等の発光部の光により明るくさせる(又は、発光装飾させる)ことができるようにすれば、より多彩な発光演出や装飾演出等の演出を遊技者に見せることができる。
[7.主制御基板、払出制御基板及び周辺制御基板]
次に、パチンコ機1の各種制御を行う制御基板について、図69~図74を参照して説明する。図69は主制御基板、払出制御基板及び周辺制御基板のブロック図であり、図70は図69のつづきを示すブロック図であり、図71は主基板を構成する払出制御基板とCRユニット及び度数表示板との電気的な接続を中継する遊技球等貸出装置接続端子板に入出力される各種検出信号の概略図であり、図72は図69のつづきを示すブロック図であり、図73は周辺制御MPUの概略を示すブロック図であり、図74は液晶表示制御部における音源内蔵VDP周辺のブロック図である。
パチンコ機1は、その制御構成として、図69に示すように、制御用電源(例えば、+5Vなど)の生成処理のほか、賞球の払出しを含めた遊技に関する制御を行う第1制御部MCGと、該第1制御部MCGによって進行される遊技に関する演出を行う第2制御部SCGとを備えている。
より具体的には、この実施の形態にかかるパチンコ機1では、複数の基板を用意することにより各種制御が分担される構造を採用しており、上記第1制御部MCGとして、主制御基板1310、払出制御基板951、及び電源基板931を備えており、上記第2制御部SCGとして、周辺制御基板1510を備えている。以下、この実施の形態にかかるパチンコ機1の制御構成を説明するにあたり、まず、主制御基板1310、払出制御基板951、電源基板931の順に上記第1制御部MCGについて説明し、その後、上記第2制御部SCG(周辺制御基板1510)について説明する。
[7-1.主制御基板]
上記第1制御部MCGのうち、遊技の進行を制御する主制御基板1310は、図69に示すように、電源投入時に実行される電源投入時処理を制御するとともに電源投入時から所定時間が経過した後に実行されるとともに遊技動作を制御するメイン制御プログラムなどの各種制御プログラムや各種コマンドを記憶するROMや一時的にデータを記憶するRAM等が内蔵されるマイクロプロセッサである主制御MPU1310aと、各種検出スイッチからの検出信号が入力される主制御入力回路1310bと、各種信号を外部の基板等へ出力するための主制御出力回路1310cと、各種ソレノイドを駆動するための主制御ソレノイド駆動回路1310dと、予め定めた電圧の停電又は瞬停の兆候を監視する停電監視回路1310eと、を主として備えている。
主制御MPU1310aには、その内蔵されているRAM(以下、「主制御内蔵RAM」と記載する。)や、その内蔵されているROM(以下、「主制御内蔵ROM」と記載する。)のほかに、その動作(システム)を監視するウォッチドックタイマ1310af(以下、「主制御内蔵WDT1310af」と記載する。)や不正を防止するための機能等も内蔵されている。
また、主制御MPU1310aは、不揮発性のRAMが内蔵されている。この不揮発性のRAMには、主制御MPU1310aを製造したメーカによって個体を識別するためのユニークな符号(世界で1つしか存在しない符号)が付された固有のIDコードが予め記憶されている。この一度付されたIDコードは、不揮発性のRAMに記憶されるため、外部装置を用いても書き換えることができない。主制御MPU1310aは、不揮発性のRAMからIDコードを取り出して参照することができるようになっている。
また、主制御MPU1310aは、遊技に関する各種乱数のうち、大当り遊技状態を発生させるか否かの決定に用いるための大当り判定用乱数をハードウェアにより更新するハード乱数回路1310an(以下、「主制御内蔵ハード乱数回路1310an」と記載する。)が内蔵されている。この主制御内蔵ハード乱数回路1310anは、予め定めた数値範囲(本実施形態では、最小値として値0~最大値として値32767という数値範囲が予め設定されている。)内において乱数を生成し、初期値として予め定めた値が固定されておらず(つまり、初期値が固定されておらず)、主制御MPU1310aがリセットされるごとに異なる値がセットされるように回路構成されている。具体的には、主制御内蔵ハード乱数回路1310anは、主制御MPU1310aがリセットされると、まず、予め定めた数値範囲内における一の値を初期値として、主制御MPU1310aに入力されるクロック信号(後述する主制御水晶発振器から出力されるクロック信号)に基づいて高速に予め定めた数値範囲内における他の値を重複することなく次々に抽出し、予め定めた数値範囲内におけるすべての値を抽出し終えると、再び、予め定めた数値範囲内における一の値を抽出して、主制御MPU1310aに入力されるクロック信号に基づいて高速に予め定めた数値範囲内における他の値を重複することなく次々に抽出する。このような高速な抽選を主制御内蔵ハード乱数回路1310anが繰り返し行い、主制御MPU1310aは、主制御内蔵ハード乱数回路1310anから値を取得する時点における主制御内蔵ハード乱数回路1310anが抽出した値を大当り判定用乱数としてセットするようになっている。
主制御入力回路1310bは、その各種入力端子に各種検出スイッチからの検出信号がそれぞれ入力された情報を強制的にリセットするためのリセット端子が設けられず、リセット機能を有していない。このため、主制御入力回路1310bは、後述する主制御システムリセットからのシステムリセット信号が入力されない回路として構成されている。つまり、主制御入力回路1310bは、その各種入力端子に入力されている各種検出スイッチからの検出信号に基づく情報が後述する主制御システムリセットによりリセットされないことによって、その情報に基づく各種信号がその各種出力端子から出力される回路として構成されている。
主制御出力回路1310cは、エミッタ端子がグランド(GND)と接地されたオープンコレクタ出力タイプとして回路構成されており、その各種入力端子に各種信号を外部の基板等へ出力するための各種信号が入力された情報を強制的にリセットするためのリセット端子が設けられるリセット機能を有するリセット機能付き主制御出力回路1310caと、リセット端子が設けられていないリセット機能を有しないリセット機能なし主制御出力回路1310cbと、から構成されている。リセット機能付き主制御出力回路1310caは、後述する主制御システムリセットからのシステムリセット信号が入力される回路として構成されている。つまり、リセット機能付き主制御出力回路1310caは、その各種入力端子に入力されている各種信号を外部の基板等へ出力するための情報が後述する主制御システムリセットによりリセットされることによって、その情報に基づく信号がその各種出力端子から全く出力されない回路として構成されている。これに対して、リセット機能なし主制御出力回路1310cbは、後述する主制御システムリセットからのシステムリセット信号が入力されない回路として構成されている。つまり、リセット機能なし主制御出力回路1310cbは、その各種入力端子に入力されている各種信号を外部の基板等へ出力するための情報が後述する主制御システムリセットによりリセットされないことによって、その情報に基づく信号がその各種出力端子から出力される回路として構成されている。
図60に示した、第一始動口2002に入球した遊技球を検出する第一始動口センサ4002、第二始動口2004に入球した遊技球を検出する第二始動口センサ4004、及び一般入賞口2001に入球した遊技球を検出する一般入賞口センサ4020からの検出信号や停電監視回路1310eからの信号は、主制御入力回路1310bを介して主制御MPU1310aの所定の入力ポートの入力端子に入力されている。また、図60に示した、ゲート部2003を通過した遊技球を検出するゲートセンサ4003、大入賞口2005に入球した遊技球を検出するカウントセンサ4005、及び図9に示した裏ユニット3000に取り付けられて磁石を用いた不正行為を検出する磁気検出センサ4024からの検出信号は、遊技盤5に取り付けられたパネル中継基板4161、そして主制御入力回路1310bを介して主制御MPU1310aの所定の入力ポートの入力端子に入力されている。
主制御MPU1310aは、これらの各スイッチからの検出信号に基づいて、その所定の出力ポートの出力端子からリセット機能付き主制御出力回路1310caに駆動信号を出力することにより、リセット機能付き主制御出力回路1310caから主制御ソレノイド駆動回路1310dに制御信号を出力し、主制御ソレノイド駆動回路1310dからパネル中継基板4161を介して始動口ソレノイド2107及びアタッカソレノイド2108に駆動信号を出力したり、その所定の出力ポートの出力端子からリセット機能付き主制御出力回路1310caに駆動信号を出力することにより、リセット機能付き主制御出力回路1310caからパネル中継基板4161、そして機能表示ユニット1400を介して第一特別図柄表示器1403、第二特別図柄表示器1405、第一特別保留数表示器1404、第二特別保留数表示器1406、普通図柄表示器1402、状態表示器1401、及びラウンド表示器1407に駆動信号を出力したりする。
また、主制御MPU1310aは、その所定の出力ポートの出力端子からリセット機能付き主制御出力回路1310caに遊技に関する各種情報(遊技情報)を出力することにより、リセット機能付き主制御出力回路1310caから払出制御基板951に遊技に関する各種情報(遊技情報)を出力したり、その所定の出力ポートの出力端子からリセット機能付き主制御出力回路1310caに信号(停電クリア信号)を出力することにより、リセット機能付き主制御出力回路1310caから停電監視回路1310eに信号(停電クリア信号)を出力したりする。
なお、本実施形態において、第一始動口センサ4002、第二始動口センサ4004、ゲートセンサ4003、及びカウントセンサ4005には、非接触タイプの電磁式の近接スイッチを用いているのに対して、一般入賞口センサ4020,4020には、接触タイプのON/OFF動作式のメカニカルスイッチを用いている。これは、遊技球が第一始動口2002や第二始動口2004に頻繁に入球するし、ゲート部2003を頻繁に通過するため、第一始動口センサ4002、第二始動口センサ4004、及びゲートセンサ4003による遊技球の検出も頻繁に発生する。このため、第一始動口センサ4002、第二始動口センサ4004、及びゲートセンサ4003には、寿命の長い近接スイッチを用いている。また、遊技者にとって有利となる大当り遊技状態が発生すると、大入賞口2005が開放されて遊技球が頻繁に入球するため、カウントセンサ4005による遊技球の検出も頻繁に発生する。このため、カウントセンサ4005にも、寿命の長い近接スイッチを用いている。これに対して、遊技球が頻繁に入球しない一般入賞口2001,2201には、一般入賞口センサ4020,4020による検出も頻繁に発生しない。このため、一般入賞口センサ4020,4020には、近接スイッチより寿命が短いメカニカルスイッチを用いている。
また、主制御MPU1310aは、その所定のシリアル出力ポートの出力端子からリセット機能なし主制御出力回路1310cbに払い出しに関する各種コマンドをシリアルデータとして送信することにより、リセット機能なし主制御出力回路1310cbから払出制御基板951に各種コマンドをシリアルデータとして送信する。払出制御基板951は、主制御基板1310からの各種コマンドをシリアルデータとして正常受信完了すると、その旨を伝える信号(払主ACK信号)を主制御基板1310に出力する。この信号(払主ACK信号)が主制御入力回路1310bを介して主制御MPU1310aの所定の入力ポートの入力端子に入力されるようになっている。
また、主制御MPU1310aは、払出制御基板951からのパチンコ機1の状態に関する各種コマンドをシリアルデータとして主制御入力回路1310bで受信することにより、主制御入力回路1310bからその所定のシリアル入力ポートの入力端子で各種コマンドをシリアルデータとして受信する。主制御MPU1310aは、払出制御基板951からの各種コマンドをシリアルデータとして正常受信完了すると、その旨を伝える信号(主払ACK信号)を、その所定の出力ポートの出力端子からリセット機能付き主制御出力回路1310caに出力し、リセット機能付き主制御出力回路1310caから払出制御基板951に信号(主払ACK信号)を出力する。
また、主制御MPU1310aは、その所定のシリアル出力ポートの出力端子からリセット機能なし主制御出力回路1310cbに遊技演出の制御に関する各種コマンド及びパチンコ機1の状態に関する各種コマンドをシリアルデータとして送信することにより、リセット機能なし主制御出力回路1310cbから周辺制御基板1510に各種コマンドをシリアルデータとして送信する。
ここで、周辺制御基板1510へ各種コマンドをシリアルデータとして送信する主周シリアル送信ポートについて簡単に説明する。主制御MPU1310aは、主制御CPUコア1310aaを中心として構成されており、主制御内蔵RAMのほかに、主制御各種シリアルI/Oポートの1つである主周シリアル送信ポート1310ae等がバス1310ahを介して回路接続されている(図79を参照)。主周シリアル送信ポート1310aeは、周辺制御基板1510へ各種コマンドを主周シリアルデータとして送信するものであり、送信シフトレジスタ1310aea、送信バッファレジスタ1310aeb、シリアル管理部1310aec等を主として構成されている(図79を参照)。主制御CPUコア1310aaは、コマンドを送信バッファレジスタ1310aebにセットして送信開始信号をシリアル管理部1310aecに出力すると、このシリアル管理部1310aecが送信バッファレジスタ1310aebにセットされたコマンドを送信バッファレジスタ1310aebから送信シフトレジスタ1310aeaに転送して主周シリアルデータとして周辺制御基板1510に送信開始する。本実施形態では、送信バッファレジスタ1310aebの記憶容量として32バイトを有している。主制御CPUコア1310aaは、送信バッファレジスタ1310aebに複数のコマンドをセットした後にシリアル管理部1310aecに送信開始信号を出力することによって複数のコマンドを連続的に周辺制御基板1510に送信している。
なお、主制御基板1310に各種電圧を供給する電源基板931は、電源遮断時にでも所定時間、主制御基板1310に電力を供給するためのバックアップ電源としての電気二重層キャパシタ(以下、単に「キャパシタ」と記載する。)BC0(図75を参照)を備えている。このキャパシタBC0により主制御MPU1310aは、電源遮断時にでも電源断時処理において各種情報を主制御内蔵RAMに記憶することができるようになっている。主制御内蔵RAMに記憶される各種情報は、電源投入時から予め定めた期間内に後述する払出制御基板951の操作スイッチ954が操作されると、操作スイッチ954からの操作信号(RAMクリア信号)が払出制御基板951から出力され、主制御入力回路1310bを介して、主制御MPU1310aの所定の入力ポートの入力端子に入力され、これを契機として、主制御MPU1310aによって主制御内蔵RAMから完全に消去(クリア)されるようになっている。
[7-2.払出制御基板]
上記第1制御部MCGのうち、遊技球の払い出し等を制御する払出制御基板951は、図70に示すように、払い出しに関する各種制御を行う払出制御部952と、各種機能を兼用する操作スイッチ954と、パチンコ機1の状態を表示するエラーLED表示器860bと、を備えている。また、RAMクリアスイッチとしての機能を兼ね備える操作スイッチ954は、操作されることによって出力された検出信号に基づいて、主制御MPU1310aに内蔵されているRAM(以下、「主制御内蔵RAM」と記載する。)に記憶された情報を完全に消去するためのRAMクリア信号を出力する。
[7-2-1.払出制御部]
払い出しに関する各種制御を行う払出制御部952は、図70に示すように、電源投入時に実行される電源投入時処理を制御するとともに電源投入時から所定時間が経過した後に実行される遊技媒体の払出動作を制御する払出制御プログラムを含む各種制御プログラムや各種コマンドを記憶するROMや一時的にデータを記憶するRAM等が内蔵されるマイクロプロセッサである払出制御MPU952aと、払い出しに関する各種検出スイッチからの検出信号が入力される払出制御入力回路952bと、各種信号を外部の基板等へ出力するための払出制御出力回路952cと、払出装置830の払出モータ834に駆動信号を出力するための払出モータ駆動回路952dと、CRユニット6との各種信号をやり取りするためのCRユニット入出力回路952eと、を備えている。払出制御MPU952aには、その内蔵されているRAM(以下、「払出制御内蔵RAM」と記載する。)や、その内蔵されているROM(以下、「払出制御内蔵ROM」と記載する。)のほかに、その動作(システム)を監視するウォッチドックタイマや不正を防止するための機能等も内蔵されている。
払出制御プログラムは、払出制御MPU952aの制御によって、主制御基板1310からの遊技に関する各種情報(遊技情報)及び払い出しに関する各種コマンドをそれぞれ払出制御入力回路952bを介して主払シリアルデータ受信信号としてシリアル方式でシリアルデータを受信する。また、払出制御プログラムは、遊技球の払出動作にエラーが発生したことを契機として枠状態1コマンド(第1のエラー発生コマンドに相当)を生成したり、エラー解除部としての操作スイッチ954の操作信号(検出信号)に基づいて16ビット(2バイト)のエラー解除ナビコマンド(第1のエラー解除コマンドに相当)を作成し、これらエラー発生コマンド及びエラー解除ナビコマンドをそれぞれ、払主シリアルデータ送信信号としてシリアル方式のシリアルデータとして、払出制御I/Oポート952bを介して主制御基板1310の受信ポートに対して出力する(コマンド送信手段)。また、この払出制御プログラムは、電源投入時から所定時間が経過した後、即ち、払出制御部メイン処理が実行されたり払出制御部タイマ割り込み処理が実行されて払出制御が開始された後に、その払出動作に関してエラーが発生した場合、操作スイッチ954の操作に伴って発生した検出信号に基づいて当該エラーを解除するとともに当該エラーに応じた警告情報の出力などを停止させる(エラー解除制御手段)。
また、この払出制御プログラムは、扉枠開放スイッチ618からその開放操作に伴う検出信号(扉枠開放検出信号)が入力されると扉枠開放コマンドの(第1の扉開放コマンド)を出力するともに、本体枠開放スイッチ619からその開放操作に伴う検出信号(本体枠開放検出信号)が入力されると本体枠開放コマンド(第1の本体枠開放コマンド)を出力する。一方、また、この払出制御プログラムは、扉枠開放スイッチ618からその閉鎖操作に伴う検出信号(扉枠閉鎖検出信号)が入力されると扉枠閉鎖コマンド(第1の扉枠閉鎖コマンド)のを出力するともに、本体枠開放スイッチ619からその閉鎖操作に伴う検出信号(本体枠閉鎖検出信号)が入力されると本体枠閉鎖コマンド(第1の本体枠閉鎖コマンド)を出力する。
払出制御入力回路952bは、その各種入力端子に各種検出スイッチからの検出信号がそれぞれ入力された情報を強制的にリセットするためのリセット端子が設けられず、リセット機能を有していない。このため、払出制御入力回路952bは、後述する払出制御システムリセットからのシステムリセット信号が入力されない回路として構成されている。つまり、払出制御入力回路952bは、その各種入力端子に入力されている各種検出スイッチからの検出信号に基づく情報が後述する払出制御システムリセットによりリセットされないことによって、その情報に基づく各種信号がその各種出力端子から出力される回路として構成されている。
払出制御出力回路952cは、エミッタ端子がグランド(GND)と接地されたオープンコレクタ出力タイプとして回路構成されており、その各種入力端子に各種信号を外部の基板等へ出力するための各種信号が入力された情報を強制的にリセットするためのリセット端子が設けられるリセット機能を有するリセット機能付き払出制御出力回路952caと、リセット端子が設けられていないリセット機能を有しないリセット機能なし払出制御出力回路952cbと、から構成されている。リセット機能付き払出制御出力回路952caは、後述する払出制御システムリセットからのシステムリセット信号が入力される回路として構成されている。つまり、リセット機能付き払出制御出力回路952caは、その各種入力端子に入力されている各種信号を外部の基板等へ出力するための情報が後述する払出制御システムリセットによりリセットされることによって、その情報に基づく信号がその各種出力端子から全く出力されない回路として構成されている。これに対して、リセット機能なし払出制御出力回路952cbは、後述する払出制御システムリセットからのシステムリセット信号が入力されない回路として構成されている。つまり、リセット機能なし払出制御出力回路952cbは、その各種入力端子に入力されている各種信号を外部の基板等へ出力するための情報が後述する払出制御システムリセットによりリセットされないことによって、その情報に基づく信号がその各種出力端子から出力される回路として構成されている。
払出ユニット800の球誘導ユニット820の供給通路内の遊技球の球切れを検知する球切れ検知センサ827、及び払出装置830の払出出口831b,832bから放出される遊技球を検知する払出検知センサ842、払出羽根839の回転を検知する羽根回転検知センサ840からの検出信号は、払出制御入力回路952bを介して払出制御MPU952aの所定の入力ポートの入力端子に入力されている。なお、後述の説明上、羽根回転検知センサ840を、この明細書において単に回転検知センサ840ということにする。
また、本体枠4に対する扉枠3の開放を検出する扉枠開放スイッチ618、及び外枠2に対する本体枠4の開放を検出する本体枠開放スイッチ619からの検出信号は、払出制御入力回路952bを介して払出制御MPU952aの所定の入力ポートの入力端子に入力されている。
また、図1に示したファールカバーユニット270の収容空間が貯留された遊技球で満タンであるか否かを検出する満タン検知センサ279からの検出信号は、まずハンドル中継端子板315、電源基板931、そして払出制御入力回路952bを介して払出制御MPU952aの所定の入力ポートの入力端子に入力されている。
払出制御MPU952aは、主制御基板1310からの払い出しに関する各種コマンドを、払出制御入力回路952bを介して、そのシリアル入力ポートの入力端子でシリアルデータ方式で受信したり、操作スイッチ954の操作信号(検出信号)を払出制御入力回路952bを介して主制御基板1310に対して出力する。払出制御MPU952aは、主制御基板1310からの各種コマンドをシリアルデータとして正常受信完了すると、その旨を伝える信号(払主ACK信号)を、その所定の出力ポートの出力端子からリセット機能付き払出制御出力回路952caに出力することにより、リセット機能付き払出制御出力回路952caから主制御基板1310に信号(払主ACK信号)を出力する。
また、払出制御MPU952aは、そのシリアル出力ポートの出力端子から、パチンコ機1の状態を示すための各種コマンドをシリアルデータとしてリセット機能なし払出制御出力回路952cbに送信することにより、リセット機能なし払出制御出力回路952cbから主制御基板1310に各種コマンドをシリアルデータとして送信する。
主制御基板1310は、払出制御基板951からの各種コマンドをシリアルデータとして正常受信完了すると、その旨を伝える信号(主払ACK信号)を払出制御基板951に出力する。この信号(主払ACK信号)が払出制御入力回路952bを介して払出制御MPU952aの所定の入力ポートの入力端子に入力されるようになっている。
また、払出制御MPU952aは、その所定の出力ポートの出力端子から、払出モータ834を駆動するための駆動信号をリセット機能付き払出制御出力回路952caに出力することにより、リセット機能付き払出制御出力回路952caから駆動信号を払出モータ駆動回路952dに出力し、払出モータ駆動回路952dから駆動信号を払出モータ834に出力したり、その所定の出力ポートの出力端子から、パチンコ機1の状態をエラーLED表示器860bに表示するための駆動信号をリセット機能付き払出制御出力回路952caに出力することにより、リセット機能付き払出制御出力回路952caから駆動信号をエラーLED表示器860bに出力したりする。
エラーLED表示器860bは、セグメント表示器であり、英数字や図形等を表示してパチンコ機1の状態を表示している。エラーLED表示器860bが表示して報知する内容としては、次のようなものがある。例えば、図形「-」が表示されているときには「正常」である旨を報知し、数字「0」が表示されているときには「接続異常」である旨(具体的には、主制御基板1310と払出制御基板951との基板間において電気的な接続に異常が生じている旨)を報知し、数字「1」が表示されているときには「球切れ」である旨(具体的には、球切れ検知センサ827からの検出信号に基づいて払出装置830の供給通路内に遊技球がない旨)を報知し、数字「2」が表示されているときには「球がみ」である旨(具体的には、回転検知センサ840からの検出信号に基づいて払出装置830の供給通路と連通する振分空間の入り口において払出回転体と遊技球とがその入り口近傍でかみ合って払出回転体が回転困難となっている旨)を報知し、数字「3」が表示されているときには「払出検知センサエラー」である旨(具体的には、払出検知センサ842からの検出信号に基づいて払出検知センサ842に不具合が生じている旨)を報知し、数字「5」が表示されているときには「リトライエラー」である旨(具体的には、払い出し動作のリトライ回数が予め設定された上限値に達した旨)を報知し、数字「6」が表示されているときには「満タン」である旨(具体的には、満タン検知センサ279からの検出信号に基づいてファールカバーユニット270の収容空間が貯留された遊技球で満タンである旨)を報知し、数字「7」が表示されているときには「CR未接続」である旨(払出制御基板951からCRユニット6までに亘るいずれかにおいて電気的な接続が切断されている旨)を報知し、数字「9」が表示されているときには「ストック中(賞球ストック(未払出)あり)」である旨(具体的には、まだ払い出していない遊技球の球数が予め定めた球数に達している旨)を報知している。
また、払出制御MPU952aは、その所定の出力ポートの出力端子から、実際に払い出した遊技球の球数等をリセット機能付き払出制御出力回路952caに出力することにより、リセット機能付き払出制御出力回路952caから図示しない抵抗を介して外部端子板784に実際に払い出した遊技球の球数等を出力したりする。
また、払出制御基板951は、主制御基板1310からの遊技に関する各種情報(遊技情報)を図示しない抵抗を介して外部端子板784に出力している。外部端子板784は、図示しない複数のフォトカプラ(赤外LEDとフォトICとが内蔵されて構成されている。)が設けられており、これらの複数のフォトカプラを介して、遊技場(ホール)に設置されたホールコンピュータに遊技球の球数等及び各種情報(遊技情報、遊技球の払出動作に関するエラー内容或いはエラーがあった旨)をそれぞれ伝えるようになっている。
外部端子板784とホールコンピュータとは、複数のフォトカプラにより電気的に絶縁された状態となっており、パチンコ機1の外部端子板784を経由してホールコンピュータへ異常な電圧が印加されてホールコンピュータが誤動作したり故障したりしないようになっているし、ホールコンピュータからパチンコ機1の外部端子板784を経由して遊技を進行する主制御基板1310や払出等を制御する払出制御基板951に異常な電圧が印加されて誤動作したり故障したりしなしようになっている。ホールコンピュータは、パチンコ機1が払い出した遊技球の球数等やパチンコ機1の遊技情報を把握することにより遊技者の遊技を監視している。
球貸ボタン328からの遊技球の球貸要求信号、及び返却ボタン329からのプリペイドカードの返却要求信号は、まず度数表示板365、主扉中継端子板880、そして遊技球等貸出装置接続端子板869を介してCRユニット6に入力されるようになっている。CRユニット6は、球貸要求信号に従って貸し出す遊技球の球数を指定した信号を、遊技球等貸出装置接続端子板869を介して払出制御基板951にシリアル方式で送信し、この信号がCRユニット入出力回路952eを介して払出制御MPU952aの所定の入力ポートの入力端子に入力されるようになっている。また、CRユニット6は、貸し出した遊技球の球数に応じて挿入されたプリペイドカードの残度を更新するとともに、その残度を球貸返却表示部330に表示するための信号を、遊技球等貸出装置接続端子板869、主扉中継端子板880、そして度数表示板365に出力し、この信号が球貸返却表示部330に入力されるようになっている。また、球貸返却表示部330に隣接するCRユニットランプ365dは、CRユニット6からの供給電圧が遊技球等貸出装置接続端子板869そして主扉中継端子板880を介して入力されるようになっている。
なお、払出制御基板951に各種電圧を供給する電源基板931は、電源遮断時にでも所定時間、払出制御基板951に電力を供給するためのバックアップ電源としてのキャパシタBC1(図75を参照)を備えている。このキャパシタBC1により払出制御MPU952aは、電源遮断時にでも電源断時処理において各種情報を払出制御内蔵RAM(払出記憶部)に記憶することができるようになっている。払出制御内蔵RAMに記憶される各種情報は、電源投入時から予め定めた期間内に操作スイッチ954が操作されると、その操作信号が払出制御入力回路952bを介して、払出制御MPU952aの所定の入力ポートの入力端子に入力され、払出制御MPU952aは払出制御内蔵RAMに記憶された情報を完全に消去するためのRAMクリア信号として判断し、これを契機として、払出制御MPU952aによって払出制御内蔵RAMから完全に消去(クリア)されるようになっている。この操作信号(RAMクリア信号)は、リセット機能なし払出制御出力回路952cbに出力され、リセット機能なし払出制御出力回路952cbから主制御基板1310に出力されるようにもなっている。
[7-2-2.遊技球等貸出装置接続端子板との各種信号のやり取り]
ここで、払出制御部952とCRユニット6とにおける各種信号のやり取り、及びCRユニット6と度数表示板365とにおける各種信号のやり取りについて、図71に基づいて説明する。遊技球等貸出装置接続端子板869は、図71に示すように、CRユニット6と払出制御基板951との基板間の電気的な接続を中継するほかに、CRユニット6と度数表示板365との基板間の電気的な接続も中継している(正確には、遊技球等貸出装置接続端子板869は、主扉中継端子板880を介して度数表示板365と電気的に接続されており、CRユニット6と遊技球等貸出装置接続端子板869とが電気的に接続され、遊技球等貸出装置接続端子板869と主扉中継端子板880とが電気的に接続され、そして主扉中継端子板880と度数表示板365とが電気的に接続されている)。CRユニット6と遊技球等貸出装置接続端子板869との基板間、遊技球等貸出装置接続端子板869と払出制御基板951との基板間、遊技球等貸出装置接続端子板869と主扉中継端子板880との基板間、及び遊技球等貸出装置接続端子板869と度数表示板365との基板間は、各配線(ハーネス)によって電気的にそれぞれ接続されている。また、電源基板931からの後述するAC24Vが遊技球等貸出装置接続端子板869を介してCRユニット6に供給されている。CRユニット6は、この供給されたAC24Vから所定電圧VL(本実施形態では、直流+12V(DC+12V、以下「+12V」記載する。))を、内蔵する図示しない電圧作成回路により作成してグランドLGとともに、遊技球等貸出装置接続端子板869を介して払出制御基板951に供給する一方、遊技球等貸出装置接続端子板869そして主扉中継端子板880を介して度数表示板365に供給している。
度数表示板365は、その部品面に、の球貸ボタン328と対応する位置に押ボタンスイッチである球貸ボタン328が実装され、貸球ユニット360の返却ボタン329と対応する位置に押ボタンスイッチである返却ボタン329が実装され、貸球ユニット360の貸出残表示部363と対応する位置にセグメント表示器である球貸返却表示部330が実装されている。
球貸ボタン328及び返却ボタン329は、CRユニット6からのグランドLGが遊技球等貸出装置接続端子板869そして主扉中継端子板880を介して電気的に接続されている。球貸ボタン328は、球貸ボタン328が押圧操作されると、球貸ボタン328のスイッチが入り(ONし)、球貸ボタン328からの球貸操作信号TDSが主扉中継端子板880そして遊技球等貸出装置接続端子板869を介してCRユニット6に入力されるようになっている。返却ボタン329は、返却ボタン329が押圧操作されると、返却ボタン329のスイッチが入り(ONし)、返却ボタン329からの返却操作信号RESが主扉中継端子板880そして遊技球等貸出装置接続端子板869を介してCRユニット6に入力されるようになっている。
球貸返却表示部330は、セグメント表示器が3個一列に並設されたものであり、これら3桁のセグメント表示器のうち1桁のセグメント表示器ずつ順次駆動する、いわゆるダイナミック点灯方式によって3桁のセグメント表示器が点灯制御されるようになっている。このような点灯制御によって、球貸返却表示部330は、CRユニット6に挿入されたプリペイドカードの残額を表示したり、CRユニット6のエラーを表示したりする。球貸返却表示部330は、3桁のセグメント表示器のうち1桁のセグメント表示器を指定するためのデジット信号DG0~DG2(計3本の信号)と、この指定した1桁のセグメント表示器を点灯させて表示させる内容を指定するためのセグメント駆動信号SEG-A~SEG-G(計7本の信号)と、がCRユニット6から遊技球等貸出装置接続端子板869そして主扉中継端子板880を介して入力されると、この入力された、デジット信号DG0~DG2及びセグメント駆動信号SEG-A~SEG-Gに従って1桁のセグメント表示器が順次発光され、これらの3桁のセグメント表示器の発光による内容が貸出残表示部363を通して視認することができるようになっている。
なお、球貸返却表示部330に隣接してCRユニットランプ365dが度数表示板365に実装されている。このCRユニットランプ365dは、CRユニット6からの所定電圧VLが遊技球等貸出装置接続端子板869そして主扉中継端子板880を介して入力されている。所定電圧VLは、CRユニットランプ365dを介して遊技球等貸出装置接続端子板869に実装された電流制限抵抗を通って球貸可能信号TDLとしてCRユニット6に入力されている。CRユニット6は、内蔵する電圧作成回路で電源基板931から供給されたAC24Vから所定電圧VLを作成しており、球貸ボタン328及び返却ボタン329が有効である球貸可能な状態である場合には球貸可能信号TDLの論理を制御してCRユニットランプ365dを発光させ、この発光が貸出残表示部363を通して視認することができるようになっている。また、セグメント駆動信号SEG-A~SEG-Gは、遊技球等貸出装置接続端子板869に実装された電流制限抵抗を通って球貸返却表示部330に入力されている。
CRユニット6は、球貸ボタン328が押圧操作されて球貸ボタン328からの球貸操作信号TDSが度数表示板365から主扉中継端子板880そして遊技球等貸出装置接続端子板869を介して入力されると、貸球要求信号であるBRDYを、遊技球等貸出装置接続端子板869を介して、払出制御基板951(払出制御MPU952a)に出力するようになっている。そしてCRユニット6は、1回の払出動作で所定の貸球数(本実施形態では、25球であり、金額として100円に相当する。)を払い出すための1回の払出動作開始要求信号であるBRQを、遊技球等貸出装置接続端子板869を介して、払出制御基板951(払出制御MPU952a)に出力するようになっている。BRDY及びBRQが入力される払出制御基板951(払出制御MPU952a)は、1回の払出動作を開始した旨又は終了した旨を伝えるための信号であるEXSを、遊技球等貸出装置接続端子板869を介して、CRユニット6に出力したり、貸球を払い出すための払出動作が可能である旨又は不可能である旨を伝えるための信号であるPRDYを、遊技球等貸出装置接続端子板869を介して、CRユニット6に出力したりする。なお、例えば、球貸ボタン328が押圧操作されると、200円分の遊技球が払い出されるように、ホールの店員等がCRユニット6に予め設定している場合には、1回の払出動作が連続して2回行われるようになっており、100円分の25球が払い出されると、続けて100円分の25球が払い出され、計200円分の50球が払い出されることとなる。
CRユニット6は、返却ボタン329が押圧操作されて返却ボタン329からの返却操作信号RESが度数表示板365から主扉中継端子板880そして遊技球等貸出装置接続端子板869を介して入力されると、プリペイドカードを図示しない挿入口から排出して返却するようになっている。この返却されたプリペイドカードは、球貸ボタン328が押圧操作された結果、払い出された遊技球の球数に相当する金額が減算された残額が記憶されている。
[7-3.電源基板931]
次に、上記第1制御部MCGのうち、電源基板931について簡単に説明する。電源基板931は、パチンコ島設備から供給され交流24ボルト(AC24V)を電気的に接続したり、電気的に遮断したりすることができる電源スイッチ934と、各種電源を生成する電源制御部935と、図5に示した打球発射装置650の発射ソレノイド682による発射制御及び図1に示した球送りユニット250の球送ソレノイド255による球送制御を行う発射制御部953と、を備えている。
[7-3-1.電源制御部]
電源制御部935は、電源スイッチ934が操作されてパチンコ島設備から供給される交流24ボルト(AC24V)を整流する同期整流回路935aと、同期整流回路935aで整流された電力の力率を改善する力率改善回路935bと、力率改善回路935bで力率が改善された電力を平滑化する平滑化回路935cと、平滑化回路935cで平滑化された電力から各種基板に供給するための各種直流電源を作成する電源作成回路935dと、を備えている。
[7-3-2.発射制御部]
発射ソレノイド682による発射制御と、球送ソレノイド255による球送制御と、を行う発射制御部953は、発射制御回路953aを主として構成されている。発射制御回路953aは、ハンドル302の回転位置に応じて遊技球を遊技領域5aに向かって打ち出す強度(発射強度)を電気的に調節するハンドル回転検知センサ307からの操作信号と、ハンドル302に手のひらや指が触れているか否かを検出するハンドルタッチセンサ310からの検出信号と、遊技者の意志によって遊技球の打ち出し(発射)を強制的に停止するか否かを検出する単発ボタン操作センサ312からの検出信号と、がハンドル中継端子板315を介して、入力されている。また、発射制御回路953aは、CRユニット6と遊技球等貸出装置接続端子板869とが電気的に接続されると、その旨を伝えるCR接続信号が払出制御基板951を介して入力されている。
発射制御回路953aは、ハンドル回転検知センサ307からの操作信号に基づいて遊技球を遊技領域5aに向かって打ち出す(発射する)ための駆動電流を調整して発射ソレノイド682に出力する制御を行っている一方、ハンドル中継端子板315を介して球送ソレノイド255に一定電流を出力することにより球送りユニット250の球送部材が皿ユニット320の上皿321に貯留された遊技球を1球受け入れ、球送部材が受け入れた遊技球を打球発射装置650側へ送る制御を行っている。
[7-4.周辺制御基板]
こうした第1制御部MCGに対し、上記第2制御部SCGのうちの周辺制御基板1510では、図72に示すように、主制御基板1310からの各種コマンドに基づいて演出制御を行い、かつ、図19に示す扉枠側演出表示装置460の表示領域の描画を行う演出表示駆動基板4450と制御コマンドや各種情報(各種データ)をやり取りする周辺制御部1511と、遊技盤側演出表示装置1600及び扉枠側演出表示装置460の描画制御を行う一方、下部スピーカ921及び上部スピーカ573から流れる音楽や効果音等の音制御を行う液晶表示制御部1512と、年月日を特定するカレンダー情報と時分秒を特定する時刻情報とを保持するリアルタイムクロック(以下、「RTC」と記載する。)制御部4165と、下部スピーカ921及び上部スピーカ573から流れる音楽や効果音等の音量をつまみ部を回動操作することにより調節する音量調整ボリューム1510aと、を備えている。
[7-4-1.周辺制御部]
演出制御を行う周辺制御部1511は、図72に示すように、マイクロプロセッサとしての周辺制御MPU1511aと、電源投入時に実行される電源投入時処理を制御するとともに電源投入時から所定時間が経過した後に実行されるとともに演出動作を制御するサブ制御プログラムなどの各種制御プログラム、各種データ、各種制御データ及び各種スケジュールデータを記憶する周辺制御ROM1511bと、後述する液晶表示制御部1512の音源内蔵VDP1512aからのVブランク信号が入力されるごとに実行される周辺制御部定常処理をまたいで継続される各種情報(例えば、遊技盤側演出表示装置1600に描画する画面を規定するスケジュールデータや各種LED等の発光態様を規定するスケジュールデータなどを管理するための情報など)を記憶する周辺制御RAM1511cと、日をまたいで継続される各種情報(例えば、大当り遊技状態が発生した履歴を管理するための情報や特別な演出フラグの管理するための情報など)を記憶する周辺制御SRAM1511dと、周辺制御MPU1511aが正常に動作しているか否かを監視するための周辺制御外部ウォッチドックタイマ1511e(以下、「周辺制御外部WDT1511e」と記載する。)と、を備えている。
周辺制御RAM1511cは、瞬停が発生して電力がすぐ復帰する程度の時間しか記憶された内容を保持することができず、電力が長時間遮断された状態(長時間の電断が発生した場合)ではその内容を失うのに対して、周辺制御SRAM1511dは、電源基板931に設けられた図示しない大容量の電解コンデンサ(以下、「SRAM用電解コンデンサ」と記載する。)によりバックアップ電源が供給されることにより、記憶された内容を50時間程度、保持することができるようになっている。電源基板931にSRAM用電解コンデンサが設けられることにより、遊技盤5をパチンコ機1から取り外した場合には、周辺制御SRAM1511dにバックアップ電源が供給されなくなるため、周辺制御SRAM1511dは、記憶された内容を保持することができなくなってその内容を失う。
周辺制御外部WDT1511eは、周辺制御MPU1511aのシステムが暴走していないかを監視するためのタイマであり、このタイマがタイマアップすると、ハードウェア的にリセットをかけるようになっている。つまり、周辺制御MPU1511aは、一定期間内(タイマがタイマアップするまで)に周辺制御外部WDT1511eのタイマをクリアするクリア信号を周辺制御外部WDT1511eに出力しないときには、リセットがかかることとなる。周辺制御MPU1511aは、一定期間内にクリア信号を周辺制御外部WDT1511eに出力するときには、周辺制御外部WDT1511eのタイマカウントを再スタートさせることができるため、リセットがかからない。
周辺制御MPU1511aは、パラレルI/Oポート、シリアルI/Oポート等を複数内蔵しており、主制御基板1310からの各種コマンドを受信すると、この各種コマンドに基づいて、遊技盤5の各装飾基板に設けた複数のLED等への点灯信号、点滅信号又は階調点灯信号を出力するための遊技盤側発光データをランプ駆動基板用シリアルI/Oポートから図示しない周辺制御出力回路を介してランプ駆動基板4170に送信したり、遊技盤5に設けた各種可動体を作動させるモータやソレノイド等の電気的駆動源への駆動信号を出力するための遊技盤側モータ駆動データをモータ駆動基板用シリアルI/Oポートから周辺制御出力回路を介してモータ駆動基板4180に送信したり、扉枠3に設けたダイヤル駆動モータ414等の電気的駆動源への駆動信号を出力するための扉側モータ駆動データを枠装飾駆動アンプ基板モータ用シリアルI/Oポートから周辺制御出力回路、枠周辺中継端子板868、そして周辺扉中継端子板882を介して枠装飾駆動アンプ基板194に送信したり、扉枠3の各装飾基板に設けた複数のLED等への点灯信号、点滅信号又は階調点灯信号を出力するための扉側発光データを枠装飾駆動アンプ基板LED用シリアルI/Oポートから周辺制御出力回路、枠周辺中継端子板868、そして周辺扉中継端子板882を介して枠装飾駆動アンプ基板194に送信したりする。
主制御基板1310からの各種コマンドは、図示しない周辺制御入力回路を介して、周辺制御MPU1511aの主制御基板用シリアルI/Oポートに入力されている。また、演出操作ユニット400に設けられた、ダイヤル操作部401の回転(回転方向)を検出するための回転検出スイッチからの検出信号、及び押圧操作部405の操作を検出するための押圧検出スイッチからの検出信号は、枠装飾駆動アンプ基板194に設けた図示しない扉側シリアル送信回路でシリアル化され、このシリアル化された演出操作ユニット検出データが扉側シリアル送信回路から、周辺扉中継端子板882、枠周辺中継端子板868、そして周辺制御入力回路を介して、周辺制御MPU1511aの演出操作ユニット検出用シリアルI/Oポートに入力されている。
遊技盤5に設けた各種可動体の原位置や可動位置等を検出するための各種検出スイッチ(例えば、フォトセンサなど。)からの検出信号は、モータ駆動基板4180に設けた図示しない遊技盤側シリアル送信回路でシリアル化され、このシリアル化された可動体検出データが遊技盤側シリアル送信回路から周辺制御入力回路を介して、周辺制御MPU1511aのモータ駆動基板用シリアルI/Oポートに入力されている。周辺制御MPU1511aは、モータ駆動基板用シリアルI/Oポートの入出力を切り替えることにより周辺制御基板1510とモータ駆動基板4180との基板間における各種データのやり取りを行うようになっている。
なお、周辺制御MPU1511aは、ウォッチドックタイマを内蔵(以下、「周辺制御内蔵WDT」と記載する。)しており、周辺制御内蔵WDTと周辺制御外部WDT1511eとを併用して自身のシステムが暴走しているか否かを診断している。
[7-4-1a.周辺制御MPU]
次に、マイクロコンピュータである周辺制御MPU1511aについて説明する。周辺制御MPU1511aは、図73に示すように、周辺制御CPUコア1511aaを中心として、周辺制御内蔵RAM1511ab、周辺制御DMA(Direct Memory Accessの略)コントローラ1511ac、周辺制御バスコントローラ1511ad、周辺制御各種シリアルI/Oポート1511ae、周辺制御内蔵WDT1511af、周辺制御各種パラレルI/Oポート1511ag、及び周辺制御アナログ/デジタルコンバータ(以下、周辺制御A/Dコンバータと記載する)1511ak等から構成されている。
周辺制御CPUコア1511aaは、周辺制御内蔵RAM1511ab、周辺制御DMAコントローラ1511acに対して、内部バス1511ahを介して、各種データを読み書きする一方、周辺制御各種シリアルI/Oポート1511ae、周辺制御内蔵WDT1511af、周辺制御各種パラレルI/Oポート1511ag、及び周辺制御A/Dコンバータ1511akに対して、内部バス1511ah、周辺制御バスコントローラ1511ad、そして周辺バス1511aiを介して、各種データを読み書きする。
また、周辺制御CPUコア1511aaは、周辺制御ROM1511bに対して、内部バス1511ah、周辺制御バスコントローラ1511ad、そして外部バス1511hを介して、各種データを読み込む一方、周辺制御RAM1511c、及び周辺制御SRAM1511dに対して、内部バス1511ah、周辺制御バスコントローラ1511ad、そして外部バス1511hを介して、各種データを読み書きする。
周辺制御DMAコントローラ1511acは、周辺制御内蔵RAM1511ab、周辺制御ROM1511b、周辺制御RAM1511c、及び周辺制御SRAM1511d等の記憶装置と、周辺制御各種シリアルI/Oポート1511ae、周辺制御内蔵WDT1511af、周辺制御各種パラレルI/Oポート1511ag、及び周辺制御A/Dコンバータ1511ak等の入出力装置と、の装置間において、周辺制御CPUコア1511aaを介すことなく、独立してデータ転送を行う専用のコントローラであり、DMA0~DMA3という4つのチャンネルを有している。
具体的には、周辺制御DMAコントローラ1511acは、周辺制御MPU1511aに内蔵される周辺制御内蔵RAM1511abの記憶装置と、周辺制御MPU1511aに内蔵される、周辺制御各種シリアルI/Oポート1511ae、周辺制御内蔵WDT1511af、周辺制御各種パラレルI/Oポート1511ag、及び周辺制御A/Dコンバータ1511ak等の入出力装置と、の装置間において、周辺制御CPUコア1511aaを介すことなく、独立してデータ転送を行うために、周辺制御内蔵RAM1511abの記憶装置に対して、内部バス1511ahを介して、読み書きする一方、周辺制御各種シリアルI/Oポート1511ae、周辺制御内蔵WDT1511af、周辺制御各種パラレルI/Oポート1511ag、及び周辺制御A/Dコンバータ1511ak等の入出力装置に対して、周辺制御バスコントローラ1511ad及び周辺バス1511aiを介して、読み書きする。
また、周辺制御DMAコントローラ1511acは、周辺制御MPU1511aに外付けされる、周辺制御ROM1511b、周辺制御RAM1511c、及び周辺制御SRAM1511d等の記憶装置と、周辺制御MPU1511aに内蔵される、周辺制御各種シリアルI/Oポート1511ae、周辺制御内蔵WDT1511af、周辺制御各種パラレルI/Oポート1511ag、及び周辺制御A/Dコンバータ1511ak等の入出力装置と、の装置間において、周辺制御CPUコア1511aaを介すことなく、独立してデータ転送を行うために、周辺制御ROM1511b、周辺制御RAM1511c、及び周辺制御SRAM1511d等の記憶装置に対して、周辺制御バスコントローラ1511ad及び外部バス1511hを介して、読み書きする一方、周辺制御各種シリアルI/Oポート1511ae、周辺制御内蔵WDT1511af、周辺制御各種パラレルI/Oポート1511ag、及び周辺制御A/Dコンバータ1511ak等の入出力装置に対して、周辺制御バスコントローラ1511ad及び周辺バス1511aiを介して、読み書きする。
周辺制御バスコントローラ1511adは、内部バス1511ah、周辺バス1511ai、及び外部バス1511hをコントロールして周辺制御MPUコア1511aaの中央処理装置と、周辺制御内蔵RAM1511ab、周辺制御ROM1511b、周辺制御RAM1511c、及び周辺制御SRAM1511d等の記憶装置と、周辺制御各種シリアルI/Oポート1511ae、周辺制御内蔵WDT1511af、周辺制御各種パラレルI/Oポート1511ag、及び周辺制御A/Dコンバータ1511ak等の入出力装置と、の各種装置間において、各種データのやり取りを行う専用のコントローラである。
周辺制御各種シリアルI/Oポート1511aeは、ランプ駆動基板用シリアルI/Oポート、モータ駆動基板用シリアルI/Oポート、枠装飾駆動アンプ基板モータ用シリアルI/Oポート、枠装飾駆動アンプ基板LED用シリアルI/Oポート、枠装飾駆動アンプ基板モータ用シリアルI/Oポート、主制御基板用シリアルI/Oポート、演出操作ユニット情報取得用シリアルI/Oポートを有している。
周辺制御内蔵ウォッチドックタイマ(周辺制御内蔵WDT)1511afは、周辺制御MPU1511aのシステムが暴走していないかを監視するためのタイマであり、このタイマがタイマアップすると、ハードウェア的にリセットをかけるようになっている。つまり、周辺制御CPUコア1511aaは、ウォッチドックタイマをスタートさせた場合には、一定期間内(タイマがタイマアップするまで)にそのタイマをクリアするクリア信号を周辺制御内蔵WDT1511afに出力しないときには、リセットがかかることとなる。周辺制御CPUコア1511aaは、ウォッチドックタイマをスタートさせて一定期間内にクリア信号を周辺制御内蔵WDT1511afに出力するときには、タイマカウントを再スタートさせることができるため、リセットがかからない。
周辺制御各種パラレルI/Oポート1511agは、遊技盤側モータ駆動ラッチ信号、扉側モータ駆動発光ラッチ信号等の各種ラッチ信号を出力するほかに、周辺制御外部WDT1511eにクリア信号を出力したり、遊技盤5に設けた各種可動体の原位置や可動位置等を検出するための各種検出スイッチからの検出信号をモータ駆動基板4180に設けた図示しない遊技盤側シリアル送信回路でシリアル化して、このシリアル化された可動体検出データを遊技盤側シリアル送信回路から周辺制御MPU1511aのモータ駆動基板用シリアルI/Oポートで受信するための可動体情報取得ラッチ信号を出力したりする。このLEDは、高輝度の白色LEDであり、大当り遊技状態の発生が確定している旨を伝えるための確定告知ランプとなっている。本実施形態では、LEDと周辺制御各種パラレルI/Oポート1511agとが電気的に直接接続された構成を採用することにより、LEDと周辺制御各種パラレルI/Oポート1511agとの経路を短くすることで遊技上重量な意味を持つLEDの点灯制御についてノイズ対策を講ずることができる。なお、LEDの点灯制御については、後述する周辺制御部1msタイマ割り込み処理において実行されるようになっており、このLEDを除く他のLED等は、後述する周辺制御部定常処理において実行されるようになっている。
周辺制御A/Dコンバータ1511akは、音量調整ボリューム1510aと電気的に接続されており、音量調整ボリューム1510aのつまみ部が回動操作されることにより抵抗値が可変し、つまみ部の回転位置における抵抗値により分圧された電圧を、アナログ値からデジタル値に変換して、値0~値1023までの1024段階の値に変換している。本実施形態では、1024段階の値を7つに分割して基板ボリューム0~6として管理している。基板ボリューム0では消音、基板ボリューム6では最大音量に設定されており、基板ボリューム0から基板ボリューム6に向かって音量が大きくなるようにそれぞれ設定されている。基板ボリューム0~6に設定された音量となるように液晶表示制御部1512(後述する音源内蔵VDP1512a)を制御して下部スピーカ921及び上部スピーカ573から音楽や効果音が流れるようになっている。このように、つまみ部の回動操作に基づく音量調整により下部スピーカ921及び上部スピーカ573から音楽や効果音が流れるようになっている。
なお、本実施形態では、音楽や効果音のほかに、パチンコ機1の不具合の発生やパチンコ機1に対する不正行為をホールの店員等に報知するための報知音や、遊技演出に関する内容等を告知する(例えば、遊技盤側演出表示装置1600に繰り広げられている画面をより迫力あるものとして演出したり、遊技者にとって有利な遊技状態に移行する可能性が高いこと告知したりする等。)ための告知音も下部スピーカ921及び上部スピーカ573から流れるが、報知音や告知音は、つまみ部の回動操作に基づく音量調整に全く依存されずに流れる仕組みとなっており、消音から最大音量までの音量をプログラムにより液晶表示制御部1512(後述する音源内蔵VDP1512a)を制御して調整することができるようになっている。このプログラムにより調整される音量は、上述した7段階に分けられた基板ボリュームと異なり、消音から最大音量までを滑らかに変化させることができるようになっている。これにより、例えば、ホールの店員等が音量調整ボリューム1510aのつまみ部を回動操作して音量を小さく設定した場合であっても、下部スピーカ921及び上部スピーカ573から流れる音楽や効果音等の演出音が小さくなるものの、パチンコ機1に不具合が発生しているときや遊技者が不正行為を行っているときには大音量(本実施形態では、最大音量)に設定した報知音を流すことができる。したがって、演出音の音量を小さくしても、報知音によりホールの店員等が不具合の発生や遊技者の不正行為を気付き難くなることを防止することができる。また、つまみ部の回動操作に基づく音量調整により設定されている現在の基板ボリュームに基づいて、広告音を流す音量を小さくして音楽や効果音の妨げとならないようにしたりする一方、広告音を流す音量を大きくして音楽や効果音に加えて遊技盤側演出表示装置1600で繰り広げられている画面をより迫力あるものとして演出したり、遊技者にとって有利な遊技状態に移行する可能性が高いこと告知したりすることもできる。
[7-4-1b.周辺制御ROM]
周辺制御ROM1511bは、周辺制御部1511、液晶表示制御部1512、RTC制御部4165等を制御する各種制御プログラム、各種データ、各種制御データ、及び各種スケジュールデータを予め記憶されている。各種スケジュールデータには、遊技盤側演出表示装置1600及び扉枠側演出表示装置460に描画する画面を生成する画面生成用スケジュールデータ、各種LEDの発光態様を生成する発光態様生成用スケジュールデータ、音楽や効果音等を生成する音生成用スケジュールデータ、及びモータやソレノイド等の電気的駆動源の駆動態様を生成する電気的駆動源スケジュールデータ等がある。画面生成用スケジュールデータは、画面の構成を規定する画面データが時系列に配列されて構成されており、遊技盤側演出表示装置1600及び扉枠側演出表示装置460に描画する画面の順序が規定されている。発光態様生成用スケジュールデータは、各種LEDの発光態様を規定する発光データが時系列に配列されて構成されている。音生成用スケジュールデータは、音指令データが時系列に配列されて構成されており、音楽や効果音が流れる順番が規定されている。この音指令データには、後述する液晶表示制御部1512の音源内蔵VDP1512aの内蔵音源における複数の出力チャンネルのうち、どの出力チャンネルを使用するのかを指示するための出力チャンネル番号と、音源内蔵VDP1512aの内蔵音源における複数のトラックのうち、どのトラックに音楽及び効果音等の音データを組み込むのかを指示するためのトラック番号と、が規定されている。電気的駆動源スケジュールデータは、モータやソレノイド等の電気的駆動源の駆動データが時系列に配列されて構成されており、モータやソレノイド等の電気的駆動源の動作が規定されている。
なお、周辺制御ROM1511bに記憶されている各種制御プログラムは、周辺制御ROM1511bから直接読み出されて実行されるものもあれば、後述する周辺制御RAM1511cの各種制御プログラムコピーエリアに電源投入時等においてコピーされたものが読み出されて実行されるものもある。また周辺制御ROM1511bに記憶されている、各種データ、各種制御データ及び各種スケジュールデータも、周辺制御ROM1511bから直接読み出されるものもあれば、後述する周辺制御RAM1511cの各種制御データコピーエリアに電源投入時等においてコピーされたものが読み出されるものもある。
また、周辺制御ROM1511bには、RTC制御部4165を制御する各種制御プログラムの1つとして、遊技盤側演出表示装置1600の使用時間に応じて遊技盤側演出表示装置1600の輝度を補正するための輝度補正プログラムが含まれている。この輝度補正プログラムは、遊技盤側演出表示装置1600のバックライトがLEDタイプのものが装着されている場合には、遊技盤側演出表示装置1600の経年変化にともなう輝度低下を補正するものであり、後述するRTC制御部4165の内蔵RAMから遊技盤側演出表示装置1600を最初に電源投入した日時、現在の日時、輝度設定情報等を取得して、この取得した輝度設定情報を補正情報に基づいて補正する。この補正情報は、周辺制御ROM1511bに予め記憶されている。輝度設定情報は、後述するように、遊技盤側演出表示装置1600のバックライトであるLEDの輝度が100%~70%までに亘る範囲を5%刻みで調節するための輝度調節情報と、現在設定されている遊技盤側演出表示装置1600のバックライトであるLEDの輝度と、が含まれているものであり、例えば、遊技盤側演出表示装置1600を最初に電源投入した日時と現在の日時とから、遊技盤側演出表示装置1600を最初に電源投入した日時からすでに6月を経過している場合には、周辺制御ROM1511bから対応する補正情報(例えば、5%)を取得するとともに、輝度設定情報に含まれるLEDの輝度が75%で遊技盤側演出表示装置1600のバックライトを点灯するときには、この75%に対して取得した補正情報である5%だけさらに上乗せした80%の輝度となるように、輝度設定情報に含まれる輝度調節情報に基づいて遊技盤側演出表示装置1600のバックライトの輝度を調節して点灯し、遊技盤側演出表示装置1600を最初に電源投入した日時からすでに12月を経過している場合には、周辺制御ROM1511bから対応する補正情報(例えば、10%)を取得するとともに、輝度設定情報に含まれるLEDの輝度が75%で遊技盤側演出表示装置1600のバックライトを点灯するときには、この75%に対して取得した補正情報である10%だけさらに上乗せした85%の輝度となるように、輝度設定情報に含まれる輝度調節情報に基づいて遊技盤側演出表示装置1600のバックライトの輝度を調節して点灯する。
[7-4-1c.周辺制御RAM]
周辺制御MPU1511aに外付けされる周辺制御RAM1511cは、図73に示すように、各種制御プログラムが実行されることにより更新される各種情報のうち、バックアップ対象となっているものを専用に記憶するバックアップ管理対象ワークエリア1511caと、このバックアップ管理対象ワークエリア1511caに記憶されている各種情報がコピーされたものを専用に記憶するバックアップ第1エリア1511cb及びバックアップ第2エリア1511ccと、周辺制御ROM1511bに記憶されている各種制御プログラムがコピーされたものを専用に記憶する各種制御プログラムコピーエリア1511cdと、周辺制御ROM1511bに記憶されている、各種データ、各種制御データ、及び各種スケジュールデータ等がコピーされたものを専用に記憶する各種制御データコピーエリア1511ceと、各種制御プログラムが実行されることにより更新される各種情報のうち、バックアップ対象となっていないものを専用に記憶するバックアップ非管理対象ワークエリア1511cfと、が設けられている。
なお、パチンコ機1の電源投入時(瞬停や停電による復電時も含む。)には、バックアップ非管理対象ワークエリア1511cfに対して値0が強制的に書き込まれてゼロクリアされる一方、バックアップ管理対象ワークエリア1511ca、バックアップ第1エリア1511cb、及びバックアップ第2エリア1511ccについては、パチンコ機1の電源投入時に主制御基板1310からの電源投入時状態コマンド(図89を参照)がRAMクリア演出開始及び遊技状態を指示するものである(例えば、電源投入時から予め定めた期間内に図69に示した操作スイッチ954が操作された時における演出の開始を指示したりするものである)であるときにはゼロクリアされる。
バックアップ管理対象ワークエリア1511caは、後述する液晶表示制御部1512の音源内蔵VDP1512aからのVブランク信号が入力されるごとに実行される周辺制御部定常処理において更新される各種情報である演出情報(1fr)をバックアップ対象として専用に記憶するBank0(1fr)と、後述する1msタイマ割り込みが発生するごとに実行される周辺制御部1msタイマ割り込み処理において更新される各種情報である演出情報(1ms)をバックアップ対象として専用に記憶するBank0(1ms)と、から構成されている。ここで、Bank0(1fr)及びBank0(1ms)の名称について簡単に説明すると、「Bank」とは、各種情報を記憶するための記憶領域の大きさを表す最小管理単位であり、「Bank」に続く「0」は、各種制御プログラムが実行されることにより更新される各種情報を記憶するための通常使用する記憶領域であることを意味している。つまり「Bank0」とは、通常使用する記憶領域の大きさを最小管理単位としているという意味である。そして、後述するバックアップ第1エリア1511cbからバックアップ第2エリア1511ccに亘るエリアに設けられる、「Bank1」、「Bank2」、「Bank3」、及び「Bank4」とは、「Bank0」と同一の記憶領域の大きさを有していることを意味している。「(1fr)」は、後述するように、音源内蔵VDP1512aが1画面分(1フレーム分)の描画データを遊技盤側演出表示装置1600及び扉枠側演出表示装置460に出力すると、周辺制御MPU1511aからの画面データを受け入れることができる状態である旨を伝えるVブランク信号を周辺制御MPU1511aに出力するようになっているため、Vブランク信号が入力されるごとに、換言すると、1フレーム(1frame)ごとに周辺制御部定常処理が実行されるところから、「Bank0」、「Bank1」、「Bank2」、「Bank3」、及び「Bank4」にそれぞれ付記されている(演出情報(1fr)や後述する演出バックアップ情報(1fr)についても、同一の意味で用いる)。「(1ms)」は、後述するように、1msタイマ割り込みが発生するごとに周辺制御部1msタイマ割り込み処理が実行されるところから、「Bank0」、「Bank1」、「Bank2」、「Bank3」、及び「Bank4」にそれぞれ付記されている(演出情報(1ms)や後述する演出バックアップ情報(1ms)についても、同一の意味で用いる)。
Bank0(1fr)には、ランプ駆動基板側送信データ記憶領域1511caa、枠装飾駆動アンプ基板側LED用送信データ記憶領域1511cab、受信コマンド記憶領域1511cac、RTC情報取得記憶領域1511cad、及びスケジュールデータ記憶領域1511cae等が設けられている。ランプ駆動基板側送信データ記憶領域1511caaには、遊技盤5の各装飾基板に設けた複数のLEDへの点灯信号、点滅信号又は階調点灯信号を出力するための遊技盤側発光データSL-DATがセットされる記憶領域であり、枠装飾駆動アンプ基板側LED用送信データ記憶領域1511cabには、扉枠3の各装飾基板に設けた複数のLED等への点灯信号、点滅信号又は階調点灯信号を出力するための扉側発光データSTL-DATがセットされる記憶領域であり、受信コマンド記憶領域1511cacには、主制御基板1310から送信される各種コマンドを受信してその受信した各種コマンドがセットされる記憶領域であり、RTC情報取得記憶領域1511cadには、RTC制御部4165(後述するRTC4165aのRTC内蔵RAM4165aa)から取得した各種情報がセットされる記憶領域であり、スケジュールデータ記憶領域1511caeには、主制御基板1310(主制御MPU1310a)から受信したコマンドに基づいて、この受信したコマンドと対応する各種スケジュールデータがセットされる記憶領域である。スケジュールデータ記憶領域1511caeには、周辺制御ROM1511bから各種制御データコピーエリア1511ceにコピーされた各種スケジュールデータが読み出されてセットされるものもあれば、周辺制御ROM1511bから各種スケジュールデータが直接読み出されてセットされるものもある。
Bank0(1ms)には、枠装飾駆動アンプ基板側モータ用送信データ記憶領域1511caf、モータ駆動基板側送信データ記憶領域1511cag、可動体情報取得記憶領域1511cah、及び演出操作ユニット情報取得記憶領域1511cai、及び描画状態情報取得記憶領域1511cak等が設けられている。枠装飾駆動アンプ基板側モータ用送信データ記憶領域1511cafには、扉枠3に設けたダイヤル駆動モータ414等の電気的駆動源への駆動信号を出力するための扉側モータ駆動データSTM-DATがセットされる記憶領域であり、モータ駆動基板側送信データ記憶領域1511cagには、遊技盤5に設けた各種可動体を作動させるモータやソレノイド等の電気的駆動源への駆動信号を出力するための遊技盤側モータ駆動データSM-DATがセットされる記憶領域であり、可動体情報取得記憶領域1511cahには、遊技盤5に設けた各種検出スイッチからの検出信号に基づいて遊技盤5に設けた各種可動体の原位置や可動位置等を取得した各種情報がセットされる記憶領域であり、演出操作ユニット情報取得記憶領域1511caiには、演出操作ユニット400に設けられた各種検出スイッチからの検出信号に基づいてダイヤル操作部401の回転(回転方向)及び押圧操作部405の操作等を取得した各種情報(例えば、演出操作ユニット400に設けられた各種検出スイッチからの検出信号に基づいて作成するダイヤル操作部401の回転(回転方向)履歴情報、及び押圧操作部405の操作履歴情報など。)がセットされる記憶領域であり、描画状態情報取得記憶領域1511cakには、演出表示駆動基板4450が周辺制御基板1510の音源内蔵VDP1512aからの描画データを受信し、この受信した描画データが異常なデータであると判断すると、その旨を伝えるために出力する後述するLOCKN信号に基づいて周辺制御基板1510と演出表示駆動基板4450との接続間における不具合の頻度や不具合の発生状態を取得した各種情報がセットされる記憶領域である。
なお、Bank0(1fr)のランプ駆動基板側送信データ記憶領域1511caa及び枠装飾駆動アンプ基板側LED用送信データ記憶領域1511cabと、Bank0(1ms)の枠装飾駆動アンプ基板側モータ用送信データ記憶領域1511caf及びモータ駆動基板側送信データ記憶領域1511cagとは、第1領域及び第2領域という2つの領域にそれぞれ分割されている。
ランプ駆動基板側送信データ記憶領域1511caaは、後述する周辺制御部定常処理が実行されると、ランプ駆動基板側送信データ記憶領域1511caaの第1領域に、遊技盤側発光データSL-DATがセットされ、次の周辺制御部定常処理が実行されると、ランプ駆動基板側送信データ記憶領域1511caaの第2領域に遊技盤側発光データSL-DATがセットされるようになっており、周辺制御部定常処理が実行されるごとに、ランプ駆動基板側送信データ記憶領域1511caaの第1領域、第2領域に遊技盤側発光データSL-DATが交互にセットされる。周辺制御部定常処理が実行され、例えば、今回の周辺制御部定常処理においてランプ駆動基板側送信データ記憶領域1511caaの第2領域に遊技盤側発光データSL-DATがセットされるときには、前回の周辺制御部定常処理が実行された際に、ランプ駆動基板側送信データ記憶領域1511caaの第1領域にセットした遊技盤側発光データSL-DATに基づいて処理を進行するようになっている。
枠装飾駆動アンプ基板側LED用送信データ記憶領域1511cabは、周辺制御部定常処理が実行されると、枠装飾駆動アンプ基板側LED用送信データ記憶領域1511cabの第1領域に、扉側発光データSTL-DATがセットされ、次の周辺制御部定常処理が実行されると、枠装飾駆動アンプ基板側LED用送信データ記憶領域1511cabの第2領域に扉側発光データSTL-DATがセットされるようになっており、周辺制御部定常処理が実行されるごとに、枠装飾駆動アンプ基板側LED用送信データ記憶領域1511cabの第1領域、第2領域に扉側発光データSTL-DATが交互にセットされる。周辺制御部定常処理が実行され、例えば、今回の周辺制御部定常処理において枠装飾駆動アンプ基板側LED用送信データ記憶領域1511cabの第2領域に扉側発光データSTL-DATがセットされるときには、前回の周辺制御部定常処理が実行された際に、枠装飾駆動アンプ基板側LED用送信データ記憶領域1511cabの第1領域にセットした扉側発光データSTL-DATに基づいて処理を進行するようになっている。
枠装飾駆動アンプ基板側モータ用送信データ記憶領域1511cafは、後述する周辺制御部1msタイマ割り込み処理が実行されると、枠装飾駆動アンプ基板側モータ用送信データ記憶領域1511cafの第1領域に、扉側モータ駆動データSTM-DATがセットされ、次の周辺制御部1msタイマ割り込み処理が実行されると、枠装飾駆動アンプ基板側モータ用送信データ記憶領域1511cafの第2領域に扉側モータ駆動データSTM-DATがセットされるようになっており、周辺制御部1msタイマ割り込み処理が実行されるごとに、枠装飾駆動アンプ基板側モータ用送信データ記憶領域1511cafの第1領域、第2領域に扉側モータ駆動データSTM-DATが交互にセットされる。周辺制御部1msタイマ割り込み処理が実行され、例えば、今回の周辺制御部1msタイマ割り込み処理において枠装飾駆動アンプ基板側モータ用送信データ記憶領域1511cafの第2領域に扉側モータ駆動データSTM-DATがセットされるときには、前回の周辺制御部1msタイマ割り込み処理が実行された際に、枠装飾駆動アンプ基板側モータ用送信データ記憶領域1511cafの第1領域にセットした扉側モータ駆動データSTM-DATに基づいて処理を進行するようになっている。
モータ駆動基板側送信データ記憶領域1511cagは、周辺制御部1msタイマ割り込み処理が実行されると、モータ駆動基板側送信データ記憶領域1511cagの第1領域に、遊技盤側モータ駆動データSM-DATがセットされ、次の周辺制御部1msタイマ割り込み処理が実行されると、モータ駆動基板側送信データ記憶領域1511cagの第2領域に遊技盤側モータ駆動データSM-DATがセットされるようになっており、周辺制御部1msタイマ割り込み処理が実行されるごとに、モータ駆動基板側送信データ記憶領域1511cagの第1領域、第2領域に遊技盤側モータ駆動データSM-DATが交互にセットされる。周辺制御部1msタイマ割り込み処理が実行され、例えば、今回の周辺制御部1msタイマ割り込み処理においてモータ駆動基板側送信データ記憶領域1511cagの第2領域に遊技盤側モータ駆動データSM-DATがセットされるときには、前回の周辺制御部1msタイマ割り込み処理が実行された際に、モータ駆動基板側送信データ記憶領域1511cagの第1領域にセットした遊技盤側モータ駆動データSM-DATに基づいて処理を進行するようになっている。
次に、バックアップ管理対象ワークエリア1511caに記憶されている各種情報である演出情報がコピーされたものを専用に記憶するバックアップ第1エリア1511cb及びバックアップ第2エリア1511ccについて説明する。バックアップ第1エリア1511cb及びバックアップ第2エリア1511ccは、2つのバンクを1ペアとする2ペアが1ページとして管理されている。通常使用する記憶領域であるBank0(1fr)に記憶される内容である演出情報(1fr)は、演出バックアップ情報(1fr)として、1フレーム(1frame)ごとに周辺制御部定常処理が実行されるごとに、バックアップ第1エリア1511cb及びバックアップ第2エリア1511ccに周辺制御DMAコントローラ1511acにより高速にコピーされるとともに、通常使用する記憶領域であるBank0(1ms)に記憶される内容である演出情報(1ms)は、演出バックアップ情報(1ms)として、1msタイマ割り込みが発生するごとに周辺制御部1msタイマ割り込み処理が実行されるごとに、バックアップ第1エリア1511cb及びバックアップ第2エリア1511ccに周辺制御DMAコントローラ1511acにより高速にコピーされる。1ページの整合性は、そのページを構成する2つのバンクの内容が一致しているか否かにより行う。
具体的には、バックアップ第1エリア1511cbは、Bank1(1fr)及びBank2(1fr)を1ペアとし、Bank1(1ms)及びBank2(1ms)を1ペアとする、計2ペアが1ページとして管理されている。通常使用する記憶領域であるBank0(1fr)に記憶される内容は、1フレーム(1frame)ごとに周辺制御部定常処理が実行されるごとに、Bank1(1fr)及びBank2(1fr)に周辺制御DMAコントローラ1511acにより高速にコピーされるとともに、通常使用する記憶領域であるBank0(1ms)に記憶される記憶は、1msタイマ割り込みが発生するごとに周辺制御部1msタイマ割り込み処理が実行されるごとに、Bank1(1ms)及びBank2(1ms)に周辺制御DMAコントローラ1511acにより高速にコピーされ、このページの整合性は、Bank1(1fr)及びBank2(1fr)の内容が一致しているか否かにより行うとともに、Bank1(1ms)及びBank2(1ms)の内容が一致しているか否かにより行う。
また、バックアップ第2エリア1511ccは、Bank3(1fr)及びBank4(1fr)を1ペアとし、Bank3(1ms)及びBank4(1ms)を1ペアとする、計2ペアが1ページとして管理されている。通常使用する記憶領域であるBank0(1fr)に記憶される内容は、1フレーム(1frame)ごとに周辺制御部定常処理が実行されるごとに、Bank3(1fr)及びBank4(1fr)に周辺制御DMAコントローラ1511acにより高速にコピーされるとともに、通常使用する記憶領域であるBank0(1ms)に記憶される記憶は、1msタイマ割り込みが発生するごとに周辺制御部1msタイマ割り込み処理が実行されるごとに、Bank3(1ms)及びBank4(1ms)に周辺制御DMAコントローラ1511acにより高速にコピーされ、このページの整合性は、Bank3(1fr)及びBank4(1fr)の内容が一致しているか否かにより行うとともに、Bank3(1ms)及びBank4(1ms)の内容が一致しているか否かにより行う。
このように、本実施形態では、バックアップ第1エリア1511cbは、Bank1(1fr)及びBank2(1fr)を1ペアとし、Bank1(1ms)及びBank2(1ms)を1ペアとする、計2ペアを1ページとして管理するためのエリアであり、バックアップ第2エリア1511ccは、Bank3(1fr)及びBank4(1fr)を1ペアとし、Bank3(1ms)及びBank4(1ms)を1ペアとする、計2ペアを1ページとして管理するためのエリアである。各ページの先頭と終端とには、つまりバックアップ第1エリア1511cb及びバックアップ第2エリア1511ccの先頭と終端とには、それぞれ異なるIDコートが記憶されるようになっている。
また、本実施形態では、通常使用する記憶領域であるBank0(1fr)に記憶される内容である演出情報(1fr)は、演出バックアップ情報(1fr)として、1フレーム(1frame)ごとに周辺制御部定常処理が実行されるごとに、バックアップ第1エリア1511cb及びバックアップ第2エリア1511ccに周辺制御DMAコントローラ1511acにより高速にコピーされるとともに、通常使用する記憶領域であるBank0(1ms)に記憶される内容である演出情報(1ms)は、演出バックアップ情報(1ms)として、1msタイマ割り込みが発生するごとに周辺制御部1msタイマ割り込み処理が実行されるごとに、バックアップ第1エリア1511cb及びバックアップ第2エリア1511ccに周辺制御DMAコントローラ1511acにより高速にコピーされるようになっているが、これらの周辺制御DMAコントローラ1511acによる高速コピーを実行するプログラムは共通化されている。つまり本実施形態では、演出情報(1fr)、演出情報(1ms)を、共通の管理手法(共通のプログラムの実行)で情報を管理している。
[7-4-1d.周辺制御SRAM]
周辺制御MPU1511aに外付けされる周辺制御SRAM1511dは、各種制御プログラムが実行されることにより更新される各種情報のうち、バックアップ対象となっているものを専用に記憶するバックアップ管理対象ワークエリア1511daと、このバックアップ管理対象ワークエリア1511daに記憶されている各種情報がコピーされたものを専用に記憶するバックアップ第1エリア1511db及びバックアップ第2エリア1511dcと、が設けられている。なお、周辺制御SRAM1511dに記憶された内容は、パチンコ機1の電源投入時(瞬停や停電による復電時も含む。)に主制御基板1310からの電源投入時状態コマンド(図89を参照)がRAMクリア演出開始及び遊技状態を指示するものである(例えば、電源投入時から予め定めた期間内に図69に示した操作スイッチ954が操作された時における演出の開始を指示したりするものである)ときにおいても、ゼロクリアされない。この点については、上述した周辺制御RAM1511cのバックアップ管理対象ワークエリア1511ca、バックアップ第1エリア1511cb、及びバックアップ第2エリア1511ccがゼロクリアされる点と、全く異なる。また、パチンコ機1の電源投入後、所定時間内において、演出操作ユニット400のダイヤル操作部401や押圧操作部405を操作すると、設定モードを行うための画面が遊技盤側演出表示装置1600に表示されるようになっている。この設定モードの画面に従って演出操作ユニット400のダイヤル操作部401や押圧操作部405を操作することで、周辺制御SRAM1511dに記憶されている内容(項目)ごとに(例えば、大当り遊技状態が発生した履歴など。)クリアすることができる一方、周辺制御RAM1511cに記憶されている内容(項目)については、全く表示されず、設定モードにおいてクリアすることができないようになっている。この点についても、周辺制御RAM1511cと周辺制御SRAM1511dとで全く異なる。
バックアップ管理対象ワークエリア1511daは、日をまたいで継続される各種情報である演出情報(SRAM)(例えば、大当り遊技状態が発生した履歴を管理するための情報や特別な演出フラグの管理するための情報など)をバックアップ対象として専用に記憶するBank0(SRAM)から構成されている。ここで、Bank0(SRAM)の名称について簡単に説明すると、「Bank」とは、上述したように、各種情報を記憶するための記憶領域の大きさを表す最小管理単位であり、「Bank」に続く「0」は、各種制御プログラムが実行されることにより更新される各種情報を記憶するための通常使用する記憶領域であることを意味している。つまり「Bank0」とは、通常使用する記憶領域の大きさを最小管理単位としているという意味である。そして、後述するバックアップ第1エリア1511dbからバックアップ第2エリア1511dcに亘るエリアに設けられる、「Bank1」、「Bank2」、「Bank3」、及び「Bank4」とは、「Bank0」と同一の記憶領域の大きさを有していることを意味している。「(SRAM)」は、周辺制御MPU1511aに外付けされる周辺制御SRAM1511dに記憶されている各種情報がバックアップ対象となっていることから、「Bank0」、「Bank1」、「Bank2」、「Bank3」、及び「Bank4」にそれぞれ付記されている(演出情報(SRAM)や後述する演出バックアップ情報(SRAM)についても、同一の意味で用いる)。
次に、バックアップ管理対象ワークエリア1511daに記憶されている各種情報である演出情報(SRAM)がコピーされたものを専用に記憶するバックアップ第1エリア1511db及びバックアップ第2エリア1511dcについて説明する。バックアップ第1エリア1511db及びバックアップ第2エリア1511dcは、2つのバンクを1ペアとする、この1ペアを1ページとして管理されている。通常使用する記憶領域であるBank0(SRAM)に記憶される内容である演出情報(SRAM)は、演出バックアップ情報(SRAM)として、1フレーム(1frame)ごとに周辺制御部定常処理が実行されるごとに、バックアップ第1エリア1511db及びバックアップ第2エリア1511dcに周辺制御DMAコントローラ1511acにより高速にコピーされる。1ページの整合性は、そのページを構成する2つのバンクの内容が一致しているか否かにより行う。
具体的には、バックアップ第1エリア1511dbは、Bank1(SRAM)及びBank2(SRAM)を1ペアとする、この1ペアが1ページとして管理されている。通常使用する記憶領域であるBank0(SRAM)に記憶される内容は、1フレーム(1frame)ごとに周辺制御部定常処理が実行されるごとに、Bank1(SRAM)及びBank2(SRAM)に周辺制御DMAコントローラ1511acにより高速にコピーされ、このページの整合性は、Bank1(SRAM)及びBank2(SRAM)の内容が一致しているか否かにより行う。
また、バックアップ第2エリア1511dcは、Bank3(SRAM)及びBank4(SRAM)を1ペアとする、この1ペアが1ページとして管理されている。通常使用する記憶領域であるBank0(SRAM)に記憶される内容は、1フレーム(1frame)ごとに周辺制御部定常処理が実行されるごとに、Bank3(SRAM)及びBank4(SRAM)に周辺制御DMAコントローラ1511acにより高速にコピーされ、このページの整合性は、Bank3(SRAM)及びBank4(SRAM)の内容が一致しているか否かにより行う。
このように、本実施形態では、バックアップ第1エリア1511dbは、Bank1(SRAM)及びBank2(SRAM)を1ペアとする、この1ペアを1ページとして管理するためのエリアであり、バックアップ第2エリア1511dcは、Bank3(SRAM)及びBank4(SRAM)を1ペアとする、この1ペアを1ページとして管理するためのエリアである。各ページの先頭と終端とには、つまりバックアップ第1エリア1511db及びバックアップ第2エリア1511dcの先頭と終端とには、それぞれ異なるIDコートが記憶されるようになっている。
[7-4-2.液晶表示制御部]
遊技盤側演出表示装置1600及び扉枠側演出表示装置460の描画制御と下部スピーカ921及び上部スピーカ573から流れる音楽や効果音等の音制御とを行う液晶表示制御部1512は、図72に示すように、音楽や効果音等の音制御を行うための音源が内蔵(以下、「内蔵音源」と記載する。)されるとともに遊技盤側演出表示装置1600及び扉枠側演出表示装置460の描画制御を行う音源内蔵VDP(Video Display Processorの略)1512aと、遊技盤側演出表示装置1600及び扉枠側演出表示装置460に表示される画面の各種キャラクタデータに加えて音楽や効果音等の各種音データを記憶する液晶及び音制御ROM1512bと、シリアル化された音楽や効果音等をオーディオデータとして枠装飾駆動アンプ基板194に向かって送信するオーディオデータ送信IC1512cと、扉枠側演出表示装置460へシリアル化された描画データを扉枠3の皿ユニット320の右側に取り付けられている扉枠側演出表示装置460の下方近傍に配置されて皿ユニット320内に収納される演出表示駆動基板4450へ向かって送信する扉枠側演出用トランスミッタIC1512dと、周辺制御部1511の周辺制御MPU1511aから出力されるシリアルデータであるLOCKN信号出力要求データをプラス信号とマイナス信号とに差動化する差動化回路1512eと、扉枠側演出用トランスミッタIC1512dから出力される信号のほかに、差動化回路1512eからの信号が入力されるとともに、差動化回路1512eからの信号が入力されているときには、この信号を伝送するように回路接続する一方、差動化回路1512eからの信号が入力されていないときには、扉枠側演出用トランスミッタIC1512dから出力される信号を伝送するように回路接続する強制切替回路1512fと、を備えている。この液晶及び音制御ROM1512bには、後述する画面や画像の表示に用いるスプライトデータとして、例えばリング状表示物(環状の表示物)の表示に用いる環状画像データ、後述する操作メニュー背景画像の表示に用いる操作メニュー背景画像データ、後述する少なくとも1つの選択表示物の表示に用いる選択表示物画像データ、後述するボリュームスケールを含む音量調整画面の表示に用いる音調調整背景画像データ、後述する音量調整アイコンの表示に用いる音量設定アイコン画像データ等の他、遊技者から見て本体枠4の背面における各部位の位置が視認可能な本体枠背面画像の表示に用いる本体枠背面画像データ、サービスモード画面の表示に用いるサービスモード画面画像データ、休憩タイマー設定画面の表示に用いる休憩タイマー設定画面画像データ、及び、休憩中画面の表示に用いる休憩中画面画像データが格納されている。なお、液晶及び音制御ROM1512bは、演出操作ユニット400の押圧操作部405(操作部)を操作すべき旨を促すための示唆表示物の表示に用いる示唆表示物画像データをも格納している。
周辺制御部1511の周辺制御MPU1511aは、主制御基板1310からのコマンドと対応する画面生成用スケジュールデータを、周辺制御部1511の周辺制御ROM1511b又は周辺制御RAM1511cの各種制御データコピーエリア1511ceから抽出して周辺制御RAM1511cのスケジュールデータ記憶領域に1511caeにセットし、このスケジュールデータ記憶領域1511caeにセットされた画面生成用スケジュールデータの先頭の画面データを、周辺制御部1511の周辺制御ROM1511b又は周辺制御RAM1511cの各種制御データコピーエリア1511ceから抽出して音源内蔵VDP1512aに出力した後に、後述するVブランク信号が入力されたことを契機として、スケジュールデータ記憶領域1511caeにセットされた画面生成用スケジュールデータに従って先頭の画面データに続く次の画面データを、周辺制御部1511の周辺制御ROM1511b又は周辺制御RAM1511cの各種制御データコピーエリア1511ceから抽出して音源内蔵VDP1512aに出力する。このように、周辺制御MPU1511aは、スケジュールデータ記憶領域1511caeにセットされた画面生成用スケジュールデータに従って、この画面生成用スケジュールデータに時系列に配列された画面データを、Vブランク信号が入力されるごとに、先頭の画面データから1つずつ音源内蔵VDP1512aに出力する。
また、周辺制御MPU1511aは、主制御基板1310からのコマンドと対応する音生成用スケジュールデータの先頭の音指令データを、周辺制御部1511の周辺制御ROM1511b又は周辺制御RAM1511cの各種制御データコピーエリア1511ceから抽出して周辺制御RAM1511cのスケジュールデータ記憶領域に1511caeにセットし、このスケジュールデータ記憶領域1511caeにセットされた音生成用スケジュールデータの先頭の音指令データを、周辺制御部1511の周辺制御ROM1511b又は周辺制御RAM1511cの各種制御データコピーエリア1511ceから抽出して音源内蔵VDP1512aに出力した後に、Vブランク信号が入力されたことを契機として、スケジュールデータ記憶領域1511caeにセットされた音生成用スケジュールデータに従って先頭の音指令データに続く次の音指令データを、周辺制御部1511の周辺制御ROM1511b又は周辺制御RAM1511cの各種制御データコピーエリア1511ceから抽出して音源内蔵VDP1512aに出力する。このように、周辺制御MPU1511aは、スケジュールデータ記憶領域1511caeにセットされた音生成用スケジュールデータに従って、この音生成用スケジュールデータに時系列に配列された音指令データを、Vブランク信号が入力されるごとに、先頭の音指令データから1つずつ音源内蔵VDP1512aに出力する。
[7-4-2a.音源内蔵VDP]
音源内蔵VDP1512aは、上述した内蔵音源のほかに、周辺制御MPU1511aから画面データが入力されると、この入力された画面データに基づいて、図74に示すように、液晶及び音制御ROM1512bから遊技盤側キャラクタデータ及び上皿側キャラクタデータを抽出してスプライトデータを作成して遊技盤側演出表示装置1600及び扉枠側演出表示装置460に表示する1画面分(1フレーム分)の描画データを生成するためのVRAMも内蔵(以下、「内蔵VRAM」と記載する。)している。音源内蔵VDP1512aは、内蔵VRAM上に生成した描画データのうち、遊技盤側演出表示装置1600に対する描画データをチャンネルCH1から遊技盤側演出表示装置1600に出力するとともに、扉枠側演出表示装置460に対する描画データをチャンネルCH2から、図示しない周辺制御出力回路、枠周辺中継端子板868、周辺扉中継端子板882、そして扉枠3の皿ユニット320内に収納される演出表示駆動基板4450を介して、扉枠側演出表示装置460に出力(送信)することで、遊技盤側演出表示装置1600と扉枠側演出表示装置460との同期化を図っている。
チャンネルCH1から出力される描画データは、周辺制御基板1510から遊技盤側演出表示装置1600に出力されるのに対して、チャンネルCH2から出力される描画データは、周辺制御基板1510から、枠周辺中継端子板868、周辺扉中継端子板882、そして扉枠3の皿ユニット320の右側に取り付けられている扉枠側演出表示装置460の下方近傍に配置されて皿ユニット320内に収納される演出表示駆動基板4450を介して扉枠側演出表示装置460に出力(送信)される。このように、チャンネルCH1から出力される描画データは、上述したように、周辺制御基板1510から遊技盤側演出表示装置1600に出力されるため、周辺制御基板1510及び遊技盤側演出表示装置1600は遊技盤5にそれぞれ取り付けられていることによりチャンネルCH1から遊技盤側演出表示装置1600までの経路に要する配線の長さが短いものの、チャンネルCH2から出力される描画データは、上述したように、周辺制御基板1510から扉枠3の皿ユニット320内に収納される演出表示駆動基板4450を介して扉枠側演出表示装置460に出力されるため、周辺制御基板1510は遊技盤5に取り付けられているのに対して、演出表示駆動基板4450は扉枠3の皿ユニット320内に収納されていることによりチャンネルCH2から枠周辺中継端子板868、周辺扉中継端子板882、そして演出表示駆動基板4450までの経路に要する配線の長さがチャンネルCH1と比べて極めて長くなることでノイズの影響を極めて受けやすくなる。このため、描画データを送るための配線の長さがチャンネルCH1と比べて極めて長くなるというチャンネルCH2に対しては、扉枠側演出用トランスミッタIC1512dにおいてザインエレクトロニクス株式会社の「V-by-One(登録商標)」というディファレンシャル方式の通信を採用することにより、ノイズの影響を受け難い仕組みとなっている。
チャンネルCH1は、LVDS(Low Voltage Differential Signaling)というシリアル方式による差動インターフェースを使用しているのに対して、チャンネルCH2は、パラレル方式によるインターフェースを使用している。チャンネルCH2から出力される描画データは、赤色映像信号、緑色映像信号、及び青色映像信号という3つの映像信号と、水平同期信号、垂直同期信号、及びクロック信号という3つの同期信号と、から構成されており、扉枠側演出用トランスミッタIC4610dでシリアル化されて、図示しない周辺制御出力回路、枠周辺中継端子板868、周辺扉中継端子板882、そして扉枠3の皿ユニット320内に収納される演出表示駆動基板4450に送信される。そして、このシリアル化された各種信号は、演出表示駆動基板4450においてパラレル信号に復元されて扉枠側演出表示装置460に出力されるようになっている。
このように、周辺制御MPU1511aが遊技盤側演出表示装置1600及び扉枠側演出表示装置460に表示する1画面分(1フレーム分)の画面データを音源内蔵VDP1512aに出力すると、音源内蔵VDP1512aは、この入力された画面データに基づいて液晶及び音制御ROM1512bからキャラクタデータを抽出してスプライトデータを作成して遊技盤側演出表示装置1600及び扉枠側演出表示装置460に表示する1画面分(1フレーム分)の描画データを内蔵VRAM上で生成し、この生成した描画データうち、遊技盤側演出表示装置1600に対する画像データをチャンネルCH1から遊技盤側演出表示装置1600に出力するとともに、扉枠側演出表示装置460に対する画像データをチャンネルCH2から図示しない周辺制御出力回路、枠周辺中継端子板868、周辺扉中継端子板882、そして扉枠3の皿ユニット320内に収納される演出表示駆動基板4450を介して扉枠側演出表示装置460に出力(送信)する。つまり、「1画面分(1フレーム分)の画面データ」とは、遊技盤側演出表示装置1600及び扉枠側演出表示装置460に表示する1画面分(1フレーム分)の描画データを内蔵VRAM上で生成するためのデータのことである。
また、音源内蔵VDP1512aは、1画面分(1フレーム分)の描画データを、チャンネルCH1から遊技盤側演出表示装置1600に出力するとともに、扉枠側演出表示装置460に対する画像データをチャンネルCH2から図示しない周辺制御出力回路、枠周辺中継端子板868、周辺扉中継端子板882、そして扉枠3の皿ユニット320内に収納される演出表示駆動基板4450を介して扉枠側演出表示装置460に出力(送信)すると、周辺制御MPU1511aからの画面データを受け入れることができる状態である旨を伝えるVブランク信号を周辺制御MPU1511aに出力する。本実施形態では、遊技盤側演出表示装置1600及び扉枠側演出表示装置460のフレーム周波数(1秒間あたりの画面更新回数)として概ね秒間30fpsに設定しているため、Vブランク信号が出力される間隔は、約33.3ms(=1000ms÷30fps)となっている。周辺制御MPU1511aは、このVブランク信号が入力されたことを契機として、後述する周辺制御部Vブランク信号割り込み処理を実行するようになっている。ここで、Vブランク信号が出力される間隔は、遊技盤側演出表示装置1600及び扉枠側演出表示装置460の液晶サイズによって多少変化する。また、周辺制御MPU1511aと音源内蔵VDP1512aとが実装された周辺制御基板1510の製造ロットにおいてもVブランク信号が出力される間隔が多少変化する場合がある。
なお、音源内蔵VDP1512aは、フレームバッファ方式が採用されている。この「フレームバッファ方式」とは、遊技盤側演出表示装置1600及び扉枠側演出表示装置460の画面に描画する1画面分(1フレーム分)の描画データをフレームバッファ(内蔵VRAM)に保持し、このフレームバッファ(内蔵VRAM)に保持した1画面分(1フレーム分)の描画データを、遊技盤側演出表示装置1600及び扉枠側演出表示装置460に出力する方式である。
また、音源内蔵VDP1512aは、主制御基板1310からのコマンドに基づいて周辺制御MPU1511aから上述した音指令データが入力されると、図74に示すように、液晶及び音制御ROM1512bに記憶されている音楽や効果音等の音データを抽出して内蔵音源を制御することにより、音指令データに規定された、トラック番号に従って音楽及び効果音等の音データをトラックに組み込むとともに、出力チャンネル番号に従って使用する出力チャンネルを設定して下部スピーカ921及び上部スピーカ573から流れる音楽や効果音等をシリアル化してオーディオデータとしてオーディオデータ送信IC1512cに出力する。
なお、音指令データには、音データを組み込むトラックの音量を調節するためのサブボリューム値も含まれており、音源内蔵VDP1512aの内蔵音源における複数のトラックには、音楽や効果音等の演出音の音データとその音量を調節するサブボリューム値のほかに、パチンコ機1の不具合の発生やパチンコ機1に対する不正行為をホールの店員等に報知するための報知音の音データとその音量を調節するサブボリューム値が組み込まれる。具体的には、演出音に対しては、上述した、音量調整ボリューム1510aのつまみ部が回動操作されて調節された基板ボリュームがサブボリューム値として設定され、報知音に対しては、音量調整ボリューム1510aのつまみ部の回動操作に基づく音量調整に全く依存されず最大音量がサブボリューム値として設定されるようになっている。演出音のサブボリューム値は、演出操作ユニット400のダイヤル操作部401や押圧操作部405を操作することで後述する設定モードへ移行して調節することができるようになっている。
また、音指定データには、出力するチャンネルの音量を調節するためのマスターボリューム値も含まれており、音源内蔵VDP1512aの内蔵音源における複数の出力チャンネルには、音源内蔵VDP1512aの内蔵音源における複数のトラックうち、使用するトラックに組み込まれた演出音の音データと、使用するトラックに組み込まれた演出音の音量を調節するサブボリューム値と、を合成して、この合成した演出音の音量を、実際に、下部スピーカ921及び上部スピーカ573から流れる音量となるマスターボリューム値まで増幅し、この増幅した演出音をシリアル化してオーディオデータとしてオーディオデータ送信IC1512cに出力するようになっている。
本実施形態では、マスターボリューム値は一定値に設定されており、合成した演出音の音量が最大音量であるときに、マスターボリューム値まで増幅されることにより、下部スピーカ921及び上部スピーカ573から流れる音量が許容最大音量となるように設定されている。具体的には、演出音に対しては、複数のトラックのうち、使用するトラックに組み込まれた演出音の音データと、使用するトラックに組み込まれた演出音の音量を調節するサブボリューム値として設定された音量調整ボリューム1510aのつまみ部が回動操作されて調節された基板ボリュームと、を合成して、この合成した演出音の音量を、実際に、下部スピーカ921及び上部スピーカ573から流れる音量となるマスターボリューム値まで増幅し、この増幅した演出音をシリアル化してオーディオデータとしてオーディオデータ送信IC1512cに出力し、報知音に対しては、使用するトラックに組み込まれた報知音の音データと、使用するトラックに組み込まれた報知音の音量を調節するサブボリューム値として設定された音量調整ボリューム1510aのつまみ部の回動操作に基づく音量調整に全く依存されず最大音量と、を合成して、この合成した報知音の音量を、実際に、下部スピーカ921及び上部スピーカ573から流れる音量となるマスターボリューム値まで増幅し、この増幅した報知音をシリアル化してオーディオデータとしてオーディオデータ送信IC1512cに出力する。
ここで、演出音が下部スピーカ921及び上部スピーカ573から流れている場合に、パチンコ機1の不具合の発生やパチンコ機1に対する不正行為をホールの店員等に報知するため報知音を流す制御について簡単に説明すると、まず演出音が組み込まれているトラックのサブボリューム値を強制的に消音に設定し、この演出音が組み込まれたトラックの音データと、その消音に設定したサブボリューム値と、報知音が組み込まれたトラックの音データと、報知音の音量が最大音量に設定されたサブボリューム値と、を合成し、この合成した演出音の音量と報知音の音量とを、実際に、下部スピーカ921及び上部スピーカ573から流れる音量となるマスターボリューム値まで増幅し、この増幅した演出音及び報知音をシリアル化してオーディオデータとしてオーディオデータ送信IC1512cに出力する。
つまり、実際に、下部スピーカ921及び上部スピーカ573から流れる音は、最大音量の報知音だけが流れることとなる。このとき、演出音は消音となっているため、下部スピーカ921及び上部スピーカ573から流れないものの、演出音は、上述した音生成用スケジュールデータに従って進行している。本実施形態では、報知音は所定期間(例えば、90秒)だけ下部スピーカ921及び上部スピーカ573から流れるようになっており、この所定期間経過すると、これまで消音に強制的に設定された音生成用スケジュールデータに従って進行している演出音の音量が、音量調整ボリューム1510aのつまみ部が回動操作されて調節された基板ボリュームがサブボリューム値として再び設定され(このとき、演出操作ユニット400のダイヤル操作部401や押圧操作部405を操作することで設定モードへ移行して調節されている場合には、その調節された演出音のサブボリューム値に設定され)、下部スピーカ921及び上部スピーカ573から流れるようになっている。
このように、演出音が下部スピーカ921及び上部スピーカ573から流れている場合に、パチンコ機1の不具合の発生やパチンコ機1に対する不正行為をホールの店員等に報知するため報知音が流れるときには、演出音の音量が消音になって報知音が下部スピーカ921及び上部スピーカ573から流れるものの、この消音となった演出音は、音生成用スケジュールデータに従って進行しているため、報知音が所定期間経過して下部スピーカ921及び上部スピーカ573から流れなくなると、演出音は、報知音が流れ始めたところから再び流れ始めるのではなく、報知音が流れ始めて所定期間経過した時点まで音生成用スケジュールデータに従って進行したところから再び流れ始めるようになっている。
[7-4-2b.液晶及び音制御ROM]
液晶及び音制御ROM1512bは、図74に示すように、遊技盤側演出表示装置1600の表示領域に描画するための遊技盤側キャラクタデータと、扉枠側演出表示装置460の表示領域に描画するための上皿側キャラクタデータと、が予め記憶されるとともに、音楽、効果音、報知音、及び告知音等の各種の音データも予め記憶されている。
[7-4-2c.オーディオデータ送信IC]
オーディオデータ送信IC1512cは、音源内蔵VDP1512aからのシリアル化したオーディオデータが入力されると、右側オーディオデータをプラス信号、マイナス信号とする差分方式のシリアルデータとして、図示しない周辺制御出力回路、枠周辺中継端子板868、そして周辺扉中継端子板882を介して、枠装飾駆動アンプ基板194に送信するとともに、左側オーディオデータをプラス信号、マイナス信号とする差分方式のシリアルデータとして、図示しない周辺制御出力回路、枠周辺中継端子板868、そして周辺扉中継端子板882を介して、枠装飾駆動アンプ基板194に送信する。これにより、下部スピーカ921及び上部スピーカ573から各種演出に合わせた音楽や効果音等がステレオ再生されるようになっている。
なお、オーディオデータ送信IC1512cは、周辺制御基板1510から枠装飾駆動アンプ基板194に亘る基板間を、左右それぞれ差分方式のシリアルデータとしてオーディオデータを出力することにより、例えば、左側オーディオデータのプラス信号、マイナス信号にノイズの影響を受けても、プラス信号に乗ったノイズ成分と、マイナス信号に乗ったノイズ成分と、を枠装飾駆動アンプ基板194で合成して1つの左側オーディオデータにする際に、互いにキャンセルし合ってノイズ成分が除去されるようになっているため、ノイズ対策を講じることができる。
[7-4-2d.扉枠側演出用トランスミッタIC]
扉枠側演出用トランスミッタIC1512dは、図74に示すように、音源内蔵VDP1512aのチャンネルCH2から出力される描画データが入力されている。チャンネルCH2は、上述したように、パラレル方式によるインターフェースが使用されている。描画データは、赤色映像信号、緑色映像信号、及び青色映像信号という3つの映像信号と、水平同期信号、垂直同期信号、及びクロック信号という3つの同期信号と、から構成されており、赤色映像信号、緑色映像信号、及び青色映像信号がそれぞれ8ビット、計24ビットで構成されている。本実施形態では、扉枠側演出用トランスミッタIC1512dに入力可能な赤色映像信号、緑色映像信号、及び青色映像信号がそれぞれ6ビット、計18ビットであるため、各映像信号における上位6ビットが扉枠側演出用トランスミッタIC1512dに入力されている。下位2ビットは、人間の目にとって判別困難な極めて微弱な色情報であるため、音源内蔵VDP1512aから出力されているものの、微弱な色情報を含む下位2ビットを無効化している。
音源内蔵VDP1512aのチャンネルCH2から出力される描画データである、赤色映像信号、緑色映像信号、及び青色映像信号という3つの映像信号と、水平同期信号、垂直同期信号、及びクロック信号という3つの同期信号と、が扉枠側演出用トランスミッタIC1512dに入力されると、扉枠側演出用トランスミッタIC1512dは、赤色映像信号、緑色映像信号、及び青色映像信号という3つの映像信号と、水平同期信号、垂直同期信号、及びクロック信号という3つの同期信号と、がザインエレクトロニクス株式会社の「V-by-One(登録商標)」というディファレンシャル方式のシリアル信号(シリアルデータ)にシリアル化して差動1ペアケーブルのみでこれらの各種信号を、周辺制御基板1510から枠周辺中継端子板868、周辺扉中継端子板882、そして扉枠3の皿ユニット320内に収納される演出表示駆動基板4450に送信する。
上述したように、音源内蔵VDP1512aのチャンネルCH1から出力される描画データは、周辺制御基板1510から遊技盤側演出表示装置1600に出力されるため、チャンネルCH1から遊技盤側演出表示装置1600までの経路(第1経路)に要する配線の長さが短いものの、音源内蔵VDP1512aのチャンネルCH2から出力される描画データは、周辺制御基板1510から枠周辺中継端子板868、周辺扉中継端子板882、そして扉枠3の皿ユニット320内に収納される演出表示駆動基板4450を介して扉枠側演出表示装置460に出力(送信)されるため、チャンネルCH2から扉枠側演出表示装置460までの経路(第2経路)に要する配線の長さが第1経路に要する配線の長さより極めて長くなることによりノイズの影響を極めて受けやすくなる。
具体的には、図1に示した本体枠4に対して開閉自在に扉枠3が軸支されているため、本体枠4の開放側辺に沿って図5に示した施錠ユニット700の反対側である閉塞側に、例えば本体枠4に装着される遊技盤5に備える周辺制御基板1510から扉枠3に備える皿ユニット320に収納される演出表示駆動基板4450などの、本体枠4側に備える各種基板と扉枠3側に備える各種基板とを電気的に接続する各種配線を通す必要がある。ところが、本体枠4の閉塞側には、払出装置830のほかに、この払出装置830によって払出された遊技球を、皿ユニット320の上皿321へ誘導することができると共に上皿321が遊技球で満タンになると払出された遊技球を下皿322側へ分岐誘導することができる満タン分岐ユニット770が配置されている。
また、本体枠4の下側には、パチンコ島設備から電源が供給される図6に示した電源基板931等を一纏めにしてユニット化した図5に示した払出ユニット800が配置されている。このように、本体枠4側に備える各種基板と扉枠3側に備える各種基板とを電気的に接続する各種配線は、払出装置830、満タン分岐ユニット770、電源基板931等の近傍に引き回されることとなり、払出装置830に備える払出モータ834が駆動されることによるノイズのほかに、遊技球による静電放電によるノイズやパチンコ機1が設置されるパチンコ島設備から供給される電源ラインに侵入したノイズ等を受ける環境下にある。
このため、描画データを送るための配線の長さがチャンネルCH1と比べて極めて長くなるというチャンネルCH2に対しては、周辺制御基板1510に備える扉枠側演出用トランスミッタIC1512dにおいてザインエレクトロニクス株式会社の「V-by-One(登録商標)」というディファレンシャル方式の通信を採用することにより、ノイズの影響を受け難い仕組みとなっている。本実施形態では、周辺制御基板1510に備える扉枠側演出用トランスミッタIC1512dと、扉枠3の皿ユニット320内に収納される演出表示駆動基板4450に備える後述する扉枠側演出用レシーバICSDIC0と、の接続間、つまりトランスミッタとレシーバとの間を電気的に接続するための配線として、上述したように、差動1ペアケーブルを用いているが、この差動1ペアケーブルは、2本の配線が単に平行に設けられる平行線ではなく、ツイストペアケーブルである。このツイストペアケーブルは、2本の配線を撚り合わせたケーブルであって、撚り対線とも呼ばれるものである。
ここで、トランスミッタとレシーバとの間を電気的に接続する差動1ペアケーブルとして平行線を採用した場合について簡単に説明する。描画データを送るための配線の長さが音源内蔵VDP1512aのチャンネルCH1と比べて極めて長くなるという音源内蔵VDP1512aのチャンネルCH2に対して、周辺制御基板1510に備える扉枠側演出用トランスミッタIC1512dにおいてザインエレクトロニクス株式会社の「V-by-One(登録商標)」というディファレンシャル方式の通信を採用してノイズの影響を受け難い仕組みとしても、このようなハードウェアによる構成だけでは、遊技球の静電放電によるノイズ、パチンコ機1が設置されるパチンコ島設備から供給される電源ラインに侵入したノイズ等により、平行線におけるシリアルデータが影響を受けると、扉枠3の皿ユニット320内に収納される演出表示駆動基板4450に備える扉枠側演出用レシーバICSDIC0で受信する際にそのノイズがキャンセル(除去)されないため、シリアルデータが影響を受けた状態のまま扉枠側演出用レシーバICSDIC0で受信されることとなり、音源内蔵VDP1512aのチャンネルCH2から出力される描画データが正規なものと異なる乱れたものとして扉枠側演出用レシーバICSDIC0で受信され、扉枠側演出表示装置460の表示領域では、いわゆる砂嵐のような画像が表示されて何の画像であるのかを全く認識することができなくなるという問題がある。
そこで、本実施形態では、描画データを送るための配線の長さが音源内蔵VDP1512aのチャンネルCH1と比べて極めて長くなるという音源内蔵VDP1512aのチャンネルCH2に対して、周辺制御基板1510に備える扉枠側演出用トランスミッタIC1512dにおいてザインエレクトロニクス株式会社の「V-by-One(登録商標)」というディファレンシャル方式の通信を採用してノイズの影響を受け難い仕組みとするとともに、このようなハードウェアによる構成に加えて、ディファレンシャル方式によるシリアルデータが配線に侵入したノイズの影響を受けたとしても受信側においてそのノイズをキャンセル(除去)することができるツイストペアケーブルを、トランスミッタとレシーバとの間を電気的に接続する差動1ペアケーブルとして採用した。これにより、遊技球の静電放電によるノイズ、パチンコ機1が設置されるパチンコ島設備から供給される電源ラインに侵入したノイズ等により、ツイストペアケーブルにおいてシリアルデータが影響を受けたとしても、扉枠3の皿ユニット320内に収納される演出表示駆動基板4450に備える扉枠側演出用レシーバICSDIC0で受信する際にそのノイズがキャンセル(除去)されるようになっているため、音源内蔵VDP1512aのチャンネルCH2から出力される描画データは、扉枠3の皿ユニット320内に収納される演出表示駆動基板4450に備える扉枠側演出用レシーバICSDIC0で確実に受信されて扉枠側演出表示装置460に出力されることにより、扉枠側演出表示装置460において、液晶表示制御部1512の音源内蔵VDP1512aが生成した画像を確実に表示することができる。ノイズをキャンセル(除去)することにより、砂嵐のような何の画像であるのかを全く認識することができなくなるような画像が扉枠側演出表示装置460で表示されることを防止することができるため、遊技者の遊技意欲の低下を抑制することができる。したがって、ノイズの影響による遊技者の遊技意欲の低下を抑制することができる。
なお、本実施形態では、周辺制御基板1510に備える扉枠側演出用トランスミッタIC1512dと、扉枠3の皿ユニット320内に収納される演出表示駆動基板4450に備える後述する扉枠側演出用レシーバICSDIC0と、の接続間、つまりトランスミッタとレシーバとの間においては、枠周辺中継端子板868、そして周辺扉中継端子板882が介在している。これは、本体枠4と扉枠3とが一体的に構成されるものではなく、別々に組み立てられたものを、本体枠4に扉枠3を取り付けるという構造を採用しているため、本体枠4に扉枠3を取り付ける作業のあとに、扉枠3側に備える各種基板からのハーネスやツイストケーブルなどの各種配線を本体枠4側に備える周辺扉中継端子板882に電気的に接続することによって、本体枠4側に備える各種基板と、扉枠3側に備える各種基板と、を電気的に接続することができるようになっている。このような構成により、本体枠4から扉枠3を開放して各種配線を取り外す作業を行ったあとに、本体枠4から扉枠3を取り外すことで、本体枠4や扉枠3のメンテナンスを行うことができるし、扉枠3に生じた不具合が解消することができない場合には、この不具合のある扉枠3に替えて他の扉枠3’を本体枠4に取り付けて、扉枠3’側に備える各種基板からの各種配線を本体枠4側に備える周辺扉中継端子板882に電気的に接続することによって、本体枠4側に備える各種基板と、扉枠3’側に備える各種基板と、を電気的に接続することができる。
また、本実施形態では、上述したように、周辺制御基板1510に備える扉枠側演出用トランスミッタIC1512dにおいてザインエレクトロニクス株式会社の「V-by-One(登録商標)」というディファレンシャル方式の通信を採用してノイズの影響を受け難い仕組みとするとともに、このようなハードウェアによる構成に加えて、ディファレンシャル方式によるシリアルデータが配線に侵入したノイズの影響を受けたとしても受信側においてそのノイズをキャンセル(除去)することができるツイストペアケーブルを、トランスミッタとレシーバとの間を電気的に接続する差動1ペアケーブルとして採用した。具体的には、周辺制御基板1510と枠周辺中継端子板868との基板間、枠周辺中継端子板868と周辺扉中継端子板882との基板間、そして周辺扉中継端子板882と演出表示駆動基板4450との基板間においては、それぞれツイストペアケーブルにより電気的に接続されているのに対して、電源配線やその他の各種信号を伝える配線においては、それぞれハーネスにより電気的に接続されている。これにより、枠周辺中継端子板868と周辺扉中継端子板882とには、扉枠側演出用トランスミッタIC1512dにより送信されるディファレンシャル方式によるシリアルデータを伝送するための映像伝送用配線パターンのほかに、電源用配線パターンやその他の各種信号を伝送するための各種信号用配線パターンと、が混在している。このため、枠周辺中継端子板868、及び周辺扉中継端子板882には、電源用配線パターンや各種信号用配線パターンから所定寸法だけ離して上述した映像伝送用配線パターンがそれぞれ形成されている。トランスミッタからレシーバまでの経路には、枠周辺中継端子板868、及び周辺扉中継端子板882という複数の中継端子板をまたぐこととなるため、これらの複数の中継端子板に形成される映像伝送用配線パターンの入出力間において、扉枠側演出用トランスミッタIC1512dにより送信されるディファレンシャル方式によるシリアルデータを伝送する信号の一部が反射されてノイズとなったり、その信号の出力レベルが低下するという問題が生ずる。そこで、本実施形態では、これらの複数の中継端子板に形成される映像伝送用配線パターンには、インピーダンス整合が施されている。
また、本実施形態では、上述したように、周辺制御基板1510と枠周辺中継端子板868との基板間、枠周辺中継端子板868と周辺扉中継端子板882との基板間、そして周辺扉中継端子板882と演出表示駆動基板4450との基板間においては、それぞれツイストペアケーブルにより電気的に接続されているのに対して、電源配線やその他の各種信号を伝える配線においては、それぞれハーネスにより電気的に接続されているが、ツイストペアケーブルのうち、一方の配線を赤色とし、他方の配線を灰色とするとともに、ハーネスのうち、電源を供給する配線を赤色とし、他の複数の配線を灰色としている。なお、電源を供給する配線を赤色とせず、黄色としてもよい。
[7-4-2e.強制切替回路、差動化回路]
扉枠側演出用トランスミッタIC1512dから出力される信号は、強制切替回路1512f、図示しない周辺制御出力回路、枠周辺中継端子板868、周辺扉中継端子板882、そして扉枠3の皿ユニット320内に収納される演出表示駆動基板4450に送信されるようになっている。この強制切替回路1512fには、扉枠側演出用トランスミッタIC1512dから出力される信号のほかに、周辺制御基板1510の周辺制御部1511の周辺制御MPU1511aから出力されるシリアルデータであるLOCKN信号出力要求データが差動化回路1512eにおいてプラス信号とマイナス信号とに差動化されて入力されている。この差動化回路1512eでは、LOCKN信号出力要求データをディファレンシャル方式のシリアル信号(シリアルデータ)にシリアル化している。このLOCKN信号出力要求データは、パチンコ機1の電源投入時における起動画面を遊技盤側演出表示装置1600に表示している期間や、客待ち状態となって遊技盤側演出表示装置1600によるデモンストレーションを行っている期間において、周辺制御基板1510に備える扉枠側演出用トランスミッタIC1512dと、扉枠3の皿ユニット320内に収納される演出表示駆動基板4450に備える後述する扉枠側演出用レシーバICSDIC0と、の接続間、つまりトランスミッタとレシーバとの間の接続に不具合が発生しているか否かを確認するために、扉枠側演出表示装置460の動作確認要求として送信されるものである。強制切替回路1512fは、差動化回路1512eにおいてプラス信号とマイナス信号とに差動化された2つの信号が入力されているときには、この2つの信号を伝送するように回路接続する一方、差動化回路1512eにおいてプラス信号とマイナス信号とに差動化された2つの信号が入力されていないときには、扉枠側演出用トランスミッタIC1512dから出力される信号を伝送するように回路接続するように回路構成されている。これにより、差動化回路1512eにおいてプラス信号とマイナス信号とに差動化された2つの信号が入力されているときには、その2つの信号を伝送するように回路接続するため、その2つの信号が、周辺制御基板1510から枠周辺中継端子板868、周辺扉中継端子板882、そして扉枠3の皿ユニット320内に収納される演出表示駆動基板4450に送信される一方、差動化回路1512eにおいてプラス信号とマイナス信号とに差動化された2つの信号が入力されていないときには、扉枠側演出用トランスミッタIC1512dから出力される信号を伝送するように回路接続するため、扉枠側演出用トランスミッタIC1512dから出力される信号が、周辺制御基板1510から枠周辺中継端子板868、周辺扉中継端子板882、そして扉枠3の皿ユニット320内に収納される演出表示駆動基板4450に送信される。周辺制御MPU1511aは、パチンコ機1の電源投入時における起動画面を遊技盤側演出表示装置1600に表示している期間や、客待ち状態となって遊技盤側演出表示装置1600によるデモンストレーションを行っている期間において、LOCKN信号出力要求データを、扉枠3の皿ユニット320内に収納される演出表示駆動基板4450(実際には、周辺制御基板1510に備える差動化回路1512e)に向かって送信する。
扉枠3の皿ユニット320内に収納される演出表示駆動基板4450は、周辺制御基板1510からのシリアル信号(シリアルデータ)を後述する扉枠側演出用レシーバICSDIC0で受信すると、シリアル化された各種信号をパラレル信号に復元して扉枠側演出表示装置460に出力する液晶モジュール回路4450Vと、から主として構成されている。
扉枠側演出用レシーバICSDIC0は、音源内蔵VDP1512aからの描画データを受信し、この受信した描画データが異常なデータであると判断すると、その旨を伝える後述するLOCKN信号を周辺扉中継端子板882、そして枠周辺中継端子板868を介して、周辺制御基板1510に出力する。このLOCKN信号は、周辺制御基板1510の図示しない周辺制御入力回路を介して、周辺制御基板1510の周辺制御部1511の周辺制御MPU1511aに入力される。周辺制御MPU1511aは、入力されるLOCKN信号に基づいて、所定の条件が成立すると、その旨を伝えるための画像を音源内蔵VDP1512aを制御して生成して遊技盤側演出表示装置1600に出力することにより遊技盤側演出表示装置1600の表示領域に表示して報知する。
また、扉枠側演出用レシーバICSDIC0は、受信したその2つの信号がLOCKN信号出力要求データであると判断したときには、後述するLOCKN信号を周辺扉中継端子板882、そして枠周辺中継端子板868を介して、周辺制御基板1510に出力する。このLOCKN信号は、周辺制御基板1510の図示しない周辺制御入力回路を介して、周辺制御基板1510の周辺制御部1511の周辺制御MPU1511aに入力される。これにより、周辺制御MPU1511aは、LOCKN信号出力要求データの送信に対する応答信号として、LOCKN信号が入力されているときにはトランスミッタとレシーバとの間の接続に不具合が発生していないとして扉枠3の皿ユニット320内に収納される演出表示駆動基板4450に不具合が発生していないと判断することができる一方、LOCKN信号が入力されていないときにはトランスミッタとレシーバとの間の接続に不具合が発生しているとして扉枠3の皿ユニット320内に収納される演出表示駆動基板4450に不具合が発生していると判断して、その旨を伝える報知画像(例えば、「上皿側液晶表示装置に不具合が発生しました。店員をお呼びください。」)を、音源内蔵VDP1512aを制御して遊技盤側演出表示装置1600に出力するとともに、その旨を伝える報知音(例えば、「上皿側液晶表示装置に不具合が発生しています。」)を、音源内蔵VDP1512aを制御してオーディオデータ送信IC1512cに出力することにより扉枠3に設けたスピーカから報知音が流れる。これにより、遊技盤側演出表示装置1600の表示領域に表示される報知画像と、扉枠3に設けたスピーカ等から繰り返し流れる報知音と、により報知を行うことができるようになっている。このとき、扉枠3に備える発光装飾用のLEDや遊技盤5に備える各種装飾基板に実装される各種LEDをすべて点灯してもよい。
[7-4-3.RTC制御部]
年月日を特定するカレンダー情報と時分秒を特定する時刻情報とを保持するRTC制御部4165は、図72に示すように、RTC4165aを中心として構成されている。このRTC4165aには、カレンダー情報と時刻情報とが保持されるRAM4165aaが内蔵(以下、「RTC内蔵RAM4165aa」と記載する。)されている。RTC4165aは、駆動用電源及びRTC内蔵RAM4165aaのバックアップ用電源として電池4165b(本実施形態では、ボタン電池を採用している。)から電力が供給されるようになっている。つまりRTC4165aは、周辺制御基板1510(パチンコ機1)からの電力が全く供給されずに、周辺制御基板1510(パチンコ機1)と独立して電池4165bから電力が供給されている。これにより、RTC4165aは、パチンコ機1の電力が遮断されても、電池4165bからの電力供給により、カレンダー情報や時刻情報を更新保持することができるようになっている。
周辺制御部1511の周辺制御MPU1511aは、RTC4165aのRTC内蔵RAM4165aaからカレンダー情報や時刻情報を取得して上述した周辺制御RAM1511cのRTC情報取得記憶領域1511cadにセットし、この取得したカレンダー情報や時刻情報に基づく演出を遊技盤側演出表示装置1600及び扉枠側演出表示装置460で繰り広げることができるようになっている。このような演出としては、例えば、12月25日であればクリスマスツリーやトナカイの画面が遊技盤側演出表示装置1600及び扉枠側演出表示装置460で繰り広げられたり、大晦日であれば新年カウントダウンを実行する画面が遊技盤側演出表示装置1600及び扉枠側演出表示装置460で繰り広げられたりする等を挙げることができる。カレンダー情報や時刻情報は、工場出荷時に設定される。
なお、RTC内蔵RAM4165aaには、カレンダー情報や時刻情報のほかに、遊技盤側演出表示装置1600のバックライトがLEDタイプのものが装着されている場合にはLEDの輝度設定情報が記憶保持されている。周辺制御MPU1511aは、遊技盤側演出表示装置1600のバックライトがLEDタイプのものが装着されている場合には、RTC内蔵RAM4165aaから輝度設定情報を取得してバックライトの輝度調整をPWM制御により行う。輝度設定情報は、遊技盤側演出表示装置1600のバックライトであるLEDの輝度が100%~70%までに亘る範囲を5%刻みで調節するための輝度調節情報と、現在設定されている遊技盤側演出表示装置1600及び扉枠側演出表示装置460のバックライトであるLEDの輝度と、が含まれている。
また、RTC内蔵RAM4165aaには、カレンダー情報、時刻情報や輝度設定情報のほかに、カレンダー情報、時刻情報、及び輝度設定情報をRTC内蔵RAM4165aaに最初に記憶した年月日及び時分秒の情報として入力日時情報も記憶されている。
周辺制御MPU1511aは、遊技盤側演出表示装置1600及び扉枠側演出表示装置460のバックライトが冷陰極管タイプのものが装着されている場合には、バックライトのON/OFF制御もしくはONのみとするようになっている。
RTC内蔵RAM4165aaに記憶される、カレンダー情報、時刻情報、輝度設定情報、及び入力日時情報等の各種情報は、遊技機メーカの製造ラインにおいて設定される。製造ラインにおいては、例えば遊技盤側演出表示装置1600の表示テスト等の各種テストを行うため、遊技盤側演出表示装置1600を最初に電源投入した日時として入力日時情報が製造ラインで入力された年月日及び時分秒である製造日時に設定される。
このように、RTC内蔵RAM4165aaには、カレンダー情報や時刻情報のほかに、遊技盤側演出表示装置1600のバックライトがLEDタイプのものが装着されている場合における輝度設定情報、及び入力日時情報等、パチンコ機1の機種情報(例えば、低確率や高確率における大当り遊技状態が発生する確率など)とは独立して維持が必要な情報を記憶保持することができるようになっている。
また、RTC内蔵RAM4165aaに記憶保持される輝度設定情報等は、パチンコ機1が設置されるホールの環境によっては製造日時に設定された遊技盤側演出表示装置1600のバックライトの輝度では明るすぎたり、暗すぎたりする場合もある。そこで、演出操作ユニット400のダイヤル操作部401や押圧操作部405を操作することで設定モードへ移行してバックライトの輝度を所定の輝度に調節することができるようになっている。パチンコ機1の電源投入後、所定時間内において、演出操作ユニット400のダイヤル操作部401や押圧操作部405を操作すると、設定モードを行うための画面が遊技盤側演出表示装置1600に表示されるほかに、客待ち状態となって遊技盤側演出表示装置1600によるデモンストレーションが行われている期間内において、演出操作ユニット400のダイヤル操作部401や押圧操作部405を操作すると、設定モードを行うための画面が遊技盤側演出表示装置1600に表示されるようになっている。この設定モードの画面に従って演出操作ユニット400のダイヤル操作部401や押圧操作部405を操作することでカレンダー情報、時刻情報を再設定したり、遊技盤側演出表示装置1600のバックライトの輝度を所望の輝度に調節したりすることができる。この調節された遊技盤側演出表示装置1600のバックライトの所望の輝度は、輝度設定情報に記憶されるLEDの輝度としてそれぞれ上書き(更新記憶)されるようになっている。
なお、設定モードでは、周辺制御MPU1511aは、上述した輝度補正プログラムを実行することにより、遊技盤側演出表示装置1600のバックライトがLEDタイプのものが装着されている場合には、遊技盤側演出表示装置1600の経年変化にともなう輝度低下を補正する。周辺制御MPU1511aは、RTC制御部4165のRTC内蔵RAM4165aaから、入力日時情報を取得して遊技盤側演出表示装置1600を最初に電源投入した日時を特定し、年月日を特定するカレンダー情報と時分秒を特定する時刻情報とを取得して現在の日時を特定し、遊技盤側演出表示装置1600のバックライトであるLEDの輝度が100%~70%までに亘る範囲を5%刻みで調節するための輝度調節情報と現在設定されている遊技盤側演出表示装置1600のバックライトであるLEDの輝度とを有する輝度設定情報を取得する。この取得した輝度設定情報を周辺制御ROM1511bに予め記憶されている補正情報に基づいて補正する。
例えば、遊技盤側演出表示装置1600を最初に電源投入した日時と現在の日時とから、遊技盤側演出表示装置1600を最初に電源投入した日時からすでに6月を経過している場合には、周辺制御ROM1511bから対応する補正情報(例えば、5%)を取得するとともに、輝度設定情報に含まれるLEDの輝度が75%で遊技盤側演出表示装置1600のバックライトを点灯するときには、この75%に対して取得した補正情報である5%だけさらに上乗せした80%の輝度となるように、輝度設定情報に含まれる輝度調節情報に基づいて遊技盤側演出表示装置1600のバックライトの輝度を調節して点灯し、遊技盤側演出表示装置1600を最初に電源投入した日時からすでに12月を経過している場合には、周辺制御ROM1511bから対応する補正情報(例えば、10%)を取得するとともに、輝度設定情報に含まれるLEDの輝度が75%で遊技盤側演出表示装置1600のバックライトを点灯するときには、この75%に対して取得した補正情報である10%だけさらに上乗せした85%の輝度となるように、輝度設定情報に含まれる輝度調節情報に基づいて遊技盤側演出表示装置1600のバックライトの輝度を調節して点灯する。
なお、RTC制御部4165のRTC内蔵RAM4165aaから、直接、年月日を特定するカレンダー情報と時分秒を特定する時刻情報とを取得して現在の日時を特定してもいいし、後述する周辺制御部電源投入時処理におけるステップS1002の現在時刻情報取得処理において周辺制御RAM1511cのRTC情報取得記憶領域1511cadにおける、カレンダー情報記憶部にセットされて周辺制御基板1510のシステムにより更新される現在のカレンダー情報と、時刻情報記憶部にセットされて周辺制御基板1510のシステムにより更新される現在の時刻情報と、を取得して現在の日時を特定してもいい。
[834.音量調整ボリューム]
音量調整ボリューム1510aは、上述したように、下部スピーカ921及び上部スピーカ573から流れる音楽や効果音等の音量をつまみ部を回動操作することにより調節することができるようになっている。音量調整ボリューム1510aは、上述したように、そのつまみ部が回動操作されることにより抵抗値が可変するようになっており、電気的に接続された周辺制御A/Dコンバータ1511akがつまみ部の回転位置における抵抗値により分圧された電圧を、アナログ値からデジタル値に変換して、値0~値1023までの1024段階の値に変換している。本実施形態では、上述したように、1024段階の値を7つに分割して基板ボリューム0~6として管理している。基板ボリューム0では消音、基板ボリューム6では最大音量に設定されており、基板ボリューム0から基板ボリューム6に向かって音量が大きくなるようにそれぞれ設定されている。基板ボリューム0~6に設定された音量となるように液晶表示制御部1512(音源内蔵VDP1512a)を制御して下部スピーカ921及び上部スピーカ573から音楽や効果音が流れるようになっている。
このように、つまみ部の回動操作に基づく音量調整により下部スピーカ921及び上部スピーカ573から音楽や効果音が流れるようになっている。また、本実施形態では、上述したように、音楽や効果音のほかに、パチンコ機1の不具合の発生やパチンコ機1に対する不正行為をホールの店員等に報知するための報知音や、遊技演出に関する内容等を告知する(例えば、遊技盤側演出表示装置1600に繰り広げられている画面をより迫力あるものとして演出したり、遊技者にとって有利な遊技状態に移行する可能性が高いこと告知したり等。)ための告知音も下部スピーカ921及び上部スピーカ573から流れるが、報知音や告知音は、つまみ部の回動操作に基づく音量調整に全く依存されずに流れる仕組みとなっており、消音から最大音量までの音量をプログラムにより液晶表示制御部1512(音源内蔵VDP1512a)を制御して調整することができるようになっている。
このプログラムにより調整される音量は、上述した7段階に分けられた基板ボリュームと異なり、消音から最大音量までを滑らかに変化させることができるようになっている。これにより、例えば、ホールの店員等が音量調整ボリューム1510aのつまみ部を回動操作して音量を小さく設定した場合であっても、下部スピーカ921及び上部スピーカ573から流れる音楽や効果音等の演出音が小さくなるものの、パチンコ機1に不具合が発生しているときや遊技者が不正行為を行っているときには大音量(本実施形態では、最大音量)に設定した報知音を流すことができる。したがって、演出音の音量を小さくしても、報知音によりホールの店員等が不具合の発生や遊技者の不正行為を気付き難くなることを防止することができる。
また、つまみ部の回動操作に基づく音量調整により設定されている現在の基板ボリュームに基づいて、広告音を流す音量を小さくして音楽や効果音の妨げとならないようにしたりする一方、広告音を流す音量を大きくして音楽や効果音に加えて遊技盤側演出表示装置1600及び扉枠側演出表示装置460で繰り広げられている画面をより迫力あるものとして演出したり、遊技者にとって有利な遊技状態に移行する可能性が高いこと告知したりすることもできる。
なお、本実施形態では、音量調整ボリューム1510aのつまみ部を回動操作することにより音楽や効果音の音量を調節するようになっていることに加えて、演出操作ユニット400のダイヤル操作部401や押圧操作部405を操作することで設定モードへ移行して音楽や効果音の音量を調節することができるようになっている。パチンコ機1の電源投入後、所定時間内において、演出操作ユニット400のダイヤル操作部401や押圧操作部405を操作すると、設定モードを行うための画面が遊技盤側演出表示装置1600に表示されるほかに、客待ち状態となって遊技盤側演出表示装置1600によるデモンストレーションが行われている期間内において、演出操作ユニット400のダイヤル操作部401や押圧操作部405を操作すると、設定モードを行うための画面が遊技盤側演出表示装置1600に表示されるようになっている。この設定モードの画面に従って演出操作ユニット400のダイヤル操作部401や押圧操作部405を操作することで音楽や効果音の音量を所望の音量に調節することができる。具体的には、音量調整ボリューム1510aのつまみ部の回転位置における抵抗値により分圧された電圧を、周辺制御A/Dコンバータ1511akがアナログ値からデジタル値に変換して、この変換した値に対して、演出操作ユニット400のダイヤル操作部401や押圧操作部405の操作に応じて所定値を加算又は減算することによって、基板ボリュームの値を増やしたり、又は減らしたりすることができるようになっている。この調節された音量は、音源内蔵VDP1512aの内蔵音源における複数のトラックのうち、音楽や効果音等の演出音の音データが組み込まれたトラックに対して、サブボリューム値として設定更新されて演出音の音量の調節に反映されるものの、上述した報知音や告知音の音量に調節に反映されないようになっている。
このように、本実施形態では、音量調整ボリューム1510aのつまみ部を直接回動操作することにより音楽や効果音の音量を調節する場合と、演出操作ユニット400のダイヤル操作部401や押圧操作部405の操作に応じて所定値を加算又は減算することによって、基板ボリュームの値を増やしたり、又は減らしたりすることにより音楽や効果音の音量を調節する場合と、の2つの方法がある。音量調整ボリューム1510aは、周辺制御基板1510に実装されているため、本体枠4を外枠2から必ず開放した状態にする必要がある。そうすると、音量調整ボリューム1510aのつまみ部を回動操作することができるのは、ホールの店員となる。ところが、ホールの店員が調節した音量では、遊技者にとって小さく感じて音楽や効果音を聞き取り難い場合もあるし、遊技者にとって大きく感じて音楽や効果音をうるさく感じる場合もある。そこで、パチンコ機1の電源投入後、所定時間内において、演出操作ユニット400のダイヤル操作部401や押圧操作部405を操作したり、客待ち状態となって遊技盤側演出表示装置1600によるデモンストレーションが行われている期間内において、演出操作ユニット400のダイヤル操作部401や押圧操作部405を操作したりした場合には、設定モードを行うための画面が遊技盤側演出表示装置1600に表示され、この設定モードの画面に従って演出操作ユニット400のダイヤル操作部401や押圧操作部405を操作することで音楽や効果音の音量を所望の音量に調節することができるようになっている。これにより、遊技者は所望の音量に音楽や効果音の音量を調節することができるため、ホールの店員が調節した音量を小さく感じて音楽や効果音を聞き取り難い場合には、演出操作ユニット400のダイヤル操作部401や押圧操作部405を操作して所望の音量まで大きくすることができるし、ホールの店員が調節した音量を大きく感じて音楽や効果音をうるさく感じる場合には、演出操作ユニット400のダイヤル操作部401や押圧操作部405を操作して所望の音量まで小さくすることができる。
また、本実施形態では、パチンコ機1において遊技が行われていない状態が所定時間継続され、客待ち状態となって遊技盤側演出表示装置1600によるデモンストレーションが繰り返し行われると(例えば、10回)、前回、パチンコ機1の前面に着座して遊技を行っていた遊技者が調節した音量がキャンセルされて、音量が初期化されるようになっている。この音量の初期化では、ホールの店員が調節した音量、つまりホールの店員が音量調整ボリューム1510aのつまみ部を直接回動操作して調節した音量となるようになっている。これにより、前回、パチンコ機1の前面に着座して遊技を行っていた遊技者が調節した音量を小さく感じて音楽や効果音を聞き取り難い場合には、今回、パチンコ機1の前面に着座して遊技を行う遊技者が演出操作ユニット400のダイヤル操作部401や押圧操作部405を操作して所望の音量まで大きくすることができるし、前回、パチンコ機1の前面に着座して遊技を行っていた遊技者が調節した音量を大きく感じて音楽や効果音をうるさく感じる場合には、今回、パチンコ機1の前面に着座して遊技を行う遊技者が演出操作ユニット400のダイヤル操作部401や押圧操作部405を操作して所望の音量まで小さくすることができる。
[8.電源システム]
次に、パチンコ機1の電源システムについて、図75及び図76を参照して説明する。図75はパチンコ機の電源システムを示すブロック図であり、図76は図75のつづきを示すブロック図である。まず、電源基板931について説明し、続いて各制御基板等に供給される電源について説明する。なお、各種基板のグランド(GND)や各種端子板のグランド(GND)は、電源基板931のグランド(GND)と電気的に接続されており、同一グランド(GND)となっている。
[8-1.電源基板931]
電源基板931は、電源コードと電気的に接続されており、この電源コードのプラグがパチンコ島設備の電源コンセントに差し込まれている。電源スイッチ934を操作すると、パチンコ島設備から供給されている電力が電源基板931に供給され、パチンコ機1の電源投入を行うことができる。
電源基板931は、図75に示すように、電源制御部935、発射制御部953を備えている。電源制御部935は、パチンコ島設備から供給される交流24ボルト(AC24V)から各種直流電圧を作成したり、主制御基板1310や払出制御基板951へのバックアップ電源を供給する回路であり、発射制御部953は、図5に示した打球発射装置650の発射ソレノイド682や図1に示した球送りユニット250の球送ソレノイド255を駆動制御する回路である。
電源制御部935は、同期整流回路935a、力率改善回路935b、平滑化回路935c、電源作成回路935d、キャパシタBC0,BC1を備えている。パチンコ島設備から供給されているAC24Vは、電源基板931を介して遊技球等貸出装置接続端子板869に供給されるとともに、同期整流回路935aに供給されている。この同期整流回路935aは、パチンコ島設備から供給され交流24ボルト(AC24V)を整流して力率改善回路935bに供給している。この力率改善回路935bは、整流された電力の力率を改善して直流+37V(DC+37V、以下、「+37V」と記載する。)を作成して平滑化回路935cに供給している。この平滑化回路935cは、供給される+37Vのリップルを除去して+37Vを平滑化させて発射制御部953の発射制御回路953a及び電源作成回路935dにそれぞれ供給している。
キャパシタBC0は、主制御基板1310の主制御MPU1310aに内蔵されたRAM(主制御内蔵RAM)へのバックアップ電源を供給し、キャパシタBC1は、払出制御基板951における払出制御部952の払出制御MPU952aに内蔵されたRAM(払出制御内蔵RAM)へのバックアップ電源を供給している。
発射制御部953の発射制御回路953aは、平滑化回路935cから供給される+37Vを駆動電源として、ハンドル302の回転位置に見合う打ち出し強度(発射強度)で遊技球を図1に示した遊技領域5aに向かって打ち出す(発射する)ための駆動電流を調整して発射ソレノイド682に出力する制御を行う一方、球送りユニット250の球送ソレノイド255に一定電流を出力することにより球送りユニット250の球送部材が皿ユニット320の上皿321に貯留された遊技球を1球受け入れ、球送部材が受け入れた遊技球を打球発射装置650側へ送る制御を行う。
電源作成回路935dは、平滑化回路935cから供給される+37Vから直流+5V(DC+5V、以下、「+5V」と記載する。)、直流+12V(DC+12V、以下、「+12V」と記載する。)、及び直流+24V(DC+24V、以下、「+24V」と記載する。)をそれぞれ作成して払出制御基板951及び枠周辺中継端子板868にそれぞれ供給している。+5Vが印加されて供給される電源系統が+5V電源ライン、+12Vが印加されて供給される電源系統が+12V電源ライン、そして+24Vが印加されて供給される電源系統が+24V電源ラインとなる。
電源作成回路935dで作成される+5Vは、後述するように、払出制御基板951に供給されている。払出制御基板951に供給される+5Vは、払出制御フィルタ回路951aを介して払出制御MPU952aの電源端子に印加されるとともに、ダイオードPD0を介して払出制御内蔵RAMの電源端子に印加されるようになっている。電源作成回路935dで作成される+12Vは、払出制御基板951を介して主制御基板1310の+5V作成回路1310gに供給されている。この+5V作成回路1310gは、払出制御基板951からの+12Vから主制御MPU1310aの制御基準電圧である+5Vを作成している。+5V作成回路1310gで作成される+5Vは、主制御フィルタ回路1310hを介して主制御MPU1310aの電源端子に供給されるとともに、ダイオードMD0を介して主制御内蔵RAMの電源端子に供給されるようになっている。
電源基板931のキャパシタBC1のマイナス端子は、グランド(GND)と接地される一方、キャパシタBC1のプラス端子は、払出制御基板951の払出制御内蔵RAMの電源端子と電気的に接続されるとともに、払出制御基板951のダイオードPD0のカソード端子とも電気的に接続されている。つまり、電源基板931の電源作成回路935dで作成される+5Vは、払出制御MPU952aの電源端子に向かって電流が流れるとともに、ダイオードPD0により順方向である払出制御内蔵RAMの電源端子と、キャパシタBC1のプラス端子と、に向かって電流が流れるようになっている。このように、キャパシタBC1は、電源基板931の電源作成回路935dで作成される+5Vが払出制御基板951、そして再び払出制御基板951から電源基板931に戻ってくるという電気的な接続方法により、+5Vが供給されて充電することができるようになっている。これにより、電源作成回路935dで作成される+5Vが払出制御基板951に供給されなくなった場合には、キャパシタBC1に充電された電荷が払VBBとして払出制御基板951に供給されるようになっているため、払出制御MPU952aの電源端子にはダイオードPD0により電流が妨げられて流れず払出制御MPU952aが作動しないものの、払出制御内蔵RAMの電源端子には払VBBが供給されることにより記憶内容が保持されるようになっている。
電源基板931のキャパシタBC0のマイナス端子は、グランド(GND)と接地される一方、キャパシタBC0のプラス端子は、払出制御基板951を介して主制御基板1310の主制御内蔵RAMの電源端子と電気的に接続されるとともに、主制御基板1310のダイオードMD0のカソード端子とも電気的に接続されている。つまり、+5V作成回路1310gで作成される+5Vは、主制御MPU1310aの電源端子に向かって電流が流れるとともに、ダイオードMD0により順方向である主制御内蔵RAMの電源端子と、キャパシタBC0のプラス端子と、に向かって電流が流れるようになっている。このように、キャパシタBC0は、+5V作成回路1310gで作成される+5Vが主制御基板1310、そして払出制御基板951から電源基板931に供給されるという電気的な接続方法により、+5Vが供給されて充電することができるようになっている。これにより、電源基板931の電源作成回路935dで作成される+12Vが払出制御基板951を介して主制御基板1310の+5V作成回路1310gに供給されなくなって+5V作成回路1310gが+5Vを作成することができなくなった場合には、キャパシタBC0に充電された電荷が主VBBとして、払出制御基板951を介して、主制御基板1310に供給されるようになっているため、主制御MPU1310aの電源端子にはダイオードMD0により電流が妨げられて流れず主制御MPU1310aが作動しないものの、主制御内蔵RAMの電源端子には主VBBが供給されることにより記憶内容が保持されるようになっている。このように、この実施の形態にかかるパチンコ機1にあって、主制御内蔵RAMに対してバックアップ電源を供給するバックアップ電源回路は、上記ダイオードMD0と上記キャパシタBC0とによって構成されている。
[8-2.各制御基板等に供給される電圧]
次に、各制御基板等に供給される電圧についての概要を説明し、続いて、主として払出制御基板に供給される電圧、そして主制御基板に供給される電圧について説明する。
電源基板931の電源作成回路935dで作成された+5V、+12V、及び+24Vという3種類の電圧は、図75に示すように、払出制御基板951に供給され、これら3種類の電圧のうち、+12V及び+24Vという2種類の電圧は、払出制御基板951を介して主制御基板1310に供給されている。また電源基板931の電源作成回路935dで作成された+5V、+12V、及び+24Vという3種類の電圧は、枠周辺中継端子板868に供給されるとともに、この枠周辺中継端子板868を介して、周辺制御基板1510及び周辺扉中継端子板882にそれぞれ供給されている。
周辺制御基板1510に供給される+5V、+12V、及び+24Vという3種類の電圧は、図76(a)に示すように、ランプ駆動基板4170のランプ駆動回路4170a及びモータ駆動基板4180の駆動源駆動回路4180aにそれぞれ供給されている。ランプ駆動基板4170のランプ駆動回路4170aは、遊技盤5の各種装飾基板に点灯信号、点滅信号や階調点灯信号等の各種信号を出力し、モータ駆動基板4180の駆動源駆動回路4180aは、遊技盤5のモータやソレノイド等の電気的駆動源に駆動信号を出力する。
周辺制御基板1510は、枠周辺中継端子板868から供給される+5Vから直流3.3V(DC+3.3V、以下、「+3.3V」と記載する。)を作成する+3.3V作成回路1510bを備えている。+3.3V作成回路1510bが作成する+3.3Vは、遊技盤側演出表示装置1600の液晶モジュール1600aに供給されている。また、周辺制御基板1510に供給される+12Vは、遊技盤側演出表示装置1600のバックライト電源1600bに供給されている。
これに対して、周辺扉中継端子板882に供給される+5V、+12V、及び+24Vという3種類の電圧は、図76(b)に示すように、枠装飾駆動アンプ基板194に供給されている。枠装飾駆動アンプ基板194は、周辺扉中継端子板882から供給される+12Vから直流+9V(DC+9V、以下、「+9V」と記載する。)を作成する+9V作成回路194aを備えている。+9V作成回路194aが作成する+9Vとともに、周辺扉中継端子板882から供給される+5V、+12V、及び+24Vという計4種類の電圧が扉枠3の各種装飾基板等に供給されている。
また、周辺扉中継端子板882に供給される+12Vは、上皿側液晶モジュール電源回路4450xに供給されている。上皿側液晶モジュール電源回路4450xは、+12Vから+3.3Vを作成している。上皿側液晶モジュール電源回路4450xが作成した+3.3Vは、図74に示した液晶モジュール回路4450Vを構成する各種電子部品にそれぞれ供給されているほかに、上皿側液晶モジュールバックライト電源回路4450yや扉枠側演出表示装置460にそれぞれ供給されている。上皿側液晶モジュールバックライト電源回路4450yが作成した電圧は、扉枠側演出表示装置460に供給されている。
[8-2-1.払出制御基板に供給される電圧]
払出制御基板951は、図75に示すように、払出制御MPU952a等のほかに、払出制御フィルタ回路951a等を備えている。この払出制御フィルタ回路951aは、電源基板931からの+5Vが供給されており、この+5Vからノイズを除去している。この+5Vは、ダイオードPD0を介して電源基板931のキャパシタBC1に供給されるほかに、例えば、払出制御部952の払出制御MPU952a等に供給されている。電源基板931からの+12Vは、例えば、払出制御部952の払出制御入力回路952b等に供給されるとともに、払出制御基板951を介して、外部端子板784の外部通信回路784aに供給されている。この外部端子板784の外部通信回路784aは、パチンコ機1が払い出した遊技球の球数やパチンコ機1の遊技情報等を伝える信号を遊技場(ホール)に設置されたホールコンピュータへ出力する回路である。ホールコンピュータは、外部通信回路784aから出力される信号から、パチンコ機1が払い出した遊技球の球数やパチンコ機1の遊技情報等を把握することにより遊技者の遊技を監視している。なお、電源基板931からの+24は、払出制御基板951において何ら使用されずに、払出制御基板951を介して、主制御基板1310に供給されている。
[8-2-2.主制御基板に供給される電圧]
主制御基板1310は、図75に示すように、主制御MPU1310a等のほかに、+5V作成回路1310g、主制御フィルタ回路1310h、停電監視回路1310e等を備えている。+5V作成回路1310gは、電源基板931からの+12Vが払出制御基板951を介して供給され、この+12Vから主制御MPU1310aの制御基準電圧である+5Vを作成している。主制御基板1310において、+5V作成回路1310gが作成する+5Vが印加されて供給される電源系統が+5V電源ラインとなる。本実施形態では、電源基板931の電源作成回路935dで作成される+5V電源ラインと、主制御基板1310の+5V作成回路1310gで作成される+5V電源ラインと、が電気的に接続されることがないように回路構成されているため、電源基板931の電源作成回路935dで作成される+5V電源ラインが主制御基板1310の各種電子部品と電気的に接続されることがないし、主制御基板1310の+5V作成回路1310gで作成される+5V電源ラインが主制御基板1310を除く他の基板等の各種電子部品と電気的に接続されることもない。
主制御フィルタ回路1310hは、+5V作成回路1310gで作成される+5Vが供給されており、この+5Vからノイズを除去している。この+5Vは、ダイオードMD0を介して電源基板931のキャパシタBC0に供給されるほかに、例えば、主制御MPU1310a等に供給されている。払出制御基板951からの+12Vは、例えば、主制御入力回路1310b等に供給され、払出制御基板951からの+24Vは、例えば、主制御ソレノイド駆動回路1310d等に供給されている。
停電監視回路1310eは、電源基板931からの+12V及び+24Vが払出制御基板951を介して供給されており、これら+12V及び+24Vの停電又は瞬停の兆候を監視している。停電監視回路1310eは、+12V及び+24Vの停電又は瞬停の兆候を検出すると、停電予告として停電予告信号を主制御MPU1310aに出力する。停電予告信号は、主制御基板1310、そして払出制御基板951の払出制御入力回路952bを介して払出制御MPU952aに入力される。また、停電予告信号は、主制御基板1310を介して周辺制御基板1510に入力される。また、停電予告信号は、周辺制御基板1510、枠周辺中継端子板868、そして周辺扉中継端子板882を介して、図76(b)に示すように、枠装飾駆動アンプ基板194に入力されるとともに、この枠装飾駆動アンプ基板194を介して、扉枠の装飾基板等にそれぞれ入力されるようになっている。
本実施形態では、停電監視回路1310eは、+12V電源ラインと+24V電源ラインとの2つの電源ラインに印加される電圧をそれぞれ監視することによって、+12V電源ライン又は+24V電源ラインの一方の電源ラインに印加される電圧を監視する場合と比べて、停電又は瞬停等の電源断の兆候をより正確に把握することができる。
[9.主制御基板の回路]
次に、図69に示した主制御基板1310の回路等について、図77~図79を参照して説明する。図77は主制御基板の回路を示す回路図であり、図78は停電監視回路を示す回路図であり、図79は主制御基板と周辺制御基板との基板間の通信用インターフェース回路を示す回路図である。まず、図75に示した主制御フィルタ回路1310hについて説明し、続いて主制御基板1310で作成された電源、主制御システムリセット、主制御水晶発振器、主制御入力回路、停電監視回路、主制御MPUへの各種入出力信号、そして主制御基板1310と周辺制御基板1510との基板間の通信用インターフェース回路について説明する。
主制御基板1310は、図69及び図75に示した、主制御MPU1310a、主制御入力回路1310b、主制御出力回路1310c、主制御ソレノイド駆動回路1310d、停電監視回路1310e、+5V作成回路1310g、及び主制御フィルタ回路1310hのほかに、周辺回路として、図77に示すように、リセット信号を出力する主制御システムリセットMIC1、クロック信号を出力する主制御水晶発振器MX0(本実施形態では、24メガヘルツ(MHz))を主として構成されている。
[9-1.主制御フィルタ回路]
主制御フィルタ回路1310hは、図77に示すように、主制御3端子フィルタMIC0を主として構成されている。この主制御3端子フィルタMIC0は、T型フィルタ回路であり、フェライトで磁気シールドした減衰特性の優れたものである。主制御3端子フィルタMIC0は、その1番端子に、+5V作成回路1310gで作成される+5Vが印加され、その2番端子がグランド(GND)と接地され、その3番端子からノイズ成分を除去した+5Vが出力されている。1番端子に印加される+5Vは、一端がグランド(GND)と接地されるコンデンサMC0の他端と電気的に接続されることにより、まずリップル(電圧に畳重された交流成分)が除去されて平滑化されている。
3番端子から出力される+5Vは、一端がグランド(GND)と接地される、コンデンサMC1及び電解コンデンサMC2(本実施形態では、静電容量:470マイクロファラッド(μF))の他端とそれぞれ電気的に接続されることにより、さらにリップルが除去されて平滑化されている。この平滑化された+5Vは、主制御システムリセットMIC1の電源端子、主制御水晶発振器MX0の電源端子であるVDD端子、主制御MPU1310aの電源端子であるVDD端子等にそれぞれ印加されている。なお、主制御MPU1310aの電源端子であるVDD端子には、停電又は瞬停が発生してパチンコ島設備からの電源が遮断された場合に、電解コンデンサMC2に充電された電荷が停電又は瞬停が発生してから約7ミリ秒(ms)という期間に亘って+5Vとして印加されるようになっている。
主制御MPU1310aのVDD端子は一端がグランド(GND)と接地されるコンデンサMC3の他端と電気的に接続され、VDD端子に印加される+5Vはさらにリップルが除去されて平滑化されている。主制御MPU1310aの接地端子であるVSS端子はグランド(GND)と接地されている。
また、主制御MPU1310aのVDD端子は、コンデンサMC3と電気的に接続されるほかに、ダイオードMD0のアノード端子と電気的に接続されている。ダイオードMD0のカソード端子は、主制御MPU1310aに内蔵されているRAM(主制御内蔵RAM)の電源端子であるVBB端子と電気的に接続されるとともに、一端がグランド(GND)と接地されるコンデンサMC4の他端と電気的に接続されている。この主制御内蔵RAMのVBB端子は、ダイオードMD0のカソード端子及びコンデンサMC4の他端と電気的に接続されるほかに、抵抗MR0を介して、図75に示した電源基板931のキャパシタBC0のプラス端子と電気的に接続されている。つまり、主制御フィルタ回路1310hによりノイズ成分が除去されて平滑化された+5Vは、主制御MPU1310aのVDD端子に印加されるとともに、ダイオードMD0を介して、主制御内蔵RAMのVBB端子と、キャパシタBC0のプラス端子と、に印加されるようになっている。これにより、上述したように、図75に示した電源基板931の電源作成回路935dで作成される+12Vが払出制御基板951を介して主制御基板1310の+5V作成回路1310gに供給されなくなって+5V作成回路1310gが+5Vを作成することができなくなった場合には、キャパシタBC0に充電された電荷が主VBBとして主制御基板1310に供給されるようになっているため、主制御MPU1310aのVDD端子にはダイオードMD0により電流が妨げられて流れず主制御MPU1310aが作動しないものの、主制御内蔵RAMのVBB端子には主VBBが印加されることにより記憶内容が保持されるようになっている。
[9-2.主制御システムリセット]
主制御フィルタ回路1310hによりノイズ成分が除去されて平滑化された+5Vは、図77に示すように、主制御システムリセットMIC1の電源端子に印加されている。主制御システムリセットMIC1は、主制御MPU1310a及びリセット機能付き主制御出力回路1310caにそれぞれリセットをかけるものであり、遅延回路が内蔵されている。主制御システムリセットMIC1の遅延容量端子には、一端がグランド(GND)と接地されるコンデンサMC5の他端と電気的に接続されており、このコンデンサMC5の容量によって遅延回路による遅延時間を設定することができるようになっている。具体的には、主制御システムリセットMIC1は、電源端子に入力された+5Vがしきい値(例えば、4.25V)に達すると、遅延時間経過後に出力端子からシステムリセット信号を出力する。
主制御システムリセットMIC1の出力端子は、主制御MPU1310aのリセット端子であるSRST端子及びリセット機能付き主制御出力回路1310caのリセット端子とそれぞれ電気的に接続されている。出力端子は、オープンコレクタ出力タイプであり、一端が+5V電源ラインと電気的に接続されるプルアップ抵抗MR1の他端と電気的に接続されるとともに、一端がグランド(GND)と接地されるコンデンサMC6の他端と電気的に接続されている。このコンデンサMC6によりリップルが除去されて平滑化されている。出力端子は、電源端子に入力される電圧がしきい値より大きいときにはプルアップ抵抗MR1により+5V側に引き上げられて論理がHIとなり、この論理が主制御MPU1310aのSRST端子及びリセット機能付き主制御出力回路1310caのリセット端子にそれぞれ入力される一方、電源端子に入力される電圧がしきい値より小さいときには論理がLOWとなり、この論理が主制御MPU1310aのSRST端子及びリセット機能付き主制御出力回路1310caのリセット端子にそれぞれ入力される。主制御MPU1310aのSRST端子及びリセット機能付き主制御出力回路1310caのリセット端子はそれぞれ負論理入力であるため、電源端子に入力される電圧がしきい値より小さい状態となると、主制御MPU1310a及びリセット機能付き主制御出力回路1310caにリセットがかかる。なお、電源端子は一端がグランド(GND)と接地されるコンデンサMC7の他端と電気的に接続されており、電源端子に入力される+5Vはリップルが除去されて平滑化されている。また、接地端子はグラント(GND)と接地されており、NC端子は外部と電気的に未接続の状態となっている。
[9-3.主制御水晶発振器]
主制御フィルタ回路1310hによりノイズ成分が除去されて平滑化された+5Vは、図77に示すように、主制御水晶発振器MX0の電源端子であるVDD端子に印加されている。このVDD端子は、一端がグランド(GND)と接地されるコンデンサMC8の他端と電気的に接続されており、VDD端子に入力される+5Vは、さらにリップルが除去されて平滑化されている。また、この平滑化された+5Vは、VDD端子のほかに、出力周波数選択端子であるA端子、B端子、C端子及びST端子にもそれぞれ印加されている。主制御水晶発振器MX0は、これらのA端子、B端子、C端子及びST端子に+5Vがそれぞれ印加されることにより、24MHzのクロック信号を出力端子であるF端子から出力する。
主制御水晶発振器MX0のF端子は、主制御MPU1310aのクロック端子であるCLK端子と電気的に接続されており、24MHzのクロック信号が入力されている。なお、主制御水晶発振器MX0の接地端子であるGND端子はグランド(GND)と接地されており、主制御水晶発振器MX0のF端子の分周波を出力するD端子は外部と電気的に未接続の状態となっている。
[9-4.主制御入力回路]
主制御入力回路1310bは、図69に示した、一般入賞口センサ4020,4020、第一始動口センサ4002、第二始動口センサ4004、磁気検出センサ4024、カウントセンサ4005、ゲートセンサ4003からの検出信号のほかに、図70に示した払出制御基板951に備える操作スイッチ954からの操作信号(RAMクリア信号)等が入力される回路である。各スイッチからの検出信号が入力される回路構成は、同一であるため、ここでは、操作スイッチ954からの操作信号(RAMクリア信号)が入力される回路について説明する。
[9-4-1.操作スイッチからの操作信号(RAMクリア信号)が入力される回路]
まず、操作スイッチ954は、上述したように、電源投入時から予め定めた期間内において払出制御基板951の払出制御MPU952aに内蔵されるRAM(払出制御内蔵RAM)、及び主制御基板1310の主制御MPU1310aに内蔵されるRAM(主制御内蔵RAM)をクリアする場合に操作されたり、電源投入後においてエラー報知されている際に、そのエラーを解除するために操作されたりするようになっており、電源投入時から予め定めた期間内におけるRAMクリアを行う機能と、電源投入後(RAMクリアとして機能を奏する期間を経過した後、つまり電源投入時から予め定めた期間が経過した後)におけるエラー解除を行う機能と、を有している。主制御基板1310には、払出制御基板951が有するエラー解除を行う機能を有していないため、電源投入時から予め定めた期間内に操作スイッチ954からの操作信号が入力されると、主制御内蔵RAMをクリアするためのRAMクリア信号として判断して主制御内蔵RAMをクリアする処理を行う。
主制御基板1310には、操作スイッチ954が操作されていないときには払出制御基板951から論理がLOWとなった操作信号が入力される一方、操作スイッチ954が操作されているときには払出制御基板951から論理がHIとなった操作信号が払出制御基板951から入力されるようになっている(この点の詳細な説明について後述する)。
電源投入時から予め定めた期間内において払出制御基板951に備える操作スイッチ954からの操作信号を伝える伝送ラインは、図77に示すように、一端が+12V電源ラインと電気的に接続されるプルアップ抵抗MR2の他端と電気的に接続されるとともに抵抗MR3を介してトランジスタMTR0のベース端子と電気的に接続されている。トランジスタMTR0のベース端子は、抵抗MR3と電気的に接続されるほかに、一端がグランド(GND)と接地される抵抗MR4の他端と電気的に接続されている。トランジスタMTR0のエミッタ端子は、グランド(GND)と接地され、トランジスタMTR0のコレクタ端子は、一端が+5V電源ラインと電気的に接続される抵抗MR5の他端と電気的に接続されるとともに非反転バッファICMIC10(非反転バッファICMIC10は、8つの非反転バッファ回路を備えており、その1つ(MIC10A)に入力された信号波形の論理を反転させることなく整形して出力する。)を介して主制御MPU1310aの入力ポートPAの入力端子PA0と電気的に接続されている。
払出制御基板951における操作スイッチ954からの操作信号を出力する回路は、エミッタ端子がグランド(GND)と接地されるオープンコレクタ出力タイプとして回路構成されており、操作スイッチ954からの操作信号を伝える伝送ラインがプルアップ抵抗MR2により+12V側に引き上げられている。主制御基板1310は、操作スイッチ954が操作されていないときには払出制御基板951からの操作信号がグランド(GND)側に引き下げられて論理がLOWとなって入力される一方、操作スイッチ954が操作されているときには払出制御基板951からの操作信号がプルアップ抵抗MR2により+12V側に引き上げられて論理がHIとなって入力される。
抵抗MR3,MR4、及びトランジスタMTR0から構成される回路は、操作スイッチ954からの操作信号によりON/OFFするスイッチ回路である。
操作スイッチ954が操作されていないときには、論理がLOWとなった操作信号がトランジスタMTR0のベース端子に入力されることでトランジスタMTR0がOFFし、スイッチ回路もOFFすることとなる。これにより、トランジスタMTR0のコレクタ端子に印加される電圧が抵抗MR5により+5V側に引き上げられて論理がHIとなった操作スイッチ954からの操作信号が主制御MPU1310aの入力ポートPAの入力端子PA0に入力される。主制御MPU1310aは、入力端子PA0に入力される操作スイッチ954からの操作信号の論理値がHIであるときには主制御内蔵RAMに記憶される情報を消去するRAMクリアを行うことを指示するものでないと判断する。
一方、操作スイッチ954が操作されているときには、プルアップ抵抗MR2により+12V側に引き上げられて論理がHIとなった操作信号がトランジスタMTR0のベース端子に入力されることでトランジスタMTR0がONし、スイッチ回路もONすることとなる。これにより、トランジスタMTR0のコレクタ端子に印加される電圧がグランド(GND)側に引き下げられて論理がLOWとなった操作スイッチ954からの操作信号が主制御MPU1310aの入力ポートPAの入力端子PA0に入力される。主制御MPU1310aは、入力端子PA0に入力される操作スイッチ954からの操作信号の論理値がLOWであるときには主制御内蔵RAMに記憶される情報を消去するRAMクリアを行うことを指示するものであると判断する。
なお、操作スイッチ954からの操作信号は、プルアップ抵抗MR2により+12V側に引き上げられている。これは、操作スイッチ954からの操作信号が払出制御基板951を介して入力されているためである。つまり、主制御基板1310と払出制御基板951との基板間においては、基板間を電気的に接続する配線(ハーネス)に侵入するノイズの影響を抑えるために、制御基準電圧である+5Vよりも高い電圧である+12Vを用いて信号の信頼性を高めている。そこで、本実施形態では、主制御基板1310に直接入力される、一般入賞口センサ4020、第一始動口センサ4002、及び第二始動口センサ4004からの検出信号は、プルアップ抵抗により+5V側に引き上げられる一方、図69に示したパネル中継基板4161を介して入力される、磁気検出センサ4024、カウントセンサ4005、一般入賞口センサ4020、及びゲートセンサ4003からの検出信号は、主制御基板1310に直接入力されないため、操作スイッチ954からの操作信号と同様に、プルアップ抵抗により+12V側に引き上げられている。
[9-5.停電監視回路]
主制御基板1310は、図75に示したように、電源基板931から+12V及び+24Vという2種類の電圧が払出制御基板951を介して供給されており、+12V及び+24Vが停電監視回路1310eに入力されている。停電監視回路1310eは、+12V及び+24Vの停電又は瞬停の兆候を監視しており、停電又は瞬停の兆候を検出すると、停電予告として停電予告信号を、主制御MPU1310aのほかに、払出制御基板951の払出制御MPU952aや周辺制御基板1510に出力する。ここでは、まず停電監視回路の構成について説明し、続いて+24Vの停電又は瞬停の監視、+12Vの停電又は瞬停の監視、そして停電予告信号の出力について説明する。
[9-5-1.停電監視回路の構成]
停電監視回路1310eは、図78に示すように、シャント式安定化電源回路MIC20、オープンコレクタ出力タイプのコンパレータMIC21、DタイプフリップフロップMIC22、トランジスタMTR20~MTR23を主として構成されている。
シャント式安定化電源回路MIC20の基準電圧入力端子であるREF端子、及びカソード端子であるK端子は、一端が+5V電源ラインと電気的に接続される抵抗MR20の他端と電気的に接続されて+5Vが印加されており、REF端子に入力される電流が抵抗MR20により制限されている。K端子は、コンパレータMIC21の比較基準電圧となるリファレンス電圧Vref(本実施形態では、2.495Vが設定されている。)を出力する。K端子は、一端がグランド(GND)と接地されるコンデンサMC20の他端と電気的に接続されており、K端子から出力されるリファレンス電圧Vrefは、コンデンサMC20によりリップル(電圧に畳重された交流成分)が除去されて平滑化されている。なお、シャント式安定化電源回路MIC20のアノード端子であるA端子はグランド(GND)と接地されている。
コンパレータMIC21は、2つの電圧比較回路を備えており、その1つ(MIC21A)を、+24Vの監視電圧V1とリファレンス電圧Vrefとを比較するために用いているとともに、残りの1つ(MIC21B)を、+12Vの監視電圧V2とリファレンス電圧Vrefとを比較するために用いている。MIC21Aのプラス端子である3番端子は、+24Vの監視電圧V1が印加され、MIC21Aのマイナス端子である2番端子は、リファレンス電圧Vrefが印加されている。MIC21Bのプラス端子である5番端子は、+12Vの監視電圧V2が印加され、MIC21Bのマイナス端子である6番端子は、リファレンス電圧Vrefが印加されている。これらの比較結果は、DタイプフリップフロップMIC22に入力されている。このDタイプフリップフロップMIC22は、2つのDタイプフリップフロップ回路を備えており、その1つ(MIC22A)を本実施形態に用いている。コンパレータMIC21の電源端子であるVcc端子は、一端がグランド(GND)と接地されるコンデンサMC21の他端と電気的に接続されており、コンパレータMIC21の電源端子であるVcc端子に印加される+5Vは、コンデンサMC21によりリップルが除去されて平滑化され、コンパレータMIC21のグランド端子であるGND端子は、グランド(GND)と接地されている。
[9-5-2.+24Vの停電又は瞬停の監視]
+24Vの停電又は瞬停の監視は、上述したように、コンパレータMIC21のMIC21Aが+24Vの監視電圧V1とリファレンス電圧Vrefとを比較することにより行われている。+24Vの監視電圧V1が印加されるコンパレータMIC21のMIC21Aのプラス端子である3番端子は、図78に示すように、一端が+24V電源ラインと電気的に接続される抵抗MR21の他端と、一端がグランド(GND)に接地される抵抗MR22の他端と、が電気的に接続されるとともに抵抗MR21,MR22の他端と、一端がグランド(GND)と接地されるコンデンサMC23の他端と、が電気的に接続されている。コンパレータMIC21のMIC21Aのプラス端子である3番端子に印加される+24Vの監視電圧V1は、抵抗MR21,MR22による抵抗比によって+24Vが分圧され、コンデンサMC23によりリップルが除去されて平滑化されている。抵抗MR21,MR22の値は、+24Vが停電又は瞬停した際に、その電圧が+24Vから落ち始めて予め設定した停電検知電圧V1pf(本実施形態では、21.40Vに設定されている。)となったときに、+24Vの監視電圧V1がリファレンス電圧Vrefと同値になるように設定されている。
コンパレータMIC21のMIC21Aの出力端子である1番端子は、オープンコレクタ出力となっており、一端が+5V電源ラインと電気的に接続されるプルアップ抵抗MR23の他端と電気的に接続されるとともに、一端がグランド(GND)と接地されるコンデンサMC24の他端と電気的に接続されてDタイプフリップフロップMIC22のプリセット端子であるPR端子と電気的に接続されている。コンデンサMC24は、ローパスフィルタとしての役割を担っている。
+24Vの電圧が停電検知電圧V1pfより大きいときには、+24Vの監視電圧V1がリファレンス電圧Vrefより大きくなり、コンパレータMIC21のMIC21Aの出力端子である1番端子に印加される電圧は、プルアップ抵抗MR23により+5V側に引き上げられ、論理がHIとなった信号がDタイプフリップフロップMIC22のプリセット端子であるPR端子に入力される。
一方、+24Vの電圧が停電検知電圧V1pfより小さいときには、+24Vの監視電圧V1がリファレンス電圧Vrefより小さくなり、コンパレータMIC21のMIC21Aの出力端子である1番端子に印加される電圧は、グランド(GND)側に引き下げられ、論理がLOWとなった信号がDタイプフリップフロップMIC22のプリセット端子であるPR端子に入力される。
[9-5-3.+12Vの停電又は瞬停の監視]
+12Vの停電又は瞬停の監視は、上述したように、コンパレータMIC21のMIC21Bが+12Vの監視電圧V2とリファレンス電圧Vrefとを比較することにより行われている。+12Vの監視電圧V2が印加されるコンパレータMIC21のMIC21Bのプラス端子である5番端子は、図78に示すように、一端が+12V電源ラインと電気的に接続される抵抗MR24の他端と、一端がグランド(GND)に接地される抵抗MR25の他端と、が電気的に接続されるとともに抵抗MR24,MR25の他端と、一端がグランド(GND)と接地されるコンデンサMC25の他端と、が電気的に接続されている。コンパレータMIC21のMIC21Bのプラス端子である5番端子に印加される+12Vの監視電圧V2は、抵抗MR24,MR25による抵抗比によって+12Vが分圧され、コンデンサMC25によりリップルが除去されて平滑化されている。抵抗MR24,MR25の値は、+12Vが停電又は瞬停した際に、その電圧が+12Vから落ち始めて予め設定した停電検知電圧V2pf(本実施形態では、10.47Vに設定されている。)となったときに、+12Vの監視電圧V2がリファレンス電圧Vrefと同値になるように設定されている。
コンパレータMIC21のMIC21Bの出力端子である7番端子は、オープンコレクタ出力となっており、上述したMIC21Aの出力端子である1番端子と電気的に接続されているため、一端が+5V電源ラインと電気的に接続されるプルアップ抵抗MR23の他端と電気的に接続されるとともに、一端がグランド(GND)と接地されるコンデンサMC24の他端と電気的に接続されてDタイプフリップフロップMIC22のプリセット端子であるPR端子と電気的に接続されている。コンデンサMC24は、上述したように、ローパスフィルタとしての役割を担っている。
+12Vの電圧が停電検知電圧V2pfより大きいときには、+12Vの監視電圧V2がリファレンス電圧Vrefより大きくなり、コンパレータMIC21のMIC21Bの出力端子である7番端子に印加される電圧は、プルアップ抵抗MR23により+5V側に引き上げられ、論理がHIとなった信号がDタイプフリップフロップMIC22のプリセット端子であるPR端子に入力される。
一方、+12Vの電圧が停電検知電圧V2pfより小さいときには、+12Vの監視電圧V2がリファレンス電圧Vrefより小さくなり、コンパレータMIC21のMIC21Bの出力端子である7番端子に印加される電圧は、グランド(GND)側に引き下げられ、論理がLOWとなった信号がDタイプフリップフロップMIC22のプリセット端子であるPR端子に入力される。
[9-5-4.停電予告信号の出力]
DタイプフリップフロップMIC22は、クロック入力端子である1CK端子に入力されるクロック信号のエッジの変化により、D入力端子である1D端子に入力される信号の値(論理)を記憶し、この記憶値(論理)を、出力端子である1Q端子から出力するとともに、その記憶値(論理)を反転させた値を、出力端子である負論理1Q端子から出力する。また、DタイプフリップフロップMIC22は、クリア端子であるCLR端子に論理がLOWとなった信号が入力されると、ラッチ状態を解除してプリセット端子であるPR端子に入力されている信号の論理を反転させた信号を出力端子である1Q端子から出力する(このとき、1Qから出力される信号の論理を反転させた信号、つまりプリセット端子であるPR端子に入力されている信号の論理と同一の論理となった信号を負論理1Q端子から出力する)一方、クリア端子であるCLR端子に論理がHIとなった信号が入力されると、ラッチ状態をセットする。また、DタイプフリップフロップMIC22は、クリア端子であるCLR端子に論理がHIとなった信号が入力されてラッチ状態をセットするようになっている際に、プリセット端子であるPR端子に論理がLOWとなった信号が入力されると、論理をHIとする信号を出力端子である1Q端子から出力する状態を維持する(このとき、1Qから出力される信号の論理を反転させた信号を負論理1Q端子から出力する状態を維持する)。
DタイプフリップフロップMIC22は、本実施形態において、D入力端子である1D端子、及びクロック入力端子である1CK端子は、グランド(GND)とそれぞれ接地されているため、クロック入力端子である1CK端子に入力されるクロック信号のエッジの変化がなく、D入力端子である1D端子に入力される信号の値(論理)を記憶して出力端子である1Q端子から出力することがないように回路構成されている。DタイプフリップフロップMIC22は、プリセット端子であるPR端子に、上述したように、+24Vの停電又は瞬停の監視を行うコンパレータMIC21のMIC21Aの出力端子である1番端子からの信号と、+12Vの停電又は瞬停の監視を行うコンパレータMIC21のMIC21Bの出力端子である7番端子からの信号と、が入力され、これらの信号に基づいて、出力端子である1Q端子から信号を出力する。なお、電源端子であるVcc端子は、一端がグランド(GND)と接地されるコンデンサMC22の他端と電気的に接続されており、DタイプフリップフロップMIC22の電源端子であるVcc端子に印加される+5Vは、コンデンサMC22によりリップルが除去されて平滑化され、接地端子であるGND端子は、グランド(GND)と接地され、出力端子である1Q端子の論理を反転する負論理1Q端子は外部と電気的に未接続の状態となっている。
DタイプフリップフロップMIC22は、本実施形態において、クリア端子であるCLR端子に主制御MPU1310aからの停電クリア信号がリセット機能付き主制御出力回路1310caを介して入力されている。この停電クリア信号は、主制御MPU1310aが行う後述する主制御側電源投入時処理において、出力開始されて所定時間経過後に停止されるようになっている。CLR端子は負論理入力であるため、主制御MPU1310aからの停電クリア信号は、リセット機能付き主制御出力回路1310caを介してその論理がLOWとなってCLR端子に入力される。DタイプフリップフロップMIC22は、CLR端子に停電クリア信号が入力されると、ラッチ状態を解除するようになっており、このとき、プリセット端子であるPR端子に入力された論理を反転して出力端子である1Q端子から出力する。
一方、主制御MPU1310aからの停電クリア信号の出力が停止されると、リセット機能付き主制御出力回路1310caを介してその論理がHIとなってCLR端子に入力される。DタイプフリップフロップMIC22は、CLR端子に停電クリア信号が入力されないときには、ラッチ状態をセットするようになっており、PR端子に論理がLOWとなって入力された状態をラッチする。
DタイプフリップフロップMIC22の出力端子である1Q端子は、主制御入力回路1310bを介して主制御MPU1310aの入力ポートPAの入力端子PA1と電気的に接続され、DタイプフリップフロップMIC22の出力端子である1Q端子から出力される信号が停電予告信号として主制御MPU1310aの入力ポートPAの入力端子PA1に入力されるようになっている。また、DタイプフリップフロップMIC22の出力端子である1Q端子は、リセット機能なし主制御出力回路1310cbと電気的に接続され、DタイプフリップフロップMIC22の出力端子である1Q端子から出力される信号をリセット機能なし主制御出力回路1310cbから払出制御基板951に払出停電予告信号として出力するとともに、周辺制御基板1510に周辺停電予告信号として出力する。
DタイプフリップフロップMIC22の出力端子である1Q端子と、主制御MPU1310aの入力ポートPAの入力端子PA1と、を電気的に接続する主制御入力回路1310bは、図78に示すように、DタイプフリップフロップMIC22の出力端子である1Q端子が、一端が+5V電源ラインと電気的に接続される抵抗MR26の他端と電気的に接続されるとともに抵抗MR27を介してトランジスタMTR20のベース端子と電気的に接続されている。トランジスタMTR20のベース端子は、抵抗MR27と電気的に接続されるほかに、一端がグランド(GND)と接地される抵抗MR28の他端と電気的に接続されている。トランジスタMTR20のエミッタ端子は、グランド(GND)と接地され、トランジスタMTR20のコレクタ端子は、一端が+5V電源ラインと電気的に接続される抵抗MR29の他端と電気的に接続されるとともに非反転バッファICMIC23(非反転バッファICMIC23は、8つの非反転バッファ回路を備えており、その1つ(MIC23A)に入力された信号波形の論理を反転させることなく整形して出力する。)を介して主制御MPU1310aの入力ポートPAの入力端子PA1と電気的に接続されている。
抵抗MR27,MR28、及びトランジスタMTR20から構成される回路は、DタイプフリップフロップMIC22の出力端子である1Q端子から出力される信号によりON/OFFするスイッチ回路である。
DタイプフリップフロップMIC22の出力端子である1Q端子から出力される信号の論理がLOWであるときには、トランジスタMTR20のベース端子に印加される電圧がグランド(GND)側に引き下げられてトランジスタMTR20がOFFし、スイッチ回路もOFFすることとなる。一方、DタイプフリップフロップMIC22の出力端子である1Q端子から出力される信号の論理がHIであるときには、トランジスタMTR20のベース端子に印加される電圧が+5V側に引き上げられてトランジスタMTR20がONし、スイッチ回路もONすることとなる。
+24Vの電圧が停電検知電圧V1pfより大きいという条件、及び+12Vの電圧が停電検知電圧V2pfより大きいという条件の両方の条件が成立したときには、論理がHIとなった信号がDタイプフリップフロップMIC22のプリセット端子であるPR端子に入力されるため、DタイプフリップフロップMIC22の出力端子である1Q端子から出力される信号がその論理がLOWとなってトランジスタMTR20のベース端子に入力されることでトランジスタMTR20がOFFする。これにより、トランジスタMTR20のコレクタ端子に印加される電圧が抵抗MR29により+5V側に引き上げられて非反転バッファICMIC23を介して論理がHIとなった停電予告信号が主制御MPU1310aの入力ポートPAの入力端子PA1に入力される。
一方、+24Vの電圧が停電検知電圧V1pfより小さいという条件、及び+12Vの電圧が停電検知電圧V2pfより小さいという条件のうち、いずれか一方の条件が成立したときには、論理がLOWとなった信号がDタイプフリップフロップMIC22のプリセット端子であるPR端子に入力されるため、DタイプフリップフロップMIC22の出力端子である1Q端子から出力される信号がその論理がHIとなってトランジスタMTR20のベース端子に入力されることでトランジスタMTR20がONする。これにより、トランジスタMTR20のコレクタ端子に印加される電圧がグランド(GND)側に引き下げられて非反転バッファICMIC23を介して論理がLOWとなった停電予告信号が主制御MPU1310aの入力ポートPAの入力端子PA1に入力される。
また、DタイプフリップフロップMIC22の出力端子である1Q端子から出力される信号を払出制御基板951に払出停電予告信号として出力するリセット機能なし主制御出力回路1310cbは、図78に示すように、オープンコレクタ出力タイプとして回路構成されており、DタイプフリップフロップMIC22の出力端子である1Q端子が上述した主制御入力回路1310bの抵抗MR26と電気的に接続されて抵抗MR30を介して前段のトランジスタMTR21のベース端子と電気的に接続されている。前段のトランジスタMTR21のベース端子は、抵抗MR30と電気的に接続されるほかに、一端がグランド(GND)と接地される抵抗MR31の他端と電気的に接続されている。前段のトランジスタMTR21のエミッタ端子は、グランド(GND)と接地され、前段のトランジスタMTR21のコレクタ端子は、一端が+5V電源ラインと電気的に接続される抵抗MR32の他端と電気的に接続されるとともに抵抗MR33を介して後段のトランジスタMTR22のベース端子と電気的に接続されている。後段のトランジスタMTR22のベース端子は、抵抗MR33と電気的に接続されるほかに、一端がグランド(GND)と接地される抵抗MR34の他端と電気的に接続されている。後段のトランジスタMTR22のエミッタ端子は、グランド(GND)と接地され、後段のトランジスタMTR22のコレクタ端子は、一端がグランド(GND)と接地されるコンデンサMC26の他端と電気的に接続され、そして配線(ハーネス)を介して払出制御基板951と電気的に接続されている。なお、後段のトランジスタMTR22のコレクタ端子は、配線(ハーネス)を介して、払出制御基板951と電気的に接続されると、払出制御基板951における図70に示した払出制御部952の払出制御入力回路952bにおいて、一端が+12V電源ラインと電気的に接続される図示しないプルアップ抵抗の他端と電気的に接続されるとともに図70に示した払出制御MPU952aの所定の入力ポートの入力端子と電気的に接続される。
抵抗MR30,MR31、及び前段のトランジスタMTR21から構成される回路は前段のスイッチ回路であり、抵抗MR33,MR34、及び後段のトランジスタMTR22から構成される回路は後段のスイッチ回路であり、DタイプフリップフロップMIC22の出力端子である1Q端子から出力される信号によりON/OFFするものである。
DタイプフリップフロップMIC22の出力端子である1Q端子から出力される信号の論理がLOWであるときには、前段のトランジスタMTR21のベース端子に印加される電圧がグランド(GND)側に引き下げられて前段のトランジスタMTR21がOFFし、前段のスイッチ回路もOFFすることとなり、後段のトランジスタMTR22のベース端子に印加される電圧である、前段のトランジスタMTR21のコレクタ端子に印加される電圧が抵抗MR32により+5V側に引き上げられることで後段のトランジスタMTR22がONし、後段のスイッチ回路もONすることとなる。一方、DタイプフリップフロップMIC22の出力端子である1Q端子から出力される信号の論理がHIであるときには、トランジスタMTR21のベース端子に印加される電圧が+5V側に引き上げられてトランジスタMTR21がONし、前段のスイッチ回路もONすることとなり、後段のトランジスタMTR22のベース端子に印加される電圧である、前段のトランジスタMTR21のコレクタ端子に印加される電圧がグランド(GND)側に引き下げられることで後段のトランジスタMTR22がOFFし、後段のスイッチ回路もOFFすることとなる。
+24Vの電圧が停電検知電圧V1pfより大きいという条件、及び+12Vの電圧が停電検知電圧V2pfより大きいという条件の両方の条件が成立したときには、論理がHIとなった信号がDタイプフリップフロップMIC22のプリセット端子であるPR端子に入力されるため、DタイプフリップフロップMIC22の出力端子である1Q端子から出力される信号がその論理がLOWとなって前段のトランジスタMTR21のベース端子に入力されることで前段のトランジスタMTR21がOFFする。これにより、前段のトランジスタMTR21のコレクタ端子に印加される電圧が抵抗MR32により+5V側に引き上げられて後段のトランジスタMTR22のベース端子に印加されることで後段のトランジスタMTR22がONする。これにより、後段のトランジスタMTR22のコレクタ端子に印加される電圧が配線(ハーネス)を介して払出制御基板951においてグランド(GND)側に引き下げられることで論理がLOWとなった払出停電予告信号が払出制御基板951に入力される。
一方、+24Vの電圧が停電検知電圧V1pfより小さいという条件、及び+12Vの電圧が停電検知電圧V2pfより小さいという条件のうち、いずれか一方の条件が成立したときには、論理がLOWとなった信号がDタイプフリップフロップMIC22のプリセット端子であるPR端子に入力されるため、DタイプフリップフロップMIC22の出力端子である1Q端子から出力される信号がその論理がHIとなって前段のトランジスタMTR21のベース端子に入力されることで前段のトランジスタMTR21がONする。これにより、前段のトランジスタMTR21のコレクタ端子に印加される電圧がグランド(GND)に引き下げられて後段のトランジスタMTR22のベース端子に印加されることで後段のトランジスタMTR22がOFFする。これにより、後段のトランジスタMTR22のコレクタ端子に印加される電圧が配線(ハーネス)を介して払出制御基板951における払出制御部952の払出制御入力回路952bにおいてプルアップ抵抗により+12V側に引き上げられることで論理がHIとなった払出停電予告信号が払出制御基板951に入力される。
また、DタイプフリップフロップMIC22の出力端子である1Q端子から出力される信号を周辺制御基板1510に周辺停電予告信号として出力するリセット機能なし主制御出力回路1310cbは、図78に示すように、オープンコレクタ出力タイプとして回路構成されており、DタイプフリップフロップMIC22の出力端子である1Q端子が上述した主制御入力回路1310bの抵抗MR26と電気的に接続されて抵抗MR35を介してトランジスタMTR23のベース端子と電気的に接続されている。トランジスタMTR23のベース端子は、抵抗MR35と電気的に接続されるほかに、一端がグランド(GND)と接地される抵抗MR36の他端と電気的に接続されている。トランジスタMTR23のエミッタ端子は、グランド(GND)と接地され、トランジスタMTR23のコレクタ端子は、配線(ハーネス)を介して周辺制御基板1510と電気的に接続されている。なお、トランジスタMTR23のコレクタ端子は、配線(ハーネス)を介して周辺制御基板1510と電気的に接続されると、図72に示した周辺制御基板1510における周辺制御部1511の図示しない周辺制御入力回路において、一端が+12V電源ラインと電気的に接続される図示しないプルアップ抵抗の他端と電気的に接続されるとともに図72に示した周辺制御MPU1511aの所定の入力ポートの入力端子と電気的に接続される。
抵抗MR35,MR36、及びトランジスタMTR23から構成される回路は、DタイプフリップフロップMIC22の出力端子である1Q端子から出力される信号によりON/OFFするスイッチ回路である。
DタイプフリップフロップMIC22の出力端子である1Q端子から出力される信号の論理がLOWであるときには、トランジスタMTR23のベース端子に印加される電圧がグランド(GND)側に引き下げられてトランジスタMTR23がOFFし、スイッチ回路もOFFすることとなる。一方、DタイプフリップフロップMIC22の出力端子である1Q端子から出力される信号の論理がHIであるときには、トランジスタMTR23のベース端子に印加される電圧が+5V側に引き上げられてトランジスタMTR23がONし、スイッチ回路もONすることとなる。
+24Vの電圧が停電検知電圧V1pfより大きいという条件、及び+12Vの電圧が停電検知電圧V2pfより大きいという条件の両方の条件が成立したときには、論理がHIとなった信号がDタイプフリップフロップMIC22のプリセット端子であるPR端子に入力されるため、DタイプフリップフロップMIC22の出力端子である1Q端子から出力される信号がその論理がLOWとなってトランジスタMTR23のベース端子に入力されることでトランジスタMTR23がOFFする。これにより、トランジスタMTR23のコレクタ端子に印加される電圧が配線(ハーネス)を介して周辺制御基板1510における周辺制御部1511の払出制御入力回路においてプルアップ抵抗により+12V側に引き上げられることで論理がHIとなった周辺停電予告信号が周辺制御基板1510に入力される。
一方、+24Vの電圧が停電検知電圧V1pfより小さいという条件、及び+12Vの電圧が停電検知電圧V2pfより小さいという条件のうち、いずれか一方の条件が成立したときには、論理がLOWとなった信号がDタイプフリップフロップMIC22のプリセット端子であるPR端子に入力されるため、DタイプフリップフロップMIC22の出力端子である1Q端子から出力される信号がその論理がHIとなってトランジスタMTR23のベース端子に入力されることでトランジスタMTR23がONする。これにより、トランジスタMTR23のコレクタ端子に印加される電圧が配線(ハーネス)を介して周辺制御基板1510においてグランド(GND)側に引き下げられることで論理がLOWとなった周辺停電予告信号が周辺制御基板1510に入力される。
このように、DタイプフリップフロップMIC22の出力端子である1Q端子から出力される信号を主制御MPU1310aに停電予告信号として伝える主制御入力回路1310bと、DタイプフリップフロップMIC22の出力端子である1Q端子から出力される信号を周辺制御基板1510に周辺停電予告信号として出力するリセット機能なし主制御出力回路1310cbと、にはトランジスタがそれぞれ1つであり、主制御MPU1310aに入力される停電予告信号と周辺制御基板1510に入力される周辺停電予告信号との論理が同一論理となっているのに対して、DタイプフリップフロップMIC22の出力端子である1Q端子から出力される信号を払出制御基板951に払出停電予告信号として出力するリセット機能なし主制御出力回路1310cbにはトランジスタが前段と後段との2つであり、払出停電予告信号の論理は、主制御MPU1310aに入力される停電予告信号の論理と周辺制御基板1510に入力される周辺停電予告信号の論理とを反転させた論理となっており、停電予告信号の論理及び周辺停電予告信号の論理と異なっている。
また、主制御入力回路1310bのトランジスタMTR20のコレクタ端子は、一端が+5V電源ラインと電気的に接続される抵抗MR29の他端と電気的に接続されるとともに非反転バッファICMIC23を介して主制御MPU1310aの入力ポートPAの入力端子PA1と電気的に接続されているのに対して、リセット機能なし主制御出力回路1310cbの後段のトランジスタMTR22のコレクタ端子は、配線(ハーネス)を介して、払出制御基板951における払出制御部952の払出制御入力回路952bにおいて、一端が+12V電源ラインと電気的に接続されるプルアップ抵抗の他端と電気的に接続されているとともに、リセット機能なし主制御出力回路1310cbのトランジスタMTR23のコレクタ端子は、配線(ハーネス)を介して、周辺制御基板1510における周辺制御部1511の払出制御入力回路において、一端が+12V電源ラインと電気的に接続されるプルアップ抵抗と電気的に接続されている。これは、主制御入力回路1310bのトランジスタMTR20のコレクタ端子と主制御MPU1310aの入力ポートPAの入力端子PA1との端子間においては、主制御入力回路1310bのトランジスタMTR20と主制御MPU1310aとが主制御基板1310に実装されているため、主制御MPU1310aの制御基準電圧である+5Vを用いた停電予告信号の論理(ON/OFF信号)によって停電予告を行うのに対して、主制御基板1310と払出制御基板951との基板間、及び主制御基板1310と周辺制御基板1510との基板間においては、基板間を電気的に接続する配線(ハーネス)に侵入するノイズの影響を抑えるために、主制御MPU1310a、払出制御MPU952a、及び周辺制御MPU1511aの制御基準電圧である+5Vよりも高い電圧である+12Vを用いた停電予告信号の論理(ON/OFF信号)によって停電予告を行っている。
[9-6.主制御MPUへの各種入出力信号]
次に、主制御MPU1310aへの各種入出力信号について、図77を参照して説明する。主制御MPU1310aのシリアル入力ポートのシリアルデータ入力端子であるRXA端子は、図69に示した払出制御基板951からのシリアルデータが主制御入力回路1310bを介して払主シリアルデータ受信信号として受信される。一方、主制御MPU1310aのシリアル出力ポートのシリアルデータ出力端子であるTXA端子及びTXB端子は、TXA端子から、払出制御基板951に送信するシリアルデータを主払シリアルデータ送信信号としてリセット機能なし主制御出力回路1310cbに送信してリセット機能なし主制御出力回路1310cbから払出制御基板951に主払シリアルデータ送信信号を送信し、TXB端子から、図69に示した周辺制御基板1510に送信するシリアルデータを主周シリアルデータ送信信号としてリセット機能なし主制御出力回路1310cbに送信してリセット機能なし主制御出力回路1310cbから周辺制御基板1510に主周シリアルデータ送信信号を送信する。
主制御MPU1310aの所定の入力ポートの各入力端子には、上述した操作信号(RAMクリア信号)が入力されるほかに、例えば、上述した主払シリアルデータ受信信号の正常受信完了の旨を伝える払出制御基板951からの払主ACK信号が主制御入力回路1310bを介して入力されたり、図69に示した第一始動口センサ4002等の各種スイッチからの検出信号が主制御入力回路1310bを介してそれぞれ入力されたり等する。
一方、主制御MPU1310aの所定の出力ポートの各出力端子からは、例えば、上述した払主シリアルデータ受信信号の正常受信完了の旨を伝える主払ACK信号をリセット機能付き主制御出力回路1310caに出力してリセット機能付き主制御出力回路1310caから主払ACK信号を払出制御基板951に出力したり、図69に示した、始動口ソレノイド2107に対して、リセット機能付き主制御出力回路1310caに駆動信号を出力してリセット機能付き主制御出力回路1310caから主制御ソレノイド駆動回路1310dを介して始動口ソレノイド2107に駆動信号を出力したり、図69に示した第一特別図柄表示器1403等の各種表示器に対して、リセット機能付き主制御出力回路1310caにそれぞれ駆動信号を出力してリセット機能付き主制御出力回路1310caから各種表示器に駆動信号をそれぞれ出力したり、遊技に関する各種情報(遊技情報)をリセット機能付き主制御出力回路1310caに出力してリセット機能付き主制御出力回路1310caから遊技に関する各種情報(遊技情報)を払出制御基板951に出力したり等する。
[9-7.主制御基板と周辺制御基板との基板間の通信用インターフェース回路]
次に、主制御基板1310と周辺制御基板1510との基板間の通信用インターフェース回路について、図79を参照して説明する。主制御基板1310は、図75に示した電源基板931からの+12Vが払出制御基板951を介して供給され、+5V作成回路1310gは、この+12Vから主制御MPU1310aの制御基準電圧である+5Vを作成している。主制御基板1310から周辺制御基板1510へ送信される主周シリアルデータ送信信号は、主制御基板1310と周辺制御基板1510との基板間を電気的に接続する配線(ハーネス)に侵入するノイズの影響を抑えるために、主制御MPU1310aの制御基準電圧である+5Vよりも高い電圧である+12Vを用いて送信されることによってその信頼性が高められている。
具体的には、主制御基板1310は、リセット機能なし主制御出力回路1310cbを通信用インターフェース回路として機能させており、通信用インターフェース回路は、抵抗MR50、抵抗MR51,MR52、及びトランジスタMTR50を主として構成されている。これに対して、周辺制御基板1510には、通信用インターフェース回路として、ダイオードAD10、電解コンデンサAC10(本実施形態では、静電容量:47μF)、フォトカプラAIC10(赤外LEDとフォトICとが内蔵されて構成されている。)を主として構成されている。
主制御基板1310のダイオードMD50のアノード端子には、電源基板931から供給される+12Vが払出制御基板951を介して印加され、ダイオードMD50のカソード端子には、マイナス端子がグランド(GND)と接地される電解コンデンサMC50(本実施形態では、静電容量:220マイクロファラッド(μF))のプラス端子と電気的に接続されている。ダイオードMD50のカソード端子は、電解コンデンサMC50のプラス端子と電気的に接続されるほかに、配線(ハーネス)を介して、周辺制御基板1510のフォトカプラAIC10のアノード端子(1番端子)と電気的に接続されている。
これにより、例えば停電又は瞬停が発生することにより、電源基板931からの電力が払出制御基板951を介して主制御基板1310に供給されなくなった場合には、電解コンデンサMC50に充電された電荷が+12Vとして主制御基板1310から周辺制御基板1510のフォトカプラAIC10のアノード端子に印加し続けることができるようになっている。
このように、主制御MPU1310aの電源端子であるVDD端子には、停電又は瞬停が発生した場合に、図77に示した電解コンデンサMC2(本実施形態では、静電容量:470μF)に充電された電荷が+5Vとして印加されるようになっているため、主制御MPU1310aに内蔵される主周シリアル送信ポート1310aeは、少なくとも、その送信バッファレジスタ1310aebに主制御CPUコア1310aaがセットしたコマンドをシリアル管理部1310aecにより送信シフトレジスタ41aeaに転送して送信シフトレジスタ1310aeaから主周シリアルデータとして送信完了することができる。
主制御基板1310から周辺制御基板1510へ送信される主周シリアルデータ送信信号は、上述したように、主制御基板1310と周辺制御基板1510との基板間を電気的に接続する配線(ハーネス)に侵入するノイズの影響を抑えるために、主制御MPU1310aの制御基準電圧である+5Vよりも高い電圧である+12Vを用いて送信されることによってその信頼性が高められている。
そこで、本実施形態では、停電又は瞬停が発生した場合に、電解コンデンサMC50に充電された電荷が+12Vとして主制御基板1310から周辺制御基板1510のフォトカプラAIC10のアノード端子に印加されるようになっているため、主制御MPU1310aに内蔵される主周シリアル送信ポート1310aeは、その送信バッファレジスタ1310aebに主制御CPUコア1310aaがセットしたコマンドをシリアル管理部1310aecにより送信シフトレジスタ41aeaに転送して送信シフトレジスタ1310aeaから主周シリアルデータとして送信すると、トランジスタMTR50のコレクタ端子から+12Vにより論理をHIとする主周シリアルデータ送信信号を送信することができるようになっている。
なお、本実施形態では、主制御MPU1310aに内蔵される主周シリアル送信ポート1310aeの送信バッファレジスタ1310aebの記憶容量が32バイトを有しており、また1パケットが3バイトのデータから構成されているため、送信バッファレジスタ1310aebに最大で10パケット分のデータが記憶されるようになっている。また、本実施形態では、主制御MPU1310aから送信される主周シリアルデータの転送ビットレートが19200bpsに設定されている。
フォトカプラAIC10のカソード端子(3番端子)は、抵抗AR10、そしてその配線(ハーネス)を介して、主制御基板1310のトランジスタMTR50のコレクタ端子と電気的に接続されている。周辺制御基板1510の抵抗AR10は、フォトカプラAIC10の内蔵赤外LEDに流れる電流を制限するための制限抵抗である。
図77に示した主制御MPU1310aから主周シリアルデータ送信信号を出力するTXB端子は、一端が+5V電源ラインと電気的に接続される抵抗MR50の他端と電気的に接続されるとともに抵抗MR51を介してトランジスタMTR50のベース端子と電気的に接続されている。トランジスタMTR50のベース端子は、抵抗MR51と電気的に接続されるほかに、一端がグランド(GND)と接地される抵抗MR52の他端と電気的に接続されている。トランジスタMTR50のエミッタ端子は、グランド(GND)と接地されている。
抵抗MR51,MR52、及びトランジスタMTR50から構成される回路はスイッチ回路であり、主周シリアルデータ送信信号の論理がHIであるときには、トランジスタMTR50のベース端子に印加される電圧がグランド(GND)側に引き下げられてトランジスタMTR50がOFFし、スイッチ回路もOFFすることとなる。これにより、周辺制御基板1510のフォトカプラAIC10の内蔵赤外LEDに順方向の電流が流れないため、フォトカプラAIC10がOFFする。一方、主周シリアルデータ送信信号の論理がLOWであるときには、トランジスタMTR50のベース端子に印加される電圧が抵抗MR50により+5V側に引き上げられてトランジスタMTR50がONし、スイッチ回路もONすることとなる。これにより、周辺制御基板1510のフォトカプラAIC10の内蔵赤外LEDに順方向の電流が流れるため、フォトカプラAIC10がONする。
周辺制御基板1510のダイオードAD10のアノード端子には、電源基板931から供給される+5Vが枠周辺中継端子板868を介して印加されて、ダイオードAD10のカソード端子が、マイナス端子がグランド(GND)と接地される電解コンデンサAC10のプラス端子と電気的に接続されている。ダイオードAD10のカソード端子は、電解コンデンサAC10のプラス端子と電気的に接続されるほかに、フォトカプラAIC10の電源端子であるVcc端子(6番端子)と電気的に接続されている。フォトカプラAIC10のエミッタ端子(4番端子)は、グランド(GND)と接地され、フォトカプラAIC10のコレクタ端子(5番端子)は、電解コンデンサAC10のプラス端子と電気的に接続されるプルアップ抵抗AR11により+5V側に引き上げられて周辺制御MPU1511aの主制御基板用シリアルI/Oポートの入力端子と電気的に接続されている。フォトカプラAIC10がON/OFFすることによりフォトカプラAIC10のコレクタ端子から出力される信号の論理が変化し、その信号が主周シリアルデータ送信信号として周辺制御MPU1511aの主制御基板用シリアルI/Oポートの入力端子に入力される。
これにより、上述したように、例えば停電又は瞬停が発生することにより、電源基板931から供給される+5Vが枠周辺中継端子板868を介して周辺制御基板1510に供給されなくなった場合には、電解コンデンサAC10に充電された電荷が+5VとしてフォトカプラAIC10のVcc端子に印加し続けることができるようになっている。電又は瞬停が発生した際に、電解コンデンサAC10からの+5Vが印加されることにより、主制御MPU1310aのTXB端子から周辺制御基板1510へ送信される主周シリアルデータ送信信号は、主制御MPU1310aに内蔵される主周シリアル送信ポート1310aeの送信バッファレジスタ1310aebにセットされたデータが送信完了することができるようになっており、送信途中の主周シリアルデータ送信信号、つまり主周シリアルデータが寸断されることなく、また欠落されることなく周辺制御基板1510で確実に受信されるようになっている。
主制御MPU1310aのTXB端子から周辺制御基板1510へ送信される主周シリアルデータ送信信号の論理がHIであるときには、トランジスタMTR50のベース端子に印加される電圧がグランド(GND)側に引き下げられてトランジスタMTR50がOFFすることでフォトカプラAIC10がOFFするようになっているため、フォトカプラAIC10のコレクタ端子に印加される電圧がプルアップ抵抗AR11により+5V側に引き上げられて論理がHIとなった主周シリアルデータ送信信号が周辺制御MPU1511aの主制御基板用シリアルI/Oポートの入力端子に入力される一方、主制御MPU1310aのTXB端子から周辺制御基板1510へ送信される主周シリアルデータ送信信号の論理がLOWであるときには、トランジスタMTR50のベース端子に印加される電圧が抵抗MR50により+5V側に引き上げられてトランジスタMTR50がONすることでフォトカプラAIC10がONするようになっているため、フォトカプラAIC10のコレクタ端子に印加される電圧がグランド(GND)側に引き下げられて論理がLOWとなった主周シリアルデータ送信信号が周辺制御MPU1511aの主制御基板用シリアルI/Oポートの入力端子に入力される。このように、フォトカプラAIC10のコレクタ端子から出力される主周シリアルデータ送信信号の論理は、主制御MPU1310aのTXB端子から周辺制御基板1510へ送信される主周シリアルデータ送信信号の論理と、同一の論理となっている。
このように、本実施形態では、主制御MPU1310aの制御基準電圧である+5Vが印加される+5V電源ラインと、ダイオードMD50を介して印加される通信用電圧である+12Vが印加される+12V電源ラインと、が停電又は瞬停が発生して制御基準電圧及び通信用電圧が低下した際の対策が施されている。つまり、主制御MPU1310aに内蔵される主周シリアル送信ポート1310aeに対しては、+5V電源ラインと、主制御フィルタ回路1310hの電解コンデンサMC2を第1の補助電源とする電解コンデンサMC2のプラス端子と、が電気的に並列接続されることにより、停電又は瞬停が発生して+5V電源ラインから印加される制御基準電圧が低下しても、第1の補助電源である主制御フィルタ回路1310hの電解コンデンサMC2のプラス端子からの制御基準電圧が印加されることによって、制御基準電圧が印加された状態を維持することができるようになっているし、抵抗MR50、抵抗MR51,MR52、及びトランジスタMTR50から構成されて通信用インターフェース回路として機能させるリセット機能なし主制御出力回路1310cbに対しては、+12V電源ラインに印加される+12Vが通信用電圧としてダイオードMD50のアノード端子に印加され、このダイオードMD50のカソード端子と、第2の補助電源である電解コンデンサMC50のプラス端子と、が電気的に並列接続されることにより、停電又は瞬停が発生して+12V電源ラインからダイオードMD50を介して印加される通信用電圧が低下しても、第2の補助電源である電解コンデンサMC50のプラス端子からの通信用電圧が印加されることによって、通信用電圧が印加された状態を維持することができるようになっている。これにより、主制御基板1310から周辺制御基板1510へ送信中のコマンドの寸断を防止することができ、また欠落を防止することができるため、周辺制御基板1510は、送信中のコマンドを確実に受信することができる。したがって、停電の発生直後や瞬停時におけるコマンドの取りこぼしを解消することができる。
また、主制御MPU1310aに内蔵される主周シリアル送信ポート1310aeの送信バッファレジスタ1310aebにセットされた複数のコマンドを主周シリアルデータとしてすべて、抵抗MR50、抵抗MR51,MR52、及びトランジスタMTR50から構成されて通信用インターフェース回路として機能させるリセット機能なし主制御出力回路1310cbを介して、周辺制御基板1510へ送信完了することができるように、主制御フィルタ回路1310hの電解コンデンサMC2の静電容量として470μFが設定され、電解コンデンサMC50の静電容量として220μFが設定されている。これにより、主制御基板1310から周辺制御基板1510へ送信中に停電又は瞬停が発生しても、送信バッファレジスタ1310aebにセットされた複数のコマンドを主周シリアルデータとしてすべてインターフェース回路として機能させるリセット機能なし主制御出力回路1310cbを介して周辺制御基板1510へ送信完了することができるため、周辺制御基板1510は、送信バッファレジスタ1310aebにセットされた複数のコマンドを寸断することなく、また欠落することなく確実に受信することができる。
[10.払出制御基板の回路]
次に、図70に示した払出制御基板951の回路等について、図80~図85を参照して説明する。図80は払出制御部の回路等を示す回路図であり、図81は払出制御入力回路を示す回路図であり、図82は図81の続きを示す回路図であり、図83は払出モータ駆動回路を示す回路図であり、図84はCRユニット入出力回路を示す回路図であり、図85は主制御基板との各種入出力信号、及び外部端子板への各種出力信号を示す入出力図である。まず、払出制御フィルタ回路について説明し、続いて払出制御部の回路、そして主制御基板との各種入出力信号及び外部端子板への各種出力信号について説明する。
[10-1.払出制御フィルタ回路]
払出制御フィルタ回路951aは、図80に示すように、払出制御3端子フィルタPIC0を主として構成されている。この払出制御3端子フィルタPIC0は、T型フィルタ回路であり、フェライトで磁気シールドした減衰特性の優れたものである。払出制御3端子フィルタPIC0の1番端子は、図75に示した電源基板931からの+5Vが印加されるとともに、一端がグランド(GND)と接地されるコンデンサPC0の他端と電気的に接続されており、電源基板931からの+5VがコンデンサPC0により、まずリップル(電圧に畳重された交流成分)が除去されて平滑化されている。払出制御3端子フィルタPIC0の2番端子は、グランド(GND)と接地され、払出制御3端子フィルタPIC0の3番端子は、ノイズ成分を除去した+5Vを出力している。
払出制御3端子フィルタPIC0の3番端子は、一端がグランド(GND)と接地される、コンデンサPC1、及び電解コンデンサPC2(本実施形態では、静電容量:180マイクロファラッド(μF))の他端とそれぞれ電気的に接続されることにより、払出制御3端子フィルタPIC0の3番端子から出力される+5Vからさらにリップルが除去されて平滑化されている。この平滑化された+5Vは、後述する、払出制御システムリセットPIC1の電源端子、払出制御水晶発振器PX0の電源端子であるVCC端子、払出制御MPU952aの電源端子であるVDD端子等にそれぞれ印加されている。なお、払出制御MPU952aの電源端子であるVDD端子には、停電又は瞬停が発生してパチンコ島設備からの電源が遮断された場合に、電解コンデンサPC2に充電された電荷が停電又は瞬停が発生してから約7ミリ秒(ms)という期間に亘って+5Vとして印加されるようになっている。
払出制御MPU952aのVDD端子は、一端がグランド(GND)と接地されるコンデンサPC3の他端と電気的に接続され、VDD端子に印加される+5VはコンデンサPC3によりさらにリップルが除去されて平滑化されている。払出制御MPU952aの接地端子であるVSS端子はグランド(GND)と接地されている。
また、払出制御MPU952aのVDD端子は、コンデンサPC3と電気的に接続されるほかに、ダイオードPD0のアノード端子と電気的に接続されている。ダイオードPD0のカソード端子は、払出制御MPU952aに内蔵されているRAM(払出制御内蔵RAM)の電源端子であるVBB端子と電気的に接続されるとともに、一端がグランド(GND)と接地されるコンデンサPC4の他端と電気的に接続されている。この払出制御内蔵RAMのVBB端子は、ダイオードPD0のカソード端子及びコンデンサPC4の他端と電気的に接続されるほかに、抵抗PR0を介して、図75に示した電源基板931のキャパシタBC1のプラス端子と電気的に接続されている。つまり、払出制御フィルタ回路951aによりノイズ成分が除去されて平滑化された+5Vは、払出制御MPU952aのVDD端子に印加されるとともに、ダイオードPD0を介して、払出制御内蔵RAMのVBB端子と、キャパシタBC1のプラス端子と、に印加されるようになっている。これにより、上述したように、図75に示した電源基板931の電源作成回路935dで作成される+5Vが払出制御基板951に供給されなくなった場合には、キャパシタBC1に充電された電荷が払VBBとして払出制御基板951に供給されるようになっているため、払出制御MPU952aのVDD端子にはダイオードPD0により電流が妨げられて流れず払出制御MPU952aが作動しないものの、払出制御内蔵RAMのVBB端子には払VBBが印加されることにより記憶内容が保持されるようになっている。このように、この実施の形態にかかるパチンコ機1にあって、払出制御内蔵RAMに対してバックアップ電源を供給するバックアップ電源回路は、上記ダイオードPD0と上記キャパシタBC1とによって構成されている。
[10-2.払出制御部の回路]
払出制御部952は、払出制御MPU952a、払出制御入力回路952b、払出制御出力回路952c、払出モータ駆動回路952d、CRユニット入出力回路952eのほかに、周辺回路として、図80に示すように、リセット信号を出力する払出制御システムリセットPIC1、クロック信号を出力する払出制御水晶発振器PX0(本実施形態では、8メガヘルツ(MHz))を主として構成されている。ここでは、まず払出制御システムリセットについて説明し、続いて払出制御水晶発振器、払出制御入力回路、払出モータ駆動回路、CRユニット入出力回路、そして払出制御MPUへの各種入出力信号について説明する。
[10-2-1.払出制御システムリセット]
払出制御フィルタ回路951aによりノイズ成分が除去されて平滑化された+5Vは、図80に示すように、払出制御システムリセットPIC1の電源端子に印加されている。払出制御システムリセットPIC1は、払出制御MPU952a及びリセット機能付き払出制御出力回路952caにそれぞれリセットをかけるものであり、遅延回路が内蔵されている。払出制御システムリセットPIC1の遅延容量端子には、一端がグランド(GND)と接地されるコンデンサPC5の他端と電気的に接続されており、このコンデンサPC5の容量によって遅延回路による遅延時間を設定することができるようになっている。具体的には、払出制御システムリセットPIC1は、電源端子に入力された+5Vがしきい値(例えば、4.25V)に達すると、遅延時間経過後に出力端子からシステムリセット信号を出力する。
払出制御システムリセットPIC1の出力端子は、払出制御MPU952aのリセット端子であるSRT0端子及びリセット機能付き払出制御出力回路952caのリセット端子とそれぞれ電気的に接続されている。出力端子は、オープンコレクタ出力タイプであり、一端が+5V電源ラインと電気的に接続されるプルアップ抵抗PR1の他端と電気的に接続されるとともに、一端がグランド(GND)と接地されるコンデンサPC6の他端と電気的に接続されている。このコンデンサPC6は、ローパスフィルタとしての役割を担っている。出力端子は、電源端子に入力される電圧がしきい値より大きいときにはプルアップ抵抗PR1により+5V側に引き上げられて論理がHIとなり、この論理が払出制御MPU952aのSRT0端子及びリセット機能付き払出制御出力回路952caのリセット端子にそれぞれ入力される一方、電源端子に入力される電圧がしきい値より小さいときには論理がLOWとなり、この論理が払出制御MPU952aのSRT0端子及びリセット機能付き払出制御出力回路952caのリセット端子にそれぞれ入力される。払出制御MPU952aのSRT0端子及びリセット機能付き払出制御出力回路952caのリセット端子はそれぞれ負論理入力であるため、電源端子に入力される電圧がしきい値より小さい状態となると、払出制御MPU952a及びリセット機能付き払出制御出力回路952caにリセットがかかる。なお、電源端子は一端がグランド(GND)と接地されるコンデンサPC7の他端と電気的に接続されており、電源端子に入力される+5Vはリップルが除去されて平滑化されている。また、接地端子はグラント(GND)と接地されており、NC端子は外部と電気的に未接続の状態となっている。
[10-2-2.払出制御水晶発振器]
払出制御フィルタ回路951aによりノイズ成分が除去されて平滑化された+5Vは、図80に示すように、払出制御水晶発振器PX0の電源端子であるVCC端子に入力されている。このVCC端子は、一端がグランド(GND)と接地されるコンデンサPC8の他端と電気的に接続されており、VCC端子に入力される+5Vはさらにリップルが除去されて平滑化されている。また、この平滑化された+5Vは、VCC端子のほかに、払出制御水晶発振器PX0の出力許可(Output Enable)端子であるOE端子にも印加されている。払出制御水晶発振器PX0は、そのOE端子に+5Vが印加されることにより、8MHzのクロック信号を出力端子であるOUT端子から出力する。
払出制御水晶発振器PX0のOUT端子は、払出制御MPU952aのクロック端子であるMCLK端子と電気的に接続されており、8MHzのクロック信号が払出制御MPU952aに入力されている。なお、払出制御水晶発振器PX0の接地端子であるGND端子はグラント(GND)と接地されている。
[10-2-3.払出制御入力回路]
払出制御入力回路952bは、図70に示した、扉枠開放スイッチ618、本体枠開放スイッチ619、図75に示した主制御基板1310に備える停電監視回路1310eからの払出停電予告信号が入力される回路、図70に示したハンドル中継端子板315、そして電源基板931を介して満タン検知センサ279からの検出信号が入力される回路、操作スイッチ954からの操作信号が入力される回路等である。まず、扉枠開放スイッチからの検出信号が入力される回路について説明し、続いて本体枠開放スイッチからの検出信号が入力される回路、停電監視回路からの払出停電予告信号が入力される回路、満タン検知センサからの検出信号が入力される回路、そして操作スイッチからの操作信号が入力される回路について説明する。なお、満タン検知センサ279や、図70に示した、球切れ検知センサ827、払出検知センサ842、回転検知センサ840等の各種検出スイッチは、出力端子がオープンコレクタ出力タイプであるため、各種検出スイッチからの検出信号が入力される回路構成はほぼ同一であるため、ここでは、満タン検知センサからの検出信号が入力される回路について説明する。
[10-2-3(a).扉枠開放スイッチからの検出信号が入力される回路]
扉枠開放スイッチ618は、常閉形(ノーマルクローズ(NC))を用いており、図1に示した、扉枠3が本体枠4から開放された状態でスイッチがON(導通)し、扉枠3が本体枠4に閉鎖された状態でスイッチがOFF(切断)するようになっている。扉枠開放スイッチ618の2番端子は、グランド(GND)に接地される一方、扉枠開放スイッチ618の1番端子は、一端が+5V電源ラインと電気的に接続されるプルアップ抵抗PR20の他端と電気的に接続されるとともに抵抗PR21を介してトランジスタPTR20のベース端子と電気的に接続されている。トランジスタPTR20のベース端子は抵抗PR21と電気的に接続されるほかに、一端がグランド(GND)と接地される抵抗PR22の他端と電気的に接続されている。また、扉枠開放スイッチ618の1番端子は、プルアップ抵抗PR20と電気的に接続されるほかに、一端がグランド(GND)と接地されるコンデンサPC20の他端と電気的に接続されている。トランジスタPTR20のエミッタ端子は、グランド(GND)と接地され、トランジスタPTR20のコレクタ端子は、一端が+5V電源ラインと電気的に接続される抵抗PR23の他端と電気的に接続されるとともに非反転バッファICPIC20(非反転バッファICPIC20は、8つの非反転バッファ回路を備えており、その1つ(PIC20A)に入力された信号波形の論理を反転させることなく整形して出力する。)を介して払出制御MPU952aの入力ポートPAの入力端子PA0と電気的に接続されている。トランジスタPTR20がON/OFFすることによりトランジスタPTR20のコレクタ端子から出力される信号の論理が変化し、その信号が扉開放信号として払出制御MPU952aの入力ポートPAの入力端子PA0に入力される。
また、扉枠開放スイッチ618の1番端子は、プルアップ抵抗PR20により+5V側に引き上げられて抵抗PR21を介してトランジスタPTR20のベース端子と電気的に接続されるほか、プルアップ抵抗PR20により+5V側に引き上げられて抵抗PR24を介してトランジスタPTR21のベース端子と電気的に接続されている。トランジスタPTR21のベース端子は抵抗PR24と電気的に接続されるほかに、一端がグランド(GND)と接地される抵抗PR25の他端と電気的に接続されている。トランジスタPTR21のエミッタ端子は、グランド(GND)と接地され、トランジスタPTR21のコレクタ端子は、配線(ハーネス)を介して外部端子板784と電気的に接続されている。なお、トランジスタPTR21のコレクタ端子は、配線(ハーネス)を介して外部端子板784と電気的に接続されると、外部端子板784において、一端が+12V電源ラインと電気的に接続される図示しないプルアップ抵抗の他端と電気的に接続される。トランジスタPTR21がON/OFFすることによりトランジスタPTR21のコレクタ端子から出力される信号の論理が変化し、その信号が外端枠扉開放情報出力信号として外部端子板784に入力される。
更に、扉枠開放スイッチ618の1番端子は、プルアップ抵抗PR20により+5V側に引き上げられて抵抗PR21を介してトランジスタPTR20のベース端子と電気的に接続されるとともに、プルアップ抵抗PR20により+5V側に引き上げられて抵抗PR24を介してトランジスタPTR21のベース端子と電気的に接続されるほか、プルアップ抵抗PR20により+5V側に引き上げられて抵抗PR26を介してトランジスタPTR22のベース端子と電気的に接続されている。トランジスタPTR22のベース端子は抵抗PR26と電気的に接続されるほかに、一端がグランド(GND)と接地される抵抗PR27の他端と電気的に接続されている。トランジスタPTR22のエミッタ端子は、グランド(GND)と接地され、トランジスタPTR22のコレクタ端子は、配線(ハーネス)を介して図69に示した主制御基板1310と電気的に接続されている。なお、トランジスタPTR22のコレクタ端子は、配線(ハーネス)を介して主制御基板1310と電気的に接続されると、図69に示した主制御基板1310の主制御入力回路1310bにおいて、一端が+12V電源ラインと電気的に接続される図示しないプルアップ抵抗の他端と電気的に接続される。トランジスタPTR22がON/OFFすることによりトランジスタPTR22のコレクタ端子から出力される信号の論理が変化し、その信号が主枠扉開放信号として主制御基板1310に入力される。
プルアップ抵抗PR20及びコンデンサPC20から構成される回路は、スイッチ信号発生回路であり、扉枠3が本体枠4から開放される際に、又は扉枠3が本体枠4に閉鎖される際に、扉枠開放スイッチ618を構成する接点が短時間ON/OFFを繰り返すバタつき現象による扉枠開放スイッチ618からの電圧の変動を吸収する機能も有する回路として構成されている。
抵抗PR21,PR22、及びトランジスタPTR20から構成される回路と、抵抗PR24,PR25、及びトランジスタPTR21から構成される回路と、抵抗PR26,PR27、及びトランジスタPTR22から構成される回路と、は扉枠開放スイッチ618からの検出信号によりON/OFFするスイッチ回路である。
扉枠3が本体枠4から開放された状態では、扉枠開放スイッチ618がONしているため、トランジスタPTR20のベース端子に印加される電圧がグランド(GND)側に引き下げられることでトランジスタPTR20がOFFし、スイッチ回路もOFFすることとなる。これにより、トランジスタPTR20のコレクタ端子に印加される電圧がプルアップ抵抗PR23により+5V側に引き上げられて論理がHIとなった扉枠開放信号が払出制御MPU952aの入力ポートPAの入力端子PA0に入力される。また、扉枠3が本体枠4から開放された状態では、扉枠開放スイッチ618がONしているため、トランジスタPTR21のベース端子に印加される電圧がグランド(GND)側に引き下げられることでトランジスタPTR21がOFFし、スイッチ回路もOFFすることとなる。
これにより、トランジスタPTR21のコレクタ端子に印加される電圧が配線(ハーネス)を介して外部端子板784のプルアップ抵抗により+12V側に引き上げられて論理がHIとなった外端枠扉開放情報出力信号が外部端子板784に入力される。また、扉枠3が本体枠4から開放された状態では、扉枠開放スイッチ618がONしているため、トランジスタPTR22のベース端子に印加される電圧がグランド(GND)側に引き下げられることでトランジスタPTR22がOFFし、スイッチ回路もOFFすることとなる。これにより、トランジスタPTR22のコレクタ端子に印加される電圧が配線(ハーネス)を介して主制御基板1310の主制御入力回路1310bのプルアップ抵抗により+12V側に引き上げられて論理がHIとなった主枠扉開放信号が主制御基板1310に入力される。
一方、扉枠3が本体枠4から閉鎖された状態では、扉枠開放スイッチ618がOFFしているため、トランジスタPTR20のベース端子に印加される電圧がプルアップ抵抗PR20により+5V側に引き上げられることでトランジスタPTR20がONし、スイッチ回路もONすることとなる。これにより、トランジスタPTR20のコレクタ端子に印加される電圧がグランド(GND)側に引き下げられて論理がLOWとなった扉枠開放信号が払出制御MPU952aの入力ポートPAの入力端子PA0に入力される。また、扉枠3が本体枠4から閉鎖された状態では、扉枠開放スイッチ618がOFFしているため、トランジスタPTR21のベース端子に印加される電圧が+5V側に引き上げられることでトランジスタPTR21がONし、スイッチ回路もONすることとなる。これにより、トランジスタPTR21のコレクタ端子に印加される電圧がグランド(GND)側に引き下げられて論理がLOWとなった外端枠扉開放情報出力信号が外部端子板784に入力される。また、扉枠3が本体枠4から閉鎖された状態では、扉枠開放スイッチ618がOFFしているため、トランジスタPTR22のベース端子に印加される電圧が+5V側に引き上げられることでトランジスタPTR22がONし、スイッチ回路もONすることとなる。これにより、トランジスタPTR22のコレクタ端子に印加される電圧がグランド(GND)側に引き下げられて論理がLOWとなった主枠扉開放信号が主制御基板1310に入力される。
このように、扉枠3が本体枠4から開放された状態では、扉枠開放スイッチ618がONすることにより、論理がHIとなった扉枠開放信号が払出制御MPU952aの入力ポートPAの入力端子PA0に入力され、論理がHIとなった外端枠扉開放情報出力信号が外部端子板784に入力され、論理がHIとなった主枠扉開放信号が主制御基板1310に入力される一方、扉枠3が本体枠4に閉鎖された状態では、扉枠開放スイッチ618がOFFすることにより、論理がLOWとなった扉枠開放信号が払出制御MPU952aの入力ポートPAの入力端子PA0に入力され、論理がLOWとなった外端枠扉開放情報出力信号が外部端子板784に入力され、論理がLOWとなった主枠扉開放信号が主制御基板1310に入力される。
[10-2-3(b).本体枠開放スイッチからの検出信号が入力される回路]
本体枠開放スイッチ619は、常閉形(ノーマルクローズ(NC))を用いており、図1に示した、本体枠4が外枠2から開放された状態でスイッチがON(導通)し、本体枠4が外枠2に閉鎖された状態でスイッチがOFF(切断)するようになっている。本体枠開放スイッチ619の2番端子は、グランド(GND)に接地される一方、本体枠開放スイッチ619の1番端子は、一端が+5V電源ラインと電気的に接続されるプルアップ抵抗PR28の他端と電気的に接続されるとともに抵抗PR29を介してトランジスタPTR23のベース端子と電気的に接続されている。トランジスタPTR23のベース端子は抵抗PR29と電気的に接続されるほかに、一端がグランド(GND)と接地される抵抗PR30の他端と電気的に接続されている。また、本体枠開放スイッチ619の1番端子は、プルアップ抵抗PR28と電気的に接続されるほかに、一端がグランド(GND)と接地されるコンデンサPC21の他端と電気的に接続されている。トランジスタPTR23のエミッタ端子は、グランド(GND)と接地され、トランジスタPTR23のコレクタ端子は、上述したトランジスタPTR21のコレクタ端子と電気的に接続されるとともに、配線(ハーネス)を介して外部端子板784と電気的に接続されている。なお、トランジスタPTR23のコレクタ端子は、配線(ハーネス)を介して外部端子板784と電気的に接続されると、外部端子板784において、一端が+12V電源ラインと電気的に接続される図示しないプルアップ抵抗の他端と電気的に接続される。トランジスタPTR23がON/OFFすることによりトランジスタPTR23のコレクタ端子から出力される信号の論理が変化し、その信号が外端枠扉開放情報出力信号として外部端子板784に入力される。
また、本体枠開放スイッチ619の1番端子は、プルアップ抵抗PR28により+5V側に引き上げられて抵抗PR29を介してトランジスタPTR23のベース端子と電気的に接続されるほか、プルアップ抵抗PR28により+5V側に引き上げられて抵抗PR31を介してトランジスタPTR24のベース端子と電気的に接続されている。トランジスタPTR24のベース端子は抵抗PR31と電気的に接続されるほかに、一端がグランド(GND)と接地される抵抗PR32の他端と電気的に接続されている。トランジスタPTR24のエミッタ端子は、グランド(GND)と接地され、トランジスタPTR24のコレクタ端子は、上述したトランジスタPTR22のコレクタ端子と電気的に接続されるとともに、配線(ハーネス)を介して図69に示した主制御基板1310と電気的に接続されている。なお、トランジスタPTR24のコレクタ端子は、配線(ハーネス)を介して主制御基板1310と電気的に接続されると、図69に示した主制御基板1310の主制御入力回路1310bにおいて、一端が+12V電源ラインと電気的に接続される図示しないプルアップ抵抗の他端と電気的に接続される。トランジスタPTR24がON/OFFすることによりトランジスタPTR24のコレクタ端子から出力される信号の論理が変化し、その信号が主枠扉開放信号として主制御基板1310に入力される。
プルアップ抵抗PR28及びコンデンサPC21から構成される回路は、スイッチ信号発生回路であり、本体枠4が外枠2から開放される際に、又は本体枠4が外枠2に閉鎖される際に、本体枠開放スイッチ619を構成する接点が短時間ON/OFFを繰り返すバタつき現象による本体枠開放スイッチ619からの電圧の変動を吸収する機能も有する回路として構成されている。
抵抗PR29,PR30、及びトランジスタPTR23から構成される回路と、抵抗PR31,PR32、及びトランジスタPTR24から構成される回路と、は本体枠開放スイッチ619からの検出信号によりON/OFFするスイッチ回路である。
本体枠4が外枠2から開放された状態では、本体枠開放スイッチ619がONしているため、トランジスタPTR23のベース端子に印加される電圧がグランド(GND)側に引き下げられることでトランジスタPTR23がOFFし、スイッチ回路もOFFすることとなる。これにより、トランジスタPTR23のコレクタ端子に印加される電圧が配線(ハーネス)を介して外部端子板784のプルアップ抵抗により+12V側に引き上げられて論理がHIとなった外端枠扉開放情報出力信号が外部端子板784に入力される。また、本体枠4が外枠2から開放された状態では、本体枠開放スイッチ619がONしているため、トランジスタPTR24のベース端子に印加される電圧がグランド(GND)側に引き下げられることでトランジスタPTR24がOFFし、スイッチ回路もOFFすることとなる。これにより、トランジスタPTR24のコレクタ端子に印加される電圧が配線(ハーネス)を介して主制御基板1310の主制御入力回路1310bのプルアップ抵抗により+12V側に引き上げられて論理がHIとなった主枠扉開放信号が主制御基板1310に入力される。
一方、本体枠4が外枠2に閉鎖された状態では、本体枠開放スイッチ619がOFFしているため、トランジスタPTR23のベース端子に印加される電圧がプルアップ抵抗PR28により+5V側に引き上げられることでトランジスタPTR23がONし、スイッチ回路もONすることとなる。これにより、トランジスタPTR23のコレクタ端子に印加される電圧が配線(ハーネス)を介して外部端子板784においてグランド(GND)側に引き下げられて論理がLOWとなった外端枠扉開放情報出力信号が外部端子板784に入力される。また、本体枠4が外枠2に閉鎖された状態では、本体枠開放スイッチ619がOFFしているため、トランジスタPTR24のベース端子に印加される電圧がプルアップ抵抗PR28により+5V側に引き上げられることでトランジスタPTR24がONし、スイッチ回路もONすることとなる。これにより、トランジスタPTR24のコレクタ端子に印加される電圧が配線(ハーネス)を介して主制御基板1310においてグランド(GND)側に引き下げられて論理がLOWとなった主枠扉開放信号が主制御基板1310に入力される。
このように、本体枠4が外枠2から開放された状態では、本体枠開放スイッチ619がONすることにより、論理がHIとなった外端枠扉開放情報出力信号が外部端子板784に入力され、論理がHIとなった主枠扉開放信号が主制御基板1310に入力される一方、本体枠4が外枠2に閉鎖された状態では、本体枠開放スイッチ619がOFFすることにより、論理がLOWとなった外端枠扉開放情報出力信号が外部端子板784に入力され、論理がLOWとなった主枠扉開放信号が主制御基板1310に入力される。
本実施形態では、上述したように、扉枠3が本体枠4に閉鎖された状態と、本体枠4が外枠2から開放された状態と、のうち、いずれか一方の状態又は両方の状態となった場合でも、主制御基板1310に対しては主枠扉開放信号が入力されるようになっているため、図69に示した主制御基板1310の主制御MPU1310aは、主枠扉開放信号に基づいて、扉枠3が本体枠4から開放された状態であるか、それとも本体枠4が外枠2から開放された状態であるかを判別することができないものの、扉枠3及び/又は本体枠4が開放されているという遊技者が通常遊技中に生じない状態が発生していることを判断することができるし、外部端子板784に対しては外端枠扉開放情報出力信号が入力されるようになっているため、この外端枠扉開放情報出力信号が外部端子板784を介してホールコンピュータに伝わり、ホールコンピュータは、外端枠扉開放情報出力信号に基づいて、扉枠3が本体枠4から開放された状態であるか、それとも本体枠4が外枠2から開放された状態であるかを判別することができないものの、扉枠3及び/又は本体枠4が開放されているという遊技者が通常遊技中に生じない状態が発生していることを判断することができる。
また、本実施形態では、上述したように、扉枠開放スイッチ618、本体枠開放スイッチ619をノーマルクローズのスイッチを採用したことにより、何らかの原因により扉枠開放スイッチ618が短絡してスイッチがON(導通)する状態となっても、扉枠3が本体枠4から開放された状態となり、何らかの原因により本体枠開放スイッチ619が短絡してスイッチがON(導通)する状態となっても、本体枠4が外枠2から開放された状態となる。このように、扉枠開放スイッチ618及び本体枠開放スイッチ619をノーマルクローズのスイッチを採用することにより、短絡時にでも、主枠扉開放信号を主制御基板1310に出力することができるとともに、外端枠扉開放情報出力信号を外部端子板784を介してホールコンピュータに伝えることができる。
なお、扉枠開放スイッチ618及び本体枠開放スイッチ619をノーマルクローズのスイッチから、常開形(ノーマルオープン(NO))のスイッチ(扉枠開放スイッチ618’及び本体枠開放スイッチ619’)に替えると、扉枠開放スイッチ618’は、扉枠3が本体枠4から閉鎖された状態でスイッチがON(導通)し、扉枠3が本体枠4に開放された状態でスイッチがOFF(切断)する。本体枠開放スイッチ619’は、本体枠4が外枠2から閉鎖された状態でスイッチがON(導通)し、本体枠4が外枠2に開放された状態でスイッチがOFF(切断)する。そうすると、何らかの原因により扉枠開放スイッチ618’が断線してスイッチがOFF(切断)する状態となっても、扉枠3が本体枠4から開放された状態となるし、また、何らかの原因により本体枠開放スイッチ619’が断線してスイッチがOFF(切断)する状態となっても、本体枠4が外枠2から開放された状態となる。このように、扉枠開放スイッチ618’及び本体枠開放スイッチ619’をノーマルオープンのスイッチを採用しても、断線時にでも、主枠扉開放信号を主制御基板1310に出力することができるとともに、外端枠扉開放情報出力信号を外部端子板784を介してホールコンピュータに伝えることができる。
[10-2-3(c).停電監視回路からの払出停電予告信号が入力される回路]
主制御基板1310に備える停電監視回路1310eからの払出停電予告信号を伝える伝送ラインは、一端が+12V電源ラインと電気的に接続されるプルアップ抵抗PR40の他端と電気的に接続されるとともに抵抗PR41を介してトランジスタPTR40のベース端子と電気的に接続されている。トランジスタPTR40のベース端子は抵抗PR41と電気的に接続されるほかに、一端がグランド(GND)と接地される抵抗PR42の他端と電気的に接続されている。トランジスタPTR40のエミッタ端子は、グランド(GND)と接地され、トランジスタPTR40のコレクタ端子は、一端が+5V電源ラインと電気的に接続される抵抗PR43の他端と電気的に接続されるとともに非反転バッファICPIC40(非反転バッファICPIC40は、8つの非反転バッファ回路を備えており、その1つ(PIC40A)に入力された信号波形の論理を反転させることなく整形して出力する。)を介して払出制御MPU952aの入力ポートPAの入力端子PA1と電気的に接続されている。トランジスタPTR40がON/OFFすることによりトランジスタPTR40のコレクタ端子から出力される信号の論理が変化し、その信号が払出停電予告信号として払出制御MPU952aの入力ポートPAの入力端子PA1に入力される。
抵抗PR41,PR42、及びトランジスタPTR40から構成される回路は、主制御基板1310に備える停電監視回路1310eからの払出停電予告信号によりON/OFFするスイッチ回路である。
停電監視回路1310eは、上述したように、電源基板931からの+12V及び+24Vという2種類の電圧の停電又は瞬停の兆候を監視しており、停電又は瞬停の兆候を検出すると、リセット機能なし主制御出力回路1310cbを介して停電予告として払出停電予告信号を払出制御基板951に出力する。停電監視回路1310eは、+12V及び+24Vの電圧の停電又は瞬停の兆候を監視し、上述したように、+24Vの電圧が停電検知電圧V1pfより大きいという条件、及び+12Vの電圧が停電検知電圧V2pfより大きいという条件の両方の条件が成立したときには、後段のトランジスタMTR22のコレクタ端子に印加される電圧が配線(ハーネス)を介して払出制御基板951においてグランド(GND)側に引き下げられて論理がLOWとなった払出停電予告信号が払出制御基板951に入力される一方、+24Vの電圧が停電検知電圧V1pfより小さいという条件、及び+12Vの電圧が停電検知電圧V2pfより小さいという条件のうち、いずれか一方の条件が成立したときには、後段のトランジスタMTR22のコレクタ端子に印加される電圧が配線(ハーネス)を介して上述したプルアップ抵抗PR40により+12V側に引き上げられることで論理がHIとなった払出停電予告信号が払出制御基板951に入力される。
+24Vの電圧が停電検知電圧V1pfより大きいという条件、及び+12Vの電圧が停電検知電圧V2pfより大きいという条件の両方の条件が成立したときには、つまり+12V及び+24Vの電圧の停電又は瞬停の兆候がないときには、論理がLOWとなった払出停電予告信号が払出制御基板951に入力されるため、トランジスタPTR40のベース端子に印加される電圧がグランド(GND)側に引き下げられることでトランジスタPTR40がOFFし、トランジスタPTR40のコレクタ端子に印加される電圧が抵抗PR43により+5V側に引き上げられる。これにより、トランジスタPTR40のコレクタ端子から論理がHIとなった払出停電予告信号が払出制御MPU952aの入力ポートPAの入力端子PA1に入力される。
一方、+24Vの電圧が停電検知電圧V1pfより小さいという条件、及び+12Vの電圧が停電検知電圧V2pfより小さいという条件のうち、いずれか一方の条件が成立したときには、つまり+12V及び/又は+24Vの電圧の停電又は瞬停の兆候があるときには、論理がHIとなった払出停電予告信号が払出制御基板951に入力されるため、停電監視回路1310eからの払出停電予告信号によりトランジスタPTR40のベース端子に印加される電圧がプルアップ抵抗PR40により+12V側に引き上げられることでトランジスタPTR40がONし、トランジスタPTR40のコレクタ端子に印加される電圧がグランド(GND)側に引き下げられる。これにより、トランジスタPTR40のコレクタ端子の論理がLOWとなった払出停電予告信号が払出制御MPU952aの入力ポートPAの入力端子PA1に入力される。
このように、+12V及び/又は+24Vの電圧の停電又は瞬停の兆候があるときには、論理がHIとなった払出停電予告信号が払出制御MPU952aの入力ポートPAの入力端子PA1に入力される一方、+12V及び+24Vの電圧の停電又は瞬停の兆候がないときには、論理がLOWとなった払出停電予告信号が払出制御MPU952aの入力ポートPAの入力端子PA1に入力されるようになっている。これは、上述したように、+12V及び/又は+24Vの電圧の停電又は瞬停の兆候があるときには、論理がHIとなった停電予告信号が主制御MPU1310aの入力ポートPAの入力端子PA1に入力される一方、+12V及び+24Vの電圧の停電又は瞬停の兆候がないときには、停電予告信号が主制御MPU1310aの入力ポートPAの入力端子PA1に入力されるようになっているため、停電監視回路1310eからの停電予告による、払出制御MPU952aに入力される払出停電予告信号の論理と、主制御MPU1310aに入力される停電予告信号の論理と、が同一論理となっている。
[10-2-3(d).満タン検知センサからの検出信号が入力される回路]
図1に示したファールカバーユニット270に備える満タン検知センサ279からの検出信号は、図1に示したハンドル中継端子板315、そして図6に示した電源基板931を介して、払出制御基板951に入力されている。この満タン検知センサ279の出力端子は、エミッタ端子がグランド(GND)と接地されるオープンコレクタ出力タイプとして回路構成されており、払出制御基板951において、一端が+12V電源ラインと電気的に接続されるプルアップ抵抗PR44aの他端と電気的に接続されるとともに満タン検知センサ用3端子フィルタPIC50の1番端子と電気的に接続されている。この満タン検知センサ用3端子フィルタPIC50は、T型フィルタ回路であり、フェライトで磁気シールドした減衰特性の優れたものである。
満タン検知センサ用3端子フィルタPIC50の2番端子は、グランド(GND)と接地され、満タン検知センサ用3端子フィルタPIC50の3番端子は、抵抗PR44bを介して、満タン検知センサ用3端子フィルタPIC50の1番端子と電気的に接続されるとともに、抵抗PR45を介してトランジスタPTR41のベース端子と電気的に接続されている。これにより、満タン検知センサ279の検出信号は、満タン検知センサ用3端子フィルタPIC50において、ノイズ成分が除去されてトランジスタPTR41のベース端子に入力される。トランジスタPTR41のベース端子は、抵抗PR45が電気的に接続されるほかに、一端がグランド(GND)に接地される抵抗PR46の他端と電気的に接続されるとともに、一端がグランド(GND)と電気的に接続されるコンデンサPC40の他端と電気的に接続されている。コンデンサPC40は、ローパスフィルタとしての役割を担っている。トランジスタPTR41のエミッタ端子は、グランド(GND)に接地され、トランジスタPTR41のコレクタ端子は、一端が+5V電源ラインと電気的に接続される抵抗PR47の他端と電気的に接続されるとともに非反転バッファICPIC40(非反転バッファICPIC40は、8つの非反転バッファ回路を備えており、その1つ(PIC40B)に入力された信号波形の論理を反転させることなく整形して出力する。)を介して払出制御MPU952aの入力ポートPAの入力端子PA2と電気的に接続されている。トランジスタPTR41がON/OFFすることによりトランジスタPTR41のコレクタ端子から出力される信号の論理が変化し、その信号が満タン信号として払出制御MPU952aの入力ポートPAの入力端子PA2に入力される。
抵抗PR45,PR46、及びトランジスタPTR41から構成される回路は、満タン検知センサ279からの検出信号によりON/OFFするスイッチ回路である。
満タン検知センサ279は、上述したように、ファールカバーユニット270の第二球通路における収容空間が貯留された遊技球で満タンとなっているか否かを検出するものである。本実施形態では、収容空間が貯留された遊技球で満タンとなっていないときには、満タン検知センサ279の出力端子に印加される電圧がハンドル中継端子板315、そして電源基板931を介して、払出制御基板951においてプルアップ抵抗44aにより+12V側に引き上げられて論理がHIとなった信号が払出制御基板951に入力される一方、収容空間が貯留された遊技球で満タンとなっているときには、満タン検知センサ279の出力端子に印加される電圧がハンドル中継端子板315、そして電源基板931を介して、払出制御基板951においてグランド(GND)側に引き下げられて論理がLOWとなった信号が払出制御基板951に入力される。
収容空間が貯留された遊技球で満タンとなっていないときには、満タン検知センサ279の出力端子に印加される電圧がハンドル中継端子板315、そして電源基板931を介して、払出制御基板951においてプルアップ抵抗44aにより+12V側に引き上げられて論理がHIとなった信号が上述したトランジスタPTR41のベース端子に入力されることでトランジスタPTR41がONし、スイッチ回路もONすることとなる。これにより、トランジスタPTR41のコレクタ端子に印加される電圧がグランド(GND)側に引き下げられて論理がLOWとなった満タン信号が払出制御MPU952aの入力ポートPAの入力端子PA2に入力される。
一方、収容空間が貯留された遊技球で満タンとなっているときには、満タン検知センサ279の出力端子に印加される電圧がハンドル中継端子板315、そして電源基板931を介して、払出制御基板951においてグランド(GND)側に引き下げられて論理がLOWとなった信号が上述したトランジスタPTR41のベース端子に入力されることでトランジスタPTR41がOFFし、スイッチ回路もOFFすることとなる。これにより、トランジスタPTR41のコレクタ端子に印加される電圧が抵抗PR47により+5V側に引き上げられて論理がHIとなった満タン信号が払出制御MPU952aの入力ポートPAの入力端子PA2に入力される。
なお、本実施形態では、満タン検知センサ279からの検出信号は、満タン検知センサ用3端子フィルタPIC50を介して、抵抗PR45、抵抗PR46、及びトランジスタPTR41から構成されるスイッチ回路に入力される回路構成としていたが、図70に示した、球切れ検知センサ827、払出検知センサ842等の各種検出スイッチからの検出信号は、満タン検知センサ用3端子フィルタPIC50のようなT型フィルタ回路を介さずに各スイッチ回路に直接入力される回路構成となっている。満タン検知センサ279は、扉枠3に取り付けられるファールカバーユニット270に設けられているため、本体枠4に取り付けられる払出装置830に設けられる球切れ検知センサ827、払出検知センサ842等と比べると、検出信号を伝送する経路が極めて長くなり、ノイズの影響を極めて受けやすい。
満タン検知センサ279は、ファールカバーユニット270の第二球通路における収容空間が貯留された遊技球で満タンとなっているか否かを検出するものであり、払出制御MPU952aは、満タン検知センサ279からの検出信号に基づいて、収容空間が貯留された遊技球で満タンであると判断すると、払出モータ834の駆動制御を強制的に停止して払出回転体による遊技球の払い出しを停止する制御を行うようになっている。つまり、満タン検知センサ279からの検出信号を伝える伝送経路(伝送ライン)にノイズが侵入すると、払出制御MPU952aは、収容空間が貯留された遊技球で満タンでもないのに、払出モータ834の駆動制御を強制的に停止して払出回転体による遊技球の払い出しを停止するという場合もあるし、収容空間が貯留された遊技球で満タンであるにもかからず、払出モータ834を駆動制御して払出回転体を回転させて遊技球の払い出しを継続することにより上述した賞球通路の上流側まで遊技球で満たされると、払出回転体そのものが回転することができなくなって払出モータ834に負荷が異常にかかり、払出モータ834が過負荷となって異常発熱して故障したり、払出モータ834の回転軸を払出回転体の回転運動に伝達する機構等が故障したりするという場合もある。そこで、本実施形態では、このような問題が発生しないように、満タン検知センサ279からの検出信号を、まず満タン検知センサ用3端子フィルタPIC50において、ノイズ成分が除去するように回路構成を採用した。
[10-2-3(e).操作スイッチからの操作信号が入力される回路]
操作スイッチ954の出力端子である1番端子及び2番端子は、グランド(GND)に接地され、操作スイッチ954の出力端子である3番端子及び4番端子は、プルアップ抵抗PR48により+5V側に引き上げられて抵抗PR49を介して前段のトランジスタPTR42のベース端子と電気に接続されている。前段のトランジスタPTR42のベース端子は、抵抗PR49と電気的に接続されるほかに、一端がグランド(GND)と接地される抵抗PR50の他端と電気的に接続されている。また、操作スイッチ954の出力端子である4番端子は、プルアップ抵抗PR48と電気的に接続されるほかに、一端がグランド(GND)と接地されるコンデンサPC41の他端と電気的に接続されている。前段のトランジスタPTR42のエミッタ端子は、グランド(GND)と接地され、前段のトランジスタPTR42のコレクタ端子は、一端が+5V電源ラインと電気的に接続される抵抗PR51の他端と電気的に接続されるとともに抵抗PR52を介して後段のトランジスタPTR43のベース端子と電気的に接続されている。後段のトランジスタPTR43のベース端子は、抵抗PR52と電気的に接続されるほかに、一端がグランド(GND)と接地される抵抗PR53の他端と電気的に接続されている。後段のトランジスタPTR43のエミッタ端子は、グランド(GND)と接地され、後段のトランジスタPTR43のコレクタ端子は、一端が+5V電源ラインと電気的に接続される抵抗PR54の他端と電気的に接続されるとともに非反転バッファICPIC40(非反転バッファICPIC40は、8つの非反転バッファ回路を備えており、その1つ(PIC40C)に入力された信号波形の論理を反転させることなく整形して出力する。)を介して払出制御MPU952aの入力ポートPAの入力端子PA3と電気的に接続されている。前段及び後段のトランジスタPTR42,PTR43がON/OFFすることにより後段のトランジスタPTR43のコレクタ端子から出力される信号の論理が変化し、その信号がRWMCLR信号として払出制御MPU952aの入力ポートPAの入力端子PA3に入力される。
また、操作スイッチ954の出力端子である3番端子及び4番端子は、プルアップ抵抗PR48により+5V側に引き上げられて抵抗PR49を介して前段のトランジスタPTR42のベース端子と電気に接続されるほか、プルアップ抵抗PR48により+5V側に引き上げられて抵抗PR55を介してトランジスタPTR44のベース端子と電気に接続されている。トランジスタPTR44のベース端子は、抵抗PR55と電気的に接続されるほかに、一端がグランド(GND)と接地される抵抗PR56の他端と電気的に接続されている。トランジスタPTR44のエミッタ端子は、グランド(GND)と接地され、トランジスタPTR44のコレクタ端子は、配線(ハーネス)を介して主制御基板1310と電気的に接続されている。なお、トランジスタPTR44のコレクタ端子は、配線(ハーネス)を介して主制御基板1310と電気的に接続されると、図77に示した、主制御基板1310の主制御入力回路1310bにおいて、一端が+12V電源ラインと電気的に接続されるプルアップ抵抗MR2の他端と電気的に接続される。トランジスタPTR44がON/OFFすることによりトランジスタPTR44のコレクタ端子から出力される信号の論理が変化し、その信号がRAMクリア信号として主制御MPU1310aの入力ポートPAの入力端子PA0に入力される。
プルアップ抵抗PR48及びコンデンサPC41から構成される回路は、スイッチ信号発生回路であり、操作スイッチ954が押圧操作される際に、操作スイッチ954を構成する接点が短時間ON/OFFを繰り返すバタつき現象による操作スイッチ954からの電圧の変動を吸収する機能も有する回路として構成されている。
抵抗PR49,PR50、及びトランジスタPTR42から構成される回路は前段のスイッチ回路であり、抵抗PR52,PR53、及びトランジスタPTR43から構成される回路は後段のスイッチ回路であり、抵抗PR55,PR56、及びトランジスタPTR44から構成される回路はスイッチ回路であり、操作スイッチ954からの操作信号によりON/OFFするものである。
操作スイッチ954は、上述したように、電源投入時から予め定めた期間内において払出制御基板951の払出制御MPU952aに内蔵されるRAM(払出制御内蔵RAM)、及び主制御基板1310の主制御MPU1310aに内蔵されるRAM(主制御内蔵RAM)をクリアする場合に操作されたり、電源投入後においてエラー報知されている際に、そのエラーを解除するために操作されたりするようになっており、電源投入時から予め定めた期間内におけるRAMクリアを行う機能と、電源投入後(RAMクリアとして機能を奏する期間を経過した後、つまり電源投入時から予め定めた期間が経過した後)におけるエラー解除を行う機能と、を有している。操作スイッチ954からの操作信号は、電源投入時から予め定めた期間内におけるRAMクリアを行う機能においては、RAMクリア信号となる一方、電源投入後(電源投入時から予め定めた期間が経過した後)におけるエラー解除を行う機能においては、エラー解除信号となる。
操作スイッチ954が操作されていないときには、操作スイッチ954の出力端子である3番端子及び4番端子がプルアップ抵抗PR48により+5V側に引き上げられることで論理がHIとなった操作信号が前段のトランジスタPTR42のベース端子に入力されて前段のトランジスタPTR42がONし、前段のスイッチ回路もONすることとなり、後段のトランジスタPTR43のベースに印加される電圧である、前段のトランジスタPTR43のコレクタ端子に印加される電圧がグランド(GND)側に引き下げられることで後段のトランジスタPTR43がOFFし、後段のスイッチ回路もOFFすることとなる。これにより、後段のトランジスタPTR43のコレクタ端子に印加される電圧が抵抗PR54により+5V側に引き上げられて論理がHIとなったRWMCLR信号が払出制御MPU952aの入力ポートPAの入力端子PA3に入力される。払出制御MPU952aは、電源投入時から予め定めた期間内において、入力端子PA3に入力されるRWMCLR信号の論理がHIであるときには払出制御内蔵RAMに記憶される情報を消去するRAMクリアを行うことを指示するものではないと判断し、電源投入後(電源投入時から予め定めた期間が経過した後)において、入力端子PA3に入力されるRWMCLR信号の論理がHIであるときにはエラー解除を行うことを指示するものではないと判断する。
また、操作スイッチ954が操作されていないときには、操作スイッチ954の出力端子である3番端子及び4番端子がプルアップ抵抗PR48により+5V側に引き上げられて論理がHIとなった操作信号がトランジスタPTR44のベース端子に入力されてトランジスタPTR44がONし、スイッチ回路もONすることとなる。これにより、トランジスタPTR44のコレクタ端子に印加される電圧が配線(ハーネス)を介して主制御基板1310においてグランド(GND)側に引き下げられて論理がLOWとなったRAMクリア信号が主制御基板1310に入力される。主制御基板1310の主制御MPU1310aは、電源投入時から予め定めた期間内に論理がLOWであるRAMクリア信号が入力されているときには、上述したように、図77に示した、この論理がLOWであるRAMクリア信号がトランジスタMTR0のベース端子に入力されることでトランジスタMTR0がOFFし、スイッチ回路もOFFすることとなる。これにより、トランジスタMTR0のコレクタ端子に印加される電圧が抵抗MR5により+5V側に引き上げられて論理がHIとなったRAMクリア信号が主制御MPU1310aの入力ポートPAの入力端子PA0に入力される。主制御MPU1310aは、入力端子PA0に入力されるRAMクリア信号の論理がHIであるときには主制御内蔵RAMに記憶される情報を消去するRAMクリアを行うことを指示するものではないと判断する。
一方、操作スイッチ954が操作されているときには、操作スイッチ954の出力端子である3番端子及び4番端子がグランド(GND)側に引き下げられることで論理がLOWとなった操作信号が前段のトランジスタPTR42のベース端子に入力されて前段のトランジスタPTR42がOFFし、前段のスイッチ回路もOFFすることとなり、後段のトランジスタPTR43のベースに印加される電圧である、前段のトランジスタPTR42のコレクタ端子に印加される電圧が抵抗PR51により+5V側に引き上げられることで後段のトランジスタPTR43がONし、後段のスイッチ回路もONすることとなる。これにより、後段のトランジスタPTR43のコレクタ端子に印加される電圧がグランド(GND)側に引き下げられて論理がLOWとなったRWMCLR信号が払出制御MPU952aの入力ポートPAの入力端子PA3に入力される。払出制御MPU952aは、電源投入時から予め定めた期間内において、入力端子PA3に入力されるRWMCLR信号の論理がLOWであるときには払出制御内蔵RAMに記憶される情報を消去するRAMクリアを行うことを指示するものであると判断し、電源投入後(電源投入時から予め定めた期間が経過した後)において、入力端子PA3に入力されるRWMCLR信号の論理がLOWであるときにはエラー解除を行うことを指示するものであると判断する。
また、操作スイッチ954が操作されているときには、操作スイッチ954の出力端子である3番端子及び4番端子がプルアップ抵抗PR48によりグランド(GND)側に引き下げられることで論理がLOWとなった操作信号がトランジスタPTR44のベース端子に入力されてトランジスタPTR44がOFFし、スイッチ回路もOFFすることとなる。これにより、トランジスタPTR44のコレクタ端子に印加される電圧が配線(ハーネス)を介して主制御基板1310の主制御入力回路1310bのプルアップ抵抗MR2により+12V側に引き上げられて論理がHIとなったRAMクリア信号が主制御基板1310に入力される。主制御基板1310の主制御MPU1310aは、電源投入時から予め定めた期間内に論理がHIであるRAMクリア信号が入力されているときには、上述したように、図77に示した、この論理がHIであるRAMクリア信号がトランジスタMTR0のベース端子に入力されることでトランジスタMTR0がONし、スイッチ回路もONすることとなる。これにより、トランジスタMTR0のコレクタ端子に印加される電圧がグランド(GND)側に引き下げられて論理がLOWとなったRAMクリア信号が主制御MPU1310aの入力ポートPAの入力端子PA0に入力される。主制御MPU1310aは、入力端子PA0に入力されるRAMクリア信号の論理がLOWであるときには主制御内蔵RAMに記憶される情報を消去するRAMクリアを行うことを指示するものであると判断する。
[10-2-4.払出モータ駆動回路]
次に、図5に示した払出装置830の払出モータ834に駆動信号を出力するための払出モータ駆動回路952dについて説明する。払出モータ駆動回路952dは、図83に示すように、電圧切替回路952da、ドライブICPIC60を主として構成されている。電圧切替回路952daの電源入力端子1,2は、+12V電源ライン及び+5V電源ラインとそれぞれ電気的に接続されて+12及び+5Vがそれぞれ印加され、電圧切替回路952daの接地端子は、グランド(GND)と接地されている。電圧切替回路952daの電源切替入力端子は、電圧切替信号が入力される。この電圧切替信号は、払出制御MPU952aの所定の出力ポートの出力端子からリセット機能付き払出制御出力回路952caに出力され、リセット機能付き払出制御出力回路952caから電圧切替回路952daの電源切替入力端子に出力されるようになっている。電圧切替回路952daの電源出力端子は、ツェナーダイオードPZD60を介して、ドライブICPIC60のカソード端子である3番端子及び10番端子とそれぞれ電気的に接続されるとともに、払出モータ834の電源端子と電気的に接続され、電圧切替回路952daの電圧切替入端子に入力される電圧切替信号に基づいて、+12V又は+5Vを、モータ駆動電圧として、ツェナーダイオードPZD60を介して、ドライブICPIC60のカソード端子である3番端子及び10番端子にそれぞれ供給するとともに、払出モータ834に供給する。
ドライブICPIC60は、4つのダーリントンパワートランジスタを備えており、本実施形態では、ドライブICPIC60のエミッタ端子である6番端子及び7番端子は、それぞれグランド(GND)と接地され、ドライブICPIC60のベース端子である1番端子、5番端子、8番端子、そして12番端子は、払出モータ駆動信号が抵抗PR60~PR63を介してそれぞれ入力される。ドライブICPIC60のコレクタ端子である2番端子、4番端子、9番端子、そして11番端子は、ドライブICPIC60のベース端子である1番端子、5番端子、8番端子、そして12番端子とそれぞれ対応しており、ドライブICPIC60のベース端子である1番端子、5番端子、8番端子、そして12番端子に払出モータ駆動信号が抵抗PR60~PR63を介してそれぞれ入力されると、励磁信号である駆動パルスを払出モータ834と対応する各相(/B相、B相、A相、/A相)にそれぞれ出力する。この払出モータ駆動信号は、払出制御MPU952aの所定の出力ポートの出力端子からリセット機能付き払出制御出力回路952caに出力され、リセット機能付き払出制御出力回路952caから抵抗PR60~PR63を介してドライブICPIC60のベース端子である1番端子、5番端子、8番端子、そして12番端子にそれぞれ出力されるようになっている。これらの駆動パルスは、払出モータ834の各相(/B相、B相、A相、/A相)に流す励磁電流のスイッチングにより行われ、払出モータ834を回転させる。なお、このスイッチングにより各相(/B相、B相、A相、/A相)の駆動パルス(励磁信号)を遮断したときには逆起電力が発生する。この逆起電力がドライブICPIC60の耐圧を超えると、ドライブICPIC60が破損するため、保護として、ドライブICPIC60のカソード端子である3番端子及び10番端子の前段に上述したツェナーダイオードPZD0を電気的に接続する回路構成を採用した。
[10-2-5.CRユニット入出力回路]
次に、図71に示したCRユニット6との各種信号を入出力するためのCRユニット入出力回路952eについて説明する。払出制御基板951は、CRユニット6から、上述したように、遊技球等貸出装置接続端子板869を介して、貸球要求信号であるBRDYと、1回の払出動作開始要求信号であるBRQと、が入力され、また図71に示した電源基板931から供給されるAC24Vから作成した、所定電圧VL(+12V)及びグランドLGが供給される一方、払出制御基板951から、遊技球等貸出装置接続端子板869を介して、1回の払出動作を開始した旨又は終了した旨を伝えるEXS信号と、貸球を払い出すための払出動作が可能である旨又は不可能である旨を伝えるPRDY信号と、を出力する。これらの各種信号等を入出力する入出力回路は、図84に示すように、フォトカプラPIC70~PIC74(赤外LEDとフォトトランジスタとが内蔵されている。)を主として構成されている。
CRユニット6からの所定電圧VLは、抵抗PR70を介して、フォトカプラPIC70のアノード端子に印加されている。フォトカプラPIC70のカソード端子は、CRユニット6からのグランドLGと電気的に接続されている。抵抗PR60は、フォトカプラPIC70の内蔵赤外LEDに流れる電流を制限するための制限抵抗である。フォトカプラPIC70のアノード端子にCRユニット6からの所定電圧VLが印加されているときには、フォトカプラPIC70がONする一方、フォトカプラPIC70のアノード端子にCRユニット6からの所定電圧VLが印加されていないときには、フォトカプラPIC70がOFFするようになっている。フォトカプラPIC70のエミッタ端子は、グランド(GND)と接地され、フォトカプラPIC70のコレクタ端子は、抵抗PR71を介してトランジスタPTR70のベース端子と電気的に接続されるほかに、抵抗PR72を介してトランジスタPTR71のベース端子と電気的に接続されている。フォトカプラPIC70のコレクタ端子は、抵抗PR71と電気的に接続されるほかに、一端が+5V電源ラインと電気的に接続されるプルアップ抵抗PR73の他端と電気的に接続されている。
トランジスタPTR70のベース端子は、抵抗PR71と電気的に接続されるほかに、一端がグランド(GND)と接地される抵抗PR74の他端と電気的に接続されている。トランジスタPTR70のエミッタ端子は、グランド(GND)に接地され、トランジスタPTR70のコレクタ端子は、一端が+5V電源ラインと電気的に接続される抵抗PR75の他端と電気的に接続されるとともに非反転バッファICPIC80(非反転バッファICPIC80は、8つの非反転バッファ回路を備えており、その1つ(PIC80A)に入力された信号波形の論理を反転させることなく整形して出力する。)を介して図80に示した払出制御MPU952aの所定の入力ポートの入力端子と電気的に接続されている。トランジスタPTR70がON/OFFすることによりトランジスタPTR70のコレクタ端子から出力される信号の論理が変化し、その信号がCR接続信号1として払出制御MPU952aの所定の入力ポートの入力端子に入力される。
一方、トランジスタPTR71のベース端子は、抵抗PR72と電気的に接続されるほかに、一端がグランド(GND)と接地される抵抗PR76の他端と電気的に接続されている。トランジスタPTR71のエミッタ端子は、グランド(GND)に接地され、トランジスタPTR71のコレクタ端子は、配線(ハーネス)を介して電源基板931と電気的に接続されている。なお、トランジスタPTR71のコレクタ端子は、配線(ハーネス)を介して電源基板931と電気的に接続されると、電源基板931において、一端が+12V電源ラインと電気的に接続される図示しないプルアップ抵抗の他端と電気的に接続される。トランジスタPTR71がON/OFFすることによりトランジスタPTR71のコレクタ端子から出力される信号の論理が変化し、その信号がCR接続信号として電源基板931に入力される。
抵抗PR71,PR74、及びトランジスタPTR70から構成される回路は、フォトカプラPIC70のON/OFFによりON/OFFするスイッチ回路である。
CRユニット6からの所定電圧VLがフォトカプラPIC70のアノード端子に印加されていないときには、フォトカプラPIC70がOFFし、プルアップ抵抗PR73により+5V側に引き上げられることでトランジスタPTR70がONし、スイッチ回路もONすることとなる。これにより、トランジスタPTR70のコレクタ端子に印加される電圧がグランド(GND)側に引き下げられて論理がLOWとなったCR接続信号1が払出制御MPU952aの所定の入力ポートの入力端子に入力される。
一方、CRユニット6からの所定電圧VLがフォトカプラPIC70のアノード端子に印加されているときには、フォトカプラPIC70がONし、トランジスタPTR70のベース端子に印加される電圧がグランド(GND)側に引き下げられることでトランジスタPTR70がOFFし、スイッチ回路もOFFすることとなる。これにより、トランジスタPTR70のコレクタ端子に印加される電圧がプルアップ抵抗PTR75により+5V側に引き上げられて論理がHIとなったCR接続信号1が払出制御MPU952aの所定の入力ポートの入力端子に入力される。
抵抗PR72,PR76、及びトランジスタPTR71から構成される回路も、フォトカプラPIC70のON/OFFによりON/OFFするスイッチ回路である。
CRユニット6からの所定電圧VLがフォトカプラPIC70のアノード端子に印加されていないときには、フォトカプラPIC70がOFFし、プルアップ抵抗PR73により+5V側に引き上げられることでトランジスタPTR71がONし、スイッチ回路もONすることとなる。これにより、トランジスタPTR71のコレクタ端子に印加される電圧が配線(ハーネス)を介して電源基板931においてグランド(GND)側に引き下げられて論理がLOWとなったCR接続信号が電源基板931に入力される。
一方、CRユニット6からの所定電圧VLがフォトカプラPIC70のアノード端子に印加されているときには、フォトカプラPIC70がONし、トランジスタPTR71のベース端子に印加される電圧がグランド(GND)側に引き下げられることでトランジスタPTR71がOFFし、スイッチ回路もOFFすることとなる。これにより、トランジスタPTR71のコレクタ端子に印加される電圧が配線(ハーネス)を介して電源基板931のプルアップ抵抗により+12V側に引き上げられて論理がHIとなったCR接続信号が電源基板931に入力される。
CRユニット6からの所定電圧VLは、フォトカプラPIC70のアノード端子のほかに、抵抗PR77を介して、フォトカプラPIC71のアノード端子にも印加されている。フォトカプラPIC71のカソード端子は、CRユニット6からのBRDYが入力されている。抵抗PR77は、フォトカプラPIC71の内蔵赤外LEDに流がれる電流を制限するための制限抵抗である。フォトカプラPIC71のアノード端子にCRユニット6からの所定電圧VLが印加されているときであって、CRユニット6からのBRDYの論理がLOWとなっているときには、フォトカプラPIC71がONする一方、フォトカプラPIC71のアノード端子にCRユニット6からの所定電圧VLが印加されているときであって、CRユニット6からのBRDYの論理がHIとなっているときには、フォトカプラPIC71がOFFするようになっている。フォトカプラPIC71のエミッタ端子は、グランド(GND)と接地され、フォトカプラPIC71のコレクタ端子は、一端が+5V電源ラインと電気的に接続されるプルアップ抵抗PR78の他端と電気的に接続されるとともに非反転バッファICPIC80(非反転バッファICPIC80は、8つの非反転バッファ回路を備えており、その1つ(PIC80B)に入力された信号波形の論理を反転させることなく整形して出力する。)を介して払出制御MPU952aの所定の入力ポートの入力端子と電気的に接続されている。フォトカプラPIC71がON/OFFすることによりフォトカプラPIC71のコレクタ端子から出力される信号の論理が変化し、その信号がBRDY信号として払出制御MPU952aの所定の入力ポートの入力端子に入力される。
フォトカプラPIC71のアノード端子にCRユニット6からの所定電圧VLが印加されているときであって、CRユニット6からのBRDYの論理がLOWとなっているときには、フォトカプラPIC71がONするため、フォトカプラPIC71のコレクタ端子に印加される電圧がグランド(GND)側に引き下げられて論理がLOWとなったBRDY信号が払出制御MPU952aの所定の入力ポートの入力端子に入力される。一方、フォトカプラPIC71のアノード端子にCRユニット6からの所定電圧VLが印加されているときであって、CRユニット6からのBRDYの論理がHIとなっているときには、フォトカプラPIC71がOFFするため、フォトカプラPIC71のコレクタ端子に印加される電圧がプルアップ抵抗PR78により+5V側に引き上げられて論理がHIとなったBRDY信号が払出制御MPU952aの所定の入力ポートの入力端子に入力される。このように、フォトカプラPIC71のコレクタ端子から出力されるBRDY信号の論理は、CRユニット6からのBRDYの論理と同一の論理となっている。
CRユニット6からの所定電圧VLは、フォトカプラPIC70のアノード端子、及びフォトカプラPIC71のアノード端子のほかに、抵抗PR79を介して、フォトカプラPIC72のアノード端子にも印加されている。フォトカプラPIC72のカソード端子は、CRユニット6からのBRQが入力されている。抵抗PR79は、フォトカプラPIC72の内蔵赤外LEDに流がれる電流を制限するための制限抵抗である。フォトカプラPIC72のアノード端子にCRユニット6からの所定電圧VLが印加されているときであって、CRユニット6からのBRQの論理がLOWとなっているときには、フォトカプラPIC72がONする一方、フォトカプラPIC72のアノード端子にCRユニット6からの所定電圧VLが印加されているときであって、CRユニット6からのBRQの論理がHIとなっているときには、フォトカプラPIC72がOFFするようになっている。フォトカプラPIC72のエミッタ端子は、グランド(GND)と接地され、フォトカプラPIC72のコレクタ端子は、一端が+5V電源ラインと電気的に接続されるプルアップ抵抗PR80の他端と電気的に接続されるとともに非反転バッファICPIC80(非反転バッファICPIC80は、8つの非反転バッファ回路を備えており、その1つ(PIC80C)に入力された信号波形の論理を反転させることなく整形して出力する。)を介して払出制御MPU952aの所定の入力ポートの入力端子と電気的に接続されている。フォトカプラPIC72がON/OFFすることによりフォトカプラPIC72のコレクタ端子から出力される信号の論理が変化し、その信号がBRQ信号として払出制御MPU952aの所定の入力ポートの入力端子に入力される。
フォトカプラPIC72のアノード端子にCRユニット6からの所定電圧VLが印加されているときであって、CRユニット6からのBRQの論理がLOWとなっているときには、フォトカプラPIC72がONするため、フォトカプラPIC72のコレクタ端子に印加される電圧がグランド(GND)側に引き下げられて論理がLOWとなったBRQ信号が払出制御MPU952aの所定の入力ポートの入力端子に入力される。一方、フォトカプラPIC72のアノード端子にCRユニット6からの所定電圧VLが印加されているときであって、CRユニット6からのBRQの論理がHIとなっているときには、フォトカプラPIC72がOFFするため、フォトカプラPIC72のコレクタ端子に印加される電圧がプルアップ抵抗PR80により+5V側に引き上げられて論理がHIとなったBRQ信号が払出制御MPU952aの所定の入力ポートの入力端子に入力される。このように、フォトカプラPIC72のコレクタ端子から出力されるBRQ信号の論理は、CRユニット6からのBRQの論理と同一の論理となっている。
払出制御MPU952aの所定の出力ポートの出力端子から1回の払出動作を開始した旨又は終了した旨を伝えるEXS信号は、リセット機能なし払出制御出力回路952cbに出力され、リセット機能なし払出制御出力回路952cbから抵抗PR81を介してフォトカプラPIC73のカソード端子に入力されている。フォトカプラPIC73のアノード端子は、一端が+12V電源ラインと電気的に接続される抵抗PR82の他端と電気的に接続されている。抵抗PR82は、フォトカプラPIC73の内蔵赤外LEDに流がれる電流を制限するための制限抵抗である。フォトカプラPIC73のアノード端子に抵抗PR82を介して+12Vが印加されているときであって、払出制御MPU952aの所定の出力ポートの出力端子からリセット機能なし払出制御出力回路952cbを介して出力されるEXS信号の論理がLOWとなっているときには、フォトカプラPIC73がONする一方、フォトカプラPIC73のアノード端子に抵抗PR82を介して+12Vが印加されているときであって、払出制御MPU952aの所定の出力ポートの出力端子からリセット機能なし払出制御出力回路952cbを介して出力されるEXS信号の論理がHIとなっているときには、フォトカプラPIC73がOFFするようになっている。フォトカプラPIC73のエミッタ端子は、CRユニット6からのグランドLGと接地され、フォトカプラPIC73のコレクタ端子は、プルアップ抵抗PR83により、遊技球等貸出装置接続端子板869を介して、CRユニット6内において所定電圧VLに引き上げられてその内蔵制御装置と電気的に接続されている。フォトカプラPIC73がON/OFFすることによりフォトカプラPIC73のコレクタ端子から出力される信号の論理が変化し、その信号がEXSとしてCRユニット6の内蔵制御装置に入力される。
フォトカプラPIC73のアノード端子に抵抗PR82を介して+12Vが印加されているときであって、払出制御MPU952aの所定の出力ポートの出力端子からリセット機能なし払出制御出力回路952cbを介して出力されるEXS信号の論理がLOWとなっているときには、フォトカプラPIC73がONするため、フォトカプラPIC73のコレクタ端子に印加される電圧がグランド(GND)側に引き下げられて論理がLOWとなったEXSがCRユニット6の内蔵制御装置に入力される。一方、フォトカプラPIC73のアノード端子に抵抗PR82を介して+12Vが印加されているときであって、払出制御MPU952aの所定の出力ポートの出力端子からリセット機能なし払出制御出力回路952cbを介して出力されるEXS信号の論理がHIとなっているときには、フォトカプラPIC73がOFFするため、フォトカプラPIC73のコレクタ端子に印加される電圧がプルアップ抵抗PR83により所定電圧VLに引き上げられて論理がHIとなったEXSがCRユニット6の内蔵制御装置に入力される。このように、フォトカプラPIC73のコレクタ端子から出力されるEXSの論理は、払出制御MPU952aの所定の出力ポートの出力端子からリセット機能なし払出制御出力回路952cbを介して出力されるEXS信号の論理と同一の論理となっている。
払出制御MPU952aの所定の出力ポートの出力端子から貸球を払い出すための払出動作が可能である旨又は不可能である旨を伝えるPRDY信号は、抵抗PR84を介して、フォトカプラPIC74のカソード端子に入力されている。フォトカプラPIC74のアノード端子は、一端が+12V電源ラインと電気的に接続される抵抗PR85の他端と電気的に接続されている。抵抗PR85は、フォトカプラPIC74の内蔵赤外LEDに流がれる電流を制限するための制限抵抗である。フォトカプラPIC74のアノード端子に抵抗PR85を介して+12Vが印加されているときであって、払出制御MPU952aの所定の出力ポートの出力端子からリセット機能なし払出制御出力回路952cbを介して出力されるPRDY信号の論理がLOWとなっているときには、フォトカプラPIC74がONする一方、フォトカプラPIC74のアノード端子に抵抗PR85を介して+12Vが印加されているときであって、払出制御MPU952aの所定の出力ポートの出力端子からリセット機能なし払出制御出力回路952cbを介して出力されるPRDY信号の論理がHIとなっているときには、フォトカプラPIC74がOFFするようになっている。フォトカプラPIC74のエミッタ端子は、CRユニット6からのグランドLGと接地され、フォトカプラPIC74のコレクタ端子は、プルアップ抵抗PR86により、遊技球等貸出装置接続端子板869を介して、CRユニット6内において所定電圧VLに引き上げられてその内蔵制御装置と電気的に接続されている。フォトカプラPIC74がON/OFFすることによりフォトカプラPIC74のコレクタ端子から出力される信号の論理が変化し、その信号がPRDYとしてCRユニット6の内蔵制御装置に入力される。
フォトカプラPIC74のアノード端子に抵抗PR85を介して+12Vが印加されているときであって、払出制御MPU952aの所定の出力ポートの出力端子からリセット機能なし払出制御出力回路952cbを介して出力されるPRDY信号の論理がLOWとなっているときには、フォトカプラPIC74がONするため、フォトカプラPIC74のコレクタ端子に印加される電圧がグランド(GND)側に引き下げられて論理がLOWとなったPRDYがCRユニット6の内蔵制御装置に入力される。一方、フォトカプラPIC74のアノード端子に抵抗PR85を介して+12Vが印加されているときであって、払出制御MPU952aの所定の出力ポートの出力端子からリセット機能なし払出制御出力回路952cbを介して出力されるPRDY信号の論理がHIとなっているときには、フォトカプラPIC74がOFFするため、フォトカプラPIC74のコレクタ端子に印加される電圧がプルアップ抵抗PR86により所定電圧VLに引き上げられて論理がHIとなったPRDYがCRユニット6の内蔵制御装置に入力される。このように、フォトカプラPIC74のコレクタ端子から出力されるPRDYの論理は、払出制御MPU952aの所定の出力ポートの出力端子からリセット機能なし払出制御出力回路952cbを介して出力されるPRDY信号の論理と同一の論理となっている。
[10-2-6.払出制御MPUへの各種入出力信号]
次に、払出制御MPU952aの各種入出力ポートの入出力端子から入出力される各種入出力信号について説明する。
払出制御MPU952aのシリアル入力ポートのシリアルデータ入力端子であるRXD端子は、図80に示すように、主制御基板1310からのシリアルデータが払出制御入力回路952bを介して主払シリアルデータ受信信号として受信される。一方、払出制御MPU952aのシリアル出力ポートのシリアルデータ出力端子であるTXD端子からは、主制御基板1310に送信するシリアルデータを払主シリアルデータ送信信号としてリセット機能なし払出制御出力回路952cbに送信してリセット機能なし払出制御出力回路952cbから主制御基板1310に払主シリアルデータ送信信号を送信する。
払出制御MPU952aの所定の入力ポートの各入力端子には、上述した、RWMCLR信号、払出停電予告信号、扉開放信号、満タン信号、CRユニット6からの各種信号(BRQ信号、BRDY信号、CR接続信号1等)等がそれぞれ入力されるほかに、例えば、上述した払主シリアルデータ受信信号の正常受信完了の旨を伝える主制御基板1310からの主払ACK信号が払出制御入力回路952bを介して入力されたり、図70に示した、球切れ検知センサ827、払出検知センサ842、回転検知センサ840等からの検出信号が払出制御入力回路952bを介してそれぞれ入力されたり等する。
一方、払出制御MPU952aの所定の出力ポートの各出力端子からは、上述したEXS信号及びPRDY信号をリセット機能なし払出制御出力回路952cbにそれぞれ出力してリセット機能なし払出制御出力回路952cbからEXS信号及びPRDY信号をCRユニット入出力回路952eに出力したり、上述した電圧切替信号をリセット機能付き払出制御出力回路952caに出力してリセット機能付き払出制御出力回路952caから電圧切替信号を電圧切替回路952daに出力したり、払出モータ駆動信号をリセット機能付き払出制御出力回路952caに出力してリセット機能付き払出制御出力回路952caから払出モータ駆動信号を払出モータ駆動回路952dを介して払出モータ834に出力したりするほかに、例えば、上述した主払シリアルデータ受信信号の正常受信完了の旨を伝える払主ACK信号をリセット機能付き払出制御出力回路952caに出力してリセット機能付き払出制御出力回路952caから払主ACK信号を主制御基板1310に出力したり、図70に示したエラーLED表示器860bの駆動信号をリセット機能付き払出制御出力回路952caに出力してリセット機能付き払出制御出力回路952caから駆動信号をエラーLED表示器860bに出力したり等する。
[10-3.主制御基板との各種入出力信号及び外部端子板への各種出力信号]
次に、払出制御基板951と主制御基板1310との各種入出力信号と、払出制御基板951から外部端子板784への各種出力信号について、図85を参照して説明する。
[10-3-1.主制御基板との各種入出力信号]
払出制御基板951は、主制御基板1310と各種入出力信号のやり取りを行う。具体的には、図85(a)に示すように、払出制御基板951は、上述した、払主シリアルデータ送信信号、払主ACK信号、操作信号(RAMクリア信号)、主枠扉開放信号等を、主制御基板1310に出力する。これらの出力される信号は、主制御基板1310の主制御入力回路1310bのプルアップ抵抗により+12V側に引き上げられている。
一方、払出制御基板951は、上述した、主払シリアルデータ受信信号、主払ACK信号、及び操作信号(RAMクリア信号)のほかに、メイン賞球数情報出力信号、15ラウンド大当り情報出力信号、及び2ラウンド大当り情報出力信号等の大当り情報出力信号、確率変動中情報出力信号、特別図柄表示情報出力信号、普通図柄表示情報出力信号、時短中情報出力信号、始動口入賞情報出力信号等の遊技に関する遊技情報信号や払出停電予告信号等が主制御基板1310から入力される。これらの入力される信号は、払出制御基板951の払出制御部952の払出制御入力回路952bのプルアップ抵抗により+12V側に引き上げられている。
[10-3-2.外部端子板への各種出力信号]
払出制御基板951は、外部端子板784に各種信号を出力する。具体的には、図85(b)に示すように、上述した外端枠扉開放情報出力信号のほかに、払出モータ834が賞球として実際に払い出した遊技球の球数が10球に達するごとに出力される賞球数情報出力信号、主制御基板1310から払出制御基板951を介して、メイン賞球数情報出力信号、15ラウンド大当り情報出力信号と2ラウンド大当り情報出力信号との大当り情報出力信号、確率変動中情報出力信号、特別図柄表示情報出力信号、普通図柄表示情報出力信号、時短中情報出力信号、及び始動口入賞情報出力信号等の遊技情報信号を、外部端子板784に出力する。これらの出力される信号は、外部端子板784のプルアップ抵抗により+12V側に引き上げられている。つまり外部端子板784には、払出制御基板951側からの外端枠扉開放情報出力信号、及び賞球数情報出力信号という2つの信号が出力され、主制御基板1310側からのメイン賞球数情報出力信号、15ラウンド大当り情報出力信号、2ラウンド大当り情報出力信号、確率変動中情報出力信号、特別図柄表示情報出力信号、普通図柄表示情報出力信号、時短中情報出力信号、及び始動口入賞情報出力信号という8つの信号が払出制御基板951を介して(通過して)出力されるようになっている。
外部端子板784から出力される信号は、図示しない遊技場(ホール)に設置されたホールコンピュータに伝わるようになっており、ホールコンピュータは、遊技者の遊技等を監視している。なお、15ラウンド大当り情報出力信号又は2ラウンド大当り情報出力信号を1つの大当り情報出力信号としてホールコンピュータに出力する場合には、ホールコンピュータは、ラウンドが2回となった大当りの回数(2ラウンド大当りの発生回数)と、ラウンドが15回となった大当りの回数(15ラウンド大当りの発生回数)と、が合算されたものがパチンコ機1の大当りの回数となる。このため、ホールコンピュータは、その合算された大当り回数から、2ラウンド大当りの発生回数や15ランド大当りの発生回数を把握することができないので、実際にパチンコ機1で発生した大当り回数が多いのが、2ラウンド大当りであるのか、それとも15ラウンド大当りであるのかを、把握することができない。またパチンコ機1の上方に図示しないデータカウンタが配置されており、遊技者の中には、このデータカウンタに表示された大当り遊技状態の発生回数等を参考にして遊技を行うか否かを選択する者もいる。
ところが、データカウンタに表示された大当り遊技状態の発生回数は、実際には2ラウンド大当りの発生回数に偏っている場合もあるので、遊技者が遊技を開始しても、2ラウンド大当りばかり発生して15ラウンド大当りがなかなか発生しないこともある。このように、データカウンタに表示された大当り遊技状態の発生回数は、遊技者に期待感を与えることはできるものの、必要以上に遊技者の射幸心をあおりかねない。
そこで、本実施形態では、大当り情報出力信号として、15ラウンド大当り情報出力信号と2ラウンド大当り情報出力信号とを別々にホールコンピュータに出力することにより、ホールコンピュータは、2ラウンド大当りの発生回数と、15ラウンド大当り発生回数と、を正確に把握することができるようになっている。したがって、ホールコンピュータは、実際にパチンコ機1で発生した大当り回数の多いのが、2ラウンド大当りであるのか、それとも15ラウンド大当りであるのかを、把握することができるし、データカウンタには15ラウンド大当りの発生回数と2ラウンド大当りの発生回数とを別々に又は15ラウンド大当りの発生回数のみを大当り遊技状態の発生回数として表示することができるので、必要以上に遊技者の射幸心をあおることもない。
なお、本実施形態では、2ラウンド大当り情報出力信号は2ラウンド大当りが発生して終了するまでの期間においてホールコンピュータに出力された状態となっており、15ラウンド大当り情報出力信号も15ラウンド大当りが発生して終了するまでの期間においてホールコンピュータに出力された状態となっている。本実施形態のように、2ラウンド大当り情報出力信号及び15ラウンド大当り情報出力信号をホールコンピュータに出力する方法のほかに、例えば、2ラウンド大当りが発生すると、2ラウンド大当り情報出力信号が所定期間だけホールコンピュータに出力される状態とし、15ラウンド大当りが発生すると、15ラウンド大当り情報出力信号が所定期間だけホールコンピュータに出力される状態とする、このような2ラウンド大当り情報出力信号及び15ラウンド大当り情報出力信号を同一の所定期間だけホールコンピュータに出力する方法も挙げることができる。
[11.外部端子板の出力端子の配列]
次に、遊技場(ホール)に設置されたホールコンピュータへ各種信号を出力する外部端子板784の出力端子の配列について、図86を参照して説明する。外部端子板784は、、本体枠ベース600の後面に取り付けられる賞球ベースの後面に取り付けられるとともに、その後側が外部端子板カバー786により覆われている。図86は外部端子板の出力端子の配列を示す図である。
外部端子板784は、上述したように、外端枠扉開放情報出力信号、賞球数情報出力信号、メイン賞球数情報出力信号、15ラウンド大当り情報出力信号と2ラウンド大当り情報出力信号との大当り情報出力信号、確率変動中情報出力信号、特別図柄表示情報出力信号、普通図柄表示情報出力信号、時短中情報出力信号、及び始動口入賞情報出力信号を払出制御基板951から入力されると、パチンコ機1の外部へ出力するものである。
これらの各種信号について、簡単に説明すると、外端枠扉開放情報出力信号は、図1に示した扉枠3及び/又は本体枠4が開放されているという遊技者が通常遊技中に生じない状態が発生していることを伝える信号であり、賞球数情報出力信号は、図5に示した払出モータ834が賞球として実際に払い出した遊技球の球数が10球に達するごとにその旨を伝える信号であり、メイン賞球数情報出力信号は、図8に示した第一始動口2002、第二始動口2004、一般入賞口2001,2201、及び大入賞口2005等の各種入賞口に入球した遊技球に基づいて賞球として払い出す予定の遊技球の球数が10球に達するごとにその旨を伝える信号であり、15ラウンド大当り情報出力信号は、15ラウンド大当りが発生している状態である旨を伝える信号であり、2ラウンド大当り情報出力信号は、2ラウンド大当りが発生している状態である旨を伝える信号であり、確率変動中情報出力信号は、確率変動が発生している状態である旨を伝える信号であり、特別図柄表示情報出力信号は、図10に示した機能表示ユニット1400の第一特別図柄表示器1403や第二特別図柄表示器1405で特別図柄の変動表示を終了(停止)した状態である旨を伝える信号であり、普通図柄表示情報出力信号は、図10に示した機能表示ユニット1400の普通図柄表示器1402で普通図柄の変動表示を終了(停止)した状態である旨を伝える信号であり、時短中情報出力信号は、時短状態が発生している旨を伝える信号であり、始動口入賞情報出力信号は、図8に示した第一始動口2002又は第二始動口2004に遊技球が入球するごとにその旨を伝える信号である。
外部端子板784には、図86に示すように、出力端子PT1~PT10が一列に水平に並んで配置されている。出力端子PT1は、白色に施されて賞球数情報出力信号が出力されるものである。賞球数情報出力信号は、上述したように、図5に示した払出モータ834が賞球として実際に払い出した遊技球の球数が10球に達するごとにその旨を伝える信号であり、本実施形態では、出力端子PT1から0.105秒間、出力されるようになっている。外部端子板784からの賞球数情報出力信号がホールコンピュータへ入力されると、ホールコンピュータは、賞球数情報出力信号が入力されるごとに、パチンコ機1の払出モータ834が賞球として10球の遊技球を賞球として払い出したことを把握することができるとともに、その払い出した遊技球の球数をカウントしてパチンコ機1が払い出した遊技球の総球数を把握することができる。
出力端子PT2は、緑色に施されて外端枠扉開放情報出力信号が出力されるものである。外端枠扉開放情報出力信号は、上述したように、図1に示した扉枠3及び/又は本体枠4が開放されているという遊技者が通常遊技中に生じない状態が発生していることを伝える信号であり、本実施形態では、出力端子PT2から扉枠3及び/又は本体枠4が開放されている間、出力されるようになっている。外部端子板784からの外端枠扉開放情報出力信号がホールコンピュータへ入力されると、ホールコンピュータは、外端枠扉開放情報出力信号が入力されている間、パチンコ機1の扉枠3及び/又は本体枠4が開放されていることを把握することができる。
出力端子PT3は、灰色に施されて特別図柄表示情報出力信号が出力されるものである。特別図柄表示情報出力信号は、上述したように、図10に示した機能表示ユニット1400の第一特別図柄表示器1403や第二特別図柄表示器1405で特別図柄の変動表示を終了(停止)した状態である旨を伝える信号であり、本実施形態では、出力端子PT3から機能表示ユニット1400の第一特別図柄表示器1403や第二特別図柄表示器1405における特別図柄の変動表示の終了(停止)時に0.128秒間、出力されるようになっている。外部端子板784からの特別図柄表示情報出力信号がホールコンピュータへ入力されると、ホールコンピュータは、特別図柄表示情報出力信号が入力されると、パチンコ機1の機能表示ユニット1400の第一特別図柄表示器1403や第二特別図柄表示器1405において特別図柄の変動表示が終了(停止)したことを把握することができるとともに、その回数をカウントしてパチンコ機1の機能表示ユニット1400の第一特別図柄表示器1403や第二特別図柄表示器1405において特別図柄を変動表示した総回数を把握することができる。
出力端子PT4は、黄色に施されて始動口入賞情報出力信号が出力されるものである。始動口入賞情報出力信号は、上述したように、図8に示した第一始動口2002又は第二始動口2004に遊技球が入球するごとにその旨を伝える信号であり、本実施形態では、出力端子PT4から第一始動口2002又は第二始動口2004に遊技球が入球するごとに0.128秒間、出力されるようになっている。外部端子板784からの始動口入賞情報出力信号がホールコンピュータへ入力されると、ホールコンピュータは、始動口入賞情報出力信号が入力されるごとに、パチンコ機1の第一始動口2002又は第二始動口2004に遊技球が入球したことを把握することができるとともに、始動口入賞情報出力信号が入力された回数をカウントしてパチンコ機1の第一始動口2002又は第二始動口2004に入球した遊技球の総球数を把握することができる。
出力端子PT5は、黒色に施されて15ラウンド大当り情報出力信号が出力されるものである。15ラウンド大当り情報出力信号は、上述したように、15ラウンド大当りが発生している状態である旨を伝える信号であり、本実施形態では、出力端子PT5から15ラウンド大当りが発生している間、出力されるようになっている。外部端子板784からの15ラウンド大当り情報出力信号がホールコンピュータへ入力されると、ホールコンピュータは、15ラウンド大当り情報出力信号が入力されている間、パチンコ機1に15ラウンド大当りが発生している状態であることを把握することができるとともに、15ラウンド大当り情報出力信号が入力された回数をカウントしてパチンコ機1に15ラウンド大当りが発生した総回数を把握することができる。
出力端子PT6は、桃色に施されて2ラウンド大当り情報出力信号が出力されるものである。2ラウンド大当り情報出力信号は、上述したように、2ラウンド大当りが発生している状態である旨を伝える信号であり、本実施形態では、出力端子PT6から2ラウンド大当りが発生している間、出力されるようになっている。外部端子板784からの2ラウンド大当り情報出力信号がホールコンピュータへ入力されると、ホールコンピュータは、2ラウンド大当り情報出力信号が入力されている間、パチンコ機1に2ラウンド大当りが発生している状態であることを把握することができるとともに、2ラウンド大当り情報出力信号が入力された回数をカウントしてパチンコ機1に2ラウンド大当りが発生した総回数を把握することができる。
出力端子PT7は、青色に施されて普通図柄表示情報出力信号が出力されるものである。普通図柄表示情報出力信号は、上述したように、図10に示した機能表示ユニット1400の普通図柄表示器1402で普通図柄の変動表示を終了(停止)した状態である旨を伝える信号であり、本実施形態では、出力端子PT7から機能表示ユニット1400の普通図柄表示器1402における普通図柄の変動表示の終了(停止)時に0.128秒間、出力されるようになっている。外部端子板784からの普通図柄表示情報出力信号がホールコンピュータへ入力されると、ホールコンピュータは、普通図柄表示情報出力信号が入力されると、パチンコ機1の機能表示ユニット1400の普通図柄表示器1402において普通図柄の変動表示が終了(停止)したことを把握することができるとともに、その回数をカウントしてパチンコ機1の機能表示ユニット1400の普通図柄表示器1402において普通図柄を変動表示した総回数を把握することができる。
出力端子PT8は、赤色に施されて時短中情報出力信号が出力されるものである。時短中情報出力信号は、上述したように、時短状態が発生している旨を伝える信号であり、本実施形態では、出力端子PT8から時短状態が発生している間、出力されるようになっている。外部端子板784からの時短中情報出力信号がホールコンピュータへ入力されると、ホールコンピュータは、時短中情報出力信号が入力されると、パチンコ機1に時短状態が発生していることを把握することができるとともに、時短中情報出力信号が入力された回数をカウントしてパチンコ機1に時短状態が発生した総回数を把握することができる。
出力端子PT9は、橙色に施されて確率変動中情報出力信号が出力されるものである。確率変動中情報出力信号は、上述したように、確率変動が発生している状態である旨を伝える信号であり、本実施形態では、出力端子PT9から確率変動が発生している間、出力されるようになっている。外部端子板784からの確率変動中情報出力信号がホールコンピュータへ入力されると、ホールコンピュータは、確率変動中情報出力信号が入力されると、パチンコ機1に確率変動が発生している状態であることを把握することができるとともに、確率変動中情報出力信号が入力された回数をカウントしてパチンコ機1に確率変動が発生した総回数を把握することができる。
出力端子PT10は、水色に施されてメイン賞球数情報出力信号が出力されるものである。メイン賞球数情報出力信号は、上述したように、図8に示した第一始動口2002、第二始動口2004、一般入賞口2001,2201、及び大入賞口2005等の各種入賞口に入球した遊技球に基づいて賞球として払い出される予定の遊技球の球数が10球に達するごとにその旨を伝える信号であり、本実施形態では、出力端子PT10から0.128秒間、出力されるようになっている。外部端子板784からのメイン賞球数情報出力信号がホールコンピュータへ入力されると、ホールコンピュータは、メイン賞球数情報出力信号が入力されるごとに、パチンコ機1が賞球として10球の遊技球を賞球として払い出す予定であることを把握することができるとともに、その払い出す予定の遊技球の球数をカウントしてパチンコ機1が払い出す予定の遊技球の総球数を把握することができる。なお、例えば第一始動口2002、第二始動口2004、一般入賞口2001,2201、及び大入賞口2005等の各種入賞口に入球した遊技球に基づいて賞球として払い出す予定の遊技球の球数が20球以上に達してメイン賞球数情報出力信号を複数回出力するとき場合には、メイン賞球数情報出力信号が0.256(=0.128秒間×2回)秒間、1つの連続した信号とならにように、0.128秒間という間隔をあけて出力するようになっている。
外部端子板784の出力端子PT1~PT10のうち、出力端子PT1,PT2は、払出制御基板951側において出力される各種信号が出力されるのに対して、出力端子PT3~PT10は、主制御基板1310側において出力される各種信号が払出制御基板951を介して(通過して)出力されるように配置されている。出力端子PT1~PT10は、それぞれ色が施され、これらの色と同一色に施されたコネクタを有する配線を出力端子PT1~PT10にそれぞれ電気的に接続することにより、他の配線を誤って電気的に接続することを防止することができるようになっている。そして、払出制御基板951側において出力される各種信号と、主制御基板1310側において出力される各種信号と、を混在しないように、払出制御基板951側において出力される各種信号をホールコンピュータへ伝えるための出力端子PT1,PT2を外部端子板784の左側に一列に配置するとともに、主制御基板1310側において出力される各種信号をホールコンピュータへ伝えるための出力端子PT3~PT10を外部端子板784の中央左寄りから右側に向かって一列に配置することにより、この点においても、払出制御基板951側において出力される各種信号をホールコンピュータへ伝えるための配線と、主制御基板1310側において出力される各種信号をホールコンピュータへ伝えるための配線と、を誤って電気的に接続することを防止することができるようになっている。
なお、本実施形態では、払出制御基板951側において出力される賞球数情報出力信号と、主制御基板1310側において出力されるメイン賞球数情報出力信号と、がそれぞれ外部端子板784からホールコンピュータへ伝えるように構成されている。これは、例えば、パチンコ島設備に何らかのトラブルにより図1に示した賞球タンク720にパチンコ島設備側からの遊技球が供給されなくなっている状態において、賞球タンク720に貯留されている遊技球が残り少なくなった時点において、たまたまパチンコ機1に15ラウンド大当りが発生すると、遊技球を賞球として払い出すための賞球タンク720に貯留されている遊技球の球数が不足するため、払い出すことができなくなる(また、例えば払出装置830内において球詰まりや球がみが発生すると、これを解消することができないと、遊技球を払い出すことができない)。そうすると、払出制御基板951側において出力される賞球数情報出力信号は、上述したように、図5に示した払出モータ834が賞球として実際に払い出した遊技球の球数が10球に達するごとにその旨を伝える信号であるため、遊技球を払い出すことができなくなることにより払出制御基板951は賞球数情報出力信号を出力して外部端子板784を介してホールコンピュータへ伝えることができなくなる。遊技球が払い出されない状態となると、遊技者がホールの店員等を呼び出す。ホールの店員などは、例えば、パチンコ島設備から賞球タンク720へ遊技球を供給するためのホース状の補給ノズル等をチェックして球詰まりの位置を特定(また、例えば払出装置830内において発生した、球詰まりの位置や球がみの位置を特定)して解消することにより、遊技球が払い出される状態に復帰することとなる。
しかし、ホールの店員等が作業をすすめている状況であっても、主制御基板1310による遊技は進行しているため、15ラウンド大当り終了したのちに、ホールの店員等の作業により遊技球が払い出される状態に復帰すると、払出制御基板951は未払い出しの遊技球を次々と払い出すこととなり、15ラウンド大当り終了して15ラウンド大当りが発生していない時期であるにもかかわらず、払出制御基板951は、払出モータ834が賞球として実際に払い出した遊技球の球数が10球に達するごとにその旨を伝える賞球数情報出力信号を出力して外部端子板784を介してホールコンピュータへ伝えることとなる。そうすると、15ラウンド大当りが発生していない時期であるにもかかわらず、極めて多くの遊技球を払い出すこととなるため、パチンコ機1の遊技状態と、パチンコ機1が払い出した遊技球の球数と、の関係をホールコンピュータが正確に把握することができないという問題が生ずる。
そこで、本実施形態では、払出制御基板951により払出モータ834が駆動制御されて賞球として実際に払い出したか否かに関係なく、つまり払出制御基板951が出力する賞球数情報出力信号とは別の信号として、主制御基板1310は、図8に示した第一始動口2002、第二始動口2004、一般入賞口2001,2201、及び大入賞口2005等の各種入賞口に入球した遊技球に基づいて賞球として払い出す予定の遊技球の球数が10球に達するごとにその旨を伝える信号としてメイン賞球数情報出力信号を出力して払出制御基板951、そして外部端子板784を介して、ホールコンピュータへ伝えるという仕組みを採用した。これにより、仮に、上述したトラブル(補給ノズル等における球詰まり、払出装置830内における球詰まりや球がみ等のトラブル)が発生したとしても、パチンコ機1の遊技状態と、この遊技状態における払い出す予定の遊技球の球数と、の関係を正確にホールコンピュータへ伝えることができる。したがって、パチンコ機1の遊技状態と、遊技状態における払い出される遊技球の球数と、の関係をホールコンピュータが正確に把握することができる。
[12.演出表示駆動基板の回路]
次に、扉枠側演出表示装置460の表示領域の描画を行う演出表示駆動基板4450の回路について、図87を参照して説明する。演出表示駆動基板4450は、上述したように、扉枠3の皿ユニット320の右側に取り付けられている扉枠側演出表示装置460の下方近傍に配置されて皿ユニット320内に収納されており、扉枠側演出表示装置460の表示領域の描画を行う液晶モジュール回路450Vを主として構成されている。図87は上皿側液晶表示装置の表示領域の描画を行う液晶モジュール回路を示す回路図である。
[12-1.液晶モジュール回路]
演出表示駆動基板4450の液晶モジュール回路450Vは、図87に示すように、扉枠側演出用レシーバICSDIC0を主として構成されている。
液晶モジュール回路450Vは、図74に示した周辺制御基板1510の扉枠側演出用トランスミッタIC1512dからザインエレクトロニクス株式会社の「V-by-One(登録商標)」というディファレンシャル方式によるシリアル信号(シリアルデータ)がプラス信号とマイナス信号として送信されると、枠周辺中継端子板868、そして周辺扉中継端子板882を介して、コモンモードチョークコイルSDL0にそれぞれ入力され、このコモンモードチョークコイルSDL0によりプラス信号とマイナス信号とからノイズをそれぞれ分離することができるようになっている。ノイズが分離されたプラス信号とマイナス信号とは、扉枠側演出用レシーバICSDIC0のRXIN+端子とRXIN-端子とにそれぞれ入力されている。RXIN+端子とRXIN-端子との間には抵抗SDR0が電気的に接続されている。この抵抗SDR0は、終端抵抗(ターミネータ)であり、プラス信号とマイナス信号とがRXIN+端子とRXIN-端子とにおいてそれぞれ反射するのを防ぎ、シリアル信号の乱れを防止している。
扉枠側演出用レシーバICSDIC0は、RXIN+端子とRXIN-端子とにおいてそれぞれ入力されたシリアル信号(シリアルデータ)に基づいて、赤色映像信号、緑色映像信号、及び青色映像信号という3つの映像信号と、水平同期信号、垂直同期信号、及びクロック信号という3つの同期信号と、に復元する(つまり、シリアル化される前のパラレル信号に復元する)。なお、赤色映像信号、緑色映像信号、及び青色映像信号は、上述したように、音源内蔵VDP1512aのチャンネルCH2から出力される赤色映像信号、緑色映像信号、及び青色映像信号がそれぞれ8ビットであるものの、扉枠側演出用トランスミッタIC1512dに入力可能な赤色映像信号、緑色映像信号、及び青色映像信号がそれぞれ6ビット、計18ビットであるため、各映像信号における上位6ビットの信号となっている。
液晶モジュール回路450Vは、周辺制御基板1510の扉枠側演出用トランスミッタIC1512dからの信号のほかに、上述したように、周辺制御基板1510の周辺制御部1511の周辺制御MPU1511aから出力されるシリアルデータであるLOCKN信号出力要求データが周辺制御基板1510の差動化回路1512eにおいてプラス信号とマイナス信号とに差動化された2つの信号も入力されるようになっている。周辺制御基板1510の強制切替回路1512fは、上述したように、差動化回路1512eにおいてプラス信号とマイナス信号とに差動化された2つの信号が入力されているときには、この2つの信号を伝送するように回路接続する一方、差動化回路1512eにおいてプラス信号とマイナス信号とに差動化された2つの信号が入力されていないときには、扉枠側演出用トランスミッタIC1512dから出力される信号を伝送するように回路接続するように回路構成されている。これにより、差動化回路1512eにおいてプラス信号とマイナス信号とに差動化された2つの信号が入力されているときには、その2つの信号を伝送するように回路接続するため、その2つの信号が、周辺制御基板1510から枠周辺中継端子板868、周辺扉中継端子板882、そして扉枠3の皿ユニット320内に収納される演出表示駆動基板4450の液晶モジュール回路450Vに送信される一方、差動化回路1512eにおいてプラス信号とマイナス信号とに差動化された2つの信号が入力されていないときには、扉枠側演出用トランスミッタIC1512dから出力される信号を伝送するように回路接続するため、扉枠側演出用トランスミッタIC1512dから出力される信号が、周辺制御基板1510から枠周辺中継端子板868、周辺扉中継端子板882、そして扉枠3の皿ユニット320内に収納される演出表示駆動基板4450の液晶モジュール回路450Vに送信される。
強制切替回路1512fは、差動化回路1512eにおいてプラス信号とマイナス信号とに差動化された2つの信号が入力されていないときには、扉枠側演出用トランスミッタIC1512dから出力される信号、つまり扉枠側演出用トランスミッタIC1512dからザインエレクトロニクス株式会社の「V-by-One(登録商標)」というディファレンシャル方式によるシリアル信号(シリアルデータ)がプラス信号とマイナス信号として、周辺制御基板1510から枠周辺中継端子板868、そして周辺扉中継端子板882を介して、コモンモードチョークコイルSDL0に入力され、そして扉枠側演出用レシーバICSDIC0のRXIN+端子とRXIN-端子とにそれぞれ入力される一方、差動化回路1512eにおいてプラス信号とマイナス信号とに差動化された2つの信号が周辺制御基板1510から枠周辺中継端子板868、そして周辺扉中継端子板882を介して入力されているときには、この2つの信号がコモンモードチョークコイルSDL0に入力され、そして扉枠側演出用レシーバICSDIC0のRXIN+端子とRXIN-端子とにそれぞれ入力される。扉枠側演出用レシーバICSDIC0は、差動化回路1512eにおいてプラス信号とマイナス信号とに差動化された2つの信号が入力されているときには、LOCKN信号の出力要求であることを判断して、後述するLOCKN端子からLOCKN信号を周辺扉中継端子板882、そして枠周辺中継端子板868を介して、周辺制御基板1510に出力する。このLOCKN信号は、周辺制御基板1510の図示しない周辺制御入力回路を介して、周辺制御基板1510の周辺制御部1511の周辺制御MPU1511aに入力される。
なお、周辺制御基板1510の周辺制御部1511の周辺制御MPU1511aから出力されるシリアルデータであるLOCKN信号出力要求データは、上述したように、パチンコ機1の電源投入時における起動画面を遊技盤側演出表示装置1600に表示している期間や、客待ち状態となって遊技盤側演出表示装置1600によるデモンストレーションを行っている期間において、周辺制御基板1510に備える扉枠側演出用トランスミッタIC1512dと、演出表示駆動基板4450に備える扉枠側演出用レシーバICSDIC0と、の接続間、つまりトランスミッタとレシーバとの間の接続に不具合が発生しているか否かを確認するために、扉枠側演出表示装置460の動作確認要求として送信されるものである。本実施形態におけるLOCKN信号出力要求データは、差動化回路1512eにおいてプラス信号とマイナス信号とに差動化されるものの、扉枠側演出用トランスミッタIC1512dから出力される信号、つまり上述したザインエレクトロニクス株式会社の「V-by-One(登録商標)」というディファレンシャル方式のシリアル信号(シリアルデータ)とデータ形式が全く異なる構造としている。このため、LOCKN信号出力要求データが扉枠側演出用レシーバICSDIC0で受信されると、扉枠側演出用レシーバICSDIC0が扉枠側演出用トランスミッタIC1512dから出力される信号でないものと判断し、異常なデータであるとして、後述するLOCKN端子からLOCKN信号を出力することとなる。換言すると、本実施形態では、受信したデータが異常なデータであると判断したときにLOCKN信号を出力するという扉枠側演出用レシーバICSDIC0の機能を利用して、後述するLOCKN端子からLOCKN信号を強制的に出力させるために、わざわざ、扉枠側演出用トランスミッタIC1512dから出力される信号とデータ形式が異なる構造のLOCKN信号出力要求データを、周辺制御基板1510の周辺制御部1511の周辺制御MPU1511aから出力することにより、扉枠側演出用レシーバICSDIC0というデバイスが正常に動作しているか否かを確認することができるようになっている。これにより、トランスミッタとレシーバとの間の接続に不具合が発生しているか否かを確認することができる。
扉枠側演出用レシーバICSDIC0のVDD端子、VDDO端子、LVDSVDD端子、PLLVDD端子、及びPDWN端子は、図76に示した上皿側液晶モジュール電源回路4450xが作成した+3.3Vがそれぞれ供給され、扉枠側演出用レシーバICSDIC0のGND端子、GNDO端子、LVDSGND願紙、PLLGND端子、EDGE端子、OE端子、MODE0、及びMODE1端子がそれぞれグランドに接地されている。
VDD端子は、デジタル回路用の電源端子であり、このデジタル回路用のグランドとなるGND端子との端子間にコンデンサSDC0が電気的に接続されており、VDD端子に供給される+3.3Vの電源ラインから高周波ノイズを除去している。
VDDO端子は、TTL(Transistor-Transistor Logic)出力用の電源端子であり、このTTL出力用のグランドとなるGNDO端子との端子間にコンデンサSDC1が電気的に接続されており、VDDO端子に供給される+3.3Vの電源ラインから高周波ノイズを除去している。
LVDSVDD端子は、LVDS(Low Voltage Differential Signaling)入力用の電源端子であり、このLVDS入力用のグランドとなるLVDSGND端子との端子間にコンデンサSDC2が電気的に接続されており、LVDSVDD端子に供給される+3.3Vの電源ラインから高周波ノイズを除去している。
PLLVDD端子は、PLL(Phase Locked Loop)回路用の電源端子であり、このPLL回路用のグランドとなるPLLGND端子との端子間にコンデンサSDC3が電気的に接続されており、PLLVDD端子に供給される+3.3Vの電源ラインから高周波ノイズを除去している。
PDWN端子は、+3.3Vが供給(印加)されることにより論理がHIとなって通常動作する旨を伝える一方、+3.3の供給が停止されて論理がLOWとなってパワーダウンする旨を伝える端子である。PDWN端子は、+3.3Vが抵抗SDR1を介して供給されるとともに、一端がグランドに接地されたバリスタSDZ0の他端と電気的に接続されている。このバリスタSDZ0は、抵抗SDR1を介して供給される+3.3Vの電電ラインのノイズや過電圧を抑えている。
EDGE端子は、後述する、CLKOUT端子から出力されるクロック信号DCLKに基づく各種出力端子(DE端子、SYNC0端子~SYNC2端子、及びD0端子~D17端子)から出力される各種信号の伝送を、立ち上がりエッジとする(論理がLOWからHIへ遷移する)場合、又は立ち下がりエッジとする(論理がHIからLOWへ遷移する)場合のいずれかを指定するための端子であり、本実施形態では、上述したように、EDGE端子をグランドに接地することにより立ち下がりエッジを指定している。因みに、EDGE端子を+3.3Vに接続すると、立ち上がりエッジを指定することができる。
OE端子は、後述する各種出力端子(DE端子、SYNC0端子~SYNC2端子、D0端子~D17端子、及びCLKOUT端子)の出力を許可するか否かを指示するものであり、本実施形態では、上述したように、OE端子をグランドに接地することにより、常に、出力可能状態としている。因みに、OE端子を+3.3Vに接続すると、出力することができない状態となる。
MODE0端子、及びMODE1端子は、動作モードを選択する端子であり、ともにグランドに接地することで動作モードを選択することができる。動作モードには、ノーマルモードとシェイクハンドモードとがある。ノーマルモードでは、RXIN+端子とRXIN-端子とにおいてそれぞれ入力されたシリアル信号(シリアルデータ)に基づいて、赤色映像信号、緑色映像信号、及び青色映像信号という3つの映像信号(18ビットの映像信号)と、水平同期信号、垂直同期信号、及びクロック信号という3つの同期信号(3ビットの同期信号)と、から構成されるパラレル信号に扉枠側演出用レシーバICSDIC0が復元するという通常動作するモードである。シェイクハンドモードでは、周辺制御基板1510に備える扉枠側演出用トランスミッタIC1512dと、演出表示駆動基板4450に備える扉枠側演出用レシーバICSDIC0と、の接続間、つまりトランスミッタとレシーバとの間の接続を確認(回復)するための所定のデータパターン(SYNCパターン)を送信要求する旨をLOCKN端子からLOCKN信号を出力するモードである。このシェイクハンドモードは、自動的に切り替わるようになっている。
例えば、RXIN+端子とRXIN-端子とにおいてそれぞれ入力されたシリアル信号(シリアルデータ)に基づいて、赤色映像信号、緑色映像信号、及び青色映像信号という3つの映像信号(18ビットの映像信号)と、水平同期信号、垂直同期信号、及びクロック信号という3つの同期信号(3ビットの同期信号)と、から構成されるパラレル信号に扉枠側演出用レシーバICSDIC0が復元したものが、何らかの理由により、異常なデータで扉枠側演出表示装置460に描画することが困難である場合には、ノーマルモードからシェイクハンドモードに自動的に切り替わってLOCKN端子からLOCKN信号を出力する。このLOCKN信号は、ダンピング抵抗である抵抗SDR2、周辺扉中継端子板882、そして枠周辺中継端子板868を介して、周辺制御基板1510に入力され、周辺制御基板1510の図示しない周辺制御入力回路を介して、周辺制御基板1510の周辺制御部1511の周辺制御MPU1511aに入力される。周辺制御MPU1511aは、入力されるLOCKN信号に基づいて、所定の条件が成立すると、その旨を扉枠側演出用トランスミッタIC1512dに伝えるために、扉枠側演出用トランスミッタIC1512dのINIT端子に接続確認信号を出力する。この接続確認信号がINIT端子に入力されると、扉枠側演出用トランスミッタIC1512dは、演出表示駆動基板4450に備える扉枠側演出用レシーバICSDIC0との接続間、つまりトランスミッタとレシーバとの間の接続を回復するための所定のデータパターン(SYNCパターン)を、周辺制御基板1510から枠周辺中継端子板868、そして周辺扉中継端子板882を介して、演出表示駆動基板4450に備える扉枠側演出用レシーバICSDIC0に送信する。このような所定のデータパターン(SYNCパターン)が扉枠側演出用レシーバICSDIC0で受信されることにより、トランスミッタとレシーバとの間の接続を容易に回復することができるようになっている。所定のデータパターン(SYNCパターン)は、扉枠側演出用トランスミッタIC1512dに予め記憶されている。なお、周辺制御基板1510に備える扉枠側演出用トランスミッタIC1512dのINIT端子と、演出表示駆動基板4450に備える扉枠側演出用レシーバICSDIC0のLOCKN端子と、を枠周辺中継端子板868、そして周辺扉中継端子板882を介して電気的に直接接続してもよい。
LOCKN端子は、上述したように、周辺制御基板1510に備える扉枠側演出用トランスミッタIC1512dと、演出表示駆動基板4450に備える扉枠側演出用レシーバICSDIC0と、の接続間、つまりトランスミッタとレシーバとの間の接続を確認(回復)するための所定のデータパターン(SYNCパターン)を送信要求する旨を出力する端子である。LOCKN端子から出力されるLOCKN信号は、演出表示駆動基板4450のダンピング抵抗である抵抗SDR2、周辺扉中継端子板882、そして枠周辺中継端子板868を介して、周辺制御基板1510に入力され、周辺制御基板1510の図示しない周辺制御入力回路を介して、周辺制御基板1510の周辺制御部1511の周辺制御MPU1511aに入力される。
SYNC0端子~SYNC2端子は、RXIN+端子とRXIN-端子とにおいてそれぞれ入力されたシリアル信号(シリアルデータ)に基づいて復元された水平同期信号、垂直同期信号、及びクロック信号という3つの同期信号を出力する端子である。本実施形態では、復元された、水平同期信号、垂直同期信号、及びクロック信号という3つの同期信号を使用しないため、SYNC0端子~SYNC2端子が未接続端子となっている。
DE端子は、後述する、CLKOUT端子から出力されるクロック信号、データ出力端子であるD0端子~D17端子から出力されるデータが有効又は無効であることを伝えるDE信号を出力する端子である。DE端子から出力されるDE信号は、ダンピング抵抗である抵抗SDR3を介して扉枠側演出表示装置460に入力される。
CLKOUT端子は、扉枠側演出用レシーバICSDIC0に内蔵されるPLL回路により生成されるクロック信号DCLKを出力する端子である。CLKOUT端子から出力されるクロック信号DCLKは、ダンピング抵抗である抵抗SDR4を介して扉枠側演出表示装置460に入力される。
D0端子~D17端子は、RXIN+端子とRXIN-端子とにおいてそれぞれ入力されたシリアル信号(シリアルデータ)に基づいて復元された赤色映像信号、緑色映像信号、及び青色映像信号という3つの映像信号(18ビットの映像信号)を出力するデータ出力端子である。D0端子~D5端子という6ビットのデータ出力端子から青色映像信号B0~B5(6ビット)をクロック信号DCLKと同期して出力し、この青色映像信号B0~B5の各信号線がダンピング抵抗であるラダー抵抗SDRA0を介して扉枠側演出表示装置460にそれぞれ入力される。D6端子~D11端子という6ビットのデータ出力端子から緑色映像信号G0~G5(6ビット)をクロック信号DCLKと同期して出力し、この緑色映像信号G0~G5の各信号線がダンピング抵抗であるラダー抵抗SDRA1を介して扉枠側演出表示装置460にそれぞれ入力される。D12端子~D17端子という6ビットのデータ出力端子から赤色映像信号R0~R5(6ビット)をクロック信号DCLKと同期して出力し、この赤色映像信号R0~R5の各信号線がダンピング抵抗であるラダー抵抗SDRA2を介して扉枠側演出表示装置460にそれぞれ入力される。
なお、周辺制御基板1510、枠周辺中継端子板868、周辺扉中継端子板882、演出表示駆動基板4450、及び扉枠側演出表示装置460のグランドは、電気的に接続されており、同一グランドとなっている。
[13.主制御基板の送受信に関する各種コマンド]
次に、主制御基板1310から払出制御基板951へ送信される各種コマンドと、主制御基板1310から周辺制御基板1510へ送信される各種コマンドについて、図88~図91を参照して説明する。図88は主制御基板から払出制御基板へ送信される各種コマンドの一例を示すテーブルであり、図89は主制御基板から周辺制御基板へ送信される各種コマンドの一例を示すテーブルであり、図90は図89の主制御基板から周辺制御基板へ送信される各種コマンドのつづきを示すテーブルであり、図91は主制御基板が受信する払出制御基板からの各種コマンドの一例を示すテーブルである。まず、主制御基板から払出制御基板へ送信される払い出しに関するコマンドである賞球コマンドについて説明し、続いて主制御基板から周辺制御基板へ送信される各種コマンドについて説明し、主制御基板が受信する払出制御基板からの各種コマンドについて説明する。
[13-1.主制御基板から払出制御基板へ送信される各種コマンド]
主制御基板1310の主制御MPU1310aは、図69に示した、一般入賞口センサ4020,4020、第一始動口センサ4002、第二始動口センサ4004、及びカウントセンサ4005等の各種入賞スイッチからの検出信号が入力されると、これらの検出信号に基づいて、予め定めた球数の遊技球を賞球として払い出すための賞球コマンドを払出制御基板へ送信する。この賞球コマンドは、1バイト(8ビット)の記憶容量を有するコマンドである。本実施形態では、パチンコ機1とCRユニット6(パチンコ機1と通信して、パチンコ機1(払出装置830)の払出モータ834を駆動して貯留皿である、上皿321や下皿322に貸球として遊技球を払い出す装置)とが電気的に接続されている場合には(このようなパチンコ機を「CR機」という。)、図88(a)に示すように、主制御基板1310から払出制御基板951に送信する賞球コマンドには、コマンド10H~コマンド1EH(「H」は16進数を表す。)が用意されており、コマンド10Hでは賞球1個が指定され、コマンド11Hでは賞球2個が指定され、・・・、コマンド1EHでは賞球15個が指定されている。この指定された賞球数だけ、払出制御基板951は、払出モータ834を駆動して遊技球を払い出す制御を行う。
また、パチンコ機1と球貸し機(遊技球を貯留皿である、上皿321や下皿322に貸球として直接払い出す装置)とが遊技場(ホール)に隣接して設置され、パチンコ機1と球貸し機が電気的に接続されている場合には(このようなパチンコ機を「一般機」という。)、図88(b)に示すように、主制御基板1310から払出制御基板951に送信する賞球コマンドには、コマンド20H~コマンド2EHが用意されており、コマンド20Hでは賞球1個が指定され、コマンド21Hでは賞球2個が指定され、・・・、コマンド2EHでは賞球15個が指定されている。この指定された賞球数だけ、払出制御基板951は、払出モータ834を駆動して遊技球を払い出す制御を行う。
なお、CR機及び一般機の共通のコマンドとして、図88(c)に示すように、コマンド30Hが用意されており、このコマンド30Hではセルフチェックが指定されている。送信側は、コマンド送信後、所定期間、受信側からコマンドの受け取り確認として出力するACK信号が入力されない場合に、コマンド30Hを送信して、ACK信号が入力されるか否かをチェックすることで接続状態を確認する。本実施形態におけるCR機の場合では、払出制御基板951がCRユニット6との接続状態を確認する。
[13-2.主制御基板から周辺制御基板へ送信される各種コマンド]
次に、主制御基板1310から周辺制御基板1510へ送信される各種コマンドについて説明する。主制御基板1310の主制御MPU1310aは、遊技の進行に基づいて周辺制御基板1510に各種コマンドを送信する。これらの各種コマンドは、2バイト(16ビット)の記憶容量を有するコマンドであり、図89及び図90に示すように、1バイト(8ビット)の記憶容量を有するコマンドの種類を示すステータスと、1バイト(8ビット)の記憶容量を有する演出のバリエーションを示すモードと、から構成されている。
各種コマンドは、図89及び図90に示すように、特図1同調演出関連、特図2同調演出関連、大当り関連、電源投入、普図同調演出関連、普通電役演出関連、報知表示、状態表示、及びその他に区分されている。
[13-2-1.特図1同調演出関連]
特図1同調演出関連は、図69に示した第一始動口センサ4002からの検出信号に基づくものであり、その区分には、図89に示すように、図69に示した機能表示ユニット1400の第一特別図柄表示器1403に関する、特図1同調演出開始、特別図柄1指定、特図1同調演出終了、及び変動時状態指定という名称のコマンドから構成されている。これらの各種コマンドには、ステータスとして「A*H」、モードとして「**H」(「H」は16進数を表す。)が割り振られている(「*」は、特定の16進数であることを示し、パチンコ機1の仕様内容によって予め定められたものである)。
特図1同調演出開始コマンドは、モードで指定された演出パターンで特図同調演出開始を指示するものであり、特別図柄1指定コマンドは、はずれ、特定大当り、非特定大当りを指定するものであり、特図1同調演出終了コマンドは、特図1同調演出終了を指示するものであり、変動時状態指定コマンドは、確率及び時短状態を指示するものである。なお、確率及び時短状態には、低確率状態であって時短状態であることを指示する低確率時短状態と、高確率状態であって時短状態であるを指示する高確率時短状態と、低確率状態であって時短状態でないことを指示する低確率非時短状態と、高確率状態であって時短状態でないことを指示する高確率非時短状態と、から構成されている(通常遊技状態としては、低確率非時短状態が設定されている)。ここで、高確率状態は、大当りする確率が低確率状態(通常遊技状態)と比べて高く設定されるという状態であり、時短状態は、例えば、図10に示した普通図柄表示器1402による普通図柄を変動表示する時間を、非時短状態(通常遊技状態)と比べて、短くして普通抽選結果に対応した発光パターンで停止表示することにより、所定時間における後述する普通抽選による普通抽選結果の停止表示回数を非時短状態と比べて多くするとともに、さらに、図8に示した一対の可動片を開閉動作させる期間を、非時短状態(通常遊技状態)と比べて、長くして図8に示した第二始動口2004への遊技球の受入率(入球率)を高めることにより持ち球を減らさず特別図柄の抽選機会を得ることができるという状態(換言すると、非時短状態と比べて、一対の可動片を開閉動作させるか否かの決定を多くするとともに、一対の可動片を開閉動作させる場合には一対の可動片の開閉動作の期間を長くすることにより、第二始動口2004への遊技球の受入率(入球率)を高めるという状態)である。
これらの各種コマンドの送信タイミングとして、特図1同調演出開始コマンドは、特別図柄1変動開始時に送信され、特別図柄1指定コマンドは、特図1同調演出開始の直後に送信され、特図1同調演出終了コマンドは、特別図柄1変動時間経過時(特別図柄1確定時)に送信され、変動時状態指定コマンドは、特図当落情報指定の直後に送信される。なお、これらの各種コマンドは、実際には後述する主制御側タイマ割り込み処理におけるステップS120の周辺制御基板コマンド送信処理で送信される。
[13-2-2.特図2同調演出関連]
特図2同調演出関連は、図69に示した第二始動口センサ4004からの検出信号に基づくものであり、その区分には、図89に示すように、図69に示した機能表示ユニット1400の第二特別図柄表示器1405に関する、特図2同調演出開始、特別図柄2指定、及び特図2同調演出終了という名称のコマンドから構成されている。これらの各種コマンドには、ステータスとして「B*H」、モードとして「**H」(「H」は16進数を表す。)が割り振られている(「*」は、特定の16進数であることを示し、パチンコ機1の仕様内容によって予め定められたものである)。
特図2同調演出開始コマンドは、モードで指定された演出パターンで特図同調演出開始を指示するものであり、特別図柄2指定コマンドは、はずれ、特定大当り、非特定大当りを指定するものであり、特図2同調演出終了は、特図2同調演出終了を指示するものである。
これらの各種コマンドの送信タイミングとして、特図2同調演出開始コマンドは、特別図柄2変動開始時に送信され、特別図柄2指定コマンドは、特図2同調演出開始の直後に送信され、特図2同調演出終了コマンドは、特別図柄2変動時間経過時(特別図柄2確定時)に送信される。なお、これらの各種コマンドは、実際には主制御側タイマ割り込み処理におけるステップS120の周辺制御基板コマンド送信処理で送信される。
[13-2-3.大当り関連]
大当り関連という区分には、図89に示すように、大当りオープニング、大入賞口1開放N回目表示、大入賞口1閉鎖表示、大入賞口1カウント表示、大当りエンディング、大当り図柄表示、小当りオープニング、小当り開放表示、小当りカウント表示、及び小当りエンディングという名称のコマンドから構成されている。これらの各種コマンドには、ステータスとして「C*H」、モードとして「**H」(「H」は16進数を表す。)が割り振られている(「*」は、特定の16進数であることを示し、パチンコ機1の仕様内容によって予め定められたものである)。
大当りオープニングコマンドは、大当りオープニング開始を指示するものであり、大入賞口1開放N回目表示コマンドは、1~16ラウンド目の大入賞口1開放中開始(図8に示した、始動口ユニット2100の大入賞口2005のN回目のラウンドの開放中又は開放開始)を指示するものであり、大入賞口1閉鎖表示コマンドは、ラウンド間の大入賞口1閉鎖中開始(始動口ユニット2100の大入賞口2005のラウンド間の閉鎖中又は閉鎖開始)を指示するものであり、大入賞口1カウント表示コマンドは、カウント0~10個の遊技球の球数をカウントした旨(図69に示したカウントセンサ4005によって検出された、大入賞口2005に入球した遊技球の球数)を伝えるものであり、大当りエンディングコマンドは、大当りエンディング開始を指示するものであり、大当り図柄表示コマンドは、大当り図柄情報表示を指示するものである。
また、小当りオープニングコマンドは、小当りオープニング開始を指示するものであり、小当り開放表示コマンドは、小当り開放中開始(小当り時における、始動口ユニット2100の大入賞口2005の開放中又は開放開始)を指示するものであり、小当りカウント表示コマンドは、小当り中大入賞口入賞演出(小当り中における、大入賞口2005に入球した遊技球がカウントセンサ4005によって検出された場合における演出)を指示するものであり、小当りエンディングコマンドは、小当りエンディング開始を指示するものである。
これらの各種コマンドの送信タイミングとして、大当りオープニングコマンドは、大当りオープニング開始時に送信され、大入賞口1開放N回目表示コマンドは、1~16ラウンド目の大入賞口1開放時(始動口ユニット2100の大入賞口2005のN回目のラウンドの開放時)に送信され、大入賞口1閉鎖表示コマンドは、大入賞口1閉鎖時(始動口ユニット2100の大入賞口2005の閉鎖開始)に送信され、大入賞口1カウント表示コマンドは、大入賞口1開放時及び大入賞口1へのカウント変化時(始動口ユニット2100の大入賞口2005の開放時、及び大入賞口2005に入球した遊技球がカウントセンサ4005によって検出された時)に送信され、大当りエンディングコマンドは、大当りエンディング開始時に送信され、大当り図柄表示コマンドは、大入賞口開放時(始動口ユニット2100の大入賞口2005の開放時)に送信される。
また、小当りオープニングコマンドは、小当りオープニング開始時に送信され、小当り開放表示コマンドは、小当り開放時(小当り時における、始動口ユニット2100の大入賞口2005の開放時)に送信され、小当りカウント表示コマンドは、小当り中大入賞口入賞時(小当り中における、大入賞口2005に入球した遊技球がカウントセンサ4005によって検出された時)に送信され、小当りエンディングコマンドは、小当りエンディング開始時に送信される。なお、これらの各種コマンドは、実際には主制御側タイマ割り込み処理におけるステップS120の周辺制御基板コマンド送信処理で送信される。
[13-2-4.電源投入]
電源投入という区分には、図89に示すように、電源投入時状態、及び電源投入時主制御復帰先という名称のコマンドから構成されている。これらの各種コマンドには、ステータスとして「D*H」、モードとして「**H」(「H」は16進数を表す。)が割り振られている(「*」は、特定の16進数であることを示し、パチンコ機1の仕様内容によって予め定められたものである)。
電源投入時状態コマンドは、RAMクリア演出開始及び遊技状態を指示するものである。電源投入時状態コマンドは、電源投入時(電源投入する場合のほかに、停電や瞬停が発生して電力が回復する復電時も含む。)に、図70に示した払出制御基板951の操作スイッチ954が操作されてRAMクリアを行う場合にその旨を指示する情報と、電源投入時(電源投入する場合のほかに、停電や瞬停が発生して電力が回復する復電時も含む。)に、上述した、低確率時短状態、高確率時短状態、低確率非時短状態、及び高確率非時短状態のうち、いずれの状態(確率及び時短状態)で復帰するかを指示する情報と、パチンコ機の機種コードを示す情報と、から構成されている。このパチンコ機の機種コードは、例えば、いわゆる、マックスタイプ、ミドルタイプ、甘デジタイプをそれぞれ作成するときに、どの作品の版権に対するものであるのか、どのような遊技仕様(例えば、確率変動が生ずると、次回大当り遊技状態が発生するまでその状態が継続されるという遊技仕様のほかに、特別図柄の変動回数が限定(例えば、30回や70回)された状態で確率変動が生ずるという遊技仕様(いわゆる、ST機)など)であるのか、を特定するものである。つまり、パチンコ機の機種コードの情報は、機種タイプを示すマックスタイプ、ミドルタイプ、及び甘デジタイプのうち、いずれのタイプであるかを特定するためのシリーズコードと、作品の版権を特定するための版権コードと、遊技仕様(例えば、確率変動が生ずると、次回大当り遊技状態が発生するまでその状態が継続されるという遊技仕様のほかに、特別図柄の変動回数が限定された状態で確率変動が生ずるという遊技仕様(ST機)など)を特定するための遊技仕様コードと、から主として構成されている。
電源投入時主制御復帰先コマンドは、主制御基板1310自体の復帰先を指示するものである。電源投入時主制御復帰先コマンドは、図69に示した始動口ソレノイド2107の駆動状態を指示する情報と、図69に示したアタッカソレノイド2108の駆動状態を指示する情報と、を主としてから構成されている。
電源投入時状態コマンドと電源投入時主制御復帰先コマンドとの送信タイミングとして、主制御基板電源投入時(電源投入する場合のほかに、停電や瞬停が発生して電力が回復する復電時も含む。)に送信される。具体的には、パチンコ機1の電源投入時、停電又は瞬停から復帰するときに、後述する主制御側電源投入時処理が実行されて主制御側タイマ割り込み処理におけるステップS120の周辺制御基板コマンド送信処理で電源投入時状態コマンドと電源投入時主制御復帰先コマンドとが送信される。
[13-2-5.普図同調演出関連]
普図同調演出関連は、図69に示したゲートセンサ4003からの検出信号に基づくものであり、その区分には、図89に示すように、図69に示した機能表示ユニット1400の普通図柄表示器1402に関する、普図同調演出開始、普図柄指定、普図同調演出終了、及び変動時状態指定という名称のコマンドから構成されている。これらの各種コマンドには、ステータスとして「E*H」、モードとして「**H」(「H」は16進数を表す。)が割り振られている(「*」は、特定の16進数であることを示し、パチンコ機1の仕様内容によって予め定められたものである)。
普図同調演出開始コマンドは、モードで指定された演出パターンで普図同調演出開始を指示するものであり、普図柄指定コマンドは、はずれ、特定大当り、非特定大当りを指定するものであり、普図同調演出終了コマンドは、普図同調演出終了を指示するものであり、変動時状態指定コマンドは、確率及び時短状態を指示するものである。なお、確率及び時短状態には、上述したように、低確率状態であって時短状態であることを指示する低確率時短状態と、高確率状態であって時短状態であるを指示する高確率時短状態と、低確率状態であって時短状態でないことを指示する低確率非時短状態と、高確率状態であって時短状態でないことを指示する高確率非時短状態と、から構成されている(通常遊技状態としては、低確率非時短状態が設定されている)。
これらの各種コマンドの送信タイミングとして、普図同調演出開始コマンドは、普通図柄1変動開始時に送信され、普図柄指定コマンドは、普図同調演出開始の直後に送信され、普図同調演出終了コマンドは、普通図柄変動時間経過時(普通図柄確定時)に送信され、変動時状態指定コマンドは、普図当落情報指定の直後に送信される。なお、これらの各種コマンドは、実際には主制御側タイマ割り込み処理におけるステップS120の周辺制御基板コマンド送信処理で送信される。
[13-2-6.普通電役演出関連]
普通電役演出関連は、図69に示した始動口ソレノイド2107の駆動により開閉される図8に示した一対の可動片に関するものであり、その区分には、図89に示すように、普図当りオープニング、普電開放表示、及び普図当りエンディングという名称のコマンドから構成されている。これらの各種コマンドには、ステータスとして「F*H」、モードとして「**H」(「H」は16進数を表す。)が割り振られている(「*」は、特定の16進数であることを示し、パチンコ機1の仕様内容によって予め定められたものである)。
普図当りオープニングコマンドは、普図当りオープニング開始を指示するものであり、普電開放表示コマンドは、普電開放中開始(一対の可動片が始動口ソレノイド2107の駆動により左右方向へ拡開した状態、又は拡開する時)を指示するものであり、普図当りエンディングコマンドは、普図当りエンディング開始を指示するものである。
これらの各種コマンドの送信タイミングとして、普図当りオープニングコマンドは、普図当りオープニング開始時に送信され、普電開放表示コマンドは、普電開放時(一対の可動片が始動口ソレノイド2107の駆動により左右方向へ拡開する時)に送信され、普図当りエンディングコマンドは、普図当りエンディング開始時に送信される。なお、これらの各種コマンドは、実際には主制御側タイマ割り込み処理におけるステップS120の周辺制御基板コマンド送信処理で送信される。
[13-2-7.報知表示]
報知表示の区分には、図90に示すように、入賞異常表示、接続異常表示、断線・短絡異常表示、磁気検出スイッチ異常表示、扉開放、及び扉閉鎖という名称のコマンドから構成されている。これらの各種コマンドには、ステータスとして「6*H」、モードとして「**H」(「H」は16進数を表す。)が割り振られている(「*」は、特定の16進数であることを示し、パチンコ機1の仕様内容によって予め定められたものである)。
入賞異常表示コマンドは、大当り中(条件装置作動中)以外に大入賞口に入賞した時(大当り中でもないのに、始動口ユニット2100の大入賞口2005に遊技球が入球してその遊技球をカウントセンサ4005が検出した時)に入賞異常報知の開始を指示するものであり、接続異常表示コマンドは、例えば、主制御基板1310と払出制御基板951との基板間に亘る経路において電気的な接続異常がある場合に接続異常報知の開始を指示するものであり、断線・短絡異常表示コマンドは、例えば、主制御基板1310と、第一始動口センサ4002、第二始動口センサ4004、カウントセンサ4005等との電気的な接続の断線・短絡が生じた場合に断線・短絡異常表示の開始を指示するものであり、磁気検出スイッチ異常表示コマンドは、図69に示した磁気検出センサ4024に異常が生じた場合に磁気検出スイッチ異常報知の開始を指示するものである。
また、扉開放コマンドは、図70に示した、払出制御基板951を介して入力される扉枠開放スイッチ618からの検出信号(開放信号)に基づいて、扉枠3が本体枠4に対して開放された状態である場合に、扉開放報知を指示するものであり、扉枠閉鎖コマンドは、その扉枠開放スイッチ618からの検出信号に基づいて、扉枠3が本体枠4に対して閉鎖された状態である場合に扉開放報知終了を指示するものである。一方、本体枠開放コマンドは、図70に示した、払出制御基板951を介して入力される本体枠開放スイッチ619からの検出信号(開放信号)に基づいて、本体枠4が外枠2に対して開放された状態である場合に、本体枠開放報知を指示するものであり、本体枠閉鎖コマンドは、その本体枠開放スイッチ619からの検出信号に基づいて、本体枠4が外枠2に対して閉鎖された状態である場合に本体枠開放報知終了を指示するものである。
これらの各種コマンドの送信タイミングとして、入賞異常表示コマンドは、大当り中(条件装置作動中)以外に大入賞口に入賞した時に送信され、接続異常表示コマンドは、主制御基板1310から払出制御基板951へのコマンド送信時に払出制御基板951からのACK返信(ACK信号)がなかった時に送信され、断線・短絡異常表示コマンドは、第一始動口センサ4002、第二始動口センサ4004、カウントセンサ4005等のうち、いずれが断線または短絡状態となった時に送信され、磁気検出スイッチ異常表示コマンドは、磁気検出センサ4024の異常を検知した時に送信される。また、扉開放コマンドは、扉開放を検知した時(扉枠開放スイッチ618からの検出信号に基づいて、扉枠3が本体枠4に対して開放された状態である場合)に送信され、扉枠閉鎖コマンドは、扉閉鎖を検知した時(扉枠開放スイッチ618からの検出信号に基づいて、扉枠3が本体枠4に対して閉鎖された状態である場合)に送信される。本体枠開放コマンドは、本体枠開放を検知した時(本体枠開放スイッチ619からの検出信号に基づいて、本体枠4が外枠2に対して開放された状態である場合)に送信され、本体枠閉鎖コマンドは、本体枠閉鎖を検知した時(本体枠開放スイッチ619からの検出信号に基づいて、本体枠4が外枠2に対して閉鎖された状態である場合)に送信される。なお、これらの各種コマンドは、実際には主制御側タイマ割り込み処理におけるステップS120の周辺制御基板コマンド送信処理で送信される。
[13-2-8.状態表示]
状態表示の区分には、図90に示すように、枠状態1コマンド(エラー発生コマンドに相当)、エラー解除ナビコマンド(エラー解除コマンドに相当)及び枠状態2コマンドという名称のコマンドから構成されている。これらの各種コマンドには、ステータスとして「7*H」、モードとして「**H」(「H」は16進数を表す。)が割り振られている(「*」は、特定の16進数であることを示し、パチンコ機1の仕様内容によって予め定められたものである)。
枠状態1コマンド、エラー解除ナビコマンド及び枠状態2コマンドは、それぞれ、払出制御基板951から送信された1バイト(8ビット)の記憶容量を有するコマンドであり、これらの詳細な説明は、後述する。なお、主制御基板1310の主制御MPU1310aは、払出制御基板951からの枠状態1コマンド、エラー解除ナビコマンド、及び枠状態2コマンドを受信すると、図90に示すように、「7*H」をステータスとして設定するとともに、その受信したコマンドをそのままモードとして設定する。つまり、主制御MPU1310aは、払出制御基板951からの枠状態1コマンド、エラー解除ナビコマンド、及び枠状態2コマンドを受信すると、これら受信したコマンドに付加情報である「7*H」を付加することにより、2バイト(16ビット)の記憶容量を有するコマンドに整形する。
整形された、枠状態1コマンドは、電源復旧時、枠状態の変化時、及びエラー解除ナビ時に送信され、エラー解除ナビコマンドは、エラー解除ナビ時に送信され、枠状態2コマンドは、電源復旧時、及び枠状態の変化時に送信される。なお、これら整形された、枠状態1コマンド、エラー解除ナビコマンド、及び枠状態2コマンドは、実際には主制御側タイマ割り込み処理におけるステップS120の周辺制御基板コマンド送信処理で送信される。
[13-2-9.テスト関連]
テスト関連の区分には、図90に示すように、テストという名称の各種コマンドから構成されている。このテストコマンドには、ステータスとして「8*H」、モードとして「**H」(「H」は16進数を表す。)が割り振られている(「*」は、特定の16進数であることを示し、パチンコ機1の仕様内容によって予め定められたものである)。
テストコマンドは、周辺制御基板1510の各種検査を指示するものである(例えば、図72に示した、周辺制御部1511、液晶表示制御部1512、ランプ駆動基板4170、モータ駆動基板4180、及び枠装飾駆動アンプ基板194等の各種基板の検査を行うものである)。
テストコマンドの送信タイミングとして、主制御基板電源投入時RAMクリア及びRAMクリア以外の時に送信される。具体的には、パチンコ機1の電源投入時、停電又は瞬停から復帰するときであって、払出制御基板951の操作スイッチ954が操作されたときに、後述する主制御側電源投入時処理が実行されて主制御側タイマ割り込み処理におけるステップS120の周辺制御基板コマンド送信処理でテストコマンドが送信される。
[13-2-10.その他]
その他の区分には、図90に示すように、始動口入賞、変動短縮作動終了指定、高確率終了指定、特別図柄1記憶、特別図柄2記憶、普通図柄記憶、特別図柄1記憶先読み演出、及び特別図柄2記憶先読み演出という名称のコマンドから構成されている。これらの各種コマンドには、ステータスとして「9*H」、モードとして「**H」(「H」は16進数を表す。)が割り振られている(「*」は、特定の16進数であることを示し、パチンコ機1の仕様内容によって予め定められたものである)。
始動口入賞コマンドは、始動口入賞演出開始を指示するものであって、第一始動口センサ4002からの検出信号に基づいて第一始動口2002に遊技球が入球した場合における演出の開始と、第二始動口センサ4004からの検出信号に基づいて第二始動口2004に遊技球が入球した場合における演出の開始と、をそれぞれ指示するものであり、変動短縮作動終了指定コマンドは、変動短縮作動状態から変動短縮非作動状態への状態移行を指示するものであり、高確率終了指定コマンドは、高確率状態から低確率状態への状態移行を指示するものであり、特別図柄1記憶コマンドは、特別図柄1保留0~4個(図8に示した第一始動口2002に遊技球が入球して機能表示ユニット1400の第一特別図柄表示器1403で特別図柄の変動表示に未だ使用されていない球数(保留数))を伝えるものであり、特別図柄2記憶コマンドは、特別図柄2保留0~4個(図8に示した第二始動口2004に遊技球が入球して機能表示ユニット1400の第二特別図柄表示器1405で特別図柄の変動表示に未だ使用されていない球数(保留数))を伝えるものであり、普通図柄記憶コマンドは、普通図柄1保留0~4個(図8に示したゲート部2003を遊技球が通過して機能表示ユニット1400の普通図柄表示器1402で普通図柄の変動表示に未だ使用されていない球数(保留数))を伝えるものであり、特別図柄1記憶先読み演出コマンドは、特別図柄1保留が機能表示ユニット1400の第一特別図柄表示器1403で特別図柄の変動表示に使用される前に、先読みしてその特別図柄1保留に基づく第一特別図柄表示器1403による表示結果の予告を報知する先読み演出開始を指示するものであり、特別図柄2記憶先読み演出コマンドは、特別図柄2保留が機能表示ユニット1400の第二特別図柄表示器1405で特別図柄の変動表示に使用される前に、先読みしてその特別図柄2保留に基づく第二特別図柄表示器1405による表示結果の予告を報知する先読み演出開始を指示するものである。
これらの各種コマンドの送信タイミングとして、始動口入賞コマンドは、始動口入賞時(第一始動口センサ4002からの検出信号に基づいて第一始動口2002に遊技球が入球した時や、第二始動口センサ4004からの検出信号に基づいて第二始動口2004に遊技球が入球した時)に、図5に示した下部スピーカ921及び図2に示した上部スピーカ573から主に音声でその旨を報知するために送信され、変動短縮作動終了指定コマンドは、規定回数の変動短縮を消化した変動確定後の停止期間終了時(はずれ停止期間経過後)に送信され、高確率終了指定コマンドは、「高確率N回」の場合の高確率回数を消化した変動確定後の停止期間終了時(はずれ停止期間経過後)に送信され、特別図柄1記憶コマンドは、特別図柄1作動保留球数変化時(第一始動口2002に遊技球が入球して機能表示ユニット1400の第一特別図柄表示器1403で特別図柄の変動表示に未だ使用されていない保留数がある状態において、さらに第一始動口2002に遊技球が入球して保留数が増加した時や、その保留数から第一特別図柄表示器1403で特別図柄の変動表示に使用してその保留数が減少した時)に送信され、特別図柄2記憶コマンドは、特別図柄2作動保留球数変化時(第二始動口2004に遊技球が入球して機能表示ユニット1400の第二特別図柄表示器1405で特別図柄の変動表示に未だ使用されていない保留数がある状態において、さらに第二始動口2004に遊技球が入球して保留数が増加した時や、その保留数から第二特別図柄表示器1405で特別図柄の変動表示に使用してその保留数が減少した時)に送信され、普通図柄記憶コマンドは、普通図柄1作動保留球数変化時(ゲート部2003を遊技球が通過して機能表示ユニット1400の普通図柄表示器1402で普通図柄の変動表示に未だ使用されていない保留数がある状態において、さらにゲート部2003を遊技球が通過して保留数が増加した時や、その保留数から普通図柄表示器1402で普通図柄の変動表示に使用してその保留数が減少した時)に送信され、特別図柄1記憶先読み演出コマンドは、特別図柄1作動保留球数増加時(第一始動口2002に遊技球が入球して保留数が増加した時)に送信され、特別図柄2記憶先読み演出コマンドは、特別図柄2作動保留球数増加時(第二始動口2004に遊技球が入球して保留数が増加した時)に送信される。なお、これらの各種コマンドは、実際には主制御側タイマ割り込み処理におけるステップS120の周辺制御基板コマンド送信処理で送信される。
ところで、始動口入賞コマンドは、上述したように、始動口入賞時(第一始動口センサ4002からの検出信号に基づいて第一始動口2002に遊技球が入球した時や、第二始動口センサ4004からの検出信号に基づいて第二始動口2004に遊技球が入球した時)に、下部スピーカ921及び上部スピーカ573から主に音声でその旨を報知するために送信されるが、図72に示した周辺制御基板1510が始動口入賞コマンドをどのように利用するかについては、パチンコ機の仕様によって異なる場合もある。例えば、本実施形態におけるパチンコ機1では、下部スピーカ921及び上部スピーカ573から音声で報知するほかに、不正行為の有無を監視するためにも利用するという仕様のものである。これに対して、他のパチンコ機では、周辺制御基板1510が始動口入賞コマンドを単に受信するだけで、下部スピーカ921及び上部スピーカ573から音声で報知しない仕様のものもある。
[13-3.主制御基板が受信する払出制御基板からの各種コマンド]
次に、主制御基板1310が受信する払出制御基板951からの各種コマンドについて説明する。
払出制御基板951からの各種コマンドの区分には、図91に示すように、枠状態1、エラー解除ナビ及び枠状態2という名称のコマンドから構成されており、枠状態1、エラー解除ナビ、そして枠状態2の順で優先順位が設定されている。
枠状態1コマンド(エラー発生コマンドに相当)には、球切れ、満タン、50個以上のストック中、接続異常及びCR未接続が用意されており、球切れではビット0(B0、「B」はビットを表す。)に値1がセットされ、満タンではビット1(B1)に値1がセットされ、50個以上のストック中ではビット2(B2)に値1がセットされ、接続異常ではビット3(B3)に値1がセットされ、CR未接続ではビット4(B4)に値1がセットされる。枠状態1コマンドのビット5(B5)~ビット7(B7)には、B5に値1、B6に値0、そしてB7に値0がセットされている。
エラー解除ナビコマンド(エラー解除コマンドに相当)には、球がみ、払出検知センサエラー及びリトライエラーが用意されており、球がみではビット2(B2)に値1がセットされ、払出検知センサエラーではビット3(B3)に値1がセットされ、リトライエラーではビット4(B4)に値1がセットされる。ここで、「払出検知センサエラー」とは、図70に示した払出検知センサ842の不具合が生じているか否かを示すものである。「リトライエラー」とは、リトライ動作によるつじつまの合わない遊技球の払い出しが繰り返し行われたことを示すものである。エラー解除ナビコマンドのビット(B0)、ビット(B1)、及びビット5(B5)~ビット7(B7)には、B0に値0、B1に値0、B5に値0、B6に値1、そしてB7に値0がセットされている。
枠状態2コマンドには、球抜き中が用意されており、球抜き中ではビット0(B0)に値1がセットされる。枠状態2コマンドのビット1(B1)~ビット7(B7)には、B1に値0、B2に値0、B3に値0、B4に値0、B5に値1、B6に値1、そしてB7に値0がセットされている。
これらの各種コマンドの送信タイミングとして、枠状態1コマンドは、電源復旧時、枠状態の変化時、及びエラー解除ナビ時に送信され、エラー解除ナビコマンドは、エラー解除ナビ時に送信され、枠状態2コマンドは、電源復旧時、及び枠状態の変化時に送信される。なお、これらの各種コマンドは、実際には後述する払出制御部電源投入時処理の払出制御部メイン処理におけるステップS558のコマンド送信処理で送信される。
[14.主制御基板の各種制御処理]
次に、パチンコ機1の遊技の進行に応じて、図69に示した主制御基板1310が行う各種制御処理について、図92~図94を参照して説明する。図92は主制御側電源投入時処理の一例を示すフローチャートであり、図93は図92の主制御側電源投入時処理のつづきを示すフローチャートであり、図94は主制御側タイマ割り込み処理の一例を示すフローチャートである。まず、遊技制御に用いられる各種乱数について説明し、続いて初期値更新型のカウンタの動き、主制御側電源投入時処理、主制御側タイマ割り込み処理について説明する。
[14-1.各種乱数]
遊技制御に用いられる各種乱数として、大当り遊技状態を発生させるか否かの決定に用いるための大当り判定用乱数と、大当り遊技状態を発生させないときにリーチ(リーチはずれ)を発生させるか否かの決定に用いるためのリーチ判定用乱数と、図69に示した、第一特別図柄表示器1403及び第二特別図柄表示器1405で変動表示される特別図柄の変動表示パターンの決定に用いるための変動表示パターン用乱数と、大当り遊技状態を発生させるときに第一特別図柄表示器1403及び第二特別図柄表示器1405で導出表示される大当り図柄の決定に用いるための大当り図柄用乱数と、この大当り図柄用乱数の初期値の決定に用いるための大当り図柄用初期値決定用乱数、小当り遊技状態を発生させるときに第一特別図柄表示器1403及び第二特別図柄表示器1405で導出表示される小当り図柄の決定に用いるための小当り図柄用乱数、この小当り図柄用乱数の初期値の決定に用いるための小当り図柄用初期値決定用乱数等が用意されている。またこれらの乱数に加えて、図8に示した可動片を開閉動作させるか否かの決定に用いるための普通図柄当り判定用乱数と、この普通図柄当り判定用乱数の初期値の決定に用いるための普通図柄当り判定用初期値決定用乱数と、図69に示した普通図柄表示器1402で変動表示される普通図柄の変動表示パターンの決定に用いるための普通図柄変動表示パターン用乱数等が用意されている。
このような遊技制御に用いられる各種乱数のうち、大当り判定用乱数はハードウェアにより更新されるものに対して、他の各種乱数はソフトウェアにより更新されるようになっている。
例えば、大当り判定用乱数は、図69に示した主制御MPU1310aに内蔵される主制御内蔵ハード乱数回路1310anによりハードウェアにより直接更新されるようになっている。この主制御内蔵ハード乱数回路1310anは、上述したように、主制御MPU1310aがリセットされると、まず、予め定めた数値範囲内における一の値を初期値として、主制御MPU1310aに入力されるクロック信号(図77に示した主制御水晶発振器MX0から出力されるクロック信号)に基づいて高速に予め定めた数値範囲内における他の値を次々に抽出し、予め定めた数値範囲内におけるすべての値を抽出し終えると、再び、予め定めた数値範囲内における一の値を抽出して、主制御MPU1310aに入力されるクロック信号に基づいて高速に予め定めた数値範囲内における他の値を次々に抽出する。このような高速な抽選を主制御内蔵ハード乱数回路1310anが繰り返し行い、主制御MPU1310aは、主制御内蔵ハード乱数回路1310anから値を取得する時点における主制御内蔵ハード乱数回路1310anが抽出した値を大当り判定用乱数としてセットするようになっている。
これに対して、普通図柄当り判定用乱数を更新するカウンタは、最小値から最大値までに亘る予め定めた固定数値範囲内において更新され、この最小値から最大値までに亘る範囲を、後述する主制御側タイマ割り込み処理が行われるごとに値1ずつ加算されることでカウントアップする。このカウンタは、普通図柄当り判定用初期値決定用乱数から最大値に向かってカウントアップし、続いて最小値から普通図柄当り判定用初期値決定用乱数に向かってカウントアップする。普通図柄当り判定用乱数の最小値から最大値までに亘る範囲をカウンタがカウントアップし終えると、普通図柄当り判定用初期値決定用乱数は更新される。このようなカウンタの更新方法を「初期値更新型のカウンタ」という。普通図柄当り判定用初期値決定用乱数は、普通図柄当り判定用乱数を更新するカウンタの固定数値範囲から一の値を抽選する初期値抽選処理を実行して得ることができるようになっている。
なお、本実施形態では、図70に示した払出制御基板951の操作スイッチ954が電源投入時に操作された場合や、後述する、主制御側電源投入時処理において図69に示した主制御MPU1310aの主制御内蔵RAMに記憶されている遊技情報を数値とみなしてその合計を算出して得たチェックサムの値(サム値)が主制御側電源断時処理(電源断時)において記憶されているチェックサムの値(サム値)と一致していない場合など、主制御内蔵RAMの全領域をクリアする場合には、普通図柄当り判定用初期値決定用乱数は、図69に示した主制御MPU1310aがその内蔵する不揮発性のRAMからIDコードを取り出し、この取り出したIDコードに基づいて普通図柄当り判定用乱数を更新するカウンタの固定数値範囲から常に同一の固定値を導出する初期値導出処理を実行し、この導出した固定値がセットされる仕組みとなっている。つまり、普通図柄当り判定用初期値決定用乱数は、初期値導出処理の実行によりIDコードに基づいて導出された同一の固定値が常に上書き更新されるようになっている。このように、普通図柄当り判定用初期値決定用乱数にセットされる値は、IDコードを利用して導出されており、主制御MPU1310aを製造したメーカによって主制御MPU1310aに内蔵する不揮発性のRAMにIDコードを記憶させるとIDコードが外部装置を用いても書き換えられないという第1のセキュリティー対策と、主制御内蔵RAMの全領域をクリアする場合に初期値導出処理を実行することによってIDコードに基づいて同一の固定値を導出するという第2のセキュリティー対策と、による2段階のセキュリティー対策が講じられることよって解析されるのを防止している。
ここで、主制御MPU1310aに内蔵する不揮発性のRAMからIDコードを取り出し、この取り出したIDコードを普通図柄当り判定用初期値決定用乱数として用いる利点について説明する。例えば、賞球として払い出される遊技球を不正に獲得しようとする者が何らかの方法で遊技盤5を入手して分解し、主制御MPU1310aに内蔵する不揮発性のRAMに予め記憶されているIDコードを不正に取得し、普通図柄当り判定用乱数を更新するカウンタの値と普通図柄当り判定値とが一致するタイミングを把握することができたとしても、そのIDコードが個体を識別するためのユニークな符号が付されたものであるため、他の遊技盤5’に備える主制御MPU1310a’に内蔵する不揮発性のRAMに予め記憶されているIDコードとまったく異なるものとなる。つまり他の遊技盤5’においては、普通図柄当り判定用乱数を更新するカウンタの値と普通図柄当り判定値とが一致するタイミングも、入手した遊技盤5のものとまったく異なる。換言すると、入手した遊技盤5を分解して解析して得たIDコードは、他の遊技盤5’、つまり他のパチンコ機1’において、まったく役に立たないものであるため、分解して解析した得た所定間隔ごとに瞬停を発生させ、その所定間隔ごとに、図8に示したゲート部2003に遊技球を通過させたとしても、図8に示した可動片を開閉動作させて第二始動口2004へ遊技球が受入可能となる遊技状態を発生させることができない。
[14-2.主制御側電源投入時処理]
まず、パチンコ機1に電源が投入されると、デフォルトとして予め定めたアドレスにスタックポインタが設定されるように主制御MPU1310aが回路構成されている。
このスタックポインタは、例えば、使用中の記憶素子(レジスタ)の内容を一時記憶するためにスタックに積んだアドレスを示したり、サブルーチンを終了して本ルーチンに復帰するときの本ルーチンの復帰アドレスを一時記憶するためにスタックに積んだアドレスを示したりするものであり、スタックが積まれるごとにスタックポインタが進む。
そして上述したメイン制御プログラムが、主制御基板1310の主制御MPU1310aによる制御の下、図92及び図93に示すように、主制御側電源投入時処理を行う。この主制御側電源投入時処理が開始されると、メイン制御プログラムは、主制御MPU1310aの制御の下、RAMアクセス許可の設定を行う(ステップS10)。このRAMアクセス許可の設定により主制御内蔵RAM(遊技記憶部)に対する更新を行うことができる。
ステップS10に続いて、メイン制御プログラムは、図69に示した主制御内蔵WDT1310afの初期値設定及び起動設定を行う(ステップS12)。ここでは、主制御MPU1310aの動作(システム)が正常動作しているか否かを監視する主制御内蔵WDT1310afに初期値を設定するために主制御MPU1310aに内蔵されるウオッチドックタイマコントロールレジスタ(以下、「WDTコントロールレジスタ」と記載する。)にタイマ設定値を設定して主制御内蔵WDT1310afを起動させて主制御MPU1310aをリセットするまでの計時を開始する。主制御内蔵WDT1310afが起動すると、主制御内蔵WDT1310afによる計時が開始され、この計時された時間がタイマ設定値で設定された時間に達するまでに、主制御MPU1310aに内蔵されるウオッチドックタイマクリアレジスタ(以下、「WDTクリアレジスタ」と記載する。)にタイマクリア設定値をセットしないと、主制御内蔵WDT1310afにより主制御MPU1310aが強制的にリセットされるようになっている。これに対して、主制御内蔵WDT1310afが起動して計時が開始されると、この計時された時間がタイマ設定値で設定された時間に達するまでにWDTクリアレジスタにタイマクリア設定値をセットすると、主制御内蔵WDT1310afによる計時がクリアされて、再び計時が開始されるようになっている。このように、主制御内蔵WDT1310afによる計時をタイマ設定値で設定された時間に達するまでにクリアして再び計時を開始するという処理を繰り返し行うことにより主制御MPU1310aの動作(システム)が正常動作しているか否かを監視することができる。
ステップS12に続いて、メイン制御プログラムは、停電クリア処理を行う(ステップS14)。この電電クリア処理では、まず、図78に示した停電監視回路1310eに停電クリア信号の出力を開始する。この停電監視回路1310eは、電圧比較回路であるコンパレータMIC21と、DタイプフリップフロップMIC22と、から構成されている。電圧比較回路であるコンパレータMIC21は、+24Vとリファレンス電圧との電圧を比較したり、+12Vとリファレンス電圧との電圧を比較したりすることで、その比較結果を出力する。この比較結果は、停電又は瞬停が発生していない場合ではその論理がHIとなってDタイプフリップフロップMIC22のプリセット端子であるPR端子に入力される一方、停電又は瞬停が発生した場合ではその論理がLOWとなってDタイプフリップフロップMIC22のプリセット端子であるPR端子に入力されるようになっている。
電電クリア処理では、まず停電監視回路1310eに停電クリア信号の出力を開始することにより、このDタイプフリップフロップMIC22のクリア端子であるCLR端子に停電クリア信号の出力を開始する。この停電クリア信号は、主制御MPU1310aの所定の出力ポートの出力端子からその論理をLOWとして、リセット機能付き主制御出力回路1310caを介して、DタイプフリップフロップICのクリア端子であるCLR端子に入力される。これにより、主制御MPU1310aは、DタイプフリップフロップMIC22のラッチ状態を解除することができ、ラッチ状態をセットするまでの間、DタイプフリップフロップMIC22のプリセット端子であるPR端子に入力された論理を反転して出力端子である1Q端子から出力する状態とすることができ、その1Q端子からの信号を監視することができる。
続いて、電電クリア処理では、ウェイトタイマ処理を行い、停電予告信号が入力されているか否かを判定する。電源投入時から所定電圧となるまでの間では電圧がすぐに上がらない。一方、停電又は瞬停(電力の供給が一時停止する現象)となるときでは電圧が下がり、停電予告電圧より小さくなると、停電監視回路1310eから停電予告として停電予告信号が入力される。電源投入時から所定電圧に上がるまでの間では同様に電圧が停電予告電圧より小さくなると、停電監視回路1310eから停電予告信号が入力される。そこで、ウェイトタイマ処理では、電源投入後、電圧が停電予告電圧より大きくなって安定するまで待つための処理であり、本実施形態では、待ち時間(ウェイトタイマ)として200ミリ秒(ms)が設定されている。停電予告信号が入力されているか否かの判定では、停電予告信号として、上述したDタイプフリップフロップMIC22の出力端子である1Q端子から出力されている信号に基づいて行う。
電源投入後に電圧が停電予告電圧より大きくなって安定するまで待っても停電予告信号の入力がなかったときには、メイン制御プログラムは、DタイプフリップフロップMIC22のクリア端子であるCLR端子に停電クリア信号の出力を停止する。ここでは、停電クリア信号は、主制御MPU1310aの所定の出力ポートの出力端子からその論理をHIとして、リセット機能付き主制御出力回路1310caを介して、DタイプフリップフロップICのクリア端子であるCLR端子に入力される。これにより、主制御MPU1310aは、DタイプフリップフロップMIC22をラッチ状態にセットすることができる。DタイプフリップフロップMIC22は、そのプリセット端子であるPR端子に論理がLOWとなって入力された状態をラッチすると、出力端子である1Q端子から停電予告信号を出力する。
ステップS14に続いて、メイン制御プログラムは、電源投入時から所定時間に亘って主制御内蔵RAM(遊技記憶部)の初期化を行うRAMクリア処理を実行可能な状態とする(遊技側電源投入時操作制御手段)。具体的には、メイン制御プログラムは、まず、図70に示した払出制御基板951の操作スイッチ954が操作されているか否かを判定する(ステップS16)。この判定では、メイン制御プログラムが、払出制御基板951の操作スイッチ954が操作されたことに伴う操作信号(検出信号)に基づくエラー解除ナビコマンド(第1のエラー解除コマンド)が主制御MPU1310aに入力されているか否かにより行う。メイン制御プログラムは、その操作信号の論理値に基づいて、操作スイッチ954からの操作信号の論理値がHIであるときにはRAMクリアを行うことを指示するものではないと判断して操作スイッチ954が操作されていないと判定する一方、操作スイッチ954からの操作信号の論理値がLOWであるときにはRAMクリアを行うことを指示するものであると判断して操作スイッチ954が操作されていると判定する。
ステップS16において、メイン制御プログラムは、上記操作スイッチ954が操作されているときには、RAMクリア報知フラグRCL-FLGに値1をセットする(ステップS18)。一方、メイン制御プログラムは、ステップS16で操作スイッチ954が操作されていないときには、RAMクリア報知フラグRCL-FLGに値0をセットする(ステップS20)。即ち、メイン制御プログラムは、電源投入時から所定時間に亘って、主制御MPU1310aに内蔵されたRAM(つまり、主制御内蔵RAM(遊技記憶部))の初期化を行うRAMクリア処理を実行可能な状態とする(遊技制御側電源投入時操作制御手段)。上述したRAMクリア報知フラグRCL-FLGは、主制御MPU1310aの主制御内蔵RAM(遊技記憶部)に記憶されている、確率変動、未払い出し賞球等の遊技に関する遊技情報を消去するか否かを示すフラグであり、遊技情報を消去するとき値1、遊技情報を消去しないとき値0にそれぞれ設定される。なお、ステップS18及びステップS20でセットされたRAMクリア報知フラグRCL-FLGの値は、主制御MPU1310aの汎用記憶素子(汎用レジスタ)に記憶される。
ステップS18又はステップS20に続いて、メイン制御プログラムは、ウェイト時間待機処理を行う(ステップS22)。このウェイト時間待機処理では、図72に示した、周辺制御基板1510の液晶表示制御部1512による遊技盤側演出表示装置1600及び扉枠側演出表示装置460の描画制御を行うシステムが起動する(ブートする)まで待っている。本実施形態では、ブートするまでの待機時間(ブートタイマ)として2.5秒(s)が設定されている。
ステップS22に続いて、メイン制御プログラムは、停電予告信号が入力されているか否かを判定する(ステップS24)。上述したように、パチンコ機1の電源を遮断したり、停電又は瞬停したりするときには、電圧が停電予告電圧以下となると、停電予告として停電予告信号が停電監視回路1310eから入力される。ステップS24の判定は、この停電予告信号に基づいて行う。ステップS24の判定で停電予告信号の入力があるときには、メイン制御プログラムは、ステップS24の判定に再び戻り、停電予告信号の入力があり続ける限り、ステップS24の判定を繰り返し行う。これにより、ステップS12において起動した主制御内蔵WDT1310afに対して主制御MPU1310aに内蔵されるWDTクリアレジスタにタイマクリア設定値をセットし、主制御内蔵WDT1310afによる計時をクリアして再び計時を開始させることができなくなることによって、主制御内蔵WDT1310afにより主制御MPU1310aが強制的にリセットされることとなる。その後メイン制御プログラムが、主制御基板1310の主制御MPU1310aによる制御の下、この主制御側電源投入時処理を再び行う。なお、ステップS24の判定がステップS22のウェイト時間待機処理に続いて行われる点についての詳細な説明を後述する。
ステップS24の判定で停電予告信号の入力がないときには、メイン制御プログラムは、RAMクリア報知フラグRCL-FLGが値0である否かを判定する(ステップS26)。上述したように、RAMクリア報知フラグRCL-FLGは、遊技情報を消去するとき値1、遊技情報を消去しないとき値0にそれぞれ設定される。ステップS26でRAMクリア報知フラグRCL-FLGが値0であるとき、つまり遊技情報を消去しないときには、チェックサムの算出を行う(ステップS28)。このチェックサムは、主制御内蔵RAMに記憶されている遊技情報を数値とみなしてその合計を算出するものである。
ステップS28に続いて、メイン制御プログラムは、算出したチェックサムの値(サム値)が後述する主制御側電源断時処理(電源断時)において記憶されているチェックサムの値(サム値)と一致しているか否かを判定する(ステップS30)。一致しているときには、このメイン制御プログラムは、バックアップフラグBK-FLGが値1であるか否かを判定する(ステップS32)。このバックアップフラグBK-FLGは、遊技情報、チェックサムの値(サム値)及びバックアップフラグBK-FLGの値等の遊技バックアップ情報を後述する主制御側電源断時処理において主制御内蔵RAMに記憶保持したか否かを示すフラグであり、主制御側電源断時処理を正常に終了したとき値1、主制御側電源断時処理を正常に終了していないとき値0にそれぞれ設定される。なお、主制御基板1310の製造ラインの検査工程において、検査のために製造してから最初に主制御基板1310が電源投入される際における、ステップS28のチェックサムの算出と、ステップS30の判定と、についての詳細な説明を後述する。
ステップS32でバックアップフラグBK-FLGが値1であるとき、つまり主制御側電源断時処理を正常に終了したときには、メイン制御プログラムは、復電時として主制御内蔵RAMの作業領域を設定する(ステップS34)。この設定は、主制御MPU1310aに内蔵されたROM(つまり、主制御内蔵ROM)から復電時情報を読み出し、この復電時情報を主制御内蔵RAMの作業領域にセットする。これにより、遊技バックアップ情報から遊技情報を読み出してこの遊技情報に応じた各種コマンドを主制御内蔵RAMの所定記憶領域に記憶する。なお、「復電」とは、電源を遮断した状態から電源を投入した状態のほかに、停電又は瞬停からその後の電力の復旧した状態、不正手段(例えば、不正行為者が腕の裾に隠した高周波出力装置)からの高周波が主制御基板1310に照射されて主制御MPU1310a自体がリセットし、その後に復帰した状態も含める。
ステップS34に続いて、メイン制御プログラムは、バックアップフラグBK-FLGに値0をセットする(ステップS36)。これにより、これ以後の各種処理が行われることにより遊技情報、チェックサムの値(サム値)等が変更されるため、後述する主制御側電源断時処理を正常に終了してバックアップフラグBK-FLGに値1がセットされないと、後述するように、主制御内蔵RAMの全領域がクリアされることとなる。
一方、ステップS26でRAMクリア報知フラグRCL-FLGが値0でない(値1である)とき、つまり遊技情報を消去するときには、或いはステップS30でチェックサムの値(サム値)が一致していないときには、又はステップS32でバックアップフラグBK-FLGが値1でない(値0である)とき、つまり主制御側電源断時処理を正常に終了していないときには、メイン制御プログラムは、主制御内蔵RAMの全領域をクリアする(ステップS38)。即ち、メイン制御プログラムは、上述した操作スイッチ954の操作に伴う検出信号の入力を契機として遊技制御側RAMクリア処理を実行している(払出制御側電源投入時操作制御手段)。具体的には、メイン制御プログラムは、値0を主制御内蔵RAMに書き込むことよって行う。なお、その代わりに、メイン制御プログラムは、初期値として主制御内蔵ROMから所定値を読み出して、セットしてもよい。また、主制御MPU1310aは、操作スイッチ954からの操作信号の論理値がRAMクリアを指示するもので遊技情報を消去するとき、サム値が一致していないとき、又は主制御側電源断時処理を正常に終了していないときには、主制御MPU1310aの不揮発性のRAMに予め記憶された固有のIDコードを取り出し、この取り出したIDコードに基づいて普通図柄当り判定用乱数を更新するカウンタの固定数値範囲から常に同一の固定値を導出する初期値導出処理を行い、この固定値を、上述した普通図柄当り判定用乱数の初期値の決定に用いるための普通図柄当り判定用初期値決定用乱数にセットする。
ステップS38に続いて、メイン制御プログラムは、初期設定として主制御内蔵RAMの作業領域を設定する(ステップS40)。この設定は、主制御内蔵ROMから初期情報を読み出してこの初期情報を主制御内蔵RAMの作業領域にセットされることにより実施される。
ステップS36又はステップS40に続いて、メイン制御プログラムは、割り込み初期設定を行う(ステップS42)。この設定は、後述する主制御側タイマ割り込み処理が行われるときの割り込み周期を設定するものである。本実施形態では、4ミリ秒(ms)に設定されている。
ステップS42に続いて、メイン制御プログラムは、シリアル通信初期設定を行う(ステップS44)。ここでは、主制御MPU1310aに内蔵される各種シリアル入出力ポート(例えば、払出制御基板951に対するシリアル入出力ポート(受信チャンネル及び送信チャンネル)、周辺制御基板1510に対するシリアル入出力ポート(受信チャンネル及び送信チャンネル)に対応する、送信シリアルポートプリスケーラに通信速度の設定やパリティ有無の設定等を行うとともに、送信シリアルポートコントロールレジスタに送信回路の初期化の設定や送信許可の設定等を行う。
ステップS44に続いて、メイン制御プログラムは、試験信号出力ポート初期化設定を行う(ステップS46)。ここでは、遊技機の試験機関において、各種検査情報を出力するための図示しない試験信号出力ポートを、電源投入時に初期化設定(OFFデータ出力に設定)等を行う。
ステップS46に続いて、メイン制御プログラムは、図69に示した主制御内蔵ハード乱数回路1310anの起動設定を行う(ステップS48)。ここでは、遊技に関する各種乱数のうち、大当り遊技状態を発生させるか否かの決定に用いるための大当り判定用乱数を、ハードウェアにより更新するために主制御MPU1310aに内蔵される、ハード乱数コントロールレジスタに乱数をラッチして取得するという設定等を行うとともに、ハード乱数設定レジスタに主制御内蔵ハード乱数回路1310anの起動等を設定する。これらの設定により主制御内蔵ハード乱数回路1310anが起動すると、主制御MPU1310aに入力されるクロック信号(図77に示した主制御水晶発振器MX0から出力されるクロック信号)に基づいて高速に予め定めた数値範囲内における他の値を重複することなく次々に抽出し、予め定めた数値範囲内におけるすべての値を抽出し終えると、再び、予め定めた数値範囲内における一の値を抽出して、主制御MPU1310aに入力されるクロック信号に基づいて高速に予め定めた数値範囲内における他の値を重複することなく次々に抽出する。なお、主制御MPU1310aは、主制御内蔵ハード乱数回路1310anから乱数(乱数値)を取得するときには、主制御内蔵ハード乱数回路1310anにラッチ信号を出力し、このラッチ信号が入力された際における主制御内蔵ハード乱数回路1310anが抽出した乱数(乱数値)を、主制御内蔵主制御MPU1310aに内蔵されるハード乱数ラッチレジスタから取得するようになっている。主制御MPU1310aは、この取得した乱数値を大当り判定用乱数としてセットする。
ステップS48に続いて、メイン制御プログラムは、電源投入時に送信するコマンドの予約設定を行う(ステップS50)。ここでは、ステップS34の主制御内蔵RAMの作業領域の設定において主制御内蔵RAMの作業領域にセットされた復電時情報に基づいて、電源投入(復電)した旨を伝えるために、図89に示した電源投入に区分される電源投入時状態コマンドと電源投入時主制御復帰先コマンドとを作成して送信情報として主制御内蔵RAMの送信情報記憶領域に記憶する。主制御内蔵RAMの送信情報記憶領域には、ステップS34の主制御内蔵RAMの作業領域の設定において、遊技バックアップ情報から遊技情報を読み出してこの遊技情報に応じた各種コマンドが記憶されている場合もある。このような場合には、まず遊技情報に応じた各種コマンドの送信完了後に、続いて電源投入時状態コマンドと電源投入時主制御復帰先コマンドとが送信されることとなる。これらのコマンドは、後述する主制御側タイマ割り込み処理において送信されるようになっている。なお、ステップS50において電源投入時に送信するコマンドの予約設定が行われる点についての詳細な説明を後述する。
ステップS50に続いて、メイン制御プログラムは、割り込み許可設定を行う(ステップS52)。この設定によりステップS42で設定した割り込み周期、つまり4msごとに後述する主制御側タイマ割り込み処理が繰り返し行われる。
ステップS52に続いて、メイン制御プログラムは、電源投入時から所定時間を経過すると、つまり、主制御側メイン処理が開始されると、操作スイッチ954(操作スイッチ)の操作に伴うエラー解除ナビコマンドの受け取りを契機とした遊技制御側RAMクリア処理の実行を規制することとなる(通常時操作制御手段)。以上のように、メイン制御プログラムは、操作スイッチ954の操作に伴って入力される検出信号を、タイムシェアリングの概念により、上述のように電源投入時から所定時間に亘ってエラー解除ナビコマンドの入力を契機としてRAMクリア処理を実行させたり(遊技制御側電源投入時操作制御手段)、当該所定時間の経過後は当該エラー解除ナビコマンドの入力があってもRAMクリア処理の実行を規制し(遊技制御側通常時操作制御手段)、発生したエラーに伴うエラー報知を解除するための解除スイッチとして取り扱っている。つまり、本来、払出動作に関して発生したエラーを解除するために使用されるはずであった操作スイッチ954(エラー解除部)を、電源投入時から所定時間に亘って、その代わりに、遊技記憶部としての主制御内蔵RAM(及び後述する払出記憶部としての払出制御内蔵RAM)の初期化を開始させるためのRAMクリア処理を実行するための操作部として機能させたり、当該所定時間の経過後に、遊技球の払出動作に関して発生したエラーを解除するための操作部として機能させることができるようになっている。
次にメイン制御プログラムは、停電予告信号が入力されているか否かを判定する(ステップS54)。上述したように、パチンコ機1の電源を遮断したり、停電又は瞬停したりするときには、電圧が停電予告電圧以下となると、停電予告として停電予告信号が停電監視回路1310eから入力される。ステップS54の判定は、この停電予告信号に基づいて行う。
ステップS54で停電予告信号の入力がないときには、メイン制御プログラムは非当落乱数更新処理を行う(ステップS56)。この非当落乱数更新処理では、上述した、リーチ判定用乱数、変動表示パターン用乱数、大当り図柄用初期値決定用乱数、及び小当り図柄用初期値決定用乱数等を更新する。このように、非当落乱数更新処理では、当落判定(大当り判定)にかかわらない乱数をソフトウェアにより更新する。なお、上述した、普通図柄当り判定用乱数、普通図柄当り判定用初期値決定用乱数及び普通図柄変動表示パターン用乱数等もこの非当落乱数更新処理により更新される。
ステップS56に続いて、再びステップS54に戻り、メイン制御プログラムは、停電予告信号の入力があるか否かを判定し、この停電予告信号の入力がなければ、ステップS56で非当落乱数更新処理を行い、ステップS54~ステップS56を繰り返し行う。なお、このステップS54~ステップS56の処理を「主制御側メイン処理」という。
一方、ステップS54で停電予告信号の入力があったときには、メイン制御プログラムは、割り込み禁止設定を行う(ステップS58)。この設定により後述する主制御側タイマ割り込み処理が行われなくなり、主制御内蔵RAMへの書き込みを防ぎ、遊技情報の書き換えを保護している。
ステップS58に続いて、メイン制御プログラムは、停電クリア信号を出力開始する(ステップS60)。ここでは、ステップS14の停電クリア処理において停電クリア信号を出力開始した処理と同一の処理を行う。これにより、メイン制御プログラムは、主制御MPU1310aの制御の下、DタイプフリップフロップMIC22のラッチ状態を解除することができる。
ステップS60に続いて、メイン制御プログラムは、図69に示した、始動口ソレノイド2107、アタッカソレノイド2108、第一特別図柄表示器1403、第二特別図柄表示器1405、第一特別保留数表示器1404、第二特別保留数表示器1406、普通図柄表示器1402、普通図柄記憶表示器1188、状態表示器1401、ラウンド表示器1407等に出力している駆動信号を停止する(ステップS62)。
ステップS62に続いて、メイン制御プログラムは、チェックサムの算出を行ってこの算出した値を記憶する(ステップS64)。このチェックサムは、上述したチェックサムの値(サム値)及びバックアップフラグBK-FLGの値の記憶領域を除く、主制御内蔵RAMの作業領域の遊技情報を数値とみなしてその合計を算出する。
ステップS64に続いて、メイン制御プログラムは、バックアップフラグBK-FLGに値1をセットする(ステップS66)。これにより、遊技バックアップ情報の記憶が完了する。
ステップS66に続いて、メイン制御プログラムは、RAMアクセス禁止の設定を行う(ステップS68)。このRAMアクセス禁止の設定により主制御内蔵RAM(遊技記憶部)に対するアクセスが行うことができなくなることよって主制御内蔵RAM(遊技記憶部)の内容の更新を防止することができる。
ステップS68に続いて、無限ループに入る。この無限ループでは、ステップS12において起動した主制御内蔵WDT1310afに対して主制御MPU1310aに内蔵されるWDTクリアレジスタにタイマクリア設定値をセットし、主制御内蔵WDT1310afによる計時をクリアして再び計時を開始させることができなくなることによって、主制御内蔵WDT1310afにより主制御MPU1310aが強制的にリセットされることとなる。その後メイン制御プログラムが、主制御基板1310の主制御MPU1310aによる制御の下、この主制御側電源投入時処理を再び行う。なお、ステップS58~ステップS68の処理及び無限ループを「主制御側電源断時処理」という。
パチンコ機1(主制御MPU1310a)は、停電したとき又は瞬停したときにはリセットがかかり、その後の電力の復旧により主制御側電源投入時処理を行う。
なお、ステップS30では主制御内蔵RAMに記憶されている遊技バックアップ情報が正常なものであるか否かを検査し、続いてステップS32では主制御側電源断時処理が正常に終了された否かを検査している。このように、主制御内蔵RAMに記憶されている遊技バックアップ情報を2重にチェックすることにより遊技バックアップ情報が不正行為により記憶されたものであるか否かを検査している。
ここで、ステップS24の停電予告信号の有無の判定をステップS22のウェイト時間待機処理に続いて行う点について説明する。まず、ステップS24の停電予告信号の有無の判定がない場合における問題点について、つまりステップS22のウェイト時間待機処理に続いてステップS26のRAMクリアフラグの値の判定を行ってその後の処理をすすめる場合における問題点について説明する。
主制御MPU1310aの電源端子であるVDD端子には、上述したように、停電又は瞬停が発生してパチンコ島設備からの電源が遮断された場合に、図77に示した電解コンデンサMC2に充電された電荷が停電又は瞬停が発生してから約7ミリ秒(ms)という期間に亘って+5Vとして印加されるようになっている。つまり、瞬停や停電によりパチンコ島設備からの電源が遮断された状態であっても、電解コンデンサMC2というハードウェアに充電された電荷が+5Vとして印加されることにより、パチンコ島設備からの電源が遮断されてから約7msという時間が経過するまでの期間内に、主制御側電源断時処理を完了することができるようになっている。これは、遊技者が遊技を行っている際に、つまり、主制御側メイン処理又は後述する主制御側タイマ割り込み処理を行っている際に、停電又は瞬停が発生してパチンコ島設備からの電源が遮断された場合において、主制御側電源断時処理を確実に完了することができるようになっている。
ところが、極めて稀な現象として、復電時にステップS22のウェイト時間待機処理において、図72に示した、周辺制御基板1510の液晶表示制御部1512による遊技盤側演出表示装置1600及び扉枠側演出表示装置460の描画制御を行うシステムが起動する(ブートする)までの待機時間(ブートタイマ:本実施形態では、2.5秒が設定されている。)を計時開始し、その待機時間に達する直前で、仮に瞬停又は停電が発生すると、主制御MPU1310aの電源端子であるVDD端子に電解コンデンサMC2というハードウェアに充電された電荷が+5Vとして印加されるものの、約7msという期間内に、ステップS42で割り込み初期設定が行われ、その後、ステップS52で割り込み許可設定が行われることにより、後述する主制御側タイマ割り込み処理が行われて、主制御内蔵RAMの内容が更新されても、主制御側電源投入時処理における主制御側電源断時処理を完了することができなくなる場合がある。このため、主制御内蔵RAMの内容に基づく、チェックサムを算出した値が記憶されることなく再び復電時に主制御側電源投入時処理を開始することとなる。
そうすると、今回の復電時において主制御側電源投入時処理を開始して、瞬停や停電が発生することなく、ステップS22のウェイト時間待機処理を完了し、その後、ステップS28で主制御内蔵RAMの内容に基づくチェックサムを算出した値と、瞬停又は停電が発生した直前における主制御内蔵RAMに記憶されている値と、をステップS30で比較判定すると、チェックサムの値が一致するはずがなく、ステップS38で主制御内蔵RAMの全領域をクリアすることなる。換言すると、復電時に操作スイッチ954がホールの店員等により操作されてRAMクリアというホールの店員等による意思表示がなくても、強制的に主制御内蔵RAMに記憶されている情報を消去(クリア)することとなるという問題がある。
そこで、本実施形態では、ステップS22のウェイト時間待機処理の直後に、停電予告信号が入力されているか否かの判定を行う処理をステップ24として設けて、停電予告信号が入力されているときには、ステップS24の判定に再び戻り、停電予告信号の入力があり続ける限り、ステップS24の判定を繰り返し行うようになっている。これにより、ステップS12において起動した主制御内蔵WDT1310afに対して主制御MPU1310aに内蔵されるWDTクリアレジスタにタイマクリア設定値をセットし、主制御内蔵WDT1310afによる計時をクリアして再び計時を開始させることができなくなることによって、主制御内蔵WDT1310afにより主制御MPU1310aが強制的にリセットさせることができるようになっている。ステップS22のウェイト時間待機処理を行う前に、ステップS18又はステップS20においてRAMクリア報知フラグRCL-FLGに値が設定されるものの、RAMクリア報知フラグRCL-FLGの値は、上述したように、主制御MPU1310aの汎用記憶素子(汎用レジスタ)に記憶されるため、ステップS10でRAMアクセス許可の設定が行われていても、主制御内蔵RAMの内容(遊技情報)が全く変更されない。
このように、ステップS22のウェイト時間待機処理の直後に、停電予告信号が入力されているか否かの判定を行う処理をステップ24として設けて、停電予告信号が入力されているときには(つまり、ステップS22のウェイト時間待機処理で待機した後にパチンコ機1への電源が遮断されるとステップS24の判定により判定されたときには)、ステップS24の判定に再び戻り、停電予告信号の入力があり続ける限り、ステップS24の判定を繰り返し行うことにより、主制御基板1310の主制御MPU1310aを強制的にリセットして主制御基板1310を再起動することができるようになっているため、遊技の進行を行うことができず、遊技情報が更新されることを防止することができ、チェックサムの算出結果に変動が生ずることがないようになっている。これにより、主制御基板1310の主制御MPU1310aは、再起動した際に、ステップS28のチェックサムの算出結果と、ステップS64のチェックサムの算出記憶した値と、が一致していると判定することとなるため、主制御内蔵RAMに記憶保持される瞬停や停電が発生する直前の遊技情報を初期化することがない。したがって、復電時において、瞬停や停電が発生する直前の遊技情報が初期化されることを防止することができる。
また、ステップS22のウェイト時間待機処理の直後に、停電予告信号が入力されているか否かの判定を行う処理をステップ24として設けて、停電予告信号が入力されていないときには(つまり、ステップS22のウェイト時間待機処理で待機した後にパチンコ機1への電源が遮断されないとステップS24の判定により判別されたときには)、主制御基板1310の主制御MPU1310aが遊技の進行を行っている際に、パチンコ機1への電源が遮断されても、主制御MPU1310aの電源端子であるVDD端子に、図77に示した電解コンデンサMC2による電源の供給により、この遊技の進行による遊技情報を記憶するためのバックアップ処理であるステップS58~ステップS68の処理及び無限ループにより構成される主制御側電源断時処理を主制御基板1310の主制御MPU1310aが完了することができるようになっているため、主制御MPU1310aの主制御MPU1310aは、再起動した際に、ステップS28のチェックサムの算出結果と、バックアップ処理においてチェックサムの算出結果(つまり、ステップS64のチェックサムの算出記憶した値)と、が一致していると判定することとなるため、主制御内蔵RAMに記憶保持される瞬停や停電が発生する直前の遊技情報を初期化することがない。つまり、瞬停や停電が発生する直前の遊技情報に復元されて主制御基板1310を起動することができるようになっている。
更に、ステップS22のウェイト時間待機処理の直後に、ステップS24で停電予告信号が入力されていると判定したときには主制御内蔵WDT1310afにより主制御MPU1310aが強制的にリセットさせることで主制御内蔵RAMの内容を全く更新することなく再び主制御側電源断時処理を開始することができる一方、ステップS22のウェイト時間待機処理の直後に、ステップS24で停電予告信号が入力されていないと判定したときにはこれまで通りハードウェアによる約7msという「瞬停又は停電時電源確保期間」以内に主制御側電源断時処理を確実に完了することができるようになっている。つまり、本実施形態では、復電時に主制御側電源投入時処理を行っている際に瞬停や停電が発生してパチンコ島設備からの電源が遮断された場合であって、主制御MPU1310aの電源端子であるVDD端子に、図77に示した電解コンデンサMC2に充電された電荷が停電又は瞬停が発生してから約7ミリ秒(ms)という期間に亘って+5Vとして印加されるようになっているため、電解コンデンサMC2というハードウェアによる約7msという「瞬停又は電源確保期間」内において主制御側電源断時処理を完了することができない場合においては、ステップS22のウェイト時間待機処理の直後におけるステップ24で停電予告信号が入力されているか否かの判定を行い、停電予告信号が入力されているときには、ステップS24の判定に再び戻り、停電予告信号の入力があり続ける限り、ステップS24の判定を繰り返し行うことにより、ステップS12において起動した主制御内蔵WDT1310afに対して主制御MPU1310aに内蔵されるWDTクリアレジスタにタイマクリア設定値をセットし、主制御内蔵WDT1310afによる計時をクリアして再び計時を開始させることができなくなることによって、主制御内蔵WDT1310afにより主制御MPU1310aが強制的にリセットさせることができるようになっている。このようなソフトウェアによる主制御内蔵WDT1310afにより主制御MPU1310aが強制的にリセットされることでステップS24より後のステップ(具体的には、ステップS42で割り込み初期設定を行って、その後に、ステップS52で割り込み許可を設定して後述する主制御側タイマ割り込み処理を開始するという制御フロー)への進行を阻止することで主制御内蔵RAMの内容(遊技情報)が更新されることを回避することができるという仕組みを採用した。このように停電又は瞬停が発生してパチンコ島設備からの電源が遮断された際に、主制御内蔵RAMの内容(遊技情報)が全く変更されないようにソフトウェアで賄う部分と、主制御側電源断時処理を確実に完了して主制御内蔵RAMの内容(遊技情報)が全く変更されないようにハードウェアで賄う部分と、に2つに分けて構成することにより、主制御内蔵RAMの内容(遊技情報)が変更されることを確実に防止することができるようになっている。
次に、ステップS50において電源投入時に送信するコマンドの予約設定が行われる点について説明する。ステップS50では、上述したように、ステップS34の主制御内蔵RAMの作業領域の設定において主制御内蔵RAMの作業領域にセットされた復電時情報に基づいて、電源投入(復電)した旨を伝えるために、図89に示した電源投入に区分される電源投入時状態コマンドと電源投入時主制御復帰先コマンドとを作成して送信情報として主制御内蔵RAMの送信情報記憶領域に記憶する。この電源投入時主制御復帰先コマンドは、上述したように、始動口ソレノイド2107の駆動状態を指示する情報と、図69に示したアタッカソレノイド2108の駆動状態を指示する情報と、主として構成されている。ここでは、まず電源投入時主制御復帰先コマンドに、始動口ソレノイド2107の駆動状態を指示する情報と、図69に示したアタッカソレノイド2108の駆動状態を指示する情報と、が含まれていない場合における問題点、つまり、ステップS50において電源投入時主制御復帰先コマンドが電源投入時に送信するコマンドの予約設定が行われない場合における問題点について説明する。
例えば、周辺制御基板1510が大当り遊技状態の画面(例えば、大当り遊技演出の画面)を図8に示した遊技盤側演出表示装置1600の表示領域に表示制御している際に、主制御基板1310がアタッカソレノイド2108を駆動して図8に示した大入賞口2005が開閉部材2107により開放されているときに瞬停や停電が発生して、その後に復電すると、主制御基板1310は、ステップS34の主制御内蔵RAMの作業領域の設定において主制御内蔵RAMの作業領域にセットされた復電時情報に基づいて、瞬停又は停電が発生する直前の遊技状態に復元されることにより、アタッカソレノイド2108の駆動を開始して大入賞口2005が開閉部材2107により閉鎖されている状態から開放されている状態へ移行することとなる。
ところが、瞬停や停電が発生すると、周辺制御基板1510は、復電時において、主制御基板1310からの各種コマンドを受信して復帰するようになっているため、瞬停や停電が発生して、その後に復電すると、周辺制御基板1510は、復電時において主制御基板1310から受信した電源投入時状態コマンドが指示する確率及び時短状態に基づいて復帰することができる。しかし、主制御基板1310が遊技状態として大当り遊技状態を発生させているときに、瞬停や停電が発生して、その後に復電すると、周辺制御基板1510は、復電時において主制御基板1310から受信した電源投入時状態コマンドが指示する確率及び時短状態に基づいて、確率及び時短状態に応じて画面を遊技盤側演出表示装置1600の表示領域に表示して復帰することができても、大当り遊技状態のどのラウンドであるか全く表示することができない。つまり、例えば大入賞口2005に遊技球が入球して図69に示したカウントセンサ4005によって検出され、大入賞口2005に入球した遊技球の球数を伝える大入賞口1カウント表示コマンドを主制御基板1310が周辺制御基板1510に送信して周辺制御基板1510が受信したとしても、周辺制御基板1510は、確率及び時短状態に応じて画面に大入賞口2005に入球した遊技球の球数が遊技盤側演出表示装置1600の表示領域に表示することができても、大当り遊技状態のどのラウンド(つまり、何回目のラウンド)であるか全く表示することができない。
このような状況において、主制御基板1310は、例えば大当り遊技状態の4ラウンド(4回目のラウンド)を終了するときには、アタッカソレノイド2108の駆動を停止して大入賞口2005が開閉部材2107により開放されている状態から閉鎖されている状態へ移行する旨(つまり、始動口ユニット2100の大入賞口2005のラウンド間の閉鎖開始)を指示する大入賞口1閉鎖表示コマンドを主制御基板1310から周辺制御基板1510に送信し、主制御基板1310が大当り遊技状態の5ラウンド(5回目のラウンド)を開始するときには、アタッカソレノイド2108の駆動を開始して大入賞口2005が開閉部材2107により閉鎖されている状態から開放されている状態へ移行する旨(つまり、大入賞口2005の5回目のラウンドの開放開始)を指示する大入賞口開放5回目表示コマンドを主制御基板1310から周辺制御基板1510へ送信する。これにより、周辺制御基板1510は、大当り遊技状態の5ラウンドの開始という画面を、上述した確率及び時短状態に応じた画面からようやく切り替えて遊技盤側演出表示装置1600の表示領域に表示することととなる。
また、例えば、第二始動口2004へ遊技球が受入可能となる遊技状態となって遊技者に有利な遊技状態となっている旨を伝える画面(例えば、可動片が拡開されている旨を遊技者に伝える画面)を周辺制御基板1510が遊技盤側演出表示装置1600の表示領域に表示制御している際に、主制御基板1310が始動口ソレノイド2107を駆動して図8に示した一対の可動片を左右方向へ拡開させた状態となっているときに瞬停や停電が発生して、その後に復電すると、主制御基板1310は、ステップS34の主制御内蔵RAMの作業領域の設定において主制御内蔵RAMの作業領域にセットされた復電時情報に基づいて、瞬停又は停電が発生する直前の遊技状態に復元されることにより、始動口ソレノイド2107の駆動を開始して一対の可動片が略垂直に立上った状態から左右方向へ拡開させた状態へ移行することとなる。
ところが、瞬停や停電が発生すると、周辺制御基板1510は、復電時において、主制御基板1310からの各種コマンドを受信して復帰するようになっているため、瞬停や停電が発生して、その後に復電すると、周辺制御基板1510は、復電時において主制御基板1310から受信した電源投入時状態コマンドに基づいて復帰することができる。しかし、主制御基板1310が遊技状態として第二始動口2004へ遊技球が受入可能となる遊技状態となって遊技者に有利な遊技状態を発生させているときに、瞬停や停電が発生して、その後に復電すると、周辺制御基板1510は、復電時において主制御基板1310から受信した電源投入時状態コマンドが指示する確率及び時短状態に基づいて、確率及び時短状態に応じて画面を遊技盤側演出表示装置1600の表示領域に表示して復帰することができても、第二始動口2004へ遊技球が受入可能となる遊技状態となって遊技者に有利な遊技状態となっている旨を伝える画面を周辺制御基板1510が遊技盤側演出表示装置1600の表示領域に全く表示することができない。このため、パチンコ機の前面に着座する遊技者は、瞬停や停電が発生したことに驚いて、復電時において、瞬停や停電が発生する直前における第二始動口2004へ遊技球が受入可能となる遊技状態であることを忘れている場合もあり、このような場合には、復電時における遊技状態として第二始動口2004へ遊技球が受入可能となる遊技状態に復帰されているにもかかわらず、復電時に遊技盤側演出表示装置1600の表示領域に遊技を指示する画面(つまり、第二始動口2004へ遊技球を入球させるという遊技を指示する画面)が表示されないことにより、遊技者がどのような遊技を行えば分からなくなるという問題もあった。
このように、上述した2つ例においては、瞬停又は停電直前における遊技状態に、復電後、速やかに復帰することができないという問題があった。換言すると、パチンコ機の前面に着座する遊技者は、瞬停や停電が発生して、その後に復電すると、パチンコ機のシステムがかたまった状態、いわゆるフリーズした状態に見えて故障したと勘違いするという問題があった。
そこで、本実施形態では、主制御基板1310が電源投入時(電源投入する場合のほかに、停電や瞬停が発生して電力が回復する復電時も含む。)において、電源投入時状態コマンドと電源投入時主制御復帰先コマンドとを周辺制御基板1510に送信するために、ステップS50において、図89に示した電源投入に区分される電源投入時状態コマンドと電源投入時主制御復帰先コマンドとを作成して送信情報として主制御内蔵RAMの送信情報記憶領域に記憶するようになっている。そして、これらのコマンドは、後述する主制御側タイマ割り込み処理において送信されるようになっている。
これにより、周辺制御基板1510は、主制御基板1310から受信した電源投入時状態コマンドと電源投入時主制御復帰先コマンドとに基づいて、例えば、上述した例では、大当り遊技状態の4ラウンドにおいて、瞬停や停電が発して、その後に復電すると、主制御基板1310の復帰先として、アタッカソレノイド2108の駆動を開始して大入賞口2005が開閉部材2107により閉鎖されている状態から開放されている状態へ移行する旨を周辺制御基板1510に伝えることができるため、周辺制御基板1510は、大当り遊技状態の4ラウンドである旨を特定した画面(つまり、何回目のラウンドであるかを示す画面)を遊技盤側演出表示装置1600の表示領域に表示することができないものの、大当り遊技状態であってアタッカソレノイド2108の駆動を開始して大入賞口2005が開閉部材2107により開放されている状態である旨を伝える画面(例えば、「大当りです。大入賞口が開放されています。大入賞口に遊技球を入球させるように遊技を行ってください。」というメッセージを遊技者に伝える画面)を遊技盤側演出表示装置1600の表示領域に表示してパチンコ機の前面に着座する遊技者に復電後において大入賞口2005に遊技球を入球させるという遊技を指示することができるし、また例えば、上述した例では、第二始動口2004へ遊技球が受入可能となる遊技状態となって遊技者に有利な遊技状態となっている状態において、瞬停や停電が発して、その後に復電すると、主制御基板1310の復帰先として、始動口ソレノイド2107の駆動を開始して一対の可動片を左右方向へ拡開させた状態となっている旨を伝える画面(例えば、「可動片を拡開させています。下始動口に遊技球を入球させるように遊技を行ってください。」というメッセージを遊技者に伝える画面)を周辺制御基板1510が遊技盤側演出表示装置1600の表示領域に表示してパチンコ機の前面に着座する遊技者に復電後において第二始動口2004へ遊技球を入球させるという遊技を指示することができる。これにより、瞬停や停電が発して、その後に復電する際に、周辺制御基板1510の復帰先を主制御基板1310側で細かく指示することができる。したがって、瞬停又は停電直前における遊技状態に、復電後、速やかに復帰することができる。換言すると、パチンコ機の前面に着座する遊技者は、瞬停や停電が発生して、その後に復電すると、パチンコ機のシステムがかたまった状態、いわゆるフリーズした状態に見えて故障したと勘違いすることを防止することができる。
次に、主制御基板1310の製造ラインの検査工程である主制御基板検査工程において、検査のために製造してから最初に主制御基板1310が電源投入される際における、ステップS28のチェックサムの算出と、ステップS30の判定と、について説明する。主制御基板検査工程において、検査のために製造してから最初に主制御基板1310が電源投入されると、上述した、バックアップ処理であるステップS58~ステップS68の処理及び無限ループにより構成される主制御側電源断時処理を主制御基板1310の主制御MPU1310aは、一度も実行していない状態であるため、ステップS28で主制御内蔵RAMの内容に基づくチェックサムを算出しても、ステップS30で比較判定において、チェックサムの値が一致するはずがなく、ステップS38で主制御内蔵RAMの全領域を必ずクリアすることなる。これにより、ステップS50において電源投入時に送信するコマンドの予約設定が行われると、図89に示した電源投入に区分される電源投入時状態コマンドと電源投入時主制御復帰先コマンドとを作成して送信情報として主制御内蔵RAMの送信情報記憶領域に記憶することにより、電源投入時状態コマンドと電源投入時主制御復帰先コマンドという2つのコマンドのみが送信情報として主制御内蔵RAMの送信情報記憶領域に記憶される状態となる。そして、これらのコマンドは、後述する主制御側タイマ割り込み処理において、まず電源投入時状態コマンドが送信され、続いて電源投入時主制御復帰先コマンドが送信されるようになっている。これを利用して、主制御基板検査工程においては、検査のために製造してから最初に主制御基板1310が電源投入されると、主制御基板1310から最初のコマンドとして電源投入時状態コマンドが主制御基板検査工程の検査装置へ送信されることとなる。
ところで、電源投入時状態コマンドは、上述したように、電源投入時(電源投入する場合のほかに、停電や瞬停が発生して電力が回復する復電時も含む。)に、図70に示した払出制御基板951の操作スイッチ954が操作されてRAMクリアを行う場合にその旨を指示する情報と、電源投入時(電源投入する場合のほかに、停電や瞬停が発生して電力が回復する復電時も含む。)に、上述した、低確率時短状態、高確率時短状態、低確率非時短状態、及び高確率非時短状態のうち、いずれの状態(確率及び時短状態)で復帰するかを指示する情報と、パチンコ機の機種コードを示す情報と、から構成されている。ここでは、電源投入時状態コマンドにパチンコ機の機種コードを示す情報が含まれていない場合における問題点について説明する。
パチンコ機の機種コードは、上述したように、パチンコ機1(正確には、主制御基板1310)として、いわゆる、マックスタイプ、ミドルタイプ、甘デジタイプをそれぞれ作成するときに、どの作品の版権に対するものであるのか、どのような遊技仕様(例えば、確率変動が生ずると、次回大当り遊技状態が発生するまでその状態が継続されるという遊技仕様のほかに、特別図柄の変動回数が限定(例えば、30回や70回)された状態で確率変動が生ずるという遊技仕様(いわゆる、ST機)など))であるのか、を特定することができるものである。
パチンコ機1を製造するメーカの製造ラインにおいては、主制御基板1310を製造する際に、複数種類の作品の版権に対する主制御基板1310が混在する場合がある。
そうすると、製造ラインの作業者は、複数種類の作品の版権(例えば、映画A、映画B、ドラマC、映画D、漫画E、及び漫画Fという作品の版権)のうち、どの作品の版権に対する主制御基板1310を製造するために主制御基板1310が製造ラインに流れているのか分からなくなったり、複数種類の作品の版権のうち、一の版権(例えば、映画Dという作品の版権)に対する主制御基板1310を製造するために主制御基板1310が製造ラインに流れているにもかかわらず、他の版権(例えば、漫画Fという作品の版権)に対する主制御基板1310を製造するために主制御基板1310が製造ラインに流れているという思い込みや勘違いもある。このため、パチンコ機1を製造するメーカの製造ラインにおいて、主制御基板1310を製造する際に、複数種類の作品の版権に対する主制御基板1310が混在すると、製造ラインの作業者は、製造ラインで製造した主制御基板1310がどの作品の版権に対するものなのかを確認することができないし、同一作品の版権に対しても、どの機種タイプ(マックスタイプ、ミドルタイプ、甘デジタイプのうち、いずれのタイプ)であるのか、そしてどのような遊技仕様(確率変動が生ずると、次回大当り遊技状態が発生するまでその状態が継続されるという遊技仕様やST機)であるのかを確認することもできない。これにより、パチンコ機1を製造するメーカの製造ラインにおいて、主制御基板1310を製造する際に、複数種類の作品の版権に対する主制御基板1310が混在すると、複数種類の作品の版権に対する主制御基板1310が混在したまま、遊技盤5に主制御基板1310を取り付けるための遊技盤組立ラインへ送られることとなる。このため、遊技盤組立ラインの作業者は、作品の版権に対する遊技盤5と対応しない主制御基板1310を遊技盤5に取り付ける場合もあった。これにより、結果として、遊技盤5の生産効率が低下するという問題があった。
そこで、本実施形態では、主制御基板1310が電源投入時(電源投入する場合のほかに、停電や瞬停が発生して電力が回復する復電時も含む。)において、パチンコ機の機種コードを示す情報を含む電源投入時状態コマンドを周辺制御基板1510に送信するために、ステップS50において、図89に示した電源投入に区分される電源投入時状態コマンドと電源投入時主制御復帰先コマンドとを作成して送信情報として主制御内蔵RAMの送信情報記憶領域に記憶するようになっている。そして、これらのコマンドは、後述する主制御側タイマ割り込み処理において送信されるようになっている。
これにより、パチンコ機1を製造するメーカの製造ラインの作業者は、製造ラインの検査工程である主制御基板検査工程において、主制御基板1310を電源投入することにより、検査装置が主制御基板1310から受信した電源投入時状態コマンドに含まれるパチンコ機の機種コードを示す情報に基づいて、つまり、パチンコ機の機種コードを示す情報を構成する、上述した、機種タイプを示すマックスタイプ、ミドルタイプ、及び甘デジタイプのうち、いずれのタイプであるかを特定するためのシリーズコードと、作品の版権を特定するための版権コードと、遊技仕様(例えば、確率変動が生ずると、次回大当り遊技状態が発生するまでその状態が継続されるという遊技仕様のほかに、特別図柄の変動回数が限定された状態で確率変動が生ずるという遊技仕様(ST機)など)を特定するための遊技仕様コードと、に基づいて、検査モニタに表示する詳細な機種情報を目視することにより、主制御基板1310がどの作品の版権に対するものなのかを判別することができるとともに、同一作品の版権に対しても、どの機種タイプ(マックスタイプ、ミドルタイプ、及び甘デジタイプのうち、いずれのタイプ)であるのか、そしてどのような遊技仕様(確率変動が生ずると、次回大当り遊技状態が発生するまでその状態が継続されるという遊技仕様やST機)であるのかを判別することもできるようになっている。これにより、パチンコ機1を製造するメーカの製造ラインにおいて、主制御基板1310を製造する際に、複数種類の作品の版権に対する主制御基板1310が混在しても、製造ラインの主制御基板検査工程の作業者は、検査モニタを目視して主制御基板1310の機種タイプ、作品の版権、及び遊技仕様を正確に判別することができることによって、作品の版権に対する主制御基板1310ごとに分別して後続の遊技盤組立ラインへ送ることができる。そして、遊技盤組立ラインの作業者は、作品の版権に対する遊技盤5と対応する主制御基板1310を遊技盤5に確実に取り付けることができ、作品の版権に対する遊技盤5と対応しない主制御基板1310を遊技盤5に取り付けるという作業によって生ずる遊技盤5の生産効率の低下を防止することができる。したがって、遊技盤5の生産効率の向上に寄与することができる。
[14-3.主制御側タイマ割り込み処理]
次に、主制御側タイマ割り込み処理について説明する。この主制御側タイマ割り込み処理は、図92及び図93に示した主制御側電源投入時処理において設定された割り込み周期(本実施形態では、4ms)ごとに繰り返し行われる。
主制御側タイマ割り込み処理が開始されると、主制御基板1310では、メイン制御プログラムが、主制御MPU1310aの制御の下、図94に示すように、レジスタバンクの切替を行う(ステップS100)。主制御MPU1310aの汎用記憶素子(汎用レジスタ)には、第1のレジスタバンクと第2のレジスタバンクとから構成される2つのレジスタバンクがある。第1のレジスタバンクは上述した主制御側電源投入時処理における主制御メイン処理において使用される一方、第のレジスタバンクは本ルーチンである主制御側タイマ割り込み処理において使用される。ステップS100では、本ルーチンである主制御側タイマ割り込み処理において第2のレジスタバンクを使用するため、主制御側電源投入時処理における主制御メイン処理において使用されている第1のレジスタバンクから第2のレジスタタンクへのレジスタバンクの切り替えを行う。なお、本実施形態では、本ルーチンである主制御側タイマ割り込み処理が開始されるときに、各レジスタをスタックに退避する処理は必要ないようになっている。
ステップS100に続いて、メイン制御プログラムは、タイマ減算処理を行う(ステップS102)。このタイマ減算処理では、例えば、後述する特別図柄及び特別電動役物制御処理で決定される変動表示パターンに従って第一特別図柄表示器1403及び第二特別図柄表示器1405が点灯する時間、後述する普通図柄及び普通電動役物制御処理で決定される普通図柄変動表示パターンに従って普通図柄表示器1402が点灯する時間のほかに、主制御基板1310(主制御MPU1310a)が送信した各種コマンドを払出制御基板951が正常に受信した旨を伝える払主ACK信号が入力されているか否かを判定する際にその判定条件として設定されているACK信号入力判定時間等の時間管理を行う。具体的には、変動表示パターン又は普通図柄変動表示パターンの変動時間が5秒間であるときには、タイマ割り込み周期が4msに設定されているので、このタイマ減算処理を行うごとに変動時間を4msずつ減算し、その減算結果が値0になることで変動表示パターン又は普通図柄変動表示パターンの変動時間を正確に計っている。
本実施形態では、ACK信号入力判定時間が100msに設定されている。このタイマ減算処理を行うごとにACK信号入力判定時間が4msずつ減算し、その減算結果が値0になることでACK信号入力判定時間を正確に計っている。なお、これらの各種時間及びACK信号入力判定時間は、時間管理情報として主制御内蔵RAMの時間管理情報記憶領域に記憶される。
ステップS102に続いて、メイン制御プログラムは、スイッチ入力処理を行う(ステップS104)。このスイッチ入力処理では、主制御MPU1310aの各種入力ポートの入力端子に入力されている各種信号を読み取り、入力情報として主制御内蔵RAMの入力情報記憶領域に記憶する。具体的には、このメイン制御プログラムは、例えば、図8に示した一般入賞口2001,2201に入球した遊技球を検出する図69に示した一般入賞口センサ4020,4020からの検出信号、図8に示した大入賞口2005に入球した遊技球を検出する図69に示したカウントセンサ4005からの検出信号、図8に示した第一始動口2002に入球した遊技球を検出する図69に示した第一始動口センサ4002からの検出信号、図8に示した第二始動口2004に入球した遊技球を検出する図69に示した第二始動口センサ4004からの検出信号、図8に示したゲート部2003を通過した遊技球を検出する図69に示したゲートセンサ4003からの検出信号、図69に示した磁石を用いた不正行為を検出する磁気検出センサ4024からの検出信号や後述する賞球制御処理で送信した賞球コマンドを図69に示した払出制御基板951が正常に受信した旨を伝える払出制御基板951からの払主ACK信号、をそれぞれ読み取り、入力情報として入力情報記憶領域に記憶する。また、第一始動口2002に入球した遊技球を検出する第一始動口センサ4002からの検出信号、第二始動口2004に入球した遊技球を検出する第二始動口センサ4004からの検出信号をそれぞれ読み取ると、これと対応する図90に示したその他に区分される始動口入賞コマンドを送信情報として上述した送信情報記憶領域に記憶する。つまり、第一始動口センサ4002からの検出信号があると、これと対応する始動口入賞コマンドが送信情報として送信情報記憶領域に記憶されるし、第二始動口センサ4004からの検出信号があると、これと対応する始動口入賞コマンドが送信情報として送信情報記憶領域に記憶されるようになっている。
なお、本実施形態では、一般入賞口2001,2201に入球した遊技球を検出する一般入賞口センサ4020,4020からの検出信号、大入賞口2005に入球した遊技球を検出するカウントセンサ4005からの検出信号、第一始動口2002に入球した遊技球を検出する第一始動口センサ4002からの検出信号、第二始動口2004に入球した遊技球を検出する第二始動口センサ4004からの検出信号、及びゲート部2003を通過した遊技球を検出するゲートセンサ4003からの検出信号は、このスイッチ入力処理が開始されると、まず1回目としてそれぞれ読み取られ、所定時間(例えば、10μs)経過した後、2回目としてそれぞれ再び読み取られる。そして、この2回目に読み取られた結果と、1回目に読み取られた結果と、を比較する。この比較結果のうち、同結果となっているものがあるか否かを判定する。同結果でないものについては、さらに、3回目として再び読み取られ、この3回目に読み取られた結果と、2回目に読み取られた結果と、を比較する。この比較結果のうち、同結果となっているものがあるか否かを再び判定する。同結果でないものについては、さらに、4回目として再び読み取られ、この4回目に読み取られた結果と、3回目に読み取られた結果と、を比較する。この比較結果のうち、同結果となっているものがあるか否かを再び判定する。同結果とならいものについては、遊技球の入球がないものとして扱う。
このように、スイッチ入力処理では、メイン制御プログラムが、一般入賞口センサ4020,4020、カウントセンサ4005、第一始動口センサ4002、第二始動口センサ4004、及びゲートセンサ4003からの検出信号を、1回目~3回目に亘って比較する2度読み取りと、2回目~4回目に亘って比較する2度読み込みと、による計2回の2度読み取りを行うことによって、チャタリングやノイズ等の影響による誤検出を回避することができるようになっているため、一般入賞口センサ4020,4020、カウントセンサ4005、第一始動口センサ4002、第二始動口センサ4004、及びゲートセンサ4003からの検出信号の信頼性を高めることができる。
ステップS104に続いて、メイン制御プログラムは、当落乱数更新処理を行う(ステップS106)。この当落乱数更新処理では、上述した、大当り図柄用乱数、及び小当り図柄用乱数を更新する。またこれらの乱数に加えて、図93に示した主制御側電源投入時処理(主制御側メイン処理)におけるステップS56の非当落乱数更新処理で更新される、大当り図柄用初期値決定用乱数、及び小当り図柄用初期値決定用乱数も更新する。これらの大当り図柄用初期値決定用乱数、及び小当り図柄用初期値決定用乱数は、主制御側メイン処理及びこの主制御側タイマ割り込み処理においてそれぞれ更新されることでランダム性をより高めている。これに対して、大当り図柄用乱数、及び小当り図柄用乱数は、当落判定(大当り判定)にかかわる乱数であるためこの当落乱数更新処理が行われるごとにのみ、それぞれのカウンタがカウントアップする。なお、上述した、普通図柄当り判定用乱数、普通図柄当り判定用初期値決定用乱数もこの当落乱数更新処理により更新される。
例えば、普通図柄当り判定用乱数を更新するカウンタは、上述したように、初期値更新型のカウンタであり、最小値から最大値までに亘る予め定めた固定数値範囲内において更新され、この最小値から最大値までに亘る範囲を、この主制御側タイマ割り込み処理が行われるごとに値1ずつ加算されることでカウントアップする。普通図柄当り判定用初期値決定用乱数から最大値に向かってカウントアップし、続いて最小値から普通図柄当り判定用初期値決定用乱数に向かってカウントアップする。普通図柄当り判定用乱数の最小値から最大値までに亘る範囲をカウンタがカウントアップし終えると、この当落乱数更新処理により大当り判定用初期値決定用乱数は更新される。普通図柄当り判定用初期値決定用乱数は、普通図柄当り判定用乱数を更新するカウンタの固定数値範囲から一の値を抽選する初期値抽選処理を実行して得ることができるようになっている。
本実施形態では、大当り図柄用初期値決定用乱数、及び小当り図柄用初期値決定用乱数を、図93に示した主制御側電源投入時処理(主制御側メイン処理)におけるステップS56の非当落乱数更新処理、及び本ルーチンである主制御側タイマ割り込み処理におけるステップS106の当落乱数更新処理でそれぞれ更新しているが、割り込みタイマが発生するごとに本ルーチンの処理時間にムラが生じて次の割り込みタイマが発生するまでの残り時間内において主制御側メイン処理を繰り返し実行することによりステップS56の非当落乱数更新処理の実行回数がランダムとなる場合には、大当り図柄用初期値決定用乱数、及び小当り図柄用初期値決定用乱数をステップS56の非当落乱数更新処理においてのみ更新する仕組みとしてもよい。
ステップS106に続いて、メイン制御プログラムは、賞球制御処理を行う(ステップS108)。この賞球制御処理では、上述した入力情報記憶領域から入力情報を読み出してこの入力情報に基づいて遊技球を払い出すための図88に示した賞球コマンドを作成するとともに、賞球として払い出す予定の遊技球の球数が10球に達している場合には、その旨を伝えるためにメイン賞球数情報出力信号の出力を設定し、出力情報として出力情報記憶領域に記憶したり、主制御基板1310と払出制御基板951との基板間の接続状態を確認するための図88に示したセルフチェックコマンドを作成したりする。そして作成した賞球コマンドやセルフチェックコマンドを主払シリアルデータとして払出制御基板951に送信する。例えば、図8に示した大入賞口2005に遊技球が1球、入球すると、賞球として15球を払い出す賞球コマンドを作成するとともに、賞球として払い出す予定の遊技球の球数が10球に達しているため、その旨を伝えるためにメイン賞球数情報出力信号の出力を設定し、出力情報として出力情報記憶領域に記憶し、賞球コマンドを払出制御基板951に送信したり、この賞球コマンドを払出制御基板951が正常に受信完了した旨を伝える払主ACK信号が所定時間内に入力されないときには主制御基板1310と払出制御基板951との基板間の接続状態を確認するセルフチェックコマンドを作成して払出制御基板951に送信したりする。なお、賞球として15球を払い出す賞球コマンドを作成する場合のように、賞球として払い出す遊技球の球数が10球を超える場合には、その超えた球数に、次回のこの賞球制御処理において、上述した入力情報記憶領域から入力情報を読み出してこの入力情報に基づいて賞球として払い出す予定の遊技球の球数が加算されて、この加算された遊技球の球数がに達しているときには、その旨を伝えるためにメイン賞球数情報出力信号の出力を設定し、出力情報として出力情報記憶領域に記憶することとなる。
ステップS108に続いて、メイン制御プログラムは、枠コマンド受信処理を行う(ステップS110)。払出制御基板951では、払出制御プログラムが、図91に示した状態表示に区分される1バイト(8ビット)の各種コマンド(例えば、枠状態1コマンド、エラー解除ナビコマンド、及び枠状態2コマンド)を送信する。一方、後述するように払出制御プログラムは、払出動作にエラーが発生した場合にエラー発生コマンドを出力したり、操作スイッチ954の検出信号に基づいてエラー解除ナビコマンドを出力する。
上述した枠コマンド受信処理では、メイン制御プログラムが、この各種コマンドを払主シリアルデータとして正常に受信すると、その旨を払出制御基板951に伝える情報を、出力情報として主制御内蔵RAMの出力情報記憶領域に記憶する。また、メイン制御プログラムは、その正常に払主シリアルデータとして受信したコマンドを2バイト(16ビット)のコマンドに整形し(図90の状態表示に区分される各種コマンド(枠状態1コマンド、エラー解除ナビコマンド、及び枠状態2コマンド))、送信情報として上述した送信情報記憶領域に記憶する。なお、ここでいう枠状態1コマンドは第1のエラー発生コマンドに相当するとともに、エラー解除ナビコマンドは第1のエラー解除コマンドに相当する。
ステップS110に続いて、メイン制御プログラムは、不正行為検出処理を行う(ステップS112)。この不正行為検出処理では、賞球に関する異常状態を確認する。例えば、上述した入力情報記憶領域から入力情報を読み出し、大当り遊技状態でない場合にカウントセンサ4005からの検出信号が入力されているとき(大入賞口2005に遊技球が入球するとき)等には、異常状態として図90に示した報知表示に区分される入賞異常表示コマンドを作成し、送信情報として上述した送信情報記憶領域に記憶する。
ステップS112に続いて、メイン制御プログラムは、特別図柄及び特別電動役物制御処理を行う(ステップS114)。この特別図柄及び特別電動役物制御処理では、図69に示した主制御内蔵ハード乱数回路1310anにラッチ信号を出力し、ラッチ信号が入力された際における主制御内蔵ハード乱数回路1310anが抽出した乱数(乱数値)を、主制御内蔵主制御MPU1310aに内蔵されるハード乱数ラッチレジスタから取得し、この取得した乱数値を大当り判定用乱数としてセットする。そして大当り判定用乱数(つまり、主制御内蔵主制御MPU1310aに内蔵されるハード乱数ラッチレジスタから取得した乱数値)と、主制御内蔵ROMに予め記憶されている大当り判定値と、が一致するか否かを判定(大当り遊技状態を発生させるか否かを判定(「特別抽選」という。))したり、大当り図柄用乱数を更新するカウンタの値を取り出して主制御内蔵ROMに予め記憶されている確変当り判定値と一致するか否かを判定(確率変動を発生させるか否かの判定)したりする。ここで、「確率変動」とは、大当りする確率が通常時(低確率)にくらべて高く設定された高確率(確変時)に変化することである。本実施形態では、上述した大当り判定値の範囲(大当り判定範囲)として、低確率では値32668~値32767が設定されており、通常時判定テーブルから読み出されるのに対して、高確率では値31768~値32767が設定されており、確変時判定テーブルから読み出される。このように、ステップS114の特別図柄及び特別電動役物制御処理では、大当り判定用乱数(つまり、主制御内蔵主制御MPU1310aに内蔵されるハード乱数ラッチレジスタから取得した乱数値)と、主制御内蔵ROMに予め記憶されている大当り判定値と、が一致するか否かを判定するときには、大当り判定用乱数(つまり、主制御内蔵主制御MPU1310aに内蔵されるハード乱数ラッチレジスタから取得した乱数値)が大当り判定範囲に含まれているか否かにより行う。
これらの判定結果が第一始動口センサ4002によるものである場合には図89に示した特図1同調演出関連の各種コマンドを作成する一方、その抽選結果が第二始動口センサ4004によるものである場合には図89に示した特図2同調演出関連の各種コマンドを作成し、送信情報として送信情報記憶領域に記憶するするとともに、その決定した特別図柄の変動表示パターンに従って第一特別図柄表示器1403又は第二特別図柄表示器1405を点灯させるよう第一特別図柄表示器1403又は第二特別図柄表示器1405への点灯信号の出力を設定し、出力情報として上述した出力情報記憶領域に記憶する。また、発生させる遊技状態に応じて、例えば大当り遊技状態となるときには、図89に示した大当り関連に区分される各種コマンド(大当りオープニングコマンド、大入賞口1開放N回目表示コマンド、大入賞口1閉鎖表示コマンド、大入賞口1カウント表示コマンド、大当りエンディングコマンド、及び大当り図柄表示コマンド)を作成し、送信情報として送信情報記憶領域に記憶したり、図8に示した開閉部材2107を開閉動作させるようアタッカソレノイド2108への駆動信号の出力を設定し、出力情報として出力情報記憶領域に記憶したり、大入賞口2005が閉鎖状態から開放状態となる回数(ラウンド)が2回であるときには、図10に示したラウンド表示器1407の2ラウンド表示ランプ1407aを点灯させるよう2ラウンド表示ランプ1407aへの点灯信号の出力を設定し、出力情報として出力情報記憶領域に記憶したり、ラウンドが15回であるときには、図10に示したラウンド表示器1407の15ラウンド表示ランプ1407bを点灯させるよう15ラウンド表示ランプ1407bへの点灯信号の出力を設定し、出力情報として出力情報記憶領域に記憶したり、確率変動の発生の有無を所定の色で点灯させるよう状態表示器1401への点灯信号の出力を設定し、出力情報として出力情報記憶領域に記憶したりする。
ステップS114に続いて、メイン制御プログラムは、普通図柄及び普通電動役物制御処理を行う(ステップS116)。この普通図柄及び普通電動役物制御処理では、上述した入力情報記憶領域から入力情報を読み出してこの入力情報に基づいてゲート入賞処理を行う。このゲート入賞処理では、入力情報からゲートセンサ4003からの検出信号が入力端子に入力されていたか否かを判定する。この判定結果に基づいて、検出信号が入力端子に入力されていたときには、上述した普通図柄当り判定用乱数を更新するカウンタの値等を抽出してゲート情報として主制御内蔵RAMのゲート情報記憶領域に記憶する。
このゲート情報記憶領域には、第0区画~第3区画(4つの区画)が設けられており、第0区画、第1区画、第2区画、そして第3区画の順にゲート情報が格納されるようになっている。例えばゲート情報がゲート情報記憶の第0区画~第2区画に格納されている場合、ゲートセンサ4003からの検出信号が入力端子に入力されていたときにはゲート情報をゲート情報記憶の第3区画に格納する。
ゲート情報はゲート情報記憶の第0区画に格納されているものが主制御内蔵RAMの作業領域にセットされる。このゲート情報がセットされると、ゲート情報記憶の第1区画のゲート情報がゲート情報記憶の第0区画に、ゲート情報記憶の第2区画のゲート情報がゲート情報記憶の第1区画に、ゲート情報記憶の第3区画のゲート情報がゲート情報記憶の第2区画に、それぞれシフトされてゲート情報記憶の第3区画が空き領域となる。例えば、ゲート情報記憶の第1区画~第2区画にゲート情報が記憶されている場合には、ゲート情報記憶の第1区画のゲート情報がゲート情報記憶の第0区画に、ゲート情報記憶の第2区画のゲート情報がゲート情報記憶の第1区画にそれぞれシフトされてゲート情報記憶の第2区画及びゲート情報記憶の第3区画が空き領域となる。ここで、ゲート情報記憶の第1区画~第3区画にゲート情報が格納されていると、格納されたゲート情報の総数を保留球として普通図柄記憶表示器1188を点灯させるよう、上述したゲート情報に基づいて普通図柄記憶表示器1188の点灯信号の出力を設定し、出力情報として上述した出力情報記憶領域に記憶する。
ゲート入賞処理に続いて、主制御内蔵RAMの作業領域にセットされたゲート情報を読み出し、この読み出したゲート情報から普通図柄当り判定用乱数の値を取り出して主制御内蔵ROMに予め記憶されている普通図柄当り判定値と一致するか否かを判定する(「普通抽選」という)。この判定結果(普通抽選による抽選結果)により可動片を開閉動作させるか否かが決定する。この決定で開閉動作をさせる場合には、一対の可動片が左右方向へ拡開した状態となることで第二始動口2004へ遊技球が受入可能となる遊技状態となって遊技者に有利な遊技状態なる。この決定と対応する普通図柄の変動表示パターンを上述した普通図柄変動表示パターン用乱数に基づいて決定し、図89に示した普図同調演出関連に区分される各種コマンドを作成し、送信情報として上述した送信情報記憶領域に記憶するとともに、その決定した普通図柄の変動表示パターンに従って普通図柄表示器1402を点灯させるよう普通図柄表示器1402への点灯信号の出力を設定し、出力情報として上述した出力情報記憶領域に記憶する。また、例えばその取り出した普通図柄当り判定用乱数の値が主制御内蔵ROMに予め記憶されている普通図柄当り判定値と一致しているときには、図89に示した普通電役演出関連の各種コマンドを作成し、送信情報として送信情報記憶領域に記憶するとともに、可動片を開閉動作させるよう始動口ソレノイド2107への駆動信号の出力を設定し、出力情報として上述した出力情報記憶領域に記憶する一方、その取り出した普通図柄当り判定用乱数の値が主制御内蔵ROMに予め記憶されている普通図柄当り判定値と一致していないときには、上述した普通図柄変動表示パターン用乱数に基づいて普通図柄変動表示パターンを決定し、図89に示した普図同調演出関連に区分される各種コマンドを作成し、送信情報として上述した送信情報記憶領域に記憶するとともに、その決定した普通図柄変動表示パターンに従って普通図柄表示器1402を点灯させるよう普通図柄表示器1402への点灯信号の出力を設定し、出力情報として上述した出力情報記憶領域に記憶する。
ステップS116に続いて、メイン制御プログラムは、ポート出力処理を行う(ステップS118)。このポート出力処理では、主制御MPU1310aの各種出力ポートの出力端子から、上述した出力情報記憶領域から出力情報を読み出してこの出力情報に基づいて各種信号を出力する。このメイン制御プログラムは、例えば、出力情報に基づいて主制御MPU1310aの所定の出力ポートの出力端子から、払出制御基板951からの各種コマンドを正常に受信完了したときには主払ACK信号を払出制御基板951に出力したり、大当り遊技状態であるときには大入賞口2005の開閉部材2107の開閉動作を行うアタッカソレノイド2108に駆動信号を出力したり、可動片の開閉動作を行う始動口ソレノイド2107に駆動信号を出力したりするほかに、メイン賞球数情報出力信号、15ラウンド大当り情報出力信号、2ラウンド大当り情報出力信号、確率変動中情報出力信号、特別図柄表示情報出力信号、普通図柄表示情報出力信号、時短中情報出力情報、始動口入賞情報出力信号等の遊技に関する各種情報(遊技情報)信号を払出制御基板951に出力したりする。
ステップS118に続いて、メイン制御プログラムは、周辺制御基板コマンド送信処理を行う(ステップS120)。この周辺制御基板コマンド送信処理では、このメイン制御プログラムが、上述した送信情報記憶領域から送信情報を読み出してこの送信情報を主周シリアルデータとして周辺制御基板1510に送信する。この送信情報には、本ルーチンである主制御側タイマ割り込み処理で作成した、図89に示した、特図1同調演出関連に区分される各種コマンド、特図2同調演出関連に区分される各種コマンド、大当り関連に区分される各種コマンド(例えば、大入賞口2005(図8参照)に入球した遊技球を検出した際にカウントセンサ4005(図69参照)からの検出信号に基づ大入賞口カウントコマンドに相当する大入賞口1カウント表示コマンド)、電源投入に区分される各種コマンド、普図同調演出関連に区分される各種コマンド、普通電役演出関連に区分される各種コマンド、図90に示した、報知表示に区分される各種コマンド(扉開放コマンド、扉枠閉鎖コマンド、本体枠開放コマンド、本体枠閉鎖コマンドなど)、状態表示に区分される各種コマンド(枠状態1コマンド、エラー解除ナビコマンド及び枠状態2コマンド)、テスト関連に区分される各種コマンド及びその他に区分される各種コマンドが記憶されている。主周シリアルデータは、1パケットが3バイトに構成されている。具体的には、主周シリアルデータは、1バイト(8ビット)の記憶容量を有するコマンドの種類を示すステータスと、1バイト(8ビット)の記憶容量を有する演出のバリエーションを示すモードと、ステータス及びモードを数値とみなしてその合計を算出したサム値と、から構成されており、このサム値は、送信時に作成されている。
この周辺制御基板コマンド送信処理では、メイン制御プログラムが、主周シリアルデータとして各種コマンドを構成する、ステータス、モード、そしてサム値という順番で周辺制御基板1510に送信する。主制御MPU1310aの電源端子であるVDD端子には、上述したように、停電又は瞬停が発生した場合に、図77に示した電解コンデンサMC2に充電された電荷が+5Vとして印加されるようになっているため、図79に示した、主制御MPU1310aに内蔵される主周シリアル送信ポート1310aeは、少なくとも、その送信バッファレジスタ1310aebに主制御CPUコア1310aaがセットしたコマンドをシリアル管理部1310aecにより送信シフトレジスタ41aeaに転送して送信シフトレジスタ1310aeaから主周シリアルデータとして送信完了することができるようになっている。停電又は瞬停が発生して電力が回復する復電時には、図93に示した主制御側電源投入時処理におけるステップS50の電源投入時に送信するコマンドの予約設定において、復電した旨を伝えるために、図89に示した電源投入に区分される電源投入時状態コマンドと電源投入時主制御復帰先コマンドとを作成して送信情報として主制御内蔵RAMの送信情報記憶領域に記憶しているため、主周シリアルデータとして、電源投入時状態コマンドを構成する、ステータス、モード、そしてサム値という順番で周辺制御基板1510に送信し、続いて電源投入時主制御復帰先コマンドを構成する、ステータス、モード、そしてサム値という順番で周辺制御基板1510に送信する。なお、主制御内蔵RAMの送信情報記憶領域には、主制御側電源投入時処理におけるステップS34の主制御内蔵RAMの作業領域の設定において、遊技バックアップ情報から遊技情報を読み出してこの遊技情報に応じた各種コマンドが記憶されている場合もある。このような場合には、まず遊技情報に応じた各種コマンドの送信完了後に、続いて電源投入時状態コマンドと電源投入時主制御復帰先コマンドとが送信されることとなる。
この周辺制御基板コマンド送信処理では、メイン制御プログラムが、RXA端子の受信ポートによって払出制御基板951から枠状態1コマンド(第1のエラー発生コマンド)を受信した場合、周辺制御基板1510(演出制御部)に対して枠状態1コマンド(第2のエラー発生コマンド)を送信する(エラーコマンド送出手段)。この場合、メイン制御プログラムは、払出制御基板951から受け取った図91に示す形態である枠状態1コマンドを、図90に示す形態の枠状態1コマンドとして周辺制御基板1510に転送している。
またその一方、この周辺制御基板コマンド送信処理では、メイン制御プログラムが、RXA端子の受信ポートによって払出制御基板951からエラー解除ナビコマンド(第1のエラー解除コマンド)を受信した場合、周辺制御基板1510に対してエラー解除ナビコマンド(第2のエラー解除コマンド)を送信する(エラーコマンド送出手段)。この場合、メイン制御プログラムは、払出制御基板951から受け取った図91に示す形態であるエラー解除ナビコマンドを、図90に示す形態のエラー解除ナビコマンドとして周辺制御基板1510に転送している。
またさらに、この周辺制御基板コマンド送信処理では、メイン制御プログラムが、RXA端子の受信ポートによって払出制御基板951から本体枠開放コマンド(第1の本体枠開放コマンド)を受信した場合、周辺制御基板1510(演出制御部)に対して本体枠開放コマンド(第2の本体枠開放コマンド)を送信する(本体枠コマンド送出手段、第2の本体枠送出手段)。この場合、メイン制御プログラムは、払出制御基板951から受け取った図91に示す形態である本体枠開放コマンドを、図90に示す形態である本体枠開放コマンドとして周辺制御基板1510に転送している。一方、この周辺制御基板コマンド送信処理では、メイン制御プログラムが、RXA端子の受信ポートによって払出制御基板951から本体枠閉鎖コマンド(第1の本体枠閉鎖コマンド)を受信した場合、周辺制御基板1510(演出制御部)に対して本体枠閉鎖コマンド(第2の本体枠閉鎖コマンド)を送信する(本体枠コマンド送出手段、第2の本体枠コマンド送出手段)。この場合、メイン制御プログラムは、払出制御基板951から受け取った図91に示す形態である本体枠閉鎖コマンドを、図90に示す形態である本体枠閉鎖コマンドとして周辺制御基板1510に転送している。
また、この周辺制御基板コマンド送信処理では、メイン制御プログラムが、RXA端子の受信ポートによって払出制御基板951から扉開放コマンド(第1の扉開放コマンド)を受信した場合、周辺制御基板1510(演出制御部)に対して扉開放コマンド(第2の扉枠開放コマンド)を送信する(扉枠コマンド送出手段、第2の扉枠コマンド送出手段)。この場合、メイン制御プログラムは、払出制御基板951から受け取った図91に示す形態である扉枠閉鎖コマンドを、図90に示す形態である扉閉鎖コマンドとして周辺制御基板1510に転送している。一方、この周辺制御基板コマンド送信処理では、メイン制御プログラムが、RXA端子の受信ポートによって払出制御基板951から扉閉鎖コマンド(第1の扉閉鎖コマンド)を受信した場合、周辺制御基板1510(演出制御部)に対して扉閉鎖コマンド(第2の扉閉鎖コマンド)を送信する(扉枠コマンド送出手段、第2の扉枠コマンド送出手段)。この場合、メイン制御プログラムは、払出制御基板951から受け取った図91に示す形態である扉閉鎖コマンドを、図90に示す形態である扉閉鎖コマンドとして周辺制御基板1510に転送している。
ステップS120に続いて、メイン制御プログラムは、図69に示した主制御内蔵WDT1310afのクリアを行い(ステップS122)、このルーチンを終了する。ステップS22の主制御内蔵WDT1310afのクリアは、主制御MPU1310aに内蔵されるWDTクリアレジスタにタイマクリア設定値をセットすることにより行う。これにより、主制御内蔵WDT1310afによる計時がクリアされる。そして、主制御内蔵WDT1310afによる計時が再び開始されることによって、主制御内蔵WDT1310afにより主制御MPU1310aが強制的にリセットされずに済む。
なお、主制御基板1310は、上述したように、遊技の進行を行っている際に、パチンコ機1への電源が遮断される前に、遊技の進行による遊技情報を記憶するための上述したバックアップ処理を実行して完了することができるとともに、復電時において、主制御基板1310による遊技の進行の復帰先として、バックアップ処理を実行した遊技情報に基づいて、パチンコ機1への電源が遮断される際における、本ルーチンにおけるステップS118のポート出力処理による電気的駆動源である始動口ソレノイド2107やアタッカソレノイド2108の駆動状態を指示する図89の電源投入時主制御復帰先コマンドを周辺制御基板1510へ出力することができるようになっている。つまり、主制御基板1310は、図93の主制御側電源投入時処理におけるステップS50の電源投入時に送信するコマンドの予約設定において、同処理におけるステップS34の主制御内蔵RAMの作業領域の設定において主制御内蔵RAMの作業領域にセットされた復電時情報に基づいて、電源投入(復電)した旨を伝えるために、図89の電源投入に区分される電源投入時状態コマンドと電源投入時主制御復帰先コマンドとを作成して送信情報として主制御内蔵RAMの送信情報記憶領域に記憶し、本ルーチンにおけるステップS120の周辺制御基板コマンド送信処理において、主周シリアルデータとして、電源投入時状態コマンドを構成する、ステータス、モード、そしてサム値という順番で周辺制御基板1510に送信し、続いて電源投入時主制御復帰先コマンドを構成する、ステータス、モード、そしてサム値という順番で周辺制御基板1510に送信する。このため、周辺制御基板1510は、主制御基板1310からの電源投入時主制御復帰先コマンドに基づいて、復電時における主制御基板1310による遊技の進行の復帰先を遊技盤側演出表示装置1600の表示領域において演出表示することができる。これにより、遊技者が遊技を行っている際に、瞬停や停電が発生して、その後に復電するときに、瞬停又は停電直前における遊技状態に、復電後、速やかに復帰することができるとともに、主制御基板1310による遊技の進行の復帰先を遊技盤側演出表示装置1600の表示領域において演出表示して報知することができるため、パチンコ機1のシステムがかたまった状態、いわゆるフリーズした状態に遊技者に見えて故障したと勘違いされることを防止することができる。したがって、瞬停又は停電直前における遊技状態に、復電後、速やかに復帰することにより、遊技者に故障したと勘違いされることを防止することができる。
また、主制御基板1310の製造ラインの検査工程である主制御基板検査工程において、検査のために製造してから最初に主制御基板1310が電源投入されると、上述したように、図92の主制御側電源投入時処理におけるステップS38で主制御内蔵RAMの全領域を必ずクリアすることなる。これにより、同処理におけるステップS50の電源投入時に送信するコマンドの予約設定において、電源投入時に送信するコマンドの予約設定が行われると、図89に示した電源投入に区分される電源投入時状態コマンドと電源投入時主制御復帰先コマンドとを作成して送信情報として主制御内蔵RAMの送信情報記憶領域に記憶することにより、電源投入時状態コマンドと電源投入時主制御復帰先コマンドという2つのコマンドのみが送信情報として主制御内蔵RAMの送信情報記憶領域に記憶される状態となり、本ルーチンにおけるステップS120の周辺制御基板コマンド送信処理において、主周シリアルデータとして、電源投入時状態コマンドを構成する、ステータス、モード、そしてサム値という順番で主制御基板検査工程の検査装置に送信し、続いて電源投入時主制御復帰先コマンドを構成する、ステータス、モード、そしてサム値という順番で主制御基板検査工程の検査装置に送信する。主制御基板検査工程の検査装置は、主制御基板1310から受信した電源投入時状態コマンドに含まれるパチンコ機の機種コードを示す情報に基づいて、つまり、パチンコ機の機種コードを示す情報を構成する、上述した、機種タイプを示すマックスタイプ、ミドルタイプ、及び甘デジタイプのうち、いずれのタイプであるかを特定するためのシリーズコードと、作品の版権を特定するための版権コードと、遊技仕様(例えば、確率変動が生ずると、次回大当り遊技状態が発生するまでその状態が継続されるという遊技仕様のほかに、特別図柄の変動回数が限定された状態で確率変動が生ずるという遊技仕様(ST機)など)を特定するための遊技仕様コードと、に基づいて、主制御基板検査工程の検査モニタに詳細な機種情報を表示するようになっている。
[16-1.周辺制御部の各種制御処理]
[16-1-1.周辺制御部電源投入時処理]
まず、周辺制御部電源投入時処理について、図95を参照して説明する。パチンコ機1に電源が投入されると、図72に示した周辺制御部1511の周辺制御MPU1511aは、図95に示すように、周辺制御部電源投入時処理を行う。この周辺制御部電源投入時処理が開始されると、演出制御プログラムが周辺制御MPU1511aの制御の下、初期設定処理を行う(ステップS1000)。この初期設定処理では、演出制御プログラムが、周辺制御MPU1511a自身を初期化する処理と、ホットスタート/コールドスタートの判定処理と、リセット後のウェイトタイマを設定する処理等を行う。周辺制御MPU1511aは、まず自身を初期化する処理を行うが、この周辺制御MPU1511aを初期化する処理にかかる時間は、マイクロ秒(μs)オーダーであり、極めて短い時間で周辺制御MPU1511aを初期化することができる。これにより、周辺制御MPU1511aは、割り込み許可が設定された状態となることによって、例えば、後述する周辺制御部コマンド受信割り込み処理において、主制御基板1310から出力される、図89及び図90に示した、遊技演出の制御に関するコマンドやパチンコ機1の状態に関するコマンド等の各種コマンドを受信することができる状態となる。
ホットスタート/コールドスタートの判定処理では、図73に示した周辺制御RAM1511cついては、そのバックアップ第1エリア1511cbにおける、Bank1(1fr)及びBank2(1fr)にバックアップされている内容である演出バックアップ情報(1fr)を比較するとともに、Bank1(1ms)及びBank2(1ms)にバックアップされている内容である演出バックアップ情報(1ms)を比較し、そのバックアップ第2エリア1511ccにおける、Bank3(1fr)及びBank4(1fr)にバックアップされている内容である演出バックアップ情報(1fr)を比較するとともに、Bank3(1ms)及びBank4(1ms)にバックアップされている内容である演出バックアップ情報(1ms)を比較し、この比較した内容が一致しているときには図73に示した周辺制御RAM1511cの通常使用する記憶領域である、Bank0(1fr)に対してBank1(1fr)に記憶されている内容である演出バックアップ情報(1fr)と、Bank0(1ms)に対してBank1(1ms)に記憶されている内容である演出バックアップ情報(1ms)と、をそれぞれコピーバックしてホットスタートとする一方、比較した内容が一致していないとき(つまり、不一致であるとき)には周辺制御RAM1511cの通常使用する記憶領域である、Bank0(1fr)及びBank0(1ms)に対してそれぞれ値0を強制的に書き込んでコールドスタートとする。
またホットスタート/コールドスタートの判定処理では、図73に示した周辺制御SRAM1511dについても、そのバックアップ第1エリア1511dbにおける、Bank1(SRAM)及びBank2(SRAM)にバックアップされている内容である演出バックアップ情報(SRAM)を比較するとともに、そのバックアップ第2エリア1511dcにおける、Bank3(SRAM)及びBank4(SRAM)にバックアップされている内容である演出バックアップ情報(SRAM)を比較する。この比較した内容が一致しているときには図73に示した周辺制御SRAM1511dの通常使用する記憶領域であるBank0(SRAM)に対してBank0(SRAM)に記憶されている内容である演出バックアップ情報(SRAM)をコピーバックしてホットスタートとする一方、比較した内容が一致していないとき(つまり、不一致であるとき)には周辺制御SRAM1511dの通常使用する記憶領域であるBank0(SRAM)に対して値0を強制的に書き込んでコールドスタートとする。このようなホットスタート又はコールドスタートに続いて、図73に示した周辺制御RAM1511cのバックアップ非管理対象ワークエリア1511cfに対して値0を強制的に書き込んでゼロクリアする。そして周辺制御MPU1511aは、この初期化設定処理を行った後に、図73に示した周辺制御内蔵WDT1511afと、図72に示した周辺制御外部WDT1511eと、にクリア信号を出力して周辺制御MPU1511aにリセットがかからないようにしている。
ステップS1000に続いて、演出制御プログラムは現在時刻情報取得処理を行う(ステップS1002)。この現在時刻情報取得処理では、図72に示したRTC制御部4165のRTC41654aのRTC内蔵RAM4165aaから、年月日を特定するカレンダー情報と時分秒を特定する時刻情報とを取得して、図73に示した周辺制御RAM1511cのRTC情報取得記憶領域1511cadに、現在のカレンダー情報としてカレンダー情報記憶部にセットするとともに、現在の時刻情報として時刻情報記憶部にセットする。また、現在時刻情報取得処理では、液晶表示装置の輝度設定処理も行う。この液晶表示装置の輝度設定処理では、周辺制御MPU1511aがRTC制御部4165のRTC内蔵RAM4165aaから輝度設定情報を取得して、この取得した輝度設定情報に含まれるLEDの輝度となるように、遊技盤側演出表示装置1600のバックライトの輝度を調節して点灯する処理を行う。輝度設定情報は、上述したように、遊技盤側演出表示装置1600のバックライトであるLEDの輝度が100%~70%までに亘る範囲を5%刻みで調節するための輝度調節情報と、現在設定されている遊技盤側演出表示装置1600のバックライトであるLEDの輝度と、が含まれているものである。
液晶表示装置の輝度設定処理では、具体的には、RTC制御部4165のRTC内蔵RAM4165aaに記憶されている輝度設定情報に含まれるLEDの輝度が75%で遊技盤側演出表示装置1600のバックライトを点灯するときには、輝度設定情報に含まれる輝度調節情報に基づいて遊技盤側演出表示装置1600のバックライトの輝度を調節して点灯し、RTC制御部4165のRTC内蔵RAM4165aaに記憶されている輝度設定情報に含まれるLEDの輝度が80%で遊技盤側演出表示装置1600のバックライトを点灯するときには、輝度設定情報に含まれる輝度調節情報に基づいて遊技盤側演出表示装置1600のバックライトの輝度を調節して点灯する。なお、この液晶表示装置の輝度設定処理では、上述した、遊技盤側演出表示装置1600の使用時間に応じて遊技盤側演出表示装置1600の輝度を補正するための輝度補正プログラムと同様な補正が全く行われないようになっている。これは、この液晶表示装置の輝度設定処理に輝度補正プログラムと同様な補正プログラムが組み込まれることにより、液晶表示装置の輝度設定処理が実行されるごとに、LEDの輝度が100%に向かって補正されるのを防止するためである。
本実施形態では、周辺制御MPU1511aがRTC4165aのRTC内蔵RAM4165aaからカレンダー情報と時刻情報とを取得するのは、電源投入時の1回のみとなっている。また周辺制御MPU1511aは、この現在時刻情報取得処理を行った後に、周辺制御内蔵WDT1511afと周辺制御外部WDT1511eとにクリア信号を出力して周辺制御MPU1511aにリセットがかからないようにしている。
ステップS1002に続いて、演出制御プログラムは、Vブランク信号検出フラグVB-FLGに値0をセットする(ステップS1006)。このVブランク信号検出フラグVB-FLGは、後述する周辺制御部定常処理を実行するか否かを決定するためのフラグであり、周辺制御部定常処理を実行するとき値1、周辺制御部定常処理を実行しないとき値0にそれぞれ設定される。Vブランク信号検出フラグVB-FLGは、周辺制御MPU1511aからの画面データを受け入れることができる状態である旨を伝えるVブランク信号が音源内蔵VDP1512aから入力されたことを契機として実行される後述する周辺制御部Vブランク信号割り込み処理において値1がセットされるようになっている。このステップS1006では、Vブランク信号検出フラグVB-FLGに値0をセットすることによりVブランク信号検出フラグVB-FLGを一度初期化している。また周辺制御MPU1511aは、このVブランク信号検出フラグVB-FLGに値0をセットした後に、周辺制御内蔵WDT1511afと周辺制御外部WDT1511eとにクリア信号を出力して周辺制御MPU1511aにリセットがかからないようにしている。
ステップS1006に続いて、演出制御プログラムは、Vブランク信号検出フラグVB-FLGが値1であるか否かを判定する(ステップS1008)。このVブランク信号検出フラグVB-FLGが値1でない(値0である)ときには、再びステップS1008に戻ってVブランク信号検出フラグVB-FLGが値1であるか否かを繰り返し判定する。このような判定を繰り返すことにより、周辺制御部定常処理を実行するまで待機する状態となる。また周辺制御MPU1511aは、このVブランク信号検出フラグVB-FLGが値1であるか否かを判定した後に、周辺制御内蔵WDT1511afと周辺制御外部WDT1511eとにクリア信号を出力して周辺制御MPU1511aにリセットがかからないようにしている。
ステップS1008でVブランク信号検出フラグVB-FLGが値1であるとき、つまり周辺制御部定常処理を実行するときには、まず定常処理中フラグSP-FLGに値1をセットする(ステップS1009)。この定常処理中フラグSP-FLGは、周辺制御部定常処理を実行中であるとき値1、周辺制御部定常処理を実行完了したとき値0にそれぞれセットされる。
ステップS1009に続いて、演出制御プログラムは1ms割り込みタイマ起動処理を行う(ステップS1010)。この1ms割り込みタイマ起動処理では、後述する周辺制御部1msタイマ割り込み処理を実行するための1ms割り込みタイマを起動するとともに、この1ms割り込みタイマが起動して周辺制御部1msタイマ割り込み処理が実行された回数をカウントするための1msタイマ割り込み実行回数STNに値1をセットして1msタイマ割り込み実行回数STNの初期化も行う。この1msタイマ割り込み実行回数STNは周辺制御部1msタイマ割り込み処理で更新される。
ステップS1010に続いて、演出制御プログラムは、ランプデータ出力処理を行う(ステップS1012)。このランプデータ出力処理では、演出制御プログラムが図72に示したランプ駆動基板4170へのDMAシリアル連続送信を行う。ここでは、図73に示した周辺制御MPU1511aの周辺制御DMAコントローラ1511acを利用してランプ駆動基板用シリアルI/Oポート連続送信を行う。このランプ駆動基板用シリアルI/Oポート連続送信が開始されるときには、図73に示した周辺制御MPU1511aに外付けされる周辺制御RAM1511cのランプ駆動基板側送信データ記憶領域1511caaに、図8に示した遊技盤5に設けた各種装飾基板の複数のLEDへの点灯信号、点滅信号、又は階調点灯信号を出力するための遊技盤側発光データSL-DATが後述するランプデータ作成処理で作成されてセットされた状態となっている。
図73に示した周辺制御MPU1511aの周辺制御CPUコア1511aaは、周辺制御DMAコントローラ1511acの要求要因にランプ駆動基板用シリアルI/Oポートの送信を指定し、ランプ駆動基板側送信データ記憶領域1511caaの先頭アドレスに格納された遊技盤側発光データSL-DATのうちの最初の1バイトを、外部バス1511h、周辺制御バスコントローラ1511ad、そして周辺バス1511aiを介して、ランプ駆動基板用シリアルI/Oポートの送信バッファレジスタに転送して書き込む。これにより、ランプ駆動基板用シリアルI/Oポートは、この書き込まれた送信バッファレジスタのデータを送信シフトレジスタに転送し、遊技盤側発光クロック信号SL-CLKと同期して送信シフトレジスタの1バイトのデータを、1ビットずつ送信開始する。
周辺制御DMAコントローラ1511acは、ランプ駆動基板用シリアルI/Oポートの送信割り込み要求が発生するごとに、これを契機として(本実施形態では、ランプ駆動基板用シリアルI/Oポートの送信バッファレジスタに書き込まれた1バイトのデータが送信シフトレジスタに転送され、その送信バッファレジスタに1バイトのデータがなくなって空となったことを契機としている。)、周辺制御CPUコア1511aaがバスを使用していない場合に、ランプ駆動基板側送信データ記憶領域1511caaに格納された残りの遊技盤側発光データSL-DATを1バイトずつ、外部バス1511h、周辺制御バスコントローラ1511ad、そして周辺バス1511aiを介して、ランプ駆動基板用シリアルI/Oポートの送信バッファレジスタに転送して書き込むことで、ランプ駆動基板用シリアルI/Oポートは、この書き込まれた送信バッファレジスタのデータを送信シフトレジスタに転送し、遊技盤側発光クロック信号SL-CLKと同期して送信シフトレジスタの1バイトのデータを、1ビットずつ送信開始し、ランプ駆動基板用シリアルI/Oポートによる連続送信を行っている。
またランプデータ出力処理では、演出制御プログラムが、図72に示した枠装飾駆動アンプ基板194へのDMAシリアル連続送信処理を行う。ここでも、周辺制御MPU1511aの周辺制御DMAコントローラ1511acを利用して枠装飾駆動アンプ基板LED用シリアルI/Oポート連続送信を行う。この枠装飾駆動アンプ基板LED用シリアルI/Oポート連続送信が開始されるときには、図73に示した周辺制御MPU1511aに外付けされる周辺制御RAM1511cの枠装飾駆動アンプ基板側LED用送信データ記憶領域1511cabに、扉枠3に設けた各種装飾基板の複数のLEDへの点灯信号、点滅信号又は階調点灯信号を出力するための扉側発光データSTL-DATが後述するランプデータ作成処理で作成されてセットされた状態となっている。
周辺制御MPU1511aの周辺制御CPUコア1511aaは、周辺制御DMAコントローラ1511acの要求要因に枠装飾駆動アンプ基板LED用シリアルI/Oポートの送信を指定し、枠装飾駆動アンプ基板側LED用送信データ記憶領域1511cabの先頭アドレスに格納された扉側発光データSTL-DATのうちの最初の1バイトを、外部バス1511h、周辺制御バスコントローラ1511ad、そして周辺バス1511aiを介して、枠装飾駆動アンプ基板LED用シリアルI/Oポートの送信バッファレジスタに転送して書き込む。これにより、枠装飾駆動アンプ基板LED用シリアルI/Oポートは、この書き込まれた送信バッファレジスタのデータを送信シフトレジスタに転送し、扉側発光クロック信号STL-CLKと同期して送信シフトレジスタの1バイトのデータを、1ビットずつ送信開始する。
周辺制御DMAコントローラ1511acは、枠装飾駆動アンプ基板LED用シリアルI/Oポートの送信割り込み要求が発生するごとに、これを契機として(本実施形態では、枠装飾駆動アンプ基板LED用シリアルI/Oポートの送信バッファレジスタに書き込まれた1バイトのデータが送信シフトレジスタに転送され、その送信バッファレジスタに1バイトのデータがなくなって空となったことを契機としている。)、周辺制御CPUコア1511aaがバスを使用していない場合に、枠装飾駆動アンプ基板側LED用送信データ記憶領域1511cabに格納された残りの扉側発光データSTL-DATを1バイトずつ、外部バス1511h、周辺制御バスコントローラ1511ad、そして周辺バス1511aiを介して、枠装飾駆動アンプ基板LED用シリアルI/Oポートの送信バッファレジスタに転送して書き込むことで、枠装飾駆動アンプ基板LED用シリアルI/Oポートは、この書き込まれた送信バッファレジスタのデータを送信シフトレジスタに転送し、扉側発光クロック信号STL-CLKと同期して送信シフトレジスタの1バイトのデータを、1ビットずつ送信開始し、枠装飾駆動アンプ基板LED用シリアルI/Oポートによる連続送信を行っている。
ステップS1012に続いて、演出制御プログラムは、演出操作ユニット監視処理を行う(ステップS1014)。この演出操作ユニット監視処理では、後述する周辺制御部1msタイマ割り込み処理における演出操作ユニット情報取得処理において、演出操作ユニット400に設けられた各種検出スイッチからの検出信号に基づいて操作ボタン410の操作等を取得した各種情報がセットされる図73に示した周辺制御RAM1511cの演出操作ユニット情報取得記憶領域1511caiに基づいて、操作ボタン410の操作有無を監視し、操作ボタン410の操作の状態を遊技演出に反映するか否かを適宜決定する。
ステップS1014に続いて、演出制御プログラムは、表示データ出力処理を行う(ステップS1016)。この表示データ出力処理では、後述する表示データ作成処理で音源内蔵VDP1512aの内蔵VRAM上に生成した1画面分(1フレーム分)の描画データを音源内蔵VDP1512aが図74に示したチャンネルCH1,2から遊技盤側演出表示装置1600及び扉枠側演出表示装置460に出力する。これにより、遊技盤側演出表示装置1600及び扉枠側演出表示装置460にさまざまな画面が描画される。なお、表示データ出力処理では、音源内蔵VDP1512aの描画能力を超える描画を行った場合には、生成した1画面分(1フレーム分)の描画データを遊技盤側演出表示装置1600及び扉枠側演出表示装置460に出力することをキャンセルするようになっている。これにより、処理時間の遅れを防止することができるが、いわゆるコマ落ちが発生することとなるものの、ステップS1012のランプデータ出力処理による、図8に示した遊技盤5に設けた各種装飾基板の複数のLED、及び扉枠3に設けた各種装飾基板の複数のLEDによる演出と、後述する音データ出力処理による、図5に示した下部スピーカ921及び図2に示した上部スピーカ573から各種演出に合わせた音楽や効果音等による演出と、の同期を優先することができる仕組みとなっている。
ステップS1016に続いて、演出制御プログラムは、音データ出力処理を行う(ステップS1018)。この音データ出力処理では、演出制御プログラムが、後述する音データ作成処理で音源内蔵VDP1512aに設定された音楽及び効果音等の音データをシリアル化したオーディオデータとしてオーディオデータ送信IC1512cに出力したり、音楽及び効果音のほかに報知音や告知音の音データをシリアル化したオーディオデータとしてオーディオデータ送信IC1512cに出力したりする。このオーディオデータ送信IC1512cは、音源内蔵VDP1512aからのシリアル化したオーディオデータが入力されると、右側オーディオデータを、プラス信号及びマイナス信号とする差分方式のシリアルデータとして枠装飾駆動アンプ基板194に向かって送信するとともに、左側オーディオデータを、プラス信号及びマイナス信号とする差分方式のシリアルデータとして枠装飾駆動アンプ基板194に向かって送信する。これにより、下部スピーカ921及び上部スピーカ573から各種演出に合わせた音楽や効果音等がステレオ再生されたりするほかに報知音や告知音もステレオ再生されたりする。
ステップS1018に続いて、演出制御プログラムはスケジューラ更新処理を行う(ステップS1020)。このスケジューラ更新処理では、演出制御プログラムが図73に示した周辺制御RAM1511cのスケジュールデータ記憶領域1511caeにセットされた各種スケジュールデータを更新する。例えば、スケジューラ更新処理では、スケジュールデータ記憶領域1511caeにセットされた画面生成用スケジュールデータを構成する時系列に配列された画面データのうち、先頭の画面データから何番目の画面データを音源内蔵VDP1512aに出力するのかを指示するために、ポインタを更新する。
またスケジューラ更新処理では、スケジュールデータ記憶領域1511caeにセットされた発光態様生成用スケジュールデータを構成する時系列に配列された発光データのうち、先頭の発光データから何番目の発光データを各種LEDの発光態様とするのかを指示するために、ポインタを更新する。
またスケジューラ更新処理では、スケジュールデータ記憶領域1511caeにセットされた音生成用スケジュールデータを構成する時系列に配列された、音楽や効果音等の音データ、報知音や告知音の音データを指示する音指令データのうち、先頭の音指令データから何番目の音指令データを音源内蔵VDP1512aに出力するのかを指示するために、ポインタを更新する。
またスケジューラ更新処理では、スケジュールデータ記憶領域1511caeにセットされた電気的駆動源スケジュールデータを構成する時系列に配列されたモータやソレノイド等の電気的駆動源の駆動データのうち、先頭の駆動データから何番目の駆動データを出力対象とするのかを指示するために、ポインタを更新する。電気的駆動源スケジュールデータを構成する時系列に配列されたモータやソレノイド等の電気的駆動源の駆動データは、後述する、1msタイマ割り込みが発生するごとに繰り返し実行される周辺制御部1msタイマ割り込み処理におけるモータ及びソレノイド駆動処理で更新される。この1msタイマ割り込みが発生するごとに繰り返し実行されるモータ及びソレノイド駆動処理では、ポインタが指示する駆動データに従ってモータやソレノイド等の電気的駆動源を駆動するとともに、時系列に規定された次の駆動データにポインタを更新し、自身の処理を実行するごとに、ポインタを更新する。つまり、モータ及びソレノイド駆動処理において更新したポインタの指示する駆動データは、スケジューラ更新処理において強制的に更新される仕組みとなっているため、仮に、モータ及びソレノイド駆動処理においてポインタが何らかの原因で本来指示するはずの駆動データから他の駆動データを指示することとなっても、スケジューラ更新処理において強制的に本来指示するはずの駆動データに指示するように強制的に更新されるようになっている。
ステップS1020に続いて、演出制御プログラムは、受信コマンド解析処理を行う(ステップS1022)。この受信コマンド解析処理では、演出制御プログラムが、演出表示駆動基板4450から周辺扉中継端子板882、そして枠周辺中継端子板868を介して送信された情報や、主制御基板1310から送信された各種コマンドを、後述する周辺制御部コマンド受信割り込み処理(コマンド受信手段)において受信した各種コマンドの解析を行う(コマンド解析手段)。演出制御プログラムは、演出表示駆動基板4450から周辺扉中継端子板882、そして枠周辺中継端子板868を介して送信された情報に基づいて、画面生成用スケジュールデータ、発光態様生成用スケジュールデータ、音生成用スケジュールデータ、及び電気的駆動源スケジュールデータ等を、周辺制御部1511の周辺制御ROM1511b又は周辺制御RAM1511cの各種制御データコピーエリア1511ceから抽出して周辺制御RAM1511cのスケジュールデータ記憶領域に1511caeにセットする。また、演出制御プログラムは、この周辺制御部コマンド割り込み処理で受信された主制御基板1310からのコマンドが、例えば、始動口入賞演出の開始を指示するための始動口入賞コマンド、普通図柄の保留数(0~4個)を識別するための普通図柄記憶コマンド、図柄同調演出の開始を指示するための図柄同調演出開始コマンド、始動保留数が変化すると出力される図柄記憶コマンド、大入賞口2005に遊技球が受け入れられる度に出力された大入賞口1カウント表示コマンド(大入賞口カウントコマンド)、または、図90に示される満タンという内容を示す枠状態1コマンド(第2のエラー発生コマンド、満タンエラー発生コマンド)であるか否かを解析し(コマンド解析手段)、現在、どの遊技状態であるかを認識する。また、この演出制御プログラムは、電源投入時から所定時間が経過した後、この周辺制御部コマンド受信割り込み処理によって受信されたコマンドが本体枠開放コマンド、本体枠閉鎖コマンド、扉開放コマンドまたは扉枠閉鎖コマンドであるか否かを解析する。主制御基板1310からの各種コマンドは、周辺制御部コマンド受信割り込み処理で受信されて図73に示した周辺制御RAM1511cの受信コマンド記憶領域1511cacに記憶されるようになっており、受信コマンド解析処理では、演出制御プログラムが、受信コマンド記憶領域1511cacに記憶された各種コマンドの解析を行う。各種コマンドには、図89に示した、特図1同調演出関連に区分される各種コマンド、特図2同調演出関連に区分される各種コマンド、大当り関連に区分される各種コマンド、電源投入に区分される各種コマンド、普図同調演出関連に区分される各種コマンド、普通電役演出関連に区分される各種コマンド、図90に示した、報知表示に区分される各種コマンド、上述した扉枠開放コマンド、扉枠閉鎖コマンド、本体枠開放コマンド及び本体枠閉鎖コマンド並びにエラー解除ナビコマンド(第2のエラー解除コマンドに相当)及び枠状態1コマンド(第2のエラー発生コマンドに相当)などの状態表示に区分される各種コマンド、テスト関連に区分される各種コマンド及びその他に区分される各種コマンドがある。
ステップS1022に続いて、演出制御プログラムが警告処理を行う(ステップS1024)。この警告処理では、さらに、演出制御プログラムが、上述のようにステップS1022の受信コマンド解析処理で解析したコマンドに、図90に示した報知表示に区分される各種コマンドが含まれているときには、各種異常報知を実行するための異常表示態様に設定されている、画面生成用スケジュールデータ、発光態様生成用スケジュールデータ、音生成用スケジュールデータ、及び電気的駆動源スケジュールデータ等を、周辺制御部1511の周辺制御ROM1511b又は周辺制御RAM1511cの各種制御データコピーエリア1511ceから抽出して周辺制御RAM1511cのスケジュールデータ記憶領域に1511caeにセットする。なお、警告処理では、複数の異常が同時に発生した場合には、予め登録した優先度の高い順から異常報知から行われ、その異常が解決して残っている他の異常報知に自動的に遷移するようになっている。これにより、一の異常が発生した後であってその異常を解決する前に他の異常が発生して一の異常が発生しているという情報を失うことなく、複数の異常を同時に監視することができる。
またさらに、この警告処理では、電源投入時から所定時間が経過した後に、演出制御プログラムが、上述した受信コマンド解析処理(ステップS1022)において解析したコマンドが、図90に示した状態表示に区分される各種コマンド、例えばエラー解除ナビコマンド(第2のエラー解除コマンド)である場合、演出動作に伴う通常の演出態様とは異なる態様で液晶表示制御部1512を制御することにより、例えば、遊技盤側演出表示装置1600(演出装置)、扉枠側演出表示装置460(演出装置)、ランプ(演出装置)を用いて視覚的に外部に警告したり、スピーカを用いて聴覚的に外部に警告する(エラー報知手段)。このようにすると、悪意のある遊技者が、遊技状態であるにも拘わらず払出制御基板951の操作スイッチ954を操作することにより主制御基板1310にエラー解除ナビコマンドを入力しようと試行した際に、パチンコ機1が外部に警告を行う構成となっているため、遊技の進行に影響を及ぼしかねない主制御基板1310に対する不正行為が抑止されるようになる。
次に、上述したステップS1024に続いて、演出制御プログラムはRCT取得情報更新処理を行う(ステップS1026)。このRTC取得情報更新処理では、演出制御プログラムが、ステップS1002の現在時刻情報取得処理で取得して図73に示した周辺制御RAM1511cのRTC情報取得記憶領域1511cadにセットした、カレンダー情報記憶部に記憶されたカレンダー情報と時刻情報記憶部に記憶された時刻情報とを更新する。このRCT取得情報更新処理により、時刻情報記憶部に記憶される時刻情報である時分秒が更新され、この更新される時刻情報に基づいてカレンダー情報記憶部に記憶されるカレンダー情報である年月日が更新される。
ステップS1026に続いて、演出制御プログラムはランプデータ作成処理を行う(ステップS1028)。このランプデータ作成処理では、この演出制御プログラムが、ステップS1020のスケジューラ更新処理においてポインタが更新されて、発光態様生成用スケジュールデータを構成する時系列に配列された発光データのうち、そのポインタが指示する発光データに基づいて、図8に示した遊技盤5に設けた各種装飾基板の複数のLEDへの点灯信号、点滅信号、又は階調点灯信号を出力するための遊技盤側発光データSL-DATを、周辺制御部1511の周辺制御ROM1511b又は周辺制御RAM1511cの各種制御データコピーエリア1511ceから抽出して作成するとともに、図73に示した周辺制御RAM1511cのランプ駆動基板側送信データ記憶領域1511caaにセットするとともに、扉枠3に設けた各種装飾基板の複数のLEDへの点灯信号、点滅信号又は階調点灯信号を出力するための扉側発光データSTL-DATを、周辺制御部1511の周辺制御ROM1511b又は周辺制御RAM1511cの各種制御データコピーエリア1511ceから抽出して作成して、図73に示した周辺制御RAM1511cの枠装飾駆動アンプ基板側LED用送信データ記憶領域1511cabにセットする。
ステップS1028に続いて、演出制御プログラムは表示データ作成処理を行う(ステップS1030)。この表示データ作成処理では、演出制御プログラムが、ステップS1020のスケジューラ更新処理においてポインタが更新されて、画面生成用スケジュールデータを構成する時系列に配列された画面データのうち、そのポインタが示す画面データを、周辺制御部1511の周辺制御ROM1511b又は周辺制御RAM1511cの各種制御データコピーエリア1511ceから抽出して音源内蔵VDP1512aに出力する。音源内蔵VDP1512aは、周辺制御MPU1511aから画面データが入力されると、この入力された画面データに基づいて液晶及び音制御ROM1512bからキャラクタデータを抽出してスプライトデータを作成して遊技盤側演出表示装置1600及び扉枠側演出表示装置460に表示する1画面分(1フレーム分)の描画データを内蔵VRAM上に生成する。
ステップS1030に続いて、演出制御プログラムは音データ作成処理を行う(ステップS1032)。この音データ作成処理では、演出制御プログラムが、ステップS1020のスケジューラ更新処理においてポインタが更新されて、音生成用スケジュールデータを構成する時系列に配列された音指令データのうち、そのポインタが指示する音指令データを、周辺制御部1511の周辺制御ROM1511b又は周辺制御RAM1511cの各種制御データコピーエリア1511ceから抽出して音源内蔵VDP1512aに出力する。音源内蔵VDP1512aは、周辺制御MPU1511aから音指令データが入力されると、液晶及び音制御ROM1512bに記憶されている音楽や効果音等の音データを抽出して内蔵音源を制御することにより、音指令データに規定された、トラック番号に従って音楽及び効果音等の音データを組み込むとともに、出力チャンネル番号に従って使用する出力チャンネルを設定する。
なお、音データ作成処理では、この音データ作成処理を行うごとに(つまり、周辺制御部定常処理を行うごとに)、図73に示した周辺制御A/Dコンバータ1511akを起動し、音量調整ボリューム1510aのつまみ部の回転位置における抵抗値により分圧された電圧を、値0~値1023までの1024段階の値に変換している。本実施形態では、1024段階の値を7つに分割して基板ボリューム0~6として管理しており、基板ボリューム0では消音、基板ボリューム6では最大音量に設定されており、基板ボリューム0から基板ボリューム6に向かって音量が大きくなるようにそれぞれ設定されている。基板ボリューム0~6に設定された音量となるように液晶表示制御部1512の音源内蔵VDP1512aを制御して、上述したステップS1018の音データ出力処理で音データをシリアル化したオーディオデータとしてオーディオデータ送信IC1512cに出力することにより、下部スピーカ921及び上部スピーカ573から音楽や効果音が流れるようになっている。
また、報知音や告知音は、つまみ部の回動操作に基づく音量調整に全く依存されずに流れる仕組みとなっており、消音から最大音量までの音量をプログラムにより液晶表示制御部1512の音源内蔵VDP1512aを制御して調整することができるようになっている。このプログラムにより調整される音量は、上述した7段階に分けられた基板ボリュームと異なり、消音から最大音量までを滑らかに変化させることができるようになっている。例えば、ホールの店員等が音量調整ボリューム1510aのつまみ部を回動操作して音量を小さく設定した場合であっても、下部スピーカ921及び上部スピーカ573から流れる音楽や効果音等の演出音が小さくなるものの、パチンコ機1に不具合が発生しているときや遊技者が不正行為を行っているときには大音量(本実施形態では、最大音量)に設定した報知音を流すことができる。したがって、演出音の音量を小さくしても、報知音によりホールの店員等が不具合の発生や遊技者の不正行為を気付き難くなることを防止することができる。また、つまみ部の回動操作に基づく音量調整により設定されている現在の基板ボリュームに基づいて、広告音を流す音量を小さくして音楽や効果音の妨げとならないようにしたりする一方、広告音を流す音量を大きくして音楽や効果音に加えて遊技盤側演出表示装置1600及び扉枠側演出表示装置460で繰り広げられている画面をより迫力あるものとして演出したり、遊技者にとって有利な遊技状態に移行する可能性が高いこと告知したりすることもできる。
ステップS1032に続いて、演出制御プログラムはバックアップ処理を行う(ステップS1034)。このバックアップ処理では、演出制御プログラムが、図73に示した、周辺制御MPU1511aと外付けされる周辺制御RAM1511cに記憶されている内容を、バックアップ第1エリア1511cbと、バックアップ第2エリア1511ccと、にそれぞれコピーしてバックアップするとともに、周辺制御MPU1511aと外付けされる周辺制御SRAM1511dに記憶されている内容を、バックアップ第1エリア1511dbと、バックアップ第2エリア1511dcと、にそれぞれコピーしてバックアップする。
具体的には、バックアップ処理では、周辺制御RAM1511cについて、図73に示した、バックアップ対象ワークエリア1511caにおける、1フレーム(1frame)ごとに、つまり周辺制御部定常処理が実行されるごとに、バックアップ対象となっているBank0(1fr)に含まれる、ランプ駆動基板側送信データ記憶領域1511caa、枠装飾駆動アンプ基板側LED用送信データ記憶領域1511cab、受信コマンド記憶領域1511cac、RTC情報取得記憶領域1511cad、及びスケジュールデータ記憶領域1511caeに記憶されている内容である演出情報(1fr)を、演出バックアップ情報(1fr)として、バックアップ第1エリア1511cbのBank1(1fr)及びBank2(1fr)に周辺制御DMAコントローラ1511acが高速にコピーし、そしてバックアップ第2エリア1511ccのBank3(1fr)及びBank4(1fr)に周辺制御DMAコントローラ1511acが高速にコピーする。
この周辺制御DMAコントローラ1511acによるBank0(1fr)に記憶されている内容の高速コピーについて簡単に説明すると、図73に示した周辺制御MPU1511aの周辺制御MPUコア1511aaが周辺制御DMAコントローラ1511acの要求要因にBank0(1fr)に記憶されている内容を、バックアップ第1エリア1511cbのBank1(1fr)へのコピーを指定し、Bank0(1fr)の先頭アドレスに格納された内容からBank0(1fr)の終端アドレスに格納された内容までを、所定バイト(例えば、1バイト)ずつ連続してバックアップ第1エリア1511cbのBank1(1fr)の先頭アドレスから順番にすべてコピーし、そして周辺制御MPUコア1511aaが周辺制御DMAコントローラ1511acの要求要因にBank0(1fr)に記憶されている内容を、バックアップ第1エリア1511cbのBank2(1fr)へのコピーを指定し、Bank0(1fr)の先頭アドレスに格納された内容からBank0(1fr)の終端アドレスに格納された内容までを、所定バイト(例えば、1バイト)ずつ連続してバックアップ第1エリア1511cbのBank2(1fr)の先頭アドレスから順番にすべてコピーする。
続いて、周辺制御MPUコア1511aaが周辺制御DMAコントローラ1511acの要求要因にBank0(1fr)に記憶されている内容を、バックアップ第2エリア1511ccのBank3(1fr)へのコピーを指定し、Bank0(1fr)の先頭アドレスに格納された内容からBank0(1fr)の終端アドレスに格納された内容までを、所定バイト(例えば、1バイト)ずつ連続してバックアップ第2エリア1511ccのBank3(1fr)の先頭アドレスから順番にすべてコピーし、そして周辺制御MPUコア1511aaが周辺制御DMAコントローラ1511acの要求要因にBank0(1fr)に記憶されている内容を、バックアップ第2エリア1511ccのBank4(1fr)へのコピーを指定し、Bank0(1fr)の先頭アドレスに格納された内容からBank0(1fr)の終端アドレスに格納された内容までを、所定バイト(例えば、1バイト)ずつ連続してバックアップ第2エリア1511ccのBank4(1fr)の先頭アドレスから順番にすべてコピーする。
またバックアップ処理では、周辺制御SRAM1511dについて、図73に示した、バックアップ対象ワークエリア1511daにおける、1フレーム(1frame)ごとに、つまり周辺制御部定常処理が実行されるごとに、バックアップ対象となっているBank0(SRAM)に記憶されている内容である演出情報(SRAM)を、演出バックアップ情報(SRAM)として、バックアップ第1エリア1511dbのBank1(SRAM)及びBank2(SRAM)に周辺制御DMAコントローラ1511acが高速にコピーし、そしてバックアップ第2エリア1511dcのBank3(SRAM)及びBank4(SRAM)に周辺制御DMAコントローラ1511acが高速にコピーする。
この周辺制御DMAコントローラ1511acによるBank0(SRAM)に記憶されている内容の高速コピーについて簡単に説明すると、図73に示した周辺制御MPU1511aの周辺制御MPUコア1511aaが周辺制御DMAコントローラ1511acの要求要因にBank0(SRAM)に記憶されている内容を、バックアップ第1エリア1511dbのBank1(SRAM)へのコピーを指定し、Bank0(SRAM)の先頭アドレスに格納された内容からBank0(SRAM)の終端アドレスに格納された内容までを、所定バイト(例えば、1バイト)ずつ連続してバックアップ第1エリア1511dbのBank1(SRAM)の先頭アドレスから順番にすべてコピーし、そして周辺制御MPUコア1511aaが周辺制御DMAコントローラ1511acの要求要因にBank0(SRAM)に記憶されている内容を、バックアップ第1エリア1511dbのBank2(SRAM)へのコピーを指定し、Bank0(SRAM)の先頭アドレスに格納された内容からBank0(SRAM)の終端アドレスに格納された内容までを、所定バイト(例えば、1バイト)ずつ連続してバックアップ第1エリア1511dbのBank2(SRAM)の先頭アドレスから順番にすべてコピーする。
続いて、周辺制御MPUコア1511aaが周辺制御DMAコントローラ1511acの要求要因にBank0(SRAM)に記憶されている内容を、バックアップ第2エリア1511dcのBank3(SRAM)へのコピーを指定し、Bank0(SRAM)の先頭アドレスに格納された内容からBank0(SRAM)の終端アドレスに格納された内容までを、所定バイト(例えば、1バイト)ずつ連続してバックアップ第2エリア1511dcのBank3(SRAM)の先頭アドレスから順番にすべてコピーし、そして周辺制御MPUコア1511aaが周辺制御DMAコントローラ1511acの要求要因にBank0(SRAM)に記憶されている内容を、バックアップ第2エリア1511dcのBank4(SRAM)へのコピーを指定し、Bank0(SRAM)の先頭アドレスに格納された内容からBank0(SRAM)の終端アドレスに格納された内容までを、所定バイト(例えば、1バイト)ずつ連続してバックアップ第2エリア1511dcのBank4(SRAM)の先頭アドレスから順番にすべてコピーする。
ステップS1034に続いて、WDTクリア処理を行う(ステップS1036)。このWDTクリア処理では、周辺制御内蔵WDT1511afと、周辺制御外部WDT1511eと、にクリア信号を出力して周辺制御MPU1511aにリセットがかからないようにしている。
ステップS1036に続いて、演出制御プログラムが、周辺制御部定常処理の実行完了として定常処理中フラグSP-FLGに値0をセットし(ステップS1038)、再びステップS1006に戻り、Vブランク信号検出フラグVB-FLGに値0をセットして初期化し、後述する周辺制御部Vブランク信号割り込み処理においてVブランク信号検出フラグVB-FLGに値1がセットされるまで、ステップS1008の判定を繰り返し行う。つまりステップS1008では、Vブランク信号検出フラグVB-FLGに値1がセットされるまで待機し、ステップS1008でVブランク信号検出フラグVB-FLGが値1であると判定されると、ステップS1009~ステップS1038の処理を行い、再びステップS1006に戻る。このように、ステップS1008でVブランク信号検出フラグVB-FLGが値1であると判定されると、ステップS1009~ステップS1038の処理を行うようになっている。ステップS1009~ステップS1038の処理を「周辺制御部定常処理」という。
この周辺制御部定常処理は、演出制御プログラムが、まずステップS1009で周辺制御部定常処理を実行中であるとして定常処理中フラグSP-FLGに値1をセットすることから開始し、ステップS1010で1ms割り込みタイマ起動処理を行い、ステップS1012、ステップS1014、・・・、そしてステップS1036の各処理を行って最後にステップS1038において周辺制御部定常処理の実行完了として定常処理中フラグSP-FLGに値0をセットすると、完了することとなる。周辺制御部定常処理は、ステップS1008でVブランク信号検出フラグVB-FLGが値1であるときに実行される。このVブランク信号検出フラグVB-FLGは、上述したように、周辺制御MPU1511aからの画面データを受け入れることができる状態である旨を伝えるVブランク信号が音源内蔵VDP1512aから入力されたことを契機として実行される後述する周辺制御部Vブランク信号割り込み処理において値1がセットされるようになっている。本実施形態では、遊技盤側演出表示装置1600及び扉枠側演出表示装置460のフレーム周波数(1秒間あたりの画面更新回数)として、上述したように、概ね秒間30fpsに設定しているため、Vブランク信号が入力される間隔は、約33.3ms(=1000ms÷30fps)となっている。つまり、周辺制御部定常処理は、約33.3msごとに繰り返し実行されるようになっている。
[16-1-2.周辺制御部Vブランク信号割り込み処理]
次に、図72に示した、周辺制御部1511の周辺制御MPU1511aからの画面データを受け入れることができる状態である旨を伝えるVブランク信号が液晶表示制御部1512の音源内蔵VDP1512aから入力されたことを契機として実行する周辺制御部Vブランク信号割り込み処理について説明する。この周辺制御部Vブランク信号割り込み処理が開始されると、周辺制御部1511の周辺制御MPU1511aは、図96に示すように、定常処理中フラグSP-FLGが値0であるかを判定する(ステップS1045)。この定常処理中フラグSP-FLGは、上述したように、図95の周辺制御部電源投入時処理におけるステップS1009~ステップS1038の周辺制御部定常処理を実行中であるとき値1、周辺制御部定常処理を実行完了したとき値0にそれぞれセットされる。
ステップS1045で定常処理中フラグSP-FLGが値0でない(値1である)とき、つまり周辺制御部定常処理を実行中であるときには、そのままこのルーチンを終了する。一方、ステップS1045で定常処理中フラグSP-FLGが値0であるとき、つまり周辺制御部定常処理を実行完了したときには、Vブランク信号検出フラグVB-FLGに値1をセットし(ステップS1050)、このルーチンを終了する。このVブランク信号検出フラグVB-FLGは、上述したように、周辺制御部定常処理を実行するか否かを決定するためのフラグであり、周辺制御部定常処理を実行するとき値1、周辺制御部定常処理を実行しないとき値0にそれぞれ設定される。
本実施形態では、ステップS1045で定常処理中フラグSP-FLGが値0であるか否か、つまり周辺制御部定常処理を実行完了したか否かを判定し、周辺制御部定常処理を実行完了したときにはステップS1050でVブランク信号検出フラグVB-FLGに値1をセットするようになっているが、これは、周辺制御部定常処理を実行中であるときに、Vブランク信号が入力されてVブランク信号検出フラグVB-FLGに値1をセットすると、図95の周辺制御部電源投入時処理におけるステップS1008の判定で周辺制御部定常処理を実行するものとして、現在実行中の周辺制御部定常処理を途中で強制的にキャンセルして周辺制御部定常処理を最初から実行開始するため、これを防止する目的で、図95の周辺制御部電源投入時処理(周辺制御部定常処理)におけるステップS1009で定常処理中フラグSP-FLGに値1をセットすることで周辺制御部定常処理を実行中である旨を、本ルーチンである周辺制御部Vブランク信号割り込み処理に伝えるとともに、図95の周辺制御部電源投入時処理(周辺制御部定常処理)におけるステップS1038で定常処理中フラグSP-FLGに値0をセットすることで周辺制御部定常処理を実行完了した旨を、本ルーチンである周辺制御部Vブランク信号割り込み処理に伝えることにより、本ルーチンである周辺制御部Vブランク信号割り込み処理におけるステップS1045の判定で定常処理中フラグSP-FLGが値0であるか否か、つまり周辺制御部定常処理を実行完了したか否かを判定するようになっている。換言すると、Vブランク信号が入力されて次のVブランク信号が入力されるまでに周辺制御部定常処理を実行完了することができず、いわゆる処理落ちした場合の処置である。
これにより、今回の周辺制御部定常処理においては、約33.3msという時間でその処理を完了できず処理落ちした場合には、図95の周辺制御部電源投入時処理におけるステップS1008の判定で次回のVブランク信号が入力されるまで待機する状態となる。つまり、処理落ちした今回の周辺制御部定常処理を実行するための時間が約66.6msとなる。通常、図95の周辺制御部電源投入時処理(周辺制御部定常処理)におけるステップS1010で1ms割り込みタイマの起動により1ms割り込みタイマが発生するごとに繰り返し実行する、後述する周辺制御部1msタイマ割り込み処理は1回の周辺制御部定常処理に対して32回だけ実行されるものの、上述した処理落ちした今回の周辺制御部定常処理が存在する場合には、周辺制御部1msタイマ割り込み処理が64回ではなく、32回だけ実行されるようになっている。つまり、周辺制御部定常処理が処理落ちした場合であっても、周辺制御部定常処理による演出の進行状態とタイマ割り込み制御である周辺制御部1msタイマ割り込み処理による演出の進行状態との整合性が崩れないようになっている。したがって、周辺制御部定常処理が処理落ちした場合であっても演出の進行状態を確実に整合させることができる。
[16-1-3.周辺制御部1msタイマ割り込み処理]
次に、図95の周辺制御部電源投入時処理の周辺制御部定常処理におけるステップS1010で1ms割り込みタイマの起動により1ms割り込みタイマが発生するごとに繰り返し実行する周辺制御部1msタイマ割り込み処理について説明する。この周辺制御部1msタイマ割り込み処理が開始されると、図72に示した周辺制御部1511の周辺制御MPU1511aは、図97に示すように、1msタイマ割り込み実行回数STNが33回より小さいか否かを判定する(ステップS1100)。この1msタイマ割り込み実行回数STNは、上述したように、図95の周辺制御部電源投入時処理の周辺制御部定常処理におけるステップS1010の1ms割り込みタイマ起動処理で1ms割り込みタイマが起動して本ルーチンである周辺制御部1msタイマ割り込み処理が実行された回数をカウントするカウンタである。本実施形態では、遊技盤側演出表示装置1600及び扉枠側演出表示装置460のフレーム周波数(1秒間あたりの画面更新回数)として、上述したように、概ね秒間30fpsに設定しているため、Vブランク信号が入力される間隔は、約33.3ms(=1000ms÷30fps)となっている。つまり、周辺制御部定常処理は、約33.3msごとに繰り返し実行されるようになっているため、周辺制御部定常処理におけるステップS1010で1ms割り込みタイマを起動した後、次の周辺制御部定常処理が実行されるまでに、周辺制御部1msタイマ割り込み処理が32回だけ実行されるようになっている。具体的には、周辺制御部定常処理におけるステップS1010で1ms割り込みタイマが起動されると、まず1回目の1msタイマ割り込みが発生し、2回目、・・・、そして32回目の1msタイマ割り込みが順次発生することとなる。
ステップS1100で1msタイマ割り込み実行回数STNが33回より小さくないとき、つまり33回目の1msタイマ割り込みが発生してこの周辺制御部1msタイマ割り込み処理が開始されたときには、そのままこのルーチンを終了する。33回目の1msタイマ割り込みの発生が次回のVブランク信号の発生よりたまたま先行した場合には、本実施形態では、割り込み処理の優先順位として、周辺制御部1msタイマ割り込み処理の方が周辺制御部Vブランク割り込み処理と比べて高く設定されているものの、この33回目の1msタイマ割り込みによる周辺制御部1msタイマ割り込み処理の開始を強制的にキャンセルするようになっている。換言すると、本実施形態では、Vブランク信号が周辺制御基板1510のシステム全体を支配する信号であるため、33回目の1msタイマ割り込みの発生が次回のVブランク信号の発生よりたまたま先行した場合には、周辺制御部Vブランク割り込み処理を実行するために33回目の1msタイマ割り込みによる周辺制御部1msタイマ割り込み処理の開始が強制的にキャンセルさせられている。そして、Vブランク信号の発生により周辺制御部定常処理におけるステップS1010で1ms割り込みタイマを再び起動した後、新たに1回目の1msタイマ割り込みの発生による周辺制御部1msタイマ割り込み処理を開始するようになっている。
一方、ステップS1100で1msタイマ割り込み実行回数STNが33回より小さいときには、1msタイマ割り込み実行回数STNに値1だけ足す(インクリメントする、ステップS1102)。この1msタイマ割り込み実行回数STNに値1が足されることにより、図95の周辺制御部電源投入時処理の周辺制御部定常処理におけるステップS1010の1ms割り込みタイマ起動処理で1ms割り込みタイマが起動して本ルーチンである周辺制御部1msタイマ割り込み処理が実行された回数が1回分だけ増えることとなる。
ステップS1102に続いて、モータ及びソレノイド駆動処理を行う(ステップS1104)。このモータ及びソレノイド駆動処理では、図73に示した、周辺制御MPU1511aと外付けされる周辺制御RAM1511cのスケジュールデータ記憶領域1511caeにセットされた電気的駆動源スケジュールデータを構成する時系列に配列されたモータやソレノイド等の電気的駆動源の駆動データのうち、ポインタが指示する駆動データに従って、図72に示した、枠装飾駆動アンプ基板194及びモータ駆動基板4180のモータやソレノイド等の電気的駆動源を駆動するとともに、時系列に規定された次の駆動データにポインタを更新し、このモータ及びソレノイド駆動処理を実行するごとに、ポインタを更新する。
具体的には、モータ及びソレノイド駆動処理では、枠装飾駆動アンプ基板194へのDMAシリアル連続送信処理を行う。ここでは、図73に示した周辺制御MPU1511aの周辺制御DMAコントローラ1511acを利用して枠装飾駆動アンプ基板モータ用シリアルI/Oポート連続送信を行う。この枠装飾駆動アンプ基板モータ用シリアルI/Oポート連続送信が開始されるときには、まず周辺制御MPU1511aと外付けされる周辺制御RAM1511cのスケジュールデータ記憶領域1511caeにセットされた電気的駆動源スケジュールデータを構成する時系列に配列されたモータやソレノイド等の電気的駆動源の駆動データのうち、ポインタが指示する駆動データに基づいて、演出操作ユニット400のダイヤル駆動モータ414への駆動信号を出力するための扉側モータ駆動データSTM-DATを、周辺制御部1511の周辺制御ROM1511b又は周辺制御RAM1511cの各種制御データコピーエリア1511ceから抽出して作成するとともに、図73に示した周辺制御RAM1511cの枠装飾駆動アンプ基板側モータ用送信データ記憶領域1511cafにセットする。そして周辺制御MPU1511aの周辺制御CPUコア1511aaは、周辺制御DMAコントローラ1511acの要求要因に枠装飾駆動アンプ基板モータ用シリアルI/Oポートの送信を指定し、枠装飾駆動アンプ基板側モータ用送信データ記憶領域1511cafの先頭アドレスに格納された扉側モータ駆動データSTM-DATのうちの最初の1バイトを、外部バス1511h、周辺制御バスコントローラ1511ad、そして周辺バス1511aiを介して、枠装飾駆動アンプ基板モータ用シリアルI/Oポートの送信バッファレジスタに転送して書き込む。これにより、枠装飾駆動アンプ基板モータ用シリアルI/Oポートは、この書き込まれた送信バッファレジスタのデータを送信シフトレジスタに転送し、扉側モータ駆動クロック信号STM-CLKと同期して送信シフトレジスタの1バイトのデータを、1ビットずつ送信開始する。
周辺制御DMAコントローラ1511acは、枠装飾駆動アンプ基板モータ用シリアルI/Oポートの送信割り込み要求が発生するごとに、これを契機として(本実施形態では、枠装飾駆動アンプ基板モータ用シリアルI/Oポートの送信バッファレジスタに書き込まれた1バイトのデータが送信シフトレジスタに転送され、その送信バッファレジスタに1バイトのデータがなくなって空となったことを契機としている。)、周辺制御CPUコア1511aaがバスを使用していない場合に、枠装飾駆動アンプ基板側モータ用送信データ記憶領域1511cafに格納された残りの扉側モータ駆動データSTM-DATを1バイトずつ、外部バス1511h、周辺制御バスコントローラ1511ad、そして周辺バス1511aiを介して、枠装飾駆動アンプ基板モータ用シリアルI/Oポートの送信バッファレジスタに転送して書き込むことで、枠装飾駆動アンプ基板モータ用シリアルI/Oポートは、この書き込まれた送信バッファレジスタのデータを送信シフトレジスタに転送し、扉側モータ駆動クロック信号STM-CLKと同期して送信シフトレジスタの1バイトのデータを、1ビットずつ送信開始し、枠装飾駆動アンプ基板モータ用シリアルI/Oポートによる連続送信を行っている。
またモータ及びソレノイド駆動処理では、モータ駆動基板4180へのDMAシリアル連続送信処理を行う。ここでも、図73に示した周辺制御MPU1511aの周辺制御DMAコントローラ1511acを利用してモータ駆動基板用シリアルI/Oポート連続送信を行う。このモータ駆動基板用シリアルI/Oポート連続送信が開始されるときには、まず周辺制御MPU1511aと外付けされる周辺制御RAM1511cのスケジュールデータ記憶領域1511caeにセットされた電気的駆動源スケジュールデータを構成する時系列に配列されたモータやソレノイド等の電気的駆動源の駆動データのうち、ポインタが指示する駆動データに基づいて、図8に示した遊技盤5に設けられる各種可動体を可動させるためのモータやソレノイドへの駆動信号を出力するための遊技盤側モータ駆動データSM-DATを、周辺制御部1511の周辺制御ROM1511b又は周辺制御RAM1511cの各種制御データコピーエリア1511ceから抽出して作成するとともに、図73に示した周辺制御RAM1511cのモータ駆動基板側送信データ記憶領域1511cagにセットする。そして周辺制御MPU1511aの周辺制御CPUコア1511aaは、周辺制御DMAコントローラ1511acの要求要因にモータ駆動基板用シリアルI/Oポートの送信を指定し、モータ駆動基板側送信データ記憶領域1511cagの先頭アドレスに格納された遊技盤側モータ駆動データSM-DATのうちの最初の1バイトを、外部バス1511h、周辺制御バスコントローラ1511ad、そして周辺バス1511aiを介して、モータ駆動基板用シリアルI/Oポートの送信バッファレジスタに転送して書き込む。これにより、モータ駆動基板用シリアルI/Oポートは、この書き込まれた送信バッファレジスタのデータを送信シフトレジスタに転送し、遊技盤側モータ駆動クロック信号SM-CLKと同期して送信シフトレジスタの1バイトのデータを、1ビットずつ送信開始する。
周辺制御DMAコントローラ1511acは、モータ駆動基板用シリアルI/Oポートの送信割り込み要求が発生するごとに、これを契機として(本実施形態では、モータ駆動基板用シリアルI/Oポートの送信バッファレジスタに書き込まれた1バイトのデータが送信シフトレジスタに転送され、その送信バッファレジスタに1バイトのデータがなくなって空となったことを契機としている。)、周辺制御CPUコア1511aaがバスを使用していない場合に、モータ駆動基板側送信データ記憶領域1511cagに格納された残りの遊技盤側モータ駆動データSM-DATを1バイトずつ、外部バス1511h、周辺制御バスコントローラ1511ad、そして周辺バス1511aiを介して、モータ駆動基板用シリアルI/Oポートの送信バッファレジスタに転送して書き込むことで、モータ駆動基板用シリアルI/Oポートは、この書き込まれた送信バッファレジスタのデータを送信シフトレジスタに転送し、遊技盤側モータ駆動クロック信号SM-CLKと同期して送信シフトレジスタの1バイトのデータを、1ビットずつ送信開始し、モータ駆動基板用シリアルI/Oポートによる連続送信を行っている。
ステップS1104に続いて、可動体情報取得処理を行う(ステップS1106)。この可動体情報取得処理では、遊技盤5に設けた各種検出スイッチからの検出信号が入力されているか否かを判定することにより各種検出スイッチからの検出信号の履歴情報(例えば、原位置履歴情報、可動位置履歴情報など。)を作成し、図73に示した、周辺制御MPU1511aと外付けされる周辺制御RAM1511cの可動体情報取得記憶領域1511cahにセットする。この可動体情報取得記憶領域1511cahにセットされる各種検出スイッチからの検出信号の履歴情報から遊技盤5に設けた各種可動体の原位置や可動位置等を取得することができる。
ステップS1106に続いて、演出操作ユニット情報取得処理を行う(ステップS1108)。この演出操作ユニット情報取得処理では、演出操作ユニット400に設けられた各種検出スイッチからの検出信号が入力されているか否かを判定することにより各種検出スイッチからの検出信号の履歴情報(例えば、操作ボタン410の操作履歴情報など。)を作成し、図73に示した、周辺制御MPU1511aと外付けされる周辺制御RAM1511cの演出操作ユニット情報取得記憶領域1511caiにセットする。この演出操作ユニット情報取得記憶領域1511caiにセットされる各種検出スイッチからの検出信号の履歴情報から操作ボタン410の操作有無を取得することができる。
ステップS1108に続いて、描画状態情報取得処理を行う(ステップS1110)。この描画状態情報取得処理では、図87に示した演出表示駆動基板4450に備える扉枠側演出用レシーバICSDIC0のLOCKN端子から出力されるLOCKN信号の履歴情報を作成し、図73に示した、周辺制御MPU1511aと外付けされる周辺制御RAM1511cの描画状態情報取得記憶領域1511cakにセットする。LOCKN信号は、上述したように、演出表示駆動基板4450に備える扉枠側演出用レシーバICSDIC0が、周辺制御基板1510に備える扉枠側演出用トランスミッタIC1512dから受信した描画データが異常なデータであると判断すると、その旨を伝えるために出力する信号であり、具体的には、周辺制御基板1510に備える扉枠側演出用トランスミッタIC1512dと、演出表示駆動基板4450に備える扉枠側演出用レシーバICSDIC0と、の接続間、つまりトランスミッタとレシーバとの間の接続を確認(回復)するための所定のデータパターン(SYNCパターン)を送信要求するために出力する信号である。描画状態情報取得記憶領域1511cakにセットされるLOCKN信号の履歴情報から周辺制御基板1510と演出表示駆動基板4450との接続間における不具合の頻度や不具合の発生状態を取得して扉枠側演出表示装置460の描画状態を取得することができる。
ステップS1110に続いて、バックアップ処理を行い(ステップS1112)、このルーチンを終了する。このバックアップ処理では、図73に示した、周辺制御MPU1511aと外付けされる周辺制御RAM1511cに記憶されている内容を、バックアップ第1エリア1511cbと、バックアップ第2エリア1511ccと、にそれぞれコピーしてバックアップするとともに、周辺制御MPU1511aと外付けされる周辺制御SRAM1511dに記憶されている内容を、バックアップ第1エリア1511dbと、バックアップ第2エリア1511dcと、にそれぞれコピーしてバックアップする。
具体的には、バックアップ処理では、周辺制御RAM1511cについて、図73に示した、バックアップ対象ワークエリア1511caにおける、1ms割り込みタイマが発生するごとに、つまり本ルーチンである周辺制御部1msタイマ割り込み処理が実行されるごとに、バックアップ対象となっているBank0(1ms)に含まれる、枠装飾駆動アンプ基板側モータ用送信データ記憶領域1511caf、モータ駆動基板側送信データ記憶領域1511cag、可動体情報取得記憶領域1511cah、及び演出操作ユニット情報取得記憶領域1511caiに記憶されている内容である演出情報(1ms)を、演出バックアップ情報(1ms)として、バックアップ第1エリア1511cbのBank1(1ms)及びBank2(1ms)に周辺制御DMAコントローラ1511acが高速にコピーし、そしてバックアップ第2エリア1511ccのBank3(1ms)及びBank4(1ms)に周辺制御DMAコントローラ1511acが高速にコピーする。
この周辺制御DMAコントローラ1511acによるBank0(1ms)に記憶されている内容の高速コピーについて簡単に説明すると、図73に示した周辺制御MPU1511aの周辺制御MPUコア1511aaが周辺制御DMAコントローラ1511acの要求要因にBank0(1ms)に記憶されている内容を、バックアップ第1エリア1511cbのBank1(1ms)へのコピーを指定し、Bank0(1ms)の先頭アドレスに格納された内容からBank0(1ms)の終端アドレスに格納された内容までを、所定バイト(例えば、1バイト)ずつ連続してバックアップ第1エリア1511cbのBank1(1ms)の先頭アドレスから順番にすべてコピーし、そして周辺制御MPUコア1511aaが周辺制御DMAコントローラ1511acの要求要因にBank0(1ms)に記憶されている内容を、バックアップ第1エリア1511cbのBank2(1ms)へのコピーを指定し、Bank0(1ms)の先頭アドレスに格納された内容からBank0(1ms)の終端アドレスに格納された内容までを、所定バイト(例えば、1バイト)ずつ連続してバックアップ第1エリア1511cbのBank2(1ms)の先頭アドレスから順番にすべてコピーする。
続いて、周辺制御MPUコア1511aaが周辺制御DMAコントローラ1511acの要求要因にBank0(1ms)に記憶されている内容を、バックアップ第2エリア1511ccのBank3(1ms)へのコピーを指定し、Bank0(1ms)の先頭アドレスに格納された内容からBank0(1ms)の終端アドレスに格納された内容までを、所定バイト(例えば、1バイト)ずつ連続してバックアップ第2エリア1511ccのBank3(1ms)の先頭アドレスから順番にすべてコピーし、そして周辺制御MPUコア1511aaが周辺制御DMAコントローラ1511acの要求要因にBank0(1ms)に記憶されている内容を、バックアップ第2エリア1511ccのBank4(1ms)へのコピーを指定し、Bank0(1ms)の先頭アドレスに格納された内容からBank0(1ms)の終端アドレスに格納された内容までを、所定バイト(例えば、1バイト)ずつ連続してバックアップ第2エリア1511ccのBank4(1ms)の先頭アドレスから順番にすべてコピーする。
このように、周辺制御部1msタイマ割り込み処理では、1msという期間内において、演出の進行として上述したステップS1104~ステップS1108の演出に関する各種処理を実行している。これに対して、図95の周辺制御部電源投入時処理における周辺制御部定常処理では、約33.3msという期間内において、演出の進行として上述したステップS1012~ステップS1032の演出に関する各種処理を実行している。周辺制御部1msタイマ割り込み処理では、ステップS1100で1msタイマ割り込み実行回数STNが値33より小さくないとき、つまり33回目の1msタイマ割り込みが発生してこの周辺制御部1msタイマ割り込み処理が開始されたときには、そのままこのルーチンを終了するようになっているため、仮に、33回目の1msタイマ割り込みの発生が次回のVブランク信号の発生よりたまたま先行した場合でも、この33回目の1msタイマ割り込みによる周辺制御部1msタイマ割り込み処理の開始を強制的にキャンセルし、Vブランク信号の発生により周辺制御部定常処理におけるステップS1010で1ms割り込みタイマを再び起動した後、新たに1回目の1msタイマ割り込みの発生による周辺制御部1msタイマ割り込み処理を開始するようになっている。つまり、周辺制御部定常処理による演出の進行状態とタイマ割り込み制御である周辺制御部1msタイマ割り込み処理による演出の進行状態との整合性が崩れないようになっている。したがって、演出の進行状態を確実に整合させることができる。
また、上述したように、Vブランク信号が出力される間隔は、遊技盤側演出表示装置1600及び扉枠側演出表示装置460の液晶サイズによって多少変化するし、周辺制御MPU1511aと音源内蔵VDP1512aとが実装された周辺制御基板1510の製造ロットにおいてもVブランク信号が出力される間隔が多少変化する場合もある。本実施形態では、Vブランク信号が周辺制御基板1510のシステム全体を支配する信号であるため、33回目の1msタイマ割り込みの発生が次回のVブランク信号の発生よりたまたま先行した場合には、周辺制御部Vブランク割り込み処理を実行するために33回目の1msタイマ割り込みによる周辺制御部1msタイマ割り込み処理の開始が強制的にキャンセルさせられている。つまり本実施形態では、Vブランク信号が出力される間隔が多少変化する場合であっても、33回目の1msタイマ割り込みによる周辺制御部1msタイマ割り込み処理の開始を強制的にキャンセルすることによって、このVブランク信号が出力される間隔が多少変化することによる時間ズレを吸収することができるようになっている。
[16-1-4.周辺制御部コマンド受信割り込み処理]
次に、主制御基板1310からの各種コマンドを受信する周辺制御部コマンド受信割り込み処理について説明する。図72に示した周辺制御部1511の周辺制御MPU1511aは、主制御基板1310からの各種コマンドがシリアルデータとして送信開始されると、これを契機として主周シリアルデータを周辺制御MPU1511aに内蔵する主制御基板用シリアルI/Oポートで1バイト(8ビット)の情報を受信バッファに取り込み、この取り込みが完了すると、これを契機として割り込みが発生し、周辺制御部コマンド受信割り込み処理を行う。主周シリアルデータは、1パケットが3バイトに構成されており、1バイト目としてステータスが割り振られ、2バイト目としてモードが割り振られ、3バイト目としてステータスとモードとを数値とみなしてその合計を算出したサム値が割り振られている。
周辺制御部コマンド受信割り込み処理が開始されると、周辺制御部1511の周辺制御MPU1511aは、図98に示すように、1バイト受信期間タイマがタイムアウトしたか否かを判定する(ステップS1200)。この1バイト受信期間タイマは、主制御基板1310から送信される主周シリアルデータのうち、1バイト(8ビット)の情報を受信し得る期間を設定するものである。
ステップS1200で1バイト受信期間タイマがタイムアウトしていないとき、つまり主制御基板1310から送信される主周シリアルデータのうち、1バイト(8ビット)の情報を受信し得る期間内であるときには、周辺制御MPU1511aの内蔵する主制御基板用シリアルI/Oポートの受信バッファから受信した1バイトの情報を取り込み(ステップS1202)、受信カウンタSRXCに値1を加える(インクリメントする、ステップS1204)。この受信カウンタSRXCは、受信バッファから取り出した回数を示すカウンタであり、主周シリアルデータの1バイト目であるステータスを受信バッファから取り出すと値1、主周シリアルデータの2バイト目であるモードを受信バッファから取り出すと値2、主周シリアルデータの3バイト目であるサム値を受信バッファから取り出すと値3となる。なお、受信カウンタSRXCは、電源投入時等に初期値0がセットされる。
ステップS1204に続いて、受信カウンタSRXCが値3であるか否か、つまり主周シリアルデータの3バイト目であるサム値を受信バッファから取り出したか否かを判定する(ステップS1206)。この判定では、主周シリアルデータの1バイト目であるステータスに続いて、主周シリアルデータの2バイト目であるモード、そして主周シリアルデータの3バイト目であるサム値を、順に受信バッファから取り出したか否かを判定している。
ステップS1206で受信カウンタSRXCが値3でないとき、つまり主周シリアルデータの1バイト目であるステータスに続いて、まだ主周シリアルデータの2バイト目であるモード、そして主周シリアルデータの3バイト目であるサム値を、順に受信バッファから取り出していないときには、1バイト受信期間タイマのセットを行い(ステップS1208)、このルーチンを終了する。ステップS1208で1バイト受信期間タイマがセットされることで、主周シリアルデータの2バイト目であるモード又は主周シリアルデータの3バイト目であるサム値を受信し得る期間が設定される。
一方、ステップS1206で受信カウンタSRXCが値3であるとき、つまり主周シリアルデータの1バイト目であるステータスに続いて、主周シリアルデータの2バイト目であるモード、そして主周シリアルデータの3バイト目であるサム値を、順に受信バッファから取り出したときには、受信カウンタSRXCに初期値0をセットし(ステップS1210)、サム値を算出する(ステップS1212)。この算出は、ステップS1202で受信バッファからすでに取り出した、主周シリアルデータの1バイト目であるステータスと、主周シリアルデータの2バイト目であるモードと、を数値とみなしてその合計(サム値)を算出する。
ステップS1212に続いて、ステップS1202で受信バッファからすでに取り出した主周シリアルデータの3バイト目であるサム値と、ステップS1212で算出したサム値と、が一致しているか否かを判定する(ステップS1214)。ステップS1202で受信バッファからすでに取り出した主周シリアルデータの3バイト目であるサム値は、主制御基板1310からの主周シリアルデータのうち、主周シリアルデータの3バイト目として割り振られたサム値であるため、ステップS1212で算出したサム値と一致しているはずである。ところが、パチンコ機1は、パチンコ島設備から遊技球が供給されており、遊技球は、互いにこすれ合って帯電すると、静電放電してノイズを発生するため、パチンコ機1はノイズの影響を受けやすり環境下にある。そこで、本実施形態では、周辺制御部1511側において、受信した主周シリアルデータの1バイト目として割り振られたステータスと、主周シリアルデータの2バイト目として割り振られたモードと、を数値とみなしてその合計(サム値)を算出し、この算出したサム値が、主制御基板1310からの主周シリアルデータのうち、主周シリアルデータの3バイト目として割り振られたサム値と一致しているか否かを判定している。これにより、周辺制御MPU1511aは、主制御基板1310と周辺制御基板1510との基板間において、主周シリアルデータがノイズの影響を受けて正規と異なる主周シリアルデータに変化したか否かを判定することができる。
ステップS1214で、ステップS1202で受信バッファからすでに取り出した主周シリアルデータの3バイト目であるサム値と、ステップS1212で算出したサム値と、が一致しているときには、受信した、主周シリアルデータの1バイト目として割り振られたステータスと、主周シリアルデータの2バイト目として割り振られたモードとを、図73に示した、周辺制御MPU1511aと外付けされる周辺制御RAM1511cの受信コマンド記憶領域1511cacに記憶し(ステップS1216)、このルーチンを終了する。この受信コマンド記憶領域1511cacは、リングバッファとして用いており、主周シリアルデータの1バイト目として割り振られたステータスと、主周シリアルデータの2バイト目として割り振られたモードとは、受信コマンド記憶領域1511cacの周辺制御部受信リングバッファに記憶される。この「周辺制御部受信リングバッファ」とは、バッファの最後と先頭が繋がっているように使われるバッファのことであり、バッファの先頭から順次データを記憶し、バッファの最後まできたら最初に戻って記憶する。なお、周辺制御MPU1511aは、ステップS1216で周辺制御部受信リングバッファに記憶する際に、受信した、主周シリアルデータの1バイト目として割り振られたステータスと、主周シリアルデータの2バイト目として割り振られたモードと、を対応付けて記憶しており、3バイト目として割り振られたサム値を破棄する。
一方、ステップS1200で1バイト受信期間タイマがタイムアウトしていないとき、つまり主制御基板1310から送信される主周シリアルデータのうち、1バイト(8ビット)の情報を受信し得る期間を超えているときには、又はステップS1214で、ステップS1202で受信バッファからすでに取り出した主周シリアルデータの3バイト目であるサム値と、ステップS1212で算出したサム値と、が一致していないときには、そのままこのルーチンを終了する。
[16-1-5.周辺制御部停電予告信号割り込み処理]
次に、図75に示した、主制御基板1310の停電監視回路1310eからの停電予告信号(周辺停電予告信号)が主制御基板1310から入力されたことを契機として実行する周辺制御部停電予告信号割り込み処理について説明する。この周辺制御部停電予告信号割り込み処理が開始されると、図72に示した周辺制御部1511の周辺制御MPU1511aは、まず2マイクロ秒タイマを起動し(ステップS1320)、停電予告信号(周辺停電予告信号)が入力されているか否かを判定する(ステップS1302)。この判定で停電予告信号(周辺停電予告信号)が入力されていないときには、そのままこのルーチンを終了する。
一方、ステップS1302で停電予告信号が入力されているときには、2マイクロ秒経過したか否かを判定する(ステップS1304)。この判定では、ステップS1320で起動したタイマが2マイクロ秒経過した否かを判定している。ステップS1304で2マクロ秒経過していないときには、ステップS1302に戻り、停電予告信号が入力されているか否かを判定し、停電予告信号が入力されていないときにはそのままこのルーチンを終了する一方、停電予告信号が入力されているときには、再びステップS1304で2マイクロ秒経過したか否かを判定する。つまりステップS1304の判定では、本ルーチンである周辺制御部停電予告信号割り込み処理が開始されて2マイクロ秒間、停電予告信号が入力され続けているか否かを判定している。
ステップS1304で本ルーチンである周辺制御部停電予告信号割り込み処理が開始されて2マイクロ秒間、停電予告信号が入力され続けているときには、節電処理を行う(ステップS1306)。この節電処理では、遊技盤側演出表示装置1600及び扉枠側演出表示装置460のバックライトの消灯、遊技盤5に設けられるモータやソレノイドへの励磁OFF、各種LEDの消灯等を順次実行することによりパチンコ機1のシステム全体の消費電力を抑えることによって、パチンコ機1の電力が遮断されても周辺制御MPU1511aが動作可能な時間である20ミリ秒の期間だけ安定動作を確保している。
ステップS1306に続いて、コマンド受信待機処理を行う(ステップS1308)。このコマンド受信待機処理では、主制御基板1310が送信中の各種コマンドがある場合を想定して、送信中のコマンドを周辺制御MPU1511aが受信することができるように、少なくとも、17ミリ秒の期間だけ待機するようになっている。コマンドを受信すると、上述した、周辺制御部コマンド受信割り込み処理が開始されて、図73に示した、周辺制御MPU1511aと外付けされる周辺制御RAM1511cの受信コマンド記憶領域1511cac(周辺制御部受信リングバッファ)に受信したコマンドが記憶される。
ステップS1308に続いて、コマンドのバックアップ処理を行う(ステップS1310)。このコマンドのバックアップ処理では、図73に示した、バックアップ対象ワークエリア1511caにおけるBank0(1fr)に含まれる受信コマンド記憶領域1511cacに記憶されている内容を、バックアップ第1エリア1511cbのBank1(1fr)及びBank2(1fr)に周辺制御DMAコントローラ1511acが高速にコピーし、そしてバックアップ第2エリア1511ccのBank3(1fr)及びBank4(1fr)に周辺制御DMAコントローラ1511acが高速にコピーする。
この周辺制御DMAコントローラ1511acによるBank0(1fr)に含まれる受信コマンド記憶領域1511cacに記憶されている内容の高速コピーについて簡単に説明すると、図73に示した周辺制御MPU1511aの周辺制御MPUコア1511aaが周辺制御DMAコントローラ1511acの要求要因にBank0(1fr)に含まれる受信コマンド記憶領域1511cacに記憶されている内容を、バックアップ第1エリア1511cbのBank1(1fr)に含まれる受信コマンド記憶領域へのコピーを指定し、Bank0(1fr)に含まれる受信コマンド記憶領域1511cacの先頭アドレスに格納された内容からBank0(1fr)に含まれる受信コマンド記憶領域1511cacの終端アドレスに格納された内容までを、所定バイト(例えば、1バイト)ずつ連続してバックアップ第1エリア1511cbのBank1(1fr)に含まれる受信コマンド記憶領域の先頭アドレスから順番にすべてコピーし、そして周辺制御MPUコア1511aaが周辺制御DMAコントローラ1511acの要求要因にBank0(1fr)に含まれる受信コマンド記憶領域1511cacに記憶されている内容を、バックアップ第1エリア1511cbのBank2(1fr)に含まれる受信コマンド記憶領域へのコピーを指定し、Bank0(1fr)に含まれる受信コマンド記憶領域1511cacの先頭アドレスに格納された内容からBank0(1fr)に含まれる受信コマンド記憶領域1511cacの終端アドレスに格納された内容までを、所定バイト(例えば、1バイト)ずつ連続してバックアップ第1エリア1511cbのBank2(1fr)に含まれる受信コマンド記憶領域の先頭アドレスから順番にすべてコピーする。
続いて、周辺制御MPUコア1511aaが周辺制御DMAコントローラ1511acの要求要因にBank0(1fr)に含まれる受信コマンド記憶領域1511cacに記憶されている内容を、バックアップ第2エリア1511ccのBank3(1fr)に含まれる受信コマンド記憶領域へのコピーを指定し、Bank0(1fr)に含まれる受信コマンド記憶領域1511cacの先頭アドレスに格納された内容からBank0(1fr)に含まれる受信コマンド記憶領域1511cacの終端アドレスに格納された内容までを、所定バイト(例えば、1バイト)ずつ連続してバックアップ第2エリア1511ccのBank3(1fr)に含まれる受信コマンド記憶領域の先頭アドレスから順番にすべてコピーし、そして周辺制御MPUコア1511aaが周辺制御DMAコントローラ1511acの要求要因にBank0(1fr)に含まれる受信コマンド記憶領域1511cacに記憶されている内容を、バックアップ第2エリア1511ccのBank4(1fr)に含まれる受信コマンド記憶領域へのコピーを指定し、Bank0(1fr)に含まれる受信コマンド記憶領域1511cacの先頭アドレスに格納された内容からBank0(1fr)に含まれる受信コマンド記憶領域1511cacの終端アドレスに格納された内容までを、所定バイト(例えば、1バイト)ずつ連続してバックアップ第2エリア1511ccのBank4(1fr)に含まれる受信コマンド記憶領域の先頭アドレスから順番にすべてコピーする。
ステップS1310に続いて、停電予告信号(周辺停電予告信号)が入力されているか否かを判定する(ステップS1312)。この判定で停電予告信号が入力されているときには、WDTクリア処理を行う(ステップS1314)。このWDTクリア処理では、周辺制御MPU1511aは、図73に示した周辺制御内蔵WDT1511afと、図72に示した周辺制御外部WDT1511eと、にクリア信号を出力して周辺制御MPU1511aにリセットがかからないようにする。
一方、ステップS1312で停電予告信号が入力されていないとき、又はステップS1314に続いて、再びステップS1312に戻り、停電予告信号が入力されているか否かを判定する。つまり、停電予告信号(周辺停電予告信号)が入力されているか否かを無限に判定し続けることとなる。このように無限に判定し続けることにより、ステップS1312で停電予告信号(周辺停電予告信号)が入力されていないときには、周辺制御MPU1511aは、周辺制御内蔵WDT1511afと、周辺制御外部WDT1511eと、にクリア信号を出力することができなくなり、周辺制御MPU1511aにリセットがかかる一方、ステップS1312で停電予告信号が入力されているときには、ステップS1314でWDTクリア処理を行い、周辺制御MPU1511aにリセットがかからない。なお、周辺制御MPU1511aにリセットがかかると、図95に示した周辺制御部電源投入時処理が再び開始されることとなる。
このように、ステップS1312による判定で無限ループにおいて停電予告信号(周辺停電予告信号)の入力が継続する場合には、ステップS1314でWDTクリア処理が実行されることによって停電状態になる直前で周辺制御MPU1511aにリセットがかからないようになっている。これに対して、ステップS1312による判定で無限ループにおいて停電予告信号の入力が継続されず解除された場合には、WDTクリア処理が実行されないため、周辺制御内蔵WDT1511afと、周辺制御外部WDT1511eと、にクリア信号を出力が中断されるようになっている。これにより、ノイズなどで本ルーチンである周辺制御部停電予告信号割り込み処理が誤って開始され、そのノイズが2マイクロ秒の期間を超えて発生することでステップS1302の判定を通過したとしても、ステップS1312による判定で無限ループにおいて停電予告信号(周辺停電予告信号)の入力が継続されず解除された場合には、ステップS1314のWDTクリア処理が実行されないことにより周辺制御MPU1511aにリセットがかかるようになっているため、そのようなノイズに対して自動的にリセット復帰することで対応することができるようになっている。
[16-1-6.LOCKN信号履歴作成処理]
次に、図97に示した周辺制御部1msタイマ割り込み処理におけるステップS1110の描画状態情報取得処理の一処理として実行するLOCKN信号履歴作成処理について説明する。このLOCKN信号履歴作成処理では、図87に示した演出表示駆動基板4450に備える扉枠側演出用レシーバICSDIC0のLOCKN端子から出力されるLOCKN信号の履歴を作成する。このLOCKN信号は、上述したように、演出表示駆動基板4450に備える扉枠側演出用レシーバICSDIC0が、図74に示した周辺制御基板1510に備える扉枠側演出用トランスミッタIC1512dから受信した描画データが異常なデータであると判断すると、その旨を伝えるために出力する信号であり、具体的には、周辺制御基板1510に備える扉枠側演出用トランスミッタIC1512dと、演出表示駆動基板4450に備える扉枠側演出用レシーバICSDIC0と、の接続間、つまりトランスミッタとレシーバとの間の接続を確認(回復)するための所定のデータパターン(SYNCパターン)を送信要求するために出力する信号である。
LOCKN信号履歴作成処理が開始されると、図72に示した周辺制御部1511の周辺制御MPU1511aは、図100に示すように、図73に示した、周辺制御MPU1511aと外付けされる周辺制御RAM1511cの描画状態情報取得記憶領域1511cakからLOCKN信号検出履歴情報LOCKN-HISTを読み出す(ステップS1500)。このLOCKN信号検出履歴情報LOCKN-HISTは、1バイト(8ビット:最上位ビットB7、B6、B5、B4、B3、B2、B1、最下位ビットB0、「B」はビットを表す。)の記憶容量を有しており、演出表示駆動基板4450に備える扉枠側演出用レシーバICSDIC0のLOCKN端子から出力されるLOCKN信号の履歴がLOCKN信号検出履歴情報LOCKN-HISTとして描画状態情報取得記憶領域1511cakに記憶されている。
ステップS1500に続いて、演出表示駆動基板4450に備える扉枠側演出用レシーバICSDIC0のLOCKN端子から出力されるLOCKN信号があるか否かを判定する(ステップS1502)。この判定は、扉枠側演出用レシーバICSDIC0からのLOCKN信号があるときには、扉枠側演出用レシーバICSDIC0が、扉枠側演出用トランスミッタIC1512dから受信した描画データが異常なデータであると判断して、扉枠側演出用トランスミッタIC1512dと扉枠側演出用レシーバICSDIC0との接続間、つまりトランスミッタとレシーバとの間の接続を確認(回復)するための所定のデータパターン(SYNCパターン)を送信要求していると判定する一方、扉枠側演出用レシーバICSDIC0からのLOCKN信号がないときには、扉枠側演出用レシーバICSDIC0が、扉枠側演出用トランスミッタIC1512dから受信した描画データが異常なデータでない(正常なデータである)と判断して、扉枠側演出用トランスミッタIC1512dと扉枠側演出用レシーバICSDIC0との接続間、つまりトランスミッタとレシーバとの間の接続を確認(回復)するための所定のデータパターン(SYNCパターン)を送信要求していないと判定する。
ステップS1502で扉枠側演出用レシーバICSDIC0からのLOCKN信号があるときには、LOCKN信号検出履歴情報のシフト処理を行う(ステップS1504)。このLOCKN信号検出履歴情報のシフト処理では、扉枠側演出用レシーバICSDIC0からのLOCKN信号があるときには、ステップS1500で読み出したLOCKN信号検出履歴情報LOCKN-HISTを、最上位ビットB7←B6、B6←B5、B5←B4、B4←B3、B3←B2、B2←B1、B1←最下位ビットB0という具合に、最下位ビットB0から最上位ビットB7に向かって1ビットずつシフトする。
ステップS1504でLOCKN信号検出履歴情報LOCKN-HISTをシフトした場合には、LOCKN信号検出履歴情報LOCKN-HISTの最下位ビットB0に値1をセットし(ステップS1506)、このルーチンを終了する。
一方、ステップS1502で扉枠側演出用レシーバICSDIC0からのLOCKN信号がないときには、LOCKN信号検出履歴情報のシフト処理を行う(ステップS1508)。このLOCKN信号検出履歴情報のシフト処理では、ステップS1504のLOCKN信号検出履歴情報のシフト処理と同一の処理を行い、扉枠側演出用レシーバICSDIC0からのLOCKN信号がないときには、ステップS1500で読み出したLOCKN信号検出履歴情報LOCKN-HISTを、最上位ビットB7←B6、B6←B5、B5←B4、B4←B3、B3←B2、B2←B1、B1←最下位ビットB0という具合に、最下位ビットB0から最上位ビットB7に向かって1ビットずつシフトする。
ステップS1508でLOCKN信号検出履歴情報LOCKN-HISTをシフトした場合には、LOCKN信号検出履歴情報LOCKN-HISTの最下位ビットB0に値0をセットし(ステップS1510)、このルーチンを終了する。
このように、このLOCKN信号履歴作成処理が実行されるごとに、LOCKN信号検出履歴情報LOCKN-HISTを最下位ビットB0から最上位ビットB7に向かって1ビットずつシフトしたのち、最下位ビットB0に値1又は値0がセットされるため、扉枠側演出用レシーバICSDIC0からのLOCKN信号の履歴を作成することができる。
[16-1-7.接続不具合判定処理]
次に、図95に示した周辺制御部電源投入時処理の周辺制御部定常処理におけるステップS1024の警告処理の一処理として実行する接続不具合判定処理について説明する。この接続不具合判定処理では、図87に示した演出表示駆動基板4450に備える扉枠側演出用レシーバICSDIC0のLOCKN端子から出力されるLOCKN信号の履歴に基づいて、周辺制御基板1510に備える扉枠側演出用トランスミッタIC1512dと、演出表示駆動基板4450に備える扉枠側演出用レシーバICSDIC0と、の接続間、つまりトランスミッタとレシーバとの間の接続に不具合が発生しているか否か判定する。
接続不具合判定処理が開始されると、図72に示した周辺制御部1511の周辺制御MPU1511aは、図101に示すように、図73に示した、周辺制御MPU1511aと外付けされる周辺制御RAM1511cの描画状態情報取得記憶領域1511cakからLOCKN信号検出履歴情報LOCKN-HISTを読み出す(ステップS1520)。このLOCKN信号検出履歴情報LOCKN-HISTには、上述したように、演出表示駆動基板4450に備える扉枠側演出用レシーバICSDIC0のLOCKN端子から出力されるLOCKN信号の履歴が記憶されている。このLOCKN信号は、上述したように、演出表示駆動基板4450に備える扉枠側演出用レシーバICSDIC0が、周辺制御基板1510に備える扉枠側演出用トランスミッタIC1512dから受信した描画データが異常なデータであると判断すると、その旨を伝えるために出力する信号であり、具体的には、周辺制御基板1510に備える扉枠側演出用トランスミッタIC1512dと、演出表示駆動基板4450に備える扉枠側演出用レシーバICSDIC0と、の接続間、つまりトランスミッタとレシーバとの間の接続を確認(回復)するための所定のデータパターン(SYNCパターン)を送信要求するために出力する信号である。
ステップS1520に続いて、扉枠側演出用レシーバICSDIC0からのLOCKN信号があるか否かを判定する(ステップS1522)。この判定は、ステップS1520で読み出したLOCKN信号検出履歴情報LOCKN-HISTが接続確認判定値と一致しているか否かを判定する。この接続確認判定値は、図72に示した周辺制御ROM1511bに予め記憶されており、本実施形態では、「00001111B(「B」はビットを表す。)」であり、上位4ビットのB7~B4が値0、下位4ビットのB3~B0が値1となっている。ステップS1522の判定では、LOCKN信号検出履歴情報LOCKN-HISTの下位4ビットB3~B0と接続確認判定値の下位4ビットB3~B0とが一致しているか否かの判定を行う。
ステップS1522で、ステップS1520で読み出したLOCKN信号検出履歴情報LOCKN-HISTの下位4ビットB3~B0と接続確認判定値の下位4ビットB3~B0とが一致していないときには、周辺制御基板1510に備える扉枠側演出用トランスミッタIC1512dと、演出表示駆動基板4450に備える扉枠側演出用レシーバICSDIC0と、の接続間、つまりトランスミッタとレシーバとの間の接続に不具合が発生していない状態であると判定して、そのままこのルーチンを終了する。
一方、ステップS1522で、ステップS1520で読み出したLOCKN信号検出履歴情報LOCKN-HISTの下位4ビットB3~B0と接続確認判定値の下位4ビットB3~B0とが一致しているときには、周辺制御基板1510に備える扉枠側演出用トランスミッタIC1512dと、演出表示駆動基板4450に備える扉枠側演出用レシーバICSDIC0と、の接続間、つまりトランスミッタとレシーバとの間の接続に不具合が発生している状態であると判定して通信チェックカウンタCC-CNTに値1だけ足す(インクリメントする、ステップS1524)。この通信チェックカウンタCC-CNTは、本ルーチンが実行されるごとに、ステップS1522の判定において、トランスミッタとレシーバとの間の接続に不具合が発生している状態であると判定した回数をカウントアップする(累積回数を数える)ものである。なお、通信チェックカウンタCC-CNTは、パチンコ機1が電源投入されると、値0がセットされてリセットされるようになっているのに対して、瞬停や停電によってリセットされず、復電時において瞬間や停電となる直前の通信チェックカウンタCC-CNTの値に復元されるようになっている。
ステップS1524に続いて、通信チェックカウンタCC-CNTの値が累積回数上限値CC-LMTより小さいか否かを判定する(ステップS1526)。この判定では、通信チェックカウンタCC-CNTの値が累積回数上限値CC-LMTより小さいときには、トランスミッタとレシーバとの間の接続に不具合が発生している状態であると判定した累積回数が累積回数上限値CC-LMTに達していないと判定する一方、通信チェックカウンタCC-CNTの値が累積回数上限値CC-LMTより小さくない(大きい)ときには、トランスミッタとレシーバとの間の接続に不具合が発生している状態であると判定した累積回数が累積回数上限値CC-LMTに達していると判定する。
ステップS1526で通信チェックカウンタCC-CNTの値が累積回数上限値CC-LMTより小さいとき、つまりトランスミッタとレシーバとの間の接続に不具合が発生している状態であると判定した累積回数が累積回数上限値CC-LMTに達していないときには、通信異常フラグCC-FLGに値0をセットし(ステップS1528)、このルーチンを終了する。一方、ステップS1526で通信チェックカウンタCC-CNTの値が累積回数上限値CC-LMTより小さくない(大きい)とき、つまりトランスミッタとレシーバとの間の接続に不具合が発生している状態であると判定した累積回数が累積回数上限値CC-LMTに達しているときには、通信異常フラグCC-FLGに値1をセットし(ステップS1530)、このルーチンを終了する。通信異常フラグCC-FLGは、トランスミッタとレシーバとの間の接続に不具合が発生している状態であると判定した累積回数が累積回数上限値CC-LMTに達してトランスミッタとレシーバとの間の接続に確実に不具合が発生しているか否かを示すフラグであり、トランスミッタとレシーバとの間の接続に確実に不具合が発生しているとき値1、トランスミッタとレシーバとの間の接続に不具合が発生している状態であると判定した累積回数が累積回数上限値CC-LMTに達していないとき値0にそれぞれ設定される。なお、通信異常フラグCC-FLGは、パチンコ機1が電源投入されると、値0がセットされてリセットされるようになっているのに対して、瞬停や停電によってリセットされず、復電時において瞬間や停電となる直前の通信異常フラグCC-FLGの値に復元されるようになっている。
[16-1-8.接続回復処理]
次に、図95に示した周辺制御部電源投入時処理の周辺制御部定常処理におけるステップS1024の警告処理の一処理として実行する接続回復処理について説明する。この接続回復処理では、図101に示した接続不具合判定処理に続いて実行され、周辺制御基板1510に備える扉枠側演出用トランスミッタIC1512dと、演出表示駆動基板4450に備える扉枠側演出用レシーバICSDIC0と、の接続間、つまりトランスミッタとレシーバとの間の接続を確認(回復)するために所定のデータパターン(SYNCパターン)を出力する一方、トランスミッタとレシーバとの間の接続が異常であるときにその旨を報知する。
接続回復処理が開始されると、図72に示した周辺制御部1511の周辺制御MPU1511aは、図102に示すように、図95に示した周辺制御部電源投入時処理の周辺制御部定常処理におけるステップS1020のスケジューラ更新処理において、図73に示した周辺制御RAM1511cのスケジュールデータ記憶領域1511caeにセットされた各種スケジュールデータのうち、画面生成用スケジュールデータを起動中であるか否かを判定する(ステップS1540)。この判定では、スケジューラ更新処理において、画面生成用スケジュールデータを構成する時系列に配列された画面データのうち、先頭の画面データから何番目の画面データを音源内蔵VDP1512aに出力するのかを指示するために、ポインタが更新されているか否かを判定する。換言すると、スケジューラ更新処理において、ポインタを更新しているときには画面生成用スケジュールデータに沿って演出が進行しているため、画面生成用スケジュールデータが起動中であると判定する一方、画面生成用スケジュールデータに沿って演出が完了してポインタの更新がすべて終了しているときには画面生成用スケジュールデータが未起動であると判定する。なお、この判定では、パチンコ機1の電源投入時における起動画面を遊技盤側演出表示装置1600に表示している期間や、客待ち状態となって遊技盤側演出表示装置1600によるデモンストレーションを行っている期間であるか否かを、画面生成用スケジュールデータに基づいて判断することができるようになっており、パチンコ機1の電源投入時における起動画面を遊技盤側演出表示装置1600に表示している期間や、客待ち状態となって遊技盤側演出表示装置1600によるデモンストレーションを行っている期間であるときには、後述するステップS1542へ進む一方、パチンコ機1の電源投入時における起動画面を遊技盤側演出表示装置1600に表示している期間や、客待ち状態となって遊技盤側演出表示装置1600によるデモンストレーションを行っている期間でないとき(単なる、客待ちの待機した状態であるとき)には、そのままこのルーチンを終了するようになっている。
ステップS1540で画面生成用スケジュールデータに沿って演出が進行しているとき、つまり画面生成用スケジュールデータが起動中であるときには、そのままこのルーチンを終了する一方、ステップS1540で画面生成用スケジュールデータに沿って演出が完了してポインタの更新がすべて終了しているとき、つまり画面生成用スケジュールデータが未起動であるときには、通信チェックカウンタCC-CNTの値が値0でないか否かを判定する(ステップS1542)。この通信チェックカウンタCC-CNTは、上述したように、図101に示した接続不具合判定処理が実行されるごとに、同処理におけるステップS1522の判定において、周辺制御基板1510に備える扉枠側演出用トランスミッタIC1512dと、演出表示駆動基板4450に備える扉枠側演出用レシーバICSDIC0と、の接続間、つまりトランスミッタとレシーバとの間の接続に不具合が発生している状態であると判定した回数をカウントアップする(累積回数を数える)ものである。この判定では、トランスミッタとレシーバとの間の接続に不具合が発生している状態であると判定した回数が1回でもあったか否かを判定する。
ステップS1542で通信チェックカウンタCC-CNTの値が値0であるとき、つまりトランスミッタとレシーバとの間の接続に不具合が発生している状態であると判定した回数が1回もないときには、そのままこのルーチンを終了する一方、ステップS1542で通信チェックカウンタCC-CNTの値が値0でないとき、つまりトランスミッタとレシーバとの間の接続に不具合が発生している状態であると判定した回数が1回でもあったときには、通信異常フラグCC-FLGの値が値0であるか否かを判定する(ステップS1544)。この通信異常フラグCC-FLGは、上述したように、トランスミッタとレシーバとの間の接続に不具合が発生している状態であると判定した累積回数が累積回数上限値CC-LMTに達してトランスミッタとレシーバとの間の接続に確実に不具合が発生しているか否かを示すフラグであり、トランスミッタとレシーバとの間の接続に確実に不具合が発生しているとき値1、トランスミッタとレシーバとの間の接続に不具合が発生している状態であると判定した累積回数が累積回数上限値CC-LMTに達していないとき値0にそれぞれ設定される。
ステップS1544で通信異常フラグCC-FLGの値が値0であるとき、つまりトランスミッタとレシーバとの間の接続に不具合が発生している状態であると判定した累積回数が累積回数上限値CC-LMTに達していないときには、SYNCパターン出力処理を行い(ステップS1546)、このルーチンを終了する。このSYNCパターン出力処理では、周辺制御MPU1511aが周辺制御基板1510に備える扉枠側演出用トランスミッタIC1512dのINIT端子に対して接続確認信号を出力することにより、周辺制御基板1510に備える扉枠側演出用トランスミッタIC1512dが演出表示駆動基板4450に備える扉枠側演出用レシーバICSDIC0に対して所定のデータパターン(SYNCパターン)を出力する。この所定のデータパターン(SYNCパターン)は、扉枠側演出用トランスミッタIC1512dに予め記憶されているものであって扉枠側演出用レシーバICSDIC0に対して出力されるものであり、扉枠側演出用トランスミッタIC1512dと扉枠側演出用レシーバICSDIC0との接続間、つまりトランスミッタとレシーバとの間の接続を回復するものである。
一方、ステップS1544で通信異常フラグCC-FLGの値が値0でない(値1である)とき、つまりトランスミッタとレシーバとの間の接続に確実に不具合が発生しているときには、通信エラー表示処理を行い(ステップS1548)、このルーチンを終了する。この通信エラー表示処理では、トランスミッタとレシーバとの間の接続に確実に不具合が発生している旨を伝えるために、図8に示した遊技盤5に備える遊技盤側演出表示装置1600の表示領域に描画する処理を行う。例えば、遊技盤側演出表示装置1600の表示領域に「上皿側液晶表示装置に不具合が発生しました。店員をお呼びください。」というメッセージが表示される。また、通信エラー表示処理では、パチンコ機1の電源投入時における起動画面を遊技盤側演出表示装置1600に表示している期間や、客待ち状態となって遊技盤側演出表示装置1600によるデモンストレーションを行っている期間において、周辺制御基板1510に備える扉枠側演出用トランスミッタIC1512dと、演出表示駆動基板4450に備える扉枠側演出用レシーバICSDIC0と、の接続間、つまりトランスミッタとレシーバとの間の接続に不具合が発生しているか否かを確認するために、扉枠側演出表示装置460の動作確認要求として、周辺制御MPU1511aからLOCKN信号出力要求データを送信し、扉枠側演出用レシーバICSDIC0がLOCKN信号出力要求データの送信に対する応答信号として、LOCKN端子からLOCKN信号を周辺制御MPU1511aに出力し、このLOCKN信号が入力されていないときには、トランスミッタとレシーバとの間の接続に不具合が発生しているとして扉枠側演出表示装置460に不具合が発生していると判断し、その旨を、報知画像(例えば、「上皿側液晶表示装置に不具合が発生しました。店員をお呼びください。」)が遊技盤側演出表示装置1600の表示領域に表示する処理を行うとともに、報知音(例えば、「上皿側液晶表示装置に不具合が発生しています。」)が扉枠3に設けたスピーカ等から繰り返し流れる処理を行う。このとき、扉枠3に備える発光装飾用のLEDや遊技盤5に備える各種装飾基板に実装される各種LEDをすべて点灯する処理を行うようにしてもよい。
次に、周辺制御MPU1511aが図74に示した周辺制御基板1510に備える扉枠側演出用トランスミッタIC1512dのINIT端子に対して接続確認信号を出力するタイミングについて図103のタイミングチャートを用いて説明する。
まず、図8に示した遊技盤5に備える遊技盤側演出表示装置1600の表示領域に変動表示される装飾図柄について簡単に説明すると、図95に示した周辺制御部電源投入時処理の周辺制御部定常処理等により装飾図柄の変動表示が実行されるようになっており、図69に示した主制御基板1310の主制御MPU1310aよる図93に示した主制御側電源投入時処理の主制御側メイン処理や図94に示した主制御側タイマ割り込み処理等により図8に示した第一始動口2002への遊技球の受入れにより抽選された第一特別抽選結果、又は図8に示した第二始動口2004への遊技球の受入れにより抽選された第二特別抽選結果が「大当り」となると、図8に示した大入賞口2005の開閉動作の繰返し回数(ラウンド数)が1ラウンド~15ラウンドまでの計15ラウンドとなり、各ラウンドでは、所定時間(例えば、30秒間)内において、大入賞口2005に遊技球が入球して、その球数が所定個数(例えば、9球)となると、そのラウンドが消化するようになっており、大入賞口2005に遊技球が1球入球するごとに、所定個数(例えば、15球)の遊技球が払い出されるようになっている。
第一始動口2002への遊技球の受入れにより抽選された第一特別抽選結果、又は第二始動口2004への遊技球の受入れにより抽選された第二特別抽選結果は、主制御基板1310からのコマンドに基づいて、周辺制御基板1510の周辺制御部1511が液晶表示制御部1512を制御することにより、遊技盤側演出表示装置1600の表示領域の左側には左側装飾図柄、中央には中央装飾図柄、そして右側には右側装飾図柄の変動表示が開始され、所定時間経過した後に左側装飾図柄、中央装飾図柄、及び右側装飾図柄の変動表示が停止されて第一特別抽選結果又は第二特別抽選結果を遊技者が認識することができるようになっており、このとき、図66に示した機能表示ユニット1400の第一特別図柄表示器1403又は第二特別図柄表示器1405で表示された第一特別図柄又は第二特別図柄においても第一特別抽選結果又は第二特別抽選結果を確認することができるようになっている。左側装飾図柄、中央装飾図柄、及び右側装飾図柄が変動表示されているときには背景画像が視認できる程度に左側装飾図柄、中央装飾図柄、及び右側装飾図柄が半透明な態様となり、左側装飾図柄は表示領域の左上側から左下側に向かって、中央装飾図柄は表示領域の中央上側から中央下側に向かって、右側装飾図柄は表示領域の右上側から右下側に向かってそれぞれリールが回転しているかのような態様で変動表示されるとともに、左側装飾図柄、中央装飾図柄、及び右側装飾図柄が停止表示されると、停止表示された左側装飾図柄、中央装飾図柄、及び右側装飾図柄と対応する位置における背景画像が視認困難となるように左側装飾図柄、中央装飾図柄、及び右側装飾図柄が不透明な態様となるようになっている。このように、図66に示した機能表示ユニット1400の第一特別図柄表示器1403又は第二特別図柄表示器1405において変動表示開始されて停止表示される第一特別図柄又は第二特別図柄と、遊技盤側演出表示装置1600の表示領域で変動表示開始されて停止表示される左側装飾図柄、中央装飾図柄、及び右側装飾図柄と、が同期化されている。
周辺制御基板1510の周辺制御部1511は、第一始動口2002への遊技球の受入れにより抽選された第一特別抽選結果、又は第二始動口2004への遊技球の受入れにより抽選された第二特別抽選結果を伝える主制御基板1310からのコマンドを受信すると、この受信したコマンドに基づいて、液晶表示制御部1512を制御することにより、図103に示すように、図8に示した遊技盤側演出表示装置1600の表示領域に左側装飾図柄、中央装飾図柄、及び右側装飾図柄の変動表示が開始されると(タイミングK0)、図95に示した周辺制御部電源投入時処理の周辺制御部定常処理におけるステップS1020のスケジューラ更新処理において、図73に示した周辺制御RAM1511cのスケジュールデータ記憶領域1511caeにセットされた画面生成用スケジュールデータを構成する時系列に配列された画面データのうち、先頭の画面データから何番目の画面データを音源内蔵VDP1512aに出力するのかを指示するために、ポインタが更新されているため、つまりスケジューラ更新処理において、ポインタを更新しているときには画面生成用スケジュールデータに沿って演出が進行しているため、画面生成用スケジュールデータが起動中であり、画面生成用スケジュールデータが起動中である間、つまり左側装飾図柄、中央装飾図柄、及び右側装飾図柄の変動表示が開始されて停止表示されるまでの間においては、図95に示した周辺制御部電源投入時処理の周辺制御部定常処理におけるステップS1024の警告処理において、図102に示した接続回復処理を実行しても、この接続回復処理におけるステップS1540の判定で、そのままルーチンを強制的に終了するようになっている。
これにより、遊技盤側演出表示装置1600の表示領域に左側装飾図柄、中央装飾図柄、及び右側装飾図柄の変動表示が開始されて停止表示されるまでの間においては、通信チェックカウンタCC-CNTの値が値0でないときであっても、つまり周辺制御基板1510に備える扉枠側演出用トランスミッタIC1512dと、演出表示駆動基板4450に備える扉枠側演出用レシーバICSDIC0と、の接続間(つまりトランスミッタとレシーバとの間の接続)に不具合が発生している状態であると判定した回数が1回でもある場合であっても、接続回復処理におけるステップS1546のSYNCパターン出力処理を行わず、トランスミッタとレシーバとの間の接続を回復する処理を行わないようになっているし、接続回復処理におけるステップS1548の通信エラー表示処理を行わず、例えば、遊技盤側演出表示装置1600の表示領域に「上皿側液晶表示装置に不具合が発生しました。店員をお呼びください。」というメッセージが表示されないようになっているため、扉枠側演出用トランスミッタIC1512dから受信した描画データが異常なデータであることを伝える扉枠側演出用レシーバICSDIC0からのLOCKN信号を無効化するとともに、扉枠側演出表示装置460は、扉枠側演出用レシーバICSDIC0が扉枠側演出用トランスミッタIC1512dから受信した描画データに基づいて画像を表示する。
遊技盤側演出表示装置1600の表示領域に左側装飾図柄、中央装飾図柄、及び右側装飾図柄の変動表示が開始されて停止表示されると(タイミングK1)、図95に示した周辺制御部電源投入時処理の周辺制御部定常処理におけるステップS1020のスケジューラ更新処理において、図73に示した周辺制御RAM1511cのスケジュールデータ記憶領域1511caeにセットされた画面生成用スケジュールデータに沿って演出が完了してポインタの更新がすべて終了しているため、つまりスケジューラ更新処理において、画面生成用スケジュールデータが未起動であり、画面生成用スケジュールデータが未起動である間においては、図95に示した周辺制御部電源投入時処理の周辺制御部定常処理におけるステップS1024の警告処理の一処理として実行する図102に示した接続回復処理におけるステップS1540の判定で、同処理におけるステップS1542の処理へ進み、通信チェックカウンタCC-CNTの値が値0であるとき、つまりトランスミッタとレシーバとの間の接続に不具合が発生している状態であると判定した回数が1回もないときには、そのままルーチンを終了する一方、通信チェックカウンタCC-CNTの値が値0でないとき、つまりトランスミッタとレシーバとの間の接続に不具合が発生している状態であると判定した回数が1回でもあったときには、同処理におけるステップS1544の処理へ進み、通信異常フラグCC-FLGの値が値0であるとき、つまりトランスミッタとレシーバとの間の接続に不具合が発生している状態であると判定した累積回数が累積回数上限値CC-LMTに達していないときには、同処理におけるステップS1546の処理へ進み、上述したSYNCパターン出力処理を行い、ルーチンを終了する一方、通信異常フラグCC-FLGの値が値0でない(値1である)とき、つまりトランスミッタとレシーバとの間の接続に確実に不具合が発生しているときには、同処理におけるステップS1548の処理へ進み、上述した通信エラー表示処理を行い、ルーチンを終了する。換言すると、遊技盤側演出表示装置1600の表示領域に左側装飾図柄、中央装飾図柄、及び右側装飾図柄が停止表示されている間においては、扉枠側演出用トランスミッタIC1512dと扉枠側演出用レシーバICSDIC0との接続間、つまりトランスミッタとレシーバとの間の接続に不具合が発生している状態が1回でもある場合であって、トランスミッタとレシーバとの間の接続に不具合が発生している状態であると判定した累積回数が累積回数上限値CC-LMTに達していないときには、SYNCパターン出力処理を必ず行うことにより、扉枠側演出用トランスミッタIC1512dと扉枠側演出用レシーバICSDIC0との接続間、つまりトランスミッタとレシーバとの間の接続を回復する処理を行う一方、トランスミッタとレシーバとの間の接続に不具合が発生している状態であると判定した累積回数が累積回数上限値CC-LMTに達しているとき(つまりトランスミッタとレシーバとの間の接続に確実に不具合が発生している)には、通信エラー表示処理を必ず行うことにより、例えば、遊技盤側演出表示装置1600の表示領域に「上皿側液晶表示装置に不具合が発生しました。店員をお呼びください。」というメッセージを表示して報知する処理を行うようになっており、扉枠側演出用トランスミッタIC1512dから受信した描画データが異常なデータであることを伝える扉枠側演出用レシーバICSDIC0からのLOCKN信号を有効化している。
遊技盤側演出表示装置1600の表示領域に左側装飾図柄、中央装飾図柄、及び右側装飾図柄の変動表示が開始されて停止表示され、再び左側装飾図柄、中央装飾図柄、及び右側装飾図柄の変動表示が開始されるまでのインターバル期間においては、遊技盤側演出表示装置1600の表示領域に左側装飾図柄、中央装飾図柄、及び右側装飾図柄が停止表示されている間であるため、上述したように、扉枠側演出用トランスミッタIC1512dから受信した描画データが異常なデータであることを伝える扉枠側演出用レシーバICSDIC0からのLOCKN信号が有効化され、扉枠側演出用トランスミッタIC1512dと扉枠側演出用レシーバICSDIC0との接続間、つまりトランスミッタとレシーバとの間の接続に不具合が発生している状態が1回でもある場合であって、トランスミッタとレシーバとの間の接続に不具合が発生している状態であると判定した累積回数が累積回数上限値CC-LMTに達していないときには、SYNCパターン出力処理を必ず行うことにより、扉枠側演出用トランスミッタIC1512dと扉枠側演出用レシーバICSDIC0との接続間、つまりトランスミッタとレシーバとの間の接続を回復する処理を行う一方、トランスミッタとレシーバとの間の接続に不具合が発生している状態であると判定した累積回数が累積回数上限値CC-LMTに達しているとき(つまりトランスミッタとレシーバとの間の接続に確実に不具合が発生している)には、通信エラー表示処理を必ず行うことにより、例えば、遊技盤側演出表示装置1600の表示領域に「上皿側液晶表示装置に不具合が発生しました。店員をお呼びください。」というメッセージを表示して報知する処理を行うようになっている。
再び左側装飾図柄、中央装飾図柄、及び右側装飾図柄の変動表示が開始されると(タイミングK2)、上述したように、画面生成用スケジュールデータが起動中であるため、左側装飾図柄、中央装飾図柄、及び右側装飾図柄が停止表示される(タイミングK3)までの間においては、通信チェックカウンタCC-CNTの値が値0でないときであっても、つまり周辺制御基板1510に備える扉枠側演出用トランスミッタIC1512dと、演出表示駆動基板4450に備える扉枠側演出用レシーバICSDIC0と、の接続間(つまりトランスミッタとレシーバとの間の接続)に不具合が発生している状態であると判定した回数が1回でもある場合であっても、接続回復処理におけるステップS1546のSYNCパターン出力処理を行わず、トランスミッタとレシーバとの間の接続を回復する処理を行わないようになっているし、接続回復処理におけるステップS1548の通信エラー表示処理を行わず、例えば、遊技盤側演出表示装置1600の表示領域に「上皿側液晶表示装置に不具合が発生しました。店員をお呼びください。」というメッセージが表示されないようになっているため、扉枠側演出用トランスミッタIC1512dから受信した描画データが異常なデータであることを伝える扉枠側演出用レシーバICSDIC0からのLOCKN信号を無効化するとともに、扉枠側演出表示装置460は、扉枠側演出用レシーバICSDIC0が扉枠側演出用トランスミッタIC1512dから受信した描画データに基づいて画像を表示する。
このように、遊技盤側演出表示装置1600の表示領域に左側装飾図柄、中央装飾図柄、及び右側装飾図柄の変動表示が開始されて停止表示され、再び左側装飾図柄、中央装飾図柄、及び右側装飾図柄の変動表示が開始されるまでのインターバル期間においては、扉枠側演出用トランスミッタIC1512dから受信した描画データが異常なデータであることを伝える扉枠側演出用レシーバICSDIC0からのLOCKN信号が有効化される一方、遊技盤側演出表示装置1600の表示領域に左側装飾図柄、中央装飾図柄、及び右側装飾図柄の変動表示が開始されて停止表示されるまでの間においては、扉枠側演出用トランスミッタIC1512dから受信した描画データが異常なデータであることを伝える扉枠側演出用レシーバICSDIC0からのLOCKN信号が無効化されるようになっている。これは、遊技盤側演出表示装置1600の表示領域において左側装飾図柄、中央装飾図柄、及び右側装飾図柄の停止表示される組み合わせ結果が遊技者には最も関心のある情報であり、遊技者に利益が付与される大当り遊技状態が発生するか否かを遊技者が判断することができるため、遊技盤側演出表示装置1600の表示領域に左側装飾図柄、中央装飾図柄、及び右側装飾図柄が変動表示されると、左側装飾図柄、中央装飾図柄、及び右側装飾図柄が停止表示されるまでは、扉枠側演出表示装置460の表示領域に描画される演出の画像がノイズの影響等により乱れて正しく描画できない状態となったとしても、途中で演出を中断し、正しく描画できる状態に回復する処理を行うのではなく、遊技盤側演出表示装置1600の表示領域に左側装飾図柄、中央装飾図柄、及び右側装飾図柄を停止表示させることにより、遊技者の最も関心のある情報を描画完了させている。
この点においては、周辺制御基板1510の周辺制御部1511の周辺制御MPU1511aが、パチンコ機1の電源投入時における起動画面を遊技盤側演出表示装置1600に表示している期間や、客待ち状態となって遊技盤側演出表示装置1600によるデモンストレーションを行っている期間において、LOCKN信号出力要求データを、周辺制御基板1510に備える差動化回路1512eに送信する場合と大きく異なっている。このLOCKN信号出力要求データは、パチンコ機1の電源投入時における起動画面を遊技盤側演出表示装置1600に表示している期間や、客待ち状態となって遊技盤側演出表示装置1600によるデモンストレーションを行っている期間において、周辺制御MPU1511aから送信されるものであって、周辺制御基板1510に備える扉枠側演出用トランスミッタIC1512dと、演出表示駆動基板4450に備える扉枠側演出用レシーバICSDIC0と、の接続間、つまりトランスミッタとレシーバとの間の接続に不具合が発生しているか否かを確認するために、扉枠側演出表示装置460の動作確認要求として送信されるものである。
周辺制御MPU1511aから出力されるシリアルデータであるLOCKN信号出力要求データが周辺制御基板1510に備える差動化回路1512eにおいてプラス信号とマイナス信号とに差動化されると、上述したように、差動化回路1512eにおいてプラス信号とマイナス信号とに差動化された2つの信号が周辺制御基板1510に備える強制切替回路1512fに入力される。強制切替回路1512fは、差動化回路1512eにおいてプラス信号とマイナス信号とに差動化された2つの信号が入力されているときには、その2つの信号を伝送するように回路接続するため、その2つの信号が、周辺制御基板1510から扉枠3の皿ユニット320内に収納される演出表示駆動基板4450に送信される。そして演出表示駆動基板4450に備える液晶モジュール回路4450Vの扉枠側演出用レシーバICSDIC0は、受信したその2つの信号がLOCKN信号出力要求データであると判断したときには、そもそも、LOCKN信号出力要求データは、上述したように、扉枠側演出用トランスミッタIC1512dから出力される信号とデータ形式が異なる構造であるため、異常なデータであると判断され、LOCKN信号を周辺制御基板1510の周辺制御部1511の周辺制御MPU1511aに出力する。これにより、周辺制御MPU1511aは、LOCKN信号出力要求データの送信に対する応答信号として、LOCKN信号が入力されているときにはトランスミッタとレシーバとの間の接続に不具合が発生していないとして演出表示駆動基板4450に不具合が発生していないと判断することができる一方、LOCKN信号が入力されていないときにはトランスミッタとレシーバとの間の接続に不具合が発生しているとして演出表示駆動基板4450に不具合が発生していると判断して、その旨を伝える報知画像(例えば、「上皿側液晶表示装置に不具合が発生しました。店員をお呼びください。」)を、音源内蔵VDP1512aを制御して遊技盤側演出表示装置1600に出力するとともに、その旨を伝える報知音(例えば、「上皿側液晶表示装置に不具合が発生しています。」)を、音源内蔵VDP1512aを制御してオーディオデータ送信IC1512cに出力することにより扉枠3に設けたスピーカ等から報知音が流れる。これにより、遊技盤側演出表示装置1600の表示領域に表示される報知画像と、扉枠3に設けたスピーカ等から繰り返し流れる報知音と、により報知を行うことができるようになっている。このとき、扉枠3に備える発光装飾用のLEDや遊技盤5に備える各種装飾基板に実装される各種LEDをすべて点灯してもよい。
このように、周辺制御部1511の周辺制御MPU1511aは、シリアルデータであるLOCKN信号出力要求データを送信すると、強制切替回路1512fがLOCKN信号出力要求データを扉枠側演出用レシーバICSDIC0で受信することができるように回路接続し、LOCKN信号出力要求データを受信した扉枠側演出用レシーバICSDIC0が応答信号として扉枠側演出用レシーバICSDIC0のLOCKN端子からLOCKN信号を周辺制御MPU1511aに出力するようになっているため、LOCKN信号が入力されているときにはトランスミッタとレシーバとの間の接続に不具合が発生していないとして扉枠側演出表示装置460に不具合が発生していないと判断することができる一方、LOCKN信号が入力されていないときにはトランスミッタとレシーバとの間の接続に不具合が発生しているとして扉枠側演出表示装置460に不具合が発生していると判断することができる。そして、周辺制御MPU1511aは、扉枠側演出表示装置460に不具合が発生していると判断したときには報知処理として、図102の接続回復処理におけるステップS1548の通信エラー表示処理を実行することができるようになっている。換言すると、周辺制御MPU1511aは、扉枠側演出表示装置460の不具合を発見すると、その旨を、報知処理を実行することにより、ホールの店員等に報知することができるようになっているため、ホールの店員等は、遊技者が遊技を行う前に、扉枠側演出表示装置460に不具合が発生しているか否かを極めて簡単にチェックすることができ、そのチェックに手間がかからないようになっている。したがって、扉枠側演出表示装置460の不具合を手間をかけずに発見することができる。
また、LOCKN信号は、上述したように、演出表示駆動基板4450に備える扉枠側演出用レシーバICSDIC0が、周辺制御基板1510に備える扉枠側演出用トランスミッタIC1512dから受信した描画データが異常なデータであると判断すると、その旨を伝えるために出力する信号であり、具体的には、周辺制御基板1510に備える扉枠側演出用トランスミッタIC1512dと、演出表示駆動基板4450に備える扉枠側演出用レシーバICSDIC0と、の接続間、つまりトランスミッタとレシーバとの間の接続を確認(回復)するための所定のデータパターン(SYNCパターン)を送信要求するために出力する信号であるため、扉枠側演出用レシーバICSDIC0は、扉枠側演出用トランスミッタIC1512dから送信される画像を正常に受信できないときには扉枠側演出用レシーバICSDIC0と扉枠側演出用トランスミッタIC1512dとの画像通信間において通信不具合が発生して受信した描画データが異常なデータとなる旨を伝えるために、LOCKN信号を周辺制御部1511の周辺制御MPU1511aに出力することができるようになっている。これにより、LOCKN信号が入力される周辺制御MPU1511aは、所定のデータパターン(SYNCパターン)を扉枠側演出用トランスミッタIC1512dから扉枠側演出用レシーバICSDIC0へ送信開始する旨を伝える接続確認信号を扉枠側演出用トランスミッタIC1512dに出力することにより、画像通信間における通信不具合を解消させることができるようになっている。換言すると、周辺制御MPU1511aは、画像通信間における通信不具合による扉枠側演出表示装置460の不具合を早期に発見して、その不具合を解消させるように扉枠側演出用トランスミッタIC1512dに働きかけることができるようになっている。したがって、扉枠側演出表示装置460の不具合を発見して解消することにより遊技者の遊技意欲の低下を抑制することができる。
更に、扉枠側演出用トランスミッタIC1512dから送信される画像を受信して扉枠側演出表示装置460に出力する扉枠側演出用レシーバICSDIC0は、扉枠側演出用トランスミッタIC1512dから送信される画像を正常に受信できないときには扉枠側演出用レシーバICSDIC0と扉枠側演出用トランスミッタIC1512dとの画像通信間において通信不具合が発生している旨を伝える通信不具合発生信号であるLOCKN信号を演出制御マイクロプロセッサである周辺制御部1511の周辺制御MPU1511aに出力することができるようになっているため、LOCKN信号が入力される周辺制御MPU1511aは、液晶表示制御部1512の音源内蔵VDP1512aを制御して通信不具合が発生している旨を伝える画像である「上皿側液晶表示装置に不具合が発生しました。店員をお呼びください。」というメッセージを生成し、この生成した画像を遊技盤側演出表示装置1600の表示領域に表示して報知することができるようになっている。換言すると、周辺制御MPU1511aは、画像通信間における通信不具合による扉枠側演出表示装置460の不具合を早期に発見して、その旨を、パチンコ機1の前面に着座する遊技者に報知してその遊技者がホールの店員等に伝えたり、パチンコ機1の前をたまたま通りかかったホールの店員等に直接報知することができるようになっているため、ホールの店員等は、その不具合が発生して早い段階でその不具合を解消するための作業に取り掛かることができる。したがって、扉枠側演出表示装置460の不具合を早期発見して解消することにより遊技者の遊技意欲の低下を抑制することができる。
更にまた、周辺制御部1511の周辺制御MPU1511aは、タイミングK1~タイミングK2の期間(インターバル期間)において、周辺制御基板1510に備える扉枠側演出用トランスミッタIC1512dと、演出表示駆動基板4450に備える扉枠側演出用レシーバICSDIC0と、の接続間、つまりトランスミッタとレシーバとの間の接続に不具合が発生している状態が1回でもある場合であって、トランスミッタとレシーバとの間の接続に不具合が発生している状態であると判定した累積回数が累積回数上限値CC-LMTに達していないときには、LOCKN信号を有効化して画像通信間における通信不具合を解消するための所定のデータパターン(SYNCパターン)を扉枠側演出用トランスミッタIC1512dから扉枠側演出用レシーバICSDIC0に送信開始する旨を伝える接続確認信号を扉枠側演出用トランスミッタIC1512dに、その累積回数が累積回数上限値CC-LMTに達するまで、繰り返し出力し続けることができるようになっている。これにより、周辺制御部1511の周辺制御MPU1511aは、主制御基板1310の主制御MPU1310aが第一特別図柄表示器1403又は第二特別図柄表示器1405において第一特別図柄又は第二特別図柄遊技を変動開始して停止表示して遊技の進行を実行していない期間に限って、繰り返し接続確認信号を出力し続けることができるため、通信不具合が解消される方向へ向かわせることができる。
そして、周辺制御部1511の周辺制御MPU1511aは、タイミングK1~タイミングK2の期間(インターバル期間)において、周辺制御基板1510に備える扉枠側演出用トランスミッタIC1512dと、演出表示駆動基板4450に備える扉枠側演出用レシーバICSDIC0と、の接続間、つまりトランスミッタとレシーバとの間の接続に不具合が発生している状態が1回でもある場合であって、トランスミッタとレシーバとの間の接続に不具合が発生している状態であると判定した累積回数が累積回数上限値CC-LMTに達していないときには、LOCKN信号を有効化して画像通信間における通信不具合を解消するための所定のデータパターン(SYNCパターン)を扉枠側演出用トランスミッタIC1512dから扉枠側演出用レシーバICSDIC0に送信開始する旨を伝える接続確認信号を扉枠側演出用トランスミッタIC1512dに、その累積回数が累積回数上限値CC-LMTに達するまで、繰り返し出力し続けている際に、主制御基板1310の主制御MPU1310aが第一特別図柄表示器1403又は第二特別図柄表示器1405において第一特別図柄又は第二特別図柄遊技を変動開始して遊技の進行を再び実行開始したときには接続確認信号の出力を停止し、扉枠側演出用トランスミッタIC1512dは、周辺制御MPU1511aから出力される接続確認信号が停止されて接続確認信号が入力されなくなると、所定のデータパターン(SYNCパターン)を扉枠側演出用レシーバICSDIC0に送信するのを停止して液晶表示制御部1512の音源内蔵VDP1512aが生成する画像を扉枠側演出用レシーバICSDIC0に出力することができるようになっている。これにより、周辺制御部1511の周辺制御MPU1511aは、主制御基板1310の主制御MPU1310aが第一特別図柄表示器1403又は第二特別図柄表示器1405において第一特別図柄又は第二特別図柄遊技を変動開始して停止表示して遊技の進行を実行していない期間に限って、繰り返し不具合解消信号である接続確認信号を出力し続けることにより、通信不具合が解消される方向へ向かわせることができるようになっているため、主制御基板1310の主制御MPU1310aが第一特別図柄表示器1403又は第二特別図柄表示器1405において第一特別図柄又は第二特別図柄遊技を変動開始して停止表示して遊技の進行を実行していない期間に限って、繰り返し接続確認信号を出力し続けている際に、主制御基板1310の主制御MPU1310aが第一特別図柄表示器1403又は第二特別図柄表示器1405において第一特別図柄又は第二特別図柄遊技を変動開始して遊技の進行を再び実行開始したとしても、扉枠側演出表示装置460の表示画面において進行する演出の歪み(画像の乱れ)は、主制御基板1310の主制御MPU1310aが遊技の進行を再び実行開始して終了するごと(タイミングK1~タイミングK2の期間(インターバル期間)となるごと)に、解消する方向へ向かわせることができる。
以上のような実施形態によれば、パチンコ機1が図69の主制御基板1310及び図70の払出制御基板951を備えている。主制御基板1310は、遊技盤5に区画形成される遊技領域5aに向かって打球発射装置650によって発射される遊技球が遊技領域5aに設けられる始動領域である第一始動口2002や第二始動口2004に入球したことに基づいて遊技の進行を制御する遊技制御マイクロプロセッサである図69の主制御MPU1310aが実装されている。払出制御基板951は、主制御基板1310からの払出指令である図88(a),(b)の賞球コマンドに基づいて払出装置830による遊技球の払い出しを制御する払出制御マイクロプロセッサである図70の払出制御MPU952aが実装されている。
遊技制御マイクロプロセッサである主制御MPU1310aは、少なくとも、主制御MPU1310aに内蔵されているRAM(主制御内蔵RAM)を備えている。主制御内蔵RAMは、電源遮断後においても遊技に関する情報を記憶することができるようになっている。
払出制御マイクロプロセッサである払出制御MPU952aは、少なくとも、払出制御MPU952aに内蔵されているRAM(払出制御内蔵RAM)を備えている。払出制御内蔵RAMは、電源遮断後においても払い出しに関する情報を記憶することができるようになっている。
本実施形態のパチンコ機1は、さらに、図70の操作スイッチ954を備えている。操作スイッチ954は、電源投入時から図92の主制御側電源投入時処理におけるステップS16の判定処理が行われる期間内に操作されると、主制御内蔵RAMに記憶されている遊技に関する情報を消去するための図77のRAMクリア信号を遊技制御マイクロプロセッサである主制御MPU1310a出力するとともに、電源投入時から払出制御部電源投入時処理が行われる期間内に操作されると、払出制御内蔵RAMに記憶されている払い出しに関する情報を消去するためのRAMクリア信号として図82のRWMCLR信号を払出制御マイクロプロセッサである払出制御MPU952aに出力するRAMクリア機能と、電源投入時から図92の主制御側電源投入時処理におけるステップS16の判定処理が行われる期間(又は、電源投入時から払出制御部電源投入時処理が行われる期間)が経過した後に操作されると、払出装置830に関して発生したエラーを解除するためのエラー解除信号として図82のRWMCLR信号を遊技制御マイクロプロセッサである主制御MPU1310aに出力せずに払出制御マイクロプロセッサである払出制御MPU952aに出力するエラー解除機能と、を兼備するものである。
このように、操作スイッチ954は、電源投入時から図92の主制御側電源投入時処理におけるステップS16の判定処理が行われる期間内に操作されると、主制御内蔵RAMに記憶されている遊技に関する情報を消去するための図77のRAMクリア信号を遊技制御マイクロプロセッサである主制御MPU1310aに出力するとともに、電源投入時から払出制御部電源投入時処理が行われる期間内に操作されると、払出制御内蔵RAMに記憶されている払い出しに関する情報を消去するためのRAMクリア信号として図82のRWMCLR信号を払出制御マイクロプロセッサである払出制御MPU952aに出力するRAMクリア機能と、電源投入時から図92の主制御側電源投入時処理におけるステップS16の判定処理が行われる期間(又は、電源投入時から払出制御部電源投入時処理が行われる期間)が経過した後に操作されると、払出装置830に関して発生したエラーを解除するためのエラー解除信号として図82のRWMCLR信号を遊技制御マイクロプロセッサである主制御MPU1310aに出力せずに払出制御マイクロプロセッサである払出制御MPU952aに出力するエラー解除機能と、を兼備しているため、1つの操作スイッチ954による操作により、RAMクリア機能とエラー解除機能との2つの異なる機能をそれぞれパチンコ機1に設けることができる。したがって、コスト削減に寄与しながらRAMクリア機能及びエラー解除機能を設けることができる。
[パネル中継基板4161のセンサ信号入力部]
パネル中継基板4161のセンサ信号入力部は、遊技盤に配された各種検出センサ、例えば、一般入賞口センサ4020、第一始動口センサ4002、第二始動口センサ4004、カウントセンサ4005、振動検出センサ、磁気検出センサ4024等からの検出信号が入力される回路である。各検出センサからの検出信号が入力される回路構成は、同一であるため、ここでは、検出センサの一例として磁気検出センサ4024を挙げ、磁気検出センサ4024からの検出信号が入力される回路について説明する。
遊技機において、遊技領域に打ち込まれた遊技球に対し、磁石(例えば、永久磁石や電磁石)を近づける等して、遊技球の流下状態を欲しいがままに操り、不当な利益を得ようとする不正な遊技行為が後を絶たない。
このような不正な遊技行為を検知し、発光手段や音声による警報等によって不正行為を抑制するために、遊技領域の所定位置に対応させて、磁気を検出可能な磁気検出センサ4024が設けられている。
以下、この実施の形態にかかるパチンコ機1において、遊技進行や演出にかかる制御について総括する。
上述の通り、主制御基板1310は、パチンコ機1全体を制御するための各種処理を実行するとともに、該処理結果に応じた各種の制御信号(制御コマンド)を出力する。また、周辺制御基板1510は、主制御基板1310が出力した制御信号(制御コマンド)に基づいて、演出表示装置1600の表示態様(図柄、各種背景画像、文字、キャラクタなどの表示画像など)や、演出に寄与する各種部材(演出操作ユニット400や可動部材など)の表示態様や動作態様を制御する。
特に、主制御基板1310では、割込処理が行われる都度、特別図柄プロセス処理を行う。この特別制御処理では、まず、第一・第二始動口入賞処理を行う。この第一・第二始動口入賞処理では、始動口に遊技球が入賞したか否かの判断が行われ、入賞した旨判断したときには該当する特別図柄側の保留数を1増加させる処理などが行われる。
第一・第二始動口入賞処理を終えたとき、処理フラグが0であれば、変動開始処理を実行する。この変動開始処理では、保留数が1以上であることを条件に、保留状態にある大当り判定を消化してこれを実行し、この大当り判定(当落や、その種別など)の結果を記憶した後、処理フラグを「1」に更新する。
一方、第一・第二始動口入賞処理を終えたとき、処理フラグが1であれば、変動パターン設定処理を実行する。この変動パターン設定処理では、上記記憶した大当り判定の結果や現在の遊技状態などに基づいて第一特別図柄表示器または第二特別図柄表示器に表示される特別図柄(識別図柄)の変動パターン(特別図柄の変動表示を開始してから停止表示するまでの変動時間など)や停止図柄(大当り図柄やハズレ図柄など)を決定・設定した後、処理フラグを「2」に更新する。
また一方、第一・第二始動口入賞処理を終えたとき、処理フラグが2であれば、変動中処理を実行する。この変動中処理では、変動パターン設定処理にて決定・設定された変動時間をタイマにより監視し、タイムアウトしたことに基づいて第一特別図柄表示器または第二特別図柄表示器における特別図柄の変動表示を停止させる。そしてこの後、変動開始処理にて記憶した大当り判定の結果が大当りであるときには、処理選択フラグを「3」に更新し、変動開始処理にて記憶した大当り判定の結果が大当りでないとき(ハズレ)には、処理選択フラグを「0」に更新する。すなわちこの場合、次の割込処理では、変動開始処理から再びやり直すこととなる。
また一方、第一・第二始動口入賞処理を終えたとき、処理フラグが3であれば、大当り遊技処理を実行する。この大当り遊技処理では、大当り遊技を実行するための条件の一つである条件装置を作動させて、当選した大当りの種別に基づいて決定された大当り遊技の態様(例えばラウンド数)をセットし、これに基づいて開閉部材2106にかかる開閉動作が制御される。また、大当り遊技が終了する場合には、条件装置の作動を停止させる処理を行ったり、当選した大当りの種別が特別種別であるときには時短状態や確変状態などの有利状態に制御されていることを示すように遊技状態フラグの更新を行った後、処理フラグが「0」に更新される。すなわちこの場合、次の割込処理では、変動開始処理から再びやり直すこととなる。
なお、変動パターンとしては、複数種類の変動パターンが記憶されている。変動パターンは、特別図柄の図柄変動が開始してから終了するまでの時間を決定付けるものであるほか、周辺制御基板1510に対してその情報が送信されることで、演出表示装置1600において現れる演出パターンの種類を決定しうるものである。本実施形態において、複数種類の変動パターンは、大当り変動用変動パターン、はずれリーチ変動用変動パターン、及びはずれ変動用変動パターンに分類できる。大当り変動は、大当り判定の結果が大当りであるときに行われる変動であり、演出表示装置1600では、リーチ演出を経て、装飾図柄の変動表示が最終的に大当り図柄を確定停止表示させるように展開される演出が実行される。はずれリーチ変動は、大当り判定の結果がハズレであり、且つリーチ乱数に基づくリーチ判定にてリーチを行う旨判断されたときに行われる変動であり、演出表示装置1600では、リーチ演出を経て、装飾図柄の変動表示が最終的にはずれ図柄を確定停止表示させるように展開される演出が実行される。はずれ変動は、大当り判定の結果がハズレであり、且つリーチ乱数に基づくリーチ判定にてリーチを行う旨判断されなかったときに行われる変動であり、演出表示装置1600では、リーチ演出を経ないで、装飾図柄の変動表示が最終的にはずれ図柄を確定停止表示させるように展開される演出が実行される。また、変動パターンは、第1特別図柄側と第2特別図柄側とのいずれの変動パターンであるかを特定可能なように規定されている。
すなわち、周辺制御基板1510では、主制御基板1310から大当り判定の結果などの遊技情報を取得してこれを参照することで、こうした装飾図柄の変動パターンを出現可能としている。また、周辺制御基板1510では、該取得した遊技情報に基づいて演出表示装置1600にて装飾図柄の変動パターンを出現させるほか、期待度に関わる演出表示(背景や保留画像)を変化させたり、演出操作ユニット400における態様(表示や動き)を変化させたり、裏下後可動演出ユニット3100などの可動部材を動作させたりする制御を実行する。
次に、本実施例におけるパチンコ機1の遊技制御について詳述する。図104は、特別図柄及び特別電動役物制御処理(図94:ステップS114)についてその手順を示すフローチャートである。
いま、メイン制御プログラムにおいて、特別図柄及び特別電動役物制御処理(図94:ステップS114)に移行されたとすると、主制御基板1310の主制御MPU1310aはまず、図104に示されるように、上記第一始動口センサ4002による検出信号がオン状態(第一始動口2002への入球あり)にあることを条件に(ステップS5231におけるYES)、第一大当り判定用乱数を上記乱数カウンタから取得してこれを主制御内蔵RAMの第一特別図柄保留記憶領域に格納するなどの第一始動口通過処理を実行する(ステップS5232)。また、上記第二始動口センサ4004による検出信号がオン状態(第二始動口2004への入球あり)にあることを条件に(ステップS5233におけるYES)、第二特別図柄の第二特別乱数(第二大当り判定用乱数)を上記乱数カウンタから取得してこれを主制御内蔵RAMの第二特別図柄保留記憶領域に格納するなどの第二始動口通過処理を実行する(ステップS5234)。
次いで、大当り遊技状態に制御している旨を示す大当り実行中フラグがセットされているか否かを判別し(ステップS5235)、大当り実行中フラグがセットされていれば、大当り遊技状態の制御を行う大当り制御処理(ステップS5240a)を実行する。
なお、この実施の形態にかかる大当り制御処理では、図110に示されるように、
・第一特別図柄の変動表示停止時における表示態様についての判定処理の結果が「8R確変大当りA」、及び「8R通常大当り」のいずれかを示唆する態様となったときに、大入賞口2005を長時間開放(例えば28.5秒)した後又は大入賞口2005に遊技球が9個入賞したことが上記カウントセンサ4005で検出されたときに閉鎖させる開閉パターン(ラウンド遊技)を8回繰り返す8R大当り遊技状態に制御し、
・第二特別図柄の変動表示停止時における表示態様についての判定処理の結果が「16R確変大当り」を示唆する態様となったときに、大入賞口2005を長時間開放(例えば28.5秒)した後又は大入賞口2005に遊技球が9個入賞したことが上記カウントセンサ4005で検出されたときに閉鎖させる開閉パターン(ラウンド遊技)を16回繰り返す16R大当り遊技状態に制御し、
・第二特別図柄の変動表示停止時における表示態様についての判定処理の結果が「8R確変大当りB」を示唆する態様となったときに、大入賞口2005を長時間開放(例えば28.5秒)した後又は大入賞口2005に遊技球が9個入賞したことが上記カウントセンサ4005で検出されたときに閉鎖させる開閉パターン(ラウンド遊技)を8回繰り返す8R大当り遊技状態に制御し、
・第二特別図柄の変動表示停止時における表示態様についての判定処理の結果が「2R通常大当り」を示唆する態様となったときに、大入賞口2005を短時間開放(例えば0.6秒)した後に閉鎖させる開閉パターン(ラウンド遊技)を2回繰り返す2R大当り遊技状態に制御する。
すなわち、この実施の形態にかかるパチンコ機1では、上記時短制御が実行される状況においては左打ちよりも右打ちが遊技者にとって有利であり、上記時短制御が実行されない状況においては右打ちよりも左打ちが遊技者にとって有利であることは上述した通りである。この点、左打ち状態では、第一始動口2002への遊技球の受け入れに応じた第一特別図柄についての抽選の結果として大当りが当選されたとしても最大で8ラウンドの長時間開放の大当り遊技状態(概ね1000個の遊技球が獲得可能)しか発生しない。
これに対し、右打ち状態では、第二始動口2004への遊技球の受け入れに応じた第二特別図柄についての抽選において、大当りが当選されると、概ね50%の確率(当選種の割り振り率)で16ラウンドの長時間開放の大当り遊技状態(概ね2000個の遊技球が獲得可能)が実行されるようになっているなど、大当りに当選したときに獲得可能とされる賞球の期待値が多くなっているため、右打ち状態に移行制御された場合には左打ち状態にあるときよりも多量の賞球獲得が期待できるようになっている。
なお、大当り制御処理では、このような大入賞口2005の開放制御を開始させるにあたり、まず、条件装置の作動を開始させる処理、後述の変動回数カウンタをリセットする処理、等々といった処理が行われる。
また、大当り制御処理では、このような大入賞口2005の開放制御を行った後、図110に示されるように、当該大当り遊技が行われる契機となった大当りの当選種に応じて、高確率フラグ、時短フラグの各セット処理を実行する。
高確率フラグは、高確率状態であることを示すフラグであって、後述する図109に示す大当り判定処理で用いられるものであり、大当り遊技状態終了後に確変制御する大当り(8R確変大当りA、16R確変大当り、8R確変大当りB)に基づく大当り遊技状態を終了するときにセットされ、次に大当りとなったときに後述する図114に示す第一特別図柄停止処理又は図示しない第二特別図柄停止処理でリセットされる。
時短フラグは、時短制御の実行中(低確率時短状態、高確率時短状態)であることを示すフラグであり、図110に示されるように、大当り遊技状態終了後に時短制御(高確率時短状態)する大当り(8R確変大当りA、16R確変大当り、8R確変大当りB)に基づく大当り遊技状態を終了するときにセットされ、次に大当りとなったときに後述する図114に示す第一特別図柄停止処理又は図示しない第二特別図柄停止処理でリセットされる。若しくは、低確率時短状態が発生してから大当りに当選しないままで特別図柄(第一特別図柄、第二特別図柄)が100回消化されたときに後述する図114に示す第一特別図柄停止処理又は図示しない第二特別図柄停止処理でリセットされる。
変動回数カウンタは、該変動回数カウンタがリセットされてからの特別図柄の変動回数を示すカウンタであって、後述する図112に示す第1変動パターン設定処理(第2変動パターン設定処理)で用いられるものであり、特別図柄(第一特別図柄、第二特別図柄)の変動が行われるときに更新(例えば、カウントアップ)されるとともに、少なくとも特定種別の大当り(16R確変大当り、8R確変大当りB)に基づく大当り遊技状態を開始するときにリセットされる。
また、大当り実行中フラグがセットされていなければ(ステップS5235におけるNO)、次にステップS5236の処理として、小当り遊技状態に制御している旨を示す小当り実行中フラグがセットされているか否かを判別する。そしてこの結果、小当り実行中フラグがセットされていれば、小当り遊技状態の制御を行う小当り制御処理(ステップS5240b)を実行する。なお、小当り制御処理では、大入賞口2005を特定の開放時間(例えば1.8秒)だけ開放させる処理が行われる。
ここで、小当り制御処理(ステップS5240b)では、大当り制御処理(ステップS5240a)の場合とは異なり、このような大入賞口2005の開放制御が行われた後、高確率フラグ、時短フラグ、時短回数カウンタなどの各セット処理が行われることはない。ただし、この実施の形態にかかるパチンコ機1では、図110(a)に示されるように、大当り判定にて小当りに当選することはない。
また、小当り実行中フラグがセットされていなければ(ステップS5236におけるNO)、第二特別図柄保留記憶領域に記憶される第二大当り判定用乱数の個数を示す第二特別保留数カウンタの値が「0」であることを条件に(ステップS5237)、第一特別図柄の変動表示停止時における表示態様にかかる抽選処理を含む第一特別図柄プロセス処理を実行する(ステップS5238)。
これに対し、第二特別図柄保留記憶領域に記憶される第二大当り判定用乱数の個数を示す第二特別保留数カウンタの値が「0」でない場合は(ステップS5237)、第二特別図柄の変動表示停止時における表示態様にかかる抽選処理を含む第二特別図柄プロセス処理を実行する(ステップS5239)。これにより、保留状態にされている第二特別図柄についての抽選が無くならないように遊技している限りは(第二特別保留数カウンタの値が「0」でない限りは)、第一特別図柄についての抽選の保留状況にかかわらず、第二大当り判定用乱数についての抽選のみが途切れることなく連続して行われるようになる(優先実行)。
したがって、この実施の形態にかかるパチンコ機1では、遊技者は、時短状態(高確率時短状態)においてはセンター役物2500の右側への遊技球の打込み(右打ち)を維持するだけで、第二大当り判定用乱数についての抽選(判定処理)のみを途切れることなく連続して行うことができるようになる。
なお、第2特図(第二特別図柄)を用いた特図ゲーム(図柄変動)が第1特図(第一特別図柄)を用いた特図ゲームよりも優先して実行されるものに限定されず、例えば、第一始動口2002や第二始動口2004を遊技球が進入(通過)して始動入賞が発生した順に、特図ゲームの実行が開始されるようにしてもよい。この場合には、始動入賞が発生した順番を特定可能なデータを記憶するテーブルを設けて、その記憶データから第1特図と第2特図のいずれを用いた特図ゲームの実行を開始するかを決定できればよい。
図105は、上記第一始動口通過処理(ステップS5232)についてその手順を示すフローチャートである。
いま、上記ステップS5231の処理において、上記第一始動口センサ4002がオン状態にあり、上記第一始動口2002への遊技球の入球があったと判断されたとすると、同図105に示されるように、上記主制御基板1310の主制御MPU1310aは、ステップS5241の処理として、まず、第一特別図柄側の各乱数(大当り判定用乱数、リーチ判定用乱数、大当り図柄用乱数、変動表示パターン用乱数)を上記乱数カウンタから取得する。
次いで、上記主制御基板1310の主制御MPU1310aは、上記第一特別保留数カウンタによるカウンタ値を主制御内蔵RAMから取得し、このカウンタ値に基づいて上記第一特別図柄の保留数がその最大値(上限値)である「4」であるか否かの判断を行う(ステップS5242)。このステップS5242の処理において、上記第一特別図柄の保留数がその最大値でないと判断された場合には、上記第一特別図柄の変動表示(第一特別図柄についての判定処理)を新たに保留の状態とすべく、以下のステップS5243~S5245の処理を行うこととなる。
すなわち、まず、上記ステップS5243の処理として、上記第一特別保留数カウンタをカウントアップ(1加算)する。次いで、ステップS5244の処理として、上記ステップS5241で取得された各乱数を、上記主制御内蔵RAMの記憶領域のうちの上記第一特別保留数カウンタによるカウンタ値に対応する第一特別図柄保留記憶領域に格納する。
そして次に、第1特図側の先読み演出を実行するための第1特図先読み処理を実行し、処理を終了する(ステップS5245)。後述するが、第1特図側の先読み演出は、第一特別図柄の変動表示を開始する前に第一特別図柄の判定結果(若しくは、その期待度)を事前に示唆する演出である。この第1特図先読み処理では、周辺制御基板1510側で先読み演出の実行有無や演出内容などを決定するために必要とされる情報(先読み判定用の当落に関する情報、先読み判定用の図柄種別に関する情報、先読み判定用の変動パターン番号に関する情報等)を生成し、周辺制御基板1510に対する送信情報として対応する記憶領域に記憶する。この際、第一特別図柄の判定結果そのものの代わりに、大当り遊技の種別を示唆している情報として特別図柄の停止図柄に関する情報をコマンドに含めるようにしてもよい。例えば、変動パターンのうちのSPリーチ群、ノーマルリーチ群、図柄種別のうちの潜確当り群、小当り群といった、最終的に決定される前の段階の情報を先読みコマンドとして送信してもよい。
一方、上記ステップS5242の処理において、上記第一特別図柄の保留数がその最大値であると判断された場合には、上記第一特別図柄の変動表示は新たに保留されない。すなわち、ステップS5243~ステップS5245の処理を実行することなく処理を終了することで、上記第一特別図柄の変動表示を新たに保留の状態としない。
図106は、上記第二始動口通過処理(ステップS5234)についてその手順を示すフローチャートである。
いま、上記ステップS5233の処理において、上記第二始動口センサ4004がオン状態にあり、上記第二始動口2004への遊技球の入球があったと判断されたとすると、同図106に示されるように、上記主制御基板1310の主制御MPU1310aは、ステップS5251の処理として、まず、上記第二特別図柄側の各乱数(第二大当り判定用乱数、第二リーチ判定用乱数、第二大当り図柄用乱数、第二変動表示パターン用乱数)を上記乱数カウンタから取得する。
次いで、上記主制御基板1310の主制御MPU1310aは、上記第二特別保留数カウンタによるカウンタ値を主制御内蔵RAMから取得し、このカウンタ値に基づいて上記第二特別図柄の保留数がその最大値である「4」であるか否かの判断を行う(ステップS5252)。このステップS5252の処理において、上記第二特別図柄の保留数がその最大値でないと判断された場合には、上記第二特別図柄の変動表示制御(第二特別図柄についての抽選)を新たに保留の状態とすべく、以下のステップS5253~S5255の処理を行うこととなる。
すなわち、まず、上記ステップS5253の処理として、上記第二特別保留数カウンタをカウントアップ(1加算)する。次いで、ステップS5254の処理として、上記ステップS5251で取得された各乱数を、上記主制御内蔵RAMの記憶領域のうちの上記第二特別保留数カウンタによるカウンタ値に対応する第二特別図柄保留記憶領域に格納する。
そして次に、第2特図側の先読み演出を実行するための第2特図先読み処理を実行し、処理を終了する(ステップS5255)。後述するが、第2特図側の先読み演出は、第二特別図柄の変動表示を開始する前に第二特別図柄の判定結果(若しくは、その期待度)を事前に示唆する演出である。この第2特図先読み処理では、周辺制御基板1510側で先読み演出の実行有無や演出内容などを決定するために必要とされる情報(当落情報、図柄種別、変動パターン番号等)を生成し、周辺制御基板1510に対する送信情報として対応する記憶領域に記憶する。この際、第二特別図柄の判定結果そのものの代わりに、大当り遊技の種別を示唆している情報として特別図柄の停止図柄に関する情報をコマンドに含めるようにしてもよい。例えば、変動パターンのうちのSPリーチ群、ノーマルリーチ群、図柄種別のうちの潜確当り群、小当り群といった、最終的に決定される前の段階の情報を先読みコマンドとして送信してもよい。
一方、上記ステップS5252の処理において、上記第二特別図柄の保留数がその最大値であると判断された場合には、上記第二特別図柄の変動表示制御は新たに保留されない。すなわち、ステップS5253~ステップS5255の処理を実行することなく処理を終了することで、上記第二特別図柄の変動表示制御を新たに保留の状態としない。
第一始動口2002へ遊技球が入球したことに基づいて第一特別図柄の保留数が変化すると上記周辺制御基板コマンド送信処理(ステップS120)にて第一特別図柄の保留数を指示するコマンド(第一保留数指定コマンド0~4)をセットして周辺制御基板1510に送信する。また、第二始動口2004へ遊技球が入球したことに基づいて第二特別図柄の保留数が変化すると上記周辺制御基板コマンド送信処理(ステップS120)にて第二特別図柄の保留数を指示するコマンド(第二保留数指定コマンド0~4)をセットして周辺制御基板1510に送信する。
図107は、第一特別図柄プロセス処理(ステップS5238)についてその手順を示すフローチャートである。なお、特別図柄及び特別電動役物制御処理のステップS5238で実行される第一特別図柄プロセス処理と特別図柄及び特別電動役物制御処理のステップS5239で実行される第二特別図柄プロセス処理とは同様のプログラムモジュールであり、判定に用いる乱数やテーブルが異なるだけであるため、ここでは特別図柄及び特別電動役物制御処理のステップS5238で実行される第一特別図柄プロセス処理についてのみ説明する。第一特別図柄プロセス処理では、上記第一特別図柄プロセスフラグに応じて、以下の5つのプロセス処理のうち1つを選択的に実行することとなる。
1.主制御内蔵RAMに格納されている第一特別図柄に対応する大当り判定用乱数を読み出し、読み出した大当り判定用乱数に基づいて上記第一特別図柄の変動制御停止時における表示態様についての抽選処理などが行われる第一特別図柄通常処理(ステップS5280)
2.第一特別図柄の変動制御停止時における表示態様についての判定処理の結果に基づいて第一特別図柄の変動制御停止時の態様の決定処理などが行われる第一特別図柄停止図柄設定処理(ステップS5281)
3.変動表示パターン用乱数に基づいて上記第一特別図柄表示器1403に表示される第一特別図柄の変動態様や、上記演出表示装置(遊技盤側演出表示装置)1600に特別図柄に対応して実行される演出表示の変動態様についての抽選処理などが行われる第一変動パターン設定処理(ステップS5282)
4.第一特別図柄表示器1403における上記第一特別図柄の変動表示が停止されるまで待機する第一特別図柄変動処理(ステップS5283)
5.第一特別図柄の変動制御停止時における表示態様についての判定処理の結果に基づいて決定された第一特別図柄の変動制御停止時の態様が上記第一特別図柄表示器1403に表示されるように上記第一特別図柄の変動表示を停止させる第一特別図柄停止処理(ステップS5284)
なお、上記第一特別図柄プロセスフラグの初期値は、上記第一特別図柄通常処理(ステップS5280)を行うべき旨を示すよう操作されている。
図108は、上記第一特別図柄通常処理(ステップS5280)についてその手順を示すフローチャートである。
上記第一特別図柄プロセスフラグが当該第一特別図柄通常処理を行うべき旨を示しているときは、同図108に示されるように、上記主制御基板1310の主制御MPU1310aは、まず、ステップS5301の処理として、上記第一特別保留数カウンタによるカウンタ値に基づいて保留の状態にある第一特別図柄の変動表示があるか否かの判断を行う。この結果、保留の状態にある第一特別図柄の変動表示があると判断された場合には、次にステップS5302の処理として、上記主制御内蔵RAMの第一特別図柄保留記憶領域に格納されている第一特別図柄の表示態様に関わる乱数(例えば、第一大当り判定用乱数、第一リーチ判定用乱数、第一大当り図柄用乱数、第一変動表示パターン用乱数)のうちの最先の記憶領域に格納された乱数を同主制御内蔵RAMから読み出す。そして次に、ステップS5303及びS304の処理として、上記第一特別保留数カウンタをカウントダウンするとともに、上記主制御内蔵RAMの第一特別図柄保留記憶領域の各記憶領域に格納されている上記第一特別図柄の変動表示停止時における表示態様に関わる乱数(例えば、第一大当り判定用乱数、第一リーチ判定用乱数、第一大当り図柄用乱数、第一変動表示パターン用乱数)を先入れ先出し(First-In First-Out)の態様にてシフト操作する。
具体的には、第一特別図柄保留記憶領域は4つの記憶領域(第一特別図柄保留記憶領域a~第一特別図柄保留記憶領域d)を有し、第一始動口2002への始動入賞の発生に応じて抽出した乱数を1番目(最先)の領域から順に記憶する。そして、n番目(n=1~3)の記憶領域に乱数が記憶されている場合に始動入賞が発生するとn+1番目(n=1~3)の記憶領域に抽出した乱数を記憶し、1番目の記憶領域に格納された乱数に基づく変動表示の開始条件が成立すると1番目の記憶領域に記憶されている各種乱数を読み出すとともにN番目(N=2~4)の記憶領域に記憶されている各種乱数をN-1番目(N=2~4)番目の記憶領域に移動させる。これにより、上記第一特別図柄の変動表示の保留が発生した順序を特定可能に記憶されるとともに最先の保留(最も先に発生した保留)から順に変動表示の保留が解除されるようになる。同様に第二特別図柄保留記憶領域は4つの記憶領域(第二特別図柄保留記憶領域a~第二特別図柄保留記憶領域d)を有し、第二始動口2004への始動入賞の発生に応じて抽出した乱数を1番目(最先)の領域から順に記憶する。そして、n番目(n=1~3)の記憶領域に乱数が記憶されている場合に始動入賞が発生するとn+1番目(n=1~3)の記憶領域に抽出した乱数を記憶し、1番目の記憶領域に格納された乱数に基づく変動表示の開始条件が成立すると1番目の記憶領域に記憶されている各種乱数を読み出すとともにN番目(N=2~4)の記憶領域に記憶されている各種乱数をN-1番目(N=2~4)番目の記憶領域に移動させる。これにより、上記第二特別図柄の変動表示の保留が発生した順序を特定可能に記憶されるとともに最先の保留(最も先に発生した保留)から順に変動表示の保留が解除されるようになる。
そしてその後、ステップS5305の処理として、上記読み出された第一大当り判定用乱数に基づいて上記大当りの当落についての判定処理である大当り判定処理を行う。その後、上記第一特別図柄停止図柄設定処理(ステップS5281)にプロセス移行されるよう上記第一特別図柄プロセスフラグが更新された時点で(ステップS5306)、この処理を終了する。
図109は、上記大当り判定処理(ステップS5305)についてその手順を示すフローチャートである。
上記主制御基板1310の主制御MPU1310aは、現在の遊技状態が高確率状態(高確率時短状態、高確率非時短状態)であれば(ステップS5311)、図110(A)に示す高確率時の大当り判定テーブルを選択し(ステップS5312)、現在の遊技状態が低確率状態であれば(ステップS5311)、図110(A)に示す低確率時の大当り判定テーブルを選択し(ステップS5313)、選択した大当り判定テーブルと第一特別図柄通常処理のステップS5302で読み出した大当り判定用乱数とを比較する(ステップS5314)。
図110(A)に示すように大当り判定テーブルは、上記主制御内蔵ROMに記憶され、特別乱数の種類毎(第一大当り判定用乱数、第二大当り判定用乱数)に遊技状態が低確率時(低確率非時短状態、低確率時短状態)の場合に使用する低確率時の大当り判定テーブルと、遊技状態が高確率時(高確率非時短状態、高確率時短状態)の場合に使用する高確率時の大当り判定テーブルと、を備えている。そして、第一大当り判定用乱数と比較するために参照される低確率時の大当り判定テーブルでは、204種類の第一大当り判定用乱数が大当りに当選したことを示す大当り判定値と一致し、65332種類の第一大当り判定用乱数が上記ハズレであることを示すはずれ判定値と一致するように上記第一大当り判定用乱数(65536種類)がそれぞれ関連付けされている(低確率時の大当り確率;概ね「321分の1」)。これに対し、特別図柄及び特別電動役物制御処理のステップS5239で実行される第二特別図柄プロセス処理内において第二特別図柄の大当り判定用乱数(第二大当り判定用乱数)と比較するために参照される低確率時の大当り判定テーブルでは、204種類の第二大当り判定用乱数が大当りに当選したことを示す大当り判定値と一致し、65332種類の第二大当り判定用乱数が上記ハズレであることを示すはずれ判定値と一致するように上記第二大当り判定用乱数がそれぞれ関連付けされている(低確率時の大当り確率;概ね「321分の1」)。
また、第一大当り判定用乱数と比較するために参照される高確率時の大当り判定テーブルでは、2040種類の第一大当り判定用乱数が大当り判定値と一致し、63496種類の第一大当り判定用乱数がはずれ判定値と一致するように上記第一大当り判定用乱数がそれぞれ関連付けされている(高確率時の大当り確率;概ね「32分の1」)。これに対し、特別図柄及び特別電動役物制御処理のステップS5239で実行される第二特別図柄プロセス処理内において第二大当り判定用乱数と比較するために参照される高確率時の大当り判定テーブルでは、2040種類の第二大当り判定用乱数が大当りに当選したことを示す大当り判定値と一致し、63496種類の第二大当り判定用乱数が上記ハズレであることを示すはずれ判定値と一致するように上記第二大当り判定用乱数がそれぞれ関連付けされている(高確率時の大当り確率;概ね「32分の1」)。なお、第一大当り判定用乱数と比較するために参照される大当り判定テーブルと、第二大当り判定用乱数と比較するために参照される大当り判定テーブルに設定される大当り判定値(大当り判定値の個数を同数として大当り判定値を異ならせるものであってもよいし(大当り確率は同一)、大当り判定値の個数を異ならせるものであってもよい(大当り確率を異ならせる))を異ならせるようにしてもよく、この場合には低確率時の大当り判定テーブルと高確率時の大当り判定テーブルのうち少なくとも一方の大当り判定値を異ならせるようにすればよい(両方異ならせるようにしてもよい)。
上記主制御基板1310の主制御MPU1310aは、選択した大当り判定テーブルと第一特別図柄通常処理のステップS5302で読み出した大当り判定用乱数との比較の結果、大当りとすると判定した場合には(ステップS5315)、当該変動が大当りに当選していることを示す大当りフラグをセットし(ステップS5316)、大当り判定処理を終了する。
また、上記ステップS5315で、大当りに落選した旨判断された場合は、選択した大当り判定テーブルに基づいて、上記読み出した大当り判定用乱数が小当りに当選したことを示す小当り判定値と一致するか否かの判断を行う(ステップS5317)。ただし上述の通り、本例の第一特別図柄通常処理(第二特別図柄プロセス処理)のステップS5302においては小当り判定値と一致する大当り判定用乱数が読み出されることはないので(小当り確率;65536分の0)、このステップS5317では、小当りに当選されていない旨判断される(ハズレ判定される)こととなる。
一方、上記ステップS5317で、ハズレとすると判定した場合には、リーチ判定テーブルとステップS5302で読み出したリーチ判定用乱数とを比較する(ステップS5319)。
図示しないリーチ判定テーブルは、上記主制御内蔵ROMに記憶され、遊技状態が高確率非時短状態時の場合に使用する高確率非時短状態時のリーチ判定テーブルと、遊技状態が高確率時短状態時の場合に使用する高確率時短状態時のリーチ判定テーブルと、遊技状態が低確率状態時(低確率非時短状態)の場合に使用する低確率状態時のリーチ判定テーブルと、を備えている。
ここで、高確率時短状態時のリーチ判定テーブルでは、1種類のリーチ判定用乱数がリーチすることを示すリーチ判定値と一致し、71種類のリーチ判定用乱数がリーチしないことを示すリーチ判定値と一致するように上記リーチ判定用乱数がそれぞれ関連付けされている。ただし、高確率時短状態時のリーチ判定テーブルでは、時短状態にあるときの遊技の進行スピードを最大限まで高めるべく、72種類のリーチ判定用乱数の全てがリーチしないことを示すリーチ判定値と一致するようにして、リーチすることを示すリーチ判定値と一致することがないようにしてもよい。
また、低確率状態時のリーチ判定テーブルでは、高確率時短状態時のリーチ判定テーブルに設定されるリーチ判定用乱数と同一のリーチ判定用乱数を含む5種類のリーチ判定用乱数がリーチすることを示すリーチ判定値と一致し、67種類のリーチ判定用乱数がリーチしないことを示すリーチ判定値と一致するように上記リーチ判定用乱数がそれぞれ関連付けされている。このように、この実施の形態では、低確率状態時では、リーチすることを示すリーチ判定値が高確率時短状態時よりも高められ、所定の確率で得られるようになっている。
さらに、高確率非時短状態時のリーチ判定テーブルでは、高確率時短状態時及び低確率状態時のリーチ判定テーブルに設定されるリーチ判定用乱数と同一のリーチ判定用乱数を含む5種類のリーチ判定用乱数がリーチすることを示すリーチ判定値と一致し、67種類のリーチ判定用乱数がリーチしないことを示すリーチ判定値と一致するように上記リーチ判定用乱数がそれぞれ関連付けされている。このように、この実施の形態では、高確率非時短状態時では、リーチすることを示すリーチ判定値が低確率非時短状態と同じとされている。
上記主制御基板1310の主制御MPU1310aは、選択したリーチ判定テーブルとステップS5302で読み出したリーチ判定用乱数との比較の結果(ステップS5319)、リーチハズレとすると判定した場合には(ステップS5120におけるYES)、当該変動がリーチとなることを示すリーチフラグをセットして処理を終了する(ステップS5121)。
図111は、上記第一特別図柄停止図柄設定処理(ステップS5281)についてその手順を示すフローチャートである。
上記第一特別図柄プロセスフラグが当該第一特別図柄停止図柄設定処理を行うべき旨を示しているときは、同図111に示されるように、上記主制御基板1310の主制御MPU1310aは、まず、第一特別図柄の変動表示停止時における表示態様の抽選処理の結果、すなわち上記大当り判定処理(ステップS5305)の結果を判別する。抽選処理結果の判別は、大当りフラグがセットされているか否か(ステップS5331)を判別することにより行う。
主制御MPU1310aは、ステップS5331で大当りフラグがセットされていれば、図110(B)に示す図柄決定テーブルを選択して、第一特別図柄通常処理のステップS5302で読み出した第一大当り図柄用乱数と選択した図柄決定テーブルとを比較することにより第一特別図柄の変動制御停止時の態様(第一特別図柄の停止図柄)としての大当り図柄を決定する(ステップS5332)。
図110(B)に示すように、第一特別図柄側の図柄決定テーブルには、判定結果(8R確変大当りA,8R通常大当り)に対して第一大当り図柄用乱数(ここでは、総数200個の第一大当り図柄用乱数)がそれぞれ関連付けされるかたちで記憶されている。なお、図110(C)に示すように、第二特別図柄側の図柄決定テーブルには、判定結果(16R確変大当り,8R確変大当りB,2R通常大当り)に対して第二大当り図柄用乱数(ここでは、総数200個の第二大当り図柄用乱数)がそれぞれ関連付けされるかたちで記憶されている。
主制御基板1310の主制御MPU1310aでは、取得した大当り図柄用乱数に対応して関連付けされている判定結果を特定することにより、大当りの種類を決定する。なお、本例の図柄決定テーブルでは、第一大当り図柄用乱数に基づいて決定される大当りの種類と第二大当り図柄用乱数に基づいて決定される大当りの種類とが異なるように設定している。より具体的には、高確率状態への移行契機となる確変大当りと、高確率状態への移行契機とならない通常大当りとの振分け率(割り振り)は同じとされているが、第一大当り図柄用乱数に基づいて決定される大当りによって獲得可能とされる遊技球の期待値よりも、第二大当り図柄用乱数に基づいて決定される大当りによって獲得可能とされる遊技球の期待値のほうが大きくなっている。
大当りの種類毎の具体的な遊技・演出内容を簡潔にまとめると以下の通りである。
1.演出表示装置1600において大当り図柄組合わせが現れてから、大入賞口2103を長時間開放(例えば28.5秒)した後又は大入賞口2103に遊技球が9個入賞したことが上記カウントセンサ4005で検出されたときに閉鎖させる開閉パターン(ラウンド遊技)を8回繰り返すことで遊技球が大入賞口2103に入球可能(容易)な8R大当り遊技状態に制御し、この8R大当り遊技状態の後は、次に大当り遊技状態が発生するまで高確率時短状態に制御するとともに、8R大当り遊技状態の実行期間中は特定のキャラクタが勝利するバトル演出(バトル勝利演出)を行い、高確率時短状態においては相対的に有利な状態であることが演出表示装置1600において示される演出モードに制御される8R確変大当りA
2.演出表示装置1600において大当り図柄組合わせが現れてから、大入賞口2103を長時間開放(例えば28.5秒)した後又は大入賞口2103に遊技球が9個入賞したことが上記カウントセンサ4005で検出されたときに閉鎖させる開閉パターン(ラウンド遊技)を8回繰り返すことで遊技球が大入賞口2103に入球可能(容易)な8R大当り遊技状態に制御し、この8R大当り遊技状態の後は、特別図柄の変動表示が100回消化される(若しくは、100回消化されるまでの期間内で大当りに当選する)まで低確率時短状態に制御するとともに、8R大当り遊技状態の実行期間中は特定のキャラクタが敗北するバトル演出(バトル敗北演出)を行い、低確率時短状態においては、相対的に不利な状態であることが演出表示装置1600において示される演出モードに制御される8R通常大当り
3.演出表示装置1600において大当り図柄組合わせが現れてから、大入賞口2103を長時間開放(例えば28.5秒)した後又は大入賞口2103に遊技球が9個入賞したことが上記カウントセンサ4005で検出されたときに閉鎖させる開閉パターン(ラウンド遊技)を16回繰り返すことで遊技球が大入賞口2103に入球可能(容易)な16R大当り遊技状態に制御し、この16R大当り遊技状態の後は、次に大当り遊技状態が発生するまで高確率時短状態に制御するとともに、16R大当り遊技状態の実行期間中はラウンド数が8ラウンドを超えるか(16ラウンドになるか)についての演出(成功演出)が行われる上乗せチャレンジ演出を行い、高確率時短状態に制御されてからの所定期間が経過した以降は相対的に有利な状態であることが演出表示装置1600において示される演出モードに制御される16R確変大当り
4.演出表示装置1600において大当り図柄組合わせが現れてから、大入賞口2103を長時間開放(例えば28.5秒)した後又は大入賞口2103に遊技球が9個入賞したことが上記カウントセンサ4005で検出されたときに閉鎖させる開閉パターン(ラウンド遊技)を8回繰り返すことで遊技球が大入賞口2103に入球可能(容易)な8R大当り遊技状態に制御し、この8R大当り遊技状態の後は、次に大当り遊技状態が発生するまで高確率時短状態に制御するとともに、8R大当り遊技状態の実行期間中はラウンド数が8ラウンドを超えるか(16ラウンドになるか)についての演出(失敗演出)が行われる上乗せチャレンジ演出を行い、高確率時短状態に制御されてからの所定期間が経過した以降は相対的に有利な状態であることが演出表示装置1600において示される演出モードに制御される8R確変大当りB
5.演出表示装置1600において大当り図柄組合わせが現れてから、大入賞口2103を短時間開放(例えば0.6秒)した後又は大入賞口2103に遊技球が9個入賞したことが上記カウントセンサ4005で検出されたときに閉鎖させる開閉パターン(ラウンド遊技)を2回繰り返すことで遊技球が大入賞口2103に入球され難い2R大当り遊技状態に制御し、この2R大当り遊技状態の後は、特別図柄の変動表示が100回消化される(若しくは、100回消化されるまでの期間内で大当りに当選する)まで低確率時短状態に制御するとともに、2R大当り遊技状態の実行期間中は特定のキャラクタが敗北するバトル演出(バトル敗北演出)を行い、低確率時短状態においては、相対的に不利な状態であることが演出表示装置1600において示される演出モードに制御される2R通常大当り
なお、上記左打ち状態では遊技球がゲート部2003を通過することがなく、第二始動口2004を開状態にする可動片(図示略)の駆動は行われない。そのため、左打ち状態では第二始動口2004への遊技球の入賞は発生せず、第一始動口2002への遊技球の入賞のみが発生することになり、第二特別図柄の保留球がある場合を除き第一特別図柄表示器1403における第一特別図柄の変動表示のみが実行され、第一特別図柄に関連した大当り(8R確変大当りA,8R通常大当り)が発生することになる。同様に、上記右打ち状態では第一始動口2002に遊技球は入賞しない。そのため、右打ち状態では第二始動口2004への遊技球の入賞のみが発生することになり、第一特別図柄の保留球がある場合を除き第二特別図柄表示器1186における第二特別図柄の変動表示のみが実行され、第二特別図柄に関連した大当り(16R確変大当り,8R確変大当りB,2R通常大当り)が発生することになる。
また、第一特別図柄に関連した大当りでは最大で大入賞口2103を長時間開放(例えば28.5秒)する開閉パターンを8回繰り返して概ね1000個の遊技球しか払い出されないのに対し、第二特別図柄に関連した大当りでは最大で大入賞口2103を長時間開放(例えば28.5秒)する開閉パターンを16回繰り返して概ね2000個の遊技球を払い出し可能である。
なお、第一特別図柄停止図柄設定処理において8R確変大当りAに決定した場合には大当り図柄として8R確変大当りA図柄に決定し、8R通常大当りに決定した場合には大当り図柄として8R通常大当り図柄に決定する。また、図示しないが第二特別図柄停止図柄設定処理において16R確変大当りに決定した場合には大当り図柄として16R確変大当り図柄に決定し、8R確変大当りBに決定した場合には大当り図柄として8R確変大当りB図柄に決定し、2R通常大当りに決定した場合には大当り図柄として2R通常大当り図柄に決定する。
また、主制御基板1310の主制御MPU1310aは、ステップS5331で大当りフラグがセットされていなければ、次にステップS5333の処理として、小当りフラグがセットされているか否かを判断する。そしてこの結果、第二特別図柄プロセス処理(ステップS5239)内の当該ステップS5333に相当する処理にて小当りフラグがセットされていれば、第二特別図柄の変動停止時の態様として小当り図柄(特有の図柄停止態様)に決定した後(ステップS5334)、ステップS5337に移行する。
またさらに、主制御基板1310の主制御MPU1310aは、ステップS5333で小当りフラグがセットされていなければ、特別図柄の変動停止時の態様としてハズレ図柄に決定した後(ステップS5336)、ステップS5337に移行する。
そして、こうして停止図柄についての決定処理が行われた後は、主制御基板1310の主制御MPU1310aは、ステップS5337の処理として、上記抽選結果(大当りの種類、小当り、リーチはずれ、はずれのいずれかを指示(第一特別図柄の停止図柄の態様を指示するものであってもよい))が上記周辺制御基板1510に送信されるよう抽選結果それぞれに応じた判定結果通知コマンドをセットする。そしてその後は、ステップS5338の処理として、上記第1変動パターン設定処理(ステップS5282)にプロセス移行されるよう上記第一特別図柄プロセスフラグを更新した時点で、この処理を終了する。
なお、周辺制御MPU1511aは、受信した判定結果通知コマンド及び変動パターンコマンドに基づいて演出表示装置1600を表示制御する(左・中・右の装飾図柄を変動表示して左装飾図柄→右装飾図柄→中装飾図柄の順序で停止表示させる(なお左・中・右の装飾図柄を同一図柄で同期して変動表示し同時に停止表示する場合もある))。例えば、周辺制御MPU1511aは、大当りとして2R通常大当り以外の種別に当選した場合には左・中・右の装飾図柄が3つ揃いとなる組合わせに決定する。これに対し、2R通常大当りが得られた場合は、特定の図柄組合わせ(左・中・右の装飾図柄の少なくとも1つが他の図柄と同じとならない組合わせ)に決定する。また、リーチはずれを特定した場合にはリーチを伴ったはずれ図柄(左・右の装飾図柄が「0」~「9」の同一の図柄の組み合わせであって中装飾図柄が異なる図柄の組み合わせ;リーチハズレ図柄)に決定し、はずれを特定した場合には、リーチを伴わないはずれ図柄(左・中・右の装飾図柄のうち少なくとも左・右の装飾図柄が異なる図柄となる組合せ)に決定する。こうして決定された停止図柄は、変動パターンコマンドから特定される変動時間の経過時(遊技演出の終了時)において演出表示装置1600に表示される。
いずれにせよ、周辺制御MPU1511aは、遊技が進行された結果として当りが得られたときは、大当り遊技が開始されるよりも前に当り時の演出表示(特別表示態様)を出現させ、大当り遊技が開始された後に大当り遊技中の演出表示を出現させるようになっている。
図112は、上記第一変動パターン設定処理(ステップS5282)についてその手順を示すフローチャートである。
上記第一特別図柄プロセスフラグが当該第一変動パターン設定処理を行うべき旨を示しているときは、同図112に示されるように、上記主制御基板1310の主制御MPU1310aは、大当りフラグがセットされていれば(ステップS5341)、第一特別図柄停止図柄設定処理のステップS5332で決定した大当りの種類に応じた大当り時の変動パターンテーブル(図示しない)を選択し(ステップS5342)、小当りフラグがセットされていれば(ステップS5343)、小当り時の変動パターンテーブル(図示しない)を選択し(ステップS5344)、リーチフラグがセットされていれば(ステップS5345)、リーチ時の変動パターンテーブル(図示しない)を選択し(ステップS5346)、大当りフラグと小当りフラグとリーチフラグとのいずれもセットされていない場合、すなわち通常のはずれ(リーチ演出を実行しないはずれ)となる場合には、はずれ時の変動パターンテーブル(図示しない)を選択する(ステップS5347)。
そして、選択した変動パターンテーブルと第一特別図柄通常処理のステップS5302で読み出した変動表示パターン用乱数とを比較することにより実行する変動パターンを決定し(ステップS5348)、決定した変動パターンを開始することを周辺制御基板1510に通知する変動パターンコマンドをセットして第一特別図柄表示器1403に表示される第一特別図柄の変動表示を開始する(ステップS5349)。また、主制御MPU1310aは、変動パターンを決定すると決定した変動パターンに対応して設定されている変動時間を変動タイマに設定する(ステップS5350)。そして、上記第一特別図柄変動処理(ステップS5283)にプロセス移行されるよう上記第一特別図柄プロセスフラグを更新した時点で(ステップS5355)、この処理を終了する。これにより、こうして決定された変動時間だけ第一特別図柄表示器1403にて第一特別図柄の変動表示制御が行われるとともに該特別図柄の変動表示に同期して上記演出表示装置1600にて演出制御が行われるようになる。
なお、本例の変動パターンテーブルは、大当り判定用乱数(第一大当り判定用乱数、第二大当り判定用乱数)及び大当り図柄用乱数(第一大当り図柄用乱数、第二大当り図柄用乱数)に基づく判定結果毎に複数種類設けられている。また、各変動パターンテーブルに設定される変動パターンには上記特別図柄(第一特別図柄、第二特別図柄)の変動表示制御に要する所定の時間(変動時間)を示す複数の変動時間情報が上記第一変動表示パターン用乱数にそれぞれ対応して関連付けされるかたちで記憶されている。しかして、主制御MPU1310aは、大当り判定用乱数及び大当り図柄用乱数に基づく判定結果に応じた複数種類の変動パターンテーブルのうち、選択した変動パターンテーブルと第一特別図柄通常処理のステップS5302で読み出した変動表示パターン用乱数とを比較し、上記読み出した変動表示パターン用乱数に関連付けされている変動時間情報をこのテーブルから取得することで、上記特別図柄(第一特別図柄、第二特別図柄)の変動パターンを決定する。これにより、上記特別図柄(第一特別図柄、第二特別図柄)の変動パターンについての判定処理が行われるようになる。なお、上記変動パターンテーブルは、上記主制御内蔵ROMに記憶されている。
ただし上述の通り、本例では小当りに当選することがないことから、小当り時の変動パターンテーブルが用いられることはない。本例では、小当りに当選することはないが、小当りに当選するようにしてもよい。
また、本例のリーチ時の変動パターンテーブルでは、いずれのリーチ演出を実行するかを示す判定値と変動表示パターン用乱数とを比較することにより実行するリーチ演出の態様種別を決定するように設定されている。例えば、非時短状態においては、241種類の変動表示パターン用乱数のうち164種類の変動表示パターン用乱数がノーマルリーチ演出のいずれかを実行することを示す判定値(0~163)として設定され、59種類の変動表示パターン用乱数が大当り期待度の低いスーパーリーチ演出のいずれかを実行することを示す判定値(164~222)として設定され、18種類の変動表示パターン用乱数が大当り期待度の高いスーパーリーチ演出のいずれかを実行することを示す判定値(223~240)として設定される。
なお、スーパーリーチ演出(SP演出)とは、ノーマルリーチ演出よりも大当り期待度が高く、大当り遊技状態の発生を望む遊技者に対してはスーパーリーチ演出が実行されたときに大当り遊技状態に対する遊技者の期待度が高まるようになっている。すなわち、このようなスーパーリーチ演出は、大当り時の変動パターンテーブルにおいて最も選択率が高いものとなっており、これによって最終的にはハズレが表示されたとしても大当り遊技状態に対する遊技者の期待度を高めることができるようになる。ただし実際には、大当り遊技状態に対する遊技者の期待度を十分に高める上では、スーパーリーチ演出が実行されている期間中に、変動パターンとは別抽選とされている高期待の予告演出が出現する(複合する)ことが求められる。
また、第一大当り判定用乱数及び第一大当り図柄用乱数に対応して設けられて第一特別図柄の変動時間を決定するときに用いられるはずれ時の変動パターンテーブルでは、非時短状態と時短状態とに共通して12秒の変動時間が設定されている。一方、第二大当り判定用乱数及び第二図柄乱数に対応して設けられて第二特別図柄の変動時間を決定するときに用いられるはずれ時の変動パターンテーブルでは、時短状態として0.1秒~12秒の変動時間が設定可能とされ、非時短状態として12秒の変動時間が設定されている。このように第一特別図柄の変動時間は、時短状態中と非時短状態中とで同一とされ、時短状態において第一特別図柄の変動中に、第二始動口2004への遊技球の入賞を促すとともに遊技者が第二始動口2004へ遊技球を入賞させるための時間を確保している。
また、第二特別図柄のハズレ時の変動時間のうち0.1秒が選択される場合、時短状態(高確率時短状態など)において遊技領域5aに0.6秒間隔で打ち込まれる各遊技球が抽選処理に供されないままで排出されてしまうようなことが抑制されるようになる。
すなわち、右打ちされた遊技球は、ゲート部2003の直上となる領域に供給される。そして、時短状態(高確率時短状態など)にあるときに、この領域からゲート部2003に同遊技球が受け入れられると、普通図柄としての当りが得られて(例えば、当選確率が100%)、第二始動口2004の開閉に関わる可動片が長期間(本例では5.5秒間)に亘って開状態にて維持されるようになる。これにより、第二始動口2004に連続して次々と受け入れられうる状況下(センター役物2500の右側へ打込まれた遊技球の略全てが第二始動口2004に受け入れられうる時短状態)にあっても、それら遊技球の受け入れがある都度、「概ね32分の1」前後の高い大当り確率(高確率状態での確率)で第二特別図柄側の抽選が次々と消化されうる制御が実行可能とされるようになる。
そして本例では、遊技者がハンドル302を操作しているときには0.6秒間隔で遊技球が発射されるようになっていることから、時短状態(高確率時短状態など)においては、第二始動口2004には0.6秒間隔で遊技球が受け入れられることが多くなる。この点、本例では上記したように第二始動口2004への遊技球の入賞に基づく第二特別図柄のはずれ時の変動パターンテーブルには時短状態(高確率時短状態など)の変動時間として極めて短い0.1秒に設定可能とされている。すなわちこの場合、ハズレが得られたときは、遊技球の発射間隔(0.6秒)未満の時間(0.1秒)だけで図柄変動が終了されるようになることから、0.6秒間隔で打ち出される遊技球が第二始動口2004に次々と受け入れるような状況であっても、それらの遊技球が抽選処理に供されないままで排出されてしまうようなことが抑制されるようになる。
図113は、上記第一特別図柄変動処理(ステップS5283)についてその手順を示すフローチャートである。
上記第一特別図柄プロセスフラグが当該第一特別図柄変動処理を行うべき旨を示しているときは、同図113に示されるように、上記主制御基板1310の主制御MPU1310aは、まず、ステップS5371の処理として、上記変動パターンについての抽選処理(ステップS5282)で決定した変動パターンに応じた変動時間が設定される変動タイマを1減算する。そしてこの結果、変動時間タイマが0、すなわち、上記抽選された変動時間が経過したと判断されると(ステップS5372)、次にステップS5373の処理に移行する。すなわち、このステップS5373の処理において、上記第一特別図柄停止処理(ステップS5284)にプロセス移行されるよう上記第一特別図柄プロセスフラグを更新した時点で、この処理を終了する。
なお、変動タイマを1減算したにもかかわらず(ステップS5371)、変動時間タイマが0になっていないときは、変動時間タイマが0になるまで(図柄を確定停止させるべき時間になるまで)、当該タイマ割り込み処理が行われる都度、上記ステップS5371,S5372の処理が行われることとなる。
図114は、上記第一特別図柄停止処理(ステップS5284)についてその手順を示すフローチャートである。
上記第一特別図柄プロセスフラグが当該第一特別図柄停止処理を行うべき旨を示しているときは、同図114に示されるように、上記主制御基板1310の主制御MPU1310aは、まず、ステップS5381の処理として、上記第一特別図柄停止図柄設定処理にて決定された停止図柄を上記第一特別図柄表示器1403に表示させるための表示制御を行うとともに、上記演出表示装置1600に第一特別図柄の停止図柄に応じた装飾図柄の表示結果の導出表示を指示する停止表示コマンドを上記周辺制御基板1510へのコマンドとしてセットする(ステップS5382)。
また、上記主制御基板1310の主制御MPU1310aは、上記大当りフラグがセットされているときは(ステップS5386におけるYES)、大当り遊技状態を開始することを示す大当り開始コマンドをセットし(ステップS5387)、大当り遊技状態の開始までの待機時間(大当り遊技状態を開始する旨の表示等を行う時間)をインターバルタイマにセットする(ステップS5388)。そして、大当り遊技状態の実行中であることを示す大当り実行中フラグをセットするとともに上記高確率フラグがセットされていれば当該高確率フラグをリセットし、また、上記時短フラグがセットされていれば当該時短フラグをリセットし(ステップS5389)、さらに上記変動回数カウンタをリセットし、第一特別図柄プロセスフラグを初期値である第一特別図柄通常処理にプロセス移行されるように更新した時点で(ステップS5394)、この処理を終了する。すなわちこの場合、次の割り込み制御が行われる際に、上記ステップS5235の処理にて大当り実行中フラグがセットされている旨判断されることとなり、上述の大当り制御処理(ステップS5240a)にて大当り遊技状態が実行されるようになる。
なお、大当り開始コマンドは、周辺制御基板1510に送信されるコマンドであり、大当りの種類に応じて個々に用意されている。ステップS5387では、大当りの種類(8R確変大当りA、8R通常大当り、16R確変大当り、8R確変大当りB、2R通常大当り)に応じた大当り開始コマンド(8R確変大当りAコマンド、8R通常大当りコマンド、16R確変大当りコマンド、8R確変大当りBコマンド、2R通常大当りコマンド)をセットする。これにより、大当り開始コマンドによって指示された大当りの種類に応じた大当り遊技状態の演出(バトル演出や上乗せチャレンジ演出)が演出表示装置1600、各ランプ・LED及び各スピーカ等により実行される。
一方、上記ステップS5386の処理において、大当りフラグがセットされていない旨判断されたときは(ステップS5386におけるNO)、まず、低確率時短状態にあるか否かを判断する(ステップS5390)。そして、低確率時短状態にあるときには、低確率時短状態に制御されてから消化した特別図柄の変動回数が予め定められている上限値(ここでは100回)に達したか否かを判断する(ステップS5391)。すなわち、低確率時短状態に制御されてから消化した特別図柄の変動回数が予め定められている上限値(100回)に達したときには、低確率時短状態を終了させるべき条件が成立したとして、時短機能を停止させて通常遊技状態(低確率非時短遊技状態)に移行させることとなる(ステップS5392)。
そして、こうして時短機能に関する処理が行われた後は、小当りフラグがセットされているか否かを判断する(ステップS5393)。そしてこの結果、小当りフラグがセットされている旨判断されたときは(ステップS5393におけるYES)、小当り遊技状態を開始することを示す小当り開始コマンドをセットし(ステップS5394)、小当り遊技状態の開始までの待機時間(小当り遊技状態を開始する旨の表示等を行う時間)をインターバルタイマにセットする(ステップS5395)。そして、小当り遊技状態の実行中であることを示す小当り実行中フラグをセットし(ステップS5396)、第一特別図柄プロセスフラグを初期値である第一特別図柄通常処理にプロセス移行されるように更新した時点で(ステップS5394)、この処理を終了する。すなわちこの場合、次の割り込み制御が行われる際に、上記ステップS5236の処理にて小当り実行中フラグがセットされている旨判断されることとなり、上述の小当り制御処理(ステップS5240b)にて小当り遊技状態が実行されるようになる。ちなみに、大当りが当選された場合とは異なり、このような小当り遊技状態の実行に際しては、遊技状態が変更されるようなことはない。
他方、大当りフラグと小当りフラグとのいずれもセットされていない旨判断されたときは(ステップS5393におけるNO)、ハズレであるとして、大当りや小当りに関する処理を行うことなく、第一特別図柄プロセスフラグを初期値である第一特別図柄通常処理にプロセス移行されるように更新した時点で(ステップS5394)、この処理を終了する。すなわちこの場合、次の割り込み制御が行われる際に、大当り実行中フラグや小当り実行中フラグがセットされていない旨判断されることとなり(ステップS5235,S236)、保留の状況にしたがって新たな遊技(抽選や、図柄制御)の進行にかかる処理が行われるようになる(ステップS5237~S5239)。
図115は、上記普通図柄及び普通電動役物制御処理(ステップS116)についてその手順を示すフローチャートである。
いま、ステップS5401の処理において、上記ゲートセンサ4003による検出信号がオン状態にあり、上記ゲート部2003への遊技球の通過があったと判断されたとすると、同図115に示されるように、上記主制御基板1310の主制御MPU1310aは、ステップS5402の処理として、まず、普通図柄の普通乱数を上記乱数カウンタから取得してこれをRAMの普通図柄保留記憶領域に格納するなどのゲート部通過処理を実行する。
次いで、普通図柄プロセス処理では、普通図柄プロセスフラグに応じて、以下の5つのプロセス処理の1つを選択的に実行する。
1.主制御MPU1310aのRAMに格納されている普通乱数を読み出し、読み出した普通乱数に基づいて上記普通図柄の変動制御停止時における表示態様についての抽選処理などが行われる普通図柄通常処理(ステップS5403)
2.普図変動乱数に基づいて上記普通図柄表示器1402に表示される普通図柄の変動態様(変動時間)についての抽選処理などが行われる普通図柄変動時間決定処理(ステップS5404)
3.普通図柄表示器1402における上記普通図柄の変動表示が停止されるまで待機する普通図柄変動処理(ステップS5405)
4.普通図柄の変動制御停止時における表示態様についての抽選処理の結果に基づいて決定された普通図柄の変動制御停止時の態様が上記普通図柄表示器1402に表示されるように上記普通図柄の変動表示を停止させる普通図柄停止処理(ステップS5406)
5.普通図柄の変動制御停止時の態様についての抽選処理の結果が「普図当り」を示唆する態様となったとき、上記可動片が開状態になって第二始動口2004への遊技球の受け入れを可能に制御する処理を実行する普通電動役物開放処理(ステップS5407)
なお、上記普通図柄プロセスフラグは、その初期値が、上記普通図柄通常処理(ステップS5403)を行うべき旨を示すよう操作されている。
図116は、上記ゲート部通過処理(ステップS5402)についてその手順を示すフローチャートである。
いま、上記ステップS5401の処理において、上記ゲートセンサ4003による検出信号がオン状態にあり、上記ゲート部2003への遊技球の通過があったと判断されたとすると、同図116に示されるように、上記主制御基板1310の主制御MPU1310aは、ステップS5411の処理として、まず、上記普通保留数カウンタによるカウンタ値を主制御MPU1310aのRAMから取得する。そして、このカウンタ値に基づいて普通図柄の保留数がその最大値である「4」であるか否かの判断を行う。
このステップS5411の処理において、上記普通図柄の保留数がその最大値でないと判断された場合には、上記普通図柄の変動表示制御を新たに保留の状態とすべく、以下のステップS5412~S5414の処理を行うこととなる。すなわち、まず、上記ステップS5412の処理として、上記普通保留数カウンタをカウントアップ(1加算)する。次いで、ステップS5413の処理として、上記普通乱数、上記普図変動乱数を上記乱数カウンタから取得する。そして次に、ステップS5414の処理として、こうして取得された各乱数を、上記主制御MPU1310aのRAMの記憶領域のうちの上記普通保留数カウンタによるカウンタ値に対応する普通図柄保留記憶領域に格納する。
ただし、上記ステップS5411の処理において、上記普通図柄の保留数がその最大値であると判断された場合には、上記普通図柄の変動表示制御は新たに保留されない。すなわち、ステップS5412~ステップS5414の処理を実行しないことで、上記普通図柄の変動表示制御を新たに保留の状態としない。
図117は、上記普通図柄通常処理(ステップS5403)についてその手順を示すフローチャートである。
上記普通図柄プロセスフラグが当該普通図柄通常処理を行うべき旨を示しているときは、同図117に示されるように、上記主制御基板1310の主制御MPU1310aは、まず、ステップS5421の処理として、上記普通保留数カウンタによるカウンタ値に基づいて保留の状態にある普通図柄の変動表示制御があるか否かの判断を行う。この結果、保留の状態にある普通図柄の変動表示制御があると判断された場合には、次にステップS5422の処理として、上記主制御MPU1310aのRAMの普通図柄保留記憶領域に格納されている普通図柄の表示態様に関わる乱数(例えば、普通乱数、普図変動乱数)のうちの最先の記憶領域に格納された乱数を同RAMから読み出す。そして次に、ステップS5423及びS5424の処理として、上記普通保留数カウンタをカウントダウンするとともに、上記主制御MPU1310aのRAMの普通保留記憶領域の各記憶領域に格納されている上記普通図柄の変動表示停止時における表示態様に関わる乱数(普通乱数、普図変動乱数)を先入れ先出し(First-In First-Out)の態様にてシフト操作する。
具体的には、普通図柄保留記憶領域は1~4の4つの記憶領域を有し、上記ゲート部2003への遊技球の通過に応じて抽出した乱数を1番目(最先)の領域から順に記憶する。そして、n番目(n=1~3)の記憶領域に乱数が記憶されている場合に上記ゲート部2003に遊技球が通過するとn+1番目(n=1~3)の記憶領域に抽出した乱数を記憶し、1番目の記憶領域に格納された乱数に基づく変動表示の開始条件が成立すると1番目の記憶領域に記憶されている各種乱数を読み出すとともにN番目(N=2~4)の記憶領域に記憶されている各種乱数をN-1番目(N=2~4)番目の記憶領域に移動させる。これにより、上記普通図柄の変動表示制御の保留が発生した順序を特定可能に記憶されるとともに最先の保留(最も先に発生した保留)から順に変動表示制御の保留が解除されるようになる。
次いで、上記主制御基板1310の主制御MPU1310aは、現在の遊技状態が時短状態(高確率時短状態)であれば(ステップS5426)、時短時の普図当り判定テーブル(図示しない)を選択し(ステップS5426)、現在の遊技状態が非時短状態(低確率非時短状態、高確率非時短状態)であれば(ステップS5425)、非時短時の普図当り判定テーブル(図示しない)を選択し(ステップS5427)、選択した普図当り判定テーブルと普通図柄通常処理のステップS5422で読み出した普通乱数とを比較する(ステップS5428)。
なお、普図当り判定テーブルは、上記主制御MPU1310aのROMに記憶され、遊技状態が時短時(高確率時短状態)の場合に使用する時短時の普図当り判定テーブルと、遊技状態が非時短時(低確率非時短状態、高確率非時短状態)の場合に使用する非時短時の普図当り判定テーブルと、を備えている。そして、普通乱数と比較するために参照される時短時の普図当り判定テーブルでは、255種類の全ての普通乱数が普図当りに当選したことを示す普図当り判定値と一致し、普図はずれであることを示す普図はずれ判定値と一致することがないように上記普通乱数がそれぞれ関連付けされている。このように、時短時では、上記ゲート部2003への遊技球の通過があったとき、普図当りに必ず当選し、上記可動片が開状態になって第二始動口2004への遊技球の受け入れを可能に制御している。255種類の全てではなく、非時短状態のときよりも多くの普通乱数が普図当りに当選したことを示す普図当り判定値と一致するようにしてもよい。
また、普通乱数と比較するために参照される非時短時の普図当り判定テーブルでは、255種類の全ての普通乱数が普図当りに当選したことを示す普図当り判定値と一致することがなく、普図はずれであることを示す普図はずれ判定値と一致するように上記普通乱数がそれぞれ関連付けされている。このように、非時短時では、上記ゲート部2003への遊技球の通過があったとしても、普図当りに当選することがないため、上記可動片2106が開状態になって第二始動口2004への遊技球の受入れを可能に制御することがない。ただし上述の通り、非時短状態においても普通図柄の当りが得られるようにしてもよく、この場合には時短状態よりも低い当選確率(例えば50%)とし、普通図柄の抽選結果が当りとなったときに上記第二始動口2004の可動片を時短状態よりも短い時間、例えば、2秒間開状態にさせて第二始動口2004への遊技球の受入れを可能とした後に再び前進させて第二始動口2004への遊技球の受入れを不能にするようにしてもよい。
上記主制御基板1310の主制御MPU1310aは、選択した普図当り判定テーブルと普通図柄通常処理のステップS5422で読み出した普通乱数との比較の結果、普図当りとすると判定した場合には(ステップS5429)、当該変動が普図当りに当選していることを示す普図当りフラグをセットした後(ステップS5430)、普通図柄の変動制御停止時の態様(普通図柄の停止図柄)としての普図当り図柄を決定する(ステップS5431)、一方、選択した普図当り判定テーブルと普通図柄通常処理のステップS5422で読み出した普通乱数との比較の結果、はずれとすると判定した場合には、普通図柄の変動制御停止時の態様(普通図柄の停止図柄)としての普図はずれ図柄を決定する(ステップS5432)。そしてその後、上記普通図柄変動時間決定処理(ステップS5404)にプロセス移行されるよう上述の普通図柄プロセスフラグが更新された時点で(ステップS5433)、この処理を終了する。
そして、このような主制御MPU1310aによる制御が行われるなかで、周辺制御MPU1511aでは、該主制御MPU1310aから送信される上述の各種コマンドを取得することで上記周辺制御部定常処理(受信コマンド解析処理(ステップS1022))内でその都度の遊技状況を把握し、該遊技状況に応じた演出を実行可能としている。
より具体的には、周辺制御MPU1511aは、まず、始動入賞が発生した状況にあるかを判断し、該状況にあるときには始動入賞に応じた保留表示や先読み演出に関する制御を行う。そしてこの後、把握した遊技状況に基づいてプロセスフラグを更新することで、以下の変動パターン指定コマンド受信待ち処理、演出図柄変動開始処理、演出図柄変動中処理、演出図柄変動停止処理、大当り表示処理、大当り遊技中処理、及び大当り終了演出処理のいずれかを実行する。
変動パターン指定コマンド受信待ち処理:主制御MPU1310aから変動パターンに関する変動パターンコマンドを受信するまでの間、図柄が変動状態になく且つ大当りに関する制御が行われていないときの演出(デモ演出など)にかかる制御を行うとともに、主制御MPU1310aから変動パターンに関する変動パターンコマンドを受信するとプロセスフラグを演出図柄変動開始処理に対応した値に変更する。
演出図柄変動開始処理:変動パターンコマンドなどに基づいて図柄変動期間における各種の演出内容(演出パターンや予告演出など)を決定するとともに、該決定した演出内容に基づいて装飾図柄の変動が開始されるように制御する。そしてこの後、プロセスフラグの値を演出図柄変動中処理に対応した値に更新する。なお、変動パターン(演出パターン)のうち「大当り図柄で停止される変動パターン(演出パターン)」の多くは、「ハズレ図柄で停止される変動パターン(演出パターン)」と対になるかたちで用意されており、それらが同じ変動パターン(演出パターン)として機能することで、大当り図柄が現れるかハズレ図柄が現れるかについての演出が提供されるようになる。したがって、以下、変動パターン(演出パターン)について説明するときに、「所定の変動パターン」や「特定の変動パターン」などと記載する場合、特に断り書きがない限りは、「大当り図柄で停止される所定の変動パターン(特定の変動パターン)」と、「ハズレ図柄で停止される所定の変動パターン(特定の変動パターン)」との両方を意味しており、同じ態様で演出内容が進展した結果として大当り図柄とハズレ図柄とのいずれかが現れる分岐点へと到来することとなる。
演出図柄変動中処理:演出図柄変動開始処理にて決定した各種の演出内容を、図柄変動期間中のそれぞれのタイミングで開始させる制御などを行うとともに、変動時間が終了するとプロセスフラグの値を演出図柄変動停止処理に対応した値に更新する。
演出図柄変動停止処理:全図柄停止を指示するコマンド(図柄確定コマンド)の受信に基づいて装飾図柄の変動を停止し表示結果(停止図柄)を導出表示する制御などを行う。そして、装飾図柄を大当り図柄で停止させる場合はプロセスフラグの値を大当り表示処理に対応した値に更新し、装飾図柄をハズレ図柄で停止させる場合はプロセスフラグの値を変動パターン指定コマンド受信待ち処理に対応した値に更新する。
大当り表示処理:装飾図柄が大当り図柄で停止してから大当り遊技が開始されるまでの期間における演出(演出表示装置1600に大当りの発生を報知する表示演出など)を制御する。そしてこの後、プロセスフラグの値を大当り遊技中処理に対応した値に更新する。
大当り遊技中処理:大当り遊技状態の発生期間中における各種演出にかかる制御を行う。大当り遊技状態が終了すると、プロセスフラグの値を大当り終了演出処理に対応した値に更新する。
大当り終了演出処理:演出表示装置1600において、大当り遊技状態が終了してから変動許容状態になるまでの期間における演出(大当り遊技状態が終了したことを遊技者に報知する表示演出など)を制御する。そして、プロセスフラグの値を変動パターン指定コマンド受信待ち処理に対応した値に更新する。
図118は、通常遊技状態にあるときに上記演出図柄変動開始処理で参照される演出パターン(変動演出)の判定テーブルT1を示す図である。
同図118に示されるように、判定テーブルT1では、変動パターンコマンドにより示される変動番号1~22の各別にそれぞれ演出パターン(変動演出)が対応付けされている。したがって、周辺制御MPU1511aでは、主制御MPU1310aから変動パターンコマンドを取得すると、該変動パターンコマンドに対応付けされている演出パターン(変動演出)を上記判定テーブルT1に基づいて決定し、該決定した演出パターン(変動演出)に基づいて装飾図柄の変動が開始されるように制御することとなる。
なお、演出パターン(変動演出)については、上記変動パターンコマンドにより示される変動番号との間で必ずしも一対一で対応するものでなくてもよい。例えば、変動パターンコマンドによって示される一の変動番号に対して複数の演出パターン(変動演出)を対応付けておき、これら演出パターン(変動演出)のいずれかを演出抽選や遊技状況などに基づいて決定するようにしてもよい。後述するが、この実施の形態にかかる周辺制御MPU1511aも、変動番号1~22のうちの一部については複数の演出パターンが対応付けられるようにしている。
また、これも後述するが、周辺制御MPU1511aでは、こうして演出パターン(変動演出)を決定した後に、大当り判定の結果や図柄種別、変動パターンに基づいて予告抽選(予告演出の判定処理)を行うとともに、該予告抽選で当選した予告演出を、上記決定された演出パターン(変動演出)が行われるなかでの所定タイミングで出現させる制御(演出図柄変動中処理)を行うことで、複数の演出内容を複合可能としてそれらの出現態様などによって大当り図柄の現れる期待度を示唆するようにしている。
そして従来、このような複合演出のなかには、同じ特定予告演出(例えば、タイマ演出)でありながらも一の演出パターン(変動演出)が実行されている間に複数出現させて実行することがあり、これによって遊技興趣の維持を図ることが期待されるようにしている。しかしながら、大当り図柄の現れる期待度が高いときにしか予告演出は複合可能とされないため、一の演出パターン(変動演出)が実行されている間に複数のタイマ演出が実行される頻度は自ずと低くなり、遊技興趣の向上を十分に図ることは困難とされていた。
なお後述するが、「タイマ演出」とは、演出パターン(変動演出)の実行中に現れる所定の演出を対象とし、該所定の演出が行われるタイミングに向けてのカウント表示を第一の所定数値(例えば「60秒」)から第二の所定数値(例えば「0秒」)まで行うカウント演出表示として実行されたり、カウント表示を開始する前の待機表示(準備中など)として実行されたりするものである。すなわちこの場合、タイマ演出として第一の所定数値からのカウント表示(例えば、カウントダウン)が開始されると、第二の所定数値になったときに何らかの演出が必ず発生することが保証されるようになる。若しくは、遊技者にとって相対的に不利な演出態様(期待度の低い演出態様)と有利な演出態様(期待度の高い演出態様)とのいずれかを出現させる演出(例えば、会話予告やカットインA,Bなど)がタイマ演出の対象とされる場合には、第二の所定数値になったときに有利な演出結果が必ず発生することが保証されるようになる。ただし、タイマ演出(特に、予告抽選の結果として実行される予告側タイマ演出)においては、少なくともカウント表示が開始される時点ではその演出対象となっている演出がいずれであるのかについて秘匿とされるようにすることが望ましい。また、「タイマ演出の演出対象」とは、タイマ演出として第一の所定数値からのカウント表示(例えば、カウントダウン)が第二の所定数値(例えば「0秒」)になったときに現れる演出のことであり、タイマ演出では、該演出対象の発生するタイミングに向けてカウント表示を行うこととなる。
なお、この実施の形態にかかる「タイマ演出」では、カウント開始されてからの時間経過を小数点第2位まで表示して秒数などを正確に表示するものとなっている。ただし、必ずしもこのようなタイマ演出として実行されるものでなくてもよく、カウントアップまたはカウントダウンなどによるカウント表示が行われるカウント演出として実行されるものであれば、カウント開始されてからの時間経過(秒数など)を正確に示すものでなくてもよい。
そこで、この実施の形態にかかる周辺制御MPU1511aでは、予告抽選で当選したときにのみ現れる演出内容としてのタイマ演出(予告側タイマ演出)のほか、判定テーブルT1に基づいて決定された上記演出パターン(変動演出)の演出内容として予め組み込まれているタイマ演出(変動側タイマ演出)を実行可能としている。すなわちこの場合、カウント演出表示を、「変動パターンコマンドに基づいて決定された演出パターンに対し、大当り期待度が上積みされるように機能する予告演出の演出内容」として実行する予告側タイマ演出のみならず、「変動パターンコマンドに基づいて決定された演出パターンそのものの演出内容」としても実行するようにしたことで、変動パターンコマンドに基づいて決定された演出パターンによって示される大当り期待度からその期待度を無駄に上積み(「予告抽選での当選」という条件を満たすことによる期待度の上積み)することなくカウント演出表示(タイマ演出)を出現させることが可能とされるようになる。例えば、変動パターンコマンドに基づいて決定された特定の演出パターンが出現したときの大当り期待度が「20%」である場合、予告側タイマ演出をさらに実行すると複合演出の機能によって大当り期待度が上積みされて例えば「40%」になってしまいその分だけ出現頻度を低くせざるを得ないのに対し、特定の演出パターンこれ自体の演出内容として変動側タイマ演出が実行される場合には大当り期待度を「20%」としたままでタイマ演出を実行することが可能(特定の変動パターンが選択されるだけで出現可能)であり出現頻度を好適に維持することができるようになる。
なお、判定テーブルT1において演出パターン(変動演出)が出現したときの大当り期待度は、変動番号(さらには演出パターン)に応じてそれぞれ異なっており、基本的には変動番号が大きくなるにつれて大当り期待度が高くなる傾向が持たされている。例えば、変動番号5(6),9(10),17(18)に対応する演出パターンではその演出内容としていずれも「会話予告」が演出対象とされる変動側タイマ演出が実行されるが、その出現比率は、変動番号5(6)>変動番号9(10)>変動番号17(18)であるのに対し、出現時の大当り期待度は、変動番号5(6)<変動番号9(10)<変動番号17(18)となるように設定されている。またここでは、説明の便宜上、通常遊技状態のときに参照される判定テーブルしか詳述しないが、低確率時短状態や高確率時短状態において参照される判定テーブルにおいても、演出パターンこれ自体の演出内容として変動側タイマ演出が実行されうる演出パターン(カウント変動パターン)が含まれるようになっており、通常遊技状態にあるときとは異なる確率で出現可能とされている。
また、判定テーブルT1において、変動番号3~6はいずれも同じノーマルリーチ演出が行われる点で同じであるが、変動番号5,6は、会話予告を演出対象とした変動側タイマ演出が実行されうる点で変動番号3,4と異なっている。また、変動番号7~14はいずれも同じキャラリーチ演出が行われる点で同じであるが、変動番号9,10は、会話予告を演出対象とした変動側タイマ演出が実行され、変動番号11,12は、カットインAを演出対象とした変動側タイマ演出が実行され、変動番号13,14は、会話予告とカットインAとが実行されるとともにそれらを演出対象とした変動側タイマ演出が実行されうる点で異なっている。また、変動番号15~22はいずれも同じSPリーチ演出が行われる点で同じであるが、変動番号17,18は、会話予告を演出対象とした変動側タイマ演出が実行され、変動番号19,20は、カットインBを演出対象とした変動側タイマ演出が実行され、変動番号21,22は、会話予告とカットインBとが実行されるとともにそれらを演出対象とした変動側タイマ演出が実行されうる点で異なっている。なお、会話予告を演出対象とした変動側タイマ演出が実行される場合よりも、カットインA,Bを演出対象とした変動側タイマ演出が実行される場合のほうが大当り期待度が高くなり、さらには会話予告とカットインA,Bとの両方を演出対象とした変動側タイマ演出が実行される場合のほうが大当り期待度が高くなる傾向を持つように設定されている。
なお、「会話予告」とは、演出パターン(装飾図柄の変動演出)が実行されてから相対的に早い段階で出現可能とされ、且つ相対的に低い期待度の上積みがなされることが多い演出であるのに対し、カットインA,Bとは、演出パターン(装飾図柄の変動演出)が実行されてから相対的に遅い段階で出現可能とされ、且つ相対的に高い期待度の上積みがなされることが多い演出(若しくは、相対的に高い期待度の上積みが必ずなされる演出)である。したがって、「会話予告」は、これよりも期待度の高い他の演出(カットインA,Bや、後述の役物A動作,Bなど)よりも出現割合(実行確率)が高くなるように設定されるものとなっている。また、変動演出の内容として出現する「カットイン」は、キャラリーチでは、予告演出の演出内容として出現するカットインAに相当するように実行されるものであるのに対し、SPリーチでは、予告演出の演出内容として出現するカットインAではなくカットインBに相当するように実行されるものである。
しかも、この実施の形態にかかる判定テーブルT1では、同図118に示されるように、複数の変動パターン(変動番号5,6,9~14,17~22)に対してその演出内容(演出パターン)を変動側タイマ演出として割り当てるようにしている。そしてこの上で、変動パターンが「短縮変動や期待度の低いノーマルリーチ演出などの予め定められた種別(例えば、変動番号1~6など)」である場合は予告側タイマ演出としてのカウント演出表示が演出当選されないようにして(プレミアム度合いを高めて)該予告側タイマ演出が出現したときの期待度UPを好適に確保しているなかで、変動パターンが「変動側タイマ演出を実行する変動パターン(変動番号5,6,9~14,17~22などのカウント変動パターン)」である場合は、このようなカウント変動パターンでない場合に比べて当該変動パターンが上記予め定められた種別(例えば、変動番号1~6など)に該当する割合が低くなるようにしている。
なおここでは、変動側タイマ演出が実行されるカウント変動パターンとしては14個の変動パターン(変動番号5,6,9~14,17~22)が用意されているが、そのうちの2個(0個に設定してもよい)の変動パターン(変動番号5,6)しか上記予め定められた種別(変動番号1~6など)に該当しないから、その該当割合は「2/14」である。これに対し、変動側タイマ演出が実行されない変動パターンとしては8個の変動パターン(変動番号1~4,7,8,15,16)が用意されており、そのうちの4個の変動パターン(変動番号1~4)が上記予め定められた種別(変動番号1~6など)に該当するから、その該当割合は「4/8」である。
このような構成では、変動パターンの演出内容がカウント演出表示(変動側タイマ演出)を行いうるもの(カウント変動パターン)であるときには、変動側タイマ演出を行わない変動パターンである場合よりも、予告演出の演出内容としてカウント演出表示(予告側タイマ演出)が実行し得ないと判断される割合が低くなる。したがって、期待度を無駄に上積みさせて出現頻度を低くすることなく、一の演出パターン(変動演出)内で複数のカウント表示が出現することを促すことができるようになる。
また後述するが、この実施の形態にかかる周辺制御MPU1511aでは、上記演出図柄変動開始処理において決定された演出パターン(変動演出)がカウント変動パターン(変動番号5,6,9~14,17~22)である場合であっても、該カウント変動パターンがいずれのカウント変動パターンであるかに応じて上記予告側タイマ演出の出現する割合が異なるようにしている。例えば、同図118に示されるように、変動番号5,6に対応する演出パターンが実行されるときには上記予告側タイマ演出は全く出現されず、変動番号9~14に対応する演出パターンが実行されるときには上記予告側タイマ演出は中程度の抽選確率で出現可能とされており、変動番号17~22に対応する演出パターンが実行されるときには上記予告側タイマ演出は高い抽選確率で出現可能とされている。
なお、変動番号5,6に対応する演出パターンが実行されるときにも、低確率で上記予告側タイマ演出が出現されるようにしてもよい。また、高い抽選確率で上記予告側タイマ演出が出現可能とされる変動番号15~22に対応する演出パターンのいずれかが実行される場合であっても、実際には、ハズレの場合よりも大当りに当選している演出パターンのほうがより高い抽選確率で上記予告側タイマ演出が出現可能とされるし、変動番号16よりも変動番号22のほうがさらに高い抽選確率で出現可能とされるようになっている。
このような構成では、変動パターンが第1のカウント変動パターン(例えば、変動番号10)及び第2のカウント変動パターン(例えば、変動番号22)のいずれであるかによっても、カウント演出表示を予告演出の演出内容(予告側タイマ演出)として実行する割合が異なるようになる。したがって、一の演出パターン(変動演出)内で複数のカウント表示の出現する割合が高くされている上記カウント変動パターン(変動番号5,6,9~14,17~22)のなかでも、その種別によっては複数のカウント表示が出現する割合をより一層高くすることができるようになることから、遊技興趣の好適な維持を図ることが期待されるようになる。
特に、後述するが、この実施の形態にかかる周辺制御MPU1511aでは、同じリーチ種別の演出内容が現れる演出パターン(例えば、キャラリーチ、SPリーチ)であっても、変動側タイマ演出が演出内容として含まれる演出パターン(例えば、変動番号17~22)では、変動側タイマ演出が演出内容として含まれない演出パターン(例えば、変動番号15,16)に比べて当該演出パターンの実行期間内に予告側タイマ演出の出現する割合(予告抽選にて予告側タイマ演出を実行する旨決定される割合)が高くなるようにしている。すなわちこの場合、予告抽選にて一の予告側タイマ演出が当選されるだけの大当り期待度を要するだけで一の演出パターン内に2つのタイマ演出(変動側タイマ演出、予告側タイマ演出)を出現させることができるようになり、ひいてはダブルタイマの演出機会を、大当り期待度の無駄な上積みをすることなく実現することができるようになる。
また、この実施の形態にかかる周辺制御MPU1511aでは、上記演出図柄変動開始処理において決定された演出パターン(変動演出)がカウント変動パターン(変動番号5,6,9~14,17~22)である場合であっても、「会話予告」が演出対象とされる変動側タイマ演出(変動側カウント演出表示)と「カットイン」が演出対象とされる変動側タイマ演出(変動側カウント演出表示)とではカウント表示の態様(カウント数字の形態や色など)が異なるようにしている。すなわちこの場合、同じリーチ演出を演出内容とする演出パターン(例えば、変動番号9,11)が実行される場合であっても変動側タイマ演出(変動側カウント演出表示)のカウント表示の態様を確認することで、「いずれのカウント変動パターンであるかに応じて上記予告側タイマ演出の出現する割合が異なるようにされていること」と相まって、予告側タイマ演出の出現し易さを認識して期待することができるようになる。
なお、予告側タイマ演出(予告側カウント演出表示)で現れるカウント表示の態様については、その演出対象が同じ(会話予告、カットイン)であるか否かにかかわらず、変動側タイマ演出(変動側カウント演出表示)で現れるカウント表示の態様(会話予告、カットイン)と異なる(若しくは、少なくともいずれかと異なる)ようにしてもよいし、同態様と同じ(若しくは、少なくともいずれかと同じ)にしてもよい。
ただし、予告側タイマ演出(予告側カウント演出表示)として実行されるカウント表示については、その演出対象となる演出の種別にかかわらず共通の態様で実行されるようにすることが、相対的に期待度が高く設定される予告側タイマ演出が出現している状態にあることを遊技者に認識させて期待感の向上を図る上で有益である。この意味では、予告側タイマ演出については、変動側タイマ演出(変動側カウント演出表示)で現れるカウント表示の態様(会話予告、カットイン)のいずれとも異なるようにすることがより望ましい。予告側タイマ演出(予告側カウント演出表示)としての上記共通の態様については、期待度の異なる複数の態様(例えば、青色カウントや赤色カウントなど)が用意されており、それらのいずれかを実行するようにしてもよい。
また、予告側タイマ演出が実行されていることをより好適に認識可能とする上では、予告側タイマ演出が実行されるときのカウント表示と、変動側タイマ演出が実行されるときのカウント表示とでカウント速度(例えば、カウントアップやカウントダウンにおいて数字が変化する速度)を異ならしめるようにすることが望ましい。このような構成では、タイマ演出が開始された以降、カウント表示が進行されている期間中においても当該タイマ演出のカウント速度に注視させて、相対的に期待度の低い変動側タイマ演出と相対的に期待度の高い予告側タイマ演出とのいずれが実行されているのかについての興味を持たせることができるようになり、タイマ消化期間中における遊技興趣を好適に維持することができるようになる。
またこの際、変動側タイマ演出においては、その演出対象(会話予告、カットイン)に応じて、予告側タイマ演出のカウント速度と相対的に近い速度(若しくは同じ速度)でカウント表示される態様(カットイン)と、予告側タイマ演出のカウント速度と相対的に近くない速度でカウント表示される態様(会話予告)とでカウント表示するようにすれば、予告側タイマ演出が実行されているか否かの判断し難さを異ならせて面白みを付与することができるようになる。また、変動側タイマ演出(または予告側タイマ演出)においてはカウント数字の出現と消去の繰り返しによってカウント表示するのに対し、予告側タイマ演出(または変動側タイマ演出)においてはカウント数字を継続的に表示することによってカウント表示するようにしてもよい。
このような構成によれば、変動側タイマ演出のカウント表示と予告側タイマ演出のカウント表示とが同時に実行される状況が発生すると、予告側タイマ演出が実行されているのか否かを容易に把握することができるようになり、遊技興趣の向上が図られることが期待される。
この点、この実施の形態にかかる周辺制御MPU1511aでは、変動側タイマ演出に対応する変動パターン(変動番号5,6,9~14,17~22などのカウント変動パターン)に対しては、カウント表示の開始タイミングまたは終了タイミング(カウント総数、または全カウント消化に要する時間)が異なる複数の演出パターンを選択可能な演出パターンとして設定している。そして、変動側タイマ演出に対応する変動パターンを取得した場合は、演出用の乱数などに基づいて上記複数の演出パターンのいずれかを決定するようにして変動側タイマ演出のカウント表示と予告側タイマ演出のカウント表示との同時実行のし易さ(例えば、カウント総数が大きいほうが重なり易いなど)を異ならせるようにすることで、予告側タイマ演出が実行されているか否かの判断容易性を異ならせて面白みを付与するようにしている
なお、この実施の形態では、一の変動パターンに対してカウント表示の開始タイミングまたは終了タイミング(カウント総数、または全カウント消化に要する時間)が異なる複数の演出パターン(タイマ演出の演出対象と、リーチ演出の内容は同じ)を用意することとしたが、カウント表示の開始タイミングまたは終了タイミング(カウント総数、または全カウント消化に要する時間)が異なる複数の演出パターン(ただし、タイマ演出の演出対象にされる演出の種別と、変動パターンの演出内容として実行されるリーチ演出の種別とは、各演出パターンで同じ)の別に異なる複数の変動パターンを用意して一対一対応させるようにしてもよい。
また、変動側タイマ演出と予告側タイマ演出とで出現したときのカウント表示数(カウント総数)を異ならせるようにしたり、同じ特定カウント表示数を選択可能であったとしても変動側タイマ演出と予告側タイマ演出とで特定カウント表示数の選択率を異ならせるようにすれば、予告側タイマ演出が実行されているか否かの判断し難さを異ならせて面白みを付与することができるようになる。
また、予告側タイマ演出をカウントダウン表示で実行するのに対し、変動側タイマ演出についてはカウントアップ表示で実行するようにすれば、予告側タイマ演出が実行されているのか否かを確定的に把握することができるようになり、遊技興趣の向上を大幅に図ることが期待される。また、予告側タイマ演出をカウントダウン表示で実行するのに対し、特定演出(例えば、会話予告)を対象とした変動側タイマ演出についてはカウントアップ表示で実行し、特定演出とは異なる演出(例えば、カットイン)を対象とした変動側タイマ演出についてはカウントダウン表示で実行するようにすれば、予告側タイマ演出が実行されているか否かの判断し難さを演出対象に応じて異ならせて面白みを付与することができるようになる。
また、後述するが、この実施の形態にかかる周辺制御MPU1511aでは、変動側タイマ演出と予告側タイマ演出とで同じ演出を演出対象にする場合と、異なる演出を演出対象にする場合とがあるように制御する。そして、変動側タイマ演出と予告側タイマ演出とで同じ演出(例えば、会話予告)を演出対象にする場合は、変動側タイマ演出と予告側タイマ演出とで異なる演出を対象にする場合に比べて大当り期待度が低くなる割合が高くなるように設定するとともに、変動側タイマ演出と予告側タイマ演出とで同じ演出(例えば、会話予告)を演出対象にする場合であっても、各カウント表示の終了タイミングを異ならせるようにしている。
すなわちこの場合、変動側タイマ演出と予告側タイマ演出とで同じ演出(例えば、会話予告)が演出対象にされていたとしても、変動側タイマ演出と予告側タイマ演出との一方が先に所定数値に達して終了されるのに対し他方のカウント表示は継続されるようになることから、この時点では、あたかも異なる演出を演出対象としている(相対的に期待度の高い態様でタイマ演出が実行されている)かのように見える。そしてこの後、継続されていた他方のカウント表示も同じ演出(例えば、会話予告)を演出対象としていることが明らかとされる態様で所定数値に達して終了されるようになることから、先に終了した側のタイマ演出によって相対的に期待度の低い会話予告が演出対象とされていることが明らかにされた場合であっても、その後に出現可能とされる異なる演出を演出対象としている(相対的に期待度の高い態様でタイマ演出が実行されている)ことへの期待感を維持して遊技興趣の向上を図ることが期待されるようになる。
また、このように変動側タイマ演出と予告側タイマ演出とで同じ演出(例えば、会話予告)が演出対象にされる場合、変動側タイマ演出が所定数値に達するタイミングと、予告側タイマ演出が所定数値に達するタイミングとでそれぞれ別個のカウント終了対応表示(例えば、「カウント成功!」、「チャンスUP!」など)を出現させるようにすることが望ましい。
より具体的には、変動側または予告側の演出として実行される「会話予告」を演出対象にした変動側タイマ演出と予告側タイマ演出とを一の演出パターン内でそれぞれ出現させる。そしてこの場合、変動側タイマ演出のカウント表示と予告側タイマ演出のカウント表示とがそれぞれ同時進行されることとなるが、変動側タイマ演出では、「会話予告」に関連して変動側の演出として発生する変動側特定演出(「カウント成功!」や、会話予告の出現に合わせたエフェクトなど)に合わせてカウント表示を進行させるのに対し、予告側タイマ演出では、「会話予告」に関連して予告側の演出として発生する予告側特定演出(「チャンスUP!」や、会話予告の開始タイミング(若しくは、演出開始の所定数秒前)に合わせて出現するタイマ終了表示など)に合わせてカウント表示を進行させることで、それぞれ別個のカウント終了対応表示を異なるタイミングで出現させることとなる。
ところで、会話予告及びカットインの各演出については、変動側タイマ演出の演出対象にされる場合(カウント変動パターンが決定された場合)は必ず実行されることが求められるものである。特に、会話予告やカットインは、期待度の異なる複数の態様で実行可能とされる演出であるから、変動側タイマ演出の演出対象とされる場合にはカウント表示が所定数値に達するときに相対的に期待度の高い態様で出現させることが求められる。したがって、変動側タイマ演出の演出対象にされる演出については、上記演出パターン(変動演出)の演出内容として予め組み込んでおき、該演出パターンが実行されるだけで変動側タイマ演出とその演出対象とされる演出(相対的に期待度の高い態様)とがそれぞれ出現可能とされるようにすることが望ましい。ただしこれに代えて、変動側タイマ演出が実行されるときには予告抽選にてその演出対象にされる演出(相対的に期待度の高い態様)が必ず選択されるように制御することも可能である。
なお、会話予告及びカットインの各演出は、変動側タイマ演出の演出対象にされない場合は、後述の予告抽選において予告側の演出内容として出現させるか否かの判定が行われることはもとより、予告側の演出内容としていかなる態様(相対的に期待度の高い態様または低い態様)で出現させるかについての判定が行われ、該判定の結果に基づいて出現にかかる制御が行われるようになっている。
以下、図118を用いた演出パターンの決定処理について総括する。
すなわち、周辺制御MPU1511aでは、主制御MPU1310aから変動パターンコマンドや図柄種別コマンドなどを取得すると、まず、変動パターンコマンドにより示される変動番号や図柄種別コマンドにより示される図柄種別などに基づいて、現在の遊技状態に応じた判定テーブルを参照する。例えば、図柄種別に基づいて演出パターンを決定するようにすれば、特定の演出パターンが出現したときの確変期待度や大当り遊技状態におけるラウンド数などに偏り(期待度)を持たせることができるようになる。
そして次に、変動番号に対応付けされている演出パターンとして、複数の演出パターン(変動側タイマ演出で出現するカウント表示の開始タイミングまたは終了タイミングが異なる複数の演出パターンなど)が選択可能に用意されている場合には、大当り判定の当落に基づいてカウント表示の開始タイミングまたは終了タイミングが異なる複数の演出パターンのいずれかを選択する。なおこの際、大当り判定に当選している場合にはカウント表示の開始タイミングまたは終了タイミングが遅くなる割合が高くなるように演出パターンを設定することとしており、これによってカウント表示の開始タイミングまたは終了タイミングが遅くなるほど大当り図柄が現れる可能性が高くなる傾向を持たせるようにしている。
また後述するが、この実施の形態にかかる周辺制御MPU1511aでは、特別な演出条件が成立しているときには、カウント変動パターン(変動番号5,6,9~14,17~22)が取得されている場合であっても、複数の演出パターンのうち、変動側タイマ演出が出現しないように設定されている演出パターンを選択する。
そして、周辺制御MPU1511aでは、図柄変動中に現れる演出パターン(装飾図柄の変動開始から変動停止までの演出)がこうして選択された後に、該演出パターンの実行期間内でどのような予告演出をどのような態様で付加的に実行するのか(複合させるのか)を決定することとなる(予告抽選)。
[12.自動チャンネル方式による音制御]
ところで、既に説明済みの音データ作成処理(図95のステップS1032)において、その一部である自動チャンネル音制御に関する説明について後述することになっていた。そこで、次に、本実施形態による自動チャンネル音制御について説明する。まずは、その背景について簡単に説明する。
一般的なパチンコ機においては、遊技の進行に応じて各シーンにおいてスピーカから様々な音を出力することにより遊技者の興味を引く演出を実現しようとしている。例えば、遊技者の期待を向上させるはずのリーチであっても、その種類に応じて多彩な音が出力されるものもあればそうでないものも存在している。このような一般的なパチンコ機では、そのような各リーチを含め、各シーンにおいて出力されるべき各音に対して各チャンネルが予め割り当てられており、このような各音は対応する既定の各チャンネルを用いて再生される(特許第5627044号公報参照)。しかしながら、一般的なパチンコ機においては、仮に空きチャンネルがあったとしても、チャンネルの割り当て上、再生しようとした音が当該空きチャンネルに割り当てられ得ない場合があり、当該再生しようとした音が再生できず多彩な音演出を実現し難いという問題点があった。
そこで、本実施形態では、空きチャンネルを有効に活用して多彩な音演出を実現し遊技者の興趣を高めることを目的とし、周辺制御基板1510の周辺制御MPU1511aが、一対の上部スピーカ573(音出力手段)及び一対の下部スピーカ921(音出力手段)から出力されるべき各音に対して動的に各チャンネルを割り当てて管理する一方、当該出力予定である音の組み合わせの数が各チャンネルの最大チャンネル数(本実施形態では16チャンネルを例示する)を超える場合、所定の優先順位に従って最大チャンネル数の範囲内において上記出力予定である音の組み合わせに対して動的に各チャンネルを割り当てるようにしている(チャンネル制御手段)。さらに周辺制御MPU1511aは、上記所定の優先順位に従って最大チャンネル数の範囲内において動的に割り当てられた各チャンネルを介して上記出力予定である音の組み合わせを同時に再生している(音出力制御手段)。以下、具体的に説明する。
[12-1.固定チャンネル方式による音制御]
図119(A)及び図119(B)は、それぞれ、本実施形態に対する比較対象としての固定チャンネル方式による音制御の一例を示している。図119(A)は、音の再生チャンネルの一例を示している。この固定チャンネル方式による音制御では、後述する本実施形態による自動チャンネル方式による音制御と同様に、例えば、再生チャンネル00~再生チャンネル15の全16チャンネルを用いる。なお、図示の「再生ch」は、再生チャンネルを省略したものである。
一方、図119(B)は、各音に対する再生チャンネルの割り当ての一例を示している。この固定チャンネル方式による音制御では、図示のように、使用する各再生チャンネルに各音が予め割り当てられている。ここで、基本的な音再生ルールについて触れると、1つの音は、ステレオで出力する場合には2チャンネルが必要になる一方、モノラルで出力する場合には1チャンネルが必要となる。
図示の「報知音1」~「ボタン押下音」は、再生を開始した音は再生終了までいかなることがあっても途中で消音してはならないものとする。チャンネル割り当て方法としては、再生チャンネルと音と一対で専用に割り当て、音の上書きが起こらないようにする。一方、図示の「通常BGM」~「保留入賞音」は、再生を開始した音は再生中に別な音で上書きされて消音しても問題ない。チャンネル割り当て方法としては、できるだけ、再生タイミングが被らないように同一チャンネルに割り当てるようにしている。
固定チャンネル方式による音制御では、出力中の同じチャンネルに新しい音を出力すると、出力中の音は消音され新しい音が出力される。上書きされると支障がある音に関しては、独立したチャンネルを割り当てるか、または、再生タイミングが重ならない音を同じチャンネルに割り当てるようにしている。
図120は、固定チャンネル方式による音制御を実現するための音定義テーブルの一例を示している。この音定義テーブルにおいては、音の区分及び音名称ごとに、再生チャンネル番号、左右パン初期値、上下パン初期値、ボリューム初期値、音番号、再生タイプ設定及び出力タイプ設定の定義を管理している。再生チャンネル番号については上述しているため、説明を省略する。
左右パン初期値は、上部左スピーカ573L及び下部左スピーカ921Lと上部右スピーカ573R及び下部右スピーカ921Rとの組み合わせでなる左右のスピーカによる音の音像定位初期位置を表している。音の再生中に左右パンの設定値を動的に変化させることにより左及び右スピーカから個別に出力される音量に差が生まれ、左右スピーカ間の任意の空間に音像を定位させることが出来る。例えば「0x00」と設定されると、左スピーカ(上部左スピーカ573L及び下部左スピーカ921L)のみから出力されることを示し、例えば「0x80」と設定されると、上部左スピーカ573L及び下部左スピーカ921Lと上部右スピーカ573R及び下部右スピーカ921Rとの組み合わせでなる左及び右スピーカから個別に出力される音量差は0となり左右スピーカの中央に音像が定位することとなる。例えば「0xFF]と設定されると右スピーカ(上部右スピーカ573R及び下部右スピーカ921R)のみから出力されることを示している。
上下パン初期値は、例えば一対の上部スピーカ573(上部左スピーカ573L及び上部右スピーカ573R)及び一対の下部スピーカ921(下部左スピーカ921L及び下部右スピーカ921R)などの上下のスピーカによる音の音像定位初期位置を表している。音の再生中に上下パンの設定値を動的に変化させることによりそれら上及び下スピーカから個別に出力される音量に差が生まれ、上下スピーカ間の任意の空間に音像を定位させることが出来る。例えば「0x00」と設定されると一対の上部スピーカ573のみから出力されることを示し、例えば「0x80」と設定されると、これらの組み合わせでなる上及び下スピーカから個別に出力される音量差は0となり上下スピーカの中央に音像が定位することとなる。例えば「0xFF]と設定されると一対の下部スピーカ921のみから出力されることを示している。
ボリューム初期値は、再生開始時の音量設定を表しており、例えば「0x00」から「0xFF」の設定範囲で定めることができる。音番号は、上述した各音を区別するための識別子である。再生タイプ設定は、対象とする音を繰り返し再生するループ再生(図示の「LOOP」に相当)であるか、或いは、対象とする音を1回再生する1SHOT再生(図示の「1SHOT」に相当)であるかを表している。出力タイプ設定は、対象とする音をモノラルで再生するか、或いは、ステレオで再生するかを表している。
図121は、遊技状態、再生音及び再生チャンネルとの関係を示している。横軸である時間軸は遊技状態を示し、遊技状態としては順に、例えば「変動前半」、「変動後半」、「左図柄停止」、「右図柄停止」、「中図柄停止」及び「大当り中」を挙げることができる。一方、縦軸は(再生)優先順位を表し、下から上に向けて(再生)優先順位が高くなることを表している。
図122(A)は、演出タイムチャートの一例を示し、図122(B)は、チャンネル再生タイムチャートの一例を示し、図122(C)は、各音を再生しようとした際に再生できないという問題点の一例を示している。これら図122(A)~図122(C)は、互いに横軸が共通の時間軸となっている。
図122(A)では、横軸である時間軸に沿って遊技状態として順に「変動前半」、「変動後半」、「左図柄停止」、「右図柄停止」、「中図柄停止」及び「大当り中」となるように遊技が制御されることを挙げることができる。
図122(A)に示す「変動前半」において、例えば、図122(C)の問題点1に示すように新たな音として「前半予告A」の再生時間中に始動口入賞(図示の「保留入賞」に相当)があると、図119(B)で示されるように、「保留入賞音」が「前半予告A」と同じ再生チャンネル14、15に予め割り当てられているため、「前半予告A」の再生音が、保留入賞音で上書きされて「前半予告A」音の出力が停止してしまうことなる(固定チャンネルによる音制御の場合)。
図122(A)に示す「変動後半」において、例えば、図122(C)の問題点2に示すように新たな音として「全画面予告」の再生時間中に始動口入賞(図示の「保留入賞」に相当)があると、図119(B)で示されるように、「保留入賞音」が「全画面予告」と同じ再生チャンネル14,15に予め割り当てられているため、「全画面予告」の再生音が、保留入賞音で上書きされて「全画面予告」音の出力が停止してしまうことになる(固定チャンネルによる音制御の場合)。
[12-2.自動チャンネル方式による音制御]
次に本実施形態による自動チャンネル方式による音制御の一例について説明する。図123(A)及び図123(B)は、それぞれ、本実施形態としての自動チャンネル方式による音制御の一例を示している。
図123(A)は、音の再生チャンネルの一例を示しており、上述した固定チャンネルによる音制御とは、再生チャンネルの属性としてのチャンネル区分が自動チャンネル(図示の「AUTOch」に相当)となっている点が異なっている。ここでチャンネル区分が自動チャンネルであるとは、各音に対する各再生チャンネルが固定されておらず可変であり、後述する規則に沿って自動的に割り当てられるように制御することを示している(上述した「自動チャンネル方式による音制御」に相当)。
本実施形態による自動チャンネル方式による音制御では、既述の固定チャンネル方式による音制御と同様に、例えば、再生チャンネル00~再生チャンネル15の全16チャンネルを用いる。なお、図示の「再生ch」は、再生チャンネルを省略したものである。
一方、図123(B)は、各音に対する再生チャンネルの割り当ての一例を示している。この自動チャンネル方式による音制御では、図示のように、各音に個別に優先順位が割り当てられている。ここで、基本的な音再生ルールについて触れると、上述したように、1つの音は、ステレオで出力する場合には2チャンネルが必要になる一方、モノラルで出力する場合には1チャンネルが必要となる。
図示の「報知音1」~「ボタン押下音」は、再生を開始した音は再生終了までいかなることがあっても途中で消音してはならない。一方、図示の「通常BGM」~「保留入賞音」は、再生を開始した音は再生中に別な音で上書きされて消音しても問題ない。
自動チャンネル方式による音制御では、個々の再生チャンネルを、AUTOグループチャンネル(以下「AUTOグループ」と省略する)として定義している。AUTOグループは複数定義できる一方、複数の再生チャンネルをAUTOグループ内に定義することができる。各AUTOグループは、AUTOグループ用の音を再生するために用いられる。AUTOグループに音を割り当てる場合、各AUTOグループにおいて特定のAUTOグループを指定するための識別子と優先順位(プライオリティ)を指定することができる。新規な音を再生する際にAUTOグループに定義されている音であれば、指定されたAUTOグループ内に空きチャンネル(未使用チャンネル)が存在すれば、即時再生される。
上記の場合において空きチャンネルが存在しない場合は、演出制御プログラムが、新規に再生しようとする音の優先順位に基づいて、AUTOグループ内おいて現在再生中の全てのチャンネルを検索する。演出制御プログラムは、再生中の音自身より優先順位が低いか又は同一であるチャンネルが存在すればそのAUTOチャンネルの使用を終了し、新規の音の再生を行う。一方、演出制御プログラムは、AUTOグループ内に、再生中の音自身よりも優先順位が低いか或いは同一でない空きチャンネルが存在しない場合には、当該新規な音の再生を行わない。
図124は、自動チャンネル方式による音制御を実現するための音定義テーブルの一例を示している。この自動チャンネル方式における音定義テーブルにおいては、音の区分及び音名称ごとに、既に説明済みの固定チャンネルによる音制御のような再生チャンネル番号、左右パン初期値、上下パン初期値、ボリューム初期値、音番号、再生タイプ設定及び出力タイプ設定の代わりに、AUTOグループを指定するための識別子と優先順位(「再生優先順位」ともいう)、左右パン初期値、上下パン初期値、ボリューム初期値、音番号、シークポイント、再生タイプ設定及び出力タイプ設定の定義を管理している。
まず、各特定のAUTOグループを指定するための識別子は、各音が複数存在するAUTOグループのうちどのAUTOグループで再生されるかを表す。また優先順位は、各音が同時に再生される際に、どちらの音が優先して再生されるべきであるかを示す指標である。この優先順位は、数値が大きいほど優先して再生されるべき音である一方、数値が小さいほど優先されずに再生されるべき音であることを表している。本実施形態では、優先して再生されるべき音の種類の順序として、例えば、優先順位が「25」である報知音(「報知音1」、「報知音2」及び「報知音3」)、優先順位が「20」である効果音(「大当り確定音」及び「ボタン押下音」)、優先順位が「15」であるBGM(「通常BGM」など)、優先順位が「10」である効果音(「全画面予告効果音」など)、優先順位が「05」である効果音(「前半予告効果音」~「後半予告効果音」)、優先順位が「01」である保留入賞音としている。これにより、空きチャンネルが存在しない状態において、例えば、報知音を再生しようとした場合、予め定められた再生チャンネルを用いて再生する必要がなく、優先順位がより低い方の音(例えば保留入賞音)を再生中のチャンネルを用いて、報知音が優先して再生されることになる。
既に説明したように左右パン初期値は、上部左スピーカ573L及び下部左スピーカ921Lと上部右スピーカ573R及び下部右スピーカ921Rとの組み合わせでなる左右のスピーカによる音の音像定位初期位置を表している。音の再生中に左右パンの設定値を動的に変化させることにより左及び右スピーカから個別に出力される音量に差が生まれ、左右スピーカ間の任意の空間に音像を定位させることが出来る。この左右パン初期値は、パン情報として管理されている。例えば「0x00」と設定されると左スピーカ(上部左スピーカ573L及び下部左スピーカ921L)のみから出力されることを示し、例えば「0x80」と設定されると、上部左スピーカ573L及び下部左スピーカ921Lと上部右スピーカ573R及び下部右スピーカ921Rとの組み合わせでなる左及び右スピーカから個別に出力される音量差は0となり左右スピーカの中央に音像が定位することとなる。例えば「0xFF]と設定されると右スピーカ(上部右スピーカ573R及び下部右スピーカ921R)のみから出力されることを示している。
また既に説明済みのように上下パン初期値は、例えば一対の上部スピーカ573(上部左スピーカ573L及び上部右スピーカ573R)及び一対の下部スピーカ921(下部左スピーカ921L及び下部右スピーカ921R)などの上下のスピーカによる音の音像定位初期位置を表している。音の再生中に左右パンの設定値を動的に変化させることによりそれら上及び下スピーカから個別に出力される音量に差が生まれ、上下スピーカ間の任意の空間に音像を定位させることが出来る。この上下パン初期値は、パン情報として管理されている。例えば「0x00」と設定されると一対の上部スピーカ573のみから出力されることを示し、例えば「0x80」と設定されると、これらの組み合わせでなる上及び下スピーカから個別に出力される音量差は0となり上下スピーカの中央に音像が定位することとなる。例えば「0xFF]と設定されると一対の下部スピーカ921のみから出力されることを示している。
同様にボリューム初期値は、再生開始時の音量設定を表しており、例えば「0x00」から「0xFF」の設定範囲で定めることができ、加えて3バイト目に「1」(0xFFであれば0x1FF)を設定することで、遊技機に備えられている一つまたは複数の音量調整装置を操作したことによる、音量変更の影響は受けず、必ず初期値で設定された音量で再生されることを表している。音番号は、上述した各音を区別するための識別子である。
シークポイントは、各音に対応する音データにおいて同一フレーズ内の再生開始位置番号を表している。本実施形態では、このシークポイントとして、例えば「右上スピーカ確認音」~「前半予告A効果音」にそれぞれ「0」が設定されている一方、「後半予告A効果音」及び「後半予告B効果音」にそれぞれ[1」が設定されている。このようなシークポイントにより音源内に登録できる、音の最大数を超えた場合に登録できる最大数を超えて音の登録を行うことができる。
再生タイプ設定は、対象とする音を繰り返し再生するループ再生(図示の「LOOP」に相当)であるか、或いは、対象とする音を1回再生する1SHOT再生(図示の「1SHOT」に相当)であるかを表している。出力タイプ設定は、対象とする音をモノラルで再生するか、或いは、ステレオで再生するかを表している。
図125は、遊技状態、再生音及び優先順位との関係を示している。横軸である時間軸は遊技状態を示し、遊技状態としては順に、例えば「変動前半」、「変動後半」、「左図柄停止」、「右図柄停止」、「中図柄停止」及び「大当り中」を挙げることができる。一方、縦軸は(再生)優先順位を表し、下から上に向けて(再生)優先順位が高くなることを表している。
図126(A)は、演出タイムチャートの一例を示し、図126(B)は、AUTOチャンネル再生タイムチャートの一例を示している。これら図126(A)及び図126(B)は、それぞれ横軸が共通の時間軸となっている。図126(A)では、横軸である時間軸に沿って遊技状態として順に、「変動前半」、「変動後半」、「左図柄停止」、「右図柄停止」、「中図柄停止」及び「大当り中」となるように遊技が制御されることを挙げることができる。
図126(A)に示す「変動前半」においては、図126(B)に示すように、その一部として、例えば再生チャンネル00~01において「通常BGM再生」の音が終始再生されている(範囲Aに相当)。ここで、始動口入賞(図示の「保留入賞」に相当)があったために新たな音として保留入賞音を再生しようとすると、その開始タイミングにおいて再生チャンネル12~13が空きチャンネルとして存在しており、この保留入賞音を再生チャンネル12~13を用いて再生することができるため、再生中の音がいずれも保留入賞音(図示の「保留音再生」に相当)によって上書きされることなく、その他全ての種類の音の出力が継続する。
図126(A)に示す「変動後半」においては、図126(B)に示すように、その一部として、例えば再生チャンネル00~01において「リーチBGM再生」の音が終始再生されている(範囲Bに相当)。ここで、例えば始動入賞(図示の「保留入賞」に相当)があったために新たな音として保留入賞音を再生しようとすると、その開始タイミングにおいて再生チャンネル02~03が空きチャンネルとして存在しており、再生中の音がいずれも保留入賞音(図示の「保留音再生」に相当)によって上書きされることなく、その他全ての種類の音の出力が継続する。
図126(A)に示す「変動後半」においては、その後さらに、例えば報知(図示の「報知2発生」に相当)が発生したために新たな音として優先順位が「25」と最も高い報知音(図示の「報知2」に相当)を再生しようとすると、空きチャンネルの検索の結果、図126(B)に示すように、その開始タイミングにおいて空きチャンネルが存在しないことが判明する。そこで、当該開始タイミングにおいて再生中の音のうち最も優先順位の低い音を検索し、優先順位が「01」と最も低い保留入賞音を再生しているチャンネルとして再生チャンネル04~05を見つけ出す。これらの再生チャンネル04~05においては、上述のように保留入賞音が再生されているが、次に再生しようとする報知音(図示の「報知音2」に相当)の優先順位(25)がその保留入賞音の優先順位(01)よりも高いため、これら再生チャンネル04~05において再生中の保留入賞音が当該報知音で上書きされる。
図127は、周辺制御RAMに設けられたAUTOグループチャンネル制御用ワーク領域に格納されている自動チャンネル制御用ワーク情報の一例を示す。この自動チャンネル制御用ワーク情報は、ワーク名称として、各チャンネルごとに、設定予約フラグ、要求音番号、再生中音番号、自動割り付けグループ、自動割り付け時の優先度、登録からの経過時間、音量制御用ワーク及びパン制御用ワークを含み、これらに対応する各情報を有する。
設定予約フラグは、「0」以外の値であれば設定予約がなされていることを示している。要求音番号は、「-1」が停止、「-1」以外であれば、再生すべき音を識別するための識別子としての音データインデックス番号を表している。再生中音番号は、「-1」が停止、「-1」以外であれば、再生中の音を識別するための識別子としての音データインデックス番号を表している。
自動割り付けグループは、「0」であるとチャンネルが固定的に割り付けられる一方、「1~」であるとチャンネルが自動的に割り付けられるようになっている(後述する「自動チャンネル方式による音制御」に相当)。ここで、自動割り付けグループは、例えば「1」であればAUTOグループ1であることを示し、「2」であればAUTOグループ2を示している。一方、自動割り付け時の優先度は、後述の自動チャンネル方式による音制御を行う場合における優先度を表している。
登録からの経過時間は、所望の再生音の登録時を「0」として、その登録時からの経過時間を表している。なお、当該登録からの経過時間は、上記自動割り付け時の優先度が同一である音が複数再生中である状況において新たな音を再生しようとした場合に、当該複数の再生中の音のうちどの音を上書きして消去すべきであるかを判定するのに使用される。例えば、より長時間に亘って再生していた音を割り出して、この音を当該新たな音で上書きして消去するようにしている。
音量制御用ワークは、再生する音の音量値(ボリューム値)が格納されている。パン制御用ワークは、上述した左右パン及び上下パンの設定値を含むパン情報を格納している。
図128は、演出音を除いた各種の報知音(払出報知音や異常報知音)を固定チャンネル方式による音制御として、用意されている有限数のチャンネルのうちの特定チャンネル(以下、チャンネルXと言う)でのみ出力させる処理を実現する場合における音定義テーブルの一例を示している。この音定義テーブルにおいては、音の名称ごとに、再生にかかる優先順位、左右パン初期値、上下パン初期値、ボリューム初期値、音番号、シークポイント、再生タイプ設定及び出力タイプ設定の定義を管理している。なおここでは、説明の便宜上、報知音1~7に関しての定義のみを示しており、その他の報知音や演出音などの定義については説明を省略している。なお、演出音については、図120で例示した固定チャンネル方式による定義のほか、報知音の割り当て対象とされるチャンネルXを除く他の各チャンネルに対して図124で例示した自動チャンネル方式による定義を用いるようにすることも可能である。
優先順位は、複数の報知音が出力条件をそれぞれ満たした状況にあるとき、それら報知音のいずれをチャンネルXに割り当てて出力させるかについての判断に供されるパラメータであり、優先順位の数値が高い報知音は、優先順位の数値が低い報知音のチャンネルXに対する割り当て状態に関係なく、チャンネルXに対して割り当てられて出力されることとなる。なお後述するが、優先順位が同じ場合は、チャンネルXに対して先に割り当てられている報知音が優先されることとなり、該報知音の出力が終了した後にチャンネルXに対して割り当てられて出力されることとなる。
左右パン初期値は、上部左スピーカ573L及び下部左スピーカ921Lと上部右スピーカ573R及び下部右スピーカ921Rとの組み合わせでなる左右のスピーカによる音の音像定位初期位置を表している。音の再生中に左右パンの設定値を動的に変化させることにより左及び右スピーカから個別に出力される音量に差が生まれ、左右スピーカ間の任意の空間に音像を定位させることが出来る。例えば「0x00」と設定されると、左スピーカ(上部左スピーカ573L及び下部左スピーカ921L)のみから出力されることを示し、例えば「0x80」と設定されると、上部左スピーカ573L及び下部左スピーカ921Lと上部右スピーカ573R及び下部右スピーカ921Rとの組み合わせでなる左及び右スピーカから個別に出力される音量差は0となり左右スピーカの中央に音像が定位することとなる。例えば「0xFF]と設定されると右スピーカ(上部右スピーカ573R及び下部右スピーカ921R)のみから出力されることを示している。
上下パン初期値は、例えば一対の上部スピーカ573(上部左スピーカ573L及び上部右スピーカ573R)及び一対の下部スピーカ921(下部左スピーカ921L及び下部右スピーカ921R)などの上下のスピーカによる音の音像定位初期位置を表している。音の再生中に上下パンの設定値を動的に変化させることによりそれら上及び下スピーカから個別に出力される音量に差が生まれ、上下スピーカ間の任意の空間に音像を定位させることが出来る。例えば「0x00」と設定されると一対の上部スピーカ573のみから出力されることを示し、例えば「0x80」と設定されると、これらの組み合わせでなる上及び下スピーカから個別に出力される音量差は0となり上下スピーカの中央に音像が定位することとなる。例えば「0xFF]と設定されると一対の下部スピーカ921のみから出力されることを示している。
ボリューム初期値は、再生開始時の音量設定を表しており、例えば「0x00」から「0xFF」の設定範囲で定めることができる。音番号は、上述した各音を区別するための識別子である。再生タイプ設定は、対象とする音を繰り返し再生するループ再生(図示の「LOOP」に相当)であるか、或いは、対象とする音を1回再生する1SHOT再生(図示の「1SHOT」に相当)であるかを表している。出力タイプ設定は、対象とする音をモノラルで再生するか、或いは、ステレオで再生するかを表している。
図129は、図128で例示した各報知音について、それら報知音の種類別に、報知内容や、報知態様、報知時間のほか、報知が終了される条件(解除条件)を示す表である。なお、この実施の形態にかかるパチンコ機1では、いずれの報知音に関しても有限の報知時間を定めることとしているが、これは単一のチャンネルXを有効活用するべくこれを可能な限り空きチャンネルの状態にて維持しておき、その後の報知音出力に控えるための処置である。
同図129に示されるように、報知音1(磁気異常)は、磁気検出センサ4024によって磁気の検出が行われた状態(磁石を用いた不正行為が行われている可能性が高い状態)にあることを報知するものである。そして、その報知態様としては、「ブーブー 磁気を検知しました」といった報知音を繰り返し出力させるループ処理と、遊技盤側演出表示装置1600の表示領域内における表示(例えば、「磁気を検知しました」)と、扉枠3及び遊技盤5に配設されている各種のランプ(発光装置)による点灯とがそれぞれ実行されるようになっている。また、報知時間としては、「ブーブー 磁気を検知しました」といった報知音を繰り返し出力させるループ処理については磁気検出センサ4024による検出があったときから60秒(6回分の報知音繰り返しに相当)で終了されるのに対し、遊技盤側演出表示装置1600の表示領域内における表示、及び各種ランプによる点灯については、解除条件である「電源再投入」が満たされるまでその実行が継続されるようになっている。
この点、この実施例にかかるパチンコ機1では、報知音1(磁気異常)のほか、振動センサ2405によって振動の検出が行われた状態(ドツキ行為による不正行為が行われている可能性が高い状態)にあることを報知する報知音2(振動異常)、及び大当り遊技状態(大入賞口が開放された状態)にないにもかかわらずカウントセンサ4005(第一大入賞口センサまたは第二大入賞口センサ)による検出が行われた状態(閉鎖状態にある大入賞口を強制開放させて遊技球を入賞させる不正行為が行われている可能性が高い状態)にあることを報知する報知音3(大入賞異常)を、何らかの不正行為が行われた可能性が高い状態にあるときの第1報知グループに属するものとして捉えており、該第1報知グループに属する報知音については、それらの報知態様や報知時間、解除条件をいずれも共通したものに設定することとしている。
例えば、報知音2(振動異常)では、その報知態様として、「ブーブー 振動を検知しました」といった報知音を繰り返し出力させるループ処理と、遊技盤側演出表示装置1600の表示領域内における表示(例えば、「振動を検知しました」)と、扉枠3及び遊技盤5に配設されている各種のランプ(発光装置)による点灯とがそれぞれ実行されるとともに、報知時間として、振動センサ2405による検出があったときから60秒(6回分の報知音繰り返しに相当)で報知音を繰り返し出力させるループ処理を終了させるのに対し、遊技盤側演出表示装置1600の表示領域内における表示、及び各種ランプによる点灯については、解除条件である「電源再投入」が満たされるまでその実行が継続されることとなる。また、報知音3(大入賞異常)では、その報知態様として、「ブーブー 大入賞異常を検知しました」といった報知音を繰り返し出力させるループ処理と、遊技盤側演出表示装置1600の表示領域内における表示(例えば、「大入賞異常を検知しました」)と、扉枠3及び遊技盤5に配設されている各種のランプ(発光装置)による点灯とがそれぞれ実行されるとともに、報知時間として、カウントセンサ4005による検出があったときから60秒(6回分の報知音繰り返しに相当)で報知音を繰り返し出力させるループ処理を終了させるのに対し、遊技盤側演出表示装置1600の表示領域内における表示、及び各種ランプによる点灯については、解除条件である「電源再投入」が満たされるまでその実行が継続されることとなる。
なお、この実施例にかかるパチンコ機1では、遊技盤側演出表示装置1600の表示領域内における表示については、第1報知グループに属する報知音1~3でそれぞれ異なる表示態様を採用するが、扉枠3及び遊技盤5に配設されている各種のランプ(発光装置)による点灯については、第1報知グループに属する報知音1~3でそれぞれ同じ点灯態様(各種のランプの全てを必ずしも点灯させる態様でなくてもよい)を採用するようにしている。また、ループ処理の対象とされる報知音については、第1報知グループに属するもの(不正行為が行われた可能性が高い状態)であることを報知する役割を担う「ブーブー」といった報知音1~3のいずれでも用いられる警報音と、報知の内容がいずれであるかについての個体識別を報知する役割を担うメッセージ音(ユニーク音)との順次出力による組み合わせを採用するようにしている。警報音は、緊迫した不正状況下での警告的な意味合いをもたせるために単調な音からなるものであり、メッセージ音は、他の報知音との区別を明確にするために多様な音から構成されるようにすることが望ましい。
すなわち、第1報知グループに属するもの(不正行為が行われた可能性が高い状態)を報知する場合は、それがいずれの報知種別であるかを特定することよりも、不正行為に対するホール側対応の初動を迅速化させることが重要である。この点、上記構成によれば、「ブーブー」の報知音や、各種のランプ(発光装置)による第1報知グループ独自の点灯態様が出力されるだけで第1報知グループに属するもの(不正行為が行われた可能性が高い状態)であることが認識可能とされることから、不正行為に対するホール側対応の初動を迅速化させることが期待されるようになる。またさらに、「ブーブー」の報知音に続くようにいずれの報知種別であるかを報知するメッセージ音を出力したり、遊技盤側演出表示装置1600の表示領域内における表示を行うようにしていることから、ホール側対応の初動後の処置もスムーズに行うことが期待されるようになる。
一方、報知音4(扉開放)は、扉枠開放スイッチ618によって本体枠4に対して扉枠3が開放していることが検出された状態(扉開放による不正行為が行われている可能性はあるものの、ホール側による異常対応処置によって扉開放されている可能性もある状態)にあることを報知するものである。そして、その報知態様としては、「扉が開いています ピンポンピンポン」といった報知音を繰り返し出力させるループ処理と、遊技盤側演出表示装置1600の表示領域内における表示(例えば、「扉が開いています」)と、扉枠3及び遊技盤5に配設されている各種のランプ(発光装置)による点灯とがそれぞれ実行されるようになっている。また、報知時間としては、「扉が開いています ピンポンピンポン」といった報知音を繰り返し出力させるループ処理については扉枠開放スイッチ618による検出があったときから30秒(3回分の報知音繰り返しに相当)で終了されるのに対し、遊技盤側演出表示装置1600の表示領域内における表示、及び各種ランプによる点灯については、解除条件である「扉閉鎖検知(扉枠開放スイッチ618によって本体枠4に対して扉枠3が閉鎖したことの検出)」が満たされるまでその実行が継続されるようになっている。
この点、この実施例にかかるパチンコ機1では、報知音4(扉開放)のほか、本体枠開放スイッチ619によって外枠2に対して本体枠4が開放していることが検出された状態(本体枠開放による不正行為が行われている可能性はあるものの、ホール側による異常対応処置によって本体枠開放されている可能性もある状態)にあることを報知する報知音5(枠開放)を、何らかの不正行為が行われた可能性が中程度ありこれを否定できない状態にあるときの第2報知グループに属するものとして捉えており、該第2報知グループに属する報知音については、それらの報知態様や報知時間、解除条件をいずれも共通したものに設定することとしている。
例えば、報知音5(枠開放)では、その報知態様として、「枠が開いています ピンポンピンポン」といった報知音を繰り返し出力させるループ処理と、遊技盤側演出表示装置1600の表示領域内における表示(例えば、「枠が開いています」)と、扉枠3及び遊技盤5に配設されている各種のランプ(発光装置)による点灯とがそれぞれ実行されるとともに、報知時間として、本体枠開放スイッチ619による検出があったときから30秒(3回分の報知音繰り返しに相当)で報知音を繰り返し出力させるループ処理を終了させるのに対し、遊技盤側演出表示装置1600の表示領域内における表示、及び各種ランプによる点灯については、解除条件である「枠閉鎖検知(本体枠開放スイッチ619によって外枠2に対して本体枠4が閉鎖したことの検出)」が満たされるまでその実行が継続されることとなる。
なお、この実施例にかかるパチンコ機1では、遊技盤側演出表示装置1600の表示領域内における表示については、第2報知グループに属する報知音4,5でそれぞれ異なる表示態様を採用するが、扉枠3及び遊技盤5に配設されている各種のランプ(発光装置)による点灯については、第2報知グループに属する報知音4,5でそれぞれ同じ点灯態様(各種のランプの全てを必ずしも点灯させる態様でなくてもよい)を採用するようにしている。ただし、第2報知グループに属する場合におけるランプ(発光装置)による点灯態様は、第1報知グループに属する場合におけるランプ(発光装置)による点灯態様とは異なっている。また、ループ処理の対象とされる報知音については、報知の内容がいずれであるかについての個体識別を報知する役割を担うメッセージ音(ユニーク音)と、第2報知グループに属するもの(不正行為が行われた可能性が中程度ある状態)であることを報知する役割を担う「ピンポンピンポン」といった報知音4,5のいずれでも用いられる警報音との順次出力による組み合わせを採用するようにしている。
すなわち、第2報知グループに属するもの(不正行為が行われた可能性が中程度ある状態)を報知する場合は、適正な遊技を行っている者に対して嫌悪感を覚えさせないようにしつつもホール側の異常対応処置もある程度迅速に行いうるようにすることが重要である。この点、上記構成によれば、報知音として、まず、後述の第3報知グループに属するものである場合と同様、いずれの報知種別であるかを報知するメッセージ音を出力するようにしていることから、適正な遊技を行っている者が嫌悪感を覚え難くなることが期待されるようになる。その一方で、適正な遊技を行っている者に対して嫌悪感を覚えさせ難くするべく第1報知グループに属する場合とは異なる警報音ではあるものの「ピンポンピンポン」といった警報音をメッセージ音に続くように出力したり、適正な遊技を行っている者に対して嫌悪感を覚えさせ難くするべく第1報知グループに属する場合とは異なる点灯態様ではあるものの第3報知グループに属する場合には出力されない各種ランプの点灯による報知を行うことで、ホール側の異常対応処置をある程度迅速化させることが期待されるようになる。
また一方、報知音6(左打ち案内)は、非時短の状態にあるにもかかわらず遊技領域5aのうちセンター役物2500に対して右側となる領域内に設けられるゲート部2003を遊技球が通過したことがゲートセンサ4003によって検出された状態(遊技者にとって不利益となる態様で遊技が行われており、それを適正な態様(左打ち)での遊技へと是正させるべき状態)にあることを報知するものである。そして、その報知態様としては、「左打ちに戻してください」といった報知音を繰り返し出力させるループ処理と、遊技盤側演出表示装置1600の表示領域内における表示(例えば、「左打ちに戻してください」)とがそれぞれ実行されるようになっている。また、報知時間としては、「左打ちに戻してください」といった報知音を繰り返し出力させるループ処理と、遊技盤側演出表示装置1600の表示領域内における表示とのいずれもが、非時短の状態においてゲートセンサ4003による検出があったときから20秒(2回分の報知音繰り返しに相当)で終了されるようになっている。
この点、この実施例にかかるパチンコ機1では、報知音6(左打ち案内)のほか、満タン検知センサ279によって下皿322が遊技球で満タンであることが検出された状態(下皿322内にある遊技球の玉抜きを行うべき状態)にあることを報知する報知音7(玉抜き案内)を、不正行為の可能性は低いものの遊技を適正に進行させるための遊技案内を行うべき状態にあるときの第3報知グループに属するものとして捉えており、該第3報知グループに属する報知音については、それらの報知態様や報知時間、解除条件をいずれも共通したものに設定することとしている。
例えば、報知音7(玉抜き案内)では、その報知態様として、「下皿の球を抜いてください」といった報知音を繰り返し出力させるループ処理と、遊技盤側演出表示装置1600の表示領域内における表示(例えば、「下皿の球を抜いてください」)とがそれぞれ実行されるとともに、報知時間として、「下皿の球を抜いてください」といった報知音を繰り返し出力させるループ処理と、遊技盤側演出表示装置1600の表示領域内における表示とのいずれもが、満タン検知センサ279による検出があったときから20秒(2回分の報知音繰り返しに相当)で終了されるようになっている。
ただし、報知音6(左打ち案内)や報知音7(玉抜き案内)については、ゲートセンサ4003や満タン検知センサ279による検出があったときから20秒で終了された時点でそれらセンサ2401,279が未だ検出状態にあるときには、再び最初から報知処理(報知音6(左打ち案内)や報知音7(玉抜き案内))を実行することとなる。
なお、この実施例にかかる第3報知グループでは、報知音6,7としてメッセージ音のみが出力されるが、より厳密には、例えば5秒間のメッセージ音が出力し終わった後には5秒間の無音データがチャンネルXに割り当てられてそれに応じた音が出力(無音出力)されるようになっており、それらメッセージ音と無音データとをセットにした10秒間の報知音を繰り返すループ処理が行われるようになっている。そして、報知音6,7では、いずれも同じ時間分だけ無音データを出力するようになっていることから、第1報知グループや第2報知グループとは異なる独自の報知態様として機能することとなり、ホール側としても、喧騒なホール内で聞き取りにくいメッセージ音の部分ではなく無音データの部分を確認するだけでも第3報知グループに属する報知であることを適正に認識することができるようになる。無音データに関しては、メッセージ音を含めた一の音データ(10秒間の音データ)として予め用意し、これをチャンネルXに割り当てたままでループ処理を行うようにすることが望ましい。
ちなみに、第1報知グループや第2報知グループで用いられる報知音内(警報音とメッセージ音との間など)にも無音部分は存在しうるが、これらは「間」を持たせるためのごく短時間のものであり、グループ識別機能を有する上述の比較的長い時間を持った無音部分(第3報知グループ)とは根本的に異なるものであることは明らかである。
このような構成によれば、「ブーブー」や「ピンポンピンポン」などの警報音が出力されず、メッセージ音のみが所定の無音時間を挟んで繰り返し出力されるようになることから、遊技者に対して嫌悪感を覚えさせることなく、遊技案内に関する報知を行うことができるようになる。
図128や図129に示した例では、同じ報知グループ内に属する報知音に関しては、優先順位を同じに設定することとしたが、同じ報知グループ内に属する報知音の間で優先順位を異ならせるようにしてもよい。また、再生タイプ設定として、対象とする音を繰り返し再生するループ再生を採用することとしたが、必ずしもこれに限られず、対象とする音を1回再生する1SHOT再生を採用するようにしてもよい。また、第1報知グループに属する報知音で共通して用いられる「ブーブー」や、第2報知グループに属する報知音で共通して用いられる「ピンポンピンポン」については、メッセージ音と繋がりをもった一の音データとして各報知音の別にそれぞれ用意するようにしてもよいし、メッセージ音とは別の音データとして用意しておき、出力に際してメッセージ音と警報音とを結合させた音データを作成してからチャンネルに割り当てるようにしてもよい。
図130(a)は、第1報知グループに属する一の報知音が再生されているときに、第1報知グループに属する別の報知音の出力条件(異常検出)が満たされたときの処理についてその一例を示すものである。
同図130(a)に示されるように、いま、何らの報知音も出力されていないタイミングtα1において、ステップS112(図94)の処理内で磁気検出センサ4024による磁気検出があったとすると、主制御MPU1310aでは、まず、磁気検出があったことが示されるように報知フラグの状態を更新する。次いで、磁気検出があった旨の情報を周辺制御基板1510に対するコマンドとしてセットする。これにより、ステップS118(図94)の処理では、上記更新された報知フラグの状態に基づいて磁気検出があった旨の情報が外部出力されてホールコンピュータ内で管理されるようになるとともに、ステップS120(図94)の処理では、周辺制御基板1510に対してコマンドが送信されてその情報(磁気検出)が上記周辺制御MPU1511a内の報知に関する処理に供されるようになる。
これに対し、周辺制御MPU1511aでは、何らの報知音も出力されていない上記タイミングtα1(若しくは、その直後)においてステップS1022(図95)の受信コマンド解析処理でコマンドを解析した結果、磁気検出の情報が含まれていることを把握すると、ステップS1024(図95)の警告処理にて、図129で示した報知音1(磁気異常)をチャンネルXに対して割り当てて(セットして)その報知態様(ここでは、「ブーブー 磁気を検知しました」のループ)での報知音再生を開始させるとともに、報知音1(磁気異常)の報知時間を計時するためのタイマ(60秒)をセットする。
なお、報知音1(磁気異常)をチャンネルXに対して割り当てるに際しては、磁気検出に応じた音生成用スケジュールデータを、周辺制御ROM1511b又は周辺制御RAM1511cの各種制御データコピーエリアから抽出して周辺制御RAM1511cのスケジュールデータ記憶領域1511caeにセットすることとなる。そしてこの上で、報知音1(磁気異常)をチャンネルXに対して割り当てることで、「ブーブー 磁気を検知しました」といった報知音が予め定められた処理態様(ループ)で報知音再生されるようになる。
またこの際、周辺制御MPU1511aでは、磁気検出に応じた画面生成用スケジュールデータ、及び磁気検出に応じた発光態様生成用スケジュールデータを、周辺制御ROM1511b又は周辺制御RAM1511cの各種制御データコピーエリアから抽出して周辺制御RAM1511cのスケジュールデータ記憶領域1511caeにセットすることで、上述した液晶内表示やランプ点灯も併せて実行することとなる。これら液晶内表示及びランプ点灯の実行は、磁気異常の解除条件である電源再投入が行われるときまで継続して実行される。
このような処理を通じて、タイミングtα1から「ブーブー 磁気を検知しました」といった報知音が60秒間にわたって繰り返し実行されるとともに、遊技盤側演出表示装置1600の表示領域内における表示(例えば、「磁気を検知しました」)と、扉枠3及び遊技盤5に配設されている各種のランプによる点灯(第1報知グループの点灯態様)とがそれぞれ実行されるようになる。
ただし、図130(a)に示される例では、タイミングtα1から60秒が経過しておらず「ブーブー 磁気を検知しました」といった報知音がループ再生中の状態にあるタイミングtα2において、ステップS112(図94)の処理内で振動センサ2405による振動検出があった場合を想定している。この点、主制御MPU1310aでは、磁気検出があったタイミングtα1の場合と同様、まず、振動検出があったことが示されるように報知フラグの状態を更新する。次いで、振動検出があった旨の情報を周辺制御基板1510に対するコマンドとしてセットする。これにより、ステップS118(図94)の処理では、上記更新された報知フラグの状態に基づいて振動検出があった旨の情報が外部出力されてホールコンピュータ内で管理されるようになるとともに、ステップS120(図94)の処理では、周辺制御基板1510に対してコマンドが送信されてその情報(振動検出)が上記周辺制御MPU1511a内の報知に関する処理に供されるようになる。
これに対し、周辺制御MPU1511aでは、報知音1(磁気異常)が出力状態(再生状態)にある上記タイミングtα2(若しくは、その直後)においてステップS1022(図95)の受信コマンド解析処理でコマンドを解析した結果、振動検出の情報が含まれていることを把握したとしても、ステップS1024(図95)の警告処理にて、図129で示した報知音2(振動異常)をチャンネルXに対して割り当てることはしない。すなわち、チャンネルXには優先順位が同じである報知音1(磁気異常)が既に割り当て状態になっていることから、報知音2(振動異常)をチャンネルXに対して新たに割り当てないようにすることで、既に割り当て状態になっている側の報知音1(磁気異常)の再生を優先的に実行してこれを継続させるようにしている。
また、この実施の形態にかかる周辺制御MPU1511aでは、タイミングtα2において振動検出に応じた音生成用スケジュールデータこれ自体のセットも行わないようにしている。したがって、チャンネルXに対して割り当てられていない状態で報知音2(振動異常)に応じた音生成用スケジュールデータが進展処理されることもない。
ただしその一方、この実施の形態にかかる周辺制御MPU1511aでは、タイミングtα2(若しくは、その直後)においては、未だセットしていない報知音2(振動異常)の報知時間を計時するためのタイマ(60秒)についてはこれをセットするようにしておき、報知音1(磁気異常)の出力状態(再生状態)が終了した時点で該タイマ(60秒)がタイムアップしていないときには振動検出に応じた音生成用スケジュールデータをセットし、その残り時間分だけ報知音2(振動異常)をチャンネルXに対して割り当ててその報知態様(ここでは、「ブーブー 振動を検知しました」のループ)での報知音再生を実行するものとなっている。
また、周辺制御MPU1511aでは、タイミングtα2(若しくは、その直後)においては、振動検出に応じた音生成用スケジュールデータをセットすることはしないものの、振動検出に応じた画面生成用スケジュールデータ、及び振動検出に応じた発光態様生成用スケジュールデータを、周辺制御ROM1511b又は周辺制御RAM1511cの各種制御データコピーエリアから抽出して周辺制御RAM1511cのスケジュールデータ記憶領域1511caeにセットすることで、上述した液晶内表示やランプ点灯についてはこれらを実行するようにしている。
なお、液晶内表示では、遊技盤側演出表示装置1600の表示領域のうち磁気異常に応じた表示が行われている位置とは異なる位置にて振動異常に応じた表示が別に現れるようになっている。ランプ点灯では、振動検出に応じた発光態様生成用スケジュールデータこそセットされるものの、磁気検出に応じた発光態様生成用スケジュールデータが既にセットされておりその優先順位が同じになっていることから、既にセット状態にあった磁気検出に応じた発光態様生成用スケジュールデータの点灯態様が各種のランプ発光でそれぞれ反映されることとなり、振動検出に応じた発光態様生成用スケジュールデータの点灯態様が各種のランプ発光でそれぞれ反映されることはない。振動検出に応じた発光態様生成用スケジュールデータについても、音生成用スケジュールデータと同様、タイミングtα2(若しくは、その直後)においてセットしないようにしてもよい。
ただし上述の通り、この実施例では、磁気検出に応じた発光態様生成用スケジュールデータと、振動検出に応じた発光態様生成用スケジュールデータとは同じデータ内容になっていることから、それらのいずれを反映させるようにした場合であってもランプ点灯に変化が生じることはない。
そしてこの後、タイミングtα1から60秒が経過したタイミングtα3では、報知音1(磁気異常)のタイマ(60秒)がタイムアップしたことに基づいて「ブーブー 磁気を検知しました」といった報知音を繰り返し実行させるループ処理が終了されることとなる。なおここでは、「ブーブー 磁気を検知しました」といった報知音を1回再生するのに要する時間を10秒に設定してあることから、報知音1(磁気異常)のタイマ(60秒)がタイムアップしたタイミングtα3では、「ブーブー 磁気を検知しました」といった報知音が6回分再生し終わった、切りの良いタイミングでそのループ処理が終了されるようになっている。
またこの際、報知音2(振動異常)のタイマ(60秒)がタイムアップしていない状態にあることから、周辺制御MPU1511aでは、振動検出に応じた音生成用スケジュールデータをセットし、その残り時間(タイミングtα2からタイミングtα3までの時間(α)を60秒から減算した時間)分だけ報知音2(振動異常)をチャンネルXに対して割り当てることで、その報知態様(ここでは、「ブーブー 振動を検知しました」のループ)での報知音再生を実行することとなる。
すなわち、タイミングtα2においては報知音2(振動異常)のタイマをセットする一方で、振動検出に応じた音生成用スケジュールデータについてはこれをセットせずタイミングtα3になったときにセットするようにしたことから、タイミングtα3においては、「ブーブー 振動を検知しました」の報知音を頭から再生させることができるとともに、報知音2(振動異常)のタイマがタイムアップするときには、「ブーブー 振動を検知しました」といった報知音のうち中途半端なタイミング(例えば、「ブーブー 振」などのタイミング)でそのループ処理が終了されて再生されなくなるように促すことができるようになる。
このような構成によれば、第1報知グループに属する一の報知音が再生されているときに第1報知グループに属する別の報知音の出力条件(異常検出)が満たされたときは(図130(a))、6回目の警報音(ここでは「ブーブー」)と6回目のメッセージ音(ここでは「磁気を検知しました」)とが再生し終わったところで、7回目の警報音(ここでは「ブーブー」)が再生されたかのような、スムーズな報知音切り替えを実現することができるようになる。これにより、「ブーブー 磁気を検知しました」と「ブーブー 振動を検知しました」が変な箇所で繋がってしまい、緊迫した状況にあるなかで不正報知を認識できなくなってしまうような事態(例えば、報知音1が「ブーブー 磁」で終了し、報知音2が「動を検知しました」で開始されるようなことがあれば、「ブーブー 磁動を検知しました」のような意味不明な報知内容となり、現場を混乱させかねない)の発生を好適に抑制することができるようになる。
また、上記構成によれば、タイミングtα3において、振動検出に応じたタイマの残り時間が短くなっており、報知音2が「ブーブー」の警報音のところでタイムアップして終了してしまいメッセージ音が再生されなかったとしても、中途半端なタイミングでそのループ処理が終了されて再生されなくなったことで、何らかの異常検出が同時に発生した状態にあることを認識することが可能である(磁気異常のみの報知であれば、切りの良いところで報知音が終了されるため)。これにより、中途半端なタイミングで報知音が途絶えたときには液晶内表示を確認することが促されるようになり、液晶内表示に「磁気を検知しました」と「振動を検知しました」とがそれぞれ表示されていることで、磁気検出と振動検出とが行われた状態にあることを適正に認識することができるようになる。
図130(b)は、第2報知グループに属する一の報知音が再生されているときに、第2報知グループに属する別の報知音の出力条件(状態検出)が満たされたときの処理についてその一例を示すものである。
ここで、第2報知グループに属する一の報知音が再生されているときに第2報知グループに属する別の報知音の出力条件(状態検出)が満たされたときの処理は、図130(a)を参照しつつ上述した処理(第1報知グループに属する一の報知音が再生されているときに第1報知グループに属する別の報知音の出力条件(状態検出)が満たされたときの処理)と概ね同様である。
例えば、同図130(b)に示されるように、いま、何らの報知音も出力されていないタイミングtβ1において、ステップS110またはS112(図94)の処理内で本体枠開放スイッチ619による枠開放検出があったとすると、主制御MPU1310aでは、まず、枠開放検出があったことが示されるように報知フラグの状態を更新する。次いで、枠開放検出があった旨の情報を周辺制御基板1510に対するコマンドとしてセットする。これにより、ステップS118(図94)の処理では、上記更新された報知フラグの状態に基づいて枠開放検出があった旨の情報が外部出力されてホールコンピュータ内で管理されるようになるとともに、ステップS120(図94)の処理では、周辺制御基板1510に対してコマンドが送信されてその情報(枠開放検出)が上記周辺制御MPU1511a内の報知に関する処理に供されるようになる。
これに対し、周辺制御MPU1511aでは、何らの報知音も出力されていない上記タイミングtβ1(若しくは、その直後)においてステップS1022(図95)の受信コマンド解析処理でコマンドを解析した結果、枠開放検出の情報が含まれていることを把握すると、ステップS1024(図95)の警告処理にて、図129で示した報知音5(枠開放)をチャンネルXに対して割り当てて(セットして)その報知態様(ここでは、「枠が開いています ピンポンピンポン」のループ)での報知音再生を開始させるとともに、報知音5(枠開放)の報知時間を計時するためのタイマ(30秒)をセットする。
なお、報知音5(枠開放)をチャンネルXに対して割り当てるに際しては、枠開放検出に応じた音生成用スケジュールデータを、周辺制御ROM1511b又は周辺制御RAM1511cの各種制御データコピーエリアから抽出して周辺制御RAM1511cのスケジュールデータ記憶領域1511caeにセットすることとなる。そしてこの上で、報知音5(枠開放)をチャンネルXに対して割り当てることで、「枠が開いています ピンポンピンポン」といった報知音が予め定められた処理態様(ループ)で報知音再生されるようになる。
またこの際、周辺制御MPU1511aでは、枠開放検出に応じた画面生成用スケジュールデータ、及び枠開放検出に応じた発光態様生成用スケジュールデータを、周辺制御ROM1511b又は周辺制御RAM1511cの各種制御データコピーエリアから抽出して周辺制御RAM1511cのスケジュールデータ記憶領域1511caeにセットすることで、上述した液晶内表示やランプ点灯も併せて実行することとなる。これら液晶内表示及びランプ点灯の実行は、枠開放検出の解除条件である枠閉鎖検知が行われるときまで継続して実行される。
このような処理を通じて、タイミングtβ1から「枠が開いています ピンポンピンポン」といった報知音が30秒間にわたって繰り返し実行されるとともに、遊技盤側演出表示装置1600の表示領域内における表示(例えば、「枠が開いています」)と、扉枠3及び遊技盤5に配設されている各種のランプによる点灯(第2報知グループの点灯態様)とがそれぞれ実行されるようになる。
ただし、図130(b)に示される例では、タイミングtβ1から30秒が経過しておらず「枠が開いています ピンポンピンポン」といった報知音がループ再生中の状態にあるタイミングtβ2において、ステップS110またはS112(図94)の処理内で扉枠開放スイッチ618による扉開放検出があった場合を想定している。この点、主制御MPU1310aでは、枠開放検出があったタイミングtβ1の場合と同様、まず、扉開放検出があったことが示されるように報知フラグの状態を更新する。次いで、扉開放検出があった旨の情報を周辺制御基板1510に対するコマンドとしてセットする。これにより、ステップS118(図94)の処理では、上記更新された報知フラグの状態に基づいて扉開放検出があった旨の情報が外部出力されてホールコンピュータ内で管理されるようになるとともに、ステップS120(図94)の処理では、周辺制御基板1510に対してコマンドが送信されてその情報(扉開放検出)が上記周辺制御MPU1511a内の報知に関する処理に供されるようになる。
これに対し、周辺制御MPU1511aでは、報知音5(枠開放)が出力状態(再生状態)にある上記タイミングtβ2(若しくは、その直後)においてステップS1022(図95)の受信コマンド解析処理でコマンドを解析した結果、扉開放検出の情報が含まれていることを把握したとしても、ステップS1024(図95)の警告処理にて、図129で示した報知音4(扉開放)をチャンネルXに対して割り当てることはしない。すなわち、チャンネルXには優先順位が同じである報知音5(枠開放)が既に割り当て状態になっていることから、報知音4(扉開放)をチャンネルXに対して新たに割り当てないようにすることで、既に割り当て状態になっている側の報知音5(枠開放)の再生を優先的に実行してこれを継続させるようにしている。
また、この実施の形態にかかる周辺制御MPU1511aでは、タイミングtβ2において扉開放検出に応じた音生成用スケジュールデータこれ自体のセットも行わないようにしている。したがって、チャンネルXに対して割り当てられていない状態で報知音4(扉開放)に応じた音生成用スケジュールデータが進展処理されることもない。
ただしその一方、この実施の形態にかかる周辺制御MPU1511aでは、タイミングtβ2(若しくは、その直後)においては、未だセットしていない報知音4(扉開放)の報知時間を計時するためのタイマ(30秒)についてはこれをセットするようにしておき、報知音5(枠開放)の出力状態(再生状態)が終了した時点で該タイマ(30秒)がタイムアップしていないときには扉開放検出に応じた音生成用スケジュールデータをセットし、その残り時間分だけ報知音4(扉開放)をチャンネルXに対して割り当ててその報知態様(ここでは、「扉が開いています ピンポンピンポン」のループ)での報知音再生を実行するものとなっている。
また、周辺制御MPU1511aでは、タイミングtβ2(若しくは、その直後)においては、扉開放検出に応じた音生成用スケジュールデータをセットすることはしないものの、扉開放検出に応じた画面生成用スケジュールデータ、及び扉開放検出に応じた発光態様生成用スケジュールデータを、周辺制御ROM1511b又は周辺制御RAM1511cの各種制御データコピーエリアから抽出して周辺制御RAM1511cのスケジュールデータ記憶領域1511caeにセットすることで、上述した液晶内表示やランプ点灯についてはこれらを実行するようにしている。
なお、液晶内表示では、遊技盤側演出表示装置1600の表示領域のうち枠開放に応じた表示が行われている位置とは異なる位置にて扉開放に応じた表示が別に現れるようになっている。ランプ点灯では、扉開放検出に応じた発光態様生成用スケジュールデータこそセットされるものの、枠開放検出に応じた発光態様生成用スケジュールデータが既にセットされておりその優先順位が同じになっていることから、既にセット状態にあった枠開放検出に応じた発光態様生成用スケジュールデータの点灯態様が各種のランプ発光でそれぞれ反映されることとなり、扉開放検出に応じた発光態様生成用スケジュールデータの点灯態様が各種のランプ発光でそれぞれ反映されることはない。扉開放検出に応じた発光態様生成用スケジュールデータについても、音生成用スケジュールデータと同様、タイミングtβ2(若しくは、その直後)においてセットしないようにしてもよい。
ただし上述の通り、この実施例では、枠開放検出に応じた発光態様生成用スケジュールデータと、扉開放検出に応じた発光態様生成用スケジュールデータとは同じデータ内容になっていることから、それらのいずれを反映させるようにした場合であってもランプ点灯に変化が生じることはない。
そしてこの後、タイミングtβ1から30秒が経過したタイミングtβ3では、報知音5(枠開放)のタイマ(30秒)がタイムアップしたことに基づいて「枠が開いています ピンポンピンポン」といった報知音を繰り返し実行させるループ処理が終了されることとなる。なおここでは、「枠が開いています ピンポンピンポン」といった報知音を1回再生するのに要する時間を10秒に設定してあることから、報知音5(枠開放)のタイマ(30秒)がタイムアップしたタイミングtβ3では、「枠が開いています ピンポンピンポン」といった報知音が3回分再生し終わった、切りの良いタイミングでそのループ処理が終了されるようになっている。
またこの際、報知音4(扉開放)のタイマ(30秒)がタイムアップしていない状態にあることから、周辺制御MPU1511aでは、扉開放検出に応じた音生成用スケジュールデータをセットし、その残り時間(タイミングtβ2からタイミングtβ3までの時間(β)を30秒から減算した時間)分だけ報知音4(扉開放)をチャンネルXに対して割り当てることで、その報知態様(ここでは、「扉が開いています ピンポンピンポン」のループ)での報知音再生を実行することとなる。
すなわち、タイミングtβ2においては報知音4(扉開放)のタイマをセットする一方で、扉開放検出に応じた音生成用スケジュールデータについてはこれをセットせずタイミングtβ3になったときにセットするようにしたことから、タイミングtβ3においては、「扉が開いています ピンポンピンポン」の報知音を頭から再生させることができるとともに、報知音4(扉開放)のタイマがタイムアップするときには、「扉が開いています ピンポンピンポン」といった報知音のうち中途半端なタイミング(例えば、「扉が開いています ピ」などのタイミング)でそのループ処理が終了されて再生されなくなるように促すことができるようになる。
このような構成によれば、第2報知グループに属する一の報知音が再生されているときに第2報知グループに属する別の報知音の出力条件(状態検出)が満たされたときも(図130(b))、3回目のメッセージ音(ここでは「枠が開いています」)と3回目の警報音(ここでは「ピンポンピンポン」)とが再生し終わったところで、4回目のメッセージ音(ここでは「扉が開いています」)が再生されたかのような、スムーズな報知音切り替えを実現することができるようになる。これにより、「枠が開いています ピンポンピンポン」と「扉が開いています ピンポンピンポン」が変な箇所で繋がってしまい、緊迫した状況にあるなかで報知内容を認識できなくなってしまうような事態の発生を好適に抑制することができるようになる。
また、上記構成によれば、タイミングtβ3において、扉開放検出に応じたタイマの残り時間が短くなっており、報知音4が中途半端なところで途切れてしまったとしても、メッセージ音が先に再生されるようになっていることから、扉が開放していることを確実に把握可能にすることができるようになる。
図130(c)は、第3報知グループに属する一の報知音が再生されているときに、第3報知グループに属する別の報知音の出力条件(状態検出)が満たされたときの処理についてその一例を示すものである。
同図130(c)に示されるように、いま、何らの報知音も出力されていないタイミングtγ1において、ステップS112またはS116(図94)の処理内で非時短の状態にあるにもかかわらず遊技領域5aのうちセンター役物2500に対して右側となる領域内に設けられるゲート部2003を遊技球が通過したことがゲートセンサ4003によって検出(非時短状態での右打ち検出)されたとすると、主制御MPU1310aでは、非時短状態での右打ち検出があった旨の情報を周辺制御基板1510に対するコマンドとしてセットする。これにより、ステップS120(図94)の処理では、周辺制御基板1510に対してコマンドが送信されてその情報(時短状態での右打ち検出)が上記周辺制御MPU1511a内の報知に関する処理に供されるようになる。なお、第3報知グループの処理に関しては、主制御MPU1310a内で報知フラグの更新は行われず、その情報がホールコンピュータへと外部出力されることはない。
これに対し、周辺制御MPU1511aでは、何らの報知音も出力されていない上記タイミングtγ1(若しくは、その直後)においてステップS1022(図95)の受信コマンド解析処理でコマンドを解析した結果、非時短状態での右打ち検出の情報が含まれていることを把握すると、ステップS1024(図95)の警告処理にて、図129で示した報知音6(左打ち案内)をチャンネルXに対して割り当てて(セットして)その報知態様(ここでは、「左打ちに戻してください」のループ)での報知音再生を開始させるとともに、報知音6(左打ち案内)の報知時間を計時するためのタイマ(20秒)をセットする。
非時短状態での右打ち検出に関して、この実施の形態では、主制御MPU1310aからその旨の情報がコマンドとして出力されるようにしたが、これに代えて、主制御MPU1310aからはゲート部2003を遊技球が通過したことがゲートセンサ4003によって検出された旨の情報だけをコマンドとして出力されるようにして、周辺制御MPU1511a側で、ゲートセンサ4003による検出が非時短状態で行われたか否かの判断を行い、非時短状態でゲートセンサ4003による検出があったことに基づいて報知音6(左打ち案内)に関する処理を行うようにしてもよい。
なお、報知音6(左打ち案内)をチャンネルXに対して割り当てるに際しては、非時短状態での右打ち検出に応じた音生成用スケジュールデータを、周辺制御ROM1511b又は周辺制御RAM1511cの各種制御データコピーエリアから抽出して周辺制御RAM1511cのスケジュールデータ記憶領域1511caeにセットすることとなる。そしてこの上で、報知音6(左打ち案内)をチャンネルXに対して割り当てることで、「左打ちに戻してください」といった報知音が予め定められた処理態様(ループ)で報知音再生されるようになる。
またこの際、周辺制御MPU1511aでは、非時短状態での右打ち検出に応じた画面生成用スケジュールデータを、周辺制御ROM1511b又は周辺制御RAM1511cの各種制御データコピーエリアから抽出して周辺制御RAM1511cのスケジュールデータ記憶領域1511caeにセットすることで、上述した液晶内表示も併せて実行することとなる。液晶内表示の実行は、報知音6(左打ち案内)の解除条件である報知終了(報知音6(左打ち案内)の報知時間を計時するためのタイマ(20秒)がタイムアップ)になるまで継続して実行される。なお、不正可能性が低い第3報知グループの処理に関しては、演出の進行妨げを回避することを重要視しており、非時短状態での右打ち検出に応じた発光態様生成用スケジュールデータがセットされることはない。
このような処理を通じて、タイミングtγ1から「左打ちに戻してください」といった報知音が20秒間にわたって繰り返し実行されるとともに、その報知音が終了されるまでの間、遊技盤側演出表示装置1600の表示領域内における表示(例えば、「左打ちに戻してください」)が実行されるようになる。
ただし、図130(c)に示される例では、タイミングtγ1から20秒が経過しておらず「左打ちに戻してください」といった報知音がループ再生中の状態にあるタイミングtγ2において、ステップS110またはS112(図94)の処理内で満タン検知センサ279による下皿満タン検出があった場合を想定している。この点、主制御MPU1310aでは、非時短状態での右打ち検出があったタイミングtγ1の場合と同様、下皿満タン検出があった旨の情報を周辺制御基板1510に対するコマンドとしてセットする。これにより、ステップS120(図94)の処理では、周辺制御基板1510に対してコマンドが送信されてその情報(下皿満タン検出)が上記周辺制御MPU1511a内の報知に関する処理に供されるようになる。
これに対し、周辺制御MPU1511aでは、報知音6(左打ち案内)が出力状態(再生状態)にある上記タイミングtγ2(若しくは、その直後)においてステップS1022(図95)の受信コマンド解析処理でコマンドを解析した結果、下皿満タン検出の情報が含まれていることを把握したとしても、ステップS1024(図95)の警告処理にて、図129で示した報知音7(球抜き案内)をチャンネルXに対して割り当てることはしない。すなわち、チャンネルXには優先順位が同じである報知音6(左打ち案内)が既に割り当て状態になっていることから、報知音7(球抜き案内)をチャンネルXに対して新たに割り当てないようにすることで、既に割り当て状態になっている側の報知音6(左打ち案内)の再生を優先的に実行してこれを継続させるようにしている。
また、この実施の形態にかかる周辺制御MPU1511aでは、タイミングtγ2において下皿満タン検出に応じた音生成用スケジュールデータこれ自体のセットも行わないようにしている。したがって、チャンネルXに対して割り当てられていない状態で報知音7(球抜き案内)に応じた音生成用スケジュールデータが進展処理されることもない。
ただしその一方、この実施の形態にかかる周辺制御MPU1511aでは、タイミングtγ2(若しくは、その直後)においては、未だセットしていない報知音7(球抜き案内)の報知時間を計時するためのタイマ(20秒)についてはこれをセットするようにしておき、報知音6(左打ち案内)の出力状態(再生状態)が終了した時点で該タイマ(20秒)がタイムアップしていないときには下皿満タン検出に応じた音生成用スケジュールデータをセットし、その残り時間分だけ報知音7(球抜き案内)をチャンネルXに対して割り当ててその報知態様(ここでは、「下皿の球を抜いてください」のループ)での報知音再生を実行するものとなっている。
また、周辺制御MPU1511aでは、タイミングtγ2(若しくは、その直後)においては、下皿満タン検出に応じた音生成用スケジュールデータをセットすることはしないものの、下皿満タン検出に応じた画面生成用スケジュールデータを、周辺制御ROM1511b又は周辺制御RAM1511cの各種制御データコピーエリアから抽出して周辺制御RAM1511cのスケジュールデータ記憶領域1511caeにセットすることで、上述した液晶内表示についてはこれを実行するようにしている。
なお、液晶内表示では、遊技盤側演出表示装置1600の表示領域のうち左打ち案内に応じた表示が行われている位置とは異なる位置にて球抜き案内に応じた表示が別に現れるようになっている。
そしてこの後、タイミングtγ1から20秒が経過したタイミングtγ3では、報知音6(左打ち案内)のタイマ(20秒)がタイムアップしたことに基づいて「左打ちに戻してください」といった報知音を繰り返し実行させるループ処理が終了されることとなる。なおここでは、「左打ちに戻してください」といった報知音を1回再生するのに要する時間を10秒に設定してあることから、報知音6(左打ち案内)のタイマ(30秒)がタイムアップしたタイミングtγ3では、「左打ちに戻してください」といった報知音が2回分再生し終わった、切りの良いタイミングでそのループ処理が終了されるようになっている。
またこの際、報知音7(球抜き案内)のタイマ(20秒)がタイムアップしていない状態にあることから、周辺制御MPU1511aでは、下皿満タン検出に応じた音生成用スケジュールデータをセットし、その残り時間(タイミングtγ2からタイミングtγ3までの時間(γ)を20秒から減算した時間)分だけ報知音7(球抜き案内)をチャンネルXに対して割り当てることで、その報知態様(ここでは、「下皿の球を抜いてください」のループ)での報知音再生を実行することとなる。
すなわち、タイミングtγ2においては報知音7(球抜き案内)のタイマをセットする一方で、下皿満タン検出に応じた音生成用スケジュールデータについてはこれをセットせずタイミングtγ3になったときにセットするようにしたことから、タイミングtγ3においては、「下皿の球を抜いてください」の報知音を頭から再生させることができるとともに、報知音7(球抜き案内)のタイマがタイムアップするときには、「下皿の球を抜いてください」といった報知音のうち中途半端なタイミング(例えば、「下皿の球を抜いてくだ」などのタイミング)でそのループ処理が終了されて再生されなくなるように促すことができるようになる。
このような構成によれば、第3報知グループに属する一の報知音が再生されているときに第3報知グループに属する別の報知音の出力条件(状態検出)が満たされたときも(図130(c))、2回目のメッセージ音(ここでは「左打ちに戻してください」)が再生し終わったところで、3回目のメッセージ音(ここでは「下皿の球を抜いてください」)が再生されたかのような、スムーズな報知音切り替えを実現することができるようになる。これにより、「左打ちに戻してください」と「「下皿の球を抜いてください」が変な箇所で繋がってしまい、報知内容を認識できなくなってしまうような事態の発生を好適に抑制することができるようになる。
また、この実施例にかかる第3報知グループでは、上述した通り、メッセージ音が出力し終わった後には5秒間の無音データがチャンネルXに割り当てられてそれに応じた音が出力(無音出力)されるようになっている。したがって、第3報知グループに属する一の報知音が再生されているときに第3報知グループに属する別の報知音の出力条件(状態検出)が満たされたときは、5秒間の無音データを挟んで別の報知音のメッセージ音が再生されるようになることから、警報音が無いことによって2つの異なるメッセージ音が繋がってしまい、報知内容を認識できなくなってしまうような事態の発生を好適に回避することができるようになる。
図131(a)は、第1報知グループに属する一の報知音が再生されているときに第2報知グループに属する報知音の出力条件(状態検出)が満たされたときの処理についてその一例を示すものである。
同図131(a)に示されるように、何らの報知音も出力されていないタイミングt‐1において、ステップS112(図94)の処理内で磁気検出センサ4024による磁気検出があったとすると、該磁気検出に応じた処理(磁気異常処理)に関しては、図130(a)を参照して説明した場合と同様の処理が行われる。したがって、タイミングt‐1では、「ブーブー 磁気を検知しました」といった報知音を繰り返し実行させるループ処理が開始されることとなり、報知音1(磁気異常)のタイマ(60秒)がタイムアップしたタイミングt‐3では、「ブーブー 磁気を検知しました」といった報知音が6回分再生し終わった、切りの良いタイミングでそのループ処理が終了されることとなる。また、液晶内表示及びランプ点灯の実行は、磁気異常の解除条件である電源再投入が行われるときまで継続して実行されることとなる。
ここで、図131(a)に示される例では、タイミングt‐1から60秒が経過しておらず「ブーブー 磁気を検知しました」といった報知音がループ再生中の状態にあるタイミングt‐2において、ステップS110またはS112(図94)の処理内で扉枠開放スイッチ618による扉開放検出があった場合を想定している。この点、磁気検出に応じた報知音1(磁気異常)の処理は、扉開放検出に応じた報知音4(扉開放)の処理よりも優先順位が高くされていることから(図128を参照)、扉開放検出が生じた場合であっても、報知音1(磁気異常)の処理を継続して行うこととなる。
そして通常は、優先順位が低い側の処理については、図130(a)~(c)を参照しつつ説明した同じ優先順位の処理が重なった場合と同様、優先順位が低い側の報知音のタイマだけをセットし、音生成用スケジュールデータこれ自体のセットは行わないようにする処理がなされる。
ただし、磁気異常が発生してすぐに扉開放されるような状況とは、単に扉開放だけが発生した場合とは異なり、何らかの不正行為が行われている可能性が高くなっており、もはや「不正可能性が中程度である第2報知グループ」に属する報知とは言い難い状況になっていると言える。そこで、図131(a)に示される例では、タイミングt‐2において、扉開放検出に応じた報知音4(扉開放)のタイマと音生成用スケジュールデータとのいずれについてもそれらをセットせず、扉開放検出に応じたフラグのセットのみを行う。そして、タイミングt‐3において、該フラグがセットされていることに基づいて、扉開放検出に応じた報知音4(扉開放)のタイマと扉開放検出に応じた音生成用スケジュールデータとをそれぞれセットするとともに、報知音4(扉開放)をチャンネルXに対して割り当ててその報知態様(ここでは、「扉が開いています ピンポンピンポン」のループ)での報知音再生を開始させるようにしている。なお、扉開放検出に応じた液晶内表示及びランプ点灯の実行は、タイミングt‐2から開始される。
このような構成によれば、「ブーブー 磁気を検知しました」といった報知音がループ再生中の状態において扉枠開放スイッチ618による扉開放検出があったにもかかわらず、「ブーブー 磁気を検知しました」といった報知音のループ再生が終了されるタイミングt‐3から扉開放検出に応じた報知音4(扉開放)が30秒間にわたって丸々再生されるようになり、「扉が開いています ピンポンピンポン」といった報知音が3回分再生し終わった、切りの良いタイミングでそのループ処理が終了されることとなる。このように、通常の優先順位に基づく処理とは異なる、より丁寧な報知態様で扉開放検出に応じた報知音4(扉開放)を再生するようにしたことで、第2報知グループに属する報知内容(ここでは、「扉が開いています ピンポンピンポン」のループ)ではあるものの、不正可能性が高くなっている状況にあることの認識を促すことが期待されるようになる。
また、「ブーブー 磁気を検知しました」といった報知音の後、メッセージ音(扉が開いています)から報知内容が開始されるようになることで、最も緊迫した状況下にある第1報知グループに属する報知は終了されたことを早い段階で認識させることができるようになる。その一方で、メッセージ音の後に「ピンポンピンポン」の警報音が再生されることにより第3報知グループに属する報知でもないことを容易に認識させることができるようになる。
図131(b)は、第2報知グループに属する一の報知音が再生されているときに第3報知グループに属する報知音の出力条件(状態検出)が満たされたときの処理についてその一例を示すものである。
同図131(b)に示されるように、何らの報知音も出力されていないタイミングtδ1において、ステップS110またはS112(図94)の処理内で扉枠開放スイッチ618による扉開放検出があったとすると、該扉開放検出に応じた処理(扉開放時処理)に関しては、図130(b)を参照して説明した「枠開放検出に応じた処理(枠開放時処理)」と同様の処理が行われる。したがって、タイミングtδ1では、「扉が開いています ピンポンピンポン」といった報知音を繰り返し実行させるループ処理が開始されることとなり、報知音4(扉開放)のタイマ(30秒)がタイムアップしたタイミングtδ3では、「扉が開いています ピンポンピンポン」といった報知音が3回分再生し終わった、切りの良いタイミングでそのループ処理が終了されることとなる。また、液晶内表示及びランプ点灯の実行は、扉開放の解除条件である扉閉鎖が検出されるときまで継続して実行されることとなる。
ここで、図131(b)に示される例では、タイミングtδ1から30秒が経過しておらず「扉が開いています ピンポンピンポン」といった報知音がループ再生中の状態にあるタイミングtδ2において、ステップS112またはS116(図94)の処理内でゲートセンサ4003による非時短状態での右打ち検出があった場合を想定している。この点、扉開放検出に応じた報知音4(扉開放)の処理は、非時短状態での右打ち検出に応じた報知音6(左打ち案内)の処理よりも優先順位が高くされていることから(図128を参照)、非時短状態での右打ち検出が生じた場合であっても、報知音4(扉開放)の処理を継続して行うこととなる。
すなわち上述の通り、優先順位が低い側の処理については、図130(a)~(c)を参照しつつ説明した同じ優先順位の処理が重なった場合と同様、優先順位が低い側の報知音のタイマだけをセットし、音生成用スケジュールデータこれ自体のセットは行わないようにする処理がなされる。
したがって、図131(b)に示される例では、タイミングtδ2において、報知音6(左打ち案内)のタイマ(20秒)をセットする一方で、非時短状態での右打ち検出に応じた音生成用スケジュールデータはセットしない。そして、タイミングtδ3において、報知音6(左打ち案内)のタイマ(20秒)がタイムアップしていないときには非時短状態での右打ち検出に応じた音生成用スケジュールデータをセットし、その残り時間分だけ報知音6(左打ち案内)をチャンネルXに対して割り当ててその報知態様(ここでは、「左打ちに戻してください」のループ)での報知音再生を実行することとなる。
このような構成によれば、「扉が開いています ピンポンピンポン」といった報知音が3回分再生し終わった、切りの良いタイミングで「左打ちに戻してください」といった警報音が含まれない報知音が再生されるようになることから、報知状態を継続させつつも、不正可能性が低くなったことを容易に認識可能とすることができるようになる。また、この実施例にかかる第3報知グループでは、上述した通り、メッセージ音が出力し終わった後には5秒間の無音データがチャンネルXに割り当てられてそれに応じた音が出力(無音出力)されるようになっている。したがって、このような無音データによっても、それまで再生されていた種別の報知音は終了しており、第3報知グループに属する報知音が再生されていることを容易に認識可能とすることができるようになる。
図131(c)は、第2報知グループに属する一の報知音が再生されているときに第1報知グループに属する報知音の出力条件(状態検出)が満たされたときの処理についてその一例を示すものである。
同図131(c)に示されるように、何らの報知音も出力されていないタイミングtε1において、ステップS110またはS112(図94)の処理内で扉枠開放スイッチ618による扉開放検出があったとすると、該扉開放検出に応じた処理(扉開放時処理)に関しては、図130(b)を参照して説明した「枠開放検出に応じた処理(枠開放時処理)」と同様の処理が行われる。したがって、タイミングtε1では、「扉が開いています ピンポンピンポン」といった報知音を繰り返し実行させるループ処理が開始されることとなり、報知音4(扉開放)のタイマ(30秒)がタイムアップしたタイミングtε3では、「扉が開いています ピンポンピンポン」といった報知音が3回分再生し終わった、切りの良いタイミングでそのループ処理が終了されることとなる。また、液晶内表示及びランプ点灯の実行は、扉開放の解除条件である扉閉鎖が検出されるときまで継続して実行されることとなる。
ただし、図131(c)に示される例では、タイミングtε1から30秒が経過しておらず「扉が開いています ピンポンピンポン」といった報知音がループ再生中の状態にあるタイミングtε2において、ステップS112(図94)の処理内で磁気検出センサ4024による磁気検出があった場合を想定している。この点、扉開放検出に応じた報知音4(扉開放)の処理は、磁気検出センサ4024による磁気検出に応じた報知音1(磁気異常)の処理よりも優先順位が低くされていることから(図128を参照)、磁気検出センサ4024による磁気検出に応じた報知音1(磁気異常)の処理を優先させ、報知音4(扉開放)の処理については、音、ランプ点灯のいずれにおいてもその出力内容が各アクチュエータの作動として反映されないようにすることとなる。なお、液晶内表示については、各報知ごとに、遊技盤側演出表示装置1600の表示領域内の異なる位置にそれぞれ表示されるようになっていることから、優先順位の低い報知の実行中に優先順位の高い報知が発生した場合であっても、優先順位の低い側の液晶内表示は維持される。
ここで、報知音4(扉開放)の処理について、音、ランプ点灯のいずれにおいてもその出力内容が各アクチュエータの作動として反映されないようにする手法としては、タイミングtε2において、それまでセットしていた扉開放検出に応じた音生成用スケジュールデータ及び発光態様生成用スケジュールデータをセット状態からそれぞれ解消させる処理を行うようにしてもよい。
この点、この実施の形態では、タイミングtε2においては、扉開放検出に応じた画面生成用スケジュールデータのみならず、扉開放検出に応じた音生成用スケジュールデータ及び発光態様生成用スケジュールデータについてもそれらをセット状態で維持したままとし、それらの各データよりも優先順位がそれぞれ高くなっている磁気検出に応じた音生成用スケジュールデータ、画面生成用スケジュールデータ、及び発光態様生成用スケジュールデータをそれぞれセット状態にする。そして、チャンネルXと各種のランプ作動に対する割り当てを、扉開放検出に応じた音生成用スケジュールデータ、発光態様生成用スケジュールデータに基づく内容から、磁気検出に応じた音生成用スケジュールデータ、発光態様生成用スケジュールデータに基づく内容へと切り替えるようにすることで、磁気検出センサ4024による磁気検出に応じた報知音1(磁気異常)の処理を、音、液晶内表示、ランプ点灯のいずれにおいてもその出力内容が各アクチュエータの作動として反映させるようにしている。
このような構成によれば、図131(c)に示されるように、タイミングtε2において、実行状態にある優先順位が低い側の処理(扉開放時処理)については何らの操作も行うことなく、2つの異なる処理(扉開放処理、磁気異常処理)の間での優先順位に基づく報知内容の変更を実現することができるようになる。
したがって、図131(c)に示される例では、タイミングtδ2において、「ブーブー 磁気を検知しました」といった報知音を繰り返し実行させるループ処理が開始されることとなり、報知音1(磁気異常)のタイマ(60秒)のタイムアップに合わせて「ブーブー 磁気を検知しました」といった報知音が6回分再生し終わった、切りの良いタイミングでそのループ処理が終了されることとなる。また、液晶内表示及びランプ点灯の実行は、磁気異常の解除条件である電源再投入が行われるときまで継続して実行されることとなる。
このような構成によれば、不正行為が行われている可能性の高い磁気検出が発生してすぐに、報知音1(磁気異常)の処理を、音、液晶内表示、ランプ点灯のいずれにおいてもその出力内容が各アクチュエータの作動として反映されるようになる。しかも、報知音として、まず、「ブーブー」といった警報音が再生されることから、第1報知グループに属する報知が行われており、緊迫した状況へと切り替わったことをホール側へといち早く伝達することが期待されるようになる。
図131(d)は、第3報知グループに属する一の報知音が再生されているときに第2報知グループに属する報知音の出力条件(状態検出)が満たされたときの処理についてその一例を示すものである。
同図131(d)に示されるように、何らの報知音も出力されていないタイミングtζ1において、ステップS112またはS116(図94)の処理内でゲートセンサ4003による非時短状態での右打ち検出があったとすると、該非時短状態での右打ち検出に応じた処理(左打ち案内処理)に関しては、図130(c)を参照して説明した場合と同様の処理が行われる。したがって、タイミングtζ1では、「左打ちに戻してください」といった報知音を繰り返し実行させるループ処理が開始されることとなり、報知音6(左打ち案内)のタイマ(20秒)がタイムアップしたタイミングtζ3では、「左打ちに戻してください」といった報知音が2回分再生し終わった、切りの良いタイミングでそのループ処理が終了されることとなる。また、液晶内表示及びランプ点灯の実行は、左打ち案内の解除条件である報知音のタイマアップまで継続して実行されることとなる。
ただし、図131(d)に示される例では、タイミングtζ1から20秒が経過しておらず「左打ちに戻してください」といった報知音がループ再生中の状態にあるタイミングtζ2において、ステップS110またはS112(図94)の処理内で扉枠開放スイッチ618による扉開放検出があった場合を想定している。この点、非時短状態での右打ち検出に応じた報知音6(左打ち案内)の処理は、扉開放検出に応じた報知音4(扉開放)の処理よりも優先順位が低くされていることから(図128を参照)、扉開放検出に応じた報知音4(扉開放)の処理を優先させ、報知音6(左打ち案内)の処理については、その出力内容がアクチュエータの作動として反映されないようにすることとなる。なお、液晶内表示については、各報知ごとに、遊技盤側演出表示装置1600の表示領域内の異なる位置にそれぞれ表示されるようになっていることから、優先順位の低い報知の実行中に優先順位の高い報知が発生した場合であっても、優先順位の低い側の液晶内表示は維持される。
ここで、報知音6(左打ち案内)の処理について、その出力内容がアクチュエータの作動として反映されないようにする手法としては、タイミングtζ2において、それまでセットしていた非時短状態での右打ち検出に応じた音生成用スケジュールデータをセット状態から解消させる処理を行うようにしてもよい。
この点、この実施の形態では、タイミングtζ2においては、非時短状態での右打ち検出に応じた画面生成用スケジュールデータのみならず、非時短状態での右打ち検出に応じた音生成用スケジュールデータについてもそれらをセット状態で維持したままとし、これよりも優先順位が高くなっている扉開放検出に応じた音生成用スケジュールデータはもとより、扉開放検出に応じた画面生成用スケジュールデータ及び発光態様生成用スケジュールデータをそれぞれセット状態にする。そして、チャンネルXに対する割り当てを、非時短状態での右打ち検出に応じた音生成用スケジュールデータに基づく内容から、扉開放検出に応じた音生成用スケジュールデータに基づく内容へと切り替えるようにすることで、扉開放検出に応じた報知音4(扉開放)の処理を、音、液晶内表示、ランプ点灯のいずれにおいてもその出力内容が各アクチュエータの作動として反映されるようにしている。
このような構成によれば、図131(d)に示されるように、タイミングtζ2において、実行状態にある優先順位が低い側の処理(左打ち案内処理)については何らの操作も行うことなく、2つの異なる処理(左打ち案内処理、扉開放処理)の間での優先順位に基づく報知内容の変更を実現することができるようになる。
したがって、図131(d)に示される例では、タイミングtζ2において、「扉が開いています ピンポンピンポン」といった報知音を繰り返し実行させるループ処理が開始されることとなり、報知音4(扉開放)のタイマ(30秒)のタイムアップに合わせて「扉が開いています ピンポンピンポン」といった報知音が3回分再生し終わった、切りの良いタイミングでそのループ処理が終了されることとなる。また、液晶内表示及びランプ点灯の実行は、扉開放の解除条件である扉閉鎖検出が行われるときまで継続して実行されることとなる。
このような構成によれば、不正行為が行われている可能性が中程度の扉開放検出が発生してすぐに、報知音4(扉開放)の処理を、音、液晶内表示、ランプ点灯のいずれにおいてもその出力内容が各アクチュエータの作動として反映されるようになる。しかも、報知音としては、まず、メッセージ音(扉が開いています)から再生させるようにしていることから、適正な遊技を行っている者に対して嫌悪感を覚えさせないようにしつつも、その後の「ピンポンピンポン」による警報音によって第2報知グループに属する報知が行われており、不正可能性が生じた状況へと切り替わったことをホール側へといち早く伝達することが期待されるようになる。
このような異常報知音が出力されている状況においても、音量設定値や輝度設定値を変更させることは可能であるが、音量設定値についてはこれを変更したとしても、該変更した音量設定値が音量として反映されることはない。ただし、輝度設定値についてはこれを変更したときに、複数の演出ランプのうちの一部の演出ランプでその変更された輝度が反映されるようにすることが望ましい。
この実施例にかかるパチンコ機1では、図128に示した各報知音が複数出力されるべき状況になった場合は、優先順位に応じた上述の各処理を行うようにすることで、各種の報知音に関して単一のチャンネル(チャンネルX)のみを用いるものでありながらも、異常内容や遊技案内などを適切に報知可能としている(チャンネル節約型の制御構造)。ただし上述の通り、不正可能性が中程度である第2報知グループに属する報知音であっても、その他の検出状況によっては、不正可能性が中程度よりも高くなる場合があることから、上述の優先順位に基づく制御だけでは現在の遊技機の状態を適正に報知しているとは言い難い。
また、報知音とは、不正行為が行われた可能性の高い異常検出があったときのみならず、不正行為が行われた可能性の低い異常検出があったときにも出力されるものである。すなわち、不正行為が行われた可能性の高い異常検出であればその検出状態が継続される限り報知音の出力を行うことが求められるが、不正行為が行われた可能性の低い異常検出であれば、ホール側の都合(各種エラーの復旧対応など)でそのような検出状態を維持している可能性もあることから、その検出状態が継続されていたとしても、報知音の出力を必ずしも継続させることは求められないなど、当該パチンコ機1の状況に応じてより柔軟な報知処理を実行可能とすることが重要である。
そこで、この実施の形態にかかるパチンコ機1では、図132~図137に例示する各状況においては、上述の優先順位に基づく制御のほか、特殊な条件も加味して、遊技機の状態をより適切に表現可能とするような態様での報知を実現することとしている。以下、特殊な報知処理について、図132~図137を参照して各状況の別に説明する。
図132に示される例では、何らの報知音も出力されていないタイミングtα11において、扉枠開放スイッチ618による扉開放検出が発生する。すると、扉開放検出に応じた音生成用スケジュールデータがセットされてその報知音がチャンネルXに割り当てられるとともに、扉開放検出に応じた画面生成用スケジュールデータ及び発光態様生成用スケジュールデータについてもそれらがセット状態にされる。そしてこの際、報知音4(扉開放)の報知時間を計時するためのタイマ(30秒)がセットされることで、扉開放検出に応じた報知音については、タイミングtα12が到来するまでの30秒間にわたって再生されるようになる。
これに対し、扉開放検出に応じた液晶内表示については、扉枠開放スイッチ618によって扉開放が検出されなくなるタイミングtα16が到来するまでその表示が維持されることとなる。
ただし、図132に示される例では、扉開放検出に応じた報知音再生が終了してチャンネルXが空き状態になっているタイミングtα13において、報知に関する優先順位が相対的に高くされている磁気検出センサ4024による磁気検出が発生する。したがって、タイミングtα11から開始された扉開放検出に応じたランプ発光については、発光態様生成用スケジュールデータこそ上記タイミングtα16が到来するまでセット状態にて維持されるものの、各種のランプ作動に対する割り当てに関しては、タイミングtα13において磁気検出に応じたランプ発光の態様へと切り替えられることとなる。
すなわち、タイミングtα13では、磁気検出に応じた音生成用スケジュールデータがセットされてその報知音がチャンネルXに割り当てられるとともに、磁気検出に応じた画面生成用スケジュールデータ及び発光態様生成用スケジュールデータについてもそれらがセット状態にされる。そしてこの際、報知音1(磁気異常)の報知時間を計時するためのタイマ(60秒)がセットされることで、磁気検出に応じた報知音については、タイミングtα14が到来するまでの60秒間にわたって再生されるようになる。
これに対し、磁気検出に応じた液晶内表示及びランプ発光については、電源オフにされない限り、その表示と発光とがそれぞれ維持されることとなる。
ところで、図132に示される例では、扉開放検出に応じた報知音再生が終了しており、且つ扉枠開放スイッチ618による扉開放検出が未だ継続している状況にあるときに、磁気検出センサ4024による磁気検出が発生している。このような状況とは、何らかの不正工作を行う意図のある者が扉枠3を開放させてこれを開放状態にした後、扉開放検出に応じた報知音再生が終了するのを待って、ほとぼりが冷めた状態で扉枠3内部に不正目的の磁石を秘かに配置させようとしたときに磁気検出センサ4024の検出範囲に磁石が瞬間的に入った状況にある可能性が想定され、極めて悪質な行為であることから、磁気検出に応じた報知音処理を行うだけではその対策として不十分であることが懸念される。その一方で、磁気検出センサ4024による磁気検出の状態は既にオフになっていることから、何らかの対策を行おうとしてもその契機として磁気検出を用いることはできない。
そこで、この実施の形態にかかるパチンコ機1では、磁気検出に応じた報知音再生が終了されるタイミングtα14になると、扉枠開放スイッチ618による扉開放検出が未だ継続していることを利用し、これに基づいて、報知音再生がその報知時間(30秒)分だけ既に報知し終わった状態にある「扉開放検出に応じた音生成用スケジュールデータ」を再びセットしてその報知音をチャンネルXに再び割り当てる特殊処理を行うこととしている。なおこの際も、報知音4(扉開放)の報知時間を計時するためのタイマ(30秒)がセットされることで、タイミングtα15が到来するまでの30秒間にわたって扉開放検出に応じた報知音が再生される。
このような構成では、既に終了状態にあった扉開放検出に応じた報知音が「磁気検出に応じた報知音再生」と繋がるかたちで再生されるようになることから、ホール内に大きな違和感を生じさせて皆の注目が集まることが期待されるようになる。また、不正を行う者としても「磁気報知が終われば報知音再生が全て終了されたこととなり、不正行為をしていることをようやく目立ち難い状況にすることができる」と安心しているところで、既に終了したはずの扉開放検出に応じた報知音が再生されることで、想定外の報知状況になることから、これ以上の不正行為はリスクが大きすぎるとの認識を持たせることが期待されるようになる。
なお後述するが、この実施例では、第1報知グループに属する報知処理が行われている期間中と、第2報知グループに属する報知処理が行われている期間中とにおいては、その他のチャンネルに割り当てられている図柄変動中の演出音やそれ以外の遊技音のボリュームを抑制させる処理(音量を特定値まで低下させる処理)を行うこととしている。特定値は、音量0であってもよい。第3報知グループに属する報知処理が行われている期間中は、その他のチャンネルに割り当てられている図柄変動中の演出音やそれ以外の遊技音のボリュームは抑制されない。
ここで、報知処理が行われている期間(ボリュームの抑制対象とされる期間)とは、第1報知グループまたは第2報知グループで用いられるセンサのいずれかが特定の検出状態にあるか(異常状態にあるか)、第1報知グループまたは第2報知グループに属する報知音が再生中であるか(報知音再生中か)の条件が満たされている期間のことである。したがって、図132に示される例では、タイミングtα11~tα13の期間とタイミングtα14~tα16の期間とにおいては、第1報知グループによる報知処理が行われている期間中であることに基づいて、図柄変動中の演出音やそれ以外の遊技音のボリュームを抑制させる処理(音量を特定値まで低下させる処理)が行われ、タイミングtα13~tα14の期間においては、第1報知グループ及び第2報知グループによる報知処理が行われている期間中であることに基づいて、図柄変動中の演出音やそれ以外の遊技音のボリュームを抑制させる処理(音量を特定値まで低下させる処理)が行われることとなる。
なお、この実施例では、第1報知グループによる報知処理のみが行われている期間中(タイミングtα11~tα13,tα14~tα16)と、第1報知グループ及び第2報知グループによる報知処理が両方行われている期間中とで、図柄変動中の演出音やそれ以外の遊技音の音量を同じ値まで低下させることとしたが、第1報知グループ及び第2報知グループによる報知処理が両方行われている期間中になると、第1報知グループによる報知処理のみが行われている期間中よりも低い値にまで低下させる処理を行うようにしてもよい。すなわちこの場合、報知以外の演出音を確認するだけでも複数の報知状態にあることが認識することができるようになり、ホール側の初動をより迅速化させることが期待されるようになる。
また、図132に示される例では、扉開放検出が終了されるタイミングtα16になると、図柄変動中の演出音やそれ以外の遊技音のボリュームを抑制させる処理を終了させることとした。ただし、既に終了状態にあった扉開放検出に応じた報知音が「磁気検出に応じた報知音再生」と繋がるかたちで再生された場合は、極めて悪質な行為が行われていた可能性があることに鑑みて、扉開放検出が終了されるタイミングtα16になっても図柄変動中の演出音やそれ以外の遊技音のボリュームを抑制させず、これを継続させるようにしてもよい。
また、図132に示される例では、扉開放検出に応じた処理を見ると明らかであるように、扉開放検出に応じた報知音が再生される期間、扉開放検出に応じた液晶内表示が行われる期間、及び扉開放検出に応じた態様でランプ発光する期間は、それらの開始時期は同じであるものの、それらの終了時期は全て異なるようにされている。このように、報知音、液晶内表示、ランプ発光でそれぞれ異なる役割を持たせるようにそれらを作動させるようにしたことで、各種の報知音に関して単一のチャンネル(チャンネルX)のみを用いるものでありながらも、異常内容や遊技案内などを適切に報知することができるようになる。
これに対し、図133に示される例では、扉開放検出に応じた報知音(タイミングtα21~tα22)が終了した後、タイミングtα23において、ゲートセンサ4003による非時短状態での右打ち検出が発生した場合を想定している。ただしこの例では、図132に示した例の場合とは異なり、極めて悪質な行為が行われている可能性は低いことから、該非時短状態での右打ち検出に応じた報知音再生が終了されるタイミングtα24において、既に終了状態にある扉開放検出に応じた報知音が再び再生されることはない。また、タイミングtα22~タイミングtα23の期間において、図柄変動中の演出音やそれ以外の遊技音の音量の抑制態様が変化されることもない。ちなみに、扉開放検出に応じた報知音(タイミングtα21~tα22)が終了した後、ゲートセンサ4003による非時短状態での右打ち検出ではなく、枠開放検出が発生した場合であっても、極めて悪質な行為が行われている可能性は低いことから、これに応じた報知音が終了したときに既に終了状態にある扉開放検出に応じた報知音が再び再生されることはない。
一方、図134に示される例では、扉開放検出に応じた報知音(タイミングtα31~tα32)が終了した後のタイミングtα33において磁気検出センサ4024による磁気検出が発生する点では、図132に示した例と同じである。ただし、図134に示される例では、該磁気検出に応じた報知音が再生されている期間内であるタイミングtα34において、扉枠3が閉鎖されて扉開放検出が終了された場合を想定している。
図134に示される例では、磁気検出に応じた報知音再生が終了されるタイミングtα35において、既に終了状態にあった扉開放検出に応じた報知音が「磁気検出に応じた報知音再生」と繋がるかたちで再生されるようなことはない。すなわち、図134に示される例でも、図132に示した例の場合と同様、何らかの不正工作を行う意図のある者が扉枠3を開放させてこれを開放状態にした後、扉開放検出に応じた報知音再生が終了するのを待って、ほとぼりが冷めた状態で扉枠3内部に不正目的の磁石を秘かに配置させようとしたときに磁気検出センサ4024の検出範囲に磁石が瞬間的に入った状況にある可能性が想定される。ただし、タイミングtα34以降は、扉枠3が閉鎖されており且つ磁気検出も生じていない非不正の状態にあることに鑑みれば、このような非不正の状態にありながらも、磁気検出に応じた報知音をタイミングtα35が到来するまで継続再生するだけで報知音処理としては十分な役割を果たしていると考えられ、それよりも更なる報知音処理が必要になったときのためにチャンネルXを空き状態にして確保しておくことのほうが有益であると言える。したがって、図134に示される例では、各種の報知音に関して単一のチャンネル(チャンネルX)のみを用いるものでありながらも、異常内容や遊技案内などを適切に報知することができるようになる。
また一方、図135に示される例では、扉開放検出に応じた報知音(タイミングtα41~tα42)が終了した後のタイミングtα43において磁気検出センサ4024による磁気検出が発生する点では、図132に示した例と同じである。ただし、図135に示される例では、該磁気検出に応じた報知音が再生されている期間内であるタイミングtα44において、磁気検出センサ4024による磁気検出が再び発生した場合を想定している。
すなわち、図135に示される例では、扉開放検出に応じた報知音再生が終了するのを待って、ほとぼりが冷めた状態で扉枠3内部に不正目的の磁石を秘かに配置させようとしたときに磁気検出センサ4024の検出範囲に磁石が瞬間的に入り、これに応じて磁気異常の報知音が再生されたにもかかわらず、こうした状況にひるむことなく磁気検出センサ4024の検出範囲内に磁石を再び置こうとしていることが想定され、より悪質な不正行為が行われている可能性がある。そこで、この例では、タイミングtα44において、磁気検出センサ4024による磁気検出が再び発生した場合は、磁気検出に応じた音生成用スケジュールデータをセット状態で維持させたままにする一方で、報知音1(磁気異常)の報知時間を計時するためのタイマ(60秒)をセットし直す処理を行うようにしている。
このような構成によれば、1回目の磁気検出があったときから2回目の磁気検出があったタイミングtα44を基点とした60秒が経過するまでのより長い時間にわたって磁気検出に応じた報知音を継続再生させることができるようになる。またこの場合、タイミングtα43からタイミングtα45までの期間にわたって「ブーブー 磁気を検知しました」といった報知音が途切れることなく継続して再生されるようになる。そして最後には、「ブーブー 磁気を検知しました」といった報知音が、切りの良いタイミングでそのループ処理が終了されず、例えば、「ブーブー 磁気を検」といった中途半端なタイミングでそのループ処理が終了されるようになることから、ホール内に大きな違和感を生じさせて皆の注目が集まることが期待されるようになる。
またさらに、2回目の磁気検出があったタイミングtα44を基点とした60秒が経過したタイミングtα44では、報知音再生がその報知時間(30秒)分だけ既に報知し終わった状態にある「扉開放検出に応じた音生成用スケジュールデータ」を再びセットしてその報知音をチャンネルXに再び割り当てる特殊処理を行うこととしている。なおこの際も、報知音4(扉開放)の報知時間を計時するためのタイマ(30秒)がセットされることで、タイミングtα15が到来するまでの30秒間にわたって扉開放検出に応じた報知音が再生される。
このような構成では、既に終了状態にあった扉開放検出に応じた報知音が「磁気検出に応じた報知音再生」と繋がるかたちで再生されることはもとより、「ブーブー 磁気を検」といった中途半端なタイミングでそのループ処理が終了された「磁気検出に応じた報知音再生」と繋がるかたちで再生されるようになる。したがって、既に終了状態にあった扉開放検出に応じた報知音の優先状態が高くなって磁気検出の報知音を途中で止めるかたちで再生されたかのような報知態様が現れるようになり、ホール内にさらに大きな違和感を生じさせて皆の注目が集まることが期待されるようになる。
また一方、図136に示される例では、扉開放検出に応じた報知音(タイミングtα51~tα52)が終了した後のタイミングtα53において磁気検出センサ4024による磁気検出が発生する点では、図132に示した例と同じである。ただし、図136に示される例では、該磁気検出に応じた報知音が再生されている期間内であるタイミングtα54において、振動センサ2405による振動検出が発生した場合を想定している。
図136に示される例でも、扉開放検出に応じた報知音再生が終了するのを待って、ほとぼりが冷めた状態で扉枠3内部に不正目的の磁石を秘かに配置させようとしたときに磁気検出センサ4024の検出範囲に磁石が瞬間的に入り、これに応じて磁気異常の報知音が再生されたにもかかわらず、こうした状況にひるむことなく当該パチンコ機1を大きく揺らした状況にあることが想定され、より悪質な不正行為が行われている可能性がある。そこで、この例では、磁気検出に応じた報知音再生が終了されるタイミングtα55において、振動検出に応じた報知音を「磁気検出に応じた報知音再生」と繋がるかたちで再生させた後、該振動検出に応じた報知音再生が終了されるタイミングtα56において、既に終了状態にあった扉開放検出に応じた報知音を「振動検出に応じた報知音再生」とさらに繋がるかたちで再生させるようにしている。
しかも、振動センサ2405による振動検出が発生したタイミングtα54においては、振動検出に応じた音生成用スケジュールデータをセットせず、且つ報知音2(振動異常)の報知時間を計時するためのタイマ(60秒)をセットするようにし、磁気検出に応じた報知音再生が終了されるタイミングtα55において、振動検出に応じた音生成用スケジュールデータをセットしてその報知音をチャンネルXに割り当てるようにしている。
このような構成によれば、「ブーブー 振動を検知しました」といった報知音が、切りの良いタイミングでそのループ処理が終了されなくなり、例えば、「ブーブー 振動を検」といった中途半端なタイミングでそのループ処理が終了されるようになることから、ホール内に大きな違和感を生じさせて皆の注目が集まることが期待されるようになる。
またさらに、振動検出に応じた報知音再生が終了されるタイミングtα56では、報知音再生がその報知時間(30秒)分だけ既に報知し終わった状態にある「扉開放検出に応じた音生成用スケジュールデータ」を再びセットしてその報知音をチャンネルXに再び割り当てる特殊処理を行うこととしている。なおこの際も、報知音4(扉開放)の報知時間を計時するためのタイマ(30秒)がセットされることで、タイミングtα15が到来するまでの30秒間にわたって扉開放検出に応じた報知音が再生される。
このような構成では、既に終了状態にあった扉開放検出に応じた報知音が「磁気検出に応じた報知音再生」と繋がった「振動検出に応じた報知音再生」に対してさらに繋がるかたちで再生されることはもとより、「ブーブー 振動を検」といった中途半端なタイミングでそのループ処理が終了された「振動検出に応じた報知音再生」と繋がるかたちで再生されるようになる。したがって、既に終了状態にあった扉開放検出に応じた報知音の優先状態が高くなって振動検出の報知音を途中で止めるかたちで再生されたかのような報知態様が現れるようになり、ホール内にさらに大きな違和感を生じさせて皆の注目が集まることが期待されるようになる。
他方、図137に示される例では、扉開放検出ではなく、枠開放検出に応じた報知音(タイミングtα61~tα62)が終了した後のタイミングtα63において磁気検出センサ4024による磁気検出が発生した場合を想定している。
図137に示される例でも、枠開放検出があってからすぐに磁気検出がさらに発生する状況が、何らかの不正行為を行っている可能性が高い状況にあると言える。ただしその一方で、不正行為を目的として磁石を用いるのであれば扉枠3を開放状態にするはずであり、本体枠4を開放状態にしたとしても磁石を配置させて有益となるようなことはないことから、ホール側が球タンクや払い出し通路などにおける球詰まり解消のために磁石を用いた時に誤って磁気検出センサ4024を誤検出させてしまった可能性も想定されうる状況にあるといえる。
そこで、図137に示される例においても、磁気検出に応じた報知音再生が終了されるタイミングtα64では、既に終了状態にあった枠開放検出に応じた報知音が「磁気検出に応じた報知音再生」と繋がるかたちで再生させることで(タイミングtα64~tα65)、ホール内に大きな違和感を生じさせて皆の注目が集まることが期待されるようにする。ただしその後、本体枠4が閉鎖されて枠開放検出が終了されるタイミングtα66においては、枠開放検出に応じた各報知処理(報知音、液晶内表示、ランプ)のみならず、磁気検出に応じた各報知処理(報知音、液晶内表示、ランプ)についてもそれらを終了させる特殊処理を行うこととしている。
このような構成によれば、不正行為に対する機能を好適に奏するようにしつつも、ホール側の誤検出であったときには本体枠4を閉鎖させるだけで枠開放検出及び磁気検出に応じた報知処理(報知音、液晶内表示、ランプ)を全て終了させることができるようになることから、誤検出に対するホール側の対応を迅速化させてホール内の雰囲気を好適に維持することが期待されるようになる。
なお、図137に示される例において、磁気検出に応じた報知音が再生されている期間内にあるときに本体枠4が閉鎖されて枠開放検出が終了された場合も、該枠開放検出が終了されたタイミングで、枠開放検出に応じた各報知処理(報知音、液晶内表示、ランプ)のみならず、磁気検出に応じた各報知処理(報知音、液晶内表示、ランプ)についてもそれらを終了させる特殊処理を行うようにしてもよい。
ところで、この実施例にかかるパチンコ機1には、遊技者側音量調整機能が搭載されていることは上述した通りである。
例えば、周辺制御MPU1511aでは、ステップS1108の処理において、演出選択左ボタン331や演出選択右ボタン332が操作されたか否かを監視しており、演出選択左ボタン331が操作された旨判断されるとスピーカのボリュームに関して遊技者による設定値(遊技者設定値)を低下させる処理を行い、演出選択右ボタン332が操作された旨判断されるとスピーカのボリュームに関して遊技者による設定値(遊技者設定値)を上昇させる処理を行う。また、遊技者設定値が低下されて実際に低下された音量がスピーカから出力される状況になると、音量調整完了音(例えば、「ピ!」)をその低下後の音量値で出力させるのに対し、遊技者設定値が上昇されて実際に上昇された音量がスピーカから出力される状況になると、音量調整完了音(例えば、「ピピ!」)をその上昇後の音量値で出力させることで、音量調整が完了してどの程度の音量に変化したかを把握することが可能とされるようにしている。なお、音量調整完了音については、音量値を低下させる場合と上昇させる場合とで同じ音を出力させるようにしてもよい。ちなみに、音量調整完了音は、空きチャンネルがなくなったときに参照される上述の優先順位が比較的高いものとなっており(例えば、ボタン押下音と同じ「20」)、演出音の出力音量(可聴音の音量)が変化したことをより確実に伝達することができるようになっている。
そして、この実施の形態にかかる周辺制御MPU1511aでは、このような音量調整処理を、大当り判定に応じた図柄変動が未だ行われておらず遊技が開始されるよりも前の期間(デモ表示などが行われうる期間)のみならず、遊技が開始されて大当り判定に応じた図柄変動が実行されている期間中においても遊技者による受付を許容するようになっており、より重要な演出が出現したときなどに音量値の機動的な設定変化を可能ならしめることで遊技興趣の維持を図るようにしている。
一方、この実施の形態にかかるパチンコ機1では、これも上述した通り、図柄変動の実行期間中に表示演出の進展に応じて各種の演出音のチャンネル割り当てがなされている状況において、当該パチンコ機1が磁気異常や扉開放などの特定の状態になったことが検出されると、複数種類の報知音のうち検出内容に応じた特定の報知音をチャンネルに割り当てて出力させる処理を行う。またこの際、表示演出の進展に応じた各種の演出音のチャンネル割り当てこれ自体も中止せず、その出力音量を特定値まで低下させる演出進展下報知処理を実行可能としている。すなわちこの場合、複数種類の報知音のうち特定の報知音がチャンネルに割り当てて出力される状況になったとしても、表示演出の進展に応じた各種の演出音のチャンネル割り当てこれ自体は中止されないことから、特定の報知音のチャンネル割り当て若しくは異常状態が終了しさえすれば、演出表示の進展に応じた演出音の出力音量を適切に復帰させることで演出を再び楽しむことができるようになる。
ただし、上記演出進展下報知処理では、表示演出の進展に応じた各種の演出音のチャンネル割り当てこれ自体を中止させないようにしていることから、特定の報知音がチャンネルに割り当てられる分だけ通常時(非報知の状態)よりも多くのチャンネルが使用されることとなり、特定の報知音のチャンネル割り当て(報知状態)が終了するよりも前の段階で音データが割り当てられていない空きチャンネルがなくなってしまうリスクが高くなる傾向にある。そして、特定の報知音のチャンネル割り当て(報知状態)が終了するよりも前の段階で音データが割り当てられていない空きチャンネルがなくなってしまうようなことがあれば、その時点で音データのいずれか1つのチャンネル割り当てを破棄せざるを得なくなることから、その後、特定の報知音のチャンネル割り当て(報知状態)が終了したとしても、チャンネルに割り当てることができずに破棄された音データを再生させることはできず、遊技興趣が低下する懸念がある。
こうした演出音に関わる空きチャンネルの懸念については、報知音のチャンネル割り当てに関して固定チャンネル方式を採用している場合には直接的な弊害は生じないが、報知音のチャンネル割り当てに関して固定チャンネル方式を採用するか、若しくは自動チャンネル方式を採用するかは、遊技や演出の設計上の観点から決定されるべきものであるから、いずれのチャンネル方式が採用された場合であっても上記演出進展下報知処理として共通の処理プログラムを採用することができるような処理構造を用意しておくことが、パチンコ機1の開発にかかるコスト低減や信頼性の向上を確保する上で重要である。したがって、以下に説明する例では、報知音と演出音とのいずれについても、固定チャンネル方式と自動チャンネル方式とのいずれを採用するようにしてもよい。
そこで、この実施の形態にかかるパチンコ機1では、演出進展下報知処理が実行されている間、演出選択左ボタン331や演出選択右ボタン332に対する操作が行われたとしても、特定値まで低下されている演出音の出力音量は可変とされずこれを維持させるようにしている。すなわちこの場合、演出進展下報知処理が実行されている間は遊技者による操作があったとしても上述の音量調整完了音(「ピ!」または「ピピ!」)を発生させる必要がなくなることから、その分だけチャンネルに余裕を持たせて空きチャンネルがなくなってしまうリスクの低減を促すことが期待されるようになる。
ただし、より重要な演出が出現したときなどに音量値の機動的な設定変更を可能としたパチンコ機1であるにもかかわらず、演出進展下報知処理が実行されている間は出力音量の設定変更が不可とされてしまうと、誤検出やホール側都合(扉開放など)による報知を起因とした演出進展下報知処理が実行された場合に、演出進展の内容に合わせた音量適正値に適宜に設定変更できなくなったことによる遊技興趣の低下が避けられない。また、演出進展下報知処理が行われている期間中に演出が進展した結果、演出内容に合わせた音量適正値と実際の設定値との間に大きなズレが生じるようになると、出力音量(可聴音の音量)の設定変更が許容されるようになった以降、音量適正値に変更させるために複数回の操作受付が必要とされるが、これでは上述の音量調整完了音によってチャンネルが占有されることとなってしまい、演出進展下報知処理がようやく終了したにもかかわらず空きチャンネルが足らずに演出音を適切に出力させることができなくなってしまうことによる遊技興趣の低下が懸念される。
この点、この実施の形態にかかるパチンコ機1では、まず、演出進展下報知処理が実行されている間、演出選択左ボタン331や演出選択右ボタン332に対する操作が行われると、特定値まで低下されている演出音の出力音量(可聴音の音量)は可変とせずこれを維持させる一方で、音量に関しての遊技者による設定値(遊技者設定値)これ自体の変更受付は許容して、上記演出進展下報知処理(出力音量を特定値まで低下させる処理)が終了されたときにそれまでの操作が全て反映された出力音量(可聴音の音量)へと一括変化させるようにしている。
このような構成によれば、演出進展下報知処理が実行されている間に演出進展に合わせて遊技者による設定値(遊技者設定値)の変更受付を行うようにしておけば、新たな操作を行わずとも、当該演出進展下報知処理が終了されたときにそれまでの操作が全て反映された出力音量(可聴音の音量)へと一括変化させることができるようになる。このように、演出進展下報知処理が実行されている期間中であっても遊技者による設定値(遊技者設定値)の変更受付を許容するようにしたことで、演出進展下報知処理が終了するまでの遊技興趣の低下を抑制することが期待されるようになる。また、当該演出進展下報知処理が終了してすぐに音量値(可聴音の音量)が複数段階にわたって設定変更されてその都度の音量調整完了音によって空きチャンネルに不足が発生するような事態の発生も好適に回避されるようになる。
なお、上記構成によれば、演出進展下報知処理が終了されたときに遊技者設定値への出力音量の一括変化を実行する場合は、演出進展下報知処理が実行されていた期間中における遊技者設定値の変更回数や遊技者による操作回数などにかかわらず、音量調整完了音を、一括変更された後の音量で1回分だけ再生することとなるが、この音量調整完了音については通常時とは異なる特別態様の音(例えば、「ビー!」)で出力させるようにしてもよい。
またさらに、演出進展下報知処理が終了したときの空きチャンネルの不足をより好適に解消させる上では、演出進展下報知処理が実行されていた期間中における遊技者設定値の変更回数や遊技者による操作回数などにかかわらず、演出進展下報知処理が終了されることに伴って出力音量(可聴音の音量)を一括変更させるときには音量調整完了音これ自体の再生を行わないようにすることが望ましい。このような構成によれば、特に、誤検出やホール側都合(扉開放など)による報知を起因とした演出進展下報知処理がようやく終了されたにもかかわらず、空きチャンネルの不足によって適正な演出を楽しむことができなくなるような事態の発生を好適に抑制することができるようになる。
上記説明例では、扉開放状態を維持したままで扉開放検出に応じた報知音が終了した場合、その後に磁気異常が発生してこれに応じた報知音が終了すると、扉開放検出に応じた報知音が再び出力されるようにした(図132を参照)。ただし、扉開放検出に応じた報知音が出力状態にあるときに磁気異常が発生してこれに応じた報知音が終了した場合は、扉開放状態が維持されていたとしても、扉開放検出に応じた報知音を出力しない(若しくは、中断された「扉開放検出に応じた報知音」の出力時間として残されている時間分だけを出力する)ようにすることが望ましい。
扉開放状態になったときには、扉開放検出に応じたランプ発光が行われるが、このランプ発光については、扉開放検出に応じた報知音が終了した以降も扉開放状態にあるときには継続されるようにすることが望ましい。またさらに、扉枠3が閉鎖されて扉開放状態が終了した以降も所定時間にわたって継続されるようにすることが望ましい。
異常検出がなされたとしても報知音を出力しない特定エラーがあり、扉開放状態を維持したままで扉開放検出に応じた報知音が終了された状況において当該特定エラーが発生した場合、該特定エラーの発生に基づいて扉開放検出に応じた報知音を再び出力させるようにすることが望ましい。このような構成によれば、何らかの異常が発生したことを、扉開放検出に応じた報知音の再出力によって認識することができるようになる。
若しくは、異常検出がなされたとしても報知音を出力しない特定エラーがあり、扉開放状態を維持したままで扉開放検出に応じた報知音が終了された状況において当該特定エラーが発生した場合、該特定エラーの発生に基づいて扉開放検出に応じた報知音を再び出力させることはせず、再報知が可能な状態を維持させるようにしてもよい。
このような異常報知音が出力されている状況においても、音量設定値や輝度設定値を変更させることは可能であるが、音量設定値についてはこれを変更したとしても、該変更した音量設定値が音量として反映されることはない。ただし、輝度設定値についてはこれを変更したときに、複数の演出ランプのうちの一部の演出ランプでその変更された輝度が反映されるようにすることが望ましい。
以下、このような演出進展下報知処理が実行されてから出力音量(可聴音の音量)が一括変更されるまでの処理についてその一例を説明する。
図138は、演出進展下報知処理の内容について当該パチンコ機1の報知状態の別に説明する図である。
まず、演出進展下報知処理が実行されてから出力音量(可聴音の音量)が一括変更されるまでの処理を説明するのに先立って、図138を参照して、演出進展下報知処理の内容について簡単に説明する。ここでは、説明の便宜上、図128で例示した報知音1~7に関してのみ示しており、その他の報知音については説明を省略している。
同図138に示されるように、この説明例では、まず、演出音の音量抑制態様として、2種類の抑制態様(第1の音量抑制態様、第2の音量抑制態様)が用意されており、例えば、第1の音量抑制態様は、音量に関しての遊技者による設定値(遊技者設定値)変更では「20」~「50」の範囲での演出音の出力音量(可聴音の音量)変更が可能とされているなかで、演出音の出力音量(可聴音の音量)を「10」に設定するものとなっている。これに対し、第2の音量抑制態様は、演出音の出力音量(可聴音の音量)を「0」に設定するものとされている。したがって、第2の音量抑制態様は、第1の音量抑制態様よりもその抑制度合いが大きいものとなっており、特に、この説明例では、出力にかかる処理これ自体は行われるものの演出音を無音化させるものとして例示されている。
この点、この実施の形態にかかるパチンコ機1では、報知音1~7のうち、不正可能性が高い第1報知グループに属する報知音1~3(磁気異常、振動異常、大入賞異常)のいずれかに関する報知処理が実行される場合は、抑制度合いの高い側である第2の音量抑制態様で演出音の出力音量(可聴音の音量)を抑制させる処理を行うこととしている。しかも、第1報知グループに属する報知音1~3(磁気異常、振動異常、大入賞異常)のいずれかに関する報知処理が実行される場合は、異常検出がオフになった場合であっても、異常検出があってから予め定められた時間(ここでは、60秒)が経過するまでの間は、抑制度合いの高い側である第2の音量抑制態様で演出音の出力音量(可聴音の音量)を抑制させる処理を終了させず、これを継続させるようにしている。
なお、この説明例では、第1報知グループに属する報知音1~3(磁気異常、振動異常、大入賞異常)のいずれかに関する報知処理が実行される場合は、演出音の出力音量(可聴音の音量)を抑制させる処理が継続される期間を、異常検出に応じた報知音(磁気異常、振動異常、大入賞異常)の再生がされてからこれが終了されるまでの期間と同じになるように設定されている。
一方、報知音1~7のうち、不正可能性が中程度の第2報知グループに属する報知音4,5(扉開放、枠開放)のいずれかに関する報知処理が実行される場合は、抑制度合いの低い側である第1の音量抑制態様で演出音の出力音量(可聴音の音量)を抑制させる処理を行うこととしている。ただし、第2報知グループに属する報知音4,5(扉開放、枠開放)のいずれかに関する報知処理が実行される場合は、異常検出が生じてからすぐに異常検出がオフになると、その時点で、抑制度合いの低い側である第1の音量抑制態様で演出音の出力音量(可聴音の音量)を抑制させる処理を終了させることとなる。
他方、報知音1~7のうち、遊技案内に関連した第3報知グループに属する報知音6,7(左打ち案内、球抜き案内)のいずれかに関する報知処理が実行される場合は、演出性の維持を重視しており、演出音の出力音量(可聴音の音量)を抑制させる処理は何ら実行されない。
なお、この説明例では、第1報知グループに属する報知音が実行される場合と、第2報知グループに属する報知音が実行される場合とで抑制態様を異ならせるようにしたが、該抑制態様については必ずしも異ならせなくてもよく、第1報知グループに属する報知音が実行される場合と、第2報知グループに属する報知音が実行される場合とで一の抑制態様で演出音の出力音量(可聴音の音量)を抑制させる処理を行うようにしてもよい。ただし、該抑制させる処理の終了条件については、第1報知グループに属する報知音が実行される場合のほうが、第2報知グループに属する報知音が実行される場合よりも厳格化されるかたちで異ならせるようにすることが重要である。
図139は、異常検出が発生しておらず報知音に関する処理が実行されていないなかで、演出選択左ボタン331または演出選択右ボタン332が操作されたことに伴う音量調整に関する処理についてその内容を説明する図である。
なお、この説明例にあって、遊技者設定値は、演出選択左ボタン331または演出選択右ボタン332による操作によって「1」~「5」の範囲内で「1」ずつ可変とされるようになっており、その値が小さいほど演出音の音量が小さくなるものとして設定されている。また、演出音の出力音量(可聴音の音量)は、演出音に対して上述の抑制態様(第1の音量抑制態様、第2の音量抑制態様)が設定されていない状態では、遊技者設定値の20倍の数値として設定されるものとなっている。したがって、この説明例では、演出音の出力音量(可聴音の音量)は、遊技者による操作によって「20」~「100」の範囲で可変とされることとなる。
いま、同図139(A)に示されるように、演出音の音量に関して遊技者設定値が「1」~「5」のうちの「3」であり、何らの報知フラグも設定されておらず、演出音の出力音量(可聴音の音量)がその20倍の「60」に設定されているとする。また、装飾図柄SZが停止した状態にあり、且つ大当り判定が行われておらず始動入賞待ちの状態にあるとすると、遊技盤側演出表示装置1600の表示領域では、演出選択左ボタン331を摸した表示画像331aと、演出選択右ボタン332を摸した表示画像332aとが表示されており、それらの操作を通じて音量調整を行うことができる旨の音量調整案内表示OAHが行われる。またこの際、遊技盤側演出表示装置1600の表示領域では、現在の遊技者設定値が「1」~「5」のいずれであるかを認識可能とする第1の音量値表示OH1も実行される。これら音量調整案内表示OAH及び第1の音量値表示OH1については、常時表示されるようにしてもよいし、背景画像が変化した状態で実行されるリーチ演出であるスーパーリーチ演出などの特定期間中にあるときには非表示にして遊技者による操作があったときに第1の音量値表示OH1及び後述の第2の音量値表示OH2の少なくとも一方が現れるようにしてもよい。また、音量調整案内表示OAH及び第1の音量値表示OH1については、必ずしもそれらの両方を表示しなくてもよく、それらの一方を割愛し、その他方のみを表示するようにしてもよい。
このような図139(A)に示される状況にあるなかで、演出選択左ボタン331または演出選択右ボタン332による操作が行われると、該操作がある都度、遊技者設定値が「1」ずつ変化され、これに伴って演出音の出力音量(可聴音の音量)が「20」ずつ変化されるようになる。また、演出音の出力音量(可聴音の音量)が変化する都度、その変化後の音量で、音量調整完了音(例えば、「ピ!」)が再生されるようになる。
またこの際、遊技盤側演出表示装置1600の表示領域では、遊技者設定値の範囲である「1」~「5」のなかで現在の設定値がいずれであるかをゲージ表示によって示す第2の音量値表示OH2(図139(C)を参照)が、音量調整案内表示OAHに代わって実行されることとなるが、これについては後述することとする。
なお、遊技者設定値が「1」のときに演出選択左ボタン331が操作された場合は、遊技者設定値と演出音の出力音量(可聴音の音量)とのいずれも低下されず、遊技者設定値は「1」のまま(演出音の出力音量(可聴音の音量)は「20」のまま)とされる。したがって、遊技者設定値が「1」のときに演出選択左ボタン331が操作されたとしても、音量調整完了音はチャンネル自体に割り当てないようにするか、チャンネルに割り当てたとしてもその音量を「0」にすることによって可聴出力されないようにすることが望ましい。このことは、遊技者設定値が「5」のときに演出選択右ボタン332が操作された場合も同様である。
これに対し、始動入賞が発生して大当り判定が行われると、図139(B)に示されるように、大当り判定の結果や変動パターンの種別に基づいて装飾図柄SZが所定の演出パターンで変動表示される。また、装飾図柄SZが変動表示される間は、所定演出が進展されるとともに、該所定演出の進展に合わせた演出音が出力される。
この点、この実施の形態にかかる音量調整処理では、図139(A)に示される期間(デモ表示などが行われうる期間)のみならず、遊技が開始されて大当り判定に応じた図柄変動が実行されている期間中においても遊技者による受付を許容するようになっており、例えば、図139(C)に示されるリーチ演出などのより重要な演出が出現したときに音量値の機動的な設定変化を可能ならしめる構成とされていることは上述した通りである。
すなわち、図139(C)では、図139(B)に示される状態においてリーチ演出が実行されたことに伴い遊技者によって演出選択右ボタン332による操作が2回行われた後の様子を示しており、そのうちの1回目の操作では、遊技者設定値が「3」→「4」に変化されており、且つ演出音の出力音量(可聴音の音量)がそれらの20倍の「60」→「80」に設定変更されているもとで、その変化後の音量である「80」で音量調整完了音が所定のチャンネルに割り当てられて再生されるとともに、2回目の操作では、遊技者設定値が「4」→「5」に変化されており、且つ演出音の出力音量(可聴音の音量)がそれらの20倍の「80」→「100」に設定変更されているもとで、その変化後の音量である「100」で音量調整完了音が所定のチャンネルに割り当てられて再生されることとなる。
また、この実施の形態にかかる遊技盤側演出表示装置1600の表示領域では、こうした操作によって遊技者設定値が変化されると、遊技者設定値の範囲である「1」~「5」のなかで現在の設定値がいずれであるかをゲージ表示によって示す第2の音量値表示OH2が、音量調整案内表示OAHに代わって実行されることとなる。これは、遊技者設定値の範囲である「1」~「5」に対して現在の設定値がいずれであるかを明瞭化させることで、より重要な演出が現れた緊迫した状況下においても、遊技者設定値が最大値の「5」であるにもかかわらず演出選択右ボタン332に対する操作が繰り返し実行されるなどの操作ミスが生じないようにすることを目的としたものである。ゲージ表示では、「1」~「5」の数値範囲が定常的にブロック表示されており、これらのブロックのうち塗り潰されているブロックの数が遊技者設定値の変化に応じて増加・減少される表示を行うことで、現在の遊技者設定値を示すようになっている。
なお、第2の音量値表示OH2は、図139(D)に示されるように、図139(C)に示される状態において演出選択左ボタン331または演出選択右ボタン332に対する操作があったときから所定時間(例えば5秒)の経過後に非表示にされ、その後は音量調整案内表示OAHが再び実行されるようにしている。したがって、遊技者設定値に変更が生じない態様での操作(遊技者設定値が最大値の「5」であるときの演出選択右ボタン332に対する操作)であったとしても、演出選択左ボタン331または演出選択右ボタン332に対する操作が繰り返される限りは、第2の音量値表示OH2の表示は維持されることとなる。すなわち、この実施の形態にかかるパチンコ機1では、遊技者設定値に変更が生じない態様での操作(遊技者設定値が最大値の「5」であるときの演出選択右ボタン332に対する操作)が行われる場合、該操作がある都度、音量調整完了音は可聴出力されないが、第2の音量値表示OH2を非表示にするまでの時間を計時するタイマ値はリセットされることとなる。これにより、遊技者設定値が最大値の「5」であるにもかかわらず演出選択右ボタン332に対する操作が繰り返し実行されるなどの操作ミスが生じないようにすることがより好適に促されるようになる。
一方、図140は、図柄変動の実行期間中に扉開放検出が発生してこれに応じた報知音に関する処理が実行されているなかで、演出選択左ボタン331または演出選択右ボタン332が操作されたことに伴う音量調整に関する処理についてその内容を説明する図である。
図140(A)に示される状況は、図柄変動が開始される前の状況であり、図139(A)を参照しつつ説明した状況と同じである。このような状況において始動入賞が発生して大当り判定が行われると、図140(B)に示されるように、図139(B)を参照しつつ説明した状況と同様、大当り判定の結果や変動パターンの種別に基づいて装飾図柄SZが所定の演出パターンで変動表示される。また、装飾図柄SZが変動表示される間は、所定演出が進展されるとともに、該所定演出の進展に合わせた演出音が出力される。
ただし、図140(B)に示される状況では、図柄変動の実行期間中に第2報知グループに属する扉開放検出が発生してこれに応じた報知音4(扉開放)に関する処理が実行されており、より具体的には、「扉が開いています ピンポンピンポン」といった報知音を繰り返し出力させるループ処理(30秒間)と、遊技盤側演出表示装置1600の表示領域内における表示(ここでは、「扉開放中」)と、扉枠3及び遊技盤5に配設されている各種のランプ(発光装置)による点灯とがそれぞれ実行されるようになっている。
また上述の通り、図柄の変動期間中、第2報知グループに属する扉開放検出が発生してこれに応じた報知音4(扉開放)に関する処理が実行されると、第1の音量抑制態様で演出音の出力音量(可聴音の音量)を抑制させる演出進展下報知処理が行われるようになる。したがって、図140(B)に示される状況においては、遊技者設定値は、図140(A)の状況にあったときと同様の「3」のままで維持されているにもかかわらず、演出音の出力音量(可聴音の音量)は、本来の数値(遊技者設定値の20倍)よりも低い予め定められた第1特定値(ここでは「10」)に設定されることとなり、こうした音量値のもとで演出内容が進展されるようになる。
この点、この実施の形態にかかるパチンコ機1では、このような演出進展下報知処理が実行されている間、演出選択左ボタン331や演出選択右ボタン332に対する操作が行われると、第1特定値(ここでは「10」)まで低下されている演出音の出力音量(可聴音の音量)は可変とせずこれを維持させる一方で、音量に関しての遊技者による設定値(遊技者設定値)これ自体の変更受付は許容して、上記演出進展下報知処理(出力音量を特定値まで低下させる処理)が終了されたときにそれまでの操作が全て反映された出力音量(可聴音の音量)へと一括変化させるようにしていることは上述した通りである。
すなわち、図140(C)では、図140(B)に示される状態においてリーチ演出が実行されたことに伴い遊技者によって演出選択右ボタン332による操作が2回行われた後の様子を示しており、演出選択右ボタン332による操作によって遊技者設定値が「3」→「5」に変更されているにもかかわらず、演出音の出力音量(可聴音の音量)は、本来の数値(遊技者設定値の20倍)よりも低い予め定められた第1特定値(ここでは「10」)のままで維持されていることがわかる。したがって、遊技者によって演出選択右ボタン332による操作が2回行われたとしても、上記演出進展下報知処理(出力音量を特定値まで低下させる処理)が終了されるまでの間は演出音の音量は変化されず、第1特定値の音量のままで演出内容が進展されるようになる。
またこの際、遊技者による操作のうち、1回目の操作では、遊技者設定値が「3」→「4」に変化されるものの、演出音の出力音量(可聴音の音量)は第1特定値(ここでは「10」)のままで維持されることから音量調整完了音が可聴出力されることはないし、2回目の操作でも、遊技者設定値が「4」→「5」に変化されるものの、演出音の出力音量(可聴音の音量)は第1特定値(ここでは「10」)のままで維持されることから音量調整完了音が可聴出力されることはない。
ただし、1回目の操作では、遊技者設定値これ自体は「3」→「4」に変化しており、音量調整のための遊技者操作は受け付られていることから、遊技盤側演出表示装置1600の表示領域では、遊技者設定値の範囲である「1」~「5」のなかで現在の設定値が「4」であることをゲージ表示によって示す第2の音量値表示OH2が、音量調整案内表示OAHに代わって実行されるとともに、第1の音量値表示OH1においてもその数値を「3」→「4」に変化して表示させることとなる。
また、2回目の操作も、遊技者設定値これ自体は「4」→「5」に変化しており、音量調整のための遊技者操作は受け付られていることから、第2の音量値表示OH2では、遊技者設定値の範囲である「1」~「5」のなかで現在の設定値が「4」→「5」に変化したことをゲージ表示によって示すとともに、第1の音量値表示OH1においてもその数値を「4」→「5」に変化して表示させることとなる。
そしてその後、音量調整案内表示OAHが再び実行される状態に戻っているもとで扉枠3が閉鎖されて報知音4(扉開放)に関する処理と演出進展下報知処理(出力音量を特定値まで低下させる処理)とがそれぞれ終了すると、図140(D)に示されるように、当該処理が終了されたことに応じてそれまでの操作が全て反映された出力音量(可聴音の音量)へと一括変化させる。すなわちこの場合、遊技者設定値は、演出進展下報知処理の実行期間中に「3」から1回目の操作に応じた「4」、2回目の操作に応じた「5」へと段階的に変化していることから、出力音量(可聴音の音量)としても、本来であれば、第1特定値(ここでは「10」)から1回目の操作に応じた「80」、2回目の操作に応じた「100」へと段階的に変化させるべきところ、第1特定値(ここでは「10」)からそれまでの操作が全て反映された「100」へと一括変化されるようになる。
このように、演出進展下報知処理が実行されている期間中であっても遊技者による設定値(遊技者設定値)の変更受付を許容するようにしたことで、演出進展下報知処理が終了するまでの遊技興趣の低下を抑制することが期待されるようになる。また、当該演出進展下報知処理が終了してすぐに音量値(可聴音の音量)が複数段階にわたって設定変更されてその都度の音量調整完了音によって空きチャンネルに不足が発生したり余裕がなくなったりするような事態の発生も好適に回避されるようになる。
しかも、この説明例では、演出進展下報知処理が終了されることに伴って出力音量(可聴音の音量)を一括変更(「10」→「100」)させるときには、出力音量に変化が生じるにもかかわらず音量調整完了音のチャンネル割り当てこれ自体を行わないようにしている。このような構成によれば、特に、誤検出やホール側都合(扉開放など)による報知を起因とした演出進展下報知処理がようやく終了されたにもかかわらず、空きチャンネルの不足によって適正な演出を楽しむことができなくなるような事態の発生を好適に抑制することができるようになる。
また、この実施の形態にかかるパチンコ機1では、上述の通り、特定の状態として、磁気異常及び扉開放を例示したが、磁気異常が発生した状態における演出進展下報知処理と、扉開放が発生した状態における演出進展下報知処理とについては、それらの終了条件が異なるようにしてもよい。
例えば、まず、扉開放が発生した状態における演出進展下報知処理については、扉閉鎖された場合、または扉開放が発生してから予め定められた時間が経過した場合(扉開放が継続されていたとしても)に終了されることとする。ただし、いずれの場合であっても、出力音量(可聴音の音量)を一括変更(例えば、「10」→「100」)させるときには出力音量に変化が生じるにもかかわらず音量調整完了音のチャンネル割り当てこれ自体を行わないようにすることが望ましい。
これに対し、磁気異常が発生した状態における演出進展下報知処理については、磁気異常の状態が終了しただけでは終了させず、RAMクリアや電源遮断が発生するまでこれを継続実行するようにすることが望ましい。そしてこの場合、RAMクリアや、電源遮断からの復帰が生じたときに出力音量(可聴音の音量)が一括変更(例えば、「10」→「100」)されることとなるが、この場合であっても、出力音量に変化が生じるにもかかわらず音量調整完了音のチャンネル割り当てこれ自体を行わないようにすることが望ましい。
また、扉開放が発生した状態における演出進展下報知処理では、遊技者設定値が変更されたときにその旨が示される表示を行うに対し、磁気異常が発生した状態における演出進展下報知処理では、遊技者設定値が変更されたときにその旨が示される表示を行わないようにしてもよい。このような構成によれば、扉開放が発生した状態における演出進展下報知処理と、磁気異常が発生した状態における演出進展下報知処理とでそれらの終了条件が異なることを示唆することができるようになる。
また上述の通り、この実施の形態にかかるパチンコ機1では、音量調整ボリューム1510aのつまみ部が回動操作されることによっても音量調整が可能とされている。ただし、該つまみ部による音量調整は主にホール側によって行われるものと想定されることから、該つまみ部による音量調整を契機とした音量調整完了音の出力(チャンネル割り当て)は行われ得ないようにすることが、空きチャンネルに余裕を持たせるようにする上でより望ましい。
また、この実施の形態にかかるパチンコ機1では、図示は割愛するが、音量調整用のボタン(演出選択左ボタン331や演出選択右ボタン332)とは別に、当該パチンコ機1が備える各種の演出用ランプ(周辺制御基板1510による制御対象とされて演出に供されるランプなどが該当しており、主制御基板1310による制御対象とされる特図LEDなどの遊技用ランプは輝度設定対象から除く)に対する輝度調整用のボタン(輝度上昇用ボタン、輝度低下用ボタンなど)を備えており、輝度調整用のボタンが操作された旨判断されると各種の演出用ランプにかかる輝度に関して遊技者による設定値(遊技者設定値)を変更させる処理を実行可能としている。また、輝度に関する遊技者設定値が低下されたり上昇されたりすると、輝度調整確認音(例えば、音量調整確認音と同じ)をその時点での音量にかかる設定値に応じた音量値で出力させるようにしている。また、このような演出用ランプの輝度は、図柄が変動していない状態と、図柄が変動している状態とのいずれにおいても、遊技者による操作によって設定変更可能とされている。
また、輝度調整完了音については、上述の音量調整完了音と同じ条件でチャンネル割り当てするようにすることが望ましく、この場合、輝度にかかる設定値が変更された場合であっても、輝度調整確認音のチャンネル割り当てこれ自体が行われない状況や、輝度調整確認音が抑制されて出力される状況などが現れることとなる。このような構成によれば、音量ではなく、輝度にかかる設定値の変更を行ったときに現在の状況(上述の演出進展下報知処理が実行されている状況にあるかなど)を把握することが可能とされるようになる。なお、輝度調整確認音は、音量調整完了音と異なる音であってもよい。
音量に関する遊技者設定値については、所定条件(例えば、デモ画面に制御されてから所定時間が経過したときなど)が満たされると、遊技者による操作無しで特定値(例えば「3」)に設定変更されるようにしてもよい。ただし、遊技者による操作無しで特定値(例えば「3」)に設定変更された場合は、現在の設定値がいずれであるかを示す表示(第1の音量値表示OH1や、第2の音量値表示OH2)と、音量調整完了音にかかる出力(チャンネル割り当て)とのいずれも行われないようにすることが、パチンコ機1の稼働率が低下している状況にあることを第三者に認識し難くされるようにする上でより望ましい。
また、音量調整が行われたことに応じた音量調整完了音が出力状態にあるときに、新たな音量調整が行われた場合は、空きチャンネルがあったとしても出力状態にある音量調整音を中途終了させるかたちでこれと同じチャンネルに対して新たな音量調整完了音を割り当てて出力(上書きして出力)させるようにすることが、空きチャンネルの数に余裕を持たせるようにする上でより望ましい。
また、遊技者設定値が最大値にあるにもかかわらず音量が大きくなる側への操作がさらに行われたときや、遊技者設定値が最小値にあるにもかかわらず音量が小さくなる側への操作がさらに行われたときは、空きチャンネルがあったとしても音量調整完了音をチャンネルに対して割り当てずこれを出力しないようにすることが、空きチャンネルの数に余裕を持たせるようにする上でより望ましい。なおこの際、音量調整完了音は出力されないが、現在の設定値がいずれであるかを示す表示(第1の音量値表示OH1や、第2の音量値表示OH2)については表示するようにしてもよい。
音量調整ボリューム1510aのつまみ部が回動操作されることによる音量調整は許容されるが、遊技者による操作によって行われる音量調整についてはこれを許容しない期間を発生可能としてもよい。
他方、図141は、図140で発生した状態検出が扉開放ではなく磁気異常であった場合に、これに応じた報知音に関する処理が実行されているなかで、演出選択左ボタン331または演出選択右ボタン332が操作されたことに伴う音量調整に関する処理についてその内容を説明する図である。
図141(A)に示される状況は、図柄変動が開始される前の状況であり、図140(A)を参照しつつ説明した状況と同じである。このような状況において始動入賞が発生して大当り判定が行われると、図141(B)に示されるように、図140(B)を参照しつつ説明した状況と同様、大当り判定の結果や変動パターンの種別に基づいて装飾図柄SZが所定の演出パターンで変動表示される。また、装飾図柄SZが変動表示される間は、所定演出が進展されるとともに、該所定演出の進展に合わせた演出音が出力される。
図141(B)に示される状況では、図柄変動の実行期間中に第1報知グループに属する磁気検出が発生してこれに応じた報知音1(磁気異常)に関する処理が実行されており、より具体的には、「ブーブー 磁気を検知しました」といった報知音を繰り返し出力させるループ処理(60秒間)と、遊技盤側演出表示装置1600の表示領域内における表示(ここでは、「磁気検出」)と、扉枠3及び遊技盤5に配設されている各種のランプ(発光装置)による点灯とがそれぞれ実行されるようになっている。
また上述の通り、図柄の変動期間中、第1報知グループに属する磁気検出が発生してこれに応じた報知音1(磁気異常)に関する処理が実行されると、第2の音量抑制態様で演出音の出力音量(可聴音の音量)を抑制させる演出進展下報知処理が行われるようになる。したがって、図141(B)に示される状況においては、遊技者設定値は、図141(A)の状況にあったときと同様の「3」のままで維持されているにもかかわらず、演出音の出力音量(可聴音の音量)は、本来の数値(遊技者設定値の20倍)よりも低い予め定められた第2特定値(ここでは「0」)に設定されることとなり、こうした音量値(ここでは、消音)のもとで演出内容が進展されるようになる。
この点、このような磁気異常に応じた演出進展下報知処理が実行される場合も、演出選択左ボタン331や演出選択右ボタン332に対する操作が行われると、第2特定値(ここでは「0」)まで低下されている演出音の出力音量(可聴音の音量(ここでは消音))は可変とせずこれを維持させる一方で、音量に関しての遊技者による設定値(遊技者設定値)これ自体の変更受付は許容して、上記演出進展下報知処理(出力音量を特定値まで低下させる処理)が終了されたときにそれまでの操作が全て反映された出力音量(可聴音の音量)へと一括変化させるようにしていることは上述した通りである。
すなわち、図141(C)では、図141(B)に示される状態においてリーチ演出が実行されたことに伴い遊技者によって演出選択右ボタン332による操作が2回行われた後の様子を示しており、演出選択右ボタン332による操作によって遊技者設定値が「3」→「5」に変更されているにもかかわらず、演出音の出力音量(可聴音の音量)は、本来の数値(遊技者設定値の20倍)よりも低い予め定められた第2特定値(ここでは「0(消音)」)のままで維持されていることがわかる。したがって、遊技者によって演出選択右ボタン332による操作が2回行われたとしても、上記演出進展下報知処理(出力音量を特定値まで低下させる処理)が終了されるまでの間は演出音の音量は変化されず、第2特定値の音量のままで演出内容が進展されるようになる。
またこの際、遊技者による操作のうち、1回目の操作では、遊技者設定値が「3」→「4」に変化されるものの、演出音の出力音量(可聴音の音量)は第2特定値(ここでは「0」)のままで維持されることから音量調整完了音が可聴出力されることはないし、2回目の操作でも、遊技者設定値が「4」→「5」に変化されるものの、演出音の出力音量(可聴音の音量)は第2特定値(ここでは「0」)のままで維持されることから音量調整完了音が可聴出力されることはない。
ただし、1回目の操作では、遊技者設定値これ自体は「3」→「4」に変化しており、音量調整のための遊技者操作は受け付られていることから、遊技盤側演出表示装置1600の表示領域では、遊技者設定値の範囲である「1」~「5」のなかで現在の設定値が「4」であることをゲージ表示によって示す第2の音量値表示OH2が、音量調整案内表示OAHに代わって実行されるとともに、第1の音量値表示OH1においてもその数値を「3」→「4」に変化して表示させることとなる。
また、2回目の操作も、遊技者設定値これ自体は「4」→「5」に変化しており、音量調整のための遊技者操作は受け付られていることから、第2の音量値表示OH2では、遊技者設定値の範囲である「1」~「5」のなかで現在の設定値が「4」→「5」に変化したことをゲージ表示によって示すとともに、第1の音量値表示OH1においてもその数値を「4」→「5」に変化して表示させることとなる。
ちなみに、この説明例では、図141(C)に示される状況において、磁気検出これ自体は既に非検出の状態とされている。ただし、扉検出の場合とは異なり、磁気検出があってから所定時間(ここでは、60秒)が経過するまでの間は第2の音量抑制態様で演出音の出力音量(可聴音の音量)を抑制させる演出進展下報知処理が継続して実行されるようになっている。
そしてその後、音量調整案内表示OAHが再び実行される状態に戻っているもとで磁気検出があってから所定時間(ここでは、60秒)が経過して演出進展下報知処理(出力音量を特定値まで低下させる処理)が終了すると、図141(D)に示されるように、当該処理が終了されたことに応じてそれまでの操作が全て反映された出力音量(可聴音の音量)へと一括変化させる。すなわちこの場合、遊技者設定値は、演出進展下報知処理の実行期間中に「3」から1回目の操作に応じた「4」、2回目の操作に応じた「5」へと段階的に変化していることから、出力音量(可聴音の音量)としても、本来であれば、第2特定値(ここでは「0」)から1回目の操作に応じた「80」、2回目の操作に応じた「100」へと段階的に変化させるべきところ、第2特定値(ここでは「0」)からそれまでの操作が全て反映された「100」へと一括変化されるようになる。
なお、磁気異常に応じた報知処理が実行された場合は、扉開放に応じた報知処理が実行された場合とは異なり、図141(D)に示される状況においても、遊技盤側演出表示装置1600の表示領域内における表示(ここでは、「磁気検出」)と、扉枠3及び遊技盤5に配設されている各種のランプ(発光装置)による点灯とはそれぞれ実行されたままとなっている。すなわち、磁気異常に応じた報知処理では、報知音が終了されると、液晶内表示による報知とランプによる報知とが継続されるなかで、演出音は抑制対象から外れて遊技者設定値に応じた出力音量に反映させるのに対し、扉開放に応じた報知処理では、報知音が終了したとしても、液晶内表示による報知とランプによる報知とが継続されるなかでは演出音は抑制対象のままとされるようになっている。
このように、磁気異常が発生した場合も、演出進展下報知処理が実行されている期間中であっても遊技者による設定値(遊技者設定値)の変更受付を許容するようにしたことで、演出進展下報知処理が終了するまでの遊技興趣の低下を抑制することが期待されるようになる。また、当該演出進展下報知処理が終了してすぐに音量値(可聴音の音量)が複数段階にわたって設定変更されてその都度の音量調整完了音によって空きチャンネルに不足が発生したり余裕がなくなったりするような事態の発生も好適に回避されるようになる。
しかも、この説明例では、磁気異常に伴う演出進展下報知処理が終了されることに伴って出力音量(可聴音の音量)を一括変更(「0」→「100」)させるときにも、出力音量に変化が生じるにもかかわらず音量調整完了音のチャンネル割り当てこれ自体を行わないようにしている。このような構成によれば、特に、誤検出による報知を起因とした演出進展下報知処理がようやく終了されたにもかかわらず、空きチャンネルの不足によって適正な演出を楽しむことができなくなるような事態の発生を好適に抑制することができるようになる。
なお、「扉が開いています ピンポンピンポン」といった扉開放に応じた報知音や、「ブーブー 磁気を検知しました」といった磁気異常に応じた報知音については、図128に示したように、ボリューム初期値の3バイト目に「1」(0x1FF)を設定していることから、遊技者設定値にかかわらず、必ず初期値で設定された音量で再生される。
また、報知音6(左打ち案内)や報知音7(球抜き案内)が実行される場合には、演出進展下報知処理が実行されないことから、それらの報知の実行中には、遊技者設定値と演出音の出力音量(可聴音の音量)との両方を適宜可変させることが可能である。ただし、これらの報知音6,7についても、図128に示したように、ボリューム初期値の3バイト目に「1」(0x1FF)を設定していることから、遊技者設定値にかかわらず、必ず初期値で設定された音量で再生されることとなる。
報知音1~7のうち、第3報知グループに属する報知音6(左打ち案内)や報知音7(球抜き案内)については、ボリューム初期値の3バイト目に「1」を設定せず、遊技者による音量調整の対象に含ませるようにしてもよい。
また、図140及び図141で説明した各処理については、図柄変動の実行期間中のみならず、図柄変動が開始される前の状態や、図柄変動の開始や終了のタイミングに跨るかたちで状態検出に応じた報知処理が実行される場合においても、同じ態様で実行されるようにしてもよい。
また、図140及び図141で説明した各処理において、演出進展下報知処理が終了された後は、該演出進展下報知処理が開始される前と同様、演出選択左ボタン331または演出選択右ボタン332による操作によって遊技者設定値が変化されると、これに伴って演出音の出力音量(可聴音の音量)が変化される。そして、演出音の出力音量(可聴音の音量)が変化する都度、その変化後の音量で、音量調整完了音(例えば、「ピ!」)が再生されるようになる。
また、図140で説明した処理と図141で説明した処理とで、演出進展下報知処理が行われている期間中における演出音の抑制態様を異ならせるようにしたが、該抑制態様については必ずしも異ならせなくてもよく、第1報知グループに属する報知音が実行される場合と、第2報知グループに属する報知音が実行される場合とで一の抑制態様で演出音の出力音量(可聴音の音量)を抑制させる処理を行うようにしてもよいことは上述した通りである。
また、演出進展下報知処理では、各種遊技音の出力音量(可聴音の音量)を抑制することとなるが、これら遊技音のうち、第一始動口2002または第二始動口2004に遊技球が入賞したことに応じて再生される音(入賞音)など、一部の遊技音については音量抑制の影響を受けることなく初期値設定の音量のままで再生するようにしてもよい。すなわちこの場合、パチンコ機1としての異常状態が発生しているにもかかわらず遊技が継続されている状況にあるか否かをホール側が把握し易くすることができるようになる。この意味では、演出進展下報知処理が実行されているときに第一始動口2002または第二始動口2004に遊技球が入賞したことに応じて再生される音(入賞音)など、一部の遊技音については、演出進展下報知処理が実行されていないときには出力され得ない特殊な音として再生するようにすることが望ましい。
上述の通り、図128~図141では、各種の報知音に関して単一のチャンネルのみで異常内容などを適切に報知可能とするチャンネル節約型の制御構造を採用することで、チャンネルに空きがない状況(空きチャンネルの数が0の状況)これ自体をいかに現れ難くするか、といった点での技術的工夫を施すようにすることを提案した。ただし、このような制御構造を採用した場合であっても、演出効果音(演出音)の割り当て対象とされるチャンネルに空きがない状況(空きチャンネルの数が0の状況)が生じて演出設計上の意図しない音出力の態様が現れることに対する懸念は未だ残される。
この点、この実施例にかかるパチンコ機1では、演出音のチャンネル割り当てに関しても、チャンネルに空きがない状況(空きチャンネルの数が0の状況)が発生するよりも前の段階で様々な技術的工夫を施すようにしている。以下、演出音の出力に関して施されている様々な技術的工夫について順次説明する。なお、当該パチンコ機1としてこれらの技術的工夫を採用するにあたり、各種の報知音に関して単一のチャンネルのみで異常内容などを適切に報知可能とする上述のチャンネル節約型の制御構造については必ずしも採用しなくてもよい。また、以下に説明する各例では、報知音と演出音とのいずれについても、固定チャンネル方式と自動チャンネル方式とのいずれを採用するようにしてもよい。また、自動チャンネル方式を採用した場合、上述の優先順位に基づく制御については必ずしも採用しなくてもよく、全てのチャンネルが使用状態になったときには新たな音を破棄する処理を行うようにしてもよい。また、以下に説明する各例は、適宜に組み合わせて実施することが可能である。
[抑制下操作音出力処理]
上述の通り、チャンネルの数が有限とされる遊技機では、入賞に応じた判定手段による判定にて特別の結果が得られたとしても、音データの割り当て対象とされるチャンネルに空きがない状況(空きチャンネルの数が0の状況)では特別の結果が得られたことに応じた特別音をチャンネルに割り当てることができず、これを出力できないことによる遊技興趣の低下が懸念される。
この点、この実施の形態にかかるパチンコ機1では、大当り判定の結果に応じた図柄変動として特定の演出パターンを実行する旨決定されると、当該図柄変動が開始されてから終了されるまでの期間中、遊技盤側演出表示装置1600において特定の演出パターンに応じた表示演出を進展させる処理を行うとともに、所定チャンネルに対して特定の演出パターンに応じた「BGM再生」の音を割り当てて再生させる処理を行う。そして、遊技盤側演出表示装置1600における表示演出が図柄変動期間内の所定タイミングまで進展すると所定チャンネルに対して「BGM再生」の音を割り当てたままにして抑制態様または無音で出力される状態(「BGM再生」の音量を特定値まで低下して出力される状態)にし、この状態で所定の操作手段(操作ボタン410など)に対する操作が検出されると、当該図柄変動にて大当り図柄(当該演出パターンで特別の表示態様)が現れる期待度を示唆する特別演出音を非抑制の態様で出力させることとしている(抑制下操作音出力処理)。特別演出で示唆される期待度は100%であってもよい。
すなわちこの場合、操作検出に応じた特別演出音の出力に際しては、所定チャンネルに対して「BGM再生」の音が割り当てられたままの状態ではあるものの抑制態様または無音で出力される状態にされることから、チャンネルの使用状況に余裕がありそうな雰囲気を提供することができるようになる。したがって、「もしかするとチャンネルに空きがなく、特別演出音を出力させることができないかもしれない」といった不安感を取り除いた状態で、遊技者に対して特別演出音を出力させる操作機会を提供することができるようになり、これによって遊技興趣の低下が抑制されるようになる。
ところで、特定の演出パターンに応じた音(「BGM再生」の音)をチャンネルに割り当てたままにしてこれを抑制態様または無音で出力させようとする場合、一般的には、チャンネルに割り当てられている音(「BGM再生」の音)のボリュームを抑制させる処理(音量を特定値まで低下させる処理)を行うことが想定される。事実、遊技者に対して操作機会を付与する(演出受付の有効期間を発生させる)のに先立って、このようなボリューム抑制処理を行うようにすれば、特定の演出パターンに応じた音(「BGM再生」の音)を抑制態様または無音で出力される状態にしてから遊技者に対して操作機会を付与する(演出受付の有効期間を発生させる)ようにすることは可能である。
ただし周知の通り、遊技者に対して操作機会を付与する場合は演出受付の有効期間を所定時間にわたって発生させることとなるが、この有効期間内のいずれのタイミングで操作(演出受付)が行われるかは不定(遊技者次第)でありこれを事前予測することはできない。したがって、有効期間内で操作(演出受付)が行われたときにこれを契機としてボリューム抑制処理を終了させボリュームを初期値まで戻す処理を行うことはできたとしても、こうして音量が戻されることとなる不定のタイミングでこれに合わせた音を再生開始させるように「BGM再生」の音を予め記憶しておくようにすることは不可能である。
なお、遊技者による操作があったときに音量を戻す処理を行うことに加えて、「BGM再生」の音データを、「特別演出音再生時専用のBGM再生」の音データに切り換えてこれを再生させる処理を行うようにすることも考えられる。ただし、「BGM再生」の音とは、特定の演出パターンが図柄停止されて終了されるまでの各種演出の内容や図柄停止のタイミングなどに合わせて再生されるものであるから、有効期間内のいずれのタイミングで操作(演出受付)が行われるか不定(遊技者次第)とされるなかで、該操作(演出受付)を契機として「BGM再生」の音を新たに再生させるようにしてしまうと、それ以降の各種演出や図柄停止のタイミングとの間にいわゆる音ズレが発生してしまい遊技興趣が低下することが懸念される。
そこで、この実施の形態にかかるパチンコ機1では、特定の演出パターンが実行される場合は、まず、該特定の演出パターンに対応する「BGM再生」の音として記憶されている複数の音データ(例えば、通常変動時の音データ、スーパーリーチ演出前半時の音データ、スーパーリーチ演出後半時の音データなど)を、これらに対応した各音生成用スケジュールデータにより規定されている時系列通りに所定チャンネルに順次割り当てる処理を行う。そして、このような特定の演出パターンに対応する「BGM再生」の音として記憶されている複数の音データのうち、特定の音データ(1つの音素材)は、上記音生成用スケジュールデータにより規定されている時系列通りに所定チャンネルに割り当てられると、当該特定の演出パターン内で演出受付の有効期間が発生するよりも前のタイミングから所定チャンネルに割り当てられて再生開始され、該有効期間が終了した後のタイミングまでの長い期間にわたって所定チャンネルに対する割り当て状態を維持して再生されるようにしている。
この点、上記特定の音データ(1つの音素材)を時系列的に見たときの一部区間(特別期間)には、その他の区間と比べて抑制態様、または無音で音出力にかかる処理が行われることを規定するデータ内容が予め設定されており、当該特定の音データが上記音生成用スケジュールデータにより規定されている時系列通りに所定チャンネルに割り当てられると、その一部区間(特別期間)内で演出受付の有効期間が発生する時系列的関係となるようにされている。これに加えて、特別期間(一部区間)内で発生する上記演出受付の有効期間内のいずれのタイミングで遊技者による操作が行われたとしても、特別期間(一部区間)から該特別期間(一部区間)が終了した後の期間(他の区間)との、当該特定の音データ内の2つの区間に跨って、演出受付に応じた特別演出音を、「BGM再生」の音が割り当てられている所定チャンネルとは別のチャンネルで非抑制の態様で再生させるようにしている。
このような構成によれば、特定の演出パターンに対応する「BGM再生」の音として記憶されている複数の音データ(例えば、通常変動時の音データ、スーパーリーチ演出前半時の音データ、スーパーリーチ演出後半時の音データなど)を、これらに対応した各音生成用スケジュールデータにより規定されている時系列通りに所定チャンネルに順次割り当てる処理を行うだけで、初期値からのボリューム調整を行わずとも、「抑制態様または無音で出力される状態(特別期間)」を創出させることが可能とされるようになる。また、こうして創出される「抑制態様または無音で出力される状態(特別期間)」において遊技者による操作が演出受付されたときには、これを契機とした即時性の高い処理によって非抑制の態様で特別演出音が再生開始されるようにする一方で、所定チャンネルで再生状態にある「BGM再生」の音については、演出受付とは関係なく、「抑制態様または無音で出力される状態(特別期間)」を所定時間にわたって維持させる。そしてこの後、特別演出音が再生されているなかでこれに紛れ込ませるかたちで、特定の音データ(1つの音素材)のうちの一部区間(抑制態様または無音の音出力)が終了してその他の区間(非抑制の音出力)のデータ内容が再生されるようになることから、「BGM再生」の音を密かに非抑制の態様での出力に戻すことが可能とされるようになり違和感のない演出音を提供することができるようになる。すなわちこの場合、抑制態様または無音で「BGM再生」の音が出力される状態において遊技者による操作が演出受付されたときにはこれを契機とした即時性の高い処理によって特別演出音を非抑制の態様で再生開始させるようにしつつも、それ以降に各種演出や図柄停止のタイミングとの間に音ズレが生じることを好適に回避することができるようになる。
図142は、このような抑制下操作音出力処理が行われるときの各チャンネルの割り当て状況の一例を示すタイムチャートである。以下、図142を参照して、このような抑制下操作音出力処理を実行するときの具体例について説明する。
同図142(a)に示されるように、大当り判定の結果に応じた図柄変動が実行されている期間中にあって、タイミングts11では、遊技盤側演出表示装置1600で演出進展されている特定の演出パターンに応じた「BGM再生」の音が再生チャンネル02,03に割り当てられて既に再生(ここでは、ステレオ再生)されている状況にある。この「BGM再生」の音は、例えば、特定の演出パターンが実行される旨決定されたときに図柄変動が開始されてから終了されるまでの図柄変動の全期間にわたる一の音データ(1つの音素材)として音生成用スケジュールデータに基づいて再生されるものであってもよいし、図柄変動の全期間が複数期間に分けられてそれらの期間毎に用意された各別の音データがそれらに対応した音生成用スケジュールデータに基づいて順次再生されるものであってもよい。なお、図142に示される例では、タイミングts11を含めた図中の全期間(図柄変動期間のうちの一部期間)にわたって「BGM再生」の音としての一の音データ(1つの音素材)がチャンネル02,03に対して割り当てられて再生の状態になっている。
この点、図142(a),(b)に示されるように、チャンネル02,03に対して割り当てられて再生の状態になっている一の音データ(「BGM再生」の音)は、特別演出音の発生契機となる操作機会が付与される操作有効期間(演出受付の有効期間)が発生するタイミングts13が到来するよりも前の、タイミングts12になると、無音のデータ内容が設定されている一部区間での再生状態にされるようになっている。これにより、「BGM再生」の音に関して初期値からのボリューム調整を行わずとも、これを所定チャンネルに割り当てたままで無音で出力される状態にすることができるようになる。
このような構成によれば、タイミングts13において、「BGM再生」の音が無音のデータ内容として設定されている一部区間内での再生状態になっておりチャンネルの使用状況に余裕がありそうな雰囲気が提供されているなかで、遊技者に対して操作機会が付与される操作有効期間(演出受付の有効期間)を発生させることができるようになる。これにより、「もしかするとチャンネルに空きがなく、特別演出音を出力させることができないかもしれない」といった不安感を取り除いた状態で、遊技者に対して特別演出音を出力させる操作機会を提供することができるようになり、これによって遊技興趣の低下が抑制されるようになる。
しかも、この説明例にかかる操作有効期間は、遊技者による操作がなかった場合であっても、「BGM再生」の音として無音のデータ内容が設定されている一部区間が終了されるタイミングts16が到来するよりも前の、タイミングts15になると、遊技者による操作を演出受付しなくなるように当該期間を終了させるようにしている。したがって、操作有効期間のうちのいずれのタイミングで遊技者による操作が受け付けられたとしても、「BGM再生」の音が無音のデータ内容として設定されている一部区間内での再生状態になっておりチャンネルの使用状況に余裕がありそうな雰囲気が提供されているなかで、遊技者による操作に応じた特別演出音を発生させることができるようになる。なお、操作有効期間は、遊技者による操作がないままでタイミングts15が到来したときのほか、遊技者による操作が演出受付されたときにも終了される。遊技者による操作がないままでタイミングts15が到来したときには、そのタイミングで遊技者による操作があったときと同様、特別演出音を発生させるようにしてもよい。
そして、この説明例では、タイミングts14において、遊技者による操作が演出受付された場合を想定しており、該演出受付されたことに基づいて、「BGM再生」の音が割り当てられているチャンネル02,03とは異なるチャンネル08,09に対して特別演出音を割り当てて再生させるようにしている。
この点、この説明例では、操作有効期間が開始されてから終了されるまでの最大時間(タイミングts13からタイミングts15までの時間)を「SY」とし、且つこの最大時間で操作有効期間が終了されてから「BGM再生」の音として無音のデータ内容が設定されている一部区間が終了されるまでの時間(タイミングts15からタイミングts16までの時間)を「BF」とするとき、操作有効期間内のいずれのタイミングで遊技者による操作が受け付けられたとしても、特別演出音を「SY+α(>BF)」の一定時間にわたってチャンネル08,09に対して割り当てて再生させるようにしている。
このような構成によれば、操作有効期間内のいずれのタイミングで遊技者による操作が受け付けられたとしても、特別演出音が再生状態にあるときにタイミングts16が必ず到来するようになることから、特別演出音に紛れ込ませるかたちで「BGM再生」の音を非抑制の態様として出力させることができるようになる。すなわちこの場合、遊技者による操作が受け付けられるタイミングに応じて特別演出音の再生が開始されてから「BGM再生」の音が非抑制の態様として出力されるようになるまでの時間は可変するものの、当該特別演出音の出力期間を、「BGM再生」の音を非抑制の態様で復帰させるためのバッファ期間(特別演出音に紛れ込ませて「BGM再生」の音が非抑制の態様で復帰されたことに気付き難くする期間)として機能させることで、遊技者による操作が受け付けられたときに「BGM再生」の音を非抑制の態様として復帰させず、その所定時間後に復帰させることによる違和感を覚え難くすることができるようになる。
そして、こうして「BGM再生」の音がBGM再生用演出音のデータ内容(非抑制態様)として復帰された後は、タイミングts17が到来したときに、「BGM再生」の音が非抑制態様で再生状態にあるなかで特別演出音の再生が終了されるようになる。
なお、上記説明例では、「特別演出音の再生が開始されるタイミング」及び「特別演出音の再生が終了されるタイミング」は、図142(b)に示されるように、遊技者による操作が受け付けられるタイミングに応じて点線矢印で示される範囲内でそれぞれ可変とされることとなるが、それらがいずれのタイミングに該当したとしても、特別演出音が再生状態にあるときにタイミングts16が到来し、「BGM再生」の音としてBGM再生用演出音のデータ内容(非抑制態様)が設定されている通常区間が開始されるようになることは明らかである。
また、図142に示した例において、「遊技者による操作が受け付けられたときに「BGM再生」の音を非抑制の態様として復帰させずその所定時間後に復帰させることによる違和感」をより一層覚え難くするようにする上では、特別演出音のボリューム初期値を、通常区間におけるBGM再生の初期値よりも大きく設定するようにすることが望ましい。このような構成によれば、ボリューム初期値の大きい特別演出音に注目を集めているなかで、BGM再生の音を通常区間での再生状態へと密かに移行させることができるようになる。
また、図142に示した例では、遊技者による操作が演出受付されると該演出受付に基づいて特別演出音を発生させることとしたが、変動パターンや大当り判定の結果に応じた特定の演出条件が満たされているときに限り演出受付されたことに基づいて特別演出音を発生させるようにしてもよい。なお、特定の演出条件が満たされていない場合であっても、タイミングts14においては操作有効期間を発生させ、該操作有効期間内で遊技者による操作が演出受付されたときには、該演出受付されたことに基づいて所定の演出音(失敗演出音など)を再生させる。そして、操作有効期間内のいずれのタイミングで操作されたとしても、所定の演出音(失敗演出音など)が再生状態にされているなかでBGM再生の音を通常区間での再生状態へと密かに移行させるようにする点も、図142に示した例の場合と同様にすることが望ましい。
ただしこれに代えて、所定の演出音(失敗演出音など)を再生させる場合は、その再生時間を、特別演出音が再生状態にされる場合よりも短くし、該所定の演出音(失敗演出音など)の再生が終了した状態でBGM再生の音を通常区間での再生状態へと復帰させるようにしてもよい。なおこの場合、操作有効期間内のいずれのタイミングで操作されたとしても、BGM再生の音が通常区間での再生状態へと復帰されるタイミングを、所定の演出音(失敗演出音など)の再生が終了した後に到来するように設定することとなる。このような構成によれば、所定の演出音(失敗演出音など)が終了してからBGM再生の音が通常区間での再生状態へと復帰されるまでの間に無音期間(操作タイミングに応じて長さが可変される期間)をバッファ期間として発生させることができるようになる。また、この無音期間で、期待度(100%であってもよい)が高くなる復活演出が発生しうるように設定すれば、遊技興趣の維持を図ることも期待されるようになる。
若しくは、所定の演出音(失敗演出音など)を再生させる場合は、BGM再生の音が通常区間での再生状態へと復帰されることなく、当該図柄変動がハズレ態様で停止されるようにしてもよい。なおこの場合、タイミングts12において、チャンネル02,03に対するBGM再生の音の割り当てを終了させ、これを空きチャンネルにするようにしてもよい。
また、特別演出音を発生させる場合は、演出受付に基づいて所定の可動体を動作させる可動演出も併せて行うようにして、BGM再生の音に対する注目度合いを低下させるようにすることが、BGM再生の音を通常区間での再生状態へと密かに移行させるようにする上で望ましい。
また、図142に示した例では、一部区間において「BGM再生」の音を無音出力させるようにしたが、これに限られず、その他の区間における「BGM再生」の音よりも抑制された態様で出力されるものであればよい。ここで、抑制された態様とは、相対的に音量が低くされる態様のほか、単位時間当たりのスピーカのコーンの振動頻度を低下させる態様などを例示することができる。
また、図142に示した例では、所定チャンネルに割り当てられる「BGM再生」の音データこれ自体に抑制態様または無音とされる時系列的な期間を設定しておくことで、「BGM再生」の音のボリューム調整を行うことなく、これを再生するだけで抑制態様または無音で出力される状態(特別期間)を創出可能とした。ただし、所定チャンネルに割り当てられる「BGM再生」の音データこれ自体に抑制態様または無音とされる時系列的な期間を必ずしも設定しなくてもよく、例えば、タイミングts12において「BGM再生」の音の音量を特定値(消音であってもよい)まで低下させるボリューム調整を行うようにしてもよい。すなわちこの場合、タイミングts14において遊技者による操作が演出受付されたとしても、該演出受付を契機として「BGM再生」の音の音量を特定値から上昇させる処理(ボリューム初期値に戻す処理)は行わないようにする。そして、特定の演出条件が満たされている場合は、予め定められたタイミングts16が到来するときに、特別演出音が再生されているなかで「BGM再生」の音の音量を特定値から上昇させる処理(ボリューム初期値に戻す処理)を行うこととなる。これに対し、特定の演出条件が満たされていない場合は、上述の別例と同様、所定の演出音(失敗演出音など)が再生されているなかで「BGM再生」の音の音量を特定値から上昇させる処理(ボリューム初期値に戻す処理)を行うようにしてもよいし、所定の演出音(失敗演出音など)の再生が終了した状態で「BGM再生」の音の音量を特定値から上昇させる処理(ボリューム初期値に戻す処理)を行うようにしてもよいし、所定の演出音(失敗演出音など)を特定値から上昇させることなく当該図柄変動が終了されるようにしてもよい。
また、図142に示した例においては、少なくともタイミングts12が到来するよりも前の所定タイミングからタイミングts16までの期間にわたって、空きチャンネルに対して新たな音割り当てを発生し難くさせる制限処理を行うようにすることが望ましい。なお、このような制限処理としては、例えば、ブロック入賞音、保留入賞音、普電演出音、調整音など、実行中の図柄変動で大当り図柄が現れるか否かの結果とは何ら関係のない特定の遊技音を制限対象とし、この制限対象とした特定の遊技音をチャンネルに新たに割り当てずにその再生を行わないようにすることが望ましい。
また、大当り判定の結果に応じた図柄変動として特定の演出パターンを実行する旨決定された場合は、タイミングts12が到来するよりも前にチャンネル02,03とは異なるチャンネルで特定の演出音(BGMの音とかぶらないように、音楽ではなく、効果音やセリフなどの演出音であることが望ましい)を再生させ、該特定の演出音が再生されている間にタイミングts12が到来してBGM再生の音が抑制態様または無音で出力されるようにすることが望ましい。すなわちこの場合、特定の演出音にBGM再生の音が紛れ込むようになることから、BGM再生の音が抑制態様または無音の状態にされたことを気付き難くすることができるようになる。なお、特定の演出音については、特別演出音(または、所定の演出音)が出力されるタイミングts14以前(タイミングts14、または該タイミングts14よりも前)にその再生状態を終了させるようにすることが特別演出音が出力されない不安感を緩和させる上で望ましい。
ここで、チャンネル02,03とは異なるチャンネルで再生される上記特定の演出音については、タイミングts12が到来するよりも前のタイミングで必ずしも再生開始されるものでなくてもよく、タイミングts12以降であり且つタイミングts13よりも前に再生開始されるものであってもよい。このような構成であっても、BGM再生の音が抑制態様または無音の状態にあるときに、特定の演出音が非抑制態様(通常の態様)で出力されるようにすれば、一旦は「抑制態様または無音の状態」とされたBGM再生の音が、通常の態様での再生状態に戻されたように見せることができるようになることから、BGM再生の音が抑制態様または無音の状態になっていることを気付き難くすることは可能である。
また、「特定の演出音については、特別演出音(または、所定の演出音)が出力されるタイミングts14以前(タイミングts14、または該タイミングts14よりも前)にその再生状態を終了させる」とは、「操作有効期間内で遊技者による操作が演出受付されたことに基づいて特定の演出音の出力を終了させる、またはタイミングts13~t15(操作有効期間)内の特定タイミングで自動終了される」ことを意味している。すなわち、タイミングts13~t15(操作有効期間)内の特定タイミングが到来するまでの間に遊技者による操作が演出受付されなければ、特定の演出音は自動終了されることとなる。
また、大当り判定の結果に応じた図柄変動として特定の演出パターンを実行する旨決定された場合は、特別演出音(または、所定の演出音)が出力されるタイミングts14から、BGM再生の音が抑制態様または無音にされる状態が終了されるタイミングts16までの間に、複数のチャンネルで演出音を出力させるようにすることが望ましい。すなわちこの場合、特別演出音を含めた複数の演出音が出力されるようになることから、それら演出音にBGM再生の音を容易に紛れ込ませることができるようになり、BGM再生の音を通常態様での再生状態へと密かに移行させることができるようになる。
図142に示した操作有効期間(タイミングts13~ts15)については、操作がなくても当該有効期間内で演出受付が必ず発生(自動受付)して操作後演出(特別演出音再生)を実行させるようにしてもよい。
また、図142に示した操作有効期間(タイミングts13~ts15)が発生するとき、「BGM再生」の音が抑制態様または無音で出力されているなかで、演出受付が許容された状態になったこと(若しくは、演出受付が許容される状態になること)を示唆する「受付許容音」を非抑制の態様で出力させるようにしてもよい。「受付許容音」については、上記「特定の演出音」を出力させるための「特定の音データ」内の一部区間として構成されて、該「特定の音データ」がチャンネルに割り当てられることにより出力されるものであってもよい。すなわちこの場合、操作有効期間(タイミングts13~ts15)が発生するよりも前から「特定の音データ」がチャンネルに割り当てられてこれに応じた特定の演出音が非抑制の態様で出力されるようになるとともに、タイミングts13が到来すると、チャンネルに割り当てられている「特定の音データ」に応じた音として「受付許容音」が出力されることとなる。若しくは、タイミングts13に跨るように、該タイミングts13よりも前からその後までにわたって「受付許容音」が出力されることとなる。なお、特定の演出音は、例えば、操作有効期間が発生するよりも前に行われる前兆演出(有効期間がまもなく発生することを示唆する演出)に対応する前兆演出音として出力させることが可能であり、この場合は、タイミングts13の前後に跨るようにチャンネルに割り当てられる1つの音データ内に「前兆演出音の再生区間」と「受付許容音の再生区間」とが設けられることとなる。「受付許容音」は、操作有効期間(タイミングts13~ts15)内の途中で非出力の状態にされるものであってもよいし、タイミングts15で非出力の状態にされるものであってもよいが、出力状態にあるときに演出受付がなされたときにはこれを契機として非出力の状態にすることが望ましい。
すなわち、ここでの「受付許容音が出力される」とは、タイミングts13において「受付許容音が含まれる音データ」をチャンネルに対して新たに割り当てることのほか、チャンネルに対して既に割り当て状態になっている音データ内における「受付許容音の再生区間」をタイミングts13に合わせて到来させることも含む概念である。また、ここでの「非出力の状態にする」も、「受付許容音が含まれる音データ」のチャンネルに対する割り当て状態を解除することのほか、該音データのチャンネルに対する割り当て状態は維持されるが、該音データ内における「受付許容音の再生区間」は終了されてそれ以降の音(無音データも含む)が再生される期間へと移行することも含む概念である。
また、図142に示した操作有効期間(タイミングts13~ts15)では、その有効期間内のいずれのタイミングで演出受付がなされた場合であっても、該演出受付がなされたときからの経過時間が予め定められた上記時間値に達するまで、特別演出音を、「BGM再生」の音が割り当てられている所定チャンネルとは別のチャンネルで非抑制の態様で再生させるようにしている。
この点、操作有効期間(タイミングts13~ts15)で演出受付がなされた場合は、演出表示装置1600における表示画像としても該演出受付に応じた特別演出表示を出現させることとなる。ただし、当該演出受付に応じた特別演出表示については、「該演出受付がなされたときからの経過時間が予め定められた上記時間値に達するまでその実行状態(視認可能状態)を継続させる」のではなく、「有効期間内のいずれのタイミングで演出受付がなされた場合であっても、演出パターン内の予め定められたタイミングが到来したときに非表示にさせる」ように行うことが望ましい。なお、「演出パターン内の予め定められたタイミング」としては、例えば、タイミングts15よりも後であり且つタイミングts17よりも前の期間内における所定タイミング(例えば、タイミングts16)を採用することが可能であるが、操作有効期間(タイミングts13~ts15)が発生してすぐに演出受付がなされた場合であっても、特別演出音の出力状態が終了されるタイミングよりも前に到来するタイミングであることが望ましい。このような構成によれば、特別演出音にかかる処理については、「BGM再生」の音が非抑制の態様で復帰されるタイミングts16よりも後に到来することとなるタイミングまで出力状態を継続せざるを得ないが、特別演出表示については、特別演出音よりも前に終了させることが可能とされるようになることから、操作後演出を行った以降の演出をテンポよく進展させることができるようになる。このような作用効果を得る上では、特別演出表示が非表示にされる特定タイミングについては、「BGM再生」の音が復帰されるタイミングts16または該タイミングts16よりも前に到来するタイミングとして設定されることが重要であるといえる。
このような構成によれば、操作有効期間(タイミングts13~ts15)で演出受付がなされると、該演出受付がなされたことに基づいて、「演出受付されたタイミングからの経過時間が予め定められた時間値に達するまで出力状態を継続させる特別演出音にかかる処理」と「演出パターン内の予め定められたタイミングが到来するまで表示が継続される特別演出表示にかかる処理」とを並行させるかたちでそれぞれ開始されるようになる。
例えば、操作有効期間(タイミングts13~ts15)内の比較的早いタイミングにおいて演出受付がなされたとすると、操作後演出のうち「特別演出表示にかかる処理」は、比較的長い期間にわたって実行されるが、操作後演出のうち「特別演出音にかかる処理」は、演出受付がなされたときから予め定められた時間値が経過したタイミングで終了されてしまう。これに対し、操作有効期間(タイミングts13~ts15)内の比較的遅いタイミングにおいて演出受付がなされたとすると、操作後演出のうち「特別演出表示にかかる処理」は、比較的短い時間しか実行されないこととなるが、操作後演出のうち「特別演出音にかかる処理」は、演出受付がなされたときから予め定められた時間値が経過したタイミングまでにわたって実行されることとなる。
すなわちこの場合、図142に示した操作有効期間(タイミングts13~ts15)とは、大当り判定の結果に基づいて特定の演出パターンが実行され、該特定の演出パターンとしての演出内容が特定タイミングになったときに発生するものであり、当該特別操作受付演出(有効期間)内で演出受付がなされると、「演出受付されたタイミングからの経過時間が予め定められた時間値に達するまで出力状態を継続させる特別演出音にかかる処理」と「演出パターン内の予め定められたタイミングが到来するまで表示が継続される特別演出表示にかかる処理」とをそれぞれ実行させるものとして機能することとなる。
このような操作有効期間(タイミングts13~ts15)によれば、有効期間が発生してすぐに操作すると、操作後演出のうち「特別演出表示にかかる処理」の実行状態を長く維持することができるようになる代償として、操作後演出のうち「特別演出音にかかる処理」の終了タイミングが比較的早い段階で到来することとなる。そうかといって、有効期間が発生してから暫くは操作せず遅い時期に操作するようにすると、操作後演出のうち「特別演出音にかかる処理」の終了タイミングについてはこれを比較的遅い段階で到来させることができるようになるものの、操作後演出のうち「特別演出表示にかかる処理」の実行状態を長く維持することができなくなるデメリットが生じるようになる。
すなわち、操作有効期間(タイミングts13~ts15)では、演出的に盛り上げる上で最も望ましい操作タイミングというものが存在しないことから、
・「特別演出音にかかる処理」が終了されるタイミングを早くすることとの引き換えに「特別演出表示にかかる処理」の実行状態を長くしてこれを楽しむのか(有効期間内の早い段階で操作するのか)、若しくは、
・「特別演出表示にかかる処理」の実行状態を短くすることとの引き換えに「特別演出音にかかる処理」が終了されるまでの時間を引き延ばしてこれを楽しむのか(有効期間内の遅い段階で操作するのか)、若しくは、
・「特別演出表示にかかる処理」が実行状態として維持される時間と、「特別演出音にかかる処理」が終了されるまでの時間とを少しずつ犠牲にし、全体としてのバランスを取るようにするのか(有効期間内の早くも遅くもないタイミングで操作するのか)
といった戦略的な操作演出性を有効期間これ自体に持たせることができるようになり、これによって遊技者の気分に応じて操作タイミングを選択させることのできる飽きの生じ難い操作受付演出を提供することができるようになる。
ここで、上記説明例では、操作有効期間(タイミングts13~ts15)で演出受付がなされたときの操作後演出として、「特別演出音にかかる処理」と「特別演出表示にかかる処理」とが行われる例について説明したが、「所定の演出可動体を動作させる処理」をさらに実行するようにしてもよいし、「特別演出表示にかかる処理」に代えて「所定の演出可動体を動作させる処理」を実行するようにしてもよい。ただし、「所定の演出可動体を動作させる処理」については、上述の「特別演出表示にかかる処理」の場合と同様、「有効期間内のいずれのタイミングで演出受付がなされた場合であっても、演出パターン内の予め定められたタイミングが到来したときに動作状態を終了させる」ように行うことが望ましい。ここで、「動作状態を終了させる」とは、所定の演出可動体を特定位置へと動作させる演出である場合には、特定位置にて動作状態にある所定の演出可動体を原位置へと戻すように動作させる処理を開始させることを意味する。
上記説明例では、操作有効期間(タイミングts13~ts15)で演出受付がなされると、演出パターン内の予め定められたタイミングが到来するまで実行状態が継続される「特別演出表示にかかる処理(または、所定の演出可動体を動作させる処理)」と、演出受付されたタイミングからの経過時間が予め定められた時間値に達するまで継続される「特別演出音にかかる処理」とをそれぞれ実行させることとした。ただし、操作有効期間(タイミングts13~ts15)が発生した場合であっても、所定の演出条件が満たされていないとき(例えば、大当り判定に落選している場合や、所定の演出判定に落選している場合など)には、当該操作受付演出内で演出受付がなされたとしても「特別演出表示にかかる処理(または、所定の演出可動体を動作させる処理)」は行われず、所定の演出条件が満たされている場合(図142)と比較して「予め定められた時間値」が相対的に短く設定された「特別演出音にかかる処理」が異なる演出音として行われるようにすることがより望ましい。
ただし、操作有効期間(タイミングts13~ts15)で操作したにもかかわらずこれがうまく検出されず(検出エラー)、演出受付がなされないようなことがあり、この結果として演出受付がなされないままで有効期間が終了するようなことがあると、操作したのに「特別演出表示にかかる処理(または、所定の演出可動体を動作させる処理)」が行われない様子を見た遊技者の遊技興趣が低下することが懸念される。したがって、操作有効期間(タイミングts13~ts15)で操作受付を自動発生(自動受付)させて、演出パターン内の予め定められたタイミングが到来するまで実行状態が継続される「特別演出表示にかかる処理(または、所定の演出可動体を動作させる処理)」と、演出受付されたタイミングからの経過時間が予め定められた時間値に達するまで継続される「特別演出音にかかる処理」とがそれぞれ実行されるようにすることが望ましい。操作受付を自動発生(自動受付)させる手法やこれに関連した演出態様としては、上述または後述の各例のいずれか、若しくは適宜の組み合わせを用いることが可能である。
なお上述の通り、「BGM再生」の音が抑制されているなかで発生する操作有効期間(タイミングts13~ts15)では、受付許容音が非抑制の態様で出力状態にあるときに演出受付がなされると、該演出受付に基づいて、操作後演出が実行されるとともに、受付許容音の出力状態がこの時点で解除されるようになっている。この点、「BGM再生」の音が抑制されていないなかで発生する通常の有効期間が発生したときにも、該発生に伴って受付許容音を非抑制の態様で出力状態にすることとなるが、該受付許容音については、出力状態にあるときに演出受付がなされたとしても、その出力状態を解除せず継続されるようにすることが望ましい。また、操作有効期間(タイミングts13~ts15)の発生に際して出力される受付許容音については、通常の有効期間の発生に際して出力される受付許容音よりも長い時間にわたってその再生状態が継続されうる演出音として用いるようにすることが、「BGM再生」の音が抑制されているなかでも遊技興趣を好適に維持する上で望ましい。
また、BGM再生の音が抑制態様または無音の状態にあるときに発生する有効期間では、該有効期間が発生すること(または該有効期間が発生したこと)を示唆する受付許容音としてN個の種類(態様)があり、それら種類のいずれかで必ず出力(非抑制の態様で出力)させるようにする。これに対し、BGM再生の音が非抑制態様で通常通りに出力される状態にあるときに発生する有効期間では、該有効期間が発生すること(または該有効期間が発生したこと)を示唆する受付許容音としてN個よりも少ないM個の種類(態様)しか用意せず、「それら種類のいずれかで出力(非抑制の態様で出力)させる場合」と、「それら種類のいずれによっても出力されず受付許容音を含む音データこれ自体がチャンネル割り当てされずに有効期間を発生させる場合」とがあるようにすることが望ましい。なお、受付許容音の種類によって「大当り図柄の現れる期待度が異なる」ことが示唆されるようにすることが望ましい。
若しくは、BGM再生の音が抑制態様または無音の状態にあるときに発生する有効期間と、BGM再生の音が非抑制態様で通常通りに出力される状態にあるときに発生する有効期間とのいずれにおいても、受付許容音として複数の種類(態様)が用意されているが、大当り期待度の高い受付許容音が出現する割合が、BGM再生の音が抑制態様または無音の状態にあるときに発生する有効期間では相対的に高くなっており、BGM再生の音が非抑制態様で通常通りに出力される状態にあるときに発生する有効期間では相対的に低くなっているようにすることが望ましい。そしてこの場合も、BGM再生の音が抑制態様または無音の状態にあるときに発生する有効期間では、該有効期間が発生すること(または該有効期間が発生したこと)を示唆する受付許容音が必ず出力(非抑制の態様で出力)されるのに対し、BGM再生の音が非抑制態様で通常通りに出力される状態にあるときに発生する有効期間では、該有効期間が発生すること(または該有効期間が発生したこと)を示唆する受付許容音が「非抑制の態様で出力される場合」と、「受付許容音を含む音データこれ自体がチャンネル割り当てされず出力されない場合」とがあるようにすることが望ましい。
これらの構成によれば、BGM再生の音が非抑制態様で通常通りに出力される状態にあるときには、受付許容音によって示唆される期待度をあまり詳細(N個よりも少ないM個の種類)に認識することができなかったり、あまり期待(相対的に低くなっている)することができなかったりすることとなる。ただしこの場合、BGM再生の音が非抑制態様で通常通りに出力されている状況にあることから、該BGM再生の音によって受付許容音を聞き洩らす可能性があるようになっているし、聞き洩らしたとしても受付許容音これ自体が出力されなかった可能性を意識させることができるようになっている。これに対し、BGM再生の音が抑制態様または無音の状態で出力される状態にあるときには、非抑制の態様で出力される音を際立たせることが可能とされている状況において、受付許容音を非抑制の態様で必ず出力させることとなっていることから、これによって示唆される期待度を楽しみにすることができるようになる。なお、これら態様のいずれか(または両方)を採用する場合、「BGM再生の音が抑制態様または無音の状態にあるときに発生する有効期間」の発生に際して出力されうる受付許容音の種別のなかには、「BGM再生の音が非抑制態様で通常通りに出力される状態にあるときに発生する有効期間」の発生に際して出力されうる受付許容音の種別のうち少なくとも1つ(例えば、受付許容音のうち最も大当り期待度の低い種別)が含まれていてもよい。ただし、「BGM再生の音が非抑制態様で通常通りに出力される状態にあるときに発生する有効期間」の発生に際して出力されうる受付許容音には、「BGM再生の音が抑制態様または無音の状態にあるときに発生する有効期間」の発生に際して出力されうる受付許容音としては出力され得ない種別(例えば、受付許容音のうち最も大当り期待度の高い種別)も含まれるようにすることが望ましい。また、「BGM再生の音が非抑制態様で通常通りに出力される状態にあるときに発生する有効期間」において演出受付に応じた操作後演出として出現しうる演出種別の数は、「BGM再生の音が抑制態様または無音の状態にあるときに発生する有効期間」において演出受付に応じた操作後演出として出現しうる演出種別の数よりも多いようにすることが望ましい。「BGM再生の音が非抑制態様で通常通りに出力される状態にあるときに発生する有効期間」において演出受付に応じた操作後演出として出現しうる演出種別のなかには、「BGM再生の音が抑制態様または無音の状態にあるときに発生する有効期間」において演出受付に応じた操作後演出として出現しうる演出種別の少なくとも1つが含まれていてもよい。
また、時短機能と確率変動機能とのいずれもが作動しない通常遊技状態では、BGM再生の音が抑制態様または無音の状態にあるときに発生する有効期間と、BGM再生の音が非抑制態様で通常通りに出力される状態にあるときに発生する有効期間とのいずれにおいても、受付許容音として大当り期待度が異なる複数の種類(態様)を用意する場合、それら有効期間のいずれにおいても、出力されると「大当り図柄で停止される割合が100%になる」特別受付許容音が出力されうるようにしてもよい。なお、特別受付許容音として、複数の種別(態様)を用意するようにしてもよい。
すなわちこの場合、「BGM再生の音が抑制態様または無音の状態にあるときに発生する有効期間」の発生に際し、特別受付許容音が出力(非抑制態様)されると、該有効期間内で演出受付がなされたことに基づいて行われる操作後演出としても、出現されると「大当り図柄で停止される割合が100%になる」特別態様で実行されることとなる。特別受付許容音が出力されている状態で演出受付がなされると、該特別受付許容音の出力が中断されて、出力されると「大当り図柄で停止される割合が100%になる」特別の演出音が出力されるようにすることが望ましい。
ただし、「BGM再生の音が非抑制態様で通常通りに出力される状態にあるときに発生する有効期間」の発生に際し、特別受付許容音が出力(非抑制態様)されたときには、該有効期間内で演出受付がなされたことに基づいて行われる操作後演出として、出現されると「大当り図柄で停止される割合が100%になる」特別態様で実行される場合と、該特別態様で実行されない場合とがあるようにすることが望ましい。なお、「BGM再生の音が抑制態様または無音の状態にあるときに発生する有効期間」の発生に際して出力される特別受付許容音と、「BGM再生の音が非抑制態様で通常通りに出力される状態にあるときに発生する有効期間」に際して出力される特別受付許容音とは、互いに異なる種別の受付許容音であってもよい。また、「BGM再生の音が非抑制態様で通常通りに出力される状態にあるときに発生する有効期間」の発生に際して出力される特別受付許容音として複数の種別があり、それら種別のなかに、「BGM再生の音が抑制態様または無音の状態にあるときに発生する有効期間」の発生に際して出力される特別受付許容音の種別と同じものと、該種別とは異なるものがあってもよい。受付許容音(特別受付許容音を含む)が出力されている状態で演出受付がなされると、該受付許容音の出力が中断されて、操作後演出に応じた演出音(操作後演出が特別態様で行われる場合は、出力されると「大当り図柄で停止される割合が100%になる」特別の演出音)が出力されるようにすることが望ましい。
このような構成によれば、BGM再生の音が抑制態様または無音の状態にあるとき(聞き間違いが生じ難い状況にあるとき)には、特別受付許容音が出力されると、該有効期間内で演出受付がなされたことに基づいて行われる操作後演出としても、出現されると「大当り図柄で停止される割合が100%になる」態様で必ず実行されるようになる。これに対し、BGM再生の音が非抑制態様で通常通りに出力される状態(BGM再生の音との競合によって聞き間違いが生じ易い状況にあるとき)では、特別受付許容音が出力されたとしても、該有効期間内で演出受付がなされたことに基づいて行われる操作後演出として、「大当り図柄で停止される割合が100%になる」態様で該演出が必ずしも行われないようになることから、受付許容音が「特別受付許容音」として出力されていたのかに疑念(聞き間違えたのかの疑念)を持たせることができるようになり、緊張感を好適に持続させることができるようになる。これにより、BGM再生の音が非抑制態様で通常通りに出力されているなかで「受付許容音をいかに聞き漏らさないか」を重視するようになり、受付許容音が出力されるまでの緊張感についてもこれを好適に維持することができるようになる。こうした緊張感を高める上では、「特別受付許容音が出力されて且つ操作後演出が「出現されると大当り図柄で停止される割合が100%になる」態様で実行されない」操作受付演出では、「特別受付許容音が出力されて且つ操作後演出が「出現されると大当り図柄で停止される割合が100%になる」態様で実行される」操作受付演出の場合と比較して、その前兆演出(許容前操作関連表示や、許容前操作関連音)を相対的に短い時間で実行するようにして突然に有効期間を発生させるようにすることが望ましい。
なお、BGM再生の音が非抑制態様で通常通りに出力される状態(BGM再生の音との競合によって聞き間違いが生じ易い状況にあるとき)において、「特別受付許容音が出力されて且つ操作後演出が「出現されると大当り図柄で停止される割合が100%になる」態様で実行されない」操作受付演出(有効期間)と、「特別受付許容音が出力されて且つ操作後演出が「出現されると大当り図柄で停止される割合が100%になる」態様で実行される」操作受付演出(有効期間)とでは、特別受付許容音が、互いに異なる種別の受付許容音として出力されるようにしてもよいし、同じ種別の受付許容音として出力されるようにしてもよい。また、BGM再生の音が非抑制態様で通常通りに出力される状態(BGM再生の音との競合によって受付許容音に聞き間違いが生じ易い状況にあるとき)では、「特別受付許容音が出力されて且つ操作後演出が「出現されると大当り図柄で停止される割合が100%になる」態様で実行される」操作受付演出(有効期間)は、必ずしも発生しないようにしてもよい。また、「特別受付許容音が出力されて且つ操作後演出が「出現されると大当り図柄で停止される割合が100%になる」態様で実行されない」操作受付演出(有効期間)では、受付許容音としていずれの種別が出力されたとしても、操作後演出が、「出現されると大当り図柄で停止される割合が100%になる」態様で実行されることがなく、該態様がそもそも用意されていないものであってもよい。
また、「BGM再生」の音が抑制されているなかで発生する操作有効期間(タイミングts13~ts15)や通常の有効期間では、操作対象として用いられている操作手段を摸した画像表示と、有効時間がどれだけ残っているかのゲージ表示とをそれぞれ表示し、遊技者に操作を促す操作促進演出が行われる。この点、少なくとも「BGM再生」の音が抑制されているなかで発生する操作有効期間(タイミングts13~ts15)では、演出受付された場合、ゲージ表示を残した(表示した)ままで、「演出パターン内の予め定められたタイミングが到来するまで実行状態が継続される特別演出表示にかかる処理(または、所定の演出可動体を動作させる処理)」と、「演出受付されたタイミングからの経過時間が予め定められた時間値に達するまで継続される特別演出音にかかる処理」とをそれぞれ開始させることが望ましい。このような構成によれば、演出受付がなされたタイミングが有効期間内のいずれのタイミングであるのかを、表示として残されているゲージ残量をもとに演出受付後に認識させることができるようになり、これによって特別演出表示にかかる処理(または、所定の演出可動体を動作させる処理)がすぐに終わってしまうのかなどを予測することができるようになる。なお、このようにゲージ表示(バー表示)を残したままで操作後演出を開始させる手法としては、上述または後述の各例のいずれか、若しくは適宜の組み合わせ、さらにはなお書き記載の内容を用いることが可能である。
上記説明例において、「BGM再生」の音を抑制態様または無音で出力させる「特定種別の演出パターン」として用意(記憶)されている演出パターンの数については、「BGM再生」の音を抑制態様または無音で出力させない「その他の演出パターン」として用意(記憶)されている演出パターンの数よりも少なくなるように設定することが、当該演出が発生したときの遊技興趣の向上を図る上で望ましい。
また、「BGM再生」の音を抑制態様または無音で出力させる「演出パターン」として複数の演出パターンを用意する場合、それら演出パターンには、第1設定時間にわたって「BGM再生」の音を抑制態様または無音で出力させる演出パターンと第1設定時間よりも長い第2設定時間にわたって「BGM再生」の音を抑制態様または無音で出力させる演出パターンとが含まれるようにし、それら演出パターンでは大当り図柄が現れる期待度が異なるようにすることが望ましい。このような構成によれば、「BGM再生」の音を抑制態様または無音で出力させる状態になったとき、該状態がどれだけ継続されるかによって大当り期待度を示唆することができるようになる。
上述の通り、この実施の形態にかかるパチンコ機1では、音量調整用ボタン(演出選択左ボタン331や演出選択右ボタン332)に対する操作によって音量に関して遊技者による設定値(音量設定値)を変更させる処理を実行可能としている(周辺制御MPU1511a)。そして、図柄変動が実行されていない状態(デモ状態など)において音量設定値が変更されると、上記周辺制御MPU1511aが、該変更された音量設定値に基づいて演出音にかかる音量を調整する処理(音量設定値を音量として反映させる処理)を実行することとなる。またこの際、該調整された音量で、音量調整確認音が出力されうる。
この点、この実施の形態にかかるパチンコ機1(周辺制御MPU1511a)では、図柄変動が実行されている状態においても、音量に関して遊技者による設定値(音量設定値)を変更させる処理を実行可能としているが、図柄変動が実行されている状態においては音量設定値が変更されたとしても音量調整確認音が常に出力されないようにすることが望ましい。すなわち、「BGM再生の音を抑制態様または無音で出力させる演出パターン」を選択可能なパチンコ機1にあって、演出パターンにかかわらず図柄変動中には音量調整確認音が常に出力されないようにした場合、音量調整確認音が出力されない様子を見た遊技者が「音量抑制演出」が実行されている可能性を意識するようになることから、遊技興趣を好適に維持することが期待されるようになる。なおこの場合、音量調整確認音は出力しないが、演出表示装置1600では音量設定値が変更されたことを示す表示を行うようにすることが、音量調整確認音が出力されなくなっている様子を遊技者に認識(「音量抑制演出」が実行されている可能性を意識)させる上で望ましい。「音量調整確認音は出力しない」とは、音量調整確認音これ自体はチャンネルに割り当てるがこれを音量0で出力させることのほか、音量調整確認音これ自体をチャンネルに割り当てないようにしてもよい。
BGM再生の音が抑制態様または無音の状態にあるときに演出受付がなされたことに基づいて出力される特別演出音については、操作有効期間(タイミングts13~ts15)の2倍以上の時間にわたってその出力状態を維持するものとして構成することが望ましい。このような構成によれば、操作有効期間(タイミングts13~ts15)が発生してすぐに演出受付がなされた場合であっても、タイミングts15が経過した以降の出力時間(特別演出音)を、タイミングts15までの出力時間(特別演出音)よりも長くすることができるようになる。
[複数の演出操作ユニットを備えた遊技機]
ところで、前述では遊技者が押圧操作することができると共に、遊技者に対して演出画像を提示することができる演出操作ユニット400を皿ユニット320に備えた遊技機について説明したが、以下では、図143~図165を参照して、より遊技者の操作意欲を高めることが可能な遊技機について説明する。なお、以下に述べる演出操作ユニットの演出制御は、周辺制御基板1510によって行われる。
図143は、刀演出操作ユニット5000を備えた遊技機の正面図である。図144は、刀演出操作ユニット5000を備えた遊技機の右側面図である。ここでは、前述の遊技機1の扉枠3に配設される刀演出操作ユニット5000について述べ、前述と同様の構成については同じ符号を付し、適宜説明を省略する。
刀演出操作ユニット5000は、正面視右側の扉枠3の前面に設けられる。刀演出操作ユニット5000は、刀身部5011と、柄部5012と、刀身部5011と柄部5012との間に挟まれる鍔部5013とを有する刀部5010と、刀部5010の刀身部5011を納めることが可能な鞘部5020とからなる刀装飾体5001を構成している。
刀装飾体5001は、扉枠3に正面視左右方向に鞘部5020を可動可能に設けられている。また、刀部5010を抜刀方向及び納刀方向に可動可能に設けられている。刀部5010は、通常は刀身部5011が鞘部5020に納められた納刀状態であり、抜刀演出において抜刀動作により刀身部5011が遊技者に視認可能になる抜刀状態になる。そして、抜刀状態となった刀部5010は、遊技者による納刀操作を受け付けて納刀状態に戻る操作手段として機能可能になる。
ここで、図145を参照して、刀演出操作ユニット5000(刀装飾体5001)の可動を伴う抜刀演出の実行機会ついて説明する。図145は、抜刀演出を実行可能な演出モードにおける演出パターンの選択テーブルの一例を示す図であり、(A)変動パターンの種別に応じた抜刀準備移行演出の有無を選択する選択テーブルの一例を示し、(B)抜刀本演出の有無を選択する選択テーブルの一例を示す。
ここで述べる演出パターンには、抜刀準備移行演出実行後に抜刀本演出が行われるパターン、事前に抜刀準備移行演出が行われることなく抜刀本演出が行われるパターン、事前に抜刀準備移行演出が行われたにもかかわらず抜刀本演出が行われないパターン、抜刀準備移行演出が行われることも抜刀本演出が行われることもないパターンがあり、さらに抜刀本演出における刀装飾体5001の形態には、オーラ部材付き形態とオーラ部材なし形態の2パターンが設けられている。
図145(A)に示すように、主制御基板1310において決定され、周辺制御基板1510に送信される変動パターンの種類に応じて、抜刀準備移行演出の実行有無が抽選される。ここで、複数種類の変動パターンは大当り時の大当り変動用変動パターン、小当り時の小当り変動用変動パターン及びはずれ時のはずれ変動用変動パターンに分類され、遊技者にとって有利な結果となる変動パターンであるほど抜刀準備移行演出が実行される確率が高くなるように設定されている。具体的には、抜刀準備移行演出は、大当り変動用変動パターンのときは50%の確率で実行され、小当り変動用変動パターンのときには30%の確率で実行され、はずれ変動用変動パターンのときには20%の確率で実行される。なお、はずれ変動時変動パターンは、リーチ演出が行われる場合は行われない場合に比べて抜刀準備移行演出が実行される確率が高くなるようにリーチ演出の有無に応じて確率を変えてもよい。
次に、図145(B)に示すように、変動パターンの種類と抜刀準備移行演出の有無に応じて、抜刀本演出の実行有無が抽選される。変動パターンの種類が同じでも抜刀準備移行演出が実行される場合は、抜刀準備移行演出が実行されない場合よりも抜刀本演出が実行される確率が高くなるよう設定される。また、遊技者にとって有利な結果となる変動パターンであるほど抜刀本演出が実行される確率が高くなるように設定される。ここで、変動パターンの有利度が低くても抜刀準備移行演出が実行される方が、抜刀本演出が実行される確率が高くなるよう設定される。具体的には、はずれ変動用変動パターンで抜刀準備移行演出が実行される場合は、小当り変動用変動パターンで抜刀準備移行演出が実行されない場合よりも抜刀本演出が実行される確率が高い。なお、大当り変動用変動パターンの場合には抜刀準備移行演出の有無に関わらず必ず抜刀本演出が実行される。
また、抜刀本演出が実行される場合は、事前に抜刀準備移行演出が実行され、遊技者にとって有利な結果となる変動パターンであるほどオーラ部材付き形態の抜刀本演出が実行される確率が高くなるよう設定される。なお、ここでは小当り変動用変動パターンの場合にはオーラ部材付き形態の抜刀本演出が選択されることはない。
(刀装飾体の抜刀動作による状態遷移とオーラ部材の動作)
続いて、図146~図149を参照して、抜刀演出(抜刀準備移行演出及び抜刀本演出)における刀装飾体5001の抜刀動作について説明する。また、オーラ部材5030が遊技者による納刀操作を受け付け可能な刀部5010(刀身部5011)自体に設けられ、刀部5010が自身の構成部材(オーラ部材5030)によって変形する場合(図146、図147)と、オーラ部材5035が刀部5010(刀身部5011)を収納する扉枠3の鞘部5020に設けられ、刀部5010が扉枠3側の部材(オーラ部材5035)と合体して一体的な装飾体となる場合(図148、図149)について、オーラ部材5030、5035の動作について説明する。
図146は、オーラ部材5030が刀部5010(刀身部5011)自体に設けられる場合の刀装飾体5001の抜刀動作について説明する状態遷移図であり、(A)納刀状態、(B)第一抜刀状態、(C)第二抜刀状態を示す。図147は、オーラ部材5030の動作について説明する縦断面図である。なお、図147は、オーラ部材5030の動作を分かり易くするために刀身部5011を鞘部5020から抜き出した状態における縦断面図である。
通常状態における刀装飾体5001は、図146(A)に示すように、刀身部5011が鞘部5020に納められた納刀状態である。抜刀準備移行演出における抜刀動作後の刀装飾体5001は、図146(B)に示すように、刀身部5011の手元に嵌められるハバキ5011aの部分のみが鞘部5020から抜かれて遊技者から視認可能になる第一抜刀状態となる。そして、抜刀本演出における抜刀動作後の刀装飾体5001は、図146(C)に示すように、刀身部5011が鞘部5020からさらに抜かれて大部分が遊技者から視認可能になる第二抜刀状態となる。ここで、第二抜刀状態となった刀装飾体5001は、遊技者による納刀操作を受け付け可能な操作手段として機能することができるようになる。
刀身部5011に設けられるオーラ部材5030は、刀身部5011の抜刀動作とは別に単独で動作可能に構成されている。刀装飾体5001がオーラ部材付き形態となる場合では、オーラ部材5030は、刀身部5011が納刀状態(図146(A))から第一抜刀状態(図146(B))となるときに鞘部5020の内部で閉状態(図147(A))から開状態(図147(B))に可動域を可能な限り動作(最大動作)し、刀身部5011を変形させる。このため、オーラ部材5030によって変形された刀身部5011が第一抜刀状態から第二抜刀状態(図146(C))となる変化過程においても遊技者はオーラ部材5030を視認することができる。なお、後述するがオーラ部材5030は最大動作しても刀身部5011のハバキ5011aの下方に位置するよう設けられるので、遊技者は第一抜刀状態でオーラ部材5030を視認することができない。
通常状態(閉状態)におけるオーラ部材5030は、図147(A)に示すように、刀身部5011に内包される。オーラ部材5030は、刀身部5011のハバキ5011aの下方に設けられ、右オーラ部材5031と、左オーラ部材5032と、右オーラ部材5031に設けられるラック5031a及び左オーラ部材5032に設けられるラック5032aと噛み合うピニオン5033とを有する。オーラ部材5030は、駆動手段(図示省略)によってピニオン5033が正面視反時計回りに回転されることで、回転力がラック5031aの右方向及びラック5032aの左方向の直線運動に変換され、図147(B)に示すように、右オーラ部材5031及び左オーラ部材5032がそれぞれ刀身部5011の外形から外側に突出した位置(開状態)で停止する。
また、刀身部5011のハバキ5011aの下方には刀身軸5011bに複数のLEDを有するLED基板5011cが内包されている。これらLEDが発光されることで、刀身部50011(オーラ部材5030)を発光装飾させることが可能となる。
なお、ここでは、オーラ部材5030の動作タイミングについて刀装飾体5001(刀部5010)が納刀状態から第一抜刀状態になるときに閉状態から開状態となり、オーラ部材5030の動作によって刀身部5011を変形させた上で刀装飾体5001が第一抜刀状態から第二抜刀状態に変化する例を示したが、これに限らない。オーラ部材5030は、刀装飾体5001が第二抜刀状態になってから動作(変形)を開始してもよい。第二抜刀状態となった刀装飾体5001が操作手段として機能するまでに設定された演出パターンに基づく最終態様(最大動作して成る形態に限らず、途中で動作を停止して成る形態を含む)になっていればよい。
図148は、オーラ部材5035が鞘部5020に設けられる場合の刀装飾体5001の抜刀動作について説明する状態遷移図であり、(A)納刀状態、(B)第一抜刀状態、(C)第二抜刀状態を示す。図149は、オーラ部材5035の動作について説明する縦断面図である。なお、図149は、オーラ部材5035の動作を分かり易くするために刀身部5011を鞘部5020から抜き出した状態における縦断面図である。ここでは、前述の図147及び図148と同様の構成には同じ符号を付して説明を適宜省略する。
図148(A)~(C)に示すように、刀部5010(刀身部5011)を収納する扉枠3の鞘部5020に設けられるオーラ部材5035は、前述の刀部5010(刀身部5011)自体に設けられるオーラ部材5030が左右方向に可動するのに対し、上下方向に可動する。また、オーラ部材5035は、刀身部5011の外周を囲うように設けられる。そして、刀装飾体5001がオーラ部材付き形態となる場合では、オーラ部材5035は、納刀状態における刀身部5011とオーラ部材5035との相対位置関係を保ちながら刀身部5011の状態変化(納刀状態⇔第一抜刀状態⇔第二抜刀状態)に合わせて動作する。これにより、刀部5010(刀身部5011)が枠側の部材(オーラ部材5035)と合体して一体的な装飾体とみせることを可能にしている。
通常状態(完全収容状態)におけるオーラ部材5035は、図149(A)に示すように、鞘部5020に収容される。オーラ部材5035は、完全収容状態において上端が刀身部5011のハバキ5011aの下方になるよう設けられ、刀身部5011の外周を囲うように設けられる中空円柱状の囲いオーラ部材5036と、囲いオーラ部材5036の中空部下方に設けられる右ラック5036a及び左ラック5036bと、右ラック5036a及び左ラック5036bとそれぞれ噛み合う右ピニオン5037a及び左ピニオン5037bとを有する。囲いオーラ部材5036は、駆動手段(図示省略)によって右ピニオン5037aが正面視反時計回りに回転され、左ピニオン5037bが正面視時計回りに回転され、両ピニオンも噛み合うことで、回転力がラック右ラック5036a及び左ラック5036bの上方向の直線運動に変換され、図149(B)に示すように、囲いオーラ部材5036が刀身部5011と合体して第二抜刀状態を形成する位置で停止する。このときのオーラ部材5035は、囲いオーラ部材5036が可動域上限まで可動(最大動作)している完全出現状態となる。
また、図示は省略しているが、刀身部5011には複数のLEDを有するLED基板が内包されており、刀身部5011及びオーラ部材5035を発光装飾させることが可能である。
なお、ここでは、オーラ部材5035の動作タイミングについて刀装飾体5001(刀部5010)の状態変化(納刀状態⇔第一抜刀状態⇔第二抜刀状態)に応じて相対位置関係を保ちながら刀身部5011と合体する例を示したが、これに限らない。オーラ部材5035は、刀装飾体5001が第二抜刀状態になってから動作(合体)を開始してもよい。第二抜刀状態となった刀装飾体5001が操作手段として機能するまでに設定された演出パターンに基づく最終態様(最大動作して成る完全出現状態に限らず、途中で動作を止めて成る途中出現状態のオーラ部材付き形態を含む)になることができればよい。また、オーラ部材5035は、納刀状態から第一抜刀状態において遊技者から視認されないように刀身部5011と合体すればよい。
(刀装飾体5001を用いる他の演出パターン1)
続いて、図150~図152を参照して、前述の刀装飾体5001を用いる他のリーチ演出について説明する。図150~図152は、姫リーチ演出における演出表示装置1600の画面遷移及び刀装飾体5001の動作遷移を説明する図である。ここでは、前述の刀装飾体5001と主に以下の点が異なる。第一に、納刀状態の刀装飾体5001が操作手段として機能し、遊技者による抜刀操作を操作検出する。第二に、扉枠3に設けられる鞘部5020は、正面視左右方向に可動することができるように構成されており、第二抜刀状態となった刀装飾体5001は、演出表示装置1600の前面中央まで動作可能である。
変動中の図柄がリーチ状態を形成すると、演出表示装置1600の表示領域では、三つの装飾図柄の変動表示がリーチ状態となり(図150(A1))、姫リーチの開始画像が表示される(図150(A2))。ここで、演出表示装置1600の表示領域の上方には、上下方向に可動させることができる特定装飾部材SDY(簾役物)が設けられている。特定装飾部材SDYは、通常状態では正面視で演出表示装置1600の表示領域に重なることなく、表示領域の上方にて簾の一部が遊技者から視認可能な状態(初期状態)で静止されている。また、このとき刀装飾体5001は納刀状態である。
姫リーチ演出では、簾の奥に姫が向かう画像が表示されたのち(図150(A3))、操作演出を示唆する操作演出示唆画像が表示される(図150(B1))。そして、刀装飾体5001の操作演出が開始されて刀装飾体5001の操作を受け付ける操作有効期間が始まるとともに、演出表示装置1600の表示領域には、遊技者に刀装飾体5001の抜刀操作を促す操作促進画像と操作有効期間を示すゲージが表示される(図151(B2))。このとき、操作演出示唆画像が表示されてから操作促進画像と操作有効期間を示すゲージが表示されるまでの間、刀装飾体5001や特定装飾部材SDYを上下方向に小刻みに可動させるようにしてもよい。そして、遊技者による抜刀操作が検出されると、予め設定される発展パターンもしくは終了パターンに応じて演出が行われる。
遊技者による抜刀操作は、納刀状態の刀装飾体5001の柄部5012を遊技者が掴んで上方に刀部5010を持ち上げるようにして刀身部5011を鞘部5020から抜き出す動作をいう。刀装飾体5001が納刀状態から第二抜刀状態になると遊技者による抜刀操作が検出され、遊技者に検出を報知する検出報知動作が行われる。検出報知動作は、刀部5010(もしくは柄部5012)が上下運動する可動や振動等、遊技者が掴んだ柄部5012を介して自身の抜刀操作とは別の動作を感じ取れるような動作であればよい。また、検出報知動作は、操作を検出してから一定期間行われ、遊技者が柄部5012から手を離しても動作を視認することができる。このため、遊技者は視覚でも操作検出を確認することができるので、刀装飾体5001への不要な接触(検出確認のために再度掴む等)を減らし、可動体の故障や破損を防止することができる。
ここでの遊技者による抜刀操作では、オーラ部材5030(5035)は出現しないが、期待度に応じて、遊技者が抜刀操作したときにオーラ部材5030(5035)が遊技者から視認可能に出現するようにしてもよい。
終了パターンが行われる場合には、遊技者による抜刀操作が検出されると、特定装飾部材SDYは、演出表示装置1600の表示領域に重なることなく、表示領域の上方にて静止された状態(初期状態)を維持し、刀装飾体5001による操作演出の終了を示す画面が表示される(図151(C1))。そして、装飾図柄がはずれ態様「767」で停止表示される(図151(C2))。このとき、刀装飾体5001は、図151(C2)の停止結果が報知されるタイミングで納刀状態に戻されるが、これに限らず、検出報知動作を終了するタイミングで納刀状態に戻されるようにしてもよい。
一方、発展パターンが行われる場合には、遊技者による抜刀操作が検出されると、特定装飾部材SDY(簾役物)は、演出表示装置1600の表示領域と重なる前面中央(表示領域の下方の保留表示領域のみ視認可能な状態(全落下状態)に落下可動される(図151(D1))。次いで、演出表示装置1600の表示領域には姫の影が映し出される。このとき、刀装飾体5001は、第二抜刀状態を維持している(図151(D2))。なお、このときに演出表示装置1600の表示領域に映し出される姫の影の表示を複数パターン設けてもよく、例えば、影の色や影の大きさ、その後表示されるコメントを異ならせることで姫リーチによる抽選結果の期待度(当り期待度や、当りであるときの遊技利益など)を示唆するようにしてもよい。
そして、刀装飾体5001が遊技者による抜刀操作によって第二抜刀状態となってから、すなわち演出表示装置1600の表示領域に姫の影が映し出されてから所定期間が経過すると、第二抜刀状態の刀装飾体5001は、扉枠3に設けられる鞘部5020が可動されることで演出表示装置1600の表示領域の前面左右方向中央まで移動する(図151(D3))。そして、刀装飾体5001が演出表示装置1600の表示領域の前面中央位置に到達すると、特定装飾部材SDYが全落下状態から初期状態に戻り、視界良好となった演出表示装置1600の表示領域には簾を外されて驚く姫の画像が表示される(図152(D4))。その後、刀装飾体5001は、再び元の抜刀操作が行われた位置まで戻り、演出表示装置1600の表示領域では、今回の変動表示の結果が当りとなる場合に笑顔の姫とともに当りを報知する画像が表示され(図152(E1)(E2))、はずれとなる場合に悲しむ姫とともにはずれを報知する画像が表示される(図152(F1)(F2))。
なお、遊技者による抜刀操作が検出された際には、上述した通り検出報知動作を行うこととしているが、刀装飾体5001が演出表示装置1600の表示領域の前面左右方向中央まで移動する可動演出を実行する際に遊技者が掴んでいることにより移動できない場合には、「刀を離して下さい」等のアナウンスや表示が行われる。遊技者が刀装飾体5001の掴みを止めなくても演出自体は進行するが、刀装飾体5001の左右方向の可動演出タイミング(図151(D3))に刀装飾体5001が遊技者による操作が行われた位置に保持される場合には左右方向の可動演出の遅延を引き起こすことになる。しかし、刀装飾体5001の左右方向の可動演出が実行されたか否かに拘わらず演出表示装置1600の表示領域にて実行される演出及び特定装飾部材SDY(簾役物)の落下可動演出は進展するように構成されているため、遊技進行が停滞することはない。なお、刀装飾体5001は、遊技者による刀装飾体5001の保持が解除された場合に、直ちに左右方向の可動演出を行うように構成されてもよいし、可動演出を行わないように構成されてもよい。
このように、姫リーチ演出では、遊技者による刀装飾体5001の抜刀操作(上下方向動作)によって、刀装飾体5001の操作演出(操作有効)の示唆を行った特定装飾部材SDYを落下可動させるとともに、演出表示装置1600の表示領域外にて操作が行われた刀装飾体5001自体を、扉枠3に設けられる鞘部5020が可動されることで演出表示装置1600の前方方向(操作位置に対して左方向)に可動させることができる。すなわち、遊技者による抜刀操作に基づき、刀装飾体5001自体を抜刀操作が行われた操作位置とは異なる動作位置に移動させることが可能となり、遊技者の操作価値を高め、遊技者の操作意欲の減退を抑制することができる。また、遊技者による操作によって、一の操作手段が段階的に異なる態様(操作時は上下方向、操作後は左右方向)で動作可能に構成されているので、複数の可動態様を用いる演出を提供することができ、一可動態様しか持たない従来の操作手段に比べて操作手段の操作価値を高めることができる。よって、遊技興趣の低下を抑制することができる。
なお、刀装飾体5001の左右方向の可動演出は、演出表示装置1600の表示領域で行われる演出画像、及び特定装飾部材SDY(簾役物)との一体的な演出を行う目的で、演出表示装置1600の表示領域外となる操作位置から演出表示装置1600の表示領域の前方となる動作位置に変位させたが、これに限らない。例えば、演出表示装置1600の表示領域の前方に刀装飾体5001を位置させた状態で抜刀操作を行わせたのち、刀装飾体5001を可動させて演出表示装置1600の表示領域外に位置するように左方向(枠の左端)まで変位させる左右方向の可動演出を行ってもよい。また、本例の刀装飾体5001の遊技者による操作が上下方向の動作(刀部5011を下から上に引き上げる抜刀動作)となるので、操作に基づいて当該操作後に行われる刀装飾体5001の可動演出は遊技者の操作時の動作方向(ここでは上下方向)とは異なる方向(本例のように左右方向等)に刀装飾体5001が動作することが望ましい。
また、遊技者による抜刀操作が検出されたときには遊技者が操作した操作部(刀部5010)を介して遊技者に検出を報知する検出報知動作が行われるので、遊技者は操作終了タイミングを的確に判断することができる。また、検出報知動作は一定期間、遊技者が視覚でも確認できるように行われるので、検出確認のために再度操作部に触れる等の不要な接触を抑制することができる。よって、遊技者が操作を継続してしまい、その後の刀装飾体5001の可動演出が遅延してしまったり、不要な接触により可動体が破損してしまったりするのを防止することができる。さらに、検出報知動作後も刀装飾体5001への接触により可動演出が実行できない場合には、遊技者に手を離すようアナウンス等の警告が行われ、操作有効期間には操作を求められていた操作手段が検出報知動作終了後は接触すら禁止されるので、操作手段の操作価値を高めることができる。
(刀装飾体5001を用いる他の演出パターン2)
続いて、図153~図155を参照して、前述の刀装飾体5001を用いる他のリーチ演出について説明する。図153~図155は、多面的に使われる操作ボタン410の操作演出を含むリーチ演出における演出表示装置1600の画面遷移、操作ボタン410の状態遷移及び刀装飾体5001の動作遷移を説明する図である。ここでは、操作ボタン410の操作演出として実行中の変動が大当りとなる期待度を示唆する期待度示唆演出が行われるパターン(図中(A)(B)→N)と、操作ボタン410の操作演出として刀装飾体5001の操作演出の示唆及び展開が行われるパターン(図中(A)(B)→M)とについて説明する。
ここでのリーチ演出は、演出表示装置1600の表示領域において、三つの装飾図柄の変動表示がリーチ状態となると(図153(A))、まず、操作ボタン410の押圧操作を受け付ける操作有効期間が開始され、遊技者に操作ボタン410の押圧操作を促す操作促進演出が行われる(図153(B))。演出表示装置1600の表示領域には、操作対象となる操作手段(操作ボタン410)の画像と操作有効期間が表示され、操作対象の操作ボタン410は発光装飾される。このとき、刀装飾体5001は納刀状態を維持している。そして、遊技者による操作ボタン410への押圧操作が検出されると、予め設定される演出パターンに応じて演出が行われる。
まず、操作ボタン410の押圧操作によって期待度示唆演出が行われるパターンでは、遊技者による操作ボタン410への押圧操作が検出されると、演出表示装置1600の表示領域には、エフェクト画像が表示されたのち(図153(N1))、大当り期待度を示唆する画像が表示される(図154(N2))。その後、今回の変動表示の結果(大当り、はずれ)が報知される(図154(N3)又は(N4))。なお、実行中の変動表示に対する期待度示唆演出の代わりに先読み演出が行われてもよく、例えば、期待度を示す画像(図154(N2))の代わりに演出表示装置1600の表示領域に表示されている保留表示を変化させるキャラクタを登場させるようにしてもよい。
また、操作ボタン410の押圧操作によって刀装飾体5001の操作演出の示唆及び展開が行われるパターンでは、遊技者による操作ボタン410への押圧操作が検出されると、演出表示装置1600の表示領域には、刀装飾体5001の納刀操作を要求する操作演出が行われることを示唆するエフェクト画像が表示される図153(M1))。次いで、演出表示装置1600の表示領域に、刀装飾体5001の操作演出の開始画像(ここでは、タイトル「抜刀チャンス」及び操作説明「刀を納めて頂きたくござ候う」のメッセージ)が表示されるとともに、刀装飾体5001が納刀状態から第二抜刀状態に変化する。このときの刀装飾体5001は、オーラ部材5030の最大動作によって刀身部5011が変形されたオーラ部材付き形態である(図155(M2))。続いて、第二抜刀状態になって所定期間が経過し、刀装飾体5001の操作有効期間が始まると、特定装飾部材SDY(簾役物)が初期状態で上下方向に小刻みに可動され、演出表示装置1600の表示領域には、遊技者に刀装飾体5001の納刀操作を促す操作促進画像と操作有効期間を示すゲージが表示される(図155(M3))。そして、遊技者による納刀操作が検出されると、今回の変動表示の結果に基づいた演出が行われる。
今回の変動表示の結果が大当りとなる場合には、遊技者による納刀操作が検出されると、特定装飾部材SDY(簾役物)が初期状態から全落下状態になるよう落下可動される(図155(M4))。次いで、特定装飾部材SDY(簾役物)が再び初期状態に戻されると、特定装飾部材SDY(簾役物)との重複が解除された演出表示装置1600の表示領域には、大当りを報知する画像(装飾図柄の停止態様「777」、「お見事」のメッセージ)が表示される(図155(M5))。一方、今回の変動表示の結果がはずれとなる場合には、遊技者による納刀操作が検出されると、特定装飾部材SDY(簾役物)は、初期状態における小刻み可動が停止されるのみで、演出表示装置1600の表示領域には、はずれを報知する画像(装飾図柄の停止態様「767」)が表示される(図155(M6))。
このように、操作ボタン410の押圧操作によって、期待度を示唆したり他の操作手段(刀装飾体5001)の操作演出を展開したりと多様な演出が可能になり、遊技者は操作ボタン410を操作する時点でその後の展開を特定することができない。したがって、遊技者の操作ボタン410の操作への関心を高めることができ、操作後の演出が単調なことで懸念される操作意欲の減退及び遊技興趣の低下を抑制することができる。
また、一連のリーチ演出において一回目の操作(操作ボタン410の押圧操作)と二回目の操作(刀装飾体5001の納刀操作)とで異なる操作態様(押圧操作と納刀操作)が一回目の操作(操作ボタン410の押圧操作)に基づいて遊技者に要求されることとなる。したがって、遊技者の操作参加への関心を高めることができ、代わり映えせず単調な操作になることで懸念される遊技興趣の低下を抑制することができる。
なお、本例では一回目の操作機会として操作ボタン410を有効な操作手段とし、操作ボタン410の押圧操作に基づいて二回目の操作機会(刀装飾体5001の納刀操作)を付与するものとしたが、これに限らない。一回目の操作機会として刀装飾体5001の納刀操作を有効な操作としてもよい。この場合の二回目の操作機会に有効とする操作手段は、一回目の刀装飾体5001よりも相対的に期待度が低い操作ボタン410を対象とするよりも、刀装飾体5001を対象とするのが望ましい。
(刀装飾体5001を用いる他の演出パターン3)
続いて、図156~図160を参照して、前述の刀装飾体5001を用いる他のリーチ演出について説明する。図156~図160は、リーチ演出における演出表示装置1600の画面遷移、操作ボタン410の状態遷移及び刀装飾体5001の動作遷移を説明する図である。ここでは、操作ボタン410の押圧操作に基づいて特定装飾部材SDY(簾役物)が可動した場合に大当りとなるパターン(図中(A)(B1)(B2)→O)と、操作ボタン410の押圧操作に基づいて特定装飾部材SDY(簾役物)が可動せずに、はずれ態様で表示された場合でも、はずれ態様の図柄表示から再変動が行われ再度遊技者に操作機会が与えられるパターン(図中(A)(B1)(B2)→(P1)~(P4)→刀装飾体5001の操作機会が与えられる場合はQ/操作ボタン410の操作機会が与えられる場合はR)とについて説明する。
ここでのリーチ演出は、演出表示装置1600の表示領域において、三つの装飾図柄の変動表示がリーチ状態となると(図156(A))、まず、操作ボタン410の操作演出の開始画像(ここでは、「ボタン一撃で可動体を動かすでござる」のメッセージ)が表示され(図156(B))、次いで、操作ボタン410の押圧操作を受け付ける操作有効期間が開始され、操作ボタン410の押圧操作を促す操作促進演出が行われる(図156(C))。演出表示装置1600の表示領域には、操作対象となる操作手段(操作ボタン410)の画像と操作回数と操作有効期間が表示され、操作対象の操作ボタン410は発光装飾される。このとき、刀装飾体5001は納刀状態を維持している。そして、遊技者による操作ボタン410への押圧操作が検出されると、予め設定される演出パターンに応じて演出が行われる。なお、操作ボタン410の押圧操作は、一撃(1回)に限らず連打(複数回)でもよい。また、遊技者が操作によって動く対象(可動体)を把握しやすいように、操作ボタン410の操作有効期間中に特定装飾部材SDY(簾役物)が初期状態で上下方向に小刻みに可動されるようにしてもよい。また、後に刀装飾体5001が操作対象となる場合には、この時点で刀装飾体5001を納刀状態から第二抜刀状態に状態変化させてもよい。
特定装飾部材SDY(簾役物)が可動して大当りとなるパターンでは、遊技者による操作ボタン410の押圧操作が検出されると、特定装飾部材SDY(簾役物)が初期状態から全落下状態になるよう落下可動される(図157(O1))。次いで、特定装飾部材SDYが再び初期状態に戻されると、特定装飾部材SDY(簾役物)との重複が解除された演出表示装置1600の表示領域には、大当りを報知する画像(装飾図柄の停止態様「777」、「お見事」のメッセージ)が表示される(図157(O2))。このとき、操作ボタン410を振動させるようにしてもよい。
特定装飾部材SDY(簾役物)が可動しないパターンでは、遊技者による操作ボタン410の押圧操作が検出されると、特定装飾部材SDY(簾役物)の小刻み可動が停止されるのみで落下可動されない。そして、演出表示装置1600の表示領域には、画面中央にはずれ態様(「767」)の装飾図柄が揺動表示される(図158(P1)。その後、設定される演出パターンに応じて、そのまま装飾図柄がはずれ態様(「767」)で停止表示されるパターン(図158(P2))、又は、再度リーチ状態が復活する復活パターンに展開される。
復活パターンでは、演出表示装置1600の表示領域には、図158(P1)のはずれ態様の装飾図柄の揺動表示から、まだ変動表示が終わらないことを示す復活開始画像(「まだじゃ」と言う武士画像)が挿入され(図158(P3))、再度、装飾図柄がリーチ状態となって画面右上に縮小表示されるとともに、画面中央に操作ボタン410及び刀装飾体5001のどちらかの操作手段が有効となる操作有効示唆画像(味方の武士の目を閉じた顔)が表示される(図158(P4))。そして、時間経過とともに、表示された武士の目元が拡大表示されるとともに、特定装飾部材SDY(簾役物)が初期状態で上下方向に小刻みに可動される(図158(P5))。これにより遊技者は特定装飾部材SDY(簾役物)を用いる演出が行われることへの期待感を高める。また、このとき操作ボタン410を高速点滅態様で発光装飾させたり、刀装飾体5001を納刀状態から第一抜刀状態に変化させて上下可動させたりしてもよい。そして、設定される演出パターンに応じて、操作ボタン410又は刀装飾体5001が操作有効な操作手段として機能し、操作ボタン410の押圧操作又は刀装飾体5001の納刀操作に基づく特定装飾部材SDY(簾役物)の演出が行われる。なお、操作ボタン410が操作対象となるパターンは、刀装飾体5001が操作対象となるパターンよりも期待度が低いように設定されている。
操作手段として操作ボタン410が用いられる場合には、演出表示装置1600の表示領域に表示されていた操作有効示唆画像の武士の額に汗が滲む画像(操作ボタン確定画像)が表示され、操作ボタン410が発光装飾される(図159(R1))。そして、特定装飾部材SDY(簾役物)の小刻み可動が継続されるとともに、操作ボタン410が発光装飾される中、操作ボタン410の操作有効期間が開始され、操作ボタン410の押圧操作を促す操作促進演出が行われる(図159(R2))。演出表示装置1600の表示領域には、操作対象となる操作手段(操作ボタン410)の画像と操作回数と操作有効期間が表示される。ここで、操作ボタン410は、必要回数操作されると発光装飾されなくなる。
そして、変動表示の結果が大当りとなる場合には、遊技者による操作ボタン410の押圧操作が検出されると、特定装飾部材SDY(簾役物)が初期状態から全落下状態に落下可動される(図159(R3))。このとき、演出表示装置1600の表示領域の画面右上に表示されていた装飾図柄は画面右下に遊技者から視認可能に停止表示される。なお、前述(図155(M4))と同様にこの時点では遊技者に装飾図柄の態様が把握されにくいようにしてもよい。次いで、特定装飾部材SDY(簾役物)が全落下状態から再び初期状態に戻され、特定装飾部材SDY(簾役物)との重複が解除された演出表示装置1600の表示領域には、画面中央に大当りを報知する画像(装飾図柄の停止態様「777」、「お見事」のメッセージ)が表示される(図159(R4))。
一方、変動表示の結果がはずれとなる場合には、遊技者による操作ボタン410の押圧操作が検出されると、特定装飾部材SDY(簾役物)の小刻み可動が停止され、演出表示装置1600の表示領域には、画面中央にはずれ態様(「767」)の装飾図柄が停止表示される(図159(R5))。
操作手段として刀装飾体5001が用いられる場合には、演出表示装置1600の表示領域に表示されていた操作有効示唆画像の目を閉じていた武士が目を開け眼光が鋭くなる画像(刀装飾体確定画像)が表示され、刀装飾体5001は、納刀状態からオーラ部材付き形態の第二抜刀状態にされる(図160(Q1))。このとき、刀装飾体5001は発光装飾されてもよい。遊技者は表示領域の画像によって操作ボタン410ではなく刀装飾体5001が操作有効であることを把握可能であるが、この時点で刀装飾体5001がオーラ部材付き形態であるか否か等の形態は刀装飾体5001を実際に見ることで把握可能である。次いで、特定装飾部材SDY(簾役物)が小刻みに可動される中、第二抜刀状態になって所定期間が経過し、刀装飾体5001の操作有効期間が始まると、演出表示装置1600の表示領域には、遊技者に刀装飾体5001の納刀操作を促す操作促進画像と操作有効期間を示すゲージが表示される(図160(Q2))。
そして、今回の変動表示の結果が大当りとなる場合には、遊技者による納刀操作が検出されると、前述の図159(R3)及び(R4)と同様の演出遷移を辿る(図160(Q3)及び(Q4))。一方、変動表示結果がはずれとなる場合には、遊技者による納刀操作が検出されると、前述の図159(R5)と同様の演出遷移を辿る(図160(Q5))。
このように、操作ボタン410の押圧操作に基づいて実行される特定装飾部材SDY(簾役物)の落下状態に応じて期待度が示唆されるので、画像による期待度示唆よりも迫力ある期待度示唆を提供することができ、遊技興趣の低下を抑制することができる。また、操作ボタン410の押圧操作に基づいて特定装飾部材SDY(簾役物)が落下可動されない場合でも、遊技者に操作ボタン410及び刀装飾体5001のどちらかの操作手段の操作機会が再度付与される。操作機会が付与される操作手段によっても期待度を示唆することができるので、代わり映えせず単調な操作演出となることで懸念される遊技興趣の低下を抑制することができる。
なお、前述の図150~図160には、刀装飾体5001を用いたリーチ演出の演出パターンを3例挙げたが、各種演出態様を組合せてもよい。これにより、多種多様な演出を提供でき、より遊技興趣を高めることができる。
(刀装飾体の形態)
図161を参照して、本例の刀装飾体5001の形態について説明する。前述までの刀装飾体5001の形態は、オーラ部材付き形態とオーラ部材なし形態の2種類が設けられていたが、ここでは、さらに柄部5012が動作されることで刀部5010が変形する形態が2種類設けられる。
図161は、擬似連演出に用いられる刀装飾体5001の形態について説明する図である。ここでの刀装飾体5001は、柄部5012の変形によって2段階の形態変化を可能に設けられるとともに、扉枠3の鞘部5020の内部に設けられ、鞘部5020の左右側部から遊技者に視認可能に出現するオーラ部材5040を有することを特徴とする。オーラ部材5040は、前述のオーラ部材5035と同様に扉枠3の鞘部5020の内部に設けられるが、その動作態様は前述のオーラ部材5030と同様に左右方向に可動するものである。図161(A)~(D)は、納刀状態における刀装飾体5001の形態の種類(段階変化)を示す図であり、順に、段階0形態~段階3形態を示す。刀装飾体5001は、演出に応じて段階0形態~段階3形態のいずれかの形態となる。
図161(A)に示すように、段階0形態は、前述の図146(A)及び図148(A)と同様の通常状態における形態であり、どの構成部材も動作が何ら要求されていない初期形態を示す。図161(B)に示すように、段階1形態は、段階0形態からオーラ部材5040の動作によってオーラ部材5040が鞘部5012の側面外部に出現する形態を示す。図161(C)に示すように、段階2形態は、段階1形態から柄部5012が中心から左右に二分割されるように広がって可動し、中から第一装飾部5012aが出現する形態を示す。図161(D)に示すように、段階3形態は、段階2形態においてさらに柄部5012の内部から第二装飾部5012bが上方に可動されて第一装飾部5012aと一体的な装飾を形成する形態を示す。ここでの段階1形態~段階3形態は刀装飾体5001を第二抜刀状態にさせずとも形態変化を可能としている。さらに、操作手段の操作部として遊技者による操作を受け付け可能な刀部5010と、動作しない鞘部5020が共に動作して一体的な装飾体を形成するので、より迫力ある操作手段を提供することができる。
(特定装飾部材SDYを用いた操作前示唆演出)
続いて、図162~図165を参照して、リーチ演出において操作ボタン410又は刀装飾体5001が操作有効となる操作有効期間の前に実行される操作前示唆演出について説明する。操作前示唆演出では、特定装飾部材SDY(簾役物)の動作によって複数の操作手段のうち、操作ボタン410が操作有効となるか、刀装飾体5001が操作有効となるかを示唆可能としている。具体的には、特定装飾部材SDY(簾役物)を用いた操作前示唆演出による示唆パターンとして、特定装飾部材SDY(簾役物)が初期位置に位置された状態で操作有効期間を発生させる第1示唆パターンと、特定装飾部材SDY(簾役物)が初期位置から示唆位置へ動作された状態で操作有効期間を発生させる第2示唆パターンとがあり、刀装飾体5001(操作ボタン410よりも当り期待度が高く設定)が操作有効になる場合には、第1示唆パターンよりも高い割合で第2示唆パターンが実行される。具体的には、操作有効期間においても特定装飾部材SDY(簾役物)が初期位置に位置された状態で操作有効期間を発生させる第1示唆パターン(図162(B))の操作前示唆演出が行われた場合には、30%の確率で刀装飾体5001が操作有効となり、70%の確率で操作ボタン410が操作有効となる。これに対し、特定装飾部材SDY(簾役物)が示唆位置へ動作された状態で操作有効期間が発生させる第2示唆パターン(図164(AA1))の操作前示唆演出が行われた場合には、70%の確率(ステップアップパターン含む)で刀装飾体5001が操作有効となり、30%の確率で操作ボタン410が操作有効となる。以下に、操作前示唆演出の第1示唆パターン及び第2示唆パターンにおける特定装飾部材SDY(簾役物)の動作に応じた演出遷移例について説明する。
(第1示唆パターン)
図162及び図163は、主制御基板1310によって抽選された変動パターンの変動演出(リーチ演出)に基づいて、周辺制御基板1510による抽選によってリーチ演出中に操作ボタン410又は刀装飾体5001のいずれかが操作有効とされると決定した場合に、第1示唆パターンの操作前示唆演出が実行されるリーチ演出の遷移例を示す図である。このリーチ演出では、演出表示装置1600の表示領域において三つの装飾図柄がリーチ状態となると(図162(A))、周辺制御基板1510の抽選により操作有効とされることが予め決定された操作ボタン410又は刀装飾体5001のいずれかの操作手段に対する操作有効期間が発生される前に第1示唆パターンの操作前示唆演出が実行される。第1示唆パターンの具体的な演出内容として、操作有効期間が発生される前の演出表示装置1600の表示領域に操作手段が操作有効となることを示唆する操作演出示唆画像(オーラの回転)が表示され(図162(B))、このとき、特定装飾部材SDY(簾役物)は、初期位置を維持している。また、操作ボタン410及び刀装飾体5001に変化はない。
そして、特定装飾部材SDY(簾役物)を初期位置に維持した状態で、操作有効とされることが予め決定されている操作手段(操作ボタン410又は刀装飾体5001)に対する操作有効期間を発生させる。本例では、操作ボタン5001が操作有効とされる場合には、操作前示唆演出として第2示唆パターン(後述する)よりも高い割合で第1示唆パターンが実行されるように設定している。つまりは、特定装飾部材SDY(簾役物)が初期位置にある状態で操作有効期間が発生した場合には、刀装飾体5001よりも操作ボタン410のほうが高い割合で操作有効とされることを遊技者に示唆可能となる。
操作ボタン410が操作有効になる場合には、図162(C)に示すように、特定装飾部材SDY(簾役物)が初期位置を維持している状態で操作ボタン410に対する操作有効期間を発生させる。それとともに演出表示装置1600の表示領域では、遊技者に操作ボタン410の押圧操作を促す操作促進画像と操作有効期間を示すゲージが表示される操作促進演出が行われる。また、このとき操作ボタン410は発光装飾され、遊技者が操作対象を容易に認識できるようにしている。また、刀装飾体5001が操作有効となる場合においても、操作ボタン410よりも低い割合であるが操作前示唆演出が第1示唆パターンで実行される場合がある。そのときには、図162(D)に示すように、特定装飾部材SDY(簾役物)が初期位置を維持している状態で、刀装飾体5001に対する操作有効期間を発生させる。それとともに演出表示装置1600の表示領域では、遊技者に刀装飾体5001の納刀操作を促す操作促進画像と操作有効期間を示すゲージが表示される操作促進演出が行われる。また、このとき刀装飾体5001は納刀状態から第二抜刀状態(オーラ部材付き形態)に状態変化され、遊技者による納刀操作が可能にされる。
前述の図162(C)又は(D)において操作有効な操作手段(操作ボタン410又は刀装飾体5001)への操作が検出されると、今回の変動表示の結果が大当りとなる場合には、特定装飾部材SDY(簾役物)が初期状態から全落下状態になるよう落下可動される(図163(CC1))。次いで、特定装飾部材SDY(簾役物)が再び初期状態に戻されると、特定装飾部材SDY(簾役物)との重複が解除された演出表示装置1600の表示領域には、大当りを報知する画像(装飾図柄の停止態様「777」、「お見事」のメッセージ)が表示される(図163(CC2))。一方、今回の変動表示の結果がはずれとなる場合には、特定装飾部材SDY(簾役物)は初期状態を維持して可動されないまま、演出表示装置1600の表示領域には、はずれを報知する画像(装飾図柄の停止態様「767」)が表示される(図163(CC3))。
(第2示唆パターン)
図164は、前述した第1示唆パターンと同様にリーチ演出中に操作ボタン410又は刀装飾体5001のいずれかが操作有効とされると決定した場合に、第2示唆パターンの操作前示唆演出が実行されるリーチ演出の遷移例を示す図である。尚、図165は、操作前示唆演出として第2示唆パターンが行われたにも拘わらず、刀装飾体5001が操作有効とならずに一旦は操作ボタン410が操作有効になり、その後に刀装飾体5001が操作有効になるステップアップパターンの操作前示唆演出について示す図である。
図164(AA1)に示すように、第2示唆パターンの操作前示唆演出は、周辺制御基板1510の抽選により操作有効とされることが予め決定された操作ボタン410又は刀装飾体5001のいずれかの操作手段に対する操作有効期間が発生される前に実行される。第2示唆パターンの具体的な演出内容として、操作有効期間が発生される前の演出表示装置1600の表示領域に操作手段が操作有効となることを示唆する操作演出示唆画像(オーラの回転)が表示される。このとき表示される操作演出示唆画像は、第1示唆パターンにおいて表示される画像と同じであるが、第2示唆パターンにおいては操作演出示唆画像の表示とともに、特定装飾部材SDY(簾役物)が初期位置から正面視で演出表示装置1600の表示領域の上方部分と重なる小落下状態(示唆位置)に動作し、特定装飾部材SDY(簾役物)は、初期位置と示唆位置との間で上下方向に小刻みに可動される。このとき、操作ボタン410及び刀装飾体に変化はない。
そして、特定装飾部材SDY(簾役物)を示唆位置に動作された状態で、操作有効とされることが予め決定されている操作手段(操作ボタン410又は刀装飾体5001)に対する操作有効期間を発生させる。本例では、刀装飾体5001が操作有効とされる場合には、操作前示唆演出として第1示唆パターンよりも高い割合で第2示唆パターンが実行されるように設定している。つまりは、特定装飾部材SDY(簾役物)が示唆位置にある状態で操作有効期間が発生した場合には、操作ボタン410よりも刀装飾体5001のほうが高い割合で操作有効とされることを遊技者に示唆可能となる。
刀装飾体5001が操作有効となる場合には、図164(AA3)に示すように、特定装飾部材SDY(簾役物)が示唆位置に動作している状態で刀装飾体5001に対する操作有効期間を発生させる。それとともに演出表示装置1600の表示領域では、遊技者に刀装飾体5001の納刀操作を促す操作促進画像と操作有効期間を示すゲージが表示される操作促進演出が行われる。このとき刀装飾体5001は納刀状態から第二抜刀状態(オーラ付き形態)に状態変化され、遊技者による納刀操作が可能にされる。また、操作ボタン410が操作有効となる場合においても、低い割合ではあるが操作前示唆演出が第2示唆パターンで実行される場合がある。そのときには、図164(AA2)に示すように、特定装飾部材SDY(簾役物)が示唆位置に動作している状態で操作ボタン410に対する操作有効期間を発生させ、それとともに演出表示装置1600の表示領域では、遊技者に操作ボタン410の押圧操作を促す操作促進画像と操作有効期間を示すゲージが表示される操作促進演出が行われる。なお、第2示唆パターンでは、操作促進演出において遊技者の操作が検出されると、特定装飾部材SDY(簾役物)が示唆位置に動作している状態から初期状態に可動される。また、初期状態に戻されることなく示唆位置に動作している状態から特定装飾部材SDY(簾役物)の全落下状態若しくは初期状態への可動が行われるようにしてもよい。
そして、前述の図164(AA2)又は(AA3)において操作有効な操作手段(操作ボタン410又は刀装飾体5001)への操作が検出されると、前述の図162(C)又は(D)と同様に、今回の変動表示の結果が大当りとなる場合には、特定装飾部材SDY(簾役物)が初期状態から全落下状態になるよう落下可動される(図163(CC1))。次いで、特定装飾部材SDY(簾役物)が再び初期状態に戻されると、特定装飾部材SDY(簾役物)との重複が解除された演出表示装置1600の表示領域には、大当りを報知する画像(装飾図柄の停止態様「777」、「お見事」のメッセージ)が表示される(図163(CC2))。一方、今回の変動表示の結果がはずれとなる場合には、特定装飾部材SDY(簾役物)は初期状態を維持して可動されないまま、演出表示装置1600の表示領域には、はずれを報知する画像(装飾図柄の停止態様「767」)が表示される(図163(CC3))。操作促進演出以降の演出遷移は、第1示唆パターンにおける操作促進演出以降の演出遷移と同様である。
なお、第2示唆パターンにおける特定装飾部材SDY(簾役物)の動作パターンは示唆位置に動作されるパターンだけでなく、複数の動作パターンが設けられてもよい。例えば、刀装飾体5001が操作有効となる割合が異なるように複数種類の動作パターンを設ける場合には、動作に対する遊技者の関心を高めることができるので、特定装飾部材SDY(簾役物)を用いた操作前示唆演出及び操作促進演出の興趣を高めることができる。
(ステップアップパターン)
特定装飾部材SDY(簾役物)が示唆位置へ動作された状態で操作有効期間が発生させる第2示唆パターンの操作前示唆演出が行われ、刀装飾体5001が操作有効になる場合には、刀装飾体5001が操作有効となるまでに前述の図164(AA1)→(AA3)の演出遷移を辿る基本パターンの他に、一旦は操作ボタン410が操作有効になり、その後刀装飾体5001が操作有効になるステップアップパターンが設けられている。
図165(BB1)~(BB4)に示すように、ステップアップパターンの操作前示唆演出は、周辺制御基板1510の抽選により操作有効とされることが予め決定された刀装飾体5001に対する操作有効期間が発生される前に、すなわち前述の図164(AA3)に示す刀装飾体5001の操作促進演出が行われる前に実行される。
ステップアップパターンでは、まず、前述の図164(AA1)と同様の操作演出示唆画像(オーラの回転)の表示及び特定装飾部材SDY(簾役物)の小刻み可動が行われる(図165(BB1))。次いで、特定装飾部材SDY(簾役物)を示唆位置に動作された状態で、操作ボタン410に対する操作有効期間を発生させる。それとともに操作ボタン410が発光装飾され、演出表示装置1600の表示領域では、遊技者に操作ボタン410の押圧操作を促す操作促進画像と操作有効期間を示すゲージが表示される操作促進演出が行われる(図165(BB2))。ここでは操作ボタン410の操作有効期間中に遊技者による操作ボタン410の押圧操作が検出されても前述の図163に示すような結果報知は行われず、操作有効な操作手段の切り替えを示唆する切替示唆画像(大部分のブラックアウト画像)が表示される(図165(BB3))。切替示唆画像は、遊技者による操作ボタン410の押圧操作又は操作ボタン410の操作有効期間の終了を契機に表示される。その後、刀装飾体5001が納刀状態から第二抜刀状態(オーラ付き形態)に変化するとともに、演出表示装置1600の表示領域には、操作有効となる操作手段が操作ボタン410から刀装飾体5001に切り替えられることを報知する切替報知画像(「抜刀チャンス」「刀を納めて頂きたくござ候う」のメッセージ)が表示される(図165(BB4))。この間、特定装飾部材SDY(簾役物)は示唆位置に動作した状態である。そして、刀装飾体5001の操作有効期間を発生させると、前述の図164(AA3)に示す刀装飾体5001の操作促進演出が行われる。操作促進演出以降の演出遷移は、前述の第2示唆パターンにおける操作促進演出以降の演出遷移(図163)と同様である。
なお、前述の図165(BB2)のときにボタン操作410を操作有効にすることなく(操作促進演出なし)、ボタン操作410の画像表示のみが行われるようにしてもよい。遊技者の関心を一旦はボタン操作410に向けたのちに刀装飾体5001を操作させるようにできればよい。また、ステップアップパターンは、第2示唆パターンとなるときに限らず、第1示唆パターンとなるときにも選択可能にしてもよい。
このように、本例の操作前示唆演出では、複数の操作手段のうち一方の操作手段が操作有効とされる操作手段の操作有効期間が発生される前に、特定装飾部材SDY(簾役物)の位置を変化可能とし、その位置によって操作有効とされる操作手段を示唆する。具体的には、特定装飾部材SDY(簾役物)が初期位置に位置している状態において操作有効期間が発生される第1示唆パターン(図162(B))では、操作ボタン410が操作有効とされる期待度が高く、特定装飾部材SDY(簾役物)が示唆位置に位置している状態において操作有効期間が発生される第2示唆パターン(図164(AA1)では、刀装飾体5001が操作有効とされる期待度が高い。このため、遊技者はいずれの操作手段が操作有効となるか把握するために特定装飾部材SDY(簾役物)の状態に着目するので、操作前示唆演出の興趣を高めることができる。
また、第2示唆パターンでは操作前示唆演出において特定装飾部材SDY(簾役物)の上下方向の小刻み可動が行われる。そして、操作手段の操作後の結果報知(図163)にも特定装飾部材SDY(簾役物)の動作演出(落下演出)が用いられるので、操作前示唆演出の上下小刻み可動から落下演出を一連の演出に見せることができ、遊技興趣の低下を抑制することができる。なお、前述では特定装飾部材SDY(簾役物)の状態、すなわち可動体によって操作有効となる操作手段が操作有効となる期待度を示したが、これに限らず、操作前示唆演出中にキャラクタ表示を行って期待度を示唆してもよい。また、操作有効となる操作手段が決まったときに、操作ボタン410の点灯、又は、刀装飾体5001の第二抜刀状態への変化だけでなく、操作有効となる操作手段を振動等によって可動させたりしてもよい。
また、第2示唆パターンには、特定装飾部材SDY(簾役物)が示唆位置に位置している状態において一旦は操作ボタン410が操作有効になったのちに(もしくは操作有効になると見せかけたのちに)刀装飾体5001が操作有効になるステップアップパターンが設けられている。これにより、遊技者は双方の操作手段に関心を持つ。また、操作前示唆演出の直後に操作ボタン410が操作有効となってもその後に刀装飾体5001が操作有効になるかもしれない期待をもつことができるので、操作意欲の減退及び遊技興趣の低下を抑制することができる。
なお、操作前示唆演出の第1示唆パターンにおいて、複数の操作手段(操作ボタン410又は刀装飾体5001)のうちいずれかが操作有効とされる操作有効期間の前の操作演出示唆画像が表示されるタイミングにおいて(図162(B))、第2示唆パターンと同様に(図164(AA1))、特定装飾部材SDY(簾役物)を初期位置から正面視で演出表示装置1600の表示領域の上方部分と重複する小落下状態(示唆位置)に動作し、初期位置と示唆位置との間で上下方向の小刻み可動をさせるようにしても良い。なお、その後に操作有効期間を発生させるときには特定装飾部材SDY(簾役物)は初期位置(静止)に戻される。これにより、第1示唆パターンにおける特定装飾部材SDY(簾役物)の動作は、同タイミングの第2示唆パターンにおける動作と一部同じ動作となるので、遊技者に第1示唆パターンによる操作演出示唆画像が表示された場合においても、第2示唆パターンの操作前示唆演出が実行されていると思わせることが可能となる。このため、第1示唆パターンによる操作前示唆演出が実行されている場合においても遊技者に刀装飾体5001が操作有効となることを期待させることが可能となる。そして、遊技者は、操作演出示唆画像の表示タイミングで動作される特定装飾部材SDY(簾役物)が示唆位置に動作された状態で操作有効期間が発生することを強く望むので、操作前示唆演出の興趣を向上させることができる。
[特定の操作関連演出]
上述の通り、この実施の形態にかかるパチンコ機1(周辺制御MPU1511a)では、大当り判定の結果に応じた演出判定で特定の結果が得られた場合、遊技盤側演出表示装置1600において特定の演出パターンで演出を実行する。特定の演出パターンが実行される演出期間では、遊技者による操作によって特定の演出実行条件を成立させる特定演出受付期間(有効期間)を発生可能であり、該特定演出受付期間内で操作が行われると、特定の演出実行条件の成立に基づき特定の操作時演出(特典付与にかかる期待度が示唆される演出など)を実行可能としている。特定の操作時演出の結果として示唆される特典付与にかかる期待度は100%や0%であってもよい。
また、これも上述した通り、この実施の形態にかかるパチンコ機1では、このような操作時演出(操作すると特典付与にかかる期待度が示唆される演出など)に供される操作手段として、操作ボタン410のほか、これとは別の操作手段(刀装飾体5001など)をさらに備えることが可能とされている。この点、特定の演出パターンでは、演出判定の結果に基づいて、操作ボタン410に対して操作機会が付与される場合(操作ボタン410を操作すると特定の演出実行条件が成立する場合)と、これとは別の操作手段(刀装飾体5001など)に対して操作機会が付与される場合(別の操作手段を操作すると特定の演出実行条件が成立する場合)とがある。そして、別の操作手段(刀装飾体5001など)に対して操作機会が付与されると、その操作機会で操作が行われずとも該操作機会が付与される当該操作前演出が発生しただけで、操作ボタン410に対して操作機会が付与される場合よりも特典付与にかかる期待度(大当り期待度)が高いことを遊技者に対して認識可能とされるようにしている。別の操作手段(刀装飾体5001など)に対して操作機会が付与されたときに示唆される特典付与にかかる期待度は100%や0%であってもよい。
このような構成によれば、別の操作手段(刀装飾体5001など)に対して操作機会が付与された場合は、該別の操作手段(刀装飾体5001など)に対する操作に応じた操作時演出が未だ行われていない前段階にあり、且つ今まさに操作が行われようとしている状況にあるときの遊技興趣の向上を図ることができるようになる。すなわちこの場合、別の操作手段(刀装飾体5001など)に対する操作に応じた操作時演出において所望の演出結果(特典付与にかかる期待度が高いことが示唆される演出結果など)が現れないようになっていたり、特定演出受付期間(有効期間)内に操作手段に対する操作を行うことができなかった場合であっても、このような操作関連演出を通じて遊技興趣の向上を図ることができるようになる。
そして、この実施の形態にかかるパチンコ機1(周辺制御MPU1511a)では、このような演出的性質を有した複数の操作手段(操作ボタン410、刀装飾体5001など)のいずれかに操作機会を付与する場合は、それら操作機会の付与に際して、共通の操作関連演出を実行可能としている。
例えば、この実施の形態にかかるパチンコ機1(周辺制御MPU1511a)では、操作ボタン410に対する操作が有効化(演出受付可能に)される有効期間(演出受付期間)を発生させる演出態様として、少なくとも、
・刀装飾体5001に対する操作が有効化(演出受付可能に)される場合にも現れうる「特定の操作関連演出」が演出開始されてから当該操作ボタン410に対する操作が有効化(演出受付可能に)される有効期間(演出受付期間)を発生させる第1の演出態様、及び・「特定の操作関連演出」が演出開始されることなく当該操作ボタン410に対する操作が有効化(演出受付可能に)される有効期間(演出受付期間)を発生させる第2の演出態様
といった複数の演出態様を用意しており、それら演出態様のいずれかを実行することで、操作ボタン410に対する操作が有効化(演出受付可能に)される有効期間(演出受付期間)を発生させるようにしている。
このような構成によれば、複数の操作手段(操作ボタン410、刀装飾体5001など)のうち特定操作手段(例えば、操作ボタン410)に対する操作が演出受付可能とされる期間が発生する場合と該特定操作手段とは別の操作手段(例えば、刀装飾体5001)が演出受付可能とされる期間が発生する場合とのいずれの場合であっても、それらの期間発生に先立って共通(特定)の操作関連演出が実行可能とされるようになることから、特定操作手段及び別の操作手段のいずれが演出受付可能とされるかについての面白みを持たせることができるようになり、こうした演出が行われるもとで操作を行わせることで、遊技興趣の低下が抑制されうるようになる。
なお、このような共通(特定)の操作関連演出では、該演出が演出開始されてから所定時間が経過すると複数の操作手段(例えば、操作ボタン410、刀装飾体5001)のいずれかに対応する演出受付期間が発生されることとなるが、少なくとも該演出が演出開始された時点ではそれら操作手段(例えば、操作ボタン410、刀装飾体5001)のいずれに対応する演出受付期間が発生するかについては秘匿にするようにすることが望ましい。また、以下に例示される各操作関連演出については、演出受付期間が発生するよりも前に、複数の操作手段(例えば、操作ボタン410、刀装飾体5001)のいずれに対して操作機会が付与されるのかを示す(演出結果表示を出現させる)ようにしてもよいし、演出受付期間が発生するのと同時を含めて、該演出受付期間が発生した以降の当該期間内で、複数の操作手段(例えば、操作ボタン410、刀装飾体5001)のいずれに対して操作機会が付与されるのかを示す(演出結果表示を出現させる)ようにしてもよく、操作関連演出をいずれのタイミングまで実行するかについては適宜に変更可能である。
以下、このような共通(特定)の操作関連演出を実施するときに採用可能ないくつかの演出態様を順次説明する。なお、以下の各説明例やそれらの別例では、共通(特定)の操作関連演出の対象とされる複数の操作手段として操作ボタン410と刀装飾体5001とをそれぞれ用いることとしているが、該操作手段の種類としてはこれらに限られないし、共通(特定)の操作関連演出の対象とされる複数の操作手段として3つ以上の操作手段を用意するようにしてもよい。また、以下の演出例やそれらの別例では、主に、共通(特定)の操作関連演出が実行されてからいずれかの演出受付期間が発生する場合における演出内容を示しており、共通(特定)の操作関連演出が実行されることなくいずれかの演出受付期間が発生する場合についてはその演出内容を割愛する場合がある。ただし、共通(特定)の操作関連演出が実行されないままで、いずれかの演出受付期間が発生する場合における演出内容としては、「特定の操作関連演出が実行されないままで、操作ボタン410に対する操作を促す操作指示画像が現れるか、刀装飾体5001に対する操作を促す操作指示画像が現れる」といった一般的な演出などを挙げることができる。またさらに、以下の各演出例やそれらの別例では、リーチ状態が形成されていない状態にあるときに共通(特定)の操作関連演出を行うこととしているが、リーチ状態が形成されてリーチ演出が実行されている期間中に該リーチ演出として表示されている演出画像とは別の画像として共通(特定)の操作関連演出を発生させるようにしてもよいし、大当り遊技の実行期間中に共通(特定)の操作関連演出を発生させるようにしてもよい。
なお、以下に説明する各演出は、後述する各別例の演出との間で適宜に組み合わせて実行することが可能であるとともに、上述した各演出との間でも適宜に組み合わせて実行することが可能である。以下に説明する各演出は、後述する各別例の演出にその一部を置き換えることによって組み合わせることも可能であるし、第1の演出パターンが実行されるときには以下に説明する各演出が行われて、第2の演出パターンが実行されるときには後述する各別例の演出が行われるようにすることも可能である。このことは、後述する各別例の演出の間でも同じことが言える。
[第1の演出態様]
図166及び図167は、特定の操作関連演出が演出開始された以降、該特定の操作関連演出が実行されている期間中に操作ボタン410と刀装飾体5001との少なくとも一方が演出受付可能とされる演出例(第1の演出態様)を示す図である。
図166(a)は、通常遊技状態において、保留数が0の状態で装飾図柄SZ(特別図柄)の変動表示が大当り判定の結果に応じた特定の演出パターンで演出表示装置1600にて行われている演出状況を示している。
図166(b)は、図166(a)に示した装飾図柄SZの変動表示の実行中に、特定の操作関連演出が演出開始された演出状況を示している。
ここで、図166(b)に示される特定の操作関連演出では、操作ボタン410に対応するボタン画像BTGと、刀装飾体5001に対応する刀装飾画像SYGとが、演出表示装置1600の表示領域内をそれぞれ移動する表示が行われる。このように、異種の操作手段にそれぞれ対応する複数種の操作関連画像(ここでは、ボタン画像BTG、刀装飾画像SYG)を表示領域内で同時表示するようにしたことで、操作ボタン410と刀装飾体5001とのいずれが演出受付可能とされるのかを不明としたままで、それら操作手段(操作ボタン410、刀装飾体5001)のいずれかに対する操作が間もなく演出受付可能とされることを示唆することができるようになる。
図166(c)は、図166(b)に示した特定の操作関連演出が進展し、操作ボタン410に対応するボタン画像BTGと刀装飾体5001に対応する刀装飾画像SYGとの両方が表示領域内でそれぞれ停止表示された状態で、それら操作手段(操作ボタン410、刀装飾体5001)のいずれかを操作することを促す指示表示(ここでは、「操作せよ」といった文字表示と、演出受付可能期間の残り時間を示すバー表示)が現れた演出状況を示している。
このような演出態様によれば、操作ボタン410と刀装飾体5001との少なくともいずれかに対する操作が演出受付可能とされているにもかかわらず、それら操作手段(操作ボタン410、刀装飾体5001)のいずれが演出受付可能とされているのかを不明とすることができるようになる。これは、操作ボタン410に対する操作が演出受付可能とされる状況と、刀装飾体5001に対する操作が演出受付可能とされる状況とのいずれの状況においても同じ演出態様(図166(c))が表示されているからに他ならない。すなわち、この演出例(第1の演出態様)では、複数の操作手段(操作ボタン410、刀装飾体5001)の少なくとも1つに対する操作が演出受付可能とされるよりも前から、複数の操作手段(操作ボタン410、刀装飾体5001)の少なくとも1つに対する操作が演出受付可能とされた後までの期間にわたって、図166(b),(c)に示されるような共通(特定)の操作関連演出を実行するようにしている。
したがって、この演出例はもとより、以下に説明する各演出例やそれらの別例においても、特定の操作関連演出の演出内容としては、図166(b),(c)に示される内容に限られない。要は、特定の操作関連演出が実行されると、操作ボタン410に対する演出受付期間、及び刀装飾体5001に対する演出受付期間の少なくともいずれかがその後(ここでは、当該特定の操作関連演出の実行期間中)に発生するようになっていればよい。このような構成であれば、操作ボタン410と刀装飾体5001とのいずれが演出受付可能とされるのかを不明としたままで、それら操作手段(操作ボタン410、刀装飾体5001)の少なくとも1つに対する操作が演出受付可能とされることを示唆することは可能である。例えば、異種の操作手段にそれぞれ対応する複数種の操作関連画像(ここでは、ボタン画像BTG、刀装飾画像SYG)についても、必ずしもそれらを同時表示しなくてもよいし、ボタン画像BTG及び刀装飾画像SYGのいずれも出現させずそれらのいずれとも異なる演出画像を特定の操作関連演出として出現させるようにしてもよい。
ただし、操作ボタン410と刀装飾体5001とのいずれが演出受付可能とされるのかをより確実に秘匿にする上では、操作ボタン410に対する演出受付期間が発生する場合と、刀装飾体5001に対する演出受付期間が発生する場合とで、特定の操作関連演出が実行(演出開始)されてからそれらの演出受付期間が発生するまでに要する時間を同じに設定するようにすることがより望ましい。
また、特定の操作関連演出が行われているなかで表示される操作指示としては、操作手段のいずれを操作すべきかは不明であるが、いずれかの操作手段に対する操作を促す表示(「操作せよ」など)を行うものであってもよいし、複数の操作手段がそれぞれどのように演出受付可能とされるかにかかわらず、常に、複数の操作手段のうちの特定の操作手段を操作することを促す表示を行うようにしたものであってもよい。要は、操作指示としても、操作ボタン410に対する操作が演出受付可能とされる状況と、刀装飾体5001に対する操作が演出受付可能とされる状況とのいずれの状況においても同じ演出態様を出現させるようにすることで、複数の操作手段のいずれが演出受付可能とされているのかを秘匿にしたままで操作機会を付与することが可能とされるようになる。
また、図166(c)に示される演出例(第1の演出態様)では、操作ボタン410と刀装飾体5001とのいずれに対する操作が演出受付可能とされているのか秘匿にされているなかで、刀装飾体5001に対する操作が演出受付可能とされているときも、刀装飾体5001に対する操作が演出受付可能とされていないときも(後述する第1~第3状況のいずれの状況にある場合であっても)、操作ボタン410と刀装飾体5001とのうちの操作ボタン410のみを発光状態にしており、操作ボタン410に対する操作を促すようにしている。ただしこれに代えて、操作ボタン410と刀装飾体5001との両方を非発光の状態にしてもよいし、刀装飾体5001側にも発光手段を設けて操作ボタン410と刀装飾体5001との両方を発光させるようにしてもよい。
ここで、この演出例(第1の演出態様)では、図166(c)に示される画像が現れる演出状況とは、操作ボタン410と刀装飾体5001とのうちの操作ボタン410に対する操作のみが演出受付可能とされている第1状況にあるか、刀装飾体5001に対する操作のみが演出受付可能とされている第2状況にあるか、若しくは操作ボタン410に対する操作と刀装飾体5001に対する操作との両方が演出受付可能とされている第3状況のいずれかにあるように設定されている。なお、これら複数の状況のうち、第2状況(刀装飾体5001に対して操作機会が付与される状況)が発生した場合は、第1状況(操作ボタン410に対して操作機会が付与される状況)が発生したときよりも特典付与にかかる期待度が高くなるようにされている。したがって、大当り判定の結果に応じた図柄変動内で第2状況(刀装飾体5001に対して操作機会が付与される状況)が発生する割合は、第1状況(操作ボタン410に対して操作機会が付与される状況)が発生する割合よりも低くされるようにすることが望ましい。
そして、この演出例(第1の演出態様)では、第1状況(操作ボタン410)及び第3状況(操作ボタン410、刀装飾体5001)のいずれかの状況にあるときに操作ボタン410に対する操作が行われるか(図中「FF」の進展がなされるか)、第2状況(刀装飾体5001)及び第3状況(操作ボタン410、刀装飾体5001)のいずれかの状況にあるときに刀装飾体5001に対する操作が行われると(図中「GG」の進展がなされると)、演出受付がなされて該操作に応じた操作時演出(図167(d)、図167(f))が行われるようになっている。
操作時演出では、図167(d),(f)に示される状況のいずれの場合であっても、特定装飾部材SDYを表示領域の前方まで変位させるとともに、演出表示装置1600において所定の表示演出(「チャンス!!」)を実行させるようになっている。なお、所定の表示演出としては、例えば、相対的に低い期待度であることが示唆される「チャンス!!」と、相対的に高い期待度であることが示唆される「激熱!!」といった複数の演出態様を用意し、これら演出態様のいずれかを演出受付に応じて表示させることで、特典付与にかかる期待度を示唆するようにしてもよい。特定装飾部材SDYの動作についても、これと同様、例えば、表示領域の前方まで変位させる動作を行わない演出態様を持たせておき、それら演出態様のいずれかを演出受付に応じて出現させることで、特典付与にかかる期待度を示唆するようにしてもよい。期待度は、「100%」や「0%」であってもよい。
しかも、この演出例(第1の演出態様)にかかる操作時演出では、図167(d),(f)に示される状況のいずれの場合であっても、遊技者による操作によって演出受付がなされると該操作に基づいて操作手段を動作状態(操作前の非動作状態とは異なる状態)にする制御を実行可能としている。
より具体的には、まず、図167(d)に示される演出状況においては、操作ボタン410に対して遊技者による操作が行われたにもかかわらず、その演出受付に応じて、該操作が行われていない側の刀装飾体5001を第一位置と第二位置との間で往復動作させる制御を実行可能としている。このような構成によれば、操作ボタン410に対して遊技者による操作が行われた結果として演出受付が発生して操作ボタン410側の操作時演出が実行された状況にはあるものの、「操作ボタン410を操作せず、より期待度の高い側の刀装飾体5001を操作した場合であっても、演出受付が発生して刀装飾体5001側の操作時演出が実行されたのではないか」といった可能性を遊技者に対してアピールすることができるようになる。
これに対し、図167(f)に示される演出状況においては、刀装飾体5001に対して遊技者による抜刀操作が行われた結果、その演出受付に応じて、刀装飾体5001を納刀位置(納刀状態)へと戻すのではなく抜刀位置(抜刀状態)にて維持させる制御を実行可能としている。これにより、刀装飾体5001は、遊技者による操作に基づいて納刀位置(納刀状態)から抜刀位置(抜刀状態)へと移動することとなり、こうした抜刀状態にて維持されている状態にあるときに操作時演出が行われるようになる。したがって、操作ボタン410側の操作時演出と刀装飾体5001側の操作時演出とで同じ演出(特定装飾部材SDYや、所定の表示演出など)が実行されたとしても、その際の刀装飾体5001の動作状態を確認することで、刀装飾体5001側の操作に起因した操作時演出が実行されている実感を覚えさせることができるようになる。
そして、こうして操作時演出(図167(d),(f))が行われた後は、図167(e)に示されるように、リーチ状態が形成されてリーチ演出が行われうる。ただし、リーチ演出の実行期間中は刀装飾体5001を用いた演出が実行される可能性があることから、操作ボタン410側の操作時演出と刀装飾体5001側の操作時演出とのいずれが実行された場合であっても、所定時間が経過したときに(該リーチ演出が開始されるよりも前の段階で)刀装飾体5001を非操作の状態(納刀位置(納刀状態))へと戻す制御を行うこととなる。ただし、上述の作用効果を好適に得る上では、刀装飾体5001については、特定装飾部材SDYが表示領域側へと移動してから初期位置(非駆動位置)に戻るまでの期間の少なくとも半分以上の期間にわたって、その動作状態(往復動作、または抜刀状態での維持)を継続させるようにすることが望ましい。また、刀装飾体5001については、特定装飾部材SDYが初期位置(非駆動位置)へと戻るまでよりも早い段階でその動作状態を終了させて駆動力が付与されないようにすることが消費する電力量(可動負荷)との関係でより望ましい。
このような図166及び図167に示される演出例(第1の演出態様)によれば、複数の操作手段(操作ボタン410及び刀装飾体5001)のうち特定の操作手段(例えば、刀装飾体5001)が演出受付可能とされる場合と演出受付可能とされない場合とのいずれの場合であっても、共通(特定)の操作関連演出が演出開始され、該演出開始された共通(特定)の操作関連演出が実行されているなかで特定の操作手段(例えば、刀装飾体5001)が演出受付可能とされたり、該特定の操作手段(例えば、刀装飾体5001)は演出受付可能とされずに操作ボタン410が演出受付可能とされたりするようになることから、該特定の操作手段(例えば、刀装飾体5001)及び別の操作手段(例えば、操作ボタン410)がそれぞれ演出受付可能とされているかを秘匿にした状態で操作機会を付与することができるようになる。
この演出例(第1の演出態様)では、特に、特定の操作手段(例えば、刀装飾体5001)が演出受付可能とされるか、該特定の操作手段(例えば、刀装飾体5001)は演出受付可能とされずに操作ボタン410が演出受付可能とされるかにかかわらず、このような共通(特定)の操作関連演出が行われている間に操作機会が付与されるときには操作ボタン410及び刀装飾体5001のうちの操作ボタン410のみが発光するようになっていることも相まって、刀装飾体5001が演出受付可能とされていたとしても、該刀装飾体5001は演出受付可能とされていないかのように惑わすことができるようになる。すなわちこの場合、演出受付されると相対的に期待度の高い演出が行われる割合の高い側である刀装飾体5001ではなく、低い側の操作ボタン410に対する操作を促すことができるようになり、共通(特定)の操作関連演出が行われたときにいずれの操作手段を操作すべきかについての面白みを付与することが期待されるようになる。
なお、このような共通(特定)の操作関連演出が行われている間に演出受付可能とされていない側(演出受付期間が発生していない側)の操作手段が操作された場合には、何らの反応も生じないこととなる。ただし、このような誤った操作を行った分だけ演出受付期間が消化されてその残り時間が少なくなってしまうデメリットを享受させることは可能である。
ただし、共通(特定)の操作関連演出が行われている間に演出受付可能とされていない側(演出受付期間が発生していない側)の操作手段が操作された場合には、上記操作時演出(特定装飾部材SDYや、所定の表示演出など)の実行に要する演出受付は成立させないものの該操作の検出これ自体は行うこととし、該検出に基づいて演出受付可能とされている側の操作手段に対する演出受付期間をその時点で終了させる制御を行うようにしてもよい。このような構成によれば、操作機会が喪失されるリスクが生じるようになることから、複数の操作手段のいずれが演出受付可能とされているかを熟慮させて慎重に操作させることを促すことができるようになる。
また、上記演出例(第1の演出態様)では、操作ボタン410側の操作時演出と刀装飾体5001側の操作時演出とで同じ演出(特定装飾部材SDYや、所定の表示演出など)が実行されるようにしたが、これらの操作時演出を互いに異なる演出内容にしてもよい。例えば、刀装飾体5001側の操作時演出では、操作ボタン410側の操作時演出で行われる演出態様に加えて、別の演出態様(例えば、演出表示装置1600とは異なる発光部が発光したり、独自の演出音が発生したりするなど)がさらに現れるようにすれば、刀装飾体5001に対する操作が演出受付されたときの遊技興趣の向上をより適切に図ることができるようになる。
また、第1の操作手段(例えば、操作ボタン410または刀装飾体5001)が操作されたときにのみ実行可能とされる別の演出態様を用意する場合は、該別の演出態様の発生に関わる演出受付期間が当該第1の操作手段(例えば、操作ボタン410または刀装飾体5001)に対して設定されている場合と、該別の演出態様の発生に関わる演出受付期間は設定されておらず第2の操作手段(例えば、第1の操作手段が操作ボタン410であれば刀装飾体5001であり、第1の操作手段が刀装飾体5001であれば操作ボタン410)に対する演出受付期間が設定されている場合とのいずれの場合であっても、図166(c)に示される状況において第1の操作手段に対する操作があったときには操作時演出を行いうるようにしてもよい。すなわちこの場合、共通(特定)の操作関連演出が行われているなかで上記別の演出態様の発生に関わる演出受付期間が設定されているときに第1の操作手段に対する操作があったときには、操作時演出として別の演出態様を実行するのに対し、共通(特定)の操作関連演出が行われているなかで上記別の演出態様の発生に関わる演出受付期間が設定されていないとき(第2の操作手段に対する演出受付期間が設定されているとき)に第1の操作手段に対する操作があったときには、操作時演出として別の演出態様は実行しないが、操作ボタン410が操作されたときと同じ操作時演出を行うこととなる。要は、別の演出態様の発生に関わる演出受付期間が上記第1の操作手段に対して設定されないときには、第2の操作手段側の操作時演出の発生に関わる演出受付期間を上記第2の操作手段と上記第1の操作手段との両方に対して設定することとなる。なお、操作時演出として別の演出態様を出現させる場合は、第2の操作手段側の操作時演出で行われる演出態様に加えて当該別の演出態様を出現させるのではなく、第2の操作手段側の操作時演出とは異なる演出内容として操作時演出を行うようにしてもよい。
なお、上記演出例(第1の演出態様)では、共通(特定)の操作関連演出が行われている間に操作を促す指示表示が現れる状況とは、操作ボタン410と刀装飾体5001とのうちの操作ボタン410に対する操作のみが演出受付可能とされている第1状況、刀装飾体5001に対する操作のみが演出受付可能とされている第2状況、及び操作ボタン410に対する操作と刀装飾体5001に対する操作との両方が演出受付可能とされている第3状況のいずれかに該当するように設定することとしている。なおこの場合、第1状況及び第2状況では、演出受付がなされると同じ操作時演出が現れるようにするのに対し、第3状況では、第1状況及び第2状況のいずれとも異なる操作時演出または上記別の演出態様(第1状況及び第2状況の操作時演出とも異なる)が現れるようにすることが望ましい。ただし、上記演出例にあって、上記第3状況は必ずしもなくてもよい。
また、上記演出例にかかる操作ボタン410は、周辺制御MPU1511aによる制御によって駆動力が付与される操作手段としては設けられないものではあるが、操作ボタン410を動作可能な操作手段として設けるようにした上で、上記演出例(第1の演出態様)のうち、図167(f)に示される演出状況においても、図167(d)に示される演出状況と同様、遊技者による操作が行われなかった側の操作ボタン410を動作させる制御を実行可能とするようにしてもよい。なお、このような制御では、遊技者による操作が行われなかった側の操作手段を少なくとも動作させることが重要なのであり、この際に、遊技者による操作が行われた側の操作手段も動作させるか否かについては適宜に設計するようにすればよい。ただし、遊技者による操作が行われなかった側の操作手段を動作させる制御については、遊技盤5側に設けられる特定装飾部材SDYが初期位置(非駆動位置)へと戻るまでよりも早い段階でその動作状態を終了させ、遊技者による注視が遊技盤5側へと自然に戻されるようにすることが望ましい。
また、操作ボタン410を動作可能な操作手段として設ける場合、操作ボタン410に対して駆動力を付与する駆動源と刀装飾体5001に対して駆動力を付与する駆動源とは異なる駆動源であってもよいし、同じ駆動源であってもよい。これら操作手段に対応して設けられる駆動源が、特定装飾部材SDY(簾役物)に対する駆動源とは異なる駆動源として設けられるものであることは言うまでもない。また、このような駆動源によって生じる操作手段(操作ボタン410,刀装飾体5001)での「動作」としては、「移動」や「回転」、「揺動」、「振動」などの態様を例示することが可能であり、これは当該演出例に限らず、他の演出例においても同様である。
[第2の演出態様]
図168~図171は、特定の操作関連演出が第1の演出結果と第2の演出結果とのいずれかが出現するまでの演出経過を示す演出として実行されるものとなっており、該演出の結果として第1の演出結果が出現すると複数の操作手段のうち操作ボタン410に対する演出受付期間が発生することが示唆されて、該演出の結果として第2の演出結果が出現すると複数の操作手段のうち刀装飾体5001に対する演出受付期間が発生することが示唆される演出例(第2の演出態様)を示す図である。
図168(a)は、通常遊技状態において、保留数が0の状態で装飾図柄SZ(特別図柄)の変動表示が大当り判定の結果に応じた特定の演出パターンで演出表示装置1600にて行われている演出状況を示している。
図168(b)は、図168(a)に示した装飾図柄SZの変動表示の実行中に、特定の操作関連演出が演出開始された演出状況を示している。
ここで、図168(b)に示される特定の操作関連演出では、操作ボタン410に対応するボタン画像BTGと、刀装飾体5001に対応する刀装飾画像SYGとが、演出表示装置1600の表示領域内で同時表示されて、それらの画像BTG,SYGに対して稲妻画像IZが作用している様子が描写されている。このように、異種の操作手段にそれぞれ対応する複数種の操作関連画像(ここでは、ボタン画像BTG、刀装飾画像SYG)を表示領域内で同時表示するようにしたことで、操作ボタン410と刀装飾体5001とのいずれが演出受付可能とされるのかを不明としたままで、それら操作手段(操作ボタン410、刀装飾体5001)のいずれかに対する操作が間もなく演出受付可能とされることを示唆することができるようになる。
図168(c)は、図168(b)に示した特定の操作関連演出が進展し、操作ボタン410に対応するボタン画像BTGと、刀装飾体5001に対応する刀装飾画像SYGとが演出表示装置1600の表示領域内で互いに押し合いを行って、相手方を表示領域内から押し出そうとする演出が行われている。
すなわち、この演出例(第2の演出態様)にかかる特定の操作関連演出(図168(b),(c))は、「ボタン画像BTGと刀装飾画像SYGとが押し合いを行って、それら画像BTG,SYGのいずれが表示領域内に残されるか」といった演出として実行されるようになっており、ボタン画像BTGが残される演出結果(第1の演出結果)が現れると操作ボタン410に対する演出受付期間が発生し、刀装飾画像SYGが残される演出結果(第2の演出結果)が現れると刀装飾体5001に対する演出受付期間が発生するようになっている。したがって、この演出例(第2の演出態様)では、図168(b),(c))に示される演出が、「操作ボタン410に対する演出受付期間と刀装飾体5001に対する演出受付期間とのいずれが発生する場合であってもそれら期間の発生に先立って出現可能とされる特定の操作関連演出」に相当している。
なお、図168(c)のうち左側の図は、ボタン画像BTGが表示領域内に残るのに優勢な状況になっている様子を描写しており、右側の図は、刀装飾画像SYGが表示領域内に残るのに優勢な状況になっている様子を描写している。特定の操作関連演出では、このような劣勢・優勢の状況が時間経過に応じて刻々と変化するようになっている。
図169(d)は、図168(c)に示した演出が行われた結果、刀装飾画像SYGが表示領域外へと完全に押し出されて、ボタン画像BTGが表示領域内に残された様子を描写した演出が行われている(第1の演出結果)。この演出内容へと進展したときには、刀装飾体5001に対する演出受付期間は発生せず、操作ボタン410に対する演出受付期間のみが発生することとなる。
すなわち、複数の操作手段のいずれが演出受付可能とされるのかを秘匿にしつつ操作機会が間もなく付与されることを示唆する特定の操作関連演出(図168(b),(c))が実行された結果として、刀装飾体5001に対応する刀装飾画像SYGが表示領域にて表示されず、且つ操作ボタン410に対応するボタン画像BTGが表示領域にて表示される演出(図169(d))が実行されることで、複数の操作手段のうち操作ボタン410に対する操作が演出受付可能とされること(操作ボタン410に対する演出受付期間が発生すること)が認識可能とされるようになる。
またこの際、操作ボタン410に対応するボタン画像BTGに加えて、操作を促す指示表示(「押せ」といった文字表示や、演出受付期間の残り時間を示すバー表示)が表示されることで、複数の操作手段のうち操作ボタン410に対する操作が演出受付可能とされている状態にあること(操作ボタン410に対する演出受付期間中にあること)が認識可能とされるようになる。特に、この演出例では、操作ボタン410と刀装飾体5001とのうちの操作ボタン410のみを発光状態にすることによっても、操作ボタン410に対する操作を促すようにしている。
なお、図169(d)に示される演出は、特定の操作関連演出(図168(b),(c)など)を経て演出進展される場合のほか、該特定の操作関連演出を経ることなく演出進展(例えば、図168(a)に示される演出状態からの演出進展)される場合もあるようにされている。ただし、図169(d)に示される同じ演出が行われるとしても、特定の操作関連演出を経て当該演出が行われた場合は、特定の操作関連演出を経ずに当該演出が行われた場合よりも特典付与にかかる期待度が高くされるようにすることが望ましい。
また、演出受付期間の長さに関しても、特定の操作関連演出を経て操作ボタン410に対して操作機会が付与される演出(図169(d))が行われた場合は、特定の操作関連演出を経ずに操作ボタン410に対して操作機会が付与される演出(図169(d))が行われた場合よりも、操作ボタン410に対して発生する演出受付期間の長さが短くなる割合が高くなるようにすることが望ましい。このような構成によれば、特定の操作関連演出を経たときの後述の演出的間延びによる遊技興趣の低下が抑制されうるようになる。
図169(e)は、図169(d)に示した演出が行われているなかで複数の操作手段のうち操作ボタン410に対する操作が行われた結果、演出受付がなされて該操作に応じた操作時演出が行われている様子を描写したものである。
図169(e)に示される操作時演出は、図167(d)と同様である。すなわち、図169(e)に示される操作時演出では、特定装飾部材SDYを表示領域の前方側まで変位させるとともに、演出表示装置1600において所定の表示演出(「チャンス!!」)を実行させるようになっている。またこの際、操作ボタン410に対して遊技者による操作が行われたにもかかわらず、その演出受付に応じて、該操作が行われていない側の刀装飾体5001を第一位置と第二位置との間で往復動作させる制御(動作状態にする制御)が実行可能とされている点も同じである。なお、所定の表示演出としては、例えば、相対的に低い期待度であることが示唆される「チャンス!!」と、相対的に高い期待度であることが示唆される「激熱!!」といった複数の演出態様を用意し、これら演出態様のいずれかを演出受付に応じて表示させることで、特典付与にかかる期待度を示唆するようにしてもよい。特定装飾部材SDYの動作についても、これと同様、例えば、表示領域の前方側まで変位させる動作を行わない演出態様を持たせておき、それら演出態様のいずれかを演出受付に応じて出現させることで、特典付与にかかる期待度を示唆するようにしてもよい。期待度は、「100%」や「0%」であってもよい。
そして、このような操作時演出(図169(e))が行われた後は、図169(f)に示されるように、リーチ状態が形成されてリーチ演出が行われうることとなる。ただし、リーチ演出の実行期間中は刀装飾体5001を用いた演出が実行される可能性があることから、操作時演出が実行されてから所定時間が経過したときに(リーチ演出が開始されるよりも前の段階で)刀装飾体5001を非操作の状態(納刀状態))へと戻す制御を行うこととなる。ただし、上述の作用効果を好適に得る上では、刀装飾体5001については、特定装飾部材SDYが表示領域側へと移動してから初期位置(非駆動位置)に戻るまでの期間の少なくとも半分以上の期間にわたって、その動作状態(往復動作、または抜刀状態での維持)を継続させるようにすることが望ましい。また、刀装飾体5001については、特定装飾部材SDYが初期位置(非駆動位置)へと戻るまでよりも早い段階でその動作状態を終了させて駆動力が付与されないようにすることが消費する電力量(可動負荷)との関係でより望ましい。
これに対し、図170(g)は、図168(c)に示した演出が行われた結果、ボタン画像BTGが表示領域外へと完全に押し出されて、刀装飾画像SYGが表示領域内に残された様子を描写した演出が行われている(第2の演出結果)。この演出内容へと進展したときには、操作ボタン410に対する演出受付期間は発生せず、刀装飾体5001に対する演出受付期間のみが発生することとなる。
すなわち、複数の操作手段のいずれが演出受付可能とされるのかを秘匿にしつつ操作機会が間もなく付与されることを示唆する特定の操作関連演出(図168(b),(c))が実行された結果として、操作ボタン410に対応するボタン画像BTGが表示領域にて表示されず、且つ刀装飾体5001に対応する刀装飾画像SYGが表示領域にて表示される演出(図170(g))が実行されることで、複数の操作手段のうち刀装飾体5001に対する操作が演出受付可能とされること(刀装飾体5001に対する演出受付期間が発生すること)が認識可能とされるようになる。
またこの際、刀装飾体5001に対応する刀装飾画像SYGに加えて、操作を促す指示表示(「抜刀せよ」といった文字表示や、演出受付期間の残り時間を示すバー表示)が表示されることで、複数の操作手段のうち刀装飾体5001に対する操作が演出受付可能とされている状態にあること(刀装飾体5001に対する演出受付期間中にあること)が認識可能とされるようになる。特に、この演出例では、操作ボタン410と刀装飾体5001とのうちの刀装飾体5001を備える操作ユニット(刀装飾体5001これ自体を発光状態にするようにしてもよい)のみを発光状態にすることによっても、刀装飾体5001に対する操作を促すようにしている。
なお、図170(g)に示される演出は、特定の操作関連演出(図168(b),(c)など)を経て演出進展される場合のほか、該特定の操作関連演出を経ることなく演出進展(例えば、図168(a)に示される演出状態からの演出進展)される場合もあるようにされている。ただし、図170(g)に示される同じ演出が行われるとしても、特定の操作関連演出を経て当該演出が行われた場合は、特定の操作関連演出を経ずに当該演出が行われた場合よりも特典付与にかかる期待度が高くされるようにすることが望ましい。またさらに言えば、特定の操作関連演出を経て図169(d)に示される演出が行われた場合は、特定の操作関連演出を経ずに図170(g)に示される演出が行われた場合よりも特典付与にかかる期待度が高く、且つ特定の操作関連演出を経て図170(g)に示される演出が行われた場合よりも特典付与にかかる期待度が低くされるようにすることが望ましい。
図170(h)は、図170(g)に示した演出が行われているなかで複数の操作手段のうち刀装飾体5001に対する操作が行われた結果、演出受付がなされて該操作に応じた操作時演出が行われている様子を描写したものである。
図170(h)に示される操作時演出も、図169(e)に示される操作時演出と基本的には同様、特定装飾部材SDYを表示領域の前方側へと変位させるとともに、演出表示装置1600において所定の表示演出を実行させるようになっている。なおここでは、相対的に高い期待度であることが示唆される「激熱!!」といった演出態様を演出受付に応じて表示させているが、相対的に低い期待度であることが示唆される「チャンス!!」が表示される場合もある。特定装飾部材SDYの動作についても、これと同様、例えば、表示領域の前方側へと変位させる動作を行わない演出態様を持たせておき、それら演出態様のいずれかを演出受付に応じて出現させることで、特典付与にかかる期待度を示唆するようにしてもよい。期待度は、「100%」や「0%」であってもよい。
ただし、図170(h)に示される操作時演出では、刀装飾体5001に対する操作に基づいて、該刀装飾体5001これ自体の演出態様が、上述した複数の態様のうちのいずれかに変化(図161に示される段階0形態から、段階1形態~段階3形態のいずれかへの変化)可能とされており、これらの態様のいずれが現れるかによっても大当りなどの特典付与にかかる期待度の高さが示唆されるようになっている。
しかも、図170(i)に示されるように、操作時演出(図170(h))が終了されて特定装飾部材SDYが初期位置(非駆動位置)へと戻される状況になったとしても、刀装飾体5001については納刀状態へと戻さず、これを抜刀状態にて維持したままにするようにしている。すなわち、この演出例では、図示は割愛するが、刀装飾体5001を抜刀状態にて維持したままにして、その後(リーチ演出が行われる期間中など)、刀装飾体5001を納刀状態へと操作させる操作機会をさらに付与するようにしており、その際には該納刀状態への操作に応じた操作時演出をさらに実行可能としている。
このような構成によれば、1つの操作手段(刀装飾体5001)に対して2段階にわたって操作機会が付与されるとともに、1段階目の操作(抜刀状態への操作)と2段階目の操作(納刀状態への操作)との各操作に応じてそれぞれ操作時演出が行われるようになることから、操作手段(刀装飾体5001)に対する操作を行っているときのみならず、1段階目の操作(抜刀状態への操作)が行われてから2段階目の操作(納刀状態への操作)が行われるまでの非操作期間においても操作に対する遊技興趣を好適に維持することが期待されるようになる。なお、1段階目の操作と2段階目の操作とは互いに異なる操作態様(ここでは、互いに逆向きの方向への操作)であることが望ましい。また、1段階目の操作に応じた操作時演出と、2段階目の操作に応じた操作時演出とは互いに異なる演出内容であることが望ましい。
また、1段階目の操作に応じた操作時演出(図170(h))が行われた場合には、刀装飾体5001が必ずしも抜刀状態にて維持されないようにし、抜刀状態にて維持されなかった場合は2段階目の操作機会が付与されないようにすることが望ましい。1段階目の操作に応じた操作時演出では、2段階目の操作機会(抜刀状態から納刀状態への操作機会)を付与可能とする位置(抜刀状態)で刀装飾体5001を維持するか否かの期待度を示唆する演出として実行されるようにしてもよい。すなわち、刀装飾体5001が抜刀状態で維持されず納刀状態に戻されたときには、2段階目の操作機会(抜刀状態から納刀状態への操作機会)を付与することが実質的に不可能とされるようになることは明らかである。期待度は、「100%」や「0%」であってもよい。
なお、1段階目の操作に応じた操作時演出(図170(h))が行われた結果、刀装飾体5001が抜刀状態にて維持されない場合は、所定時間が経過したときに(リーチ演出が開始されるよりも前の段階で)刀装飾体5001を非駆動の状態(納刀状態))へと戻す制御を行うこととなる。ただしこの場合、刀装飾体5001については、特定装飾部材SDYが表示領域側へと移動してから初期位置(非駆動位置)に戻るまでの期間の少なくとも半分以上の期間にわたって、その動作状態(往復動作、または抜刀状態での維持)を継続させるようにすることが望ましい。また、刀装飾体5001については、特定装飾部材SDYが初期位置(非駆動位置)へと戻るまでよりも早い段階でその動作状態を終了させて駆動力が付与されないようにすることが消費する電力量(可動負荷)との関係でより望ましい。
一方、図171(j)は、図168(c)に示した演出が行われた結果、図169(d)に示される場合と同様、刀装飾画像SYGが表示領域外へと完全に押し出されて、ボタン画像BTGが表示領域内に残された様子を描写した演出が行われている。すなわち、この演出例(第2の演出態様)では、図168(c)に示した演出が行われてから所定時間が経過すると、図169(d)に示される演出か、図170(g)に示される演出か、若しくは図171(j)に示される演出のいずれかが現れるようになっている。なお、いずれの演出内容が現れるかについては、大当り判定の結果に応じた演出パターンの判定処理内にて予め決定済みとされている。
ただし、図171(j)に示される演出では、図169(d)に示した演出の場合とは異なり、特定の操作関連演出(図168(b),(c))で行われていた演出(ここでは、稲妻画像IZ)が継続されており、このような稲妻画像IZによってボタン画像BTGに対して何らかの変化が生じる可能性を示唆するようにしている。
また、図171(j)に示される演出では、操作を促す指示表示(「押せ」といった文字表示や、演出受付期間の残り時間を示すバー表示)が表示されていない点でも、図169(d)に示した演出の場合とは異なっている。これにより、刀装飾画像SYGが表示領域外へと完全に押し出されて、ボタン画像BTGが表示領域内に残された状況ではあるものの、ボタン画像BTGに対する演出受付期間は未だ発生していない状況にあることが認識可能とされるようになる。
図171(k)は、図171(j)に示される演出が進展した結果、稲妻画像IZがボタン画像BTGに作用して該ボタン画像BTGが靄MYに包まれて、その外形描写すらも失われてしまう演出が行われている。
すなわち、図171(k)に示される演出では、操作ボタン410に対する操作が演出受付可能とされることを示唆していた演出要素(ボタン画像BTG)が全て取り除かれることとなる。したがって、操作ボタン410に対する操作が演出受付可能とされることが図171(j)に示される演出によって一旦示唆された状況にはあるものの、このような図171(k)に示される演出が現れることで、操作ボタン410に対する演出受付期間が果たして発生するのかの疑念を持たせることができるようになる。
なお、図171(k)に示される演出においても、特定の操作関連演出(図168(b),(c))で行われていた演出表示(ここでは、稲妻画像IZ)が継続されている。ただしここでは、稲妻画像IZの態様が変化(消えかかっている)しつつあり、複数の操作手段のいずれに対して演出受付期間が発生するのかが確定的に示されるまでの残り時間が少なくなっていることを示唆している。
図171(i)は、図171(k)に示される演出が進展した結果、靄MYの外形が、操作ボタン410(ボタン画像BTG)ではなく、刀装飾体5001(刀装飾画像SYG)に近付いてきた様子を描写した演出が行われている。
このような構成によれば、刀装飾画像SYGが未だ表示されていない状況にあるものの、靄MYの外形によって、操作ボタン410ではなく、刀装飾体5001に対する演出受付期間が発生する可能性を示唆することができるようになる。
また、図171(i)に示される演出においても、特定の操作関連演出(図168(b),(c))で行われていた演出表示(ここでは、稲妻画像IZ)が継続されている。ただしここでは、稲妻画像IZの態様が図171(k)よりもさらに変化(消える直前)しており、複数の操作手段のいずれに対して演出受付期間が発生するのかが確定的に示されるまでの残り時間がより一層少なくなっていることを示唆している。
そして、この演出例(第2の演出態様)では、図171(i)に示される演出がさらに進展して靄MYが非表示にされるようになると、刀装飾画像SYGが表示されて図170(g)に示される演出が行われるようになっている。
このような構成によれば、特定の操作関連演出(図168(b),(c))が行われた結果、演出表示装置1600において刀装飾画像SYGが表示されず、且つボタン画像BTGが表示された場合(図169(d),図171(j))であっても、刀装飾体5001に対する演出受付期間が発生する可能性が残されるようになることから、遊技興趣の維持を図ることができるようになる。
特に、この演出例(第2の演出態様)では、演出表示装置1600において刀装飾画像SYGが表示されず、且つボタン画像BTGが表示された場合(図169(d),図171(j))、特定の操作関連演出(図168(b),(c))で現れていた稲妻画像IZによる演出表示が未だ継続されているか否かを確認するようにすることで、刀装飾体5001に対する演出受付期間が発生する可能性が残されているかを把握可能とされており、これによっても遊技興趣の維持を図ることができるようになる。
なお、この演出例(第2の演出態様)では、図171(j)に示される演出が現れた時点で、ボタン画像BTGが靄MYによって非表示にされて(図171(k))、さらに演出進展されると、刀装飾画像SYGが表示されて図170(g)に示される演出が必ず発生するようになっている。この意味では、図171(j)に示される演出は、演出表示装置1600において刀装飾画像SYGを表示せず、且つボタン画像BTGを表示させるものではあるが、こうした表示内容に反して、刀装飾体5001に対する演出受付期間が発生することを示唆する演出であるということもできる。
ただしこれに代えて、図171(k)に示される演出が進展すると、靄MYの外形が、刀装飾体5001(刀装飾画像SYG)に必ずしも近付かないようにして、操作ボタン410(ボタン画像BTG)の外形に近付く演出パターンも現れうるように設定し、該演出パターンが現れると、その後、ボタン画像BTGが再び表示されて図169(d)に示される演出が行われるようにしてもよい。なお、このような演出パターンが行われうるようにした場合は、図171(j),(k)に示される演出も、複数の操作手段のいずれが演出受付可能とされるのかを秘匿にする特定の操作関連演出として実行されることとなる。
また、操作ボタン410を動作可能な操作手段として設けるようにした上で、上記演出例(第2の演出態様)のうち、図170(h)に示される演出状況においても、図169(e)に示される演出状況と同様、遊技者による操作が行われなかった側の操作ボタン410を動作させる制御を実行可能とするようにしてもよい。なお、このような制御では、遊技者による操作が行われなかった側の操作手段を少なくとも動作させることが重要なのであり、この際に、遊技者による操作が行われた側の操作手段も動作させるか否かについては適宜に設計するようにすればよい。
また、操作ボタン410を動作可能な操作手段として設ける場合、操作ボタン410に対して駆動力を付与する駆動源と刀装飾体5001に対して駆動力を付与する駆動源とは異なる駆動源であってもよいし、同じ駆動源であってもよい。これら操作手段に対応して設けられる駆動源が、特定装飾部材SDY(簾役物)に対する駆動源とは異なる駆動源として設けられるものであることは言うまでもない。また、このような駆動源によって生じる操作手段(操作ボタン410,刀装飾体5001)での「動作」としては、「移動」や「回転」、「揺動」、「振動」などの態様を例示することが可能であり、これは当該演出例に限らず、他の演出例においても同様である。
[第3の演出態様]
図172~図175は、特定の操作関連演出に関して基本的には第2の演出態様と同じであるが、該第2の演出態様とは別の演出例(第3の演出態様)を示す図である。
図172(a)は、通常遊技状態において、保留数が0の状態で装飾図柄SZ(特別図柄)の変動表示が大当り判定の結果に応じた特定の演出パターンで演出表示装置1600にて行われている演出状況を示している。
図172(b)は、図172(a)に示した装飾図柄SZの変動表示の実行中に、特定の操作関連演出が演出開始された演出状況を示している。ただし、同図172(b)に示されるように、この演出例(第3の演出態様)にかかる特定の操作関連演出では、まず、演出表示装置1600とは異なる所定の可動部材を動作させることによって、操作ボタン410及び刀装飾体5001のいずれかが間もなく演出受付可能とされることを示唆するようにしている。
特に、この演出例(第3の演出態様)では、このような所定の可動部材として操作ボタン410及び刀装飾体5001を採用することとしており、これら操作ボタン410及び刀装飾体5001をそれぞれ動作させることで、操作に関連した演出表示が演出表示装置1600側で未だ行われていない状態にあるときから、操作ボタン410及び刀装飾体5001のいずれかが間もなく演出受付可能とされることを容易に認識可能とされるようにしている。なおここでは、操作ボタン410及び刀装飾体5001を初期位置から操作位置へと向けて動作させる制御が行われることとなるが、操作機会を付与するときに操作位置へとそれぞれ動作させるときに比べてゆっくりとした速度でそれぞれ動作させるようにしている。
このような構成によれば、演出受付期間が発生するまでに時間が未だ残されている操作手段、若しくは当該図柄変動が終了するまでの間に演出受付期間がそもそも発生しない操作手段であるにもかかわらず、これらの操作手段(操作ボタン410、刀装飾体5001)がそれぞれ動作することとなる。したがって、演出受付期間が発生するまでに時間が未だ残されている状況、若しくは当該図柄変動が終了するまでの間に演出受付期間がそもそも発生しない状況にあるときから、それらの操作に対する遊技興趣を好適に維持することができるようになる。
そして、この演出例(第3の演出態様)では、演出表示装置1600における演出表示ではなく、こうして操作ボタン410及び刀装飾体5001による各動作(図172(b))によって特定の操作関連演出が開始された以降は、基本的に、上記第2の演出態様と同じ演出進展がなされるようになっている。
例えば、まず、図172(c)に示される演出のうち、演出表示装置1600における演出表示は、ボタン画像BTGが「可動式の操作ボタン410」に対応するものとして表示されていることを除けば、図168(b)を参照して説明した通りの演出内容になっている。
ただし、図172(c)に示される演出では、図168(b)に示した演出とは異なり、操作ボタン410及び刀装飾体5001が、それぞれ初期位置(非駆動時の位置)から動作した状態になっている。図172(c)に示される演出では、このような可動演出によっても、操作ボタン410及び刀装飾体5001のいずれかが演出受付可能とされることを示唆するようにしている。
また、図172(c)に示される演出では、操作ボタン410及び刀装飾体5001については、特定の操作関連演出が演出開始された以降、それぞれ初期位置(非駆動時の位置)とは異なる位置であり、且つ操作機会が付与されるときの操作位置とも異なる位置にて動作状態(駆動力を付与した状態)として位置させるようにしている。
すなわち、このような操作関連演出を行うようにした場合、該操作関連演出が行われずにすぐに操作機会が付与される場合と比べて操作関連の演出が間延びすることとなるが、可動式の操作手段が採用されている場合は、このような操作関連演出がようやく終了したとしても、演出受付可能とされた側の操作手段についてはこれを少なくとも操作位置まで動作させる必要が生じることとなる。したがって、こうした動作に要する時間分だけさらに操作関連の演出に間延びを生じてさせてしまうこととなり、このような間延びによって遊技興趣が低下する懸念がある。
そこで、この演出例(第3の演出態様)では、特定の操作関連演出が行われる期間中、操作ボタン410及び刀装飾体5001を、初期位置(非駆動時の位置)及び操作位置のいずれとも異なる位置(例えば、中間位置)にて動作状態(駆動力を付与した状態)として位置させるようにしている。これにより、特定の操作関連演出が終了されて演出受付期間が発生するときには、演出受付期間が発生した側の操作手段をより短い時間だけで操作位置まで動作させたり、演出受付期間が発生しなかった側の操作手段をより短い時間だけで初期位置まで動作させることができるようになり、操作関連の演出の間延びによって遊技興趣が低下するのを抑制することができるようになる。また、演出受付期間が発生するまでの間は、操作対象とされる側の操作手段を操作位置とは異なる位置にて動作状態として位置させるようにしたことで、動作状態ではあるものの演出受付期間これ自体は未だ発生していないことを容易に認識可能とすることができるようになる。
そして、図172(c)に示される演出が進展し、図172(d)に示される演出が行われるようになると、演出表示装置1600における演出表示は、ボタン画像BTGが「可動式の操作ボタン410」に対応するものとして表示されていることを除けば、図168(c)を参照して説明した通りの演出内容になっている。ただし、図172(d)に示される演出においても、図168(c)に示した演出とは異なり、操作ボタン410及び刀装飾体5001を、それぞれ初期位置(非駆動時の位置)と操作位置とのいずれとも異なる位置にて動作状態(駆動力を付与した状態)として位置させるようにしている。
なお、図172(b),(c)に示される演出にあっては、演出表示装置1600内におけるボタン画像BTG及び刀装飾画像SYGは、初期位置(非駆動の位置)にあるときの態様を摸して表示されるのに対し、操作ボタン410及び刀装飾体5001は、初期位置(非駆動の位置)とは異なる位置で動作状態として位置されている。このように、演出表示装置1600内におけるボタン画像BTG及び刀装飾画像SYGの態様と、操作ボタン410及び刀装飾体5001の態様とをあえて異ならせるようにすることで、近いうちにそれらの整合が図られる演出(ボタン画像BTG及び刀装飾画像SYGの態様が変化するか、操作ボタン410及び刀装飾体5001が動作するか)が発生することを示唆することができるようになる。
また、図172(d)に示される演出が行われた結果、図173(e)に示される演出が行われるようになると、演出表示装置1600における演出表示は、ボタン画像BTGが「操作位置にあるときの可動式の操作ボタン410」に対応するものとして表示されていることを除けば、図169(d)を参照して説明した通りの演出内容になっている。
ただし、図173(e)に示される演出においては、図169(d)に示した演出とは異なり、操作ボタン410が操作位置で動作した状態になっており、且つ刀装飾体5001が初期位置(非駆動時の位置)と操作位置とのいずれとも異なる位置で動作した状態になっている。すなわちこの場合、操作ボタン410は、初期位置(非駆動時の位置)よりも操作位置に近い位置から操作位置に向けて移動したこととなることから、操作関連の演出の間延びが好適に抑制されるようになる。
なお、図173(e)に示される演出としては、「ボタン画像BTGが表示(操作位置まで移動した態様で表示されることが望ましい)され、且つ刀装飾画像SYGが表示されない表示演出」をまずは行うこととし、該表示演出を行った後に、操作ボタン410を操作位置まで動作させるとともに、該操作ボタン410に対する演出受付期間を発生させて操作を促す指示表示(「押せ」といった文字表示や、演出受付期間の残り時間を示すバー表示)を表示するようにしてもよい。このような構成によれば、特定の操作関連演出が実行された結果として現れたボタン画像BTGは「操作位置まで移動した態様」で表示されるのに対し、該表示される時点での操作ボタン410は「操作位置まで移動した態様」とは異なる態様とされることとなる。このように、特定の操作関連演出が実行された結果として現れるボタン画像BTGを、その際における操作ボタン410の態様とはあえて異なる態様として表示させるようにすることで、それら態様のズレが間もなく埋まる(ここでは、操作ボタン410が操作位置へと動く)ことを事前示唆することができるようになる。
そして、図173(e)に示される演出が行われた結果、図173(f)に示される演出が行われるようになると、演出表示装置1600においては図169(e)を参照して説明した通りの演出内容が現れることとなる。ただし、図173(f)に示される演出では、図169(e)に示した演出とは異なり、操作ボタン410が操作位置から初期位置(非駆動の位置)に戻された状態になっており、且つ刀装飾体5001が初期位置(非駆動時の位置)と操作位置とのいずれとも異なる位置で動作した状態になっている。
このような操作時演出(図173(f))が行われた後は、図173(g)に示されるように、リーチ状態が形成されてリーチ演出が行われうることとなるが、これについても図169(f)を参照して説明した通りである。
これに対し、図172(d)に示される演出が行われた結果、図174(h)に示される演出が行われるようになると、演出表示装置1600における演出表示は、刀装飾体5001の操作に関する指示内容が「押し込め」になっており、且つ刀装飾画像SYGが「操作位置まで移動した態様」で表示されていることを除けば、図170(g)を参照して説明した通りの演出内容になっている。
ただし、図174(h)に示される演出においては、図170(g)に示した演出とは異なり、操作ボタン410が初期位置(非駆動時の位置)と操作位置とのいずれとも異なる位置で動作した状態になっており、且つ刀装飾体5001が操作位置で動作した状態になっている。すなわちこの場合、刀装飾体5001は、初期位置(非駆動時の位置)よりも操作位置に近い位置から操作位置に向けて移動したこととなることから、操作関連の演出の間延びが好適に抑制されるようになる。
なお、図174(h)に示される演出としても、「ボタン画像BTGが表示されず、且つ刀装飾画像SYGが表示(操作位置まで移動した態様で表示されることが望ましい)される表示演出」をまずは行うこととし、該表示演出を行った後に、刀装飾体5001を操作位置まで動作させるとともに、該刀装飾体5001に対する演出受付期間を発生させて操作を促す指示表示(「押し込め」といった文字表示や、演出受付期間の残り時間を示すバー表示)を表示するようにしてもよい。このような構成によれば、特定の操作関連演出が実行された結果として現れた刀装飾画像SYGは「操作位置まで移動した態様」で表示されるのに対し、該表示される時点での刀装飾画像SYGは「操作位置まで移動した態様」とは異なる態様とされることとなる。このように、特定の操作関連演出が実行された結果として現れる刀装飾画像SYGを、その際における刀装飾体5001の態様とはあえて異なる態様として表示させるようにすることで、それら態様のズレが間もなく埋まる(ここでは、刀装飾体5001が操作位置へと動く)ことを事前示唆することができるようになる。
そして、図174(h)に示される演出が行われた結果、図174(i)に示される演出が行われるようになると、演出表示装置1600においては図170(h)を参照して説明した通りの演出内容が現れることとなる。ただし、図174(i)に示される演出では、図170(h)に示した演出とは異なり、操作ボタン410が初期位置(非駆動時の位置)と操作位置とのいずれとも異なる位置で動作した状態になっており、且つ刀装飾体5001が操作位置から初期位置(非駆動の位置)に戻された状態になっている。
このような操作時演出(図174(i))が行われた後は、図174(j)に示されるように、リーチ状態が形成されてリーチ演出が行われうることとなるが、これについては図169(f)を参照して説明した通りである。
一方、図172(d)に示される演出が行われた結果、図175(k)に示される演出が行われるようになると、演出表示装置1600における演出表示は、ボタン画像BTGが「操作位置にあるときの可動式の操作ボタン410」に対応するものとして表示されていることを除けば、図171(j)を参照して説明した通りの演出内容になっている。
ただし、図175(k)に示される演出においては、図171(j)に示した演出や図173(e)に示した演出とは異なり、操作ボタン410及び刀装飾体5001がそれぞれ初期位置(非駆動時の位置)と操作位置とのいずれとも異なる位置で動作した状態になっている。このような動作状況にすることによっても、操作ボタン410に対する演出受付期間が未だ発生していないことや、刀装飾体5001に対する演出受付期間が発生する可能性が未だ残されていることを示唆することができるようになる。
そして、図175(k)に示される演出が行われた結果、図175(l)に示される演出が行われるようになると、演出表示装置1600においては図171(k)を参照して説明した通りの演出内容が現れることとなる。ただし、図175(l)に示される演出では、図171(k)に示した演出とは異なり、操作ボタン410及び刀装飾体5001がそれぞれ初期位置(非駆動時の位置)と操作位置とのいずれとも異なる位置で動作した状態になっている。
そして、図175(l)に示される演出が行われた結果、図175(m)に示される演出が行われるようになると、演出表示装置1600においては図171(l)を参照して説明した通りの演出内容が現れることとなる。ただし、図175(l)に示される演出では、図171(k)に示した演出とは異なり、操作ボタン410及び刀装飾体5001がそれぞれ初期位置(非駆動時の位置)と操作位置とのいずれとも異なる位置で動作した状態になっている。図175(m)に示される演出では、靄MYの外形を、初期位置にあるときの刀装飾体5001ではなく、操作位置にあるときの刀装飾体5001に近付けるようにすることがより望ましい。
なお、図175(m)に示される演出がさらに演出進展されると、刀装飾画像SYGが表示されて図174(h)に示される演出が必ず発生するようになっている。この意味では、図175(k)に示される演出は、演出表示装置1600において刀装飾画像SYGを表示せず、且つボタン画像BTGを表示させるものではあるが、こうした表示内容に反して、刀装飾体5001に対する演出受付期間が発生することを示唆する演出であるということもできる。
ただしこれに代えて、図175(l)に示される演出が進展すると、靄MYの外形が、刀装飾体5001(刀装飾画像SYG)に必ずしも近付かないようにして、操作ボタン410(ボタン画像BTG)の外形に近付く演出パターンも現れうるように設定し、該演出パターンが現れると、その後、ボタン画像BTGが再び表示されて図173(e)に示される演出が行われるようにしてもよい。なお、このような演出パターンが行われうるようにした場合は、図175(k),(l)に示される演出も、複数の操作手段のいずれが演出受付可能とされるのかを秘匿にする特定の操作関連演出として実行されることとなる。
また、上記説明例では、特定の操作関連演出が実行された後に発生する有効期間において、操作ボタン410及び刀装飾体5001のうち操作ボタン410が操作されて演出受付がなされると、その演出受付に応じて、該操作が行われていない側の刀装飾体5001を第一位置と第二位置との間で往復動作させることとした(図167(d)や図169(e)など)。ただし、操作が行われていない側の刀装飾体5001を動作状態にするものであればよく、該動作状態としては、例えば、他の箇所へと移動して留まる態様や、振動する態様などを採用することが可能である。また、特定の操作関連演出が実行された後に発生する有効期間において、操作ボタン410及び刀装飾体5001のうち刀装飾体5001が操作されて演出受付がなされた場合も、その演出受付に応じて、該操作が行われていない側の操作ボタン410を動作状態(振動など)にすることが望ましい。
また、このような「操作が行われていない側の操作部」を動作状態にする演出については、操作に応じた操作後演出が「期待度(大当り図柄が現れる割合であり、「0」、「100」を含む)の高い態様」で実行されたときに現れて、操作に応じた操作後演出が「期待度(大当り図柄が現れる割合であり、「0」、「100」を含む)の低い態様」で実行されたときには現れないようにしてもよい。
また、2つの操作部(操作ボタン410、刀装飾体5001)のうち、一方に対する操作によって操作後演出が行われたときには「操作が行われていない他方側の操作部」も動作状態にするが、他方に対する操作によって操作後演出が行われたときには「操作が行われていない一方側の操作部」を動作状態にしないようにしてもよい。
なお、この演出例(第3の演出態様)においては、操作ボタン410に対して駆動力を付与する駆動源と刀装飾体5001に対して駆動力を付与する駆動源とは異なる駆動源であってもよいし、同じ駆動源であってもよい。
上記した各演出態様、及びそれらの別例では、特定の操作関連演出が行われた演出結果として「操作ボタン410を摸したボタン画像BTG(第1の表示態様)」が現れた場合、基本的には、操作ボタン410と刀装飾体5001とのうち操作ボタン410に対してのみ操作機会が付与され、該操作ボタン410に対する操作が演出受付されるとボタン側の操作時演出が行われることとなる。また、特定の操作関連演出が行われた演出結果として「刀装飾体5001を摸した刀装飾画像SYG(第2の表示態様)」が現れた場合、基本的には、操作ボタン410と刀装飾体5001とのうち刀装飾体5001に対してのみ操作機会が付与され、該刀装飾体5001に対する操作が演出受付されると刀役物側の操作時演出が行われることとなる。この点、ボタン側の操作時演出では、大当り判定に応じた演出抽選の結果に基づいて成功時演出(特定装飾部材SDYを動作させる)と失敗時演出(特定装飾部材SDYを動作させない)とのいずれかを出現させることとしているのに対し、刀役物側の操作時演出でも、大当り判定に応じた演出抽選の結果に基づいて成功時演出(特定装飾部材SDYを動作させる)と失敗時演出(特定装飾部材SDYを動作させない)とのいずれかを出現させることとしており、それらの演出内容は同じとされている。したがって、操作ボタン410及び刀装飾体5001のうち遊技者が所望する側とは異なる側の操作手段に対して操作機会が付与されたときの遊技興趣の低下が抑制されうるようになる。
なお、ボタン側の操作時演出と刀役物側の操作時演出とでは、特定装飾部材SDYが動作するか否かについての演出のほか、演出表示装置1600で行われる表示演出についても互いに同じ演出内容とするようにしてもよい。
また、特定の操作関連演出に関して上記説明した各演出例では、複数の操作手段のいずれに対して操作機会が付与されるかについての演出を行うこととし、その結果に応じた側の操作手段に対して操作機会が付与されるようにした。ただし、特定の操作手段同士で押し合いを行うようにするなど、いずれの演出結果が現れたとしても特定の操作手段に対して操作機会が付与される演出内容で特定の操作関連演出を行う場合があるようにしてもよい。
例えば、1つの操作手段に対していずれの態様(例えば、納刀状態にある刀装飾体5001を抜刀状態にする態様での操作、抜刀状態にある刀装飾体5001を納刀状態にする態様での操作)で操作機会が付与されるかについての演出を行うこととし、その結果に応じた側の態様で操作手段に対して操作機会が付与されるようにしてもよい。なおこの場合、特定の操作関連演出が行われる間に刀装飾体5001を納刀状態と抜刀状態とのいずれとも異なる状態に動作させるようにし、該特定の操作関連演出にていずれの態様で操作させるかの演出結果が示されるときに刀装飾体5001を納刀状態または抜刀状態に動作させるようにすることが望ましい。
また、保留状態にある図柄変動が消化されると該図柄変動の実行期間内で特定の操作関連演出が行われることを、該図柄変動が保留状態にあるとき(これよりも前に消化された図柄変動の実行期間内)から示唆する演出を行うようにしてもよい。このような構成によれば、複数の操作手段のいずれかにしか操作機会が付与されないにもかかわらず、操作機会が付与される側の操作手段と、操作機会が付与されない側の操作手段との両方に対して操作に関する遊技興趣をより長い期間にわたって持続させることができるようになる。なお、このような演出としては、特定の操作関連演出が行われる図柄変動が保留状態にあるとき(これよりも前に消化された図柄変動の実行期間内)に、該特定の操作関連演出に供される複数の操作手段をそれぞれ動作させるようにすることが望ましい。
上記した第2,第3の演出態様、及びそれらの別例では、特定の操作関連演出として、複数の操作手段(操作ボタン410、刀装飾体5001)に対応する複数の画像(ボタン画像BTG、刀装飾画像SYG)を表示することとしたが、これらの画像は必ずしも表示しなくてもよい。要は、特定の操作関連演出が実行されると、操作ボタン410に対する演出受付期間、及び刀装飾体5001に対する演出受付期間のいずれかがその後に発生するようになっていればよい。このような構成であれば、操作ボタン410及び刀装飾体5001のいずれかに対して演出受付期間が発生することを示唆するようにしつつも、演出受付期間が発生するまでの間は、それら操作手段のいずれに対して演出受付期間が発生するのかを秘匿にすることができるようになる。したがって、異種の操作手段にそれぞれ対応する複数種の操作関連画像(ここでは、ボタン画像BTG、刀装飾画像SYG)についても、必ずしもそれらを同時表示しなくてもよいし、ボタン画像BTG及び刀装飾画像SYGのいずれも出現させずそれらのいずれとも異なる演出画像を特定の操作関連演出として出現させるようにしてもよい。
ただし、特定の操作関連演出が実行されている間はボタン画像BTG及び刀装飾画像SYGを同時表示しない演出態様を採用する場合であっても、該特定の操作関連演出が終了されるときにはボタン画像BTG(操作ボタン410に対応する画像)及び刀装飾画像SYG(刀装飾体5001に対応する画像)のいずれかを表示して、それら操作手段のいずれに対して演出受付期間が発生するのかを示すこととなる。そしてこの場合、こうして表示されるボタン画像BTG(操作ボタン410に対応する画像)または刀装飾画像SYG(刀装飾体5001に対応する画像)に対し、特定の操作関連演出の実行期間中に表示されていた特定画像(例えば、稲妻画像IZなど)が関わる演出内容として実行するようにすることが、当該特定の操作関連演出を、複数の操作手段のいずれに対して演出受付期間が発生するかを示唆する演出として機能させるようにする上で重要であるといえる。例えば、特定の操作関連演出を、二つの岩のいずれかに向けて稲妻を落とす演出として実行されるようにし、一方側の岩に稲妻が落ちると岩の中からボタン画像BTGを出現させ、他方側の岩に稲妻が落ちると岩の中から刀装飾画像SYGを出現させるようにすることで、図169(d)や図170(g)に示される演出へと演出進展させることが可能である。若しくは、特定の操作関連演出を、1つの岩に向けて稲妻を落とす演出として実行されるようにし、岩に稲妻が落ちると岩の中からボタン画像BTG及び刀装飾画像SYGのいずれかを出現させて、図169(d)や図170(g)に示される演出へと演出進展させるようにすることも可能である。要は、特定の操作関連演出の演出結果としてボタン画像BTGまたは刀装飾画像SYGが表示されるような演出内容として演出進展させるようにすることが望ましい。
また、上記した第2,第3の演出態様、及びそれらの別例では、操作ボタン410に対する演出受付期間が発生する場合と、刀装飾体5001に対する演出受付期間が発生する場合とで、特定の操作関連演出が実行(演出開始)されてからそれらの演出受付期間が発生するまでに要する時間を同じに設定するようにすることがより望ましい。また、特定の操作関連演出が行われた後、いずれの操作手段に対して操作機会が付与される場合であっても、同じ時間だけ演出受付期間が発生するように設定することが望ましい。
また、特定の操作関連演出として複数の演出態様を用意しておき、それら演出態様のいずれで当該演出が行われるかに応じて、特定演出(操作時演出)を発生可能とする演出受付期間が複数の操作手段のうちの特定操作手段に対して設定される割合が異なるようにしてもよい。該割合は、100%であってもよいし、0%であってもよい。
また、上記した第2,第3の演出態様、及びそれらの別例において、特定の操作関連演出で示された側の操作手段に対して操作を行ったことに基づいて、該操作しなかった側の操作手段を動作させるときには(図169(e)など)、該操作があったときを基準とした所定時間の経過後に該操作しなかった側の操作手段を初期位置に戻す制御を行うようにしてもよい。ただし、該操作があったときを基準とせず、演出受付期間のうちのいずれのタイミングで操作されたかに応じて、該操作しなかった側の操作手段を動作させてからその動作を終了させるまでの時間長さを異ならせるようにすることが望ましい。
すなわち、特定の操作関連演出で示された側の操作手段が操作されたときにその演出受付期間の残り時間が少なかったときほど、特定の操作関連演出で示された側の操作手段を操作すべきか、若しくは特定の操作関連演出で示されなかった側の操作手段を操作すべきかで遊技者が葛藤した可能性が高いといえる。したがって、演出受付期間のうちのいずれのタイミングで操作されたかに応じて(葛藤した可能性の高さに応じて)、該操作しなかった側の操作手段を動作させてからその動作を終了させるまでの時間長さ(「特定の操作関連演出で示された側の操作手段を操作した場合であっても、演出受付が発生して操作時演出が実行されたのではないか」といった可能性を遊技者に対してアピールする時間長さ)を異ならせるようにすれば、遊技興趣を好適に維持することができるようになる。
また、特定の操作関連演出が行われた後、該演出に供された複数の操作手段のいずれも操作されなかった場合、演出受付期間が終了するときに該演出に供された複数の操作手段を全て動作させるようにしてもよい。
また、特定の操作関連演出が開始されてから演出結果(ボタン画像BTGや、刀装飾画像SYGなど)が表示されるまでの間に、該特定の操作関連演出の演出結果として期待度の高い側の演出画像(刀装飾画像SYG)が表示される割合を示唆する所定の演出を行うようにしてもよい。所定の演出として可動体演出を行うようにしてもよいが、この場合は、特定の操作関連演出が行われた後の演出受付期間内での演出受付に基づいて動作する特定可動体(ここでは、特定装飾部材SDY)とは異なる可動体を動作させるようにすることが、特定の操作関連演出が行われた後の演出受付期間内での演出受付に基づいて特定可動体をより確実に動作可能とする上で望ましい。
また、特定の操作関連演出が開始されてから演出結果(ボタン画像BTGや、刀装飾画像SYGなど)が表示されるまでの間に、それら演出結果で現れうる画像のいずれか1つに対応する特定の操作手段(例えば、操作ボタン410)に対して操作機会を付与するようにしてもよい。このような構成によれば、例えば、操作ボタン410及び刀装飾体5001のいずれを用いて特定演出(特定装飾部材SDYを動作させるなどの演出)に関する演出受付期間を発生させるかについての特定の操作関連演出が行われているなかで、それら操作手段のあえて一方側(例えば、操作ボタン410)に対してのみ演出受付期間を発生させることとなる。これにより、特定の操作関連演出の途中段階であるにもかかわらずその演出結果が示されて当該演出が終了されたかのような特殊な演出態様を生み出すことができるようになり、当該演出が行われている間における遊技興趣を好適に維持することができるようになる。なお、特定の操作関連演出が行われているなかで、それら操作手段の一方側(例えば、操作ボタン410)に対する操作が演出受付された場合は、該演出受付に基づいて所定の演出を行うことで、該特定の操作関連演出の演出結果として期待度の高い側の演出画像(刀装飾画像SYG)が表示される割合を示唆するようにすることが望ましい。
ここで、特定の操作関連演出の実行途中に操作機会が付与される上記特定の操作手段としては、複数の操作手段(例えば、操作ボタン410,刀装飾体5001)のうち相対的に期待度が低い側の操作手段(例えば、操作ボタン410)を用いるようにすることが、特定の操作関連演出の途中段階であったことが遊技者側に把握されたときの遊技興趣を向上させる上で望ましい。
また、複数の操作手段に関する上記特定の操作関連演出が行われている途中段階にあるなかで、それら操作手段のあえて操作ボタン410に対してのみ演出受付期間を発生させる場合、該演出受付期間内において操作ボタン410に対して操作が行われると、所定の演出条件が満たされているときには特別操作演出が実行されるようにし、該特別操作演出が実行されると、複数の操作手段(例えば、操作ボタン410,刀装飾体5001)のいずれが演出結果として現れた場合であっても特典付与にかかる期待度が同じになるようにしてもよい。期待度は、100%であってもよい。このような構成によれば、特定の操作関連演出が演出開始されてからその演出結果が示されるまでの間に当該特定の操作関連演出としての演出性を喪失させることができるようになり、その結果として、相対的に期待度が低い側の操作手段に対して操作機会が付与されたときの遊技興趣の低下を抑制することができるようになる。ただし、特別操作演出が実行されたときには、該特別操作演出が実行されず、且つ複数の操作手段のうち期待度が高い側の操作手段に対して操作機会が付与されたときよりも特典付与にかかる期待度が高くなるようにすることが望ましい。
また、上述した各演出受付期間では通常、遊技者による操作があったとき該操作に基づいて演出を発生させることとなるが、このような操作が行われなかったとしても演出受付期間が経過するよりも前に該操作が行われたときと同じ演出を開始させる制御が行われる後述の自動ボタン演出状態を設定可能とするようにしてもよい。このような自動ボタン演出状態によれば、演出受付期間が発生する度に操作せずとも操作時演出が発生するようになることから操作し忘れによる遊技興趣の低下を抑制することができるようになる。そして、このような自動ボタン演出状態に設定されているなかで上記特定の操作関連演出が行われた場合は、該演出の結果として上記複数の操作手段のいずれに対する演出受付期間が発生した場合であっても、それらの演出受付期間内で対応する側の操作手段を操作せずとも該操作手段を操作したときと同じ操作時演出が実行されることとなる。
ただし、後述の自動ボタン演出状態に設定されている場合であっても、特定の操作関連演出が行われている途中段階にあるなかでそれら操作手段のあえて操作ボタン410に対してのみ演出受付期間を発生させる場合は、該演出受付期間内で操作ボタン410が操作されなければ上記特別操作演出が実行されないようにすること(自動ボタン機能が機能しないようにすること)が望ましい。なおこの後、特定の操作関連演出が行われた結果として上記複数の操作手段のいずれに対する演出受付期間が発生した場合であっても、それらの演出受付期間内では対応する側の操作手段を操作せずとも該操作手段を操作したときと同じ操作時演出が実行されるようにすること(自動ボタン機能が機能するようにすること)が望ましい。このような構成によれば、自動ボタン機能が機能するか否かによって特定の操作関連演出が行われている途中段階にあるか否かを把握することが可能とされるようになり、遊技興趣の低下を抑制することが期待されるようになる。
なお、自動ボタン演出状態のオン・オフにかかる設定変更に関しては、例えば、操作ボタン410の操作によって、図柄変動が実行されていない期間のみならず、図柄変動が実行されている期間中にも可能とされるようにすることが望ましい。例えば、自動ボタン演出状態がオフ状態において操作ボタン410に対する演出受付期間が発生していないときに該操作ボタン410を操作すると自動ボタン演出状態がオフ状態からオン状態に設定変更可能とされ、自動ボタン演出状態がオン状態において操作ボタン410に対する演出受付期間が発生して該演出受付期間内で該操作ボタン410を操作すると該操作に応じた操作時演出が行われることに加えて自動ボタン演出状態がオン状態からオフ状態に設定変更可能とされるようにすることが可能である。ただし、自動ボタン演出状態のオン状態を維持したままで遊技者による操作によって操作時演出を発生させたくなる場合もありうると考えられることから、例えば、自動ボタン演出状態がオン状態にされているときの操作ボタン410に対する演出受付期間内では、操作ボタン410はもとより、該操作ボタン410とは別の操作手段に対する操作も有効化させて該別の操作手段に対して操作が行われたときには、操作ボタン410が操作された場合とは異なり、自動ボタン演出状態がオン状態で維持されたままで実行中の演出に変化を生じさせるようにすることが望ましい。なおこの際、操作ボタン410を操作したときと同じ操作時演出を発生させるようにすることがより望ましい。
自動ボタン演出状態がオフ状態からオン状態にされるときと、オン状態からオフ状態にされるときとで操作態様を異ならせてもよい。
また、上記した第2,第3の演出態様、及びそれらの別例では、特定の操作関連演出が行われた演出結果として、操作ボタン410を摸したボタン画像BTG、または刀装飾体5001を摸した刀装飾画像SYGを表示させた状態で、それらに対応した操作機会を付与することとしたが、これに限られない。すなわち、2つの異なる表示態様(第1の表示態様、第2の表示態様)を用意し、それら表示態様のうち第1の表示態様が表示されると操作ボタン410に対して操作機会(演出受付期間)を付与し、且つ第2の表示態様が表示されると刀装飾体5001に対して操作機会(演出受付期間)を付与するものであれば、第1の表示態様及び第2の表示態様としていかなる表示内容のものを採用してもよい。
例えば、上記した第2,第3の演出態様にあって、図169(d),図173(e)に示される演出画像に代えて図176(a)に示される演出画像CG(第1の表示態様)を表示させ、図170(g),図174(h)に示される演出画像に代えて図176(b)に示される演出画像TG(第2の表示態様)を表示させるようにしてもよい。このような構成によれば、特定の操作関連演出が行われているなかでその演出部分とそれ以外の背景画像(特定の操作関連演出が演出開始される前から表示されていた部分)との両方が、当該特定の操作関連演出の演出結果としての演出画像CG(第1の表示態様)、または演出画像TG(第2の表示態様)へと突然に差し替え(表示領域における演出の略全体が差し替え)られるようになることから、図169(d),図170(g),図173(e),図174(h)に示した表示領域内における部分的な表示態様(ボタン画像BTG,刀装飾画像SYG)が現れる場合とは異なり、表示領域の略全域を用いて(期待度が示唆されうる背景部分などの他の演出画像を非表示にしてまで)操作機会の付与に関わる演出表示が行われることで操作に対する遊技興趣の向上を図ることが期待されるようになる。
なお、図176(a)に示される演出画像CG(第1の表示態様)では、操作ボタン410をデザインに取り入れた盾(操作ボタン410を摸したボタン画像BTG)を保有している第1のキャラクタが表示されるようになっており、図176(b)に示される演出画像TG(第2の表示態様)では、刀装飾体5001を摸した剣(刀装飾画像SYG)を保有している第2のキャラクタが表示されるようになっており、いずれの操作手段(操作ボタン410,刀装飾体5001)を操作すべき状況にあるかについてはそれとなく示唆するようにしている。このように、演出画像CG(第1の表示態様)及び演出画像TG(第2の表示態様)としては、操作ボタン410や刀装飾体5001そのものを摸した演出画像として用意する必要性はないが、それら操作手段の少なくとも一部形状や一部デザインなどの態様を取り入れた演出画像として表示するようにすることが望ましい。
また、このように表示領域全体を用いた演出画像CG(第1の表示態様)、演出画像TG(第2の表示態様)については、それら演出画像CG(第1の表示態様)及び演出画像TG(第2の表示態様)のいずれが表示されるかによって異なる期待度を示唆する演出を兼ねて行われるようにしてもよい。例えば、演出画像TG(第2の表示態様)が現れたときには、演出画像CG(第1の表示態様)が現れたときよりも特典付与にかかる期待度が高いことが示唆されるようにする。また、演出画像CG(第1の表示態様)や演出画像TG(第2の表示態様)として、複数の演出態様(色違いなど)を用意し、それら演出態様のいずれで表示されるかに応じて期待度を示唆するようにしてもよい。この場合、演出画像CG(第1の表示態様)が現れたとしても特定の表示態様で表示されたときには、演出画像TG(第2の表示態様)が現れたときよりも期待度が高くなるようにしてもよい。
また、ボタン画像BTGや刀装飾画像SYGについては、特定の操作関連演出が実行されてその演出結果として表示される場合(相対的に期待度が高い演出状況であることが望ましい)と、特定の操作関連演出が実行されずに(例えば、特定の操作関連演出ではない後述の前兆演出が実行された後に)表示される場合(相対的に期待度が低い演出状況であることが望ましい)とがあるようにしてもよい。そしてこの場合、例えば、特定の操作関連演出が実行されてその演出結果としてボタン画像BTG(第1の表示態様)が表示された場合は、複数の操作手段のうち操作ボタン410に対してのみ演出受付期間を発生させるのに対し、特定の操作関連演出が実行されずに(例えば、特定の操作関連演出ではない後述の前兆演出が実行された後に)ボタン画像BTG(第1の表示態様)が表示された場合は、該ボタン画像BTGと対応する操作手段(操作ボタン410)のほか、該ボタン画像BTGと対応しない別の操作手段(例えば、刀装飾体5001など)に対しても演出受付期間を発生させるようにしてもよい。このような構成によれば、特定の操作関連演出が実行されず相対的に期待度の低い演出状況にあるなかでボタン画像BTGが現れた場合であっても、特定の操作関連演出が実行されて相対的に期待度の高い演出状況にあるなかでボタン画像BTGが現れる場合とは異なる面白みを操作に関して付与することができるようになり、遊技興趣の向上を図ることができるようになる。別の操作手段は、刀装飾体5001とは異なる操作手段であってもよい。
また、特定の操作関連演出が実行されず相対的に期待度の低い演出状況にあるなかでボタン画像BTGが現れた場合にその演出受付期間内でボタン画像BTGと対応しない別の操作手段に対する操作が演出受付されると、所定の演出条件が満たされているときには特別操作演出が実行されるようにし、該特別操作演出が実行されると、「特定の操作関連演出が実行されて相対的に期待度の高い演出状況にあるなかで刀装飾画像SYGが現れる演出状況」にあるときよりも期待度が高い演出状況にあることが示唆されるようにすることが望ましい。期待度は100%であってもよい。
ここで、特定の操作関連演出が実行されず相対的に期待度の低い演出状況にあるなかでボタン画像BTGが現れた場合にその演出受付期間内でボタン画像BTGと対応する操作手段(操作ボタン410)が操作された場合は、これと同時に発生している別の操作手段に対する演出受付期間も終了させて特別操作演出が実行されないようにするとともに、操作手段(操作ボタン410)に対する操作に応じた操作時演出が実行されるようにすることが望ましい。
これに対し、特定の操作関連演出が実行されず相対的に期待度の低い演出状況にあるなかでボタン画像BTGが現れた場合にその演出受付期間内でボタン画像BTGと対応する操作手段とは別の操作手段が操作された場合は、ボタン画像BTGと対応する操作手段に対する演出受付期間も終了させて、所定の演出条件が満たされているときには特別操作演出が実行されるようにすることが望ましい。なおこの場合、所定の演出条件が満たされていないときには特別操作演出を実行せず、これに代えて、ボタン画像BTGと対応する操作手段(操作ボタン410)が操作されておらず、且つ該操作手段とは別の操作手段が操作されているにもかかわらず、ボタン画像BTGと対応する操作手段(操作ボタン410)が操作されたときの操作時演出を実行するようにしてもよい。
なお、上述の自動ボタン演出状態に設定されているときに特定の操作関連演出が実行された場合は、該演出が行われた結果として上記ボタン画像BTG,刀装飾画像SYGのいずれに対応する側の操作手段に対して演出受付期間が発生する場合であっても、その演出受付期間内では対応する側の操作手段を操作せずとも該操作手段を操作したときと同じ操作時演出が実行されるようにすること(自動ボタン機能が機能するようにすること)が望ましい。ただし、上述の自動ボタン演出状態に設定されているときに特定の操作関連演出が実行されずにボタン画像BTGが現れた場合には、該ボタン画像BTGと対応する操作手段(操作ボタン410)と、該操作手段とは別の操作手段との両方に対して演出受付期間を発生させるようにした場合であっても、何らの操作が行われなくても該ボタン画像BTGと対応する操作手段を操作したときと同じ操作時演出のみが実行されるようにして、該ボタン画像BTGと対応しない別の操作手段を操作したときにのみ現れうる特別操作演出については実行されないようにすることが望ましい。
ただし、演出受付期間内のうち、上述の自動ボタン機能によって操作時演出(ボタン画像BTGと対応する操作手段を操作したときの演出)が出現されることとなる特定タイミングよりも前に、別の操作手段に対して操作が行われた場合であり、且つ所定の演出条件が満たされている場合は、該演出受付に応じて特別操作演出が行われるようにするとともに、特定タイミングが到来したとしても操作時演出(ボタン画像BTGと対応する操作手段を操作したときの演出)が現れないようにすることが望ましい。この場合、上述の自動ボタン機能については、該演出受付期間では実質的に機能しないこととなるが、該演出受付期間が終了した以降も自動ボタン演出状態はオン状態にて継続されるようにすることが望ましい。
また、上記した演出例では、ボタン画像BTGと刀装飾画像SYGとを逆転させた上で、上記説明した各演出(操作時演出や自動ボタン機能など)をそれぞれ適用するようにしてもよい。すなわちこの場合、特定の操作関連演出が実行されずに(例えば、特定の操作関連演出ではない後述の前兆演出が実行された後に)ボタン画像BTG(第1の表示態様)が表示された場合ではなく、特定の操作関連演出が実行されずに(例えば、特定の操作関連演出ではない後述の前兆演出が実行された後に)刀装飾画像SYG(第2の表示態様)が表示された場合に、該刀装飾画像SYGと対応する操作手段(刀装飾体5001)のほか、該刀装飾画像SYGと対応しない別の操作手段(例えば、操作ボタン410など)に対しても演出受付期間を発生させることとなる。
また上述の通り、上記した各演出態様、及びそれらの別例では、特定の操作関連演出が行われた演出結果として「操作ボタン410を摸したボタン画像BTG(第1の表示態様)」、または「刀装飾体5001を摸した刀装飾画像SYG(第2の表示態様)」のいずれかが表示された場合であり、且つ表示された側の操作手段によって演出受付がなされた場合は、相対的に期待度の高いことが示唆される演出内容とされた第1の操作時演出(例えば、特定装飾部材SDYが動作する演出態様)と、相対的に期待度の低いことが示唆される演出内容とされた第2の操作時演出(例えば、特定装飾部材SDYが動作しない演出態様)とのいずれかを出現させることが可能とされている。すなわちこの場合、刀装飾画像SYG(第2の表示態様)が表示されたときには、ボタン画像BTG(第1の表示態様)が表示されたときよりも高い割合で、相対的に期待度が高いことを示唆する演出内容とされた第1の操作時演出が実行されることとなる。ただし、特定の操作関連演出を経て発生する演出受付期間内における演出受付に基づいて第1の操作時演出が実行された場合は、該第1の操作時演出が、上記ボタン画像BTG(第1の表示態様)が表示されたときの操作ボタン410に対する演出受付に基づいて実行されたときと、上記刀装飾画像SYG(第2の表示態様)が表示されたときの刀装飾体5001に対する演出受付に基づいて実行されたときとで同じ期待度を示唆するようにすることが望ましい。期待度は、0%であってもよいし、100%であってもよい。このような構成によれば、特定の操作関連演出が行われた演出結果として相対的に期待度の低い側の演出画像(ボタン画像BTG(第1の表示態様))が表示された場合であっても、演出受付されたことに基づいて第1の操作時演出が実行されさえすれば、特定の操作関連演出が行われた演出結果として相対的に期待度の高い側の演出画像(刀装飾画像SYG(第2の表示態様))が表示された場合と比べて演出結果上は何らのデメリットも生じないようになることから、遊技興趣の低下が抑制されうるようになる。
また、上述したタイマ演出では(図118)、「操作手段に対する操作機会の付与」をその演出対象(タイマ対象とされる上記複数の演出態様の1つ)として設定することが可能である。すなわち、「操作手段に対する操作機会の付与」を演出対象としたタイマ演出では、カウント表示が所定値(ここでは、「0」)に達すると、操作手段に対して操作機会が間もなく付与されるようになり、これによって操作時演出を楽しむことができるようになる。なおこの場合、タイマ演出の演出対象の候補として用意される「操作手段に対する操作機会」では、操作手段に対する操作が行われると、所定の演出抽選の結果に応じて遊技者に有利な演出結果と不利な演出結果とのいずれかが現れうるようにしておく。ただし、タイマ演出の演出対象として当該「操作手段に対する操作機会」が付与された場合は、タイマ演出の演出対象とされなかった場合と比較して、遊技者に有利な演出結果が現れる割合が高くなるようにすることがより望ましい。割合は、100%であってもよい。
この点、「操作手段(例えば、刀装飾体5001)に対する操作機会の付与」を演出対象としたタイマ演出が実行される演出パターンが現れる場合、該演出対象とされる「操作手段に対する操作機会の付与」を利用した特定の操作関連演出がさらに行われうるようにしてもよい。すなわちこの場合、タイマ演出のカウント表示が所定値(ここでは「0」)に達すると、刀装飾画像SYGが現れて刀装飾体5001に対して操作機会が付与されることとなるが、この際、該刀装飾画像SYGが現れるよりも前に、ボタン画像BTGと刀装飾画像SYGとのいずれが現れるかについての特定の操作関連演出が実行されることとなる。
このような構成によれば、タイマ演出と特定の操作関連演出とがそれぞれ同じ演出を対象として実行されるようになることから、操作手段(例えば、刀装飾体5001)に対して操作機会が付与されたときの遊技興趣の向上を図ることができるようになる。
ただしこの際、一の演出対象(刀装飾体5001に対する操作機会の付与)に対して2つの異なる演出(タイマ演出、特定の操作関連演出)がその直前まで同時進展されるようなことがあると、いずれの演出を注視すべきかを理解できず、注意が散漫となり、遊技興趣が逆に低下する懸念がある。
そこで、一の演出対象(刀装飾体5001に対する操作機会の付与)に対して特定のタイマ演出と特定の操作関連演出とをそれぞれ実行する場合は、以下に図177を参照して説明するように、特定のタイマ演出のカウント表示が実行されてそのカウント値が所定値(ここでは、カウント「0」)になるまでの間は「特定の操作関連演出」を未実行の状態とし、該カウント値が所定値(ここでは、カウント「0」)になった以降に「特定の操作関連演出」を演出開始させるようにすることが望ましい。
図177は、一の演出対象(刀装飾体5001に対する操作機会の付与)に対して特定のタイマ演出と特定の操作関連演出とをそれぞれ実行するときの演出についてその一例を説明する図である。なお、以下のタイマ演出は、上述した予告側タイマ演出に相当するものであり、それに応じた各種の処理が行われた結果として実行されるものである。
図177(a)は、通常遊技状態において、保留数が0の状態で装飾図柄SZ(特別図柄)の変動表示が大当り判定の結果に応じた特定の演出パターンで演出表示装置1600にて行われている演出状況を示している。
図177(b)は、図177(a)に示した装飾図柄SZの変動表示の実行中に、タイマ演出が特定数値(ここでは「3」)をもって演出開始(ここではカウントダウン表示)された演出状況を示している。なお、図177(b)に示される演出状況では、「特定の操作関連演出」は未だ実行されておらず、当該タイマ演出がいずれの演出を対象としたものであるか不明な状態となっている。
すなわち、この演出例にかかるタイマ演出では、複数用意されているタイマ対象演出候補のうちいずれの演出を対象として実行されているのか不明な状態としたままで、まず、そのカウント値が所定値(ここでは、カウント「0」)に達してこれが表示されるようにする。そして、こうしてカウント値としての「0(所定値)」が表示された後、図177(d)に示されるように、「特定の操作関連演出」を演出開始させるようにしている。なお、「特定の操作関連演出」が演出開始される時点では、カウント値は「0」ですらもなく、非表示にされている。
このようなタイマ演出によれば、カウント表示が所定値(ここでは、カウント「0」)に達した後に、ボタン画像BTG(第1の表示態様)と刀装飾画像SYG(第2の表示態様)とのいずれが表示されるかについての特定の操作関連演出が実行されるようになる。すなわちこの場合、一の演出対象(刀装飾体5001に対する操作機会の付与)に対して2つの異なる演出(タイマ演出、特定の操作関連演出)が実行されるにもかかわらず、それらの演出が時系列的に重なることが回避されるようになることから、各異なる演出をそれぞれ楽しむことができるようになる。
ただし、特定の操作関連演出が未実行の状態にあるときにタイマ演出のカウント表示が所定値(ここでは、カウント「0」)に達するようにしてしまうと、該タイマ演出がいずれの演出を対象として行われたものであるかを認識できず、遊技興趣が低下してしまう懸念がある。そこで、この演出例では、図177(c)に示されるように、カウント表示が所定値(ここでは、カウント「0」)に達してから特定の操作関連演出が開始されるまでの間に、当該タイマ演出が演出対象としている演出種別(刀装飾体5001に対する操作機会の付与)を示唆する演出を行うようにしている。
図177(c)に示される例では、タイマ演出のカウント表示が所定値(ここでは、カウント「0」)に達すると、まず、演出表示装置1600において「納刀」の表示が行われるようにしており、これによって「刀装飾体5001に対する操作機会(「納刀」による操作機会)の付与」を演出対象としたタイマ演出であったことが示唆されるようにしている。
このような構成によれば、図177(d)に示されるように、刀装飾体5001に対応する演出画像(刀装飾画像SYG(第2の表示態様))が表示されること(「納刀」による操作機会が付与されること)を遊技者側が認識した演出状況にあるなかで「特定の操作関連演出」が演出開始されるようになることから、遊技興趣の向上を図ることができるようになる。なお、タイマ演出のカウント表示が所定値(ここでは、カウント「0」)に達したとき、そのカウント表示(カウント「0」)は、演出表示装置1600において「納刀」の表示が行われるときにも継続して表示されるようにしてもよい。
また、この演出例では、図177(c)に示されるように、タイマ演出のカウント表示が所定値(ここでは、カウント「0」)に達すると、刀装飾体5001が所定動作(ここでは、上下方向への往復動作)を行うようになっており、これによっても「刀装飾体5001に対する操作機会(「納刀」による操作機会)の付与」がタイマ演出の演出対象とされていることを示唆するようにしている。
なお、こうした刀装飾体5001による所定動作については、タイマ演出が「刀装飾体5001に対する操作機会の付与」を演出対象としているときのみならず、他の演出を演出対象としている場合にもカウント表示が0になったときに行うようにしてもよい。すなわちこの場合、刀装飾体5001による所定動作は、当該タイマ演出が演出対象としている演出種別を示唆する演出として機能するのではなく、カウント表示が0になったことを示唆する演出として機能することとなる。この意味では、刀装飾体5001による所定動作については、カウント表示が0になった以降であり、且つ演出対象とされる演出が開始されるよりも前であり、且つ当該タイマ演出が演出対象としている演出種別を示唆する演出が開始されるタイミングと同じか、これよりも前に実行されるようにし、その実行状態中に当該タイマ演出が演出対象としている演出種別を示唆する演出も実行中とされるようにすることが重要であると言える。
図177(d)は、「特定の操作関連演出」が演出開始された演出状況を示している。
この演出状況では、上述の通り、カウント値が既に非表示にされていることはもとより、当該タイマ演出が演出対象としている演出種別を示唆する演出も非表示にされている。また、刀装飾体5001による所定動作についても終了した状態になっている。ただし、タイマ演出が演出対象としている演出種別を示唆する演出や、刀装飾体5001による所定動作については、特定の操作関連演出が演出開始されるよりも前に実行することが重要なのであり、特定の操作関連演出が演出開始された以降もその実行状態を継続させるようにしてもよい。
そして、こうして「特定の操作関連演出」が演出開始された以降は、図177(e)~(h)の順に演出が進展されることとなるが、これらの演出内容については、図168(c),図170(g)~(i)、若しくは図172(d),図174(h)~(j)を参照して説明した内容と概ね同じであるから、詳細は割愛することとする。
なお、特定の操作関連演出と関連して行われるタイマ演出としては、図177に示したタイマ演出と、該タイマ演出とは別のタイマ演出とのいずれかが所定の演出抽選の結果に基づいて実行可能とされるようにしてもよい。すなわち、別のタイマ演出では、タイマ演出を開始させた後に特定の操作関連演出が演出開始される点については、図177に示したタイマ演出と同じであるが、該特定の操作関連演出が演出開始されるタイミング(厳密には、これよりも少し前)に合わせてカウント値が所定値(ここでは「0」)に達せず、該特定の操作関連演出が演出開始された以降も継続するようになっている。そしてこの場合、特定の操作関連演出の演出結果としてボタン画像BTG(第1の表示態様)及び刀装飾画像SYG(第2の表示態様)のいずれが示された場合であっても、特典付与(大当り)にかかる期待度が同じになるようになっている。期待度は、100%であってもよい。
このような別のタイマ演出によれば、特定の操作関連演出とタイマ演出とが同時に演出進展されることとなるが、同時に演出進展される演出状況が現れた時点で、特定の操作関連演出の演出結果としてボタン画像BTG(第1の表示態様)及び刀装飾画像SYG(第2の表示態様)のいずれが示されたとしてもそれらの演出価値は同じ(特典付与(大当り)にかかる期待度が同じ)とされるようになる。すなわちこの場合、特定の操作関連演出これ自体の演出性を実質的に喪失させることができるようになることから、特定の操作関連演出とタイマ演出とが同時に演出進展されたとしても、いずれの演出に注視すべきかを理解できず、注意が散漫となるような事態が発生することは回避されるようになる。ただし、遊技興趣の向上を図る上では、特定の操作関連演出とタイマ演出とが同時に演出進展される演出パターンが現れた場合は、図177に示した演出パターンが現れた場合よりも特典付与にかかる期待度が高くなるようにすることが望ましい。
また、図177(c)に示される例では、タイマ演出のカウント表示が所定値(ここでは、カウント「0」)に達すると、まず、演出表示装置1600において演出対象の種別を示唆する表示(「納刀」)が行われるようにしたが、このような演出対象を示唆する表示については、タイマ演出として別の演出態様を演出対象とした場合にも行うようにしてもよい。ただし、タイマ対象とされうる複数の演出のうち、特定の演出がタイマ対象とされたときにはいずれの演出を対象としたタイマ演出であるかを示唆する表示を行わないようにしてもよい。
また、上記した各演出態様、及びそれらの別例では、操作ボタン410及び刀装飾体5001のいずれかに対して操作機会を付与するのに先立って、それら操作手段のいずれに対して操作機会が付与されるかについての特定の操作関連演出を行うこととした。ただし、操作ボタン410に対して操作機会を付与するのに先立って(演出受付期間が発生するのに先立って)、刀装飾体5001に対して操作機会が付与されるときには現れない第一前兆演出を行うようにしたり、刀装飾体5001に対して操作機会を付与するのに先立って(演出受付期間が発生するのに先立って)、操作ボタン410に対して操作機会が付与されるときには現れない第二前兆演出を行ったりする演出パターンが現れうるようにしてもよい。これらの前兆演出(第一前兆演出、第二前兆演出)を行うようにする場合は、特定の操作関連演出が行われる場合よりも当該演出(前兆演出)に要する時間を短く設定するとともに、該演出が出現したときの特典付与にかかる期待度も低くなるようにすることが、特定の操作関連演出が行われるときの遊技興趣を高めるようにする上で望ましい。
ここで、前兆演出としては、例えば、操作機会が付与される側の操作手段(例えば、操作ボタン410)を摸した演出画像(例えば、ボタン画像BTG)が現れるよりも前に、例えば、霧が立ち込めた様子を表現するなどの特定画像を表示する。次いで、特定画像の表示が行われているなかで、該特定画像と重なることによって視認し難くされる位置(レイヤー上、特定画像の背後側となる位置)にボタン画像BTGを表示する。そしてこの後、特定画像を徐々に非表示へと変化(透過率を高くしていったり、特定画像が表示される領域を減少させていくなど)させるようにすることで、ボタン画像BTGが徐々に露にされるようにする演出などとして実行することが可能である。なお、このような前兆演出にかかる具体的な描写態様の例については後述することとする。
そしてこの際、特典付与(大当り)にかかる期待度が異なる複数の表示態様(例えば、青色のボタン画像BTG、赤色のボタン画像BTGなど)のいずれかでボタン画像BTGを表示させるようにすれば、ボタン画像BTGが徐々に露にされていく前兆演出が進展されるなかで、いずれの表示態様のボタン画像BTGが現れるかについての面白みを持たせることができるようになる。
なお、操作ボタン410に対して操作機会が付与され且つ刀装飾体5001に対して操作機会が付与されないときに現れる第一前兆演出と、操作ボタン410に対して操作機会が付与されず且つ刀装飾体5001に対して操作機会が付与されるときに現れる第二前兆演出と、操作ボタン410と刀装飾体5001とのいずれかに対して操作機会が付与されるときに現れる上記特定の操作関連演出とは、それぞれ異なる演出内容として実行されるようにすることが重要である。また、演出内容のみならず、該演出に要する時間も異なるようにすることが望ましい。
このような前兆演出は、「特定の操作手段に対して操作機会を付与するに際し、該操作機会の付与に関連した演出として行われるもの」という意味では、上述の「特定の操作関連演出」を含む上位の概念であると言える。そして、「特定の操作関連演出」を含めて、前兆演出については、以下に図178を参照して説明するように、複数の演出態様を用意するとともに、それら演出態様のいずれで前兆演出が行われたかによって、該前兆演出に対応して発生する演出受付期間がどれだけの長さを有するものであるかを示唆するようにすることが、当該前兆演出が行われるときの遊技興趣の向上を図るようにする上でより望ましい。
図178は、前兆演出として複数の種別(前兆演出A,B1,B2,C)が用意されているときの演出について、それら種別毎に演出内容の一例を説明するタイムチャートである。
まず、図178(a)に示される例(前兆演出A)では、図柄変動が開始されてから第1の所定時間が経過したときに、前兆演出Aが演出開始されるようになっている。この前兆演出Aは、操作ボタン410及び刀装飾体5001のいずれに対して操作機会が付与されるかについての上述した「特定の操作関連演出」として実行されるものとなっており、該前兆演出Aが実行されると、その演出結果として示された側の特定操作手段に対して演出受付期間(有効期間)T1が発生するようになっている。すなわち、図178(a)に示される例(前兆演出A)では、前兆演出Aが行われると、いずれの操作手段に対して操作機会を付与することになったとしても、同じ時間長さを持った演出受付期間(有効期間)T1が発生することとなる。
演出受付期間(有効期間)T1では、前兆演出Aの結果として示した側の特定操作手段に対して操作を促す指示表示(「押せ」といった文字表示や、演出受付期間の残り時間を示すバー表示)が表示される。そして、演出受付期間(有効期間)T1内で特定操作手段に対する操作によって演出受付がなされると、該演出受付に基づいて、上述した操作時演出(例えば、図167(d),(f)や、図169(e),図170(h),図173(f),図174(i)などを参照して説明した演出)が実行されるとともに、当該期間T1をその時点で終了させる処理が行われるようになっている。
これに対し、図178(b)に示される例(前兆演出B1)では、図柄変動が開始されてから第1の所定時間が経過したときではなく、第2の所定時間が経過したときに、前兆演出B1が演出開始されるようになっている。この前兆演出B1は、「特定の操作関連演出」ではなく、特定の操作手段(例えば、操作ボタン410)に対して操作機会が付与されるときにこれに先立って実行されるもの(特定の操作手段に対して操作機会が付与されるときには実行されないもの)となっており、該前兆演出B1が実行されると、特定の操作手段(例えば、操作ボタン410)に対する演出受付期間(有効期間)T2が発生するようになっている。
演出受付期間(有効期間)T2では、前兆演出B1に対応する特定の操作手段に対して操作を促す指示表示(「押せ」といった文字表示や、演出受付期間の残り時間を示すバー表示)が表示される。そして、演出受付期間(有効期間)T2内で特定の操作手段に対する操作によって演出受付がなされると、該演出受付に基づいて、上述した操作時演出とは異なる所定の操作時演出が実行されるとともに、当該期間T2をその時点で終了させる処理が行われるようになっている。
この点、この演出例にあって、前兆演出B1に対応する演出受付期間(有効期間)T2は、図178(a),(b)に示されるように、前兆演出Aに対応する演出受付期間(有効期間)T1とは異なる時間長さ(ここでは、短い時間長さ)をもった期間として発生するようになっている。これにより、いずれの態様(前兆演出A,前兆演出B1)で前兆演出が行われたかによって、該前兆演出に対応して発生する演出受付期間がどれだけの長さを有するものであるかを示唆することができるようになり、前兆演出が行われるときの遊技興趣を好適に維持することができるようになる。
一方、図178(c)に示される例(前兆演出B2)では、図柄変動が開始されてから第2の所定時間が経過したときに、前兆演出B2が演出開始されるようになっている。この前兆演出B2も、前兆演出B1と同様、「特定の操作関連演出」ではなく、特定の操作手段(例えば、操作ボタン410)に対して操作機会が付与されるときにこれに先立って実行されるもの(特定の操作手段に対して操作機会が付与されるときには実行されないもの)となっている。ただし、前兆演出B2が実行されると、前兆演出B1に対応する演出受付期間(有効期間)T2とは異なる時間長さをもった演出受付期間(特定の操作手段(例えば、操作ボタン410)に対する演出受付期間)T3が発生するようになっている。
なお、この演出受付期間(有効期間)T3においても、前兆演出B2に対応する特定の操作手段に対して操作を促す指示表示(「押せ」といった文字表示や、演出受付期間の残り時間を示すバー表示)が表示される。また、演出受付期間(有効期間)T3内で特定の操作手段に対する操作によって演出受付がなされると、該演出受付に基づいて、前兆演出A,B1が実行された場合といずれとも異なる操作時演出が実行されるとともに、当該期間T3をその時点で終了させる処理が行われる。
この点、この演出例にあって、前兆演出B2に対応する演出受付期間(有効期間)T3は、図178(a),(c)に示されるように、前兆演出Aに対応する演出受付期間(有効期間)T1と同じ時間長さを持った期間として発生するようになっている。すなわちこの場合、相対的に特典付与(大当り)にかかる期待度の低い前兆演出B2が実行されたにもかかわらず、相対的に期待度の高い特定の操作関連演出が実行されたときと同じ時間長さを持った演出受付期間(有効期間)T3が発生することが示唆されるようになることから、特定の操作関連演出が行われたかのような演出状況が生み出されることとなり、前兆演出B2が行われるときの遊技興趣を好適に維持することができるようになる。なおこの場合、演出受付期間(有効期間)T2が発生したときと、演出受付期間(有効期間)T3が発生したときとで特典付与にかかる期待度が異なるようにすることが望ましい。
なお、前兆演出B1,B2については、当該演出が開始されてからその途中のタイミングまでは同じ演出態様が現れるようにし、該タイミングが経過してから異なる演出態様が現れるようにすることで、特定の操作手段に対して演出受付期間(有効期間)T2と演出受付期間(有効期間)T3とのいずれを発生させるのかについての演出性を持たせるようにしてもよい。ただし、こうした演出性については必ずしも持たせなくてもよいし、前兆演出B1,B2が演出開始されるタイミングとしても、図柄変動が開始されてから異なる時間が経過したときに演出開始されるようにしてもよいし、前兆演出B1,B2が互いに異なる時間長さを有したものであってもよい。
他方、図178(d)に示される例(前兆演出C)では、図柄変動が開始されてから第3の所定時間が経過したときに、前兆演出Cが演出開始されるようになっている。この前兆演出Cは、操作ボタン410及び刀装飾体5001のいずれに対して操作機会が付与されるかについての上述した「特定の操作関連演出」として実行されるものとなっており、該前兆演出Cが実行されると、その演出結果として示された側の特定操作手段に対して演出受付期間(有効期間)T4が発生するようになっている。すなわち、図178(d)に示される例(前兆演出C)では、前兆演出Cが行われると、いずれの操作手段に対して操作機会を付与することになったとしても、同じ時間長さを持った演出受付期間(有効期間)T4が発生することとなる。
演出受付期間(有効期間)T4でも、前兆演出Cの結果として示した側の特定操作手段に対して操作を促す指示表示(「押せ」といった文字表示や、演出受付期間の残り時間を示すバー表示)が表示される。そして、演出受付期間(有効期間)T4内で特定操作手段に対する操作によって演出受付がなされると、該演出受付に基づいて、上述した操作時演出(例えば、図167(d),(f)や、図169(e),図170(h),図173(f),図174(i)などを参照して説明した演出)が実行されるとともに、当該期間T4をその時点で終了させる処理が行われるようになっている。
この点、この演出例にあって、前兆演出Cに対応する演出受付期間(有効期間)T4は、図178(a),(d)に示されるように、前兆演出Aに対応する演出受付期間(有効期間)T1と同じ時間長さを持った期間として発生するようになっている。すなわちこの場合、前兆演出Cこれ自体に要する時間の長さが、前兆演出Aよりも短い場合であっても、当該前兆演出が上述した「特定の操作関連演出」として実行されるものであれば、前兆演出Aの場合と同じ時間長さを持った演出受付期間(有効期間)T4が発生することが示唆されるようになることから、前兆演出Cが行われるときの遊技興趣を好適に維持することができるようになる。
なお、図178に示した演出例では、前兆演出A,B1,B2,Cの種別に対し、演出受付期間(有効期間)の長さを一対一の関係で対応付けすることで、演出受付期間(有効期間)の長さを示唆するようにした。ただし、前兆演出の種別毎に、所定時間の長さを持った特定の演出受付期間(例えば、演出受付期間T2など)が発生する割合が異なるように設定することで、演出受付期間(有効期間)の長さを示唆するようにしてもよい。
また、上記した各演出態様、及びそれらの別例では、特定の操作関連演出が行われた後、該演出の結果として示唆された側の特定の操作手段(例えば、操作ボタン410)に対して演出受付期間(有効期間)が発生するときには、該特定の操作手段を摸した演出画像(例えば、ボタン画像BTG)が表示される。そしてこの際、該演出画像(例えば、ボタン画像BTG)については、特定の操作手段のその時点における状態と同じ状態を摸すように表示されるようにしている。例えば、図173(e)に示される例では、操作ボタン410が操作位置で動作した状態になっているがボタン画像BTGもこれに合わせて操作位置で動作した状態として表示されており、図174(h)に示される例では、刀装飾体5001が操作位置で動作した状態(抜刀状態)になっているが刀装飾画像SYGもこれに合わせて操作位置で動作した状態(抜刀状態)として表示されている。
ただし、特定の操作関連演出が行われた後に操作機会が付与される特定の操作手段(例えば、操作ボタン410)をその見た目どおりに摸した演出画像(例えば、ボタン画像BTG)として表示するようにしてしまうと、相対的に期待度の高い特定の操作関連演出が行われているにもかかわらず演出の結果を表示するに際しては当該演出としての幅が著しく狭められることとなり、遊技興趣の低下が懸念される。
そこで、特定の操作関連演出が行われる場合は、以下に図179及び図180を参照して説明するように、特定の操作手段(例えば、操作ボタン410)を摸した演出画像(例えば、ボタン画像BTG)については、その際における特定の操作手段の状態を必ずしもそのまま表現せず、その際における特定の操作手段とは異なる状態として表示するようにすることが望ましい。
図179は、特定の操作関連演出ではない前兆演出が行われるときの演出内容と、特定の操作関連演出としての前兆演出が行われるときの演出内容とについてそれらの演出例を示す図である。
まず、図179(a)~(c)では、特定の操作関連演出ではない前兆演出が行われるときの演出内容を示している。例えば、いま、通常遊技状態において、保留数が0の状態で装飾図柄SZ(特別図柄)の変動表示が大当り判定の結果に応じた特定の演出パターンで演出表示装置1600にて行われている演出状況にあるとする。そして、該演出状況にあるなかで、図179(a)に示されるように、「特定の操作関連演出」ではなく、操作ボタン410及び刀装飾体5001のうち刀装飾体5001側にのみ対応する前兆演出が実行されたとすると、刀装飾体5001に対して操作機会が間もなく付与されることが認識可能とされるようになる。なお、前兆演出(他の別例における前兆演出も同様)では、操作機会が間もなく付与される側の操作手段に対応する所定の表示がなされるものであれば、該操作手段を摸した演出画像については必ずしも表示しなくてもよい。このような構成によれば、演出受付期間中に表示される刀装飾画像SYGが未だ表示されていない状況にあるときから、刀装飾体5001に対して操作機会が間もなく付与されることが認識可能とされるようになる。
なお、図179(a)に示される前兆演出では、相対的に期待度の低い青色のオーラをまとった刀装飾画像SYGaと、相対的に期待度の高い赤色のオーラをまとった刀装飾画像SYGbとが演出表示装置1600にて表示されており、それらのいずれが最終的に表示領域内に残されるかについての演出内容が現れている。したがって、この演出状況においては、刀装飾体5001に対して操作機会が間もなく付与されることは認識可能とされるものの、刀装飾画像SYGとして期待度の低い刀装飾画像SYGaか、若しくは期待度の高い刀装飾画像SYGbのいずれが表示されるかについては秘匿にされている。
図179(b)は、赤色のオーラをまとった刀装飾画像SYGbが最終的に残された演出結果を示しており、これによって相対的に期待度の高い演出状況にあるなかで刀装飾体5001に対する演出受付期間が発生することが示唆されるようになる。図179(b)に示される表示では、赤色のオーラをまとった刀装飾画像SYGbから他の演出画像(刀装飾画像SYGaなど)に変化することがないことを示唆する最終エフェクトが表示されている。
図179(c)は、刀装飾体5001に対する演出受付期間が発生したときの演出例を示しており、該演出受付期間が発生すると、刀装飾体5001に対して操作を促す指示表示(「押し込め」といった文字表示や、演出受付期間の残り時間を示すバー表示)が表示される。また、刀装飾体5001に対する演出受付期間が発生するときには、刀装飾体5001が納刀状態から抜刀状態へと状態変化することとなるが、刀装飾画像SYGbもこれに合わせて納刀状態から抜刀状態へと状態変化させるようにしている。なお、該演出受付期間内で演出受付がなされたときには、該演出受付に基づいて所定の操作時演出が行われるとともに、刀装飾画像SYGは非表示とされ、刀装飾体5001は納刀状態で維持される。また、当該演出受付期間をその時点で終了させる処理が行われる。
このような構成によれば、操作ボタン410及び刀装飾体5001のいずれか側にのみ対応する前兆演出が行われた場合は、その演出受付期間が発生すると、操作対象側の操作手段(ここでは、刀装飾体5001)を摸した演出画像(ここでは、刀装飾画像SYGb)が、その際における操作対象側の操作手段(ここでは、刀装飾体5001)と同じ状態(抜刀状態)で表示されるようになる。特に、この演出例にかかる演出受付期間では、操作対象側の操作手段を摸した演出画像(ここでは、刀装飾画像SYGb)と、操作対象側の操作手段(ここでは、刀装飾体5001)とがいずれも所定位置にて停止された状態とされるようになっている。
これに対し、図179(d)~(g)は、前兆演出として特定の操作関連演出が行われるときの演出内容を示している。例えば、いま、通常遊技状態において、保留数が0の状態で装飾図柄SZ(特別図柄)の変動表示が大当り判定の結果に応じた特定の演出パターンで演出表示装置1600にて行われている演出状況にあるとする。そして、該演出状況にあるなかで、図179(d)に示されるように、「特定の操作関連演出」としての前兆演出が演出開始されたとすると、操作ボタン410と刀装飾体5001とのいずれかに対して操作機会が間もなく付与されることが認識可能とされるようになる。
図179(e)は、「特定の操作関連演出」としての前兆演出が進展してその演出結果が現れた演出状況を示している。この演出状況では、「特定の操作関連演出」の演出結果として、刀装飾体5001に対して操作機会が付与されることを示唆するべく、ボタン画像BTGは表示されず、刀装飾画像SYGが表示されている。図179(e)に示される表示では、刀装飾画像SYGから他の演出画像(ボタン画像BTGなど)に変化することがないことを示唆する最終エフェクトが表示されている。
図179(f)は、刀装飾体5001に対する演出受付期間が発生したときの演出例を示しており、該演出受付期間が発生すると、刀装飾体5001に対して操作を促す指示表示(「押し込め」といった文字表示や、演出受付期間の残り時間を示すバー表示)が表示される。また、刀装飾体5001に対する演出受付期間が発生するときには、刀装飾体5001が納刀状態から抜刀状態へと状態変化するとともに、刀装飾画像SYGが抜刀状態で表示されることとなる。
この点、図179(f)、(g)に示される例では、当該演出受付期間において、刀装飾画像SYGは、刀装飾体5001が抜刀状態にあるときの表示内容として維持(刀装飾画像SYGが停止された状態に)されるのに対し、刀装飾体5001は、演出受付期間が終了するまでの期間にわたってゆっくりと上方向への変位を継続実行するようにしており、互いに異なる状態とされるようにしている。
なお、演出受付期間では、刀装飾体5001がいずれの位置にあったとしても、該操作対象役物141に対して納刀状態への操作を行ったときには演出受付がなされることとなり、該演出受付に基づいて所定の操作時演出が行われるとともに、刀装飾画像SYGは非表示とされ、刀装飾体5001は納刀状態で維持される。また、当該演出受付期間をその時点で終了させる処理が行われる。
このような構成によれば、特定の操作関連演出を経て演出受付期間が発生するときには、刀装飾体5001と刀装飾画像SYGとの一方側は動作を継続して演出に供されるようになっているのに対し、その他方側は動作せず現在の状況を正確に伝達する役割を担わせることができるようになる。なお、図179(f),(g)の例では、演出受付期間において、刀装飾画像SYGを停止状態とし、刀装飾体5001を継続的に動作させることとしたが、これに限られず、刀装飾画像SYGを継続的に動作させ、刀装飾体5001を停止状態にするようにしてもよい。
このように、図179に示した演出例においては、特定の操作関連演出を経ずに発生する演出受付期間(図179(c))では、刀装飾体5001と刀装飾画像SYGとの両方を停止状態とするのに対し、特定の操作関連演出を経て発生する演出受付期間(図179(f))では、刀装飾体5001と刀装飾画像SYGとの一方についてはこれを停止状態にするが、その他方側については演出に供することが可能とされるようにこれを動的な状態として継続させるようにしている。したがって、特定の操作関連演出を経て演出受付期間が発生するときにはその演出の幅を広げることができるようになり、遊技興趣を好適に維持することができるようになる。
特に、操作ボタン410これ自体は周辺制御MPU1511aによる制御によって駆動力が付与される操作手段でなかったとしても、特定の操作関連演出を経て該操作ボタン410に対する演出受付期間が発生するときには、該操作ボタン410これ自体は停止状態にされるのに対し、該操作ボタン410を摸したボタン画像BTGについてはこれを動的な状態としてその描写を継続させるようにすれば、特定の操作関連演出を経て操作ボタン410に対する演出受付期間が発生するときの演出の幅を大きく改善することが期待されるようになる。
なお、相対的に期待度の低い青色のオーラをまとった刀装飾画像SYGaと、相対的に期待度の高い赤色のオーラをまとった刀装飾画像SYGbとのいずれかを刀装飾画像SYGとして表示する手法については、特定の操作関連演出ではない前兆演出が行われるときのみならず、前兆演出としての特定の操作関連演出が行われるときにも採用するようにしてもよい。すなわちこの場合、特定の操作関連演出では、操作ボタン410を摸したボタン画像BTGと、刀装飾体5001を摸した刀装飾画像SYGとのいずれが現れるかについての演出性に加えて、いずれかの演出画像(例えば、ボタン画像BTG)が現れるときには、該演出画像(ボタン画像BTG)が相対的に期待度の高い表示態様と相対的に期待度の低い表示態様とのいずれで表示されるかについての演出性をさらに提供することができるようになる。該手法については、図179の演出例のほか、上記した各演出態様、及びそれらの別例においても適宜に採用するようにしてもよい。
そして、このような2つの演出性を特定の操作関連演出に対して持たせるようにする場合は、まず、該特定の操作関連演出の演出結果としてボタン画像BTGと刀装飾画像SYGとのいずれが現れるか認識可能な状態であり、且つ現れる側の演出画像の表示態様が期待度の高いものであるか否か不明な状態(例えば、操作手段を摸した演出画像を白抜きにして輪郭だけを認識可能な表示状態にするなど)が演出進展によって現れるようにする。そしてこの後、特定の操作関連演出の演出結果として現れる側の演出画像の表示態様が期待度の高いものであるか否かを認識可能な状態(例えば、操作手段を摸した演出画像の白抜き状態を解除して色を確認可能にするなど)をさらなる演出進展によって順次に出現させるようにすることが望ましい。また、このような演出進展を経てボタン画像BTGが表示された場合は、所定の条件下では、その表示態様が期待度の高いものであるか否かを認識可能な状態(例えば、操作手段を摸した演出画像の白抜き状態を解除するなど)とした後に、さらにボタン画像BTGを非表示にして、該特定の操作関連演出の演出結果として刀装飾画像SYGが現れることを認識可能な状態であり、且つ刀装飾画像SYGの表示態様が期待度の高いものであるか否かを不明な状態(例えば、刀装飾画像SYGを白抜きにして輪郭だけを認識可能な表示状態にするなど)へとさらに演出進展させる演出パターンが発生しうるようにしてもよい。なおこの後は、特定の操作関連演出の演出結果として現れた刀装飾画像SYGの表示態様が期待度の高いものであるか否かを認識可能な状態(例えば、刀装飾画像SYGの白抜き状態を解除して色を確認可能にするなど)にすることとなる。なおこの場合、ボタン画像BTGが表示されたときの表示態様が期待度の高い側の表示態様(例えば、赤色)であるときには、期待度の低い側の表示態様(例えば、青色)であるときよりも、このようなさらなる演出進展が発生する割合が高くなるようにすることが望ましい。
図180(a)~(e)は、前兆演出として特定の操作関連演出が行われるときの演出内容として、図179(d)~(g)に示した演出の別例を示す図である。すなわち、図180(a)では、「特定の操作関連演出」としての前兆演出が演出開始されているが、該前兆演出では、操作ボタン410を摸した盾(ボタン画像BTG)を保有している第1のキャラクタ(操作ボタン410に対応する演出画像)と、刀装飾体5001を摸した剣(刀装飾画像SYG)を保有している第2のキャラクタ(刀装飾体5001に対応する演出画像)とが対峙している様子が描写されており、これらキャラクタのいずれが表示領域内に残されるかによって操作ボタン410と刀装飾体5001とのいずれに対して操作機会が付与されるかを示唆するようにしている。
図180(b)は、「特定の操作関連演出」としての前兆演出の演出結果が現れている演出状況にある。この演出状況では、刀装飾体5001に対して操作機会が付与されることを示唆するべく、第1のキャラクタ(操作ボタン410に対応する演出画像)は表示されず、第2のキャラクタ(刀装飾体5001に対応する演出画像)が表示されている。図180(b)に示される表示画像は、図176(b)に示される表示画像TGと概ね同じ(刀装飾体5001に対して操作を促す指示表示は非表示の状態)であり、特定の操作関連演出が行われているなかでその演出部分(キャラクタ同士の対峙)とそれ以外の背景画像(特定の操作関連演出が演出開始される前から表示されていた部分)との両方が、当該特定の操作関連演出の演出結果としての演出画像(図180(b)に示される表示画像)へと突然に差し替え(表示領域における演出の略全体が差し替え)られるようになる。
図180(c)~(e)は、刀装飾体5001に対する演出受付期間が発生したときの演出例を示しており、該演出受付期間が発生すると、まず、図180(c)に示されるように、刀装飾体5001に対して操作を促す指示表示(「押し込め」といった文字表示や、演出受付期間の残り時間を示すバー表示)が表示される。
ここで、この演出例では、図180(c)に示されるように、演出受付期間が発生するときに刀装飾体5001が納刀状態から抜刀状態への動作を開始するようになっており、図180(d)に示されるように、該演出受付期間が開始されてから比較的短い時間が経過するだけで、刀装飾体5001は、納刀状態から抜刀状態への動作(移動)を完了するようになっている。そしてこれ以降、図180(e)に示されるように、遊技者による操作がない限り、刀装飾体5001は、演出受付期間が少なくとも終了されるまでの間は抜刀状態にて維持され、遊技者による操作(抜刀状態から納刀状態への操作)を待つこととなる。
これに対し、演出表示装置1600では、図180(c)~(e)に示されるように、このような刀装飾体5001の動き(直線方向の動作)とは全く異なる動き(回転方向の振り下ろし動作)で、第2のキャラクタが刀装飾画像SYGを振り下ろす描写が行われるようになっており、刀装飾体5001が抜刀状態にて維持された以降も、刀装飾画像SYGは継続して動作を行うようになっている。この演出例にかかる刀装飾画像SYGは、振り下ろしの動作が開始(図180(c))されてから終了(図180(e))されるまでの一連の表示を、演出受付期間内においてループ処理によって繰り返し行うようになっている。
ただし、このループ処理が行われたとしても、演出受付期間の残り時間を示すバー表示はその影響を受けずに時間経過に応じた分だけ表示変化が進展することとなる。また、刀装飾体5001についても、振り下ろしの動作が開始(図180(c))されてから終了(図180(e))されるまでの一連の表示が行われている間に抜刀状態への動作を完了させるものとなっているが、ループ処理が行われたとしてもその影響を受けずに抜刀状態のままで維持されることとなる。なお、演出受付期間内で操作対象役物141に対して納刀状態への操作を行ったときには演出受付がなされることとなり、該演出受付に基づいて所定の操作時演出が行われるとともに、上記ループ処理は終了されて刀装飾画像SYGは非表示とされ、刀装飾体5001は納刀状態で維持される。また、当該演出受付期間をその時点で終了させる処理が行われる。
このような構成によれば、特定の操作関連演出としての前兆演出が行われた場合は、その演出受付期間内で刀装飾体5001と刀装飾画像SYGとの両方が動作することとなるが、その動作態様(現在の状況を正確に伝達する役割を担った動作(操作位置に移動するまでの動作)、演出に供されるループ動作)は互いに異なっており、刀装飾体5001の動作が終了した以降も、刀装飾画像SYGはその動作を終了せず継続させるようになる。これにより、特定の操作関連演出を経て発生する演出受付期間(図180(c)~(e))が発生するときには、特定の操作関連演出の演出内容を演出受付期間が発生した後にまで継続(背景も継続)して実行可能とするなど、その演出の幅を広げることができるようになり、遊技興趣を好適に維持することができるようになる。
また、図180に示した演出例によれば、特定の操作関連演出としての前兆演出(図180(a))が行われているときに現れていた演出内容(キャラクタ同士が対峙する表示)と背景画像との両方を変化させるかたちで演出受付期間が発生するときの演出(図180(c)~(e))を実行するようにしている。特に、この演出例にかかる演出受付期間では、専用背景(満月)が表示されているもとで、操作手段を摸した演出画像(刀装飾画像SYG)とキャラクタ(刀装飾画像SYGとは異なる特定画像)との両方を動的表示することによって受付期間中表示を行うようにしていることから、当該演出受付期間にあるときの演出性を向上させることができるようになる。この意味では、前兆演出においても、操作手段を摸した演出画像(刀装飾画像SYG)とキャラクタとの少なくとも一方を用いて演出を行うようにすることが、前兆演出と演出受付期間における演出との間に演出的な繋がりを持たせてさらなる演出性の向上を図るようにする上でより望ましいといえる。また、専用背景(満月)については、特典付与にかかる期待度の異なる複数の表示態様を有しており、それら表示態様のいずれかによって表示されるようにしてもよい。
なお、特定の操作関連演出としての前兆演出や、演出受付期間内における演出では、それらの演出として複数の演出態様を用意することとし、それら演出態様のいずれが現れるかに応じて、該演出受付期間で演出受付がなされたときの操作時演出として期待度の高い態様が現れるかについての示唆を行うようにしてもよい。前兆演出が行われるときに現れている背景画像を用いて特典付与にかかる期待度が示唆されるようにしてもよい。
また、図180に示した演出例では、特定の操作関連演出としての前兆演出が行われているときに、その前兆演出で現れていた演出内容と背景画像との両方を変化させるかたちで演出受付期間内における演出を実行することとしたが、特定の操作関連演出ではない上述の前兆演出(複数の操作手段のうち特定操作手段に対して(若しくは、複数の操作態様のうちの特定操作態様で)操作機会が付与されるときの専用の前兆演出)が行われているときに、その前兆演出で現れていた演出内容と背景画像との両方を変化させるかたちで演出受付期間が発生するときの演出を実行するようにしてもよい。要は、「操作手段に対する操作に関しての操作関連演出(前兆演出)を発生可能であり、該操作関連演出(前兆演出)としては、遊技者による操作によって第1演出に関しての演出受付がなされる第1操作関連演出と、遊技者による操作によって第1演出とは異なる第2演出に関しての演出受付がなされる第2操作関連演出とが少なくとも発生可能とされており、第1操作関連演出で表示される第1操作促進画像は、該第1操作促進画像が未だ表示されていない状態にあるときから表示されている背景画像が継続表示されているなかで表示されるものであり、第2操作関連演出で表示される第2操作促進画像は、該第2操作促進画像が未だ表示されていない状態にあるときの背景画像を別の背景画像に変化させるのに合わせて表示される」といったものであればよい。ここで、第1操作促進画像及び第2操作促進画像については互いに同じ画像でなくてもよく、例えば、ボタン画像BTG、刀装飾画像SYG、ゲージ表示、または「押せ!」や「納刀せよ!」のコメント表示など、適宜に採用することが可能である。また、「第1演出」及び「第2演出」についても互いに異なる操作後演出であってもよく、例えば、「第1演出に関しての演出受付がなされる第1操作関連演出」としては、演出受付がなされたときに会話予告としていずれの態様が現れるかについての演出として例示することが可能であり、「第2演出に関しての演出受付がなされる第2操作関連演出」としては、演出受付がなされたときに特定装飾部材SDYが動作するか否かについての演出として例示することが可能である。この際、会話予告としていずれの態様が現れた場合であっても、特定装飾部材SDYが動作した場合のほうが大当り図柄が現れる割合(100%を含む)が高くなる関係性があるように演出設計することが望ましい。また、「第2演出に関しての演出受付がなされる第2操作関連演出」については、図142や、図212~図215,図217~図220,図223,図250,図253などを参照して後述する操作受付演出(BGM抑制下での操作受付演出)のいずれかとして実行されるものであってもよい。これに対し、「第1演出に関しての演出受付がなされる第1操作関連演出」については、図216や図222,図224,図249などを参照して後述する操作受付演出(BGM非抑制下での操作受付演出)のいずれかとして実行されるものであってもよい。また、後述するこれらの操作受付演出の各別例についても適宜に採用するようにしてもよい。また、背景画像が「継続表示」とは、必ずしも静止画像でなくてもよく、川が流れる様子や、キャラクタ同士が決闘している様子を映し出す動画として表示されるものであってもよいし、そのような静止画像や動画の映し出される範囲がスライドされる態様で表示されるもの(座標が移動するような態様で表示されるもの)も含まれる。すなわち、映し出されている描写内容に時系列または座標上の繋がりをもって表示されるものであれば、背景画像は「継続表示」されていると言える。これに対し、「背景画像を別の背景画像に変化させる」とは、必ずしも別の画像データや別のレイヤによって表示されるものでなくてもよく、例えば、背景画像これ自体が時系列や座標的に繋がりのない「異なる形態をもった画像(演出受付期間に対応する専用背景画像)」に突然変化したり、差し替え(切り替え)られたりするものも含まれる。また、「真っ黒な画像」に変化したり、差し替え(切り替え)られたりするものも含まれる。すなわち、変化する前後で時系列的にも座標的にも描写内容的に繋がりのないものであれば、「背景画像を別の背景画像に変化させる」と言える。このように背景画像に変化が生じたことをより認識し易くする上では、それまで表示されていた背景画像を非表示にするエフェクト画像(ブラックアウトやホワイトアウトなど)を、演出表示装置1600の表示領域のうち少なくとも半分の面積以上の領域(より好ましくは略全域)にわたって表示させ、該表示の後に、新たな背景画像と共に第2操作促進画像が表示されるようにすることがより望ましい。第1操作関連演出と第2操作関連演出とについては、一の変動パターン内で順次に表示されるものであってもよい。背景画像を別の背景画像に変化させるタイミングについては、上述の通り、演出受付期間が発生するよりも前であってもよいし、演出受付期間が発生するタイミングを含めて、演出受付期間の発生タイミング以降に設定するようにしてもよい(例えば、図180(b)を割愛し、図180(a)から図180(c)に演出進展するようにしてもよい)。
なお、図180に示した演出例では、演出受付期間が発生した後に刀装飾体5001の動作を開始させることとしたが、演出受付期間が発生するよりも前に刀装飾体5001の動作を開始させるようにしてもよいし、演出受付期間が発生するよりも前に開始させた刀装飾体5001の動作が演出受付期間が発生するよりも前に完了(現在の状況を正確に伝達する役割を担った動作を演出受付期間が発生するよりも前に完了)してその後は停止状態を維持するようにしてもよい。
また、特定の操作手段(例えば、刀装飾体5001)に対して操作機会を付与する場合であっても、演出受付期間の発生に際して背景画像を変更させる表示を行う場合と、該背景画像を変更させる表示が行われない場合とがあるようにしてもよい。そしてこの場合、演出受付期間の発生に際して背景画像を変更させる表示が行われると、演出受付期間の発生に際して背景画像を変更させる表示が行われない場合よりも特典付与にかかる期待度が高くなるようにすることが望ましい。
また、上記した各演出態様、及びそれらの別例では、特定の操作関連演出が行われた後、該演出の結果として示唆された側の特定の操作手段(例えば、操作ボタン410)に対する操作によって演出受付がなされると、該演出受付に基づく操作時演出として特定装飾部材SDY(遊技盤5側に設けられる可動体)を動作させることとした。そしてこの際、例えば、図167(d),図169(e),図170(h)に示した演出例などでは、扉枠3側に設けられる可動体として刀装飾体5001(または、操作ボタン410)も動作させるようにすることで、特定の操作関連演出を経たときの操作時演出にかかる演出性の向上を図るようにしている。このように、特定の操作関連演出を経たときの操作時演出にかかる演出性の向上を図るようにする上では、特定の操作関連演出を経たときの操作時演出では、その演出の結果に応じて、遊技盤5側に設けられる可動体と扉枠3側(遊技機本体側)に設けられる可動体との両方が作動する成功時の演出状況が現れるか、遊技盤5側に設けられる可動体と扉枠3側に設けられる可動体との両方が作動しない失敗時の演出状況が現れるようにするのに対し、特定の操作関連演出を経ずに行われる操作時演出(例えば、特定の操作関連演出ではない前兆演出が行われた後の操作時演出)では、その演出の結果に応じて、遊技盤5側に設けられる可動体と扉枠3側に設けられる可動体とのいずれかのみが作動する成功時の演出状況が現れるか、遊技盤5側に設けられる可動体と扉枠3側に設けられる可動体との両方が作動しない失敗時の演出状況が現れるようにすることが望ましい。
また、上記した各演出態様、及びそれらの別例にかかる特定の操作関連演出では、該演出の結果として刀装飾画像SYGが表示されると、該演出の結果としてボタン画像BTGが表示されたときよりも特典付与にかかる期待度が高くなるようにしている。この点、特定の操作関連演出の演出結果としてボタン画像BTGが表示されるときには、例えば、図181(a)に示されるように、姫キャラクタが付加された態様(特定の演出態様)で該ボタン画像BTGが表示される場合があるようにし、ボタン画像BTGが該態様で表示されたときには、特定の操作関連演出の演出結果として刀装飾画像SYGが表示されたときよりも特典付与にかかる期待度が高くなるようにすれば、特定の操作関連演出の演出結果としてボタン画像BTGが表示されたときの遊技興趣を好適に維持することが可能とされるようになる。
また、姫キャラクタが表示される態様(特定の演出態様)については、図181(b)に示されるように、刀装飾画像SYGに対して適用するようにしてもよい。なおこの場合、刀装飾画像SYGが特定の演出態様で表示されたときは、通常態様で表示されたときよりも特典付与にかかる期待度が高くなるようにすることが望ましい。
また、特定の操作関連演出が行われた結果として現れる可能性のある演出パターンとして、ボタン画像BTGが特定の演出態様(姫キャラクタが表示される態様)で表示される第1の演出パターン(図181(a))と、特定の操作関連演出が行われた結果として刀装飾画像SYGが特定の演出態様(姫キャラクタが表示される態様)で表示される第2の演出パターン(図181(b))とをそれぞれ用意するようにしてもよい。そしてこの場合、特定の操作関連演出が行われた結果として第1の演出パターンが現れた場合と第2の演出パターンが現れた場合とでは、特典付与にかかる期待度が同じになるように設定することが望ましい。このような構成によれば、特定の操作関連演出が行われた結果としてボタン画像BTGと刀装飾画像SYGとのいずれが現れるかについての面白みを提供することができることはもとより、ボタン画像BTGと刀装飾画像SYGとのいずれが現れるかには拘らないが特定の演出態様(姫キャラクタが表示される態様)が現れるか否かといった全く別の面白みを提供することができるようになる。期待度は、0%であってもよいし、100%であってもよい。
また、特定の操作関連演出が行われた結果として、このような特定の演出態様(姫キャラクタが表示される態様)が現れうるようにする場合は、所定の演出条件が満たされているときには、図181(c)に示されるように、該特定の演出態様を、特定の操作関連演出の演出結果(ボタン画像BTG及び刀装飾画像SYGのいずれが現れるか)が未だ現れていない段階にあるときから(例えば、特定の操作関連演出の演出途中にあるときから)これを先行して表示させるようにしてもよい。このような構成によれば、ボタン画像BTG及び刀装飾画像SYGのいずれが現れるかについての特定の操作関連演出が行われている段階にあるにもかかわらず、特定の演出態様(姫キャラクタが表示される態様)が現れることで、それらボタン画像BTG及び刀装飾画像SYGは同じ演出価値(同じ期待度)にされてしまうこととなる。すなわちこの場合、特定の操作関連演出これ自体の演出性は喪失されることとなることから、特定の操作関連演出が行われている状況にあるにもかかわらず「姫キャラクタによる前兆演出」といったような全く趣旨の異なる演出性を提供することができるようになる。
また、上記した各演出態様、及びそれらの別例にかかる刀装飾体5001は、該刀装飾体5001のうちの刀部位(柄部5012、刀身部5011)が上下方向に操作可能とされる第1の操作態様(第1の動作態様)のほか、図151に示したように、該刀装飾体5001のうちの鞘部位(鞘部5020)が横方向に操作可能とされる第2の操作態様(第2の動作態様)を併せ持つように設けられている。したがって、上記した各演出態様、及びそれらの別例では、1つの操作ユニットとして設けられる刀装飾体5001に対して第1の操作態様及び第2の操作態様のいずれによる操作機会が付与されるかについての演出として上記特定の操作関連演出を行うようにしてもよい。なお、刀部位(柄部5012、刀身部5011)及び鞘部位(鞘部5020)はいずれも扉枠3に設けられる図示しない一の本体支持部によって動作(操作)可能に支持されており、且つ刀部位(柄部5012、刀身部5011)及び鞘部位(鞘部5020)の一方側が動作(操作)された状態にある場合であっても、その他方側が動作(操作)可能とされる構造をもって形成されている。
ただし、このような態様で特定の操作関連演出を行うようにした場合は、いずれの演出結果が現れたとしても操作態様が異なるだけであり、刀装飾体5001に対して操作を行うことには変わりがないことから、遊技者側に操作誤りが発生してしまう可能性が高くなる懸念がある。特に、第1の操作態様と第2の操作態様とのいずれに対して操作機会を付与する場合であっても、例えば、刀装飾体5001のうちの刀部位を摸した演出画像(及び、その操作を促す指示表示)が表示されるようになっている場合は、遊技者側に第1の操作態様と第2の操作態様との間での操作誤りが発生する懸念がますます生じることとなる。すなわちこの場合、演出受付期間の残り時間が刻々と少なくなっていくなかで、操作誤りを是正する操作を遊技者側にまずは行わせて、その後、本来の正しい態様での操作をさらに行わせようとすることは困難であり、相対的に期待度の高い特定の操作関連演出が行われたにもかかわらず演出受付がなされる前に当該演出受付期間が終了してしまうようなことになれば、遊技興趣が低下する懸念が生じる。
また、刀装飾体5001では、刀部位による「上下方向への移動」といった態様と、鞘部位による「横方向への移動」といった態様とがあり、このような逆転関係にない複雑な複数の操作態様を提供可能とする操作ユニットでは、操作機会が付与されたときに誤った側の操作を行ってしまうと、適正な側の操作を行うまでに時間を要してしまい、演出受付期間が終了して操作機会が喪失されるリスクが高くされるといえる。
そこで、1つの操作ユニットとして設けられる刀装飾体5001に対して第1の操作態様及び第2の操作態様のいずれによる操作機会が付与されるかについての演出として上記特定の操作関連演出を行うときには、以下に図182及び図183を参照して説明するように、遊技者側に第1の操作態様と第2の操作態様との間での操作誤りが発生してその操作誤りの状態が是正されず本来の正しい操作がそのままの状態から行われたとしても、演出受付が適正になされるようにし、該演出受付に応じた操作時演出が実行されるようにすることが望ましい。
図182及び図183は、特定の操作関連演出が行われる演出パターンにおいて、遊技者側に第1の操作態様と第2の操作態様との間での操作誤りが発生した場合における演出例を示す図である。
図182(a)は、通常遊技状態において、保留数が0の状態で装飾図柄SZ(特別図柄)の変動表示が大当り判定の結果に応じた特定の演出パターンで演出表示装置1600にて行われている演出状況を示している。
図182(b)は、図182(a)に示した装飾図柄SZの変動表示の実行中に、特定の操作関連演出が演出開始された演出状況を示している。
ここで、図182(b)に示される特定の操作関連演出では、刀装飾体5001のうちの刀部位を抜刀状態から納刀状態へと操作させる第1の操作態様を摸した第1の演出画像OXと、該刀装飾体5001のうちの鞘部位を横方向に移動させるように操作する第2の操作態様を摸した第2の演出画像TXとが、演出表示装置1600の表示領域内で同時表示されて、それら操作態様のいずれかによる操作機会が間もなく演出受付可能とされることを示唆するようにしている。この点、第1の演出画像OXでは、刀装飾体5001のうちの刀部位を摸した画像部分が第2の演出画像TXよりも大きく表示されてはいるものの、第1の演出画像OXと第2の演出画像TXとではいずれも刀部位が画像として表示されており、第1の操作態様と第2の操作態様との間での操作誤りが発生しかねないものとなっている。
図182(c)は、図182(b)に示した特定の操作関連演出が進展し、第1の操作態様に対応する第1の演出画像OXと、第2の操作態様に対応する第2の演出画像TXとが演出表示装置1600の表示領域内で互いに押し合いを行って、相手方を表示領域内から押し出そうとする演出が行われている。第1の演出画像OXが残される演出結果(第1の演出結果)が現れると第1の操作態様に対する演出受付期間が発生し、第2の演出画像TXが残される演出結果(第2の演出結果)が現れると第2の操作態様に対する演出受付期間が発生するようになっている。
なお、この演出例にかかる特定の操作関連演出では、図182(c)に示されるように、第1の演出画像OXが残されるのに優勢な状況になると「押し込め」といった表示が視認可能とされるようになり、第2の演出画像TXが残されるのに優勢な状況になると「スライド」といった表示が視認可能とされるようになっている。演出の状況に応じて操作内容の詳細が認識しやすくされるようにしている。ただし、これらの表示は、演出受付期間が未だ発生していない当該タイミングでの操作を促していると誤認識される懸念があることから、必ずしも行わないようにしてもよい。
図182(d)は、図182(c)に示した演出が行われた結果、第2の演出画像TXが表示領域外へと完全に押し出されて、第1の演出画像OXが表示領域内に残された様子を描写した演出が行われている(第1の演出結果)。この演出内容へと進展したときには、第2の操作態様での操作が行われたとしても特定の操作時演出(特定装飾部材SDYによる可動演出など)は発生せず、第1の操作態様での操作が行われたときに演出受付がなされて該演出受付に応じた特定の操作時演出(特定装飾部材SDYによる可動演出など)が発生することとなる。
すなわち、図182(d)に示される演出状況では、第1の操作態様及び第2の操作態様のうち第1の操作態様側に対してのみ、特定の操作時演出に関する演出受付期間が発生することとなり、該演出受付期間においては、第1の操作態様に対応する第1の演出画像OXに加えて、操作を促す指示表示(「押し込め」といった文字表示や、演出受付期間の残り時間を示すバー表示)が表示されるようになる。またこの際、刀装飾体5001は、第1の操作態様による操作を行いうるように納刀状態から抜刀状態へと動作することとなる。
図183(e)は、第1の操作態様に対応する第1の演出画像OXが表示されているにもかかわらず、第1の操作態様ではなく、第2の操作態様による操作(誤操作)が遊技者によって行われたときの演出状況を示している。
すなわち、この演出例では、第1の操作態様及び第2の操作態様のうち第1の操作態様側に対してのみ、特定の操作時演出に関する演出受付期間が発生した場合であっても、第2の操作態様これ自体の操作検出は有効化されるようにしている。そして、該演出受付期間において第2の操作態様での操作が検出されたときには、遊技者による操作誤りがあったとして、第1の操作態様による操作が演出受付されたときには出現し得ない特定報知(ここでは、「そのままで良い」)を行うようにしている。
また、図183(f)に示されるように、このような特定報知は、遊技者が冷静さを取り戻せるように時間経過に応じて報知内容が変化(ここでは、「落ち着いて押し込め」)されるようになっている。このような構成によれば、報知すべき内容が複雑であったとしても、短いワードで順次報知することができるようになることから、遊技者側がパニック状態になっていたとしてもこれを好適に抑制することが期待されるようになる。これにより、第2の操作態様の状態になっている刀装飾体5001に対してそのままの状態で第1の操作態様による操作を行ったとしてもこれが適正に演出受付されることを遊技者側に認識させることができるようになる。
図183(g)は、図183(e)や図183(f)の演出状況(誤操作状態にあるときの演出受付期間)にあるなかで適正な側の操作(第1の操作態様)が行われた結果、演出受付がなされて該操作に応じた上述の操作時演出が行われている様子を描写したものである。ただしこの際、遊技者による手が刀装飾体5001から離されると(操作が終了されると)、該刀装飾体5001は、第2の操作態様の状態から非操作の状態(通常時の状態)へと戻されることとなる。
このような構成によれば、遊技者側に第1の操作態様と第2の操作態様との間での操作誤りが発生してその操作誤りの状態が是正されず本来の正しい操作がそのままの状態(操作誤りの状態)から行われたとしても、演出受付が適正になされるようになることから、操作誤りが発生したときの遊技興趣の低下が抑制されるようになる。
なお、上記演出例では、遊技者による誤操作が行われたとき、操作誤りを是正せずにそのまま操作すべき旨の報知を行うこととしたが、該内容(操作誤りを是正せずにそのまま操作すべき)を目的とした詳細な報知については必ずしも行わなくてもよい。すなわち上述の通り、誤操作が行われた状況では遊技者がパニックになっている可能性があることから、複雑な内容の報知を行うことは逆効果になりかねない。したがって、該演出受付期間において遊技者による操作誤りがあったときには、適正な態様での操作が演出受付されたときには出現し得ない特定報知として、メッセージによる表示ではなく、エフェクトや、音のみによる報知などの簡単な報知を行うようにすることが望ましい。この場合、操作誤りを行ったことを遊技者側が認識しない可能性もあるが、操作を行ったことに基づいて特定報知が行われ且つ操作時演出が行われない、といった特殊な状況を確認することで、適正な側の操作に操作を切り換えたりすることも十分期待することは可能であるといえる。
一方、遊技者(特に、高齢の遊技者など)によっては、特定の操作関連演出のうち演出受付期間が発生する前から誤って操作を行ってしまうような事態が発生することも想定されうる。例えば、第2の操作部(例えば、鞘部位)に関する操作指示がなされていないにもかかわらず第2の操作部に対する操作(鞘部位を横移動など)を行った状態にあるときに、第1の操作部(例えば、刀部位)側に対してのみ特定の操作時演出に関する演出受付期間が発生するような事態が発生することも想定され、この場合も、遊技者側がどのように操作すればよいか認識できなくなってしまう懸念がある。
したがって、第1の操作部(刀部位)と第2の操作部(鞘部位)とのいずれに対して操作機会が付与されるかについての特定の操作関連演出が行われているときに、第2の操作部側に対する操作指示(残り時間のバー表示)がなされていない状況(例えば、図182(b),(c)に示される状況など)にあるにもかかわらず、第2の操作部に対する操作が行われた場合も、適正な態様での操作が演出受付されたときには出現し得ない特定報知を行いうるようにすることが望ましい。この特定報知としては、「その操作状態を維持したままで、間もなく操作機会が付与される適正な側の操作部を操作すればよい旨のメッセージ表示」であってもよいし、メッセージによる表示ではなく、エフェクトや、音のみによる報知などの簡単な報知などであってもよい。いずれにせよ、操作を行ったにもかかわらず、該操作に基づいて特定報知が行われ且つ操作時演出が行われない、といった特殊な状況を確認することで、その後に適正な側で操作を行ったりするキッカケになることも十分期待することは可能であるといえる。
そしてこの場合、例えば、第2の操作部(例えば、鞘部位)に対する操作が行われている状態(刀装飾体5001が左方向に移動した状態)にあるままで、第1の操作部(例えば、刀部位)側に対してのみ特定の操作時演出に関する演出受付期間が発生した場合であっても、第2の操作部(例えば、鞘部位)に対する操作が行われている状態(刀装飾体5001が左方向に移動した状態)を維持したままで、第1の操作部(例えば、刀部位)側が操作されたときには演出受付がなされて該操作に応じた上述の操作時演出が行われることとなる。
このような構成によれば、演出受付期間が発生する前に第1の操作態様と第2の操作態様との間での操作誤りが発生し、その操作誤りが維持されたままで発生した演出受付期間内においてその操作誤りの状態が是正されず本来の正しい操作がそのままの状態から行われたとしても、演出受付が適正になされるようになることから、演出受付期間が発生する前に操作誤りが発生したときも遊技興趣の低下が抑制されるようになる。
ただし、第1の操作部と第2の操作部とのいずれに対して操作機会が付与されるかについての特定の操作関連演出が行われる期間のうち、その演出結果が示されて演出受付期間が発生する直前の期間で上述の特定報知を行うようにしてしまうと、演出受付期間内で報知(指示表示など)される内容との間で情報が交錯して遊技者をますます混乱させてしまう懸念がある。したがって、第1の操作部に対して操作機会が付与されることを示唆する演出結果が最終的には表示される特定の操作関連演出にあって、該演出結果が表示されるまでの期間では、第2の操作部(例えば、鞘部位)に関する操作指示が表示されていない状況にあるにもかかわらず第2の操作態様での操作を行ったときに上述の特定報知が実行される第一期間と、該状況において第2の操作態様での操作を行ったとしても上述の特定報知が実行されない第二期間とがあるようにし、第一期間と第二期間とを順次に経た後に上記第1の操作部に対する演出受付期間を発生させるようにすることが望ましい。
上記演出例にあって、特定報知を行うときには特典付与にかかる期待度が示唆されうるようにしてもよい。期待度は0%や100%であってもよい。
また、上記した各演出態様、及びそれらの別例にかかる刀装飾体5001では、該刀装飾体5001これ自体の演出態様が、上述した複数の態様のうちのいずれかに変化(例えば、図161に示される段階0形態から、段階1形態~段階3形態のいずれかへの変化)可能とされている。この点、特定の操作関連演出が行われた後には、刀装飾体5001を上述した複数の態様のうちのいずれかに変化させ、該変化した状態で該刀装飾体5001に対する演出受付期間を発生させるようにしてもよい。若しくは、特定の操作関連演出が行われた後に演出受付期間が発生するときに、刀装飾体5001を上述した複数の態様のうちのいずれかに変化させるようにしてもよい。
そしてこの場合、演出受付期間における演出表示装置1600では、刀装飾体5001に対する操作を促す指示表示(「押し込め」といった文字表示や、演出受付期間の残り時間を示すバー表示)や、刀装飾体5001を摸した刀装飾画像SYGを表示することとなるが、該刀装飾画像SYGについては、その際における刀装飾体5001と同じ態様(図161に示される段階0形態~段階3形態)で表示することとなる。
ただし、演出表示装置1600において刀装飾画像SYGを表示する際、刀装飾体5001と常に同じ態様で表示されるようにすると、該刀装飾画像SYGを確認することに何ら面白みを持たせることができず、演出受付期間にあるときの演出性が乏しいものとなる。そこで、演出表示装置1600において刀装飾画像SYGを表示する場合、所定の演出条件が満たされているときには、その際における刀装飾体5001と異なる態様で刀装飾画像SYGを表示するようにすることが演出受付期間にあるときの演出性を確保する上で望ましい。
この際、刀装飾体5001の態様よりも、刀装飾画像SYGで表現されている態様のほうが期待度が高い態様になっているようにすることが、演出受付期間にあるときの演出性をより好適に確保するようにする上で望ましい。例えば、刀装飾体5001が段階1形態とされる場合であり、且つ所定の演出条件が満たされている場合は、刀装飾画像SYGを、段階1形態ではなく、段階2形態または段階3形態で表示するようにする。このような構成によれば、刀装飾体5001が段階1形態であったとしても、刀装飾画像SYGの態様を確認することでより高い期待度になっていることを把握可能とされるようになることから、演出受付期間にあるときの遊技興趣が好適に維持されるようになる。
なお、このような作用効果を得る上では、刀装飾体5001側の演出態様の数よりも、刀装飾画像SYG側の演出態様の数のほうが多ければよい。刀装飾体5001側の演出態様の数は1つであってもよい。また、刀装飾体5001として複数の演出態様を用意する場合、それら複数の演出態様としては必ずしも形態を変化させるものでなくてもよい。
ただし、刀装飾体5001の態様と刀装飾画像SYGの態様とをこのように単純に異ならせるようにしてしまうと、遊技者によっては、虚偽的な表示がなされているとして不快感を持つことが懸念され、これによって遊技興趣が低下しかねない。したがって、より好ましくは、刀装飾画像SYGの態様としては、刀装飾体5001の態様として用意されている態様(ここでは、図161に示される段階0形態~段階3形態)のいずれとも異なる特別態様を用意しておき、所定の演出条件が満たされたときには、刀装飾画像SYGを、その際における刀装飾体5001の態様ではなく、特別態様で表示することによって、刀装飾体5001の態様と刀装飾画像SYGの態様とを互いに異ならせるようにすることが望ましい。該特別態様については、刀装飾画像SYGをさらに変形、合体させることによってその外形を変化させる態様であってもよいし、刀装飾体5001では現れない態様で動作したり、若しくは刀装飾体5001では現れない態様で発光したりするものであってもよい。
このような構成によれば、刀装飾体5001の構造上難しい演出表現を刀装飾画像SYGによって実現した格好になることから、虚偽的な表示がなされているとして不快感を持たれる懸念を抑制することができることはもとより、刀装飾体5001の構造を見たときの遊技者側の想像を超えた演出性が提供されることで、遊技興趣の向上を図ることが期待されるようになる。
なお、このように刀装飾画像SYGに特別態様を持たせる場合であっても、該刀装飾画像SYGについては、刀装飾体5001の態様として用意されている各態様(ここでは、図161に示される段階0形態~段階3形態)での表示も行いうるようにすることが望ましい。すなわちこの場合、基本的には、刀装飾体5001と同じ態様で刀装飾画像SYGが表示されるようになっているなかで、所定の演出条件が満たされた場合に限り、刀装飾画像SYGが特別態様で表示されることとなる。なお、刀装飾画像SYGが特別態様で表示されたときには、それ以外の態様で表示されたときよりも特典付与にかかる期待度が高いことが示唆されるようにすることが望ましい。期待度は、100%であってもよい。
また、刀装飾画像SYGを特別態様で表示可能とする手法については、特定の操作関連演出が行われる場合のほか、別の演出に対して適用するようにしてもよい。
また、上記した各演出態様、及びそれらの別例では、例えば、大当り判定の結果に基づいて第1の演出パターンで図柄変動が行われる場合は、該図柄変動内で、操作ボタン410に対して操作機会が付与され且つ刀装飾体5001に対して操作機会が付与されないときに現れる第一前兆演出を実行可能としている。また、大当り判定の結果に基づいて第2の演出パターンで図柄変動が行われる場合は、該図柄変動内で、操作ボタン410に対して操作機会が付与されず且つ刀装飾体5001に対して操作機会が付与されるときに現れる第二前兆演出を実行可能としている。また、大当り判定の結果に基づいて第3の演出パターンで図柄変動が行われる場合は、操作ボタン410と刀装飾体5001とのいずれかに対して操作機会が付与されるときに現れる第三前兆演出(特定の操作関連演出)を実行可能としている。
この点、これらの前兆演出は、互いに異なった演出内容として実行されるものとなっているが、それらの演出内容としては、例えば、
・操作機会が付与される側の操作手段を摸した演出画像が表示領域内にて現れるよりも前に、少なくとも該演出画像が現れる領域部分を覆うように特定画像を表示し、
・その後、該特定画像によって視認困難とされる位置に、操作機会が付与される側の操作手段を摸した演出画像を表示し、
・その後、特定画像を表示領域から徐々に非表示へと変化(特定画像これ自体の透過率を高くしていったり、特定画像が表示される領域を減少させていくなど)させる
といった点で共通化させるようにしてもよい。例えば、第一前兆演出では、特定画像として「雲エフェクト」による表示演出(操作手段を摸した演出画像を徐々に視認し易くする表示演出)を行い、第二前兆演出では、特定画像として「炎エフェクト」による表示演出(操作手段を摸した演出画像を徐々に視認し易くする表示演出を行い、第三前兆演出では、特定画像として「水エフェクト」による表示演出(操作手段を摸した演出画像を徐々に視認し易くする表示演出を行うようにするなど、特定画像の種別を異ならせるようにすれば、それらの前兆演出を互いに異ならせることは可能である。すなわちこの場合、「雲エフェクト」による表示演出が行われたときには、操作ボタン410に対して操作機会が付与されるのに先立って第一前兆演出が行われていることが認識可能とされ、「炎エフェクト」による表示演出が行われたときには、刀装飾体5001に対して操作機会が付与されるのに先立って第二前兆演出が行われていることが認識可能とされ、「水エフェクト」による表示演出が行われたときには、操作ボタン410と刀装飾体5001とのいずれに操作機会が付与されるかについての第三前兆演出(特定の操作関連演出)が行われていることが認識可能とされるようになる。
そして、このような演出内容で前兆演出(第一前兆演出、第二前兆演出、及び第三前兆演出の少なくとも1つ)を行うようにする場合は、特定画像によって操作手段を摸した演出画像が視認し難くされている期間中に、該操作手段に対する演出受付期間を発生させるようにすることが望ましい。第一前兆演出及び第二前兆演出のいずれかに対してこのような構成を適用した場合は、操作手段を摸した演出画像が、期待度の高い表示態様(例えば、赤色)と期待度の低い表示態様(例えば、青色)とのいずれで表示されるかについての確信が持てない段階から該操作手段に対して操作機会が付与されるようになることから、該演出受付期間にあるときの演出性を向上させることができるようになる。また、第三前兆演出(特定の操作関連演出)に対してこのような構成を適用した場合も、操作ボタン410と刀装飾体5001とのいずれに対して操作機会が付与されるかについての確信が持てない段階から該操作手段に対して操作機会が付与されるようになることから、該演出受付期間にあるときの演出性を向上させることができるようになる。
図185は、このような演出内容で第一前兆演出が行われるとするときの演出例を示す図であり、図186は、同内容で第一前兆演出が行われるとするときの演出例を示すタイムチャートである。以下、図185及び図186を参照して、第一前兆演出が行われるとするときの演出例を説明するが、この演出例については、第一前兆演出ではなく、第二前兆演出や第三前兆演出に対して適用することも可能である。
図185(a)は、通常遊技状態において、保留数が0の状態で装飾図柄SZ(特別図柄)の変動表示が大当り判定の結果に応じた特定の演出パターンで演出表示装置1600にて行われている演出状況を示している。
図185(b)は、図185(a)に示した装飾図柄SZの変動表示の実行中に、第一前兆演出が演出開始された演出状況を示している。
ここで、図185(b)に示される演出状況では、演出表示装置1600の表示領域内の大きな範囲で「雲エフェクト」による表示演出が行われている。このような「雲エフェクト」による表示演出は、図186に示されるタイミングt1で演出開始された以降は、表示領域から徐々に非表示へと変化(特定画像これ自体の透過率を高くしていったり、特定画像が表示される領域を減少させていくなど)されるようになっている。
そして、この演出例では、同図186に示されるように、「雲エフェクト」による表示演出が徐々に非表示へと変化している途中段階となるタイミングt2において、操作ボタン410に対する演出受付期間が発生するとともに、該操作ボタン410を摸したボタン画像BTGと、該操作ボタン410に対する操作を促す指示表示(演出受付期間の残り時間を示すバー表示)とがそれぞれ表示されるようになっている(図185(c))。
この演出例では、ボタン画像BTGとして複数態様のいずれかによる表示が可能とされており、第1の表示態様(例えば、赤色)でボタン画像BTGが表示されたときには、第2の表示態様(例えば、青色)でボタン画像BTGが表示されたときよりも、期待度の高い態様で操作時演出が行われる割合が高くなるようになっている。この点、図185(c)に示される演出状況では、「雲エフェクト」によってボタン画像BTGが第1の表示態様と第2の表示態様とのいずれで表示されるかの確信を持てない状況となっているにもかかわらず、操作ボタン410に対して操作が行われると演出受付がなされて該演出受付に応じた操作時演出が実行されるようになる。すなわちこの場合、演出表示装置1600の表示領域においても、このような前兆演出から演出内容が切り替わるかたちで操作時演出が実行されるようになることから、ボタン画像BTGが第1の表示態様と第2の表示態様とのいずれで表示されるかの確信を持てないままで演出を進展させることができるようになる。
また、図185(c)に示される演出状況では、「雲エフェクト」によってボタン画像BTGが第1の表示態様と第2の表示態様とのいずれで表示されるかの確信を持てない状況となっているにもかかわらず、操作ボタン410に対する操作を促す指示表示は、演出受付期間の残り時間が徐々に減少していることを示唆するように、バー表示の長さを変化し続ける。
これに対し、図185(c)に示される演出状況が発生してから所定時間が経過したタイミングt3になると、タイミングt2にて発生した演出受付期間は継続されているなかで、「雲エフェクト」が完全に非表示の状態とされるようになる(図185(d))。このような状況では、ボタン画像BTGが第1の表示態様と第2の表示態様とのいずれで表示されているかが容易に認識可能とされているなかで、操作ボタン410に対する操作を行うことができるようになる。すなわちこの場合、図185(d)に示される演出から演出内容が切り替わるかたちで操作時演出が実行されるようになる。
このような構成によれば、演出受付期間(タイミングt2~t4)のうち、ボタン画像BTGが表示されてから「雲エフェクト」が完全に非表示の状態とされるまでの期間(タイミングt2~t3)では、ボタン画像BTGが相対的に視認し難くされることによる演出性を提供することができるようになる。
なお、演出受付期間(タイミングt2~t4)にあるときの演出性をその全期間で高めるようにする上では、「雲エフェクト」が完全に非表示の状態とされる期間(タイミングt3~t4)にあるときに、上記タイミングt2~t3の期間では行われない演出表示を行うようにすることが望ましい。この演出例では、「雲エフェクト」が完全に非表示の状態とされる期間(タイミングt3~t4)になると、「押せ」といったメッセージ表示を行うようにしているが、例えば、タイミングt2~t3の期間では停止態様で表示されていたボタン画像BTGを、タイミングt3~t4の期間では動的表示させる演出を行うようにすれば、該期間(タイミングt3~t4)における演出性をより好適に高めることができるようになる。
また、図185に示した演出例では、操作ボタン410に対する操作を促す指示表示と、操作ボタン410を摸したボタン画像BTGとを同時(演出受付期間の発生時)に表示することとしたが、操作ボタン410を摸したボタン画像BTGについては、演出受付期間が発生するよりも前から表示するようにしてもよい。すなわちこの場合、「雲エフェクト」による演出表示が行われた後、ボタン画像BTGが視認し難い演出状況がまずは現れることとなり、該状況になってから所定時間後、視認し難い演出状況とされたままで、操作ボタン410に対する演出受付期間が発生して該操作ボタン410に対する操作を促す指示表示が現れることとなる。
なおこの際、演出受付期間が発生する前の、ボタン画像BTGが視認し難い演出状況にあるときには、該ボタン画像BTGの表示態様がより期待度の高い態様へと変化する演出パターン(第三前兆演出の場合は、ボタン画像BTGから刀装飾画像SYGに変化する演出パターン)が現れうるようにしてもよい。このような構成によれば、ボタン画像BTGが視認し難い演出状況にあるときほど、該ボタン画像BTGに対して注視する価値が高くなる面白さを提供することができるようになり、遊技興趣を好適に維持することができるようになる。
また、図185に示した演出例では、ボタン画像BTGについては、「雲エフェクト」によって視認し難くされるようにしたが、操作ボタン410に対する操作を促す指示表示については、「雲エフェクト」による影響を受けずその視認性が維持されるように表示することとした。これにより、演出受付期間の残り時間を把握しながら、ボタン画像BTGの視認性が変化していく様子を安心して楽しむことができるようになる。
ただし、操作ボタン410に対する操作を促す指示表示についても、「雲エフェクト」による影響を受けてタイミングt3までは視認し難くされるようにしてもよい。すなわちこの場合、演出受付期間の残り時間をうまく把握することができないなかで、表示態様の確信を持てないまま操作ボタン410を操作すべきかについての葛藤を遊技者に対して持たせることができるようになり、これまでにない斬新な演出性を提供することができるようになる。
また、図185に示した操作受付演出においても、上述または後述の「受付許容音」を出力するようにしてもよい。なおこの場合、操作ボタン410が「雲エフェクト」によって視認し難くされている状態にあるときから「受付許容音」が出力されることとなる。
また、このような「受付許容音」を期待度(大当り図柄が現れる割合であり、「0」、「100」を含む)の異なる複数態様のいずれで出力させるようにした場合、ボタン画像BTGの全体が現れるよりも前から期待度を適正に認識することが可能とされるようになり、遊技興趣の向上を図ることが期待されるようになる。
「受付許容音」が出力されている状態で演出受付(操作)が行われたときには、該出力状態にある「受付許容音」をその時点で非出力にすることが望ましい。その他、「受付許容音」については、上述した又は後述する各構成を適宜に採用するようにしてもよい。
「雲エフェクト」については、透過性があるものであってもよく、この場合、ボタン画像がその背後にうっすらと見えることとなるが、このような構成であっても視認困難性は維持される。
「雲エフェクト」これ自体を、期待度(大当り図柄が現れる割合であり、「0」、「100」を含む)の異なる複数態様のいずれで表示するようにしてもよい。この場合、操作ボタン410を視認し難くするように機能するものでありながらも、高い期待度を示唆しているときには遊技興趣の向上が図られることとなる。
「雲エフェクト」が表示されて完全に非表示にされるまでの間に、特定の演出音(BGM)を抑制態様または無音での出力状態にしたり、非出力の状態にする後述の演出手法を採用するようにしてもよい。こうして抑制態様または無音での出力状態にされたり、非出力の状態にされた特定の演出音(BGM)は、遊技者による操作が行われた時点でもこれを契機として非抑制状態での出力に戻されることはない。
なお、第一前兆演出、第二前兆演出、及び第三前兆演出のいずれにおいても、このような演出性を適用する場合は、それら前兆演出が開始されてから操作手段を摸した演出画像が明瞭に視認可能とされるまでの時間(特定画像が非表示にされるまでの時間)の長さが互いに異なっていたとしても、操作手段を摸した演出画像が表示されてから該演出画像が明瞭に視認可能とされるまでの時間(特定画像が非表示にされるまでの時間)については互いに同じ時間に設定するようにすることが望ましい。また、第一前兆演出、第二前兆演出、及び第三前兆演出のいずれかの前兆演出に対してこのような演出性を適用する場合、該前兆演出が開始されてから操作手段を摸した演出画像が明瞭に視認可能とされるまでの時間(特定画像が非表示にされるまでの時間)の長さについてはこれを複数用意するようにして期待度の異なる複数の演出性を持たせるようにしてもよいが、操作手段を摸した演出画像が表示されてから該演出画像が明瞭に視認可能とされるまでの時間(特定画像が非表示にされるまでの時間)についてはいずれも同じ時間に設定するようにすることが望ましい。
また、操作手段を摸した演出画像を視認し難くする手法としては、必ずしも別画像(特定画像)を用いなくてもよい。例えば、操作手段を摸した演出画像これ自体の透過率の設定変化などによって、操作手段を摸した演出画像が、相対的に視認し難くされる表示態様(タイミングt2)で現れるようにしてから、相対的に視認し易い表示態様(タイミングt3)に向けて徐々に変化されるようにしてもよい。ただし、操作手段を摸した演出画像が相対的に視認し難くされる表示態様で現れるタイミングは、タイミングt2よりも前のタイミングであってもよく、この場合、このような表示態様で現れることこれ自体を前兆演出として行うようにしてもよいし、これとは別の表示を前兆演出として行っているなかで操作手段を摸した演出画像を相対的に視認し難くされる表示態様で出現させるようにしてもよい。
また、大当り判定の結果に応じた特定の演出パターンが実行されている場合、図166~図186を参照して説明した特定の操作関連演出については、後述する特定の演出状態(自動ボタン演出状態)が発生しているときにのみ実行されうるようにしてもよい。すなわち、特定の操作関連演出が演出開始される時点では、複数の操作手段のいずれが演出受付可能とされるのか秘匿にされるようになっており、該演出が進展された結果として、複数の操作手段のいずれかにのみ対応する演出受付期間が発生することとなることから、複数の操作手段のいずれを操作すべきかの判断に遅れるようなことがあると、遊技者によって操作されるよりも前に演出受付期間が残り時間の全てを消化して終了されてしまうことにもなりかねない。この点、特定の操作関連演出を、後述する特定の演出状態(自動ボタン演出状態)が発生しているときにのみ実行されうるようにすれば、特定の操作関連演出が行われた後の演出受付期間では、特定の操作関連演出の演出結果としていずれの操作手段に対応する画像が現れた場合であっても、操作対象とされている側の操作手段に対する遊技者による操作と自動演出機能とのいずれかによって演出受付がなされて操作後演出が必ず実行されるようになることから、特定の操作関連演出が行われたときの遊技興趣を好適に維持することができるようになる。
[自動ボタン演出状態]
上述の通り、この実施の形態にかかるパチンコ機1(周辺制御MPU1511a)では、自動ボタン演出状態(特定の演出状態)への制御が実行可能とされており、この自動ボタン演出状態に制御されているときに、大当り判定の結果に基づいて操作ボタン410に対する演出受付期間(より正確には、操作ボタン410に対する演出受付期間が設定されている所定の演出パターン)が発生すると、該演出受付期間内において遊技者による操作が演出受付されなかったとしても、該演出受付期間内において遊技者による操作が演出受付されたときと同じ変化を演出に対して生じさせる処理(自動演出機能)を実行可能としている。このような自動ボタン演出状態によれば、演出受付期間が発生する度に操作せずとも、操作したときの操作後演出が発生するようになることから、操作し忘れによる遊技興趣の低下を抑制することができるようになる。なお、自動演出機能についてはこれが機能したときに操作が実際にあったときと同じ演出受付を生じさせることで、該演出受付に応じた処理が行われるようにしてもよいし、演出受付を生じさせずに演出受付があったときと同じ処理が行われるようにしてもよい。
以下に説明する「自動演出機能」に関する実施例では、上述した操作関係の各技術や演出、設定などを適宜に組み合わせて用いたり、置き換えて用いたりするようにしてもよい。
ここで、この実施の形態にかかるパチンコ機1(周辺制御MPU1511a)では、図柄変動が未実行の状態にあるデモ画面が表示されている期間中は、操作手段を複数回操作させることによって自動ボタン演出状態への設定がなされうるようにしている。より具体的には、操作ボタン410に対する1回目の操作によってメニュー画面を表示させた後、操作ボタン410に対する2回目の操作(若しくは、操作ボタン410とは異なる操作手段)によってメニュー画面内に表示されている「各種設定」が選択されて「各種設定」の画面が表示されるようにし、操作ボタン410に対する3回目の操作(若しくは、操作ボタン410とは異なる操作手段)によって「各種設定」の画面内に表示されている「自動ボタン演出状態の設定」が選択されると、自動ボタン演出状態への設定がなされるようになっている。なお、操作ボタン410のみを複数回にわたって操作するようにしてもよいし、操作ボタン410に対する操作とこれとは異なる操作手段に対する操作とで合わせて複数回にわたって操作するようにしてもよい。
これに対し、図柄変動が実行状態にある期間中は、操作ボタン410が1回操作されるだけで自動ボタン演出状態への設定がなされうるようにしており、このような操作の簡易化によって、図柄変動中における演出進展への注視を維持しつつ自動ボタン演出状態への設定が可能とされるようにしている。ただし、遊技者の中には、有効期間が発生しているか否かにかかわらず操作ボタン410に対する操作を積極的に行いたいと思う者がおり、このような者からすれば、操作ボタン410を操作しただけで自動ボタン演出状態への設定がなされるようなことがあると、遊技興趣が低下しかねない。そこで、この実施の形態にかかるパチンコ機1では、図柄変動が実行状態にある期間中に自動ボタン演出状態への設定がなされるようにするためには、操作ボタン410に対する操作状態が所定時間(ここでは2秒間)にわたって維持される態様(いわゆる「長押しの態様」)でこれを1回操作させることが求められるようにしている。これにより、図柄変動が実行状態にある期間中、有効期間が発生しているか否かにかかわらず操作ボタン410に対する操作が積極的に行われるようなことがあったとしても、自動ボタン演出状態へと誤って設定されてしまうことを生じ難くすることができるようになる。なお、図柄変動が実行状態にある期間のうち少なくとも演出受付期間が発生しているときには長押しの態様で操作が行われたとしても自動ボタン演出状態への設定がなされないようにすることが望ましい。
一方、この実施の形態にかかるパチンコ機1(周辺制御MPU1511a)では、自動ボタン演出状態が設定されている状態においてこれを設定解除させる方法としても、図柄変動が未実行の状態にあるデモ画面が表示されている期間中と、図柄変動が実行状態にある期間中とで異なる操作態様が求められるようになっている。
すなわち、図柄変動が未実行の状態にあるデモ画面が表示されている期間中は、操作手段を複数回操作させることによって自動ボタン演出状態の設定解除がなされうるようにしている。より具体的には、操作ボタン410に対する1回目の操作によってメニュー画面を表示させた後、操作ボタン410に対する2回目の操作(若しくは、操作ボタン410とは異なる操作手段)によってメニュー画面内に表示されている「各種設定」が選択されて「各種設定」の画面が表示されるようにし、操作ボタン410に対する3回目の操作(若しくは、操作ボタン410とは異なる操作手段)によって「各種設定」の画面内に表示されている「自動ボタン演出状態の解除」が選択されると、自動ボタン演出状態が設定解除されるようになっている。
これに対し、図柄変動が実行状態にある期間中は、操作ボタン410が1回操作されるだけで自動ボタン演出状態の設定解除がなされうるようにしており、このような操作の簡易化によって、図柄変動中における演出進展への注視を維持しつつ自動ボタン演出状態の設定解除が可能とされるようにしている。ただし、自動ボタン演出状態へと設定する場合とは異なり、操作ボタン410に対する操作状態を所定時間にわたって維持せずとも(長押しの操作態様でなくても)、操作ボタン410が操作状態へと位置したことが検出されるだけで(単発の操作態様で操作されるだけで)自動ボタン演出状態が設定解除されるようになっている。すなわち、操作ボタン410に対して何らかの操作が行われたということは、該操作ボタン410に対する操作を行いたい願望が現われている状況にあると言えることから、該操作があった時点で自動ボタン演出状態を設定解除させて通常の演出状態へと早期復帰させることで、遊技興趣が好適に維持されることが期待されるようになる。
なお上述の通り、この実施の形態にかかるパチンコ機1(周辺制御MPU1511a)では、操作ボタン410を含めて複数の操作手段を備えて構成されている。この点、この実施の形態にかかるパチンコ機1(周辺制御MPU1511a)では、操作ボタン410に対する操作によって設定された自動ボタン演出状態にあるときに、大当り判定の結果に基づいて操作ボタン410とは異なる特定の操作手段(例えば、刀装飾体5001など)に対して操作機会が付与される演出受付期間(より正確には、刀装飾体5001などに対する演出受付期間が設定されている所定の演出パターン)が発生し、該演出受付期間内において遊技者による操作(刀装飾体5001に対する操作)が演出受付されなかったとしても、該演出受付期間内において遊技者による操作(刀装飾体5001に対する操作)が演出受付されたときと同じ変化を演出に対して生じさせる処理(自動演出機能)を実行可能としている。このような構成によれば、複数の操作手段(操作ボタン410、刀装飾体5001など)のうち操作ボタン410に対する操作が演出受付可能とされる期間が発生するのか、それとも別の操作手段(例えば、刀装飾体5001)に対する操作が演出受付可能とされる期間が発生するのかについての上述した演出(特定の操作関連演出(図166~図186を参照))が実行された場合、その演出結果として操作ボタン410及び刀装飾体5001のいずれが演出受付可能とされたとしても操作し忘れを心配する必要がなくなることから、このような特定の操作関連演出を安心して楽しむことができるようになる。
また、この実施の形態にかかるパチンコ機1(周辺制御MPU1511a)では、
・特定の演出状態(自動ボタン演出状態)に制御されているときに複数の操作手段のうち第一操作手段(例えば、操作ボタン410)を操作対象として設定した第一側演出受付期間が発生すると、該第一側演出受付期間内に第一操作手段に対する操作が行われなかったとき、第一操作手段に対する操作が行われたときと同じ変化を演出に対して生じさせる自動処理を実行可能であり(第一自動演出手段)、
・特定の演出状態(自動ボタン演出状態)に制御されているときに複数の操作手段のうち第二操作手段(例えば、刀装飾体5001など)を操作対象として設定した第二側演出受付期間が発生すると、該第二側演出受付期間内に第二操作手段に対する操作が行われなかったとき、第二操作手段に対する操作が行われたときと同じ変化を演出に対して生じさせる自動処理を実行可能である(第二自動演出手段)
といった構成を備えることとした上で、第一側演出受付期間及び第二側演出受付期間のいずれが発生した場合であっても、該期間が発生してから同じ特定時間が経過したときに第一自動演出手段による自動処理または第二自動演出手段による自動処理が実行可能とされるようにしている。
このような構成によれば、特定の演出状態(自動ボタン演出状態)に制御されているとき、第一操作手段を操作対象として設定した第一側演出受付期間と、第二操作手段を操作対象として設定した第二側演出受付期間とのいずれが図柄変動の実行期間内で発生した場合であっても、それら期間の発生から同じ特定時間が経過したときに自動演出機能が機能しうるようになることから、安心して演出を楽しむことができるようになる。
ただし、第一操作手段(例えば、操作ボタン410)を操作対象として設定した第一側演出受付期間が発生した場合は、該第一側演出受付期間が発生してから特定時間が経過したときに第一自動演出手段による自動処理が実行される場合と、該第一側演出受付期間が発生してから特定時間とは異なる時間が経過したときに第一自動演出手段による自動処理が実行される場合とがあるように図柄変動内における演出進展を行うようにしてもよい。このような構成によれば、第一側演出受付期間が発生してから特定時間が経過したときに第一自動演出手段による自動処理が実行されると想定していたところ、これとは異なるタイミングで演出受付がなされて操作後演出が自動発生するようになることから、サプライズ的な演出として機能させることができるようになる。
なお、特定の演出状態(自動ボタン演出状態)に制御されると、特定の演出状態(自動ボタン演出状態)に制御されていないときよりも図柄変動期間内で操作手段に対して操作機会が付与される演出受付期間が発生する割合が高くなるようにしてもよい。すなわちこの場合、演出受付期間が発生する頻度が高くなることで、該演出受付期間内での操作し忘れが生じる頻度も高くなることが想定されうるが、操作し忘れが生じたとしても自動演出機能が機能することによって操作後演出は実行されることから、操作し忘れが多発することによる遊技興趣の低下を抑制しつつ、演出受付期間がより高い頻度で発生させることができるようになる。ちなみに、特定の演出状態(自動ボタン演出状態)に制御されると、第一操作手段に対する演出受付期間と第二操作手段に対する演出受付期間とのいずれの発生割合も高くなるようにすることが望ましいが、発生割合の高くなる度合いについては、第一操作手段に対する演出受付期間と第二操作手段に対する演出受付期間とで異ならせるようにすることがより望ましい。
また上述の通り、この実施の形態にかかるパチンコ機1(周辺制御MPU1511a)では、
・演出受付期間内で演出受付条件が成立すると、操作後演出を実行可能であり(操作後演出実行手段)、
・演出受付期間内で遊技者による操作が行われたことに基づいて演出受付条件を成立させる処理を実行可能とし(遊技者操作受付手段)、
・演出受付期間内で遊技者による操作が行われなかったとき、該演出受付期間内の特定タイミングで遊技者による操作を受けること無しで演出受付条件を成立させる処理を実行可能(自動演出受付手段)
としたものであるが、演出受付期間内の特定タイミングについては、該演出受付期間が開始されてから当該演出受付期間として設定されている時間の少なくとも半分以上が経過するまでは到来しないように設定することとしている。これにより、自動演出機能が機能するまでの間に遊技者自らが操作するだけの十分な余裕が与えられるようになり、遊技者による操作によって演出受付を生じさせる選択肢も残されるようになることから、遊技興趣を好適に維持することができるようになる。
なおこの場合、第一側演出受付期間が発生してから特定時間が経過したときに第一自動演出手段による自動処理が実行される場合と、第一側演出受付期間が発生してから特定時間とは異なる時間が経過したときに第一自動演出手段による自動処理が実行される場合とがあるように図柄変動内における演出進展を行うとしたときには、上記「特定時間」や、上記「特定時間とは異なる時間」のいずれもが、当該第一側演出受付期間として設定されている時間の少なくとも半分よりも長い時間値として設定されるようにすることとなる。
ここで、自動ボタン演出状態に制御されているときの図柄変動の実行期間中に操作ボタン410に対する演出受付期間が発生し、該演出受付期間内において操作ボタン410に対する操作が演出受付された場合は、該演出受付に応じた操作後演出を発生させる処理が実行されることとなる。ただしこの際、該演出受付に応じた操作後演出を発生させる処理に加えて、自動ボタン演出状態を設定解除させる処理も併せて行うようにしてもよい。
また、これも同様、自動ボタン演出状態に制御されているときの図柄変動の実行期間中に操作ボタン410とは異なる操作手段(刀装飾体5001など)に対する演出受付期間が発生し、該演出受付期間内において刀装飾体5001に対する操作が演出受付された場合も、該演出受付に応じた操作後演出を発生させる処理と、自動ボタン演出状態を設定解除させる処理とをそれぞれ実行するようにすることが望ましい。なおこの際も、「演出受付に応じた操作後演出」については、自動ボタン演出状態に制御されていない期間中に刀装飾体5001に対する演出受付期間が発生し、該演出受付期間内において刀装飾体5001に対する操作が演出受付された場合に実行される操作後演出と同じ内容の演出として実行されることとなる。
すなわち、自動ボタン演出状態(特定の演出状態)へと制御された後には、遊技者自らの操作次第で演出を進展させることのできる演出状態(通常の演出モード)に戻したい願望(特定の演出状態を終了させたい願望)が生じることがある。このような願望は、遊技者に対して操作機会が付与される演出受付期間が発生したときに生じることが多いが、該演出受付期間が開始されてからこれが終了されるまでの限られた時間内で、特定の演出状態を終了させるための操作と操作受付がなされるようにするための操作との両方をそれぞれ行うことは困難であり、その結果として操作機会が喪失されるようなことがあれば、遊技興趣が低下しかねない。この点、上記構成では、自動ボタン演出状態(特定の演出状態)に制御されているときに特定演出に関する演出受付期間が発生したときには、該演出受付期間内において操作機会が付与されている操作ボタン410または刀装飾体5001に対する操作を1回行うだけで(単発の操作態様で操作されるだけで)、自動ボタン演出状態(特定の演出状態)を終了させる処理と演出に変化を生じさせうる処理(操作後演出を実行する処理)とがそれぞれ行われるようにしたことから、自動ボタン演出状態(特定の演出状態)を終了させて遊技者自らの操作次第で演出を進展させたい願望が演出受付期間内で生じた場合であっても、演出状態の切り替えをスムーズに行うことが可能とされるようになる。
ただし、デモ画面が表示されている期間(図柄変動が未実行の状態)中における自動ボタン演出状態にかかる設定変更(自動ボタン演出状態への設定変更や、自動ボタン演出状態の設定解除)に関しては、刀装飾体5001に対する操作を必要とせずにその設定変更が可能とされるようになっている。すなわち、刀装飾体5001は、図柄変動の実行期間中において操作ボタン410よりも操作機会の付与される頻度が低くなっており、その分だけ操作機会が付与されたときには操作ボタン410よりも大当り期待度が高くされるものである。したがって、自動ボタン演出状態(特定の演出状態)にかかる設定変更だけを目的として刀装飾体5001に対する操作が許容されることがないようにし、これによって刀装飾体5001に対して操作機会が付与されたときのプレミアム感を高めて遊技興趣を維持するようにすることがより望ましいといえる。なお、この実施の形態にかかるパチンコ機1では、図柄変動が未実行の状態にあるデモ画面が表示されている期間中は、複数の操作手段のうち刀装飾体5001以外の操作手段(操作ボタン410や、これとは別の操作手段など)を複数回操作させることによって自動ボタン演出状態への設定や設定解除がなされうるようになっている。
したがって、この実施の形態にかかるパチンコ機1では、自動ボタン演出状態に制御されていないときの図柄変動の実行期間中においても、刀装飾体5001に対する操作を必要とせずに自動ボタン演出状態への設定変更がなされうるようになっている。すなわち、操作ボタン410を「長押しの態様」で1回操作すれば自動ボタン演出状態へと制御されるようになっていることは上述した通りであるが、自動ボタン演出状態への設定変更だけを目的として刀装飾体5001に対する操作が許容されることはないようにされている。
すなわち、この実施の形態にかかるパチンコ機1にあって、刀装飾体5001に対する操作によって自動ボタン演出状態にかかる設定に変更が生じうる場合とは、自動ボタン演出状態に制御されているときの図柄変動の実行期間中に刀装飾体5001に対する演出受付期間が発生し、該演出受付期間内において刀装飾体5001に対する操作が演出受付されてこれに応じた操作後演出が出現される場合に限られる。このような構成によれば、刀装飾体5001に対して操作機会が付与されたときのプレミアム感を損なうことなく、刀装飾体5001に対する操作によって自動ボタン演出状態への設定変更を行うことができるようになる。
なお、この実施の形態にかかるパチンコ機1(周辺制御MPU1511a)が備える複数の操作手段としては、自動ボタン演出状態にあるときに「演出受付期間内において操作せずとも操作時演出を発生させる自動演出機能」の対象にされうる操作手段(操作ボタン410、刀装飾体5001)のほか、「演出受付期間内において操作せずとも操作時演出を発生させる自動演出機能」の対象にされない特殊操作手段をさらに含むものであってもよい。すなわちこの場合、図柄変動が実行状態にあるときに、特殊操作手段に対する操作機会が付与される演出受付期間が発生し、該演出受付期間内において特殊操作手段に対する操作が演出受付されると、該演出受付に応じた操作後演出によって大当りにかかる期待度が示唆されることとなる。ただし、自動ボタン演出状態に制御されている状況にあったとしても、該演出受付期間内において特殊操作手段に対する操作が演出受付されなければ、上記演出受付されたときと同じ操作後演出が現れることはない。ただしこの場合、上記演出受付されたときと同じ操作後演出が現れることはないが、上記演出受付されたときと異なる演出であればこれを出現させるようにしてもよい。
また、操作ボタン410(長押しの態様での操作)を用いた自動ボタン演出状態への設定については、図柄変動が実行状態にある期間のうち該操作ボタン410に対する演出受付期間が発生しているときのみならず、該操作ボタン410とは別の操作手段に対する演出受付期間(刀装飾体5001を操作すると期待度が示唆される演出受付期間や、特殊操作手段を操作すると期待度が示唆される演出受付期間など)が発生している場合であってもこれが許容されないようにすることが望ましい。すなわち、操作ボタン410とは異なる操作手段に対する演出受付期間内にあるときに、操作ボタン410を操作(長押しの態様での操作)することによって自動ボタン演出状態が発生されるようにしてしまうと、演出受付期間の途中段階で「演出受付期間内において操作せずとも操作時演出を発生させる自動演出機能」が有効化されることによって本来の演出受付(操作ボタン410とは異なる操作手段を操作したときの演出受付)が操作無しで発生しかねず、このような自動ボタン演出状態に対する知識に疎い遊技者からすれば、操作ボタン410に対する演出受付期間が発生していたのか、それとも操作ボタン410とは異なる操作手段に対する演出受付期間が発生していたのか困惑しかねず、これによって遊技興趣が低下することが懸念されるためである。
また上述の通り、この実施の形態にかかるパチンコ機1(周辺制御MPU1511a)では、演出受付期間の発生に先立って前兆演出を実行可能としているが、特定の演出状態(自動ボタン演出状態)に制御されていないときに演出受付期間の発生に先立って出現される前兆演出と、特定の演出状態(自動ボタン演出状態)に制御されているときに演出受付期間の発生に先立って出現される前兆演出とは異なる表示態様として実行されうるようにしてもよい。すなわちこの場合、特定演出受付期間内で自動演出機能が機能しうる演出状態にあるかを先行認識させることができるようになり、安心して演出を楽しむことができるようになる。
また、この実施の形態にかかるパチンコ機1(周辺制御MPU1511a)では、演出受付期間において、残り時間を示唆する特定画像(例えば、残り時間を示唆する「バー表示」)を表示するものとなっているが、演出受付期間の発生に際しては、少なくとも特定画像(例えば、残り時間を示唆する「バー表示」)が表示されるまでの間にわたって該特定画像が表示される特定領域に向かうように該特定領域外に特定画像とは異なる演出画像(例えば、稲妻が特定領域に向けて落ちる画像)を表示(前兆演出)するようにしてもよい。すなわちこの場合、演出受付期間の発生に際しては、特定画像とは異なる演出画像の動きを確認することによって、非表示の状態にある「残り時間を示唆する特定画像」がこれから出現する箇所へと注視を促すことができるようになることから、遊技者による操作が間に合わずに特定演出受付期間が終了してしまうような事態が発生することを好適に抑制することができるようになり、さらには、遊技者による操作が間に合わなかったとしても自動演出機能が機能することによって操作後演出は実行されることから、遊技興趣を好適に維持することが期待されるようになる。
なお、この実施の形態にかかるパチンコ機1では、遊技者による操作によって自動ボタン演出状態にかかる状態設定や設定解除を実行可能としているが、以下の各説明例も含めて、大当り判定の結果に基づいて遊技や演出が進展されることに応じて自動ボタン演出状態へと状態設定されたり、該自動ボタン演出状態の設定解除が行われたりするようにしてもよい。遊技や演出が進展されることに応じて状態設定や設定解除が行われうる例としては、例えば、「通常遊技状態に制御されている間は自動ボタン演出状態として制御されるが、大当り遊技状態や高確率時短状態へと移行されると自動ボタン演出状態が解除される」といった制御態様や、「図柄変動の実行期間内で自動ボタン演出状態を発生させ、該実行状態にある図柄変動が終了されるよりも前の、発生から所定時間が経過したときに設定解除させる演出パターンを発生させる」といった制御態様や、「複数回の図柄変動が実行される期間にわたって自動ボタン演出状態を発生させる」といった制御態様、等々といった態様を採用することが可能である。また、自動ボタン演出状態に常に制御されているパチンコ機1であってもよく、この場合は、該自動ボタン演出状態が設定解除されることはなく、「自動ボタン演出状態」にかかる設定、解除といった処理これ自体がなくなることとなる。
また、上述の自動演出機能が機能するタイミングとしては、演出受付期間の残り時間が消化されたとき、またはそれ以降の所定タイミングであってもよいし、演出受付期間の残り時間が残されている途中タイミング(特定タイミング)であってもよい。演出受付期間の残り時間が消化されたとき、またはそれ以降の所定タイミングで上述の自動演出機能が機能する場合は、演出受付期間が終了された以降に演出受付がなされたかのように操作後演出が実行されることとなる。これに対し、演出受付期間の残り時間が残されている途中タイミング(特定タイミング)で上述の自動演出機能が機能する場合は、実際に操作があった場合と同様、上述の自動演出機能が機能した時点(特定タイミング)で演出受付期間が終了されて操作後演出が実行されることとなる。
ただし、自動ボタン演出状態に制御されているときに操作しなくても操作後演出が発生することに対する安心感を確保するようにする上では、演出受付期間が終了されるまでの間(演出受付期間内の特定タイミング)に上述の自動演出機能を機能させてこれに応じた操作後演出を開始させるようにすることが重要である。すなわちこの場合、演出受付期間内の特定タイミングが到来したにもかかわらず上述の自動演出機能が機能しなかったときには、特定タイミングが到来した以降に遊技者自らが操作することによって操作後演出を発生させることも可能であり、これによって自動ボタン演出状態に制御されているときの不安感(例えば、「自動ボタン演出状態に制御されていないにもかかわらず自動ボタン演出状態に制御されていると誤認識しており、操作後演出を確認できなくなってしまうかもしれない」、「何らかのトラブルによって自動演出機能が機能せず、操作後演出を確認できなくなってしまうかもしれない」など)を好適に抑制することができるようになる。
そして、この実施の形態にかかるパチンコ機1では、このような自動ボタン演出状態に関連した特徴的技術を有するものとなっている。以下、自動ボタン演出状態に関連した特徴的技術について順次に説明するが、これらの特徴的技術については上述の各演出例に対して適用するようにしてもよいし、以下の各特徴的技術を適宜に組み合わせて用いるようにしてもよい。
なお、以下の各特徴的技術を説明するにあたり、その前提として、特定の演出状態(自動ボタン演出状態)においては、通常、該特定の演出状態(自動ボタン演出状態)に制御されていないときにも発生しうる演出受付期間が発生したときに、該演出受付期間内において操作が行われなくても該操作が行われたときと同じ操作後演出を発生させるものとなっている。ただしこれに代えて、特定の演出状態(自動ボタン演出状態)に制御されているときにしか実行可能とされない特定の表示演出(大当り判定の結果に基づいて選択されうる表示演出)を用意し、該特定の表示演出が行われているなかでこれに関する特定有効期間が発生すると、該特定有効期間内において操作が行われなくても該操作が行われたときと同じ操作後演出を発生させるようにしてもよい。このような構成によれば、特定の演出状態(自動ボタン演出状態)に制御されているときの演出性が高められること(特定の表示演出の発生が許容されることによる演出性の向上)はもとより、特定の演出状態(自動ボタン演出状態)が発生しているとしても特定の表示演出が行われていないときに設定される別の演出受付期間では自動演出機能が機能し得ない場合もありうるのに対し、特定の表示演出が行われているときの特定有効期間においては自動演出機能が機能することによって操作する手間が省けるようになることによるVIP感を味わうことができるようになることから、遊技興趣を好適に高めることが期待されるようになる。なお、特定の表示演出が行われていないときに設定される別の演出受付期間の全てで必ずしも自動演出機能が機能し得ないようにしなくてもよく、少なくとも一部の演出受付期間で自動演出機能が機能し得ないようにすれば、特定の表示演出が行われているときに特定有効期間が発生したとき(自動演出機能が必ず機能する演出受付期間が発生したとき)の上述の作用効果を期待することは可能である。また、このような特定有効期間が発生した場合も、特定有効期間内の特定タイミングが到来するまでの間に遊技者による操作がなかった場合に、該特定タイミングで上述の自動演出機能を機能させてこれに応じた操作後演出を開始させるようにすることが望ましい。
また、大当り判定の結果に基づいて実行されうる特定の表示演出として、少なくとも第1の特定表示演出、第2の特定表示演出、及び第3の特定表示演出を用意した上で、
・第1の特定表示演出が実行されているときに第1の特定有効期間が発生すると、該第1の特定有効期間が発生してから第1の所定時間が経過したタイミングで上述の自動演出機能が機能して、第1の特定有効期間を終了させるとともにこれに応じた操作後演出を発生させるのに対し、
・第2の特定表示演出が実行されているときに第2の特定有効期間が発生すると、該第2の特定有効期間が発生してから上記第1の所定時間よりも長い第2の所定時間が経過したタイミングで上述の自動演出機能が機能して、第2の特定有効期間を終了させるとともにこれに応じた操作後演出を発生させ、さらに、
・第3の特定表示演出が実行されているときに第3の特定有効期間が発生すると、特定の演出状態(自動ボタン演出状態)に制御されているにもかかわらず該第3の特定有効期間が終了されるまでの間に操作がなければ該操作があったときと同じ操作後演出は出現し得ないようにする
といった各処理を特定の演出状態にあるときに行うようにしてもよい。このような構成によれば、特定の演出状態(自動ボタン演出状態)に制御されているときに演出受付期間(特定有効期間)が発生したとしても、該演出受付期間が発生したときから第1の所定時間が経過したときに上述の自動演出機能が機能したり、該第1の所定時間よりも長い第2の所定時間が経過しなければ上述の自動演出機能が機能しないようにされたり、演出受付期間が終了しても上述の自動演出機能がそもそも機能し得ないようにされたりするようになる。したがって、特定の演出状態(自動ボタン演出状態)に制御されている場合であっても、演出受付期間(特定有効期間)が発生したときにいずれの種別の特定表示演出が行われていたかを確認する必要性を持たせることができるようになり、例えば、第1の所定時間が経過したにもかかわらず上述の自動演出機能が機能しなかったときには、第2の所定時間が経過するときに上述の自動演出機能が機能するのか、若しくは上述の自動演出機能がそもそも機能しないのか、などといった緊張感を持たせて演出進展させることができるようになる。なお、第1の特定有効期間、第2の特定有効期間、及び第3の特定有効期間はいずれも、操作対象とされる操作手段(例えば、操作ボタン410)が操作状態になったとき(いわゆる単発操作が行われたとき)に演出受付されて操作後演出を発生させるものである。
なお、第1の特定表示演出、第2の特定表示演出、及び第3の特定表示演出については、特定の演出状態(自動ボタン演出状態)に制御されているときにしか実行可能とされないものであってもよい。このように、特定の演出状態(自動ボタン演出状態)に制御されているときには、該特定の演出状態(自動ボタン演出状態)に制御されていないときには出現し得ない表示態様が表示されうるようにした場合は、特定の演出状態(自動ボタン演出状態)にあるときの遊技興趣を好適に維持することができるようになる。また、第1の特定表示演出(第1の特定有効期間)及び第2の特定表示演出(第2の特定有効期間)を用意し、第3の特定表示演出(第3の特定有効期間)については必ずしも用意するようにしなくてもよい。また、第1の特定有効期間、第2の特定有効期間、及び第3の特定有効期間で演出受付されたときに発生する操作後演出は互いに異なる演出内容であってもよい。
また、上述の自動演出機能が機能することによって操作後演出を発生させる場合は、演出受付期間内のいずれのタイミングで該自動演出機能が機能したのか(演出受付されたときに演出受付期間としてどれだけの時間が残されていたか)を認識しうるように、演出受付可能期間の残り時間を示すバー表示(時間経過とともに画像変化(ここでは面積変化)する表示)については自動演出機能が機能した時点で非表示とせずこれを表示した状態で操作後演出を発生させるようにしてもよい。このような構成によれば、例えば、自動演出機能が機能した時点で継続表示されている「バー表示」によって示される残り時間を確認することで、当該演出受付期間が第1の特定有効期間(演出受付期間が発生してから比較的早い段階である第1の所定時間が経過したときに自動演出機能が機能する期間)と第2の特定有効期間(演出受付期間が発生してから比較的遅い段階である第2の所定時間が経過したときに自動演出機能が機能する期間)とのいずれであったのかを認識することができるようになる。
この意味では、第1の特定有効期間(演出受付期間が発生してから第1の所定時間が経過したときに自動演出機能が機能する期間)が発生したときと、第2の特定有効期間(演出受付期間が発生してから第2の所定時間が経過したときに自動演出機能が機能する期間)が発生したときとで大当り期待度が異なる(例えば、第2の特定有効期間のほうが有利)ようにすることが望ましい。またこの場合、第1の特定表示演出や第2の特定表示演出については必ずしも実行されないようにしてもよい。ただし、第1の特定表示演出や第2の特定表示演出が実行されるようにした場合は、第1の特定表示演出が現われたときと第2の特定表示演出が現われたときとで大当り期待度が異なる(例えば、第2の特定表示演出のほうが有利)ように機能することとなる。また、演出受付期間内において遊技者による操作によって操作後演出が発生する場合は、操作後演出が発生した状態において「バー表示」を非表示とするようにしてもよいし、上述の自動演出機能が機能した場合と同様、「バー表示」を非表示とせずこれを表示した状態で操作後演出を発生させるようにしてもよい。操作後演出については、演出表示装置1600における表示変化として実行されるものでなくてもよく、例えば、遊技盤5にて設けられるランプによる発光または可動装飾体による動作として実行されるものであってもよい。
また、上述の自動演出機能が機能することによって操作後演出を発生させた場合は、操作対象となっている操作手段(例えば、操作ボタン410)に対して遊技者は何ら関与しないままで操作後演出を自動発生させることとなることから、遊技者側からすれば、該自動発生した操作後演出がいずれの操作手段に対応したものであるのか把握できなくなってしまう懸念がある。したがって、上述の自動演出機能を機能させて操作後演出を発生させる場合は、まず、演出受付期間内において操作対象とされる操作手段を示唆する操作対象示唆画像(例えば、操作対象とされる操作手段を摸した画像表示など)を表示するとともに、上述の自動演出機能が機能した場合であっても、該操作対象示唆画像を非表示とせずこれを表示した状態で操作後演出を発生させるようにすることが望ましい。なおこの場合、操作後演出が発生する前と発生した後とで操作対象示唆画像の表示態様(例えば、色や透過率など)は必ずしも同じでなくてもよく、操作対象とされていた操作手段がいずれであったのかを操作後演出が発生した状態においても認識可能であればよい。これに対し、演出受付期間内において遊技者による操作によって操作後演出が発生する場合は、操作後演出が発生した状態において操作対象示唆画像を非表示とするようにしてもよいし、上述の自動演出機能が機能した場合と同様、操作対象示唆画像を非表示とせずこれを表示した状態で操作後演出を発生させるようにしてもよい。上述の第1の特定有効期間内で自動演出機能が機能した場合や、上述の第2の特定有効期間内で自動演出機能が機能した場合など、上述の自動演出機能が機能したときには、必ず、操作対象示唆画像を非表示とせずこれを表示した状態で操作後演出を発生させるようにしてもよい。
またこの際、大当り期待度の異なる複数態様のいずれかで操作対象示唆画像を表示した状態で操作後演出を発生させるようにすれば、操作対象示唆画像の態様と操作後演出の態様との両方を同時確認することができるようになり、遊技興趣の向上を図ることができるようになる。また、操作後演出については、演出表示装置1600における表示変化として実行されるものでなくてもよく、例えば、遊技盤5にて設けられるランプによる発光または可動装飾体による動作として実行されるものであってもよい。
例えば、上述の自動演出機能を搭載しないパチンコ機1であっても、操作対象示唆画像(操作手段を摸した摸画像など)として、大当り期待度(例えば、大当りが得られているときにしか現れない態様で操作後演出が実行される割合)が異なる複数態様を用意し、遊技者による操作によって操作受付がなされた場合、該操作受付に基づいて操作後演出が実行開始される時点で操作対象示唆画像(操作手段を摸した摸画像など)を上記期待度の異なる複数態様のいずれかで表示された状態のままとするようにすれば、操作対象示唆画像の態様と操作後演出の態様との両方を同時確認することができるようになり、遊技興趣の向上を図ることができるようになる。
また、摸画像が表示される有効期間(演出受付期間)を発生させる場合、その有効期間(演出受付期間)の種別(有効期間の発生条件や、操作受付がなされたときに発生する操作後演出の種別など)に基づいて、時間経過に応じて表示面積が減少される表示を行う場合(第1条件の成立によって発生する第1有効期間)と、時間経過に応じて表示面積が減少される表示を行わない場合(第2条件の成立によって発生する第2有効期間)とがあるようにすることが望ましい。すなわち、時間経過に応じて表示面積が減少される表示を行わない有効期間では、操作受付が許容される残り時間がどれだけ残されているかを認識し難くすることができるようになり、有効期間内における緊張感を好適に維持することができるようになる。なお、「時間経過に応じて特定画像の表示面積が減少される表示を行わない」とは、例えば、通常(第1有効期間)は、時間経過に応じて表示面積が減少される態様でゲージ画像を表示するところ、第2有効期間では、ゲージ画像これ自体を表示しないか、ゲージ画像は表示するがその表示面積が時間経過に応じて減少されない手法を採用することによって実現することが可能である。
この点、第2有効期間(時間経過に応じて表示面積が減少される表示を行わない場合)で操作受付がなされたときは、該操作受付に応じた変化(表示変化や、ランプ発光など、操作後演出によって生じる変化の少なくとも1つ)が実行開始される時点で摸画像は非表示とされず表示された状態にあるようにすることが望ましい。これにより、摸画像が表示されている間(有効期間の終了前)に操作受付がなされたことを把握することができるようになり、「操作受付に間に合わなかったのではないか」といった不安感を取り除くことができるようになる。
なおこの場合、操作受付に応じた変化(表示変化や、ランプ発光など、操作後演出によって生じる変化の少なくとも1つ)が発生する前と発生した後とで摸画像の表示態様(例えば、色や透過率など)は必ずしも同じでなくてもよく、他の画像によって摸画像が視認し難くされた状態であってもよく、操作対象とされていた操作手段がいずれであったのかを操作受付に応じた変化(表示変化や、ランプ発光など、操作後演出によって生じる変化の少なくとも1つ)が発生した状態においても認識可能であればよい。ただし、このような作用効果を好適に得る上では、少なくとも、操作受付に応じた変化(表示変化や、ランプ発光など、操作後演出によって生じる変化の少なくとも1つ)が実行開始された時点においては、操作受付がなされる前に表示されていた態様のままで摸画像の表示状態が維持されるようにし、他の画像によって摸画像が視認し難くされることもないようにすることが望ましい。したがって、操作受付が許容される有効期間中において摸画像を動的表示していたのであれば、操作受付に応じた変化(表示変化や、ランプ発光など、操作後演出によって生じる変化の少なくとも1つ)が実行開始された時点においても、その動的表示を継続させるようにすることが望ましい。これに対し、第1有効期間内において、遊技者による操作によって操作受付に応じた変化(表示変化や、ランプ発光など、操作後演出によって生じる変化の少なくとも1つ)が発生する場合は、該変化(表示変化や、ランプ発光など)が発生した状態において摸画像を非表示とするようにしてもよいし、上述の第2有効期間の場合と同様、摸画像を非表示とせずこれを表示した状態で操作受付に応じた変化(表示変化や、ランプ発光など)を発生させるようにしてもよい。
ただし、このように「時間経過に応じて特定画像の表示面積が減少される表示を行わない」有効期間においても、操作対象とされる操作手段を摸した摸画像は表示することとし、該摸画像については、特定の速度で進展される動画像として表示するようにすることが望ましい。このような構成によれば、ゲージ画像による残り時間の示唆こそ行われないものの、摸画像による動画像がどれだけ進展したかによって操作受付が許容される残り時間を把握することが困難ではあるが可能であり、遊技興趣を好適に維持することが期待されるようになる。
また上述の通り、この例にかかるパチンコ機1では、操作手段として第1操作手段(例えば、操作ボタン410)及び第2操作手段(例えば、刀装飾体5001)を備えており、第1操作手段に対する操作受付が許容される有効期間(演出受付期間)を発生させる場合と、第2操作手段に対する操作受付が許容される有効期間(演出受付期間)を発生させる場合とがあり、それら有効期間のうち、第1操作手段に対する操作受付が許容される有効期間では第1操作手段を摸した第1摸画像が表示され、第2操作手段に対する操作受付が許容される有効期間では第2操作手段を摸した第2摸画像が表示される。また、第1操作手段に対する操作受付が許容される有効期間と、第2操作手段に対する操作受付が許容される有効期間とでは、操作受付がなされたときに示唆される大当り期待度(操作後演出として大当り時にしか現れない態様が実行される割合)が異なるようにされている。なお、第1操作手段に対する操作受付が許容される有効期間(演出受付期間)や、第2操作手段に対する操作受付が許容される有効期間(演出受付期間)のほか、これらとは異なる有効期間をさらに発生可能なものであってもよい。この点、大当り期待度が高い側である有効期間(例えば、第2操作手段に対する操作受付が許容される有効期間)で操作受付がなされたときは、該操作受付に応じた変化(表示変化や、ランプ発光など、操作後演出によって生じる変化の少なくとも1つ)が実行開始される時点で摸画像(第2摸画像)は非表示とされず表示された状態にあるようにすることが望ましい。
これにより、上述した図183(f)に示したような状況で操作受付がなされた場合のほか、例えば、第2操作手段(例えば、刀装飾体5001)に対して操作機会が付与されているにもかかわらず、第1操作手段(例えば、操作ボタン410)に対して誤って操作を行ってしまい、該第1操作手段(例えば、操作ボタン410)を操作状態にしたまま(操作を行っているまま)で、第2操作手段(例えば、刀装飾体5001)に対して操作を行ってこれが操作受付された場合であっても、これが適正に演出受付されたことを遊技者側に認識させることができるようになる。
なおこの場合、操作受付に応じた変化(表示変化や、ランプ発光など、操作後演出によって生じる変化の少なくとも1つ)が発生する前と発生した後とで摸画像の表示態様(例えば、色や透過率など)は必ずしも同じでなくてもよく、他の画像によって摸画像が視認し難くされた状態であってもよく、操作対象とされていた操作手段がいずれであったのかを操作受付に応じた変化(表示変化や、ランプ発光など、操作後演出によって生じる変化の少なくとも1つ)が発生した状態においても認識可能であればよい。ただし、上述の作用効果を好適に得る上では、少なくとも操作受付に応じた変化(表示変化や、ランプ発光など、操作後演出によって生じる変化の少なくとも1つ)が実行開始された時点においては、操作受付がなされる前に表示されていた態様のままで摸画像の表示状態が維持されるようにし、他の画像によってゲージ画像が視認し難くされることもないようにすることが望ましい。したがって、操作受付が許容される有効期間中において摸画像を動的表示していたのであれば、操作受付に応じた変化(表示変化や、ランプ発光など、操作後演出によって生じる変化の少なくとも1つ)が実行開始された時点においても、その動的表示を継続させるようにすることが望ましい。また、適正に演出受付されたことを遊技者側に認識させるようにする上では、第1有効期間内において、遊技者による操作によって操作受付に応じた変化(表示変化や、ランプ発光など)が発生する場合も、該変化(表示変化や、ランプ発光など)が発生した状態において摸画像(第1摸画像)を非表示とせずこれを表示した状態で操作受付に応じた変化(表示変化や、ランプ発光など)を発生させるようにすることが望ましい。
このような構成によれば、「判定を行う判定手段と、前記判定手段による判定の結果に基づいて演出を行う演出手段と、前記判定手段による判定にて所定の結果が得られたことに基づいて遊技者に特典を付与しうる特典付与手段と、第1位置と第2位置との間で変位可能に設けられる特定操作受け部(通常位置と押下位置との間で変位可能な操作ボタン410)と、前記特定操作受け部が第2位置に変位したことに基づいて遊技者による特定動作(押下操作)を検出可能な第1検出部と、前記特定操作受け部とは異なる特別操作受け部(例えば、刀装飾体5001)に対しての遊技者による特別動作(例えば、納刀操作)を検出可能な第2検出部とを備え、(演出受付がなされたときに発生する操作後演出の種別が異なる)演出受付期間として、第1演出受付期間及び第2演出受付期間を含む複数の演出受付期間が用意されており、前記第1演出受付期間では、前記特定操作受け部を摸した特定摸画像が表示され、前記第1検出部による検出によって演出受付がなされるようになっており、前記第2演出受付期間では、前記特別操作受け部を摸した特別摸画像が表示され、前記第2検出部による検出によって演出受付がなされるようになっており、前記第2演出受付期間において前記特別操作受け部を摸した特別摸画像が表示されているにもかかわらず、遊技者による特定動作によって前記特定操作受け部が第1位置から第2位置へと変位した場合、該特定操作受け部を第2位置に維持したままで遊技者による前記特別動作が行われたとしても前記第2検出部による検出によって演出受付がなされ、該演出受付に基づいて操作後演出が実行可能とされる」といった構成を備えることとなる。
そして、このような構成にあって、「特定操作受け部を第2位置に維持したままで遊技者による前記特別動作が行われたとしても前記第2検出部による検出によって演出受付がなされ、該演出受付に基づいて操作後演出が実行開始される時点においては、特別操作受け部を摸した特別摸画像を非表示とせずこれを表示したままとすることで、誤って操作した側でなく、適正な側の操作として操作後演出が実行されていることを遊技者側に認識させることができるようになる。
なお、特別摸画像が、大当り期待度の異なる複数態様のいずれかで表示される場合は、該表示されている態様のままで操作後演出が実行開始されることとなる。このような誤った操作が行われることなく演出受付がなされた場合は、操作後演出が実行開始される時点において摸画像を非表示とせず表示したままにするようにしてもよいし、操作後演出が実行開始される時点において摸画像を非表示とするようにしてもよい。
ところで、特別操作受け部に対して操作機会が付与される第2演出受付期間は、特定操作受け部に対して操作機会が付与される第1演出受付期間に比べてその発生頻度が低いことが多く、このことが操作誤りを生じさせる一因となっていると考えられる。したがって、特別操作受け部に対して操作機会が付与される第2演出受付期間の発生に際しては、演出受付が許容される状態になったこと、または演出受付が許容される状態になることを示唆する受付許容音が出力されるようにすることが望ましい。これにより、第2演出受付期間が発生したことを遊技者が認識することができるようになり、操作誤りを生じ難くさせることが期待されるようになる。該「受付許容音」とは、音が出力開始されると、この音が出力されている間(音データが割り当てられている間)に受付許容状態(有効期間)が必ず発生するか、受付許容状態(有効期間)が既に発生している状態にある音のことである。換言すれば、演出受付が許容される設定時間内で出力開始されて演出受付が許容される状態になったことを示唆したり、または演出受付が許容される設定時間が開始されるよりも前に出力開始されて演出受付が許容される状態になることを示唆したりするものであり、例えば、「ピキーン」などといった演出音として出力されるものである。
ただし、特定操作受け部に対して操作機会が付与される第1演出受付期間の発生に際しても、演出受付が許容される状態になったこと、または演出受付が許容される状態になることを示唆する受付許容音が出力されるようにしてもよい。ただしこの場合、該受付許容音については、その態様(音色など)を、第1演出受付期間が発生する場合と第2演出受付期間が発生する場合とで異ならせるようにすることが望ましい。若しくは、第1演出受付期間においては、受付許容音が出力されている間に演出受付がなされたとしても、出力状態にある受付許容音を終了させずこれを継続させるが、第2演出受付期間においては、受付許容音が出力されている間に演出受付がなされると、出力状態にある受付許容音をその途中で終了させるようにすることが望ましい。それら構成の両方を採用するようにしてもよい。このような構成によれば、第1演出受付期間と第2演出受付期間とのいずれが発生するかについての把握が容易とされるようになったり、特定操作受け部に対する操作と、特別操作受け部に対する操作とのいずれが受付されたのかを適正に把握することができるようになる。
また、この例にかかるパチンコ機1では、表示面積が比較的小さいゲージ画像(小ゲージ画像)を表示してから、該ゲージ画像(小ゲージ画像)の表示面積を時間経過に応じて小さくする表示(例えば、最終的には表示面積を「0」にする表示)を行うことで操作受付が許容される残り時間を示唆する小ゲージ有効期間(演出受付期間)を発生させる場合と、表示面積が比較的大きいゲージ画像(大ゲージ画像)を表示してから、該ゲージ画像(大ゲージ画像)の表示面積を時間経過に応じて小さくする表示(例えば、最終的には表示面積を「0」にする表示)を行うことで操作受付が許容される残り時間を示唆する大ゲージ有効期間(演出受付期間)を発生させる場合と、がある。そして、小ゲージ画像が表示される小ゲージ有効期間と、大ゲージ画像が表示される大ゲージ有効期間とでは、操作受付がなされたときに示唆される大当り期待度(操作後演出として大当り時にしか現れない態様が実行される割合)が異なるようにされている(例えば、大ゲージ有効期間のほうが大当り期待度が高い)。なお、小ゲージ有効期間や大ゲージ有効期間のほか、これらとは異なる有効期間をさらに発生可能なものであってもよい。小ゲージ有効期間と大ゲージ有効期間とは同じ操作対象に対して操作機会を付与するものであってもよいし、異なる操作対象に対して操作機会を付与するものであってもよい。
この点、大ゲージ有効期間で操作受付がなされたときは、該操作受付に応じた変化(表示変化や、ランプ発光など、操作後演出によって生じる変化の少なくとも1つ)が実行開始される時点で大ゲージ画像は非表示とされず表示された状態にあるようにすることが望ましい。また、操作受付に応じた変化(表示変化や、ランプ発光など、操作後演出によって生じる変化の少なくとも1つ)が実行開始される時点においても、大ゲージ画像が時間経過に応じて小さくなっていく表示が終了されずこれが継続されるようにすることが望ましい。これにより、大ゲージ画像が表示されたことによって多くの残り時間が残っているように見える安心感があった一方で、操作受付がなされた以降は、適正に操作受付がなされたのか否かについての不安感を覚えさせることができるようになり、緊張感を好適に維持することができるようになる。
なおこの場合、操作受付に応じた変化(表示変化や、ランプ発光など、操作後演出によって生じる変化の少なくとも1つ)が発生する前と発生した後とでゲージ画像の表示態様(例えば、色や透過率など)は必ずしも同じでなくてもよく、他の画像によってゲージ画像が視認し難くされた状態であってもよい。ただし、上述の作用効果を好適に得る上では、少なくとも操作受付に応じた変化(表示変化や、ランプ発光など、操作後演出によって生じる変化の少なくとも1つ)が実行開始された時点においては、操作受付がなされる前に表示されていた態様のままでゲージ画像の表示状態が維持されるようにし、他の画像によってゲージ画像が視認し難くされることもないようにすることが望ましい。これに対し、小ゲージ有効期間内において、遊技者による操作によって操作受付に応じた変化(表示変化や、ランプ発光など、操作後演出によって生じる変化の少なくとも1つ)が発生する場合は、該変化(表示変化や、ランプ発光など)が発生した状態においてゲージ画像(小ゲージ画像)を非表示とするようにしてもよいし、上述の大ゲージ有効期間の場合と同様、ゲージ画像(大ゲージ画像)を非表示とせずこれを表示した状態で操作受付に応じた変化(表示変化や、ランプ発光など)を発生させるようにしてもよい。
また、大ゲージ有効期間の発生に際しては、演出受付が許容される状態になったこと、または演出受付が許容される状態になることを示唆する受付許容音が出力されるようにすることが望ましい。これにより、大ゲージ有効期間が発生したことを遊技者が認識することができるようになり、操作受付がなされるまでの安心感をより強調することができるようになる。該「受付許容音」とは、音が出力開始されると、この音が出力されている間(音データが割り当てられている間)に受付許容状態(有効期間)が必ず発生するか、受付許容状態(有効期間)が既に発生している状態にある音のことである。換言すれば、演出受付が許容される設定時間内で出力開始されて演出受付が許容される状態になったことを示唆したり、または演出受付が許容される設定時間が開始されるよりも前に出力開始されて演出受付が許容される状態になることを示唆したりするものであり、例えば、「ピキーン」などといった演出音として出力されるものである。
ただし、小ゲージ有効期間の発生に際しても、演出受付が許容される状態になったこと、または演出受付が許容される状態になることを示唆する受付許容音が出力されるようにしてもよい。ただしこの場合、該受付許容音については、その態様(音色など)を、小ゲージ有効期間が発生する場合と大ゲージ有効期間が発生する場合とで異ならせるようにすることが望ましい。若しくは、小ゲージ有効期間においては、受付許容音が出力されている間に演出受付がなされたとしても、出力状態にある受付許容音を終了させずこれを継続させるが、大ゲージ有効期間においては、受付許容音が出力されている間に演出受付がなされると、出力状態にある受付許容音をその途中で終了させるようにすることが望ましい。それら構成の両方を採用するようにしてもよい。このような構成によれば、小ゲージ有効期間と大ゲージ有効期間とのいずれが発生するかについての把握が容易とされるようになったり、小ゲージ有効期間での操作受付と、大ゲージ有効期間での操作受付とのいずれがなされたのかを適正に把握することができるようになる。
大ゲージ画像と小ゲージ画像とは、大きさが異なるだけでなく、形態これ自体も異なる画像であってもよい(相似関係にない画像など)。
なお、この実施の形態にかかるパチンコ機1では、上述(または後述)のように、操作受付が許容される期間中、摸画像については、操作受け部が変位する様子を描写するように動的表示されるものとなっている。この点、操作受付に応じた変化(表示変化や、ランプ発光など、操作後演出によって生じる変化の少なくとも1つ)が実行開始される時点で摸画像を非表示とせずこれを表示したままにする場合、該摸画像の動的表示についてもこれが終了されず継続されるようにしてもよい。
また、摸画像やゲージ画像については、それらが一体化された後述の一体化摸画像として表示されるものであってもよい。
上述した各演出例や、後述する各演出例にあって、「操作受付」とは、ボタンなどの機械式操作手段における検出のほか、特定の操作受け部に対する接触をタッチセンサで検出することによって操作受付がなされるものや、特定領域における遊技者の動きを非接触で検出することによって操作受付がなされるものであってもよい。
また、操作手段(複数の操作手段のいずれか)に対して操作機会が付与される演出受付期間を発生させる演出を「操作系演出」とするとき、該操作系演出については、これとは関係のない別の特定演出(例えば、可動体演出や、カウント演出など)と並行して実行される場合があるようにしてもよい。ただしこの場合、「操作系演出」は実行されるが「これと関わりのない別の特定演出」が実行されていない演出状況にあるときは、「操作系演出」及び「これと関わりのない別の特定演出」が並行される演出状況にあるときよりも上述の自動演出機能が機能する割合が高くなるようにすることが望ましい。すなわち、「操作系演出」及び「これと関わりのない別の特定演出」が並行される演出状況にあるときは、「操作系演出」で演出受付がなされず操作後演出が実行されなかったとしても「これと関わりのない別の特定演出」が実行状態にあることから、遊技興趣の低下は抑制されうるのに対し、「操作系演出」は実行されるが「これと関わりのない別の特定演出」が実行されていない演出状況にあるときは、「操作系演出」で演出受付がなされず操作後演出が実行されないようなことがあると何らの演出も実行されない状況になってしまうことから、遊技興趣の低下が避けられない。したがって、「操作系演出」は実行されるが「これと関わりのない別の特定演出」が実行されていない演出状況にあるときは、「操作系演出」及び「これと関わりのない別の特定演出」が並行される演出状況にあるときよりも上述の自動演出機能が機能する割合を高くするようにすることで、操作系演出が発生したときの遊技興趣を好適に維持することができるようになる。割合については100%であってもよい。ちなみに、演出受付期間が発生するのに合わせてその前から行われる前兆演出や、操作対象とされる操作手段が動作する演出などについては「操作系演出」またはこれに関連した演出として実行されるものであるといえる。また、「別の特定演出」として、例えば、演出受付期間(好ましくは、前兆演出)の開始前から発生させるものとすれば、上述の自動演出機能が機能する割合が高くなることを事前に示唆することができるようになる。この場合、演出受付期間(好ましくは、操作後演出)の終了後に終了される演出として実行されるものとするようにすることが望ましい。これに対し、「別の特定演出」として、例えば、演出受付期間(好ましくは、前兆演出)の開始後に発生し、演出受付期間の終了前に終了される演出として実行されるものとすれば、上述の自動演出機能が機能する割合が高い状況にあるのかを直前にしか認識し得ないようになり、緊張感のあるなかで演出を提供することができるようになる。この点、「別の特定演出」として、演出受付期間(好ましくは、前兆演出)の開始前から発生させるものとする場合、該「別の特定演出」を、一の図柄変動内で複数回にわたって行われるようにすれば、演出受付期間が発生しないときにも実行されるようになることから、「別の特定演出」が実行されたときに自動演出機能が機能する割合が高くされているなかで演出受付期間が発生するかについての緊張感を持たせることができるようになる。
また、特定の演出状態(自動ボタン演出状態)にあるときに大当り判定の結果に応じたハズレ変動が順次消化されてその実行回数が特定値(例えば、999回連続してハズレ変動が実行され、1000回目のハズレ変動)に達するまでの間は、大当り判定の結果に基づいて操作手段(複数の操作手段のいずれか)に対して操作機会が付与される演出受付期間が所定確率で発生されうるようにするとともに、該演出受付期間が発生したとしても遊技者による操作がなかったときには上述の自動演出機能を機能させる場合と上述の自動演出機能を機能させない場合とがあるようにする。これに対し、特定の演出状態(自動ボタン演出状態)にあるときに大当り判定の結果に応じたハズレ変動が順次消化されてその実行回数が特定値(例えば、999回連続してハズレ変動が実行され、1000回目のハズレ変動)に達した場合、該特定値に達した図柄変動(演出パターン)では、大当り判定の結果にかかわらず操作手段(複数の操作手段のいずれか)に対して操作機会が付与される演出受付期間を必ず発生させるとともに、該演出受付期間内で遊技者による操作がなかったとしても上述の自動演出機能を機能させて該演出受付期間内で遊技者による操作があったときと同じ操作後演出を必ず発生させる処理を実行するようにしてもよい。このような構成によれば、ハズレ変動の連続実行回数が特定値に達すると、「ハズレ変動が連続して実行されているなかで演出受付期間が発生する度に遊技者に対して操作すべきことを促してきたにもかかわらず何らの成果も挙げられなかった」これまでの責任を感じたかのように、遊技者による操作がなかったとしても当該パチンコ機1これ自体が自動演出機能を必ず機能させる演出として実現されることから、遊技興趣を好適に維持することができるようになる。なおこの際、ハズレ変動が順次消化されてその実行回数が特定値に達した状態(例えば、1000回目のハズレ変動)にあるときに発生する演出受付期間では、ハズレ変動が順次消化されてその実行回数が特定値(例えば、999回までのハズレ変動)に達するまでの演出受付期間にあるときに出現していた表示画像(例えば、「操作しろ」など)とは異なる特別の表示画像(例えば、「面倒であれば、わたくしが代行して操作させていただきます」など)を出現させるようにすることが望ましい。また、特定値に達した図柄変動(演出パターン)が消化された以降も、特定の条件(例えば、大当り遊技状態の発生)が満たされるまでの間は図柄変動が消化される都度、該図柄変動(演出パターン)内で、大当り判定の結果にかかわらず操作手段(複数の操作手段のいずれか)に対して操作機会が付与される演出受付期間を必ず発生させるとともに特別の表示画像(例えば、「面倒であれば、わたくしが代行して操作させていただきます」など)を出現させ、該演出受付期間内で遊技者による操作がなかったとしても上述の自動演出機能を機能させて演出受付に応じた操作後演出を必ず発生させる処理を実行するようにすることが望ましい。
なお、特定の演出状態(自動ボタン演出状態)にあるときに大当り判定の結果に応じたハズレ変動が順次消化されてその実行回数が特定値(例えば、999回連続してハズレ変動が実行され、1000回目のハズレ変動)に達するまでの残り変動数の表示を行うようにしてもよい。
また、特定の演出状態(自動ボタン演出状態)にあるときに大当り判定の結果に応じたハズレ変動が順次消化されてその実行回数が特定値に達するまでの間は、図柄変動中、第一操作手段に対する演出受付期間と、第二操作手段に対する演出受付期間とのいずれもが発生しうるようにされるが、ハズレ変動が順次消化されてその実行回数が特定値に達したときの図柄変動では、第一操作手段に対する演出受付期間と第二操作手段に対する演出受付期間とのいずれかのみが常に発生して、その他方側は発生し得ないように演出進展させるようにしてもよい。このような構成によれば、常に同じ操作手段に対して操作機会が付与されることから、演出受付期間が発生したことこれ自体に対して期待を持たせてしまうようなことが好適に抑制されうるようになる。ただしこの演出例が、「ハズレ変動が連続して実行されているなかで演出受付期間が発生する度に遊技者に対して操作すべきことを促してきたにもかかわらず何らの成果も挙げられなかった」これまでの責任を感じたかのように、遊技者による操作がなかったとしても当該パチンコ機1これ自体が自動演出機能を必ず機能させる演出として実現されるものであることに鑑みれば、過渡な期待をこれ以上持たせないように、発生時の期待度が相対的に低い側の第一操作手段(例えば、操作ボタン410)に対する演出受付期間を発生させて、第二操作手段(例えば、刀装飾体5001)に対する演出受付期間は発生させないようにすることが望ましい。
また、複数の操作手段のうち第1の操作手段(例えば、操作ボタン410)に対して操作機会が付与される第1演出受付期間については、特定の演出状態(自動ボタン演出状態)に制御されていないときと特定の演出状態(自動ボタン演出状態)に制御されているときとのいずれにおいても発生可能であるが、複数の操作手段のうち第2の操作手段(例えば、刀装飾体5001)に対して操作機会が付与される第2演出受付期間については、特定の演出状態(自動ボタン演出状態)に制御されていないときには発生し得ず、特定の演出状態(自動ボタン演出状態)に制御されているときに発生可能とされるようにしてもよい。このような構成によれば、特定の演出状態(自動ボタン演出状態)に制御されているときの演出性を高めることができるようになり、該特定の演出状態(自動ボタン演出状態)にあるときの遊技興趣を好適に維持することができるようになる。
また上述の通り、この実施の形態にかかるパチンコ機1(周辺制御MPU1511a)では、大当り判定の結果に基づいて演出受付期間を発生させるとき、
・操作手段を摸した摸画像(操作対象とされる操作手段を示唆する操作対象示唆画像)を表示し(摸画像表示手段)、
・演出受付期間が発生した以降、摸画像が表示されているなかで遊技者による操作が行われると、該操作に基づいて操作後演出を実行可能であり(遊技者操作受付手段)、
・演出受付期間が発生した以降、摸画像が表示されているなかで遊技者による操作が行われないままで特定タイミングが到来すると、遊技者による操作を受けること無しで操作後演出を実行可能(自動演出受付手段)
としたものであるが、摸画像については、演出受付がなされたときに「遊技者に有利な態様」で操作後演出が実行される割合(期待度)が異なる複数態様のいずれかで、表示されうるようにすることが望ましい。このような構成によれば、遊技者操作受付手段によって操作後演出が発生する場合と、自動演出受付手段によって操作後演出が発生する場合とのいずれの場合であっても、期待度が認識可能とされているなかで操作後演出を発生させることができるようになる。
また、上述の自動演出機能が機能することによって操作後演出を発生させた場合は、操作対象となっている操作手段(例えば、操作ボタン410)に対して遊技者は何ら関与しないままで操作後演出を自動発生させることとなることから、遊技者側からすれば、該自動発生した操作後演出がいずれの操作手段に対応したものであるのか把握できなくなってしまう懸念がある。したがって、上述の自動演出機能を機能させて操作後演出を発生させる場合は、まず、演出受付期間内において摸画像(操作対象とされる操作手段を示唆する操作対象示唆画像)を表示するとともに、上述の自動演出機能が機能した場合であっても、該摸画像を非表示とせずこれを表示した状態で操作後演出を発生させるようにすることが望ましい。なおこの場合、操作後演出が発生する前と発生した後とで操作対象示唆画像の表示態様(例えば、色や透過率など)は必ずしも同じでなくてもよく、操作対象とされていた操作手段がいずれであったのかを操作後演出が発生した状態においても認識可能であればよい。これに対し、演出受付期間内において遊技者による操作によって操作後演出が発生する場合は、操作後演出が発生した状態において操作対象示唆画像を非表示とするようにしてもよいし、上述の自動演出機能が機能した場合と同様、操作対象示唆画像を非表示とせずこれを表示した状態で操作後演出を発生させるようにしてもよい。操作後演出については、演出表示装置1600のうち少なくとも摸画像が表示される領域とは異なる領域を用いて実行するようにしてもよいし、遊技盤5にて設けられるランプによる発光または可動装飾体による動作として実行されるものであってもよい。
なおこの際、摸画像を、期待度が異なる複数態様のいずれかで表示するようにした場合は、操作後演出が発生した状態においても、演出受付期間内で示唆されていた期待度(摸画像の表示態様)を確認することができるようになる。
こうして表示継続される摸画像については、操作後演出が発生した後に非表示にされることとなる。ただし、第一側演出受付期間が発生してから特定時間が経過したときに第一自動演出手段による自動処理が実行される場合と、第一側演出受付期間が発生してから特定時間とは異なる時間が経過したときに第一自動演出手段による自動処理が実行される場合とでは、操作後演出が実行されてから摸画像が非表示にされるまでの時間についても互いに異なるようにすることが望ましい。このような構成によれば、特定時間が経過したときに自動処理によって操作後演出が発生したのか、特定時間とは異なる時間が経過したときに自動処理によって操作後演出が発生したのかを認識できなかったとしても、操作後演出が実行されてから摸画像が非表示にされるまでの時間を確認することで、いずれの時間で操作後演出が発生したのかを認識することができるようになる。
なお、特定時間が経過したときに自動処理によって操作後演出が発生したときと、特定時間とは異なる時間が経過したときに自動処理によって操作後演出が発生したときとで、大当り判定にて大当りが得られている期待度が異なるようにしてもよい。
また、特定の演出状態(自動ボタン演出状態)に制御されているときに、遊技者に対して操作機会が付与される演出受付期間が発生される場合は、該演出受付期間中、2つの表示態様(例えば、相対的に大当り期待度の低い低期待表示態様、相対的に大当り期待度の高い高期待表示態様)のいずれかが現れうるようにし、高期待表示態様(例えば、赤色の操作画像)が現れたときには該演出受付期間内で操作が行われなかったとしても必ず演出受付(自動演出機能が必ず機能)されて該演出受付に応じた操作後演出が実行されるが、低期待表示態様(例えば、青色の操作画像)が現れたときには該演出受付期間内で操作が行われなかったときに演出受付(自動演出機能が機能)されて該演出受付に応じた操作後演出が実行される場合と、演出受付(自動演出機能が機能)されず操作後演出が実行されない場合とがあるように演出進展させるようにしてもよい。すなわち、高期待表示態様(例えば、赤色の操作画像)が現れたときに操作し忘れが生じると操作後演出を確認することができなかったことによる遊技興趣の低下が避けられないが、低期待表示態様(例えば、青色の操作画像)が現れたときには操作し忘れが生じたとしてもそれほど遊技興趣は低下しないと想定されることから、高期待表示態様(例えば、赤色の操作画像)が現れたときに操作し忘れが生じた場合は演出受付期間内で自動演出機能を必ず機能させることで操作し忘れによる遊技興趣の低下を回避するようにしつつも、低期待表示態様(例えば、青色の操作画像)が現れたときに操作し忘れが生じた場合は演出受付期間内で自動演出機能を必ずしも機能させないようにすることで操作し忘れを生じさせないように遊技することに対する緊張感を持たせて遊技者参加意識を高めることが期待されるようになる。なお、特定の演出状態(自動ボタン演出状態)に制御されていないときには、低期待表示態様(例えば、青色の操作画像)は出現されるが、高期待表示態様(例えば、赤色の操作画像)は出現し得ないようにしてもよい。また、演出受付期間中は、3つ以上の表示態様のいずれかが現れうるようにしてもよい。
そして、以下に説明する各特徴的技術では、これらの自動ボタン演出状態にかかる別例についても適宜適用して実施するようにしてもよい。
[自動演出機能による期待度示唆]
上述の通り、自動ボタン演出状態においては、演出受付期間(上述の別例を適用する場合、第1の特定有効期間や第2の特定有効期間)内で遊技者による操作が行われずとも、該操作が行われたときと同じ変化を演出に対して生じさせる処理(自動演出機能)が実行可能とされうる。この点、この実施の形態にかかるパチンコ機1(周辺制御MPU1511a)では、自動ボタン演出状態において、演出受付期間内で遊技者による操作が演出受付されなかったとき、演出受付されたときと同じ変化を演出に対して生じさせる処理(自動演出機能)が実行されない演出パターンも生じうるようにしている。そしてこの際、自動ボタン演出状態において、演出受付期間内で遊技者による操作が演出受付されなかった場合に自動演出機能が機能しなかったときには、該自動演出機能が機能したときよりも当該図柄変動において大当り図柄が現れる期待度(割合)が低くなるように図柄変動内における演出が進展される処理を実行可能としている。この際、大当り図柄が現れる期待度(割合)は0%であってもよい。
このような構成によれば、自動ボタン演出状態において操作ボタン410に対する演出受付期間が発生した場合は、該演出受付期間内で操作ボタン410に対する操作をあえて行わないようにしたときに自動演出機能が機能するか否かを確認するようにすることで、実行状態にある図柄変動で大当り図柄が現れるかについての期待度を把握することが可能である。すなわちこの場合、自動ボタン演出状態においては、「演出受付期間内で演出受付(操作ボタン410に対する操作)さえしておけば確認できたはずの操作後演出これ自体も確認することができなくなる」といった演出的なデメリットが生じうるリスクが持たされているなかで、「演出受付期間内で操作ボタン410に対する操作をあえて行わない」といった演出的選択を遊技者に対して行使させる、といった斬新な演出性によって遊技興趣を好適に維持することが期待されるようになる。
また上述の通り、この実施の形態にかかるパチンコ機1(周辺制御MPU1511a)では、複数の操作手段(操作ボタン410、刀装飾体5001など)のうち操作ボタン410に対する操作が演出受付可能とされる期間が発生するのか、それとも別の操作手段(例えば、刀装飾体5001)に対する操作が演出受付可能とされる期間が発生するのかについての上述した演出(特定の操作関連演出(図166~図186を参照))を実行可能としている。この点、自動ボタン演出状態においては、このような特定の操作関連演出に対応して発生する演出受付期間では、特定の操作関連演出が実行されずに発生する演出受付期間に比べて、それら演出受付期間内で操作(演出受付)がなかったときに上述の自動演出機能が機能する割合が高くされるように図柄変動内における演出が進展される処理を実行可能としている。この際、自動演出機能が機能する割合は100%であってもよい。
このような構成によれば、演出受付期間が発生するよりも前に特定の操作関連演出が実行されること自体が、上述の自動演出機能が機能する割合が高いことを示唆する演出としても機能しうるようになることから、特定の操作関連演出が実行されたときの遊技興趣をより好適に向上させることができるようになる。
また、これも上述したが、特定の操作関連演出では、その演出結果として操作ボタン410に対して操作機会が付与されることが示された場合よりも、刀装飾体5001に対して操作機会が付与されることが示された場合のほうが実行状態にある図柄変動で大当り図柄が現れる期待度が高くなるように設定される。ただし、自動ボタン演出状態において、特定の操作関連演出に対応して発生する演出受付期間内で操作(演出受付)がなかったときに上述の自動演出機能が機能する割合については、操作ボタン410に対して操作機会が付与されることが示された場合と、刀装飾体5001に対して操作機会が付与されることが示された場合とで同じ割合になるように設定することがより望ましい。
このような構成によれば、特定の操作関連演出の演出結果として相対的に期待度の低い演出状況(操作ボタン410に対して操作機会が付与されることが示唆)が現われた場合であっても、上述の自動演出機能が機能する割合はこれ(特定の操作関連演出の演出結果)によって変化しないようにされることから、上述の自動演出機能が機能することへの期待感についてはこれを好適に維持することが可能とされるようになる。このように、互いの演出結果の影響を受けない2つの異なる演出(特定の操作関連演出,自動演出機能による期待度示唆)が並行されることによって遊技興趣を高めることができるようになる。
以下、このような自動演出機能によって期待度が示唆される演出の具体例について、図187~図189を参照して説明する。
図187(a)は、自動ボタン演出状態において、保留数が3の状態にあり、装飾図柄SZ(特別図柄)の変動表示が大当り判定の結果に応じた特定の演出パターンで演出表示装置1600にて行われている演出状況を示している。図中に示されるように、自動ボタン演出状態に制御されている期間中、演出表示装置1600の表示領域内においては自動ボタン演出状態に制御されている旨を示す表示(ここでは、「オートボタン設定中」)が継続的に現れるようになっている。
図187(b)は、図187(a)に示した装飾図柄SZの変動表示の実行中に、操作ボタン410に対する特定の演出受付期間が発生した演出状況を示している。図中に示されるように、特定の演出受付期間においては、操作ボタン410に対応するボタン画像BTGが表示領域内で表示されるとともに、操作ボタン410に対する操作を促す指示表示(ここでは、「押せ」といった文字表示と、特定の演出受付期間の残り時間を示すバー表示)が現れるようになっている。なおこの際、操作機会の付与対象とされる操作ボタン410は発光状態になっており、これによっても該操作ボタン410に対する操作が促されている。
ここで、図187(b)に示される特定の演出受付期間内で操作ボタン410に対する操作が演出受付されたとすると、該演出受付に応じた操作後演出として、特定装飾部材SDY(簾役物)など)を演出動作させるとともに、表示領域内においても期待度が異なる複数態様(例えば、期待度が相対的に低い「チャンス!」や、期待度が相対的に高い「激熱!」など)のいずれかが表示されることとなる。またこの際、自動ボタン演出状態が設定解除されて通常の演出状態に戻されるとともに、特定の演出受付期間も残り時間を消化することなく演出受付があった時点で終了されることとなる。
これに対し、図187(b)に示される演出状況において、特定の演出受付期間内で操作ボタン410に対する操作が行われなかったとき(演出受付が発生しなかったとき)は、60%の割合で上述の自動演出機能が機能せず、40%の割合で上述の自動演出機能が機能するようになっている。
すなわち、60%の割合で上述の自動演出機能が機能しなかった場合は、図187(c)に示されるように、特定の演出受付期間内で操作ボタン410に対する操作が演出受付されなかったものとして、該演出受付さえ行われていれば発生していたはずの操作後演出が実行されることはない。そしてこの後、特定の演出受付期間が発生してから所定時間後にリーチ状態が形成されるかたちで演出進展されることとなる。
一方、40%の割合で上述の自動演出機能が機能した場合は、特定の演出受付期間内で操作ボタン410に対する操作が行われなかったにもかかわらず、図187(d)に示されるように、特定の演出受付期間内で操作が行われて演出受付がなされたときと同じ内容とされた操作後演出が実行されることとなる。すなわち上述の通り、特定の演出受付期間内での演出受付によって発生する操作後演出では、特定装飾部材SDY(簾役物)など)が演出動作されるとともに、表示領域内においては期待度が異なる複数態様(例えば、「チャンス!」や「激熱!」など)のいずれかが表示されるようになっているが、特定の演出受付期間内で操作されたことに応じて操作後演出が発生する場合と、自動演出機能が機能したことによって操作後演出が発生する場合とではいずれの場合も、表示領域内において表示される態様は互いに同じとされることとなる。そしてこの後、図187(e)に示されるように、特定の演出受付期間が発生してから所定時間後にリーチ状態が形成されるかたちで演出進展されることとなる。
この点、この実施の形態にかかるパチンコ機1(周辺制御MPU1511a)では、特定の演出受付期間を「上述の自動演出機能が機能する演出受付期間」として発生させるか、それとも「上述の自動演出機能が機能しない演出受付期間」として発生させるかについては、図柄変動の実行に際して、大当り判定の結果に基づいて決定(選択)するようにしており、その結果として、特定の演出受付期間においては60%の割合で上述の自動演出機能が機能せず、40%の割合で上述の自動演出機能が機能するようになっている。例えば、大当り判定の結果として大当りに当選しているときは当選時用の選択テーブルが参照され、該当選時用の選択テーブルにおける振分比率に基づいて「上述の自動演出機能が機能する演出受付期間」または「上述の自動演出機能が機能しない演出受付期間」を発生させることとなり、大当り判定の結果として大当りに落選しているときは落選時用の選択テーブルが参照され、該落選時用の選択テーブルにおける振分比率に基づいて「上述の自動演出機能が機能する演出受付期間」または「上述の自動演出機能が機能しない演出受付期間」を発生させることとなる。そしてその結果として、特定の演出受付期間においては60%の割合で上述の自動演出機能が機能せず、40%の割合で上述の自動演出機能が機能するようになっている。
しかも、この実施の形態にかかるパチンコ機1(周辺制御MPU1511a)では、特定の演出受付期間が「上述の自動演出機能が機能する演出受付期間」として発生されることとなった場合は、「上述の自動演出機能が機能しない演出受付期間」として発生されることとなった場合よりも当該図柄変動が停止されたときに大当り図柄が現れる割合が高くなるように、それら期間のいずれとして発生させるかを上記大当り判定の結果に基づいて決定(選択)するようにしている。
このような構成によれば、演出受付されると操作後演出として期待度の高い態様(「激熱!」など)が現れることが決定されている演出受付期間が発生したときには自動演出機能が機能する割合が相対的に高くなるのに対し、演出受付されると操作後演出として期待度の低い態様(「チャンス!」など)が現れることが決定されている演出受付期間が発生したときには自動演出機能が機能する割合が相対的に低くなるようになる。したがって、自動ボタン演出状態において操作ボタン410に対する演出受付期間が発生した場合は、該演出受付期間内で操作ボタン410に対する操作をあえて行わないようにしたときに自動演出機能が機能するか否かを確認するようにすることで、実行状態にある図柄変動で大当り図柄が現れるかについての期待度を把握することが可能である。すなわちこの場合、自動ボタン演出状態においては、「演出受付期間内で演出受付(操作ボタン410に対する操作)さえしておけば確認できたはずの操作後演出これ自体も確認することができなくなる」といった演出的なデメリットが生じうるリスクが持たされているなかで、「演出受付期間内で操作ボタン410に対する操作をあえて行わない」といった演出的選択を遊技者に対して行使させる、といった斬新な演出性によって遊技興趣を好適に維持することが期待されるようになる。
ただし、図187(d)に示されるように、演出受付期間内で操作ボタン410に対する操作をあえて行わないようにしたときに自動演出機能が機能した場合であっても、操作後演出としては期待度の低い態様(「チャンス!」など)も現れうるようになっていることから、自動演出機能が機能したことによって相対的に高い期待度であることが示唆された場合であっても、このような期待度の立て続けの示唆(自動演出機能が機能したことによる示唆、操作後演出の態様による示唆)によって気を抜けない演出性が実現されることとなり、遊技興趣を好適に維持することが期待されるようになる。
また、図187(c)に示されるように、演出受付期間内で操作ボタン410に対する操作をあえて行わないようにしたときに自動演出機能が機能しなかった場合であっても、演出受付さえしておけば現われていたはずの操作後演出では期待度の高い態様が現れていた可能性が残されることから、遊技興趣を好適に維持することが期待されるようになる。ただし、図187(c)に示される演出状況(自動演出機能が機能せず、操作後演出が現れなかった状況)が現われたときは、図187(d)に示される演出状況(自動演出機能は機能したが、操作後演出として期待度の低い態様が現れた状況)が現われたときよりも期待度が低くなるようにすることが望ましい。
図188及び図189は、自動ボタン演出状態において特定の操作関連演出(図166~図186を参照)に対応する演出受付期間が発生したときに、自動演出機能によって期待度が示唆される演出の具体例を示している。
図188(a)は、自動ボタン演出状態において、保留数が3の状態にあり、装飾図柄SZ(特別図柄)の変動表示が大当り判定の結果に応じた特定の演出パターンで演出表示装置1600にて行われている演出状況を示している。この例でも、図中に示されるように、自動ボタン演出状態に制御されている期間中、演出表示装置1600の表示領域内においては自動ボタン演出状態に制御されている旨を示す表示(ここでは、「オートボタン設定中」)が継続的に現れるようになっている。
図188(b)は、図188(a)に示した装飾図柄SZの変動表示の実行中に、図168~図171に例示した特定の操作関連演出(これとは別に例示した特定の操作関連演出であってもよい)が演出開始された演出状況を示している。すなわち上述の通り、図168~図171に例示した特定の操作関連演出では、操作ボタン410に対して操作機会が付与される場合と、刀装飾体5001に対して操作機会が付与される場合とで共通の表示演出が行われるようになっており、該共通の表示演出が行われている間は操作ボタン410及び刀装飾体5001のいずれに対して操作機会が付与されるか秘匿にされる。ただし、特定の操作関連演出が開始されてから所定時間が経過すると、相対的に期待度の低い第1の演出結果として操作ボタン410を操作すべき状態にある旨を示す演出状況が現れるか、相対的に期待度の高い第2の演出結果として刀装飾体5001を操作すべき状態にある旨を示す演出状況が現れることで、相対的に期待度の低い操作ボタン410及び相対的に期待度の高い刀装飾体5001のいずれに対して操作機会が付与されるかが示されるようになる。
図188(c)は、図188(b)に示した特定の操作関連演出が行われた結果、相対的に期待度の低い第1の演出結果として操作ボタン410を操作すべき状態にある旨を示す演出状況が現われて、操作ボタン410に対する演出受付期間が発生した様子を示している。この演出状況においては、図中に示されるように、操作ボタン410に対応するボタン画像BTGが表示領域内で表示されるとともに、操作ボタン410に対する操作を促す指示表示(ここでは、「押せ」といった文字表示と、特定の演出受付期間の残り時間を示すバー表示)が現れるようになっている。なおこの際、操作機会の付与対象とされる操作ボタン410は発光状態になっており、これによっても該操作ボタン410に対する操作が促されている。
ここで、図188(c)に示される演出受付期間内で操作ボタン410に対する操作が演出受付されたとすると、該演出受付に応じた操作後演出として、特定装飾部材SDY(簾役物など)を演出動作させるとともに、表示領域内においても期待度が異なる複数態様(例えば、期待度が相対的に低い「チャンス!」や、期待度が相対的に高い「激熱!」など)のいずれかが表示されることとなる。またこの際、自動ボタン演出状態が設定解除されて通常の演出状態に戻されるとともに、特定の演出受付期間も残り時間を消化することなく演出受付があった時点で終了されることとなる。
これに対し、図188(c)に示される演出状況において、演出受付期間内で操作ボタン410に対する操作が行われなかったとき(演出受付が発生しなかったとき)は、20%の割合で上述の自動演出機能が機能せず、80%の割合で上述の自動演出機能が機能するようになっている。
すなわち、特定の操作関連演出(特定表示演出)では、操作ボタン410及び刀装飾体5001のいずれが有効化されるかについて遊技者側が困惑してしまい、その結果として、演出受付期間内に適正な操作を行うことができなくなる事態が発生しかねない。そこで、自動ボタン演出状態において、このような特定の操作関連演出に対応する演出受付期間が発生した場合(図188(c)を参照)は、特定の操作関連演出が実行されずに発生する演出受付期間(図187(b)を参照)に比べて、それら演出受付期間内で操作(演出受付)がなかったときに上述の自動演出機能が機能する割合が高くされるように図柄変動内における演出が進展される処理を実行可能としている。このような構成によれば、「演出受付期間内に適正な操作を行うことができず該操作に応じた演出が出現しないかもしれない」といった不安感を抑制しつつ、操作ボタン410及び刀装飾体5001のいずれが有効化されるかについての面白みを上記特定の操作関連演出を通じて提供することができるようになる。このような作用効果を得る上では、自動演出機能が機能したか否かによって期待度を示唆する構成については必ずしも備えなくてもよい。
したがって、この実施の形態にかかるパチンコ機1では、自動ボタン演出状態に制御されている期間中のうち、特定の操作関連演出(特定表示演出)が実行されてからこれに対応する演出受付期間が終了されるまでの間は、図中に示されるように、自動演出機能が機能する割合が高くなっている演出状況にある旨を示す表示(ここでは、「オートボタン高確中」)が継続的に現れるようになっている。
なお、20%の割合で上述の自動演出機能が機能しなかった場合は、図188(d)に示されるように、演出受付期間内で操作ボタン410に対する操作が演出受付されなかったものとして、該演出受付さえ行われていれば発生していたはずの操作後演出が実行されることはない。そしてこの後、特定の演出受付期間が発生してから所定時間後にリーチ状態が形成されるかたちで演出進展されることとなる。ただし、図188(c)に示される演出状況において、演出受付期間内で操作ボタン410に対する操作が行われなかったとき(演出受付が発生しなかったとき)に上述の自動演出機能が機能しなかった場合は、図187(b)に示される演出状況において、演出受付期間内で操作ボタン410に対する操作が行われなかったとき(演出受付が発生しなかったとき)に上述の自動演出機能が機能しなかった場合よりも期待度は高くされるようにすることが望ましい。
また、80%の割合で上述の自動演出機能が機能した場合は、演出受付期間内で操作ボタン410に対する操作が行われなかったにもかかわらず、図188(e)に示されるように、演出受付期間内で操作が行われて演出受付がなされたときと同じ内容とされた操作後演出が実行されることとなる。すなわち上述の通り、特定の演出受付期間内での演出受付によって発生する操作後演出では、特定装飾部材SDY(簾役物)など)が演出動作されるとともに、表示領域内においては期待度が異なる複数態様(例えば、「チャンス!」や「激熱!」など)のいずれかが表示されるようになっているが、特定の演出受付期間内で操作されたことに応じて操作後演出が発生する場合と、自動演出機能が機能したことによって操作後演出が発生する場合とではいずれの場合も、表示領域内において表示される態様は互いに同じとされることとなる。そしてこの後、図188(f)に示されるように、特定の演出受付期間が発生してから所定時間後にリーチ状態が形成されるかたちで演出進展されることとなる。
一方、図189(g)は、図188(b)に示した特定の操作関連演出が行われた結果、相対的に期待度の高い第2の演出結果として刀装飾体5001を操作すべき状態にある旨を示す演出状況が現われて、刀装飾体5001に対する演出受付期間が発生した様子を示している。この演出状況においては、図中に示されるように、刀装飾体5001に対応する刀装飾画像SYGが表示領域内で表示されるとともに、刀装飾体5001に対する操作を促す指示表示(ここでは、「刀を納めろ」といった文字表示と、特定の演出受付期間の残り時間を示すバー表示)が現れるようになっている。なおこの際、操作機会の付与対象とされる操作ボタン410は動作状態になっており、これによっても該操作ボタン410に対する操作が促されるとともに、刀装飾体5001に対して動作状態から原位置への操作が許容されるようになる。
ここで、図189(g)に示される演出受付期間内で刀装飾体5001に対する操作が演出受付されたとすると、図188(c)に示される演出受付期間内で操作ボタン410に対する操作が演出受付されたときと同じ操作後演出が実行されることとなる。ただし、図188(g)に示される演出受付期間内で刀装飾体5001に対する操作が演出受付されたときには、図188(c)に示される演出受付期間内で操作ボタン410に対する操作が演出受付されたときに比べて、期待度が異なる複数態様(例えば、期待度が相対的に低い「チャンス!」や、期待度が相対的に高い「激熱!」など)のうち期待度の高い態様が表示領域内において出現する割合が高くなっている。この割合は、100%であってもよい。また、演出受付期間内で刀装飾体5001に対する操作が演出受付されると、自動ボタン演出状態が設定解除されて通常の演出状態に戻されるとともに、特定の演出受付期間も残り時間を消化することなく演出受付があった時点で終了される点についても、図188(c)に示される演出受付期間の場合と同じである。
この点、この実施の形態にかかるパチンコ機1では、図189(g)に示される演出状況において演出受付期間内で刀装飾体5001に対する操作が行われなかった場合(演出受付が発生しなかった場合)は、図188(c)に示される演出状況が発生したときよりも期待度の高い演出状況になっているにもかかわらず、図188(c)に示される演出状況において演出受付が発生しなかった場合と同様、20%の割合で上述の自動演出機能が機能せず、80%の割合で上述の自動演出機能が機能するようになっている。
このような構成によれば、特定の操作関連演出が行われた結果、相対的に期待度の低い第1の演出結果として操作ボタン410を操作すべき状態にある旨を示す演出状況(図188(c)を参照)が現れた場合であっても、上述の自動演出機能が機能する割合はこれ(特定の操作関連演出の演出結果)によって変化しないようにされることから、上述の自動演出機能が機能することへの期待感についてはこれを好適に維持することが可能とされるようになる。このように、互いの演出結果の影響を受けない2つの異なる演出(特定の操作関連演出,自動演出機能による期待度示唆)が並行されることによって一方側の演出で不利な演出結果が現われたときの遊技興趣の低下を抑制することができるようになる。ただしこの場合、図188(c)に示される演出状況において、演出受付期間内で操作ボタン410に対する操作が行われなかったとき(演出受付が発生しなかったとき)に上述の自動演出機能が機能した場合は、図189(g)に示される演出状況において、演出受付期間内で刀装飾体5001に対する操作が行われなかったとき(演出受付が発生しなかったとき)に上述の自動演出機能が機能した場合よりも期待度は低くされることとなる。
なお、20%の割合で上述の自動演出機能が機能しなかった場合は、図189(h)に示されるように、演出受付期間内で刀装飾体5001に対する操作が演出受付されなかったものとして、該演出受付さえ行われていれば発生していたはずの操作後演出が実行されることはない。そしてこの後、特定の演出受付期間が発生してから所定時間後にリーチ状態が形成されるかたちで演出進展されることとなる。ただし、図189(g)に示される演出状況において、演出受付期間内で刀装飾体5001に対する操作が行われなかったとき(演出受付が発生しなかったとき)に上述の自動演出機能が機能しなかった場合も、図187(b)に示される演出状況において、演出受付期間内で操作ボタン410に対する操作が行われなかったとき(演出受付が発生しなかったとき)に上述の自動演出機能が機能しなかった場合よりも期待度は高くされるようにすることが望ましい。
また、80%の割合で上述の自動演出機能が機能した場合は、演出受付期間内で刀装飾体5001に対する操作が行われなかったにもかかわらず、図189(i)に示されるように、演出受付期間内で操作が行われて演出受付がなされたときと同じ内容とされた操作後演出が実行されることとなる。すなわち上述の通り、特定の演出受付期間内での演出受付によって発生する操作後演出では、特定装飾部材SDY(簾役物)など)が演出動作されるとともに、表示領域内においては期待度が異なる複数態様(例えば、「チャンス!」や「激熱!」など)のいずれかが表示されるようになっているが、演出受付期間内で操作されたことに応じて操作後演出が発生する場合と、自動演出機能が機能したことによって操作後演出が発生する場合とではいずれの場合も、表示領域内において表示される態様は互いに同じとされることとなる。そしてこの後、図189(j)に示されるように、特定の操作関連演出に対応する演出受付期間が発生してから所定時間後にリーチ状態が形成されるかたちで演出進展されることとなる。
なお、特定の操作関連演出に対応する演出受付期間(図188(c),図189(g)を参照)を「上述の自動演出機能が機能する演出受付期間」として発生させるか、それとも「上述の自動演出機能が機能しない演出受付期間」として発生させるかについても、特定の操作関連演出が実行されずに発生する演出受付期間(図187(b)を参照)の場合と同様、図柄変動の実行に際して、大当り判定の結果に基づいて決定(選択)するようにしており、その結果として、特定の操作関連演出に対応する演出受付期間においては20%の割合で上述の自動演出機能が機能せず、80%の割合で上述の自動演出機能が機能するようになっている。例えば、大当り判定の結果として大当りに当選しているときは当選時用の選択テーブルが参照され、該当選時用の選択テーブルにおける振分比率に基づいて「上述の自動演出機能が機能する演出受付期間」または「上述の自動演出機能が機能しない演出受付期間」を発生させることとなり、大当り判定の結果として大当りに落選しているときは落選時用の選択テーブルが参照され、該落選時用の選択テーブルにおける振分比率に基づいて「上述の自動演出機能が機能する演出受付期間」または「上述の自動演出機能が機能しない演出受付期間」を発生させることとなる。そしてその結果として、特定の操作関連演出に対応する演出受付期間(図188(c),図189(g)を参照)においては20%の割合で上述の自動演出機能が機能せず、80%の割合で上述の自動演出機能が機能するようになっている。
またこれも同様、特定の操作関連演出に対応する演出受付期間(図188(c),図189(g)を参照)も、「上述の自動演出機能が機能する演出受付期間」として発生されることとなった場合は、「上述の自動演出機能が機能しない演出受付期間」として発生されることとなった場合よりも当該図柄変動が停止されたときに大当り図柄が現れる割合が高くなるように、それら期間のいずれとして発生させるかを上記大当り判定の結果に基づいて決定(選択)するようにしている。
なお、操作後演出については、特定の操作関連演出に対応する演出受付期間(図188(c),図189(g)を参照)の場合と、特定の操作関連演出が実行されずに発生する演出受付期間(図187(b)を参照)の場合とで異なる演出として実行されるようにしてもよい。ただし、異なる演出として実行する場合であっても、操作後演出においては期待度の異なる複数態様のいずれかが出現しうるようにすることが望ましい。期待度は0%や100%であってもよい。
また、図187~図189に示した演出例で用いられる刀装飾体5001は、図161で示したタイプの刀装飾体5001であってもよい。また、図188及び図189では、図168~図171に示した特定の操作関連演出に対して「自動演出機能を利用した演出」が適用された例として説明することとしたが、「自動演出機能を利用した演出」については、図166~図186のいずれの特定の操作関連演出に対して適用するようにしてもよい。
また、図188及び図189に示した演出例にあって、自動ボタン演出状態に制御されていない状態で特定の操作関連演出が実行されたときには、該特定の操作関連演出に対応する演出受付期間内で自動ボタン演出状態への設定操作が受け付けられないようにすることはもとより、該「自動ボタン演出状態への設定操作が受け付けられない」状態については、演出受付期間が発生するよりも前の、少なくとも図188(b)に示される演出状況(特定の操作関連演出が開始された演出状況)にあるときから発生させてこれが演出受付期間までにわたって継続されるようにすることが望ましい。このような構成によれば、特定の操作関連演出が開始されたのを確認してから自動ボタン演出状態への設定操作を行おうとしてもこれが受け付けられないようになることから、自動ボタン演出状態を維持しながら遊技を継続的に行っている者だけを対象にして「自動演出機能を利用した演出」を提供することができるようになり、自動ボタン演出状態を維持しながら遊技を継続的に行うことに対する演出的な価値を提供することができるようになる。
また、特定の操作関連演出が実行されずに発生する演出受付期間(図187(b)を参照)や、特定の操作関連演出に対応する演出受付期間(図188(c),図189(g)を参照)においては、第1の表示態様(例えば、青色のボタン画像BTGや、青色の刀装飾画像SYG)や、第2の表示態様(例えば、緑色のボタン画像BTGや、緑色の刀装飾画像SYG)が出現されうるようにし、第2の表示態様が出現したときには第1の表示態様が出現したときに比べて「上述の自動演出機能が機能する演出受付期間」が発生している状態にある割合が高くなるようにすることが望ましい。
また、特定の操作関連演出が実行されずに発生する演出受付期間(図187(b)を参照)や、特定の操作関連演出に対応する演出受付期間(図188(c),図189(g)を参照)においては、第3の表示態様(例えば、赤色のボタン画像BTGや、赤色の刀装飾画像SYG)が出現されうるようにし、第3の表示態様が出現したときには「上述の自動演出機能が機能する演出受付期間」が必ず発生している状態にあるようにしてもよい。
これらの構成によれば、自動ボタン演出状態において、「演出受付期間内で演出受付(操作ボタン410に対する操作)さえしておけば確認できたはずの操作後演出これ自体も確認することができなくなる」といった演出的なデメリットが生じうるリスクが持たされているなかで、「演出受付期間内で操作ボタン410に対する操作をあえて行わない」といった演出的選択を行使すべきかについての判断材料を提供することができるようになり、遊技興趣を好適に維持することが期待されるようになる。
また、「自動演出機能を利用した演出」を適用するか否かにかかわらず、図166~図186や、図188,図189で例示した各「特定の操作関連演出」に対応する演出受付期間については、特定の操作関連演出が実行されずに発生する演出受付期間(図187(b)など)よりも長い時間をもった期間として発生させるようにすることが望ましい。すなわち、特定の操作関連演出(特定表示演出)では、操作ボタン410及び刀装飾体5001のいずれが有効化されるかについて遊技者側が困惑してしまい、その結果として、演出受付期間内に適正な操作を行うことができなくなる事態が発生しかねないが、「特定の操作関連演出」に対応する演出受付期間に長い時間を持たせるようにすることで、こうした事態が発生することを抑制することが期待されるようになる。
特に、図188及び図189の例にあって、「特定の操作関連演出」に対応する演出受付期間では、自動演出機能が機能する割合が相対的に高くなるように設定されていることに鑑みれば、当該演出受付期間を、「特定の操作関連演出」が実行されずに発生する演出受付期間よりも長い時間を持つように設定するようにすることが、自動演出機能が機能するか否かについての演出性をより長く持続させて遊技興趣の向上を図るようにする上で望ましいといえる。なおこの場合、自動演出機能が機能するタイミングについては、「特定の操作関連演出」が実行されずに発生する演出受付期間では該期間が発生してから第一時間が経過したときに到来するのに対し、「特定の操作関連演出」に対応する演出受付期間では該期間が発生してから上記第一時間よりも長い第二時間が経過したときに到来するようにすることが、自動演出機能が機能するか否かについての演出性をより長く持続させる上で重要である。
また、「特定の操作関連演出」が実行されずに発生する演出受付期間と、「特定の操作関連演出」に対応する演出受付期間とで、それら期間が開始されてから終了されるまでの時間を異ならせるようにした場合であっても、演出受付期間の残り時間を示すバー表示についてはこれを同じ態様(同じ長さのバー表示)で表示するようにし、ゲージ残量が減少されていく速度を異ならせるだけにするようにすることが望ましい。すなわちこの場合、「特定の操作関連演出」に対応する演出受付期間が発生した場合であっても、「特定の操作関連演出」が実行されずに発生する演出受付期間と同じ時間だけ期間継続されるように思わせることができるようになることから、想定よりも長い時間にわたって期間継続されることによる「じれったさ」も相まって、自動演出機能が機能するか否かについての演出性を好適に持続させることができるようになる。
図187~図189に示した例によれば、特定の演出状態(自動ボタン演出状態)に制御されているときに第1の演出受付期間(特定操作手段(操作ボタン410)に対する演出受付期間)が発生し、該第1の演出受付期間内において特定操作手段(操作ボタン410)に対する操作が行われなかったとしても、第1の自動演出手段による処理(操作ボタン410に対する自動演出機能)は必ずしも実行されるとは限らないが、特定表示演出(特定の操作関連演出)が実行されてから所定時間が経過したときに発生する演出受付期間では、特定表示演出が実行されることなく発生する第1の演出受付期間(特定操作手段(操作ボタン410)に対する演出受付期間)よりも該第1の演出受付期間内において特定操作手段(操作ボタン410)に対する操作が行われなかったときに第1の自動演出手段による処理(操作ボタン410に対する自動演出機能)が実行される割合が高くされることとなる。
この点、このような自動ボタン演出状態としては、演出受付期間の種別によって自動演出機能が機能する割合(「60%-40%」,「20%-80%」)が上述の如く異なるように設定される自動ボタン演出状態を「第1の自動ボタン演出状態」とするとき、演出受付期間の種別によって自動演出機能が機能する割合が別の配分率(「50%-50%」,「10%-90%」)で異なるように設定される「第2の自動ボタン演出状態」や、演出受付期間が発生したときにその期間としての種別にかかわらず自動演出機能が必ず機能するように設定される第3の自動ボタン演出状態をさらに用意するようにし、自動演出機能が機能しない通常の演出状態も含めて、それら演出状態のいずれかに設定可能とされるようにしてもよい。また、自動演出機能が機能しない通常の演出状態は用意せず、常時、自動ボタン演出状態(第1の自動ボタン演出状態,第2の自動ボタン演出状態,第3の自動ボタン演出状態)で遊技や演出が実行されるようにしてもよい。
なお、上述した「演出受付期間の種別」とは、操作受付がされたときに発生する操作後演出の種別が異なることを意味するものであってもよい。例えば、第1の自動ボタン演出状態においては、「会話予告の操作後演出を発生させる第1演出受付期間」と、「カットインの操作後演出を発生させる第2演出受付期間」とでは、それらの演出受付期間内で操作手段に対する操作の受付けがなされないときに該受付けがなされたときと同じ操作後演出を発生させないが(自動受付がなされないが)、「可動体Aを動作させる操作後演出を発生させる第3演出受付期間」では、その演出受付期間内で操作手段に対する操作の受付けがなされないときに該受付けがなされたときと同じ操作後演出を発生させる(自動受付がなされる)こととなる。これに対し、「第1の自動ボタン演出状態(第1の演出状態)」よりも自動受付が発生し易い「第2の自動ボタン演出状態(第2の演出状態)」においては、「会話予告の操作後演出を発生させる第1演出受付期間」では、その演出受付期間内で操作手段に対する操作の受付けがなされないときに該受付けがなされたときと同じ操作後演出を発生させないが(自動受付がなされないが)、「カットインの操作後演出を発生させる第2演出受付期間」と、「可動体Aを動作させる操作後演出を発生させる第3演出受付期間」とでは、それらの演出受付期間内で操作手段に対する操作の受付けがなされないときに該受付けがなされたときと同じ操作後演出を発生させる(自動受付がなされる)こととなる。ただし、第1演出受付期間(会話予告の種別)、第2演出受付期間(カットインの種別)、及び第3演出受付期間(可動体Aの種別)を含む複数の演出受付期間のいずれが発生した場合であっても、操作手段に対する操作の受付けがなされないとき、該受付けがなされたときと同じ操作後演出を発生させる場合がない「通常の演出状態」は用意されずこれに設定することはできないようにされることとなる。
すなわちこの場合、「遊技者によって操作可能な操作手段と、所定の始動条件の成立に基づいて判定を行う判定手段と、前記判定手段による判定にて所定の結果が得られたことに基づいて遊技者に特典を付与しうる特典付与手段と、複数の演出状態のいずれか1つに制御可能な演出状態制御手段とを備え、前記操作手段に対して操作機会が付与される演出受付期間として、操作受付されたときに発生する操作後演出の種別が異なる複数の演出受付期間が用意されており、前記複数の演出状態には、前記複数の演出受付期間のいずれか1つが発生したとき、該発生した演出受付期間の種別に応じて、その演出受付期間内で前記操作手段に対する操作の受付けがなされないときに該受付けがなされたときと同じ操作後演出を発生させる場合と、該受付けがなされたときと同じ操作後演出を発生させない場合との両方がある第1の演出状態、及び前記複数の演出受付期間のいずれか1つが発生したとき、該発生した演出受付期間の種別に応じて、その演出受付期間内で前記操作手段に対する操作の受付けがなされないときに該受付けがなされたときと同じ操作後演出を発生させる場合と、該受付けがなされたときと同じ操作後演出を発生させない場合との両方があるが、前記同じ操作後演出の発生し易さは、前記第1の演出状態と異なる第2の演出状態が少なくとも含まれており、前記複数の演出受付期間のいずれが発生した場合であっても、前記操作手段に対する操作の受付けがなされないとき、該受付けがなされたときと同じ操作後演出を発生させる場合がない演出状態は含まれていないことを特徴とする遊技機」として設けられることとなる。
また、配分率についても、演出受付期間の種別と、演出状態の種別とに応じて、0%と100%とのいずれかに設定されるものであってもよい。
また、図187~図189に示した演出例については以下のように変形して実施するようにしてもよい。すなわち、図187(b)に示される第1の演出受付期間で自動演出機能が機能する場合は、該第1の演出受付期間が発生してから第1の所定時間が経過したタイミング(第1の演出受付期間内のタイミング)で上述の自動演出機能が機能して、第1の演出受付期間を終了させるとともにこれに対応した操作後演出を発生させる。ただし、図187(b)に示される第1の演出受付期間内で自動演出機能が機能しない場合は、該第1の演出受付期間が発生してから第1の所定時間が経過したタイミング(第1の演出受付期間内のタイミング)で上述の自動演出機能が機能せず、その後、操作後演出が実行されないままで第1の演出受付期間を終了させる(それ以降も、操作後演出は実行されない)。これに対し、図188(c)に示される第2の演出受付期間や図189(g)に示される第3の演出受付期間で自動演出機能が機能する場合は、第2の演出受付期間または第3の演出受付期間が発生してから上記第1の所定時間よりも長い第2の所定時間が経過したタイミングで上述の自動演出機能が機能して、第2の演出受付期間または第3の演出受付期間を終了させるとともにそれに応じた操作後演出を発生させる。ただし、図188(c)に示される第2の演出受付期間や図189(g)に示される第3の演出受付期間内で自動演出機能が機能しない場合は、該第2の演出受付期間または第3の演出受付期間が発生してから第2の所定時間が経過したタイミングで上述の自動演出機能が機能せず、その後、操作後演出が実行されないままで第2の演出受付期間または第3の演出受付期間を終了させる(それ以降も、操作後演出は実行されない)。
このような構成によれば、自動演出機能の機能する割合の低い側の第1の演出受付期間では、比較的早い段階で自動演出機能が機能しうるようになっており、該自動演出機能が機能しなかったとしても当該第1の演出受付期間が終了されるまでの間に遊技者自らの操作で演出受付されるようにするだけの時間的余裕が持たされるようになることから、安心して遊技を行うことができるようになる。これに対し、自動演出機能の機能する割合の高い側の第2の演出受付期間または第3の演出受付期間では、比較的遅い段階でしか自動演出機能が機能しえず、該自動演出機能が機能しなかったときに遊技者自らが操作するための時間的な余裕があまり残されないようになることから、自動演出機能の機能する割合が高いとは言え、緊張感のある遊技を提供することができるようになる。
なお、上記変形例については、第1の演出受付期間では、第1の所定時間が経過したタイミング(第1の演出受付期間内のタイミング)で上述の自動演出機能が機能する場合と機能しない場合とがあるが、第2の演出受付期間及び第3の演出受付期間では、第2の所定時間が経過したタイミング(第2の演出受付期間内のタイミング)で上述の自動演出機能が必ず機能するようにしてもよい。このような構成であったとしても、比較的遅い段階でしか自動演出機能が機能しえず、自動演出機能が万が一に(何らかのトラブルで)機能しなかったとすると遊技者自らが操作するための時間的な余裕があまり残されないことを遊技者が妄想すると考えられることから、同様の作用効果が奏されることを期待できる。
また、図187~図189を参照して上述した演出例のほか、他の演出例においても、自動ボタン演出状態(特定の演出状態)への制御は必ずしも遊技者による操作によってなされるものでなくてもよく、例えば、大当り判定の結果に基づいて制御されたり、自動ボタン演出状態(特定の演出状態)として常に制御されるものであってもよい。また、自動ボタン演出状態への設定これ自体が行われず、常に、自動演出機能が所定の割合で機能しうる遊技機として設けられるように構成してもよい。
[自動ボタン演出状態にあるときの操作統一化制御]
上述の通り、自動ボタン演出状態(特定の演出状態)においては、演出受付期間(上述の別例を適用する場合、第1の特定有効期間や第2の特定有効期間)内で遊技者による操作が行われずとも、該操作が行われたときと同じ変化を演出に対して生じさせる処理(自動演出機能)が実行可能とされうる。ただし、自動ボタン演出状態(特定の演出状態)へと制御された後に、遊技者自らの操作次第で演出を進展させることのできる通常の演出モードに戻したい願望(自動ボタン演出状態を終了させたい願望)が生じることがある。このような願望は、遊技者に対して操作機会が付与される演出受付期間が発生したときに生じることが多いが、該演出受付期間が開始されてからこれが終了されるまでの限られた時間内で、自動ボタン演出状態を終了させるための操作と操作受付がなされるようにするための操作との両方をそれぞれ行うことは困難であり、その結果として操作機会が喪失されるようなことがあれば、遊技興趣が低下しかねない。
この点、この実施の形態にかかるパチンコ機1(周辺制御MPU1511a)では、自動ボタン演出状態(特定の演出状態)に制御されているときに特定演出に関する演出受付期間が発生したときには、該演出受付期間内において操作機会の付与対象とされる操作手段(操作ボタン410や、刀装飾体5001など)に対する操作を1回行うだけで、自動ボタン演出状態を終了させる処理と演出受付に応じた操作後演出(演出に変化を生じさせうる処理)とがそれぞれ行われるようにしている(自動ボタン演出状態における操作統一化制御)。これにより、自動ボタン演出状態を終了させて遊技者自らの操作次第で演出を進展させたい願望が演出受付期間内で生じた場合であっても、操作機会の喪失を回避して演出モードの切り替えをスムーズに行うことが可能とされるようになる。
なお上述の通り、図柄変動が実行状態にあるときに自動ボタン演出状態への設定を行う場合は、操作ボタン410及び刀装飾体5001のうち操作ボタン410に対してのみその設定操作が許容される。
一方、これも上述したが、図柄変動が実行状態にあるときに自動ボタン演出状態を設定解除させる場合、演出受付期間が発生していない状態においては、操作ボタン410及び刀装飾体5001のうち操作ボタン410に対してのみ設定解除のための操作が許容される。これに対し、演出受付期間が発生している状態においては、該演出受付期間内において操作機会の付与対象とされる操作手段(操作ボタン410、または刀装飾体5001など)に対する操作が行われると、自動ボタン演出状態を終了させる処理と演出受付に応じた操作後演出(演出に変化を生じさせうる処理)とがそれぞれ行われることとなる(操作統一化制御)。したがって、刀装飾体5001に対する演出受付期間が発生している状態において操作ボタン410に対する操作を行ったとしても該操作は受け付けられず、自動ボタン演出状態を終了させる処理が実行されることはない。
ただし、遊技者のなかには、「自動ボタン演出状態を維持したままで(演出モードの切り替えを発生させず)好きなときだけ自ら操作を行って演出を進展させる」といった我侭な遊技手法で遊技を行うことを望む者もいることが想定されうる。そこで、この実施の形態にかかるパチンコ機1(周辺制御MPU1511a)では、操作ボタン410及び刀装飾体5001のいずれとも異なる特別操作手段(自動モード継続用ボタン)を扉枠3にてさらに備えるようにしており、自動ボタン演出状態(特定の演出状態)に制御されているときに特定演出に関する演出受付期間内において操作ボタン410(または、刀装飾体5001)に対する操作が行われた場合、自動ボタン演出状態(特定の演出状態)を終了させる処理と演出に変化を生じさせうる処理とがそれぞれ行われるが(自動ボタン演出状態における操作統一化制御)、自動ボタン演出状態(特定の演出状態)に制御されているときに特定演出に関する演出受付期間内において上記特別操作手段に対する操作が行われた場合、自動ボタン演出状態(特定の演出状態)を終了させる処理は行われず該操作に応じて演出に変化を生じさせうる処理が行われるようにしている。
このような構成によれば、自動ボタン演出状態を終了させてこれ以降は積極的に操作遊技を行いたい場合は、演出受付期間内において操作ボタン410(または、刀装飾体5001)に対する操作を行うこととし、自動ボタン演出状態を維持したままで(演出モードの切り替えを発生させず)稀に操作を行うだけにしたい場合は、演出受付期間内において特別操作手段に対する操作を行うようにする、といったように操作手段を使い分けるようにするだけで、遊技者所望の遊技を実現することができるようになる。
以下、このような自動ボタン演出状態にあるときの操作統一化制御について、図190~図192を参照して説明する。
図190(a)は、自動ボタン演出状態において、保留数が1の状態にあり、装飾図柄SZ(特別図柄)の変動表示が大当り判定の結果に応じた特定の演出パターンで演出表示装置1600にて行われている演出状況にあって、リーチ状態が形成されているもとで操作ボタン410の押圧操作を受け付ける演出受付期間が発生した様子を示している。図中に示されるように、自動ボタン演出状態に制御されている期間中、演出表示装置1600の表示領域内においては自動ボタン演出状態に制御されている旨を示す表示(ここでは、「オートボタン設定中」)が継続的に現れるようになっている。
また、図中に示されるように、この演出受付期間においても、操作ボタン410に対応するボタン画像BTGが表示領域内で表示されるとともに、操作ボタン410に対する操作を促す指示表示(ここでは、下方向への矢印表示と、演出受付期間の残り時間を示すバー表示)が現れるようになっている。なおこの際、操作機会の付与対象とされる操作ボタン410は発光状態になっており、これによっても該操作ボタン410に対する操作が促されている。ただし実際は、発光状態にある操作ボタン410のみならず、何らの変化も生じていない特別操作手段(図中では「PUSH」と記載されたボタン)1410に対する操作も許容される状態とされている。
図190(b)~(d)は、図190(a)で発生した演出受付期間内で操作ボタン410に対する操作は行われなかったものの、上述の自動演出機能が機能することで、演出受付期間内で操作が行われて演出受付がなされたときと同じ内容とされた操作後演出が実行されている様子を示している。なお、上述の自動演出機能が機能した時点で図190(a)で発生した演出受付期間は終了されることとなり、操作ボタン410に対する操作機会と、特別操作手段(図中では「PUSH」と記載されたボタン)1410に対する操作機会とはいずれも喪失されることとなる。
すなわち、この演出例にかかる操作後演出では、段階的な演出進展が現れるようになっており、期待度の異なる複数態様(図190(c),図190(d))のいずれの演出結果を最終的に出現させることが図柄変動の開始に際して決定(大当り判定の結果に基づいて決定)されていたとしても、まずは、図190(b)に示されるように特定の演出画像(ここでは、爆発による煙画像)を表示させる。そしてこの後、相対的に期待度の低い演出結果へと演出進展される場合は、図190(c)に示されるように、図190(b)に示される特定の演出画像(ここでは、爆発による煙画像)が徐々に消えていくなかで、相対的に期待度の低い演出結果であることを示唆する演出画像(ここでは、「吉」のおみくじ)を表示させることとなり、相対的に期待度の高い演出結果へと演出進展される場合は、図190(d)に示されるように、図190(b)に示される特定の演出画像(ここでは、爆発による煙画像)が徐々に消えていくなかで、相対的に期待度の高い演出結果であることを示唆する演出画像(ここでは、「中吉」のおみくじ)を表示させることとなる。
そして、このような図190(a)~(d)に示した演出の流れが、自動ボタン演出状態において演出受付期間が発生したときの基本的な演出進展として現れることとなり、上述の自動演出機能によって操作後演出(図190(b)~図190(d))が実行された以降も、遊技者による操作が行われない限りは自動ボタン演出状態は終了されることなく維持されることとなる。
ただし上述の通り、自動ボタン演出状態(特定の演出状態)へと制御された後に、遊技者自らの操作次第で演出を進展させることのできる通常の演出モードに戻したい願望(自動ボタン演出状態を終了させたい願望)が生じることがある。このような願望は、遊技者に対して操作機会が付与される演出受付期間が発生したときに生じることが多いが、該演出受付期間が開始されてからこれが終了されるまでの限られた時間内で、自動ボタン演出状態を終了させるための操作と操作受付がなされるようにするための操作との両方をそれぞれ行うことは困難であり、その結果として操作機会が喪失されるようなことがあれば、遊技興趣が低下しかねない。
そこで、この実施の形態にかかるパチンコ機1(周辺制御MPU1511a)では、図190(a)で発生した演出受付期間内で操作ボタン410に対する操作が行われた場合、該操作のあったことが検出(操作ボタン410が操作位置に位置した旨の検出)されたことに基づいて、自動ボタン演出状態を終了させる処理と、演出受付に応じた操作後演出とがそれぞれ行われるようにしている(自動ボタン演出状態における操作統一化制御)。なお、操作ボタン410に対する操作が演出受付された時点で図190(a)で発生した演出受付期間は終了されることとなり、上述の自動演出機能が機能し得なくされるとともに、特別操作手段(図中では「PUSH」と記載されたボタン)1410に対する操作機会も喪失されることとなる。
図190(a)で発生した演出受付期間内で操作ボタン410に対する操作が行われた場合も、図191(e)に示されるように、演出受付期間内で操作が行われて演出受付がなされたことに応じた操作後演出として、まず、特定の演出画像(ここでは、爆発による煙画像)が表示されるようになる。そしてこの後、相対的に期待度の低い演出結果へと演出進展される場合は、図191(f)に示されるように、図191(e)に示される特定の演出画像(ここでは、爆発による煙画像)が徐々に消えていくなかで、相対的に期待度の低い演出結果であることを示唆する演出画像(ここでは、「吉」のおみくじ)を表示させることとなり、相対的に期待度の高い演出結果へと演出進展される場合は、図191(g)に示されるように、図191(e)に示される特定の演出画像(ここでは、爆発による煙画像)が徐々に消えていくなかで、相対的に期待度の高い演出結果であることを示唆する演出画像(ここでは、「中吉」のおみくじ)を表示させることとなる。
ただし、図190(a)で発生した演出受付期間内で操作ボタン410に対する操作が行われた場合は、該操作に基づいて自動ボタン演出状態を終了させる処理も併せて行われることとなる。したがって、図191(e)~(g)に示されるように、操作ボタン410に対する操作が演出受付された以降は、演出表示装置1600の表示領域内において自動ボタン演出状態に制御されている旨を示す表示(ここでは、「オートボタン設定中」)は非表示とされることとなる。なお、この実施の形態にかかるパチンコ機1では、図190(a)で発生した演出受付期間内で操作ボタン410に対する操作が行われると、自動ボタン演出状態を終了させる処理が実行されたことを示唆する表示(ここでは、「オートボタン解除」)を出現させるものとなっている(図191(e)を参照)。
また上述の通り、図190(a)で発生した演出受付期間においては、発光状態にある操作ボタン410のみならず、何らの変化も生じていない特別操作手段(図中では「PUSH」と記載されたボタン)1410に対する操作も許容される状態とされている。そして、この特別操作手段(図中では「PUSH」と記載されたボタン)1410は、「自動ボタン演出状態を維持したままで(演出モードの切り替えを発生させず)好きなときだけ自ら操作を行って演出を進展させる」といった我侭な遊技手法を可能ならしめるために用意されるものであることは上述した。
したがって、図190(a)で発生した演出受付期間内で特別操作手段(図中では「PUSH」と記載されたボタン)1410に対する操作が行われた場合も、図192(h)に示されるように、演出受付期間内で操作が行われて演出受付がなされたことに応じた操作後演出として、まず、特定の演出画像(ここでは、爆発による煙画像)が表示されるようになる。そしてこの後、相対的に期待度の低い演出結果へと演出進展される場合は、図192(i)に示されるように、図192(h)に示される特定の演出画像(ここでは、爆発による煙画像)が徐々に消えていくなかで、相対的に期待度の低い演出結果であることを示唆する演出画像(ここでは、「吉」のおみくじ)を表示させることとなり、相対的に期待度の高い演出結果へと演出進展される場合は、図192(j)に示されるように、図192(h)に示される特定の演出画像(ここでは、爆発による煙画像)が徐々に消えていくなかで、相対的に期待度の高い演出結果であることを示唆する演出画像(ここでは、「中吉」のおみくじ)を表示させることとなる。なお、特別操作手段(図中では「PUSH」と記載されたボタン)1410に対する操作が演出受付された時点で図190(a)で発生した演出受付期間は終了されることとなり、上述の自動演出機能が機能し得なくされるとともに、操作ボタン410に対する操作機会も喪失されることとなる。
ただし、図190(a)で発生した演出受付期間内で特別操作手段(図中では「PUSH」と記載されたボタン)1410に対する操作が行われた場合は、該操作に基づいて自動ボタン演出状態を終了させる処理が併せて行われることはない。したがって、図192(h)~(j)に示されるように、操作ボタン410に対する操作が演出受付された以降も、演出表示装置1600の表示領域内において自動ボタン演出状態に制御されている旨を示す表示(ここでは、「オートボタン設定中」)は継続して表示されることとなる。
この点、この実施の形態にかかるパチンコ機1(周辺制御MPU1511a)では、図190(a)で発生した演出受付期間内で特別操作手段(図中では「PUSH」と記載されたボタン)1410に対する操作が行われた場合、上述の自動演出機能が機能した場合(図190(b))や、操作ボタン410に対する操作が行われた場合(図191(e))などには出現し得ない特別演出が現われうるようにしている。このような特別演出としては、可動体やランプなどを用いた演出であってもよいが、図192(j)に示される演出例では、演出表示装置1600において、上述の自動演出機能が機能した場合(図190(b))や、操作ボタン410に対する操作が行われた場合(図191(e))などに現れる演出画像(操作後演出)に加えて、キラキラと光り輝くエフェクト表示が追加表示されるようにしている。キラキラと光り輝くエフェクト表示に代えて、可動体やランプなどを用いた演出が追加実施されるようにしてもよい。
このような構成によれば、自動ボタン演出状態(特定の演出状態)に制御されているときにおみくじ演出に関する演出受付期間内において操作ボタン410に対する操作が行われた場合に生じさせる演出の変化内容と、自動ボタン演出状態(特定の演出状態)に制御されているときにおみくじ演出に関する演出受付期間内において特別操作手段(図中では「PUSH」と記載されたボタン)1410に対する操作が行われた場合に生じさせる演出の変化内容とは互いに異なるようにされることとなる。そしてこの場合、上述の特別演出(ここでは、キラキラと光り輝くエフェクト表示)が現われたときには、「操作手段に対する操作が行われて演出受付に応じた操作後演出が現われたが、自動ボタン演出状態は設定解除されておらずこれが継続されている状態」にあることを操作後演出を楽しみながら認識することができるようになる。したがって、図192(i)に示されるように、相対的に期待度の低い演出結果であることを示唆する演出画像(ここでは、「吉」のおみくじ)を表示させる場合であっても、特別演出(ここでは、キラキラと光り輝くエフェクト表示)は出現されうるようになっている。
また、このような特別演出(ここでは、キラキラと光り輝くエフェクト表示)については、大当り判定の結果に基づいて所定の割合で上述の操作後演出に対して追加的に出現されるようにし、該特別演出が追加的に出現されたときには、該特別演出が出現しなかったときよりも当該図柄変動で大当り図柄が現れる割合が高くなるようにすることが望ましい。ただしこれでは、操作ボタン410ではなく、特別操作手段(図中では「PUSH」と記載されたボタン)1410に対して操作を行うようにすることが遊技者にとって有益になってしまい、操作ボタン410に対する操作が行われなくなることが懸念される。したがって、図190(a)で発生した演出受付期間内で特別操作手段(図中では「PUSH」と記載されたボタン)1410に対して操作を行ったときに特別演出(ここでは、キラキラと光り輝くエフェクト表示)が出現しなかった場合は、図190(a)で発生した演出受付期間内で操作ボタン410に対する操作を行うことによって、若しくは上述の自動演出機能が機能することによっていかなる演出結果が現われた場合よりも当該図柄変動で大当り図柄が現れる割合が低くなるようにすることが望ましい。
このような構成によれば、「特別操作手段(図中では「PUSH」と記載されたボタン)1410に対する操作によって「操作手段に対する操作が行われて演出受付に応じた操作後演出が現われたが、自動ボタン演出状態は設定解除されておらずこれが継続されている状態」を生み出すためには、「図柄変動で大当り図柄が現れる割合が著しく低いことが示唆されうる」といった演出的なデメリットが生じうるリスクが持たされるようになることから、このような演出的選択を遊技者に対して行使させることにより遊技興趣を好適に維持することが期待されるようになる。
したがって、図192(i)に示される例では、図191(f)に示される例と同じ演出態様が現れているにもかかわらず、上述の演出的なデメリットが生じてしまったかたちとなっており、図190(c)や図191(f)に示される例よりも当該図柄変動で大当り図柄が現れる割合が低いことが認識可能とされる状況になっている。ただし、図192(i)に示される例では、期待度が低い状況にあることを認識可能とさせるようにしつつも、その演出態様については図190(c)や図191(f)に示される場合と互いに同じとするようにしたことで、特別操作手段(図中では「PUSH」と記載されたボタン)1410を操作していない第三者には演出的選択に失敗した演出状況にあることを把握し難くしており、これによって遊技興趣の低下を抑制することが期待されるようになる。
なお、この実施の形態にかかるパチンコ機1では、図190(a)で発生した演出受付期間内でいずれの演出的選択が行われた場合であっても、図190(b)や図191(e)、図192(h)などに示されるように特定の演出画像(ここでは、爆発による煙画像)を表示させることとしたが、該特定の演出画像については、操作後演出として相対的に期待度の高い演出態様(ここでは、「中吉」のおみくじ)が現れる割合、または特別演出が現れる割合が異なる複数態様のいずれかで表示されるようにしてもよい。
また、図190(a)で発生した演出受付期間内でいずれの演出的選択が行われた場合であっても、特定の演出画像を表示させることなくこれを割愛し、期待度の異なる演出態様(ここでは、「吉」または「中吉」のおみくじ)のいずれかを操作後演出として直接出現させるようにしてもよい。ただし、演出的選択に失敗した演出状況(図192(i))が現われたときに該演出状況にあることを第三者が把握し難くするようにする上では、期待度の異なる演出態様(ここでは、「吉」または「中吉」のおみくじ)のいずれかを操作後演出として出現させるに際して、特定の演出画像(ここでは、爆発による煙画像)をまずは表示させるようにすることが望ましい。
また、図190(a)で発生した演出受付期間内においても期待度が示唆される演出が行われうるようにし、これによって上述の演出的リスクを取るか否かの判断に供されるようにしてもよい。
また、特別操作手段(図中では「PUSH」と記載されたボタン)1410については、自動ボタン演出状態にあるときに該状態を継続させるための専用の操作手段として必ずしも用意されるものでなくてもよく、既に用意されている他の操作手段が担うようにしてもよい。
また、図190(a)で発生した演出受付期間は、複数の操作手段(操作ボタン410、刀装飾体5001など)のうち操作ボタン410に対する操作が演出受付可能とされる期間が発生するのか、それとも別の操作手段(例えば、刀装飾体5001)に対する操作が演出受付可能とされる期間が発生するのかについての上述した演出(特定の操作関連演出(図166~図186を参照))が実行された結果として発生するものであってもよい。
また、操作ボタン410に対して操作機会が付与される演出受付期間には、特別操作手段(図中では「PUSH」と記載されたボタン)1410に対する操作機会も併せて付与される第1の演出受付期間(図190(a)を参照)と、特別操作手段(図中では「PUSH」と記載されたボタン)1410に対する操作機会は付与されない第2の演出受付期間とが含まれるようにしてもよい。そしてこの場合、第1の演出受付期間(図190(a)を参照)が発生したときには、第2の演出受付期間が発生したときよりも上述した特定の操作関連演出(図166~図186を参照)が図柄変動が停止されるまでの間に出現する割合が高くなるようにすることが望ましい。このような構成によれば、第1の演出受付期間及び第2の演出受付期間のいずれが発生しているかによって、上述した特定の操作関連演出(図166~図186を参照)が現れる割合が示唆される演出として機能するようになる。
[安定側自動演出処理]
上述の通り、自動ボタン演出状態(特定の演出状態)においては、演出受付期間(上述の別例を適用する場合、第1の特定有効期間や第2の特定有効期間)内で遊技者による操作が行われずとも、該操作が行われたときと同じ変化を演出に対して生じさせる処理(自動演出機能)が実行可能とされうる。ただし、この実施の形態にかかるパチンコ機1(周辺制御MPU1511a)では、「複数の操作手段が演出受付可能とされており、いずれの操作手段を操作したかによって異なる演出が実行される」といった特別の演出受付期間を発生可能としている。したがって、自動ボタン演出状態(特定の演出状態)に制御されている状態にあるときにこのような特別の演出受付期間が発生し、且つ該特別の演出受付期間内でいずれの操作手段に対しても操作がなかった場合に、複数の操作手段のいずれに対して自動演出機能を有効化させるか(複数の操作手段のいずれが演出受付されたときと同じ変化を演出に対して生じさせるのか)が問題となる。
そこで、この実施の形態にかかるパチンコ機1(周辺制御MPU1511a)では、「複数の操作手段が演出受付可能とされており、いずれの操作手段を操作したかによって異なる演出が実行される」といった特別の演出受付期間が発生した場合は、「より期待度の高い演出結果が出現する可能性があるか否か」ではなく「より期待度の低い演出結果が出現する可能性があるか否か」を基準とし、「より期待度の低い演出結果が出現する可能性がある演出を発生させうる側の操作手段」とは異なる操作手段に対して自動演出機能を有効化させる処理(安定側自動演出処理)を実行可能としている。
このような構成によれば、特別の演出受付期間内において複数の操作手段のいずれかに対して演出受付がなされたときに発生しうる複数の演出態様のうち最も期待度の低い演出態様は、自動演出機能が機能したときには出現し得ないようになることから、「操作し忘れがあったときに自動演出機能によって最も期待度の低い演出態様が出現されてしまう」といったような事態の発生を好適に回避することができるようになる。
以下、このような自動ボタン演出状態にあるときの安定側自動演出処理について、図193~図195を参照して説明する。
まず、自動ボタン演出状態に制御されておらず、通常の演出状態にあるときに特別の演出受付期間が発生したときの演出例について説明する。図193(a)では、通常の演出状態において、保留数が3の状態にあり、装飾図柄SZ(特別図柄)の変動表示が大当り判定の結果に応じた特定の演出パターンで演出表示装置1600にて行われている演出状況にあって、リーチ状態が形成されているもとで、操作ボタン410の押圧操作と、刀装飾体5001の納刀操作とのいずれかを遊技者側に選択させうる特別の演出受付期間が開始されることを示唆する演出表示が現れている演出状況を示している。なお、この演出状況では、操作ボタン410に対する演出受付と、刀装飾体5001に対する演出受付とのいずれもが未だ有効化されていない状況にはあるものの、該状況にあるときから操作ボタン410と刀装飾体5001とのいずれを操作すべきかの判断を促すべく、操作ボタン410は発光状態にあり、且つ刀装飾体5001は抜刀位置へと移動した状態にされている。また、演出表示装置1600においては、ボタン画像BTGと刀装飾画像SYGとがそれぞれ表示されている。
図193(b)は、図193(a)に示した演出表示によって示唆された特別の演出受付期間(操作ボタン410の押圧操作と、刀装飾体5001の納刀操作とのいずれかを遊技者側に選択させうる演出受付期間)が発生した演出状況を示している。この演出状況では、図193(a)に示した演出状況にあるときから現われていた演出表示装置1600における演出表示の少なくとも一部(ここでは、ボタン画像BTG、刀装飾画像SYG)や、操作ボタン410及び刀装飾体5001の状態が継続されたままとされているなかで、操作ボタン410及び刀装飾体5001のいずれかに対する操作を促す指示表示(ここでは、ボタン画像BTGや刀装飾画像SYGに対応してそれぞれ表示される下方向矢印や、特別の演出受付期間の残り時間を示すバー表示など)が現れるようになっている。
ここで、図193(b)に示される演出状況では、ボタン画像BTGに対応して「安定」といった文字画像が表示されるとともに、刀装飾画像SYGに対応して「波乱」といった文字画像が表示されている。ただしこれに代えて、ボタン画像BTGや刀装飾画像SYGを表示せず、2つの操作手段がいずれも演出受付可能とされているときの専用マークを表示するようにしてもよい。また、2つの操作手段がいずれも演出受付可能とされているときの専用マークを表示しないようにしてもよい。例えば、操作ボタン410に対する操作と、刀装飾体5001に対する操作との両方が許容されている状態にあるにもかかわらず、「操作ボタン410を摸した摸画像を表示せず、刀装飾体5001を摸した摸画像を表示する」ようにしてもよいし、「操作ボタン410を摸した摸画像を表示し、刀装飾体5001を摸した摸画像を表示しない」ようにしてもよい。
すなわち、この演出例では、図193(b)に示した特別の演出受付期間内で操作ボタン410に対する演出受付がなされると、ボタン側操作後演出として、まず、該操作ボタン410に対する演出受付がなされたことが表示された後(図193(c))、撃破した数が少ないほど期待度が低く且つ撃破した数が大きいほど期待度が高いことが示唆される演出結果として「50体撃破」及び「100体撃破」のいずれかを大当り判定の結果に基づいて出現させる演出(図193(d),図193(e))が実行される。例えば、大当りに当選しているときのボタン側操作後演出では、「40%」の割合で図193(d)に示される演出態様が現れ、「60%」の割合で図193(e)に示される演出態様が現れるようにし、大当りに落選しているときのボタン側操作後演出では、「60%」の割合で図193(d)に示される演出態様が現れ、「40%」の割合で図193(e)に示される演出態様が現れるようにすることが可能である。
これに対し、特別の演出受付期間内で刀装飾体5001に対する演出受付がなされると、刀側操作後演出として、まず、該刀装飾体5001に対する演出受付がなされたことが表示された後(図194(f))、撃破した数が少ないほど期待度が低く且つ撃破した数が大きいほど期待度が高いことが示唆される演出結果として「1体撃破」、「100体撃破」、及び「777体撃破」のいずれかを大当り判定の結果に基づいて出現させる演出(図194(g)~図194(i))が実行される。例えば、大当りに当選しているときの刀側操作後演出では、「10%」の割合で図194(g)に示される演出態様が現れ、「50%」の割合で図194(h)に示される演出態様が現れ、「40%」の割合で図194(i)に示される演出態様が現れるようにし、大当りに落選しているときの刀側操作後演出では、「40%」の割合で図194(g)に示される演出態様が現れ、「50%」の割合で図194(h)に示される演出態様が現れ、「0%」の割合で図194(i)に示される演出態様が現れるようにすることが可能である。
なお、図193~図195に示される演出例では、ボタン側操作後演出と刀側操作後演出とのいずれが行われた結果として現われたものであるかにかかわらず、撃破数が少ない演出態様は、撃破数が多い演出態様よりも期待度が低くなっている。また、撃破数が同じ演出態様(例えば、図193(e)に示される演出態様や、図194(h)に示される演出態様、後述の図195(e)に示される演出態様)である場合、期待度は違っていてもよいが、同じとなるようにすることが望ましい。
このような構成では、操作ボタン410(第1の操作手段)及び刀装飾体5001(第2の操作手段)のいずれに対しても演出受付を許容する特別の演出受付期間を発生させ、該特別の演出受付期間内で操作された側の操作手段の種別に応じて異なる操作演出(ボタン側操作後演出,刀側操作後演出)を発生させうるようにしたことから、一の操作手段を操作するだけの単調な演出性が改善されるようになり、遊技興趣の向上を図ることができるようになる。
特に、操作ボタン410(第1の操作手段)及び刀装飾体5001(第2の操作手段)のいずれを操作しても同じ期待度が示されるようにするのではなく、刀装飾体5001(第2の操作手段)を操作したときに限り、当該図柄変動(実行状態にある図柄変動)で大当り図柄が現れ難いことを示唆する特定の演出態様(ここでは、図194(g)に示される「1体撃破」の演出態様)が出現されうるようにしたことから、このようなリスクを負ってまで刀装飾体5001(第2の操作手段)側の演出(刀側操作後演出)を見たいかについての葛藤や刺激を与えて遊技興趣を維持することが期待されるようになる。
そしてこの場合、ボタン側操作後演出は、特別の演出受付期間内において操作ボタン410及び刀装飾体5001のいずれかが操作されたときに現れる演出態様のうち「最も期待度の低い特定の演出態様(ここでは、図194(g)に示される「1体撃破」の演出態様)」の出現リスクが排除されているといった意味で、相対的に安定した操作後演出として機能することとなる。また、刀側操作後演出は、特別の演出受付期間内において操作ボタン410及び刀装飾体5001のいずれかが操作されたときに現れる演出態様のうち「最も期待度の低い特定の演出態様(ここでは、図194(g)に示される「1体撃破」の演出態様)」の出現リスクを有しているといった意味で、相対的に波乱を含んだ操作後演出として機能することとなる。
またさらに、この演出例では、図193(a)に示される演出状況が現われてから図193(b)に示される演出状況が現われるまでの間(ここでは、特別の演出受付期間内)に、図193(a-b)に示される演出態様を大当り判定の結果に基づいて出現させうるものとなっており、該演出態様が出現された場合は、該演出態様が出現されなかった場合よりも、刀装飾体5001に対する操作を行ったときに「最も期待度の低い特定の演出態様(ここでは、図194(g)に示される「1体撃破」の演出態様)」の出現する割合が低くなるかたちで演出進展を実行可能としている。この割合は0%であってもよい。
このような構成によれば、「最も期待度の低い特定の演出態様(ここでは、図194(g)に示される「1体撃破」の演出態様)」が出現しうるリスクを負ってまで、操作ボタン410ではなく刀装飾体5001に対する操作を行うべきかの判断材料として、図193(a-b)に示される演出態様が現れたか否かの演出結果を用いることができるようになることから、図193(b)に示した特別の演出受付期間が発生したときの遊技興趣を好適に向上させることが期待されるようになる。
なお、通常の演出状態において、図193(b)に示した特別の演出受付期間が発生したにもかかわらず該特別の演出受付期間内で何らの演出受付もなされなかったときには、上述の自動演出機能は機能せず、ボタン側操作後演出と刀側操作後演出とのいずれもが実行されることなく演出進展されることとなる。
これに対し、図195(a)~(e)は、自動ボタン演出状態に制御されているときに、このような特別の演出受付期間が発生したときの演出例を示している。
図195(a)、図195(a-b)、及び図195(b)に示されるように、自動ボタン演出状態に制御されている場合であっても、自動ボタン演出状態に制御されている旨を示す表示(ここでは、「オートボタン設定中」)が演出表示装置1600において継続的に現れている点を除けば、特別の演出受付期間が開始されることを示唆する演出表示が現れてから特別の演出受付期間が終了されるまでの間は上述した通常の演出状態にある場合(図193(a)、図193(a-b)、及び図193(b))と同じ内容で演出進展される。
ただし上述の通り、図195(b)に示した特別の演出受付期間内で操作ボタン410及び刀装飾体5001のいずれも操作されなかったときには、「より期待度の低い演出結果(ここでは、図194(g)に示される「1体撃破」の演出態様)が出現する可能性がある演出を発生させうる側の刀装飾体5001」とは異なる操作ボタン410に対して自動演出機能を有効化させる処理(安定側自動演出処理)を実行可能としている。
すなわちこの場合、図195(b)に示した特別の演出受付期間内で操作ボタン410及び刀装飾体5001のいずれも操作されなかったにもかかわらず、操作ボタン410に対する自動演出機能が有効化されることで、該特別の演出受付期間内で操作ボタン410に対する操作が演出受付された場合と同じ変化を演出に対して生じさせることとなる。したがって、ボタン側操作後演出として、まず、操作ボタン410に対する演出受付がなされたことが表示された後(図195(c))、撃破した数が少ないほど期待度が低く且つ撃破した数が大きいほど期待度が高いことが示唆される演出結果として「50体撃破」及び「100体撃破」のいずれかを大当り判定の結果に基づいて出現させる演出(図195(d),図195(e))が実行されるようになる。
このような構成によれば、特別の演出受付期間内において操作ボタン410及び刀装飾体5001のいずれかに対して演出受付がなされたときに発生しうる複数の演出態様のうち最も期待度の低い演出態様(ここでは、図194(g)に示される「1体撃破」の演出態様)は、自動演出機能が機能したときには出現し得ないようになることから、「操作し忘れがあったときに自動演出機能によって最も期待度の低い演出態様が出現されてしまう」といったような事態の発生を好適に回避することができるようになる。
ここで、自動演出機能の便利さによって、遊技者が、自動ボタン演出状態を維持するべく操作ボタン410及び刀装飾体5001のいずれも操作しなくなることが懸念される。ただし上述の通り、特別の演出受付期間内においては、図195(a-b)に示される演出態様が大当り判定の結果に基づいて出現しうるようになっており、該演出態様が現われたときには、「最も期待度の低い特定の演出態様(ここでは、図194(g)に示される「1体撃破」の演出態様)」の出現する割合が低くなっているなかで刀側操作後演出を楽しむことのできる機会が付与されるようになることから、刀装飾体5001に対して操作を行うことを好適に促すことが期待されるようになる。
なお、図193~図195に示した演出例では、操作ボタン410に対する操作が演出受付される期間と刀装飾体5001に対する操作が演出受付される期間とが同時発生されて同時終了される特別の演出受付期間として制御することとしたが、それら期間については必ずしも同時発生させるようにしなくてもよい。例えば、操作ボタン410に対する操作が演出受付される期間と、刀装飾体5001に対する操作が演出受付される期間とがそれらの一部期間で重複されるようになっていれば、それら期間を別々のタイミングで発生させるようにしてもよい。
また、大当り判定の結果に基づいて複数の演出パターンのうち特定の演出パターンが選択されたときには、「複数の操作手段が演出受付可能とされており、いずれの操作手段を操作したかによって異なる演出が実行される」といった上記特別の演出受付期間を必ず発生させるようにしてもよい。すなわちこの場合、特定の演出パターンをもって図柄変動が開始されたときから比較的早い段階で「特別の演出受付期間内において複数の操作手段のいずれを操作すべきか、さらには特別の演出受付期間が発生するよりも前に自動ボタン演出状態への設定操作を行っておくべきか」などといった、特別の演出受付期間が発生することを前提とした演出的な戦略に思いを巡らせることができるようになる。例えば、「どれだけの予告演出がどのような演出態様(期待度)で行われたか」を特別の演出受付期間が発生するまでの間に確認することができるようになることから、これらの確認結果を「特別の演出受付期間内において複数の操作手段のいずれを操作すべきか」についての判断材料として用いることが可能とされるようになり、特別の演出受付期間が発生するまでの間における遊技興趣についてもこれを好適に維持することができるようになる。
ただし、特定の演出パターンが選択された場合であっても、特別の演出受付期間内で操作ボタン410に対する操作があったときや、刀装飾体5001に対する操作があったとき、さらには自動演出機能が機能したときにいずれの演出態様を出現させるかについては、図柄変動の開始時や演出受付の発生時(または自動演出機能の機能時)に大当り判定の結果に基づく抽選(判定)によって決定するようにすることが望ましい。
また、特別の演出受付期間が未だ発生していない演出状況にあったとしても、「操作ボタン410の押圧操作と、刀装飾体5001の納刀操作とのいずれかを遊技者側に選択させうる特別の演出受付期間が開始されることを示唆する演出表示(図193(a),図195(a))」が行われている演出状況にあるときは、自動ボタン演出状態への設定が許容されないようにこれを禁止期間として制御するようにすることが望ましい。このような構成によれば、「操作ボタン410の押圧操作と、刀装飾体5001の納刀操作とのいずれかを遊技者側に選択させうる特別の演出受付期間が開始されることを示唆する演出表示」が開始されたのを確認してから自動ボタン演出状態への設定操作を行おうとしてもこれが受け付けられないようになることから、自動ボタン演出状態を維持しながら遊技を継続的に行っている者だけを対象にして「自動ボタン演出状態にあるときの安定側自動演出処理」を提供することができるようになり、自動ボタン演出状態を維持しながら遊技を継続的に行うことに対する演出的な価値を提供することができるようになる。
また、図193~図195に示した演出例では、刀側操作後演出が行われたときに出現しうる「最も期待度の低い特定の演出態様(図194(g)」を、ボタン側操作後演出が行われたときに出現しうる演出態様のいずれとも異なるユニークな演出態様として実行することとしたが、該「最も期待度の低い特定の演出態様」については、ボタン側操作後演出が行われたときに出現しうる演出態様と同じ態様(例えば、(図193(d)に示される「50体撃破」)として実行されるようにしてもよい。すなわちこの場合、刀側操作後演出が行われた結果として「最も期待度の低い特定の演出態様」が現れたとしても、見た目的には、ボタン側操作後演出が行われたときに出現しうる演出態様と同じ態様が現れるようになることから、操作ボタン410及び刀装飾体5001のいずれを操作したかを把握していない第三者には、期待度が著しく低くなっている演出状況にあることを認識し難くすることができるようになり、遊技興趣の低下を抑制することが期待されるようになる。すなわちこの場合、演出表示装置1600においては「演出受付に基づいて特定の演出態様が表示されている」といった一の演出状況が現われているだけであるにもかかわらず、該演出状況が、操作ボタン410に対する操作によって発生したものであるのか、それとも刀装飾体5001に対する操作によって発生したものであるのかによって当該図柄変動(実行状態にある図柄変動)で大当り図柄が現れる期待度が異なるようになることから、複数の操作手段を用いた演出としての面白みをより一層持たせることができるようになる。
ただし、刀側操作後演出における「最も期待度の低い特定の演出態様」を、ボタン側操作後演出が行われたときにも出現しうる演出態様と同じ態様として実行するようにした場合であっても、刀側操作後演出における「最も期待度の高い特別の演出態様」については、ボタン側操作後演出が行われたときに出現しうる演出態様のいずれとも異なるユニークな演出態様(例えば、(図194(i)に示される「777体撃破」)として実行するようにすることが望ましい。このような構成によれば、刀側操作後演出で「最も期待度の低い特定の演出態様」が現れたときには、操作ボタン410及び刀装飾体5001のいずれを操作したかを把握していない第三者に対して期待度が著しく低くなっている演出状況にあることを認識し難くするのに対し、刀側操作後演出で「最も期待度の高い特別の演出態様」が現れたときには、操作ボタン410及び刀装飾体5001のいずれを操作したかを把握していない第三者であっても期待度が著しく高くなっている演出状況にあることを容易に認識することができるようになる。したがって、遊技者としては、第三者の目を気にすることなく、上述のリスクを負って刀装飾体5001(第2の操作手段)側の演出(刀側操作後演出)を楽しむことができるようになる。なお、「最も期待度の高い特別の演出態様」については、第三者が認識可能であるものであればよく、例えば、可動体動作やランプ発光を実行することによって他の演出態様との間でのユニーク性を確保するようにしてもよい。
また、図193~図195に示した演出例では、刀側操作後演出(図194(f)~図194(i))が行われた結果として「777体撃破」の演出態様(図194(i))が現れうるようになっており、該「777体撃破」の演出態様(図194(i))が現れたときには、他のいかなる演出態様(図193(d),図193(e),図194(g),図194(h))が現われたときよりも当該図柄変動(実行状態にある図柄変動)で大当り図柄が現れる割合が高くなるようになっている。この割合は100%であってもよい。ただし、該「777体撃破」の演出態様(図194(i))については必ずしも出現されるようにしなくてもよく、この場合は、図193(d)に示した演出態様に対して図194(g)に示した演出態様の期待度を低くする分だけ、図194(h)に示した演出態様の出現割合が、図193(e)に示した演出態様の出現割合よりも高くされることとなる。
また、図193~図195に示した演出例では、ボタン側操作後演出(図193(c)~図193(e))と刀側操作後演出(図194(f)~図194(i))とのいずれが行われた場合であっても、共通の演出態様(ここでは、「100体撃破」の演出態様)が出現されうるようにしたが、共通の演出態様は出現されないようにしてもよい。また、ボタン側操作後演出では、表示変化のみが現れるのに対し、刀側操作後演出では、表示変化のほか、可動体動作やランプ発光なども実行可能とされうるようにしてもよい。また、ボタン側操作後演出と刀側操作後演出とで、撃破数に関する演出内容としての共通性も持たせず、該演出内容これ自体も互いに異なる演出として実行されるようにしてもよい。
また、図193~図195に示した演出例では、自動演出機能が機能することによって演出受付されたときを含めて、演出受付の発生時には、まず、操作ボタン410及び刀装飾体5001のいずれに対する演出受付がなされたかが示唆される表示(図193(c),図194(f),図195(c))を出現させるここととしたが、該表示を出現させることなく、期待度が示唆される演出結果を出現させる演出を実行するようにしてもよい。
また、図193~図195に示した演出例では、刀側操作後演出(図194(f)~図194(i))が行われた結果として「777体撃破」の演出態様(図194(i))が現れたときには、他のいかなる演出態様(図193(d),図193(e),図194(g),図194(h))が現われたときよりも上述した特定の操作関連演出(図166~図186を参照)が図柄変動が停止されるまでの間に出現する割合、さらには該特定の操作関連演出が現われたときには期待度のより高い側の操作手段(刀装飾体5001)に対して操作機会が付与される割合が高くなるようにすることが望ましい。このような構成によれば、図193~図195に示した演出例にあって、演出リスクが高い側の刀装飾体5001に対して操作を行うことを好適に促すことができるようになる。
[可動演出への影響を少なくした可動異常に対する復元処理]
上述の通り、このパチンコ機1(周辺制御MPU1511a)では、特定の可動装飾体が異常状態にある状況(より正確には、且つ特定状態が発生していない状況)にあるときに図柄変動に対応する復元動作時期(例えば、図柄変動の開始時期や停止時期など)が到来すると、該特定の可動装飾体に対して所定の復元動作を行わせる処理を実行可能としている。ただし、演出の状況にかかわらずこのような復元処理が実行されると興ざめであり遊技興趣の低下が懸念される。
例えば、「図柄変動に対応する復元動作時期」として、上述した「図柄変動の開始時期」が設定されているとする。そして、いま、図196に示されるように、特定の可動装飾体が異常状態にある状況において新たな図柄変動が開始されるタイミングtm1が到来したとすると、周辺制御MPU1511aでは、少なくとも下記の各処理を実行することとなる。
・図柄変動が開始されるときに主制御MPU1310a側から送出されるコマンドを取得したことに基づいて該図柄変動に応じた演出パターンを設定するとともに、該設定した演出パターンを、図柄変動が行われるなかで演出進展させる処理
・図柄変動が開始されるときに主制御MPU1310a側から送出されるコマンドを取得したことに基づいて(図柄変動に対応する復元動作時期が到来したことに基づいて)、特定の可動装飾体に対して所定の復元動作を行わせる処理
ここで、図196に示される例では、演出パターンとして「特定の可動装飾体を図柄変動内の特定タイミングtm2で動作させうる特定の演出パターン」が設定された場合を想定している。したがって、タイミングtm1が到来すると、「特定の可動装飾体を図柄変動内の特定タイミングtm2で動作させうる特定の演出パターン」にかかる演出進展と、特定の可動装飾体に対して所定の復元動作を行わせる処理とがそれぞれ並行される状況が現れることとなる。
なお一般に、このような特定の演出パターンが実行可能とされるパチンコ機1にあっては、該特定の演出パターンとの間で演出的に対の関係となる演出パターン(相対的に期待度の低い演出パターン)が用意される。そして、対の関係となる演出パターン(相対的に期待度の低い演出パターン)においては、特定の可動装飾体を図柄変動内の特定タイミングtm2で動作させないにもかかわらず、特定タイミングtm2に向けて「特定の可動装飾体を図柄変動内の特定タイミングtm2で動作させうる特定の演出パターン(相対的に期待度の高い演出パターン)」の場合と同じ態様の演出が行われるようにすることがなされる。このように、演出的に対の関係となる2つの演出パターン(特定の可動装飾体を動作させる演出パターン、特定の可動装飾体を動作させない演出パターン)が用意されることで、特定タイミングtm2に際しては(例えば、特定タイミングtm2が到来するまでの所定時間は)、特定の可動装飾体が動作するか否かの演出性をもった所定演出(例えば、動作するか否かについての演出表示など)が実行可能とされるようになり、こうした演出性によって遊技興趣が好適に維持されるようになる。
ただし、図柄変動が開始された以降、特定タイミングtm2が到来する時点においても特定の可動装飾体に対して所定の復元動作を行わせる処理が未だ実行状態にあるようなことがあると、特定タイミングtm2が到来したにもかかわらず該特定の可動装飾体が演出動作し得ない状況にあることが明らかになってしまう。すなわちこの場合、図柄変動内の特定タイミングtm2に際して上記所定演出が行われたとしても、特定の可動装飾体が動作するか否かの演出性をもった当該所定演出としての機能が喪失されかねず、遊技興趣が低下する懸念がある。
そこで、同図196に示される例では、演出パターンのうち「特定の可動装飾体を特定タイミングtm2で動作させうる特定の演出パターン」にかかる演出進展と、特定の可動装飾体に対して所定の復元動作を行わせる処理(図柄変動に対応する復元動作時期に基づく復元処理)とがそれぞれ並行される状況が現れると、復元の状況にかかわらず特定タイミングtm2が到来するまでの間に「特定の可動装飾体に対して所定の復元動作を行わせる処理」が終了されるようになっている。なお、「特定の可動装飾体に対して所定の復元動作を行わせる処理」としては、様々な手法を採用することが可能であるが、以下の説明では、「異常状態が解消されるか、所定の上限数に達するまで特定の可動装飾体に対する復元動作が繰り返し行われる処理」が実行されるものとして説明する。
より具体的には、「特定の可動装飾体に対して所定の復元動作を行わせる処理」については、該特定の可動装飾体が異常になっている程度によって、該異常状態からの復元が完了されるまでに要する時間が異なることとなる。例えば、特定の可動装飾体に対して1回目の復元動作を実行しただけでその異常状態が解消されて原位置へと復帰(復元)したときには、「特定の可動装飾体に対して所定の復元動作を行わせる処理」が完了されるタイミングtxも比較的早い時期で到来することとなるが、特定の可動装飾体に対する復元動作が失敗して復帰(復元)されるまでにこれが繰り返される回数が多くなるほど、「特定の可動装飾体に対して所定の復元動作を行わせる処理」が完了されるタイミングtxは遅い時期へとずれるかたちで先送りされることとなる。そして遅くとも、特定の可動装飾体に対する復元動作に失敗しており未だ復帰(復元)されていないが復元動作をもう一回実行するとタイミングtxを超えてしまうような状況になると、該特定の可動装飾体を異常状態にしたままで所定の復元動作を行わせる処理を終了させることで、復元の状況にかかわらず特定タイミングtmが到来するまでの間に所定の復元動作を行わせる処理が終了されるようになる。
なお、特定の可動装飾体に対する復元動作を1回行うとx時間を要するとするときに、「x時間×n回<タイミングtm1~tm2の時間」なる関係が成立するように、1回の図柄変動内で所定の復元動作を繰り返す上限回数nを設定しておき、該上限回数nに達した段階で復帰(復元)していなかったとしても所定の復元動作を行わせる処理が終了されるようにすることで、復元の状況にかかわらず特定タイミングtm2が到来するまでの間に所定の復元動作を行わせる処理が終了されるようにしてもよい。
このような構成によれば、特定の可動装飾体を図柄変動内の特定タイミングtm2で動作させうる特定の演出パターンにかかる演出進展と、特定の可動装飾体に対する所定の復元動作とがそれぞれ並行される状況が現れると、復元の状況にかかわらず特定タイミングtm2が到来するまでの間に所定の復元動作を行わせる処理が終了されるようになる。すなわちこの場合、特定タイミングtm2が到来するまでの間に特定の可動装飾体が復元された場合はもとより、特定の可動装飾体が復元されなかった場合であっても、特定タイミングtm2においては特定の可動装飾体が停止状態とされるようになることから、該特定タイミングtm2が到来したときに特定の可動装飾体が動作するか否かの演出性についてはこれを好適に維持することができるようになる。例えば、特定の可動装飾体が原位置とは異なる位置で停止状態にあったとしても、特定タイミングtm2が到来したときにはこれを契機として何らかの挙動を生じさせるかもしれない、または可動装飾体は動作しないとしても該可動装飾体が有するランプは発光するかもしれない(可動装飾体による演出動作が行われるときには該可動装飾体が有するランプが発光するとした場合)などといった希望を持たせることは可能である。
ただし実際は、上記所定演出が行われている間に特定の可動装飾体が復元動作を行っているような状況にあると、該特定の可動装飾体が動作するか否かの演出性をもった当該所定演出としての機能が喪失されかねない。したがって、「特定の可動装飾体に対して所定の復元動作を行わせる処理」が完了されるタイミングtxについては、復元の状況にかかわらず上記所定演出が開始されるまでの間に終了されるようにすることが、遊技興趣を維持する上でより望ましいといえる。
なお、所定演出としては、例えば、特定の可動装飾体が「スーパーリーチ演出内で特定の表示結果(例えば、攻撃が命中する表示結果)が現れると動作し該特定の表示結果が現れなければ動作しないもの」として設けられるものであるときには、「特定の表示結果が現れるか否かを煽るようなかたちで先行して現れる表示演出」を例示することが可能であり、特定の可動装飾体が「遊技者による操作によって演出受付されたことに基づいて動作する(若しくは、演出受付されたが動作しない)もの」として設けられるものであるときには、「遊技者による操作を促す特定表示を出現させる演出」を例示することが可能である。
ここで、図196に示される例では、「特定の可動装飾体に対して所定の復元動作を行わせる処理」が完了されるタイミングtxにおいて、特定の可動装飾体が異常状態から復帰(復元)されて正常状態になった場合を想定している。このように、変動開始時(若しくは、前回の図柄停止時などの「復元動作時期」)には異常状態であったとしても、正常状態へと復元されたもとで図柄変動内の特定タイミングtm2が到来すると、該特定タイミングtm2において特定の可動装飾体を演出動作させることが可能とされるようになる。
これに対し、「特定の可動装飾体に対して所定の復元動作を行わせる処理」が完了されるタイミングtxにおいて、特定の可動装飾体が異常状態から復帰(復元)できず、異常状態のままで図柄変動内の特定タイミングtm2が到来するときには、少なくとも該特定タイミングtm2(より正確には、タイミングtx)から図柄変動が終了されて次の復元動作時期が到来するときまで停止状態を維持することとなる。すなわちこの場合、特定タイミングtm2において特定の可動装飾体を演出動作させることはできないものの、特定の可動装飾体が動作するか否かの演出性についてはこれを好適に維持することが可能であり、当該特定の演出パターンが大当り変動に基づくものであるときには、特定タイミングtm2において特定の可動装飾体が演出動作しなかったにもかかわらず大当り図柄が停止されることで、サプライズ的な演出を提供することができるようになる。
しかしながら、近年、パチンコ機では、より複雑な構造で多段階の動きを行う可動装飾体を備えるようになりつつあり、このような可動装飾体では、その復元処理としてもこれが完了されるまでにより長い時間を要することとなることが多い。ただしその一方で、特定の可動装飾体を図柄変動内の特定タイミングtm2で動作させうる特定の演出パターンや、これと対の関係となる演出パターンなどでは、それらの演出パターンが開始されるときに特定の可動装飾体が異常状態にあったとしても、図柄変動が開始されてから特定タイミングtm2が到来するまでに要する時間(より好ましくは、所定演出が行われるまでの時間)よりも短い時間内で特定の可動装飾体に対して所定の復元動作を行わせる処理を終了させることが求められることは上述した。すなわちこの場合、特定の可動装飾体が異常状態になる度にこれを応急処置的で簡素な態様でしか復元させることができず、これでは当該特定の可動装飾体としての劣化を早めてしまうことにもなりかねない。
そこで、この実施の形態にかかるパチンコ機1(周辺制御MPU1511a)では、特別の演出パターン(復元・診断用の演出パターン)を用意しており、図柄変動が開始されるときに主制御MPU1310a側から送出されるコマンドに基づいて該特別の演出パターンを選択した場合は、該特別の演出パターンが演出進展される間(特別の演出パターンに対応する図柄変動が行われている間)、特定の可動装飾体を動作させず、且つ所定演出(例えば、動作するか否かについての演出表示など)を出現させないように制御するものとなっている。そして、図197A(a),(d)に示されるように、特定の可動装飾体が異常状態にある状況において図柄変動が開始されるタイミングtm11が到来した結果、特別の演出パターンにかかる演出進展と、特定の可動装飾体に対して所定の復元動作を行わせる処理とがそれぞれ並行される状況が現れたときには、少なくとも特別の演出パターンが行われている間(図柄停止されるまでの期間)は復元処理を終了させずにこれが継続されるようにしている。
より具体的には、タイミングtm11から開始された復元処理において、特定の可動装飾体に対して1回目の復元動作を実行しただけでその異常状態が解消されて原位置へと復帰(復元)する場合であっても、当該復元処理は、少なくとも特別の演出パターンが行われている間は終了されず、その全期間にわたって特定の可動装飾体に対する復元処理を実行することとなる。
このような構成によれば、特定の可動装飾体が異常状態にあるときには上記特別の演出パターンが行われるときを狙って、より本格的な態様での復元処理(例えば、復元後にも正常診断を追加実施するなど)を行うことができるようになることから、当該特別の演出パターンについてはこれが復元・診断用の演出パターンとして機能するようになり、遊技者としてもこのように念入りに復元される様子を見て安心してその後の演出を楽しむことができるようになる。なおこの意味では、特別の演出パターンについては、大当り判定にて落選したときに限り選択可能とされるものとして用意するようにすることが望ましい。また、演出表示装置1600における表示内容としても「復元・診断用の演出パターンです。しばらくお待ちください」などといったようなユニークな表示態様を出現させることが望ましい。
しかも、この実施の形態にかかるパチンコ機1(周辺制御MPU1511a)では、図197A(a),(d)に示されるように、特定の可動装飾体が異常状態にあるときにタイミングtm11が到来して上記特別の演出パターンが行われる場合、該特別の演出パターンが終了されるタイミングtm12以降も、タイミングtm11にて開始させた復元処理を終了させずこれを継続するようにしている。このような構成によれば、「特定の可動装飾体に異常が発生しているにもかかわらずその復元処理については図柄変動が行われる単位毎に実行せざるを得ない」といった制約が排除されることから、より本格的な態様での復元処理を行うことが可能とされるようになる。
ただし、特別の演出パターンが終了されるタイミングtm12において、保留消化が途切れず、新たな図柄変動に応じた演出パターンが行われるようなことがあると、次の復元動作時期(ここでは、次回の図柄変動開始時期)が到来することとなる。そしてこの際、タイミングtm11にて開始させた復元処理を未だ継続しているような状況にあったとすると、特定の可動装飾体が未だ異常状態(原位置に位置していないなど)にある旨判定されることとなる。そして、該判定に基づいて、特定の可動装飾体に対する復元処理を新たに開始させることがなされるようなことがあると、実質的には、一の図柄変動が行われる時間内で完結可能な復元処理しか行い得なくなることからその処理内容としても自ずと限界のあるものとなり、異常に対して十分な対処ができないことによって当該特定の可動装飾体としての劣化を早めてしまうことにもなりかねない。
この点、この実施の形態にかかるパチンコ機1(周辺制御MPU1511a)では、図197A(b),(d)に示されるように、特定の可動装飾体に対する復元処理を実行している状況にあるときに次の復元動作時期(ここでは、次回の図柄変動開始時期)が到来した場合、実行状態にある復元処理を終了させずこれを次の復元動作時期を跨るかたちで継続させるようにしている。このような構成によれば、特定の可動装飾体に対する復元処理を実行しているときの保留がいかなる状況にあったとしても、「特定の可動装飾体に異常が発生しているにもかかわらずその復元処理については図柄変動が行われる単位毎に実行せざるを得ない」といった制約が排除されることから、より本格的な態様での復元処理を行うことが可能とされるようになる。
ただし、図197A(c),(d)に示されるように、特定の可動装飾体に対する復元処理を実行している状況にあるときに新たな図柄変動が開始された結果、該新たな図柄変動として、「特定の可動装飾体を図柄変動内の特定タイミングtm2で動作させうる特定の演出パターン」が現れる場合もありうる。したがって、図197A(a)~(c)に示されるように、特別の演出パターンが終了された後の遊技や演出の状況(さらには、復元の状況など)にかかわらず、タイミングtm11から開始された「特定の可動装飾体に対して所定の復元動作を行わせる処理」が完了されるタイミングtxについては、その次の図柄変動内の特定タイミングtm2が到来するまでに要する時間(より好ましくは、所定演出が行われるまでの時間)よりも短い時間内で終了させるようにすることが望ましい。このような構成であっても、タイミングtm11~tm12の時間(特別の演出パターンの消化に要する時間)に加えて、タイミングtm12~txの時間が終了されるまでの比較的長い時間にわたって特定の可動装飾体に対する復元処理を継続して行うことが可能とされるようになる。
なお、特別の演出パターン(復元・診断用の演出パターン)が終了された後、特別の演出パターン(復元・診断用の演出パターン)が連続して実行される状況が現れた場合には、該新たな特別の演出パターン(復元・診断用の演出パターン)内で復元処理を終了させず、3回以上の図柄変動(演出パターン)に跨る(一の復元処理が開始された後、該一の復元処理が2つ以上の復元動作時期に跨る)かたちで一の復元処理を継続させるようにしてもよい。
図197Aに示される例では、「特定の可動装飾体に対して所定の復元動作を行わせる処理」が完了されるタイミングtxにおいて、特定の可動装飾体が異常状態から復帰(復元)されて正常状態になった場合を想定している。このように、次の復元動作時期(ここでは、次回の図柄変動開始時期)を跨ぐかたちで一の復元処理を継続させるようにしたことで、従来では復元し得なかった深刻な異常状態であってもこれが復帰可能とされうるようになり、特定タイミングtm2において特定の可動装飾体を演出動作させることが可能とされるようになる。
これに対し、次の復元動作時期(ここでは、次回の図柄変動開始時期)を跨ぐかたちで一の復元処理を継続させるようにしたにもかかわらず、タイミングtxにおいて、特定の可動装飾体が異常状態から復帰(復元)できなかったときには、タイミングtxから図柄変動が終了されて次の復元動作時期がさらに到来するときまで停止状態を維持することとなる。すなわちこの場合、特定タイミングtm2において特定の可動装飾体を演出動作させることはできないものの、特定の可動装飾体が動作するか否かの演出性についてはこれを好適に維持することが可能であり、当該特定の演出パターンが大当り変動に基づくものであるときには、特定タイミングtm2において特定の可動装飾体が演出動作しなかったにもかかわらず大当り図柄が停止されることで、サプライズ的な演出を提供することができるようになる。
なお、特定の可動装飾体が異常状態にあり、且つ該特定の可動装飾体に対する復元処理が実行されていない状況において、復元動作時期(ここでは、図柄変動開始時期)が到来する都度、該特定の可動装飾体に対する復元処理を幾度も開始させるようなことがあると、特定の可動装飾体が復元不可能な程度に故障している場合、復元し得ないにもかかわらず該特定の可動装飾体に対する復元処理がひたすら繰り返されることによって遊技興趣が低下することが懸念される。したがって、特定の可動装飾体が異常状態にされた以降、復元動作時期が所定の上限数だけ到来したにもかかわらず(復元処理(特定の可動装飾体)の実行回数が所定の上限数に達したにもかかわらず)該異常状態から復元されていないときには、これ以降、新たな復元動作時期が到来したとしても特定の可動装飾体に対する復元処理を新たに開始させないようにすることが望ましい。
ただしその一方で、特定の可動装飾体が異常状態にされた以降、特別の演出パターン(復元・診断用の演出パターン)のみが上記所定の上限数分だけ連続して実行(開始)された後に、特別の演出パターン(復元・診断用の演出パターン)とは異なる演出パターン(例えば、特定の演出パターン)が実行される状況が現れた場合は、所定の上限数分の特別の演出パターンとその次の演出パターンとに跨るかたちで一の復元処理を継続させるようにしてもよい。すなわちこの場合、特定の可動装飾体が異常状態にされた以降、復元動作時期が所定の上限数だけ到来したにもかかわらず該異常状態から復元されていないこととなるが、「所定の上限数+1」回目の復元動作時期が到来したときにも特定の可動装飾体に対する復元処理を終了させずにこれを継続させることとなる。このように、復元動作時期を跨ぐかたちで一の復元処理が継続される態様については、該一の復元処理が継続されている間に復元動作時期が何回到来したとしても上記所定の上限数に対する計数としては1回分の復元処理として扱ってこれが終了されないようにすることで、より本格的な態様での復元処理を行うことが妨げられないようにすることが望ましい。
ところで、このような復元処理(図柄変動に対応する復元動作時期に基づいて行われる復元処理)については、遊技盤5側に設けられる盤側可動装飾体(例えば、裏前飾りユニット3100や、裏中可動演出ユニット3200、特定装飾部材SDY(簾役物)など)のほか、扉枠3側に設けられる枠側可動装飾体に対しても、基本的には、上述した通りの態様で実行される。ただし、扉枠3側に設けられる枠側可動装飾体のうち、操作手段としても用いられる枠側可動装飾体(例えば、動作可能に設けられた操作ボタン410や、刀装飾体5001など)については、上述した特定の可動装飾体(盤側可動装飾体)の場合とは異なる態様で復元(復帰)させる場合があるようにしている。
例えば、この実施の形態にかかるパチンコ機1(周辺制御MPU1511a)では、上述の通り、図柄変動が行われる期間中、刀装飾体5001に対する操作機会を付与する操作機会付与演出が実行される可動操作系の演出パターン(例えば、図177で示した演出パターン)を用意している。そして、これも上述したが、このような操作機会付与演出では、「刀装飾体5001を原位置から操作位置へと所定の駆動力によって移動させる処理(図177(f)を参照)」と、「刀装飾体5001に対する演出受付期間を発生させる処理(図177(f)を参照)」、さらには「操作を促す表示(「押し込め」といった文字表示や、演出受付期間の残り時間を示すバー表示)を行う処理(図177(f)を参照)」がそれぞれ行われる。そしてこの結果、操作位置へと移動した状態にある刀装飾体5001が操作(ここでは、押し込む操作)されてこれが演出受付されると、該演出受付に基づいて「特定装飾部材SDY(簾役物)などの盤側可動装飾体を演出動作させる処理(図177(g)を参照)」と「表示内容に変化を生じさせる処理(図177(g)を参照)」とがそれぞれ行われることとなる。なお、この処理にて演出動作される盤側可動装飾体は、図196や図197Aにて説明した特定の可動装飾体であってもよい。
ただし、このような操作機会付与演出のうち「刀装飾体5001を原位置から操作位置へと所定の駆動力によって移動させる処理」については、刀装飾体5001が異常状態にあるときには実行されず正常状態にあるときに実行可能とされるのに対し、「刀装飾体5001に対する演出受付期間を発生させる処理」と「操作を促す表示を行う処理」とについては、刀装飾体5001が正常状態にあるときと異常状態にあるときとのいずれであっても実行可能とされるものとなっている。したがって、可動操作系の演出パターンでは、刀装飾体5001が異常状態にあったとしても、「操作を促す表示」を見た遊技者によって刀装飾体5001が操作されてこれが演出受付されると、「特定装飾部材SDY(簾役物)などの盤側可動装飾体を演出動作させる処理」と「演出表示装置1600における表示内容に変化を生じさせる処理」とがそれぞれ行われることとなる。そればかりか、可動操作系の演出パターンでは、刀装飾体5001が異常状態にあったとしても、こうした遊技者による操作によって刀装飾体5001が外力を受けて操作部位が動作することでその異常状態が自ずと解消される場合も生じうることとなる。
そこで、この実施の形態にかかるパチンコ機1(周辺制御MPU1511a)では、操作手段としても用いられる枠側可動装飾体(例えば、動作可能に設けられた操作ボタン410や、刀装飾体5001など)が異常状態になった場合、当該枠側可動装飾体(操作手段)に対して原位置へと復帰させるための駆動力を付与する復帰処理(図196,図197Aを参照して説明した態様での復元処理)を、「上述の復元動作時期(ここでは、図柄変動の開始時期)」と、「可動操作系の演出パターン内で遊技者による操作によって演出受付された後」との各タイミングにおいてそれぞれ実行可能としている。
このような構成によれば、盤側可動装飾体が異常状態であるときには、図柄変動の開始時や停止時(より厳密には、開始後や停止後)などのタイミングを狙って、盤側可動装飾体を復帰させる処理が行われるのに対し、枠側可動装飾体が異常状態であるときには、図柄変動の開始時や停止時などのタイミングはもとより、これとは別の独自タイミング(変動期間中のうち、枠側可動装飾体(操作手段)に対して外力(遊技者による操作)が加えられてその異常状態が解消される可能性があるタイミング)を狙って、枠側可動装飾体(操作手段)を復元(復帰)させる処理が行われるようになることから、異常状態にある枠側可動装飾体(操作手段)の原位置復帰を早期に実現可能とすることが期待されるようになる。
図198は、このような枠側可動装飾体(操作手段)として刀装飾体5001が用いられた場合に、該刀装飾体5001が原位置復帰されるまでの処理についてその一例を示すタイムチャートである。
同図198に示されるように、いま、可動操作系の演出パターン(図柄変動が行われる期間中、刀装飾体5001に対する操作機会を付与する操作機会付与演出が実行される演出パターン)が実行されており、タイミングtm21において、「刀装飾体5001を原位置から操作位置へと移動させる処理」が実行されたとする。そして、刀装飾体5001が操作位置に位置した状態にあるときに、「刀装飾体5001に対する演出受付期間を発生させる処理」、「操作を促す表示(「押し込め」といった文字表示や、演出受付期間の残り時間を示すバー表示)が実行されているなかで、遊技者によって刀装飾体5001が操作されてこれが演出受付されたとすると(タイミングtm22)、「特定装飾部材SDY(簾役物)などの盤側可動装飾体を演出動作させる処理」と「演出表示装置1600における表示内容に変化を生じさせる処理」とがそれぞれ行われることとなる。なお、図198に示される例では、演出受付されたことに基づいて、図196や図197Aにて説明した特定の可動装飾体を盤側可動装飾体として演出動作させるようになっている。
この点、図198に示される例では、こうして演出受付されたタイミングtm22において刀装飾体5001に異常が発生してこれが原位置に復帰されなくなるとともに、演出受付に基づいて演出動作した特定の可動装飾体(盤側可動装飾体)にも別の異常が発生してこれが原位置に復帰されなくなった場合を想定している。なおこの際、刀装飾体5001に異常が発生した旨の判定と、特定の可動装飾体に異常が発生した旨の判定がそれぞれなされることとなるが、特定の可動装飾体に異常が発生した旨の判定についてはこれに伴う特定の報知音及び表示報知のいずれもが実行されないようにするとともに、刀装飾体5001に異常が発生した旨の判定についてはこれに伴って特定の報知音及び表示報知の少なくとも一方が行われるようにすることが望ましい。これは、刀装飾体5001が「遊技者による手の届くところ(扉枠3)に置かれるもの」であり、これが異常状態になったことを報知するようにすれば異常状態からの修復作業を遊技者の手によって行うことが期待されるのに対し、特定の可動装飾体は「遊技者による手の届かないところ(遊技盤5)に置かれるもの」であり、これが異常状態になったことを報知したところで、遊技者として何も手助けできないし、可動演出が実行されない状態にあることを強調するだけで遊技興趣の低下を助長しかねないからである。ただし、こうした報知は、所定時間が経過したときに終了されるようにすることが望ましい。
さらに言えば、図198に示される例では、タイミングtm22において演出受付されたことに基づいて「特定の可動装飾体を演出動作させる処理」を行っているなかで該特定の可動装飾体に異常が発生することとなるが、「演出表示装置1600における表示内容に変化を生じさせる処理」についてはこれが通常通りに実行されるようにすることで、特定の可動装飾体に異常発生したことを認識し難くするようにすることが望ましい。そしてこの後、刀装飾体5001及び特定の可動装飾体はいずれも異常状態とされたままで当該可動操作系の演出パターンが演出進展されることとなり、タイミングtm23において図柄変動が停止されることとなる。
図198に示される例では、タイミングtm23になると、既に保留状態になっている図柄変動がすぐに(例えば、0.6秒後に)消化(開始)されるようになっており、該新たな図柄変動に応じた演出パターンとして図196にて説明した特定の演出パターンが実行される場合を想定している。すなわち、特定の演出パターンでは、図柄変動が開始されてから所定時間が経過したタイミングtm2において特定の可動装飾体を演出動作させるものとなっているが、復元動作時期(ここでは、図柄変動開始時)に開始される「特定の可動装飾体に対して所定の復元動作を行わせる処理」が完了されるタイミングtxについては、復元の状況にかかわらずタイミングtm2よりも短い時間内(より好ましくは、所定演出が開始されるまでの間)で終了されるようになっていることは上述した通りである。
この点、この実施の形態にかかるパチンコ機1(周辺制御MPU1511a)では、刀装飾体5001についても復元動作時期(ここでは、図柄変動開始時)が到来したことに基づいて、「特定の可動装飾体に対して所定の復元動作を行わせる処理」と少なくとも一部の動作が並行されるかたちでこれを原位置へと戻すように動作(駆動力付与)させる処理を実行可能としている。しかも、このような「刀装飾体5001に対して所定の復元動作を行わせる処理」が完了されるタイミングも同様、復元の状況にかかわらずタイミングtm2よりも短い時間内(より好ましくは、所定演出が開始されるまでの間)で終了されるようにしている。
このような構成によれば、特定の可動装飾体の異常状態が解消され、タイミングtm2において該特定の可動装飾体による可動演出が行われる状況になったときに、刀装飾体5001による復元動作が継続されているようなことがなくなることから、復元動作と可動演出とが並行されるときの興ざめの発生を回避することができるようになる。
なお、図198に示される例では、特定の可動装飾体に対する復元処理が開始・終了されるタイミングと、刀装飾体5001に対する復元処理が開始・終了されるタイミングとがいずれも同じとされているが、それらタイミングの一方のみが同じであってもよいし、それらタイミングのいずれもが異なっていてもよい。
また、「特定の可動装飾体に対して所定の復元動作を行わせる処理」については、図197Aを参照して説明した通り、特別の演出パターン(復元・診断用の演出パターン)が現れたときには該特別の演出パターンが終了した以降も継続可能であることはもとより、特別の演出パターンが終了されてから保留状態にある図柄変動がすぐに(例えば、0.6秒後に)消化(開始)される状況においては次の復元動作時期(ここでは、次回の図柄変動開始時期)を跨るときに当該処理(一の復元処理)を終了せずこれを継続させるかたちで実行可能としているが、「刀装飾体5001に対して所定の復元動作を行わせる処理」についてもこれと同じ態様(図197Aを参照して説明した態様)で実行可能とされるようにすることが望ましい。すなわちこの場合、「刀装飾体5001に対して所定の復元動作を行わせる処理」についても、特別の演出パターンが現れたときには次の復元動作時期(ここでは、次回の図柄変動開始時期)を跨るかたちで実行されることとなるが、次の図柄変動が開始されてからタイミングtm2が到来するまでに要する時間が経過するまでの間に、復元の状況にかかわらず終了されるようにすることとなる。
また、刀装飾体5001についてもこれが異常状態にされた以降、特別の演出パターン(復元・診断用の演出パターン)のみが所定の上限数分だけ連続して実行された後に、特別の演出パターン(復元・診断用の演出パターン)とは異なる演出パターン(例えば、特定の演出パターン)が実行される状況が現れた場合、所定の上限数分の特別の演出パターンとその次の演出パターンとに跨るかたち当該刀装飾体5001に対する一の復元処理を継続させるようにしてもよい
そして、図198に示される例では、タイミングtxにおいて、特定の可動装飾体に対する復元処理と刀装飾体5001に対する復元処理とがそれぞれ終了されるがいずれも復元に失敗した場合を想定している。したがって、タイミングtm2においては特定の可動装飾体による可動演出が行われることなく、刀装飾体5001及び特定の可動装飾体はいずれも異常状態とされたままで当該特定の演出パターンが演出進展されることとなり、タイミングtm24において図柄変動が停止されることとなる。
なお、この実施の形態にかかるパチンコ機1(周辺制御MPU1511a)では、特定の演出パターン内においてタイミングtx~tm2の期間内で、特定の可動装飾体を外力(モータなどによる駆動力を付与しない)によって原位置へと復帰させた(正常状態にさせた)としても、タイミングtm2において、特定の可動装飾体による演出動作が行われることはない。すなわち、タイミングtx~tm2の期間内で特定の可動装飾体に対して外力(モータなどによる駆動力を付与しない)が加えられることこれ自体が異常な事態であるといえる。このような信頼性の低い状況にあるなかで特定の可動装飾体による演出動作を行ったとしてもこれに失敗する可能性が高いことからこれを行わないようにすることが遊技興趣の低下を抑制する上で望ましいといえる。
また、刀装飾体5001に対する復元処理に失敗して再び異常状態になった場合は、これに伴う特定の報知音及び表示報知のいずれもが行われないようにすることが望ましい。すなわち、刀装飾体5001に対する復元処理に失敗して再び異常状態になる都度に報知を行うようなことがあると、異常状態が解消されないことを遊技者の責任にしているかのような誤解を与えかねないことから、正常状態から異常状態になった最初の異常発生時に限り上述の報知(特定の報知音及び表示報知の少なくとも一方)を行うようにして遊技者による修復作業を促すようにすることが望ましい。
また、図198に示される例では、タイミングtm24以降に到来するいずれかの復元動作時期(ここでは、図柄変動開始時期)を契機とした復元処理によって、刀装飾体5001及び特定の可動装飾体のうち特定の可動装飾体のみが異常状態から復帰した場合を想定している。そして、いま、刀装飾体5001のみが異常状態にあるなかで可動操作系の演出パターンが再び行われており、図198に示されるように、タイミングtm25において異常状態にあった刀装飾体5001が遊技者による操作によって演出受付されたとすると、このような操作によって刀装飾体5001に発生していた異常が解消された可能性を期待することができるようになる。
そこで、この実施の形態にかかるパチンコ機1(周辺制御MPU1511a)では、タイミングtm25において異常状態にあった刀装飾体5001が遊技者による操作によって演出受付されたときには、その後、刀装飾体5001を原位置へと戻す(原位置にて留まらせる)ように駆動力を付与可能となっている。なおこの際、演出受付に基づいて特定の可動装飾体による可動演出が行われることに鑑みれば、刀装飾体5001を原位置へと戻すように駆動力を付与する処理が行われる期間(1回の復帰動作で成功した場合の期間)としては、特定の可動装飾体による可動演出が開始された後に発生させ、且つ特定の可動装飾体による可動演出が終了(特定の可動装飾体が原位置へと戻る)されるよりも前に終了させるようにすることが、このような復帰処理が実行されていることを認識し難くする上で望ましい。ただし、このような外力(遊技者による操作)によってこれまで復帰できなかった刀装飾体5001の復帰可能性が高まっている数少ないチャンスが到来していることに鑑みれば、刀装飾体5001を原位置へと戻すように駆動力を付与する処理(刀装飾体5001に対する復帰動作)に失敗した場合は、特定の可動装飾体による可動演出が終了された後の期間までにわたって、刀装飾体5001を原位置へと戻すように駆動力を付与する処理を継続して実行(刀装飾体5001に対する復帰動作を再び実行)するようにして遊技者側に異常状況を認識し易くすることで、遊技者による手助けを促すようにすることが望ましい。ただし、この復帰処理に失敗した場合も、これに伴う特定の報知音及び表示報知のいずれもが行われないようにすることが望ましい。
そして、図198に示される例では、このような外力(遊技者による操作)を利用した刀装飾体5001に対する復帰処理(原位置への復帰)に成功した場合を想定しており、この後は、刀装飾体5001及び特定の可動装飾体はいずれも正常状態とされたままで当該可動操作系の演出パターンが演出進展されることとなり、タイミングtm26において図柄変動が停止されることとなる。
このように、図198に示した例によれば、操作手段としても用いられる枠側可動装飾体(刀装飾体5001)については、盤側可動装飾体(特定の可動装飾体)に対して設定される復元動作時期(図柄変動開始時)に加えて、外力(遊技者による操作)を利用した復元動作時期(演出受付された後のタイミング)が設定されることとなる。すなわち、操作手段としても用いられる枠側可動装飾体(刀装飾体5001)は、遊技者によって直接接触されることもあって異常状態になり易いものの、異常状態になった場合であっても原位置復帰の機会が多めに付与されるとともにその復帰方法としても様々な態様(駆動力付与のみによって復帰させる態様、少なくとも外力を利用して復帰させる態様)が用いられることから、異常状態が解消される可能性も高くなり遊技興趣の低下が抑制されうるようになる。
なお、異常状態にあった刀装飾体5001が遊技者による操作によって演出受付された後に該刀装飾体5001に対して原位置へと復帰させるための駆動力を付与する処理については、図柄変動開始時期(例えば、タイミングtm23)が到来したときに行われる復元処理と異なる内容(異なる動作態様)で刀装飾体5001に対して駆動力を付与するようにしてもよい。すなわち、当該処理については、外力(遊技者による操作)を利用して刀装飾体5001を復帰させるものであるから、外力を利用しないときの処理とは異なる内容で行うようにすることが、復帰確率を高める上で望ましいといえる。また、当該処理については、復帰の状況にかかわらずその図柄変動内で復帰処理が終了されるような簡易的な態様で実行することとし、復帰に失敗したときには次の復元動作時期でより本格的な復帰処理が行われるようにすることが望ましい。
また、図198に示した例にあっては、復元動作時期(ここでは、図柄変動開始時期)が所定の上限数だけ到来してその回数分だけ該刀装飾体5001に対する復元処理を実行したにもかかわらず異常状態から復元されず、新たな復元動作時期(ここでは、図柄変動開始時期)が到来したとしても刀装飾体5001に対する復元処理を新たに開始させない状況になっているときに、可動操作系の演出パターンが開始されて、タイミングtm25において異常状態にある刀装飾体5001が遊技者による操作によって演出受付された場合であっても、該演出受付された後には、刀装飾体5001を原位置へと戻す(原位置にて留まらせる)ように駆動力を付与する処理を行うようにすることが望ましい。すなわち上述の通り、演出受付された後の復帰処理は、外力(遊技者による操作)によってこれまで復帰できなかった刀装飾体5001の復帰可能性が高まっている状況にあるときに行われるものであるといえることから、外力無しでの復帰が諦められている上述の状況にあったとしても、当該処理については諦めずに実行するようにすることが望ましいといえる。したがって、「刀装飾体5001に対する演出受付期間を発生させる処理(図177(f)を参照)」、及び「操作を促す表示(「押し込め」といった文字表示や、演出受付期間の残り時間を示すバー表示)を行う処理(図177(f)を参照)」についても、外力無しでの復帰が諦められている上述の状況においても通常通りに行われるようにすることが重要である。
また、刀装飾体5001が、操作位置に位置した状態で押し込む(特定の検出位置まで動作させる)ように第1操作機会を付与する場合と、原位置にあるときに押し込む(特定の検出位置まで動作させる)ように第2操作機会を付与する場合とがあるように設けられる操作手段であったときは、異常状態にあった刀装飾体5001に対する第2操作機会において演出受付が発生したとしても原位置へと復帰させるための駆動力を付与せず、異常状態にあった刀装飾体5001に対する第1操作機会において演出受付が発生したときに限り原位置へと復帰させるための駆動力を付与するようにすることが望ましい。すなわち、第2操作機会が付与されるときに演出受付されたとしても操作部位の動作量は比較的少ないことから、異常状態が解消されている可能性も自ずと低いと予想されるためである。
また、異常状態にあった刀装飾体5001が遊技者による操作によって演出受付された後に該刀装飾体5001に対して原位置へと復帰させるための駆動力を付与する処理については、必ずしも演出受付されたことを条件として実行されるものでなくてもよく、例えば、演出受付期間が終了した以降に実行するようにしてもよい。
なお、復元動作時期については、図柄変動が実行されることを少なくとも条件として到来する所定のタイミングであればよく、例えば、図柄変動開始時期及び図柄変動停止時期の少なくとも一方として用いるようにしてもよい。図柄変動に対応する復元動作時期として図柄変動停止時期を用いるようにした場合、図柄変動が停止されるときに主制御MPU1310a側から送出されるコマンドに基づいて復元処理を開始させることとなり、この開始させた復元処理を、保留消化された特定の演出パターン内のタイミングtm2が到来するまでの間に終了させたり、保留消化された特別の演出パターンの終了後までに跨るように実行させたりするなどの上述した各処理が行われることとなる。
また、特別の演出パターン(復元・診断用の演出パターン)については、遊技の状態に応じてその出現頻度が異なるようにしてもよい。例えば、可動装飾体の動作頻度が高くなる特別の演出状態が発生した場合は、動作頻度が高くされる分だけ異常状態も発生しやすくなることから、該特別の演出状態においては、通常の演出状態にあるときよりも特別の演出パターン(復元・診断用の演出パターン)の出現頻度が高くなるように遊技可能とすることが望ましい。
ところで、この実施の形態にかかるパチンコ機1(周辺制御MPU1511a)では、操作手段としても用いられる枠側可動装飾体(例えば、刀装飾体5001など)や特定の可動装飾体などが異常状態にあるときに上記特別の演出パターン(復元・診断用の演出パターン)が行われると、図197Aに示したように、次の図柄変動に応じた演出パターンが開始された以降までの期間にわたって該異常状態にある可動装飾体に対する一の復元処理を継続して実行可能なものとなっている。ただしこの場合、一の復元処理が継続して実行されている間に新たな復元動作時期(例えば、図柄変動開始時期)が到来したとしても、該異常状態にある可動装飾体に対する復元処理を改めて開始させるようなことはせず、既に実行状態にある一の復元処理を終了させずにこれを継続させることとなることから、該復元処理の対象となっている可動装飾体とは別の可動装飾体が新たに異常状態になったときに該別の可動装飾体に対する復元処理をいずれのタイミングで開始させるかが問題となる。
例えば、図197Aに示される例にあって、タイミングtm11において開始された特定の可動装飾体に対する復元処理は、特別の演出パターンが終了されるタイミングtm12が到来した以降、新たな復元動作時期(次の図柄変動の開始時期)を跨ぐときにも終了することなく継続実行されるようになっている。この点、タイミングtm11が経過してから新たな復元動作時期(次の図柄変動の開始時期)が到来するまでの間に特定の可動装飾体とは別の可動装飾体に新たに異常が発生した場合は、少なくとも以下の手法1~3のうちの1つ、または「手法1及び手法2の両方」、または「手法1及び手法3の両方」を採用して該別の可動装飾体に対する復元処理を実行するようにすることが望ましい。
手法1:少なくとも「特定の可動装飾体が盤側可動装飾体として設けられるものであるのに対し、上記別の可動装飾体が枠側可動装飾体として設けられるもの」といった関係にある場合、特定の可動装飾体に対する一の復元処理が継続実行されるなかで新たな復元動作時期(次の図柄変動の開始時期)が到来したときに、該新たな復元動作時期(次の図柄変動の開始時期)が到来したことに基づいて別の可動装飾体(枠側可動装飾体)に対する復元処理を新たに開始させるようにする。
このような手法1によれば、新たな復元動作時期(次の図柄変動の開始時期)は、既に実行状態にある特定の可動装飾体に対する復元処理に対しては無効なものとして扱われるが、復元処理が未だ実行状態にない別の可動装飾体(枠側可動装飾体)に対しては有効なものとして扱われることとなり、当該タイミング(新たな復元動作時期)を契機として該別の可動装飾体(枠側可動装飾体)に対する復元処理を新たに開始させることができるようになる。すなわちこの場合、特定の可動装飾体(盤側可動装飾体)に対する復元処理と、別の可動装飾体(枠側可動装飾体)に対する復元処理とが同時実行される状況が現れることとなるが、それら可動装飾体の間で干渉が生じる懸念はなく、それら可動装飾体の早期復帰が期待されるようになる。
手法2:少なくとも「特定の可動装飾体と別の可動装飾体とのいずれもが盤側可動装飾体として設けられるもの」といった関係にある場合は、特定の可動装飾体に対する一の復元処理が継続実行されるなかで新たな復元動作時期(次の図柄変動の開始時期)が到来したとしても、その時点では別の可動装飾体(盤側可動装飾体)に対する復元処理を開始させず、特定の可動装飾体に対する一の復元処理が終了されるのを待ってから、上記新たな復元動作時期(次の図柄変動の開始時期)が到来したことに基づいて別の可動装飾体(盤側可動装飾体)に対する復元処理を新たに開始させるようにする。
このような手法2によれば、新たな復元動作時期(次の図柄変動の開始時期)は、既に実行状態にある特定の可動装飾体に対する復元処理に対しては無効なものとして扱われるが、復元処理が未だ実行状態にない別の可動装飾体(盤側可動装飾体)に対しては有効なものとして扱われることとなる。この点、別の可動装飾体(盤側可動装飾体)に対する復元処理についてはこれを開始させるにあたり、特定の可動装飾体に対する一の復元処理が終了されるのを待つようにしたことから、それら可動装飾体の間で干渉が生じる懸念はなく、それら可動装飾体の早期復帰が期待されるようになる。
手法3:少なくとも「特定の可動装飾体と別の可動装飾体とのいずれもが盤側可動装飾体として設けられるもの」といった関係にある場合は、特定の可動装飾体に対する一の復元処理が継続実行されるなかで新たな復元動作時期(次の図柄変動の開始時期)が到来したとしても、該新たな復元動作時期(次の図柄変動の開始時期)の到来を契機として別の可動装飾体に対する復元処理を実行することはせず、特定の可動装飾体に対する一の復元処理が終了されるのを待ってからその後に到来した復元動作時期を契機として、別の可動装飾体(盤側可動装飾体)に対する復元処理を新たに開始させるようにする。
このような手法3によれば、新たな復元動作時期(次の図柄変動の開始時期)は、既に実行状態にある特定の可動装飾体に対する復元処理と、未だ実行状態にない別の可動装飾体に対する復元処理とのいずれに対しても無効なものとして扱われることとなり、特定の可動装飾体に対する一の復元処理が終了されない限りは、別の可動装飾体に新たな異常が発生したとしても該異常状態に対する処理が何ら実行されないこととなる。すなわちこの場合、特定の可動装飾体に対する一の復元処理が実行状態にあるときに別の可動装飾体が異常状態になったとしても、それら可動装飾体を1つずつ丁寧に復元させることができるようになり、異常に対して十分な対処を行うことが可能とされるようになることで、それら可動装飾体としての劣化の進行速度を抑えることが期待されるようになる。
次に、復元動作の実行中に新たな復元動作時期(図柄変動の開始タイミングや終了タイミングなど)が到来したときの態様(上記手法1~手法3など)について、図197B及び図197Cを参照しつつ詳述する。
まず、この例にかかるパチンコ機1では、説明の便宜上、演出動作しうる可動装飾体として、第1の可動装飾体(上述した「特定の可動装飾体」)、第2の可動装飾体、第3の可動装飾体、第4の可動装飾体、及び第5の可動装飾体を少なくとも備えている。そして、可動装飾体のいずれか1つのみが正常状態にない場合は、該正常状態にない可動装飾体が「第1の可動装飾体」、「第2の可動装飾体」、「第3の可動装飾体」、「第4の可動装飾体」、及び「第5の可動装飾体」のいずれであっても、該正常状態にない可動装飾体は、図柄変動に対応する復元動作時期(図柄変動の開始タイミングや終了タイミングなど)が到来したときに復元動作(復元処理)を開始するようになっている。
ただし、図柄変動に対応する復元動作時期が到来したときに正常状態にない可動装飾体が複数あった場合、それら正常状態にない可動装飾体の全てが該復元動作時期を契機として一斉に復元動作(復元処理)を開始するようなことがあると、図柄変動に応じた演出に集中できず興ざめとなることが懸念される。
そこで、この説明例にかかるパチンコ機1では、図柄変動に対応する復元動作時期が到来したときに正常状態にない可動装飾体が複数あった場合は、それら正常状態にない可動装飾体の一部だけが該復元動作時期が到来したことを契機として復元動作を開始しうるようにしており、これによって正常状態にない可動装飾体の全てが一斉に復元動作を開始するようなことを回避して、状況に応じた態様での復元動作を実現するようにしている。
例えば、いま、図197Bに示されるように、図柄変動(1回目)が終了(ハズレ停止)して次回の図柄変動(2回目)が開始されるタイミングtm32が到来した(図柄変動に対応する復元動作時期が到来した)とき、第1の可動装飾体、第2の可動装飾体、第3の可動装飾体、第4の可動装飾体、及び第5の可動装飾体の全てに異常が発生していたとする。なお、ここでの「異常」とは、検出手段により「異常」が検出された状況にあることを意味しているが、必ずしも「異常」が検出された状況になくてもよく、可動装飾体として「異常」が発生している状況(未検出の状態)にあることを単に意味するものであってもよい。
すると、この説明例にかかるパチンコ機1では、該復元動作時期(タイミングtm32)が到来したことに基づいて、異常状態にある可動装飾体についての復元処理を実行することとなる。ただしここでは、第1の可動装飾体、第2の可動装飾体、及び第4の可動装飾体については各々の復元動作が並行するように開始されるが、第3の可動装飾体及び第5の可動装飾体については復元動作を開始させず異常状態のままで待機する。これにより、正常状態にない可動装飾体の全てが一斉に復元動作を開始することが回避されるようになり、状況に応じた態様での復元動作が実現されるようになる。
この点、この例にかかるパチンコ機1では、タイミングtm32において復元動作を開始させず異常状態のままとされた第3の可動装飾体については、次回の復元動作時期(タイミングtm35)の到来を待たず、第1の可動装飾体に対する復元処理(復元動作)が終了されるタイミングtm34が到来したことに基づいて、その復元動作を開始させるようにしている。これにより、正常状態にない可動装飾体の全てが一斉に復元動作を開始することを回避しつつも、正常状態にない可動装飾体の全てを比較低早期に正常状態に復帰させることができるようになる。
また、この例にかかるパチンコ機1では、タイミングtm32において復元動作を開始させず異常状態のままとされた第5の可動装飾体については、次回の復元動作時期(タイミングtm35)が到来した時点においても復元動作を開始せず、第3の可動装飾体に対する復元処理(復元動作)が終了されるタイミングtm36が到来したことに基づいて、その復元動作を開始させるようにしている。これにより、演出に対する集中を阻害するような組み合わせで複数の可動装飾体が復元動作を並行することが好適に回避されるようになる。
なお、図197Bに示される例では、第1の可動装飾体に対する復元処理が終了されるタイミングtm34よりも前に、第2の可動装飾体に対する復元処理が終了されるが、該第2の可動装飾体に対する復元処理が終了された時点で「第3の可動装飾体」や「第5の可動装飾体」が復元動作を開始することはない。また、図197Bに示される例では、第1の可動装飾体に対する復元処理が終了されるタイミングtm34よりも後に、第4の可動装飾体に対する復元処理が終了されるが、該第4の可動装飾体に対する復元処理が終了されるまで第3の可動装飾体が復元動作を開始せず待機状態を維持することはないし、該第4の可動装飾体に対する復元処理が終了された時点で「第5の可動装飾体」が復元動作を開始することもない。
すなわち、第3の可動装飾体は、特定の可動装飾体(ここでは、第1の可動装飾体)が異常状態でなければタイミングtm32が到来したときに復元処理(復元動作)を開始するが、特定の可動装飾体(ここでは、第1の可動装飾体)が異常状態であればタイミングtm32が到来したときに復元処理(復元動作)を開始せず該特定の可動装飾体(ここでは、第1の可動装飾体)の復元処理(復元動作)が終了するのを待ってから復元処理(復元動作)を開始するものとなっている。
また、第5の可動装飾体は、第1の可動装飾体や第3の可動装飾体が異常状態でなければタイミングtm32が到来したときに復元処理(復元動作)を開始するが、第1の可動装飾体や第3の可動装飾体が異常状態であればタイミングtm32が到来したときに復元処理(復元動作)を開始せず第1の可動装飾体及び第3の可動装飾体の各復元処理(復元動作)が終了するのを待ってから復元処理(復元動作)を開始するものとなっている。
このように、複数の可動装飾体のうち特定の組み合わせ(例えば、演出への集中を邪魔するような組み合わせ)の可動装飾体については復元処理が並行されないようにすることで、図柄変動に応じた演出に集中できる環境を好適に保持しつつ、復元処理を行うことができるようになる。
また、図197Bに示される例では、「第3の可動装飾体」よりも「第5の可動装飾体」のほうが先に異常状態になっているにもかかわらず、「第1の可動装飾体」に対する復元処理が終了したときには、まず、「第3の可動装飾体」に対する復元処理を先に開始させるようにしている。このように、異常状態になった順序通りに復元処理を行わないようにすることで、演出重要性の高い可動装飾体から優先的に正常復帰させることができるようになり、遊技興趣を好適に維持することが期待されるようになる。
また、図197Bに示される例では、第3の可動装飾体が復元処理(復元動作)を実行している途中の状況において、図柄変動(2回目)が終了(ハズレ停止)して次回の図柄変動(3回目)が開始されるタイミングtm35(図柄変動に対応する復元動作時期)が到来する場合を想定している。このような復元動作時期とは、本来、正常状態に未だ復帰していない第3の可動装飾体に対して復元動作を新たに開始させるように機能するものである。ただしここでは、第3の可動装飾体については、復元動作時期としてのこのような機能を用いず、該復元動作時期(タイミングtm35)を跨るように復元処理(復元動作)を継続実行するようにしている。これにより、タイミングtm35が到来したことに基づいて復元処理(復元動作)がやり直しとされる場合よりも早期に正常状態へと復帰させることができるようになる。例えば、図柄変動(3回目)が第3の可動装飾体を用いた可動演出を実行するものであった場合は、「図柄変動(3回目)内で第3の可動装飾体を用いた可動演出が開始されるタイミングよりも前に該第3の可動装飾体を正常状態へと復帰させる」ことのできる確率が高くなる。すなわち、この例では、図柄変動の開始時点で可動装飾体が異常状態であったとしても、可動装飾体を用いた可動演出が開始される時点で該可動装飾体が正常状態に復帰していさえすれば、該図柄変動内で可動装飾体を用いた可動演出として演出動作させることが可能とされるようになっている。
ここで、図197Bに示される例にあって、第3の可動装飾体は、図柄変動(1回目)が終了(ハズレ停止)して次回の図柄変動(2回目)が開始されるタイミングtm32(図柄変動に対応する復元動作時期)が到来するよりも前のタイミングtm31で異常が発生する場合を想定している。そして、異常状態にあるなかでタイミングtm32(図柄変動に対応する復元動作時期)が到来した結果として、該タイミングtm32に遅れるかたち(タイミングtm34)で復元処理(復元動作)を開始するようにした。
ただし、第3の可動装飾体については、タイミングtm32(図柄変動に対応する復元動作時期)よりも後であり、且つ第1の可動装飾体が復元処理(復元動作)を実行している期間内のタイミングである「タイミングtm33」まで正常状態を維持し、該タイミングtm33で異常が発生した場合であっても、図197Bに示した例と同様、第1の可動装飾体の復元処理(復元動作)が終了されるタイミングtm34が到来したことに基づいて復元処理(復元動作)を開始させるようにすることが望ましい。すなわちこの場合、第3の可動装飾体は、タイミングtm33で異常状態になってから図柄変動に対応する復元動作時期が未だ到来していない状況にあるにもかかわらず、他の可動装飾体(第1の可動装飾体)に対する復元処理(復元動作)の契機となった復元動作時期(タイミングtm33よりも前に到来したタイミングtm32)を利用して復元処理(復元動作)を開始させることができるようになることから、正常状態へと早期に復帰させることができるようになる。「タイミングtm32での復元動作時期を利用した復元処理(復元動作)」にかかる詳細については後述する。
なおこの際、第1の可動装飾体に対する復元処理が長引いてタイミングtm35を超えた場合、該復元処理については、タイミングtm35を跨ぐように継続実行させることが望ましい。また、タイミングtm35においては、第3の可動装飾体に対する復元処理(復元動作)を開始させず、タイミングtm35を跨ぐように実行された第1の可動装飾体に対する復元処理が終了されたタイミングで、第3の可動装飾体に対する復元処理(復元動作)を開始させるようにすることが望ましい。
そしてこの場合、タイミングtm32(復元動作時期)が到来した時点で第5の可動装飾体は異常状態になっていたにもかかわらず、該タイミングtm32(復元動作時期)が到来した時点では異常状態になっていなかった「第3の可動装飾体」に対する復元処理(復元動作)を「第5の可動装飾体」よりも先に開始させることができるようになることから、演出重要性の高い可動装飾体から優先的に正常復帰させることができるようになる。なお、「第5の可動装飾体」は、タイミングtm32(復元動作時期)が到来した時点では正常状態であった「第3の可動装飾体」に対する復元処理(復元動作)が終了したことに基づいて、タイミングtm32での復元動作時期を利用した復元処理(復元動作)を開始することとなる。「タイミングtm32での復元動作時期を利用した復元処理(復元動作)」とは、タイミングtm32が到来したことに基づいて実行されるプログラム内に、第1の可動装飾体に対する復元処理(復元動作)と、第3の可動装飾体に対する復元処理(復元動作)と、第5の可動装飾体に対する復元処理(復元動作)とが含まれており、これらの各復元処理が順次に実行される態様となっていることを意味している。例えば、「第1の可動装飾体」に対する復元処理が終了したときに、「第3の可動装飾体」が異常状態になっているかを判断し、該異常状態になっている旨判断したときは「第3の可動装飾体」に対する復元処理を開始させる。「第3の可動装飾体」に対する復元処理が終了したときに、「第5の可動装飾体」が異常状態になっているかを判断し、該異常状態になっている旨判断したときは「第5の可動装飾体」に対する復元処理を開始させる。「第1の可動装飾体」に対する復元処理が終了したときに「第3の可動装飾体」が異常状態になっていなければ「第3の可動装飾体」に対する復元処理は行わず、「第5の可動装飾体」が異常状態になっているかを判断する。そしてこの結果、該異常状態になっている旨判断したときは「第5の可動装飾体」に対する復元処理を開始させることとなる。すなわちこの場合、タイミングtm34において「第3の可動装飾体」が正常状態であったときは、該タイミングtm34が到来したことに基づいて「第5の可動装飾体」に対する復元処理が開始されることとなる。
これに対し、図197Cに示される例では、図柄変動(1回目)の開始タイミング(復元動作時期)を契機として開始された「第1の可動装飾体に対する復元処理」が、「図柄変動(1回目)が終了(ハズレ停止)して次回の図柄変動(2回目)が開始されるタイミングtm42」が到来した(図柄変動に対応する復元動作時期が到来した)時点でも終了されておらず実行途中の状況にあり、且つ該タイミングtm42が到来した時点において「第2の可動装飾体」、「第3の可動装飾体」、「第4の可動装飾体」、及び「第5の可動装飾体」がいずれも異常状態になっている場合を想定している。
すると、この例にかかるパチンコ機1では、まず、「第1の可動装飾体」に対する復元処理を、タイミングtm42が到来したことに基づいて初めからやり直しするようなことはせず、該タイミングtm42(復元動作時期)を跨るように継続実行するようにしている。これにより、タイミングtm42が到来したことに基づいて復元処理(復元動作)がやり直しとされる場合よりも早期に正常状態へと復帰させることができるようになる。例えば、図柄変動(2回目)が第1の可動装飾体を用いた可動演出を実行するものであった場合は、「図柄変動(2回目)内で第1の可動装飾体を用いた可動演出が開始されるタイミングよりも前に該第1の可動装飾体を正常状態へと復帰させる」ことのできる確率が高くなる。すなわち、この例では、図柄変動の開始時点で可動装飾体が異常状態であったとしても、可動装飾体を用いた可動演出が開始される時点で該可動装飾体が正常状態に復帰していさえすれば、該図柄変動内で可動装飾体を用いた可動演出として演出動作させることが可能とされるようになっている。
また、この例にかかるパチンコ機1では、該復元動作時期(タイミングtm42)が到来したことに基づいて、異常状態にある可動装飾体についての復元処理を実行することとなる。ただしここでは、第4の可動装飾体については、実行途中の状態にある第1の可動装飾体と各々の復元動作が並行するように開始されるが、第2の可動装飾体、第3の可動装飾体、及び第5の可動装飾体については復元動作を開始させず異常状態のままで待機する。これにより、正常状態にない可動装飾体の全てが一斉に復元動作を開始することが回避されるようになり、状況に応じた態様での復元動作が実現されるようになる。
特に、第2の可動装飾体については、図197Bに示したように、第1の可動装飾体が「正常状態になく且つ復元処理(復元動作)を実行していない」といった状況にあるときには、復元動作時期(タイミングtm32)が到来したことに基づいて、第1の可動装飾体と並行するように復元処理(復元動作)を開始するものとなっている。それにもかかわらず、図197Cに示されるように、第1の可動装飾体が「正常状態になく且つ復元処理(復元動作)を実行している」といった状況にあるときに復元動作時期(タイミングtm42)が到来したときには、該復元動作時期(タイミングtm42)が到来した時点で第2の可動装飾体に対する復元処理(復元動作)を開始させないようにしている。
すなわち、第1の可動装飾体が復元動作時期(タイミングtm42)を跨いで復元処理(復元動作)を実行している状況とは、第1の可動装飾体が正常復帰(原位置への復帰)に手間取っている状態にあり、遊技者側もそのような状態にある「第1の可動装飾体」に気が取られつつある状況にあると言える。そして、このような状況にあるなかで多くの可動装飾体が復元処理(復元動作)を新たに開始させるようなことがあれば、遊技者が図柄変動に応じた演出に集中できず興ざめとなることが懸念される。
この点、この例にかかるパチンコ機1では、第1の可動装飾体と並行して復元処理(復元動作)を実行可能な可動装飾体(図197Bを参照)のうち、第4の可動装飾体については、図197Cに示される状況においても、実行途中の状況にある第1の可動装飾体と並行して復元処理を開始させることとしている。これに対し、第2の可動装飾体については、図197Cに示される状況においては、実行途中の状況にある第1の可動装飾体と並行して復元処理を開始させず、該第1の可動装飾体に対する復元処理が終了するまでは待機状態として維持するようにしている。そして、該第1の可動装飾体に対する復元処理が終了された状態で復元動作時期(図197Cでは、タイミングtm45)が新たに到来するのを待って、該タイミングtm45が到来したことに基づいて第2の可動装飾体に対する復元処理(復元動作)を開始させるようにしている。これにより、第1の可動装飾体が正常復帰に手間取っている状況にあるときに多くの可動装飾体が新たに復元処理(復元動作)を開始することが抑制されるようになり、上述の懸念が解消されるようになる。
また、この例にかかるパチンコ機1では、タイミングtm42において復元動作を開始させず異常状態のままとされた第3の可動装飾体については、図197Bに示した例と同様、次回の復元動作時期(タイミングtm45)の到来を待たず、第1の可動装飾体に対する復元処理(復元動作)が終了されるタイミングtm44が到来したことに基づいて、その復元動作を開始させるようにしている。これにより、正常状態にない可動装飾体の全てが一斉に復元動作を開始することを回避しつつも、正常状態にない可動装飾体の全てを比較低早期に正常状態に復帰させることができるようになる。
また、この例にかかるパチンコ機1では、タイミングtm42において復元動作を開始させず異常状態のままとされた第5の可動装飾体については、図197Bに示した例と同様、次回の復元動作時期(タイミングtm45)が到来した時点においても復元動作を開始せず、第3の可動装飾体に対する復元処理(復元動作)が終了されるタイミングtm46が到来したことに基づいて、その復元動作を開始させるようにしている。これにより、演出に対する集中を阻害するような態様で複数の可動装飾体が復元動作を並行することが好適に回避されるようになる。
なお、図197Cに示される例では、第1の可動装飾体に対する復元処理が終了されるタイミングtm44よりも前に、第4の可動装飾体に対する復元処理が終了されるが、該第4の可動装飾体に対する復元処理が終了された時点で「第2の可動装飾体」や、「第3の可動装飾体」や、「第5の可動装飾体」が復元動作を開始することはない。
すなわち、第3の可動装飾体は、特定の可動装飾体(ここでは、第1の可動装飾体)が異常状態でなければタイミングtm42が到来したときに復元処理(復元動作)を開始するが、特定の可動装飾体(ここでは、第1の可動装飾体)が異常状態であればタイミングtm42が到来したときに復元処理(復元動作)を開始せず該特定の可動装飾体(ここでは、第1の可動装飾体)の復元処理(復元動作)が終了するのを待ってから復元処理(復元動作)を開始するものとなっている。
また、第5の可動装飾体は、第1の可動装飾体や第3の可動装飾体が異常状態でなければタイミングtm42が到来したときに復元処理(復元動作)を開始するが、第1の可動装飾体や第3の可動装飾体が異常状態であればタイミングtm42が到来したときに復元処理(復元動作)を開始せず第1の可動装飾体及び第3の可動装飾体の各復元処理(復元動作)が終了するのを待ってから復元処理(復元動作)を開始するものとなっている。
このように、複数の可動装飾体のうち特定の組み合わせ(例えば、演出への集中を邪魔するような組み合わせ)の可動装飾体については復元処理が並行されないようにすることで、図柄変動に応じた演出に集中できる環境を好適に保持しつつ、復元処理を行うことができるようになる。
また、図197Cに示される例では、第3の可動装飾体が復元処理(復元動作)を実行している途中の状況において、図柄変動(2回目)が終了(ハズレ停止)して次回の図柄変動(3回目)が開始されるタイミングtm45(図柄変動に対応する復元動作時期)が到来する場合を想定している。このような復元動作時期とは、本来、正常状態に未だ復帰していない第3の可動装飾体に対して復元動作を新たに開始させるように機能するものである。ただしここでは、第3の可動装飾体については、復元動作時期としてのこのような機能を用いず、該復元動作時期(タイミングtm45)を跨るように復元処理(復元動作)を継続実行するようにしている。これにより、タイミングtm45が到来したことに基づいて復元処理(復元動作)がやり直しとされる場合よりも早期に正常状態へと復帰させることができるようになる。例えば、図柄変動(3回目)が第3の可動装飾体を用いた可動演出を実行するものであった場合は、「図柄変動(3回目)内で第3の可動装飾体を用いた可動演出が開始されるタイミングよりも前に該第3の可動装飾体を正常状態へと復帰させる」ことのできる確率が高くなる。すなわち、この例では、図柄変動の開始時点で可動装飾体が異常状態であったとしても、可動装飾体を用いた可動演出が開始される時点で該可動装飾体が正常状態に復帰していさえすれば、該図柄変動内で可動装飾体を用いた可動演出として演出動作させることが可能とされるようになっている。
ここで、図197Cに示される例にあって、第3の可動装飾体は、図柄変動(1回目)が終了(ハズレ停止)して次回の図柄変動(2回目)が開始されるタイミングtm42(図柄変動に対応する復元動作時期)が到来するよりも前のタイミングtm41で異常が発生する場合を想定している。そして、異常状態にあるなかでタイミングtm42(図柄変動に対応する復元動作時期)が到来した結果として、該タイミングtm42に遅れるかたち(タイミングtm44)で復元処理(復元動作)を開始するようにした。
ただし、第3の可動装飾体については、タイミングtm42(図柄変動に対応する復元動作時期)よりも後であり、且つ第1の可動装飾体が復元処理(復元動作)を実行している期間内のタイミングである「タイミングtm43」まで正常状態を維持し、該タイミングtm43で異常が発生した場合であっても、図197Cに示した例と同様、第1の可動装飾体の復元処理(復元動作)が終了されるタイミングtm44が到来したことに基づいて復元処理(復元動作)を開始させるようにすることが望ましい。すなわちこの場合、第3の可動装飾体は、タイミングtm43で異常状態になってから図柄変動に対応する復元動作時期が未だ到来していない状況にあるにもかかわらず、他の可動装飾体(第1の可動装飾体)に対する復元処理(復元動作)の契機となった復元動作時期(タイミングtm43よりも前に到来したタイミングtm42)を利用して復元処理(復元動作)を開始させることができるようになることから、正常状態へと早期に復帰させることができるようになる。「タイミングtm42での復元動作時期を利用した復元処理(復元動作)」にかかる詳細について、「タイミングtm32での復元動作時期を利用した復元処理(復元動作)」のところで説明した通りである。
またこの場合、タイミングtm42(復元動作時期)が到来した時点で第5の可動装飾体は異常状態になっていたにもかかわらず、該タイミングtm42(復元動作時期)が到来した時点では異常状態になっていなかった「第3の可動装飾体」に対する復元処理(復元動作)を「第5の可動装飾体」よりも先に開始させることができるようになることから、演出重要性の高い可動装飾体から優先的に正常復帰させることができるようになる。なお、「第5の可動装飾体」は、タイミングtm42(復元動作時期)が到来した時点では正常状態であった「第3の可動装飾体」に対する復元処理(復元動作)が終了したことに基づいて、タイミングtm42での復元動作時期を利用した復元処理(復元動作)を開始することとなる。「タイミングtm42での復元動作時期を利用した復元処理(復元動作)」とは、タイミングtm42が到来したことに基づいて実行されるプログラム内に、第1の可動装飾体に対する復元処理(復元動作)と、第3の可動装飾体に対する復元処理(復元動作)と、第5の可動装飾体に対する復元処理(復元動作)とが含まれており、これらの各復元処理が順次に実行される態様となっていることを意味している。例えば、「第1の可動装飾体」に対する復元処理が終了したときに、「第3の可動装飾体」が異常状態になっているかを判断し、該異常状態になっている旨判断したときは「第3の可動装飾体」に対する復元処理を開始させる。「第3の可動装飾体」に対する復元処理が終了したときに、「第5の可動装飾体」が異常状態になっているかを判断し、該異常状態になっている旨判断したときは「第5の可動装飾体」に対する復元処理を開始させる。「第1の可動装飾体」に対する復元処理が終了したときに「第3の可動装飾体」が異常状態になっていなければ「第3の可動装飾体」に対する復元処理は行わず、「第5の可動装飾体」が異常状態になっているかを判断する。そしてこの結果、該異常状態になっている旨判断したときは「第5の可動装飾体」に対する復元処理を開始させることとなる。すなわちこの場合、タイミングtm44において「第3の可動装飾体」が正常状態であったときは、該タイミングtm44が到来したことに基づいて「第5の可動装飾体」に対する復元処理が開始されることとなる。
このような図197Cに示した例によれば、復元動作時期(タイミングtm42)が到来したとき、正常状態にない(可動すべき状態にないのに原位置にない)可動装飾体(第1の可動装飾体、第2の可動装飾体、第3の可動装飾体、第4の可動装飾体、及び第5の可動装飾体)のうち、これよりも前に到来した復元動作時期(図柄変動(1回目)の開始タイミング)を契機として復元動作を実行している可動装飾体(第1の可動装飾体)については、復元動作をやり直しせずに該復元動作時期を無視してこれを継続実行させるが、復元動作を実行していない可動装飾体(第4の可動装飾体)については、該復元動作時期(タイミングtm42)を無視せずこれを契機として復元動作を開始しうることとなる。すなわちこの場合、異常状態にある複数の可動装飾体は、各々が置かれた状況に応じて、復元動作時期としての機能を無視するものと、無視しないものとがあるようになることから、演出が行われているなかで、状況に適した復元処理を実現することができるようになる。
また、図197Cに示した例によれば、図柄変動に対応する復元動作時期(図柄変動(1回目)の開始タイミング)が到来したことを契機として「第1の可動装飾体」が復元動作を実行している間に図柄変動に対応する復元動作時期(図柄変動(2回目)の開始タイミング)が再び到来した場合、復元動作を実行している第1の可動装飾体については、該再び到来した復元動作時期(図柄変動(2回目)の開始タイミング)を契機として該復元動作のやり直しを行うことなくこれを継続して実行可能としている。すなわちこの場合、正常復帰に手間取ってしまい、この結果として復元動作を行っている間に復元動作時期が再び到来した場合であってもこれを無視するようになることから、実行途中の状態にある復元動作を中断することなく継続させることが可能となり、これによって異常状態にある可動装飾体の早期復帰を促すことができるようになる。
また、図197Cに示した例では、複数変動に跨って第1の可動装飾体に対する復元処理(復元動作)が実行されている間に、別の可動装飾体(第3の可動装飾体)に異常が発生した場合、該第3の可動装飾体は、図柄変動に対応する復元動作時期(タイミングtm42)の到来時には復帰動作を開始せず、実行途中の状態にある第1の可動装飾体に対する復元処理(復元動作)が終了したことに基づいて復元処理(復元動作)を開始するようにしている。すなわちこの場合、第1の可動装飾体に対する復元処理(復元動作)を復元動作時期の到来時(タイミングtm42)にやり直しせず、且つ第3の可動装飾体に対する復元処理(復元動作)を復元動作時期(タイミングtm42)の到来時に開始させないようにした上で、継続実行した「第1の可動装飾体に対する復元処理(復元動作)」が終了してすぐに第3の可動装飾体に対する復元処理(復元動作)が開始されるようになることから、複数の可動装飾体のうち特定の組み合わせ(例えば、演出への集中を邪魔するような組み合わせ)の可動装飾体については復元処理が並行されないようにしつつも、複数の可動装飾体を比較的早期に正常復帰させることができるようになる。
また、図197Cに示した例では、第3の可動装飾体がタイミングtm43で異常状態になった場合、該第3の可動装飾体は、異常になってから復元動作時期が未だ到来していないタイミングtm44(復元動作時期を跨るように実行された「第1の可動装飾体に対する復元処理(復元動作)」の終了タイミング)が到来したことに基づいて復元処理(復元動作)を開始させるようにしている。すなわちこの場合、第3の可動装飾体は、タイミングtm43で異常状態になってから図柄変動に対応する復元動作時期が未だ到来していない状況にあるにもかかわらず、他の可動装飾体(第1の可動装飾体)に対する復元処理(復元動作)の契機となった復元動作時期(タイミングtm43よりも前に到来したタイミングtm42)を利用して復元処理(復元動作)を開始させることができるようになることから、正常状態へと早期に復帰させることができるようになる。
また、この例にかかるパチンコ機1では、復元動作時期を跨ぐように復元処理(復元動作)を継続実行した結果、可動装飾体が正常復帰した当該図柄変動内で該可動装飾体を用いた可動演出の実行タイミングが到来したときは、正常復帰したばかりの当該可動装飾体を用いて可動演出を実行可能としている。このような構成では、復元処理(復元動作)を継続実行することによって、可動演出が開始されるタイミングまでに可動装飾体を早期に正常復帰させることができるようになる。
また、可動装飾体に対する復元処理(復元動作)の実行中、図柄変動に対応する復元動作時期が複数回到来したとしても、それらの全てを無視し、可動装飾体に対する復元処理(復元動作)を継続させるようにすることが望ましい。
また、この例にかかるパチンコ機1にあって、第1の可動装飾体及び第2の可動装飾体は、図197Bに示したように、復元処理(復元動作)を並行する関係にあるものである。ただし、図197Cに示したように、第1の可動装飾体のみが復元動作を実行している間に新たな復元動作時期(タイミングtm42)が到来した場合は、該タイミングtm42で第2の可動装飾体に対する復元処理(復元動作)を開始せず、各々の復元動作が並行されないようにした。これにより、第1の可動装飾体が正常復帰に手間取っている状況にあるときに多くの可動装飾体が新たに復元処理(復元動作)を開始することが抑制されるようになる。
そして、第1の可動装飾体の復元動作が終了して正常復帰した後に新たな復元動作時期(タイミングtm45)が到来すると、該タイミングtm45で第2の可動装飾体に対する復元処理(復元動作)を開始させるようにしている。このような構成によれば、第1の可動装飾体が正常復帰に手間取っている状況が解消されてすぐに第2の可動装飾体に対する復元処理(復元動作)が開始されるようなことがなく、新たな復元動作時期(タイミングtm45)が到来するのを待ってから第2の可動装飾体に対する復元処理(復元動作)が開始されるようになることから、演出に対して集中することのできる環境を好適に整えることが可能とされるようになる。
なおこの際、第1の可動装飾体に対する復元処理(復元動作)が失敗で終了されることになった場合であっても、該復元処理(復元動作)が終了した後に新たな復元動作時期(タイミングtm45)が到来したときには、該タイミングtm45が到来したことに基づいて第2の可動装飾体に対する復元処理(復元動作)を開始させることとなる。すなわちこの場合、第1の可動装飾体を用いた可動演出を提供することができなくなることから、第2の可動装飾体だけでも正常復帰させて該第2の可動装飾体を用いた可動演出を実行可能とするようにすることが望ましい。
なお、図197(C)に示される例において、第1の可動装飾体に対する復元処理(復元動作)が終了して正常復帰した後、新たな復元動作時期(タイミングtm45)が到来するまでの間に当該第1の可動装飾体が再び異常状態になったときは、新たな復元動作時期(タイミングtm45)が到来したときに、第1の可動装飾体及び第2の可動装飾体が各々の復元処理(復元動作)を並行するように開始することが望ましい。
上記した例においては、第1の可動装飾体に対する復元処理(復元動作)が失敗(原位置に戻らない)で終了されることになった場合であっても、該第1の可動装飾体に対する復元処理(復元動作)が終了したことに基づいて第3の可動装飾体に対する復元処理(復元動作)を開始させるようにすることが望ましい。また、第3の可動装飾体に対する復元処理(復元動作)が失敗(原位置に戻らない)で終了されることになった場合であっても、該第3の可動装飾体に対する復元処理(復元動作)が終了したことに基づいて第5の可動装飾体に対する復元処理(復元動作)を開始させるようにすることが望ましい。
上記した例において、第1の可動装飾体に対する復元処理(復元動作)が終了された時点(タイミングtm34,tm44)で第3の可動装飾体が異常状態でなかったときには、該第1の可動装飾体に対する復元処理(復元動作)が終了したことに基づいて第5の可動装飾体に対する復元処理(復元動作)を開始させるようにすることが望ましい。また、こうして開始された「第5の可動装飾体に対する復元処理(復元動作)」の実行期間内で第3の可動装飾体が新たに異常状態になったときには、該第5の可動装飾体に対する復元処理(復元動作)が終了したことに基づいて上記第3の可動装飾体に対する復元処理(復元動作)を行うようなことはせず、図柄変動に対応する新たな復元動作時期が到来したときに上記第3の可動装飾体に対する復元処理(復元動作)を行うようにすることが望ましい。ただし、図柄変動に対応する新たな復元動作時期が到来した時点で第5の可動装飾体に対する復元処理(復元動作)が未だ終了されておらず実行状態であったときには、該復元動作時期が到来したときに「第3の可動装飾体に対する復元処理(復元動作)」を開始せず、「第5の可動装飾体に対する復元処理(復元動作)」が終了した以降の復元動作時期が到来したときに「第3の可動装飾体に対する復元処理(復元動作)」を開始させるようにすることが望ましい。
また、図197Cに示した例では、図柄変動(2回目)に対応する復元動作時期(タイミングtm42)が到来したとき、正常状態にない可動装飾体のうち、これよりも前の図柄変動(1回目)に対応する復元動作時期を契機として復元処理(復元動作)を実行している第1の可動装飾体については、復元処理(復元動作)をやり直しせずに該復元動作時期(タイミングtm42)を無視してこれを継続実行させるが、復元処理(復元動作)を実行していない第4の可動装飾体については、該復元動作時期(タイミングtm42)を無視せずこれを契機として復元動作を開始するようにしている。この点、該復元動作時期(タイミングtm42)を無視せず復元処理(復元動作)を開始した第4の可動装飾体であっても、当該復元処理(復元動作)を行っている間に新たな復元動作時期(タイミングtm43)が到来した場合には、該新たな復元動作時期(タイミングtm43)を無視し、該復元動作時期を跨るように復元動作を継続実行するようにすることが望ましい。
復元処理(復元動作)を実行している状態にある可動装飾体と、復元処理(復元動作)の実行待ち状態にある可動装飾体とがある状況にあるときに、図柄変動にかかる演出表示が視認不可とされる特定異常状態(磁気異常によって全画面が異常時表示としてされる状態など)が発生したとしても、該特定異常状態の発生に応じた上述の報知が実行されているなかで、既に実行状態にある復元処理(復元動作)についてもこれを中止せず継続実行させるとともに、復元処理(復元動作)の実行待ち状態にある可動装飾体についても復元動作時期が到来したときに復元処理(復元動作)を新たに開始させるようにすることが望ましい。
復元処理(復元動作)を実行している状態にある可動装飾体や、復元処理(復元動作)の実行待ち状態にある可動装飾体があるときに、図柄変動内でそれらの可動装飾体を用いた可動演出の実行タイミングが到来した場合、それらの可動装飾体に対して復元処理(復元動作)のための駆動力を付与することはあっても、演出実行のための駆動力を付与することはない(演出動作しない)ようにすることが、正常状態への早期復帰を実現する上で望ましい。ただし、それらの可動装飾体に対して演出実行のための駆動力を付与することはないが、可動演出に応じた発光態様についてはこれが現れるように、夫々の可動装飾体に設けられている発光部を通常通りに発光させるようにすることが望ましい。すなわちこの場合、可動演出これ自体が実行されないのではなく、可動演出を構成する演出の一部(発光演出)は適正に実行されるようになることから、期待度(大当り図柄が現れる割合であり、「0」,「100」も含む)に応じて異なる発光態様が「正常状態にない可動装飾体」にも現れるようになり、遊技興趣を好適に維持することができるようになる。
また、復元処理(復元動作)を失敗で終了した状態にある可動装飾体については、復元動作時期が再び到来したとしても復元処理(復元操作)を行うことはないから、少なくとも電源投入が継続されている限りは、該可動装飾体を可動演出で動作させることはないものであるといえる。ただし、このような状態にある可動装飾体であっても、該可動装飾体を用いた可動演出が実行されるタイミングが到来したときには、可動演出これ自体が実行されないのではなく、可動演出を構成する演出の一部(発光演出)は適正に実行されるようにすることが望ましい。すなわちこの場合、期待度(大当り図柄が現れる割合であり、「0」,「100」も含む)に応じて異なる発光態様が「復元処理(復元動作)を失敗で終了した状態にある可動装飾体」にも現れるようになり、遊技興趣を好適に維持することができるようになる。
なお、復元処理(復元動作)を実行している状態にある可動装飾体や、復元処理(復元動作)の実行待ち状態にある可動装飾体や、復元処理(復元動作)を失敗で終了した状態にある可動装飾体については、他の演出が実行されるときにも通常通りに発光部を発光可能とするものであってもよい。
復元動作時期については、図柄変動に対応して到来するものだけでなく、それとは別の条件によって到来するものを含むものであってもよい。そして、図柄変動とは異なる条件で到来する特定時期で復元処理(復元動作)を開始させる場合には、該復元処理(復元動作)に対応する特定報知(可動体異常報知)を行う一方で、図柄変動に対応する復元動作時期に復元動作を行う場合には、特定報知(可動体異常報知)を行うことなく非報知の状態で復元処理(復元動作)を開始(実行)させるようにすることが望ましい。
また、図197Cに示した例では、図柄変動(2回目)に対応する復元動作時期(タイミングtm42)が到来したとき、正常状態にない可動装飾体のうち、これよりも前の図柄変動(1回目)に対応する復元動作時期を契機として復元処理(復元動作)を実行している第1の可動装飾体については、復元処理(復元動作)をやり直しせずに該復元動作時期(タイミングtm42)を無視してこれを継続実行させるが、復元処理(復元動作)を実行していない第4の可動装飾体については、該復元動作時期(タイミングtm42)を無視せずこれを契機として復元動作を開始するようにしている。このように第1の可動装飾体が正常復帰に手間取っている状況にあるときにも図柄変動に対応する復元動作時期(タイミングtm42)が到来したときにはこれを無視せず復元処理(復元動作)を開始することとなる「第4の可動装飾体」については、図柄変動にて当り結果が導出されるときや、大当り遊技の開始や実行中に動作するような、重要な演出に用いられるものであることが望ましい。
上記例にかかるパチンコ機1において、第3の可動装飾体については、「第1の可動装飾体に対する復元処理(復元動作)」が正常復帰に成功(基準位置検知)した場合と失敗(基準位置非検知)した場合とのいずれで終了(完了)されたとしても、該「第1の可動装飾体に対する復元処理(復元動作)」が終了したことに基づいて復元処理(復元動作)を開始するようにすることが望ましい。
また、「第1の可動装飾体に対する復元処理(復元動作)」が正常復帰に失敗で終了し、且つ該「第1の可動装飾体に対する復元処理(復元動作)」が終了したことに基づいて行われた「第3の可動装飾体に対する復元処理(復元動作)」が正常復帰に成功で終了した場合であって、該正常復帰に成功した図柄変動内で第3の可動装飾体が再び異常状態になったときには、次の図柄変動に対応する復元動作時期が到来したときに「第1の可動装飾体に対する復元処理(復元動作)」を行わず「第3の可動装飾体に対する復元処理(復元動作)」を行うようにすることが望ましい。
ただしこの際、次の図柄変動に対応する復元動作時期が到来した時点で、「第3の可動装飾体に対する復元処理(復元動作)」が終了したことに基づいて開始された「第5の可動装飾体に対する復元処理(復元動作)」が実行状態にあったときには、「第1の可動装飾体に対する復元処理(復元動作)」と「第3の可動装飾体に対する復元処理(復元動作)」とのいずれも行わず、「第5の可動装飾体に対する復元処理(復元動作)」が終了した後に到来する「図柄変動に対応する復元動作時期」を契機として「第1の可動装飾体に対する復元処理(復元動作)」を行わず「第3の可動装飾体に対する復元処理(復元動作)」を行うようにすることが望ましい。
なお、「第1の可動装飾体に対する復元処理(復元動作)」が正常復帰に成功で終了した後、「第3の可動装飾体に対する復元処理(復元動作)」が実行されている間に該第1の可動装飾体に再び異常が発生した場合であっても、「第3の可動装飾体に対する復元処理(復元動作)」が次の図柄変動に対応する復元動作時期を跨ぐように実行される場合は、該復元動作時期で「第1の可動装飾体に対する復元処理(復元動作)」が開始されないようにすることが望ましい。すなわちこの場合、「第3の可動装飾体に対する復元処理(復元動作)」が正常復帰に成功または失敗で終了した後に到来する復元動作時期で「第1の可動装飾体に対する復元処理(復元動作)」が開始されることとなる。
また、図197Cに示した例では、図柄変動(2回目)に対応する復元動作時期(タイミングtm42)が到来したとき、正常状態にない可動装飾体のうち、これよりも前の図柄変動(1回目)に対応する復元動作時期を契機として復元処理(復元動作)を実行している第1の可動装飾体については、復元処理(復元動作)をやり直しせずに該復元動作時期(タイミングtm42)を無視してこれを継続実行させる。また、第3の可動装飾体については、復元動作時期(タイミングtm42)を無視し、「第1の可動装飾体に対する復元処理(復元動作)」が終了するのを待って、該終了したことに基づいて復元処理(復元動作)を開始するようにした。この点、こうして開始された「第3の可動装飾体に対する復元処理(復元動作)」が実行されている間に第1の可動装飾体が再び異常状態になったときには、「第3の可動装飾体に対する復元処理(復元動作)」が終了したときに該終了に基づいて「第1の可動装飾体に対する復元処理(復元動作)」を開始するのではなく、図柄変動に対応する復元動作時期が新たに到来したことに基づいて「第1の可動装飾体に対する復元処理(復元動作)」を開始させるようにすることが望ましい。
ただしこの際、図柄変動に対応する復元動作時期が新たに到来したときに「第3の可動装飾体に対する復元処理(復元動作)」が終了されておらず実行途中の状況(復元動作時期を跨ぐように実行されている状況)にあったときには、該復元動作時期を無視し、「第3の可動装飾体に対する復元処理(復元動作)」が終了するのを待つようにすることが望ましい。そして、該「第3の可動装飾体に対する復元処理(復元動作)」が終了した後に到来した図柄変動に対応する復元動作時期で「第1の可動装飾体に対する復元処理(復元動作)」を開始させるようにすることが望ましい。
すなわちこの場合、「第1の可動装飾体」と「第3の可動装飾体」とは、いずれも異常状態にあったときには「第1の可動装飾体」を先行して正常復帰させるように復元処理が行われる関係性を有するものでありながらも、第3の可動装飾体が正常状態にないときに図柄変動に対応する復元動作時期が到来すると、第1の可動装飾体は、該復元動作時期が到来したことに基づいて復元動作を開始する場合(第3の可動装飾体が復元処理を実行していない状況にあった場合)と復元動作を開始しない場合(第3の可動装飾体が復元処理を実行している状況にあった場合)とがあるようになることから、状況に応じた復元処理を実現することができるようになる。
パチンコ機1については、当り判定にかかる当選確率や演出パターンにかかる選択確率を変更可能な設定変更手段を備えるようにしてもよい。ただし、これら確率の設定がいずれであっても、図柄変動に対応する復元動作時期は、同じ時期(例えば、図柄の変動開始時)として用いるようにすることが望ましい。
第1の可動装飾体、第2の可動装飾体、第3の可動装飾体、第4の可動装飾体、及び第5の可動装飾体には、遊技者が接触可能な位置に設けられる可動装飾体が含まれるようにしてもよい。そしてこの場合、遊技者が接触可能な位置に設けられる可動装飾体については、異常状態になる可能性が最も高いと思われることから、他の可動装飾体の状況にかかわらず復元動作時期が到来すると復元処理(復元動作)を開始する「第4の可動装飾体」として設けられるようにすることが望ましい。
可動装飾体よりも前方に導光絵柄が表出される導光板を設けるようにした上で、可動装飾体に対する復元処理(復元動作)中にも導光絵柄を表出する演出を制限せずに実行可能とするようにすることが、可動装飾体に対する復元処理(復元動作)を遊技者側から視認し難くする上で望ましい。
図197B及び図197Cで示した「第1の可動装飾体」及び「第2の可動装飾体」については、特定の可動演出でいずれも動作状態になる演出関係性を有するものとして用意するようにすることが望ましい。例えば、「第1の可動装飾体」及び「第2の可動装飾体」に互いに関連性のある装飾を施すようにしたり、図柄変動(演出パターン)に基づく可動演出として同時期に動作して一の装飾(キャラクタや文字列の完成など)を形づくるものとして用意するようにする。第3の可動装飾体については、特定の可動演出や、一の装飾を形づくるときに用いられないものとして用意するようにする。このような構成によれば、復元処理(復元動作)が行われるときに、図柄変動(演出パターン)に基づく可動演出と同じ態様(同時期での動作)で一の装飾が形づくられることが回避されるようになることから、遊技興趣の低下が抑制されうるようになる。
「第1の可動装飾体」、「第2の可動装飾体」、「第3の可動装飾体」、「第4の可動装飾体」、及び「第5の可動装飾体」については、遊技盤5側に設けられるものと、扉枠3側に設けられるものとに分けて配設されるようにしてもよい。
なお、上記例にかかるパチンコ機1では、「第1の可動装飾体」、「第2の可動装飾体」、「第3の可動装飾体」、「第4の可動装飾体」、及び「第5の可動装飾体」を備えることとしたが、「第2の可動装飾体」、「第3の可動装飾体」、「第4の可動装飾体」、及び「第5の可動装飾体」については、それら可動装飾体の全てを必ずしも備えなくてもよく、それら可動装飾体のうち「1つ」や、適宜の「2つ」または「3つ」を備えるようにしてもよい。このような構成であっても、図197Bや図197Cを参照しつつ説明した技術的特徴(「第1の可動装飾体」との関係でどのような態様で復元処理を行うか)を有することとなる。
[演出発光可能な操作部に対する操作時ペナルティ]
上述の通り、この実施の形態にかかるパチンコ機1では、音量調整用ボタン(演出選択左ボタン331や演出選択右ボタン332)に対する操作によって音量に関して遊技者による設定値(音量設定値)を変更させる処理を実行可能としている(周辺制御MPU1511a)。そして通常は、こうして音量設定値が変更されると、上記周辺制御MPU1511aが、該変更された音量設定値に基づいて演出音にかかる音量を調整する処理(音量設定値を音量として反映させる処理)を実行することとなる。またこの際、該調整された音量で、音量調整確認音が出力されうる。
またこれも上述したが、この実施の形態にかかるパチンコ機1では、図示は割愛するが、音量調整用ボタン(演出選択左ボタン331や演出選択右ボタン332)とは別に、当該パチンコ機1が備える各種の演出用ランプ(周辺制御MPU1511aによる制御対象とされるランプ)に対する輝度調整用ボタンを備えており、輝度調整用ボタンが操作された旨判断されると各種の演出用ランプにかかる輝度に関して遊技者による設定値(輝度設定値)を変更させる処理を実行可能としている(周辺制御MPU1511a)。そして通常は、こうして輝度設定値が変更されると、上記周辺制御MPU1511aが、該変更された輝度設定値に基づいて発光輝度を調整する処理(輝度設定値を光量として反映させる処理)を実行することとなる。またこの際、輝度に関する遊技者設定値(輝度設定値)が低下されたり上昇されたりした時点での「音量設定値に応じた音量」で、輝度調整確認音が出力されうる。
なお、このような設定値(音量設定値、輝度設定値)にかかる変更受付と、該変更された設定値に応じた調整処理については、図柄が変動していない状態と、図柄が変動している状態とのいずれにおいても、遊技者による操作によってそれぞれ実行可能とされるようになっている。
ところで、近年、遊技機の分野では、遊技者による操作対象である操作部の数が多くなる傾向にあるが、それら操作部が雑に扱われる場合があり、その結果としてそれら操作部のうち1つでも故障すると操作性や演出性が著しく低下することから、遊技興趣の低下が避けられない。
特に、この実施の形態にかかるパチンコ機1では、上述の通り、操作ボタン410とは別に、
・刀部5010(刀身部5011,柄部5012,鍔部5013)が納刀位置と抜刀位置との間で所定操作(抜刀操作、納刀操作)によって移動可能(可変)に設けられる刀装飾体5001(図146,図161などを参照)
を備えており、操作機会が付与されていないにもかかわらず「刀部5010(刀身部5011,柄部5012,鍔部5013)を鞘部5020から抜刀させる操作(抜刀操作)」や「納刀操作」が繰り返し行われるようなことがあると、故障発生の原因になりかねない。
そこで、この実施の形態にかかるパチンコ機1では、まず、刀身部5011、柄部5012、及び鍔部5013に対して演出発光部(図示略)をそれぞれ配設させるとともに、刀部5010(刀身部5011,柄部5012,鍔部5013)が鞘部5020に対して納刀状態となる特定位置(原位置)にあるかを検出可能な特別検出部(図示略)を有することとしている。そして、少なくとも「デモ画面が表示されている期間中(大当り判定に応じた遊技演出や図柄変動が未実行の非遊技状態)」にあるときには、特別検出部による検出の結果、刀部5010が特定位置(原位置)にない旨判断されると、周辺制御MPU1511aが、ペナルティとしての演出制限期間を発生させるようにしている。
このような構成によれば、少なくとも図柄変動が行われていない非遊技状態にあるときに、刀部5010が、所定操作によって演出発光部(刀身部5011、柄部5012、及び鍔部5013)共々に変位された結果、特定位置に位置していないことが検出されると演出制限期間が発生しうるようになることから、操作部が雑に扱われることが好適に抑制されうるようになる。
この点、この実施の形態にかかる周辺制御MPU1511aでは、上述の「演出音の出力音量にかかる設定値(音量設定値)の変更」と、上述の「発光輝度にかかる設定値(輝度設定値)の変更」とのいずれもが遊技者による操作によって受け付け可能な状態とされたままで、上記演出制限期間を発生させるようにしている。ただし後述するが、この演出制限期間では、
・演出音に関しては、その出力音量にかかる設定値(音量設定値)が変更された場合であっても、該音量設定値に応じた音量で演出音が出力されることはなく、且つ音量調整確認音も出力されることはないようにされるのに対し、
・演出ランプに関しては、その発光輝度にかかる設定値(輝度設定値)が変更された場合、当該パチンコ機1が備える複数の演出ランプのうち、検出対象とされた刀部5010が備える演出発光部(刀身部5011、柄部5012、及び鍔部5013)については該輝度設定値に応じた輝度で発光されることはないものの、検出対象とされた刀部5010とは異なる部位に備えられている演出ランプ(例えば、遊技盤5の装飾基板に実装される各種の演出用LEDなど)については該設定値に応じた輝度での演出発光が実行可能とされる状態にされる
等々、といった処理が行われうるようになっている。
このような構成によれば、上記演出制限期間が発生したとき、音量にかかる設定値変更と輝度にかかる設定値変更とのいずれもが受付可能とされるにもかかわらず、音量設定に関連した処理と輝度設定に関連した処理とで制限度合いが異なるようになる。
すなわち、演出音に関しては、内部的には音量設定値が密かに可変とされるものの、該変更された音量設定値が反映されるかたちで演出音が出力されることはなく音量調整確認音すらも出力されないようにすることで、遊技者に緊張感(やってはいけないことをやってしまったかも)を与えるようにしている。
これに対し、輝度に関しては、遊技者が操作を行った「刀部5010」が備える演出発光部(刀身部5011、柄部5012、及び鍔部5013)については輝度設定値が変化されたとしても該変更された輝度設定値が反映されるかたちで演出発光することはないが、遊技者が操作を行った「刀部5010」とは異なる部位に備えられている演出ランプは、該変更された輝度設定値が反映されるかたちでの演出発光(例えば、特定の予告演出が行われるタイミングに合わせた発光など)を行いうるようにすることで、「刀部5010」に対する雑な扱いが原因で演出制限が課されていることを認識可能としてこれを警告しつつも、当該パチンコ機1全体としては遊技や演出を継続させる意図であることを好適にアピールすることができるようになる。この意味では、遊技球が流下したり入賞したりする遊技盤5における演出用ランプについては、正常通り、該変更された輝度設定値が反映されるかたちでの演出発光を実行するようにすることが望ましい。これにより、「遊技者が遊技開始しようする意欲を削いでしまったり、遊技終了を促してしまったり」といったことを好適に回避しつつ、操作部を雑に扱うことに対する警告を行うことができるようになる。
しかも後述するが、この実施の形態にかかるパチンコ機1では、音量設定に関連した処理に対する制限と、輝度設定に関連した処理に対する制限とで、それぞれの制限に対する解除条件を異ならせるようにしている。特に、当初は比較的厳格な制限を課していた側の「音量設定に関連した処理」については比較的早期に正常状態へと大きく改善されるようにすることで遊技継続を強く促すようにするのに対し、当初は比較的甘めの制限を課していた側の「輝度設定に関連した処理」については改善傾向を見せつつも、全体的な改善速度を遅くしたり、一部の制限を残したままにしたりするようにしており、これによって長い時間にわたって緊張感を適度に維持させて雑な扱いが再びされることを防止することが期待されるようになる。
[演出理解を促すヘルプ画像]
図118を参照して説明した通り、この実施の形態にかかるパチンコ機1(周辺制御MPU1511a)では、大当り判定の結果に基づいて複数の演出パターンのいずれを実行するかについての演出パターン判定を実行可能としている。そして、該演出パターン判定が行われた結果として一の演出パターンが選択されると、該選択した演出パターンの種別に対応して用意されている複数の期待演出(予告演出など)のうちいずれの期待演出(複数可)を選択的に出現させるかについての予告演出判定を実行可能としている。なお、この予告演出判定の結果によっては、上記選択した演出パターンの種別に対応して用意されている複数の期待演出(予告演出など)の全てが順次実行されることとなる場合もありうるし、複数の期待演出(予告演出など)のいずれもが実行されないこととなる場合もありうる。
そして、こうした演出パターン判定や予告演出判定が行われると、それら判定の結果に応じた演出内容を上記演出表示装置1600に表示させる制御を行うことで、大当り判定の結果に応じた装飾図柄による変動演出がその背景描写(背景予告)や可動体動作(役物演出)などにかかる期待演出(予告演出)とともに実行されることとなる。そしてこの結果、装飾図柄による変動演出が、その背景描写や可動体動作などにかかる期待演出とともに実行された結果、大当り図柄で停止表示されると、遊技者に対して特典としての大当り遊技が実行可能とされるようになる。
このような構成では、上記装飾図柄による変動演出が「大当り判定の結果として大当りが得られているか否かを確定的に示す機能」をもった演出として供されることとなり、その背景描写や可動体動作などにかかる期待演出が「大当りが得られていることについての期待度(0%や100%を含む)を示唆する機能」をもった演出として供されることとなる。すなわち、遊技者は、これらの演出を通じて遊技を楽しむこととなる。
ただし、このような期待演出を背景描写(背景予告)として実現するときには、基本的に、「期待度の高い画像を出現させる割合をどの程度の数値に設定するか」といった程度の演出性を持たせることしか行われない。したがって、「期待度の高い画像(期待演出)が出現しなければ大当りへの期待感を持つことが困難となってしまう」といった根本的な問題が未だ解決されていない実情にあった。
そこで、この実施の形態にかかるパチンコ機1(周辺制御MPU1511a)では、まず、予告演出判定の結果として特殊演出を行う旨判定された場合(所定の演出条件が満たされた場合)、少なくとも背景描写に用いられている背景画像をその原画像データとは異なる特殊態様で表示させる処理を実行可能としており、該特殊態様で表示されたときには、該特殊態様で表示されなかったときよりも期待度(大当り図柄が現れる割合)が高いことが示唆されうるようにしている。
ここで、「特殊態様で表示させる処理」としては、例えば、
・原画像データを、所定角度分だけ回転(表示領域におけるx,y,z軸のいずれか(若しくは、適宜の組み合わせ)を中心とした回転など)させた回転加工データとして表示させる処理や、
・原画像データを、所定程度の「ぼかし」が入れられたモザイク加工データとして表示させる処理
等々、といった処理を例示することが可能である。
すなわち、この実施の形態にかかるパチンコ機1(周辺制御MPU1511a)では、所定の演出条件が満たされた場合、原画像データに対して僅かだけの加工(回転加工やモザイク加工など)を施してからこれを表示(特殊態様で表示)させる特殊演出をあえて行うこととしている。このような構成によれば、原画像データに対して僅かだけの加工が施される特殊演出が行われたとしても遊技者側がその事実を確定的に察知・認識することは困難になってしまうが、これとの引き換えに、特殊演出が行われていない状態にあったとしても「もしかすると、特殊演出が実行されている状態にあるかもしれない」といった感覚・幻想を覚えさせることができるようになることから、期待度の高い画像(特殊演出)が出現していない状態が継続されたとしても大当りへの期待感を好適に維持させることが期待されるようになる。
しかしながら、このような「特殊態様で表示させる処理」に関する実施状況を遊技者側が認識するための手掛かりが何も存在しなければ、期待度の高い状況にある可能性についてすら認識し難くなってしまい、結局は、特殊演出を行うことこれ自体の意味が喪失しかねない。
この点、この実施の形態にかかるパチンコ機1(周辺制御MPU1511a)では、遊技者による操作に応じて、「特殊態様で表示させる処理」が実行されている状態にあるかについてのヘルプ画像を表示させる処理を実行可能としている。このような構成によれば、遊技者による操作に応じてヘルプ画像が表示可能とされることから、「特殊態様で表示させる処理」が実行されている状態にあるかを認識できないことによる遊技興趣の低下を抑制し、ひいては期待感を好適に維持させることが期待されるようになる。
ただし、この説明例にかかる「ヘルプ画像」とは、「特殊態様で表示させる処理」が実行されている状態にあるか否かを明示するものではなく、認識困難性をあえて包含したものとなっている。このような認識困難性をあえて有するようにするからこそ、「特殊態様で表示させる処理」が実行されている状態にあるようには見えなかったとしてもそれを確信することはできないことから、希望は残されうるようになり、期待感を維持することが可能とされるようになる。
図199は、遊技が実行されていない非遊技状態(デモ画面中など)と、遊技が実行されている遊技実行状態との間で状態移行するときの演出表示装置1600における表示例を示している。
図199(a)は、遊技が実行されていない非遊技状態(デモ画面中など)にあるときの上記演出表示装置1600における表示例を示している。同図199(a)に示されるように、非遊技状態にあるときの演出表示装置1600では、「特殊演出が実行されている状態にあるか」を調べるのに役立つキャラクタ画像PG(ここでは、ペンギンを摸したキャラクタ)を、所定の操作手段(操作ボタン410など)に対する操作によって登場させることができることを示唆する案内画像AGが表示される。この説明例では、案内画像AGとして、説明文とキャラクタ画像PGとがそれぞれ表示されるようになっている。
図199(a)に示される状況にあるときに始動入賞が発生して遊技(大当り判定に応じた特別図柄の変動)が開始されると、演出表示装置1600では、まず、図199(b)に示されるように案内画像AGが非表示にされる。それとともに、装飾図柄SZによる変動演出が、その背景描写(背景予告)や可動体動作(役物演出)などにかかる期待演出(予告演出)とともに実行されることとなる。このように、遊技が開始されると案内画像AGが自動的に非表示にされるようにすることで、遊技実行状態にあるときの演出性に悪影響を及ぼすことが回避されるようにしつつ、キャラクタ画像PG(ここでは、ペンギンを摸したキャラクタ)の存在を好適にアピールすることができるようになる。
図199(c)は、図199(b)に示した装飾図柄SZによる変動演出が終了(停止表示)されたときの上記演出表示装置1600における表示例を示している。
図199(c)に示した状況において保留情報が残っている場合は、該保留情報が消化されることにより装飾図柄SZによる変動演出が新たに開始されることで、案内画像AGは非表示にされた状態のままで図199(b)に示される演出状況が再び現れることとなる。これに対し、図199(c)に示した状況において保留情報が残っていない場合は、非遊技状態(デモ画面中など)へと再び移行される。すなわちこの場合、図199(b)に示した装飾図柄SZによる変動演出が終了(停止表示)されてから所定時間にわたって遊技が新たに開始されない状態が継続されたことに基づいて、案内画像AGが表示される状況(図199(a)に示した状況)が再び現れることとなる。なお、案内画像AGが表示される状況にあるときの演出表示装置1600では、装飾図柄SZを停止表示させたままとしてもよいし、装飾図柄SZこれ自体を非表示にしてもよい。
そして、この演出例にかかる「特殊態様で表示させる処理」は、装飾図柄SZによる変動演出が「特定の演出パターン」で実行されている状態(演出判定で所定の判定結果が得られた場合)にあって、且つ特定の演出画像が現れる期間内(特定の演出パターン内の予め定められたタイミング)にあるときに実行されうるものとなっている。
図200は、装飾図柄SZによる変動演出が「特定の演出パターン」で実行されている状態にあって、且つ姫キャラクタ(特定の演出画像)が背景画像として大きく表示される期待演出が行われている状態にあるときの演出表示装置1600における表示例を示している。
すなわち、この演出例では、少なくとも「姫キャラクタ(特定の演出画像)が背景画像として大きく表示される期待演出」が行われる状態にあるとき、所定の演出条件が満たされていることを条件に、装飾図柄SZとその背景画像(姫キャラクタ)との各原画像データに対して僅かだけの回転加工を施してからこれらを表示させる処理(特殊態様で表示させる処理)が実行されうるようになっている。「特殊態様で表示させる処理」が実行された姫キャラクタ(特定の演出画像)が表示されているときは、「特殊態様で表示させる処理」が実行されていない姫キャラクタ(特定の演出画像)が表示されているときよりも大当り図柄が現れる割合が高い。
より具体的には、図200(a)に示される状況では、「特殊態様で表示させる処理」は実行されておらず、装飾図柄SZとその背景画像(姫キャラクタ)とが各原画像データのままで表示されている。これに対し、図200(b)に示される状況では、装飾図柄SZとその背景画像(姫キャラクタ)との各原画像データに対して左に3度の回転加工を施してからこれらを表示させる処理(特殊態様で表示させる処理)が実行されており、図200(c)に示される状況では、装飾図柄SZとその背景画像(姫キャラクタ)との各原画像データに対して左に6度の回転加工を施してからこれらを表示させる処理(特殊態様で表示させる処理)が実行されている状態にある。
図200(a)~(c)から明らかであるように、「特殊態様で表示させる処理」が行われる場合であっても、装飾図柄SZとその背景画像(姫キャラクタ)との各原画像データに対しては僅かだけの回転加工しか施されないようになっている。特に、同図中においては、図200(a)~(c)の間で比較して見ることができるようになっているが、実際の演出では、演出判定の結果に応じた図200(a)~(c)のいずれか1つしか表示されず、それらの間で比較することはできない。したがって、図200(b),(c)が現れた場合であっても、特殊態様で表示されている状態にあることを確信することは困難であるが、特殊態様で表示されている状態にある可能性(高期待度である可能性)を遊技者が意識することは期待されるし、図200(a)が現れた場合であっても、特殊態様で表示されていない状態にあることを確信することは困難であり、「特殊態様で表示されている状態にあるかもしれない」といった希望を残す(期待感を維持する)程度のことは期待されるようになる。
なお、装飾図柄SZとその背景画像(姫キャラクタ)との各原画像データに対して左に3度(または6度)の回転加工を施してからこれらを表示させる処理(特殊態様で表示させる処理)については、各原画像データに対して回転加工をそれぞれ別々に施してから表示させる処理として実行するようにしてもよいし、各原画像データを合わせて一の画像に変換してから該一の画像に対して回転加工を施して表示させる処理として実行するようにしてもよい。
また、図200(b),(c)については、図200(c)に示される画像が表示されると、図200(b)に示される画像が表示されたときよりも大当り図柄が現れる割合が高くなる関係性を持たせるようにしてもよい。若しくは、「特殊態様で表示させる処理」が実行される場合は、図200(a)を一旦表示させた後、図200(b),(c)の順で刻々と傾き変化する動画像として表示させるようにしてもよい。若しくは、図200(b),(c)の両方を必ずしも用意しなくてもよく、図200(b),(c)のいずれかのみが表示されるようにしてもよい。
ただし上述の通り、このような「特殊態様で表示させる処理」に関する実施状況を遊技者側が判断するための手掛かりが何も存在しなければ、このような特殊演出を行うことこれ自体の意味が喪失しかねない。そこで、この実施の形態にかかるパチンコ機1(周辺制御MPU1511a)では、少なくとも「姫キャラクタ(特定の演出画像)が背景画像として大きく表示される期待演出」が行われる状態にあるとき、操作ボタン410などの所定の操作手段に対する操作によって、「特殊態様で表示させる処理」が実行されている状態にあるかについてのヘルプ画像を表示させる処理を実行可能としている。
図201は、「姫キャラクタ(特定の演出画像)が背景画像として大きく表示される期待演出」が行われている状態において、遊技者による操作が受け付けられたことに基づいてヘルプ画像が表示されたときの演出表示装置1600における表示例を示している。
すなわち、この演出例では、少なくとも「姫キャラクタ(特定の演出画像)が背景画像として大きく表示される期待演出」が行われる状態(図200を参照)にあるときに、遊技者による操作(操作ボタン410など)が行われると、「特殊演出(ここでは、傾き演出)が実行されている状態にあるか」を調べるのに役立つキャラクタ画像PG(ここでは、ペンギンを摸したキャラクタ)がヘルプ画像として表示されるようになっている。
より具体的には、図200(a)に示した状況にあるときに遊技者による操作(操作ボタン410など)が行われると図201(a)に示される状況が現れることとなり、図200(b)に示した状況にあるときに遊技者による操作(操作ボタン410など)が行われると図201(b)に示される状況が現れることとなり、図200(c)に示した状況にあるときに遊技者による操作(操作ボタン410など)が行われると図201(c)に示される状況が現れることとなる。
ただし、図201(a)~(c)から明らかであるように、キャラクタ画像PG(ヘルプ画像)が表示された場合、「特殊態様で表示させる処理」が実行されているかに役立てることこそできるものの、「特殊態様で表示させる処理」が実行されている状態にあるか否かが明示されることはないようになっている。このような認識困難性をあえて有するようにするからこそ、「特殊態様で表示させる処理」が実行されている状態にあるように見えたらその可能性を強く意識することができるようになるし、「特殊態様で表示させる処理」が実行されている状態ではないように見えたとしても確信することはできず当該処理の実施可能性に対する希望が残されうるようになり期待感を維持することが可能とされるようになる。
ここで、この演出例にかかるキャラクタ画像PG(ヘルプ画像)は、図201(a)~(c)に示されるように、「特殊態様で表示させる処理」が実行されている状態にあるか否かやその実行態様にかかわらず、予め定められた位置であり、且つ水平方向に定規をかざすように持った一の態様でのみ表示可能とされている。このように、「特殊態様で表示させる処理」による影響を受けず且つ水平方向に延びるように表示される画像(ここでは、定規)を遊技者による操作によって出現させるようにすることで、該画像(ここでは、定規)を、「特殊演出(ここでは、傾き演出)が実行されている状態」にあるか否かの目安画像(ヘルプ画像)として機能させることができるようになる。
特に、この演出例では、「特殊態様で表示させる処理」の実行対象とされる画像(姫キャラクタ)との間で重なる位置に、「特殊態様で表示させる処理」による影響を受けず且つ水平方向に延びるように表示される目安画像(ここでは、定規)を出現させるようにしている。したがって、特殊処理の実行対象とされる画像(姫キャラクタ)との間での重なり具合を確認することで、特殊処理が実行されている状態にあるかの判断に、より一層役立てることができるようになる。
すなわち、このような演出例にあって、「特殊態様で表示させる処理」が施された特殊演出とは、微妙に傾く演出になっており、該傾く演出が行われる場合は、該傾く演出が行われない場合よりも期待度が高くなる。このため、遊技者は、該傾く演出が行われている状態にあるかを判断するために所定の操作手段(操作ボタン410など)を操作することとなるが、該操作を行ったとしても「特殊態様で表示させる処理」が実行されているのかを確定的には報知しない認識困難性をあえて有するようにしている。これにより、傾く演出が実行されているように見えたときには高期待度である可能性を遊技者が意識することが期待されるし、傾く演出が実行されているように見えなかったとしても、「傾く演出が実行されている状態にあるかもしれない」といった希望を残す(期待感を維持する)ことが期待されるようになる。
さらに言えば、「特殊演出(ここでは、傾き演出)が実行されている状態」にあるか否かの目安画像(ここでは、定規)を、「特殊態様で表示させる処理」の対象とされる画像(装飾図柄SZ、背景画像)に対してその少なくとも一部を重ならせるかたちで表示するところまでが1つの演出になっており、目安画像(ここでは、定規)これ単体では演出(期待度)として機能し得ず、既に表示状態にある演出画像(ここでは、姫キャラクタ)と比較することで初めてその機能を発揮する、といった面白みを演出として提供することができるようになる。
また、このような構成によれば、目安画像(ここでは、定規)を表示しないままで演出進展させることも遊技者による選択次第(操作次第)で可能とされるようになることから、「特殊演出(ここでは、傾き演出)が実行されている状態」にあることになんとなく自信がないようなときには、遊技者による操作をあえて行わないようにするなど、様々な遊び方を楽しむことができるようになる。
なお、この演出例では、「特殊態様で表示させる処理」を、「原画像データに対して回転加工を施してから表示させる処理」として実行することとしたが、必ずしもこれに限られない。例えば、原画像データではなく、原画像データをもとに作成した画像データに対して回転加工を施してから表示させる処理として実行するものであってもよい。また、画像データに対して回転加工を施すものではなく、別の加工や変換を加えるものであってもよい。要は、通常態様とは異なる態様をもった画像に変換して表示させる特殊処理を実行可能であり、該特殊処理が実行されうる状況にあるときに遊技者による操作によって該特殊処理の対象にならない目安画像を表示可能なものであれば、上述の作用効果を奏するようにすることが可能である。
ところで、上述の演出例では、「特殊態様で表示させる処理」を、「姫キャラクタ(特定の演出画像)が背景画像として大きく表示される期待演出」が行われる状態にあるときに実行しうるものとして説明したが、演出判定の結果に応じて、装飾図柄SZが変動開始してから変動停止されるまでの期間内で複数回にわたって実行可能とされうるようにしてもよい。なおこの際、「特殊態様で表示させる処理」の実行される回数が多いときは、該回数が少ないときよりも大当り図柄が現れる割合が高くなるようにすることが望ましい。
また、キャラクタ画像PG(特に、ここでは定規)についても、「姫キャラクタ(特定の演出画像)が背景画像として大きく表示される期待演出」が行われる状態にあるときだけでなく、装飾図柄SZが変動開始してから変動停止されるまでの全期間にわたって遊技者による操作により表示可能とされうるようにしてもよい。また、装飾図柄SZが停止状態にあるときにも遊技者による操作により表示可能とされうるようにしてもよい。
すなわちこの場合、演出表示装置1600においていかなる背景画像が表示されている状況にあったとしても、遊技者による操作があれば、キャラクタ画像PG(特に、ここでは定規)を出現させる処理を実行することとなる。しかしながら、キャラクタ画像PG(特に、ここでは定規)が「背景画像に対する比較基準画像(目安画像)」であることに鑑みれば、キャラクタ画像PGを表示させるのに好ましい表示位置は、その都度の背景画像の種別によって異なることは明らかである。そうかといって、その都度の背景画像の種別に合わせて、キャラクタ画像PG(特に、ここでは定規)の表示位置や表示形態などを変更するようにしてしまうと、当該キャラクタ画像PGが、比較基準画像(目安画像)としての本質的機能を喪失することになりかねず、信頼性欠如の疑いによって遊技興趣が低下することが懸念される。すなわち、比較基準画像(目安画像)としてのキャラクタ画像PGは、演出状況にかかわらず不変的であり絶対的な画像として表示されることが求められる。
そこで、キャラクタ画像PGについては、遊技者による操作(操作ボタン410など)に応じて、その表示位置を、予め定められた複数個の表示位置の間で変更可能とされるようにすることが望ましい。ただし、いずれの表示位置で表示される場合であっても、その表示形態は同じであるようにすることが重要である。
図202は、遊技者による操作によってキャラクタ画像PGが表示位置を変えるように表示されるときの表示例を示している。
図202(a)は、リーチ状態において特定の背景画像が表示されている演出状況を示している。いま、この演出状況にあるときに、遊技者が、「特殊態様で表示させる処理が実行されたのではないか」といった疑念を抱き、比較基準画像(目安画像)を表示させるための操作を行ったとすると、その操作の態様に応じて予め定められている複数の表示位置(図202(b)~(d)を参照)のいずれかで比較基準画像(目安画像)としてのキャラクタ画像PGを表示させる処理が行われる。
例えば、予め定められた短時間内に操作ボタン410が1回だけ操作された場合は、表示領域内の左側位置(図202(b))に、比較基準画像(目安画像)としてのキャラクタ画像PGを表示させる処理が行われる。これに対し、予め定められた短時間内に操作ボタン410が2回操作された場合は、表示領域内の中央位置(図202(c))に、比較基準画像(目安画像)としてのキャラクタ画像PGを表示させる処理が行われ、予め定められた短時間内に操作ボタン410が3回操作された場合は、表示領域内の右側位置(図202(d))に、比較基準画像(目安画像)としてのキャラクタ画像PGを表示させる処理が行われることとなる。
図202(b)~(d)から明らかであるように、いずれの表示位置で表示された場合であってもキャラクタ画像PG(特に、ここでは定規)これ自体の形態は同じとされているが、「特殊態様で表示させる処理」の対象とされうる背景画像(若しくは、装飾図柄)とキャラクタ画像PG(特に、ここでは定規)との間の位置関係がそれぞれ異なることから、「特殊態様で表示させる処理」が実行されている状態にあるかの判断容易性も自ずと異なるようになる。
例えば、図202(c)に示される位置(表示領域内の中央位置)にキャラクタ画像PG(特に、ここでは定規)を表示させる場合は、該キャラクタ画像PG(特に、ここでは定規)が比較対象である背景画像と重ならないように表示されることとなるし、図202(d)に示される位置(表示領域内の右側位置)にキャラクタ画像PG(特に、ここでは定規)を表示させる場合は、該キャラクタ画像PG(特に、ここでは定規)が比較対象である背景画像と重なりはするものの背景画像(立札)のほぼ全体を隠すように表示されることとなることから、「特殊態様で表示させる処理」が実行されている状態にあるかの判断が比較的困難となると言える。
このような構成によれば、比較基準画像(目安画像)としてのキャラクタ画像PG(特に、ここでは定規)を、その都度の背景画像の種別によって異なる「比較する上で適した表示位置」に遊技者による操作によって表示させることができるようになることから、「特殊態様で表示させる処理」が実行されている状態にあるかの判断材料を好適に提供することができるようになる。
なお、この演出例では、操作ボタン410に対する所定時間内の操作回数に応じて、比較基準画像(目安画像)としてのキャラクタ画像PG(特に、ここでは定規)の表示位置を可変とすることとしたが、必ずしもこれに限られない。例えば、操作ボタン410に対する長押し時間の長さに応じて表示位置を可変とするようにしてもよいし、操作ボタン410とは異なる操作手段を複数備えることとし、それら操作手段のいずれが操作されたかに応じて該操作された操作手段に対応して予め定められている表示位置にキャラクタ画像PGを表示するようにしてもよい。操作ボタン410とは異なる操作手段に対する操作によってキャラクタ画像PGを表示させるようにした場合は、操作ボタン410に対して操作機会が付与されている状況(受付期間)においてもキャラクタ画像PGを表示させることが可能とされうるようになる。
また、比較基準画像(目安画像)としてのキャラクタ画像PG(特に、ここでは定規)は、これ単体では演出(期待度)として機能し得ないものであるから、背景画像との比較・判断に要するのに十分な時間(例えば、3秒)が経過した以降は、期待演出(背景画像)を視認し難くするだけの無価値な画像に成り下がるものとなってしまう。したがって、遊技者による操作によって表示されたときから所定時間(例えば、3秒)が経過したときには、何らの操作も必要とせずに、自動的に非表示にされるようにすることが望ましい。
ただし、比較基準画像(目安画像)としてのキャラクタ画像PG(特に、ここでは定規)が表示された位置と、背景画像の種別との関係などによっては、「特殊態様で表示させる処理」が実行されている状態にあるかの比較・判断を行うのに所定時間(例えば、3秒)だけでは足りない場合も生じうる。そこで、上記演出例では、比較基準画像(目安画像)としてのキャラクタ画像PGが表示されている間(3秒内)に、該キャラクタ画像PGを出現させるために操作した所定の操作手段が再操作された場合は、該キャラクタ画像PGが継続表示される時間を延長するようにしている。例えば、所定の操作手段が再操作される都度、該操作されたタイミングを基準として所定時間後(例えば、3秒後)に非表示にされるようにすれば、遊技者が納得するまで断続的な操作を行うことでキャラクタ画像PGの表示状態を維持することができるようになり、じっくり比較・判断することができるようになる。
しかしながら、比較基準画像(キャラクタ画像PG)としてのこのような際限のない継続表示を単純に許容するようにしてしまうと、特殊処理が実行されている状態にあるかの判断が極めて容易となりかねない。すなわち、「特殊処理が実行されている状態にある」または「特殊処理が実行されている状態にない」との確信的な結論を遊技者が常に得ることともなりかねず、これでは「特殊態様で表示させる処理が実行されている状態にあるか否かを明示するものではなく、認識困難性をあえて持たせる」ようにした上述の趣旨が没却されることとなる。
そこで、キャラクタ画像PGが表示されている間(3秒内)に所定の操作手段が再操作されたときには、該キャラクタ画像PG(定規)が継続表示される時間を延長することとの引き換えに、キャラクタ画像PGが持っている定規の長さ(長手方向)を所定単位分(例えば、1センチ)だけ短くするなど、比較基準画像(キャラクタ画像PG)これ全体としての大きさ(表示面積)を小さくするようにして、背景画像との比較に困難性を付加するようにすることが望ましい。すなわちこの場合、キャラクタ画像PGが表示されている間に所定の操作手段が再操作される都度、比較基準画像(キャラクタ画像PG)が非表示にされるまでの時間を延長することとの引き換えに、該比較基準画像(キャラクタ画像PG)これ全体としての表示面積が次第に小さくなって(ここでは、定規が次第に短くなって)いくようになることから、比較基準画像(キャラクタ画像PG)の表示時間を延長可能としつつも、特殊態様で表示させる処理が実行されている状態にあるかについての認識困難性を好適に維持することができるようになる。
ただし、比較基準画像(キャラクタ画像PG)をあまりに小さく表示(定規の長さをあまりに短く表示)するようにしてしまうと、背景画像との比較にこれを役立てることができなくなり、遊技興趣の低下に繋がりかねない。したがって、比較基準画像(キャラクタ画像PG)これ全体としての大きさ(表示面積)については、最小限度の大きさ(ここでは、最短限度の定規の長さ)を予め設定しておき、該最小限度の大きさにまで小さくされたときは、該状態において所定の操作手段が再操作された場合であっても比較基準画像(キャラクタ画像PG)が非表示にされるまでの時間を延長せず、該比較基準画像(キャラクタ画像PG)これ全体としての表示面積をさらに小さくすることも行われないようにすることが望ましい。
また、このような比較基準画像(キャラクタ画像PG)これ全体としての大きさ(表示面積)は、該比較基準画像(キャラクタ画像PG)が非表示にされた以降も持ち越されるようにすることが望ましい。すなわちこの場合、比較基準画像(キャラクタ画像PG)を出現(または、表示時間を延長)させるために所定の操作手段が操作される都度、該比較基準画像(キャラクタ画像PG)これ全体としての表示面積が次第に小さくなって(ここでは、定規が次第に短くなって)いき、ついには出現すらされなくなることから、「特殊態様で表示させる処理」が実行されている状態にあるかを本当に知りたいときにだけ操作するように促すことができるようになり、それ以外は本来の演出内容に集中させることが期待されるようになる。
なお、比較基準画像(キャラクタ画像PG)これ全体としての大きさ(表示面積)については、当該の変動演出が終了して次の変動演出が開始された以降も持ち越されるようにしてもよい。このような構成によれば、比較基準画像(キャラクタ画像PG)を極めて貴重な演出機会として付与することができるようになり、基本的には、背景画像や装飾図柄SZを見るだけで「特殊態様で表示させる処理」が実行されている状態にあるかを予測する演出性(図200を参照)を提供することができるようになる。
ちなみに、図201及び図202に示される比較基準画像(キャラクタ画像PG)は、電源投入(若しくは、RAMクリア)があった以降、所定の操作手段に対する操作によって初めて表示されたときの状態である。これ以降、所定の操作手段に対する操作が行われる都度、比較基準画像これ全体としての表示面積が次第に小さくなって(ここでは、定規が次第に短くなって)いき、ついには出現すらされなくなることとなる。ただし、特定の検出がなされたときや、特定の条件が満たされたときなどに、比較基準画像(複数位置に出現される場合は、それら位置のいずれか1つに対応する比較基準画像のみ)これ全体としての表示面積を大きく(ここでは、定規を長く)して表示する処理も用意するようにしてもよい。このような構成によれば、所定の操作手段に対する操作によって比較基準画像(キャラクタ画像PG)を出現させることのできる残り回数を回復させることができるようになる。
また上述の通り、比較基準画像(キャラクタ画像PG)の表示される位置がそれぞれ異なるように設定される複数の操作手段を用意する場合は、それら操作手段のいずれが操作されたかに応じて該操作された操作手段に対応して予め定められている表示位置にキャラクタ画像PGを表示させることとなる。なおこの場合、各操作手段(表示位置)の別に、比較基準画像(キャラクタ画像PG)を出現させることのできる残り回数(最小単位になるまでの操作回数)を設定しておき、特定の操作手段に対して操作が行われると、該特定の操作手段に対応する位置に表示される比較基準画像(キャラクタ画像PG)のみが小さく表示(定規が短く表示)されるようにすることが望ましい。
例えば、図202を参照して説明した演出例の場合、図202(a)に示される演出状況において第1の操作手段が操作されると、図202(b)に示される演出状況が現れることとなる。図202(b)に示される演出状況において、第1の操作手段が再操作されると、表示状態にある比較基準画像(キャラクタ画像PG)の表示時間が延長されることとの引き換えに、これが小さく(定規が短く)なって表示されることは上述した通りである。ただしこの後、第2の操作手段が操作された場合であっても、図202(c)に示される演出状況が現れるだけであり、第1の操作手段が再操作されたことに伴う比較基準画像(キャラクタ画像PG)としての縮小表示が、第2の操作手段に対する操作によって中央位置に表示される比較基準画像(キャラクタ画像PG)に引き継がれることはない。第3の操作手段が操作された場合も同様、図202(d)に示される演出状況が現れるだけであり、第1の操作手段が再操作されたことに伴う比較基準画像(キャラクタ画像PG)としての縮小表示が、第3の操作手段に対する操作によって右側位置に表示される比較基準画像(キャラクタ画像PG)に引き継がれることはない。
この点、比較基準画像(キャラクタ画像PG)が特定位置(例えば、図202(c)に示される中央位置)に表示されている間(3秒内)に、該特定位置(中央位置)と対応しない別の操作手段(例えば、第1の操作手段)が操作された場合は、特定位置(中央位置)にて既に表示状態にある比較基準画像(キャラクタ画像PG)を表示状態にて維持したままで、該別の操作手段(第1の操作手段)と対応する別の位置(左側位置)にて比較基準画像(キャラクタ画像PG)を新たに表示させるようにすることが望ましい。
すなわちこの場合、所定の操作手段に対する操作によって、背景画像との関係で比較困難な位置に比較基準画像(キャラクタ画像PG)を出現させてしまった場合であっても、所定の操作手段とは別の操作手段を操作するようにすることで、比較基準画像(キャラクタ画像PG)を別の表示位置にて新たに表示させることが可能とされるようになる。これにより、比較容易性を高めるためにいずれの位置で比較基準画像(キャラクタ画像PG)を表示させるべきかについての探索を行う面白みを付加できるようになる。
しかも、上記構成では、比較基準画像(キャラクタ画像PG)を別の表示位置にて新たに表示させる場合であってもこれを契機として既に表示状態にあった比較基準画像(キャラクタ画像PG)を非表示とするようなことはせず、その表示状態を維持するようにしている。このような構成によれば、複数の比較基準画像(キャラクタ画像PG)が同時表示されるようになり、その分だけ背景画像との間での比較材料を増やす(ここでは、2つの定規が並ぶようになり、水平方向の長さが実質的に長くなる)ことができるようになることから、比較困難な背景画像が現れているが「特殊態様で表示させる処理」が実行されている状態にあるかをどうしても知りたいようなタイミングなどでの比較容易性を大幅に向上させる機会を付与することができるようになる。ただしこれは、複数の操作手段に対してそれぞれ設定されている「比較基準画像(キャラクタ画像PG)を出現させることのできる残り回数(最小単位になるまでの操作回数)」を2つ同時に消費することとの引き換えによって発生させることができるものであるから、比較容易性を大幅に向上させることによる代償も大きいといえる。
また上述の通り、比較基準画像(キャラクタ画像PG)は、遊技者による操作によって表示されたときから所定時間後(3秒後)に非表示にされることから、複数の比較基準画像(キャラクタ画像PG)が同時表示される時間を長くする上では、1つ目の操作手段を操作してからできるだけ早く2つ目の操作手段を操作することが求められることとなる。すなわちこの場合、1つ目の操作手段に対する操作によって現れた比較基準画像(キャラクタ画像PG)だけで「特殊処理が実行されている状態」にあるか否かを判断するのか、それとも代償を大きくしてでも2つ目の操作手段に対する操作をさらに行って比較容易性を大幅に向上させることとするのかについての迅速な判断が求められることとなり、該判断が遅れる分だけ遊技者側の不利益が拡大されることとなることから、緊張感を好適に維持することができるようになる。
また、このような構成によれば、複数の比較基準画像(キャラクタ画像PG)が同時表示された場合であっても、それら比較基準画像(キャラクタ画像PG)が非表示にされるタイミングは異なるようになるし、各比較基準画像(キャラクタ画像PG)としての大きさ(定規の長さ)も操作状況に応じて互いに異なるようになる。さらに言えば、各操作手段における操作状況(残り回数)によっては、「特定の操作手段を操作しても比較基準画像(キャラクタ画像PG)は表示されないが、別の操作手段を操作すると比較基準画像(キャラクタ画像PG)が表示される」といったような演出状況も現れうるようになることから、比較基準画像(キャラクタ画像PG)を出現させるにあたり、いずれの操作手段に対して操作を行うべきかの判断にも、比較対象とされる背景画像の種別だけではない判断要素を付加してより一層の面白さを提供することができるようになる。
なお上述の通り、比較基準画像(キャラクタ画像PG)は、遊技者による操作によって表示されたときから所定時間後(3秒後)に非表示にされるものであるが、該所定時間が経過するよりも前に図柄変動(装飾図柄SZ)がハズレで停止状態になったときにはこれを契機として非表示にされるようにすることが望ましい。すなわち、図201及び図202に示したように、比較基準画像(キャラクタ画像PG)が表示されている状態では表示領域における演出内容が視認し難くされることとなるし、背景画像などとの比較によって演出内容に集中することが困難とされることとなる。そしてこの結果、ハズレで停止状態になったことに気付かないようなことがあると、演出に役立てるためのキャラクタ画像PGとしての趣旨が没却されることとなることから、ハズレで停止状態になったときにはこれを契機としてキャラクタ画像PGを非表示にすることが望ましい。
ただし、大当りで停止状態になったときにはキャラクタ画像PGを非表示にせず、所定時間が経過するまで表示状態にて継続されるようにしてもよい。すなわち、大当りで停止状態になったときには、これに気付かなかったとしても大当り遊技が開始されることとなることから、所定時間が経過してキャラクタ画像PGが非表示になったときにサプライズ的な演出として機能させることが期待されるようになる。
また、比較基準画像(キャラクタ画像PG)が表示されるときには、該比較基準画像(キャラクタ画像PGに関連した特定音が出力されうるようにすることが望ましい。このような構成によれば、演出に注視している状況であっても、比較基準画像(キャラクタ画像PG)が表示されたことを容易に認識することができるようになる。ただし、このような特定音を出力させる場合は、以下のような手法を採用するようにすることが遊技興趣の維持を図る上でより望ましい。
すなわち、各操作手段(表示位置)の別に、比較基準画像(キャラクタ画像PG)を出現させることのできる残り回数(最小単位になるまでの操作回数)を設定するようにしたとは言え、該残り回数が消費されるまでの期間中、比較基準画像(キャラクタ画像PG)が頻繁に表示されるようなことがあると、表示領域における演出内容が視認し難くされることとも相まって本来の演出に集中させることが困難となってしまう。そこで、キャラクタ画像PGが表示されるときには特定音(例えば、ペンギンの鳴き声)が音出力されうるようにする一方で、この特定音(例えば、ペンギンの鳴き声)については「特殊態様で表示させる処理」が実行されていない状態にあるときに限りその音出力が許容されうるようにする。このように、「特殊態様で表示させる処理」の実行に関して、肯定側での確定示唆として特定音(例えば、ペンギンの鳴き声)を用いるのではなく、否定側での確定示唆としてのみ特定音(例えば、ペンギンの鳴き声)を用いるようにしたことで、このような特定音に嫌悪した遊技者が、本来の演出に集中し、「特殊態様で表示させる処理」の実行可能性が高そうな状況にあるときに限り比較基準画像(キャラクタ画像PG)を出現させるようになることが期待されるようになる。
ただし、特定音(例えば、ペンギンの鳴き声)については、「特殊態様で表示させる処理」が実行されていない状態にあるときに遊技者による操作によって比較基準画像(キャラクタ画像PG)が表示されることとなった場合であっても、その音出力が必ずしも許容されないようにすることが望ましい。すなわちこの場合、遊技者による操作によって比較基準画像(キャラクタ画像PG)が新たに表示(または、既に表示状態にあった比較基準画像の大きさが小さく(定規の長さが短く)変化)されるときに特定音(例えば、ペンギンの鳴き声)が音出力されると、「特殊態様で表示させる処理」が実行されていない状態にあることが確定的に認識されるようになるが、特定音(例えば、ペンギンの鳴き声)が音出力されなかったときは「特殊態様で表示させる処理」が実行されている状態と「特殊態様で表示させる処理」が実行されていない状態とのいずれの場合もありうるようになるから、特定音(例えば、ペンギンの鳴き声)が出力されなかったときの面白みを維持することができるようになる。
なお、特定音(例えば、ペンギンの鳴き声)については、表示位置が異なる複数の操作手段のいずれが操作された場合であっても、上述した所定条件下で出力されうるようにしてもよい。ただし、複数の操作手段のうち特定の操作手段が操作された場合に限り、上述した所定条件下で特定音が出力されうるようにすれば、特定音が出力される可能性のあるなかで、「特殊態様で表示させる処理」が実行されている状態にあるかの判断に役立つ比較基準画像(キャラクタ画像PG)を出現させるか、特定音が出力される可能性のないなかで、「特殊態様で表示させる処理」が実行されている状態にあるかの判断に役立つ比較基準画像(キャラクタ画像PG)を出現させるかを遊技者側に選択させることができるようになる。
また、上記演出例では、表示状態にある比較基準画像(キャラクタ画像PG)の表示時間を延長することとの引き換えにこれを小さく(定規が短く)して表示することで、特殊態様で表示させる処理が実行されている状態にあるかについての認識困難性を好適に維持するようにしている。この点、比較基準画像(キャラクタ画像PG)が比較的小さいときに特定音(例えば、ペンギンの鳴き声)が出力される場合は、比較基準画像(キャラクタ画像PG)が比較的大きいときに特定音(例えば、ペンギンの鳴き声)が出力される場合よりもその音量を小さくするようにすれば、表示状態にある比較基準画像(キャラクタ画像PG)の表示時間が延長されたときの認識困難性をある程度は維持することが期待されるようになる。
また、複数の表示位置(図202を参照)で比較基準画像(キャラクタ画像PG)が同時表示されるときに互いに重なることがないように、比較基準画像(キャラクタ画像PG)の大きさとその表示位置とをそれぞれ設定するようにすることが望ましい。各比較基準画像(キャラクタ画像PG)が重ならずに表示される分だけ背景画像との間での比較材料を増やすことができるようになる。
また、比較基準画像(キャラクタ画像PG)については透過性を持った画像として表示されるものであってもよい。このような構成によれば、背景画像の大部分と比較基準画像(キャラクタ画像PG)とが重なったとしても、比較基準画像(キャラクタ画像PG)を透して見える背景画像との間で比較を好適に行うことができるようになる。
また、上記演出例では、所定の操作手段が操作される都度、比較基準画像(キャラクタ画像PG)を小さく(定規を短く)して表示するようにしたが必ずしもこれに限られず、要は、特殊態様で表示させる処理が実行されている状態にあるかについての認識困難性を高める態様であればよい。例えば、所定の操作手段が操作される都度、比較基準画像(キャラクタ画像PG)これ自体の形状や大きさは同じままであるが、透過性が相対的に高くされる部分を次第に拡大させていくようにしてもよい。すなわち、比較基準画像(キャラクタ画像PG)を「特定透過度で表示されるもの」とする場合、比較基準画像(キャラクタ画像PG)のうち特定透過度で表示される部分を小さく(定規のうち特定透過度で表示される部分を短く)して表示することが重要なのであり、特定透過度で表示されなくなった部分は非表示にするようにしてもよいし、特定透過度よりも高い透過度で表示するようにして視認困難性を高めるようにしてもよい。
また上述したが、「特殊態様で表示させる処理」とは、例えば、図200(a)に示した表示状態から、図200(b)に示した表示状態を経て、図200(c)に示した表示状態へと変化させる動的描写処理であってもよい。「特殊態様で表示させる処理」をこのような動的描写処理として実現する場合、当該「特殊態様で表示させる処理」を終了させるときには、例えば、図200(c)に示した表示状態から、図200(b)に示した表示状態を経て、図200(a)に示した表示状態へと戻されることとなる。
この点、比較基準画像(キャラクタ画像PG)は、表示されてから所定時間後(3秒後)に非表示にされるようになっていることは上述した通りであるが、動的描写処理としての「特殊態様で表示させる処理」については、所定時間(3秒)よりも短い時間で行うようにすることが望ましい。すなわちこの場合、動的描写処理としての「特殊態様で表示させる処理」が実行されている状態にあるときに、遊技者による操作によって比較基準画像(キャラクタ画像PG)を出現させることができれば、該比較基準画像(キャラクタ画像PG)が表示状態を維持している間(3秒内)に「図200(c)に示した表示状態から、図200(b)に示した表示状態を経て、図200(a)に示した表示状態へと戻される」といった動きが必ず現れるようになることから、特殊態様で表示させる処理が実行されている状態にあるかの比較・判定を容易化させることができるようになる。
ただし、動的描写処理としての「特殊態様で表示させる処理」については、所定時間(3秒)よりも長い時間で行うようにしてもよい。すなわちこの場合、動的描写処理としての「特殊態様で表示させる処理」が実行されている状態にあるときに、遊技者による操作によって比較基準画像(キャラクタ画像PG)を出現させることができたとしても、該比較基準画像(キャラクタ画像PG)が表示状態を維持している間(3秒内)に「図200(c)に示した表示状態から、図200(b)に示した表示状態を経て、図200(a)に示した表示状態へと戻される」といった動きが必ずしも現れないようになることから、特殊態様で表示させる処理が実行されている状態にあるかの比較・判定を困難化させることができるようになる。また、比較基準画像(キャラクタ画像PG)の表示時間を延長可能としていることによる戦略性も付加されるようになる。
また、動的描写処理としての「特殊態様で表示させる処理」については、演出判定の結果に応じて、所定時間(3秒)よりも短い時間で行われる場合と、所定時間(3秒)よりも長い時間で行われる場合とがあるようにしてもよい。また、装飾図柄SZが変動開始してから変動停止されるまでの期間内で、所定時間(3秒)よりも短い時間で行われる動的描写処理としての「特殊態様で表示させる処理」と、所定時間(3秒)よりも長い時間で行われる動的描写処理としての「特殊態様で表示させる処理」とが予め定められた互いに異なるタイミングでそれぞれ行われうるようにしてもよい。
また、比較基準画像(キャラクタ画像PG)は、表示されてから所定時間後(3秒後)に非表示にされるようにしたが、該比較基準画像(キャラクタ画像PG)が表示されたときに音出力されうる特定音(例えば、ペンギンの鳴き声)については、所定時間よりも大幅に短い時間(例えば、半分未満の時間である0.5秒)でその音出力が中断されるようにすることが望ましい。すなわちこの場合、「特殊態様で表示させる処理」が実行される直前に比較基準画像(キャラクタ画像PG)が表示されたとしても、「特殊態様で表示させる処理」が実行された以降にまで特定音(例えば、ペンギンの鳴き声)の出力が維持されるようなことが抑制されるようになることから、「特殊態様で表示させる処理」が実行されている状態にあるにもかかわらず特定音(例えば、ペンギンの鳴き声)によってそれが否定されているかのような演出状況を発生し難くすることができるようになる。
なおこの場合、比較基準画像(キャラクタ画像PG)は、「特殊態様で表示させる処理」が実行される前から実行された後までに跨るかたちでその表示状態が維持(3秒間)されることとなる。したがって、動的描写処理としての「特殊態様で表示させる処理」が実行された場合は、比較基準画像(キャラクタ画像PG)が表示されている間に、例えば、図200(a)に示した表示状態から、図200(b)に示した表示状態を経て、図200(c)に示した表示状態へと変化するようになる。
比較基準画像(キャラクタ画像PG)を、ペンギンを摸したキャラクタと定規とから構成することとしたが、ペンギンを摸したキャラクタと定規とのいずれかのみが表示されるものであってもよい。要は、「特殊態様で表示させる処理」の対象にならない比較基準画像(キャラクタ画像PG)が、遊技者による操作によって出現可能とされうるものであればよい。ただし、水平方向への長さ単位が示されている目安画像(定規)を表示するようにすれば、「特殊態様で表示させる処理」が実行されているか否かの判断を容易化させることが可能である。
図199に示したデモ画面中における案内画像AGについては必ずしも表示しなくてもよい。
また、上記説明例にあって、音量調整確認音や輝度調整確認音を出力しないときの手法については、音量調整確認音や輝度調整確認音をチャンネルに割り当てないようにすることのほか、音量調整確認音や輝度調整確認音をチャンネルに割り当てるがその音量値を「0」にすることによって実現することも可能である。
なお、音量調整確認音と輝度調整確認音とは同じ音として出力させることとし、いずれの「確認音」が出力されたのかは確認できないものの、何らかの「確認音」が出力された状態にあることは認識可能とするようにすることが望ましい。すなわち、確認音として様々な音を採用するようにしてしまうと、期待度を示唆する期待演出音である可能性を意識させてしまう事態が発生しかねず、遊技興趣が低下することが懸念されるためである。
[複数の操作手段に対するイタズラ防止]
図118を参照して説明した通り、この実施の形態にかかるパチンコ機1(周辺制御MPU1511a)では、大当り判定の結果に基づいて複数の演出パターンのいずれを実行するかについての演出パターン判定を実行可能としている。そして、該演出パターン判定が行われた結果として一の演出パターンが選択されると、該選択した演出パターンの種別に対応して用意されている複数の期待演出(予告演出など)のうちいずれの期待演出(複数可)を選択的に出現させるかについての予告演出判定を実行可能としている。なお、この予告演出判定の結果によっては、上記選択した演出パターンの種別に対応して用意されている複数の期待演出(予告演出など)の全てが順次実行されることとなる場合もありうるし、複数の期待演出(予告演出など)のいずれもが実行されないこととなる場合もありうる。
そして、こうした演出判定(演出パターン判定、予告演出判定)が行われると、該演出判定の結果に応じた演出内容を上記演出表示装置1600に表示させる制御を行うことで、大当り判定の結果に応じた装飾図柄による変動演出がその背景描写(背景予告)や可動体動作(役物演出)などにかかる期待演出(予告演出)とともに実行されることとなる。そしてこの結果、装飾図柄による変動演出が、その背景描写や可動体動作などにかかる期待演出とともに実行された結果、大当り図柄で停止表示されると、遊技者に対して特典としての大当り遊技が実行可能とされるようになる。
このような構成では、上記装飾図柄による変動演出が「大当り判定の結果として大当りが得られているか否かを確定的に示す機能」をもった演出として供されることとなり、その背景描写や可動体動作などにかかる期待演出が「大当りが得られていることについての期待度(0%や100%を含む)を示唆する機能」をもった演出として供されることとなる。すなわち、遊技者は、これらの演出を通じて遊技を楽しむこととなる。
また、上述の通り、この実施の形態にかかるパチンコ機1では、音量調整用ボタン(演出選択左ボタン331や演出選択右ボタン332)に対する操作によって音量に関して遊技者による設定値(音量設定値)を変更させる処理を実行可能としている(周辺制御MPU1511a)。そして通常は、こうして音量設定値が変更されると、上記周辺制御MPU1511aが、該変更された音量設定値に基づいて演出音にかかる音量を調整する処理(音量設定値を音量として反映させる処理)を実行することとなる。またこの際、該調整された音量で、音量調整確認音が出力されうる。
またこれも上述したが、この実施の形態にかかるパチンコ機1では、図示は割愛するが、音量調整用ボタン(演出選択左ボタン331や演出選択右ボタン332)とは別に、当該パチンコ機1が備える各種の演出用ランプ(周辺制御MPU1511aによる制御対象とされるランプ)に対する輝度調整用ボタンを備えており、輝度調整用ボタンが操作された旨判断されると各種の演出用ランプにかかる輝度に関して遊技者による設定値(輝度設定値)を変更させる処理を実行可能としている(周辺制御MPU1511a)。そして通常は、こうして輝度設定値が変更されると、上記周辺制御MPU1511aが、該変更された輝度設定値に基づいて発光輝度を調整する処理(輝度設定値を光量として反映させる処理)を実行することとなる。またこの際、輝度に関する遊技者設定値(輝度設定値)が低下されたり上昇されたりした時点での「音量設定値に応じた音量」で、輝度調整確認音が出力されうる。
なお、このような設定値(音量設定値、輝度設定値)にかかる変更受付と、該変更された設定値に応じた調整処理については、図柄が変動していない状態と、図柄が変動している状態とのいずれにおいても、遊技者による操作によってそれぞれ実行可能とされるようになっている。
また、図143及び図144を参照して説明した通り、この実施の形態にかかるパチンコ機1では、遊技者による操作対象として多くの操作手段(操作ボタン410,刀部5010,演出選択左ボタン331,演出選択右ボタン332や、図示を割愛した輝度調整用ボタンなど)を備えている。そして、所定の演出条件が満たされたときは、装飾図柄による変動演出が行われているなかで遊技者に対して操作機会が付与されるようになっており、このような操作演出を通じて遊技興趣の維持を図るようにしている。
ただし、このように多くの操作手段を備えるようにすると、それら操作手段の存在が際立つようになることから、遊技者によるイタズラの対象になりやすくなる。そして、雑な扱いを受けた結果、それら操作手段のうち1つにでも異常や故障が発生すると操作性や演出性が著しく低下するようになり、遊技興趣の低下が避けられない。
そこで、この実施の形態にかかるパチンコ機1(周辺制御MPU1511a)では、大当り判定に応じた遊技演出が実行されていない非遊技状態(上述の操作演出が発生し得ない状態)にあるにもかかわらず複数の操作手段で操作検出が発生してイタズラされた可能性が高い状況になると、演出制限期間(機能制限期間)を発生させることとしており、これによって操作手段が雑に扱われることを抑制しうるようにしている。
より具体的には、遊技が開始されていない状態(非遊技状態)において、当該パチンコ機1が備える複数の操作手段のうち、操作の必要がないはずの予め定められたいくつかの操作手段(ここでは、操作ボタン410,刀部5010)に対する操作が所定の連続操作検出時間内でそれぞれ検出された場合、該検出を契機として、
・演出表示装置1600において、大当り判定に応じた遊技演出が実行されている状態では出現し得ない特定動画(警告動画)を表示(再生)した状態で、
・音量調整用ボタンに対する操作があっても、演出音の出力音量にかかる音量設定値の変更は受け付けられず、現在の音量設定値も表示されず、
・輝度調整用ボタンに対する操作があっても、演出用ランプにおける輝度にかかる輝度設定値の変更は受け付けられず、現在の輝度設定値も表示されない
といった、ペナルティが課される演出制限期間(機能制限期間)を所定時間(例えば、5分)にわたって発生させる制御を行うこととしている。なお、当該演出制限期間(機能制限期間)が発生したときから所定時間(例えば、5分)が経過すると、上記特定動画は非表示とされるようになり、音量に関する操作受付が許容されて音量調整確認音も出力されるようになり、輝度に関する操作受付が許容されて輝度調整確認音も出力されるようになる、といった非遊技状態としての正常状態に戻されることとなる。
なお、この実施の形態にかかる演出制限期間(機能制限期間)では、「音量調整用ボタンに対する操作があっても、演出音の出力音量にかかる音量設定値の変更は受け付けられず、現在の音量設定値も表示されない」ようにするとともに、「輝度調整用ボタンに対する操作があっても、演出用ランプにおける輝度にかかる輝度設定値の変更は受け付けられず、現在の輝度設定値も表示されない」ようにするようにしたが、音量調整に関する処理と輝度調整に関する処理とのいずれかのみが制限されるようにしてもよい。
また、この実施の形態にかかるパチンコ機1(周辺制御MPU1511a)では、このような演出制限期間(機能制限期間)を発生させる契機とされる操作態様(操作パターン)を複数用意することとしている。これにより、演出制限期間の発生条件を複雑化させて「ホール側によってイタズラ行為が実際に監視されているのではないか」といった緊張感を持たせることが期待されるようになる。
図203は、非遊技状態(デモ画面中など)において、予め定められた演出制限条件が成立したことに基づいて演出制限期間を発生させるときの処理について、その一例を説明するためのタイムチャートである。
いま、遊技が開始されていない状態(非遊技状態)に制御されており、演出表示装置1600において待機時表示が行われている状況(装飾図柄が停止状態で表示されている状況や、デモ画面が表示されている状況など)にあるとする。上述の通り、このような状況において、音量調整用ボタン(演出選択左ボタン331や演出選択右ボタン332)が操作されると音量設定値が変更されることとなり、該操作時に何らかの演出音が出力状態にあればその音量を調整する処理(音量設定値を音量として反映させる処理)が実行されるようになる。またこの際、該調整された音量で、音量調整確認音が出力されうる。これと同様、輝度調整用ボタンが操作されると輝度設定値が変更されることとなり、該操作時に所定の演出用ランプが発光状態にあればその輝度を調整する処理(輝度設定値を光量として反映させる処理)が実行されるようになる。またこの際、輝度調整確認音が出力されうる。
このように、非遊技状態においては、遊技者が遊技を開始させるにあたり、自分の好みに合う音量や輝度に設定することが可能とされるように、音量調整用ボタンや輝度調整用ボタンに対する操作受付が許容されている。そして、操作受付がなされると、それに応じた音量設定値や輝度設定値に変更することで、遊技者に対して遊技を開始させるように促すことが期待されるようになる。
ただし上述の通り、非遊技状態においては、このような音量調整用ボタンや輝度調整用ボタンを含めた複数の操作手段に対してイタズラ目的の操作が行われる場合がある。そしてこの結果、それら操作手段のうち1つにでも異常や故障が発生すると操作性や演出性が著しく低下するようになり、遊技興趣の低下が避けられない。
そこで、この実施の形態にかかるパチンコ機1(周辺制御MPU1511a)では、イタズラ検出として認定する操作パターン(検出パターン)をいくつか用意しており、非遊技状態において、それら操作パターンのいずれかでの操作があった旨検出されたことに基づいて、ペナルティが課される演出制限期間(機能制限期間)を所定時間(例えば、5分)にわたって発生させる処理を実行可能としている。
この実施の形態にかかるパチンコ機1(周辺制御MPU1511a)では、非遊技状態において以下の操作パターン(検出パターン)のいずれかが検出されたときに演出制限にかかる条件が満たされた旨認定することとしている。
a.刀部5010に対する操作検出を契機として第1タイマ時間(例えば3秒)を計時開始して、該第1タイマ時間を計時し終わるまでの間に操作ボタン410に対する操作検出が新たに発生すること、且つ該新たに発生した操作ボタン410に対する操作検出を契機として第2タイマ時間(例えば3秒)を計時開始して、該第2タイマ時間を計時し終わるまでの間に刀部5010に対する操作検出が再び発生すること、といった検出条件が設定されている操作パターン(検出パターン)
b.操作ボタン410に対する操作検出を契機として第3タイマ時間(例えば3秒)を計時開始して、該第3タイマ時間を計時し終わるまでの間に刀部5010に対する操作検出が新たに発生すること、且つ該新たに発生した刀部5010に対する操作検出を契機として第4タイマ時間(例えば3秒)を計時開始して、該第4タイマ時間を計時し終わるまでの間に操作ボタン410に対する操作検出が再び発生すること、といった検出条件が設定されている操作パターン(検出パターン)
なお、これらの操作パターンa,bは、一例にすぎず、それ以外の操作パターンにかかる検出条件が満たされたときに演出制限期間(機能制限期間)を発生させるようにしてもよいし、検出対象とされる操作パターンとして複数を必ずしも用意しなくてもよく、それらのいずれか1つのみを用いるようにしてもよい。また、第1~4タイマ時間については、いずれも同じ時間であってもよいし、異なる時間であってもよい。また、同じタイマを用いて計時してもよいし、異なるタイマを用いて計時してもよい。
ここで、「操作ボタン410に対する長押し」や、「操作ボタン410に対する連打操作(複数回操作)」なども、遊技が開始されていない状態(非遊技状態)において求められることはない態様であると言える。しかしながら、これらの態様は、遊技実行状態での操作演出においては操作指示されうる態様であるから、非遊技状態においても、遊技を開始させるにあたり遊技者が何らかの目的(例えば、願掛けや予行練習など)でこれらの操作を行いうることが想定されるし、実際にそのような状況が発生することも比較的よく確認されている。したがって、イタズラ目的での検出対象とされる「複数の操作手段に対する操作組み合わせ(例えば、「刀部5010→操作ボタン410→刀部5010」の順での操作など)」については、遊技実行状態にあるときに操作演出として操作指示されることのないものとして設定されるようにすることが、誤検出を回避する上で重要であるといえる。これにより、演出制限期間が比較的頻繁に発生して当該パチンコ機1としての稼働率が大きく下がってしまうことが回避されるようになる。
特に、この実施の形態にかかるパチンコ機1では、特定操作手段(例えば、操作ボタン410)に対する操作の前後にこれとは別の操作手段(例えば、刀部5010)に対する操作がそれぞれ行われることを条件としており、比較的短い時間内で複数の操作手段に対する操作が入り乱れたときに限り、上記操作パターン(検出パターン)にかかる検出条件が満たされて演出制限期間(機能制限期間)を発生させるようにしている。したがって、イタズラの意思でなく、物珍しさから1回ずつ触れただけの遊技者等はペナルティの対象外にすることができるようになり、演出制限期間が比較的頻繁に発生して当該パチンコ機1としての稼働率が大きく下がってしまうことをより好適に回避可能としている。
このように検出条件を厳格化するのは、演出制限期間が比較的頻繁に発生して当該パチンコ機1としての稼働率が大きく下がるのを回避することと、イタズラによよってゴチャゴチャと入り乱れるように操作されるときには色々な組み合わせで操作されることが想定されることから、検出条件を厳格化してもいずれはその検出条件を満たす可能性が高いためである。
図203に示される例では、まず、非遊技状態にあるときのタイミングtq1において、刀部5010に対する操作が検出されている。すると、周辺制御MPU1511aでは、該検出に基づいて、第1タイマ時間(例えば3秒)を発生させ、該第1タイマ時間が消化し終わるまでの間に2段階目の検出条件が満たされるか否かを判断する状態(1段階目の状態)にされることとなる。
すなわち上述の通り、「操作パターン(検出パターン)a」では、演出制限期間を発生させる条件として、3つの条件(刀部5010→操作ボタン410→刀部5010)を課しており、これらの条件が1つずつ満たされる度に、演出制限期間を発生させるための階段を1段ずつ上がっていくようなかたちとされることとなる。
タイミングtq1では、演出制限期間を発生させるまでの3つの階段のうち1つ目の階段を上がることとなる。当該1段階目の状態は、第1タイマ時間(例えば3秒)が消化し終わるまで継続可能とされており、2段階目の検出条件(ここでは、操作ボタン410に対する操作)が満たされないままで第1タイマ時間が消化し終わると、上記3つの条件のいずれも満たされていない元の状態(階段を1つ降りて0段階目の状態)に戻されることとなる。
この点、図203に示される例では、第1タイマ時間が消化し終わっていない状態(1段階目の状態)にあるときのタイミングtq2において、操作ボタン410に対する操作が検出されており、操作パターン(検出パターン)aが有する3つの条件のうち「2段階目の検出条件」が満たされるようになっている。すると、周辺制御MPU1511aでは、該検出に基づいて、第2タイマ時間(例えば3秒)を発生させ、該第2タイマ時間が消化し終わるまでの間に3段階目の検出条件(ここでは、最後の検出条件)が満たされるか否かを判断する状態(2段階目の状態)にされることとなる。
すなわち、タイミングtq2では、演出制限期間を発生させるまでの3つの階段のうち2つ目の階段を上がることとなる。当該2段階目の状態は、第2タイマ時間(例えば3秒)が消化し終わるまで継続可能とされており、3段階目の検出条件(ここでは、刀部5010に対する操作)が満たされないままで第2タイマ時間が消化し終わると、上記3つの条件のいずれも満たされていない元の状態(階段を2つ降りて0段階目の状態)に戻されることとなる。
図203に示される例では、第2タイマ時間が消化し終わっていない状態(2段階目の状態)にあるときのタイミングtq3において、操作ボタン410に対する操作が再び検出されており、操作パターン(検出パターン)aが有する3つの条件のうち「3段階目の検出条件(最後の検出条件)」が満たされるようになっている。したがって、周辺制御MPU1511aでは、該検出に基づいて、演出表示装置1600において、大当り判定に応じた遊技演出が実行されている状態では出現し得ない特定動画(警告動画)にかかる表示(再生)を開始させる。これとともに、音量調整用ボタンに対する操作があっても、演出音の出力音量にかかる音量設定値の変更は受け付けられず、現在の音量設定値も表示されず、音量調整確認音も勿論出力されず、さらには輝度調整用ボタンに対する操作があっても、演出用ランプにおける輝度にかかる輝度設定値の変更は受け付けられず、現在の輝度設定値も表示されず、輝度調整確認音も勿論出力されないといった、演出制限を発生させる。そして、このようなペナルティが課される演出制限期間(機能制限期間)を、タイミングtq3から所定時間(例えば、5分)にわたって継続させることとなる。
このような構成によれば、複数の操作が入り乱れるように操作されると演出制限期間が発生するようになることから、イタズラによる操作が抑制されうるようになる。
また、演出制限期間を発生させるためには1つずつ条件をクリアして状態レベルを上げていく(階段を上っていく)必要があるが、道半ばで時間切れが発生したときにはそれまでの状態レベルを全解消して元の状態に戻すようにしている。これにより、状態レベルを上げた状態で遊技が終了された場合であっても、新たな遊技者が遊技を開始しようとしたときに演出制限期間を意図せず発生させてしまうようなことも好適に回避されうるようになる。
なお、このように状態レベルが上がっていく(階段を上っていく)過程のなかで、演出制限期間が発生したときに制限対象とされる操作手段である「音量調整用ボタン」や「輝度調整用ボタン」が操作されるような場合も想定されうる。ただし、これらの操作手段(音量調整用ボタン、輝度調整用ボタン)は、遊技者が遊技を開始させるにあたり、自分の好みに合う音量や輝度に設定することが可能とされるように操作受付が許容されるものである。したがって、状態レベルが上がっていく(階段を上っていく)過程のなかで、これらの操作手段(音量調整用ボタン、輝度調整用ボタン)がどれだけ操作されたとしても、これを契機として状態レベルに変化を生じさせたり、第1タイマ時間や第2タイマ時間などに影響を及ぼしたりすることがないようにすることが望ましい。
すなわちこの場合、音量調整用ボタンや輝度調整用ボタンについては、どれだけイタズラによる操作の対象とされたとしても、これを契機として演出制限期間を発生させることはできないこととなる。ただし、少なくとも既に上がっている状態レベルがこれらの操作に起因して下がることはないし、演出制限期間が一旦発生すれば、演出制限の対象は「音量調整用ボタン」や「輝度調整用ボタン」とされることとなり、これらに対する操作が一切無効にされるようになることから、イタズラによる操作の検出対象とされない「音量調整用ボタン」や「輝度調整用ボタン」に対するイタズラについてもこれを好適に抑制することが期待されるようになる。
また、イタズラ検出の際に用いられる操作パターン(検出パターン)として、「別の操作手段(例えば、刀部5010)に対する2回分の操作(図203では、タイミングtq1,tq3)」の間に挟まれるかたちとなる「特定操作手段(例えば、操作ボタン410)に対する操作(図203では、タイミングtq2)」については、1回ではなく、予め定められた複数回分だけ操作されることが条件とされるようにすることがより望ましい。
すなわちこの場合、例えば、上述の「操作パターン(検出パターン)a」の場合であれば、刀部5010に対する操作が検出されて、該検出に応じた第5タイマ時間(例えば3秒)内に操作ボタン410に対する操作が検出されて、該検出に応じた第6タイマ時間(例えば3秒)内に操作ボタン410に対する操作が再び検出されて、該検出に応じた第7タイマ時間(例えば3秒)内に刀部5010に対する操作が再び検出されたときに、当該「操作パターン(検出パターン)a」にかかる検出条件が満たされて演出制限期間を発生させることとなる。また、第5~7タイマ時間については、いずれも同じ時間であってもよいし、異なる時間であってもよい。また、同じタイマを用いて計時してもよいし、異なるタイマを用いて計時してもよい。
なお、第6タイマ時間(例えば3秒)内に操作ボタン410に対する操作が再び検出されず、刀部5010に対する操作が再び検出されたときには、第6タイマ時間(例えば3秒)をリセットした上で、操作パターン(検出パターン)にかかる検出条件が満たされず演出制限期間を発生させないようにすることがより望ましい。また、第7タイマ時間(例えば3秒)内に、刀部5010に対する操作ではなく、操作ボタン410に対する操作が再び検出(検出対象とされる回数(ここでは2回)よりも多い特定回数(ここでは3回目)の検出)されたときにも、第7タイマ時間(例えば3秒)をリセットした上で、操作パターン(検出パターン)にかかる検出条件が満たされず演出制限期間を発生させないようにすることがより望ましい。
このような構成によれば、刀部5010が2回にわたって操作される間のタイミングで、操作ボタン410をn回(ここでは2回)続けて操作した場合に、操作パターン(検出パターン)にかかる検出条件が満たされて演出制限期間が発生するようになる。すなわち、刀部5010に対する2回操作の間に、操作ボタン410をm回(<n回)しか操作しなかったり、操作ボタン410をl回(>n回)操作したりしたときには演出制限期間が発生しないようになることから、演出制限期間の発生条件を複雑化させて「ホール側によってイタズラ行為が実際に監視されているのではないか」といった緊張感を持たせることが期待されるようになる。
なお、このような複雑化を図る上では、操作ボタン410をm回(<n回)しか操作せずそのタイマ時間内に刀部5010に対する操作が再び行われたときや、操作ボタン410をl回(>n回)にわたって各タイマ時間内に操作したときには、元の状態とも異なる状態(m回とl回との間でも異なる状態にしてもよい)にそれぞれ制御されるようにすることが望ましい。したがって、これらの異なる状態に制御された状態で、上述の「操作パターン(検出パターン)a」の通りに操作が行われたとしても演出制限期間が発生することはない。
またさらに、刀部5010に対する2回操作の間に、操作ボタン410をl回(>n回)操作したときには演出制限期間を発生させないが、操作ボタン410をk回(>l回)操作したときには(n回操作されたときと同様)演出制限期間が発生されうるようにすれば、演出制限期間の発生条件をより複雑化させて「ホール側によってイタズラ行為が実際に監視されているのではないか」といった緊張感をより好適に持たせることが期待されるようになる。この場合も、操作ボタン410が操作される都度、タイマ時間が発生してそのタイマ時間内に次の操作検出が求められることは言うまでもない。このような構成によっても、演出制限期間を発生させる契機とされる「予め定められた操作態様(操作パターン(検出パターン))」は複数用意されることとなる。
とは言え、このようなイタズラ行為は、磁石ゴトなどの不正行為とは大きく異なるものであり、あまりに厳しい対処を行うようにすることは、ホール側の不利益にも繋がりかねない。したがって、演出制限期間にて現れる特定動画については、強い警告内容を表示するというよりは、遊技や演出に関する適正な取り扱い方法などを説明する程度の内容にして遊技興趣の低下を抑制するようにすることが望ましい。
なお上述の通り、演出制限期間(機能制限期間)が発生したときから所定時間(例えば、5分)が経過すると、上記特定動画は非表示とされるようになり、「音量に関する操作受付が許容されて音量調整確認音も出力されるようになり、輝度に関する操作受付が許容されて輝度調整確認音も出力されるようになる」といった非遊技状態としての正常状態に戻されることとなる。
一方、図204に示されるように、演出制限期間(機能制限期間)が発生したときから所定時間(例えば、5分)が経過するよりも前のタイミングtq4において、遊技者が遊技を開始して始動入賞を発生させることにより装飾図柄の変動表示が行われる遊技実行状態へと移行される場合が想定されうる。このような場合は、イタズラ行為を辞めさせて遊技を開始させようとする上述した所期目的は達成されたことになることから、所定時間(例えば、5分)が未だ経過していない状態ではあるものの演出制限期間(機能制限期間)を終了させる。
ただし、所定時間(例えば、5分)の経過を待たずして遊技が開始された場合は反省不十分の可能性があることから、少なくとも演出制限期間を終了させる契機となった装飾図柄の変動表示が終了されるまでの間は、音量調整及び輝度調整の各受付はそれぞれ許容するが、「音量調整されたとしても現在の音量設定値は表示するが音量調整確認音を出力しないし、輝度調整されたとしても現在の輝度設定値は表示するが輝度調整確認音を出力しない」などといった部分的制限期間として制御するようにすることが望ましい。
図204に示されるように、こうして遊技実行状態へと移行されると、部分的制限期間に制御されているか否かにかかわらず、上述の「操作パターン(検出パターン)」に対する検出は無効化されるようになる。したがって、刀部5010に対する操作や、操作ボタン410に対する操作が行われたとしても、これらを契機として第1タイマ時間や第2タイマ時間が計時されることはなく、演出制限期間が発生することはない。
このような構成によれば、演出制限期間としての本来の継続時間を待つことなく遊技実行状態へと移行された場合は、演出制限期間にあるときの制限内容の一部が残されるかたちで遊技実行状態へと移行されるようになることから、遊技演出にかかる進行を妨げることなくイタズラ行為に対する反省を促すことができるようになる。
なお、部分的制限期間については、演出制限期間を終了させる契機となった装飾図柄の変動表示が終了されるまでの間のみならず、保留数が0の状態で装飾図柄が停止状態にされるまで(非遊技状態になるまで)の間にわたって少なくとも継続されるようにしてもよい。
また、遊技実行状態が終了して非遊技状態に移行されるタイミング(例えば、図204に示されるタイミングtq5)においては、所定のセーフ時間を設定し、該所定のセーフ時間が経過するまでの間は、非遊技状態であるにもかかわらず上述の「操作パターン(検出パターン)」に対する検出が無効化される状態を継続させるようにすることが望ましい。すなわち、遊技実行状態が終了したばかりの状況においては遊技者の興奮も冷めておらず、複数の操作手段に対する操作を勢い余って行ってしまうようなことが想定され、このような操作に対してペナルティを課すようにすると遊技の即中止に繋がりかねないためである。したがって、セーフ時間については、遊技実行状態が終了して非遊技状態に移行されるときには必ず設定されるようにすることが望ましい。
また、上述の部分的制限期間として制御されているなかで非遊技状態に移行されたときは、イタズラ行為に対する反省が未だ不十分な可能性があることから、セーフ時間が経過するまで部分的制限期間を継続させるようにしてもよい。なおこの際、上述の「操作パターン(検出パターン)」に対する検出は、セーフ時間が経過したときに再び許容されることとなる。
また、セーフ時間については、装飾図柄の変動表示が開始されてから停止されるまでの図柄変動時間として選択されうる複数の時間値のうち最も短い時間値よりも長い時間値として設定されるようにすることが望ましい。このような構成によれば、装飾図柄の変動表示がすぐに終了された場合であっても、少なくともセーフ時間が終了されるまでの間は、上述の「操作パターン(検出パターン)」に対する検出が無効化される状態を継続させたり、部分的制限期間を継続させたりすることができるようになる。
また、演出制限期間(機能制限期間)が終了されるかたちで装飾図柄の変動表示が開始される場合、上記セーフ時間よりも長い図柄変動時間が必ず選択されて、該選択された図柄変動時間だけ装飾図柄の変動表示が行われるようにすることが望ましい。このような構成によれば、上述の部分的制限期間を、比較的長い時間にわたって継続させることができるようになる。
また、上記説明例では、上述の操作パターン(検出パターン)に対する検出期間内(図203では、細かなドットが施されている部分)において、演出制限期間の発生に近づく検出がなされたとしても何らの挙動も現れないようになっている。ただしこれに代えて、上述の操作パターン(検出パターン)でタイマ時間が設定される度(ペナルティ発生の階段を上っていく度)に特定音を出力させることで、イタズラによる操作の中止を促すようにしてもよい。この特定音については、検出対象となった操作手段の種別に応じて異なる音として出力されるものであってもよい。またこれと同様、上述の操作パターン(検出パターン)でタイマ時間が設定される度(ペナルティ発生の階段を上っていく度)に、演出表示装置1600における表示内容に変化を生じさせるようにしてもよい。
また、上記説明例にあって、音量調整確認音や輝度調整確認音を出力しないときの手法については、音量調整確認音や輝度調整確認音をチャンネルに割り当てないようにすることのほか、音量調整確認音や輝度調整確認音をチャンネルに割り当てるがその音量値を「0」にすることによって実現することも可能である。
なお、音量調整確認音と輝度調整確認音とは同じ音として出力させることとし、いずれの「確認音」が出力されたのかは確認できないものの、何らかの「確認音」が出力された状態にあることは認識可能とするようにすることが望ましい。すなわち、確認音として様々な音を採用するようにしてしまうと、期待度を示唆する期待演出音である可能性を意識させてしまう事態が発生しかねず、遊技興趣が低下することが懸念されるためである。
[開店時の調整確認音による騒音防止]
図118を参照して説明した通り、この実施の形態にかかるパチンコ機1(周辺制御MPU1511a)では、大当り判定の結果に基づいて複数の演出パターンのいずれを実行するかについての演出パターン判定を実行可能としている。そして、該演出パターン判定が行われた結果として一の演出パターンが選択されると、該選択した演出パターンの種別に対応して用意されている複数の期待演出(予告演出など)のうちいずれの期待演出(複数可)を選択的に出現させるかについての予告演出判定を実行可能としている。なお、この予告演出判定の結果によっては、上記選択した演出パターンの種別に対応して用意されている複数の期待演出(予告演出など)の全てが順次実行されることとなる場合もありうるし、複数の期待演出(予告演出など)のいずれもが実行されないこととなる場合もありうる。
そして、こうした演出判定(演出パターン判定、予告演出判定)が行われると、該演出判定の結果に応じた演出内容を上記演出表示装置1600に表示させる制御を行うことで、大当り判定の結果に応じた装飾図柄による変動演出がその背景描写(背景予告)や可動体動作(役物演出)などにかかる期待演出(予告演出)とともに実行されることとなる。そしてこの結果、装飾図柄による変動演出が、その背景描写や可動体動作などにかかる期待演出とともに実行された結果、大当り図柄で停止表示されると、遊技者に対して特典としての大当り遊技が実行可能とされるようになる。
このような構成では、上記装飾図柄による変動演出が「大当り判定の結果として大当りが得られているか否かを確定的に示す機能」をもった演出として供されることとなり、その背景描写や可動体動作などにかかる期待演出が「大当りが得られていることについての期待度(0%や100%を含む)を示唆する機能」をもった演出として供されることとなる。すなわち、遊技者は、これらの演出を通じて遊技を楽しむこととなる。
また、上述の通り、この実施の形態にかかるパチンコ機1では、音量調整用ボタン(演出選択左ボタン331や演出選択右ボタン332)に対する操作によって音量に関して遊技者による設定値(音量設定値)を変更させる処理を実行可能としている(周辺制御MPU1511a)。そして通常は、こうして音量設定値が変更されると、上記周辺制御MPU1511aが、該変更された音量設定値に基づいて演出音にかかる音量を調整する処理(音量設定値を音量として反映させる処理)を実行することとなる。またこの際、該調整された音量で、音量調整確認音が出力されうる。
またこれも上述したが、この実施の形態にかかるパチンコ機1では、図示は割愛するが、音量調整用ボタン(演出選択左ボタン331や演出選択右ボタン332)とは別に、当該パチンコ機1が備える各種の演出用ランプ(周辺制御MPU1511aによる制御対象とされるランプ)に対する輝度調整用ボタンを備えており、輝度調整用ボタンが操作された旨判断されると各種の演出用ランプにかかる輝度に関して遊技者による設定値(輝度設定値)を変更させる処理を実行可能としている(周辺制御MPU1511a)。そして通常は、こうして輝度設定値が変更されると、上記周辺制御MPU1511aが、該変更された輝度設定値に基づいて発光輝度を調整する処理(輝度設定値を光量として反映させる処理)を実行することとなる。またこの際、輝度に関する遊技者設定値(輝度設定値)が低下されたり上昇されたりした時点での「音量設定値に応じた音量」で、輝度調整確認音が出力されうる。
なお、このような設定値(音量設定値、輝度設定値)にかかる変更受付と、該変更された設定値に応じた調整処理については、図柄が変動していない状態と、図柄が変動している状態とのいずれにおいても、遊技者による操作によってそれぞれ実行可能とされるようになっている。
ところで、ホールが開店して暫くの間は遊技を開始しようとする新規客ばかりであるこから、自分の好みに合った設定値で遊技を開始させるべく音量調整や輝度調整が頻繁になされうる。ただしこの場合、音量調整や輝度調整がなされる都度、音量調整確認音や輝度調整確認音を出力させるようなことがあると、ホール内で調整確認音が響き渡ることとなり雰囲気が台無しとなって興ざめである。
そこで、この実施の形態にかかるパチンコ機1(周辺制御MPU1511a)では、電源投入されてから所定条件が成立するまでの間は遊技者による音量調整にかかる操作や輝度調整にかかる操作受付を許容しないが、所定条件が成立すると、音量設定値や輝度設定値がそれぞれの「予め定められた特定値」にされているもとで、音量設定値や輝度設定値の変更の受け付けが許容されうる状態にすることとしている。
このような構成によれば、電源投入されてから所定条件が成立すると、演出音の出力音量にかかる設定値(音量設定値)や輝度設定値がそれぞれの「予め定められた特定値」へと自動設定されるようになる。すなわちこの場合、自動設定される「特定値」を、多くの遊技者が好む傾向にある音量の設定値として採用するようにすることで、ホールが開店して間もない時間帯で多くの遊技者が自分の好みにあった音量設定値や輝度設定値へとそれぞれ調整するような事態を生じ難くすることが期待できるようになる。なお、所定条件の成立とは、電源投入されてから一定の時間が経過することであってもよいし、主制御MPU1310aからの所定コマンドを受信することであってもよいし、周辺制御MPU1511aにおける特定処理が終了することであってもよい。
この点、この実施の形態にかかるパチンコ機1(周辺制御MPU1511a)では、所定条件が成立したことに基づいて、または所定条件が成立した以降の所定タイミングが到来したことに基づいて音量設定値や輝度設定値の変更の受け付けを許容するが、それら設定値の変更が受け付けられても音量調整確認音や輝度調整確認音を出力しない特別期間(開店専用期間)を所定時間(例えば1時間)にわたってまずは発生させる。そして、こうした特別期間(開店専用期間)が終了した後に、それら設定値の変更が受け付けられると音量調整確認音や輝度調整確認音が出力可能とされる期間(通常営業期間)を発生させることとしている。これにより、ホールが開店してから暫くの間(新規客による各種調整が一通り完了するまでに要する時間が経過するまでの間)は、各種の調整確認完了音を出力させない状態を維持したままで、自分の好みに合った設定値で遊技を開始させるべくの音量調整や輝度調整を行う機会を付与することができるようになる。
図205は、特別期間(開店専用期間)にかかる処理についてその一例を示すタイムチャートである。
いま、同図205に示されるように、タイミングtr0において電源投入がなされたとすると、この実施の形態にかかるパチンコ機1(周辺制御MPU1511a)では、所定条件が成立するまでの間、遊技者による音量調整にかかる操作や輝度調整にかかる操作受付を許容しない状態として制御する。このような状況では、始動入賞などの遊技に関連した検出(主制御側)も許容されておらず、遊技を開始させることはできないようになっている。演出表示装置1600においては、電源復旧中の専用表示(準備画面)が現れるか、何らの表示出力も行われないようになっており、待機時画面(図柄の停止表示やデモ画面など)は未だ表示されない。
その後、所定条件(例えば、主制御MPU1310aから所定コマンドが送信されること)が成立したタイミングtr1が到来すると、始動入賞などの遊技に関連した検出が許容されるようになり、遊技開始待ち状態(始動入賞を待つ状態)として制御されるようになる。演出表示装置1600においても、停止図柄(待機時画面)が表示されるようになり、図柄の変動待ち状態であることを認識することができるようになる。
またこの際、音量設定値や輝度設定値がそれぞれの「予め定められた特定値」に設定されているもとで、「音量設定値や輝度設定値の変更の受け付けが許容されるが、それら設定値の変更が受け付けられたとしても、音量調整確認音や輝度調整確認音は出力されない特別期間(開店専用期間)」を発生させる。このような開店専用期間は、当該期間の発生から所定時間(例えば1時間)が経過したタイミングtr2が到来するまで継続されうるようになっており、タイミングtr2において当該期間が終了されると、音量設定値や輝度設定値の変更が受け付けられたときに音量調整確認音や輝度調整確認音が出力可能とされうる期間(通常営業期間)を発生させることとなる。なお、演出表示装置1600では、タイミングtr2が到来した以降も、停止図柄が表示されている状態(図柄の変動待ち状態)が維持されるようになっており、停止状態にある装飾図柄やその背後側に表示(静的表示または動的表示)される各種の背景画像(レイヤーでの優先順位が装飾図柄よりも低い画像)が、開店専用期間から通常営業期間に移行されたことを契機として表示変化されるようなことはない。
このような構成によれば、停止図柄が表示されている状態(待機時画面)が現れて遊技開始待ち状態になった以降も、タイミングtr2が到来するまでの間(開店専用期間が終了するまでの間)は、調整確認音を出力させない状態として維持されるようになることから、開店直後に調整音が響き渡るようなことを好適に回避することができるようになる。またその一方で、タイミングtr2が到来したとき(新規客による各種調整に要する時間が経過したとき)には、調整確認音が出力されうる状態へと自動移行されるようになっていることから、新規客による各種調整が落ち着いてきた頃には音量設定値に応じた調整音を確認しながらのより細かな調整が許容されうるようになる。しかも、停止図柄が表示されている状態(待機時画面)を維持したままで、調整確認音が出力されうる通常営業期間へと自動移行されるようにしたことから、開店時から所定時間が経過するまでは調整音が出力されない開店専用期間に制御されてしまうことを遊技者側には気付かれ難くすることができるようになる。
なお、所定条件が成立して遊技開始待ち状態になった以降(タイミングtr1以降)は、音量設定値や輝度設定値の変更が受け付けられると、演出表示装置1600において変更された設定値に応じたパラメータ表示(音量側のパラメータ表示、輝度側のパラメータ表示)が行われる。したがって、こうしたパラメータ表示を確認することで、自分の好みに応じた設定値に調整することが可能である。
ただし、開店直後の期間(開店専用期間)中、調整確認音にかかる出力がこうして行われないようにしたとしても、音量設定値や輝度設定値の変更を音量や光量として反映させるようにしてしまうと、結局、ホール内の雰囲気が調整一色に染まることに繋がりかねず、雰囲気が台無しとなって興ざめになることが懸念される。したがって、遊技開始待ち状態を維持している限りは、タイミングtr2が到来するまでの間に音量設定値の変更が受け付けられたとしても、該変更された音量設定値が演出音として反映されることはないようにすることが望ましい。また、輝度に関しても同様、遊技開始待ち状態を維持している限りは、タイミングtr2が到来するまでの間に輝度設定値の変更が受け付けられたとしても、該変更された輝度設定値が光量として反映されることはないようにすることが望ましい。このような構成では、開店直後の期間(開店専用期間)中、各遊技者は、演出表示装置1600におけるパラメータ表示を確認しつつ自分の好みに応じた設定値に調整することとなる。すなわちこの場合、自分の好みに応じた設定値への調整機会を付与するようにしつつも、パチンコ機1の周囲に音や光での影響が及ぼされることがないことから、ホール内の雰囲気を好適に維持することができるようになる。
なお、音量と輝度とのうち輝度についてのみ、タイミングtr2が到来した以降も、変更された輝度設定値が光量として反映されない状態を維持するようにしてもよい。すなわち、遊技が開始されないうちはイタズラによる操作によって消費電力が大きくなる側への調整を反映させることは避けるべきであり、音量と比較して消費電力の大きい輝度については遊技が開始されない間はその調整が反映されないようにすることが望ましい。また、輝度調整音についても、音量調整音とは異なり、調整度合いを確認することはできないことから、必ずしも出力されないようにしてもよい。
ただし、タイミングtr2が未だ到来していない状態(開店専用期間としての時間が消化し終わっていない状態)にあるときであっても、始動入賞に基づいて図柄変動(装飾図柄による変動表示)が開始された以降は、遊技者による音量調整や輝度調整が一通り完了しており、それらの調整頻度は大きく低下すると想定される。したがって、この実施の形態にかかるパチンコ機1(周辺制御MPU1511a)では、タイミングtr1以降、タイミングtr2が到来するよりも前に始動入賞が検出されると、該検出に基づいて開店専用期間を早期終了させて通常営業期間へと移行させる処理を実行可能としている。
しかしながら、開店専用期間を早期終了させることとなった始動入賞に起因した装飾図柄の変動表示期間中に、音量設定値や輝度設定値の変更が受け付けられて、該変更に伴う調整確認音が出力されるようなことがあると、遊技者の多くが、開店専用期間を早期終了させてから音量調整や輝度調整を行うようになることが想定され、これでは本末転倒になりかねない。
そこで、この実施の形態にかかるパチンコ機1(周辺制御MPU1511a)では、タイミングtr1以降、タイミングtr2が到来するよりも前に始動入賞が検出されたときは開店専用期間を早期終了させて通常営業期間へと移行させるものの、これによって発生した装飾図柄の変動状態が少なくとも終了されるまでの間は各種の調整確認音の出力を許容しないようにしている(変動中抑制処理)。
図206は、開店専用期間(特別期間)に設定されているときに遊技が開始されたときの処理についてその一例を示すタイムチャートである。
例えば、いま、同図206に示されるように、特別期間としての時間が未だ消化し終わっていないタイミングtr3において始動入賞が検出されたとする。すると、この実施の形態にかかるパチンコ機1(周辺制御MPU1511a)では、開店専用期間にかかる処理を終了して通常営業期間へと移行させ、該通常営業期間において変動中抑制処理を開始させる。この変動中抑制処理は、装飾図柄にかかる変動表示が行われているなかで「音量設定値や輝度設定値の変更の受け付けを許容するとともに、これら設定値の変更を、出力状態にある演出音の音量や発光状態にある演出用ランプの光量として反映させる処理を実行可能であるが、音量設定値や輝度設定値が変化されたとしても音量調整確認音や輝度調整確認音を出力しない処理」として実行されるものであり、「開店専用期間にかかる処理」との相違点は、装飾図柄にかかる変動表示が行われている状態にあるか否かと、設定値の変更が音量や光量として反映されるか否かであり、各種の調整確認音に対する抑制内容は同じままとされる。
なお、この実施の形態にかかるパチンコ機1(周辺制御MPU1511a)では、このような変動中抑制処理を、非遊技状態(保留数が0の状態であり且つ装飾図柄が停止表示される状態)へと移行されない限り、継続して実行するようにしている。
その一方で、図206に示されるように、図柄変動時間として選択されうる最も短い時間しか遊技実行状態に制御(変動時間の短い図柄変動が1回しか実行)されず、タイミングtr4において非遊技状態(保留数が0の状態であり且つ装飾図柄が停止表示される状態)へとすぐに戻されてしまった場合(例えば、早期終了された開店専用期間の発生時から1時間が経過していない開店直後の状態)であっても、特別期間(開店専用期間)を再び発生させることはない。
すなわちこの場合、タイミングtr4以降の非遊技状態では、音量設定値や輝度設定値の変更が受け付けられたときに音量調整確認音や輝度調整確認音が出力可能とされうる期間(通常営業期間)として制御されることとなる。変動中抑制処理が実行されていないときの通常営業期間では、変更された音量設定値は少なくとも音量調整確認音として反映されるし、変更された輝度設定値も発光状態にある演出用ランプの光量として反映されるようになっている。また、演出表示装置1600においては、停止図柄(待機時画面)が表示されるようになり、図柄の変動待ち状態であることを認識することができるようになる。
「開店専用期間(特別期間)を早期終了させてから遊技実行状態もすぐに終了させる」といった状況を生み出す遊技者とは、調整音が出力されないなかで行った調整内容では納得できず、一旦開始した遊技を中断してまでより細かに調整したい願望を持った者であると想定されることから、電源投入から1時間が経過していない開店直後の状態であっても特別期間(開店専用期間)を再び発生させず、音量調整確認音や輝度調整確認音の出力を許容するようにすることが望ましい。
なお、上記説明例にあって、開店専用期間(特別期間)が継続される時間(タイミングtr1~tr2)は、開店専用期間(特別期間)が発生してからの一定時間であってもよいし、周辺制御MPU1511aにおける特定処理が終了されるまでの時間であってもよい。
また、音量設定値や輝度設定値をそれぞれの「予め定められた特定値」に設定するタイミングについては、タイミングtr1であってもよいし、該タイミングtr1よりも前の所定タイミングであってもよい。
また、上記説明例にあっては、タイミングtr1以降に発生する開店専用期間(特別期間)に関する構成に技術的特徴があるのであり、タイミングtr1よりも前の期間における処理については上述した内容とは異なる処理として実現するようにしてもよい。
また、上記説明例にあって、タイミングtr2では、演出表示装置1600における装飾図柄や背景画像に変化を生じさせないようにしたが、装飾図柄や背景画像とは異なる画像を追加表示する程度の表示変化であれば行うようにしてもよい。
また、上記説明例にあって、音量調整確認音や輝度調整確認音を出力しないときの手法については、音量調整確認音や輝度調整確認音をチャンネルに割り当てないようにすることのほか、音量調整確認音や輝度調整確認音をチャンネルに割り当てるがその音量値を「0」にすることによって実現することも可能である。
なお、音量調整確認音と輝度調整確認音とは同じ音として出力させることとし、いずれの「確認音」が出力されたのかは確認できないものの、何らかの「確認音」が出力された状態にあることは認識可能とするようにすることが望ましい。すなわち、確認音として様々な音を採用するようにしてしまうと、期待度を示唆する期待演出音である可能性を意識させてしまう事態が発生しかねず、遊技興趣が低下することが懸念されるためである。
また、上記説明例では、音量と輝度とのいずれかの設定値のみを変更可能とするようにしてもよい。
[演出重要度に応じた音量調整確認音にかかる制御]
図118を参照して説明した通り、この実施の形態にかかるパチンコ機1(周辺制御MPU1511a)では、大当り判定の結果に基づいて複数の演出パターンのいずれを実行するかについての演出パターン判定を実行可能としている。そして、該演出パターン判定が行われた結果として一の演出パターンが選択されると、該選択した演出パターンの種別に対応して用意されている複数の期待演出(予告演出など)のうちいずれの期待演出(複数可)を選択的に出現させるかについての予告演出判定を実行可能としている。なお、この予告演出判定の結果によっては、上記選択した演出パターンの種別に対応して用意されている複数の期待演出(予告演出など)の全てが順次実行されることとなる場合もありうるし、複数の期待演出(予告演出など)のいずれもが実行されないこととなる場合もありうる。
そして、こうした演出判定(演出パターン判定、予告演出判定)が行われると、該演出判定の結果に応じた演出内容を上記演出表示装置1600に表示させる制御を行うことで、大当り判定の結果に応じた装飾図柄による変動演出がその背景描写(背景予告)や可動体動作(役物演出)などにかかる期待演出(予告演出)とともに実行されることとなる。そしてこの結果、装飾図柄による変動演出が、その背景描写や可動体動作などにかかる期待演出とともに実行された結果、大当り図柄で停止表示されると、遊技者に対して特典としての大当り遊技が実行可能とされるようになる。
このような構成では、上記装飾図柄による変動演出が「大当り判定の結果として大当りが得られているか否かを確定的に示す機能」をもった演出として供されることとなり、その背景描写や可動体動作などにかかる期待演出が「大当りが得られていることについての期待度(0%や100%を含む)を示唆する機能」をもった演出として供されることとなる。すなわち、遊技者は、これらの演出を通じて遊技を楽しむこととなる。
また、上述の通り、この実施の形態にかかるパチンコ機1では、音量調整用ボタン(演出選択左ボタン331や演出選択右ボタン332)に対する操作によって音量に関して遊技者による設定値(音量設定値)を変更させる処理を実行可能としている(周辺制御MPU1511a)。そして通常は、こうして音量設定値が変更されると、上記周辺制御MPU1511aが、該変更された音量設定値に基づいて演出音にかかる音量を調整する処理(音量設定値を音量として反映させる処理)を実行することとなる。またこの際、該調整された音量で、音量調整確認音が出力されうる。
またこれも上述したが、この実施の形態にかかるパチンコ機1では、図示は割愛するが、音量調整用ボタン(演出選択左ボタン331や演出選択右ボタン332)とは別に、当該パチンコ機1が備える各種の演出用ランプ(周辺制御MPU1511aによる制御対象とされるランプ)に対する輝度調整用ボタンを備えており、輝度調整用ボタンが操作された旨判断されると各種の演出用ランプにかかる輝度に関して遊技者による設定値(輝度設定値)を変更させる処理を実行可能としている(周辺制御MPU1511a)。そして通常は、こうして輝度設定値が変更されると、上記周辺制御MPU1511aが、該変更された輝度設定値に基づいて発光輝度を調整する処理(輝度設定値を光量として反映させる処理)を実行することとなる。またこの際、輝度に関する遊技者設定値(輝度設定値)が低下されたり上昇されたりした時点での「音量設定値に応じた音量」で、輝度調整確認音が出力されうる。
なお、このような設定値(音量設定値、輝度設定値)にかかる変更受付と、該変更された設定値に応じた調整処理については、図柄が変動していない状態と、図柄が変動している状態とのいずれにおいても、遊技者による操作によってそれぞれ実行可能とされるようになっている。
またこれも上述したが、この実施の形態にかかるパチンコ機1では、第一始動口2002に遊技球が受け入れられたことに応じた第1当り判定が行われた場合と、第二始動口2004に遊技球が受け入れられたことに応じた第2当り判定が行われた場合とのいずれであっても、それら当り判定に応じた図柄変動(第1図柄変動,第2図柄変動)が行われた後には、遊技者に有利な特典(大当り遊技)が付与されうる。ただし、それらの特典に対する期待値は、第1当り判定(第1図柄変動)よりも第2当り判定(第2図柄変動)のほうが高くなるように設定されている。
なお、上述した例では、第一特別図柄に関連した大当りでは最大で大入賞口2103を長時間開放(例えば28.5秒)する開閉パターンを8回繰り返して概ね1000個の遊技球しか払い出されないのに対し、第二特別図柄に関連した大当りでは最大で大入賞口2103を長時間開放(例えば28.5秒)する開閉パターンを16回繰り返して概ね2000個の遊技球を払い出し可能となっている。
この点、この実施の形態にかかるパチンコ機1では、音量設定値の変更の受け付けは、「上記第1図柄変動及び上記第2図柄変動のいずれもが実行されていない遊技開始待ち状態」、「上記第1図柄変動が実行されており且つ上記第2図柄変動が実行されていない第一側実行状態」、及び「上記第1図柄変動が実行されておらず且つ上記第2図柄変動が実行されている第二側実行状態」のいずれにおいても許容されうるようになっており、且つそれら状態のいずれにおいても音量設定値の変更が許容される数値範囲が同じとされるようにしている。
このような構成によれば、いずれの状態(遊技開始待ち状態、第一側実行状態、第二側実行状態)にあったとしても、設定範囲などで制限を受けることなく音調整することができるようになることから、それぞれの状態に合わせた音調整を通じて遊技興趣を好適に維持することができるようになる。
また、この実施の形態にかかるパチンコ機1では、上述した「遊技開始待ち状態」及び「第一側実行状態」にあるときは、演出音の出力音量にかかる設定値(音量設定値)が変更されると音量調整確認音を出力させるが、上述した「第二側実行状態」では、音量設定値が変更されても音量調整確認音を出力しないように制御することとしている。
すなわち、「遊技開始待ち状態」では、遊技が実行されていない状況にあることから演出音が出力されておらず、音量設定値が変更されたときに音量調整確認音を出力しなければ、変更後の音量の大きさを可聴音として確認することができない。このため、「遊技開始待ち状態」にあるときは、演出音の出力音量にかかる設定値(音量設定値)が変更されると音量調整確認音を出力させるようにすることが望ましい。
また、「第一側実行状態」では、第1当り判定に応じた演出音が出力されている状況にはあるものの、該状況とは、大当りが得られる確率が相対的に低くされる低確遊技状態(低確非時短遊技状態)に制御されていることが多く、演出にそれほど期待が持てない。そして近年、こうした期待度の低い遊技状態にあるときには、遊技者は、スマートフォンなどの携帯機器を注視しながら遊技することが確認されている。したがって、「第一側実行状態」において音量設定値が変更されたときには、該変更のあったことや、変更後の音量の大きさを遊技者に対して確実に報知するべく、音量調整確認音を出力させるようにすることが望ましい。
一方、「第二側実行状態」では、第2当り判定に応じた演出音が出力されている状況にあり、大当りが得られる確率が相対的に高くされる高確遊技状態(高確時短遊技状態)に制御されていることが多い。このような状況では、演出に対する期待度も高いことから、演出を楽しむための音量調整が行われる傾向にあることから、音量設定値を変更したときに音量調整確認音を出力させるようにすると第2当り判定に応じた演出音やBGMが聞き取り難くなることによって遊技興趣が低下しかねない。したがって、「第二側実行状態」においては音量設定値が変更されても音量調整確認音を出力しないように制御することとし、これによって第2当り判定に応じた演出音やBGMなどをクリアに聞くことのできる環境下で音量調整の機会を付与することで、遊技興趣を好適に維持するようにすることが望ましい。
ただし、「第二側実行状態」では、演出に対する期待度が高まっており、第2図柄変動がハズレ態様で停止表示された以降もこれが再変動して大当り態様に変化される可能性を遊技者に対して意識させるための時間(余韻)を確保することが、遊技興趣の維持を図る上で重要であると言える。この点、「遊技開始待ち状態」に移行されてからすぐに当該「遊技開始待ち状態」にあるときの通常処理が行われるようなことがあると、「第二側実行状態」にかかる処理がハズレ態様で終了されて「遊技開始待ち状態」に移行された状態にあることを遊技者側が容易に察知可能となってしまい、遊技興趣の低下が懸念される。
したがって、「第二側実行状態」にかかる処理が終了して「遊技開始待ち状態」に移行される場合は、該「遊技開始待ち状態」に移行されてからの所定時間(例えば、3秒)にわたって、該「遊技開始待ち状態」にあるときの通常処理(音量設定値の変更を許容するとともに、音量設定値が変更されると音量調整確認音を出力させる処理)が行われないように制御することが望ましい。例えば、「第二側実行状態」から「遊技開始待ち状態」に移行されてからの所定時間(例えば、3秒)は、「音量設定値の変更は許容するが、音量設定値が変更されたとしても音量調整確認音を出力しない処理」や、「音量設定値の変更これ自体を許容しない処理」などが行われるようにすることが望ましい。ただし、「第二側実行状態」から「遊技開始待ち状態」に移行されてからの所定時間(例えば、3秒)にわたって「第二側実行状態」が未だ継続されている可能性をより積極的に意識付けさせる上では、「第二側実行状態」にあるときと同様、「音量設定値の変更は許容するが、音量設定値が変更されたとしても音量調整確認音を出力しない処理」を行うようにすることがより望ましいと言える。
一方、「第一側実行状態」では、演出に対する期待度が高まっておらず、基本的に、第1図柄変動はハズレ態様で停止表示される。したがって、「第一側実行状態」にかかる処理が終了して「遊技開始待ち状態」に移行される場合は、上述の「第二側実行状態」の場合とは異なり、当該「第一側実行状態」にあるときにも行われている上述の通常処理(音量設定値の変更を許容するとともに、音量設定値が変更されると音量調整確認音を出力させる処理)をそのまま継続して行うようにすることが望ましい。
ところで、「第一側実行状態」に制御されている状況においては、大当りになかなか当選しないストレスによって、比較的短い時間内で複数の操作手段に対する操作が入り乱れて行われるようなイタズラ操作が行われることが懸念される。すなわち、雑な扱いを受けた結果、それら操作手段のうち1つにでも異常や故障が発生すると操作性や演出性が著しく低下するようになり、遊技興趣のさらなる低下が避けられない。
そこで、「遊技開始待ち状態」に制御されているときのみならず、「第一側実行状態」に制御されている状況においても、複数の操作手段で操作検出が発生してイタズラされた可能性が高い状況になると、上述した「複数の操作手段に対するイタズラ防止(図203,図204を参照)」の説明例における演出制限期間(機能制限期間)を発生させるようにしてもよい。
すなわちこの場合、「遊技開始待ち状態(非遊技状態)」及び「第一側実行状態」のいずれかの状況において当該パチンコ機1が備える複数の操作手段のうち、予め定められたいくつかの操作手段(ここでは、操作ボタン410,刀部5010)に対する操作が所定の連続操作検出時間内でそれぞれ検出された場合、該検出を契機として、
・演出表示装置1600において、大当り判定に応じた遊技演出が実行されている状態では出現し得ない特定動画(警告動画)を表示(再生)した状態で、
・音量調整用ボタンに対する操作があっても、演出音の出力音量にかかる音量設定値の変更は受け付けられず、現在の音量設定値も表示されず、
・輝度調整用ボタンに対する操作があっても、演出用ランプにおける輝度にかかる輝度設定値の変更は受け付けられず、現在の輝度設定値も表示されない
といった、ペナルティが課される演出制限期間(機能制限期間)を所定時間(例えば、5分)にわたって発生させる制御を行うこととなる。演出表示装置1600における特定動画は、それ以前に「第一側実行状態」に関する画像が現れていたとしても表示されることとなる。なお、当該演出制限期間(機能制限期間)が発生したときから所定時間(例えば、5分)が経過すると、上記特定動画は非表示とされるようになり、音量に関する操作受付が許容されて音量調整確認音も出力されるようになり、輝度に関する操作受付が許容されて輝度調整確認音も出力されるようになる、といった「遊技開始待ち状態」または「第一側実行状態」としての正常状態に戻されることとなる。
なお、このような演出制限期間(機能制限期間)に関する詳細な内容や別例などについては、「複数の操作手段に対するイタズラ防止」の説明例における各内容を適宜に採用することが可能である。ただしこの場合、演出制限期間(機能制限期間)にあるときに「遊技開始待ち状態」から「第一側実行状態」に移行されたとしても演出制限期間(機能制限期間)を早期終了させず、「遊技開始待ち状態」にあるときと同じ条件のままで演出制限期間に関する各種の処理をそのまま継続させることとなる。これにより、期待度の低い「第一側実行状態」に制御されているときのイタズラ操作を抑制することが期待されるようになる。
これに対し、演出制限期間(機能制限期間)にあるときに「遊技開始待ち状態」から「第二側実行状態」に移行された場合は、図204を参照して上述した「演出制限期間(機能制限期間)の早期終了にかかる処理」やその変形例などを適宜に採用して実行することとなる。これにより、期待度の高い「第二側実行状態」がようやく実行されるようになったときの雰囲気が保持されることとなり、遊技興趣を好適に維持することが期待されるようになる。
また、上記説明例にあって、音量調整確認音や輝度調整確認音を出力しないときの手法については、音量調整確認音や輝度調整確認音をチャンネルに割り当てないようにすることのほか、音量調整確認音や輝度調整確認音をチャンネルに割り当てるがその音量値を「0」にすることによって実現することも可能である。
なお、音量調整確認音と輝度調整確認音とは同じ音として出力させることとし、いずれの「確認音」が出力されたのかは確認できないものの、何らかの「確認音」が出力された状態にあることは認識可能とするようにすることが望ましい。すなわち、確認音として様々な音を採用するようにしてしまうと、期待度を示唆する期待演出音である可能性を意識させてしまう事態が発生しかねず、遊技興趣が低下することが懸念されるためである。
また、上記説明例では、音量と輝度とのいずれかの設定値のみを変更可能とするようにしてもよい。
[操作受付が許容される期間(有効期間)これ自体の演出性]
図118を参照して説明した通り、この実施の形態にかかるパチンコ機1では、大当り判定の結果に基づいて複数の変動パターンのいずれを実行するかについての変動パターン判定を実行可能としている。そして、該変動パターン判定が行われた結果として一の変動パターンが選択されると、周辺制御MPU1511aでは、該選択された変動パターンの種別に対応して用意されている複数の期待演出(予告演出など)のうちいずれの期待演出(複数可)を選択的に出現させるかについての演出判定(予告判定など)を実行可能としている。なお、この演出判定の結果によっては、上記選択された変動パターンの種別に対応して用意されている複数の期待演出(予告演出など)の全てが順次実行されることとなる場合もありうるし、複数の期待演出(予告演出など)のいずれもが実行されないこととなる場合もありうる。
そして、こうした演出判定(演出パターン判定や、予告判定など)が行われると、該演出判定の結果に応じた演出内容を上記演出表示装置1600に表示させる制御を行うことで、大当り判定の結果に応じた装飾図柄による変動演出がその背景描写(背景予告)や可動体動作(役物演出)などにかかる期待演出(予告演出)とともに実行されることとなる。そしてこの結果、装飾図柄による変動演出が、その背景描写や可動体動作などにかかる期待演出とともに実行された結果、大当り図柄で停止表示されると、遊技者に対して特典としての大当り遊技が実行可能とされるようになる。
このような構成では、上記装飾図柄による変動演出が「大当り判定の結果として大当りが得られているか否かを示す機能」をもった演出として供されることとなり、その背景描写や可動体動作などにかかる期待演出が「大当りが得られていることについての期待度(0%や100%を含む)を示唆する機能」をもった演出として供されることとなる。すなわち、遊技者は、これらの演出を通じて遊技を楽しむこととなる。
そして、この実施の形態にかかるパチンコ機1では、上記変動パターン判定が行われた結果として第1の変動パターンが選択されると、予告演出判定の結果にかかわらず、該第1の変動パターンに基づく図柄演出が特定タイミングまで進展したときに演出受付が許容される操作受付演出(後述の「内在的受付演出」)を発生可能となっている。また、上記変動パターン判定が行われた結果として第2の変動パターンが選択された場合であっても、該第2の変動パターンに対応する予告演出判定で特別結果が得られたときには、該第2の変動パターンに基づく図柄演出が所定タイミングまで進展したときに演出受付が許容される操作受付演出(後述の「付加的受付演出」)を発生可能となっている。ただし、第2の変動パターンでは、予告演出判定で特別結果が得られなければ、該第2の変動パターンに基づく図柄演出が所定タイミングまで進展されても演出受付が許容される操作受付演出(有効期間)は発生しない。「内在的受付演出」を発生させる第1の変動パターンや、「付加的受付演出」を発生させうる第2の変動パターンについてはそれぞれ複数用意するようにしてもよい。若しくは、第1の変動パターンについては、「内在的受付演出」と「付加的受付演出」とをそれぞれ順次発生させうるものとして用意するようにしてもよい。
ただし、これらの条件等で発生しうる操作受付演出(有効期間)とは、その有効期間内で操作が検出されさえすれば、演出対象とされる演出部材に対して予め定められた変化(演出表示装置1600における表示変化、スピーカにおける演出音変化、ランプによる発光変化、及び可動装飾体による演出動作の少なくとも1つ)を発生させる操作後演出が実行されるだけであるから、操作受付演出(有効期間)これ自体の演出性に乏しいものとなっており、操作後演出が実行されるまでの遊技興趣の低下が懸念される。
そこで、この実施の形態にかかるパチンコ機1では、
・遊技者による操作が検出されたとき、変動パターンに基づく図柄演出内の予め定められたタイミングが到来するまで実行状態が継続される操作後演出を実行可能な第1操作演出手段と、
・遊技者による操作が検出されたとき、該検出のなされたタイミングからの経過時間が予め定められた時間値に達するまで継続されるかたちで操作後演出を実行可能な第2操作演出手段と
を備えることとしている。
このような構成によれば、第1操作演出手段による操作受付演出が実行される場合と、第2操作演出手段による操作受付演出が実行される場合とで、操作受付演出(有効期間)これ自体に異なる演出性が提供されるようになることから、操作後演出が実行されるまでの遊技興趣の向上を図ることが期待されるようになる。
すなわち、第1操作演出手段による操作受付演出は、有効期間内の早い時期または遅い時期のいずれに操作されたかに関係なく予め定められたタイミングまで操作後演出が実行される。したがって、有効期間が発生してすぐに操作するようにすることが、操作後演出としての実行状態が長く維持されて演出を楽しむ上で有利であるといえる。
これに対し、第2操作演出手段による操作受付演出では、有効期間内のいずれのタイミングで操作したとしても、その操作タイミングからの経過時間が予め定められた時間値に達するまで継続されるかたちで操作後演出が実行される。したがって、有効期間が発生してから暫くは操作せず遅い時期に操作するようにすることが、有効期間が開始されてから操作後演出が終了されるまでの全体としての演出時間を長く維持させて演出を楽しむ上で有利であるといえる。
なおこの場合、第1操作演出手段による操作受付演出と、第2操作演出手段による操作受付演出との演出発生条件は異なることとなる。例えば、第1操作演出手段による操作受付演出は、変動パターン判定が行われた結果として第1の変動パターンが選択され、該第1の変動パターンに基づく図柄演出(演出パターン)が特定タイミングまで進展したときに発生するものであり、第2操作演出手段による操作受付演出は、変動パターン判定が行われた結果として第2の変動パターンが選択され且つ該第2の変動パターンに対応する予告演出判定で特別結果が得られ、該第2の変動パターンに基づく図柄演出(演出パターン)が所定タイミングまで進展したときに発生するものとして実現することが可能である。若しくは、第1操作演出手段による操作受付演出は、変動パターン判定が行われた結果として第1の変動パターンが選択され、該第1の変動パターンに基づく図柄演出が特定タイミングまで進展したときに発生するものであり、第2操作演出手段による操作受付演出は、変動パターン判定が行われた結果として第1の変動パターンが選択され、該第1の変動パターンに基づく図柄演出が特定タイミングとは異なるタイミングまで進展したときに発生するものとして実現するようにしてもよい。
図207は、有効期間が発生してから検出されるまでに要した時間の長短にかかわらず演出パターン内の予め定められたタイミングが到来するまで継続されるかたちで操作後演出を実行する第1操作受付演出についてその一例を示すタイムチャートである。
いま、「演出受付が許容される第1操作受付演出」の発生に要する第1演出条件が満たされているなかで、変動パターンに基づく図柄演出(演出パターン)がタイミングtr1まで進展したとすると、該タイミングtr1まで進展したことに基づいて第1操作受付演出(有効期間)を発生させる。この第1操作受付演出(有効期間)は、演出受付がなされないままで所定の設定時間が経過したタイミングtr3が到来すると、操作後演出を実行せずに終了するものとなっている。演出受付が許容される第1操作受付演出の実行期間中は、操作対象とされる操作手段を摸した画像表示と有効時間がどれだけ残っているかのゲージ表示を行い、遊技者に操作を促す操作促進演出が行われる。
第1操作受付演出(有効期間)が開始されるときには、演出受付が許容された状態になったこと(または、演出受付が許容される状態になること)を示唆する受付許容音が出力される。ただし後述するが、この実施の形態にかかる周辺制御MPU1511aは、受付許容音については、上記所定の設定時間にわたってその出力状態を継続せず、上記所定の設定時間が未だ経過していない途中段階であるタイミングtr2において非出力の状態にされて可聴できないようにしている。
なお、ここでの「受付許容音が出力される」とは、タイミングtr1において「受付許容音が含まれる音データ」をチャンネルに対して新たに割り当てることのほか、チャンネルに対して既に割り当て状態になっている音データ内における「受付許容音の再生期間」をタイミングtr1に合わせて到来させることも含む概念である。若しくは、タイミングtr1に跨るように、タイミングtr1よりも前からその後までにわたって「受付許容音」を出力させるようにしてもよい。また、ここでの「非出力の状態にする」とは、「受付許容音が含まれる音データ」のチャンネルに対する割り当て状態を解除することのほか、該音データのチャンネルに対する割り当て状態は維持されるが、該音データ内における「受付許容音の再生期間」は終了されてそれ以降の音(無音データも含む)が再生される期間へと移行することも含む概念である。
そして上述の通り、このような第1操作受付演出では、遊技者による操作が検出されて演出受付がなされたことに基づいて操作後演出としての「第1演出部材を用いた操作起因処理」を開始させるが、こうして開始された操作後演出(第1演出部材を用いた操作起因処理)については、その有効期間内のいずれのタイミングで演出受付がなされた場合であっても、変動パターンに基づく図柄演出(演出パターン)内の予め定められたタイミングtr4が到来したときに終了させるようにしている。なお、「第1演出部材を用いた操作起因処理」としては、例えば、演出受付がなされたことに基づいて第1の装飾可動体を演出動作させる処理として実行することが可能である。
例えば、図207に示されるように、有効期間(タイミングtr1~tr3)内の比較的早いタイミングtr1aにおいて演出受付がなされたとすると、操作後演出(第1演出部材を用いた操作起因処理)は、該タイミングtr1aからタイミングtr4までの比較的長い時間にわたって実行される。これに対し、図207に示されるように、有効期間(タイミングtr1~tr3)内の比較的遅いタイミングtr2aにおいて演出受付がなされたとすると、操作後演出(第1演出部材を用いた操作起因処理)は、該タイミングtr2aからタイミングtr4までの比較的短い時間しか実行されないこととなる。
このような第1操作受付演出によれば、有効期間が発生してすぐに操作するようにすることが、操作後演出としての実行状態(第1演出部材を用いた操作起因処理の実行状態)が長く維持されて演出を楽しむ上で有利となる、といった演出性を提供することができるようになる。
なお後述するが、第1操作受付演出では、受付許容音が出力状態にあるときに演出受付がなされ、該演出受付に基づいて操作後演出(第1演出部材を用いた操作起因処理)が実行された場合であっても、受付許容音の出力状態は解除されず、予め定められたタイミングtr2までその出力状態を維持するようになっている。
図208は、検出のなされたタイミングからの経過時間が予め定められた時間値に達するまで継続されるかたちで操作後演出を実行する第2操作受付演出についてその一例を示すタイムチャートである。
いま、「演出受付が許容される第2操作受付演出」の発生に要する第2演出条件が満たされているなかで、変動パターンに基づく図柄演出(演出パターン)がタイミングtr11まで進展したとすると、該タイミングtr11まで進展したことに基づいて第2操作受付演出(有効期間)を発生させる。この第2操作受付演出(有効期間)も、第1操作受付演出の場合と同様、演出受付がなされないままで所定の設定時間が経過したタイミングtr13が到来すると、操作後演出を実行せずに終了するものとなっている。第1操作受付演出における所定の設定時間と、第2操作受付演出における所定の設定時間とは異なる時間値が設定されるものであってもよい。演出受付が許容される第2操作受付演出の実行期間中も、操作対象とされる操作手段を摸した画像表示と有効時間がどれだけ残っているかのゲージ表示を行い、遊技者に操作を促す操作促進演出が行われる。
第2操作受付演出(有効期間)が開始されるときも、演出受付が許容された状態になったこと(または、演出受付が許容される状態になること)を示唆する受付許容音が出力される。ただし後述するが、この実施の形態にかかる周辺制御MPU1511aは、この受付許容音についても、上記所定の設定時間にわたってその出力状態を継続せず、上記所定の設定時間が未だ経過していない途中段階であるタイミングtr12において非出力の状態にされて可聴できないようにしている。
なお、ここでの「受付許容音が出力される」も、タイミングtr11において「受付許容音が含まれる音データ」をチャンネルに対して新たに割り当てることのほか、チャンネルに対して既に割り当て状態になっている音データ内における「受付許容音の再生期間」をタイミングtr11に合わせて到来させることも含む概念である。若しくは、タイミングtr11に跨るように、タイミングtr11よりも前からその後までにわたって「受付許容音」を出力させるようにしてもよい。また、ここでの「非出力の状態にする」も、「受付許容音が含まれる音データ」のチャンネルに対する割り当て状態を解除することのほか、該音データのチャンネルに対する割り当て状態は維持されるが、該音データ内における「受付許容音の再生期間」は終了されてそれ以降の音(無音データも含む)が再生される期間へと移行することも含む概念である。
そして上述の通り、このような第2操作受付演出では、遊技者による操作が検出されて演出受付がなされたことに基づいて操作後演出としての「第2演出部材を用いた操作起因処理」を開始させるが、こうして開始された操作後演出(第2演出部材を用いた操作起因処理)については、その有効期間内のいずれのタイミングで演出受付がなされた場合であっても、該演出受付がなされたときからの経過時間が予め定められた時間値(例えば、有効期間としての上記所定の設定時間よりも長い設定時間)に達するまで継続させるようにしている。なお、「第2演出部材を用いた操作起因処理」としては、例えば、演出受付がなされたことに基づいて第2の装飾可動体を演出動作させる処理として実行することが可能である。
例えば、図208に示されるように、有効期間(タイミングtr11~tr13)内の比較的早いタイミングtr11aにおいて演出受付がなされたとすると、操作後演出(第2演出部材を用いた操作起因処理)は、該タイミングtr11aから予め定められた時間値が経過したタイミングtr14までにわたって実行される。これに対し、図208に示されるように、有効期間(タイミングtr11~tr13)内の比較的遅いタイミングtr12aにおいて演出受付がなされたとすると、操作後演出(第2演出部材を用いた操作起因処理)は、該タイミングtr12aから予め定められた時間値が経過したタイミングtr15(タイミングtr14よりも後に到来するタイミング)までにわたって実行されることとなる。
このような第2操作受付演出によれば、有効期間が発生してから暫くは操作せず遅い時期に操作するようにすることが、有効期間が開始されてから操作後演出が終了されるまでの全体としての演出時間を長く維持させて演出を楽しむ上で有利となる、といった演出性を提供することができるようになる。
なお後述するが、第2操作受付演出においても、受付許容音が出力状態にあるときに演出受付がなされ、該演出受付に基づいて操作後演出(第2演出部材を用いた操作起因処理)が実行された場合であっても、受付許容音の出力状態は解除されず、予め定められたタイミングtr12までその出力状態を維持するようになっている。
図207及び図208を参照して説明したように、第1,第2操作受付演出(有効期間)これら自体に異なる演出性を持たせて、それら操作受付演出(有効期間)を、互いに異なる演出条件の成立に基づいて発生させるようにしたことで、操作受付演出(有効期間)が発生してから操作後演出が行われるまでの遊技興趣を好適に維持することが期待されるようになる。
ただし、第1,第2操作受付演出(有効期間)にかかる構成を採用するだけでは下記課題が残される。すなわち、これらの操作受付演出(有効期間)では、有効期間内の早い時期に操作するほうが演出を楽しむ上で有利であったり、有効期間内の遅い時期に操作するほうが演出を楽しむ上で有利であったりするなど、演出を楽しむ上で好ましい操作タイミングが決まっていることから、有効期間内における演出性には未だ乏しい面があり、遊技興趣の低下が懸念される。そこで、操作受付演出については、以下に説明する態様をもった特別操作受付演出として実行するようにすることがより望ましい。
図209は、特別操作受付演出についてその一例を示すタイムチャートである。
いま、特別操作受付演出の発生に要する特別演出条件が満たされているなかで変動パターンに基づく図柄演出(演出パターン)がタイミングtr21まで進展したとすると、該タイミングtr21まで進展したことに基づいて特別操作受付演出(有効期間)を発生させる。なお後述するが、この特別操作受付演出(有効期間)は、第1,第2操作受付演出の場合とは異なり、演出受付がなされないままで所定の設定時間が経過してタイミングtr23が到来することはないようになっており、操作がなくても有効期間内で演出受付が必ず発生して後述の操作後演出を実行させるものとなっている。これも後述するが、特別操作受付演出における所定の設定時間は、第1操作受付演出における所定の設定時間や第2操作受付演出における所定の設定時間よりも長い時間値が設定されている。
また、特別操作受付演出(有効期間)が開始されるときも、演出受付が許容された状態になったこと(または、演出受付が許容される状態になること)を示唆する受付許容音が出力される。ただし後述するが、この実施の形態にかかる周辺制御MPU1511aは、この受付許容音(図209)を、第1,第2操作受付演出に対応して発生する受付許容音(図207,図208)よりも長い時間にわたってその出力状態を継続させるようにしている。なお、この説明例では、図209に示される受付許容音についても、上記所定の設定時間が未だ経過していない途中段階であるタイミングtr22において非出力の状態にされて可聴できないようにしている。ただし、図209に示される受付許容音は、タイミングtr23が到来するまで出力状態が継続されうるものであってもよい。
なお、ここでの「受付許容音が出力される」も、タイミングtr21において「受付許容音が含まれる音データ」をチャンネルに対して新たに割り当てることのほか、チャンネルに対して既に割り当て状態になっている音データ内における「受付許容音の再生期間」をタイミングtr21に合わせて到来させることも含む概念である。若しくは、タイミングtr21に跨るように、タイミングtr21よりも前からその後までにわたって「受付許容音」を出力させるようにしてもよい。また、ここでの「非出力の状態にする」も、「受付許容音が含まれる音データ」のチャンネルに対する割り当て状態を解除することのほか、該音データのチャンネルに対する割り当て状態は維持されるが、該音データ内における「受付許容音の再生期間」は終了されてそれ以降の音(無音データも含む)が再生される期間へと移行することも含む概念である。
この点、特別操作受付演出では、その有効期間内で遊技者による操作が検出されて演出受付がなされると、該演出受付がなされたことに基づいて、図207で示した「第1の可動装飾体(第1演出部材)を用いた操作起因処理」と、図208で示した「第2の可動装飾体(第2演出部材)を用いた操作起因処理」とを並行させるかたちでそれぞれ開始するものとなっている。したがって、「第1演出部材を用いた操作起因処理」を開始させることとなるが、こうして開始された「第1演出部材を用いた操作起因処理」については、その有効期間内のいずれのタイミングで演出受付がなされた場合であっても、変動パターンに基づく図柄演出(演出パターン)内の予め定められたタイミングtr24が到来したときに終了させることとなるし、「第2演出部材を用いた操作起因処理」を開始させるが、こうして開始された「第2演出部材を用いた操作起因処理」については、その有効期間内のいずれのタイミングで演出受付がなされた場合であっても、該演出受付がなされたときからの経過時間が予め定められた時間値(例えば、有効期間としての上記所定の設定時間よりも長い設定時間)に達するまで継続させることとなる。
例えば、図209に示されるように、有効期間(タイミングtr21~tr23)内の比較的早いタイミングtr21aにおいて演出受付がなされたとすると、操作後演出のうち「第1演出部材を用いた操作起因処理」は、該タイミングtr21aからタイミングtr24までの比較的長い期間にわたって実行されるが、操作後演出のうち「第2演出部材を用いた操作起因処理」は、該タイミングtr21aから予め定められた時間値が経過したタイミングtr25で終了されてしまう。これに対し、図209に示されるように、有効期間(タイミングtr21~tr23)内の比較的遅いタイミングtr22aにおいて演出受付がなされたとすると、操作後演出のうち「第1演出部材を用いた操作起因処理」は、該タイミングtr22aからタイミングtr24までの比較的短い時間しか実行されないこととなるが、操作後演出のうち「第2演出部材を用いた操作起因処理」は、該タイミングtr22aから予め定められた時間値が経過したタイミングtr26(タイミングtr25よりも後に到来するタイミング)までにわたって実行されることとなる。
このように、この実施の形態にかかる特別操作受付演出とは、大当り判定の結果に基づいて特定の演出パターンが実行され、該特定の演出パターンとしての演出内容が特定タイミングまで進展したときに発生するものであり、当該特別操作受付演出(有効期間)内で演出受付がなされると、「演出パターン内の予め定められたタイミングが到来するまで実行状態が継続される第1演出部材を用いた操作起因処理」と、「演出受付されたタイミングからの経過時間が予め定められた時間値に達するまで継続される第2演出部材を用いた操作起因処理」とをそれぞれ実行させるものである。
このような特別操作受付演出によれば、有効期間が発生してすぐに操作すると、操作後演出のうち「第1演出部材を用いた操作起因処理」の実行状態を長く維持することができるようになる代償として、操作後演出のうち「第2演出部材を用いた操作起因処理」の終了タイミングが比較的早い段階で到来することとなる。そうかといって、有効期間が発生してから暫くは操作せず遅い時期に操作するようにすると、操作後演出のうち「第2演出部材を用いた操作起因処理」の終了タイミングについてはこれを比較的遅い段階で到来させることができるようになるものの、操作後演出のうち「第1演出部材を用いた操作起因処理」の実行状態を長く維持することができなくなるデメリットが生じるようになる。
すなわち、特別操作受付演出では、演出的に盛り上げる上で最も望ましい操作タイミングというものが存在しないことから、
・「第2演出部材を用いた操作起因処理」が終了されるまでの時間を短くすることとの引き換えに「第1演出部材を用いた操作起因処理」の実行状態を長くしてこれを楽しむのか(有効期間内の早い段階で操作するのか)、若しくは、
・「第1演出部材を用いた操作起因処理」の実行状態を短くすることとの引き換えに「第2演出部材を用いた操作起因処理」が終了されるまでの時間を引き延ばしてこれを楽しむのか(有効期間内の遅い段階で操作するのか)、若しくは、
・「第1演出部材を用いた操作起因処理」が実行状態として維持される時間と、「第2演出部材を用いた操作起因処理」が終了されるまでの時間とを少しずつ犠牲にし、全体としてのバランスを取るようにするのか(有効期間内の早くも遅くもないタイミングで操作するのか)
といった戦略的な操作演出性を特別操作受付演出これ自体に持たせることができるようになり、これによって遊技者の気分に応じて操作タイミングを選択させることのできる飽きの生じ難い操作受付演出を提供することができるようになる。
なお後述するが、特別操作受付演出では、受付許容音が出力状態にあるときに演出受付がなされると、該演出受付に基づいて、操作後演出(第1演出部材を用いた操作起因処理、第2演出部材を用いた操作起因処理)が実行されるとともに、受付許容音の出力状態がこの時点で解除されるようになっている。
ここで、上記説明例では、特別操作受付演出(図209)内で演出受付がなされると、「演出パターン内の予め定められたタイミングが到来するまで実行状態が継続される第1演出部材を用いた操作起因処理」と、「演出受付されたタイミングからの経過時間が予め定められた時間値に達するまで継続される第2演出部材を用いた操作起因処理」とをそれぞれ実行させることとした。ただし、特別操作受付演出が発生した場合であっても、所定の演出条件が満たされていないとき(例えば、大当り判定に落選している場合や、所定の演出判定に落選している場合など)には、当該特別操作受付演出内で演出受付がなされたとしても「第1演出部材を用いた操作起因処理」は行われず、所定の演出条件が満たされている場合(図209)と比較して「予め定められた時間値」が相対的に短く設定された「第2演出部材を用いた操作起因処理」が異なる演出態様で行われるようにすることがより望ましい。
このような構成によれば、特別操作受付演出が発生した場合であっても、所定の演出条件が満たされていないときには、「演出パターン内の予め定められたタイミングが到来するまで実行状態が継続される第1演出部材を用いた操作起因処理」と、「演出受付されたタイミングからの経過時間が予め定められた時間値に達するまで継続される第2演出部材を用いた操作起因処理」とのうち一方しか実行されない操作受付演出(第1,第2操作受付演出)と同等の演出内容に成り下がることから、こうした演出リスクを持たせるようにすることで特別操作受付演出が発生したときの緊張感を好適に維持することができるようになる。なおこの意味では、特別操作受付演出で「演出パターン内の予め定められたタイミングが到来するまで実行状態が継続される第1演出部材を用いた操作起因処理」と、「演出受付されたタイミングからの経過時間が予め定められた時間値に達するまで継続される第2演出部材を用いた操作起因処理」とが並行される操作後演出が実行されたときには、第1操作受付演出や第2操作受付演出で操作後演出が現れたときよりも大当り図柄が現れる割合が高くなるようにすることが望ましい。
ただし、特別操作受付演出内で操作したにもかかわらずこれがうまく検出されず(検出エラー)、演出受付がなされないようなことがあり、この結果として演出受付がなされないままで有効期間が終了するようなことがあると、操作したのに「第1演出部材を用いた操作起因処理」が行われない様子を見た遊技者が、一方しか実行されない操作受付演出に成り下がってしまったように誤認して、遊技興趣が低下することが懸念される。したがって、特別操作受付演出については、上述の通り、その有効期間内で遊技者による操作がなくても、有効期間内で操作受付を自動発生(自動受付)させて、「演出パターン内の予め定められたタイミングが到来するまで実行状態が継続される第1演出部材を用いた操作起因処理」と、「演出受付されたタイミングからの経過時間が予め定められた時間値に達するまで継続される第2演出部材を用いた操作起因処理」とがそれぞれ実行されるようにすることが望ましい。操作受付を自動発生(自動受付)させる手法やこれに関連した演出態様としては、上述または後述の各例のいずれか、若しくは適宜の組み合わせ、さらにはなお書き記載の内容を用いることが可能である。
上記説明例では、第1操作受付演出、第2操作受付演出、及び特別操作受付演出の発生に際して、演出受付が許容された状態になったことを示唆する受付許容音を出力させることとした。この点、この実施の形態にかかるパチンコ機1では、図207~図209に示されるように、特別操作受付演出の発生に際して出力される受付許容音を、第1操作受付演出や第2操作受付演出の発生に際して出力される受付許容音よりも長い時間にわたってその再生状態が継続されうる演出音として用いることとしている。
このような構成によれば、演出受付が許容されるようになったとき(操作対象となる操作手段を摸した画像表示や、有効時間がどれだけ残っているかのゲージ表示が表示されたとき)から出力状態とされる受付許容音がどれだけ継続されるかを確認することで、当該操作受付演出が、「演出パターン内の予め定められたタイミングが到来するまで実行状態が継続される第1演出部材を用いた操作起因処理」と、「演出受付されたタイミングからの経過時間が予め定められた時間値に達するまで継続される第2演出部材を用いた操作起因処理」とをそれぞれ実行させる特別操作受付演出であるか否かを認識することができるようになる。ただしこれは、「第1演出部材を用いた操作起因処理」を実行状態にて維持することができる残り時間を少なくすること(演出受付がなされるタイミングを遅らせること)との引き換えになし得ることであり、当該操作受付演出が「特別操作受付演出」であるか否かを認識した頃には、遊技者が選択しうる演出的戦略性は狭められるというデメリットが生じることとなる。
ただし、特別操作受付演出であるか否かを認識した場合であっても、演出的戦略性はある程度残されるようにすることが重要である。したがって、第1操作受付演出や第2操作受付演出の発生に際して出力される受付許容音の出力時間(タイミングtr1~tr2,tr11~tr12)については、「特別操作受付演出(有効期間)としての所定の設定時間(タイミングtr21~tr23)」の半分未満である特定時間が経過したときに非出力の状態にされるものとして実行するようにすることが望ましい。このような構成によれば、「特別操作受付演出(有効期間)としての所定の設定時間(タイミングtr21~tr23)」の半分未満の特定時間が経過したときに受付許容音が非出力状態とされずその出力状態を維持するものであれば、特別操作受付演出の実行中であることを認識することができるようになることから、「特別操作受付演出(有効期間)としての所定の設定時間(タイミングtr21~tr23)」の半分以上の時間が残された状態での演出的戦略性を提供することができるようになる。
また上述の通り、この実施の形態にかかるパチンコ機1では、第1操作受付演出や第2操作受付演出の発生に際して出力される受付許容音については、その出力状態にあるときに演出受付がなされたとしてもその出力状態を維持させるのに対し、特別操作受付演出の発生に際して出力される受付許容音については、その出力状態にあるときに演出受付がなされるとその出力状態を強制終了させるようにしている。すなわちこの場合、特別操作受付演出であるか否かを認識していない状況(受付許容音が出力されてから上記特定時間が経過していない状況)において演出受付がなされたときには、当該操作受付演出が「特別操作受付演出」であったのかと、操作後演出としてより期待度の高い態様が現れたかが重要な関心事となるが、そのうちの一方(当該操作受付演出が「特別操作受付演出」であったのか)については、演出受付を契機として受付許容音の出力状態が終了されたか否かを確認するだけで容易に認識することができるようになる。例えば、受付許容音の出力状態が終了されず、その結果として第1操作受付演出または第2操作受付演出が発生していることを認識したとしても、気持ちを切り替えて「操作後演出としてより期待度の高い態様が現れたか」に集中させることが期待されるようになる。なおこの場合、「操作後演出としてより期待度の高い態様が現れると、図柄停止されるまでの間に、特別操作受付演出が新たに発生する割合が高くなる関係性を持つように演出設計することが望ましい。
また上述の通り、第1操作受付演出、第2操作受付演出、及び特別操作受付演出では、各操作受付演出で操作対象として用いられている操作手段を摸した画像表示と、有効時間がどれだけ残っているかのゲージ表示とをそれぞれ表示し、遊技者に操作を促す操作促進演出が行われる。この点、少なくとも特別操作受付演出では、演出受付された場合、ゲージ表示を残した(表示した)ままで、「演出パターン内の予め定められたタイミングが到来するまで実行状態が継続される第1演出部材を用いた操作起因処理」と、「演出受付されたタイミングからの経過時間が予め定められた時間値に達するまで継続される第2演出部材を用いた操作起因処理」とをそれぞれ開始させることが望ましい。このような構成によれば、演出受付がなされたタイミングが有効期間内のいずれのタイミングであるのかを、表示として残されているゲージ残量をもとに演出受付後に認識させることができるようになり、これによって第1演出部材を用いた操作起因処理にかかる実行状態がすぐに終わってしまうのかなどを予測することができるようになる。なお、このようにゲージ表示(バー表示)を残したままで操作後演出を開始させる手法としては、上述または後述の各例のいずれか、若しくは適宜の組み合わせを用いることが可能である。
特別操作受付演出では、演出受付が許容されるよりも前からその発生を示唆する操作関連表示(前兆演出)を実行することで、特別操作受付演出が発生してすぐに操作することを可能ならしめるようにすることが望ましい。このような構成によれば、特別操作受付演出(有効期間)内の全期間にわたる演出的戦略性を遊技者が好適に享受することが期待されるようになる。これに対し、第1操作受付演出や第2操作受付演出においても、演出受付が許容されるよりも前からその発生を示唆する操作関連表示(前兆演出)を実行するようにすることが望ましいが、該操作関連表示についてはこれを「タイミング示唆機能に劣る短時間の前兆演出」として実行されるようにすることが、期待度の高い特別操作受付演出が発生した場合と比べて過渡な期待を持たせないようにする上で望ましい。
ここで、第1操作受付演出や第2操作受付演出の有効期間が発生するのに先立って上記演出表示装置1600で行われる操作関連表示(タイミング示唆機能に乏しい短時間の前兆演出)としては、例えば、「操作手段を摸した画像表示」をフェードインの態様で出現させるときのフェードイン状態(白抜き画像など)で表示されている画像などとして実現することが可能である。
図210は、第1操作受付演出や第2操作受付演出が行われるときの操作関連表示にかかる処理と、受付許容音が含まれる音データのチャンネル割り当てに関する処理とについてその一例を示すタイムチャートである。
すなわち、人間工学的には、有効期間の発生に際して数フレーム分(例えば、0.2秒)前からその示唆画像(操作関連表示)を表示するようにするだけで、有効期間が発生して間もないタイミングでの演出受付がなされるように操作することが可能となることが知られている。ただし、そうかといって、数フレーム分とは言え、有効期間が発生していないにもかかわらず「操作手段を摸した画像表示」を通常時態様で表示させるようにしてしまうと、「操作手段を摸した画像表示」が表示されている状態で操作したにもかかわらず演出受付がなされない状況が発生しかねず、遊技興趣の低下が懸念される。
そこで、この実施の形態にかかるパチンコ機1では、同図210に示されるように、第1操作受付演出や第2操作受付演出の有効期間が発生するよりも数フレーム分前のタイミングtrAが到来したことに基づいて操作関連表示を開始させるが、有効期間が発生していない状況においては「操作手段を摸した画像表示」が通常態様で表示されることはないようにしている。
より具体的には、タイミングtrAでは、「操作手段を摸した画像表示」がフェードインの態様で表示されている状態にあるフェードイン画像や、所定のエフェクト画像などとして実現することのできる「許容前操作関連表示」を開始させる。そして、こうして「許容前操作関連表示」が表示されている状態で上記タイミングtr1(または、タイミングtr11)が到来すると、「許容前操作関連表示」が表示される状態から「操作手段を摸した画像表示」が通常態様で表示される状態へと移行されることとなる。
この点、この実施の形態にかかるパチンコ機1では、上述の通り、有効期間の発生に際しては演出受付が許容された状態になったことを示唆する受付許容音を出力させるものとなっているが、この受付許容音については、同図210に示されるように、タイミングtrAでその出力を開始させることはせず、上記タイミングtr1(または、タイミングtr11)でその出力を開始させるようにしている。
すなわち、有効期間が発生して間もないタイミングでの演出受付がなされるように操作することを可能ならしめる上では、受付許容音についても、有効期間が発生するよりも数フレーム分前から出力させるようにすることが望ましいのではないかとも思える。しかしながら、受付許容音を、有効期間が発生するよりも数フレーム分前から出力させるようにしてしまうと、その出力タイミングが、「操作手段を摸した画像表示」の出現タイミングとの間でズレることになり、この結果として音ズレが生じたかのような違和感を与えかねず、遊技興趣の低下が懸念される。一方、タイミングtrA~tr1(タイミングtrA~tr11)の期間において、受付許容音とは異なる許容前操作関連音を出力させることも可能ではある。ただし、このような短期間で許容前操作関連音を出力させるようにすると、該許容前操作関連音が、独立した演出音ではなく、受付許容音と一体化して聞こえることにもなりかねず、結局、音ズレが生じたかのような違和感を生じさせることが懸念される。
したがって、この実施の形態にかかるパチンコ機1では、第1操作受付演出や第2操作受付演出の有効期間の発生に先立って、操作関連表示(許容前操作関連表示)についてはこれを数フレーム分前から開始させるようにする一方で、操作関連音(許容前操作関連音)についてはこれをあえて実行せず、有効期間が発生するときに受付許容音を出力させるに留めるようにしている。すなわちこの場合、同図210に示されるように、タイミングtr1が到来したことに基づいて「受付許容音が含まれる音データ」をチャンネルに割り当てることにより受付許容音を出力させることとなる。
なお、図210に示される例では、タイミングtr2が到来したときに「受付許容音が含まれる音データ」のチャンネルに対する割り当て状態を終了させることで、受付許容音を非出力状態にするようにしている。ただし、「受付許容音が含まれる音データ」これ自体は、タイミングtr2以降もチャンネルに対する割り当て状態を継続させるようにしてもよく、例えば、タイミングtr3が到来するまでチャンネルに対する割り当て状態が継続されるようにしてもよい。すなわちこの場合、音データこれ自体はチャンネルに割り当てられたままとされるが、該音データ内における「受付許容音の再生期間」はタイミングtr2で終了されることとなる。
また、図210に示される例では、タイミングtr1~tr2(タイミングtr11~tr12)の間で演出受付がなされた場合、該演出受付が許容される状態を終了させるとともに「操作手段を摸した画像表示」を非表示にする。これに対し、「受付許容音が含まれる音データ」についてはチャンネルに対する割り当て状態を維持させるようにしており、受付許容音がその途中で強制終了されることはないことは上述した通りである。
図211は、特別操作受付演出が行われるときの操作関連表示にかかる処理と、受付許容音が含まれる音データのチャンネル割り当てに関する処理とについてその一例を示すタイムチャートである。
同図211に示されるように、特別操作受付演出においても、その有効期間が発生するタイミングtr21よりも前のタイミングtrBが到来したときから操作関連表示(許容前操作関連表示)が行われる。ただし、「タイミングtrB~tr21の期間」は、図210に示した「タイミングtrA~tr1の期間」に対して2倍(より好ましくは10倍)を超える長さを持っており、これによって当該期間内で表示される許容前操作関連表示では、「演出受付がなされたときに行われる操作後演出が期待度の高い態様で行われるかについての期待度」または「大当り図柄が現れる期待度」が示唆されるように複数の演出態様のいずれかを選択的に出現可能としている。なお、有効期間が発生していない状況において、「操作手段を摸した画像表示」が通常態様で表示されることはない点は、図210に示した例の場合と同様である。
例えば、タイミングtrBにおいて開始される「許容前操作関連表示」では、図210で示した「許容前操作関連表示」とはその内容が異なっており、「操作手段を摸した画像表示」が後(タイミングtr21)に表示される箇所に向けて複数のエフェクト画像を繰り返し移動表示させ、該箇所にて非表示にするなどの若干ながらストーリー性のある前兆演出(図166~図184を参照しつつ説明した「特定の操作関連演出」のいずれかの態様を適用してもよい)として行われる。この際、エフェクト画像として複数の態様のいずれかを表示可能であり、それら態様のいずれが表示されたかによって期待度が示唆されることとなる。そして、こうして「許容前操作関連表示」が表示されている状態で上記タイミングtr21が到来すると、「許容前操作関連表示」が表示される状態から「操作手段を摸した画像表示」が通常態様で表示される状態へと移行されることとなる。
この点、特別操作受付演出においても、上述の通り、有効期間の発生に際しては演出受付が許容された状態になったことを示唆する受付許容音を出力させるものとなっているが、この受付許容音については、同図211に示されるように、タイミングtrBでチャンネルに対して割り当てられる音データ内の一部区間で再生される演出音として、タイミングtr21から出力させるようにしている。
すなわち上述の通り、特別操作受付演出では、その有効期間の発生前に「有効期間が発生してすぐの操作を可能ならしめる上で人間工学的に必要とされる最低限の時間」よりも大幅に長い時間(タイミングtrB~tr21)を用いて演出性の高い「許容前操作表示」を行うものとなっている。したがって、このような演出期間(タイミングtrB~tr21)における演出性をより高める上では、同期間内で表示される「許容前操作関連表示」に見合った演出音(許容前操作関連音)を出力させるようにすることが望ましい。また、演出期間(タイミングtrB~tr21)は演出を行う上で十分な長さを有していることから、該期間内で演出音(許容前操作関連音)を出力させたとしても、受付許容音と一体化した音として聞こえるような不都合も生じ得ない。
そこで、この実施の形態にかかるパチンコ機1では、タイミングtrBが到来すると、許容前操作関連表示を上記演出表示装置1600で表示するとともに許容前操作関連音を出力させ、これらの出力状態をタイミングtr21まで継続させるようにしている。そして、タイミングtr21が到来すると、「許容前操作関連表示」が表示される状態から「操作手段を摸した画像表示」が通常態様で表示される状態へと移行されるとともに、「許容前操作関連音」が出力される状態から「受付許容音」が出力される状態へと移行されるようにしている。
この点、図211に示した例では、タイミングtrBが到来したことに基づいて「許容前操作関連音」の再生区間と「受付許容音」の再生区間とが含まれる1つの音データをチャンネルに対して割り当てることで、タイミングtrB~tr22までの期間における上述した演出音出力を実現することとしている。
このような構成によれば、特別操作受付演出では、その有効期間の発生に際して出力される受付許容音については、前兆演出から特別操作受付演出に跨るかたちでチャンネルに割り当てられる音データ内の一部期間で再生される演出音として出力されることとなる。すなわちこの場合、特別操作受付演出が発生するよりも前(前兆演出の発生時など)に1つの音データをチャンネルに割り当てるだけで、前半部分は前兆演出(許容前操作関連表示)に応じた演出音(許容前操作関連音)が流れることで特別操作受付演出の発生するタイミングを示唆することができるようになることはもとより、有効期間が発生した以降は、演出受付に基づいてそのチャンネル割り当てを適宜に解除することができるようになることから、演出受付がなされた後にも特別操作受付演出が実行されていたことを遊技者に認識させることができるようになる。なお、「許容前操作関連音」の再生区間と「受付許容音」の再生区間とが含まれる「1つの音データ」にかかる出力手法としては、まず、期待度(図柄変動が停止されたときに大当り図柄が現れる割合)の異なる複数の音データを用意した上で、それら音データのいずれか1つ(1つの音データ)を、大当り判定(若しくは演出判定(予告判定など))の結果に基づいてチャンネルに対して選択的に割り当てることによって、タイミングtrB~tr22までの期間における上述した演出音出力を実現するようにすることが望ましい。そしてこの場合、複数の音データには、「許容前操作関連音(前兆演出)」の再生区間では同じ演出音が出力されるが、「受付許容音(操作受付演出)」の再生区間では異なる演出音が出力されるように構成された第1音データ及び第2音データが含まれるようにすることがより望ましい。
すなわち、特別操作受付演出では、タイミングtr21~tr22の間で演出受付がなされた場合、該演出受付が許容される状態を終了させるとともに「操作手段を摸した画像表示」を非表示にする。これに加えて、「受付許容音が含まれる音データ」についてもチャンネルに対する割り当て状態を終了させるようにしており、受付許容音にかかる出力がその途中で強制終了されるようになっていることは上述した通りである。したがって、演出受付がなされたときに受付許容音が強制的に非出力の状態にされるかを確認することで、演出受付がなされた後にも特別操作受付演出が実行されていたことを遊技者に認識させることができるようになる。
なお、1つの音データ(タイミングtrB~tr22)ではあっても、前兆演出(許容前操作関連表示)に対応する演出音(許容前操作関連音)の区間(前半部分)が再生状態になっている状況(タイミングtrB~tr21)では、遊技者による操作が行われたとしてもこれが強制終了されることはない。有効期間に対応する演出音(受付許容音)の区間(後半部分)が再生状態になっている状況(タイミングtr21~tr22)においてのみ遊技者による操作に基づいてチャンネルに対する割り当て状態が解除されることとなる。
当該1つの音データ(許容前操作関連音と受付許容音とが含まれる音データ)については、タイミングtrBよりも前に割り当てられて、タイミングtrBにおいては既に割り当て状態になっているものであってもよい。また上述の通り、タイミングtr22以降もチャンネルに対する割り当て状態を継続させるようにしてもよく、例えば、タイミングtr23が到来するまでチャンネルに対する割り当て状態が継続されるようにしてもよい。すなわちこの場合、音データこれ自体はチャンネルに割り当てられたままとされるが、該音データ内における「受付許容音の再生期間」はタイミングtr22で終了されることとなる。
なお、図210に示される例では、タイミングtr2が到来したときに「受付許容音が含まれる音データ」のチャンネルに対する割り当て状態を終了させることで、受付許容音を非出力状態にするようにしている。ただし、「受付許容音が含まれる音データ」これ自体は、タイミングtr2以降もチャンネルに対する割り当て状態を継続させるようにしてもよく、例えば、タイミングtr3が到来するまでチャンネルに対する割り当て状態が継続されるようにしてもよい。すなわちこの場合、音データこれ自体はチャンネルに割り当てられたままとされるが、該音データ内における「受付許容音の再生期間」はタイミングtr2で終了されることとなる。
図207~図211に示した構成では、操作受付演出の発生に伴う受付許容音として「出力状態の維持される長さが異なる複数の受付許容音」を用意しており、演出受付がなされたときの操作後演出が異なる特別操作受付演出と第1操作受付演出(または第2操作受付演出)とで異なる受付許容音を発生させるようにしている。したがって、受付許容音の出力状態がどれだけ継続されるかを確認するようにすれば、上述した演出的戦略性が狭められるデメリットはあるものの、特別操作受付演出と第1操作受付演出(または第2操作受付演出)とのいずれが発生しているのかを認識することができるようになる。
しかも、複数の受付許容音には、遊技者による操作が演出受付されたときにこれを契機としてその出力状態が終了される第1受付許容音(特別操作受付演出)と、その出力状態が継続される第2受付許容音(第1,第2操作受付演出)とが含まれるようにしている。したがって、受付許容音が出力状態にあるなかで演出受付がなされるように操作したときには、演出受付がなされたときに受付許容音の出力状態が終了されるかを確認することで、特別操作受付演出と第1操作受付演出(または第2操作受付演出)とのいずれが発生していたかをすぐに認識することができるようになる。
ただし、受付許容音とは、本来、有効期間が終了されたときには非出力の状態とされるべきものであり、操作後演出が開始されたときにその出力状態が維持されているようなことがあると、演出の邪魔にもなりかねない。この点、上記説明例では、演出受付がなされたときに出力状態が終了される受付演出音を、出力状態の維持される時間設定値が比較的長くされている側の第1受付許容音(特別操作受付演出)として用いるようにしている。
すなわちこの場合、「出力状態の維持される時間設定値が比較的短くされている側の第2受付許容音」の出力状態において演出受付がなされたときには、その出力状態は維持されることとなるが、第2受付許容音は、出力状態の維持される時間設定値がそもそも短くなっていることから、間もなく非出力の状態とされるようになり、演出の邪魔にはなり難いといえる。これに対し、「出力状態の維持される時間設定値が比較的長くされている側の第1受付許容音」の出力状態において演出受付がなされたときには、出力状態の維持される本来の時間設定値が残っていたとしても、その出力状態は終了されることから、演出の邪魔になることはなくなる。
しかも、受付許容音の出力状態がどれだけ継続されるかを確認することで、特別操作受付演出と第1操作受付演出(または第2操作受付演出)とのいずれが発生しているのかを認識しようする遊技者がいたとしても、第2受付許容音にかかる時間設定値が経過した段階で受付許容音の出力状態が維持されていれば、第2受付許容音ではなく、第1受付許容音が出力されている状況にあることを予測することが可能である。この点、第1受付許容音の出力状態が終了されるのを確認せずとも、演出受付を発生させたときに第1受付許容音が非出力の状態にされる様子を確認することで、特別操作受付演出が発生しているとの予測が正しいかを早期に確かめることができるようになる。
また、図207~図211に示した構成では、操作受付演出の有効期間の発生に際しては、間もなく有効期間が発生する状況にあることを示唆する許容前操作関連表示が行われるが、該許容前操作関連表示としては、表示時間の短い第1許容前操作関連表示(図210を参照)と表示時間の長い第2許容前操作関連表示(図211を参照)とが含まれる。この点、表示時間の短い第1許容前操作関連表示が行われるときには、「受付許容音が含まれる音データ」をチャンネルに対して非割り当ての状態とし、有効期間が発生するタイミングに合わせて「受付許容音が含まれる音データ」をチャンネルに対して割り当てることにより受付許容音を出力状態にするようにしている。すなわちこの場合、第1許容前操作関連表示に対応する演出音が出力されることはないが、音ズレが生じたかのような違和感を生じさせることなく、有効期間発生時からの操作を促すことができるようになる。
これに対し、表示時間の長い第2許容前操作関連表示が行われるときには、該第2許容前操作関連表示が行われているときから「受付許容音が含まれる音データ」をチャンネルに対して割り当ての状態とし、有効期間が発生するタイミングに合わせて受付許容音の再生区間が到来するようにすることにより受付許容音を出力状態にするようにしている。このような構成によれば、特別操作受付演出が発生するよりも前(前兆演出の発生時など)に1つの音データをチャンネルに割り当てるだけで、前半部分は前兆演出(許容前操作関連表示)に応じた演出音(許容前操作関連音)が流れることで特別操作受付演出の発生するタイミングを示唆することができるようになることはもとより、有効期間が発生した以降は、演出受付に基づいてそのチャンネル割り当てを適宜に解除することができるようになることから、演出受付がなされた後にも特別操作受付演出が実行されていたことを遊技者に認識させることができるようになる。
すなわち、図211に示される許容前操作関連表示では、それに応じた許容前操作関連音が出力されて有効期間の発生で受付許容音がさらに出力されるが、図210に示される許容前操作関連表示では、それに応じた許容前操作関連音が出力されず有効期間の発生で受付許容音が出力されることとなる。
なお、図207~図211に示した上記説明例にあって、「演出部材」としては、演出表示装置1600やスピーカ、演出ランプ、可動装飾体などを用いることができる。また、「第1演出部材」としては、演出表示装置1600、スピーカ、演出ランプ、及び可動装飾体のうちのいずれか1つを採用することが可能であり、「第2演出部材」としては、演出表示装置1600、スピーカ、演出ランプ、及び可動装飾体のうち「第1演出部材」とは異なるいずれか1つを採用することが可能である。
また、上記説明例において、特別操作受付演出と第1操作受付演出(または第2操作受付演出)とでは、操作対象とされる操作手段は必ずしも同じでなくてもよく、異なっていてもよい。操作対象とされる操作手段が異なっているときには、各有効期間内において表示される摸画像は異なることとなる。
第1操作受付演出では、「演出パターン内の予め定められたタイミングが到来するまで実行状態が継続される第1演出部材を用いた操作起因処理」を操作後演出として実行することとしたが、「演出パターン内の予め定められたタイミングが到来するまで実行状態が継続される第1演出部材を用いた操作起因処理」と「演出パターン内の予め定められたタイミングが到来するまで実行状態が継続される第2演出部材を用いた操作起因処理」とを操作後演出としてそれぞれ実行するようにしてもよい。またさらに、第1演出部材及び第2演出部材とは異なる演出部材を用いた操作起因処理をさらに実行するようにしてもよいが、第1操作受付演出に応じた操作後演出では、いずれの操作起因処理も、演出パターン内の予め定められたタイミングが到来するまで実行状態が継続されるものとして実行されることとなる。
第2操作受付演出では、「演出受付されたタイミングからの経過時間が予め定められた時間値に達するまで継続される第2演出部材を用いた操作起因処理」を操作後演出として実行することとしたが、「演出受付されたタイミングからの経過時間が予め定められた時間値に達するまで継続される第1演出部材を用いた操作起因処理」と「演出パターン内の予め定められたタイミングが到来するまで実行状態が継続される第2演出部材を用いた操作起因処理」とを操作後演出としてそれぞれ実行するようにしてもよい。またさらに、第1演出部材及び第2演出部材とは異なる演出部材を用いた操作起因処理をさらに実行するようにしてもよいが、第2操作受付演出に応じた操作後演出では、いずれの操作起因処理も、演出受付されたタイミングからの経過時間が予め定められた時間値に達するまで継続されるものとして実行されることとなる。
特別操作受付演出では、「演出パターン内の予め定められたタイミングが到来するまで実行状態が継続される第1演出部材を用いた操作起因処理」と「演出受付されたタイミングからの経過時間が予め定められた時間値に達するまで継続される第2演出部材を用いた操作起因処理」とを操作後演出として実行することとしたが、第1演出部材及び第2演出部材とは異なる演出部材を用いた操作起因処理をさらに実行するようにしてもよい。特別操作受付演出では、演出パターン内の予め定められたタイミングが到来するまで実行状態が継続されるものとして実行される操作起因処理と、演出受付されたタイミングからの経過時間が予め定められた時間値に達するまで継続されるものとして実行される操作起因処理とが混合されるものであればよい。
また、図207~図211に示した上記説明例にあって、特別操作受付演出の有効期間は、第1操作受付演出(または第2操作受付演出)の有効期間よりも長い時間値として設定されるようにしている。このように長い時間を設定することで、上述した演出的戦略性のある有効期間を楽しむことができるようになる。
表示時間の短い第1許容前操作関連表示(図210を参照)では、「演出受付がなされたときに行われる操作後演出が期待度の高い態様で行われるかについての期待度」または「大当り図柄が現れる期待度」が示唆されることはないが、表示時間の長い第2許容前操作関連表示(図211を参照)では、「演出受付がなされたときに行われる操作後演出が期待度の高い態様で行われるかについての期待度」または「大当り図柄が現れる期待度」が示唆されうるようにすることが望ましい。
比較的長い時間値として設定される「特別操作受付演出の有効期間」においては、期待度の異なる複数の表示態様のいずれかを出現させることで、「演出受付がなされたときに行われる操作後演出が期待度の高い態様で行われるかについての期待度」または「大当り図柄が現れる期待度」が示唆されうるようにすることが望ましい。
また、特別操作受付演出では、その有効期間内のいずれのタイミングで演出受付がなされたとしても、「演出受付に起因して発生する第1演出部材による演出」は、「演出受付に起因して発生する第2演出部材による演出」よりも早くその実行状態が終了される関係性となるようにすることが、操作後演出として同じ演出内容であることを遊技者に認識させるようにする上で望ましい。
図207~図211に示した上記説明例では、パチンコ機1として、第1操作受付演出、第2操作受付演出、及び特別操作受付演出をそれぞれ異なる演出条件の成立に基づいて発生可能とした。ただし、第1操作受付演出は非搭載としてこれが発生することはなく、第2操作受付演出及び特別操作受付演出をそれぞれ異なる演出条件の成立に基づいて発生可能とするようにしてもよい。若しくは、第2操作受付演出は非搭載としてこれが発生することはなく、第1操作受付演出及び特別操作受付演出をそれぞれ異なる演出条件の成立に基づいて発生可能とするようにしてもよい。若しくは、第1操作受付演出及び第2操作受付演出はそれぞれ非搭載としてこれらが発生することはなく、特別操作受付演出を、所定の演出条件の成立に基づいて発生可能とするようにしてもよい。
図207~図211に示した上記説明例で示した特別操作受付演出は、チャンネルに割り当てられている特定の演出音データ(例えば、BGMの演出音データ)を抑制態様または無音で出力しているなかで演出受付が許容される状態を発生させるものであってもよい。
[受付許容音についてのより詳細な演出性]
図118を参照して説明した通り、この実施の形態にかかるパチンコ機1では、大当り判定の結果に基づいて複数の変動パターンのいずれを実行するかについての変動パターン判定を実行可能としている。そして、該変動パターン判定が行われた結果として一の変動パターンが選択されると、周辺制御MPU1511aでは、該選択された変動パターンに対応して用意されている複数の期待演出(予告演出など)のうちいずれの期待演出(予告演出など)を選択的に出現させるかについての演出判定(予告判定など)を実行可能としている。なお、この演出判定の結果によっては、上記選択された変動パターンに対応して用意されている複数の期待演出(予告演出など)の全てが順次実行されることとなる場合もありうるし、複数の期待演出(予告演出など)のいずれもが実行されないこととなる場合もありうる。
そして、こうした演出判定(演出パターン判定、予告判定など)が行われると、該演出判定の結果に応じた演出内容を上記演出表示装置1600に表示させる制御を行うことで、大当り判定の結果に応じた装飾図柄による変動演出がその背景描写(背景予告)や可動体動作(役物演出)などにかかる期待演出(予告演出)とともに実行されることとなる。そしてこの結果、装飾図柄による変動演出が、その背景描写や可動体動作などにかかる期待演出とともに実行された結果、大当り図柄で停止表示されると、遊技者に対して特典としての大当り遊技が実行可能とされるようになる。
このような構成では、上記装飾図柄による変動演出が「大当り判定の結果として大当りが得られているか否かを示す機能」をもった演出として供されることとなり、その背景描写や可動体動作などにかかる期待演出が「大当りが得られていることについての期待度(0%や100%を含む)を示唆する機能」をもった演出として供されることとなる。すなわち、遊技者は、これらの演出を通じて遊技を楽しむこととなる。
例えば、この実施の形態にかかるパチンコ機1では、上記変動パターン判定が行われた結果としてSPリーチ(背景変更を伴うリーチ演出など)に発展する高期待変動パターン(SPリーチ変動パターン)のうち特定の変動パターンが選択された場合は、演出判定(予告判定など)としていずれの結果が得られたとしても、該特定の変動パターンに基づく図柄演出がSPリーチ中における特定タイミングまで進展すると(所定条件が成立すると)、演出受付が許容される操作受付演出(有効期間)を発生可能としている。ただし後述するが、該操作受付演出の発生に際して出力される受付許容音は、演出判定の結果に応じてその態様が異なるようにされており、これによって操作後演出が期待度の高い態様で実行される割合や、大当り図柄が停止される割合を示唆するようにしている。
また、この実施の形態にかかるパチンコ機1では、上記変動パターン判定が行われた結果としてリーチ状態すら形成されない低期待変動パターン(非リーチ変動パターン)のうち所定の変動パターンが選択された場合であっても該所定の変動パターンに対応する演出判定(予告判定など)で特別結果が得られたときには、該所定の変動パターンに基づく図柄演出が所定タイミングまで進展すると(所定条件が成立すると)、演出受付が許容される操作受付演出(有効期間)を発生可能としている。ただし、所定の変動パターンが選択された場合は、演出判定で特別結果が得られなければ該所定の変動パターンに基づく図柄演出が所定タイミングまで進展されても操作受付演出(有効期間)は発生しない。また、所定の変動パターンで発生する操作受付演出(有効期間)は、特定の変動パターンに基づく図柄演出がSPリーチ中における特定タイミングまで進展したときに発生する操作受付演出(有効期間)とは異なる演出として実行されるものである。
なお、予告演出判定としていずれの結果が得られたとしてもSPリーチ中における予め定められたタイミングになると操作受付演出(有効期間)を発生させる変動パターンについては、上記「特定の変動パターン」以外にも備えるようにしてもよい。ただし、予告演出判定としていずれの結果が得られたとしても予め定められたタイミングになると操作受付演出(有効期間)を発生させる変動パターンについては、低期待変動パターン(非リーチ変動パターン)には含まれないようにするか、若しくはその選択割合を低くするようにすることが望ましい。
ところで、これらの条件等で発生しうる操作受付演出(有効期間)とは、その設定時間(有効期間)内で操作が検出されさえすれば、演出対象とされる演出部材に対して予め定められた変化(演出表示装置1600における表示変化、スピーカにおける演出音変化、ランプによる発光変化、及び可動装飾体による演出動作の少なくとも1つ)を発生させる操作後演出が実行されるだけであるから、操作受付演出(有効期間)これ自体の演出性は乏しいものとなっており、操作後演出が実行されるまでの遊技興趣の低下が懸念される。
そこで、この実施の形態にかかるパチンコ機1では、まず、操作受付演出として、
・低期待変動パターン(所定の変動パターン)に基づく図柄演出(演出パターン)の実行期間中、当該変動パターン(演出パターン)に応じた「BGM再生(特定種別の演出音)」が非抑制態様で出力されているなかで操作機会を付与する低期待非抑制受付演出や
・高期待変動パターン(特定の変動パターン)に基づく図柄演出(演出パターン)の実行期間中、当該変動パターン(演出パターン)に応じた「BGM再生(特定種別の演出音)」が抑制態様または無音で出力されているか、非出力の状態(音データのうち可聴音が収録されている再生期間が終了しているか、チャンネル割り当てが終了されているなど)にされているなかで操作機会を付与する高期待抑制受付演出
を少なくとも発生可能としている。
このような構成では、操作機会を付与するのに際して、「BGM再生(特定種別の演出音)」の非抑制態様での出力が維持される場合(低期待非抑制受付演出)と、「BGM再生(特定種別の演出音)」が抑制態様または無音で出力されるか、非出力の状態にされる場合(抑制操作受付演出)とがあり、それら操作受付演出にかかる態様(低期待非抑制受付演出,高期待抑制受付演出)に応じて大当りに当選している割合(期待度)が異なるようになることから、操作機会が付与されるに際しての演出性(操作機会が付与されるのに際して「BGM再生(特定種別の演出音)」が抑制されるか否かの演出性)によって遊技興趣を向上させることができるようになる。
ただし、高期待抑制受付演出では、操作機会が付与されるのに際して「BGM再生(特定種別の演出音)」が抑制態様でまたは無音で出力されることから、低期待非抑制受付演出と比べて演出性が乏しくなることが懸念される。
この点、この実施の形態にかかるパチンコ機1では、後述するが、高期待抑制受付演出の発生に際しては、低期待非抑制受付演出の発生に際して出力されることのない特定音を、受付許容音として出力させうるようにしている。これにより、高期待抑制受付演出が発生したときの演出性が乏しくなることを好適に抑制することができるようになる。
しかも、この実施の形態にかかるパチンコ機1では、後述するが、高期待抑制受付演出の発生に際して出力される受付許容音を、低期待非抑制受付演出の発生に際して出力される受付許容音よりも長い時間にわたって出力状態が維持される音として用いることとしており、これによっても当該高期待抑制受付演出が発生したときの演出性が乏しくなることを好適に抑制するようにしている。
一方、高期待抑制受付演出では、操作機会が付与されるのに際して「BGM再生(特定種別の演出音)」が抑制態様または無音で出力されるか、非出力の状態にされることから、操作後演出が発生したときにはこれに応じた演出音を際立たせることが可能とされるようになる、といった側面もあり、この点では遊技興趣の向上を図る上で有益であるといえる。そこで、この実施の形態にかかるパチンコ機1では、後述するが、高期待抑制受付演出の発生に際して出力される受付許容音については、該受付許容音が出力状態にあるときに演出受付がなされると、該演出受付がなされたことに基づいてその出力状態を終了させるようにしている。これにより、受付許容音に邪魔されることなく、操作後演出に応じた演出音を際立たせることができるようになる。
また、この実施の形態にかかるパチンコ機1では、操作受付演出を、「演出受付が許容される設定時間内で操作が検出されなかった場合、操作後演出が発生せずに当該設定時間が終了される非自動受付態様」によって発生可能であることはもとより、「演出受付が許容される設定時間内で操作が検出されなかった場合であっても、操作後演出を発生可能な自動受付態様」によっても発生可能なものとなっている。
すなわち、操作受付演出を自動受付態様によって発生させるようにした場合、演出受付が許容される設定時間内で操作が検出されなかったとしても該操作が検出されたときと同じ操作後演出が実行されるようになることから、遊技者による操作が行われず、その結果として操作後演出を確認できなくなる事態が発生することを抑制することができるようになる。ただし後述するが、より厳密には、操作後演出のうち演出音にかかる出力時間は操作が検出されたときと同じとされるが、操作後演出のうち液晶表示にかかる出力時間は操作が検出されたときよりも短くされるようになっている。
また、この実施の形態にかかる自動受付態様(操作受付演出)では、後述するが、操作が検出されなかった場合、設定時間内の特定タイミングで演出受付を自動発生(自動ボタン機能を有効化)させ、該自動発生した演出受付に基づいて操作後演出を実行するようにしている。すなわちこの場合、遅くとも設定時間内の特定タイミングが到来するまでには演出受付が必ず発生するようになることから、設定時間内のうち特定タイミングよりも後の時間内では演出受付がなされることがなくなり、演出受付が許容される有効期間としての長さは実質的に短縮されるようになる。これにより、設定時間が終了した後に操作後演出を開始させるようにした場合とは異なり、演出的な間延びを生じさせないどころか、逆に演出テンポを早めるかたちでこのような自動ボタン機能の有効化を実現することができるようになる。
また、このように自動ボタン機能を設定時間内で有効化させるようにした場合は、設定時間が経過し終わっていない状況にあるにもかかわらず操作機会を実質的に喪失することとなることから、遊技者側としてもこれを恐れて設定時間内のより早い段階で積極的に操作を行うようになったり、演出に対する緊張感をもって遊技するようになったりすることが期待されるようになる。
なお、こうした作用効果を得るようにする上では、演出表示装置1600にて表示される「有効時間がどれだけ残っているかのゲージ表示」については、自動ボタン機能が有効化される特定タイミングまでの残り時間を示唆するものではなく、あくまでも設定時間が経過し終わるまでの残り時間を示唆するものとして表示させるようにすることが望ましい。こうした表示手法を採用した場合、自動受付態様で実行される操作受付演出では、ゲージ表示の残り時間が「0」になるよりも前の時点で演出受付が必ずなされることとなる。
しかも、この実施の形態にかかるパチンコ機1では、後述するが、非自動受付態様で実行される操作受付演出はもとより、上記自動受付態様で実行される操作受付演出においても、その発生に際しては、演出受付が許容される状態になったこと、または演出受付が許容される状態になることを示唆する受付許容音を出力させうるようにしている。これにより、操作し忘れによって演出受付が自動発生し、自らの操作によって演出受付を発生させることができなくなる事態についても好適に抑制することができるようになる。
またさらに、この実施の形態にかかるパチンコ機1では、自動受付態様で実行される操作受付演出の発生に際しては、非自動受付態様で実行される操作受付演出の発生に際して出力されることのない特定音が上記受付許容音として出力されうるようになっていることから、受付許容音の種別を確認することで、非自動受付態様ではなく、自動受付態様で実行される操作受付演出が発生していることを認識することができるようになる。
一方、操作後演出では、通常、期待度の低い態様で実行される演出リスクがあることから、該操作後演出が行われるように操作することが、遊技興趣の向上を図る上で必ずしもよいとは限らない、といった側面もある。そこで、この実施の形態にかかる非自動受付態様では、後述するが、演出受付が許容されたことを示唆するのに十分な時間だけ受付許容音を出力させたら該出力状態にある受付許容音を比較的早期に終了させることで、受付許容音が出力されていないなかで「演出受付を発生させるか否かを思案することのできる時間」を創出するようにしている。
ただし、自動受付態様で実行される操作受付演出においても受付許容音を仮に早期終了させたとすると、「自動ボタンが機能したことによって演出受付が許容されなくなった」との誤解を招いてしまう懸念が生じる。そこで、この実施の形態にかかる自動受付態様では、比較的長い時間にわたって受付許容音の出力状態を維持するようにしており、これによって自動ボタンが未だ機能しておらず演出受付が許容されている状態にあることを示唆するようにしており、ひいては「自動ボタンが未だ機能していない」という安心感のあるなかで遊技者による操作を促すことができるようになる。
そして、この実施の形態にかかるパチンコ機1では、操作受付演出として、このように「BGM再生(特定種別の演出音)」が抑制態様または無音で出力されているか、非出力の状態にされているなかで操作機会を付与する抑制受付演出(ここでは、高期待抑制受付演出)や、「BGM再生(特定種別の演出音)」が非抑制態様で出力されているなかで操作機会を付与する非抑制受付演出(ここでは、低期待非抑制受付演出)が、自動受付態様または非自動受付態様で発生可能とされているなかで、演出受付が許容される状態になったこと、または演出受付が許容される状態になることを示唆する受付許容音を、それらの独自の演出性をより高めるかたちでそれぞれ発生させるようにしている点に技術的特徴がある。
以下、このような技術的特徴について説明するが、該技術的特徴を説明するにあたり、「受付許容音」について改めて説明しておくと、該「受付許容音」とは、演出受付が許容される設定時間内で出力開始されて演出受付が許容される状態になったことを示唆したり、または演出受付が許容される設定時間が開始されるよりも前に出力開始されて演出受付が許容される状態になることを示唆したりするものであり、例えば、「ピキーン」などといった演出音として出力されるものである。ただし、演出受付が許容される設定時間が発生するよりも前から出力状態にされる場合は、該設定時間が発生するタイミングを跨るかたちで「受付許容音」の出力状態が維持されること(設定時間内(演出受付が許容されている期間内)においても出力状態にあること)が求められるし、「受付許容音」が出力状態にされてから設定時間が発生するまでの時間よりも、設定時間が発生してから「受付許容音」の出力状態が終了されるまでの時間のほうが長くなるように設定することが望ましい。この意味では、「受付許容音」とは、設定時間(有効期間)が発生するときにのみ出力可能とされるものであり、且つ該設定時間(有効期間)内では、出力状態になっている一方で、遊技者による操作に応じてまたは出力時間の経過によって非出力の状態(可聴できない状態)へと移行されうる設定時間内出力音であるとも言える。
また、「受付許容音」については、これ単独の演出音データとしてチャンネルに割り当てられて出力されるものであってもよいし(図210参照)、他の演出音(例えば、設定時間(有効期間)の発生前に実行される前兆演出や、上述した「特定の操作関連演出」などに合わせて出力される演出音など)と合わせた1つの演出音データとしてチャンネルに割り当てられて出力されるものであってもよく(図211参照)、その実現手法については適宜採用してもよい。
図212は、低期待非抑制受付演出が非自動受付態様で実行されるときの演出内容についてその一例を示すタイムチャートである。
いま、通常遊技状態(非確変・非時短)において始動条件が成立(保留消化)されて、変動パターン判定が行われた結果として「リーチ状態すら形成されない低期待変動パターン」のうち「所定の変動パターン」が選択されたとすると、上記周辺制御MPU1511aでは、まず、該所定の変動パターンに対応する演出判定(予告判定など)を行う。そしてこの後、装飾図柄の変動演出(所定の変動パターンに応じた演出描写や、所定の変動パターンに応じたBGM再生の音出力など)を開始させ、該変動演出の実行期間内で、予告演出判定の結果に応じた演出(予告演出)を、上記選択した「所定の変動パターン」にかかる演出(演出パターン)に対して付加的に実行させることとなる。なお、以下に説明する各演出例も含めて、変動パターン判定(主制御側)の結果に基づいて演出パターン判定(サブ制御側)を行い、該演出パターン判定の結果に基づいて予告判定(サブ制御側)を行う場合は、予告演出に関する処理に関して、「変動パターン判定」を「演出パターン判定」とし、「変動パターン」を「演出パターン」としてそれぞれ置き換えて処理するようにしてもよい。
そして上述の通り、所定の変動パターンに対応する演出判定(予告判定など)で特別結果が得られると、上記周辺制御MPU1511aでは、図212(b)に示されるように、装飾図柄の変動演出が開始されてから所定時間が経過したタイミングtr32が到来したときに演出受付が許容される操作受付演出(有効期間)を発生させる。ただし、この実施の形態にかかるパチンコ機1では、低期待変動パターン(所定の変動パターン)にかかる演出の実行期間中に発生させる操作受付演出(有効期間)については、
・該変動パターン(演出パターン)に応じた「BGM再生の音」が非抑制態様での出力状態を維持しているなかで演出受付が許容される設定時間を設定する「非抑制受付演出(図212(a),(b)を参照)」であり、且つ
・演出受付が許容される設定時間(タイミングtr32~tr33)内で操作が検出されなかった場合、操作後演出が発生せずに当該設定時間が終了される「非自動受付態様(図212(j)を参照)」
によって実行される「非抑制・非自動受付演出」として発生させるようにしている。
このような構成によれば、低期待変動パターン(所定の変動パターン)にかかる演出(演出パターン)の実行期間中は、「BGM再生の音」が抑制態様になることによって操作受付演出の発生を示唆する、といったような演出性を伴うことなく演出受付が許容される設定時間(有効期間)が突然設定されるようになることから(非抑制受付演出)、遊技者側からすれば不意を打たれるかたちとなり、操作しようとするときの動き始めに遅延が生じ易くなる。それにもかかわらず、設定時間(タイミングtr32~tr33)内で操作が検出されなかった場合は、操作後演出が発生せずに当該設定時間が終了されるようになっていることから(非自動受付態様)、操作後演出の発生機会を逃してしまうリスクを意識させることで、低期待変動パターン(所定の変動パターン)にかかる演出(演出パターン)の実行期間中にあるときの緊張感を好適に維持することができるようになる。
ただし、このような「非抑制・非自動受付演出」として実行されるとは言え、遊技者の意思に反して、操作後演出が発生せずに当該設定時間(タイミングtr32~tr33)が終了されるようなことが頻出すると、遊技興趣が低下することが懸念される。そこで、この実施の形態にかかる周辺制御MPU1511aでは、図212(b),(c),(g)に示されるように、演出受付が許容される設定時間(タイミングtr32~tr33)が発生するよりも少し前のタイミングtr31が到来したときに「受付許容音」を出力開始させ、タイミングtr32を跨るかたちでその出力状態を維持させるようにしている。これにより、設定時間(タイミングtr32~tr33)が発生するよりも少し前のタイミングtr31で演出受付が許容されることを認識することができるようになり、「遊技者の意思に反して、操作後演出が発生せずに当該設定時間(タイミングtr32~tr33)が終了される」ことを頻出し難くすることが期待されるようになる。ただし上述の通り、該「受付許容音」については、設定時間(タイミングtr32~tr33)が発生するよりも前に必ずしも発生させなくてもよく、例えば、設定時間の発生タイミングtr32の発生タイミングに合わせて発生させるようにしてもよい。
なお後述するが、この実施の形態にかかるパチンコ機1(周辺制御MPU1511a)では、「受付許容音」として、「ピキーン!」などの効果音として出力される第1許容音と、「押せ!」などのメッセージ音として出力される第2許容音とをそれぞれ用意することとしている。ただし、図212(d),(h)に示されるように、低期待変動パターン(所定の変動パターン)にかかる演出(演出パターン)の実行期間中に発生させる操作受付演出(有効期間)では、第2許容音(メッセージ音)が出力されることはなく、第1許容音(効果音)のみが出力されるようになっており、このような「受付許容音」にかかる出力制限によっても遊技者が操作しようとするときの動き始めに遅延が生じ易くなるようにしている。
ところで、低期待変動パターン(所定の変動パターン)にかかる演出(演出パターン)の実行期間中は、設定時間(有効期間)が突然設定されたり非自動受付態様として実行されたりすることに対する対策として、演出受付が許容されていない状態にあるときから操作手段(ここでは、操作ボタン410)を連打することによって、操作後演出の発生機会を逃さないように努めるようにする遊技者も現れうると考えられる。ただしこの場合、演出受付が許容されてすぐに操作後演出が開始されることとなることから、該開始された演出が「演出受付に応じて行われているもの(操作後演出)」であるのか、「演出受付とは関係のない単なる予告演出として自動発生したもの」であるのかを認識し難くなり、遊技興趣が低下する懸念がある。
そこで、図212(特に、図212(c))に示されるように、低期待非抑制受付演出では、設定時間(有効期間)が発生してから「受付許容音(第1許容音)」が出力状態にあるタイミングtr32aで演出受付がなされた場合、該設定時間(有効期間)これ自体は終了させる一方で、「受付許容音(第1許容音)」についてはこれを中途終了させず、第1許容音として出力し終わるタイミング(操作がなかったときと同じタイミング(図212(g))までその出力状態を維持させるようにしている。これにより、開始された演出が「演出受付に応じて行われているもの(操作後演出)」であるのか、「演出受付とは関係のない単なる予告演出として自動発生したもの」であるのかを認識し難くなる事態が発生することを抑制することができるようになる。
また、図212に示される演出例では、設定時間(有効期間)内で演出受付がなされると(図中では、タイミングtr32a)、演出受付に応じた操作後演出として、演出表示装置1600(第1演出部材)における操作後表示演出(液晶表示)と、スピーカ(第2演出部材)による操作後演出音出力(演出音)とが少なくとも発生するようになっている。図中では、操作後表示演出(液晶表示)と、スピーカによる操作後演出音出力(演出音)とが同じ時間だけ実行状態を維持するようになっているが、必ずしもこれに限られない。例えば、操作後表示演出(液晶表示)については、設定時間(有効期間)内のいずれのタイミングで演出受付がなされた場合であっても、タイミングtr33よりも後に到来する所定タイミングで非表示にされるものにするのに対し、操作後演出音出力(演出音)については、演出受付がなされたタイミングから予め定められた時間分だけ出力状態を維持するものにするようにしてもよい。ただし、いずれのタイミングで演出受付がなされた場合であっても、タイミングtr33が経過し終わっていない状態では、操作後表示演出(液晶表示)と操作後演出音出力(演出音)とのいずれも出力状態を維持するようにすることが求められる。
なお、図212に示される演出例では、設定時間(有効期間)が設定されるタイミングtr32が到来すると、演出表示装置1600において、当該低期待非抑制受付演出で操作対象とされている操作手段を摸した摸画像が表示されるとともに、設定時間が経過し終わるまでの残り時間を示唆するゲージ表示がそれぞれ行われる。摸画像やゲージ表示の表示手法としては、例えば、図159(R2)に示した手法を採用することが可能であり、それら表示画像(摸画像、ゲージ表示)は、演出受付が発生したことに基づいて非表示(いずれも同じタイミングで非表示)にされることとなる。
ただし、この実施の形態にかかるパチンコ機1に対して、操作指示がなされる全ての操作受付演出に対して自動ボタン機能を有効化させる「特殊な演出モード(自動ボタン演出状態)」を搭載し、遊技者による操作によって「特殊な演出モード」への設定と設定解除とを行うことが可能とされるようにしてもよい。すなわちこの場合、低期待変動パターン(所定の変動パターン)にかかる演出(演出パターン)の実行期間中に発生する操作受付演出であっても、「特殊な演出モード」に設定されている状態においては、「非抑制受付演出」であり且つ上述した「自動受付態様」で実行されることとなり、「特殊な演出モード」に設定されていない状態にあるときに限り「非抑制・非自動受付演出」として発生することとなる。ただし、当該明細書(特に、「受付許容音についてのより詳細な演出性」やそれに関連した記載)においては、特に断りがない限りは、「特殊な演出モード」に設定されていない状態にあるときや、当該パチンコ機1として「特殊な演出モード」を搭載していない場合の演出例として説明している。
図213及び図214は、高期待抑制受付演出が自動受付態様で実行されるときの演出内容についてその一例を示すタイムチャートである。
いま、通常遊技状態(非確変・非時短)において始動条件が成立(保留消化)されて、変動パターン判定が行われた結果として「SPリーチ(背景変更を伴うリーチ演出など)に発展する高期待変動パターン」のうち「特定の変動パターン」が選択されたとすると、上記周辺制御MPU1511aでは、まず、該特定の変動パターンに対応する演出判定(予告判定など)を行う。そしてこの後、装飾図柄の変動演出(特定の変動パターンに応じた演出描写や、特定の変動パターンに応じたBGM再生の音出力など)を開始させ、該変動演出の実行期間内で、演出判定の結果に応じた演出(予告演出)を、上記選択した「特定の変動パターン」にかかる演出(演出パターン)に対して付加的に実行させることとなる。
ただし上述の通り、「特定の変動パターン」にかかる演出(演出パターン)では、演出判定(予告判定)としていずれの結果が得られている場合であっても、図213(b)に示されるように、装飾図柄の変動演出が開始されてから特定時間が経過したタイミングtr42(SPリーチ状態内のタイミング)が到来したときに演出受付が許容される操作受付演出(有効期間)を発生させる。
この点、この実施の形態にかかるパチンコ機1では、特定の変動パターン内のタイミングtr42で発生させる操作受付演出(有効期間)については、
・該変動パターン(演出パターン)に応じた「BGM再生の音」が抑制態様または無音で出力されているなかで演出受付が許容される設定時間を設定する「抑制受付演出(図213(a),(b)を参照)」であり、且つ
・演出受付が許容される設定時間(タイミングtr42~tr43)内で操作対象にされている操作手段に対する操作が検出されなかった場合であっても、該設定時間内のタイミングtr42Aが到来すると、演出受付を内部的に自動発生させ(自動ボタン機能を有効化させ)、該演出受付がなされたことに基づいて操作後演出が開始される「自動受付態様(図213(j)を参照)」
によって実行される「抑制・自動受付演出」として発生させるようにしている。なお、「BGM再生の音」を抑制態様または無音で出力させる手法としては、該「BGM再生の音」これ自体のデータ内に無音区間(抑制区間)を予め設定しておく手法や、該「BGM再生の音」が割り当てられているチャンネルに対するボリューム値を抑制値(例えば、「0」)に設定変更させる手法や、これらの組み合わせなどを採用することができる。後述するが、この「抑制・自動受付演出」は、「第2抑制操作受付演出」とも呼称されるものであり、ここでの抑制態様は、「強抑制態様」とも呼称されるものである。
このような構成によれば、高期待変動パターンにかかる演出(演出パターン)の実行期間中(特定の変動パターンにかかる演出(演出パターン)におけるSPリーチ状態)では、「BGM再生の音」が抑制態様または無音で出力されることによって操作受付演出の発生を示唆する、といったような演出性を伴って演出受付が許容される設定時間(有効期間)が設定されるようになることから(抑制受付演出)、遊技者側からすれば、操作受付演出が発生してすぐに操作することが行い易くなる。これに加えて、設定時間(タイミングtr42~tr43)内で操作が検出されなかった場合であっても、操作後演出は、遅くとも設定時間内のタイミングtr42Aが到来したときに自動発生するようになっていることから(自動受付態様)、高期待時の操作受付演出で発生する操作後演出を見逃してしまうことのない安心感のあるなかで操作することを楽しむことができるようになる。
しかも、この実施の形態にかかる周辺制御MPU1511aでは、「抑制・自動受付演出」においても、上述の「非抑制・非自動受付演出」と同様、図213(b),(c),(g)に示されるように、演出受付が許容される設定時間(タイミングtr42~tr43)が発生するよりも少し前のタイミングtr41が到来したときに「受付許容音」を出力開始させ、タイミングtr42を跨るかたちでその出力状態を維持させるようにしている。これにより、「BGM再生の音」が抑制態様または無音で出力されている状態にあることを遊技者が認識しなかった場合であっても、タイミングtr41で演出受付が許容される状態が間もなく発生することを認識することができるようになり、「遊技者の意思に反して、自らの操作ではなく、自動ボタン機能の有効化によって演出受付がなされる」ことを頻出し難くすることが期待されるようになる。ただし上述の通り、該「受付許容音」については、設定時間(タイミングtr42~tr43)が発生するよりも前に必ずしも発生させなくてもよく、例えば、設定時間の発生タイミングtr42に合わせて発生させるようにしてもよい。
ただし、「BGM再生の音」が、非抑制態様で出力される状態から、抑制態様または無音で出力される状態(若しくは、非出力の状態)へと移行されるタイミングtr40については、上述の作用効果(抑制受付演出)を好適に得るようにする上では、図213(a)~(c)に示されるように、「タイミングtr40~tr41の長さ>タイミングtr41~tr42の長さ」といった関係性を持つように、「設定時間に対して先行発生する上述の受付許容音の出力開始タイミングtr41」よりもかなり前に到来するように設定することが重要であるといえる。
また、この実施の形態にかかる「抑制・自動受付演出」では、図213(c),(d),(g),(h)に示されるように、上述の「非抑制・非自動受付演出」の場合とは異なり、「受付許容音」として、「ピキーン!」などの効果音として出力される第1許容音だけではなく、「押せ!」などのメッセージ音として出力される第2許容音についてもタイミングtr41が到来したときに併せて出力開始させ、タイミングtr42を跨るかたちでその出力状態を維持させるようにしている。
このような構成によれば、当該パチンコ機1が備える複数の操作手段(操作ボタン410、刀装飾体5001など)のうちいずれの操作手段に対して操作すればよいかを、演出表示装置1600において操作対象とされる操作手段の摸画像が未だ表示されていない状態(タイミングtr41~tr42)にあるときから認識することのできる可能性が生じるようになることから、操作受付演出が発生してすぐに操作することが行い易くなる。すなわち後述するが、この実施の形態にかかる「抑制・自動受付演出」では、予告演出判定の結果に基づいて「操作対象として操作ボタン410を選択する場合」と「操作対象として刀装飾体5001を選択する場合」とがあり、操作ボタン410が操作対象とされた場合は、第2許容音(メッセージ音)として「押せ!」といったメッセージ音が出力され、刀装飾体5001が操作対象とされた場合は、第2許容音(メッセージ音)として「納刀せよ!」といったメッセージ音が出力されるようになっている。
なお、図213に示される演出例では、第1許容音及び第2許容音を同時に出力開始させることとしているが、第1許容音及び第2許容音がそれぞれ出力開始されるタイミングを互いに異ならせて順次に出力状態にされるようにしてもよい。そしてこの場合、第1許容音及び第2許容音のうち一方のみを設定時間(有効期間)が未だ発生していない状態から出力開始させるようにしてもよい。
また、この演出例では、図213(g),(h)に示されるように、「第1許容音」を相対的に短い時間だけ出力される演出音として採用し、「第2許容音」を相対的に長い時間にわたって出力される演出音として採用することとしているが、これら許容音の長短関係については逆転させるようにしてもよい。
ただし、「第1許容音」及び「第2許容音」については、図213(g),(h)に示されるように、互いに異なる時間にわたって出力状態が維持されるものとするとともに、それら出力状態が終了される時期(非可聴の状態にされる時期)をいずれも、自動ボタン機能が有効化されるタイミングtr42Aよりも前の、互いに異なるタイミングで到来させるようにすることが望ましい。このような構成によれば、「受付許容音」が下記状況のいずれにあるのかによって、自動ボタン機能が有効化されるタイミングtr42Aが到来するまでの時間がどの程度残されているのかを推測することができるようになり、「遊技者の意思に反して、自らの操作ではなく、自動ボタン機能の有効化によって演出受付がなされる」ことを頻出し難くすることが期待されるようになる。
・「第1許容音」及び「第2許容音」の両方が出力状態を維持している第1状況
・「第1許容音」及び「第2許容音」のうち一方の出力状態は維持されているが、他方は出力状態を終了している(非可聴の状態にされている)第2状況
・「第1許容音」及び「第2許容音」の両方が出力状態を終了している(非可聴の状態にされている)第3状況
また、この実施の形態にかかるパチンコ機1では、図212に示される演出例における「非抑制・非自動受付演出」と、図213に示される演出例における「抑制・自動受付演出」とで「第1許容音」として互いに同じ演出音(例えば、「ピキーン!」)を出力するようにしている。すなわちこの場合、受付許容音のうちメッセージ音(第2許容音)については、「非抑制・非自動受付演出」では出力されない演出音として出力させるようにしつつも、受付許容音のうち効果音(第1許容音)については、「非抑制・非自動受付演出」においても出力される演出音として出力されうるようになることから、「BGM再生の音」が抑制されている状況にあるときの演出性を好適に維持するようにしつつも(第2許容音)、演出受付が許容される状態にあることをより容易に認識させることができるようになる(第1許容音)。
なお、受付許容音(第1許容音、第2許容音)を、設定時間(有効期間)や摸画像表示に対して先行して出力させる場合におけるタイミングtr41~tr42(または、タイミングtr31~tr32)の時間については、制御(処理)単位における最小時間(例えば、1フレーム)であってもよいし、2フレーム以上の時間であってもよい。すなわち、設定時間(有効期間)や摸画像表示に対して少しでも先行して出力させることができれば、遊技者は、演出受付が許容される状態にあることや、操作対象にされている操作手段がいずれであるのかを、その先行した時間分だけ早く認識することができるようになる可能性が生じることから、設定時間が終了するまでの期間内や、自動ボタン機能が有効化されるタイミングが到来するまでの期間内での操作をし忘れてしまうことを抑制することが期待されるようになる。
ところで、自動ボタン態様で実行される操作受付演出では、設定時間(有効期間)内であっても自動ボタン機能が有効化(タイミングtr42A)されることによって操作機会を喪失しうることは上述した通りである。そこで、図213(c),(d)に示される演出例では、図212(c)に示した演出例の場合とは異なり、受付許容音(第1許容音及び第2許容音の少なくとも1つ)が出力状態にあるときに演出受付がなされると、該演出受付がなされたことに基づいてその出力状態を終了させるようにしている。すなわちこの場合、遊技者による操作が行われたときにはその時点で受付許容音(第1許容音,第2許容音)の出力が中断されることとなり、これによって演出受付が許容されている状態(有効期間)が終了されたことを認識することができるようになることから、「演出受付が未だ発生しておらず、自動ボタン機能が有効化されうる状態(操作機会を喪失しうる状態)」にあるとの誤解が生じることを回避することができるようになる。なお、設定時間(有効期間)内のうち、自動ボタン機能が有効化されるタイミングtr42Aよりも前のタイミングで操作が行われて演出受付がなされた場合は、該演出受付がなされた時点で演出受付が許容される状態が終了されるようになることから、タイミングtr42Aが到来したとしても自動ボタン機能は有効化されないことは言うまでもない。
また、図213に示される演出例においても、設定時間(有効期間)内で演出受付がなされると(図中では、タイミングtr42a)、演出受付に応じた操作後演出として、演出表示装置1600(第1演出部材)における操作後表示演出(液晶表示)と、スピーカ(第2演出部材)による操作後演出音出力(演出音)とが少なくとも発生するようになっている。より具体的には、操作後表示演出(液晶表示)については、設定時間(有効期間)内のいずれのタイミングで演出受付がなされた場合であっても、タイミングtr43よりも後に到来する特定タイミングで非表示(視認不能)にされるものにするのに対し、操作後演出音出力(演出音)については、演出受付がなされたタイミングから予め定められた時間分だけ出力状態を維持するものとなっている。
ただし、図213に示されるように、設定時間(有効期間)内のいずれのタイミングで演出受付がなされた場合であっても、操作後演出音出力(演出音)については、「BGM再生の音」が抑制状態(無音状態)から非抑制態様での出力に戻されるタイミングtr44が到来した時点で出力状態を維持しているように設定することが望ましい。これに対し、操作後表示演出(液晶表示)については、図213に示される演出例では、「BGM再生の音」が非抑制態様での出力に戻されるタイミングtr44で出力状態を終了させるようにしている。すなわちこの場合、タイミングtr44では、「BGM再生の音」が非抑制態様での出力に戻されることと、表示演出にかかる内容が切り替えられることとの両方が生じるようになることから、演出性が大きく変更されて遊技興趣を向上させることが期待されるようになる。なお、「BGM再生の音」については、非抑制態様での出力へと戻すときにフェードインなどの手法によって徐々に戻すようにしてもよい。また、操作後表示演出(液晶表示)については、タイミングtr44ではなく、タイミングtr44よりも後の特定タイミングで出力状態が終了されるようにしてもよい。
また、図213に示される演出例においても、設定時間(有効期間)が設定されるタイミングtr42が到来すると、演出表示装置1600において、当該高期待抑制受付演出で操作対象とされている操作手段を摸した摸画像が表示されるとともに、設定時間が経過し終わるまでの残り時間を示唆するゲージ表示がそれぞれ行われる。この点、自動受付態様で実行される操作受付演出では、第2許容音としてのメッセージ音(例えば、「押せ!」)が出力されることに鑑み、演出表示装置1600においても、非自動受付態様で実行される操作受付演出では現れないメッセージ表示(例えば、「押せ!」)を表示させるようにしている。なお、摸画像や、ゲージ表示、メッセージ表示の表示手法としては、例えば、図159(R2)に示した手法を採用することが可能であり、それら表示画像(摸画像、ゲージ表示、メッセージ表示)は、演出受付が発生したことに基づいて設定時間が未だ経過し終わっていない段階で非表示(いずれも同じタイミングで非表示)にされることとなる。メッセージ表示は、メッセージ音の内容と必ずしも完全一致していなくてもよく、操作を促すものであればよい。
この点、この実施の形態にかかるパチンコ機1では、図213(g)~(i)に示されるように、設定時間(有効期間)内の自動ボタン機能が有効化されるタイミングtr42Aよりも前にメッセージ音の出力状態は終了(非可聴の状態に)されるのに対し、メッセージ表示は、自動ボタン機能が有効化されるタイミングtr42Aにおいても表示状態を維持するようになっており、さらには自動ボタン機能が有効化された以降、少なくとも設定時間が終了されるタイミングtr43が到来するまでの間には非表示(視認不能)にならないようになっている。それ以降も表示状態を維持するようにしてもよい。なお、設定時間(有効期間)とは、演出受付がなされた時点で終了されるものであるから、実際は、自動ボタンが有効化されるタイミングtr42Aが到来したときには遅くとも終了されることとなる。したがって、「設定時間が終了されるタイミングtr43」とは、厳密には、設定時間が仮に継続していたとするときに終了されるタイミングのことを意味しており、タイミングtr42で設定された時間が該タイミングtr42から経過した時に到来するタイミングのことである。
このような構成によれば、自動ボタン機能が有効化されたことによって演出受付がなされた場合は、メッセージ音(第2許容音)の出力状態が中途終了(非可聴の状態)されることも、メッセージ表示が設定時間内の中途段階で非表示にされることもなくなるようになることから、メッセージ音(第2許容音)やメッセージ表示によって促された操作対象に対する操作検出によって演出受付がなされた状況にはないことを遊技者に対して示唆することができるようになる。すなわちこの場合、メッセージ音やメッセージ表示などによって操作を促されていない側の操作手段が誤って操作されていたとしても、該操作を起因とした演出受付は発生していないことを示唆することができるようになる。
また、この実施の形態にかかるパチンコ機1では、自動ボタン態様で実行されない操作受付演出(図212)と、自動ボタン態様で実行される操作受付演出(図213)とのいずれにおいても、それらの設定時間(有効期間)内で、演出受付が許容される状態が終了するまでの残り時間を示唆する残り時間表示(ゲージ表示)が行われうるようにしている。そして、自動ボタン態様で実行されない操作受付演出(図212)では、設定時間が経過し終わるまでの時間を基準として、残り時間表示(ゲージ表示)を動的表示するようにしている。すなわちこの場合、設定時間が経過し終わるまでの時間が少なくなるほどゲージ量が少なくなり、この時間が「0」になるとゲージ量も「0」になるように動的表示されることとなる。
これに対し、自動ボタン態様で実行される操作受付演出(図213)では、操作検出がなされないままで設定時間内の特定タイミングtr42Aが到来すると、自動ボタン機能が有効化されて演出受付が自動発生するようになっており、該特定タイミングtr42Aが到来した以降は設定時間が未だ経過し終わっていない状況にあったとしても演出受付が許容されなくなることは上述した通りである。したがって、このような操作受付演出(図213)の設定時間内で「演出受付が許容される状態が終了するまでの残り時間を示唆する残り時間表示(ゲージ表示)」を行うのであれば、通常は、特定タイミングtr42Aが到来するまでの時間を基準として、残り時間表示(ゲージ表示)を動的表示するようにすることが考えられる。
この点、この実施の形態にかかるパチンコ機1(周辺制御MPU1511a)にあって、自動ボタン態様で実行される操作受付演出(図213)では、特定タイミングtr42Aが到来した以降は演出受付が許容されなくなるにもかかわらず、残り時間表示(ゲージ表示)を、特定タイミングtr42Aが到来するまでの時間ではなく、設定時間が経過し終わるまでの時間を基準として、残り時間表示(ゲージ表示)を動的表示するようにしている。すなわちこの場合、設定時間が経過し終わるまでの時間が少なくなるほどゲージ量が少なくなり、設定時間が「0」になるとゲージ量も「0」になるように動的表示されることとなる。ただしここでは、設定時間が「0」になるよりも前に演出受付が許容されない状態へと必ず移行されるようになっていることから、ゲージ量が残されている状態で演出受付が許容されない状態へと移行されることとなる。
このような構成によれば、自動ボタン機能が有効化されたことによって演出受付がなされるときに、残り時間表示(ゲージ表示)におけるゲージ量があえて残されるようになることから、遊技者による意思に反して「操作機会を喪失する」といったリスクが持たされていることを示唆することができるようになり、これによって次回以降の設定時間(有効期間)ではゲージ残量にかかわらず早い段階で操作を行うことを促すことができるようになる。
しかも、この実施の形態にかかる自動ボタン態様で実行される操作受付演出(図213)では、演出受付が操作検出によって発生したときは、該設定時間が経過し終わるよりも前に残り時間表示(ゲージ表示)を非表示(視認不能)にしうる。これに対し、演出受付が自動ボタン機能の有効化によって発生(特定タイミングtr42A)したときは、設定時間が経過し終わっていない状態において残り時間表示(ゲージ表示)を非表示にせず、少なくとも該設定時間が経過し終わるまでは「示唆している残り時間(ゲージ量)が次第に減少していく動的表示の態様」を維持させるようにしている。
このような構成によれば、自動ボタン機能が有効化されたことによって演出受付がなされた場合、残り時間表示(ゲージ表示)は、少なくとも設定時間が経過し終わるまでは動的表示を継続するようになることから、メッセージ音やメッセージ表示などによって操作を促された操作対象に対する操作検出によって演出受付がなされた状況にはないことを遊技者に対して示唆することができるようになる。すなわちこの場合、メッセージ音やメッセージ表示などによって操作を促されていない側の操作手段が誤って操作されていたとしても、該操作を起因とした演出受付は発生していないことを示唆することができるようになる。
なお上述の通り、図213におけるタイミングtr42で発生する操作受付演出では、予告演出判定の結果に基づいて「操作対象として操作ボタン410を選択する場合」と「操作対象として刀装飾体5001を選択する場合」とがある。すなわちこの場合、演出受付が許容される設定時間(有効期間)が発生してからいずれの操作手段が操作対象になっているのかで混乱する可能性があることから、設定時間としては5秒などの相対的に長い時間を設定するようにすることが望ましい。これに対し、図212におけるタイミングtr32で発生する操作受付演出では、「操作対象として刀装飾体5001を選択する場合」はなく、操作対象として操作ボタン410が必ず用いられるようになっていることから、設定時間としては3秒などの相対的に短い時間を設定するようにすることが望ましい。そしてこの際、自動ボタン機能が有効化されるタイミングtr42Aについては、設定時間(有効期間)が発生してから3秒が経過したタイミングよりも後に設定することが、遊技者の意思に反して操作機会を喪失してしまう事態の発生を抑制する上で望ましい。
また、図213におけるタイミングtr42で発生する操作受付演出において、操作対象になっていない側の操作手段を操作してしまった場合、該誤った操作状態を維持したままで操作対象になっている側の操作手段を操作した場合であっても、演出受付がなされて操作後演出を実行するようにすることが望ましい。すなわち、操作手段を操作したにもかかわらず演出受付がなされない状況が現れると遊技者が混乱する可能性があり、このような状況にあるなかで誤った操作状態を中断させた上で適正な側の操作手段に対する操作をさらに求めることは酷であるから、誤った操作状態が維持されていたとしても、操作対象になっている側の操作手段が操作されたときには演出受付がなされるようにすることが望ましい。
また、図213に示される演出例では、上述した「抑制下操作音出力処理(図142)」に記載されている事項やその別例記載を適宜に採用することが可能である。すなわちこの場合、図213に示される演出例でのタイミングtr40,tr42,tr42a,tr43,tr44が、図142に示される演出例でのタイミングts12,ts13,ts14,ts15,ts16にそれぞれ相当することとなる。
ただし上述の通り、抑制操作受付演出では、操作機会が付与されるのに際して特定種別の演出音が抑制態様または無音で出力されることから、非抑制操作受付演出と比べて演出性が乏しくなることが懸念される。この点、この実施の形態にかかるパチンコ機1(周辺制御MPU1511a)では、抑制操作受付演出の発生に際して出力される受付許容音を、非抑制操作受付演出の発生に際して出力される受付許容音よりも長い時間にわたって出力状態が維持される音として出力可能としている。
すなわち、この実施の形態にかかるパチンコ機1では、第1許容音として、出力状態が維持される時間が異なる複数態様(例えば、第1態様,第2態様,第3態様を含む複数態様)を用意しており、予告演出判定の結果に基づいて、該複数態様のいずれかを上記第1許容音として選択的に出力させるものとなっている。ここで、第1許容音としての「第1態様」は、図212(c),(g)及び図213(c),(g)で示した態様であり、「出力状態として維持される時間」が上記複数態様のうち最も短い態様として設定されているものである。また、第1許容音が上記複数態様のいずれで出力されるかによって図柄変動が停止されたときに大当り図柄が現れる割合(期待度)が異なるようにすることが望ましい。
なお、「第1許容音として複数態様のいずれを出力させるか」、及び「操作対象として複数の操作手段のいずれを用いるか」については、上記予告演出判定内でそれぞれ別々の判定結果として得られるようにしてもよいし、1つの判定結果として上記予告演出判定内で得られるようにしてもよい。ただし、複数態様のうち少なくとも上記第1態様については、「操作ボタン410」が操作対象になる場合と「刀装飾体5001」が操作対象になる場合とのいずれの場合であっても第1許容音として選択可能とされるようにすることが望ましい。また、第2態様や第3態様についても、「操作ボタン410」が操作対象になる場合と「刀装飾体5001」が操作対象になる場合とのいずれの場合であっても選択可能とされるようにしてもよい。
図214は、高期待抑制受付演出が自動受付態様で実行されるにあたり、第1受付許容音として第2態様が用いられるときの演出内容についてその一例を示すタイムチャートである。
同図214に示されるように、この演出例は、その発生条件や演出内容(さらには、その別例記載など)も含めて、図213を参照しつつ説明した上記演出例の場合と基本的には同じである。ただしこの演出例では、予告演出判定が行われた結果として、タイミングtr41において、第1態様ではなく、該第1態様よりも長い第2態様で上記第1許容音を出力するようになっている点で異なっており、ここでは第2許容音よりも長い時間にわたって第1許容音の出力状態が維持されるものとなっている。
このような構成によれば、抑制操作受付演出の発生に際して出力される受付許容音を、非抑制操作受付演出の発生に際して出力される受付許容音(第1態様)よりも長い時間にわたって出力状態が維持される音として出力可能としていることから、操作機会が付与されるのに際して「BGM再生(特定種別の演出音)」が抑制態様または無音で出力されている状況においても演出性を好適に維持することができるようになる。
また、抑制操作受付演出における演出性の向上を図る上では、第2態様で出力される第1許容音については、図212に示した操作受付演出では受付許容音として出力されない音を用いるようにすることが望ましい。
これに対し、図213及び図214では、予告演出判定の結果に基づいて「操作対象として操作ボタン410を選択する場合」と「操作対象として刀装飾体5001を選択する場合」とがあるようになっているなかで、いずれも同じ操作手段(操作ボタン410)を操作対象にしている場合を想定している。したがって、この演出例においても、第2許容音は、図213に示した演出例の場合と同じ態様(例えば、「押せ!」)で出力されるようになっている。この点、この実施の形態にかかるパチンコ機1(周辺制御MPU1511a)では、同図214(c),(g)に示されるように、第1許容音を第2態様で出力させる場合であっても、自動ボタン機能が有効化されるタイミングtr42Aよりも前には該第1許容音の出力状態を終了(非可聴の状態)させるようにすることで、この演出例においても、自動ボタン機能が有効化されるタイミングtr42Aが到来するまでの時間がどの程度残されているのかを受付許容音の出力状況から推測することができるようにしている。
特に、この演出例では、図213に示した演出例においても出力される「第2許容音」の出力状態が終了された以降も、第1許容音の出力状態が維持されている状況にあるかを確認することで、自動ボタン機能が有効化されるタイミングtr42Aが到来するまでの時間がどの程度残されているのかを、図213の演出例の場合よりも詳細に推測することができるようになる。また、第1許容音及び第2許容音のうち第1許容音のみをより長い別態様(第2態様)で出力させるようにしたことで、遊技者側は、まず、共通して用いられる第2許容音の出力状態が終了されるタイミングを基準として「タイミングtr42Aが到来するまでの残り時間」を推測し、こうして通常通りの推測を行った安心感のあるもとで、第1許容音を用いてより詳細な推測をチャレンジ的に行うことができるようになることから、遊技興趣を好適に維持することが期待されるようになる。
なお、図214に示される演出例では、その他の事項は、図213に示した演出例の場合と同様であり、例えば、受付許容音が出力状態にあるときに演出受付がなされるとその出力状態が中途で終了される点も図213に示した演出例の場合と同様である。
なお、上述の「特殊な演出モード」に設定されている状態において、高期待抑制受付演出(図213,図214)が発生した場合は、自動ボタン機能が有効化されるタイミングを、設定時間内のタイミングtr42Aよりも早いタイミングとして設定するようにすることが望ましい。ただしこの場合は、遊技者の意思によって自動ボタン機能が有効化されうる状態になっていることから、自動ボタン機能が有効化されることによって演出受付がなされた場合であっても、メッセージ表示の出力状態がタイミングtr43まで維持されることはなく、該タイミングtr43よりも前(演出受付がなされたタイミング、または上述の時間分だけ遅れたタイミング)に非表示にされるようにすることが望ましい。またこの際、自動ボタン機能が有効化されるタイミングについては、第1許容音が第1態様で出力されるときには該出力状態において到来することはないが、第1許容音が第2態様で出力されるときには該出力状態において到来し、該第2態様で出力されている第1許容音を中途で終了させるように機能することが望ましい。
また、第1許容音(受付許容音としての効果音)が第1態様で出力される場合と、第1許容音(受付許容音としての効果音)が第2態様で出力される場合とでは、出力状態の維持される時間が互いに異なるだけでなく、互いに異なる演出音を用いるようにしてもよい。例えば、第1許容音(受付許容音としての効果音)を第1態様で出力させる場合は「ピキーン」といった演出音が出力され、第1許容音(受付許容音としての効果音)を第2態様で出力させる場合は「ガオガオー」といった演出音が出力されるようにすることが可能である。
上記説明例では、低期待変動パターンを、「リーチ状態すら形成されない変動パターン」として定義することとしたが、「SPリーチ状態にならずに図柄停止される変動パターン」として定義し、該低期待変動パターンのうち所定の変動パターンが選択された場合に図212に示した演出例が行われうるようにしてもよい。
また、上記説明例で例示した「抑制・自動受付演出」については、通常遊技状態にあるときの低期待変動パターン(に対応する演出パターン)では出現し得ないようにすることが望ましいが、上記説明例で例示した「非抑制・非自動受付演出」については、通常遊技状態にあるときの上記「特定の変動パターン」を含めた高期待変動パターン(に対応する演出パターン)においても出現しうる。すなわち、高期待変動パターン(に対応する演出パターン)であっても、非リーチ状態など、SPリーチ状態に演出進展するよりも前の期間内においては、基本的に、低期待変動パターン(に対応する演出パターン)においても現れる演出が実行されるようになっていることから、該期間内においては図212に例示した「非抑制・非自動受付演出」も出現しうることとなる。このような構成であっても、「抑制・自動受付演出」が出現した場合(高期待変動パターン)は、「非抑制・非自動受付演出」が出現した場合(低期待変動パターンまたは高期待変動パターン)よりも図柄変動が停止されたときに大当り図柄が現れる割合(期待度)が高い状況にあるといえる。
なお、通常遊技状態にあるときに発生する低期待変動パターン(に対応する演出パターン)では、操作機会を付与するのに際して、「BGM再生(特定種別の演出音)」が抑制態様または無音で出力されるようなことはないし、低期待非抑制受付演出が自動受付態様で実行されることもないようにすることが望ましい。なおこのことは、「特殊な演出モード」に設定されていない状態、若しくは当該パチンコ機1として「特殊な演出モード」を搭載していない場合のことである。
また、「自動ボタン機能が有効化されるタイミングtr42A」から「演出受付が許容されてから設定時間が経過し終わるタイミングtr43」までの時間の長さについては、制御(処理)単位における最小時間(例えば、1フレーム)であってもよいし、2フレーム以上の時間であってもよい。例えば、「自動ボタン機能が有効化されるタイミングtr42A」でメッセージ表示が視認可能となっており、こうした視認可能な状態が少なくとも「演出受付が許容されてから設定時間が経過し終わるタイミングtr43」が到来するまで継続されるものであれば、設定時間(有効期間)としての本来の長さを示唆することができるようになり、遊技者による操作が行わなかったことを認識しうる可能性を持たせることができるようになる。自動受付態様で実行される操作受付演出では、いずれの操作受付演出においても、設定時間内の「自動ボタン機能が有効化されるタイミング」に対してメッセージ音(第2許容音)やメッセージ表示を上述した関係性(図213(h),(i)や図214(h),(i)を参照)で出力させるようにすることが望ましい。
また、この実施の形態にかかるパチンコ機1では、図213(i)や図214(i)において「演出受付がなされてからメッセージ表示が残される時間分(図中の例では、タイミングtr42A~tr43の時間分)」については、プログラムの共通化によって、他のタイミングで演出受付が発生したとき(図212(e)や、図213(e)など)にも現れるようになっているが、別々のプログラムを用いることによって、自動ボタン機能が有効化されたときに限り生じるようにしてもよい。すなわちこの場合、図212(e)に示される例ではタイミングtr32aで操作関連表示が非表示にされ、図213(e)に示される例ではタイミングtr42aで操作関連表示が非表示にされることとなる。
また、上記説明例(図212~図214)では、演出表示装置1600(第1演出部材)における操作後表示演出(液晶表示)と、スピーカ(第2演出部材)による操作後演出音出力(演出音)とを同時に開始させるようにしたが、それら演出の開始時期をずらすように操作後演出を行うようにしてもよい。例えば、スピーカ(第2演出部材)による操作後演出音出力(演出音)がタイミングtr42で開始されている状況において、演出表示装置1600(第1演出部材)では操作後表示演出(液晶表示)が未だ表示されておらず、図212~図214に示した操作関連表示が非表示にされるタイミング(若しくは、フェードアウト処理が開始されるタイミング)に合わせて操作後表示演出(液晶表示)の表示を開始させるようにすれば、表示演出の切り替えをスムーズに行うことができるようになる。
上記「抑制下操作音出力処理(図142)」で説明した通り、図213及び図214に示した演出例においても、演出受付が許容される設定時間(有効期間)よりも前の期間で前兆演出(例えば、上述した「特定の操作関連演出」など)を行うようにしてもよい。そしてこの場合、前兆演出として、大当り図柄の現れる期待度が異なる複数態様を用意しておき、それら態様のいずれかで前兆演出を行うようにすることが望ましい。またこの場合、前兆演出が行われる期間中に出力される前兆演出音としても複数態様を用意しておき、前兆演出音として複数態様のいずれで出力させるかについては、前兆演出の実行態様に応じて選択するようにすることが望ましい。これに対し、第1許容音については、操作対象とされる摸画像と、残り時間を示唆するゲージ表示と、「押せ!」のメッセージ表示が表示されているなかで、第1態様及び第2態様を含めた複数態様のいずれかで出力されるものとなっている。
図212~図214に示した演出例では、図213や図214に示した操作受付演出の発生に際しては、図212に示した操作受付演出の発生に際して出力されることのない特定音(第2態様の第1許容音や、第2許容音)を、受付許容音として出力させうるようにしたことから、当該抑制操作受付演出が発生したときの演出性が乏しくなることを好適に抑制することができるようになる。また、受付許容音の種別を確認することで、非自動受付態様ではなく、自動受付態様で操作受付演出が発生している状況にあることを認識することができるようになる。
また、非抑制操作受付演出(図212)の受付許容音については、該受付許容音を効果音として出力する第1許容音と、該受付許容音をメッセージ音として出力する第2許容音とのうち第2許容音は用意されておらず第1許容音だけが出力されるのに対し、抑制操作受付演出(図213,図214)の受付許容音については、上記第1許容音及び上記第2許容音の両方が出力されるようにしている。これにより、抑制操作受付演出が行われているときの演出性を好適に維持することができるようになる。
また、上記演出例では、非抑制操作受付演出(図212)と抑制操作受付演出(図213,図214)とでは、第1許容音として同じ演出音が出力される場合(図212,図213)と、第1許容音として異なる演出音が出力される場合(図212,図214)とがあるようにしている。
すなわち、通常時と異なる受付許容音を出力させるようにしてしまうと、演出受付が許容されている状態にあることを認識し難くなってしまい、操作機会を喪失しかねない。したがって、第2許容音(メッセージ音)については、通常時には出力されない音として出力させるようにしつつも、第1許容音(効果音)については、通常時にも出力される音として出力させるようにすることが望ましい。そして、このような態様で受付許容音が出力されるなかで、所定確率で、第1許容音(効果音)についても、通常時では出力されない演出音(第2態様)として出力させ、このときには第1態様で出力されたときよりも大当り図柄が現れる割合(期待度)が高くなるようにすれば、演出受付が許容されている状態にあることを認識させるようにしつつ、「BGM再生(特定種別の演出音)」が抑制態様または無音で出力されている状況にあるときの演出性を好適に維持することができるようになる。このような作用効果を得る上では、抑制操作受付演出が発生(特定の変動パターンが発生)されるときに、予告演出判定などの演出判定において、第1受付許容音として第1態様を出力させる旨判定する割合は、第2態様を出力させる旨判定する割合よりも高くなるようにすることが望ましい。
図212~図214に示した演出例では、非自動受付態様で実行される操作受付演出(図212)はもとより、上記自動受付態様で実行される操作受付演出(図213,図214)においても、その発生に際しては、演出受付が許容される状態になったこと、または演出受付が許容される状態になることを示唆する受付許容音が出力されうることから、操作し忘れによって演出受付が自動発生してしまい、この結果として自らの操作機会を喪失してしまう事態が発生することを好適に抑制することができるようになる。
また、図213及び図214に示した演出例では、タイミングtr41が到来したときに予め定められた時間(例えば5秒)を設定し、この設定時間(有効期間)内で特定タイミングtr42Aが到来したかを判定し、操作検出に応じた演出受付がなされないままで特定タイミングtr42Aが到来したときに演出受付を自動発生させるものとしている。このような構成によれば、操作があったか否かにかかわらず、予め設定された期間(設定時間)内で操作後演出を開始させることができるようになることから、操作があった場合と操作がなかった場合とでその後の演出の流れを異ならせたり、演出的な間延びを生じさせることなく、自動ボタン化させることができるようになる
また、上記演出例では、受付許容音として「操作すべきことを促すメッセージ音(第2許容音)」が出力されることがあり、該メッセージ音(第2許容音)は、操作しなければ演出受付されない「非自動受付態様で実行される操作受付演出」では出力されず、操作しなくても演出受付される「自動受付態様で実行される操作受付演出」でのみ出力されうるようにしている。
すなわち、非自動受付態様で実行される操作受付演出でこそ、操作すべき旨を直接表現するメッセージ音(第2許容音)を出力させたり、多くの種類の受付許容音(第1許容音、第2許容音)を出力させたりするべきようにも考えられるが、操作後演出では、通常、期待度の低い態様で実行される演出リスクがあることから、該操作後演出が行われるように操作することが、遊技興趣の向上を図る上で必ずしもよいとは限らない。この点、「非自動受付態様で実行される操作受付演出」とは、「操作後演出をあえて発生させない」といった選択を行うことが許容されている演出であるから、こうした演出では、操作すべき旨をメッセージ(第2許容音)として直接表現するようにすることは避けてメッセージ音(第2許容音)を出力させず、操作後演出を発生させるか否かの選択権のない「自動受付態様で実行される操作受付演出」でのみメッセージ音(第2許容音)を出力させたり、より多くの種類の受付許容音を出力させたりするようにすることが望ましい。なお、「非自動受付態様で実行される操作受付演出」では、演出受付がなされないままで設定時間が終了した場合、操作後演出やこれに関連した演出が行われることはないことから、期待度が示唆されずに演出が進展していくこととなる。なお、非動受付演出では、いずれの操作受付演出であってもメッセージ音が出力されることはないが、「自動受付態様で実行される操作受付演出」には、メッセージ音が出力されない種別の操作受付演出が含まれるようにしてもよい。
また上述の通り、このパチンコ機1では、メッセージ音(第2許容音)として複数態様(「押せ!」や「納刀せよ!」)を用意しており、図213及び図214に示した演出例では、操作機会が付与される対象が操作ボタン410及び刀装飾体5001のいずれであるかに応じて(予告演出判定の結果に基づいて)、それら複数態様のいずれか1つを選択的に出力するようにしている。そしてこの場合、操作機会が付与される対象が操作ボタン410でありこれに応じたメッセージ音(「押せ!」)が出力されたときには、操作機会が付与される対象が刀装飾体5001でありこれに応じたメッセージ音(「納刀せよ!」)が出力されたときと比べて、演出受付に応じた操作後演出で「当該図柄変動が停止されたときに大当り図柄が現れる」ことを示唆する演出態様が現れる割合(期待度)が低くなるようにしている。当該演出態様が現れる割合(期待度)は、0%であってもよいし、100%であってもよい。
これに対し、図212に示した演出例では、メッセージ音(第2許容音)が出力されることはないようになっており、該メッセージ音(第2許容音)が出力されないときにはその操作対象が刀装飾体5001であることはなく、該操作対象として操作ボタン410が用いられ、且つ非自動受付態様で実行される操作受付演出が発生するようにしている。しかも、少なくとも通常遊技状態においては、メッセージ音が出力されない操作受付演出で演出受付がなされたときに実行される操作後演出で「当該図柄変動が停止されたときに大当り図柄が現れる」ことを示唆する演出態様が現れる割合(期待度)は、メッセージ音が出力される操作受付演出で演出受付がなされたときに実行される操作後演出で「当該図柄変動が停止されたときに大当り図柄が現れる」ことを示唆する演出態様が現れる割合(期待度)よりも低くなるようにしている。なお、上記演出態様が現れる割合(期待度)は、0%であってもよいし、100%であってもよい。
このような構成によれば、操作受付演出の発生に際しては、まず、「メッセージ音(第2許容音)が出力されるか」が期待度の高低を知る上での分岐点となり、メッセージ音(第2許容音)が出力されたときには、さらにその態様によって期待度の高低を知ることができるようになる。また、操作対象として操作ボタン410が用いられた場合であっても、メッセージ音(第2許容音)が出力されたときには相対的に期待度が高いもとで操作後演出を楽しむことができるようになる。したがって、メッセージ音(第2許容音)が出力されたときには、自動受付態様で操作後演出が実行されるようにして操作後演出を見逃してしまうことを抑制することが望ましい。これに対し、メッセージ音(第2許容音)が出力されなかったときには、期待度が相対的に低くなり、期待度が高いときにしか用いられない「刀装飾体5001」が操作対象になることはなくなる。すなわちこの場合、非自動受付態様で操作後演出が実行されるようにすることで、操作後演出を発生させるかについての選択権を遊技者に対して付与するようにすることが望ましい。
また、図213及び図214で実行される操作受付演出では、設定時間(有効期間)の発生に際して、メッセージ音が出力されるとともに、メッセージ表示が表示されるようにしている。この点、図213(g)~(i)及び図214(g)~(i)に示されるように、メッセージ音については、設定時間(有効期間)内の自動ボタン機能が有効化されるタイミングtr42Aよりも前に出力状態は終了(非可聴の状態に)されるのに対し、メッセージ表示については、自動ボタン機能が有効化されるタイミングtr42Aにおいても表示状態を維持するようになっており、さらには自動ボタン機能が有効化された以降、少なくとも設定時間が終了されるタイミングtr43が到来するまでの間には非表示(視認不能)にならないようになっている。すなわちこの場合、設定時間内で遊技者による操作によって演出受付がなされたときには、該演出受付に応じて、設定時間が経過していない段階でメッセージ表示が非表示にされうるが、設定時間内で自動ボタン機能が有効化された場合は、メッセージ表示(「押せ!」または「納刀せよ!」)は少なくとも設定時間が終了されるまで継続して表示されることとなる。
このような構成によれば、自動ボタン機能が有効化されたことによって演出受付がなされた場合は、メッセージ音(第2許容音)の出力状態が中途終了(非可聴の状態)されることも、メッセージ表示が設定時間内の中途段階で非表示にされることもなくなるようになることから、メッセージ音(第2許容音)やメッセージ表示によって促された操作対象に対する操作検出によって演出受付がなされた状況にはないことを遊技者に対して示唆することができるようになる。すなわちこの場合、メッセージ音やメッセージ表示などによって操作を促されていない側の操作手段が誤って操作されていたとしても、該操作を起因とした演出受付は発生していないことを示唆することができるようになる。
また、自動ボタン機能が有効化される操作受付演出(図213及び図214)では、タイミングtr42Aにおいて自動ボタン機能が有効化されたことによって演出受付がなされるときに、残り時間表示(ゲージ表示)におけるゲージ量があえて残されるようになることから、遊技者による意思に反して「操作機会を喪失する」といったリスクが持たされていることを示唆することができるようになり、これによって次回以降の設定時間(有効期間)ではゲージ残量にかかわらず早い段階で操作を行うことを促すことができるようになる。
また、自動ボタン機能が有効化される操作受付演出(図213及び図214)では、自動ボタン機能が有効化されたことによって演出受付がなされた場合、残り時間表示(ゲージ表示)は、少なくとも設定時間が経過し終わるまでは動的表示を継続するようにした。したがって、メッセージ音やメッセージ表示などによって操作を促された操作対象に対する操作検出によって演出受付がなされた状況にはないことを遊技者に対して示唆することができるようになる。すなわちこの場合、メッセージ音やメッセージ表示などによって操作を促されていない側の操作手段が誤って操作されていたとしても、該操作を起因とした演出受付は発生していないことを示唆することができるようになる。
また、図212に示した操作受付演出と図213に示した操作受付演出とでは、受付許容音として同じ演出音(第1態様の第1許容音)を出力させるようにしていることから、いずれの操作受付演出が発生した場合であっても、操作機会が付与されている状態にあることを遊技者に対して適切に伝達することができるようになる。しかも、図213に示した操作受付演出では、図212に示した操作受付演出では出力されない第2許容音も出力されるようになっていることから、それら操作受付演出のいずれが発生しているかを認識することも可能とされるようになる。またさらに、特定の変動パターン(に対応する演出パターン)において自動受付態様で実行される操作受付演出では、図213に示される態様で実行される割合が相対的に高くなっており、図214に示される態様で実行される割合が相対的に低くなっており、図214に示される態様で実行されると大当り図柄で停止される割合が相対的に高くなるようになっている。すなわちこの場合、操作後演出を見逃してしまうことが回避されているなかで、第1許容音が「第1態様」ではなく、図212に示した操作受付演出では用いられない「第2態様」で出力されるようになることから、遊技興趣の向上を図ることができるようになる。
また、図213及び図214に示した演出例では、図212に示した演出例の場合と比較して、受付許容音(第1許容音)を長い時間にわたって出力状態が維持される演出音(図214)として用いられることがあるようにしたことから、「BGM再生(特定種別の演出音)」が抑制態様または無音で出力されている状況にあるときの演出性を好適に維持することができるようになる。
また、図213及び図214に示した演出例(抑制操作受付演出)では、受付許容音(第1許容音)を必ずしも長い時間にわたって出力状態が維持される演出音(第2態様)として用いず、非抑制操作受付演出(図212)が発生するときと同じ受付許容音(第1態様の第1許容音)についても発生しうるものとしている。そしてこの上で、長い時間にわたって出力状態が維持される演出音(第2態様)で第1許容音が出力された場合(図214)は、短い時間しか出力状態が維持されない演出音(第1態様)で第1許容音が出力された場合(図213)よりも大当り図柄で図柄停止される割合が高くなるようにすることで、新たな演出性を付加するようにしている。これにより、演出受付が許容されている状態にあることを認識させるようにしつつ、「BGM再生(特定種別の演出音)」が抑制態様または無音で出力されている状況にあるときの演出性を好適に維持することができるようになる。
また、図212~図214に示した演出例では、長い時間にわたって出力状態が維持される演出音(第2態様)で第1許容音が出力された場合(図214)は、該第1許容音が出力されている期間中に演出受付がなされると、出力にかかる途中段階であってもこれを非出力(非可聴)の状態にするようにしている(図214(c)を参照)。これに対し、短い時間にわたって出力状態が維持される演出音(第1態様)で第1許容音が出力された場合(図212,図213)は、該第1許容音が「抑制操作受付演出」や「自動受付態様で実行される操作受付演出」で出力されている場合に限り(図213)、その出力途中で演出受付がなされるとその時点でこれを非出力(非可聴)の状態にするようにしている(図212(c),図213(c)を参照)。すなわちこの場合、図212に示した操作受付演出では、第1許容音が出力状態にあるときに演出受付がなされたとしても、該第1許容音としての再生データの最後まで出力状態が維持されることとなる。なお、タイミングtr41~tr42の期間中も第1許容音は出力状態になっているが、該期間内では、操作検出があったとしても演出受付がなされることはないことから第1許容音の出力状態が中断されることがないことは言うまでもない。
すなわち上述の通り、非抑制操作受付演出では、抑制操作受付演出とは異なり、「BGM再生(特定種別の演出音)」が抑制されることなく操作受付演出が発生するため、操作後演出を見逃す可能性が相対的に高いし、非自動受付態様で操作受付態様が実行される場合は、自動受付態様で操作受付態様が実行される場合とは異なり操作後演出を発生できない可能性があることから、これらの操作受付演出が発生する場合は、遊技者によっては設定時間が発生する前から連打することが想定される。ただしこの場合、連打によって操作検出がなされると、操作後演出として発生した演出であるのか、操作とは関係のない予告演出であるのかを理解し難くなる懸念があるため、第1許容音としての再生データの最後まで出力状態を維持させることで(図212)、こうした懸念を解消することが望ましい。これに対し、抑制操作受付演出や非自動受付演出では、連打する必要性はないことから、こうした連打による遊技を抑制するべく、連打していると第1許容音が第1態様と第2態様とのいずれで出力されたかを認識し難く(途中段階で出力中止)するようにすることが望ましい。
なお、設定時間内で遊技者による操作によって演出受付がなされた場合であっても、自動ボタン機能が有効化される直前など、その操作検出が遅いときに限っては、メッセージ表示が設定時間内の終了されるタイミングまで継続して表示されるようにしてもよいし、残り時間表示(ゲージ表示)が設定時間内の終了されるタイミングまでその動的表示を継続させるようにしてもよい(上述したプログラムの共通化など)。
また上述の通り、操作後演出では、通常、期待度の低い態様で実行される演出リスクがあることから、該操作後演出が行われるように操作することが、遊技興趣の向上を図る上で必ずしもよいとは限らない。この点、図212に示した演出例(非自動受付演出)では、演出受付が許容されたことを示唆するのに十分な時間だけ受付許容音(第1許容音)を出力させたら比較的早期に終了される態様(第1態様)を用いることで、受付許容音が出力されていないなかで「演出受付を発生させるか否かを判断するための時間」を創出するようにしている。これに対し、自動受付演出(図213及び図214)では、このような時間を創出する必要性がないことから、同じ態様(第1態様)で受付許容音(第1許容音)を出力させる場合のほか、これよりも長い態様(第2態様)で受付許容音(第1許容音)を出力させる場合もあるようにしており、それら態様によって期待度が異なることを示唆するようにしている。また、比較的な長い時間にわたって受付許容音の出力状態が維持されることで、自動ボタン機能が未だ有効化されていない状態にあることを示唆することができるようになり、ひいては安心感のあるなかで遊技者による操作を促すことができるようになる。
また、自動受付演出(図213及び図214)では、長い態様(第2態様)で受付許容音(第1許容音)を出力させる場合(図214)であっても、自動ボタン機能が有効化されるタイミングtr42Aが到来するよりも前に受付許容音(第1許容音)を非可聴の状態にするとともに、2つの受付許容音(第1許容音,第2許容音)をそれぞれ異なるタイミングで終了させるようにしている。
これにより、受付許容音(第1許容音,第2許容音)が非可聴の状態になるまでは、自動ボタン機能が有効化されるタイミングtr42が到来しないことを認識することができるようになり、非可聴の状態になると、早く操作しなければ自動ボタン機能がまもなく有効化されうる状況になったことを示唆することができるようになる。なおこの際、少なくとも長い側の態様(第2態様)や、第1態様の第1許容音よりも長く出力状態が維持される第2許容音では、時間経過に応じて音の大きさ及び音程の少なくとも一方を変化させるようにすることが、時間経過がどれだけ進んだかを認識容易とする上で望ましい。
また、図213及び図214に示した操作受付演出では、操作機会が付与されるのに際して「BGM再生(特定種別の演出音)」を抑制態様または無音で出力させ、これによって操作後演出が発生したときにはこれに応じた演出音が際立って聞こえるような演出的工夫を施すこととしている。この点、このような抑制操作受付演出の発生に際して出力される受付許容音については、該受付許容音が出力状態にあるときに演出受付がなされると、該演出受付がなされたことに基づいてその出力状態を終了させるようにしていることから、受付許容音に邪魔されることなく、操作後演出に応じた演出音を際立たせることができるようになる。
なお、上記演出例では、「非抑制・非自動受付演出」が発生した場合、受付許容音が出力状態にあるときに演出受付がなされてもこれを中断せず、その出力状態を維持させることとした。ただしこれに代えて、「非抑制・非自動受付演出」が、例えば、高期待変動パターン(に対応する演出パターン)内のSPリーチ状態において発生したものであるときなど、比較的期待度の高い状況にあるときに限っては、演出への集中を促すべく、受付許容音(第1許容音として同じ演出音(第1態様)が出力されていたとしても)が出力状態にあるときに演出受付がなされるとこれを中断するようにしてもよい。
なお、図213及び図214に示した演出例では、「抑制・自動受付演出」が発生した場合について説明したが、「非抑制・自動受付演出」や「抑制・非自動受付演出」なども発生しうるようにしておき、「非抑制・自動受付演出」や「抑制・非自動受付演出」が発生したときにも同じ態様で演出進展がなされるようにしてもよい。
また、高期待抑制受付演出の発生に際しては、第1許容音として第1態様(図213)や第2態様(図214)よりも長い時間にわたって出力時間が維持される第3態様を出力可能とし、該第3態様が出力されたときには、第1態様や第2態様が出力されたときよりも図柄変動が停止されたときに大当り図柄が現れる割合が高くなるようにすることが望ましい。このような構成によれば、第1許容音の出力時間がどれだけ長く継続するかに注目することで期待度を認識することができるようになり、演出受付が許容されている設定時間(有効期間)内における遊技興趣をより好適に維持することができるようになる。
またこの際、第3態様については、自動ボタン機能が有効化されるタイミングtr42Aが到来するまで出力状態を維持させるようにすることが望ましい。すなわちこの場合、第1許容音の出力時間がどれだけ長く継続するかに注目するにあたり、第1態様や第2態様ではなく、第3態様として出力されている状態にあることを確認するのに要する時間が長くなるほど、自動ボタン機能が有効化されてしまうリスクが高くなるようになることから、演出受付が許容されている設定時間(有効期間)内における緊張感を好適に維持することができるようになる。第3態様が出力状態にあるときに演出受付がなされるとこれが中断される点など、第3態様が出力されたときのその他の事項については、図213及び図214で説明した内容と同じである。
なお、自動ボタン機能については、特定の変動パターン(に対応する演出パターン)内のタイミングtr42Aが到来したときに必ず有効化されるようにしてもよいし、大当りが得られているときには特定の変動パターン(に対応する演出パターン)内のタイミングtr42Aが到来したときに有効化されるが、大当りが得られていないときには特定の変動パターン(に対応する演出パターン)内のタイミングtr42Aが到来したときに有効化されないようにしてもよい。
設定時間(有効期間)内で自動ボタンが有効化されない非自動受付演出として複数種別の演出を用意し、それら演出の一部では、該設定時間(有効期間)の発生に際して受付許容音(第1許容音、第2許容音)が出力されないようにしてもよい。すなわちこの場合、演出受付が許容される設定時間(有効期間)が発生するに際して、受付許容音が「0」個である場合と、受付許容音が「1」個である場合(第1許容音)と、受付許容音が「2」個である場合(第1許容音,第2許容音)とがあるようになり、パチンコ機1としてどれだけの度合いで「操作を促しているか」を示唆することができるようになる。
メッセージ表示や残り時間表示(ゲージ表示)を非表示にする手法として、非表示にするタイミングが到来したときにフェードアウトを開始させる手法を採用するようにしてもよい。
図213や図214に示した演出例では、タイミングtr40~tr44の期間において、「BGM再生(特定種別の演出音)」を抑制態様または無音で出力することとしたが、これに代えて、非出力の状態(音データのうち可聴音が収録されている再生期間が終了しているか、チャンネル割り当てが終了されているなど)にするようにしてもよい。すなわちこの場合、タイミングtr44で新たなデータとしての「BGM再生(特定種別の演出音)」がチャンネルに割り当てられて出力状態にされることとなる。
ところで、上記演出例にかかるパチンコ機1では、上述の通り、変動パターン判定が行われた結果としてSPリーチ(背景変更を伴うリーチ演出など)に発展する高期待変動パターン(SPリーチ変動パターン)のうち特定の変動パターンが選択された場合は、演出判定(予告判定など)としていずれの結果が得られたとしても、該特定の変動パターンの演出がSPリーチ中における特定タイミングまで進展すると、演出受付が許容される操作受付演出(有効期間)を、
・該変動パターンに応じた「BGM再生の音」が抑制態様または無音で出力されているなかで演出受付が許容される設定時間を設定する「抑制受付演出(図213(a),(b)や、図214(a),(b)を参照)」であり、且つ
・演出受付が許容される設定時間(タイミングtr42~tr43)内で操作対象にされている操作手段に対する操作が検出されなかった場合であっても、該設定時間内のタイミングtr42Aが到来すると、演出受付を内部的に自動発生させ(自動ボタン機能を有効化させ)、該演出受付がなされたことに基づいて操作後演出が開始される「自動受付態様(図213(j)や、図214(j)を参照)」
によって実行される「抑制・自動受付演出」として発生させるようにしている。
またこの際、演出判定(予告演出判定)の結果に基づいて、受付許容音のうち効果音(第1許容音)を第1態様及び第2態様を含めた複数態様のいずれで出力させるのかや、受付許容音のうちメッセージ音(第2許容音)を「押せ!」及び「納刀せよ!」のいずれで出力させるのかを判定し、該判定結果に応じた態様で受付許容音(第1許容音,第2許容音)をそれぞれ出力させるようにしていることも上述した通りである(図213,図214)。そして、これも上述の通り、第1許容音として第2態様が出力されると第1態様が出力されたときよりも期待度が高くなっており、第2許容音として「納刀せよ!」が出力されると「押せ!」が出力されたときよりも期待度が高くなるようになっている。なおこの際、期待度が高い順番としては、「第2態様&納刀せよ!」、「第2態様&押せ!」、「第1態様&納刀せよ!」、「第1態様&押せ!」とすることが、操作手段として操作ボタン410が選択されたときの遊技興趣を維持する上で望ましい。
そして、これも上述したが、上記演出例にかかる「抑制・自動受付演出」では、第1許容音として複数態様のいずれを出力させる場合であっても、該第1許容音が出力状態にあるときに演出受付がなされるとこれを中断させる(図213及び図214を参照)。また、第2許容音についても、「押せ!」及び「納刀せよ!」のいずれで出力させる場合であっても、該第2許容音が出力状態にあるときに演出受付がなされるとこれを中断させることとした。
ただしこれに代えて、複数態様のうち第1態様とは異なる態様で上記第1許容音が出力状態にあるときに演出受付がなされると該演出受付がなされたことに基づいてその出力状態を終了させるが、上記第1許容音が第1態様で出力状態にあるときに演出受付がなされたときにはその出力状態を終了させずにこれを維持するようにしてもよい。すなわちこの場合、「抑制・自動受付演出」では、第1許容音の出力状態が途中で中断されてしまい、その期待度を認識できなかったとしても複数態様のうち最も期待度の低い第1態様ではないことを認識することができることから、遊技興趣の低下を抑制することが期待されるようになる。また、操作後演出で期待度の低い態様が現れた場合であっても、複数態様のうち最も期待度の低い第1許容音の出力状態が維持されている状況にあれば、操作後演出にそもそも期待を持ち難い演出状態であったことを再認識することで、当該操作後演出として現れた結果を受け入れやすくなり、遊技興趣が著しく低下することを抑制することが期待されるようになる。
このような変形例を採用する場合であっても、上記所定の変動パターン内で上記「非抑制・非自動受付演出」が発生した場合は、図212を参照しつつ説明した通りであり、上記特定の変動パターン内で「抑制・自動受付演出」のうち第1許容音が第2態様で出力される場合は、図214を参照しつつ説明した通りである。すなわち、上述した演出例のうち、特定の変動パターン内で現れる「抑制・自動受付演出」で第1許容音を第1態様で出力させるときの「図213に示した演出態様」を、「図215に示される演出態様」に代えて実行することとなる。
同図215に示されるように、「図215に示される演出態様」においても、「図213に示した演出態様」で説明した内容やその別例で記載した内容と、基本的には同じである。ただし、「図215に示される演出態様」では、第1許容音が第1態様で出力状態にあるタイミングtr42aで演出受付がなされたとしても、該演出受付を契機としてその出力状態が中断されることはなく、該第1許容音としての再生データの最後まで出力状態が維持されるようになっている。これに対し、特定の変動パターン内で「抑制・自動受付演出」が発生した場合であっても、第1許容音が、複数態様のうち最も期待度の低い第1態様とは異なる態様(例えば、第2態様)で出力されるときには(例えば、図214(c))、タイミングtr42aで演出受付がなされると、該演出受付に基づいてその出力状態が中断されることは上述した。
このような構成によれば、特定の変動パターン内で「抑制・自動受付演出」が発生した場合、第1許容音としての態様がいずれであるかを確認し難いような早いタイミングで演出受付がなされたとしてもこれを契機として第1許容音の出力状態が終了されるか否かを確認することで、期待度を認識することができるようになる。特に、この演出例(図213や図215など)では、設定時間(有効期間)の発生前のタイミングtr41から、該設定時間が設定されるタイミングtr42を跨るかたちで第1許容音を出力させるようにしており、タイミングtr41で出力状態になってからタイミングtr42が到来するまでの間は態様にかかわらず第1許容音が中断されることはないようにされていることから、第1許容音としての態様がいずれであるかの「聞き分け」をするための時間として機能させることができるようになる。
この点、図215に示される変形例では、出力状態が中断されない第1態様を、出力状態が中断される他のいずれの態様よりも、その出力状態が短い時間しか維持されないものとして用意することとしている。これにより、第1許容音が第1態様で出力されている状況にあるときに操作後演出が開始された場合であっても、該操作後演出としての演出音と当該第1許容音との各出力状態が重複してしまう時間を短くすることができるようになり、遊技興趣の低下が抑制されうるようになる。
また、図215に示される変形例にあって、第1態様で出力される第1許容音は、図212に示した演出例(図212(c)を参照)においても出力されうるものとなっており、該演出例においても演出受付を契機として中断されることはなく、該第1許容音としての再生データの最後まで出力状態を維持するようになっていることから、第1許容音が演出受付によって中断されない状況が現れたとしても違和感のない演出として提供することができるようになる。
ただし、第2許容音についてはその出力状態にあるときに演出受付がなされると、第1許容音としていずれの態様が出力されている場合であっても、該演出受付がなされたことに基づいてその出力状態を中断させるようにしている(図214(d),図215(d)を参照)。すなわちこの場合、第1許容音については演出受付が早期になされたときの期待度を示唆する機能を奏することとなるのに対し、第2許容音については操作検出によって演出受付がなされた状況(自動ボタン機能によって操作機会を喪失しうる状況)にあるか否かを示唆する機能を奏することとなり、これらの異なる機能を受付許容音に持たせるようにすることで、操作受付演出が発生したときの遊技興趣を好適に維持することができるようになる。
他方、図212に示した操作受付演出の発生に際して出力される受付許容音については、第1態様で必ず出力されるものであってもよいし、特別態様で出力される場合があるようにしてもよいが、特別態様で出力されているときに演出受付がなされたとしてもその出力状態を終了させずにこれを維持するようにすることが望ましい。なお、特別態様で出力される場合は、第1態様で出力される場合よりも、図柄停止時に大当り図柄が現れる割合が高くなるようにすることが望ましい。この割合は100%であってもよい。第1態様及び特別態様とは異なる態様で出力される場合があってもよい。
すなわち、図212に示した操作受付演出では、「BGM再生(特定種別の演出音)」が非抑制態様で出力状態を維持するようになっており、演出性に乏しさがあるなどの問題はないことから、操作後演出が開始された状況においても第1許容音としての態様を確認可能とし、その期待度を認識することができるようにすることがより望ましいといえる。
なお、「特定種別の演出音が抑制態様または無音で出力されているか、非出力の状態にされているなかで操作機会を付与する抑制操作受付演出」においては、特定種別の演出音が抑制または非可聴の状態にされている状況においても、その他の音は非抑制態様で出力可能となっていることは言うまでもない。
また上述の通り、上記演出例にかかるパチンコ機1にあって、「特定種別の演出音が抑制態様または無音で出力されているか、非出力の状態にされているなかで操作機会を付与する抑制操作受付演出(図213~図215)」では、その設定時間(有効期間)の発生に際して出力される受付許容音を、「出力状態として維持される時間の長さが異なる複数態様」のいずれかで非抑制態様によって出力可能としており、該出力された態様によって期待度(大当り図柄が現れる割合)が異なるようにした。この点、「特定種別の演出音(例えば、BGM再生)が非抑制態様で出力されているなかで操作機会を付与する非抑制操作受付演出」においても、受付許容音(第1許容音)を第1態様で非抑制態様によって出力させる場合(図212)のほか、該第1態様とは異なる態様(長さが異なる、演出音これ自体が異なる、など)で受付許容音(第1許容音)を非抑制態様によって出力させる場合もあるようにし、該出力された態様によって期待度(大当り図柄が現れる割合)が異なるようにしてもよい。このような構成によれば、「非抑制操作受付演出」の発生に際して出力される受付許容音と、「抑制操作受付演出」の発生に際して出力される受付許容音とがいずれも、「出力状態として維持される時間の長さが異なる複数態様」のいずれかで出力可能とされるものになり、さらには該出力された態様によって期待度が異なるようになることから、「非抑制操作受付演出」と「抑制操作受付演出」とのいずれにおいても演出受付がなされるまでの遊技興趣を好適に維持することができるようになる。
図216は、「非抑制操作受付演出(ここでは、非抑制・非自動受付演出)」の発生に際して、特定態様で第1許容音が出力される演出例を示すタイムチャートである。
同図216に示されるように、この演出例においても、特に断り書きがない部分については、基本的に、図212に示した演出例の場合と同様である。ただし、この演出例にかかる非抑制・非自動受付演出(タイミングtr31~tr33)では、その発生に際して、複数態様のいずれで第1許容音を出力させるかについての演出判定(例えば、図柄変動開始に際しての予告演出判定)が行われるようになっており、該演出判定が行われた結果、図216(c),(g)に示されるように、「第1態様」ではなく、「特定態様」で出力される場合を想定しており、「第1態様」で出力される場合よりも図柄変動が停止されたときに大当り図柄が現れる割合が高い演出状況になっている。特定態様は、第1態様よりも長い時間にわたって出力される。
ここで、「非抑制・非自動受付演出」と「抑制・自動受付演出」とのいずれにおいても、それら操作受付演出の発生に際しては、第1許容音が第1態様によって出力されうるようになっていることは上述した(図212や、図213(または図215)を参照)。すなわちこの場合、「非抑制・非自動受付演出」と「抑制・自動受付演出」とのいずれにおいても、それら操作受付演出の発生に際しては、第1許容音として同じ演出音が同じ時間にわたって出力されることとなる。
これに対し、「非抑制・非自動受付演出」の発生に際して第1許容音が特定態様によって出力される場合(図216)と、「抑制・自動受付演出」の発生に際して第1許容音が第2態様によって出力される場合(図214)とでは、第1許容音として互いに異なる演出音が異なる時間にわたって出力される。この演出例では、第1許容音が第2態様によって出力される場合、第1許容音が特定態様によって出力される場合よりも長い時間にわたって出力されるようになっている。
ただしその一方で、第1許容音として同じ演出音が同じ時間にわたって出力された場合(第1態様(図212や、図213(または図215)を参照)における期待度(大当り図柄が現れる割合)は、該「第1態様」が、「非抑制・非自動受付演出(図212)」の発生に際して出力されたものであるか、「抑制・自動受付演出(図213(または図215)」」の発生に際して出力されたものであるかによって異なるようになっている。なおここでは、「非抑制・非自動受付演出(図212)」の発生に際して「第1態様」が現れた場合に演出受付に応じた操作後演出で大当り図柄が現れることが示唆される期待度(割合)は、「抑制・自動受付演出(図213(または図215))」の発生に際して「第1態様」が現れた場合に演出受付に応じた操作後演出で大当り図柄が現れることが示唆される期待度(割合)よりも低くなっている。該期待度(割合)は、0%や100%であってもよい。
これに対し、第1許容音として互いに異なる演出音が異なる時間にわたって出力された場合(「第2態様(図214)」や、「特定態様(図216)」が現れた場合)における期待度(大当り図柄が現れる割合)については、「非抑制・非自動受付演出」及び「抑制・自動受付演出」のいずれの発生に際して出力されたかにかかわらず所定値として同じになるようになっている。該期待度(割合)も、0%や100%であってもよい。
このような構成によれば、第1許容音として同じ演出音が同じ時間にわたって出力されたとしても、「非抑制・非自動受付演出」と「抑制・自動受付演出」とのいずれが発生しているかによって期待度は必ずしも同じにならないようになる。また、「非抑制・非自動受付演出」が発生した場合であっても、第1許容音として特定態様が出力されたときには、第1許容音として第2態様が出力された場合における「抑制・自動受付演出」と同じ期待度が示唆されるようになる。
すなわちこの場合、「非抑制・非自動受付演出」と「抑制・自動受付演出」とについては、同じ態様(第1態様)で第1許容音が出力されても期待度は互いに異なるようにされたり、さらには互いに異なる態様(第2態様,特定態様)で第1許容音が出力されうる場合があるようにしていることから、互いに演出的関係性がないように見せることができるようになる。ただし実際は、第1許容音が第2態様または特定態様で出力されたときには、互いに異なる演出音であり異なる出力時間であるにもかかわらず期待度は互いに同じになるようにされることから、演出的関係性を秘かに持たせることができるようになる。例えば、演出受付が許容される設定時間(有効期間)の発生に際して、「BGM再生」が抑制された場合と「BGM再生」が抑制されなかった場合とでは、通常(受付許容音が第1態様として出力された場合)は、演出受付がなされたときに異なる操作後演出(異なる期待度)を開始させることで、互いに演出的関係性のない演出であるように見せる。ただし、受付許容音が第2態様または特定態様として出力された場合は、「BGM再生」が抑制されたか否かによって異なる演出が行われたかのように見せつつも、演出受付がなされたときの操作後演出としては同じ内容(同じ期待度)を出現させることができるようになるなど、演出的関係性を秘かに持たせることでサプライズ的な演出性を提供することが期待されるようになる。
なおこの場合、「非抑制・非自動受付演出」及び「抑制・自動受付演出」のいずれにおいても、第1許容音として複数態様を用意することとなるが、共通して用いられる「第1態様」については、いずれの操作受付演出であっても、複数態様のうち最も出力時間が短い態様として設定されるようにすることが望ましい。また、第1許容音としての「第2態様」については、「抑制・自動受付演出」の発生に際して出力可能とされる複数態様のうち最も出力時間の長い態様として設定されるものであり、且つ第1許容音としての「特定態様」については、「非抑制・非自動受付演出」の発生に際して出力可能とされる複数態様のうち最も出力時間の長い態様として設定されるものであるが、互いの出力時間は異なる(例えば、「特定態様の出力時間」<「第2態様の出力時間」)ようにすることが、互いに演出的関係性がないように見せる上で望ましい。
また、「非抑制・非自動受付演出」では、第1許容音が第1態様及び特定態様のいずれで出力されたとしても、演出受付がなされたか否かにかかわらず中途段階で出力終了されず出力状態を維持させうるようにすることが望ましい。すなわちこの場合、操作後演出が開始された以降も、第1許容音の出力が残されうるようになることから、相対的に期待度の低い「非抑制・非自動受付演出」が実行されている状況にあって、相対的に期待度の高い「抑制・自動受付演出」と同じ期待レベルまで押し上げる「特定態様」で第1許容音が出力されているにもかかわらず、これを聞き逃してしまう可能性を排除することができるようになる。これに対し、「抑制・自動受付演出」で演出受付がなされると第1許容音の出力状態が中断されるか否かについては、図213~図215を参照しつつ説明した通りである。
なお、上述した演出例では、「抑制・自動受付演出」で第1許容音として第2態様が出力された場合(図214)と、「非抑制・非自動受付演出」で第1許容音として特定態様が出力された場合(図216)とでそれらの期待度が同じになるようにした。ただし、「抑制・自動受付演出」にあって、第1許容音として、「第1態様(図213)」や「第2態様(図214)」よりも長い時間にわたって出力時間が維持される上述の「第3態様」を出力可能とする場合には、「抑制・自動受付演出」で第1許容音として上記「第2態様」ではなく該「第3態様」が出力された場合と、「非抑制・非自動受付演出」で第1許容音として「特定態様」が出力された場合とでそれらの期待度が同じになるように設定することとなる。「第3態様」については上述した通りである。
また、図216に示した演出例では、設定時間(有効期間)内で演出受付がなされると(図中では、タイミングtr32a)、演出受付に応じた操作後演出として、演出表示装置1600(第1演出部材)における操作後表示演出(液晶表示)と、スピーカ(第2演出部材)による操作後演出音出力(演出音)とが少なくとも発生するようになっている。図中では、操作後表示演出(液晶表示)と、スピーカによる操作後演出音出力(演出音)とが同じ時間だけ実行状態を維持するようになっているが、必ずしもこれに限られない。例えば、操作後表示演出(液晶表示)については、設定時間(有効期間)内のいずれのタイミングで演出受付がなされた場合であっても、タイミングtr33よりも後に到来する所定タイミングで非表示にされるものにするのに対し、操作後演出音出力(演出音)については、演出受付がなされたタイミングから予め定められた時間分だけ出力状態を維持するものにするようにしてもよい。ただし、いずれのタイミングで演出受付がなされた場合であっても、タイミングtr33が経過し終わっていない状態では、操作後表示演出(液晶表示)と操作後演出音出力(演出音)とのいずれも出力状態を維持するようにすることが求められる。
また、上記演出例にあって、「受付許容音が出力される時間」にかかる長短とは、「受付許容音の音データがチャンネルに対して割り当てられている時間」にかかる長短ではなく、「可聴音として出力される時間」にかかる長短を意味する。
また、上記演出例にあって、「非抑制・非自動受付演出」と「抑制・自動受付演出」とで互いに演出的関係性がないように見せる上では、「第2態様」や「第3態様」については、「抑制・自動受付演出」及び「非抑制・非自動受付演出」のうち「抑制・自動受付演出」だけで出力可能とされるものとし、「特定態様」については、「抑制・自動受付演出」及び「非抑制・非自動受付演出」のうち「非抑制・非自動受付演出」だけで出力可能とされるものにすることが望ましい。なお、「抑制・自動受付演出」で「第2態様」及び「第3態様」を出力候補としてそれぞれ用意するようにした場合は、「抑制・自動受付演出」これ固有の受付許容音(第2態様、第3態様)が出力されたとしても、「非抑制・非自動受付演出」これ固有の受付許容音(特定態様)が出力されたときと必ずしも同じ期待度にならないこととなることから、「抑制・自動受付演出」の発生に際して出力される受付許容音としての演出性をより好適に向上させることができるようになる。
また、非抑制・非自動受付演出(タイミングtr31~tr33)については、低期待変動パターン(非リーチ変動パターン)にかかる演出として発生するものでなくてもよく、例えば、SPリーチ状態に発展する高期待変動パターン(例えば、特定の変動パターン)にかかる演出のうちSPリーチ状態に発展する前の演出期間内などで発生するものであってもよいことは上述した通りである。
ところで、上記演出例にあって、特定種別の演出音(例えば、BGM再生の演出音)が抑制されうる「抑制操作受付演出」については、抑制度合いが相対的に低い「弱抑制態様(第1抑制操作受付演出)」と、抑制度合いが相対的に高い、または非出力の状態にされる「強抑制態様(第2抑制操作受付演出)」とを少なくとも含めた複数態様を用意するようにしてもよい。なお、相対的に高い抑制度合いで特定種別の演出音が出力される場合、その音量は「0」に設定されるようにしてもよい。
このような構成によれば、演出受付が許容される設定時間(有効期間)が発生するにあたり、該特定種別の演出音がどれだけ抑制されるかについての演出性を持たせることができるようになる。
ここで、上記作用効果を好適に得る上では、「弱抑制態様(第1抑制操作受付演出)」と「強抑制態様(第2抑制操作受付演出)」とのいずれが発生したかによって期待度(大当り図柄が現れる割合)が異なるようにすることが望ましい。なおここでは、「弱抑制態様(第1抑制操作受付演出)」が発生した場合に「演出受付に応じた操作後演出」で大当り図柄が現れることが示唆される期待度(割合)は、「強抑制態様(第2抑制操作受付演出)」が発生した場合に「演出受付に応じた操作後演出」で大当り図柄が現れることが示唆される期待度(割合)よりも低くなっている。該期待度(割合)は、0%や100%であってもよい。
また、「弱抑制態様(第1抑制操作受付演出)」については、SPリーチ(背景変更を伴うリーチ演出など)に発展する高期待変動パターンに応じた演出と、リーチ状態すら形成されない(若しくは、リーチ状態は形成されうるが、SPリーチに発展しない)低期待変動パターンに応じた演出とのいずれにおいても出現可能とされるものであるのに対し、「強抑制態様(第2抑制操作受付演出)」については、低期待演出パターンでは発生せず、高期待変動パターンに応じた演出として発生するものとしてもよい。このような構成であっても、「弱抑制態様(第1抑制操作受付演出)」が発生した場合の期待度は、「強抑制態様(第2抑制操作受付演出)」が発生した場合の期待度よりも低いと言える。
また、上記作用効果をより好適に得る上では、特別の演出条件が満たされたことに基づいて移行可能な「特別の演出状態」を発生可能とし、該「特別の演出状態」では、遊技者に対して操作を促す操作促進画像(摸画像やゲージ表示など)が表示されている設定時間(有効期間)中に演出受付がなされる都度、特定種別の演出音(例えば、BGM再生の演出音)が抑制されているなかで、該演出受付に応じた操作後演出が実行(開始)されるようにすることが望ましい。このような「特別の演出状態」によれば、演出受付が許容される設定時間(有効期間)が発生する都度、特定種別の演出音(例えば、BGM再生の演出音)がどれだけ抑制されるかについての演出性を提供することができるようになり、操作後演出により示唆される期待度とは別に、こうした演出性(どれだけの度合いで抑制されるか)によっても期待度が示唆されるようになることから、演出受付が許容されたときの遊技興趣のさらなる向上を図ることが期待されるようになる。
また、図柄変動内で「弱抑制態様(第1抑制操作受付演出)」と「強抑制態様(第2抑制操作受付演出)」とが順次に実行可能とされる演出パターン(例えば、高期待変動パターンのうち特定の変動パターンに対応する演出)を用意するようにしてもよい。すなわちこの場合、相対的に期待度が低い側の「弱抑制態様(第1抑制操作受付演出)」が発生したとしても、相対的に期待度が高い側の「強抑制態様(第2抑制操作受付演出)」が発生する可能性が残されるようになることから、特定種別の演出音に対する抑制度合いが小さいと遊技者によって認識された場合(弱抑制態様)における遊技興趣の低下を抑制することができるようになる。
また、「弱抑制態様(第1抑制操作受付演出)」が発生したときの遊技興趣の低下をより好適に抑制する上では、「強抑制態様(第2抑制操作受付演出)」については、
・上記変動パターン判定が行われた結果としてSPリーチ(背景変更を伴うリーチ演出など)に発展する高期待変動パターン(SPリーチ変動パターン)のうち特定の変動パターンが選択された場合は、演出判定(予告判定など)としていずれの結果が得られたとしても、該特定の変動パターンの演出がSPリーチ中における特定タイミングまで進展すると発生するもの
とするのに対し、「弱抑制態様(第1抑制操作受付演出)」については、
・上記特定の変動パターンが選択された場合であっても、演出判定(予告判定など)で特別結果が得られなかったときには当該特定の変動パターンの演出が所定タイミングまで進展しても発生せず、演出判定(予告判定など)で特別結果が得られたときには当該特定の変動パターンの演出が所定タイミングまで進展したときに発生するもの
とする。そして、特定の変動パターンに応じた演出で「弱抑制態様(第1抑制操作受付演出)」が発生したときには、特定の変動パターンに応じた演出で「弱抑制態様(第1抑制操作受付演出)」が発生しなかったときに比べて、「強抑制態様(第2抑制操作受付演出)」で演出受付がなされたときに操作後演出が期待度の高い態様で実行される割合が高くなるようにすることが望ましい。
このような構成では、特定の変動パターンに応じた演出においては、「強抑制態様(第2抑制操作受付演出)」が必ず発生するのに対し、「弱抑制態様(第1抑制操作受付演出)」は必ずしも発生しないようになり、且つ該「弱抑制態様(第1抑制操作受付演出)」が発生したときには、「強抑制態様(第2抑制操作受付演出)」で期待度の高い操作後演出が実行される割合が高くなるようになることから、「弱抑制態様(第1抑制操作受付演出)」が発生するか否かに注目を集めることができるようになり、該「弱抑制態様(第1抑制操作受付演出)」が発生したときの遊技興趣の向上を図ることができるようになる。
図217~図219は、高期待変動パターン(例えば、特定の変動パターン)に応じた演出において、「弱抑制態様(第1抑制操作受付演出)」と「強抑制態様(第2抑制操作受付演出)」とが順次発生する場合における演出例を示すタイムチャートである。図217は、設定時間(有効期間)が発生してから比較的早い段階で操作検出があった場合における演出例を示しており、図218は、設定時間(有効期間)が発生してから比較的遅い段階で操作検出があった場合における演出例を示しており、図219は、設定時間(有効期間)内で操作検出がなかった場合における演出例を示している。
いま、始動条件が成立(保留消化)されて、変動パターン判定が行われた結果として「SPリーチ(背景変更を伴うリーチ演出など)に発展する高期待変動パターン」のうち「特定の変動パターン」が選択されたとすると、上記周辺制御MPU1511aでは、まず、該特定の変動パターンに対応する演出判定(予告判定など)を行う。そしてこの後、装飾図柄の変動演出(特定の変動パターンに応じた演出描写や、特定の変動パターンに応じたBGM再生の音出力など)を開始させ、該変動演出の実行期間内で、演出判定(予告判定など)の結果に応じた演出(予告演出など)を、上記選択した「特定の変動パターン」これ自体の演出(演出パターン)に対して付加的に実行させることとなる。
ただし、当該「特定の変動パターン」にあって、装飾図柄の変動演出が開始されてから予め定められた時間が経過したタイミングtr40(SPリーチ状態内のタイミング)が到来した以降に現れる演出内容については、図213や図214を参照しつつ説明した演出例の場合と同様である。すなわち、まず、タイミングtr40が到来すると、予告演出判定としていずれの結果が得られている場合であっても、「特定種別の演出音(BGM再生の音)が抑制態様または無音で出力される状態(若しくは、非出力の状態)にされる。ここでは、該抑制にかかる状態を「強抑制態様」として呼称しており、こうして「強抑制態様」が現れているなかでタイミングtr42(装飾図柄の変動演出が開始されてから特定時間が経過した、SPリーチ状態内のタイミング)が到来すると、予告演出判定としていずれの結果が得られている場合であっても、演出受付が許容される操作受付演出(有効期間)が発生される。ここでは、「強抑制態様」が現れているなかで発生する該操作受付演出を「第2抑制操作受付演出」として呼称している。
これに対し、「特定の変動パターン」では、装飾図柄の変動演出が開始されてから所定時間が経過したタイミングtr51(SPリーチ状態に発展するよりも前のタイミング)が到来すると、予告演出判定として特別結果が得られていることを条件に、演出受付が許容される操作受付演出(有効期間)を、変動パターンに基づく図柄演出(演出パターン)に対して付加的に発生させることとなる。ただし後述するが、該タイミングtr51で発生する操作受付演出(有効期間)は、図212に示した操作受付演出(非抑制・非自動受付演出)の場合とは異なり、上記「第2抑制操作受付演出(強抑制態様)」よりも抑制度合いは低いものの、所定条件下では「特定種別の演出音(BGM再生の音)」の音量を抑制させる処理がなされうる。
このような構成によれば、「特定の変動パターン」に応じた演出が実行されている状況にあったとしても、演出判定(予告判定など)として特別結果が得られていないときには、図213や図214に示した演出例が現れることとなり、すなわち当該変動パターンに応じた演出内で「弱抑制態様(第1抑制操作受付演出)」が発生することはなく、「強抑制態様(第2抑制操作受付演出)」のみが発生するようになる。これに対し、演出判定(予告判定など)として特別結果が得られているときには、図217~図219に示されるように、当該変動パターンに応じた演出内で「弱抑制態様(第1抑制操作受付演出)」がまずは発生し、この後に図213や図214に示した第2抑制操作受付演出(強抑制態様)がさらに発生するようになる。
図217~図219に示される演出例において、タイミングtr40が到来した以降の演出内容は、図213を参照して説明した通りであるから、ここでは説明を割愛する。なおこの場合、第2抑制操作受付演出(強抑制態様)については、演出判定(予告判定など)の結果によっては第1許容音が図213や図217~図219に示した第1態様ではなく、図214に示した第2態様で出力される場合があることなど、図213に示した演出内容の関連演出や、別例、変形例について上述した各内容は、図217~図219に示される演出例のうちタイミングtr40以降の演出内容(強抑制態様(第2抑制操作受付演出))にも適宜に適用されるものであることは言うまでもない。
そして上述の通り、図217~図219に示される演出例では、装飾図柄の変動演出(特定の変動パターンに応じた演出)が開始されてから所定時間が経過したタイミングtr51(SPリーチ状態に発展するよりも前のタイミング)が到来すると、演出受付が許容される操作受付演出(有効期間)が「弱抑制態様(第1抑制操作受付演出)」として発生するようになっている。
この点、この実施の形態にかかるパチンコ機1では、特定の変動パターンに応じた変動演出内のタイミングtr51で発生させる「弱抑制態様(第1抑制操作受付演出)」については、
・該変動パターンに応じた「BGM再生の音」が非抑制態様で出力されているなかで演出受付が許容される設定時間(有効期間)を設定するが、該設定時間(有効期間)内で演出受付がなされると、該演出受付を契機として「BGM再生の音」を非抑制態様から弱抑制態様(抑制度合いが相対的に低い態様)へと変化させる「条件付き抑制受付演出(図217(a),(b)を参照)」であり、且つ
・演出受付が許容される設定時間(タイミングtr51~tr52)内で操作対象にされている操作手段に対する操作が検出されなかった場合は、演出受付がなされることはなく、この結果として該演出受付を契機とした各処理(「BGM再生の音」を非抑制態様から弱抑制態様に変化させる処理や、操作後演出(液晶表示,演出音など)が実行されないままで当該設定時間(有効期間)が経過し終わる「非自動受付態様(図219(a),(b),(f)を参照)」
によって実行される「条件付き抑制(弱抑制態様)・非自動受付演出」として発生させるようにしている。なお、「BGM再生の音」を弱抑制態様で出力させる手法としては、該「BGM再生の音」が割り当てられているチャンネルに対するボリューム値を、強抑制態様の場合(例えば、ボリューム値(可聴ボリューム)が「0」)よりも抑制度合いの低い弱抑制値(例えば、ボリューム値(可聴ボリューム)が「10」)に設定変更させる手法などを採用することができる。
このような「条件付き抑制(弱抑制態様)・非自動受付演出(第1抑制操作受付演出)」によれば、遊技者による操作によって演出受付がなされない限りは、「特定種別の演出音(BGM再生の音)が抑制態様で出力される状態」へと移行されることがないことから、図212や図216に示した「非抑制受付演出」が発生しているように見せることができるようになる。すなわちこの場合、遊技者が操作したときに「特定種別の演出音(BGM再生の音)が抑制態様で出力される状態」へと変化することにより「抑制受付演出」ではないことを初めて認識しうるようになることから、サプライズ的な演出によって遊技興趣の向上を図ることができるようになる。
なお、このような作用効果を得る上では、「条件付き抑制(弱抑制態様)・非自動受付演出(図217~図219)」を演出判定(予告判定など)の結果次第で発生可能とする変動パターンについては、特別の演出状態(例えば、先読み演出ゾーンなど)にあるときにしか選択可能とされないようにしておき、該特別の演出状態にあるときは、「非抑制・非自動受付演出(図212,図216)」を演出判定(予告判定など)の結果次第で発生可能とする変動パターンが選択されうる通常の演出状態にあるときよりも図柄変動が停止されたときに大当り図柄が現れる割合(期待度)が高くなるようにすることが望ましい。このような構成によれば、「条件付き抑制・非自動受付演出」が現れた場合は、「非抑制・非自動受付演出(図212,図216)」が現れたときよりも期待度が高くなるようになり、上述のサプライズ的な演出要素も相まって、遊技興趣の向上を図ることができるようになる。
またさらに、上記作用効果をより好適に得る上では、「強抑制態様(第2抑制操作受付演出)」については、「通常の演出状態」と「特別の演出状態」とのいずれにおいても発生可能とされるようになっており、「通常の演出状態」では、一の変動パターン(当落で対になっている一の変動パターン)に応じた演出内で「非抑制・非自動受付演出(図212,図216)」と「抑制(強抑制態様)・自動受付演出(図213,図214)」とが順次に発生しうるようにし、「特別の演出状態」では、一の変動パターン(当落で対になっている一の変動パターン)に応じた演出内で「条件付き抑制(弱抑制態様)・非自動受付演出(図217~図219)」と「抑制(強抑制態様)・自動受付演出(図213,図214)」とが順次に発生しうるようにすることが望ましい。
しかも、「条件付き抑制(弱抑制態様)・非自動受付演出」では、演出受付がなされることなく当該設定時間(有効期間)が経過し終わると、「特定種別の演出音(BGM再生の音)が弱抑制態様で出力される状態」へと移行されないままでそれ以降の演出へと進展するようになる(図219)。すなわちこの場合、「非抑制・非自動受付演出」と「条件付き抑制・非自動受付演出」とのいずれが発生していたのか、ひいては「通常の演出状態」と「特別の演出状態」とのいずれの状況にあるのかを認識し難いままで、それ以降の演出が進展されるようになってしまうことから、期待度が相対的に低い側とされる「非抑制態様で出力されているなかでの操作受付演出(有効期間)」が発生した場合であっても、遊技者による操作をより積極的に促すことができるようになる。
また、この実施の形態にかかるパチンコ機1では、「条件付き抑制(弱抑制態様)・非自動受付演出(図217~図219)」が発生する場合と、「非抑制・非自動受付演出(図212)」が発生する場合とでは、上記受付許容音(第1許容音)として同じ演出音(第1態様)を同じ時間にわたって出力するようにしており、これによっても「条件付き抑制(弱抑制態様)・非自動受付演出(図217~図219)」と「非抑制・非自動受付演出(図212)」とのいずれが発生しているのかを認識し難くするようにしている。
また、「条件付き抑制(弱抑制態様)・非自動受付演出(図217~図219)」では、「非抑制・非自動受付演出(図212)」が発生する場合と同様、
・設定時間が発生するよりも少し前のタイミングtr50が到来したときに「受付許容音(第1許容音)」を出力開始させ、タイミングtr51を跨るかたちでその出力状態を維持させるようにしている点、
・第2許容音(例えば、メッセージ音)が出力されることはなく、第1許容音(例えば、効果音)のみが出力されるようになっている点
・設定時間(有効期間)が設定されるタイミングtr51が到来すると、演出表示装置1600において、当該操作受付演出で操作対象とされている操作手段を摸した摸画像が表示されるとともに、設定時間が経過し終わるまでの残り時間を示唆するゲージ表示がそれぞれ行われる点
等々、といった各構成についてもそれぞれ採用しており、これによっても「条件付き抑制(弱抑制態様)・非自動受付演出(図217~図219)」と「非抑制・非自動受付演出(図212)」とのいずれが発生しているのかを認識し難くするようにしている。したがって、摸画像やゲージ表示の表示手法としても、「非抑制・非自動受付演出(図212)」が発生する場合と同様、例えば、図159(R2)に示した手法を採用するようにすることが望ましいし、それら表示画像(摸画像、ゲージ表示)が、演出受付が発生したことに基づいて非表示にされるタイミングについても、図212に示した演出例と同じ態様を採用することが望ましい。
しかも、この実施の形態にかかる「条件付き抑制(弱抑制態様)・非自動受付演出(図217~図219)」では、これも図212に示した演出例の場合と同様、設定時間(有効期間)が発生してから「受付許容音(第1許容音)」が出力状態にあるタイミングtr51a,tr52a(図217(c),図218(c))で演出受付がなされた場合、該設定時間(有効期間)これ自体は終了させる一方で、「受付許容音(第1許容音)」についてはこれを中途終了させず、第1許容音として出力し終わるタイミング(操作がなかったときと同じタイミング(図219(c))までその出力状態を維持させるようにしている。
このような構成によれば、遊技者による操作によって演出受付がなされた後も、受付許容音(第1許容音)を聞いているだけでは、「条件付き抑制(弱抑制態様)・非自動受付演出(図217~図219)」と「非抑制・非自動受付演出(図212)」とのいずれが発生しているのかを認識し難くすることができるようになる。すなわち、受付許容音(第1許容音)の出力状態(非抑制態様)が維持されているなかで「特定種別の演出音(BGM再生の音)が弱抑制態様で出力される状態」へと移行されたか否かを聞き分ける必要が生じるようになることから、演出受付がなされる都度、緊張感が好適に維持されることが期待されるようになる。
また、「条件付き抑制(弱抑制態様)・非自動受付演出(図217~図219)」においても、設定時間(有効期間)内で演出受付がなされると(図中では、タイミングtr51a,51b)、演出受付に応じた操作後演出として、演出表示装置1600(第1演出部材)における操作後表示演出(液晶表示)と、スピーカ(第2演出部材)による操作後演出音出力(演出音)とが少なくとも発生するようになっている。図中では、操作後表示演出(液晶表示)と、スピーカによる操作後演出音出力(演出音)とが同じ時間だけ実行状態を維持するようになっているが、必ずしもこれに限られない。例えば、操作後表示演出(液晶表示)については、設定時間(有効期間)内のいずれのタイミングで演出受付がなされた場合であっても、タイミングtr52よりも後に到来する所定タイミングで非表示にされるものにするのに対し、操作後演出音出力(演出音)については、演出受付がなされたタイミングから予め定められた時間分だけ出力状態を維持するものにするようにしてもよい。ただし、いずれのタイミングで演出受付がなされた場合であっても、タイミングtr52が経過し終わっていない状態では、操作後表示演出(液晶表示)と操作後演出音出力(演出音)とのいずれも出力状態を維持するように設定することが求められる。
その他、「条件付き抑制・非自動受付演出(図217~図219)」において現れる受付許容音や操作関連表示については、図212に示した演出例に対する別例や変形例を適宜に採用することが可能であり、互いに同じ手法を用いるようにすることが望ましい。
また、この実施の形態にかかるパチンコ機1では、特定の変動パターンに応じた演出内のタイミングtr51で発生させる「第1抑制操作受付演出(条件付き抑制・非自動受付演出)」については、演出受付のなされたタイミングから予め定められた一定の時間にわたって、「BGM再生の音」を弱抑制態様(抑制度合いが相対的に低い態様)で出力させる処理を行うようにしている。
このような構成によれば、設定時間(有効期間)が発生してから比較的早いタイミングtr51aで演出受付がなされると(図217)、「BGM再生の音」が弱抑制態様(抑制度合いが相対的に低い態様)から非抑制態様に戻されるタイミングtr53aも比較的早期に到来するようになり、この結果として「BGM再生の音」が弱抑制態様にされる期間と「BGM再生の音」が強抑制態様にされる期間との間には比較的長い間隔(タイミングtr53a~tr40)が持たされるようになる。これに対し、設定時間(有効期間)が発生してから比較的遅いタイミングtr51bで演出受付がなされると(図218)、「BGM再生の音」が弱抑制態様から非抑制態様に戻されるタイミングtr53bも比較的遅くに到来するようになり、この結果として「BGM再生の音」が弱抑制態様にされる期間と「BGM再生の音」が強抑制態様にされる期間との間には比較的短い間隔(タイミングtr53b~tr40)しか持たされないようになる。
すなわちこの場合、第1抑制操作受付演出において遊技者による操作が行われたタイミングが遅いほど(タイミングtr52に近づくほど)、「BGM再生の音」を弱抑制態様にする期間が終了してから「BGM再生の音」を強抑制態様にする期間が開始されるまでの時間が短くなることとなる。これにより、第1抑制操作受付演出において遊技者による操作が行われたタイミングが早いか遅いかによって、弱抑制態様が終了されてから強抑制態様の現れるタイミングが比較的早く到来して連続的な抑制演出(弱抑制態様→強抑制態様)が実行されているかのように見せることができたり、弱抑制態様が終了されてから強抑制態様の現れるタイミングが比較的遅く到来して「強抑制態様が現れないかもしれない」といった不安感を覚えさせたりすることができるようになることから、遊技興趣の向上を図ることができるようになる。
なお、この演出例にあっては、「BGM再生の音」が弱抑制態様で出力される時間の長さ(予め定められた一定の時間)を、操作後演出(液晶表示、演出音)の実行時間と同じに設定しているが、必ずしもこれに限られない。ただし、「BGM再生の音」が弱抑制態様で出力される時間の長さについては、操作後演出(液晶表示、演出音)の実行時間と同じか、該実行時間よりも長い時間として設定するようにすることが、演出受付がなされたときの操作後演出を際立たせるようにする上で望ましい。またさらに、「第1抑制操作受付演出(条件付き抑制・非自動受付演出)」の設定時間(有効期間)のうち最も遅いタイミングtr52で演出受付がなされた場合であっても、弱抑制態様を終了させるタイミングが、強抑制態様を開始させるタイミングtr40よりも前に到来するように、「BGM再生の音」が弱抑制態様で出力される時間の長さを設定することが望ましい。なお、この演出例では、タイミングtr51a~53aの時間と、タイミングtr51b~53bの時間は同じである。
図217~図219に示したように、この実施の形態にかかるパチンコ機1では、一の変動パターンに応じた演出内で、
・特定種別の演出音(例えば、BGM再生の演出音)を相対的に低い抑制度合い(弱抑制態様)で抑制する第1抑制操作受付演出(タイミングtr50から操作後演出が終了されるまでの期間)、及び
・特定種別の演出音(例えば、BGM再生の演出音)を相対的に高い抑制度合い(強抑制態様)で抑制する第2抑制操作受付演出(タイミングtr40から操作後演出が終了されるまでの期間)
を順次に発生可能としている。そして上述の通り、第2抑制操作受付演出は、「演出判定の結果によってその演出態様(受付許容音の種別や、操作対象など)が変化することはあっても、実行されないことはない変動パターンに基づく図柄演出」として実行されるものであるのに対し、第1抑制操作受付演出は、演出判定(予告判定など)にて特別結果が得られていることを条件に発生しうるものとなっている。
また、これも上述した通り、第1抑制操作受付演出は、第2抑制操作受付演出を発生させない低期待変動パターン(所定の変動パターン)に応じた演出においても演出判定(予告判定など)にて特別結果が得られると出現可能とされることから、図柄変動中は、第1抑制操作受付演出及び第2抑制操作受付演出のうち一方のみが発生する場合と、第1抑制操作受付演出及び第2抑制操作受付演出が順次にそれぞれ発生する場合とがある。
この点、この実施の形態にかかるパチンコ機1では、「弱抑制態様が終了されるタイミング」から「強抑制態様が開始されるタイミング」までの期間を、第1抑制操作受付演出で演出受付がなされたタイミングに応じて可変とされる可変期間として設定するようにしたことから、第1抑制操作受付演出(弱抑制態様)が終了した後、第2抑制操作受付演出(強抑制態様)がさらに発生するか否かについての演出性を持たせることができるようになり、これによって遊技興趣の向上を図ることができるようになる。なお、第1抑制操作受付演出(弱抑制態様)と第2抑制操作受付演出(強抑制態様)とが順次に発生した場合は、該第2抑制操作受付演出(強抑制態様)が発生せず上記第1抑制操作受付演出(弱抑制態様)のみが発生した場合よりも期待度(大当り図柄で停止される割合)が高い。また、第2抑制操作受付演出(強抑制態様)を発生させる変動パターンにあって、該第2抑制操作受付演出(強抑制態様)よりも前に第1抑制操作受付演出(弱抑制態様)が発生した場合は、該第1抑制操作受付演出(弱抑制態様)が発生しない場合よりも、第2抑制操作受付演出がより期待度の高い態様(例えば、第1許容音が第2態様で出力されるなど)で実行される割合が高くなる。
ところで、特定種別の演出音(例えば、BGM再生の演出音)を抑制させうる操作受付演出が発生する場合、その抑制度合いが高い(強抑制態様の第2抑制操作受付演出)か低い(弱抑制態様の第1抑制操作受付演出)かによって、期待度が異なることは上述した通りである。しかしながら、特定種別の演出音(例えば、BGM再生の演出音)が抑制されたときにその抑制度合いが高いか低いか(強抑制態様であるか、弱抑制態様であるか)を推測しようとしても、実際は、抑制度合いが高い状態(強抑制態様)にあるのか、それとも低い状態(弱抑制態様)にあるのかを比較対象なしで推測することは困難である。特に、強抑制態様と弱抑制態様とで、抑制されたときのボリューム値にそれほど大きな差を持たせないようにした場合には、なおさらであり、これによって操作受付演出が発生したときの緊張感を好適に維持し、該演出に対して遊技者を惹きつけることができるようになる。
この点、図217~図219に示した演出例では、第1抑制操作受付演出と第2抑制操作受付演出とで、それら演出受付が許容される設定時間(有効期間)の発生に際して出力される第1許容音を、互いに同じ演出音として同じ時間にわたって出力(図中では、「第1態様」で出力)させるようにしている。すなわちこの場合、第1許容音を確認したとしても、抑制度合いが高いか低いか(強抑制態様であるか、弱抑制態様であるか)を推測し難いままにすることができるようになり、これによって演出に対する緊張感をより好適に維持し、該演出に対して遊技者を益々惹きつけることができるようになる。
ただし実際は、強抑制態様であるか、弱抑制態様であるかの推測が全くできなければ遊技興趣が逆に低下してしまうことが懸念される。したがって、この実施の形態にかかるパチンコ機1では、強抑制態様であるか、弱抑制態様であるかの推測に役立つ演出要素を、操作受付演出が開始されてから終了されるまでの期間内で時系列的に散らばめるかたちで以下のように用意することとしている。
この実施の形態にかかるパチンコ機1では、まず、第1許容音が互いに同じ演出音として同じ時間にわたって出力(図中では、「第1態様」で出力)されうる上述した状況が現れた場合であっても、該第1許容音を基に、強抑制態様であるか、弱抑制態様であるかの推測を行いうるようにしている。
すなわち、第1抑制操作受付演出の発生に際して出力される第1許容音は、出力状態にあるときに演出受付がなされたとしても、該出力を中途では終了させず、予め定められた時間にわたって出力されるようになっているのに対し、第2抑制操作受付演出の発生に際して出力される第1許容音は、出力状態にあるときに演出受付がなされると、該演出受付に基づいて、該出力を中途で終了させるものとなっている(図217、図218を参照)。このような構成では、第1抑制操作受付演出と第2抑制操作受付演出とのいずれにおいても第1許容音として同じ態様が出力されうるようにし、強抑制態様であるか、弱抑制態様であるかの推測を困難とすることで演出に対する緊張感を高めるようにしつつも、該第1許容音これ自体に、強抑制態様であるか、弱抑制態様であるかの推測に役立つ機能をも持たせるようにしたことから、該推測ができずに遊技興趣が低下してしまうことが抑制されうるようになる。
また、第2抑制操作受付演出の発生に際して出力される第1許容音は、第1態様のほか、第1抑制操作受付演出の発生に際しては出力され得ない態様(第2態様や第3態様など)での出力も可能とされている。すなわちこの場合、第1許容音が出力されるときの態様によっては、該第1許容音が出力状態にあるときに演出受付がなされるようにせずとも、強抑制態様であるか、弱抑制態様であるかの推測を容易に行うことができるようになり、遊技興趣を好適に維持することが期待されるようになる。ただし、演出に対する緊張感を維持する上では、第1抑制操作受付演出の発生に際しては出力され得ない態様(第2態様や第3態様など)での出力は、第1態様での出力よりもその実行割合が低くなるようにすることが望ましい。
また、この実施の形態にかかるパチンコ機1では、第2抑制操作受付演出の発生に際しては、第1許容音のほか、第2許容音も出力されるようになっていることから、該第2許容音が出力されるか否かを確認することで、強抑制態様であるか、弱抑制態様であるかの推測を行うこともできるようになっている。ただし、第2許容音については、必ずしも用意しなくてもよく、第1抑制操作受付演出と第2抑制操作受付演出とのいずれにおいても第1許容音のみが出力されるようにしてもよい。
また、この実施の形態にかかるパチンコ機1では、演出受付が許容される設定時間(有効期間)内で現れる操作関連表示(操作を促す表示)についても、第1抑制操作受付演出と第2抑制操作受付演出とで違いを持たせるようにしていることから、該操作関連表示を確認することによっても、強抑制態様であるか、弱抑制態様であるかの推測を行うことは可能である。ただし、操作関連表示については、受付許容音に対して遅れて現れるようになっていることに加えて、第1抑制操作受付演出と第2抑制操作受付演出とで一部にしか違いが持たされないようになっていることから、強抑制態様であるか、弱抑制態様であるかの推測に若干の困難性が残されるようにして、演出に対する緊張感を維持するようにしている。
しかも、この実施の形態にかかるパチンコ機1では、受付許容音や操作関連表示の出力が終了された時点で、強抑制態様であるか、弱抑制態様であるかの推測ができていなかったとしても、操作後演出の実行態様を確認することで、強抑制態様であるか、弱抑制態様であるかの推測を行うこともできるようになっている。すなわち、第1抑制操作受付演出に応じた操作後演出では、「液晶表示による演出」と「演出音による演出」とのいずれもが「演出受付があったときから一定の時間にわたって行われるもの」であるのに対し、第2抑制操作受付演出に応じた操作後演出では、「演出音による演出」は「演出受付があったときから一定の時間にわたって行われるもの」であるが、「液晶表示による演出」は「予め定められたタイミングtr44が到来したときに終了されるもの」になっている。すなわちこの場合、第2抑制操作受付演出に応じた操作後演出では、演出受付がなされたタイミングによって、「液晶表示による演出」が終了されてから「演出音による演出」が終了されるまでの時間が可変とされるようになり、大きなズレが生じるようになることから、こうしたズレを確認することによって、強抑制態様であるか、弱抑制態様であるかの推測を行うことができるようになる。
ただし、推測に役立つ演出要素をこのように時系列的に散らばめるかたちで用意したとしても、遊技者によってはこれらに気付かず、その結果として強抑制態様であるか、弱抑制態様であるかを推測できないようなことがあれば、結局は、遊技興趣が低下しうることとなる。
そこで、この実施の形態にかかるパチンコ機1にあって、第1抑制操作受付演出(弱抑制態様)では、設定時間(有効期間)内で演出受付がなされたことに基づいてBGM再生の演出音を弱抑制態様にする。これに対し、第2抑制操作受付演出(強抑制態様)では、設定時間(有効期間)が未だ発生していない状況にあるときからBGM再生の演出音を強抑制態様にし、該強抑制態様にされているなかで設定時間(有効期間)が発生して演出受付がなされうるようにしている。このような構成によれば、第1抑制操作受付演出(弱抑制態様)と第2抑制操作受付演出(強抑制態様)とで、特定種別の演出音(例えば、BGM再生の演出音)を抑制させるタイミングが異なるようになることから、該タイミングを確認することによっても、強抑制態様であるか、弱抑制態様であるかの推測を行うことができるようになる。
しかも、この実施の形態にかかる第1抑制操作受付演出(弱抑制態様)では、第2抑制操作受付演出(強抑制態様)の場合とは異なり、設定時間(有効期間)内で操作検出がなかったときには演出受付が自動発生することなく当該設定時間が経過し終わるようになっている(図219を参照)。すなわちこの場合、設定時間(有効期間)内で操作検出がなければ、特定種別の演出音(例えば、BGM再生の演出音)に対する演出受付を契機とした抑制処理(弱抑制態様)これ自体も行われないようになることから、操作後演出を確認できなくなる代償はあるものの、強抑制態様ではなく、弱抑制態様であったことを認識することはできるようになる。
また、この実施の形態にかかる第2抑制操作受付演出(強抑制態様)では、「BGM再生の演出音」を強抑制態様にする処理が終了されるタイミングを、操作後演出の終了タイミングと同じか、またはそれよりも前のタイミングとして設定するようにしている。したがって、第1抑制操作受付演出(弱抑制態様)において、「BGM再生の演出音」を弱抑制態様にする処理が終了されるタイミングを、操作後演出の終了タイミングよりも後に設定するようにすれば、「BGM再生の演出音」が非抑制態様に戻されるタイミングを確認することによっても、強抑制態様であるか、弱抑制態様であるかの推測を行うことができるようになる。
また上述の通り、上記演出例にかかる第1抑制操作受付演出では、設定時間(有効期間)内のいずれのタイミングで演出受付がなされたかにかかわらず、演出表示装置1600(第1演出部材)における操作後表示演出(液晶表示)と、スピーカ(第2演出部材)による操作後演出音出力(演出音)とが並行して行われる期間の長さは不変である(図217及び図218を参照)。これに対し、第2抑制操作受付演出では、設定時間(有効期間)内のいずれのタイミングで演出受付がなされたかによって、演出表示装置1600(第1演出部材)における操作後表示演出(液晶表示)と、スピーカ(第2演出部材)による操作後演出音出力(演出音)とが並行して行われる期間の長さが変化するようになっている(図217及び図218を参照)。
このような構成によれば、「演出受付(操作)をいつ行うか」に演出性が生じるようになり、演出受付(操作)がなされるまでの遊技興趣を好適に維持することができるようになる。
また、上記構成では、このように操作後演出の実行態様が異なる第1抑制操作受付演出及び第2抑制操作受付演出のいずれが発生しているのかの見分けがつき難くなるように、第1許容音を同じ演出音として同じ時間にわたって出力させるようにしたり、それらの見分けに役立つ演出要素を時系列に散らばめるように用意したりしている。これにより、演出に対する緊張感を維持しつつ遊技興趣の低下を抑制することが期待されるようになる。
また、上記構成では、このように操作後演出の実行態様が異なる第1抑制操作受付演出及び第2抑制操作受付演出を、一の変動パターンに応じた演出内であえて混在させうるようにしたことから、操作受付演出が発生する度に、「演出受付(操作)をいつ行うか」についての緊張感を好適に維持することができるようになる。なお、このような作用効果を得る上では、一の変動パターンに応じた演出内で第1抑制操作受付演出及び第2抑制操作受付演出を混在させる態様のほか、一の変動パターンに応じた演出内で第2抑制操作受付演出(または、第1抑制操作受付演出)のみが複数回にわたって出現する態様が実行可能とされるようにすることが望ましい。
なお、「演出受付(操作)をいつ行うか」についての演出性による作用効果だけを得ることを目的とするのであれば、第1抑制操作受付演出及び第2抑制操作受付演出において特定種別の演出音(BGM再生の演出音)を抑制させず、非抑制態様での出力を維持させるようにしてもよい。
また、設定時間(有効期間)内のいずれのタイミングで演出受付がなされたかにかかわらず、演出表示装置1600(第1演出部材)における操作後表示演出(液晶表示)と、スピーカ(第2演出部材)による操作後演出音出力(演出音)とが並行して行われる期間の長さが不変にされる操作受付演出については、演出判定(予告判定など)で特別結果が得られたことを条件に発生可能なものとし、変動パターンに基づく図柄演出(演出パターン)としては出現し得ないようにすることが望ましい。
すなわちこの場合、操作後演出の実行態様を確認することで、予告演出判定で特別結果が得られている状態にあること(期待度が比較的高い状態にあること)を推測することができるようになり、予告演出判定の結果にかかわらず必ず発生する変動パターンこれ自体の演出(図柄演出)とは異なり、付加的に行われたことを認識したときには遊技興趣の向上を図ることが期待されるようになる。なお、設定時間(有効期間)内のいずれのタイミングで演出受付がなされたかによって、演出表示装置1600(第1演出部材)における操作後表示演出(液晶表示)と、スピーカ(第2演出部材)による操作後演出音出力(演出音)とが並行して行われる期間の長さが変化する第2抑制操作受付演出については、変動パターンこれ自体の演出(図柄演出)としてのみ発生するようにしてもよいし、変動パターンこれ自体の演出(図柄演出)として発生する場合と、演出判定(予告判定など)で特別結果が得られたこと条件に発生する場合との両方があるようにしてもよい。
なお、「BGM再生の演出音」を強抑制態様よりも低い抑制度合いで出力させる弱抑制態様については、操作機会が付与されないとき(第1抑制操作受付演出が発生しないとき)にも現れうるようにしてもよい。すなわちこの場合、「BGM再生の演出音」が所定時間にわたって弱抑制態様にされた後、操作機会が付与されないままで該弱抑制態様から非抑制態様に戻されることとなる。そして、一の変動パターンに応じた演出内で、第1抑制操作受付演出を含めて弱抑制態様が現れる回数が多くなるほど、図柄変動が停止されるまでの間に抑制度合いがさらに高くされる割合(第2抑制操作受付演出がさらに実行される割合)が高くなるようにすれば、「BGM再生の演出音」に対する抑制状況を通じて演出性のさらなる向上を図ることができるようになる。また、「BGM再生の演出音」が抑制態様にされていないなかで発生した設定時間(有効期間)内で演出受付がなされたときには、「弱抑制態様が現れる回数が増加するか否か(図212に示した態様か、または図217に示した態様か)」についての演出性にもさらなる面白さを付加することができるようになる。
また、「BGM再生の演出音」に対する強抑制態様についても、操作機会が付与されないとき(第2抑制操作受付演出が発生しないとき)にも現れうるようにしてもよい。すなわちこの場合、「BGM再生の演出音」が所定時間にわたって強抑制態様にされた後、操作機会が付与されないままで該強抑制態様から非抑制態様に戻されることとなる。このような構成によれば、強抑制態様が現れたときに操作機会が付与されるか否かについての演出性を提供することができるようになる。
また、図217~図219に示した演出例では、第1抑制操作受付演出が発生した場合、設定時間(有効期間)内で演出受付がなされたことに基づいて「BGM再生の演出音」を抑制態様(弱抑制態様)にするようにした。ただしこれに代えて、第1抑制操作受付演出が発生した場合であっても、第2抑制操作受付演出が発生した場合と同様、設定時間が発生するよりも前から「BGM再生の演出音」を抑制態様(弱抑制態様)にし、該抑制態様(弱抑制態様)にされているなかで演出受付が許容される設定時間(有効期間)を発生させるようにしてもよい。なおこの場合、同じ変動パターンが選択されていたとしても、演出判定(予告判定など)で特別の結果が得られているか否かによって、所定タイミングが到来したときに「BGM再生の演出音」が抑制態様(弱抑制態様)にされたり、抑制態様(弱抑制態様)にされなかったりするようになることから、演出性の幅を広げることができるようになる。第1抑制操作受付演出において、「BGM再生の演出音」が抑制態様(弱抑制態様)から非抑制態様に戻されるタイミングについては、操作後演出が終了されるタイミングと同じか、それよりも後に到来するようにすることが望ましい。
また、図213~図215及び図217~図219に示した演出例にあって、第2抑制操作受付演出(強抑制態様)では、「BGM再生の演出音」を強抑制態様(抑制態様または無音で出力させるか、非出力の状態)にする処理を、操作後演出の終了タイミングと同じか、またはそれよりも前のタイミングで終了させるようにしたが、操作後演出の終了タイミングが到来した後に終了させるようにしてもよい。またこの場合、少なくとも特別図柄(装飾図柄)が変動中にある限りは(図柄変動が停止されない限りは)、「BGM再生の演出音」が強抑制態様から非抑制態様に戻されないようにしてもよい。
上述の通り、受付許容音については、設定時間(有効期間)より少し前に発生するものでなくてもよく、設定時間(有効期間)の発生に基づいて出力されるものであってもよい。
図213~図215や図217~図219に示した強抑制態様での操作受付演出(第2抑制操作受付演出)では、演出表示装置1600(第1演出部材)における操作後表示演出(液晶表示)を、変動パターンに応じた演出内の予め定められたタイミングtr44で終了させるものとする一方で、スピーカ(第2演出部材)による操作後演出音出力(演出音)を、演出受付がなされたときから一定の時間が経過したときに終了させるものとした。ただしこれに代えて、演出表示装置1600(第1演出部材)における操作後表示演出(液晶表示)と、スピーカ(第2演出部材)による操作後演出音出力(演出音)との両方を、変動パターンに応じた演出内の予め定められたタイミングでそれぞれ終了させるものとしてもよいし、演出表示装置1600(第1演出部材)における操作後表示演出(液晶表示)と、スピーカ(第2演出部材)による操作後演出音出力(演出音)との両方を、演出受付がなされたときから一定の時間が経過したときにそれぞれ終了させるものとしてもよい。
なお、抑制対象とされる特定種別の演出音(BGM再生の演出音)は、図柄変動の開始時や、変動パターンに応じた演出内で演出が切り替わるタイミング(例えば、SPリーチ演出が開始されるタイミングなど)が到来したことを契機として出力されるものである。これに対し、操作後演出は、設定時間内にある不定のタイミング(操作されたいミング)から開始されるものである。
図213や図214に示した演出例で説明した特定の変動パターンと、図217~図219に示した演出例で説明した特定の変動パターンとは、異なる変動パターンであってもよいし、同じ変動パターンであってもよい。また、上記特別の演出状態は、先読み演出ゾーンではなく、大当り判定にかかる大当り確率が相対的に高くされているときの演出状態であってもよい。
また、弱抑制態様は、「特定種別の演出音」のボリューム値(可聴ボリューム)を、非抑制態様の場合よりも低い特定抑制値(0よりも大きい数字)に設定して可聴状態で出力させることであり、強抑制態様は、「特定種別の演出音」を非可聴の状態(無音(可聴ボリュームが0)での出力か、非出力(チャンネル割り当てを終了))にすることであってもよい。
また、図217~図219に示した演出例では、いずれも、同じ操作手段(操作ボタン410)を操作対象にし、且つ同じ操作態様で操作機会を付与する場合を想定している。この点、「第1抑制操作受付演出」では、操作対象として操作ボタン410が用いられる(第1操作態様)ことしかないが、「第2抑制操作受付演出」では、図213及び図214を参照しつつ上述した通り、予告演出判定の結果に基づいて「操作対象として操作ボタン410を選択する場合(第1操作態様)」と「操作対象として刀装飾体5001を選択する場合(第2操作態様)」とがあるようになっている。したがって、操作対象として刀装飾体5001が選択された場合(第2操作態様)には、弱抑制態様ではなく、強抑制態様であることを容易に認識することができるようになる。なお、「操作対象として操作ボタン410を選択する場合(第1操作態様)」と「操作対象として刀装飾体5001を選択する場合(第2操作態様)」とで、演出受付がなされたことに応じた操作後演出は同じ内容となっている。
すなわち上述の通り、この実施の形態にかかるパチンコ機1にあって、操作対象とされる操作手段は、
・設定時間(有効期間)の発生に際して操作受け部(遊技者が操作するときに触れる部分)を移動させない第1操作態様、及び
・設定時間(有効期間)の発生に際して駆動力によって操作受け部を特定位置へと移動させる第2操作態様
を含めた複数態様のいずれかで操作機会を付与しうるものとなっている。なおここでは、「第1操作態様」は、操作ボタン410に対して操作機会が付与される場合を想定しており、「第2操作態様」は、刀装飾体5001に対して操作機会が付与される場合を想定しており、該刀装飾体5001が「特定位置へと移動した状態で遊技者に対して操作機会を付与しうるもの」である。ただし、1つの操作手段(1つの操作受け部)に「第1操作態様」と「第2操作態様」とをそれぞれ持たせ、それら態様のいずれかによって操作機会を付与するようにしてもよい。
そして、これも上述した通り、この実施の形態にかかるパチンコ機1では、操作受付演出として、
・特定種別の演出音(BGM再生の演出音)を非抑制態様で出力しているなかで、設定時間(有効期間)の発生から操作後演出の実行までが行われる非抑制操作受付演出、及び
・特定種別の演出音(BGM再生の演出音)を抑制態様または無音で出力させる状態にするか、非出力の状態にする抑制操作受付演出
を用意しており、さらに、抑制操作受付演出として、
・特定種別の演出音(例えば、BGM再生の演出音)を相対的に低い抑制度合い(弱抑制態様)で抑制する第1抑制操作受付演出(例えば、上述した「条件付き抑制・非自動受付演出」)、及び
・特定種別の演出音(例えば、BGM再生の演出音)を相対的に高い抑制度合い(強抑制態様)で抑制する第2抑制操作受付演出(例えば、上述した「抑制・自動受付演出」)
を用意している。
ただしここでは、第2抑制操作受付演出として、さらに、
・特定種別の演出音が強抑制態様で抑制されているなかで(抑制態様または無音で出力されているか、非出力の状態にされているなかで)、操作手段に対して上記第1操作態様(ここでは、操作ボタン410)での操作機会が付与される抑制下非移動受付演出、及び
・特定種別の演出音が強抑制態様で抑制されているなかで(抑制態様または無音で出力されているか、非出力の状態にされているなかで)、操作手段に対して第2操作態様(ここでは、刀装飾体5001を抜刀した状態)での操作機会が付与される抑制下移動受付演出を用意することで、操作機会が付与されるに際しての演出性をより一層向上させるようにしている。
図220は、第2抑制操作受付演出(抑制・自動受付演出)において「操作対象として刀装飾体5001が選択された場合(第2操作態様)」に現れる演出例(抑制下移動受付演出)を示すタイムチャートである。なお、第2抑制操作受付演出(抑制・自動受付演出)において「操作対象として操作ボタン410が選択された場合(第1操作態様)」に現れる演出例(抑制下非移動受付演出)については、図213や図217(タイミングtr40から操作後演出が終了されるまでの期間)などを参照して説明した通りである。
同図220に示されるように、第2抑制操作受付演出(抑制・自動受付演出)において「操作対象として刀装飾体5001が選択された場合(第2操作態様)」も、第2抑制操作受付演出(抑制・自動受付演出)において「操作対象として操作ボタン410が選択された場合(第1操作態様)」と特に断り書きがない部分については基本的に同様であり(図213、図214、図217~図219)、上述した関連演出や、別例、変形例についても適宜に採用することが可能である。
ただし、第2抑制操作受付演出(抑制・自動受付演出)を第2操作態様で実行する場合は、設定時間(有効期間)の発生に際して駆動力によって操作受け部を特定位置へと移動させる処理を行うことが求められるが、該処理をいずれのタイミングで行うかについての問題がある。
この点、この実施の形態にかかるパチンコ機1では、少なくとも特定の遊技状態(通常遊技状態または確変時短遊技状態)においては、同図220(c),(h)に示されるように、まず、特定種別の演出音(BGM再生の演出音)が強抑制態様にされるタイミングtr40が到来しない限りは、操作受け部を特定位置へと移動させる処理が行われることがないようになっている。したがって、例えば、特定種別の演出音(BGM再生の演出音)が非抑制態様や弱抑制態様にあるときは、演出受付が許容される設定時間が発生したとしても第2操作態様での操作機会が付与されることはなく、第1操作態様での操作機会が付与されるに留まることとなる。すなわちこの場合、特定種別の演出音(BGM再生の演出音)が強抑制態様になっていない限りは、操作機会が付与されたとしてもこれが第2操作態様であることはなくなることから、遊技者が誤った側での操作態様で操作を行ってしまうことが抑制されうるようになる。
これに対し、特定種別の演出音(BGM再生の演出音)が強抑制態様にされたときには(タイミングtr40)、該強抑制態様にされているもとで、第1操作態様で操作機会が付与される場合と、第2操作態様で操作機会が付与される場合との両方の可能性がある。ただし、遊技者は、特定種別の演出音(BGM再生の演出音)が強抑制態様になったことを契機として「第1操作態様と第2操作態様とのいずれで操作機会が付与されるか」に集中することができるようになることから、これらの間で操作誤りが生じることが抑制されうるようになる。
その一方で、この実施の形態にかかるパチンコ機1では、操作機会が付与される直前まで第1操作態様と第2操作態様とのいずれが付与されるのかを秘匿にすることで、タイミングtr40から演出受付がなされて操作後演出が開始されるまでの緊張感や遊技興趣を好適に維持するようにしている。より具体的には、同図220(c),(h)に示されるように、設定時間(有効期間)が発生するタイミングtr42が到来したときに、操作受け部による特定位置への移動を開始させることとしている。なおここでは、第2操作態様で操作機会が付与された場合、第1操作態様で操作機会が付与された場合よりも期待度(図柄変動が停止されたときに大当り図柄が現れる割合)が高くなるように予告演出判定が行われるようになっている。
ただしこの場合、設定時間(有効期間)が発生してから間もない間(操作受け部による特定位置への移動が完了するまでの間)は、演出受付これ自体は許容されている状態にあるにもかかわらず該操作受け部を適正に操作することが困難であることから、当該設定時間(有効期間)としての長さが実質的に削られることとなり、遊技興趣が低下しかねない。そこで、この実施の形態にかかるパチンコ機1では、図220(c),(d)に示されるように、操作受け部を原位置から特定位置まで移動させるときに要する時間については、受付許容音(第1許容音)のうち最も出力時間の短い第1態様が出力し終わるまでの時間よりも短い時間として設定するようにしている。これにより、受付許容音(第1許容音)としていずれの態様(第1態様のほか、上述の第2態様や、第3態様など)が出力されたとしても、その出力状態の途中で演出受付がなされるようにすることが可能(中途での出力終了が可能)とされるようになり、第2操作態様が現れた場合であっても演出的な不都合は生じ難くなる。
また後述するが、この実施の形態では、操作受け部を駆動力によって原位置から特定位置まで移動させるときに要する時間については、操作受け部に対する操作がなく該操作受け部を駆動力によって特定位置から原位置へと移動させるときに要する時間よりもあえて短い時間となるようにより早い速度で移動させるようにしている(図220(h)を参照)。このような移動態様によれば、設定時間(有効期間)として実質的に削られる時間が少なくなるように努力している様子をアピールすることができるようになり、該時間が削られることによる遊技者の不満感を抑制することが期待されるようになる。
また、このような不満感をより好適に抑制する上では、第2抑制操作受付演出(抑制・自動受付演出)を発生させるときには、その設定時間(有効期間)として、図212に示した非抑制態様の操作受付演出(タイミングtr31から操作後演出まで)や、図217に示した弱抑制態様の操作受付演出(タイミングtr50から操作後演出まで)の設定時間(有効期間)に対して「操作受け部を原位置から特定位置まで移動させるときに要する時間」を加算した以上の長さを持った時間値を設定することが望ましい。このような構成によれば、第2抑制操作受付演出(抑制・自動受付演出)を第2操作態様で実行する場合は、実質的に削られる時間分を補って余りある、より長い時間値をもった設定時間(有効期間)が発生するようになることから、遊技興趣を好適に維持することができるようになる。なおこの場合、プログラムの共通化を図るべく、第2抑制操作受付演出(抑制・自動受付演出)を第1操作態様で実行する場合にも同様の長さを持った設定時間を設定することが望ましい。
ただし上述の通り、自動ボタン機能が有効化された以降のタイミングtr42A~tr43の時間も実質的に演出受付がなされることがなく、設定時間(有効期間)が実質的に削られていることに鑑みれば、第2抑制操作受付演出(抑制・自動受付演出)を発生させるときには、その設定時間(有効期間)として、図212に示した非抑制態様の操作受付演出(タイミングtr31から操作後演出まで)や、図217に示した弱抑制態様の操作受付演出(タイミングtr50から操作後演出まで)の設定時間(有効期間)に対して「操作受け部を原位置から特定位置まで移動させるときに要する時間」と「自動ボタン機能が有効化された以降のタイミングtr42A~tr43の時間」とをそれぞれ加算した以上の長さを持った時間値を設定することがより望ましいといえる。なおこの場合も、プログラムの共通化を図るべく、第2抑制操作受付演出(抑制・自動受付演出)を第1操作態様で実行する場合にも同様の長さを持った設定時間を設定することが望ましい。
また上述の通り、第2抑制操作受付演出(抑制・自動受付演出)が第2操作態様で実行されている状況にあって、設定時間内に操作受け部に対する操作がなかった場合は、同図220(a),(h)~(l)に示されるように、タイミングtr42Aで演出受付が自動発生し、該演出受付に基づいて、演出表示装置1600(第1演出部材)における操作後表示演出(液晶表示)と、スピーカ(第2演出部材)による操作後演出音出力(演出音)とが、操作後演出として少なくともそれぞれ実行されることとなる。ただしこの場合、同図220(g),(l)で見比べると明らかであるが、演出表示装置1600(第1演出部材)における操作後表示演出(液晶表示)の実行時間が短くなってしまうことから、遊技興趣が低下することが懸念される。
この点、この実施の形態にかかるパチンコ機1では、図220(h)に示されるように、第2抑制操作受付演出(抑制・自動受付演出)が第2操作態様で実行されている状況にあって、設定時間内に操作受け部に対する操作がなかった場合、「操作受け部を駆動力によって特定位置から原位置へと移動させるときの速度」を、「原位置から特定位置へと移動させるときの速度」よりもあえて遅くしており、これによって比較的長い時間にわたって移動状態として維持されるようにしている。このような構成によれば、演出表示装置1600(第1演出部材)における操作後表示演出(液晶表示)の実行時間が短くなることとの引き換えに、操作受け部が、可動演出(操作後演出の一部)として機能することを期待することができるようになることから、遊技興趣が好適に維持されうるようになる。
なお、図220(h)に示される演出例にあって、操作受け部による「特定位置から原位置への移動演出」は、演出受付が自動発生(自動ボタン機能)したことに応じた操作後演出の実行途中にある所定のタイミングが到来したときに開始されるようになっているが、該操作後演出と同様、演出受付が自動発生するタイミングtr42Aで開始されるようにしてもよい。
ただし、「特定位置から原位置への移動」をどれだけ遅い速度で行ったとしてもこれのみでは可動演出としての時間を十分に稼ぐことができず、遊技興趣を維持し難い懸念がある。そこで、図220(h)に示される演出例では、特定位置から原位置(またはその近傍位置)へと操作受け部を移動させた後、該操作受け部を振動させる振動演出を行うようにしており、これによって特定位置から原位置(またはその近傍位置)への移動が開始されてから操作受け部の振動が終了されるまでの期間を、「遊技者によって操作されなかった操作受け部」による可動演出期間として機能させるようにしている。これにより、「遊技者によって操作されなかった操作受け部」を用いた可動演出を好適に実現することができるようになり、演出受付が自動発生した結果として演出表示装置1600(第1演出部材)における操作後表示演出(液晶表示)の実行時間が短くなったときの演出性を好適に維持することが期待されるようになる。なおこの場合、特定位置から原位置へと操作受け部を移動させている状態において、該操作受け部を発光させるようにすれば、該操作受け部が可動演出として用いられていることをより好適にアピールすることが可能である。
ここで、「遊技者によって操作されなかった操作受け部」による可動演出期間(特定位置から原位置への移動時間,振動時間)については、強抑制態様が終了されるタイミングtr44が到来するときか、該タイミングtr44よりも前に終了されるようにすることが望ましい。これにより、特定種別の演出音が強抑制態様から非抑制態様に戻されて、これに応じた演出内容での進展(演出の切り替え)をスムーズに促すことができるようになる。
その他、第2抑制操作受付演出(抑制・自動受付演出)が第1操作態様で実行される場合と異なる点としては、第2許容音(メッセージ音)として「納刀せよ!」といったメッセージ音が出力されることや、操作関連表示として、「押し込め」といったメッセージ表示と、「刀装飾画像SYG」による摸画像とがそれぞれ表示されることがあり、これによって操作誤りを生じ難くすることができるようになる。
また上述の通り、第1抑制操作受付演出(弱抑制態様)では、このような第2操作態様で操作機会が付与されることはないが、「特定種別の演出音」を弱抑制態様にしたもとで操作機会を付与するようにすると、弱抑制態様と強抑制態様とのいずれが現れているかの認識を誤ったときに操作誤りを助長することにもなりかねない。この点、図217~図219に示した演出例では、第1抑制操作受付演出(弱抑制態様)が発生した場合、「特定種別の演出音」を弱抑制態様にしたもとで操作機会を付与せず、演出受付がなされたことに基づいて弱抑制態様が現れるようにしたことから、「第2操作態様での操作機会が付与されるかもしれない」という無駄な緊張感や期待感を持たせることなく、演出を提供することができるようになる。
なお、上記演出例(第2操作態様)では、設定時間内に操作受け部に対する操作があった場合であっても、設定時間内に操作受け部に対する操作がなかった場合と同様、図220(c)に示されるように、操作後演出が実行されている期間内にある予め定められたタイミング(同じタイミング)が到来すると、操作受け部を振動させる振動演出を行うようにしている。このような構成によれば、操作後演出がいずれのタイミングで発生したかにかかわらず、強抑制態様が終了されるタイミングtr44よりも前の予め定められたタイミングが到来すると振動演出が行われるようになることから、まもなく強抑制態様が終了されて新たな演出進展が現れるようになることを示唆することができるようになる。
ただし、設定時間内に操作受け部に対する操作があった場合には、該操作によって演出受付がなされたことに基づいて振動演出を早期開始させることで、操作後演出が行われている期間中における遊技興趣のさらなる向上を図るようにしてもよい。すなわちこの場合、設定時間内に操作受け部に対する操作があった場合には、設定時間内に操作受け部に対する操作がなかった場合よりも長い時間にわたって振動演出が行われることとなる。
また、上記演出例では、特定種別の演出音(BGM再生の演出音)が強抑制態様にならない限りは、操作受け部を特定位置へと移動させる処理が行われることがないようにした。ただしこれに代えて、特定種別の演出音(BGM再生の演出音)が強抑制態様にあるときに演出受付が許容された場合、特定種別の演出音(BGM再生の演出音)が非抑制態様にあるとき、または特定種別の演出音(BGM再生の演出音)が弱抑制態様にあるときに演出受付が許容された場合よりも、第2操作態様での操作機会が付与される割合(0や、100であってもよい)が高くなるようにしてもよい。
なお、上述した各演出例(図146~図220)にあって、自動ボタン機能が有効化されうる操作受付演出では、設定時間(有効期間)として、自動ボタン機能が有効化されない操作受付演出の設定時間(有効期間)に対して「自動ボタン機能が有効化されてから設定時間が経過し終わるまでの時間」を加算した以上の長さを持った時間値を設定するようにすることが望ましい。このような構成によれば、演出受付が許容される期間として実質的に削られる時間分を補って余りある、より長い時間値をもった設定時間(有効期間)が発生するようになることから、遊技興趣を好適に維持することができるようになる。
ところで、上述の通り、この実施の形態にかかるパチンコ機1では、通常遊技状態にあるときに発生しうる操作受付演出として、
・変動パターン判定の結果に基づく変動パターンこれ自体の演出(図柄演出)として実行される操作受付演出(内在的受付演出)、及び
・演出判定(予告判定など)で特別結果が得られたことを条件に、変動パターンこれ自体の演出(演出パターン)に対して付加的に行われる演出として実行される操作受付演出(付加的受付演出)
を少なくとも用意することとしている。
すなわち、「内在的受付演出」は、大当り判定の結果に基づく変動パターン判定(いずれの変動パターンで図柄演出を実行するかについての判定)で特別結果が得られると(特別の変動パターンが選択されると)、該判定された変動パターンに応じた演出内で実行されることが確定されるものである。これに対し、「付加的受付演出」は、変動パターン判定で「当該付加的受付演出を発生可能な所定の結果」が得られたとしても(所定の変動パターンが選択されたとしても)、該選択された変動パターンに応じた演出判定(予告判定など)で「付加的受付演出」を発生させる旨の結果がさらに得られなければ必ずしも実行されないものである。したがって、変動パターンに応じた演出が一旦開始された以降は、該変動パターン(演出パターン)に紐づいておりその発生が確定されている「内在的受付演出」が発生することよりも、演出判定(予告判定など)の結果次第で発生が許容される「付加的受付演出」が発生することのほうが遊技者にとって有益であり、遊技興趣を高める上でより重要であると言える。なお、変動パターンに応じた演出として同じ演出内容(演出パターン)が現れた場合であっても、該演出内で「付加的受付演出」が発生した場合は、該演出内で「付加的受付演出」が発生しなかった場合よりも図柄変動が停止されたときに大当り図柄が現れる割合(期待度)が高い。
この点、この実施の形態にかかるパチンコ機1にあって、通常遊技状態にあるときに発生しうる内在的受付演出では、特定種別の演出音(「BGM再生」の演出音)が抑制態様または無音で出力されているか、非出力の状態にされているなかで演出受付が許容される場合と、特定種別の演出音(「BGM再生」の演出音)が非抑制態様で出力されているなかで演出受付が許容される場合とがあるようになっている。これに対し、通常遊技状態にあるときに発生しうる付加的受付演出では、抑制態様または無音で出力されているか、非出力の状態にされているなかで演出受付が許容されることはなく、特定種別の演出音が非抑制態様で出力されているなかで演出受付が許容されるようになっている。すなわちこの場合、通常遊技状態においては、演出受付が許容されるに際して、特定種別の演出音が抑制態様または無音で出力されたり、非出力の状態にされたりするかに注目することで、付加的受付演出が発生する可能性を認識することができるようになり、遊技興趣を維持することが期待されるようになる。
また、この実施の形態にかかるパチンコ機1にあって、通常遊技状態にあるときに発生しうる内在的受付演出は、演出受付が許容される設定時間内で操作が検出されなかったとしても操作後演出を発生可能な自動受付態様で実行される場合と、演出受付が許容される設定時間内で操作が検出されなかったときには操作後演出が発生せずに当該設定時間が終了される非自動受付態様で実行される場合とがあるようになっている。これに対し、通常遊技状態にあるときに発生しうる付加的受付演出は、自動受付態様で実行されることはなく、非自動受付態様で実行されるようになっている。すなわちこの場合、通常遊技状態においては、設定時間内で演出受付が自動(自動ボタン機能)でなされるかに注目することで、付加的受付演出が発生している可能性を認識することができるようになり、演出受付がなされるまでの遊技興趣を維持することが期待されるようになる。
図221は、変動パターン判定で変動パターン1が選択されたときに現れる演出内容を示すタイムチャートである。
同図221に示されるように、変動パターン判定の結果として変動パターン1が選択された場合、まず、図柄変動の開始に際して行われる演出判定(変動パターン1に応じた予告判定など)では、予告演出Aを実行するか否かの判定が少なくとも行われる。この演出判定の結果、予告演出Aを実行する旨判定されると、該予告演出Aを、変動パターン1に基づく図柄演出内のタイミングtr61が到来したときに該図柄演出(演出パターン)に対して付加的に実行することとなり(タイミングtr61~tr62)、予告演出Aを実行する旨判定されなかったときには該変動パターン1に基づく図柄演出内のタイミングtr61が到来しても予告演出Aは現れず該変動パターン1に基づく図柄演出(演出パターン)が実行されるに留まることとなる。
ここで、演出判定の結果として予告演出Aを実行する旨判定された場合は、タイミングtr61が到来したときに、表示演出だけでなく、演出音やランプ演出も変動パターン1これ自体の演出(図柄演出)に対して付加的に実行される。なお、「付加的に実行する」とは、例えば、変動パターン1これ自体の表示演出が現れているレイヤーよりも優先順位の高いレイヤー上に予告演出Aを表示することとして実現することが可能である。この際、変動パターン1に基づく図柄演出の全てを覆ってこれが視認不能とされるかたちで予告演出Aを表示するようにしてもよいし、変動パターン1に基づく図柄演出の一部のみを覆って予告演出Aを表示するようにしてもよい。これに対し、ランプ演出の場合は、「変動パターン1(演出パターン)に基づくランプ演出」よりも「予告演出Aの発生に応じたランプ演出」の態様を優先して出力させることとなる。また、演出音の場合は、「変動パターン1に基づく演出音」とは別のチャンネルに対して「予告演出Aに応じた演出音」を割り当てることで、「変動パターン1(演出パターン)に基づく演出音」に対して「予告演出Aに応じた演出音」を付加的に出力させることとなる。
図222は、変動パターン判定で変動パターン2が選択されたときに現れる演出内容を示すタイムチャートである。
同図222に示されるように、変動パターン判定の結果として変動パターン2が選択された場合、まず、図柄変動の開始に際して行われる演出判定(変動パターン2に応じた予告判定など)では、「付加的受付演出」を実行するか否かの判定が少なくとも行われる。ここで、この演出例にかかる変動パターン2は、「図212に示した所定の変動パターン」と同じものである。したがって、この演出判定の結果、「付加的受付演出」を実行する旨判定されると、該「付加的受付演出」を、変動パターン2(図212に示した所定の変動パターン)に基づく図柄演出内のタイミングtr31が到来したときに該図柄演出(演出パターン)に対して付加的に実行することとなり(タイミングtr31から操作後演出が終了されるまで)、「付加的受付演出」を実行する旨判定されなかったときには変動パターン2に基づく図柄演出内のタイミングtr31が到来しても「付加的受付演出」は現れず該変動パターン2に基づく図柄演出(演出パターン)が実行されるに留まることとなる。
ここで、図222に示した操作受付演出(付加的受付演出)については、変動パターン2(所定の変動パターン)に基づく「BGM再生」の演出音が非抑制態様での出力状態を維持しているなかで、タイミングtr31で第1許容音が出力され、タイミングtr32で設定時間(有効期間)が発生し、タイミングtr33では自動ボタン機能が有効化されないままで設定時間が経過し終わるものであるが、これらについては、図212などを参照しつつ上述した通りであるから説明を割愛することとする。すなわち、図222に示した操作受付演出(付加的受付演出)は、図212に示した「低期待非抑制受付演出が非自動受付態様で実行されるときの演出内容」と特に断り書きがない部分については基本的に同様であり、上述した関連演出や、別例、変形例についても適宜に採用することが可能である。
ただし、この演出例にかかる操作受付演出(付加的受付演出)では、同図222に示されるように、演出受付に応じた操作後演出を、図212における上述した別例の態様で実行する例として記載している。したがって、図222に示される操作受付演出(付加的受付演出)では、設定時間(有効期間)内で演出受付がなされると(図中では、タイミングtr32a)、該演出受付がなされたことに基づいて、「演出表示装置1600(第1演出部材)における操作後表示演出(液晶表示)」と、「スピーカ(第2演出部材)による操作後演出音出力(演出音)」とを操作後演出として少なくとも発生させるが、該操作後演出については、
・「演出表示装置1600(第1演出部材)における操作後表示演出(液晶表示)」は、演出受付がなされたタイミングにかかわらず、タイミングtr33よりも後に到来する所定タイミングで終了されるのに対し、
・「スピーカ(第2演出部材)による操作後演出音出力(演出音)」は、演出受付がなされたタイミングから予め定められた一定の時間が経過したときに終了される
といった態様で実行されることとなる。
図223は、変動パターン判定で変動パターン3が選択されたときに現れる演出内容を示すタイムチャートである。
同図223に示されるように、変動パターン判定の結果として変動パターン3が選択された場合、図柄変動の開始に際して行われる演出判定(変動パターン3に応じた予告判定など)でいずれの結果が得られたかにかかわらず、該変動パターン3に基づく図柄演出内のタイミングtr40では、「BGM再生」の演出音を上述した「強抑制態様」にする処理が行われることとなり、該「強抑制態様」が現れているなかで到来するタイミングtr41では、該変動パターン3に基づく図柄演出として「内在的受付演出」が発生することとなる(タイミングtr41から操作後演出が終了されるまで)。
ここで、この演出例にかかる変動パターン3は、「図213~図215、または図217~図220などに示した特定の変動パターン」と同じものである。したがって、図223に示した操作受付演出(内在的受付演出)については、変動パターン3(特定の変動パターン)に基づく「BGM再生」の演出音が強抑制態様(例えば、無音(音量0)での出力状態、または非出力状態などの非可聴状態)にされているなかで、タイミングtr41が到来すると第1許容音が出力され、タイミングtr42で設定時間(有効期間)が発生し、設定時間が経過し終わるタイミングtr43よりも前の「タイミングtr42A」が演出受付のないままで到来すると上述した自動ボタン機能が有効化されるものであるが、これらについては、「図213~図215、または図217~図220」などを参照しつつ上述した通りであるから説明を割愛することとする。すなわち、図223に示した操作受付演出(内在的受付演出)は、図213に示した「抑制・自動受付演出」の演出内容と同じであり、上述した関連演出や、別例、変形例(図215や、図217~図220など)についても適宜に採用することが可能である。
この点、この実施の形態にかかるパチンコ機1では、少なくとも通常遊技状態においては、「BGM再生」の演出音が強抑制態様にされている期間中、変動パターンに基づく図柄演出として「内在的受付演出」が発生することはあっても、変動パターンに基づく図柄演出に対して付加的に実行される「付加的受付演出」が発生することはないようになっているのに対し、「BGM再生」の演出音が非抑制態様にされている期間中は、変動パターンに基づく図柄演出である「内在的受付演出」が発生する場合もあるし、変動パターンに基づく図柄演出に対して付加的に実行される「付加的受付演出」が発生する場合もあるようになっている。
すなわちこの場合、変動パターンに基づく「BGM再生」の演出音が強抑制態様にされているなかで操作受付演出が発生したときには、該操作受付演出が「付加的受付演出」である可能性が排除されることから、該操作受付演出がいずれの態様で実行されるかに集中させる環境が形成されているなかで演出受付が許容される設定時間(有効期間)を発生させることができるようになる。これに対し、「BGM再生」の演出音が非抑制態様で出力されているなかで操作受付演出が発生したときには、付加的受付演出が発生している可能性があることを認識することができるようになり、遊技興趣を維持することが期待されるようになる。
なお、このような作用効果を好適に得る上では、「付加的受付演出」と「内在的受付演出」とを別々の変動パターン2,3などで出現させる場合のほか、一の変動パターン(例えば、特定の変動パターン(変動パターン3))に応じた演出内でも「付加的受付演出」と「内在的受付演出」とが順次に出現可能とされるようにすることが望ましい。「付加的受付演出」は、「内在的受付演出」よりも前のタイミングで発生することが望ましい。
より好ましくは、一の変動パターン(特定の変動パターン)に応じた演出内で、「BGM再生」の演出音が非抑制態様にされているなかで「付加的受付演出」と「内在的受付演出」とが順次に出現可能とされており、且つ「BGM再生」の演出音が強抑制態様にされているなかで「内在的受付演出」がさらに出現可能とされるようにする。このような構成によれば、抑制態様の状況によって「付加的受付演出」と「内在的受付演出」とのいずれが発生しているのかを把握することが可能である場合(強抑制態様)と、「付加的受付演出」と「内在的受付演出」とのいずれが発生しているのかを把握し難い場合(非抑制態様)とが現れるようになり、「BGM再生」の演出音に対する抑制態様を通じて遊技興趣の向上を図ることができるようになる。
またさらに、特定の変動パターンに応じた図柄演出内で「BGM再生」の演出音が強抑制態様にされているもとで操作受付演出(内在的受付演出)が発生した場合は、該内在的受付演出が終了されてから図柄変動が停止されるまでの期間内で「付加的受付演出」が発生することがないようにすることが望ましい。このような構成によれば、「BGM再生」の演出音が強抑制態様にされているなかで操作受付演出が発生した時点で、該操作受付演出が「付加的受付演出」である可能性が排除されることはもとより、当該図柄変動が停止されるまでの間に「付加的受付演出」が現れる可能性すらも排除されるようになることから、「付加的受付演出」が発生することに対して期待感を一切持たせないようにして、該発生した「内在的受付演出」がいずれの態様(受付許容音や、操作手段の種別、操作後演出の態様など)で実行されるかに集中させることができるようになる。
また、「付加的受付演出」が発生すると、該「付加的受付演出」が発生しなかったときよりもその後に発生する「内在的受付演出(非抑制態様と強抑制態様とのいずれも)」が期待度の高い態様(受付許容音や、操作手段の種別、操作後演出の態様など)で実行される割合が高くなるようにすることが望ましいことは上述した通りである。
また、これも上述したが、「BGM再生」の演出音が強抑制態様にされると、該強抑制態様にされている期間中に操作受付演出(内在的受付演出)が必ず発生するようにしてもよい。なおこの場合、変動パターン判定にて選択候補とされる複数の変動パターンのなかに、「強抑制態様にはするが、該強抑制態様の期間中には操作受付演出(内在的受付演出)を発生させない変動パターン」は含まれず、「強抑制態様にされると、該強抑制態様の期間中に操作受付演出(内在的受付演出)を発生させる変動パターン」が含まれるようにすることとなる。若しくは、「BGM再生」の演出音が強抑制態様にされたとしても、操作受付演出(内在的受付演出)が発生しないままで該強抑制態様にされている期間が終了される場合もあるようにしてもよい。なおこの場合、変動パターン判定にて選択候補とされる複数の変動パターンのなかに、「強抑制態様にはするが、該強抑制態様の期間中には操作受付演出(内在的受付演出)を発生させない変動パターン」と、「強抑制態様にされると、該強抑制態様の期間中に操作受付演出(内在的受付演出)を発生させる変動パターン」とがそれぞれ含まれるようにすることとなる。
また、この実施の形態にかかるパチンコ機1では、「BGM再生」の演出音が「強抑制態様」になっているなかで操作受付演出(内在的受付演出)が発生した場合は、該「強抑制態様」になっていることに遊技者が気付かなかったとしても、以下の演出要素を基に「付加的受付演出」が発生している可能性が排除されていることを認識可能としている。
すなわち、「BGM再生」の演出音が「強抑制態様」になっているなかで「内在的受付演出」が発生した場合は、まず、第1許容音が「付加的受付演出」のときにも出力されうる演出音で同じ時間にわたって出力(図中では、「第1態様」で出力)された場合であっても、該第1許容音を基に、「付加的受付演出」ではなく、「内在的受付演出」が発生していることを認識できるようにしている。より具体的には、「付加的受付演出」の発生に際して出力される第1許容音(図222を参照)は、出力状態にあるときに演出受付がなされたとしても、該出力を中途では終了させず、予め定められた時間にわたって出力されるようになっているのに対し、「BGM再生」の演出音が「強抑制態様」になっているなかで「内在的受付演出」の発生に際して出力される第1許容音(図223を参照)は、出力状態にあるときに演出受付がなされると、該演出受付に基づいて、該出力を中途で終了させるものとなっている。
また、この実施の形態にかかるパチンコ機1では、「BGM再生」の演出音が「強抑制態様」になっているなかで「内在的受付演出」の発生に際しては、第1許容音のほか、第2許容音も出力されるようになっていることから、該第2許容音が出力されるか否かを確認することで、「付加的受付演出」が発生している可能性が排除されていることを認識することも可能である。ただし上述の通り、該第2許容音については、必ずしも用意しなくてもよい。
また、この実施の形態にかかるパチンコ機1では、図222及び図223に示されるように、演出受付が許容される設定時間(有効期間)内で現れる操作関連表示(操作を促す表示)についても、「BGM再生」の演出音が「強抑制態様」になっているなかで「内在的受付演出」が発生している場合(メッセージ表示あり)と、「付加的受付演出」が発生している場合(メッセージ表示なし)とで異ならせるようにしており、これによっても「付加的受付演出」が発生している可能性が排除されていることを認識することが可能である。
また、「BGM再生」の演出音が「強抑制態様」になっているなかで発生する「内在的受付演出」では、上述した自動ボタン機能が有効化されうるようになっているのに対し、「付加的受付演出」では、上述した自動ボタン機能が有効化されることはないようになっており、これによっても「付加的受付演出」が発生している可能性が排除されていることを認識することが可能である。
このように、「BGM再生」の演出音が「強抑制態様」になっているなかで「内在的受付演出」が発生した場合は、「抑制態様」に関する演出要素の他にも、様々な演出要素で「付加的受付演出」が発生しているときとは異なる態様が現れるようになっていることから、「付加的受付演出」が発生している可能性が排除されていることを比較的容易に認識することが可能であり、当該「内在的受付演出」への集中を促すことができるようになる。
これに対し、「BGM再生」の演出音が「非抑制態様」になっているなかで「内在的受付演出」が発生する場合は、「付加的受付演出」と様々な演出要素で共通点を持たせるようにしており、「内在的受付演出」と「付加的受付演出」とのいずれが発生している状況にあるのかを認識し難くすることで、「付加的受付演出」が発生している可能性を逆に意識させる演出性を提供するようにしている。
図224は、変動パターンに基づく図柄演出としての「内在的受付演出」が、「BGM再生」の演出音が「非抑制態様」にされているなかで発生するときに現れる演出内容を示すタイムチャートである。なお、図224に示される「内在的受付演出」は、「図222,図223に示した操作受付演出を発生させうる変動パターン」とは異なる変動パターンが選択されたときに該変動パターンに応じた図柄演出として発生するものであってもよい。ただしここでは、図222,図223に示した操作受付演出と同じ変動パターン(特定の変動パターン)が選択されたときに該特定の変動パターンに応じた図柄演出として発生する場合を想定している。
同図224に示されるように、「非抑制態様」にされているなかで発生する「内在的受付演出」も、「強抑制態様」にされているなかで発生する図223に示した「内在的受付演出」と同様、演出判定(予告判定)でいずれの結果が得られた場合であっても、図柄演出内の予め定められたタイミング(ここでは、タイミングtr71)が到来したときには必ず発生するものとなっている。
ただし、図224に示される「内在的受付演出」の発生に際して出力される第1許容音(第1態様)は、図222に示した「付加的受付演出」の発生に際して出力される第1許容音(第1態様)と同様、出力状態にあるときに演出受付がなされたとしても、該出力を中途では終了させず、予め定められた時間にわたって出力されるようになっている(タイミングtr72a)。したがって、該第1許容音が第1態様で出力されたときにはこれを基に「内在的受付演出」と「付加的受付演出」とのいずれが発生しているかを見分けることは困難とされている。
また、図224に示される「内在的受付演出」では、第1許容音(第1態様)の出力と併せて第2許容音が出力されることもなく、この点においても図222に示した「付加的受付演出」と同様となっている。
また、図224に示される「内在的受付演出」では、演出受付が許容される設定時間(有効期間)内で現れる操作関連表示(操作を促す表示)としても、操作対象にされる操作手段を摸した摸画像、と残り時間を示唆するゲージ表示とが表示されるだけであり、メッセージ表示が表示されることもなく、この点においても図222に示した「付加的受付演出」と同様となっている。
また、図224に示される「内在的受付演出」では、操作機会が付与される対象としても「操作ボタン410」に限られており、「刀装飾体5001」が操作対象にされることはないようになっており、この点においても図222に示した「付加的受付演出」と同様となっている。
また、図224に示される「内在的受付演出」では、設定時間(有効期間)内で操作検出が行われなかった場合、上述した自動ボタン機能が有効化されることはなく、操作後演出が発生しないままで設定時間(有効期間)が経過し終わるタイミングtr73が到来するようになっており、この点においても図222に示した「付加的受付演出」と同様となっている。
このように、「BGM再生」の演出音が「非抑制態様」になっているなかで「内在的受付演出」が発生した場合は、「BGM再生」の演出音が「強抑制態様」になっているなかで「内在的受付演出」が発生した場合とは異なり、様々な演出要素が「付加的受付演出」の発生時と共通しており、「付加的受付演出」が発生している可能性を意識させることができるようになる。
ただし、この実施の形態にかかるパチンコ機1では、「BGM再生」の演出音が「非抑制態様」になっているなかで「内在的受付演出(自動ボタン機能が有効化されない内在的受付演出)」が発生するときには、受付許容音(第1許容音)を出力させる場合と、受付許容音(第1許容音)これ自体を出力させずに設定時間が発生する場合とがあるようにしている。これに対し、「BGM再生」の演出音が「非抑制態様」になっているなかで「付加的受付演出」が発生するときには、受付許容音(第1許容音)これ自体を出力させずに設定時間を発生させることはなく、受付許容音(第1許容音)を必ず出力させるようにしている。
このような構成によれば、「BGM再生」の演出音が「非抑制態様」になっているなかで演出受付が許容された場合、受付許容音が出力されたときには、「内在的受付演出」と「付加的受付演出」とのいずれが発生しているかを認識し難くするのに対し、受付許容音が出力されなかったときには、「付加的受付演出」ではなく、「内在的受付演出」が発生している状態にあることを認識することができるようになる。なお、「BGM再生」の演出音が「非抑制態様」になっているなかで「内在的受付演出」を発生させるに際して、受付許容音(第1許容音)が出力されるか否かについては、演出判定ではなく、変動パターンの種別に応じて定められるようにすることが望ましい。受付許容音(第1許容音)が出力される非抑制態様での「内在的受付演出」と、受付許容音(第1許容音)が出力されない非抑制態様での「内在的受付演出」とについては、同じ図柄演出(例えば、特定の変動パターンに基づく図柄演出)内で順次に実行されるようにしてもよい。
また、上記構成によれば、自動ボタン機能が有効化されない操作受付演出が現れた場合、受付許容音(第1許容音)が出力されたときには「内在的受付演出」と「付加的受付演出」とのいずれが発生しているかを認識し難くするのに対し、受付許容音(第1許容音)が出力されないときには該操作受付演出が「内在的受付演出」であることを認識することができるようになる。
「付加的受付演出」では、演出判定(予告判定)の結果に基づいて、第1許容音を第1態様とは異なる態様で出力可能であることは上述したが、該異なる態様については、「BGM再生」の演出音が「非抑制態様」になっているなかで「内在的受付演出」が発生するときには出力され得ないものとするようにしてもよい(例えば、図216に示した「特定態様」)。ただし、該異なる態様については、第1許容音が第1態様で出力されるよりもその発生割合が低いようにすることが望ましい。
図224に示した「内在的受付演出」について、特に断り書きがない部分については、図212に示した操作受付演出に関する別例や変形例を適宜に用いるようにしてもよい。
なお、図221及び図222に示した演出例では、説明の便宜上、図柄演出が行われているなかで演出判定が行われるかのような図示がされているが、該演出判定は、実際には、図柄変動の開始に際して行われるものである。
なお、図212~図224に示した演出例にあって、演出受付に応じた操作後演出の態様については、大当り判定で大当りが得られている場合と大当り判定で大当りに落選している場合とで異なるようにしてもよい。例えば、大当り判定で大当りが得られている場合には、図212~図224に示した演出例の通りであるのに対し、大当り判定で大当りに落選している場合には、図212~図224に示した演出例とは異なる態様で操作後演出が行われるようにしてもよい。
上述の通り、周辺制御基板1510における演出制御は、従来、各種演出装置を個別に制御するプログラムや複数の演出装置を連携させるプログラムなどを組み合わせて実行することによって実現していた。これらのプログラムは、変動パターンと関連するコマンドに加えて予告の内容毎に、演出装置の動作内容や制御手順を表すプログラムコードによって記述され、高度な技術を有するプログラマによって作成されていた。液晶描画においては、演出が実行されるフレームで個々の演出描画データを呼び出し、複数の演出描画(背景、図柄、予告、保留等)を組み合わせていた。
しかしながら、近年の遊技機では、ハードウェアの性能向上とともに遊技機の興趣を向上させるため、多種多様な演出を実行することが求められ、複雑な演出制御を実現する必要があった。これにより、プログラマ個人に高度な技術が要求されるとともに開発工数が増大し、質的にも量的にも必要な人員(プログラマ)を確保することが困難になった。さらに、演出制御プログラムのプログラムコードの総量が増大することで、遊技機の動作確認や品質向上を目的とするテストに要する工数も増大していた。
そこで、これも上述したが、本実施形態の周辺制御基板1510では、開発期間短縮と品質向上のために、液晶描画(画像表示)と連携して実行される演出をプログラムコードによって実現するのではなく、液晶描画演出を作成するツールによって遊技機用のプログラムデータを出力し、出力されたプログラムデータに基づいて各種演出が実行されるようにすることによって、開発期間の短縮と品質の向上を実現するようにしている。
より具体的には、周辺制御基板1510では、各々が演出の内容を示す複数のブロックを組み合わせたものとして構成されるシナリオデータを用意する。ブロックの各々には、該ブロックに基づく演出の実行可否を示すフラグ(利用可否情報)が付されている。このフラグ(利用可否情報)は、例えば、RAM上の書き換え可能な情報として記憶されるものである。
シナリオデータでは、例えば、演出判定の結果に基づいて実行されうる候補として用意されている演出数分だけのブロックが時系列的に組み合わられたものとして構成されている。すなわち、図柄変動を開始させるための始動条件が成立した場合、まず、それら演出のうち、いずれの種別の演出を発生させるかについての演出判定が行われることとなり、その結果が得られると、該得られた結果を基に、実行すべき旨の判定結果が得られた演出種別に対応するブロックについてはそのフラグ(利用可否情報)をオン状態にセットし、実行すべき旨の判定結果が得られなかった演出種別に対応するブロックについてはそのフラグ(利用可否情報)をオフ状態のままで維持させるようにする。これにより、図柄変動(変動パターン)が開始された以降、シナリオデータを時系列的に(単位時間(1フレーム)毎に)処理(解析)することで、オン状態にセットされたブロックに対応する種別の演出だけが選択的に実行されるようになる。
ここで、シナリオデータについては、変動パターンの種別毎にそれぞれ異なるデータが用意されるものであってもよいし、変動パターンには依存せずに用意されるものであってもよい。変動パターンの種別毎にそれぞれ異なるデータとして用意される場合は、各変動パターンの別に発生する可能性のある演出種別に対応するブロックのみが時系列に組み合わされたシナリオデータとして構成されることとなり、それらブロックのうち実行対象として判定されたブロックのフラグ(利用可否情報)のみがオン状態に操作されることとなる。これに対し、各変動パターンで共通して用意されるデータとして用意される場合は、全ての演出種別に対応するブロック(ブロックに対応する番号)がテーブル構造などによって記憶されたシナリオデータとして構成されて、それらブロックのうち実行対象として判定されたブロックのフラグ(利用可否情報)のみをオン状態に操作することによって実現するようにしてもよい。また、変動パターンに依存せずに用意されるシナリオデータについては、ブロックを処理(解析)していくなかで読み出される処理の種別に対応して用意されるものであってもよく(後述の「操作後演出に関するシナリオデータ」など)、この場合には、変動パターンの種別に対応するシナリオデータと、変動パターンの種別に対応しないシナリオデータとがそれぞれ用意されることとなり、変動パターンの種別に対応しないシナリオデータについては、複数種別の変動パターンで共通して使用可能とされることから、処理負荷や記憶容量を好適に抑制することができるようになる。
しかしながら、遊技機の構成上、抽選に関わる演出の表示又は非表示、演出及び図柄の差し替え、遊技者による外部入力に対するインタラクティブな演出などが発生するため、オン状態に操作された各ブロックを実行するだけでは、すべての演出を実現することは不可能である。
そこで、本実施形態にかかる周辺制御基板1510では、所定のタイミングで演出を実行したり、所定の制御を実行したりするプログラムを呼び出すための処理識別情報(演出SW)が、ブロック内、またはブロックに対応付けされた液晶演出スケジューラデータ内に設定され(組み込まれ)うるようにしている。ここで、処理識別情報(演出SW)とは、呼び出し対象となっているプログラムの種類分だけその種類が用意されており、各々がオン状態またはオフ状態に設定されるものである。若しくは、常にオン状態として機能しうる処理識別情報(演出SW)を用意するようにしてもよい。これにより、シナリオデータや、ブロック、液晶演出スケジューラデータなどを処理(解析)するなかで、所定のタイミングで処理識別情報が取得(検出)されると、該取得された処理識別情報の種別に応じた内容の処理が呼び出されることとなり、該呼び出された処理が実行されるようになる。なお、処理識別情報については、呼び出しの対象とされるプログラム関数の番号を示すものであってもよいし、呼び出しの対象とされるプログラム関数の番号が記憶されているテーブル内の番号を示すものであってもよい。
周辺制御基板1510は、シナリオデータや、ブロック、液晶演出スケジューラデータなどを実行解析するなかで、組み込まれた処理識別情報を取得(検出)すると、該取得した処理識別情報の種別に応じたプログラム関数を動的に呼び出す(コールバックする)。コールバックによって呼び出されたプログラム関数の種別(処理内容)によっては、液晶演出以外の演出(例えば、音出力、ランプの点灯、役物の動作など)を実行することが可能であるし、フラグの設定や所定領域のデータの更新など、後続の演出制御に必要な情報を設定するなどの処理を行うことも可能である。このように、処理識別情報によってプログラム関数を呼び出すことで、複数のブロックによる描画の表示又は非表示、演出及び図柄の差し替え、遊技者による外部入力に対するインタラクティブな演出を実現することができる。
コールバックによって呼び出されるプログラム関数は、周辺制御部1530にあらかじめ組み込まれており、遊技機の機種毎に新たに作成する必要がない。したがって、高度なプログラムの知識を持たないデザイナーや企画作成者であっても、各種の演出内容を演出設計するだけでよく、それ以外はあらかじめ定義されているプログラム関数を呼び出す処理識別情報を設定することによって、複雑な演出仕様であってもこれを容易に実現することが可能である。さらに、演出作成ツールを利用して演出の構成単位で演出ブロック(液晶演出スケジューラーデータ)を作成することで大幅な開発期間の短縮が可能となり、加えて、ランダムな抽選結果に基づいて演出内容のテストを行わずに、フラグ(利用可否情報)や処理識別情報を用いたテストを行うことによってテスト工程の簡略化とテストに要する時間の大幅な削減を実現することができる。
このように、この実施の形態にかかるパチンコ機1では、大当りについての判定を行うとともに所定の判定結果(大当りの当選)が得られたことに基づいて特典を付与しうる遊技制御手段(主制御基板1310)と、判定に応じた変動パターンを基に各種演出に関する処理を実行可能な演出制御手段(周辺制御部1511)と、演出制御手段により行われた処理を基に画像データを表示領域に対して出力させる画像制御手段(液晶表示制御部1512)とを備え、演出制御手段は、時系列画像情報(上述したシナリオデータやブロック、または液晶演出スケジューラデータなど)を読み出し、該時系列画像情報に基づいて画像を表示させるための処理を実行可能な画像情報処理手段を備えるものとなっている。
また、この実施の形態にかかる時系列画像情報(上述したシナリオデータやブロック、または液晶演出スケジューラデータなど)では、少なくともその一部に処理識別情報が含まれる場合があるようになっており、画像情報処理手段では、時系列画像情報から処理識別情報を取得し、該取得した処理識別情報の種別に応じた処理を呼び出すことが可能となっている。これにより、画像に関する処理を単位時間(例えば、1フレーム)毎に行っていくなかで、画像とは別の演出要素(ランプや音、可動体など)に関する処理を、画像表示にかかるスケジュールを基にして開始させることができるようになることから、異なる演出要素で協働して1つの演出を実現するときにそれら演出要素の間で開始時期がズレてしまうようなことが抑制されるようになる。
この点、後述するが、この実施の形態にかかるパチンコ機1では、変動パターンとして特定変動パターンが実行される場合に読み出される時系列画像情報には、単位時間毎に処理識別情報が取得される区間が含まれうるようにしている。このような構成では、「画像を表示させるための処理」を時系列的に指定するデータである時系列画像情報これ自体に、処理を読み出すことを指定するデータである処理識別情報が含まれる場合があり、変動パターンとして特定変動パターンが実行される場合に読み出される時系列画像情報には、単位時間毎に処理識別情報が取得される区間が含まれうるようにしていることから、細かなタイミングで演出処理を行う必要がある場合であっても、表示画像による演出との間にズレが生じることが抑制されうるようになる。
また上述の通り、この実施の形態にかかるパチンコ機1では、特定種別の演出音(BGM再生)が抑制態様または無音で出力されているか、若しくは非出力の状態にされているなかで演出受付を許容する特別操作受付演出が実行可能とされている。この点、これも後述するが、この実施の形態にかかるパチンコ機1では、このような特別操作受付演出の発生に際して行われる許容前操作関連表示と、当該特別操作受付演出で演出受付が許容されている状態にあるときに行われる許容中操作関連表示とは、互いに異なる時系列画像情報(上述したシナリオデータやブロック、または液晶演出スケジューラデータなど)に基づいて表示されるようにしている。すなわち、上記構成にかかる特別操作受付演出では、特定種別の演出音が抑制態様または無音で出力されているか、若しくは非出力の状態にされているなかで演出受付が許容されることから、操作演出に集中させることが期待されるようになる。ただしこれと引き換えに、特定種別の演出音が抑制される分だけ演出性に乏しくなることが懸念される。この点、上記構成では、特別操作受付演出の発生に際して行われる許容前操作関連表示と、特別操作受付演出で演出受付が許容されている状態にあるときに行われる許容中操作関連表示とについては、互いに異なる時系列画像情報に基づいて表示されるようにしたことから、表示演出に関しては多彩な演出性を実現することができるようになり、遊技興趣の低下が抑制されうるようになる。
また上述の通り、この実施の形態にかかるパチンコ機1では、演出受付が許容される期間内で操作が検出されなかった場合であっても、操作後演出を発生可能な特別操作受付演出が実行可能とされている。この点、これも後述するが、この実施の形態にかかるパチンコ機1では、このような特別操作受付演出の発生に際して行われる許容前操作関連表示と、当該特別操作受付演出で演出受付が許容されている状態にあるときに行われる許容中操作関連表示とは、互いに異なる時系列画像情報(上述したシナリオデータやブロック、または液晶演出スケジューラデータなど)に基づいて表示されるようにしている。すなわち、このような特別操作受付演出では、演出受付が許容される期間内で操作が検出されなかった場合であっても、操作後演出を発生可能としている。したがって、遊技者による操作が行われず、その結果として操作後演出を確認できなくなる事態が発生することを抑制することができるようになる。しかも、上記構成では、特別操作受付演出の発生に際して行われる許容前操作関連表示と、特別操作受付演出で演出受付が許容されている状態にあるときに行われる許容中操作関連表示とについては、互いに異なる時系列画像情報に基づいて表示されるようにしたことから、表示演出に関しても多彩な演出性を実現することができるようになり、遊技興趣の低下が抑制されうるようになる。
また上述の通り、この実施の形態にかかる周辺制御部1511では、ブロックで対応付けされている液晶演出スケジューラデータから、表示させるべき画像データに対応する情報を読み出し、該読み出した情報を液晶表示制御部1512に対して出力することが可能である。この点、後述するが、ブロックとしては、所定タイミングが到来するまでに要するウェイト時間(ウェイト処理期間)を経てから読み出される第1種ブロックと、ウェイト時間(ウェイト処理期間)を経ずに読み出される第2種ブロックとを用意することとしている。
より具体的には、第1種ブロックとは、変動パターンの開始に際して利用可否情報がオン状態に設定され、且つ演出を開始させるべきタイミングが到来するまでの所定のウェイト時間(ウェイト処理期間)を経てから読み出されるものとして構成することが可能である。第2種ブロックについては、例えば、第1種ブロックで対応付けされている液晶演出スケジューラデータから取得された処理識別情報に基づいて呼び出される処理内で、当該第2種ブロックに対応する利用可否情報がオン状態に設定されることによりウェイト時間(ウェイト処理期間)を経ずに読み出されるものとして構成することが可能である。
すなわちこの場合、第2種ブロックは、ウェイト時間(ウェイト処理期間)に対する設定値に依存することがなくなり、複数のタイミングや、複数の変動パターン間で共通化されたデータとして用いることができるようになることから、処理負荷やメモリ容量の低減を促すことが期待されることはもとより、演出設計や演出変更を容易化させることができるようになる。
また、後述するが、この実施の形態にかかるパチンコ機1では、時系列画像情報(ブロック、または液晶演出スケジューラデータ)のうち、第1の時系列画像情報(第1ブロック、または第1液晶演出スケジューラデータ)に基づく処理が実行状態にあるなかで第2の時系列画像情報(第2ブロック、または第2液晶演出スケジューラデータ)が読み出し可能とされ、該第2の時系列画像情報が読み出されると、該第2の時系列画像情報に基づく処理が、実行途中の状態にある上記第1の時系列画像情報に基づく処理に代わるかたちで実行状態になるようにしている。すなわちこの場合、第1の時系列画像情報に基づく処理を中途で終了させる手間を省くことができるようになり、処理負荷やメモリ容量の低減が期待されるようになる。
以下、このような技術的特徴について説明するが、該技術的特徴を説明するにあたり、この実施の形態にかかる「ブロック」について改めて説明しておくと、該「ブロック」とは、演出表示装置1600に表示される画像が「複数の画像要素(複数のレイヤ)」によって構成されるものであるとするとき、それら画像要素(レイヤ)の別に用意されるものであり、該画像要素を表示させるために画像制御手段(液晶表示制御部1512)が出力するべき画像データ(動画または静止画)に対応する情報(画像番号)を読み出すための処理に供されるものである。
ここで、画像データに対応する情報(画像番号)を読み出すための処理(周辺制御部1511内の処理)は、1フレーム毎に起動される「周辺制御部定常処理(図95)」内で実行されるようになっており、1フレーム毎に、「ブロック」に基づいて現在表示させるべき画像データに対応する情報(画像番号)があるかを判定し、該情報があればそれを読み出し、各フレームの別に読み出した該情報を基に描画リストを作成して画像制御手段(液晶表示制御部1512)に対して送信することがなされる。これにより、画像制御手段(液晶表示制御部1512)では、該描画リストを基に画像データを読み出して表示画像を作成した後にこれを表示領域に対して出力させることで、演出表示装置1600における表示演出が実現されるようになる。
ここで、「ブロック」これ自体が、「画像データに対応する情報(画像番号)」を単位時間毎に指定するデータ構造として構成されるものであってもよく、この場合は、上述した「液晶演出スケジューラデータ」としての機能を持ち合わせることとなることから、「ブロック」とは別に「液晶演出スケジューラデータ」を用意する必要がなくなりこれを割愛することが可能である。
ただし、この説明例にかかる「ブロック」は、「液晶演出スケジューラデータ」の種別を特定付けるものとなっており、該「ブロック」に対応付けされている「液晶演出スケジューラデータ」に基づいて現在表示させるべき画像データに対応する情報(画像番号)があるかを判定し、該情報があれば、それを読み出して画像制御手段(液晶表示制御部1512)に対して送信するようにしている。1つの「ブロック」に対して複数の「液晶演出スケジューラデータ」が対応付けされていてもよく、この場合は、それら「液晶演出スケジューラデータ」を予め定められた順序で実行することとなるか、若しくはそれら「液晶演出スケジューラデータ」のいずれかを選択的に実行することとなる。
また、この説明例にかかる「ブロック」では、「画像制御手段(液晶表示制御部1512)内の画像データ」に対応する情報(画像番号)に関しての1フレーム毎のスケジュールが記載された「液晶演出スケジューラデータ」のほか、「ランプ発光に関する処理」としていずれを実行するかについての情報や、「可動体動作に関する処理」としていずれを実行するかについての情報や、「音出力に関する処理」としていずれを実行するかについての情報なども含むものとなっている。すなわちこの場合、特定の予告演出を実現するための「ブロック」が読み出されたとすると、該「ブロック」に基づいて、特定の予告演出に関連した「演出表示装置1600における画像処理」と、「ランプ発光に関する処理」と、「可動体動作に関する処理」と、「音出力に関する処理」とがそれぞれ読み出されて実行されるようになることから、異なる演出要素(画像、ランプ、可動体、音)で協働して1つの演出(特定の予告演出)を実現するときにそれら演出要素の間で開始時期がズレてしまうようなことが抑制されるようになる。
そして上述の通り、「ブロック」は、他のブロックと併せて、若しくはこれ単体で1つのシナリオデータを構成しており、該シナリオデータのうち、利用可否情報がオン状態になっている「ブロック」のみが選択的に実行(解析)されることで、演出判定の結果に応じた態様での演出が実行されるようになっている。
ただし、シナリオデータやブロックに関しては、「シナリオデータは、各々が演出の内容を示す複数のブロックを組み合わせたものとして構成されうる」といった関係性を有するものであればよく、「ブロック」とは別に「液晶演出スケジューラデータ」を備えるかも含めて、その詳細な実現手法については限定されるものではない。
図225は、大当り判定の結果に基づいて特定の変動パターンが選択されたときに「シナリオデータ」や「ブロック」を用いて各種の表示演出を実現するときの処理手順についてその一例を概念として示すタイムチャートである。なお、同図225においては、「液晶演出スケジューラデータ」のことを「アニメーションリスト」として記載しているが、これらは同義である。
同図225に示されるように、この説明例にかかる周辺制御部1511では、レイヤの別にシナリオデータが用意されており、例えば、「レイヤ2」のシナリオデータでは、図柄演出の内容を示す複数のブロック(図柄用ブロックA,図柄用ブロックB,図柄用ブロックC,図柄用ブロックD)が時系列的に組み合わされたものとして構成されている。ただし、この実施の形態では、レイヤ1や、レイヤ5のシナリオデータなど、演出の内容を示すブロックとして1つしか用意されていないシナリオデータも含まれている。
また後述するが、この説明例にかかるシナリオデータには、「対応付けされている複数のブロックのうちいずれか1つを選択的に実行しうるように構成されているもの」も含まれており、この場合は、複数のブロックのうち選択したブロックに対応する利用不可情報のみをオン状態に操作し、他のブロックに対応する利用不可情報についてはオフ状態のままにすることで、複数のブロックのうちいずれか1つを選択的に実行可能としている。若しくは、この説明例にかかるブロックには、「対応付けされている複数の液晶演出スケジューラデータのうちいずれか1つを選択的に実行しうるように構成されているもの」も含まれており、この場合は、複数の液晶演出スケジューラデータのうち選択した液晶演出スケジューラデータに対応する利用不可情報のみをオン状態に操作し、他の液晶演出スケジューラデータに対応する利用不可情報についてはオフ状態のままにすることで、複数の液晶演出スケジューラデータのうちいずれか1つを選択的に実行可能とするようにしてもよい。
いま、図柄変動(保留消化)にかかる始動条件が成立したとすると、周辺制御部1511では、まず、主制御基板1310から各種判定の結果にかかる情報を取得する。こうして取得される情報のなかには、変動パターンに関する情報も含まれており、周辺制御部1511では、該情報(変動パターン)に応じたシナリオデータを読み出すとともに、実行対象の候補として該シナリオデータに対応付けされている複数のブロック(予告演出に相当するブロックなど)のうちいずれのブロック(演出)を実行するかについての演出判定を行う。そして、シナリオデータに対応付けされている複数のブロック(演出)のうち、実行する旨の演出判定がなされたブロック(演出)については、その利用可否情報をオン状態に操作(設定)し、実行する旨の演出判定がなされなかったブロック(演出)については、その利用可否情報をオフ状態のままにする。
なお、各ブロック(演出)に対応付けされている利用可否情報については、シナリオデータを読み出したときなど、図柄演出(装飾図柄による変動演出)を開始させるに際してオフ状態に操作(設定)するようにしている。そして、こうして読み出されたシナリオデータを基に、いずれのブロックの利用可否情報をオン状態に操作(設定)するかについての上述した処理がなされることとなる。
ここで、図柄演出を開始させるに際して利用可否情報がオン状態に操作(設定)された「ブロック」については、シナリオデータを基に図柄演出が開始されてすぐに実行(解析)されるか、シナリオデータを基に開始された他のブロック(演出)に続くかたちで実行(解析)されるか、シナリオデータやブロックに対して予め定められているウェイト時間(ウェイト処理期間)を経たタイミングで実行(解析)されることとなる。ただし、ブロック(演出)には、「一の変動パターン内の複数タイミングで実行される可能性があるもの」や、「複数の変動パターンで実行される可能性があるもの」なども含まれる。すなわち、図柄演出を開始させるに際して、当該変動内で実行する全てのブロックの利用可否情報をオン状態に操作(設定)するような仕組みにしてしまうと、「同じ内容が現れる演出態様であっても、その実行タイミングが異なっているだけで、異なるウェイト時間(ウェイト処理期間)が設定されたシナリオデータ(またはブロック)をそれぞれ用意する」といった必要が生じることとなる。すなわちこの場合、同じ演出内容であるにもかかわらず別のデータを用意し、該データを基に演出を実行することとなることから、処理負荷やメモリ容量に悪影響を及ぼすことが懸念される。
そこで、この実施の形態にかかる周辺制御部1511では、特定の変動パターンが選択された場合、特定ブロック(特定演出)を必ず実行対象とするが、図柄演出の実行に際しては該特定ブロック(特定演出)の利用可否情報をオン状態に操作(設定)せず、オフ状態のままで図柄演出を開始させることを可能としている。このような特定ブロック(特定演出)としては、図225においては「出現EF用ブロックE」や、「操作待ち用ブロックE」や、「操作後用ブロックE」などが該当するが、これらのブロックについては後述することとする。なおこのうち、「操作後用ブロックE」は、大当りに当選しているか落選しているかを明示する演出(大当り専用の演出内容が用意されている演出)として実行されるものである。
また、この実施の形態にかかる周辺制御部1511では、演出判定の結果として実行する旨の結果が得られたブロック(演出)であっても、これが別の変動パターンや、別のタイミングでも実行される可能性があるものである場合には、図柄演出の実行に際してその利用可否情報をオン状態に操作(設定)せず、オフ状態のままで図柄演出を開始させることを可能としている。このようなブロックとしては、図225においては「操作待ち用ブロックA」や「出現EF&操作待ち用ブロックD」などが該当するが、これらのブロックについても後述することとする。
同図225に示される例では、タイミングts1において始動条件が成立した場合を想定している。したがって、タイミングts1においては、変動パターンの種別に対応するかたちで各レイヤの別に予め定められているシナリオデータがそれぞれ読み出される。次いで、こうして読み出されたシナリオデータに対応付けされているブロックや、液晶演出スケジューラデータに対して付されている利用可否情報のいずれをオン状態に操作(設定)するかについての演出判定が行われ、該演出判定の結果に基づいて利用可否情報に対する操作(設定)が行われる。そして、こうして利用可否情報に対する操作(設定)が行われたもとでシナリオデータがレイヤの別にそれぞれ実行(解析)されることで、演出判定の結果に応じた態様で演出が進展するようになる。
ただしこれに代えて、変動パターンの種別に対応するかたちで各レイヤの別に予め定められているシナリオデータがそれぞれ読み出されるよりも前に、変動パターンの種別に応じた演出判定を行うようにしてもよい。すなわちこの場合、読み出されたシナリオデータに対応付けされているブロックや、液晶演出スケジューラデータに対して付されている利用可否情報を、該シナリオデータを読み出すよりも前に実行した演出判定の結果に基づいてそれぞれ操作することとなる。
ここで、複数のレイヤのうち「レイヤ1」では、図柄演出が実行されていない状態(図柄が停止表示されており、遊技が未実行の状態)にあるときから表示される「背景画像」に関してのシナリオデータのブロック(ノーマル背景用ブロック)に対応するものとなっている。したがって、「レイヤ1」では、タイミングts1が到来したことを契機として新たなブロックが読み出されたりすることはなく、既に実行状態になっているブロック(ノーマル背景用ブロック)を継続して実行(解析)することとなる。
より具体的には、ノーマル背景用ブロックにおいては、液晶表示制御部1512内に記憶されている「背景画像用の画像データ」として「いずれの画像データ」を「いずれのタイミング」で出力させるべきかについての情報(時系列画像情報)である「ノーマル背景用の液晶演出スケジューラデータ」が対応付けされている。すなわち、周辺制御部1511では、該「ノーマル背景用の液晶演出スケジューラデータ」を単位時間(1フレーム)毎に実行(解析)しており、その結果として「背景画像用の画像データ(動画、若しくは静止画)」に対応する情報が取得される都度、該情報を、液晶表示制御部1512に対して送信する。この際、他のフレームから得られた情報と纏めて1つの情報(描画リスト)を作成するようにし、該描画リストとして液晶表示制御部1512に対して送信するようにしてもよい。これにより、「ノーマル背景用の液晶演出スケジューラデータ」で規定されているスケジュール通りの背景描写(ノーマル背景)が演出表示装置1600において表示されるようになる。この「ノーマル背景用の液晶演出スケジューラデータ」を対応付けるブロックやシナリオデータについては、電源投入時処理が終了したタイミングや、該当の演出状態(通常演出状態や、高確演出状態、特別の演出モードなど)に突入したタイミングを契機として読み出されるようにし、所定時間毎に同じ内容の背景画像(背景動画)がループ表示される時系列画像情報として設定されるようにすることが望ましい。また、他のフレームから得られた情報と纏めて1つの情報(描画リスト)を作成せず、「背景画像用の画像データ(動画、若しくは静止画)」に対応する情報を液晶表示制御部1512に対して送信するようにしてもよい。要は、「背景画像用の画像データ(動画、若しくは静止画)」に対応する情報を、いかなる態様であれ、液晶表示制御部1512に対して送信するものであればよい。
なお、ノーマル背景用ブロックに基づいて「レイヤ1」上に表示されるノーマル背景画像は、後述の「SPリーチ背景用ブロック」や「SP結末背景用ブロック」に基づいて「レイヤ3」上にSPリーチ時の背景画像が表示される状態になると、「レイヤ3」上の背景画像が優先表示されることによって演出表示装置1600においては非表示にされるものである。ただし、内部的な画像処理としては、「レイヤ3」上にSPリーチ時の背景画像が表示される状態になったとしても、「レイヤ1」上においては「ノーマル背景用の液晶演出スケジューラデータ」を基にしたノーマル背景画像に関する処理が継続的に実行されたままになっており、「レイヤ3」上におけるSP背景画像にかかる処理状況に応じて非実行の状態にされることはないものとなっている。したがって、図225に示されるように、SPリーチ時の背景画像に対応するシナリオデータが終了した以降の期間Xにおいては、ノーマル背景が再び表示される状態になり、こうしてノーマル背景が表示されているもとで停止図柄を表示させるための「図柄用ブロックD」が実行されるようになっている。これにより、大当り図柄が現れたときにいずれの演出状態で当選したのかを容易に認識することができるようになり、遊技理解を好適に促すことができるようになる。
これに対し、「レイヤ2」では、「演出図柄(演出表示装置1600に表示される図柄)」に関してのシナリオデータのブロック(図柄用ブロック)に対応するものとなっている。図225に示される特定の変動パターンでは、SPリーチ演出まで発展するものとなっていることから、「レイヤ2」のシナリオデータでは、「リーチ前変動用の液晶演出スケジューラデータ」を対応付けている「図柄用ブロックA」と、「ノーマルリーチ変動用の液晶演出スケジューラデータ」を対応付けている「図柄用ブロックB」と、「SPリーチ変動用の液晶演出スケジューラデータ」を対応付けている「図柄用ブロックC」と、「停止図柄用の液晶演出スケジューラデータ」を対応付けている「図柄用ブロックD」とをそれぞれ順次に実行(解析)することが定められている。
ただし近年は、SPリーチ背景が表示されている期間中、「演出図柄」は演出表示装置1600内で小さく表示されることが多いし、さらには「SPリーチ背景が表示された後にノーマル背景に一旦戻され、その後にSPリーチ背景が再び表示される」といったような演出進展がなされることもある。すなわちこの場合、「演出図柄」にかかる表示スケジュールと、「SPリーチ背景」にかかる表示スケジュールとをレイヤ別に実行(解析)するだけでは、何らかの異常があったときにズレが生じることが懸念されることから、「SPリーチ変動用の液晶演出スケジューラデータ」を対応付けている「図柄用ブロックC」については、「SPリーチ背景」にかかる表示スケジュールを基に実行されるようにしてもよい。この場合、背景画像に関する処理が、演出図柄のスケジュールを管理するように機能することとなる。
例えば、後述の「SPリーチ背景用ブロック」に対応する「SPリーチ背景用の液晶演出スケジューラデータ」内の所定タイミングに「図柄用ブロックCの利用可否情報をオン状態にする処理」を呼び出すための処理識別情報を付しておくようにすることで、「図柄用ブロックC」や「図柄用ブロックD」については、「SPリーチ背景」にかかる表示スケジュールを基に実行することが可能である。なおこの場合、「図柄用ブロックC」や「図柄用ブロックD」については、図柄演出を開始させるに際してその利用可否情報はオフ状態のままにされることとなることはもとより、「図柄用ブロックA」や「図柄用ブロックB」に対応するシナリオデータには含まれず、別のシナリオデータとして構成されることとなる。
また、「レイヤ3」では、「SPリーチ演出が開始された以降の背景画像」に関してのシナリオデータのブロック(SPリーチ背景用ブロック、SP結末背景用ブロック)に対応するものとなっている。この点、「SPリーチ演出が開始された以降の背景画像」は、図柄演出が開始された時点では表示されるべきものではなく、図柄演出の途中タイミングから開始させるべきものである。したがって、「レイヤ3」のシナリオデータでは、該当タイミングが到来するまで「SPリーチ演出が開始された以降の背景画像」のブロックを実行させないように機能するウェイト時間(ウェイト処理期間)が設定されている。これにより、図柄演出が開始されてから所定のウェイト時間(ウェイト処理期間)を経た後に「SPリーチ背景用ブロック」と「SP結末背景用ブロック」とが順次に実行(解析)されてそれに応じた情報が1フレーム毎に読み出されうることで、演出表示装置1600においてSPリーチ演出の背景画像が現れるようになる。
すなわちこの場合、上記ブロックとしては、所定タイミングが到来するまでのウェイト時間(ウェイト処理期間)を経てから読み出される第1種ブロック(図225に示されるレイヤ3,4に対応するブロックなど)と、ウェイト時間(ウェイト処理期間)を経ずに読み出される第2種ブロック(図225に示されるレイヤ1,レイヤ2,レイヤ5~7に対応するブロックなど)とが含まれることとなる。第2種ブロックは、ウェイト時間(ウェイト処理期間)に対する設定値に依存することがなくなり、あらゆる演出タイミングで共通化されたデータとして用いることが可能であるから、処理負荷やメモリ容量の低減を促すことが期待されることはもとより、演出設計や演出変更を容易化させることができるようになる。
この点、SPリーチ演出では、大当りの当落にかかわらず同じ内容の表示演出を開始させてから演出途中の段階で、大当り用の演出内容(例えば、キャラクタが勝利する演出内容など)と、ハズレ用の演出内容(例えば、キャラクタが敗北する演出内容など)とのいずれかへと分岐することで、大当りの判定結果を示唆するように構成されることが多い。この際、SPリーチ演出の途中段階までは大当りの当落にかかわらず同じ内容の表示演出が実行されるようになっているにもかかわらず、それらを異なるブロック(大当り用のブロック、ハズレ用のブロック)や画像データで表示させるようにしてしまうと、処理負荷やメモリ容量に悪影響を及ぼすことが懸念される。
そこで、この実施の形態にかかるパチンコ機1では、SPリーチ演出に関するシナリオデータについては、大当り時とハズレ時とで共用可能な画像データに対応するブロック(SPリーチ背景用ブロック)と、大当り時とハズレ時とで異なる画像データに対応するブロック(SP結末背景用ブロック)とに分けてこれらを順次に実行させるようにしている。これにより、処理負荷やメモリ容量を抑制しつつ、SPリーチ演出を実行することができるようになる。
ところで、SPリーチ演出に関するシナリオデータでは、所定のウェイト時間(ウェイト処理期間)を経ると「SPリーチ背景用ブロック」が読み出される。次いで、該「SPリーチ背景用ブロック」に対応する「SPリーチ背景用の液晶演出スケジューラデータ」が読み出される。これらの処理が単位時間毎に実行(解析)されることとなるが、「SPリーチ背景用の液晶演出スケジューラデータ」では、単位時間(1フレーム)毎に同じ処理識別情報が取得される区間が設定されており、これによってタイマなどによる時間管理ではなく、液晶演出スケジューラデータの毎フレーム管理によって演出受付期間(有効期間)を生成するものとなっている。
例えば、図225に示される「SPリーチ背景用の液晶演出スケジューラデータ」では、現在表示させるべき画像データに対応する情報とは別に、該「SPリーチ背景用の液晶演出スケジューラデータ」が実行(解析)されてすぐのタイミングts31から1フレーム毎に「X1」の処理識別情報が並ぶように付されている。該「X1」の処理識別情報が読み出される都度、下記「処理X1」が読み出されて実行されるようになっている。
処理X1.特定の操作手段(例えば、操作ボタン410)に対する操作検出情報に基づいて、「操作後用ブロックC」に対応する操作後演出を発生させるかについての演出判定が行われる処理
すなわち、この実施の形態にかかるパチンコ機1では、このような処理識別情報(ここでは「X1」)が単位時間毎に付されている区間が、「操作によって演出受付がなされうる演出受付期間(有効期間)」として機能するようになっており、該「処理X1」では、演出判定がなされたときには「レイヤ6」に対応付けされている「操作後用ブロックC」の利用可否情報をオン状態に操作(設定)することがなされる。これにより、「操作後用ブロックC」がこれに対応する時間分だけ単位時間毎に読み出されるようになり、該「操作後用ブロックC」に対応付けられている「操作後用の液晶演出スケジューラデータC」が単位時間毎に実行(解析)されるようになることはもとより、該「操作後用ブロックC」に対応付けられている「ランプ発光に関する処理」や、「可動体動作に関する処理」、「音出力に関する処理」などがそれぞれ実行開始されることで、「操作後用ブロックC」に対応する操作後演出を発生させることができるようになる。
なお、こうして「操作後用ブロックC」に対応付けられている各処理をそれぞれ実行開始させた次のフレームにおいても、上記「SPリーチ背景用ブロック」に対応する「SPリーチ背景用の液晶演出スケジューラデータ」は実行(解析)される。したがって、処理識別情報(ここでは「X1」)が単位時間毎に付されている区間(演出受付期間)の途中段階で演出受付がなされたときには、次のフレームにおいても、「SPリーチ背景用の液晶演出スケジューラデータ」から処理識別情報(ここでは「X1」)が読み出されて、該処理識別情報に対応する上記「処理X1」が実行されることとなる。ただし、当該「処理X1」には、「操作後用ブロックC」に対応付けられている各処理をそれぞれ実行開始させた状態にあるかについての判定処理も含まれており、該判定処理にて実行開始させた状態にある旨判定されることで、操作検出情報に基づく処理をこれ以上行うことなく当該「処理X1」を終了させるようにしている。
例えば、図225に示した例においては、タイミングts31から同じ処理識別情報(ここでは「X1」)が4つ並んでいるが、2番目の処理識別情報(ここでは「X1」)から読み出された「処理X1」内で演出受付がなされ、これによって「レイヤ6」で「操作後用ブロックC」に対応付けられている「操作後用の液晶演出スケジューラデータC」が実行(解析)された場合を想定している。この場合、同図中において塗り潰されている3,4番目の処理識別情報(ここでは「X1」)についてはもはやこれを読み出す必要性が喪失されているものの、「SPリーチ背景用の液晶演出スケジューラデータ」を単位時間毎に実行するなかで自ずと読み出されることとなる。ただし、こうして読み出される都度、該処理識別情報(ここでは「X1」)に対応する上記「処理X1」にて「操作後演出は実行済みであるから当該処理X1を終了する」といった処理を実行することで、演出判定にかかる処理を実質的に無効化させる(演出受付が許容されない状態にさせる)こととなる。
これに対し、「処理X1」において演出判定がなされなかった(操作後演出を実行しない旨の判定がなされた)ときには、「レイヤ6」に対応付けされている「操作後用ブロックC」の利用可否情報をオフ状態にしたままで当該処理X1を終了する。そして、単位時間(1フレーム)毎に同じ処理識別情報(ここでは「X1」)が取得される区間が終了されるまで、単位時間(1フレーム)毎に、「SPリーチ背景用の液晶演出スケジューラデータ」から処理識別情報(ここでは「X1」)が読み出されてこれに対応する上記「処理X1」が実行されることとなる。図225に示した例においては、4番目の処理識別情報(ここでは「X1」)で上記区間が終了するようになっていることから、4番目の処理識別情報が読み出されてこれに応じた処理X1内で演出判定がなされなかったときには、「操作後用ブロックC」に応じた操作後演出が実行されることなくそれ以降の演出が進展することとなる。
このような構成によれば、操作後演出を実行した後も(2番目の処理識別情報(X1)から読み出された処理X1内で演出判定がなされた後も)、「SPリーチ背景用の液晶演出スケジューラデータ」から「操作後演出を発生させうる処理X1」を読み出すための同じ処理識別情報(X1)を取得することとなる。ただし、このような情報を解析するだけで演出受付期間(有効期間)として実質的に機能させることができるようになることから、演出設計の容易化や共通化を好適に図ることができるようになる。
なお、図225は、このような処理を概念として示したものにすぎず、実際には、処理識別情報が4フレームにわたってしか取得されないということはない。演出受付期間として機能させるのであれば、通常は、90フレーム程度の期間にわたって同じ処理識別情報が取得される区間として設定されることが多い。このことは、タイミングts31で発生する演出受付期間に限られず、他のタイミングで発生する演出受付期間においても同様のことが言える。また上述の通り、このような処理識別情報については、液晶演出スケジューラデータ側ではなく、ブロック側に付すようにしてもよいし、液晶演出スケジューラデータとブロックとを1つのデータとして設けるようにしてもよい。
しかも、図225に示される「SPリーチ背景用の液晶演出スケジューラデータ」では、タイミングts41においても、操作演出に関連した処理識別情報(ここでは、「1」)が付されている。ただし、該「1」の処理識別情報は、「操作後演出を発生させるかについての演出判定が行われる処理」を読み出すものではなく、下記「処理1」が読み出されて実行されるものとなっている。
処理1.「操作によって演出受付がなされうる演出受付期間(有効期間)」が間もなく発生することを示唆する前兆演出(出現エフェクト表示など)と、演出受付期間が発生している状態にあり遊技者に対して操作を促す操作待ち用演出(上述した摸画像やゲージ表示など)とをそれぞれ行うための「出現EF&操作待ち用ブロックD」に付されている利用可否情報をオン状態に操作(設定)する処理
このような構成によれば、「SPリーチ背景用の液晶演出スケジューラデータ」とは別に、「出現EF&操作待ち用ブロックD(出現EF&操作待ち用の液晶演出スケジューラデータD)」を用意する必要があるものの、該「出現EF&操作待ち用ブロックD」については、「SPリーチ背景用の液晶演出スケジューラデータ」により定められている適宜のタイミング(ここでは、タイミングts41)から実行開始させることができるようになる。すなわちこの場合、「SPリーチ背景用の液晶演出スケジューラデータ」内のあらゆるタイミングや、複数のタイミングで「出現EF&操作待ち用ブロックD」を実行開始させるようにしたり、該「SPリーチ背景用の液晶演出スケジューラデータ」とは異なる変動パターン内における「液晶演出スケジューラデータ」からも「出現EF&操作待ち用ブロックD」を実行開始させることが容易に実現されることから、演出設計の容易化や共通化を好適に図ることができるようになる。
ここで、「出現EF&操作待ち用ブロックD」が実行(解析)されると、該「出現EF&操作待ち用ブロックD」に対応する「出現EF&操作待ち用の液晶演出スケジューラデータD」が読み出される。これらの処理は単位時間毎に実行(解析)されることとなるが、「出現EF&操作待ち用の液晶演出スケジューラデータ」では、まず、演出受付が許容されていないなかで、「操作によって演出受付がなされうる演出受付期間(有効期間)」が間もなく発生することを示唆する前兆演出(出現エフェクト表示など)に対応する画像情報(動画、または静止画)が取得される区間が設けられる。
ただし、「出現EF&操作待ち用の液晶演出スケジューラデータ」では、その途中から、演出受付期間が発生している状態にあり遊技者に対して操作を促す操作待ち用演出(上述した摸画像やゲージ表示など)に対応する画像情報(動画、または静止画)が取得される区間が現れるようになっており、該区間では、単位時間(1フレーム)毎に同じ処理識別情報が取得されるようになっている。
すなわち、タイミングts41から実行(解析)される「出現EF&操作待ち用の液晶演出スケジューラデータ」においては、現在表示させるべき画像データに対応する情報とは別に、タイミングts42から1フレーム毎に「Y3」の処理識別情報が並ぶように付されている。該「Y3」の処理識別情報が読み出される都度、下記「処理Y3」が読み出されて実行されるようになっている。
処理Y3.特定の操作手段(例えば、操作ボタン410)に対する操作検出情報に基づいて、「操作後用ブロックD」に対応する操作後演出を発生させるかについての演出判定が行われる処理
この実施の形態にかかるパチンコ機1では、このような処理識別情報(ここでは「Y3」)が単位時間毎に付されている区間が、「操作によって演出受付がなされうる演出受付期間(有効期間)」として機能するようになっている。しかも、該「処理Y3」では、演出判定がなされたときには、当該「処理Y3」を読み出す基になっている「出現EF&操作待ち用ブロックD(出現EF&操作待ち用の液晶演出スケジューラデータD)」と同じ「レイヤ6」に対応付けされている「操作後用ブロックD」の利用可否情報をオン状態に操作(設定)することがなされる。
すなわちこの場合、「操作後用ブロックD」が読み出されると、該「操作後用ブロックD」に対応付けられている「操作後用の液晶演出スケジューラデータD」をはじめとした各種処理がそれぞれ実行されることで「操作後用ブロックD」に対応する操作後演出が発生することとなる。これはもとより、新たに読み出された「操作後用ブロックD(操作後用の液晶演出スケジューラデータ)」は、実行途中の状態にあった「出現EF&操作待ち用ブロックD(出現EF&操作待ち用の液晶演出スケジューラデータD)」に代わるかたちで「レイヤ6」にて実行状態とされるようになる。
このような構成によれば、「操作後用ブロックD」を読み出すだけで、演出判定がなされたことによってもはや読み出す必要性のなくなった「出現EF&操作待ち用ブロックD(出現EF&操作待ち用の液晶演出スケジューラデータD)」や、さらには「処理Y3」を読み出すための「Y3」の処理識別情報を実質的に無効化させる(演出受付が許容されない状態にさせる)ことができるようになることから、これらを終了させるための判定や処理を別途行う必要がなくなるなど、演出設計の容易化や共通化を好適に図ることができるようになる。なお、図225に示される例では、「出現EF&操作待ち用ブロックD(出現EF&操作待ち用の液晶演出スケジューラデータD)」内の2番目の処理識別情報(ここでは「Y3」)から読み出された「処理Y3」内で演出受付がなされ、これによって同じ「レイヤ6」で「操作後用ブロックD」に対応付けられている「操作後用の液晶演出スケジューラデータD」が実行(解析)された場合を想定している。したがって、図225に示される例では、「出現EF&操作待ち用ブロックD(出現EF&操作待ち用の液晶演出スケジューラデータD)」内の「射線部分」が、上書きによって消去された区間(実質的に無効化された区間)に相当している。
すなわち、「Y3」の処理識別情報については、タイミングts31から発生する演出受付期間と同様、「SPリーチ背景用の液晶演出スケジューラデータ(SPリーチ背景用ブロック)」側に付すようにすることも可能であるところ、「操作後用ブロックD(操作後用の液晶演出スケジューラデータD)」と同じレイヤに対応付けされている「出現EF&操作待ち用の液晶演出スケジューラデータ(出現EF&操作待ち用ブロックD)」側にあえて付すようにしたことで、このような優れた作用効果が奏されるようにすることを可能ならしめていると言える。
ただし、この実施の形態にかかる周辺制御部1511では、タイミングts42から発生する演出受付期間においては、操作演出に関する処理を読み出すための処理識別情報として
・「出現EF&操作待ち用の液晶演出スケジューラデータ(出現EF&操作待ち用ブロックD)」に含まれる上記「Y3」の処理識別情報
のほか、
・「SPリーチ背景用の液晶演出スケジューラデータ(SPリーチ背景用ブロック)」に含まれる「Y2」の処理識別情報
を用意することとしている。
すなわち上述の通り、「出現EF&操作待ち用の液晶演出スケジューラデータ(出現EF&操作待ち用ブロックD)」は、「操作後用ブロックD(操作後用の液晶演出スケジューラデータ)」と同じ「レイヤ6」に対応付けされるものであるから、これに「Y3」の処理識別情報を付すようにした場合は、「操作後用ブロックD(操作後用の液晶演出スケジューラデータ)」が実行されたときに自ずと消去(無効化)されるようになる点で有益である。ただし、「出現EF&操作待ち用の液晶演出スケジューラデータ(出現EF&操作待ち用ブロックD)」は、「SPリーチ背景用の液晶演出スケジューラデータ(SPリーチ背景用ブロック)」に含まれている「1」の処理識別情報を基にその利用可否情報がオン状態に操作されることにより実行(解析)されるものである。したがって、処理負荷が高いときなどに「1」の処理識別情報が付されているフレーム処理を飛ばしてしまうようなことがあると、該「出現EF&操作待ち用の液晶演出スケジューラデータ(出現EF&操作待ち用ブロックD)」これ自体が実行されないこととなり、ひいては「Y3」の処理識別情報に基づく演出受付期間(有効期間)が発生しないことにもなりかねない。
そこで、この実施の形態にかかる周辺制御部1511では、操作演出に関する処理(操作検出情報に基づいて操作後演出を発生させるかについての演出判定が行われる処理)を読み出すための処理識別情報として、「Y2」の処理識別情報と「Y3」の処理識別情報とを用意し、「Y2」の処理識別情報については、「SPリーチ背景用の液晶演出スケジューラデータ(SPリーチ背景用ブロック)」側に付すようにするとともに、「Y3」の処理識別情報については、「出現EF&操作待ち用の液晶演出スケジューラデータ(出現EF&操作待ち用ブロックD)」側に付すようにしている。このように、操作演出に関する処理を読み出すための処理識別情報として、変動パターンの開始に際して利用可否情報がオン状態に設定され且つ演出を開始させるべきタイミングが到来するまでの所定のウェイト時間(ウェイト処理期間)を経てから読み出される第1種ブロックに対応付けされるものと、該第1種ブロックを基に実行される処理内で利用可否情報がオン状態に設定されることによりウェイト時間(ウェイト処理期間)を経ずに読み出される第2種ブロックに対応付けされるものとの両方を用意するようにしたことで、演出受付期間(有効期間)が発生しなくなってしまう上述のリスクを低減することができるようになる。
なおここでは、「Y3」の処理識別情報に基づいて実行される「処理Y3」では、演出判定がなされると、上述の「操作後用ブロックD」の利用可否情報がオン状態に操作されて、演出表示装置1600における操作後の表示演出(操作後演出)が実行されるようになっている。これに対し、「Y2」の処理識別情報に基づいて実行される「処理Y2」では、演出判定がなされると、「ランプ発光に関する処理」や、「可動体動作に関する処理」、「音出力に関する処理」がそれぞれ実行開始されるようにしている。したがって、「Y3」の処理識別情報が読み出されなかった場合であっても、「Y2」の処理識別情報によってランプ発光、可動体動作、及び音出力によって操作後演出を実現することが可能とされている。「処理Y2」と「処理Y3」とは、互いに異なる操作後演出を発生させうるものであればよい。
なお、図225に示した例においては、タイミングts42から同じ処理識別情報(ここでは「Y2」)が3つ並んでいるが、2番目の処理識別情報(ここでは「Y2」)から読み出された「処理Y2」内で演出受付がなされ、これによってランプ発光、可動体動作、及び音出力による操作後演出が実行された場合を想定している。この場合、同図中において塗り潰されている3番目の処理識別情報(ここでは「Y2」)についてはもはやこれを読み出す必要性が喪失されているものの、「SPリーチ背景用の液晶演出スケジューラデータ」を単位時間毎に実行するなかで自ずと読み出されることとなる。ただし、こうして読み出される都度、該処理識別情報(ここでは「Y2」)に対応する上記「処理Y2」にて「操作後演出は実行済みであるから当該処理Y2を終了する」といった処理を実行することで、演出判定にかかる処理を実質的に無効化させる(演出受付が許容されない状態にさせる)こととなる。
ところで、この実施の形態にかかるパチンコ機1では、上述の通り、
・特定種別の演出音(BGM再生)が抑制態様または無音で出力されているか、若しくは非出力の状態にされているなかで発生する「操作検出情報に基づく演出受付が許容される第1特別操作受付演出(演出受付期間)」や、
・演出状態(演出モード)にかかわらず、操作が検出されなかった場合であっても操作後演出を発生可能な第2特別操作受付演出(演出受付期間)
などが実行されうるようになっていることは上述した通りである(例えば、図142や、図212~図224などを参照)。
第1特別操作受付演出では、特定種別の演出音が抑制態様または無音で出力されているか、若しくは非出力の状態にされているなかで演出受付が許容されることから、操作演出に集中させることが期待されるようになる。ただしこれと引き換えに、特定種別の演出音(BGM再生)が抑制される分だけ演出性に乏しくなることが懸念される。
そこで、この実施の形態にかかるパチンコ機1では、第1特別操作受付演出の発生に際して行われる許容前操作関連表示(前兆演出)と、第1特別操作受付演出で演出受付が許容されている状態(有効期間中)にあるときに行われる許容中操作関連表示(上述した摸画像やゲージ表示など)とについては、互いに異なるブロック(液晶演出スケジューラデータ)に基づいて表示されるようにている。これにより、表示演出に関して多彩な演出性を実現することができるようになり、遊技興趣の低下が抑制されうるようになる。
また、この実施の形態にかかるパチンコ機1では、第2特別操作受付演出の発生に際して行われる許容前操作関連表示(前兆演出)と、第2特別操作受付演出で演出受付が許容されている状態(有効期間中)にあるときに行われる許容中操作関連表示(上述した摸画像やゲージ表示など)とについても、互いに異なるブロック(液晶演出スケジューラデータ)に基づいて表示されるようにている。これにより、表示演出に関して多彩な演出性を実現することができるようになり、遊技興趣の低下が抑制されうるようになる。
より具体的には、図225に示される「SPリーチ背景用の液晶演出スケジューラデータ」では、特定種別の演出音(BGM再生)が抑制態様で出力されているなかで演出受付が許容されて、且つ操作が検出されなかった場合であっても操作後演出を発生させる特別操作受付演出(第1特別操作受付演出、または第2特別操作受付演出)を発生可能としており、タイミングts51になると、該特別操作受付演出に関する処理を開始させるべく「2」の処理識別情報が読み出されるようになっている。ただし、該「2」の処理識別情報は、「操作後演出を発生させるかについての演出判定が行われる処理」を読み出すものではなく、下記「処理2」を読み出して実行するものとなっている。
処理2.「操作によって演出受付がなされうる演出受付期間(有効期間)」が間もなく発生することを示唆する前兆演出(出現エフェクト表示など)を行うための「出現EF用ブロックE」に付されている利用可否情報をオン状態に操作(設定)する処理
このような構成によれば、「SPリーチ背景用ブロック(SPリーチ背景用の液晶演出スケジューラデータ)」とは別に、許容前操作関連表示(前兆演出)これ専用のブロック(出現EF用ブロックE)と、該ブロックに対応する液晶演出スケジューラデータ(出現EF用の液晶演出スケジューラデータE)とを用意する必要があるものの、該「出現EF用ブロックE」については、「SPリーチ背景用の液晶演出スケジューラデータ」により定められている適宜のタイミング(ここでは、タイミングts51)から実行開始させることができるようになる。すなわちこの場合、「SPリーチ背景用の液晶演出スケジューラデータ」内のあらゆるタイミングや、複数のタイミングで「出現EF用ブロックE」を実行開始させるようにしたり、該「SPリーチ背景用の液晶演出スケジューラデータ」とは異なる変動パターン内における「液晶演出スケジューラデータ」からも「出現EF用ブロックE」を実行開始させることが容易に実現されることから、演出設計の容易化や共通化を好適に図ることができるようになる。
また、このような構成によれば、許容前操作関連表示(前兆演出)と、許容中操作関連表示とで、期待度(大当り図柄が現れる期待度)の異なる複数態様をそれぞれ別個に用意し、それらをいずれの組み合わせで実行するかについては適宜に組み合わせることができるようになることから、演出としてのバリエーションを多彩なものにすることができるようになり、遊技興趣の低下が抑制されうるようになる。また、他の変動パターンにおいて採用する際にも、許容前操作関連表示(前兆演出)は共通した態様であるのに、許容中操作関連表示は共用されない独自態様で実行させるなどといった演出を実現することも可能とされるようになる。
ここで、「出現EF用ブロックE」が実行(解析)されると、該「出現EF用ブロックE」に対応する「出現EF用の液晶演出スケジューラデータE」が読み出されて実行(解析)される。この「出現EF用の液晶演出スケジューラデータE」が実行(解析)されると、所定のエフェクト表示による演出(許容前操作関連表示)を、「演出受付が許容されていない区間」から「演出受付が許容されている区間」に跨るかたちで実行するための画像情報(動画、または静止画)が取得される。
ただし、「出現EF用ブロックE」や「出現EF用の液晶演出スケジューラデータE」には、「操作検出情報に基づいて操作後演出を発生させる旨の演出判定がなされうる処理」を実行するための処理識別情報が付されていないことから、当該ブロックやスケジューラデータを基に演出受付期間が発生することはないようになっている。
すなわち、この実施の形態にかかる周辺制御部1511では、「SPリーチ背景用ブロック(SPリーチ背景用の液晶演出スケジューラデータ)」内でタイミングts52になると、演出受付期間を発生させるべく、「3」の処理識別情報が読み出されるようになっている。「3」の処理識別情報は、「操作検出情報に基づいて操作後演出を発生させる旨の演出判定がなされうる処理」に対応するものではなく、下記「処理3」を対応付けるデータとなっている。
処理3.「演出受付期間が発生している状態にあり遊技者に対して操作を促す操作待ち用演出(上述した摸画像やゲージ表示など)を行うための「操作待ち用ブロックE」の利用可否情報をオン状態に操作(設定)する処理
このような構成によれば、「SPリーチ背景用ブロック(SPリーチ背景用の液晶演出スケジューラデータ)」や、「出現EF用ブロックE(出現EF用の液晶演出スケジューラデータE)」とは別に、許容中操作関連表示(上述した摸画像やゲージ表示など)これ専用のブロック(操作待ち用ブロックE)と、該ブロックに対応する液晶演出スケジューラデータ(操作待ち用の液晶演出スケジューラデータE)とを用意する必要があるものの、該「操作待ち用ブロックE」については、「SPリーチ背景用の液晶演出スケジューラデータ」により定められている適宜のタイミング(ここでは、タイミングts52)から実行開始させることができるようになる。すなわちこの場合、「SPリーチ背景用の液晶演出スケジューラデータ」内のあらゆるタイミングや、複数のタイミングで「操作待ち用ブロックE」を実行開始させるようにしたり、該「SPリーチ背景用の液晶演出スケジューラデータ」とは異なる変動パターン内における「液晶演出スケジューラデータ」からも「操作待ち用ブロックE」を実行開始させることが容易に実現されることから、演出設計の容易化や共通化を好適に図ることができるようになる。
ここで、タイミングts52で発生する演出受付期間についても、タイミングts31,ts42で演出受付が許容される演出受付期間と同様、1フレーム毎に同じ処理識別情報(X1、Y3など)が並ぶように付される演出区間として構成されるものであってもよい。ただし、図225に示される例では、タイミングts31,ts42で発生する演出受付期間とは別の手法でこれを実現することとしており、他の演出受付期間についても以下に説明する手法で構成させるようにしてもよい。
すなわち、タイミングts52で発生する演出受付期間については、操作状態フラグの状態操作(オフ状態、オン状態)によって、演出受付が許容されない状態(オフ状態)と、演出受付が許容される状態(オン状態)とを創出させる手法を採用することとしている。この手法を採用する場合は、処理識別情報を基に呼び出される処理内ではなく、図95に示した「周辺制御部定常処理」内で単位時間毎(1フレーム毎)に操作検出情報に基づく演出判定がなされるようにすることが望ましい。
例えば、「周辺制御部定常処理」が行われる都度、操作状態フラグを確認し、該操作状態フラグがオン状態になっていることを条件(演出受付期間にあることを条件)に、操作検出情報に基づいて操作後演出を発生させる旨の演出判定がなされうるようにする。演出判定がなされたときには、オン状態になっている操作状態フラグに応じた種別の操作後演出に対応するブロック(ここでは、「操作後用ブロックE」)の利用可否情報をオン状態に操作(設定)することとなる。
すなわちこの場合、操作状態フラグについては、操作後演出の種別分だけ用意することとなり、オン状態になっている操作状態フラグがいずれの種別であるかを判定した上でそれに応じた操作後演出に対応するブロックの利用可否情報をオン状態に操作(設定)することとなる。操作状態フラグをオフ状態にする処理については、操作後演出に対応するブロックの利用可否情報をオン状態に操作(設定)する当該処理内で実行するようにしてもよいし、利用可否情報がオン状態に操作されたブロック(液晶演出スケジューラデータ)に付されている処理識別情報を基に呼び出される処理内で実行するようにしてもよい。
このような手法を採用した場合の処理手順について、タイミングts52で上記「3」の処理識別情報が読み出されて上記「処理3」が実行されたところから改めて説明すると、まず、「操作待ち用ブロックE(操作待ち用の液晶演出スケジューラデータE)」が読み出されて実行(解析)されることとなる。
操作状態フラグをオン状態にする処理については、上記「処理3」内で行うようにしてもよいが、図225に示される例では、上記「操作待ち用ブロックE(操作待ち用の液晶演出スケジューラデータE)」を実行(解析)したときの最初のフレーム(処理タイミング)で、下記「処理Z1」に対応付けされている「Z1」の処理識別情報が読み出されるようにしている。
処理Z1.操作状態フラグのうち、「操作後用ブロックE」に対応付けされている種別の操作状態フラグをオン状態にする処理
これにより、タイミングts52で「操作後用ブロックE」に対応する操作状態フラグがオン状態に操作(設定)されるようになり、上述した「周辺制御部定常処理」内で操作検出情報に基づく判定処理が行われることで、該操作状態フラグがオン状態に維持されている期間を「演出受付期間」として機能させることができるようになる。また、こうして操作状態フラグがオン状態に維持されている間は、「操作待ち用ブロックE(操作待ち用の液晶演出スケジューラデータE)」の実行(解析)に基づく許容中操作関連表示(上述した摸画像やゲージ表示など)が実行されるようになる。図225に示される例では、レイヤ7に対応付けされている許容前操作関連表示(出現EF用ブロックE(出現EF用の液晶演出スケジューラデータE))と、レイヤ6に対応付けされている許容中操作関連表示(操作待ち用ブロックE(操作待ち用の液晶演出スケジューラデータE))とは互いの表示期間が一部重複するように実行されるようになっている。
ここで、レイヤ7に対応付けされている許容前操作関連表示は、レイヤ6に対応付けされている許容中操作関連表示よりも手前側に表示されるようになっており、優先的に表示されるようになっている。したがって、許容前操作関連表示によって許容中操作関連表示の少なくとも一部が視認し難くされている状態にあるときから演出受付が許容されることとなり、これによって許容前操作関連表示としていずれの期待度をもった態様が現れているかを視認し難いもとで演出受付が可能とされるといった演出性を提供するようにしている。
この点、このような演出受付期間が未だ終了していない途中段階であるタイミングts53で演出受付がなされたときには、「操作待ち用ブロックE(操作待ち用の液晶演出スケジューラデータE)」と同じレイヤ6に対応付けされている「操作後用ブロックE」の利用可否情報をオン状態に操作(設定)する処理を、上述した「周辺制御部定常処理」内で実行することとなる。これにより、「操作後用ブロックE」に対応付けされている「操作後用の液晶演出スケジューラデータE」をはじめとした各処理(ランプ、可動体、音など)がそれぞれ実行されるようになる。またこの際、レイヤ6では、「操作後用ブロックE」に対応付けされている「操作後用の液晶演出スケジューラデータE」が、「操作待ち用ブロックE」に対応付けされている「操作待ち用の液晶演出スケジューラデータE」に代わって実行されるようになることから、「操作待ち用ブロックE」を中途終了させるための特別な処理を行う必要がなくなる。またこの際、「操作待ち用ブロックE(操作待ち用の液晶演出スケジューラデータE)」に含まれている後述の「Z3」の処理識別情報についても自ずと消去(無効化)させることができるようになる。
なお、操作状態フラグをオフ状態にする処理については、上述した「周辺制御部定常処理」内で、「操作後用ブロックE」の利用可否情報をオン状態に操作(設定)する処理を行うときに併せて行うようにしてもよいが、図225に示される例では、上記「操作後用ブロックE(操作後用の液晶演出スケジューラデータE)」を実行(解析)したときの最初のフレーム(処理タイミング)で、「Z2」の処理識別情報を読み出してこれに対応する下記「処理Z2」を実行することで、演出受付期間を終了させたもとで「操作後用ブロックE」に基づく処理を実行するようにしている。
処理Z2.操作状態フラグのうち、「操作後用ブロックE」に対応付けされている種別の操作状態フラグをオフ状態にする処理
ただし、図225に示される例では、許容前操作関連表示(出現EF用ブロックE(出現EF用の液晶演出スケジューラデータE))が画面内に残されている状態(表示されている状態)で演出受付がなされる場合もあることは上述した通りである。したがって、「処理Z2」では、出現EF用ブロックE(出現EF用の液晶演出スケジューラデータE)が実行状態であるかを判定し、実行状態であるときにはこれを中途終了させる処理も併せて行うようにすることが望ましい。ただし、「出現EF用ブロックE(出現EF用の液晶演出スケジューラデータE)」を中途終了させず継続させるようにした上で、「操作後用ブロックE」に基づく画像表示を、「出現EF用ブロックEに基づく画像表示が行われる範囲」を少なくとも全て包含した範囲(例えば、画面全体)で優先実行(出現EF用ブロックEに基づく画像表示(レイヤ)よりも手前側で表示)させるようにすることで、出現EF用ブロックEに基づく画像表示を非表示とするようにしてもよい。
また、「操作待ち用ブロックE(操作待ち用の液晶演出スケジューラデータE)」では、タイミングts54での処理が実行(解析)されると、演出受付期間を終了させるべく、「処理Z3」に対応付けされている「Z3」の処理識別情報が読み出されるようになっている。ここで、タイミングts54において「操作待ち用ブロックE(操作待ち用の液晶演出スケジューラデータE)」が実行(解析)される場合とは、同じレイヤ6に対応する「操作後用ブロックE(操作後用の液晶演出スケジューラデータE)」によって「操作待ち用ブロックE(操作待ち用の液晶演出スケジューラデータE)」が上書きされていない状況にあることを意味しており、すなわち該タイミングts54が到来するまで演出受付がなされていない状況にあることを意味している。ただし、タイミングts52から発生する当該演出受付期間は、タイミングts52からタイミングts54までの間に演出受付がなされなかった場合であっても、演出受付がなされたときと同じ「操作後用ブロックE」の利用可否情報をオン状態に操作(設定)する上述した「第2特別操作受付演出」として機能するものとなっている(上述した「自動ボタン機能」)。
したがって、「操作待ち用ブロックE(操作待ち用の液晶演出スケジューラデータE)」において、タイミングts54で読み出される「Z3」の処理識別情報を基に実行される「処理Z3」では、下記処理が実行されるようになっている。
処理Z3.操作状態フラグのうち、「操作後用ブロックE」に対応付けされている種別の操作状態フラグをオフ状態にする処理が行われるとともに、「操作後用ブロックE」の利用可否情報をオン状態に操作(設定)する処理が行われる
このような構成によれば、タイミングts52から発生する演出受付期間では、その期間内に演出受付されなかった場合であっても該演出受付がなされたときと同じブロックが読み出されて、該ブロックに対応付けされている操作後演出が実行されるようになることから、遊技者による操作し忘れが生じたときの遊技興趣の低下を抑制することができるようになる。また、演出受付期間(タイミングts51~ts52)が終了した後に操作後演出が実行されるのではなく、演出受付期間(タイミングts51~ts52)に関する処理の最終フレーム(タイミングts52の処理)内で「演出受付がなされたときと同じブロックを読み出すための処理」を行うようにしたことから、操作があったときと操作がなかったときとでズレを生じさせることなくスムーズな演出進展を実現することができるようになる。
また、このような構成によれば、「操作待ち用ブロックE(操作待ち用の液晶演出スケジューラデータE)」に基づく表示画像(摸画像や、ゲージ表示)は、遊技者による操作によって演出受付がなされた場合と、自動ボタン機能が有効化されることによって演出受付がなされた場合とのいずれにおいても、該演出受付がなされたことに基づいてこれを非表示にする処理(ここでは、「操作後用ブロックE」)が実行されるようになることから、遊技者による操作し忘れが生じた場合でも同じ態様で演出を進展させることができるようになり、遊技興趣の低下を抑制することが期待されるようになる。
また、図225に示されるように、タイミングts52から発生する演出受付期間は、その発生に際して特定種別の演出音(BGM再生)が抑制態様で出力されているなかで実行される上述した「第1特別操作受付演出」としても機能するものとなっている。図225に示される当該「第1特別操作受付演出」においても、演出受付がなされた時点では、特定種別の演出音(BGM再生)は非抑制態様に戻されず抑制態様での出力を継続する。そして、操作後演出が実行されている期間内で、特定種別の演出音(BGM再生)を非抑制態様での出力に戻すように設定することとしている。
なお、「特定種別の演出音」とは、「BGM再生」の音(ノーマル背景用またはSP背景用のBGM再生)を意味しているが、ここでは特に、「SPリーチ背景用ブロック」に対応付けされている「音出力に関する処理」が実行されることによって出力される音(SPリーチ用のBGM再生音)に相当するものである。その抑制態様や手法については、上述した態様や手法を適宜に採用することが可能である。
上記構成では、特定種別の演出音(BGM再生)が抑制されているなかで操作受付演出(タイミングts52~ts54)を発生させる場合(または、演出受付がなされなかった場合であっても該演出受付がなされたときと同じ操作後演出が実行される操作受付演出を発生させる場合)、その発生に際して行われる許容前操作関連表示(出現EF用ブロックE)と許容中操作関連表示(操作待ち用ブロックE)とについては、それらを互いに異なるブロック(液晶演出スケジューラデータ)に基づいて実行するようにしている。これにより、表示演出に関して多彩な演出性を実現することができるようになり、遊技興趣の低下が抑制されうるようになる。
また、このようなタイミングts52~ts54における操作受付演出(第1特別操作受付演出、第2特別操作受付演出)では、互いに異なるブロック(液晶演出スケジューラデータ)によって表示される画像(許容前操作関連表示、許容中操作関連表示)を、時期的に重複する期間があるように表示させるようにした。したがって、「許容前操作関連表示」と「許容中操作関連表示」とで絡んだ演出性(上述した視認困難性など)を実現することができるようになり、遊技興趣の低下が抑制されうるようになる。
これに対し、タイミングts41で発生する操作受付演出など、「特定種別の演出音」が抑制状態にされていないときに発生する操作受付演出(または、演出受付がなされなかったときには操作後演出が発生しない操作受付演出)では、許容前操作関連表示と許容中操作関連表示とを同じブロック(液晶演出スケジューラデータ)によって表示させるようにしている。すなわち、このような操作受付演出は、タイミングts52~ts54における操作受付演出(操作後演出によって大当りの当落を示唆する操作受付演出)とは異なり、演出判定(予告判定)の結果に応じて発生したり発生しなかったりするものであるから、許容前操作関連表示と許容中操作関連表示とを同じブロック(液晶演出スケジューラデータ)によって表示させるようにし、それら判定結果に応じた取り扱いを容易化させるようにすることがより有益であるといえる。
ただし、このように許容前操作関連表示と許容中操作関連表示とを同じブロック(液晶演出スケジューラデータ)によって表示させるようにする場合であっても、1つのレイヤ上ではあるが、許容前操作関連表示と許容中操作関連表示とが時期的に重なって見えるように(許容前操作関連表示と許容中操作関連表示との両方が表示されている時期があり、例えば、許容中操作関連表示の一部が視認し難い態様とされているように)それらの演出を実行することが望ましい。
許容中操作関連表示のブロック(操作待ち用ブロックE)については、許容前操作関連表示のブロック(出現EF用ブロックE(出現EF用の液晶演出スケジューラデータE))に基づいて読み出される処理識別情報に応じた処理内でその利用可否情報がオン状態に操作されるものであってもよい。
タイミングts52~ts54で演出受付が許容される操作受付演出は、上述した第1特別操作受付演出と、上述した第2特別操作受付演出との少なくともいずれかとして実行されるものであればよく、例えば、図142や、図212~図215,図217~図220,図223などを参照して上述した操作受付演出(BGM抑制下での操作受付演出)のいずれかとして実行されるものであってもよい。この場合、図225に示される操作受付演出のうち他の操作受付演出については、例えば、図216や図222,図224などを参照して上述した操作受付演出(BGM非抑制下での操作受付演出)のいずれかとして実行されるものであってもよい。また、後述するこれらの操作受付演出の各別例についても適宜に採用するようにしてもよい。
例えば、タイミングts52で発生する操作受付演出(操作待ち用ブロックE)と、タイミングts42で発生する操作受付演出(出現EF&操作待ち用ブロックD)とでは、互いに異なるブロックが用いられるが、それらの操作受付演出では、演出受付がなされると同じ受付許容音を出力させうるようにしてもよい(図212~図224に示した第1許容音)。
その他、タイミングts52で発生する操作受付演出(操作待ち用ブロックE)では、受付許容音の出力中に演出受付がなされるとその出力状態を中途終了させるが、タイミングts42で発生する操作受付演出(操作待ち用ブロックE)では、受付許容音の出力中に演出受付がなされてもその出力状態を維持させるようにするなど(図212~図224に示した第1許容音)、各種構成を適宜に採用することが可能である。
ところで、SPリーチ演出に関するシナリオデータについては、大当り時とハズレ時とで共用可能な画像データに対応するブロック(SPリーチ背景用ブロック)と、大当り時とハズレ時とで異なる画像データに対応するブロック(SP結末背景用ブロック)とに分けてこれらを順次に実行させるようにしていることは上述した通りである。この点、この実施の形態にかかる周辺制御部1511では、「SPリーチ背景用ブロック」から「SP結末背景用ブロック」へと移行されるタイミングts55については、操作後演出が実行されている期間内で必ず到来するように設定することとしている。
すなわち、タイミングts52で演出受付が許容される操作受付演出では、その演出受付期間(タイミングts52~ts54)内のいずれのタイミングで演出受付(上述した自動ボタン機能を含めて)がなされた場合であっても、タイミングts54からの所定時間を、操作後演出が必ず実行される期間として設定(操作後演出の実行に要する時間設定)することとしている。そして、操作後演出が必ず実行される当該期間では、「操作後用ブロックE」に対応する操作後用の液晶演出スケジューラデータEに基づく表示(演出表示装置1600における操作後の表示演出(操作後演出))が、演出表示装置1600の表示領域の全体にわたって実行されるようになっており、且つ「SP結末背景用ブロック」に対応するSP結末用の液晶演出スケジューラデータに基づく表示よりも優先表示(SPリーチ背景用ブロックやSP結末背景用ブロックに基づく画像表示よりも手前側で表示)されるようになっている。またこの場合、操作後用ブロックEを基に実行される画像の表示時間は、操作待ち用ブロックEを基に実行される画像の表示時間よりも長い時間として設定されることとなり、その長い時間分が「操作後演出が必ず実行される期間」として機能することとなる。
このような「操作後用ブロックE」に対応する表示演出(操作後演出)が実行されている期間内で、「SPリーチ背景用ブロック」から「SP結末背景用ブロック」へと移行させるようにすることで、「SPリーチ背景用ブロックの表示(当落で共用されるブロック)」と、「SP結末背景用ブロックの表示(当落のいずれかでしか用いられないブロック)」とが全然異なる雰囲気になるように演出設計した場合であっても違和感を覚えさせることがなくなることから、遊技興趣の低下が抑制されうるようになる。
また、「レイヤ4」及び「レイヤ5」のシナリオデータでは、何らの画像とも関連しておらず、単に、あるタイミングで処理を呼び出すための時系列データとしてのみ機能するブロック(液晶演出スケジューラデータ)に対応するものとなっている。すなわち、ブロック(液晶演出スケジューラデータ)これ自体には表示させるべき画像データに対応する情報が含まれておらず、何らの画像表示にも関与しない「データ呼出用ブロック(データ呼出用の液晶演出スケジューラデータ)」とも言えるようなデータ構造(空の時系列画像情報)を採用している。このようなブロック(液晶演出スケジューラデータ)が実行(解析)されても、該ブロック(液晶演出スケジューラデータ)に対応付けされているレイヤ4,5では何らの画像も表示されない。
このようなデータ呼出用ブロック(データ呼出用の液晶演出スケジューラデータ)としては2種類の方法があり、まず、「レイヤ4」に対応するシナリオデータでは、図柄変動の開始に際して、処理を呼び出すタイミングts21が到来するまでデータ呼出用ブロックB(データ呼出用の液晶演出スケジューラデータ)を実行させないように機能するウェイト時間(ウェイト処理期間)が設定される。そして、こうしたウェイト時間(ウェイト処理期間)を経てタイミングts21が到来すると「データ呼出用ブロックB」が実行(解析)されるようになり、この結果として該「データ呼出用ブロックB」に対応する「データ呼出用の液晶演出スケジューラデータB」が実行(解析)される。
ここで、「データ呼出用ブロックB」または該「データ呼出用ブロックB」に対応する「データ呼出用の液晶演出スケジューラデータB」には、単位時間毎に「X2」の処理識別情報が付されており、該「X2」の処理識別情報が読み出される都度、下記の「処理X2」が実行される。
処理X2.特定の操作手段(例えば、操作ボタン410)に対する操作検出情報に基づいて、「操作後用ブロックB」に対応する操作後演出を発生させるかについての演出判定が行われる処理
この「データ呼出用ブロックB(データ呼出用の液晶演出スケジューラデータB)」では、「X2」の処理識別情報が単位時間毎に付されている区間を、「操作によって演出受付がなされうる演出受付期間(有効期間)」として機能させるようにしており、上記「処理X2」では、演出判定がなされたときには「レイヤ6」に対応付けされている「操作後用ブロックB」の利用可否情報をオン状態に操作(設定)することがなされる。これにより、「操作後用ブロックB」が実行(解析)されて、該「操作後用ブロックB」に対応付けられている「操作後用の液晶演出スケジューラデータB」が単位時間毎に実行(解析)されるようになることはもとより、該「操作後用ブロックB」に対応付けられている「ランプ発光に関する処理」や、「可動体動作に関する処理」、「音出力に関する処理」などがそれぞれ実行開始されることで、「操作後用ブロックC」に対応する操作後演出を発生させることができるようになる。
なお、こうして「操作後用ブロックB」に対応付けられている各処理をそれぞれ実行開始させた次のフレームにおいても、上記「データ呼出用ブロックB(データ呼出用の液晶演出スケジューラデータB)」は実行(解析)される。したがって、処理識別情報(ここでは「X2」)が単位時間毎に付されている区間(演出受付期間)の途中段階で演出受付がなされたときには、次のフレームにおいても、「データ呼出用ブロックB(データ呼出用の液晶演出スケジューラデータB)」から処理識別情報(ここでは「X2」)が読み出されて、該処理識別情報に対応する上記「処理X2」が実行されることとなる。ただし、当該「処理X2」には、「操作後用ブロックB」に対応付けられている各処理をそれぞれ実行開始させた状態にあるかについての判定処理も含まれており、該判定処理にて実行開始させた状態にある旨判定されることで、操作検出情報に基づく処理をこれ以上行うことなく当該「処理X2」を終了させるようにしており、これについては上述の「処理X1」で説明した通りである。
これに対し、「処理X2」において演出判定がなされなかった(操作後演出を実行しない旨の判定がなされた)ときには、「レイヤ6」に対応付けされている「操作後用ブロックB」の利用可否情報をオフ状態にしたままで当該処理X2を終了する。そして、単位時間(1フレーム)毎に同じ処理識別情報(ここでは「X2」)が取得される区間が終了されるまで、単位時間(1フレーム)毎に、「データ呼出用ブロックB(データ呼出用の液晶演出スケジューラデータB)」から処理識別情報(ここでは「X2」)が読み出されてこれに対応する上記「処理X2」が実行されることとなる。図225に示した例においては、6番目の処理識別情報(ここでは「X2」)で上記区間が終了するようになっていることから、6番目の処理識別情報が読み出されてこれに応じた処理X2内で演出判定がなされなかったときには、「操作後用ブロックB」に応じた操作後演出が実行されることなくそれ以降の演出が進展することとなる。
このような構成によれば、操作後演出を実行した後も(3番目の処理識別情報(X2)から読み出された処理X2内で演出判定がなされた後も)、「データ呼出用ブロックB(データ呼出用の液晶演出スケジューラデータB)」から「操作後演出を発生させうる処理X2」を読み出すための同じ処理識別情報(X2)を取得することとなる。ただし、このような情報を解析するだけで演出受付期間(有効期間)として実質的に機能させることができるようになることから、演出設計の容易化や共通化を好適に図ることができるようになる。
ここで、「レイヤ4」に対応するブロック(液晶演出スケジューラデータ)では、表示させるべき画像データに対応する情報が含まれておらず、且つ「X2」の処理識別情報から読み出される「処理X2」によっても「操作待ち用のブロック」が読み出されることはない。したがって、タイミングts21で発生する操作受付演出では、摸画像やゲージ表示が行われない状態で演出受付が許容されるようになっており、こうした操作受付演出を、上述した「空の時系列画像情報」によって実現するものとなっている。
このような構成によれば、「データ呼出用ブロックB(データ呼出用の液晶演出スケジューラデータB)」についてはこれを別の変動パターンが選択されたときにも共用することが可能となるし、ウェイト時間(ウェイト処理期間)の設定値が異なるシナリオデータを用意することで、別のタイミングで出現させることも可能とされるようになる。
これに対し、「レイヤ5」に対応するシナリオデータでは、ウェイト時間(ウェイト処理期間)を経ることなく、データ呼出用ブロックA(データ呼出用の液晶演出スケジューラデータA)を実行させるが、該データ呼出用ブロックA(データ呼出用の液晶演出スケジューラデータA)内で実質的なウェイト機能が働くようになっている。すなわち、該データ呼出用ブロックA(データ呼出用の液晶演出スケジューラデータA)では、タイミングts11が到来するまでは何らの画像情報も処理識別情報も読み出されず、タイミングts11が到来したときに「4」の処理識別情報が読み出されるようになっている。ただし、該「4」の処理識別情報は、「操作後演出を発生させるかについての演出判定が行われる処理」を読み出すものではなく、下記「処理4」が読み出されて実行されるものとなっている。
処理4.「操作によって演出受付がなされうる演出受付期間(有効期間)」が間もなく発生することを示唆する前兆演出(出現エフェクト表示など)と、演出受付期間が発生している状態にあり遊技者に対して操作を促す操作待ち用演出(上述した摸画像やゲージ表示など)とをそれぞれ行うための「出現EF&操作待ち用ブロックA」に付されている利用可否情報をオン状態に操作(設定)する処理
このような構成によれば、「出現EF&操作待ち用ブロックA」とは別に、データ呼出用ブロックA(データ呼出用の液晶演出スケジューラデータA)を用意する必要があるものの、該「出現EF&操作待ち用ブロックA」については、「データ呼出用ブロックA(データ呼出用の液晶演出スケジューラデータA)」とは異なるブロック(液晶演出スケジューラデータ)からも「4」の処理識別情報を付しておくだけで適宜に呼び出すことができるようになることから、演出設計の容易化や共通化を好適に図ることができるようになる。
ここで、「出現EF&操作待ち用ブロックA」が実行(解析)されると、該「出現EF&操作待ち用ブロックA」に対応する「出現EF&操作待ち用の液晶演出スケジューラデータA」が読み出される。これらの処理は単位時間毎に実行(解析)されることとなるが、「出現EF&操作待ち用の液晶演出スケジューラデータA」では、まず、演出受付が許容されていないなかで、「操作によって演出受付がなされうる演出受付期間(有効期間)」が間もなく発生することを示唆する前兆演出(出現エフェクト表示など)に対応する画像情報(動画、または静止画)が取得される区間が設けられる。
ただし、「出現EF&操作待ち用の液晶演出スケジューラデータA」では、その途中から、演出受付期間が発生している状態にあり遊技者に対して操作を促す操作待ち用演出(上述した摸画像やゲージ表示など)に対応する画像情報(動画、または静止画)が取得される区間が現れるようになっており、該区間では、単位時間(1フレーム)毎に同じ処理識別情報が取得されるようになっている。
すなわち、タイミングts11から実行(解析)される「出現EF&操作待ち用の液晶演出スケジューラデータA」においては、現在表示させるべき画像データに対応する情報とは別に、タイミングts12から1フレーム毎に「Y1」の処理識別情報が並ぶように付されている。該「Y1」の処理識別情報が読み出される都度、下記「処理Y1」が読み出されて実行されるようになっている。
処理Y1.特定の操作手段(例えば、操作ボタン410)に対する操作検出情報に基づいて、「操作後用ブロックA」に対応する操作後演出を発生させるかについての演出判定が行われる処理
この実施の形態にかかるパチンコ機1では、このような処理識別情報(ここでは「Y1」)が単位時間毎に付されている区間が、「操作によって演出受付がなされうる演出受付期間(有効期間)」として機能するようになっている。しかも、該「処理Y1」では、演出判定がなされたときには、当該「処理Y1」を読み出す基になっている「出現EF&操作待ち用ブロックA(出現EF&操作待ち用の液晶演出スケジューラデータA)」と同じ「レイヤ6」に対応付けされている「操作後用ブロックA」の利用可否情報をオン状態に操作(設定)することがなされる。
すなわちこの場合、「操作後用ブロックA」が読み出されると、該「操作後用ブロックA」に対応付けられている「操作後用の液晶演出スケジューラデータA」をはじめとした各種処理がそれぞれ実行されることで「操作後用ブロックA」に対応する操作後演出が発生することとなる。これはもとより、新たに読み出された「操作後用ブロックA(操作後用の液晶演出スケジューラデータA)」は、実行途中の状態にあった「出現EF&操作待ち用ブロックA(出現EF&操作待ち用の液晶演出スケジューラデータA)」に代わるかたちで「レイヤ6」にて実行状態とされるようになる。
このような構成によれば、「操作後用ブロックA」を読み出すだけで、演出判定がなされたことによってもはや読み出す必要性のなくなった「出現EF&操作待ち用ブロックA(出現EF&操作待ち用の液晶演出スケジューラデータA)」や、さらには「処理Y1」を読み出すための「Y1」の処理識別情報を実質的に無効化させる(演出受付が許容されない状態にさせる)ことができるようになることから、これらを終了させるための判定や処理を別途行う必要がなくなるなど、演出設計の容易化や共通化を好適に図ることができるようになる。なお、図225に示される例では、「出現EF&操作待ち用ブロックA(出現EF&操作待ち用の液晶演出スケジューラデータA)」内の2番目の処理識別情報(ここでは「Y1」)から読み出された「処理Y1」内で演出受付がなされ、これによって同じ「レイヤ6」で「操作後用ブロックA」に対応付けられている「操作後用の液晶演出スケジューラデータA」が実行(解析)された場合を想定している。したがって、図225に示される例では、「出現EF&操作待ち用ブロックA(出現EF&操作待ち用の液晶演出スケジューラデータA)」内の「射線部分」が、上書きによって消去された区間(実質的に無効化された区間)に相当している。
なお、「レイヤ4」では、「データ呼出用ブロックB(データ呼出用の液晶演出スケジューラデータB)」側に処理識別情報が1フレーム毎に付される演出区間を設定することとした。ただし、該演出区間については、「レイヤ5」のように「データ呼出用ブロック」から読み出したブロック内に設定するようにしてもよい。また、「レイヤ4」においても、「レイヤ5」で示したようにデータ呼出用ブロック(データ呼出用の液晶演出スケジューラデータ)内で実質的なウェイト機能を働かせることによってこれを実現するようにしてもよい。
また、「レイヤ5」では、「データ呼出用ブロックA(データ呼出用の液晶演出スケジューラデータA)」から読み出したブロック側に処理識別情報が1フレーム毎に付される演出区間を設定することとした。ただし、該演出区間については、「レイヤ4」のように、「データ呼出用ブロックA(データ呼出用の液晶演出スケジューラデータA)」内に設定するようにしてもよい。また、「レイヤ5」においても、「レイヤ4」で示したようにデータ呼出用ブロック(データ呼出用の液晶演出スケジューラデータ)これ自体を待機させるウェイトを設定することによってこれを実現するようにしてもよい。
また、図225に示した例では、「1」や「4」の処理識別情報が取得された場合、「操作によって演出受付がなされうる演出受付期間(有効期間)」が間もなく発生することを示唆する前兆演出(出現エフェクト表示など)と、演出受付期間が発生している状態にあり遊技者に対して操作を促す操作待ち用演出(上述した摸画像やゲージ表示など)とをそれぞれ行うための「出現EF&操作待ち用ブロック」に付されている利用可否情報をオン状態に操作(設定)する処理を実行することとした。ただし、前兆演出(出現エフェクト表示など)については必ずしも実行しなくてもよく、演出受付期間が発生している状態にあり遊技者に対して操作を促す操作待ち用演出(上述した摸画像やゲージ表示など)を行うための「操作待ち用ブロック」に付されている利用可否情報をオン状態に操作(設定)する処理を実行するようにしてもよい。すなわちこの場合、「操作待ち用ブロック」が読み出されるとすぐに「演出判定がなされうる処理」に対応付けされた処理識別情報が取得されることとなる。
また上述の通り、タイミングts12,ts21,ts31,ts42で発生する演出受付期間においても、タイミングts51で発生する演出受付期間と同様、操作状態フラグの設定によって実現するようにしてもよい。
また、図225に示した例では、「Y2」の処理識別情報と「Y3」の処理識別情報とを互いに同じタイミングで読み出されるものとして設定することとしたが、互いに異なるタイミングで読み出されるものとして設定するようにしてもよい。
また上述の通り、図225に示した例では、ブロックとそれに対応する液晶演出スケジューラデータとを別々に備えることとしたが、これらについては1つのデータとして纏めるかたちで構成されるものとしてもよい。
また、単位時間毎(1フレーム毎)に画像データに対応する情報が取得される液晶演出スケジューラデータ(ブロック)に関しては、最初の処理タイミング(フレーム)で、当該液晶演出スケジューラデータ(ブロック)の全期間にわたる動画データに対応する情報が取得されうるものとして構成されるものであってもよい。この場合、画像データに対応する情報が取得されるのは最初の処理タイミング(フレーム)だけになり、その後は、単位時間毎(1フレーム毎)に解析されるものの、画像データに対応する情報が取得されることはなく、処理識別情報が付されていたときにのみそれに応じた処理を実行することとなる。
利用可否情報をオン状態に設定したブロック(液晶演出スケジューラデータ)については、利用可否情報をオン状態に設定した処理タイミング内で実行(解析)するようにしてもよいし、利用可否情報をオン状態に設定した処理タイミングの1つ後の処理タイミングで実行(解析)するようにしてもよい。
また、「出現EF&操作待ち用ブロックA(出現EF&操作待ち用の液晶演出スケジューラデータA)」と、「出現EF&操作待ち用ブロックD(出現EF&操作待ち用の液晶演出スケジューラデータD)」とについては、異なる処理識別情報(Y1,Y3)が取得されるものではあるが、「画像データに対応する情報」としては同じ情報が取得されるものとするようにしてもよい。また、ブロック(液晶演出スケジューラデータ)としての長さや有効期間としての長さを同じに設定するようにしてもよい。すなわちこの場合、同じ摸画像とゲージ表示とが同じ時間にわたって表示されるようになる。
また、図225に示した例においては、特定の変動パターンが選択されて特定リーチ用の背景表示演出(SPリーチ背景用ブロック、SP結末背景用ブロック)を実行する場合、大当り(所定の判定結果)が得られている場合と得られていない場合とで表示データが共用される演出区間(SPリーチ背景用ブロック)と、大当り(所定の判定結果)が得られている場合と得られていない場合とで異なる表示データが用いられる演出区間(SP結末背景用ブロック)とに分かれるかたちで実行されるようにしている。このような構成では、特定リーチ用の背景表示演出を行うときに、所定の判定結果が得られている場合と得られていない場合とで全期間にわたって異なる表示データを用いるのではなく、途中の区間(タイミングts55)までは表示データを共用し、残りの期間においてのみ異なる表示データを用いて当落(判定結果)を示すようにしたことから、処理負荷やメモリ容量の低減が期待されるようになる。
しかも、図225に示した例では、特定リーチ用の背景表示演出が実行される「レイヤ3」とは別の「レイヤ6」において、上記タイミングts55を跨る(含む)ように、操作後演出(操作後用ブロックE)を実行させるようにしている。特に、該操作後演出(レイヤ6)については、演出表示装置1600の表示領域の全体にわたって実行されるようになっており、且つ特定リーチ用の背景表示演出(レイヤ3)よりも優先表示(SPリーチ背景用ブロックやSP結末背景用ブロックに基づく画像表示よりも手前側で表示)されるようにすることで、レイヤ3における「大当り(所定の判定結果)が得られている場合と得られていない場合とで表示データが共用される演出区間から、大当り(所定の判定結果)が得られている場合と得られていない場合とで異なる表示データが用いられる演出区間への切り替わり」を非表示にする(若しくは、視認し難くする)ようにしている。これにより、「大当り(所定の判定結果)が得られている場合と得られていない場合とで表示データが共用される演出区間」と、「大当り(所定の判定結果)が得られている場合と得られていない場合とで異なる表示データが用いられる演出区間」とで、演出的な繋がりをうまく演出設計できないようなことがあったとしてもこれを操作後演出によって隠す(ごまかす)ことができるようになり、演出設計を容易化することができるようになる。この意味では、該操作後演出においては、表示画面の前方へと可動体を移動させる処理も実行されるようにすることが望ましい。
また、タイミングts55を跨る(含む)ように実行される操作後演出(操作後用ブロックE)については、演出受付期間内で操作検出がなされなかった場合であっても、演出モードにかかわらず自動的に実行されるものとして構成したことから、「大当り(所定の判定結果)が得られている場合と得られていない場合とで表示データが共用される演出区間」と、「大当り(所定の判定結果)が得られている場合と得られていない場合とで異なる表示データが用いられる演出区間」との繋がりを確実に隠匿することができるようになる。
このような作用効果を得るようにする上では、演出区間の切り替わりが発生するタイミングts55については、タイミングts54以降(タイミングts54を含む)であり、且つ操作後演出(液晶表示)が非表示にされるタイミングよりも前の期間(操作タイミングによって操作後演出の終了時期がズレる場合は、タイミングts52で発生する操作受付演出において最も早いタイミングで演出受付がなされたときに操作後演出(液晶表示)が非表示にされるタイミングよりも前の期間)内に設定することが求められることとなる。このような構成では、「レイヤ3」において表示にかかる処理(SPリーチ背景用ブロック、SP結末背景用ブロック)は実行されているが、液晶表示として現れることのない表示区間が設けられることとなる。
ただし、「大当り(所定の判定結果)が得られている場合と得られていない場合とで表示データが共用される演出区間」と、「大当り(所定の判定結果)が得られている場合と得られていない場合とで異なる表示データが用いられる演出区間」との切り替わりタイミングで背景表示演出(レイヤ3)を非表示にする構成については、大当りに当選しているときに実行可能とすることとし、大当りに当選していないときには実行されないようにしてもよい。例えば、大当りに当選していないときにも操作後演出(ハズレ用)を実行するが、該操作後演出については、演出表示装置1600の表示領域の全体にわたって実行せず、部分的なエフェクト表示などとして実行するようにすることで、背景表示演出(レイヤ3)の表示状態を維持することが可能である。
ところで、図225に示した例では、特定の変動パターンに応じた複数のブロックの1つとして、タイミングts52~ts54の期間内で演出受付がなされたことに基づいて読み出される「操作後用ブロックE」を用意することとしている。該「操作後用ブロックE」については、タイミングts52~ts54の期間内で操作が検出されなかったときにも演出受付が自動でなされて(操作が検出されたときと同じプログラムを自動発生させて実行することにより)発生させるようにしたことから、従来にはない面白みのある演出性を提供することができるようになる。
この点、図示は割愛するが、特定の変動パターンとは異なる第1変動パターンや第2変動パターンが実行された場合であっても、「操作後用ブロックE」を実行可能とするようにしてもよい。
例えば、第1変動パターンでは、該第1変動パターンに応じた演出内容の「SPリーチ背景用ブロック」と「SP結末背景用ブロック」とが順次実行されるようになっており、図225に示した特定の変動パターンと同様、「SPリーチ背景用ブロック(液晶演出スケジューラデータ)」を基に「2」の処理識別情報と「3」の処理識別情報とがそれぞれ読み出されるようになっている。すなわち、第1変動パターンでは、SPリーチ背景の演出内容(液晶演出スケジューラデータから取得される「画像データに関する情報」)こそ異なっているものの、特定の変動パターンと同じ許容前操作関連表示(前兆演出)及び許容中操作関連表示(摸画像、ゲージ表示など)が実行されるようになっており、こうして発生される操作受付演出において演出受付がなされたときの操作後演出としても同じ「操作後用ブロックE」が実行されるようになっている。
また、第1変動パターンでは、該操作受付演出において操作が検出されなかったとしても演出受付が自動でなされるようになっている点や、「SPリーチ背景用ブロック」と「SP結末背景用ブロック」との切り替えタイミングを跨ぐ(含む)ように操作後演出が実行されることで背景演出の切り替えを非表示にするようにしている点なども、特定の変動パターンと同様である。
また、「大当り(所定の判定結果)が得られている場合と得られていない場合とで表示データが共用される演出区間」と、「大当り(所定の判定結果)が得られている場合と得られていない場合とで異なる表示データが用いられる演出区間」との切り替わりタイミングで背景表示演出(レイヤ3)を非表示にする構成については、第1変動パターンにおいても、特定の変動パターンと同様、大当りに当選しているときに実行可能とすることとし、大当りに当選していないときには実行されないようにしてもよい。このような構成によれば、特定の変動パターンと第1変動パターンとで異なる背景演出(SPリーチ演出)を実行しているにもかかわらず、大当りに当選しているときには異なる背景演出を非表示にするかたちで同じ演出(操作後演出)が必ず現れてこれによって大当りに当選したことを認識することが可能とされるようになる。これに対し、大当りに当選していないときには、特定の変動パターンと第1変動パターンとで異なる内容とされた背景演出(SP結末背景用ブロック)が現れるタイミングで大当りに落選したことを認識することができるようになる。すなわちこの場合、大当りに当選したときには、変動パターンによって演出内容の異なる「背景演出」を非表示にし、一の演出内容を必ず出現させることにより大当りに当選したことを直感的に認識することができるようにするのに対し、大当りに落選したときには、変動パターンによって演出内容の異なる「背景演出」を非表示にせずに表示するようにしたことで、大当りに落選したことを直感的に認識し難くすることができるようになり、期待感を持続させることができるようになる。
これに対し、第2変動パターンにおいても、該第2変動パターンに応じた演出内容の「SPリーチ背景用ブロック」と「SP結末背景用ブロック」とが順次実行されるようになっている。ただし、第2変動パターンでの「SPリーチ背景用ブロック(液晶演出スケジューラデータ)」には、「1」の処理識別情報はあってもよいが、「2」の処理識別情報や「3」の処理識別情報が含まれておらず、「SP結末背景用ブロック」へと移行する直前に、該移行タイミングを跨る操作後演出を発生可能な操作受付演出が発生することはないようになっている。
この点、第2変動パターンにかかる「SPリーチ背景用ブロック(液晶演出スケジューラデータ)」では、演出受付が許容されていないなかでの所定タイミングにおいて、図示略の「5」の処理識別情報が取得されるようになっており、該「5」の処理識別情報が取得されたことに基づいて、「操作後用ブロックEの利用可否情報をオン状態に操作する処理(処理5)が実行されるようになっている。
そして、こうして「操作後用ブロックE」の利用可否情報がオン状態にされることで、第2変動パターンにおいても、上述の「特定の変動パターン」や「第1変動パターン」と同様、「操作後用ブロックE(操作後用の液晶演出スケジューラデータ)」を基にした同じ操作後演出が、「SPリーチ背景用ブロック」と「SP結末背景用ブロック」との切り替えタイミングを跨ぐ(含む)ように別のレイヤ上で実行されることとなる。
このような構成では、特定の変動パターンとは異なる第2変動パターンが実行された場合、本来であれば、背景演出にかかる表示として演出設計すればよいところを、演出受付が許容される期間が発生していない演出区間内の所定タイミングで背景画像用のブロックとは異なるブロックとして「操作後用ブロックE」をあえて実行するようにしたことから、摸画像やゲージ表示がされておらず、操作しておらず、且つ演出受付さえ許容されていない状況にあるにもかかわらず、他の変動パターンで演出受付がなされたときの操作後演出(操作後用ブロックE)が突然に現れるようになり、遊技興趣の向上を図ることが期待されるようになる。
このような構成によれば、第2変動パターンにおいても、「大当り(所定の判定結果)が得られている場合と得られていない場合とで表示データが共用される演出区間」と、「大当り(所定の判定結果)が得られている場合と得られていない場合とで異なる表示データが用いられる演出区間」とで、演出的な繋がりをうまく演出設計できないようなことがあったとしてもこれを隠す(ごまかす)ことができるようになり、演出設計を容易化することができるようになる。
また、「大当り(所定の判定結果)が得られている場合と得られていない場合とで表示データが共用される演出区間」と、「大当り(所定の判定結果)が得られている場合と得られていない場合とで異なる表示データが用いられる演出区間」との切り替わりタイミングで背景表示演出(レイヤ3)を非表示にする構成については、第2変動パターンにおいても、特定の変動パターンや第1変動パターンと同様、大当りに当選しているときに実行可能とすることとし、大当りに当選していないときには実行されないようにしてもよい。このような構成によれば、特定の変動パターンや第1変動パターンとは異なる背景演出(SPリーチ演出)を実行しているにもかかわらず、大当りに当選しているときには異なる背景演出を非表示にするかたちで同じ演出(操作後演出)が必ず現れてこれによって大当りに当選したことを認識することが可能とされるようになる。これに対し、大当りに当選していないときには、特定の変動パターンや第1変動パターンとで異なる内容とされた背景演出(SP結末背景用ブロック)が現れるタイミングで大当りに落選したことを認識することができるようになる。すなわちこの場合、大当りに当選したときには、変動パターンによって演出内容の異なる「背景演出」を非表示にし、一の演出内容を必ず出現させることにより大当りに当選したことを直感的に認識することができるようにするのに対し、大当りに落選したときには、変動パターンによって演出内容の異なる「背景演出」を非表示にせずに表示するようにしたことで、大当りに落選したことを直感的に認識し難くすることができるようになり、期待感を持続させることができるようになる。
図225に示した例やその別例では、SPリーチ背景用ブロック(SPリーチ用の液晶演出スケジューラデータ)に付されている各種の処理識別情報を基に操作受付演出を実行するようにしたが、これらの処理識別情報については、SPリーチ背景用ブロック(SPリーチ用の液晶演出スケジューラデータ)に対して付されるものでなくてもよく、例えば、図柄用ブロック(図柄用の液晶演出スケジューラデータ)や、呼出用ブロック(呼出用の液晶演出スケジューラデータ)など、他のブロック(液晶演出スケジューラデータ)から読み出されるものであってもよい。
また、図225に示した例やその別例において、「X1」や、「X2」、「Y1」、「Y2」、「Y3」などの処理識別情報を基に読み出された処理内で行われる演出判定では、特定の操作手段(操作ボタン410)に対する操作検出情報に基づく演出判定を例示した。ただし、該特定の操作手段については、操作ボタン410に限定されるものでなく、他の操作手段としてもよい。また、「X1」、「X2」、「Y1」、「Y2」、「Y3」などの処理識別情報を基にした上記演出判定の全部あるいは一部にて、複数の操作手段(操作ボタン410、刀演出操作ユニット5000など)のいずれに対して操作機会が付与されている状態にあるかを判断し、該操作機会が付与されている側の操作手段に対して操作があったか否か(演出判定がなされるか)を判断するようにしてもよい。このような構成によれば、複数の操作手段(操作ボタン410、刀演出操作ユニット5000など)のいずれに対して操作機会を付与するかを判定し、該判定に応じた側の操作手段に対してのみ操作機会が付与される操作受付演出を実現するにあたり、いずれの操作手段に対して操作機会を付与する場合であっても、処理識別情報、さらには液晶演出スケジューラや、ブロックなどを共通化させることができるようになる。若しくは、異なる操作手段の両方に対して操作機会を付与し、先に操作された一方の操作手段が演出受付されたことに基づいて処理識別情報に基づく操作後演出を実行するようにしてもよい。
また、図225に示した例やその別例において、出現EF用ブロックEにおける許容前操作関連表示を複数設けるようにしてもよい。たとえば、操作ボタン410の可動(振動や突出、回転など)を伴わない通常の出現EF用ブロックE1と、操作ボタン410の可動(振動や突出、回転など)を伴う特別の出現EF用ブロックE2とを設け、変動パターンに応じていずれかを実行(解析)すること等が例示できる。この場合、出現EF用ブロックE1、出現EF用ブロックE2に続くブロック(操作待ち用ブロックEや操作後用ブロックEの両方あるいは一方)を共通に用いるようにすれば、ブロックを節約することができるようになる。
図225に示した例やその別例では、ブロックや液晶演出スケジューラデータに付される処理識別情報(「X1」、「X2」、「Y1」、「Y2」、「Y3」など)を基に読み出される処理を実行することで、特定の操作手段に対する操作の受付がなされうるようにした。ただしこれに加えて、特定の操作手段とは異なる所定の操作手段に関しては、ブロックや液晶演出スケジューラデータに付される処理識別情報とは全く関係のない処理(例えば、周辺制御部定常処理)内で操作の受付がなされて、該受付に応じた変化を実行中の演出に対して生じさせるようにしてもよい。このような構成によれば、ブロックや液晶演出スケジューラデータなどによる演出進行にエラーが生じた場合であっても、所定の操作手段に対する操作は適正に受付されるようになることから、遊技興趣を好適に維持することができるようになる。
また、「X1」、「X2」、「Y1」、「Y2」、「Y3」の各処理識別情報に基づいて演出判定を行う処理とは別の遊技者操作によって、ブロックそのものを現れないようにして、対象のブロックに関連する全ての演出要素(表示、音、可動)を無効化できるようにしてもよい。このような構成では、レイヤを節約することが可能である。
また、遊技者操作によって、「X1」、「X2」、「Y1」、「Y2」、「Y3」の各処理識別情報の一部を他の処理識別情報に変換するように、演出判定の期間や契機を変えるようにしてもよい。
特定のレイヤについては、対象となる変動開始前から使用を予定しておき、複数変動に跨って使用するようにしてもよい。
変動中に限らず、当り遊技中等にもブロックを用いるようにしてもよい。また、変動中から当り遊技中に跨るブロックや、当り遊技中から確変中に跨るブロックを設けるようにしてもよく、これらのブロックや、該ブロックに対応する液晶演出スケジューラデータにも処理識別情報が付されるようにしてもよい。
また、「Y3」は確変状態中に実行されるブロック(または、液晶演出スケジューラデータ)のみに付されるなど、遊技状態に応じて読み出される処理識別情報の種類を変えるようにしてもよい。
また、エラー報知(異常報知)中等は、エラー画像が表示されたり、エラー音が出力されたりするものの実行中のブロックや処理識別情報については何ら消去しないようにすることが望ましい。これにより、エラー解除後に適切に演出を復元することができるようになる。
また、図225に示した例やその別例に内在される各発明のうち、ブロック(液晶演出スケジューラデータ)、若しくは処理識別情報などの技術を必ずしも用いなくても記載されている作用効果を奏することができるものについては、他の手法によって実現するようにしてもよい。
[有効期間が発生するよりも前の操作検出情報を基にした演出判定]
一般に、演出受付が許容される演出受付期間(有効期間)の発生に際しては、該発生のタイミングに合わせて上述した「摸画像」や「ゲージ表示(バー表示)」などが表示される。この点、長時間遊技したり何度も遊技したりすると、「摸画像」や「ゲージ表示」が変動パターン内のいずれのタイミングで表示されるのかを予想することができるようになる。そうすると、遊技者のなかには、操作することを待ちきれず、「摸画像」や「ゲージ表示」が表示されるであろうことを見越したタイミングを狙って操作するような者も出てくる。そしてこの際、「摸画像」や「ゲージ表示」が表示される直前(演出受付期間が発生する直前)で操作されるようなことがあると、「摸画像」や「ゲージ表示」が表示されている状態(演出受付期間が発生している状態)で操作したかのように勘違いしてしまい、その結果として演出受付期間(有効期間)内での操作のやり直しが遅れてしまい、演出受付されることなく演出受付期間(有効期間)が終了してしまうようなことがあった。
この点、この実施の形態にかかる特別操作受付演出(例えば、図225に示したタイミングts42で発生する演出受付期間など)では、変動開始以降m番目フレーム内の所定タイミングから演出受付期間(有効期間)が発生するとするとき、該演出受付期間内で操作が行われなかったとしても、自動ボタン機能によって演出判定がなされて操作後演出を発生可能としていることは上述した通りである。このような構成によれば、上述した状況において演出受付期間(有効期間)内での操作のやり直しが遅れてしまったとしても、操作後演出を確認できなくなる事態が発生することを抑制することができるようになる。
ただしこれでは、操作後演出を確認することはできたとしても、遊技者による操作を起因として操作後演出を発生させた実感を覚えることはできないことから、遊技興趣の低下が懸念される。そこで、後述するが、この実施の形態にかかる周辺制御部1511では、操作後演出を発生させる旨の演出判定については演出受付期間(有効期間)内でしか許容しないが、操作状態の検出については、該演出受付期間(有効期間)が発生するよりも前の期間内(直前)でなされたものであってもこれを当該演出判定の対象(判定材料)としてあえて用いるようにしている。このような構成によれば、演出受付期間(有効期間)が発生することを見越してその直前で操作がされた場合であっても、これを演出受付期間(有効期間)内で操作が行われたものと見做して操作後演出が実行されるようになる。すなわちこの場合、遊技者側としても、操作を起因として操作後演出が発生した実感を覚えるようになることから、遊技興趣を好適に維持することができるようになる。
その一方で、これも後述するが、演出受付期間(有効期間)が発生するよりも前の期間内(直前)で操作状態の検出がなされた場合であっても、特定時間を超えて操作状態を維持しているなかで当該演出受付期間(有効期間)が発生したときには、上記m番目フレーム内で演出受付がなされる旨判定しないようにしている。このような構成によれば、遊技者に対して演出受付条件を公正に付与することができるようになり、遊技興趣の低下を抑制することが期待されるようになる。
また、これも後述するが、少なくとも所定の操作受付演出では、変動開始以降m番目フレーム内の所定タイミングから演出受付期間(有効期間)が発生するとするとき、該m番目フレームが開始される時点では演出表示装置1600の表示領域において「操作手段を摸した摸画像(または、残り時間を示唆するゲージ表示)」は未だ表示されていない状態とされるようにしている。すなわちこの場合、摸画像(または、ゲージ表示)が未だ表示されていない状態にあるときから内部的には演出受付が許容される期間が発生するようになることから、遊技者が先走ってしまい、その結果として摸画像(または、ゲージ表示)が表示される直前で操作してしまったような場合であっても演出受付がなされることとなり、操作後演出を確認できなくなる事態が発生することを抑制することができるようになる。
以下、このような技術的特徴について説明するが、該技術的特徴を説明するにあたり、この実施の形態にかかる「演出受付期間(有効期間)」について改めて説明しておくと、該「演出受付期間(有効期間)」とは、「演出受付が許容される状態を発生させる処理を開始してから、該処理が終了されるまでの期間」のことである。ここで、「演出受付が許容される状態を発生させる処理」とは、「演出受付期間(有効期間)」の実現手法によってその詳細は異なるが、例えば、「操作状態フラグ(図225を参照)をオンにする処理」や、「タイマをセットする処理」や、「演出受付判定する処理を、処理識別情報を基に呼び出す処理(図225を参照)」などに相当する。すなわち、「演出受付期間(有効期間)」とは、「演出受付が許容される状態を発生させる処理が実行されてから所定時間が経過するまでの演出区間(期間)」に相当しており、この所定時間とは、「操作状態フラグがオフにされるまでの時間」か、「タイマがタイムアップするまでの時間」が、「同じ処理識別情報が毎フレームで付されている演出区間が終了されるまでの時間」などに相当する。そして、このような「演出受付期間(有効期間)」内では、操作状態の検出を基に、演出受付がなされるかについての判定処理が所定時間毎(例えば、1フレーム毎)に行われることとなるが、この実施の形態にかかる「演出受付がなされるかについての判定処理」では、該「演出受付期間(有効期間)」内で行われた「操作状態の検出」だけでなく、該「演出受付期間(有効期間)」が発生するよりも前に行われた「操作状態の検出」も対象としていることが特徴である。このような「演出受付期間(有効期間)」としては、例えば、100フレーム程度の期間として創出するようにすることが一般的である。
図226~図231は、演出受付期間(有効期間)が発生する前後で行われる処理についてその手順の一例を示すフローチャートである。なお、以下に説明する各例では、図225を参照しつつ説明した「ブロック」や「液晶演出スケジューラデータ」を用いて画像表示を行う場合について示しているが、表示手法についてはこれに限られず、フレームを単位として画像制御を行う一般的なものであればその実現手法は問わない。また、「演出受付が許容される状態を発生させる処理」についても、「操作状態フラグをオンにする処理」として例示しているが、これに限られず、「タイマをセットする処理」や、「演出受付判定する処理を、処理識別情報を基に呼び出す処理」などの他の手法であってもよい。
図226は、演出受付期間(有効期間)の前後で操作検出がなかったときの処理についてその一例を示すフローチャートである。
いま、特定の変動パターンにおいて特別操作受付演出(例えば、図225に示したタイミングts42で発生する演出受付期間など)が発生するに際して、図柄変動が開始されてから「m」番目フレーム内で「演出受付が許容される状態を発生させる処理」として操作状態フラグがオン状態に操作(設定)されたとする。なお、「m」番目フレーム内の中途半端な「タイミングt1(m)」で操作状態フラグがオン状態に操作(設定)されているのは、「操作状態フラグをオン状態に操作(設定)する処理」これ自体は「m」番目フレームが到来したことに基づいて実行されるものであったとしても、より厳密には、他の処理実行などとの関係で、「m」番目フレームの開始タイミングで当該処理を含めた各種処理の全てを実行することは不可能であり、予め定められた順序で各種処理が実行されるなかで「フレームの開始タイミング」に対して遅れて実行されることとなることが常だからである。
こうして操作状態フラグがオン状態に操作されると、演出受付が許容される演出区間(演出受付期間)が発生することとなり、該演出受付期間内では、所定時間毎に、操作検出情報に基づいて「操作後演出を発生させるかについての判定処理」が行われる。
この例にかかる演出受付期間は、図225に示した「特別操作受付演出」として説明している。したがって、「操作後演出を発生させるかについての判定処理」については、上述の通り、演出受付期間が発生しているか(操作状態フラグがオン状態にあるか)にかかわらず、「周辺制御部定常処理」内で単位時間毎(1フレーム毎)の「操作検出情報に基づく演出判定」として実行される。そして、演出受付期間以降もこれが継続されることで、演出受付期間内においても、所定時間毎に、操作検出情報に基づいて「操作後演出を発生させるかについての判定処理」が行われることとなる(図中では、「タイミングt2(m)」,「タイミングt2(m+1)」,「タイミングt2(m+2)」,「タイミングt2(m+3)」でそれぞれ実行される)。すなわちこの場合、「m」番目フレームよりも前のフレームなどにおいても、「操作後演出を発生させるかについての判定処理」が実行されることとなるが、操作状態フラグがオフ状態になっている状況ではこれが実質的に無効化されることは上述した通りであるから、図中においてはこれを割愛することとする。
また、この例では、新たなフレームが到来したことを契機として行われる各種処理の順序として、「操作状態フラグをオン状態に操作(設定)する処理」が実行される順序よりも、「操作後演出を発生させるかについての判定処理」が実行される順序のほうを後に設定することとしており、これによって操作状態フラグがオン状態に操作(設定)された同一フレーム(m番目フレーム)内で演出受付(操作後演出を発生させる旨の判定)がなされうるようにしている。ただし、該順序については、「操作状態フラグをオン状態に操作(設定)する処理」を必ずしも先に実行するものでなくてもよく、これとは逆に、「操作後演出を発生させるかについての判定処理」が実行される順序のほうを先に設定するようにしてもよい。この場合、操作状態フラグがオン状態に操作(設定)された同一フレーム(m番目フレーム)内では、「操作後演出を発生させるかについての判定処理」これ自体が行われることがなくなることから演出受付(操作後演出を発生させる旨の判定)がなされることはなくなる。
そして従来は、「m」番目フレーム内のタイミングt1(m)において、「演出受付が許容される状態を発生させる処理(ここでは、「操作状態フラグをオン状態に操作する処理」)」が実行されたとすると、該処理が実行された以降の期間(ここでは「操作状態フラグがオン状態にある期間」)内で取得された操作検出情報に基づいて、「操作後演出を発生させるかについての判定処理」が実行されるようにしていた。例えば、図226に示される例の場合は、タイミングt2(m)において、タイミングt1(m)~t2(m)の期間内で操作があったか否かを操作検出情報に基づいて判定し、該操作があった旨判定したときには操作後演出を実行し、該操作があった旨判定しなかったとき(若しくは、操作状態の検出はあったが、操作状態として維持されていた時間の長さが不十分である旨判定したとき)には操作後演出を実行せず次のフレーム内のタイミングt2(m+1)において、タイミングt2(m)~t2(m+1)の期間内で操作があったか否かを操作検出情報に基づいて再び判定する、といった処理をフレーム毎に実行するようにしていた。
ただしこれでは、操作することを待ちきれず、演出受付期間が発生するであろうことを見越したタイミングを狙って操作するような者が出てきた場合に、演出受付されることなく演出受付期間(有効期間)が終了してしまう懸念があることは上述した。そこで、この実施の形態にかかる周辺制御部1511では、これも上述した通り、「操作後演出を発生させる旨の演出判定」については演出受付期間(有効期間)内でしか許容しないが、「操作状態の検出」これ自体については、該演出受付期間(有効期間)が発生するよりも前の期間内(直前)でなされたものであってもこれを当該操作検出判定の対象(判定材料)としてあえて用いるようにしている。
例えば、このような操作検出判定では、通常、チャタリングなどによる誤検出を回避するべく、「所定時間(例えば、3ms)以上の時間にわたって操作状態が維持されていること」を判定条件として用いることがなされる。この点、この実施の形態にかかる周辺制御部1511では、タイミングt1(m)が到来するよりも前の操作検出情報も用いることとしており、タイミングt1(m)~t2(m)の期間内で「所定時間(例えば、3ms)以上の時間にわたって操作手段(例えば、操作ボタン410)が操作状態に維持されていなかったとしても、タイミングt1(m)よりも前から所定時間(例えば、3ms)以上の時間にわたって操作手段(例えば、操作ボタン410)が操作状態に維持されているのであれば操作があった旨判定し、操作後演出を実行するようにしている。
このような構成によれば、演出受付期間(有効期間)が発生することを見越してその直前で操作がされた場合であっても、これを演出受付期間(有効期間)内で操作が行われたものと見做して操作後演出が実行されるようになる。すなわちこの場合、遊技者側としても、操作を起因として操作後演出が発生した実感を覚えるようになることから、遊技興趣を好適に維持することができるようになる。
このような操作検出情報に関してのより具体的な構成としていずれを用いるかについては、特に限定されるものではない。この点、この実施の形態にかかる周辺制御部1511では、所定時間(例えば、3ms)以上の時間にわたって操作状態が維持(継続)されたか否かの判定をフレーム単位で行うようにしており、所定時間(例えば、3ms)以上の時間にわたって操作状態が維持(継続)されたフレームについては「ONフレーム」としての履歴を残し、「ONフレーム」としての履歴がないフレームを「OFFフレーム」として取り扱うようにしている。該履歴については、フレームの終了時または次のフレームの開始時に残すようにしてもよいし、所定時間(例えば、3ms)にわたって操作状態が維持された時点で「ONフレーム」としての履歴を残すようにしてもよい。
そして後述するが、この実施の形態にかかる「操作後演出を発生させるかについての判定処理」では、「OFFフレーム」,「ONフレーム」,「ONフレーム」としての履歴が残された3つのフレームが並ぶ態様での操作検出情報が得られたときに演出受付(操作があった旨の判定)がなされて操作後演出を実行可能とするようにしている。
なお、この実施の形態にかかる周辺制御部1511では、フレームの終了時に当該フレームが「ONフレーム」であったか「OFFフレーム」であったかを判定してその履歴を残すようにしていることから、図226に示されるタイミングt2(m)で行われる「操作後演出を発生させるかについての判定処理」では、当該タイミングt2(m)を包含する「m」番目フレームを判定材料として用いることはない。すなわちこの場合、「m-3」番目フレーム、「m-2」番目フレーム、及び「m-1」番目フレームを判定材料として用いることとなり、それらが「OFFフレーム」,「ONフレーム」,「ONフレーム」として履歴を残しているか否かの判定を行うこととなる。これに対し、所定時間(例えば、3ms)にわたって操作状態が維持された時点で「ONフレーム」としての履歴を残すようにした場合は、図226に示されるタイミングt2(m)で行われる「操作後演出を発生させるかについての判定処理」では、当該タイミングt2(m)を包含する「m」番目フレームも判定材料として用いることとなる。すなわちこの場合、「m-2」番目フレーム、「m-1」番目フレーム、及び「m」番目フレームを判定材料として用いることとなり、それらが「OFFフレーム」,「ONフレーム」,「ONフレーム」として履歴を残しているか否かの判定を行うこととなる。
この点、図226に示される例では、演出受付期間(有効期間)の前後で操作検出がなかった場合について示している。したがって、該演出受付期間(有効期間)が発生して以降の各フレーム内の判定タイミング(図中では、タイミングt2(m),t2(m+1),t2(m+2),t2(m+3))では、「OFFフレーム」,「OFFフレーム」,「OFFフレーム」としての履歴が残されている旨判定されることとなり、演出受付(操作があった旨の判定)がなされることはなく操作後演出が実行されない。
ところで、演出表示装置1600で表示される画像については、周辺制御部1511での表示に関する処理が開始されてからそれが画像として現れるまでに2フレーム分(若しくは1フレーム分)の遅れが発生することが知られている。この遅れは、周辺制御部1511内での処理(各種判定に応じた画像としていずれを用いるかを決定したり、その決定を受けて描画リストを作成したりする処理)に1フレームを要するとともに、該周辺制御部1511側の処理結果(描画リストなどの画像に関する情報)を受信した画像制御手段(液晶表示制御部1512)内での処理(いわゆるダブルバッファリングのうち準備バッファ(非表示状態のバッファ)側での描画処理)にも1フレームを要するために発生するものである。
したがって、従来は、周辺制御部1511による「有効期間中演出(操作待ち用ブロックE)」に関する処理については、演出受付期間(有効期間)が発生する「m」番目フレームよりも2つ前のフレーム(「m-2」番目のフレーム)で開始するようにしており、これによって「m」番目フレームから有効期間中演出が演出表示装置1600にて現れるようにしていた。
ただし上述の通り、この実施の形態にかかるパチンコ機1では、m番目フレームが開始される時点では演出表示装置1600の表示領域において「有効期間中演出(操作待ち用ブロック)」は未だ表示されていない状態とされるようにすることを特徴の1つとしており、演出受付期間(有効期間)が発生する直前の「m-1」番目フレームまでの期間を「有効期間前演出(エフェクト演出などの「出現EF用ブロックE」)用の処理期間」とするとともに、演出受付期間(有効期間)が発生する「m」番目フレームからの期間を「有効期間中演出(摸画像やゲージ表示などの「操作待ち用ブロックE」)用の処理期間」とするようにしている。なお、図225に示したように、有効期間前演出(エフェクト演出などの「出現EF用ブロックE」)用の処理期間」については、「m」番目フレーム以降も継続されるようにし、「有効期間中演出(摸画像やゲージ表示などの「操作待ち用ブロックE」)用の処理期間」と重複するようにしてもよい。
より具体的には、「m」番目フレームが到来するまでの所定期間(若しくは、それ以降の期間も)では、「有効期間前演出(エフェクト演出など)」に対応する情報を基に描画リストを作成してこれを画像制御手段(液晶表示制御部1512)に対して送信することがなされる。これに対し、「m」番目フレームが到来した以降の所定期間(有効期間中演出が行われる期間)は、「有効期間中演出(摸画像やゲージ表示など)」に対応する情報を基に描画リストを作成してこれを画像制御手段(液晶表示制御部1512)に対して送信することがなされるようにしている。
このような構成によれば、図226に示されるように、周辺制御部1511では、「m-1」番目フレームまで(若しくは、それ以降も)「有効期間前演出(出現EF用ブロックE)」に関する処理が実行され、「m」番目フレーム以降は「有効期間中演出(操作待ち用ブロックE)」に関する処理が実行されることとなるが、演出表示装置1600では、「m」番目フレームにおいては未だ「有効期間前演出(出現EF用ブロックEに基づく表示)」が実行途中の状態にあり、「m+2」番目フレームにおいて「有効期間中演出(操作待ち用ブロックEに基づく表示)」がようやく開始されるようになる。すなわちこの場合、「有効期間中演出(操作待ち用ブロックEに基づく表示)」が未だ表示されていない状態(「m」番目フレーム、「m+1」番目フレーム)にあるときから内部的には演出受付が許容される期間が発生するようになることから、遊技者が先走ってしまい、その結果として「有効期間中演出(操作待ち用ブロックEに基づく表示)」が表示される直前で操作してしまったような場合であっても演出受付がなされることとなり、操作後演出を確認できなくなる事態が発生することを抑制することができるようになる。
なお、図226に示される例では、「有効期間前演出(出現EF用ブロックEに基づく表示)」に関する処理や、「有効期間中演出(出現EF用ブロックEに基づく表示)」に関する処理を、説明の便宜上、周辺制御部1511内で1フレーム毎にそれぞれ実行することとしている。ただし、これらの演出を動画データによって表示する場合は、周辺制御部1511内では、それら処理の開始フレームで「動画に対応する情報」を基に描画リストを作成するだけでよくなる。すなわちこの場合、それ以降の各フレームでは、画像制御手段(液晶表示制御部1512)側が自動的に画像データを読み出して表示させる処理を行うこととなることから、上述の各処理については、周辺制御部1511内で必ずしも1フレーム毎に行わないようにしてもよい。
図227は、図226に示した演出受付期間(有効期間)において、「m+1」番目フレームで操作が開始された場合の処理についてその一例を示すフローチャートである。
上述の通り、この実施の形態にかかる「操作後演出を発生させるかについての判定処理」では、「OFFフレーム」,「ONフレーム」,「ONフレーム」としての履歴が残された3つのフレームが並ぶ態様での操作検出情報が得られたときに演出受付(操作があった旨の判定)がなされて操作後演出を実行可能とするようにしている。
この点、図227に示される例では、「m+1」番目フレーム内のタイミングt2(m+1)よりも前のタイミング(演出受付の判定タイミングよりも前のタイミング)で操作が開始された場合を想定しており、該「m+1」番目フレームこれ自体も「ONフレーム」としての履歴をフレーム終了時に残すようになっている。ただし、当該フレーム内のタイミングt2(m+1)においては、その判定対象とされる3つのフレーム(「m-2」番目フレーム,「m-1」番目フレーム,「m」番目フレーム)のいずれもが「OFFフレーム」であるから、演出受付(操作があった旨の判定)がなされることはない。
次のフレームである「m+2」番目フレームにおけるタイミングt2(m+2)においても、その判定対象とされる3つのフレーム(「m-1」番目フレーム,「m」番目フレーム,「m+1」番目フレーム)は、それぞれ「OFFフレーム」,「OFFフレーム」,「ONフレーム」としての履歴が残されている状態にあるから、演出受付(操作があった旨の判定)がなされることはない。
さらに次のフレームである「m+3」番目フレームにおけるタイミングt2(m+3)になると、その判定対象とされる3つのフレーム(「m」番目フレーム,「m+1」番目フレーム,「m+2」番目フレーム)が、それぞれ「OFFフレーム」,「ONフレーム」,「ONフレーム」としての履歴が残されている状態になり、これによって演出受付(操作があった旨の判定)がなされることとなる。
このような構成によれば、「m+1」番目フレームと「m+2」番目フレームとが「ONフレーム」になっていることで、演出受付期間(有効期間)内の2フレームにわたって操作状態が所定時間以上(例えば、3ms)維持された状況にあることを判断可能である。また、「m」番目フレームが「OFFフレーム」になっていることで、演出受付期間(有効期間)内で操作が開始された状況にあることを判断することが可能である。すなわちこの場合、演出受付が許容されている期間内で操作が適正に行われた状況にあることを意味していることから、図227に示される例では、従来通り、演出受付期間(有効期間)内(ここでは、タイミングt2(m+3))で演出受付がなされてこれに応じた操作後演出(ここでは、「操作後用ブロックE」)が実行(開始)されるようになる。なおこの例では、演出受付がなされた時点で操作状態フラグをオフにする処理を実行するようにしているが、フレーム終了時などに操作状態フラグをオフにするようにしてもよく、要は、演出受付がなされたことに基づいて操作状態フラグをオフにする処理を実行することで、次のフレームで操作判定処理が(実質的に)行われないようにするものであればよい。
この点、この実施の形態にかかる周辺制御部1511では、タイミングt2(m+3)で演出受付がなされると、該演出受付がなされた当該フレーム(「m+3」番目フレーム)から「操作後演出(操作後用ブロックE)」に関する処理を行うこととしている。したがって、演出表示装置1600においては、2フレーム後の「m+5」番目フレーム(図示略)から操作後演出(操作後用ブロックEに応じた表示)が表示されるようになる。
図228は、図226に示した演出受付期間(有効期間)において、「m-2」番目フレームで操作が開始された場合の処理についてその一例を示すフローチャートである。
上述の通り、この実施の形態にかかる「操作後演出を発生させるかについての判定処理」では、「OFFフレーム」,「ONフレーム」,「ONフレーム」としての履歴が残された3つのフレームが並ぶ態様での操作検出情報が得られたときに演出受付(操作があった旨の判定)がなされて操作後演出を実行可能とするようにしている。
また、これも上述の通り、この実施の形態にかかる周辺制御部1511では、「操作後演出を発生させる旨の演出判定」については演出受付期間(有効期間)内でしか許容しないが、「操作状態の検出」これ自体については、該演出受付期間(有効期間)が発生するよりも前の期間内(直前の数フレーム)でなされたものであってもこれを当該操作検出判定の対象(判定材料)としてあえて用いるようにしている。
この点、図228に示される例では、演出受付期間(有効期間)が発生する「m」番目フレームよりも2フレーム前の「m-2」番目フレーム内で操作が開始された場合を想定している。従来であれば、このようなタイミングでの操作によって得られた情報を、演出受付にかかる判定で用いることはない。ただし上述の通り、この実施の形態にかかるパチンコ機1では、「m」番目フレーム内のタイミングt1(m)で演出受付期間(有効期間)が発生すると、該「m」番目フレーム内のタイミングt2(m)においてはこれよりも前の3つのフレーム(「m-3」番目フレーム,「m-2」番目フレーム,「m-1」番目フレーム)で取得された操作検出情報を、演出受付にかかる判定で用いることとしている。そしてこの例では、これらのフレーム(「m-3」番目フレーム,「m-2」番目フレーム,「m-1」番目フレーム)が、それぞれ「OFFフレーム」,「ONフレーム」,「ONフレーム」としての履歴が残されている状態になり、これによって演出受付(操作があった旨の判定)がなされることとなる。
このような構成によれば、「m-3」番目フレームが「OFFフレーム」になっており、且つ「m-2」番目フレームと「m-1」番目フレームとが「ONフレーム」になっていることで、演出受付期間(有効期間)の発生直前の2フレームにわたって操作状態が所定時間以上(例えば、3ms)維持された状況にあることを判断可能である。すなわちこの場合、演出受付期間(有効期間)が発生する「m」番目フレームよりも2フレーム前の「m-2」番目フレーム内で操作が開始された状況にあることを意味しているが、図228に示される例では、演出受付期間(有効期間)内(ここでは、タイミングt2(m))で演出受付がなされてこれに応じた操作後演出(ここでは、「操作後用ブロックE」)が実行(開始)されるようになる。このような構成を採用した場合、図228に示されるように、演出受付期間(有効期間)これ自体は1フレームすらも継続されない極短時間で終了されることとなるが、演出受付期間(有効期間)が発生することを見越してその直前で操作が開始された場合であっても、これを演出受付期間(有効期間)内で操作が行われたものと見做して操作後演出を発生させることができるようになる。すなわちこの場合、遊技者側としても、操作を起因として操作後演出が発生した実感を覚えるようになることから、遊技興趣を好適に維持することができるようになる。
ただし、このような態様での演出受付が頻出されるようなことがあると、演出受付期間(有効期間)これ自体の意義が損なわれかねず、遊技興趣の低下が懸念される。そこで、この実施の形態にかかる周辺制御部1511では、「m」番目フレーム内のタイミングt2(m)で、演出受付期間(有効期間)の発生前に取得された操作検出情報に基づいて演出受付がなされたときには、摸画像やゲージ表示が表示されることなく操作後演出が実行されるようにしている。すなわちこの場合、「操作後演出」が、操作機会を付与されたことに起因して発生したものであるかについての疑念を少なからず持たせることができるようになることから、演出受付期間(有効期間)が発生するよりも前に操作を開始することを抑制することが期待できるようになる。
なお、「摸画像やゲージ表示が表示されることなく操作後演出が実行される」ことについての実現手法については、特に限定されるものではない。この実施の形態にかかるパチンコ機1では、上述の通り、2フレーム分の遅れをあえて考慮せずに「m」番目フレームから「有効期間中演出(操作待ち用ブロックE)」に関する処理を行うようにした上で、タイミングt2(m)で演出受付がなされると、該演出受付がなされた当該フレーム(「m」番目フレーム)から「操作後演出(操作後用ブロックE)」に関する処理を行うようにしている。これにより、図228に示されるように、「有効期間中演出(操作待ち用ブロックE)」に関する処理が実行されることなく、「操作後演出(操作後用ブロックE)」に関する処理が実行されるようになることから、摸画像やゲージ表示が表示されることなく操作後演出が実行されることとなる。
また、図228に示した例では、「m-2」番目フレームから開始された操作(操作状態)が、「m」番目フレーム内のタイミングt2(m)を跨ぐかたちで維持された場合を想定しており、該想定のもとでどのような判定が行われ、該判定に応じた演出が実行されるかについて説明することとした。ただし、図229に示されるように、「m-2」番目フレームから開始された操作(操作状態)が、「m」番目フレーム内のタイミングt2(m)を跨ぐかたちで維持されず、「m-1」番目フレーム内で終了された場合であっても、「m-2」番目フレームと「m-1」番目フレームとがそれぞれ「ONフレーム」としての履歴を残しているのであれば(それぞれ3ms以上で操作状態を維持しているのであれば)、図228を参照して説明した通りのタイミングで同じ判定がなされ、該判定に応じて同じ演出が実行されることとなる。
すなわちこの場合、図228に示されるように、遊技者による操作は、演出受付期間が発生した以降では一切検出されておらず、演出受付期間が発生するよりも前の期間内でしか行われていないこととなるが、タイミングt2(m)での演出受付にかかる判定条件(「m-3」番目フレーム,「m-2」番目フレーム,「m-1」番目フレームが、それぞれ「OFFフレーム」,「ONフレーム」,「ONフレーム」としての履歴を残している)が満たされている限りは、該タイミングt2(m)の時点で操作状態が維持されていなくても演出受付がなされ、操作後演出が実行されることとなる。
このような構成については、演出受付期間(有効期間)内で操作が行われたときにも同様のことが言える。例えば、図227に示した例において、タイミングt2(m+3)の時点で操作状態が維持されておらず、「m+3」番目フレーム内のタイミングt2(m+3)よりも前のタイミングか、若しくは「m+2」番目フレーム内で操作状態が終了されていたとしても、当該タイミングt2(m+3)での演出受付にかかる判定条件(「m」番目フレーム,「m+1」番目フレーム,「m+2」番目フレームが、それぞれ「OFFフレーム」,「ONフレーム」,「ONフレーム」としての履歴を残している)が満たされている限りは、該タイミングt2(m+3)の時点で操作状態が維持されていなくても図227に示した通りで演出受付がなされ、操作後演出が実行されることとなる。
すなわち、この実施の形態にかかるパチンコ機1では、「演出受付にかかる判定」が行われるタイミングで操作状態を維持しているか否かは問題ではなく、「演出受付にかかる判定」が行われるタイミングよりも前の期間内で所定時間以上にわたって操作状態が維持されたとき(この実施の形態では、2フレームでそれぞれ所定時間以上にわたって操作状態が維持されたとき)に、操作対象とされている操作手段に対して操作が適正に行われた状況にあるとして演出受付がなされ、操作後演出が実行されることとなる。
ここで、演出受付期間(有効期間)が発生するよりも前に得られた操作検出情報を、演出受付期間(有効期間)が発生した以降に行われる「演出受付にかかる判定処理」内での判定材料として単純に用いるようにしてしまうと、例えば、前兆演出(出現エフェクト)すらも実行されておらず、演出受付期間(有効期間)が発生する気配すらもないような状況にあるときから操作状態を維持するようにすることで、演出受付がなされるようにする者が現れることが懸念される。すなわち、このような態様での操作を認めてしまうと、演出受付期間(有効期間)これ自体の意義が損なわれかねず、遊技興趣の低下が懸念される。
そこで、この実施の形態にかかる周辺制御部1511では、上述の通り、「ONフレーム」のみを判定対象とするのではなく、「OFFフレーム」と「ONフレーム」とがそれぞれ存在するかを検出するようにしており、これによって上述の懸念を解消するようにしている。この実施の形態では、フレーム単位でON、OFFを判定しているが必ずしもこれに限られず、例えば、「センサ信号の立ち上がりや立ち下がりを検出することで操作が開始されたタイミングを判定し、該タイミングから所定時間以上の時間にわたって操作状態が維持されていることを条件に演出受付がなされる」などといった手法を採用するようにしてもよい。このような場合であっても、センサ信号の立ち上がりや立ち下がりのあったタイミングが演出受付期間(有効期間)発生のどれだけ前に生じたかを判断したり、操作状態が維持されている時間がどれだけ継続しているかを判断したりするようにすることで、上記課題を解決することが可能である。
図230は、図226に示した演出受付期間(有効期間)において、「m-3」番目フレームから操作が開始された場合の処理についてその一例を示すフローチャートである。
同図230に示されるように、この例では、演出受付期間(有効期間)が発生する「m」番目フレームよりも3フレーム前の「m-3」番目フレーム内で開始された操作が、演出受付期間(有効期間)内の「m+2」番目フレームまで継続して行われた場合を想定している。この例においても、演出受付期間が発生すると、まず、「m」番目フレーム内のタイミングt2(m)において「演出受付にかかる判定」が行われ、該判定においては、演出受付期間が発生するよりも前に取得された操作検出情報(ここでは、「m-3」番目フレーム,「m-2」番目フレーム,「m-1」番目フレームで取得された操作検出情報)がその判断材料として用いられるようになっている。
ただしこの例では、「m-3」番目フレーム,「m-2」番目フレーム,「m-1」番目フレームが、それぞれ「ONフレーム」,「ONフレーム」,「ONフレーム」としての履歴が残されている状態にあることから、上記タイミングt2(m)における「演出受付にかかる判定」の結果として演出受付(操作があった旨の判定)がなされることはない。そればかりか、タイミングt2(m+1)など、次のフレーム以降で行われる「演出受付にかかる判定」においても、その判断対象とされる3つのフレームで「ONフレーム」,「ONフレーム」,「ONフレーム」としての履歴しか残されないこととなることから、「m-3」番目フレームからの操作状態が維持されている限りは、各フレーム内で行われる「演出受付にかかる判定」の結果として演出受付(操作があった旨の判定)がなされることはない。
すなわちこの場合、「m-3」番目フレームから維持されている操作状態を一旦終了させ、「OFFフレーム」としての履歴が残されるフレームを創出した後に、改めて操作を行うようにしなければ、演出受付(操作があった旨の判定)がなされることはないようにすることが可能である。これにより、前兆演出(出現エフェクト)すらも実行されておらず、演出受付期間(有効期間)が発生する気配すらもないような状況にあるときから操作状態を維持したとしても、これを基に演出受付がなされるようなことを好適に回避することができるようになる。
上述の通り、図227~図230に示した例では、「m」番目フレーム内のタイミングt2(m)において演出受付がなされた場合、摸画像やゲージ表示が表示されることなく操作後演出を実行することとなる(特に、図228を参照)。ただしこれでは、操作を起因として操作後演出が発生した実感を覚えることができず、遊技興趣の低下が懸念されることから、演出受付期間内のいずれのタイミングで演出受付がなされた場合であっても、摸画像やゲージ表示が必ず表示されるように演出進展を行うようにしてもよい。なおこの場合、「m番目フレームが開始される時点では演出表示装置1600の表示領域において「有効期間中演出(操作待ち用ブロック)」は未だ表示されていない状態とされる」といった特徴については、必ずしもこれを残さなくてもよいが、これを残すようにすることがより望ましい。
このような構成を実現する手法についても特に限定されるものではないが、例えば、フレーム内で「操作状態フラグをオン状態に操作(設定)する処理」が行われるタイミングと「演出受付にかかる判定処理」が行われるタイミングとを、図226に示した例の場合とは逆になるように設定するようにすることでこれを実現することが可能である。
図231は、フレーム内で「操作状態フラグをオン状態に操作(設定)する処理」が行われるタイミングを、「演出受付にかかる判定処理」よりも後に行うようにした場合における演出受付期間(有効期間)についてその一例を示すフローチャートである。
同図231に示されるように、いま、「m」番目フレームが到来したとすると、まず、該フレーム内のタイミングt12(m)において、操作状態フラグがオン状態に操作(設定)される処理が行われる。これにより、演出受付期間(有効期間)が発生することとなるが、該「m」番目フレームにおいては、演出受付期間(有効期間)が発生した以降に「演出受付にかかる判定処理」が行われることはない。
すなわち、図示は割愛するが、「m」番目フレームにおいては、タイミングt12(m)よりも前に、「演出受付にかかる判定処理」が行われるタイミングが到来するようになっている。そしてこの際、該「演出受付にかかる判定処理」これ自体が行われないか、該「演出受付にかかる判定処理」は行われたが、演出受付期間(有効期間)が発生していない状態にあるとして演出受付がなされない旨の判定が行われることとなる。
このような構成によれば、演出受付期間(有効期間)が発生するフレーム(ここでは、「m」番目フレーム)においては演出受付がなされないようにすることが可能である。したがって、演出受付期間(有効期間)が発生するフレーム(ここでは、「m」番目フレーム)においては、操作の状況にかかわらず、周辺制御部1511内で「有効期間中演出(操作待ち用ブロックE)」に関する処理が必ず行われるようになり、該処理に応じた表示画像(有効期間中演出)が2フレーム後の「m+2」番目フレームで演出表示装置1600にて現れるようにすることができるようになる。
すなわちこの場合、演出受付期間が発生した以降に演出受付がなされるのは、最短でも、「m-2」番目フレーム,「m-1」番目フレーム,「m」番目フレームがそれぞれ「OFFフレーム」,「ONフレーム」,「ONフレーム」としての履歴が残されている状態で、「m+1」番目フレーム内のタイミングt11(m+1)が到来したときである。そしてこの際、周辺制御部1511では、演出受付がなされたことに基づいて「操作後演出(操作後用ブロックE)」に関する処理が行われることとなる。このとき、画像制御手段(液晶表示制御部1512)では、「m」番目フレームにおいて周辺制御部1511内で処理された「有効期間中演出」に関する処理結果を基にダブルバッファリングのうち準備バッファ(非表示状態のバッファ)側での描画処理を既に行っている状況にある(図231の「画像制御手段内処理」を参照)。
したがって、図231に示した手法によれば、演出受付期間が発生した以降、最短で演出受付がなされた場合であっても、演出表示装置1600では、「m+2」番目フレームで「有効期間中演出」にかかる表示が行われ、「m+3」番目フレームで「操作後演出」にかかる表示が行われるようになることから、摸画像やゲージ表示を表示した後に操作後演出を開始させることができるようになる。
ただし、摸画像やゲージ表示を表示した後に操作後演出を開始させる手法としては、図231に示した手法に限られない。例えば、図226に示した場合と同様、演出受付期間(有効期間)が発生するフレーム(ここでは、「m」番目フレーム)においても、タイミングt2(m)で演出受付がなされうるようにした上で、該タイミングt2(m)で演出受付がなされた場合であっても、該タイミングt2(m)では、周辺制御部1511内で「有効期間中演出(操作待ち用ブロックE)」に関する処理が行われるようにしてもよい。
すなわちこの場合、演出受付がなされたことに基づいて周辺制御部1511内で「操作後演出(操作後用ブロックE)」に関する処理を行うフレームを、演出受付がなされたフレームに対して1フレーム分だけ遅延させることとなる。したがって、「m」番目フレーム内のタイミングt2(m)で演出受付がなされた場合であっても、該「m」番目フレームにおいては、周辺制御部1511内で「有効期間中演出(操作待ち用ブロックE)」に関する処理が行われることとなり、次のフレームである「m+1」番目フレームにおいて、周辺制御部1511内で「操作後演出(操作後用ブロックE)」に関する処理が行われるようになる。こうした「遅延」は、演出受付期間(有効期間)が発生するフレーム(ここでは、「m」番目フレーム)に限らず、いずれのフレームで演出受付がなされた場合であっても発生するものである。このような手法であっても、演出受付期間が発生した以降、最短で演出受付がなされた場合であっても、摸画像やゲージ表示を表示した後に操作後演出を開始させることができるようになる。
このように、図226~図231に示した例やその別例によれば、m番目フレーム内の所定タイミングで行われる「演出受付についての判定処理」では、m番目フレームが開始されるよりも前の「m-1」番目フレーム内で取得された「操作検出手段からの検出情報」も当該演出受付にかかる判定材料として用いられることとなる。特に、図226~図231に示した例やその別例によれば、「m番目」フレームが開始されるよりも前の「m-1」番目フレーム内で取得された「操作検出手段からの検出情報」と、「m-2」番目フレーム内で取得された「操作検出手段からの検出情報」との両方が当該演出受付にかかる判定材料として用いられるようにしている。すなわちこの場合、演出受付期間(有効期間)が発生することを見越してその直前(有効期間発生前の33ms~66ms程度の極めて短い時間内)で操作がされた場合であっても、これを演出受付期間(有効期間)内で操作が行われたものと見做して操作後演出が実行されるようになることから、遊技者側としても、操作を起因として操作後演出が発生した実感を覚えるようになる。
しかも、m番目フレーム内の「演出受付についての判定処理」が行われる時点で操作状態として維持されていない場合であっても、m番目フレームよりも前のフレーム内で取得された「操作検出手段からの検出情報」に基づいて演出受付がなされうるようにしている。すなわちこの場合、演出受付期間(有効期間)が発生することを見越してその直前(有効期間発生前の33ms~66ms程度の極めて短い時間内)でしか操作状態が維持されなかった場合であっても、これを演出受付期間(有効期間)内で操作が行われたものと見做して操作後演出が実行されるようになることから、遊技者側としても、操作を起因として操作後演出が発生した実感を覚えるようになる。
ただし上述の通り、フレームの終了時に当該フレームを「ONフレーム」に操作(設定)するのではなく、フレーム内で予め定められた時間(3ms)が経過した時点で当該フレームを「ONフレーム」に操作(設定)するようにしてもよい。この場合、m番目フレームが開始されてから演出受付期間(有効期間)が発生するまでの間に取得された操作検出情報(操作検出手段からの検出情報)も、当該演出受付にかかる判定材料として用いられることとなる。すなわちこの場合、「m-1」番目フレームと「m」番目フレームとでそれぞれ操作(例えば、3ms以上での操作状態の維持)が行われており、且つ「m-2」番目フレームでは操作が行われていない(例えば、3ms未満の操作状態である)旨判定したときに演出受付がなされることとなる。このような構成によれば、遊技者による操作が判定材料として用いられるまでの時間が短縮されるようになることから、即時反応性の高い操作後演出を提供することができるようになる。
また、図226~図230に示した例やその別例では、演出受付期間(有効期間)が発生する時点では、表示領域において摸画像やゲージ表示は未だ表示されていない状況とされるようにしている。そして、m番目フレーム内で演出受付がなされると、ボタン画像やゲージ表示は表示(作成)されることなく、操作後演出が実行されるようにしている。すなわちこの場合、演出受付期間(有効期間)が発生することを見越してその直前(有効期間発生前の33ms~66ms程度の極めて短い時間内)でしか操作状態が維持されなかった場合であっても、これを演出受付期間(有効期間)内で操作が行われたものと見做して操作後演出が実行されるようにしつつも、「このような態様で操作後演出を発生させた場合にはボタン画像やゲージ表示が表示されない」といった演出的なデメリットを付与することができるようになり、演出受付期間(有効期間)内での適正な操作を促すことができるようになる。例えば、ボタン画像やゲージ表示が、複数の態様のいずれかで表示されるようになっている場合には、それら態様のいずれで表示されたのかを視認することができず、該態様によって示唆される期待度を把握できなくなる、といった演出的なデメリットが生じることとなる。
また、図226~図231に示した例やその別例では、長時間にわたって操作状態が維持されているなかで演出受付期間(有効期間)が発生したときには、演出受付しないようにしたことから、演出受付期間に対して適正な態様で操作することを促すことができるようになる。
ただしその一方で、操作状態が、長時間ではなく、特定時間よりも短い時間にわたって維持されているなかで演出受付期間(有効期間)が発生したときには、演出受付するようにしたことから、演出受付期間(有効期間)が発生することを見越してその直前で操作がされた場合であっても、これを演出受付期間(有効期間)内で操作が行われたものと見做して操作後演出が実行されるようになることから、遊技者側としても、操作を起因として操作後演出が発生した実感を覚えるようになる。
しかも、演出受付がなされるためには、特定時間よりも短い時間で操作状態が維持されるだけでは足りず、所定時間よりも長い時間にわたって操作状態が維持されることも求められるようにしたことから、チャタリングなどによる誤検出についてもこれを好適に回避することができるようになる。
また、図231に示した例やその別例においては、演出受付期間が開始される「m番目」フレーム内の処理では、いかなる操作検出情報が得られていたとしても、操作後演出に関する処理(演出表示装置1600における表示処理、ランプ発光に関する処理、音出力に関する処理、可動体動作に関する処理)のうち、少なくとも演出表示装置1600における表示処理に関しては、「操作後演出の画像データに対応する情報を、周辺制御部1511内で読み出す処理」を実行せず、演出受付がなされていない状態にあるときの処理(操作待ち用の画像データに対応する情報を、周辺制御部1511内で読み出す処理)を実行することとした。このような構成によれば、演出受付期間が開始されるm番目フレーム内でいかなる操作情報が得られたとしても、該m番目フレームでは、演出受付がなされていない状態にあるときの処理(演出表示装置1600における表示処理、ランプ発光に関する処理、音出力に関する処理、可動体動作に関する処理)のうち少なくとも一部(演出表示装置1600における表示処理)は必ず行われることとなる。すなわちこの場合、演出表示装置1600における表示に関しては、演出受付がなされたことに応じた処理(操作後演出の画像データに対応する情報を、周辺制御部1511内で読み出す処理)が遅れて開始されるようになり、その前には、演出受付がなされていない状態にあるときの処理(操作待ち用の画像データに対応する情報を、周辺制御部1511内で読み出す処理)が必ず実行されるようになることから、「操作後演出」が、遊技者による操作を起因として開始された演出であることを認識することができるようになる。
なお、図231に示した例の別例として上述したが、演出受付期間が開始される「m番目」フレームにおいても、操作検出情報に基づいて演出判定がなされうるようにした上で、該演出判定がなされたフレームでは、「操作後演出の画像データに対応する情報を、周辺制御部1511内で読み出す処理」を実行せず、次のフレームで「操作後演出の画像データに対応する情報を、周辺制御部1511内で読み出す処理」を実行するようにしてもよい。すなわちこの場合、操作後演出に関する処理(演出表示装置1600における表示処理、ランプ発光に関する処理、音出力に関する処理、可動体動作に関する処理)のうち、少なくとも演出表示装置1600における表示処理に関しては、演出判定がなされたフレームでは、演出受付がなされていない状態にあるときの処理(操作待ち用の画像データに対応する情報を、周辺制御部1511内で読み出す処理)を実行することとなる。ただしこの際、操作後演出に関する処理(演出表示装置1600における表示処理、ランプ発光に関する処理、音出力に関する処理、可動体動作に関する処理)のうち、例えば、「ランプ発光に関する処理」や「音出力に関する処理」に関しては、演出判定がなされたフレームで「操作後の発光態様に関する情報」や「操作後の音出力に関する情報」を読み出す処理を行うようにしてもよい。すなわちこの場合、演出判定がなされたフレーム内か、若しくは次のフレーム内で該読み出された情報に基づいてランプや音が操作後の態様で出力開始されるようになる。
また、図225に示したように、ブロックによって演出画像を表示する手法を採用する場合であって、操作による演出受付がなされたときには、操作後演出を実行するための「操作後用ブロック」のほか、それまで表示されていた摸画像やゲージ表示などの操作促進画像が非表示にされるまでの消滅エフェクト画像を表示するための「消滅EFブロック(消滅EF用の液晶演出スケジューラデータ)」を実行するようにしてもよい。このような「消滅EFブロック(消滅EF用の液晶演出スケジューラデータ)」によれば、例えば、摸画像やゲージ表示が演出受付を契機としてフェードアウトしていく画像(次第に非表示にされていく画像)が表示可能とされるようになる。また、このような「消滅EFブロック(消滅EF用の液晶演出スケジューラデータ)」については、操作後演出が行われることなく演出受付期間が終了するときに実行されるようにしてもよい。「消滅EFブロック(消滅EF用の液晶演出スケジューラデータ)」についても、背景用ブロック(背景用の液晶演出スケジューラデータ)や、操作待ち用ブロック(操作待ち用の液晶演出スケジューラデータ)などに付されている処理識別情報を基に読み出された処理内でその利用可否情報がオン状態に操作されることによって実行されるものとして構成することが可能である。
なお、図226~図231で説明した「演出受付が許容される状態を発生させる処理(操作状態フラグがオン状態に操作(設定)する処理)」については、図柄変動が開始されてからのスケジューラ(経過時間)などに基づいて実行されるものであってもよく、必ずしもフレームを契機として実行されるものでなくてもよい
また、「摸画像」や「ゲージ表示」については、有効期間前演出(出現EF用ブロックEに基づく表示)としても表示されるようにしてもよい。ただし、有効期間前演出(出現EF用ブロックEに基づく表示)が行われているときの表示態様については、半透明で表示されるようにしたり、他のエフェクト表示によって霞んで表示されるようにしたりするなど、「有効期間中演出(操作待ち用ブロックEに基づく表示)」が行われているときとは異なる態様で、「摸画像」や「ゲージ表示」を表示することが求められる。またこの際、有効期間前演出(出現EF用ブロックEに基づく表示)では、「摸画像」及び「ゲージ表示」の一方を表示し、一方は表示されないままで演出進展されるようにしてもよい。
[摸画像表示についてのさらなる演出性]
図118を参照して説明した通り、この実施の形態にかかるパチンコ機1では、大当り判定の結果に基づいて複数の変動パターンのいずれを実行するかについての変動パターン判定を実行可能としている。そして、該変動パターン判定が行われた結果として一の変動パターンが選択されると、周辺制御MPU1511aでは、該選択された変動パターンに対応して用意されている複数の期待演出(予告演出など)のうちいずれの期待演出(予告演出など)を選択的に出現させるかについての演出判定(予告判定など)を実行可能としている。なお、この演出判定の結果によっては、上記選択された変動パターンに対応して用意されている複数の期待演出(予告演出など)の全てが順次実行されることとなる場合もありうるし、複数の期待演出(予告演出など)のいずれもが実行されないこととなる場合もありうる。
そして、こうした演出判定(演出パターン判定、予告判定など)が行われると、該演出判定の結果に応じた演出内容を上記演出表示装置1600に表示させる制御を行うことで、大当り判定の結果に応じた装飾図柄による変動演出がその背景描写(背景予告)や可動体動作(役物演出)などにかかる期待演出(予告演出)とともに実行されることとなる。そしてこの結果、装飾図柄による変動演出が、その背景描写や可動体動作などにかかる期待演出とともに実行された結果、大当り図柄で停止表示されると、遊技者に対して特典としての大当り遊技が実行可能とされるようになる。
このような構成では、上記装飾図柄による変動演出が「大当り判定の結果として大当りが得られているか否かを示す機能」をもった演出として供されることとなり、その背景描写や可動体動作などにかかる期待演出が「大当りが得られていることについての期待度(0%や100%を含む)を示唆する機能」をもった演出として供されることとなる。すなわち、遊技者は、これらの演出を通じて遊技を楽しむこととなる。
例えば、この実施の形態にかかるパチンコ機1では、上記変動パターン判定が行われた結果としてSPリーチ(背景変更を伴うリーチ演出など)に発展する高期待変動パターン(SPリーチ変動パターン)のうち特定の変動パターンが選択された場合は、演出判定(予告判定など)としていずれの結果が得られたとしても、該特定の変動パターンに基づく図柄演出がSPリーチ中における特定タイミングまで進展すると(所定条件が成立すると)、演出受付が許容される操作受付演出(有効期間)を発生可能としている。ただし後述するが、該操作受付演出の発生に際して出力される受付許容音は、演出判定の結果に応じてその態様が異なるようにされており、これによって操作後演出が期待度の高い態様で実行される割合や、大当り図柄が停止される割合を示唆するようにしている。
また、この実施の形態にかかるパチンコ機1では、上記変動パターン判定が行われた結果としてリーチ状態すら形成されない低期待変動パターン(非リーチ変動パターン)のうち所定の変動パターンが選択された場合であっても該所定の変動パターンに対応する演出判定(予告判定など)で特別結果が得られたときには、該所定の変動パターンに基づく図柄演出が所定タイミングまで進展すると(所定条件が成立すると)、演出受付が許容される操作受付演出(有効期間)を発生可能としている。ただし、所定の変動パターンが選択された場合は、演出判定で特別結果が得られなければ該所定の変動パターンに基づく図柄演出が所定タイミングまで進展されても操作受付演出(有効期間)は発生しない。また、所定の変動パターンで発生する操作受付演出(有効期間)は、特定の変動パターンに基づく図柄演出がSPリーチ中における特定タイミングまで進展したときに発生する操作受付演出(有効期間)とは異なる演出として実行されるものである。
なお、予告演出判定としていずれの結果が得られたとしてもSPリーチ中における予め定められたタイミングになると操作受付演出(有効期間)を発生させる変動パターンについては、上記「特定の変動パターン」以外にも備えるようにしてもよい。ただし、予告演出判定としていずれの結果が得られたとしても予め定められたタイミングになると操作受付演出(有効期間)を発生させる変動パターンについては、低期待変動パターン(非リーチ変動パターン)には含まれないようにするか、若しくはその選択割合を低くするようにすることが望ましい。
ところで、これらの条件等で発生しうる操作受付演出(有効期間)とは、その設定時間(有効期間)内で操作が検出されさえすれば、演出対象とされる演出部材に対して予め定められた変化(演出表示装置1600における表示変化、スピーカにおける演出音変化、ランプによる発光変化、及び可動装飾体による演出動作の少なくとも1つ)を発生させる操作後演出が実行されるだけであるから、操作受付演出(有効期間)これ自体の演出性は乏しいものとなっており、操作後演出が実行されるまでの遊技興趣の低下が懸念される。
そこで、この実施の形態にかかるパチンコ機1では、操作受付演出として、
・低期待変動パターン(所定の変動パターン)に基づく図柄演出(演出パターン)の実行期間中、当該変動パターン(演出パターン)に応じた「BGM再生(特定種別の演出音)」が非抑制態様で出力されているなかで操作機会を付与する低期待非抑制受付演出や
・高期待変動パターン(特定の変動パターン)に基づく図柄演出(演出パターン)の実行期間中、当該変動パターン(演出パターン)に応じた「BGM再生(特定種別の演出音)」が抑制態様または無音で出力されているか、非出力の状態(音データのうち可聴音が収録されている再生期間が終了しているか、チャンネル割り当てが終了されているなど)にされているなかで操作機会を付与する高期待抑制受付演出
を少なくとも発生可能としているなど、様々な工夫を施すようにしていることは前述した通りである(図144~図195,図207~図231)。
この点、この実施の形態にかかるパチンコ機1では、さらに、操作受付演出において表示される摸画像を、該摸画像の周縁を装飾する周縁装飾画像と一体化された一体化摸画像として表示することで、操作受付演出(有効期間)が発生したときの遊技興趣の向上を図るようにしている。このような一体化摸画像については、特定の変動パターンに基づく図柄演出がSPリーチ中における特定タイミングまで進展したときに発生する操作受付演出(有効期間)と、上記所定の変動パターンで発生する操作受付演出(有効期間)とのいずれにおいても表示されるようにすることが望ましいし、低期待非抑制受付演出と高期待抑制受付演出とのいずれにおいても表示されるようにすることが望ましい。また、上述した各演出例(図144~図195,図207~図231)についても、例示した摸画像の表示態様を、以下に説明する一体化摸画像のいずれかに置き換えて実現するようにすることが、遊技興趣の向上を図る上で望ましい。
以下、摸画像を「一体化摸画像」として表示する場合について説明する。
まず、「摸画像」について改めて説明しておくと、操作受付演出において操作機会の付与対象となる操作手段には、遊技者による操作を受ける「操作受け部」と、該操作受け部の周縁を装飾する「周縁装飾部」とが設けられている。この点、「摸画像」とは、このような操作手段のうち「操作受け部」を摸した画像のことを意味している。「操作受け部」は、通常、遊技者による操作によって変位するように設けられており、「周縁装飾部」は、非可動部材として設けられることが多いものである。例えば、図39や図40などに例示した操作手段(演出操作ユニット400)であれば、「操作受け部」がボタンレンズ411(操作ボタン410)に相当し、「周縁装飾部」がフレームユニット415に相当することとなる。また、図146や図161などに例示した操作手段(刀装飾体5001)であれば、「操作受け部」が刀部5010に相当し、「周縁装飾部」が鞘部5020に相当することとなる。
図232は、遊技者による「押圧操作」を受ける「操作受け部」が設けられた操作手段に対して操作受付演出(有効期間)が発生したときに表示される「一体化摸画像」について、その一例を示す図である。
この説明例では、説明の便宜上、刀装飾体5001の柄部5012上面に、プッシュ式の柄ボタン5014が「操作受け部」として設けられた場合を想定している。すなわち、該柄ボタン5014は、遊技者により「押圧操作」されると柄部5012内に押し込まれて所定のセンサ(検出手段)により検出され、その検出情報が演出(操作後演出の実行契機など)に供されるようになっている。このような構成によれば、操作ユニットとしての刀装飾体5001には、柄部5012に対して動作(上下動)可能な「柄ボタン5014」と、鞘部5020に対して動作(上下動)可能な「柄部5012」との2つの操作受け部が設けられることとなる。
図232では、所定の変動パターンが所定タイミングまで進展したときに柄ボタン5014に対して操作機会が付与される特定の操作受付演出(有効期間)が発生したときの「一体化摸画像」について説明することとする。ただし、図232を始めとして、以下に説明する例において、柄ボタン5014に対して操作機会を付与するときの「一体化摸画像」については、柄ボタン5014ではなく、操作ボタン410に対して操作機会が付与される操作受付演出(有効期間)が発生したときの「一体化摸画像」として適用するようにしてもよい。すなわちこの場合、上述した各演出例(図144~図195,図207~図231)において例示した「操作ボタン410を摸した摸画像」については、以下に説明する「一体化摸画像」としてそれぞれ置き換えることが可能であり、この場合、柄ボタン5014は設けられずこれが部材として割愛されることとなる。
同図232(a)~(d)に示されるように、この実施の形態にかかるパチンコ機1では、柄ボタン5014(または、操作ボタン410)に対して操作機会が付与される特定の操作受付演出(有効期間)を発生させる場合、演出表示装置1600においては、該柄ボタン5014(または、操作ボタン410)を摸したボタン摸画像BMGが、その周縁を装飾する周縁装飾画像SSGと一体化した一体化摸画像IGa~IGdとして表示される。図232(a)~(d)に示される例では、ボタン摸画像BMGと周縁装飾画像SSGとについては画像データとして個別に用意されておらず、それらが一体化された1つの画像データ(一体化摸画像IGa~IGd)としてのみ表示されるようになっている。また、一体化摸画像IGa~IGdが表示されるときには、「押せ」や「下矢印」などの操作促進表示も併せて表示されるが、説明の便宜上、ここでは割愛する。
この実施の形態にかかるパチンコ機1では、特定の操作受付演出(有効期間)で操作が受け付けられたときに実行する操作後演出として「相対的に期待度の低い第一演出態様」と「相対的に期待度の高い第二演出態様」とを含めた複数の演出態様が用意されており、大当り判定(演出判定)の結果に基づいてそれら演出態様のいずれかを実行するものとなっている。この点、図232(a)~(d)に示す例では、
・特定の操作受付演出(有効期間)において図232(a)に示される態様(一体化摸画像IGa)が現れたときよりも、図232(b)に示される態様(一体化摸画像IGb)が現れたときのほうが操作後演出として「相対的に期待度の高い第二演出態様」の出現割合が高くなるようになっており、
・特定の操作受付演出(有効期間)において図232(b)に示される態様(一体化摸画像IGb)が現れたときよりも、図232(c)に示される態様(一体化摸画像IGc)が現れたときのほうが操作後演出として「相対的に期待度の高い第二演出態様」の出現割合が高くなるようになっており、
・特定の操作受付演出(有効期間)において図232(c)に示される態様(一体化摸画像IGc)が現れたときよりも、図232(d)に示される態様(一体化摸画像IGd)が現れたときのほうが操作後演出として「相対的に期待度の高い第二演出態様」の出現割合が高くなる
といった関係性が成立するように、大当り判定(演出判定)の結果に基づいて一体化摸画像IGa~IGdのいずれかを表示するようにしている。
一体化摸画像IGa~IGdとして示した4つの態様についてはこれらの全てを必ずしも用意しなくてもよい。少なくとも2つの態様を用意するだけでも操作後演出としての期待度を有効期間内において示唆することは可能である。また、上記4つの態様(一体化摸画像IGa~IGd)とは異なる態様をさらに用意し、それら用意した態様のいずれかを表示するようにしてもよい。
このように、この実施の形態にかかるパチンコ機1では、
・遊技者による操作によって変位する操作受け部(柄ボタン5014、または操作ボタン410)、及びその周縁に設けられる周縁装飾部(柄部5012,フレームユニット415)を有する操作手段(刀装飾体5001,演出操作ユニット400)と、
・操作受け部を摸した摸画像を、該摸画像の周縁を装飾する周縁装飾画像と一体化された一体化摸画像IGa~IGdとして表示する一体化摸画像表示手段と、
・一体化摸画像が表示されているときに遊技者による操作が行われて操作受け部に所定変位が生じると表示変化(操作後演出)を生じさせうる操作受付実行手段と
を備えており、一体化摸画像は、複数態様(一体化摸画像IGa~IGd)のいずれかで表示されうるものとなっている。
図232(a)~(d)に示される「一体化摸画像」についての詳細を、それら態様(一体化摸画像IGa~IGd)の別に説明する。
まず、図232(a)に示される「一体化摸画像IGa」は、通常ボタン摸画像BMGaと、その周縁を装飾する通常周縁装飾画像SSGaとを有して構成されている。ただし、「一体化摸画像IGa」にあっては、通常ボタン摸画像BMGaが「操作機会の付与される対象である柄ボタン5014(または、操作ボタン410)を摸した画像」として表示されるものであるのに対し、通常周縁装飾画像SSGaは、「操作機会の付与される対象である柄ボタン5014(または、操作ボタン410)の周縁に実際に設けられる周縁装飾部(柄部5012、またはフレームユニット415)を摸しておらず、演出表示装置1600での表示演出上における仮想的な装飾として通常ボタン摸画像BMGaの周縁を装飾するものとなっている。
このような構成によれば、まず、操作手段が複数設けられている場合であってもそれら操作手段のいずれに対して操作機会が付与されているかについては、操作対象となっている操作手段(の一部)を摸した通常ボタン摸画像BMGaを視認することによって容易に認識することが可能である。しかも、通常ボタン摸画像BMGaこれ自体が、実在する周縁装飾部ではなく、装飾性や演出性の向上を図る上で好ましい周縁装飾画像と一体化された豪華且つ大型の画像(一体化摸画像IGa)として表示されるようになることから、該通常ボタン摸画像BMGaが表示されたときの演出的インパクトが大きくなり、遊技興趣の向上を図ることが期待されるようになる。また、実在する周縁装飾部を豪華にするためのコストや設置スペースに悩むこともないし、実在する周縁装飾部の形状に捉われない自由度の高い演出性を実現することが可能とされるようになる。
図232(a)に示される「一体化摸画像IGa」にあっては、通常周縁装飾画像SSGaは、ボタン(通常ボタン摸画像BMGa)設置用の台座として表現されており、その上面には、危険度の高いボタンであることを警告するような所定装飾が施されたものとなっている。上述の通り、これらの「台座」や「所定装飾」は、実在する周縁装飾部とは異なる形状であり且つ異なる装飾として表現されるものとなっている。
この点、この実施の形態にかかる「一体化摸画像IGa」では、このような通常周縁装飾画像SSGaに対し、ゲージ画像(所定画像)GGの表示対象領域を設けることとしている。図233などを参照して後述するが、ゲージ画像(所定画像)GGは、該表示対象領域内での表示面積を時間経過に応じて減少させるように表示可能とされるものである。より具体的には、ゲージ画像(所定画像)GGは、有効期間内で操作受付がなされないとき、予め定められた最大値の表示面積から、予め定められた最小値(「0」も含む)の表示面積になるまで時間経過に応じて減少するように表示される。すなわちこの場合、通常周縁装飾画像SSGaは、操作対象とされている操作手段を示唆する機能を担うことはもとより、操作受付が許容される状態(有効期間)が終了されるまでの残り時間を示唆する残り時間示唆機能をも担うこととなる。
図232(a)に示される通常周縁装飾画像SSGaにおいては、ゲージ画像(所定画像)GGの表示対象領域を、当該通常周縁装飾画像SSGa内の他領域と区画する区画画像KGが設けられている。この区画画像KGに囲まれた領域が「ゲージ画像(所定画像)GGの表示対象領域」として機能することとなる。ただし、該区画画像KGについては必ずしも表示しなくてもよく、通常周縁装飾画像SSGa内の所定範囲を「ゲージ画像(所定画像)GGの表示対象領域」とするようにしてもよい。
また、図232(a)に示される例では、ゲージ画像(所定画像)GGの表示対象領域内には所定装飾(ここでは「白と黒の縞々模様」)が施されるようになっており、該所定装飾が施された表示対象領域に対して、所定の透過率を有したゲージ画像(ここでは、「灰色」のゲージ画像)GGが重なるかたちで表示されている。このような構成によれば、ゲージ画像(所定画像)GGが表示される部分においても所定装飾が非表示とされず視認可能とされるようになることから、ゲージ画像GGが満タンの状態から空の状態になるまでの全期間にわたって遊技興趣を好適に維持することができるようになる。
なお、ゲージ画像(所定画像)GGの表示対象領域内におけるこのような表示態様を実現する場合、所定装飾が施された表示対象領域に対して、所定の透過率を有したゲージ画像GGを重ねて表示する手法のほか、所定装飾が施された表示対象領域これ自体の色をゲージがある部分とゲージがない部分とで変化させて表示する手法を採用するようにしてもよい。この場合、ゲージ画像GGこれ自体は画像データとして単体で存在することはなく、表示対象領域内における所定装飾の色変化だけでゲージ画像GGを表現することができるようになる。
また、図232(a)に示される例では、ゲージ画像(所定画像)GGの表示対象領域内に施されている所定装飾(ここでは「白と黒の縞々模様」)を、当該通常周縁装飾画像SSGa内の他領域にも跨るかたちで施されるものとするようにしていることから、ゲージ画像(所定画像)GGの表示対象領域これ自体の一体化装飾性をより一層高めることができるようになり、「一体化摸画像IGa」が表示されたときの遊技興趣の向上が図られることがより好適に期待される。
また、図232(a)に示されるように、演出表示装置1600において「一体化摸画像IGa」が表示される特定の操作受付演出(有効期間)が発生したときには、操作対象とされる柄ボタン5014(または、操作ボタン410)を、「一体化摸画像IGa」内の通常ボタン摸画像BMGaと同じ色(例えば「青色」)で発光させるようにしている。すなわち後述するが、ボタン摸画像BMGには、期待度の異なる複数態様が用意されており、それら態様の1つとして通常ボタン摸画像BMGaが表示されている状態にあるが、このような発光態様を採用すれば、該通常ボタン摸画像BMGaを視認せずとも、操作対象である柄ボタン5014を確認するだけでボタン摸画像BMGとしての態様(期待度)を認識することができるようになる。
「ボタン摸画像BMGa(図232(a))」については、操作対象とされる柄ボタン5014(または、操作ボタン410)を必ずしも正確に摸したものでなくてもよく、要は、操作対象がいずれの操作手段であるのかを認識できる程度の模写レベル(デフォルメなど)をもって表示されるものであればよい。
これに対し、図232(b)に示される「一体化摸画像IGb」も、基本的には、上述した「一体化摸画像IGa」と同じであり、操作対象を摸したボタン摸画像BMGと、その周縁を装飾する周縁装飾画像SSGとが一体化された画像として構成されている。ただし、該「一体化摸画像IGb」では、周縁装飾画像SSGについては、上述した「通常周縁装飾画像SSGa」と同じものとして表示されるが、ボタン摸画像BMGについては、上述した「ボタン摸画像BMGa」ではなくこれとは異なる形状を持った「特別ボタン摸画像BMGb」として表示されるものとなっている。
より具体的には、図232(b)に示される「一体化摸画像IGb」にあっては、特別ボタン摸画像BMGbが、操作対象とされる柄ボタン5014(または、操作ボタン410)を摸しておらず、柄ボタン5014(または、操作ボタン410)を摸した「ボタン摸画像BMGa(図232(a))」とは異なる形状を持った画像として表示されるものとなっている。ただし、このような表示手法を単純に採用した場合、「一体化摸画像IGb」が表示されたときに、複数の操作手段のいずれが操作対象になっているかを認識し難くなる懸念がある。
ただし上述の通り、「一体化摸画像IGa」では、操作対象である柄ボタン5014(または、操作ボタン410)を摸した「ボタン摸画像BMGa」が「通常周縁装飾画像SSGa」と一体化して表示されるものとなっていることから、「通常周縁装飾画像SSGa」これ自体も柄ボタン5014(または、操作ボタン410)が操作対象であることを示唆する機能を自ずと持つようになる。この点、「一体化摸画像IGb」では、「特別ボタン摸画像BMGb」を、このような「通常周縁装飾画像SSGa」と一体化させて表示するようにしていることから、「特別ボタン摸画像BMGb」が操作対象を適正に摸していないとしても、当該「一体化摸画像IGb」全体としては、柄ボタン5014(または、操作ボタン410)が操作対象になっていることを示唆することができるようになる。このような作用効果(通常周縁装飾画像SSGaによる操作対象の示唆機能)を好適に得る上では、「通常周縁装飾画像SSGa」については、柄ボタン5014(または、操作ボタン410)とは異なる操作手段(柄部5012など)が操作対象になっているときには表示されないようにすることが重要であると言える。
このような構成によれば、操作受け部を摸したボタン摸画像BMGと、その周縁を装飾する周縁装飾画像SSGとを一体化させた一体化摸画像として表示するようにしたことで、該一体化摸画像の一部でしかないボタン摸画像BMGを、操作対象とされる操作手段の形状に必ずしも捉われないより自由度の高い表現方法で表示することができるようになり、より際立った演出性・装飾性によって遊技興趣の向上を図ることが期待されるようになる。
なお、図232(b)に例示した「特別ボタン摸画像BMGb」では、流線形のある形状を持ったボタンとして「ボタン摸画像BMGa」よりもスタイリッシュなデザインで描写されており、且つその頂部に「DANGER」といった文言が施されるものとなっている。このようなパチンコ機1の部品として実在しない「特別ボタン摸画像BMGb」が現れることで、遊技者に対してプレミアム感を覚えやすくすることができるようになり、「ボタン摸画像BMGa」が現れたときよりも期待度が高いことを本能的に感じ取らせることが期待されるようになる。
また、図232(b)に示されるように、演出表示装置1600において「一体化摸画像IGb」が表示される特定の操作受付演出(有効期間)が発生したときにも、操作対象とされる柄ボタン5014(または、操作ボタン410)を、「一体化摸画像IGb」内の特別ボタン摸画像BMGbと同じ色(例えば「赤色」)で発光させるようにしている。すなわち、操作対象とされる柄ボタン5014(または、操作ボタン410)では、「一体化摸画像IG」内のボタン摸画像BMGの種別に応じた態様で発光可能とされており、これによってボタン摸画像BMGを視認せずとも、操作対象である柄ボタン5014を確認するだけでボタン摸画像BMGとしての態様(期待度)を認識することができるようになる。
一方、図232(c)に示される「一体化摸画像IGc」も、基本的には、上述した「一体化摸画像IGa」と同じであり、操作対象を摸したボタン摸画像BMGと、その周縁を装飾する周縁装飾画像SSGとが一体化された画像として構成されている。ただし、該「一体化摸画像IGc」では、ボタン摸画像BMGについては、上述した「通常ボタン摸画像BMGa」と同じものとして表示されるが、周縁装飾画像SSGについては、上述した「通常周縁装飾画像SSGa」ではなくこれとは異なる形状を持った「特別周縁装飾画像SSGb」として表示されるものとなっている。
ただし、「特別周縁装飾画像SSGb」も、以下の各点においては「通常周縁装飾画像SSGa」と同様である。
・「操作機会の付与される対象である柄ボタン5014(または、操作ボタン410)の周縁に実際に設けられる周縁装飾部(柄部5012、またはフレームユニット415)を摸しておらず、演出表示装置1600での表示演出上における仮想的な装飾としてボタン摸画像BMGの周縁を装飾する。
・ゲージ画像(所定画像)GGの表示対象領域が設けられている。
このような「一体化摸画像IGc(図232(c))」によれば、「一体化摸画像IGa(図232(a))」を基準としたときに、いずれの操作手段に対して操作機会が付与されるかを示唆する「ボタン摸画像BMG」に形状変化を生じさせることなく、当該「一体化摸画像IGc(図232(c))」これ全体としての形状を大きく変化させることができるようになる。これにより、操作対象の示唆機能を犠牲にすることなく、形状変化を生じさせることによる自由度の高い装飾性・演出性を実現することができるようになる。
また、この実施の形態にかかる「特別周縁装飾画像SSGb(図232(c))」では、その少なくとも一部が「通常周縁装飾画像SSGa(図232(a))」と同じ装飾をもった画像として表示されるものとなっている。したがって、「一体化摸画像IGa(図232(a))」が現れた場合と、「一体化摸画像IGc(図232(c))」が現れた場合とで、同じ操作後演出を対象とした特定の操作受付演出(有効期間)であることを示唆することができるようになる。
特に、この実施の形態にかかる「特別周縁装飾画像SSGb(図232(c))」では、「通常周縁装飾画像SSGa(図232(a))」に対して特別装飾を持った別部材が付加され、拡張されるかたちでその全体が大型化された画像として表示されるものとなっている。したがって、「特別周縁装飾画像SSGb」が、「通常周縁装飾画像SSGa」の発展型として表示されたものであることを認識し易くなり、「ボタン摸画像BMGa」が現れたときよりも期待度が高いことを本能的に感じ取らせることが期待されるようになる。
また、「特別周縁装飾画像SSGb(図232(c))」では、「通常周縁装飾画像SSGa(図232(a))」と異なる形状・装飾を有するものであるが、ゲージ画像(所定画像)GGの表示対象領域これ自体には何らの変化も生じさせないようにしている。
すなわち、このような一体化摸画像IGの一部分をゲージ画像GGの表示対象領域として用いるようにした場合、該表示対象領域やゲージ画像が「単なる装飾の一部」でしかないのか、それとも「残り時間を示唆する機能を有した部分」であるのか、を遊技者側が見分けることは困難である。この点、「通常周縁装飾画像SSGa(図232(a))」と「特別周縁装飾画像SSGb(図232(c))」とでは、「残り時間を示唆する」といった重要な機能を担ったゲージ画像(所定画像)GGの表示対象領域についてはこれを形状変更させず、それ以外の部分に形状変更を生じさせるようにしたことから、残り時間の示唆機能を犠牲にすることなく、形状変化を生じさせることによる自由度の高い装飾性・演出性を実現することができるようになる。
また、図232(c)に示されるように、演出表示装置1600において「一体化摸画像IGc」が表示される特定の操作受付演出(有効期間)が発生したときにも、操作対象とされる柄ボタン5014(または、操作ボタン410)を、「一体化摸画像IGc」内の通常ボタン摸画像BMGaと同じ色(例えば「青色」)で発光させるようにしている。すなわち、操作対象とされる柄ボタン5014(または、操作ボタン410)では、「一体化摸画像IG」内のボタン摸画像BMGの種別に応じた態様で発光可能とされており、これによってボタン摸画像BMGを視認せずとも、操作対象である柄ボタン5014を確認するだけでボタン摸画像BMGとしての態様(期待度)を認識することができるようになる。ただし、「一体化摸画像IGc」が表示されたときの通常ボタン摸画像BMGaについては、「一体化摸画像IGa」が表示されたときとは異なる色(例えば、「緑色」)で表示するようにしてもよい。この場合、柄ボタン5014(または、操作ボタン410)も緑色で発光することとなる。
一方、図232(d)に示される「一体化摸画像IGd」も、基本的には、上述した「一体化摸画像IGa」と同じであり、操作対象を摸したボタン摸画像BMGと、その周縁を装飾する周縁装飾画像SSGとが一体化された画像として構成されている。ただし、該「一体化摸画像IGd」では、ボタン摸画像BMGについては、上述した「通常ボタン摸画像BMGa」ではなく、これとは異なる形状を持った「特別ボタン摸画像BMGb」として表示されており、周縁装飾画像SSGについても、上述した「通常周縁装飾画像SSGa」ではなくこれとは異なる形状を持った「特別周縁装飾画像SSGb」として表示されるものとなっている。
すなわち、「一体化摸画像IGd(図232(d))」では、「一体化摸画像IGb(図232(b))」で用いられる「特別ボタン摸画像BMGb」と、「一体化摸画像IGc(図232(c))」で用いられる「特別周縁装飾画像SSGb」とが一体化された画像として表示されるものとなっている。このような構成によれば、「一体化摸画像IGb(図232(b))」に関して上述した「特別ボタン摸画像BMGb」によって奏される作用効果と、「一体化摸画像IGc(図232(c))」に関して上述した「特別周縁装飾画像SSGb」によって奏される作用効果とがそれぞれ得られることはもとより、「一体化摸画像IGa(図232(a))」を基準としたときに、ボタン摸画像BMGと周縁装飾画像SSGとの両方の態様が変更されるようになることから、期待度が高いことを本能的に感じ取らせることが期待されるようになる。
その一方で、ボタン摸画像BMG及び周縁装飾画像SSGを両方ともそれらの態様を変更するようにしつつも、周縁装飾画像SSGにおける一部領域では同じ装飾や形状が現れるようになっていることから、「一体化摸画像IGa(図232(a))」が現れた場合と、「一体化摸画像IGd(図232(d))」が現れた場合とで、同じ操作後演出を対象とした特定の操作受付演出(有効期間)であることを示唆することができるようになる。
また、図232(d)に示されるように、演出表示装置1600において「一体化摸画像IGd」が表示される特定の操作受付演出(有効期間)が発生したときにも、操作対象とされる柄ボタン5014(または、操作ボタン410)を、「一体化摸画像IGd」内の特別ボタン摸画像BMGbと同じ色(例えば「赤色」)で発光させるようにしている。すなわち、操作対象とされる柄ボタン5014(または、操作ボタン410)では、「一体化摸画像IG」内のボタン摸画像BMGの種別に応じた態様で発光可能とされており、これによってボタン摸画像BMGを視認せずとも、操作対象である柄ボタン5014を確認するだけでボタン摸画像BMGとしての態様(期待度)を認識することができるようになる。ただし、「一体化摸画像IGd」が表示されたときの特別ボタン摸画像BMGbについては、「一体化摸画像IGb」が表示されたときとは異なる色(例えば、「レインボー色」)で表示するようにしてもよい。この場合、柄ボタン5014(または、操作ボタン410)もレインボー色で発光することとなる。
図232(a)~(d)に示したように、この実施の形態にかかるパチンコ機1では、所定の変動パターンに基づく図柄演出が所定タイミングまで進展して所定の操作受付演出(有効期間)が発生する場合、ボタン摸画像BMG及び周縁装飾画像SSGが一体化された一体化摸画像IGを表示するものであるが、ボタン摸画像BMG及び周縁装飾画像SSGの一方側が一の態様で表示されるときに他方側は複数態様のいずれかで表示されうるようにしている。例えば、ボタン摸画像BMGが「通常ボタン摸画像BMGa」として表示されるときに、周縁装飾画像SSGは、「通常周縁装飾画像SSGa」及び「特別周縁装飾画像SSGb」のいずれかで表示されうる(図232(a),(c))。また、ボタン摸画像BMGが「特別ボタン摸画像BMGb」として表示されるときに、周縁装飾画像SSGは、「通常周縁装飾画像SSGa」及び「特別周縁装飾画像SSGb」のいずれかで表示されうる(図232(b),(d))。また、周縁装飾画像SSGが「通常周縁装飾画像SSGa」として表示されるときに、ボタン摸画像BMGは、「通常ボタン摸画像BMGa」及び「特別ボタン摸画像BMGb」のいずれかで表示されうる(図232(a),(b))。また、周縁装飾画像SSGが「特別周縁装飾画像SSGb」として表示されるときに、ボタン摸画像BMGは、「通常ボタン摸画像BMGa」及び「特別ボタン摸画像BMGb」のいずれかで表示されうる(図232(a),(b))。
このような構成によれば、ボタン摸画像BMG及び周縁装飾画像SSGは一体化されて表示されるものであるにもかかわらず、態様が変化するときにはその片側のみとされるようになる。したがって、態様が変化していない一方側を見れば、他方側がいずれの態様で表示されていたとしても、所定の操作受付演出(有効期間)が発生している状態にあることを容易に認識可能であるし、態様が変化している他方側を見ることで期待度についても好適に認識することができるようになる。なお、ボタン摸画像BMG及び周縁装飾画像SSGの一方側は態様が変化されず、他方側のみ態様が変化されうるようにしてもよい。
また、図232(a)~(d)に示した一体化摸画像IGにあって、周縁装飾画像SSGには、ゲージ画像(所定画像)GGの表示対象領域が含まれている。そして、操作受付演出(有効期間)において一体化摸画像IGが表示される場合、ゲージ画像(所定画像)GGは、その表示対象領域内での表示面積を時間経過に応じて減少させるように表示可能とされている。すなわちこの場合、「周縁装飾画像SSG」は、操作受付が許容される状態が終了されるまでの残り時間を示唆する残り時間示唆機能を担うこととなり、操作対象がいずれの操作手段であるのかを示唆する機能を担う「ボタン摸画像BMG」と一体化された一体化摸画像IGとして表示されることで、残り時間や操作対象を把握しつつさらには複数態様のいずれが現れたかを認識することができるようになるなど、操作受付演出(有効期間)が発生しているときの遊技興趣を好適に維持することが期待されるようになる。
また、図232(a)~(d)に示した一体化摸画像IGにあって、周縁装飾画像SSGには、ゲージ画像(所定画像)GGの表示対象領域と、ゲージ画像(所定画像)GGの非表示領域とが含まれている(残り時間示唆機能を有する部分と、残り時間示唆機能を有しない部分との両方がある)。すなわち、周縁装飾画像SSGは、操作受付演出(有効期間)の残り時間を示唆することのみを目的としたものではなく、ゲージ画像(所定画像)GGが表示されない部分では「ボタン摸画像BMGの装飾性を高めること」を目的とした表示態様を積極的に採用することが可能であることから、残り時間を示唆するようにしつつも、重要演出である操作受付演出が発生したときの演出性を著しく向上させることができるようになる。このような作用効果を得る上では、ゲージ画像(所定画像)GGの表示対象領域よりも、ゲージ画像(所定画像)GGの非表示領域のほうが大きな領域として表示されるようにすることがより望ましいと言える。
また、図232(a)~(d)に示した一体化摸画像IGでは、周縁装飾画像SSGが一の態様で表示されるときにボタン摸画像BMGが複数態様のいずれかで表示されうるようにしたが、実体としても、周縁装飾部である「柄部5012」が一の態様であるときに、操作受け部である柄ボタン5014(または、操作ボタン410)が複数態様(複数の発光色)のいずれかに変化するようにしている。したがって、ボタン摸画像BMGが変化したときには、その模写対象である柄ボタン5014(または、操作ボタン410)を確認するだけでもそれを確認することができるようになる。
また、図232(a)~(d)に示した一体化摸画像IGでは、ボタン摸画像BMGが一の態様で表示されるときに周縁装飾画像SSGが複数態様のいずれかで表示されうるようにしたが、実体としては、周縁装飾部である「柄部5012」が複数態様のいずれかに変化することはないようになっている。すなわち上述の通り、周縁装飾画像SSGは、パチンコ機1の部品として実在しない仮想的な装飾としてボタン摸画像BMGの周縁を装飾するものとなっている。したがって、周縁装飾画像SSGは、周縁装飾部である「柄部5012」の態様に合わせる必要がなく、演出を盛り上げる上で好ましい多彩な描写を行うことができるようになる。なお、周縁装飾部である「柄部5012」については、非発光とされるなど、複数の態様にそもそも変化し得ないものとして設けられるものであってもよい。
また、図232(a)~(d)に示した一体化摸画像IGでは、ボタン摸画像BMGと周縁装飾画像SSGとの両方の態様が変化する場合(図232(d))もあるようにしているが、実体としては、周縁装飾部である「柄部5012」が一の態様であるときにボタン摸画像BMGと周縁装飾画像SSGとの両方の態様が変化するようにすることが望ましい。
周縁装飾画像SSGが「通常周縁装飾画像SSGa」である場合と、周縁装飾画像SSGが「特別周縁装飾画像SSGb」である場合とで、周縁装飾部である「柄部5012」において異なる態様が現れるようにしてもよい。ただし、周縁装飾画像SSGは「通常周縁装飾画像SSGa」である場合と、周縁装飾画像SSGが「特別周縁装飾画像SSGb」である場合とで少なくとも形状が変化しているのに対し、周縁装飾部である「柄部5012」においては形状変化を伴わない態様変化(例えば、発光態様の変化など)を生じさせるに留まらせるようにすることが望ましい。周縁装飾部についてはそもそも形状変化が不可能なものとして設けるようにすることが、周縁装飾画像SSGによる仮想的な演出機能を際立たせる上で望ましいと言える。
また後述するが、この実施の形態にかかるパチンコ機1では、摸画像としては、柄ボタン5014(または、操作ボタン410)を摸したボタン摸画像BMGのほか、柄部5012を摸した柄摸画像TMGを用意しており、それら摸画像のいずれが表示されるかに応じて周縁装飾画像SSGとしての形態を異ならせるようにしている。すなわちこの場合、ボタン摸画像BMGの周縁を装飾する周縁装飾画像SSGa,bについては、ボタン摸画像BMGとは異なる摸画像が表示されるときには表示され得ないものとなっていることから、該周縁装飾画像SSGa,bこれ自体にも「操作対象がいずれの操作手段であるのかを示唆する機能」を期待することができるようになる。
なお、摸画像の形態(ボタン摸画像BMG,柄摸画像TMG)に応じて周縁装飾画像SSGとしての形態が異なる場合、周縁装飾画像に含まれるゲージ画像(所定画像)GGとしての形態(太さ、長さ)も異ならせるようにすることが望ましい。ボタン摸画像BMGが表示される操作受付演出と、柄摸画像TMGが表示される操作受付演出とは、同じ変動パターン内の同じタイミングで発生する演出(演出判定に応じていずれが発生するか選択されるもの)であってもよいし、異なる変動パターンや異なるタイミングで発生する演出であってもよい。ボタン摸画像BMGであるときに現れる周縁装飾画像SSGは、周縁装飾部を摸したものではなく、且つ柄摸画像TMGであるときに現れる周縁装飾画像SSGは、周縁装飾部を摸したものであってもよい。ただし、ゲージ画像(所定画像)GGとしての形態(太さ、長さ)が異なっていても、操作受付演出(有効期間)としての設定時間は同じ場合もあるようにすることが望ましい。
また、図232(a)~(d)に示した一体化摸画像IGにあって、ゲージ画像(所定画像)GGの表示対象領域と、周縁装飾画像SSG内における他領域とには、それら領域に跨る所定装飾(ここでは「縞々模様」)が施されており、ゲージ画像(所定画像)GGは、該所定装飾に重なるかたちで表示されるようにしている。すなわちこの場合、ゲージ画像(所定画像)GGの表示面積が減少していくにつれて、露わにされた所定装飾の表示面積が拡大していくようになることから、遊技興趣の向上を図ることができるようになる。
特に、この実施の形態では、所定装飾が施された表示対象領域に対して、所定の透過率を有したゲージ画像(ここでは、「灰色」のゲージ画像)GGを重ねるかたちで表示するようにしている。このような構成によれば、ゲージ画像(所定画像)GGが表示される部分においても所定装飾が非表示とされず視認可能とされるようになることから、ゲージ画像GGが満タンの状態から空の状態になるまでの全期間にわたって遊技興趣を好適に維持することができるようになる。
ただし、該所定装飾については、ゲージ画像(所定画像)GGの表示対象領域において必ずしも表示するようにしなくてもよい。また、ゲージ画像(所定画像)GGこれ自体が所定装飾を有する(兼ねる)ものであってもよく、この場合、ゲージ画像(所定画像)GGの表示面積が減少していくにつれて所定装飾の表示面積も減少するようになることから、所定装飾が減少することを嫌う遊技者に対して早期に操作を行うことが促されるようになる。
また、図232(a)~(d)に示した一体化摸画像IGにあっては、周縁装飾画像SSGが、操作対象とされる操作受け部(柄ボタン5014、または操作ボタン410)の周縁に設けられる周縁装飾部(柄部5012、またはフレームユニット415)を摸しておらず、遊技機部品としての実体のない物体を表現した画像となっている。したがって、遊技機部品としての実体に捉われない、より自由度の高い装飾性・演出性を実現することができるようになる。
また、図232(a)~(d)に示した一体化摸画像IGでは、ボタン摸画像BMGと周縁装飾画像SSGとのうち、少なくとも周縁装飾画像SSGには複数形状があるようにしている。すなわちこの場合、ボタン摸画像BMGを形状変更させることなく、実体のない物体を表現した周縁装飾画像SSGのみを形状変更させることができるようになることから、複数の操作手段のいずれが操作対象になっているかを適正に示唆するようにしつつ、一体化摸画像IGとしての形状を異ならせてより演出性・装飾性の高い表示を実現することができるようになる。
周縁装飾画像SSGについては、ボタン摸画像BMGが一の態様にあるときに形状を必ずしも変化させず、色のみを変化させるようにしてもよい。ただし、形状変化が許容されるのは、周縁装飾画像SSGが実体のない物体を表現したものであることと、周縁装飾画像SSGが、ボタン摸画像BMGと一体化された画像として表示されるからこそであり、このような意味では周縁装飾画像SSGの形状を変化させることには大きな技術的価値があると言える。
なお、図232(a)~(d)に示した一体化摸画像IGにあって、周縁装飾画像SSGについては、その形態を大型化させるかたちで変更させることとした。後述するが、このような形態変更の手法としては、画像として表現している物体の数(飾りの数など)を増加させる手法や、輪郭形状(直方体、球体など)が異なる複数態様のいずれかで表示されるものや、画像として表現している所定物体のうち表示される対象範囲が広がったりする手法などを採用することが可能である。また、これも後述するが、周縁装飾画像SSGの形態変化については、前兆演出として、期待度の低い形態から期待度の高い形態へと段階的に変化させる演出を実行し、その後、最終的に変更された形態が維持されているもとで操作受付演出での操作受付が許容されるようにしてもよい。
また、図232(a)~(d)に示した一体化摸画像IGでは、周縁装飾画像SSGがいずれの形態で表示される場合であっても、該周縁装飾画像SSGに含まれるゲージ画像(所定画像)GGの表示対象領域については変更(少なくとも形状は変更)させず同じ形態として表示されるようにしている。したがって、周縁装飾画像SSGとしての形態に変化が生じたとしても、残り時間がどれだけ残っているかについての示唆機能についてはこれを好適に維持することが可能であり、こうして重要な機能についてはこれを保持しているもとで、ゲージ画像(所定画像)GGの表示対象領域とは異なる他領域での形状変化によって期待度をも示唆することができるようになる。
上述した各作用効果のいずれを奏することを目的とするかによっては、周縁装飾画像SSGについては、実体のない物体を必ずしも表現するものでなくてもよく、操作受け部の周縁に設けられる周縁装飾部を摸した画像として表示されるものであってもよい。
また、図232(a)~(d)に示した一体化摸画像IGは、所定の操作受付演出などの「操作受付が許容される有効期間」中においては動的表示されうるものとなっており、これによって遊技者に対して操作を促すようにしている。
ただし、この実施の形態にかかる一体化摸画像IGでは、ボタン摸画像BMG及び周縁装飾画像SSGが一体化されて表示されるものであるにもかかわらず、ボタン摸画像BMG及び周縁装飾画像SSGの一方側のみが動的表示され、他方側は動かないように表示されるようにしている。このような構成によれば、一方側では動的な表現によって重要演出であるボタン演出が発生したときの演出性を向上させるのに寄与するようにしつつも、他方側がその場に留まるように表示されることによって一体化摸画像IGを全体として見たときには移動表示されることがないため、視認性を好適に確保することができるようになる。
図232(a)~(d)に示した一体化摸画像IGでは、操作機会が付与されている操作受け部がその可動範囲で変位する様子が描写されるようにボタン摸画像BMGを動的表示し、周縁装飾画像SSGについてはこれを動的表示しないようにしている。そして、動的表示されない側(周縁装飾画像SSG)に、ゲージ画像(所定画像)GGの表示対象領域を設けることとし、一体化摸画像IGが表示される場合、該ゲージ画像(所定画像)GGは、その表示対象領域内での表示面積を時間経過に応じて減少させるように表示可能としている。
このように、一体化摸画像IGのうち好適な視認性を確保した側(動的表示されない側である周縁装飾画像SSG)にゲージ画像(所定画像)GGの表示対象領域が含まれるようにすることで、重要演出である操作受付演出が発生したときの演出性についてはこれをボタン摸画像BMGによる動的表示によって向上させるようにしつつも、演出受付が許容される残り時間がどれだけあるのかを容易に認識させることができるようになる。
また、一体化摸画像IGのうち好適な視認性を確保した側(動的表示されない側である周縁装飾画像SSG)には、ゲージ画像(所定画像)GGの表示対象領域のほか、ゲージ画像(所定画像)GGが表示されない領域も含まれるようになっている。すなわちこの場合、一体化摸画像IGのうち好適な視認性を確保した側で期待度を示唆する演出を行うにあたり、該演出を、ゲージ画像(所定画像)GGが表示されない領域で行うようにすることで、ゲージ画像(所定画像)GGの表示対象領域に対して悪影響を及ぼすことがないようにすることができるようになる。
周縁装飾画像SSGのうちゲージ画像(所定画像)GGの表示対象領域とは異なる領域や、周縁装飾画像SSGこれ自体の形状や、ボタン摸画像BMGに、期待度の異なる複数態様を持たせ、それら態様のいずれかを大当り判定(演出判定)の結果に基づいて表示させるようにしたが、ゲージ画像(所定画像)GGの表示対象領域や、ゲージ画像(所定画像)GGこれ自体に期待度の異なる複数態様を持たせ、それら態様のいずれかを大当り判定(演出判定)の結果に基づいて表示させるようにしてもよい。
ところで、図232(a)~(d)に示したように、ボタン摸画像BMGを、その周縁を装飾する周縁装飾画像SSGと一体化させた一体化摸画像IGとして表示する場合であって、且つ周縁装飾画像SSGには、ゲージ画像(所定画像)GGの表示対象領域が含まれるようにした場合は、ゲージ画像(所定画像)GGが周縁装飾画像SSG内の単なる装飾や模様でしかないのか、それとも残り時間を示唆する機能を有するものであるのかを把握し難くなることが懸念される。また、周縁装飾画像SSGに施されている装飾や模様と混在することによってゲージ画像(所定画像)GGがどの位置まで減少しているのかを把握し難くなることによる遊技興趣の低下が懸念される。
そこで、この実施の形態にかかるパチンコ機1(周辺制御部1511)では、少なくともゲージ画像(所定画像)GGの表示面積が減少されている状況(有効期間内)にあるときは、該ゲージ画像(所定画像)GGが表示されうる表示対象領域において、該ゲージ画像(所定画像)GGとは異なる画像、または該ゲージ画像(所定画像)GGの態様が一部変化された画像を表示可能としている。
より具体的には、「ゲージ画像(所定画像)GGとは異なる特定画像、または該ゲージ画像(所定画像)GGの態様が一部変化された特定画像」を、ゲージ画像(所定画像)GGの表示対象領域内のうち該ゲージ画像(所定画像)GGの末端部またはその近傍において表示する。そして、該ゲージ画像(所定画像)GGの表示面積が減少するときの当該ゲージ画像(所定画像)GGの末端部の変位に合わせて、「ゲージ画像(所定画像)GGとは異なる特定画像、または該ゲージ画像(所定画像)GGの態様が一部変化された特定画像」の表示位置も同じように変位するように表示させることとしている。
このような構成によれば、「ゲージ画像(所定画像)GGとは異なる特定画像、または該ゲージ画像(所定画像)GGの態様が一部変化された特定画像」が予め定められた位置まで変位すると有効期間が終了するようになることから、ゲージ画像(所定画像)GGこれ自体が単なる装飾なのか、残り時間を示唆するものなのかを認識できなかったとしても、該「特定画像」の位置を確認することで残り時間を認識することができるようになる。この意味では、このような「特定画像」を表示する場合は、ゲージ画像(所定画像)GGについてはこれを必ずしも表示しなくてもよいと言える。
図233は、操作受付が許容される有効期間が開始されてから終了されるまでの一体化摸画像IGについての表示例を示す図である。
図233に示されるように、いま、所定の変動パターン内において、操作受付が許容される有効期間(所定の操作受付演出)が開始されるタイミングA0が到来したとすると、演出表示装置1600においては、一体化摸画像IGや、「押せ!」、「下向き矢印」などの操作促進画像が表示される。
この例では、一体化摸画像IGとして、図232(a)に示した態様(一体化摸画像IGa)を表示することとしているが、演出判定の結果に基づいて図232(b)~(d)に示した態様のいずれかで表示するようにしてもよい。いずれの態様で一体化摸画像IGが表示された場合であっても、当該有効期間内におけるゲージ画像(所定画像)GGの表示や、「ゲージ画像(所定画像)GGとは異なる特定画像、または該ゲージ画像(所定画像)GGの態様が一部変化された特定画像」の表示は、時間経過に応じて以下に説明する態様での変化を生じさせることとなる。
図233(a)に示されるように、まず、タイミングA0(有効期間の開始タイミング)にあるときの一体化摸画像IGでは、ゲージ画像(所定画像)GGがその表示対象領域の全領域で表示されることとなる。このような満タンの態様でゲージ画像(所定画像)GGが表示されることで、有効期間が開始されたばかりの状況にあることを認識することができるようになる。
この点、図233(a)に示される例では、有効期間の開始タイミングであるタイミングA0においては、「ゲージ画像(所定画像)GGとは異なる特定画像、または該ゲージ画像(所定画像)GGの態様が一部変化された特定画像」が、ゲージ画像(所定画像)GGの表示対象領域内で表示されない。このような構成によれば、「ゲージ画像(所定画像)GGとは異なる特定画像、または該ゲージ画像(所定画像)GGの態様が一部変化された特定画像」が表示されているか否かを確認するだけで、操作受付が許容されてから既に所定時間が経過している状況(残り股間が減少している状況)にあるのかを容易に把握することができるようになる。
ただし、「ゲージ画像(所定画像)GGとは異なる特定画像、または該ゲージ画像(所定画像)GGの態様が一部変化された特定画像」は、まず、タイミングA0(有効期間の開始タイミング)から所定時間(特定画像の全貌が出現し終えるまでに要する時間)が経過するまでの間は、「経過した時間に応じた分だけ表示面積が増加する」といった態様で、ゲージ画像(所定画像)GGの表示対象領域に表示されるものとなっている。
例えば、タイミングA0(有効期間の開始タイミング)から少しの時間が経過したタイミングA1にあるときの一体化摸画像IGでは、図233(b)に示されるように、「ゲージ画像(所定画像)GGとは異なる特定画像、または該ゲージ画像(所定画像)GGの態様が一部変化された特定画像」としての「特定画像TG」が、当該画像としての半分程度が視認可能とされるところまで出現しており、時間経過に応じて表示面積を増加させる段階にあることがわかる。
時間が大きく経過したタイミングA2,A3にあるときの一体化摸画像IGでは、図233(c),(d)に示されるように、「ゲージ画像(所定画像)GGとは異なる特定画像、または該ゲージ画像(所定画像)GGの態様が一部変化された特定画像」としての「特定画像TG」が、その全貌を既に出現し終えている状況にあり、表示面積を増加させることなくゲージ画像(所定画像)GGの表示対象領域内を変位する状況にあることがわかる。
すなわち上述の通り、「特定画像TG」は、ゲージ画像(所定画像)GGの表示対象領域内のうち該ゲージ画像(所定画像)GGの表示面積が減少されるときに変位する当該ゲージ画像(所定画像)GGの末端部またはその近傍において表示されるものであり、且つゲージ画像(所定画像)GGの末端部の変位に合わせて(続くかたちで)その表示位置を変位するように表示されるものとなっている。
この実施の形態にかかる「特定画像TG」は、白抜きの四角スペースの中に星型のマークが施されている画像として、ゲージ画像(所定画像)GGの末端部と繋がる位置に表示されるものとなっている。ただし、「特定画像TG」については、ゲージ画像(所定画像)GGの末端部と繋がる位置にて別画像として表示されるものでなくてもよく、例えば、ゲージ画像(所定画像)GGの末端部から所定長さにわたって同画像が徐々に薄くなっていく画像など、ゲージ画像(所定画像)GGの末端部が一部変化された態様で表示されるものであってもよい。若しくは、ゲージ画像(所定画像)GGの末端部、またはその近傍に現れるエフェクト画像として表示されるものであってもよい。
いずれにせよ、「特定画像TG」については、表示面積が最小値(ここでは「0」)になることによって残り時間が無くなったことを示唆するゲージ画像(所定画像)GGの一部として本来機能するものではないから、残り時間が無くなった時点(有効期間が終了した時点)においても少なくとも一部(全部であってもよい)は非表示とされず表示状態を維持することとなる。
この実施の形態にかかるパチンコ機1(周辺制御部1511)では、図233(e)に示されるように、有効期間の終了タイミングであるタイミングA4にあるときの一体化摸画像IGにおいては、ゲージ画像(所定画像)GGの表示面積が「0」になっており、「特定画像TG」の表示面積が半分程度残されるようになっている。そして、この状態になるまで操作の受け付けがなかったときには、該状態にて、操作受付が許容される期間が終了され、一体化摸画像IGが非表示にされるようになる。
ただし上述の通り、「特定画像TG」とは、ゲージ画像(所定画像)GGの一部として本来機能するものではない。したがって、有効期間の終了タイミングであるタイミングA4にあるときの一体化摸画像IGにおいては、「特定画像TG」の表示面積が全て残されるように表示することが最も望ましいし、そのような構成とするようにしてもよい。
しかしながら、有効期間の終了に合わせてゲージ画像(所定画像)GGの表示面積が丁度「0」になる表示を実現することは困難である。この点、この実施の形態にかかるパチンコ機1(周辺制御部1511)では、「特定画像TG」を、ゲージ画像(所定画像)GGの末端部の変位に合わせて(続くかたちで)その表示位置を変位するように表示させるようにしたことから、遊技者側から見たときに、ゲージ画像(所定画像)GGの表示対象領域内で表示されている画像のうち、どこまでの画像がゲージ画像(所定画像)GGであるのか曖昧にすることができるようになる。
すなわち、「特定画像TG」は、有効期間が終了されるときに非表示とされずその大部分(半分以上、または全部)の表示面積が残されるものであるにもかかわらず、遊技者側から見ると、有効期間が終了されるときにその表示面積が最小値(ここでは非表示)とされるゲージ画像(所定画像)GGの一部であるようにも見えるものとなっている。このような構成によれば、ゲージ画像(所定画像)GGが実際よりも長い画像であるように見せることが可能であるから、有効期間が実際よりも多く残っているように見せることができるようになり、操作受付演出が行われている間における遊技興趣を好適に維持することができるようになる。
またその一方で、操作受付演出の有効期間が終了するときには、「特定画像TG」の少なくとも一部が残されて終了されるようになっていることから、ゲージ画像(所定画像)GGが非表示になってすぐに期間終了されないようなことがあったとしても、「特定画像TG」の表示面積が減少されるように表示することが可能であり、これによってゲージ画像(所定画像)GGの非表示タイミングと、有効期間の終了タイミングとの間にズレが生じていることによる違和感を生じ難くすることができるようになる。すなわちこの場合、「特定画像TG」については、このような時間的なズレ分を吸収可能な緩衝部としての役割を期待することができるようになる。
ところで、図233に示した例では、有効期間の開始タイミングであるタイミングA0において、「ゲージ画像(所定画像)GGとは異なる特定画像、または該ゲージ画像(所定画像)GGの態様が一部変化された特定画像」を、ゲージ画像(所定画像)GGの表示対象領域内で表示しないようにした。ただし、有効期間の開始タイミングであるタイミングA0において、「ゲージ画像(所定画像)GGとは異なる特定画像、または該ゲージ画像(所定画像)GGの態様が一部変化された特定画像」を、ゲージ画像(所定画像)GGの表示対象領域内で表示するようにしてもよい。
このような構成によれば、「ゲージ画像(所定画像)GGとは異なる特定画像、または該ゲージ画像(所定画像)GGの態様が一部変化された特定画像」を、ゲージ画像GGの一部であるかのように積極的に見せることができるようになることから、見た目よりも長い時間が有効期間として設定されているかのように見えるようになり、有効期間が発生したときの遊技興趣の向上を図ることが期待されるようになる。
図234は、操作受付が許容される有効期間が開始されてから終了されるまでの一体化摸画像IGについての別の表示例を示す図である。
いま、所定の変動パターン内において、操作受付が許容される有効期間(所定の操作受付演出)が開始されるタイミングA0が到来したとすると、図234に示される例においても、演出表示装置1600では、一体化摸画像IGや、「押せ!」、「下向き矢印」などの操作促進画像が表示される。
この例においても、一体化摸画像IGとして、図232(a)に示した態様(一体化摸画像IGa)を表示することとしているが、演出判定の結果に基づいて図232(b)~(d)に示した態様のいずれかで表示するようにしてもよい。いずれの態様で一体化摸画像IGが表示された場合であっても、当該有効期間内におけるゲージ画像(所定画像)GGの表示や、「ゲージ画像(所定画像)GGとは異なる特定画像、または該ゲージ画像(所定画像)GGの態様が一部変化された特定画像」の表示は、時間経過に応じて図234(a)~(d)に示される態様での変化を生じさせることとなる。
この点、図234(a)に示される例では、タイミングA0(有効期間の開始タイミング)にあるときの一体化摸画像IGでは、ゲージ画像(所定画像)GGがその表示対象領域の全領域で表示されることはなく、「ゲージ画像(所定画像)GG」と「特定画像TG」とがそれぞれ表示されることとなる。タイミングA0(有効期間の開始タイミング)にあるとき、「特定画像TG」については、その一部のみが表示されるに留まる状態にしてもよいが、ここではその全体が表示されている。このような構成によれば、「特定画像TG」が「ゲージ画像GG」の一部として機能するものであるかのように見せることができることから、見た目よりも長い時間が残っているように思わせることが可能である。
この例にかかる「特定画像TG」は、「消しゴム」を表現する画像であり、区画画像KGによって囲まれる領域(ゲージ画像GGの表示対象領域)内に収まりきらず他領域(周縁装飾画像SSGのうち、期待度に応じて態様が変化しうる領域など)に跨る大きさをもって表示されるものとなっている。このような構成によれば、「ゲージ画像GG」よりも「特定画像TG」を目立たせることができるようになり、残り時間がどれだけあるかを認識できない事態が発生することを抑制することが期待される。
また、この例では、タイミングA0から時間が経過してタイミングA2,A3になり、「特定画像TG」が変位すると、図234(b),(c)に示されるように、該「特定画像TG」が通過してきた部分が消しゴムによって消されたかのような「白抜きの領域」に変化するようになっている。このような構成によれば、多色(同系色や、光沢表現なども含む)で表現されていた「ゲージ画像GG」の表示面積を「特定画像TG」の変位量に応じた分だけ減少させるときに、その減少された領域についてはこれを一色でのみ表現するようにしたことから、「特定画像TG」を境目としたコントラストが際立つようになり、残り時間がどれだけ残されているかを示唆する描写であることを遊技者側に認識させやすくすることができるようになる。なお、減少された領域で現れる色は、「ゲージ画像GG」では用いられていない色であることが望ましい。
図234に示される例においても、「特定画像TG」は、表示面積が最小値(ここでは「0」)になることによって残り時間が無くなったことを示唆するゲージ画像(所定画像)GGの一部として本来機能するものではないから、残り時間が無くなった時点(有効期間が終了した時点)においても少なくとも一部(全部であってもよい)は非表示とされず表示状態を維持することとなる。
この例では、図234(d)に示されるように、有効期間の終了タイミングであるタイミングA4にあるときの一体化摸画像IGにおいては、ゲージ画像(所定画像)GGの表示面積が「0」になっており、「特定画像TG」の表示面積が全て残されるようになっている。そして、この状態になるまで操作の受け付けがなかったときには、該状態にて、操作受付が許容される期間が終了され、一体化摸画像IGが非表示にされるようになる。
ただし、この例においても、有効期間の終了タイミングであるタイミングA4にあるときの一体化摸画像IGにおいて、「特定画像TG」の表示面積の一部が非表示とされて、一部が残されるように表示するようにしてもよい。
この例であっても、「特定画像TG」を、ゲージ画像(所定画像)GGの末端部の変位に合わせて(続くかたちで)その表示位置を変位するように表示させるようにしたことから、遊技者側から見たときに、ゲージ画像(所定画像)GGの表示対象領域内で表示されている画像のうち、どこまでの画像がゲージ画像(所定画像)GGであるのか曖昧にすることができるようになる。
すなわち、「特定画像TG」は、有効期間が終了されるときに非表示とされずその大部分(半分以上、または全部)の表示面積が残されるものであるにもかかわらず、遊技者側から見ると、有効期間が終了されるときにその表示面積が最小値(ここでは非表示)とされるゲージ画像(所定画像)GGの一部であるようにも見えるものとなっている。このような構成によれば、ゲージ画像(所定画像)GGが実際よりも長い画像であるように見せることが可能であるから、有効期間が実際よりも多く残っているように見せることができるようになり、操作受付演出が行われている間における遊技興趣を好適に維持することができるようになる。
またその一方で、操作受付演出の有効期間が終了するときには、「特定画像TG」の少なくとも一部が残されて終了されるようになっていることから、ゲージ画像(所定画像)GGが非表示になってすぐに期間終了されないようなことがあったとしても、「特定画像TG」の表示面積が減少されるように表示することが可能であり、これによってゲージ画像(所定画像)GGの非表示タイミングと、有効期間の終了タイミングとの間にズレが生じていることによる違和感を生じ難くすることができるようになる。すなわちこの場合、「特定画像TG」については、このような時間的なズレ分を吸収可能な緩衝部としての役割を期待することができるようになる。
図234に示した例では、「ゲージ画像GG」及び「特定画像TG」の画像を、図233に示した例の場合と異ならせるようにしたが、同じ画像を用いるようにしてもよい。また逆に、図233に示した例において、図234に示した例の場合と同じ画像を用いるようにしてもよい。また、図233に示した態様で「ゲージ画像GG」及び「特定画像TG」の画像が表示される有効期間と、図234に示した態様で「ゲージ画像GG」及び「特定画像TG」の画像が表示される有効期間とがそれぞれ別条件で発生しうるようにしてもよい。なおこの場合、図233に示した態様が現れる有効期間と、図234に示した態様が現れる有効期間とで、一体化摸画像IGこれ自体や、少なくともゲージ画像GGの表示対象領域の形状は互いに異なるようにすることが望ましい。
なお上述の通り、一体化摸画像IGは、図233(a)~(e)や図234(a)~(d)に示されるように、所定の操作受付演出の有効期間中においては動的表示されうるものとなっており、これによって遊技者に対して操作を促すようにしている。ただし、これも上述した通り、操作機会が付与されている操作受け部がその可動範囲で変位する様子が描写されるようにボタン摸画像BMGを動的表示するのに対し、周縁装飾画像SSGについてはこれを動的表示させないようにしている。そして、このような動的表示を行わない側である周縁装飾画像SSGにおいて、ゲージ画像(所定画像)GGの表示対象領域を設けることとし、該表示対象領域において、特定画像TGと、ゲージ画像(所定画像)GGとを変化させるようにしたことから、動的表示される当該一体化摸画像IGにあっても、有効期間が終了されるまでの残り時間がどれだけあるかを容易に認識させることができるようになる。
「ゲージ画像(所定画像)GG」と「特定画像TG」とについては、1つの画像データで表示するようにしてもよいし、それぞれ別々の画像データで表示するようにしてもよい。
図233や図234に示した構成によれば、「特定画像TG」は、「ゲージ画像(所定画像)GG」の表示対象領域内のうち該「ゲージ画像(所定画像)GG」の表示面積が減少されるときに変位する当該「ゲージ画像(所定画像)GG」の末端部またはその近傍において表示され、且つ「ゲージ画像(所定画像)GG」の末端部の変位に合わせてその表示位置を変位するように表示される。したがって、遊技者側から見たときに、ゲージ画像(所定画像)GGの表示対象領域内で表示されている画像のうち、どこまでの画像がゲージ画像(所定画像)GGであるのか曖昧にすることができるようになる。
また、図233に示した「特定画像TG」については、「ゲージ画像(所定画像)GG」の表示面積が最大値になっているときには表示されないようにし、操作受付が許容されてから所定時間が経過するまでの間(特定画像TGの全体が現れるまでの間)は、「ゲージ画像(所定画像)GG」の表示面積が減少する分だけそれを補うかたちで当該「特定画像TG」の表示面積を増大させるようにしている。このような構成によれば、有効期間が開始されてから所定時間が経過するまでの初めのうちは、「ゲージ画像(所定画像)GG」によって示唆される残り時間が減少していないかのようなイメージを持たせることができるようになることから、遊技興趣を好適に維持することができるようになる。
なお、図233や図234に示した例において、一体化摸画像IGについては、大当り判定(演出判定)の結果に基づいて複数態様(図232(a)~(e))のいずれかで表示されるものであってもよいが、それら態様のいずれで表示される場合であっても、「ゲージ画像(所定画像)GG」及び「特定画像TG」の表示形状についてはいずれも同じとなるようにすることが望ましい。「ゲージ画像(所定画像)GG」及び「特定画像TG」の各態様(模様や色などの)についてはそれらが期待度に応じて変化するようにしてもよいが、残り時間を示唆する機能を好適に維持する上では、「ゲージ画像(所定画像)GG」及び「特定画像TG」の一方の態様が変化した場合であっても、他方の態様は変化されないようにすることが望ましい。例えば、図233に示した「特定画像TG」に付されているマークが星型ではなく、二重丸であったときには期待度が高いことが示唆されるようにすれば、「ゲージ画像(所定画像)GG」が減少されるなかで徐々に期待度(二重丸)が視認可能とされるようになることから、遊技興趣の向上を図ることが期待されるようになる。
また、図233や図234に示した例では、「特定画像TG」については、遊技者による操作が行われず有効期間が終了されるときにおいても少なくとも一部(全部であってもよい)は非表示とされず表示状態を維持するようにした。ただし、図233や図234に示した操作受付演出については、遊技者による操作が行われずにタイミングA4が到来すると、内部的に操作受付がなされて操作後表示や操作後音出力(例えば、操作受付に応じて音だけ出力されるものも含む)が行われる上述した「自動受付演出」として機能させるようにすることが望ましい。この場合、タイミングA4は、有効期間が終了されるタイミングであってもよいし、該タイミングよりも前または後のタイミングとして設定されるものであってもよい。いずれにせよ、タイミングA4は、「ゲージ画像(所定画像)GG」が非表示とされた以降(非表示とされたタイミング、またはそれよりも後のタイミング)であり、且つ「特定画像TG」の少なくとも一部が表示されている状態で到来するタイミングとして設定するようにすることが望ましい。
このような構成によれば、操作受付が許容されなくなった直後に遊技者による操作が行われた事態が発生した場合であっても、操作後表示や操作後音出力が行われる直前においても「特定画像TG」が表示されるようになることから、遊技者による操作が間に合ってこれに伴う操作受付が生じたことに応じて操作後表示や操作後音出力が開始されたかのように見せることができるようになる。「特定画像TG」については、操作後表示や操作後音出力が開始される時点においても表示されるものであってもよい(例えば、操作後表示や操作後音出力が開始されてからフェードアウトで徐々に非表示とされていくものなど)。
このような自動受付がなされる有効期間を、第1条件の成立によって発生する第1の有効期間であるとするとき、この実施の形態にかかるパチンコ機1では、第1条件とは異なる第2条件が成立したときには自動受付がなされない第2の有効期間を発生可能なものとなっている。第2の有効期間においても、ボタン摸画像BMGは、その周縁を装飾する周縁装飾画像SSGと一体化された一体化摸画像IGとして表示され、且つ周縁装飾画像SSGには、ゲージ画像(所定画像)GGの表示対象領域が含まれる。ただし、第2条件の成立によって発生する第2の有効期間内では、ゲージ画像(所定画像)GGの表示対象領域において「ゲージ画像(所定画像)GG」は表示されるが、「特定画像TG」が表示されることはないようになっている。「特定画像TG」が表示されないこと以外は、第1の有効期間内で表示される一体化摸画像IGと、第2の有効期間内で表示される一体化摸画像IGとは同じ画像として表示されうる。
すなわち、第2条件の成立によって発生する第2の有効期間では、第1条件の成立によって発生する第1の有効期間とは異なり、遊技者による操作が行われないままで設定時間が経過すると、自動受付が機能せず、操作後表示または操作後音出力(若しくはその両方)を発生させないかたちで当該第2の有効期間が終了するものとなっている。したがって、遊技者による操作に対する受付が許容されなくなった時点で「特定画像TG」の表示が残されているようなことがあると、残り時間が消化し終わっていないにもかかわらず有効期間が終了されたかのような誤解を生じさせ、ひいては遊技興趣が低下することにもなりかねない。したがって、第2の有効期間では、開始から終了までの全期間にわたって「特定画像TG」が表示されないようにすることが望ましい。
なおこの場合、第1の有効期間と第2の有効期間とでは、互いの設定時間(操作受付が許容されてから終了されるまでの時間)の長さが異なるようにすることが望ましい。また、操作受付がなされたときに生じる表示変化(操作後表示)や音出力(操作後音出力)としても互いに異なる内容とされるようにすることが望ましい。
また、第1条件が成立したときに発生する第1の有効期間以外にも、自動受付がなされる第3の有効期間を発生(例えば、第3条件の成立で発生)可能としてもよいし、第2条件が成立したときに発生する当該第2の有効期間以外にも、自動受付がなされない第4の有効期間を発生(例えば、第4条件の成立で発生)可能としてもよい。要は、自動受付がなされる有効期間(各々発生条件が異なる有効期間)のなかに、上述した態様で表示や音にかかる処理が行われる第1の有効期間が少なくとも含まれており、自動受付がなされない有効期間(各々発生条件が異なる有効期間)のなかに、上述した態様で表示や音にかかる処理が行われる第2の有効期間が少なくとも含まれていればよい。
また、ここでの「第1の有効期間」とは、
・特別の演出状態(自動受付モード)に設定されているときにのみ、当該有効期間内での操作の有無に関係なく操作後表示や操作後音出力を出力させるもの
を意味しておらず、
・演出状態にかかわらず、当該有効期間内での操作の有無に関係なく操作後表示や操作後音出力を出力させるもの
を意味している。そもそも、演出状態として「特別の演出状態(自動受付モード)」や「複数の演出状態」を必ずしも用意するものでなくてもよい。なお、「特別の演出状態(自動受付モード)に設定されているときに「第2の有効期間」が発生した場合、自動受付が有効化されるか否かについてはいずれを採用してもよく(例えば、「演出状態にかかわらず、自動受付が必ず有効化されない」としてもよい)、ここで説明している技術的特徴にかかる構成とは関係がない。
また、この実施の形態にかかるパチンコ機1(周辺制御部1511)では、ゲージ画像(所定画像)GGを、非直線の特定形状をもった画像として表示するようにしている。より具体的には、操作受付演出の有効期間が発生した場合、一体化摸画像IG(周縁装飾画像SSG)が表示され、該一体化摸画像IG(周縁装飾画像SSG)を形づくる領域のうち一部の非直線領域において、時間経過に応じてゲージ画像(所定画像)GGの表示面積を減少させる表示が行われるようにしている。このような構成によれば、時間経過に応じてゲージ画像(所定画像)GGの表示面積を減少させる描写これ自体に装飾性が現れるようになることから、有効期間としての残り時間が消化されるなかでの遊技興趣を好適に維持することができるようになる。
また上述の通り、この実施の形態にかかるパチンコ機1(周辺制御部1511)では、ゲージ画像(所定画像)GGの表示対象領域に特定の模様が施されて所定の透過率を持ったゲージ画像(所定画像)GGをこれに重ねるかたちで表示するか、またはゲージ画像(所定画像)GGこれ自体に特定の模様が施されるようにしたことから、時間経過に応じてゲージ画像(所定画像)GGの表示面積を減少させる描写これ自体の装飾性を向上させることができるようになる。しかも、この実施の形態では、特定の模様を、ゲージ画像(所定画像)GGの表示対象領域外にも跨るように施されるものとしたことから、時間経過に応じてゲージ画像(所定画像)GGの表示面積を減少させる描写これ自体の装飾性をより一層向上させることができるようになる。
なお後述するが、この実施の形態にかかるパチンコ機1(周辺制御部1511)では、図233や図234に示した非直線の特定形状の表示対象領域を「第1の表示対象領域」とするとき、該非直線の特定形状とは異なる形状(非相似形)であり、且つゲージ画像(所定画像)GGが表示面積の減少を開始させてから終了するまでの距離が異なる第2の表示対象領域が表示される操作受付演出(有効期間)を、異なる条件で発生可能としている。そして、第1の表示対象領域が表示される操作受付演出(有効期間)は、遊技者による操作が行われないままで第1の設定時間が経過したときに終了される場合と、遊技者による操作が行われないままで第2の設定時間が経過したときに終了される場合とが少なくともあるようにしているのに対し、第2の表示対象領域が表示される操作受付演出(有効期間)は、遊技者による操作が行われないままで第1の設定時間が経過したときに終了される場合はあるが、遊技者による操作が行われないままで第2の設定時間が経過したときに終了される場合はないようにしている。
この点、第1の表示対象領域が表示される操作受付演出(有効期間)と、第2の表示対象領域が表示される操作受付演出(有効期間)とで、操作機会が付与される操作対象(操作受け部)が異なるものとなるようにすれば、操作対象が異なったときに互いの設定時間が同じであるのか否かを認識し難くすることができるようになり、操作対象が異なっていることとも相まって、より新鮮な気持ちで操作受付演出を楽しむことを促すことができるようになる。この場合、第1の表示対象領域が表示される操作受付演出(有効期間)と、第2の表示対象領域が表示される操作受付演出(有効期間)とでは、互いに異なる操作受け部を摸した摸画像が、その周縁装飾画像と一体化されるかたちで表示されることとなる。周縁装飾画像についても、第1の表示対象領域が表示される操作受付演出(有効期間)と、第2の表示対象領域が表示される操作受付演出(有効期間)とで異なる装飾を描写した画像として表示されるものとしてもよいが、いずれの場合であっても、その一部に、ゲージ画像(所定画像)GGの表示対象領域が設けられることとなる。ゲージ画像(所定画像)GGについては、互いに異なる表示形状を有するものとして表示するようにしてもよい。
また、上述の作用効果を得る上では、「非直線の特定形状」の表示対象領域でゲージ画像(所定画像)GGが表示される場合と、「これとは異なる形状(非相似形)」の表示対象領域でゲージ画像(所定画像)GGが表示される場合とでは、互いに同じ時間(第1の設定時間)が設定されていたとしても、操作後表示や操作後音出力として「大当りであることを示唆する態様」が現れる割合が異なるようにすることが望ましい。該割合については、「0%」であってもよいし、「100%」であってもよい。
第1の表示対象領域が表示される操作受付演出(有効期間)と、第2の表示対象領域が表示される操作受付演出(有効期間)とで、同じ設定時間(第1の設定時間)のときには同じ操作後表示や操作後音出力に関しての操作受付の機会が付与されるようにすることが望ましい。異なる設定時間のときには異なる操作後表示や操作後音出力に関しての操作受付の機会が付与されるようにすることが望ましい。
また、図233や図234に示した例では、「押せ!」または「下矢印」といった操作関連表示を一体化摸画像IGに対して重ねて表示することで、該一体化摸画像IGと合わせてこれらを見たときに、操作すべき状況にあることがより強く表現されるようにしている。ただしここでは、「押せ!」または「下矢印」といった操作関連表示が、操作すべき対象を示唆するボタン摸画像BMG(動的表示されるいずれのタイミングにおいても)と重なって表示されることはなく、残り時間を示唆するゲージ画像(所定画像)GGや特定画像TGと重なって表示されることもないようになっている。
このような構成では、一体化摸画像IGのうちボタン摸画像BMGやゲージ画像(所定画像)GG、特定画像TGなどといった重要な情報を避けるかたちで、「押せ!」または「下矢印」といった操作関連表示を一体化摸画像IGに対して重ねて表示するようにしていることから、遊技者に対して重要情報を適切に伝達しつつ操作を強く促すことができるようになる。このことは、ボタン摸画像BMGが、周縁装飾画像SSGと一体化された一体化摸画像IGとして表示されているからに他ならないことは言うまでもない。
ところで、上述の通り、この実施の形態にかかるパチンコ機1(周辺制御部1511)では、操作受付が許容される有効期間として、該有効期間内で操作受付がなされたときに行われる操作後表示や操作後音出力の内容が異なる複数(種類)の有効期間を用意している。それら有効期間の発生条件は各々異なっており、いずれかの発生条件が成立したときにそれに応じた種類の有効期間を発生させるものとなっている。
この点、この実施の形態にかかるパチンコ機1(周辺制御部1511)では、複数種類の有効期間には、該有効期間内で「特定画像TG」が表示されるもの(第1の有効期間)と、該有効期間内で「特定画像TG」が表示されないもの(第2の有効期間)とが少なくとも含まれるようにしている。以下、この例では、これらの「第1の有効期間」及び「第2の有効期間」を、自動受付がなされる上述した「第1の有効期間」及び自動受付がなされない上述した「第2の有効期間」とそれぞれ同じものとして説明するが、これらとは別の有効期間として適用するようにしてもよい。
すなわち、この実施の形態にかかるパチンコ機1(周辺制御部1511)では、操作受付が許容されることを示唆する前兆演出(特定表示)を行うにあたり、該前兆演出(特定表示)を、操作受付が許容される有効期間の発生タイミングの前後に跨るかたちで実行することがあるものとなっている。このような前兆演出(特定表示)によれば、派手な演出が行われているなかで有効期間が発生するようになることから、該有効期間が発生するときの遊技興趣の向上を図ることができるようになる。
ただし、このような態様で前兆演出(特定表示)を実行する場合、該前兆演出(特定表示)は一体化摸画像IGに対して優先表示されることから、有効期間が開始されるときに一体化摸画像IGが表示(内部的なレイヤー表示)されていたとしても、該前兆演出(特定表示)と重なっている部分が画面上現れることはない(視認可能とされない)。若しくは、前兆演出(特定表示)に対して所定の透過率が設定されていたとしても、一体化摸画像IGのうち該前兆演出(特定表示)と重なっている部分は視認し難くされる。いずれにせよ、ゲージ画像(所定画像)GGは、視認性に難のあるこのような状況下において、その表示面積の減少を開始することとなる。
すなわちこの場合、前兆演出(特定表示)が非表示にされるか、前兆演出(特定表示)と重なる部分がなくなって一体化摸画像IGの全体(または、ゲージ画像(所定画像)GGの表示対象領域の全体)の視認性が改善される頃には、ゲージ画像(所定画像)GGの表示面積が既に減少している状態にあることから、遊技者側から見ると、有効期間(設定時間)が実質的に短くなっているかのような印象を覚えかねない。
一方、上述の「特定画像TG」については、遊技者側から見た場合、ゲージ画像(所定画像)GGの一部であるように見える「疑似ゲージ」としても機能することを期待できるものである。そこで、この実施の形態にかかるパチンコ機1(周辺制御部1511)では、複数種類の有効期間のうち、「前兆演出(特定表示)が実行されない、若しくは前兆演出(特定表示)は実行されるが該前兆演出(特定表示)が終了された時点でゲージ画像(所定画像)GGの表示面積が減少していない第2の有効期間」では、該第2の有効期間が発生してから終了するまでの間に「特定画像TG」が一切表示されないようにする。これに対し、複数(種類)の有効期間のうち、「前兆演出(特定表示)の実行途中で発生し且つ一体化摸画像IGの全体が視認可能(または視認容易)になる頃にはゲージ画像(所定画像)GGの表示面積が減少している第1の有効期間」では、該第1の有効期間内で「特定画像TG」が表示されるようにしている。
このような構成によれば、前兆演出(特定表示)が非表示にされた時点でゲージ画像(所定画像)GGの表示面積が減少している第1の有効期間では、ゲージ画像(所定画像)GGの表示対象領域に「特定画像TG」が表示されるようになることから、一体化摸画像IG(または、ゲージ画像GGの表示対象領域)の全体が視認可能となった時点において、ゲージ画像GGの表示面積があまり減少していないように見せることができるようになり、遊技興趣の低下が抑制されるようになる。
これに対し、前兆演出(特定表示)が非表示にされた時点でゲージ画像(所定画像)GGの表示面積が減少していないか、前兆演出(特定表示)が行われない第2の有効期間で「特定画像TG」を表示するようなことがあると、例えば、図233の表示態様の場合、有効期間が発生したときには「特定画像TG」が表示されておらず、有効期間が発生してからの時間経過によって「特定画像TG」が徐々に現れる様子を見たときにこれがゲージ画像(所定画像)GGとして機能するものではないことを見抜かれる可能性がある。すなわちこの場合、残り時間の長さを誇張して表現していることに対して遊技興趣が低下することが懸念されることから、このような第2の有効期間では「特定画像TG」を表示しないようにすることが、遊技興趣の低下を抑制する上で望ましい。
なお、複数(種類)の有効期間には、第2の有効期間のほかに、「前兆演出(特定表示)が実行されない、若しくは前兆演出(特定表示)は実行されるが該前兆演出(特定表示)が終了された時点でゲージ画像(所定画像)GGの表示面積が減少していない有効期間(第5の有効期間)」を異なる発生条件で用意してもよいし、第1の有効期間のほかに、「前兆演出(特定表示)の実行中に発生し且つ一体化摸画像IGの全体が視認可能(または視認容易)になる頃にはゲージ画像(所定画像)GGの表示面積が減少している有効期間(第6の有効期間)」を異なる発生条件で用意してもよく、このときに上述の「特定画像TG」が表示されるか否かについては適宜に設定するようにしてもよい。要は、複数(種類)の有効期間のなかに、「特定画像TG」が表示されない上記第2の有効期間と、「特定画像TG」が表示される上記第1の有効期間とが少なくとも含まれていれば、少なくともそれら有効期間が発生したときには前兆演出(特定表示)との関係で上述の作用効果は奏されるようになる。
なお、以下の各例では、図233に示した態様でゲージ画像GGや特定画像TGを表示することとしているが、ゲージ画像GG及び特定画像TGの少なくとも一方を図234に示した態様に置き換えて実行するようにしてもよい。
図235は、このような第1の有効期間及び第2の有効期間のうち、第1の有効期間が発生するときの演出進展についてその一例を示す図である。
図235(a)は、通常遊技状態において、保留数が0の状態で装飾図柄SZ(特別図柄)の変動表示が大当り判定の結果に応じた特定の演出パターン(変動パターン)で演出表示装置1600にて行われている演出状況を示している。
図235(b)は、図235(a)に示した装飾図柄SZの変動表示の実行中に、演出表示装置1600にて前兆演出(特定表示TH)が開始された演出状況を示している。
ここで、図235(b)に示される例においては、少なくとも演出表示装置1600では一体化摸画像IGが未だ出現していない状況にあることがわかる。ただし、前兆演出(特定表示TH)が開始されたときから、内部的には一体化摸画像IGの表示を行うようにして、前兆演出(特定表示TH)が優先表示されることによって該一体化摸画像IGの全体が視認できない(若しくは、所定の透過率によって視認困難とされる)ようにしてもよい。すなわちこの場合、前兆演出(特定表示)が開始されたときから、操作受付が許容される(有効期間が開始される)こととなる。
図235(c)は、図235(b)に示した前兆演出(特定表示TH)が進展し、前兆演出(特定表示TH)の表示される領域が縮小した結果、一体化摸画像IGに、前兆演出(特定表示)と重ならない部分が現れて、該部分が視認良好な状態で表示されている状況を示している。
すなわち、一体化摸画像IGは、図235(b)に示される状況が現れた以降に到来するタイミング(図235(b)に示されるタイミングを含む)であり、且つ図235(c)に示される状況が現れるよりも前に到来するタイミングである「特定タイミング(有効期間が開始されるタイミング)」が到来したときには、少なくとも内部処理的に表示(レイヤー処理上での表示)が実行されるものとなっている。したがって、図235(c)に示される時点で、ゲージ画像(所定画像)GG及び特定画像TGの少なくとも一部は優先表示される前兆演出(特定表示TH)と重なることによって視認できない(または、視認困難である)が、「ゲージ画像(所定画像)GG」の表示面積の減少は既に開始(進行)されており、「特定画像TG」の変位も既に開始(進行)されている状況にある。この例では、特定画像TGについては、その全体が前兆演出(特定表示TH)と重なるようにされている。
このような構成によれば、有効期間の発生タイミング(特定タイミング)に跨るかたちで前兆演出(特定表示TH)が行われるようになり、該有効期間が発生してからの所定時間は、前兆演出(特定表示TH)によって一体化摸画像IGの少なくとも一部が視認できないか、視認し難いようにされることとなる。すなわちこの場合、一体化摸画像IGの全貌が有効期間内で徐々に露わにされていくようになることから、当該一体化摸画像IGの態様によって示唆される期待度(周縁装飾画像の態様)や操作対象(ボタン摸画像の態様)がいずれであるのかについての面白さを、有効期間が開始されて以降の所定時間にわたって維持することができるようになる。
図235(c)に示される例では、操作対象を摸したボタン摸画像については視認し難い状態とされているが、その周縁を装飾する周縁装飾画像については、「特別周縁装飾画像SSGb」ではなく、「通常周縁装飾画像SSGa」であることを認識可能な状態とされている。また、図235(c)に示される例では、「特定画像TG」が視認し難い状態とされていることから、有効期間が開始された時点で「特定画像TG」がそもそも表示されるタイプ(図234を参照)であるのか、それとも有効期間が開始された時点では「特定画像TG」が表示されずそれ以降に徐々に現れるタイプ(図233を参照)であるのかを見分け難くするようにしている。すなわち、図234に示したタイプである場合には、「特定画像TG」がゲージ画像(所定画像)GGとして機能し得ないものであることを見抜かれ易いことから、図234に示したタイプを採用したときに、上述した態様で前兆演出を実行することは遊技興趣の低下を抑制する上で特に有効であると言える。
図235(d)は、図235(b)に示した前兆演出(特定表示TH)がさらに進展した結果、該一体化摸画像IG(若しくは、ゲージ画像GGの表示対象領域)と重なる部分がなくなった(ここでは、前兆演出が非表示にされた)状況を示している。
同図235(d)に示されるように、一体化摸画像IG(若しくは、ゲージ画像GGの表示対象領域)の全体が視認良好な状況になった時点では、ゲージ画像(所定画像)GGの表示面積は既に減少しており、「特定画像TG」の変位も既に開始されている状況にある(ここでは、「特定画像TG」の全体が出現し終わっている状況にある)。すなわちこの場合、「特定画像TG」も「ゲージ画像(所定画像)GG」の一部であるように見えることから、ゲージ画像(所定画像)GGにかかる実際の表示面積よりも多くの表示面積が残されており、それほど表示面積が減少していないかのように思わせることが可能である。これにより、前兆演出(特定表示TH)が終了したときにゲージ画像(所定画像)GGの表示面積が既に減少していることによる遊技興趣の低下を抑制することが期待できるようになる。
図235(e)は、ゲージ画像(所定画像)GGの表示面積が最小値(ここでは、「0」)になるまで操作受付がなされず、有効期間が終了するとき(若しくは、有効期間が終了する直前)の演出表示装置1600において現れている画像例を示している。
同図235(e)に示されるように、「特定画像TG」は、有効期間が終了する時点においても少なくとも一部(全部でもよい)が表示されるものとなっている。この点、第1の有効期間では、上述の通り、当該期間内で遊技者による操作が行われずとも、該操作が行われたときと同じ操作後表示や操作後音出力が行われる(図235(f)を参照)。
このような構成(自動受付演出)によれば、有効期間が終了した(操作受付が許容されなくなった)直後に遊技者による操作が行われた事態が発生した場合であっても、操作後表示や操作後音出力が行われる直前においても「特定画像TG」が表示されるようになることから、遊技者による操作が間に合ってこれに伴う操作受付が生じたことに応じて操作後表示や操作後音出力が開始されたかのように見せることができるようになる。特に、このような態様で前兆演出(前表示)が行われる場合、一体化摸画像IG(若しくは、ゲージ画像GGの表示対象領域)の全貌が視認良好とされる頃には、ゲージ画像(所定画像)GGの表示面積は既に減少しており、「特定画像TG」の変位も既に開始されている状況にある。すなわちこの場合、遊技者による操作が間に合わなくなる事態が発生する可能性も高くなると思われることから、有効期間内で遊技者による操作がなくても「特定画像TG」を表示した状態で操作後表示や操作後音出力を行うようにすることは、遊技興趣の低下を抑制する上で特に有効であると言える。
なお、図235に示した態様での演出進展については、図233に示した態様で「特定画像TG」を表示する場合と、図234に示した態様で「特定画像TG」を表示する場合とのいずれに対して適用するようにしてもよい。
また、図235に示した例では、前兆演出(特定表示TH)と一体化摸画像IGとを別レイヤーで表示し、該前兆演出(特定表示TH)を優先表示させることによって同図235に現れる態様での演出進展を実現することとした。ただし、必ずしもこれに限られず、例えば、同図235に現れる態様での演出進展を1つの動画データとして記憶しておき、該動画データを再生することによってこれを実現するようにしてもよい。該手法については、以下に説明する各例においても適用可能である。
図235に示した例では、一体化摸画像IGとして、図232(a)に示した態様(一体化摸画像IGa)を出現させることとした。ただし上述の通り、大当り判定(演出判定)の結果に基づいて複数態様(図232(a)~(d)に示した態様)のいずれかで一体化摸画像IGを出現させるようにしてもよい。そして、このような手法を採用する場合、図236~図238に示される態様で前兆演出を実行するようにすることが、遊技興趣の向上を図る上でより望ましい。
図236~図238は、上述した第1の有効期間及び第2の有効期間のうち、第1の有効期間が発生するときの演出進展についてその変形例を示す図である。
図236(a)は、通常遊技状態において、保留数が0の状態で装飾図柄SZ(特別図柄)の変動表示が大当り判定の結果に応じた第1の演出パターン(変動パターン)で演出表示装置1600にて行われている演出状況を示している。
図236(b)は、図236(a)に示した装飾図柄SZの変動表示の実行中に、演出表示装置1600にて第1の前兆演出(第1の特定表示TH1)が開始された演出状況を示している。
この第1の前兆演出(第1の特定表示TH1)は、第1の演出パターン(変動パターン)が第1タイミングまで進展したときに発生するものであり、操作関連の演出が行われることを示唆する演出として機能するものである。
この実施の形態にかかるパチンコ機1(周辺制御部1511)では、第1の前兆演出(第1の特定表示TH1)が行われた後は、大当り判定(演出判定)の結果に基づいて、「図237(c)に示される画像」及び「図238(j)に示される画像」のいずれかを表示するようにしており、これによってボタン摸画像BMGとして「通常ボタン摸画像BMGa」及び「特別ボタン摸画像BMGb」のいずれが現れる可能性が高いかを示唆するようにしている。
ここで、「図237(c)に示される画像」が表示された場合は、ボタン摸画像BMGとして「通常ボタン摸画像BMGa」が表示される可能性が高い(ここでは、「100%」)ことが示唆されることとなる。
この例にかかる「図237(c)に示される画像」は、「一体化摸画像IGa」が通常時(図232(a)に示した態様)とは異なる態様(ここでは、半透明)で表現された画像IGa´として表示されるものとなっている。ただし、必ずしもこれに限られず、例えば、「図237(c)に示される画像」については、「一体化摸画像IGa」を図232(a)に示した態様のままで表示するようにしてもよいし、「通常ボタン摸画像BMGa」を、「通常周縁装飾画像SSGa」と一体化させず、これ単体の画像として表示するようにしてもよい。「通常ボタン摸画像BMGa」をこれ単体の画像として表示する場合も、通常時(図232(a)に示した態様)の態様で表示するようにしてもよいし、通常時(図232(a)に示した態様)とは異なる態様(ここでは、半透明)で表現した画像として表示するようにしてもよい。
いずれにせよ、図237(c)に示される状況においては、図232(a)に示した「通常ボタン摸画像BMGa」これ自体か、若しくは「通常ボタン摸画像BMGa」を想起させる程度に近似した(摸した)外形をもった画像BMGa´が少なくとも表示されることとなる。これにより、「通常ボタン摸画像BMGa」が「通常周縁装飾画像SSGa」と一体化された「一体化摸画像IGa(図232(a))」として表示される有効期間か、若しくは「特別周縁装飾画像SSGb」と一体化された「一体化摸画像IGc(図232(a))」として表示される有効期間が発生することを示唆することができるようになる。
図237(c)に示される画像IGa´(画像BMGa´)が表示された後は、該画像IGa´(画像BMGa´)が、「一体化摸画像IGa(図232(a))」ではなく、「一体化摸画像IGc(図232(c))」として表示される可能性があることを示唆する(想起させる)演出が実行される。
図237(d)に示される例では、「一体化摸画像IGaを表現した画像IGa´(または、通常ボタン摸画像BMGaを表現した画像BMGa´)」に対して「特別周縁装飾画像SSGbを表現した画像SSGb´」を徐々に近づける演出として描写されている。このような演出が行われた結果、「一体化摸画像IGaを表現した画像IGa´(または、通常ボタン摸画像BMGaを表現した画像BMGa´)」に対して「特別周縁装飾画像SSGbを表現した画像SSGb´」が付加されるかたちで一体化したときには「一体化摸画像IGc(図232(c))」が現れる有効期間が発生することとなる。これに対し、「一体化摸画像IGaを表現した画像IGa´(または、通常ボタン摸画像BMGaを表現した画像BMGa´)」に対して「特別周縁装飾画像SSGbを表現した画像SSGb´」が付加されず一体化しなかったときには「一体化摸画像IGa(図232(a))」が現れる有効期間が発生することとなる。
図237(e)は、図237(d)に示した演出が行われた後、演出表示装置1600にて第2の前兆演出(第2の特定表示TH2)が開始された演出状況を示している。
この第2の前兆演出(第2の特定表示TH2)は、第1の演出パターン(変動パターン)が第2タイミングまで進展したときに発生するものであり、操作受付が許容されることを示唆する演出として実行されるものである。この例にかかる第2の前兆演出(第2の特定表示TH2)は、「一体化摸画像IGaを表現した画像IGa´(または、通常ボタン摸画像BMGaを表現した画像BMGa´)」に対して「特別周縁装飾画像SSGbを表現した画像SSGb´」が徐々に近づいているなかで開始されるものとなっており、該開始された時点では、「一体化摸画像IGaを表現した画像IGa´(または、通常ボタン摸画像BMGaを表現した画像BMGa´)」と「特別周縁装飾画像SSGbを表現した画像SSGb´」とが一体化されたのか否か不明な状態にされている。
図237(e)に示される演出が進展すると、大当り判定(演出判定)の結果に基づいて、「図237(f)に示される画像」及び「図237(h)に示される画像」のいずれかが表示される。
図237(f)や図237(h)に示される状況や画像内容は、上述した「図235(c)に示される状況や画像内容」と基本的には同じであり、図237(e)に示した第2の前兆演出(第2の特定表示TH2)が進展し、該第2の前兆演出(第2の特定表示TH2)の表示される領域が縮小した結果、一体化摸画像IGに、前兆演出(特定表示)と重ならない部分が現れて、該部分が視認良好な状態で表示されている状況や画像内容を示すものとなっている。
すなわち、一体化摸画像IGは、図237(e)に示される状況が現れた以降に到来するタイミング(図237(e)に示されるタイミングを含む)であり、且つ図237(f)または図237(h)に示される状況が現れるよりも前に到来するタイミングである「特定タイミング(有効期間が開始されるタイミング)」が到来したときには、少なくとも内部処理的に表示(レイヤー処理上での表示)が実行されるものとなっている。したがって、図237(f)や図237(h)に示される時点で、ゲージ画像(所定画像)GG及び特定画像TGの少なくとも一部は優先表示される第2の前兆演出(特定表示TH2)と重なることによって視認できない(または、視認困難である)が、「ゲージ画像(所定画像)GG」の表示面積の減少は既に開始(進行)されており、「特定画像TG」の変位も既に開始(進行)されている状況にある。この例では、特定画像TGについては、その全体が第2の前兆演出(第2の特定表示TH2)と重なるようにされている。
このような構成によれば、有効期間の発生タイミング(特定タイミング)に跨るかたちで第2の前兆演出(第2の特定表示TH2)が行われるようになり、該有効期間が発生してからの所定時間は、第2の前兆演出(第2の特定表示TH2)によって一体化摸画像IGの少なくとも一部が視認できないか、視認し難いようにされることとなる。すなわちこの場合、一体化摸画像IGの全貌が有効期間内で徐々に露わにされていくようになることから、当該一体化摸画像IGの態様によって示唆される期待度(周縁装飾画像の態様)や操作対象(ボタン摸画像の態様)がいずれであるのかについての面白さを、有効期間が開始されて以降の所定時間にわたって維持することができるようになる。
この点、図237(f)に示される状況が現れた場合は、一体化摸画像IGに含まれる周縁装飾画像SSGが「特別周縁装飾画像SSGb」ではなく、「通常周縁装飾画像SSGa」であることを認識可能な状態にあることから、図237(d),(e)に示した演出の結果、「一体化摸画像IGaを表現した画像IGa´(または、通常ボタン摸画像BMGaを表現した画像BMGa´)」が、「特別周縁装飾画像SSGbを表現した画像SSGb´」と結びつくことに失敗したことを認識可能である。すなわちこの場合、第2の前兆演出(第2の特定表示TH2)が非表示にされると、図237(g)に示されるように、一体化摸画像IGa(図232(a)を参照)の全貌が現れることとなる。それ以降の演出進展は、図235(d)~(f)を参照しつつ上述した通りであるから、割愛することとする。
これに対し、図237(h)に示される状況が現れた場合は、一体化摸画像IGに含まれる周縁装飾画像SSGが「特別周縁装飾画像SSGb」であることを認識可能な状態にあることから、図237(d)に示した演出の結果、「一体化摸画像IGaを表現した画像IGa´(または、通常ボタン摸画像BMGaを表現した画像BMGa´)」が、「特別周縁装飾画像SSGbを表現した画像SSGb´」と結びつくことに成功したことを認識可能である。すなわちこの場合、第2の前兆演出(第2の特定表示TH2)が非表示にされると、図237(i)に示されるように、一体化摸画像IGc(図232(c)を参照)の全貌が現れることとなる。それ以降の演出進展は、一体化摸画像IGa(図232(a)を参照)が一体化摸画像IGc(図232(c)を参照)に置き換わっているだけであり、図235(d)~(f)を参照しつつ上述した通りであるから、割愛することとする。
一方、「図238(j)に示される画像」が表示された場合は、ボタン摸画像BMGとして「特別ボタン摸画像BMGb」が表示される可能性が高い(ここでは、「100%」)ことが示唆されることとなる。
この例にかかる「図238(j)に示される画像」は、「一体化摸画像IGb」が通常時(図232(b)に示した態様)とは異なる態様(ここでは、半透明)で表現された画像IGb´として表示されるものとなっている。ただし、必ずしもこれに限られず、例えば、「図238(j)に示される画像」については、「一体化摸画像IGb」を図232(b)に示した態様のままで表示するようにしてもよいし、「特別ボタン摸画像BMGb」を、「通常周縁装飾画像SSGa」と一体化させず、これ単体の画像として表示するようにしてもよい。「特別ボタン摸画像BMGb」をこれ単体の画像として表示する場合も、通常時(図232(b)に示した態様)の態様で表示するようにしてもよいし、通常時(図232(b)に示した態様)とは異なる態様(ここでは、半透明)で表現した画像として表示するようにしてもよい。
いずれにせよ、図238(j)に示される状況においては、図232(b)に示した「特別ボタン摸画像BMGb」これ自体か、若しくは「特別ボタン摸画像BMGb」を想起させる程度に近似した(摸した)外形をもった画像BMGb´が少なくとも表示されることとなる。これにより、「特別ボタン摸画像BMGb」が「通常周縁装飾画像SSGa」と一体化された「一体化摸画像IGb(図232(b))」として表示される有効期間か、若しくは「特別周縁装飾画像SSGb」と一体化された「一体化摸画像IGd(図232(d))」として表示される有効期間が発生することを示唆することができるようになる。
図238(j)に示される画像IGb´(画像BMGb´)が表示された後は、該画像IGb´(画像BMGb´)が、「一体化摸画像IGb(図232(b))」ではなく、「一体化摸画像IGd(図232(d))」として表示される可能性があることを示唆する(想起させる)演出が実行される。
図237(k)に示される例では、「一体化摸画像IGbを表現した画像IGb´(または、特別ボタン摸画像BMGbを表現した画像BMGb´)」に対して「特別周縁装飾画像SSGbを表現した画像SSGb´」を徐々に近づける演出として描写されている。このような演出が行われた結果、「一体化摸画像IGbを表現した画像IGb´(または、特別ボタン摸画像BMGbを表現した画像BMGb´)」に対して「特別周縁装飾画像SSGbを表現した画像SSGb´」が付加されるかたちで一体化したときには「一体化摸画像IGd(図232(d))」が現れる有効期間が発生することとなる。これに対し、「一体化摸画像IGbを表現した画像IGb´(または、特別ボタン摸画像BMGbを表現した画像BMGb´)」に対して「特別周縁装飾画像SSGbを表現した画像SSGb´」が付加されず一体化しなかったときには「一体化摸画像IGb(図232(b))」が現れる有効期間が発生することとなる。
図238(l)は、図238(k)に示した演出が行われた後、演出表示装置1600にて第2の前兆演出(第2の特定表示TH2)が開始された演出状況を示している。第2の前兆演出(第2の特定表示TH2)ではなく、これとは異なる第3の前兆演出(第3の特定表示)として実行されるようにしてもよい。
上述の通り、この第2の前兆演出(第2の特定表示TH2)は、第1の演出パターン(変動パターン)が第2タイミングまで進展したときに発生するものであり、操作受付が許容されることを示唆する演出として実行されるものである。この例にかかる第2の前兆演出(第2の特定表示TH2)は、「一体化摸画像IGbを表現した画像IGb´(または、特別ボタン摸画像BMGbを表現した画像BMGb´)」に対して「特別周縁装飾画像SSGbを表現した画像SSGb´」が徐々に近づいているなかで開始されるものとなっており、該開始された時点では、「一体化摸画像IGbを表現した画像IGb´(または、特別ボタン摸画像BMGbを表現した画像BMGb´)」と「特別周縁装飾画像SSGbを表現した画像SSGb´」とが一体化されたのか否か不明な状態にされている。
図238(l)に示される演出が進展すると、大当り判定(演出判定)の結果に基づいて、「図238(m)に示される画像」及び「図238(o)に示される画像」のいずれかが表示される。
図238(m)や図238(o)に示される状況や画像内容は、上述した「図235(c)に示される状況や画像内容」と基本的には同じであり、図238(l)に示した第2の前兆演出(第2の特定表示TH2)が進展し、該第2の前兆演出(第2の特定表示TH2)の表示される領域が縮小した結果、一体化摸画像IGに、前兆演出(特定表示)と重ならない部分が現れて、該部分が視認良好な状態で表示されている状況や画像内容を示すものとなっている。
すなわち、一体化摸画像IGは、図238(l)に示される状況が現れた以降に到来するタイミング(図238(l)に示されるタイミングを含む)であり、且つ図238(m)または図238(o)に示される状況が現れるよりも前に到来するタイミングである「特定タイミング(有効期間が開始されるタイミング)」が到来したときには、少なくとも内部処理的に表示(レイヤー処理上での表示)が実行されるものとなっている。したがって、図238(m)や図238(o)に示される時点で、ゲージ画像(所定画像)GG及び特定画像TGの少なくとも一部は優先表示される第2の前兆演出(特定表示TH2)と重なることによって視認できない(または、視認困難である)が、「ゲージ画像(所定画像)GG」の表示面積の減少は既に開始(進行)されており、「特定画像TG」の変位も既に開始(進行)されている状況にある。この例では、特定画像TGについては、その全体が第2の前兆演出(第2の特定表示TH2)と重なるようにされている。
このような構成によれば、有効期間の発生タイミング(特定タイミング)に跨るかたちで第2の前兆演出(第2の特定表示TH2)が行われるようになり、該有効期間が発生してからの所定時間は、第2の前兆演出(第2の特定表示TH2)によって一体化摸画像IGの少なくとも一部が視認できないか、視認し難いようにされることとなる。すなわちこの場合、一体化摸画像IGの全貌が有効期間内で徐々に露わにされていくようになることから、当該一体化摸画像IGの態様によって示唆される期待度(周縁装飾画像の態様)や操作対象(ボタン摸画像の態様)がいずれであるのかについての面白さを、有効期間が開始されて以降の所定時間にわたって維持することができるようになる。
この点、図238(m)に示される状況が現れた場合は、一体化摸画像IGに含まれる周縁装飾画像SSGが「特別周縁装飾画像SSGb」ではなく、「通常周縁装飾画像SSGa」であることを認識可能な状態にあることから、図238(k),(l)に示した演出の結果、「一体化摸画像IGbを表現した画像IGb´(または、特別ボタン摸画像BMGbを表現した画像BMGb´)」が、「特別周縁装飾画像SSGbを表現した画像SSGb´」と結びつくことに失敗したことを認識可能である。すなわちこの場合、第2の前兆演出(第2の特定表示TH2)が非表示にされると、図238(n)に示されるように、一体化摸画像IGb(図232(b)を参照)の全貌が現れることとなる。それ以降の演出進展は、一体化摸画像IGa(図232(a)を参照)が一体化摸画像IGb(図232(b)を参照)に置き換わっているだけであり、図235(d)~(f)を参照しつつ上述した通りであるから、割愛することとする。
これに対し、図238(o)に示される状況が現れた場合は、一体化摸画像IGに含まれる周縁装飾画像SSGが「特別周縁装飾画像SSGb」であることを認識可能な状態にあることから、図238(k)に示した演出の結果、「一体化摸画像IGbを表現した画像IGb´(または、特別ボタン摸画像BMGbを表現した画像BMGb´)」が、「特別周縁装飾画像SSGbを表現した画像SSGb´」と結びつくことに成功したことを認識可能である。すなわちこの場合、第2の前兆演出(第2の特定表示TH2)が非表示にされると、図238(p)に示されるように、一体化摸画像IGd(図232(d)を参照)の全貌が現れることとなる。それ以降の演出進展は、一体化摸画像IGa(図232(a)を参照)が一体化摸画像IGd(図232(d)を参照)に置き換わっているだけであり、図235(d)~(f)を参照しつつ上述した通りであるから、割愛することとする。
図236~図238に示した例では、図237(c)が現れた場合、ボタン摸画像BMGとして「特別ボタン摸画像BMGb」が現れる確率を「0%」にしたが、ボタン摸画像BMGとして「特別ボタン摸画像BMGb」が現れる確率を僅かながらに持たせるようにしてもよい。すなわちこの場合、図237(e)に示される演出が行われた後、図237(f)→(g),(h)→(i)のほか、図238(m)→(n),(o)→(p)のかたちで演出進展が実行される可能性も生じることとなる。
このような構成によれば、図237(f),(h)や、図238(m),(o)が現れている時点では、周縁装飾画像SSGがいずれの態様で表示されているかについては認識可能であるものの、ボタン摸画像BMGがいずれの態様で表示されているかについては認識することができなくなる。すなわちこの場合、第2の前兆演出(第2の特定表示TH2)の進展にかかる状況に応じて期待度が段階的に示唆されるようになり、遊技興趣の向上を図ることができるようになる。特に、ボタン摸画像BMGが、その表示態様によって、操作対象の異なる複数の操作手段のいずれかを示唆しうるものであった場合は、有効期間が開始されており且つ操作関連の期待度も示唆されている状況にあるにもかかわらず、その操作対象がいずれであるのかを認識できない状態が発生するようになることから、該演出に対する注目度を著しく向上させることができるようになる。
ただし、図237(f),(h)や、図238(m),(o)が現れている状況においても、遊技者による操作対象となっている操作手段(操作受け部)においては、ボタン摸画像BMGとして表示される種別に応じた態様で発光(例えば、有効期間の発生時から発光)されるようにすることが望ましい。このような構成によれば、操作手段(操作受け部)を直接見る傾向にある操作意欲の高い者は、「ボタン摸画像BMGとして表示される種別」をいち早く認識することができるようになることから、遊技者に対して操作意欲を促すことができるようになる。
なお、図236~図238に示した例において、第1の前兆演出(第1の特定表示TH1)については、必ずしも実行しなくてもよい。例えば、図236(a)に示される状況から、図237(c)や図238(j)に示される状況へと移行させるようにしてもよい。
また、図236~図238に示した例において、第2の前兆演出(第2の特定表示TH2)についても、必ずしも実行しなくてもよい。例えば、図237(d)や図238(k)に示される状況から、図237(g),(i)や図238(n),(p)に示される状況へと移行させるようにしてもよい。すなわちこの場合、図237(d)や図238(k)に示される演出が、前兆演出として機能することとなる。移行された時点で、ゲージ画像(所定画像)GGの表示面積は既に減少しているようにしてもよいし、ゲージ画像(所定画像)GGの表示面積は減少していないようにしてもよい。該移行された時点で、ゲージ画像(所定画像)GGの表示面積が既に減少しているようにする場合は、図237(d)や図238(k)に示される状況にあるときにゲージ画像(所定画像)GGはその表示面積の減少を開始することとなる。
また、図236~図238の演出については、一体化摸画像IGとして用意されている態様に応じてその一部を割愛するようにしてもよい。例えば、一体化摸画像IGとして図232(b),(d)に示した態様を用意しない場合は、図238で示した一連の演出についてはそれらを全て割愛することが可能である。またこの際、図237(c)についてもこれを割愛するようにしてもよい。
なお、図236~図238の演出においては、操作受付が許容されるよりも前(有効期間の発生前)に、ボタン摸画像BMGを表現した画像BMG´(または、ボタン摸画像BMGこれ自体でもよい)が表示されるが(図237(d),図238(k))、該状況(有効期間の発生前)において、ボタン摸画像BMGを表現した画像BMG´(または、ボタン摸画像BMG)が操作受け部の可動範囲で変位する様子が描写されるように動的表示されることはない。このような構成によれば、ボタン摸画像BMGやこれを表現した画像BMG´を、有効期間の発生に先行して表示させるようにしたとしても、有効期間が未だ発生していない状況にあることを暗に示唆することができるようになることから、遊技者は、有効期間の残り時間を気にすることなく演出に集中することができるようになる。なお、第2の前兆演出(第2の特定表示TH2)が行われているときには演出受付が許容されることから、該第2の前兆演出(第2の特定表示TH2)によって視認できないか視認困難とされているなかでボタン摸画像BMGの動的表示が行われることとなる。
図239~図243は、上述した第1の有効期間及び第2の有効期間のうち、第2の有効期間が発生するときの演出進展についてその一例を示す図である。
すなわち、図235~図238では、前兆演出(特定表示)が非表示にされた時点でゲージ画像(所定画像)GGの表示面積が減少している有効期間(第1の有効期間)を発生させる場合について、その演出進展にかかる例を説明した。これに対し、図239~図243では、前兆演出(特定表示)が非表示にされた時点でゲージ画像(所定画像)GGの表示面積が減少していないか、前兆演出(特定表示)が行われることなく有効期間(第2の有効期間)が発生する場合について、その演出進展にかかる例を説明するものである。
この実施例にかかるパチンコ機1(周辺制御部1511)では、基本的には、操作受付が許容される有効期間の発生に際して、所定の前兆演出(前兆表示)を行うものとなっている。ただし、この実施例にかかるパチンコ機1(周辺制御部1511)では、有効期間内における「ゲージ画像(所定画像)GGの動きに特徴を持たせた表示態様」を実行可能としており、このような演出を行うときには該特徴を際立たせるべく、有効期間の発生に際して所定の前兆演出(前兆表示)これ自体を行わないか、所定の前兆演出(前兆表示)を行うとしてもゲージ画像(所定画像)GGの表示対象領域の全体が視認良好にされた時点においてゲージ画像(所定画像)GGの表示面積は未だ減少されておらず最大値になっている状況が現れるようにしている。
ここで、「ゲージ画像GGの動きに特徴を持たせた表示態様」としては、通常は(図233~図238などを参照)、有効期間内で操作が行われなかったときにはゲージ画像GGの表示面積が予め定められた最小値(ここでは「0」)になったところで当該有効期間が終了されるところ、「有効期間内で操作が行われず且つ操作後表示や操作後音出力が行われることもないにもかかわらず、当該有効期間が終了される時点で、ゲージ画像GGの表示面積が予め定められた最小値(ここでは「0」)になっておらず所定の表示面積を有している第1の表示態様」を挙げることが可能である。このような構成によれば、ゲージ画像GGの表示面積が予め定められた最小値(ここでは「0」)になるまで多くの時間が残されているように見える状況であっても、遊技者は、当該有効期間が突然終了される可能性を意識するようになることから、有効期間中における緊張感を好適に維持することができるようになる。
また、「ゲージ画像GGの動きに特徴を持たせた表示態様」としては、通常は(図233~図238などを参照)、有効期間内でゲージ画像GGは単位時間毎に表示面積を減少させるところ、「有効期間内にあるにもかかわらず、ゲージ画像GGの表示面積が減少されない第2の表示態様」を挙げることが可能である。このような構成によれば、ゲージ画像GGの表示面積が予め定められた最小値(ここでは「0」)になるまで残り少ない時間しかないように思えた場合であっても、遊技者は、ゲージ画像GGの表示面積が減少されなくなる可能性を意識するようになり、遊技興趣の低下が抑制されるようになる。
すなわち、以下に説明する例では、このような「第1の表示態様」及び「第2の表示態様」の少なくとも1つを利用して「ゲージ画像GGの動きに特徴を持たせた表示態様」を実行する場合についての表示例を示している。
まず、図239(a)は、通常遊技状態において、保留数が0の状態で装飾図柄SZ(特別図柄)の変動表示が大当り判定の結果に応じた第2の演出パターン(変動パターン)で演出表示装置1600にて行われている演出状況を示している。
図239(b)は、図239(a)に示した装飾図柄SZの変動表示の実行中、操作手段(操作受け部)に対する操作受付が許容される有効期間が発生し、演出表示装置1600にて一体化摸画像IGが表示された演出状況を示している。同図239(b)に示されるように、一体化摸画像IGが表示された時点においては、ゲージ画像GGの表示面積は予め定められた最大値になっており未だ減少されていない状況にある。
また、有効期間内において「ゲージ画像GGの動きに特徴を持たせた表示態様」を実行する場合、該有効期間(第2の有効期間)に対して設定される時間(設定時間)は、「ゲージ画像GGの動きに特徴を持たせた表示態様」が実行されない有効期間(第1の有効期間)に対して設定される時間(設定時間)よりも長くされる。これは、有効期間内でゲージ画像GGの動きに特徴を持たせた表示態様を実行しようとすると、これを実行するための時間を要することに他ならない。ただし、この実施の形態にかかるパチンコ機1(周辺制御部1511)では、「ゲージ画像GGの動きに特徴を持たせた表示態様」が実行されない第1の有効期間と、「ゲージ画像GGの動きに特徴を持たせた表示態様」が実行される第2の有効期間とで有効期間が終了されるまでの設定時間が異なっているにもかかわらず、一体化摸画像IGこれ自体が同じか、相似の関係となる態様で表示されるようにしている(この例では、一体化摸画像IGこれ自体が同じであり、ゲージ画像GG(ゲージ画像GGの表示対象領域)は、同じ表示面積)。このような構成によれば、一見するだけでは、「ゲージ画像GGの動きに特徴を持たせた表示態様」が実行されない第1の有効期間と、「ゲージ画像GGの動きに特徴を持たせた表示態様」が実行される第2の有効期間とで設定時間が異なることを認識し難いが、ゲージ画像GGの表示面積が減少されない状況が現れたときには、該減少されない状況にあるときの時間分が加算されることによって見た目よりも設定時間が長いものとなっていることを推定することができるようになる。
なお、図239(b)に示される演出状況の発生に際しては、該発生を示唆する前兆演出を行うようにしてもよい。ただし、一体化摸画像IG(少なくとも該一体化摸画像IGに含まれる「ゲージ画像GGの表示対象領域」)の全体が前兆演出と重ならずに表示された時点において、ゲージ画像GGの表示面積は最大値になっており、未だ減少されていない状況にあるようにすることが求められる。
すなわち上述の通り、この例では、所定の操作後表示や所定の操作後音出力に関しての操作受付が許容されている状態(有効期間内)において、ゲージ画像(所定画像)GGの表示面積が減少しない状況を発生させうるものとなっており、図239(b)に示される演出状況から所定時間が経過した図239(c)に示される演出状況が現れると、ゲージ画像GGは、それまでの経過時間(所定時間)に応じた分の表示面積が減少された状態でその表示面積を維持するようになり、「ゲージ画像GGの表示面積が減少されない期間」が開始されることとなる。
このような「ゲージ画像GGの表示面積が減少されない期間」は、図239(c),(d)に示されるように、該期間が発生してから予め定められた時間にわたって継続されるようになっている。ただし、「ゲージ画像GGの表示面積が減少されない期間」においても、操作受付は許容される状態を維持しており、操作機会が付与されている操作手段に対して操作があったときには当該有効期間を終了させ、これに伴って一体化摸画像IGを非表示にさせるとともに、該操作受付に基づく操作後表示や操作後音出力が実行されることとなる(図239(g)を参照)。
このような構成によれば、有効期間内で「ゲージ画像GGの表示面積が減少されない状態」が現れるようになることから、ゲージ画像GGの表示面積が一定の速度で減少され続ける場合と比較して、有効期間が終了されるまでの残り時間に余裕があることを示唆することができるようになる。
また、ゲージ画像GGの表示面積が減少されない状態ではあるが、操作受付これ自体は許容される状態として維持されることから、有効期間が延長されたかのようなイメージを持たせることができるようになり、当該有効期間が発生しているときの遊技興趣の向上を図ることが期待されるようになる。
また、図239(c),(d)に示される例では、「ゲージ画像GGの表示面積が減少されない期間」においてはそれまで表示されていた装飾図柄SZを非表示の状態、若しくは視認し難い状態にするようにしており、これによって「ゲージ画像GGの動きに特徴を持たせた表示態様」への注視が促されるようにしている。
ただし、ゲージ画像GGの表示面積が減少されない状態が発生した場合、表示画面内の画像が突然静止状態になる、いわゆる「フリーズ演出」が発生したとの誤解を遊技者に対して与えかねない。すなわち、「フリーズ演出」は、予め定められた時間にわたって何らの反応も見せず、該状態を解除することもできない表示態様として一般に知られるものであるから、操作受付が許容されなくなったとの誤認識を促しかねず、遊技者による操作意欲を喪失させてしまい、遊技興趣が低下することが懸念される。特に、この例では、装飾図柄SZを非表示の状態、若しくは視認し難い状態にするようにしていることから、これによっても操作受付が許容されなくなったとの誤認識を促しかねない。
この点、この実施例にかかるパチンコ機1(周辺制御部1511)では、ゲージ画像GGの表示面積が減少されない状態において一体化摸画像IGこれ自体を静止状態にするのではなく、一体化摸画像IGに含まれるゲージ画像GGについてはこれを静止状態にする一方で、一体化摸画像IGに含まれるボタン摸画像BMGについてはその動的表示(操作受け部の可動範囲で変位する様子が描写される表示)を継続させるようにしている。
このような構成によれば、ボタン摸画像BMGの動的表示が継続されているなかで、ゲージ画像GGの表示面積が減少されない状態が現れるようになることから、操作受付が許容されなくなった(フリーズ演出が発生した)と誤認識されてしまう可能性を抑制することができるようになり、遊技者による操作意欲を好適に維持することが期待されるようになる。
ここで、ボタン摸画像BMGによる動的表示は、所定動作(操作受け部の可動範囲内で往復動する動作など)を繰り返す表示として実行されるものとなっている。この点、前兆演出(特定表示)が非表示にされた時点でゲージ画像GGの表示面積が減少している有効期間(図235~図238などに示される第1の有効期間)では、その設定時間が終了するまでにボタン摸画像BMGによる所定動作をn回繰り返す表示として実行されるのに対し、前兆演出(特定表示)が実行されないか、前兆演出(特定表示)は実行されるが非表示にされた時点でゲージ画像GGの表示面積が減少していない有効期間(図239~図243などに示される第2の有効期間)では、その設定時間のうち「ゲージ画像GGの表示面積が減少されない期間」内だけでもボタン摸画像BMGによる所定動作をm(>n)回繰り返す表示として実行可能とされるようにすることが望ましい。
このような構成によれば、ゲージ画像GGの表示面積が減少されない状態が現れたときには、図235~図238などに示される第1の有効期間よりも長い時間にわたってゲージ画像GGの表示面積が減少されない状態が継続されるようになることから、当該状態の発生に驚いてしまいその状況把握に手間取ったような場合であっても、操作するために十分な時間的余裕が持たされるようになり、遊技興趣を好適に維持することが期待されるようになる。なお、前兆演出(特定表示)が非表示にされた時点でゲージ画像GGの表示面積が減少している有効期間として、図235~図238などに示した第1の有効期間とは別の有効期間(別の操作後表示や操作後音出力を発生させるもの)が用意されている場合には、それら有効期間に対して設定されている各時間(設定時間)のうち最長のものよりも、図239~図243などに示される第2の有効期間のうち「ゲージ画像GGの表示面積が減少されない期間」内のほうが、ボタン摸画像BMGによる所定動作の回数が多くなるようにすることが望ましい。
そして上述の通り、このような第2の有効期間が発生する時点において、ゲージ画像GGは、その視認性が良好に確保されている状況にあり、且つその表示面積が予め定められた最大値として表示されるようになっている(図239(b))。ただしこの際、図234に例示したように、ゲージ画像GGの表示対象領域内に特定画像TGが視認良好な状態で表示されるようなことがあると、該特定画像TGが表示されている分だけゲージ画像GGの表示面積が減少しているようにも見えかねず、遊技興趣が低下する懸念がある。また、図233に例示したように、ゲージ画像GGの表示面積が最大値から減少されるのに応じて特定画像TGを視認良好な状態で出現させるようなことがあると、該特定画像TGがゲージ画像GGの一部として機能するものでないことが明白になってしまい、有効期間としての残り時間の長さを誇張していることによる遊技興趣の低下が懸念される。
そこで、この実施例にかかるパチンコ機1(周辺制御部1511)では、第2の有効期間においては、特定画像TGこれ自体を表示しないようにしている。したがって、図239(b)に示される状況からゲージ画像GGの表示面積の減少が開始されたとしても特定画像TGは現れず、該特定画像TGが表示されていない状態でゲージ画像GGの表示面積が所定値まで減少されると、「ゲージ画像GGの表示面積が減少されない期間」が所定時間にわたって発生することとなる(図239(c),(d))。
この例では、遊技者による操作によって操作受付がなされないままで「ゲージ画像GGの表示面積が減少されない期間」が終了すると、ゲージ画像GGは、その表示面積を再び減少するようになっている。この状態においては、装飾図柄SZが再び表示されるか、視認し易い状態にされる。そしてこの後、ゲージ画像GGの表示面積が予め定められた値(最小値)になると(図239(e))、第2の有効期間に対して設定された時間(設定時間)がタイムアップして当該第2の有効期間が終了されるとともに、一体化摸画像IGを含めた操作関連画像は非表示にされるようになる(図239(f))。なおここでは、ゲージ画像GGの表示面積が「0」、すなわち非表示になったときに(図239(e))、第2の有効期間に対して設定された時間(設定時間)がタイムアップして当該第2の有効期間が終了されるとともに、一体化摸画像IGを含めた操作関連画像は非表示にされるようになっている(図239(f))。
このように、第2の有効期間では、操作受付がなされないままでその設定時間が経過する場合(図239(f))、該第2の有効期間内で操作受付がなされたときと同じ操作後表示や操作後音出力が実行(自動受付演出が機能)されることはないようになっており、この点においても第1の有効期間と異なるものとなっている。ただしその代わり、第2の有効期間では、第1の有効期間に対する設定時間よりも長い時間にわたってゲージ画像GGが停止状態で表示されるとともに、該停止状態での表示期間においても操作受付が許容されるようになっていることは上述した通りであるから、ゲージ画像GGが予め定められた値(最小値)になるまでの操作が間に合わなくなるような事態これ自体が発生し難くなっていると言える。
図239に示した例では、「ゲージ画像GGの動きに特徴を持たせた表示態様」として、通常は(図233~図238などを参照)、有効期間内でゲージ画像GGは予め定められた一定の速度で表示面積を減少させるところ、「有効期間内にあるにもかかわらず、ゲージ画像GGの表示面積が減少されない第2の表示態様」を適用した場合について説明した。ただし上述の通り、「ゲージ画像GGの動きに特徴を持たせた表示態様」として、通常は(図233~図238などを参照)、有効期間内で操作が行われなかったときにはゲージ画像GGの表示面積が予め定められた最小値(ここでは「0」)になったところで当該有効期間が終了されるところ、「有効期間内で操作が行われず且つ操作後表示や操作後音出力が行われることもないにもかかわらず、当該有効期間が終了される時点で、ゲージ画像GGの表示面積が予め定められた最小値(ここでは「0」)になっておらず所定の表示面積を有している第1の表示態様」をさらに適用するようにしてもよい。そして、このような手法を採用する場合、図240及び図241に示される態様か、図242及び図243に示される態様のいずれかで実行するようにすることが、遊技興趣の向上を図る上でより望ましい。
図240及び図241は、上述した第1の有効期間及び第2の有効期間のうち、第2の有効期間が発生するときの演出進展についてその一例を示す図である。
図240(a)~(d)に示される状況は、図239(a)~(d)を参照して上述した内容やその別例と同じである。したがって、この例においても、第2の有効期間内の途中で「ゲージ画像GGの表示面積が減少されない期間」が発生するようになっており、該期間を含めて、当該第2の有効期間内で操作受付がなされると、該操作受付に基づく操作後表示や操作後音出力が実行されることとなる(図241(g)を参照)。
ただしこの例では、遊技者による操作によって操作受付がなされないままで「ゲージ画像GGの表示面積が減少されない期間」が終了されたとしても、ゲージ画像GGが、その表示面積を再び減少するように表示されることはない。この例では、当該第2の有効期間に対して設定されている時間(設定時間)が経過するまで「ゲージ画像GGの表示面積が減少されない期間」が継続されるようになっている。したがって、「ゲージ画像GGの表示面積が減少されない期間」が終了すると、図240(d)及び図241(e)に示されるように、該ゲージ画像GGの表示面積がそのまま(所定値)残されている状態で当該一体化摸画像IGを含めた操作関連画像が非表示にされるようになる。この状態においては、装飾図柄SZが再び表示されるか、視認し易い状態にされる。
このように、この例にかかる第2の有効期間も、操作受付がなされないままでその設定時間が経過する場合(図241(e))、該第2の有効期間内で操作受付がなされたときと同じ操作後表示や操作後音出力が実行(自動受付演出が機能)されることはないようになっている。ただしその代わり、この例にかかる第2の有効期間も、第1の有効期間に対する設定時間よりも長い時間にわたってゲージ画像GGが停止状態で表示されるとともに、該停止状態での表示期間においても操作受付が許容されるようになっていることは上述した通りである。
しかしながら、この例では、ゲージ画像GGの表示面積が予め定められた値(ここでは、「0」)になるまで減少されず、所定値分の表示面積を残した状態で第2の有効期間を終了させるようにしていることから、遊技者側としては、操作する意図があったにもかかわらず操作できずに当該第2の有効期間が終了する事態が発生しかねず、遊技興趣が低下する懸念がある。そこで、この例では、遊技者による操作が行われることなく第2の有効期間が終了した後は、特定条件(例えば、図柄停止や、図柄停止する10秒前に達していないなど)が満たされていない間、当該第2の有効期間内で操作機会が付与された操作手段と同じ操作手段(柄ボタン5014または操作ボタン410)に対して操作機会を付与するようにしており、該操作手段に対する操作が受け付けされるとこれに基づいて上記第2の有効期間を再び発生可能としている。この意味では、遊技者による操作が行われることなく第2の有効期間が終了したときには、該終了した時点から、該第2の有効期間を再発生させるための特別有効期間が発生するようになっていると言える。
このような構成によれば、遊技者による操作が行われないままで所定の設定時間が経過した結果として第2の有効期間が終了した場合であっても、遊技者による操作によって図241(g)に示される操作後表示や操作後音出力を出力させるための操作受付を発生させることが可能とされるようになる。より具体的には、図241(e)に示される状況において、柄ボタン5014(または操作ボタン410)に対して遊技者による操作が行われると、操作受付がなされたことに基づいて第2の有効期間を初めの状態から開始させる(図241(f))。そしてそれ以降は、図240(b)~(d),図241(e),(g)を参照しつつ上述した通りの内容が再び繰り返されることとなる。したがって、こうして再発生された第2の有効期間内において操作受付がなされた場合も、該操作受付に基づく操作後表示や操作後音出力が実行されることとなる(図241(g)を参照)。
なお、図241(e)に示される特別有効期間において操作受付がされると、操作後表示として、図241(f)に示される画像(図240(b)に示される画像と同じ)が現れることとなる。このような画像は、第2の有効期間(図240(b)~(d)や図241(f)など)において操作受付がされたことに基づいて実行される操作後表示とは画像表示が異なるものである。また、図241(e)に示される特別有効期間において操作受付がされたことに基づいて実行される操作後音出力も同様、第2の有効期間(図240(b)~(d)や図241(f)など)において操作受付がされたことに基づいて実行される操作後音出力とはその出力音が異なるものである。
図242及び図243は、上述した第1の有効期間及び第2の有効期間のうち、第2の有効期間が発生するときの演出進展についてその変形例を示す図である。
図242(a)に示される状況は、図239(a)や図240(a)を参照して上述した内容やその別例と同じである。ただしこの例では、図242(a)に示した装飾図柄SZの変動表示の実行中、第2の有効期間が発生して演出表示装置1600にて一体化摸画像IGが表示されると、該一体化摸画像IGが表示された時点から「ゲージ画像GGの表示面積が減少されない期間」が所定時間にわたって発生するようになっている(図242(b),(c))。この例では、一体化摸画像IGが表示された時点において、ゲージ画像GGの表示面積は予め定められた最大値になっている状況にあることから、ゲージ画像GGは、その表示面積を最大値のままで維持されることとなる。
なお、ゲージ画像GGの表示対象領域に特定画像TGが表示されないことや、ゲージ画像GGの表示面積が減少されない期間においても操作受付が許容されており、該操作受付されると操作後表示や操作後音出力が実行されることなど、「ゲージ画像GGの表示面積が減少されない期間」内における構成や進展については、図239~図241を参照して上述した内容やその別例と同じである。
また、この例においても、図240及び図241に示した例と同様、当該第2の有効期間に対して設定されている時間(設定時間)が経過するまで「ゲージ画像GGの表示面積が減少されない期間」が継続されるようになっている。したがって、「ゲージ画像GGの表示面積が減少されない期間」が終了すると、図242(c)及び図243(d)に示されるように、該ゲージ画像GGの表示面積がそのまま(最大値)残されている状態で当該一体化摸画像IGを含めた操作関連画像が非表示にされるようになる。この状態においては、装飾図柄SZが再び表示されるか、視認し易い状態にされる。
このように、この例にかかる第2の有効期間も、操作受付がなされないままでその設定時間が経過する場合(図243(d))、該第2の有効期間内で操作受付がなされたときと同じ操作後表示や操作後音出力が実行(自動受付演出が機能)されることはないようになっている。ただしその代わり、この例にかかる第2の有効期間も、第1の有効期間に対する設定時間よりも長い時間にわたってゲージ画像GGが停止状態で表示されるとともに、該停止状態での表示期間においても操作受付が許容されるようになっていることは上述した通りである。
しかしながら、この例においても、ゲージ画像GGの表示面積が予め定められた値(ここでは、「0」)になるまで減少されず、最大値分の表示面積を残した状態で第2の有効期間を終了させるようにしていることから、遊技者側としては、操作する意図があったにもかかわらず操作できずに当該第2の有効期間が終了する事態が発生しかねず、遊技興趣が低下する懸念がある。そこで、この例においても、遊技者による操作が行われることなく第2の有効期間が終了した後は、特定条件(例えば、図柄停止や、図柄停止する10秒前に達していないなど)が満たされていない間、当該第2の有効期間内で操作機会が付与された操作手段と同じ操作手段(柄ボタン5014または操作ボタン410)に対して操作機会を付与するようにしており、該操作手段に対する操作が受け付けされるとこれに基づいて上記第2の有効期間を再び発生可能としている。この意味では、遊技者による操作が行われることなく第2の有効期間が終了したときには、該第2の有効期間を再発生させるための特別有効期間が発生するようになっていると言える。
このような構成によれば、遊技者による操作が行われないままで所定の設定時間が経過した結果として第2の有効期間が終了した場合であっても、遊技者による操作によって図243(f)に示される操作後表示や操作後音出力を出力させるための操作受付を発生させることが可能とされるようになる。より具体的には、図243(d)に示される状況において、柄ボタン5014(または操作ボタン410)に対して遊技者による操作が行われると、操作受付がなされたことに基づいて第2の有効期間を初めの状態から開始させる(図243(e))。そしてそれ以降は、図242(b),(c),図243(d),(f)を参照しつつ上述した通りの内容が再び繰り返されることとなる。したがって、こうして再発生された第2の有効期間内において操作受付がなされた場合も、該操作受付に基づく操作後表示や操作後音出力が実行されることとなる(図243(f)を参照)。
ただしこの例では、こうして第2の有効期間が再発生する場合も、該再発生した時点から「ゲージ画像GGの表示面積が減少されない期間」が発生することとなることから、図243(e)に示される状況において、装飾図柄SZは非表示にされるか、視認し難い状態にされる。
すなわち、図243(d)に示される特別有効期間において操作受付がされたときに操作後表示として現れる「図243(e)に示される画像」は、「図242(b)に示される画像」と同じである。このような画像は、第2の有効期間(図242(b),(c)や図243(d)など)において操作受付がされたことに基づいて実行される操作後表示(図243(f))とは画像表示が異なるものである。また、図243(d)に示される特別有効期間において操作受付がされたことに基づいて実行される操作後音出力も同様、第2の有効期間(図242(b),(c)や図243(d)など)において操作受付がされたことに基づいて実行される操作後音出力(図243(f))とはその出力音が異なるものである。
このように、図242及び図243に示される例では、第2の有効期間の開始から終了されるまでの全期間が「ゲージ画像GGの表示面積が減少されない期間」として機能するようになっており、いずれの状況においてもゲージ画像GGの表示面積が減少されることはない。
なお、図241(e)や図243(d)に示される状況(特別有効期間)においては、第2の有効期間と同様、一体化摸画像IGを表示するようにしてもよい。ただし、操作に応じて発生させる操作後表示や操作後音出力が互いに異なる有効期間(第2の有効期間,特別有効期間)であることを認識し易くなるように、第2の有効期間と特別有効期間とでは、一体化摸画像IGの表示位置や大きさの少なくとも一方は異なるようにすることが望ましい。すなわちこの場合、第2の有効期間の終了時には、該第2の有効期間に対応する態様の一体化摸画像IGが非表示とされ、特別有効期間に対応する態様の一体化摸画像IGが新たに表示されることとなる。特別有効期間において一体化摸画像IGを表示する場合、その有効期間内で「ゲージ画像の表示面積が減少されない期間」を発生させるようにしてもよいし、「ゲージ画像の表示面積が減少されない期間」を発生させないようにしてもよい。
図239~図243に示した「ゲージ画像GGの動きに特徴を持たせた表示態様」については、一体化摸画像IGa~IGdのうち一体化摸画像IGaが表示されるときに実行可能とされるものであり、一体化摸画像IGa~IGdのうち一体化摸画像IGb~IGdが表示されるときには実行されないようにすることが望ましい。すなわち、一体化摸画像IGaは期待度が最も低い態様として表示されるものであるが、該一体化摸画像IGaが表示されたときには、図239~図243に示した「ゲージ画像GGの動きに特徴を持たせた表示態様」が現れる可能性があるようになることから、遊技興趣の低下が抑制されうるようになる。
図240~図243に示した例によれば、操作関連画像(一体化摸画像IGなど)が「ゲージ画像GGの動きに特徴を持たせた表示態様」で表示される場合は、遊技者による操作が行われないままで所定の設定期間(第2の有効期間)が経過した結果として当該操作関連画像が非表示にされる状況が現れたとしても、操作受付が発生して表示変化(または、操作後音出力)を生じさせることが可能とされるようになる。より具体的には、所定の設定期間(第2の有効期間)が終了した場合であっても、それまで一体化摸画像IGによって操作が促されていた操作受け部(操作手段)を操作すると所定の設定期間(第2の有効期間)を再発生させることが可能であり、該再発生した所定の設定期間(第2の有効期間)で操作受付が許容されるようになっている(図241(e),(f)や、図243(d),(e))。このような構成によれば、「ゲージ画像GGの動きに特徴を持たせた表示態様」を理解できずに所定の設定期間(第2の有効期間)が終了してしまった場合であっても、該所定の設定期間(第2の有効期間)を再発生させることができることから、遊技興趣の低下が抑制されうるようになる。
これに対し、操作関連画像(一体化摸画像IGなど)が「ゲージ画像GGの動きに特徴を持たせた表示態様」で表示されない所定の設定期間(第1の有効期間)では、操作受付がされないままで所定の設定期間(第1の有効期間)が終了した後、それまで一体化摸画像IGによって操作が促されていた操作受け部(操作手段)を操作したとしても、所定の設定期間(第2の有効期間)が再発生されることはない(図235~図238)。
なお、操作関連画像(一体化摸画像IGなど)が「ゲージ画像GGの動きに特徴を持たせた表示態様」で表示される所定の設定期間(第2の有効期間)については、必ずしも図柄変動の実行期間中に発生するものでなくてもよい。例えば、図柄変動の有無にかかわらずRTC機能を用いて発生する期間であってもよいし、大当り遊技の実行期間中や大当り遊技が開始される前期間など、「図柄変動が実行されていない期間」において発生するものであってもよい。
また、図235~図243に示した例によれば、第1の有効期間(図235~図238)よりも第2の有効期間(図239~図243)のほうが長い時間が設定されるものであるにもかかわらず、第1の有効期間と第2の有効期間とで一体化摸画像IGこれ自体を同じか、または相似の関係となる態様で表示するようにした(上記例では、一体化摸画像IGこれ自体が同じであり、ゲージ画像GG(ゲージ画像GGの表示対象領域)は、同じ表示面積)。一体化摸画像IGを相似の関係となる態様で表示する場合、ボタン摸画像に対するゲージ画像GG(表示対象領域)の大きさ比率は同じになることから、設定されている時間(設定時間)としての長さは同じであるように見せることが期待される。このような構成によれば、一見するだけでは、「ゲージ画像GGの動きに特徴を持たせた表示態様」が実行されない第1の有効期間と、「ゲージ画像GGの動きに特徴を持たせた表示態様」が実行される第2の有効期間とで設定時間が異なることを認識し難いが、ゲージ画像GGの表示面積が減少されない状況が現れたときには、該減少されない状況にあるときの時間分が加算されることによって見た目よりも設定時間が長いものとなっていることを推定することができるようになる。
第1の有効期間(図235~図238)と第2の有効期間(図239~図243)とで一体化摸画像IGを相似の関係となる態様で表示するようにする場合、「ゲージ画像GGの動きに特徴を持たせた表示態様」が現れる第2の有効期間において、第1の有効期間よりも小さな一体化摸画像IGが表示されるようにすることが望ましい。
また、図235~図243に示した例によれば、第1の有効期間(図235~図238)では、操作受付がないと、所定画像(ゲージ)の表示面積が特定値(ここでは「0」)になったところで終了されるが、第2の有効期間(図239~図243)では、操作受付がないと、所定画像(ゲージ)の表示面積が特定値よりも大きな値をもって表示されている状態で終了される。すなわち、有効期間に対して設定されている時間(設定時間)が長いと、有効期間中における緊張感が低下し易い傾向にあるが、所定画像(ゲージ)の表示面積が特定値(ここでは「0」)にならなくても有効期間が終了しうる可能性を持たせるようにすることで、緊張感を好適に維持することが期待されるようになる。
また、上述した例によれば、前兆演出が行われているなかでゲージ画像GGの表示面積が減少されるように一体化摸画像IGが表示される場合(第1の有効期間)と、前兆演出が行われないか、前兆演出は行われるが少なくとも該前兆演出が行われている間はゲージ画像GGの表示面積が減少されないように一体化摸画像IGが表示される場合(第2の有効期間)とで、ゲージ画像GGの表示対象領域内で表示される画像が異なるようにしている。この場合、ゲージ画像GGこれ自体の態様を互いに異なるものしてもよい。「前兆演出は行われるが少なくとも該前兆演出が行われている間はゲージ画像GGの表示面積が減少されない」とは、図242及び図243に例示したように、有効期間の全期間にわたってゲージ画像GGの表示面積が減少されない場合を含む意味である。
この点、上述した例によれば、第1の有効期間(図235~図238)では、特定画像TGを表示し、操作が行われないままで設定時間が経過する状態において該特定画像TGが表示されている状態にするが、第2の有効期間(図240~図243)では、特定画像TGを表示せず、操作が行われないままで設定時間が経過する状態においてゲージ画像GG(表示対象領域)が表示されている状態にするようにした。このような構成によれば、第1の有効期間では、有効期間の終了時に特定画像TGが表示される分だけ有効期間を長く見せることが可能とされるようになり、第2の有効期間では、有効期間の終了時にゲージ画像GG(表示対象領域)が残されることで、遊技者側の想定よりも早く有効期間が終了するように見せて緊張感を維持することが可能である。このような作用効果を好適に得る上では、第2の有効期間では、有効期間の終了時にゲージ画像GG(表示対象領域)の表示面積の多く(少なくとも最大値の半分よりも多い面積)を残すようにすることが望ましい。
また、上述した例によれば、ゲージ画像GGについては、第1の有効期間(図235~図238)ではその全期間にわたって単位時間毎に表示面積が減少される態様で表示されるようにしたが、第2の有効期間(図239~図243)では表示面積が減少されない態様が表示されるようにした。したがって、ゲージ画像GGが出現したときの表示面積の大きさだけでは残り時間を認識することを困難にすることができるようになり、緊張感を好適に維持することが期待されるようになる。
また、上述した例によれば、ボタン摸画像BMGについては、第1の有効期間と第2の有効期間とのいずれにおいても操作受け部が変位する様子を描写するように動的表示されるものとなっているが、ゲージ画像GGについては、第1の有効期間では第1態様(表示面積が減少される態様)で表示されるのに対し、第2の有効期間では該第1態様とは異なる第2態様(表示面積が減少されない態様)で表示されるようにしている。すなわち、上述した例にあって、ボタン摸画像BMGは、ゲージ画像GG(周辺装飾画像SSG)と一体化された一の画像(一体化摸画像IG)として表示されるものであるにもかかわらず、当該一体化摸画像IGのうちボタン摸画像BMGが動的表示しているときに、ゲージ画像GGが減少している状態にあるときと該ゲージ画像GGが減少していない状態にあるときとがあるようにしている。したがって、ゲージ画像GGが減少していない状態にあったとしても、ボタン摸画像BMGが動的表示されていることによって操作受付が許容される状態にあることを当該一体化摸画像IGとして好適に示唆することができるようになる。
また、上述した例によれば、通常ボタン摸画像BMGaと特別ボタン摸画像BMGbとのうち通常ボタン摸画像BMGaで表示されているときにのみ、「ゲージ画像(所定画像)GGの動きに特徴を持たせた表示態様」を表示可能としている。また、通常ボタン摸画像BMGaが表示されているときには、「ゲージ画像(所定画像)GGの動きに特徴を持たせた表示態様」が表示される場合があることはもとより、「ゲージ画像(所定画像)GGの動きに特徴を持たせた表示態様」が表示されず、特別ボタン摸画像BMGbが表示されたときにも現れる態様(通常態様)でゲージ画像(所定画像)GGが表示される場合があるようにした。したがって、特別ボタン摸画像BMGbよりも期待度の低い通常ボタン摸画像BMGaが表示されたときの遊技興趣の低下を抑制することが期待されるようになる。
特に、図242及び図243に示される第2の有効期間では、ゲージ画像(所定画像)GGの表示面積が一切減少されず、該ゲージ画像(所定画像)GGの表示される態様(色など)としても一の態様しか表示されない。すなわちこの場合、ゲージ画像GGこれ自体による残り時間示唆機能や期待度示唆機能は喪失されており該ゲージ画像GGからは何の情報も得られないにもかかわらず、該ゲージ画像GGの表示対象領域が形成された一体化摸画像IGをあえて表示し、該一体化摸画像IG内ではゲージ画像GGが静的に(面積不変の態様で)表示されることとなる。このような構成によれば、第2の有効期間内で表示されるゲージ画像GGは、残り時間や期待度を示唆する画像ではなく、一体化摸画像IG内の単なる装飾画像としてのみ機能するようになることから、第1の有効期間内で表示されるゲージ画像GGとはその機能を大きく異ならせることができるようになり、ゲージ画像GGとしての表現にかかる多様性によって遊技興趣の向上を図ることが期待されるようになる。
なお、第1の有効期間及び第2の有効期間については、それらの発生条件が互いに異なるものであればよい。例えば、一の図柄変動期間内の異なるタイミングで発生するものであってもよい。また、第1の有効期間とは、第1の操作後表示や第1の操作後音出力に関しての操作受付が許容される期間を意味しており、第2の有効期間とは、第1の操作後表示とは異なる第2の操作後表示や第1の操作後音出力とは異なる第2の操作後音出力に関しての操作受付が許容される期間を意味しており、それらの各期間内で操作受付されたときに現れる反応(表示変化、音出力)は互いに異なるものである。
また、一体化摸画像IGについては、
・前兆演出(特定表示TH)が表示開始された後、該表示状態にある前兆演出と当該「一体化摸画像IG」とが重なる態様にあるときからゲージ画像GGの表示面積が単位時間毎に減少される態様(図235~図238)と、
・前兆演出が表示されないか、前兆演出が表示開始されたとしても少なくとも該表示状態にある前兆演出と当該「一体化摸画像IG」とが重なる態様にあるときにはゲージ画像GGの表示面積が減少されない態様(図239~図243)
とがあるようにした。このような構成によれば、前兆演出が行われた結果、ゲージ画像GGの視認性が確保された頃には既に表示面積が減少されている場合と、前兆演出が行われたか否かにかかわらずゲージ画像GGの全体が視認可能とされた時点でゲージ画像GGの表示面積が減少していない場合とが生じるようになり、ゲージ画像GGの視認性を利用した演出性による面白さを提供することができるようになる。
特に、前兆演出が行われたか否かにかかわらずゲージ画像GGの全体が視認可能とされた時点でゲージ画像GGの表示面積が減少していない態様(図239~図243)を採用した場合に限り、有効期間内であるにもかかわらずゲージ画像GGの表示面積が減少されない表示態様がさらに現れうるようにしたことから、ゲージ画像GGに対する注視をより一層高めることができるようになる。
なお、前兆演出が表示されないか、前兆演出が表示開始されたとしても少なくとも該表示状態にある前兆演出と当該「一体化摸画像IG」とが重なる態様にあるときにはゲージ画像GGの表示面積が減少されない態様(図239~図243)を採用する場合については、その有効期間内で、ゲージ画像GGの表示面積が減少されない表示態様が現れる場合(図239~図243)のほか、ゲージ画像GGの表示面積が減少されない表示態様が現れない場合があるようにしてもよい。ただしこの場合、ゲージ画像GGの表示面積が減少されない表示態様が現れる第2の有効期間(図239~図243)の発生条件を第2条件とするとき、ゲージ画像GGの表示面積が減少されない表示態様が現れない特定の有効期間の発生条件は、第2条件とは異なる特定条件として設定されることとなる。
上述の例では、ボタン摸画像BMGが表示されている期間中、時間経過に応じてゲージ画像GGの表示面積を減少させる表示が行われる場合と、該表示が行われない場合とがあるようにした。該表示が行われない場合は、有効期間内でゲージ画像GGこれ自体を表示せず、非表示とするようにしてもよい。それにもかかわらず、ゲージ画像GGの表示対象領域については、時間経過に応じて表示面積を減少させる表示が行われる第1の有効期間はもとより、時間経過に応じて表示面積が減少されない第2の有効期間であっても表示されるようにしたことから、演出受付が許容されている状態にあることを好適に示唆することが期待されるようになる。
上述の例では、時間経過に応じて表示面積を減少させる表示がゲージ画像GGによって行われることなく、有効期間(第2の有効期間)に対して設定された時間(設定時間)が経過して当該有効期間が終了されるときには、自動受付機能が有効化されることがないようにした。すなわち、自動受付機能が有効化されるようなことがあると、ゲージ画像GGによって残り時間が示唆されないことによる緊張感が完全喪失することになりかねないことから、有効期間(第2の有効期間)に関しては(いかなる演出モードであっても)自動受付機能が有効化されないようにすることが望ましい。これに対し、上述した第1の有効期間に関しては(いかなる演出モードであっても)自動受付機能が有効化されるようにすることが望ましい。
また、ボタン摸画像BMGとゲージGGとをバラバラに表示し、専らゲージ機能(残り時間示唆機能)のみを追求する表示手法を採用した場合に、ゲージ画像GGの表示面積を減少させない手法を採用したとすると、ゲージ画像GGであるにもかかわらず残り時間示唆機能が発揮されないことに対して大きな違和感を覚えることとなる。この点、上記構成では、ボタン摸画像BMGは、ゲージGGの表示対象領域が含まれる周縁装飾画像SSGと一体化された画像IGとして表示されるようにしている。すなわちこの場合、ゲージ画像GGが表示されているときにもその裏側に模様が見えるようにしたり、ゲージ画像GGこれ自体に複数の色を持たせたりすることがなされるようになり、ゲージ画像GGこれ自体が当該一体化摸画像IGのなかで装飾性を有するようになることから、該ゲージ画像GGによる残り時間示唆機能が発揮されない事態が現れたときの違和感を抑制することが期待されるようになる。
ところで、図236~図238に示した例では、第1の有効期間の発生に先立って、「ボタン摸画像BMG」として、期待度の低い態様(通常ボタン摸画像BMGa)と期待度の高い態様(特別ボタン摸画像BMGb)とのいずれが現れるかについての演出性と、「周縁装飾画像SSG」として、期待度の低い態様(通常周縁装飾画像SSGa)と期待度の高い態様(特別周縁装飾画像SSGb)とのいずれが現れるかについての演出性とを段階的に出現させるようにした。ただし、このような演出性については、以下に説明する手法によっても出現させることが可能である。
図244は、一体化摸画像IGにかかる期待度を段階的に示唆する演出について、その変形例を説明する図である。
まず、図244(a)は、通常遊技状態において、保留数が0の状態で装飾図柄SZ(特別図柄)の変動表示が大当り判定の結果に応じた第1の演出パターン(変動パターン)で演出表示装置1600にて行われている演出状況を示している。
図244(b)は、図244(a)に示した装飾図柄SZの変動表示の実行中、操作手段(操作受け部)に対する操作受付が許容される有効期間が発生し、演出表示装置1600にてボタン摸画像BMGが表示された演出状況を示している。
ただし、図244(b)に示される状況において、ボタン摸画像BMGは、「周縁装飾画像SGG」と一体化された画像として表示されることはなく、これ単体で表示されるに留まる状態になっている。すなわち、図244(b)に示されるタイミングにおいては、ボタン摸画像BMGが、期待度の低い態様(通常ボタン摸画像BMGa)と期待度の高い態様(特別ボタン摸画像BMGb)とのいずれで表示されるかについての演出性を提供するものとなっており、図中では、期待度の高い態様(特別ボタン摸画像BMGb)が現れた場合を例示している。これら態様のいずれを表示するかについては、大当り判定(演出判定)の結果に基づいて選択される。
図244(c)は、図244(b)に示した特別ボタン摸画像BMGbが、周縁装飾画像SSGと一体化された画像IGとして表示された演出状況を示している。
ただし、図244(b)に示される状況から図244(c)に示される状況への演出進展は必ずしも行われないようにしてもよい。例えば、図244(b)に示されるボタン摸画像BMG(通常ボタン摸画像BMGa,特別ボタン摸画像BMGb)が、周縁装飾画像SSGと一体化することがないままで有効期間(第1の有効期間)が発生する態様を用意するようにすれば、図244(b)に示される状況から図244(c)に示される状況への演出進展が行われて一体化摸画像IGになってから有効期間(第1の有効期間)が発生するのか、若しくは図244(c)に示される状況への演出進展が行われず一体化摸画像IGになることなく有効期間(第1の有効期間)が発生するのかについての面白さを提供することができるようになる。一体化摸画像IGになることなく有効期間(第1の有効期間)が発生する場合、ゲージ画像GGは、ボタン摸画像BMGとは別の画像として表示されることとなり、例えば、棒状(直線状)の区画領域内でゲージ画像GGの表示面積が減少される描写がなされることとなる。この場合、特定画像TGは表示されないようにすることが望ましい。
なお、ボタン摸画像BMGが、周縁装飾画像SSGと一体化されてから有効期間が発生する場合、周縁装飾画像SSGと一体化されずに有効期間が発生する場合よりも大当り図柄で停止される期待度(割合)が高くなるようにすることが望ましい。また、図244(b)に示される状況において特別ボタン摸画像BMGbが表示された場合は、図244(b)に示される状況において通常ボタン摸画像BMGaが表示された場合よりも図244(c)に示される状況へと進展されて周縁装飾画像SSGと一体化される割合が高くなるようにすることが望ましい。それら割合については、「100%」や「0%」を含むようにしてもよい。
また、図244(c)に示されるタイミングにおいては、ボタン摸画像BMGが、期待度の低い態様の周縁装飾画像(通常周縁装飾画像BMGa)と期待度の高い態様の周縁装飾画像(特別周縁装飾画像BMGb)とのいずれと一体化されるかについての演出性を提供するものとなっており、図中では、期待度の高い態様(特別周縁装飾画像BMGb)が現れた場合を例示している。これら態様のいずれを表示するかについては、大当り判定(演出判定)の結果に基づいて選択される。
なお、この例にかかる周縁装飾画像BMG(通常周縁装飾画像BMGa,特別周縁装飾画像BMGb)は、説明の便宜上、上述した各例(図232~図244)で示したものとはその画像種別が異なるものとなっているが、基本的には、同じ機能を有するものとして表示される。この例にかかる周縁装飾画像BMGは、ボタン摸画像BMGを収納するための箱形状を有するものとなっており、通常周縁装飾画像BMGaでは、ハート柄の模様(図示割愛)が施されるのに対し、特別周縁装飾画像BMGbでは、チェック柄の模様が施されるようになっている。そして、それら模様が施されている領域のうち「右上から左下までの領域」がゲージ画像GGの表示対象領域として表示されている。
図244(c)に示される画像は、特別ボタン摸画像BMGbと特別周縁装飾画像BMGbとが一体化された画像(一体化摸画像)IGdとして機能することとなり、演出上の意味としては、図232(d)と同様のものである。
図244(d)は、図244(c)に示した一体化摸画像IGdに対して第1付加装飾HS1が付加された演出状況を示している。
ただし、図244(c)に示される状況から図244(d)に示される状況への演出進展は必ずしも行われないようにしてもよい。例えば、図244(c)に示される一体化摸画像IG(一体化摸画像IGa~IGd)に対して第1付加装飾HS1が付加されることがないままで有効期間(第1の有効期間)が発生する態様を用意するようにすれば、図244(c)に示される状況から図244(d)に示される状況への演出進展が行われて第1付加装飾HS1が付加されてから有効期間(第1の有効期間)が発生するのか、若しくは図244(d)に示される状況への演出進展が行われず第1付加装飾HS1が付加されることなく有効期間(第1の有効期間)が発生するのかについての面白さを提供することができるようになる。
なお、一体化摸画像IGに対して第1付加装飾HS1が付加されてから有効期間が発生する場合、一体化摸画像IGに対して第1付加装飾HS1が付加されずに有効期間が発生する場合よりも大当り図柄で停止される期待度(割合)が高くなるようにすることが望ましい。また、図244(b)に示される状況において特別ボタン摸画像BMGbが表示された場合や図244(c)に示される状況において特別周縁装飾画像BMGbが表示された場合は、図244(b)に示される状況において通常ボタン摸画像BMGaが表示された場合や図244(c)に示される状況において通常周縁装飾画像BMGaが表示された場合よりも図244(d)に示される状況へと進展されて第1付加装飾HS1が付加される割合が高くなるようにすることが望ましい。それら割合については、「100%」や「0%」を含むようにしてもよい。
また、図244(d)に示されるタイミングにおいては、第1付加装飾HS1が、期待度の低い態様と、期待度の高い態様とのいずれで付加されるかについての演出性を提供するものとするようにしてもよい。
図244(e)は、図244(d)に示した一体化摸画像IGdに対して第2付加装飾HS2が付加された演出状況を示している。
ただし、図244(d)に示される状況から図244(e)に示される状況への演出進展は必ずしも行われないようにしてもよい。例えば、図244(d)に示される一体化摸画像IG(一体化摸画像IGa~IGd)に対して第2付加装飾HS2が付加されることがないままで有効期間(第1の有効期間)が発生する態様を用意するようにすれば、図244(d)に示される状況から図244(e)に示される状況への演出進展が行われて第1付加装飾HS1が付加されてから有効期間(第1の有効期間)が発生するのか、若しくは図244(e)に示される状況への演出進展が行われず第2付加装飾HS2が付加されることなく有効期間(第1の有効期間)が発生するのかについての面白さを提供することができるようになる。
なお、一体化摸画像IGに対して第2付加装飾HS2が付加されてから有効期間が発生する場合、一体化摸画像IGに対して第2付加装飾HS2が付加されずに有効期間が発生する場合よりも大当り図柄で停止される期待度(割合)が高くなるようにすることが望ましい。また、図244(b)に示される状況において特別ボタン摸画像BMGbが表示された場合や図244(c)に示される状況において特別周縁装飾画像BMGbが表示された場合は、図244(b)に示される状況において通常ボタン摸画像BMGaが表示された場合や図244(c)に示される状況において通常周縁装飾画像BMGaが表示された場合よりも図244(e)に示される状況へと進展されて第2付加装飾HS2が付加される割合が高くなるようにすることが望ましい。それら割合については、「100%」や「0%」を含むようにしてもよい。
また、図244(e)に示されるタイミングにおいては、第2付加装飾HS2が、期待度の低い態様と、期待度の高い態様とのいずれで付加されるかについての演出性を提供するものとするようにしてもよい。
図244(f)は、図244(e)に示した一体化摸画像IGdが表示されている状態で有効期間(第1の有効期間)が発生した演出状況を示している。
同図244(f)に示されるように、有効期間(第1の有効期間)が発生すると、「押せ」や「下矢印」などの操作指示画像が表示されるようになる。これに加えて、ゲージ画像GGの表示対象領域には、上述した特定画像TGが表示されるようになっており、該特定画像TGを確認することによっても操作受付が許容されている状態にあることを認識することができるようになる。なお、この例にかかる特定画像TGは、説明の便宜上、上述した各例(図232~図244)で示したものとはその画像種別が異なるものとなっているが、基本的には、同じ機能を有するものとして表示される。この例にかかる特定画像TGは、カエルのキャラクタを描写するものとなっており、該キャラクタは、ゲージ画像GGの表示面積が減少するときに変位する「ゲージ画像GGの末端部」に合わせて変位することとなる。
なお、この例にかかる特定画像TGについては、図233に示した例と同様の手法(有効期間の開始時点では表示されておらず時間経過に応じて徐々に表示される手法)によって表示するようにしてもよいし、図234に示した例と同様の手法(有効期間が開始された時点で全体が表示されている手法)によって表示するようにしてもよい。
また、図244(f)に示されるタイミングにおいては、特定画像TGが、図示を割愛する期待度の低い態様(カタツムリのキャラクタ)と、期待度の高い態様(カエルのキャラクタ)とのいずれで表示されるかについての演出性を提供するものとなっており、図中では、期待度の高い態様が現れた場合を例示している。図244(c)に示される状況において有効期間が発生した場合よりも、図244(d)に示される状況において有効期間が発生した場合のほうが期待度の高い態様で特定画像TGが表示される割合が高くなっており、図244(d)に示される状況において有効期間が発生した場合よりも、図244(e)に示される状況において有効期間が発生した場合のほうが期待度の高い態様で特定画像TGが表示される割合が高くなるようにすることが望ましい。それら割合については、「100%」や「0%」を含むようにしてもよい。
このような構成によれば、有効期間が発生するまでの間に、操作関連画像として期待度の高い態様へとどれだけ進展することができるかについての演出性を提供することができるようになることから、有効期間が未だ発生していない状態において操作に関しての遊技興趣の向上を図ることができるようになる。また、有効期間が発生するまでの間に操作関連画像(ボタン摸画像BMG,周縁装飾画像SGG,付加装飾HS1,2)によって期待度を示唆するようにしつつも、有効期間が発生した以降には、それとは別の画像(特定画像TG)によって期待度をさらに示唆するようにしたことから、有効期間が発生する前から発生した後までの期間にわたっての興趣向上を好適に図ることができるようになる。
なお、図244に示した例において、図244(b)から図244(c)へと演出進展されるか否かのタイミングや、図244(c)から図244(d)へと演出進展されるか否かのタイミングや、図244(d)から図244(e)へと演出進展されるか否かのタイミングなどでは、操作関連画像(ボタン摸画像、周縁装飾画像、付加装飾など)を一旦非表示にするようにしてもよい。すなわちこの場合、操作関連画像(ボタン摸画像、周縁装飾画像、付加装飾など)が再び表示されたときに、演出進展したのか、それとも有効期間が発生してしまったのかの面白さを提供することができるようになる。
また、図244に示した例では、有効期間の発生前の段階において、ボタン摸画像や周縁装飾画像、付加装飾などを有効期間中と同じ態様で表示するようにしたが、これとは異なる態様(点滅や半透明など)で表示するようにしてもよい。
また、図244に示した例では、有効期間の発生前に操作関連画像によって段階的に期待度を示唆するのに要する時間のほうが、有効期間に対する設定時間よりも長くなるようにすることが望ましい。
ところで、この実施の形態にかかる刀装飾体5001には、鞘部5020に対して動作(上下動)可能な「柄部5012」と、柄部5012に対して動作(上下動)可能な「柄ボタン5014」との2つの操作受け部が設けられていることは上述した。この点、この実施の形態にかかる周辺制御MPU1511aでは、所定の条件が満たされて柄部5012に対して操作機会が付与される有効期間(操作受付演出)を発生させる場合、該有効期間(操作受付演出)内において、柄部5012を摸した「柄摸画像TMG」と、柄ボタン5014を摸した「ボタン摸画像BMG」との両方を表示することとしている。柄部5012に対して操作機会が付与される有効期間(操作受付演出)では、柄ボタン5014に対する操作受付は許容されず、柄ボタン5014に対して操作機会が付与される有効期間(操作受付演出)では、柄部5012に対する操作受付は許容されない。
このような構成では、柄部5012に対して操作機会が付与される有効期間(操作受付演出)が発生した場合、柄部5012に対する操作受付が許容されているのか、それとも柄ボタン5014に対する操作受付が許容されているのかを認識し難くすることができるようになる。すなわち、柄部5012に対して操作機会が付与される有効期間で操作受付がなされると、柄ボタン5014に対して操作機会が付与される有効期間で操作受付がなされたときよりも、操作後表示として大当り図柄が停止されることを示唆する態様(または、操作後音出力として大当り図柄が停止されることを示唆する態様)が出現する割合が高くなっている。該割合は、0%や100%であってもよい。したがって、柄部5012に対する操作受付が許容されているのか、それとも柄ボタン5014に対する操作受付が許容されているのかを認識し難くしているなかで、柄部5012に対する操作受付が許容されていることを遊技者が認識するようになると、高揚感のなかで柄部5012に対する操作を行うこととなり、遊技興趣を著しく向上させることができるようになる。
このような作用効果を得るためには、柄部5012に対する操作受付が許容されているのか、それとも柄ボタン5014に対する操作受付が許容されているのかを認識し難くすることが求められる。そこで、この実施の形態にかかるパチンコ機1では、柄部5012に対して操作機会が付与される有効期間(操作受付演出)においては、柄部5012(が有する発光部)を発光させることはもとより、操作機会が付与されていない側の柄ボタン5014(が有する発光部)を発光させるようにしている。すなわちこの場合、柄部5012を摸した「柄摸画像TMG」と柄ボタン5014を摸した「ボタン摸画像BMG」との両方が表示されている有効期間(操作受付演出)においては、柄部5012や柄ボタン5014を直接目視したとしても、柄部5012及び柄ボタン5014のいずれに対して操作機会が付与されているのかを認識し難いままにされることとなる。このような状況にあるなかで、柄部5012に対する操作受付が許容されていることを遊技者が認識するようになることで、高揚感のなかで柄部5012に対する操作を行うこととなり、遊技興趣を著しく向上させることができるようになる。
すなわち、柄部5012に対して操作機会が付与される有効期間(操作受付演出)では、柄部5012や柄ボタン5014を直接目視したり、演出表示装置1600を少し見たりするだけでは、柄部5012に対して操作機会が付与されているのか、それとも柄ボタン5014に対して操作機会が付与されているのかを認識することは困難である。少なくとも当該パチンコ1を初めて遊技した者(初心者)や、複雑な演出仕様に疎い者(高齢者など)などからすれば、柄部5012及び柄ボタン5014のいずれに対して操作機会が付与されているのか認識し難いと言える。
この実施の形態にかかるパチンコ機1では、このように「柄部5012及び柄ボタン5014のいずれに対して操作機会が付与されているのか認識し難い有効期間」を発生させるようにした上で、柄部5012及び柄ボタン5014のいずれに対して操作機会が付与されているのかをその有効期間内で瞬時に認識することは困難であるが、ある程度の時間を要すれば認識することができる態様で、ボタン摸画像BMGと柄摸画像TMGとをそれぞれ表示するようにしている。
より具体的には、パチンコ機1では、柄部5012に対して操作機会が付与される有効期間(操作受付演出)においては、柄部5012を摸した「柄摸画像TMG」と、柄ボタン5014を摸した「ボタン摸画像BMG」との両方をそれぞれ表示するが、それら摸画像のうち、操作受付が許容される側の「柄摸画像TMG」についてはこれを動的表示するが、操作受付が許容されない側の「ボタン摸画像BMG」についてはこれを動的表示しないようにしている。ここでの「動的表示」とは、例えば、操作受け部がその可動範囲で変位する様子を描写する表示(柄部5012であれば、鞘部5020に対して動作(上下動)する様子を描写した表示のことに相当し、柄ボタン5014であれば、柄部5012に対して動作(上下動)する様子を描写した表示のことに相当する)のことである。
このような構成であっても、柄部5012及び柄ボタン5014のいずれに対して操作機会が付与されているのかをその有効期間内で瞬時に認識することは困難である。ただし、動的表示(動画)として認識できるだけの所定時間が経過したときには、柄摸画像TMGには操作時の挙動が動的表示として現れているのに、ボタン摸画像BMGには操作時の挙動が動的表示として現れていないことに気付くようになることから、柄部5012及び柄ボタン5014のいずれに対して操作機会が付与されているのかを認識することができるようになる。そして、期待度の高い側の操作受け部(柄部5012)に対して操作受付が許容されていることを遊技者が認識するようになると、高揚感のなかで柄部5012に対する操作を行うこととなり、遊技興趣を著しく向上させることができるようになる。
また、この実施の形態にかかるパチンコ機1では、柄部5012に対して操作機会が付与される有効期間(操作受付演出)において「柄摸画像TMG」及び「ボタン摸画像BMG」を表示する場合も、それら摸画像を、それらの周縁を装飾する周縁装飾画像SSGと一体化された「一体化摸画像」として表示することで、操作受付演出(有効期間)が発生したときの遊技興趣の向上を図るようにしている。このような一体化摸画像としての機能や変形例については、基本的には上述した通りである。例えば、図232~図244に示した一体化摸画像IGが、「ボタン摸画像BMG」に加えて、「柄摸画像TMG」をさらに表示(包含)するようものとして表示されるようにしてもよい。
ただし、この実施の形態にかかるパチンコ機1では、「ボタン摸画像BMG」と「柄摸画像TMG」とについては、刀装飾体5001の少なくとも一部を摸した「複合摸画像HMG」として表示するようにしており、該「複合摸画像HMG」を、その周縁を装飾する周縁装飾画像SSGと一体化された「一体化摸画像IG」として表示するようにしている。
図245は、柄部5012に対して操作受付演出(有効期間)が発生したときに表示される「一体化摸画像IG」について、その一例を示す図である。
同図245(a)~(d)に示されるように、この実施の形態にかかるパチンコ機1では、柄部5012に対して操作機会が付与される特定の操作受付演出(有効期間)を発生させる場合、演出表示装置1600においては、該柄部5012を摸した「柄摸画像TMG」を「ボタン摸画像BMG」と一体化された「複合摸画像HMG」にした上で、該「複合摸画像HMG」が、その周縁を装飾する周縁装飾画像SSGと一体化した一体化摸画像IGe~IGhとして表示される。図245(a)~(d)に示される例では、「柄摸画像TMG」や「ボタン摸画像BMG」、「周縁装飾画像SSG」については画像データとして個別に用意されておらず、それらが一体化された1つの画像データ(一体化摸画像IGe~IGh)として表示されるようになっている。また、一体化摸画像IGe~IGhが表示されるときには、「押し込め」や「左下矢印」などの操作促進表示も併せて表示されるが、説明の便宜上、ここでは割愛する。
この実施の形態にかかるパチンコ機1では、柄部5012に対して操作機会が付与される特定の操作受付演出(有効期間)で操作が受け付けられたときに実行する操作後演出として「相対的に期待度の低い第一演出態様」と「相対的に期待度の高い第二演出態様」とを含めた複数の演出態様が用意されており、大当り判定(演出判定)の結果に基づいてそれら演出態様のいずれかを実行するものとなっている。この点、図245(a)~(d)に示す例では、
・特定の操作受付演出(有効期間)において図245(a)に示される態様(一体化摸画像IGe)が現れたときよりも、図245(b)に示される態様(一体化摸画像IGf)が現れたときのほうが操作後演出として「相対的に期待度の高い第二演出態様」の出現割合が高くなるようになっており、
・特定の操作受付演出(有効期間)において図245(b)に示される態様(一体化摸画像IGf)が現れたときよりも、図245(c)に示される態様(一体化摸画像IGg)が現れたときのほうが操作後演出として「相対的に期待度の高い第二演出態様」の出現割合が高くなるようになっており、
・特定の操作受付演出(有効期間)において図245(c)に示される態様(一体化摸画像IGg)が現れたときよりも、図245(d)に示される態様(一体化摸画像IGh)が現れたときのほうが操作後演出として「相対的に期待度の高い第二演出態様」の出現割合が高くなる
といった関係性が成立するように、大当り判定(演出判定)の結果に基づいて一体化摸画像IGe~IGfのいずれかを表示するようにしている。
一体化摸画像IGe~IGhとして示した4つの態様についてはこれらの全てを必ずしも用意しなくてもよい。少なくとも2つの態様を用意するだけでも操作後演出としての期待度を有効期間内において示唆することは可能である。また、上記4つの態様(一体化摸画像IGe~IGh)とは異なる態様をさらに用意し、それら用意した態様のいずれかを表示するようにしてもよい。
このように、この実施の形態にかかるパチンコ機1では、
・遊技者による操作によって変位する操作受け部(柄部5012)、及びその周縁に設けられる周縁装飾部(鞘部5020など)を有する操作手段(刀装飾体5001)と、
・操作受け部(柄部5012)を摸した摸画像(柄摸画像TMG)を、該摸画像の周縁を装飾する周縁装飾画像と一体化された一体化摸画像IGe~IGhとして表示する一体化摸画像表示手段と、
・一体化摸画像が表示されているときに遊技者による操作が行われて操作受け部(柄部5012)に所定変位が生じると表示変化(操作後演出)を生じさせうる操作受付実行手段と
を備えており、一体化摸画像は、複数態様(一体化摸画像IGe~IGh)のいずれかで表示されうるものとなっている。
図245(a)~(d)に示される「一体化摸画像」についての詳細を、それら態様(一体化摸画像IGe~IGh)の別に説明する。
まず、図245(a)に示される「一体化摸画像IGe」は、柄摸画像TMGe及びボタン摸画像BMGe(複合摸画像HMGe)と、その周縁を装飾する通常周縁装飾画像SSGeとを有して構成されている。ただし、「一体化摸画像IGe」にあっては、柄摸画像TMGe及びボタン摸画像BMGe(複合摸画像HMGe)が「操作機会の付与される対象である柄部5012を摸した画像」及び「操作機会の付与される対象でない柄ボタン5014を摸した画像」が一体化された画像として表示されるものであるのに対し、通常周縁装飾画像SSGeは、「操作機会の付与される対象である柄部5012の周縁に実際に設けられる周縁装飾部(鞘部5020など)を摸していない。この例にかかる通常周縁装飾画像SSGeでは、周縁装飾部(鞘部5020など)の一部を摸するに留まっており、当該画像SSGeのうち多くの部分は、演出表示装置1600での表示演出上における仮想的な装飾として柄摸画像TMGe(複合摸画像HMGe)の周縁を装飾するものとなっている。
図245(a)に示される「一体化摸画像IGe」にあって、通常周縁装飾画像SSGaは、柄摸画像TMGe(複合摸画像HMGe)を含むいくつかのお宝が収納されている宝箱として表現されており、上述の通り、これらの「お宝」や「宝箱」は、実在する周縁装飾部とは異なる形状であり且つ異なる装飾として表現されるものとなっている。
この点、この実施の形態にかかる「一体化摸画像IGe」では、このような通常周縁装飾画像SSGeに対し、ゲージ画像(所定画像)GGの表示対象領域を設けることとしている。この例にかかるゲージ画像(所定画像)GGも、該表示対象領域内での表示面積を時間経過に応じて減少させるように表示可能とされるものである。より具体的には、ゲージ画像(所定画像)GGは、有効期間内で操作受付がなされないとき、予め定められた最大値の表示面積から、予め定められた最小値(「0」も含む)の表示面積になるまで時間経過に応じて減少するように表示される。
図245(a)に示される通常周縁装飾画像SSGeにおいては、ゲージ画像(所定画像)GGの表示対象領域を、当該通常周縁装飾画像SSGe内の他領域と区画する区画画像KGが設けられている。この区画画像KGに囲まれた領域が「ゲージ画像(所定画像)GGの表示対象領域」として機能することとなる。この例では、お宝の1つであるネックレスが区画画像KGとして表示されており、該ネックレス内で「ゲージ画像(所定画像)GG」が表示されるようになっている。ただし、該区画画像KGについては必ずしも表示しなくてもよく、通常周縁装飾画像SSGa内の所定範囲を「ゲージ画像(所定画像)GGの表示対象領域」とするようにしてもよい。
また、図245(a)に示されるように、演出表示装置1600において「一体化摸画像IGe」が表示される特定の操作受付演出(有効期間)が発生したときには、操作対象とされる柄部5012を、第1態様で発光(例えば、「一体化摸画像IGe」内の柄摸画像TMGeと同じ色(図245(a)では、例えば「青色」)で発光)させるようにしている。また、操作対象とされていない柄ボタン5014についても、第5態様で発光(例えば、「一体化摸画像IGe」内のボタン摸画像BMGeと同じ色(図245(a)では、例えば「青色」)で発光)させるようにしている。ここでは同じ色としているが、第1態様と第5態様とは異なる色としてもよい。
これに対し、図245(b)に示される「一体化摸画像IGf」も、基本的には、上述した「一体化摸画像IGe」と同じであり、柄摸画像TMGf及びボタン摸画像BMGf(複合摸画像HMGf)と、その周縁を装飾する周縁装飾画像SSGとが一体化された画像として構成されている。該「一体化摸画像IGf」において、柄摸画像TMGf及びボタン摸画像BMGf(複合摸画像HMGf)に形状変化はない。ただし、周縁装飾画像SSGについては、上述した「通常周縁装飾画像SSGe」と宝箱これ自体は同じものとして表示されるが、その中身であるお宝の量や種別が増大している「第1特別周縁装飾画像SSGf」として表示されるものとなっている。お宝は、量や種別が増大しているのであり、ネックレス、宝剣、カップについては、「通常周縁装飾画像SSGe」の場合も表示されているものであり、共通するものである。
また、図245(b)に示される「一体化摸画像IGf」では、お宝の量や種別が増大したことに伴って、ゲージ画像GGの表示対象領域である「ネックレス(区画画像KG)」の形状が変化しており、これによってゲージ画像GGの表示態様が異なるようにされている。このような構成によれば、期待度の異なる複数態様のいずれで表示されるかによってゲージ画像GGの表示対象領域としての形状が異なる(相似形でもない)ようになることから、その表示面積が減少されていくなかでどれだけの残り時間が残されているのかを認識し難くすることができるようになり、緊張感を好適に維持することが期待されるようになる。
また、図245(b)に示されるように、演出表示装置1600において「一体化摸画像IGf」が表示される特定の操作受付演出(有効期間)が発生したときは、操作対象とされる柄部5012を、第2態様で発光(例えば、「一体化摸画像IGf」内の柄摸画像TMGfと同じ色(図245(b)では、例えば「緑色」)で発光)させるようにしている。また、操作対象とされていない柄ボタン5014についても、第6態様で発光(例えば、「一体化摸画像IGf」内のボタン摸画像BMGfと同じ色(図245(b)では、例えば「緑色」)で発光)させるようにしている。ここでは同じ色としているが、第2態様と第6態様は異なる色としてもよい。
一方、図245(c)に示される「一体化摸画像IGg」も、基本的には、上述した「一体化摸画像IGe」と同じであり、柄摸画像TMGg及びボタン摸画像BMGg(複合摸画像HMGg)と、その周縁を装飾する周縁装飾画像SSGとが一体化された画像として構成されている。該「一体化摸画像IGg」において、柄摸画像TMGg及びボタン摸画像BMGg(複合摸画像HMGg)に形状変化はない。ただし、周縁装飾画像SSGについては、上述した「通常周縁装飾画像SSGe」とお宝これ自体は同じものとして表示されるが、それらを収納する宝箱(の形状)が異なっている「第2特別周縁装飾画像SSGg」として表示されるものとなっている。
ただし、「第2特別周縁装飾画像SSGg」も、以下の点においては「通常周縁装飾画像SSGe」や「第1特別周縁装飾画像SSGf」と同様である。
・「操作機会の付与される対象である柄部5012の周縁に実際に設けられる周縁装飾部(鞘部5020など)を摸しておらず、演出表示装置1600での表示演出上における仮想的な装飾として柄摸画像TMGg(複合摸画像HMGg)の周縁を装飾する。
また、図245(c)に示されるように、演出表示装置1600において「一体化摸画像IGg」が表示される特定の操作受付演出(有効期間)が発生したときは、操作対象とされる柄部5012を、第3態様で発光(図245(c)では、例えば、「一体化摸画像IGg」内の柄摸画像TMGgと同じ色(例えば「赤色」)で発光)させるようにしている。また、操作対象とされていない柄ボタン5014についても、第7態様で発光(例えば、「一体化摸画像IGg」内のボタン摸画像BMGgと同じ色(図245(c)では、例えば「赤色」)で発光)させるようにしている。ここでは同じ色としているが、第3態様と第7態様は異なる色としてもよい。
一方、図245(d)に示される「一体化摸画像IGh」も、基本的には、上述した「一体化摸画像IGe」と同じであり、柄摸画像TMGh及びボタン摸画像BMGh(複合摸画像HMGh)と、その周縁を装飾する周縁装飾画像SSGとが一体化された画像として構成されている。該「一体化摸画像IGh」において、柄摸画像TMGh及びボタン摸画像BMGh(複合摸画像HMGh)に形状変化はない。ただし、周縁装飾画像SSGについては、上述した「通常周縁装飾画像SSGe」と比べて、お宝の量や種別が増大しており、且つそれらを収納する宝箱(の形状)も異なっている「第3特別周縁装飾画像SSGh」として表示されるものとなっている。
また、この例にかかる「一体化摸画像IGh」では、お宝の量や種別が増大したことに伴って、ゲージ画像GGの表示対象領域である「ネックレス(区画画像KG)」の形状が変化しており、これによってゲージ画像GGの表示態様が異なるようにされている。
ただし、「第3特別周縁装飾画像SSGh」も、以下の点においては「通常周縁装飾画像SSGe」などと同様である。
・「操作機会の付与される対象である柄部5012の周縁に実際に設けられる周縁装飾部(鞘部5020など)を摸しておらず、演出表示装置1600での表示演出上における仮想的な装飾として柄摸画像TMGh(複合摸画像HMGh)の周縁を装飾する。
すなわち、「一体化摸画像IGh(図245(d))」では、「一体化摸画像IGf(図245(b))」で用いられる「第1特別周縁装飾画像SSGg」内の一部(お宝)と、「一体化摸画像IGg(図245(c))」で用いられる「第2特別周縁装飾画像SSGg」内の一部(宝箱)とが組み合わさった画像として表示されるものとなっている。
その一方で、周縁装飾画像SSGにおける一部領域では同じ装飾や形状が現れるようになっていることから、「一体化摸画像IGe(図245(a))」が現れた場合と、「一体化摸画像IGh(図245(d))」が現れた場合とで、同じ操作後演出を対象とした特定の操作受付演出(有効期間)であることを示唆することができるようになる。
また、図245(d)に示されるように、演出表示装置1600において「一体化摸画像IGh」が表示される特定の操作受付演出(有効期間)が発生したときは、操作対象とされる柄部5012を、第4態様で発光(例えば、「一体化摸画像IGh」内の柄摸画像TMGhと同じ色(図245(d)では、例えば「レインボー色」)で発光)させるようにしている。また、操作対象とされていない柄ボタン5014についても、第8態様で発光(例えば、「一体化摸画像IGh」内のボタン摸画像BMGhと同じ色(図245(d)では、例えば「レインボー色」)で発光)させるようにしている。ここでは同じ色としているが、第4態様と第8態様は異なる色としてもよい。
なお、図245(a)~(d)に示した例では、いずれの態様であっても、柄摸画像TMG及びボタン摸画像BMG(複合摸画像HMG)は同じ形状で表示されるようにしたが、お宝の量や種別が変化するのに合わせて(図245(b),(d))、若しくは宝箱が変化するのに合わせて(図245(c),(d))、柄摸画像TMG及びボタン摸画像BMG(複合摸画像HMG)の形状を異ならせるようにしてもよい。
また、図245(a)~(d)に示した例では、各態様において、柄摸画像TMG及びボタン摸画像BMG(複合摸画像HMG)が異なる色で表示されるようにしたが、同じ色で表示されるようにしてもよい。
柄ボタン5014を摸したボタン摸画像BMGを表示する場合、図232(a)~(d)に示した例では、該ボタン摸画像BMGに対して周縁装飾画像SSGa,bを一体化させて表示するようにした。この点、図245(a)~(d)に示した例においても、柄ボタン5014を摸したボタン摸画像BMGを表示するが、周縁装飾画像SSGa,bについてはこれを表示しないようにしている。すなわち、周縁装飾画像については、演出表示装置1600での表示演出上における仮想的な装飾として表示しているからこそ、図232(a)~(d)に示した例の場合と、図245(a)~(d)に示した例の場合とで全く異なる画像として表示されるようにすることが可能であり、これによって多彩な演出性を提供することができるようになる。
その他、図245(a)~(d)に示した例にかかる構成のうち、図232(a)~(d)に示した例と同じ機能を有する部分については、図232(a)~(d)を参照して上述した各種の作用効果と同じ作用効果が奏されることは言うまでもない。また、図245(a)~(d)に示した例においては、図232(a)~(d)に示した例に対する上述した変形例や演出例についてはこれらを適宜に採用可能である。
また、図245に示した態様で一体化摸画像IGが表示される有効期間においても、図232に示した態様で一体化摸画像IGが表示される有効期間と同様、その有効期間内では上述した「特定画像TG」が表示されるようになっている。
ただし、図232に示した態様で一体化摸画像IGが表示される有効期間(複数の有効期間)では、その有効期間の種別(操作後表示や操作後音出力としての種別や、前兆演出の種別など)に応じて、「特定画像TG」が表示される場合と、「特定画像TG」が表示されない場合とがあるようにしているのに対し、図245に示した態様で一体化摸画像IGが表示される有効期間(複数の有効期間)では、その有効期間の種別(操作後表示や操作後音出力としての種別や、前兆演出の種別など)にかかわらず、「特定画像TG」が必ず表示されるようになっている。
すなわち、図245に示した態様で一体化摸画像IGが表示される有効期間(複数の有効期間)には、図239~図243に示した「ゲージ画像GGの表示面積が減少されない状態」を演出として発生させる有効期間が含まれていない。したがって、残り時間がどれだけ残されているのかを明確にする上で「特定画像TG」を表示することが望ましい。「特定画像TG」を表示する場合、ゲージ画像GGについてはこれを必ずしも表示しなくてもよい。
図245に示した態様で一体化摸画像IGが表示されるときの「特定画像TG」については、図233で示した態様で表示するようにしてもよいし、図234で示した態様で表示するようにしてもよい。
また、図245に示した例では、柄部5012を原位置から特定位置へと移動させた状態で柄部5012に対して操作機会を付与しており、これによって特定位置から原位置への移動操作(納刀操作)が許容されるようにしている。ただし、柄部5012に対して操作機会を付与する場合、柄部5012を原位置から特定位置へと必ずしも移動させなくてもよい。例えば、柄部5012が原位置にある状態で柄部5012に対して操作機会を付与し、これによって原位置から特定位置への移動操作(抜刀操作)が許容されるようにしてもよい。
図246は、図245に示した態様で一体化摸画像IGが表示されるときの演出(操作受付演出)についてその一例を示す図である。
図246(a)は、通常遊技状態において、保留数が0の状態で装飾図柄SZ(特別図柄)の変動表示が大当り判定の結果に応じた特定の演出パターン(変動パターン)で演出表示装置1600にて行われている演出状況において、演出表示装置1600にて前兆演出(特定表示TH3)にかかる表示が開始された演出状況を示している。この演出パターンは、図235~図238に示した演出パターンと同じであってもよいし、異なるものであってもよい。同じ演出パターンであるときは、図235~図238に示した有効期間(操作受付演出)と、図246に示した有効期間とを、演出パターン内の第1タイミングと第2タイミングとでそれぞれ発生させるようにしてもよいし、演出判定の結果に基づいてそれら有効期間(操作受付演出)のいずれか一方のみを演出パターン内の所定タイミングで発生させるようにしてもよい。
この例にかかる前兆演出(特定表示TH3)も、操作受付が許容される有効期間の発生タイミングの前後に跨るかたちで実行されるものとなっており、この時点では、柄部5012に対する操作受付(演出受付)は許容されておらず有効期間が発生していない状態にある。
この点、この例にかかる前兆演出(特定表示TH3)は、一体化摸画像IGこれ自体の表示(宝箱の蓋部分による動的表示)によって行われるようになっている。図236(a)に示される時点では、一体化摸画像IGの周縁装飾画像SSGが表現する宝箱が、「閉じた態様」として表示されており、これによって柄摸画像TMGe(複合摸画像HMGe)を含むいくつかのお宝が(宝箱の蓋部分である特定表示TH3によって)画像として表示されず、視認できない状態(若しくは視認困難な状態)とされている。
また、図246(a)に示されるタイミングにおいては、一体化摸画像IGの周縁装飾画像SSGが表現する宝箱が、図245(a),(b)で示した相対的に期待度の低い態様と、図245(c),(d)で示した相対的に期待度の高い態様とのいずれで表示されるかについての演出性を提供するものとなっており、図中では、期待度の低い態様(図245(a),(b))で表示された場合を例示している。これら態様のいずれを表示するかについては、大当り判定(演出判定)の結果に基づいて選択される。なお、期待度の高い態様で宝箱が表示された場合については、説明を割愛するが、以下に説明する「期待度の低い態様で宝箱が表示された場合」と同じ態様でこれ以降の演出進展が行われることとなる。
図246(b)は、図246(a)に示した前兆演出が進展していくなかで(宝箱の蓋部分(特定表示TH3)が開放されて「お宝」と重なって表示される領域が時間経過に応じて縮小していくなかで)、「お宝」では、宝箱の蓋部分(特定表示TH3)と重ならない部分が徐々に広がっていき、該部分が視認良好な状態で表示されている状況を示している。
すなわち、図246(a)に示される前兆演出が進展すると、特定タイミングが到来して柄部5012に対する有効期間が発生するようになる。該有効期間が発生すると、図246(b)に示されるように、操作対象である柄部5012がアクチュエータ(モータ)からの駆動力によって「特定位置」への移動を開始する。また上述の通り、操作対象である「柄部5012」と操作対象でない「柄ボタン5014」との両方が所定態様(青、緑、赤、レインボーなど)での発光を開始するようになる。
ただし、このような発光が開始される時点では、図246(a)に示した前兆演出(特定表示TH3)は実行途中の段階にある。より具体的には、図246(b)に示されるように、一体化摸画像IGは、その宝箱の蓋部分(特定表示TH3)が「閉じた態様(全閉)」から「開けられた態様(全開)」への変化をしている様子を描写する状態となっている。したがって、図246(b)に示される時点で、ゲージ画像(所定画像)GG及び特定画像TGの少なくとも一部は、「その前側にあるように描写(表現)される前兆演出(特定表示TH3)」によって視認できない(または、視認困難である)が、「ゲージ画像(所定画像)GG」の表示面積の減少は既に開始(進行)されており、「特定画像TG」の変位も既に開始(進行)されている状況にある。この例では、特定画像TGについては、その全体が前兆演出(特定表示TH)と重なっており、画像として表示されないようにされている。
このような構成によれば、有効期間の発生タイミング(特定タイミング)に跨るかたちで前兆演出(特定表示TH3にかかる表示)が行われるようになり、該有効期間が発生してからの所定時間は、前兆演出(特定表示TH3)によって一体化摸画像IGの少なくとも一部が視認できないか、視認し難いようにされることとなる。すなわちこの場合、一体化摸画像IG(柄摸画像TMG及びボタン摸画像BMG(複合摸画像HMG)や、周縁装飾画像SSG、特定画像TGなど)の全貌が有効期間内で徐々に露わにされていくようになることから、当該一体化摸画像IGの態様によって示唆される期待度(周縁装飾画像の態様)や操作対象(柄摸画像の態様)がいずれであるのかについての面白さを、有効期間が開始されて以降の所定時間にわたって維持することができるようになる。
すなわち、図246(b)に示されるタイミングでは、宝箱の中身である「お宝」が、その量や種別が少ない態様(図245(a)に示した相対的に期待度の低い態様)で表示される場合と、その量や種別が多い態様(図245(b)に示した相対的に期待度の高い態様)で表示される場合とが少なくともあるようになっており、それら態様のいずれで表示されるかについての演出性を提供するものとなっている。この点、図246(b)に示される例では、宝箱の中身である「お宝」が、その量や種別が多い態様(期待度の高い態様)で表示されることを認識可能な状態とされている。また、図246(b)に示される例では、「特定画像TG」が視認し難い状態とされていることから、有効期間が開始された時点で「特定画像TG」がそもそも表示されるタイプ(図234を参照)であるのか、それとも有効期間が開始された時点では「特定画像TG」が表示されずそれ以降に徐々に現れるタイプ(図233を参照)であるのかを見分け難くするようにしている。すなわち、図234に示したタイプである場合には、「特定画像TG」がゲージ画像(所定画像)GGとして機能し得ないものであることを見抜かれ易いことから、図234に示したタイプを採用したときに、上述した態様で前兆演出を実行することは遊技興趣の低下を抑制する上で特に有効であると言える。なお、期待度の低い態様で「お宝」が表示された場合については、説明を割愛するが、以下に説明する「期待度の高い態様で「お宝」が表示された場合」と同じ態様でこれ以降の演出進展が行われることとなる。
図246(c)は、図246(b)に示した前兆演出(特定表示TH3にかかる表示)がさらに進展した結果、該一体化摸画像IG(若しくは、ゲージ画像GGの表示対象領域)と重なる部分(特定表示TH3が「お宝」よりも前方側にあるように描写される部分)がなくなった状況を示している。ただしこの例では、特定表示TH3については非表示にせず、一体化摸画像IGが表示されている間はその表示を維持するものとなっており、これによって有効期間が開始するよりも前の時点から終了するまでの時点までにわたって一の演出性を提供することができるようになり、遊技興趣の向上を図ることができるようになる。
同図246(c)に示されるように、一体化摸画像IGのお宝(若しくは、ゲージ画像GGの表示対象領域)の全体が視認良好な状況になった時点では、ゲージ画像(所定画像)GGの表示面積は既に減少しており、「特定画像TG」の変位も既に開始されている状況にある(ここでは、「特定画像TG」の全体が出現し終わっている状況にある)。すなわちこの場合、「特定画像TG」も「ゲージ画像(所定画像)GG」の一部であるように見えることから、ゲージ画像(所定画像)GGにかかる実際の表示面積よりも多くの表示面積が残されており、それほど表示面積が減少していないかのように思わせることが可能である。これにより、前兆演出(特定表示THである蓋部分を開放状態にする演出)が終了したときにゲージ画像(所定画像)GGの表示面積が既に減少していることによる遊技興趣の低下を抑制することが期待できるようになる。この例にかかる「特定画像TG」は、ゲージ画像GGの末端部またはその近傍で変位する「光」を表現した画像として表示されている。
また、この例では、同図246(c)に示されるように、一体化摸画像IGのうち柄摸画像TMGは動的表示(柄部5012がその可動範囲で変位する様子を描写する表示)されるが、ボタン摸画像BMGは動的表示(柄ボタン5014がその可動範囲で変位する様子を描写する表示)されないことは上述した通りである。
図246(d)は、ゲージ画像(所定画像)GGの表示面積が最小値(ここでは、「0」)になるまで操作受付がなされず、有効期間(設定時間)が終了するとき(若しくは、有効期間が終了する直前)の演出表示装置1600において現れている画像例を示している。同図246(d)に示される画像が現れている時点では、操作受付が時間的に辛うじて許容される状態にあることを想定しているが、該画面が現れている状態において操作受付が既に許容されなくなっているようにしてもよい。ただしこの場合、該時点において柄部5012及び柄ボタン5014は各発光を既に終了している状態にされることとなる。またこの場合、「押し込め!」や「左下矢印」などの画像については非表示にするようにしてもよい。いずれにせよ、「特定画像TG」は、有効期間が終了する時点においても少なくとも一部(全部でもよい)が表示されるものとなっている。
有効期間が終了すると、柄部5012の発光及び柄ボタン5014の発光はいずれも終了される。この点、柄部5012に対して操作機会が付与される有効期間では、当該期間内で遊技者による操作が行われずとも、該操作が行われたときと同じ操作後表示や操作後音出力が行われる(図246(e)を参照)。これは、上述した第1の有効期間内で機能する自動受付(図235(e),(f)など)と同じものである。
このような構成(自動受付演出)によれば、有効期間が終了した(操作受付が許容されなくなった)直後に遊技者による操作が行われた事態が発生した場合であっても、操作後表示や操作後音出力が行われる直前においても「特定画像TG」が表示されるようになることから、遊技者による操作が間に合ってこれに伴う操作受付が生じたことに応じて操作後表示や操作後音出力が開始されたかのように見せることができるようになる。特に、このような態様で前兆演出(前表示)が行われる場合、一体化摸画像IG(若しくは、ゲージ画像GGの表示対象領域)の全貌が視認良好とされる頃には、ゲージ画像(所定画像)GGの表示面積は既に減少しており、「特定画像TG」の変位も既に開始されている状況にある。すなわちこの場合、遊技者による操作が間に合わなくなる事態が発生する可能性も高くなると思われることから、有効期間内で遊技者による操作がなくても「特定画像TG」を表示した状態で操作後表示や操作後音出力を行うようにすることは、遊技興趣の低下を抑制する上で有効であると言える。またこの例では、有効期間の発生に合わせて操作機会が付与されない側の柄ボタン5014を発光状態にするようにしており、柄部5012及び柄ボタン5014のいずれに対して操作機会が付与されたのかを認識し難くするようにしている。すなわちこの場合、有効期間内での操作が間に合わなくなる可能性が高くなることから、操作が間に合わなくなったときの遊技興趣の低下を抑制する上で有効であると言える。
なお、図246に示した態様での演出進展については、図233に示した態様で「特定画像TG」を表示する場合と、図234に示した態様で「特定画像TG」を表示する場合とのいずれに対して適用するようにしてもよい。
また、図246に示した例では、前兆演出(特定表示TH)と一体化摸画像IGとを別レイヤーで表示し、該前兆演出(特定表示TH)を優先表示させることによって同図235に現れる態様での演出進展を実現することとした。ただし、必ずしもこれに限られず、例えば、同図246に現れる態様での演出進展を1つの動画データとして記憶しておき、該動画データを再生することによってこれを実現するようにしてもよい。
図246に示した例では、一体化摸画像IGとして、図245(b)に示した態様(一体化摸画像IGa)を出現させることとした。ただし上述の通り、大当り判定(演出判定)の結果に基づいて複数態様(図245(a)~(d)に示した態様)のいずれかで一体化摸画像IGを出現させるようにしてもよい。
図246に示した例によれば、まず、有効期間の発生に先立って、一体化摸画像IGの一部である宝箱が表示されるときに、該宝箱が「期待度の高い態様」と「期待度の低い態様」とのいずれで表示されるかについての第1の演出性が提供されるようになる。また、有効期間が発生した後は、一体化摸画像IGの宝箱が徐々に開かれる描写がなされるなかで「お宝」が「期待度の高い態様」と「期待度の低い態様」とのいずれで表示されるかについての第2の演出性が提供されるようになる。すなわちこの場合、有効期間の発生に跨るかたちで行われる段階的な演出(第1の演出性、第2の演出性)によって期待度がそれぞれ示唆されるようになることから、有効期間が発生する前から発生した後までの期間における遊技興趣を好適に向上させることが期待されるようになる。
また、このような段階的な演出を、一体化摸画像IGこれ自体の描写(宝箱の蓋部分にかかる描写)によって実現することとしたことから、他の画像(図235で示した特定表示THなど)に邪魔されることによって一体化摸画像IGの視認性を奪うようにする場合よりもストレスを感じることが少なくなり、遊技興趣の低下を抑制することができるようになる。ただし、図246に示した例においても、図237と同じ態様で前兆演出を行うようにしてもよい。また、図237に示した例において、図246と同じ態様で前兆演出を行うようにしてもよい。
図246では、第1の演出条件が満たされたときに、操作対象を摸した摸画像を、ゲージ画像の表示対象領域を含む「周縁装飾画像(第1装飾画像)」と一体化した一体化摸画像として表示する場合について、その演出進展にかかる例(第1操作受付許容期間)を説明した。これに対し、図247及び図248では、第2の演出条件が満たされたときに、操作対象を摸した摸画像を、「ゲージ画像の表示対象領域を含む周縁装飾画像(第1装飾画像)と一体化されない画像」として表示する場合について、その演出進展にかかる例(第2操作受付許容期間)を説明するものである。図246に示した例と図247及び図248に示される例とでは必ずしも同じ操作対象に対して操作機会を付与するものでなくてもよいが、同じ操作対象に対して操作機会を付与するのであれば、操作対象を摸した摸画像これ自体は同じ画像(相似形を含む)として表示されるようにすることが望ましい。
ここで、操作対象を摸した摸画像が、「ゲージ画像の表示対象領域を含む周縁装飾画像と一体化されない画像」として表示される態様としては、例えば、操作対象を摸した摸画像が「周縁装飾画像とそもそも一体化されずこれ単体の画像」として表示される態様や、操作対象を摸した摸画像が「ゲージ画像の表示対象領域を含まない周縁装飾画像と一体化される画像」として表示される態様などを採用可能である。このような構成によれば、有効期間が発生するとき、操作対象を摸した摸画像が一の画像として表示されるときにその画像内にゲージ画像が表示される場合と、操作対象を摸した摸画像が一の画像として表示されるときにその画像内にゲージ画像が表示されない場合とがあるようになることから、有効期間中における緊張感を好適に維持することができるようになる。
以下に説明する例では、操作対象を摸した摸画像が「ゲージ画像の表示対象領域を含まない周縁装飾画像と一体化される画像」として表示される場合についての表示例を示している。
まず、図247(a)は、通常遊技状態において、保留数が0の状態で装飾図柄SZ(特別図柄)の変動表示が大当り判定の結果に応じた特定の演出パターン(変動パターン)で演出表示装置1600にて行われている演出状況において、演出表示装置1600にて前兆演出(特定表示TH3)にかかる表示が開始された演出状況を示している。この演出パターンは、図235~図238や、図246に示した演出パターンと同じであってもよいし、異なるものであってもよい。同じ演出パターンであるときは、一の演出パターン内の第1タイミングと第2タイミングとでそれぞれ発生させるようにしてもよいし、演出判定の結果に基づいてそれら有効期間(操作受付演出)のいずれか一方のみを演出パターン内の所定タイミングで発生させるようにしてもよい。
この例では、図247(a),(b)に示される状況は、図246(a),(b)に示した状況と基本的に同じであり、同じ構成については説明を割愛する。ただし、図247(b)に示される状況において一部が視認可能とされている「お宝(第2装飾画像)」は、図246(b)に示される状況において一部が視認可能とされている「お宝(第1装飾画像)」と異なる内容のものとなっている。すなわち上述の通り、この例にかかる「操作対象を摸した摸画像」は、「ゲージ画像の表示対象領域を含まない周縁装飾画像と一体化される画像」として表示されるものであるが、該「ゲージ画像の表示対象領域を含まない周縁装飾画像」については、上述した「ゲージ画像の表示対象領域を含む周縁装飾画像」と同じ画像として表示される部分と異なる画像として表示される部分とがあるものとなっている。
より具体的には、図247(c)に示されるように、この例にかかる周縁装飾画像SSGの「お宝(第2装飾画像)」は、「聖杯」を含んでいる点については図246に示した「お宝(第1装飾画像)」と同様である。ただし、この例にかかる周縁装飾画像SSGの「お宝」では、図246に示される「金の延べ棒」と「ネックレス(ゲージ画像GGの表示対象領域)」が表示されておらず、これに代えて金貨が詰め込まれている画像が表示されている。図247(c)に示される宝箱は、図246(c)に示される宝箱と同じであり、該宝箱が、図245に示した複数態様のいずれかで表示される点も同じである。
このような構成によれば、特定表示TH3が「お宝(周縁装飾画像SSG)」よりも前方側にあるように描写される部分がなくなった状況(図247(c))になったとしても、その「お宝(周縁装飾画像SSG)」内でゲージ画像GGが表示されていることはなくなるようになる。すなわちこの場合、特定表示TH3によって「お宝(周縁装飾画像SSG)」が徐々に視認良好とされていくなかで、ゲージ画像GGを見付けようとしてもこれを見付ることはできないことから、あとどれだけの時間が残されているかについての緊張感を好適に維持することができるようになる。
特に、この例にかかる周縁装飾画像SSG(お宝)では、ゲージ画像GGの表示対象領域である「ネックレス」が表示されないとは言え、ゲージ画像GGの表示対象領域である「ネックレス」が表示される場合(図245(c))と同じ画像(聖杯など)をあえて含むものとして表示することとしている。すなわちこの場合、ゲージ画像GGの表示対象領域である「ネックレス」もどこかに表示されているかのように思わせることが可能であり、これによってゲージ画像GGの表示対象領域である「ネックレス」を探した挙句、どこにもこれが表示されていないことを認識した時点では、有効期間が発生してからある程度の時間が既に経過している状況にあるようになることから、有効期間中における緊張感を好適に維持することができるようになる。
また、この例では、図247(b)~(d)に示されるように、操作対象を摸した柄摸画像TMGが周縁装飾画像SSGと一体化した一体化摸画像IGこれ自体に、ゲージ画像の表示対象領域が設けられないことはもとより、当該一体化摸画像IGとは別の画像としてゲージ画像の表示対象領域が表示されることもないようになっている。すなわちこの場合、ゲージ画像が表示されず、有効期間の残り時間があとどれだけ残されているかを認識し難くなることから、有効期間中における緊張感を好適に維持することができるようになる。なお、ゲージ画像の表示対象領域については必ずしも表示されないようにしなくてもよく、例えば、一体化摸画像IGとは別の画像としてゲージ画像を表示し、その表示面積を時間経過に応じて減少させるようにしてもよい。
図247(d)は、有効期間に対する設定時間が経過し終わって該有効期間が今まさに終了されようとしているときの演出表示装置1600において現れている画像例を示している。上述の通り、この例では、ゲージ画像は表示されない。したがって、同図247(d)に示されるように、有効期間が今まさに終了されようとしている状況にあることは何ら示唆されず、遊技者側としては、該画像を目視したとしても該状況にあることを認識できない。
ただし、この例にかかる有効期間においても、操作対象とされている柄摸画像TMGでは、柄部5012がその可動範囲で往復動(原位置から特定位置までの往復動)する様子を描写する表示(動的表示)が行われている。この点、この例にかかる有効期間は、当該期間発生してから上記往復動がN回(Nは、整数でなくてもよい)繰り返されたときに終了されるようになっていることから、柄摸画像TMGによる動的表示を注視し続けるようにすれば、有効期間としての残り時間があとどれだけ(往復動何回分)残されているのかを認識することは可能となっている。
なお、この例にかかる有効期間においても、図247(c),(d)に示されるように、ボタン摸画像BMGでは、柄ボタン5014がその可動範囲で往復動する様子を描写する表示(動的表示)は行われない。この点、ゲージ画像の表示対象領域が表示されない当該有効期間においては、このような動的表示が行われない側の摸画像に対応した操作受け部(ここでは、柄ボタン5014)を操作した場合であっても、該操作受付に応じた操作後表示や操作後音出力を行うようにしてもよい。
すなわち、この例にかかる有効期間では、ゲージ画像が表示されておらず残り時間を認識し難いことによって遊技者が慌てて操作してしまい、その結果として動的表示していない側の操作受け部を操作する可能性が高くなると想定されることから、動的表示していない側の操作受け部が操作された場合であっても、図246に示した場合とは異なり、操作後表示や操作後音出力を行うようにすることが遊技興趣の低下を抑制する上で望ましい。この場合における操作後表示や操作後音出力としては、例えば、「柄ボタンではなく、柄部を押し込むのだ!」といった表示や音出力などを挙げることができる。したがって、動的表示していない側の操作受け部が操作されてこれに応じた操作後表示や操作後音出力が行われた場合であっても、当該有効期間を終了させたりその設定時間がリセットされたりするようなことはせず、柄摸画像TMGについても、その動的表示を止めることなく継続させるようにすることが望ましい。こうして継続された有効期間内で柄部5012が操作されたときはこれに応じた操作後表示や操作後音出力が行われることとなる(図248(h)を参照)。この場合における操作後表示や操作後音出力は、動的表示していない側の操作受け部が操作されたときに現れる操作後表示や操作後音出力(例えば、「柄ボタンではなく、柄部を押し込むのだ!」といった内容)とは異なる内容のものであることは言うまでもない。ただし、「当該有効期間内で、動的表示していないボタン摸画像BMGに応じた操作受け部(柄ボタン5014)が操作されることなく、動的表示している柄摸画像TMGに応じた操作受け部(柄部5012)が操作されたときの操作後表示や操作後音出力(例えば、「おめでとう!」など)」と、「当該有効期間内で、動的表示していないボタン摸画像BMGに応じた操作受け部(柄ボタン5014)が操作された後、動的表示している柄摸画像TMGに応じた操作受け部(柄部5012)がさらに操作されたときの操作後表示や操作後音出力(例えば、「間に合って良かった、おめでとう!」など)とでは、互いに異なる内容として実行されるようにすることが、遊技興趣の向上を図る上で望ましい。
図248(e)は、この例にかかる有効期間に対して設定されている時間(設定時間)内で操作受付がなされなかったときの演出表示装置1600において現れる画像例を示している。
すなわち、この例にかかる有効期間では、操作受付がなされないままでその設定時間が経過する場合(図247(d),(e))、当該有効期間内で柄部5012に対して操作受付がなされたときと同じ操作後表示や操作後音出力が実行(自動受付演出が機能)されることはないようになっている。
しかしながら、この例では、一体化摸画像IG内にゲージ画像GGが表示されず、さらには別の画像としてゲージ画像GGが表示されることもないようにしていることから、遊技者側としては、操作する意図があったにもかかわらず操作できずに当該有効期間が終了する事態が発生しかねず、遊技興趣が低下する懸念がある。そこで、この例では、遊技者による操作が行われることなく有効期間が終了した後は、特定条件(例えば、図柄停止や、図柄停止する10秒前に達していないなど)が満たされていない間、当該有効期間内で操作機会が付与された操作手段と同じ操作手段(ここでは、柄部5012)に対して操作機会を付与するようにしており、該操作手段に対する操作が受け付けされるとこれに基づいて上記有効期間を再び発生可能としている。この意味では、遊技者による操作が行われることなく有効期間が終了したときには、該終了した時点から、該有効期間を再発生させるための特別有効期間が発生するようになっていると言える。
このような構成によれば、遊技者による操作が行われないままで所定の設定時間が経過した結果として有効期間が終了した場合であっても、遊技者による操作によって図248(h)に示される操作後表示や操作後音出力を出力させるための操作受付を発生させることが可能とされるようになる。より具体的には、図248(e)に示される状況(特別有効期間)において、柄部5012に対して遊技者による操作が行われると、操作受付がなされたことに基づいて有効期間を初めの状態から開始させる(図248(f),(g))。そしてそれ以降は、図247(b)~(d),図248(e),(g)を参照しつつ上述した通りの内容が再び繰り返されることとなる。したがって、こうして再発生された有効期間内において操作受付がなされた場合も、該操作受付に基づく操作後表示や操作後音出力が上述した態様で実行されることとなる(図248(h)を参照)。
なお、図248(e)に示される状況(特別有効期間)において操作受付がされると、操作後表示として、図248(f),(g)に示される画像(図247(b),(c)に示される画像と同じ)が順次現れることとなる。このような画像は、有効期間(図247(b)~(d)や図247(f),(g)など)において操作受付がされたことに基づいて実行される操作後表示とは画像表示が異なるものである。また、図248(e)に示される状況(特別有効期間)において操作受付がされたことに基づいて実行される操作後音出力も同様、有効期間(図247(b)~(d)や図248(f),(g)など)において操作受付がされたことに基づいて実行される操作後音出力とはその出力音が異なるものである。
図247及び図248に示した有効期間(操作受付演出)では、特定画像TGが表示されないことから、当該有効期間を発生させるにあたり、前兆演出(特定表示TH3による動的表示)を必ずしも行わなくてもよい。例えば、所定の操作後表示(所定の操作後音出力)に関しての操作受付を許容するための所定条件が満たされると(所定タイミングが到来すると)、図247(c)に示される状況を出現させ、それ以降は上述した例と同様に表示進展させるようにしてもよい。
図246~図248に示した例では、柄摸画像TMGとボタン摸画像BMGとを1つの画像(複合摸画像HMG)として表示することとしたが、これら摸画像については、別々の画像としてそれぞれ表示するようにしてもよい。図246~図248に示した例では、「ボタン摸画像BMG」と「柄摸画像TMG」とについては、それら摸画像の両方を含む1つの画像(複合摸画像HMG)として表示しており、該「複合摸画像HMG」を、その周縁を装飾する周縁装飾画像SSGと一体化された「一体化摸画像IG」として表示するようにした。ただし、「ボタン摸画像BMG」と「柄摸画像TMG」とについては、別々の画像としてそれぞれ表示するようにし、それら摸画像の少なくとも一方を、その周縁を装飾する周縁装飾画像と一体化された画像として表示するようにしてもよい。例えば、「柄摸画像TMG」を周縁装飾画像と一体化された一体化画像として表示し、「ボタン摸画像BMG」についてはこれを単体の別画像として表示するようにすれば、「柄摸画像TMG」と「ボタン摸画像BMG」との両方を同時表示するものでありながらも、「柄摸画像TMG」のほうを目立たせることができるようになり、「柄摸画像TMG」に対応する操作受け部(柄部5012)を操作すべきことを暗に示唆することができるようになる。またこの際、一体化摸画像IG内の「柄摸画像TMG」は動的表示されるのに対し、単体の画像として表示される「ボタン摸画像BMG」は動的表示されない点など、その他の構成や別例については同様に適用可能である。
また、図246に示した有効期間(操作受付演出)では、ボタン摸画像BMGと柄摸画像TMGとの両方を表示することとしたが、操作機会を付与する側の摸画像(ここでは、柄摸画像TMG)のみを表示するようにしてもよい。
また、図247及び図248に示した有効期間(操作受付演出)は、図246に示した有効期間(操作受付演出)よりも長い設定時間が設定されるものとして発生させることが望ましい。そしてこの場合、図246に示した有効期間(操作受付演出)内で摸画像(ここでは、柄摸画像TMG)が動的表示する態様(往復動の速度など)と、図247及び図248に示した有効期間(操作受付演出)内で摸画像(ここでは、柄摸画像TMG)が動的表示する態様(往復動の速度など)とを互いに同じにすることが望ましい。このような構成によれば、ゲージ画像GGが表示されない場合であっても、ゲージ画像GGが表示される場合を基準として「摸画像の動的表示にかかる様子」を確認することで、余裕をもって操作することが促されるようになる。
図246~図248に示した例において、周縁装飾画像SSGを「お宝」の画像とし、宝箱は必ずしも表示されないようにしてもよい。
図246に示した例において、動的表示されない摸画像に対応する操作受け部を「第1の操作受け部」とするとき、図247及び図248に示した例において、動的表示される摸画像に対応する操作受け部が当該「第1の操作受け部」となるようにしてもよい。ただしこの場合、図246に示した例において、動的表示される操作受け部を「第2の操作受け部」とするとき、図247及び図248に示した例において、動的表示されない摸画像に対応する操作受け部が当該「第2の操作受け部」とは異なる「第3の操作受け部」となるようにすることが望ましい。このような構成によれば、3つの操作対象(操作受け部)にかかる表示関係がスライドしていくような態様とされた2種類の操作受付演出をそれぞれ発生させることができるようになることから、遊技興趣の向上を図ることができるようになる。
また、図247及び図248に示した有効期間(操作受付演出)は、必ずしも図柄変動の実行期間中に発生するものでなくてもよい。例えば、図柄変動の有無にかかわらずRTC機能を用いて発生する期間であってもよいし、大当り遊技の実行期間中や大当り遊技が開始される前期間など、「図柄変動が実行されていない期間」において発生するものであってもよい。
また、図247及び図248に示した有効期間(操作受付演出)においては、図240~図243に示した例における有効期間中と同様、それまで表示されていた装飾図柄SZを非表示の状態、若しくは視認し難い状態にするようにし、これによってゲージ画像が表示されない特殊な演出状態にあることを気付きやすくするようにしてもよい。
図246(c)に示される画像が表示される有効期間として、発生条件がそれぞれ異なる複数の有効期間を用意するようにしてもよい。この場合、それら有効期間の全てで図246に示した表示進展がなされなくてもよく、少なくとも1つの有効期間で図246に示した表示進展がなされればよい。
図247(c)に示される画像が表示される有効期間として、発生条件がそれぞれ異なる複数の有効期間を用意するようにしてもよい。この場合、それら有効期間の全てで図247及び図248に示した表示進展がなされなくてもよく、少なくとも1つの有効期間で図247及び図248に示した表示進展がなされればよい。
図247及び図248に示した有効期間(操作受付演出)においては、図246に示した有効期間の場合とは異なり、摸画像として複数の態様(色など)は表示可能とされず、一の態様でのみ表示可能とされるようにしてもよい。
ゲージ画像が表示されない有効期間(操作受付演出)については、柄部5012と柄ボタン5014とのうち一方に対して操作機会が付与される場合に限り発生可能とされ、他方に対して操作機会が付与されるときには必ずゲージ画像が表示される有効期間(操作受付演出)が発生するようにしてもよい。
上述の通り、この実施の形態にかかるパチンコ機1では、ゲージ画像GGの表示面積が小さくならない一体化摸画像が表示される有効期間(図239~図241に示される有効期間)や、ゲージ画像GGの表示対象領域がそもそも設けられない一体化摸画像が表示される有効期間(図247,図248に示される有効期間)などが、複数種別の有効期間の1つとしてそれぞれ発生可能とされている。この点、これらの有効期間(図239~図241,図247,図248)では、緊張感を好適に維持するべく、遊技者による操作が操作受付されなかったとき、該操作受付があったときと同じ操作後演出を行わないようにし(自動ボタン機能なし)、ゲージ画像GGが時間経過に応じて小さくされる表示が行われる有効期間(図235~図238,図246)では、緊張感を好適に維持するべく、遊技者による操作が操作受付されなかったとき、該操作受付があったときと同じ操作後演出が行われる(自動ボタン機能あり)ようにすることが望ましい。
この点、ゲージ画像GGの表示面積が小さくならない一体化摸画像が表示される有効期間(図239~図241に示される有効期間)や、ゲージ画像GGの表示対象領域がそもそも設けられない一体化摸画像が表示される有効期間(図247,図248に示される有効期間)で、操作機会が付与されている操作手段に対して操作受付がなされたとき、該操作受付に応じた変化(表示変化や、ランプ発光など、操作後演出によって生じる変化の少なくとも1つ)が実行開始される時点で一体化摸画像は非表示とされず表示された状態にあるようにすることが望ましい。また、一体化摸画像にかかる動的表示も継続されるようにすることが望ましい。これにより、ゲージ画像によって残り時間が示唆されていないなかで、適正に演出受付がなされたのかについての不安感を覚えさせることができるようになり、緊張感をより好適に維持することが期待されるようになる。
なおこの場合、操作受付に応じた変化(表示変化や、ランプ発光など、操作後演出によって生じる変化の少なくとも1つ)が発生する前と発生した後とで摸画像の表示態様(例えば、色や透過率など)は必ずしも同じでなくてもよく、他の画像によって摸画像が視認し難くされた状態であってもよく、操作対象とされていた操作手段がいずれであったのかを操作受付に応じた変化(表示変化や、ランプ発光など、操作後演出によって生じる変化の少なくとも1つ)が発生した状態においても認識可能であればよい。これに対し、ゲージ画像GGが時間経過に応じて小さくされる表示が行われる有効期間(図235~図238,図246)内において、遊技者による操作によって操作受付に応じた変化(表示変化や、ランプ発光など、操作後演出によって生じる変化の少なくとも1つ)が発生する場合は、該変化(表示変化や、ランプ発光など)が発生した状態において一体化摸画像(摸画像、ゲージ画像の両方)を非表示とするようにしてもよいし、上述の場合と同様、一体化摸画像を非表示とせずこれを表示した状態で操作受付に応じた変化(表示変化や、ランプ発光など)を発生させるようにしてもよい。
ただし、このように「時間経過に応じて特定画像の表示面積が減少される表示を行わない」有効期間においても、操作対象とされる操作手段を摸した摸画像は表示することとし、該摸画像については、特定の速度で進展される動画像として表示するようにすることが望ましい。このような構成によれば、ゲージ画像による残り時間の示唆こそ行われないものの、摸画像による動画像がどれだけ進展したかによって操作受付が許容される残り時間を把握することが困難ではあるが可能であり、遊技興趣を好適に維持することが期待されるようになる。
[一体化摸画像、有効期間前演出、摸画像消滅演出]
図118を参照して説明した通り、この実施の形態にかかるパチンコ機1では、大当り判定の結果に基づいて複数の変動パターンのいずれを実行するかについての変動パターン判定を実行可能としている。そして、該変動パターン判定が行われた結果として一の変動パターンが選択されると、周辺制御MPU1511aでは、該選択された変動パターンに対応して用意されている複数の期待演出(予告演出など)のうちいずれの期待演出(予告演出など)を選択的に出現させるかについての演出判定(予告判定など)を実行可能としている。なお、この演出判定の結果によっては、上記選択された変動パターンに対応して用意されている複数の期待演出(予告演出など)の全てが順次実行されることとなる場合もありうるし、複数の期待演出(予告演出など)のいずれもが実行されないこととなる場合もありうる。
そして上述の通り、こうした演出判定(演出パターン判定、予告判定など)が行われると、該演出判定の結果に応じた演出内容を上記演出表示装置1600に表示させる制御を行うことで、大当り判定の結果に応じた装飾図柄による変動演出がその背景描写(背景予告)や可動体動作(役物演出)などにかかる期待演出(予告演出)とともに実行されることとなる。そしてこの結果、装飾図柄による変動演出が、その背景描写や可動体動作などにかかる期待演出とともに実行された結果、大当り図柄で停止表示されると、遊技者に対して特典としての大当り遊技が実行可能とされるようになる。
このような構成では、上記装飾図柄による変動演出が「大当り判定の結果として大当りが得られているか否かを示す機能」をもった演出として供されることとなり、その背景描写や可動体動作などにかかる期待演出が「大当りが得られていることについての期待度、すなわち割合(0%や100%を含む)を示唆する機能」をもった演出として供されることとなる。すなわち、遊技者は、これらの演出を通じて遊技を楽しむこととなる。
例えば、この実施の形態にかかるパチンコ機1では、上記変動パターン判定が行われた結果としてSPリーチ(背景変更を伴うリーチ演出など)に発展する高期待変動パターン(SPリーチ変動パターン)のうち特定の変動パターンが選択された場合は、演出判定(予告判定など)としていずれの結果が得られたとしても、該特定の変動パターンに基づく図柄演出がSPリーチ中における特定タイミングまで進展すると(所定条件が成立すると)、演出受付が許容される受付許容状態(有効期間)を発生可能としている。
また上述の通り、この実施の形態にかかるパチンコ機1では、上記変動パターン判定が行われた結果としてリーチ状態すら形成されない低期待変動パターン(非リーチ変動パターン)のうち所定の変動パターンが選択された場合であっても該所定の変動パターンに対応する演出判定(予告判定など)で特別結果が得られたときには、該所定の変動パターンに基づく図柄演出が所定タイミングまで進展すると(所定条件が成立すると)、演出受付が許容される受付許容状態(有効期間)を発生可能としている。ただし、所定の変動パターンが選択された場合は、演出判定で特別結果が得られなければ該所定の変動パターンに基づく図柄演出が所定タイミングまで進展されても受付許容状態(有効期間)は発生しない。また、所定の変動パターンで発生する受付許容状態(有効期間)は、特定の変動パターンに基づく図柄演出がSPリーチ中における特定タイミングまで進展したときに発生する受付許容状態(有効期間)とは異なる演出として実行されるものである。
なお、予告演出判定としていずれの結果が得られたとしてもSPリーチ中における予め定められたタイミングになると受付許容状態(有効期間)を発生させる変動パターンについては、上記「特定の変動パターン」以外にも備えるようにしてもよい。ただし、予告演出判定としていずれの結果が得られたとしても予め定められたタイミングになると受付許容状態(有効期間)を発生させる変動パターンについては、低期待変動パターン(非リーチ変動パターン)には含まれないようにするか、若しくはその選択割合を低くするようにすることが望ましい。
ところで、これらの条件等で発生しうる受付許容状態(有効期間)とは、その設定時間(有効期間)内で操作が検出されさえすれば、演出対象とされる演出部材に対して予め定められた変化(演出表示装置1600における表示変化、スピーカにおける演出音変化、ランプによる発光変化、及び可動装飾体による演出動作の少なくとも1つ)を発生させる操作後演出が実行されるだけであるから、受付許容状態(有効期間)これ自体の演出性は乏しいものとなっており、操作後演出が実行されるまでの遊技興趣の低下が懸念される。
そこで、この実施の形態にかかるパチンコ機1では、上述の通り、まず、操作機会が付与される受付許容状態(有効期間)が発生する場合、操作機会が付与される対象である操作受け部を摸した摸画像を、該摸画像の周縁を装飾する周縁装飾画像と一体化された一体化摸画像(図232を参照)として表示することで、操作後演出が実行されるまでの遊技興趣の低下を抑制するようにしている。このような一体化摸画像については、特定の変動パターンに基づく図柄演出がSPリーチ中における特定タイミングまで進展したときに発生する操作受付演出(有効期間)と、上記所定の変動パターンで発生する操作受付演出(有効期間)とのいずれにおいても表示されるようにすることが望ましいし、低期待非抑制受付演出と高期待抑制受付演出とのいずれにおいても表示されるようにすることが望ましい。また、上述した各演出例(図144~図195,図207~図231)についても、例示した摸画像の表示態様を、以下に説明する一体化摸画像のいずれかに置き換えて実現するようにすることが、遊技興趣の向上を図る上で望ましい。
なお、この例にかかる「一体化摸画像」については、図232~図248を参照して説明した通り、またはその別例や変形例として記載した通りであり、例えば、周縁装飾画像内にはゲージ画像(所定画像)GGの表示対象領域が設けられている。また、「一体化摸画像」として、期待度が異なる複数態様(図232参照)が用意されており、それら態様のいずれかで表示されるようになっている点も同様である。
また、この例にかかるパチンコ機1においても、受付許容状態の発生に際しては、操作受付が許容される状態になったこと、または操作受付が許容される状態になることを示唆する受付許容音を出力させるようにしており、これによって操作し忘れを生じ難くするようにしている。ここで、「受付許容音」とは、音が出力開始されると、この音が出力されている間(音データが割り当てられている間)に受付許容状態(有効期間)が必ず発生するか、受付許容状態(有効期間)が既に発生している状態にある音のことである。
この点、この実施の形態にかかるパチンコ機1では、後述するが、受付許容状態(有効期間)として、第1受付許容状態及び第2受付許容状態を含む複数の受付許容状態を用意することとしている。ここで、第1受付許容状態は、高期待変動パターン(SPリーチ変動パターン)のうち特定の変動パターンが選択された場合に発生可能とされるが、低期待変動パターン(非リーチ変動パターン)のうち所定の変動パターンでは(若しくは、低期待変動パターンのうちいずれの変動パターンであっても)発生し得ない有効期間(大当り判定の結果に基づく演出判定で第1条件が成立したことに基づいて発生される有効期間)である。また、第2受付許容状態は、高期待変動パターン(SPリーチ変動パターン)のうち特定の変動パターンが選択された場合と、低期待変動パターン(非リーチ変動パターン)のうち所定の変動パターンが選択された場合とのいずれであっても(若しくは、それら変動パターンのうち少なくともいずれかで)発生可能とされる有効期間(大当り判定の結果に基づく演出判定で第1条件とは異なる第2条件が成立したことに基づいて発生される有効期間)である。
この実施の形態にかかる「一体化摸画像」は、このような第1受付許容状態と第2受付許容状態とのいずれにおいても表示されうる。ここでは、第1受付許容状態及び第2受付許容状態は、いずれも同じ操作手段(操作ボタン410)に対して操作機会が付与される受付許容状態として発生する場合を想定していることから、第1受付許容状態や第2受付許容状態で表示される「一体化摸画像」は、同じ操作手段(操作ボタン410)を摸した画像である。
ただし、「一体化摸画像」として用意されている複数態様のうち期待度の高い特別態様(例えば、図232(d)に示される態様)は、第1受付許容状態及び第2受付許容状態のうち第1受付許容状態でしか表示可能とされず、第2受付許容状態では、特別態様とは異なる態様(例えば、図232(a)~(c)に示される態様)のみによって表示可能とされている。第1受付許容状態では、大当り判定の結果に基づいて特別態様を含む複数態様(例えば、図232(a)~(d))のいずれで「一体化摸画像」を表示するのかについての判定が行われ、この判定の結果に応じた態様で「一体化摸画像」が表示されるようになっている。第2受付許容状態においても、大当り判定の結果に基づいて特別態様を含まない複数態様(例えば、図232(a)~(c))のいずれで「一体化摸画像」を表示するのかについての判定が行われるようにし、この判定の結果に応じた態様で「一体化摸画像」を表示するようにしてもよい。
そして、このような構成にあって、第1受付許容状態では、2種類の受付許容音(第1許容音及び第2許容音)が出力されるようにしており、第2受付許容状態では、1種類の受付許容音(第3受付許容音)が出力されるようにしている。ここで、第1許容音及び第3受付許容音は、例えば、「ピキーン!」などの効果音として出力されるものであり、互いに同じ音として出力されるものであってもよいし、互いに異なる音として出力されるものであってもよい。これに対し、第2許容音は、例えば、「押せ!」などのメッセージ音として出力されるものである。ただし、第2許容音は、必ずしもメッセージ音として出力されるものでなくてもよく、第1許容音とは異なる音であり且つ異なる出力時間にわたって出力されるものであれば、2種類の受付許容音(第1許容音及び第2許容音)が出力されている状態にあることを遊技者が好適に認識することが可能である。
ここで、第1受付許容状態では、特別態様とは異なる態様(比較的期待度の低い態様)によっても「一体化摸画像」が表示されうるようになっていることについては上述したが、この場合であっても、2種類の受付許容音(第1許容音及び第2許容音)が出力されるようになっている。すなわちこの場合、受付許容状態が発生(一体化摸画像を表示)するに際して、1種類の受付許容音しか出力されなければ「一体化摸画像」として特別態様が表示されることはなく特別態様とは異なる態様が表示されることとなるが、2種類の受付許容音が出力されたときには「一体化摸画像」として特別態様が表示される場合と、特別態様とは異なる態様が表示される場合とがあるようになる。
このような構成によれば、受付許容音がいずれの態様で出力されたかを基に、「一体化摸画像」が特別態様で表示される可能性を認識することができるようになり、受付許容状態が発生するときの遊技興趣の向上を図ることができるようになる。
また、第1受付許容状態または第2受付許容状態で「一体化摸画像」が表示されるときには、これに先立って前演出(前兆演出)が実行されるようになっており、一体化摸画像は、こうした前演出が実行されている状態において、該「前演出にかかる画像」と少なくとも一部が重なるかたちで表示(視認し難い状態での表示)されるようになっている。そして、一体化摸画像は、該「前演出にかかる画像」が徐々に縮小されることでこれと重なる部分が徐々に減少されていくか、該「前演出にかかる画像」の透過率が徐々に高くなっていき、ついには非表示にされることで、受付許容状態の発生に遅れてその態様(全体)が露(視認し易い状態での表示)にされるものとなっている。このような前演出(前兆演出)とは、例えば、図235(b),(c)や、図237(c)~(f)などに示した演出のことであり、これと同じ態様で実行するようにしてもよい。
この点、この例にかかるパチンコ機1では、後述するが、第2許容音は、第1許容音が出力されるタイミングでは出力を開始せず、これに遅れるかたちで出力を開始するものとなっている。ただし、第1許容音が先行して出力開始される時点では「一体化摸画像これ自体が表示されていないか、表示されていたとしてもその態様を認識し難い状態になっている」ことはもとより、第2許容音が遅れて出力開始される時点においても、一体化摸画像の少なくとも一部は、前演出(前兆演出)にかかる画像がその前側から重なるかたちで表示される状態にあり、これによって視認し難くされている。なお、受付許容状態(有効期間)は、前演出(前兆演出)が実行開始されるとき、またはその実行期間中に発生するようになっており、少なくとも第2許容音の出力が開始されるときには既に発生している状態にあるか、その出力開始に合わせて発生するものとなっている。
このような構成によれば、少なくとも「第1許容音が出力されており、且つ第2許容音が出力されていない」といった状況にあるときは、2種類の受付許容音(第1許容音及び第2許容音)が出力される第1受付許容状態が発生する(若しくは発生している)のか、1種類の受付許容音(第1許容音)しか出力されない第2受付許容状態が発生する(若しくは発生している)のかを認識することが困難である。ただし、「第1許容音が出力された後に、第2許容音が出力開始される」といった状況が現れるようになると、2種類の受付許容音(第1許容音及び第2許容音)が出力される第1受付許容状態が発生していること、さらには一体化摸画像が特別態様で表示される可能性があることを認識することが可能である。
すなわちこの場合、一体化摸画像がいずれの態様で表示されるのか(若しくは、表示されているのか)を認識し難い状態にしているもとで、
・「第1許容音及び第2許容音のうち第1許容音のみが出力される状態」から、「少なくとも第2許容音が出力される状態」へと移行する場合(第1受付許容状態)と、
・「第1許容音及び第2許容音のうち第1許容音のみが出力される状態」から、「少なくとも第2許容音が出力される状態」へと移行しない場合(第2受付許容状態)と
が生じうるようになり、こうした「受付許容音の出力にかかる推移」の態様によって「一体化摸画像が特別態様で表示される可能性」を示唆することができるようになる。したがって、「第1許容音及び第2許容音のうち第1許容音のみが出力される状態」にある間は、前演出(前兆演出)にかかる画像が非表示にされるよりも前に、第2許容音の出力が開始されるか否かに興味を持たせることができるようになり、これによって遊技興趣の向上を図ることが可能である。そしてこの結果、前演出(前兆演出)にかかる画像が表示されている間に第2許容音が出力されれば、特別態様をもった一体化画像が表示される(表示されている)ことへの期待感を持つことができるようになり、そのような期待感のあるなかで一体化摸画像が徐々に露わにされていく、といった演出性を提供することができるようになる。
なお上述の通り、第2許容音が出力開始された時点においても、一体化摸画像の少なくとも一部は「前演出にかかる画像」によって視認し難くされている。したがって、一体化摸画像が特別態様で表示される可能性があることは認識できるものの、該一体化摸画像がいずれの態様で表示されているのかについてまでは少なくとも容易には認識できない状況にあることは言うまでもない。また、第2許容音が出力開始された時点において、第1許容音は出力状態を維持しているようにしてもよいし、第1許容音は出力状態を終了しているようにしてもよい。
また、この例にかかるパチンコ機1では、第1条件(第1受付許容状態)及び第2条件(第2受付許容状態)のいずれとも異なる第3条件(第3受付許容状態)が満たされた場合、受付許容音(第1許容音や第2許容音)を何ら出力することなしに一体化摸画像を表示するようにし、該一体化摸画像が表示されているなかで操作手段(ここでは、操作ボタン410)に対する操作受付がなされると、第1受付許容状態や第2受付許容状態で操作受付がなされたときのように、表示変化や操作後出力音などを生じさせるようにしてもよい。なおこの場合、表示変化や操作後出力音の内容は受付許容状態の種別(第1受付許容状態,第2受付許容状態,第3受付許容状態)に応じて異なるものであってもよい。
すなわち、受付許容音を何ら出力することなく一体化摸画像を表示するようにすることで、操作受付がいつから許容されるようになったのかを把握し難くすることが可能となり、操作に関連した遊技興趣の向上を図ることができるようになる。したがって、このような構成を採用する上では、一体化摸画像を表示した後、該一体化摸画像に含まれるゲージ画像GGについては図239~図243に示した態様のいずれかで表示するようにすることが望ましい。このような構成によれば、ゲージ画像GGが減少されない「ゲージ停止期間」が生じるようになったり、ゲージ画像GGの面積が所定値(0)になっておらずこれを残したままで一体化摸画像が非表示にされたりするようになることから、受付許容状態が発生しているときの緊張感を好適に維持することができるようになり、操作に関連した遊技興趣の向上をより好適に図ることができるようになる。
若しくは、受付許容音を何ら出力することなく一体化摸画像を表示する場合は、一体化摸画像内にゲージ画像が表示されず、且つその表示対象領域すら設けられない態様として表示するようにしてもよい。このような表示手法としては、操作対象こそ異なるもののの、図247及び図248を参照して上述した通りであり、例えば、「ゲージ画像GGの表示対象領域は表示されないが、ゲージ画像GGの表示対象領域が表示される場合と同じ画像(周縁装飾画像)をあえて含むものとして表示するようにしたり、当該一体化摸画像とは別の画像としてゲージ画像の表示対象領域が表示されることもないようにしたりする」など、その技術思想については同じように適用可能である。このような構成であっても、あとどれだけの時間が残されているかについての緊張感を好適に維持することができるようになり、操作に関連した遊技興趣の向上をより好適に図ることができるようになる。
また、この例にかかる受付許容状態においても、特定種別の演出音(BGM再生)が非抑制態様で出力されているなかでの操作受付が許容される場合と、特定種別の演出音(BGM再生)が抑制態様で出力されているか、非出力の状態にされているなかでの操作受付が許容される場合とがあるようにしている。この例にかかる「特定種別の演出音(BGM再生)を抑制態様で出力する」とは、特定種別の演出音(BGM再生)を音量「0」で出力する場合(無音出力)も含む意味である。「非出力の状態」とは、例えば、チャンネルに対する割り当てすらも行われていない場合を含む意味である。
この点、この実施の形態にかかるパチンコ機1では、特定種別の演出音(BGM再生)が非抑制態様で出力されているなかでの操作受付が許容される受付許容状態と、特定種別の演出音(BGM再生)が抑制態様で出力されているか、非出力の状態にされているなかでの操作受付が許容される受付許容状態とはそれぞれ複数用意されているが、上述した「第1受付許容状態」や「第3受付許容状態」は、特定種別の演出音(BGM再生)が抑制態様で出力されているか、非出力の状態にされているなかでの操作受付が許容される受付許容状態のうちの1つとして含まれるものとなっており、上述した「第2受付許容状態」は、特定種別の演出音(BGM再生)が非抑制態様で出力されているなかでの操作受付が許容される受付許容状態のうちの1つとして含まれるものとなっている。
このような構成によれば、BGM再生の音(特定種別の演出音)が抑制、または非出力の状態にされたときには、一体化摸画像が特別態様で表示される可能性を意識することができるようになることから、演出性に乏しい状況になることを回避しつつ、BGM再生の音が抑制、または非出力の状態にされているなかでより一層の集中力を持たせて演出を楽しませることができるようになる。
なお、「特定種別の演出音(BGM再生)が抑制態様で出力されているか、非出力の状態にされているなかでの操作受付が許容される受付許容状態」とは、非抑制態様で出力されている特定種別の演出音(BGM再生)を抑制態様での出力にしてから、または非出力の状態にしてから受付許容状態を発生させる態様であってもよいし、特定種別の演出音(BGM再生)が非抑制態様で出力されているなかで受付許容状態を発生させ該受付許容状態が発生しているなかで(若しくはこれと同時に)特定種別の演出音(BGM再生)を抑制態様での出力にするか、非出力の状態にするものであってもよい。要は、特定種別の演出音(BGM再生)が抑制態様で出力されているか、非出力の状態にされているなかで操作受付がなされうるものであればよい。
また、この例にかかる受付許容状態においても、操作受付が許容される設定時間内で操作が検出されなかったとき、該操作が検出されたときと同じ表示変化を生じさせる自動受付態様で実行される場合と、該操作が検出されたときと同じ表示変化を生じさせない非自動受付態様で実行される場合とがあるようにしている。
ここで、受付許容状態のうち「自動受付態様」が実行される受付許容状態とは、上述した通りであり、
・特別の演出状態(自動受付モード)に設定されているときにのみ、当該有効期間内での操作の有無に関係なく操作後表示や操作後音出力を出力させるもの
を意味しておらず、
・演出状態(演出設定の状態)にかかわらず、当該有効期間内での操作の有無に関係なく操作後表示や操作後音出力を出力させるもの
を意味している。そもそも、演出状態として「特別の演出状態(自動受付モード)」や「複数の演出状態」を必ずしも用意するものでなくてもよい。なお、受付許容状態のうち「非自動受付態様」が実行される受付許容状態が、特別の演出状態(自動受付モード)に設定されているときに発生した場合、自動受付が有効化されるか否かについてはいずれを採用してもよく(例えば、「演出状態にかかわらず、自動受付が必ず有効化されない」としてもよいし、「特別の演出状態(自動受付モード)に設定されているときに限り、自動受付が有効化される」としてもよい)、ここで説明している技術的特徴にかかる構成とは関係がない。
より具体的には、デモ画面(図柄変動が実行されていない期間)中、遊技に関する設定が可能である場合、それら設定のいずれが選択されている場合であっても、受付許容状態のうち「自動受付態様」が実行される受付許容状態では、常に自動受付が有効化されることとなる。そして、それら設定のうち、少なくとも特定の設定条件にあるときは、「自動受付態様」が実行される受付許容状態と「非自動受付態様」が実行される受付許容状態とがそれぞれ異なる発生条件のもとで発生しうるようになっている。遊技に関する設定とは、特別の演出状態(自動受付モード)のほか、音量や輝度、演出出現確率などの設定も含むものであり、特別の演出状態(自動受付モード)に関する設定は必ずしも搭載されるものでなくてもよい。特別の演出状態(自動受付モード)に関する設定が搭載されている場合、「特定の設定条件」では、特別の演出状態(自動受付モード)には設定されていない状態にある。
この点、この例にかかるパチンコ機1では、後述するが、少なくとも特定の設定条件にあるときに、「自動受付態様」が実行される受付許容状態と、「非自動受付態様」が実行される受付許容状態とは、それぞれ複数用意されているが、上述した「第1受付許容状態」は、「自動受付態様」が実行される受付許容状態のうちの1つとして含まれるものとなっており、上述した「第2受付許容状態」や「第3受付許容状態」は、「非自動受付態様」が実行される受付許容状態のうちの1つとして含まれるものとなっている。
このような構成によれば、一体化摸画像が特別態様(図232(d)を参照)で表示される可能性(操作し忘れ時に遊技興趣が著しく低下する可能性)のある第1受付許容状態では、「自動受付態様」が実行されるようになる。したがって、期待度の高い特別態様(他の態様よりも大当り図柄で停止される割合の高い態様)で一体化摸画像が表示されたときに操作し忘れをしてしまったとしても、操作後演出(演出表示装置1600における表示変化、スピーカにおける演出音変化、ランプによる発光変化、及び可動装飾体による演出動作の少なくとも1つ)を発生させることができるようになり、遊技興趣の低下を抑制することができるようになる。その一方で、一体化摸画像が特別態様(図232(d)を参照)で表示される可能性(操作し忘れ時に遊技興趣が著しく低下する可能性)のない第2受付許容状態や第3受付許容状態では、「非自動受付態様」が実行されるようになることから、操作し忘れ時の遊技興趣の低下を抑制しつつ、操作受付が許容されたときの緊張感についてはこれを好適に維持することができるようになる。
また、この例にかかるパチンコ機1においても、受付許容音が出力される期間のうち少なくとも一部の期間は受付許容状態と重複しており、該受付許容音が出力状態にあるときに操作受付されると、該操作受付されたことに基づいて受付許容音の出力状態を途中で終了させうる(非可聴の状態にさせうる)ようにしている。
このような構成によれば、受付許容音が途中で終了されたタイミングが、遊技者による操作が検出(操作受付)されたタイミングであることを容易に認識することができるようになり、「操作受付がなされている状態なのか、未だ操作受付がなされていない状態なのか」で不安を覚えるようなことが抑制されるようになる。
ただし上述の通り、この例にかかるパチンコ機1では、受付許容音が出力される期間のうち少なくとも一部の期間は受付許容状態と重複しているが、該受付許容音が出力状態にあるときに操作受付がなされたとしても、該操作受付されたことに基づいて受付許容音の出力状態を途中で終了させうる(非可聴の状態にさせうる)ことなく、これを維持する場合もあるようにしている。そして後述するが、受付許容音が途中で終了される受付許容状態と、受付許容音が途中で終了されない受付許容状態とは、それぞれ複数用意されているが、上述した「第1受付許容状態」は、受付許容音が途中で終了される受付許容状態のうちの1つとして含まれるものとなっており、上述した「第2受付許容状態」は、受付許容音が途中で終了されない受付許容状態のうちの1つとして含まれるものとなっている。
このような構成によれば、一体化摸画像が特別態様(図232(d)を参照)で表示される可能性(操作し忘れ時に遊技興趣が著しく低下する可能性)のある第1受付許容状態では、受付許容音が出力されているときに操作受付がなされるとこれが途中で終了されるようになる。したがって、期待度の高い特別態様(他の態様よりも大当り図柄で停止される割合の高い態様)で一体化摸画像が表示されたときには、「操作受付がなされている状態なのか、未だ操作受付がなされていない状態なのか」で不安を覚えさせるようなことがなく、操作後表示や操作後出力音、ランプによる発光変化、可動装飾体による演出動作などの操作後演出に集中させることができるようになり、遊技興趣の低下を抑制することができるようになる。その一方で、一体化摸画像が特別態様(図232(d)を参照)で表示される可能性(操作し忘れ時に遊技興趣が著しく低下する可能性)のない第2受付許容状態では、受付許容音が出力されているときに操作受付がなされたとしてもこれを途中で終了させないようにしたことから、遊技興趣の低下を抑制するようにしつつも、操作するときの緊張感についてはこれを好適に維持することができるようになる。
また上述の通り、この例にかかるパチンコ機1では、特定種別の演出音(BGM再生)が抑制態様で出力されているか、非出力の状態にあるなかでの操作受付が許容される場合は、一体化摸画像が特別態様(図232(d)を参照)で表示されるときと、一体化摸画像が特別態様とは異なる態様(図232(a)~(c)を参照)で表示されるときとがあるようにしている。
より具体的には、特定種別の演出音(BGM再生)が抑制態様で出力されているか、非出力の状態にあるなかでの操作受付が許容される受付許容状態には、第1条件が満たされたときに発生する上記第1受付許容状態のほか、第4条件が満たされたときに発生する第4受付許容状態が少なくとも含まれるようになっており、第1受付許容状態では、一体化摸画像が特別態様(図232(d)を参照)で表示されるときと、一体化摸画像が特別態様とは異なる態様(図232(a)~(c)を参照)で表示されるときとがあるが、第4受付許容状態では、一体化摸画像が特別態様(図232(d)を参照)で表示されることはなく、特別態様とは異なる態様(図232(a)~(c)を参照)によってのみ表示されるようにしている。そして、第1受付許容状態では、受付許容音が出力状態にあるときに操作受付がなされると、該操作受付されたことに基づいて受付許容音の出力状態を途中で終了させる(非可聴の状態にさせる)のに対し、第4受付許容状態では、受付許容音が出力状態にあるときに操作受付がなされると、該操作受付されたことに基づいて受付許容音の出力状態を途中で終了させない(非可聴の状態にさせない)ようにしている。
このような構成によれば、特定種別の演出音(BGM再生)が抑制態様で出力されているか、非出力の状態にあるなかでの操作受付が許容される受付許容状態が発生し且つ該受付許容状態において一体化摸画像が特別態様で表示されたときは、操作受付に基づいて受付許容音が途中で終了されるようになる。これに対し、特定種別の演出音(BGM再生)が抑制態様で出力されているか、非出力の状態にあるなかでの操作受付が許容される受付許容状態が発生し且つ該受付許容状態において一体化摸画像が特別態様とは異なる態様で表示されたときは、操作受付に基づいて受付許容音が途中で終了される場合と受付許容音が途中で終了されずに維持される場合とがあるようになる。
すなわちこの場合、特定種別の演出音(BGM再生)が抑制態様で出力されているか、非出力の状態にあるなかでの操作受付が許容される受付許容状態では、一体化摸画像が特別態様とは異なる態様(操作し忘れ時に遊技興趣が著しく低下する可能性の低い態様)で表示されると、操作受付されたとしても、操作受付に基づいて受付許容音が途中で終了される場合と受付許容音が途中で終了されずに維持される場合とがあるようになることから、受付許容音が途中で終了されなかったときに、操作受付がなされていないことが理由であるのか、操作受付はなされているが第4受付許容状態が発生していることが理由であるのかの見分けをし難くすることができるようになり、遊技興趣の低下を抑制しつつ、緊張感を好適に維持することができるようになる。
また、この例にかかるパチンコ機1では、上記第1受付許容状態が発生する場合、これに先立って所定の表示領域(例えば、演出表示装置1600など)のうち少なくとも半分以上の領域を用いた広域型前演出が実行開始されるようになっており、上記第2受付許容状態が発生する場合、これに先立って所定の表示領域のうち半分未満の領域しか用いない狭域型前演出が実行開始されるようになっている。そして、操作受け部を摸した摸画像(ここでは、一体化摸画像)は、広域型前演出が実行されている期間と第1受付許容状態が発生している期間との両方で表示されるが、広域型前演出が実行されている期間と第1受付許容状態が発生している期間とにおいて互いに異なる態様でそれぞれ表示されるようにしている。
特に、この例にかかるパチンコ機1にあって、広域型前演出が実行されている期間で表示される一体化摸画像(摸画像)と、第1受付許容状態が発生している期間で表示される一体化摸画像(摸画像)とでは、同じ操作受け部(操作ボタン410)を摸したものであるのにもかかわらず、互いに異なる画像データを基に表示されるものとなっており、これによって配色はもとより、輪郭形状これ自体が異なるものとして表示されている。
このような構成によれば、広域型前演出を行うときには、第1受付許容状態で表示される一体化摸画像(摸画像)の形態(画像データ)などに捉われることなく、より自由度の高い独立した表現で一体化摸画像(摸画像)を表示させることができるようになることから、より広い範囲で前演出(広域型前演出)を行うときの演出性を大きく向上させることができるようになる。このような作用効果が、単一の画像データに基づくフェードインなどの画像処理によって奏され得ないものであることは明らかである。
また、広域型前演出が実行される受付許容状態では、狭域型前演出が実行される受付許容状態よりも、操作後演出として、大当りが得られているときにしか出現しない大当り時の演出態様が現れる割合が高いようになっている。この割合は、0%や100%であってもよい。
なお、この例にかかるパチンコ機1では、広域型前演出に対応する(広域型前演出が実行される)受付許容状態としては、複数の受付許容状態が用意されており、それら受付許容状態の1つとして第1受付許容状態、第3受付許容状態がそれぞれ用意されている。また、狭域型前演出に対応する(狭域型前演出が実行される)受付許容状態としても、複数の受付許容状態が用意されており、それら受付許容状態の1つとして第2受付許容状態、第4受付許容状態がそれぞれ用意されている。
また、この例にかかるパチンコ機1にあって、第1受付許容状態では、特定種別の演出音(BGM再生)が抑制態様で出力されているか、非出力の状態にされているなかでの操作受付がなされうるようになっており、第2受付許容状態は、特定種別の演出音(BGM再生)が非抑制態様にされているなかでの操作受付がなされうるようになっていることは上述した通りである。すなわち、相対的に演出性に劣る狭域型前演出が行われる場合は、特定種別の演出音(BGM再生)が抑制態様にされることなく非抑制態様にされているなかでの操作受付がなされうるようになっていることから(第2受付許容状態)、相対的に演出性に優る広域型前演出が行われなかったことによる遊技興趣の低下が抑制されうるようになる。これに対し、特定種別の演出音(BGM再生)が抑制態様で出力されているか、非出力の状態にされているなかでの操作受付がなされうる場合は、相対的に演出性に優る広域型前演出が行われるようになっていることから(第1受付許容状態)、特定種別の演出音(BGM再生)が非抑制態様で出力されているなかでの操作受付がなされなかったことによる遊技興趣の低下が抑制されうるようになる。
また、この例にかかるパチンコ機1では、少なくとも特定の設定条件(一の演出状態)にあるときに、第1受付許容状態では、操作受付が許容される設定時間内で操作が検出されなかったとき、該操作が検出されたときと同じ表示変化を生じさせる自動受付態様で実行されるようになっており、第2受付許容状態では、操作受付が許容される設定時間内で操作が検出されなかったとき、該操作が検出されたときと同じ表示変化を生じさせない非自動受付態様で実行されるようになっていることは上述した通りである。すなわち、広域型前演出が行われる第1受付許容状態では、その演出性の高さから操作し忘れが生じたときの遊技興趣の低下が懸念されるが、上記自動受付態様で実行されるようになっていることから、操作し忘れが生じたときの遊技興趣の低下を抑制することができるようになる。これに対し、狭域型前演出が行われる第2受付許容状態では、操作受付が許容される状態になることを比較的目立たない態様で示唆することとなるが、この場合、演出にしっかりと注目しており操作受付が許容される状態になることに気付いた者だけに操作後表示や操作後出力音などの操作後演出を楽しませることができるようになることから、緊張感を好適に維持することができるようになる。
また、この例にかかるパチンコ機1にあって、特定種別の演出音(BGM再生)が抑制態様で出力されているか、非出力の状態にあるなかでの操作受付が許容される受付許容状態には、第1条件が満たされたときに発生する上記第1受付許容状態と、第4条件が満たされたときに発生する上記第4受付許容状態とが少なくとも含まれるようになっていることは上述した通りである。この点、上記第4受付許容状態では、特定種別の演出音(BGM再生)が第4抑制態様で出力されているなかでの操作受付がなされうるようになっているが、上記第1受付許容状態では、特定種別の演出音(BGM再生)が第4抑制態様よりも抑制度合いの高い第1抑制態様で出力されているか、非出力の状態にされているなかでの操作受付がなされうるようにしている。また、上記第4受付許容状態が発生する場合は、これに先立って所定の表示領域のうち半分未満の領域しか用いない狭域型前演出が実行開始されるようになっている。すなわち、相対的に演出性に劣る狭域型前演出が行われる場合は、特定種別の演出音(BGM再生)が抑制態様にされたとしてもその抑制度合いが低くされるようになっていることから(第4受付許容状態)、相対的に演出性に優る広域型前演出が行われなかったことによる遊技興趣の低下が抑制されうるようになる。これに対し、特定種別の演出音(BGM再生)が第4抑制態様よりも抑制度合いの高い第1抑制態様で出力されているか、非出力の状態にされているなかでの操作受付がなされうる場合は(第1受付許容状態)、相対的に演出性に優る広域型前演出が行われるようになっていることから、特定種別の演出音(BGM再生)の抑制度合いが低くなかったことによる遊技興趣の低下が抑制されうるようになる。
また、この例にかかるパチンコ機1では、上記第1受付許容状態が発生して摸画像(一体化摸画像)が表示されているなかで遊技者による操作受付がなされると、該操作受付に応じた操作後演出(演出表示装置1600における表示変化、スピーカにおける演出音変化、ランプによる発光変化、及び可動装飾体による演出動作の少なくとも1つ)が実行開始されるとともに、摸画像(一体化摸画像)を非表示にするときに所定の表示領域(例えば、演出表示装置1600など)のうち少なくとも半分以上の領域を用いた広域型消滅エフェクト(広域型消滅演出)が実行されるようになっており、上記第2受付許容状態が発生して摸画像(一体化摸画像)が表示されているなかで遊技者による操作受付がなされると、該操作受付に応じた操作後演出(演出表示装置1600における表示変化、スピーカにおける演出音変化、ランプによる発光変化、及び可動装飾体による演出動作の少なくとも1つ)が実行開始されるとともに、摸画像(一体化摸画像)を非表示にするときに所定の表示領域(例えば、演出表示装置1600など)のうち半分未満の領域しか用いない狭域型消滅エフェクト(狭域型消滅演出)が実行されるようになっている。
ここで、消滅エフェクト(広域型消滅エフェクト、狭域型消滅エフェクト)とは、表示状態にある摸画像(一体化摸画像)の一部または全体を視認し難くするか視認できない状態にするかたちで表示される「摸画像とは別の画像」や「摸画像に対する表示効果」のことである。このような消滅エフェクト(消滅演出)としては、例えば、摸画像(一体化摸画像)が表示されるレイヤよりも前にある別レイヤに表示される画像として実行されるものであってもよいし、摸画像(一体化摸画像)及び当該画像(消滅エフェクト)を予め用意された1つの動画として表示し該動画の中で摸画像(一体化摸画像)の一部または全体が当該画像(消滅エフェクト)によって視認し難くなっていく様子を表現するようにしたものであってもよいし、摸画像(一体化摸画像)これ自体の表示態様を変化させること(表示効果)によって実行されるものであってもよい。ただし、このような消滅エフェクトとして、期待度を示唆するようにしたり、遊技興趣の向上を図るようにしたりする上では、摸画像(一体化摸画像)を非表示にするときに、これとは別の画像として表示するようにすることがより望ましいことは言うまでもない。
また、「摸画像(一体化摸画像)を非表示にするときに・・・消滅エフェクトが実行される」とは、「摸画像(一体化摸画像)を非表示にするのに合わせて・・・消滅エフェクトが実行される」であってもよいし、「摸画像(一体化摸画像)が非表示になっていくなかで(摸画像(一体化摸画像)これ自体の透過率が高くなっていくなど)・・・消滅エフェクトが実行される」であってもよいし、「摸画像(一体化摸画像)を非表示にした後、消滅エフェクトが実行される」であってもよく、それらいずれの態様も含む意味である。また、摸画像(一体化摸画像)が非表示になっていく過程のなかでこれ自体の透過率が高くなっていくこと自体を「摸画像(一体化摸画像)を非表示にするときに・・・消滅エフェクトが実行される」として実現するようにしてもよい。
このような構成によれば、遊技者による操作受付に応じた操作後演出が実行開始されて摸画像を非表示にするときには、操作後演出が実行されているなかで広域型消滅エフェクトが実行される場合と狭域型消滅エフェクトが実行される場合とがあるようになることから、摸画像(一体化摸画像)が消滅するときまでにわたっての演出性を高めることができるようになる。
この点、この例にかかるパチンコ機1では、このような消滅エフェクト(消滅時画像)を実行する場合、狭域型消滅エフェクト(狭域型消滅時画像)では、該狭域型消滅エフェクト(狭域型消滅時画像)が表示されるよりも前に表示されていた背景画像を、該狭域型消滅エフェクト(狭域型消滅時画像)が非表示にされるまでの間や、操作後演出(操作後表示や操作後出力音)が実行されている間において変更させずこれを表示(維持)させることとしている。これに対し、広域型消滅エフェクト(広域型消滅時画像)では、遊技者による操作受付に基づいて、該広域型消滅エフェクト(広域型消滅時画像)が表示されるよりも前に表示されていた背景画像を、該広域型消滅エフェクト(広域型消滅時画像)が非表示にされるまでの間か、若しくは操作後演出(操作後表示や操作後出力音)が実行されている間に異なる背景画像へと変化させることとしている。
すなわち、広域型消滅エフェクト(広域型消滅時画像)が実行される場合には、摸画像(一体化摸画像)のみならず、背景画像の少なくとも一部も当該広域型消滅エフェクト(広域型消滅時画像)によって視認し難くされることとなることから、このような広域型消滅エフェクト(広域型消滅時画像)が実行されるタイミングを狙って背景画像を異なる背景画像に変化させる(差し替える)ようにすることで、ボタン演出を利用したスムーズな演出移行(新たな演出局面への移行)を実現することができるようになる。例えば、広域型消滅エフェクト(広域型消滅時画像)は、摸画像(一体化摸画像)が表示されるレイヤ及び背景画像が表示されるレイヤよりも前にある別レイヤに表示される画像であってもよいし、摸画像(一体化摸画像)、背景画像、及び当該画像(消滅エフェクト)を予め用意された1つの動画として表示し該動画の中で摸画像(一体化摸画像)の一部または全体や背景画像の一部または全体が当該画像(消滅エフェクト)によって視認し難くなっていく様子を表現するようにしたものであってもよい。
これに対し、狭域型消滅エフェクト(狭域型消滅時画像)が実行された場合は、該狭域型消滅エフェクト(狭域型消滅時画像)が非表示にされている間や、操作後演出(操作後表示や操作後出力音)が実行されている間において、背景画像が変化されないことから、演出移行(新たな演出局面への移行)が実現されないこととなる。したがって、遊技者としては、操作後演出のほか、広域型消滅エフェクト(広域型消滅時画像)と狭域型消滅エフェクト(狭域型消滅時画像)とのいずれが表示されるかに興味を抱くようになり、摸画像(一体化摸画像)が表示されてから非表示にされるまでにわたって摸画像に関連した遊技興趣を好適に維持することができるようになる。
また、広域型消滅エフェクト(広域型消滅時画像)が表示された場合は、狭域型消滅エフェクト(狭域型消滅時画像)が表示された場合よりも、操作後演出として、大当りが得られているときにしか出現しない大当り時の演出態様が現れる割合が高いようになっている。この割合は、0%や100%であってもよい。
なお、この例にかかるパチンコ機1では、広域型消滅エフェクト(広域型消滅時画像)に対応する(広域型消滅エフェクトが実行される)受付許容状態としては、複数の受付許容状態が用意されており、それら受付許容状態の1つとして第1受付許容状態、第3受付許容状態がそれぞれ用意されている。また、狭域型消滅エフェクト(狭域型消滅時画像)に対応する(狭域型消滅エフェクトが実行される)受付許容状態としても、複数の受付許容状態が用意されており、それら受付許容状態の1つとして第2受付許容状態、第4受付許容状態が用意されている。
また、この例にかかるパチンコ機1にあって、第1受付許容状態では、特定種別の演出音(BGM再生)が抑制態様で出力されているか、非出力の状態にされているなかでの遊技者による操作受付がなされうるようになっており、第2受付許容状態は、特定種別の演出音(BGM再生)が非抑制態様にされているなかでの遊技者による操作受付がなされうるようになっていることは上述した通りである。すなわち、相対的に演出性に劣る狭域型消滅エフェクトが行われる場合は、特定種別の演出音(BGM再生)が抑制態様にされることなく非抑制態様にされているなかでの遊技者による操作受付がなされうるようになっていることから(第2受付許容状態)、相対的に演出性に優る広域型消滅エフェクトが行われなかったことによる遊技興趣の低下が抑制されうるようになる。これに対し、特定種別の演出音(BGM再生)が抑制態様で出力されているか、非出力の状態にされているなかでの遊技者による操作受付がなされうる場合は、相対的に演出性に優る広域型消滅エフェクトが行われるようになっていることから(第1受付許容状態)、特定種別の演出音(BGM再生)が非抑制態様で出力されているなかでの遊技者による操作受付がなされなかったことによる遊技興趣の低下が抑制されうるようになる。
また、この例にかかるパチンコ機1では、少なくとも特定の設定条件(一の演出状態)にあるとき、第1受付許容状態では、遊技者による操作受付が許容される設定時間内で操作が検出されなかったとき、該操作が検出されたときと同じ表示変化を生じさせる自動受付態様で実行されるようになっており、第2受付許容状態では、遊技者による操作受付が許容される設定時間内で操作が検出されなかったとき、該操作が検出されたときと同じ表示変化を生じさせない非自動受付態様で実行されるようになっていることは上述した通りである。すなわち、広域型消滅エフェクトが行われる第1受付許容状態では、その演出性の高さから操作し忘れが生じたときの遊技興趣の低下が懸念されるが、上記自動受付態様で実行されるようになっていることから、操作し忘れが生じたときの遊技興趣の低下を抑制することができるようになる。すなわちこの場合、遊技者による操作受付がなされず自動受付が機能した場合であっても、遊技者による操作受付がなされたときと同じ態様で広域型消滅エフェクトが実行されることとなる。これに対し、狭域型消滅エフェクトが行われる第2受付許容状態では、上記非自動受付態様で実行されることから、遊技者による操作が行われないままで設定時間が経過(第2受付許容状態が終了)すると、操作後演出(演出表示装置1600における表示変化、スピーカにおける演出音変化、ランプによる発光変化、及び可動装飾体による演出動作の少なくとも1つ)が行われることなく、摸画像を非表示にすることとなる。この点、第2受付許容状態では、操作後演出が実行されないなかで摸画像を非表示にするときにも、狭域型消滅エフェクトを実行するようにしており、これによって操作し忘れが生じた結果、操作後演出が実行されなくなったときの遊技興趣の低下を抑制するようにしている。なおこの際、狭域型消滅エフェクトとしては、操作受付がなされて操作後演出が実行されるときと同じ態様(同じ画像)で実行するようにしてもよい。ただし後述するが、この例にかかる第2受付許容状態では、操作受付がなされて操作後演出が実行される場合に現れる狭域型消滅エフェクトと、操作受付がなされず操作後演出が実行されない場合に現れる狭域型消滅エフェクトとでは互いに異なる態様(画像)が現れるようにしている。
また、この例にかかるパチンコ機1にあって、特定種別の演出音(BGM再生)が抑制態様で出力されているか、非出力の状態にあるなかでの遊技者による操作受付が許容される受付許容状態には、第1条件が満たされたときに発生する上記第1受付許容状態と、第4条件が満たされたときに発生する上記第4受付許容状態とが少なくとも含まれるようになっていることは上述した通りである。そして、上記第4受付許容状態では、特定種別の演出音(BGM再生)が第4抑制態様で出力されているなかでの遊技者による操作受付がなされうるようになっているが、上記第1受付許容状態では、特定種別の演出音(BGM再生)が第4抑制態様よりも抑制度合いの高い第1抑制態様で出力されているか、非出力の状態にされているなかでの遊技者による操作受付がなされうるようにしていることも上述した。この点、この例にかかるパチンコ機1では、上記第4受付許容状態において遊技者による操作受付がなされた場合は、広域型消滅エフェクトではなく、狭域型消滅エフェクトが実行されるようにしている。すなわち、相対的に演出性に劣る狭域型消滅エフェクトが行われる場合は、それに先立って特定種別の演出音(BGM再生)が抑制態様にされるがその抑制度合いは低くされるようになっていることから(第4受付許容状態)、相対的に演出性に優る広域型消滅エフェクトでが行われなかったことによる遊技興趣の低下が抑制されうるようになる。これに対し、特定種別の演出音(BGM再生)が第4抑制態様よりも抑制度合いの高い第1抑制態様で出力されているか、非出力の状態にされているなかでの操作受付がなされうる場合は(第1受付許容状態)、相対的に演出性に優る広域型消滅エフェクトが行われるようになっていることから、特定種別の演出音(BGM再生)の抑制度合いが低くなかったことによる遊技興趣の低下が抑制されうるようになる。
図249は、上記特定の設定条件(演出設定)下において、上記第2条件が満たされて上記第2受付許容状態が発生するときの演出内容についてその一例を示すタイムチャートである。図251は、第2受付許容状態が発生する変動パターンにおける演出例を示す図である。
いま、通常遊技状態(非確変・非時短)において始動条件が成立(保留消化)されて、変動パターン判定が行われた結果として「第2変動パターン」が選択されたとすると、上記周辺制御MPU1511aでは、まず、該第2変動パターンに対応する演出判定(予告判定など)を行う。そしてこの後、装飾図柄SZの変動演出(第2変動パターンに応じた演出描写や、第2変動パターンに応じたBGM再生の音出力など)を開始させ(「図251(a)に示される状況」に相当)、該変動演出の実行期間内で、予告演出判定の結果に応じた演出(予告演出)を、上記選択した「第2変動パターン」これ自体の演出に対して付加的に実行させることとなる。
そして上述の通り、第2変動パターンに対応する演出判定(予告判定など)で特別結果が得られると(第2条件が成立すると)、上記周辺制御MPU1511aでは、図249(b)に示されるように、装飾図柄SZの変動演出が開始されてから第2所定時間が経過したタイミングtB3が到来したときに第2操作後演出に関しての操作受付が許容される上記第2受付許容状態(有効期間)を発生させる(「図251(d)に示される状況」に相当)。ただし上述の通り、この実施の形態にかかるパチンコ機1では、当該第2受付許容状態(有効期間)については、
・第2変動パターンに応じた「BGM再生の音(特定種別の演出音)」、例えば、通常変動中のBGM再生音が非抑制態様での出力状態を維持しているなかでの操作受付が許容される「非抑制受付許容状態(図249(a),(b)を参照)」であり、且つ
・操作受付が許容される設定時間(タイミングtB3~tB4)内で操作が検出されなかった場合、第2受付許容状態に対応する操作後演出(第2操作後演出)を発生させない「非自動受付態様(図249(h)を参照)」
によって実行される「非抑制・非自動受付演出」として発生させるようにしている。
このような構成によれば、「BGM再生の音」が抑制態様になることによって受付許容状態の発生を示唆する、といったような演出性を伴うことなく操作受付が許容される設定時間(有効期間)が突然設定されるようになることから(非抑制受付演出)、遊技者側からすれば不意を打たれるかたちとなり、操作しようとするときの動き始めに遅延が生じ易くなる。それにもかかわらず、設定時間(タイミングtB3~tB4)内で操作が検出されなかった場合は、操作後演出が発生せずに当該設定時間が終了されるようになっていることから(非自動受付態様)、操作後演出(ここでは、第2操作後演出)の発生機会を逃してしまうリスクを意識させることで、緊張感を好適に維持することができるようになる。
ただし、このような「非抑制・非自動受付演出」は、後述の「抑制・自動受付演出」よりも大当り時にしか現れない態様で操作後演出(ここでは、第2操作後演出)が行われる割合(0%や100%であってもよい)が低くなっているとは言え、遊技者の意思に反して、操作後演出が発生しないようなことが頻出すると、遊技興趣が低下することが懸念される。そこで、この実施の形態にかかる周辺制御MPU1511aでは、図249(b),(e),(i)に示されるように、操作受付が許容される設定時間(タイミングtB3~tB4)が発生するよりも少し前のタイミングtB2が到来したときに「受付許容音(ここでは、第1許容音)」を出力開始させ(「図251(c)に示される状況」に相当)、設定時間内のタイミングtB3aにおいて操作受付されたとしてもこれを跨るかたちでその出力状態を維持させるようにしている。これにより、第2受付許容状態の設定時間(タイミングtB3~tB4)が設定されるタイミングtB3よりも少し前のタイミングtB2で操作受付が許容されることを認識することができるようになり、「操作受付が許容されたことに気付くのが遅れて遊技者による操作が間に合わず、操作後演出(ここでは、第2操作後演出)が発生せずに終わってしまう」ことを頻出し難くすることが期待されるようになる。ただし、該「受付許容音(ここでは、第1許容音)」については、設定時間(タイミングtB3~tB4)が発生するよりも前に必ずしも発生させなくてもよく、例えば、設定時間の発生タイミングtB3の発生タイミングに合わせて発生させるようにしてもよい。
なお後述するが、この実施の形態にかかるパチンコ機1(周辺制御MPU1511a)では、「受付許容音」として、「ピキーン!」などの効果音として出力される第1許容音と、「押せ!」などのメッセージ音として出力される第2許容音とをそれぞれ用意することとしている。ただし、図249(f),(j)に示されるように、当該第2受付許容状態では、第2許容音(メッセージ音)が出力されることはなく、第1許容音(効果音)のみが出力されるようになっており、このような「受付許容音」にかかる出力制限によっても遊技者が操作しようとするときの動き始めに遅延が生じ易くなるようにしている。
ところで、当該第2受付許容状態では、設定時間が突然設定されたり非自動受付態様として実行されたりすることに対する対策として、操作受付が許容されていない状態にあるときから操作手段(ここでは、操作ボタン410)を連打することによって、操作後演出の発生機会を逃さないように努めるようにする遊技者も現れうると考えられる。ただしこの場合、操作受付が許容されてすぐに操作後演出が開始されることとなることから、該開始された演出が「操作受付に応じて行われているもの(操作後演出)」であるのか、「操作受付とは関係のない単なる予告演出として自動発生したもの」であるのかを認識し難くなり、遊技興趣が低下する懸念がある。
そこで、図249(特に、図249(e))に示されるように、当該第2受付許容状態では、設定時間(有効期間)が発生してから「受付許容音(第1許容音)」が出力状態にあるタイミングtB3aで演出受付がなされた場合、該設定時間これ自体は終了させる一方で、「受付許容音(第1許容音)」についてはこれを中途終了させず、第1許容音として出力し終わるタイミング(操作がなかったときと同じタイミングtB3c(図249(e),(i))までその出力状態を維持させるようにしている。これにより、開始された演出が「操作受付に応じて行われているもの(操作後演出)」であるのか、「操作受付とは関係のない演出として自動発生したもの」であるのかを認識し難くなる事態が発生することを抑制することができるようになる。
また、図249に示される演出例では、当該第2受付許容状態の設定時間内で演出受付がなされると(図中では、タイミングtB3a)、操作受付に応じた操作後演出として、演出表示装置1600(第1演出部材)における操作後表示演出(液晶表示)と、スピーカ(第2演出部材)による操作後出力音(演出音)とが少なくとも発生するようになっている(図249(d)を参照)。図中では、操作後表示演出(液晶表示)と、スピーカによる操作後出力音(演出音)とが同じ時間だけ実行状態を維持するようになっているが、必ずしもこれに限られない。例えば、操作後表示演出(液晶表示)については、設定時間(有効期間)内のいずれのタイミングで演出受付がなされた場合であっても、タイミングtB4よりも後に到来する所定タイミングで非表示にされるものにするのに対し、操作後出力音(演出音)については、演出受付がなされたタイミングから予め定められた時間分だけ出力状態を維持するものにするようにしてもよい。ただし、いずれのタイミングで操作受付がなされた場合であっても、タイミングtB4が経過し終わっていない状態では、操作後表示演出(液晶表示)と操作後出力音(演出音)とのいずれも出力状態を維持するようにすることが求められる。
なお、図249に示される演出例では、当該第2受付許容状態の設定時間が設定されるタイミングtB3よりも前のタイミングtB2が到来すると、演出表示装置1600において、操作対象とされている操作手段を摸した摸画像が表示されるとともに、設定時間が経過し終わるまでの残り時間を示唆するゲージ表示がそれぞれ行われる(「図251(c)に示される状況」に相当)。これにより、第2受付許容状態の設定時間(タイミングtB3~tB4)が設定されるタイミングtB3よりも少し前のタイミングtB2で操作受付が許容されることを認識することができるようになり、「操作受付が許容されたことに気付くのが遅れて遊技者による操作が間に合わず、操作後演出(ここでは、第2操作後演出)が発生せずに終わってしまう」ことを頻出し難くすることが期待されるようになる。この例では、摸画像が表示されるタイミングを、受付許容音(第1許容音)が出力開始される時期と同じにしているが、これに限られず、どちらかがもっと先に開始されるようにしてもよい。若しくは、摸画像と受付許容音とのいずれか一方のみ(例えば、摸画像のみ)をタイミングtB3よりも前に開始させるようにしてもよい。
また上述の通り、当該第2受付許容状態が発生するときに表示される摸画像(操作機会が付与される対象である操作受け部を摸した画像)は、該摸画像の周縁を装飾する周縁装飾画像と一体化された一体化摸画像IGとして表示されるものとなっている。この「一体化摸画像IG」については、図232~図248を参照して説明した通り、またはその別例や変形例として記載した通りであり、例えば、周縁装飾画像内にはゲージ画像(所定画像)GGの表示対象領域(区画画像KG)が設けられている。また、「一体化摸画像IG」として、期待度が異なる複数態様(図232参照)が用意されており、それら態様のいずれかを選択的に表示する点についても同様である。ただし、当該第2受付許容状態にあって、「一体化摸画像」として用意されている複数態様のうち期待度の高い特別態様(例えば、図232(d)に示される態様)は抽選(選択)の対象として含まれておらず、該特別態様とは異なる態様(例えば、図232(a)に示される通常態様など)のみが表示可能とされるようになっている。図251に示される例では、一体化摸画像IGとして、最も期待度の低い一体化摸画像IGaが表示されている。
図249(c)~(f)に示される例では、このような一体化摸画像が表示されている間にタイミングtB3aが到来して操作受付がなされた場合を想定している。このような状況下で操作受付がなされると、この例にかかるパチンコ機1では、操作後演出(演出表示装置1600における表示変化、スピーカにおける演出音変化、ランプによる発光変化、及び可動装飾体による演出動作の少なくとも1つ)として、液晶表示にかかる出力と、演出音にかかる出力とがそれぞれ開始される(「図251(f)に示される状況」に相当)。
ただし、図249(c),(d)及び図251(f)に示されるように、この例にかかるパチンコ機1では、操作後演出が開始された時点において、一体化摸画像IGは非表示にされず、表示状態を維持する。より具体的には、操作受付がなされた場合であってもその時点(タイミングtB3a)では一体化摸画像IG(特定レイヤ)に関してそれを起因とした変化は生じさせず、そこから少しの時間(所定時間)が経過したタイミングtB3bが到来するまでは、操作受付が許容されている状態にあるときと同じ態様での「一体化摸画像IGにかかる表示」が継続されるようになっており、ゲージ画像GGの表示面積についても、これまでと同じ態様での減少を進展させるようにしている。なお、図251に示される例では、操作後演出(液晶表示にかかる出力)として、姫キャラクタによる会話予告(チャンスかもしれないわ)が表示されている。
そして、タイミングtB3bが到来すると、表示状態にある一体化摸画像の一部または全体を視認し難くするか視認できない状態にするかたちで表示される画像KSE(消滅エフェクト)を出現させる(「図251(g)に示される状況」に相当)。このような画像KSEとしては、例えば、一体化摸画像IGが表示されるレイヤよりも前にある別レイヤに表示される画像であってもよいし、一体化摸画像IG及び当該画像(消滅エフェクト)を予め用意された1つの動画として表示し該動画の中で一体化摸画像IGの一部または全体が当該画像KSE(消滅エフェクト)によって視認し難くなっていく様子を表現するようにしたものであってもよいことは上述した通りである。
同図249(c)に示されるように、この演出例にかかるパチンコ機1にあって、一体化摸画像IGは、このような画像KSE(消滅エフェクト)が表示開始された時点においても非表示にされず、表示状態を維持する。より具体的には、消滅エフェクトが表示されている状況下においても(タイミングtB3b)、一体化摸画像IGが表示されるレイヤにおいては、一体化摸画像IGに関してそれを起因とした変化は生じさせず、ゲージ画像GGの表示面積もこれまでと同じ態様での減少を進展させるようにしている。ただし、消滅エフェクトがそれよりも前側のレイヤに表示されることで、摸画像やゲージ画像GGは視認し難いか、視認できない状態にされていくこととなる。
すなわちこの場合、摸画像(一体化摸画像IG)を視認し難くするか、視認できない状態にすることを目的として消滅エフェクトの画像KSE(後述の広域型消滅エフェクトの画像HSEの場合も同様)を所定レイヤ上に表示する状況にあるにもかかわらず、特定レイヤ(所定レイヤよりも後ろ側(優先度の低い側))上にて表示されている摸画像(一体化摸画像IG)これ自体は操作受付が許容されていたときの態様のままでの表示が維持されており何らの変化も生じないようにされることとなる。また、ゲージ画像GGについても、その表示面積を減少し続ける表示が、操作受付を跨いで継続されることとなる。これにより、摸画像(一体化摸画像IG)を視認し難くするか、視認できない状態にしていく過程にあるなかでも、操作受付が許容されていたときの態様(の少なくとも一部)を視認することができるようになり、ひいては図251(f)に示される状態として維持されるべき時間の短縮化を図ることができるようになる。
そして、消滅エフェクトの画像KSEが表示されている期間(タイミングtB3b~tB3d)内で一体化摸画像IGに関する表示出力(レイヤ上の表示)が終了されることとなり(「図251(i)に示される状況」に相当)、これ以降は、一体化摸画像IGがレイヤ上も表示されていない状況下で消滅エフェクト(ここでは、所定の表示領域のうち半分未満の領域しか用いない狭域型消滅エフェクト)の画像KSEが表示されることとなる。このような消滅エフェクトの画像KSEは、その表示が開始されてから(タイミングtB3b)予め定められた時間が経過したとき(タイミングtB3d)に非表示にされるようになっている(「図251(j)に示される状況」に相当)。この点、この非表示にされるタイミングtB3dについては、いずれのタイミングで操作受付がなされた場合であっても、操作後演出のうち特に演出表示装置1600における表示変化(ここでは、液晶表示)が実行されている期間内で到来するように設定することが望ましい。すなわち後述するが、消滅エフェクトの画像KSEや一体化摸画像IGは、演出表示装置1600における表示変化にかかる画像(姫キャラクタによる会話予告)よりも前側のレイヤに表示されるようになっており、これに重なるかたちで表示されるものとなっている。したがって、図251(g)~(i)に示されるように、消滅エフェクトの画像KSEが表示されている間は、演出表示装置1600における表示変化にかかる画像(姫キャラクタによる会話予告)は視認し難くされるようになっている。これについては、広域型消滅エフェクトについても同様である。
このような構成によれば、操作受付がなされると、まず、操作後演出が開始されることはもとより、操作受付がなされた時点で一体化摸画像IGがどのような態様で表示されていたのか(図232(a)~(d)のいずれの態様であるか、ゲージ画像GGにより示唆される残り時間がどれだけあるかなど)を把握可能な状態として維持されることとなる(「図251(f)に示される状況」に相当)。そしてこの後、操作後演出のうち「演出表示装置1600における表示変化にかかる画像」と、一体化摸画像IGとをそれぞれ視認し難くするかたちでの消滅エフェクトの画像KSEによる表示が開始されるようになる(「図251(g)に示される状況」に相当)。上述の通り、消滅エフェクトとしては、演出性の低い狭域型消滅エフェクトと演出性の低い広域型消滅エフェクトとがあり、ここでは狭域型消滅エフェクトとして実行されるようになっている。このような消滅エフェクトの画像KSEが表示されている間に一体化摸画像IGは非表示にされるようになり(「図251(i)に示される状況」に相当)、その後、消滅エフェクトの画像KSEが非表示にされると、操作後演出のうち「演出表示装置1600における表示変化にかかる画像(姫キャラクタによる会話予告)」がクリアな状態でようやく視認可能とされるようになる(「図251(j)に示される状況」に相当)。
すなわちこの場合、操作受付がなされると、まずは、一体化摸画像IGの態様がいかなる態様であったのかを楽しむことができ、次いで消滅エフェクトとしていかなる態様が現れるかを楽しむことができ、その後、操作後演出としていかなる態様(ここでは、期待度が異なる複数の会話予告態様のいずれ)が現れるかを楽しむことができるようになることから、このような多彩な演出性によって操作受付がなされたときの遊技興趣の向上を図ることができるようになる。
なお、このような作用効果を好適に得る上では、演出表示装置1600における表示変化にかかる画像(操作後演出)を表示開始させるタイミングについては、タイミングtB3aではなく、タイミングtB3bか、若しくは消滅エフェクトが実行されている期間(タイミングtB3b~tB3d)内にあるタイミングとして変更するようにすることがより望ましいと言える。ただしこの場合も、演出音やランプによる操作後演出については、タイミングtB3aで実行開始されることとなることから、操作後演出これ自体の開始タイミングはタイミングtB3aのままである。
これに対し、図249(g)~(j)に示される例では、遊技者による操作が検出されないままで設定時間が経過(第2受付許容状態が終了)した場合を想定している。上述の通り、第2受付許容状態は、非自動受付態様で実行されるものであることから、遊技者による操作が行われることなく設定時間が経過すると、操作後演出が行われていないなかで摸画像(ここでは、一体化摸画像IGa)を非表示にすることとなる。
ただし上述の通り、図249(b),(g)に示されるように、この例にかかるパチンコ機1では、操作受付が許容される状態(第2受付許容状態)が終了された時点において、特定レイヤ上の摸画像(ここでは、一体化摸画像IGa)は非表示にされず、受付許容状態にあったときに現れていた表示状態を維持する。より具体的には、操作受付が許容されなくなった場合であってもその時点(タイミングtB4)では摸画像(ここでは、一体化摸画像IGa)に関してそれを起因とした変化は生じさせず、そこから少しの時間(所定時間)が経過したタイミングtB4aが到来するまでは、操作受付が許容されている状態にあるときと同じ態様での「摸画像にかかる表示」が継続されるようになっている。またこの例では、ゲージ画像GGについては、操作受付が許容される状態(第2受付許容状態)が終了された時点においてもその表示面積を僅かに残しており、タイミングtB4以降にその表示面積が「0」になるかたちでその表示面積を減少させるようにしている。
このような構成によれば、操作しないままで有効期間(第2受付許容状態)が終了された場合であっても、いずれの態様(期待度が異なる複数態様のいずれ)で摸画像が表示されていたのかを確認することが可能とされるようになる。また、有効期間が終了した後にゲージ画像の表示面積が「0」になるようにしていることから、ギリギリのタイミングで操作受付が間に合わなかったときに「惜しかった」と思うように促すことができるようになり、遊技興趣の低下を抑制することが期待されるようになる。
なお、この例では、操作受付があったタイミングtB3aから摸画像が非表示(視認不可)にされるまでの時間よりも、操作受付がないままで有効期間(第2受付許容状態)が終了されたタイミングtB4から摸画像が非表示(視認不可)にされるまでの時間のほうが短くされるようにしている。
また上述の通り、第2受付許容状態では、遊技者による操作が検出されないままで設定時間が経過した場合、操作後演出が実行されない。ただしこの場合であっても、図249(g)に示されるように、摸画像(ここでは、一体化摸画像IGa)を非表示にするときには狭域型消滅エフェクトを実行するようにしており、該狭域型消滅エフェクトが実行されているなかで摸画像(ここでは、一体化摸画像IGa)を非表示にするようにしている。この点、この演出例にかかるパチンコ機1では、操作後演出が実行されないときの狭域型消滅エフェクト(図249(g))については、操作後演出が実行されるときの狭域型消滅エフェクト(図249(c))とは異なる態様(画像)で実行するようにしている。
このような構成によれば、操作受付がなされたのか否か(間に合ったのか否か)を理解できなかったとしても、狭域型消滅エフェクトの態様を確認することによってそれを適正に理解することができるようになることから、操作後演出が行われている状況にあるのかを把握できないことによる遊技興趣の低下が回避されるようになる。このような作用効果を好適に得る上では、操作後演出が実行されるときの狭域型消滅エフェクト(図249(c))の態様については、操作後演出が実行されないとき(図249(g))には現れないようにすることが望ましい。ただし、例えば、操作後演出が実行されるときの狭域型消滅エフェクト(図249(c))を、「A(例えば、摸画像これ自体の変化)」及び「B(例えば、摸画像とは別の画像表示)」の2つの態様を併せて実行するものであれば、操作後演出が実行されないときの狭域型消滅エフェクト(図249(g))を、「A」で実行するようにしてもよい。このような構成であっても、狭域型消滅エフェクトにおいて「B」の態様が現れない時点で操作受付がなされなかったことを認識することが可能であり、操作後演出が行われている状況にあるのかを把握できないことによる遊技興趣の低下は回避される。
また、図249に示される例では、第2受付許容状態が発生するタイミングtB3よりも前のタイミングtB1が到来すると、所定の表示領域のうち半分未満の領域しか用いない狭域型前演出が実行開始されるようになっている(「図251(b)に示される状況」に相当)。そして、このような狭域型前演出にかかる画像KTHが表示されている期間内において、まず、操作受け部を摸した摸画像(ここでは、一体化摸画像IGa)の表示と、第1許容音の出力とがそれぞれ開始される(タイミングtB2であり、「図251(c)に示される状況」に相当)。摸画像(ここでは、一体化摸画像IGa)の表示が開始される時点では、該摸画像(一体化摸画像IG)の一部または全体が当該狭域型前演出にかかる画像KTHによって視認し難くなっている。すなわち、時間経過に応じて、当該狭域型前演出にかかる画像の表示される範囲が減少されたり、その透過率が高くなっていくようにされたりすることで、「摸画像(一体化摸画像IG)の視認性を次第に高めていく」といった演出性が提供されるようになる(図251(b)~(d))。この点、この演出例にかかるパチンコ機1では、狭域型前演出が実行されており、且つ摸画像(ここでは、一体化摸画像IGa)の表示が行われているなかで、当該第2受付許容状態が発生するタイミングtB3が到来して操作受付が許容されるようになっている(「図251(d)に示される状況」に相当)。すなわちこの場合、摸画像(一体化摸画像IG)の視認性が高められている途中の段階において、操作受付が許容されるようになることから、該摸画像(一体化摸画像IG)としての態様(期待度)を確認せずに操作受付(操作後演出)がなされるようにしてこれを非表示にするのか、該摸画像(一体化摸画像IG)としての態様(期待度)を確認してから操作受付(操作後演出)がなされるようにしてこれを非表示にするのか、といった戦略性のある演出を提供することができるようになる。
ここで、このような狭域型前演出に用いられる画像KTHとしては、例えば、摸画像(一体化摸画像IG)が表示されるレイヤよりも前にある別レイヤに表示される画像であってもよいし、摸画像(一体化摸画像)及び当該画像(狭域型前演出)を予め用意された1つの動画として表示し該動画のなかで摸画像(一体化摸画像IG)の視認性が次第に高められていく様子を表現するようにしたものであってもよい。
なお、狭域型前演出では、演出表示装置1600における画像表示だけでなく、これに関連した演出音の出力も行われるようにしてもよい。ただし、第2受付許容状態が、非自動受付態様で実行されるものであり、操作関連に関しての緊張感を維持することを目的としているものであることに鑑みれば、狭域型前演出については、これに関連した演出音の出力を行わず、演出表示装置1600における画像表示として実行されるようにすることが、演出への集中力を高めるようにする上で望ましいと言える。
また、狭域型前演出として、期待度が異なる複数の態様を用意し、大当り判定の結果に基づく演出判定の結果に基づいて、それら態様のいずれかを選択的に表示するようにしていもよい。ただし、第2受付許容状態が、非自動受付態様で実行されるものであり、操作し忘れが生じると操作後演出が実行されなくなるものであることに鑑みれば、狭域型前演出については、一の態様のみを用意し、該一の態様のみによって表示されるものとすることが、操作し忘れが生じたときの遊技興趣の低下を抑制する上で望ましい。
図250は、上記特定の設定条件(演出設定)下において、上記第1条件が満たされて上記第1受付許容状態が発生するときの演出内容についてその一例を示すタイムチャートである。図252は、第1受付許容状態が発生する変動パターンにおける演出例を示す図である。
いま、通常遊技状態(非確変・非時短)において始動条件が成立(保留消化)されて、変動パターン判定が行われた結果として「第1変動パターン」が選択されたとすると、上記周辺制御MPU1511aでは、まず、該第1変動パターンに対応する演出判定(予告判定など)を行う。そしてこの後、装飾図柄SZの変動演出(第1変動パターンに応じた演出描写や、第1変動パターンに応じたBGM再生の音出力など)を開始させ(「図252(a)に示される状況」に相当)、該変動演出の実行期間内で、予告演出判定の結果に応じた演出(予告演出)を、上記選択した「第1変動パターン」これ自体の演出に対して付加的に実行させることとなる。
そして上述の通り、「第1変動パターン」にかかる演出では、演出判定(予告判定)としていずれの結果が得られている場合であっても、図250(b)に示されるように、装飾図柄SZの変動演出が開始されてから第1所定時間が経過したタイミングtC4(例えば、SPリーチ状態内のタイミング)が到来したときに第1操作後演出に関しての操作受付が許容される上記第1受付許容状態(有効期間)を発生させる(「図252(g)に示される状況」に相当)。ただし上述の通り、この実施の形態にかかるパチンコ機1では、当該第1受付許容状態(有効期間)については、
・第1変動パターンに応じた「BGM再生の音」が抑制態様で出力されているか、非出力の状態にあるなかでの操作受付が許容される「抑制受付許容状態(図250(a),(b)を参照)」であり、且つ
・操作受付が許容される設定時間(タイミングtC4~tC5)内で操作対象にされている操作手段に対する操作が検出されなかった場合であっても、該設定時間内のタイミングtC4fが到来すると、操作後演出が開始される「自動受付態様(図250(h)を参照)」
によって実行される「非抑制・非自動受付演出」として発生させるようにしている。後述するが、ここでの抑制態様は、「強抑制態様」とも呼称されるものである。
このような構成によれば、「BGM再生の音」が抑制態様で出力されているか、非出力の状態にあるなかでの操作受付が許容されるようになることから(抑制受付演出)、遊技者側からすれば、設定時間(有効期間)が発生してすぐに操作することが行い易くなる。これに加えて、設定時間(タイミングtC4~tC5)内で操作が検出されなかった場合であっても、操作後演出(ここでは、第1操作後演出)は、遅くとも設定時間内のタイミングtC4fが到来したときに自動発生するようになっていることから(自動受付態様)、高期待の操作後演出を見逃してしまうことのない安心感のあるなかで操作することを楽しむことができるようになる。すなわち、このような「抑制・自動受付演出」では、上述の「非抑制・非自動受付演出」よりも大当り時にしか現れない態様で操作後演出が行われる割合(0%や100%であってもよい)が高くなっていることは上述した通りである。
しかも、この実施の形態にかかる周辺制御MPU1511aでは、「抑制・自動受付演出」においても、上述の「非抑制・非自動受付演出」と同様、図250(b),(e),(i)に示されるように、演出受付が許容される設定時間(タイミングtC4~tC5)が発生するよりも少し前のタイミングtC3が到来したときに「受付許容音(ここでは、第1許容音)」を出力開始させ、タイミングtC4を跨るかたちでその出力状態を維持させるようにしている(「図252(f)に示される状況」に相当)。これにより、「BGM再生の音(特定種別の演出音)」が抑制態様で出力されているか、非出力の状態にあることを遊技者が認識しなかった場合であっても、タイミングtC3で操作受付が許容される状態が間もなく発生することを認識することができるようになり、「遊技者の意思に反して、自らの操作ではなく、自動ボタン機能の有効化によって演出受付がなされる」ことを頻出し難くすることが期待されるようになる。ただし上述の通り、該「受付許容音」については、設定時間(タイミングtC4~tC5)が発生するよりも前に必ずしも発生させなくてもよく、例えば、設定時間の発生タイミングtC4に合わせて発生させるようにしてもよい。
なお、上述の作用効果(抑制受付演出)をより好適に得るようにする上では、「BGM再生の音」が「非抑制態様で出力される状態」から「抑制態様で出力される状態または非出力の状態」へと移行されるタイミングtC2aについては、図中とは異なる態様となるが、「タイミングtC2a~tC3の長さ>タイミングtC3~tC4の長さ」といった関係性を持つように、「設定時間に対して先行発生する上述の受付許容音の出力開始タイミングtC4」よりもかなり前に設定することが望ましいといえる。例えば、広域型前演出が開始されるよりも前にタイミングtC2aが到来するようにしてもよい。
また、この実施の形態にかかる「抑制・自動受付演出」では、図250(f),(j)に示されるように、上述の「非抑制・非自動受付演出」の場合とは異なり、「受付許容音」として、「ピキーン!」などの効果音として出力される第1許容音だけではなく、「押せ!」などのメッセージ音である第2許容音についても出力するようにしている。しかも、この例では、第2許容音については、第1許容音が出力開始されるタイミングtC3に対して所定時間だけ遅れており且つ操作受付が既に許容されている状態(有効期間)にあるなかで到来するタイミングtC4aにおいて、その出力が開始されるものとなっている。
すなわちこの場合、一体化摸画像IG(摸画像)が特定の高期待態様(特別態様)で表示され得ない第2受付許容状態(有効期間)では、第1許容音は設定時間(有効期間)の発生に遅れず出力開始され、第2許容音は出力されない。これに対し、一体化摸画像IG(摸画像)が特定の高期待態様(特別態様)で表示されうる第1受付許容状態(有効期間)では、第1許容音は設定時間(有効期間)の発生に遅れず出力開始され、第2許容音は設定時間(有効期間)の発生に遅れて出力開始されることとなる。
このような構成によれば、一体化摸画像IG(摸画像)の態様が前演出によって視認し難いか視認できない状況にあるときに第1許容音(効果音)が出力開始されるようになり、その後、第1受付許容状態(有効期間)が発生しているときには第1許容音(効果音)と第2許容音(メッセージ音)との両方が出力される状態へと移行しうるようになることから、一体化摸画像IG(摸画像)が特定の高期待態様(特別態様)で表示される可能性を、第2許容音(メッセージ音)がさらに出力されるか否かによって示唆することができるようになる。すなわち、第1許容音(効果音)が出力状態になっている間に第2許容音(メッセージ音)がさらに出力されれば、特定の高期待態様(特別態様)をもった一体化摸画像IG(摸画像)が表示されることへの期待感を持つことができるようになり、そのような中で一体化摸画像IG(摸画像)が徐々に露わ(明瞭)にされていく演出性が提供されることとなる。なお後述するが、この例では、図250(c),(f)に示されるように、広域型前演出のうち「第2広域型前演出」が実行されているなかで(前演出の画像が表示されているなかで)、第2許容音が出力開始されるようになっている。
なお後述するが、この実施の形態にかかる「抑制・自動受付演出」では、予告演出判定の結果に基づいて「操作対象として操作ボタン410を選択する場合」と「操作対象として刀装飾体5001を選択する場合」とがあり、操作ボタン410が操作対象とされた場合は、第2許容音(メッセージ音)として「押せ!」といったメッセージ音が出力され、刀装飾体5001が操作対象とされた場合は、第2許容音(メッセージ音)として「納刀せよ!」といったメッセージ音が出力されるようになっている。
また、この演出例では、図250(e),(f),(i),(j)に示されるように、「第2許容音」を相対的に短い時間だけ出力される演出音として採用し、「第1許容音」を相対的に長い時間にわたって出力される演出音として採用することとしているが、これら許容音の長短関係については逆転させるようにしてもよい。
ただし、「第1許容音」及び「第2許容音」については、図250(e),(f),(i),(j)に示されるように、互いに異なる時間にわたって出力状態が維持されるものとするとともに、それら出力状態が終了される時期(非可聴の状態にされる時期)をいずれも、自動ボタン機能が有効化されるタイミングtc4fよりも前の、互いに異なるタイミングで到来させるようにすることが望ましい。このような構成によれば、「受付許容音」が下記状況のいずれにあるのかによって、自動ボタン機能が有効化されるタイミングtc4fが到来するまでの時間がどの程度残されているのかを推測することができるようになり、「遊技者の意思に反して、自らの操作ではなく、自動ボタン機能の有効化によって演出受付がなされる」ことを頻出し難くすることが期待されるようになる。
・「第1許容音」及び「第2許容音」のうち「第1許容音」のみが出力状態を維持している第1状況
・「第1許容音」及び「第2許容音」の両方が出力状態を維持している第2状況
・「第1許容音」は出力状態を維持しているが、「第2許容音」は出力状態を終了している(非可聴の状態にされている)第3状況
・「第1許容音」及び「第2許容音」の両方が出力状態を終了している(非可聴の状態にされている)第4状況
また、この実施の形態にかかるパチンコ機1では、図249に示される演出例における「非抑制・非自動受付演出」と、図250に示される演出例における「抑制・自動受付演出」とで「第1許容音」として互いに同じ演出音(例えば、「ピキーン!」)を出力するようにしている。すなわちこの場合、受付許容音のうちメッセージ音(第2許容音)については、「非抑制・非自動受付演出」では出力されない演出音として出力させるようにしつつも、受付許容音のうち効果音(第1許容音)については、「非抑制・非自動受付演出」においても出力される演出音として出力されうるようになることから、「BGM再生の音(特定種別の演出音)」が抑制されている状況にあるときの演出性を好適に維持するようにしつつも(第2許容音)、演出受付が許容される状態にあることをより容易に認識させることができるようになる(第1許容音)。ただし、図249に示される演出例における「非抑制・非自動受付演出」と、図250に示される演出例における「抑制・自動受付演出」とで、第1許容音として互いに異なる受付許容音を出力させるようにしてもよい。
なお、上述してきた各図や、後述する各図において示される任意のタイミング間における時間長さについては、制御(処理)単位における最小時間(例えば、1フレーム)であってもよいし、2フレーム以上の時間であってもよい。例えば、受付許容音(第1許容音)を、設定時間(有効期間)に対して少しでも先行して出力させることができれば、遊技者は、操作受付が許容される状態になること(または、なったこと)を、その先行した時間分だけ早く認識することができるようになることから、設定時間が終了するまでの期間内や、自動ボタン機能が有効化されるタイミングが到来するまでの期間内での操作をし忘れてしまうことを抑制することが期待されるようになる。
また、図250に示される演出例では、図249に示した演出例の場合とは異なり、受付許容音(第1許容音及び第2許容音の少なくとも1つ)が出力状態にあるときに操作受付がなされると、該操作受付がなされたことに基づいてその出力状態を途中終了させるようにしている。すなわちこの場合、遊技者による操作が行われたときにはその時点で受付許容音(第1許容音,第2許容音)の出力が中断されることとなり、これによって操作受付が許容されている状態(有効期間)が終了されたことを認識することができるようにしている。これにより、操作受付されていないにもかかわらず操作受付がなされたとの誤認識が生じ難くなり、遊技者による意図に反して自動受付機能が有効化される事態が発生することを抑制することができるようになる。なお、設定時間(有効期間)内のうち、自動ボタン機能が有効化されるタイミングtC4fよりも前のタイミングで操作が行われて操作受付がなされた場合は、該操作受付がなされた時点で操作受付が許容される状態が終了されるようになることから、タイミングtC4fが到来したとしても自動ボタン機能は有効化されないことは言うまでもない。
しかも、この例では、図250(e),(f)に示されるように、第1許容音は設定時間(有効期間)の発生に遅れず出力開始され、第2許容音は設定時間(有効期間)の発生に遅れて出力開始されるようになっている。このような構成によれば、第1許容音は、遊技者による操作がどれだけ早く操作受付されたとしても出力開始されることとなるが、第2許容音は、操作受付されるタイミング次第では(タイミングtC3~tC4aの間で操作受付されたときには)出力開始されることがないままで操作受付が許容される状態が終了されることとなり、ひいては操作後演出(ここでは、第1操作後演出)が実行されるようになる。なお、タイミングtC3~tC4の間で操作された場合、操作受付はなされず、これを契機として第1許容音が終了されることはない。また、タイミングtC4aが到来するよりも前に操作受付された場合、第2許容音が出力開始されることはない。
このような構成によれば、第2許容音が出力されることを確認してから(第1受付許容状態であることを確認してから)操作後演出を開始させるようにするのか、それとも第2許容音が出力されることを確認しないままで(第1受付許容状態であるか、第2受付許容状態であるかを認識せずに)操作後演出を開始させるようにするのかを、遊技者側の選択に委ねることができるようになることから、遊技の幅が広がるようになり、遊技興趣の向上を図ることが期待されるようになる。
しかもこの例では、後述するが、図250(c),(f)に示されるように、タイミングtC3~tC4aの期間内において、前演出(ここでは、広域型前演出)にかかる画像(の少なくとも一部)は非表示とされておらず、表示状態を維持するようにしている。すなわちこの場合、第2許容音が未だ出力されていない状況下(タイミングtC3~tC4a)においては、一体化摸画像(摸画像)についても前演出によってその態様(期待度)が明瞭に視認できないようにされることから、「遊技者側の選択に委ねる」といった上述の遊技性をより面白みのあるものにすることができるようになる。
また、この演出例においても、図250(d)に示されるように、設定時間(有効期間)内で操作受付がなされると(図中では、タイミングtC4b)、操作受付に応じた操作後演出(ここでは、第1操作後演出)として、演出表示装置1600(第1演出部材)における操作後表示演出(液晶表示)と、スピーカ(第2演出部材)による操作後出力音(演出音)とが少なくとも発生するようになっている(「図252(i)に示される状況」に相当)。ここでは、図249に示した例の場合とは異なり、操作後表示演出(液晶表示)については、設定時間(有効期間)内のいずれのタイミングで操作受付がなされた場合であっても、タイミングtC5よりも後に到来する特定タイミング(同じタイミング)で非表示(視認不能)にされるものにするのに対し、操作後出力音(演出音)については、操作受付がなされたタイミングから予め定められた時間(一定時間)分だけ出力状態を維持するものとなっている。なお、図252に示される例では、操作後演出(液晶表示にかかる出力)として、姫キャラクタによる背景予告が表示されている。
ただし、図250に示されるように、設定時間(有効期間)内のいずれのタイミングで操作受付がなされた場合であっても、操作後出力音(演出音)については、「BGM再生の音(特定種別の演出音)」が抑制状態(非出力状態)から非抑制態様での出力になるタイミングtC6が到来した時点で出力状態を維持しているように設定することが望ましい。
これに対し、操作後表示演出(液晶表示)については、「BGM再生の音」が非抑制態様での出力になるタイミングtC6で出力状態を終了させるようにしている。すなわちこの場合、タイミングtC6では、「BGM再生の音」が非抑制態様での出力になることと、表示演出にかかる内容が切り替えられることとの両方が生じるようになることから、演出性が大きく変更されて遊技興趣を向上させることが期待されるようになる。ただしこれに代えて、操作後表示演出(液晶表示)についても、タイミングtC6が到来した時点で出力状態を維持させるようにしてもよい。また、「BGM再生の音」については、非抑制態様での出力へと戻すときにフェードインなどの手法によって徐々に戻すようにしてもよい。
また、図250に示される演出例においても、当該第1受付許容状態の設定時間が設定されるタイミングtC4よりも前のタイミングtC3が到来すると、演出表示装置1600において、操作対象とされている操作手段を摸した摸画像が表示されるとともに、設定時間が経過し終わるまでの残り時間を示唆するゲージ表示がそれぞれ行われる(「図252(f)に示される状況」に相当)。これにより、第1受付許容状態の設定時間(タイミングtC4~tC5)が設定されるタイミングtC4よりも少し前のタイミングtC3で操作受付が許容されることを認識することができるようになり、「操作受付が許容されたことに気付くのが遅れて遊技者による操作が間に合わず、操作後演出(ここでは、第1操作後演出)が発生せずに終わってしまう」ことを頻出し難くすることが期待されるようになる。この例では、摸画像が表示されるタイミングを、受付許容音(第1許容音)が出力開始される時期と同じにしているが、これに限られず、どちらかがもっと先に開始されるようにしてもよい。若しくは、摸画像と受付許容音とのいずれか一方のみ(例えば、摸画像のみ)をタイミングtC4よりも前に開始させるようにしてもよい。
また上述の通り、当該第1受付許容状態が発生するときに表示される摸画像(操作機会が付与される対象である操作受け部を摸した画像)も、該摸画像の周縁を装飾する周縁装飾画像と一体化された一体化摸画像IGとして表示されるものとなっている。この「一体化摸画像IG」については、図232~図248を参照して説明した通り、またはその別例や変形例として記載した通りであり、例えば、周縁装飾画像内にはゲージ画像GG(所定画像)GGの表示対象領域(区画領域KG)が設けられている。また、「一体化摸画像IG」として、期待度が異なる複数態様(図232参照)が用意されており、それら態様のいずれかを選択的に表示する点についても同様である。ただし、上記第2受付許容状態とは異なり、当該第1受付許容状態にあっては、「一体化摸画像IG」として用意されている複数態様のうち期待度の高い特別態様(例えば、図232(d)に示される態様(一体化摸画像IGd))が抽選(選択)の対象として含まれており、表示されうるようになっていることは上述した通りである。
ところで、自動受付態様で実行される第1受付許容状態(図250)では、操作がなかったときに自動ボタン機能が有効化されるタイミングtc4fが到来するまでの時間を基準として、残り時間表示(ゲージ画像GG)を動的表示するようにすることが考えられる。この点、この実施の形態にかかる第1受付許容状態(図250)では、タイミングtc4fが到来するまでの時間ではなく、設定時間が経過し終わるタイミングtC5までの時間を基準として、残り時間表示(ゲージ画像GG)を動的表示するようにしている。すなわちこの場合、設定時間が経過し終わるまでの時間が少なくなるほどゲージ量が少なくなり、設定時間が「0」になるとゲージ量も「0」になるように動的表示されることとなる。
このような構成によれば、自動ボタン機能が有効化されたことによって操作後演出が実行開始されるときに、残り時間表示(ゲージ画像GG)におけるゲージ量があえて残されるようになることから、遊技者による意思に反して「操作機会を喪失する」といったリスクが持たされていることを示唆することができるようになり、これによって次回以降の設定時間(有効期間)ではゲージ残量にかかわらず早い段階で操作を行うことを促すことができるようになる。
ただし、自動受付態様で実行される第1受付許容状態(図250)については、操作受付があったときと同じ操作後演出を、必ずしも設定時間内で開始させるものでなくてもよく、設定時間が終了するとき、若しくは終了した後に開始させるものであってもよい。
また、図250に示される例で表示される一体化摸画像IG(摸画像)については、図249に示される例で表示される一体化摸画像IG(摸画像)と必ずしも同じでなくてもよい。例えば、図249に示される例では、操作対象である操作手段(操作受け部)をデフォルメして描写するのに対し、図250に示される例では、操作対象である操作手段(操作受け部)を写実的に描写するようにしてもよい。
また、図249に示される例では、操作対象である操作手段(操作受け部)として操作ボタン410を用いておりこれを摸した一体化摸画像IG(摸画像)として表示されるのに対し、図250に示される例では、操作対象である操作手段(操作受け部)として柄部5012(刀装飾体5001)を用いておりこれを摸した一体化摸画像IG(摸画像)として表示(図245(a)~(d)を参照)されるようにしてもよい。この「一体化摸画像IGe~IGh」については、図245~図248を参照して説明した通り、またはその別例や変形例として記載した通りであり、例えば、周縁装飾画像内にはゲージ画像(所定画像)GGの表示対象領域(区画画像KG)が設けられている。また、「一体化摸画像IG」として、期待度が異なる複数態様(図232参照)が用意されており、それら態様のいずれかを選択的に表示する点についても同様である。
上述の通り、図250におけるタイミングtC4で発生する操作受付演出では、予告演出判定の結果に基づいて「操作対象として操作ボタン410を選択する場合」と「操作対象として刀装飾体5001を選択する場合」とがある。すなわちこの場合、演出受付が許容される設定時間(有効期間)が発生してからいずれの操作手段が操作対象になっているのかで混乱する可能性があることから、設定時間としては5秒などの相対的に長い時間を設定するようにすることが望ましい。これに対し、図249におけるタイミングtB3で発生する操作受付演出では、「操作対象として刀装飾体5001を選択する場合」はなく、操作対象として操作ボタン410が必ず用いられるようになっていることから、設定時間としては3秒などの相対的に短い時間を設定するようにすることが望ましい。そしてこの際、自動ボタン機能が有効化されるタイミングtC4fについては、設定時間(有効期間)が発生してから3秒が経過したタイミングよりも後に設定することが、遊技者の意思に反して操作機会を喪失してしまう事態の発生を抑制する上で望ましい。
また、図250におけるタイミングtC4で発生する操作受付演出において、操作対象になっていない側の操作手段を操作してしまった場合、該誤った操作状態を維持したままで操作対象になっている側の操作手段を操作した場合であっても、演出受付がなされて操作後演出を実行するようにすることが望ましい。すなわち、操作手段を操作したにもかかわらず演出受付がなされない状況が現れると遊技者が混乱する可能性があり、このような状況にあるなかで誤った操作状態を中断させた上で適正な側の操作手段に対する操作をさらに求めることは酷であるから、誤った操作状態が維持されていたとしても、操作対象になっている側の操作手段が操作されたときには演出受付がなされるようにすることが望ましい。
なお上述の通り、抑制操作受付演出では、操作機会が付与されるよりも前に特定種別の演出音が抑制態様での出力または非出力の状態にされることから、非抑制操作受付演出と比べて演出性が乏しくなることが懸念される。この点、この実施の形態にかかるパチンコ機1(周辺制御MPU1511a)では、抑制操作受付演出の発生に際して出力される受付許容音(第1許容音)を、非抑制操作受付演出の発生に際して出力される受付許容音(第1許容音)よりも長い時間にわたって出力状態が維持される音として出力可能としている。
すなわち、この実施の形態にかかるパチンコ機1では、第1許容音として、出力状態が維持される時間が異なる複数態様(例えば、第1態様,第2態様,第3態様を含む複数態様)を用意しており、予告演出判定の結果に基づいて、該複数態様のいずれかを上記第1許容音として選択的に出力させるものとなっている。ここで、第1許容音としての「第1態様」は、図250(e)で示した態様であり、「出力状態として維持される時間」が上記複数態様のうち最も短い態様として設定されているものである。また、第1許容音が上記複数態様のいずれで出力されるかによって図柄変動が停止されたときに大当り図柄が現れる割合(期待度)が異なるようにすることが望ましい。
なお、「第1許容音として複数態様のいずれを出力させるか」、及び「操作対象として複数の操作手段のいずれを用いるか」については、上記予告演出判定内でそれぞれ別々の判定結果として得られるようにしてもよいし、1つの判定結果として上記予告演出判定内で得られるようにしてもよい。ただし、複数態様のうち少なくとも上記第1態様については、「操作ボタン410」が操作対象になる場合と「刀装飾体5001」が操作対象になる場合とのいずれの場合であっても第1許容音として選択可能とされるようにすることが望ましい。また、第2態様や第3態様についても、「操作ボタン410」が操作対象になる場合と「刀装飾体5001」が操作対象になる場合とのいずれの場合であっても選択可能とされるようにしてもよいが、「刀装飾体5001」が操作対象になる場合に限り出力可能とされる態様も用意するようにすることが望ましい。そして、これら態様のいずれで第1許容音が出力された場合であっても、図249に示した態様に要する時間値以上の長さをもって出力状態が維持されることとなる。
図250(c)~(f)に示される例では、一体化摸画像IG(ここでは、一体化画像IGd)が表示されている間にタイミングtC4が到来して操作受付がなされた場合を想定している。このような状況下で操作受付がなされると、この例にかかるパチンコ機1では、操作後演出(演出表示装置1600における表示変化、スピーカにおける演出音変化、ランプによる発光変化、及び可動装飾体による演出動作の少なくとも1つ)として、液晶表示にかかる出力と、演出音にかかる出力とがそれぞれ開始される。
ただし上述の通り、図250(c),(d)に示されるように、この例においても、操作後演出が開始された時点において、特定レイヤ上の一体化摸画像IGは非表示にされず、受付許容状態にあったときからの表示状態を維持する。より具体的には、操作受付がなされた場合であってもその時点(タイミングtC4bであり、「図252(i)に示される状況」に相当)では一体化摸画像IGに関してそれを起因とした変化は生じさせず、そこから少しの時間(所定時間)が経過したタイミングtC4cが到来するまでは、操作受付が許容されている状態にあるときと同じ態様での「一体化摸画像IGにかかる表示」が継続されるようになっており、ゲージ画像GGの表示面積についても、これまでと同じ態様での減少を進展させるようにしている。
そして、タイミングtC4cが到来すると、表示状態にある一体化摸画像IGの一部または全体を視認し難くするか視認できない状態にするかたちで表示される画像HSE(消滅エフェクト)を出現させる(「図252(j)に示される状況」に相当)。このような画像HSEとしては、例えば、一体化摸画像IGが表示される特定レイヤよりも前にある別レイヤ(所定レイヤ)に表示される画像であってもよいし、一体化摸画像及び当該画像(消滅エフェクト)を予め用意された1つの動画として表示し該動画の中で一体化摸画像の一部または全体が当該画像(消滅エフェクト)によって視認し難くなっていく様子を表現するようにしたものであってもよいことは上述した通りである。
同図250(c)に示されるように、この演出例にかかるパチンコ機1にあって、一体化摸画像IGは、特定レイヤ上に表示されており、所定レイヤ上に表示される画像HSE(消滅エフェクト)が表示開始された時点においても非表示にされず、受付許容状態にあったときのままで表示状態を維持するものとなっている。より具体的には、消滅エフェクトが表示されている状況下においても(タイミングtC4c)、一体化摸画像IGが表示される特定レイヤにおいては、一体化摸画像IGに関してそれを起因とした変化は生じさせず、ゲージ画像GGの表示面積もこれまでと同じ態様での減少を進展させるようにしている。ただし、消滅エフェクトがそれよりも前側の所定レイヤに表示されることで、摸画像やゲージ画像GGは視認し難いか、視認できない状態へと次第にされていくこととなる。
そして、消滅エフェクトの画像HSEが表示されている期間(タイミングtC4c~tC4g)内で一体化摸画像IGに関する表示出力(レイヤ上の表示)が終了されることとなり、これ以降は、一体化摸画像IGが特定レイヤ上も表示されていない状況下で消滅エフェクト(ここでは、所定の表示領域のうち半分以上の領域を用いる広域型消滅エフェクト)の画像HSEが表示されることとなる。このような消滅エフェクトの画像HSEは、その表示が開始されてから(タイミングtC4c)予め定められた時間が経過したとき(タイミングtC4g)に非表示にされるようになっている。この点、この非表示にされるタイミングtC4gについては、いずれのタイミングで操作受付がなされた場合であっても、操作後演出のうち特に演出表示装置1600における表示変化(ここでは、液晶表示)が実行されている期間内で到来するように設定することが望ましい。すなわち後述するが、消滅エフェクトの画像HSEや摸画像(一体化摸画像)は、演出表示装置1600における表示変化にかかる画像(操作後演出)よりも前側の所定レイヤに表示されるようになっており、これに重なるかたちで表示されるものとなっている。したがって、消滅エフェクトの画像HSEが表示されている間は(図252(j),(k))、演出表示装置1600における表示変化にかかる画像(操作後演出)は視認し難くされるようになっている。
このような構成によれば、操作受付がなされると、まず、操作後演出が開始されることはもとより、操作受付がなされた時点で一体化摸画像IGがどのような態様で表示されていたのか(図232(a)~(d)のいずれの態様であるか、ゲージ画像GGにより示唆される残り時間がどれだけあるかなど)を把握可能な状態として維持されることとなる。そしてこの後、操作後演出のうち「演出表示装置1600における表示変化にかかる画像(姫キャラクタによる背景予告)」と、一体化摸画像IGとをそれぞれ視認し難くするかたちでの消滅エフェクトの画像HSEによる表示が開始されるようになる。上述の通り、消滅エフェクトとしては、演出性の低い狭域型消滅エフェクトと演出性の低い広域型消滅エフェクトとがあり、ここでは広域型消滅エフェクトとして実行されるようになっている。このような消滅エフェクトの画像HSEが表示されている間に一体化摸画像IGは非表示にされるようになり、その後、消滅エフェクトの画像HSEが非表示にされると、操作後演出のうち「演出表示装置1600における表示変化にかかる画像(姫キャラクタによる背景予告)」がクリアな状態でようやく視認可能とされるようになる(「図252(l)に示される状況」に相当)。
すなわちこの場合、操作受付がなされると、まずは、一体化摸画像IGの態様がいかなる態様であったのかを楽しむことができ、次いで消滅エフェクトとしていかなる態様が現れるかを楽しむことができ、その後、操作後演出としていかなる態様が現れるかを楽しむことができるようになることから、このような多彩な演出性によって操作受付がなされたときの遊技興趣の向上を図ることができるようになる。
なお、このような作用効果を好適に得る上では、演出表示装置1600における表示変化にかかる画像(操作後演出)を表示開始させるタイミングについては、タイミングtC4bではなく、タイミングtC4cか、若しくは消滅エフェクトが実行されている期間(タイミングtC4c~tC4g)内にあるタイミングとして変更するようにすることがより望ましいと言える。ただしこの場合も、演出音やランプによる操作後演出については、タイミングtC4bで実行開始されることとなることから、操作後演出これ自体の開始タイミングはタイミングtC4bのままである。
これに対し、図250(g)~(j)に示される例では、遊技者による操作が検出されないままで設定時間が経過(第1受付許容状態が終了)した場合を想定している。上述の通り、第1受付許容状態は、自動受付態様で実行されるものであることから、遊技者による操作が行われることなく設定時間が経過した場合であっても、操作後演出が行われているなかで摸画像(ここでは、一体化摸画像IG)を非表示にすることとなる。
したがって、図250(b),(g)に示されるように、この例にかかるパチンコ機1では、自動ボタン機能が有効化された時点においても、遊技者による操作が操作受付された場合と同様、摸画像(ここでは、一体化摸画像)は非表示にされず、表示状態を維持する。より具体的には、自動ボタン機能が有効化された場合であってもその時点(タイミングtC4f)では摸画像(ここでは、一体化摸画像)に関してそれを起因とした変化は生じさせず、そこから少しの時間(所定時間)が経過したタイミングtC4faが到来するまでは、操作受付が許容されている状態にあるときと同じ態様での「摸画像にかかる表示」が継続されるようになっている。またこの例では、ゲージ画像GGについては、操作受付が許容される状態(第2受付許容状態)が終了された時点においてもその表示面積を僅かに残しており、タイミングtC4f以降にその表示面積が「0」になるかたちでその表示面積を減少させるようにしている。
このような構成によれば、自動ボタン機能が有効化されることによって操作後演出が開始された場合であっても、いずれの態様(期待度が異なる複数態様のいずれ)で摸画像が表示されていたのかを確認することが可能とされるようになる。
また、この例では、操作受付があったタイミングtC4cから摸画像が非表示(視認不可)にされるまでの時間と、自動ボタン機能が有効化されたタイミングtC4fから摸画像が非表示(視認不可)にされるまでの時間とを同じになるようにしている。
また、この例では、自動ボタン機能が有効化された場合であっても(タイミングtC4f)、図250(g)に示されるように、摸画像(ここでは、一体化摸画像IG)を非表示にするときには広域型消滅エフェクトを実行するようにしており、該広域型消滅エフェクトが実行されているなかで摸画像(ここでは、一体化摸画像)を非表示にするようにしている。この点、この演出例にかかるパチンコ機1では、遊技者による操作が操作受付されたときの広域型消滅エフェクト(図250(c))にかかる画像と、自動ボタン機能が有効化されたときの広域型消滅エフェクト(図250(g))にかかる画像とは同じ態様で実行されるようにしている(いずれの画像も「画像HSE」)。これは、図249に示した例の場合(非自動受付態様で摸画像が非表示にされるときの狭域型消滅エフェクトは、操作時と異なる態様)とは異なる部分である。
このような構成によれば、ギリギリのタイミングで操作受付が間に合わなかった場合であっても、操作受付が間に合ったときと同じ態様が現れるようになることから、「操作受付が間に合って操作後演出が実行開始された」と思うように促すことができるようになり、遊技興趣の低下を抑制することが期待されるようになる。
また、図250に示される例では、第1受付許容状態が発生するタイミングtC3よりも前のタイミングtC1が到来すると、所定の表示領域のうち半分以上の領域を用いる広域型前演出が実行開始されるようになっている(「図252(b)に示される状況」に相当)。そして、広域型前演出が実行されている期間内において、操作受け部を摸した摸画像(ここでは、一体化摸画像IG)の表示と、第1許容音の出力とがそれぞれ開始される(タイミングtC3であり、「図252(f)に示される状況」に相当)。摸画像(ここでは、一体化摸画像IG)の表示が開始される時点では、該摸画像(一体化摸画像IG)の一部または全体が当該広域型前演出にかかる画像によって視認し難くなっている。すなわち、時間経過に応じて、当該広域型前演出にかかる画像の表示される範囲が減少されたり、その透過率が高くなっていくようにされたりすることで、「摸画像(一体化摸画像)の視認性を次第に高めていく」といった演出性が提供されるようになる(図252(f)~(h))。この点、この演出例にかかるパチンコ機1では、広域型前演出が実行されており、且つ摸画像(ここでは、一体化摸画像IG)の表示が行われているなかで、当該第1受付許容状態が発生するタイミングtC4が到来して操作受付が許容されるようになっている。すなわちこの場合、摸画像(一体化摸画像IG)の視認性が高められている途中の段階において、操作受付が許容されるようになることから、該摸画像(一体化摸画像IG)としての態様(期待度)を確認せずに操作受付(操作後演出)がなされるようにしてこれを非表示にするのか、該摸画像(一体化摸画像IG)としての態様(期待度)を確認してから操作受付(操作後演出)がなされるようにしてこれを非表示にするのか、といった戦略性のある演出を提供することができるようになる。
ここで、このような広域前演出に用いられる画像としては、例えば、摸画像(一体化摸画像IG)が表示されるレイヤよりも前にある別レイヤに表示される画像であってもよいし、摸画像(一体化摸画像)及び当該画像(広域型前演出)を予め用意された1つの動画として表示し該動画のなかで摸画像(一体化摸画像)の視認性が次第に高められていく様子を表現するようにしたものであってもよい。
なお、広域型前演出については、相対的に期待度の高い第1受付許容状態の発生を示唆するものであることに鑑みれば、第2受付許容状態の場合とは異なり、演出表示装置1600における画像表示だけでなく、これに関連した演出音の出力も行われるようにすることが望ましい。そして、このような広域型前演出にかかる演出音の一部が第1許容音として機能するように実行することとしてもよい。
また、広域型前演出として、期待度が異なる複数の態様を用意し、大当り判定の結果に基づく演出判定の結果に基づいて、それら態様のいずれかを選択的に表示するようにすることが、遊技興趣の向上を図る上で望ましい。
また、図250(c)に示されるように、この例にかかる広域型前演出は、「第1変動パターン」内のタイミングtC1が到来したときに開始されて、第1受付許容状態が発生するタイミングtC4を跨ぐかたちで実行され、第1受付許容状態の設定時間内で終了されるようになっている。ただし、このような広域型前演出が開始されてから終了されるまでの間には、該広域型前演出として、第1広域型前演出と第2広域型前演出とが順次に実行されるようになっている。これら2つの広域型前演出については、1つの動画データとして表示されるものであってもよいし、互いに異なる動画データとして表示されるものであってもよい。
ここで、第1広域型前演出は、タイミングtC1が到来したときに表示開始されるものであり(「図252(b)に示される状況」に相当)、第2広域型前演出は、タイミングtC2が到来したときに第1広域型前演出と代わるかたちで表示開始されるものであるが(「図252(e)に示される状況」に相当)、これら前演出のいずれが表示されている期間中であったとしても、該前演出が表示されている期間中においては「操作対象となる操作手段を摸した摸画像」が表示されるようになっている。
図250(c)に示される例では、第1広域型前演出が実行されている期間内のタイミングtC1aが到来したときに摸画像(一体化摸画像)が表示されるようになっており、これによって複数ある操作手段のいずれに対して操作機会が付与されるのかを比較的早い段階で認識可能とされるようにしている(「図252(c)に示される状況」に相当)。図252(c)では、第1広域型前演出による画像HTH1によって「摸画像(ここでは、一体化摸画像)の全体を白抜きにした画像」が生み出される描写がなされているが、これは単なる白抜きの状態でしかなく、操作対象である演出ボタンを摸した画像とまでは言えない段階のものである。この後、「摸画像(ここでは、一体化摸画像)の全体を白抜きにした画像A1」は、「装飾及び模様の少なくとも一方によって摸画像(ここでは、一体化摸画像)の少なくとも輪郭をかたちどった画像A2」として表示されるようになり(「図252(d)に示される状況」に相当)、これによって操作対象が演出ボタンであることを示唆している。このことから、このような「画像A2」は、操作対象である操作手段を摸した摸画像であると言える。すなわち、このような画像A2を「第1広域型前演出による画像HTH1」が生み出したように見せる演出として実行されている。「摸画像(ここでは、一体化摸画像)の輪郭」とは、操作受け部の輪郭(ここでは、操作受け部の輪郭、及び周縁装飾画像の輪郭)のことを意味している。
ただし、タイミングtC2が到来すると、それまで表示状態にあった「摸画像(一体化摸画像)としての画像A2」と「第1広域型前演出にかかる画像HTH1」とをそれぞれ非表示にするか視認し難くするかたちで「第2広域型前演出」を実行開始するようにしている(「図252(e)に示される状況」に相当)。そして、該第2広域型前演出が実行されている期間内のタイミングtC3が到来したときに摸画像(一体化摸画像IG)を再び表示させ(「図252(f)に示される状況」に相当)、該表示されている状態で上記第1受付許容状態が発生するタイミングtC4が到来されるようになっている(「図252(g)に示される状況」に相当)。すなわち、2回目の摸画像(図252(f)~(k))は、操作受付が許容されてから少なくとも許容されなくなるまでの間は継続して表示されるものであり、該2回目の摸画像が表示されているなかで操作受付がなされて、操作後演出(ここでは、第1操作後演出)が実行開始されるものとなっている。
すなわちこの場合、第1の受付許容状態が発生するのに先立って、2回にわたって前演出が実行されるとともに、それら前演出のなかでは、「操作受付が許容されるよりも前に非表示となる1回目の摸画像(図252(c),(d))」と、「操作受付が許容された以降も表示状態を継続する2回目の摸画像(図252(f)~(k)」とが別々に表示されることとなる。このような構成によれば、受付許容状態が発生しているときに表示させるべき態様(演出判定の結果など)を考慮せず、より自由度の高い演出設計のもとで摸画像(操作受付が許容されるよりも前に非表示となる摸画像(1回目))を表示させることができるようになることから、演出の幅を広げることができるようになる。このような意味では、「操作受付が許容されるよりも前に非表示となる摸画像(1回目)」については、操作受付が許容されている期間内にあるときには表示され得ない態様(図232に示した態様のいずれとも異なる態様)として表示されるようにすることが望ましい。
ここで、第2広域型前演出が行われている間に表示される摸画像(2回目)については、上述した狭域型前演出が行われている間に表示される摸画像と同様、操作受付が許容される状態が発生した以降もその表示状態が継続されるものであるから、図232に示した複数の態様のいずれかとして表示されることとなる(図250に示した例では、特別態様である一体化摸画像IGd)。これに対し、第1広域型前演出が行われている間に表示される摸画像(1回目)については、図232に示した態様のいずれとも異なる形状、または模様(装飾)の少なくともいずれかをもった画像(ここでは、画像A2)として表示されるようにすることが望ましい。例えば、形状としては、摸画像の輪郭部分に丸みを持たせるようにしたり、直線をあまり使わず曲線を多用したりするなど、操作対象である操作手段(操作受け部)をデフォルメして表現した画像として表示する手法などを採用可能である。なお、上述した狭域型前演出では、受付許容状態とは異なる形状、または模様(装飾)の少なくともいずれかをもった画像が現れることはない。
また、操作対象とされる操作手段が特定の操作手段である場合には、第2広域型前演出が行われている間に表示される摸画像(2回目)が図232に示した複数の態様のいずれで表示される場合であっても、第1広域型前演出が行われている間に表示される摸画像(1回目)については一の態様(同じ態様)によって表示可能とされるようにすることが望ましい。すなわちこの場合、第1広域型前演出については、「いずれの種別の操作手段に対して間もなく操作機会が付与されるのかを示す」ことだけに専ら役立たせることができるようになる。このような第1広域型前演出によれば、遊技興趣を低下させることなく、遊技者に対して操作対象を認識させることができるようになり、こうして操作対象を遊技者に対して認識させてから、期待度が示唆される第2広域型前演出へと移行されるようになる。
なお、このような作用効果を好適に得る上では、第1広域型前演出については、複数の操作手段(操作ボタン410、刀装飾体5001)のうち期待度が高い側の操作手段(刀装飾体5001)に対して操作機会が付与されるときに限り実行されるようにすることがより望ましいと言える。すなわちこの場合、操作ボタン410に対して操作機会が付与される受付許容状態が発生するときと、刀装飾体5001に対して操作機会が付与される受付許容状態が発生するときとのいずれの場合であっても、これに先立って広域型前演出が実行可能とされるが、第1広域型前演出については、操作ボタン410及び刀装飾体5001のうち刀装飾体5001に対して操作機会が付与されるときに限り実行可能とされることとなる。この場合、第1受付許容状態を、刀装飾体5001に対してのみ操作機会を付与可能な受付許容状態として発生させるようにしてもよい。これに対し、第2広域型前演出については、操作ボタン410に対して操作機会が付与されるときと、刀装飾体5001に対して操作機会が付与されるときとのいずれであっても実行可能とされる。この際、第2広域型前演出については、操作ボタン410に対して操作機会が付与されるときと、刀装飾体5001に対して操作機会が付与されるときとで同じ態様で実行するようにしてもよいし、異なる態様で実行するようにしてもよい。
また、第2広域型前演出が行われている間に表示される摸画像(2回目)が一体化摸画像IGで表示される場合、その周縁装飾画像内にはゲージ画像GGの表示対象領域が形成されることとなるが、このような場合であっても、第1広域型前演出が行われている間に表示される摸画像(1回目)については、ゲージ画像GGの表示対象領域を含まない画像として表示するようにしてもよい。この場合、摸画像(一体化摸画像)としての形状が異なることとなることは言うまでもない。またこの際、摸画像については、ゲージ画像GGの表示対象領域を含まない周縁装飾画像と一体化された一体化摸画像として表示するようにしてもよいし、周縁装飾画像とそもそも一体化されない画像として表示するようにしてもよい。
上述した演出例によれば、図249に示した第2受付許容状態では、摸画像(一体化摸画像IG)が特別態様で表示されることはなく、受付許容音として第1許容音は出力されるが第2許容音が出力されることはない。これに対し、図250に示した第1受付許容状態では、摸画像(一体化摸画像IG)が特別態様で表示可能とされ、受付許容音として第1許容音と第2許容音とがそれぞれ出力可能とされている。ただし、図250に示した第1受付許容状態では、摸画像(一体化摸画像IG)として特別態様とは異なる態様(図249で用いられる低期待の態様)が表示された場合であっても、受付許容音に関しては図250を参照しつつ説明した通りの処理がなされることとなり、受付許容音として第1許容音と第2許容音とがそれぞれ出力可能とされることは言うまでもない。
第2許容音(メッセージ音)の出力開始時には広域型前演出にかかる画像が残っており、摸画像(一体化摸画像IG)の態様は視認し難い。摸画像(一体化摸画像IG)の態様を視認し難い状態で、第1許容音(効果音)のみが出力される状態から、第2許容音(メッセージ音)も出力される状態に移行しうるので、摸画像(一体化摸画像IG)が特別態様で表示される可能性を、受付許容音によって示唆することができるようになる。すなわち、第2許容音(メッセージ音)が出力されれば、特別態様をもった摸画像(一体化摸画像IGd)が露わにされることへの期待感を持つことができ、そのような中で摸画像(一体化摸画像IG)が徐々に露わにされていくようになる。
一体化摸画像IGには、ゲージ画像GGの表示対象領域(区画画像KG)が含まれるが、一体化摸画像IGが低期待態様(IGa)と高期待態様(IGd)とのいずれで表示される場合であっても、ゲージ画像GGの表示対象領域(ゲージ画像GGが表示される対象部分であり、ゲージ画像GGの表示面積が減少することで増大する部分)は同じ画像として表示されるようになっている。したがって、残り時間がどれだけ残されているかについては、摸画像の態様にかかわらず認識し易くされるようになる。
なお、図232を参照しつつ前述したが、低期待態様(IGa)と高期待態様(IGd)とでは、摸画像だけでなく、周縁装飾画像の態様も異なるようにされている。また、遊技者による操作の対象となる操作手段(演出ボタンなど)は、摸画像と同じ態様で発光可能だが、周縁装飾部材は、周縁装飾画像SSGと同じ態様で発光しないようになっている。
上述した演出例によれば、所定の遊技状態にあるとき、特定の演出音が抑制されているなかでの操作受付が許容される抑制時の受付許容状態と、特定の演出音が抑制されていないなかでの操作受付が許容される非抑制時の受付許容状態とはそれぞれ複数用意されているが、抑制時の受付許容状態のうち第1受付許容状態では一体化摸画像IGが特別態様で表示されうるようになっているのに対し、非抑制時の受付許容状態のうち第2受付許容状態では一体化摸画像IGが特別態様(IGd)で表示可能とされず特別態様とは異なる態様で表示されうるようになっている。第2受付許容状態では、一体化摸画像IGを、特別態様(IGd)を除いた期待度の異なる複数態様(IGa~IGc)から選択的に表示するのではなく、一の態様(IGa)でのみ表示されうるようにしてもよい。このような構成によれば、特定の演出音が抑制されたとき、特定の演出音が抑制されなかったときと比べて演出性に乏しいと感じることが抑制されうるようになる。
また、この例にかかるパチンコ機1では、第1条件(第1受付許容状態)及び第2条件(第2受付許容状態)のいずれとも異なる第3条件(第3受付許容状態)が満たされた場合、一体化摸画像を表示した後、該一体化摸画像に含まれるゲージ画像GGについては図239~図243に示した態様のいずれか1つ(例えば、図242及び図243に示される態様)を採用して表示するようにしていることは上述した通りである。ただし、このような第3受付許容状態(ゲージ画像GGの表示面積が減少しない有効期間)を発生させる場合は、第1受付許容状態と同様、これに先立って、「BGM再生の音(特定種別の演出音)」を非抑制状態から抑制状態(または非出力状態)に変化させるようにし、第1受付許容状態や第2受付許容状態を含めた他の受付許容状態では現れない操作後表示(操作後演出)や、操作後出力音が実行されるようにすることが望ましい。すなわち、受付許容状態の発生に際して「BGM再生の音」が抑制状態(または非出力状態)にされると、一体化摸画像IGとして期待度の高い態様(特別態様)が表示されることを期待することができるようになるが、該特別態様で表示されなかったときには、「BGM再生の音」が非抑制で出力される場合よりも演出性に劣っていることだけが際立つようになり、遊技興趣の低下が懸念される。この点、第3受付許容状態では、ゲージ画像GGの表示面積が減少されない態様を出現可能とした上で、この態様が現れたときにしか現れない操作後表示が実行されるようにしたことから、一体化摸画像IGとして特別態様が現れなかった場合であっても遊技興趣の低下を好適に抑制することができるようになる。
ただし、第1受付許容状態と第3受付許容状態とのいずれであっても、抑制状態(または非出力状態)にある「BGM再生の音(特定種別の演出音)」が操作受付を契機として非抑制態様で出力再開されるようなことはせず、該抑制状態(または非出力状態)を維持したままで、表示変化や操作後出力音を実行するようにすることが望ましい。
また、「BGM再生の音(特定種別の演出音)」が抑制状態(または非出力状態)にされてから発生する受付許容状態であったとしても、第3受付許容状態が発生したときには、第1受付許容状態の場合とは異なり、一体化摸画像IGが特別態様で表示されることはないようにし、一の態様(例えば、通常態様IGa)でのみ表示可能とされるようにすることが望ましい。このような構成によれば、「BGM再生の音(特定種別の演出音)」が抑制状態(または非出力状態)にされた場合、第1受付許容状態と第3受付許容状態とのいずれが発生するかについての面白みを付加することができるようになる。
また、第3受付許容状態では、ゲージ画像GGの表示面積が減少されない有効期間として実行されるものとしたが、これに代えて、ゲージ画像GGの表示対象領域を含まない態様(図247、図248に示した態様)で摸画像(一体化摸画像であってもよいし、一体化摸画像でなくてもよい)が表示される有効期間として実行するようにしてもよい。このような構成であっても、同じような作用効果が奏されうると言える。なおこの場合、ゲージ画像GGこれ自体が表示されなくなることは言うまでもない。
上述の通り、この実施の形態にかかるパチンコ機1では、受付許容状態として発生条件が異なる複数種別を用意することとしているが、第1受付許容状態とは異なる受付許容状態が発生した場合であっても、これが特定種別の受付許容状態である場合には、一体化摸画像IGが特別態様(IGd)で表示されうるようにすることが望ましい。ただし、一体化摸画像IGが特別態様(IGd)で表示されうる受付許容状態については自動受付態様で実行するようにすることが、操作し忘れが発生したときの遊技興趣の低下を抑制する上で望ましい。
図250に示した演出例では、設定時間(有効期間)内にある所定タイミングで自動ボタン機能が有効化されるようにしたが、設定時間(有効期間)が終了するとき、若しくは終了した後に自動ボタン機能が有効化されて「有効期間内で遊技者による操作が操作受付されたときと同じ操作後演出」を実行開始させるようにしてもよい。この場合、自動ボタン機能が有効化されたタイミングからの処理は、図250(g),(h)に示される「タイミングtC4fからの処理」と同じである。
図251や図252に示した消滅エフェクトにかかる画像については、該画像これ自体に所定の透過率を設定し、その背後側にある画像を、困難ではあるが視認することができるようにしてもよい。
図249~図252に示した演出例によれば、遊技者による操作が操作受付されたり、自動ボタン機能が有効化されたりして操作後演出が実行開始された時点においては、摸画像(一体化摸画像IG)の態様と、ゲージ画像GGの態様とがいずれも、消滅エフェクトによって視認し難くされることなく、視認良好な状態でそれぞれ表示されるようになっている(図251(f),図252(i)を参照)。これにより、摸画像(一体化摸画像IG)がいずれの態様で表示されており、残り時間がどれだけ残されていたかを認識したもとで、操作後演出を楽しむことができるようになり、遊技興趣の向上を図ることができるようになる。
図251に示した演出例では、第2受付許容状態において操作受付がなされて操作後演出(第2操作後演出)が実行されたとしても、該操作後演出が開始される前後で背景画像に切り替えを生じさせずこれを維持するようにしている。これに対し、図252に示した演出例では、第1受付許容状態において操作受付がなされて操作後演出(第1操作後演出)が実行されると、該操作後演出が開始される前後で背景画像に切り替えを生じさせるようにしている(操作後は、宇宙背景)。
このような構成によれば、自動受付機能を有効的に利用することが可能であり、操作し忘れが生じたとしても背景画像の切り替えを適切に生じさせることができるようになることから、演出をスムーズに進展させることができるようになる。これに対し、自動受付機能が有効化されない受付許容状態では、背景画像に変化を生じさせないようにしていることから、操作し忘れが生じたときに背景画像が切り替えされなくなったり、背景画像だけが突然変化したりするような不都合な事象を生じることを回避することができるようになる。
また、第2受付許容状態では、操作受付(または、自動ボタン機能の有効化)がなされた後、表示領域の多くの部分が広域型消滅エフェクトにかかる画像HSEと重なることによって視認できなくなる。ただし上述の通り、背景画像これ自体を変化させるようにしたことで、広域型消滅エフェクトにかかる画像HSEと重ならない部分が僅かでもあれば、その部分における画像を確認することで、操作後の態様を認識することができるようになり、広域型消滅エフェクトが実行されることによるデメリットを解消することができるようになる。このような作用効果を好適に得る上では、第2受付許容状態で操作受付(または、自動ボタン機能の有効化)がなされた場合は、大当り図柄が現れる割合が相対的に高い態様で操作後演出が実行されるときと、大当り図柄が現れる割合が相対的に低い態様で操作後演出が実行されるときとで、操作後演出が実行されるときの背景画像を互いに異ならせるようにすることがより望ましい。これらの割合は0%や100%であってもよい。なおこの場合、大当り図柄が現れる割合が相対的に高い態様で操作後演出が実行されるときには背景画像これ自体を変化させるのに対し、大当り図柄が現れる割合が相対的に低い態様で操作後演出が実行されるときには背景画像を変化させず維持するようにしてもよい。
上述した演出例では、操作機会を付与するのに際して、特定種別の演出音が非抑制態様で出力される場合(第2受付許容状態)と、特定種別の演出音が抑制態様で出力される状態か非出力の状態にされる場合(第1受付許容状態)とがあり、それらの種別に応じて大当りの当選時にしか出現しない態様で操作後演出が実行される割合(期待度)が異なるようにしたことから、操作機会が付与されるに際しての演出性を向上させることができるようになる。この割合は0%や100%であってもよい。
また、第1受付許容状態では、操作機会が付与されるのに際して特定種別の演出音を抑制態様で出力される状態か非出力の状態にされるようにし、これによって操作後演出が発生したときにはこれに応じた演出音が際立って聞こえるような演出的工夫を施すこととしている。この点、上記構成では、第1受付許容状態の発生に際して出力される受付許容音については、該受付許容音が出力状態にあるときに演出受付がなされると、該演出受付がなされたことに基づいてその出力状態を終了させるようにしていることから、受付許容音に邪魔されることなく、操作後演出に応じた演出音を際立たせることができるようになる。
一体化摸画像IGが特別態様(IGd)で表示されうる受付許容状態として複数種別が用意されるが、それら受付許容状態のいずれにおいても、受付許容音が出力状態にあるときに操作受付がなされると該受付許容音が途中で終了されるようにすることが望ましい。これに対し、一体化摸画像IGが特別態様(IGd)で表示され得ない受付許容状態としても複数種別が用意されるが、それら受付許容状態には、受付許容音が出力状態にあるときに操作受付がなされると該受付許容音が途中で終了される受付許容状態と、受付許容音が出力状態にあるときに操作受付がなされると該受付許容音が途中で終了されない受付許容状態(第2受付許容状態など)との両方が含まれるようにすることが望ましい(異なる条件で発生可能)。
受付許容音には、効果音とメッセージ音とがあることは上述した通りである。この点、メッセージ音は、一体化摸画像が通常態様(IGa)で表示されたとしても、その出力状態にあるときに演出受付されると必ず中断されるようにするのに対し、効果音は、一体化摸画像が通常態様(IGa)で表示されているときに表示された場合、その出力状態にあるときに演出受付されると中断されるとき(第1受付許容状態)と、中断されないとき(第2受付許容状態)とがあるようにすることが望ましい。メッセージ音が出力される受付許容状態としては、第1受付許容状態を含めた複数種別の受付許容状態が用意されるようにすることが望ましい。
図250及び図252に示した広域型前演出では、第1広域型前演出と第2広域型前演出とを順次実行することによって実現することとした。この点、第1広域型前演出及び第2広域型前演出では、それら前演出のいずれにおいても、操作対象である操作手段(操作受け部)を摸した摸画像(一体化摸画像)が表示されるが、第1広域型前演出の実行期間内で表示される摸画像A2は、受付許容状態(第1受付許容状態)の設定時間内で表示される摸画像(一体化摸画像IG)とは異なるものであり、該摸画像(一体化摸画像IG)へと徐々に変化するものでもない。
すなわち、第1広域型前演出において表示される摸画像A2(図252(d))は、第1受付許容状態が発生するのに先立って、第2広域型前演出が実行されるときに非表示の状態(視認できない状態)にされる。そして、操作対象を摸した何らの摸画像も表示されない(視認できない状態として維持される)所定時間を経てから(図252(e))、第2広域型前演出の実行期間内の摸画像として、第1広域型前演出で表示された摸画像A2とは異なる画像が表示されるようになっている(図252(f))。そして、この「第2広域型前演出の実行期間内の摸画像」こそが、受付許容状態(第1受付許容状態)の設定時間内で表示される摸画像(一体化摸画像IG)そのものとなっており、第2広域型前演出にかかる画像HSE共々、受付許容状態(第1受付許容状態)の発生を跨ぐかたちで表示されることで、該摸画像(一体化摸画像IG)が表示されているなかでの操作受付が許容されるようになる。そして、該摸画像(一体化摸画像IG)は、操作受付がなされて操作後演出が実行開始される時点においても表示されるものとなっており(図252(i))、これによって第1受付許容状態が発生する前から終了した後までの期間にわたって表示されるようになっている。
ここで、広域型前演出(第1広域型前演出)において摸画像A2が表示された場合は、該摸画像A2が摸している操作手段(操作受け部)に対して間もなく(他の演出を挟むことなく)操作機会が必ず付与されることとなる。すなわち、摸画像A2の表示状態を維持したままで受付許容状態を発生させればよいところを、上述した演出例では、摸画像A2を非表示の状態にし、広域型前演出内において「操作対象を摸した何らの摸画像も表示されない状態」を一旦発生させるようにしてから、操作手段(操作受け部)を摸した摸画像を、一回目(A2)とは別の描写がなされた画像(一体化摸画像IG)として表示するようにしている。
このような構成によれば、期待度が高い受付許容状態が発生することを示唆するべく、前演出として長い時間にわたって摸画像を表示するようにした場合であっても、操作受付が許容されるタイミングに遅れることなく操作を促すことが期待されるようになる。すなわち、前演出として長い時間にわたって摸画像を表示するようにし、該摸画像が表示されているなかで受付許容状態を発生させるようにしてしまうと、操作受付が許容されるタイミングが突如として到来することとなり、前演出を実行しているにもかかわらず操作遅れが頻出するようなことになりかねない。この点、上記構成によれば、第1受付許容状態が発生するのに先立って、当該受付許容状態の設定時間内で表示される摸画像とは別の描写を持った摸画像を先行して表示するだけでなく、何らの摸画像も表示されない時間を経るようにした後に、当該受付許容状態の設定時間内で表示される摸画像を表示するようにしている。すなわち、当該受付許容状態の設定時間内で表示される摸画像が表示された以降の期間内でしか第1受付許容状態は発生し得ないことを遊技者に認識させることができるようになることから、前演出として長い時間にわたって摸画像を表示するようにしつつも操作遅れが生じ難くすることができるようになる。
このような作用効果を好適に得る上では、「第1広域型前演出に要する時間」や「摸画像A2が表示される時間」よりも、「第2広域型前演出が実行されてから第1受付許容状態が発生するまでの時間」や「摸画像(一体化摸画像IG)が表示されてから第1受付許容状態が発生するまでの時間」のほうが短くなるように設定することがより望ましいことは明らかである。摸画像A2は、第1広域型前演出の開始時から表示されるようにしてもよい。
また、このような作用効果を好適に得る上では、第2広域型前演出で表示される摸画像(一体化摸画像IG)については、操作手段(操作受け部)としての「可動領域における動作」や「操作したときの挙動」を表現するかたちでこれを動的表示するのに対し(図233などを参照)、第1広域型前演出で表示される摸画像A2については、このような動的表示を行わずに表示するようにすることがより望ましい。なお、第2広域型前演出で表示される摸画像(一体化摸画像IG)は、第1受付許容状態が発生した以降もその動的表示の状態を継続することとなる。また、狭域型前演出で表示される摸画像(一体化摸画像IG)も、操作手段(操作受け部)としての「可動領域における動作」や「操作したときの挙動」を表現するかたちでこれを動的表示するようになっており、第2受付許容状態が発生した以降もその動的表示の状態を継続するようになっている。
図252(f)に示される状態にあるときの摸画像(一体化摸画像IG)と、図252(g)に示される状態にあるときの摸画像(一体化摸画像IG)とは画像これ自体は同じであるが、透過率についてはこれを異ならせるようにしてもよい。
図251に示した狭域型前演出にかかる画像KTHについては、摸画像(一体化摸画像IG)全体を前側から覆うことができるような大きさの画像として表示するようにすることがより望ましい。そして、該画像KTHの表示面積が減少するか、またはその透過率を高くしていくかの少なくともいずれかを行うことによって、該画像KTHが表示されていた箇所から摸画像(一体化摸画像IG)が時間経過に応じて徐々に露わになっていく態様で表示されるようにすることが望ましい。
図252に示した広域型前演出にかかる画像HTH1,HTH2のうち、画像HTH1は、摸画像A2よりも背後側に表示される(摸画像A2の視認性に悪影響を及ぼさない)ものであるのに対し、画像HTH2は、摸画像(一体化摸画像IG)よりも前側に表示される(摸画像(一体化摸画像IG)の視認性に悪影響を及ぼさない)ものとなっている。すなわち、画像HTH2は、狭域型前演出にかかる画像KTHと同様、摸画像(一体化摸画像IG)全体を前側から覆うことができるような大きさの画像として表示されてから(図252(e))、その表示面積が減少するか、またはその透過率を高くしていくかの少なくともいずれかを行うことによって、該画像HTH2が表示されていた箇所から摸画像(一体化摸画像IG)が時間経過に応じて徐々に露わになっていく態様とするものとなっている。これに対し、画像HTH1は、摸画像A2の描写を際立たせるように表示されるものとなっていることから、操作機会を付与する際に摸画像を視認し難くすることによるデメリット(いずれの操作手段に対して操作機会が付与されるか認識し難くなり、操作遅れが生じる)を解消することができるようになる。
広域型前演出は、第1広域型前演出と第2広域型前演出との順次実行によってなされるが、当該広域型前演出で出力される演出音については、これらを1つの音データ(1つの効果音・楽曲)の再生によって出力されるものとすることが望ましい。
また、図251に示した狭域型前演出では、これよりも前から表示されていた背景画像を当該狭域型前演出において変更することなくこれを維持するが、図252に示した広域型前演出では、これよりも前から表示されていた背景画像を当該広域型前演出において変更(ここでは、広域型前演出の開始時に変更)させるようにしている。このような構成では、背景変化を広域型前演出の一部として実行することができるようになることから、部分的な演出変化に留まる狭域型前演出と比べたときにより演出性の高い前演出として実行されるようになる。なお、狭域型前演出が行われるよりも前に表示されていた背景画像(図251(a))と、広域型前演出が行われるよりも前に表示されていた背景画像(図252(a))とは異なる背景画像であってもよい。
図252(f)に示した第2広域型前演出では、「ゲージ画像GGの表示対象領域を区画する区画画像KGが装飾(描写)された周縁装飾画像」と一体化された一体化摸画像IGとして摸画像を表示することとしたが、図252(d)に示した第1広域型前演出では、このような区画画像KGが装飾(描写)されない摸画像を表示することとした。これにより、第1広域型前演出においては少なくとも残り時間を遊技者側に気にさせることなく前演出を楽しませることができるようになる。なお、区画画像KGが装飾(描写)されない摸画像としては、一体化摸画像IGにおいて装飾(描写)される区画画像KGが表示されないものであればよく、一体化摸画像IGのうち少なくとも一部の装飾(ゲージ領域)が表示されない態様のほか、一体化摸画像IGとは形状これ自体が異なる態様などであってもよい。
上述の通り、「特定種別の演出音(BGM再生)が抑制態様で出力されているか非出力の状態にされているなかでの操作受付が許容され、自動受付態様で実行される受付許容状態」は、発生条件(変動パターンなど)が異なるかたちで複数用意されており、これら受付許容状態の1つとして「第1受付許容状態」が用意されている。ただし、これら受付許容状態には、「摸画像が表示されて非表示にされる第1広域型前演出(図252(c)~(e))と、受付許容状態の発生タイミングに跨るかたちで摸画像が表示される第2広域型前演出(図252(e)~(g))とがそれぞれ行われる当該第1受付許容状態」のほか、「摸画像が表示されて非表示にされる第1広域型前演出が行われず、受付許容状態の発生タイミングに跨るかたちで摸画像が表示される第2広域型前演出(図252(e)~(g))」が行われる特定受付許容状態が含まれるようにすることが望ましい。すなわちこの場合、第1受付許容状態では、特定受付許容状態よりも大当り時にしか現れない態様で操作後演出が実行される割合が高くなるようにすることで、操作受付が許容されるタイミングよりも大幅に前のタイミング(第1広域型前演出が現れるタイミング)が到来したときから遊技興趣を高めることができるようになる。なおこの場合、第1受付許容状態の発生に際して行われる第2広域型前演出と、特定受付許容状態の発生に際して行われる第2広域型前演出とについては必ずしも同じ内容でなくてもよく、互いに異なる演出内容(画像)として実行されるようにしてもよい。また、第1受付許容状態と第2受付許容状態とで操作機会が付与される操作手段が異なるものであってもよい。
上述の通り、「特定種別の演出音(BGM再生)が非抑制態様で出力されているなかでの操作受付が許容され、非自動受付態様で実行される受付許容状態」は、発生条件(変動パターンなど)が異なるかたちで複数用意されており、これら受付許容状態の1つとして「第2受付許容状態」が用意されている。
第1受付許容状態に際して行われる広域型前演出は、「特定種別の演出音(BGM再生)」が抑制または非出力の状況下で実行されるものとなっているが、「特定種別の演出音(BGM再生)」が非抑制で出力されているなかで実行される狭域型前演出(第2受付許容状態)よりも長い時間にわたって実行されることから、遊技興趣についてはこれを好適に維持することができるようになる。特に、広域型前演出のうち第1広域型前演出だけでも、狭域型前演出よりも長い時間にわたって実行されるようにすることで、受付許容状態が発生する大幅に前から遊技興趣を好適に高めることができるようになる。「特定種別の演出音(BGM再生)」が抑制または非出力にされるタイミングについては、第1広域型前演出が実行されているなかで到来するようにしてもよいし、第1広域型前演出が実行開始されるよりも前に到来するようにしてもよい。
上述の演出例によれば、第1受付許容状態の発生に際して広域型前演出(図252)が行われるときには背景画像を含めた演出変化を生じさせるのに対し、第2受付許容状態の発生に際して狭域型前演出(図251)が行われるときには背景画像は変化させずこれを維持したままで演出変化を生じさせるようにしている。またさらに、このような広域型前演出が行われているなかで発生した第1受付許容状態では、操作したか否かにかかわらず操作後演出(自動受付態様)によって背景画像をさらに変化可能としているのに対し、狭域型前演出が行われているなかで発生した第2受付許容状態では、操作後演出によって背景画像を変更せずこれを維持したままで演出が進展されるようにしている。このような構成によれば、第1受付許容状態ではこれが発生するのに関連してその前後で2回にわたって背景画像が変更されるようになることから、第2受付許容状態と比べてその演出性を大幅に高めることができるようになり、操作関連の演出へとより集中を促すことができるようになる。
上述の演出例にかかる広域型消滅エフェクトではこれに合わせて背景画像を変更させることとした(図252(j))。ただし、背景画像が変更されるタイミングについては、広域型消滅エフェクトが開始されるタイミングよりも後に到来するようにしてもよい。すなわちこの場合、図252(i)では、背景画像が変更されていないなかで操作後演出(姫キャラクタによる背景予告)が実行開始されることとなる。そして、広域型消滅エフェクトは、こうして操作後演出が実行開始された後、まず、受付許容状態にあるときに表示されていた背景画像を視認し難くするか視認できない状態にし(図252(j)に示される状況で背景画像が変更されていない状態にし)、この後、他の背景画像を表示することによって背景画像の変更がなされることとなる(図252(k)に示される状況、または図252(l)に示される状況で背景画像を変化させる)。他の背景画像は、広域型消滅エフェクトが行われているなかで徐々に露わにされていく態様で表示されるようにしてもよいし、広域型消滅エフェクトが終了した後に表示されるようにしてもよい。
図252に示した例では、操作後演出として、まず、液晶表示における表示変化(姫キャラクタによる背景予告)を実行開始させることとしたが、これに代えて、ランプによる発光や操作後出力音を操作後演出として初めに実行開始させ、液晶表示における表示変化をこれに遅れて(例えば、背景画像が変更されるタイミングなどに)実行開始させるようにしてもよい。
上述の通り、「自動受付態様で実行されて且つ広域型消滅エフェクトが実行される受付許容状態」は、発生条件(変動パターンなど)が異なるかたちで複数用意されており、これら受付許容状態の1つとして「第1受付許容状態」が用意されている。ただし、これら受付許容状態には、「第1受付許容状態」のほか、「第1受付許容状態と同じ態様の操作後演出(第1操作後演出)を実行可能であるが、広域型消滅エフェクトが異なる画像として実行(表示されるタイミングなどは同じであってもよい)される特別受付許容状態」が含まれるようにすることが望ましい。すなわちこの場合、同じ操作後演出が行われたとしても消滅エフェクトが異なるようになることから、演出性の向上を図ることができるようになり、遊技興趣の低下を抑制することが期待されるようになる。該特別受付許容状態は、上述した特定受付許容状態であってもよい。特定受付許容状態及び特別受付許容状態は、摸画像の表示タイミングや、受付許容音の出力にかかる処理、消滅エフェクトにかかる処理などの態様については、第1受付許容状態と同じ態様で実行される。
上述の通り、「非自動受付態様で実行されて且つ狭域型消滅エフェクトが実行される受付許容状態」は、発生条件(変動パターンなど)が異なるかたちで複数用意されており、これら受付許容状態の1つとして「第2受付許容状態」が用意されている。ただし、これら受付許容状態には、「第2受付許容状態」のほか、「第2受付許容状態と異なる種別(例えば、会話予告と、可動体動作など)の操作後演出(第3操作後演出)を実行可能であるが、狭域型消滅エフェクトは同じ画像として実行(表示されるタイミングなども同じであってもよい)される特殊受付許容状態」が含まれるようにすることが望ましい。すなわちこの場合、異なる操作後演出が行われたとしても消滅エフェクトこれ自体は同じ画像として表示されるようになることから、操作後演出の種別にかかわらず操作受付がなされた状況にあることを容易に認識することができるようになる。特殊受付許容状態は、摸画像の表示タイミングや、受付許容音の出力にかかる処理、消滅エフェクトにかかる処理などの態様については、第2受付許容状態と同じ態様で実行される。
狭域型消滅エフェクトでは、操作後演出が実行開始された後、摸画像(一体化摸画像IG)が非表示にされた時点においても、当該狭域型消滅エフェクトにかかる画像KSEは非表示にされず表示状態を維持することとした(図251(i)を参照)。この点、操作受付がなされたとき(操作後演出が実行開始されたとき)から摸画像(一体化摸画像IG)が非表示にされるまでの時間よりも、摸画像(一体化摸画像IG)が非表示にされてから当該狭域型消滅エフェクトにかかる画像KSEが非表示にされるまでの時間のほうが長くなるように設定することが望ましい。このような構成によれば、操作後演出が実行開始された以降も摸画像(一体化摸画像IG)の表示状態を維持してその態様を確認可能とするようにしつつも、操作後演出がなかなか明瞭に露わにされないのは、「表示状態が維持された摸画像」に原因があるのではなく、「狭域型消滅エフェクトにかかる画像KSE」による演出性に起因しているように見せることができるようになることから、遊技興趣の低下が抑制されうるようになる。この場合、狭域型消滅エフェクトが、比較的早く終了するフェードアウトなどではなく、摸画像とは別の画像による動的表示によって行われることとなることは言うまでもない。このような狭域型消滅エフェクトとしての「別の画像による動的表示」については、期待度の異なる複数種類を用意し、発生条件が異なる受付許容状態の種別に応じて選択的に出現されるようにすることがより望ましい。
上述の演出例にかかる広域型消滅エフェクトによれば、自動受付態様で第1受付許容状態が実行されたことを示唆する機能を期待することができるようになる。これに対し、第2受付許容状態では、遊技者による操作によってしか操作受付されず操作後演出も実行されないことから、画面全体にわたる影響を及ぼさずとも操作後演出が実行されることを認識し易いし、消滅エフェクトにかかる画像が小さい狭域型消滅エフェクトによって実行するようにすることが、操作後演出を視認良好な状態で即時実行できる点で優位であると言える。このような構成によれば、広域型消滅フェクトの場合は、背景画像から変化させてその視認性を確保することが求められるが、狭域型消滅フェクトの場合は、背景画像を変更せずこれを維持したままで操作後演出を行うだけでも視認性を確保することが可能とされるようになる。
上述の通り、第2受付許容状態では、大当り判定の結果に応じた演出判定の結果に基づいて、大当り図柄が停止される割合(0%や100%でもよい)が異なる複数態様(第1態様、第2態様を含む)のいずれかで操作後演出(第2操作後演出)が実行される。この点、操作後演出(第2操作後演出)として第1態様(相対的に割合が高い態様)が現れた場合と第2態様(相対的に割合が低い態様)が現れた場合とでは、いずれも同じ態様(画像)で狭域型消滅エフェクトが実行されるようになっている。これに対し、第1受付許容状態では、大当り判定の結果に応じた演出判定の結果に基づいて、大当り図柄が停止される割合(0%や100%でもよい)が異なる複数態様(第3態様、第4態様を含む)のいずれかで操作後演出(第1操作後演出)が実行される。この点、操作後演出(第1操作後演出)として第3態様(相対的に割合が高い態様)が現れた場合と第4態様(相対的に割合が低い態様)が現れた場合とでは、互いに異なる態様(画像)で広域型消滅エフェクトが実行されるか、若しくは第3態様(相対的に割合が高い態様)が現れたときは広域型消滅エフェクトが実行され、第4態様(相対的に割合が低い態様)が現れたときは狭域型消滅エフェクトが実行されるようにすることが望ましい。この際の狭域型消滅エフェクトは、第2受付許容状態に対応して行われる狭域型消滅エフェクトと同じであってもよいし、異なるものであってもよい。
このような構成によれば、第1受付許容状態及び第2受付許容状態のうち、広域型消滅エフェクトが発生する可能性のある第1受付許容状態では、消滅エフェクトこれ自体に期待度が持たせられるようになることから、広域型消滅エフェクトによって操作後演出の視認性が低くされることによる遊技興趣の低下が抑制されうるようになる。なお、第1受付許容状態や第2受付許容状態はもとより、後述の第4受付許容状態、第5受付許容状態は、大当りに落選した変動パターンと、大当りに当選した変動パターンとのいずれにおいても発生しうるものであり、上述した第1変動パターンや第2変動パターン、さらには後述の第4変動パターン、第5変動パターンが「大当り時の変動パターン及びハズレ時(落選時)の変動パターンが対となって用意されるもの」であることは言うまでもない。
また、第2受付許容状態は、第2変動パターンだけでなく、第1変動パターンにおいても発生可能とされるようにしてもよい。例えば、第1変動パターン内における比較的早いタイミングで第2受付許容状態を発生させ、その後、比較的遅いタイミングで第1受付許容状態を発生させることとなる。
消滅エフェクトの画像が表示されている期間内で摸画像(一体化摸画像IG)に関する表示出力(レイヤ上の表示)が終了されるタイミング(操作受付があってから非表示になるまでのタイミング)については、第1許容受付状態と第2許容受付状態とで異なるようにしてもよい。
図251(d)に示される「狭域型前演出にかかる画像KTHが表示されている状況」において操作受付がなされた場合は、これを契機として該画像KTHを非表示にすることはせず、該画像KTHの表示を継続しているなかで操作後演出が実行開始されるようにすることが望ましい。すなわちこの場合、図251(f)に示される状況において、該画像KTHが表示されていることとなる。そしてこの後、狭域型消滅エフェクトが実行開始されると、該「狭域型消滅エフェクトにかかる画像KSE」によって「狭域型前演出にかかる画像KTH」が視認し難くされるか視認できない状況にされるように演出を進展させることが望ましい。
また、図252(g)に示される「広域型前演出にかかる画像HTH2が表示されている状況」において操作受付がなされた場合も、これを契機として該画像HTH2を非表示にすることはせず、該画像HTH2の表示を継続しているなかで操作後演出が実行開始されるようにすることが望ましい。すなわちこの場合、図252(i)に示される状況において、該画像HTH2が表示されていることとなる。そしてこの後、広域型消滅エフェクトが実行開始されると、該「広域型消滅エフェクトにかかる画像HSE」によって「広域型前演出にかかる画像HTH2」が視認し難くされるか視認できない状況にされるように演出を進展させることが望ましい。
図250に示した例において、「特定種別の演出音(BGM再生)」が非出力の状態にされているなかでの操作受付が許容されるようにした場合、該「特定種別の演出音(BGM再生)」については、図柄停止されるまでの間に必ずしも再出力しなくてもよい。例えば、タイミングtC6においては、既に非出力の状態にされている「特定種別の演出音(BGM再生)」と、操作受付を契機として出力開始される「操作後演出にかかる演出音」とのいずれとも異なる特別演出音を新たに出力開始させるようにしてもよい。該特別演出音は、操作受付を契機として出力開始されるものではなく、当該変動パターン内の予め定められたタイミングが到来したことに基づいて出力開始されるものである。
広域型前演出にかかる画像や狭域型前演出にかかる画像については、受付許容状態の設定時間が終了されるまで(若しくは、自動受付ボタンが機能されるまで)にわたって表示されるものであってもよい。また、第1許容音についても、受付許容状態の設定時間が終了されるまで(若しくは、自動受付ボタンが機能されるまで)にわたって出力状態を維持するものであってもよい。
また、上述の演出例では、操作受け部を摸した摸画像は、広域型前演出と狭域型前演出との両方で表示されるが、広域型前演出(第1広域型前演出)では、操作受付が許容されている期間(第1受付許容状態)において現れる態様(画像データ)とは異なる態様(画像データ)で表示されるようにした。これにより、広域型前演出(第1広域型前演出)では、操作受付が未だ許容されていない状態にあるときに摸画像を表示したとしても、操作受付が許容されている状態であるとの誤認識を生じ難くしつつ、操作受付演出(受付許容状態)が発生することへのアピールを行うことができるようになり、これによって比較的長い時間を要する大掛かりな前演出を行うことができるようになる。なお、第2広域型前演出及び狭域型前演出では、操作受付が許容されている期間(受付許容状態)において現れる態様(画像データ)のままで摸画像(一体化摸画像)が表示されるようになっており、前演出が非表示にされていく(表示面積が減少していく)につれてこれが次第に露わにされるようになる。すなわちこの場合、受付許容状態が発生するときに特定レイヤ上で表示される摸画像は、受付許容状態が発生する前から発生した後までにわたってその表示状態が継続されることとなる。これは、後述の第4受付許容状態においても同様である。
なお、図249(図251)に示した演出例、及び図250(図252)に示した演出例では、いずれの演出例の場合であっても、操作受付に応じた変化(操作後演出であり、表示変化や、ランプ発光など、操作後演出によって生じる変化の少なくとも1つ)が実行開始される時点では摸画像(ゲージ画像)を非表示とせずこれを表示(さらには、動的表示)したままにする(図251(f),図252(i)などを参照)。そしてその後、消滅エフェクト(狭域型消滅エフェクト、または広域型消滅エフェクト)が実行開始されるようにしている(図251(g),図252(j)などを参照)。ただし、比較的大きな範囲で実行される広域型消滅エフェクトでは、一旦明瞭に現れた変化(操作後演出)の大部分を視認し難くすることとなり、遊技興趣の低下が懸念される。そこで、狭域型消滅エフェクトが実行される場合は、該狭域型消滅エフェクトが実行されるのに先立って、操作受付に応じた変化(表示変化や、ランプ発光など、操作後演出によって生じる変化の少なくとも1つ)が実行開始されるようにし、この時点では、摸画像(ゲージ画像)は非表示とされず且つ狭域型消滅エフェクトによって視認し難くされることもなく表示された状態にあるようにするのに対し、広域型消滅エフェクトが実行される場合は、該広域型消滅エフェクトが実行されるのに先立って、操作受付に応じた変化(表示変化や、ランプ発光など、操作後演出によって生じる変化の少なくとも1つ)が実行開始されないようにしてもよい。すなわちこの場合、操作受付に応じた変化(操作後演出であり、表示変化や、ランプ発光など、操作後演出によって生じる変化の少なくとも1つ)が実行開始された時点において、摸画像(ゲージ画像)は非表示とされず表示された状態であるが、広域型消滅エフェクトによって視認し難くされることとなる(図252(j))。
すなわち、狭域型消滅エフェクトが実行される場合は、操作受付に応じた変化(表示変化や、ランプ発光など、操作後演出によって生じる変化の少なくとも1つ)が実行開始された時点においては、操作受付がなされる前に表示されていた態様のままで摸画像(ゲージ画像)の表示状態が維持されることとなる。この場合、操作後演出が実行開始された時点において、摸画像(ゲージ画像)が狭域型消滅エフェクトによって視認し難くされることもない。これに対し、広域型消滅エフェクトが実行される場合は、図250(i)を経てから図250(j)が現れるようにしてもよいし、図250(i)を経ることなく、操作後演出が実行開始された時点において図250(j)が現れるようにしてもよい。
ところで、この例にかかるパチンコ機1にあって、特定種別の演出音が抑制されうる「抑制操作受付演出」で実行される受付許容状態については、抑制度合いが相対的に高いまたは非出力の状態にされる「強抑制態様(図250に示した第1態様)」で実行される第1受付許容状態のほか、抑制度合いが相対的に低い「弱抑制態様(図249に示した第2態様)」で実行される第4受付許容状態を少なくとも含めた複数種別を用意していることは上述した通りである。なおこの場合、抑制の対象とされる特定種別の演出音については、異なる演出音などであってもよく、例えば、BGM再生の演出音など、同じ機能を担う演出音として出力されるものであればよい。
このような構成によれば、操作受付が許容される設定時間(有効期間)が発生するにあたり、該特定種別の演出音がどれだけ抑制されるかについての演出性を持たせることができるようになる。
ここで、上記作用効果を好適に得る上では、「弱抑制態様(第4受付許容状態)」と「強抑制態様(第1受付許容状態)」とのいずれが発生したかによって期待度(大当り図柄が現れる割合)が異なるようにすることが望ましい。なおここでは、「弱抑制態様(第4受付許容状態)」が発生した場合に「操作受付に応じた操作後演出」が大当りの当選時にしか現れない態様で実行される割合(期待度)は、「強抑制態様(第1受付許容状態)」が発生した場合に「操作受付に応じた操作後演出」が大当りの当選時にしか現れない態様で実行される割合(期待度)よりも低くなっている。該割合は、0%や100%であってもよい。
また、「弱抑制態様(第4受付許容状態)」については、SPリーチ(背景変更を伴うリーチ演出など)に発展する高期待変動パターンに応じた演出と、リーチ状態すら形成されない(若しくは、リーチ状態は形成されうるが、SPリーチに発展しない)低期待変動パターンに応じた演出とのいずれにおいても出現可能とされるものであるのに対し、「強抑制態様(第1受付許容状態))」については、低期待演出パターンでは発生せず、高期待変動パターンに応じた演出として発生するものとしてもよい。このような構成であっても、「弱抑制態様(第4受付許容状態)」が発生した場合の大当り期待度は、「強抑制態様(第1受付許容状態)」が発生した場合よりも低いと言える。
また、上記作用効果をより好適に得る上では、特別の演出条件が満たされたことに基づいて移行可能な「特別の演出状態」を発生可能とし、該「特別の演出状態」では、遊技者に対して操作を促す操作促進画像(摸画像やゲージ表示など)が表示されている設定時間(有効期間)中に操作受付がなされる都度、特定種別の演出音(例えば、BGM再生の演出音)が抑制されているなかで、該操作受付に応じた操作後演出が実行(開始)されるようにすることが望ましい。このような「特別の演出状態」によれば、操作受付が許容される設定時間(有効期間)が発生する都度、特定種別の演出音(例えば、BGM再生の演出音)がどれだけ抑制されるか(弱抑制態様、強抑制態様を含めた複数態様のいずれが現れるか)についての演出性を提供することができるようになり、操作後演出により示唆される期待度とは別に、こうした演出性(どれだけの度合いで抑制されるか)によっても期待度が示唆されるようになることから、演出受付が許容されたときの遊技興趣のさらなる向上を図ることが期待されるようになる。なおこの場合、上述した第2受付許容状態については、「特別の演出状態」では発生せず、これとは異なる演出状態(通常の演出状態)において発生可能とされるものとなる。
また、図柄変動内で「弱抑制態様(第4受付許容状態)」と「強抑制態様(第1受付許容状態)」とが順次に実行可能とされる変動パターン(例えば、高期待変動パターンのうち特定の変動パターンに対応する演出)を用意するようにしてもよい。すなわちこの場合、相対的に期待度が低い側の「弱抑制態様(第1受付許容状態)」が発生したとしても、相対的に期待度が高い側の「強抑制態様(第1受付許容状態)」が発生する可能性が残されるようになることから、特定種別の演出音に対する抑制度合いが小さいと遊技者によって認識された場合(弱抑制態様)における遊技興趣の低下を抑制することができるようになる。
また、「弱抑制態様(第4受付許容状態)」が発生したときの遊技興趣の低下をより好適に抑制する上では、「強抑制態様(第1受付許容状態)」については、
・上記変動パターン判定が行われた結果としてSPリーチ(背景変更を伴うリーチ演出など)に発展する高期待変動パターン(SPリーチ変動パターン)のうち特定の変動パターンが選択された場合は、演出判定(予告判定など)としていずれの結果が得られたとしても、該特定の変動パターンの演出がSPリーチ中における特定タイミングまで進展すると発生するもの
とするのに対し、「弱抑制態様(第1抑制操作受付演出)」については、
・上記特定の変動パターンが選択された場合であっても、演出判定(予告判定など)で特別結果が得られなかったときには当該特定の変動パターンの演出が所定タイミングまで進展しても発生せず、演出判定(予告判定など)で特別結果が得られたときには当該特定の変動パターンの演出が所定タイミングまで進展したときに発生するもの
とする。そして、特定の変動パターンに応じた演出で「弱抑制態様(第4受付許容状態)」が発生したときには、特定の変動パターンに応じた演出で「弱抑制態様(第4受付許容状態)」が発生しなかったときに比べて、「強抑制態様(第1受付許容状態)」で演出受付がなされたときに操作後演出が期待度の高い態様で実行される割合(大当り時にしか現れない態様で実行される割合)が高くなるようにすることが望ましい。
このような構成では、特定の変動パターンに応じた演出においては、「強抑制態様(第1受付許容状態)」が必ず発生するのに対し、「弱抑制態様(第4受付許容状態)」は必ずしも発生しないようになり、且つ該「弱抑制態様(第4受付許容状態)」が発生したときには、「強抑制態様(第1受付許容状態)」で期待度の高い操作後演出が実行される割合が高くなるようになることから、「弱抑制態様(第4受付許容状態)」が発生するか否かに注目を集めることができるようになり、該「弱抑制態様(第4受付許容状態)」が発生したときの遊技興趣の向上を図ることができるようになる。
ただし、「弱抑制態様(第4受付許容状態)」については、「強抑制態様(第1受付許容状態)」と同じ変動パターンで必ずしも発生するものでなくてもよく、例えば、「強抑制態様(第1受付許容状態)」は第1変動パターン内で発生するものであり、「弱抑制態様(第4受付許容状態)」は第4変動パターン内で発生するものとしてもよい。
図253は、上記特定の設定条件(演出設定)下において、上記第4条件が満たされて上記第4受付許容状態が発生するときの演出内容についてその一例を示すタイムチャートである。図253は、第4受付許容状態が発生する変動パターンにおける演出例を示す図である。
いま、例えば、上記「特別の演出状態」において始動条件が成立(保留消化)されて、変動パターン判定が行われた結果として「第4変動パターン」が選択されたとすると、上記周辺制御MPU1511aでは、まず、該第4変動パターンに対応する演出判定(予告判定など)を行う。そしてこの後、装飾図柄SZの変動演出(第4変動パターンに応じた演出描写や、第4変動パターンに応じたBGM再生の音出力など)を開始させ、該変動演出の実行期間内で、予告演出判定の結果に応じた演出(予告演出)を、上記選択した「第4変動パターン」これ自体の演出に対して付加的に実行させることとなる。
そして上述の通り、第4変動パターンに対応する演出判定(予告判定など)で特別結果が得られると(第4条件が成立すると)、上記周辺制御MPU1511aでは、図253(b)に示されるように、装飾図柄SZの変動演出が開始されてから第4所定時間が経過したタイミングtD3が到来したときに第4操作後演出に関しての操作受付が許容される上記第4受付許容状態(有効期間)を発生させる。ただし上述の通り、この実施の形態にかかるパチンコ機1では、当該第4受付許容状態(有効期間)については、
・第4変動パターンに応じた「BGM再生の音」が非抑制態様で出力されているなかで操作受付が許容される設定時間(有効期間)を設定するが、該設定時間(有効期間)内で操作受付がなされると、該操作受付を契機として「BGM再生の音」を非抑制態様から弱抑制態様(抑制度合いが相対的に低い態様)へと変化させる「条件付き抑制受付演出(図253(a),(b)を参照)」であり、且つ
・操作受付が許容される設定時間(タイミングtD3~tD4)内で操作が検出されなかった場合、第4受付許容状態に対応する操作後演出(第4操作後演出)を発生させない「非自動受付態様(図253(h)を参照)」
によって実行される「条件付き抑制(弱抑制態様)・非自動受付演出」として発生させるようにしている。なお、「BGM再生の音」を弱抑制態様で出力させる手法としては、該「BGM再生の音」が割り当てられているチャンネルに対するボリューム値(最大「100」)を、強抑制態様の場合(例えば、ボリューム値(可聴ボリューム)が「0」)よりも抑制度合いの低い弱抑制値(例えば、ボリューム値(可聴ボリューム)が「10」)に設定変更させる手法などを採用することができる。
このような「条件付き抑制(弱抑制態様)・非自動受付演出(第4受付許容状態)」によれば、遊技者による操作によって操作受付がなされない限りは、「特定種別の演出音(BGM再生の音)が抑制態様で出力される状態」へと移行されることがないことから、図249に示した「非抑制受付演出(第1受付許容状態)」が発生しているように見せることができるようになる。すなわちこの場合、遊技者が操作したときに「特定種別の演出音(BGM再生の音)が抑制態様で出力される状態」へと変化することにより「抑制受付演出」ではないことを初めて認識しうるようになることから、サプライズ的な演出によって遊技興趣の向上を図ることができるようになる。
なお、このような作用効果を得る上では、「条件付き抑制(弱抑制態様)・非自動受付演出(図253)」を演出判定(予告判定など)の結果次第で発生可能とする第4変動パターンについては、特別の演出状態(例えば、先読み演出ゾーンなど)にあるときにしか選択可能とされないようにしておき、該特別の演出状態にあるときは、「非抑制・非自動受付演出(図249)」を演出判定(予告判定など)の結果次第で発生可能とする変動パターンが選択されうる通常の演出状態にあるときよりも図柄変動が停止されたときに大当り図柄が現れる割合(期待度)が高くなるようにすることが望ましい。このような構成によれば、「条件付き抑制・非自動受付演出」が現れた場合は、「非抑制・非自動受付演出(図249)」が現れたときよりも期待度が高くなるようになり、上述のサプライズ的な演出要素も相まって、遊技興趣の向上を図ることができるようになる。
またさらに、上記作用効果をより好適に得る上では、「強抑制態様(第1受付許容状態)」については、「通常の演出状態」と「特別の演出状態」とのいずれにおいても発生可能とされるようになっており、「通常の演出状態」では、一の変動パターン(当落で対になっている一の変動パターン)に応じた演出内で「非抑制・非自動受付演出(図249)」と「抑制(強抑制態様)・自動受付演出(図250)」とが順次に発生しうるようにし、「特別の演出状態」では、一の変動パターン(当落で対になっている一の変動パターン)に応じた演出内で「条件付き抑制(弱抑制態様)・非自動受付演出(図253)」と「抑制(強抑制態様)・自動受付演出(図250)」とが順次に発生しうるようにすることが望ましい。
しかも、「条件付き抑制(弱抑制態様)・非自動受付演出」では、操作受付がなされることなく当該設定時間(有効期間)が経過し終わると、「特定種別の演出音(BGM再生の音)が弱抑制態様で出力される状態」へと移行されないままでそれ以降の演出へと進展するようになる。すなわちこの場合、「非抑制・非自動受付演出」と「条件付き抑制・非自動受付演出」とのいずれが発生していたのか、ひいては「通常の演出状態」と「特別の演出状態」とのいずれの状況にあるのかを認識し難いままで、それ以降の演出が進展されるようになってしまうことから、期待度が相対的に低い側とされる「非抑制態様で出力されているなかでの操作受付演出(有効期間)」が発生した場合であっても、遊技者による操作をより積極的に促すことができるようになる。
また、この実施の形態にかかるパチンコ機1では、「条件付き抑制(弱抑制態様)・非自動受付演出(図253)」が発生する場合と、「非抑制・非自動受付演出(図249)」が発生する場合とでは、上記受付許容音(第1許容音)として同じ演出音を同じ時間にわたって出力するようにしており、これによっても「条件付き抑制(弱抑制態様)・非自動受付演出(図253)」と「非抑制・非自動受付演出(図249)」とのいずれが発生しているのかを認識し難くするようにしている。
また、「条件付き抑制(弱抑制態様)・非自動受付演出(図253)」では、「非抑制・非自動受付演出(図249)」が発生する場合と同様、
a.操作受付が許容されるのに先立って、タイミングtD1において狭域型前演出が行われる点、
b.設定時間が発生するよりも少し前のタイミングtD2が到来したときに「受付許容音(第1許容音)」を出力開始させ、該タイミングtD2を跨るかたちでその出力状態を維持させるようにしている点、
c.第2許容音(例えば、メッセージ音)が出力されることはなく、第1許容音(例えば、効果音)が出力されるようになっている点、
d.設定時間が発生するよりも少し前のタイミングtD2が到来したときに演出表示装置1600において、当該操作受付演出で操作対象とされている操作手段を摸した摸画像(一体化摸画像)が表示されるとともに、設定時間が経過し終わるまでの残り時間を示唆するゲージ画像が表示される点、
e.受付許容音の出力中に操作受付がなされても、出力状態にある受付許容音を中途終了させない点、
f.操作受付がなされた時点において、摸画像(一体化摸画像)とゲージ画像とをそれぞれ非表示とせず、その表示状態を継続させる点
g.摸画像(一体化摸画像)とゲージ画像とが表示されているなかで、狭域型消滅エフェクトを実行する点、及び
h.操作受付がなされなかった場合であっても、狭域型消滅エフェクトを実行するが、操作受付がなされたときとは異なる態様(画像)で狭域型消滅エフェクトが実行される点
等々、といった各構成についてもそれぞれ採用しており、これによっても「条件付き抑制(弱抑制態様)・非自動受付演出(図253)」と「非抑制・非自動受付演出(図249)」とのいずれが発生しているのかを認識し難くするようにしている。このような構成によれば、受付許容音(第1許容音)の出力状態(非抑制態様)が維持されているなかで「特定種別の演出音(BGM再生の音)が弱抑制態様で出力される状態」へと移行されたか否かを聞き分ける必要が生じるようになることから、演出受付がなされる都度、緊張感が好適に維持されることが期待されるようになる。
したがって、摸画像やゲージ画像、狭域型前演出、狭域型消滅エフェクトの表示手法としても、「非抑制・非自動受付演出(図249)」が発生する場合と同様、例えば、図251に示した手法を採用するようにすることが望ましいし、それら画像が非表示にされるタイミングについても、図249に示した演出例と同じ態様を採用することが望ましい。ただし、必ずしも同じ態様を採用しなくてもよい。
また、「条件付き抑制(弱抑制態様)・非自動受付演出(図253)」においても、設定時間(有効期間)内で操作受付がなされると(図中では、タイミングtD3a)、操作受付に応じた操作後演出として、演出表示装置1600(第1演出部材)における操作後表示演出(液晶表示)と、スピーカ(第2演出部材)による操作後出力音(演出音)とが少なくとも発生するようになっている。図中では、操作後表示演出(液晶表示)と、スピーカによる操作後出力音(演出音)とが同じ時間だけ実行状態を維持するようになっているが、必ずしもこれに限られない。例えば、操作後表示演出(液晶表示)については、設定時間(有効期間)内のいずれのタイミングで演出受付がなされた場合であっても、タイミングtD4よりも後に到来する所定タイミングで非表示にされるものにするのに対し、操作後出力音(演出音)については、操作受付がなされたタイミングから予め定められた時間分だけ出力状態を維持するものにするようにしてもよい。ただし、いずれのタイミングで演出受付がなされた場合であっても、タイミングtD4が経過し終わっていない状態では、操作後表示演出(液晶表示)と操作後出力音(演出音)とのいずれも出力状態を維持するように設定することが求められる。
その他、「条件付き抑制・非自動受付演出(図253)」において現れる受付許容音や操作関連表示、前演出、消滅エフェクト、操作後演出については、図249や図251に示した演出例に対する別例や変形例を適宜に採用することが可能であり、互いに同じ手法を用いるようにすることが望ましい。
なお、この演出例にあって、「BGM再生の音」が弱抑制態様で出力される時間の長さ(予め定められた一定の時間)については、「条件付き抑制・非自動受付演出(第4受付許容状態)」の設定時間(有効期間)のうち最も遅いタイミングtD4で操作受付がなされた場合であっても、弱抑制態様を終了させるタイミングが操作後演出にかかる演出音の終了タイミングと同じかこれよりも後に到来するように設定することとしている。ただし、「BGM再生の音」にかかる弱抑制態様が終了されるタイミングについては、操作後演出の演出音が終了されるタイミングと常に同じになるように設定してもよい。このような構成のいずれであっても、演出受付がなされたときの操作後演出を際立たせることができるようになる。
ところで、特定種別の演出音(例えば、BGM再生の演出音)を抑制させうる操作受付演出が発生する場合、その抑制度合いが高い(強抑制態様または非出力の第1受付許容状態)か低い(弱抑制態様の第4受付許容状態)かによって、期待度が異なることは上述した通りである。しかしながら、特定種別の演出音(例えば、BGM再生の演出音)が抑制されたときにその抑制度合いが高いか低いか(強抑制態様または非出力であるか、弱抑制態様であるか)を推測しようとしても、実際は、抑制度合いが高い状態(強抑制態様または非出力)にあるのか、それとも低い状態(弱抑制態様)にあるのかを比較対象なしで推測することは困難である。特に、強抑制態様と弱抑制態様とで、抑制されたときのボリューム値にそれほど大きな差を持たせないようにした場合には、なおさらであり、これによって操作受付演出が発生したときの緊張感を好適に維持し、該演出に対して遊技者を惹きつけることができるようになる。
ただし実際は、強抑制態様であるか、弱抑制態様であるかの推測が全くできなければ遊技興趣が逆に低下してしまうことが懸念される。したがって、この実施の形態にかかるパチンコ機1では、強抑制態様であるか、弱抑制態様であるかの推測に役立つ演出要素を、操作受付演出が開始されてから終了されるまでの期間内で時系列的に散らばめるかたちで以下のように用意することとしている。
この点、この実施の形態にかかるパチンコ機1では、第4受付許容状態の発生に際して出力される第1許容音は、出力状態にあるときに演出受付がなされたとしても、該出力を中途では終了させず、予め定められた時間にわたって出力されるようになっているのに対し、第1受付許容状態の発生に際して出力される第1許容音は、出力状態にあるときに演出受付がなされると、該演出受付に基づいて、該出力を中途で終了させるものとなっている。このような構成では、該第1許容音これ自体に、強抑制態様であるか、弱抑制態様であるかの推測に役立つ機能をも持たせるようにしたことから、該推測ができずに遊技興趣が低下してしまうことが抑制されうるようになる。
また、この実施の形態にかかるパチンコ機1では、第1受付許容状態の発生に際しては、第1許容音のほか、第2許容音も出力されるようになっていることから、該第2許容音が出力されるか否かを確認することで、強抑制態様であるか、弱抑制態様であるかの推測を行うこともできるようになっている。ただし、第2許容音については、必ずしも用意しなくてもよく、第1受付許容状態と第4受付許容状態出とのいずれにおいても第1許容音のみが出力されるようにしてもよい。
また、この実施の形態にかかるパチンコ機1では、演出受付が許容される設定時間(有効期間)内で現れる操作関連表示(操作を促す表示)についても、第1受付許容状態では特別態様を含めた複数態様(図232(a)~(d))のいずれかで表示するのに対し、第4受付許容状態では特別態様を除いた複数態様(図232(a)~(c))のいずれかで表示するようにしていることから、該操作関連表示を確認することによっても、強抑制態様であるか、弱抑制態様であるかの推測を行うことは可能である。
しかも、この実施の形態にかかるパチンコ機1では、受付許容音や操作関連表示の出力が終了された時点で、強抑制態様であるか、弱抑制態様であるかの推測ができていなかったとしても、操作後演出の実行態様を確認することで、強抑制態様であるか、弱抑制態様であるかの推測を行うこともできるようになっている。すなわち、第4受付許容状態に応じた操作後演出(第4操作後演出)では、「液晶表示による演出」と「演出音による演出」とのいずれもが「演出受付があったときから一定の時間にわたって行われるもの」であるのに対し、第1受付許容状態に応じた操作後演出(第1操作後演出)では、「演出音による演出」は「演出受付があったときから一定の時間にわたって行われるもの」であるが、「液晶表示による演出」は「予め定められたタイミングが到来したときに終了されるもの」になっている。すなわちこの場合、第1受付許容状態に応じた操作後演出では、操作受付がなされたタイミングによって、「液晶表示による演出」が終了されてから「演出音による演出」が終了されるまでの時間が可変とされるようになり、大きなズレが生じるようになることから、こうしたズレを確認することによって、強抑制態様であるか、弱抑制態様であるかの推測を行うことができるようになる。
またさらに、この実施の形態にかかるパチンコ機1では、受付許容状態に対する前演出や消滅エフェクトの実行態様を確認することで、強抑制態様であるか、弱抑制態様であるかの推測を行うこともできるようになっている。すなわち、第4受付許容状態に応じた前演出や消滅エフェクトでは、比較的狭い領域で前演出にかかる画像や消滅エフェクトにかかる画像を表示したり、その際に背景画像の変更を伴わないようにしたりするのに対し、第1受付許容状態に応じた前演出や消滅エフェクトでは、比較的広い領域で前演出にかかる画像や消滅エフェクトにかかる画像を表示したり、その際に背景画像の変更を伴うようにしたりすることとしている。このような態様を確認することによっても、強抑制態様であるか、弱抑制態様であるかの推測を行うことができるようになる。
ただし、推測に役立つ演出要素をこのように時系列的に散らばめるかたちで用意したとしても、遊技者によってはこれらに気付かず、その結果として強抑制態様であるか、弱抑制態様であるかを推測できないようなことがあれば、結局は、遊技興趣が低下しうることとなる。
そこで、この実施の形態にかかるパチンコ機1にあって、第4受付許容状態(弱抑制態様)では、設定時間(有効期間)内で演出受付がなされたことに基づいてBGM再生の演出音を弱抑制態様にする。これに対し、第1受付許容状態(強抑制態様または非出力)では、設定時間(有効期間)が未だ発生していない状況にあるときからBGM再生の演出音を強抑制態様にし、該強抑制態様にされているなかで設定時間(有効期間)が発生して演出受付がなされうるようにしている。このような構成によれば、第4受付許容状態(弱抑制態様)と第1受付許容状態(強抑制態様)とで、特定種別の演出音(例えば、BGM再生の演出音)を抑制させるタイミングが異なるようになることから、該タイミングを確認することによっても、強抑制態様であるか、弱抑制態様であるかの推測を行うことができるようになる。
しかも、この実施の形態にかかる第4受付許容状態(弱抑制態様)では、第1受付許容状態(強抑制態様または非出力)の場合とは異なり、設定時間(有効期間)内で操作検出がなかったときには操作後演出を自動発生させないようになっている(図253(h)を参照)。すなわちこの場合、設定時間(有効期間)内で操作検出がなければ、特定種別の演出音(例えば、BGM再生の演出音)に対する操作受付を契機とした抑制処理(弱抑制態様)これ自体も行われないようになることから、操作後演出を確認できなくなる代償はあるものの、強抑制態様ではなく、弱抑制態様であったことを認識することはできるようになる。
また、この実施の形態にかかる第1受付許容状態(強抑制態様または非出力)では、「BGM再生の演出音」を強抑制態様にする処理が終了されるタイミングを、操作後演出の終了タイミングと同じか、またはそれよりも前のタイミングとして設定するようにしている。したがって、第4受付許容状態(弱抑制態様)において、「BGM再生の演出音」を弱抑制態様にする処理が終了されるタイミングを、操作後演出の終了タイミングよりも後に到来しうるようにすれば、「BGM再生の演出音」が非抑制態様に戻されるタイミングを確認することによっても、強抑制態様であるか、弱抑制態様であるかの推測を行うことができるようになる。
また上述の通り、上記演出例にかかる第4受付許容状態では、設定時間(有効期間)内のいずれのタイミングで演出受付がなされたかにかかわらず、演出表示装置1600(第1演出部材)における操作後表示演出(液晶表示)と、スピーカ(第2演出部材)による操作後出力音(演出音)とが並行して行われる期間の長さは不変である。これに対し、第1受付許容状態では、設定時間(有効期間)内のいずれのタイミングで演出受付がなされたかによって、演出表示装置1600(第1演出部材)における操作後表示演出(液晶表示)と、スピーカ(第2演出部材)による操作後出力音(演出音)とが並行して行われる期間の長さが変化するようになっている。
このような構成によれば、「演出受付(操作)をいつ行うか」に演出性が生じるようになり、演出受付(操作)がなされるまでの遊技興趣を好適に維持することができるようになる。
なお、「BGM再生の演出音」を強抑制態様よりも低い抑制度合いで出力させる弱抑制態様については、操作機会が付与されないとき(第4受付許容状態が発生しないとき)にも現れうるようにしてもよい。すなわちこの場合、「BGM再生の演出音」が所定時間にわたって弱抑制態様にされた後、操作機会が付与されないままで該弱抑制態様から非抑制態様に戻されることとなる。そして、一の変動パターンに応じた演出内で、第4受付許容状態を含めて弱抑制態様が現れる回数が多くなるほど、図柄変動が停止されるまでの間に抑制度合いがさらに高くされる割合(第1受付許容状態がさらに実行される割合)が高くなるようにすれば、「BGM再生の演出音」に対する抑制状況を通じて演出性のさらなる向上を図ることができるようになる。
また、「BGM再生の演出音」に対する強抑制態様についても、操作機会が付与されないとき(第1受付許容状態が発生しないとき)にも現れうるようにしてもよい。すなわちこの場合、「BGM再生の演出音」が所定時間にわたって強抑制態様にされた後、操作機会が付与されないままで該強抑制態様から非抑制態様に戻されることとなる。このような構成によれば、強抑制態様が現れたときに操作機会が付与されるか否かについての演出性を提供することができるようになる。
また、図253に示した演出例では、第4受付許容状態が発生した場合、設定時間(有効期間)内で操作受付がなされたことに基づいて「BGM再生の演出音」を抑制態様(弱抑制態様)にするようにした。ただしこれに代えて、第4受付許容状態が発生した場合であっても、第1受付許容状態が発生した場合と同様、設定時間が発生するよりも前から「BGM再生の演出音」を抑制態様(弱抑制態様)にし、該抑制態様(弱抑制態様)にされているなかで演出受付が許容される設定時間(有効期間)を発生させるようにしてもよい。なおこの場合、演出判定(予告判定など)で特別の結果が得られているか否かによって、所定タイミングが到来したときに「BGM再生の演出音」が抑制態様(弱抑制態様)にされたり、抑制態様(弱抑制態様)にされなかったりするようになることから、演出性の幅を広げることができるようになる。第4受付許容状態において、「BGM再生の演出音」が抑制態様(弱抑制態様)から非抑制態様に戻されるタイミングについては、操作後演出が終了されるタイミングと同じか、それよりも後に到来するようにすることが望ましい。
また、弱抑制態様は、「特定種別の演出音」のボリューム値(可聴ボリューム)を、非抑制態様の場合よりも低い特定抑制値(0よりも大きい数字)に設定して可聴状態で出力させることであり、強抑制態様は、「特定種別の演出音」を非可聴の状態(無音(可聴ボリュームが0)での出力か、非出力(チャンネル割り当てを終了))にすることであってもよい。
また、上述の演出例では、いずれも、同じ操作手段(操作ボタン410)を操作対象にし、且つ同じ操作態様で操作機会を付与する場合を想定している。この点、「第4受付許容状態」では、操作対象として操作ボタン410が用いられる(第1操作態様)ことしかないが、「第1受付許容状態」では、上述した通り、予告演出判定の結果に基づいて「操作対象として操作ボタン410を選択する場合(第1操作態様)」と「操作対象として刀装飾体5001を選択する場合(第2操作態様)」とがあるようになっている。したがって、操作対象として刀装飾体5001が選択された場合(第2操作態様)には、弱抑制態様ではなく、強抑制態様であることを容易に認識することができるようになる。なお、「操作対象として操作ボタン410を選択する場合(第1操作態様)」と「操作対象として刀装飾体5001を選択する場合(第2操作態様)」とで、演出受付がなされたことに応じた操作後演出は同じ内容となっている。
すなわち上述の通り、この実施の形態にかかるパチンコ機1にあって、操作対象とされる操作手段は、
・設定時間(有効期間)の発生に際して操作受け部(遊技者が操作するときに触れる部分)を移動させない第1操作態様、及び
・設定時間(有効期間)の発生に際して駆動力によって操作受け部を特定位置へと移動させる第2操作態様
を含めた複数態様のいずれかで操作機会を付与しうるものとなっている。なおここでは、「第1操作態様」は、操作ボタン410に対して操作機会が付与される場合を想定しており、「第2操作態様」は、刀装飾体5001に対して操作機会が付与される場合を想定しており、該刀装飾体5001が「特定位置へと移動した状態で遊技者に対して操作機会を付与しうるもの」である。ただし、1つの操作手段(1つの操作受け部)に「第1操作態様」と「第2操作態様」とをそれぞれ持たせ、それら態様のいずれかによって操作機会を付与するようにしてもよい。また上述の通り、第1受付許容状態では、刀装飾体5001に対して操作機会が必ず付与されるようにしてもよい。
上述の演出例によれば、「BGM再生の演出音」が抑制態様で出力されているか非出力の状態にされているなかで操作後演出が実行されるように設定された受付許容状態(抑制受付演出)にあって、摸画像(一体化摸画像)が特別態様(図232(d))で表示される場合とは、当該受付許容状態が「第1受付許容状態(強抑制態様)」であることを意味することとなり、摸画像(一体化摸画像)が特別態様とは通常態様(図232(a))で表示される場合とは、当該受付許容状態が「第1受付許容状態(強抑制態様または非出力)」または「第4受付許容状態(弱抑制態様)」であることを意味することとなる。
すなわちこの場合、摸画像(一体化摸画像)が特別態様(図232(d))で表示されたときには、受付許容音が出力途中の状況下で操作受付されるとこれが途中終了されることとなる(第1受付許容状態)。これに対し、摸画像(一体化摸画像)が通常態様(図232(a))で表示されたときには、受付許容音が出力途中の状況下で操作受付されるとこれが途中終了される場合と途中終了されない場合とが生じることとなる(第1受付許容状態,第4受付許容状態)。このような構成によれば、摸画像(一体化摸画像)が通常態様(図232(a))で表示されたときの遊技興趣についてもこれを好適に維持することができるようになる。
また、摸画像(一体化摸画像)が特別態様(図232(d))で表示されたときには、受付許容状態が自動受付態様で実行されることとなる(第1受付許容状態)。これに対し、摸画像(一体化摸画像)が通常態様(図232(a))で表示されたときには、受付許容状態が自動受付態様で実行される場合と非自動受付態様で実行される場合とが生じることとなる(第1受付許容状態,第4受付許容状態)。このような構成によれば、摸画像(一体化摸画像)が通常態様(図232(a))で表示されたときの緊張感を好適に維持することができるようになる。
この点、摸画像(一体化摸画像)が通常態様(図232(a))で表示される場合、第1受付許容状態が発生したときと第4受付許容状態が発生したときとでその表示にかかる大きさを異ならせるようにしてもよい。このような構成によれば、受付許容音が途中で終了されるのかや、自動受付態様と非自動受付態様とのいずれで実行されるのかを認識することが可能とされるようになる。
また、上述の演出例によれば、前演出が「広域型前演出」と「狭域型前演出」とのいずれで実行されるかを確認することで、特定種別の演出音(BGM再生の音)が抑制態様にされたときにこれが「弱抑制態様」であるのか、それとも「強抑制態様または非出力」であるのかを確認し易くすることができるようになる。そしてその後、受付許容音が出力されているなかで操作したときにこれが途中終了されるかを確認するようにすることで、「弱抑制態様(途中終了されない)」であるのか、それとも「強抑制態様または非出力(途中終了される)」であるのかについての再確認を、操作後演出が行われるなかで行うことができるようになる。
また、上述の演出例によれば、強抑制態様または非出力が採用される場合は、特定種別の演出音(BGM再生の音)が強抑制態様または非出力にされているなかで広域型前演出が実行されるのに対し、弱抑制態様が採用される場合は、特定種別の演出音(BGM再生の音)が弱抑制態様にされていないなかで狭域型前演出が実行されるようになる。すなわちこの場合、狭域型前演出が行われるときの演出性を好適に維持することができるようになる。
ところで、この例にかかるパチンコ機1では、第2受付許容状態よりも第1受付許容状態のほうが、操作後演出として大当り時にしか現れない態様が実行される割合が高くなっている(期待度が高くなっている)ことは上述した通りである。この割合は0%や100%であってもよい。ただし、上述の各演出例によれば、操作受付がなされるよりも前にあるときから、第1受付許容状態(特別受付許容状態)が発生するときと、第2受付許容状態(所定受付許容状態)が発生するときとで異なる演出内容(受付許容音、摸画像、前演出など)が現れるようになっていることから、このような演出内容によって第2受付許容状態が発生すること(または、発生していること)を遊技者が事前察知するようなことがあると、遊技興趣の低下が懸念される。
そこで、この例にかかるパチンコ機1では、複数の受付許容状態の1つとして、大当り判定の結果に基づく演出判定で第5条件が成立したことに基づいて発生される第5受付許容状態(特定受付許容状態)をさらに用意しており、該第5受付許容状態については、操作受付がなされるまでの間は第2受付許容状態との見分けを困難とするようにしつつも、操作受付がなされた以降は第1受付許容状態を想起させるような演出進展を実現することで、少なくとも操作受付がなされるまでの間は遊技興趣の低下が生じ難くするようにしている。このような作用効果を好適に得る上では、第5受付許容状態が発生したときには、第2受付許容状態が発生したときよりも、その後、図柄停止されるまでの間に第1受付許容状態の発生する割合が高くなるように設定することが望ましい。また、第2受付許容状態が発生したときと第5受付許容状態が発生したときとで大当り図柄が停止される割合が互いに異なるように設定することが望ましい。これらの割合は0%や100%であってもよい。
第2受付許容状態と第5受付許容状態との見分けを困難とするようにしつつも、第5受付許容状態において操作受付がなされた以降は第1受付許容状態を想起させるような演出進展を実現する手法としては、例えば、まず、第2受付許容状態が発生する場合と第5受付許容状態が発生する場合とでは、受付許容音として同じ態様が出力されるが、第1受付許容状態が発生する場合は、受付許容音として第2受付許容状態及び第5受付許容状態のいずれにおいても出力し得ない態様(例えば、第1許容音としての音の種別を異ならせるほか、第2許容音をさらに出力する態様など)が出力されるようにする。そして、第2受付許容状態において操作受付されると、該操作受付がなされた時点で出力状態にあった音を継続出力しているなかで操作後演出(第2操作後演出)が実行されるようにするのに対し、第1受付許容状態や第5受付許容状態では、操作受付されると、該操作受付がなされた時点で出力状態にあった音(の全て)を抑制態様で出力させる状態または非出力の状態にし、該状態にされているなかで操作後演出(第1操作後演出または第5操作後演出)が実行されるようにする。この点、第1操作後演出と第5操作後演出とのいずれにおいても変化を生じさせる対象として特定演出可動体を用いるようにすれば、第2受付許容状態と第5受付許容状態との見分けを困難とするようにしつつも、第5受付許容状態において操作受付がなされた以降は第1受付許容状態を想起させるような演出進展が実現されうるようになる。これにより、第1受付許容状態が発生している可能性(受付許容音を聞き間違えた可能性)が意識付けされるようになり、遊技興趣の低下を抑制することが期待されるようになる。
すなわちこの場合、第1受付許容状態では、操作後演出(第1操作後演出)として、特定演出可動体を用いた演出が少なくとも実行されることとなるが、このような演出としては、例えば、特定演出可動体を、演出表示装置1600の表示領域の前側へと移動させる可動演出(図162(C),(D),図163(CC1)~(CC3)に示される演出など)を行うことが可能である。
これに対し、第5受付許容状態においても、操作後演出(第5操作後演出)として、特定演出可動体を用いた演出が少なくとも実行されることとなるが、該演出としては、第1操作後演出とはその演出内容が大きく異なるものとして実行するようにすることが望ましい。すなわち、第5受付許容状態とは、あくまでも「前演出や受付許容音の態様が期待度の低い第2受付許容状態の発生可能性を示唆している状況が現れたとしても、少なくとも操作受付がなされるまでの間は遊技興趣を維持可能とすること」を目的として用意されるものであり、操作後演出が実行された時点で第1受付許容状態が発生していたとの誤認識を与えてしまうようなことがあると、誤認識に気付いたときの遊技興趣の低下が避けられなくなる。
したがって、このような操作後演出(第5操作後演出)としては、第1操作後演出の場合よりも抑制された傾向をもった演出を行うようにすることが望ましく、例えば、操作受付がなされる時点で発光状態にあった特定演出可動体を、動作させるようなことはせず(駆動力を発生させず)、その発光範囲を縮小させるか、または非発光の状態にする、といった演出変化を生じさせる演出として行うことが可能である。なお、第2操作後演出では、特定演出可動体の発光範囲が縮小されたり、非発光の状態にしたりする、といったような抑制傾向にある演出変化は生じない。なおこの場合、特定可動装飾体は所定発光部を有することとなる。
このような構成によれば、特定演出可動体を用いた演出変化を生じさせることで第1受付許容状態(第1操作後演出)を想起させるようにし、これによって第2受付許容状態(第2操作後演出)でないことを認識させるようにしつつも、その抑制された演出内容が次第に露わにされていくなかで、第1受付許容状態(第1操作後演出)でないことをも冷静に判断することができるようになることから、遊技興趣の低下を抑制することが期待されるようになる。
なお、第5操作後演出を、第1操作後演出の場合よりも抑制された傾向をもった演出としてより好適に実行されるようにする上では、第1操作後演出では、操作対象とされた操作手段(演出ボタンなどの操作受け部)を操作受付がなされたことを契機として発光させる(若しくは発光変化を生じさせる)とともに、該操作手段に対応して設けられている駆動手段(モータなど)を駆動させることでこれに所定の動き(振動など)を生じさせるようにするのに対し、第5操作後演出では、操作対象とされた操作手段(演出ボタンなどの操作受け部)を操作受付がなされたことを契機として消灯(徐々に消灯していく態様であってもよい)させるとともに、該操作手段に対応して設けられている駆動手段(モータなど)を駆動させず所定の動き(振動など)を生じさせないようにすることが望ましい。このように、第1受付許容状態と第5受付許容状態とで同じ可動装飾体を対象にした操作後演出(第1操作後演出、第5操作後演出)を実行するようにしつつも、第1操作後演出と第5操作後演出とではその演出内容が真逆になるような態様が現れるようにすることで、上述した作用効果が好適に奏されうるようになる。
図254は、上記特定の設定条件(演出設定)下において、上記第5条件が満たされて上記第5受付許容状態が発生するときの演出内容についてその一例を示すタイムチャートである。図254は、第5受付許容状態が発生する変動パターンにおける演出例を示す図である。該変動パターンについては、第5変動パターンとして説明するが、上述の通り、第1変動パターンであってもよい。
いま、通常遊技状態(非確変・非時短)において始動条件が成立(保留消化)されて、変動パターン判定が行われた結果として「第5変動パターン」が選択されたとすると、上記周辺制御MPU1511aでは、まず、該第5変動パターンに対応する演出判定(予告判定など)を行う。そしてこの後、装飾図柄SZの変動演出(第5変動パターンに応じた演出描写や、第5変動パターンに応じたBGM再生の音出力など)を開始させ、該変動演出の実行期間内で、予告演出判定の結果に応じた演出(予告演出)を、上記選択した「第5変動パターン」これ自体の演出に対して付加的に実行させることとなる。
そして上述の通り、第5変動パターンでは、図254(b)に示されるように、装飾図柄SZの変動演出が開始されてから第5所定時間が経過したタイミングtE3が到来したときに第5操作後演出に関しての操作受付が許容される上記第5受付許容状態(有効期間)を発生させる。ただし上述の通り、この実施の形態にかかるパチンコ機1では、当該第5受付許容状態(有効期間)については、
・第5変動パターンに応じた「BGM再生の音(特定種別の演出音)」が非抑制態様での出力状態を維持しているなかでの操作受付が許容される「非抑制受付許容状態(図254(a),(b)を参照)」であり、且つ
・操作受付が許容される設定時間(タイミングtE3~tE4)内で操作対象にされている操作手段に対する操作が検出されなかった場合であっても、該設定時間内のタイミングtE3cが到来すると、操作後演出が開始される「自動受付態様(図254(i)を参照)」
によって実行される「非抑制・自動受付演出」として発生させるようにしている。タイミングtE3cは、必ずしも設定時間内で到来しなくてもよく、設定時間が終了するときや終了した後に到来するようにしてもよい。
このような構成によれば、操作後演出が実行開始されるまでの間は第2受付許容状態が発生しているかのような状況が現れるのに対し、自動受付態様によって操作後演出が実行開始されると第1受付許容状態を想起させるかのような演出進展が実現されるようになることから、操作後演出が実行開始されるまでの遊技興趣を好適に維持することができるようになる。
また、第5受付許容状態においても、第2受付許容状態と同様、図254(b),(e),(j)に示されるように、操作受付が許容される設定時間(タイミングtE3~tE4)が発生するよりも少し前のタイミングtE2が到来したときに「受付許容音(ここでは、第1許容音)」を出力開始させ、設定時間が発生するタイミングtE3を跨るかたちでその出力状態を維持させるようにしている。第1許容音が出力開始されてから操作受付が許容されるまでの時間の長さも同じである。また、第1許容音として出力される音これ自体も同じであることはもとより、第2許容音(メッセージ音)が出力されない点も、第2受付許容状態と同様である。これにより、操作受付がなされるまでの間、受付許容音に関しては、第2受付許容状態と第5受付許容状態とで同じ態様が現れるようになることから、遊技興趣を好適に維持することが期待される。
ただし上述の通り、第2受付許容状態では、設定時間(有効期間)が発生してから「受付許容音(第1許容音)」が出力状態にあるタイミングtB3a(図249(e))で操作受付がなされた場合、該設定時間これ自体は終了させる一方で、「受付許容音(第1許容音)」についてはこれを中途終了させず、第1許容音として出力し終わるタイミング(操作がなかったときと同じタイミングtB3c(図249(e))までその出力状態を維持させる。これに対し、第5受付許容状態では、設定時間(有効期間)が発生してから「受付許容音(第1許容音)」が出力状態にあるタイミングtE3a(図254(e))で操作受付がなされた場合、該設定時間これ自体を終了させることはもとより、「受付許容音(第1許容音)」についてもこれを中途終了させることとしている。すなわち、「受付許容音(第1許容音)」に関して、このような挙動(中途終了)は、第1受付許容状態において操作受付がなされたときに現れるものであるから(図250(e))、第5受付許容状態が発生している状況にあるにもかかわらず、第1受付許容状態を想起させるかのような演出進展が実現されるようになり、遊技興趣を好適に維持することが期待される。
また、図254に示される演出例では、当該第5受付許容状態の設定時間内で操作受付がなされると(図中では、タイミングtE3a)、操作受付に応じた操作後演出として、演出表示装置1600(第1演出部材)における操作後表示演出(液晶表示)と、スピーカ(第2演出部材)による操作後出力音(演出音)とが発生するようになっている(図254(d)を参照)。図中では、操作後表示演出(液晶表示)は、操作受付がなされた時期にかかわらずタイミングtE5まで実行状態を維持し、操作後出力音(演出音)は、予め定められた時間だけ実行状態を維持するようになっているが、必ずしもこれに限られない。例えば、操作後表示演出(液晶表示)については、必ずしも実行しなくてもよい。
また、図示は割愛しているが、この演出例では、当該第5受付許容状態に対応する操作後演出(第5操作後演出)と、第1受付許容状態に対応する操作後演出(第1操作後演出)とのいずれにおいても、「特定演出可動体を用いた演出」が少なくとも実行されるようになっている。第1受付許容状態に対応する「特定演出可動体を用いた演出」と、第5受付許容状態に対応する「特定演出可動体を用いた演出」とのそれぞれの演出内容については、上述した通りである。例えば、第1操作後演出としては、特定演出可動体を、演出表示装置1600の表示領域の前側へと移動させる可動演出(図162(C),(D),図163(CC1)~(CC3)に示される演出など)を行うことが可能である。また、第5操作後演出としては、操作受付がなされる時点で発光状態にあった特定演出可動体を、その発光範囲を縮小させるか、または非発光の状態にする、といった演出変化を生じさせる演出として行うことが可能である。
このような構成によれば、特定演出可動体を用いた演出変化を生じさせることで第1受付許容状態(第1操作後演出)を想起させるようにし、これによって第2受付許容状態(第2操作後演出)でないことを認識させるようにしつつも、その抑制された演出内容が次第に露わにされていくなかで、第1受付許容状態(第1操作後演出)でないことをも冷静に判断することができるようになることから、遊技興趣の低下を抑制することが期待されるようになる。
また、図254に示される演出例(第5受付許容状態)においても、図249に示される演出例(第2受付許容状態)と同様、受付許容状態の設定時間が設定されるタイミングtE3よりも前のタイミングtE2が到来すると、演出表示装置1600において、操作対象とされている操作手段を摸した摸画像が表示されるとともに、設定時間が経過し終わるまでの残り時間を示唆するゲージ画像の表示がそれぞれ行われる。また、これら摸画像やゲージ画像の表示態様としても、第2受付許容状態の場合と同様とされており、例えば、一体化摸画像IGとして表示されるようになっている。該一体化摸画像IGとして、図232(d)に示される特別態様が表示されることもないようになっている点も同様である。これにより、操作受付がなされるまでの間、摸画像やゲージ画像に関しては、第2受付許容状態と第5受付許容状態とで同じ態様が現れるようになることから、遊技興趣を好適に維持することが期待される。
なお、この例においても、摸画像が表示されるタイミングを、受付許容音(第1許容音)が出力開始される時期と同じにしているが、これに限られず、どちらかがもっと先に開始されるようにしてもよい。若しくは、摸画像と受付許容音とのいずれか一方のみ(例えば、摸画像のみ)をタイミングtE3よりも前に開始させるようにしてもよい。ただし、こうした別例や、上述した他の別例を採用する場合も、操作受付がなされるまでの間の構成に関しては、第2受付許容状態と第5受付許容状態とで合わせるようにすることが望ましい。
また、図254(c)~(f)に示される例では、このような一体化摸画像(摸画像、ゲージ画像)が表示されている間にタイミングtE3aが到来して操作受付がなされた場合を想定している。このような状況下で操作受付がなされると、この例にかかるパチンコ機1では、第5操作後演出(演出表示装置1600における表示変化、スピーカにおける演出音変化、ランプによる発光変化、及び可動装飾体による演出動作の少なくとも1つ)が開始されることとなるが、この例にかかるパチンコ機1では、第5操作後演出が開始された時点において、一体化摸画像(摸画像、ゲージ画像)は非表示にされず、表示状態を維持する。より具体的には、操作受付がなされた場合であってもその時点(タイミングtE3a)では一体化摸画像(特定レイヤ)に関してそれを起因とした変化は生じさせず、そこから少しの時間(所定時間)が経過したタイミングtE3bが到来するまでは、操作受付が許容されている状態にあるときと同じ態様での「一体化摸画像(摸画像、ゲージ画像)にかかる表示」が継続されるようになっており、ゲージ画像の表示面積についても、これまでと同じ態様での減少を進展させるようにしている。
そして、タイミングtE3bが到来すると、表示状態にある一体化摸画像(摸画像、ゲージ画像)の一部または全体を視認し難くするか視認できない状態にするかたちで表示される画像(消滅エフェクト)を出現させる。ただし、この演出例にかかるパチンコ機1にあって、一体化摸画像(摸画像、ゲージ画像)は、このような画像(消滅エフェクト)が表示開始された時点においても非表示にされず、表示状態を維持する。より具体的には、消滅エフェクトが表示されている状況下においても(タイミングtE3b)、一体化摸画像(摸画像、ゲージ画像)が表示されるレイヤにおいては、一体化摸画像(摸画像、ゲージ画像)に関してそれを起因とした変化は生じさせず、ゲージ画像の表示面積もこれまでと同じ態様での減少を進展させるようにしている。ただし、消滅エフェクトがそれよりも前側のレイヤに表示されることで、摸画像やゲージ画像は視認し難いか、視認できない状態にされていくこととなる。
すなわちこの場合、摸画像やゲージ画像(一体化摸画像)を視認し難くするか、視認できない状態にすることを目的として消滅エフェクトの画像を所定レイヤ上に表示する状況にあるにもかかわらず、特定レイヤ(所定レイヤよりも後ろ側(優先度の低い側))上にて表示されている摸画像やゲージ画像(一体化摸画像)これ自体は操作受付が許容されていたときの態様のままでの表示が維持されており何らの変化も生じないようにされることとなる。また、ゲージ画像についても、その表示面積を減少し続ける表示が、操作受付を跨いで継続されることとなる。これにより、摸画像やゲージ画像(一体化摸画像)を視認し難くするか、視認できない状態にしていく過程にあるなかでも、操作受付が許容されていたときの態様(の少なくとも一部)を視認することができるようになる。
また、消滅エフェクトの画像が表示されている期間(タイミングtE3b~tE3e)内で一体化摸画像(摸画像、ゲージ画像)に関する表示出力(レイヤ上の表示)が終了され、これ以降は、一体化摸画像(摸画像、ゲージ画像)がレイヤ上も表示されていない状況下で消滅エフェクトの画像が表示されることとなる。
摸画像やゲージ画像に関して、操作受付がなされた以降のこうした表示手法については、第1受付許容状態と第5受付許容状態とで共通するものであるから、これによって遊技興趣が低下するようなことはない。
また、図254に示される例においても、図249に示した例の場合と同様、第5受付許容状態が発生するタイミングtE3よりも前のタイミングtE1が到来すると、所定の表示領域のうち半分未満の領域しか用いない狭域型前演出が実行開始されるようになっている。そして、このような狭域型前演出にかかる画像が表示されている期間内において、まず、操作受け部を摸した摸画像(ここでは、一体化摸画像)の表示と、第1許容音の出力とがそれぞれ開始される(タイミングtE2)。摸画像(ここでは、一体化摸画像)の表示が開始される時点では、該摸画像(一体化摸画像)の一部または全体が当該狭域型前演出にかかる画像によって視認し難くなっている。すなわち、時間経過に応じて、当該狭域型前演出にかかる画像の表示される範囲が減少されたり、その透過率が高くなっていくようにされたりすることで、「摸画像(一体化摸画像)の視認性を次第に高めていく」といった演出性が提供されるようになる。この点、第5受付許容状態においても、狭域型前演出が実行されており、且つ摸画像(ここでは、一体化摸画像)の表示が行われているなかで、当該第5受付許容状態が発生するタイミングtE3が到来して操作受付が許容されるようになっており、狭域型前演出は、当該第5受付許容状態の発生するタイミングtE3を跨いで行われるようになっている。
ここで、このような狭域型前演出に用いられる画像としては、例えば、摸画像(一体化摸画像)が表示されるレイヤよりも前にある別レイヤに表示される画像であってもよいし、摸画像(一体化摸画像)及び当該画像(狭域型前演出)を予め用意された1つの動画として表示し該動画のなかで摸画像(一体化摸画像IG)の視認性が次第に高められていく様子を表現するようにしたものであってもよい。ただし、第5受付許容状態に対応する狭域型前演出の画像については、第2受付許容状態に対応する狭域型前演出の画像と同じものを用いるようにすることが望ましい。
なお、狭域型前演出では、演出表示装置1600における画像表示だけでなく、これに関連した演出音の出力も行われるようにしてもよい。ただし、第2受付許容状態が、非自動受付態様で実行されるものであり、操作関連に関しての緊張感を維持することを目的としているものであることに鑑みれば、狭域型前演出については、これに関連した演出音の出力を行わず、演出表示装置1600における画像表示として実行されるようにすることが、演出への集中力を高めるようにする上で望ましいと言える。
このように、操作受付が許容されるよりも前に発生する狭域型前演出に関しても、第2受付許容状態と第5受付許容状態とで同じ態様が現れるようになることから、遊技興趣を好適に維持することが期待される。
このような構成によれば、操作受付がなされるまでの間は、図251(a)~(e)に示した演出内容と同じ態様で演出が進展されるようになることから、相対的に期待度の高い第1受付許容状態が発生していないことを遊技者側に事前察知されたとしても、第2受付許容状態と第5受付許容状態とのいずれが発生するかについての面白みを持たせることができるようになり、遊技興趣の低下を抑制することが期待されるようになる。
ただし上述の通り、第5受付許容状態において遊技者による操作が検出されて操作後演出(第5操作後演出)が実行開始された以降は、第2受付許容状態ではなく、第1受付許容状態を想起させるような態様で演出が進展されることとなる。
すなわち、図254に示される演出例では、第5受付許容状態において遊技者による操作が検出(操作受付)されると、該操作受付がなされた時点において非抑制態様で出力状態にあった音(の全て)を、強抑制態様での出力状態にするか、または非出力の状態にして、これを中途終了させるようにしている。図250に示される例(第1受付許容状態)では、操作受付がなされると、非抑制態様で出力状態にあった「第1許容音」及び「第2許容音」を、強抑制態様での出力状態にするか、または非出力の状態にして、これらを中途終了させるようにしたが、図254に示される当該例(第5受付許容状態)では、操作受付がなされると、非抑制態様で出力状態にあった「BGM再生の音」及び「第1許容音」を、強抑制態様での出力状態にするか、または非出力の状態にして、これらを中途終了させることとなる。これにより、操作受付がなされるよりも前に非抑制態様で出力状態にあった音(の全て)に関しては、第2受付許容状態と第5受付許容状態とのいずれにおいても、操作受付を契機として強抑制態様での出力状態にされるか、または非出力の状態にされるようになることから、図254に示されるタイミングtE3aにおいて第1受付許容状態を想起させることができるようになり、遊技興趣を好適に維持することが期待されるようになる。
なおこの場合、操作受付を契機として強抑制態様での出力状態にするのか、それとも非出力の状態にするのかについてはいずれであってもよいが、第2受付許容状態と第5受付許容状態とで同じ処理を行うようにすることが望ましい。例えば、第2受付許容状態において、操作受付を契機としてそれまで非抑制態様で出力状態にあった音を非出力の状態にするのであれば、第5受付許容状態においても、操作受付を契機としてそれまで非抑制態様で出力状態にあった音を非出力の状態にすることとなる。
これに対し、図254(g)~(k)に示される例では、遊技者による操作が検出されないままで設定時間が経過(第2受付許容状態が終了)した場合を想定している。上述の通り、第5受付許容状態は、自動受付態様で実行されるものであることから、遊技者による操作が行われることなく予め定められたタイミングtE3cが到来すると、操作受付がなされたときと同じ処理が実行されることとなる。
したがって、タイミングtE3cにおいては、操作後演出(第5操作後演出)が実行開始されることはもとより、それまで非抑制態様で出力状態にあった音(ここでは、BGM再生の音)を強抑制態様での出力状態にするか、または非出力の状態にして、これらを中途終了させることとなる。第1受付許容状態(図250)においても、自動ボタン機能が有効化されるタイミングtC4fが到来するまで所定の音(例えば、第1許容音)を非抑制態様で出力させるようにし、該タイミングtC4fにおいて強抑制態様での出力状態にするか、または非出力の状態にして、これを中途終了させるようにしてもよい。
また、タイミングtE3dにおいては、第5操作後演出が既に実行状態にされているなかで、上述した消滅エフェクトとして「広域型消滅エフェクト」を実行開始させることとなる。該「広域型消滅エフェクト」については、第1受付許容状態の場合とその画像これ自体は必ずしも同じでなくてもよいが、操作受付がなされるまで表示されていた背景画像からの変更を伴う消滅エフェクトとして実行されるようにすることが望ましい。すなわちこの場合、表示領域の少なくとも半分以上を用いて実行されることとなることは言うまでもない。これにより、操作受付がなされた以降(操作後演出が実行された以降)の消滅エフェクトに関しても、第2受付許容状態と第5受付許容状態とのいずれにおいても、同じ態様(広域型消滅エフェクト)で実行されるようになることから、操作受付がなされた以降(操作後演出が実行された以降は第1受付許容状態を想起させることができるようになり、遊技興趣を好適に維持することが期待されるようになる。このような消滅エフェクトにかかる態様は、操作受付がなされたとき(タイミングtE3b)と、自動ボタン機能が有効化されたとき(タイミングtE3c)とで同じであり、この点についても第1受付許容状態の場合と同様である。
なお、図254に示される例では、第5受付許容状態において「BGM再生の音」が再び非抑制態様で出力されるようになるタイミングについては、操作後演出(第5操作後演出)が終了されるタイミングtE5として設定することとしているが、操作後演出(第5操作後演出)が実行されているなかで到来するタイミングであってもよいし、操作後演出(第5操作後演出)が終了した後に到来するタイミングであってもよい。
また、第1受付許容状態においても、第5受付許容状態と同様、「BGM再生の音」が抑制態様での出力状態または非出力の状態にされるタイミングを、操作受付がなされたときにしてもよい。
第1受付許容状態や第5受付許容状態において、それまで非抑制態様で出力状態にあった音を「抑制態様での出力」または「非出力の状態」にする処理と、操作後出力音を出力させる処理とについては、必ずしも同じタイミングで実行開始されるものでなくてもよく、それらの処理がいずれも操作受付がなされたことに基づいて実行開始されるものであればよい。
また上述の通り、第5受付許容状態で操作受付がなされた場合は、これを契機として、それまで発光状態にあった特定演出可動体を所定時間にわたって消灯状態にするのに対し(第5操作後演出)、第1受付許容状態で操作受付がなされた場合は、これを契機として、特定演出可動体に対して駆動力を付与して所定の演出動作が現れるようにする(第1操作後演出)ことが望ましい。またこの際、第1操作後演出では、操作対象にされた操作手段に対応する駆動手段に対して駆動力を発生させて該操作手段に所定の動き(振動など)が現れるようにするのに対し、第5操作後演出では、こうした処理を行わないようにすることが望ましい。またこの際、第1操作後演出では、操作対象にされた操作手段における発光態様を変化させるようにするのに対し、第5操作後演出では、操作対象にされた操作手段における発光を消灯状態にするようにすることが望ましい。第1受付許容状態や第5受付許容状態におけるこれらの処理は、大当り判定の結果として同じ結果(例えば、大当り当選)が得られているときに出現しうる態様であるようにすることが望ましい。
また、第1操作後演出で特定演出可動体による可動演出が行われる場合は、該特定演出可動体が動作していないときには現れない態様で発光可能とされるようにすることが望ましい。
また、第1操作後演出では、操作受付に応じた演出音が出力開始されてからこれが継続的に出力されるようにするのに対し、第5操作後演出では、操作受付に応じた演出音が所定時間にわたって出力されると、何らの演出音も非抑制態様で出力されない状態(強抑制態様で出力される状態、または非出力の状態)が現れるようにすることが望ましい。このような構成によれば、第5操作後演出では、操作受付に応じた演出音を適正に実行するようにしつつも、第1操作後演出の場合と比べてこれに抑制された傾向を持たせることができるようになり、遊技興趣を好適に維持することが期待されるようになる。
また、第1受付許容状態と第5受付許容状態とでは、それらの発生に際して出力される受付許容音を異ならせるようにすることが望ましい。すなわち上述の通り、第1受付許容状態では、第1許容音(効果音)と第2許容音(メッセージ音)とが出力されるようにするのに対し、第5受付許容状態では、第2許容音(メッセージ音)は出力されず第1許容音(効果音)が出力されるようにすることとなる。ただし、第1許容音(効果音)これ自体も異なる音として出力されるようにすることが望ましい。
また上述の通り、第1受付許容状態と第5受付許容状態(第2受付許容状態)とでは、摸画像(一体化摸画像)として同じ態様(図232(a)~(c)に示される態様)が表示可能とされている。ただし、第1受付許容状態と第5受付許容状態(第2受付許容状態)とで、摸画像(一体化摸画像)として同じ態様が表示される場合であっても、その表示にかかる大きさは異ならせる(相似形とする)ようにし、第5受付許容状態(第2受付許容状態)では、第1受付許容状態の場合よりも小さな態様で表示されるようにすることが望ましい。ただし、第2受付許容状態と第5受付許容状態とでは大きさも同じ態様として表示されるようにすることとなる。なお、第1受付許容状態では、摸画像(一体化摸画像)として特別態様が表示可能とされているが、第5受付許容状態(第2受付許容状態)では、摸画像(一体化摸画像)として特別態様が表示されることはないことも上述した通りである。
また、第1受付許容状態に応じた第1操作後演出では、操作受付に応じた操作後出力音が非抑制態様で可聴出力されている間に、操作受付を契機としない演出音(変動パターン内の予め定められたタイミングで出力される演出音)が非抑制態様で出力開始されるようにすることが望ましい(例えば、BGMの復帰など)。これに対し、第5受付許容状態に応じた第5操作後演出では、操作受付に応じた操作後出力音が非抑制態様で可聴出力されている間に、操作受付を契機としない演出音(変動パターン内の予め定められたタイミングで出力される演出音)が非抑制態様で出力開始されないようにすることが望ましい。すなわちこの場合、操作受付に応じた操作後出力音が非出力の状態にされた後に、操作受付を契機としない演出音(変動パターン内の予め定められたタイミングで出力される演出音)が非抑制態様で出力開始されるようになることから、第1受付許容状態の場合と比べてこのような抑制された態様を採用することで、遊技興趣を好適に維持することができるようになる。
また上述の通り、第2受付許容状態については、第1受付許容状態が発生する変動パターンと、第1受付許容状態が発生しない変動パターンとの両方で発生可能とすることで、第2受付許容状態が発生したときには、実行状態にある図柄変動が停止されるまでの期間内で第1受付許容状態が発生する可能性を持たせるようにしてもよい。また、第5受付許容状態についても、第1受付許容状態が発生する変動パターンと、第1受付許容状態が発生しない変動パターンとの両方で発生可能とすることで、第5受付許容状態が発生したときには、実行状態にある図柄変動が停止されるまでの期間内で第1受付許容状態が発生する可能性を持たせるようにしてもよい。ただしこの場合、第5受付許容状態が発生した場合は、第2受付許容状態が発生した場合よりも図柄変動が停止されるまでの期間内で第1受付許容状態が発生する割合が高くなるように設定することが望ましい。この割合については0%や100%を含むようにしてもよい。このような構成によれば、操作受付がなされるよりも前の時点で第1受付許容状態が発生していないことに遊技者が事前察知したとしても、第5受付許容状態が発生している可能性に期待することができるようになることから、遊技興趣の低下が抑制されうるようになる。
上述した演出例によれば、特別態様(図232(d)に示される態様)とは異なる態様で摸画像(一体化摸画像)が表示されているときに操作受付がなされた結果、該操作受付に基づいて受付許容音が途中で終了されなかった場合は、受付許容音はもとより、非抑制態様で出力状態にあったその他の音(「BGM再生の音」など)も非抑制態様での出力状態が維持されることとなる(図249を参照)。これに対し、特別態様(図232(d)に示される態様)とは異なる態様で摸画像(一体化摸画像)が表示されているときに操作受付がなされた結果、該操作受付に基づいて受付許容音が途中で終了された場合は、受付許容音だけでなく、非抑制態様で出力状態にあったその他の音(「BGM再生の音」など)も強抑制態様での出力または非出力の状態にされうる(図254を参照)。
上述した演出例によれば、大当り判定で大当りが得られている状況下において、摸画像(一体化摸画像)が表示されているときに操作受付がなされた結果、該操作受付に基づいて受付許容音が途中で終了されると、該操作受付に基づいて、「特定演出可動体を所定態様で発光させるとともに特定の演出動作を発生させる場合(図250)」と、「発光状態にあった特定演出可動体の発光領域を縮小させるか、または消灯させる処理を行うとともに、何らの演出動作も生じさせない場合(図254)」とがあるようになる。したがって、受付許容音が途中で終了された状況下における遊技興趣を好適に維持することができるようになる。なお、「特定演出可動体を所定態様で発光させるとともに特定の演出動作を発生させる場合(図250)」は、「特定演出可動体の発光領域を縮小させるか、または消灯させる処理」によって非発光とされた部分も発光させるようにすることが望ましい。
上述した各演出例や後述の各演出例において、一体化摸画像は、複数のレイヤを用いて表示されるものであってもよい。また、一体化画像ではなく、摸画像とゲージ画像とを別画像として分けて表示する場合は、それらを異なるレイヤ上に表示するようにしてもよい。
上述した各例や後述の各例では、第1許容音及び第2許容音について、互いに重なって出力される時期があるように出力させることとしたが、第1許容音が出力し終わった後に第2許容音が出力開始されるようにしてもよい。
また、上述した各例や後述の各例にかかる受付許容状態では、摸画像を、ゲージ画像GGを含む一体化摸画像IGとして表示するようにしたが、ゲージ画像GGを含む画像として必ずしも表示しなくてもよい。
上述した各例や後述の各例にかかる受付許容状態は、それぞれ大当り時の変動パターンとハズレ時の変動パターンとのいずれにおいても発生しうるものである。
上述した各受付許容状態や後述の各受付許容状態では、操作後演出が実行されるときに摸画像とは別の画像として消滅エフェクトを実行することとしたが、非自動受付態様で実行された結果として操作後演出が実行されないときに限り、摸画像これ自体のフェードアウトによって消滅エフェクトを実行するようにすることが、期待度を認識できないようにする上で望ましい。この場合は、特定レイヤに表示される摸画像これ自体が、受付許容状態にあるきの態様から変化される処理が実行されることとなる。
上述した各受付許容状態や後述の各受付許容状態では、同じ受付許容状態であったとしても、大当りに当選しているときと、大当りに落選(ハズレ)しているとき、若しくは操作後演出にかかる態様としての期待度によって、消滅エフェクトの種別を変更させるようにしてもよい。
広域型消滅エフェクトを表示画面の半分以上とし、狭域型消滅エフェクトを表示画面の半分未満としたが、「広域型消滅エフェクトの表示面積>狭域型消滅エフェクトの表示面積」であれば、必ずしも半分以上や、半分未満の条件を満たすものでなくてもよい。前演出についても同様、広域型前演出を表示画面の半分以上とし、狭域型前演出を表示画面の半分未満としたが、「広域型前演出の表示面積>狭域型前演出の表示面積」であれば、必ずしも半分以上や、半分未満の条件を満たすものでなくてもよい。
操作後演出については、液晶表示、音出力、遊技盤5に設けられたランプによる発光のいずれかのみで実行されるものであってもよい。要は、操作受付を契機として、表示や音、発光などに何らかの変化を生じさせるものであればよい。
また、「特定種別の演出音」については、通常変動中に出力されるBGM再生の音であってもよいし、複数変動にまたがって出力されるBGM再生の音であってもよい。
また、第4受付許容状態は、非自動受付態様で必ずしも実行されなくてもよく、自動受付態様で実行されるようにしてもよい。
また、第1受付許容状態で操作受付がなされたときの操作後演出(第1操作後演出)と、第4受付許容状態で操作受付がなされたときの操作後演出(第4操作後演出)とでは互いの演出内容を異ならせるようにすることが望ましい。
上述の各例や後述の各例において、消滅エフェクト(所定レイヤ)が表示されているとき、一体化摸画像IG(特定レイヤ)これ自体の視認性を低下させる処理(透過率を高くするなど)も併せて行うようにしてもよい。
上述の各例や後述の各例において、消滅エフェクト(広域型消滅エフェクト、狭域型消滅エフェクト)にかかる画像は、所定の透過率を有して表示されるものであってもよく、この場合、摸画像(一体化摸画像)の全体に重なるように表示したとしても、該摸画像(一体化摸画像)の態様を確認することは可能である。
上述した各演出例や後述の各演出例において、「狭域型前演出」とは、「背景変化(それまで表示されていた背景画像を視認できない状態にし、新たな背景画像が表示されている状態で演出が行われるようにする演出)を伴わない前演出」のこととしてもよい。この場合、「広域型前演出」とは、「背景変化(それまで表示されていた背景画像を視認できない状態にし、新たな背景画像が表示されている状態で演出が行われるようにする演出)を伴う前演出」のことを意味することとなる。背景画像は、黒一色や白一色の画像などであってもよい。
上述した各演出例や後述の各演出例において、一体化摸画像の態様として、図232(d)に示される態様についてはこれを割愛してもよい。この場合、「特別態様」は、操作手段(操作受け部を摸した摸画像これ自体の形状は同じであり、且つ周縁装飾画像の形状が異なる態様(図232(c)に示される態様)として用いられることとなる。
上述した各演出例や後述の各演出例において、摸画像(一体化摸画像)が表示される場合、該摸画像は、操作手段(操作受け部)としての「可動領域における動作」や「操作したときの挙動」を表現するかたちでこれが動的表示されることは上述した通りである。この点、このような動的表示は、操作受付がなされた以降も、非表示にされるまで特定レイヤ上で継続されるようにすることが望ましい。
上述した各演出例や後述の各演出例において、摸画像にかかる表示手法については、図232~図248や、これらの図に対応した説明文や別例に記載された内容に適宜に変更したり追加したりするようにしてもよい。また、第1受付許容状態が発生するときの摸画像、ゲージ画像、受付許容音、操作後演出については、図212~図248や、これらの図に対応した説明文や別例のうち「BGM再生の音が強抑制態様にされているなかで発生する有効期間」に関して記載された説明文や別例に対して適用されている内容に適宜に変更したり追加したりするようにしてもよい。また、第2受付許容状態が発生するときの摸画像、ゲージ画像、受付許容音、操作後演出については、図212~図248や、これらの図に対応した説明文や別例のうち「BGM再生の音が非抑制態様にされているなかで発生する有効期間」に関して記載された説明文や別例に対して適用されている内容に適宜に変更したり追加したりするようにしてもよい。
[摸画像消滅演出等についてのより詳細な演出性]
図118を参照して説明した通り、この実施の形態にかかるパチンコ機1では、始動入賞(保留消化)に応じた大当り判定の結果に基づいて複数の変動パターンのいずれを実行するかについての変動パターン判定を実行可能としている。そして、該変動パターン判定が行われた結果として一の変動パターンが選択されると、周辺制御MPU1511aでは、該選択された変動パターンに対応して用意されている複数の期待演出(予告演出など)のうちいずれの期待演出(予告演出など)を選択的に出現させるかについての演出判定(予告判定など)を実行可能としている。なお、この演出判定の結果によっては、上記選択された変動パターンに対応して用意されている複数の期待演出(予告演出など)の全てが順次実行されることとなる場合もありうるし、複数の期待演出(予告演出など)のいずれもが実行されないこととなる場合もありうる。
そして上述の通り、こうした演出判定(変動パターン判定、予告判定など)が行われると、該演出判定の結果に応じた演出内容を上記演出表示装置1600に表示させる制御を行うことで、大当り判定の結果に応じた装飾図柄による変動演出がその背景描写(背景予告)や可動体動作(役物演出)などにかかる期待演出(予告演出)とともに実行されることとなる。そしてこの結果、装飾図柄による変動演出が、その背景描写や可動体動作などにかかる期待演出とともに実行された結果、大当り図柄で停止表示されると、遊技者に対して特典としての大当り遊技や高確率遊技状態への移行が実行可能とされるようになる。
このような構成では、上記装飾図柄による変動演出が「大当り判定の結果として大当りが得られているか否かを示す機能」をもった演出として供されることとなり、その背景描写や可動体動作などにかかる期待演出が「大当りが得られていることについての期待度、すなわち割合(0%や100%を含む)を示唆する機能」をもった演出として供されることとなる。すなわち、遊技者は、これらの演出を通じて遊技を楽しむこととなる。
例えば、この実施の形態にかかるパチンコ機1では、上記変動パターン判定が行われた結果としてSPリーチ(背景変更を伴うリーチ演出など)に発展する高期待変動パターン(SPリーチ変動パターン)のうち特定の変動パターンが選択された場合は、演出判定(予告判定など)としていずれの結果が得られたとしても、該特定の変動パターンに基づく図柄演出がSPリーチ中における特定タイミングまで進展すると(所定条件が成立すると)、演出受付が許容される受付許容状態(有効期間)を発生可能としている。
また上述の通り、この実施の形態にかかるパチンコ機1では、上記変動パターン判定が行われた結果としてリーチ状態すら形成されない低期待変動パターン(非リーチ変動パターン)のうち所定の変動パターンが選択された場合であっても該所定の変動パターンに対応する演出判定(予告判定など)で特別結果が得られたときには、該所定の変動パターンに基づく図柄演出が所定タイミングまで進展すると(所定条件が成立すると)、演出受付が許容される受付許容状態(有効期間)を発生可能としている。ただし、所定の変動パターンが選択された場合は、演出判定で特別結果が得られなければ該所定の変動パターンに基づく図柄演出が所定タイミングまで進展されても受付許容状態(有効期間)は発生しない。また、所定の変動パターンで発生する受付許容状態(有効期間)は、特定の変動パターンに基づく図柄演出がSPリーチ中における特定タイミングまで進展したときに発生する受付許容状態(有効期間)とは異なる演出として実行されるものである。
なお、予告演出判定としていずれの結果が得られたとしてもSPリーチ中における予め定められたタイミングになると受付許容状態(有効期間)を発生させる変動パターンについては、上記「特定の変動パターン」以外にも備えるようにしてもよい。ただし、予告演出判定としていずれの結果が得られたとしても予め定められたタイミングになると受付許容状態(有効期間)を発生させる変動パターンについては、低期待変動パターン(非リーチ変動パターン)には含まれないようにするか、若しくはその選択割合を低くするようにすることが望ましい。
ところで、これらの条件等で発生しうる受付許容状態(有効期間)とは、その設定時間(有効期間)内で遊技者による操作が検出されさえすれば、演出対象とされる演出部材に対して予め定められた変化(演出表示装置1600における表示変化、スピーカにおける演出音変化、ランプによる発光変化、及び可動装飾体による演出動作の少なくとも1つ)を発生させる受付後演出(操作後演出)が実行されるだけであるから、受付許容状態(有効期間)これ自体の演出性は乏しいものとなっており、受付期間に関連した遊技興趣の低下が懸念される。
なお、上述した各例や後述の各例も含めて、検出対象となる「遊技者による操作」とは、「操作ボタン410」や「刀装飾体5001」などのような、遊技者によって直接操作(押下動作や抜刀動作)されるものに限られず、タッチセンサでの検出対象となる「特定部位に対する遊技者による接触動作」や、非接触センサでの検出対象となる「特定空間内における遊技者による動作」なども含む意味である。要は、遊技者による動作(押下動作や、抜刀動作、タッチ動作、非接触動作など)を演出に供されるように受付対象とする1または複数の受付手段(操作手段)を備えるものであればよい。
そこで、この実施の形態にかかるパチンコ機1では、例えば、以下のような特殊な演出性を持たせるようにしている。なお、以下に説明する各演出性(各構成)については、それら構成の全てを必ずしも備えなくてもよく、例えば、いずれか1つの演出性(任意の構成)を少なくとも備えるものであっても遊技興趣を低下させることが可能であるし、若しくは、さらなる作用効果を得る上で必要と思われるいくつかの構成を選択的に備えるようにしてもよいし、若しくは別構成に対して適用可能として記載されている構成を適宜に採用するようにしてもよい。さらに言えば、以下に説明する各演出性(構成)については、例示に過ぎず、受付期間に関連した遊技興趣の低下を抑制可能な何らかの構成を備えるものであればよい。
[構成1]
例えば、この実施の形態にかかるパチンコ機1では、まず、表示画面(演出表示装置1600)内の所定領域を用いて表示される摸画像表示については、遊技者による動作が受付けされたことに基づいて演出が進行された以降(受付けに基づく演出変化が開始された以降)も表示されうるようにしており、これによって受付けされたことに基づいて演出が進行された以降も、摸画像表示が受付期間内においていずれの態様(例えば、図232(a)~(d))で表示されていたのかを遊技者が把握可能とされるようにしている。
また、この実施の形態にかかるパチンコ機1では、受付けされたときに進行される演出内容(受付後演出としての会話予告、カットイン予告、可動体予告などであり、予告演出(期待度示唆演出)の種別)が異なる複数の受付期間(有効期間)を用意しており、判定(演出判定)の結果に応じた種別の受付期間(有効期間)を発生可能とするものとなっている。
この点、パチンコ機1では、後述するが、特定受付期間内において遊技者による動作が受付けされた場合は、該受付けがなされたことに基づいて特定の受付後演出画像を「演出表示装置1600」において表示可能であるとともに、該特定の受付後演出画像とは別に特定態様を出現可能であり、該特定態様が出現すると摸画像表示が視認し難くなるようにしている。すなわちこの場合、受付けがなされた以降も、摸画像表示としていずれの態様が現れていたのかを確認することが可能であることはもとより、摸画像表示が非表示にされるまでの間に特定態様によってその視認性を低下させるようにしたことで、「摸画像表示」から「特定の受付後演出画像」へと遊技者による注視対象が自然に移されるように促すことが期待されるようになる。
ただし、摸画像表示とは、本来、受付けが未だなされていない受付期間内において表示されるものであることから、受付けがなされた以降も当該摸画像表示を表示するようにした場合、受付けに応じた特定の受付後演出画像が表示済みの状態にあるのか否かを認識し難くなり、遊技興趣が低下する懸念がある。この点、後述するが、この実施の形態にかかるパチンコ機1にあって、摸画像表示は、特定態様が現れているなかで非表示(視認不能)にされる一方で、特定の受付後演出画像は、特定態様が現れているなかで表示されるようにしている。すなわちこの場合、遊技者による動作の受付けがなされた以降、特定態様が現れているなかで、受付前表示(摸画像表示)から受付後表示(特定の受付後演出画像)への表示演出にかかる移行が実現されるようになることから、特定態様が出現する前の状況にあるのか、それとも特定態様が出現し終わった状況にあるのかを確認するだけで、受付前表示(摸画像表示)から受付後表示(特定の受付後演出画像)への表示演出にかかる移行がし終わった状態にあるのか否かを容易に認識することができるようになる。
また後述するが、パチンコ機1にあって、上記特定態様及び上記特定の受付後演出画像はいずれも受付けがなされたことに基づいて出現するものであるが、上記特定態様は、上記特定の受付後演出画像が表示されるよりも前の、該特定の受付後演出画像が未だ表示されていない状況下において出現するものとなっている。すなわちこの場合、特定の受付後演出画像が未だ表示されていない状況下において、摸画像表示が上記特定態様によって視認し難くされるようになることから、摸画像表示を視認可能としつつも、特定の受付後演出画像が間もなく出現しうる状態にあり、遊技者による注視先を「視認し難くされた摸画像表示」から変更するよう、心の準備を整えるように事前に促すことができるようになる。
[構成2]
また後述するが、この実施の形態にかかるパチンコ機1では、上記複数の受付期間(有効期間)のうち第1受付期間(有効期間)内において遊技者による動作(操作)が受付けされた場合、該受付けがなされたことに基づいて第1の受付後演出画像を表示可能であるとともに、該第1の受付後演出画像とは別に、摸画像表示が視認し難くなる態様(第1演出態様)を出現可能である。また、上記複数の受付期間(有効期間)のうち第2受付期間内において遊技者による動作が受付けされた場合、該受付けがなされたことに基づいて上記第1の受付後演出画像とは異なる第2の受付後演出画像を表示可能であるとともに、該第2の受付後演出画像とは別に、摸画像表示が視認し難くなる態様として上記第1受付期間の場合とは異なる態様(第2演出態様)を出現可能である。上記「特定態様」は、第1演出態様及び第2演出態様のいずれかに相当するものであってもよいし、いずれにも相当しないものであってもよい。
このような構成によれば、受付後演出画像として「第1の受付後演出画像」及び「第2の受付後演出画像」のいずれが表示されたかを確認せずとも、摸画像表示が視認し難くなる態様がいかなる態様であったのかを確認するだけで、受付後演出画像の種別(第1の受付後演出画像、第2の受付後演出画像)を推測することができるようになる。すなわち、摸画像表示が視認し難くなる態様(第1演出態様、第2演出態様)とは、「演出表示装置1600の表示画面」内の摸画像表示が表示される所定領域と少なくとも一部が重複する特定領域にて表示される画像(出現開始時から全部と重複する場合は、所定の透過率が設定されることとなる)として実現されるものであるか、摸画像表示と正面視で重なる位置にある所定の演出体を利用した演出(例えば、可動体演出など)として実現されるものであることは言うまでもない。したがって、受付けされた以降も摸画像表示から注視先を変更しない遊技者がいたとしても、その注視先に(摸画像表示と重なるように)現れる態様の種別(第1演出態様、第2演出態様)を確認することができるようになり、これによって注視先を変更しないままで受付後演出の種別(第1の受付後演出画像、第2の受付後演出画像)を推測することができるようになる
また後述するが、この実施の形態にかかるパチンコ機1では、上記複数の受付期間(有効期間)のうち第3受付期間(有効期間)内において遊技者による動作(操作)が受付けされた場合、該受付けがなされたことに基づいて第1の受付後演出画像及び第2の受付後演出画像のいずれとも異なる第3の受付後演出画像を表示可能であるが、該第3の受付後演出画像とは別に、摸画像表示を視認し難くする演出態様として上記第1受付期間にも対応する上記第1演出態様を出現可能としている。
このような構成によれば、摸画像表示を視認し難くする態様として、第1演出態様が出現すると、第1、第3の受付後演出画像のいずれが出現されるか不明とされるが、摸画像表示を視認し難くする態様として、第2演出態様が出現すると、第2の受付後演出画像が出現することが推測可能とされるようになる。すなわちこの場合、例えば、第1演出態様が出現すると、第2の受付後演出画像が出力される可能性が否定されたことを認識可能であるが、第1、第3の受付後演出画像のいずれが出現されるかについては不明とされて、いずれが出現されるかについての興味を遊技者に抱かせることができるようになることから、摸画像表示を視認し難くする態様が現れたときの演出性や緊張感を保持しつつ、受付後演出が実行されている箇所への注視先移行を好適に促すことができるようになる。
なおここでは、受付後演出として「受付後演出画像」を例示して説明したが、例えば、受付後演出として「ランプ発光」や「可動体動作」などが第1受付期間と第2受付期間とで異なる態様で実行される場合(若しくは、一方の受付期間内で受付けがあったときには実行されるが、他方の受付期間内で受付けがあったときには実行されない)であれば、上記説明した「受付後演出画像」を「ランプ発光」や「可動体動作」に置き換えることも可能である。いずれにせよ、上述の「注視先を変更しなくても受付後演出の種別を推測することができるようになる」といった作用効果に鑑みれば、受付後演出については、摸画像表示が表示される箇所とは正面視でずれており、重ならない位置(遊技者が摸画像表示が表示されている位置から注視先を変えなければ確認できない位置)で実行されるものとして実現されることとなる。また、受付けされたことに基づいて「受付後演出画像」、「ランプ発光」、及び「可動体動作」などの複数の受付後演出が並行される場合は、それら受付後演出の少なくとも1つが上記「受付後演出」として相当するものであれば、上述の作用効果は奏されるといえる。
受付けされたことに基づいて「受付後演出画像」、「ランプ発光」、及び「可動体動作」などの複数の受付後演出(複数の受付後態様)が並行される場合、それら受付後演出(受付後態様)の少なくとも1つを「受付後演出」として相当させることが可能である点については、上述した各演出例のほか、後述の各演出例についても適用可能である。
[構成3]
また後述するが、この実施の形態にかかるパチンコ機1では、受付期間(特定の受付期間)内において遊技者による動作が受付けされた場合、該受付けがなされたことに基づいて受付後演出(の一態様)として特別演出態様を実行可能としており、該特別演出態様の実行期間中、摸画像表示が相対的に視認し易い状態と、摸画像表示が相対的に視認し難い状態とがあるようにしている。
すなわちこの場合、受付けがなされたことに基づいて特別演出態様(受付後演出)の実行が開始された以降も、摸画像表示としていずれの態様が現れていたのかを確認することが可能とされる。また、特別演出態様(受付後演出)の実行期間中、摸画像表示を相対的に視認し難い状態とされるようにしたことで、「摸画像表示」から「特別演出態様(受付後演出)」へと遊技者による注視対象が自然に移されるように促すことが期待されるようになる。
なお、パチンコ機1にあって、上記特別演出態様(受付後演出)とは、受付けされる前から継続表示(視認し易い状態で表示)されている摸画像表示の視認性に影響を及ぼさないように実行開始されるものである。より具体的には、摸画像表示は、表示画面(演出表示装置1600)内の所定領域で表示されるものであるが、特別演出態様(受付後演出)は、該所定領域の少なくとも一部を利用して表示される画像表示でないし、該所定領域の少なくとも一部と正面視で重なる位置で実行される演出でもないものである。これにより、特別演出態様(受付後演出)の実行期間中、摸画像表示を相対的に視認し難い状態とされるようにしたことで、「摸画像表示」から「特別演出態様(受付後演出)」へと遊技者による注視対象が自然に移されるように促すことが期待されるようになる。
例えば、この実施の形態にかかるパチンコ機1では、特定の受付期間内で受付けがなされると、該受付けされたことに基づいて少なくとも特別演出態様と所定演出態様とが並行される状態が現れるものとなっている。ただし、所定演出態様は、特別演出態様が実行開始された後に(該特別演出態様に遅れて)、摸画像表示の視認性に悪影響を及ぼす(摸画像表示を視認し難くする)ように実行開始されるものとなっている。これにより、特別演出態様(受付後演出)の実行期間中、摸画像表示を相対的に視認し難い状態とされるようにしたことで、「摸画像表示」から「特別演出態様(受付後演出)」へと遊技者による注視対象が自然に移されるように促すことが期待されるようになる。
なお、所定演出態様を出現させる処理も、受付けがなされたことに基づいて実行開始されるものである。したがって、受付後演出を、少なくとも特別演出態様及び所定演出態様を含む複数の受付後演出(複数の受付後態様)が並行されるものとし、所定演出態様を、受付後演出の一態様として実現するようにしてもよい。いずれにせよ、この構成例で説明した所定演出態様については、摸画像表示が表示される所定領域の少なくとも一部を利用して表示される画像表示であるか、または該所定領域の少なくとも一部と正面視で重なる位置にある演出体を利用して実行される演出として実現されることとなる。
[構成4]
その一方で、この実施の形態にかかるパチンコ機1では、後述するが、受付期間(特定の受付期間)内において遊技者による動作が受付けされた場合、摸画像表示が表示されているなかで、該摸画像表示の表示対象領域である上記所定領域の少なくとも一部を含む特定領域を用いて、摸画像表示を視認し難くする態様としての「特定の消滅演出表示」を表示可能であり、摸画像表示は、該特定の消滅演出表示が表示開始された以降、該特定の消滅演出表示が表示されているなかで非表示にされるようにしている。
すなわちこの場合、受付けがなされた以降も、摸画像表示としていずれの態様が現れていたのかを確認することが可能とされる。また、摸画像表示が非表示にされるまでの間に特定の消滅演出表示によって該摸画像表示の視認性が低下され、該視認性が低下されているなかで摸画像表示が非表示にされるようになることから、摸画像表示が非表示にされるまでの残り時間が少ないことが示唆されうるようになり、該摸画像表示が非表示にされたときの遊技興趣の低下が抑制されうるようになる。
また後述するが、パチンコ機1にあって、上記特定の消滅演出表示は、摸画像表示が非表示にされた以降の期間においても表示されうるものであり、少なくとも該特定の消滅演出表示が表示されているなかで、受付後演出が実行開始されるようにしている。そして、該受付後演出については、該特定の消滅演出表示の表示対象領域である上記特定領域の少なくとも一部を用いて表示されるものであるか、または該特定の消滅演出表示(の少なくとも一部)と正面視で重なる位置にある演出体を利用して実行されるものとして実現されるようにしている。
このような構成によれば、受付後演出のうち、特定の消滅演出表示と正面視で重なる位置で実行される特定の受付後演出については、特定の消滅演出表示が表示されている位置から注視先を移行させなくても認識可能とされるようになる。すなわちこの場合、特定の消滅演出表示が表示された時点で、特定の受付後演出の態様を把握するために注視先を変更しなくてもよいことが認識可能とされるようになることから、遊技興趣を好適に維持することができるようになる。
[構成5]
また上述の通り、パチンコ機1にあって、受付期間(特定の受付期間)において遊技者による動作が受付けされてから摸画像表示が非表示の状態にされるまでの期間内では、特定態様が出現する場合があり、該特定態様が出現すると前記摸画像表示が視認し難くなるようになっている。この点、後述するが、この実施の形態にかかるパチンコ機1では、当落判定の結果が特別結果(例えば、大当りや、確変大当りなど)であることに基づいて前兆演出表示が特定前兆態様で実行されて該前兆演出表示に対応する受付期間内において遊技者による動作が受付けされた場合、上記特定態様は、該受付けされたときから上記摸画像表示が非表示の状態にされるまでの期間内において出現可能とされるようにしている。
すなわちこの場合、前兆演出表示が特定前兆態様で実行された時点で、摸画像表示が非表示にされるまでの間に特定態様が現れて摸画像表示が視認し難くされることを認識しうるようになることから、遊技者による動作を行うまでの間に摸画像表示がいずれの態様で現れているのかにより注視させるように促すことができるようになる。なお、構成5にかかる「特定態様」と、構成1にかかる「特定態様」とは同じ態様であってもよいし、異なる態様であってもよいし、異なる受付期間に対応して発生するものであってもよい。
また後述するが、パチンコ機1では、当落判定の結果が特別結果(例えば、大当りや、確変大当りなど)であることに基づいて前兆演出表示が上記特定前兆態様とは異なる態様で実行されて該前兆演出表示に対応する受付期間(特定の受付期間とは異なる受付期間)内において遊技者による動作が受付けされた場合、上記特定態様は、該受付けされたときから摸画像表示が非表示の状態にされるまでの期間内において出現する場合と、該期間内において出現しない場合とがあるようになっている。
このような構成によれば、前兆演出表示が特定前兆態様とは異なる態様で実行された場合には、上記特定態様が、該受付けされたときから摸画像表示が非表示の状態にされるまでの期間内において出現するか否かが不明とされるようになることから、受付けされた以降、摸画像表示が非表示の状態にされるまでの間の演出性が向上されるようになり、緊張感を好適に維持することができるようになる。
なお、上記構成5については、下記構成に置き換えて実現するようにしてもよいし、上記構成5とは別の構成(受付期間)として備えるようにしてもよい。すなわち上述の通り、パチンコ機1にあって、受付期間(特定の受付期間、または特定の受付期間とは異なる受付期間)において遊技者による動作が受付けされてから摸画像表示が非表示の状態にされるまでの期間内では、特定態様が出現する場合があり、該特定態様が出現すると摸画像表示が視認し難くなるようになっている。この点、この実施の形態にかかるパチンコ機1では、当落判定の結果が特別結果(例えば、大当りや、確変大当りなど)であることに基づいて前兆演出表示が特別前兆態様(特定前兆態様と同じでもよい)で実行されて該前兆演出表示に対応する受付期間内において遊技者による動作が受付けされた場合、上記特定態様は、該受付けされたときから上記摸画像表示が非表示の状態にされるまでの期間内において出現可能とされないようにする。すなわちこの場合、前兆演出表示が特別前兆態様で実行された時点で、摸画像表示が非表示にされるまでの間に特定態様が現れず該特定態様との関係で摸画像表示が視認し難くされることがないことを認識しうるようになる。
そしてこの場合、パチンコ機1では、当落判定の結果が特別結果(例えば、大当りや、確変大当りなど)であることに基づいて前兆演出表示が上記特別前兆態様とは異なる態様で実行されて該前兆演出表示に対応する受付期間(上記受付期間とは異なる受付期間)内において遊技者による動作が受付けされた場合、上記特定態様は、該受付けされたときから摸画像表示が非表示の状態にされるまでの期間内において出現する場合と、該期間内において出現しない場合とがあるようにされることとなる。このような構成であっても、前兆演出表示が特別前兆態様とは異なる態様で実行された場合には、上記特定態様が、該受付けされたときから摸画像表示が非表示の状態にされるまでの期間内において出現するか否かが不明とされるようになることから、受付けされた以降、摸画像表示が非表示の状態にされるまでの間の演出性が向上されるようになり、緊張感を好適に維持することができるようになる。
これらの変形例(置き換え例)にかかる構成については、上記構成5に対して適用可能な上述または後述の各構成を適宜に適用することが可能である。
[構成6]
また、この実施の形態にかかるパチンコ機1では、遊技者による動作が受付対象とされる受付期間がまもなく発生することを示唆する前兆表示演出として、複数種別を用意している。そして、複数種別の前兆演出表示のうち特定の前兆演出表示は、これに対応する受付期間が発生するタイミングに跨るかたちで実行可能とされており、該特定の前兆演出表示が表示されているなかで遊技者による動作が受付けされうるようにしている。
すなわちこの場合、前兆演出表示としていずれの種別(態様)が表示されているのかを確認可能としたままで遊技者による動作が受付けされうるようになることから、前兆演出表示の種別(態様)を確認し忘れることによる遊技興趣の低下が抑制されうるようになる。
また、パチンコ機1では、特定の前兆演出表示が表示されているなかで遊技者による動作が受付けされると、該受付けされたことに応じた受付後演出(例えば、特別の受付後演出)が実行開始されるが、該受付後演出が実行開始された時点においても特定の前兆演出表示は非表示とされず表示されるものとなっている。
すなわちこの場合、前兆演出表示としていずれの種別(態様)が表示されているのかを確認可能としたままで遊技者による動作が受付けされ、さらには該受付けに応じた受付後演出が実行開始されるようになることから、前兆演出表示の種別(態様)を確認し忘れることによる遊技興趣の低下が抑制されうるようになる。
[構成7]
また、この実施の形態にかかるパチンコ機1では、受付期間(例えば、特定受付期間など)の発生に際して、受付手段による受付けが許容される状態になっていること、または受付手段による受付けが許容される状態に(間もなく)なることを示唆する受付許容音を可聴にする処理を実行可能としていることから、遊技者が受付けのための動作をし忘れてしまうことが抑制されるようになる。
受付許容音とは、これに対応する受付期間の発生前から可聴とされるもの(間もなく受付期間が発生することを示唆するもの)として実現される場合であっても、受付期間の発生タイミングを跨るかたちで可聴状態にされ、受付期間内においても少なくともその途中までは可聴状態にされうるものである。なお、音調設定値が「0」に設定可能なパチンコ機1の場合は、音量設定値が「0」にされた状況下においては、受付許容音は、出力こそされるものの、可聴状態にはされないこととなる。
また、パチンコ機1では、受付期間(例えば、特定受付期間など)内において受付許容音が可聴(出力状態)にされているなかで遊技者による動作が受付けされた場合、上記「摸画像表示が視認し難くなる態様(消滅演出表示など)」が現れるよりも前の、該「摸画像表示が視認し難くなる態様(消滅演出表示など)」が未だ現れてていない状態において上記受付許容音を非可聴の状態にするための処理を実行開始するようにしている。
すなわちこの場合、受付けされた以降、「摸画像表示が視認し難くなる態様」が未だ現れていない状況下であっても、受付期間が既に終了した状況にあることについてはこれを遊技者に対して好適に示唆することができるようになる。これにより、受付けされた以降、「摸画像表示が視認し難くなる態様」が現れるタイミングを遅延させても不都合が生じ難くなることから、視認良好な態様で摸画像表示を表示することができるようになる
[構成8]
また、パチンコ機1では、上述の通り、受付期間として、第1受付期間と第2受付期間を含む複数の受付期間(受付後演出が異なる複数の受付期間)が用意されている。そして、摸画像表示が表示されているなかで遊技者による動作が受付けされてから該摸画像表示が非表示の状態にされるまでの間には、該摸画像表示が視認し難くなる態様が現れるようになっている。この点、この実施の形態にかかるパチンコ機1では、第1受付期間において摸画像表示が表示されているなかで遊技者による動作が受付けされた場合と、第2受付期間において摸画像表示が表示されているなかで遊技者による動作が受付けされた場合とのいずれにおいても、摸画像表示が非表示の状態にされるまでの間に「摸画像表示が視認し難くなる態様」が現れるようにしている。
すなわちこの場合、第1受付期間と第2受付期間とのいずれであっても、受付けがなされた以降、摸画像表示としていずれの態様が現れていたのかを確認可能としつつ、受付期間が終了した状態にあることを示唆することができるようになる。なお、構成8にかかる「第1受付期間」及び「第2受付期間」は、上記構成2にかかる「第1受付期間」及び「第2受付期間」と同じ種別の受付期間であってもよいし、互いに異なる種別の受付期間であってもよい。
また後述するが、パチンコ機1では、「摸画像表示が視認し難くなる態様」として、第1態様及び第2態様を含む複数態様を用意しており、第1受付期間では第1態様が現れ、第2受付期間では第2態様が現れるようにしていることから、「摸画像表示が視認し難くなる態様」に受付期間の種別に関連した演出性を持たせることができるようになる。
また後述するが、パチンコ機1では、「摸画像表示が視認し難くなる態様」として、第3態様がさらに用意されており、第1受付期間では、当該期間内で受付されたか否かにかかわらず第1態様が現れうるが、第2受付期間では、当該期間内で受付されたときに第2態様が現れ、当該期間内で受付されなかったときに第3態様が現れるようにしている。
このような構成によれば、第2受付期間では、出現した「摸画像表示が視認し難くなる態様」を基に、受付期間内で遊技者による動作が受付けされたのか否かを判断することが可能であるが、第1受付期間では、出現した「摸画像表示が視認し難くなる態様」を基に、受付期間内で遊技者による動作が受付けされたのか否かを判断することができないようになり、このような演出性を通じて遊技興趣の向上を図ることが期待されるようになる。
なお、上述の各演出例または後述の各演出例において、「摸画像表示が視認し難くなる態様」とは、摸画像表示が表示される所定領域の少なくとも一部を含む特定領域に消滅演出表示が表示される態様や、摸画像表示が表示される所定領域の少なくとも一部と正面視で重なる位置にある演出体を利用した演出が実行される態様のほか、該摸画像表示これ自体を視認し難い表示(例えば、表示を小さくしたり、ぼけさせたり、透過率の設定変更など)に変化(変更)して表示する態様であってもよい。
[構成9]
また、パチンコ機1では、上述の通り、受付期間(例えば、特定受付期間など)の発生に際して、受付手段による受付けが許容される状態になっていること、または受付手段による受付けが許容される状態に(間もなく)なることを示唆する受付許容音を可聴にする処理を実行可能としていることから、遊技者が受付けのための動作をし忘れてしまうことが抑制されるようになる。
またこれも上述の通り、パチンコ機1では、遊技者による動作を受付対象とする受付期間がまもなく発生することを示唆する前兆表示演出として、複数種別を用意している。そして、複数種別の前兆演出表示のうち特定の前兆演出表示は、これに対応する受付期間が発生するタイミングに跨るかたちで実行可能とされており、該特定の前兆演出表示が表示されているなかで遊技者による動作が受付けされうるようにしている。すなわちこの場合、前兆演出表示としていずれの態様が表示されているのかを確認可能としたままで遊技者による動作が受付けされうるようになることから、前兆演出表示の態様を確認し忘れることによる遊技興趣の低下が抑制されうるようになる。なお、当該構成9にかかる「特定の前兆演出表示」は、構成6にかかる「特定の前兆演出表示」と同じであってもよいし、異なる種別(態様)の前兆演出表示であってもよい。
またさらに、後述するが、この実施の形態にかかるパチンコ機1では、特定の前兆演出表示については、遊技者による動作の受付けに応じた演出(受付後演出)が進行された以降も表示が行われるようにすることで、受付けがなされた以降も、前兆演出表示としていずれの態様が現れていたのかを遊技者側が確認可能とされるようにしている。
ただし、前兆表示演出とは、本来、受付けが許容されていない状態(受付期間の発生前)において表示されるものであることから、該前兆表示演出が表示されている状態で遊技者による動作が行われたとしても、遊技者側としては、該動作が受付けされたのかについての不安を覚えかねない。それにもかかわらず、受付けがなされた以降も、前兆演出表示を単純に表示するようなことがあれば、受付けがなされた状態にあるのか否かを認識し難いことによる遊技興趣の低下が懸念される。
そこで、この実施の形態にかかるパチンコ機1では、後述するが、特定の前兆演出表示が表示されているなかで遊技者による動作が受付けされた場合、該受付けがなされた以降も特定の前兆演出表示を表示するが、該特定の前兆演出表示が表示されているなかで該特定の前兆演出表示が視認し難くなる態様を出現させる。そして、該態様が出現された後、特定の前兆演出表示が視認し難くされているもとで該特定の前兆演出表示を非表示にするようにしている。
すなわちこの場合、受付けがなされた以降も、前兆演出表示としていずれの態様が現れていたのかを確認可能としつつ、前兆演出表示が非表示にされるまでの間にその視認性を低下させるようにしたことで、受付けが既になされた状態にあることについてもこれを好適に示唆することができるようになる。
[構成10]
また、パチンコ機1では、上述の通り、受付期間が発生する図柄変動(変動パターン)と受付期間が発生しない図柄変動(変動パターン)とをそれぞれ実行可能としている。この点、この実施の形態にかかるパチンコ機1では、受付期間が発生する図柄変動(変動パターン)と受付期間が発生しない図柄変動(変動パターン)とのいずれにおいても、表示画面(演出表示装置1600)内においては所定の画像表示が表示されうるようになっており、且つ摸画像表示は、遊技者による動作が受付けされたことに基づいて演出が進行された以降も表示されうるものとなっている。そして、受付期間内において遊技者による動作が受付けされた場合、摸画像表示が表示されているなかで、該摸画像表示が視認し難くする態様を出現させるようにしており、「摸画像表示が視認し難くなる態様」は、受付期間が発生しない図柄変動においても表示されうる上記所定の画像表示の視認性に影響を及ぼさないように実行されるものとするようにしている。
すなわちこの場合、受付期間とは関係のない所定の画像表示の視認性についてはこれに影響を及ぼさないように特定の消滅演出表示が表示されることとなることから、受付期間と直接的に関係しない演出性に悪影響を及ぼすことなく遊技を進行させることができるようになる。
ただし後述するが、この実施の形態にかかるパチンコ機1では、受付期間(発生中の受付期間)とは演出的な関連性のない画像表示として、少なくとも第1画像表示(所定の画像表示)と第2画像表示とを受付期間内においてそれぞれ表示可能としており、上記特定の消滅演出表示は、第1画像表示(所定の画像表示)の視認性には影響を及ぼさないが、第2画像表示(保留)の視認性には影響を及ぼすように表示されるものとしている。
このような構成によれば、受付期間と直接的に関係しない画像表示とは言え、その種別によって、「摸画像表示が視認し難くなる態様」が現れたときに視認性に影響を及ぼされる場合と、視認性に影響を及ぼされない場合とが生じるようになることから、遊技者による動作が行われるに際しては、受付期間と直接的に関係しない画像表示についてもこれを確認しておくべきか否かについての演出性を提供することができるようになる。
ただしこの場合、第1画像表示については、当該図柄変動の当落(期待度)に関わる(示唆する)画像(複数の態様)として表示されるものとし、第2画像表示については、当該図柄変動の当落(期待度)に関わらない(示唆しない)表示として表示されるものとするようにすることが、第2画像表示の視認性に影響が及ぼされたときに遊技興趣が低下することを回避する上で望ましいと言える。
なお、「摸画像表示が視認し難くなる態様」として、表示画面(演出表示装置1600)内に表示される「特定の消滅演出表示」を用いる場合は、受付期間内において遊技者による動作が受付けされた場合、摸画像表示が表示されているなかで、該摸画像表示の表示対象領域である上記表示画面(演出表示装置1600)内の所定領域の少なくとも一部を含む特定領域を用いて特定の消滅演出表示を表示することとなる。
[構成11]
また、パチンコ機1では、上述の通り、受付期間が発生する図柄変動(変動パターン)と受付期間が発生しない図柄変動(変動パターン)とをそれぞれ実行可能としている。また、これも上述の通り、パチンコ機1では、受付期間が発生する図柄変動(変動パターン)と受付期間が発生しない図柄変動(変動パターン)とのいずれにおいても、表示画面(演出表示装置1600)内においては所定の画像表示が表示されうるようになっており、且つ摸画像表示は、遊技者による動作が受付けされたことに基づいて演出が進行された以降も表示されうるものとなっている。当該構成11における「所定の画像表示」は、上記構成10における「所定の画像表示」と同じであってもよいし、異なる画像表示であってもよい。この点、この実施の形態にかかるパチンコ機1では、受付期間内において遊技者による動作が受付けされた場合、摸画像表示が表示されているなかで、該摸画像表示が視認し難くなる態様を出現可能であり、該摸画像表示が視認し難くなる態様として、第1態様及び第2態様を含む複数態様を用意することとしている。
すなわちこの場合、「摸画像表示が視認し難くなる態様」として第1態様及び第2態様を含む複数態様のいずれかが現れるようになることから、摸画像表示が視認し難くなるときの遊技興趣の向上を図ることが期待されるようになる。
また、この実施の形態にかかるパチンコ機1では、「摸画像表示が視認し難くなる態様」としての「第1態様」が実行された場合、該「第1態様」は、摸画像表示と所定の画像表示との両方を視認し難くするが、「摸画像表示が視認し難くなる態様」としての「第2態様」が実行された場合、該「第2態様」は、摸画像表示と所定の画像表示とのうち摸画像表示だけを視認し難くするように実行されるものとなっている。
このような構成によれば、「摸画像表示が視認し難くなる態様」として「第1態様」及び「第2態様」のいずれが現れるかについての演出性が生み出されるようになることから、遊技興趣の向上を図ることが期待されるようになる。
なお、摸画像表示及び所定の画像表示は、上記「第1態様」に対応する種別の受付期間と、上記「第2態様」に対応する種別の受付期間とのいずれが発生している状態においても表示されうるものとすることが、遊技興趣の向上を図る上で望ましい。
[構成12]
また上述の通り、パチンコ機1では、
・受付手段(例えば、操作ボタン410)による受付けが許容される第1受付期間を発生可能であり、該第1受付期間内において遊技者による動作が受付けされると、該受付けがなされたことに基づいて、期待度(大当り図柄が停止される割合)が異なる複数態様のいずれかで第1受付後演出表示を実行可能な第1受付演出実行手段、及び
・受付手段(例えば、操作ボタン410であってもよいし、操作ボタン410とは異なる刀装飾体5001であってもよい)による受付けが許容される第2受付期間を発生可能であり、該第2受付期間内において遊技者による動作が受付けされると、該受付けがなされたことに基づいて、期待度(大当り図柄が停止される割合)が異なる複数態様のいずれかで第2受付後演出表示を実行可能な第2受付演出実行手段
を備えている。なお、期待度(大当り図柄が停止される割合)については、0%や100%であってもよい。また、第1受付後演出表示及び第2受付後演出表示は、予告演出としての種別が異なる表示として実行されるものである。また、構成12にかかる「第1受付期間」及び「第2受付期間」は、上記構成2,8にかかる「第1受付期間」及び「第2受付期間」と同じ種別の受付期間であってもよいし、互いに異なる種別の受付期間であってもよい。
また、これも上述の通り、パチンコ機1では、上記第1受付期間内において遊技者による動作が受付けされた場合と、上記第2受付期間内において遊技者による動作が受付けされた場合とのいずれにおいても、該受付けがなされた以降、摸画像表示が表示されているなかで、該摸画像表示が視認し難くなる態様を出現可能としている。
すなわちこの場合、受付期間の種別にかかわらず、受付けがなされた以降も、摸画像表示としていずれの態様が現れていたのかを確認することが可能とされる。また、摸画像表示が非表示にされるまでの間に該摸画像表示の視認性が低下されることから、摸画像表示が非表示にされるまでの残り時間が少ないことが示唆されうるようになり、該摸画像表示が非表示にされたときの遊技興趣の低下が抑制されうるようになる。
また後述するが、この実施の形態にかかるパチンコ機1にあって、上記第1受付期間では、第1受付後演出表示として第1態様が実行される場合と、第1受付後演出表示として第1態様よりも期待度の高い第2態様が実行される場合とのいずれであっても、「摸画像表示が視認し難くなる態様」として同じ態様が現れる。これに対し、上記第2受付期間では、第2受付後演出表示として第1態様よりも期待度の高い第2態様(または第2態様よりも期待度の低い第1態様)が実行される場合は、「摸画像表示が視認し難くなる態様」として特定態様が現れるが、第2受付後演出表示として第1態様(または第2態様)が実行される場合は、「摸画像表示が視認し難くなる態様」として特定態様は現れず該特定態様とは異なる態様が現れるか、または「摸画像表示が視認し難くなる態様」これ自体が現れないようにしている。なお、期待度(大当り図柄が停止される割合)については、0%や100%であってもよいことは上述した通りである。
このような構成によれば、受付期間の種別によって、「摸画像表示が視認し難くなる態様」を確認するだけで、受付後演出表示としての期待度を推測することができる場合と、該期待度を推測することができない場合とが生じるようになることから、このような「摸画像表示が視認し難くなる態様」にかかる演出性によって遊技興趣の向上を図ることが期待されるようになる。
なお、「摸画像表示が視認し難くなる態様」として、第2受付期間に対応して発生しうる「特定態様」については、第1受付期間に対応する「摸画像表示が視認し難くなる態様」としては出現し得ないものとするようにすれば、「摸画像表示が視認し難くなる態様」に基づいて受付期間の種別を推測することができるようになり、遊技興趣の向上を図ることができるようになる。このような作用効果を得る上では、「摸画像表示が視認し難くなる態様」として、第1受付期間に対応して発生しうる「態様」については、第2受付期間に対応する「摸画像表示が視認し難くなる態様」としては出現し得ないものとするようにすることがより望ましい。
ただし、「摸画像表示が視認し難くなる態様」として、第1受付期間に対応して発生しうる「態様」と、第2受付期間に対応して発生しうる「態様」とで同じ態様が現れうるようにしてもよい。
[構成13]
また、この実施の形態にかかるパチンコ機1では、受付期間の発生に関連して少なくとも該受付期間内において受付関連演出表示(摸画像表示や、ゲージ画像など)を表示可能であり、受付期間の発生に関連して少なくとも該受付期間内において受付関連演出音(受付許容音など)を出力可能となっている。また、パチンコ機1では、受付期間内において遊技者による動作が受付けされると、該受付けがなされたことに基づいて受付後演出に関連する受付後出力音(これ自体を受付後演出の一態様として捉えて見ることも可能である)を出力可能であり、受付期間内において上記受付関連演出表示が表示されているときに遊技者による動作が受付けされると、該受付けがなされたことに基づいて該受付関連演出表示を非表示にする。これと同様、受付期間内において受付関連演出音が可聴状態とされているときに遊技者による動作が受付けされると、該受付けがなされたことに基づいて上記受付関連演出音を非可聴状態にするようにしている。
上記構成では、受付期間内において遊技者による動作が受付けされたことに基づいて、受付後演出に関連する受付後演出音を出力し、受付関連演出表示を非表示にし、受付関連演出音を非可聴状態にするようにしたことから、受付けされた状態にあることを容易に認識させることができるようになる。
また後述するが、この実施の形態にかかるパチンコ機1にあって、上記受付関連演出表示は、受付けがなされたことに応じた特定の受付後演出が実行開始される時点において終了されておらず表示されるものとなっているが、受付関連演出音は、受付けに応じた特定の受付後演出音が実行開始される時点において終了されており非可聴状態にされるようにしている。
このような構成によれば、受付期間内において表示される上記受付関連演出表示についてはこれを特定の受付後演出が実行開始された以降にまで表示されるようになる一方で、受付期間内において可聴(出力)とされる上記受付関連演出音については、受付後出力音が実行開始される時点においては可聴状態ではなくなるようにされることとなる。これにより、特定の受付後演出が実行開始された以降も、受付期間内で表示されていた受付関連演出表示としての態様を確認可能としつつも、受付関連演出音が非可聴の状態にされることにより受付期間はすでに終了した状態にあることを好適に示唆することができるようになる。
なお、非可聴状態とは、上述の各例や後述の各例においても、受付関連演出音の出力処理これ自体が終了された状態であってもよいし、受付関連演出音の出力処理これ自体は継続されているものの音量が「0」に調整されることにより可聴とされない状態であってもよい。また、特定の受付後演出とは、上述の各例や後述の各例においても、受付けに応じた受付後演出が、複数の演出体(表示、発光ランプ、可動体など)を用いた複合的な演出として実行される場合、それら演出体のうちの「特定演出体を用いた演出」に相当するものであってもよい。
[構成14]
また、この実施の形態にかかるパチンコ機1では、前兆演出表示として複数態様を用意しており、受付期間が発生するのに先立って、特定の前兆演出表示を表示可能であり、受付関連演出音(受付許容音など)の可聴出力を開始しうるものとなっている。そして、特定の前兆演出表示及び受付関連演出音は、受付期間が発生するタイミングに跨るかたちで実行可能とされ、特定の前兆演出表示が表示されており且つ受付関連演出音が可聴状態(出力)にあるなかで遊技者による動作が受付けされうるようにしている。この点、後述するが、パチンコ機1では、受付期間内において特定の前兆演出表示が表示されているときに遊技者による動作が受付けされると、該受付けがなされたことに基づいて該特定の前兆演出表示を非表示にする。また、受付期間内において受付関連演出音が可聴状態とされているときに遊技者による動作が受付けされると、該受付けがなされたことに基づいて受付関連演出音を非可聴状態にするようにしている。
上記構成では、受付期間内において遊技者による動作が受付けされたことに基づいて、特定の前兆演出表示を非表示にするようになっており、受付関連演出音を非可聴状態にするようにしたことから、受付期間が発生するよりも前から実行状態にある特定の前兆演出表示と受付関連演出音とがそれぞれ実行されているなかで遊技者による動作が受付けされた場合であっても、受付けされた状態にあることを容易に認識させることができるようになる。なお、当該構成14にかかる「特定の前兆演出表示」は、構成6,9にかかる「特定の前兆演出表示」と同じであってもよいし、異なる種別(態様)の前兆演出表示であってもよい。また、当該構成14にかかる「受付関連演出音」については、構成13にかかる「受付関連演出音」と同じであってもよいし、異なるものであってもよい。
また後述するが、この実施の形態にかかるパチンコ機1にあって、上記特定の前兆演出表示は、これに対応する受付期間内で受付けされたことに応じた特定の受付後演出が実行開始される時点において終了されておらず表示されるものとなっている。これに対し、上記受付関連演出音は、受付けされたことに応じた特定の受付後出力音が実行開始される時点において終了されており非可聴状態にされるようにしている。
このような構成によれば、受付期間の発生前から表示される上記特定の前兆演出表示についてはこれを特定の受付後演出が実行開始された以降にまで表示されるようになる一方で、受付期間の発生前から可聴(出力)とされる上記受付関連演出音については、受付後出力音が実行開始される時点においては可聴状態ではなくなるようにされることとなる。これにより、特定の受付後演出が実行開始された以降も、受付期間の発生前から表示される前兆演出表示としての態様を確認可能としつつも、受付期間の発生前から出力される受付関連演出音が非可聴の状態にされることにより受付期間はすでに終了した状態にあることを好適に示唆することができるようになる。なお、当該構成14にかかる「特定の受付後演出」や「特定の受付後出力音」については、構成13にかかる「特定の受付後演出」や「特定の受付後出力音」とそれぞれ同じであってもよいし、異なるものであってもよい。
[構成15]
また上述の通り、パチンコ機1では、「遊技者による動作が受付けされたことに基づいて進行される演出内容(受付後演出の種別)」が異なる複数の受付期間が用意されている。また、摸画像表示は、遊技者による動作が受付けされたことに基づいて演出が進行された以降も表示されうるようになっている。この点、後述するが、この実施の形態にかかるパチンコ機1では、複数の受付期間のうち特定受付期間内において遊技者による動作が受付けされた場合、該受付けがなされたことに基づいて、複数演出のいずれかを出現させるが、それら演出のいずれが出現される場合であっても特定態様を出現可能としている。
上記構成では、遊技者による動作が受付けされたことに基づいて現れる演出態様の種別(いずれの会話が出現するかについての「会話予告」や、可動体が動作するか否かについての「可動体動作予告」などの予告演出の種別)が異なる複数の受付期間を用意している。この点、複数の受付期間のうち特定受付期間内において遊技者による動作が受付けされた場合、該受付けがなされたことに基づいて、複数演出のいずれかを出現させるが、それら演出のいずれが出現される場合であっても特定態様を出現可能としている。すなわちこの場合、複数演出のいずれが出現した場合であってもそれに併せて特定態様も出現されるようになることから、それらが「特定受付期間内において遊技者による動作が受付けされたことに起因する」共通した演出であることを示唆することができるようになる。
また、この実施の形態にかかるパチンコ機1では、複数の受付期間のうち上記特定受付期間とは異なる特別受付期間内において遊技者による動作が受付けされた場合、特別条件(大当り当選条件や、確変突入条件など)が満たされているか否かに応じて出現割合(0%や100%であってもよい)が異なる特別態様を含めた複数態様のいずれかを出現可能としており、該特別態様が出現すると摸画像表示が視認し難くなるようになっている。
このような構成によれば、摸画像表示が非表示にされるまでの間に期待度が示唆される特別態様が現れて、該特別態様によって摸画像表示が視認し難くされるようになることから、遊技者は注視先を変えずとも、摸画像表示から受付後演出(特別態様)へと進展する演出を見逃すことなく楽しむことができるようになる。
また後述するが、この実施の形態にかかるパチンコ機1では、上記特定受付期間内において遊技者による動作が受付けされたことに基づいて上記「特定態様」が出現すると、摸画像表示は、該「特定態様」によって視認し難くされるようになっている。このような構成によれば、特典付与にかかる期待度が示唆される上記特別態様によって摸画像表示が視認し難くされる場合(特別受付期間)と、特典付与にかかる期待度が示唆されない上記特定態様によって摸画像表示が視認し難くされる場合(特定受付期間)があるようになることから、「摸画像表示を視認し難くする態様(特定態様、特別態様)」に演出性が持たされるようになり、遊技興趣の向上を図ることができるようになる。
なお、当該構成15にかかる「特定受付期間」は、構成1,7,9にかかる「特定受付期間」と同じであってもよいし、異なる受付期間に相当するものであってもよい。
[構成16]
また上述の通り、パチンコ機1では、受付期間内において特定画像(ゲージ画像など)の表示面積を時間経過に応じて減少させる残り時間示唆表示を表示可能である。この点、この実施の形態にかかるパチンコ機1にあって、残り時間示唆表示は、遊技者による動作が受付けされたことに基づいて演出が進行された以降も表示されうるようになっており、該演出が進行されるなかでも上記特定画像の表示面積は減少されうるようにしていることから、受付けがなされた以降も「受付けがなされた状態にあるのか」を認識し難くして緊張感を好適に維持することが期待されるようになる。
また後述するが、この実施の形態にかかるパチンコ機1では、残り時間示唆表示として、表示画面(演出表示装置1600)内において特定の区画領域を表示するとともに、該特定の区画領域内において特定画像(ゲージ画像など)の表示面積が減少される描写を行うこととしている。そして、遊技者による動作が受付けされたことに基づいて演出が進行された以降は、特定画像(ゲージ画像など)だけでなく、特定の区画領域についても表示が継続されるようにしている。このような構成によれば、遊技者による動作が受付けされたことに基づいて演出が進行された以降も、特定の区画領域が表示されることから、特定画像(ゲージ画像など)の表示面積が減少したのか否かを判断し易くすることができるようになる。
なお、「遊技者による動作が受付けされたことに基づいて演出が進行された以降、特定画像(ゲージ画像など)の表示面積が減少される」とは、例えば、遊技者による動作が受付けされたことに基づいて演出が進行された時点では、ゲージ画像として所定の表示面積が残されていたものが、それよりも後の時点において0(非表示)の表示面積にされる場合も含む意味である。ただしこの場合、ゲージ画像の表示面積が0にされる時点において特定の区画領域は未だ表示されていることが求められることとなり、該特定の区画領域は、ゲージ画像の表示面積が0にされたタイミングよりも後に、非表示にされることとなる。
例えば、当該構成16としては、遊技者による動作が受付けされると、該受付されたことに基づいて残り時間示唆表示(特定画像や、特定の区画領域など)を非表示にするが、該残り時間示唆表示を非表示にするの先立って、受付けされた時点で特定画像の表示面積がどれだけ残されていたかにかかわらず、特定の区画領域内において表示面積が特定値(予め定められた値)とされた特定画像が表示されるか、または特定の区画領域と特定画像とのうち特定の区画領域だけが表示(表示面積が0に減少)されるようにする、といったものとして実現することが可能である。
特に、後述するが、この実施の形態にかかるパチンコ機1では、遊技者による動作が受付けされた時点(受付けに応じた演出の進行が開始された時点)では、受付けされるよりも前から実行されている「特定画像の表示面積が減少される描写」が終了されず継続されるようになっている。そしてこの後、所定タイミングが到来したときに、特定の区画領域内において表示面積が特定値とされた特定画像が表示されるか、特定の区画領域と特定画像とのうち特定の区画領域だけが表示(表示面積が0に減少)されるようにすることとしている。
すなわちこの場合、受付けに応じた演出の進行が開始されるタイミングでは、特定画像(ゲージ画像など)の表示面積を大幅に減少させず、それまでの描画が継続されるようになることから、受付けがなされた以降も「受付けがなされた状態にあるのか」を認識し難くして緊張感を好適に維持することが期待されるようになる。また、受付けに応じた演出の進行が開始されたタイミングよりも後のタイミングで、特定画像(ゲージ画像など)の表示面積を大幅に減少させる描写を行うようにしたことから、受付けが有効期間(受付期間)内のギリギリで間に合ったかのように見せることが可能であり、遊技興趣の向上を図ることが期待されるようになる。
[構成17]
また上述の通り、パチンコ機1では、受付期間が発生することを示唆する前兆演出表示として、複数の前兆演出表示を用意している。この点、後述するが、この実施の形態にかかるパチンコ機1では、複数の前兆演出表示のうち特定の前兆演出表示が行われる場合、受付対象に関連した摸画像表示は、受付期間が発生するよりも前の前兆期間内と、受付期間内との両方で表示される。そして、前兆期間内において表示される摸画像表示は、受付期間内において表示される摸画像表示とは異なる態様とされており、該受付期間が発生するよりも前に非表示にされるものとなっていることから、受付期間が発生するよりも前の期間にあるときから操作に関連した演出性の向上を図ることが期待されるようになる。
また上述の通り、パチンコ機1は、受付期間内で受付けされた場合、該受付けされたことに基づいて、摸画像表示を非表示にするものとなっているが、該摸画像表示が非表示にされるまでの間に「摸画像表示を視認し難くする特定の態様」を出現可能としている。ただし後述するが、該「摸画像表示を視認し難くする特定の態様」については、前兆期間(特定の前兆演出表示)内で表示される摸画像表示が非表示にされるときに該非表示にされるまでの間に出現することがないようにしている。
このような構成によれば、前兆期間(特定の前兆演出表示)内では、受付期間に対応して出現する「摸画像表示を視認し難くする特定の態様」が現れることなく摸画像表示が非表示にされるようになる。したがって、前兆期間(特定の前兆演出表示)内で摸画像表示を表示したにもかかわらず、受付期間が発生するよりも前にこれを非表示にする場合であっても、遊技者の知らないうちに受付期間が終了してしまったとの誤解を生じ難くさせることができるようになる。
なお、受付けに応じて出現可能とされる「摸画像表示を視認し難くする態様」が、上記「摸画像表示を視認し難くする特定の態様」を含めて複数用意されている場合は、それら態様のいずれも、前兆期間内で表示される摸画像表示が非表示にされるのに合わせて出現されることがないようにすることが望ましい。ただし、受付けに応じた「摸画像表示を視認し難くする態様」として用意されている複数態様のいずれとも異なる態様であれば、前兆期間内で摸画像表示が非表示にされるまでの間に「摸画像表示を視認し難くする態様」を出現させるようにしてもよい。すなわちこの場合、前兆期間専用の「摸画像表示を視認し難くする態様」として認識されるようになることから、前兆期間内で「摸画像表示を視認し難くする態様」を出現させたとしても、遊技者の知らないうちに受付期間が終了してしまったとの誤解を生じ難くさせることができるようになる。
なお、当該構成17にかかる「特定の前兆演出表示」は、構成6,9,14にかかる「特定の前兆演出表示」と同じであってもよいし、異なる前兆演出表示に相当するものであってもよい。
[構成18]
また上述の通り、パチンコ機1では、第1の演出条件が満たされた場合、図柄変動の実行期間中に受付期間として第1受付期間を発生可能であり第2の演出条件が満たされた場合、図柄変動の実行期間中に受付期間として第2受付期間を発生可能である。この点、この実施の形態にかかるパチンコ機1にあって、第1受付期間は、該第1受付期間が発生した図柄変動が終了され、次の図柄変動が実行開始された以降も継続されうるものとなっているが、第2受付期間は、該第2受付期間が発生した図柄変動が終了された以降にまで継続されることはなく該図柄変動が終了されるよりも前に終了されるものとなっている。またさらに、受付対象に関連した摸画像表示は、第1受付期間と第2受付期間とのいずれにおいても表示され、第1受付期間内において遊技者による動作が受付けされた場合と、第2受付期間内において遊技者による動作が受付けされた場合とのいずれにおいても、該受付けがなされたことに基づいて摸画像表示が視認し難くなる消滅演出態様が現れるようにしている。
すなわちこの場合、「受付けがなされた以降も、摸画像表示としていずれの態様が現れていたのかを確認可能としつつ、受付期間が終了した状態にあることを示唆することができる」といった作用効果を、第1受付期間及び第2受付期間のいずれであったとしても好適に得ることができるようになる。
また、この実施の形態にかかるパチンコ機1にあって、摸画像表示が視認し難くなる消滅演出態様は、第1受付期間で受付けされたときと、第2受付期間で受付けされたときとで異なる態様として実行されるものとなっている。すなわちこの場合、「摸画像表示が視認し難くなる消滅演出態様」の種別を基に、実行中にある図柄変動内で受付期間が終了されるのか否かを把握することができるようになることから、遊技興趣の向上を図ることができるようになる。
なお、当該構成18にかかる「第1受付期間及び第2受付期間」は、構成2,8,12にかかる「第1受付期間及び第2受付期」と同じであってもよいし、異なる受付期間に相当するものであってもよい。
[構成19]
また、この実施の形態にかかるパチンコ機1では、遊技条件(遊技領域に対して遊技球が打ち出されたときの賞球の得られやすさなど)が異なる複数の遊技状態(第1の遊技状態及び第2の遊技状態)を発生可能としており、上記受付期間は、第1の遊技状態及び第2の遊技状態のいずれにおいても発生可能とされている。この点、この実施の形態にかかるパチンコ機1では、受付期間内において遊技者による動作が受付けされた場合、該受付けがなされたことに基づいて、摸画像表示が表示されているなかで「摸画像表示が視認し難くなる態様(消滅演出態様)」を出現可能とし、その後、摸画像表示が非表示にされるようにしている。
すなわちこの場合、「受付けがなされた以降も、摸画像表示としていずれの態様が現れていたのかを確認可能としつつ、受付期間が終了した状態にあることを示唆することができる」といった作用効果が、第1の遊技状態及び前記第2の遊技状態のいずれで発生した受付期間内で受付けがなされた場合であっても得られるようになる。
また後述するが、この実施の形態にかかるパチンコ機1にあって、複数の受付期間のうち第1受付期間は、第1の遊技状態及び第2の遊技状態のうち第1の遊技状態においてのみ発生可能であり、複数の受付期間のうち第2受付期間は、第1の遊技状態及び第2の遊技状態のうち第2の遊技状態(大当り遊技)においてのみ発生可能とされている。この点、受付対象に関連した摸画像表示は、第1受付期間と第2受付期間とのいずれにおいても表示される。ただし、第1の遊技状態(第1受付期間で受付けされた場合)では、第2の遊技状態(第2受付期間で受付けされた場合)においては出現し得ない特定の「摸画像表示が視認し難くなる態様(消滅演出態様)」が現れうるようになっている。
このような構成によれば、受付後演出を確認せずとも、「摸画像表示が視認し難くなる態様(消滅演出態様)」としていずれの態様が現れたかを確認するだけで、第1の遊技状態及び第2の遊技状態のいずれに制御されている状態にあるのかを把握することができるようになり、遊技興趣の向上を図ることができるようになる。
なお、第2の遊技状態(第2受付期間で受付けされた場合)においても、特定の「摸画像表示が視認し難くなる態様(消滅演出態様)」とは異なる「摸画像表示が視認し難くなる態様(消滅演出態様)」が現れるようにしてもよい。
[その他の構成]
また上述の通り、パチンコ機1では、受付機会が付与される受付許容状態(受付期間)が発生する場合、受付対象に関連した摸画像(操作受け部を摸した摸画像など)を、該摸画像の周縁を装飾する周縁装飾画像と一体化された一体化摸画像表示(図232を参照)として表示することで、受付後演出(操作後演出)が実行されるまでの遊技興趣の低下を抑制するようにしている。このような一体化摸画像表示については、図柄演出がSPリーチ中における特定タイミングまで進展したときに発生する操作受付演出(受付期間)と、SPリーチに発展しない変動パターンで予告判定の結果として発生する操作受付演出(受付期間)とのいずれにおいても表示されるようにすることが望ましいし、低期待非抑制受付演出と高期待抑制受付演出とのいずれにおいても表示されるようにすることが望ましい。また、上述した各演出例(図144~図195,図207~図231)についても、例示した摸画像の表示態様を、以下に説明する一体化摸画像のいずれかに置き換えて実現するようにすることが、遊技興趣の向上を図る上で望ましい。
なお、この例にかかる「一体化摸画像表示」については、図232~図248を参照して説明した通り、またはその別例や変形例として記載した通りであり、例えば、周縁装飾画像内にはゲージ画像(所定画像)GGの表示対象領域が設けられている。また、「一体化摸画像表示」として、期待度が異なる複数態様(図232参照)が用意されており、それら態様のいずれかで表示されるようになっている点も同様である。
また、この例にかかるパチンコ機1においても、受付許容状態(受付期間)の発生に際しては、操作受付が許容される状態になったこと、または操作受付が許容される状態になることを示唆する受付許容音を出力させるようにしており、これによって操作し忘れを生じ難くするようにしている。ここで、「受付許容音」とは、音が出力開始されると、この音が出力されている間(音データが割り当てられている間)に受付許容状態(受付期間)が必ず発生するか、受付許容状態(受付期間)が既に発生している状態にある音のことである。すなわち、「受付許容音」とは、受付許容状態(受付期間)と何ら関係のない演出が行われている状況下においては出力されることがない音であるとも言える。
また、この実施の形態にかかる各受付許容状態(各受付期間)は、第1種別と第2種別とに分類分けすることが可能である。すなわち、第1種別に分類分けされる受付許容状態とは、高期待変動パターン(SPリーチ変動パターン)が選択された場合には発生可能とされるが、低期待変動パターン(非リーチ変動パターン)では発生し得ない有効期間(大当り判定の結果に基づく演出判定で特定条件(特定の高期待変動パターン選択)が成立したことに基づいて発生される有効期間)である。また、第2種別の受付許容状態とは、高期待変動パターン(SPリーチ変動パターン)と、低期待変動パターンとのいずれであっても発生可能とされる有効期間(予告判定の結果として発生する有効期間など)である。
この実施の形態にかかる「一体化摸画像表示」は、このような第1種別及び第2種別の受付許容状態(受付期間)のいずれにおいても表示されうる。ここでは、第1種別の受付許容状態(受付期間)及び第2種別の受付許容状態(受付期間)は、いずれも同じ操作手段(例えば、操作ボタン410)に対して操作機会が付与される受付許容状態(受付期間)として発生する場合を想定していることから、それら受付期間で表示される「一体化摸画像表示」は、同じ操作手段(操作ボタン410)を摸した画像である。
ただし、「一体化摸画像表示」として用意されている複数態様のうち期待度の高い特別態様(例えば、図232(d)に示される態様)は、第1種別の受付許容状態(受付期間)でしか表示可能とされず、第2種別の受付許容状態(受付期間)では、特別態様とは異なる態様(例えば、図232(a)~(c)に示される態様)のみによって表示可能とされている。第1種別の受付許容状態(受付期間)では、大当り判定の結果に基づいて特別態様を含む複数態様(例えば、図232(a)~(d))のいずれで「一体化摸画像表示」を表示するのかについての判定が行われ、この判定の結果に応じた態様で「一体化摸画像表示」が表示されるようになっている。第2種別の受付許容状態(受付期間)においても、大当り判定の結果に基づいて特別態様を含まない複数態様(例えば、図232(a)~(c))のいずれで「一体化摸画像」を表示するのかについての判定が行われるようにし、この判定の結果に応じた態様で「一体化摸画像表示」を表示するようにしてもよい。
以下、上記構成1~19等を備える当該パチンコ機1について、その詳細を、図を参照して説明する。
上述の通り、このパチンコ機1は、受付けされたときに進行される演出内容(受付後演出としての会話予告、カットイン予告、可動体予告などであり、予告演出(期待度示唆演出)の種別)が異なる複数の受付期間(受付演出)を用意しており、判定(大当り判定や、演出判定など)の結果に応じた種別の受付期間(受付演出)を発生可能としている。この実施の形態にかかるパチンコ機1では、複数の受付期間(受付演出)として、少なくとも第1受付期間(受付演出)~第7受付期間(受付演出)を用意している。
ここで、受付後演出としての「会話予告」とは、複数の会話内容のうちいずれの会話内容が現れるかによって期待度(大当り図柄が現れる割合など)を示唆するものであり、受付後演出としての「カットイン予告」とは、複数のカットイン画像のうちいずれのカットイン画像が現れるかによって期待度(大当り図柄が現れる割合など)を示唆するものであり、受付後演出としての「可動体予告」とは、可動体が動作するか否かによって期待度(大当り図柄が現れる割合など)を示唆するものである。
図255~図266を参照して、各受付期間(受付演出)の別に、各々の特徴について説明する。なお、図254までを参照しつつ上述した各受付期間については、第1受付期間~第7受付期間とは別の受付期間として用意されているものであってもよいし、第1受付期間~第7受付期間のうちのいずれかとして実現されるものであってもよい。
図255は、判定の結果として第1条件が満たされて第1の受付期間(第1受付演出)が発生するときの演出内容についてその一例を示すタイムチャートである。図262及び図263は、第1の受付期間(第1受付演出)が発生する変動パターンにおける演出例を示す図である。
いま、特定遊技状態(例えば、非確変・非時短である通常遊技状態)において始動条件が成立(保留消化)されて、変動パターン判定が行われた結果として「第1変動パターン」が選択されたとすると、上記周辺制御MPU1511aでは、まず、該第1変動パターンに対応する演出判定(予告判定など)を行う。そしてこの後、装飾図柄SZの変動演出(第1変動パターンに応じた演出描写や、第1変動パターンに応じたBGM再生の音出力など)を開始させ(「図262(a)に示される状況」)、該変動演出の実行期間内で、予告演出判定の結果に応じた演出(予告演出)を、上記選択した「第1変動パターン」これ自体の演出に対して付加的に実行させることとなる。なお、図262(a)に示した演出例においては、説明の便宜上、大当り期待度(当該変動演出において装飾図柄SZが停止したときに大当り図柄が現れる割合)を示唆する第1演出表示TE(ここでは、上述した「タイマ演出」に相当)と、カエルキャラとして描写される第2演出表示FEとが、図柄変動の開始時においてそれぞれ表示される場合を想定している。これらの表示は、変動開始時でなく、変動途中で表示されるものであってもよいし、互いに異なるタイミングで表示されるものであってもよい。第2演出表示FEこれ自体は、当該変動演出において装飾図柄SZが停止したときに大当り図柄が現れる割合を示唆するものであってもよいし、該割合を示唆するものでなくてもよい。
すなわち、第1変動パターンに対応する演出判定(予告判定など)で特別結果が得られると(第1条件が成立すると)、上記周辺制御MPU1511aでは、図255(a)に示されるように、装飾図柄SZの変動演出が開始されてから第1所定時間が経過したタイミングtF3が到来したときに「第1受付後演出に関しての受付け」が許容される上記第1の受付期間(有効期間)を発生させる(「図262(d)に示される状況」)。これにより、当該第1の受付期間内において遊技者による動作が受付けされると、該受付けに基づいて第1受付後演出が行われるようになる。
この点、この実施の形態にかかるパチンコ機1にあって、演出表示装置1600(第1演出装置)では、このような第1の受付期間が発生することに関連して、受付期間(有効期間)が間もなく発生することを示唆する前兆演出表示や、受付対象(操作受け部など)を示唆する摸画像表示、受付期間の残り時間を示唆するゲージ画像表示、摸画像表示を視認し難くする消滅関連表示(摸画像表示が視認し難くなる態様)、受付けされたことに応じて期待度(大当り図柄が現れる割合)を示唆する受付後演出表示がそれぞれ行われるようになっている。なお上述の通り、この実施の形態にかかる摸画像表示は、ゲージ画像表示を含む周縁装飾画像と一体化された「一体化摸画像表示」として表示されるものとなっているが、必ずしもこれに限られず、別々に表示されるものであってもよい。このことについては、他の受付期間においても同様である。
より具体的には、まず、第1の受付期間が発生するよりも前のタイミングtF1が到来したときには、図255(b)及び図262(b)に示されるように、表示画面(演出表示装置1600)において、上記前兆演出表示として「第1前兆演出表示ZEH1」が実行開始される。図255(b)に示される例にかかる「第1前兆演出表示ZEH1」は、これに対応する受付期間(第1の受付期間)が発生するタイミング(第1受付後演出に関しての受付けが許容されるタイミング)tF3が到来するのに合わせて非表示にされるようになっているが、タイミングtF3よりも前に非表示にされるようにしてもよい。いずれにせよ、図262(d)に示されるように、この例にかかる第1の受付期間は、遊技者による動作の受付けが許容される状態において「第1前兆演出表示ZEH1」が表示されることがないものとなっている。
ただし、この例にかかる演出表示装置1600(第1演出装置)では、図255(b)及び図262(c)に示されるように、第1の受付期間が発生するよりも前のタイミングtF2が到来すると、「第1前兆演出表示ZEH1」が表示されているなかで「一体化摸画像表示IG(摸画像表示、ゲージ画像表示)」が表示されるようになっており、「一体化摸画像表示IG」が表示される領域の少なくとも一部は「第1前兆演出表示ZEH1」が表示される領域と重複するようになっている。すなわちこの場合、演出表示装置1600(第1演出装置)において「一体化摸画像表示IG」と「第1前兆演出表示ZEH1」との両方が表示される期間(タイミングtF2~tF3)においては、「第1前兆演出表示ZEH1」によって「一体化摸画像表示IG」の少なくとも一部が視認し難くされることとなる。これにより、第1の受付期間が発生するよりも前の期間(タイミングtF2~tF3)において、遊技者による動作がいずれの対象(操作受け部)に対して許容されるかについての興味を強く抱かせることができるようになり、第1の受付期間が発生した以降に操作し忘れや操作間違いを発生し難くすることが期待されるようになる。
なお、「一体化摸画像表示IG」と「第1前兆演出表示ZEH1」との両方が表示される期間(タイミングtF2~tF3)においては、「一体化摸画像表示IG」の視認し易さが受付期間の発生に向けて徐々に向上される傾向が現れるように「第1前兆演出表示ZEH1」を表示するようにすることが、遊技興趣の向上を図る上でより望ましい。例えば、「第1前兆演出表示ZEH1」の表示範囲(一体化摸画像表示IGと重複する範囲)を徐々に小さくするようにしたり、その透過率を徐々に高くするようにすることによって実現可能である。
すなわち、図255(b)及び図262(c),(d)に示されるように、この例にかかる演出表示装置1600(第1演出装置)にあって、「一体化摸画像表示IG」は、第1の受付期間が発生するタイミングtF3を跨るように表示される。該「一体化摸画像表示IG」は、第1の受付期間内で受付けがなされたときか、該受付けがなされることなく第1の受付期間が終了されたときに非表示にされる。なお、この例にかかる第1の受付期間は、遊技者による動作の受付けがなされないときにはタイミングtF4が到来したときに終了されるようになっている(図255(b)を参照)。
この点、図255に示される例や、図262(d)から「A1(図263(e1)~(i1))」または「A2(図263(e2)~(i2))」へと演出が進展する例では、第1の受付期間内のタイミングtF3aにおいて遊技者による動作が受付けされた場合を想定している。すなわちこの場合、図255(a)に示されるように、タイミングtF3aにおいて遊技者による動作が受付けされたことに基づいて、第1の受付期間が終了されるとともに、該第1の受付期間に対応する受付後演出(第1受付後演出)が実行開始されることとなる。
なお、図262(d)から「A1(図263(e1)~(i1))」へと演出が進展する例は、第1の受付期間に対応する受付後演出として相対的に期待度の低い第1態様が実行される場合に相当し、図262(d)から「A2(図263(e2)~(i2))」へと演出が進展する例は、第1の受付期間に対応する受付後演出として相対的に期待度の高い第2態様が実行される場合に相当している。
ただし上述の通り、この実施の形態にかかるパチンコ機1では、図255(b)や、図263(e1)または(e2)に示されるように、遊技者による動作が受付けされた時点(受付けに応じて第1受付後演出が開始された時点)であるタイミングtF3aにおいては、一体化摸画像表示IGを非表示にしないことはもとより、該一体化摸画像表示IGを視認し難くすることもしないようにしている。
すなわち、この実施の形態にかかる第1受付後演出は、演出表示装置1600(第1演出装置)を利用した「第1受付後演出表示」と、第2演出装置(例えば、サブ液晶や、可動体、演出用ランプなど)を利用した「第1受付後特定演出」と、第3演出装置(スピーカ)を利用した第1受付後出力音とが少なくとも複合された演出として実現されるものとなっているが、それら演出装置のうち、一体化摸画像表示IG(摸画像表示、ゲージ画像表示)が表示される演出表示装置1600(第1演出装置)においては、第1受付後演出としての第1受付後演出表示が実行開始される時期を、他の演出装置に比べて遅延させるようにしており、これによって受付けがなされた以降も「一体化摸画像表示IG」の視認性を維持するものとなっている。
このような構成によれば、図263(e1)または(e2)に示されるように、受付けがなされた以降も、終了された受付期間内において一体化摸画像表示IGが複数態様(図232(a)~(d))のいずれで表示されていたのかを、遊技者は容易に認識することができるようになることから、遊技興趣が低下することを好適に抑制することが期待されるようになる。
ここで、受付期間の終了後、該受付期間内において一体化摸画像表示IGが複数態様(図232(a)~(d))のいずれで表示されていたのかの認識を容易とする上では、受付けがなされた以降の「一体化摸画像表示IGが視認容易な態様のままで表示される時間」を長く設定するようにすることが望ましいと言える。ただし、受付けがなされており受付後演出(第2演出装置、第3演出装置)が既に実行されている状況にあるにもかかわらず、一体化摸画像表示IGが受付期間中にあったときと同じ態様(図263(e1),(e2)に示される態様)のままで表示され続けるようなことがあると、受付けがなされた状況にあるのか否かを遊技者側が認識し難くなり、その結果として「実行状態にある受付後演出に気付くのが遅れてしまう」といったことが懸念される。
そこで、この例にかかるパチンコ機1では、図255(b)や、図263(f1)または(f2)に示されるように、遊技者による動作が受付けされたことによって第1の受付期間が終了したタイミングtF3aから所定時間が経過すると(タイミングtF3bが到来すると)、「一体化摸画像表示IGが視認し難くなる態様」として、第1消滅関連表示SK1-1(第1の受付期間に対応する第1消滅関連表示SK1の第1態様)にかかる表示を開始するようにしている。
すなわち、この例にかかる第1演出装置(演出表示装置1600)では、「一体化摸画像表示IG(摸画像表示、ゲージ画像表示)」が表示されているなかで「第1消滅関連表示SK1-1」が表示されるようになっており、「第1消滅関連表示SK1-1」が表示される領域の少なくとも一部は「一体化摸画像表示IG(摸画像表示、ゲージ画像表示)」が表示される領域と重複するようになっている。
このような構成によれば、受付けがなされた以降、一体化摸画像表示IGを表示し続けるようにした場合であっても、該一体化摸画像表示IGが視認し難くされることによって、受付後演出(第2演出装置、第3演出装置)が既に実行されている状況にあることを示唆することができるようになる。したがって、遊技者による注視先を一体化摸画像表示IGから受付後演出(第2演出装置、第3演出装置)へと自ずと移行されることが期待されるようになる(タイミングtF3b以降)。これにより、受付後演出(第2演出装置、第3演出装置)が既に実行されている状況においても、視認し難さはあるものの一体化摸画像表示IGを比較的長い時間にわたって表示し続けることが可能とされるようになることから、受付期間内で一体化摸画像表示IGがいずれの態様で表示されていたのか認識できないことによる遊技興趣の低下を抑制することができるようになる。また、第1の受付後演出(第2演出装置、第3演出装置)が開始された以降であっても、一体化摸画像表示IGが視認し難くされるまでの間(タイミングtF3a~tF3b)は、該一体化摸画像表示IGの態様を視認良好のままで確認することができるようにしていることから、遊技興趣を好適に維持することが期待されるようになる。
また、第1の受付期間では、これに対応する受付後演出として期待度の低い態様(図263(e1)~(i1))と期待度の高い態様(図263(e2)~(i2))とのいずれが実行される場合であっても、第1消滅関連表示SK1としては同じ態様(第1消滅関連表示SK1-1)が現れるようにしていることから、受付後演出(第2演出装置、第3演出装置)が実行開始されている状況下においても、第1演出装置(演出表示装置1600)においてはその期待度を秘匿として維持することができるようになる。
また、この例にかかるパチンコ機1では、図255(b)や、図263(g1)または(g2)に示されるように、第1消滅関連表示SK1-1にかかる表示(一体化摸画像表示IGが視認し難くなる態様)が現れている期間内のタイミングtf3cが到来すると、第1の受付期間内で遊技者による動作が受付けされたことに応じた第1演出装置(演出表示装置1600)における受付後演出としての「第1受付後演出表示UG1」を実行開始するようにしている。ただしここでは、図262(d)から「A1(図263(e1)~(i1))」へと演出が進展する例(受付後演出として相対的に期待度の低い場合)では、図263(g1)に示されるように、第1の受付期間に対応する第1受付後演出表示UG1として第1態様(第1受付後演出表示UG1-1)が表示され、図262(d)から「A2(図263(e2)~(i2))」へと演出が進展する例(受付後演出として相対的に期待度の高い場合)では、図263(g2)に示されるように、第1の受付期間に対応する第1受付後演出表示UG1として第2態様(第1受付後演出表示UG1-2)が表示されるようになっている。
すなわちこの場合、「一体化摸画像表示IG」及び「第1消滅関連表示SK1-1」がそれぞれ表示されているなかで「第1受付後演出表示UG1(第1受付後演出表示UG1-1または第1受付後演出表示UG1-2)」が実行開始されることとなる。これにより、第1の受付期間内で受付けされた以降、一体化摸画像表示IGを比較的長い時間にわたって表示し続けるようにした場合であっても、第1演出装置(演出表示装置1600)における受付後演出(第1受付後演出表示)を他の演出装置と比較して大幅に遅延させることなく開始させることができるようになり、遊技興趣の低下を抑制することができるようになる。また、一体化摸画像表示IGが視認し難くされているなかで第1受付後演出表示が開始されることから、第1の受付期間が既に終了していることを示唆しつつ、遊技者による注視先が「一体化摸画像表示IG」から「第1受付後演出表示UG1(第1受付後演出表示UG1-1または第1受付後演出表示UG1-2)」へと自ずと移行されることが期待されるようになる(タイミングtF3c以降)。
そして、この例にかかるパチンコ機1では、こうして「第1受付後演出表示UG1(第1受付後演出表示UG1-1または第1受付後演出表示UG1-2)」にかかる表示が開始されると、図255(b)や、図263(h1)または(h2)に示されるように、該「第1受付後演出表示UG1(第1受付後演出表示UG1-1または第1受付後演出表示UG1-2)」が表示されているなかで、まず、「一体化摸画像表示IG」及び「第1消滅関連表示SK1-1」のうち、「一体化摸画像表示IG」を非表示にする。そして、こうして「一体化摸画像表示IG」が非表示にされた後、図255(b)や、図263(i1)または(i2)に示されるように、「第1消滅関連表示SK-1」が非表示にされることとなり、これによって視認良好とされているもとで「第1受付後演出表示UG1(第1受付後演出表示UG1-1または第1受付後演出表示UG1-2)」にかかる表示が行われるようになる。
この点、「第1受付後演出表示UG1」とは、遊技者による動作が受付けされたことに基づいて、期待度が異なる複数態様(ここでは、第1受付後演出表示UG1-1または第1受付後演出表示UG1-2)のいずれかで表示されるものである。したがって、「第1受付後演出表示UG1」は、図255(b)に示されるように、「一体化摸画像表示IG」や「第1消滅関連表示SK-1」が非表示にされた以降も、比較的長い時間にわたって実行されることとなる。
このように、この例にかかる演出表示装置1600(第1演出装置)では、第1の受付期間が発生することに伴って、限られた時間(図255に示される太線)内であり、且つ限られた表示画面(演出表示装置1600)内で様々な表示を行うものとなっており、これによって遊技興趣の低下を抑制するようにしている。ただしこの結果として、演出表示装置1600(第1演出装置)では、受付けに応じた第1受付後演出(第1受付後演出表示)の開始時期(タイミングtF3c)を、受付けされたタイミングtF3aよりも遅延せざるを得ないという実情にある。
そこで、この実施の形態にかかるパチンコ機1では、演出表示装置1600(第1演出装置)とは別に、第2演出装置を用意することとしており、第1の受付期間内で遊技者による動作が受付けされたときには、図255(b),(c)に併せて示されるように、該受付けがあったことに基づいて、第2演出装置を用いた第1受付後演出(第1受付後特定演出)を、上記第1演出装置を用いた第1受付後演出(第1受付後演出表示)に先行して実行開始させるようにしている。
このような構成によれば、第1の受付期間で受付けがあったタイミングtF3aから実行開始が遅延されるのは第1受付後演出の一部(第1受付後演出表示)に留まることとなり、当該第1受付後演出これ自体については、同タイミングtF3aから遅れることなく実行開始させることができるようになる。
このような第2演出装置としては、例えば、演出表示装置1600(第1演出装置)をメイン液晶とするときのサブ液晶として備えられるものであってもよいし、演出動作可能な演出可動体や、演出発光可能な演出ランプなどとして備えられるものであってもよい。いずれにせよ、期待度が異なる複数態様で演出(表示演出、可動演出、発光演出など)を行いうるものとして設けられることとなる。
なお、図263に示した演出例では、第2演出装置としてサブ液晶1610を用いた場合を想定している。そして、図262(d)から「A1(図263(e1)~(i1))」へと演出が進展する例(受付後演出として相対的に期待度の低い場合)では、図263(e1)に示されるように、該サブ液晶1610(第2演出装置)において「末吉」が表示される態様が、当該第1の受付期間に対応する上記第1受付後特定演出UGT1(第1受付後特定演出UGT1の期待度の低い態様である第1受付後特定演出UGT1-1)として、上記第1演出装置を用いた第1受付後演出(第1受付後演出表示UG1-1)に先行して実行開始されるようになっている。これに対し、図262(d)から「A2(図263(e2)~(i2))」へと演出が進展する例(受付後演出として相対的に期待度の高い場合)では、図263(e2)に示されるように、該サブ液晶1610(第2演出装置)において「吉」が表示される態様が、当該第1の受付期間に対応する上記第1受付後特定演出UGT1(第1受付後特定演出UGT1の期待度の高い態様である第1受付後特定演出UGT1-2)として、上記第1演出装置を用いた第1受付後演出(第1受付後演出表示UG1-1)に先行して実行開始されるようになっている。
また、図262に示した演出例では、演出表示装置1600(第1演出装置)における第1前兆演出表示ZEH1とは別に、サブ液晶1610(第2演出装置)においても第1の受付期間に対応する前兆演出(第1前兆特定演出)が実行されるようになっている(図262(b)~(d))。該サブ液晶1610(第2演出装置)における第1前兆特定演出は、演出表示装置1600(第1演出装置)における第1前兆演出表示ZEH1とは異なり、第1の受付期間が発生するタイミングtF3が到来した時点においても実行されており、該タイミングtF3を跨るかたちで実行されるようになっている。
また、この実施の形態にかかるパチンコ機1では、第3演出装置(スピーカー)をさらに用意することとしており、第1の受付期間の発生に際しては、図255(d)に示されるタイミングtF2において、受付許容音を出力開始させることとしている(「図262(c)で♪が出力開始されている状況」に相当)。すなわち、第1の受付期間に対応する受付許容音は、該第1の受付期間が発生するタイミングtF3(「図262(d)に示される状況」に相当)を跨るかたちで可聴出力されるものとなっており、当該受付許容音が可聴出力されているなかで遊技者による動作が受付けされうるものとなっている。
ここで、第1の受付期間では、図255(d)や、図263(e1)~(g1)または図263(e2)~(g2)に示されるように、受付許容音が可聴出力されているなかで遊技者による動作の受付けがなされた場合であっても、該受付許容音が途中終了されることはなく、予め定められた時間だけ出力されるものとなっている。すなわち後述するが、上記複数の受付期間には、受付許容音が可聴出力されているなかで遊技者による動作の受付けがなされると、該受付けされたことに基づいて受付許容音の可聴出力状態が途中終了される受付期間が含まれている。したがって、第1の受付期間内で受付許容音が可聴出力されているなかで受付けされた結果、該受付許容音の可聴出力が継続される態様が現れたときには、受付けされた状態にあるのか否かを認識し難くすることができるようになり、緊張感を好適に維持することが期待されるようになる。
ただし、第1の受付期間では、受付許容音が可聴出力されているなかで遊技者による動作の受付けがなされた場合であっても、該受付許容音を途中終了(可聴出力状態の途中終了)させることはないが、該受付けがなされたときにはこれに基づいて第1受付後出力音(図263(e1)または(e2)で出力されている「♪♪」に相当)の可聴出力を開始させるものとなっている。すなわちこの場合、図255(d)に示されるように、第1の受付期間内で可聴出力される音である「受付許容音」と、第1の受付期間内で受付けがなされた結果として可聴出力される音である「第1受付後出力音」との両方がそれぞれ可聴出力されうるようになることから、受付期間内にあるのか、それとも受付期間が終了した状態にあるのかの認識をより一層認識し難くすることができるようになる。
このような第1受付後出力音は、「第1受付後演出表示UG1」と同様、図255(d)に示されるように、「一体化摸画像表示IG」や「第1消滅関連表示SK-1」が非表示にされた以降も、比較的長い時間にわたって実行されることとなる(「図263(e1)~(i1)または(e2)~(e1)で♪♪が出力されている状況」に相当)。また、第1受付後出力音については、図262(d)から「A1(図263(e1)~(i1))」へと演出が進展する例(受付後演出として相対的に期待度の低い場合)と、図262(d)から「A2(図263(e2)~(i2))」へと演出が進展する例(受付後演出として相対的に期待度の高い場合)とで、互いに異なる出力音(態様)が出力されるようにすることが望ましい。
他方、図255では図示を割愛しているが、図262(d)から「A3(図263(e3)~(h3))」へと演出が進展する例は、第1の受付期間内で遊技者による動作が受付けされなかった場合を想定したものである。
すなわちこの場合、第1の受付期間が発生した後、遊技者による動作が受付けされることなく上記タイミングtF4が到来することとなる。この点、該タイミングtF4(第1の受付期間が終了し、遊技者による動作の受付けが許容されなくなった時点)にあるときの演出表示装置1600(第1演出装置)では、タイミングtF3a(第1の受付期間内において遊技者による動作の受付けがなされた時点)にあるときの演出表示装置1600(第1演出装置)と同様、図263(e3)に示されるように、一体化摸画像表示IGを非表示にしないことはもとより、該一体化摸画像表示IGを視認し難くすることもしないようにしている。
このような構成によれば、遊技者による動作の受付けが間に合わずに第1の受付期間が終了してしまった場合であっても、該終了した以降、第1の受付期間内において一体化摸画像表示IGがいかなる態様で表示されていたのかを認識することが可能とされるようになることから、遊技興趣の低下を抑制することができるようになる。
そしてこの後は、遊技者による動作が受付けされなかった場合も、図263(f3)に示されるように、「一体化摸画像表示IGが視認し難くなる態様」として、第1消滅関連表示SK1-2(第1の受付期間に対応する第1消滅関連表示SK1の第2態様)にかかる表示が開始されるようになっている。
すなわち、この例にかかる第1演出装置(演出表示装置1600)では、「一体化摸画像表示IG(摸画像表示、ゲージ画像表示)」が表示されているなかで「第1消滅関連表示SK1-2」が表示されるようになっており、「第1消滅関連表示SK1-2」が表示される領域の少なくとも一部は「一体化摸画像表示IG(摸画像表示、ゲージ画像表示)」が表示される領域と重複するようになっている。
このような構成によれば、受付けがなされずに第1の受付期間が終了した以降、一体化摸画像表示IGを表示し続けるようにした場合であっても、該一体化摸画像表示IGが視認し難くされることによって、当該第1の受付期間が終了した状態にあることを示唆することができるようになる。また、当該第1の受付期間が既に終了している状況においても、視認し難さはあるものの一体化摸画像表示IGを比較的長い時間にわたって表示し続けることが可能とされるようになることから、受付期間内で一体化摸画像表示IGがいずれの態様で表示されていたのか認識できないことによる遊技興趣の低下を抑制することができるようになる。
また、この例にかかるパチンコ機1では、第1の受付期間内で遊技者による動作が受付けされなかったときに出現される上記「第1消滅関連表示SK1-2」については、第1の受付期間内で遊技者による動作が受付けされたことに基づいて出現される「第1消滅関連表示SK1-1」とは異なる態様として実行されるようにしている。これにより、「第1消滅関連表示SK1-2」が現れたときに、遊技者による動作が受付けされなかったことを示唆することができるようになり、遊技興趣の低下が抑制されうるようになる。
そしてこの後は、図263(g3)に示されるように、「一体化摸画像表示IG」及び「第1消滅関連表示SK1-2」のうち、まず、「一体化摸画像表示IG」を非表示にする。そして、こうして「一体化摸画像表示IG」が非表示にされた後、図263(h3)に示されるように、「第1消滅関連表示SK-2」が非表示にされることとなる。
図256は、判定の結果として第2条件が満たされて第2の受付期間(第2受付演出)が発生するときの演出内容についてその一例を示すタイムチャートである。図264及び図265は、第2の受付期間(第2受付演出)が発生する変動パターンにおける演出例を示す図である。
いま、特定遊技状態(例えば、非確変・非時短である通常遊技状態)において始動条件が成立(保留消化)されて、変動パターン判定が行われた結果として「第2変動パターン」が選択されたとすると、上記周辺制御MPU1511aでは、まず、該第2変動パターンに対応する演出判定(予告判定など)を行う。そしてこの後、装飾図柄SZの変動演出(第2変動パターンに応じた演出描写や、第2変動パターンに応じたBGM再生の音出力など)を開始させ(「図264(a)に示される状況」)、該変動演出の実行期間内で、予告演出判定の結果に応じた演出(予告演出)を、上記選択した「第2変動パターン」これ自体の演出に対して付加的に実行させることとなる。なお、図264及び図265に示される演出例においては、第1演出表示TEは表示されるが、第2演出表示FEは表示されていない。
ただし、「第2変動パターン」にかかる演出では、演出判定(予告判定)としていずれの結果が得られている場合であっても、図256(a)に示されるように、装飾図柄SZの変動演出が開始されてから第2所定時間が経過したタイミングtG3(例えば、SPリーチ状態内のタイミング)が到来したときに「第2操作後演出に関しての受付け」が許容される上記第2の受付期間(有効期間)を発生させる(「図264(d)に示される状況」)。これにより、当該第2の受付期間内において遊技者による動作が受付けされると、該受付けに基づいて第2受付後演出が行われるようになる。
この点、この実施の形態にかかる演出表示装置1600(第1演出装置)では、このような第2の受付期間が発生した場合も、上述した第1の受付期間が発生する場合(図255)と同様、これに関連して、受付期間(有効期間)が間もなく発生することを示唆する前兆演出表示や、受付対象(操作受け部など)を示唆する摸画像表示、受付期間の残り時間を示唆するゲージ画像表示、摸画像表示を視認し難くする消滅関連表示(摸画像表示が視認し難くなる態様)、受付けされたことに応じて期待度(大当り図柄が現れる割合)を示唆する受付後演出表示がそれぞれ行われるようになっている。期待度(大当り図柄が現れる割合)については、「0%」や「100%」を含むものであってもよい。なお上述の通り、摸画像表示は、ゲージ画像表示を含む周縁装飾画像と一体化された「一体化摸画像表示IG」として表示されるものとなっているが、必ずしもこれに限られず、別々に表示されるものであってもよい。このことについては、他の受付期間においても同様である。
より具体的には、この例においても、第2の受付期間が発生するよりも前のタイミングtG1が到来したときには、図256(b)及び図264(b)に示されるように、上記前兆演出表示として「第2前兆演出表示ZEH2」が実行開始される。また、「一体化摸画像表示IG(摸画像表示、ゲージ画像表示)」についても、図255に示した例の場合と同様、これに対応する受付期間(ここでは、第2の受付期間)が発生するよりも前のタイミングtG2が到来したときに、上記「第2前兆演出表示ZEH2」が表示されているなかで表示されるようになっている(図256(b)や、図264(c)を参照)。図264(c)に示されるように、「一体化摸画像表示IG」が表示される領域の少なくとも一部と、「第2前兆演出表示ZEH2」が表示される領域とが重複しており、「第2前兆演出表示ZEH2」によって「一体化摸画像表示IG」が視認し難くされる点についても、図262(c)に示した例の場合(第1の受付期間に対応する前兆演出表示)と同様である。
また、「一体化摸画像表示IG」が、これに対応する受付期間(ここでは、第2の受付期間)が発生するタイミングtG3(図264(d)に示される状況)を跨るように表示される点や、これに対応する受付期間(ここでは、第2の受付期間)内で受付けがなされたときか、該受付けがなされることなく第2の受付期間が終了されたときに非表示にされるようになっている点についても、図255に示した例の場合(第1の受付期間)と同様である。なお、この例にかかる第2の受付期間は、遊技者による動作の受付けがなされないときにはタイミングtG4が到来したときに終了されるようになっている。
ただし、図256(b)に示される例(第2の受付期間)にあって、「第2前兆演出表示ZEH2」は、図255(b)に示した例(第1の受付期間)にかかる「第1前兆演出表示ZEH1」の場合とは異なる態様(画像表示)であることはもとより、これに対応する受付期間(ここでは、第2の受付期間)が発生するタイミング(第2受付後演出に関しての受付けが許容されるタイミング)tG3が到来するのに合わせて非表示にされることがなく、該タイミングtG3を跨るかたちで表示されるものとなっている。
すなわちこの場合、第2の受付期間では、「一体化摸画像表示IG(摸画像表示、ゲージ画像表示)」だけでなく、該「一体化摸画像表示IG」を視認し難くする「第2前兆演出表示ZEH2」が表示されているなかで遊技者による動作の受付けがなされうることとなる。このような構成によれば、第2の受付期間が発生した以降も、「第2前兆演出表示ZEH2」によって「一体化摸画像表示IG」の少なくとも一部が視認し難くされることとなり、該受付期間内にあるときの緊張感を好適に維持することができるようになる。
ここで、「第2前兆演出表示ZEH2」については、これに対応する受付期間(ここでは、第2の受付期間)が終了されるタイミングtG4まで表示されるようにしてもよいし、該受付期間(ここでは、第2の受付期間)内の所定タイミングで非表示にされるようにしてもよい。また、図264及び図265に示されるように、前兆演出表示(第2前兆演出表示ZEH2)については、これに対応する受付期間(ここでは、第2の受付期間)内で、「一体化摸画像表示IG(摸画像表示、ゲージ画像表示)」と重なる領域が次第に縮小される傾向が現れるように、その表示範囲が次第に縮小されるかたちで表示されるようにすることが、「一体化摸画像表示IG」の視認し易さが受付期間内において徐々に向上されるようにする上で望ましい。また、第2前兆演出表示が表示される領域と、「一体化摸画像表示」が表示される領域の少なくとも一部とは、当該第2前兆演出表示が表示される全期間において必ずしも互いに重複しなくてもよく、例えば、当該全期間のうち受付期間内の所定タイミングが到来した以降は、「一体化摸画像表示IG」が表示される領域と重複しない領域で第2前兆演出表示が表示されるようにしてもよい。
また、この例にかかる第2前兆演出表示ZEH2は、これに対応する受付期間(ここでは、第2の受付期間)内で受付けがなされたときか、該受付期間(ここでは、第2の受付期間)内の予め定められたタイミングまで遊技者による動作が受付けされなかったときに非表示にされるようになっている。
この点、図256に示される例や、図264(d)から「B1(図265(e1)~(i1))」または「B2(図265(e2)~(i2))」へと演出が進展する例では、第2の受付期間内のタイミングtG3aにおいて遊技者による動作が受付けされた場合を想定している。すなわちこの場合、図256(a)に示されるように、タイミングtG3aにおいて遊技者による動作が受付けされたことに基づいて、第2の受付期間が終了されるとともに、該第2の受付期間に対応する受付後演出(第2受付後演出)が実行開始されることとなる。
なお、図264(d)から「B1(図265(e1)~(i1))」へと演出が進展する例は、第2の受付期間に対応する受付後演出として相対的に期待度の低い第1態様が実行される場合に相当し、図264(d)から「B2(図265(e2)~(i2))」へと演出が進展する例は、第2の受付期間に対応する受付後演出として相対的に期待度の高い第2態様が実行される場合に相当している。期待度(大当り図柄が現れる割合)については、「0%」や「100%」を含むものであってもよい。
そして、図256に示される例においても、遊技者による動作が受付けされた時点(受付けに応じて第2受付後演出が開始された時点)であるタイミングtG3aにおいて、「一体化摸画像表示IG」を非表示にしないことはもとより、該一体化摸画像表示IGを視認し難くすることもしないようにしている。またさらに、図256に示される例では、一体化摸画像表示IGだけでなく、第2前兆演出表示ZEH2についても、遊技者による動作が受付けされた時点(第2受付後演出が開始された時点)であるタイミングtG3aにおいてこれを非表示にしたり、視認し難くすることもないようにしている。
すなわち、この実施の形態にかかる第2受付後演出は、演出表示装置1600(第1演出装置)を利用した「第2受付後演出表示」と、第2演出装置(例えば、サブ液晶や、可動体、演出用ランプなど)を利用した「第2受付後特定演出」と、第3演出装置(スピーカ)を利用した第2受付後出力音とが少なくとも複合された演出として実現されるものとなっているが、それら演出装置のうち、一体化摸画像表示IG(摸画像表示、ゲージ画像表示)が表示される演出表示装置1600(第1演出装置)においては、第2受付後演出としての第2受付後演出表示が実行開始される時期を、他の演出装置に比べて遅延させるようにしており、これによって受付けがなされた以降も「一体化摸画像表示IG」及び「第2前兆演出表示ZEH2」の視認性を維持するものとなっている。
このような構成によれば、上述の第1の受付期間の場合と同様、図265(e1)または(e2)に示されるように、受付けがなされた以降も、終了された受付期間内において一体化摸画像表示IGが複数態様(図232(a)~(d))のいずれで表示されていたのかや、前兆演出表示がいずれの態様(第1の前兆演出表示ZEH1、第2の前兆演出表示ZEH2など)で表示されていたのかなどを、遊技者は容易に認識することができるようになることから、遊技興趣が低下することを好適に抑制することが期待されるようになる。
ここで、受付期間の終了後、該受付期間内において一体化摸画像表示IGや前兆演出表示ZEHがそれぞれいかなる態様で表示されていたのかの認識を容易とする上では、受付けがなされた以降の「一体化摸画像表示IGや前兆演出表示ZEHが視認容易な態様のままで表示される時間」を長く設定するようにすることが望ましいと言える。ただし、受付けがなされており受付後演出(第2演出装置、第3演出装置)が既に実行されている状況にあるにもかかわらず、一体化摸画像表示IGや前兆演出表示ZEHが受付期間中にあったときと同じ態様のままで表示され続けるようなことがあると、受付けがなされた状況にあるのか否かを遊技者側が認識し難くなり、その結果として「実行状態にある受付後演出に気付くのが遅れてしまう」といったことが懸念される。
そこで、図256(b)や、図265(f1)または(f2)に示される例においては、遊技者による動作が受付けされたことによって第2の受付期間が終了したタイミングtG3aから所定時間が経過すると(タイミングtG3bが到来すると)、「一体化摸画像表示IGが視認し難くなる態様」として、上記第1消滅関連表示SK1とは異なる「第2消滅関連表示SK2」にかかる表示を開始するようにしている。
すなわち、この例にかかる演出表示装置1600(第1演出装置)においては、「一体化摸画像表示IG(摸画像表示、ゲージ画像表示)」が表示されているなかで「第2消滅関連表示SK2」が表示されるようになっており、「第2消滅関連表示SK2」が表示される領域の少なくとも一部は「一体化摸画像表示IG(摸画像表示、ゲージ画像表示)」が表示される領域と重複するようになっている。
このような構成によれば、受付けがなされた以降、一体化摸画像表示IGを表示し続けるようにした場合であっても、該一体化摸画像表示IGが視認し難くされることによって、受付後演出(第2演出装置、第3演出装置)が既に実行されている状況にあることを示唆することができるようになる。したがって、遊技者による注視先を一体化摸画像表示IGから受付後演出(第2演出装置、第3演出装置)へと自ずと移行されることが期待されるようになる(タイミングtG3b以降)。これにより、受付後演出(第2演出装置、第3演出装置)が既に実行されている状況においても、視認し難さはあるものの一体化摸画像表示IGを比較的長い時間にわたって表示し続けることが可能とされるようになることから、受付期間内で一体化摸画像表示IGがいずれの態様で表示されていたのか認識できないことによる遊技興趣の低下を抑制することができるようになる。また、第2の受付後演出(第2演出装置、第3演出装置)が開始された以降であっても、第2消滅関連表示SK2が表示されるまでの間(タイミングtG3a~tG3b)は、第2前兆演出表示ZEH2の態様を視認良好のままで確認することができるようにしており、一体化摸画像表示IGについても第2前兆演出表示ZEH2によってしか視認し難くされることもないようになっていることから、遊技興趣を好適に維持することが期待されるようになる。なお、第2の受付期間内において第2前兆演出表示ZEH2が非表示とされてから受付けがなされたときには、第2消滅関連表示SK2が表示されるまでの間に第2前兆演出表示ZEH2が表示されることがなく、一体化摸画像表示IGの態様を視認良好のままで確認することができるようにされることは言うまでもない。
また、この例にかかる演出表示装置1600(第1演出装置)では、「前兆演出表示(ここでは、第2前兆演出表示ZEH2)」が表示されているなかで「第2消滅関連表示SK2」が表示されるようになっており、「第2消滅関連表示SK2」が表示される領域の少なくとも一部は「第2前兆演出表示ZEH2」が表示される領域と重複するようになっている。
このような構成によれば、第2前兆演出表示ZEH2が視認し難くされることによって、受付後演出(第2演出装置、第3演出装置)が既に実行されている状況にあることを示唆することができるようになり、遊技者による注視先を第2前兆演出表示ZEH2から受付後演出へと自ずと移行されることが期待されるようになる(タイミングtG3b以降)。これにより、受付後演出(第2演出装置、第3演出装置)が既に実行されている状況において、第2前兆演出表示ZEH2を比較的長い時間にわたって表示し続けることが可能とされるようになり、受付期間内で前兆演出表示がいずれの態様で表示されていたのか認識できないことによる遊技興趣の低下が抑制されうるようになる。また、受付後演出(第2演出装置、第3演出装置)が開始された以降であっても、前兆演出表示が視認し難くされるまでの間(タイミングtG3a~tG3b)は、該前兆演出表示の態様(ここでは、第2前兆演出表示ZEH2)を視認良好のままで確認することができるようにしていることから、遊技興趣を好適に維持することが期待されるようになる。
また、第2の受付期間では、これに対応する受付後演出として期待度の低い態様(図265(e1)~(i1))が現れる場合と、期待度の高い態様(図265(e2)~(i2))が現れる場合とで、第2消滅関連表示SK2として異なる態様(第2消滅関連表示SK2-1,SK2-2)が現れるようにしている。すなわちこの場合、図265(f1),(f2)に示されるように、演出表示装置1600(第1演出装置)を利用した「第2受付後演出表示」が未だ開始されていない状況下にあったとしても、該演出表示装置1600(第1演出装置)にて現れる第2消滅関連表示SK2が第1態様(第2消滅関連表示SK2-1)と第2態様(第2消滅関連表示SK2-2とのいずれで現れているのかを確認することで、「第2受付後演出表示」が期待度の高い態様で実行されるか否かを推測することができるようになる。
また、この例にかかるパチンコ機1では、図256(b)や、図265(g1)または(g2)に示されるように、第2消滅関連表示SK2にかかる表示(一体化摸画像表示IGが視認し難くなる態様)が現れている期間内のタイミングtG3cが到来すると、第2の受付期間内で遊技者による動作が受付けされたことに応じた第1演出装置(演出表示装置1600)における受付後演出としての「第2受付後演出表示UG2」を実行開始するようにしている。ただしここでは、図264(d)から「B1(図265(e1)~(i1))」へと演出が進展する例(受付後演出として相対的に期待度の低い場合)では、図265(g1)に示されるように、第2の受付期間に対応する第2受付後演出表示UG2として第1態様(第2受付後演出表示UG2-1)が表示され、図264(d)から「B2(図265(e2)~(i2))」へと演出が進展する例(受付後演出として相対的に期待度の高い場合)では、図265(g2)に示されるように、第2の受付期間に対応する第2受付後演出表示UG2として第2態様(第2受付後演出表示UG2-2)が表示されるようになっている。
すなわちこの場合、「一体化摸画像表示IG」、「第2前兆演出表示ZEH2」及び「第2消滅関連表示SK2(第2消滅関連表示SK2-1または第2消滅関連表示SK2-2)」がそれぞれ表示されているなかで「第2受付後演出表示UG2(第2受付後演出表示UG2-1または第2受付後演出表示UG2-2)」が実行開始されることとなる。これにより、第2の受付期間内で受付けされた以降、一体化摸画像表示IGや第2前兆演出表示ZEH2を比較的長い時間にわたって表示し続けるようにした場合であっても、第1演出装置(演出表示装置1600)における受付後演出(第2受付後演出表示UG2)を他の演出装置と比較して大幅に遅延させることなく開始させることができるようになり、遊技興趣の低下を抑制することができるようになる。また、一体化摸画像表示IGや第2前兆演出表示ZEH2が視認し難くされているなかで第2受付後演出表示UG2が開始されることから、第2の受付期間が既に終了していることを示唆しつつ、遊技者による注視先が「一体化摸画像表示IG」や「第2前兆演出表示ZEH2」から「第2受付後演出表示UG2(第2受付後演出表示UG2-1または第2受付後演出表示UG2-2)」へと自ずと移行されることが期待されるようになる(タイミングtG3c以降)。
そして、この例にかかるパチンコ機1では、こうして「第2受付後演出表示UG2(第2受付後演出表示UG2-1または第2受付後演出表示UG2-2)」にかかる表示が開始されると、図256(b)や、図265(h1)または(h2)に示されるように、該「第2受付後演出表示UG2(第2受付後演出表示UG2-1または第2受付後演出表示UG2-2)」が表示されているなかで、まず、「一体化摸画像表示IG」、「第2前兆演出表示ZEH2」、及び「第2消滅関連表示SK2」のうち、「一体化摸画像表示IG」及び「第2前兆演出表示ZEH2」をそれぞれ非表示にする。そして、こうして「一体化摸画像表示IG」及び「第2前兆演出表示ZEH2」がそれぞれ非表示にされた後、図255(b)や、図265(i1)または(i2)に示されるように、「第2消滅関連表示SK2(第2消滅関連表示SK2-1または第2消滅関連表示SK2-2)」が非表示にされることとなり、これによって視認良好とされているもとで「第2受付後演出表示UG2(第2受付後演出表示UG2-1または第2受付後演出表示UG2-2)」にかかる表示が行われるようになる。
この点、「第2受付後演出表示UG2」とは、遊技者による動作が受付けされたことに基づいて、期待度が異なる複数態様(ここでは、第2受付後演出表示UG2-1または第2受付後演出表示UG2-2)のいずれかで表示されるものである。したがって、「第2受付後演出表示UG2」は、「一体化摸画像表示IG」や、「第2前兆演出表示ZEH2」、「第2消滅関連表示SK2」が非表示にされた以降も、比較的長い時間にわたって実行されることとなる。
ちなみに、上述した第1の受付期間に対応する演出例(図262及び図263)では、第1の受付期間内において受付けがなされて「第1受付後演出表示UG1」が実行されたとしても、該「第1受付後演出表示UG1」が開始される前後で背景画像に切り替えを生じさせずこれを維持するようにした。これに対し、当該第2の受付期間に対応する演出例(図264及び図265)では、第2の受付期間内において受付けがなされて「第2受付後演出表示UG2」が実行されると、該「第2受付後演出表示UG2」が開始される前後で背景画像に切り替えを生じさせるようにしている。
このような構成によれば、背景画像に切り替えが生じていない図265(e),(f)に示される状況下(図256に示されるタイミングtG3a~tG3b)においては、演出表示装置1600(第1演出装置)において演出変化があったとしても、「第2受付後演出表示UG2」は未だ開始されていない状況にあることを示唆することができるようになる。
なお、図265に示した例では、受付後演出として、期待度の低い態様が現れる場合と、期待度の高い態様が現れる場合とで同じ背景画像に切り替えられるようにしているが、期待度の低い態様が現れる場合と、期待度の高い態様が現れる場合とで異なる背景画像に切り替えられるようにしてもよい。また、期待度の高い態様が現れるときには、背景画像が切り替えられるが、期待度の低い態様が現れるときには、背景画像が切り替えられないようにしてもよい。
このように、この例にかかる演出表示装置1600(第1演出装置)では、第2の受付期間が発生する場合も、これに伴って、限られた時間(図256に示される太線)内であり、且つ限られた表示画面(演出表示装置1600)内で様々な表示を行うものとなっており、これによって遊技興趣の低下を抑制するようにしている。ただしこの結果として、演出表示装置1600(第1演出装置)では、受付けに応じた第2受付後演出(第2受付後演出表示)の開始時期(タイミングtG3c)を、受付けされたタイミングtG3aよりも遅延せざるを得ないという実情にある。
そこで、この例においても、第2の受付期間内で遊技者による動作が受付けされたときには、図256(b),(c)に併せて示されるように、該受付けがあったことに基づいて、第2演出装置を用いた第2受付後演出(第2受付後特定演出)を、上記第1演出装置を用いた第2受付後演出(第2受付後演出表示)に先行して実行開始させるようにしている。
このような構成によれば、第2の受付期間で受付けがあったタイミングtG3aから実行開始が遅延されるのは第2受付後演出の一部(第2受付後演出表示)に留まることとなり、当該第2受付後演出これ自体については、同タイミングtG3aから遅れることなく実行開始させることができるようになる。
このような第2演出装置としては、これも上述した通り、演出表示装置1600(第1演出装置)をメイン液晶とするときのサブ液晶として備えられるものであってもよいし、演出動作可能な演出可動体や、演出発光可能な演出ランプなどとして備えられるものであってもよい。いずれにせよ、期待度が異なる複数態様で演出(表示演出、可動演出、発光演出など)を行いうるものとして設けられることとなる。期待度(大当り図柄が現れる割合)については、「0%」や「100%」を含むものであってもよい。
上述の通り、この実施の形態にかかるパチンコ機1では、第2演出装置としてサブ液晶1610を用いた場合を想定している。そして、図264(d)から「B1(図265(e1)~(i1))」へと演出が進展する例(受付後演出として相対的に期待度の低い場合)では、図265(e1)に示されるように、該サブ液晶1610(第2演出装置)において「女性用の着物」が表示される態様が、当該第2の受付期間に対応する上記第2受付後特定演出UGT2(第2受付後特定演出UGT2の期待度の低い態様である第2受付後特定演出UGT2-1)として、上記第1演出装置を用いた第2受付後演出(第2受付後演出表示UG2-1)に先行して実行開始されるようになっている。これに対し、図264(d)から「B2(図265(e2)~(i2))」へと演出が進展する例(受付後演出として相対的に期待度の高い場合)では、図265(e2)に示されるように、該サブ液晶1610(第2演出装置)において「男性用の着物」が表示される態様が、当該第2の受付期間に対応する上記第2受付後特定演出UGT2(第2受付後特定演出UGT2の期待度の高い態様である第2受付後特定演出UGT2-2)として、上記第1演出装置を用いた第2受付後演出(第2受付後演出表示UG2-2)に先行して実行開始されるようになっている。
また、図264に示した演出例では、演出表示装置1600(第1演出装置)における第2前兆演出表示ZEH2とは別に、サブ液晶1610(第2演出装置)においても第2の受付期間に対応する前兆演出(第2前兆特定演出)が実行されるようになっている(図264(b)~(d))。該サブ液晶1610(第2演出装置)における第2前兆特定演出は、演出表示装置1600(第1演出装置)における第2前兆演出表示ZEH2とは異なり、第2の受付期間が発生するタイミングtG3が到来した時点においても実行されており、該タイミングtG3を跨るかたちで実行されるようになっている。
また上述の通り、この実施の形態にかかるパチンコ機1では、第3演出装置(スピーカー)をさらに用意することとしており、第2の受付期間の発生に際しては、図256(d)に示されるタイミングtG2において、受付許容音(図264(c),(d)で出力されている「♪」に相当)を出力開始させることとしている。すなわち、第2の受付期間に対応する受付許容音は、該第2の受付期間が発生するタイミングtG3(「図264(d)に示される状況」に相当)を跨るかたちで可聴出力されるものとなっており、当該受付許容音が可聴出力されているなかで遊技者による動作が受付けされうるものとなっている。
ここで、第2の受付期間では、受付許容音として、相対的に長い時間にわたって可聴出力状態とされる長時間許容音と、相対的に短い時間にわたって可聴出力状態とされる短時間許容音とがそれぞれ出力されるようになっている。図256(d)に示される例では、長時間許容音と短時間許容音とをそれぞれ同時期に出力開始させるようにしているが、必ずしもこれに限られない。例えば、長時間許容音及び短時間許容音の一方を、第2の受付期間が発生するタイミングtG3やそれ以降において出力開始させるようにしてもよい。
そして、第2の受付期間では、長時間許容音及び(または)短時間許容音がそれぞれ可聴出力されているなかで遊技者による動作の受付けがなされた場合、該受付けがなされたことに基づいて、長時間許容音及び(または)短時間許容音を途中終了(可聴出力状態の途中終了)させるようにしている。
また、第2の受付期間では、受付許容音(長時間許容音、短時間許容音)が可聴出力されているなかで遊技者による動作の受付けがなされた場合、該受付許容音を途中終了させるだけでなく、該受付けがなされたときにはこれに基づいて、上記第1受付後出力音とは異なる第2受付後出力音(図265(e1)または(e2)などで出力されている「♪♪」に相当)の可聴出力を開始させるものとなっている。すなわちこの場合、第2の受付期間では、第1演出装置にて行われる演出(表示演出)の場合とは異なり、受付期間内で行われる演出(受付許容音)と、受付けがなされたことに応じて行われる演出(第2受付後出力音)とが競合(重複)することがなくなるようになる。
このような第2受付後出力音は、「第2受付後演出表示UG2」と同様、図256(d)に示されるように、「一体化摸画像表示IG」や「第2消滅関連表示SK2」が非表示にされた以降も、比較的長い時間にわたって実行されることとなる(「図265(e1)~(i1)または(e2)~(e1)で♪♪が出力されている状況」に相当)。また、第2受付後出力音については、図264(d)から「B1(図265(e1)~(i1))」へと演出が進展する例(受付後演出として相対的に期待度の低い場合)と、図264(d)から「B2(図265(e2)~(i2))」へと演出が進展する例(受付後演出として相対的に期待度の高い場合)とで、互いに異なる出力音(態様)が出力されるようにすることが望ましい。
なお、第2の受付期間では、受付許容音として、長時間許容音と短時間許容音とをそれぞれ出力するようにしたが、これら2つの許容音を必ずしも出力しなくてもよく、第1の受付期間と同じように1つの受付許容音のみが出力されるようにしてもよい。
他方、図256では図示を割愛しているが、図264(d)から「B3(図265(e3)~(h3))」へと演出が進展する例は、第2の受付期間内で遊技者による動作が受付けされなかった場合を想定したものである。
すなわちこの場合、第2の受付期間が発生した後、遊技者による動作が受付けされることなく上記タイミングtG4が到来することとなる。この点、該タイミングtG4(第2の受付期間が終了し、遊技者による動作の受付けが許容されなくなった時点)にあるときの演出表示装置1600(第1演出装置)では、タイミングtG3a(第2の受付期間内において遊技者による動作の受付けがなされた時点)にあるときの演出表示装置1600(第1演出装置)と同様、図265(e3)に示されるように、一体化摸画像表示IGを非表示にしないことはもとより、一体化摸画像表示IGを視認し難くすることもしないようにしている。なお、この演出例では、タイミングtG4においては第2前兆演出表示ZEH2が非表示にされるようになっていることから、タイミングtG4以降において第2前兆演出表示ZEH2が表示されていることはない。
このような構成によれば、遊技者による動作の受付けが間に合わずに第2の受付期間が終了してしまった場合であっても、該終了した以降、第2の受付期間内において一体化摸画像表示IGがいかなる態様で表示されていたのかを認識することが可能とされるようになることから、遊技興趣の低下を抑制することができるようになる。
そしてこの後は、遊技者による動作が受付けされなかった場合も、図265(f3)に示されるように、「一体化摸画像表示IGが視認し難くなる態様」として、第2消滅関連表示SK2-1または第2消滅関連表示SK2-2にかかる表示(図中は、第2消滅関連表示SK2-1にかかる表示)が開始されるようになっている。
すなわち、この例にかかる第1演出装置(演出表示装置1600)では、「一体化摸画像表示IG(摸画像表示、ゲージ画像表示)」が表示されているなかで「第2消滅関連表示SK2-1または第2消滅関連表示SK2-2」が表示されるようになっており、「第2消滅関連表示SK2」が表示される領域の少なくとも一部は「一体化摸画像表示IG(摸画像表示、ゲージ画像表示)」が表示される領域と重複するようになっている。
このような構成によれば、受付けがなされずに第2の受付期間が終了した以降、一体化摸画像表示IGを表示し続けるようにした場合であっても、該一体化摸画像表示IGが視認し難くされることによって、当該第2の受付期間が終了した状態にあることを示唆することができるようになる。また、当該第2の受付期間が既に終了している状況においても、視認し難さはあるものの一体化摸画像表示IGを比較的長い時間にわたって表示し続けることが可能とされるようになることから、受付期間内で一体化摸画像表示IGがいずれの態様で表示されていたのか認識できないことによる遊技興趣の低下を抑制することができるようになる。
また、この例にかかるパチンコ機1では、第2の受付期間内で遊技者による動作が受付けされなかったときに第2消滅関連表示SK2として「第2消滅関連表示SK2-1」が表示される場合とは、第2の受付期間内で遊技者による動作がもし受付けされていたとしたら、図264(d)から「B1(図265(e1)~(i1))」へと演出が進展していた場合(相対的に期待度の低い受付後演出が実行されていた場合)に相当する。一方、第2の受付期間内で遊技者による動作が受付けされなかったときに第2消滅関連表示SK2として「第2消滅関連表示SK2-2」が表示される場合とは、第2の受付期間内で遊技者による動作がもし受付けされていたとしたら、図264(d)から「B2(図265(e2)~(i2))」へと演出が進展していた場合(相対的に期待度の高い受付後演出が実行されていた場合)に相当するものとなっている。
すなわちこの場合、第2の受付期間では、遊技者による動作が受付けされなかったとしても、該第2の受付期間が終了した以降、一体化摸画像表示IGが非表示にされるのに関連して現れる「第2消滅関連表示SK2」としての態様(第2消滅関連表示SK2-1,第2消滅関連表示SK2-2)を確認するだけで、第2受付後演出が期待度の低い態様で実行されていたか、それとも期待度の高い態様で実行されていたかを認識しうるようになることから、遊技興趣が低下することを好適に抑制することができるようになる。
そしてこの後は、図265(g3)に示されるように、「一体化摸画像表示IG」及び「第2消滅関連表示SK2」のうち、まず、「一体化摸画像表示IG」を非表示にする。そして、こうして「一体化摸画像表示IG」が非表示にされた後、図265(h3)に示されるように、「第2消滅関連表示SK2」が非表示にされることとなる。
図257は、判定の結果として第3条件が満たされて第3の受付期間(第3受付演出)が発生するときの演出内容についてその一例を示すタイムチャートである。
いま、特定遊技状態(例えば、非確変・非時短である通常遊技状態)において始動条件が成立(保留消化)されて、変動パターン判定が行われた結果として「第3変動パターン」が選択されたとすると、上記周辺制御MPU1511aでは、まず、該第3変動パターンに対応する演出判定(予告判定など)を行う。そしてこの後、装飾図柄SZの変動演出(第3変動パターンに応じた演出描写や、第3変動パターンに応じたBGM再生の音出力など)を開始させ、該変動演出の実行期間内で、予告演出判定の結果に応じた演出(予告演出)を、上記選択した「第3変動パターン」これ自体の演出に対して付加的に実行させることとなる。
ただし、「第3変動パターン」にかかる演出では、演出判定(予告判定)としていずれの結果が得られている場合であっても、装飾図柄SZの変動演出が開始されてから第3所定時間が経過したタイミングtH3(SPリーチ状態が発生する前のタイミングであってもよいし、SPリーチ状態内のタイミングであってもよい)が到来したときに「第3操作後演出に関しての受付け」が許容される上記第3の受付期間(有効期間)を発生させる。これにより、当該第3の受付期間内において遊技者による動作が受付けされると、該受付けに基づいて第3受付後演出が行われるようになる。ただし、この構成については必ずしもなくてもよく、予告演出判定の結果として上記第3の受付期間(有効期間)を発生させるようにしてもよい。
この点、この実施の形態にかかる第3の受付期間(第3受付演出)では、遊技者による動作が受付けされたことに基づいて第3受付後演出として実行される内容(第1演出装置における「第3受付後演出表示」や、第2演出装置における「第3受付後特定演出」、第3演出装置における「第3受付後出力音」)こそ、図255(または図262、図263)を参照して上述した第1受付後演出(第1演出装置における「第1受付後演出表示」や、第2演出装置における「第1受付後特定演出」、第3演出装置における「第1受付後出力音」)と異なっているが、それ以外の構成については基本的に同じとされるものとなっている。
例えば、図257に示されるタイミングtH1は、図255に示したタイミングtF1に相当するものである。したがって、タイミングtH1が到来したときには、図257(b)に示されるように、表示画面(演出表示装置1600)においては、上記前兆演出表示として「第1前兆演出表示ZEH1」が実行開始される。なお、図257(b)に示される例にかかる「第1前兆演出表示ZEH1」も、これに対応する受付期間(第3の受付期間)が発生するタイミング(第3受付後演出に関しての受付けが許容されるタイミング)tH3が到来するのに合わせて非表示にされるようになっている。ただし、タイミングtH3よりも前に非表示にされるようにしてもよい点についても、上述した第1の受付期間の場合と同じである。いずれにせよ、この例にかかる第1の受付期間も、遊技者による動作の受付けが許容される状態において「第1前兆演出表示ZEH1」が表示されることがないものとなっている。
また、図257に示されるタイミングtH2は、図255に示したタイミングtF2に相当するものである。したがって、タイミングtH2が到来したときには、図262(c)に示した通り、「第1前兆演出表示ZEH1」が表示されているなかで「一体化摸画像表示IG(摸画像表示、ゲージ画像表示)」が表示されることとなり、「一体化摸画像表示IG」が表示される領域の少なくとも一部は「第1前兆演出表示ZEH1」が表示される領域と重複することとなる。なお、第3の受付期間に関連して表示される「一体化摸画像表示IG」や「第1前兆演出表示ZEH1」にかかる構成や、それらに関連した別例などについては、図255や図262、図263を参照して上述した通りであるから、ここでは割愛することとする。
また、図257に示されるタイミングtH3は、図255に示したタイミングtF3に相当するものである。したがって、タイミングtH3が到来したときには、図262(d)に示した通り、「一体化摸画像表示IG(摸画像表示、ゲージ画像表示)」が表示されているなかで上記第3の受付期間が発生することとなる。「一体化摸画像表示IG」が、第3の受付期間内で受付けがなされたときか、該受付けがなされることなく第3の受付期間が終了されたときに非表示にされる点についても同様である。なお、この例にかかる第3の受付期間は、遊技者による動作の受付けがなされないときにはタイミングtH4が到来したときに終了されるようになっている。
また、図257に示されるタイミングtH3aは、図255に示したタイミングtF3aに相当するものである。したがって、タイミングtH3aが到来したときには、遊技者による動作が受付けされたことに基づいて、第3の受付期間が終了されるとともに、該第3の受付期間に対応する受付後演出(第3受付後演出)が実行開始されることとなる。なお、第3受付後演出としても、相対的に期待度の低い第1態様が実行される場合と、相対的に期待度の高い第2態様が実行される場合とが少なくとも用意されており、その演出内容(受付後演出表示、受付後特定演出、受付後出力音としての各内容)こそ上記第1受付後演出と異なるが、複数態様のいずれで実行されるかによって期待度が示唆される点などについては、上記第1受付後演出の場合と同様である。期待度(大当り図柄が現れる割合)については、「0%」や「100%」を含むものであってもよい。また、遊技者による動作が受付けされた時点(受付けに応じて第3受付後演出が開始された時点)であるタイミングtH3aにおいて、一体化摸画像表示IGを非表示にしないことはもとより、該一体化摸画像表示IGを視認し難くすることもしないようにしている点についても、上記第1受付後演出の場合と同様である。
また、図257に示されるタイミングtH3bは、図255に示したタイミングtF3bに相当するものである。したがって、タイミングtH3bが到来したときには、「一体化摸画像表示IGが視認し難くなる態様」として、第1消滅関連表示SK1-1(第1の受付期間及び第3の受付期間で共通対応する第1消滅関連表示SK1の第1態様)にかかる表示が開始されることとなる。なお、第3の受付期間に関連して表示される「第1消滅関連表示SK1」にかかる構成や、これに関連した別例などについては、図255や図263を参照して上述した通りであるから、ここでは割愛することとする。
このような第1の演出装置(演出表示装置1600)の「第1前兆演出表示ZEH1が表示されてから第1消滅関連表示SK1が表示されるまでの期間」にかかる構成によれば、第1の受付期間と第3の受付期間とのいずれが発生しているのか(発生していたのか)を認識し難くすることができるようになり、これによって第2の演出装置や第3の演出装置にも興味を抱くように促したり、受付後演出表示としていずれの態様(第1受付後演出表示、第3受付後演出表示)が現れるかについて強い興味を持たせて遊技興趣の向上を図ることができるようになる。
なお、第3の受付期間においても、これに対応する受付後演出として期待度の低い態様と期待度の高い態様とのいずれが実行される場合であっても、第1消滅関連表示SK1としては同じ態様(第1消滅関連表示SK1-1)が現れるようにしていることから、受付後演出(第2演出装置、第3演出装置)が実行開始されている状況下においても、第1演出装置(演出表示装置1600)においてはその期待度を秘匿として維持することができるようになる。ただし、この構成については必ずしもなくてもよく、期待度に応じて異なる消滅関連表示が現れるようにしてもよい。期待度(大当り図柄が現れる割合)については、「0%」や「100%」を含むものであってもよい。
また、図257に示されるタイミングtH3cは、図255に示したタイミングtF3cに相当するものである。したがって、タイミングtH3cが到来すると、第3の受付期間内で遊技者による動作が受付けされたことに応じた第3演出装置(演出表示装置1600)における受付後演出としての「第3受付後演出表示(第1受付後演出表示とは予告演出としての種別が異なる)」が実行開始されることとなる。この「第3受付後演出表示」としても、期待度の異なる複数の態様が用意されており、第3受付後演出として期待度の低い態様が実行される場合と期待度の高い態様が実行される場合とで当該「第3受付後演出表示」として異なる態様が現れるようになっていることは上述した通りである。
すなわちこの場合、「一体化摸画像表示IG」及び「第1消滅関連表示SK1-1」がそれぞれ表示されているなかで「第3受付後演出表示」が実行開始されることとなる。これにより、第1の受付期間と第3の受付期間とのいずれが発生していたのかを認識できるのか認識できないのかの際どい状況を作り出すことができるようになり、遊技者による注視先が「一体化摸画像表示IG」から「受付後演出表示」へと自ずと移行されることが期待されるようになる(タイミングtH3c以降)。
そして、この例においても、こうして「第3受付後演出表示」にかかる表示が開始されると、その態様にかかわらず、該「第3受付後演出表示」が表示されているなかで、まず、「一体化摸画像表示IG」及び「第1消滅関連表示SK1-1」のうち、「一体化摸画像表示IG」が非表示にされる。そして、こうして「一体化摸画像表示IG」が非表示にされた後、「第1消滅関連表示SK-1」が非表示にされることとなり、これによって視認良好とされているもとで「第3受付後演出表示」にかかる表示が行われるようになる。
この点、「第3受付後演出表示」も、遊技者による動作が受付けされたことに基づいて、期待度が異なる複数態様のいずれかで表示されるものであることは上述した。したがって、「第3受付後演出表示」も、図257(b)に示されるように、「一体化摸画像表示IG」や「第1消滅関連表示SK-1」が非表示にされた以降も、比較的長い時間にわたって実行されることとなる。
このように、この例にかかる演出表示装置1600(第1演出装置)では、第3の受付期間が発生した場合も、限られた時間(図257に示される太線)内であり、且つ限られた表示画面(演出表示装置1600)内で様々な表示を行うものとなっている。ただしこの結果として、演出表示装置1600(第1演出装置)では、受付けに応じた第3受付後演出(第3受付後演出表示)の開始時期(タイミングtH3c)を、受付けされたタイミングtH3aよりも遅延せざるを得ないという実情にある。
そこで、第3の受付期間で遊技者による動作(操作)が受付けされた場合も、図257(b),(c)に併せて示されるように、該受付けがあったことに基づいて、第2演出装置を用いた第3受付後演出(第3受付後特定演出)を、上記第1演出装置を用いた第3受付後演出(第3受付後演出表示)に先行して実行開始させるようにしている。第3受付後特定演出についても、その演出内容こそ、第1受付後特定演出と異なるが、基本的には、第1受付後特定演出と同じように行われるものである。
例えば、第3受付後特定演出としても、期待度の異なる複数の態様を用意するようにし、第3受付後演出として期待度の低い態様が実行される場合と期待度の高い態様が実行される場合とで、サブ液晶1610(第2演出装置)においては、当該第3受付後特定演出として異なる態様が現れるようになっている。また、図257(b),(c)に併せて示されるように、上記第2演出装置を用いた第3受付後特定演出が、上記第1演出装置を用いた第3受付後演出表示に先行して実行開始されるようになっている点についても、上述した第1受付後特定演出の場合と同様である。
また、第3の受付期間の発生に際しても、第1の受付期間の場合と同様、サブ液晶1610(第2演出装置)において前兆演出(第1の受付期間と第3の受付期間とで共通対応する第1前兆特定演出)が実行されるようにすることが望ましい。またこの場合、サブ液晶1610(第2演出装置)における前兆特定演出(第1前兆特定演出)は、演出表示装置1600(第1演出装置)における第1前兆演出表示ZEH1とは異なり、第3の受付期間が発生するタイミングtH3が到来した時点においても実行されており、該タイミングtH3を跨るかたちで実行されるようにすることがより望ましい。
また上述の通り、この実施の形態にかかるパチンコ機1では、第3演出装置(スピーカー)をさらに用意することとしており、第3の受付期間の発生に際しても、図257(d)に示されるタイミングtH2において、受付許容音を出力開始させることとしている。すなわち、第3の受付期間に対応する受付許容音は、該第3の受付期間が発生するタイミングtH3を跨るかたちで可聴出力されるものとなっており、当該受付許容音が可聴出力されているなかで遊技者による動作が受付けされうるものとなっている。この受付許容音は、第1の受付期間の発生に際して出力される受付許容音と同じ音であることが望ましい。
ただし、第3の受付期間では、受付許容音が可聴出力されているなかで遊技者による動作の受付けがなされた場合、該受付けがなされたことに基づいて、該受付許容音の可聴出力状態を終了させるようにしている。
また、第3の受付期間では、受付許容音が可聴出力されているなかで遊技者による動作の受付けがなされた場合、該受付許容音を途中終了させるだけでなく、該受付けがなされたときにはこれに基づいて、上記第1受付後出力音や上記第2受付後出力音などとは異なる第3受付後出力音の可聴出力を開始させるものとなっている。すなわちこの場合、第3の受付期間では、第1演出装置にて行われる演出(表示演出)の場合とは異なり、受付期間内で行われる演出(受付許容音)と、受付けがなされたことに応じて行われる演出(第3受付後出力音)とが競合(重複)することがなくなるようになる。
このような第3受付後出力音は、「第3受付後演出表示」と同様、図257(d)に示されるように、「一体化摸画像表示IG」や「第1消滅関連表示SK1-1」が非表示にされた以降も、比較的長い時間にわたって実行されることとなる。また、第3受付後出力音としても、期待度の異なる複数の態様を用意するようにし、第3受付後演出として期待度の低い態様が実行される場合と期待度の高い態様が実行される場合とで異なる出力音(態様)が出力されるようにすることが望ましい。
このような構成によれば、第1演出装置(演出表示装置1600)を見るだけでは、タイミングtH3cが到来するまで受付期間としていずれの種別が発生したかを認識し難いものの、第2演出装置や第3演出装置を確認すれば、それよりも早いタイミングtH3aが到来した時点において受付期間としていずれの種別が発生したかを認識することができるようになる。これにより、第1演出装置(演出表示装置1600)のみに集中しがちになる遊技者に対してより多くの演出装置で演出を楽しむように促すことができるようになる。
他方、図257では図示を割愛しているが、第3の受付期間内で遊技者による動作が受付けされなかった場合も、基本的には、第1の受付期間内で遊技者による動作が受付けされなかった場合と同様である。
すなわちこの場合、第3の受付期間が発生した後、遊技者による動作が受付けされることなく上記タイミングtH4が到来することとなる。この点、該タイミングtH4(第3の受付期間が終了し、遊技者による動作の受付けが許容されなくなった時点)にあるときの演出表示装置1600(第1演出装置)では、タイミングtH3a(第3の受付期間内において遊技者による動作の受付けがなされた時点)にあるときの演出表示装置1600(第1演出装置)と同様、一体化摸画像表示IGを非表示にしないことはもとより、該一体化摸画像表示IGを視認し難くすることもしないようにしている。
そしてこの後は、遊技者による動作が受付けされなかった場合も、「一体化摸画像表示IGが視認し難くなる態様」として、第1消滅関連表示SK1-2(第1の受付期間と第3の受付期間とで共通対応する第1消滅関連表示SK1の第2態様)にかかる表示が開始されるようになっている。
すなわち、この例にかかる第1演出装置(演出表示装置1600)では、「一体化摸画像表示IG(摸画像表示、ゲージ画像表示)」が表示されているなかで「第1消滅関連表示SK1-2」が表示されるようになっており、「第1消滅関連表示SK1-2」が表示される領域の少なくとも一部は「一体化摸画像表示IG(摸画像表示、ゲージ画像表示)」が表示される領域と重複するようになっている。
このような構成によれば、遊技者による動作が受付けされなかった場合、受付期間としていずれの種別が発生していたのかを認識することができなくなることから、遊技者に対して操作を強く促すことができるようになる。なお、第3の受付期間では、第1の受付期間の場合と同様、遊技者による動作が受付けされなかったときに、「第1消滅関連表示SK1」として期待度に応じて異なる態様が現れることはないし、受付けがなされたときに現れる態様(第1消滅関連表示SK1-1)とは異なる態様(第1消滅関連表示SK1-2)が現れるようになっている。
そしてこの後は、「一体化摸画像表示IG」及び「第1消滅関連表示SK1-2」のうち、まず、「一体化摸画像表示IG」が非表示にされる。そして、こうして「一体化摸画像表示IG」が非表示にされた後、「第1消滅関連表示SK-2」が非表示にされることとなる。
図258は、判定の結果として第4条件が満たされて第4の受付期間(第4受付演出)が発生するときの演出内容についてその一例を示すタイムチャートである。図266及び図267は、第4の受付期間(第4受付演出)が発生する変動パターンにおける演出例を示す図である。
いま、特定遊技状態(例えば、非確変・非時短である通常遊技状態)において始動条件が成立(保留消化)されて、変動パターン判定が行われた結果として「第4変動パターン」が選択されたとすると、上記周辺制御MPU1511aでは、まず、該第4変動パターンに対応する演出判定(予告判定など)を行う。そしてこの後、装飾図柄SZの変動演出(第4変動パターンに応じた演出描写や、第4変動パターンに応じたBGM再生の音出力など)を開始させ(図266(a)に示される状況)、該変動演出の実行期間内で、予告演出判定の結果に応じた演出(予告演出)を、上記選択した「第4変動パターン」これ自体の演出に対して付加的に実行させることとなる。なお、図266(a)に示した演出例においては、説明の便宜上、大当り期待度(当該変動演出において装飾図柄SZが停止したときに大当り図柄が現れる割合)を示唆する第1演出表示TE(ここでは、上述した「タイマ演出」に相当)と、カエルキャラとして描写される第2演出表示FEとが、図柄変動の開始時においてそれぞれ表示される場合を想定している。これらの表示は、変動開始時でなく、変動途中で表示されるものであってもよいし、互いに異なるタイミングで表示されるものであってもよい。
ただし、「第4変動パターン」にかかる演出では、図258に示されるように、演出判定(予告判定)としていずれの結果が得られている場合であっても、装飾図柄SZの変動演出が開始されてから第4所定時間が経過したタイミングtI3(SPリーチ状態が発生する前のタイミングであってもよいし、SPリーチ状態内のタイミングであってもよい)が到来したときに「第4操作後演出に関しての受付け」が許容される上記第4の受付期間(有効期間)を発生させる(図266(d)に示される状況)。これにより、当該第4の受付期間内において遊技者による動作が受付けされると、該受付けに基づいて第4受付後演出が行われるようになる。ただし、この構成については必ずしもなくてもよく、予告演出判定の結果として上記第4の受付期間(有効期間)を発生させるようにしてもよい。
この点、この実施の形態にかかる第4の受付期間(第4受付演出)では、遊技者による動作が受付けされたことに基づいて第4受付後演出として実行される内容(第1演出装置における「第4受付後演出表示」や、第2演出装置における「第4受付後特定演出」、第3演出装置における「第4受付後出力音」)が、図255(または図262、図263)を参照して上述した第1受付後演出(第1演出装置における「第1受付後演出表示」や、第2演出装置における「第1受付後特定演出」、第3演出装置における「第1受付後出力音」)と異なっている。また、この実施の形態にかかる第4の受付期間(第4受付演出)では、「一体化摸画像表示IGが視認し難くなる態様」として、上記第1消滅関連表示SK1とは異なる第4消滅関連表示SK4が現れるようになっている点についても、上記第1の受付期間の場合と異なるが、それ以外の構成については基本的に同じとされるものとなっている。
以下、第4の受付期間(第4受付演出)の発生に関連して行われる演出について説明するが、第1の受付期間(第1受付演出)の場合と同じであるものについての説明はここでは割愛する。すなわち、特に言及しない事項については、第1の受付期間(第1受付演出)で説明した通りの内容で演出が行われることとなり、別例や変形例についても同じように適用可能である。
例えば、図258に示されるタイミングtI1は、図255に示したタイミングtF1に相当するものである。したがって、タイミングtI1が到来したときには、図258(b)や、図266(b)に示されるように、表示画面(演出表示装置1600)においては、上記前兆演出表示として「第1前兆演出表示ZEH1」が実行開始される。
また、図258に示されるタイミングtI2は、図255に示したタイミングtF2に相当するものである。したがって、タイミングtI2が到来したときには、図266(c)に示した通り、「第1前兆演出表示ZEH1」が表示されているなかで「一体化摸画像表示IG(摸画像表示、ゲージ画像表示)」が表示されることとなり、「一体化摸画像表示IG」が表示される領域の少なくとも一部は「第1前兆演出表示ZEH1」が表示される領域と重複することとなる。
また、図258に示されるタイミングtI3は、図255に示したタイミングtF3に相当するものである。したがって、タイミングtI3が到来したときには、図266(d)に示した通り、「一体化摸画像表示IG(摸画像表示、ゲージ画像表示)」が表示されているなかで上記第4の受付期間が発生することとなる。
また、図258に示されるタイミングtI3aは、図255に示したタイミングtF3aに相当するものである。すなわち、図258に示される例や、図266(d)から「C1(図267(e1)~(i1))」または「C2(図267(e2)~(i2))」へと演出が進展する例では、第4の受付期間内のタイミングtI3aにおいて遊技者による動作が受付けされた場合を想定している。すなわちこの場合、図258(a)に示されるように、タイミングtI3aにおいて遊技者による動作が受付けされたことに基づいて、第4の受付期間が終了されるとともに、該第4の受付期間に対応する受付後演出(第4受付後演出)が実行開始されることとなる。
なお、図266(d)から「C1(図267(e1)~(i1))」へと演出が進展する例は、第4の受付期間に対応する受付後演出として相対的に期待度の低い第1態様が実行される場合に相当し、図266(d)から「C2(図267(e2)~(i2))」へと演出が進展する例は、第4の受付期間に対応する受付後演出として相対的に期待度の高い第2態様が実行される場合に相当している。ただし、第4の受付期間に対応する受付後演出としては必ずしも期待度が異なる複数態様を用意しなくてもよく、受付けされたときには常に、特定の態様(例えば、C1(図267(e1)~(i1)))が現れるようにしてもよい。この場合、第4の受付期間に対応する「一体化摸画像表示IGが視認し難くなる態様」としても、期待度に応じて複数態様が用意されることがなく、受付けがあったときには必ず同じ態様が現れるようにされることとなる。
なお、この第4の受付期間においても同様、図258(b)や、図267(e1)または(e2)に示されるように、遊技者による動作が受付けされた時点(受付けに応じて第4受付後演出が開始された時点)であるタイミングtI3aにおいては、一体化摸画像表示IGを非表示にしないことはもとより、該一体化摸画像表示IGを視認し難くすることもしないようにしている。
また、図258に示されるタイミングtI3bは、図255に示したタイミングtF3bに相当するものである。したがって、タイミングtI3bが到来したときには、「一体化摸画像表示IGが視認し難くなる態様」が現れることとなる。ただし上述の通り、第4の受付期間において受付けがされたときには、第1消滅関連表示SK1とは異なる第4消滅関連表示SK4にかかる表示を開始するようにしている(タイミングtI3b)。
すなわち、この例にかかる第1演出装置(演出表示装置1600)においては、「一体化摸画像表示IG(摸画像表示、ゲージ画像表示)」が表示されているなかで「第4消滅関連表示SK4」が表示されるようになっており、「第4消滅関連表示SK4」が表示される領域の少なくとも一部は「一体化摸画像表示IG(摸画像表示、ゲージ画像表示)」が表示される領域と重複するようになっている。
このような構成によれば、受付けがなされた以降、一体化摸画像表示IGを表示し続けるようにした場合であっても、該一体化摸画像表示IGが視認し難くされることによって、受付後演出(第2演出装置、第3演出装置)が既に実行されている状況にあることを示唆することができるようになる。したがって、遊技者による注視先を一体化摸画像表示IGから受付後演出(第2演出装置、第3演出装置)へと自ずと移行されることが期待されるようになる(タイミングtI3b以降)。これにより、受付後演出(第2演出装置、第3演出装置)が既に実行されている状況においても、視認し難さはあるものの一体化摸画像表示IGを比較的長い時間にわたって表示し続けることが可能とされるようになることから、受付期間内で一体化摸画像表示IGがいずれの態様で表示されていたのか認識できないことによる遊技興趣の低下を抑制することができるようになる。
また、第4の受付期間では、これに対応する受付後演出として期待度の低い態様(図267(e1)~(i1))が現れる場合と、期待度の高い態様(図267(e2)~(i2))が現れる場合とで、第4消滅関連表示SK4として異なる態様(第4消滅関連表示SK4-1,SK4-2)が現れるようにしている。すなわちこの場合、図267(f1),(f2)に示されるように、演出表示装置1600(第1演出装置)を利用した「第4受付後演出表示」が未だ開始されていない状況下にあったとしても、該演出表示装置1600(第1演出装置)にて現れる第4消滅関連表示SK4が第1態様(第4消滅関連表示SK4-1)と第2態様(第4消滅関連表示SK4-2)とのいずれで現れているのかを確認することで、「第4受付後演出表示」が期待度の高い態様で実行されるか否かを推測することができるようになる。
また、図258に示されるタイミングtI3cは、図255に示したタイミングtF3cに相当するものである。したがって、タイミングtI3cが到来したときには、第4消滅関連表示SK4にかかる表示(一体化摸画像表示IGが視認し難くなる態様)が現れているなかで、第4の受付期間内で遊技者による動作が受付けされたことに応じた第1演出装置(演出表示装置1600)における受付後演出としての「第4受付後演出表示UG4」が実行開始されることとなる。ただしここでは、図266(d)から「C1(図267(e1)~(i1))」へと演出が進展する例(受付後演出として相対的に期待度の低い場合)では、図267(g1)に示されるように、第4の受付期間に対応する第4受付後演出表示UG4として第1態様(第4受付後演出表示UG4-1)が表示され、図266(d)から「C2(図267(e2)~(i2))」へと演出が進展する例(受付後演出として相対的に期待度の高い場合)では、図267(g2)に示されるように、第4の受付期間に対応する第4受付後演出表示UG4として第2態様(第4受付後演出表示UG4-2)が表示されるようになっている。
すなわちこの場合、「一体化摸画像表示IG」及び「第4消滅関連表示SK4(第4消滅関連表示SK4-1または第4消滅関連表示SK4-2)」がそれぞれ表示されているなかで「第4受付後演出表示UG4(第4受付後演出表示UG4-1または第4受付後演出表示UG4-2)」が実行開始されることとなる。これにより、第4の受付期間内で受付けされた以降、一体化摸画像表示IGを比較的長い時間にわたって表示し続けるようにした場合であっても、第1演出装置(演出表示装置1600)における受付後演出(第4受付後演出表示UG4)を他の演出装置と比較して大幅に遅延させることなく開始させることができるようになり、遊技興趣の低下を抑制することができるようになる。また、一体化摸画像表示IGが視認し難くされているなかで第4受付後演出表示UG4が開始されることから、第4の受付期間が既に終了していることを示唆しつつ、遊技者による注視先が「一体化摸画像表示IG」から「第4受付後演出表示UG4(第4受付後演出表示UG4-1または第4受付後演出表示UG4-2)」へと自ずと移行されることが期待されるようになる(タイミングtI3c以降)。
そして、第4の受付期間に関連した演出においても、こうして「第4受付後演出表示UG4(第4受付後演出表示UG4-1または第4受付後演出表示UG4-2)」にかかる表示が開始されると、図258(b)や、図267(h1)または(h2)に示されるように、該「第4受付後演出表示UG4(第4受付後演出表示UG4-1または第4受付後演出表示UG4-2)」が表示されているなかで、まず、「一体化摸画像表示IG」及び「第2消滅関連表示SK2」のうち、「一体化摸画像表示IG」を非表示にする。そして、こうして「一体化摸画像表示IG」が非表示にされた後、図258(b)や、図267(i1)または(i2)に示されるように、「第4消滅関連表示SK4(第4消滅関連表示SK4-1または第4消滅関連表示SK4-2)」が非表示にされることとなり、これによって視認良好とされているもとで「第4受付後演出表示UG4(第4受付後演出表示UG4-1または第4受付後演出表示UG4-2)」にかかる表示が行われるようになる。
このような構成によれば、第1演出装置(演出表示装置1600)を見るだけでは、タイミングtI3bが到来するまで受付期間としていずれの種別が発生したかを認識し難いものの、第2演出装置や第3演出装置を確認すれば、それよりも早いタイミングtI3aが到来した時点において受付期間としていずれの種別が発生したかを認識することができるようになる。これにより、第1演出装置(演出表示装置1600)のみに集中しがちになる遊技者に対してより多くの演出装置で演出を楽しむように促すことができるようになる。
また、第1演出装置(演出表示装置1600)を見るだけの遊技者であっても、タイミングtI3bが到来したときには、上述した第1消滅関連表示SK1とは異なる第4消滅関連表示SK4が「一体化摸画像表示IGが視認し難くなる態様」として現れるようになる。したがって、このような態様を確認することで、「第4受付後演出表示UG4」が行われるよりも前の段階で、受付期間としていずれの種別が発生したかをより早い段階で認識することができるようになる。
この点、「第4受付後演出表示UG4」とは、遊技者による動作が受付けされたことに基づいて、期待度が異なる複数態様(ここでは、第4受付後演出表示UG4-1または第4受付後演出表示UG4-2)のいずれかで表示されるものである。したがって、「第4受付後演出表示UG4」は、「一体化摸画像表示IG」や「第4消滅関連表示SK4」が非表示にされた以降も、比較的長い時間にわたって実行されることとなる。
このように、この例にかかる演出表示装置1600(第1演出装置)では、第4の受付期間が発生する場合も、これに伴って、限られた時間(図258に示される太線)内であり、且つ限られた表示画面(演出表示装置1600)内で様々な表示を行うものとなっており、これによって遊技興趣の低下を抑制するようにしている。ただしこの結果として、演出表示装置1600(第1演出装置)では、受付けに応じた第4受付後演出(第4受付後演出表示)の開始時期(タイミングtI3c)を、受付けされたタイミングtI3aよりも遅延せざるを得ないという実情にある。
そこで、第4の受付期間内で遊技者による動作が受付けされたときも、図258(b),(c)に併せて示されるように、該受付けがあったことに基づいて、第2演出装置を用いた第4受付後演出(第4受付後特定演出)を、上記第1演出装置を用いた第4受付後演出(第4受付後演出表示)に先行して実行開始させるようにしている。
このような構成によれば、第4の受付期間で受付けがあったタイミングtI3aから実行開始が遅延されるのは第4受付後演出の一部(第4受付後演出表示)に留まることとなり、当該第4受付後演出これ自体については、同タイミングtI3aから遅れることなく実行開始させることができるようになる。
上述の通り、この実施の形態にかかるパチンコ機1では、第2演出装置としてサブ液晶1610を用いた場合を想定している。そして、図266(d)から「C1(図267(e1)~(i1))」へと演出が進展する例(受付後演出として相対的に期待度の低い場合)では、図267(e1)に示されるように、該サブ液晶1610(第2演出装置)において「一本の刀」が表示される態様が、当該第4の受付期間に対応する上記第4受付後特定演出UGT4(第4受付後特定演出UGT4の期待度の低い態様である第4受付後特定演出UGT4-1)として、上記第1演出装置を用いた第4受付後演出(第4受付後演出表示UG4-1)に先行して実行開始されるようになっている。これに対し、図266(d)から「C2(図267(e2)~(i2))」へと演出が進展する例(受付後演出として相対的に期待度の高い場合)では、図267(e2)に示されるように、該サブ液晶1610(第2演出装置)において「2本の刀」が表示される態様が、当該第4の受付期間に対応する上記第4受付後特定演出UGT4(第4受付後特定演出UGT4の期待度の高い態様である第4受付後特定演出UGT4-2)として、上記第1演出装置を用いた第4受付後演出(第4受付後演出表示UG4-2)に先行して実行開始されるようになっている。
また、図266に示した演出例では、演出表示装置1600(第1演出装置)における第1前兆演出表示ZEH1とは別に、サブ液晶1610(第2演出装置)においても第4の受付期間に対応する前兆演出(第4前兆特定演出)が実行されるようになっている(図266(b)~(d))。該サブ液晶1610(第2演出装置)における第4前兆特定演出は、演出表示装置1600(第1演出装置)における第1前兆演出表示ZEH1とは異なり、第1の受付期間が発生するタイミングtI3が到来した時点においても実行されており、該タイミングtI3を跨るかたちで実行されるようになっている。
この実施の形態では、第4の受付期間に対応する前兆演出を、図262に示した第1前兆特定演出とは異なる演出(第4前兆特定演出)として実行することとしたが、図262に示した第1前兆特定演出と同じ演出として実行するようにしてもよい。この場合、第2演出装置を確認した場合であっても、第1の受付期間と第4の受付期間とのいずれが発生するかを認識し難くすることができるようになる。
また上述の通り、この実施の形態にかかるパチンコ機1では、第3演出装置(スピーカー)をさらに用意することとしており、第4の受付期間の発生に際しては、図258(d)に示されるタイミングtI2において、受付許容音(図266(b)~(d)で出力されている「♪」に相当)を出力開始させることとしている。すなわち、第4の受付期間に対応する受付許容音は、該第4の受付期間が発生するタイミングtI3(「図266(d)に示される状況」に相当)を跨るかたちで可聴出力されるものとなっており、当該受付許容音が可聴出力されているなかで遊技者による動作が受付けされうるものとなっている。
この点、第4の受付期間では、受付許容音が可聴出力されているなかで遊技者による動作の受付けがなされた場合、該受付けがなされたことに基づいて、受付許容音を途中終了(可聴出力状態の途中終了)させるようにしている。
また、第4の受付期間では、受付許容音が可聴出力されているなかで遊技者による動作の受付けがなされた場合、該受付許容音を途中終了させるだけでなく、該受付けがなされたときにはこれに基づいて、上記第1受付後出力音とは異なる第4受付後出力音(図267(e1)または(e2)などで出力されている「♪♪」に相当)の可聴出力を開始させるものとなっている。すなわちこの場合、第4の受付期間では、第1演出装置にて行われる演出(表示演出)の場合とは異なり、受付期間内で行われる演出(受付許容音)と、受付けがなされたことに応じて行われる演出(第4受付後出力音)とが競合(重複)することがなくなるようになる。
このような第4受付後出力音は、「第4受付後演出表示UG4」と同様、図258(d)に示されるように、「一体化摸画像表示IG」や「第4消滅関連表示SK4」が非表示にされた以降も、比較的長い時間にわたって実行されることとなる(「図267(e1)~(i1)または(e2)~(e1)で♪♪が出力されている状況」に相当)。また、第4受付後出力音については、図266(d)から「C1(図267(e1)~(i1))」へと演出が進展する例(受付後演出として相対的に期待度の低い場合)と、図266(d)から「C2(図267(e2)~(i2))」へと演出が進展する例(受付後演出として相対的に期待度の高い場合)とで、互いに異なる出力音(態様)が出力されるようにすることが望ましい。
第4の受付期間に対応して出力される受付許容音については、第1の受付期間と第4の受付期間とのいずれが発生するかを認識し難くする上では、第1の受付期間に対応して出力される受付許容音と同じ音であることが望ましい。ただし、必ずしも同じでなくてもよい。
他方、図258では図示を割愛しているが、図266(d)から「C3(図267(e3)~(h3))」へと演出が進展する例は、第4の受付期間内で遊技者による動作が受付けされなかった場合を想定したものである。
すなわちこの場合、第4の受付期間が発生した後、遊技者による動作が受付けされることなく上記タイミングtI4が到来することとなる。この点、該タイミングtI4(第4の受付期間が終了し、遊技者による動作の受付けが許容されなくなった時点)にあるときの演出表示装置1600(第1演出装置)では、タイミングtI3a(第4の受付期間内において遊技者による動作の受付けがなされた時点)にあるときの演出表示装置1600(第1演出装置)と同様、図267(e3)に示されるように、一体化摸画像表示IGを非表示にしないことはもとより、一体化摸画像表示IGを視認し難くすることもしないようにしている。
このような構成によれば、遊技者による動作の受付けが間に合わずに第4の受付期間が終了してしまった場合であっても、該終了した以降、第4の受付期間内において一体化摸画像表示IGがいかなる態様で表示されていたのかを認識することが可能とされるようになることから、遊技興趣の低下を抑制することができるようになる。
そしてこの後は、遊技者による動作が受付けされなかった場合も、図267(f3)に示されるように、「一体化摸画像表示IGが視認し難くなる態様」として、第4消滅関連表示SK4-1または第4消滅関連表示SK4-2にかかる表示(図中は、第4消滅関連表示SK4-1にかかる表示)が開始されるようになっている。
すなわち、この例にかかる第1演出装置(演出表示装置1600)では、「一体化摸画像表示IG(摸画像表示、ゲージ画像表示)」が表示されているなかで「第4消滅関連表示SK4-1または第2消滅関連表示SK4-2」が表示されるようになっており、「第4消滅関連表示SK4」が表示される領域の少なくとも一部は「一体化摸画像表示IG(摸画像表示、ゲージ画像表示)」が表示される領域と重複するようになっている。
このような構成によれば、受付けがなされずに第4の受付期間が終了した以降、一体化摸画像表示IGを表示し続けるようにした場合であっても、該一体化摸画像表示IGが視認し難くされることによって、当該第4の受付期間が終了した状態にあることを示唆することができるようになる。また、当該第4の受付期間が既に終了している状況においても、視認し難さはあるものの一体化摸画像表示IGを比較的長い時間にわたって表示し続けることが可能とされるようになることから、受付期間内で一体化摸画像表示IGがいずれの態様で表示されていたのか認識できないことによる遊技興趣の低下を抑制することができるようになる。
また、この例にかかるパチンコ機1では、第4の受付期間内で遊技者による動作が受付けされなかったときに第4消滅関連表示SK4として「第4消滅関連表示SK4-1」が表示される場合とは、第4の受付期間内で遊技者による動作がもし受付けされていたとしたら、図266(d)から「C1(図267(e1)~(i1))」へと演出が進展していた場合(相対的に期待度の低い受付後演出が実行されていた場合)に相当する。一方、第4の受付期間内で遊技者による動作が受付けされなかったときに第4消滅関連表示SK4として「第4消滅関連表示SK4-2」が表示される場合とは、第4の受付期間内で遊技者による動作がもし受付けされていたとしたら、図266(d)から「C2(図267(e2)~(i2))」へと演出が進展していた場合(相対的に期待度の高い受付後演出が実行されていた場合)に相当するものとなっている。
すなわちこの場合、第4の受付期間では、遊技者による動作が受付けされなかったとしても、該第4の受付期間が終了した以降、一体化摸画像表示IGが非表示にされるのに関連して現れる「第4消滅関連表示SK4」としての態様(第4消滅関連表示SK4-1,第4消滅関連表示SK4-2)を確認するだけで、第4受付後演出が期待度の低い態様で実行されていたか、それとも期待度の高い態様で実行されていたかを認識しうるようになることから、遊技興趣が低下することを好適に抑制することができるようになる。
そしてこの後は、図267(g3)に示されるように、「一体化摸画像表示IG」及び「第4消滅関連表示SK4」のうち、まず、「一体化摸画像表示IG」を非表示にする。そして、こうして「一体化摸画像表示IG」が非表示にされた後、図267(h3)に示されるように、「第4消滅関連表示SK4」が非表示にされることとなる。
なお、第4の受付期間においても、第1の受付期間と同様、これに対応する受付後演出として期待度の低い態様(図267(e1)~(i1))と期待度の高い態様(図267(e2)~(i2))とのいずれが実行される場合であっても、第4消滅関連表示SK4として同じ特定態様が現れるようにしてもよい。ただしこの場合、第4の受付期間で遊技者による動作が受付けされなかったときにも、上述の第1の受付期間の場合とは異なり、第4消滅関連表示SK4として同じ特定態様が現れることとなる。
ところで、上述した通り、第1の受付期間と第4の受付期間とでは、いずれの受付期間においても、前兆演出表示から受付後演出表示が行われるまでの期間内において、第1演出表示TE(ここでは、上述した「タイマ演出」に相当)と、第2演出表示FE(カエルキャラ)とがそれぞれ表示されうるものとなっている。
この点、第1の受付期間が発生する場合は、図262(b),(c)に示されるように、「第1前兆演出表示ZEH1」が表示されている状況において、第1演出表示TE及び第2演出表示FEは、該「第1前兆演出表示ZEH1」によって視認し難くされることがないようにされている。また、第1の受付期間が終了した以降には、図263(f1)~(f3),(g1),(g2)に示されるように、第1消滅関連表示SK1-1(受付けされた場合の態様)や、第1消滅関連表示SK1-2(受付けされなかった場合の態様)が現れるようになっているが、第1演出表示TE及び第2演出表示FEは、該第1消滅関連表示SK1(第1消滅関連表示SK1-1、または第1消滅関連表示SK1-2)によっても視認し難くされることがないようにされている。
これに対し、第4の受付期間が発生する場合も、図266(b),(c)に示されるように、「第1前兆演出表示ZEH1」が表示されている状況において、第1演出表示TE及び第2演出表示FEは、該「第1前兆演出表示ZEH1」によって視認し難くされることがないようにされている。また、第4の受付期間が終了した以降には、図267(f1)~(f3),(g1),(g2)に示されるように、第4消滅関連表示SK4(第4消滅関連表示SK4-1または第4消滅関連表示SK4-2)が現れるようになっているが、第1演出表示TEは、該第4消滅関連表示SK4によって視認し難くされることがないようにされている。ただし、第2演出表示FEは、該第4消滅関連表示SK4によって視認し難くされるようにされている。
このような構成によれば、消滅関連表示SKとしての種別が、受付期間のいずれの種別と対応しているかを記憶していなかったとしても、消滅関連表示SKが表示されたときに第2演出表示FEが視認し難くされるか否かを確認するだけで、受付期間としていずれの種別が発生したかを推測することができるようになる。また、第1演出表示TEについては、消滅関連表示SKによって第2演出表示FEが視認し難くされるか否かにかかわらず、該消滅関連表示SKによって視認し難くされることがないようにされていることから、遊技興趣の低下を抑制することが期待されるようになる。
一方、第2の受付期間が発生する場合は、図264及び図265に示されるように、「第2前兆演出表示ZEH2」が表示されてから「第2受付後演出表示UG2」が表示されるまでの期間内において、第1演出表示TEと、第2演出表示FEとのうち、第1演出表示TEは表示されうるものの、第2演出表示FEが表示されることがないようにされている。
すなわちこの場合、第2演出表示FEが表示されているなかで「前兆演出表示」や「受付期間」が発生したか否かを確認するだけで、受付期間としての種別を推測(少なくとも第1の受付期間と第4の受付期間とのいずれでもないことを推測)することができるようになることから、第2演出表示FEこれ自体が変動中の図柄演出にかかる期待度を示唆するものでなかったとしても、該第2演出表示FEを利用した面白みのある演出を提供することができるようになる。
なお、第2の受付期間が発生する場合も、第1演出表示TEについては、上記第1の受付期間や上記第4の受付期間の場合と同様、前兆演出表示や消滅関連表示によって視認し難くされることはないようにされている。
図259は、判定の結果として第5条件が満たされて第5の受付期間(第5受付演出)が発生するときの演出内容についてその一例を示すタイムチャートである。
いま、特定遊技状態(例えば、非確変・非時短である通常遊技状態)において始動条件が成立(保留消化)されて、変動パターン判定が行われた結果として「第5変動パターン」が選択されたとすると、上記周辺制御MPU1511aでは、まず、該第5変動パターンに対応する演出判定(予告判定など)を行う。そしてこの後、装飾図柄SZの変動演出(第5変動パターンに応じた演出描写や、第5変動パターンに応じたBGM再生の音出力など)を開始させ、該変動演出の実行期間内で、予告演出判定の結果に応じた演出(予告演出)を、上記選択した「第5変動パターン」これ自体の演出に対して付加的に実行させることとなる。
ただし、「第5変動パターン」にかかる演出では、演出判定(予告判定)としていずれの結果が得られている場合であっても、装飾図柄SZの変動演出が開始されてから第5所定時間が経過したタイミングtJ3(SPリーチ状態が発生する前のタイミングであってもよいし、SPリーチ状態内のタイミングであってもよい)が到来したときに「第5操作後演出に関しての受付け」が許容される上記第5の受付期間(有効期間)を発生させる。これにより、当該第5の受付期間内において遊技者による動作が受付けされると、該受付けに基づいて第5受付後演出が行われるようになる。ただし、この構成については必ずしもなくてもよく、予告演出判定の結果として上記第5の受付期間(有効期間)を発生させるようにしてもよい。
この点、この実施の形態にかかる第5の受付期間(第5受付演出)では、遊技者による動作が受付けされたことに基づいて第5受付後演出として実行される内容(第1演出装置における「第5受付後演出表示」や、第2演出装置における「第5受付後特定演出」、第3演出装置における「第5受付後出力音」)が、他の受付期間に対応する各受付後演出(第1演出装置における「受付後演出表示」や、第2演出装置における「受付後特定演出」、第3演出装置における「受付後出力音」)と異なっている。また、第5の受付期間(第5受付演出)に対応する「第5前兆演出表示」についても、他の受付期間に対応する各前兆演出表示とは異なるものとなっている。ただし、「第5受付後演出表示」や「第5前兆演出表示」これら自体の表示にかかる手法(表示の開始時期及び終了時期や、非表示にされるまでの間に他の画像表示とどのように関わるか、等々)については、第1の受付期間に関連して行われる表示演出や、第2の受付期間に関連して行われる表示演出などにおいて説明したもの(図255、図256、図262~図265)と同様となっているし、それ以外の構成については基本的に同じとされるものとなっている。
以下、第5の受付期間(第5受付演出)の発生に関連して行われる演出について説明する。ただし、第1の受付期間(第1受付演出)または第2の受付期間(第2受付演出)の場合と同じである構成については、同じであることについての言及をすることもあるがそれ以上の説明はここでは割愛する。すなわち、特に言及しない事項については、第1の受付期間(第1受付演出)または第2の受付期間(第2受付演出)で説明した通りの内容で演出が行われることとなり、別例や変形例についても同じように適用可能である。
例えば、図259に示されるタイミングtJ1は、図255に示したタイミングtF1や図256に示したタイミングtG1に相当するものである。したがって、タイミングtJ1が到来したときには、表示画面(演出表示装置1600)においては、上記前兆演出表示として「第5前兆演出表示」が実行開始される。
この点、「第5前兆演出表示」は、図259(b)に示されるように、第5の受付期間が発生するタイミングtJ3を跨るかたちで表示されるタイプとなっている。すなわち、「第5前兆演出表示」は、第2の受付期間に対応して表示される上述の「第2前兆演出表示ZEH2」と演出内容(表示画像)こそ異なるものの、「表示の開始時期及び終了時期や、非表示にされるまでの間に他の画像表示とどのように関わるか」等々については、図256、図264及び図265を参照して「第2前兆演出表示ZEH2」について説明した通りの手法で表示が行われるものとなっている。別例や変形例についても同じように適用可能である。
また、図259に示されるタイミングtJ2は、図255に示したタイミングtF2や図256に示したタイミングtG2に相当するものである。したがって、タイミングtJ2が到来したときには、「第5前兆演出表示」が表示されているなかで「一体化摸画像表示IG(摸画像表示、ゲージ画像表示)」が表示されることとなり、「一体化摸画像表示IG」が表示される領域の少なくとも一部は「第5前兆演出表示」が表示される領域と重複することとなる。
また、図259に示されるタイミングtJ3は、図255に示したタイミングtF3や図256に示したタイミングtG3に相当するものである。したがって、タイミングtJ3が到来したときには、「第5前兆演出表示」及び「一体化摸画像表示IG(摸画像表示、ゲージ画像表示)」が表示されているなかで上記第5の受付期間が発生することとなる。
また、図259に示されるタイミングtJ3aは、図255に示したタイミングtF3aや図256に示したタイミングtG3aに相当するものである。したがって、タイミングtI3aにおいて遊技者による動作が受付けされたときには、第5の受付期間が終了されるとともに、該第5の受付期間に対応する受付後演出(第5受付後演出)が実行開始されることとなる。なお、第5受付後演出も、第1受付後演出(図263)や第2受付後演出(図265)などと同様、相対的に期待度の低い第1態様が実行される場合と、相対的に期待度の高い第2態様が実行される場合とがある。
また、図258に示されるタイミングtJ3bは、図255に示したタイミングtF3bや図256に示したタイミングtG3bに相当するものである。したがって、タイミングtJ3bが到来したときには、「一体化摸画像表示IGが視認し難くなる態様」が現れることとなる。
この点、第5の受付期間において受付けがされたときには、「一体化摸画像表示IGが視認し難くなる態様」として、第1の受付期間と共通対応する上述の「第1消滅関連表示SK1」にかかる表示が開始されるようになっている。「第1消滅関連表示SK1」にかか「表示の開始時期及び終了時期や、非表示にされるまでの間に他の画像表示とどのように関わるか」等々については、図255及び図263を参照して説明した通りである。別例や変形例についても同じように適用可能である。
ただし、第5の受付期間に対応する「一体化摸画像表示IGが視認し難くなる態様」については、第1の受付期間の場合とは異なり、第5受付後演出として「相対的に期待度の低い第1態様」が実行される場合と「相対的に期待度の高い第2態様」が実行される場合とで異なる態様が現れるようにしてもよい。
例えば、第5受付後演出として「相対的に期待度の高い第2態様」が実行される場合には、「一体化摸画像表示IGが視認し難くなる態様」として「第1消滅関連表示SK1(ここでは、第1態様である第1消滅関連表示SK1-1(図263)」が表示されるようにする。これに対し、第5受付後演出として「相対的に期待度の低い第1態様」が実行される場合には、「一体化摸画像表示IGが視認し難くなる態様」として「第1消滅関連表示SK1-1」とは異なる態様が現れるようにすれば、第1の受付期間に対応して「第1消滅関連表示SK1-1」が表示されるときに、第5受付後演出として「相対的に期待度の高い第2態様」が実行される可能性を意識付けさせることができるようになることから、遊技興趣の向上を図ることができるようになる。
なおこの場合、第5受付後演出として「相対的に期待度の高い第2態様」が実行されるときには、第1受付後演出として「相対的に期待度の高い第2態様」が実行されるときよりも期待度(大当り図柄が現れる割合)が高くなるように設定することが望ましい。該割合は100%であってもよい。
また、第5受付後演出として「相対的に期待度の低い第1態様」が実行される場合に、「一体化摸画像表示IGが視認し難くなる態様」として「第1消滅関連表示SK1-1」とは異なる態様が現れるようにする場合には、該異なる態様として「第1消滅関連表示SK1としての第2態様である第1消滅関連表示SK1-2」が現れるようにしてもよい。すなわちこの場合、第1消滅関連表示SK1-2が現れたときに、第5の受付期間において受付けがされた結果として第1消滅関連表示SK1-2が現れたのか、第1の受付期間内における受付けに間に合わなかった結果として第1消滅関連表示SK1-2が現れたのかを認識し難くすることができるようになり、遊技興趣の向上を図ることができるようになる。
また、第1の受付期間に対応して「第1消滅関連表示SK1-1」が表示されるときに、第5受付後演出として「相対的に期待度の高い第2態様」が実行される可能性をより好適に意識付けさせるようにしたり、第1の受付期間に対応して「第1消滅関連表示SK1-2」が表示されるときに、第5受付後演出として「相対的に期待度の低い第2態様」が実行される可能性をより好適に意識付けさせるようにする上では、第5の受付期間に対応する前兆演出表示としても、「第5前兆演出表示」ではなく、第1の受付期間と同様の「第1前兆演出表示ZEH1」が実行されるようにすることが望ましい。
その他、第5の受付期間で受付けされた場合も、第1の受付期間や第2の受付期間の場合と同様、図259に示されるように、該受付けがあったことに基づいて、第2演出装置(ここでは、サブ液晶1610)を用いた第5受付後演出(第5受付後特定演出)を、上記第1演出装置を用いた第5受付後演出(第5受付後演出表示)に先行して実行開始させる。該第5受付後特定演出が、期待度に応じて異なる態様が現れるように実行される点も同様である。また、受付期間が発生する前には、サブ液晶1610(第2演出装置)においても第5の受付期間に対応する前兆演出(第5前兆特定演出)が実行されるようにしてもよい。また、第2演出装置(ここでは、サブ液晶1610)を用いた前兆特定演出については、第5前兆特定演出ではなく、図262に示した第1前兆特定演出と同じ演出として実行するようにしてもよい。
また、第5の受付期間の発生に際しても、タイミングtJ2において、受付許容音が出力開始される。この受付許容音は、図259(d)に示されるように、受付けがなされたときに途中終了されるタイプとなっている。図259(d)に示した例では、第2の受付期間の発生に際して可聴出力される受付許容音と同様、受付許容音として「長時間許容音」及び「短時間許容音」がそれぞれ可聴出力されるタイプとなっており、「可聴出力の開始時期及び終了時期や、可聴出力が終了されるまでの間に他の演出とどのように関わるか」等々については、図256、図264及び図265を参照して「受付許容音」について説明した通りの手法で可聴出力が行われるものとなっている。別例や変形例についても同じように適用可能である。
ただし、第5の受付期間の発生に際して出力される受付許容音については、第3の受付期間や第4の受付期間の発生に際して出力される受付許容音と同じように、1つの受付許容音のみが出力されて、受付けされたときには途中終了されるものとして出力されるようにしてもよい。
いずれにせよ、第5の受付期間では、受付許容音が可聴出力されているなかで遊技者による動作の受付けがなされた場合、該受付許容音を途中終了させるだけでなく、該受付けがなされたときにはこれに基づいて、他の受付期間に対応して出力される受付後出力音とは異なる第5受付後出力音の可聴出力を開始させることとなる。すなわちこの場合、第5の受付期間では、第2の受付期間の場合と同様、受付期間内で行われる演出(受付許容音)と、受付けがなされたことに応じて行われる演出(第5受付後出力音)とが競合(重複)することはない。
なお、第5受付後出力音も、第1受付後出力音や第2受付後出力音などと同様、受付後演出が相対的に期待度の低い第1態様で実行される場合と、相対的に期待度の高い第2態様で実行される場合とで異なる出力音として可聴出力されるものとなっている。
他方、図259では図示を割愛しているが、第5の受付期間内で遊技者による動作が受付けされなかった場合には、第5の受付期間が発生した後、遊技者による動作が受付けされることなく上記タイミングtJ4が到来することとなる。
この点、第5の受付期間においても、タイミングtJ4(第5の受付期間が終了し、遊技者による動作の受付けが許容されなくなった時点)にあるときの演出表示装置1600(第1演出装置)においては、一体化摸画像表示IGを非表示にしないことはもとより、一体化摸画像表示IGを視認し難くすることもしないようにしている。
そしてこの後は、遊技者による動作が受付けされなかった場合も、「一体化摸画像表示IGが視認し難くなる態様」として、第5消滅関連表示SK5にかかる表示が開始されることとなる。
第5の受付期間において受付けがなされなかったときの「一体化摸画像表示IGが視認し難くなる態様」については、第2の受付期間と同じように、該第5の受付期間において仮に受付けされていたとしたら出現していた態様(期待度に応じて異なる態様)が出現されるようになっている。ただし、第1の受付期間と同じように、該第5の受付期間において受付けされたときには出現し得ない態様を出現させるようにしてもよい。
図260は、判定の結果として第6条件が満たされて第6の受付期間(第6受付演出)が発生するときの演出内容についてその一例を示すタイムチャートである。
いま、特定遊技状態(例えば、非確変・非時短である通常遊技状態)において始動条件が成立(保留消化)されて、変動パターン判定が行われた結果として「第6変動パターン」が選択されたとすると、上記周辺制御MPU1511aでは、まず、該第6変動パターンに対応する演出判定(予告判定など)を行う。そしてこの後、装飾図柄SZの変動演出(第6変動パターンに応じた演出描写や、第6変動パターンに応じたBGM再生の音出力など)を開始させ、該変動演出の実行期間内で、予告演出判定の結果に応じた演出(予告演出)を、上記選択した「第6変動パターン」これ自体の演出に対して付加的に実行させることとなる。
ただし、「第6変動パターン」にかかる演出では、演出判定(予告判定)としていずれの結果が得られている場合であっても、装飾図柄SZの変動演出が開始されてから第6所定時間が経過したタイミングtK3(SPリーチ状態が発生する前のタイミングであってもよいし、SPリーチ状態内のタイミングであってもよい)が到来したときに「第6操作後演出に関しての受付け」が許容される上記第6の受付期間(有効期間)を発生させる。これにより、当該第6の受付期間内において遊技者による動作が受付けされると、該受付けに基づいて第6受付後演出が行われるようになる。ただし、この構成については必ずしもなくてもよく、予告演出判定の結果として上記第6の受付期間(有効期間)を発生させるようにしてもよい。
この点、この実施の形態にかかる第6の受付期間(第6受付演出)では、遊技者による動作が受付けされたことに基づいて第6受付後演出として実行される内容(第1演出装置における「第6受付後演出表示」や、第2演出装置における「第6受付後特定演出」、第3演出装置における「第6受付後出力音」)が、他の受付期間に対応する各受付後演出(第1演出装置における「受付後演出表示」や、第2演出装置における「受付後特定演出」、第3演出装置における「受付後出力音」)と異なっている。また、第6の受付期間(第6受付演出)で遊技者による動作(操作)の受付けがなされたときには、「摸画像表示が視認し難くなる態様」を出現させることなく、摸画像表示(ここでは、一体化摸画像表示)を非表示にするようにしている。ただし、「第6受付後演出表示」や「摸画像表示」これら自体の表示にかかる手法(表示の開始時期及び終了時期や、非表示にされるまでの間に他の画像表示とどのように関わるか、等々)については、第1の受付期間に関連して行われる表示演出(図255、図262、図263)において説明したものと同様となっているし、それ以外の構成についても、上述した各手法のいずれかと基本的に同じとされるものとなっている。
以下、第6の受付期間(第6受付演出)の発生に関連して行われる演出について説明する。ただし、第1の受付期間(第1受付演出)の場合と同じである構成については、同じであることについての言及をすることもあるがそれ以上の説明はここでは割愛する。すなわち、特に言及しない事項については、第1の受付期間(第1受付演出)で説明した通りの内容で演出が行われることとなり、別例や変形例についても同じように適用可能である。
例えば、図260に示されるタイミングtK1は、図255に示したタイミングtF1に相当するものである。したがって、タイミングtK1が到来したときには、表示画面(演出表示装置1600)においては、上記前兆演出表示として「第1前兆演出表示」が実行開始される。
また、図260に示されるタイミングtK2は、図255に示したタイミングtF2に相当するものである。したがって、タイミングtK2が到来したときには、「第1前兆演出表示」が表示されているなかで「一体化摸画像表示IG(摸画像表示、ゲージ画像表示)」が表示されることとなり、「一体化摸画像表示IG」が表示される領域の少なくとも一部は「第1前兆演出表示」が表示される領域と重複することとなる。
また、図260に示されるタイミングtK3は、図255に示したタイミングtF3に相当するものである。したがって、タイミングtK3が到来したときには、「一体化摸画像表示IG(摸画像表示、ゲージ画像表示)」が表示されているなかで上記第6の受付期間が発生することとなる。
また、図260に示されるタイミングtK3aは、図255に示したタイミングtF3aに相当するものである。したがって、タイミングtK3aにおいて遊技者による動作が受付けされたときには、第6の受付期間が終了されるとともに、該第6の受付期間に対応する受付後演出(第6受付後演出)が実行開始されることとなる。なお、第6受付後演出も、第1受付後演出(図263)などと同様、相対的に期待度の低い第1態様が実行される場合と、相対的に期待度の高い第2態様が実行される場合とがある。
ただし、図260に示されるように、第6の受付期間に関連した演出にかかる処理には、図255に示したタイミングtF3bに相当するものがなく、すなわち「一体化摸画像表示IG(摸画像表示、ゲージ画像表示)」が非表示にされるまでの間にこれが視認し難くなる態様が現れることがないようになっている。このことは、第6受付後演出として「期待度の低い態様」と「期待度の高い態様」とのいずれが現れた場合であっても同様(タイミングtF3bが存在しない)であることはもとより、第6の受付期間において遊技者による動作が受付けされることなく当該第6の受付期間が終了した場合についても同様(タイミングtF3bが存在しない)であるようになっている。
このような構成によれば、他の受付期間では、該受付期間が終了すると「一体化摸画像表示IG(摸画像表示、ゲージ画像表示)」が非表示にされるまでの間にこれを視認し難くする態様が現れるにもかかわらず、該第6の受付期間では、該受付期間が終了したとしても「一体化摸画像表示IG(摸画像表示、ゲージ画像表示)」が非表示にされるまでの間にこれを視認し難くする態様(消滅関連表示SK)が現れないようになることから、該第6の受付期間が終了した状態にあるのか(遊技者による動作が受付消された状況にあるのか)を認識し難くすることができるようになり、緊張感を好適に維持することが期待されるようになる。
その他、第6の受付期間で受付けされた場合も、第1の受付期間の場合と同様、図260に示されるように、該受付けがあったことに基づいて、第2演出装置(ここでは、サブ液晶1610)を用いた第6受付後演出(第6受付後特定演出)を、上記第1演出装置を用いた第6受付後演出(第6受付後演出表示)に先行して実行開始させる。該第6受付後特定演出が、期待度に応じて異なる態様が現れるように実行される点も同様である。また、受付期間が発生する前には、サブ液晶1610(第2演出装置)においても第6の受付期間に対応する前兆演出(第6前兆特定演出)が実行されるようにしてもよい。また、第2演出装置(ここでは、サブ液晶1610)を用いた前兆特定演出については、第6前兆特定演出ではなく、図262に示した第1前兆特定演出と同じ演出として実行するようにしてもよい。
また、第6の受付期間の発生に際しても、タイミングtK2において、受付許容音が出力開始される。この受付許容音は、図260(d)に示されるように、受付けがなされたときに途中終了されるタイプとなっている。このような受付許容音にかかる「可聴出力の開始時期及び終了時期や、可聴出力が終了されるまでの間に他の演出とどのように関わるか」等々については、図258、図266及び図267を参照して第4の受付期間に対応する「受付許容音」について説明した通りの手法で可聴出力が行われるものとなっている。別例や変形例についても同じように適用可能である。
ただし、第6の受付期間の発生に際して出力される受付許容音については、第2の受付期間の発生に際して出力される受付許容音と同じように、2つの受付許容音がそれぞれ出力されて、受付けされたときには途中終了されるものとして出力されるようにしてもよい。
いずれにせよ、第6の受付期間では、受付許容音が可聴出力されているなかで遊技者による動作の受付けがなされた場合、該受付許容音を途中終了させるだけでなく、該受付けがなされたときにはこれに基づいて、他の受付期間に対応して出力される受付後出力音とは異なる第6受付後出力音の可聴出力を開始させることとなる。すなわちこの場合、第6の受付期間では、第4の受付期間の場合と同様、受付期間内で行われる演出(受付許容音)と、受付けがなされたことに応じて行われる演出(第6受付後出力音)とが競合(重複)することはない。
なお、第6受付後出力音も、第1受付後出力音や第4受付後出力音などと同様、受付後演出が相対的に期待度の低い第1態様で実行される場合と、相対的に期待度の高い第2態様で実行される場合とで異なる出力音として可聴出力されるものとなっている。
他方、図260では図示を割愛しているが、第6の受付期間内で遊技者による動作が受付けされなかった場合には、第6の受付期間が発生した後、遊技者による動作が受付けされることなく上記タイミングtK4が到来することとなる。
この点、第6の受付期間においても、タイミングtK4(第6の受付期間が終了し、遊技者による動作の受付けが許容されなくなった時点)にあるときの演出表示装置1600(第1演出装置)においては、一体化摸画像表示IGを非表示にしないことはもとより、一体化摸画像表示IGを視認し難くすることもしないようにしている。ただし上述の通り、第6の受付期間では、遊技者による動作が受付けされることなく上記タイミングtK4が到来した以降に、「一体化摸画像表示IGが視認し難くなる態様」が現れることはない。
図261は、判定の結果として第7条件が満たされて第7の受付期間(第7受付演出)が発生するときの演出内容についてその一例を示すタイムチャートである。
いま、特定遊技状態(例えば、非確変・非時短である通常遊技状態)において始動条件が成立(保留消化)されて、変動パターン判定が行われた結果として「第7変動パターン」が選択されたとすると、上記周辺制御MPU1511aでは、まず、該第7変動パターンに対応する演出判定(予告判定など)を行う。そしてこの後、装飾図柄SZの変動演出(第7変動パターンに応じた演出描写や、第7変動パターンに応じたBGM再生の音出力など)を開始させ、該変動演出の実行期間内で、予告演出判定の結果に応じた演出(予告演出)を、上記選択した「第7変動パターン」これ自体の演出に対して付加的に実行させることとなる。
ただし、「第7変動パターン」にかかる演出では、演出判定(予告判定)としていずれの結果が得られている場合であっても、装飾図柄SZの変動演出が開始されてから第7所定時間が経過したタイミングtL3(SPリーチ状態が発生する前のタイミングであってもよいし、SPリーチ状態内のタイミングであってもよい)が到来したときに「第7操作後演出に関しての受付け」が許容される上記第7の受付期間(有効期間)を発生させる。これにより、当該第7の受付期間内において遊技者による動作が受付けされると、該受付けに基づいて第7受付後演出が行われるようになる。ただし、この構成については必ずしもなくてもよく、予告演出判定の結果として上記第7の受付期間(有効期間)を発生させるようにしてもよい。
この点、この実施の形態にかかる第7の受付期間(第7受付演出)では、遊技者による動作が受付けされたことに基づいて第7受付後演出として実行される内容(第1演出装置における「第7受付後演出表示」や、第2演出装置における「第7受付後特定演出」、第3演出装置における「第7受付後出力音」)が、他の受付期間に対応する各受付後演出(第1演出装置における「受付後演出表示」や、第2演出装置における「受付後特定演出」、第3演出装置における「受付後出力音」)と異なっている。また、第7の受付期間(第7受付演出)に対応する「第7前兆演出表示」についても、他の受付期間に対応する各前兆演出表示とは異なるものとなっている。また、この実施の形態にかかる第7の受付期間(第7受付演出)では、「一体化摸画像表示IGが視認し難くなる態様」としても、他の受付期間に対応する各消滅関連表示とは異なる「第7消滅関連表示」が現れるようになっている。ただし、「第7受付後演出表示」や「第7前兆演出表示」、「第7消滅関連表示」これら自体の表示にかかる手法(表示の開始時期及び終了時期や、非表示にされるまでの間に他の画像表示とどのように関わるか、等々)については、上述した各受付期間に関連して行われる表示演出のいずれかにおいて説明したものと同様となっているし、それ以外の構成については基本的に同じとされるものとなっている。
以下、第7の受付期間(第7受付演出)の発生に関連して行われる演出について説明する。ただし、他の受付期間(他の受付演出)の場合と同じである構成については、同じであることについての言及はするがそれ以上の説明はここでは割愛する。また、特に言及しない事項については、第1の受付期間(第1受付演出)で説明した通りの内容で演出が行われることとなり、別例や変形例についても同じように適用可能である。
例えば、図261に示されるタイミングtL1は、図255に示したタイミングtF1に相当するものである。したがって、タイミングtL1が到来したときには、表示画面(演出表示装置1600)においては前兆演出表示が実行開始される。
ただし上述の通り、第7の受付期間(第7受付演出)では、これに対応する前兆演出表示として、他の受付期間には対応していない「第7前兆演出表示」を表示するようにしている。「第7前兆演出表示」は、図261(b)に示されるように、第7の受付期間が発生する時点で表示されておらずこれよりも前に非表示にされるタイプとなっている。すなわち、「第7前兆演出表示」は、第1の受付期間に対応して表示される上述の「第1前兆演出表示ZEH1」と演出内容(表示画像)こそ異なるものの、「表示の開始時期及び終了時期や、非表示にされるまでの間に他の画像表示とどのように関わるか」等々については、図256及び図262を参照して「第1前兆演出表示ZEH1」について説明した通りの手法で表示が行われるものとなっている。別例や変形例についても同じように適用可能である。
また、図261に示されるタイミングtL2は、図255に示したタイミングtF2に相当するものである。したがって、タイミングtL2が到来したときには、「第7前兆演出表示」が表示されているなかで「一体化摸画像表示IG(摸画像表示、ゲージ画像表示)」が表示されることとなり、「一体化摸画像表示IG」が表示される領域の少なくとも一部は「第7前兆演出表示」が表示される領域と重複することとなる。
また、図261に示されるタイミングtL3は、図255に示したタイミングtF3に相当するものである。したがって、タイミングtL3が到来したときには、「一体化摸画像表示IG(摸画像表示、ゲージ画像表示)」が表示されているなかで上記第7の受付期間が発生することとなる。
また、図261に示されるタイミングtL3aは、図255に示したタイミングtF3aに相当するものである。したがって、タイミングtL3aにおいて遊技者による動作が受付けされたときには、第7の受付期間が終了されるとともに、該第7の受付期間に対応する受付後演出(第7受付後演出)が実行開始されることとなる。なお、第7受付後演出も、第1受付後演出(図263)などと同様、相対的に期待度の低い第1態様が実行される場合と、相対的に期待度の高い第2態様が実行される場合とがある。
また、図261に示されるタイミングtL3bは、図255に示したタイミングtF3bに相当するものである。したがって、タイミングtL3bが到来したときには、「一体化摸画像表示IGが視認し難くなる態様」が現れることとなる。ただし上述の通り、第7の受付期間において受付けがされたときには、「一体化摸画像表示IGが視認し難くなる態様」として、他の受付期間には対応していない「第7消滅関連表示」にかかる表示が開始されることとなる(タイミングtL3b)。
ここで、「第7消滅関連表示」は、第1の受付期間に対応して表示される上述の「第1消滅関連表示SK1」と演出内容(表示画像)こそ異なるものの、「表示の開始時期及び終了時期や、非表示にされるまでの間に他の画像表示とどのように関わるか」等々については、図255や図256、図263、図265などを参照しつつ「第1消滅関連表示SK1」について説明した通りの手法で表示が行われるものとなっている。別例や変形例についても同じように適用可能である。また、第7受付後演出が「相対的に期待度の低い態様として実行される場合」と「相対的に期待度の高い態様として実行される場合」とのいずれにおいても、「第7消滅関連表示」は、同じ態様で表示されるようになっている点についても、上記第1の受付期間の場合と同様である。
ただし、第7の受付期間に対応する「一体化摸画像表示IGが視認し難くなる態様(第7消滅関連表示)」については、第1の受付期間の場合とは異なり、第7受付後演出として「相対的に期待度の低い第1態様」が実行される場合と「相対的に期待度の高い第2態様」が実行される場合とで異なる態様が現れるようにしてもよい。
また、図261に示されるタイミングtL3cは、図255に示したタイミングtF3cに相当するものである。したがって、タイミングtL3cが到来したときには、「第7消滅関連表示」にかかる表示(一体化摸画像表示IGが視認し難くなる態様)が現れているなかで、第7の受付期間内で遊技者による動作が受付けされたことに応じた第1演出装置(演出表示装置1600)における受付後演出としての「第7受付後演出表示」が実行開始されることとなる。
その他、第7の受付期間で受付けされた場合も、第1の受付期間の場合と同様、図261に示されるように、該受付けがあったことに基づいて、第2演出装置(ここでは、サブ液晶1610)を用いた第7受付後演出(第7受付後特定演出)を、上記第1演出装置を用いた第7受付後演出(第7受付後演出表示)に先行して実行開始させる。該第7受付後特定演出が、期待度に応じて異なる態様が現れるように実行される点も同様である。また、受付期間が発生する前には、サブ液晶1610(第2演出装置)においても第7の受付期間に対応する前兆演出(第7前兆特定演出)が実行されるようにしてもよい。また、第2演出装置(ここでは、サブ液晶1610)を用いた前兆特定演出については、第7前兆特定演出ではなく、図262に示した第1前兆特定演出と同じ演出として実行するようにしてもよい。
また、第7の受付期間の発生に際しても、タイミングtL2において、受付許容音が出力開始される。この受付許容音は、図261(d)に示されるように、受付けがなされたときに途中終了されるタイプとなっている。このような受付許容音にかかる「可聴出力の開始時期及び終了時期や、可聴出力が終了されるまでの間に他の演出とどのように関わるか」等々については、図258、図266及び図267を参照して第4の受付期間に対応する「受付許容音」について説明した通りの手法で可聴出力が行われるものとなっている。別例や変形例についても同じように適用可能である。
ただし、第7の受付期間の発生に際して出力される受付許容音については、第2の受付期間の発生に際して出力される受付許容音と同じように、2つの受付許容音がそれぞれ出力されて、受付けされたときには途中終了されるものとして出力されるようにしてもよい。
いずれにせよ、第7の受付期間では、受付許容音が可聴出力されているなかで遊技者による動作の受付けがなされた場合、該受付許容音を途中終了させるだけでなく、該受付けがなされたときにはこれに基づいて、他の受付期間に対応して出力される受付後出力音とは異なる第7受付後出力音の可聴出力を開始させることとなる。すなわちこの場合、第7の受付期間では、第4の受付期間の場合と同様、受付期間内で行われる演出(受付許容音)と、受付けがなされたことに応じて行われる演出(第7受付後出力音)とが競合(重複)することはない。
なお、第7受付後出力音も、第1受付後出力音や第4受付後出力音などと同様、受付後演出が相対的に期待度の低い第1態様で実行される場合と、相対的に期待度の高い第2態様で実行される場合とで異なる出力音として可聴出力されるものとなっている。
他方、図261では図示を割愛しているが、第7の受付期間内で遊技者による動作が受付けされなかった場合には、第7の受付期間が発生した後、遊技者による動作が受付けされることなく上記タイミングtL4が到来することとなる。
この点、第7の受付期間においても、タイミングtL4(第7の受付期間が終了し、遊技者による動作の受付けが許容されなくなった時点)にあるときの演出表示装置1600(第1演出装置)においては、一体化摸画像表示IGを非表示にしないことはもとより、一体化摸画像表示IGを視認し難くすることもしないようにしている。
そしてこの後は、遊技者による動作が受付けされなかった場合も、「一体化摸画像表示IGが視認し難くなる態様」として、第7消滅関連表示にかかる表示が開始されることとなる。
第7の受付期間において受付けがなされなかったときの「一体化摸画像表示IGが視認し難くなる態様」については、第1の受付期間と同じように、該第7の受付期間において受付けされたときには出現し得ない態様が出現されるようになっている。ただし、第2の受付期間と同じように、該第7の受付期間において仮に受付けされていたとしたら出現していた態様(期待度に応じて異なる態様)が出現されるようにしてもよい。
このような第1の受付期間~第7の受付期間を用意することとした本願にかかるパチンコ機1によれば、以下に列記する優れた作用効果が奏されるようになる。
すなわち、まず、第1の受付期間~第7の受付期間のいずれが発生した場合であっても、表示画面(演出表示装置1600)内の所定領域を用いて表示される摸画像表示については、遊技者による動作が受付けされたことに基づいて演出が進行された以降(受付けに基づく演出変化が開始された以降)も表示されうるようにしている。これにより、受付けされたことに基づいて演出が進行された以降も、摸画像表示が受付期間内においていずれの態様(例えば、図232(a)~(d))で表示されていたのかを遊技者が把握可能とされるようになる。
また、この実施の形態にかかるパチンコ機1では、受付けされたときに進行される演出内容(受付後演出としての会話予告、カットイン予告、可動体予告などであり、予告演出(期待度示唆演出)の種別)が異なる複数の受付期間(第1の受付期間~第7の受付期間)を用意しており、判定(演出判定)の結果に応じた種別の受付期間(有効期間)を発生可能とするものとなっている。
この点、第1の受付期間~第7の受付期間では、遊技者による動作が受付けされた場合は、該受付けがなされたことに基づいて受付後演出表示(第1受付後演出表示~第7受付後演出表示)を「演出表示装置1600」において表示可能としている。そしてこのうち、第1の受付期間~第5の受付期間、及び第7の受付期間では、遊技者による動作が受付けされた場合、該受付けがなされたことに基づいて受付後演出表示を表示するだけでなく、「摸画像表示が視認し難くなる態様(消滅関連表示)」をさらに出現させるようにしている。すなわちこの場合、受付けがなされた以降も、摸画像表示としていずれの態様が現れていたのかを確認することが可能であることはもとより、摸画像表示が非表示にされるまでの間に「摸画像表示が視認し難くなる態様(消滅関連表示)」によってその視認性を低下させるようにしたことで、「摸画像表示」から「受付後演出表示」へと遊技者による注視対象が自然に移されることが期待されるようになる。
ただし、摸画像表示とは、本来、受付けが未だなされていない受付期間内において表示されるものであることから、受付けがなされた以降も当該摸画像表示を表示するようにした場合、受付けに応じた受付後演出表示が表示済みの状態にあるのか否かを認識し難くなり、遊技興趣が低下する懸念がある。この点、第1の受付期間~第5の受付期間、及び第7の受付期間のいずれかで受付けがなされたときには、摸画像表示は、「摸画像表示が視認し難くなる態様(消滅関連表示)」が現れているなかで非表示(視認不能)にされる一方で、受付後演出表示は、「摸画像表示が視認し難くなる態様(消滅関連表示)」が現れているなかで表示されるようにしている。すなわちこの場合、遊技者による動作の受付けがなされた以降、「摸画像表示が視認し難くなる態様(消滅関連表示)」が現れているなかで、受付前表示(摸画像表示)から受付後表示(受付後演出表示)への表示演出にかかる移行が実現されることとなる。
なお、「摸画像表示が視認し難くなる態様(消滅関連表示)」及び「受付後演出表示」はいずれも、受付けに基づいて表示されるものである点で共通する。ただし、「摸画像表示が視認し難くなる態様(消滅関連表示)」とは、例えば、図263(f1)や、図265(f1)、図267(f1)などに示されるように、摸画像表示が表示されている状況にあるときに該摸画像表示を視認し難くするように出現されるものである。これに対し、「受付後演出表示」とは、例えば、図263(g1)や、図265(g1)、図267(g1)などに示されるように、摸画像表示が表示されている状況にあるときに表示されたとしても該摸画像表示を視認し難くしないように出現されるものである。また、上述した各例では、摸画像表示が表示されている状況にあるときに「受付後演出表示」を表示開始することとしたが、該「受付後演出表示」については、摸画像表示が表示されている状況にあるときに必ずしも表示開始されるものでなくてもよく、摸画像表示が非表示にされた以降に表示開始されるようにしてもよい。
なお、「摸画像表示が視認し難くなる態様(消滅関連表示)」に関して「摸画像表示を視認し難くするように出現」する手法としては、摸画像表示が表示されている領域の少なくとも一部に、該摸画像表示とは別の画像表示を優先表示(前側レイヤに表示)することによって実現する手法のほか、摸画像表示とは別の画像表示によって摸画像表示の一部が欠けて(視認不能に)見えるように作られた画像(動画)を表示することによって実現する手法などを採用することが可能である。また、摸画像表示とは別の画像表示ではなく、摸画像表示これ自体の表示特性にかかる数値(透過率など)を変更する手法を採用することも可能である。これに対し、「受付後演出表示」に関して「摸画像表示を視認し難くしないように出現」する手法としては、摸画像表示が表示されている領域の少なくとも一部に「受付後演出表示」を表示するが、摸画像表示が優先表示とされるかたちで該「受付後演出表示」を表示(後側レイヤに表示)することによって実現する手法のほか、少なくとも摸画像表示が表示されている間は該摸画像表示が表示される領域を除く領域にしか「受付後演出表示」を表示しないようにすることによって実現する手法などを採用することが可能である。
また、摸画像表示が視認し難くなる態様(消滅関連表示)」として、摸画像表示が表示されている領域の少なくとも一部に該摸画像表示とは別の画像表示を表示する手法と、摸画像表示これ自体の表示特性にかかる数値(透過率など)を変更する手法との両方を採用するようにしてもよい。
また、「摸画像表示が視認し難くなる態様(消滅関連表示)」とは、「受付後演出表示」が表示されるよりも前の、該「受付後演出表示」が未だ表示されていない状況下において出現するものとなっている。すなわちこの場合、「受付後演出表示」が未だ表示されていない状況下において、摸画像表示が上記「摸画像表示が視認し難くなる態様(消滅関連表示)」によって視認し難くされるようになることから、摸画像表示を視認可能としつつも、「受付後演出表示」が間もなく出現しうる状態にあり、遊技者による注視先を「視認し難くされた摸画像表示」から変更するよう、心の準備を整えるように事前に促すことができるようになる。
また、第1の受付期間~第5の受付期間、及び第7の受付期間などで受付けされた場合、「摸画像表示が視認し難くなる態様(消滅関連表示)」は、「受付後演出表示」が表示された以降も表示されうるようになっており、該「受付後演出表示」が表示されている間に非表示にされるものとなっている。これにより、「受付後演出表示」が表示される期間のうち、「摸画像表示が視認し難くなる態様(消滅関連表示)」が非表示とされた以降の期間では、より広い範囲で当該「受付後演出表示」にかかる演出性を提供することができるようになることから、このような表示期間中における演出性の変化によって遊技興趣の向上を図ることができるようになる。
また、第1の受付期間~第5の受付期間、及び第7の受付期間に関する上述した各演出例では、図263(g1),(h1)や、図265(g1),(h1)、図267(g1),(h1)に示したように、「摸画像表示が視認し難くなる態様(消滅関連表示)」については、摸画像表示が表示されている領域だけでなく、該摸画像表示が表示されていない領域にも表示されるものとなっている。そして、該領域においては、少なくともその一部に「受付後演出表示」が表示されるようになっているが、「摸画像表示が視認し難くなる態様(消滅関連表示)」によって「受付後演出表示」の少なくとも一部が視認し難くされるように表示(例えば、後側レイヤに表示)することとしている。
このような構成によれば、「摸画像表示が視認し難くなる態様(消滅関連表示)」は、摸画像表示だけでなく、「受付後演出表示」をも視認し難くするものとして出現されるものとなることから、摸画像表示が非表示にされるまでの演出性と、「受付後演出表示」の表示が開始されるときの演出性との両方を向上させることが期待されるようになる。
また上述の通り、第1の受付期間~第7の受付期間に関する上述した各演出例では、受付けがなされてから「受付後演出表示」が表示されるよりも前の、該「受付後演出表示」が表示されていない状況下において、「摸画像表示が視認し難くなる態様(消滅関連表示)」とは別に、摸画像表示を視認し難くしない受付後特定演出(第2演出装置を用いた受付後演出)を期待度に応じた態様で出現可能としている。これにより、第1演出装置における演出性を邪魔することなく、これに先行して受付後演出を楽しむことができるようになる。
また、第1の受付期間~第5の受付期間、及び第7の受付期間に関する上述した各演出例にあって、受付後特定演出(第2演出装置を用いた受付後演出)は、「摸画像表示が視認し難くなる態様(消滅関連表示)」が現れるよりも前の、該「摸画像表示が視認し難くなる態様(消滅関連表示)」が未だ出現していない状況下において出現されるようにしている。また、受付後特定演出(第2演出装置を用いた受付後演出)は、「摸画像表示が視認し難くなる態様(消滅関連表示)」が終了された以降までにわたって継続されるものとなっている。
このような構成によれば、第1演出装置における複雑な演出性を嫌う者は、より簡易化された演出性を有する第2演出装置によって受付後演出を楽しむことができるようになることから、様々なタイプの遊技者に対して遊技興趣の向上が図られるようになる。
また、第1の受付期間~第7の受付期間に関する上述した各演出例にあって、前兆演出表示は、摸画像表示が表示されるタイミングに跨って実行されるものとしている。また、上述した各演出例の一部では、図264及び図265などに示されるように、前兆演出表示が表示されている状態で受付けもされうるようにしており、該受付けがなされた場合、「摸画像表示が視認し難くなる態様(消滅関連表示)」は、摸画像表示と前兆演出表示との両方を視認し難くする(上述した優先表示など)ようにしている。
ただしその一方で、少なくとも「摸画像表示が視認し難くなる態様(消滅関連表示)」が出現された時点においては、摸画像表示、前兆演出表示のいずれとも、それらの全体とは重なっておらず、少なくとも一部は視認性を妨げられていないようにしている。すなわち、摸画像表示、前兆演出表示の視認性を徐々に悪化させる(重なる領域を増加させていく)かたちで「摸画像表示が視認し難くなる態様(消滅関連表示)」を実行するようにしている。
また、第1の受付期間~第7の受付期間に関する上述した各演出例においても、摸画像表示については、図233や図234などを参照しつつ上述した通り、動的表示によって表示されることとなる。そしてこの場合、摸画像表示については、受付けされた以降、「摸画像表示が視認し難くなる態様(消滅関連表示)」が現れているなかでも、その動的表示は終了されておらず継続するようにすることが望ましい。
また、第1の受付期間~第5の受付期間、及び第7の受付期間に関する上述した各演出例において、「摸画像表示が視認し難くなる態様(消滅関連表示)」は、摸画像表示だけでなく、受付期間が終了されるまでの残り時間を示唆するゲージ画像についてもこれを視認し難くすることとした。これにより、受付けされた以降もゲージ画像を表示するようにした場合であっても、残り時間が残っているかのように見えることが抑制されるようになる。
また、上述した演出例においては、上記複数の受付期間のうち第1の受付期間内において遊技者による動作(操作)が受付けされた場合、該受付けがなされたことに基づいて第1の受付後演出表示UG1を表示可能であるとともに、該第1の受付後演出表示UG1とは別に、摸画像表示が視認し難くなる態様(第1消滅関連表示SK1)を出現可能である。また、上記複数の受付期間のうち第2の受付期間内において遊技者による動作が受付けされた場合、該受付けがなされたことに基づいて上記第1の受付後演出表示UG1とは異なる第2の受付後演出表示UG2を表示可能であるとともに、該第2の受付後演出表示UG2とは別に、摸画像表示が視認し難くなる態様として上記第1の受付期間の場合とは異なる態様(第2消滅関連表示SK2)を出現可能である。
このような構成によれば、受付後演出表示として「第1の受付後演出表示UG1」及び「第2の受付後演出表示UG2」のいずれが表示されたかを確認せずとも、摸画像表示が視認し難くなる態様がいかなる態様(第1消滅関連表示SK1、第2消滅関連表示SK2)であったのかを確認するだけで、受付後演出表示の種別を推測することができるようになる。
また後述するが、この実施の形態にかかるパチンコ機1では、上記複数の受付期間のうち第3の受付期間内において遊技者による動作(操作)が受付けされた場合、該受付けがなされたことに基づいて「第1の受付後演出表示UG1」及び「第2の受付後演出表示UG2」のいずれとも異なる第3の受付後演出表示を表示可能であるが、該第3の受付後演出表示とは別に、摸画像表示を視認し難くする演出態様として上記第1の受付期間にも対応する上記態様(第1消滅関連表示SK1)を出現可能としている。
このような構成によれば、摸画像表示を視認し難くする態様として、第1消滅関連表示SK1が出現すると、第1、第3の受付後演出表示のいずれが出現されるか不明とされるが、摸画像表示を視認し難くする態様として、第2消滅関連表示SK2が出現すると、第2の受付後演出表示が出現することが推測可能とされるようになる。
また、上述した演出例においては、「摸画像表示が視認し難くなる態様」を、摸画像表示が表示される領域の少なくとも一部を含む領域に表示(優先表示)される「消滅関連表示」として実現することとした。ただし、表示画面よりも前側にある演出装置(可動体など)を用いた演出を、摸画像表示の少なくとも一部と正面視で重なる位置で実行することによって実現することも可能である。
なお、「摸画像表示を視認し難くする態様」として同じ態様(第1消滅関連表示SK1)が出現した場合であっても、受付期間の種別が異なるものであれば、その図柄変動で大当り図柄が停止される割合(期待度)が異なるようにすることが望ましい。
また、上述した演出例においては、前兆演出表示は同じ(第1前兆演出表示)だが、「摸画像表示が視認し難くなる態様」として「第1消滅関連表示SK1」が出現する場合(第1の受付期間、第3の受付期間)と、該「第1消滅関連表示SK1」とは異なる態様が出現する場合(第4の受付期間)、若しくは該態様が出現しない場合(第6の受付期間)とがあるようにしている。
また、上述した演出例においては、前兆演出表示(第1前兆演出表示、第4前兆演出表示)は異なるが、「摸画像表示が視認し難くなる態様」として同じ態様(第1消滅関連表示SK1)が現れる場合(第1の受付期間、第5の受付期間)があるようにしている。
このような構成によれば、受付後演出としていずれの種別が実行されているかを把握するまでの間は、受付期間の種別を推測し難くすることができるようになり、遊技興趣の向上を図ることができるようになる。
また、上述した演出例においては、第2演出装置を用いた受付後演出(受付後特定演出)を実行可能としており、該第2演出装置を用いた受付後演出(受付後特定演出)の実行期間中、第1演出装置においては摸画像表示が相対的に視認し易い状態と、摸画像表示が相対的に視認し難い状態とがあるようにしている。
すなわちこの場合、受付けがなされたことに基づいて第2演出装置を用いた受付後演出(受付後特定演出)の実行が開始された以降も、摸画像表示としていずれの態様が現れていたのかを確認することが可能とされる。また、第2演出装置を用いた受付後演出(受付後特定演出)の実行期間中、摸画像表示を相対的に視認し難い状態とされるようにしたことで、「第1演出装置」から「第2演出装置」へと遊技者による注視対象が自然に移されるように促すことが期待されるようになる。
なお、上述した演出例において、第2演出装置を用いた受付後演出(受付後特定演出)は、受付けされる前から継続表示(視認し易い状態で表示)されている摸画像表示の視認性に影響を及ぼさないように実行開始されるものとなっている。より具体的には、摸画像表示は、表示画面(演出表示装置1600)内の所定領域で表示されるものであるが、第2演出装置を用いた受付後演出(受付後特定演出)は、該所定領域の少なくとも一部を利用して表示される画像表示でないし、該所定領域の少なくとも一部と正面視で重なる位置で実行される演出でもないものである。
また、上述した演出例においては、受付後演出表示を、「摸画像表示が視認し難くなる態様」の出現タイミングよりも後に表示開始させることとしたが、「摸画像表示が視認し難くなる態様」の出現タイミングで表示開始させるようにしてもよい。
また、上述した各演出例にあって、「摸画像表示が視認し難くなる態様」は、「摸画像表示が表示される領域」の少なくとも一部を利用して表示される画像表示として実現することとした。ただしこの場合、該画像表示については、「摸画像表示が表示される領域」に表示される面積が時間経過に応じて次第に拡大される傾向となるように表示することが望ましい。
また上述の通り、摸画像表示は、期待度の異なる複数態様のいずれかで表示可能とされるものである。そして、上述した各演出例によれば、受付けされた以降も、表示位置や大きさ、動的描写なども含めて、その表示態様を維持、継続するようにしたことから、受付けがなされた以降も、受付期間内において摸画像表示がいかなる態様で表示されていたのかを認識することが可能である。
ただしこの場合、受付けされてすぐの期間にあるときは、このような条件下(摸画像表示にかかる表示を維持する)で受付後演出を行わざるを得なくなる。すなわち、演出性の幅が狭く、限られた演出(第1演出装置とは異なる演出装置のみを用いた受付後演出)しか実行できない。しかしながら、時間が経過して「摸画像表示を視認し難くする態様(消滅関連表示)」が現れると、「摸画像表示の視認性を悪化させてもよい」という条件下で受付後演出を行うことが可能とされるようになることから、このような条件下で「第1演出装置における受付後演出表示」を実行することができるようになる。このような性質の異なる2つの操作後演出(第2演出装置における受付後特定演出、第1演出装置における受付後演出表示)を段階的に行うことで、受付けされた後も摸画像表示の態様を確認容易としつつ、操作後演出としての役割も好適に発揮させることができるようになる。
また、上述した各演出例にあって、前兆演出表示として第2前兆演出表示が表示された場合は、これに対応する受付期間内で受付けがなされると「摸画像表示が視認し難くなる態様」として第2消滅関連表示SK1(図265)が現れる。また、前兆演出表示として第7前兆演出表示が表示された場合は、これに対応する受付期間内で受付けがなされると「摸画像表示が視認し難くなる態様」として第7消滅関連表示が現れるようになっている。これに対し、前兆演出表示として、上記「第2前兆演出表示」や上記「第7前兆演出表示」と異なる「第1前兆演出表示」が表示された場合は、これに対応する受付期間内で受付けがなされると「摸画像表示が視認し難くなる態様」として、第1消滅関連表示が現れる場合(第1の受付期間、第3の受付期間)と、第4消滅関連表示が現れる場合(第4の受付期間)とがあるようになっている。
すなわちこの場合、前兆演出表示として第2前兆演出表示や第7前兆演出表示が表示された場合には、その時点で、「摸画像表示が視認し難くなる態様」としていかなる態様が現れるのかを認識させることができるようになる。
しかも、上述した各演出例にあっては、前兆演出表示として、特定態様(ここでは、上記「第2前兆演出表示」または上記「第7前兆演出表示」)と異なる「第1前兆演出表示」が表示された場合、これに対応する受付期間内で受付けがなされたとしても「摸画像表示が視認し難くなる態様」これ自体が現れない場合(第6の受付期間)があるようになっている。
このような構成によれば、前兆演出表示が特定態様(ここでは、上記「第2前兆演出表示」または上記「第7前兆演出表示」)と異なる態様(ここでは、第1前兆演出表示)で実行された場合には、上記「摸画像表示が視認し難くなる態様」これ自体が、該受付けされたときから摸画像表示が非表示の状態にされるまでの期間内において出現するか否かが不明とされるようになることから、受付けされた以降、摸画像表示が非表示の状態にされるまでの間の演出性が向上されるようになり、緊張感を好適に維持することができるようになる。
なお、上述した各演出例については、下記構成に変形させて実現するようにしてもよいし、以下の構成(受付期間)を別の受付期間(別の前兆演出表示)としてさらに備えるようにしてもよい。すなわち上述の通り、パチンコ機1にあって、受付期間において遊技者による動作が受付けされてから摸画像表示が非表示の状態にされるまでの期間内では、「摸画像表示が視認し難くなる態様」が出現しうるようになっている。この点、この変形例では、前兆演出表示として特定の態様(例えば、第2前兆演出表示や、第7前兆演出表示、または上述していない別の前兆演出表示)が表示された場合には、これに対応する受付期間内で受付けがなされたとしても上記「摸画像表示が視認し難くなる態様」これ自体が出現されないようにする。すなわちこの場合、前兆演出表示が特定の態様で実行された時点で、摸画像表示が非表示にされるまでの間に「摸画像表示が視認し難くなる態様」が現れず該「摸画像表示が視認し難くなる態様」との関係で摸画像表示が視認し難くされることがないことを認識しうるようになる。
そしてこの場合、この変形例においても、前兆演出表示が「第1前兆演出表示」で実行されて、これに対応する受付期間内で受付けされたときには、これに対応する受付期間内で受付けがなされたときに該「摸画像表示が視認し難くなる態様」が現れる場合(第1の受付期間、第3の受付期間、第4の受付期間)と、該「摸画像表示が視認し難くなる態様」これ自体が現れない場合(第6の受付期間)とがあることとなる。このような構成であっても、前兆演出表示が特定の態様(例えば、第2前兆演出表示や、第7前兆演出表示、または上述していない別の前兆演出表示)とは異なる態様(ここでは、第1前兆演出表示)で実行された場合には、上記「摸画像表示が視認し難くなる態様」が出現するか否かが不明とされるようになることから、受付けされた以降、摸画像表示が非表示の状態にされるまでの間の演出性が向上されるようになり、緊張感を好適に維持することができるようになる。
これらの変形例(置き換え例)にかかる構成については、変形する前の上記構成に対して適用可能な各構成を適宜に適用することが可能である。
また、上述した各演出例にあって、前兆演出表示として、特定態様(ここでは、「第2前兆演出表示」)が表示された場合は、これに対応する受付期間内において遊技者による動作が受付けされなかった場合であっても、「摸画像表示が視認し難くなる態様」を、該受付けが仮になされていたときと同じ態様で出現させるようにしている。
これに対し、前兆演出表示として、特定態様(ここでは、「第2前兆演出表示」)とは異なる態様(ここでは、「第1前兆演出表示」)が表示された場合は、これに対応する受付期間内において遊技者による動作が受付けされた場合と該受付けがなされなかった場合とで「摸画像表示が視認し難くなる態様」として異なる態様が現れる場合(第1の受付期間など)と、これに対応する受付期間内において遊技者による動作が受付けされなかった場合であっても、「摸画像表示が視認し難くなる態様」を、該受付けが仮になされていたときと同じ態様で出現させる場合(第4の受付期間など)とがあるようにしている。
このような構成によれば、受付期間が発生するよりも前に実行される演出(前兆演出表示)を利用して、受付期間が終了した以降の演出性や、受付けされなかったときの演出性などを高めることができるようになる。
また、上述した各演出例にあって、「摸画像表示が視認し難くなる態様」として特定態様(ここでは、第2消滅関連表示、第4消滅関連表示、第7消滅関連表示など)を出現可能な受付期間では、受付許容音の可聴出力状態を途中終了させるようにしたが、「摸画像表示が視認し難くなる態様」として特定態様とは異なる態様(ここでは、第1消滅関連表示)を出現可能な受付期間では、受付許容音の可聴出力状態を途中終了させる場合と、受付許容音の可聴出力状態を途中終了させない場合とがあるようにした。このような構成によれば、受付けされたときの受付許容音の出力状況を確認することで、「摸画像表示が視認し難くなる態様」としていかなる態様が現れるのかを推測し易い状況が現れたり、推測し難い状況が現れるようになることから、遊技興趣の向上を図ることができるようになる。
また、上述した各演出例にあって、このような判断材料に用いることのできる受付許容音については、受付期間が終了されるタイミングよりも前のタイミング(受付期間内のタイミング)で終了される音として可聴出力するようにしていることから、該受付許容音が可聴出力状態にあるなかで受付けがなされるようにするのか、若しくは該受付許容音の可聴出力状態が終了してから受付けがなされるようにするのかを選択して遊技することができるようになる。
なお、上述した各演出例では、前兆演出表示が特定の態様(例えば、第2の前兆演出表示)で実行される受付期間では、摸画像表示として複数の態様(例えば、図232(a)~(d)に示される4つの態様)が表示可能とされるようにし、前兆演出表示が特定の態様とは異なる態様(例えば、第1の前兆演出表示)で実行される受付期間では、摸画像表示として表示され得ない態様(例えば、図232(b)~(d)に示される3つの態様が表示されず、図232(a)のみが表示されるなど)があるようにすることが望ましい。
また、上述した各演出例では、特定種別の受付期間では、遊技者による動作が受付対象とされる受付期間がまもなく発生することを示唆する前兆表示演出として、複数種別を用意している。そして、複数種別の前兆演出表示のうち特定の前兆演出表示(第2前兆演出表示、第5前兆演出表示)は、これに対応する受付期間が発生するタイミングに跨るかたちで実行可能とされており、該特定の前兆演出表示が表示されているなかで遊技者による動作が受付けされうるようにしている。
すなわちこの場合、前兆演出表示としていずれの種別(態様)が表示されているのかを確認可能としたままで遊技者による動作が受付けされうるようになることから、前兆演出表示の種別(態様)を確認し忘れることによる遊技興趣の低下が抑制されうるようになる。
また、パチンコ機1では、特定の前兆演出表示が表示されているなかで遊技者による動作が受付けされると、該受付けされたことに応じた受付後演出が実行開始されるが、該受付後演出が実行開始された時点においても特定の前兆演出表示は非表示とされず表示されるものとなっている。
すなわちこの場合、前兆演出表示としていずれの種別(態様)が表示されているのかを確認可能としたままで遊技者による動作が受付けされ、さらには該受付けに応じた受付後演出が実行開始されるようになることから、前兆演出表示の種別(態様)を確認し忘れることによる遊技興趣の低下が抑制されうるようになる。
また、上述した各演出例にあって、受付後演出のうち、第2演出装置を用いた受付後演出(受付後特定演出)については、特定の前兆演出表示(第2前兆演出表示、第5前兆演出表示)の視認性に悪影響を及ぼさないように実行されるものとしている。
また、上述した各演出例にあっては、受付後演出のうち、第1演出装置を用いた受付後演出(受付後演出表示)についてもこれ自体が、特定の前兆演出表示(第2前兆演出表示、第5前兆演出表示)の視認性に悪影響を及ぼさないように実行されるものとしている(特定の前兆演出表示を、受付後演出表示に対して優先表示(レイヤ上の前側表示)するなど)。
また、上述した各演出例にあって、前兆演出表示が特定の態様(例えば、第2前兆演出表示、第5前兆演出表示)で実行される受付期間では、前兆演出表示が表示されている間に受付けがなされうるようにしているが、該前兆演出表示については、遊技者による動作が受付けされないときには、これに対応する受付期間が終了されるタイミングよりも前に非表示にされうるようになっている。すなわちこの場合、前兆演出表示を表示したままで受付後演出を開始させるのか、前兆演出表示が非表示とされている状態で受付後演出を開始させるのかの選択をして遊技することができるようになる。
ただし、特定の前兆演出表示については、受付期間内においてその実行状態が必ずしも終了されうるものでなくてもよく、受付期間内においてその実行状態が終了されず受付期間が終了するタイミングまで表示され続けるものとしてもよい。なおこの場合、特定の前兆演出表示については、これに対応する受付期間の途中タイミングまでは、摸画像表示が表示されている領域の少なくとも一部を用いて表示(優先表示)されるが、途中タイミングよりも後の期間では、摸画像表示が表示されている領域ではなく、該領域とは異なる領域のみを用いて表示されるようにすることが望ましい。
また、上述した各演出例では、受付期間の発生に際して、受付けが許容される状態になっていること、または受付けが許容される状態に(間もなく)なることを示唆する受付許容音を可聴にする処理が実行可能とされている。これにより、遊技者が受付けのための動作をし忘れてしまうことが抑制されるようになる。
また、上述した各演出例のうち、図256~図259や、図261に示した例では、受付期間内において受付許容音が可聴(出力状態)にされているなかで遊技者による動作が受付けされた場合、上記「摸画像表示が視認し難くなる態様(消滅関連表示など)」が現れるよりも前の、該「摸画像表示が視認し難くなる態様(消滅関連表示)」が未だ現れてていない状態において上記受付許容音を非可聴の状態にするための処理を実行開始するようにしている。
すなわちこの場合、受付けされた以降、「摸画像表示が視認し難くなる態様(消滅関連表示)」が未だ現れていない状況下であっても、受付期間が既に終了した状況にあることについてはこれを遊技者に対して好適に示唆することができるようになる。これにより、受付けされた以降、「摸画像表示が視認し難くなる態様(消滅関連表示)」が現れるタイミングを遅延させても不都合が生じ難くなることから、視認良好な態様で摸画像表示を表示することができるようになる
また、上述した各演出例では、受付許容音が可聴にされているなかで遊技者による動作が受付けされた場合であっても、該受付許容音を途中終了させず、該受付許容音の可聴が継続されているなかで消滅演出表示を表示する受付期間(第1の受付期間など)をさらに用意することとしている。したがって、受付けされた状況にあるのか、それとも受付が未だなされていない状況にあるのかを認識し難くして緊張感を好適に維持することができるようになる。
この点、受付許容音が可聴にされているなかで遊技者による動作が受付けされたときに該受付許容音が非可聴の状態にされる受付期間(図256、図258、図261)と、受付許容音が可聴にされているなかで遊技者による動作が受付けされたとしても該受付許容音が非可聴の状態にされない受付期間(図255)とでは、これらに対応して発生する「摸画像表示が視認し難くなる態様(消滅関連表示)」としての種別が異なるようにされていることから、受付許容音の出力状況を確認することでその後の演出進展を推測することができるようになる。
また、上述した各演出例にあっては、受付許容音として複数種別が用意されている。この点、第1の受付期間と、第3の受付期間、第4の受付期間、及び第6の受付期間では、受付許容音として同じ音が出力されるようにすることが望ましい。このような構成によれば、それら受付期間のいずれが発生しているかを認識し難くすることができるようになる。
これに対し、第1の受付期間に対応して可聴とされる受付許容音は、第2の受付期間や、第5の受付期間、及び第7の受付期間に対応して可聴とされる受付許容音とは異なる音として可聴出力されるものとなっている。このような構成によれば、受付許容音が出力開始されたときには、その音を確認することで、受付期間としていずれの種別が発生しているかについての候補をある程度絞ることができるようになる。また、受付許容音が可聴とされているなかで受付けがなされたときには、該受付許容音が途中終了されるかを確認することで、該候補をさらに絞ることができるようになり、受付許容音を用いた面白みのある演出性を提供することができるようになる。
また、上述した各演出例では、前兆演出表示が特定態様(ここでは、第2前兆演出表示、第5前兆演出表示、第7前兆演出表示)で実行されるときには、これに対応する受付許容音が出力されているなかで受付けがなされると該受付許容音が途中終了されるが、前兆演出表示が特定態様とは異なる態様(ここでは、第1前兆演出表示)で実行されるときには、これに対応する受付許容音が出力されているなかで受付けがなされたときに該受付許容音が途中終了される場合(第3の受付期間、第4の受付期間、第6の受付期間)と途中終了されない場合(第1の受付期間)とがあるようにした。このような構成によっても、受付許容音を用いた面白みのある演出性を提供することができるようになる。
また、上述した各演出例では、受付許容音として2つの音(長時間許容音、短時間許容音)を出力させる受付期間と、受付許容音として1つの音だけを出力させる受付期間とがある。受付許容音として2つの音(長時間許容音、短時間許容音)を出力させる受付期間では、受付許容音が可聴とされているなかで受付けがなされると途中終了されるが、受付許容音として1つの音だけを出力させる受付期間では、受付許容音が可聴とされているなかで受付けがなされたときに途中終了させる場合と途中終了させない場合とがあるようにしている。このような構成によっても、受付許容音を用いた面白みのある演出性を提供することができるようになる。
なお、受付許容音として音データが異なる2つの音(長時間許容音、短時間許容音)を出力させる受付期間については、受付許容音が出力されているなかで受付けがなされた場合、2つの受付許容音(長時間許容音、短時間許容音)のうち一方のみが途中終了されるようにし、他方は途中終了させずにこれを継続させるようにしてもよい。
また、上述した各演出例では、受付期間内において受付けがなされたときと該受付けがなされなかったときとで「摸画像表示が視認し難くなる態様(消滅関連表示)」として同じ態様を出現させる受付期間(第2の受付期間、第4の受付期間、第5の受付期間、第7の受付期間など)と、受付期間内において受付けがなされたときと該受付けがなされなかったときとで「摸画像表示が視認し難くなる態様(消滅関連表示)」として異なる態様を出現させる受付期間(第1の受付期間や、第3の受付期間など)とがあるようにしていることから、受付けがなされなかったときの演出性を向上させることができるようになる。
また、上述した各演出例にあって、特定の受付期間(第1の受付期間や、第3の受付期間など)において受付けがなされたときは、「摸画像表示が視認し難くなる態様」を、摸画像表示とは異なる消滅関連表示として実現するが、受付けがなされなかったときには、「摸画像表示が視認し難くなる態様」を、摸画像表示これ自体を変化(表示特性にかかる数値(透過率)を変化)させることによって実現するようにすることが望ましい。このような構成によれば、「摸画像表示が視認し難くなる態様」が現れたときに受付けがなされた状況にあるのか、それとも受付けがなされていない状況にあるのかを容易に認識することができるようになる。
また、パチンコ機1では、上述の通り、受付期間が発生する図柄変動(変動パターン)と受付期間が発生しない図柄変動(変動パターン)とをそれぞれ実行可能としている。この点、この実施の形態にかかるパチンコ機1では、受付期間が発生する図柄変動(変動パターン)と受付期間が発生しない図柄変動(変動パターン)とのいずれにおいても、表示画面(演出表示装置1600)内においては、受付期間とは演出的な関連性のない第1演出表示TE(ここでは、上述した「タイマ演出」に相当)や、上記第2演出表示FEとがそれぞれ表示されうるようになっている。そして、図263に示されるように、第1の受付期間や第3の受付期間内において遊技者による動作が受付けされた場合は、摸画像表示が表示されているなかで、「摸画像表示が視認し難くする態様(第1消滅関連表示SK1)」を出現させるが、該「摸画像表示が視認し難くなる態様(第1消滅関連表示SK1)」は、受付期間が発生しない図柄変動においても表示されうる上記第1演出表示TEや、上記第2演出表示FEの視認性に影響を及ぼさない(第1演出表示TEや上記第2演出表示FEを優先表示とするか、第1演出表示TEや上記第2演出表示FEが表示される位置には消滅関連表示を表示しない)ように実行されるものとするようにしている。
すなわちこの場合、受付期間とは関係のない所定の画像表示(第1演出表示TEや上記第2演出表示FE)の視認性についてはこれに影響を及ぼさないように消滅演出表示が表示されることとなることから、受付期間と直接的に関係しない演出性に悪影響を及ぼすことなく遊技を進行させることができるようになる。
ただし、第4の受付期間内において遊技者による動作が受付けされた場合は、図267に示されるように、摸画像表示が表示されているなかで、「摸画像表示が視認し難くなる態様(第4消滅関連表示SK4)」を出現させるが、該「摸画像表示が視認し難くなる態様(第4消滅関連表示SK4)」については、第1演出表示TEの視認性には影響を及ぼさない(視認し難くしない)が、第2演出表示FEの視認性には影響を及ぼす(視認し難くする)ように表示されるものとしている。
このような構成によれば、受付期間と直接的に関係しない画像表示とは言え、その種別によって、「摸画像表示が視認し難くなる態様」が現れたときに視認性に影響を及ぼされる場合と、視認性に影響を及ぼされない場合とが生じるようになることから、遊技者による動作が行われるに際しては、受付期間と直接的に関係しない画像表示についてもこれを確認しておくべきか否かについての演出性を提供することができるようになる。
ただしこの場合、第1演出表示TEについては、当該図柄変動の当落(期待度)に関わる(示唆する)画像(複数の態様)として表示されるものとし、第2演出表示FEについては、当該図柄変動の当落(期待度)に関わらない(示唆しない)表示として表示されるものとするようにすることが、第2演出表示FEの視認性に影響が及ぼされたときに遊技興趣が低下することを回避する上で望ましいと言える。
また、上述した各演出例にあって、第2の受付期間については、第1演出表示TEが表示されているなかで発生可能とされるが、第2演出表示FEが表示されているなかでは発生することがなく、第2演出表示FEが表示されていないときにしか発生しないものとなっている。すなわち、第2演出表示FEは、図柄変動が開始されてから比較的早い段階にあるときに限り表示可能とされてその後に非表示にされるものであり、変動序盤における演出性または装飾性を高めるために用いられるものである。この点、第2の受付期間を、図柄変動が開始されてから比較的遅い段階にあるときに限り発生可能とされるものとすることで、互いに演出的な関連性はないにもかかわらずこのような関係性を生み出すことが可能とされるようになる。
図267に示されるように、第2演出表示FEは、第4消滅関連表示SK4によって視認し難くされた場合であっても、その後、視認し易い状態にて再び表示されるようになっている。すなわちこの場合、その後に予め定められたタイミングが到来したときに非表示にされることとなる。第2演出表示FEが非表示にされるときには、摸画像表示の場合とは異なり、これを視認し難くする態様が現れることはない。
第1演出表示TEは、図柄変動内の所定タイミングで所定の演出結果(期待度)を表示するものであるが、該第1演出表示TEの実行期間中に消滅関連表示が表示された場合、該消滅関連表示は、所定タイミングが到来するよりも前に非表示にされるようになっている。
図267に示されるように、第4消滅関連表示SK4が表示される領域は、第2演出表示FEが表示される領域の少なくとも一部を含むものであり、該領域で、第2演出表示FEよりも表示にかかる優先順位が高い態様で表示されるものとなっている。ただしこの際、第4消滅関連表示SK4には、所定の透過率が設定されており、該第4消滅関連表示SK4を通して第2演出表示FEが視認し難い態様ではあるものの視認可能とされるようにしてもよい。
図267に示されるように、第4消滅関連表示SK4が表示される領域は、第1演出表示TEが表示される領域の少なくとも一部を含むものであり、該領域で、第1演出表示TEよりも表示にかかる優先順位が低い態様で表示されるものとなっている。この際、第1演出表示TEを通してその背後側にある第4消滅関連表示SK4が視認可能とされるようなことがないようにすることが望ましい。
これに対し、図263に示されるように、第1消滅関連表示SK1は、第1演出表示TEと第2演出表示FEとの両方に対してそれらの視認性に影響を及ぼさないように表示されるものとなっている。
第2演出表示FEの視認性に影響を及ぼさない第1消滅演出表示SK1のときは受付許容音が途中終了されず継続され、第2演出表示FEの視認性に影響を及ぼす第4消滅演出表示SK4のときは受付許容音が途中終了されうるようになっている。これにより、受付許容音を用いた演出性を高めることができるようになる。
第1演出表示TE及び第2演出表示FEはいずれも動的表示されるものであり、いずれの消滅演出表示が表示される状況下においても、それらの動的表示はいずれも継続されるようにすることが望ましい。
また、上述した各演出例では、摸画像表示が表示されているなかで「摸画像表示が視認し難くなる態様(消滅関連表示)」を出現可能であり、該「摸画像表示が視認し難くなる態様(消滅関連表示)」としては複数態様を用意することとしている。
すなわちこの場合、「摸画像表示が視認し難くなる態様(消滅関連表示)」として複数態様のいずれかが現れるようになることから、摸画像表示が視認し難くなるときの遊技興趣の向上を図ることが期待されるようになる。
また、上述した各演出例にあって、第4の受付期間に対応する「摸画像表示が視認し難くなる態様(第4消滅関連表示SK4)」が出現した場合(図267)、該第4消滅関連表示SK4は、摸画像表示と第2演出表示FEとの両方を視認し難くするが、第1の受付期間に対応する「摸画像表示が視認し難くなる態様(第1消滅関連表示SK1)」が出現した場合(図263)、該第1消滅関連表示SK1は、摸画像表示と第2演出表示FEとのうち摸画像表示だけを視認し難くするように実行されるものとなっている。
このような構成によれば、「摸画像表示が視認し難くなる態様」として「第1消滅関連表示SK1」及び「第4消滅関連表示SK4」のいずれが現れるかについての演出性が生み出されるようになることから、遊技興趣の向上を図ることが期待されるようになる。
なおこの場合、第1の受付期間で表示される「摸画像表示」及び「所定の画像表示」と、第4の受付期間で表示される「摸画像表示」及び「所定の画像表示」とは、同じ態様で表示されるものとすることが望ましい。
摸画像表示は、消滅関連表示が現れている間に非表示にされるが、第2演出表示FEは、消滅関連表示が現れている間には非表示にされず、該消滅関連表示が終了した以降の所定タイミング(図柄変動が停止するよりも前)で非表示にされるようにすることが望ましい。
第4消滅関連表示SK4は、画像ではなく、摸画像表示と第2演出表示FEとの正面視前方で行われる演出体による演出であってもよい。ただし、第1消滅関連表示SK1については、画像表示として実現されるものとすることが望ましい。
上述した各演出例では、第2演出表示FEが非表示の状態にあるときにも第2の受付期間は発生可能とされており、摸画像表示が視認し難くなる態様として、該第2の受付期間にあるときにしか出現しない特別態様(第2消滅関連表示SK2)が用意されている。このような第2の受付期間では、図265に示されるように、「摸画像表示が視認し難くなる態様(第2消滅関連表示SK2)」として、特別態様が現れる場合(第2消滅関連表示SK2-2)と、現れない場合(第2消滅関連表示SK2-1)とがあり、該特別態様が現れると、第4消滅関連表示SK4がいかなる態様で表示されたときよりも期待度(大当り図柄で停止される割合)が高くなるようにすることが望ましい。該割合は100%であってもよい。またこの場合、第2の受付期間では、第2演出表示FEが表示状態にあるときには実行され得ない特別態様の前兆演出(第2前兆演出表示ZEH2)が実行されうるようにすることが望ましい。
上述した各演出例にあって、上記第1の受付期間では、第1受付後演出表示UG1として第1態様(第1受付後演出表示UG1-1)が実行される場合(図263(e1)~(i1))と、第1受付後演出表示UG1として第1態様よりも期待度の高い第2態様(第1受付後演出表示UG1-2)が実行される場合(図263(e2)~(i2))とのいずれであっても、「摸画像表示が視認し難くなる態様」として同じ態様(第1消滅関連表示SK1-1)が現れるようにしている。
これに対し、上記第2の受付期間では、第2受付後演出表示UG2として第1態様(第2受付後演出表示UG2-1)よりも期待度の高い第2態様(第2受付後演出表示UG2-2)が実行される場合は、「摸画像表示が視認し難くなる態様」として特定態様(第2消滅関連表示SK2-2)が現れるが、第2受付後演出表示UGとして第1態様(第2受付後演出表示UG2-1)が実行される場合は、「摸画像表示が視認し難くなる態様」として特定態様は現れず該特定態様とは異なる態様(第2消滅関連表示SK2-2)が現れるようにしている。
このような構成によれば、受付期間の種別によって、「摸画像表示が視認し難くなる態様」を確認するだけで、受付後演出表示としての期待度を推測することができる場合と、該期待度を推測することができない場合とが生じるようになることから、このような「摸画像表示が視認し難くなる態様」にかかる演出性によって遊技興趣の向上を図ることが期待されるようになる。
なお、「摸画像表示が視認し難くなる態様」として、第2の受付期間に対応して発生しうる「特定態様(第2消滅関連表示SK2-1または第2消滅関連表示SK2-2)」については、第1受付期間に対応する「摸画像表示が視認し難くなる態様」としては出現し得ないものとなっている。このような構成によれば、「摸画像表示が視認し難くなる態様」に基づいて受付期間の種別を推測することができるようになり、遊技興趣の向上を図ることができるようになる。
ただし、「摸画像表示が視認し難くなる態様」として、第1の受付期間と、第2の受付期間とで同じ態様が現れうるようにしてもよい。
図263に示されるように、第1の受付期間では、受付けがなされない場合、「摸画像表示が視認し難くなる態様」として、受付けがなされたときには出現し得ない態様(第1消滅関連表示SK-2)を出現させることとした。ただし、第1の受付期間で受付けがなされない場合は、「摸画像表示が視認し難くなる態様」これ自体が出現し得ないようにしてもよい。
第2の受付期間では、受付許容音として、期待度(大当り図柄が停止される割合)の異なる複数態様のいずれかを選択的に可聴出力可能とされるようにし、第1の受付期間では、受付許容音として、一の態様のみが可聴出力可能とされるようにすることが望ましい。またこの場合、第2の受付期間に対応して可聴出力されうる受付許容音(複数の態様)のいずれもが、第1の受付期間に対応して可聴出力される受付許容音と異なる音として用意することが望ましい。
上述した各演出例では、第1の受付期間~第7の受付期間のいずれもが異なる変動パターンで発生されるものとしたが、第1の受付期間~第7の受付期間には、同じ変動パターン内で順次に発生しうる関係にある受付期間が含まれているようにしてもよい。すなわちこの場合、第1の受付期間~第7の受付期間のうち、少なくともいくつかの受付期間は、複数の変動パターンで発生可能とされることとなる。
例えば、「摸画像表示が視認し難くなる態様(消滅関連表示)」が期待度に応じて変化する受付期間(第2の受付期間や、第4の受付期間など)については、「摸画像表示が視認し難くなる態様(消滅関連表示)」が期待度に応じて変化しない受付期間(第1の受付期間や、第3の受付期間など)が発生した後に、これと同じ図柄変動内で発生可能とするようにすることが望ましい。
また、前兆演出表示が表示されている間に受付けがなされうる受付期間(第2の受付期間や、第5の受付期間など)については、前兆演出表示が表示されている間に受付けがなされ得ない受付期間(第1の受付期間や、第3の受付期間、第4の受付期間など)が発生した後に、これと同じ図柄変動内で発生可能とするようにすることが望ましい。
「摸画像表示が視認し難くなる態様(消滅関連表示)」が期待度に応じて変化する受付期間では、「摸画像表示が視認し難くなる態様(消滅関連表示)」が期待度に応じて変化しない受付期間では可聴出力され得ない特定の受付許容音を含む複数の受付許容音を選択的に出力可能とし、特定の受付許容音が可聴出力されたときには、「摸画像表示が視認し難くなる態様(消滅関連表示)」として期待度の高い態様が出現されるようにすることが望ましい。
また、「摸画像表示が視認し難くなる態様(消滅関連表示)」が期待度に応じて変化する受付期間(第2の受付期間や、第5の受付期間など)では、該受付期間専用の前兆演出表示が実行可能とされるが、該前兆演出表示が実行されるよりもさらに前の段階では特別の予告演出が実行可能とされており、該特別の予告演出が実行されたときには、上記受付期間で受付けがなされると「摸画像表示が視認し難くなる態様(消滅関連表示)」が期待度の高い態様で必ず実行されるようにすることが望ましい。
「摸画像表示が視認し難くなる態様(消滅関連表示)」が期待度に応じて変化する受付期間では、「摸画像表示が視認し難くなる態様(消滅関連表示)」として、大当りが得られているときにしか出現し得ない態様(例えば、第2消滅関連表示SK2-2など)を用意するようにしてもよい。また、大当りが得られているときには出現し得ない態様(例えば、第2消滅関連表示SK2-1など)を用意するようにしてもよい。
また、上述した各演出例では、受付期間の発生に関連して少なくとも該受付期間内において受付関連演出表示(摸画像表示や、ゲージ画像など)を表示可能であり、受付期間の発生に関連して少なくとも該受付期間内において受付関連演出音(受付許容音など)を出力可能となっている。また、受付期間内において遊技者による動作が受付けされると、該受付けがなされたことに基づいて受付後演出に関連する受付後出力音を出力可能であり、受付期間内において上記受付関連演出表示(摸画像表示や、ゲージ画像など)が表示されているときに遊技者による動作が受付けされると、該受付けがなされたことに基づいて該受付関連演出表示(摸画像表示や、ゲージ画像など)を非表示にする。これと同様、受付期間内において受付関連演出音(受付許容音など)が可聴状態とされているときに遊技者による動作が受付けされると、該受付けがなされたことに基づいて上記受付関連演出音(受付許容音など)を非可聴状態にする場合があるようにしている。
このような構成では、受付期間内において遊技者による動作が受付けされたことに基づいて、受付後演出に関連する受付後出力音を可聴出力し、受付関連演出表示(摸画像表示や、ゲージ画像など)を非表示にし、受付関連演出音を非可聴状態(受付許容音など)にするようにしたことから、受付けされた状態にあることを容易に認識させることができるようになる。
この点、上述した各演出例にあって、上記受付関連演出表示(摸画像表示や、ゲージ画像など)は、受付けがなされたことに応じた受付後演出が実行開始される時点において終了されておらず表示されるものとなっているが、受付関連演出音(受付許容音など)は、受付けに応じた受付出力音が実行開始される時点において終了されており非可聴状態にされる場合があるようにしている。
このような構成によれば、受付期間内において表示される上記受付関連演出表示(摸画像表示や、ゲージ画像など)についてはこれを受付後演出が実行開始された以降にまで表示されるようになる一方で、受付期間内において可聴(出力)とされる上記受付関連演出音(受付許容音など)については、受付後出力音が実行開始される時点においては可聴状態ではなくなるようにされることとなる。これにより、受付後演出が実行開始された以降も、受付期間内で表示されていた受付関連演出表示(摸画像表示や、ゲージ画像など)としての態様を確認可能としつつも、受付関連演出音(受付許容音など)が非可聴の状態にされることにより受付期間はすでに終了した状態にあることを好適に示唆することができるようになる。
上述の通り、受付関連演出表示(摸画像表示や、ゲージ画像など)は、大当りが得られている割合(期待度)を示唆する演出表示として実行されるものである。そしてこの場合、受付関連演出音(受付許容音)についても、受付関連演出表示(摸画像表示や、ゲージ画像など)によって示唆される期待度(受付関連演出表示としての態様)に応じて異なる音を出力するものすることが望ましい。
ただし、上述した各演出例にあって、第1の受付期間では、受付関連演出音(受付許容音)を、受付後出力音が実行開始される時期においても終了されず継続させるようにしたことから、受付けされた状況にあるのかを認識し難くして緊張感を好適に維持することができるようになる。
また、上述した各演出例にあって、第1の受付期間では、受付関連演出表示(摸画像表示や、ゲージ画像など)として一の態様のみが表示可能とされており、大当りが得られている割合(期待度)を示唆する演出表示として実行されないものとなっている。また、第1の受付期間では、受付関連演出音(受付許容音)についても一の態様しか現れないようになっていることから、他の受付期間で該態様とは異なる態様が現れたときの遊技興趣を好適に向上させることができるようになる。
また、上述した各演出例では、前兆演出表示として特定態様を含む複数態様を用意しており、特定の受付期間(例えば、第2の受付期間)が発生するのに先立って、特定態様の前兆演出表示(例えば、第2前兆演出表示:図256)を表示可能であり、受付関連演出音(受付許容音など)の可聴出力を開始しうるものとなっている。そして、特定態様の前兆演出表示(例えば、第2前兆演出表示:図256)及び受付関連演出音(受付許容音)は、受付期間が発生するタイミングに跨るかたちで実行可能とされ、特定態様の前兆演出表示(例えば、第2前兆演出表示:図256)が表示されており且つ受付関連演出音(受付許容音)が可聴状態(出力)にあるなかで遊技者による動作が受付けされうるようにしている。この点、受付期間内において特定態様の前兆演出表示(例えば、第2前兆演出表示:図256)が表示されているときに遊技者による動作が受付けされると、該受付けがなされたことに基づいて該特定態様の前兆演出表示(例えば、第2前兆演出表示:図256)を非表示にする。また、受付期間内において受付関連演出音(受付許容音)が可聴状態とされているときに遊技者による動作が受付けされると、該受付けがなされたことに基づいて受付関連演出音(受付許容音)を非可聴状態にするようにしている。
上記構成では、受付期間内において遊技者による動作が受付けされたことに基づいて、特定態様の前兆演出表示(例えば、第2前兆演出表示:図256)を非表示にするようになっており、受付関連演出音(受付許容音)を非可聴状態にするようにしたことから、受付期間が発生するよりも前から実行状態にある特定態様の前兆演出表示(例えば、第2前兆演出表示:図256)と受付関連演出音とがそれぞれ実行されているなかで遊技者による動作が受付けされた場合であっても、受付けされた状態にあることを容易に認識させることができるようになる。
また、図256などに示されるように、上記特定態様の前兆演出表示(例えば、第2前兆演出表示:図256)は、これに対応する受付期間内で受付けされたことに応じた受付後演出が実行開始される時点において終了されておらず表示されるものとなっている。これに対し、上記受付関連演出音(受付許容音)は、受付けされたことに応じた受付後出力音が実行開始される時点において終了されており非可聴状態にされるようにしている。
このような構成によれば、受付期間の発生前から表示される上記特定態様の前兆演出表示(例えば、第2前兆演出表示:図256)についてはこれを受付後演出が実行開始された以降にまで表示されるようになる一方で、受付期間の発生前から可聴(出力)とされる上記受付関連演出音(受付許容音)については、受付後出力音が実行開始される時点においては可聴状態ではなくなるようにされることとなる。これにより、特定の受付後演出が実行開始された以降も、受付期間の発生前から表示される前兆演出表示としての態様を確認可能としつつも、受付期間の発生前から出力される受付関連演出音(受付許容音)が非可聴の状態にされることにより受付期間はすでに終了した状態にあることを好適に示唆することができるようになる。
特定態様の前兆演出表示(第2前兆演出表示ZEH2)については、期待度に応じて異なる表示画像として表示されるようにし、大当りが得られている割合(期待度)を示唆する演出表示として実行されるようにすることが望ましい。そしてこの場合、受付関連演出音(受付許容音)についても、特定態様の前兆演出表示によって示唆される期待度(特定態様の前兆演出表示としての態様)に応じて異なる音を出力するものすることが望ましい。
ただし、上述した各演出例にあって、第1前兆演出表示が実行される受付期間では、該第1前兆演出表示を一の態様のみによって実行可能としており、大当りが得られている割合(期待度)を示唆する演出表示として実行されることがないようになっている。
なお、複数の受付許容音(長時間許容音、短時間許容音)が同時に出力される受付期間(第2の受付期間や、第5の受付期間など)では、受付許容音の出力と受付後出力音が重なることはないが、1つの受付許容音のみが出力される受付期間では、受付許容音の出力と受付後演出音が重なる場合(第1の受付期間)と、受付許容音の出力と受付後出力音が重ならない場合(第3の受付期間、第4の受付期間など)とがあるようにしている。
長時間許容音とは、例えば、効果音として出力される音(図213などで示した第2許容音に相当)のことであり、短時間許容音とは、例えば、メッセージ音として出力される音(図213などで示した第1許容音に相当)のことである。1つの受付許容音のみが出力される場合とは、例えば、メッセージ音が出力されず、効果音のみが出力される場合(図212などで第1許容音だけが出力される場合に相当)のことである。なお、短時間許容音を「効果音として出力される音」とし、長時間許容音を「メッセージ音として出力される音」とするようにしてもよい。
2つの受付許容音の1つが「メッセージ音」として出力される場合、該メッセージ音(例えば、「押せー」という音)が可聴出力されているなかで該メッセージ音と対応するメッセージ画像(「押せ」などの受付関連演出表示)を表示するようにすることが望ましい。この場合、メッセージ音の出力期間は、受付後演出(受付後出力音など)が実行される期間と重なることがないが、該メッセージ音に対応するメッセージ画像(受付関連演出表示)が表示される期間は、受付後演出が実行される期間と重なるようになる。
上述した各演出例では、摸画像表示を、周縁装飾画像内にゲージ画像を含む一体化摸画像表示として表示することとした。一体化摸画像表示については、図232などを参照して上述した通りであり、その別例構成なども適宜に採用可能である。すなわち従来は、摸画像表示が、ゲージ画像と離間して表示されていたため、前兆演出表示や消滅関連表示などによってその両方を視認困難とすることは難しかった。ゲージ画像が、期待度を示唆する摸画像表示の態様に応じて変化することもあり、それを視認できてしまうと摸画像表示を視認し難くする意味が没却される。この点、一体化摸画像表示として表示するようにしたことから、摸画像表示とゲージ画像との両方を視認し難くすることが容易となる
なお、上述した各演出例において、「摸画像表示が視認し難くなる態様(消滅関連表示)」については、受付後演出表示を視認し難くするように出現されるものとしたが、受付後演出表示を視認し難くしないように出現(例えば、受付後演出表示を優先表示)されるものとしてもよい。また、上記複数の受付期間のなかに、「摸画像表示が視認し難くなる態様(消滅関連表示)」によって受付後演出表示が視認し難くされる受付期間と、「摸画像表示が視認し難くなる態様(消滅関連表示)」によって受付後演出表示が視認し難くされない受付期間とが含まれるようにしてもよい。
また、第1の受付期間~第7の受付期間については必ずしもそれらの全てを用意しなくてもよく、それら受付期間の一部だけを適宜の組み合わせで用意するようにしてもよい。
第1の受付期間においても受付許容音が可聴出力されているなかで受付けされたときにこれを途中終了させるようにしてもよい。
「第1前兆演出表示」や「第7前兆演出表示」については、必ずしも「受付期間が発生する時点で表示されておらずこれよりも前に非表示にされるタイプ」でなくてもよく、例えば、「受付期間が発生するタイミングを跨るかたちで表示されるタイプ」として表示するようにしてもよい。すなわちこの場合、「第1前兆演出表示」や「第7前兆演出表示」は、第2の受付期間に対応して表示される上述の「第2前兆演出表示ZEH2」と演出内容(表示画像)こそ異なるものの、「表示の開始時期及び終了時期や、非表示にされるまでの間に他の画像表示とどのように関わるか」等々については、図256、図264及び図265を参照して「第2前兆演出表示ZEH2」について説明した通りの手法で表示が行われることとなる。別例や変形例についても同じように適用可能である。
上述や後述の記載において「少なくとも一部」と記載されている場合、「全て」を含む意図であることは言うまでもない。
次に、上述した各演出例についての変形例を説明する。すなわち、図268は、図264に示した「第2の受付期間が発生するときの演出」にかかる変形例であり、図269は、図265に示した「第2の受付期間が発生するときの演出」にかかる変形例である。なお、この変形例において、特に言及しない構成については、「第2の受付期間に関する演出例(図256、図264、図265)」にて上述した通りであり、該「第2の受付期間に関する演出例」に対して適用可能な別例に関しても同様に適用可能である。
同図268に示されるように、このパチンコ機1は、第4の演出装置として特定装飾部材SDY(簾役物)を備えるものとなっている。説明の便宜上、上述した各演出例においては、特定装飾部材SDY(簾役物)を割愛して説明したが、上述した各演出例においても、パチンコ機1としては、特定装飾部材SDY(簾役物)を備えるものとなっている。すなわち、上述した各演出例においては、受付期間の発生に関連して特定装飾部材SDY(簾役物)が動作することがないようになっている。
いま、変動パターン判定が行われた結果として「第2変動パターン」が選択されたとすると、上記第2の受付期間に対する変形例においても、まず、該第2変動パターンに対応する演出判定(予告判定など)を行う。そしてこの後、装飾図柄SZの変動演出(第2変動パターンに応じた演出描写や、第2変動パターンに応じたBGM再生の音出力など)を開始させる(「図268(a)に示される状況」)。
これ以降も、上述した図264(b)~(d)の場合と同様である。すなわち、まず、図268(b)に示されるように、「第2前兆演出表示ZEH2」が実行される(タイミングtG1)。次いで、図268(c)に示されるように、「一体化摸画像表示IG」が表示される(タイミングtG2)。そして、こうして「第2前兆演出表示ZEH2」と「一体化摸画像表示IG」とが表示されているなかで、図268(d)に示されるように、第2の受付期間が発生することとなる(タイミングtG3)。
なおここでは、説明の便宜上、第2演出装置(サブ液晶1610)についての図示を割愛しているが、この変形例においても、該第2演出装置(サブ液晶1610)を利用した「第2受付後特定演出」や「前兆演出」は、上述した例の場合(図264、図265)と同様に実行されるようになっている。また、第3演出装置(スピーカ)を利用した演出(受付許容音、第2受付後出力音など)についても、上述した例の場合(図264、図265)と同様に実行されるようになっている。
また、この変形例では、第2の受付期間内のタイミングtG3aにおいて遊技者による動作が受付けされた場合も、上述した例の場合(図264、図265)と同様、該受付けに基づいて、第2の受付期間が終了されるとともに、該第2の受付期間に対応する受付後演出(第2受付後演出)が実行開始されることとなる。
なお、図268(d)から「D1(図269(e1)~(i1))」へと演出が進展する例は、変形例にかかる当該第2の受付期間に対応する受付後演出として相対的に期待度の低い第1態様が実行される場合に相当し、図268(d)から「D2(図269(e2)~(i2))」へと演出が進展する例は、変形例にかかる当該第2の受付期間に対応する受付後演出として相対的に期待度の高い第2態様が実行される場合に相当している。期待度(大当り図柄が現れる割合)については、「0%」や「100%」を含むものであってもよい。
そして、図268及び図269に示される例においても、上述した例の場合(図264、図265)と同様、遊技者による動作が受付けされた時点(受付けに応じて第2受付後演出が開始された時点)であるタイミングtG3aにおいて、「一体化摸画像表示IG」を非表示にしないことはもとより、該一体化摸画像表示IGを視認し難くすることもしないようにしている。一体化摸画像表示IGだけでなく、第2前兆演出表示ZEH2についても、遊技者による動作が受付けされた時点(第2受付後演出が開始された時点)であるタイミングtG3aにおいてこれを非表示にしたり、視認し難くすることもないようにする点についても、上述した例の場合(図264、図265)と同様である。
また、この変形例にかかる当該第2の受付期間に対応する受付後演出として相対的に期待度の低い第1態様が実行される場合(図269(e1)~(i1))は、これ以降も、上述した例の場合(図264、図265)と同様である。すなわち、まず、タイミングtG3bにおいて、「一体化摸画像表示IGが視認し難くなる態様」として、「第2消滅関連表示SK2-1」にかかる表示が開始される。次いで、タイミングtG3cが到来すると、第2の受付期間内で遊技者による動作が受付けされたことに応じた第1演出装置(演出表示装置1600)における受付後演出としての「第2受付後演出表示UG2-1」が実行開始される。
そしてこの後も、上述した例の場合(図264、図265)と同様、図269(h1)に示されるように、「第2受付後演出表示UG2-1」が表示されているなかで、まず、「一体化摸画像表示IG」、「第2前兆演出表示ZEH2」、及び「第2消滅関連表示SK2-1」のうち、「一体化摸画像表示IG」及び「第2前兆演出表示ZEH2」がそれぞれ非表示にされる。「一体化摸画像表示IG」及び「第2前兆演出表示ZEH2」がそれぞれ非表示にされた後は、図269(i1)に示されるように、「第2消滅関連表示SK2-1」が非表示にされることとなり、これによって視認良好とされているもとで「第2受付後演出表示UG2-1」にかかる表示が行われるようになる。
ただし、この変形例にかかる当該第2の受付期間に対応する受付後演出として相対的に期待度の高い第2態様が実行される場合(図269(e2)~(i2))は、タイミングtG3bにおいて、「一体化摸画像表示IGが視認し難くなる態様」として、第1演出装置(演出表示装置1600)における消滅関連表示を行うのではなく、特定装飾部材SDY(簾役物)を動作開始させる。すなわち、図269(f2)に示されるように、該特定装飾部材SDY(簾役物)を、一体化摸画像表示IGの少なくとも一部と正面視で重なるように位置(動作)させることによって、該一体化摸画像表示IGを視認し難くするようにしており、これが「一体化摸画像表示IGが視認し難くなる態様」として機能するようになっている。
このような構成によれば、図269(f1)に示した場合よりも、図269(f2)に示した場合のほうが期待度が高い状況にあることを容易に認識させることができるようになり、遊技興趣の向上を図ることができるようになる。また、特定装飾部材SDY(簾役物)による動作これ自体が、期待度を示唆するものであることから、受付後演出を兼ねることができるようになり、このような受付後演出これ自体によって一体化摸画像表示IGを視認し難くすることができるようになる。この意味では、第4の演出装置(特定装飾部材SDY)については、受付後演出とは異なる演出(期待度を示唆する予告演出など)においても、期待度を示唆する演出要素として用いられるものであることが望ましい。
次いで、こうして「一体化摸画像表示IGが視認し難くなる態様」として「第4の演出装置(特定装飾部材SDY)を用いた演出」が一体化摸画像表示IGの少なくとも一部と正面視で重なるかたちで実行されているなかで、タイミングtG3cが到来すると、第2の受付期間内で遊技者による動作が受付けされたことに応じた第1演出装置(演出表示装置1600)における受付後演出としての「第2受付後演出表示UG2-2」が実行開始される。
すなわちこの場合、「一体化摸画像表示IG」及び「第2前兆演出表示ZEH2」が表示されており、且つ「第4の演出装置(特定装飾部材SDY)を用いた演出」が「一体化摸画像表示IG」の少なくとも一部と正面視で重なる位置にて実行されているなかで、「第2受付後演出表示UG2-2」が実行開始されることとなる。このような構成によれば、「第4の演出装置(特定装飾部材SDY)を用いた演出」によって一体化摸画像表示IGや第2前兆演出表示ZEH2が視認し難くされているなかで第2受付後演出表示UG2-2が開始されることから、第2の受付期間が既に終了していることを示唆しつつ、遊技者による注視先が「一体化摸画像表示IG」や「第2前兆演出表示ZEH2」から「第2受付後演出表示UG2-2)」へと自ずと移行されることが期待されるようになる(タイミングtG3c以降)。
そして、この変形例にかかる当該第2の受付期間に対応する受付後演出として相対的に期待度の高い第2態様が実行される場合(図269(e2)~(i2))も、こうして「第2受付後演出表示UG2-2」にかかる表示が開始されると、図269(h2)に示されるように、該「第2受付後演出表示UG2-2」が表示されているなかで、まず、「一体化摸画像表示IG」、「第2前兆演出表示ZEH2」、及び「一体化摸画像表示IGが視認し難くなる態様(ここでは、第4の演出装置(特定装飾部材SDY)を用いた演出)」のうち、「一体化摸画像表示IG」及び「第2前兆演出表示ZEH2」をそれぞれ非表示にして終了させる。そして、こうして「一体化摸画像表示IG」及び「第2前兆演出表示ZEH2」がそれぞれ非表示にされた後、図269(i2)に示されるように、「一体化摸画像表示IGが視認し難くなる態様」としての「第4の演出装置(特定装飾部材SDY)を用いた演出)」を終了させる。すなわち、「第4の演出装置(特定装飾部材SDY)を用いた演出」が一体化摸画像表示IGと正面視で重ならないように、特定装飾部材SDYを原位置へと移動することとなる。これにより、視認良好とされているもとで「第2受付後演出表示UG2-2)」にかかる表示が行われるようになる。
なお、「一体化摸画像表示IGが視認し難くなる態様」として「第4の演出装置(特定装飾部材SDY)を用いた演出」を行う場合(相対的に期待度の高い態様(図269(e2)~(i2))は、「一体化摸画像表示IGが視認し難くなる態様」として「第1の演出装置を用いた演出(消滅関連表示)」を行う場合(相対的に期待度の低い態様(図269(e1)~(i1))よりも、「一体化摸画像表示IGが視認し難くなる態様」が現れてからこれが終了されるまでの時間を長くすることが望ましい。すなわちこの場合、「一体化摸画像表示IGが視認し難くなる態様」として「第4の演出装置(特定装飾部材SDY)を用いた演出)」を実行する場合は、該「第4の演出装置(特定装飾部材SDY)を用いた演出)」これ自体の演出性によって遊技興趣の向上を図ることができるようになり、その後、「第4の演出装置(特定装飾部材SDY)を用いた演出)」が終了された以降も、それまで視認し難くされていた「第2受付後演出表示UG2-2」が露わにされることによって遊技興趣のさらなる向上を図ることが期待されるようになる。これに対し、第1の受付期間や第3の受付期間では、受付後演出として期待度の低い態様が実行される場合と、受付後演出として期待度の高い態様が実行される場合とで、「一体化摸画像表示IGが視認し難くなる態様(第1消滅関連表示SK-1など)」は、同じ時間だけ実行されるようになっている。
他方、図268(d)から「D3(図269(e3)~(h3))」へと演出が進展する例は、変形例にかかる当該第2の受付期間内で遊技者による動作が受付けされなかった場合を想定したものである。
同図269(e3)~(h3)に示されるように、この変形例において、当該第2の受付期間内で遊技者による動作が受付けされなかった場合は、上述した例の場合(図265(e3)~(h3))と同様である。例えば、遊技者による動作が受付けされなかった場合は、図269(f3)に示されるように、「一体化摸画像表示IGが視認し難くなる態様」として、第2の受付期間内で遊技者による動作がもし受付けされていたとしたら現れていた態様が出現することとなる。
したがって、同図269(e3)~(h3)に示されるように、第2の受付期間内で遊技者による動作が受付けされなかったときに「第2消滅関連表示SK2-1」が表示される場合とは、第2の受付期間内で遊技者による動作がもし受付けされていたとしたら、図268(d)から「D1(図269(e1)~(i1))」へと演出が進展していた場合(相対的に期待度の低い受付後演出が実行されていた場合)に相当する。一方、図示は割愛するが、第2の受付期間内で遊技者による動作が受付けされなかったときに「一体化摸画像表示IGが視認し難くなる態様」として、「第4の演出装置(特定装飾部材SDY)を用いた演出」が実行される場合とは、第2の受付期間内で遊技者による動作がもし受付けされていたとしたら、図268(d)から「D2(図269(e2)~(i2))」へと演出が進展していた場合(相対的に期待度の高い受付後演出が実行されていた場合)に相当することとなる。
そしてこの後は、図269(g3)に示されるように、「一体化摸画像表示IG」及び「一体化摸画像表示IGが視認し難くなる態様(第2消滅関連表示SK2-1または第4の演出装置(特定装飾部材SDY)を用いた演出)」のうち、まず、「一体化摸画像表示IG」を非表示にする。そして、こうして「一体化摸画像表示IG」が非表示にされた後、図269(h3)に示されるように、「一体化摸画像表示IGが視認し難くなる態様(第2消滅関連表示SK2-1または第4の演出装置(特定装飾部材SDY)を用いた演出)」を終了することとなる。
なお上述の通り、図268及び図269に示した演出例では、「一体化摸画像表示IGが視認し難くなる態様」を、「第1の演出装置(演出表示装置1600)における表示」として行う場合(図269(e1)~(i1))と、「第4の演出装置(特定装飾部材SDY)を用いた演出」として行う場合(図269(e2)~(i2))とがある。この点、上述した例では、「第1の演出装置(演出表示装置1600)における表示」が実行開始されるタイミングと、「第4の演出装置(特定装飾部材SDY)を用いた演出」が実行開始されるタイミングとを同じ(タイミングtG3b)とすることとしたが、「第4の演出装置(特定装飾部材SDY)を用いた演出」については、「第1の演出装置(演出表示装置1600)における表示」が実行開始されるタイミングtG3bよりも前のタイミング(例えば、タイミングtG3a)において実行開始するようにしてもよい。
このような構成によれば、「一体化摸画像表示IGが視認し難くなる態様」の種別や、受付後演出として示唆される期待度(大当り図柄が現れる割合)によって、受付けされてから「一体化摸画像表示IGが視認し難くなる態様」が出現するまでの時間が異なるようになることから、面白みが付加されるようになり、遊技興趣の向上を図ることができるようになる。特に、「第4の演出装置(特定装飾部材SDY)を用いた演出」は、「第2の演出装置を用いた受付後特定演出」などと同様に、受付後演出としても機能するものであることから、これを早いタイミングで実行するようにしたことで、遊技興趣の向上を図ることができるようになる。
ただし、「第4の演出装置(特定装飾部材SDY)を用いた演出」が「一体化摸画像表示IGが視認し難くなる態様」として実行されている状況にある場合であっても、図269(f2)に示されるように、一体化摸画像表示IG(摸画像表示)の少なくとも一部は視認可能であるようにすることが望ましい。
また、図268及び図269に示した演出例にあって、図268(d)から「D2(図269(e2)~(i2))」へと演出が進展する場合(相対的に期待度の高い受付後演出が実行されていた場合)は、「一体化摸画像表示IGが視認し難くなる態様」として、「第1の演出装置(演出表示装置1600)における表示」を行うことはなく、「第4の演出装置(特定装飾部材SDY)を用いた演出」を行うこととした。ただしこの場合、「一体化摸画像表示IGが視認し難くなる態様」として、「第1の演出装置(演出表示装置1600)における表示(消滅関連表示)」と、「第4の演出装置(特定装飾部材SDY)を用いた演出」との両方を行うようにしてもよい。
このような構成によれば、操作受付がなされた以降、「第1の演出装置(演出表示装置1600)における表示(消滅関連表示)」と、「第4の演出装置(特定装飾部材SDY)を用いた演出」との両方によって一体化摸画像表示IGが視認し難くされるようになり、受付けがなされた状態にあることを好適に示唆することができるようになる。
このように「一体化摸画像表示IGが視認し難くなる態様」として、「第1の演出装置(演出表示装置1600)における表示(消滅関連表示)」と、「第4の演出装置(特定装飾部材SDY)を用いた演出」との両方を実行する場合、消滅関連表示は、一体化摸画像表示IGの少なくとも一部を視認し難くするように表示(優先表示など)され、「第4の演出装置(特定装飾部材SDY)を用いた演出」は、一体化摸画像表示IGの少なくとも一部と、消滅関連表示の少なくとも一部とをそれぞれ視認し難くするように実行されることとなる。
なおこの場合も、「一体化摸画像表示IGが視認し難くなる態様」として機能する「第4の演出装置(特定装飾部材SDY)を用いた演出」についてはタイミングtG3aで実行開始するようにし、「一体化摸画像表示IGが視認し難くなる態様」として機能する「第1の演出装置(演出表示装置1600)における表示(消滅関連表示)」についてはタイミングtG3bで実行開始するようにしてもよい。
また、「一体化摸画像表示IGが視認し難くなる態様」として、「第1の演出装置(演出表示装置1600)における表示(消滅関連表示)」と、「第4の演出装置(特定装飾部材SDY)を用いた演出」との両方を実行する場合、消滅関連表示については、図268(d)から「D1(図269(e1)~(i1))」へと演出が進展する場合(相対的に期待度の低い受付後演出が実行される場合)に現れる「一体化摸画像表示IGが視認し難くなる態様(消滅関連表示SK2-1)」とは異なる画像表示として表示されるものとすることが望ましい。
また、第4の演出装置については、必ずしも動作可能な可動体(特定装飾部材SDY)として設けられるものでなくてもよく、要は、一体化摸画像表示IG(摸画像表示)の少なくとも一部と正面視で重なる位置にて所定演出を実行可能なもの(例えば、演出表示装置1600の正面視前方側にて飛翔による演出を実行可能な飛翔体や、演出表示装置1600の正面視前方側にて設けられる導光板など)であればよい。また、第4の演出装置を用いた演出については、受付期間における受付けに基づいて実行される場合のほか、異なる演出条件が成立した(特定図柄変動において所定のタイミングが到来することなど)ときにも実行されるようにすることが望ましい。
図268及び図269を参照しつつ説明した「一体化摸画像表示IGが視認し難くなる態様」に関する演出例については、第2の受付期間とは異なる受付期間に対しても適用可能である。例えば、第5の受付期間に対して適用した場合にも、図268及び図269に示したような演出進展がなされることとなる。
また、図268及び図269を参照しつつ説明した「一体化摸画像表示IGが視認し難くなる態様」に関する演出例については、第1の受付期間~第7の受付期間のいずれかに適用するのではなく、それら受付期間のいずれとも異なる第8の受付期間(第8の変動パターン、第8の受付後演出)として用意されるものであってもよい。
また、上述した各演出例においては、一体化摸画像表示IG(受付期間の種別によっては、一体化摸画像表示IG及び前兆演出表示ZEHの両方)が表示されているなかで、受付後演出表示を実行開始させるが、該受付後演出表示については、一体化摸画像表示IG(受付期間の種別によっては、一体化摸画像表示IG及び前兆演出表示ZEHの両方)によって視認し難くされるかたちで表示開始されるようにした(図263、図265、図267)。
ただしこれに代えて、一体化摸画像表示IG(受付期間の種別によっては、一体化摸画像表示IG及び前兆演出表示ZEHの両方)が表示されているなかで、受付後演出表示を実行開始させるが、該受付後演出表示を、一体化摸画像表示IG(受付期間の種別によっては、一体化摸画像表示IG及び前兆演出表示ZEHの両方)によって視認し難くされることのない態様(優先表示など)で表示開始させるようにしてもよい。
以下、このような構成を、上記第2の受付期間に関する演出例に対して適用させた場合について記載する。特に言及しない構成については、上述した例(図256、図264、図265)の場合と同様であり、別例についても適宜に適用可能である
この変形例にかかる第2の受付期間内において遊技者による動作(操作)が受付けされるまでの演出内容については、上述した演出内容(図264(a)~(d)、図265(e))と同じである。例えば、この例においても、図270(e2)に示されるように、遊技者による動作が受付けされた時点である当該タイミングtG3aにおいて、「一体化摸画像表示IG」や「第2前兆演出表示ZEH2」が非表示にされないことはもとより、該一体化摸画像表示IGや第2前兆演出表示ZEH2が視認し難くされることもない。
また、この変形例においても、相対的に期待度の低い受付後演出が実行される場合と、相対的に期待度の高い受付後演出が実行される場合とがあるが、相対的に期待度の低い受付後演出が実行される場合については、上述した演出内容(図265(e1)~(i1))と同じであるから、ここでの説明は割愛する。
これに対し、この変形例にあって、第2の受付期間に対応する受付後演出として「相対的に期待度の高い受付後演出」が実行される場合は、上述した演出内容(図265(f2)~(i2))に代えて、図270(f2)~(i2)に示される演出内容が現れるようになっている。
まず、タイミングtG3bにおいては、演出表示装置1600(第1演出装置)を利用した「第2受付後演出表示」が未だ開始されていない状況下にあるなかで、図270(f2)に示されるように、演出表示装置1600(第1演出装置)にて現れる第2消滅関連表示SK2が第2態様(第2消滅関連表示SK2-2)で実行される。次いで、第2消滅関連表示SK2にかかる表示(一体化摸画像表示IGが視認し難くなる態様)が現れている期間内のタイミングtG3cが到来すると、第2の受付期間内で遊技者による動作が受付けされたことに応じた第1演出装置(演出表示装置1600)における受付後演出としての「第2受付後演出表示UG2」が第2態様(第2受付後演出表示UG2-2)で実行開始される。該受付後演出表示が、期待度(遊技者に対して特典が付与される割合)を示唆するものであることは言うまでもない。該割合は100%であってもよい。
ただし、この変形例にかかる第2受付後演出表示UG2-2は、図270(g2)に示されるように、一体化摸画像表示IGや第2前兆演出表示ZEH2、第2消滅関連表示SK2などによって視認し難くされることがない。より具体的には、この変形例にかかる第2受付後演出表示UG2-2は、一体化摸画像表示IGや第2前兆演出表示ZEH2、第2消滅関連表示SK2が表示される領域とそれぞれ重なるかたちで表示されており、これら一体化摸画像表示IGや第2前兆演出表示ZEH2、第2消滅関連表示SK2を視認し難くする態様で表示(優先表示)されるものとなっている。
このような構成によれば、第2受付後演出表示UG2-2これ自体を、「一体化摸画像表示IGが視認し難くなる態様」として機能させることができるようになり、遊技興趣の向上を図ることができるようになる。なお、この例にかかる第2受付後演出表示UG2-2であっても、第1演出表示TE(ここでは、上述した「タイマ演出」に相当)に対しては優先表示されず、第1演出表示TEと重なる部分は視認し難くされるようになっている。
そしてこの後は、図270(h2)に示されるように、まず、一体化摸画像表示IG及び第2前兆演出表示ZEH2がそれぞれ非表示にされる。次いで、図270(i2)に示されるように、第2消滅関連表示SK2が非表示にされることとなる。
図270に示した変形例においても、当該第2の受付期間内で遊技者による動作が受付けされなかった場合は、上述した例の場合(図265(e3)~(h3))と同様である。すなわち、遊技者による動作が受付けされなかった場合は、「一体化摸画像表示IGが視認し難くなる態様」として、第2の受付期間内で遊技者による動作がもし受付けされていたとしたら現れていた態様が出現することとなる。
なお、図270に示した例では、「一体化摸画像表示IGが視認し難くなる態様」として、第2消滅関連表示SK2-2及び第2受付後演出表示UG2-2を表示することとしたが、第2消滅関連表示SK2-2を表示せず、第2受付後演出表示UG2-2だけを表示するようにしてもよい。
図270を参照しつつ説明した「受付後演出表示」に関する演出例については、第2の受付期間とは異なる受付期間に対しても適用可能である。例えば、第5の受付期間に対して適用した場合にも、図270に示したような演出進展がなされることとなる。
また、図270を参照しつつ説明した「受付後演出表示」に関する演出例については、第1の受付期間~第7の受付期間のいずれかに適用するのではなく、それら受付期間のいずれとも異なる第8の受付期間(第8の変動パターン、第8の受付後演出)として用意されるものであってもよい。
上述した変形例(図268~図270)またはその別例においても、受付期間(特定の受付期間)内において遊技者による動作が受付けされた場合、摸画像表示(ここでは、一体化摸画像表示IG)が表示されているなかで、該摸画像表示の表示対象領域の少なくとも一部を含む特定領域を用いて、摸画像表示を視認し難くする態様としての「特定の消滅演出表示(例えば、第2消滅関連表示SK2-2)」を表示可能であり、摸画像表示は、該特定の消滅演出表示(第2消滅関連表示SK2-2)が表示開始された以降、該特定の消滅演出表示(例えば、第2消滅関連表示SK2-2)が表示されているなかで非表示にされるようにしている。
すなわちこの場合、受付けがなされた以降も、摸画像表示としていずれの態様が現れていたのかを確認することが可能とされる。また、摸画像表示が非表示にされるまでの間に特定の消滅演出表示によって該摸画像表示の視認性が低下され、該視認性が低下されているなかで摸画像表示が非表示にされるようになることから、摸画像表示が非表示にされるまでの残り時間が少ないことが示唆されうるようになり、該摸画像表示が非表示にされたときの遊技興趣の低下が抑制されうるようになる。
また、上述した変形例(図268~図270)またはその別例において、上記「特定の消滅演出表示(例えば、第2消滅関連表示SK2-2)」は、摸画像表示(ここでは、一体化摸画像表示IG)が非表示にされた以降の期間においても表示されうるものであり、少なくとも該特定の消滅演出表示(例えば、第2消滅関連表示SK2-2)が表示されているなかで、受付後演出(例えば、特定装飾部材SDYを用いた演出や、第2受付後演出表示UG2-2など)が実行開始されるようにしている。そして、該受付後演出については、特定の消滅演出表示(例えば、第2消滅関連表示SK2-2)の表示対象領域である上記特定領域の少なくとも一部を用いて表示されるものであるか(図270に示した例)、または該特定の消滅演出表示(の少なくとも一部)と正面視で重なる位置にある演出体(図269に示した例やその別例など)を利用して実行されるものとして実現されるようにしている。
このような構成によれば、受付後演出のうち、特定の消滅演出表示(例えば、第2消滅関連表示SK2-2)と正面視で重なる位置で実行される特定の受付後演出については、特定の消滅演出表示が表示されている位置から注視先を移行させなくても認識可能とされるようになる。すなわちこの場合、特定の消滅演出表示が表示された時点で、特定の受付後演出の態様を把握するために注視先を変更しなくてもよいことが認識可能とされるようになることから、遊技興趣を好適に維持することができるようになる。
上記変形例にかかる特定の受付後演出(例えば、特定装飾部材SDYを用いた演出や、第2受付後演出表示UG2-2など)が現れると、遊技者に対して特典が付与される割合が100%であるようにしてもよい。
上記変形例にかかる特定の受付後演出(例えば、特定装飾部材SDYを用いた演出や、第2受付後演出表示UG2-2など)は、摸画像表示が非表示にされるよりも前から実行開始されるものであり、該摸画像表示を視認し難くするものであるから、摸画像表示が表示されているなかでも受付けがなされた状態にあることを好適に示唆することができるようになる。ただし、上記変形例にかかる特定の受付後演出(例えば、特定装飾部材SDYを用いた演出や、第2受付後演出表示UG2-2など)については、摸画像表示が非表示にされた以降において実行開始されるものであってもよい。
上記変形例にかかる特定の受付後演出(例えば、特定装飾部材SDYを用いた演出や、第2受付後演出表示UG2-2など)を発生可能な受付期間とは別に、該特定の受付後演出とは異なる受付後演出を発生可能な受付期間を用意した上で、特定の消滅演出表示(例えば、第2消滅関連表示SK2-2)は、該異なる受付後演出が実行される場合であっても表示されうるものとしてもよい。異なる受付後演出を発生可能な受付期間は、第1の受付期間、及び第3の受付期間~第7の受付期間のいずれかであってもよい。ただし、受付許容音を途中で終了しない受付期間(第1の受付期間)では、該特定の消滅演出表示(例えば、第2消滅関連表示SK2-2)が表示されないようにすることが望ましい(別の消滅演出表示は表示されてもよい)
なお、上述した変形例(図268~図270)またはその別例においても、受付期間の発生に際して、当該受付期間に対応する受付後演出に関しての受付けが許容される状態になっていること、または該受付けが許容される状態に(間もなく)なることを示唆する受付許容音を可聴にする処理が実行されるようになっており、これによって遊技者が受付けのための動作をし忘れてしまうことを抑制するようにしている。
また上述の通り、このパチンコ機1では、複数種別の前兆演出表示を用意しているが、上述した変形例(図268~図270)またはその別例においては、特定の前兆演出表示(第2前兆演出表示ZEH2)が表示されているなかで遊技者による動作が受付けされた場合、該受付けがなされた以降も特定の前兆演出表示(第2前兆演出表示ZEH2)を表示するが、該特定の前兆演出表示(第2前兆演出表示ZEH2)が表示されているなかで該特定の前兆演出表示(第2前兆演出表示ZEH2)が視認し難くなる態様を出現させる。そして、該態様が出現された後、特定の前兆演出表示(第2前兆演出表示ZEH2)が視認し難くされているもとで該特定の前兆演出表示を非表示にするようにしている。
すなわちこの場合、受付けがなされた以降も、前兆演出表示としていずれの態様が現れていたのかを確認可能としつつ、前兆演出表示が非表示にされるまでの間にその視認性を低下させるようにしたことで、受付けが既になされた状態にあることについてもこれを好適に示唆することができるようになる。
上述した変形例(図268~図270)またはその別例においては、特定の前兆演出表示(第2前兆演出表示ZEH2)が視認し難くなる態様は、特定の前兆演出表示(第2前兆演出表示ZEH2)とは別の画像表示(例えば、第2消滅関連表示SK2-2や受付後演出表示UG2-2)であるか、または特定の前兆演出表示(第2前兆演出表示ZEH2)よりも前方側で行われる演出体における演出であるようになっている。
また、上述した変形例(図268~図270)またはその別例において、「特定の前兆演出表示(第2前兆演出表示ZEH2)を視認し難くする態様」は、特定の前兆演出表示(第2前兆演出表示ZEH2)だけでなく、特定の前兆演出表示と摸画像表示との両方に正面視で跨るように実行され、それらの両方を視認し難くするものとなっている。該態様については、演出表示装置1600の全体を視認し難くする態様で行われるものであってもよいが、その場合は、所定の透過率を通して、特定の前兆演出表示や摸画像表示を視認可能とするようにすることが望ましい。
また、「特定の前兆演出表示(第2前兆演出表示ZEH2)を視認し難くする態様」については、特定の前兆演出表示これ自体の表示特性にかかる変化(透過率変化など)によって実現されるものであってもよい
上述した変形例(図268~図270)またはその別例においても、特定の前兆演出表示(第2前兆演出表示ZEH2)は、受付期間内に非表示にされるものである。そして、該非表示にされた状態で受付けがなされた場合であっても、「特定の前兆演出表示が視認し難くなる態様(第2消滅関連表示SK2-2や、受付後演出表示UG2-2、演出体など)」は実行されるようになっている。
また、上述した第1の受付期間では、遊技者による動作が受付けされた場合、該受付けがなされたことに基づいて、複数演出(図263(e1)~(i1)に示される演出、図263(e2)~(i2)に示される演出)のいずれかを出現させるが、それら演出のいずれが出現される場合であっても特定態様(第1消滅関連表示SK1-1(第1の受付期間に対応する第1消滅関連表示SK1の第1態様))を出現可能としている。すなわちこの場合、複数演出のいずれが出現した場合であってもそれに併せて特定態様も出現されるようになることから、それらが「特定受付期間内において遊技者による動作が受付けされたことに起因する」共通した演出であることを示唆することができるようになる。
これに対し、上述した第2の受付期間や、変形例(図268~図270)またはその別例にかかる第2の受付期間では、遊技者による動作が受付けされた場合、特別条件(大当り当選条件や、確変突入条件など)が満たされているか否かに応じて出現割合(0%や100%であってもよい)が異なる特別態様(例えば、第2消滅関連表示SK2-2や、特定装飾部材SDYを用いた演出、受付後演出表示UG2-2など)を含めた複数態様のいずれかを出現可能としており、該特別態様が出現すると摸画像表示が視認し難くなるようになっている。このような構成によれば、摸画像表示が非表示にされるまでの間に期待度が示唆される特別態様が現れて、該特別態様によって摸画像表示が視認し難くされるようになることから、遊技者は注視先を変えずとも、摸画像表示から受付後演出(特別態様)へと進展する演出を見逃すことなく楽しむことができるようになる。
この点、上記特定態様(第1消滅関連表示SK1-1(第1の受付期間に対応する第1消滅関連表示SK1の第1態様))が出現したときも、摸画像表示は、該「特定態様」によって視認し難くされるようになっている。このような構成によれば、特典付与にかかる期待度が示唆される上記特別態様によって摸画像表示が視認し難くされる場合(特別受付期間)と、特典付与にかかる期待度が示唆されない上記特定態様によって摸画像表示が視認し難くされる場合(特定受付期間)があるようになることから、「摸画像表示を視認し難くする態様(特定態様、特別態様)」に演出性が持たされるようになり、遊技興趣の向上を図ることができるようになる。
また、上述の各演出例や各変形例にて例示した受付期間が発生する場合は、該受付期間内で受付けが許容される対象(操作手段の種別など)を示唆する摸画像表示を、該受付期間が発生するよりも前の前兆演出表示が実行される期間内と、該受付期間内との両方で表示するようにしてもよい。ただしこの場合、前兆演出表示が実行される期間内において表示される摸画像表示は、受付期間内において表示される摸画像表示とは異なる態様とすることとし、受付期間が発生するよりも前に非表示にされるようにすることが望ましい。
以下、このような態様で摸画像表示が行われる手法を、上記第2の受付期間に対して適用させた場合についての変形例を説明する。すなわち、図271(a)~(f)及び図272(g),(h)は、図264に示した「第2の受付期間が発生するときの演出」にかかる変形例であり、図272(i)~(l)は、図265に示した「第2の受付期間が発生するときの演出」にかかる変形例である。なお、この変形例において、特に言及しない構成については、「第2の受付期間に関する演出例(図256、図264、図265)」にて上述した通りであり、該「第2の受付期間に関する演出例」に対して適用可能な別例に関しても同様に適用可能である。
いま、変動パターン判定が行われた結果として「第2変動パターン」が選択されたとすると、上記第2の受付期間に対する当該変形例においても、まず、該第2変動パターンに対応する演出判定(予告判定など)を行う。そしてこの後、装飾図柄SZの変動演出(第2変動パターンに応じた演出描写や、第2変動パターンに応じたBGM再生の音出力など)を開始させる(「図271(a)に示される状況」)。
ただし、この変形例では、上述したタイミングtG1よりも前のタイミングtG0が到来したときに、図271(b)に示されるように、「先行型前兆演出表示SZE」が実行されるようになっている。図271(b)に示した例では、「先行型前兆演出表示SZE」として、他の演出例(前兆演出表示が実行される期間内で摸画像表示を実行してからこれを一旦非表示とするようなことを行わない通常の演出例)においても用いられる画像表示を実行することとしているが、該「先行型前兆演出表示SZE」については、他の演出例(前兆演出表示が実行される期間内で摸画像表示を実行してからこれを一旦非表示とするようなことを行わない通常の演出例)においては出現し得ない画像表示として実行するようにすることが望ましい。
そして、この変形例では、こうして「先行型前兆演出表示SZE」が表示されているなかで、摸画像表示TMH(ここでは、一体化摸画像表示)が現れる。すなわち、図271(c)に示されるように、この例にかかる摸画像表示TMH(ここでは、一体化摸画像表示)は、「先行型前兆演出表示SZE」によって少なくとも一部が視認し難くされているなかでその表示が開始されるようになっている。また、この例にかかる摸画像表示TMHは、一体化摸画像表示として表示されるものではあるものの、ゲージ画像GGや、該ゲージ画像GGの表示対象領域である区画画像KGなどが表示されない画像(受付期間内では表示され得ない態様の摸画像表示)として表示されるものとなっている。
所定時間が経過すると、図271(d)に示されるように、摸画像表示TMH(ここでは、一体化摸画像表示)は、「先行型前兆演出表示SZE」によって視認し難くされない態様で表示されるようになる。この例では、「先行型前兆演出表示SZE」にかかる表示は終了されており、他のエフェクト表示(図中は、炎エフェクト)によって装飾されるかたちで表示されるようになっている。
ただし、同図271(c),(d)などに示されるように、「先行型前兆演出表示SZE」が表示されているなかで現れる当該摸画像表示TMH(ここでは、一体化摸画像表示)については、受付期間内で表示されうる摸画像表示としての態様(図232(a)~(d))のいずれとも異なる態様をもって表示されるものとなっている。これにより、摸画像表示TMHを比較的長い時間にわたって表示するようにしつつも、受付期間が未だ発生していない状態にあることを示唆することができるようになり、
また後述するが、当該摸画像表示TMH(ここでは、一体化摸画像表示)が出現した場合には、これに対応する受付期間内において、上記複数態様(図232(a)~(d))のうち期待度の高い態様(例えば、図232(d))で摸画像表示が表示されるようになっている。これにより、「先行型前兆演出表示SZE」が表示されたときの遊技興趣の向上を図ることができるようになる。なお、摸画像表示として表示されうる態様としては、必ずしも上記4つの態様(図232(a)~(d))でなくてもよく、例えば、2つの態様があるだけであってもよい。
そして、この変形例では、タイミングtG1が到来すると、図271(e)に示されるように、「通常型前兆演出表示TZE」が実行開始され、該「通常型前兆演出表示TZE」によって摸画像表示TMHの一部が視認し難くされるようになる(例えば、優先表示)。次いで、図271(f)に示されるように、「通常型前兆演出表示TZE」は、摸画像表示TMHの全体を視認し難くする態様で表示されるようになり、こうして「通常型前兆演出表示TZE」が表示されているなかで、摸画像表示TMHが非表示とされることとなる。
そしてこの後、タイミングtG2が到来すると、図272(g)に示されるように、摸画像表示(ここでは、一体化摸画像表示IG)が、上記複数態様(図232(a)~(d))のうちの期待度の高い態様をもって表示開始される。こうして受付期間内で表示されうる摸画像表示(ここでは、一体化摸画像表示IG)が表示開始される時点では、「通常型前兆演出表示TZE」によってその一部が視認し難くされるようになっている。
そして、こうして「通常型前兆演出表示TZE」と「摸画像表示(ここでは、一体化摸画像表示IG)」とが表示されているなかで、図272(h)に示されるように、第2の受付期間が発生することとなる(タイミングtG3)。
なおここでは、説明の便宜上、第2演出装置(サブ液晶1610)についての図示を割愛しているが、この変形例においても、該第2演出装置(サブ液晶1610)を利用した「第2受付後特定演出」や「前兆演出」は、上述した例の場合(図264、図265)と同様に実行されるようになっている。また、第3演出装置(スピーカ)を利用した演出(受付許容音、第2受付後出力音など)についても、上述した例の場合(図264、図265)と同様に実行されるようになっている。
また、この変形例では、第2の受付期間内のタイミングtG3aにおいて遊技者による動作が受付けされた場合も、上述した例の場合(図264、図265)と同様、該受付けに基づいて、第2の受付期間が終了されるとともに、該第2の受付期間に対応する受付後演出(第2受付後演出)が実行開始されることとなる。
また、この変形例においても、相対的に期待度の低い受付後演出が実行される場合と、相対的に期待度の高い受付後演出が実行される場合とがあるが、相対的に期待度の低い受付後演出が実行される場合については、上述した演出内容(図265(e1)~(i1))と同じであるから、ここでの説明は割愛する。
これに対し、この変形例にあって、第2の受付期間に対応する受付後演出として「相対的に期待度の高い受付後演出」が実行される場合は、上述した演出内容(図265(f2)~(i2))に代えて、図272(i)~(l)に示される演出内容が現れるようになっている。
まず、この例においても、図272(i)に示されるように、遊技者による動作が受付けされた時点であるタイミングtG3aにおいては、「通常型前兆演出表示TZE」や「摸画像表示(ここでは、一体化摸画像表示IG)」が非表示にされないことはもとより、該「通常型前兆演出表示TZE」や「摸画像表示(ここでは、一体化摸画像表示IG)」が視認し難くされることもない。
ただしこの例では、こうして受付けがなされた時点や、それ以降においても、「摸画像表示(ここでは、一体化摸画像表示IG)」が表示されている間は、摸画像表示としての動的表示を継続するようになっている。また、ゲージ画像GGについてもその表示面積を時間経過に応じて減少するようになっている。
タイミングtG3bにおいては、演出表示装置1600(第1演出装置)を利用した「第2受付後演出表示」が未だ開始されていない状況下にあるなかで、図272(j)に示されるように、演出表示装置1600(第1演出装置)にて現れる第2消滅関連表示SK2が第2態様(第2消滅関連表示SK2-2)で実行される。ただしここでは、受付けがなされた時点(図272(i))で、ゲージ画像GGがどれだけの表示面積を有していたとしても、タイミングtG3bが到来するときには、その表示面積が「0」にされるようにしている。このような構成によれば、時間経過に対して一定の法則(例えば、時間経過に対して減少する表示面積量が比例関係にあるなど)のもとで表示面積を減少させてきたゲージ画像GGが、それまでの法則を無視して、突然に表示面積を大きく減少させることとなり、これによって「不意打ちで残り時間が「0」にされたが、受付けに関しては運よく間に合わせることができた」と思わせることができるようになり、遊技興趣の向上を図ることができるようになる。
そして、こうして第2消滅関連表示SK2-2にかかる表示(一体化摸画像表示IGが視認し難くなる態様)が現れている期間内のタイミングtG3cが到来すると、第2の受付期間内で遊技者による動作が受付けされたことに応じた第1演出装置(演出表示装置1600)における受付後演出としての「第2受付後演出表示UG2」が第2態様(第2受付後演出表示UG2-2)で実行開始される。該受付後演出表示が、期待度(遊技者に対して特典が付与される割合)を示唆するものであることは言うまでもない。該割合は100%であってもよい。
なお、この変形例にかかる第2受付後演出表示UG2-2は、図272(k)に示されるように、一体化摸画像表示IGや第2前兆演出表示ZEH2、第2消滅関連表示SK2-2などによって視認し難くされるものとなっているが、図270を参照しつつ上述した態様で表示されるものであってもよい。
そしてこの後は、まず、一体化摸画像表示IGと第2前兆演出表示ZEH2とがそれぞれ非表示とされる(図272(l))。次いで、図示は割愛するが、第2消滅関連表示SK2-2が非表示とされるようになり、これによって第2受付後演出表示UG2-2が視認良好とされているもとで表示されるようになる。
上述の通り、このパチンコ機1では、受付期間が発生することを示唆する前兆演出表示として、複数の前兆演出表示を用意している。この点、上述した変形例(図271、図272)では、複数の前兆演出表示のうち特定の前兆演出表示(図271(b)~(f)及び図272(g))が行われる場合、受付対象に関連した摸画像表示を、受付期間が発生するよりも前の前兆期間内(摸画像表示TMH)と、受付期間内(摸画像表示IG)との両方で表示することとしている。
特に、この変形例では、摸画像表示(摸画像表示TMH)を前兆期間で表示した後には、該前兆期間内でこれを非表示にすることとしている。そして、前兆期間内においてのみ表示され(て非表示にされ)る摸画像表示TMHについては、受付期間内において表示可能とされる摸画像表示IGとは異なる態様とされていることから、受付期間が発生するよりも前の期間にあるときから操作に関連した演出性の向上を図ることが期待されるようになる。
また、この変形例においても、受付期間内で受付けされた場合、該受付けされたことに基づいて、摸画像表示IGを非表示にするものとなっているが(図272(l))、該摸画像表示IGが非表示にされるまでの間に「摸画像表示を視認し難くする特定の態様(第2消滅関連表示SK2-2)」を出現可能としている(図272(j),(k))。ただし、該「摸画像表示を視認し難くする特定の態様(第2消滅関連表示SK2-2)」については、前兆期間(特定の前兆演出表示)内で表示される摸画像表示TMHが非表示にされるときに該非表示にされるまでの間に出現することがないようにしている。
このような構成によれば、前兆期間(特定の前兆演出表示)内では、受付期間に対応して出現する「摸画像表示を視認し難くする特定の態様(第2消滅関連表示SK2-2)」が現れることなく摸画像表示TMHが非表示にされるようになる。したがって、前兆期間(特定の前兆演出表示)内で摸画像表示TMHを表示したにもかかわらず、受付期間が発生するよりも前にこれを非表示にする場合であっても、遊技者の知らないうちに受付期間が終了してしまったとの誤解を生じ難くさせることができるようになる。
なお上述の通り、このパチンコ機1では、受付けに応じて出現可能とされる「摸画像表示を視認し難くする態様」を、上記「摸画像表示を視認し難くする特定の態様(第2消滅関連表示SK2-2)」を含めて複数用意することとしている。この点、上記変形例(図271、図272)では、それら態様のいずれも、前兆期間内で表示される摸画像表示TMHが非表示にされるのに合わせて出現されることがないようになっている。上記変形例では、受付けに応じた「摸画像表示を視認し難くする態様」として用意されている複数態様のいずれとも異なる態様(通常型前兆演出表示TZE)を、前兆期間内で摸画像表示TMHが非表示にされるまでの間に「摸画像表示を視認し難くする態様」として機能させることとしている。すなわちこの場合、前兆期間専用の「摸画像表示を視認し難くする態様」として認識されるようになることから、前兆期間内で「摸画像表示を視認し難くする態様」を出現させたとしても、遊技者の知らないうちに受付期間が終了してしまったとの誤解を生じ難くさせることができるようになる。
また、上記変形例では、前兆期間内で摸画像表示TMHが非表示にされるまでの間に、「摸画像表示を視認し難くする態様」として「通常型前兆演出表示TZE」を表示することとし、受付期間内で受付けされたときには摸画像表示IGが非表示にされるまでの間に、「摸画像表示を視認し難くする態様」として「第2消滅関連表示SK2-2」を表示することとした。この点、「通常型前兆演出表示TZE」が表示されてから非表示とされるまでの期間については、「第2消滅関連表示SK2-2」が表示されてから非表示とされるまでの期間よりも長くするようにすることが、遊技興趣の向上を図る上で望ましい。
前兆期間内で摸画像表示TMHが表示された場合、該摸画像表示TMHが非表示とされた後にこれに対応して発生する受付期間では、摸画像表示TMHが示唆していた種別の受付対象(操作手段)に対して受付け(受付期間に対応する受付後演出に関する受付け)が許容され、摸画像表示TMHが示唆していた種別の受付対象(操作手段)とは異なる受付対象(操作手段)に対して受付け(受付期間に対応する受付後演出に関する受付け)が許容されることはないようにすることが望ましい。すなわち、上記変形例(図271、図272)の場合は、前兆期間内で表示される摸画像表示摸画像表示TMHは、受付対象として操作ボタン410を示唆するものであるから、これに対応する受付期間内において該操作ボタン410とは異なる受付対象(刀装飾体5001)に対して受付け(受付期間に対応する受付後演出に関する受付け)が許容されることはない。
また上述の通り、このパチンコ機1では、受付後演出に関する受付対象として「操作ボタン410」及び「刀装飾体5001」を備えている。この点、「摸画像表示を表示した後に前兆期間内で該摸画像表示を非表示にする」といった態様で演出が実行された場合は、「操作ボタン410」及び「刀装飾体5001」のうち、受付対象とされたときに大当り図柄が現れる割合が高い側が受付対象とされるようにすることが望ましい。すなわちこの場合、「操作ボタン410」及び「刀装飾体5001」のうち、受付対象とされたときに大当り図柄が現れる割合が低い側の受付対象は、これに対応する受付期間が発生するのに先立って、「摸画像表示を表示した後に前兆期間内で該摸画像表示を非表示にする」といった態様で演出が実行されることがないようにされることとなる。
図271及び図272を参照して上述した変形例のうち、このような「前兆演出に関する演出態様」については、上記複数の受付期間のうち第2の受付期間とは異なる受付期間やそれらの別例に対しても適用可能である。また、該「前兆演出に関する演出態様」については、第1の受付期間~第7の受付期間のいずれかに適用するのではなく、それら受付期間のいずれとも異なる第8の受付期間(第8の変動パターン、第8の受付後演出)として用意されるものであってもよい。
また、図271及び図272を参照して上述した変形例のうち、このような「前兆演出に関する演出態様」については、図268~図270を参照しつつ例示した変形例や、それらの別例に対しても適用可能である。
また上述の通り、パチンコ機1では、受付期間内において特定画像(ゲージ画像GG)の表示面積を時間経過に応じて減少させる残り時間示唆表示(区画画像KGなども含めた表示)を表示可能である。この点、上述した変形例(図271及び図272)にあって、残り時間示唆表示は、遊技者による動作が受付けされたことに基づいて演出が進行された以降も表示されうるようになっており、該演出が進行されるなかでも上記特定画像(ゲージ画像GG)の表示面積は減少されうるようにしていることから、受付けがなされた以降も「受付けがなされた状態にあるのか」を認識し難くして緊張感を好適に維持することが期待されるようになる。
また、図271及び図272を参照して上述した変形例では、残り時間示唆表示として、表示画面(演出表示装置1600)内において特定の区画領域(区画画像KG)を表示するとともに、該特定の区画領域(区画画像KG)内において特定画像(ゲージ画像GG)の表示面積が減少される描写を行うこととしている。そして、遊技者による動作が受付けされたことに基づいて演出が進行された以降は、特定画像(ゲージ画像GG)だけでなく、特定の区画領域(区画画像KG)についても表示が継続されるようにしている。このような構成によれば、遊技者による動作が受付けされたことに基づいて演出が進行された以降も、特定の区画領域(区画画像KG)が表示されることから、特定画像(ゲージ画像GG)の表示面積が減少したのか否かを判断し易くすることができるようになる。
なお、「遊技者による動作が受付けされたことに基づいて演出が進行された以降、特定画像(ゲージ画像GG)の表示面積が減少される」とは、例えば、遊技者による動作が受付けされたことに基づいて演出が進行された時点では、ゲージ画像GGとして所定の表示面積が残されていたものが、それよりも後の時点において0(非表示)の表示面積にされる場合も含む意味である(図272(j))。ただしこの場合、ゲージ画像GGの表示面積が0にされる時点において特定の区画領域(区画画像KG)は未だ表示されていることが求められることとなり、該特定の区画領域(区画画像KG)は、ゲージ画像GGの表示面積が0にされたタイミングよりも後に、非表示にされることとなる。
また、図271及び図272を参照して上述した変形例では、遊技者による動作が受付けされると、該受付けされたことに基づいて残り時間示唆表示(ゲージ画像GG、区画画像KGなど)を非表示にするが、該残り時間示唆表示を非表示にするの先立って、受付けされた時点でゲージ画像GGの表示面積がどれだけ残されていたかにかかわらず、特定の区画領域(区画画像KG)内において表示面積が特定値(予め定められた値)とされた特定画像が表示されるか、または特定の区画領域(区画画像KG)とゲージ画像GGとのうち特定の区画領域(区画画像KG)だけが表示(ゲージ画像GGの表示面積が0に減少)されるようにする、といったものとして実現することとした。すなわちこの場合、時間経過に対して一定の法則(例えば、時間経過に対して減少する表示面積量が比例関係にあるなど)のもとで表示面積を減少させてきたゲージ画像GGが、それまでの法則を無視して、突然に表示面積を大きく減少させることとなり、これによって「不意打ちで残り時間が「0」にされたが、受付けに関しては運よく間に合わせることができた」と思わせることができるようになり、遊技興趣の向上を図ることができるようになる。
また、図271及び図272を参照して上述した変形例では、遊技者による動作が受付けされた時点(受付けに応じた演出の進行が開始された時点)では、受付けされるよりも前から実行されている「ゲージ画像GGの表示面積が減少される描写」が終了されず継続されるようになっている。そしてこの後、所定タイミングが到来したときに、特定の区画領域(区画画像KG)内において表示面積が特定値とされた特定画像(ゲージ画像GG)が表示されるか、特定の区画領域(区画画像KG)と特定画像(ゲージ画像GG)とのうち特定の区画領域(区画画像KG)だけが表示(表示面積が0に減少)されるようにすることとしている。
すなわちこの場合、受付けに応じた演出の進行が開始されるタイミング(例えば、タイミングtG3a)では、特定画像(ゲージ画像GG)の表示面積を大幅に減少させず、それまでの描画が継続されるようになることから、受付けがなされた以降も「受付けがなされた状態にあるのか」を認識し難くして緊張感を好適に維持することが期待されるようになる。また、受付けに応じた演出の進行が開始されたタイミング(例えば、タイミングtG3a)よりも後のタイミング(例えば、タイミングtG3b)で、特定画像(ゲージ画像GGなど)の表示面積を大幅に減少させる描写を行うようにしたことから、受付けが有効期間(受付期間)内のギリギリで間に合ったかのように見せることが可能であり、遊技興趣の向上を図ることが期待されるようになる。
また、図272に示されるように、摸画像表示は、受付けされる前と、受付された後とのいずれの期間内においても所定の動的範囲内で動的表示されるようになっている。この点、受付けされてから所定時間が経過したタイミングtG3bが到来したときには受付けされた時点で摸画像表示がいずれの動的位置にあったとしても、受付けされた後には、特定の動的位置で静止している態様で摸画像表示が表示されるようにしている(図272(j)に示される例では、タイミングtG3bが到来すると、それまでのボタン位置にかかわらず、ボタン位置が最も高い位置にあるように描写される)。しかも、図272(j)に示される例では、タイミングtG3b以降、摸画像表示が動的表示されることはなく、表示されている位置にて停止表示されるようにしている。これにより、上述した作用効果がより好適に得られるようになる。
図271及び図272を参照して上述した変形例のうち、このような「受付けがなされた以降のゲージ画像GGや区画画像KGの描写(図272(i)~(k))」や、「摸画像表示にかかる動的表示、静止表示」については、上記複数の受付期間のうち第2の受付期間とは異なる受付期間やそれらの別例に対しても適用可能である。また、「受付けがなされた以降のゲージ画像GGや区画画像KGの描写(図272(i)~(k))」については、第1の受付期間~第7の受付期間のいずれかに適用するのではなく、それら受付期間のいずれとも異なる第8の受付期間(第8の変動パターン、第8の受付後演出)として用意されるものであってもよい。
また、「受付けがなされた以降のゲージ画像GGや区画画像KGの描写(図272(i)~(k))」や「摸画像表示にかかる動的表示、静止表示」を、第1の受付期間~第7の受付期間のうちの1つに適用させる場合(いずれの受付期間でもよい)、該適用させた受付期間とは異なる受付期間に対しては適用しないようにすることが望ましい。このような構成によれば、受付けがなされた以降、ゲージ画像GGが大きく減少する描写が現れる場合(図272(j))と、該描写が現れない場合とがあるようになり、遊技興趣の向上を図ることができるようになる。
「受付けがなされた以降のゲージ画像GGや区画画像KGの描写(図272(i)~(k))」や「摸画像表示にかかる動的表示、静止表示」が適用されない受付期間においても、受付けがなされた以降、ゲージ画像GGの表示面積を減少させる描写や、動的表示これ自体は行うようにすることが望ましい。すなわちこの場合、ゲージ画像GGの表示面積を、それまでの法則を無視して大きく減少させる描写が行われない点、及び静止表示が行われない点で異なるだけとされるようになる。
上述した各演出例や別例、及びそれらの変形例にあっては、それぞれ異なる条件で発生しうる複数の受付期間(例えば、第1の受付期間~第7の受付期間など)が用意されている。この点、複数の受付期間のうち所定の受付期間(例えば、第1の受付期間、第3の受付期間、第5の受付期間など)については、該所定の受付期間が発生した図柄変動が終了され、次の図柄変動が実行開始された以降も継続されうるもの(複数変動に跨って発生しうるもの)とするようにし、複数の受付期間のうち特定の受付期間(例えば、第2の受付期間、第4の受付期間、第7の受付期間など)については、該特定の受付期間が発生した図柄変動が終了された以降にまで継続されることはなく該図柄変動が終了されるよりも前に終了されるものとするようにしてもよい。すなわちこの場合、受付対象に関連した摸画像表示については、所定の受付期間と特定の受付期間とのいずれにおいても表示され、所定の受付期間内において遊技者による動作が受付けされた場合と、特定の受付期間内において遊技者による動作が受付けされた場合とのいずれにおいても、該受付けがなされた時点で摸画像表示が非表示にされず、摸画像表示が視認し難くなる態様(消滅関連表示など)が現れるようになる。これにより、「受付けがなされた以降も、摸画像表示としていずれの態様が現れていたのかを確認可能としつつ、受付期間が終了した状態にあることを示唆することができる」といった作用効果を、所定の受付期間及び特定の受付期間のいずれであったとしても好適に得ることができるようになる。
また、「所定の受付期間」を、例えば、第1の受付期間、第3の受付期間、第5の受付期間とし、「特定の受付期間」を、例えば、第2の受付期間、第4の受付期間、第7の受付期間とした場合、摸画像表示が視認し難くなる態様(消滅関連表示)は、複数変動に跨って維持されうる「所定の受付期間」で受付けがなされたときと、複数変動に跨らない「特定の受付期間」で受付けがなされたときとで異なる態様として実行されることとなる。すなわちこの場合、「摸画像表示が視認し難くなる態様(消滅関連表示など)」の種別を基に、実行中にある図柄変動内で受付期間が終了されるのか否かを把握することができるようになることから、遊技興趣の向上を図ることができるようになる。
また、複数変動に跨るかたちで発生しうる「所定の受付期間」と、複数変動に跨らない「特定の受付期間」とのいずれにおいても、受付対象を摸した摸画像表示が表示されるが、該摸画像表示については、「所定の受付期間」と「特定の受付期間」とで異なる態様(表示にかかる大きさや、位置など)で表示するようにしてもよい。例えば、複数変動に跨らない「特定の受付期間」では、上述した通りの態様で摸画像表示が表示(予め定められた位置でのみ表示)されるとするとき、複数変動に跨るかたちで発生しうる「所定の受付期間」では、摸画像表示これ自体の表示位置が変化するように表示(移動表示)されるようにすることが望ましい。このような構成によれば、複数変動に跨るかたちで「所定の受付期間」が発生する場合であっても、遊技者に対して早く受付けがなされるように促すことができるようになる。
また、複数変動に跨らない「受付期間」では、操作ボタン410が受付対象として用いられる場合と刀装飾体5001が受付対象として用いられる場合とがあるのに対し、複数変動に跨るかたちで発生しうる「受付期間」では、操作ボタン410が受付対象として用いられる場合はあるが、刀装飾体5001が受付対象として用いられる場合はないようにすることが望ましい。
複数変動に跨るかたちで発生しうる「受付期間」においても、該「受付期間」が発生するのに先立って、前兆演出表示が実行可能とされるようにすることが望ましい。すなわちこの場合、「前兆演出表示」が実行されている間に図柄変動が終了され、該図柄変動が終了された以降に「前兆演出表示」に対応する受付期間が発生する場合があるようになることから、図柄変動が終了した以降の遊技興趣を好適に維持することができるようになる。
複数変動に跨るかたちで発生しうる「受付期間(例えば、第1の受付期間、第3の受付期間、第5の受付期間など)」においても、上述した通り、受付けがなされた後、「摸画像表示を視認し難くする態様(消滅関連表示など)」が現れる。この「摸画像表示を視認し難くする態様(消滅関連表示など)」は、所定時間を要して実行されるものであるが、これが実行されている間に図柄変動が停止された場合であっても、該「摸画像表示を視認し難くする態様(消滅関連表示など)」は途中終了されず継続されるようにすることが望ましい。
複数変動に跨るかたちで発生しうる「受付期間(例えば、第1の受付期間、第3の受付期間、第5の受付期間など)」に対応して実行される「前兆演出表示」と、「摸画像表示を視認し難くする態様(消滅関連表示など)」については、実行状態にあった図柄変動が停止してから次の図柄変動が実行開始されるまでの時間(実行状態にあった図柄変動が停止してから保留が消化されるまでに要する時間)よりも短い時間でその実行期間(前兆演出表示が表示されてから非表示にされるまでの時間、摸画像表示を視認し難くする態様が現れてから終了されるまでの時間)が終了されるようにすることが望ましい。
上述の通り、複数変動に跨るかたちで発生しうる「受付期間(例えば、第1の受付期間、第3の受付期間、第5の受付期間など)」では、これに対応する「前兆演出表示」と「消滅関連表示」とがそれぞれ表示されうる。この点、「前兆演出表示」が表示された図柄変動が終了するよりも前に「消滅関連表示」が表示される場合には、「前兆演出表示」が表示された領域と同じ領域(重なる領域)の少なくとも一部を利用するかたちで「消滅関連表示」を表示するようにし、「前兆演出表示」が表示された図柄変動が終了した以降(保留が消化されて次の図柄変動が実行開始された以降など)に「消滅関連表示」が表示される場合には、「前兆演出表示」が表示された領域と異なる領域のみを利用するかたちで「消滅関連表示」を表示するようにすることが望ましい。このような構成によれば、受付後演出に注視しつつもこれが複数変動に跨って実行されるものであることを容易に認識することができるようになる。
また上述の通り、摸画像表示として期待度の異なる複数態様(図232(a)~(d))が用意されており、複数変動に跨らない「受付期間(例えば、第2の受付期間、第4の受付期間、第7の受付期間)」では、摸画像表示が、それら態様のいずれかとして表示されるようになっている。ただし、複数変動に跨るかたちで発生しうる「受付期間(例えば、第1の受付期間、第3の受付期間、第5の受付期間など)」では、複数態様のうち特定態様(例えば、図232(a))の模画像表示しか表示されないようにすることが望ましい。ただし、複数変動に跨らない「受付期間(例えば、第2の受付期間、第4の受付期間、第7の受付期間)」と、複数変動に跨るかたちで発生しうる「受付期間(例えば、第1の受付期間、第3の受付期間、第5の受付期間など)」とのいずれにおいても、受付けされた以降、摸画像表示の動的表示が継続されるようにすることが望ましい。
また上述の通り、パチンコ機1では、遊技条件(遊技領域に対して遊技球が打ち出されたときの賞球の得られやすさなど)が異なる複数の遊技状態(第1の遊技状態及び第2の遊技状態)を発生可能としている。この点、この実施の形態にかかるパチンコ機1にあって、遊技者による動作が受付けされたときに受付後演出を実行可能な「受付期間」は、上記第1の遊技状態及び上記第2の遊技状態のいずれにおいても発生しうるものとなっている。またさらに、このような「受付期間」内において遊技者による動作が受付けされた場合は、該「受付期間」が第1の遊技状態及び第2の遊技状態のいずれにおいて発生したものであったとしても、受付けされた以降、摸画像表示が表示されているなかで「摸画像表示が視認し難くなる態様(消滅関連表示など)」を出現させ、その後、該「摸画像表示が視認し難くなる態様(消滅関連表示など)」が現れているなかで摸画像表示を非表示にするようにしている。
すなわちこの場合、「受付けがなされた以降も、摸画像表示としていずれの態様が現れていたのかを確認可能としつつ、受付期間が終了した状態にあることを示唆することができる」といった作用効果が、第1の遊技状態及び前記第2の遊技状態のいずれで発生した受付期間内で受付けがなされた場合であっても得られるようになる。
なお、「第1の遊技状態」とは、例えば、通常遊技状態(低確率・非時短)に相当するものであり、「第2の遊技状態」とは、大当り判定の結果に基づいて発生(状態移行)しうる「該通常遊技状態とは異なる遊技状態」に相当するものである。通常遊技状態とは異なる遊技状態であれば、いずれの遊技状態であってもよい。
この点、上述した各演出例や別例、及びそれらの変形例において例示した複数の受付期間(第1の受付期間~第7の受付期間など)を用いてさらに説明すると、例えば、複数の受付期間のうち予め定められた種別の受付期間(例えば、第1の受付期間、第4の受付期間、第6の受付期間、及び第7の受付期間などであるが、必ずしもそれらの全てを備えなくてもよい)は、第1の遊技状態及び第2の遊技状態のうち第1の遊技状態においてのみ発生可能であるように設定したとする。これに対し、複数の受付期間のうち第3の受付期間は、第1の遊技状態及び第2の遊技状態のうち第2の遊技状態においてのみ発生可能とされるように設定したとする。このような構成であっても、受付対象に関連した摸画像表示は、予め定められた種別の受付期間(第1の遊技状態)と、第3の受付期間(第2の遊技状態)とのいずれにおいても表示される。ただし、第1の遊技状態(第1受付期間で受付けされた場合)では、「摸画像表示が視認し難くなる態様」として、第2の遊技状態(第2受付期間で受付けされた場合)においては出現し得ない特定態様(第4消滅関連表示SK4、第7消滅関連表示などであるが、必ずしもそれらの全てを備えなくてもよい)が現れうるようになっている。
このような構成によれば、受付後演出の種別を確認せずとも、「摸画像表示が視認し難くなる態様」としていずれの態様が現れたかを確認するだけで、第1の遊技状態及び第2の遊技状態のいずれに制御されている状態にあるのかを把握することができるようになり、遊技興趣の向上を図ることができるようになる。
なお、図269及び図270に示した変形例における「摸画像表示が視認し難くなる態様」についても、第1の遊技状態(第1受付期間で受付けされた場合)にあるときにしか出現し得ない「摸画像表示が視認し難くなる態様」として設定することとしてもよい。すなわちこの場合、遊技者に最も不利な状態(通常遊技状態)にあるときの遊技興趣を好適に維持することが期待されるようになる。
また、上記構成によれば、第2の遊技状態(第3の受付期間で受付けされた場合)においては、「摸画像表示が視認し難くなる態様」として第1消滅関連表示が実行されることとなるが、該第1消滅関連表示は、第1の遊技状態(第1の受付期間で受付けされた場合)においても出現されうるものである。すなわちこの場合、第2の遊技状態に制御されている状態にある可能性が示されるに留まるようになることから、緊張感を好適に維持することができるようになる。また、第1の遊技状態に制御されている場合であっても、第1消滅関連表示が現れたときには、第2の遊技状態に制御されている状態にある可能性を遊技者に対し意識付けさせることができるようになることから、遊技興趣を好適に維持することができるようになる。
第2の受付期間及び第5の受付期間は、第1の遊技状態と第2の遊技状態とのいずれにおいても発生しうる受付期間として用意されるものであってもよいし、第1の遊技状態と第2の遊技状態とのうち第1の遊技状態においてのみ発生しうるものであってもよい。
また上述の通り、第1の遊技状態において発生した受付期間においては、模画像表示は、複数態様(図232(a)~(d))のいずれかで表示されるようになっている。この点、第2の遊技状態において発生した受付期間においては、複数態様のうち特定態様(例えば、期待度の低い態様である図232(a))の模画像表示しか表示されないようにすることが望ましい。このような構成によれば、模画像表示として期待度の低い態様(図232(a))が現れた場合であっても、第2の遊技状態に制御されている状態にある可能性を遊技者に対し意識付けさせることができるようになることから、遊技興趣を好適に維持することができるようになる。
第1の遊技状態では、受付期間内において遊技者による動作が受付けされなかった場合、「摸画像表示が視認し難くなる態様」として、受付けされた場合と同じ態様を出現させる場合(例えば、第2の受付期間、第4の受付期間、第5の受付期間、第7の受付期間など)と、受付けされた場合とは異なる態様を出現させる場合(例えば、第1の受付期間など)とがあるようにしたが、第2の遊技状態(第3の受付期間)では、「摸画像表示が視認し難くなる態様」として、受付けされた場合と同じ態様を必ず出現させるようにするか、または受付けされた場合とは異なる態様を必ず出現させるようにすることが望ましい。このような構成によれば、第1の遊技状態において動作が受付けされなかった場合、「摸画像表示が視認し難くなる態様」として、受付けがあったときと同じ態様が現れるかに応じて、第2の遊技状態が発生している可能性を意識付けさせることができるようになる。
第2の遊技状態で発生する受付期間(第3の受付期間)を、「該期間内で受付けされなかったとしても、「摸画像表示が視認し難くなる態様」として、受付けされた場合と同じ態様を必ず出現させるもの」として発生させる場合、該受付期間(第3の受付期間)については、第1の遊技状態において発生する「受付けされなかったとしても、「摸画像表示が視認し難くなる態様」として、受付けされた場合と同じ態様を必ず出現させる受付期間」のいずれよりも受付期間としての有効時間(設定時間)が長いようにすることが望ましい。
第1の遊技状態及び第2の遊技状態のいずれにおいても、受付期間の発生前にはこれに対応する前兆演出表示が実行されることとなる。この点、第1の遊技状態では、第2の遊技状態では発生し得ない特定の前兆演出表示(第2前兆演出表示、第5前兆演出表示、第7前兆演出表示など)が実行されるようにすることが望ましい。
[特殊な受付期間]
図118を参照して説明した通り、この実施の形態にかかるパチンコ機1では、始動入賞(保留消化)に応じた大当り判定の結果に基づいて複数の変動パターンのいずれを実行するかについての変動パターン判定を実行可能としている。そして、該変動パターン判定が行われた結果として一の変動パターンが選択されると、周辺制御MPU1511aでは、該選択された変動パターンに対応して用意されている複数の期待演出(予告演出など)のうちいずれの期待演出(予告演出など)を選択的に出現させるかについての演出判定(予告判定など)を実行可能としている。なお、この演出判定の結果によっては、上記選択された変動パターンに対応して用意されている複数の期待演出(予告演出など)の全てが順次実行されることとなる場合もありうるし、複数の期待演出(予告演出など)のいずれもが実行されないこととなる場合もありうる。
そして上述の通り、こうした演出判定(変動パターン判定、予告判定など)が行われると、該演出判定の結果に応じた演出内容を上記演出表示装置1600に表示させる制御を行うことで、大当り判定の結果に応じた装飾図柄による変動演出がその背景描写(背景予告)や可動体動作(役物演出)などにかかる期待演出(予告演出)とともに実行されることとなる。そしてこの結果、装飾図柄による変動演出が、その背景描写や可動体動作などにかかる期待演出とともに実行された結果、大当り図柄で停止表示されると、遊技者に対して特典としての大当り遊技や高確率遊技状態への移行が実行可能とされるようになる。
このような構成では、上記装飾図柄による変動演出が「大当り判定の結果として大当りが得られているか否かを示す機能」をもった演出として供されることとなり、その背景描写や可動体動作などにかかる期待演出が「大当りが得られていることについての期待度、すなわち割合(0%や100%を含む)を示唆する機能」をもった演出として供されることとなる。すなわち、遊技者は、これらの演出を通じて遊技を楽しむこととなる。
例えば、この実施の形態にかかるパチンコ機1では、上記変動パターン判定が行われた結果としてSPリーチ(背景変更を伴うリーチ演出など)に発展する高期待変動パターン(SPリーチ変動パターン)のうち特定の変動パターンが選択された場合は、演出判定(予告判定など)としていずれの結果が得られたとしても、該特定の変動パターンに基づく図柄演出がSPリーチ中における特定タイミングまで進展すると(所定条件が成立すると)、演出受付が許容される受付許容状態(有効期間)を発生可能としている。
また上述の通り、この実施の形態にかかるパチンコ機1では、上記変動パターン判定が行われた結果としてリーチ状態すら形成されない低期待変動パターン(非リーチ変動パターン)のうち所定の変動パターンが選択された場合であっても該所定の変動パターンに対応する演出判定(予告判定など)で特別結果が得られたときには、該所定の変動パターンに基づく図柄演出が所定タイミングまで進展すると(所定条件が成立すると)、演出受付が許容される受付許容状態(有効期間)を発生可能としている。ただし、所定の変動パターンが選択された場合は、演出判定で特別結果が得られなければ該所定の変動パターンに基づく図柄演出が所定タイミングまで進展されても受付許容状態(有効期間)は発生しない。また、所定の変動パターンで発生する受付許容状態(有効期間)は、特定の変動パターンに基づく図柄演出がSPリーチ中における特定タイミングまで進展したときに発生する受付許容状態(有効期間)とは異なる演出として実行されるものである。
すなわち、この実施の形態にかかるパチンコ機1では、遊技者による動作(操作)の受付けが許容される受付期間を発生可能であり、該受付期間内において遊技者による動作(操作)が受付けされると、該発生した受付期間の種別に応じた表示変化を生じさせるものとなっている。また、受付期間では、遊技者による動作の対象となる対象物(操作手段)が画像として表現された摸画像表示が表示可能とされている。
なお、予告演出判定としていずれの結果が得られたとしてもSPリーチ中における予め定められたタイミングになると受付許容状態(有効期間)を発生させる変動パターンについては、上記「特定の変動パターン」以外にも備えるようにしてもよい。ただし、予告演出判定としていずれの結果が得られたとしても予め定められたタイミングになると受付許容状態(有効期間)を発生させる変動パターンについては、低期待変動パターン(非リーチ変動パターン)には含まれないようにするか、若しくはその選択割合を低くするようにすることが望ましい。
ところで、これらの条件等で発生しうる受付許容状態(有効期間)とは、その設定時間(有効期間)内で遊技者による操作が検出されさえすれば、演出表示装置1600における表示変化などの受付後表示(操作後表示)が実行されたり、スピーカにおける演出音変化や、ランプによる発光変化や、可動装飾体による演出動作などを発生させたりするだけであるから、受付許容状態(有効期間)これ自体の演出性は乏しいものとなっており、受付期間に関連した遊技興趣の低下が懸念される。
なお、上述した各例や後述の各例も含めて、検出対象となる「遊技者による操作」とは、「操作ボタン410」や「刀装飾体5001」などのような、遊技者によって直接操作(押下動作や抜刀動作)されるものに限られず、タッチセンサでの検出対象となる「特定部位に対する遊技者による接触動作」や、非接触センサでの検出対象となる「特定空間内における遊技者による動作」なども含む意味である。要は、遊技者による動作(押下動作や、抜刀動作、タッチ動作、非接触動作など)を受付対象とする1または複数の受付手段(操作手段)を備えるものであればよい。
そこで、この実施の形態にかかるパチンコ機1では、例えば、以下のような特殊な演出性を持たせるようにしている。なお、以下に説明する各演出性(各構成)については、それら構成の全てを必ずしも備えなくてもよく、例えば、いずれか1つの演出性(任意の構成)を備えるだけであっても遊技興趣を低下させることは可能であるし、若しくは、さらなる作用効果を得る上で必要と思われるいくつかの構成を選択的に備えるようにしてもよいし、若しくは別構成に対して適用可能として記載されている構成を適宜に採用するようにしてもよい。さらに言えば、以下に説明する各演出性(構成)については、例示に過ぎず、受付期間に関連した遊技興趣の低下を抑制可能な何らかの1つの構成を備えるものであればよい。
[構成1-A]
例えば、この実施の形態にかかるパチンコ機1では、まず、受付期間として、第1受付期間及び第2受付期間を含む複数の受付期間を用意している。そして、第1受付期間が発生する場合と第2受付期間が発生する場合とでは、いずれの場合も、当該受付期間が発生したことに関連して文字情報が表示されるが、それら文字情報は、第1受付期間と第2受付期間とで遊技者による動作として同じ動作が受付対象とされるにもかかわらず互いに異なる文字情報(例えば、「押せ!」、「押してください」など)として表示されるようにしている。なお、当該構成1―Aにかかる「第1受付期間(第1受付後表示)」や「第2受付期間(第2受付後表示)」は、当該構成1―Aの技術思想を説明するために用いている呼称に過ぎない。したがって、他の構成にかかる「第1受付期間」や「第2受付期間」と同じ受付期間を意味するものであってもよいし、互いに逆側となる受付期間を意味するものであってもよいし、それら受付期間とは異なる受付期間を意味するものであってもよい。
すなわち、第1受付期間と第2受付期間とでは、遊技者に対して同じ動作(操作態様)を行うことを要求するものの、該動作が検出された結果として発生する表示変化(受付後表示)は互いに異なるものとなっている。この点、このパチンコ機1では、遊技者に対して同じ動作(操作態様)を要求する場合であっても、受付期間が発生したことに関連して表示される文字情報を、該受付期間の種別(受付後表示の種別)に応じて互いに異ならせるようにしていることから、受付後表示としていずれのタイプの表示変化が生じる可能性があるのかを認識した状態で操作(遊技者による動作)を行うことができるようになり、遊技興趣の低下を抑制することが期待されるようになる。
なお、遊技者に対して異なる動作(操作態様)を要求する場合には、受付期間が同じ種別(同じ受付後表示を発生させるもの)であったとしても、該受付期間が発生したことに関連して表示される文字情報を、互いに異なるものとすることが、遊技者による操作誤りを抑制する上でより望ましい(例えば、図182(c)などを参照)。これと同じ意味で、遊技者に対して異なる動作(操作態様)を要求する場合であって、受付期間が異なる種別(異なる受付後表示を発生させるもの)である場合には、該受付期間が発生したことに関連して表示される文字情報を、互いに異なるものとするようにすることが望ましい。
また、第1受付期間の場合と同じ動作(操作態様)を要求し、第1受付期間の場合と同じ文字情報や摸画像表示を表示させるが、受付けがなされると第1受付期間の場合とは異なる受付後表示を発生させる受付期間をさらに用意するようにしてもよい。すなわちこの場合、文字情報や摸画像表示を見るだけでは、受付後表示としていずれの種別が実行されるのかを完全に把握することはできないようになることから、操作するときの緊張感を好適に維持することが期待されるようになる。
また後述するが、当該「構成1-A」を採用する場合は、上記第1受付期間では、その受付けが許容されている状態(有効状態)が終了されるまでの間に文字情報が非表示にされることがないのに対し、上記第2受付期間では、その受付けが許容されている状態(有効状態)が継続されているなかで、その途中で、文字情報を非表示にすることがあるようにしてもよい。すなわちこの場合、第2受付期間では、当該期間が発生してから比較的早い時間で操作(所定動作)を行わなければ、遊技者に対していかなる動作(操作態様)を行うことを要求しているのかを認識することが困難とされるようになり、ひいては当該受付期間としての種別も認識することが困難とされるようになることから、互いに異なる文字情報が表示されている状況に甘えて緊張感が全くなくなってしまうようなことを好適に回避することが期待されるようになる。
なお、これも後述するが、当該「構成1-A」を採用する場合は、上記第2受付期間では、文字情報が表示される期間と、文字情報が非表示にされる期間とがあるが、これら期間内のいずれで受付けがなされたとしても表示変化としては同じ表示変化が生じるようにしてもよい。すなわちこの場合、文字情報が非表示にされた場合であっても、文字情報が表示されている間にいかなる操作態様を要求しているのかを確認しておきさえすれば、適正に操作を行うことは可能であり、遊技興趣の低下を抑制することが期待される。
[構成2―A]
また後述するが、この実施の形態にかかるパチンコ機1では、まず、受付期間として、第1受付期間及び第2受付期間を含む複数の受付期間を用意している。そして、第1受付期間では、摸画像表示として一の態様のみが表示可能とされ、第2受付期間では、摸画像表示として複数態様のいずれかによって表示可能とされるようにしている。なお、当該構成2―Aにかかる「第1受付期間(第1受付後表示)」や「第2受付期間(第2受付後表示)」は、当該構成2―Aの技術思想を説明するために用いている呼称に過ぎない。したがって、他の構成にかかる「第1受付期間」や「第2受付期間」と同じ受付期間を意味するものであってもよいし、互いに逆側となる受付期間を意味するものであってもよいし、それら受付期間とは異なる受付期間を意味するものであってもよい。
このような構成によれば、第2受付期間では、第1受付期間が発生したときには出現し得ない演出性が提供されるようになることから、遊技者による操作(動作)が検出されるまでの遊技興趣を好適に向上させることができるようになる。
なお、第2受付期間において表示可能とされる「複数態様の摸画像表示」については、それら摸画像表示のいずれが表示されるかによって大当り図柄が現れる期待度が異なるようにすることが、遊技興趣の向上を図る上でより望ましい。また、「複数態様の摸画像表示」のいずれか1つは、第1受付期間において表示可能とされる「一の態様」と同じものであってもよい。この場合、「複数態様の摸画像表示」のうち「最も期待度の低い態様」が、第1受付期間において表示可能とされる「一の態様」と同じものとすることが望ましい。
また後述するが、当該「構成2-A」を採用する場合は、第3受付期間をさらに備えることとし、第1受付期間と第3受付期間とでは、摸画像表示として一の態様のみが表示可能とされるようにしてもよい。そして、摸画像表示が複数態様のいずれかによって表示される「第2受付期間」では、その有効状態が終了されるまでの間に摸画像表示が非表示とされることがないようにする。これに対し、摸画像表示が一の態様によってのみ表示される「第1受付期間」及び「第3受付期間」のうち、「第1受付期間」では、その有効状態(受付期間)が終了されるまでの間に摸画像表示が非表示とされることがないが、「第3受付期間」では、その有効状態(受付期間)が終了されるまでの間に(その有効状態が継続されているなかで)、その途中で、それまで表示されていた摸画像表示を非表示にするようにしてもよい。すなわちこの場合、摸画像表示として一の態様のみが表示される「第1受付期間」及び「第3受付期間」であっても、摸画像表示がその途中で非表示にされるか否かの演出性が提供されるようになることから、遊技者による操作(動作)が検出されるまでの遊技興趣を好適に向上させることができるようになる。なお、第1受付期間で表示される摸画像表示と、第3受付期間で表示される摸画像表示とは同じものであってもよいが、必ずしも同じものでなくてもよく、それによって非表示にされる可能性を示唆するようにしてもよい。
また、これも後述するが、当該「構成2-A」を採用する場合は、第3受付期間では、摸画像表示が表示される期間と、摸画像表示が非表示とされる期間とのいずれで受付けがなされても同じ表示変化(受付後表示)を生じさせるようにしてもよい。すなわちこの場合、摸画像表示が非表示にされた以降も、有効状態(受付期間)これ自体は何ら変わりなく継続されるようになることから、当該「第3受付期間」を用いた演出性(摸画像表示の非表示)を創出するにあたり、遊技興趣が低下することを抑制することができるようになる。
なお、当該構成2―Aにかかる「第3受付期間(第3受付後表示)」は、当該構成2―Aの技術思想を説明するために用いている呼称に過ぎない。したがって、他の構成にかかる「第3受付期間」と同じ受付期間を意味するものであってもよいし、それら受付期間とは異なる受付期間(例えば、他の構成にかかる第1受付期間や第2受付期間など)を意味するものであってもよい。
[構成3―A]
また後述するが、この実施の形態にかかるパチンコ機1では、まず、受付期間として、第1受付期間及び第2受付期間を含む複数の受付期間を用意している。そして、第1受付期間では、該第1受付期間の発生に際して摸画像表示が表示された後、該第1受付期間が終了するまでの間に該摸画像表示が非表示にされることはなく、該摸画像表示が表示されているなかで遊技者による動作の受付けが可能であり、第2受付期間では、摸画像表示が表示されていないなかで遊技者による動作の受付けが可能であり、上述した「受付許容音」は、第1受付期間が発生する場合に可聴出力されるが、第2受付期間が発生する場合には可聴出力されないようにしている。なお、当該構成3―Aにかかる「第1受付期間(第1受付後表示)」や「第2受付期間(第2受付後表示)」は、当該構成3―Aの技術思想を説明するために用いている呼称に過ぎない。したがって、他の構成にかかる「第1受付期間」や「第2受付期間」と同じ受付期間を意味するものであってもよいし、互いに逆側となる受付期間を意味するものであってもよいし、それら受付期間とは異なる受付期間を意味するものであってもよい。
このような構成によれば、受付許容音が可聴出力されて且つ摸画像表示が表示されているなかで受付けがなされる「第1受付期間」のみならず、受付許容音が可聴出力されず且つ摸画像表示が表示されていないなかで受付けがなされる「第2受付期間」が用意されていることから、遊技者が意図していない様々なタイミングで受付後表示が発生する可能性を意識付けさせることができるようになり、遊技興趣を好適に維持することが期待されるようになる。
また後述するが、当該「構成3-A」を採用する場合は、第3受付期間をさらに備えることとし、第2受付期間では、該第2受付期間が発生してから終了するまでにわたって摸画像表示が表示されず、該摸画像表示が表示されていないなかで遊技者による動作の受付けが可能であるが、第3受付期間では、該第3受付期間のうち一部期間だけ摸画像表示が非表示にされ、該摸画像表示が表示されている期間と、該摸画像表示が非表示にされる期間とのいずれにおいても遊技者による動作の受付けが可能であるようにしてもよい。すなわちこの場合、第3受付期間は、第1受付期間としての側面(摸画像表示が表示されているなかでの受付け)と、第2受付期間としての側面(摸画像表示が表示されていないなかでの受付け)との両方を併せ持つこととなることから、遊技興趣の向上を図ることができるようになる。また、摸画像表示が非表示にされた以降も、遊技者による動作(操作)が受付けされる状態が継続している可能性があるようになることから、遊技者による動作(操作)が受付けされないままで摸画像表示が非表示にされてしまったときの遊技興趣の低下を抑制することが期待されるようになる。
なお、当該「構成3―A」にかかる「第3受付期間(第3受付後表示)」は、当該構成3―Aの技術思想を説明するために用いている呼称に過ぎない。したがって、他の構成にかかる「第3受付期間」と同じ受付期間を意味するものであってもよいし、それら受付期間とは異なる受付期間(例えば、他の構成にかかる第1受付期間や第2受付期間など)を意味するものであってもよい。
また、受付許容音については、第1受付期間が発生する場合に可聴出力されるが、第2受付期間が発生する場合と第3受付期間が発生する場合とでは可聴出力されないようにしてもよい。すなわち、第3受付期間には、摸画像表示が表示されるタイミングがある。この点、第3受付期間にかかる上記構成によれば、摸画像表示が表示されるタイミング(または、その前後など)に合わせて受付許容音が出力されることがないようにされることとなる。これにより、第3受付期間では、該受付期間が発生するタイミングにおいても、第1受付期間としての側面(摸画像表示が表示される)と、第2受付期間としての側面(受付許容音が出力されない)との両方を併せ持つこととなることから、遊技興趣の向上を図ることができるようになる。
また、これも後述するが、当該「構成3-A」を採用する場合は、第3受付期間では、摸画像表示が表示される期間と、摸画像表示が非表示とされる期間とのいずれで受付けがなされても同じ表示変化(受付後表示)を生じさせるようにしてもよい。すなわちこの場合、摸画像表示が非表示にされた以降も、有効状態(受付期間)これ自体は何ら変わりなく継続されるようになることから、当該「第3受付期間」を用いた演出性(摸画像表示の非表示)を創出するにあたり、遊技興趣が低下することを抑制することができるようになる。
[構成4―A]
また後述するが、この実施の形態にかかるパチンコ機1では、まず、受付期間として、第1受付期間及び第2受付期間を含む複数の受付期間を用意している。そして、第1受付期間では、当該期間内で遊技者による動作が検出されたときには第1受付後表示を表示するとともに第1受付音を出力させるが、当該期間内で遊技者による動作が検出されないときには第1受付後表示が表示されることはなく且つ第1受付音が出力されることもないようになっており、第2受付期間では、当該期間内で遊技者による動作が検出されたときには第2受付後表示を表示するとともに第2受付音を出力させ、当該期間内で遊技者による動作が検出されない場合であっても該期間内で遊技者による動作が検出されたときと同じ第2受付後表示が表示されるが、第2受付音は出力されないようになっている。なお、当該構成4―Aにかかる「第1受付期間(第1受付後表示)」や「第2受付期間(第2受付後表示)」は、当該構成4―Aの技術思想を説明するために用いている呼称に過ぎない。したがって、他の構成にかかる「第1受付期間」や「第2受付期間」と同じ受付期間を意味するものであってもよいし、互いに逆側となる受付期間を意味するものであってもよいし、それら受付期間とは異なる受付期間を意味するものであってもよい。
このような構成によれば、受付期間内で遊技者による動作(操作)の受付けがなされなかったときには演出的なデメリットが生じうるようになることから、受付期間が発生したときの緊張感を好適に維持することができるようになる。
また後述するが、当該「構成4-A」を採用する場合は、第3受付期間をさらに備えることとし、第3受付期間では、当該期間内で遊技者による動作(操作)が検出されたときには第3受付後表示を表示するとともに第3受付音を出力させ、該期間内で遊技者による動作が検出されない場合であっても該期間内で遊技者による動作が検出されたときと同じ第3受付後表示が表示されるとともに第3受付音が出力されるようにしてもよい。すなわちこの場合、受付期間内で遊技者による動作(操作)の受付けがなされなかったときには、受付けがなされたときと同じ表示変化(受付後変化)を、演出的なデメリットが生じるように発生させる場合(第2受付期間)と、演出的なデメリットが生じないように発生させる場合(第3受付期間)とがあるようになることから、受付期間内で遊技者による動作(操作)の受付けが間に合わなかったときの遊技興趣の低下が抑制されうるようになる。
なお、当該「構成4―A」にかかる「第3受付期間(第3受付後表示)」は、当該構成4―Aの技術思想を説明するために用いている呼称に過ぎない。したがって、他の構成にかかる「第3受付期間」と同じ受付期間を意味するものであってもよいし、それら受付期間とは異なる受付期間(例えば、他の構成にかかる第1受付期間や第2受付期間など)を意味するものであってもよい。
[構成5―A]
また後述するが、この実施の形態にかかるパチンコ機1では、まず、受付期間として、第1受付期間及び第2受付期間を含む複数の受付期間を用意している。そして、第1受付期間は、保留記憶手段により記憶される判定情報の数(保留状態にある大当り判定の数(保留数))がいかなる数値であったとしても第1変動パターンが実行開始されると、該第1変動パターンが実行開始されてから所定時間が経過した第1タイミングが到来したときに発生可能であり、第2受付期間は、保留記憶手段により記憶される判定情報の数(保留状態にある大当り判定の数(保留数))が所定数未満の状況にあるときに第2変動パターンが実行開始されると、該第2変動パターンが実行開始されてから所定時間が経過した第2タイミングが到来したときに発生可能であるが、保留記憶手段により記憶される判定情報の数が所定数以上の状況にあるときに第2変動パターンが実行開始されたときには、該第2変動パターンが実行開始されてから所定時間が経過した前記第2タイミングが到来しても発生しないようにしている。なお、当該構成5―Aにかかる「第1受付期間(第1受付後表示)」や「第2受付期間(第2受付後表示)」は、当該構成5―Aの技術思想を説明するために用いている呼称に過ぎない。したがって、他の構成にかかる「第1受付期間」や「第2受付期間」と同じ受付期間を意味するものであってもよいし、互いに逆側となる受付期間を意味するものであってもよいし、それら受付期間とは異なる受付期間を意味するものであってもよい。
このような構成によれば、遊技を中止しようとしており保留数が少なくなってきた状況になると、それまで発生しなかった種別の受付期間(第2受付期間)が発生するようになることから、遊技が中止されないように促すことを期待することができるようになるか、若しくは遊技が中止されたとしても遊技に対して面白かった印象を最後に持たせることができるようになる。
また後述するが、当該「構成5-A」を採用する場合は、「保留記憶手段により記憶される判定情報の数(保留数)」が所定数未満の状況にあるときに第2変動パターンが実行開始された場合であっても、該第2変動パターンが実行開始されてから所定時間が経過した第2タイミングが到来していない段階で「保留記憶手段により記憶される判定情報の数(保留数)」が増加すると(所定数以上になると)、第2変動パターンが実行開始されてから所定時間が経過した第2タイミングが到来したときに第2受付期間は発生しないようにしてもよい。すなわち、保留数が少なくなってきた状況になっているときに図柄変動(第2変動パターン)が実行開始された場合であっても、その図柄変動の実行期間内で保留数が増加されれば、それは、遊技を中止しようとしていない状況にあることを示唆している。この点、上記構成によれば、保留数が少なくなってきた状況になっているときに図柄変動(第2変動パターン)が実行開始された場合であっても、その図柄変動の実行期間内で保留数が増加されれば、第2変動パターンが実行開始されてから所定時間が経過した第2タイミングが到来したときに第2受付期間を発生させないようにしたことから、当該第2受付期間を、「遊技を中止しようとしているときに限り出現しうる種別の受付期間」として、より適正に機能させることができるようになる。
なお、このような作用効果をより好適に得る上では、第2受付期間が発生した場合であっても、該第2受付期間が発生している間に「保留記憶手段により記憶される判定情報の数(保留数)」が増加したときには、その時点で、該第2受付期間を終了させるようにすることがより望ましい。
[構成6―A]
また後述するが、この実施の形態にかかるパチンコ機1では、まず、受付期間として、第1受付期間及び第2受付期間を含む複数の受付期間を用意している。そして、第1受付期間は、演出の状況にかかわらず、特定BGMが非抑制態様で可聴出力されているなかで発生するものであり、第2受付期間は、演出の状況にかかわらず、特定BGMが抑制態様または非可聴状態にされてから発生するものとなっていることから、特定BGMを利用して、受付期間が発生する前から受付期間の種別に関連した演出性を提供することができるようになる。なお、当該構成6―Aにかかる「第1受付期間(第1受付後表示)」や「第2受付期間(第2受付後表示)」は、当該構成6―Aの技術思想を説明するために用いている呼称に過ぎない。したがって、他の構成にかかる「第1受付期間」や「第2受付期間」と同じ受付期間を意味するものであってもよいし、互いに逆側となる受付期間を意味するものであってもよいし、それら受付期間とは異なる受付期間を意味するものであってもよい。
また後述するが、当該「構成6-A」を採用する場合は、受付期間として、第1受付期間、第2受付期間、及び第3受付期間を含む複数の受付期間を用意することとし、第3受付期間は、演出の状況に応じて、特定BGMが非抑制態様で可聴出力されているなかで発生する場合と、特定BGMが抑制態様または非可聴状態にされてから発生する場合とがあるようにしてもよい。このような構成によれば、特定BGMが非抑制態様で可聴出力されているなかで受付期間が発生する場合と、特定BGMが抑制態様または非可聴状態にされてから受付期間が発生する場合とのいずれの場合であっても、当該受付期間が「第3受付期間」である可能性があるようになることから、遊技者による動作(操作)が受付けされるまでの遊技興趣を好適に維持することが期待されるようになる。
なお、当該「構成6―A」にかかる「第3受付期間(第3受付後表示)」は、当該構成6―Aの技術思想を説明するために用いている呼称に過ぎない。したがって、他の構成にかかる「第3受付期間」と同じ受付期間を意味するものであってもよいし、それら受付期間とは異なる受付期間(例えば、他の構成にかかる第1受付期間や第2受付期間など)を意味するものであってもよい。
[構成7―A]
また後述するが、この実施の形態にかかるパチンコ機1では、まず、受付期間として、第1受付期間及び第2受付期間を含む複数の受付期間を用意している。そして、第1受付期間では、当該期間内で受付けがなされると該受付けに応じた第1受付後表示を実行可能であり、演出用図柄は、少なくとも該第1受付後表示が表示されている間、該第1受付後表示よりも優先表示される。これに対し、第2受付期間では、当該期間内で受付けがなされると該受付けに応じた第2受付後表示を実行可能であり、演出用図柄は、少なくとも該第2受付後表示が表示されている間、該第2受付後表示によって視認し難くされる態様で表示されるか、または非表示にされるようにしている。なお、当該構成7―Aにかかる「視認し難くされる態様」とは、「演出用図柄の少なくとも一部が、所定の透過率に設定された第2受付後表示を通してその透過率に応じた分だけ視認することはできる態様か、または演出用図柄の少なくとも一部がこれと重なる第2受付後表示によって視認不能とされる態様、若しくは演出用図柄の少なくとも一部が非表示にされる態様など」を意味している。また、当該構成7―Aにかかる「第1受付期間(第1受付後表示)」や「第2受付期間(第2受付後表示)」は、当該構成7―Aの技術思想を説明するために用いている呼称に過ぎない。したがって、他の構成にかかる「第1受付期間」や「第2受付期間」と同じ受付期間を意味するものであってもよいし、互いに逆側となる受付期間を意味するものであってもよいし、それら受付期間とは異なる受付期間を意味するものであってもよい。
このような構成によれば、遊技者による操作を契機とした受付後表示によって演出用図柄の視認性に影響が生じたか否かを確認することで、受付期間としての種別を認識することができるようになる。なお、「演出用図柄」とは、例えば、演出表示装置1600においてリーチ状態を演出として形成する図柄のことであり、他には、リーチ状態を形成するか否かの演出や、疑似連演出、全回転演出などにも用いられる図柄のことである。
ただし、遊技者のなかには、第2受付後表示が表示されることに伴って、このような演出用図柄の視認性が悪化することに対して嫌悪感を覚える者も含まれることが確認されている。したがって、後述するが、当該「構成7-A」を採用する場合は、第2受付期間内における受付けに応じた第2受付後表示が表示されるとき、該第2受付期間とは異なる受付期間を発生(例えば、第2受付期間内における受付けに応じて発生)させる。そして、該異なる期間内において遊技者による操作の受付けがなされると、該受付けを契機として、第2受付後表示を非表示にすることによって演出用図柄を視認し易くするようにしてもよい。
例えば、第2受付期間内における受付けに応じた第2受付後表示は、表示開始されてから所定時間が経過したときに非表示にされるものであるとすると、所定時間が経過するまでの間に遊技者は所定操作を行うようにするだけで、第2受付後表示をその時点で非表示にすることができるようになる。なお、第2受付期間内において第2受付後表示を表示させるために遊技者に求められる操作と、第2受付期間とは異なる受付期間(第2受付期間内における受付けに応じて発生する受付期間)内において第2受付後表示を非表示にするために遊技者に求められる操作とは、互いに同じ操作であってもよいし、異なる操作であってもよい。例えば、第2受付期間とは異なる受付期間(第2受付期間内における受付けに応じて発生する受付期間)内では、遊技者は、第2受付後表示を非表示にするために複数の操作手段に対してそれぞれ操作を行うことが求められるようにしてもよい。
これに対し、第1受付後表示も、表示開始されてから所定時間(第2受付後表示が非表示にされるまでの所定時間と同じ時間であってもよいし、異なる時間であってもよい)が経過したときに非表示にされるものである。ただし、演出用図柄の視認性を悪化させない第1受付後表示については、所定時間が経過するまでの間に遊技者がいかなる操作を行ったとしてもこれを契機として非表示にされることはないようにすることが、遊技者の意図に反して誤操作してしまったときの遊技興趣の低下を抑制する上でより望ましい。
[構成8―A]
また後述するが、この実施の形態にかかるパチンコ機1では、まず、受付期間として、第1受付期間及び第2受付期間を含む複数の受付期間を用意している。そして、第1受付期間は、特定BGMが非抑制態様で可聴出力されているなかで発生されうるものであり、該特定BGMが非抑制態様で可聴出力されているなかで受付けがなされるとこれを契機として当該特定BGMを非可聴にし、第2受付期間は、非抑制態様で可聴出力されていた特定BGMが抑制態様で可聴出力される状態または可聴出力されない状態になってから受付けが許容され、該受付けがなされたとしても、特定BGMが抑制態様で可聴出力される状態または可聴出力されない状態を維持するようにしている。なお、当該構成8―Aにかかる「第1受付期間(第1受付後表示)」や「第2受付期間(第2受付後表示)」は、当該構成8―Aの技術思想を説明するために用いている呼称に過ぎない。したがって、他の構成にかかる「第1受付期間」や「第2受付期間」と同じ受付期間を意味するものであってもよいし、互いに逆側となる受付期間を意味するものであってもよいし、それら受付期間とは異なる受付期間を意味するものであってもよい。
このような構成によれば、受付期間が発生するのに関連して、特定BGMがいずれのタイミングで「抑制態様で可聴出力される状態または可聴出力されない状態」にされるかについての面白みを付与することができるようになる。
また後述するが、当該「構成8-A」を採用する場合は、第1受付期間では、受付けがなされるとその時点で可聴出力されていた音の全てを非可聴(特定BGMだけが可聴出力されているときには、特定BGMのみを非可聴)にし、第2受付期間では、受付けがなされるとその時点で可聴出力されていた音の全てを非可聴(1つの音だけが可聴出力されているときには、該1つの音のみを非可聴)にするようにしてもよい。すなわちこの場合、受付期間が発生するのに関連して特定BGMが「抑制態様で可聴出力される状態または可聴出力されない状態」にされることや、受付けがなされるとその時点で可聴出力されていた音の全てが非可聴にされることなど、第1受付期間と第2受付期間との間で共通した演出性を持たせることができるようになり、遊技興趣の向上を図ることができるようになる。
また後述するが、当該「構成8-A」を採用する場合、第1受付期間は、遊技者による操作の受付けが許容されているなかで(有効期間の途中で)特定BGMが非可聴にされて何らの音も出力されない状況が発生しうるが、該状況においても当該受付期間は継続されるようにすることが望ましい。すなわちこの場合、第1受付期間では、受付けがなされるとこれを契機として特定BGMを非可聴にするものであるにもかかわらず、該第1受付期間が発生してから所定時間にわたって受付けがなされないときには、受付けが未だなされていないなかで特定BGMが非可聴にされるようになることから、当該第1受付期間が終了してしまったのではないかと思わせることができるようになり、遊技者の興味を強く惹きつけることができるようになる。
なお、受付けがなされるとこれを契機として特定BGMを非可聴にするときにはこれに合わせて「受付けに応じた表示変化(第1受付後表示)」を発生させるようにするが、受付けが未だなされていないなかで特定BGMを非可聴にするときにはこれに合わせて「受付けに応じた表示変化(第1受付後表示)」を発生させることがないようにすることが望ましい。すなわちこの場合、特定BGMは非可聴にされたが「受付けに応じた表示変化(第1受付後表示)」は未だ発生していない状況にあることを確認することで、第1受付期間が継続している可能性を意識させることができるようになる。そして、特定BGMが非可聴にされた後、当該第1受付期間が終了されるよりも前に遊技者による操作が受付けされると、これを契機として「受付けに応じた表示変化(第1受付後表示)」が発生するようになることから、特定BGMが非可聴にされたときの不安感(有効期間が終了したかもしれないという懸念)が解消され、これによって遊技興趣の向上を図ることができるようになる。
[構成9―A]
また後述するが、この実施の形態にかかるパチンコ機1では、まず、操作手段として、第1操作手段(第1操作受け部)及び第2操作手段(第2操作受け部)を含む複数の操作手段を用意しており、受付期間として、特定受付期間を含む複数種別の受付期間を用意している。そして、特定受付期間では、第1操作手段に対する操作の受付けと、第2操作手段に対する操作の受付けとの両方が、当該特定受付期間に対応する表示変化を生じさせるための受付けとして許容されており、第1操作手段に対する操作の受付けがなされたときには特定の表示変化を発生可能であり、第2操作手段に対する操作の受付けがなされたときには特定の表示変化を発生させることはなく該特定の表示変化とは異なる表示変化を発生可能であるようにしていることから、いずれの操作手段を操作するかについての面白みを持たせることができるようになる。なお、当該構成9―Aにかかる「特定受付期間(特定受付後表示(特定の表示変化))」や、「第1操作手段」、「第2操作手段」は、当該構成9―Aの技術思想を説明するために用いている呼称に過ぎない。したがって、他の構成にかかる「受付期間」や「操作手段」と同じものを意味するものであってもよいし、それら受付期間とは異なる受付期間や操作手段を意味するものであってもよい。
また後述するが、当該「構成9-A」を採用する場合は、特定受付期間において、第1操作手段が操作されたときには当該特定受付期間を終了させるが、第2操作手段が操作されたときには当該特定受付期間を終了させずその残り時間を延長するようにしてもよい。すなわちこの場合、複数の操作手段を用いた受付期間として、これまでにない演出性を持たせることができるようになることから、このような演出性を前提とした様々な面白みのある受付期間を提供することができるようになる。
[構成10―A]
また後述するが、この実施の形態にかかるパチンコ機1では、まず、受付期間として、第1受付期間及び第2受付期間を含む複数の受付期間を用意している。そして、第1受付期間では、操作受け部を摸した摸画像表示が表示され、第2受付期間では、操作受け部を摸した摸画像表示が複数表示され、摸画像表示は、遊技者による操作によって操作受け部が可動とされるときの動きを描写する動的表示として実行可能とされるようにしている。なお、当該構成10―Aにかかる「第1受付期間(第1受付後表示)」や「第2受付期間(第2受付後表示)」は、当該構成10―Aの技術思想を説明するために用いている呼称に過ぎない。したがって、他の構成にかかる「第1受付期間」や「第2受付期間」と同じ受付期間を意味するものであってもよいし、互いに逆側となる受付期間を意味するものであってもよいし、それら受付期間とは異なる受付期間を意味するものであってもよい。
このような構成によれば、例えば、求められる操作(例えば、押す、引くなど)が異なる複数の操作受け部が用意される場合であっても、遊技者は、どのような操作を行えばよいのかを認識し易くなり、有効期間内での操作が間に合わなくなる事態を生じ難くさせることができるようになる。
また後述するが、当該「構成10-A」を採用する場合、摸画像表示は、「遊技者による操作によって操作受け部が可動とされるときの動きを描写する動的表示」として実行される場合と、「遊技者による操作によって操作受け部が可動とされるときの動きを描写する動的表示」として実行されない場合とがあるようにしてもよい。すなわちこの場合、摸画像表示が表示されている状況下にありながらも、遊技者が、どのような操作を行えばよいのかを認識し易い場合だけでなく、どのような操作を行えばよいのかを認識し難い場合もあり得るようになることから、遊技者による操作が受付けされるまでの緊張感を好適に維持することが期待されるようになる。
[構成11―A]
また後述するが、この実施の形態にかかるパチンコ機1では、まず、操作手段として、特定操作手段(特定操作受け部)を含む複数の操作手段(複数の操作受け部)を用意しており、受付期間として、第1受付期間及び第2受付期間を含む複数の受付期間を用意している。そして、第1受付期間では、特定操作手段を摸した摸画像表示と、該摸画像表示に対応する特定画像を表示して「該特定画像の表示面積を時間経過に応じて減少させることにより特定操作手段に対する操作の受付けが許容される残り時間を示唆する残り時間特定表示」とが行われるようにし、第2受付期間では、特定操作手段を摸した摸画像表示は行われるが、該摸画像表示に対応する特定画像を表示して「該特定画像の表示面積を時間経過に応じて減少させることにより特定操作手段に対する操作の受付けが許容される残り時間を示唆する残り時間特定表示」が行われないようにしている。なお、当該構成11―Aにかかる「第1受付期間(第1受付後表示)」や「第2受付期間(第2受付後表示)」は、当該構成11―Aの技術思想を説明するために用いている呼称に過ぎない。したがって、他の構成にかかる「第1受付期間」や「第2受付期間」と同じ受付期間を意味するものであってもよいし、互いに逆側となる受付期間を意味するものであってもよいし、それら受付期間とは異なる受付期間を意味するものであってもよい。
このような構成によれば、特定操作手段を摸した摸画像表示が表示されても、「特定画像の表示面積を時間経過に応じて減少させることにより特定操作手段に対する操作の受付けが許容される残り時間を示唆する残り時間特定表示」が必ずしも行われないようにされることから、受付期間が発生したときの緊張感を好適に維持することができるようになる。
また後述するが、当該「構成11-A」を採用する場合、第2受付期間では、特定操作手段を摸した特定摸画像表示と、これとは異なる特別操作手段を摸した特別摸画像表示とが行われるにもかかわらず、上述した「残り時間特定表示」が行われないようにしてもよい。
すなわちこの場合、第2受付期間では、特定操作手段に対する操作の受付けと、これとは異なる操作手段に対する操作の受付けとの両方が許容されているにもかかわらず、上述した「残り時間特定表示」が行われないようにされることとなる。これにより、特定操作手段に対する操作の受付けと、これとは異なる操作手段に対する操作の受付けとの両方が許容されていることに対して遊技者が浮かれることなく、当該第2受付期間が発生しているときの緊張感を好適に維持することができるようになる。
[構成12―A]
また後述するが、この実施の形態にかかるパチンコ機1では、まず、操作手段として、「遊技者による操作によって変位する第1操作受け部、及びその周縁に設けられる第1周縁装飾部を有する第1操作手段」と、「遊技者による操作によって変位する第2操作受け部、及びその周縁に設けられる第2周縁装飾部を有する第2操作手段」とを用意している。そして、第1操作手段を摸した第1摸画像表示を表示する場合、第1操作受け部を摸した第1受け部摸画像と、該第1受け部摸画像の周縁を装飾する第1周縁装飾画像とを表示可能であり、第2操作手段を摸した第2摸画像表示を表示する場合、第2操作受け部を摸した第2受け部摸画像と、該第2受け部摸画像の周縁を装飾する第2周縁装飾画像とを表示可能であり、第1周縁装飾画像と第2周縁装飾画像とは互いに異なる画像として表示されるようにしている。なお、当該構成12―Aにかかる「第1操作手段」や「第2操作手段」は、当該構成12―Aの技術思想を説明するために用いている呼称に過ぎない。したがって、他の構成にかかる「第1操作手段」や「第2操作手段」と同じ操作手段を意味するものであってもよいし、互いに逆側となる操作手段を意味するものであってもよいし、それら操作手段とは異なる操作手段を意味するものであってもよい。
このような構成によれば、操作手段これ自体は似ていたとしても、第1操作手段を表示する場合と、第2操作手段を表示する場合とで、互いの見た目を大きく異ならせることができるようになり、いずれの操作手段を操作すればよいかの見分けを容易にすることが期待されるようになる。
また後述するが、当該「構成12-A」を採用する場合、第1周縁装飾画像は、第1周縁装飾部を摸した画像として表示されるが、第2周縁装飾画像は、第2周縁装飾部とは異なる周縁装飾部を摸した部分を少なくとも含む画像として表示されるようにしてもよい。すなわちこの場合、第1周縁装飾部を摸した画像である第1周縁装飾画像を有する「第1摸画像表示」が表示されたときには、第1操作手段に対して操作機会が付与されている状況にあることを好適に認識させることができるようになる。これに対し、第2周縁装飾部を摸していない画像である第2周縁装飾画像を有する「第2摸画像表示」が表示されたときには、第2操作手段に対して操作機会が付与されている状況を、より演出性の高い状況として提供することができるようになる。なおこの場合、「第2摸画像表示に対応する第2操作手段」については、「第1摸画像表示に対応する第1操作手段」よりも大きな操作受け部(第1操作受け部)を有する部材として設けられるようにするなど、第2周縁装飾部を摸していない画像である第2周縁装飾画像が表示されたとしてもいずれの操作手段を操作すればよいのかを認識し難くなることがないようにすることが望ましい。
また、第2操作手段に対して操作機会が付与されている状況を「より演出性の高い状況」として提供するようにする上では、第2周縁装飾画像は、当該遊技機において実在しない架空の装飾部を摸した画像として表示されるようにすることが望ましい。ただし、第2操作手段に対して操作機会が付与されている状況にあることを認識し易くする上では、第2周縁装飾画像の一部には、第2周縁装飾部を摸した部分が含まれるようにしてもよい。
[構成13―A]
また後述するが、この実施の形態にかかるパチンコ機1では、まず、操作手段として、第1操作受け部、第2操作受け部、及び第3操作受け部を含む複数の操作受け部を用意しており、受付期間として、特定受付期間を含む複数種別の受付期間を用意している。そして、特定受付期間では、第1操作受け部を摸した第1摸画像表示、第2操作受け部を摸した第2摸画像表示、及び第3操作受け部を摸した第3摸画像表示のいずれもが表示され、複数の操作受け部のうち第1操作受け部に対する操作の受付けがなされたときには、第1摸画像表示、第2摸画像表示、及び第3摸画像表示のうち、受付けがなされていない操作受け部を摸した第2摸画像表示及び第3摸画像表示を少なくとも非表示にするようにしている。なお、当該構成13―Aにかかる「第1操作受け部」や「第2操作受け部」、「第3操作受け部」や、「特定受付期間」は、当該構成13―Aの技術思想を説明するために用いている呼称に過ぎない。したがって、他の構成にかかる「操作受け部」や「受付期間」と同じものを意味するものであってもよいし、異なるものを意味するものであってもよい。
上記構成によれば、操作の受付けがなされた操作受け部(第1操作受け部)とは異なる操作受け部(第2操作受け部、第3操作受け部)を摸した摸画像表示(第2摸画像表示、第3摸画像表示)が非表示にされるようになることから、摸画像表示が表示されていたものの操作の受付けがなされていない操作受け部(第2操作受け部、第3操作受け部)に対してさらなる操作が必要であるか否かを容易に認識させることができるようになる。
また後述するが、当該「構成13-A」を採用する場合、特定受付期間では、第1摸画像表示、第2摸画像表示、及び第3摸画像表示が表示されるにもかかわらず、第1操作受け部、第2操作受け部及び第3操作受け部のうち、第3操作受け部は操作の受付けが有効化されていない(許容されていない)ようにしてもよい。すなわちこの場合、特定受付期間では、第1操作受け部に対する操作の受付けがなされると第1表示変化を発生させ、第2操作受け部に対する操作の受付けがなされると第2表示変化を発生させるが、第3操作受け部に対する操作の受付けがなされることはなく該操作を契機とした表示変化が発生することはないようになることから、特定受付期間において遊技者による操作が受付けされるまでの演出性や緊張感を好適に維持することができるようになる。
[構成14―A]
また後述するが、この実施の形態にかかるパチンコ機1では、まず、受付期間として、第1受付期間及び第2受付期間を含む複数の受付期間を用意している。そして、第1受付期間が発生する場合と第2受付期間が発生する場合とでは、いずれの場合も、当該受付期間が発生したことに関連して文字情報が表示されるが、それら文字情報は、第1受付期間と第2受付期間とで遊技者による動作として同じ動作が受付対象とされるにもかかわらず互いに異なる文字情報(例えば、「押せ!」、「押してください」など)として表示されるようにしている。なお、当該構成14―Aにかかる「第1受付期間(第1受付後表示)」や「第2受付期間(第2受付後表示)」は、当該構成14―Aの技術思想を説明するために用いている呼称に過ぎない。したがって、他の構成にかかる「第1受付期間」や「第2受付期間」と同じ受付期間を意味するものであってもよいし、互いに逆側となる受付期間を意味するものであってもよいし、それら受付期間とは異なる受付期間を意味するものであってもよい。
すなわち、第1受付期間と第2受付期間とでは、遊技者に対して同じ動作(操作態様)を行うことを要求するものの、該動作が検出された結果として発生する表示変化(受付後表示)は互いに異なるものとなっている。この点、このパチンコ機1では、遊技者に対して同じ動作(操作態様)を要求する場合であっても、受付期間が発生したことに関連して表示される文字情報を、該受付期間の種別(受付後表示の種別)に応じて互いに異ならせるようにしていることから、受付後表示としていずれのタイプの表示変化が生じる可能性があるのかを認識した状態で操作(遊技者による動作)を行うことができるようになり、遊技興趣の低下を抑制することが期待されるようになる。
なお、遊技者に対して異なる動作(操作態様)を要求する場合には、受付期間が同じ種別(同じ受付後表示を発生させるもの)であったとしても、該受付期間が発生したことに関連して表示される文字情報を、互いに異なるものとすることが、遊技者による操作誤りを抑制する上でより望ましい(例えば、図182(c)などを参照)。これと同じ意味で、遊技者に対して異なる動作(操作態様)を要求する場合であって、受付期間が異なる種別(異なる受付後表示を発生させるもの)である場合には、該受付期間が発生したことに関連して表示される文字情報を、互いに異なるものとするようにすることが望ましい。
また、第1受付期間の場合と同じ動作(操作態様)を要求し、第1受付期間の場合と同じ文字情報や摸画像表示を表示させるが、受付けがなされると第1受付期間の場合とは異なる受付後表示を発生させる受付期間をさらに用意するようにしてもよい。すなわちこの場合、文字情報や摸画像表示を見るだけでは、受付後表示としていずれの種別が実行されるのかを完全に把握することはできないようになることから、操作するときの緊張感を好適に維持することが期待されるようになる。
また後述するが、当該「構成14-A」を採用する場合は、上記第1受付期間では、その受付けが許容されている状態(有効状態)が終了されるまでの間に文字情報が非表示にされることがないのに対し、上記第2受付期間では、その受付けが許容されている状態(有効状態)が継続されているなかで、その途中で、文字情報を非表示にすることがあるようにすることがより望ましい。すなわちこの場合、第2受付期間では、当該期間が発生してから比較的早い時間で操作(所定動作)を行わなければ、遊技者に対していかなる動作(操作態様)を行うことを要求しているのかを認識することが困難とされるようになり、ひいては当該受付期間としての種別も認識することが困難とされるようになることから、互いに異なる文字情報が表示されている状況に甘えて緊張感が全くなくなってしまうようなことを好適に回避することが期待されるようになる。
なお、これも後述するが、当該「構成14-A」を採用する場合、上記第2受付期間では、文字情報が表示される期間と、文字情報が非表示にされる期間とがあるが、これら期間内のいずれで受付けがなされたかに応じて異なる表示変化が生じるようにしてもよい。すなわちこの場合、いかなる操作態様を要求しているのかを認識し難い状態(文字情報が非表示とされる状態)にならなければ確認することのできない表示変化が用意されることとなることから、こうした演出性を通じて緊張感が好適に維持されるようになる。
なお、上記第1受付期間が発生する場合にこれに対応する文字情報が表示されてから遊技者による操作が行われないときに非表示にされるまでの時間と、上記第2受付期間が発生する場合にこれに対応する文字情報が表示されてから遊技者による操作が行われないときに非表示にされるまでの時間とは互いに異なるようにすることが望ましい。
[構成15―A]
また後述するが、この実施の形態にかかるパチンコ機1では、まず、受付期間として、第1受付期間及び第2受付期間を含む複数の受付期間を用意している。そして、第1受付期間では、摸画像表示として一の態様のみが表示可能とされ、第2受付期間では、摸画像表示として複数態様のいずれかによって表示可能とされるようにしている。なお、当該構成2―Aにかかる「第1受付期間(第1受付後表示)」や「第2受付期間(第2受付後表示)」は、当該構成2―Aの技術思想を説明するために用いている呼称に過ぎない。したがって、他の構成にかかる「第1受付期間」や「第2受付期間」と同じ受付期間を意味するものであってもよいし、互いに逆側となる受付期間を意味するものであってもよいし、それら受付期間とは異なる受付期間を意味するものであってもよい。
このような構成によれば、第2受付期間では、第1受付期間が発生したときには出現し得ない演出性が提供されるようになることから、遊技者による操作(動作)が検出されるまでの遊技興趣を好適に向上させることができるようになる。
なお、第2受付期間において表示可能とされる「複数態様の摸画像表示」については、それら摸画像表示のいずれが表示されるかによって大当り図柄が現れる期待度が異なるようにすることが、遊技興趣の向上を図る上でより望ましい。また、「複数態様の摸画像表示」のいずれか1つは、第1受付期間において表示可能とされる「一の態様」と同じものであってもよい。この場合、「複数態様の摸画像表示」のうち「最も期待度の低い態様」が、第1受付期間において表示可能とされる「一の態様」と同じものとすることが望ましい。
また後述するが、当該「構成15-A」を採用する場合は、第3受付期間をさらに備えることとし、第1受付期間と第3受付期間とでは、摸画像表示として一の態様のみが表示可能とされるようにしてもよい。そして、摸画像表示が複数態様のいずれかによって表示される「第2受付期間」では、その有効状態が終了されるまでの間に摸画像表示が非表示とされることがないようにする。これに対し、摸画像表示が一の態様によってのみ表示される「第1受付期間」及び「第3受付期間」のうち、「第1受付期間」では、その有効状態(受付期間)が終了されるまでの間に摸画像表示が非表示とされることがないが、「第3受付期間」では、その有効状態(受付期間)が終了されるまでの間に(その有効状態が継続されているなかで)、その途中で、それまで表示されていた摸画像表示を非表示にするようにしてもよい。すなわちこの場合、摸画像表示として一の態様のみが表示される「第1受付期間」及び「第3受付期間」であっても、摸画像表示がその途中で非表示にされるか否かの演出性が提供されるようになることから、遊技者による操作(動作)が検出されるまでの遊技興趣を好適に向上させることができるようになる。なお、第1受付期間で表示される摸画像表示と、第3受付期間で表示される摸画像表示とは同じものであってもよいが、必ずしも同じものでなくてもよく、それによって非表示にされる可能性を示唆するようにしてもよい。
また、これも後述するが、当該「構成15-A」を採用する場合、上記第3受付期間では、摸画像表示が表示される期間と、摸画像表示が非表示とされる期間とがあるが、これら期間内のいずれで受付けがなされたかに応じて異なる表示変化が生じるようにしてもよい。すなわちこの場合、受付期間が終了した可能性を意識付けさせられる状態(摸画像表示が非表示とされる状態)にならなければ確認することのできない表示変化が用意されることとなることから、こうした演出性を通じて緊張感が好適に維持されるようになる。
なお、当該構成15―Aにかかる「第3受付期間(第3受付後表示)」は、当該構成15―Aの技術思想を説明するために用いている呼称に過ぎない。したがって、他の構成にかかる「第3受付期間」と同じ受付期間を意味するものであってもよいし、それら受付期間とは異なる受付期間(例えば、他の構成にかかる第1受付期間や第2受付期間など)を意味するものであってもよい。
[その他の構成]
また上述の通り、パチンコ機1では、受付機会が付与される受付許容状態(受付期間)が発生する場合、受付対象に関連した摸画像(操作受け部を摸した摸画像など)を、該摸画像の周縁を装飾する周縁装飾画像と一体化された一体化摸画像表示(図232を参照)として表示することで、受付後表示(表示変化)が実行されるまでの遊技興趣の低下を抑制するようにしている。このような一体化摸画像表示については、図柄演出がSPリーチ中における特定タイミングまで進展したときに発生する操作受付演出(受付期間)と、SPリーチに発展しない変動パターンで予告判定の結果として発生する操作受付演出(受付期間)とのいずれにおいても表示されるようにすることが望ましいし、低期待非抑制受付演出と高期待抑制受付演出とのいずれにおいても表示されるようにすることが望ましい。
なお、この例にかかる「一体化摸画像表示」については、図232~図248を参照して説明した通り、またはその別例や変形例として記載した通りであるから、詳細は割愛するが、例えば、周縁装飾画像内にはゲージ画像(所定画像)GGの表示対象領域が設けられている。また、「一体化摸画像表示」として、期待度が異なる複数態様(図232参照)が用意されており、それら態様のいずれかで表示されるようになっている点も同様である。
また、この例にかかるパチンコ機1においても、受付許容状態(受付期間)の発生に際しては、操作受付が許容される状態になったこと、または操作受付が許容される状態になることを示唆する受付許容音を出力させるようにしており、これによって操作し忘れを生じ難くするようにしている。ここで、「受付許容音」とは、音が出力開始されると、この音が出力されている間(音データが割り当てられている間)に受付許容状態(受付期間)が必ず発生するか、受付許容状態(受付期間)が既に発生している状態にある音のことである。すなわち、「受付許容音」とは、受付許容状態(受付期間)と何ら関係のない演出が行われている状況下においては出力されることがない音であるとも言える。
また、この実施の形態にかかる各受付許容状態(各受付期間)は、第1種別と第2種別とに分類分けすることが可能である。すなわち、第1種別に分類分けされる受付許容状態とは、高期待変動パターン(SPリーチ変動パターン)が選択された場合には発生可能とされるが、低期待変動パターン(非リーチ変動パターン)では発生し得ない有効期間(大当り判定の結果に基づく演出判定で特定条件(特定の高期待変動パターン選択)が成立したことに基づいて発生される有効期間)である。また、第2種別の受付許容状態とは、高期待変動パターン(SPリーチ変動パターン)と、低期待変動パターンとのいずれであっても発生可能とされる有効期間(予告判定の結果として発生する有効期間など)である。
この実施の形態にかかる「一体化摸画像表示」は、このような第1種別及び第2種別の受付許容状態(受付期間)のいずれにおいても表示されうる。ここでは、第1種別の受付許容状態(受付期間)及び第2種別の受付許容状態(受付期間)は、いずれも同じ操作手段(例えば、操作ボタン410)に対して操作機会が付与される受付許容状態(受付期間)として発生する場合を想定していることから、それら受付期間で表示される「一体化摸画像表示」は、同じ操作手段(操作ボタン410)を摸した画像である。
ただし、「一体化摸画像表示」として用意されている複数態様のうち期待度の高い特別態様(例えば、図232(d)に示される態様)は、第1種別の受付許容状態(受付期間)でしか表示可能とされず、第2種別の受付許容状態(受付期間)では、特別態様とは異なる態様(例えば、図232(a)~(c)に示される態様)のみによって表示可能とされている。第1種別の受付許容状態(受付期間)では、大当り判定の結果に基づいて特別態様を含む複数態様(例えば、図232(a)~(d))のいずれで「一体化摸画像表示」を表示するのかについての判定が行われ、この判定の結果に応じた態様で「一体化摸画像表示」が表示されるようになっている。第2種別の受付許容状態(受付期間)においても、大当り判定の結果に基づいて特別態様を含まない複数態様(例えば、図232(a)~(c))のいずれで「一体化摸画像」を表示するのかについての判定が行われるようにし、この判定の結果に応じた態様で「一体化摸画像表示」を表示するようにしてもよい。
以下、上記構成1~15等を備える当該パチンコ機1について、その詳細を、図を参照して説明する。ただし、以下に説明する各構成は、最良の実施形態として記載されているものにすぎず、必ずしも備えなくてもよい。すなわち、以下に説明する明細書中に記載される各構成については、さらなる作用効果を得たいときにそれに対応する構成だけを任意に選別して採用可能である。
まず、上記構成2,3,5~8を具体化した例について説明する。上述の通り、このパチンコ機1は、受付けされたときに進行される演出内容(例えば、受付後演出としての会話予告、カットイン予告、可動体予告などであり、予告演出(期待度示唆演出)の種別)が異なる複数の受付期間(受付演出)を用意しており、判定(大当り判定や、演出判定など)の結果に応じた種別の受付期間(受付演出)を発生可能としている。この実施の形態にかかるパチンコ機1では、複数の受付期間(受付演出)として、少なくとも受付期間A(受付演出A)~受付期間D(受付演出D)を用意している。
図273~図282を参照して、各受付期間(受付演出)の別に、各々の特徴について説明する。なお、図272までを参照しつつ上述した各受付期間については、受付期間A(受付演出A)~受付期間D(受付演出D)とは別の受付期間として用意されているものであってもよいし、受付期間A(受付演出A)~受付期間D(受付演出D)のうちのいずれかとして実現されるものであってもよい。
図273は、判定の結果として条件Aが満たされて受付期間A(受付演出A)が発生するときの演出内容についてその一例を示すタイムチャートである。図279は、受付期間A(受付演出A)が発生する変動パターンにおける演出例を示す図である。
いま、特定遊技状態(例えば、非確変・非時短である通常遊技状態)において始動条件が成立(保留消化)されて、変動パターン判定が行われた結果として「変動パターンA」が選択されたとすると、上記周辺制御MPU1511aでは、まず、該変動パターンAに対応する演出判定(予告判定など)を行う。そしてこの後、装飾図柄(飾り図柄)SZの変動演出(変動パターンAに応じた演出描写や、特定BGM再生の音出力など)を開始させ(「図279(a)に示される状況」)、該変動演出の実行期間内で、予告演出判定の結果に応じた演出(予告演出)を、上記選択した「変動パターンA」これ自体の演出に対して付加的に実行させることとなる。なお、図279(a)に示した演出例においては、背景画像HG1として山を描いた風景が映し出されている。
すなわち、変動パターンAに対応する演出判定(予告判定など)で特別結果が得られると、上記周辺制御MPU1511aでは、図273(a)に示されるように、装飾図柄SZの変動演出が開始されてから所定時間Aが経過したタイミングtM2が到来したときに(条件Aが成立したときに)「受付後表示Aに関しての受付け」が許容される上記受付期間A(有効期間)を発生させる(「図279(b)に示される状況」)。この受付期間Aは、特定BGMが非抑制で出力されている状態において発生するものである。これにより、当該受付期間A内において遊技者による動作(操作)が受付けされると、該受付けに基づいて受付後表示Aが行われるようになる(図279(c)に示される状況)。
この点、この実施の形態にかかるパチンコ機1にあって、演出表示装置1600(第1演出装置)では、このような受付期間Aが発生することに関連して、受付対象(操作受け部など)を示唆する摸画像表示、受付期間の残り時間を示唆するゲージ画像表示、摸画像表示を視認し難くする消滅関連表示(摸画像表示が視認し難くなる態様)、受付けされたことに応じて期待度(大当り図柄が現れる割合)を示唆する受付後表示がそれぞれ行われるようになっている。なお上述の通り、この実施の形態にかかる摸画像表示は、ゲージ画像表示を含む周縁装飾画像と一体化された「一体化摸画像表示」として表示されるものとなっているが、必ずしもこれに限られず、別々に表示されるものであってもよい。また、「一体化摸画像表示」に代えて摸画像表示を表示する場合は、ゲージ画像表示については必ずしも表示しないようにしてもよい。これらのことについては、他の受付期間においても同様である。
より具体的には、この例にかかる演出表示装置1600(第1演出装置)では、図273(b)に示されるように、受付期間Aが発生するよりも前のタイミングtM1が到来すると、「一体化摸画像表示IG(摸画像表示、ゲージ画像表示)」が表示される。すなわち、「一体化摸画像表示IG」は、受付期間Aが発生するタイミングtM2を跨るように表示されるようになっている。該「一体化摸画像表示IG」は、受付期間A内で受付けがなされたときか、該受付けがなされることなく受付期間Aが終了されたときに非表示にされる。なお、この例にかかる受付期間Aは、遊技者による動作(操作)の受付けがなされない場合は、タイミングtM3が到来したときに終了されるようになっている(図273(h)を参照)。
この点、図273(a)~(g)に示される例や、図279(b),(c)に示される例では、受付期間A内のタイミングtM2aにおいて遊技者による動作(操作)が受付けされた場合を想定している。すなわちこの場合、図273(a)~(g)や図279(b),(c)に示されるように、タイミングtM2aにおいて遊技者による動作(操作)が受付けされたことに基づいて、受付期間Aが終了されるとともに、該受付期間Aに対応する受付後表示A(受付後演出A)が実行開始されることとなる。
なお、図279に示される例では、受付期間Aに対応する受付後表示Aとして一の態様のみが表示されている。ただし、図示は割愛するが、受付期間A内において遊技者による動作(操作)が受付けされたときには、該受付けに基づいて、受付後表示Aとして相対的に期待度の低い第1態様(例えば、「チャンスよ」)が実行される場合や、受付後表示Aとして相対的に期待度の高い第2態様(例えば、「激熱よ」)が実行される場合があるようになっている。
ただし、詳細は割愛するが、この実施の形態にかかるパチンコ機1にあって、図273に示される受付期間Aは、図255などに示した「第1の受付期間」と同じ態様で演出を進展させるものとなっており、例えば、図273(b)に示されるように、遊技者による動作(操作)が受付けされた時点(受付けに応じた受付音Aの可聴出力が開始された時点)であるタイミングtM2aにおいては、一体化摸画像表示IGを非表示にしないことはもとより、該一体化摸画像表示IGを視認し難くすることもしないようにしている。
ここで、受付期間の終了後、該受付期間内において一体化摸画像表示IGが複数態様(図232(a)~(d))のいずれで表示されていたのかの認識を容易とする上では、受付けがなされた以降の「一体化摸画像表示IGが視認容易な態様のままで表示される時間」を長く設定するようにすることが望ましいと言える。ただし、受付けがなされており受付音Aの可聴出力が既に開始されている状況にあるにもかかわらず、一体化摸画像表示IGが受付期間中にあったときと同じ態様(図255に示した例では、図263(e1),(e2)に示される態様)のままで表示され続けるようなことがあると、受付けがなされた状況にあるのか否かを遊技者側が認識し難くなり、その結果として「実行状態にある受付後演出(ここでは、受付音A)に気付くのが遅れてしまう」といったことが懸念される。
そこで、この例にかかるパチンコ機1においても、図273(b)に示されるように、遊技者による動作(操作)が受付けされたことによって受付期間Aが終了したタイミングtM2aから所定時間が経過すると(タイミングtM2bが到来すると)、「一体化摸画像表示IGが視認し難くなる態様」として、消滅関連エフェクト(受付期間Aに対応する消滅関連表示A)にかかる表示を開始するようにしている。ここでの「消滅関連エフェクト」とは、一体化摸画像表示IGが非表示にされるまでの所定時間にわたって表示される画像(一体化摸画像表示IGとは異なる別画像)のことである。「消滅関連エフェクト」の表示が開始された時点では一体化摸画像表示IGは非表示とされておらず視認可能とされており、該「消滅関連エフェクト」の表示が行われるなかで一体化摸画像表示IGが徐々に非表示にされていくこととなる。
すなわち、この例にかかる演出表示装置1600では、「一体化摸画像表示IG(摸画像表示、ゲージ画像表示)」が表示されているなかで「消滅関連表示A(図中では、消滅EF)」が表示されるようになっており、「消滅関連表示A」が表示される領域の少なくとも一部は「一体化摸画像表示IG(摸画像表示、ゲージ画像表示)」が表示される領域と重複するようになっている。
このような構成によれば、受付けがなされた以降、一体化摸画像表示IGを表示し続けるようにした場合であっても、該一体化摸画像表示IGが視認し難くされることによって、受付音Aが既に実行されている状況にあることを示唆することができるようになる。これにより、受付音Aが既に実行されている状況においても、視認し難さはあるものの一体化摸画像表示IGを比較的長い時間にわたって表示し続けることが可能とされるようになり、受付期間A内で一体化摸画像表示IGがいずれの態様で表示されていたのか認識できないことによる遊技興趣の低下を抑制することができるようになる。また、受付音Aを可聴出力させるための処理が開始された以降であっても、一体化摸画像表示IGが視認し難くされるまでの間(タイミングtM2a~tM2b)は、該一体化摸画像表示IGの態様を視認良好のままで確認することができるようにしていることから、遊技興趣を好適に維持することが期待されるようになる。
また、受付期間Aでは、これに対応する受付後表示Aとして期待度の低い態様と期待度の高い態様とのいずれが実行される場合であっても、消滅関連表示Aとしては同じ態様が現れるようにしている。これにより、受付音Aが実行開始されている状況下においても、演出表示装置1600においてはその期待度を秘匿として維持することができるようになる。
また、この例にかかるパチンコ機1では、図273(b)~(d)に示されるように、消滅関連表示Aにかかる表示(一体化摸画像表示IGが視認し難くなる態様)が現れている期間内のタイミングtM2cが到来すると、受付期間A内で遊技者による動作(操作)が受付けされたことに応じた「受付後表示A」を実行開始するようにしている。該受付後表示Aとしては、相対的に期待度の低い第1態様(例えば、「チャンスよ」)が実行される場合や、相対的に期待度の高い第2態様(例えば、「激熱よ」)が実行される場合があることは上述した通りである。
すなわちこの場合、「一体化摸画像表示IG」及び「消滅関連表示A」がそれぞれ表示されているなかで「受付後表示A」が実行開始されることとなる。また、一体化摸画像表示IGが視認し難くされているなかで「受付後表示A」が開始されることから、受付期間Aが既に終了していることを示唆しつつ、遊技者による注視先が「一体化摸画像表示IG」から「受付後表示A」へと自ずと移行されることが期待されるようになる(タイミングtM2c以降)。
そして、この例にかかるパチンコ機1では、こうして「受付後表示A」にかかる表示が開始されると、図273(b)~(d)に示されるように、該「受付後表示A」が表示されているなかで、まず、「一体化摸画像表示IG」及び「消滅関連表示A」のうち、「一体化摸画像表示IG」を非表示にする。そして、こうして「一体化摸画像表示IG」が非表示にされた後、「消滅関連表示A」が非表示にされることとなり、これによって視認良好とされているもとで「受付後表示A」にかかる表示が行われるようになる(図279では、これら演出進展の図示を割愛)。
この点、「受付後表示A」とは、遊技者による動作(操作)が受付けされたことに基づいて、期待度が異なる複数態様のいずれかで表示されるものである。したがって、「受付後表示A」は、図273(d)に示されるように、「一体化摸画像表示IG」や「消滅関連表示A」が非表示にされた以降も、比較的長い時間にわたって実行されることとなる。
また、この実施の形態にかかるパチンコ機1では、受付期間Aの発生に際しては、図273(f)に示されるタイミングtM1において、受付許容音を出力開始させることとしている。すなわち、受付期間Aに対応する受付許容音は、該受付期間Aが発生するタイミングtM2を跨るかたちで可聴出力されるものとなっており、当該受付許容音が可聴出力されているなかで遊技者による動作(操作)が受付けされうるものとなっている。
ここで、受付期間Aでは、図273(f)に示されるように、受付許容音が可聴出力されているなかで遊技者による動作(操作)の受付けがなされた場合であっても、該受付許容音が途中終了されることはなく、予め定められた時間だけ出力されるものとなっている。すなわち後述するが、上記複数の受付期間には、受付許容音が可聴出力されているなかで遊技者による動作(操作)の受付けがなされると、該受付けされたことに基づいて受付許容音の可聴出力状態が途中終了される受付期間が含まれている。したがって、受付期間A内で受付許容音が可聴出力されているなかで受付けされた結果、該受付許容音の可聴出力が継続される態様が現れたときには、受付けされた状態にあるのか否かを認識し難くすることができるようになり、緊張感を好適に維持することが期待されるようになる。
図273(d)や図279(c)に示されるように、この例にかかる受付後表示Aは、少なくとも一部が装飾図柄SZと重なる位置にて表示されるものとなっている。ただし、この実施の形態にかかるパチンコ機1では、一体化摸画像表示IGについては装飾図柄SZに対して優先表示させるようにするが、受付後表示Aについては装飾図柄SZに対して優先表示させず、装飾図柄SZを、当該受付後表示Aに対して優先表示させるようにしている。そして、この例にかかる受付後表示Aは、図273(d)や図279(d)に示されるように、表示が開始されてから所定時間が経過したときに非表示にされることとなる。
他方、図273(h)~(n)や、「図279(b)から、図279(c)を経ることなく、図279(d)へと演出が進展する例」は、受付期間A内で遊技者による動作が受付けされなかった場合を想定したものである。
すなわちこの場合、受付期間Aが発生した後、遊技者による動作(操作)が受付けされることなく(且つ自動ボタン機能も有効化されず)上記タイミングtM3が到来することとなる。この点、該タイミングtM3(受付期間Aが終了し、遊技者による動作の受付けが許容されなくなった時点)にあるときの演出表示装置1600では、タイミングtM2a(受付期間A内において遊技者による動作の受付けがなされた時点)にあるときの演出表示装置1600と同様、一体化摸画像表示IGを非表示にしないことはもとより、該一体化摸画像表示IGを視認し難くすることもしないようにしている(図255の例では、図263(e3)に示される態様)。
このような構成によれば、遊技者による動作の受付けが間に合わずに受付期間Aが終了してしまった場合であっても、該終了した以降、受付期間A内において一体化摸画像表示IGがいかなる態様で表示されていたのかを認識することが可能とされるようになることから、遊技興趣の低下を抑制することができるようになる。
また、受付期間Aでは、遊技者による動作が受付けされなかった場合、図273(j)に示されるように、「一体化摸画像表示IGが視認し難くなる態様」として、消滅関連エフェクト(受付期間Aに対応する消滅関連表示A)にかかる表示が開始されることはない。この際、一体化摸画像表示IGこれ自体をフェードアウトさせる手法であれば、これを行うようにしてもよい。ただし、一体化摸画像表示IGとは異なる別画像を、一体化摸画像表示IGが非表示にされるまでの所定時間にわたって表示させるようなことは行われないようにすることが望ましい。
図274は、判定の結果として条件Bが満たされて受付期間B(第2受付演出B)が発生するときの演出内容についてその一例を示すタイムチャートである。図280は、受付期間B(受付演出B)が発生する変動パターンにおける演出例を示す図である。
いま、特定遊技状態(例えば、非確変・非時短である通常遊技状態)において始動条件が成立(保留消化)されて、変動パターン判定が行われた結果として「変動パターンB」が選択されたとすると、上記周辺制御MPU1511aでは、まず、該変動パターンBに対応する演出判定(予告判定など)を行う。そしてこの後、装飾図柄SZの変動演出(変動パターンBに応じた演出描写や、特定BGM再生の音出力など)を開始させ(「図280(a)に示される状況」)、該変動演出の実行期間内で、予告演出判定の結果に応じた演出(予告演出)を、上記選択した「変動パターンB」これ自体の演出に対して付加的に実行させることとなる。なお、図280(a)に示した演出例においては、背景画像HG2として川を描いた風景が映し出されている。
ただし、「変動パターンB」にかかる演出では、演出判定(予告判定)としていずれの結果が得られている場合であっても、図274(a)に示されるように、装飾図柄SZの変動演出が開始されてから所定時間Bが経過したタイミングtN2(例えば、SPリーチ状態内のタイミング)が到来したときに「受付後表示Bに関しての受付け」が許容される上記受付期間B(有効期間)を発生させる(図280(b)に示される状況)。この受付期間Bは、特定BGMが抑制態様で出力されるか、または非可聴状態にされた以降に発生するものである。これにより、当該受付期間B内において遊技者による動作(操作)が受付けされると、該受付けに基づいて受付後表示が行われるようになる。なお、図280(b)に示される例では、上記受付期間Bは、装飾図柄SZがリーチ状態を形成しているときに発生するものとなっている。
この点、この実施の形態にかかる演出表示装置1600(第1演出装置)では、このような受付期間Bが発生した場合も、上述した受付期間Aが発生する場合(図273)と同様、これに関連して、受付対象(操作受け部など)を示唆する摸画像表示、受付期間の残り時間を示唆するゲージ画像表示、摸画像表示を視認し難くする消滅関連表示(摸画像表示が視認し難くなる態様)、受付けされたことに応じて期待度(大当り図柄が現れる割合)を示唆する受付後表示がそれぞれ行われるようになっている。期待度(大当り図柄が現れる割合)については、「0%」や「100%」を含むものであってもよい。なお上述の通り、摸画像表示は、ゲージ画像表示を含む周縁装飾画像と一体化された「一体化摸画像表示IG」として表示されるものとなっているが、必ずしもこれに限られず、別々に表示されるものであってもよい。また、「一体化摸画像表示」に代えて摸画像表示を表示する場合は、ゲージ画像表示については必ずしも表示しないようにしてもよい。これらのことについては、他の受付期間においても同様である。
より具体的には、この例にかかる演出表示装置1600においても、図274(b)に示されるように、受付期間Bが発生するよりも前のタイミングtN1が到来すると、「一体化摸画像表示IG(摸画像表示、ゲージ画像表示)」が表示される。すなわち、「一体化摸画像表示IG」は、受付期間Bが発生するタイミングtN2を跨るように表示されるようになっている。該「一体化摸画像表示IG」は、これに対応する受付期間(ここでは、受付期間B)内で受付けがなされたときか、該受付けがなされることなく受付期間Bが終了されたときに非表示にされるようになっている点についても、図273に示した例の場合(受付期間A)と同様である。なお、この例にかかる受付期間Bは、遊技者による動作(操作)の受付けがなされないときにはタイミングtN3が到来したときに終了されるようになっている(図274(h)を参照)。
ここで、上述した「受付期間A(図279(b)を参照)」では、摸画像表示(一体化摸画像表示IG)が表示されるときに、これに対応した文字情報が何ら表示されないが、「受付期間B(図280(b)を参照)」では、摸画像表示(一体化摸画像表示IG)が表示されるときに、受付けが許容されていることに関連した文字情報(ここでは、「押せ」)が表示されるようになっている。すなわち、「受付期間A」及び「受付期間B」では、いずれも摸画像表示(一体化摸画像表示IG)として同じ態様(図232(a)~(d)に示した複数態様のうち、図232(a)に示される態様)が用いられているにもかかわらず、「受付期間B」が発生したときには、「受付期間A」が発生したときに現れない文字情報(ここでは、「押せ」)が表示されるようになっており、これによって受付後表示として示唆されうる期待度が異なることを示唆するようにしている。なお、この例では、受付期間Bが発生した場合のほうが、受付期間Aが発生した場合よりも図柄停止したときに大当り図柄が現れる期待度(割合)が高くなっている。若しくは、受付期間Bに応じた受付後表示Bでは、大当り図柄が現れる期待度が100%であることを示唆する態様が出現しうるようになっているのに対し、受付期間Aに応じた受付後表示Aでは、大当り図柄が現れる期待度が100%であることを示唆する態様が出現し得ないようにしてもよい。
この点、図274(a)~(g)に示される例では、受付期間B内のタイミングtN2aにおいて遊技者による動作(操作)が受付けされた場合を想定している。すなわちこの場合、図274(a)に示されるように、タイミングtN2aにおいて遊技者による動作(操作)が受付けされたことに基づいて、受付期間Bが終了されるとともに、該受付期間Bに対応する受付後表示B(受付後演出B)が実行開始されることとなる。
なお、図280に示される例では、受付期間Bに対応する受付後表示Bとして一の態様のみが表示されている。ただし、図示は割愛するが、受付期間B内において遊技者による動作(操作)が受付けされたときには、該受付けに基づいて、受付後表示Bとして相対的に期待度の低い第1態様(例えば、「10体撃破!」)が実行される場合や、受付後表示Bとして相対的に期待度の高い第2態様(例えば、「100体撃破!」)が実行される場合があるようになっている。
そして、詳細は割愛するが、この実施の形態にかかるパチンコ機1にあって、図274に示される受付期間Bは、図256などに示した「第2の受付期間」と同じ態様で演出を進展させるものとなっており、例えば、図274(b)に示されるように、遊技者による動作(操作)が受付けされた時点(受付けに応じた受付音Bの可聴出力が開始された時点)であるタイミングtN2aにおいては、一体化摸画像表示IGを非表示にしないことはもとより、該一体化摸画像表示IGを視認し難くすることもしないようにしている。
ここで、受付期間の終了後、該受付期間内において一体化摸画像表示IGが複数態様(図232(a)~(d))のいずれで表示されていたのかの認識を容易とする上では、受付けがなされた以降の「一体化摸画像表示IGが視認容易な態様のままで表示される時間」を長く設定するようにすることが望ましいと言える。ただし、受付けがなされており受付音Bの可聴出力が既に開始されている状況にあるにもかかわらず、一体化摸画像表示IGが受付期間中にあったときと同じ態様(図256に示した例では、図265(e1),(e2)に示される態様)のままで表示され続けるようなことがあると、受付けがなされた状況にあるのか否かを遊技者側が認識し難くなり、その結果として「実行状態にある受付後演出(ここでは、受付音B)に気付くのが遅れてしまう」といったことが懸念される。
そこで、この例にかかるパチンコ機1においても、図274(b)に示されるように、遊技者による動作(操作)が受付けされたことによって受付期間Bが終了したタイミングtN2aから所定時間が経過すると(タイミングtN2bが到来すると)、「一体化摸画像表示IGが視認し難くなる態様」として、上記消滅関連表示Aとは異なる「消滅関連表示B」にかかる表示を開始するようにしている。ここでの「消滅関連表示(消滅関連エフェクト)」とは、一体化摸画像表示IGが非表示にされるまでの所定時間にわたって表示される画像(一体化摸画像表示IGとは異なる別画像)のことである。「消滅関連エフェクト」の表示が開始された時点では一体化摸画像表示IGは非表示とされておらず視認可能とされており、該「消滅関連エフェクト」の表示が行われるなかで一体化摸画像表示IGが徐々に非表示にされていくこととなる。
すなわち、この例にかかる演出表示装置1600においては、「一体化摸画像表示IG(摸画像表示、ゲージ画像表示)」が表示されているなかで「消滅関連表示B」が表示されるようになっており、「消滅関連表示B」が表示される領域の少なくとも一部は「一体化摸画像表示IG(摸画像表示、ゲージ画像表示)」が表示される領域と重複するようになっている。
このような構成によれば、受付けがなされた以降、一体化摸画像表示IGを表示し続けるようにした場合であっても、該一体化摸画像表示IGが視認し難くされることによって、受付音Bが既に実行されている状況にあることを示唆することができるようになる。これにより、受付音Bが既に実行されている状況においても、視認し難さはあるものの一体化摸画像表示IGを比較的長い時間にわたって表示し続けることが可能とされるようになり、受付期間B内で一体化摸画像表示IGがいずれの態様で表示されていたのか認識できないことによる遊技興趣の低下を抑制することができるようになる。また、受付音Bを可聴出力させるための処理が開始された以降であっても、一体化摸画像表示IGが視認し難くされるまでの間(タイミングtN2a~tN2b)は、該一体化摸画像表示IGの態様を視認良好のままで確認することができるようにしていることから、遊技興趣を好適に維持することが期待されるようになる。
また、図示は割愛するが、受付期間Bでは、これに対応する受付後演出Bとして期待度の低い態様が現れる場合と、期待度の高い態様が現れる場合とで、消滅関連表示Bとして異なる態様(消滅関連表示B1,B2)が現れるようにしている。すなわちこの場合、演出表示装置1600を利用した「受付後表示B」が未だ開始されていない状況下にあったとしても、該演出表示装置1600にて現れる消滅関連表示Bが第1態様と第2態様とのいずれで現れているのかを確認することで、「受付後表示B」が期待度の高い態様で実行されるか否かを推測することができるようになる。
また、この例にかかるパチンコ機1では、図274(b)~(d)に示されるように、消滅関連表示Bにかかる表示(一体化摸画像表示IGが視認し難くなる態様)が現れている期間内のタイミングtN2cが到来すると、受付期間B内で遊技者による動作(操作)が受付けされたことに応じた「受付後表示B」を実行開始するようにしている。該受付後表示Bとしては、相対的に期待度の低い第1態様(例えば、「10体撃破!」)が実行される場合や、相対的に期待度の高い第2態様(例えば、「100体撃破!」)が実行される場合があることは上述した通りである。
すなわちこの場合、「一体化摸画像表示IG」、及び「消滅関連表示B(消滅関連表示B1または消滅関連表示B2)」がそれぞれ表示されているなかで「受付後表示B(第1態様または第2態様)」が実行開始されることとなる。また、一体化摸画像表示IGが視認し難くされているなかで受付後表示Bが開始されることから、受付期間Bが既に終了していることを示唆しつつ、遊技者による注視先が「一体化摸画像表示IG」から「受付後表示B」へと自ずと移行されることが期待されるようになる(タイミングtN2c以降)。
そして、この例にかかるパチンコ機1では、こうして「受付後表示B」にかかる表示が開始されると、図274(b)~(d)に示されるように、該「受付後表示B」が表示されているなかで、まず、「一体化摸画像表示IG」及び「消滅関連表示B」のうち、「一体化摸画像表示IG」を非表示にする。そして、こうして「一体化摸画像表示IG」が非表示にされた後、「消滅関連表示B」が非表示にされることとなり、これによって視認良好とされているもとで「受付後表示B」にかかる表示が行われるようになる(図280では、これら演出進展の図示を割愛)。。
この点、「受付後表示B」とは、遊技者による動作(操作)が受付けされたことに基づいて、期待度が異なる複数態様のいずれかで表示されるものである。したがって、「受付後表示B」は、図274(d)に示されるように、「一体化摸画像表示IG」や、「消滅関連表示B」が非表示にされた以降も、比較的長い時間にわたって実行されることとなる。
ちなみに、上述した受付期間Aに対応する演出例(図279)では、受付期間A内において受付けがなされて「受付後表示A」が実行されたとしても、該「受付後表示A」が開始される前後で背景画像に切り替えを生じさせずこれを維持するようにした。この点、当該受付期間Bに対応する演出例(図280)では、受付期間B内において受付けがなされて「受付後表示B」が実行されると、該「受付後表示B」が開始される前後で背景画像に切り替えを生じさせるようにしてもよい。
このような構成によれば、背景画像に切り替えが生じていない期間(図274に示されるタイミングtN2a~tN2b)においては、演出表示装置1600において何らかの表示変化があったとしても、「受付後表示B」は未だ開始されていない状況にあることを示唆することができるようになる。
またこの際、受付後表示Bとして、期待度の低い態様が現れる場合と、期待度の高い態様が現れる場合とで同じ背景画像に切り替えられるようにしてもよいし、期待度の低い態様が現れる場合と、期待度の高い態様が現れる場合とで異なる背景画像に切り替えられるようにしてもよい。また、期待度の高い態様が現れるときには、背景画像が切り替えられるが、期待度の低い態様が現れるときには、背景画像が切り替えられないようにしてもよい。
また、この実施の形態にかかるパチンコ機1では、受付期間Bの発生に際しては、図274(f)に示されるタイミングtN1において、受付許容音を出力開始させることとしている。すなわち、受付期間Bに対応する受付許容音は、該受付期間Bが発生するタイミングtN2を跨るかたちで可聴出力されるものとなっており、当該受付許容音が可聴出力されているなかで遊技者による動作(操作)が受付けされうるものとなっている。
ここで、受付期間Bでは、受付許容音として、相対的に長い時間にわたって可聴出力状態とされる長時間許容音と、相対的に短い時間にわたって可聴出力状態とされる短時間許容音とがそれぞれ出力されるようになっている。図274(f)に示される例では、長時間許容音と短時間許容音とをそれぞれ同時期に出力開始させるようにしているが、必ずしもこれに限られない。例えば、長時間許容音及び短時間許容音の一方を、受付期間Bが発生するタイミングtN2やそれ以降において出力開始させるようにしてもよい。
そして、受付期間Bでは、長時間許容音及び(または)短時間許容音がそれぞれ可聴出力されているなかで遊技者による動作の受付けがなされた場合、該受付けがなされたことに基づいて、長時間許容音及び(または)短時間許容音を途中終了(可聴出力状態の途中終了)させるようにしている。
また、受付期間Bでは、図274(f)に示されるように、受付許容音(長時間許容音、短時間許容音)が可聴出力されているなかで遊技者による動作の受付けがなされた場合、該受付許容音を途中終了させるだけでなく、該受付けがなされたときにはこれに基づいて、受付音Bの可聴出力を開始させるものとなっている。すなわちこの場合、受付期間Bでは、表示変化の場合とは異なり、受付期間内で行われる演出(受付許容音)と、受付けがなされたことに応じて行われる演出(第2受付音)とが競合(重複)する期間が発生することがなくなるようになる。
このような第2受付音は、「受付後表示B」と同様、図274(g)に示されるように、「一体化摸画像表示IG」や「消滅関連表示B」が非表示にされた以降も、比較的長い時間にわたって実行されることとなる。また、第2受付音については、受付後表示Bとして期待度の高い態様が現れる場合と期待度の低い態様が現れる場合とで、互いに異なる出力音(態様)が出力されるようにすることが望ましい。これに対し、第1受付音については、受付後表示Aとして期待度の高い態様が現れる場合と期待度の低い態様が現れる場合とで、互いに同じ出力音(態様)が出力されるようにすることが望ましい。
なお、受付期間Bでは、受付許容音として、長時間許容音と短時間許容音とをそれぞれ出力するようにしたが、これら2つの許容音を必ずしも出力しなくてもよく、受付期間Aと同じように1つの受付許容音のみが出力されるようにしてもよい。
図274(d)や図280(d)に示されるように、この例にかかる受付後表示Bは、少なくとも一部が装飾図柄SZと重なる位置にて表示されるものとなっている。この例では、一体化摸画像表示IGについては装飾図柄SZに対して優先表示させるようにするし、受付後表示Bについても装飾図柄SZに対して優先表示させるようにしている。この例にかかる受付後表示Bは、図274(d)や図280(d)に示されるように、表示が開始されてから所定時間が経過したときに非表示にされることとなり、これによって装飾図柄SZの視認性が改善されるようになる。
他方、図274(h)~(n)は、受付期間B内で遊技者による動作が受付けされなかった場合を想定したものである。
すなわちこの場合、受付期間Bが発生した後、遊技者による動作(操作)が受付けされることなく上記タイミングtN3が到来することとなる。この点、受付期間Bは、受付期間Aとは異なり、「上述した自動ボタン機能が有効化される対象の受付期間」として設定されている。したがって、受付期間Bでは、遊技者による動作(操作)が受付けされることなく上記タイミングtN3が到来した場合であっても、これ以降に、該受付期間B内で遊技者による動作(操作)があったときと同じ受付後表示Bを発生させることとなる。
ただし、この実施の形態にかかる受付期間Bでは、上述した自動ボタン機能が有効化されるにもかかわらず、タイミングtN3にあるときの演出表示装置1600では、タイミングtN2a(受付期間B内において遊技者による動作の受付けがなされた時点)にあるときの演出表示装置1600と同様、図274(i)に示されるように、一体化摸画像表示IGを非表示にしないことはもとより、一体化摸画像表示IGを視認し難くすることもしないようにしている。
このような構成によれば、遊技者による動作(操作)の受付けが間に合わずに受付期間Bが終了してしまった場合であっても、該終了した以降、受付期間B内において一体化摸画像表示IGがいかなる態様で表示されていたのかを認識することが可能とされるようになることから、遊技興趣の低下を抑制することができるようになる。
そしてこの後は、遊技者による動作が受付けされなかった場合も、図274(i)に示されるように、受付期間Bが終了したタイミングtN3から所定時間が経過したタイミングtN3aが到来したときに、「一体化摸画像表示IGが視認し難くなる態様」として、消滅関連表示Bにかかる表示が開始されるようになっている。
すなわち、この例にかかる演出表示装置1600では、「一体化摸画像表示IG(摸画像表示、ゲージ画像表示)」が表示されているなかで「消滅関連表示B」が表示されるようになっており、「消滅関連表示B」が表示される領域の少なくとも一部は「一体化摸画像表示IG(摸画像表示、ゲージ画像表示)」が表示される領域と重複するようになっている。
このような構成によれば、受付けがなされずに受付期間Bが終了した以降、一体化摸画像表示IGを表示し続けるようにした場合であっても、該一体化摸画像表示IGが視認し難くされることによって、当該受付期間Bが終了した状態にあることを示唆することができるようになる。また、当該受付期間Bが既に終了している状況においても、視認し難さはあるものの一体化摸画像表示IGを比較的長い時間にわたって表示し続けることが可能とされるようになることから、受付期間B内で一体化摸画像表示IGがいずれの態様で表示されていたのか認識できないことによる遊技興趣の低下を抑制することができるようになる。
また、この例にかかるパチンコ機1では、受付期間B内で遊技者による動作(操作)が受付けされなかったときに現れる消滅関連表示Bの態様は、受付期間B内で遊技者による動作(操作)がもし受付けされていたとしたときに現れるものとなっている。
すなわちこの場合、受付期間Bでは、遊技者による動作(操作)が受付けされなかったとしても、該受付期間Bが終了した以降、一体化摸画像表示IGが非表示にされるのに関連して現れる「消滅関連表示B」としての態様を確認するだけで、受付後表示Bが期待度の低い態様で実行されていたか、それとも期待度の高い態様で実行されていたかを認識しうるようになることから、遊技興趣が低下することを好適に抑制することができるようになる。
そしてこの後、タイミングtN3bが到来すると、受付期間B内で遊技者による動作(操作)がもし受付けされていたとしたら現れていた態様で「受付後表示B」が実行開始される(図280(b)に示される状況が現れた後には、操作の有無にかかわらず図280(c)に示される状況が現れる)ようになる。
そしてこの後は、図274(i)~(k)に示されるように、「一体化摸画像表示IG」及び「消滅関連表示B」のうち、まず、「一体化摸画像表示IG」を非表示にする。そして、こうして「一体化摸画像表示IG」が非表示にされた後、「消滅関連表示B」が非表示にされることとなる。
なお、「消滅関連表示B」が現れるタイミングや、「受付後表示B」が実行開始されるタイミングについては、受付期間Bが終了するタイミングtN3よりも後でなくてもよく、受付期間Bが終了するタイミングtN3であってもよいし、それよりも前のタイミングであってもよい。
図275は、判定の結果として条件Cが満たされて受付期間C(受付演出C)が発生するときの演出内容についてその一例を示すタイムチャートである。図281は、受付期間C(受付演出C)が発生する変動パターンにおける演出例を示す図である。
いま、特定遊技状態(例えば、非確変・非時短である通常遊技状態)において始動条件が成立(保留消化)されて、変動パターン判定が行われた結果として「変動パターンC」が選択されたとすると、上記周辺制御MPU1511aでは、まず、該変動パターンCに対応する演出判定(予告判定など)を行う。そしてこの後、装飾図柄SZの変動演出(変動パターンCに応じた演出描写や、特定BGM再生の音出力など)を開始させ、該変動演出の実行期間内で、予告演出判定の結果に応じた演出(予告演出)を、上記選択した「第3変動パターン」これ自体の演出に対して付加的に実行させることとなる。なお、図281(a)に示した演出例においては、背景画像HG3として砂漠を描いた風景が映し出されている。
ただし、「変動パターンC」にかかる演出では、演出判定(予告判定)としていずれの結果が得られている場合であっても、装飾図柄SZの変動演出が開始されてから所定時間Cが経過したタイミングtO2(SPリーチ状態が発生する前のタイミングであってもよいし、SPリーチ状態内のタイミングであってもよい)が到来したときに「受付後表示Cに関しての受付け」が許容される上記受付期間C(有効期間)を発生させる。この受付期間Cは、特定BGMが抑制態様で出力されるか、または非可聴状態にされた以降に発生するものである。これにより、当該受付期間C内において遊技者による動作(操作)が受付けされると、該受付けに基づいて受付後表示Cが行われるようになる。ただし、この構成については必ずしもなくてもよく、予告演出判定の結果として上記受付期間C(有効期間)を発生させるようにしてもよい。
この点、この実施の形態にかかる演出表示装置1600(第1演出装置)では、このような受付期間Cが発生する場合、受付けされたことに応じて期待度(大当り図柄が現れる割合)を示唆する受付後表示Cが行われるものの、上述した受付期間A,Bが発生する場合(図273、図274)とは異なり、これに関連して、受付対象(操作受け部など)を示唆する摸画像表示や、受付期間の残り時間を示唆するゲージ画像表示、摸画像表示を視認し難くする消滅関連表示(摸画像表示が視認し難くなる態様)などが行われることはないようになっている。期待度(大当り図柄が現れる割合)については、「0%」や「100%」を含むものであってもよい。
より具体的には、この例にかかる演出表示装置1600においては、図275(b)に示されるように、受付期間Cが発生する場合、摸画像表示や、ゲージ画像表示、操作を促す文字情報などが行われることはない。したがって、遊技者は、いずれのタイミングから受付期間Cが発生し、いずれのタイミングで受付期間Cが終了するのかを認識し難いことはもとより、受付期間Cこれ自体の存在を認識することすら困難とされるようになる。なお、この例にかかる受付期間Cは、遊技者による動作(操作)の受付けがなされないときにはタイミングtO3が到来したときに終了されるようになっている(図275(h)を参照)。
この点、図275(a)~(g)に示される例では、受付期間C内のタイミングtO2aにおいて遊技者による動作(操作)が受付けされた場合を想定している。すなわちこの場合、図275(a)に示されるように、タイミングtO2aにおいて遊技者による動作(操作)が受付けされたことに基づいて、受付期間Cが終了されるとともに、該受付期間Cに対応する受付後表示C(受付後演出C)が実行開始されることとなる。
なお、図281に示される例では、受付期間Cに対応する受付後表示Cとして一の態様のみが表示されている。ただし、図示は割愛するが、受付期間C内において遊技者による動作(操作)が受付けされたときには、該受付けに基づいて、受付後表示Cとして相対的に期待度の低い第1態様(例えば、お化け群として登場するお化けの数が少ない態様)が実行される場合や、受付後表示Cとして相対的に期待度の高い第2態様(例えば、お化け群として登場するお化けの数が多い態様)が実行される場合があるようになっている。
そして上述の通り、この受付期間Cでは、図275(c)に示されるように、遊技者による動作(操作)が受付けされたときに、消滅関連表示が行われることもない。また、受付期間Cの発生に際しては、図275(f)に示されるように、受付許容音を出力させることもない。
図275(d)や図281(c)に示されるように、この例にかかる受付後表示Cは、少なくとも一部が装飾図柄SZと重なる位置にて表示されるものとなっている。ただし、この実施の形態にかかるパチンコ機1では、受付後表示Cについては装飾図柄SZに対して優先表示させず、装飾図柄SZを、当該受付後表示Cに対して優先表示させるようにしている。そして、この例にかかる受付後表示Cは、図275(d)や図281(d)に示されるように、表示が開始されてから所定時間が経過したときに非表示にされることとなる。
他方、図275(h)~(n)や、「図281(b)から、図281(c)を経ることなく、図281(d)へと演出が進展する例」は、受付期間C内で遊技者による動作が受付けされなかった場合を想定したものである。
すなわちこの場合、受付期間Cが発生した後、遊技者による動作(操作)が受付けされることなく(且つ自動ボタン機能も有効化されず)上記タイミングtO3が到来することとなる。ただし、受付期間Cでは、該期間Cが終了することに伴って何らかの表示変化が発生することもないようになっていることから、該タイミングtO3(受付期間Cが終了し、遊技者による動作の受付けが許容されなくなった時点)が到来しても、演出表示装置1600においては背景画像HG3が流れているだけであり、遊技者がそれを認識することは困難である。
図276及び図277は、判定の結果として条件Dが満たされて受付期間D(受付演出D)が発生するときの演出内容についてその一例を示すタイムチャートである。図282は、受付期間D(受付演出D)が発生する変動パターンにおける演出例を示す図である。
いま、特定遊技状態(例えば、非確変・非時短である通常遊技状態)において始動条件が成立(保留消化)されて、変動パターン判定が行われた結果として「変動パターンD1(図276)」や「変動パターンD2(図277)」が選択されたとすると、上記周辺制御MPU1511aでは、まず、該変動パターンD1,D2に対応する演出判定(予告判定など)を行う。そしてこの後、装飾図柄(飾り図柄)SZの変動演出(変動パターンD1,D2に応じた演出描写や、特定BGM再生の音出力など)を開始させ(「図282(a)に示される状況」)、該変動演出の実行期間内で、予告演出判定の結果に応じた演出(予告演出)を、上記選択した「変動パターンD1」や「変動パターンD2」これ自体の演出に対して付加的に実行させることとなる。なお、図282(a)に示した演出例においては、背景画像HG4aとして山と川を描いた風景が映し出されている。
すなわち、変動パターンD1,D2に対応する演出判定(予告判定など)で特別結果が得られると、上記周辺制御MPU1511aでは、図276(a)や図277(a)に示されるように、装飾図柄SZの変動演出が開始されてから所定時間Dが経過したタイミングtP2が到来したときに(条件Dが成立したときに)「受付後表示Dに関しての受付け」が許容される上記受付期間D(有効期間)を発生させる(「図282(b)に示される状況」)。これにより、当該受付期間D内において遊技者による動作(操作)が受付けされると、該受付けに基づいて受付後表示Dが行われるようになる(図282(c)に示される状況)。
ただし、この受付期間Dは、より正確には、リーチ演出を発生させる変動パターンD1が選択されたときには、図276(a)に示されるように、装飾図柄SZの変動演出が開始されてから所定時間D1が経過したタイミングtP2-D1(リーチ状態が形成されるタイミングよりも後に到来するタイミング)が到来したときに(条件D1が成立したときに)発生するものであるが、リーチ演出を発生させない変動パターンD2が選択されたときには、図277(a)に示されるように、装飾図柄SZの変動演出が開始されてから所定時間D2が経過したタイミングtP2-D2が到来したときに(条件D2が成立したときに)発生するものとなっている。
しかも、リーチ演出を発生させる変動パターンD1の変動演出が開始されてから所定時間D1が経過したタイミングtP2-D1が到来したときに当該受付期間Dを発生させる場合は、図276(e)に示されるように、該タイミングtP2-D1が到来するよりも前に、特定BGMを抑制態様で可聴出力させるか、または非可聴にする状態を発生させるようにしている。すなわちこの場合、受付期間Dは、特定BGMが抑制態様で可聴出力されているか、または非可聴の状態にされているなかで発生することとなる。
これに対し、リーチ演出を発生させない変動パターンD2の変動演出が開始されてから所定時間D2が経過したタイミングtP2-D2が到来したときに当該受付期間Dを発生させる場合は、図277(e)に示されるように、該タイミングtP2-D2が到来した時点において特定BGMは非抑制態様で可聴出力されている。すなわちこの場合、受付期間Dは、特定BGMが非抑制態様で可聴出力されているなかで発生することとなる。
このように、受付期間Dは、リーチ演出を発生させる変動パターンD1の変動演出が開始されてから所定時間D1が経過したタイミングtP2-D1が到来したときに発生するのか、それともリーチ演出を発生させない変動パターンD2の変動演出が開始されてから所定時間D2が経過したタイミングtP2-D2が到来したときに発生するのかによって、演出としての態様が異なるものとなっている。
まず、リーチ演出を発生させる変動パターンD1の変動演出が開始されてから所定時間D1が経過したタイミングtP2(tP2-D1)が到来したときに受付期間Dが発生するときの演出例について、図276及び図282を参照しつつ詳述することとする。
同図276(a),(b)に示されるように、演出表示装置1600(第1演出装置)では、このような受付期間Dが発生することに関連して、受付対象(操作受け部など)を示唆する摸画像表示、受付期間の残り時間を示唆するゲージ画像表示、受付けされたことに応じて期待度(大当り図柄が現れる割合)を示唆する受付後表示がそれぞれ行われるようになっている。なお上述の通り、この実施の形態にかかる摸画像表示は、ゲージ画像表示を含む周縁装飾画像と一体化された「一体化摸画像表示」として表示されるものとなっているが、必ずしもこれに限られず、別々に表示されるものであってもよい。また、「一体化摸画像表示」に代えて摸画像表示を表示する場合は、ゲージ画像表示については必ずしも表示しないようにしてもよい。これらのことについては、他の受付期間においても同様である。
より具体的には、この例にかかる演出表示装置1600(第1演出装置)では、図276(b)に示されるように、受付期間Dが発生するよりも前のタイミングtP1が到来すると、「一体化摸画像表示IG(摸画像表示、ゲージ画像表示)」が表示される。すなわち、「一体化摸画像表示IG」は、受付期間Dが発生するタイミングtP2(tP2-D1)を跨るように表示されるようになっている。該「一体化摸画像表示IG」は、受付期間D内で受付けがなされたときか、該受付けがなされることなく受付期間Dが終了されたときに非表示(視認不能)にされる。なお、この例にかかる受付期間Dは、遊技者による動作(操作)の受付けがなされない場合は、タイミングtP3が到来したときに終了されるものとなっている(図276(h)を参照)。
この点、図276(a)~(g)に示される例や、図282(b)→図282(e)→図282(f)→図282(c)といった演出経路を辿る例では、受付期間D内のタイミングtPxにおいて遊技者による動作(操作)が受付けされた場合を想定している。すなわちこの場合、タイミングtPxにおいて遊技者による動作(操作)が受付けされたことに基づいて、受付期間Dが終了されるとともに、該受付期間Dに対応する受付後表示D(受付後演出D)が実行開始されることとなる。
なお、図282(c)に示される例では、受付期間Dに対応する受付後表示Dとして一の態様のみが表示されている。ただし、図示は割愛するが、受付期間D内において遊技者による動作(操作)が受付けされたときには、該受付けに基づいて、受付後表示Dとして相対的に期待度の低い第1態様(例えば、姫キャラクタによるカットイン)が実行される場合や、受付後表示Dとして相対的に期待度の高い第2態様(例えば、侍キャラクタによるカットイン)が実行される場合があるようにしてもよい。
ただし、受付期間Dでは、図276(b)に示されるように、遊技者による動作(操作)が受付けされた時点(ここでは、タイミングtPx)においては、一体化摸画像表示IGを非表示にしないことはもとより、該一体化摸画像表示IGを視認し難くすることもしない。
また、受付期間Dでは、図276(c)に示されるように、遊技者による動作(操作)が受付けされたことによって受付期間Dが終了したタイミングtPxから所定時間が経過しても消滅関連エフェクトが表示されることがない。すなわち、受付期間Dでは、これに対応する消滅関連表示(一体化摸画像表示IGが非表示にされるまでの所定時間にわたって表示される画像(一体化摸画像表示IGとは異なる別画像))が用意されておらず、一体化摸画像表示IGは突然に非表示にされることとなる。
なお、受付期間Dにおいても、図276(b)~(d)に示されるように、一体化摸画像表示IGが表示されているなかでタイミングtPx1が到来すると、受付期間D内で遊技者による動作(操作)が受付けされたことに応じた「受付後表示D」を実行開始する。
ただし、受付期間Dでは、遊技者による動作(操作)が受付けされると、図282(c)に示されるように、「受付後表示D」を、一体化摸画像表示IGの表示されている領域の全てと重なる態様であり、且つ該一体化摸画像表示IGに対して優先表示させる態様で、表示開始させるものとなっている。「受付後表示D」は、演出表示装置1600の画面全体で表示されるものであってもよい。
このような構成によれば、遊技者による動作(操作)の受付けに基づいて「受付後表示D」を表示開始した時点で、一体化摸画像表示IGが突然に非表示(レイヤー上での表示は残っていたとしても)にされるようになり、消滅エフェクトなどを用いる他の受付期間の場合とは異なる演出性を提供することができるようになる。なお、この例にかかる受付後表示Dも、表示が開始されてから所定時間が経過したときに非表示にされるものである。
また、受付期間Dでは、他の受付期間の場合とは異なり、受付けがなされたことに基づいて「受付後表示D」にかかる表示が開始されたとしても、該受付けがなされたことを契機として「一体化摸画像表示IG」の表示にかかる処理を終了させることがない。すなわち、受付期間Dでは、「一体化摸画像表示IG」の表示にかかる処理を、予め定められた特定条件が満たされるとき(ここでは、タイミングtP3)まで継続させ、該予め定められた特定条件が満たされたときに終了させるようにしている。なお、該予め定められた特定条件が満たされるときまで遊技者による動作(操作)が受付けされておらず受付期間Dが継続している状態にあったときには、「一体化摸画像表示IG」の表示にかかる処理を終了させることに加えて、受付期間Dを終了させる処理も行われることとなる。
すなわち、受付期間Dでは、受付けがなされたことに基づいて「受付後表示D」が表示開始されるときには、該受付けがなされたことに基づいて当該期間Dを終了させるものであるにもかかわらず、「一体化摸画像表示IG」の表示にかかる処理これ自体は終了させず、レイヤー上での表示は継続させるものとなっている。ただし、「受付後表示D」は、「一体化摸画像表示IG」に対して優先表示されるようになっていることから、該「受付後表示D」によって「一体化摸画像表示IG」は非表示(視認不能)にされることとなることは上述した通りである(図276や図277においては、斜線で覆われている期間が、「受付後表示D」によって摸画像表示(一体化摸画像表示IG)が非表示(視認不能)にされる期間に相当)。
なおこの場合、「一体化摸画像表示IG」を完全には非表示にせず、「受付後表示D」に設定された所定の透過率を通して視認困難な態様にするようにしてもよい。
また、受付期間Dでは、図276(b)や図282(b),(e),(f)に示されるように、遊技者による動作(操作)の受付けが許容されている状態が継続されているなかで、該「一体化摸画像表示IG」を表示状態から非表示状態にしたり(図276や図277に示されるタイミングtP2a)、該「一体化摸画像表示IG」を非表示状態から表示状態にしたり(図276や図277に示されるタイミングtP2b)することがあるものとなっている。勿論、「一体化摸画像表示IG」が非表示状態にある場合であっても、遊技者による動作(操作)が行われれば、該動作(操作)の受付けがなされることとなり、該受付けに基づいて受付後表示Dが行われることとなる(図282(e)→図282(c)といった演出経路を辿る例を参照)。
この例では、受付期間D内で遊技者による動作(操作)の受付けがなされたのであれば、「一体化摸画像表示IG」が非表示状態になるよりも前に受付けなされたのか(図282(b)→図282(c))、それとも「一体化摸画像表示IG」が非表示状態にあるときに受付けがなされたのか(図282(e)→図282(c))、それとも「一体化摸画像表示IG」が表示状態に再び戻されてから受付けがなされたのか(図282(f)→図282(c))にかかわらず、「受付後表示D」として同じ態様(図282(c))を出現させるようにしている。
このような構成によれば、図282(e)に示される状況では、受付期間Dが発生しているにもかかわらず、「一体化摸画像表示IG」が表示されない受付期間C(図281(b)を参照)と突然に入れ替わったかのような雰囲気を提供することができるようになり、このようなサプライズ性のある演出を通じて遊技興趣の向上を図ることができるようになる。またその一方で、受付期間Cと突然に入れ替わったと思われる状況下(一体化摸画像表示IGの非表示状態)で遊技者による動作(操作)の受付けがなされた場合であっても、受付期間Dに対応する「受付後表示D」として同じ態様(図282(c))が表示されることから、遊技興趣の低下を抑制することができるようになる。
しかも、この例にかかる受付期間Dでは、「一体化摸画像表示IG」が表示状態から非表示状態へと変化する場合、背景画像を変化させるようにしている。このような構成によれば、「一体化摸画像表示IG」が非表示状態へと変化したときに、他の受付期間と突然に入れ替わったような雰囲気をより好適に生み出すことが期待されるようになる。
特に、この例では、山と川が描かれた「背景画像HG4a」から、「背景画像HG3」とは異なる砂漠が描かれた「背景画像HG4b」へと変化させるようにしている(図282(b)→図282(e))。このような構成によれば、「一体化摸画像表示IG」が非表示状態へと変化したときに、砂漠の背景時に発生しうる受付期間Cと突然に入れ替わったような雰囲気をより好適に生み出すことが期待されるようになる。
なお、この例では、「一体化摸画像表示IG」が非表示状態から表示状態へと戻される場合、背景画像についても、「背景画像HG4b」から「背景画像HG4a」に戻すように変化させることとしている(図282(e)→図282(f))。これにより、他の受付期間(特に、受付期間C)から、当初の受付期間Dに戻された雰囲気をより好適に生み出すことが期待されるようになる。
また、図282(c)に示されるように、この例にかかる受付後表示Dは、少なくとも一部が装飾図柄SZと重なる位置にて表示されるものとなっている(画面全体に表示されるものであってもよい))。この例では、一体化摸画像表示IGについては装飾図柄SZに対して優先表示させるようにするし、受付後表示Dについても装飾図柄SZに対して優先表示させるようにしている。この例にかかる受付後表示Dは、図276(d)や図282(d)に示されるように、表示が開始されてから所定時間が経過したときに非表示にされることとなり、これによって装飾図柄SZの視認性が改善されるようになる。なお、図282(d)に示される状況は、リーチ状態による演出が進展してSPリーチ演出に突入する状況を示している。
ただし、装飾図柄SZに対して受付後表示Dが優先表示される場合、該受付後表示Dとしての表示時間が経過するまでの間は、装飾図柄SZによる演出(リーチ状態など)を見ることができなくなってしまうことによる遊技興趣の低下が懸念される。
そこで、この実施の形態にかかるパチンコ機1では、「受付後表示D」が表示されている期間中、遊技者による動作(操作)の受付けが許容されるようにしており、該受付けがなされるとこれを契機として「受付後表示D」の表示にかかる処理を終了させることとしている(図282(c)→図282(g)といった演出経路を辿る例を参照)。すなわちこの場合、遊技者の操作次第で、「受付後表示D」の表示が終了されるタイミングを早期到来(受付後表示Dとしての表示時間が経過するよりも前に到来)させることができるようになることから(図282(g))、「受付後表示D」によって装飾図柄SZによる演出(リーチ状態など)を見ることができなくなってしまうことによる遊技興趣の低下が抑制されるようになる。
なお、この例では、受付期間Dにおいて、「受付後表示D」を表示開始させるために求められる操作内容(操作ボタン410に対する押圧操作)と、「受付後表示D」が表示されている期間において、該「受付後表示D」を早期終了させるために求められる操作内容(操作ボタン410に対する押圧操作)とを互いに同じ操作内容として設定することとしているが、これらの操作内容は互いに異なるものであってもよい。例えば、「受付後表示D」を表示開始させるために求められる操作内容は「操作ボタン410に対する押圧操作」であるのに対し、該「受付後表示D」を終了させるために求められる操作内容を「刀装飾体5001の抜刀操作」とするようにしてもよいし、若しくは「操作ボタン410に対する押圧操作」と「刀装飾体5001の抜刀操作」との組み合わせなどであってもよい。
いずれにせよ、「受付後表示D」が表示されている期間においては、図282(c)に示されるように、該「受付後表示D」を終了させるために求められる操作がいかなる内容であるのかを、「文字情報(図中では、キャンセル可能)」や「摸画像表示」などを表示することによって明示するようにすることが望ましい。この場合、「摸画像表示」については、「受付後表示D」と重なる位置において、該「受付後表示D」に対して優先表示させるようにすることが望ましい(図中では、「受付後表示D」と重ならない位置に摸画像表示が表示されている)。また、「文字情報」については、「受付後表示D」とは別画像として用意せず、「受付後表示D」これ自体の表示の一部(同じレイヤ―上の画像)として表示されるものとするようにしてもよい。
また、この実施の形態にかかるパチンコ機1では、受付期間Dの発生に際しては、図276(f)に示されるように、受付許容音を可聴出力させないようにしており、この点においても「受付期間C」と共通した演出性を提供するようにしており、これによっても「受付期間C」を意識付けさせるようにしている。「一体化摸画像表示IG」が非表示にされたり、表示状態に戻されたりするタイミングにおいても、受付許容音が可聴出力されることはない。
他方、図276(h)~(n)に示される例や、図282(b),(e),(f),(g),(d)といった演出経路を辿る例は、受付期間D内で遊技者による動作(操作)が受付けされなかった場合を想定したものである。
すなわちこの場合、受付期間Dが発生した後、遊技者による動作(操作)が受付けされることなく(且つ自動ボタン機能も有効化されず)、上述した「予め定められた特定条件(ここでは、タイミングtP3の到来)」が成立することとなる。この点、該タイミングtP3(受付期間Dが終了し、遊技者による動作の受付けが許容されなくなった時点)にあるときの演出表示装置1600では、タイミングtPx(受付期間D内において遊技者による動作の受付けがなされた時点)にあるときの演出表示装置1600と同様、一体化摸画像表示IGを非表示にしないことはもとより、該一体化摸画像表示IGを視認し難くすることもしないようにしている。
このような構成によれば、遊技者による動作(操作)の受付けが間に合わずに受付期間Dが終了してしまった場合であっても、該終了した以降、受付期間D内において一体化摸画像表示IGがいかなる態様で表示されていたのかを認識することが可能とされるようになることから、遊技興趣の低下を抑制することができるようになる。
また、受付期間Dでは、遊技者による動作(操作)が受付けされなかった場合、図276(j)に示されるように、「一体化摸画像表示IGが視認し難くなる態様」として、消滅関連エフェクトにかかる表示が開始されることはない。この際、一体化摸画像表示IGこれ自体をフェードアウトさせる手法であれば、これを行うようにしてもよい。ただし、一体化摸画像表示IGとは異なる別画像を、一体化摸画像表示IGが非表示にされるまでの所定時間にわたって表示させるようなことは行われないようにすることが望ましい。
次に、リーチ演出を発生させない変動パターンD2の変動演出が開始されてから所定時間D2が経過したタイミングtP2(tP2-D2)が到来したときに受付期間Dが発生するときの演出例について、図277及び図282を参照しつつ詳述することとする。なお、図282は、リーチ状態を形成した後に受付期間Dが発生する場合を想定したものであり、図277に示される受付期間Dが発生したときは対応しないものであるが、図277に示される受付期間Dにおいても、図282で示される演出内容のうち、リーチ状態が形成されていない状態で受付期間Dが発生する点と、受付期間Dの終了後にSPリーチ演出に突入しない点が異なっているだけであり、それ以外は基本的に同じであるから、説明の便宜上、同図282を参照しつつ説明することとする。
リーチ演出を発生させない変動パターンD2の変動演出が開始されてから所定時間D2が経過したタイミングtP2(tP2-D2)が到来したときに受付期間Dも、上述した受付期間Dと同じ受付期間であるから、受付けがなされたときに行われる処理内容や、受付けがなされなかったときに行われる処理内容については、特に言及しない限り、上述した処理内容と同じである。
ただし上述の通り、リーチ演出を発生させる変動パターンD1の変動演出が開始されてから所定時間D1が経過したタイミングtP2-D1が到来したときに当該受付期間Dを発生させる場合は、図276(e)に示したように、該タイミングtP2-D1が到来するよりも前に、特定BGMを抑制態様で可聴出力させるか、または非可聴にする状態を発生させる。これに対し、リーチ演出を発生させない変動パターンD2の変動演出が開始されてから所定時間D2が経過したタイミングtP2-D2が到来したときに当該受付期間Dを発生させる場合は、図277(e)に示されるように、該タイミングtP2-D2が到来するよりも前に、特定BGMを抑制態様で可聴出力させるか、または非可聴にする状態を発生させることがない。
したがって、リーチ演出を発生させない変動パターンD2の変動演出が開始されてから所定時間D2が経過したタイミングtP2-D2が到来したときに受付期間Dを発生させる場合は、図277(e)に示されるように、特定BGMが非抑制態様で可聴出力されているなかで当該受付期間Dが発生することとなる。
ただし、リーチ演出を発生させない変動パターンD2の変動演出が開始されてから所定時間D2が経過したタイミングtP2(tP2-D2)が到来したときに受付期間Dを発生させる場合には、該受付期間Dが発生している状態において、それまで非抑制態様で可聴出力されていた特定BGMを、抑制態様で可聴出力される状態にするか、または非可聴の状態にすることとしている。
このような構成によれば、特定BGMが非抑制態様で可聴出力されているなかで発生する上記受付期間A(図273を参照)が発生したかのように見せつつも、その後、特定BGMが抑制態様で可聴出力される状態か、または非可聴の状態にされているなかで遊技者による動作(操作)が受付けされうる上記受付期間B(図274を参照)が発生しているかのような雰囲気に変化するようになり、遊技興趣の向上を図ることができるようになる。
なお、このような作用効果をより好適に得る上では、受付期間Bで受付けがなされたときには、受付期間Aで受付けがなされたときには出現し得ないような高い期待度(例えば、大当り図柄が現れる割合が100%など)であることを示唆する態様で、受付後表示が表示される可能性があるようにしておくことが望ましい。
また、この実施の形態にかかる受付期間Dでは、該受付期間Dが発生してから所定時間が経過したタイミングtP2aが到来すると、摸画像表示(一体化摸画像表示IG)が非表示にされることは上述した通りであるが、特定BGMが抑制態様で可聴出力されるか、または非可聴の状態にされるタイミングtPyについては、摸画像表示(一体化摸画像表示IG)が非表示にされるタイミングtP2aよりも前に到来するように設定することとしている。
このような構成をさらに備えることとした場合は、摸画像表示(一体化摸画像表示IG)が表示されているなかで、特定BGMが抑制態様で可聴出力される状態か、または非可聴の状態にされるようになることから、上記受付期間B(図274を参照)が発生しているかのような雰囲気へとより好適に変化させることが期待されるようになる。
またその一方で、特定BGMが抑制態様で可聴出力される状態か、または非可聴の状態にされているなかで、摸画像表示(一体化摸画像表示IG)が非表示にされるタイミングtP2aが到来することとなることから、該タイミングtP2aにおいては、上記受付期間C(図275を参照)が発生したかのような雰囲気をより好適に提供することができるようになる。
なお、この例にかかる受付期間Dでは、摸画像表示(一体化摸画像表示IG)が非表示にされてから所定時間が経過してタイミングtP2bが到来すると、摸画像表示(一体化摸画像表示IG)が再び表示される状態になることは上述した通りである(図282(f)を参照)。ただし、こうして摸画像表示(一体化摸画像表示IG)が再び表示された以降も、特定BGMは「抑制態様で可聴出力される状態か、または非可聴の状態」を継続するようになっている。
図277(a)~(g)は、上述した受付期間Dのうち、特定BGMが「抑制態様で可聴出力される状態か、または非可聴の状態」にあるときに遊技者による動作(操作)が受付けされた場合を想定している。
同図277(a)~(g)に示されるように、受付期間Dにおいても、受付期間Bと同様、図277(a),(b),(e)に示されるように、特定BGMが「抑制態様で可聴出力される状態か、または非可聴の状態」にあるときに遊技者による動作(操作)が受付けされたとしても、これを契機として特定BGMが非抑制態様で可聴出力を開始することはなく、「抑制態様で可聴出力される状態か、または非可聴の状態」を維持するようにしている。これによっても、受付期間B(図274を参照)が発生しているかのような雰囲気をより好適に提供することができるようになる。
図277(a´)~(g´)は、上述した受付期間Dのうち、特定BGMが「抑制態様で可聴出力される状態か、または非可聴の状態」にされるタイミングtPyが到来するよりも前、すなわち特定BGMが非抑制態様で可聴出力されているなかで遊技者による動作(操作)が受付けされた場合を想定している。
同図277(a´)~(g´)に示されるように、上述した受付期間Dのうち、特定BGMが非抑制態様で可聴出力されているなかで遊技者による動作(操作)が受付けされたときには、該受付けを契機として、特定BGMを「抑制態様で可聴出力される状態か、または非可聴の状態」にするようにしている。すなわちこの場合、特定BGMが「抑制態様で可聴出力される状態か、または非可聴の状態」にあるときに受付けがなされたときには、該受付けを契機として、特定BGMを非抑制態様で可聴出力させることはないが、特定BGMが非抑制態様で可聴出力されているなかで受付けがなされたときには、該受付けを契機として、特定BGMを「抑制態様で可聴出力される状態か、または非可聴の状態」にすることとなる。これにより、受付期間Dが発生した以降、遊技者による動作(操作)によって特定BGMに影響を及ぼすことのできる早い段階で操作を行うように促すことができるようになり、該受付期間Dが発生したときの緊張感を好適に維持することができるようになる。
なお上述の通り、この例にかかる受付期間Dでは、受付けがなされたことを契機として、「受付期間Dに対応する摸画像表示(図282(b)に示される一体化摸画像表示IG)」の表示にかかる処理を終了させない。すなわち、レイヤー上で表示状態が維持される当該摸画像表示(一体化摸画像表示IG)に対して「受付後表示D」を優先表示させることで、「受付期間Dに対応する摸画像表示(一体化摸画像表示IG)」を非表示(視認不能)とするものとなっている。
また、この例にかかる「受付後表示D」では、これも上述した通り、その表示期間中、遊技者による動作(操作)の受付けを許容しており、該受付けがなされるとこれを契機として当該「受付後表示D」の表示にかかる処理を早期終了させるものとなっている(図282(c)→図282(g)といった演出経路を辿る例を参照)。またこの際、受付後表示Dに対応する「摸画像表示(図282(c)に示される一体化摸画像表示IG)」や文字情報(キャンセル可能)についても、受付けがなされるとこれを契機としてその表示にかかる処理を終了させるものとなっている(図282(g)を参照)。
このような構成では、「受付後表示D」が表示されている期間中、遊技者による動作(操作)が受付けされたタイミングによっては、「受付期間Dに対応する摸画像表示(一体化摸画像表示IG)」の表示にかかる処理が継続されている状況において、「受付後表示D」の表示にかかる処理が早期終了される事態が発生することも考えられる。すなわちこの場合、「受付期間Dに対応する摸画像表示(図282(b)に示される一体化摸画像表示IG)」に対して優先表示されていた「受付後表示D」の表示が終了された結果として、「受付期間Dに対応する摸画像表示」が再び表示されることとなるが、この際、「受付期間D」これ自体も再び発生させるようにしてもよい。
このように、「受付後表示D」の表示にかかる処理を早期終了させた後に「受付期間D」を再び発生させるようにした場合は、「受付後表示D」の表示にかかる処理を早期終了させた後であっても、これによって再び発生した「受付期間D」内において遊技者による動作(操作)が再び受付けされるようにすれば、「受付後表示D」を再び表示させることができるようになる。これにより、「受付後表示D」を誤って早期終了させてしまったときの遊技興趣の低下を抑制することができるようになる。
ところで、図273~図282に示した受付期間A~Dについては、変動パターンとして変動パターンA~C,D1,D2が選択され、且つ図柄変動が開始されてから所定時間A~Dが経過したときにそれぞれ発生するものとして上述した。ただし、受付期間A~Dについては、互いに異なる変動パターンが選択されたときにしか発生しないものとしなくてもよく、例えば、後述するように、1つの変動パターンが選択されたときにこれを契機として受付期間A~Dの全てが発生するように設定することとしてもよい。
また上述の通り、受付期間Dは、他の受付期間A~Cと比較して特殊な性質を有する受付期間として発生するものとなっている。したがって、このような受付期間Dについては、保留数が所定数未満にあるときにしか発生し得ない受付期間として設定するようにしてもよい。すなわちこの場合、遊技者が遊技を中断しようとした結果として保留数が所定数未満になると受付期間Dが発生するようになり、受付期間A~Cのいずれかにその都度変化しているかのような特殊な演出性が提供されるようになることから、遊技が中止されないように促すことを期待することができるようになるか、若しくは遊技が中止されたとしても遊技に対して面白かった印象を最後に持たせることができるようになる。
図278(a),(b)は、これらの演出性を実現するとしたときの上記受付期間A~Dの発生条件にかかる設定例を示すテーブルである。
まず、図278(a)は、保留を消化するにあたり、保留数が「2」~「4」のいずれかであるときに参照されるテーブルである。すなわちこの場合、保留消化に応じた図柄変動が開始されたとしても、保留数が「0」になることはなく、「1」~「3」のいずれかであり、遊技が中止されるリスクは低い状況にあることから、変動パターンとして「第1変動パターン」、「第2変動パターン」、及び「第3変動パターン」のいずれが実行されたとしても、上記受付期間Dが発生することはない。
より具体的には、保留数が「2」~「4」のいずれかであるときに保留が消化されて第1変動パターンが実行されたときには、演出判定(予告判定)の結果として70%の割合で受付期間A~Dのいずれも発生せず、演出判定(予告判定)の結果として30%の割合で受付期間A~Dのうち受付期間Aのみが発生することとなる。
また、保留数が「2」~「4」のいずれかにあるときに保留が消化されて第2変動パターンが実行されたときには、演出判定(予告判定)の結果として50%の割合で受付期間A~Dのうち受付期間Cのみが発生し、演出判定(予告判定)の結果として50%の割合で受付期間A及び受付期間Cが発生することとなる。
また、保留数が「2」~「4」のいずれかにあるときに保留が消化されて第3変動パターンが実行されたときには、演出判定(予告判定)の結果として10%の割合で受付期間B及び受付期間Cが発生し、演出判定(予告判定)の結果として90%の割合で受付期間A、受付期間B及び受付期間Cが発生することとなる。
なお、受付期間Aは、変動時間の異なる「第1変動パターン」、「第2変動パターン」、及び「第3変動パターン」のいずれが選択された場合であっても、変動開始してから5秒が経過したときに発生可能とされており、受付期間Cは、「第2変動パターン」及び「第3変動パターン」のいずれが選択された場合であっても、変動開始してから15秒が経過したときに発生可能とされており、受付期間Bは、「第3変動パターン」が選択されたときに、変動開始してから35秒が経過したときに発生可能とされている。
また、受付期間B,Cは、演出判定(予告判定)の対象にされておらず、これに対応する変動パターンが選択されたときには必ず発生するものとなっているが、受付期間Aは、演出判定(予告判定)の対象にされており、該演出判定で特別の結果が得られたときに限り発生可能とされるものとなっている。ただし、受付期間B,Cを、演出判定(予告判定)の対象にするようにしてもよいし、受付期間Aを、演出判定(予告判定)の対象にしないようにしてもよい。
次に、図278(b)は、保留を消化するにあたり、保留数が「1」のときに参照されるテーブルである。すなわちこの場合、保留消化に応じた図柄変動が開始されると保留数が「0」になり、その図柄変動の実行期間内で新たな保留が加わらなければ遊技が中止されるリスクがあることから、変動パターンとして選択対象となっている、「第1変動パターン」、「第2変動パターン」、及び「第3変動パターン」を含む全ての変動パターンのいずれが実行されたとしても、上記受付期間Dを発生させるようになっている。
より具体的には、保留数が「1」であるときに保留が消化されて第1変動パターンが実行されたときには、演出判定(予告判定)の結果として70%の割合で受付期間A~Dのうち受付期間Dのみが発生し、演出判定(予告判定)の結果として30%の割合で受付期間A及び受付期間Dが発生することとなる。
また、保留数が「1」であるときに保留が消化されて第2変動パターンが実行されたときには、演出判定(予告判定)の結果として50%の割合で受付期間C及び受付期間Dが発生し、演出判定(予告判定)の結果として50%の割合で受付期間A、受付期間C、及び受付期間Dが発生することとなる。
また、保留数が「1」であるときに保留が消化されて第3変動パターンが実行されたときには、演出判定(予告判定)の結果として10%の割合で受付期間B、受付期間C、及び受付期間Dが発生し、演出判定(予告判定)の結果として90%の割合で受付期間A、受付期間B、受付期間C、及び受付期間Dが発生することとなる。
なお、この実施の形態では、「第1変動パターン」はリーチ状態を形成しない変動パターンであり、「第2変動パターン」及び「第3変動パターン」は、リーチ状態を形成する変動パターンとして設定されている。したがって、「第1変動パターン」が選択されたときには、受付期間Dは、図277を参照しつつ説明した態様で発生することとなる。これに対し、「第2変動パターン」または「第3変動パターン」が選択されたときには、受付期間Dは、図276を参照しつつ説明した態様で発生することとなる。
また、受付期間A、受付期間B、及び受付期間Cは、変動パターンの種別や保留数にかかわらず、図柄変動が開始されてから予め定められた時間(5秒、35秒、15秒)が経過したときにそれぞれ発生可能とされるものであるのに対し、受付期間Dは、第1変動パターン、第2変動パターン、及び第3変動パターンのいずれが選択されたかに応じて、図柄変動が開始されてから発生するまでの時間(10秒、30秒、50秒)が異なるようになっている。
すなわちこの場合、演出内容との関係で邪魔にならないタイミングを変動パターンの種別毎に狙って受付期間Dを発生させることが可能となることから、上記受付期間Dを、全ての変動パターンのいずれにおいても好適に発生させることができるようになる。
上述した演出例では、受付期間として、受付期間A(「構成2-A」の第1受付期間に相当)及び受付期間B(「構成2-A」の第2受付期間に相当)を含む複数の受付期間を用意している。この点、受付期間Aでは、摸画像表示(ここでは、一体化摸画像表示IG)として一の態様(図232(a)に示される一体化摸画像表示IGa)のみが表示可能とされるようになっており、受付期間Bでは、摸画像表示として複数態様(図232(a)~(d)に示される一体化摸画像表示IGa~IGd)が用意されており、それら態様のうち「演出判定(予告判定)の結果に応じた態様」が選択的に表示されるようにしている。このような構成によれば、受付期間Bでは、受付期間Aが発生したときには出現し得ない演出性が提供されるようになることから、遊技者による操作(動作)が検出されるまでの遊技興趣を好適に向上させることができるようになる。
なお、受付期間Bにおいて表示可能とされる「複数態様の摸画像表示」については、それら摸画像表示のいずれが表示されるかによって大当り図柄が現れる期待度が異なるようにすることが、遊技興趣の向上を図る上でより望ましい。また、「複数態様の摸画像表示」のいずれか1つは、受付期間Aにおいて表示可能とされる「一の態様」と同じものであってもよい。この場合、「複数態様の摸画像表示」のうち「最も期待度の低い態様」が、受付期間Aにおいて表示可能とされる「一の態様」と同じものとすることが望ましい。
また、上述した演出例では、受付期間D(「構成2-A」の第3受付期間に相当)をさらに備えることとし、受付期間Aと受付期間Dとでは、摸画像表示として一の態様のみが表示可能とされるようにしている。そして、摸画像表示が複数態様のいずれかによって表示される「受付期間B」では、その有効状態が終了されるまでの間に摸画像表示が非表示とされることがないようにする。これに対し、摸画像表示が一の態様によってのみ表示される「受付期間A」及び「受付期間B」のうち、「受付期間A」では、その有効状態(受付期間)が終了されるまでの間に摸画像表示が非表示とされることがないが、「受付期間B」では、その有効状態(受付期間)が終了されるまでの間に(その有効状態が継続されているなかで)、その途中で、それまで表示されていた摸画像表示を非表示にするようにした(図282(e)を参照)。すなわちこの場合、摸画像表示として一の態様のみが表示される「受付期間A」及び「受付期間D」であっても、摸画像表示がその途中で非表示にされるか否かの演出性が提供されるようになることから、遊技者による操作(動作)が検出されるまでの遊技興趣を好適に向上させることができるようになる。
また、上述した演出例にあって、受付期間Dでは、摸画像表示が表示される期間と、摸画像表示が非表示とされる期間とのいずれで受付けがなされても同じ表示変化(受付後表示)を生じさせるようにしている(図282(b)→(c),図282(e)→(c)に示される演出進展)。すなわちこの場合、摸画像表示が非表示にされた以降も、有効状態(受付期間)これ自体は何ら変わりなく継続されるようになることから、当該「受付期間D」を用いた演出性(摸画像表示の非表示)を創出するにあたり、遊技興趣が低下することを抑制することができるようになる。
また、上述した演出例にあって、受付期間Dでは、その途中で摸画像表示を非表示にした後、摸画像表示が再び表示されるようにした。すなわちこの場合、受付期間Dが終了していないにもかかわらず該受付期間Dが終了してしまったと遊技者が誤解したとしても、その後、摸画像表示が再び表示されることによってその誤解を解消させることができるようになる。
また、上述した演出例にあって、「受付期間A」と「受付期間D」とでは、摸画像表示として一の態様のみが表示可能とされる点で共通化させるようにしたが、受付けされたときに現れる表示変化としての内容は互いに異なるようにしている。これにより、受付けがなされたときにいかなる表示変化が現れるかについての面白みを付与することができるようになる。
また、上述した演出例にあって、「受付期間D」では、摸画像表示が表示されている期間中、その受付対象とされる操作手段(ここでは、操作ボタン410)を発光させるようにし、これによって遊技者による動作(操作)を促すようにしてもよい。またこの場合、「受付期間D」のうち摸画像表示が非表示にされている期間中も、摸画像表示が表示されている期間中と同じ態様で、その受付対象とされる操作手段(ここでは、操作ボタン410)を発光させるようにしてもよい。この点、「受付期間C」では、その受付対象とされる操作手段(ここでは、操作ボタン410)を発光させないようにすれば、いずれの種別の受付期間が発生している状況にあるのかを示唆することができるようになる。
また、上述した演出例では、まず、受付期間として、受付期間Aまたは受付期間B(「構成3-A」の第1受付期間に相当)及び受付期間C(「構成3-A」の第2受付期間に相当)を含む複数の受付期間を用意している。そして、受付期間Aまたは受付期間Bでは、該受付期間Aまたは受付期間Bの発生に際して摸画像表示(ここでは、一体化摸画像表示IG)が表示された後、該受付期間Aまたは受付期間Bが終了するまでの間に該摸画像表示が非表示にされることはなく、該摸画像表示が表示されているなかで遊技者による動作の受付けが可能であり(図273、図274、図279、図280などを参照)、受付期間Cでは、摸画像表示が表示されていないなかで遊技者による動作(操作)の受付けが可能であり(図275、図281などを参照)、上述した「受付許容音」は、受付期間Aまたは受付期間Bが発生する場合に可聴出力されるが、受付期間Cが発生する場合には可聴出力されないようにしている。
このような構成によれば、受付許容音が可聴出力されて且つ摸画像表示が表示されているなかで受付けがなされる「受付期間Aまたは受付期間B」のみならず、受付許容音が可聴出力されず且つ摸画像表示が表示されていないなかで受付けがなされる「受付期間C」が用意されていることから、遊技者が意図していない様々なタイミングで受付後表示が発生する可能性を意識付けさせることができるようになり、遊技興趣を好適に維持することが期待されるようになる。
また、上述した演出例では、受付期間D(「構成3-A」の第3受付期間に相当)をさらに備えることとし、受付期間C(図275、図281)では、該受付期間Cが発生してから終了するまでにわたって摸画像表示が表示されず、該摸画像表示が表示されていないなかで遊技者による動作(操作)の受付けが可能であるが、受付期間D(図276、図277、図282)では、該受付期間Dのうち一部期間だけ摸画像表示が非表示にされ、該摸画像表示が表示されている期間と、該摸画像表示が非表示にされる期間とのいずれにおいても遊技者による動作(操作)の受付けが可能であるようにしてもよい。すなわちこの場合、受付期間Dは、受付期間A,Bとしての側面(摸画像表示が表示されているなかでの受付け)と、受付期間Cとしての側面(摸画像表示が表示されていないなかでの受付け)との両方を併せ持つこととなることから、遊技興趣の向上を図ることができるようになる。また、摸画像表示が非表示にされた以降も、遊技者による動作(操作)が受付けされる状態が継続している可能性があるようになることから、遊技者による動作(操作)が受付けされないままで摸画像表示が非表示にされてしまったときの遊技興趣の低下を抑制することが期待されるようになる。
また、受付許容音については、受付期間A,Bが発生する場合に可聴出力されるが、受付期間Cが発生する場合と受付期間Dが発生する場合とでは可聴出力されないようにした。すなわちこの場合、受付期間Dには、当該受付期間Dが発生するタイミングにおいて、受付期間A,Bとしての側面(摸画像表示が表示される)と、受付期間Cとしての側面(受付許容音が出力されない)との両方を併せ持つこととなることから、遊技興趣の向上を図ることができるようになる。
また、上述した演出例にあって、受付期間Dでは、摸画像表示が表示される期間と、摸画像表示が非表示とされる期間とのいずれで受付けがなされても同じ表示変化(受付後表示)を生じさせるようにした。すなわちこの場合、摸画像表示が非表示にされた以降も、有効状態(受付期間)これ自体は何ら変わりなく継続されるようになることから、当該「受付期間D」を用いた演出性(摸画像表示の非表示)を創出するにあたり、遊技興趣が低下することを抑制することができるようになる。
また、上述した演出例にあって、受付期間Aまたは受付期間Bが発生するときに現れている背景画像(図279、図280)と、受付期間Cが発生するときに現れている背景画像(図281)とは異なるようにした。これにより、「受付期間の種別に応じて背景画像が異なる」といった印象を与えることができるようになる。
この点、上述した演出例では、受付期間D内において背景画像に変化が生じるようになっており、該変化が生じるタイミングに合わせて、摸画像表示が表示される期間から、摸画像表示が非表示にされる期間へと移行されるようにしたことから、受付期間D内において異なる受付期間へと移行したかのような演出性を提供することができるようになる。
またさらに、受付期間D内においては一旦変化した背景画像が元に戻されるようになっており、該元に戻されるタイミングに合わせて、摸画像表示が非表示にされる期間から摸画像表示が表示される期間へと移行されるようにしたことから、受付期間D内において、移行する前の受付期間に戻されたかのような演出性を提供することができるようになる。
なお、受付期間D内で背景画像が変化するのは、遊技者による動作(操作)が受付けされないままで当該期間Dの発生から所定時間が経過した場合であり、該所定時間が経過するよりも前に遊技者による動作(操作)が受付けされたときには、当該期間Dの発生から所定時間が経過しても背景画像に変化が生じることはない。これにより、受付期間Dに応じた受付後表示が実行されている途中で異なる背景画像に変化することが回避されるようになり、遊技興趣を好適に維持することができるようになる。
また、上述した演出例にあって、受付期間A,Bや受付期間Dでは、摸画像表示が表示されているときに受付けがなされると摸画像表示が非表示にされる。その際、受付期間A,Bでは、摸画像表示を非表示にするのに合わせて、摸画像表示とは異なる画像としての「消滅EF」を表示させるが、受付期間Dでは、摸画像表示を非表示にするのに合わせて、摸画像表示とは異なる画像としての「消滅EF」を表示することがない。すなわちこの場合、受付けがなされたときに「消滅EF」が出現しなければ「受付期間D」が発生していた可能性を認識することができるようになることから、受付期間Dに、受付期間A,Bとしての側面を持たせるようにしつつも、いずれの受付期間が発生しているのかが全く理解できずに遊技興趣が低下することが好適に抑制されるようになる。
また、上述した演出例では、まず、受付期間として、受付期間Aまたは受付期間B(「構成5-A」の第1受付期間に相当)及び受付期間D(「構成5-A」の第2受付期間に相当)を含む複数の受付期間を用意している。そして、受付期間Aまたは受付期間Bは、保留記憶手段により記憶される判定情報の数(保留状態にある大当り判定の数(保留数))がいかなる数値であったとしても図278に示される第3変動パターン(「構成5-A」の第1変動パターンに相当)が実行開始されると、該第3変動パターンが実行開始されてから所定時間が経過したタイミング(図278において、受付期間Aの場合であれば、変動開始から5秒経過したタイミングであり、受付期間Bの場合であれば、変動開始から35秒経過したタイミング)が到来したときに発生可能であり、受付期間Dは、保留記憶手段により記憶される判定情報の数(保留状態にある大当り判定の数(保留数))が「2」未満の状況(すなわち「1」)にあるときにこれが消化されて保留数が「0」の状態で図278に示される第2変動パターン(「構成5-A」の第2変動パターンに相当)が実行開始されると、該第2変動パターンが実行開始されてから所定時間が経過したタイミング(図278(b)では、変動開始から30秒経過したタイミング)が到来したときに発生可能であるが、保留記憶手段により記憶される判定情報の数が「2」以上の状況にあるときに第2変動パターンが実行開始されたときには、該第2変動パターンが実行開始されてから所定時間が経過した該タイミングが到来しても発生しないようにしている(図278(a)を参照)。
このような構成によれば、遊技を中止しようとしておりその結果として保留数がなくなると、それまで発生しなかった種別の受付期間(受付期間D)が発生するようになることから、遊技が中止されないように促すことを期待することができるようになるか、若しくは遊技が中止されたとしても遊技に対して面白かった印象を最後に持たせることができるようになる。
なお、上述した演出例において、「保留記憶手段により記憶される判定情報の数(保留数)」が「2」未満の状況(すなわち「1」)にあるときにこれが消化されて保留数が「0」の状態で第2変動パターンが実行開始された場合であっても、該第2変動パターンが実行開始されてから所定時間が経過したタイミング(図278(b)では、変動開始から30秒経過したタイミング)が到来していない段階で「保留記憶手段により記憶される判定情報の数(保留数)」が増加したときには(保留数が「0」から「1」以上になったときには)、第2変動パターンが実行開始されてから所定時間が経過したタイミングが到来したときに受付期間Dが発生しないようにしてもよい。
すなわち、保留数が「1」の状況にあるときにこれが消化されて「0」の状態で図柄変動(第2変動パターン)が実行開始された場合であっても、その図柄変動の実行期間内で保留数が増加されれば、それは、遊技を中止しようとしていない状況にあることを示唆している。この点、上記構成によれば、保留数が「0」の状態で図柄変動(第2変動パターン)が実行開始された場合であっても、その図柄変動の実行期間内で保留数が増加されれば、第2変動パターンが実行開始されてから所定時間が経過したタイミング(図278(b)では、変動開始から30秒経過したタイミング)が到来したとしても受付期間Dを発生させないようにしたことから、当該受付期間Dを、「遊技を中止しようとしているときに限り出現しうる種別の受付期間」として、より適正に機能させることができるようになる。
このような作用効果をより好適に得る上では、受付期間Dが発生した場合であっても、該受付期間Dが発生している間に「保留記憶手段により記憶される判定情報の数(保留数)」が増加したときには、その時点で、該受付期間Dを終了させる(受付けが許容される状態を終了させる)ようにすることがより望ましい。
またさらに、受付期間D内で受付けがなされて、該受付けに応じた受付後表示が実行されている状況下であっても、その表示時間が経過するよりも前に「保留記憶手段により記憶される判定情報の数(保留数)」が増加したときには、その時点で、該受付後表示を終了(非表示)にさせるようにしてもよい。
また、上述した演出例において、受付期間Dは、図278に示される第1変動パターンが実行開始され、該第1変動パターンが実行開始されてから所定時間(図278(b)では、変動開始から10秒経過したタイミング)が経過したタイミングが到来したときにも(保留数0であることを条件に)発生するものとなっている。そして、
・図278に示される第2変動パターン(リーチ状態を形成する変動パターン)が実行開始されてから所定時間が経過したタイミング(図278(b)では、変動開始から30秒経過したタイミング)が到来したときに当該受付期間Dが発生する場合は、該受付期間Dが発生するよりも前に特定BGMを非可聴の状態にし、該非可聴の状態が維持されているなかで当該受付期間Dを発生させるようになっており(図276を参照)、
・図278に示される第1変動パターン(リーチ状態を形成しない変動パターン)が実行開始されてから所定時間が経過したタイミング(図278(b)では、変動開始から10秒経過したタイミング)が到来したときに当該受付期間Dが発生する場合は、特定BGMを非可聴の状態にせず、該特定BGMが可聴出力されているなかで当該受付期間Dを発生させ、該発生した受付期間D内で特定BGMを非可聴の状態にする(図277を参照)
といった構成を備えることとしている。
このような構成によれば、受付期間Dが発生した場合、特定BGMが非抑制態様で可聴出力されているなかで発生する上記受付期間A(図273を参照)が発生したかのように見えたり、特定BGMが抑制態様または非可聴の状態とされているなかで発生する上記受付期間B(図274を参照)が発生したかのように見えたりするようになることから、遊技興趣の向上を図ることができるようになる。また、上記受付期間A(図273を参照)が発生したかのように見えた上記受付期間Dが、当該受付期間D内において、受付期間Bに変化したかのように見えたりするようになることから、遊技興趣の向上を図ることができるようになる。
また、上述した演出例では、図278に示される第1変動パターンが実行開始された後、特定BGMが非抑制態様で可聴出力されているなかで受付期間Dが発生し、該特定BGMが可聴出力されている間に受付けがなされた場合、該受付けを契機として特定BGMの可聴出力を終了させることとした(図277を参照)。ただし、該受付けを契機として特定BGMの可聴出力を終了させず、これ以降も継続して可聴出力させるようにしてもよい。例えば、図277(e´)の例であったとしても、受付けされたタイミングtPxで特定BGMを抑制態様または非可聴の状態にするのではなく、図277(e)に示されるタイミングtPy(予め定められるタイミング)が到来したことに基づいて特定BGMを抑制態様または非可聴の状態にするようにしてもよい。すなわちこの場合、受付後表示Dの表示期間の途中で特定BGMを抑制態様または非可聴の状態にされる可能性が生じることとなり、面白みのある演出性を提供することができるようになる。
また、上述した演出例では、まず、受付期間として、受付期間A(「構成6-A」の第1受付期間に相当)及び受付期間B(「構成6-A」の第2受付期間に相当)を含む複数の受付期間を用意している。そして、受付期間Aは、演出の状況(大当り判定の結果や、演出判定の結果など)にかかわらず、特定BGMが非抑制態様で可聴出力されているなかで発生可能とされるものであり、受付期間Bは、演出の状況(大当り判定の結果や、演出判定の結果など)にかかわらず、特定BGMが抑制態様または非可聴状態にされてから発生可能とされるものとなっていることから、特定BGMを利用して、受付期間が発生する前から受付期間の種別に関連した演出性を提供することができるようになる。
また、上述した演出例では、受付期間として、受付期間D(「構成6-A」の第3受付期間に相当)をさらに備えることとし、該受付期間Dは、演出の状況(大当り判定の結果や、演出判定の結果など)に応じて、特定BGMが非抑制態様で可聴出力されているなかで発生する場合と、特定BGMが抑制態様または非可聴状態にされてから発生する場合とがあるようにした。
より具体的には、リーチ状態を形成しない第1変動パターン(図278(b)などを参照)の図柄変動が実行開始されてから所定時間(図278(b)では、10秒)が経過したときに受付期間Dが発生する場合は、特定BGMが非抑制態様で可聴出力されているなかで当該受付期間Dを発生させるようにしている(図277を参照)。これに対し、リーチ状態を形成する第2変動パターンまたは第3変動パターン(図278(b)などを参照)の図柄変動が実行開始されてから所定時間(図278(b)では、第2変動パターンの場合が30秒であり、第3変動パターンの場合が50秒)が経過したときに受付期間Dが発生する場合は、特定BGMが抑制態様または非可聴状態にされてから当該受付期間Dを発生させるようにしている(図276を参照)。
このような構成によれば、特定BGMが非抑制態様で可聴出力されているなかで受付期間が発生する場合と、特定BGMが抑制態様または非可聴状態にされてから受付期間が発生する場合とのいずれの場合であっても、当該受付期間が「受付期間D」である可能性があるようになることから、遊技者による動作(操作)が受付けされるまでの遊技興趣を好適に維持することが期待されるようになる。
なお、受付期間Aであっても、異常状態が発生してその報知音が出力されている状況であれば、特定BGMが抑制態様または非可聴状態にされてから受付期間が発生する場合もあり得る。しかしながら、上述した「受付期間Aは、演出の状況(大当り判定の結果や、演出判定の結果など)にかかわらず、特定BGMが非抑制態様で可聴出力されているなかで発生可能とされるもの」の意味とは、「異常報知されておらず、適正に演出が進行されている状況下において受付期間Aが発生する場合には、常に、特定BGMが非抑制態様で可聴出力されるなかで当該受付期間Aを発生させる」ということである。
また、上述した演出例では、まず、受付期間として、受付期間A(「構成7-A」の第1受付期間に相当)及び受付期間D(「構成7-A」の第2受付期間に相当)を含む複数の受付期間を用意している。そして、受付期間Aでは、当該期間内で受付けがなされると該受付けに応じた受付後表示Aを実行可能であり、演出用図柄(装飾図柄SZ)は、少なくとも該受付後表示Aが表示されている間、該受付後表示Aよりも優先表示される(図279(c)を参照)。これに対し、受付期間Dでは、当該期間内で受付けがなされると該受付けに応じた受付後表示Dを実行可能であり、演出用図柄(装飾図柄SZ)は、少なくとも該受付後表示Dが表示されている間、該受付後表示Dによって視認し難くされる態様で表示されるか、または非表示にされるようにしている(図282(c)を参照)。
なお、ここでの「視認し難くされる態様」とは、「演出用図柄(装飾図柄SZ)の少なくとも一部が、所定の透過率に設定された受付後表示Dを通してその透過率に応じた分だけ視認することはできる態様か、または演出用図柄(装飾図柄SZ)の少なくとも一部がこれと重なる受付後表示Dによって視認不能とされる態様、若しくは演出用図柄(装飾図柄SZ)の少なくとも一部が非表示にされる態様など」を意味している。
このような構成によれば、遊技者による動作(操作)を契機とした受付後表示によって演出用図柄(装飾図柄SZ)の視認性に影響が生じたか否かを確認することで、受付期間としての種別を認識することができるようになる。なお、「演出用図柄(装飾図柄SZ)」とは、例えば、演出表示装置1600においてリーチ状態を演出として形成する図柄のことであり、他には、リーチ状態を形成するか否かの演出や、疑似連演出、全回転演出などにも用いられる図柄のことである。
ただし、遊技者のなかには、受付後表示Dが表示されることに伴って、このような演出用図柄(装飾図柄SZ)の視認性が悪化することに対して嫌悪感を覚える者も含まれることが確認されている。この点、上述した演出例では、受付期間D内における受付けに応じた受付後表示Dが表示されるとき、該受付期間Dとは異なる受付期間を発生(例えば、受付期間D内における受付けに応じて発生)させるようにしており、該異なる受付期間内において遊技者による操作の受付けがなされると、該受付けを契機として、受付後表示Dを非表示にし(受付後表示Dの表示にかかる処理を終了させ)、これによって演出用図柄(装飾図柄SZ)を視認し易くするようにしている(図282(c)→図282(g)に示される演出進展を参照)。
このような構成によれば、受付期間D内における受付けに応じた受付後表示Dが「表示開始されてから所定時間が経過したときに非表示にされるもの」であるとすると、所定時間が経過するまでの間に遊技者は所定操作を行うようにするだけで、受付後表示Dをその時点で非表示にすることができるようになる。なお、受付期間D内において受付後表示Dを表示させるために遊技者に求められる動作(操作)と、受付期間Dとは異なる受付期間(受付期間D内における受付けに応じて発生する受付期間)内において受付後表示Dを非表示にするために遊技者に求められる動作(操作)とは、互いに同じ動作(操作)であってもよいし、異なる動作(操作)であってもよい。なお、上記「受付期間Dとは異なる受付期間」は、受付後表示Dが非表示になると、終了されるものである。
これに対し、受付後表示Aも、表示開始されてから所定時間(受付後表示Dが非表示にされるまでの所定時間と同じ時間であってもよいし、異なる時間であってもよい)が経過したときに非表示にされるものである。ただし、演出用図柄(装飾図柄SZ)の視認性を悪化させない受付後表示Aについては、所定時間が経過するまでの間に遊技者がいかなる操作を行ったとしてもこれを契機として非表示にされることはないようにすることが、遊技者の意図に反して誤操作してしまったときの遊技興趣の低下を抑制する上でより望ましい。
また、上述した演出例では、受付期間として、受付期間Bをさらに備えることとし、該受付期間Bでは、当該期間内で受付けがなされると該受付けに応じた受付後表示Bを実行可能であり、演出用図柄(装飾図柄SZ)は、少なくとも該受付後表示Bが表示されている間、該受付後表示Bによって視認し難くされる態様で表示されるか、または非表示にされるようにしている(図280(c)を参照)。
ただし、上述した演出例では、「受付後表示B」及び「受付後表示D」は、演出用図柄(装飾図柄SZ)の視認性に影響を及ぼすものである点で共通しているにもかかわらず、受付後表示Bが「表示開始されてから所定時間(受付後表示Dが非表示にされるまでの時間と異なる時間であってもよい)が経過したときに非表示にされるもの」であるとすると、所定時間が経過するまでの間に遊技者がいかなる操作を行ったとしてもこれを契機として受付後表示Bが非表示にされることはないようにしている。これにより、受付後表示によって演出用図柄(装飾図柄SZ)の視認性に影響が及ぼされたときにこれを改善することができるか否かについての演出性を提供することができるようになる。
なお、受付期間Bは、上述した自動ボタン機能が有効化される受付期間として設定され、受付期間Dは、上述した自動ボタン機能が有効化されない受付期間として設定されるようにすることが望ましい。
また、上述した演出例では、まず、受付期間として、受付期間D(「構成8-A」の第1受付期間に相当)及び受付期間B(「構成8-A」の第2受付期間に相当)を含む複数の受付期間を用意している。そして、受付期間Dは、特定BGMが非抑制態様で可聴出力されているなかで発生可能とされるものであり、該特定BGMが非抑制態様で可聴出力されているなかで受付けがなされるとこれを契機として当該特定BGMを非可聴にし(図277を参照)、受付期間Bは、非抑制態様で可聴出力されていた特定BGMが抑制態様で可聴出力される状態または可聴出力されない状態になってから受付けが許容され、該受付けがなされたとしても、特定BGMが抑制態様で可聴出力される状態または可聴出力されない状態を維持するようにしている(図274を参照)。
このような構成によれば、受付期間が発生するのに関連して、特定BGMがいずれのタイミングで「抑制態様で可聴出力される状態または可聴出力されない状態」にされるかについての面白みを付与することができるようになる。
また、上述した演出例にあって、受付期間Dでは、受付けがなされると、特定BGMとは異なる演出音も含めてそれまで可聴出力されていた音の全てを非可聴にし、受付期間Bでは、受付けがなされるとその時点で可聴出力されていた音の全て(受付許容音など)を非可聴にするようにしている。すなわちこの場合、受付期間が発生するのに関連して特定BGMが「抑制態様で可聴出力される状態または可聴出力されない状態」にされることや、受付けがなされるとその時点で可聴出力されていた音の全てが非可聴にされることなど、受付期間Dと受付期間Bとの間で共通した演出性を持たせることができるようになり、遊技興趣の向上を図ることができるようになる。
また上述の通り、受付期間Dは、遊技者による動作(操作)の受付けが許容されているなかで(有効期間の途中で)特定BGMが非可聴にされて何らの音も出力されない状況が発生しうるものとなっているが(図276(e)を参照)、該状況においても当該受付期間を継続させるようにした(図282(e)を参照)。すなわちこの場合、受付期間Dでは、受付けがなされるとこれを契機として特定BGMを非可聴にするものであるにもかかわらず、該受付期間Dが発生してから所定時間にわたって受付けがなされないときには、受付けが未だなされていないなかで特定BGMが非可聴にされるようになることから、当該受付期間Dが終了してしまったのではないかと思わせることができるようになり、遊技者の興味を強く惹きつけることができるようになる。
特に、上述した演出例では、受付けが未だなされていないなかで特定BGMが非可聴にされるタイミングに合わせて、背景画像を変化させるようにしたことから、受付期間Dとは異なる受付期間が発生しているかのような演出性が提供されるようになる。
なお、受付期間Dの発生に関連して、受付けを契機として特定BGMを非可聴にするときには(図277を参照)これに合わせて「受付けに応じた表示変化(受付後表示D)」を発生させるようにしたが、受付けが未だなされていないなかで特定BGMを非可聴にするときには(図277を参照)これに合わせて「受付けに応じた表示変化(受付後表示D)」を発生させることがないようにした。すなわちこの場合、特定BGMが非可聴にされたときに「受付けに応じた表示変化(受付後表示D)」が未だ発生していない状況にあることを確認することで、受付期間Dが終了していない可能性を意識させることができるようになる。そして、特定BGMが非可聴にされた後、当該受付期間Dが終了されるよりも前に遊技者による動作(操作)が受付けされると、これを契機として「受付けに応じた表示変化(受付後表示D)」が発生するようになることから、これによって遊技興趣の向上を図ることができるようになる。
また、上述した演出例にあって、受付期間Bは、当該期間が終了されるタイミングtM3が到来するまで所定演出音(例えば、受付許容音)が可聴出力されるようになっており、該所定演出音が非可聴の状態にされると、遊技者による動作(操作)の受付けが許容されない状態になるようにしていることから、受付期間Bが継続している状況にあるのか否かを容易に認識することができるようになる。なお、上述した演出例では、受付期間Bを、上述した自動ボタン機能が有効化される受付期間として設定しており、タイミングtM3が到来したことに基づいて自動ボタン機能が有効化されるようになっている。
また、上述した演出例にあって、受付期間Bは、例えば、図278に示される第3変動パターンが開始されてから所定時間(35秒)が経過したときに発生するものであり、特定BGMは、第3変動パターンが開始されてから所定時間が経過するよりも前に非可聴にされるが、受付期間Dについては、第3変動パターンが開始されてから特定BGMが非可聴にされるまでの間に発生することがないようにすることが望ましい。このような構成によれば、第3変動パターンでは、特定BGMが非可聴にされた後、受付期間Bがまずは発生することとなり、それ以降も、該特定BGMが非可聴の状態にされているもとで受付期間Dがさらに発生することを期待することができるようになることから、遊技興趣の向上を図ることができるようになる。
また、上述した演出例にあって、受付期間Dは、保留数が所定数未満の状況にあるときに限り発生可能とされるものであり、且つ図278に示される第1変動パターン、第2変動パターン、第3変動パターンのいずれにおいても図柄変動が開始されてから各々で定められた時間が経過したときに発生可能とされるものとしたが、いずれの変動パターンであっても、他の受付期間(受付期間A~Cなど)よりも後に発生するように設定することが望ましい。すなわちこの場合、特殊な演出性を有する受付期間Dを、遊技を中止しようとしている遊技者に対して最後に発生した受付期間として機能させることができるようになることから、遊技が中止されないように促すことを期待することができるようになるか、若しくは遊技が中止されたとしても遊技に対して面白かった印象を最後に持たせることができるようになる。
受付期間Dでは、受付けされると受付後表示Dが特定時間にわたって現れるが、特定時間が経過して受付後表示Dが非表示にされたとき、特定BGMは再開されないようにすることが望ましい。なおこの場合、特定BGMは、次の図柄変動が開始されない限りは、再開されないようにすることがより望ましい。
次に、上述した演出例に対する変形例として、上記構成1,14,15を具体化した例について順番に説明する。
すなわち、上述した演出例では、受付期間Dのうち、摸画像表示が表示されている期間内で受付けがなされたときと、摸画像表示が非表示にされている期間内で受付けがなされたときとで同じ受付後表示Dを発生させることとした。ただし、これに代えて、受付期間Dのうち、摸画像表示が表示されている期間内で受付けがなされたときと、摸画像表示が非表示にされている期間内で受付けがなされたときとで異なる受付後表示を発生させるようにしてもよい。
すなわちこの場合、受付期間Dは、より厳密には、摸画像表示が表示されている期間である「受付期間D1」、及び摸画像表示が非表示にされている期間である「受付期間D2」といった2つの種別の受付期間から構成され、受付期間D1にあるときに受付けがなされたときにはこれに応じた受付後表示D1を表示し、受付期間D2にあるときに受付けがなされたときにはこれに応じた受付後表示D2を表示することとなる。
図283は、図282などに示した受付期間Dに対して上述の如くの変形を加えた例を示す図である。
以下、図283に示される演出例を説明するが、図276~図278や、図282に示した演出例と同じ構成については特に言及しない。すなわち、図283に示される受付期間D(受付期間D1,D2)は、基本的には、図276~図278や、図282に示した受付期間Dと同様であり、別例についても同様に適用することが可能である。
ただし、図283に示される演出例では、まず、受付期間D1が発生し(図283(b)を参照)、該受付期間D1において受付けがなされると、該受付期間D1に応じた受付後表示D1が表示されることとなる(図283(c)を参照)。
これに対し、受付期間D1が発生した以降(図283(b)を参照)、受付けがなされないままで予め定められた時間が経過すると(図276や図277に示されるタイミングtP2aが到来すると)、摸画像表示(一体化摸画像表示IG)が非表示にされる(図283(e)を参照)。このような状況下(摸画像表示が非表示にされている状況下)においても遊技者による動作(操作)の受付けが許容されている点については、図282などに示した演出例の場合と同じである。ただし、この変形例では、摸画像表示が非表示にされる状況になると(図283(e)を参照)、上記「受付期間D1」は終了してこれとは異なる「受付期間D2」が発生するようになっている。
すなわち、摸画像表示が非表示にされる「受付期間D2」において遊技者による動作(操作)が受付けされると、該「受付期間D2」に応じた受付後表示D2が表示されることとなる(図283(h)を参照)。このような構成によれば、「受付期間D1」が、該受付期間D1とは異なる「受付期間D2」と突然に入れ替わった演出性を実際に提供することができるようになり、このようなサプライズ性のある演出を通じて遊技興趣の向上を図ることができるようになる。
しかも、この例にかかる受付期間D1,D2では、摸画像表示(一体化摸画像表示IG)が表示状態から非表示状態へと変化する場合、背景画像を変化させるようにしている。このような構成によれば、摸画像表示(一体化摸画像表示IG)が非表示状態へと変化したときに、他の受付期間と突然に入れ替わったような雰囲気をより好適に生み出すことが期待されるようになる。
特に、この例では、図282に示した演出例の場合と同様、山と川が描かれた「背景画像HG4a」から、「背景画像HG3」とは異なる砂漠が描かれた「背景画像HG4b」へと変化させるようにしている(図283(b)→図283(e))。このような構成によれば、摸画像表示(一体化摸画像表示IG)が非表示状態へと変化したときに、砂漠の背景時に発生しうる受付期間Cと突然に入れ替わったような雰囲気をより好適に生み出すことが期待されるようになる。
また、この例にかかる「受付後表示D2」は、図281(c)に示される「受付後表示C」の「群予告」とは異なる内容であるが、お化けキャラクタを用いたものである点で共通しているなど、「受付後表示C」を少なからず想起させうる内容となっており、これによっても砂漠の背景時に発生しうる受付期間Cと突然に入れ替わったような雰囲気をより好適に生み出すことが期待されるようになる。
また、この例では、受付期間D2内で受付けがなされると、「背景画像HG4b」を、受付期間D1の発生中に表示されていた「背景画像HG4a」に戻した(変化させた)上で、該受付けに応じた受付後表示D2を表示させるようにしている。これにより、受付期間D1と何ら関係のない受付後表示(例えば、受付期間Cに応じた受付後表示)ではなく、受付期間D1に関連した受付後表示(より正確には、受付期間D1が発生してから予め定められた時間が経過したとき(図276や図277に示されるタイミングtP2aが到来したとき)に発生する受付期間D2に応じた受付後表示)であることを示唆することができるようになる。
なお、受付期間D2が発生してから遊技者による動作(操作)が受付けされないままで予め定められた時間が経過すると(図276や図277に示されるタイミングtP2bが到来すると)、図283(f)に示されるように、受付期間D1が再び発生して摸画像表示(一体化摸画像表示IG)が表示される状態に戻される。この際、背景画像についても、「背景画像HG4b」から「背景画像HG4a」に戻すように変化させることとしている(図283(e)→図283(f))。これにより、他の受付期間から、当初の受付期間D1に戻された雰囲気をより好適に生み出すことが期待されるようになる。
こうして再び発生した受付期間D1(図283(f))内において受付けがなされると、最初に発生した受付期間D1(図283(b))内において受付けがなされた場合と同様、該受付期間D1に応じた受付後表示D1が表示されることとなる(図283(c)を参照)。
なお、このような受付期間D(受付期間D1,D2)が、図278を参照しつつ説明した構成についても同様に適用されるものであることは言うまでもない。
図283に示した変形例によれば、受付期間D(「構成15-A」の第3受付期間に相当)には、摸画像表示(一体化摸画像表示IG)が表示される期間と、摸画像表示(一体化摸画像表示IG)が非表示とされる期間とがあるが、これらの期間を「受付期間D1」及び「受付期間D2」として機能させることとし、それら「受付期間D1」及び「受付期間D2」のいずれで受付けがなされたかに応じて異なる表示変化を生じさせることとした。すなわちこの場合、受付期間Dが終了した可能性を意識付けさせられる状態(摸画像表示が非表示とされる状態)にならなければ確認することのできない表示変化(受付期間D2内で受付けがなされたときの表示変化)が用意されることとなることから、こうした演出性を通じて緊張感が好適に維持されるようになる。
また、上述した演出例では、受付期間Dに、「摸画像表示が表示されている期間」と「摸画像表示が非表示にされている期間」とがあるようにした。ただし、これに代えて、受付期間Dに、「受付けが許容されていることに関連した文字情報が表示されている期間」と「受付けが許容されていることに関連した文字情報が非表示にされている期間」とがあるようにしてもよい。
図284は、図282などに示した受付期間Dに対して上述の如くの変形を加えた例を示す図である。
以下、図284に示される演出例を説明するが、図276~図278や、図282に示した演出例と同じ構成については特に言及しない。すなわち、図284に示される受付期間Dは、基本的には、図276~図278や、図282に示した受付期間Dと同様であり、別例についても同様に適用することが可能である。
ただし、図284に示される受付期間D(図284(b)を参照)では、まず、受付期間B(図280(b)を参照)の場合と同様、その内容こそ異なるものの、受付けが許容されていることに関連した文字情報(ここでは、「押してください」)が表示されている。
すなわち上述の通り、受付けが許容されていることに関連した文字情報は、相対的に期待度の低い受付期間A(図279(b)を参照)においては表示され得ないものとなっており、相対的に期待度の高い受付期間B(図280(b)を参照)においては表示されるものとなっている。したがって、受付期間Dにおいて、このような文字情報(ここでは、「押してください」)が表示されることで、遊技興趣の向上を図ることが期待されるようになる。
ただし、この変形例にかかる受付期間Dでは、図284(b),(e),(f)に示されるように、遊技者による動作(操作)の受付けが許容されている状態が継続されているなかで、受付けが許容されていることに関連した文字情報(ここでは、「押してください」)を表示状態から非表示状態にしたり(図276や図277に示されるタイミングtP2a)、該文字情報を非表示状態から表示状態にしたり(図276や図277に示されるタイミングtP2b)することがあるものとなっている。勿論、文字情報(ここでは、「押してください」)が非表示状態にある場合であっても、遊技者による動作(操作)が行われれば、該動作(操作)の受付けがなされることとなり、該受付けに基づいて受付後表示Dが行われることとなる(図284(e)→図284(c)といった演出経路を辿る例を参照)。
この例では、受付期間D内で遊技者による動作(操作)の受付けがなされたのであれば、受付けが許容されていることに関連した文字情報(ここでは、「押してください」)が非表示状態になるよりも前に受付けがなされたのか(図284(b)→図284(c))、それとも該文字情報(ここでは、「押してください」)が非表示状態にあるときに受付けがなされたのか(図284(e)→図284(c))、それとも該文字情報(ここでは、「押してください」)が表示状態に再び戻されてから受付けがなされたのか(図284(f)→図284(c))にかかわらず、「受付後表示D」として同じ態様(図284(c))を出現させるようにしている。
このような構成によれば、図284(e)に示される状況では、受付期間Dが発生しているにもかかわらず、受付けが許容されていることに関連した文字情報が表示されない受付期間A(図279(b)を参照)と突然に入れ替わったかのような雰囲気を提供することができるようになり、このようなサプライズ性のある演出を通じて遊技興趣の向上を図ることができるようになる。またその一方で、受付期間Aと突然に入れ替わったと思われる状況下(文字情報の非表示状態)で遊技者による動作(操作)の受付けがなされた場合であっても、受付期間Dに対応する「受付後表示D」として同じ態様(図284(c))が表示されることから、遊技興趣の低下を抑制することができるようになる。
しかも、この例にかかる受付期間Dでは、受付けが許容されていることに関連した文字情報が表示状態から非表示状態へと変化する場合、背景画像を変化させるようにしている。このような構成によれば、受付けが許容されていることに関連した文字情報が非表示状態へと変化したときに、他の受付期間と突然に入れ替わったような雰囲気をより好適に生み出すことが期待されるようになる。
特に、この例では、山と川が描かれた「背景画像HG4a」から、「背景画像HG1」とは異なる山が描かれた「背景画像HG4c」へと変化させるようにしている(図284(b)→図284(e))。このような構成によれば、受付けが許容されていることに関連した文字情報が非表示状態へと変化したときに、山の背景時に発生しうる受付期間Aと突然に入れ替わったような雰囲気をより好適に生み出すことが期待されるようになる。
なお、この例では、受付けが許容されていることに関連した文字情報が非表示状態から表示状態へと戻される場合、背景画像についても、「背景画像HG4c」から「背景画像HG4a」に戻すように変化させることとしている(図284(e)→図284(f))。これにより、他の受付期間(特に、受付期間A)から、当初の受付期間Dに戻された雰囲気をより好適に生み出すことが期待されるようになる。
なお、このような受付期間Dが、図278を参照しつつ説明した構成についても同様に適用されるものであることは言うまでもない。
図284に示した変形例によれば、まず、受付期間として、受付期間B(「構成1-A」の第1受付期間に相当)及び受付期間D(「構成1-A」の第2受付期間に相当)を含む複数の受付期間を用意している。そして、受付期間Bが発生する場合と受付期間Dが発生する場合とでは、いずれの場合も、当該受付期間が発生したことに関連して文字情報が表示されるが、それら文字情報は、受付期間Bと受付期間Dとで遊技者による動作として同じ動作(操作ボタン410に対する押圧動作)が受付対象とされるにもかかわらず互いに異なる文字情報(受付期間Bでは「押せ」、受付期間Dでは「押してください」)として表示されるようにしている。
すなわち、受付期間Bと受付期間Dとでは、遊技者に対して同じ動作(操作態様)を行うことを要求するものの、該動作が検出された結果として発生する表示変化(受付後表示B,D)は互いに異なるものとなっている。この点、このパチンコ機1では、遊技者に対して同じ動作(操作態様)を要求する場合であっても、受付期間が発生したことに関連して表示される文字情報を、該受付期間の種別(受付後表示の種別)に応じて互いに異ならせるようにしていることから、受付後表示としていずれのタイプの表示変化(受付後表示B,D)が生じる可能性があるのかを認識した状態で操作(遊技者による動作)を行うことができるようになり、遊技興趣の低下を抑制することが期待されるようになる。
また、受付期間Bの場合と同じ動作(操作態様)を要求し、受付期間Bの場合と同じ文字情報や摸画像表示を表示させるが、受付けがなされると受付期間Bの場合とは異なる受付後表示を発生させる受付期間をさらに用意するようにしてもよい。すなわちこの場合、文字情報や摸画像表示を見るだけでは、受付後表示としていずれの種別が実行されるのかを完全に把握することはできないようになることから、操作するときの緊張感を好適に維持することが期待されるようになる。
また、上述した変形例によれば、受付期間Bでは、その受付けが許容されている状態(有効状態)が終了されるまでの間に文字情報が非表示にされることがないのに対し、受付期間Dでは、その受付けが許容されている状態(有効状態)が継続されているなかで、その途中で、文字情報が非表示にされうるようにしている。すなわちこの場合、受付期間Dでは、当該期間が発生してから比較的早い時間で操作(所定動作)を行わなければ、遊技者に対していかなる動作(操作態様)を行うことを要求しているのかを認識することが困難とされるようになり、ひいては当該受付期間としての種別も認識することが困難とされるようになることから、文字情報が表示されている状況に甘えて緊張感が全くなくなってしまうようなことを好適に回避することが期待されるようになる。
また、上述した変形例にあって、受付期間Dでは、文字情報が表示される期間(図284(b)を参照)と、文字情報が非表示にされる期間(図284(e)を参照)とがあるが、これら期間内のいずれで受付けがなされたとしても同じ表示変化(図284(c)を参照)が生じるようにした。すなわちこの場合、文字情報が非表示にされた場合であっても、文字情報が表示されている間にいかなる操作態様を要求しているのかを確認しておきさえすれば、適正に操作を行うことは可能であり、遊技興趣の低下を抑制することが期待される。
また、上述した変形例にあって、受付期間Dでは、その途中で文字情報を非表示にした後、文字情報が再び表示されるようにした。すなわちこの場合、「受付期間D」が、文字情報が表示されない「受付期間A」に突然変化してしまったと遊技者が誤解したとしても、その後、文字情報が再び表示されることによってその誤解を解消させることができるようになる。
また、上述した変形例にあって、受付期間D内においては背景画像に変化が生じるようになっており、該変化が生じるタイミングに合わせて、文字情報が表示される期間から、文字情報が非表示にされる期間へと移行されるようにしている。これにより、受付期間Dが異なる受付期間に移行したかのような印象を好適に与えることができるようになる。
図284を参照しつつ説明した演出例では、受付期間Dのうち、受付けが許容されていることに関連した文字情報が表示されている期間内で受付けがなされたときと、受付けが許容されていることに関連した文字情報が非表示にされている期間内で受付けがなされたときとで同じ受付後表示Dを発生させることとした。ただし、これに代えて、受付期間Dのうち、受付けが許容されていることに関連した文字情報が表示されている期間内で受付けがなされたときと、受付けが許容されていることに関連した文字情報が非表示にされている期間内で受付けがなされたときとで異なる受付後表示を発生させるようにしてもよい。
すなわちこの場合、受付期間Dは、より厳密には、受付けが許容されていることに関連した文字情報が表示されている期間である「受付期間D1」、及び受付けが許容されていることに関連した文字情報が非表示にされている期間である「受付期間D2」といった2つの種別の受付期間から構成され、受付期間D1にあるときに受付けがなされたときにはこれに応じた受付後表示D1を表示し、受付期間D2にあるときに受付けがなされたときにはこれに応じた受付後表示D2を表示することとなる。
図285は、図284などに示した受付期間Dに対して上述の如くの変形を加えた例を示す図である。
以下、図285に示される演出例を説明するが、図276~図278や、図282、及びその変形例である図284に示した演出例と同じ構成については特に言及しない。すなわち、図285に示される受付期間D(受付期間D1,D2)は、基本的には、図284に示した受付期間Dと同様であり、別例についても同様に適用することが可能である。
ただし、図285に示される演出例では、まず、受付期間D1が発生し(図285(b)を参照)、該受付期間D1において受付けがなされると、該受付期間D1に応じた受付後表示D1が表示されることとなる(図285(c)を参照)。
これに対し、受付期間D1が発生した以降(図285(b)を参照)、受付けがなされないままで予め定められた時間が経過すると(図276や図277に示されるタイミングtP2aが到来すると)、受付けが許容されていることに関連した文字情報(ここでは、「押してください」)が非表示にされる(図285(e)を参照)。このような状況下(受付けが許容されていることに関連した文字情報が非表示にされている状況下)においても遊技者による動作(操作)の受付けが許容されている点については、図284などに示した演出例の場合と同じである。ただし、この変形例では、受付けが許容されていることに関連した文字情報が非表示にされる状況になると(図285(e)を参照)、上記「受付期間D1」は終了してこれとは異なる「受付期間D2」が発生するようになっている。
すなわち、受付けが許容されていることに関連した文字情報が非表示にされる「受付期間D2」において遊技者による動作(操作)が受付けされると、該「受付期間D2」に応じた受付後表示D2が表示されることとなる(図285(h)を参照)。このような構成によれば、「受付期間D1」が、該受付期間D1とは異なる「受付期間D2」と突然に入れ替わった演出性を実際に提供することができるようになり、このようなサプライズ性のある演出を通じて遊技興趣の向上を図ることができるようになる。
しかも、この例にかかる受付期間D1,D2では、受付けが許容されていることに関連した文字情報が表示状態から非表示状態へと変化する場合、背景画像を変化させるようにしている。このような構成によれば、受付けが許容されていることに関連した文字情報が非表示状態へと変化したときに、文字情報が非表示状態とされる受付期間Aと突然に入れ替わったような雰囲気をより好適に生み出すことが期待されるようになる。
特に、この例では、図284に示した演出例の場合と同様、山と川が描かれた「背景画像HG4a」から、「背景画像HG1」とは異なる山が描かれた「背景画像HG4c」へと変化させるようにしている(図285(b)→図285(e))。このような構成によれば、文字情報(ここでは、「押してください」)が非表示状態へと変化したときに、山の背景時に発生しうる受付期間Aと突然に入れ替わったような雰囲気をより好適に生み出すことが期待されるようになる。
また、この例にかかる「受付後表示D2」は、図279(c)に示される「受付後表示A」の「会話予告」とは異なる内容であるが、姫キャラクタを用いたものである点で共通しているなど、「受付後表示A」を少なからず想起させうる内容となっており、これによっても文字情報が非表示にされる受付期間Aと突然に入れ替わったような雰囲気をより好適に生み出すことが期待されるようになる。
また、この例では、受付期間D2内で受付けがなされると、「背景画像HG4b」を、受付期間D1の発生中に表示されていた「背景画像HG4a」に戻した(変化させた)上で、該受付けに応じた受付後表示D2を表示させるようにしている。これにより、受付期間D1と何ら関係のない受付後表示(例えば、受付期間Cに応じた受付後表示)ではなく、受付期間D1に関連した受付後表示(より正確には、受付期間D1が発生してから予め定められた時間が経過したとき(図276や図277に示されるタイミングtP2aが到来したとき)に発生する受付期間D2に応じた受付後表示)であることを示唆することができるようになる。
なお、受付期間D2が発生してから遊技者による動作(操作)が受付けされないままで予め定められた時間が経過すると(図276や図277に示されるタイミングtP2bが到来すると)、図285(f)に示されるように、受付期間D1が再び発生して「受付けが許容されていることに関連した文字情報」が表示される状態に戻される。この際、背景画像についても、「背景画像HG4c」から「背景画像HG4a」に戻すように変化させることとしている(図285(e)→図285(f))。これにより、他の受付期間から、当初の受付期間D1に戻された雰囲気をより好適に生み出すことが期待されるようになる。
こうして再び発生した受付期間D1(図285(f))内において受付けがなされると、最初に発生した受付期間D1(図285(b))内において受付けがなされた場合と同様、該受付期間D1に応じた受付後表示D1が表示されることとなる(図285(c)を参照)。
なお、このような受付期間D(受付期間D1,D2)が、図278を参照しつつ説明した構成についても同様に適用されるものであることは言うまでもない。
図285に示した変形例によれば、受付期間D(「構成14-A」の第2受付期間に相当)には、「受付けが許容されていることに関連した文字情報」が表示される期間と、「受付けが許容されていることに関連した文字情報」が非表示とされる期間とがあるが、これらの期間を「受付期間D1」及び「受付期間D2」として機能させることとし、それら「受付期間D1」及び「受付期間D2」のいずれで受付けがなされたかに応じて異なる表示変化を生じさせることとした。すなわちこの場合、「受付けが許容されていることに関連した文字情報」が非表示にされると、当該受付期間が終了するのではなく、それまで発生していた受付期間とは異なる受付期間が発生するようになることから、遊技者による動作(操作)がなかなか受付されないなかでも演出性を好適に維持することができるようになる。
なお、図273~図285に示した演出例では、摸画像表示が表示されている状況にあるときに「受付後表示」を表示開始することとしたが、該「受付後表示」については、摸画像表示が表示されている状況にあるときに必ずしも表示開始されるものでなくてもよく、摸画像表示が非表示にされた以降に表示開始されるようにしてもよい。
また、図273~図285に示した演出例では、摸画像表示を、受付期間が発生するタイミングを前後に跨るように表示されるものとしたが、受付期間が発生するタイミングが発生したとき、若しくはそれよりも後に表示されるものとしてもよい。
また、図273~図285に示した演出例においても、摸画像表示については、図233や図234などを参照しつつ上述した通り、動的表示によって表示されることとなる。そしてこの場合、摸画像表示については、受付けされた以降、「消滅エフェクト(消滅関連表示)」が現れているなかでも、その動的表示は終了されておらず継続するようにすることが望ましい。
また、図273~図285に示した演出例においても、「消滅エフェクト(消滅関連表示)」は、摸画像表示だけでなく、受付期間が終了されるまでの残り時間を示唆するゲージ画像についてもこれを視認し難くすることとした。これにより、受付けされた以降もゲージ画像を表示するようにした場合であっても、残り時間が残っているかのように見えることが抑制されるようになる。
また、図273~図285に示した演出例において、受付期間Dでは、該期間内で受付けがなされたとしてもこれを契機として摸画像表示(変形例では、文字情報)にかかる表示処理を終了させないようにした。すなわち、レイヤー上では表示状態を維持したままとされた摸画像表示(変形例では、文字情報)に対して受付後表示Dを優先表示させることで、摸画像表示(変形例では、文字情報)が非表示(視認不能)とされるようにした。ただし、受付期間Dにおいて受付けがなされたときも、これを契機として摸画像表示(変形例では、文字情報)にかかる表示処理を終了させるようにしてもよい。
また、図273~図285に示した演出例では、受付期間内において、操作対象とされる操作受け部を摸した摸画像表示(一体化摸画像表示IG)を表示することとしたが、該摸画像表示については必ずしも表示しなくてもよく、例えば、操作を促す矢印表記などに置き換えることによって実現することも可能である。
図277に示した例では、受付期間D内において、特定BGMが非抑制で可聴出力されているなかで受付けがなされた場合、該受付けを契機として、特定BGMが抑制態様で可聴出力されるか、または非可聴の状態にされるようにしたが、該特定BGMについては、受付けがなされたか否かにかかわらず、予め定められたタイミングが到来したときに非可聴にするようにしてもよい。すなわちこの場合、受付後表示の実行期間中に非可聴にされる可能性も生じることとなり、演出性の向上を図ることが期待されるようになる。
また、図273~図285に示した演出例にあって、背景画像HG1~HG4a(HG4b、HG4c)については、各受付期間が発生するよりも前から表示されるものとしたが、受付期間が発生するタイミングに合わせて表示されるものであってもよい。また、受付期間の種別によって、受付期間の発生よりも前から表示されるようにしたり、受付期間が発生するタイミングに合わせて表示されるようにしてもよい。要は、上記各背景画像が表示されているなかで受付けがなされうるものであれば、背景画像に関連した上述した作用効果は奏される。
また、図273~図285に示した演出例にあって、受付期間Cは、特定BGMが抑制態様で可聴出力されるか、または非可聴の状態にされているなかで発生するものとしたが、特定BGMが非抑制態様で出力されるときに発生するものとしてもよい。
また、図273~図285に示した演出例にあって、受付期間Dには、摸画像表示(変形例では、受付けが許容されていることに関連した文字情報)が表示される期間と、非表示にされる期間とが含まれるようにしたが、これらの期間とは、摸画像表示(または文字情報)が非表示の状態になったのを確認してから遊技者が動作(操作)を開始したとしても該非表示の状態で受付けがなされるのに十分な時間として設定されるものであるし、摸画像表示(または文字情報)が表示状態に戻されたのを確認してから遊技者が動作(操作)を開始したとしても該表示状態にあるなかで受付けがなされるのに十分な時間として設定されるものであり、いわゆる「点滅表示」による表示手法などを除く技術的意義を有するものであることは明らかである。
例えば、受付期間Dにあって、摸画像表示(または文字情報)が「非表示の状態」にされてから該「非表示の状態」を維持する時間は、受付期間Aまたは受付期間Bとして設定されている時間(例えば、3秒)の半分以上(1.5秒以上)の時間値として設定するようにすることが望ましい。また、摸画像表示(または文字情報)が表示状態に戻された以降、該表示状態を維持する時間についても、受付期間Aまたは受付期間Bとして設定されている時間(例えば、3秒)の半分以上(1.5秒以上)の時間値として設定するようにすることが望ましいし、摸画像表示(または文字情報)が表示されてから非表示の状態にされるまでの時間についても、受付期間Aまたは受付期間Bとして設定されている時間(例えば、3秒)の半分以上(1.5秒以上)の時間値として設定するようにすることが望ましい。
若しくは、、摸画像表示(または文字情報)が表示されてから非表示の状態にされるまでの時間や、摸画像表示(または文字情報)が「非表示の状態」にされてから該「非表示の状態」を維持する時間や、摸画像表示(または文字情報)が表示状態に戻された以降、該表示状態を維持する時間については、図柄変動の時間として最も短い時間(短縮変動に要する時間)以上の時間値として設定するようにしてもよい。このような時間値は、遊技者が図柄変動を確認するのに十分な時間値でありながらも、図柄変動を早期に終了させることのできる時間値として設定されるものだからである。
次に、上記構成4,9~13を具体化した例について説明する。上述の通り、このパチンコ機1は、受付けされたときに進行される演出内容(例えば、受付後演出としての会話予告、カットイン予告、可動体予告などであり、予告演出(期待度示唆演出)の種別)が異なる複数の受付期間(受付演出)を用意しており、判定(大当り判定や、演出判定など)の結果に応じた種別の受付期間(受付演出)を発生可能としている。この実施の形態にかかるパチンコ機1では、複数の受付期間(受付演出)として、上述した受付期間A(受付演出A)~受付期間D(受付演出D)のほか、受付期間Eをさらに用意することとしている。
図286及び図287を参照して、受付期間Eの特徴について説明する。なお、図272までを参照しつつ上述した各受付期間については、受付期間E(受付演出E)とは別の受付期間として用意されているものであってもよいし、受付期間E(受付演出E)として実現されるものであってもよい。
図286は、受付期間E(受付演出E)が発生する変動パターンにおける演出例を示す図である。
いま、特定遊技状態(例えば、非確変・非時短である通常遊技状態)において始動条件が成立(保留消化)されて、変動パターン判定が行われた結果として「変動パターンE」が選択されたとすると、上記周辺制御MPU1511aでは、まず、該変動パターンEに対応する演出判定(予告判定など)を行う。そしてこの後、装飾図柄(飾り図柄)SZの変動演出(変動パターンEに応じた演出描写や、特定BGM再生の音出力など)を開始させ(「図286(a)に示される状況」)、該変動演出の実行期間内で、予告演出判定の結果に応じた演出(予告演出)を、上記選択した「変動パターンE」これ自体の演出に対して付加的に実行させることとなる。なお、図286(a)に示した演出例においては、図282(a)に示した背景画像と同じ背景画像(背景画像HG4a)が表示されている。
ここで、変動パターンEに対応する演出判定(予告判定など)で特別結果が得られると、上記周辺制御MPU1511aでは、装飾図柄SZの変動演出が開始されてから所定時間Eが経過したタイミングが到来したときに(条件Eが成立したときに)「受付後表示Eに関しての受付け」が許容される上記受付期間E(有効期間)を発生させる(「図286(e)に示される状況」)。
この点、受付期間Eの発生に際しては、該受付期間Eに対応する前兆表示が行われる。より具体的には、まず、図286(b)に示されるように、「くのいち」のキャラクタKIを登場させる。次いで、図286(c)に示されるように、キャラクタKIが煙玉を投げて煙を生じさせる。そして次に、図286(d)に示されるように、キャラクタKIが「ボタンを押してあの人を呼んで」といったセリフを話す様子を表示する。この際、「煙」が拡大する様子が描写されたり「摸画像表示」が表示されたりするが、キャラクタKIやセリフを優先表示することによって「煙」や「摸画像表示」は視認し難い状態にされている。そして、こうした前兆表示(図286(b)~(d))が行われた後、受付期間Eが発生すると、キャラクタKIやセリフが非表示にされ、これによって「摸画像表示」が明瞭に表示されるようになる。
なお、この例では、「キャラクタKI」や「煙」は、背景画像HG4a及び装飾画像SZに対して優先表示されるものとなっている。また、「煙」については、背景画像HG4a(表示画面)の全てを覆うように表示されるようにし、これによって背景画像を「背景画像HG4a」から「煙」に変更させるようにしてもよい。すなわちこの場合、「煙」は、変更先の「背景画像」として機能することとなる。「煙」は、必ずしも受付期間Eの発生に先立って表示されるようにしなくてもよい(前兆表示として表示されるものでなくてもよい)。
ここで、図286(e)に示されるように、この例にかかる受付期間Eでは、摸画像表示として、操作ボタン410を摸した「一体化摸画像表示IG」、刀装飾体5001を摸した「刀装飾画像SYG」、及び特別操作手段(図中では「PUSH」と記載されたボタン)1410を摸した「特別摸画像TM」がそれぞれ表示される。なお、この例では、「一体化摸画像表示IG」、「刀装飾画像SYG」、及び「特別摸画像TM」をそれぞれ複数個ずつ表示しているが、1つずつ表示するようにしてもよい。
すなわちこの場合、受付期間Eでは、「操作ボタン410」に対する操作、「刀装飾体5001」に対する操作、及び「特別操作手段1410」に対する操作が遊技者に対して促されることとなる。これにより、遊技者は、「操作ボタン410」、「刀装飾体5001」、及び「特別操作手段1410」のいずれを操作すべきかを判断することとなる。
この点、受付期間E内において「操作ボタン410」に対する操作の受付けがなされた場合は、図286(f)に示されるように、該受付けがなされたことに基づいて、「ピンポン」といった受付音E1が可聴出力されるとともに、「一体化摸画像表示IGが正解であることを示唆する画像」と「侍キャラクタ」とが表示される表示変化(受付後表示E1)や、街並みを描写した「背景画像HG5」への背景変化などが生じるようになっている。なお、こうして「受付後表示E1」が表示された以降は、「背景画像HG5」が表示されているもとで演出が進展されるようになる。
これに対し、受付期間E内において「特別操作手段1410」に対する操作が行われた場合は、図286(g)に示されるように、これを契機として何らの受付音も生じさせず、且つ何らの表示変化も生じさせず、且つ当該受付期間Eが終了されることもない(何らの反応も発生せず、何らの操作も行われていない状態と同じ)。すなわち、受付期間Eでは、「特別操作手段1410」を受付けの対象として設定していないにもかかわらず、該「特別操作手段1410」を摸した「特別摸画像TM」を表示するようにしている。このような構成によれば、受付期間Eでは、当該受付期間Eにおける受付けの対象として設定されている操作手段を摸した摸画像表示(一体化摸画像表示IG,刀装飾画像SYG)と、当該受付期間Eにおける受付けの対象として設定されていない操作手段を摸した摸画像表示(特別摸画像TM)とが混在されるようになることから、いずれの操作手段を操作すべきか認識し難い緊張感のあるなかで操作機会を付与することができるようになる。なお、受付期間E内にあるときの「特別操作手段1410」については、該「特別操作手段1410」に対する操作の受付けは行うようにするが、これを契機として何らの受付音も生じさせず、且つ何らの表示変化も生じさせず、且つ当該受付期間Eが終了されることもない(何らの反応も発生せず、何らの操作も行われていない状態と同じ)ようにするようにしてもよい。
一方、受付期間E内において「刀装飾体5001」に対する操作が受付けされた場合、図286(i)に示されるように、該受付けがなされたことに基づいて、「ブー」といった受付音E2が可聴出力されるとともに、キャラクタKIが「仕切りなおすわよ!」といったセリフを話す様子が描写される表示変化(受付後表示E2)が生じるようになっている。なおこの際、背景画像に変化は生じない。
すなわち、「受付後表示E2」が表示された以降は、演出が進展するのではなく、受付期間Eとしての設定時間(残り時間)がリセットされることとなり、これによって受付期間Eとしての残り時間は当該受付期間Eが発生した直後の状態に戻される(「受付期間Eが再発生する」とも言える)。このような構成によれば、受付後表示E1(侍キャラクタ)を出現させるための操作が行われず、その結果として受付後表示E1(侍キャラクタ)を表示させることができなかったとしても、残り時間が消化されていない最初の状態から「受付期間E」をやり直すことができるようになることから、遊技興趣を好適に維持することが期待されるようになる。
なお、受付期間Eが発生した直後の状態に戻される条件としては、「刀装飾体5001に対する操作が1回受付けされること」ではなく、「刀装飾体5001に対する操作が予め定められた所定回数分だけ受付けされること」であってもよい。
ちなみに、受付期間E内において「特別操作手段1410」に対する操作が行われた場合は、当該受付期間Eとしての残り時間がリセットされることがないことは言うまでもない。
そして、受付期間E内において「刀装飾体5001」に対する操作が行われた結果、受付期間Eとしての残り時間が当該受付期間Eの発生直後の状態に戻された(受付期間Eが再発生した)場合は、該受付期間E内で、「操作ボタン410」に対する操作、「刀装飾体5001」に対する操作、及び「特別操作手段1410」に対する操作のいずれが受付けされたかによって、上述した通りの同じ現象が発生することとなる(図286(f),(g),(i))。
ただし、設定時間(残り時間)がリセットされていない受付期間E内において遊技者による動作(操作)が受付けされた場合に、該受付けに応じた受付後表示Dとして表示される態様と、設定時間(残り時間)がリセットされた受付期間E内において遊技者による動作(操作)が受付けされた場合に、該受付けに応じた受付後表示Dとして表示される態様とを、互いに異ならせる(受付後表示D1,D2など)ようにしてもよい。このような構成によれば、リセットせずに受付後表示Dを出現させることに対して演出的な価値が発生するようになることから、受付期間Eが発生しているときの緊張感を好適に維持することができるようになる。
他方、「図286(e)または図286(g)から図286(h)へと進展する例」は、受付期間E内で「操作ボタン410に対する操作」及び「刀装飾体5001に対する操作」のいずれもが受付けされなかった場合を想定したものである。
すなわちこの場合、受付期間Eが発生した後、遊技者による動作(操作)が受付けされることなく残り時間が全て消化され、当該受付期間Eが終了されることとなる。この点、受付期間Eは、「上述した自動ボタン機能が有効化される対象の受付期間」として設定されている。したがって、受付期間Eでは、「操作ボタン410に対する操作」及び「刀装飾体5001に対する操作」のいずれもが受付けされることなく残り時間が全て消化された場合であっても、図286(h)に示されるように、該受付期間E内で遊技者による動作(操作)があったときと同じ受付後表示Eを発生させることとなる。
ただし、受付期間E内で「操作ボタン410に対する操作」及び「刀装飾体5001に対する操作」のいずれもが受付けされなかった場合は、該受付期間E内で「操作ボタン410に対する操作」が受付けされたときと同じ受付後表示Eを発生させるものの、該受付期間E内で「操作ボタン410に対する操作」が受付けされたときと同じ受付音E(ピンポン)を可聴出力させることはないようになっている。
このような構成によれば、受付期間E内で「操作ボタン410に対する操作」が受付けされたときと同じ受付後表示Eを表示させるようにしつつも、遊技者による選択的な操作に成功した結果として「受付後表示E」が表示された状況にはないことを示唆することができるようになることから、受付期間Eが再び発生したときにはより積極的な操作を行うことを促すことが期待されるようになる。
またさらに、この実施の形態にかかるパチンコ機1では、受付期間Eにおいては、当該受付期間Eとしての残り時間がどれだけ残されているのかを認識し難くしたり、受付後表示E1を表示させるために求められる操作態様(操作種別)がいずれであるのかについてのヒントを与えたりする処理を行うようにしている。
図287(a)~(d)は、図286(e)に示される表示画面の一部を拡大した図であり、受付期間Eが継続されているなかでの、時間経過に伴う表示内容の変化を示す図である。
上述の通り、受付期間Eでは、操作ボタン410を摸した「一体化摸画像表示IG」、刀装飾体5001を摸した「刀装飾画像SYG」、及び特別操作手段(図中では「PUSH」と記載されたボタン)1410を摸した「特別摸画像TM」がそれぞれ表示される。
すなわち、受付期間Eでは、複数種別の摸画像表示が表示されるにもかかわらず、残り時間を示唆するために用いられるゲージ画像(所定画像)GGは、複数種別の摸画像表示のうちの1つ(一体化摸画像表示IG)にしか対応付けされないこととなる。これにより、複数種別の摸画像表示のうち「一体化摸画像表示IG」に対応する操作手段(操作ボタン410)を操作すべき状態にあることを暗示することができるようになる。
また、受付期間Eにおいて時間が経過するなかでは、「一体化摸画像表示IG」は、図287(a)~(d)に示されるように、「遊技者による操作を受けたときの動き」を行っているかのように、操作ボタン410のうち「操作受け部」を摸した部分(ボタン摸画像BMG)を動的表示させるようにしている。この動的表示については、図233や図234で上述した内容と同じであり、図279~図285に示した演出例において「一体化摸画像表示IG」が表示される場合も同様である。
ただし、この演出例にあって、複数種別の摸画像表示のうち「刀装飾画像SYG」及び「特別摸画像TM」は、刀装飾体5001のうち「操作受け部」を摸した部分や、特別操作手段1410のうち「操作受け部」を摸した部分が動的表示されることはなく、静止表示されている。なお、「刀装飾画像SYG」及び「特別摸画像TM」については、点滅発光などの発光態様の変化は行うようにしてもよい。
このような構成によれば、複数種別の摸画像表示のうち「一体化摸画像表示IG」だけが「遊技者による操作を受けたときの動き」を表現するようになることから、これによって複数種別の摸画像表示のうち「一体化摸画像表示IG」に対応する操作手段(操作ボタン410)を操作すべき状態にあることを暗示することができるようになる。
また上述の通り、受付期間Eにおいては、残り時間を示唆するために用いられるゲージ画像(所定画像)GGが表示される。このようなゲージ画像GGは、通常、図233や図234に示したように、受付期間が発生してからの時間が経過するなかでその表示面積を次第に減少させる描写を行うものとなっており、これによって当該受付期間としての残り時間がどれだけ残されているかを示唆するように用いられるものである。そして、このようなゲージ画像GGとしての用いられ方は、図279~図285に示した演出例において「ゲージ画像GG(ここでは、一体化摸画像表示IG)」が表示される場合も同様である。
ただし、受付期間Eにおいては、図287(a)~(d)に示されるように、ゲージ画像(所定画像)GGこれ自体は表示するものの、「受付期間が発生してからの時間が経過するなかでその表示面積を次第に減少させる描写」が行われることはない。すなわち、この例にかかる受付期間Eにおいては、当該期間が発生してから終了するまでの間、ゲージ画像(所定画像)GGの表示面積を最大値で維持したままの態様で表示するようにしている。このような構成によれば、受付期間Eにおいては、当該受付期間Eとしての残り時間がどれだけ残されているのかを認識し難くすることが可能であり、緊張感を好適に維持することが期待されるようになる。
特に、この例にかかる受付期間Eでは、特別操作手段1410に対する操作を行うことで、当該受付期間Eとしての残り時間をリセットすることが可能であるが、このような処理がなされたとしても、ゲージ画像GGの表示面積を増加させるような描写が行われることがないことから、当該受付期間Eとしての残り時間がリセットされたことを認識し難くして緊張感を好適に維持することが期待されるようになる。
図287(a)~(d)に示した「一体化摸画像表示IGにかかる動的表示」は、受付期間Eが終了されるときまで繰り返される。したがって、受付期間E内において操作ボタン410に対する操作が受付けされた場合は、該受付けを契機として、「一体化摸画像表示IGにかかる動的表示」が終了されることとなる。ただし、受付期間E内において特別操作手段1410に対する操作が行われた場合に、これを契機として、「一体化摸画像表示IGにかかる動的表示」が終了されることはない。また、受付期間E内において刀装飾体5001に対する操作が受付けされた場合も、受付後表示D2を生じさせる処理は行うものの、「一体化摸画像表示IGにかかる動的表示」についてはこれを終了させたり、初めからやり直しにしたりするようなことはなく、それまで行ってきた「一体化摸画像表示IGにかかる動的表示」が継続されるだけである。
上述した演出例によれば、まず、受付期間として、受付期間A(「構成4-A」の第1受付期間に相当)及び受付期間E(「構成4-A」の第2受付期間)を含む複数の受付期間を用意している。そして、受付期間A(図273、図279)では、当該期間内で遊技者による動作(操作)が検出されたときには受付後表示Aを表示するとともに受付音Aを出力させるが、当該期間内で遊技者による動作(操作)が検出されないときには受付後表示Aが表示されることはなく且つ受付音Aが出力されることもないようになっており、受付期間E(図286)では、当該期間内で遊技者による動作(操作)が検出されたときには受付後表示E1を表示するとともに受付音E1を出力させ、当該期間内で遊技者による動作(操作)が検出されない場合であっても該期間内で遊技者による動作(操作)が検出されたときと同じ受付後表示E1が表示されるが、受付音E1は出力されないようになっている。
このような構成によれば、受付期間E内で遊技者による動作(操作)の受付けがなされなかったときには演出的なデメリットが生じうるようになることから、受付期間Eが発生したときの緊張感を好適に維持することができるようになる。
また、上述した演出例では、受付期間B(「構成4-A」の第3受付期間に相当)をさらに備えることとし、該受付期間B(図274、図280)では、当該期間内で遊技者による動作(操作)が検出されたときには受付後表示Bを表示するとともに受付音Bを出力させ、該期間内で遊技者による動作が検出されない場合であっても該期間内で遊技者による動作(操作)が検出されたときと同じ受付後表示Bが表示されるとともに受付音Bが出力されるようにした。すなわちこの場合、受付期間内で遊技者による動作(操作)の受付けがなされなかったときには、受付けがなされたときと同じ表示変化(受付後変化)を、演出的なデメリットが生じるように発生させる場合(受付期間E)と、演出的なデメリットが生じないように発生させる場合(受付期間B)とがあるようになることから、受付期間が発生したときの緊張感を好適に維持しつつも、該期間内で遊技者による動作(操作)の受付けが間に合わなかったときの遊技興趣の低下が抑制されうるようになる。
また、上述した演出例にあって、受付期間A(図279)では、受付けが許容されていることに関連した文字情報が表示されず、受付期間B(図280)と受付期間E(図286)では、受付けが許容されていることに関連した文字情報が表示される。この点、受付期間Bで表示される文字情報と、受付期間Eで表示される文字情報とは互いに異なるようにしている。このような構成によれば、まず、受付期間が発生したときに「受付けが許容されていることに関連した文字情報」の有無を確認することで、自動ボタン機能が有効化される対象の受付期間であるか否かを認識することが可能とされるようになる。また、受付期間が発生したときに「受付けが許容されていることに関連した文字情報」が表示されている場合には、その文字情報の種別を確認することで、発生している受付期間としての種別を認識することが可能とされるようになる。
また、受付期間Bでは、自動ボタン機能が有効化されるときに「消滅エフェクト(消滅関連表示)」を出現させることは上述した通りである(図274(j)を参照)。この点、上述した演出例にあって、受付期間E(図286)では、自動ボタン機能が有効化されるとき(図286(e)→(h)への進展時など)に、「消滅エフェクト(消滅関連表示)」を出現させないようにすることが望ましい。このような構成によれば、自動ボタン機能が有効化されたときに「消滅エフェクト(消滅関連表示)」が出現するか否かによっても、受付期間としての種別を認識することができるようになる。
なお、受付期間E(図286)では、遊技者による動作(操作)の受付けがなされて、これを契機として摸画像表示(一体化摸画像表示IG)が非表示にされるときにも、「消滅エフェクト(消滅関連表示)」を出現させないようにしてもよい。
上述の通り、受付期間Bでは、摸画像表示(一体化摸画像表示IG)が複数態様(図232を参照)のいずれかで表示される。これに対し、受付期間A及び受付期間Eでは、摸画像表示が一の態様でしか表示されないようにすることが望ましい。
また、上述した演出例にあって、受付期間Aでは、遊技者による操作の受付けがなされたことに基づいて背景画像を変化させず(図279を参照)、受付期間B,Eでは、遊技者による操作の受付けがなされたことに基づいて背景画像を変化させるようにした。このような構成によれば、自動ボタン機能が有効化されて受付後表示が表示されたことを認識し易くなることから、遊技興趣の向上を図ることができるようになる。
ただし、受付期間Eでは、遊技者による動作(操作)が受付けされた場合であっても、これが「刀装飾体5001」に対する操作に起因するものであるときには受付後表示E2を表示させるにもかかわらず背景画像を異なる背景画像に変更することはないようにした。このような構成によれば、受付けに応じた受付後表示E2を表示するようにしつつも、遊技者は、本来変更されるべき背景画像が未だ変更されていない様子を確認することで、当該受付期間Eが未だ終了されていない状態にあることを認識することができるようになる。
受付期間Eでは、遊技者による動作(操作)の対象となる対象物(操作手段)として複数の対象物(操作ボタン410及び刀装飾体5001であるが、特別操作手段1410も含むようにしてもよい)が設定されており、複数の対象物のうち操作ボタン410に対する遊技者の動作(操作)が受付けされた場合と、刀装飾体5001に対する遊技者の動作(操作)が受付けされた場合とで異なる受付音が出力されるようにした。これにより、複数の対象物のいずれを操作するかによって異なる演出性が生じることを好適に示唆することができるようになる。
なお、受付期間Bでは、演出判定(大当り判定)の結果に基づいて、受付期間Aに対応する「受付音A」を可聴出力させる場合と、受付期間Aに対応する「受付音A」とは異なる「受付音B」を可聴出力させる場合とがあるようにしてもよい。
また、上述した演出例にあって、受付期間Eでは、遊技者に対して複数の選択肢(ここでは、操作ボタン410を操作するか、刀装飾体5001を操作するか、特別操作手段1410を操作するか)が提示され、遊技者による動作(操作)によってそれら選択肢のいずれを選択したかに応じて受付後表示として異なる表示(受付後表示E1,E2)が現れるようになっている。そして、当該期間内で上記複数の選択肢のいずれも選択されない場合(ここでは、遊技者による動作(操作)がいずれも検出されない場合)は、受付後表示として、上記複数の選択肢のうち特定の選択肢が選択されたとき(ここでは、操作ボタン410を操作したとき)の表示(受付後表示E1)が現れるようにした。
このような構成によれば、受付期間E内で何らの操作も行われない場合、常に同じ受付後表示しか表示されないようになるから、受付期間E内で遊技者による選択的な操作を行うことを促すことができるようになる。
また、上述した演出例では、操作手段として、操作ボタン410(「構成9-A」の第1操作手段(第1操作受け部)に相当)及び刀装飾体5001(「構成9-A」の第2操作手段(第2操作受け部)に相当)を含む複数の操作手段を用意しており、受付期間として、受付期間E(「構成9-A」の特定受付期間に相当)を含む複数種別の受付期間を用意している。そして、受付期間Eでは、操作ボタン410に対する操作の受付けと、刀装飾体5001に対する操作の受付けとの両方が、当該受付期間Eに対応する表示変化を生じさせるための受付けとして許容されており、操作ボタン410に対する操作の受付けがなされたときには受付後表示E1(特定の表示変化)を発生可能であり、刀装飾体5001に対する操作の受付けがなされたときには受付後表示E1(特定の表示変化)を発生させることはなく該受付後表示E1(特定の表示変化)とは異なる表示変化(受付後表示E2)を発生可能としていることから、いずれの操作手段を操作するかについての面白みを持たせることができるようになる。
また、受付期間Eにおいて、操作ボタン410が操作されたときにはこれを契機として当該受付期間Eを終了させるが、刀装飾体5001が操作されたときにはこれを契機として当該受付期間Eを終了させず、その残り時間を逆に延長するようにした。より具体的には、受付期間Eにおいて、操作ボタン410が操作されたときにはこれを契機として、受付期間E1としての残り時間が消化されていない状態にするようにした。すなわちこの場合、複数の操作手段を用いた受付期間Eとして、これまでにない演出性を持たせることができるようになることから、このような演出性を前提とした様々な面白みのある演出を提供することができるようになる。
ただし、上述した演出例にかかる受付期間Eでは、刀装飾体5001に対する操作を行うようにするだけで、当該受付期間Eとしての残り時間を延長することができることから、緊張感を好適に維持することができない懸念がある。そこで、受付期間Eとは異なる受付期間Fをさらに備えることとし、該受付期間Fにおいても、上記受付期間Eと同様、操作ボタン410を摸した「一体化摸画像表示IG」、刀装飾体5001を摸した「刀装飾画像SYG」、及び特別操作手段(図中では「PUSH」と記載されたボタン)1410を摸した「特別摸画像TM」をそれぞれ表示するようにする。そして、受付期間F内において受付けがなされた場合も、上述した受付期間E(図286を参照)の場合と同様、
・「操作ボタン410」に対する操作の受付けがなされた場合は、該受付けがなされたことに基づいて、受付音F1が可聴出力されるとともに受付後表示F1を表示し、
・「特別操作手段1410」に対する操作が行われた場合は、これを契機として何らの受付音も生じさせず、且つ何らの表示変化も生じさせず、且つ当該受付期間Eが終了されることもない(何らの反応も発生せず、何らの操作も行われていない状態と同じ)ようにし、
・「刀装飾体5001」に対する操作が受付けされた場合は、該受付けがなされたことに基づいて、受付音F2が可聴出力されるとともに、上記受付後表示F1とは異なる表示変化(受付後表示F2)を表示する
といった処理を行うようにする。そしてこの上で、受付期間Fでは、「刀装飾体5001」に対する操作が受付けされた場合であっても、当該受付期間Fとしての残り時間がリセットされず(延長されず)、当該受付期間Fとしての残り時間がそのまま消化され続けるようにしてもよい。すなわちこの場合、受付期間F内において「刀装飾体5001」に対する操作が受付けされた場合は、これを契機として受付後表示F2を表示させるが、当該受付期間Fを終了させたり、当該受付期間Fとしての残り時間をリセットさせたりすることはなく、これ以降も当該受付期間Fは継続されることとなる(勿論、操作ボタン410に対する操作の受付けも許容される)。
このような構成によれば、遊技者に対して「操作ボタン410を操作するか」、「刀装飾体5001を操作するか」、「特別操作手段1410を操作するか」の選択肢が提示される受付期間が発生した場合であっても、「刀装飾体5001」に対する操作が受付けされたときに当該受付期間としての残り時間が必ずしもリセットされない(延長されない)ようになることから、緊張感を好適に維持することが期待されるようになる。
また、受付期間Fについては、受付期間Eと同様、上述した自動ボタン機能が有効化される対象として設定されるものとすることが望ましい。そして、受付期間Fに対して自動ボタン機能が有効化された場合も、受付期間Eに対して自動ボタン機能が有効化された場合と同様、受付期間F内で操作ボタン410が受付けされたときに現れる「受付後表示F1」を表示させるようにすることが望ましい。ただしこの際、受付期間Fに対して自動ボタン機能が有効化された場合は、受付期間Eの場合(受付音E1が可聴出力されない)とは異なり、受付音F1を可聴出力させるようにすることがより望ましい。
このような構成によれば、受付期間が何らの受付けもされることなく終了されるときに、当該受付期間が、受付期間E及び受付期間Fのいずれであったのかを示唆することができるようになることから、遊技興趣の低下を抑制することができるようになる。
なおこの場合、受付期間Fにおいても、操作ボタン410を摸した摸画像表示として「一体化摸画像表示IG」を表示することとし、該一体化摸画像表示IGに含まれるゲージ画像GGについては、時間経過に応じて表示面積が減少されないようにすることが望ましい。
また、受付期間Fにおいても、受付期間Eの場合と同様、複数種別の摸画像表示が表示されるにもかかわらず、残り時間を示唆するために用いられるゲージ画像(所定画像)GGは、複数種別の摸画像表示のうちの1つ(一体化摸画像表示IG)にしか対応付けされないようにすることが望ましい。
また、受付期間Fにおいても、受付期間Eの場合と同様、受付期間Fにおいて時間が経過するなかでは、「一体化摸画像表示IG」は、図287(a)~(d)に示されるように、「遊技者による操作を受けたときの動き」を行っているかのように、操作ボタン410のうち「操作受け部」を摸した部分(ボタン摸画像BMG)を動的表示させるようにし、「刀装飾画像SYG」及び「特別摸画像TM」は、刀装飾体5001のうち「操作受け部」を摸した部分や、特別操作手段1410のうち「操作受け部」を摸した部分が動的表示されることはなく、静止表示されるようにすることが望ましい。
なお、受付期間E及び受付期間Fでは、特別操作手段1410を摸した摸画像表示(特別摸画像TM)については必ずしも表示しなくてもよいし、パチンコ機1として特別操作手段1410これ自体を備えないようにしてもよい。
また、上述した演出例では、受付期間として、「受付期間Aまたは受付期間Bまたは受付期間D(「構成10-A」の第1受付期間に相当)」及び「受付期間E(「構成10-A」の第2受付期間に相当)」を含む複数の受付期間を用意している。そして、受付期間A(または受付期間B,D)では、操作受け部を摸した摸画像表示として特定の摸画像表示(ここでは、一体化摸画像表示IG)が表示され、受付期間Eでは、操作受け部を摸した摸画像表示として複数の摸画像表示(ここでは、一体化摸画像表示IGや刀装飾画像SYG、特別摸画像TM)が表示され、摸画像表示は、遊技者による操作によって操作受け部が可動とされるときの動きを描写する動的表示として実行可能とされるようにしている。
この点、上述した演出例では、摸画像表示を、「遊技者による操作によって操作受け部が可動とされるときの動きを描写する動的表示」として実行される場合(例えば、受付期間A,B,E)と、「遊技者による操作によって操作受け部が可動とされるときの動きを描写する動的表示」として実行されない場合(例えば、受付期間E)とがあるようにした。すなわちこの場合、摸画像表示が表示されている状況下にありながらも、遊技者が、どのような操作を行えばよいのかを認識し易い場合だけでなく、どのような操作を行えばよいのかを認識し難い場合もあり得るようになることから、遊技者による操作が受付けされるまでの緊張感を好適に維持することが期待されるようになる。
特に、上述した演出例では、操作ボタン410及び刀装飾体5001を含む複数の操作受け部が用意されており、受付期間A(または受付期間B,D)では、刀装飾体5001を摸した摸画像表示(刀装飾画像SYG)が行われず操作ボタン410を摸した摸画像表示(一体化摸画像表示IG)が行われ、この際、操作ボタン410を摸した摸画像表示は、遊技者による操作によって操作ボタン410が可動とされるときの動きを描写する動的表示として実行されるようにしている。
これに対し、受付期間Eでは、操作ボタン410を摸した摸画像表示(一体化摸画像表示IG)及び刀装飾体5001を摸した摸画像表示(刀装飾画像SYG)との両方が少なくとも表示され、一体化摸画像表示IG及び刀装飾画像SYGのうち一方(ここでは、一体化摸画像表示IG)は、遊技者による操作によって該一方の操作受け部が可動とされるときの動きを描写する動的表示として実行されるが、一体化摸画像表示IG及び刀装飾画像SYGのうち他方(ここでは、刀装飾画像SYG)は、遊技者による操作によって該他方の操作受け部が可動とされるときの動きを描写する動的表示として実行されないようにしている。
このような構成によれば、摸画像表示が行われたときにこれが動的表示として実行される場合と、該動的表示として実行されない場合とがあるようになることから、多様な演出性を実現することができるようになり、遊技興趣の向上を図ることが期待されるようになる。
しかも、受付期間Eでは、動的表示が行われる側の摸画像表示(ここでは、一体化摸画像表示IG)に対応する操作受け部(ここでは、操作ボタン410)に対して操作が行われてこれが受付けされたときにはこれを契機として第1表示変化(受付後表示E1)を発生可能であり、動的表示が行われない側の摸画像表示(ここでは、刀装飾画像SYG)に対応する操作受け部(ここでは、刀装飾体5001)に対して操作が行われてこれが受付けされたときにはこれを契機として第2表示変化(受付後表示E2)を発生可能としている。すなわちこの場合、動的表示が行われているか否かにかかわらず、受付けがなされた側の種別に応じた受付後表示が現れることとなることから、動的表示が行われない側の摸画像表示に「演出上の意味合い」を持たせることができるようになる。例えば、動的表示が行われない側の摸画像表示(ここでは、刀装飾画像SYG)に対応する操作受け部(ここでは、刀装飾体5001)に対して操作を行った場合であっても、これを契機とした表示変化が生じることに対して驚きを与えたりすることが可能とされるようになる。
また、上述した演出例では、操作ボタン410及び特別操作手段1410を含む複数の操作受け部が用意されており、受付期間A(または受付期間B,D)では、特別操作手段1410を摸した摸画像表示(特別摸画像TM)が行われず操作ボタン410を摸した摸画像表示(一体化摸画像表示IG)が行われ、この際、操作ボタン410を摸した摸画像表示は、遊技者による操作によって操作ボタン410が可動とされるときの動きを描写する動的表示として実行されるようにしている。
これに対し、受付期間Eでは、操作ボタン410を摸した摸画像表示(一体化摸画像表示IG)及び特別操作手段1410を摸した摸画像表示(特別摸画像TM)との両方が少なくとも表示され、一体化摸画像表示IG及び特別摸画像TMのうち一方(ここでは、一体化摸画像表示IG)は、遊技者による操作によって該一方の操作受け部が可動とされるときの動きを描写する動的表示として実行されるが、一体化摸画像表示IG及び特別摸画像TMのうち他方(ここでは、特別摸画像TM)は、遊技者による操作によって該他方の操作受け部が可動とされるときの動きを描写する動的表示として実行されないようにしている。
このような構成によれば、摸画像表示が行われたときにこれが動的表示として実行される場合と、該動的表示として実行されない場合とがあるようになることから、多様な演出性を実現することができるようになり、遊技興趣の向上を図ることが期待されるようになる。
しかも、受付期間Eでは、動的表示が行われる側の摸画像表示(ここでは、一体化摸画像表示IG)に対応する操作受け部(ここでは、操作ボタン410)に対して操作が行われたときにはこれを契機として第1表示変化(受付後表示E1)を発生可能であり、動的表示が行われない側の摸画像表示(ここでは、特別摸画像TM)に対応する操作受け部(ここでは、特別操作手段1410)に対して操作が行われたときにはこれを契機とした表示変化(受付後表示)を何ら発生させないようにしている。すなわちこの場合、受付期間内において摸画像表示(ここでは、特別摸画像TM)が表示されたとしても、これに対応する操作受け部(特別操作手段1410)を操作したときにこれが必ずしも受付けされないようになることから、受付期間内における緊張感を好適に維持することが期待されるようになる。
なおこの場合、特別摸画像TMが表示されない受付期間A(または受付期間B,D)において、特別操作手段1410に対して操作が行われたときにはこれを契機とした表示変化(受付後表示)を発生させないこととなる。ただし、特別摸画像TMが表示されない受付期間A(または受付期間B,D)において、特別操作手段1410に対して操作が行われたときにこれを契機とした表示変化(受付後表示)を発生させるようにしてもよい。このような構成によれば、摸画像表示の表示の有無だけでは、操作の有効性を判断できないようにされることとなり、緊張感を好適に維持することができるようになる。
上述した演出例にあって、受付期間Eでは、刀装飾画像SYG及び特別摸画像TMを静止画像として表示することとした。ただし、刀装飾画像SYGや特別摸画像TMについては、遊技者による操作によって操作受け部(刀装飾画像SYGの場合は刀装飾体5001であり、特別摸画像TMであれば特別操作手段1410)が可動とされるときの動きを描写する動的表示として実行されないものであればよく、例えば、遊技者による操作によって操作受け部が可動とされるときの動きとは異なる動き(回転など)であれば動的表示として実行するようにしてもよい。
また、上述した演出例では、まず、操作ボタン410(「構成11-A」の特定操作手段(特定操作受け部)に相当)を含む複数の操作手段(複数の操作受け部)を用意しており、受付期間として、受付期間Aまたは受付期間B(「構成11-A」の第1受付期間に相当)、及び受付期間E(「構成11-A」の第2受付期間に相当)を含む複数の受付期間を用意している。そして、受付期間A(または受付期間B)では、操作ボタン410を摸した摸画像表示(ボタン摸画像BMG)と、該ボタン摸画像BMGに対応する特定画像(ゲージ画像GG)とを表示して、「該ゲージ画像GGの表示面積を時間経過に応じて減少させることにより操作ボタン41に対する操作の受付けが許容される残り時間を示唆する残り時間特定表示」が行われるようにしている。
これに対し、受付期間Eでは、操作ボタン410を摸したボタン摸画像BMG(一体化摸画像表示IG)が行われるが、「ゲージ画像GGの表示面積を時間経過に応じて減少させることにより操作ボタン41に対する操作の受付けが許容される残り時間を示唆する残り時間特定表示」についてはこれを行わないようにしている。
このような構成によれば、操作ボタン410を摸したボタン摸画像BMG(一体化摸画像表示IG)が表示されても、「ゲージ画像GGの表示面積を時間経過に応じて減少させることにより操作ボタン41に対する操作の受付けが許容される残り時間を示唆する残り時間特定表示」が必ずしも行われないようにされることから、受付期間が発生したときの緊張感を好適に維持することができるようになる。
また、上述した演出例にあって、受付期間Eでは、操作ボタン410を摸したボタン摸画像BMG(一体化摸画像表示IG)と、これとは異なる操作手段(刀装飾体5001)を摸した刀装飾画像SYGとが表示されるにもかかわらず、受付期間Eとしてどれだけの時間が残されているかを示唆(描写)する残り時間表示(上述した残り時間特定表示)が行われないようにしている。すなわちこの場合、受付期間Eでは、操作ボタン410に対する操作の受付けと、これとは異なる操作手段(刀装飾体5001)に対する操作の受付けとの両方が許容されているにもかかわらず、上述した「残り時間特定表示」が行われないようにされることとなる。これにより、操作ボタン410に対する操作の受付けと、刀装飾体5001に対する操作の受付けとの両方が許容されていることに対して遊技者が浮かれることなく、当該受付期間Eが発生しているときの緊張感を好適に維持することができるようになる。
なお、受付期間Eとしてどれだけの時間が残されているかを示唆(描写)する残り時間表示(上述した残り時間特定表示)が行われない状況下においても、当該受付期間Eとしての残り時間が減少していることは言うまでもない。
また、上述した演出例にあって、受付期間Eでは、操作ボタン410を摸したボタン摸画像BMGを、ゲージ画像GGの表示領域を区画形成する周縁装飾画像SSGと一体化した画像として表示することとしている。ただし、ゲージ画像GGは、その表示面積を時間経過に応じて減少させず、その表示面積を維持するかたちで表示されるようになっている。すなわちこの場合、ゲージ画像GGの表示面積が全く減少されないにもかかわらず、受付期間Eとしての残り時間が減少していることとなることから、ゲージ画像GGの表示面積が多く残されている状況にあるときの緊張感を好適に維持することが期待されるようになる。ゲージ画像GGは、受付期間Eとしての残り時間が「0」になり、これが非表示になるときまで、その表示面積を減少させないものとなっている。
また、上述した演出例にあって、受付期間Eでは、操作ボタン410を摸したボタン摸画像BMGと、刀装飾体5001を摸した刀装飾画像SYGとのうち、ボタン摸画像BMGのみを、残り時間表示に用いられる特定画像(ゲージ画像GG)と一体化された画像として表示するようにしている。すなわちこの場合、ゲージ画像GGが、刀装飾画像SYGにも対応するものであるのか否か(ひいては、刀装飾体5001に対する操作受付が有効化されるのか否か)認識し難くされるようになることから、緊張感を好適に維持することができるようになる。
なおこの場合、上述した受付期間Fにおいても、操作ボタン410を摸したボタン摸画像BMGと、刀装飾体5001を摸した刀装飾画像SYGとのうち、ボタン摸画像BMGのみを、残り時間表示に用いられる特定画像(ゲージ画像GG)と一体化された画像として表示するようにすることが望ましい。
また、受付後表示Gに関する受付期間Gを発生可能とし、受付期間Gでは、刀装飾体5001を摸した刀装飾画像SYGが表示されず、操作ボタン410を摸したボタン摸画像BMGが上記一体化摸画像表示IGとして表示されるようにする。ただし、受付期間Gでは、受付期間Aや受付期間Bなどとは異なり、一体化摸画像表示IG内のゲージ画像GGが、表示面積を時間経過に応じて減少させず、その表示面積を維持するかたちで表示されるようにする。このような構成によれば、摸画像表示としてボタン摸画像BMG(一体化摸画像表示IG)のみが表示される受付期間が発生した場合であっても、ゲージ画像GGは、その表示面積を必ずしも減少させないようになることから、受付期間が発生しているときの緊張感を好適に維持することができるようになる。
上述した演出例にあって、受付期間E,F,Gでは、操作ボタン410を摸した摸画像表示としてゲージ画像GGを含む上記一体化摸画像表示IGを表示することとした上で、該ゲージ画像GGの表示面積を減少させないようにすることで、受付期間E,F,Gとしての残り時間を認識し難くすることとした。ただしこれに代えて、受付期間E,F,Gでは、受付期間Aや受付期間Bなどの場合(一体化摸画像表示IG)とは異なり、操作ボタン410を摸した摸画像表示を、「ゲージ画像GGを含まない画像」として表示するようにすることで、残り時間表示が行われないようにしてもよい。すなわちこの場合、受付期間E,F,Gでは、表示領域内のいずれの位置にもゲージ画像GGが表示されないこととなる。
なお、操作ボタン410を摸した摸画像表示を「ゲージ画像GGを含まない画像」として表示する場合、該「ゲージ画像GGを含まない画像」は、「一体化摸画像表示IGに含まれるボタン摸画像BMG」を少なくとも含む画像として表示されるようにすることが望ましい。すなわちこの場合、ボタン摸画像BMGが表示されるとき、ゲージ画像GGと一体化された画像として表示される場合と、ゲージ画像GGと一体化されない画像として表示される場合との両方があることとなり、受付期間が発生したときの緊張感を好適に維持することができるようになる。
また、上述した演出例では、まず、操作手段として、少なくとも以下の操作手段を用意している。
・遊技者による操作を受けることにより変位する柄部5012(「構成12-A」の第1操作受け部に相当)、及びその周縁に設けられて該柄部5012が操作を受けても変位しない鞘部5020(「構成12-A」の第1周縁装飾部に相当)を有する刀装飾体5001(「構成12-A」の第1操作手段に相当)(図146などを参照)、及び
・遊技者による操作を受けることにより変位する操作ボタン410(「構成12-A」の第2操作受け部に相当)、及びその周縁に設けられて該操作ボタン410が操作を受けても変位しないフレームユニット415(「構成12-A」の第2周縁装飾部に相当)を有する演出操作ユニット400(「構成12-A」の第2操作手段に相当)(図44などを参照)。
そして、刀装飾体5001を摸した刀装飾画像SYGを表示する場合、柄部5012を摸した柄部摸画像(「構成12-A」の第1受け部摸画像に相当)と、該柄部摸画像の周縁を装飾する柄部周縁装飾画像(「構成12-A」の第1周縁装飾画像に相当)とを表示可能であり(図287などを参照)、演出操作ユニット400を摸した摸画像表示(ここでは、一体化摸画像表示IG)を表示する場合、操作ボタン410を摸したボタン摸画像BMG(「構成12-A」の第2受け部摸画像に相当)と、該ボタン摸画像BMGの周縁を装飾する周縁装飾画像SSGとを表示可能であり(図287などを参照)、柄部周縁装飾画像と周縁装飾画像SSGとは互いに異なる画像として表示されるようにしている。
このような構成によれば、周縁装飾画像が互いに異なっていることから、操作手段これ自体の外観が仮に似ていたとしても、刀装飾画像SYGを表示する場合と、一体化摸画像表示IGを表示する場合とで、互いの見た目を大きく異ならせることができるようになり、いずれの操作手段を操作すればよいかの見分けを容易にすることが期待されるようになる。
また、上述した演出例では、刀装飾画像SYG内の柄部周縁装飾画像については、当該パチンコ機1内に実在しない装飾部を摸した部分を含んでおらず鞘部5020を摸した画像表示として表示されるが、一体化摸画像表示IG内の周縁装飾画像SSGについては、パチンコ機1内に実在しない装飾部を摸した部分を少なくとも含む画像として表示されるようにしている。すなわちこの場合、「刀装飾画像SYG」が表示されたときには、刀装飾体5001に対して操作機会が付与されている状況にあることを好適に認識させることができるようになる。これに対し、「一体化摸画像表示IG」が表示されたときには、演出操作ユニット400(操作ボタン410)に対して操作機会が付与されている状況を、より演出性の高い状況として提供することができるようになる。なおこの場合、「演出操作ユニット400」については、「刀装飾体5001」よりも大きな操作受け部(操作ボタン410)を有する部材として設けられるようにするなど、パチンコ機1内に実在しない装飾部を摸した部分を少なくとも含む周縁装飾画像SSGが表示されたとしてもいずれの操作手段を操作すればよいのかを認識し難くなることがないようにすることが望ましい。
このように、演出操作ユニット400(操作ボタン410)に対して操作機会が付与されている状況を「より演出性の高い状況」として提供するようにする上では、周縁装飾画像SSGは、当該パチンコ機1において実在しない架空の装飾部を摸した画像として表示されるようにすることが望ましい。ただし、演出操作ユニット400(操作ボタン410)に対して操作機会が付与されている状況にあることを認識し易くする上では、周縁装飾画像SSGの一部には、フレームユニット415を摸した部分が含まれるようにしてもよい。
また、上述の演出例では、刀装飾画像SYG内の柄部周縁装飾画像と、一体化摸画像表示IG内の周縁装飾画像SSGとのうち、周縁装飾画像SSGにのみ、残り時間表示を行うための表示領域が区画形成されており、該表示領域を用いて残り時間表示が行われうるようになっていることは上述した通りである。
なお、「刀装飾画像SYG」は、柄部5012を摸した柄部摸画像と、該柄部摸画像の周縁を装飾する柄部周縁装飾画像とが一体化された画像表示として表示され、「一体化摸画像表示IG」は、操作ボタン410を摸したボタン摸画像BMGと、該ボタン摸画像BMGの周縁を装飾する周縁装飾画像SSGとが一体化された画像表示として表示されるものである。この点、「刀装飾画像SYG」は、その画像データとしても、「柄部摸画像」及び「柄部周縁装飾画像」を別々に備えておらず、それらが一体化された1つの画像データとして用意されるものとなっている。また、「一体化摸画像表示IG」の画像データについても同様、「ボタン摸画像BMG」及び「周縁装飾画像SSG」を別々に備えておらず、それらが一体化された1つの画像データとして用意されるものとなっている。
また、上述の演出例では、まず、操作受け部として、演出操作ユニット400の操作ボタン410(「構成13-A」の第1操作受け部に相当)、刀装飾体5001の柄部5012(「構成13-A」の第2操作受け部に相当)、及び特別操作手段1410の操作受け部(「構成13-A」の第3操作受け部に相当)を含む複数の操作受け部を用意しており、受付期間として、受付期間E(「構成13-A」の特定受付期間に相当)を含む複数種別の受付期間を用意している。そして、受付期間E(図286)では、操作ボタン410を摸した「一体化摸画像表示IG(内のボタン摸画像BMG)」、柄部5012を摸した「刀装飾画像SYG(内の柄部周縁装飾画像)」、及び特別操作手段1410の操作受け部を摸した「特別摸画像TM」のいずれもが表示され、複数の操作受け部のうち操作ボタン410に対する操作の受付けがなされたときには、「一体化摸画像表示IG」、「刀装飾画像SYG」、及び「特別摸画像TM」のうち、受付けがなされていない操作受け部を摸した「刀装飾画像SYG」及び「特別摸画像TM」を少なくとも非表示にするようにしている(図286を参照)。
上記構成によれば、操作の受付けがなされた操作ボタン410とは異なる操作受け部(刀装飾体5001の柄部5012、特別操作手段1410の操作受け部)を摸した摸画像表示(刀装飾画像SYG、特別摸画像TM)が非表示にされるようになることから、摸画像表示が表示されていたものの操作の受付けがなされていない操作受け部(刀装飾体5001の柄部5012、特別操作手段1410の操作受け部)に対してさらなる操作が必要であるか否かを容易に認識させることができるようになる。
また、受付期間Eでは、「一体化摸画像表示IG」、「刀装飾画像SYG」、及び「特別摸画像TM」が表示されるにもかかわらず、操作ボタン410、刀装飾体5001、特別操作手段1410のうち、特別操作手段1410は操作の受付け(受付後表示に関しての受付け)が有効化されていない(許容されていない)ようにしている。すなわち上述の通り、受付期間Eでは、操作ボタン410に対する操作の受付けがなされると第1表示変化(受付後表示E1)を発生させ、刀装飾体5001に対する操作の受付けがなされると第2表示変化(受付後表示E2)を発生させるが、特別操作手段1410に対する操作の受付けがなされることはなく該操作を契機とした表示変化が発生することはない。これにより、受付期間Eにおいて遊技者による操作が受付けされるまでの演出性や緊張感を好適に維持することができるようになる。
また、受付期間Eでは、刀装飾体5001に対する操作の受付けがなされると第2表示変化(受付後表示E2)を発生させるが、該受付けを契機として「一体化摸画像表示IG」、「刀装飾画像SYG」、及び「特別摸画像TM」をいずれも非表示にするようなことがなく、それらの表示状態は継続されるようになっている(図286(i))。このような構成によれば、操作ボタン410に対する操作の受付けがなされた場合とは大きく異なる表示変化を発生させることが可能となり、遊技興趣を好適に維持することが期待されるようになる。
特に、受付期間Eでは、刀装飾体5001に対する操作の受付けがなされると、これを契機として、当該受付期間Eの残り時間を増加するようになっていることから(図286(i)→(e)への進展)、さらなる操作を求める演出性を実現するにあたり、残り時間が足らなくなることによる遊技興趣の低下を抑制することが期待されるようになる。
また、上述した演出例にあって、受付期間Eでは、操作ボタン410に対する操作の受付けがなされると第1表示変化(受付後表示E1)を発生させるが、該第1表示変化(受付後表示E1)が発生している状態において、「一体化摸画像表示IG」は表示されており、「刀装飾画像SYG」及び「特別摸画像TM」はいずれも非表示にされている(図286(f))。これにより、複数の摸画像表示が行われているなかで操作の受付けがなされた後であっても、操作ボタン410に対する操作の受付けに起因して発生した受付後表示E1であることを認識することができるようになる。
またこの際、「一体化摸画像表示IG」は、受付期間E内で表示されていた位置とは異なる位置に表示されることから(図286(f))、当該受付期間Eが終了している状態にあることを示唆することができるようになる。
また、上述した演出例にあって、受付期間Eでは、その残り時間がなくなると、上述した自動ボタン機能が有効化されて、当該受付期間E内で操作ボタン410に対する操作の受付けがなされた場合と同じ表示画面が現れるようにしている(図286(h)を参照)。この場合も、第1表示変化(受付後表示E1)が発生している状態において、「一体化摸画像表示IG」は表示されており、「刀装飾画像SYG」及び「特別摸画像TM」はいずれも非表示にされることとなることから、操作ボタン410に対応する受付後表示E1であることを認識することができるようになる。
なお、図284に示した受付期間Dでは、文字情報(押して下さい)を非表示にする際、摸画像表示の表示状態を維持するようにしたが(図284(e))、該摸画像表示についても、文字情報が非表示にされるタイミングに合わせて非表示にするようにしてもよい。この場合、文字情報(押して下さい)が再び表示状態に戻されるとき、摸画像表示についても再び表示状態に戻されることとなる(図284(f))。
[摸画像表示の状態に特徴がある操作受付演出]
図118を例示して説明した通り、この実施の形態にかかるパチンコ機1では、始動入賞(保留消化)に応じた大当り判定の結果に基づいて複数の変動パターンのいずれを実行するかについての変動パターン判定を実行可能としている。そして、該変動パターン判定が行われた結果として一の変動パターンが選択されると、周辺制御MPU1511aでは、該選択された変動パターンに対応して用意されている複数の期待演出(予告演出など)のうちいずれの期待演出(予告演出など)を選択的に出現させるかについての演出判定(予告判定など)を実行可能としている。なお、この演出判定の結果によっては、上記選択された変動パターンに対応して用意されている複数の期待演出(予告演出など)の全てが順次実行されることとなる場合もありうるし、複数の期待演出(予告演出など)のいずれもが実行されないこととなる場合もありうる。
そして上述の通り、こうした演出判定(変動パターン判定、予告判定など)が行われると、該演出判定の結果に応じた演出内容を上記演出表示装置1600に表示させる制御を行うことで、大当り判定の結果に応じた装飾図柄による変動演出がその背景描写(背景予告)や可動体動作(役物演出)などにかかる期待演出(予告演出)とともに実行されることとなる。そしてこの結果、装飾図柄による変動演出が、その背景描写や可動体動作などにかかる期待演出とともに実行された結果、大当り図柄で停止表示されると、遊技者に対して特典としての大当り遊技や高確率遊技状態への移行が実行可能とされるようになる。
このような構成では、上記装飾図柄による変動演出が「大当り判定の結果として大当りが得られているか否かを示す機能」をもった演出として供されることとなり、その背景描写や可動体動作などにかかる期待演出が「大当りが得られていることについての期待度、すなわち割合(0%や100%を含む)を示唆する機能」をもった演出として供されることとなる。すなわち、遊技者は、これらの演出を通じて遊技を楽しむこととなる。
例えば、この実施の形態にかかるパチンコ機1では、上記変動パターン判定が行われた結果としてSPリーチ(背景変更を伴うリーチ演出など)に発展する高期待変動パターン(SPリーチ変動パターン)のうち特定の変動パターンが選択された場合は、演出判定(予告判定など)としていずれの結果が得られたとしても、該特定の変動パターンに基づく図柄演出がSPリーチ中における特定タイミングまで進展すると(所定条件が成立すると)、演出受付が許容される受付許容状態(有効期間)を発生可能としている。
また上述の通り、この実施の形態にかかるパチンコ機1では、上記変動パターン判定が行われた結果としてリーチ状態すら形成されない低期待変動パターン(非リーチ変動パターン)のうち所定の変動パターンが選択された場合であっても該所定の変動パターンに対応する演出判定(予告判定など)で特別結果が得られたときには、該所定の変動パターンに基づく図柄演出が所定タイミングまで進展すると(所定条件が成立すると)、演出受付が許容される受付許容状態(有効期間)を発生可能としている。ただし、所定の変動パターンが選択された場合は、演出判定で特別結果が得られなければ該所定の変動パターンに基づく図柄演出が所定タイミングまで進展されても受付許容状態(有効期間)は発生しない。また、所定の変動パターンで発生する受付許容状態(有効期間)は、特定の変動パターンに基づく図柄演出がSPリーチ中における特定タイミングまで進展したときに発生する受付許容状態(有効期間)とは異なる演出(受付後演出)として実行されるものである。
すなわち、この実施の形態にかかるパチンコ機1では、遊技者による動作(操作)の受付けが許容される受付期間を発生可能であり、該受付期間内において遊技者による動作(操作)が受付けされると、該発生した受付期間の種別に応じた表示変化(受付後演出)を生じさせるものとなっている。
また、受付期間では、「遊技者による動作の対象」がいずれであるかを示唆する動作対象表示が表示可能とされている。このような動作対象表示は、例えば、遊技者による動作の対象となる対象物(操作手段)が画像として表現された摸画像表示として表示されうるものである。特に、この演出例にかかる「動作対象表示」は、遊技者による動作の対象を模しており且つ期待度が異なる複数態様を有する「摸画像表示」として表示されるものとなっている。
また、受付期間では、遊技者による動作(操作)の受付けが許容される残り時間を示唆する残り時間表示が表示可能とされている。このような残り時間表示は、例えば、枠画像内に表示されるゲージ画像の表示面積を時間経過に応じて減少させる描写として実行されうるものである。特に、この演出例では、枠画像及びゲージ画像の少なくとも一方の態様として、複数の態様(例えば、ゲージ画像の表示面積の減少速度や、期待度の示唆や、操作手段の種別を示唆など)を用意しており、それら態様のいずれかで実行されるものとなっている。
なお、予告演出判定としていずれの結果が得られたとしてもSPリーチ中における予め定められたタイミングになると受付許容状態(有効期間)を発生させる変動パターンについては、上記「特定の変動パターン」以外にも備えるようにしてもよい。予告演出判定としていずれの結果が得られたとしても予め定められたタイミングになると受付許容状態(有効期間)を発生させる変動パターンについては、低期待変動パターン(非リーチ変動パターン)には含まれないようにするか、若しくは含まれるようにしてもよいがその選択割合(発生割合)を低くするようにすることが(必ずしもそうしなくてもよいが)望ましい。
ところで、これらの条件等で発生しうる受付許容状態(有効期間)とは、その設定時間(有効期間)内で遊技者による操作が検出されさえすれば、演出表示装置1600における表示変化などの受付後表示(操作後表示)が実行されたり、スピーカにおける演出音変化や、ランプによる発光変化や、可動装飾体による演出動作などを発生させたりするだけであるから、受付許容状態(有効期間)これ自体の演出性は乏しいものとなっており、受付期間に関連した遊技興趣の低下が懸念される。
なお、上述した各例や後述の各例も含めて、検出対象となる「遊技者による操作(動作)」とは、「操作ボタン410」や「刀装飾体5001」などのような、遊技者によって直接操作(押下動作や抜刀動作)されるものに限られず、タッチセンサでの検出対象となる「特定部位に対する遊技者による接触動作」や、非接触センサでの検出対象となる「特定空間内における遊技者による動作」なども含む意味である。要は、遊技者による動作(押下動作や、抜刀動作、タッチ動作、非接触動作など)を受付対象とする1または複数の受付手段(操作手段)を備えるものであればよい。
そこで、この実施の形態にかかるパチンコ機1では、例えば、遊技者に対して操作機会(動作機会)を付与するときの摸画像表示の状態に関して、以下のような特殊な演出性を持たせるようにしている。なお、以下に説明する各演出性(各構成)については、それら構成の全てを必ずしも備えなくてもよく、例えば、いずれか1つの演出性(任意の構成)を備えるだけであっても遊技興趣を低下させることは可能であるし、若しくは、さらなる作用効果を得る上で必要と思われるいくつかの構成を選択的に備えるようにしてもよいし、若しくは別構成に対して適用可能(適用が望ましい)として記載されている構成を適宜に採用するようにしてもよい。さらに言えば、以下に説明する各演出性(構成)については、例示に過ぎず、受付期間に関連した遊技興趣の低下を抑制可能な何らかの1つの構成を備えるものであればよい。
[構成1-B]
例えば、この実施の形態にかかるパチンコ機1では、まず、動作対象表示(例えば、遊技者による動作の対象を模しており且つ期待度が異なる複数態様を有する摸画像表示)が表示されずに「遊技者による動作を有効動作とする受付有効判定」が許容される特定受付期間を含めて、複数の受付期間を用意することとした。なお、当該構成1-Bにかかる「特定受付期間」は、当該構成1-Bの技術思想を説明するために用いている呼称に過ぎない。したがって、他の構成にかかる「特定受付期間」と同じ受付期間を意味するものであってもよいし、他の構成にかかる「特定受付期間」とは異なる受付期間を意味するものであってもよい。ただし、このような特定受付期間では、いずれのタイミングから受付有効判定が許容されるのかや、さらには受付有効判定が既に許容されている状態にあるのかについての認識が困難であることから「そうした演出性に敏感な遊技者にしか楽しむことができない」といった懸念がある。
この点、パチンコ機1では、このような特定受付期間の発生に際しては、受付有効判定が許容される状態になったこと、または受付有効判定が許容される状態になることを示唆する受付許容音が出力されうるようにしたことから、動作対象表示(例えば、遊技者による動作の対象を模しており且つ期待度が異なる複数態様を有する摸画像表示)が表示されていない状態にあることによって遊技者による動作の対象がいずれであるのかを十分に認識することができない状況には依然としてあるものの、遊技者に対して何らかの動作が求められている状況(操作機会が付与されている状況)にあることは認識することができるようになり、これによって多くの遊技者が当該演出を楽しむことが期待されるようになる。
なお、受付許容音については、当該構成1-Bに限られず、特定受付期間よりも前に発生して特定受付期間よりも前に終了するものであってもよいし、特定受付期間の発生タイミングを跨るように出力されるものであってもよいし、特定受付期間の発生タイミングよりも後に発生して当該特定受付期間内で終了されるものであってもよい。受付許容音についてはこれが出力されると遊技者に対して何らかの動作機会(操作機会)が必ず付与される(または、付与されている)音として実現されるものであればよい。また、「動作対象表示(摸画像表示)が表示されていない状態」とは、当該構成1-Bに限られず、他の構成においても、該「動作対象表示(摸画像表示)」を、表示画面上で視認できない状態であればよい。例えば、レイヤー上では表示されているが他のレイヤー上の画像が優先表示されることによって視認できなくされている状態なども含む意味である。
また、特定受付期間が発生するときに出力される受付許容音については、他の受付期間が発生するときにも(受付許容音として)出力される音であることが望ましい。例えば、受付許容音が、特定受付期間と同じ動作機会(操作機会)が付与される受付期間が発生するときにも出力されるものであれば、動作対象表示(例えば、摸画像表示)が表示されていないなかでも、遊技者に対していずれの動作機会(操作機会)が付与される(付与されている)のかを好適に示唆することができるようになる。また、例えば、受付許容音が、特定受付期間とは異なる動作機会(操作機会)が付与される受付期間が発生するときにも出力されるものであれば、動作対象表示(例えば、摸画像表示)が表示されていないなかでは、いずれの動作機会(操作機会)が付与されるのかを遊技者が予測することは困難であるが、何らかの動作機会(操作機会)が付与される(付与されている)状態にあることを示唆することができるようになる。
また後述するが、当該「構成1-B」を採用する場合は、特定受付期間が発生すると、まず、動作対象表示(例えば、摸画像表示)が非表示とされる(表示されない)第1表示状態が現れるようにする。そしてその後、当該特定受付期間が継続されている間に、動作対象表示(例えば、摸画像表示)が表示されている第2表示状態が現れるようにしてもよい。すなわちこの場合、特定受付期間では、当初はいわゆる「隠しボタン」として発生することとなり、こうした演出性に敏感な遊技者しか楽しむことができない。ただし、特定受付期間が継続されている間に(設定時間(有効時間)が消化し終わるよりも前の段階)で動作対象表示(例えば、摸画像表示)が表示されるようになっていることで、演出に敏感でなくても多くの遊技者がこれ(特定受付期間)に気付いて演出を楽しむことができるようになる。また、こうした演出性を通じて、いわゆる「隠しボタン」が発生していることを見抜く力を育てることも期待されるようになる。
またこの際、第2表示状態では、動作対象表示が複数の異なる期待度のいずれかで表示されうるようにすることが望ましい。すなわち、遊技者側としては、第1表示状態で動作受付しなかったにもかかわらず第2表示状態で動作受付するようなことがあると、動作対象表示(例えば、摸画像表示)が表示されるまでの間は当該特定受付期間が発生していたことを認識できなかったことが周囲にバレてしまい、こうした演出に鈍感であることが露見したことによる遊技興趣の低下が懸念される。この点、第2表示状態では、動作対象表示が複数の異なる期待度のいずれかで表示されるようにすれば、遊技者側としては、該第2表示状態で動作受付したとしても「第1表示状態にあったときから動作受付が許容される状態にあることに気付いていたが、動作対象表示(例えば、摸画像表示)によって示唆される期待度を見たかったから、第1表示状態においては、あえて動作受付しなかった」ように見せることができるようになり、遊技興趣の低下を好適に抑制することが期待されるようになる。
また、いわゆる「隠しボタン」としての性質上、いずれのタイミングから「遊技者による動作を有効動作とする受付有効判定」が許容される特定受付期間が発生したのかを遊技者が正確に認識することは困難である。そしてこの場合、特定受付期間の発生よりも少し前に動作(操作)されるようなことがあると、「受付有効判定」がなさないことによって「特定受付期間が発生したかと思ったが勘違いだった」と遊技者が誤認してしまうこと、ひいては遊技者による動作(操作)が行われることなく特定受付期間が終了してしまうことが懸念される。したがって、当該「構成1-B」を採用する場合は、特定受付期間よりも前に遊技者による動作(操作)があったとしても、該動作(操作)を、その時点で「受付有効判定」とすることはないものの、特定受付期間が開始された以降に、該特定受付期間よりも前に行われた遊技者による動作(操作)を対象とした(に基づいた)「受付有効判定」とすることを可能にすることが望ましい。このような構成によれば、特定受付期間の発生よりも少し前に動作(操作)されるようなことがあったとしても、特定受付期間が発生した以降にこれを受付けることができるようになり、ひいてはこれを契機とした受付後演出を実行させることができるようになる。ただしこの場合、遊技者による動作(操作)が行われたか否かの検出自体は、「遊技者による動作を有効動作とする受付有効判定」が許容される受付期間が発生しているか否かにかかわらず実行するようにすることが求められることとなる。
またこの際、特定受付期間の発生よりも前に行われた動作(操作)については、その動作(操作)を、特定受付期間が発生した以降の前記第2表示状態ではなく、前記第1表示状態において有効判定として受付(受付有効判定)可能とすることが望ましい。このような構成によれば、遊技者による動作(操作)が行われてから少し時間が経過したタイミング(例えば、第1表示状態(特定受付期間)が発生したタイミング)であり、且つ動作対象表示(例えば、摸画像表示)が表示されていないなかで受付有効判定されることとなり、ひいては受付後演出が実行開始されるようになる。これにより、動作対象表示(例えば、摸画像表示)を表示したにもかかわらず動作(操作)がなかったときの、いわゆる「自動受付機能」ではなく、遊技者による動作が適正に受付けされた状態にあることを示唆することができるようになり、遊技興趣の向上を図ることができるようになる。
[構成2-B]
また後述するが、この実施の形態にかかるパチンコ機1では、まず、受付期間として、第1受付期間及び第2受付期間を含む複数の受付期間を用意している。そして、第1受付期間では、「遊技者による動作を有効動作とする受付有効判定」がいずれのタイミングでなされるかにかかわらず動作対象表示(ここでは、遊技者による動作の対象を模しており且つ期待度が異なる複数態様を有する摸画像表示)が必ず表示されるようにし、第2受付期間では、上記受付有効判定がいずれのタイミングでなされるかにかかわらず動作対象表示(ここでは、遊技者による動作の対象を模しており且つ期待度が異なる複数態様を有する摸画像表示)が必ず表示されないようにしている。なお、当該構成2―Bにかかる「第1受付期間」や「第2受付期間」は、当該構成2―Bの技術思想を説明するために用いている呼称に過ぎない。したがって、他の構成にかかる「第1受付期間」や「第2受付期間」と同じ受付期間を意味するものであってもよいし、互いに逆側となる受付期間を意味するものであってもよいし、それら受付期間とは異なる受付期間を意味するものであってもよい。
このような構成によれば、演出性が全く異なる2種類の受付期間を備えることで、遊技者に対して動作を求める(操作機会を付与する)にあたってメリハリを持たせることができるようになり、遊技興趣の向上を図ることが期待されるようになる。
また後述するが、当該「構成2-B」を採用する場合は、第3受付期間をさらに備えることとし、該第3受付期間では、遊技者による動作(操作)を有効動作(有効操作)とする受付有効判定がいずれのタイミングでなされるかによって、動作対象表示(摸画像表示)が表示される場合と、動作対象表示(摸画像表示)が表示されない場合とがあるようにしてもよい。なお、当該構成2―Bにかかる「第3受付期間」は、当該構成2―Bの技術思想を説明するために用いている呼称に過ぎない。したがって、他の構成にかかる「第3受付期間」と同じ受付期間を意味するものであってもよいし、異なる受付期間を意味するものであってもよいし、それら受付期間とは異なる受付期間を意味するものであってもよい。
このような構成によれば、受付有効判定がいずれのタイミングでなされるかにかかわらず動作対象表示(摸画像表示)が必ず表示される「第1受付期間」が発生しているかのように見せたり、受付有効判定がいずれのタイミングでなされるかにかかわらず動作対象表示(摸画像表示)が必ず表示されない「第2受付期間」が発生しているかのように見せることができるようになり、このような不確定さを持たせる演出性を通じて、受付期間が発生するときの緊張感を好適に維持することができるようになる。
[構成3-B]
また後述するが、この実施の形態にかかるパチンコ機1では、まず、受付期間として、第1受付期間及び第2受付期間を含む複数の受付期間を用意している。そして、第1受付期間内において「遊技者による動作を有効動作とする受付有効判定」がなされると、該受付有効判定がなされたことに基づいて、期待度が異なる複数態様のいずれかで第1受付後演出を実行可能であり、第2受付期間内において「遊技者による動作を有効動作とする受付有効判定」がなされると、該受付有効判定がなされたことに基づいて、期待度が異なる複数態様のいずれかで第2受付後演出を実行可能としている。なお、当該構成3―Bにかかる「第1受付期間」や「第2受付期間」は、当該構成3―Bの技術思想を説明するために用いている呼称に過ぎない。したがって、他の構成にかかる「第1受付期間」や「第2受付期間」と同じ受付期間を意味するものであってもよいし、互いに逆側となる受付期間を意味するものであってもよいし、それら受付期間とは異なる受付期間を意味するものであってもよい。
この点、パチンコ機1では、第1受付期間内において「受付有効判定」がなされた場合と、第2受付期間内において「受付有効判定」がなされた場合とのいずれにおいても、該受付有効判定がなされたことに基づいて、動作対象表示(ここでは、遊技者による動作の対象を模しており且つ期待度が異なる複数態様を有する摸画像表示)の表示対象領域(特定領域)の少なくとも一部を用いて消滅EF演出を実行可能としたことから、受付有効判定が適正になされた状態(遊技者による操作が受付けされたことによって受付期間が終了した状態)になったことを容易に認識することができるようになる。
なお、消滅EF演出は、動作対象表示(摸画像表示)の表示対象領域(特定領域)の少なくとも一部を用いて表示されるものであるが、その際、動作対象表示(摸画像表示)は必ずしも表示されていなくてもよい。また、消滅EF演出とは、例えば、上述した「摸画像表示が視認し難くなる態様」を含む意味であり、この場合、動作対象表示(摸画像表示)が表示される特定領域の少なくとも一部を含む所定領域に消滅演出表示が表示される態様や、動作対象表示(摸画像表示)が表示される特定領域の少なくとも一部と正面視で重なる位置にある演出体を利用した演出が実行される態様のほか、該動作対象表示(摸画像表示)これ自体を視認し難い表示(例えば、表示を小さくしたり、ぼけさせたり、透過率の設定変更など)に変化(変更)して表示する態様であってもよい。
また後述するが、当該「構成3-B」を採用する場合、第1受付期間では、遊技者による動作(操作)を有効動作(有効操作)とする受付有効判定がいずれのタイミングでなされるかによって、動作対象表示(摸画像表示)が表示される場合と、動作対象表示(摸画像表示)が表示されない場合とがあるようにしてもよい。
そしてこの場合は、まず、動作対象表示(摸画像表示)が表示されている状況下で受付有効判定がなされたときには、これを契機として該動作対象表示(摸画像表示)が表示される特定領域の少なくとも一部を含む所定領域で消滅EF演出を実行するようにする。これに対し、動作対象表示(摸画像表示)が表示されていない状況下で受付有効判定がなされた場合であっても、これを契機として、消滅EF演出を、上述した状況下(動作対象表示が表示されている状況下)で受付有効判定がなされたときと同じ態様で実行するようにすることが望ましい。このような構成によれば、動作対象表示(摸画像表示)が表示されていない状況下であっても受付有効判定が秘かになされた状態にあることを好適に示唆することができるようになる。なお、動作対象表示(摸画像表示)が表示されていない状況下で受付有効判定がなされた場合、第1受付期間は、動作対象表示が表示されることなく終了されることとなり、消滅EF演出は、該動作対象表示が表示される予定だった領域の少なくとも一部を用いて実行されることとなる。
またこの際、第2受付期間では、遊技者による動作(操作)を有効動作(有効操作)とする受付有効判定がいずれのタイミングでなされるかにかかわらず動作対象表示(摸画像表示)が必ず表示されるようにすることが望ましい。このような「動作対象表示(摸画像表示)が必ず表示される第2受付期間」を、上述した第1受付期間とは別に用意するようにすることで、消滅EF演出が実行される構成と相まって、安心感のある演出性を提供することができるようになり、遊技興趣の低下を抑制することができるようになる。
[構成4-B]
また後述するが、この実施の形態にかかるパチンコ機1にあって、遊技者に対して動作機会(操作機会)が付与される受付期間では、通常、動作対象表示(ここでは、遊技者による動作の対象を模しており且つ期待度が異なる複数態様を有する摸画像表示)を少なくとも特定領域を用いて表示可能であり、該摸画像表示が表示されているなかで遊技者による動作を有効動作とする「受付有効判定」がなされると、該受付有効判定がなされたことに基づいて動作対象表示(摸画像表示)を非表示の状態にすることが可能である。また、受付期間内において動作対象表示(摸画像表示)が表示されているなかで「受付有効判定」がなされた場合、該動作対象表示(摸画像表示)が非表示にされるまでの間に前記特定領域の少なくとも一部を用いて消滅EF演出を実行可能である。
この点、パチンコ機1では、まず、受付期間として、特定受付期間を含む複数の受付期間を用意している。そして、特定受付期間においては、動作対象表示(ここでは、遊技者による動作の対象を模しており且つ期待度が異なる複数態様を有する摸画像表示)が表示されていない状態において行われた遊技者による動作を有効動作とする「受付有効判定」が可能とされており、該受付有効判定がなされた場合、消滅EF演出は実行されないようにしている。なお、当該構成4―Bにかかる「特定受付期間」は、当該構成4―Bの技術思想を説明するために用いている呼称に過ぎない。したがって、他の構成にかかる「特定受付期間」と同じ受付期間を意味するものであってもよいし、異なる受付期間を意味するものであってもよい。
このような構成によれば、「受付有効判定」が適正になされた状態(遊技者による操作が受付けされたことによって受付期間が終了した状態)にあるか否かを認識し難くすることができるようになり、遊技者に対して動作を秘かに求める(操作機会を秘かに付与する)当該特定受付期間としての緊張感を、受付有効判定がなされた以降も維持させることが期待されるようになる。
なお、消滅EF演出が表示される場合であっても、その際、動作対象表示(摸画像表示)は必ずしも表示されていなくてもよい。また、消滅EF演出とは、例えば、上述した「摸画像表示が視認し難くなる態様」を含む意味であり、この場合、動作対象表示(摸画像表示)が表示される特定領域の少なくとも一部を含む所定領域に消滅演出表示が表示される態様や、動作対象表示(摸画像表示)が表示される特定領域の少なくとも一部と正面視で重なる位置にある演出体を利用した演出が実行される態様のほか、該動作対象表示(摸画像表示)これ自体を視認し難い表示(例えば、表示を小さくしたり、ぼけさせたり、透過率の設定変更など)に変化(変更)して表示する態様であってもよい。
また後述するが、当該「構成4-B」を採用する場合、上記「特定受付期間」を第1受付期間とするようにしてもよい。そして、受付期間として、第1受付期間(特定受付期間)及び第2受付期間を含む複数の受付期間を用意するとともに、第1受付期間及び第2受付期間のいずれにおいても、動作対象表示(摸画像表示)が表示されていない状態において行われた遊技者による動作を有効動作とする受付有効判定が可能とされるようにしてもよい。そして、第1受付期間では、動作対象表示(摸画像表示)が表示されていない状態において行われた遊技者による動作を有効動作とする受付有効判定がなされた場合、上記消滅EF演出は実行されず、第2受付期間では、動作対象表示が表示されていない状態において行われた遊技者による動作を有効動作とする受付有効判定がなされた場合、上記消滅EF演出が実行されるようにしてもよい。なおこの場合、「第1受付期間」や「第2受付期間」は、当該構成4―Bの技術思想を説明するために用いている呼称に過ぎない。したがって、他の構成にかかる「第1受付期間」や「第2受付期間」と同じ受付期間を意味するものであってもよいし、互いに逆側となる受付期間を意味するものであってもよいし、それら受付期間とは異なる受付期間を意味するものであってもよい。
このような構成によれば、動作対象表示(摸画像表示)が表示されていない状態において遊技者による動作が行われるまでの間は、第1受付期間(特定受付期間)及び第2受付期間のいずれが発生しているのかを認識し難いが、これを有効動作とする受付有効判定がなされた以降は、第1受付期間(特定受付期間)及び第2受付期間のいずれが発生していたのかを認識することができるようになることから、遊技者に対して動作を促すことができるようになる。
[構成5-B]
また後述するが、この実施の形態にかかるパチンコ機1では、まず、受付期間として、第1受付期間及び第2受付期間を含む複数の受付期間を用意している。なお、当該構成5―Bにかかる「第1受付期間」や「第2受付期間」は、当該構成5―Bの技術思想を説明するために用いている呼称に過ぎない。したがって、他の構成にかかる「第1受付期間」や「第2受付期間」と同じ受付期間を意味するものであってもよいし、互いに逆側となる受付期間を意味するものであってもよいし、それら受付期間とは異なる受付期間を意味するものであってもよい。
そして、第1受付期間内において「遊技者による動作を有効動作とする受付有効判定」がなされた場合、該受付有効判定に基づく上記受付後演出(第1受付期間に対応する受付後演出)が実行開始される時点において、動作対象表示(ここでは、遊技者による動作の対象を模しており且つ期待度が異なる複数態様を有する摸画像表示)は非表示とされず表示された状態にある場合があり、第2受付期間内において「遊技者による動作を有効動作とする受付有効判定」がなされた場合、該受付有効判定に基づく上記受付後演出(第2受付期間に対応する受付後演出)が実行開始される時点において、動作対象表示(ここでは、遊技者による動作の対象を模しており且つ期待度が異なる複数態様を有する摸画像表示)は非表示とされず表示された状態にある場合がないようにしている。
このような構成によれば、「受付有効判定」に基づく受付後演出が実行開始された以降、動作対象表示(ここでは、遊技者による動作の対象を模しており且つ期待度が異なる複数態様を有する摸画像表示)が視認可能とされている場合と、動作対象表示(ここでは、遊技者による動作の対象を模しており且つ期待度が異なる複数態様を有する摸画像表示)が視認可能とされない場合とがあるようになることから、受付後演出が実行開始された以降における緊張感を好適に維持することが期待されるようになる。
また後述するが、当該「構成5-B」を採用する場合、第1受付期間内においては、「遊技者による動作を有効動作とする受付有効判定」がいずれのタイミングでなされたかに応じて、該受付有効判定に基づく受付後演出(第1受付期間に対応する受付後演出)が実行開始される時点において、動作対象表示(摸画像表示)が非表示とされず表示された状態にある場合と、動作対象表示(摸画像表示)が非表示とされている状態にある場合とがあるようにすることが望ましい。
すなわち、遊技者側からすれば、摸画像表示が複数態様のうち「期待度の高い第2態様」で表示されたときには、「受付有効判定」に基づく受付後演出(第1受付期間に対応する受付後演出)が実行開始された以降もこれを表示し続けるようにすることが遊技興趣の向上を図る上で確かに好ましいと言える。ただし、摸画像表示が複数態様のうち「期待度の低い第1態様」で表示されたときには、「受付有効判定」に基づく受付後演出(第1受付期間に対応する受付後演出)が実行開始された以降もこれが表示され続けるようなことがあると遊技興趣の低下が避けられない。
例えば、受付後演出(第1受付期間に対応する受付後演出)は、その有効期間(第1受付期間)内において摸画像表示が「期待度の低い第1態様」と「期待度の低い第2態様」とのいずれで表示されていたとしても、期待度の高い態様で実行される可能性(さらには、期待度の低い態様で実行される可能性)があるようになっている。そして、期待度の高い態様で受付後演出(第1受付期間に対応する受付後演出)が実行されたときには、これだけで遊技興趣の向上を図ることが十分可能であるにもかかわらず、この際、「期待度の低い第1態様」で摸画像表示が表示され続けるようなことがあれば、遊技興趣を逆に低下させることが明らかであるから、摸画像表示を非表示にすることが望ましいと言える。その一方で、期待度の低い態様で受付後演出(第1受付期間に対応する受付後演出)が実行された場合であっても、この際、「期待度の高い第2態様」で摸画像表示が表示され続けるようなことがあれば、期待度の低い態様で受付後演出が実行されたことによる遊技興趣の低下を好適に抑制する事が可能であるから、摸画像表示を非表示にせずにこれを継続させるようにすることが望ましいと言える。
若しくは、「期待度の低い第1態様」で摸画像表示が表示された場合であっても、遊技者のなかには、受付後演出が「期待度の低い態様」で実行されてしまったときの「言い訳」として、該受付後演出が実行開始される時点において、摸画像表示が非表示にされておらずその表示状態が継続されている状態にしておきたいと思う者がいると思われるし、「期待度の高い第2態様」で摸画像表示が表示された場合であっても、遊技者のなかには、受付後演出が「期待度の低い態様」で実行されてしまったときの「イライラ」を抑えるために、該受付後演出が実行開始される時点において、摸画像表示が非表示にされており視認できないようにしておきたいと思う者がいると思われる。
この点、上記構成によれば、1つの受付期間(第1受付期間)が発生した場合、遊技者は、該第1受付期間内において「受付有効判定」がなされるタイミングを通じて、摸画像表示が表示されている状態で受付後演出を実行開始させるか、摸画像表示が非表示にされており視認できない状態で受付後演出を実行開始させるかを実質的に選択することができるようになることから、遊技興趣を好適に維持することが期待されるようになる。
[構成6-B]
また後述するが、この実施の形態にかかるパチンコ機1では、まず、受付期間として、第1受付期間及び第2受付期間を含む複数の受付期間を用意している。なお、当該構成6―Bにかかる「第1受付期間」や「第2受付期間」は、当該構成6―Bの技術思想を説明するために用いている呼称に過ぎない。したがって、他の構成にかかる「第1受付期間」や「第2受付期間」と同じ受付期間を意味するものであってもよいし、互いに逆側となる受付期間を意味するものであってもよいし、それら受付期間とは異なる受付期間を意味するものであってもよい。
そして、第1受付期間内において「遊技者による動作を有効動作とする受付有効判定」がなされた場合、該受付有効判定に基づく上記受付後演出(第1受付期間に対応する受付後演出)が実行開始される時点において、残り時間表示(例えば、枠画像内に表示されるゲージ画像の表示面積を時間経過に応じて減少させる描写であり、枠画像及びゲージ画像の少なくとも一方の態様として、期待度が異なる複数態様が用意されているもの)は非表示とされず表示された状態にある場合があり、第2受付期間内において「遊技者による動作を有効動作とする受付有効判定」がなされた場合、該受付有効判定に基づく上記受付後演出(第2受付期間に対応する受付後演出)が実行開始される時点において、残り時間表示(例えば、枠画像内に表示されるゲージ画像の表示面積を時間経過に応じて減少させる描写であり、枠画像及びゲージ画像の少なくとも一方の態様として、期待度が異なる複数態様が用意されているもの)は非表示とされず表示された状態にある場合がないようにしている。
このような構成によれば、「受付有効判定」に基づく受付後演出が実行開始された以降、残り時間表示(例えば、枠画像内に表示されるゲージ画像の表示面積を時間経過に応じて減少させる描写であり、枠画像及びゲージ画像の少なくとも一方の態様として、期待度が異なる複数態様が用意されているもの)が視認可能とされている場合と、残り時間表示(例えば、枠画像内に表示されるゲージ画像の表示面積を時間経過に応じて減少させる描写であり、枠画像及びゲージ画像の少なくとも一方の態様として、期待度が異なる複数態様が用意されているもの)が視認可能とされない場合とがあるようになることから、受付後演出が実行開始された以降における緊張感を好適に維持することが期待されるようになる。
また後述するが、当該「構成6-B」を採用する場合、第1受付期間内においては、「遊技者による動作を有効動作とする受付有効判定」がいずれのタイミングでなされたかに応じて、該受付有効判定に基づく受付後演出(第1受付期間に対応する受付後演出)が実行開始される時点において、残り時間表示(枠画像及びゲージ画像)が非表示とされず表示された状態にある場合と、残り時間表示(枠画像及びゲージ画像)が非表示とされている状態にある場合とがあるようにすることが望ましい。
すなわち、遊技者側からすれば、枠画像及びゲージ画像の少なくとも一方が複数態様のうち「期待度の高い第2態様」で表示されたときには、「受付有効判定」に基づく受付後演出(第1受付期間に対応する受付後演出)が実行開始された以降もこれを表示し続けるようにすることが遊技興趣の向上を図る上で確かに好ましいと言える。ただし、枠画像及びゲージ画像の少なくとも一方が複数態様のうち「期待度の低い第1態様」で表示されたときには、「受付有効判定」に基づく受付後演出(第1受付期間に対応する受付後演出)が実行開始された以降もこれが表示され続けるようなことがあると遊技興趣の低下が避けられない。
例えば、受付後演出(第1受付期間に対応する受付後演出)は、その有効期間(第1受付期間)内において枠画像及びゲージ画像の少なくとも一方が「期待度の低い第1態様」と「期待度の低い第2態様」とのいずれで表示されていたとしても、期待度の高い態様で実行される可能性(さらには、期待度の低い態様で実行される可能性)があるようになっている。そして、期待度の高い態様で受付後演出(第1受付期間に対応する受付後演出)が実行されたときには、これだけで遊技興趣の向上を図ることが十分可能であるにもかかわらず、この際、「期待度の低い第1態様」で枠画像及びゲージ画像の少なくとも一方が表示され続けるようなことがあれば、遊技興趣を逆に低下させることが明らかであるから、枠画像及びゲージ画像を非表示にすることが望ましいと言える。その一方で、期待度の低い態様で受付後演出(第1受付期間に対応する受付後演出)が実行された場合であっても、この際、「期待度の高い第2態様」で枠画像及びゲージ画像の少なくとも一方が表示され続けるようなことがあれば、期待度の低い態様で受付後演出が実行されたことによる遊技興趣の低下を好適に抑制する事が可能であるから、枠画像及びゲージ画像を非表示にせずにこれを継続させるようにすることが望ましいと言える。
若しくは、「期待度の低い第1態様」で枠画像及びゲージ画像の少なくとも一方が表示された場合であっても、遊技者のなかには、受付後演出が「期待度の低い態様」で実行されてしまったときの「言い訳」として、該受付後演出が実行開始される時点において、枠画像及びゲージ画像が非表示にされておらずその表示状態が継続されている状態にしておきたいと思う者がいると思われるし、「期待度の高い第2態様」で枠画像及びゲージ画像の少なくとも一方が表示された場合であっても、遊技者のなかには、受付後演出が「期待度の低い態様」で実行されてしまったときの「イライラ」を抑えるために、該受付後演出が実行開始される時点において、枠画像及びゲージ画像が非表示にされており視認できないようにしておきたいと思う者がいると思われる。
この点、上記構成によれば、1つの受付期間(第1受付期間)が発生した場合、遊技者は、該第1受付期間内において「受付有効判定」がなされるタイミングを通じて、枠画像及びゲージ画像が表示されている状態で受付後演出を実行開始させるか、枠画像及びゲージ画像が非表示にされており視認できない状態で受付後演出を実行開始させるかを実質的に選択することができるようになることから、遊技興趣を好適に維持することが期待されるようになる。
[構成7-B]
また後述するが、この実施の形態にかかるパチンコ機1では、まず、受付期間として、第1受付期間及び第2受付期間を含む複数の受付期間を用意している。そして、第1受付期間内において「遊技者による動作を有効動作とする受付有効判定」がなされると、該受付有効判定がなされたことに基づいて、期待度が異なる複数態様のいずれかで第1受付後演出を実行可能であり、第2受付期間内において「遊技者による動作を有効動作とする受付有効判定」がなされると、該受付有効判定がなされたことに基づいて、期待度が異なる複数態様のいずれかで第2受付後演出を実行可能としている。なお、当該構成7―Bにかかる「第1受付期間」や「第2受付期間」は、当該構成7―Bの技術思想を説明するために用いている呼称に過ぎない。したがって、他の構成にかかる「第1受付期間」や「第2受付期間」と同じ受付期間を意味するものであってもよいし、互いに逆側となる受付期間を意味するものであってもよいし、それら受付期間とは異なる受付期間を意味するものであってもよい。
この点、パチンコ機1では、第1受付期間内において「受付有効判定」がなされた場合、該「受付有効判定」に基づく受付後演出(第1受付期間に対応する受付後演出)が実行開始される時点において、動作対象表示(ここでは、遊技者による動作の対象を模しており且つ期待度が異なる複数態様を有する摸画像表示)は表示されておらず非表示の状態にある場合がある。これに対し、第2受付期間内において「受付有効判定」がなされた場合、該「受付有効判定」に基づく受付後演出(第2受付期間に対応する受付後演出)が実行開始される時点において、動作対象表示(ここでは、遊技者による動作の対象を模しており且つ期待度が異なる複数態様を有する摸画像表示)は表示されておらず非表示の状態にある場合がないようにしている。
このような構成によれば、「受付有効判定」に基づく受付後演出が実行開始された以降、動作対象表示(摸画像表示)が視認可能とされている場合と、動作対象表示(摸画像表示)が視認可能とされない場合とがあるようになることから、受付後演出が実行開始された以降における緊張感を好適に維持することが期待されるようになる。
また後述するが、当該「構成7-B」を採用する場合、第1受付期間内の所定タイミングが到来するまでの間に「遊技者による動作を有効動作とする受付有効判定がなされた」場合は、該受付有効判定に基づく受付後演出(第1受付期間に対応する受付後演出)が実行開始される時点において動作対象表示(摸画像表示)が非表示の状態にされており表示されていないが、第1受付期間内の所定タイミングが到来した以降に「遊技者による動作を有効動作とする受付有効判定がなされた」場合には、動作対象表示(摸画像表示)が表示された状態にあるなかで受付後演出が実行開始されるようにすることが望ましい。
すなわち、遊技者側からすれば、摸画像表示が複数態様のうち「期待度の高い第2態様」で表示されたときには、「受付有効判定」に基づく受付後演出(第1受付期間に対応する受付後演出)が実行開始された以降もこれを表示し続けるようにすることが遊技興趣の向上を図る上で確かに好ましいと言える。ただし、摸画像表示が複数態様のうち「期待度の低い第1態様」で表示されたときには、「受付有効判定」に基づく受付後演出(第1受付期間に対応する受付後演出)が実行開始された以降もこれが表示され続けるようなことがあると遊技興趣の低下が避けられない。
例えば、受付後演出(第1受付期間に対応する受付後演出)は、その有効期間(第1受付期間)内において摸画像表示が「期待度の低い第1態様」と「期待度の低い第2態様」とのいずれで表示されていたとしても、期待度の高い態様で実行される可能性(さらには、期待度の低い態様で実行される可能性)があるようになっている。そして、期待度の高い態様で受付後演出(第1受付期間に対応する受付後演出)が実行されたときには、これだけで遊技興趣の向上を図ることが十分可能であるにもかかわらず、この際、「期待度の低い第1態様」で摸画像表示が表示され続けるようなことがあれば、遊技興趣を逆に低下させることが明らかであるから、摸画像表示を非表示にすることが望ましいと言える。その一方で、期待度の低い態様で受付後演出(第1受付期間に対応する受付後演出)が実行された場合であっても、この際、「期待度の高い第2態様」で摸画像表示が表示され続けるようなことがあれば、期待度の低い態様で受付後演出が実行されたことによる遊技興趣の低下を好適に抑制する事が可能であるから、摸画像表示を非表示にせずにこれを継続させるようにすることが望ましいと言える。
若しくは、「期待度の低い第1態様」で摸画像表示が表示された場合であっても、遊技者のなかには、受付後演出が「期待度の低い態様」で実行されてしまったときの「言い訳」として、該受付後演出が実行開始される時点において、摸画像表示が非表示にされておらずその表示状態が継続されている状態にしておきたいと思う者がいると思われるし、「期待度の高い第2態様」で摸画像表示が表示された場合であっても、遊技者のなかには、受付後演出が「期待度の低い態様」で実行されてしまったときの「イライラ」を抑えるために、該受付後演出が実行開始される時点において、摸画像表示が非表示にされており視認できないようにしておきたいと思う者がいると思われる。
この点、上記構成によれば、1つの受付期間(第1受付期間)が発生した場合、遊技者は、第1受付期間内の所定タイミングが到来するまでの間に「遊技者による動作を有効動作とする受付有効判定」がなされるようにすれば、摸画像表示が非表示にされており視認できない状態で受付後演出を実行開始させることが可能であるし、第1受付期間内の所定タイミングが到来するまでの間に「遊技者による動作を有効動作とする受付有効判定」がなされないようにしたときには、その時点で、摸画像表示が表示されていないなかで受付後演出が実行開始される可能性を排除することができるようになることから、こうした演出性を求める者であれば、それ以降は安心して操作演出を楽しむことができるようになる。
[構成8-B]
また後述するが、この実施の形態にかかるパチンコ機1では、まず、受付期間として、第1受付期間及び第2受付期間を含む複数の受付期間を用意している。そして、第1受付期間内において「遊技者による動作を有効動作とする受付有効判定」がなされると、該受付有効判定がなされたことに基づいて、期待度が異なる複数態様のいずれかで第1受付後演出を実行可能であり、第2受付期間内において「遊技者による動作を有効動作とする受付有効判定」がなされると、該受付有効判定がなされたことに基づいて、期待度が異なる複数態様のいずれかで第2受付後演出を実行可能としている。なお、当該構成7―Bにかかる「第1受付期間」や「第2受付期間」は、当該構成7―Bの技術思想を説明するために用いている呼称に過ぎない。したがって、他の構成にかかる「第1受付期間」や「第2受付期間」と同じ受付期間を意味するものであってもよいし、互いに逆側となる受付期間を意味するものであってもよいし、それら受付期間とは異なる受付期間を意味するものであってもよい。
この点、パチンコ機1では、第1受付期間内において「受付有効判定」がなされた場合、該「受付有効判定」に基づく受付後演出(第1受付期間に対応する受付後演出)が実行開始される時点において、残り時間表示(例えば、枠画像内に表示されるゲージ画像の表示面積を時間経過に応じて減少させる描写であり、枠画像及びゲージ画像の少なくとも一方の態様として、期待度が異なる複数態様が用意されているもの)は表示されておらず非表示の状態にある場合がある。これに対し、第2受付期間内において「受付有効判定」がなされた場合、該「受付有効判定」に基づく受付後演出(第2受付期間に対応する受付後演出)が実行開始される時点において、残り時間表示(例えば、枠画像内に表示されるゲージ画像の表示面積を時間経過に応じて減少させる描写であり、枠画像及びゲージ画像の少なくとも一方の態様として、期待度が異なる複数態様が用意されているもの)は表示されておらず非表示の状態にある場合がないようにしている。
このような構成によれば、「受付有効判定」に基づく受付後演出が実行開始された以降、残り時間表示(枠画像及びゲージ画像)が視認可能とされている場合と、残り時間表示(枠画像及びゲージ画像)が視認可能とされない場合とがあるようになることから、受付後演出が実行開始された以降における緊張感を好適に維持することが期待されるようになる。
また後述するが、当該「構成8-B」を採用する場合、第1受付期間内の所定タイミングが到来するまでの間に「遊技者による動作を有効動作とする受付有効判定がなされた」場合は、該受付有効判定に基づく受付後演出(第1受付期間に対応する受付後演出)が実行開始される時点において残り時間表示(枠画像及びゲージ画像)が非表示の状態にされており表示されていないが、第1受付期間内の所定タイミングが到来した以降に「遊技者による動作を有効動作とする受付有効判定がなされた」場合には、残り時間表示(枠画像及びゲージ画像)が表示された状態にあるなかで受付後演出が実行開始されるようにすることが望ましい。
すなわち、遊技者側からすれば、枠画像及びゲージ画像の少なくとも一方が複数態様のうち「期待度の高い第2態様」で表示されたときには、「受付有効判定」に基づく受付後演出(第1受付期間に対応する受付後演出)が実行開始された以降もこれを表示し続けるようにすることが遊技興趣の向上を図る上で確かに好ましいと言える。ただし、枠画像及びゲージ画像の少なくとも一方が複数態様のうち「期待度の低い第1態様」で表示されたときには、「受付有効判定」に基づく受付後演出(第1受付期間に対応する受付後演出)が実行開始された以降もこれが表示され続けるようなことがあると遊技興趣の低下が避けられない。
例えば、受付後演出(第1受付期間に対応する受付後演出)は、その有効期間(第1受付期間)内において枠画像及びゲージ画像の少なくとも一方が「期待度の低い第1態様」と「期待度の低い第2態様」とのいずれで表示されていたとしても、期待度の高い態様で実行される可能性(さらには、期待度の低い態様で実行される可能性)があるようになっている。そして、期待度の高い態様で受付後演出(第1受付期間に対応する受付後演出)が実行されたときには、これだけで遊技興趣の向上を図ることが十分可能であるにもかかわらず、この際、「期待度の低い第1態様」で枠画像及びゲージ画像の少なくとも一方が表示され続けるようなことがあれば、遊技興趣を逆に低下させることが明らかであるから、枠画像及びゲージ画像を非表示にすることが望ましいと言える。その一方で、期待度の低い態様で受付後演出(第1受付期間に対応する受付後演出)が実行された場合であっても、この際、「期待度の高い第2態様」で枠画像及びゲージ画像の少なくとも一方が表示され続けるようなことがあれば、期待度の低い態様で受付後演出が実行されたことによる遊技興趣の低下を好適に抑制する事が可能であるから、枠画像及びゲージ画像を非表示にせずにこれを継続させるようにすることが望ましいと言える。
若しくは、「期待度の低い第1態様」で枠画像及びゲージ画像の少なくとも一方が表示された場合であっても、遊技者のなかには、受付後演出が「期待度の低い態様」で実行されてしまったときの「言い訳」として、該受付後演出が実行開始される時点において、枠画像及びゲージ画像が非表示にされておらずその表示状態が継続されている状態にしておきたいと思う者がいると思われるし、「期待度の高い第2態様」で枠画像及びゲージ画像の少なくとも一方が表示された場合であっても、遊技者のなかには、受付後演出が「期待度の低い態様」で実行されてしまったときの「イライラ」を抑えるために、該受付後演出が実行開始される時点において、枠画像及びゲージ画像が非表示にされており視認できないようにしておきたいと思う者がいると思われる。
この点、上記構成によれば、1つの受付期間(第1受付期間)が発生した場合、遊技者は、第1受付期間内の所定タイミングが到来するまでの間に「遊技者による動作を有効動作とする受付有効判定」がなされるようにすれば、枠画像及びゲージ画像が非表示にされており視認できない状態で受付後演出を実行開始させることが可能であるし、第1受付期間内の所定タイミングが到来するまでの間に「遊技者による動作を有効動作とする受付有効判定」がなされないようにしたときには、その時点で、枠画像及びゲージ画像が表示されていないなかで受付後演出が実行開始される可能性を排除することができるようになることから、こうした演出性を求める者であれば、それ以降は安心して操作演出を楽しむことができるようになる。
[構成9-B]
また後述するが、この実施の形態にかかるパチンコ機1にあって、遊技者に対して動作機会(操作機会)が付与される受付期間では、通常、動作対象表示(ここでは、遊技者による動作の対象を模しており且つ期待度が異なる複数態様を有する摸画像表示)を少なくとも特定領域を用いて表示可能である。受付期間において、遊技者による動作を有効動作とする「受付有効判定」がなされると、該受付有効判定がなされたことに基づいて、当該受付期間の種別に応じた受付後演出が実行可能とされる。また、受付後演出が実行開始される時点においても動作対象表示(摸画像表示)が非表示にされず表示された状態にある場合があるようにしている。
この点、パチンコ機1では、まず、受付期間として、第1受付期間及び第2受付期間を含む複数の受付期間を用意している。そして、第1受付期間内において「受付有効判定」がなされた場合と、第2受付期間内において「受付有効判定」がなされた場合とのいずれにおいても、該「受付有効判定」がなされたことに基づいて、上記特定領域の少なくとも一部を用いて消滅EF演出を実行可能としている。なお、当該構成9―Bにかかる「第1受付期間」や「第2受付期間」は、当該構成9―Bの技術思想を説明するために用いている呼称に過ぎない。したがって、他の構成にかかる「第1受付期間」や「第2受付期間」と同じ受付期間を意味するものであってもよいし、互いに逆側となる受付期間を意味するものであってもよいし、それら受付期間とは異なる受付期間を意味するものであってもよい。
このような構成によれば、摸画像表示によって示唆される動作受付条件のもとで受付有効判定が適正になされた状態(遊技者による動作が受付けされたことによって受付期間が終了した状態)になったことを容易に認識することができるようになる。
なお、消滅EF演出とは、例えば、上述した「動作対象表示(摸画像表示)が視認し難くなる態様」を含む意味であり、この場合、動作対象表示(摸画像表示)が表示される特定領域の少なくとも一部を含む所定領域に消滅演出表示が表示される態様や、動作対象表示(摸画像表示)が表示される特定領域の少なくとも一部と正面視で重なる位置にある演出体を利用した演出が実行される態様のほか、該動作対象表示(摸画像表示)これ自体を視認し難い表示(例えば、表示を小さくしたり、ぼけさせたり、透過率の設定変更など)に変化(変更)して表示する態様であってもよい。
また後述するが、当該「構成9-B」を採用する場合、第1受付期間においては、遊技者による動作を有効動作とする「受付有効判定」がいずれのタイミングでなされるかによって、該第1受付期間に対応する受付後演出が実行開始される時点において動作対象表示(摸画像表示)が非表示とされず表示された状態にある場合と、動作対象表示(摸画像表示)が表示されていない状態(視認できない状態)にある場合とがあるようにしてもよい。
すなわち、遊技者側からすれば、摸画像表示が複数態様のうち「期待度の高い第2態様」で表示されたときには、「受付有効判定」に基づく受付後演出(第1受付期間に対応する受付後演出)が実行開始された以降もこれを表示し続けるようにすることが遊技興趣の向上を図る上で確かに好ましいと言える。ただし、摸画像表示が複数態様のうち「期待度の低い第1態様」で表示されたときには、「受付有効判定」に基づく受付後演出(第1受付期間に対応する受付後演出)が実行開始された以降もこれが表示され続けるようなことがあると遊技興趣の低下が避けられない。
例えば、受付後演出(第1受付期間に対応する受付後演出)は、その有効期間(第1受付期間)内において摸画像表示が「期待度の低い第1態様」と「期待度の低い第2態様」とのいずれで表示されていたとしても、期待度の高い態様で実行される可能性(さらには、期待度の低い態様で実行される可能性)があるようになっている。そして、期待度の高い態様で受付後演出(第1受付期間に対応する受付後演出)が実行されたときには、これだけで遊技興趣の向上を図ることが十分可能であるにもかかわらず、この際、「期待度の低い第1態様」で摸画像表示が表示され続けるようなことがあれば、遊技興趣を逆に低下させることが明らかであるから、摸画像表示を非表示にすることが望ましいと言える。その一方で、期待度の低い態様で受付後演出(第1受付期間に対応する受付後演出)が実行された場合であっても、この際、「期待度の高い第2態様」で摸画像表示が表示され続けるようなことがあれば、期待度の低い態様で受付後演出が実行されたことによる遊技興趣の低下を好適に抑制する事が可能であるから、摸画像表示を非表示にせずにこれを継続させるようにすることが望ましいと言える。
若しくは、「期待度の低い第1態様」で摸画像表示が表示された場合であっても、遊技者のなかには、受付後演出が「期待度の低い態様」で実行されてしまったときの「言い訳」として、該受付後演出が実行開始される時点において、摸画像表示が非表示にされておらずその表示状態が継続されている状態にしておきたいと思う者がいると思われるし、「期待度の高い第2態様」で摸画像表示が表示された場合であっても、遊技者のなかには、受付後演出が「期待度の低い態様」で実行されてしまったときの「イライラ」を抑えるために、該受付後演出が実行開始される時点において、摸画像表示が非表示にされており視認できないようにしておきたいと思う者がいると思われる。
この点、上記構成によれば、1つの受付期間(第1受付期間)が発生した場合、遊技者は、該第1受付期間内において「受付有効判定」がなされるタイミングを通じて、摸画像表示が表示されている状態で受付後演出を実行開始させるか、摸画像表示が非表示にされており視認できない状態で受付後演出を実行開始させるかを実質的に選択することができるようになることから、遊技興趣を好適に維持することが期待されるようになる。
また後述するが、当該「構成9-B」を採用する場合、第2受付期間においては、遊技者による動作を有効動作とする「受付有効判定」がいずれのタイミングでなされるかにかかわらず、該第2受付期間に対応する受付後演出が実行開始される時点において動作対象表示(摸画像表示)が必ず表示された状態にあるようにしてもよい。
このような構成によれば、受付後演出を実行開始させる時点において動作対象表示(摸画像表示)が表示されている状態にするか否かを必ずしも選択することができないようになることから、受付期間内における緊張感を好適に維持することができるようになる。
[その他の構成]
また上述の通り、パチンコ機1では、受付機会が付与される受付許容状態(受付期間)が発生する場合、受付対象に関連した摸画像表示(操作受け部を摸した摸画像など)を、該摸画像表示の周縁を装飾する周縁装飾画像と一体化された一体化摸画像表示(図232を参照)として表示することで、受付後表示(表示変化)が実行されるまでの遊技興趣の低下を抑制するようにしている。このような一体化摸画像表示については、図柄演出がSPリーチ中における特定タイミングまで進展したときに発生する操作受付演出(受付期間)と、SPリーチに発展しない変動パターンで予告判定の結果として発生する操作受付演出(受付期間)とのいずれにおいても表示されるようにすることが望ましいし、低期待非抑制受付演出と高期待抑制受付演出とのいずれにおいても表示されるようにすることが望ましい。
なお、この例にかかる「一体化摸画像表示」については、図232~図248を参照して説明した通り、またはその別例や変形例として記載した通りであるから、詳細は割愛するが、例えば、周縁装飾画像内にはゲージ画像(所定画像)GGの表示対象領域が設けられている。また、「一体化摸画像表示」として、期待度が異なる複数態様(図232参照)が用意されており、それら態様のいずれかで表示されるようになっている点も同様である。
また、この例にかかるパチンコ機1においても、受付許容状態(受付期間)の発生に際しては、操作受付が許容される状態になったこと、または操作受付が許容される状態になることを示唆する受付許容音を出力させるようにしており、これによって操作し忘れを生じ難くするようにしている。ここで、「受付許容音」とは、音が出力開始されると、この音が出力されている間(音データが割り当てられている間)に受付許容状態(受付期間)が必ず発生するか、受付許容状態(受付期間)が既に発生している状態にある音のことである。すなわち、「受付許容音」とは、受付許容状態(受付期間)と何ら関係のない演出が行われている状況下においては出力されることがない音であるとも言える。
また、この実施の形態にかかる各受付許容状態(各受付期間)は、第1種別と第2種別とに分類分けすることが可能である。すなわち、第1種別に分類分けされる受付許容状態とは、高期待変動パターン(SPリーチ変動パターン)が選択された場合には発生可能とされるが、低期待変動パターン(非リーチ変動パターン)では発生し得ない有効期間(大当り判定の結果に基づく演出判定で特定条件(特定の高期待変動パターン選択)が成立したことに基づいて発生される有効期間)である。また、第2種別の受付許容状態とは、高期待変動パターン(SPリーチ変動パターン)と、低期待変動パターンとのいずれであっても発生可能とされる有効期間(予告判定の結果として発生する有効期間など)である。
この実施の形態にかかる「一体化摸画像表示」は、このような第1種別及び第2種別の受付許容状態(受付期間)のいずれにおいても表示されうる。ここでは、第1種別の受付許容状態(受付期間)及び第2種別の受付許容状態(受付期間)は、いずれも同じ操作手段(例えば、操作ボタン410)に対して操作機会が付与される受付許容状態(受付期間)として発生する場合を想定していることから、それら受付期間で表示される「一体化摸画像表示」は、同じ操作手段(操作ボタン410)を摸した画像である。
なお、「一体化摸画像表示」として用意されている複数態様のうち期待度の高い特別態様(例えば、図232(d)に示される態様)は、第1種別の受付許容状態(受付期間)でしか表示可能とされず、第2種別の受付許容状態(受付期間)では、特別態様とは異なる態様(例えば、図232(a)~(c)に示される態様)のみによって表示可能とされるようにしてもよい(この構成は、必須ではない)。この場合、第1種別の受付許容状態(受付期間)では、大当り判定の結果に基づいて特別態様を含む複数態様(例えば、図232(a)~(d))のいずれで「一体化摸画像表示」を表示するのかについての判定が行われ、この判定の結果に応じた態様で「一体化摸画像表示」が表示されることとなる。第2種別の受付許容状態(受付期間)においても、大当り判定の結果に基づいて特別態様を含まない複数態様(例えば、図232(a)~(c))のいずれで「一体化摸画像」を表示するのかについての判定が行われようにし、この判定の結果に応じた態様で「一体化摸画像表示」が表示されるようにしてもよい。
以下、上記「構成1-B」~「構成9―B」等を備える当該パチンコ機1について、その詳細を、図を参照して説明する。ただし、以下に説明する各構成は、最良の実施形態として記載されているものにすぎず、必ずしも備えなくてもよい。すなわち、以下に説明する明細書中に記載される各構成については、上記「構成1-B」~「構成9―B」のいずれか1つに対してさらなる作用効果を得たいときにそれに対応する構成だけを任意に選別して採用可能である。
まず、上記「構成1-B」~「構成4-B」を具体化した例について説明する。上述の通り、このパチンコ機1は、受付けされたときに進行される演出内容(例えば、受付後演出としての会話予告、カットイン予告、可動体予告などであり、予告演出(期待度示唆演出)の種別)が異なる複数の受付期間(受付演出)を用意しており、判定(大当り判定や、演出判定など)の結果に応じた種別の受付期間(受付演出)を発生可能としている。ここでは、複数の受付期間(受付演出)として、少なくとも第1B受付期間(第1B受付後演出)、第2B受付期間(第2B受付後演出)、第3B受付期間(第3B受付後演出)を用意している。
図288~図303を参照して、各受付期間(受付演出)の別に、各々の特徴について説明する。なお、図287までを参照しつつ上述した各受付期間については、第1B受付期間(第1B受付後演出)、第2B受付期間(第2B受付後演出)、第3B受付期間(第3B受付後演出)とは別の受付期間として用意されているものであってもよいし、第1B受付期間(第1B受付後演出)、第2B受付期間(第2B受付後演出)、第3B受付期間(第3B受付後演出)のうちのいずれかとして実現されるものであってもよい。また、以下に説明する各発明を実現する上では、以下に説明する各構成のうちの必要な構成だけを備えるだけでよく、図287までを参照しつつ上述した各受付期間についてはこれらを必ずしも備えないようにしてもよい。
図288~図290は、判定(大当り判定または演出判定)の結果として条件1Bが満たされて第1B受付期間(第1B受付演出)が発生するときの演出内容についてその一例を示すタイムチャートである。図297及び図298は、第1B受付期間(第1B受付演出)が発生する変動パターンにおける演出例を示す図である。
いま、特定遊技状態(例えば、非確変・非時短である通常遊技状態)において始動条件が成立(保留消化)されて、変動パターン判定が行われた結果として「第1B変動パターン」が選択されたとすると、上記周辺制御MPU1511aでは、まず、該第1B変動パターンに対応する演出判定(予告演出判定など)を行う。そしてこの後、装飾図柄SZの変動演出(第1B変動パターンに応じた演出描写や、第1B変動パターンに応じたBGM再生の音出力など)を開始させ(「図297(a)に示される状況」)、該変動演出の実行期間内で、予告演出判定の結果に応じた演出(予告演出)を、上記選択した「第1B変動パターン」これ自体の演出に対して付加的に実行させることとなる。
すなわち、上記周辺制御MPU1511aでは、図288(a)に示されるように、装飾図柄SZの変動演出が開始されてから第1B所定時間が経過したタイミングtQ2が到来すると(条件1Bが満たされると)、「第1B受付後演出に関しての受付け」が許容される上記第1B受付期間(有効期間)を発生させる(「図297(b),(c)に示される状況」)。これにより、当該第1B受付期間内において遊技者による動作(操作)が受付けされると(受付有効判定されると)、該受付け(受付有効判定)に基づいて第1B受付後演出が行われるようになる。
この点、この実施の形態にかかるパチンコ機1にあって、演出表示装置1600(第1演出装置)では、このような第1B受付期間が発生することに関連して、受付対象(操作受け部など)を示唆する動作対象表示(摸画像表示)、受付期間(有効期間)の残り時間を示唆する残り時間表示(枠画像内に表示されるゲージ画像の表示面積を時間経過に応じて減少させる描写)、摸画像表示を視認し難くする消滅関連表示(消滅EF演出)、受付け(受付有効判定)されたことに応じて期待度(大当り図柄が現れる割合)を示唆する第1B受付後演出表示がそれぞれ行われるようになっている。なお上述の通り、この実施の形態にかかる摸画像表示は、残り時間表示(枠画像内に表示されるゲージ画像の表示面積を時間経過に応じて減少させる描写)を含む周縁装飾画像と一体化された「一体化摸画像表示」として表示されるものとなっているが、必ずしもこれに限られず、別々に表示されるものであってもよい。このことについては、他の受付期間においても同様である。
より具体的には、まず、タイミングtQ2において第1B受付期間が発生すると、図288(b)及び図297(b),(c)に示されるように、この例にかかる演出表示装置1600(第1演出装置)においては、一体化摸画像表示IGとして、「摸画像表示」や「残り時間表示(枠画像及びゲージ画像)」が表示される。該一体化摸画像表示IG(摸画像表示や、枠画像、ゲージ画像)は、タイミングtQ2において出現しうるものであってもよいし、タイミングtQ2よりも前に出現して該タイミングtQ2を跨ぐように表示されるものであってもよい。なお、一体化摸画像表示IG(摸画像表示や、枠画像、ゲージ画像)は、第1B受付期間内で受付け(受付有効判定)がなされたときか、該受付け(受付有効判定)がなされることなく第1B受付期間が終了されたときに非表示にされる。この例にかかる第1B受付期間は、遊技者による動作(操作)の受付け(受付有効判定)がなされないときにはタイミングtQ3が到来したときに終了される(図288(a)を参照)。
また、この例にかかる第1B受付期間では、一体化摸画像表示IG(摸画像表示や、枠画像、ゲージ画像)が、複数態様(例えば、図232(a),(d))のいずれかで表示されるようになっており、図297(b)は、一体化摸画像表示IG(摸画像表示や、枠画像、ゲージ画像)が図232(a)に示される態様で表示された場合に相当し、図297(c)は、一体化摸画像表示IG(摸画像表示や、枠画像、ゲージ画像)が図232(d)に示される態様で表示された場合に相当している。なお、第1B受付期間においても、図232(b),(c)に示される態様を含む複数態様のいずれかで一体化摸画像表示IG(摸画像表示や、枠画像、ゲージ画像)が表示されるようにしてもよい。
そして、図288は、このような第1B受付期間内の比較的早いタイミングtQ2aが到来したときに「遊技者による動作(操作)を有効動作とする受付有効判定」がなされた場合を想定している。すなわちこの場合、図288(a)に示されるように、タイミングtQ2aにおいて遊技者による動作が受付けされた(受付有効判定がなされた)ことに基づいて、第1B受付期間が終了されるとともに、該第1B受付期間に対応する受付後演出(第1B受付後演出)が実行開始されることとなる。
なお、図297(b)から「E1(図298(d1)~図298(h1))へと演出が進展する例は、第1B受付期間に対応する受付後演出(第1B受付後演出)として相対的に期待度の低い第1態様が実行される場合に相当し、図297(b)から「E2(図298(d2)~図298(h2)」へと演出が進展する例は、第1B受付期間に対応する受付後演出(第1B受付後演出)として相対的に期待度の高い第2態様が実行される場合に相当している。期待度(大当り図柄が現れる割合)については、「0%」や「100%」を含むものであってもよい。
ここで、この演出例では、図288に示されるように、遊技者による動作が受付けされた時点(受付けに応じて第1B受付後演出が開始された時点)であるタイミングtQ2aにおいて、「一体化摸画像表示IG」を非表示にしないことはもとより、該一体化摸画像表示IGを視認し難くすることもしないようにしている。
すなわち、この実施の形態にかかる第1B受付後演出は、演出表示装置1600(第1演出装置)を利用した「第1B受付後演出表示」と、第2演出装置(例えば、サブ液晶や、可動体、演出用ランプなど)を利用した「第1B受付後特定演出」と、第3演出装置(スピーカ)を利用した第1B受付後演出音とが少なくとも複合された演出として実現されるものとなっている(必ずしも3つの演出装置による複合演出として実現しなくてもよい)が、それら演出装置のうち、一体化摸画像表示IG(摸画像表示や、枠画像、ゲージ画像)が表示される演出表示装置1600(第1演出装置)においては、第1B受付後演出としての「第1受付後演出表示」が実行開始される時期を、他の演出装置に比べて遅延させるようにしており、これによって受付けがなされた以降も「一体化摸画像表示IG」の視認性をあえて維持させることとしている。
このような構成によれば、図298(d1)または(d2)に示されるように、受付けがなされた以降も、終了された受付期間内において一体化摸画像表示IGが複数態様(図232(a)~(d))のいずれで表示されていたのかなどを、遊技者は容易に認識することができるようになることから、遊技興趣が低下することを好適に抑制することが期待されるようになる。
ここで、受付期間の終了後、該受付期間内において一体化摸画像表示IGがいかなる態様で表示されていたのかの認識を容易とする上では、受付けがなされた以降の「一体化摸画像表示IGが視認容易な態様のままで表示される時間」を長く設定するようにすることが望ましいと言える。ただし、受付けがなされており受付後演出(第2演出装置、第3演出装置)が既に実行されている状況にあるにもかかわらず、一体化摸画像表示IGが受付期間中にあったときと同じ態様のままで表示され続けるようなことがあると、受付けがなされた状況にあるのか否かを遊技者側が認識し難くなり、その結果として「実行状態にある受付後演出に気付くのが遅れてしまう」といったことが懸念される。
そこで、図288(b)や、図298(e1)または(e2)に示される例においては、遊技者による動作が受付けされたことによって第1B受付期間が終了したタイミングtQ2aから所定時間が経過すると(タイミングtQ2bが到来すると)、摸画像表示を視認し難くする消滅関連表示(消滅EF演出)にかかる表示を開始するようにしている。
すなわち、この例にかかる演出表示装置1600(第1演出装置)においては、「一体化摸画像表示IG(摸画像表示、ゲージ画像表示)」が表示されているなかで「消滅関連表示(消滅EF演出)」が表示されるようになっており、「消滅関連表示(消滅EF演出)」が表示される領域の少なくとも一部は「一体化摸画像表示IG(摸画像表示、ゲージ画像表示)」が表示される領域と重複するようになっている。
このような構成によれば、受付けがなされた以降、一体化摸画像表示IGを表示し続けるようにした場合であっても、該一体化摸画像表示IGが視認し難くされることによって、受付後演出(第2演出装置、第3演出装置)が既に実行されている状況にあることを示唆することができるようになる。したがって、遊技者による注視先を一体化摸画像表示IGから受付後演出(第2演出装置、第3演出装置)へと自ずと移行されることが期待されるようになる(タイミングtQ2b以降)。これにより、受付後演出(第2演出装置、第3演出装置)が既に実行されている状況においても、視認し難さはあるものの一体化摸画像表示IGを比較的長い時間にわたって表示し続けることが可能とされるようになることから、受付期間内で一体化摸画像表示IGがいずれの態様で表示されていたのか認識できないことによる遊技興趣の低下を抑制することができるようになる。
また、第1B受付期間では、これに対応する受付後演出(第1B受付後演出)として期待度の低い態様(図298(d1)~(h1))が現れる場合と、期待度の高い態様(図298(d2)~(h2))が現れる場合とで、消滅関連表示として異なる態様(第1消滅関連表示SKB1,第2消滅関連表示SKB2)が現れるようにしている。すなわちこの場合、図298(e1),(e2)に示されるように、演出表示装置1600(第1演出装置)を利用した「第1B受付後演出表示」が未だ開始されていない状況下にあったとしても、該演出表示装置1600(第1演出装置)にて現れる消滅関連表示が「第1消滅関連表示SKB1」と「第2消滅関連表示SKB2」とのいずれで現れているのかを確認することで、「第1B受付後演出表示」が期待度の高い態様で実行されるか否かを推測することができるようになる。
また、この例にかかるパチンコ機1では、図288(b)や、図298(f1)または(f2)に示されるように、消滅関連表示にかかる表示(一体化摸画像表示IGが視認し難くなる態様)が現れている期間内のタイミングtQ2cが到来すると、第1B受付期間内で遊技者による動作が受付けされたことに応じた第1演出装置(演出表示装置1600)における受付後演出としての「第1B受付後演出表示UGB1(カットイン演出)」を実行開始するようにしている。ただしここでは、図297(b)から「E1(図298(d1)~(h1))」へと演出が進展する例(受付後演出として相対的に期待度の低い場合)では、図298(f1)に示されるように、第1B受付期間に対応する第1B受付後演出表示UGB1として第1態様(ここでは、姫キャラクタによるカットイン演出としての第1B受付後演出表示UGB1-1))が表示され、図297(b)から「E2(図298(d2)~(h2))」へと演出が進展する例(受付後演出として相対的に期待度の高い場合)では、図298(f2)に示されるように、第1B受付期間に対応する第1B受付後演出表示UGB1として第2態様((ここでは、侍キャラクタによるカットイン演出としての第1B受付後演出表示UGB1-2)が表示されるようになっている。
すなわちこの場合、「一体化摸画像表示IG」及び「消滅関連表示(第1消滅関連表示SKB1,第2消滅関連表示SKB2)」がそれぞれ表示されているなかで「第1B受付後演出表示UGB1(「第1B受付後演出表示UGB1-1」または「第1B受付後演出表示UGB1-2」)が実行開始されることとなる。これにより、第1B受付期間内で受付けされた以降、一体化摸画像表示IGを比較的長い時間にわたって表示し続けるようにした場合であっても、第1演出装置(演出表示装置1600)における受付後演出(第1B受付後演出表示UGB1を他の演出装置と比較して大幅に遅延させることなく開始させることができるようになり、遊技興趣の低下を抑制することができるようになる。また、一体化摸画像表示IGが視認し難くされているなかで第1B受付後演出表示UGB1が開始されることから、第1B受付期間が既に終了していることを示唆しつつ、遊技者による注視先が「一体化摸画像表示IG」から「第1B受付後演出表示UGB1(第1B受付後演出表示UGB1-1または第1B受付後演出表示UGB1-2)」へと自ずと移行されることが期待されるようになる(タイミングtQ2c以降)。
その一方で、「第1B受付後演出表示UGB1(第1B受付後演出表示UGB1-1または第1B受付後演出表示UGB1-2)」については、「一体化摸画像表示IG」が表示される領域の少なくとも一部と重なるように表示される場合(必ずしも重なるように表示しなくてもよい)、「一体化摸画像表示IG」よりも背後側に表示されるものとなっており、「第1B受付後演出表示UGB1(第1B受付後演出表示UGB1-1または第1B受付後演出表示UGB1-2)」に対して「一体化摸画像表示IG」を優先表示させるようにしている。これにより、「第1B受付後演出表示UGB1(第1B受付後演出表示UGB1-1または第1B受付後演出表示UGB1-2)」が実行開始されるなかでも、受付期間内で一体化摸画像表示IGがいずれの態様で表示されていたのかの認識を容易化するようにしている。
そして、この例にかかるパチンコ機1では、こうして「第1B受付後演出表示UGB1(第1B受付後演出表示UGB1-1または第1B受付後演出表示UGB1-2)」にかかる表示が開始されると、図288(b)や、図298(g1)または(g2)に示されるように、該「第1B受付後演出表示UGB1(第1B受付後演出表示UGB1-1または第1B受付後演出表示UGB1-2)」が表示されているなかで、まず、「一体化摸画像表示IG」及び「消滅関連表示」のうち、「一体化摸画像表示IG」を非表示にする。そして、こうして「一体化摸画像表示IG」が非表示にされた後、図288(b)や、図298(h1)または(h2)に示されるように、「消滅関連表示(第1消滅関連表示SKB1または第2消滅関連表示SKB2」が非表示にされることとなり、これによって視認良好とされているもとで「第1B受付後演出表示UGB1(第1B受付後演出表示UGB1-1または第1B受付後演出表示UGB1-2)」にかかる表示が行われるようになる。
この点、「第1B受付後演出表示UGB1」とは、遊技者による動作が受付けされたことに基づいて、期待度が異なる複数態様(ここでは、第1B受付後演出表示UGB1-1または第1B受付後演出表示UGB1-2)のいずれかで表示されるものである。したがって、「第1B受付後演出表示UGB1」は、「一体化摸画像表示IG」や「消滅関連表示」が非表示にされた以降も、比較的長い時間にわたって実行されることとなる。
また、当該第1B受付期間に対応する演出例(図297及び図298)では、第1B受付期間内において受付けがなされて「第1B受付後演出表示UGB1」が実行されると、該「第1B受付後演出表示UGB1」が開始される前後で背景画像に切り替えを生じさせるようにしている。
このような構成によれば、背景画像に切り替えが生じていない図298(d),(e)に示される状況下(図288に示されるタイミングtQ2a~tQ2b)においては、演出表示装置1600(第1演出装置)において演出変化があったとしても、「第1B受付後演出表示UGB1」は未だ開始されていない状況にあることを示唆することができるようになる。
なお、この演出例では、「第1B受付後演出表示UGB1」や「背景変更」を、「消滅関連表示(第1消滅関連表示SKB1,第2消滅関連表示SKB2)」が表示開始される時期(タイミングtQ2b)よりも遅い時期(タイミングtQ2c)で表示開始させることとしたが、「消滅関連表示(第1消滅関連表示SKB1,第2消滅関連表示SKB2)」が表示開始される時期(タイミングtQ2b)と同じ時期(タイミングtQ2b)で表示開始させるようにしてもよい。
また、図298に示した例では、受付後演出として、期待度の低い態様が現れる場合と、期待度の高い態様が現れる場合とで同じ背景画像に切り替えられるようにしているが、期待度の低い態様が現れる場合と、期待度の高い態様が現れる場合とで異なる背景画像に切り替えられるようにしてもよい。また、期待度の高い態様が現れるときには、背景画像が切り替えられるが、期待度の低い態様が現れるときには、背景画像が切り替えられないようにしてもよい。
このように、この例にかかる演出表示装置1600(第1演出装置)では、第1B受付期間が発生する場合、これに伴って、限られた時間(図288に示される太線)内であり、且つ限られた表示画面(演出表示装置1600)内で様々な表示を行うものとなっており、これによって遊技興趣の低下を抑制するようにしている。ただしこの結果として、演出表示装置1600(第1演出装置)では、受付けに応じた第1B受付後演出(第1B受付後演出表示)の開始時期(タイミングtQ2c)を、受付けされたタイミングtQ2aよりも遅延せざるを得ないという実情にある。
そこで、この例においては、第1B受付期間内で遊技者による動作が受付けされたときには、図288(b),(c)に併せて示されるように、該受付けがあったことに基づいて、第2演出装置を用いた第1B受付後演出(第1B受付後特定演出)を、上記第1演出装置を用いた第1B受付後演出(第1B受付後演出表示)に先行して実行開始させるようにしている。
このような構成によれば、第1B受付期間で受付けがあったタイミングtQ2aから実行開始が遅延されるのは第1B受付後演出の一部(第1B受付後演出表示)に留まることとなり、当該第1B受付後演出これ自体については、同タイミングtQ2aから遅れることなく実行開始させることができるようになる。
このような第2演出装置としては、演出表示装置1600(第1演出装置)をメイン液晶とするときのサブ液晶として備えられるものであってもよいし、演出動作可能な演出可動体や、演出発光可能な演出ランプなどとして備えられるものであってもよい。いずれにせよ、期待度が異なる複数態様で演出(表示演出、可動演出、発光演出など)を行いうるものとして設けられることとなる。期待度(大当り図柄が現れる割合)については、「0%」や「100%」を含むものであってもよい。
上述の通り、この実施の形態にかかるパチンコ機1では、第2演出装置としてサブ液晶1610を用いた場合を想定している。そして、図297(b)から「E1(図298(d1)~(h1))」へと演出が進展する例(受付後演出として相対的に期待度の低い場合)では、図298(d1)に示されるように、該サブ液晶1610(第2演出装置)において「女性用の着物」が表示される態様が、当該第1B受付期間に対応する上記第1B受付後特定演出UTB1(第1受付後特定演出UTB1の期待度の低い態様である第1B受付後特定演出UTB1-1)として、上記第1演出装置を用いた第1B受付後演出(第1B受付後演出表示UGB1-1)に先行して実行開始されるようになっている。これに対し、図297(b)から「E2(図298(d2)~(h2))」へと演出が進展する例(受付後演出として相対的に期待度の高い場合)では、図298(d2)に示されるように、該サブ液晶1610(第2演出装置)において「男性用の着物」が表示される態様が、当該第1B受付期間に対応する上記第1B受付後特定演出UTB1(第1B受付後特定演出UTB1の期待度の高い態様である第1B受付後特定演出UTB1-2)として、上記第1演出装置を用いた第1B受付後演出(第1B受付後演出表示UGB1-2)に先行して実行開始されるようになっている。
また、図297に示した演出例では、演出表示装置1600(第1演出装置)における「一体化摸画像表示IG」とは別に、サブ液晶1610(第2演出装置)においても第1B受付期間が発生した状態にあることを示唆する受付期間内演出が実行されるようになっている(図297(b),(c))。該サブ液晶1610(第2演出装置)における受付期間内演出は、演出表示装置1600(第1演出装置)における「一体化摸画像表示IG」が期待度の低い態様(図297(b)を参照)で表示される場合と期待度の高い態様(図297(c)を参照)で表示される場合とで同じ態様となるように表示されるものとなっている。
すなわちこの場合、遊技者に対して動作機会(操作機会)が付与される第1B受付期間内にあるとき、演出表示装置1600(第1演出装置)では期待度に応じて異なる態様が現れ、且つサブ液晶1610(第2演出装置)では期待度にかかわらず同じ態様が現れることとなる。ただしこの後、第1B受付期間内で「遊技者による動作(操作)を有効動作とする受付有効判定」がなされると、演出表示装置1600(第1演出装置)では「一体化摸画像表示IG」にかかる表示が継続されているなかで(受付後演出としての期待度を未だ示唆していないなかで)、サブ液晶1610(第2演出装置)では期待度に応じて異なる態様が現れることとなる。このような構成によれば、1つの演出装置による演出だけを注視している場合よりも、その時々に応じて適切な演出装置を注視するようにしたほうが演出情報をより迅速に得ることができるようになることから、遊技興趣の向上を図ることができるようになる。
なお、この演出例では、第1B受付後特定演出UTB1として、「第1B受付後特定演出UTB1-1」及び「第1B受付後特定演出UTB1-2」のいずれが出現するかによって期待度を示唆するようにしたが、該第1B受付後特定演出UTB1については、必ずしも複数態様を用意しなくてもよい。例えば、第1B受付後特定演出UTB1として「第1B受付後特定演出UTB1-2」のみを備えることとし、該「第1B受付後特定演出UTB1-2」が出現するか否かによって期待度(大当りが得られている割合)を示唆するようにしてもよい。すなわちこの場合、「第1B受付後特定演出UTB1-2」が出現したときには、「第1B受付後特定演出UTB1-2」が出現しなかったときよりも期待度が高いことが示唆されることとなる。
また上述の通り、この実施の形態にかかるパチンコ機1では、第3演出装置(スピーカー)をさらに用意することとしており、第1B受付期間の発生に際しては、図288(d)に示されるタイミングtQ1において、受付許容音を出力開始させることとしている。すなわち、第1B受付期間に対応する受付許容音は、該第1B受付期間が発生するタイミングtQ2(「図297(b),(c)に示される状況」に相当)を跨るかたちで可聴出力されるものとなっており、当該受付許容音が可聴出力されているなかで遊技者による動作(操作)が受付けされうるものとなっている。
ここで、第1B受付期間では、受付許容音として、相対的に長い時間にわたって可聴出力状態とされる第1長許容音と、相対的に短い時間にわたって可聴出力状態とされる第1短許容音とがそれぞれ出力されるようになっている。図288(d)に示される例では、第1長許容音と第1短許容音とをそれぞれ同時期に出力開始させるようにしているが、必ずしもこれに限られない。例えば、第1長許容音及び第1短許容音の一方を、第1B受付期間が発生するタイミングtQ2やそれ以降において出力開始させるようにしてもよい。
そして、第1B受付期間では、第1長許容音及び(または)第1短許容音がそれぞれ可聴出力されているなかで遊技者による動作の受付けがなされた場合、該受付けがなされたことに基づいて、第1長許容音及び(または)第1短許容音を途中終了(可聴出力状態の途中終了)させるようにしている。
この点、第1長許容音及び(または)第1短許容音については、図288(d)に示されるように、期待度の低い態様で実行(可聴出力)される場合(図297(b)に示される場合)と、期待度の高い態様で実行(可聴出力)される場合(図297(c)に示される場合)とがあるようにすることが望ましい。すなわちこの場合、第1長許容音及び(または)第1短許容音は、受付期間内において期待度を示唆するものでありながらも、「一体化摸画像表示IG」とは異なり、受付け(受付有効判定)がなされるとそれを確認することができなくなるものとして実行されることとなることから、受付期間内のいずれのタイミングで受付け(受付有効判定)がなされるようにするかについての緊張感を好適に維持することが期待されるようになる。
また、第1B受付期間では、受付許容音(第1長許容音、第1短許容音)が可聴出力されているなかで遊技者による動作の受付けがなされた場合、該受付許容音を途中終了させるだけでなく、該受付けがなされたときにはこれに基づいて、上記第1B受付後演出音の可聴出力を開始させるものとなっている。第1B受付後演出音は、期待度が示唆されるように実行されるものであり、例えば、期待度の低い態様で実行(可聴出力)される場合と、期待度の高い態様で実行(可聴出力)される場合とがあるものである。すなわちこの場合、第1B受付期間では、第1演出装置にて行われる演出(表示演出)の場合とは異なり、受付期間内で行われる演出(受付許容音)と、受付けがなされたことに応じて行われる演出(第1B受付後演出音)とが競合(重複)することがなくなるようになる。
このような第1B受付後演出音は、「第1B受付後演出表示UGB1」と同様、図288(d)に示されるように、「一体化摸画像表示IG」や「消滅関連表示(消滅EF演出)」が非表示にされた以降も、比較的長い時間にわたって実行されることとなる。また、第1B受付後演出音については、図297(b)から「E1(図298(d1)~(h1))」へと演出が進展する例(受付後演出として相対的に期待度の低い場合)と、図297(b)から「E2(図298(d2)~(h2))」へと演出が進展する例(受付後演出として相対的に期待度の高い場合)とで、互いに異なる出力音(態様)が出力されるようにすることが望ましい。
なお、第1B受付期間では、受付許容音として、第1長許容音及び第1短許容音をそれぞれ出力するようにしたが、これら2つの許容音を必ずしも出力しなくてもよく、1つの受付許容音のみが出力されるようにしてもよい。
また、第1B受付期間で受付け(受付有効判定)がなされた場合、第3演出装置では、期待度を示唆する第1B受付後演出音だけではなく、期待度を示唆しない「受付音」も可聴出力するものとなっている。すなわち、「受付音」とは、図297(b)から「E1(図298(d1)~(h1))」へと演出が進展する例(受付後演出として相対的に期待度の低い場合)と、図297(b)から「E2(図298(d2)~(h2))」へと演出が進展する例(受付後演出として相対的に期待度の高い場合)とで同じ態様で可聴出力されるものである。そして、このような「受付音」は、第1B受付期間とは異なる受付期間において受付け(受付有効判定)がなされた場合にも(期待度にかかわらず)可聴出力されるものとなっている。このような構成によれば、受付後演出としてどれだけ斬新な演出を行うようにした場合であっても、「受付音」が可聴出力されたときには受付け(受付有効判定)が適正になされた状態にあることを好適に認識することができるようになることから、受付後演出の内容に集中することを促すことができるようになる。
これに対し、図289は、このような第1B受付期間内の比較的遅いタイミングtQ2Aが到来したときに「遊技者による動作(操作)を有効動作とする受付有効判定」がなされた場合を想定している。すなわちこの場合、図289(a)に示されるように、タイミングtQ2Aにおいて遊技者による動作が受付けされた(受付有効判定がなされた)ことに基づいて、第1B受付期間が終了されるとともに、該第1B受付期間に対応する受付後演出(第1B受付後演出)が実行開始されることとなる。
この点、第1B受付期間では、第1B受付期間内の比較的遅いタイミングtQ2Aにおいて受付け(受付有効判定)がなされた場合であっても(いかなるタイミングで受付け(受付有効判定)がなされた場合であっても)、基本的には、第1B受付期間内の比較的早いタイミングtQ2aにおいて受付け(受付有効判定)がなされた場合と同じ態様で演出が進展されることとなる。したがって、図289(a)に示される例の場合も、図297(b)から「E1(図298(d1)~(h1))」へと演出が進展する場合(受付後演出として相対的に期待度の低い場合)と、図297(b)から「E2(図298(d2)~(h2))」へと演出が進展する場合(受付後演出として相対的に期待度の高い場合)とがあるようになり、第1演出装置、第2演出装置、及び第3演出装置においては、基本的には、図288などを参照しつつ説明した通りの内容で演出が実行されることとなる。
ただし、図289に示される例の場合は、第1B受付期間内の比較的遅いタイミングtQ2Aで受付け(受付有効判定)がなされた分だけ、図298(d)などに示される状況では、ゲージ画像の表示面積がより一層減少した状態になっていることとなる。また、図289に示される例の場合は、同図289(d)に示されるように、第1短許容音が既に可聴出力を終了しているなかで受付け(受付有効判定)がなされていることから、該受付け(受付有効判定)がなされたことによって当該第1短許容音が途中終了(可聴出力状態の途中終了)されることはない。
また、図289に示される例の場合は、受付け(受付有効判定)がなされたことに基づく「第1B受付後演出表示」が表示される時間が、図288に示した例の場合よりも短くされることとなる。すなわち、「第1B受付後特定演出」や「第1B受付後演出音」は、受付け(受付有効判定)がなされたときから予め定められた時間(一定時間)だけ実行されるものであるのに対し、「第1B受付後演出表示」は、受付け(受付有効判定)がいずれのタイミングでなされたかにかかわらず、変動パターン内の予め定められたタイミングtQ4が到来したときに終了(非表示)されるものとなっている。このような構成によれば、受付期間内のいずれのタイミングで受付けが(受付有効判定)がなされるようにするかについての緊張感を好適に維持することが期待されるようになる。
他方、図290に示される例や、図297(b)から「E3(図298(d3)~(g3))」へと演出が進展する例とは、第1B受付期間内で遊技者による動作(操作)が行われず受付け(受付有効判定)がなされなかった場合を想定したものである。
すなわちこの場合、同図290に示されるように、第1B受付期間が発生した後、遊技者による動作(操作)が受付けされることなく上記タイミングtQ3が到来することとなる。この点、該タイミングtQ3(第1B受付期間が終了し、遊技者による動作(操作)の受付けが許容されなくなった時点)にあるときの演出表示装置1600(第1演出装置)では、タイミングtQ2aやタイミングtQ2Aなど(第1B受付期間内において遊技者による動作(操作)の受付けがなされた時点(または、受付後演出が実行開始される時点))にあるときの演出表示装置1600(第1演出装置)と同様、図298(d3)に示されるように、一体化摸画像表示IGを非表示にしないことはもとより、一体化摸画像表示IGを視認し難くすることもしないようにしている。
このような構成によれば、遊技者による動作(操作)の受付けが間に合わずに第1B受付期間が終了してしまった場合であっても、該終了した以降、第1B受付期間内において一体化摸画像表示IGがいかなる態様で表示されていたのかを認識することが可能とされるようになることから、遊技興趣の低下を抑制することができるようになる。
そしてこの後は、遊技者による動作(操作)が受付けされなかった場合も、図298(e3)に示されるように、「一体化摸画像表示IGが視認し難くなる態様」として、消滅関連表示(消滅EF演出)が開始されるようになっている。
すなわち、この例にかかる第1演出装置(演出表示装置1600)では、「一体化摸画像表示IG(摸画像表示、ゲージ画像表示)」が表示されているなかで「消滅関連表示(消滅EF演出)」が表示されるようになっており、「消滅関連表示(消滅EF演出)」が表示される領域の少なくとも一部は「一体化摸画像表示IG(摸画像表示、ゲージ画像表示)」が表示される領域と重複するようになっている。
このような構成によれば、受付けがなされずに第1B受付期間が終了した以降、一体化摸画像表示IGを表示し続けるようにした場合であっても、該一体化摸画像表示IGが視認し難くされることによって、当該第1B受付期間が終了した状態にあることを示唆することができるようになる。また、当該第1B受付期間が既に終了している状況においても、視認し難さはあるものの一体化摸画像表示IGを比較的長い時間にわたって表示し続けることが可能とされるようになることから、受付期間内で一体化摸画像表示IGがいずれの態様で表示されていたのか認識できないことによる遊技興趣の低下を抑制することができるようになる。
また、この例にかかるパチンコ機1では、第1B受付期間内で遊技者による動作(操作)が受付けされなかった場合、消滅関連表示(消滅EF演出)として「第1消滅関連表示SKB1」を表示させることとしている。すなわちこの場合、第1B受付期間内で遊技者による動作(操作)が受付けされていたとしたら第1B受付後演出によって期待度が低いことが示唆されていた可能性を遊技者が感じ取ることが期待されることとなる。これにより、第1B受付期間内で動作(操作)しなくて良かったと思うように促すことができるようになり、第1B受付期間内で動作(操作)が受付けされなかったときの遊技興趣の低下を抑制することが期待されるようになる。
ただし、第1B受付期間内で遊技者による動作(操作)が受付けされなかった場合、消滅関連表示(消滅EF演出)として「第2消滅関連表示SKB2」を表示させるようにしてもよいし、「第1消滅関連表示SKB1」及び「第2消滅関連表示SKB2」のいずれとも異なる態様を出現させるようにしてもよい。
また、第1B受付期間内で遊技者による動作(操作)が受付けされなかった場合であっても、消滅関連表示(消滅EF演出)については、該動作(操作)が受付けされていたとしたときに出現しうる態様で実行されるようにしてもよい。すなわちこの場合、図298(e3)に示される状況において「第1消滅関連表示SKB1」が現れる場合とは、第1B受付期間内で遊技者による動作(操作)がもし受付けされていたとしたら、図297(b)から「E1(図298(d1)~(h1))」へと演出が進展していた場合(相対的に期待度の低い受付後演出が実行されていた場合)を意味することとなる。一方、図298(e3)に示される状況において「第2消滅関連表示SKB2」が現れる場合とは、第1B受付期間内で遊技者による動作(操作)がもし受付けされていたとしたら、図297(b)から「E2(図298(d2)~(h2))」へと演出が進展していた場合(相対的に期待度の高い受付後演出が実行されていた場合)を意味することとなる。すなわちこの場合、第1B受付期間では、遊技者による動作(操作)が受付けされなかったとしても、該第1B受付期間が終了した以降、一体化摸画像表示IGが非表示にされるのに関連して現れる「消滅関連表示(消滅EF演出)」としての態様を確認するだけで、第1B受付後演出が期待度の低い態様で実行されていたか、それとも期待度の高い態様で実行されていたかを認識しうるようになることから、遊技興趣が低下することを好適に抑制することができるようになる。
そしてこの後は、図298(f3)に示されるように、「一体化摸画像表示IG」及び「消滅関連表示(図中は、第1消滅関連表示SKB1)」のうち、まず、「一体化摸画像表示IG」を非表示にする。そして、こうして「一体化摸画像表示IG」が非表示にされた後、図298(g3)に示されるように、「消滅関連表示(図中は、第1消滅関連表示SKB1))」が非表示にされることとなる。
ところで、この例にかかる第1B受付期間では、一体化摸画像表示IG(摸画像表示や、枠画像、ゲージ画像)が、図232(a)に示される態様ではなく(図297(b)を参照)、図232(d)に示される態様で表示される場合(図297(c)を参照)もあることは上述した通りである。このような図297(c)に示される状況が現れた場合は、上述した図297(b)に示される状況が現れた場合と「一体化摸画像表示IG(摸画像表示、枠画像、ゲージ画像)」としての態様が異なるだけで、それ以外は同じ態様で演出が進展されることとなる。
例えば、図297(c)から「E1´」へと演出が進展する場合は、図297(b)から「E1(図298(d1)~(h1))」へと演出が進展する内容と基本的に同じであり、演出表示装置1600(第1演出装置)における「一体化摸画像表示IG」の態様が「一体化摸画像表示IGa」から「一体化摸画像表示IGd」に変更されているだけである。また、図297(c)から「E2´」へと演出が進展する場合は、図297(b)から「E2(図298(d2)~(h2))」へと演出が進展する内容と基本的に同じであり、演出表示装置1600(第1演出装置)における「一体化摸画像表示IG」の態様が「一体化摸画像表示IGa」から「一体化摸画像表示IGd」に変更されているだけである。また、図297(c)から「E3´」へと演出が進展する場合は、図297(b)から「E3(図298(d3)~(g3))」へと演出が進展する内容と基本的に同じであり、演出表示装置1600(第1演出装置)における「一体化摸画像表示IG」の態様が「一体化摸画像表示IGa」から「一体化摸画像表示IGd」に変更されているだけである。
図291~図293は、判定(大当り判定または演出判定)の結果として条件2Bが満たされて第2B受付期間(第2B受付演出)が発生するときの演出内容についてその一例を示すタイムチャートである。図299は、第2B受付期間(第2B受付演出)が発生する変動パターンにおける演出例を示す図である。
いま、特定遊技状態(例えば、非確変・非時短である通常遊技状態)において始動条件が成立(保留消化)されて、変動パターン判定が行われた結果として「第2B変動パターン」が選択されたとすると、上記周辺制御MPU1511aでは、まず、該第2B変動パターンに対応する演出判定(予告演出判定など)を行う。そしてこの後、装飾図柄SZの変動演出(第2B変動パターンに応じた演出描写や、第2B変動パターンに応じたBGM再生の音出力など)を開始させ(「図299(a)に示される状況」)、該変動演出の実行期間内で、予告演出判定の結果に応じた演出(予告演出)を、上記選択した「第2B変動パターン」これ自体の演出に対して付加的に実行させることとなる。
すなわち、上記周辺制御MPU1511aでは、図291(a)に示されるように、装飾図柄SZの変動演出が開始されてから第2B所定時間が経過したタイミングtR2が到来すると(条件2Bが満たされると)、「第2B受付後演出に関しての受付け」が許容される上記第2B受付期間(有効期間)を発生させる。これにより、当該第2B受付期間内において遊技者による動作(操作)が受付けされると(受付有効判定されると)、該受付け(受付有効判定)に基づいて第2B受付後演出が行われるようになる。
ただし、この実施の形態にかかる第2B受付期間では、上記第1B受付期間が発生する場合と異なり、当該第2B受付期間が発生することに関連して、受付対象(操作受け部など)を示唆する動作対象表示(摸画像表示)や、受付期間(有効期間)の残り時間を示唆する残り時間表示(枠画像内に表示されるゲージ画像の表示面積を時間経過に応じて減少させる描写)や、摸画像表示を視認し難くする消滅関連表示(消滅EF演出)を表示させることがないものとなっている。
より具体的には、第2B変動パターンでは、図291(b)及び図299(a)に示されるように、一体化摸画像表示IG(「摸画像表示」や「残り時間表示(枠画像及びゲージ画像)」)が表示されていない演出状況が維持されているなかでタイミングtR2が到来して第2B受付期間が発生することとなる。そして、第2B受付期間は、遊技者による動作(操作)の受付け(受付有効判定)がなされないときにはタイミングtR3が到来したときに終了される(図291(a)を参照)。
このような第2B受付期間は、いわゆる「隠しボタン」と呼称されるものであり、いずれのタイミングから「遊技者による動作を有効動作とする受付有効判定」が許容されたのか(第2B受付期間が発生したのか)や、「受付有効判定」が許容されうる状態にあるのか(第2B受付期間が発生している状況下にあるのか)や、いずれのタイミングで「遊技者による動作を有効動作とする受付有効判定」が許容されない状態になるのか(第2B受付期間が終了するのか)、等々といった操作関連情報が何ら提供されないものとなっている。したがって、第2B受付期間は、こうした演出性に敏感な遊技者しか楽しむことができないものである言える。
そして、図291は、このような第2B受付期間にあって、比較的早いタイミングtR2aが到来したときに「遊技者による動作(操作)を有効動作とする受付有効判定」がなされた場合を想定している。すなわちこの場合、図291(a)に示されるように、タイミングtR2aにおいて遊技者による動作(操作)が受付けされた(受付有効判定がなされた)ことに基づいて、第2B受付期間が終了されるとともに、該第2B受付期間に対応する受付後演出(第2B受付後演出)が実行開始されることとなる。
なお、図299(a)から図299(b),(c)へと演出が進展する例は、第2B受付期間に対応する第2B受付後演出(「第2B受付後演出表示」や「第2B受付後特定演出」、「第2B受付後演出音」など)として相対的に期待度の高い第2態様がそれぞれ実行される場合に相当している。第2B受付後演出(「第2B受付後演出表示」や「第2B受付後特定演出」、「第2B受付後演出音」など)として相対的に期待度の低い第1態様がそれぞれ実行される場合についてはその図示を割愛しており、実際には、図299(a)から該割愛した態様(期待度の低い第1態様)で第2B受付後演出が実行される状況へと演出進展される場合もあるようになっている。ただし、このような第2B受付期間については、「遊技者による動作(操作)を有効動作とする受付有効判定」がなされたときに第2B受付後演出(「第2B受付後演出表示」や「第2B受付後特定演出」、「第2B受付後演出音」など)が図299(b),(c)に示される態様で実行されるか否か、といった演出(受付後演出(第1B受付後演出表示、第1B受付後特定演出、第1B受付後演出音)としての低期待態様が用意されていないタイプ)として実現するようにしてもよい。期待度(大当り図柄が現れる割合)については、「0%」や「100%」を含むものであってもよい。
ここで、この演出例(第2B受付期間)にあっても、図291及び図299(b)に示されるように、遊技者による動作(操作)が受付けされた時点(受付けに応じて第2B受付後演出が開始された時点)であるタイミングtR2aにおいて、第2B受付後演出のうち「第2B受付後演出表示UGB2(群予告演出)」は実行されておらず、「第2B受付後特定演出UTB2-2」及び「第2B受付後演出音(高期待態様)」が実行されるようになっている。このような構成によれば、第1B受付後演出の場合と同じ態様で演出進展がなされるようになることから、上述した作用効果を同様に得られるようになる。
ただし、この演出例(第2B受付期間)では、図291及び図299(b)に示されるように、当該第2B受付期間内のいずれのタイミングで受付け(受付有効判定)がなされたとしても、上述した消滅関連表示(消滅EF演出)が実行されることはない。すなわちこの場合、第2B受付期間では、遊技者による動作(操作)の受付けがなされたとしても、演出表示装置1600(第1演出装置)を見ているだけではこれに気付くのが大幅に遅れることとなる。そしてこの場合、一体化摸画像表示IG(「摸画像表示」や「残り時間表示(枠画像及びゲージ画像)」)が表示されていないことと相まって、当該第2B受付期間が発生していない状況下で動作(操作)してしまったかのようにも見えてしまうこととなり、このような点でも、遊技を行う上での難易度が高い演出として実現されていると言える。
この例にかかるパチンコ機1では、図291(b)や、図299(c)に示されるように、タイミングtR2aよりも後のタイミングtR2cが到来すると、第2B受付期間内で遊技者による動作が受付けされたことに応じた第1演出装置(演出表示装置1600)における受付後演出としての「第2B受付後演出表示UGB2(図中では、期待度の高い態様である、お化けキャラクタによる群予告演出としての第2B受付後演出表示UGB2-2)」を実行開始する。そして、こうして開始された「第2B受付後演出表示UGB2」は、図291(b)や図299(d)に示されるように、受付け(受付有効判定)がなされたときから予め定められた時間(一定時間)が経過したときに終了(非表示)にされるようになる。
なお、当該第2B受付期間に対応する演出例(図299)では、第1B受付期間の場合とは異なり、「第2B受付後演出表示UGB2」が実行されるときに背景画像に切り替えを生じさせることはなく、これによっても受付けがなされた状況にあることが認識し難くされている。
また、第2B受付期間内で遊技者による動作が受付けされたときには、図291(b),(c)や図299(b),(c)に併せて示されるように、該受付けがあったことに基づいて、第2演出装置を用いた第2B受付後演出(第2B受付後特定演出)を、上記第1演出装置を用いた第2B受付後演出(第2B受付後演出表示)に先行して実行開始させるようにしている。
このような第2演出装置としては、演出表示装置1600(第1演出装置)をメイン液晶とするときのサブ液晶として備えられるものであってもよいし、演出動作可能な演出可動体や、演出発光可能な演出ランプなどとして備えられるものであってもよい。いずれにせよ、期待度が異なる複数態様で演出(表示演出、可動演出、発光演出など)を行いうるものとして設けられることとなる。期待度(大当り図柄が現れる割合)については、「0%」や「100%」を含むものであってもよい。
上述の通り、この実施の形態にかかるパチンコ機1では、第2演出装置としてサブ液晶1610を用いた場合を想定している。そして、図299(a)から図299(b)へと演出が進展する例(受付後演出として相対的に期待度の高い場合)では、図299(b)に示されるように、該サブ液晶1610(第2演出装置)において「お化け」が表示される態様が、当該第2B受付期間に対応する上記第2B受付後特定演出UTB2(第2B受付後特定演出UTB2の期待度の高い態様である第2B受付後特定演出UTB2-2)として、上記第1演出装置を用いた第2B受付後演出(第2B受付後演出表示UGB2-2)に先行して実行開始されるようになっている。上述の通り、第2B受付後演出として期待度の低い態様が実行される場合については説明を割愛するが、「第2B受付後演出表示」及び「第2B受付後特定演出UTB2」が低期待態様で実行されるだけであり、基本的には高期待態様で実行される場合と同様である。
また、図299(a)に示されるように、サブ液晶1610(第2演出装置)においても第2B受付期間が発生した状態にあることを示唆する受付期間内演出が実行されることはない。
また上述の通り、この実施の形態にかかるパチンコ機1では、第3演出装置(スピーカー)をさらに用意することとしている。ただし、第2B受付期間の発生に際しては、図299(d)に示されるように、受付許容音が出力されることもなく、これによって当該第2B受付期間がいずれのタイミングから発生するのかなどの認識をし難くするようにしている。
また、第1B受付期間では、受付けがなされたときにはこれに基づいて、上記第2B受付後演出音の可聴出力を開始させるものとなっている。第2B受付後演出音は、期待度が示唆されるように実行されるものであり、例えば、期待度の低い態様で実行(可聴出力)される場合と、期待度の高い態様で実行(可聴出力)される場合とがあるものである。
また、第2B受付期間で受付け(受付有効判定)がなされた場合、第3演出装置では、期待度を示唆する第2B受付後演出音だけではなく、期待度を示唆しない「受付音」も可聴出力するものとなっている。すなわち、「受付音」とは、第2B受付後演出が期待度の高い態様と期待度の低い態様とのいずれで実行される場合であっても同じ態様で可聴出力されるものである。
これに対し、図292は、このような第2B受付期間内の比較的遅いタイミングtR2Aが到来したときに「遊技者による動作(操作)を有効動作とする受付有効判定」がなされた場合を想定している。すなわちこの場合、図292(a)に示されるように、タイミングtR2Aにおいて遊技者による動作が受付けされた(受付有効判定がなされた)ことに基づいて、第2B受付期間が終了されるとともに、該第2B受付期間に対応する受付後演出(第2B受付後演出)が実行開始されることとなる。
この点、第2B受付期間では、第2B受付期間内の比較的遅いタイミングtR2Aにおいて受付け(受付有効判定)がなされた場合であっても(いかなるタイミングで受付け(受付有効判定)がなされた場合であっても)、基本的には、第2B受付期間内の比較的早いタイミングtR2aにおいて受付け(受付有効判定)がなされた場合と同じ態様で演出が進展されることとなる。したがって、図292(a)に示される例の場合も、図299(a)から図299(b),(c)へと演出が進展する場合(受付後演出として相対的に期待度の高い場合)と、図示を割愛する場合(受付後演出として相対的に期待度の低い場合)とがあるようになり、第1演出装置、第2演出装置、及び第3演出装置においては、基本的には、図291などを参照しつつ説明した通りの内容で演出が実行されることとなる。
特に、第2B受付期間では、第1B受付期間の場合とは異なり、「第2B受付後演出表示」が、「第2B受付後特定演出」や「第2B受付後演出音」などと同様、受付け(受付有効判定)がなされたときから予め定められた時間(一定時間)だけ実行されるものとなっていることから、受付後演出としての態様も、受付け(受付有効判定)がなされたタイミングにかかわらず同じである。
なお、「第2B受付後演出表示」、「第2B受付後特定演出」、及び「第2B受付後演出音」は、それぞれに設定された一定時間分だけ実行されるものであればよく、互いに同じ時間で終了されるものでなくてもよい。
他方、図293に示される例や、図299(a)から図299(d)へと演出が進展する例とは、第2B受付期間内で遊技者による動作(操作)が行われず受付け(受付有効判定)がなされなかった場合を想定したものである。
すなわちこの場合、同図293に示されるように、第2B受付期間が発生した後、遊技者による動作(操作)が受付けされることなく上記タイミングtR3が到来することとなる。この点、第2B受付期間において遊技者による動作(操作)が受付けされないときには、同図293に示されるように、その発生や終了に関連した演出が何ら実行されないこととなる。
このような構成によれば、第2B受付期間が発生していたことや、動作(操作)することができなかったこと自体を遊技者が知ることがないから、第2B受付期間に関連して遊技興趣が低下するようなことが抑制されるようになる。
図294~図296は、判定(大当り判定または演出判定)の結果として条件3Bが満たされて第3B受付期間(第3B受付演出)が発生するときの演出内容についてその一例を示すタイムチャートである。図300及び図301は、第3B受付期間(第3B受付演出)が発生する変動パターンにおける演出例を示す図である。
いま、特定遊技状態(例えば、非確変・非時短である通常遊技状態)において始動条件が成立(保留消化)されて、変動パターン判定が行われた結果として「第3B変動パターン」が選択されたとすると、上記周辺制御MPU1511aでは、まず、該第3B変動パターンに対応する演出判定(予告演出判定など)を行う。そしてこの後、装飾図柄SZの変動演出(第3B変動パターンに応じた演出描写や、第3B変動パターンに応じたBGM再生の音出力など)を開始させ(「図300(a)に示される状況」)、該変動演出の実行期間内で、予告演出判定の結果に応じた演出(予告演出)を、上記選択した「第3B変動パターン」これ自体の演出に対して付加的に実行させることとなる。
すなわち、上記周辺制御MPU1511aでは、図294(a)に示されるように、装飾図柄SZの変動演出が開始されてから第3B所定時間が経過したタイミングtS2が到来すると(条件3Bが満たされると)、「第3B受付後演出に関しての受付け」が許容される上記第3B受付期間(有効期間)を発生させる。これにより、当該第3B受付期間内において遊技者による動作(操作)が受付けされると(受付有効判定されると)、該受付け(受付有効判定)に基づいて第3B受付後演出が行われるようになる。
この点、この実施の形態にかかるパチンコ機1にあって、演出表示装置1600(第1演出装置)では、このような第3B受付期間が発生することに関連して、受付対象(操作受け部など)を示唆する動作対象表示(摸画像表示)、受付期間(有効期間)の残り時間を示唆する残り時間表示(枠画像内に表示されるゲージ画像の表示面積を時間経過に応じて減少させる描写)、摸画像表示を視認し難くする消滅関連表示(消滅EF演出)、受付け(受付有効判定)されたことに応じて期待度(大当り図柄が現れる割合)を示唆する第1B受付後演出表示がそれぞれ行われるようになっている。なお上述の通り、この実施の形態にかかる摸画像表示は、残り時間表示(枠画像内に表示されるゲージ画像の表示面積を時間経過に応じて減少させる描写)を含む周縁装飾画像と一体化された「一体化摸画像表示」として表示されるものとなっているが、必ずしもこれに限られず、別々に表示されるものであってもよい。このことについては、他の受付期間においても同様である。
ただし、この実施の形態にかかる第3B受付期間は、上述した「第1B受付期間(いわゆる通常ボタン演出)」による演出性と、上述した「第2B受付期間(いわゆる隠しボタン演出)」による演出性との両方を併せ持った特殊な演出として実現されるものとなっている。
より具体的には、第3B受付期間は、図296(b)及び図300(a)などに示されるように、一体化摸画像表示IG(「摸画像表示」や「残り時間表示(枠画像及びゲージ画像)」)が未だ表示されていない状況下(タイミングtS2)において発生する。すなわちこの場合、遊技者に対して動作機会(操作機会)が秘かに付与されることとなり、いわゆる「隠しボタン演出」としての演出性が提供されることとなる。
この点、このような「隠しボタン演出」としての演出性は、図296(b)などに示されるように、第3B受付期間が発生してから所定時間が経過したタイミングXまでしか継続されない。すなわち、当該第3B受付期間内のタイミングXが到来すると、この例にかかる演出表示装置1600(第1演出装置)においては、一体化摸画像表示IGとして、「摸画像表示」や「残り時間表示(枠画像及びゲージ画像)」が表示されるようになっており、これによって該一体化摸画像表示IGが表示されているなかで遊技者に対して動作機会(操作機会)が付与される状態へと移行することとなる。なお、こうして表示された一体化摸画像表示IG(摸画像表示や、枠画像、ゲージ画像)は、第3B受付期間内で受付け(受付有効判定)がなされたときか、該受付け(受付有効判定)がなされることなく第3B受付期間が終了されたときに非表示にされる。この例にかかる第3B受付期間は、遊技者による動作(操作)の受付け(受付有効判定)がなされないときにはタイミングtS3が到来したときに終了される(図296(a)などを参照)。
このような第3B受付期間によれば、当該第3B受付期間が発生してからタイミングXが到来するまでの間は、一体化摸画像表示IGが表示されない「第1表示状態」にあるなかで遊技者による動作(操作)の受付けが許容される「いわゆる隠しボタンとしての演出性」が提供されるようになり、上記タイミングXから当該第3B受付期間が終了するまでの間は、一体化摸画像表示IGが表示されている「第2表示状態」にあるなかで遊技者による動作(操作)の受付けが許容される「いわゆる通常ボタンとしての演出性」が提供されるようになる。これにより、この実施の形態にかかる第3B受付期間は、上述した「第1B受付期間(いわゆる通常ボタン演出)」による演出性と、上述した「第2B受付期間(いわゆる隠しボタン演出)」による演出性との両方を併せ持った特殊な演出として実現されるようになり、これによって遊技興趣の向上を図ることが期待されるようになる。
また、この例にかかる第3B受付期間のうち上記「第2表示状態」では、一体化摸画像表示IG(摸画像表示や、枠画像、ゲージ画像)が、複数態様(例えば、図232(a),(c))のいずれかで表示されるようになっており、図300(b)は、一体化摸画像表示IG(摸画像表示や、枠画像、ゲージ画像)が図232(a)に示される態様で表示された場合に相当し、図300(c)は、一体化摸画像表示IG(摸画像表示や、枠画像、ゲージ画像)が図232(c)に示される態様で表示された場合に相当している。なお、第3B受付期間においても、図232(b),(d)に示される態様を含む複数態様のいずれかで一体化摸画像表示IG(摸画像表示や、枠画像、ゲージ画像)が表示されるようにしてもよい。
そして、図294は、このような第3B受付期間のうち上記「第1表示状態(例えば、図300(a)を参照)」が現れているなかで(図中では、タイミングtS2a)、「遊技者による動作(操作)を有効動作とする受付有効判定」がなされた場合を想定している。すなわちこの場合、図294(a)に示されるように、タイミングtS2aにおいて遊技者による動作(操作)が受付けされた(受付有効判定がなされた)ことに基づいて、第3B受付期間が終了されるとともに、該第3B受付期間に対応する受付後演出(第3B受付後演出)が実行開始されることとなる。
なお、図300(a)から「F1(図301(d1)~図301(h1))」へと演出が進展する例は、第3B受付期間のうち上記「第1表示状態」が現れているなかで「受付有効判定」がなされた結果、「第3B受付後演出」として相対的に期待度の低い第1態様が実行される場合に相当し、図300(a)から「F2(図301(d2)~図301(h2))」へと演出が進展する例は、第3B受付期間のうち上記「第1表示状態」が現れているなかで「受付有効判定」がなされた結果、「第3B受付後演出」として相対的に期待度の高い第2態様が実行される場合に相当している。期待度(大当り図柄が現れる割合)については、「0%」や「100%」を含むものであってもよい。
ここで、この演出例では、図294に示されるように、遊技者による動作(操作)が受付けされた時点(受付けに応じて第3B受付後演出が開始された時点)であるタイミングtS2aにおいて、それまで非表示の状態にあった「一体化摸画像表示IG」を表示可能としている。
すなわち、第3B受付期間のうち上記「第1表示状態」が現れているなかで遊技者による動作(操作)が行われた場合(「受付有効判定」がなされた場合)、遊技者は、一体化摸画像表示IG(摸画像表示や、枠画像、ゲージ画像)としていずれの態様が現れるのかを認識することなく動作(操作)を行うこととなる。この点、遊技者による動作(操作)が受付けされたときにそれまで非表示の状態にあった「一体化摸画像表示IG」が表示されうるようにすることで、遊技者は、第3B受付期間のうち上記「第2表示状態」に仮になったとしたときには「一体化摸画像表示IG」としていずれの態様が現れていたのかを認識することができるようになる。
すなわち、この実施の形態にかかる第3B受付後演出は、演出表示装置1600(第1演出装置)を利用した「第3B受付後演出表示」と、第2演出装置(例えば、サブ液晶や、可動体、演出用ランプなど)を利用した「第3B受付後特定演出」と、第3演出装置(スピーカ)を利用した第3B受付後演出音とが少なくとも複合された演出として実現されるものとなっている(必ずしも3つの演出装置による複合演出として実現しなくてもよい)が、それら演出装置のうち、一体化摸画像表示IG(摸画像表示や、枠画像、ゲージ画像)が表示される演出表示装置1600(第1演出装置)においては、第3B受付後演出としての「第3受付後演出表示」が実行開始される時期を、他の演出装置に比べて遅延させるようにしており、これによって受付けがなされた以降も「一体化摸画像表示IG」の視認性をあえて維持させることとしている。
このような構成によれば、図301(d1)または(d2)に示されるように、第3B受付期間のうち上記「第1表示状態」で受付けがなされた以降も、終了された受付期間内において一体化摸画像表示IGが複数態様(図232(a)~(d))のいずれで表示される予定であったのかなどを、遊技者は容易に認識することができるようになることから、遊技興趣が低下することを好適に抑制することが期待されるようになる。
ここで、受付期間の終了後、該受付期間内において一体化摸画像表示IGがいかなる態様で表示されていたのかの認識を容易とする上では、受付けがなされた以降の「一体化摸画像表示IGが視認容易な態様のままで表示される時間」を長く設定するようにすることが望ましいと言える。ただし、受付けがなされており受付後演出(第2演出装置、第3演出装置)が既に実行されている状況にあるにもかかわらず、一体化摸画像表示IGが上記「第2表示状態」にあるときと同じ態様のままで表示され続けるようなことがあると、受付けがなされた状況にあるのか否かを遊技者側が認識し難くなり、その結果として「実行状態にある受付後演出に気付くのが遅れてしまう」といったことが懸念される。
そこで、図294(b)や、図301(e1)または(e2)に示される例においては、遊技者による動作(操作)が受付けされたことによって第3B受付期間が終了したタイミングtS2aから所定時間が経過すると(タイミングtS2bが到来すると)、摸画像表示を視認し難くする消滅関連表示(消滅EF演出)にかかる表示を開始するようにしている。
すなわち、この例にかかる演出表示装置1600(第1演出装置)においては、「一体化摸画像表示IG(摸画像表示、ゲージ画像表示)」が表示されているなかで「消滅関連表示(消滅EF演出)」が表示されるようになっており、「消滅関連表示(消滅EF演出)」が表示される領域の少なくとも一部は「一体化摸画像表示IG(摸画像表示、ゲージ画像表示)」が表示される領域と重複するようになっている。
このような構成によれば、第3B受付期間のうち上記「第1表示状態」にあるときに受付けがなされた以降、一体化摸画像表示IGを表示するようにした場合であっても、該一体化摸画像表示IGが視認し難くされることによって、受付後演出(第2演出装置、第3演出装置)が既に実行されている状況にあることを示唆することができるようになる。
また、第3B受付期間のうち「いわゆる隠しボタン」としての演出性を提供する上記「第1表示状態」にあるときに受付けがなされた場合は、第2B受付期間と第3B受付期間とのいずれで受付けがなされた状態にあるのかを認識し難いが、第2B受付期間では出現し得ない「消滅関連表示(消滅EF演出)」が出現することで、第3B受付期間で受付けがなされた状態にあることを認識することができるようになる。
また、第3B受付期間では、第3B受付後演出として期待度の低い態様(図301(d1)~(h1))が現れる場合と期待度の高い態様(図301(d2)~(h2))が現れる場合とで、消滅関連表示(消滅EF演出)は同じ態様で実行されるようにしている。このような構成によれば、第1B受付期間の場合(期待度によって消滅関連表示(消滅EF演出)の態様が異なる場合)と比べて、第3B受付期間内で受付けがなされた以降に「消滅関連表示(消滅EF演出)」を注視する重要性が低くなることから、上記第3B受付期間のうち「いわゆる隠しボタン」としての演出性を提供する上記「第1表示状態」にあるときに受付けがなされた場合であっても、該受付けがなされた以降に一体化摸画像表示IGを好適に注視することができるようになる。
また、この演出例にかかる第3B受付期間では、受付けがなされたときに現れる消滅関連表示(消滅EF演出)として、上記第1B受付期間に対応する受付後演出(第1B受付後演出)が期待度の高い態様で実行されるときに表示される「第2消滅関連表示SKB2」を用いることとしている。すなわちこの場合、第3B受付期間では、受付けがなされさえすれば、期待度の高い態様で受付後演出が実行されるかのようなイメージを持たせることができるようになり、遊技興趣の向上を図ることができるようになる。
なお、第3B受付期間に対応する消滅関連表示(消滅EF演出)については、必ずしも「第2消滅関連表示SKB2」でなくてもよい。例えば、第3B受付期間に対応する消滅関連表示(消滅EF演出)として、上記第1B受付期間に対応する受付後演出(第1B受付後演出)が期待度の低い態様で実行されるときに表示される「第1消滅関連表示SKB1」を用いるようにした場合であっても、第1B受付期間で受付けがなされた状態にあるのか、それとも第3B受付期間で受付けがなされた状態にあるのかを認識し難くすることができるようになる。
また、この例にかかるパチンコ機1では、図294(b)や、図301(f1)または(f2)に示されるように、消滅関連表示にかかる表示(一体化摸画像表示IGが視認し難くなる態様)が現れている期間内のタイミングtS2cが到来すると、第3B受付期間内で遊技者による動作(操作)が受付けされたことに応じた第1演出装置(演出表示装置1600)における受付後演出としての「第3B受付後演出表示UGB3(会話予告)」を実行開始するようにしている。ただしここでは、図300(a)から「F1(図301(d1)~(h1))」へと演出が進展する例(受付後演出として相対的に期待度の低い場合)では、図301(f1)に示されるように、第3B受付期間に対応する第3B受付後演出表示UGB3として第1態様(ここでは、「無言」の会話予告である第3B受付後演出表示UGB3-1)が表示され、図300(a)から「F2(図301(d2)~(h2))」へと演出が進展する例(受付後演出として相対的に期待度の高い場合)では、図301(f2)に示されるように、第3B受付期間に対応する第3B受付後演出表示UGB3として第2態様(ここでは、「チャンス」に言及する会話予告である第3B受付後演出表示UGB3-2)が表示されるようになっている。
すなわちこの場合、「一体化摸画像表示IG」及び「消滅関連表示(第2消滅関連表示SKB2)」がそれぞれ表示されているなかで「第3B受付後演出表示UGB3(「第3B受付後演出表示UGB3-1」または「第3B受付後演出表示UGB3-2」)が実行開始されることとなる。これにより、第3B受付期間内で受付けされた以降、一体化摸画像表示IGを比較的長い時間にわたって表示し続けるようにした場合であっても、第1演出装置(演出表示装置1600)における受付後演出(第3B受付後演出表示UGB3を他の演出装置と比較して大幅に遅延させることなく開始させることができるようになり、遊技興趣の低下を抑制することができるようになる。また、一体化摸画像表示IGが視認し難くされているなかで第3B受付後演出表示UGB3が開始されることから、第3B受付期間が既に終了していることを示唆しつつ、遊技者による注視先が「一体化摸画像表示IG」から「第3B受付後演出表示UGB3(第3B受付後演出表示UGB3-1または第3B受付後演出表示UGB3-2)」へと自ずと移行されることが期待されるようになる(タイミングtS2c以降)。
その一方で、「第3B受付後演出表示UGB3(第3B受付後演出表示UGB3-1または第3B受付後演出表示UGB3-2)」については、「一体化摸画像表示IG」が表示される領域の少なくとも一部と重なるように表示される場合(必ずしも重なるように表示しなくてもよい)、「一体化摸画像表示IG」よりも背後側に表示されるものとなっており、「第3B受付後演出表示UGB3(第3B受付後演出表示UGB3-1または第3B受付後演出表示UGB3-2)」に対して「一体化摸画像表示IG」を優先表示させるようにしている。これにより、「第3B受付後演出表示UGB3(第3B受付後演出表示UGB3-1または第3B受付後演出表示UGB3-2)」が実行開始されるなかでも、受付期間内で一体化摸画像表示IGがいずれの態様で表示されていたのかの認識を容易化するようにしている。
そして、この例にかかるパチンコ機1では、こうして「第3B受付後演出表示UGB3(第3B受付後演出表示UGB3-1または第3B受付後演出表示UGB3-2)」にかかる表示が開始されると、図294(b)や、図301(g1)または(g2)に示されるように、該「第3B受付後演出表示UGB3(第3B受付後演出表示UGB3-1または第3B受付後演出表示UGB3-2)」が表示されているなかで、まず、「一体化摸画像表示IG」及び「消滅関連表示」のうち、「一体化摸画像表示IG」を非表示にする。そして、こうして「一体化摸画像表示IG」が非表示にされた後、図294(b)や、図301(h1)または(h2)に示されるように、「消滅関連表示(第2消滅関連表示SKB2)」が非表示にされることとなり、これによって視認良好とされているもとで「第3B受付後演出表示UGB3(第3B受付後演出表示UGB3-1または第3B受付後演出表示UGB3-2)」にかかる表示が行われるようになる。
この点、「第3B受付後演出表示UGB3」とは、遊技者による動作(操作)が受付けされたことに基づいて、期待度が異なる複数態様(ここでは、第3B受付後演出表示UGB3-1または第3B受付後演出表示UGB3-2)のいずれかで表示されるものである。したがって、「第3B受付後演出表示UGB3」は、「一体化摸画像表示IG」や「消滅関連表示」が非表示にされた以降も、比較的長い時間にわたって実行されることとなる。
なお、当該第3B受付期間に対応する演出例(図300及び図301)では、第3B受付期間内において受付けがなされて「第3B受付後演出表示UGB3」が実行されたとしても、該「第3B受付後演出表示UGB3」が開始される前後で背景画像に切り替えを生じさせない。このような構成によれば、上記第1B受付期間と比較してみたときには、上記「第2表示状態」で受付けがなされた場合であっても「いわゆる隠しボタン」としての演出性を併せ持つ第3B受付期間で受付けがなされた状態にあることを示唆することができるようになる。また、上記第2B受付期間と比較してみたときには、「第3B受付後演出表示UGB3」が実行されているなかでも「いわゆる隠しボタン」で受付けがなされた結果として演出が進展されているかのように見せることが可能である。
この演出例では、「第3B受付後演出表示UGB3」を、「消滅関連表示(第2消滅関連表示SKB2)」が表示開始される時期(タイミングtS2b)よりも遅い時期(タイミングtS2c)で表示開始させることとしたが、「消滅関連表示(第2消滅関連表示SKB2)」が表示開始される時期(タイミングtS2b)と同じ時期(タイミングtS2b)で表示開始させるようにしてもよい。
このように、この例にかかる演出表示装置1600(第1演出装置)では、第3B受付期間が発生する場合、これに伴って、限られた時間(図294に示される太線)内であり、且つ限られた表示画面(演出表示装置1600)内で様々な表示を行うものとなっており、これによって遊技興趣の低下を抑制するようにしている。ただしこの結果として、演出表示装置1600(第1演出装置)では、受付けに応じた第3B受付後演出(第3B受付後演出表示)の開始時期(タイミングtS2c)を、受付けされたタイミングtS2aよりも遅延せざるを得ないという実情にある。
そこで、この例においては、第3B受付期間内で遊技者による動作が受付けされたときには、図294(b),(c)に併せて示されるように、該受付けがあったことに基づいて、第2演出装置を用いた第3B受付後演出(第3B受付後特定演出)を、上記第1演出装置を用いた第3B受付後演出(第3B受付後演出表示)に先行して実行開始させるようにしている。
このような構成によれば、第3B受付期間で受付けがあったタイミングtS2aから実行開始が遅延されるのは第3B受付後演出の一部(第3B受付後演出表示)に留まることとなり、当該第3B受付後演出これ自体については、同タイミングtS2aから遅れることなく実行開始させることができるようになる。
このような第2演出装置としては、演出表示装置1600(第1演出装置)をメイン液晶とするときのサブ液晶として備えられるものであってもよいし、演出動作可能な演出可動体や、演出発光可能な演出ランプなどとして備えられるものであってもよい。いずれにせよ、期待度が異なる複数態様で演出(表示演出、可動演出、発光演出など)を行いうるものとして設けられることとなる。期待度(大当り図柄が現れる割合)については、「0%」や「100%」を含むものであってもよい。
上述の通り、この実施の形態にかかるパチンコ機1では、第2演出装置としてサブ液晶1610を用いた場合を想定している。そして、図300(a)から「F1(図301(d1)~(h1))」へと演出が進展する例(受付後演出として相対的に期待度の低い場合)では、図301(d1)に示されるように、該サブ液晶1610(第2演出装置)において「末吉」が表示される態様が、当該第3B受付期間に対応する上記第3B受付後特定演出UTB3(第3受付後特定演出UTB3の期待度の低い態様である第3B受付後特定演出UTB3-1)として、上記第1演出装置を用いた第3B受付後演出(第3B受付後演出表示UGB3-1)に先行して実行開始されるようになっている。これに対し、図300(a)から「F2(図301(d2)~(h2))」へと演出が進展する例(受付後演出として相対的に期待度の高い場合)では、図301(d2)に示されるように、該サブ液晶1610(第2演出装置)において「吉」が表示される態様が、当該第3B受付期間に対応する上記第3B受付後特定演出UTB3(第3B受付後特定演出UTB3の期待度の高い態様である第3B受付後特定演出UTB3-2)として、上記第1演出装置を用いた第3B受付後演出(第3B受付後演出表示UGB3-2)に先行して実行開始されるようになっている。
なお、図301に示した演出例では、第3B受付期間のうち上記「第1表示状態」では、サブ液晶1610(第2演出装置)においても第3B受付期間が発生した状態にあることを示唆する受付期間内演出が実行されず、第3B受付期間のうち上記「第2表示状態」では、サブ液晶1610(第2演出装置)においても第3B受付期間が発生した状態にあることを示唆する受付期間内演出が実行されるようになっている(図300(b),(c))。該サブ液晶1610(第2演出装置)における受付期間内演出は、演出表示装置1600(第1演出装置)における「一体化摸画像表示IG」が期待度の低い態様(図300(b)を参照)で表示される場合と期待度の高い態様(図300(c)を参照)で表示される場合とで同じ態様となるように表示されるものとなっている。
すなわちこの場合、遊技者に対して動作機会(操作機会)が付与される第3B受付期間のうち上記「第2表示状態」にあるとき、演出表示装置1600(第1演出装置)では期待度に応じて異なる態様が現れ、且つサブ液晶1610(第2演出装置)では期待度にかかわらず同じ態様が現れることとなる。ただしこの後、第3B受付期間のうち上記「第2表示状態」にあるときに「遊技者による動作(操作)を有効動作とする受付有効判定」がなされると、演出表示装置1600(第1演出装置)では「一体化摸画像表示IG」にかかる表示が継続されているなかで(受付後演出としての期待度を未だ示唆していないなかで)、サブ液晶1610(第2演出装置)では期待度に応じて異なる態様が現れることとなる。このような構成によれば、1つの演出装置による演出だけを注視している場合よりも、その時々に応じて適切な演出装置を注視するようにしたほうが演出情報をより迅速に得ることができるようになることから、遊技興趣の向上を図ることができるようになる。
なお、この演出例では、第3B受付後特定演出UTB3として、「第3B受付後特定演出UTB3-1」及び「第3B受付後特定演出UTB3-2」のいずれが出現するかによって期待度を示唆するようにしたが、該第3B受付後特定演出UTB3については、必ずしも複数態様を用意しなくてもよい。例えば、第3B受付後特定演出UTB3として「第3B受付後特定演出UTB3-2」のみを備えることとし、該「第3B受付後特定演出UTB3-2」が出現するか否かによって期待度(大当りが得られている割合)を示唆するようにしてもよい。すなわちこの場合、「第3B受付後特定演出UTB3-2」が出現したときには、「第3B受付後特定演出UTB3-2」が出現しなかったときよりも期待度が高いことが示唆されることとなる。
また上述の通り、この実施の形態にかかるパチンコ機1では、第3演出装置(スピーカー)をさらに用意することとしており、第3B受付期間の発生に際しては、図294(d)に示されるタイミングtS1において、受付許容音を出力開始させることとしている。第3B受付期間に対応する受付許容音は、該第3B受付期間が発生するタイミングtS2と、上記「第1表示状態」から「第2表示状態」へと移行するタイミングXとの両方を跨るかたちで可聴出力されるものとなっており、当該受付許容音が可聴出力されているなかで遊技者による動作(操作)が受付けされうるものとなっている。ただし、受付許容音については、タイミングXを跨るかたちで可聴出力されるものであればよく、タイミングtS2については必ずしもこれを跨がるかたちで可聴出力されないようにしてもよい。
ここで、第3B受付期間では、受付許容音として、上記第1長許容音と上記第1短許容音とのいずれとも異なる第3許容音を可聴出力させることとしており、これによって上記第1B受付期間ではなく、「いわゆる隠しボタン」としての演出性を併せ持つ第3B受付期間が発生すること(または、発生していること)を示唆することができるようになる。ただし、第3B受付期間に対応する受付許容音については、上記第1長許容音と上記第1短許容音とのいずれかで実行されるようにしてもよい。
そして、第3B受付期間では、これに対応する受付許容音(ここでは、第3許容音)が可聴出力されているなかで遊技者による動作の受付けがなされた場合、該受付けがなされたことに基づいて、該受付許容音を途中終了(可聴出力状態の途中終了を)させないようにしており、これによっても上記第1B受付期間ではなく、「いわゆる隠しボタン」としての演出性を併せ持つ第3B受付期間が発生すること(または、発生していること)を示唆することができるようになる。ただし、第3B受付期間に対応する受付許容音についても受付けがなされたことに基づいてこれを途中終了させるようにしてもよい。
この点、第3B受付期間に対応する受付許容音(ここでは、第3許容音)については、図294(d)に示されるように、期待度の低い態様で実行(可聴出力)される場合(図300(b)に示される場合)と、期待度の高い態様で実行(可聴出力)される場合(図300(c)に示される場合)とがあるようにすることが望ましい。すなわちこの場合、受付許容音は、受付期間内において期待度を示唆するものでありながらも、「一体化摸画像表示IG」とは異なり、受付け(受付有効判定)がなされるとそれを確認することができなくなるものとして実行されることとなることから、受付期間内のいずれのタイミングで受付け(受付有効判定)がなされるようにするかについての緊張感を好適に維持することが期待されるようになる。
また、第3B受付期間においても、受付許容音が可聴出力されているなかで遊技者による動作の受付けがなされた場合は、該受付許容音を途中終了させるだけでなく、該受付けがなされたことに基づいて、上記第3B受付後演出音の可聴出力を開始させるものとなっている。第3B受付後演出音は、期待度が示唆されるように実行されるものであり、例えば、期待度の低い態様で実行(可聴出力)される場合と、期待度の高い態様で実行(可聴出力)される場合とがあるものである。すなわちこの場合、第3B受付期間では、第1演出装置にて行われる演出(表示演出)の場合とは異なり、受付期間内で行われる演出(受付許容音)と、受付けがなされたことに応じて行われる演出(第3B受付後演出音)とが競合(重複)することがなくなるようになる。
このような第3B受付後演出音は、「第3B受付後演出表示UGB3」と同様、図294(d)に示されるように、「一体化摸画像表示IG」や「消滅関連表示(消滅EF演出)」が非表示にされた以降も、比較的長い時間にわたって実行されることとなる。また、第3B受付後演出音については、図300(a)から「F1(図301(d1)~(h1))」へと演出が進展する例(受付後演出として相対的に期待度の低い場合)と、図300(a)から「F2(図301(d2)~(h2))」へと演出が進展する例(受付後演出として相対的に期待度の高い場合)とで、互いに異なる出力音(態様)が出力されるようにすることが望ましい。
また、第3B受付期間で受付け(受付有効判定)がなされた場合、第3演出装置では、期待度を示唆する第3B受付後演出音だけではなく、期待度を示唆しない「受付音」も可聴出力するものとなっている。すなわち、「受付音」とは、図300(a)から「F1(図301(d1)~(h1))」へと演出が進展する例(受付後演出として相対的に期待度の低い場合)と、図300(a)から「F2(図301(d2)~(h2))」へと演出が進展する例(受付後演出として相対的に期待度の高い場合)とで同じ態様で可聴出力されるものである。そして、このような「受付音」は、第3B受付期間とは異なる受付期間(例えば、第1B受付期間、または上述した各受付期間と異なる所定受付期間など)において受付け(受付有効判定)がなされた場合にも(期待度にかかわらず)可聴出力されるものとなっている。このような構成によれば、受付後演出としてどれだけ斬新な演出を行うようにした場合であっても、「受付音」が可聴出力されたときには受付け(受付有効判定)が適正になされた状態にあることを好適に認識することができるようになることから、受付後演出の内容に集中することを促すことができるようになる。
これに対し、図295は、このような第3B受付期間内のうち上記「第2表示状態(例えば、図300(b),(c)を参照)」が現れているなかで(図中では、タイミングtS2A)、「遊技者による動作(操作)を有効動作とする受付有効判定」がなされた場合を想定している。すなわちこの場合、図295(a)に示されるように、タイミングtS2Aにおいて遊技者による動作(操作)が受付けされた(受付有効判定がなされた)ことに基づいて、第3B受付期間が終了されるとともに、該第3B受付期間に対応する受付後演出(第3B受付後演出)が実行開始されることとなる。
この点、第3B受付期間では、当該第3B受付期間内のうち上記「第2表示状態(例えば、図300(b),(c)を参照)」が現れているなかで受付け(受付有効判定)がなされた場合であっても、該受付けがなされた以降は、当該第3B受付期間内のうち上記「第1表示状態(例えば、図300(a)を参照)」が現れているなかで受付け(受付有効判定)がなされた場合と同じ態様で演出が進展されることとなる。したがって、図295(a)に示される例の場合も、図300(b)から「F1(図301(d1)~(h1))」へと演出が進展する場合(受付後演出として相対的に期待度の低い場合)と、図300(b)から「F2(図301(d2)~(h2))」へと演出が進展する場合(受付後演出として相対的に期待度の高い場合)とがあるようになり、第1演出装置、第2演出装置、及び第3演出装置においては、基本的には、図294などを参照しつつ説明した通りの内容で演出が実行されることとなる。
ただし、図295に示される例の場合は、第3B受付期間内の比較的遅いタイミングtS2Aで受付け(受付有効判定)がなされた分だけ、図301(d)などに示される状況では、ゲージ画像の表示面積が減少した状態になっていることとなる。
また、第3B受付期間では、「第3B受付後演出表示」が、「第3B受付後特定演出」や「第3B受付後演出音」などと同様、受付け(受付有効判定)がなされたときから予め定められた時間(一定時間)だけ実行されるものとなっていることから、受付後演出としての態様も、受付け(受付有効判定)がなされたタイミングにかかわらず同じである。
なお、「第3B受付後演出表示」、「第3B受付後特定演出」、及び「第3B受付後演出音」は、それぞれに設定された一定時間分だけ実行されるものであればよく、互いに同じ時間で終了されるものでなくてもよい。
他方、図296に示される例や、図301(b)から「F3(図301(d3)~(g3))」へと演出が進展する例とは、第3B受付期間内で遊技者による動作(操作)が行われず受付け(受付有効判定)がなされなかった場合を想定したものである。
すなわちこの場合、同図296に示されるように、第3B受付期間が発生した後、遊技者による動作(操作)が受付けされることなく上記タイミングtS3が到来することとなる。この点、該タイミングtS3(第3B受付期間が終了し、遊技者による動作(操作)の受付けが許容されなくなった時点)にあるときの演出表示装置1600(第1演出装置)では、タイミングtS2aやタイミングtS2Aなど(第3B受付期間内において遊技者による動作(操作)の受付けがなされた時点(または、受付後演出が実行開始される時点))にあるときの演出表示装置1600(第1演出装置)と同様、図301(d3)に示されるように、一体化摸画像表示IGを非表示にしないことはもとより、一体化摸画像表示IGを視認し難くすることもしないようにしている。
このような構成によれば、遊技者による動作(操作)の受付けが間に合わずに第3B受付期間が終了してしまった場合であっても、該終了した以降、第3B受付期間内において一体化摸画像表示IGがいかなる態様で表示されていたのかを認識することが可能とされるようになることから、遊技興趣の低下を抑制することができるようになる。
そしてこの後は、遊技者による動作(操作)が受付けされなかった場合も、図301(e3)に示されるように、「一体化摸画像表示IGが視認し難くなる態様」として、消滅関連表示(消滅EF演出)が開始されるようになっている。
すなわち、この例にかかる第1演出装置(演出表示装置1600)では、「一体化摸画像表示IG(摸画像表示、ゲージ画像表示)」が表示されているなかで「消滅関連表示(消滅EF演出)」が表示されるようになっており、「消滅関連表示(消滅EF演出)」が表示される領域の少なくとも一部は「一体化摸画像表示IG(摸画像表示、ゲージ画像表示)」が表示される領域と重複するようになっている。
このような構成によれば、受付けがなされずに第3B受付期間が終了した以降、一体化摸画像表示IGを表示し続けるようにした場合であっても、該一体化摸画像表示IGが視認し難くされることによって、当該第3B受付期間が終了した状態にあることを示唆することができるようになる。また、当該第3B受付期間が既に終了している状況においても、視認し難さはあるものの一体化摸画像表示IGを比較的長い時間にわたって表示し続けることが可能とされるようになることから、受付期間内で一体化摸画像表示IGがいずれの態様で表示されていたのか認識できないことによる遊技興趣の低下を抑制することができるようになる。
また、この例にかかるパチンコ機1では、第3B受付期間内で遊技者による動作(操作)が受付けされなかった場合、消滅関連表示(消滅EF演出)として「第3消滅関連表示SKB3」を表示させることとしている。
該「第3消滅関連表示SKB3」については、第1B受付期間に関連して表示されないものであることが望ましい。すなわちこの場合、第3B受付期間内で遊技者による動作(操作)が受付けされなかった場合であっても、当該受付期間が、上述した「第1B受付期間(いわゆる通常ボタン演出)」による演出性と、上述した「第2B受付期間(いわゆる隠しボタン演出)」による演出性との両方を併せ持ったものであったことを示唆することができるようになる。
また、該「第3消滅関連表示SKB3」については、第3B受付期間内で遊技者による動作(操作)が受付けされたときには表示されないものであることが望ましい。すなわちこの場合、受付けがなされることなく第3B受付期間が終了した状態にあることをより好適に示唆することができるようになる。
そしてこの後は、図301(f3)に示されるように、「一体化摸画像表示IG」及び「消滅関連表示(図中は、第3消滅関連表示SKB3)」のうち、まず、「一体化摸画像表示IG」を非表示にする。そして、こうして「一体化摸画像表示IG」が非表示にされた後、図301(g3)に示されるように、「消滅関連表示(図中は、第3消滅関連表示SKB3))」が非表示にされることとなる。
ところで、この例にかかる第3B受付期間では、上記「第2表示状態」になると、一体化摸画像表示IG(摸画像表示や、枠画像、ゲージ画像)が、図232(a)に示される態様ではなく(図300(b)を参照)、図232(c)に示される態様で表示される場合(図300(c)を参照)もあることは上述した通りである。このような図300(c)に示される状況が現れた場合は、上述した図300(b)に示される状況が現れた場合と「一体化摸画像表示IG(摸画像表示、枠画像、ゲージ画像)」としての態様が異なるだけで、それ以外は同じ態様で演出が進展されることとなる。
例えば、図300(c)から「F1´」へと演出が進展する場合は、図300(b)から「F1(図301(d1)~(h1))」へと演出が進展する内容と基本的に同じであり、演出表示装置1600(第1演出装置)における「一体化摸画像表示IG」の態様が「一体化摸画像表示IGa」から「一体化摸画像表示IGc」に変更されているだけである。また、図300(c)から「F2´」へと演出が進展する場合は、図300(b)から「F2(図301(d2)~(h2))」へと演出が進展する内容と基本的に同じであり、演出表示装置1600(第1演出装置)における「一体化摸画像表示IG」の態様が「一体化摸画像表示IGa」から「一体化摸画像表示IGc」に変更されているだけである。また、図301(c)から「F3´」へと演出が進展する場合は、図300(b)から「F3(図298(d3)~(g3))」へと演出が進展する内容と基本的に同じであり、演出表示装置1600(第1演出装置)における「一体化摸画像表示IG」の態様が「一体化摸画像表示IGa」から「一体化摸画像表示IGc」に変更されているだけである。
このような第1B受付期間~第3B受付期間を用意することとした本願にかかるパチンコ機1によれば、以下に列記する優れた作用効果が奏されるようになる。
まず、この実施の形態にかかるパチンコ機1では、受付けされたときに進行される演出内容(受付後演出としてのカットイン予告、群予告、会話予告などであり、予告演出(期待度示唆演出)の種別)が異なる複数の受付期間(第1B受付期間~第3B受付期間)を用意しており、判定(演出判定)の結果に応じた種別の受付期間(有効期間)を発生可能とするものとなっている。
この点、第1B受付期間~第3B受付期間では、遊技者による動作が受付けされた場合は、該受付けがなされたことに基づいて受付後演出表示(第1B受付後演出表示~第3B受付後演出表示)を「演出表示装置1600」において表示可能としている。そしてこのうち、第1B受付期間及び第3B受付期間では、遊技者による動作が受付けされた場合、該受付けがなされたことに基づいて受付後演出表示を表示するだけでなく、「消滅関連表示(消滅EF演出)」をさらに出現させるようにしている。すなわちこの場合、受付けがなされた以降も、摸画像表示としていずれの態様が現れていたのかを確認することが可能であることはもとより、摸画像表示が非表示にされるまでの間に「摸画像表示や残り時間表示(枠画像、ゲージ画像)が視認し難くなる態様(消滅関連表示)」によってその視認性を低下させるようにしたことで、「摸画像表示」から「受付後演出表示」へと遊技者による注視対象が自然に移されることが期待されるようになる。なお、「消滅関連表示(消滅EF演出)」とは、受付けされたときに進行される演出内容が異なる複数の受付期間に対して同じ態様が共通して用いられうるものである(図298(e2)及び図301(e2)などを参照)。
ただし、摸画像表示や残り時間表示(枠画像、ゲージ画像)とは、本来、受付けが未だなされていない受付期間内において表示されるものであることから、受付けがなされた以降も当該摸画像表示や残り時間表示(枠画像、ゲージ画像)を表示するようにした場合、受付けに応じた受付後演出表示が表示済みの状態にあるのか否かを認識し難くなり、遊技興趣が低下する懸念がある。この点、第1B受付期間及び第3B受付期間のいずれかで受付けがなされたときには、摸画像表示や残り時間表示(枠画像、ゲージ画像)は、「摸画像表示や残り時間表示(枠画像、ゲージ画像)が視認し難くなる態様(消滅関連表示)」が現れているなかで非表示(視認不能)にされる一方で、受付後演出表示は、「摸画像表示や残り時間表示(枠画像、ゲージ画像)が視認し難くなる態様(消滅関連表示)」が現れているなかで表示されるようにしている。すなわちこの場合、遊技者による動作の受付けがなされた以降、「摸画像表示や残り時間表示(枠画像、ゲージ画像)が視認し難くなる態様(消滅関連表示)」が現れているなかで、受付前表示(摸画像表示や残り時間表示(枠画像、ゲージ画像))から受付後表示(受付後演出表示)への表示演出にかかる移行が実現されることとなる。
なお、「摸画像表示や残り時間表示(枠画像、ゲージ画像)が視認し難くなる態様(消滅関連表示)」及び「受付後演出表示」はいずれも、受付けに基づいて表示されるものである点で共通する。ただし、「摸画像表示や残り時間表示(枠画像、ゲージ画像)が視認し難くなる態様(消滅関連表示)」とは、例えば、図298(e1)や、図298(e2)などに示されるように、摸画像表示や残り時間表示(枠画像、ゲージ画像)が表示されている状況にあるときに該摸画像表示や残り時間表示(枠画像、ゲージ画像)を視認し難くするように出現されるものである。これに対し、「受付後演出表示」とは、例えば、図298(f1)や、図298(f2)などに示されるように、摸画像表示や残り時間表示(枠画像、ゲージ画像)が表示されている状況にあるときに表示されたとしても該摸画像表示や残り時間表示(枠画像、ゲージ画像)を視認し難くしないように出現されるものである。また、上述した各例では、摸画像表示や残り時間表示(枠画像、ゲージ画像)が表示されている状況にあるときに「受付後演出表示」を表示開始することとしたが、該「受付後演出表示」については、摸画像表示が表示されている状況にあるときに必ずしも表示開始されるものでなくてもよく、摸画像表示が非表示にされた以降に表示開始されるようにしてもよい。
なお、「摸画像表示や残り時間表示(枠画像、ゲージ画像)が視認し難くなる態様(消滅関連表示)」に関して「摸画像表示や残り時間表示(枠画像、ゲージ画像)を視認し難くするように出現」する手法としては、摸画像表示や残り時間表示(枠画像、ゲージ画像)が表示されている領域の少なくとも一部に、該摸画像表示や残り時間表示(枠画像、ゲージ画像)とは別の画像表示を優先表示(前側レイヤに表示)することによって実現する手法のほか、摸画像表示や残り時間表示(枠画像、ゲージ画像)とは別の画像表示によって摸画像表示や残り時間表示(枠画像、ゲージ画像)の一部が欠けて(視認不能に)見えるように作られた画像(動画)を表示することによって実現する手法などを採用することが可能である。また、摸画像表示や残り時間表示(枠画像、ゲージ画像)とは別の画像表示ではなく、摸画像表示や残り時間表示(枠画像、ゲージ画像)これ自体の表示特性にかかる数値(透過率など)を変更する手法を採用することも可能である。これに対し、「受付後演出表示」に関して「摸画像表示や残り時間表示(枠画像、ゲージ画像)を視認し難くしないように出現」する手法としては、摸画像表示や残り時間表示(枠画像、ゲージ画像)が表示されている領域の少なくとも一部に「受付後演出表示」を表示するが、摸画像表示や残り時間表示(枠画像、ゲージ画像)が優先表示とされるかたちで該「受付後演出表示」を表示(後側レイヤに表示)することによって実現する手法のほか、少なくとも摸画像表示や残り時間表示(枠画像、ゲージ画像)が表示されている間は該摸画像表示が表示される領域を除く領域にしか「受付後演出表示」を表示しないようにすることによって実現する手法などを採用することが可能である。
また、摸画像表示や残り時間表示(枠画像、ゲージ画像)が視認し難くなる態様(消滅関連表示)」として、摸画像表示や残り時間表示(枠画像、ゲージ画像)が表示されている領域の少なくとも一部に該摸画像表示や残り時間表示(枠画像、ゲージ画像)とは別の画像表示を表示する手法と、摸画像表示や残り時間表示(枠画像、ゲージ画像)これ自体の表示特性にかかる数値(透過率など)を変更する手法との両方を採用するようにしてもよい。
また、「摸画像表示や残り時間表示(枠画像、ゲージ画像)が視認し難くなる態様(消滅関連表示)」とは、「受付後演出表示」が表示されるよりも前の、該「受付後演出表示」が未だ表示されていない状況下において出現するものとなっている。すなわちこの場合、「受付後演出表示」が未だ表示されていない状況下において、摸画像表示や残り時間表示(枠画像、ゲージ画像)が上記「摸画像表示や残り時間表示(枠画像、ゲージ画像)が視認し難くなる態様(消滅関連表示)」によって視認し難くされるようになることから、摸画像表示や残り時間表示(枠画像、ゲージ画像)を視認可能としつつも、「受付後演出表示」が間もなく出現しうる状態にあり、遊技者による注視先を「視認し難くされた摸画像表示や残り時間表示(枠画像、ゲージ画像)」から変更するよう、心の準備を整えるように事前に促すことができるようになる。
また、第1B受付期間及び第3B受付期間などで受付けされた場合、「摸画像表示や残り時間表示(枠画像、ゲージ画像)が視認し難くなる態様(消滅関連表示)」は、「受付後演出表示」が表示された以降も表示されうるようになっており、該「受付後演出表示」が表示されている間に非表示にされるものとなっている。これにより、「受付後演出表示」が表示される期間のうち、「摸画像表示や残り時間表示(枠画像、ゲージ画像)が視認し難くなる態様(消滅関連表示)」が非表示とされた以降の期間では、より広い範囲で当該「受付後演出表示」にかかる演出性を提供することができるようになることから、このような表示期間中における演出性の変化によって遊技興趣の向上を図ることができるようになる。
また、第1B受付期間及び第3B受付期間に関する上述した各演出例では、図298や図301に示したように、「摸画像表示や残り時間表示(枠画像、ゲージ画像)が視認し難くなる態様(消滅関連表示)」については、摸画像表示や残り時間表示(枠画像、ゲージ画像)が表示されている領域だけでなく、該摸画像表示や残り時間表示(枠画像、ゲージ画像)が表示されていない領域にも表示されるものとなっている。そして、該領域においては、少なくともその一部に「受付後演出表示」が表示されるようになっているが、「摸画像表示や残り時間表示(枠画像、ゲージ画像)が視認し難くなる態様(消滅関連表示)」によって「受付後演出表示」の少なくとも一部が視認し難くされるように表示(例えば、後側レイヤに表示)することとしている。
このような構成によれば、消滅関連表示(消滅EF演出)は、摸画像表示や残り時間表示(枠画像、ゲージ画像)だけでなく、「受付後演出表示」をも視認し難くするものとして出現されるものとなることから、摸画像表示や残り時間表示(枠画像、ゲージ画像)が非表示にされるまでの演出性と、「受付後演出表示」の表示が開始されるときの演出性との両方を向上させることが期待されるようになる。
また上述の通り、第1B受付期間及び第3B受付期間に関する上述した各演出例では、受付けがなされてから「受付後演出表示」が表示されるよりも前の、該「受付後演出表示」が表示されていない状況下において、消滅関連表示(消滅EF演出)とは別に、摸画像表示や残り時間表示(枠画像、ゲージ画像)を視認し難くしない受付後特定演出(第2演出装置を用いた受付後演出)を出現可能としている。これにより、第1演出装置における演出性を邪魔することなく、これに先行して受付後演出を楽しむことができるようになる。
また、第1B受付期間及び第3B受付期間に関する上述した各演出例にあって、受付後特定演出(第2演出装置を用いた受付後演出)は、消滅関連表示(消滅EF演出)が現れるよりも前の、該消滅関連表示(消滅EF演出)が未だ出現していない状況下において出現されるようにしている。また、受付後特定演出(第2演出装置を用いた受付後演出)は、消滅関連表示(消滅EF演出)が終了された以降までにわたって継続されるものとなっている。
このような構成によれば、第1演出装置における複雑な演出性を嫌う者は、より簡易化された演出性を有する第2演出装置によって受付後演出を楽しむことができるようになることから、様々なタイプの遊技者に対して遊技興趣の向上が図られるようになる。
また、第1B受付期間及び第3B受付期間に関する上述した各演出例においても、摸画像表示については、図233や図234などを参照しつつ上述した通り、動的表示によって表示されることとなる。そしてこの場合、摸画像表示については、受付けされた以降、消滅関連表示(消滅EF演出)が現れているなかでも、その動的表示は終了されておらず継続するようにすることが望ましい。
また、第1B受付期間及び第3B受付期間に関する上述した各演出例において、消滅関連表示(消滅EF演出)は、摸画像表示だけでなく、受付期間が終了されるまでの残り時間を示唆するゲージ画像についてもこれを視認し難くすることとした。これにより、受付けされた以降もゲージ画像を表示するようにした場合であっても、残り時間が残っているかのように見えることが抑制されるようになる。
また、この実施の形態にかかるパチンコ機1では、上記複数の受付期間のうち第3B受付期間内において遊技者による動作(操作)が受付けされた場合、該受付けがなされたことに基づいて「第3B受付後演出表示UGB3」を表示可能であるが、該第3B受付後演出表示UGB3とは別に、消滅関連表示(消滅EF演出)として上記第1B受付期間にも対応する上記態様(第2消滅関連表示SKB2)を出現可能としている。
このような構成によれば、第2消滅関連表示SKB2が出現すると、第1、第3B受付後演出表示のいずれが出現されるか不明とされるが、第1消滅関連表示SKB1が出現すると、第1B受付後演出表示UGB1が出現することが推測可能とされるようになる。
また、上述した演出例においては、消滅関連表示(消滅EF演出)を、摸画像表示や残り時間表示(枠画像、ゲージ画像)が表示される領域の少なくとも一部を含む領域に表示(優先表示)するようにした。ただし、表示画面よりも前側にある演出装置(可動体など)を用いた演出を、摸画像表示や残り時間表示(枠画像、ゲージ画像)の少なくとも一部と正面視で重なる位置で実行することによって実現することも可能である。
なお、消滅関連表示(消滅EF演出)として同じ態様(第2消滅関連表示SKB2)が出現した場合であっても、受付期間の種別が異なるものであれば、その図柄変動で大当り図柄が停止される割合(期待度)が異なるようにすることが望ましい。
また、上述した演出例においては、第2演出装置を用いた受付後演出(受付後特定演出)を実行可能としており、該第2演出装置を用いた受付後演出(受付後特定演出)の実行期間中、第1演出装置においては摸画像表示や残り時間表示(枠画像、ゲージ画像)が相対的に視認し易い状態と、摸画像表示や残り時間表示(枠画像、ゲージ画像)が相対的に視認し難い状態とがあるようにしている。
すなわちこの場合、受付けがなされたことに基づいて第2演出装置を用いた受付後演出(受付後特定演出)の実行が開始された以降も、摸画像表示や残り時間表示(枠画像、ゲージ画像)としていずれの態様が現れていたのかを確認することが可能とされる。また、第2演出装置を用いた受付後演出(受付後特定演出)の実行期間中、摸画像表示や残り時間表示(枠画像、ゲージ画像)を相対的に視認し難い状態とされるようにしたことで、「第1演出装置」から「第2演出装置」へと遊技者による注視対象が自然に移されるように促すことが期待されるようになる。
なお、上述した演出例において、第2演出装置を用いた受付後演出(受付後特定演出)は、受付けされる前から継続表示(視認し易い状態で表示)されている摸画像表示や残り時間表示(枠画像、ゲージ画像)の視認性に影響を及ぼさないように実行開始されるものとなっている。より具体的には、摸画像表示や残り時間表示(枠画像、ゲージ画像)は、表示画面(演出表示装置1600)内の所定領域で表示されるものであるが、第2演出装置を用いた受付後演出(受付後特定演出)は、該所定領域の少なくとも一部を利用して表示される画像表示でないし、該所定領域の少なくとも一部と正面視で重なる位置で実行される演出でもないものである。
また、上述した演出例においては、受付後演出表示を、消滅関連表示(消滅EF演出)の出現タイミングよりも後に表示開始させることとしたが、消滅関連表示(消滅EF演出)の出現タイミングで表示開始させるようにしてもよい。
また、上述した各演出例にあって、消滅関連表示(消滅EF演出)は、「摸画像表示や残り時間表示(枠画像、ゲージ画像)が表示される領域」の少なくとも一部を利用して表示される画像表示として実現することとした。ただしこの場合、該画像表示については、「摸画像表示が表示される領域」に表示される面積が時間経過に応じて次第に拡大される傾向となるように表示することが望ましい。
また上述の通り、この実施の形態にかかる「摸画像表示」や「残り時間表示(枠画像、ゲージ画像)」は、一体化摸画像表示IGとして、期待度の異なる複数態様(一体化摸画像表示IGa~IGd)のいずれかで表示可能とされるものである。そして、上述した各演出例によれば、受付けされた以降も、表示位置や大きさ、動的描写なども含めて、その表示態様を維持、継続するようにしたことから、受付けがなされた以降も、受付期間内において摸画像表示や残り時間表示(枠画像、ゲージ画像)がいかなる態様で表示されていたのかを認識することが可能である。
ただしこの場合、受付けされてすぐの期間にあるときは、このような条件下(摸画像表示や残り時間表示(枠画像、ゲージ画像)にかかる表示を維持する)で受付後演出を行わざるを得なくなる。すなわち、演出性の幅が狭く、限られた演出(第1演出装置とは異なる演出装置のみを用いた受付後演出)しか実行できない。しかしながら、時間が経過して消滅関連表示(消滅EF演出)が現れると、「摸画像表示や残り時間表示(枠画像、ゲージ画像)の視認性を悪化させてもよい」という条件下で受付後演出を行うことが可能とされるようになることから、このような条件下で「第1演出装置における受付後演出表示」を実行することができるようになる。このような性質の異なる2つの操作後演出(第2演出装置における受付後特定演出、第1演出装置における受付後演出表示)を段階的に行うことで、受付けされた後も摸画像表示の態様を確認容易としつつ、操作後演出としての役割も好適に発揮させることができるようになる。
なお上述の通り、「摸画像表示」や「残り時間表示(枠画像、ゲージ画像)」については別々に表示するようにしてもよいし、「摸画像表示」及び「残り時間表示(枠画像、ゲージ画像)」のいずれか一方だけが表示されるようにしてもよい。
また、第1B受付期間、第2B受付期間、及び第3B受付期間では、遊技者による動作(操作)の対象が必ずしも同じでなくてもよく、互いに異なる動作を求めるものであってもよい。ただし、異なる動作を求める場合は、動作対象表示(摸画像表示)も異なる表示として表示されることとなる。
また、この実施の形態にかかるパチンコ機1では、摸画像表示(または、残り時間表示)が表示されずに「遊技者による動作を有効動作とする受付有効判定」が許容される上記「第1表示状態」を有する第3B受付期間(図294~図296)を含めて、複数の受付期間を用意することとした。この点、パチンコ機1では、このような第3B受付期間(第1表示状態)の発生に際しては、受付有効判定が許容される状態になったこと、または受付有効判定が許容される状態になることを示唆する受付許容音が出力されうるようにしたことから、摸画像表示が表示されていない状態にあることによって遊技者による動作の対象がいずれであるのかを十分に認識することができない状況には依然としてあるものの、遊技者に対して何らかの動作が求められている状況(操作機会が付与されている状況)にあることは認識することができるようになり、これによって多くの遊技者が当該演出を楽しむことが期待されるようになる。これにより、摸画像表示が表示されずに「遊技者による動作を有効動作とする受付有効判定」が許容される受付期間でありながらも、第2B受付期間の場合とは異なり、いわゆる隠しボタンによる演出性に鈍感な遊技者であっても楽しむことができるようになる。ただし、受付許容音は、第3B受付期間の発生に際して出力されないようにしてもよい。また、「摸画像表示(または、残り時間表示)が表示されていない状態」とは、該摸画像表示(または、残り時間表示)を、表示画面上で視認できない状態を意味するものであればよい。例えば、レイヤー上では表示されているが他のレイヤー上の画像が優先表示されることによって視認できなくされている状態なども含む意味である。また、ここでの「摸画像表示(または、残り時間表示)」とは、図232(a)~(d)に示した期待度が異なる複数態様のいずれかで表示される画像のことを意味している。したがって、それら態様のいずれで表示されている状態にあるのかを判別できない状況下にある限りは「摸画像表示(または、残り時間表示)が表示されていない状態」にあると言える(逆に言えば、それら態様のいずれで表示されている状態にあるのかを判別できるのであれば、視認良好な態様で表示されていないとしても「摸画像表示(または、残り時間表示)が表示されている状態」にあると言える)。
また、第3B受付期間が発生するときに出力される受付許容音については「第3許容音」として実現することとしたが、他の受付期間が発生するときにも(受付許容音として)出力される音であることが望ましい。例えば、受付許容音が、第3B受付期間と同じ動作機会(例えば、操作ボタン410に対する押圧操作)が付与される受付期間が発生するときにも出力されるものであれば、摸画像表示が表示されていないなかでも、遊技者に対していずれの動作機会(操作機会)が付与される(付与されている)のかを好適に示唆することができるようになる。また、例えば、受付許容音が、第3B受付期間とは異なる動作機会(例えば、刀装飾体5001の納刀操作)が付与される受付期間が発生するときにも出力されるものであれば、摸画像表示が表示されていないなかでは、いずれの動作機会(操作機会)が付与されるのかを遊技者が予測することは困難であるが、何らかの動作機会(操作機会)が付与される(付与されている)状態にあることを示唆することができるようになる。
また、上記演出例にかかる第3B受付期間では、図296などに示したように、まず、摸画像表示が非表示とされる「第1表示状態」が現れる。そしてその後、当該第3B受付期間が継続されている間に、摸画像表示が表示されている「第2表示状態」が現れるようになっている。すなわちこの場合、第3B受付期間では、当初はいわゆる「隠しボタン」として発生することとなり、こうした演出性に敏感な遊技者しか楽しむことができない。ただし、第3B受付期間が継続されている間に(設定時間(有効時間)が消化し終わるよりも前の段階)で摸画像表示が表示されるようになっていることで、演出に敏感でなくても多くの遊技者がこれ(第3B受付期間)に気付いて演出を楽しむことができるようになる。また、こうした演出性を通じて、いわゆる「隠しボタン」が発生していることを見抜く力を育てることも期待されるようになる。
またこの際、「第2表示状態」では、図300(b),(c)などに示したように、摸画像表示が複数の異なる期待度(態様)のいずれかで表示されうるようにすることが望ましい。すなわち、遊技者側としては、「第1表示状態」で動作受付しなかったにもかかわらず「第2表示状態」で動作受付するようなことがあると、摸画像表示が表示されるまでの間は当該第3B受付期間が発生していたことを認識できなかったことが周囲にバレてしまい、こうした演出に鈍感であることが露見したことによる遊技興趣の低下が懸念される。この点、「第2表示状態」では、摸画像表示が複数の異なる期待度(態様)のいずれかで表示されるようにすれば、遊技者側としては、該「第2表示状態」で動作受付したとしても「第1表示状態にあったときから動作受付が許容される状態にあることに気付いていたが、摸画像表示によって示唆される期待度を見たかったから、第1表示状態においては、あえて動作受付しなかった」ように見せることができるようになり、遊技興趣の低下を好適に抑制することが期待されるようになる。
また、第3B受付期間(第1表示状態)では、いわゆる「隠しボタン」としての性質上、いずれのタイミングから「遊技者による動作を有効動作とする受付有効判定」が許容される当該第3B受付期間が発生したのかを遊技者が正確に認識することは困難である。そしてこの場合、第3B受付期間の発生よりも少し前に動作(操作)されるようなことがあると、「受付有効判定」がなさないことによって「第3B受付期間が発生したかと思ったが勘違いだった」と遊技者が誤認してしまうこと、ひいては遊技者による動作(操作)が行われることなく第3B受付期間が終了してしまうことが懸念される。
したがって、第3B受付期間では、「遊技者による動作を有効動作とする受付有効判定」が許容される状態(第3B受付期間)が発生するタイミングtS2よりも前に遊技者による動作(操作)があったとしても、該動作(操作)を、その時点で「受付有効判定」とすることはないものの、当該第3B受付期間が開始された時点で(または、それ以降に)、該第3B受付期間よりも前に行われた遊技者による動作(操作)を対象とした(に基づいた)「受付有効判定」とすることを可能にすることが望ましい。
ただしこの場合、遊技者による動作(操作)が行われたか否かの検出自体は、「遊技者による動作を有効動作とする受付有効判定」が許容される当該第3B受付期間が発生しているか否かにかかわらず実行するようにすることが求められることとなる。
例えば、図294に示される例の場合であれば、タイミングtS2よりも少し前に遊技者による動作(操作)が行われた場合であってもこれが検出されることとなる。ただし、こうして遊技者による動作(操作)が検出された時点では、第3B受付期間が未だ発生していない状況下にあることから、該検出に基づいて「遊技者による動作を有効動作とする受付有効判定」がなされることはない。ただし、この検出情報があったことは記憶(履歴)として残しておき、第3B受付期間が発生した以降に、該第3B受付期間内において、上記記憶(履歴)として残しておいた検出情報に基づいて「遊技者による動作を有効動作とする受付有効判定」がなされることとなる。そして、こうして得られた「受付有効判定」に基づいて第3B受付後演出が実行されるようになる。
このような構成によれば、第3B受付期間の発生よりも少し前に動作(操作)されるようなことがあったとしても、第3B受付期間内でこれを受付けることができるようになり、ひいてはこれを契機とした受付後演出(第3B受付後演出)を実行させることができるようになる。これにより、いわゆる「隠しボタン」の演出性(第1表示状態)が実現されているなかでも、動作受付けに関しての難易度を低下させることができるようになる。
ただし、第3B受付期間の発生よりも大幅に前(所定時間以上前)に動作(操作)された場合にはこれを契機として第3B受付後演出が実行されることがないようにすることが望ましい。このような構成については、例えば、検出情報として記憶しておく時間値の設定を通じて実現可能である。
なお、第3B受付期間の発生よりも少し前に動作(操作)されたときの当該構成については、第1B受付期間や第2B受付期間においても同様に適用するようにしてもよいし、適用しないようにしてもよい。
またこの際、第3B受付期間の発生よりも前に行われた動作(操作)については、その動作(操作)を、第3B受付期間が発生した以降の上記「第2表示状態」ではなく、上記「第1表示状態」において有効判定として受付(受付有効判定)可能とすることが望ましい。このような構成によれば、遊技者による動作(操作)が行われてから少し時間が経過したタイミング(例えば、第1表示状態(第3B受付期間)が発生したタイミング)であり、且つ摸画像表示が表示されていないなかで受付有効判定されることとなり、ひいては受付後演出が実行開始されるようになる。これにより、摸画像表示を表示したにもかかわらず動作(操作)がなかったときの、いわゆる「自動受付機能」ではなく、遊技者による動作が適正に受付けされた状態にあることを示唆することができるようになり、遊技興趣の向上を図ることができるようになる。
また、上述した演出例(図294や図300、図301など)では、第3B受付期間内の「第1表示状態」にあるときに受付け(受付有効判定)がなされた場合と、第3B受付期間内の「第2表示状態」にあるときに受付け(受付有効判定)がなされた場合とで、該受付けに応じた第3B受付後演出として同じ態様を出現させることとした(図300及び図301などを参照)。ただし、第3B受付期間内の「第1表示状態」にあるときに受付け(受付有効判定)がなされた場合と、第3B受付期間内の「第2表示状態」にあるときに受付け(受付有効判定)がなされた場合とで、演出内容を互いに異ならせるようにすることが、「第1表示状態」及び「第2表示状態」を有する受付期間としての演出性の向上を図る上でより望ましい。
例えば、上述した演出例(図294や図300、図301など)では、第3B受付期間内の「第1表示状態」にあるときに受付け(受付有効判定)がなされた場合であっても、第3B受付期間内の「第2表示状態」にあるときに受付け(受付有効判定)がなされた場合と同様、該受付け(受付有効判定)がなされた以降に、(それまで表示されていなかった)一体化摸画像表示IG(摸画像表示や、残り時間表示(枠画像、ゲージ画像))が表示されるようにした(図300(a)から「F1(図301(d1)~図301(h1))」へと演出進展する場合や、図300(a)から「F2(図301(d2)~図301(h2))」へと演出進展する場合など)。ただしこれに代えて、第3B受付期間内の「第1表示状態」にあるときに受付け(受付有効判定)がなされた場合は、該受付け(受付有効判定)がなされた以降にこれを契機として一体化摸画像表示IG(摸画像表示や、残り時間表示(枠画像、ゲージ画像))が表示されることがないようにすることが望ましい。
このような構成によれば、遊技者側からすれば、「いわゆる隠しボタン」の演出性によって受付けがなされることが比較的困難とされている「第1表示状態」において受付けがなされることに成功した状況下にあることを、受付け(受付有効判定)がなされた以降に(摸画像表示が表示されていないなかで演出進展することによって)周りの人達に見せ付けることができるようになり、遊技興趣の向上を図ることができるようになる。
ただしこの際、消滅関連表示(消滅EF演出)については、第3B受付期間内の「第1表示状態」にあるときに受付け(受付有効判定)がなされた場合であっても、一体化摸画像表示IG(摸画像表示や、残り時間表示(枠画像、ゲージ画像))が表示されていないなかで(視認できないなかで)、視認可能に表示させるようにすることが望ましい。すなわち、一体化摸画像表示IG(摸画像表示や、残り時間表示(枠画像、ゲージ画像))が表示されていないなかで(視認できないなかで)受付け(受付有効判定)がなされた場合に、該受付けがなされた以降も一体化摸画像表示IGが表示されないようにすると、当該受付期間が、上記第2B受付期間として発生したものであるのか、それとも上記第3B受付期間(第1表示状態)として発生したものであるのかについての見分けを行うことが困難となる。この点、一体化摸画像表示IG(摸画像表示や、残り時間表示(枠画像、ゲージ画像))が表示されない場合であっても、消滅関連表示(消滅EF演出)についてはこれを上記「第2表示状態」で受付けされたときと同様に出現させるようにすることで、当該受付期間が、上記第2B受付期間ではなく、上記第3B受付期間(第1表示状態)として発生したものであることを示唆することができるようになる。
これらの構成を採用した例において、第3B受付期間内の「第1表示状態(図300(a)を参照)」にあるときに受付け(受付有効判定)がなされた場合は、図301(d1)~(h1)または図301(d2)~(h2)などに示した演出進展が、一体化摸画像表示IG(摸画像表示や、残り時間表示(枠画像、ゲージ画像))が表示されていない状態で行われることとなる。すなわち、第1表示状態において受付有効判定がなされた場合は、一体化摸画像表示IG(摸画像表示や、残り時間表示(枠画像、ゲージ画像))が複数態様のいずれによっても表示されないままで受付後演出が実行開始されることとなり、第2表示状態において受付有効判定がなされた場合は、一体化摸画像表示IG(摸画像表示や、残り時間表示(枠画像、ゲージ画像))が複数態様のいずれかによって表示されている状態で受付後演出が実行開始されることとなる。
若しくは、第3B受付期間のうち「第1表示状態」には、
・受付け(受付有効判定)がなされても、該受付けがなされた以降に一体化摸画像表示IG(摸画像表示や、残り時間表示(枠画像、ゲージ画像))が表示されないままで第3B受付後演出が実行されるようになる第1期間(第1状態、第1タイミング)と、
・受付け(受付有効判定)がなされると、該受付けがなされた以降(該受付けがなされたタイミングよりも後)に一体化摸画像表示IG(摸画像表示や、残り時間表示(枠画像、ゲージ画像))が表示され、該一体化摸画像表示IGの表示と第3B受付後演出の実行とが並行されるようになる第2期間(第2状態、第2タイミング)と
がさらに含まれるようにしてもよい。例えば、第1表示状態では、第1期間(第1状態、第1タイミング)がまずは発生し、その後、第2期間(第2状態、第2タイミング)が発生するようにすることが望ましい。このような構成によれば、第1表示状態におけるいずれのタイミングで受付けがなされたかによっても演出内容が異なるようになることから、「第1表示状態」を有する受付期間としての演出性の向上を図ることが期待されるようになる。
なお、第3B受付期間のうち「第1表示状態」には、上記第1期間(第1状態、第1タイミング)と上記第2期間(第2状態、第2タイミング)との少なくとも一方のみが含まれるようにしてもよい。
上述した演出例にかかる第3B受付期間では、遊技者による動作が受付けされないままでその設定時間が経過する場合(図296(f))、該第3B受付期間内で受付けがなされたときと同じ受付後演出が実行(自動受付演出が機能)されないようにした。ただし、第3B受付期間については、自動受付演出が機能する対象として発生させるようにしてもよい。この場合、自動受付は、第1表示状態ではなされず、第2表示状態でなされることとなる。また、第1受付期間については、自動受付演出が機能する対象として発生させるようにしてもよい。
また、第3B受付期間では、演出の状態(遊技者が設定可能な状態)に応じて、自動受付がなされるタイミングが異なるようにしてもよい。ただし、いずれのタイミングで自動受付がなされる場合であっても、上記「第2表示状態」にあるなかで自動受付がなされて当該第3B受付期間内で受付けがなされたときと同じ受付後演出が実行開始されるようにすることが望ましい。
また、第3B受付期間のうち上記「第2表示状態」が発生する場合、当該第3B受付期間これ自体はこれよりも前から既に発生している状況下にあるが、ゲージ画像については、その表示面積がその枠内で最大値になっている状態から表示(上述の面積を減少させる描写)を開始させるようにしてもよい(面積が既に減少している状態から開始してもよい)。このような構成によれば、受付期間としての残り時間が実際には既に減少している状況下にあるとしても、ゲージ画像の面積を最大値から表示開始させるようにすることで、遊技興趣の低下が抑制されるようになる。また、当該受付期間が、上記第1B受付期間であるかのように見せることも可能である。
また、この実施の形態にかかるパチンコ機1では、まず、受付期間として、第1B受付期間及び第2B受付期間を含む複数の受付期間を用意している。そして、第1B受付期間では、「遊技者による動作を有効動作とする受付有効判定」がいずれのタイミングでなされるかにかかわらず一体化摸画像表示IG(摸画像表示や、残り時間表示(枠画像、ゲージ画像))が必ず表示されるようにし(図288、図289などを参照)、第2B受付期間では、上記受付有効判定がいずれのタイミングでなされるかにかかわらず一体化摸画像表示IG(摸画像表示や、残り時間表示(枠画像、ゲージ画像))が必ず表示されないようにしている(図291、図292などを参照)。
このような構成によれば、演出性が全く異なる2種類の受付期間を備えることで、遊技者に対して動作を求める(操作機会を付与する)にあたってメリハリを持たせることができるようになり、遊技興趣の向上を図ることが期待されるようになる。
また、この実施の形態にかかるパチンコ機1では、第3B受付期間をさらに備えることとし、該第3B受付期間では、遊技者による動作(操作)を有効動作(有効操作)とする受付有効判定がいずれのタイミングでなされるかによって、一体化摸画像表示IG(摸画像表示や、残り時間表示(枠画像、ゲージ画像))が表示される場合と、一体化摸画像表示IG(摸画像表示や、残り時間表示(枠画像、ゲージ画像))が表示されない場合とがあるようにしている。
このような構成によれば、「受付有効判定」がいずれのタイミングでなされるかにかかわらず一体化摸画像表示IG(摸画像表示や、残り時間表示(枠画像、ゲージ画像))が必ず表示される「第1B受付期間」が発生しているかのように見せたり、「受付有効判定」がいずれのタイミングでなされるかにかかわらず一体化摸画像表示IG(摸画像表示や、残り時間表示(枠画像、ゲージ画像))が必ず表示されない「第2B受付期間」が発生しているかのように見せることができるようになり、このような不確定さを持たせる演出性を通じて、受付期間が発生するときの緊張感を好適に維持することができるようになる。
また、第1B受付期間では、図297及び図300に示したように、第3B受付期間では出現し得ない態様で一体化摸画像表示IG(摸画像表示や、残り時間表示(枠画像、ゲージ画像))が表示可能とされるようにすることが望ましい。すなわち、上述した演出例にかかる第1B受付期間では、図232(d)に示した特別態様(一体化摸画像表示IGd)が表示されうるが、該特別態様は、第3B受付期間では出現し得ないものとなっている。このような構成によれば、一体化摸画像表示IG(摸画像表示や、残り時間表示(枠画像、ゲージ画像))が図232(a)に示した態様(一体化摸画像表示IGa)で表示されたときには、第1B受付期間と第3B受付期間とのいずれが発生しているのか認識し難い状況となり、一体化摸画像表示IG(摸画像表示や、残り時間表示(枠画像、ゲージ画像))が図232(d)に示した特別態様(一体化摸画像表示IGd)で表示されたときには第1B受付期間が発生している状況下にあることを示唆することができるようになる。
また、第2B受付期間では、受付許容音が出力されず、第3B受付期間では、一体化摸画像表示IG(摸画像表示や、残り時間表示(枠画像、ゲージ画像))が表示されることなく受付けがなされ、これによって受付後演出が実行される場合であっても、受付許容音が出力されるようにすることが望ましい。すなわちこの場合、当該受付期間が、上記第2B受付期間ではなく、上記第3B受付期間(第1表示状態)として発生したものであることを示唆することができるようになる。
また、受付後演出の態様(期待度)にかかわらず同じ態様で出力される「受付音」については、第1B受付期間及び第3B受付期間で出力され、第2B受付期間では出力されないようにしてもよい。第1B受付期間及び第3B受付期間では「受付音」として同じ態様が出力されるようにすることが望ましい。ただし、このような「受付音」については、第1B受付期間及び第3B受付期間において必ずしも出力されるようにしなくてもよい。
また、第1B受付期間では、第3B受付期間では出現し得ない消滅EF演出(例えば、第1消滅関連表示SKB1)が表示されうるようにすることが望ましい。このような構成によれば、消滅EF演出の種別を通じて、第3B受付期間ではなく、第1B受付期間が発生していることを示唆することができるようになる。
また、第1B受付期間では、第3B受付期間で出現し得る消滅EF演出(例えば、第2消滅関連表示SKB2)が表示されうるようにすることが望ましい。このような構成によれば、第1B受付期間と第3B受付期間とのいずれが発生していたかを認識し難くすることができるようになる。
なお、第1B受付期間、第2B受付期間、及び第3B受付期間では、動作機会が付与される対象(操作ボタン410、刀装飾体5001など)が同じであってもよいし、異なるようにしてもよい。ただし、動作機会が付与される対象が異なる場合は、動作対象表示(摸画像表示)を異なるものとして表示することとなる。
また、この実施の形態にかかるパチンコ機1では、受付期間として、第1B受付期間及び第3B受付期間を含む複数の受付期間を用意している。そして、第1B受付期間内において「遊技者による動作を有効動作とする受付有効判定」がなされると、該受付有効判定がなされたことに基づいて、期待度が異なる複数態様のいずれかで第1B受付後演出を実行可能であり、第3B受付期間内において「遊技者による動作を有効動作とする受付有効判定」がなされると、該受付有効判定がなされたことに基づいて、期待度が異なる複数態様のいずれかで第3B受付後演出を実行可能としている。
この点、パチンコ機1では、第1B受付期間内において「受付有効判定」がなされた場合と、第3B受付期間内において「受付有効判定」がなされた場合とのいずれにおいても、該受付有効判定がなされたことに基づいて、一体化摸画像表示IG(摸画像表示や、残り時間表示(枠画像、ゲージ画像))の表示対象領域(特定領域)の少なくとも一部を用いて消滅EF演出を実行可能としたことから、受付有効判定が適正になされた状態(遊技者による操作が受付けされたことによって受付期間が終了した状態)になったことを容易に認識することができるようになる。
また上述の通り、第3B受付期間では、遊技者による動作(操作)を有効動作(有効操作)とする受付有効判定がいずれのタイミング(第1表示状態、第2表示状態など)でなされるかによって、一体化摸画像表示IG(摸画像表示や、残り時間表示(枠画像、ゲージ画像))が表示される場合と、一体化摸画像表示IG(摸画像表示や、残り時間表示(枠画像、ゲージ画像))が表示されない場合とがあるようにしてもよい。そしてこの場合は、まず、一体化摸画像表示IG(摸画像表示や、残り時間表示(枠画像、ゲージ画像))が表示されている状況下で受付有効判定がなされたときには、これを契機として該一体化摸画像表示IG(摸画像表示や、残り時間表示(枠画像、ゲージ画像))が表示される特定領域の少なくとも一部を含む所定領域で消滅EF演出を実行するようにする。これに対し、一体化摸画像表示IG(摸画像表示や、残り時間表示(枠画像、ゲージ画像))が表示されていない状況下で受付有効判定がなされた場合であっても、これを契機として、消滅EF演出を、一体化摸画像表示IGが表示されている状況下で受付有効判定がなされたときと同じ態様で実行するようにすることが望ましい。このような構成によれば、一体化摸画像表示IGが表示されていない状況下であっても受付有効判定が秘かになされた状態にあることを好適に示唆することができるようになる。なお、一体化摸画像表示IGが表示されていない状況下で受付有効判定がなされた場合、第1受付期間は、一体化摸画像表示IGが表示されることなく終了されることとなり、消滅EF演出は、該一体化摸画像表示IGが表示される予定だった領域の少なくとも一部を用いて実行されることとなる。
またこの際、第1B受付期間では、遊技者による動作(操作)を有効動作(有効操作)とする受付有効判定がいずれのタイミングでなされるかにかかわらず一体化摸画像表示IGが必ず表示されるようにすることが望ましい。このような一体化摸画像表示IGが必ず表示される第1B受付期間」を、上述した第3B受付期間とは別に用意するようにすることで、消滅EF演出が実行される構成と相まって、安心感のある演出性を提供することができるようになり、遊技興趣の低下を抑制することができるようになる。
第1B受付期間では、これに対応する受付後演出が高期待態様(図298(f2)~(h2))で実行される場合、消滅EF演出として第3B受付期間でも用いられる特定態様(図298(e2)~(g2))が現れるが、該高期待態様とは異なる場合、消滅EF演出として特定態様(図298(e2)~(g2))は現れずこれとは異なる態様(図298(e1)~(g1))が現れるか、または消滅EF演出これ自体が現れないようにすることが望ましい。このような構成によれば、第3B受付期間に対応して消滅EF演出が実行されると高期待演出が実行されているかのようなイメージを持たせることができるようになり、遊技興趣の低下を抑制することができるようになる。
第1B受付期間では、受付許容音が、期待度の異なる複数態様で出力されるが、第3B受付期間では、受付許容音が、「一の態様」でのみ出力されるようにしてもよい。このような構成によれば、該「一の態様」をもった受付許容音が出力されると、「いわゆる隠しボタン」としての演出性を有する第3B受付期間が発生している可能性を意識付けさせることができるようになることから、緊張感を好適に維持することができるようになる。該「一の態様」については、第1B受付期間の発生に際しても(判定によって)選択的に出力されうるものであってもよい。またこの場合、「一の態様」は、期待度の最も低い態様として出力されるものであることが望ましい。この場合、期待度の最も低い態様で受付許容音が出力される状況下であっても、緊張感を好適に維持することが期待されるようになる。
特定変動パターンが選択された場合、該特定変動パターン内で第1B受付期間と、第3B受付期間との両方が順次に発生しうるようにしてもよい。この場合、第3B受付期間が発生した後に、第1B受付期間が発生するようにすることが望ましい。またこの場合、第1B受付期間が発生するようにしてもよい。この場合、第3B受付期間が発生してから第1B受付期間が発生するまでの間に第2B受付期間が発生しうるようにすることが望ましい。
また、第1B受付期間の発生に際して出力される前兆演出と、第3B受付期間の発生に際して出力される前兆演出とは互いに異なる態様であることが望ましい。すなわちこの場合、前兆演出によって、第1B受付期間と第3B受付期間とのいずれが発生するかを示唆することができるようになる。
また、第3B受付期間では、消滅EF演出として、受付けがあると特定態様(例えば、第2消滅関連表示SKB2)が現れるようにし、受付けがないと特定態様とは異なる態様(例えば、第3消滅関連表示SKB3)が現れるか、または何らの態様も現れないようにすることが望ましい。これに対し、第1B受付期間では、受付けがなかった場合であっても、消滅EF演出として受付けがあったときと同じ態様が現れるようにすることが望ましい。すなわち、上述した「第1B受付期間(いわゆる通常ボタン演出)」による演出性と、上述した「第2B受付期間(いわゆる隠しボタン演出)」による演出性との両方を併せ持った第3B受付期間では、上述した「第1B受付期間(いわゆる通常ボタン演出)」よりも動作し忘れ(受付けがなされないままでの受付期間終了)が生じやすいと言える。この点、上記構成によれば、第3B受付期間で動作し忘れが生じた場合、受付けがなされたときの消滅EF演出(例えば、第2消滅関連表示SKB2)が出現しないようになることから、遊技者に対し、動作し忘れが生じてしまった状況下にあることをアピールすることができるようになり、これ以降、受付期間が発生したときの緊張感を好適に維持することができるようになる。これに対し、第1B受付期間には動作し忘れが生じやすい要素がない。それにもかかわらず、動作受付けがなされなかった場合とは、遊技者側があえて「動作をしない」という遊技上の選択をした可能性があることから、このような選択を行った遊技者に対して「動作し忘れが生じてしまった状況下にあることのアピール」を行ってしまうと、遊技興趣が逆に低下しかねない。したがって、第1B受付期間では、受付けがなかった場合であっても、消滅EF演出として受付けがあったときと同じ態様が現れるようにすることが望ましい。
特に、上述の演出例にかかる第1B受付期間では、第1B受付後演出にかかる態様(期待度)に応じて消滅EF演出の態様が異なるようになっている(図298を参照)。したがって、第1B受付期間では、受付けがなかった場合であっても、消滅EF演出として受付けがあったときと同じ態様が現れるようにすれば、受付けがあったときに現れていた第1B受付後演出にかかる態様(期待度)を認識することができるようになり、遊技興趣の向上を図ることができるようになる。
また、この実施の形態にかかる第2B受付期間においては、一体化摸画像表示IG(摸画像表示や、残り時間表示(枠画像、ゲージ画像))が表示されていない状態において行われた遊技者による動作を有効動作とする「受付有効判定」が可能とされており、該受付有効判定がなされた場合、消滅EF演出は実行されないようにしている。
このような構成によれば、「受付有効判定」が適正になされた状態(遊技者による操作が受付けされたことによって受付期間が終了した状態)にあるか否かを認識し難くすることができるようになり、遊技者に対して動作を秘かに求める(操作機会を秘かに付与する)当該第2B受付期間としての緊張感を、受付有効判定がなされた以降も維持させることが期待されるようになる。
また、上述の演出例では、第2B受付期間及び第3B受付期間のいずれにおいても、一体化摸画像表示IG(摸画像表示や、残り時間表示(枠画像、ゲージ画像))が表示されていない状態において行われた遊技者による動作を有効動作とする受付有効判定が可能とされるようにしている。そして、第2B受付期間では、一体化摸画像表示IG)が表示されていない状態において行われた遊技者による動作を有効動作とする受付有効判定がなされた場合、上記消滅EF演出は実行されず、第3B受付期間では、一体化摸画像表示IGが表示されていない状態において行われた遊技者による動作を有効動作とする受付有効判定がなされた場合、上記消滅EF演出が実行されるようにした。
このような構成によれば、一体化摸画像表示IG(摸画像表示や、残り時間表示(枠画像、ゲージ画像))が表示されていない状態において遊技者による動作が行われるまでの間は、第2B受付期間と第3B受付期間とのいずれが発生しているのかを認識し難いが、これを有効動作とする受付有効判定がなされた以降は、第2B受付期間と第3B受付期間とのいずれが発生していたのかを認識することができるようになることから、遊技者に対して動作を促すことができるようになる。
また、第4B条件が満たされた場合、第4B受付期間をさらに発生可能とするようにしてもよい。この第4B受付期間においても、一体化摸画像表示IG(摸画像表示や、残り時間表示(枠画像、ゲージ画像))が表示されていない状態において行われた遊技者による動作を有効動作とする受付有効判定が可能とされる。第4B受付期間では、一体化摸画像表示IG(摸画像表示や、残り時間表示(枠画像、ゲージ画像))が表示されていない状態において行われた遊技者による動作を有効動作とする受付有効判定がなされた場合、上記第3B受付期間の場合と同様、消滅EF演出が実行される。ただし、第4B受付期間では、これに対応する第4B受付後演出の態様(期待度)に応じて異なる態様で消滅EF演出が実行されるようにする。このような構成によれば、一体化摸画像表示IG(摸画像表示や、残り時間表示(枠画像、ゲージ画像))が表示されていない状態において遊技者による動作が行われるまでの間は、第2B受付期間と第3B受付期間と第4B受付期間とのいずれが発生しているのかを認識し難いが、これを有効動作とする受付有効判定がなされた以降は、第2B受付期間と第3B受付期間と第4受付期間とのいずれが発生していたのかを認識することができるようになることに加えて、第4受付期間の場合はその期待度を示唆することができるようになる。
第1B受付期間や第3B受付期間では、一体化摸画像表示IG(摸画像表示や、残り時間表示(枠画像、ゲージ画像))は、遊技者による動作が受付けされると、操作受け部に現れる動きの描写や、ゲージ画像の面積減少などが継続されるなかで、消滅EF表示が実行されるようにすることが望ましい。
なお、上述した各演出例や別例については、下記構成に変形させて実現するようにしてもよいし、以下の構成(受付期間)を受付後演出の種別が異なる別の受付期間(別の前兆演出表示)としてさらに備えるようにしてもよい。すなわち上述の通り、この実施の形態にかかるパチンコ機1では、遊技者による動作(操作)の受付けが許容される受付期間として、第1B受付期間、第2B受付期間、及び第3B受付期間を少なくとも備えている。そしてこのうち、第1B受付期間及び第3B受付期間では、遊技者による動作(操作)の受付け(受付有効判定)がなされたことに基づいて消滅EF演出が実行可能とされ、第2B受付期間では、遊技者による動作(操作)の受付け(受付有効判定)がなされたとしても消滅EF演出が実行されないことは上述した。
この点、第1B受付期間において遊技者による動作(操作)の受付け(受付有効判定)がなされた場合には、該受付け(受付有効判定)に基づいて第1B受付後演出が期待度(大当り図柄が現れる割合)の低い態様で実行される場合と、第1B受付後演出が期待度(大当り図柄が現れる割合)の高い態様で実行される場合とで同じ態様で消滅EF演出が実行可能とされるようにしてもよい。このような構成を、図298に示した例に対して適用した場合、第1B受付後演出としていずれの態様(図298(d1)~(h1)に示される態様、図298(d2)~(h2)に示される態様)が出現するかにかかわらず、さらには第1B受付期間内で受付けがなされたか否かにかかわらず(図298(d3)~(g3)に示される態様)、消滅EF演出としては予め定められた一の態様が必ず出現されることとなる。すなわち、第1B受付期間とは、当該期間内のいずれのタイミングで受付け(受付有効判定)がなされた場合であっても(さらには、受付けがなされなかった場合であっても)、一体化摸画像表示IG(摸画像表示や、残り時間表示(枠画像、ゲージ画像))の表示が継続されるものである。この場合、「一体化摸画像表示IG(摸画像表示や、残り時間表示(枠画像、ゲージ画像))がいずれの態様で表示されていたのか」といった情報が提供されている状況下にあることから、消滅EF演出によってさらに異なる情報が提供されるようなことがあると、演出が複雑になり過ぎる懸念がある。この点、このような第1B受付期間では、第1B受付後演出としていずれの態様(図298(d1)~(h1)に示される態様、図298(d2)~(h2)に示される態様)が出現するかにかかわらず、さらには第1B受付期間内で受付けがなされたか否かにかかわらず(図298(d3)~(g3)に示される態様)、消滅EF演出としては予め定められた一の態様が必ず出現されるようにすれば、上述した懸念を解消することができるようになる。
また、第3B受付期間において遊技者による動作(操作)の受付け(受付有効判定)がなされた場合には、該受付け(受付有効判定)に基づいて第3B受付後演出が期待度(大当り図柄が現れる割合)の低い態様で実行される場合と、第3B受付後演出が期待度(大当り図柄が現れる割合)の高い態様で実行される場合とで異なる態様で消滅EF演出が実行可能とされるようにしてもよい。第3B受付期間は、「いわゆる隠しボタン」による演出性を有するものとなっており、その分だけ「難易度の高い受付期間」としての位置づけにあると言えるから、受付けがなされた以降も、一体化摸画像表示IG(摸画像表示や、残り時間表示(枠画像、ゲージ画像))としての態様と消滅EF演出としての態様との両方から互いに異なる演出情報が得られるようにすることが、遊技者に対して演出上の刺激を与える上で望ましい。
なお、このような構成を、図301に示した例に対して適用した場合は、受付けがなされなかったときに現れる消滅EF演出としての態様は、受付けがなされたときに現れうる消滅EF演出としての複数態様のいずれとも異なるようにすることが望ましい。これにより、受付けがなされなかったことを認識することができるようになるし、当該受付期間が、上述した「第1B受付期間(いわゆる通常ボタン演出)」による演出性と、上述した「第2B受付期間(いわゆる隠しボタン演出)」による演出性との両方を併せ持ったものであったことを示唆することができるようになる。
また上述の通り、第3B受付期間に対する別例では、第3B受付期間内の「第1表示状態」にあるときに受付けがなされたときには、受付けがなされた以降に一体化摸画像表示IG(摸画像表示や、残り時間表示(枠画像、ゲージ画像))が表示されないこととなる。すなわちこの場合、受付けがなされた以降、「一体化摸画像表示IG(摸画像表示や、残り時間表示(枠画像、ゲージ画像))がいずれの態様で表示されていたのか」といった情報が提供されることがなくなることから、このような状況下では、消滅EF演出による情報(受付後演出に関する期待度情報)が提供されるようにすることが、遊技興趣の向上を図る上で望ましい。
また、第1B受付期間において遊技者による動作(操作)の受付け(受付有効判定)がなされなかった場合には、受付けがなされたときに現れる態様とは異なる態様で消滅EF演出が実行されるようにしてもよい。これにより、受付けがなされなかったことを認識することができるようになるし、当該態様が第3B受付期間で出現し得ないものであれば、当該受付期間が、上述した「第1B受付期間(いわゆる通常ボタン演出)」による演出性と、上述した「第2B受付期間(いわゆる隠しボタン演出)」による演出性との両方を併せ持ったものではなかったことを示唆することができるようになる。
また、第3B受付期間において遊技者による動作(操作)の受付け(受付有効判定)がなされなかった場合には、受付けがなされたときに現れる態様と同じ態様で消滅EF演出が実行されるようにしてもよい。このような構成によれば、受付けがなされた状況下にあるのか否かの認識をし難くなることから、「いわゆる隠しボタン」としての演出性を高めることができるようになる。
これらの変形例については、それら構成の全てを上述した演出例やその別例に対して適用しなくてもよい。例えば、、適宜の組み合わせや、いずれか1つの構成(変形例)だけを上述した演出例やその別例に対して適用するようにしてもよい。
次に、上記変形例のいくつかを上述した演出例に対して適用した場合について説明する。すなわち、図302は、図298に示した「第1B受付期間で受付けがなされたとき、または受付けがなされなかったときに現れる演出」にかかる変形例であり、図303は、図301に示した「第3B受付期間で受付けがなされたとき、または受付けがなされなかったときに現れる演出」にかかる変形例である。なお、この変形例において、特に言及しない構成については、「第1B受付期間に関する演出例(図288~図290、図297、図298)」や「第3B受付期間に関する演出例(図294~図296、図300、図301)」を参照しつつ上述した通りであり、「第1B受付期間に関する演出例」や「第3B受付期間に関する演出例」に対して適用可能な上述の各別例に関しても同様に適用可能である。
図302に示される変形例では、第1B受付期間において遊技者による動作(操作)の受付け(受付有効判定)がなされた場合、該受付け(受付有効判定)に基づいて第1B受付後演出が期待度(大当り図柄が現れる割合)の低い態様で実行される場合(図302(d1)~(h1)を参照)と、第1B受付後演出が期待度(大当り図柄が現れる割合)の高い態様(図302(d2)~(h2)を参照)で実行される場合とで同じ態様で消滅EF演出が実行されるようになっている。ここでは、消滅EF演出として、第2消滅関連表示SKB2が実行されている。
ただし、図302に示される変形例では、第1B受付期間において遊技者による動作(操作)の受付け(受付有効判定)がなされなかった場合(図302(d3)~(g3)を参照)は、消滅EF演出として、該第1B受付期間において遊技者による動作(操作)の受付け(受付有効判定)がなされたときには現れない態様が現れるようになっている。ここでは、消滅EF演出として、第3消滅関連表示SKB3が実行されている。
これに対し、図303に示される変形例では、第3B受付期間において遊技者による動作(操作)の受付け(受付有効判定)がなされた場合、該受付け(受付有効判定)に基づいて第3B受付後演出が期待度(大当り図柄が現れる割合)の低い態様で実行される場合(図303(d1)~(h1)を参照)と、第3B受付後演出が期待度(大当り図柄が現れる割合)の高い態様で実行される場合(図303(d2~(h2)を参照)とで異なる態様で消滅EF演出が実行されるようになっている。ここでは、期待度(大当り図柄が現れる割合)の低い態様で実行される場合(図303(d1)~(h1)を参照)に消滅EF演出として第1消滅関連表示SKB1が実行され、期待度(大当り図柄が現れる割合)の高い態様で実行される場合(図303(d2~(h2)を参照)に消滅EF演出として第2消滅関連表示SKB2が実行されている。
また、図303に示される変形例では、第3B受付期間において遊技者による動作(操作)の受付け(受付有効判定)がなされなかった場合(図303(d3)~(g3)を参照)は、消滅EF演出として、該第3B受付期間において遊技者による動作(操作)の受付け(受付有効判定)が仮になされていたとするときに現れていた態様が現れるようになっている。すなわち、図303(d3)~(g3)に示される例では、消滅EF演出として第1消滅関連表示SKB1が表示されていることから、第3B受付期間において遊技者による動作(操作)の受付け(受付有効判定)がなされていたとすると、図303(d1)~(h1)に示される演出進展が発生していたことを認識することができるようになる。これに対し、第3B受付期間において遊技者による動作(操作)の受付け(受付有効判定)がなされなかった場合に、消滅EF演出として第2消滅関連表示SKB2が表示されたときには、第3B受付期間において遊技者による動作(操作)の受付け(受付有効判定)がなされていたとすると、図303(d2)~(h2)に示される演出進展が発生していたことを認識することができるようになる。
このような変形例にかかる第1B受付期間では、受付けがなされたときに現れる消滅関連表示(消滅EF演出)として、変形例にかかる上記第3B受付期間に対応する受付後演出(第3B受付後演出)が期待度の高い態様で実行されるときに表示される「第2消滅関連表示SKB2」を用いることとしている。すなわちこの場合、変形例にかかる第1B受付期間では、受付けがなされさえすれば、期待度の高い態様で受付後演出が実行されるかのようなイメージを持たせることができるようになり、遊技興趣の向上を図ることができるようになる。
なお、変形例にかかる第3B受付期間に対応する消滅関連表示(消滅EF演出)については、必ずしも「第2消滅関連表示SKB2」でなくてもよい。例えば、変形例にかかる第1B受付期間に対応する消滅関連表示(消滅EF演出)として、上記第1B受付期間に対応する受付後演出(第1B受付後演出)が期待度の低い態様で実行されるときに表示される「第1消滅関連表示SKB1」を用いるようにした場合であっても、変形例にかかる第1B受付期間で受付けがなされた状態にあるのか、それとも変形例にかかる第3B受付期間で受付けがなされた状態にあるのかを認識し難くすることができるようになる。
また、この変形例にかかるパチンコ機1では、第1B受付期間内で遊技者による動作(操作)が受付けされなかった場合、消滅関連表示(消滅EF演出)として「第3消滅関連表示SKB3」を表示させることとしている。
該「第3消滅関連表示SKB3」については、変形例にかかる第3B受付期間に関連して表示されないものであることが望ましい。すなわちこの場合、第1B受付期間内で遊技者による動作(操作)が受付けされなかった場合であっても、当該受付期間が、上述した「第1B受付期間(いわゆる通常ボタン演出)」による演出性と、上述した「第2B受付期間(いわゆる隠しボタン演出)」による演出性との両方を併せ持ったものでなかったことを示唆することができるようになる。
また、該「第3消滅関連表示SKB3」については、変形例にかかる第1B受付期間内で遊技者による動作(操作)が受付けされたときには表示されないものであることが望ましい。すなわちこの場合、受付けがなされることなく第1B受付期間が終了した状態にあることをより好適に示唆することができるようになる。
ちなみに、この変形例にかかる第3B受付期間に対して、「第1表示状態」にあるときに受付けがなされると「一体化摸画像表示IG(摸画像表示や、残り時間表示(枠画像、ゲージ画像))が表示されずに受付後演出が実行される」といった上記別例にかかる構成を適用した場合は、図303(d1)~(h1)または図303(d2)~(h2)などに示した演出進展が、一体化摸画像表示IG(摸画像表示や、残り時間表示(枠画像、ゲージ画像))が表示されていない状態で行われることとなる。すなわち、第1表示状態において受付有効判定がなされた場合は、一体化摸画像表示IG(摸画像表示や、残り時間表示(枠画像、ゲージ画像))が複数態様のいずれによっても表示されないままで受付後演出が実行開始されることとなり、第2表示状態において受付有効判定がなされた場合は、一体化摸画像表示IG(摸画像表示や、残り時間表示(枠画像、ゲージ画像))が複数態様のいずれかによって表示されている状態で受付後演出が実行開始されることとなる。
なお、この変形例にかかる第3B受付期間においても、「遊技者による動作を有効動作とする受付有効判定」が許容される状態(第3B受付期間)が発生するタイミングtS2よりも前に遊技者による動作(操作)があったとしても、該動作(操作)を、その時点で「受付有効判定」とすることはないものの、当該第3B受付期間が開始された時点で(または、それ以降に)、該第3B受付期間よりも前に行われた遊技者による動作(操作)を対象とした(に基づいた)「受付有効判定」とすることを可能にする、といった上記別例にかかる構成や、上記第1期間(第1状態、第1タイミング)及び上記第2期間(第2状態、第2タイミング)にかかる構成などを適用することは可能である。
上記変形例にかかる第3B受付期間では、第3B受付後演出として低期待の態様が現れる場合(図303(d1)~(h1))、消滅EF演出として第1消滅関連表示SKB1が実行されるようにしたが、消滅EF演出これ自体が現れないようにしてもよい。
また、上記変形例にかかる第1B受付期間では、消滅EF演出として、受付けがあると特定態様が現れるようにし(図302(d1)~(h1)や、図302(d2)~(h2))、受付けがないときには該特定態様とは異なる態様が現れるようにしたが(図302(d3)~(g3))、受付けがないときには消滅EF演出これ自体が現れないようにしてもよい。
また、上記変形例にかかる第1B受付期間では、受付けがあると特定態様(消滅EF演出)として第2消滅関連表示SKB2が実行されるようにしたが、該第2消滅関連表示SKB2とは異なる態様で実行されるようにしてもよい。例えば、第1消滅関連表示SKB1で実行されるようにした場合であっても、第1B受付期間で受付けがなされた状態にあるのか、それとも第3B受付期間で受付けがなされた状態にあるのかを認識し難くすることができるようになる。
次に、上記「構成5-B」~「構成9-B」を具体化した例について説明する。上述の通り、このパチンコ機1は、受付けされたときに進行される演出内容(例えば、受付後演出としての会話予告、カットイン予告、可動体予告などであり、予告演出(期待度示唆演出)の種別)が異なる複数の受付期間(受付演出)を用意しており、判定(大当り判定や、演出判定など)の結果に応じた種別の受付期間(受付演出)を発生可能としている。ここでは、複数の受付期間(受付演出)として、少なくとも第1C受付期間(第1C受付後演出)、第2C受付期間(第2C受付後演出)、第3C受付期間(第3C受付後演出)を用意している。
図304~図318を参照して、各受付期間(受付演出)の別に、各々の特徴について説明する。なお、図303までを参照しつつ上述した各受付期間については、第1C受付期間(第1C受付後演出)、第2C受付期間(第2C受付後演出)、第3C受付期間(第3C受付後演出)とは別の受付期間として用意されているものであってもよいし、第1C受付期間(第1C受付後演出)、第2C受付期間(第2C受付後演出)、第3C受付期間(第3C受付後演出)のうちのいずれかとして実現されるものであってもよい。また、以下に説明する各発明を実現する上では、以下に説明する各構成のうちの必要な構成だけを備えるだけでよく、図303までを参照しつつ上述した各受付期間についてはこれらを必ずしも備えないようにしてもよい。
図304~図306は、判定(大当り判定または演出判定)の結果として条件1Cが満たされて第1C受付期間(第1C受付演出)が発生するときの演出内容についてその一例を示すタイムチャートである。図313及び図314は、第1B受付期間(第1B受付演出)が発生する変動パターンにおける演出例を示す図である。
いま、特定遊技状態(例えば、非確変・非時短である通常遊技状態)において始動条件が成立(保留消化)されて、変動パターン判定が行われた結果として「第1C変動パターン」が選択されたとすると、上記周辺制御MPU1511aでは、まず、該第1C変動パターンに対応する演出判定(予告演出判定など)を行う。そしてこの後、装飾図柄SZの変動演出(第1C変動パターンに応じた演出描写や、第1C変動パターンに応じたBGM再生の音出力など)を開始させ(「図313(a)に示される状況」)、該変動演出の実行期間内で、予告演出判定の結果に応じた演出(予告演出)を、上記選択した「第1C変動パターン」これ自体の演出に対して付加的に実行させることとなる。
すなわち、上記周辺制御MPU1511aでは、図304(a)に示されるように、装飾図柄SZの変動演出が開始されてから第1C所定時間が経過したタイミングtT2が到来すると(条件1Cが満たされると)、「第1C受付後演出に関しての受付け」が許容される上記第1C受付期間(有効期間)を発生させる(「図297(b),(c)に示される状況」)。これにより、当該第1C受付期間内において遊技者による動作(操作)が受付けされると(受付有効判定されると)、該受付け(受付有効判定)に基づいて第1C受付後演出が行われるようになる。
この点、この実施の形態にかかるパチンコ機1にあって、演出表示装置1600(第1演出装置)では、このような第1C受付期間が発生することに関連して、受付対象(操作受け部など)を示唆する動作対象表示(摸画像表示)、受付期間(有効期間)の残り時間を示唆する残り時間表示(枠画像内に表示されるゲージ画像の表示面積を時間経過に応じて減少させる描写)、摸画像表示を視認し難くする消滅関連表示(消滅EF演出)、受付け(受付有効判定)されたことに応じて期待度(大当り図柄が現れる割合)を示唆する第1C受付後演出表示がそれぞれ行われるようになっている。なお上述の通り、この実施の形態にかかる摸画像表示は、残り時間表示(枠画像内に表示されるゲージ画像の表示面積を時間経過に応じて減少させる描写)を含む周縁装飾画像と一体化された「一体化摸画像表示」として表示されるものとなっているが、必ずしもこれに限られず、別々に表示されるものであってもよい。このことについては、他の受付期間においても同様である。
より具体的には、まず、タイミングtT2において第1C受付期間が発生すると、図304(b)及び図313(b),(c)に示されるように、この例にかかる演出表示装置1600(第1演出装置)においては、一体化摸画像表示IGとして、「摸画像表示」や「残り時間表示(枠画像及びゲージ画像)」が表示される。該一体化摸画像表示IG(摸画像表示や、枠画像、ゲージ画像)は、タイミングtT2において出現しうるものであってもよいし、タイミングtT2よりも前に出現して該タイミングtT2を跨ぐように表示されるものであってもよい。なお、一体化摸画像表示IG(摸画像表示や、枠画像、ゲージ画像)は、第1C受付期間内で受付け(受付有効判定)がなされたときか、該受付け(受付有効判定)がなされることなく第1C受付期間が終了されたときに非表示にされる。この例にかかる第1C受付期間は、遊技者による動作(操作)の受付け(受付有効判定)がなされないときにはタイミングtT3が到来したときに終了される(図304(a)を参照)。
また、この例にかかる第1C受付期間では、一体化摸画像表示IG(摸画像表示や、枠画像、ゲージ画像)が、複数態様(例えば、図232(a),(d))のいずれかで表示されるようになっており、図313(b)は、一体化摸画像表示IG(摸画像表示や、枠画像、ゲージ画像)が図232(a)に示される態様で表示された場合に相当し、図313(c)は、一体化摸画像表示IG(摸画像表示や、枠画像、ゲージ画像)が図232(d)に示される態様で表示された場合に相当している。なお、第1C受付期間においても、図232(b),(c)に示される態様を含む複数態様のいずれかで一体化摸画像表示IG(摸画像表示や、枠画像、ゲージ画像)が表示されるようにしてもよい。
そして、図304は、このような第1C受付期間内の比較的早いタイミングtT2aが到来したときに「遊技者による動作(操作)を有効動作とする受付有効判定」がなされた場合を想定している。すなわちこの場合、図304(a)に示されるように、タイミングtT2aにおいて遊技者による動作が受付けされた(受付有効判定がなされた)ことに基づいて、第1C受付期間が終了されるとともに、該第1C受付期間に対応する受付後演出(第1C受付後演出)が実行開始されることとなる。
なお、図313(b)から「G1(図314(d1)~図314(h1))へと演出が進展する例は、第1C受付期間に対応する受付後演出(第1C受付後演出)として相対的に期待度の低い第1態様が実行される場合に相当し、図313(b)から「G2(図314(d2)~図314(h2)」へと演出が進展する例は、第1C受付期間に対応する受付後演出(第1C受付後演出)として相対的に期待度の高い第2態様が実行される場合に相当している。期待度(大当り図柄が現れる割合)については、「0%」や「100%」を含むものであってもよい。
この点、第1C受付期間では、図304に示されるように、遊技者による動作が受付けされた時点(受付けに応じて第1C受付後演出が開始された時点)であるタイミングtT2aにおいて、「一体化摸画像表示IG」を非表示にしないことはもとより、該一体化摸画像表示IGを視認し難くすることもしない。
すなわち、この実施の形態にかかる第1C受付後演出は、演出表示装置1600(第1演出装置)を利用した「第1C受付後演出表示」と、第2演出装置(例えば、サブ液晶や、可動体、演出用ランプなど)を利用した「第1C受付後特定演出」と、第3演出装置(スピーカ)を利用した第1C受付後演出音とが少なくとも複合された演出として実現されるものとなっている(必ずしも3つの演出装置による複合演出として実現しなくてもよい)が、それら演出装置のうち、一体化摸画像表示IG(摸画像表示や、枠画像、ゲージ画像)が表示される演出表示装置1600(第1演出装置)においては、第1C受付後演出としての「第1受付後演出表示」が実行開始される時期を、他の演出装置に比べて遅延させるようにしており、これによって受付けがなされた以降も「一体化摸画像表示IG」の視認性をあえて維持させることとしている。
このような構成によれば、図314(d1)または(d2)に示されるように、受付けがなされた以降も、終了された受付期間内において一体化摸画像表示IGが複数態様(図232(a)~(d))のいずれで表示されていたのかなどを、遊技者は容易に認識することができるようになることから、遊技興趣が低下することを好適に抑制することが期待されるようになる。
ここで、受付期間の終了後、該受付期間内において一体化摸画像表示IGがいかなる態様で表示されていたのかの認識を容易とする上では、受付けがなされた以降の「一体化摸画像表示IGが視認容易な態様のままで表示される時間」を長く設定するようにすることが望ましいと言える。ただし、受付けがなされており受付後演出(第2演出装置、第3演出装置)が既に実行されている状況にあるにもかかわらず、一体化摸画像表示IGが受付期間中にあったときと同じ態様のままで表示され続けるようなことがあると、受付けがなされた状況にあるのか否かを遊技者側が認識し難くなり、その結果として「実行状態にある受付後演出に気付くのが遅れてしまう」といったことが懸念される。
そこで、図304(b)や、図314(e1)または(e2)に示される例においては、遊技者による動作が受付けされたことによって第1C受付期間が終了したタイミングtT2aから所定時間が経過すると(タイミングtT2bが到来すると)、摸画像表示を視認し難くする消滅関連表示(消滅EF演出)にかかる表示を開始するようにしている。
すなわち、この例にかかる演出表示装置1600(第1演出装置)においては、「一体化摸画像表示IG(摸画像表示、ゲージ画像表示)」が表示されているなかで「消滅関連表示(消滅EF演出)」が表示されるようになっており、「消滅関連表示(消滅EF演出)」が表示される領域の少なくとも一部は「一体化摸画像表示IG(摸画像表示、ゲージ画像表示)」が表示される領域と重複するようになっている。
このような構成によれば、受付けがなされた以降、一体化摸画像表示IGを表示し続けるようにした場合であっても、該一体化摸画像表示IGが視認し難くされることによって、受付後演出(第2演出装置、第3演出装置)が既に実行されている状況にあることを示唆することができるようになる。したがって、遊技者による注視先を一体化摸画像表示IGから受付後演出(第2演出装置、第3演出装置)へと自ずと移行されることが期待されるようになる(タイミングtT2b以降)。これにより、受付後演出(第2演出装置、第3演出装置)が既に実行されている状況においても、視認し難さはあるものの一体化摸画像表示IGを比較的長い時間にわたって表示し続けることが可能とされるようになることから、受付期間内で一体化摸画像表示IGがいずれの態様で表示されていたのか認識できないことによる遊技興趣の低下を抑制することができるようになる。
また、第1C受付期間では、これに対応する受付後演出(第1C受付後演出)として期待度の低い態様(図314(d1)~(h1))が現れる場合と、期待度の高い態様(図314(d2)~(h2))が現れる場合とで、消滅関連表示として異なる態様(第1消滅関連表示SKC1,第2消滅関連表示SKC2)が現れるようにしている。すなわちこの場合、図314(e1),(e2)に示されるように、演出表示装置1600(第1演出装置)を利用した「第1C受付後演出表示」が未だ開始されていない状況下にあったとしても、該演出表示装置1600(第1演出装置)にて現れる消滅関連表示が「第1消滅関連表示SKC1」と「第2消滅関連表示SKC2」とのいずれで現れているのかを確認することで、「第1C受付後演出表示」が期待度の高い態様で実行されるか否かを推測することができるようになる。
また、この例にかかるパチンコ機1では、図304(b)や、図314(f1)または(f2)に示されるように、消滅関連表示にかかる表示(一体化摸画像表示IGが視認し難くなる態様)が現れている期間内のタイミングtT2cが到来すると、第1C受付期間内で遊技者による動作が受付けされたことに応じた第1演出装置(演出表示装置1600)における受付後演出としての「第1C受付後演出表示UGC1(カットイン演出)」を実行開始するようにしている。ただしここでは、図313(b)から「G1(図314(d1)~(h1))」へと演出が進展する例(受付後演出として相対的に期待度の低い場合)では、図314(f1)に示されるように、第1C受付期間に対応する第1C受付後演出表示UGC1として第1態様(ここでは、姫キャラクタによるカットイン演出としての第1C受付後演出表示UGC1-1))が表示され、図313(b)から「G2(図314(d2)~(h2))」へと演出が進展する例(受付後演出として相対的に期待度の高い場合)では、図314(f2)に示されるように、第1C受付期間に対応する第1C受付後演出表示UGC1として第2態様((ここでは、侍キャラクタによるカットイン演出としての第1C受付後演出表示UGC1-2)が表示されるようになっている。
すなわちこの場合、「一体化摸画像表示IG」及び「消滅関連表示(第1消滅関連表示SKC1,第2消滅関連表示SKC2)」がそれぞれ表示されているなかで「第1C受付後演出表示UGC1(「第1C受付後演出表示UGC1-1」または「第1C受付後演出表示UGC1-2」)が実行開始されることとなる。これにより、第1C受付期間内で受付けされた以降、一体化摸画像表示IGを比較的長い時間にわたって表示し続けるようにした場合であっても、第1演出装置(演出表示装置1600)における受付後演出(第1C受付後演出表示UGC1を他の演出装置と比較して大幅に遅延させることなく開始させることができるようになり、遊技興趣の低下を抑制することができるようになる。また、一体化摸画像表示IGが視認し難くされているなかで第1C受付後演出表示UGC1が開始されることから、第1C受付期間が既に終了していることを示唆しつつ、遊技者による注視先が「一体化摸画像表示IG」から「第1C受付後演出表示UGC1(第1C受付後演出表示UGC1-1または第1C受付後演出表示UGC1-2)」へと自ずと移行されることが期待されるようになる(タイミングtT2c以降)。
その一方で、「第1C受付後演出表示UGC1(第1C受付後演出表示UGC1-1または第1C受付後演出表示UGC1-2)」については、「一体化摸画像表示IG」が表示される領域の少なくとも一部と重なるように表示される場合(必ずしも重なるように表示しなくてもよい)、「一体化摸画像表示IG」よりも背後側に表示されるものとなっており、「第1C受付後演出表示UGC1(第1C受付後演出表示UGC1-1または第1C受付後演出表示UGC1-2)」に対して「一体化摸画像表示IG」を優先表示させるようにしている。これにより、「第1C受付後演出表示UGC1(第1C受付後演出表示UGC1-1または第1C受付後演出表示UGC1-2)」が実行開始されるなかでも、受付期間内で一体化摸画像表示IGがいずれの態様で表示されていたのかの認識を容易化するようにしている。
そして、この例にかかるパチンコ機1では、こうして「第1C受付後演出表示UGC1(第1C受付後演出表示UGC1-1または第1C受付後演出表示UGC1-2)」にかかる表示が開始されると、図304(b)や、図314(g1)または(g2)に示されるように、該「第1C受付後演出表示UGC1(第1C受付後演出表示UGC1-1または第1C受付後演出表示UGC1-2)」が表示されているなかで、まず、「一体化摸画像表示IG」及び「消滅関連表示」のうち、「一体化摸画像表示IG」を非表示にする。そして、こうして「一体化摸画像表示IG」が非表示にされた後、図304(b)や、図314(h1)または(h2)に示されるように、「消滅関連表示(第1消滅関連表示SKC1または第2消滅関連表示SKC2」が非表示にされることとなり、これによって視認良好とされているもとで「第1C受付後演出表示UGC1(第1C受付後演出表示UGC1-1または第1C受付後演出表示UGC1-2)」にかかる表示が行われるようになる。
この点、「第1C受付後演出表示UGC1」とは、遊技者による動作が受付けされたことに基づいて、期待度が異なる複数態様(ここでは、第1C受付後演出表示UGC1-1または第1C受付後演出表示UGC1-2)のいずれかで表示されるものである。したがって、「第1C受付後演出表示UGC1」は、「一体化摸画像表示IG」や「消滅関連表示」が非表示にされた以降も、比較的長い時間にわたって実行されることとなる。
また、当該第1C受付期間に対応する演出例(図313及び図314)では、第1C受付期間内において受付けがなされて「第1C受付後演出表示UGC1」が実行されると、該「第1C受付後演出表示UGC1」が開始される前後で背景画像に切り替えを生じさせるようにしている。
このような構成によれば、背景画像に切り替えが生じていない図314(d),(e)に示される状況下(図304に示されるタイミングtT2a~tT2b)においては、演出表示装置1600(第1演出装置)において演出変化があったとしても、「第1C受付後演出表示UGC1」は未だ開始されていない状況にあることを示唆することができるようになる。
なお、この演出例では、「第1C受付後演出表示UGC1」や「背景変更」を、「消滅関連表示(第1消滅関連表示SKC1,第2消滅関連表示SKC2)」が表示開始される時期(タイミングtT2b)よりも遅い時期(タイミングtT2c)で表示開始させることとしたが、「消滅関連表示(第1消滅関連表示SKC1,第2消滅関連表示SKC2)」が表示開始される時期(タイミングtT2b)と同じ時期(タイミングtT2b)で表示開始させるようにしてもよい。
また、図314に示した例では、受付後演出として、期待度の低い態様が現れる場合と、期待度の高い態様が現れる場合とで同じ背景画像に切り替えられるようにしているが、期待度の低い態様が現れる場合と、期待度の高い態様が現れる場合とで異なる背景画像に切り替えられるようにしてもよい。また、期待度の高い態様が現れるときには、背景画像が切り替えられるが、期待度の低い態様が現れるときには、背景画像が切り替えられないようにしてもよい。
このように、この例にかかる演出表示装置1600(第1演出装置)では、第1C受付期間が発生する場合、これに伴って、限られた時間(図304に示される太線)内であり、且つ限られた表示画面(演出表示装置1600)内で様々な表示を行うものとなっており、これによって遊技興趣の低下を抑制するようにしている。ただしこの結果として、演出表示装置1600(第1演出装置)では、受付けに応じた第1C受付後演出(第1C受付後演出表示)の開始時期(タイミングtT2c)を、受付けされたタイミングtT2aよりも遅延せざるを得ないという実情にある。
そこで、この例においては、第1C受付期間内で遊技者による動作が受付けされたときには、図304(b),(c)に併せて示されるように、該受付けがあったことに基づいて、第2演出装置を用いた第1C受付後演出(第1C受付後特定演出)を、上記第1演出装置を用いた第1C受付後演出(第1C受付後演出表示)に先行して実行開始させるようにしている。
このような構成によれば、第1C受付期間で受付けがあったタイミングtT2aから実行開始が遅延されるのは第1C受付後演出の一部(第1C受付後演出表示)に留まることとなり、当該第1C受付後演出これ自体については、同タイミングtT2aから遅れることなく実行開始させることができるようになる。
このような第2演出装置としては、演出表示装置1600(第1演出装置)をメイン液晶とするときのサブ液晶として備えられるものであってもよいし、演出動作可能な演出可動体や、演出発光可能な演出ランプなどとして備えられるものであってもよい。いずれにせよ、期待度が異なる複数態様で演出(表示演出、可動演出、発光演出など)を行いうるものとして設けられることとなる。期待度(大当り図柄が現れる割合)については、「0%」や「100%」を含むものであってもよい。
上述の通り、この実施の形態にかかるパチンコ機1では、第2演出装置としてサブ液晶1610を用いた場合を想定している。そして、図313(b)から「G1(図314(d1)~(h1))」へと演出が進展する例(受付後演出として相対的に期待度の低い場合)では、図314(d1)に示されるように、該サブ液晶1610(第2演出装置)において「女性用の着物」が表示される態様が、当該第1C受付期間に対応する上記第1C受付後特定演出UTC1(第1C受付後特定演出UTC1の期待度の低い態様である第1C受付後特定演出UTB1-1)として、上記第1演出装置を用いた第1C受付後演出(第1C受付後演出表示UGC1-1)に先行して実行開始されるようになっている。これに対し、図313(b)から「G2(図314(d2)~(h2))」へと演出が進展する例(受付後演出として相対的に期待度の高い場合)では、図314(d2)に示されるように、該サブ液晶1610(第2演出装置)において「男性用の着物」が表示される態様が、当該第1C受付期間に対応する上記第1C受付後特定演出UTC1(第1C受付後特定演出UTC1の期待度の高い態様である第1C受付後特定演出UTC1-2)として、上記第1演出装置を用いた第1C受付後演出(第1C受付後演出表示UGC1-2)に先行して実行開始されるようになっている。
また、図313に示した演出例では、演出表示装置1600(第1演出装置)における「一体化摸画像表示IG」とは別に、サブ液晶1610(第2演出装置)においても第1C受付期間が発生した状態にあることを示唆する受付期間内演出が実行されるようになっている(図313(b),(c))。該サブ液晶1610(第2演出装置)における受付期間内演出は、演出表示装置1600(第1演出装置)における「一体化摸画像表示IG」が期待度の低い態様(図313(b)を参照)で表示される場合と期待度の高い態様(図313(c)を参照)で表示される場合とで同じ態様となるように表示されるものとなっている。
すなわちこの場合、遊技者に対して動作機会(操作機会)が付与される第1C受付期間内にあるとき、演出表示装置1600(第1演出装置)では期待度に応じて異なる態様が現れ、且つサブ液晶1610(第2演出装置)では期待度にかかわらず同じ態様が現れることとなる。ただしこの後、第1C受付期間内で「遊技者による動作(操作)を有効動作とする受付有効判定」がなされると、演出表示装置1600(第1演出装置)では「一体化摸画像表示IG」にかかる表示が継続されているなかで(受付後演出としての期待度を未だ示唆していないなかで)、サブ液晶1610(第2演出装置)では期待度に応じて異なる態様が現れることとなる。このような構成によれば、1つの演出装置による演出だけを注視している場合よりも、その時々に応じて適切な演出装置を注視するようにしたほうが演出情報をより迅速に得ることができるようになることから、遊技興趣の向上を図ることができるようになる。
なお、この演出例では、第1C受付後特定演出UTC1として、「第1C受付後特定演出UTC1-1」及び「第1C受付後特定演出UTC1-2」のいずれが出現するかによって期待度を示唆するようにしたが、該第1C受付後特定演出UTC1については、必ずしも複数態様を用意しなくてもよい。例えば、第1C受付後特定演出UTC1として「第1C受付後特定演出UTC1-2」のみを備えることとし、該第1C受付後特定演出UTC1が出現するか否かによって期待度(大当りが得られている割合)を示唆するようにしてもよい。すなわちこの場合、「第1C受付後特定演出UTC1-2」が出現したときには、「第1C受付後特定演出UTC1-2」が出現しなかったときよりも期待度が高いことが示唆されることとなる。
また上述の通り、この実施の形態にかかるパチンコ機1では、第3演出装置(スピーカー)をさらに用意することとしており、第1C受付期間の発生に際しては、図304(d)に示されるタイミングtT1において、受付許容音を出力開始させることとしている。すなわち、第1C受付期間に対応する受付許容音は、該第1C受付期間が発生するタイミングtT2(「図313(b),(c)に示される状況」に相当)を跨るかたちで可聴出力されるものとなっており、当該受付許容音が可聴出力されているなかで遊技者による動作(操作)が受付けされうるものとなっている。
ここで、第1C受付期間では、受付許容音として、相対的に長い時間にわたって可聴出力状態とされる第1長許容音と、相対的に短い時間にわたって可聴出力状態とされる第1短許容音とがそれぞれ出力されるようになっている。図304(d)に示される例では、第1長許容音と第1短許容音とをそれぞれ同時期に出力開始させるようにしているが、必ずしもこれに限られない。例えば、第1長許容音及び第1短許容音の一方を、第1C受付期間が発生するタイミングtT2やそれ以降において出力開始させるようにしてもよい。
そして、第1C受付期間では、第1長許容音及び(または)第1短許容音がそれぞれ可聴出力されているなかで遊技者による動作の受付けがなされた場合、該受付けがなされたことに基づいて、第1長許容音及び(または)第1短許容音を途中終了(可聴出力状態の途中終了)させるようにしている。
この点、第1長許容音及び(または)第1短許容音については、図304(d)に示されるように、期待度の低い態様で実行(可聴出力)される場合(図313(b)に示される場合)と、期待度の高い態様で実行(可聴出力)される場合(図313(c)に示される場合)とがあるようにすることが望ましい。すなわちこの場合、第1長許容音及び(または)第1短許容音は、受付期間内において期待度を示唆するものでありながらも、「一体化摸画像表示IG」とは異なり、受付け(受付有効判定)がなされるとそれを確認することができなくなるものとして実行されることとなることから、受付期間内のいずれのタイミングで受付け(受付有効判定)がなされるようにするかについての緊張感を好適に維持することが期待されるようになる。
また、第1C受付期間では、受付許容音(第1長許容音、第1短許容音)が可聴出力されているなかで遊技者による動作の受付けがなされた場合、該受付許容音を途中終了させるだけでなく、該受付けがなされたときにはこれに基づいて、上記第1C受付後演出音の可聴出力を開始させるものとなっている。第1C受付後演出音は、期待度が示唆されるように実行されるものであり、例えば、期待度の低い態様で実行(可聴出力)される場合と、期待度の高い態様で実行(可聴出力)される場合とがあるものである。すなわちこの場合、第1C受付期間では、第1演出装置にて行われる演出(表示演出)の場合とは異なり、受付期間内で行われる演出(受付許容音)と、受付けがなされたことに応じて行われる演出(第1C受付後演出音)とが競合(重複)することがなくなるようになる。
このような第1C受付後演出音は、「第1C受付後演出表示UGC1」と同様、図304(d)に示されるように、「一体化摸画像表示IG」や「消滅関連表示(消滅EF演出)」が非表示にされた以降も、比較的長い時間にわたって実行されることとなる。また、第1C受付後演出音については、図313(b)から「G1(図314(d1)~(h1))」へと演出が進展する例(受付後演出として相対的に期待度の低い場合)と、図313(b)から「G2(図314(d2)~(h2))」へと演出が進展する例(受付後演出として相対的に期待度の高い場合)とで、互いに異なる出力音(態様)が出力されるようにすることが望ましい。
なお、第1C受付期間では、受付許容音として、第1長許容音及び第1短許容音をそれぞれ出力するようにしたが、これら2つの許容音を必ずしも出力しなくてもよく、1つの受付許容音のみが出力されるようにしてもよい。
また、第1C受付期間で受付け(受付有効判定)がなされた場合、第3演出装置では、期待度を示唆する第1C受付後演出音だけではなく、期待度を示唆しない「受付音」も可聴出力するものとなっている。すなわち、「受付音」とは、図313(b)から「G1(図314(d1)~(h1))」へと演出が進展する例(受付後演出として相対的に期待度の低い場合)と、図313(b)から「G2(図314(d2)~(h2))」へと演出が進展する例(受付後演出として相対的に期待度の高い場合)とで同じ態様で可聴出力されるものである。そして、このような「受付音」は、第1C受付期間とは異なる受付期間において受付け(受付有効判定)がなされた場合にも(期待度にかかわらず)可聴出力されるものとなっている。このような構成によれば、受付後演出としてどれだけ斬新な演出を行うようにした場合であっても、「受付音」が可聴出力されたときには受付け(受付有効判定)が適正になされた状態にあることを好適に認識することができるようになることから、受付後演出の内容に集中することを促すことができるようになる。
これに対し、図305は、このような第1C受付期間内の比較的遅いタイミングtT2Aが到来したときに「遊技者による動作(操作)を有効動作とする受付有効判定」がなされた場合を想定している。すなわちこの場合、図305(a)に示されるように、タイミングtT2Aにおいて遊技者による動作が受付けされた(受付有効判定がなされた)ことに基づいて、第1C受付期間が終了されるとともに、該第1C受付期間に対応する受付後演出(第1C受付後演出)が実行開始されることとなる。
この点、第1C受付期間では、第1C受付期間内の比較的遅いタイミングtT2Aにおいて受付け(受付有効判定)がなされた場合であっても(いかなるタイミングで受付け(受付有効判定)がなされた場合であっても)、基本的には、第1C受付期間内の比較的早いタイミングtT2aにおいて受付け(受付有効判定)がなされた場合と同じ態様で演出が進展されることとなる。したがって、図305(a)に示される例の場合も、図313(b)から「G1(図314(d1)~(h1))」へと演出が進展する場合(受付後演出として相対的に期待度の低い場合)と、図313(b)から「G2(図314(d2)~(h2))」へと演出が進展する場合(受付後演出として相対的に期待度の高い場合)とがあるようになり、第1演出装置、第2演出装置、及び第3演出装置においては、基本的には、図304などを参照しつつ説明した通りの内容で演出が実行されることとなる。
ただし、図305に示される例の場合は、第1C受付期間内の比較的遅いタイミングtT2Aで受付け(受付有効判定)がなされた分だけ、図314(d)などに示される状況では、ゲージ画像の表示面積がより一層減少した状態になっていることとなる。また、図314に示される例の場合は、同図314(d)に示されるように、第1短許容音が既に可聴出力を終了しているなかで受付け(受付有効判定)がなされていることから、該受付け(受付有効判定)がなされたことによって当該第1短許容音が途中終了(可聴出力状態の途中終了)されることはない。
また、図305に示される例の場合は、受付け(受付有効判定)がなされたことに基づく「第1C受付後演出表示」が表示される時間が、図304に示した例の場合よりも短くされることとなる。すなわち、「第1C受付後特定演出」や「第1C受付後演出音」は、受付け(受付有効判定)がなされたときから予め定められた時間(一定時間)だけ実行されるものであるのに対し、「第1C受付後演出表示」は、受付け(受付有効判定)がいずれのタイミングでなされたかにかかわらず、変動パターン内の予め定められたタイミングtT4が到来したときに終了(非表示)されるものとなっている。このような構成によれば、受付期間内のいずれのタイミングで受付けが(受付有効判定)がなされるようにするかについての緊張感を好適に維持することが期待されるようになる。
他方、図306に示される例や、図313(b)から「G3(図314(d3)~(g3))」へと演出が進展する例とは、第1C受付期間内で遊技者による動作(操作)が行われず受付け(受付有効判定)がなされなかった場合を想定したものである。
すなわちこの場合、同図306に示されるように、第1C受付期間が発生した後、遊技者による動作(操作)が受付けされることなく上記タイミングtT3が到来することとなる。この点、該タイミングtT3(第1C受付期間が終了し、遊技者による動作(操作)の受付けが許容されなくなった時点)にあるときの演出表示装置1600(第1演出装置)では、タイミングtT2aやタイミングtT2Aなど(第1C受付期間内において遊技者による動作(操作)の受付けがなされた時点(または、受付後演出が実行開始される時点))にあるときの演出表示装置1600(第1演出装置)と同様、図314(d3)に示されるように、一体化摸画像表示IGを非表示にしないことはもとより、一体化摸画像表示IGを視認し難くすることもしないようにしている。
このような構成によれば、遊技者による動作(操作)の受付けが間に合わずに第1C受付期間が終了してしまった場合であっても、該終了した以降、第1C受付期間内において一体化摸画像表示IGがいかなる態様で表示されていたのかを認識することが可能とされるようになることから、遊技興趣の低下を抑制することができるようになる。
そしてこの後は、遊技者による動作(操作)が受付けされなかった場合も、図314(e3)に示されるように、「一体化摸画像表示IGが視認し難くなる態様」として、消滅関連表示(消滅EF演出)が開始されるようになっている。
すなわち、この例にかかる第1演出装置(演出表示装置1600)では、「一体化摸画像表示IG(摸画像表示、ゲージ画像表示)」が表示されているなかで「消滅関連表示(消滅EF演出)」が表示されるようになっており、「消滅関連表示(消滅EF演出)」が表示される領域の少なくとも一部は「一体化摸画像表示IG(摸画像表示、ゲージ画像表示)」が表示される領域と重複するようになっている。
このような構成によれば、受付けがなされずに第1C受付期間が終了した以降、一体化摸画像表示IGを表示し続けるようにした場合であっても、該一体化摸画像表示IGが視認し難くされることによって、当該第1C受付期間が終了した状態にあることを示唆することができるようになる。また、当該第1C受付期間が既に終了している状況においても、視認し難さはあるものの一体化摸画像表示IGを比較的長い時間にわたって表示し続けることが可能とされるようになることから、受付期間内で一体化摸画像表示IGがいずれの態様で表示されていたのか認識できないことによる遊技興趣の低下を抑制することができるようになる。
また、この例にかかるパチンコ機1では、第1C受付期間内で遊技者による動作(操作)が受付けされなかった場合、消滅関連表示(消滅EF演出)として「第1消滅関連表示SKC1」を表示させることとしている。すなわちこの場合、第1C受付期間内で遊技者による動作(操作)が受付けされていたとしたら第1C受付後演出によって期待度が低いことが示唆されていた可能性を遊技者が感じ取ることが期待されることとなる。これにより、第1C受付期間内で動作(操作)しなくて良かったと思うように促すことができるようになり、第1C受付期間内で動作(操作)が受付けされなかったときの遊技興趣の低下を抑制することが期待されるようになる。
ただし、第1C受付期間内で遊技者による動作(操作)が受付けされなかった場合、消滅関連表示(消滅EF演出)として「第2消滅関連表示SKC2」を表示させるようにしてもよいし、「第1消滅関連表示SKC1」及び「第2消滅関連表示SKC2」のいずれとも異なる態様を出現させるようにしてもよい。
また、第1C受付期間内で遊技者による動作(操作)が受付けされなかった場合であっても、消滅関連表示(消滅EF演出)については、該動作(操作)が受付けされていたとしたときに出現しうる態様で実行されるようにしてもよい。すなわちこの場合、図314(e3)に示される状況において「第1消滅関連表示SKC1」が現れる場合とは、第1C受付期間内で遊技者による動作(操作)がもし受付けされていたとしたら、図313(b)から「G1(図314(d1)~(h1))」へと演出が進展していた場合(相対的に期待度の低い受付後演出が実行されていた場合)を意味することとなる。一方、図314(e3)に示される状況において「第2消滅関連表示SKC2」が現れる場合とは、第1C受付期間内で遊技者による動作(操作)がもし受付けされていたとしたら、図313(b)から「G2(図314(d2)~(h2))」へと演出が進展していた場合(相対的に期待度の高い受付後演出が実行されていた場合)を意味することとなる。すなわちこの場合、第1C受付期間では、遊技者による動作(操作)が受付けされなかったとしても、該第1C受付期間が終了した以降、一体化摸画像表示IGが非表示にされるのに関連して現れる「消滅関連表示(消滅EF演出)」としての態様を確認するだけで、第1C受付後演出が期待度の低い態様で実行されていたか、それとも期待度の高い態様で実行されていたかを認識しうるようになることから、遊技興趣が低下することを好適に抑制することができるようになる。
そしてこの後は、図314(f3)に示されるように、「一体化摸画像表示IG」及び「消滅関連表示(図中は、第1消滅関連表示SKC1)」のうち、まず、「一体化摸画像表示IG」を非表示にする。そして、こうして「一体化摸画像表示IG」が非表示にされた後、図314(g3)に示されるように、「消滅関連表示(図中は、第1消滅関連表示SKC1))」が非表示にされることとなる。
ところで、この例にかかる第1C受付期間では、一体化摸画像表示IG(摸画像表示や、枠画像、ゲージ画像)が、図232(a)に示される態様ではなく(図313(b)を参照)、図232(d)に示される態様で表示される場合(図297(c)を参照)もあることは上述した通りである。このような図313(c)に示される状況が現れた場合は、上述した図313(b)に示される状況が現れた場合と「一体化摸画像表示IG(摸画像表示、枠画像、ゲージ画像)」としての態様が異なるだけで、それ以外は同じ態様で演出が進展されることとなる。
例えば、図313(c)から「G1´」へと演出が進展する場合は、図313(b)から「G1(図314(d1)~(h1))」へと演出が進展する内容と基本的に同じであり、演出表示装置1600(第1演出装置)における「一体化摸画像表示IG」の態様が「一体化摸画像表示IGa」から「一体化摸画像表示IGd」に変更されているだけである。また、図313(c)から「G2´」へと演出が進展する場合は、図313(b)から「G2(図314(d2)~(h2))」へと演出が進展する内容と基本的に同じであり、演出表示装置1600(第1演出装置)における「一体化摸画像表示IG」の態様が「一体化摸画像表示IGa」から「一体化摸画像表示IGd」に変更されているだけである。また、図313(c)から「G3´」へと演出が進展する場合は、図313(b)から「G3(図314(d3)~(g3))」へと演出が進展する内容と基本的に同じであり、演出表示装置1600(第1演出装置)における「一体化摸画像表示IG」の態様が「一体化摸画像表示IGa」から「一体化摸画像表示IGd」に変更されているだけである。
なお、この演出例にかかる第1C受付期間では、説明の便宜上、第1C受付後演出(第1C受付後演出表示UGC、第1C受付後特定演出UTC、第1C受付後演出音)を、上述した第1B受付期間に対応する第1B受付後演出と同じ演出内容(種別)として実行することとした。ただし、受付後演出(受付後演出表示、受付後特定演出、受付後演出音)については、第1B受付期間と第1C受付期間とで異なる演出内容(種別)とするようにすることが望ましい。
また、この演出例にかかる第1C受付期間では、説明の便宜上、消滅関連表示SKCを、上述した第1B受付期間に対応する消滅関連表示SKBと同じもの(種別)として実行することとした。ただし、消滅関連表示については、第1B受付期間と第1C受付期間とで必ずしも同じものでなくてもよい。
図307~図309は、判定(大当り判定または演出判定)の結果として条件2Cが満たされて第2C受付期間(第2C受付演出)が発生するときの演出内容についてその一例を示すタイムチャートである。図315は、第2C受付期間(第2C受付演出)が発生する変動パターンにおける演出例を示す図である。
いま、特定遊技状態(例えば、非確変・非時短である通常遊技状態)において始動条件が成立(保留消化)されて、変動パターン判定が行われた結果として「第2C変動パターン」が選択されたとすると、上記周辺制御MPU1511aでは、まず、該第2C変動パターンに対応する演出判定(予告演出判定など)を行う。そしてこの後、装飾図柄SZの変動演出(第2C変動パターンに応じた演出描写や、第2C変動パターンに応じたBGM再生の音出力など)を開始させ(「図315(a)に示される状況」)、該変動演出の実行期間内で、予告演出判定の結果に応じた演出(予告演出)を、上記選択した「第2C変動パターン」これ自体の演出に対して付加的に実行させることとなる。
すなわち、上記周辺制御MPU1511aでは、図307(a)に示されるように、装飾図柄SZの変動演出が開始されてから第2C所定時間が経過したタイミングtU2が到来すると(条件2Cが満たされると)、「第2C受付後演出に関しての受付け」が許容される上記第2C受付期間(有効期間)を発生させる。これにより、当該第2C受付期間内において遊技者による動作(操作)が受付けされると(受付有効判定されると)、該受付け(受付有効判定)に基づいて第2C受付後演出が行われるようになる。
ただし、この実施の形態にかかる第2C受付期間では、上記第1C受付期間が発生する場合と異なり、遊技者による操作の受付け(受付有効判定)がなされた時点(または、受付後演出が実行開始される時点)において、一体化摸画像表示IG(「摸画像表示」や「残り時間表示(枠画像及びゲージ画像)」)が表示されていることがないものとなっている。
より具体的には、第2C変動パターンでは、図307(b)及び図315(b)に示されるように、タイミングtU2が到来すると第2C受付期間が発生し、一体化摸画像表示IG(「摸画像表示」や「残り時間表示(枠画像及びゲージ画像)」)が表示されることとなる。第2C受付期間は、遊技者による動作(操作)の受付け(受付有効判定)がなされないときにはタイミングtU3が到来したときに終了されるものである(図307(a)を参照)。
そして、図307は、このような第2C受付期間にあって、比較的早いタイミングtU2aが到来したときに「遊技者による動作(操作)を有効動作とする受付有効判定」がなされた場合を想定している。すなわちこの場合、図307(a)に示されるように、タイミングtU2aにおいて遊技者による動作(操作)が受付けされた(受付有効判定がなされた)ことに基づいて、第2C受付期間が終了されるとともに、該第2C受付期間に対応する受付後演出(第2C受付後演出)が実行開始されることとなる。
なお、図315(b)から図315(c)へと演出が進展する例は、第2C受付期間に対応する第2C受付後演出(「第2C受付後演出表示」や「第2C受付後特定演出」、「第2B受付後演出音」など)として相対的に期待度の高い第2態様がそれぞれ実行される場合に相当している。第2C受付後演出(「第2C受付後演出表示」や「第2C受付後特定演出」、「第2C受付後演出音」など)として相対的に期待度の低い第1態様がそれぞれ実行される場合についてはその図示を割愛しており、実際には、図315(b)から該割愛した態様(期待度の低い第1態様)で第2C受付後演出が実行される状況へと演出進展される場合もあるようになっている。ただし、このような第2C受付期間については、「遊技者による動作(操作)を有効動作とする受付有効判定」がなされたときに第2C受付後演出(「第2C受付後演出表示」や「第2C受付後特定演出」、「第2C受付後演出音」など)が図315(c)に示される態様で実行されるか否か、といった演出(受付後演出(第1C受付後演出表示、第1C受付後特定演出、第1C受付後演出音)としての低期待態様が用意されていないタイプ)として実現するようにしてもよい。期待度(大当り図柄が現れる割合)については、「0%」や「100%」を含むものであってもよい。
この点、この演出例(第2C受付期間)では、上述の通り、図307(b)や図315(c)などに示されるように、遊技者による動作(操作)が受付けされた時点(受付けに応じて第2C受付後演出が開始された時点)であるタイミングtU2aにおいて、一体化摸画像表示IG(「摸画像表示」や「残り時間表示(枠画像及びゲージ画像)」)が表示されていることはない。なお、図315(c)は、より厳密には、図307(c)に示されるタイミングtU2cにあるときの演出表示装置1600(第1演出装置)を示したものとなっている。すなわち、タイミングtU2aでは、第2C受付後演出のうち「第2C受付後演出表示UGC2(群予告演出)」は実行されておらず、「第2C受付後特定演出UTC2-2」及び「第2C受付後演出音(高期待態様)」が実行されるようになっている。このような構成によれば、第1C受付後演出の場合と同じ態様で演出進展がなされるようになることから、上述した作用効果を同様に得られるようになる。
したがって、この演出例(第2C受付期間)では、図307及び図315(b)に示されるように、当該第2C受付期間内のいずれのタイミングで受付け(受付有効判定)がなされたとしても、上述した消滅関連表示(消滅EF演出)が実行されることはない。なぜなら、遊技者による動作(操作)が受付けされた時点(受付けに応じて第2C受付後演出が開始された時点)であるタイミングにおいて、一体化摸画像表示IG(「摸画像表示」や「残り時間表示(枠画像及びゲージ画像)」)が表示されていることがなくこれを視認し難くする必要がないからである。
この例にかかるパチンコ機1では、図307(b)や、図315(c)に示されるように、タイミングtU2aよりも後のタイミングtU2cが到来すると、第2C受付期間内で遊技者による動作が受付けされたことに応じた第1演出装置(演出表示装置1600)における受付後演出としての「第2C受付後演出表示UGC2(図中では、期待度の高い態様である、お化けキャラクタによる群予告演出としての第2C受付後演出表示UGC2-2)」を実行開始する。そして、こうして開始された「第2C受付後演出表示UGC2」は、図307(b)や図315(d)に示されるように、受付け(受付有効判定)がなされたときから予め定められた時間(一定時間)が経過したときに終了(非表示)にされるようになる。
なお、当該第2C受付期間に対応する演出例(図315)では、第1C受付期間の場合とは異なり、「第2C受付後演出表示UGC2」が実行されるときに背景画像に切り替えを生じさせることはない。
また、第2C受付期間内で遊技者による動作が受付けされたときには、図307(b),(c)に示されるように、該受付けがあったことに基づいて、第2演出装置を用いた第2C受付後演出(第2C受付後特定演出)を、上記第1演出装置を用いた第2C受付後演出(第2C受付後演出表示)に先行して実行開始させるようにしている。
このような第2演出装置としては、演出表示装置1600(第1演出装置)をメイン液晶とするときのサブ液晶として備えられるものであってもよいし、演出動作可能な演出可動体や、演出発光可能な演出ランプなどとして備えられるものであってもよい。いずれにせよ、期待度が異なる複数態様で演出(表示演出、可動演出、発光演出など)を行いうるものとして設けられることとなる。期待度(大当り図柄が現れる割合)については、「0%」や「100%」を含むものであってもよい。
上述の通り、この実施の形態にかかるパチンコ機1では、第2演出装置としてサブ液晶1610を用いた場合を想定している。そして、図315(b)から図315(c)へと演出が進展する例(受付後演出として相対的に期待度の高い場合)では、該サブ液晶1610(第2演出装置)において「お化け」が表示される態様が、当該第2C受付期間に対応する上記第2C受付後特定演出UTC2(第2C受付後特定演出UTC2の期待度の高い態様である第2C受付後特定演出UTC2-2)として、上記第1演出装置を用いた第2C受付後演出(第2C受付後演出表示UGC2-2)に先行して実行開始されるようになっている。上述の通り、第2C受付後演出として期待度の低い態様が実行される場合については説明を割愛するが、「第2C受付後演出表示」及び「第2C受付後特定演出UTC2」が低期待態様で実行されるだけであり、基本的には高期待態様で実行される場合と同様である。
また上述の通り、この実施の形態にかかるパチンコ機1では、第3演出装置(スピーカー)をさらに用意することとしている。ただし、第2C受付期間の発生に際しては、図307(d)に示されるように、受付許容音が出力されることはない。
また、第1C受付期間では、受付けがなされたときにはこれに基づいて、上記第2C受付後演出音の可聴出力を開始させるものとなっている。第2C受付後演出音は、期待度が示唆されるように実行されるものであり、例えば、期待度の低い態様で実行(可聴出力)される場合と、期待度の高い態様で実行(可聴出力)される場合とがあるものである。
また、第2C受付期間で受付け(受付有効判定)がなされた場合、第3演出装置では、期待度を示唆する第2C受付後演出音だけではなく、期待度を示唆しない「受付音」も可聴出力するものとなっている。すなわち、「受付音」とは、第2C受付後演出が期待度の高い態様と期待度の低い態様とのいずれで実行される場合であっても同じ態様で可聴出力されるものである。
これに対し、図308や、図315(b),(e)から図315(c)へと進展する例は、このような第2C受付期間内の比較的遅いタイミングtU2Aが到来したときに「遊技者による動作(操作)を有効動作とする受付有効判定」がなされた場合を想定している。すなわちこの場合、図308(a)に示されるように、タイミングtU2Aにおいて遊技者による動作が受付けされた(受付有効判定がなされた)ことに基づいて、第2C受付期間が終了されるとともに、該第2C受付期間に対応する受付後演出(第2C受付後演出)が実行開始されることとなる。
この点、第2C受付期間では、第2C受付期間内の比較的遅いタイミングtU2Aにおいて受付け(受付有効判定)がなされた場合であっても(いかなるタイミングで受付け(受付有効判定)がなされた場合であっても)、基本的には、第2C受付期間内の比較的早いタイミングtU2aにおいて受付け(受付有効判定)がなされた場合と同じ態様で演出が進展されることとなる。したがって、遊技者による操作の受付け(受付有効判定)がなされた時点(または、受付後演出が実行開始される時点)において、一体化摸画像表示IG(「摸画像表示」や「残り時間表示(枠画像及びゲージ画像)」)が表示されていることはない。また、図308(a)や、図315(b),(e)から図315(c)へと演出が進展する例の場合も、受付後演出として相対的に期待度の高い場合と、図示を割愛する場合(受付後演出として相対的に期待度の低い場合)とがあり、第1演出装置、第2演出装置、及び第3演出装置においては、基本的には、図307などを参照しつつ説明した通りの内容で演出が実行されることとなる。
特に、第2C受付期間では、第1C受付期間の場合とは異なり、「第2C受付後演出表示」が、「第2C受付後特定演出」や「第2C受付後演出音」などと同様、受付け(受付有効判定)がなされたときから予め定められた時間(一定時間)だけ実行されるものとなっていることから、受付後演出としての態様も、受付け(受付有効判定)がなされたタイミングにかかわらず同じである。
なお、「第2C受付後演出表示」、「第2C受付後特定演出」、及び「第2C受付後演出音」は、それぞれに設定された一定時間分だけ実行されるものであればよく、互いに同じ時間で終了されるものでなくてもよい。
他方、図309に示される例や、図315(b),(e)から図315(d)へと演出が進展する例とは、第2C受付期間内で遊技者による動作(操作)が行われず受付け(受付有効判定)がなされなかった場合を想定したものである。
すなわちこの場合、同図309に示されるように、第2C受付期間が発生した後、遊技者による動作(操作)が受付けされることなく上記タイミングtU3が到来することとなる。この点、第2C受付期間において遊技者による動作(操作)が受付けされないときには、同図309に示されるように、その終了に関連した演出が何ら実行されないこととなる。
なお、第2C受付期間では、摸画像表示として、一の態様(図315では、一体化摸画像表示IGb(図232(b)を参照))のみが表示されるものとした。一体化摸画像表示IGbとは、第1C受付期間や第3C受付期間で表示されることのない態様のものである。ただし、第2C受付期間とは、いかなるタイミングで受付け(受付有効判定)がなされた場合であっても、該受付け(受付有効判定)がなされた時点(または、受付後演出が実行開始される時点)において摸画像表示(ゲージ画像)が表示されていることがないことに特徴があるものである。したがって、第2C受付期間においては、摸画像表示としていずれの態様が現れるものであってもよいし、複数態様のいずれかで表示されるものであってもよい。また、第2C受付期間では、摸画像表示は表示されず、ゲージ画像が表示されるようにしてもよい。また、第2C受付期間では、ゲージ画像は表示されず、摸画像表示が表示されるようにしてもよい。また、第2C受付期間では、摸画像表示とゲージ画像とのいずれもが表示されないようにしてもよい。
また、第2C受付期間にかかる上記特徴によれば、受付けがなされた以降、摸画像表示(ゲージ画像)の態様を気にすることなく、受付後演出としての態様のみに集中することができるようになる。この場合、第1C受付期間や第3C受付期間が上述した自動受付機能の対象になるものであったとしても、第2C受付期間は上述した自動受付機能の対象になることがないようにすることが望ましい。これにより、受付後演出が発生した場合とは、第2C受付期間中にあるときの演出態様を確認した遊技者自らが操作した場合に限られるようになることから、第2C受付期間が終了した時点やそれ以降において摸画像表示やゲージ画像が表示されていないことによる遊技興趣の低下を抑制することができるようになる。
図310~図312は、判定(大当り判定または演出判定)の結果として条件3Cが満たされて第3C受付期間(第3C受付演出)が発生するときの演出内容についてその一例を示すタイムチャートである。図316~図318は、第3C受付期間(第3C受付演出)が発生する変動パターンにおける演出例を示す図である。
いま、特定遊技状態(例えば、非確変・非時短である通常遊技状態)において始動条件が成立(保留消化)されて、変動パターン判定が行われた結果として「第3C変動パターン」が選択されたとすると、上記周辺制御MPU1511aでは、まず、該第3C変動パターンに対応する演出判定(予告演出判定など)を行う。そしてこの後、装飾図柄SZの変動演出(第3C変動パターンに応じた演出描写や、第3C変動パターンに応じたBGM再生の音出力など)を開始させ(「図316(a)に示される状況」)、該変動演出の実行期間内で、予告演出判定の結果に応じた演出(予告演出)を、上記選択した「第3C変動パターン」これ自体の演出に対して付加的に実行させることとなる。
すなわち、上記周辺制御MPU1511aでは、図310(a)に示されるように、装飾図柄SZの変動演出が開始されてから第3C所定時間が経過したタイミングtV2が到来すると(条件3Cが満たされると)、「第3C受付後演出に関しての受付け」が許容される上記第3C受付期間(有効期間)を発生させる。これにより、当該第3C受付期間内において遊技者による動作(操作)が受付けされると(受付有効判定されると)、該受付け(受付有効判定)に基づいて第3C受付後演出が行われるようになる。
この実施の形態にかかるパチンコ機1にあって、演出表示装置1600(第1演出装置)では、このような第3C受付期間が発生することに関連して、受付対象(操作受け部など)を示唆する動作対象表示(摸画像表示)、受付期間(有効期間)の残り時間を示唆する残り時間表示(枠画像内に表示されるゲージ画像の表示面積を時間経過に応じて減少させる描写)、摸画像表示を視認し難くする消滅関連表示(消滅EF演出)、受付け(受付有効判定)されたことに応じて期待度(大当り図柄が現れる割合)を示唆する第1C受付後演出表示がそれぞれ行われるようになっている。なお上述の通り、この実施の形態にかかる摸画像表示は、残り時間表示(枠画像内に表示されるゲージ画像の表示面積を時間経過に応じて減少させる描写)を含む周縁装飾画像と一体化された「一体化摸画像表示」として表示されるものとなっているが、必ずしもこれに限られず、別々に表示されるものであってもよい。このことについては、他の受付期間においても同様である。
この点、この実施の形態にかかる第3C受付期間は、上述した「第1C受付期間による演出性(受付けがなされた時点(または、受付後演出が実行開始される時点)において摸画像表示やゲージ画像が表示されている演出性)と、上述した「第2C受付期間」による演出性(受付けがなされた時点(または、受付後演出が実行開始される時点)において摸画像表示やゲージ画像が表示されていない演出性)との両方を併せ持った特殊な演出として実現されるものとなっている。
より具体的には、遊技者による操作の受付けが許容される第3C受付期間が発生すると、まず、図310(b)及び図316(b)などに示されるように、一体化摸画像表示IG(「摸画像表示」や「残り時間表示(枠画像及びゲージ画像)」)が表示される(タイミングtV2)。ただし、第3C受付期間は、当該第3C受付期間内のいずれのタイミングで遊技者による操作の受付け(受付有効判定)がなされたかによって、該受付け(受付有効判定)がなされた時点(または、受付後演出が実行開始される時点)において摸画像表示やゲージ画像が表示されている場合と摸画像表示やゲージ画像が表示されていない場合とがあるものとなっている。
なお後述するが、この演出例では、図310(a)などに示されるように、第3C受付期間が発生してから所定時間が経過したタイミングYまでの期間(第1期間)内において遊技者による操作の受付け(受付有効判定)がなされた場合には、該受付け(受付有効判定)がなされた時点(または、受付後演出が実行開始される時点)において摸画像表示やゲージ画像が表示されていることがないようにし、タイミングYから第3C受付期間が終了するまでの期間(第2期間)内において遊技者による操作の受付け(受付有効判定)がなされた場合には、該受付け(受付有効判定)がなされた時点(または、受付後演出が実行開始される時点)において摸画像表示やゲージ画像が表示されているようにしている。ただし、このような態様は一例にすぎず、要は、第3C受付期間内の第1タイミングで受付け(受付有効判定)がなされたときには該受付け(受付有効判定)がなされた時点(または、受付後演出が実行開始される時点)において摸画像表示やゲージ画像が非表示の状態にあり(表示されておらず)、第3C受付期間内の上記第1タイミングと異なる第2タイミングで受付け(受付有効判定)がなされたときには該受付け(受付有効判定)がなされた時点(または、受付後演出が実行開始される時点)において摸画像表示やゲージ画像が表示されているものであればよい。
このような第3C受付期間によれば、当該第3C受付期間が発生してからタイミングYが到来するまでの間は、受付けがなされたとしてもこれに応じた第3C受付後演出は一体化摸画像表示IGが非表示の状態(視認できない状態)にて実行開始されることとなり、タイミングYから当該第3C受付期間が終了されるタイミングtV3が到来するまでの間は、受付けがなされたことに応じた第3C受付後演出は一体化摸画像表示IGが表示されている状態(一体化摸画像表示IGの少なくとも一部が視認可能な状態であればよい)にて実行開始されることとなる。これにより、この実施の形態にかかる第3C受付期間は、上述した「第1C受付期間による演出性(受付けがなされた時点(または、受付後演出が実行開始される時点)において摸画像表示やゲージ画像が表示されている演出性)と、上述した「第2C受付期間」による演出性(受付けがなされた時点(または、受付後演出が実行開始される時点)において摸画像表示やゲージ画像が表示されていない演出性)との両方を併せ持った特殊な演出として実現されるようになり、これによって遊技興趣の向上を図ることが期待されるようになる。
すなわちこの場合、遊技者は、第3C受付期間に対する操作タイミングの調整を通じて、「当該第3C受付期間内で表示されていた一体化摸画像表示IG(摸画像表示やゲージ画像)の態様が視認可能とされるように、該一体化摸画像表示IG(摸画像表示やゲージ画像)を表示したままの状態で第3C受付後演出を実行開始させるのか、それとも第3C受付後演出に集中するために該一体化摸画像表示IG(摸画像表示やゲージ画像)を非表示にして第3C受付後演出を実行開始させるのか、を実質的に選択することが可能とされるようになり、遊技興趣の向上を図ることができるようになる。
このような演出性をより好適に実現する上では、第3C受付期間においては、一体化摸画像表示IG(摸画像表示や、枠画像、ゲージ画像)が期待度の異なる複数態様のいずれかで表示される(例えば、図232(a),(c))のいずれかで表示されるようになっており、図316(b)は、一体化摸画像表示IG(摸画像表示や、枠画像、ゲージ画像)が図232(a)に示される態様で表示された場合に相当し、図316(d)は、一体化摸画像表示IG(摸画像表示や、枠画像、ゲージ画像)が図232(c)に示される態様で表示された場合に相当させるなど)ようにすることが望ましい。なお、第3C受付期間においても、図232(b),(d)に示される態様を含む複数態様のいずれかで一体化摸画像表示IG(摸画像表示や、枠画像、ゲージ画像)が表示されるようにしてもよい。
そして、図310は、このような第3C受付期間のうち上記「第1期間(第1状態)(例えば、図316(b)を参照)」にあるなかで(図中では、タイミングtV2a)、「遊技者による動作(操作)を有効動作とする受付有効判定」がなされた場合を想定している。すなわちこの場合、図310(a)に示されるように、タイミングtV2aにおいて遊技者による動作(操作)が受付けされた(受付有効判定がなされた)ことに基づいて、第3C受付期間が終了されるとともに、該第3C受付期間に対応する受付後演出(第3C受付後演出)が実行開始されることとなる。
なお、図316(b)から「H1(図317(d1)~図317(h1))」へと演出が進展する例は、第3C受付期間のうち上記「第1期間(第1状態)」にあるなかで「受付有効判定」がなされた結果、「第3C受付後演出」として相対的に期待度の低い第1態様が実行される場合に相当し、図316(b)から「H2(図317(d2)~図317(h2))」へと演出が進展する例は、第3C受付期間のうち上記「第1期間(第1状態)」にあるなかで「受付有効判定」がなされた結果、「第3C受付後演出」として相対的に期待度の高い第2態様が実行される場合に相当している。期待度(大当り図柄が現れる割合)については、「0%」や「100%」を含むものであってもよい。
上述の通り、第3C受付期間のうち上記「第1期間(第1状態)」にあるなかで「受付有効判定」がなされた場合は、図310(b)や、図317(d1)または(d2)に示されるように、遊技者による動作(操作)が受付けされた時点(受付けに応じて第3C受付後演出が開始された時点)であるタイミングtV2aにおいて、「一体化摸画像表示IG」は非表示の状態にされて表示されない(視認できない状態にされる)。
このような構成によれば、第3C受付期間のうち上記「第1期間(第1状態)」にあるなかで遊技者による動作(操作)が行われた場合(「受付有効判定」がなされた場合)、遊技者は、一体化摸画像表示IG(摸画像表示や、枠画像、ゲージ画像)が表示されていない(視認できないようにした)状態で受付後演出(ここでは、第3C受付後特定演出UTC3)を楽しむことができるようになる。
この点、この演出例にかかる第3C受付期間では、上記「第1期間(第1状態)」にあるなかで遊技者による動作(操作)が行われた場合であっても、該受付けがあったタイミングtV2aから所定時間が経過すると(タイミングtV2bが到来すると)、図317(e1)または(e2)に示されるように、消滅関連表示(消滅EF演出)にかかる表示を開始するようにしている。
すなわち、この例にかかる第3C受付期間では、上記「第1期間(第1状態)」にあるなかで遊技者による動作(操作)の受付けがなされたときには、タイミングtV2bが到来した時点において「一体化摸画像表示IG(摸画像表示、ゲージ画像表示)」は既に表示されていない状態(視認できない状態)にあるにもかかわらず、「消滅関連表示(消滅EF演出)」が表示開始されるようになっており、「消滅関連表示(消滅EF演出)」が表示される領域の少なくとも一部は「一体化摸画像表示IG(摸画像表示、ゲージ画像表示)」が表示されていた領域と重複するようになっている。
このような構成によれば、遊技者による動作が適正に受付けされたことに伴って受付後演出が実行されている状態にあることを好適に示唆することができるようになる。
また、第3C受付期間のうち上述した「第2C受付期間」としての演出性(受付けがなされた時点(または、受付後演出が実行開始される時点)において摸画像表示やゲージ画像が表示されていない演出性)を提供する上記「第1期間(第1状態)」にあるときに受付けがなされた場合は、第2C受付期間と第3C受付期間とのいずれで受付けがなされた状態にあるのかを認識し難いが、第2C受付期間では出現し得ない「消滅関連表示(消滅EF演出)」が出現することで、第3C受付期間で受付けがなされた状態にあることを認識することができるようになる。
また、第3C受付期間では、第3C受付後演出として期待度の低い態様(図317(d1)~(h1))が現れる場合と期待度の高い態様(図317(d2)~(h2))が現れる場合とで、消滅関連表示(消滅EF演出)は同じ態様で実行されるようにしている。このような構成によれば、第1C受付期間の場合(期待度によって消滅関連表示(消滅EF演出)の態様が異なる場合)と比べて、第3C受付期間内で受付けがなされた以降に「消滅関連表示(消滅EF演出)」を注視する重要性が低くなることから、摸画像表示(ゲージ画像)が表示されていないこととも相まって、第3C受付後演出表示UGCとしていかなる態様が現れるかに集中させることができるようになる。
また、この演出例にかかる第3C受付期間では、受付けがなされたときに現れる消滅関連表示(消滅EF演出)として、上記第1C受付期間に対応する受付後演出(第1C受付後演出)が期待度の高い態様で実行されるときに表示される「第2消滅関連表示SKC2」を用いることとしている。すなわちこの場合、第3C受付期間では、受付けがなされさえすれば、期待度の高い態様で受付後演出が実行されるかのようなイメージを持たせることができるようになり、遊技興趣の向上を図ることができるようになる。
なお、第3C受付期間に対応する消滅関連表示(消滅EF演出)については、必ずしも「第2消滅関連表示SKC2」でなくてもよい。例えば、第3C受付期間に対応する消滅関連表示(消滅EF演出)として、上記第1C受付期間に対応する受付後演出(第1C受付後演出)が期待度の低い態様で実行されるときに表示される「第1消滅関連表示SKC1」を用いるようにしてもよいし、消滅関連表示として第1C受付期間に対応しない態様を用いるようにしてもよい。
また、この例にかかるパチンコ機1では、図310(b)や、図317(f1)または(f2)に示されるように、消滅関連表示にかかる表示(一体化摸画像表示IGが視認し難くなる態様)が現れている期間内のタイミングtV2cが到来すると、第3C受付期間内で遊技者による動作(操作)が受付けされたことに応じた第1演出装置(演出表示装置1600)における受付後演出としての「第3C受付後演出表示UGC3(会話予告)」を実行開始するようにしている。ただしここでは、図316(b)から「H1(図317(d1)~(h1))」へと演出が進展する例(受付後演出として相対的に期待度の低い場合)では、図317(f1)に示されるように、第3C受付期間に対応する第3C受付後演出表示UGC3として第1態様(ここでは、「無言」の会話予告である第3C受付後演出表示UGC3-1)が表示され、図316(a)から「H2(図317(d2)~(h2))」へと演出が進展する例(受付後演出として相対的に期待度の高い場合)では、図317(f2)に示されるように、第3C受付期間に対応する第3C受付後演出表示UGC3として第2態様(ここでは、「チャンス」に言及する会話予告である第3C受付後演出表示UGC3-2)が表示されるようになっている。
すなわちこの場合、「一体化摸画像表示IG」が表示されておらず「消滅関連表示(第2消滅関連表示SKC2)」が表示されているなかで「第3C受付後演出表示UGC3(「第3C受付後演出表示UGC3-1」または「第3C受付後演出表示UGC3-2」)が実行開始されることとなる。
この点、「第3C受付後演出表示UGC3(「第3C受付後演出表示UGC3-1」または「第3C受付後演出表示UGC3-2」)は、「消滅関連表示(第2消滅関連表示SKC2)」が表示される領域の少なくとも一部と重なるように表示される場合(必ずしも重なるように表示しなくてもよい)、「消滅関連表示(第2消滅関連表示SKC2)」よりも背後側に表示されるものとなっており、「消滅関連表示(第2消滅関連表示SKC2)」を優先表示させるようにしている。このように、遊技者による注視対象(第3C受付後演出表示UGC3)に視認し難さを持たせるようにすることで、より一層の集中を促すことができるようになる。
そして、この例にかかるパチンコ機1では、こうして「第3C受付後演出表示UGC3(第3C受付後演出表示UGC3-1または第3C受付後演出表示UGC3-2)」にかかる表示が開始されると、図310(b)や、図317(g1),(h1)または(g2),(h2)に示されるように、該「第3C受付後演出表示UGC3(第3C受付後演出表示UGC3-1または第3C受付後演出表示UGC3-2)」が表示されているなかで、「消滅関連表示(第2消滅関連表示SKC2)」が非表示にされることとなり、これによって視認良好とされているもとで「第3C受付後演出表示UGC3(第3C受付後演出表示UGC3-1または第3C受付後演出表示UGC3-2)」にかかる表示が行われるようになる。
この点、「第3C受付後演出表示UGC3」とは、遊技者による動作(操作)が受付けされたことに基づいて、期待度が異なる複数態様(ここでは、第3C受付後演出表示UGC3-1または第3C受付後演出表示UGC3-2)のいずれかで表示されるものである。したがって、「第3C受付後演出表示UGC3」は、「一体化摸画像表示IG」や「消滅関連表示」が非表示にされた以降も、比較的長い時間にわたって実行されることとなる。
この演出例では、「第3C受付後演出表示UGC3」を、「消滅関連表示(第2消滅関連表示SKC2)」が表示開始される時期(タイミングtV2b)よりも遅い時期(タイミングtV2c)で表示開始させることとしたが、「消滅関連表示(第2消滅関連表示SKC2)」が表示開始される時期(タイミングtV2b)と同じ時期(タイミングtV2b)で表示開始させるようにしてもよい。
なお、この例においては、第3C受付期間内で遊技者による動作が受付けされたときには、図310(b),(c)に併せて示されるように、該受付けがあったことに基づいて、第2演出装置を用いた第3C受付後演出(第3C受付後特定演出)を、上記第1演出装置を用いた第3B受付後演出(第3B受付後演出表示)に先行して実行開始させるようにしている。
このような構成によれば、演出表示装置1600(第1演出装置)において消滅関連表示を行った後に第3C受付後演出表示を行うようにした場合であっても、当該第3C受付後演出これ自体については、同タイミングtV2aから遅れることなく実行開始させることができるようになる。
このような第2演出装置としては、演出表示装置1600(第1演出装置)をメイン液晶とするときのサブ液晶として備えられるものであってもよいし、演出動作可能な演出可動体や、演出発光可能な演出ランプなどとして備えられるものであってもよい。いずれにせよ、期待度が異なる複数態様で演出(表示演出、可動演出、発光演出など)を行いうるものとして設けられることとなる。期待度(大当り図柄が現れる割合)については、「0%」や「100%」を含むものであってもよい。
上述の通り、この実施の形態にかかるパチンコ機1では、第2演出装置としてサブ液晶1610を用いた場合を想定している。そして、図316(b)から「H1(図317(d1)~(h1))」へと演出が進展する例(受付後演出として相対的に期待度の低い場合)では、図317(d1)に示されるように、該サブ液晶1610(第2演出装置)において「末吉」が表示される態様が、当該第3C受付期間に対応する上記第3C受付後特定演出UTC3(第3受付後特定演出UTC3の期待度の低い態様である第3C受付後特定演出UTC3-1)として、上記第1演出装置を用いた第3C受付後演出(第3C受付後演出表示UGC3-1)に先行して実行開始されるようになっている。これに対し、図316(a)から「H2(図317(d2)~(h2))」へと演出が進展する例(受付後演出として相対的に期待度の高い場合)では、図317(d2)に示されるように、該サブ液晶1610(第2演出装置)において「吉」が表示される態様が、当該第3C受付期間に対応する上記第3C受付後特定演出UTC3(第3C受付後特定演出UTC3の期待度の高い態様である第3C受付後特定演出UTC3-2)として、上記第1演出装置を用いた第3C受付後演出(第3C受付後演出表示UGC3-2)に先行して実行開始されるようになっている。
なお、図317に示した演出例では、第3C受付期間のうち上記「第1期間(第1状態)」にあるときと(図317(b))、第3C受付期間のうち上記「第2期間(第2状態)」にあるときと(図317(c))のいずれにおいても、サブ液晶1610(第2演出装置)において当該第3C受付期間が発生した状態にあることを示唆する受付期間内演出が実行されるようになっている。該サブ液晶1610(第2演出装置)における受付期間内演出は、演出表示装置1600(第1演出装置)における「一体化摸画像表示IG」が期待度の低い態様(図316(b)を参照)で表示される場合と期待度の高い態様(図316(d)を参照)で表示される場合とで同じ態様となるように表示されるものとなっている。
すなわちこの場合、遊技者に対して動作機会(操作機会)が付与される第3C受付期間にあるとき、演出表示装置1600(第1演出装置)では期待度に応じて異なる態様が現れ、且つサブ液晶1610(第2演出装置)では期待度にかかわらず同じ態様が現れることとなる。ただしこの後、第3C受付期間にあるときに「遊技者による動作(操作)を有効動作とする受付有効判定」がなされると、演出表示装置1600(第1演出装置)では「一体化摸画像表示IG」が非表示にされて(受付後演出としての期待度を未だ示唆していないなかで)、サブ液晶1610(第2演出装置)では期待度に応じて異なる態様が現れることとなる。このような構成によれば、1つの演出装置による演出だけを注視している場合よりも、その時々に応じて適切な演出装置を注視するようにしたほうが演出情報をより迅速に得ることができるようになることから、遊技興趣の向上を図ることができるようになる。
なお、この演出例では、第3C受付後特定演出UTC3として、「第3C受付後特定演出UTC3-1」及び「第3C受付後特定演出UTC3-2」のいずれが出現するかによって期待度を示唆するようにしたが、該第3C受付後特定演出UTC3については、必ずしも複数態様を用意しなくてもよい。例えば、第3C受付後特定演出UTC3として「第3C受付後特定演出UTBC-2」のみを備えることとし、該「第3C受付後特定演出UTC3-2」が出現するか否かによって期待度(大当りが得られている割合)を示唆するようにしてもよい。すなわちこの場合、「第3C受付後特定演出UTBC-2」が出現したときには、「第3C受付後特定演出UTBC-2」が出現しなかったときよりも期待度が高いことが示唆されることとなる。
また上述の通り、この実施の形態にかかるパチンコ機1では、第3演出装置(スピーカー)をさらに用意することとしており、第3C受付期間の発生に際しては、図310(d)に示されるタイミングtV1において、受付許容音を出力開始させることとしている。第3C受付期間に対応する受付許容音は、該第3C受付期間が発生するタイミングtV2と、上記「第1期間」から「第2期間」へと移行するタイミングYとの両方を跨るかたちで可聴出力されるものとなっており、当該受付許容音が可聴出力されているなかで遊技者による動作(操作)が受付けされうるものとなっている。ただし、受付許容音については、タイミングYを跨るかたちで可聴出力されるものであればよく、タイミングtV2については必ずしもこれを跨がるかたちで可聴出力されないようにしてもよい。
ここで、第3C受付期間では、受付許容音として、上記第1長許容音と上記第1短許容音とのいずれとも異なる第3許容音を可聴出力させることとしており、これによって上記第1C受付期間ではなく、複数の演出性を併せ持つ第3C受付期間が発生すること(または、発生していること)を示唆することができるようになる。ただし、第3C受付期間に対応する受付許容音については、上記第1長許容音と上記第1短許容音とのいずれかで実行されるようにしてもよい。
そして、第3C受付期間では、これに対応する受付許容音(ここでは、第3許容音)が可聴出力されているなかで遊技者による動作の受付けがなされた場合、該受付けがなされたことに基づいて、該受付許容音を途中終了(可聴出力状態の途中終了を)させないようにしており、これによっても上記第1C受付期間ではなく、複数の演出性を併せ持つ第3C受付期間が発生すること(または、発生していること)を示唆することができるようになる。ただし、第3C受付期間に対応する受付許容音についても受付けがなされたことに基づいてこれを途中終了させるようにしてもよい。
この点、第3C受付期間に対応する受付許容音(ここでは、第3許容音)については、図310(d)に示されるように、期待度の低い態様で実行(可聴出力)される場合(図316(b)に示される場合)と、期待度の高い態様で実行(可聴出力)される場合(図316(d)に示される場合)とがあるようにすることが望ましい。
第3C受付後演出音は、「第3C受付後演出表示UGC3」と同様、図310(d)に示されるように、「一体化摸画像表示IG」や「消滅関連表示(消滅EF演出)」が非表示にされた以降も、比較的長い時間にわたって実行されることとなる。また、第3C受付後演出音については、図316(a)から「H1(図317(d1)~(h1))」へと演出が進展する例(受付後演出として相対的に期待度の低い場合)と、図316(a)から「H2(図317(d2)~(h2))」へと演出が進展する例(受付後演出として相対的に期待度の高い場合)とで、互いに異なる出力音(態様)が出力されるようにすることが望ましい。
また、第3C受付期間で受付け(受付有効判定)がなされた場合、第3演出装置では、期待度を示唆する第3C受付後演出音だけではなく、期待度を示唆しない「受付音」も可聴出力するものとなっている。すなわち、「受付音」とは、図316(b)から「H1(図317(d1)~(h1))」へと演出が進展する例(受付後演出として相対的に期待度の低い場合)と、図316(b)から「H2(図317(d2)~(h2))」へと演出が進展する例(受付後演出として相対的に期待度の高い場合)とで同じ態様で可聴出力されるものである。そして、このような「受付音」は、第3C受付期間とは異なる受付期間(例えば、第1C受付期間、または上述した各受付期間と異なる所定受付期間など)において受付け(受付有効判定)がなされた場合にも(期待度にかかわらず)可聴出力されるものとなっている。このような構成によれば、受付後演出としてどれだけ斬新な演出を行うようにした場合であっても、「受付音」が可聴出力されたときには受付け(受付有効判定)が適正になされた状態にあることを好適に認識することができるようになることから、受付後演出の内容に集中することを促すことができるようになる。
これに対し、図311や、図316(b),(c)から「H3(図318(d3)~(h3))」または「H4(図318(d4)~(h4))へと演出が進展する例は、このような第3C受付期間内のうち上記「第2期間(第2状態)」にあるなかで(図中では、タイミングtV2A)、「遊技者による動作(操作)を有効動作とする受付有効判定」がなされた場合を想定している。すなわちこの場合、図311(a)や、図318(d3)~(h3)または図318(d4)~(h4)に示されるように、タイミングtV2Aにおいて遊技者による動作(操作)が受付けされた(受付有効判定がなされた)ことに基づいて、第3C受付期間が終了されるとともに、該第3C受付期間に対応する受付後演出(第3C受付後演出)が実行開始されることとなる。
この点、第3C受付期間では、当該第3C受付期間内のうち上記「第2期間(第2状態)」にあるなかで受付け(受付有効判定)がなされた場合(図316(c)に示される状態において受付けがなされた場合)であっても、該受付けがなされた以降は、基本的には、当該第3B受付期間内のうち上記「第1期間(第1状態)」にあるなかで受付け(受付有効判定)がなされた場合(図316(b)に示される状態において受付けがなされた場合)と同じ態様で演出が進展されることとなる。したがって、図311(a)に示される例の場合も、図316(c)から受付後演出として相対的に期待度の低い態様で演出が進展される場合(「H3(図318(d3)~(h3))」へと演出が進展する場合)と、図316(c)から受付後演出として相対的に期待度の高い態様で演出が進展される場合(「H4(図318(d4)~(h4))」へと演出が進展する場合)とがあるようになり、第1演出装置、第2演出装置、及び第3演出装置においては、基本的には、図310などを参照しつつ説明した通りの内容で演出が実行されることとなる。
ただし上述の通り、この実施の形態にかかる第3C受付期間は、上述した「第1C受付期間による演出性(受付後演出が実行開始される時点において摸画像表示やゲージ画像が表示されている演出性)と、上述した「第2C受付期間」による演出性(受付後演出が実行開始される時点において摸画像表示やゲージ画像が表示されていない演出性)との両方を併せ持った特殊な演出として実現されるものとなっており、当該第3C受付期間内のうち上記「第2期間(第2状態)」にあるなかで受付け(受付有効判定)がなされた場合(図316(c)に示される状態において受付けがなされた場合)には、上述した「第1C受付期間」による演出性(受付後演出が実行開始される時点において摸画像表示やゲージ画像が表示されている演出性)が現れるものとなっている。
したがって、「図318(d3)~(h3)または(d4)~(h4)」を、「図317(d1)~(h1)または(d2)~(h2)」と比較して見ると明らかであるように、当該第3C受付期間内のうち上記「第2期間(第2状態)」にあるなかで受付け(受付有効判定)がなされた場合(図316(c)に示される状態において受付けがなされた場合)には、第3C受付後演出が実行開始される時点において一体化摸画像表示IGは非表示にされずその表示状態を継続することとなる。
なお、このような一体化摸画像表示IGは、「第3C受付後演出表示UGC3(会話予告)」が実行開始される時点(図311や、図318(f3)または(f4)を参照)においても非表示とされずその表示状態を継続することとなる。一体化摸画像表示IGは、「第2消滅関連表示SKC2」に対しては優先表示されずその背後側に表示されるが、「第3C受付後演出表示UGC3(会話予告)」に対しては優先表示されるようになっており、これによって受付期間内においていずれの態様で表示されていたのかを認識し易くするようにしている。
そして、この例にかかるパチンコ機1では、第3C受付期間内のうち上記「第2期間(第2状態)」にあるなかで受付け(受付有効判定)がなされた後、こうして「第3C受付後演出表示UGC3(第3C受付後演出表示UGC3-1または第3C受付後演出表示UGC3-2)」にかかる表示が開始されると、図311(b)や、図318(g3)または(g4)に示されるように、該「第3C受付後演出表示UGC3(第3C受付後演出表示UGC3-1または第3C受付後演出表示UGC3-2)」が表示されているなかで、まず、「一体化摸画像表示IG」及び「消滅関連表示」のうち、「一体化摸画像表示IG」を非表示にする。そして、こうして「一体化摸画像表示IG」が非表示にされた後、図311(b)や、図318(h3)または(h4)に示されるように、「消滅関連表示(第2消滅関連表示SKC2」が非表示にされることとなり、これによって視認良好とされているもとで「第3C受付後演出表示UGC3(第3C受付後演出表示UGC3-1または第3C受付後演出表示UGC3-2)」にかかる表示が行われるようになる。
第3C受付期間内の第2期間(第2状態)で受付けがなされた場合におけるその他の演出態様(例えば、受付後特定演出や、消滅関連表示、受付後表示演出、許容音、受付後演出、受付音など)については、図317を参照しつつ説明した通り(または、図301に示した演出例と同じ)であるから、ここでの説明は割愛することとする。
なお、当該第3C受付期間に対応する演出例(図316~図318)では、第3C受付期間内において受付けがなされて「第3C受付後演出表示UGC3」が実行されたとしても、該「第3C受付後演出表示UGC3」が開始される前後で背景画像に切り替えを生じさせない。このような構成によれば、上記第1C受付期間で受付けがなされた場合と、当該第3C受付期間内の第2期間で受付けがなされた場合とでは、一体化摸画像表示IGが表示されているなかで受付後演出が実行開始される点で共通するが、受付けがなされたことに応じて背景画像が変化するか否かを確認することで、上記第1C受付期間と当該第3C受付期間とのいずれが発生していたのかを認識可能とすることができるようになる。これに対し、上記第2C受付期間で受付けがなされた場合と、当該第3C受付期間内の第1期間で受付けがなされた場合とでは、一体化摸画像表示IGが表示されていないなかで受付後演出が実行開始される点で共通するが、受付けがなされたことに応じて「消滅関連表示」が実行されるか否かを確認することで、上記第2C受付期間と当該第3C受付期間とのいずれが発生していたのかを認識可能とすることができるようになる。
また、第3C受付期間では、「第3C受付後演出表示」が、「第3C受付後特定演出」や「第3C受付後演出音」などと同様、受付け(受付有効判定)がなされたときから予め定められた時間(一定時間)だけ実行されるものとなっていることから、受付後演出としての態様も、受付け(受付有効判定)がなされたタイミングにかかわらず同じである。
なお、「第3C受付後演出表示」、「第3C受付後特定演出」、及び「第3C受付後演出音」は、それぞれに設定された一定時間分だけ実行されるものであればよく、互いに同じ時間で終了されるものでなくてもよい。
他方、図312に示される例や、図316(c)から「H4(図318(d5)~(g5))」へと演出が進展する例とは、第3C受付期間内で遊技者による動作(操作)が行われず受付け(受付有効判定)がなされなかった場合を想定したものである。
すなわちこの場合、同図312に示されるように、第3C受付期間が発生した後、遊技者による動作(操作)が受付けされることなく上記タイミングtV3が到来することとなる。この点、該タイミングtV3(第3C受付期間が終了し、遊技者による動作(操作)の受付けが許容されなくなった時点)にあるときの演出表示装置1600(第1演出装置)では、タイミングtV2Aなど(第3C受付期間内の第2期間において遊技者による動作(操作)の受付けがなされた時点)にあるときの演出表示装置1600(第1演出装置)と同様、図318(d5)に示されるように、一体化摸画像表示IGを非表示にしないことはもとより、一体化摸画像表示IGを視認し難くすることもしないようにしている。
このような構成によれば、遊技者による動作(操作)の受付けが間に合わずに第3C受付期間が終了してしまった場合であっても、該終了した以降、第3C受付期間内において一体化摸画像表示IGがいかなる態様で表示されていたのかを認識することが可能とされるようになることから、遊技興趣の低下を抑制することができるようになる。
そしてこの後は、遊技者による動作(操作)が受付けされなかった場合も、図318(e5)に示されるように、「一体化摸画像表示IGが視認し難くなる態様」として、消滅関連表示(消滅EF演出)が開始されるようになっている。
すなわち、この例にかかる第1演出装置(演出表示装置1600)では、「一体化摸画像表示IG(摸画像表示、ゲージ画像表示)」が表示されているなかで「消滅関連表示(消滅EF演出)」が表示されるようになっており、「消滅関連表示(消滅EF演出)」が表示される領域の少なくとも一部は「一体化摸画像表示IG(摸画像表示、ゲージ画像表示)」が表示される領域と重複するようになっている。
このような構成によれば、受付けがなされずに第3C受付期間が終了した以降、一体化摸画像表示IGを表示し続けるようにした場合であっても、該一体化摸画像表示IGが視認し難くされることによって、当該第3C受付期間が終了した状態にあることを示唆することができるようになる。また、当該第3C受付期間が既に終了している状況においても、視認し難さはあるものの一体化摸画像表示IGを比較的長い時間にわたって表示し続けることが可能とされるようになることから、受付期間内で一体化摸画像表示IGがいずれの態様で表示されていたのか認識できないことによる遊技興趣の低下を抑制することができるようになる。
また、この例にかかるパチンコ機1では、第3C受付期間内で遊技者による動作(操作)が受付けされなかった場合、消滅関連表示(消滅EF演出)として「第3消滅関連表示SKC3」を表示させることとしている。
該「第3消滅関連表示SKC3」については、第1C受付期間に関連して表示されないものであることが望ましい。すなわちこの場合、第3C受付期間内で遊技者による動作(操作)が受付けされなかった場合であっても、当該受付期間が、上述した「第1C受付期間による演出性(受付けがなされた時点(または、受付後演出が実行開始される時点)において摸画像表示やゲージ画像が表示されている演出性)と、上述した「第2C受付期間」による演出性(受付けがなされた時点(または、受付後演出が実行開始される時点)において摸画像表示やゲージ画像が表示されていない演出性)との両方を併せ持ったものであったことを示唆することができるようになる。
また、該「第3消滅関連表示SKC3」については、第3C受付期間内で遊技者による動作(操作)が受付けされたときには表示されないものであることが望ましい。すなわちこの場合、受付けがなされることなく第3C受付期間が終了した状態にあることをより好適に示唆することができるようになる。
そしてこの後は、図318(f5)に示されるように、「一体化摸画像表示IG」及び「消滅関連表示(図中は、第3消滅関連表示SKC3)」のうち、まず、「一体化摸画像表示IG」を非表示にする。そして、こうして「一体化摸画像表示IG」が非表示にされた後、図318(g5)に示されるように、「消滅関連表示(図中は、第3消滅関連表示SKB3))」が非表示にされることとなる。
ところで、この例にかかる第3C受付期間では、一体化摸画像表示IG(摸画像表示や、枠画像、ゲージ画像)が、図232(a)に示される態様ではなく(図316(b),(c)を参照)、図232(c)に示される態様で表示される場合(図316(d),(e)を参照)もあることは上述した通りである。このような図316(d),(e)に示される状況が現れた場合は、上述した図316(b),(c)に示される状況が現れた場合と「一体化摸画像表示IG(摸画像表示、枠画像、ゲージ画像)」としての態様が異なるだけで、それ以外は同じ態様で演出が進展されることとなる。
例えば、図316(d)から「H1´」へと演出が進展する場合は、図316(b)から「H1(図317(d1)~(h1))」へと演出が進展する内容と基本的に同じであり、演出表示装置1600(第1演出装置)における「一体化摸画像表示IG」の態様が「一体化摸画像表示IGa」から「一体化摸画像表示IGc」に変更されているだけである。また、図316(d)から「H2´」へと演出が進展する場合は、図316(b)から「H2(図317(d2)~(h2))」へと演出が進展する内容と基本的に同じであり、演出表示装置1600(第1演出装置)における「一体化摸画像表示IG」の態様が「一体化摸画像表示IGa」から「一体化摸画像表示IGc」に変更されているだけである。また、図316(e)から「H3´」へと演出が進展する場合は、図316(c)から「H3(図318(d3)~(h3))」へと演出が進展する内容と基本的に同じであり、演出表示装置1600(第1演出装置)における「一体化摸画像表示IG」の態様が「一体化摸画像表示IGa」から「一体化摸画像表示IGc」に変更されているだけである。また、図316(e)から「H4´」へと演出が進展する場合は、図316(c)から「H4(図317(d4)~(h4))」へと演出が進展する内容と基本的に同じであり、演出表示装置1600(第1演出装置)における「一体化摸画像表示IG」の態様が「一体化摸画像表示IGa」から「一体化摸画像表示IGc」に変更されているだけである。また、図316(e)から「H5´」へと演出が進展する場合は、図316(c)から「H5(図318(d5)~(g5))」へと演出が進展する内容と基本的に同じであり、演出表示装置1600(第1演出装置)における「一体化摸画像表示IG」の態様が「一体化摸画像表示IGa」から「一体化摸画像表示IGc」に変更されているだけである。
なお、この演出例にかかる第3C受付期間では、説明の便宜上、第3C受付後演出(第3C受付後演出表示UGC、第3C受付後特定演出UTC、第3C受付後演出音)を、上述した第3B受付期間に対応する第3B受付後演出と同じ演出内容(種別)として実行することとした。ただし、受付後演出(受付後演出表示、受付後特定演出、受付後演出音)については、第3B受付期間と第3C受付期間とで異なる演出内容(種別)とするようにすることが望ましい。
また、この演出例にかかる第3C受付期間では、説明の便宜上、消滅関連表示SKCを、上述した第3B受付期間に対応する消滅関連表示SKBと同じもの(種別)として実行することとした。ただし、消滅関連表示については、第3B受付期間と第3C受付期間とで必ずしも同じものでなくてもよい。
このような第1B受付期間~第3B受付期間を用意することとした本願にかかるパチンコ機1によれば、以下に列記する優れた作用効果が奏されるようになる。
まず、この実施の形態にかかるパチンコ機1では、受付けされたときに進行される演出内容(受付後演出としてのカットイン予告、群予告、会話予告などであり、予告演出(期待度示唆演出)の種別)が異なる複数の受付期間(第1C受付期間~第3C受付期間)を用意しており、判定(演出判定)の結果に応じた種別の受付期間(有効期間)を発生可能とするものとなっている。
この点、第1C受付期間~第3C受付期間では、遊技者による動作が受付けされた場合は、該受付けがなされたことに基づいて受付後演出表示(第1C受付後演出表示~第3C受付後演出表示)を「演出表示装置1600」において表示可能としている。そしてこのうち、第1C受付期間及び第3C受付期間では、遊技者による動作が受付けされた場合、該受付けがなされたことに基づいて受付後演出表示を表示するだけでなく、「消滅関連表示(消滅EF演出)」をさらに出現させるようにしている。すなわちこの場合、受付けがなされた以降も、摸画像表示(または、ゲージ画像)としていずれの態様が現れていたのかを確認することが可能であることはもとより、摸画像表示(または、ゲージ画像)が非表示にされるまでの間に「摸画像表示や残り時間表示(枠画像、ゲージ画像)が視認し難くなる態様(消滅関連表示)」によってその視認性を低下させるようにしたことで、「摸画像表示(または、ゲージ画像)」から「受付後演出表示」へと遊技者による注視対象が自然に移されることが期待されるようになる。なお、「消滅関連表示(消滅EF演出)」とは、受付けされたときに進行される演出内容が異なる複数の受付期間に対して同じ態様が共通して用いられうるものである(図314(e2)及び図317(e2)などを参照)。
ただし、摸画像表示や残り時間表示(枠画像、ゲージ画像)とは、本来、受付けが未だなされていない受付期間内において表示されるものであることから、受付けがなされた以降も当該摸画像表示や残り時間表示(枠画像、ゲージ画像)を表示するようにした場合、受付けに応じた受付後演出表示が表示済みの状態にあるのか否かを認識し難くなり、遊技興趣が低下する懸念がある。この点、第1C受付期間及び第3C受付期間(第2期間)のいずれかで受付けがなされたときには、摸画像表示や残り時間表示(枠画像、ゲージ画像)は、「摸画像表示や残り時間表示(枠画像、ゲージ画像)が視認し難くなる態様(消滅関連表示)」が現れているなかで非表示(視認不能)にされる一方で、受付後演出表示は、「摸画像表示や残り時間表示(枠画像、ゲージ画像)が視認し難くなる態様(消滅関連表示)」が現れているなかで表示されるようにしている。すなわちこの場合、遊技者による動作の受付けがなされた以降、「摸画像表示や残り時間表示(枠画像、ゲージ画像)が視認し難くなる態様(消滅関連表示)」が現れているなかで、受付前表示(摸画像表示や残り時間表示(枠画像、ゲージ画像))から受付後表示(受付後演出表示)への表示演出にかかる移行が実現されることとなる。
なお、「摸画像表示や残り時間表示(枠画像、ゲージ画像)が視認し難くなる態様(消滅関連表示)」及び「受付後演出表示」はいずれも、受付けに基づいて表示されるものである点で共通する。ただし、「摸画像表示や残り時間表示(枠画像、ゲージ画像)が視認し難くなる態様(消滅関連表示)」とは、例えば、図314(e1)や、図318(e3)などに示されるように、摸画像表示や残り時間表示(枠画像、ゲージ画像)が表示されている状況にあるときに該摸画像表示や残り時間表示(枠画像、ゲージ画像)を視認し難くするように出現されるものである。これに対し、「受付後演出表示」とは、例えば、図314(f1)や、図318(f3)などに示されるように、摸画像表示や残り時間表示(枠画像、ゲージ画像)が表示されている状況にあるときに表示されたとしても該摸画像表示や残り時間表示(枠画像、ゲージ画像)を視認し難くしないように出現されるものである。
この点、上述した例では、第3C受付期間内のうち第1期間で受付けがなされた場合、消滅関連表示や受付後演出表示を、図317(e1)などに示されるように、摸画像表示や残り時間表示(枠画像、ゲージ画像)が既に非表示の状態にされているなかで表示開始させるようにしたことから、遊技者は「受付後演出表示としていかなる態様が現れるか」に集中することができるようになる。また、第3C受付期間内のうち第1期間と第2期間とのいずれで操作の受け付けがなされるようにするかの調整を通じて、摸画像表示や残り時間表示(枠画像、ゲージ画像)が表示状態を継続しているなかで受付後演出表示が実行開始されるようにするか、摸画像表示や残り時間表示(枠画像、ゲージ画像)を非表示の状態にしてから受付後演出表示が実行開始されるようにするか、を選択することができるようになり、遊技興趣の向上を図ることができるようになる。
なお、「摸画像表示や残り時間表示(枠画像、ゲージ画像)が視認し難くなる態様(消滅関連表示)」に関して「摸画像表示や残り時間表示(枠画像、ゲージ画像)を視認し難くするように出現」する手法としては、摸画像表示や残り時間表示(枠画像、ゲージ画像)が表示されている領域の少なくとも一部に、該摸画像表示や残り時間表示(枠画像、ゲージ画像)とは別の画像表示を優先表示(前側レイヤに表示)することによって実現する手法のほか、摸画像表示や残り時間表示(枠画像、ゲージ画像)とは別の画像表示によって摸画像表示や残り時間表示(枠画像、ゲージ画像)の一部が欠けて(視認不能に)見えるように作られた画像(動画)を表示することによって実現する手法などを採用することが可能である。また、摸画像表示や残り時間表示(枠画像、ゲージ画像)とは別の画像表示ではなく、摸画像表示や残り時間表示(枠画像、ゲージ画像)これ自体の表示特性にかかる数値(透過率など)を変更する手法を採用することも可能である。これに対し、「受付後演出表示」に関して「摸画像表示や残り時間表示(枠画像、ゲージ画像)を視認し難くしないように出現」する手法としては、摸画像表示や残り時間表示(枠画像、ゲージ画像)が表示されている領域の少なくとも一部に「受付後演出表示」を表示するが、摸画像表示や残り時間表示(枠画像、ゲージ画像)が優先表示とされるかたちで該「受付後演出表示」を表示(後側レイヤに表示)することによって実現する手法のほか、少なくとも摸画像表示や残り時間表示(枠画像、ゲージ画像)が表示されている間は該摸画像表示が表示される領域を除く領域にしか「受付後演出表示」を表示しないようにすることによって実現する手法などを採用することが可能である。
また、摸画像表示や残り時間表示(枠画像、ゲージ画像)が視認し難くなる態様(消滅関連表示)」として、摸画像表示や残り時間表示(枠画像、ゲージ画像)が表示されている領域の少なくとも一部に該摸画像表示や残り時間表示(枠画像、ゲージ画像)とは別の画像表示を表示する手法と、摸画像表示や残り時間表示(枠画像、ゲージ画像)これ自体の表示特性にかかる数値(透過率など)を変更する手法との両方を採用するようにしてもよい。
また、「摸画像表示や残り時間表示(枠画像、ゲージ画像)が視認し難くなる態様(消滅関連表示)」とは、「受付後演出表示」が表示されるよりも前の、該「受付後演出表示」が未だ表示されていない状況下において出現するものとなっている。すなわちこの場合、「受付後演出表示」が未だ表示されていない状況下において、摸画像表示や残り時間表示(枠画像、ゲージ画像)が上記「摸画像表示や残り時間表示(枠画像、ゲージ画像)が視認し難くなる態様(消滅関連表示)」によって視認し難くされるようになることから、摸画像表示や残り時間表示(枠画像、ゲージ画像)を視認可能としつつも、「受付後演出表示」が間もなく出現しうる状態にあり、遊技者による注視先を「視認し難くされた摸画像表示や残り時間表示(枠画像、ゲージ画像)」から変更するよう、心の準備を整えるように事前に促すことができるようになる。
また、第1C受付期間及び第3C受付期間(第2期間)などで受付けされた場合、「摸画像表示や残り時間表示(枠画像、ゲージ画像)が視認し難くなる態様(消滅関連表示)」は、「受付後演出表示」が表示された以降も表示されうるようになっており、該「受付後演出表示」が表示されている間に非表示にされるものとなっている。これにより、「受付後演出表示」が表示される期間のうち、「摸画像表示や残り時間表示(枠画像、ゲージ画像)が視認し難くなる態様(消滅関連表示)」が非表示とされた以降の期間では、より広い範囲で当該「受付後演出表示」にかかる演出性を提供することができるようになることから、このような表示期間中における演出性の変化によって遊技興趣の向上を図ることができるようになる。
また、第1C受付期間及び第3C受付期間に関する上述した各演出例では、図314や図318に示したように、「摸画像表示や残り時間表示(枠画像、ゲージ画像)が視認し難くなる態様(消滅関連表示)」については、摸画像表示や残り時間表示(枠画像、ゲージ画像)が表示されている領域だけでなく、該摸画像表示や残り時間表示(枠画像、ゲージ画像)が表示されていない領域にも表示されるものとなっている。そして、該領域においては、少なくともその一部に「受付後演出表示」が表示されるようになっているが、「摸画像表示や残り時間表示(枠画像、ゲージ画像)が視認し難くなる態様(消滅関連表示)」によって「受付後演出表示」の少なくとも一部が視認し難くされるように表示(例えば、後側レイヤに表示)することとしている。
このような構成によれば、消滅関連表示(消滅EF演出)は、摸画像表示や残り時間表示(枠画像、ゲージ画像)だけでなく、「受付後演出表示」をも視認し難くするものとして出現されるものとなることから、摸画像表示や残り時間表示(枠画像、ゲージ画像)が非表示にされるまでの演出性と、「受付後演出表示」の表示が開始されるときの演出性との両方を向上させることが期待されるようになる。
また上述の通り、第1C受付期間及び第3C受付期間に関する上述した各演出例では、受付けがなされてから「受付後演出表示」が表示されるよりも前の、該「受付後演出表示」が表示されていない状況下において、消滅関連表示(消滅EF演出)とは別に、摸画像表示や残り時間表示(枠画像、ゲージ画像)を視認し難くしない受付後特定演出(第2演出装置を用いた受付後演出)を出現可能としている。これにより、第1演出装置における演出性を邪魔することなく、これに先行して受付後演出を楽しむことができるようになる。
また、第1C受付期間及び第3C受付期間に関する上述した各演出例にあって、受付後特定演出(第2演出装置を用いた受付後演出)は、消滅関連表示(消滅EF演出)が現れるよりも前の、該消滅関連表示(消滅EF演出)が未だ出現していない状況下において出現されるようにしている。また、受付後特定演出(第2演出装置を用いた受付後演出)は、消滅関連表示(消滅EF演出)が終了された以降までにわたって継続されるものとなっている。
このような構成によれば、第1演出装置における複雑な演出性を嫌う者は、より簡易化された演出性を有する第2演出装置によって受付後演出を楽しむことができるようになることから、様々なタイプの遊技者に対して遊技興趣の向上が図られるようになる。
また、第1C受付期間及び第3C受付期間に関する上述した各演出例においても、摸画像表示については、図233や図234などを参照しつつ上述した通り、動的表示によって表示されることとなる。そしてこの場合、摸画像表示については、受付けされた以降、消滅関連表示(消滅EF演出)が現れているなかでも、その動的表示は終了されておらず(非表示にされるまで)継続するようにすることが望ましい。
また、第1C受付期間及び第3C受付期間に関する上述した各演出例において、消滅関連表示(消滅EF演出)は、摸画像表示だけでなく、受付期間が終了されるまでの残り時間を示唆するゲージ画像についてもこれを視認し難くすることとした。これにより、受付けされた以降もゲージ画像を表示するようにした場合であっても、残り時間が残っているかのように見えることが抑制されるようになる。
また、この実施の形態にかかるパチンコ機1では、上記複数の受付期間のうち第3C受付期間内において遊技者による動作(操作)が受付けされた場合、該受付けがなされたことに基づいて「第3C受付後演出表示UGC3」を表示可能であるが、該第3C受付後演出表示UGC3とは別に、消滅関連表示(消滅EF演出)として上記第1C受付期間にも対応する上記態様(第2消滅関連表示SKC2)を出現可能としている。
このような構成によれば、第2消滅関連表示SKC2が出現すると、第1C、第3C受付後演出表示のいずれが出現されるか不明とされるが、第1消滅関連表示SKC1が出現すると、第1C受付後演出表示UGC1が出現することが推測可能とされるようになる。
また、上述した演出例においては、消滅関連表示(消滅EF演出)を、摸画像表示や残り時間表示(枠画像、ゲージ画像)が表示される領域の少なくとも一部を含む領域に表示(優先表示)するようにした。ただし、表示画面よりも前側にある演出装置(可動体など)を用いた演出を、摸画像表示や残り時間表示(枠画像、ゲージ画像)の少なくとも一部と正面視で重なる位置で実行することによって実現することも可能である。
なお、消滅関連表示(消滅EF演出)として同じ態様(第2消滅関連表示SKC2)が出現した場合であっても、受付期間の種別が異なるものであれば、その図柄変動で大当り図柄が停止される割合(期待度)が異なるようにすることが望ましい。
また、上述した演出例においては、第2演出装置を用いた受付後演出(受付後特定演出)を実行可能としており、該第2演出装置を用いた受付後演出(受付後特定演出)の実行期間中、第1演出装置においては摸画像表示や残り時間表示(枠画像、ゲージ画像)が相対的に視認し易い状態と、摸画像表示や残り時間表示(枠画像、ゲージ画像)が相対的に視認し難い状態とがあるようにしている。
すなわちこの場合、受付けがなされたことに基づいて第2演出装置を用いた受付後演出(受付後特定演出)の実行が開始された以降も、摸画像表示や残り時間表示(枠画像、ゲージ画像)としていずれの態様が現れていたのかを確認することが可能とされる。また、第2演出装置を用いた受付後演出(受付後特定演出)の実行期間中、摸画像表示や残り時間表示(枠画像、ゲージ画像)を相対的に視認し難い状態とされるようにしたことで、「第1演出装置」から「第2演出装置」へと遊技者による注視対象が自然に移されるように促すことが期待されるようになる。
なお、上述した演出例において、第2演出装置を用いた受付後演出(受付後特定演出)は、受付けされる前から継続表示(視認し易い状態で表示)されている摸画像表示や残り時間表示(枠画像、ゲージ画像)の視認性に影響を及ぼさないように実行開始されるものとなっている。より具体的には、摸画像表示や残り時間表示(枠画像、ゲージ画像)は、表示画面(演出表示装置1600)内の所定領域で表示されるものであるが、第2演出装置を用いた受付後演出(受付後特定演出)は、該所定領域の少なくとも一部を利用して表示される画像表示でないし、該所定領域の少なくとも一部と正面視で重なる位置で実行される演出でもないものである。
また、上述した演出例においては、受付後演出表示を、消滅関連表示(消滅EF演出)の出現タイミングよりも後に表示開始させることとしたが、消滅関連表示(消滅EF演出)の出現タイミングで表示開始させるようにしてもよい。
また、上述した各演出例にあって、消滅関連表示(消滅EF演出)は、「摸画像表示や残り時間表示(枠画像、ゲージ画像)が表示される領域」の少なくとも一部を利用して表示される画像表示として実現することとした。ただしこの場合、該画像表示については、「摸画像表示が表示される領域」に表示される面積が時間経過に応じて次第に拡大される傾向となるように表示することが望ましい。
また上述の通り、この実施の形態にかかる「摸画像表示」や「残り時間表示(枠画像、ゲージ画像)」は、一体化摸画像表示IGとして、期待度の異なる複数態様(一体化摸画像表示IGa~IGd)のいずれかで表示可能とされるものである。そして、上述した各演出例によれば、受付けされた以降も、表示位置や大きさ、動的描写なども含めて、その表示態様を維持、継続する場合があるようにしたことから、受付けがなされた以降も、受付期間内において摸画像表示や残り時間表示(枠画像、ゲージ画像)がいかなる態様で表示されていたのかを認識することが可能である。
なお上述の通り、「摸画像表示」や「残り時間表示(枠画像、ゲージ画像)」については別々に表示するようにしてもよいし、「摸画像表示」及び「残り時間表示(枠画像、ゲージ画像)」のいずれか一方だけが表示されるようにしてもよい。
また、上述した各演出例において、「摸画像表示」や「残り時間表示(枠画像、ゲージ画像)」が非表示の状態にある場合とは、遊技者側から視認できない状態であればよく、例えば、レイヤー上には表示されているが、他の画像表示を優先表示することによって「摸画像表示」や「残り時間表示(枠画像、ゲージ画像)」が視認できない状態にされる場合を含む意味である。ただし、遊技者側から「摸画像表示」や「残り時間表示(枠画像、ゲージ画像)」の少なくとも一部が視認できているのあれば、これは、「摸画像表示」や「残り時間表示(枠画像、ゲージ画像)」の態様を視認可能としていることに他ならないのであるから、「摸画像表示」や「残り時間表示(枠画像、ゲージ画像)」は非表示の状態にされておらず、その表示を継続している状態にあると言える。
また、上述した各演出例において、受付後特定演出は、第2演出装置でなく、第1演出装置(演出表示装置1600の表示画面内)で行われるものとして実現するようにしてもよい。
また、第1C受付期間、第2C受付期間、及び第3C受付期間では、遊技者による動作(操作)の対象が必ずしも同じでなくてもよく、互いに異なる動作を求めるものであってもよい。ただし、異なる動作を求める場合は、動作対象表示(摸画像表示)や残り時間表示(枠画像及びゲージ画像)も異なる表示として表示されることとなる。
ところで、第3C受付期間のうち第1期間(第1状態)で受付け(受付有効判定)がなされるようにしたい場合、遊技者に対しては、タイミングYが到来するまでの間に受付有効判定がなされるようにすることを求めることとなる。ただし、第3C受付期間が「3秒間にわたって継続される有効期間」として設定されるものであるとすると、第1期間(第1状態)に対しては1秒間程度の時間しか持たせられないこととなる。すなわちこの場合、このような短い時間内で動作(操作)しなければならないことによる焦りによって、遊技者が、第3C受付期間の発生よりも少し前に動作(操作)するようなことが想定される。そしてこの場合、動作のやり直しをしようとしても、その頃にはタイミングYが既に到来しているようなことがあれば、自分の思い通りの遊技ができないことによる遊技興趣の低下が懸念される。
したがって、第3C受付期間では、「遊技者による動作を有効動作とする受付有効判定」が許容される状態(第3C受付期間)が発生するタイミングtV2よりも前に遊技者による動作(操作)があったとしても、該動作(操作)を、その時点で「受付有効判定」とすることはないものの、当該第3C受付期間が開始された時点で(または、それ以降に)、該第3C受付期間よりも前に行われた遊技者による動作(操作)を対象とした(に基づいた)「受付有効判定」とすることを可能にすることが望ましい。
ただしこの場合、遊技者による動作(操作)が行われたか否かの検出自体は、「遊技者による動作を有効動作とする受付有効判定」が許容される当該第3C受付期間が発生しているか否かにかかわらず実行するようにすることが求められることとなる。
例えば、図304に示される例の場合であれば、タイミングtV2よりも少し前に遊技者による動作(操作)が行われた場合であってもこれが検出されることとなる。ただし、こうして遊技者による動作(操作)が検出された時点では、第3C受付期間が未だ発生していない状況下にあることから、該検出に基づいて「遊技者による動作を有効動作とする受付有効判定」がなされることはない。ただし、この検出情報があったことは記憶(履歴)として残しておき、第3C受付期間が発生した以降に、該第3C受付期間内において、上記記憶(履歴)として残しておいた検出情報に基づいて「遊技者による動作を有効動作とする受付有効判定」がなされることとなる。そして、こうして得られた「受付有効判定」に基づいて第3C受付後演出が実行されるようになる。
このような構成によれば、第3C受付期間の発生よりも少し前に動作(操作)されるようなことがあったとしても、第3C受付期間内でこれを受付けることができるようになり、ひいてはこれを契機とした受付後演出(第3C受付後演出)を実行させることができるようになる。これにより、上述の演出性(第1期間)が実現されているなかでも、動作受付けに関しての難易度を低下させることができるようになる。
ただし、第3C受付期間の発生よりも大幅に前(所定時間以上前)に動作(操作)された場合にはこれを契機として第3C受付後演出が実行されることがないようにすることが望ましい。このような構成については、例えば、検出情報として記憶しておく時間値の設定を通じて実現可能である。
なお、第3C受付期間の発生よりも少し前に動作(操作)されたときの当該構成については、第1C受付期間や第2C受付期間においても同様に適用するようにしてもよいし、適用しないようにしてもよい。
またこの際、第3C受付期間の発生よりも前に行われた動作(操作)については、その動作(操作)を、第3C受付期間が発生した以降の上記「第2期間(第2状態)」ではなく、上記「第1期間(第1状態)」において有効判定として受付(受付有効判定)可能とすることが望ましい。このような構成によれば、遊技者による動作(操作)が行われてから少し時間が経過したタイミングで受付有効判定されることとなり、ひいては受付後演出が実行開始されるようになる。これにより、受付期間が発生したにもかかわらず動作(操作)がなかったときの、いわゆる「自動受付機能」ではなく、遊技者による動作が適正に受付けされた状態にあることを示唆することができるようになり、遊技興趣の向上を図ることができるようになる。
また、この実施の形態にかかるパチンコ機1では、まず、遊技者による動作(操作)の受付け(受付有効判定)が許容される受付期間として、第2C受付期間及び第3C受付期間を含む複数の受付期間を用意している。そして、第3C受付期間内において「遊技者による動作を有効動作とする受付有効判定」がなされた場合、該受付有効判定に基づく上記受付後演出(第1C受付期間に対応する第1C受付後演出)が実行開始される時点において、動作対象表示(ここでは、遊技者による動作(操作)の対象を模しており且つ期待度が異なる複数態様を有する摸画像表示(図232(a)~(d)を参照))は非表示とされず表示された状態にある場合があり(図318を参照)、第2C受付期間内において「遊技者による動作(操作)を有効動作とする受付有効判定」がなされた場合、該受付有効判定に基づく上記受付後演出(第2C受付期間に対応する第2C受付後演出)が実行開始される時点において、動作対象表示(ここでは、遊技者による動作(操作)の対象を模しており且つ期待度が異なる複数態様を有する摸画像表示(図232(a)~(d)を参照))は非表示とされず表示された状態にある場合がない(いずれのタイミングで受付けがなされたとしても受付後演出が実行開始される時点において摸画像表示は非表示の状態にある)ようにしている(図315を参照)。
このような構成によれば、「受付有効判定」に基づく受付後演出が実行開始された以降、動作対象表示(ここでは、遊技者による動作の対象を模しており且つ期待度が異なる複数態様を有する摸画像表示(図232(a)~(d)を参照))が視認可能とされている場合と、動作対象表示(ここでは、遊技者による動作の対象を模しており且つ期待度が異なる複数態様を有する摸画像表示(図232(a)~(d)を参照))が視認可能とされない場合とがあるようになることから、受付後演出が実行開始された以降における緊張感を好適に維持することが期待されるようになる。
しかも、この実施の形態にかかる第3C受付期間では、「遊技者による動作を有効動作とする受付有効判定」がいずれのタイミング(図310、図311を参照)でなされたかに応じて、該受付有効判定に基づく受付後演出(第3C受付期間に対応する第3C受付後演出)が実行開始される時点において、動作対象表示((図232(a)~(d)を参照))が非表示とされず表示された状態にある場合(図318を参照)と、動作対象表示((図232(a)~(d)を参照))が非表示とされている状態にある場合(図317を参照)とがあるようにした。
すなわち、遊技者側からすれば、摸画像表示が複数態様(図232(a)~(d)を参照)のうち「期待度の高い第2態様(図316(d)を参照)」で表示されたときには、「受付有効判定」に基づく受付後演出(第1C受付期間に対応する第1C受付後演出)が実行開始された以降もこれを表示し続けるようにすることが遊技興趣の向上を図る上で確かに好ましいと言える。ただし、摸画像表示が複数態様のうち「期待度の低い第1態様(図316(b)を参照)」で表示されたときには、「受付有効判定」に基づく受付後演出(第3C受付期間に対応する第3C受付後演出)が実行開始された以降もこれが表示され続けるようなことがあると遊技興趣の低下が避けられない。
例えば、受付後演出(第3C受付期間に対応する第3C受付後演出)は、その有効期間(第3C受付期間)内において摸画像表示が「期待度の低い第1態様(図316(b)を参照)」と「期待度の低い第2態様(図316(d)を参照)」とのいずれで表示されていたとしても、期待度の高い態様で実行される可能性(さらには、期待度の低い態様で実行される可能性)があるようになっている。そして、期待度の高い態様で受付後演出(第3C受付期間に対応する第3C受付後演出)が実行されたときには、これだけで遊技興趣の向上を図ることが十分可能であるにもかかわらず、この際、「期待度の低い第1態様(図316(b)を参照)」で摸画像表示が表示され続けるようなことがあれば、遊技興趣を逆に低下させることが明らかであるから、摸画像表示を非表示にすることが望ましいと言える。その一方で、期待度の低い態様で受付後演出(第3C受付期間に対応する第3C受付後演出)が実行された場合であっても、この際、「期待度の高い第2態様(図316(d)を参照)」で摸画像表示が表示され続けるようなことがあれば、期待度の低い態様で受付後演出が実行されたことによる遊技興趣の低下を好適に抑制する事が可能であるから、摸画像表示を非表示にせずにこれを継続させるようにすることが望ましいと言える。
若しくは、「期待度の低い第1態様(図316(b)を参照)」で摸画像表示が表示された場合であっても、遊技者のなかには、受付後演出が「期待度の低い態様」で実行されてしまったときの「言い訳」として、該受付後演出が実行開始される時点において、摸画像表示が非表示にされておらずその表示状態が継続されている状態にしておきたいと思う者がいると思われるし、「期待度の高い第2態様(図316(d)を参照)」で摸画像表示が表示された場合であっても、遊技者のなかには、受付後演出が「期待度の低い態様」で実行されてしまったときの「イライラ」を抑えるために、該受付後演出が実行開始される時点において、摸画像表示が非表示にされており視認できないようにしておきたいと思う者がいると思われる。
この点、上記構成によれば、第3C受付期間が発生した場合、遊技者は、該第3C受付期間内において「受付有効判定」がなされるタイミング(図310、図311を参照)を通じて、摸画像表示が表示されている状態で受付後演出を実行開始させるか(図318を参照)、摸画像表示が非表示にされており視認できない状態で受付後演出を実行開始させるか(図317を参照)を実質的に選択することができるようになることから、遊技興趣を好適に維持することが期待されるようになる。
また、この実施の形態にかかる第2C受付期間では、動作対象表示は、第3C受付期間において表示されうる態様(図316(b)に示される一体化摸画像表示IGa、及び図316(d)に示される一体化摸画像表示IGc)のいずれによっても表示されることがなく(図315に示した例では、一体化摸画像表示IGb)、且ついずれのタイミングで「受付有効判定」がなされたとしても、該受付有効判定に基づく受付後演出(第2C受付後演出)が実行開始される時点において当該動作対象表示は表示されておらず必ず非表示にされた状態にあるようにしている。すなわちこの場合、遊技者に対して操作機会が付与される受付期間が発生したときから、第2C受付期間と第3C受付期間とのいずれが発生しているかを示唆することができるようになることから、遊技興趣の向上を図ることができるようになる。
なお、第3C受付期間については、遊技者による動作(操作)が行われなくても、該動作(操作)が行われたときと同じ受付後演出(第3C受付後演出)が実行されるようにしてもよい(上述した自動受付機能が有効化される対象としてもよい)。ただしこの場合、第3C受付期間において自動受付機能が有効化されたことに基づいて第3C受付後演出が実行されるときには、該第3C受付後演出が実行される時点において動作対象表示(摸画像表示)が必ず表示された状態にあるようにすることが望ましい。すなわちこの場合、遊技者が気付かないうちに自動受付機能によって第3C受付後演出が実行開始された場合であっても、第3C受付期間内において動作対象表示(摸画像表示)がいずれの態様で表示されていたのかを容易に認識することができるようになる。
また、「第3C受付期間」を上述の自動受付機能の対象とする場合、該自動受付機能が有効化されるタイミングとして、演出モードなどに応じて異なる複数タイミングを用意するようにしてもよい。ただし、いずれのタイミングで自動受付機能が有効化された場合であっても、第3C受付期間において自動受付機能が有効化されたことに基づいて第3C受付後演出が実行されるときには、該第3C受付後演出が実行される時点において動作対象表示(摸画像表示)が必ず表示された状態にあるようにすることが望ましい。
ただし、第2C受付期間については、遊技者による動作(操作)が行われなかったときに、該動作(操作)が行われたときと同じ受付後演出(第2C受付後演出)が実行されることはないようにすることが望ましい(上述した自動受付機能が有効化される対象としない)。
また、この実施の形態にかかる第3C受付期間では、動作対象表示(摸画像表示)を表示継続しているなかで第3C受付後演出が実行開始される場合(図318を参照)と、動作対象表示(摸画像表示)が非表示にされているなかで第3C受付後演出が実行開始される場合(図317を参照)とのいずれであっても、当該第3C受付後演出(第3C受付後特定演出UTC3や、第3C受付後演出表示UGC3、第3C受付後演出音など)これ自体の態様は同じとするようにしている。したがって、第3C受付後演出を、遊技者としてどのように楽しみたいか、といった観点から演出態様を選択して遊技することができるようになる。
また、この実施の形態にかかる第3C受付期間では、動作対象表示(摸画像表示)を表示継続しているなかで第3C受付後演出が実行開始される場合(図318を参照)と、動作対象表示(摸画像表示)が非表示にされているなかで第3C受付後演出が実行開始される場合(図317を参照)とのいずれであっても、消滅関連表示として同じ態様(第2消滅関連表示SKC2)を表示させるようにしている。これにより、いずれの態様で演出が進展される場合であっても、当該第3C受付期間において受付けが適正になされた状態にあることを好適に示唆することができるようになる。
上記演出例では、第2C受付期間及び第3C受付期間とは別に、第1C受付期間がさらに用意されており、該第1C受付期間では、遊技者による動作を有効動作とする受付有効判定がいずれのタイミングでなされた場合であっても、該受付有効判定に基づく受付後演出が実行開始される時点において動作対象表示は非表示とされず必ず表示継続された状態にあるようにしている。すなわちこの場合、第3C受付期間は、第1C受付期間による演出性と、第2C受付期間による演出性との両方を併せ持ったものになることから、遊技興趣の向上を図ることができるようになる。
また、この実施の形態にかかる第1C受付期間では、動作対象表示は、第3C受付期間において表示されうる態様(図316(b)に示される一体化摸画像表示IGa、及び図316(d)に示される一体化摸画像表示IGc)のいずれとも異なる態様(図313(c)に示した例では、一体化摸画像表示IGd)で表示されうるものとなっている。すなわちこの場合、遊技者に対して操作機会が付与される受付期間が発生したときから、第1C受付期間と第3C受付期間とのいずれが発生しているかを示唆することができるようになることから、遊技興趣の向上を図ることができるようになる。
またその一方で、この実施の形態にかかる第1C受付期間では、動作対象表示は、第3C受付期間において表示されうる態様(図316(b)に示される一体化摸画像表示IGa)によっても表示されうるものとなっている。すなわちこの場合、一体化摸画像表示IGaが表示されたときには、第1C受付期間と第3C受付期間とのいずれが発生しているのかを認識し難くすることができるようになることから、当該受付期間内における緊張感が好適に維持されるようになる。
なお、第3C受付期間では、動作対象表示として、図316(d)に示される一体化摸画像表示IGcが表示されることがなく、図316(b)に示される一体化摸画像表示IGa(一の態様)が必ず表示されるようにしてもよい。
また、第3C受付期間が発生するのに先立って、遊技者に対して操作機会が付与されることを示唆する特定の前兆演出表示を表示するようにしてもよい。ただしこの場合、第3C受付後演出が実行開始される時点において動作対象表示(摸画像表示)が非表示とされず表示継続された状態にある場合は、該第3C受付後演出が実行開始される時点において特定の前兆演出表示が表示されている場合と、特定の前兆演出表示が表示されていない場合とがあるようにすることが望ましい。これに対し、第3C受付後演出が実行開始される時点において動作対象表示(摸画像表示)が非表示の状態にある場合は、該第3C受付後演出が実行開始される時点において特定の前兆演出表示が必ず表示されているようにすることが望ましい。
また、この実施の形態にかかるパチンコ機1では、まず、遊技者による動作(操作)の受付け(受付有効判定)が許容される受付期間として、第2C受付期間及び第3C受付期間を含む複数の受付期間を用意している。そして、第3C受付期間内において「遊技者による動作を有効動作とする受付有効判定」がなされた場合、該受付有効判定に基づく上記受付後演出(第1C受付期間に対応する第1C受付後演出)が実行開始される時点において、残り時間表示(例えば、枠画像内に表示されるゲージ画像の表示面積を時間経過に応じて減少させる描写であり、枠画像及びゲージ画像の少なくとも一方の態様として、期待度が異なる複数態様が用意されているもの)は非表示とされず表示された状態にある場合があり(図318を参照)、第2C受付期間内において「遊技者による動作(操作)を有効動作とする受付有効判定」がなされた場合、該受付有効判定に基づく上記受付後演出(第2C受付期間に対応する第2C受付後演出)が実行開始される時点において、残り時間表示(例えば、枠画像内に表示されるゲージ画像の表示面積を時間経過に応じて減少させる描写であり、枠画像及びゲージ画像の少なくとも一方の態様として、期待度が異なる複数態様が用意されているもの)は非表示とされず表示された状態にある場合がない(いずれのタイミングで受付けがなされたとしても受付後演出が実行開始される時点において枠画像及びゲージ画像は非表示の状態にある)ようにしている(図315を参照)。なお、上記実施例にかかる残り時間表示は、一体化摸画像表示IGとして表示されており、その態様として、図232(a)~(d)に示される複数態様(ゲージ画像が表示される領域を形づくる枠画像として複数態様)が用意されている。
このような構成によれば、「受付有効判定」に基づく受付後演出が実行開始された以降、残り時間表示(例えば、枠画像内に表示されるゲージ画像の表示面積を時間経過に応じて減少させる描写であり、枠画像及びゲージ画像の少なくとも一方の態様として、期待度が異なる複数態様が用意されているもの(図232(a)~(d)を参照))が視認可能とされている場合と、該残り時間表示が視認可能とされない場合とがあるようになることから、受付後演出が実行開始された以降における緊張感を好適に維持することが期待されるようになる。
しかも、この実施の形態にかかる第3C受付期間では、「遊技者による動作を有効動作とする受付有効判定」がいずれのタイミング(図310、図311を参照)でなされたかに応じて、該受付有効判定に基づく受付後演出(第3C受付期間に対応する第3C受付後演出)が実行開始される時点において、残り時間表示((図232(a)~(d)を参照))が非表示とされず表示された状態にある場合(図318を参照)と、残り時間表示((図232(a)~(d)を参照))が非表示とされている状態にある場合(図317を参照)とがあるようにした。
すなわち、遊技者側からすれば、残り時間表示が複数態様(図232(a)~(d)を参照)のうち「期待度の高い第2態様(図316(d)を参照)」で表示されたときには、「受付有効判定」に基づく受付後演出(第3C受付期間に対応する第3C受付後演出)が実行開始された以降もこれを表示し続けるようにすることが遊技興趣の向上を図る上で確かに好ましいと言える。ただし、残り時間表示が複数態様のうち「期待度の低い第1態様(図316(b)を参照)」で表示されたときには、「受付有効判定」に基づく受付後演出(第3C受付期間に対応する第3C受付後演出)が実行開始された以降もこれが表示され続けるようなことがあると遊技興趣の低下が避けられない。
例えば、受付後演出(第3C受付期間に対応する第3C受付後演出)は、その有効期間(第3C受付期間)内において残り時間表示(ゲージ画像、枠画像)が「期待度の低い第1態様(図316(b)を参照)」と「期待度の低い第2態様(図316(d)を参照)」とのいずれで表示されていたとしても、期待度の高い態様で実行される可能性(さらには、期待度の低い態様で実行される可能性)があるようになっている。そして、期待度の高い態様で受付後演出(第3C受付期間に対応する第3C受付後演出)が実行されたときには、これだけで遊技興趣の向上を図ることが十分可能であるにもかかわらず、この際、「期待度の低い第1態様(図316(b)を参照)」で残り時間表示(ゲージ画像、枠画像)が表示され続けるようなことがあれば、遊技興趣を逆に低下させることが明らかであるから、残り時間表示(ゲージ画像、枠画像)を非表示にすることが望ましいと言える。その一方で、期待度の低い態様で受付後演出(第3C受付期間に対応する第3C受付後演出)が実行された場合であっても、この際、「期待度の高い第2態様(図316(d)を参照)」で残り時間表示(ゲージ画像、枠画像)が表示され続けるようなことがあれば、期待度の低い態様で受付後演出が実行されたことによる遊技興趣の低下を好適に抑制する事が可能であるから、残り時間表示(ゲージ画像、枠画像)を非表示にせずにこれを継続させるようにすることが望ましいと言える。
若しくは、「期待度の低い第1態様(図316(b)を参照)」で残り時間表示(ゲージ画像、枠画像)が表示された場合であっても、遊技者のなかには、受付後演出が「期待度の低い態様」で実行されてしまったときの「言い訳」として、該受付後演出が実行開始される時点において、残り時間表示(ゲージ画像、枠画像)が非表示にされておらずその表示状態が継続されている状態にしておきたいと思う者がいると思われるし、「期待度の高い第2態様(図316(d)を参照)」で残り時間表示(ゲージ画像、枠画像)が表示された場合であっても、遊技者のなかには、受付後演出が「期待度の低い態様」で実行されてしまったときの「イライラ」を抑えるために、該受付後演出が実行開始される時点において、残り時間表示(ゲージ画像、枠画像)が非表示にされており視認できないようにしておきたいと思う者がいると思われる。
この点、上記構成によれば、第3C受付期間が発生した場合、遊技者は、該第3C受付期間内において「受付有効判定」がなされるタイミング(図310、図311を参照)を通じて、残り時間表示(ゲージ画像、枠画像)が表示されている状態で受付後演出を実行開始させるか(図318を参照)、残り時間表示(ゲージ画像、枠画像)が非表示にされており視認できない状態で受付後演出を実行開始させるか(図317を参照)を実質的に選択することができるようになることから、遊技興趣を好適に維持することが期待されるようになる。
また、この実施の形態にかかる第2C受付期間では、残り時間表示(ゲージ画像、枠画像)は、第3C受付期間において表示されうる態様(図316(b)に示される一体化摸画像表示IGa、及び図316(d)に示される一体化摸画像表示IGc)のいずれによっても表示されることがなく(図315に示した例では、一体化摸画像表示IGb)、且ついずれのタイミングで「受付有効判定」がなされたとしても、該受付有効判定に基づく受付後演出(第2C受付後演出)が実行開始される時点において当該残り時間表示(ゲージ画像、枠画像)は表示されておらず必ず非表示にされた状態にあるようにしている。すなわちこの場合、遊技者に対して操作機会が付与される受付期間が発生したときから、第2C受付期間と第3C受付期間とのいずれが発生しているかを示唆することができるようになることから、遊技興趣の向上を図ることができるようになる。
なお、第3C受付期間については、遊技者による動作(操作)が行われなくても、該動作(操作)が行われたときと同じ受付後演出(第3C受付後演出)が実行されるようにしてもよい(上述した自動受付機能が有効化される対象としてもよい)。ただしこの場合、第3C受付期間において自動受付機能が有効化されたことに基づいて第3C受付後演出が実行されるときには、該第3C受付後演出が実行される時点において残り時間表示(ゲージ画像、枠画像)が必ず表示された状態にあるようにすることが望ましい。すなわちこの場合、遊技者が気付かないうちに自動受付機能によって第3C受付後演出が実行開始された場合であっても、第3C受付期間内において残り時間表示(ゲージ画像、枠画像)がいずれの態様で表示されていたのかを容易に認識することができるようになる。
また、「第3C受付期間」を上述の自動受付機能の対象とする場合、該自動受付機能が有効化されるタイミングとして、演出モードなどに応じて異なる複数タイミングを用意するようにしてもよい。ただし、いずれのタイミングで自動受付機能が有効化された場合であっても、第3C受付期間において自動受付機能が有効化されたことに基づいて第3C受付後演出が実行されるときには、該第3C受付後演出が実行される時点において残り時間表示(ゲージ画像、枠画像)が必ず表示された状態にあるようにすることが望ましい。
ただし、第2C受付期間については、遊技者による動作(操作)が行われなかったときに、該動作(操作)が行われたときと同じ受付後演出(第2C受付後演出)が実行されることはないようにすることが望ましい(上述した自動受付機能が有効化される対象としない)。
また、この実施の形態にかかる第3C受付期間では、残り時間表示(ゲージ画像、枠画像)を表示継続しているなかで第3C受付後演出が実行開始される場合(図318を参照)と、残り時間表示(ゲージ画像、枠画像)が非表示にされているなかで第3C受付後演出が実行開始される場合(図317を参照)とのいずれであっても、当該第3C受付後演出(第3C受付後特定演出UTC3や、第3C受付後演出表示UGC3、第3C受付後演出音など)これ自体の態様は同じとするようにしている。したがって、第3C受付後演出を、遊技者としてどのように楽しみたいか、といった観点から演出態様を選択して遊技することができるようになる。
また、この実施の形態にかかる第3C受付期間では、残り時間表示(ゲージ画像、枠画像)を表示継続しているなかで第3C受付後演出が実行開始される場合(図318を参照)と、残り時間表示(ゲージ画像、枠画像)が非表示にされているなかで第3C受付後演出が実行開始される場合(図317を参照)とのいずれであっても、消滅関連表示として同じ態様(第2消滅関連表示SKC2)を表示させるようにしている。これにより、いずれの態様で演出が進展される場合であっても、当該第3C受付期間において受付けが適正になされた状態にあることを好適に示唆することができるようになる。
上記演出例では、第2C受付期間及び第3C受付期間とは別に、第1C受付期間がさらに用意されており、該第1C受付期間では、遊技者による動作を有効動作とする受付有効判定がいずれのタイミングでなされた場合であっても、該受付有効判定に基づく受付後演出が実行開始される時点において残り時間表示(ゲージ画像、枠画像)は非表示とされず必ず表示継続された状態にあるようにしている。すなわちこの場合、第3C受付期間は、第1C受付期間による演出性と、第2C受付期間による演出性との両方を併せ持ったものになることから、遊技興趣の向上を図ることができるようになる。
また、この実施の形態にかかる第1C受付期間では、残り時間表示(ゲージ画像、枠画像)は、第3C受付期間において表示されうる態様(図316(b)に示される一体化摸画像表示IGa、及び図316(d)に示される一体化摸画像表示IGc)のいずれとも異なる態様(図313(c)に示した例では、一体化摸画像表示IGd)で表示されうるものとなっている。すなわちこの場合、遊技者に対して操作機会が付与される受付期間が発生したときから、第1C受付期間と第3C受付期間とのいずれが発生しているかを示唆することができるようになることから、遊技興趣の向上を図ることができるようになる。
またその一方で、この実施の形態にかかる第1C受付期間では、残り時間表示(ゲージ画像、枠画像)は、第3C受付期間において表示されうる態様(図316(b)に示される一体化摸画像表示IGa)によっても表示されうるものとなっている。すなわちこの場合、一体化摸画像表示IGaが表示されたときには、第1C受付期間と第3C受付期間とのいずれが発生しているのかを認識し難くすることができるようになることから、当該受付期間内における緊張感が好適に維持されるようになる。
なお、第3C受付期間では、残り時間表示(ゲージ画像、枠画像)として、図316(d)に示される一体化摸画像表示IGcが表示されることがなく、図316(b)に示される一体化摸画像表示IGa(一の態様)が必ず表示されるようにしてもよい。
また、第3C受付期間が発生するのに先立って、遊技者に対して操作機会が付与されることを示唆する特定の前兆演出表示を表示するようにしてもよい。ただしこの場合、第3C受付後演出が実行開始される時点において残り時間表示(ゲージ画像、枠画像)が非表示とされず表示継続された状態にある場合は、該第3C受付後演出が実行開始される時点において特定の前兆演出表示が表示されている場合と、特定の前兆演出表示が表示されていない場合とがあるようにすることが望ましい。これに対し、第3C受付後演出が実行開始される時点において残り時間表示(ゲージ画像、枠画像)が非表示の状態にある場合は、該第3C受付後演出が実行開始される時点において特定の前兆演出表示が必ず表示されているようにすることが望ましい。
また、この実施の形態にかかるパチンコ機1では、まず、受付期間として、第1C受付期間及び第3C受付期間を含む複数の受付期間を用意している。そして、第3C受付期間内において「遊技者による動作(操作)を有効動作とする受付有効判定」がなされると、該受付有効判定がなされたことに基づいて、期待度が異なる複数態様(図317(d1)~(h1)に示される低期待態様、図317(d2)~(h2)に示される高期待態様)のいずれかで第3C受付後演出を実行可能であり、第1C受付期間内において「遊技者による動作(操作)を有効動作とする受付有効判定」がなされると、該受付有効判定がなされたことに基づいて、期待度が異なる複数態様(図314(d1)~(h1)に示される低期待態様、図314(d2)~(h2)に示される高期待態様)のいずれかで第1C受付後演出を実行可能としている。
この点、パチンコ機1では、第3C受付期間内において「受付有効判定」がなされた場合、該「受付有効判定」に基づく受付後演出(第3C受付期間に対応する第3C受付後演出)が実行開始される時点において、動作対象表示(ここでは、遊技者による動作の対象を模しており且つ期待度が異なる複数態様を有する摸画像表示)は表示されておらず非表示の状態にある場合がある。これに対し、第1C受付期間内において「受付有効判定」がなされた場合、該「受付有効判定」に基づく受付後演出(第1C受付期間に対応する受付後演出)が実行開始される時点において、動作対象表示(ここでは、遊技者による動作の対象を模しており且つ期待度が異なる複数態様を有する摸画像表示)は表示されておらず非表示の状態にある場合がないようにしている。なお、上記実施例にかかる摸画像表示は、一体化摸画像表示IGとして表示されており、その態様として、図232(a)~(d)に示される複数態様が用意されている。
このような構成によれば、「受付有効判定」に基づく受付後演出が実行開始された以降、動作対象表示(摸画像表示)が視認可能とされている場合と、動作対象表示(摸画像表示)が視認可能とされない場合とがあるようになることから、受付後演出が実行開始された以降における緊張感を好適に維持することが期待されるようになる。
しかも、この実施の形態にかかる第3C受付期間では、第3C受付期間内のタイミングYが到来するまでの間に「遊技者による動作を有効動作とする受付有効判定がなされた」場合は(図310を参照)、該受付有効判定に基づく受付後演出(第3C受付期間に対応する第3C受付後演出)が実行開始される時点において動作対象表示(摸画像表示)が非表示の状態にされており表示されていないが、第3C受付期間内のタイミングYが到来した以降に「遊技者による動作を有効動作とする受付有効判定がなされた」場合には(図311を参照)、動作対象表示(摸画像表示)が表示された状態にあるなかで第3C受付後演出が実行開始されるようにした。
すなわち、遊技者側からすれば、摸画像表示が複数態様のうち「期待度の高い第2態様(図316(d)を参照)」で表示されたときには、「受付有効判定」に基づく受付後演出(第3C受付期間に対応する第3C受付後演出)が実行開始された以降もこれを表示し続けるようにすることが遊技興趣の向上を図る上で確かに好ましいと言える。ただし、摸画像表示が複数態様のうち「期待度の低い第1態様(図316(b)を参照)」で表示されたときには、「受付有効判定」に基づく受付後演出(第3C受付期間に対応する第3C受付後演出)が実行開始された以降もこれが表示され続けるようなことがあると遊技興趣の低下が避けられない。
例えば、受付後演出(第3C受付期間に対応する第3C受付後演出)は、その有効期間(第3C受付期間)内において摸画像表示が「期待度の低い第1態様(図316(b)を参照)」と「期待度の低い第2態様(図316(d)を参照)」とのいずれで表示されていたとしても、期待度の高い態様で実行される可能性(さらには、期待度の低い態様で実行される可能性)があるようになっている。そして、期待度の高い態様で受付後演出(第3C受付期間に対応する第3C受付後演出)が実行されたときには、これだけで遊技興趣の向上を図ることが十分可能であるにもかかわらず、この際、「期待度の低い第1態様(図316(b)を参照)」で摸画像表示が表示され続けるようなことがあれば、遊技興趣を逆に低下させることが明らかであるから、摸画像表示を非表示にすることが望ましいと言える。その一方で、期待度の低い態様で受付後演出(第3C受付期間に対応する第3C受付後演出)が実行された場合であっても、この際、「期待度の高い第2態様(図316(d)を参照)」で摸画像表示が表示され続けるようなことがあれば、期待度の低い態様で受付後演出が実行されたことによる遊技興趣の低下を好適に抑制する事が可能であるから、摸画像表示を非表示にせずにこれを継続させるようにすることが望ましいと言える。
若しくは、「期待度の低い第1態様(図316(b)を参照)」で摸画像表示が表示された場合であっても、遊技者のなかには、受付後演出が「期待度の低い態様」で実行されてしまったときの「言い訳」として、該受付後演出が実行開始される時点において、摸画像表示が非表示にされておらずその表示状態が継続されている状態にしておきたいと思う者がいると思われるし、「期待度の高い第2態様(図316(d)を参照)」で摸画像表示が表示された場合であっても、遊技者のなかには、受付後演出が「期待度の低い態様」で実行されてしまったときの「イライラ」を抑えるために、該受付後演出が実行開始される時点において、摸画像表示が非表示にされており視認できないようにしておきたいと思う者がいると思われる。
この点、上記構成によれば、1つの受付期間(第3C受付期間)が発生した場合、遊技者は、第3C受付期間内のタイミングYが到来するまでの間に「遊技者による動作を有効動作とする受付有効判定」がなされるようにすれば、摸画像表示が非表示にされており視認できない状態で受付後演出を実行開始させることが可能であるし、第3C受付期間内のタイミングYが到来するまでの間に「遊技者による動作を有効動作とする受付有効判定」がなされないようにしたときには、その時点で、摸画像表示が表示されていないなかで受付後演出が実行開始される可能性を排除することができるようになることから、こうした演出性を求める者であれば、それ以降は安心して操作演出を楽しむことができるようになる。
このような構成によれば、第3C受付期間は、「摸画像表示が表示されたままで受付後演出を開始させるか否かについての選択権」を遊技者に対して付与することとなり、第1C受付期間は、「摸画像表示が表示されたままで受付後演出を開始させるか否かについての選択権」を遊技者に対して付与せず、摸画像表示が必ず表示されたままで受付後演出を開始させるものとして機能することとなる。
この点、こうした選択権を付与する第3C受付期間では、当該第3C受付期間内で遊技者による動作(操作)が受付けされなかった場合(受付有効判定がなかった場合)、受付有効判定があったときと同じ受付後演出が実行されない(自動演出機能が有効化されない)ようにし、こうした選択権を付与しない第1C受付期間では、当該第1C受付期間内で遊技者による動作(操作)が受付けされなかった場合(受付有効判定がなかった場合)、受付有効判定があったときと同じ受付後演出が実行される(自動演出機能が有効化される)ようにすることが望ましい。このような構成によれば、第3C受付期間が発生した場合、上述の選択権を付与する代償として、操作し忘れが発生したときの救済が行われないようになる。これにより、第3C受付期間が発生したときには「いずれを選択するか」といった判断を限られた時間内で行わなければ受付後演出これ自体が行われなくなることとなり、緊張感を好適に付与することができるようになる。これに対し、第1C受付期間が発生したときには、上述の選択権が付与されることはないものの、当該第1C受付期間内での受付けに仮に間に合わなかったとしても受付後演出は適正に実行されるようになっていることから、遊技興趣を好適に維持することが期待されるようになる。なおこの場合、第1C受付期間において操作し忘れが発生したときの受付後演出も、摸画像表示が表示継続されているなかで実行開始させるようにすれば、操作し忘れが発生したときも含めて、上述の選択権を付与しないようにすることが可能である。
また、この実施の形態にかかるパチンコ機1では、まず、受付期間として、第1C受付期間及び第3C受付期間を含む複数の受付期間を用意している。そして、第3C受付期間内において「遊技者による動作(操作)を有効動作とする受付有効判定」がなされると、該受付有効判定がなされたことに基づいて、期待度が異なる複数態様(図317(d1)~(h1)に示される低期待態様、図317(d2)~(h2)に示される高期待態様)のいずれかで第3C受付後演出を実行可能であり、第1C受付期間内において「遊技者による動作(操作)を有効動作とする受付有効判定」がなされると、該受付有効判定がなされたことに基づいて、期待度が異なる複数態様(図314(d1)~(h1)に示される低期待態様、図314(d2)~(h2)に示される高期待態様)のいずれかで第1C受付後演出を実行可能としている。
この点、パチンコ機1では、第3C受付期間内において「受付有効判定」がなされた場合、該「受付有効判定」に基づく受付後演出(第3C受付期間に対応する第3C受付後演出)が実行開始される時点において、残り時間表示(例えば、枠画像内に表示されるゲージ画像の表示面積を時間経過に応じて減少させる描写であり、枠画像及びゲージ画像の少なくとも一方の態様として、期待度が異なる複数態様が用意されているもの)は表示されておらず非表示の状態にある場合がある。これに対し、第1C受付期間内において「受付有効判定」がなされた場合、該「受付有効判定」に基づく受付後演出(第1C受付期間に対応する受付後演出)が実行開始される時点において、残り時間表示(例えば、枠画像内に表示されるゲージ画像の表示面積を時間経過に応じて減少させる描写であり、枠画像及びゲージ画像の少なくとも一方の態様として、期待度が異なる複数態様が用意されているもの)は表示されておらず非表示の状態にある場合がないようにしている。なお、上記実施例にかかる残り時間表示は、一体化摸画像表示IGとして表示されており、その態様として、図232(a)~(d)に示される複数態様が用意されている。
このような構成によれば、「受付有効判定」に基づく受付後演出が実行開始された以降、残り時間表示(枠画像及びゲージ画像)が視認可能とされている場合と、残り時間表示(枠画像及びゲージ画像)が視認可能とされない場合とがあるようになることから、受付後演出が実行開始された以降における緊張感を好適に維持することが期待されるようになる。
しかも、この実施の形態にかかる第3C受付期間では、第3C受付期間内のタイミングYが到来するまでの間に「遊技者による動作を有効動作とする受付有効判定がなされた」場合は(図310を参照)、該受付有効判定に基づく受付後演出(第3C受付期間に対応する第3C受付後演出)が実行開始される時点において残り時間表示(枠画像及びゲージ画像が非表示の状態にされており表示されていないが、第3C受付期間内のタイミングYが到来した以降に「遊技者による動作を有効動作とする受付有効判定がなされた」場合には(図311を参照)、残り時間表示(枠画像及びゲージ画像が表示された状態にあるなかで第3C受付後演出が実行開始されるようにした。
すなわち、遊技者側からすれば、枠画像及びゲージ画像の少なくとも一方が複数態様のうち「期待度の高い第2態様(図316(d)を参照)」で表示されたときには、「受付有効判定」に基づく受付後演出(第3C受付期間に対応する第3C受付後演出)が実行開始された以降もこれを表示し続けるようにすることが遊技興趣の向上を図る上で確かに好ましいと言える。ただし、枠画像及びゲージ画像の少なくとも一方が複数態様のうち「期待度の低い第1態様(図316(b)を参照)」で表示されたときには、「受付有効判定」に基づく受付後演出(第3C受付期間に対応する第3C受付後演出)が実行開始された以降もこれが表示され続けるようなことがあると遊技興趣の低下が避けられない。
例えば、受付後演出(第3C受付期間に対応する第3C受付後演出)は、その有効期間(第3C受付期間)内において残り時間表示が「期待度の低い第1態様(図316(b)を参照)」と「期待度の低い第2態様(図316(d)を参照)」とのいずれで表示されていたとしても、期待度の高い態様で実行される可能性(さらには、期待度の低い態様で実行される可能性)があるようになっている。そして、期待度の高い態様で受付後演出(第3C受付期間に対応する第3C受付後演出)が実行されたときには、これだけで遊技興趣の向上を図ることが十分可能であるにもかかわらず、この際、「期待度の低い第1態様(図316(b)を参照)」で残り時間表示が表示され続けるようなことがあれば、遊技興趣を逆に低下させることが明らかであるから、残り時間表示を非表示にすることが望ましいと言える。その一方で、期待度の低い態様で受付後演出(第3C受付期間に対応する第3C受付後演出)が実行された場合であっても、この際、「期待度の高い第2態様(図316(d)を参照)」で残り時間表示が表示され続けるようなことがあれば、期待度の低い態様で受付後演出が実行されたことによる遊技興趣の低下を好適に抑制する事が可能であるから、残り時間表示を非表示にせずにこれを継続させるようにすることが望ましいと言える。
若しくは、「期待度の低い第1態様(図316(b)を参照)」で残り時間表示が表示された場合であっても、遊技者のなかには、受付後演出が「期待度の低い態様」で実行されてしまったときの「言い訳」として、該受付後演出が実行開始される時点において、残り時間表示が非表示にされておらずその表示状態が継続されている状態にしておきたいと思う者がいると思われるし、「期待度の高い第2態様(図316(d)を参照)」で残り時間表示が表示された場合であっても、遊技者のなかには、受付後演出が「期待度の低い態様」で実行されてしまったときの「イライラ」を抑えるために、該受付後演出が実行開始される時点において、残り時間表示が非表示にされており視認できないようにしておきたいと思う者がいると思われる。
この点、上記構成によれば、1つの受付期間(第3C受付期間)が発生した場合、遊技者は、第3C受付期間内のタイミングYが到来するまでの間に「遊技者による動作を有効動作とする受付有効判定」がなされるようにすれば、残り時間表示が非表示にされており視認できない状態で受付後演出を実行開始させることが可能であるし、第3C受付期間内のタイミングYが到来するまでの間に「遊技者による動作を有効動作とする受付有効判定」がなされないようにしたときには、その時点で、残り時間表示が表示されていないなかで受付後演出が実行開始される可能性を排除することができるようになることから、こうした演出性を求める者であれば、それ以降は安心して操作演出を楽しむことができるようになる。
このような構成によれば、第3C受付期間は、「残り時間表示が表示されたままで受付後演出を開始させるか否かについての選択権」を遊技者に対して付与することとなり、第1C受付期間は、「残り時間表示が表示されたままで受付後演出を開始させるか否かについての選択権」を遊技者に対して付与せず、残り時間表示が必ず表示されたままで受付後演出を開始させるものとして機能することとなる。
この点、こうした選択権を付与する第3C受付期間では、当該第3C受付期間内で遊技者による動作(操作)が受付けされなかった場合(受付有効判定がなかった場合)、受付有効判定があったときと同じ受付後演出が実行されない(自動演出機能が有効化されない)ようにし、こうした選択権を付与しない第1C受付期間では、当該第1C受付期間内で遊技者による動作(操作)が受付けされなかった場合(受付有効判定がなかった場合)、受付有効判定があったときと同じ受付後演出が実行される(自動演出機能が有効化される)ようにすることが望ましい。このような構成によれば、第3C受付期間が発生した場合、上述の選択権を付与する代償として、操作し忘れが発生したときの救済が行われないようになる。これにより、第3C受付期間が発生したときには「いずれを選択するか」といった判断を限られた時間内で行わなければ受付後演出これ自体が行われなくなることとなり、緊張感を好適に付与することができるようになる。これに対し、第1C受付期間が発生したときには、上述の選択権が付与されることはないものの、当該第1C受付期間内での受付けに仮に間に合わなかったとしても受付後演出は適正に実行されるようになっていることから、遊技興趣を好適に維持することが期待されるようになる。なおこの場合、第1C受付期間において操作し忘れが発生したときの受付後演出も、残り時間表示が表示継続されているなかで実行開始させるようにすれば、操作し忘れが発生したときも含めて、上述の選択権を付与しないようにすることが可能である。
また、この実施の形態にかかるパチンコ機1では、受付期間として、第1C受付期間及び第3C受付期間を含む複数の受付期間を用意している。第1C受付期間及び第3C受付期間では、一体化摸画像表示IG(摸画像表示や、残り時間表示(枠画像、ゲージ画像))を少なくとも特定領域を用いて表示可能である。そして、第1C受付期間内において「遊技者による動作を有効動作とする受付有効判定」がなされると、該受付有効判定がなされたことに基づいて、期待度が異なる複数態様のいずれかで第1C受付後演出を実行可能であり、第3C受付期間内において「遊技者による動作を有効動作とする受付有効判定」がなされると、該受付有効判定がなされたことに基づいて、期待度が異なる複数態様のいずれかで第3C受付後演出を実行可能としている。また、第1C受付後演出が実行開始される時点や、第3C受付後演出が実行開始される時点においても一体化摸画像表示IG(摸画像表示や、残り時間表示(枠画像、ゲージ画像))が非表示にされず表示された状態にある場合があるようにしている。
この点、パチンコ機1では、第1C受付期間内において「受付有効判定」がなされた場合と、第3C受付期間内において「受付有効判定」がなされた場合とのいずれにおいても、該受付有効判定がなされたことに基づいて、一体化摸画像表示IG(摸画像表示や、残り時間表示(枠画像、ゲージ画像))の表示対象領域(特定領域)の少なくとも一部を用いて消滅EF演出を実行可能としたことから、受付有効判定が適正になされた状態(遊技者による操作が受付けされたことによって受付期間が終了した状態)になったことを容易に認識することができるようになる。
また上述の通り、第3C受付期間では、遊技者による動作を有効動作とする「受付有効判定」がいずれのタイミング(第1期間、第2期間など)でなされるかによって、該第3C受付期間に対応する第3C受付後演出が実行開始される時点において一体化摸画像表示IGが非表示とされず表示された状態にある場合と、一体化摸画像表示IGが表示されていない状態(視認できない状態)にある場合とがある。これに対し、第1C受付期間では、遊技者による動作(操作)を有効動作(有効操作)とする受付有効判定がいずれのタイミングでなされるかにかかわらず一体化摸画像表示IGが必ず表示されるようになっている。このような一体化摸画像表示IGが必ず表示される第1C受付期間を、上述した第3C受付期間とは別に用意するようにすることで、消滅EF演出が実行される構成と相まって、安心感のある演出性を提供することができるようになり、遊技興趣の低下を抑制することができるようになる。
第1C受付期間では、これに対応する受付後演出(第1C受付後演出)が高期待態様(図314(d2)~(h2)で実行される場合、消滅EF演出(消滅関連表示)として第3C受付期間でも用いられる特定態様(図314(e2)~(g2))が現れるが、該高期待態様とは異なる場合、消滅EF演出(消滅関連表示)として特定態様(図314(e2)~(g2))は現れずこれとは異なる態様(図314(e1)~(g1))が現れるか、または消滅EF演出(消滅関連表示)これ自体が現れないようにすることが望ましい。このような構成によれば、第3C受付期間に対応して消滅EF演出(消滅関連表示)が実行されると高期待演出が実行されているかのようなイメージを持たせることができるようになり、遊技興趣の低下を抑制することができるようになる。
第1C受付期間では、受付許容音が、期待度の異なる複数態様で出力されるが、第3C受付期間では、受付許容音が、「一の態様」でのみ出力されるようにしてもよい。このような構成によれば、該「一の態様」をもった受付許容音が出力されると、上述した2つの演出性を有する第3C受付期間が発生している可能性を意識付けさせることができるようになることから、緊張感を好適に維持することができるようになる。該「一の態様」については、第1C受付期間の発生に際しても(判定によって)選択的に出力されうるものであってもよい。またこの場合、「一の態様」は、期待度の最も低い態様として出力されるものであることが望ましい。この場合、期待度の最も低い態様で受付許容音が出力される状況下であっても、緊張感を好適に維持することが期待されるようになる。
特定変動パターンが選択された場合、該特定変動パターン内で第1C受付期間と、第3C受付期間との両方が順次に発生しうるようにしてもよい。この場合、第3C受付期間が発生した後に、第1C受付期間が発生するようにすることが望ましい。またこの場合、第1C受付期間が発生するようにしてもよい。この場合、第3C受付期間が発生してから第1C受付期間が発生するまでの間に第2C受付期間が発生しうるようにすることが望ましい。
また、第1C受付期間の発生に際して出力される前兆演出と、第3C受付期間の発生に際して出力される前兆演出とは互いに異なる態様であることが望ましい。すなわちこの場合、前兆演出によって、第1C受付期間と第3C受付期間とのいずれが発生するかを示唆することができるようになる。
また、第3C受付期間では、消滅EF演出(消滅関連表示)として、受付けがあると特定態様(例えば、第2消滅関連表示SKC2)が現れるようにし、受付けがないと特定態様とは異なる態様(例えば、第3消滅関連表示SKC3)が現れるか、または何らの態様も現れないようにすることが望ましい。これに対し、第1C受付期間では、受付けがなかった場合であっても、消滅EF演出(消滅関連表示)として受付けがあったときと同じ態様が現れるようにすることが望ましい。すなわち、上述した「第1C受付期間」による演出性(受付後演出が実行開始される時点において摸画像表示やゲージ画像が表示されている演出性)と、上述した「第2C受付期間」による演出性(受付後演出が実行開始される時点において摸画像表示やゲージ画像が表示されていない演出性)との両方を併せ持った第3C受付期間では、その演出性を選択するのに悩むことがあることから、上述した「第1C受付期間」よりも動作し忘れ(受付けがなされないままでの受付期間終了)が生じやすいと言える。この点、上記構成によれば、第3C受付期間で動作し忘れが生じた場合、受付けがなされたときの消滅EF演出(例えば、第2消滅関連表示SKC2)が出現しないようになることから、遊技者に対し、動作し忘れが生じてしまった状況下にあることをアピールすることができるようになり、これ以降、受付期間が発生したときの緊張感を好適に維持することができるようになる。これに対し、第1C受付期間には動作し忘れが生じやすい要素がない。それにもかかわらず、動作受付けがなされなかった場合とは、遊技者側があえて「動作をしない」という遊技上の選択をした可能性があることから、このような選択を行った遊技者に対して「動作し忘れが生じてしまった状況下にあることのアピール」を行ってしまうと、遊技興趣が逆に低下しかねない。したがって、第1C受付期間では、受付けがなかった場合であっても、消滅EF演出(消滅関連表示)として受付けがあったときと同じ態様が現れるようにすることが望ましい。
特に、上述の演出例にかかる第1C受付期間では、第1C受付後演出にかかる態様(期待度)に応じて消滅EF演出(消滅関連表示)の態様が異なるようになっている(図314を参照)。したがって、第1C受付期間では、受付けがなかった場合であっても、消滅EF演出(消滅関連表示)として受付けがあったときと同じ態様が現れるようにすれば、受付けがあったときに現れていた第1C受付後演出にかかる態様(期待度)を認識することができるようになり、遊技興趣の向上を図ることができるようになる。
第1C受付期間や第3C受付期間では、一体化摸画像表示IG(摸画像表示や、残り時間表示(枠画像、ゲージ画像))は、遊技者による動作が受付けされると、操作受け部に現れる動きの描写や、ゲージ画像の面積減少などが継続されるなかで、消滅EF表示が実行されるようにすることが望ましい。
なお、上述した各演出例や別例については、下記構成に変形させて実現するようにしてもよいし、以下の構成(受付期間)を、受付後演出の種別が異なる別の受付期間としてさらに備えるようにしてもよい。すなわち上述の通り、この実施の形態にかかるパチンコ機1では、遊技者による動作(操作)の受付けが許容される受付期間として、第1C受付期間、第2C受付期間、及び第3C受付期間を少なくとも備えている。そしてこのうち、第1C受付期間及び第3C受付期間では、遊技者による動作(操作)の受付け(受付有効判定)がなされたことに基づいて消滅EF演出(消滅関連表示)が実行可能とされ、第2C受付期間では、遊技者による動作(操作)の受付け(受付有効判定)がなされたとしても消滅EF演出(消滅関連表示)が実行されないことは上述した。
この点、第1C受付期間において遊技者による動作(操作)の受付け(受付有効判定)がなされた場合には、該受付け(受付有効判定)に基づいて第1C受付後演出が期待度(大当り図柄が現れる割合)の低い態様で実行される場合と、第1C受付後演出が期待度(大当り図柄が現れる割合)の高い態様で実行される場合とで同じ態様で消滅EF演出(消滅関連表示)が実行可能とされるようにしてもよい。また、このような構成を、図314に示した例に対して適用する場合、第1C受付後演出としていずれの態様(図314(d1)~(h1)に示される態様、図314(d2)~(h2)に示される態様)が出現するかにかかわらず、さらには第1C受付期間内で受付けがなされたか否かにかかわらず(図314(d3)~(g3)に示される態様)、消滅EF演出としては予め定められた一の態様が必ず出現されるようにすることが望ましい。すなわち、第1C受付期間とは、当該期間内のいずれのタイミングで受付け(受付有効判定)がなされた場合であっても(さらには、受付けがなされなかった場合であっても)、当該期間が終了した以降、一体化摸画像表示IG(摸画像表示や、残り時間表示(枠画像、ゲージ画像))の表示が継続されるものである。この場合、「一体化摸画像表示IG(摸画像表示や、残り時間表示(枠画像、ゲージ画像))がいずれの態様で表示されていたのか」といった情報が提供されている状況下にあることから、消滅EF演出によってさらに異なる情報が提供されるようなことがあると、演出が複雑になり過ぎる懸念がある。この点、このような第1C受付期間によれば、第1C受付後演出としていずれの態様(図314(d1)~(h1)に示される態様、図314(d2)~(h2)に示される態様)が出現するかにかかわらず、さらには第1C受付期間内で受付けがなされたか否かにかかわらず(図314(d3)~(g3)に示される態様)、消滅EF演出としては予め定められた一の態様が必ず出現されるようになることから、上述した懸念を解消することができるようになる。
また、第3C受付期間において遊技者による動作(操作)の受付け(受付有効判定)がなされた場合には、該受付け(受付有効判定)に基づいて第3C受付後演出が期待度(大当り図柄が現れる割合)の低い態様で実行される場合と、第3C受付後演出が期待度(大当り図柄が現れる割合)の高い態様で実行される場合とで異なる態様で消滅EF演出が実行可能とされるようにしてもよい。第3C受付期間は、上述した2つの演出性を有するものとなっており、その分だけ「難易度の高い受付期間」としての位置づけにあると言えるから、受付けがなされた以降も、一体化摸画像表示IG(摸画像表示や、残り時間表示(枠画像、ゲージ画像))としての態様と消滅EF演出としての態様との両方から互いに異なる演出情報が得られるようにすることが、遊技者に対して演出上の刺激を与える上で望ましい。
なお、このような構成を、図317や図318に示した例に対して適用した場合は、受付けがなされなかったときに現れる消滅EF演出としての態様は、受付けがなされたときに現れうる消滅EF演出としての複数態様のいずれとも異なるようにすることが望ましい。これにより、受付けがなされなかったことを認識することができるようになるし、当該受付期間が、上述した「第1C受付期間」による演出性と、上述した「第2C受付期間」による演出性との両方を併せ持ったものであったことを示唆することができるようになる。
また上述の通り、第3C受付期間に対する別例では、第3C受付期間内の「第1期間(第1状態)」にあるときに受付けがなされたときには、受付けがなされた以降に一体化摸画像表示IG(摸画像表示や、残り時間表示(枠画像、ゲージ画像))が表示されないこととなる。すなわちこの場合、受付けがなされた以降、「一体化摸画像表示IG(摸画像表示や、残り時間表示(枠画像、ゲージ画像))がいずれの態様で表示されていたのか」といった情報が提供されることがなくなることから、このような状況下では、消滅EF演出による情報(受付後演出に関する期待度情報)が提供されるようにすることが、遊技興趣の向上を図る上で望ましい。
また、第1C受付期間において遊技者による動作(操作)の受付け(受付有効判定)がなされなかった場合には、受付けがなされたときに現れる態様とは異なる態様で消滅EF演出が実行されるようにしてもよい。これにより、受付けがなされなかったことを認識することができるようになるし、当該態様が第3C受付期間で出現し得ないものであれば、当該受付期間が、上述した「第1C受付期間」による演出性と、上述した「第2C受付期間」による演出性との両方を併せ持ったものではなかったことを示唆することができるようになる。
また、第3C受付期間において遊技者による動作(操作)の受付け(受付有効判定)がなされなかった場合には、受付けがなされたときに現れる態様と同じ態様で消滅EF演出が実行されるようにしてもよい。
これらの変形例については、それら構成の全てを上述した演出例やその別例に対して適用しなくてもよい。例えば、適宜の組み合わせや、いずれか1つの構成(変形例)だけを上述した演出例やその別例に対して適用するようにしてもよい。
次に、上記変形例のいくつかを上述した演出例に対して適用した場合について説明する。すなわち、図319は、図314に示した「第1C受付期間で受付けがなされたとき、または受付けがなされなかったときに現れる演出」にかかる変形例であり、図320及び図321は、図317(第1期間での受付け)及び図318(第2期間での受付け)に示した「第3C受付期間で受付けがなされたとき、または受付けがなされなかったときに現れる演出」にかかる変形例である。なお、この変形例において、特に言及しない構成については、「第1C受付期間に関する演出例(図304~図306、図313、図314)」や「第3C受付期間に関する演出例(図310~図312、図316~図318)」を参照しつつ上述した通りであり、「第1C受付期間に関する演出例」や「第3C受付期間に関する演出例」に対して適用可能な上述の各別例に関しても同様に適用可能である。
図319に示される変形例では、第1C受付期間において遊技者による動作(操作)の受付け(受付有効判定)がなされた場合、該受付け(受付有効判定)に基づいて第1C受付後演出が期待度(大当り図柄が現れる割合)の低い態様で実行される場合(図319(d1)~(h1)を参照)と、第1C受付後演出が期待度(大当り図柄が現れる割合)の高い態様(図319(d2)~(h2)を参照)で実行される場合とで同じ態様で消滅EF演出(消滅関連表示)が実行されるようになっている。ここでは、消滅EF演出として、第2消滅関連表示SKC2が実行されている。
ただし、図319に示される変形例では、第1C受付期間において遊技者による動作(操作)の受付け(受付有効判定)がなされなかった場合(図319(d3)~(g3)を参照)は、消滅EF演出として、該第1C受付期間において遊技者による動作(操作)の受付け(受付有効判定)がなされたときには現れない態様が現れるようになっている。ここでは、消滅EF演出として、第3消滅関連表示SKC3が実行されている。
これに対し、図320及び図321に示される変形例では、第3C受付期間において遊技者による動作(操作)の受付け(受付有効判定)がなされた場合、該受付け(受付有効判定)に基づいて第3C受付後演出が期待度(大当り図柄が現れる割合)の低い態様で実行される場合(図320(d1)~(h1)、及び図321(d3)~(h3)を参照)と、第3C受付後演出が期待度(大当り図柄が現れる割合)の高い態様で実行される場合(図320(d2)~(h2)、及び図321(d4)~(h4)を参照)とで異なる態様で消滅EF演出が実行されるようになっている。ここでは、期待度(大当り図柄が現れる割合)の低い態様で実行される場合(図320(d1)~(h1)、及び図321(d3)~(h3)を参照)に消滅EF演出として第1消滅関連表示SKC1が実行され、期待度(大当り図柄が現れる割合)の高い態様で実行される場合(図320(d2)~(h2)、及び図321(d4)~(h4)を参照)に消滅EF演出として第2消滅関連表示SKC2が実行されている。なお上述の通り、図320(d1)~(h1)及び図320(d2)~(h2)は、当該変形例にかかる第3C受付期間内の第1期間で受付けがなされた場合に現れる演出の進展内容を示したものであり、図321(d3)~(h3)及び図321(d4)~(h4)は、当該変形例にかかる第3C受付期間内の第2期間で受付けがなされた場合に現れる演出の進展内容を示したものである。
また、図320及び図321に示される変形例では、第3C受付期間において遊技者による動作(操作)の受付け(受付有効判定)がなされなかった場合(図321(d5)~(g5)を参照)は、消滅EF演出として、該第3C受付期間において遊技者による動作(操作)の受付け(受付有効判定)が仮になされていたとするときに現れていた態様が現れるようになっている。すなわち、図321(d5)~(g5)に示される例では、消滅EF演出として第1消滅関連表示SKC1が表示されていることから、第3C受付期間において遊技者による動作(操作)の受付け(受付有効判定)がなされていたとすると、図321(d3)~(h3)に示される演出進展(第1期間での受付けであれば、図320(d1)~(h1)に示される演出進展)が発生していたことを認識することができるようになる。これに対し、第3C受付期間において遊技者による動作(操作)の受付け(受付有効判定)がなされなかった場合に、消滅EF演出として第2消滅関連表示SKC2が表示されたときには、第3C受付期間において遊技者による動作(操作)の受付け(受付有効判定)がなされていたとすると、図321(d4)~(h4)に示される演出進展(第1期間での受付けであれば、図320(d2)~(h2)に示される演出進展)が発生していたことを認識することができるようになる。
このような変形例にかかる第1C受付期間では、受付けがなされたときに現れる消滅関連表示(消滅EF演出)として、変形例にかかる上記第3C受付期間に対応する受付後演出(第3C受付後演出)が期待度の高い態様で実行されるときに表示される「第2消滅関連表示SKC2」を用いることとしている。すなわちこの場合、変形例にかかる第1C受付期間では、受付けがなされさえすれば、期待度の高い態様で受付後演出が実行されるかのようなイメージを持たせることができるようになり、遊技興趣の向上を図ることができるようになる。
なお、変形例にかかる第3C受付期間に対応する消滅関連表示(消滅EF演出)については、必ずしも「第2消滅関連表示SKC2」でなくてもよい。例えば、変形例にかかる第1C受付期間に対応する消滅関連表示(消滅EF演出)として、上記第1C受付期間に対応する受付後演出(第1C受付後演出)が期待度の低い態様で実行されるときに表示される「第1消滅関連表示SKC1」を用いるようにした場合であっても、変形例にかかる第1C受付期間で受付けがなされた状態にあるのか、それとも変形例にかかる第3C受付期間で受付けがなされた状態にあるのかを認識し難くすることができるようになる。
また、この変形例にかかるパチンコ機1では、第1C受付期間内で遊技者による動作(操作)が受付けされなかった場合、消滅関連表示(消滅EF演出)として「第3消滅関連表示SKC3」を表示させることとしている。
該「第3消滅関連表示SKC3」については、変形例にかかる第3C受付期間に関連して表示されないものであることが望ましい。すなわちこの場合、第1C受付期間内で遊技者による動作(操作)が受付けされなかった場合であっても、当該受付期間が、上述した「第1C受付期間」による演出性と、上述した「第2C受付期間」による演出性との両方を併せ持ったものでなかったことを示唆することができるようになる。
また、該「第3消滅関連表示SKC3」については、変形例にかかる第1C受付期間内で遊技者による動作(操作)が受付けされたときには表示されないものであることが望ましい。すなわちこの場合、受付けがなされることなく第1C受付期間が終了した状態にあることをより好適に示唆することができるようになる。
なお、この変形例にかかる第3C受付期間においても、「遊技者による動作を有効動作とする受付有効判定」が許容される状態(第3C受付期間)が発生するタイミングtV2よりも前に遊技者による動作(操作)があったとしても、該動作(操作)を、その時点で「受付有効判定」とすることはないものの、当該第3C受付期間が開始された時点で(または、それ以降に)、該第3C受付期間よりも前に行われた遊技者による動作(操作)を対象とした(に基づいた)「受付有効判定」とすることを可能にする、といった上記別例にかかる構成などを適用することは可能である。
上記変形例にかかる第3C受付期間では、第3C受付後演出として低期待の態様が現れる場合(図320(d1)~(h1)、または図321(d3)~(h3)を参照)、消滅EF演出として第1消滅関連表示SKC1が実行されるようにしたが、消滅EF演出これ自体が現れないようにしてもよい。
また、上記変形例にかかる第1C受付期間では、消滅EF演出として、受付けがあると特定態様が現れるようにし(図319(d1)~(h1)や、図319(d2)~(h2))、受付けがないときには該特定態様とは異なる態様が現れるようにしたが(図319(d3)~(g3))、受付けがないときには消滅EF演出これ自体が現れないようにしてもよい。
また、上記変形例にかかる第1C受付期間では、受付けがあると特定態様(消滅EF演出)として第2消滅関連表示SKC2が実行されるようにしたが、該第2消滅関連表示SKC2とは異なる態様で実行されるようにしてもよい。例えば、第1消滅関連表示SKC1で実行されるようにした場合であっても、第1C受付期間で受付けがなされた状態にあるのか、それとも第3C受付期間で受付けがなされた状態にあるのかを認識し難くすることができるようになる。
[前兆ストック演出]
図118を例示して説明した通り、この実施の形態にかかるパチンコ機1では、始動入賞(保留消化)に応じた大当り判定の結果に基づいて複数の変動パターンのいずれを実行するかについての変動パターン判定を実行可能としている。そして、該変動パターン判定が行われた結果として一の変動パターンが選択されると、周辺制御MPU1511aでは、該選択された変動パターンに対応して用意されている複数の期待演出(予告演出など)のうちいずれの期待演出(予告演出など)を選択的に出現させるかについての演出判定(予告判定など)を実行可能としている。なお、この演出判定の結果によっては、上記選択された変動パターンに対応して用意されている複数の期待演出(予告演出など)の全てが順次実行されることとなる場合もありうるし、複数の期待演出(予告演出など)のいずれもが実行されないこととなる場合もありうる。
そして上述の通り、こうした演出判定(変動パターン判定、予告判定など)が行われると、該演出判定の結果に応じた演出内容を上記演出表示装置1600に表示させる制御を行うことで、大当り判定の結果に応じた装飾図柄による変動演出がその背景描写(背景予告)や可動体動作(役物演出)などにかかる期待演出(予告演出)とともに実行されることとなる。そしてこの結果、装飾図柄による変動演出が、その背景描写や可動体動作などにかかる期待演出とともに実行された結果、大当り図柄で停止表示されると、遊技者に対して特典としての大当り遊技や高確率遊技状態への移行が実行可能とされるようになる。
このような構成では、上記装飾図柄による変動演出が「大当り判定の結果として大当りが得られているか否かを示す機能」をもった演出として供されることとなり、その背景描写や可動体動作などにかかる期待演出が「大当りが得られていることについての期待度、すなわち割合(0%や100%を含む)を示唆する機能」をもった演出として供されることとなる。すなわち、遊技者は、これらの演出を通じて遊技を楽しむこととなる。
例えば、この実施の形態にかかるパチンコ機1では、上記変動パターン判定が行われた結果としてSPリーチ(背景変更を伴うリーチ演出など)に発展する高期待変動パターン(SPリーチ変動パターン)のうち特定の変動パターンが選択された場合は、演出判定(予告判定など)としていずれの結果が得られたとしても、該特定の変動パターンに基づく図柄演出がSPリーチ中における特定タイミングまで進展すると(所定条件が成立すると)、演出受付が許容される受付許容状態(有効期間)を発生可能としている。
また上述の通り、この実施の形態にかかるパチンコ機1では、上記変動パターン判定が行われた結果としてリーチ状態すら形成されない低期待変動パターン(非リーチ変動パターン)のうち所定の変動パターンが選択された場合であっても該所定の変動パターンに対応する演出判定(予告判定など)で特別結果が得られたときには、該所定の変動パターンに基づく図柄演出が所定タイミングまで進展すると(所定条件が成立すると)、演出受付が許容される受付許容状態(有効期間)を発生可能としている。ただし、所定の変動パターンが選択された場合は、演出判定で特別結果が得られなければ該所定の変動パターンに基づく図柄演出が所定タイミングまで進展されても受付許容状態(有効期間)は発生しない。また、所定の変動パターンで発生する受付許容状態(有効期間)は、特定の変動パターンに基づく図柄演出がSPリーチ中における特定タイミングまで進展したときに発生する受付許容状態(有効期間)とは異なる演出(受付後演出)として実行されるものである。
すなわち、この実施の形態にかかるパチンコ機1では、遊技者による動作(操作)の受付けが許容される受付期間を発生可能であり、該受付期間内において遊技者による動作(操作)が受付けされると、該発生した受付期間の種別に応じた表示変化(受付後演出)を生じさせるものとなっている。より具体的には、パチンコ機1では、「遊技者による動作(操作)を検出する動作検出手段(センサなど)」と、「該動作検出手段による検出情報を記憶する検出情報記憶手段(周辺制御RAM1511cや、プログラム内の該当する処理ステップなど)」と、「受付期間を発生可能であり、検出情報記憶手段により記憶された検出情報に基づいて遊技者による動作を有効動作とする受付有効判定が当該受付期間内においてなされると、当該受付期間に対応する受付後演出を実行可能な受付関連演出実行手段(周辺制御MPU1511aや、プログラム内の該当する処理ステップなど)」とを備えるものとなっている。
また、受付期間では、「遊技者による動作の対象」がいずれであるかを示唆する動作対象表示が表示可能とされている。このような動作対象表示は、例えば、遊技者による動作の対象となる対象物(操作手段)が画像として表現された摸画像表示として表示されうるものである。特に、この演出例にかかる「動作対象表示」は、遊技者による動作の対象を模しており且つ期待度が異なる複数態様を有する「摸画像表示」として表示されるものとなっている。
また、受付期間では、遊技者による動作(操作)の受付けが許容される残り時間を示唆する残り時間表示が表示可能とされている。このような残り時間表示は、例えば、枠画像内に表示されるゲージ画像の表示面積を時間経過に応じて減少させる描写として実行されうるものである。特に、この演出例では、枠画像及びゲージ画像の少なくとも一方の態様として、複数の態様(例えば、ゲージ画像の表示面積の減少速度や、期待度の示唆や、操作手段の種別を示唆など)を用意しており、それら態様のいずれかで実行されるものとなっている。いずれの態様で実行されるかによって異なる期待度(大当り図柄が現れる割合)が示唆されるようにしてもよい。
また、受付期間が発生する場合は、これよりも前に、遊技者に対して動作機会が付与されることを示唆する(受付期間が発生することを示唆する)前兆演出が実行可能とされている。前兆演出とは、例えば、演出表示装置1600における演出表示やこれに対応する演出音の出力などによって実行されるものである。
なお、予告演出判定としていずれの結果が得られたとしてもSPリーチ中における予め定められたタイミングになると受付許容状態(有効期間)を発生させる変動パターンについては、上記「特定の変動パターン」以外にも備えるようにしてもよい。予告演出判定としていずれの結果が得られたとしても予め定められたタイミングになると受付許容状態(有効期間)を発生させる変動パターンについては、低期待変動パターン(非リーチ変動パターン)には含まれないようにするか、若しくは含まれるようにしてもよいがその選択割合(発生割合)を低くするようにすることが(必ずしもそうしなくてもよいが)望ましい。
ところで、これらの条件等で発生しうる受付許容状態(有効期間)とは、その設定時間(有効期間)内で遊技者による操作が検出されさえすれば、演出表示装置1600における表示変化などの受付後表示(操作後表示)が実行されたり、スピーカにおける演出音変化や、ランプによる発光変化や、可動装飾体による演出動作などを発生させたりするだけであるから、受付許容状態(有効期間)これ自体の演出性は乏しいものとなっており、受付期間に関連した遊技興趣の低下が懸念される。
なお、上述した各例や後述の各例も含めて、検出対象となる「遊技者による操作(動作)」とは、「操作ボタン410」や「刀装飾体5001」などのような、遊技者によって直接操作(押下動作や抜刀動作)されるものに限られず、タッチセンサでの検出対象となる「特定部位に対する遊技者による接触動作」や、非接触センサでの検出対象となる「特定空間内における遊技者による動作」なども含む意味である。要は、遊技者による動作(押下動作や、抜刀動作、タッチ動作、非接触動作など)を受付対象とする1または複数の受付手段(操作手段)を備えるものであればよい。
そこで、この実施の形態にかかるパチンコ機1では、例えば、「遊技者による操作(動作)」の受付けに関して、以下のような特殊な演出性を持たせるようにしている。なお、以下に説明する各演出性(各構成)については、それら構成の全てを必ずしも備えなくてもよく、例えば、いずれか1つの演出性(任意の構成)を備えるだけであっても遊技興趣を低下させることは可能であるし、若しくは、さらなる作用効果を得る上で必要と思われるいくつかの構成を選択的に備えるようにしてもよいし、若しくは別構成に対して適用可能(適用が望ましい)として記載されている構成を適宜に採用するようにしてもよい。さらに言えば、以下に説明する各演出性(構成)については、例示に過ぎず、受付期間に関連した遊技興趣の低下を抑制可能な何らかの1つの構成を備えるものであればよい。
[構成1-C]
例えば、この実施の形態にかかるパチンコ機1では、まず、受付期間として、特定受付期間を含む複数の受付期間を用意することとし、前兆演出では特定の演出表示が表示されうるようにした。なお、当該構成1-Cにかかる「特定受付期間」は、当該構成1-Cの技術思想を説明するために用いている呼称に過ぎない。したがって、他の構成にかかる「特定受付期間」と同じ受付期間を意味するものであってもよいし、他の構成にかかる「特定受付期間」とは異なる受付期間を意味するものであってもよい。また、当該構成1-Cにかかる「特定の演出表示」は、当該構成1-Cの技術思想を説明するために用いている呼称に過ぎない。したがって、他の構成にかかる「特定の演出表示」と同じ演出表示を意味するものであってもよいし、他の構成にかかる「特定の演出表示」とは異なる演出表示を意味するものであってもよい。
この点、パチンコ機1では、特定の演出表示が表示されているときに遊技者による動作が行われた場合であっても、該動作は上記動作検出手段(センサなど)によって検出され、その検出情報は上記検出情報記憶手段(周辺制御RAM1511cや、プログラム内の該当する処理ステップなど)によって記憶され、該記憶された検出情報に基づいて遊技者による動作を有効動作とする受付有効判定が上記特定受付期間内においてなされる場合があるようにしている。このような構成によれば、前兆演出(特定の演出表示)が実行されている間に遊技者が勢い余って動作(操作)した場合であってもこれを契機として受付後演出を開始させることが可能とされるようになり、このような柔軟な演出性を通じて遊技興趣を好適に維持することが期待されるようになる。
また後述するが、当該「構成1-C」を採用する場合は、特定受付期間が発生するよりも前であり且つ特定の演出表示が表示されている状態にあるときに遊技者による動作が行われた場合であっても、該動作は動作検出手段によって検出され、その検出情報は上記検出情報記憶手段によって記憶されるようにする。そして、特定受付期間内では、当該特定受付期間が発生するよりも前であり且つ特定の演出表示が表示されている状態にあるときに上記検出情報記憶手段によって記憶された検出情報に基づいて遊技者による動作を有効動作とする受付有効判定がなされる場合があり(ストック受付演出)、該受付有効判定がなされた場合は、該受付有効判定に基づく受付後演出が実行開始される時点において、特定の演出表示が表示されているようにしてもよい。このような構成によれば、特定受付期間が発生するよりも前の「前兆演出の実行期間内」に遊技者による動作が行われた場合であっても、該動作に対する検出は適正に行われ、その検出情報は、特定受付期間が発生するタイミングまで記憶保持される場合がありうることとなる。すなわちこの場合、特定受付期間が発生するよりも前に得られた検出情報に基づいて「遊技者による動作を有効動作とする受付有効判定」が当該特定受付期間内においてなされる場合があることとなるから、遊技者は、特定受付期間が発生するよりも前に勢い余って動作(操作)してしまった場合であっても、該特定受付期間が発生した以降に動作をやり直すことなく受付後演出を楽しむことができるようになる。またこの際、特定受付期間が未だ発生していない状態(特定の演出表示が表示されている状態)において勢い余って動作(操作)したことによって受付後演出が実行開始される時点においては、特定の演出表示が非表示にされておらず表示されている状態にあるようにしたことから、当該受付後演出が、特定の演出表示が表示されている状態で遊技者によって行われた動作(検出情報)に基づいて実行開始されたものであることを好適に認識させることができるようになる。
[構成2-C]
また、この実施の形態にかかるパチンコ機1では、まず、受付期間として、第1受付期間及び第2受付期間を含む複数の受付期間を用意することとし、第1受付期間に対応する第1前兆演出では第1の演出表示が表示され、第2受付期間に対応する第2前兆演出では第2の演出表示が表示されうるようにした。なお、当該構成2-Cにかかる「第1受付期間」及び「第2受付期間」は、当該構成2-Cの技術思想を説明するために用いている呼称に過ぎない。したがって、他の構成にかかる「第1受付期間(または、逆の第2受付期間)」及び「第2受付期間(または、逆の第1受付期間)」と同じ受付期間を意味するものであってもよいし、他の構成にかかる「第1受付期間」及び「第2受付期間」とは異なる受付期間(例えば、特定受付期間など)を意味するものであってもよい。また、当該構成2-Cにかかる「第1の演出表示」及び「第2の演出表示」は、当該構成2-Cの技術思想を説明するために用いている呼称に過ぎない。したがって、他の構成にかかる「第1の演出表示(または、逆の第2の演出表示)」及び「第2の演出表示(または、逆の第1の演出表示)」と同じ演出表示を意味するものであってもよいし、他の構成にかかる「第1の演出表示」及び「第2の演出表示」とは異なる演出表示(例えば、特定の演出表示など)を意味するものであってもよい。
この点、パチンコ機1では、第1の演出表示及び第2の演出表示のいずれが表示されているときに遊技者による動作(操作)が行われた場合であっても、該動作は上記動作検出手段によって検出され、その検出情報は上記検出情報記憶手段によって記憶され、該記憶された検出情報に基づいて遊技者による動作を有効動作とする受付有効判定が上記第1受付期間または上記第2受付期間内においてなされる場合があるようにしたことから、前兆演出(第1の演出表示または第2の演出表示)が実行されている間に遊技者が勢い余って動作した場合であってもこれを契機として受付後演出を開始させることが可能とされるようになり、このような柔軟な演出性を通じて遊技興趣を好適に維持することが期待されるようになる。
また後述するが、当該「構成2-C」を採用する場合は、下記の各構成を採用するようにしてもよい。すなわち、第1受付期間及び第2受付期間のいずれにおいても、当該受付期間が発生するよりも前であり且つ前兆演出が実行されている状態にあるときに遊技者による動作が行われた場合、該動作は上記動作検出手段によって検出され、その検出情報は上記検出情報記憶手段によって記憶されるようにする。そして、第1受付期間及び第2受付期間のいずれにおいても、当該受付期間が発生するよりも前であり且つ前兆演出が実行されている状態にあるときに上記検出情報記憶手段によって記憶された検出情報に基づいて遊技者による動作を有効動作とする受付有効判定がなされる場合があるようにする(ストック受付演出)。そして、第1受付期間内で、当該第1受付期間が発生するよりも前であり且つ前兆演出が実行されている状態にあるときに上記検出情報記憶手段によって記憶された検出情報に基づいて遊技者による動作を有効動作とする受付有効判定がなされた場合は、該受付有効判定に基づく上記受付後演出が実行開始される時点において、上記摸画像表示は少なくともその一部が必ず表示されているようにする。これに対し、第2受付期間内で、当該第2受付期間が発生するよりも前であり且つ前兆演出が実行されている状態にあるときに上記検出情報記憶手段によって記憶された検出情報に基づいて遊技者による動作を有効動作とする受付有効判定がなされた場合は、該受付有効判定に基づく受付後演出が実行開始される時点において、摸画像表示はその一部すら表示されていないようにする。これらの構成を採用した場合、第1受付期間及び第2受付期間のいずれであっても、当該受付期間が発生するよりも前に得られた検出情報に基づいて「遊技者による動作を有効動作とする受付有効判定」が当該受付期間内においてなされる場合があることとなるから、遊技者は、第1受付期間や第2受付期間が発生するよりも前に勢い余って動作(操作)してしまった場合であっても、当該受付期間が発生した以降に動作をやり直すことなく受付後演出を楽しむことができるようになる。しかも、第1受付期間が発生するよりも前に勢い余って動作(操作)してしまった場合はこれに基づく上記受付後演出が実行開始される時点において上記摸画像表示は少なくともその一部が必ず表示されているのに対し、第2受付期間が発生するよりも前に勢い余って動作(操作)してしまった場合はこれに基づく上記受付後演出が実行開始される時点において上記摸画像表示はその一部すら表示されていないようにしたことから、当該受付後演出が、第1受付期間及び第2受付期間のいずれに基づくものであるか(いずれの受付期間が発生するよりも前に遊技者が動作したのか)を好適に示唆することができるようになる。
また後述するが、当該「構成2-C」を採用する場合は、下記の各構成を採用するようにしてもよい。すなわち、第1受付期間及び第2受付期間のいずれにおいても、当該受付期間が発生するよりも前であり且つ前兆演出が実行されている状態にあるときに遊技者による動作が行われた場合、該動作は上記動作検出手段によって検出され、その検出情報は上記検出情報記憶手段によって記憶されるようにする。そして、第1受付期間及び第2受付期間のいずれにおいても、当該受付期間が発生するよりも前であり且つ前兆演出が実行されている状態にあるときに上記検出情報記憶手段によって記憶された検出情報に基づいて遊技者による動作を有効動作とする受付有効判定がなされる場合があるようにする。そして、第1受付期間内で、当該第1受付期間が発生するよりも前であり且つ前兆演出が実行されている状態にあるときに上記検出情報記憶手段によって記憶された検出情報に基づいて遊技者による動作を有効動作とする受付有効判定がなされた場合は、該受付有効判定に基づく上記受付後演出が実行開始される時点において、上記残り時間表示は少なくともその一部が必ず表示されているようにする。これに対し、第2受付期間内で、当該第2受付期間が発生するよりも前であり且つ前兆演出が実行されている状態にあるときに上記検出情報記憶手段によって記憶された検出情報に基づいて遊技者による動作を有効動作とする受付有効判定がなされた場合は、該受付有効判定に基づく受付後演出が実行開始される時点において、残り時間表示はその一部すら表示されていないようにする。これらの構成を採用した場合、第1受付期間及び第2受付期間のいずれであっても、当該受付期間が発生するよりも前に得られた検出情報に基づいて「遊技者による動作を有効動作とする受付有効判定」が当該受付期間内においてなされる場合があることとなるから、遊技者は、第1受付期間や第2受付期間が発生するよりも前に勢い余って動作(操作)してしまった場合であっても、当該受付期間が発生した以降に動作をやり直すことなく受付後演出を楽しむことができるようになる。しかも、第1受付期間が発生するよりも前に勢い余って動作(操作)してしまった場合はこれに基づく上記受付後演出が実行開始される時点において上記残り時間表示は少なくともその一部が必ず表示されているのに対し、第2受付期間が発生するよりも前に勢い余って動作(操作)してしまった場合はこれに基づく上記受付後演出が実行開始される時点において上記残り時間表示はその一部すら表示されていないようにしたことから、当該受付後演出が、第1受付期間及び第2受付期間のいずれに基づくものであるか(いずれの受付期間が発生するよりも前に遊技者が動作したのか)を好適に示唆することができるようになる。
なお、「摸画像表示や残り時間表示が表示されていない」とは、当該構成2-Cに限られず、他の構成においても、摸画像表示や残り時間表示を、表示画面上で視認できない状態であればよい。例えば、レイヤー上では表示されているが他のレイヤー上の画像が優先表示されることによって視認できなくされている状態なども含む意味である。
[構成3-C]
また、この実施の形態にかかるパチンコ機1では、まず、受付期間として、特定受付期間を含む複数の受付期間を用意することとしている。なお、当該構成3-Cにかかる「特定受付期間」は、当該構成3-Cの技術思想を説明するために用いている呼称に過ぎない。したがって、他の構成にかかる「特定受付期間」と同じ受付期間を意味するものであってもよいし、他の構成にかかる「特定受付期間」とは異なる受付期間を意味するものであってもよい。
この点、パチンコ機1にあって、特定受付期間では、当該特定受付期間内で遊技者による動作が検出されない場合であっても、上記受付有効判定がなされて当該特定受付期間に対応する受付後演出が実行される場合があるようにしたことから、このような柔軟な演出性を通じて遊技興趣を好適に維持することが期待されるようになる。
また後述するが、当該「構成3-C」を採用する場合は、下記の各構成を採用するようにしてもよい。すなわち、特定受付期間に対応する前兆演出では特定の演出表示が表示されるようにし、特定受付期間が発生するよりも前であり且つこれに特定の演出表示が表示されている状態にあるときに遊技者による動作が行われた場合であっても、該動作は上記動作検出手段によって検出され、その検出情報は上記検出情報記憶手段によって記憶されるようにする。そして、特定受付期間内では、「当該特定受付期間が発生するよりも前であり且つ特定の演出表示が表示されている状態にあるときに上記検出情報記憶手段によって記憶された検出情報」に基づいて受付有効判定がなされる場合があるようにし(ストック受付演出)、該受付有効判定がなされた場合は、該受付有効判定に基づく受付後演出が実行開始される時点において、摸画像表示は表示されていないようにする。これに対し、「特定受付期間内で上記検出情報記憶手段によって記憶された検出情報」に基づいて受付有効判定がなされた場合は、該受付有効判定に基づく受付後演出が実行開始される時点において、摸画像表示が表示されている場合があるようにする。これらの構成を採用した場合、特定受付期間が発生するよりも前に得られた検出情報に基づいて「遊技者による動作を有効動作とする受付有効判定」が当該特定受付期間内においてなされる場合があることとなるから、遊技者は、特定受付期間が発生するよりも前に勢い余って動作(操作)してしまった場合であっても、該特定受付期間が発生した以降に動作をやり直すことなく受付後演出を楽しむことができるようになる。しかも、受付後演出が実行開始される時点において摸画像表示が表示されているか否かによって、「当該特定受付期間が発生するよりも前であり且つ特定の演出表示が表示されている状態にあるときに上記検出情報記憶手段によって記憶された検出情報」に基づいて受付有効判定がなされた状態にあるか否かを示唆することができるようになる。
なお、当該構成3-Cにかかる「特定の演出表示」は、当該構成3-Cの技術思想を説明するために用いている呼称に過ぎない。したがって、他の構成にかかる「特定の演出表示」と同じ演出表示を意味するものであってもよいし、他の構成にかかる「特定の演出表示」とは異なる演出表示を意味するものであってもよい。
また後述するが、当該「構成3-C」を採用する場合は、下記の各構成を採用するようにしてもよい。すなわち、特定受付期間に対応する前兆演出では特定の演出表示が表示されるようにし、特定受付期間が発生するよりも前であり且つこれに特定の演出表示が表示されている状態にあるときに遊技者による動作が行われた場合であっても、該動作は上記動作検出手段によって検出され、その検出情報は上記検出情報記憶手段によって記憶されるようにする。そして、特定受付期間内では、「当該特定受付期間が発生するよりも前であり且つ特定の演出表示が表示されている状態にあるときに上記検出情報記憶手段によって記憶された検出情報」に基づいて受付有効判定がなされる場合があるようにし(ストック受付演出)、該受付有効判定がなされた場合は、該受付有効判定に基づく受付後演出が実行開始される時点において、残り時間表示は表示されていないようにする。これに対し、「特定受付期間内で上記検出情報記憶手段によって記憶された検出情報」に基づいて受付有効判定がなされた場合は、該受付有効判定に基づく受付後演出が実行開始される時点において、残り時間表示が表示されている場合があるようにする。これらの構成を採用した場合、特定受付期間が発生するよりも前に得られた検出情報に基づいて「遊技者による動作を有効動作とする受付有効判定」が当該特定受付期間内においてなされる場合があることとなるから、遊技者は、特定受付期間が発生するよりも前に勢い余って動作(操作)してしまった場合であっても、該特定受付期間が発生した以降に動作をやり直すことなく受付後演出を楽しむことができるようになる。しかも、受付後演出が実行開始される時点において残り時間表示が表示されているか否かによって、「当該特定受付期間が発生するよりも前であり且つ特定の演出表示が表示されている状態にあるときに上記検出情報記憶手段によって記憶された検出情報」に基づいて受付有効判定がなされた状態にあるか否かを示唆することができるようになる。
なお、「摸画像表示や残り時間表示が表示されていない」とは、当該構成3-Cに限られず、他の構成においても、摸画像表示や残り時間表示を、表示画面上で視認できない状態であればよい。例えば、レイヤー上では表示されているが他のレイヤー上の画像が優先表示されることによって視認できなくされている状態なども含む意味である。
[構成4-C]
また、この実施の形態にかかるパチンコ機1では、まず、受付期間として、第1受付期間及び第2受付期間を含む複数の受付期間を用意することとし、第1受付期間が発生した場合、当該第1受付期間内で遊技者による動作が上記動作検出手段によって検出されなくても当該第1受付期間に対応する第1受付後演出を実行可能であり、第2受付期間が発生した場合、当該第2受付期間内で遊技者による動作が上記動作検出手段によって検出されなくても当該第2受付期間に対応する第2受付後演出を実行可能としている。なお、当該構成4-Cにかかる「第1受付期間」及び「第2受付期間」は、当該構成4-Cの技術思想を説明するために用いている呼称に過ぎない。したがって、他の構成にかかる「第1受付期間(または、逆の第2受付期間)」及び「第2受付期間(または、逆の第1受付期間)」と同じ受付期間を意味するものであってもよいし、他の構成にかかる「第1受付期間」及び「第2受付期間」とは異なる受付期間(例えば、特定受付期間など)を意味するものであってもよい。
この点、パチンコ機1では、第1受付期間内で遊技者による動作が上記動作検出手段によって検出されることなく第1受付後演出が実行開始されるタイミングとして、少なくとも2つのタイミングがあるようにしたことから、遊技興趣の向上を図ることが期待されるようになる。
また後述するが、当該「構成4-C」を採用する場合は、第1受付期間内で遊技者による動作が上記動作検出手段によって検出されることなく第1受付後演出が実行開始されるタイミングとして、第1タイミングと第2タイミングとを少なくとも用意することとし、第1タイミングでは「第1受付期間が発生するよりも前に検出された遊技者による動作(検出情報)に基づいて上記受付有効判定が当該第1受付期間内でなされることによって第1受付後演出が実行開始される(ストック受付演出)」ようにし、第2タイミングでは「第1受付期間の発生前も含めて、遊技者による動作を何ら検出することなく、所定タイミング(第2タイミング)が到来したことに基づいて第1受付後演出が実行開始される」ようにしてもよい。
また後述するが、当該「構成4-C」を採用する場合、第2受付期間では、「第2受付期間が発生するよりも前に検出された遊技者による動作(検出情報)に基づいて上記受付有効判定が当該第2受付期間内でなされることによって第2受付後演出が実行開始される」ようにすることは可能であるが(ストック受付演出)、「第2受付期間の発生前も含めて、遊技者による動作を何ら検出することなく、所定タイミングが到来したことに基づいて第2受付後演出が実行開始される」ようなことはないようにしてもよい。
これらの構成の両方を備えた場合、第1受付期間及び第2受付期間のいずれにおいても、「受付期間が発生するよりも前に検出された遊技者による動作(検出情報)に基づいて受付期間内で上記受付有効判定がなされうる(ストック受付演出)」ようになり、これによって受付後演出を実行開始させることが可能とされるようになる。しかも、第1受付期間では、このような「ストック受付演出」に失敗した場合であっても、所定タイミングが到来したことに基づいて受付後演出が救済的に実行されるようになっていることから、安心して「ストック受付演出」にチャレンジすることができるようになる。その一方で、第2受付期間では、このような「ストック受付演出」に失敗した場合、受付後演出が救済的に実行されることはないようにされていることから、緊張感を好適に付与することができるようになる。
[構成5-C]
また、この実施の形態にかかるパチンコ機1では、まず、受付期間として、特定受付期間を含む複数の受付期間を用意することとし、特定受付期間が発生した場合、当該特定受付期間内で遊技者による動作が上記動作検出手段によって検出されなくても上記受付後演出として当該特定受付期間に対応する特定受付後演出を実行可能とすることとした。なお、当該構成5-Cにかかる「特定受付期間」は、当該構成5-Cの技術思想を説明するために用いている呼称に過ぎない。したがって、他の構成にかかる「特定受付期間」と同じ受付期間を意味するものであってもよいし、他の構成にかかる「特定受付期間」とは異なる受付期間を意味するものであってもよい。
この点、パチンコ機1では、特定受付期間内で遊技者による動作が動作検出手段によって検出されることなく特定受付後演出が実行開始されるタイミングとしては、少なくとも第1タイミングと第2タイミングとがあるようにしたことから、遊技興趣の向上を図ることが期待されるようになる。
また後述するが、当該「構成5-C」を採用する場合、第1タイミングで特定受付後演出が実行開始されるときには、該特定受付後演出が実行開始される時点において、上記摸画像表示は表示されていないが、第2タイミングで特定受付後演出が実行開始される場合、該特定受付後演出が実行開始される時点において、上記摸画像表示が表示されているようにしてもよい。すなわちこの場合、特定受付後演出が実行開始された以降、第1タイミングと第2タイミングとのいずれで特定受付後演出が実行開始された状況にあるのかを示唆することができるようになる。
また後述するが、当該「構成5-C」を採用する場合、第1タイミングで特定受付後演出が実行開始されるときには、該特定受付後演出が実行開始される時点において、上記残り時間表示は表示されていないが、第2タイミングで特定受付後演出が実行開始される場合、該特定受付後演出が実行開始される時点において、上記残り時間表示が表示されているようにしてもよい。すなわちこの場合、特定受付後演出が実行開始された以降、第1タイミングと第2タイミングとのいずれで特定受付後演出が実行開始された状況にあるのかを示唆することができるようになる。
また後述するが、当該「構成5-C」を採用する場合、特定受付期間に対応する前兆演出として、特定の演出表示が表示されるようにし、第1タイミングで特定受付後演出が実行開始されるときには、該特定受付後演出が実行開始される時点において特定の演出表示は表示されているが、第2タイミングで特定受付後演出が実行開始されるときには、該特定受付後演出が実行開始される時点において特定の演出表示は表示されていないようにしてもよい。すなわちこの場合、特定受付後演出が実行開始された以降、第1タイミングと第2タイミングとのいずれで特定受付後演出が実行開始された状況にあるのかを示唆することができるようになる。
なお、「摸画像表示や、残り時間表示、特定の演出表示が表示されていない」とは、当該構成5-Cに限られず、他の構成においても、摸画像表示や、残り時間表示、特定の演出表示を、表示画面上で視認できない状態であればよい。例えば、レイヤー上では表示されているが他のレイヤー上の画像が優先表示されることによって視認できなくされている状態なども含む意味である。
また、当該構成5-Cにかかる「特定の演出表示」は、当該構成5-Cの技術思想を説明するために用いている呼称に過ぎない。したがって、他の構成にかかる「特定の演出表示」と同じ演出表示を意味するものであってもよいし、他の構成にかかる「特定の演出表示」とは異なる演出表示を意味するものであってもよい。
[構成6-C]
また、この実施の形態にかかるパチンコ機1では、まず、受付期間として、特定受付期間を含む複数の受付期間を用意することとし、特定受付期間が発生した場合、当該特定受付期間内で遊技者による動作が上記動作検出手段によって検出されなくても上記受付後演出として当該特定受付期間に対応する特定受付後演出を実行可能とした。なお、当該構成6-Cにかかる「特定受付期間」は、当該構成6-Cの技術思想を説明するために用いている呼称に過ぎない。したがって、他の構成にかかる「特定受付期間」と同じ受付期間を意味するものであってもよいし、他の構成にかかる「特定受付期間」とは異なる受付期間を意味するものであってもよい。
この点、パチンコ機1では、特定受付期間内で遊技者による動作が上記動作検出手段によって検出されることなく上記特定受付後演出が実行開始されるタイミングとしては、少なくとも第1タイミングと第2タイミングとがあるようにしている。また、特定受付期間内で遊技者による動作が上記動作検出手段によって検出されることなく第2タイミングで上記特定受付後演出が実行開始される場合、消滅EF表示を表示可能であり、該消滅EF表示が表示されると上記動作促進表示が視認し難くされるようにしており、これによって特定受付期間が終了したことを好適に認識させることができるようになる。
また後述するが、当該「構成6-C」を採用する場合、特定受付期間内で遊技者による動作が上記動作検出手段によって検出されることなく第1タイミングで上記特定受付後演出が実行開始されるときにも消滅EF表示を表示可能であるが、該消滅EF表示が表示されると上記動作促進表示とは異なる表示が視認し難くされるようにしてもよい。すなわちこの場合、特定受付後演出が実行開始された以降、第1タイミングと第2タイミングとのいずれで特定受付後演出が実行開始された状況にあるのかを示唆することができるようになる。
なおこの際、消滅EF表示は、第1タイミングで上記特定受付後演出が実行開始されるときに現れる場合と、第2タイミングで上記特定受付後演出が実行開始されるときに現れる場合とで同じ画像表示として表示されるようにしてもよい。すなわちこの場合、消滅EF表示を見るだけでは第1タイミングと第2タイミングとのいずれで実行されている状況にあるのかを認識し難くすることができるようになり、消滅EF表示によって「視認し難くされる対象」へと遊技者による注視を促すことが期待されるようになる。
[構成7-C]
また、この実施の形態にかかるパチンコ機1では、まず、受付期間として、特定受付期間を含む複数の受付期間を用意することとした。なお、当該構成7-Cにかかる「特定受付期間」は、当該構成7-Cの技術思想を説明するために用いている呼称に過ぎない。したがって、他の構成にかかる「特定受付期間」と同じ受付期間を意味するものであってもよいし、他の構成にかかる「特定受付期間」とは異なる受付期間を意味するものであってもよい。
この点、パチンコ機1では、特定受付期間が発生する場合は、当該特定受付期間内で遊技者による動作が上記動作検出手段によって検出されることなく当該特定受付期間に対応する特定受付後演出が実行される場合と、当該特定受付期間内で遊技者による動作が上記動作検出手段によって検出されることなく当該特定受付期間が終了して特定受付後演出が実行されない場合とがあるようにした。これにより、特定受付期間が発生したときの緊張感を好適に維持することができるようになる。
また、後述するが、当該「構成7-C」を採用する場合、特定受付期間とは異なる所定受付期間を発生可能とし、該所定受付期間が発生する場合は、当該所定受付期間内で遊技者による動作が上記動作検出手段によって検出されなくてもこれに対応する所定受付後演出が必ず実行されるようにすることが望ましい。なお、当該構成7-Cにかかる「所定受付期間」は、当該構成7-Cの技術思想を説明するために用いている呼称に過ぎない。したがって、他の構成にかかる「受付期間」と同じ受付期間を意味するものであってもよい。
すなわちこの場合、特定受付期間が発生したときには「受付期間内で遊技者による動作が上記動作検出手段によって検出されなければ受付後演出が発生しないかもしれない」といった緊張感を好適に付与するようにしつつも、所定受付期間が発生したときにはこれに対応する受付後演出が必ず発生するようになることから、遊技興趣の向上を図ることが期待されるようになる。
[構成8-C]
また、この実施の形態にかかるパチンコ機1では、まず、受付期間として、第1受付期間及び第2受付期間を含む複数の受付期間を用意することとし、第1受付期間が発生する場合、該第1受付期間が発生するよりも前に第1前兆演出を実行可能であり、第2受付期間が発生する場合、該第2受付期間が発生するよりも前に第2前兆演出を実行可能とするようにした。なお、当該構成8-Cにかかる「第1受付期間」及び「第2受付期間」は、当該構成8-Cの技術思想を説明するために用いている呼称に過ぎない。したがって、他の構成にかかる「第1受付期間(または、逆の第2受付期間)」及び「第2受付期間(または、逆の第1受付期間)」と同じ受付期間を意味するものであってもよいし、他の構成にかかる「第1受付期間」及び「第2受付期間」とは異なる受付期間(例えば、特定受付期間など)を意味するものであってもよい。また、当該構成8-Cにかかる「第1前兆演出」及び「第2前兆演出」は、当該構成8-Cの技術思想を説明するために用いている呼称に過ぎない。したがって、他の構成にかかる「第1前兆演出(または、逆の第2前兆演出)」及び「第2前兆演出(または、逆の第1前兆演出)」と同じ前兆演出を意味するものであってもよいし、他の構成にかかる「第1前兆演出」及び「第2前兆演出」とは異なる前兆演出(例えば、特定前兆演出など)を意味するものであってもよい。
この点、パチンコ機1にあって、第1の演出表示(第1前兆演出)が表示される期間には、遊技者による動作が行われた場合に該動作が上記動作検出手段によって検出されて該動作検出手段による検出情報が第1受付期間内における上記受付有効判定に供される第1期間と、遊技者による動作が行われた場合に該動作が上記動作検出手段によって検出されたとしても該動作検出手段による検出情報が上記第1受付期間内における上記受付有効判定に供されることがない第2期間とが含まれているようにした。これにより、緊張感のある演出性を提供することができるようになる。
また後述するが、第1の演出表示が表示される期間のうち上記第2期間内で上記動作検出手段による検出があった後、上記動作検出手段による新たな検出がないままで当該第1受付期間が終了した場合であっても、上記受付後演出として当該第1受付期間に対応する第1受付後演出を実行可能であるようにした。すなわちこの場合、第1前兆演出(第1の演出表示)が行われている期間内のうち、第1期間ではなく、第2期間内で遊技者による動作が検出されたとしても、遊技者による動作を新たに検出することなく受付後演出を発生させることができるようになることから、遊技興趣の低下を抑制することが期待されるようになる。
また後述するが、当該「構成8-C」を採用する場合、第1の演出表示が表示される期間のうち上記第1期間及び上記第2期間はいずれも第1受付期間が発生するよりも前の期間であるようにしてもよい。すなわちこの場合、第1受付期間が発生するよりも前に得られた検出情報に基づいて「遊技者による動作を有効動作とする受付有効判定」が当該第1受付期間内においてなされる場合があることとなるから、遊技者は、第1受付期間が発生するよりも前に勢い余って動作(操作)してしまった場合であっても、該第1受付期間が発生した以降に動作をやり直すことなく受付後演出を楽しむことができるようになる。しかも、第1受付期間が発生するよりも前に勢い余って動作(操作)してしまった結果、第1期間ではなく第2期間内で遊技者による動作が検出されたとしても、遊技者による動作を新たに検出することなく受付後演出を発生させることができるようになることから、遊技興趣の低下を抑制することが期待されるようになる。
[構成9-C]
また、この実施の形態にかかるパチンコ機1では、まず、受付期間として、特定受付期間を含む複数の受付期間を用意することとし、特定受付期間に対応する前兆演出では、特定の演出表示が表示されうるようにしている。なお、当該構成9-Cにかかる「特定受付期間」は、当該構成9-Cの技術思想を説明するために用いている呼称に過ぎない。したがって、他の構成にかかる「特定受付期間」と同じ受付期間を意味するものであってもよいし、他の構成にかかる「特定受付期間」とは異なる受付期間を意味するものであってもよい。また、当該構成9-Cにかかる「特定の演出表示」は、当該構成9-Cの技術思想を説明するために用いている呼称に過ぎない。したがって、他の構成にかかる「特定の演出表示」と同じ演出表示を意味するものであってもよいし、他の構成にかかる「特定の演出表示」とは異なる演出表示を意味するものであってもよい。
この点、パチンコ機1では、特定の演出表示が表示される期間には、遊技者による動作が行われた場合に該動作が上記動作検出手段によって検出されて該動作検出手段による検出情報が上記特定受付期間内における上記受付有効判定に供される第1期間と、遊技者による動作が行われた場合に該動作が上記動作検出手段によって検出されたとしても該動作検出手段による検出情報が上記特定受付期間内における上記受付有効判定に供されることがない第2期間とが含まれるようにしたことから、緊張感を好適に維持することができるようになる。
また後述するが、当該「構成9-C」を採用する場合、上記第1期間及び上記第2期間については、特定受付期間が発生するよりも前の期間であり且つ特定の演出表示が表示される期間にいずれも含まれるものであるようにしてもよい。すなわちこの場合、遊技者は、特定受付期間が発生するよりも前に勢い余って動作(操作)してしまった場合であっても、該特定受付期間が発生した以降に動作をやり直すことなく受付後演出を楽しむことができるようになる。ただし、特定受付期間が発生するよりも前に勢い余って動作(操作)してしまった場合には、受付後演出が必ずしも実行されないようにされていることから(第2期間)、緊張感を好適に維持することができるようになる。
[構成10-C]
また、この実施の形態にかかるパチンコ機1では、まず、受付期間として、第1受付期間及び第2受付期間を含む複数の受付期間を用意することとし、第1受付期間に対応する第1前兆演出では第1の演出表示が表示され、第2受付期間に対応する第2前兆演出では第2の演出表示が表示されうるようにした。なお、当該構成10-Cにかかる「第1受付期間」及び「第2受付期間」は、当該構成10-Cの技術思想を説明するために用いている呼称に過ぎない。したがって、他の構成にかかる「第1受付期間(または、逆の第2受付期間)」及び「第2受付期間(または、逆の第1受付期間)」と同じ受付期間を意味するものであってもよいし、他の構成にかかる「第1受付期間」及び「第2受付期間」とは異なる受付期間(例えば、特定受付期間など)を意味するものであってもよい。また、当該構成10-Cにかかる「第1の演出表示」及び「第2の演出表示」は、当該構成10-Cの技術思想を説明するために用いている呼称に過ぎない。したがって、他の構成にかかる「第1の演出表示(または、逆の第2の演出表示)」及び「第2の演出表示(または、逆の第1の演出表示)」と同じ演出表示を意味するものであってもよいし、他の構成にかかる「第1の演出表示」及び「第2の演出表示」とは異なる演出表示(例えば、特定の演出表示など)を意味するものであってもよい。
この点、パチンコ機1では、第1の演出表示(第1前兆演出)が実行される期間と第2の演出表示(第2前兆演出)が実行される期間とのいずれにおいても、「遊技者による動作が行われた場合に該動作が上記動作検出手段によって検出されて該動作検出手段による検出情報が受付期間内における上記受付有効判定に供される前動作許容期間」と、「遊技者による動作が行われた場合に該動作が上記動作検出手段によって検出されたとしても該動作検出手段による検出情報が受付期間内における上記受付有効判定に供されることがない前動作非許容期間」とが含まれるようにしたことから、緊張感を好適に維持することができるようになる。
また後述するが、当該「構成10-C」を採用する場合、「前動作許容期間」及び「前動作非許容期間」は、いずれも受付期間(第1受付期間または第2受付期間)が発生するタイミングよりも前の期間であるようにしてもよい。すなわちこの場合、受付期間(第1受付期間または第2受付期間)が発生するよりも前に得られた検出情報に基づいて「遊技者による動作を有効動作とする受付有効判定」が当該受付期間内においてなされる場合があることとなるから、遊技者は、受付期間が発生するよりも前に勢い余って動作(操作)してしまった場合であっても、該受付期間が発生した以降に動作をやり直すことなく受付後演出を楽しむことができるようになる。ただし、受付期間(第1受付期間または第2受付期間)が発生するよりも前に勢い余って動作(操作)してしまった場合には、受付後演出が必ずしも実行されないようにされていることから(前動作非許容期間)、緊張感を好適に維持することができるようになる。
[構成11-C]
また、この実施の形態にかかるパチンコ機1では、まず、受付期間として、特定受付期間を含む複数の受付期間を用意することとし、特定受付期間が発生した場合、当該特定受付期間内で遊技者による動作が上記動作検出手段によって検出されなくても上記受付後演出として当該特定受付期間に対応する特定受付後演出を実行可能とするようにしている。なお、当該構成11-Cにかかる「特定受付期間」は、当該構成11-Cの技術思想を説明するために用いている呼称に過ぎない。したがって、他の構成にかかる「特定受付期間」と同じ受付期間を意味するものであってもよいし、他の構成にかかる「特定受付期間」とは異なる受付期間を意味するものであってもよい。
この点、パチンコ機1では、特定受付期間内で遊技者による動作が上記動作検出手段によって検出されることなく上記特定受付後演出が実行開始されるタイミングとして、少なくとも2つのタイミングがあるようにしたことから、遊技興趣の向上を図ることが期待されるようになる。
また後述するが、当該「構成11-C」を採用する場合は、特定受付期間内で遊技者による動作が上記動作検出手段によって検出されることなく特定受付後演出が実行開始されるタイミングとして、第1タイミングと第2タイミングとを少なくとも用意することとし、第1タイミングでは「特定受付期間が発生するよりも前に検出された遊技者による動作(検出情報)に基づいて上記受付有効判定が当該特定受付期間内でなされることによって特定受付後演出が実行開始される(ストック受付演出)」ようにし、第2タイミングでは「特定受付期間の発生前も含めて、遊技者による動作を何ら検出することなく、所定タイミング(第2タイミング)が到来したことに基づいて特定受付後演出が実行開始される」ようにしてもよい。すなわちこの場合、「受付期間が発生するよりも前に検出された遊技者による動作(検出情報)に基づいて受付期間内で上記受付有効判定がなされうる(ストック受付演出)」ようになり、これによって特定受付後演出を実行開始させることが可能とされるようになる。しかも、特定受付期間では、このような「ストック受付演出」に失敗した場合であっても、所定タイミング(第2タイミング)が到来したことに基づいて特定受付後演出が救済的に実行されるようになっていることから、安心して「ストック受付演出」にチャレンジすることができるようになる。
[構成12-C]
また、この実施の形態にかかるパチンコ機1では、まず、受付期間として、第1受付期間及び第2受付期間を含む複数の受付期間を用意することとし、第1受付期間が発生した場合、当該第1受付期間内で遊技者による動作が上記動作検出手段によって検出されなくてもこれに対応する第1受付後演出を実行可能であり、第2受付期間が発生した場合、当該第2受付期間内で遊技者による動作が上記動作検出手段によって検出されなくてもこれに対応する第2受付後演出を実行可能であることとした。なお、当該構成12-Cにかかる「第1受付期間」及び「第2受付期間」は、当該構成12-Cの技術思想を説明するために用いている呼称に過ぎない。したがって、他の構成にかかる「第1受付期間(または、逆の第2受付期間)」及び「第2受付期間(または、逆の第1受付期間)」と同じ受付期間を意味するものであってもよいし、他の構成にかかる「第1受付期間」及び「第2受付期間」とは異なる受付期間(例えば、特定受付期間など)を意味するものであってもよい。
この点、パチンコ機1では、第1受付後演出は、第1受付期間内で遊技者による動作が上記動作検出手段によって検出されずに実行される場合と、第1受付期間内で遊技者による動作が上記動作検出手段によって検出されたことに基づいて実行される場合とで、その実行時間が同じであるようにしたことから、遊技興趣を好適に維持することができるようになる。
また後述するが、当該「構成12-C」を採用する場合は、第1受付期間が発生するよりも前に取得された検出情報(遊技者による動作の検出情報)が当該第1受付期間内における上記受付有効判定に供されることで、第1受付期間内で遊技者による動作が上記動作検出手段によって検出されずに第1受付後演出が実行可能とされるようにし、第2受付期間が発生するよりも前に取得された検出情報(遊技者による動作の検出情報)が当該第2受付期間内における上記受付有効判定に供されることで、第2受付期間内で遊技者による動作が上記動作検出手段によって検出されずに第2受付後演出が実行可能とされるようにしてもよい。このような構成によれば、遊技者は、第1受付期間や第2受付期間が発生するよりも前に勢い余って動作(操作)してしまった場合であっても、第1受付期間や第2受付期間が発生した以降に動作をやり直すことなく受付後演出を楽しむことができるようになる。
[構成13-C]
また、この実施の形態にかかるパチンコ機1では、遊技者に対して動作機会が付与されることを示唆する前兆演出においては、当該前兆演出に対応する前兆演出音が出力される場合と、当該前兆演出に対応する前兆演出音が出力されない場合とがあるようにしている。これにより、遊技者に対して動作機会を付与するにあたり、緊張感を好適に維持することが期待されるようになる。
また後述するが、当該「構成13-C」を採用する場合は、遊技者に対して動作機会が付与される受付期間が発生するよりも前に特定の前兆演出音が出力されるときには、受付期間内で遊技者による動作が上記動作検出手段によって検出されることなくこれに対応する受付後演出が実行開始されるタイミングとして少なくとも第1タイミングと第2タイミングとがあるのに対し、遊技者に対して動作機会が付与される受付期間が発生するよりも前に何らの前兆演出音も出力されないときには、受付期間内で遊技者による動作が上記動作検出手段によって検出されることなくこれに対応する受付後演出が実行開始されるタイミングとして少なくとも第1タイミングと第2タイミングとがある場合と、第2タイミングがなく少なくとも第1タイミングがある場合とがあるようにしてもよい。すなわちこの場合、前兆演出に対応する前兆演出音が出力されない場合における緊張感をより好適に高めることが期待されるようになる。
[その他の構成]
また上述の通り、パチンコ機1では、検出情報記憶手段により記憶された検出情報に基づいて遊技者による動作を有効動作とする受付有効判定を行うことが許容される受付許容状態(受付期間)が発生する場合、受付対象に関連した摸画像表示(操作受け部を摸した摸画像など)を、該摸画像表示の周縁を装飾する周縁装飾画像と一体化された一体化摸画像表示(図232を参照)として表示することで、受付後表示(表示変化)が実行されるまでの遊技興趣の低下を抑制するようにしている。このような一体化摸画像表示については、図柄演出がSPリーチ中における特定タイミングまで進展したときに発生する操作受付演出(受付期間)と、SPリーチに発展しない変動パターンで予告判定の結果として発生する操作受付演出(受付期間)とのいずれにおいても表示されるようにすることが望ましいし、低期待非抑制受付演出と高期待抑制受付演出とのいずれにおいても表示されるようにすることが望ましい。
なお、この例にかかる「一体化摸画像表示」については、図232~図248を参照して説明した通り、またはその別例や変形例として記載した通りであるから、詳細は割愛するが、例えば、周縁装飾画像内にはゲージ画像(所定画像)GGの表示対象領域が設けられている。また、「一体化摸画像表示」として、期待度が異なる複数態様(図232参照)が用意されており、それら態様のいずれかで表示されるようになっている点も同様である。
また、この例にかかるパチンコ機1においても、受付許容状態(受付期間)の発生に際しては、操作受付が許容される状態になったこと、または操作受付が許容される状態になることを示唆する受付許容音を出力させるようにしており、これによって操作し忘れを生じ難くするようにしている。ここで、「受付許容音」とは、音が出力開始されると、この音が出力されている間(音データが割り当てられている間)に受付許容状態(受付期間)が必ず発生するか、受付許容状態(受付期間)が既に発生している状態にある音のことである。すなわち、「受付許容音」とは、受付許容状態(受付期間)と何ら関係のない演出が行われている状況下においては出力されることがない音であるとも言える。
また、この実施の形態にかかる各受付許容状態(各受付期間)は、第1種別と第2種別とに分類分けすることが可能である。すなわち、第1種別に分類分けされる受付許容状態とは、高期待変動パターン(SPリーチ変動パターン)が選択された場合には発生可能とされるが、低期待変動パターン(非リーチ変動パターン)では発生し得ない有効期間(大当り判定の結果に基づく演出判定で特定条件(特定の高期待変動パターン選択)が成立したことに基づいて発生される有効期間)である。また、第2種別の受付許容状態とは、高期待変動パターン(SPリーチ変動パターン)と、低期待変動パターンとのいずれであっても発生可能とされる有効期間(予告判定の結果として発生する有効期間など)である。
この実施の形態にかかる「一体化摸画像表示」は、このような第1種別及び第2種別の受付許容状態(受付期間)のいずれにおいても表示されうる。ここでは、第1種別の受付許容状態(受付期間)及び第2種別の受付許容状態(受付期間)は、いずれも同じ操作手段(例えば、操作ボタン410)に対して操作機会が付与される受付許容状態(受付期間)として発生する場合を想定していることから、それら受付期間で表示される「一体化摸画像表示」は、同じ操作手段(操作ボタン410)を摸した画像である。
なお、「一体化摸画像表示」として用意されている複数態様のうち期待度の高い特別態様(例えば、図232(d)に示される態様)は、第1種別の受付許容状態(受付期間)でしか表示可能とされず、第2種別の受付許容状態(受付期間)では、特別態様とは異なる態様(例えば、図232(a)~(c)に示される態様)のみによって表示可能とされるようにしてもよい。この場合、第1種別の受付許容状態(受付期間)では、大当り判定の結果に基づいて特別態様を含む複数態様(例えば、図232(a)~(d))のいずれで「一体化摸画像表示」を表示するのかについての判定が行われ、この判定の結果に応じた態様で「一体化摸画像表示」が表示されることとなる。第2種別の受付許容状態(受付期間)においても、大当り判定の結果に基づいて特別態様を含まない複数態様(例えば、図232(a)~(c))のいずれで「一体化摸画像」を表示するのかについての判定が行われようにし、この判定の結果に応じた態様で「一体化摸画像表示」が表示されるようにしてもよい。
以下、上記「構成1-C」~「構成13―C」等を備える当該パチンコ機1について、その詳細を、図を参照して説明する。ただし、以下に説明する各構成は、最良の実施形態として記載されているものにすぎず、必ずしも備えなくてもよい。すなわち、以下に説明する明細書中に記載される各構成については、上記「構成1-C」~「構成13―C」のいずれか1つに対してさらなる作用効果を得たいときにそれに対応する構成だけを任意に選別して採用可能である。上述の通り、このパチンコ機1は、受付けされたときに進行される演出内容(例えば、受付後演出としての会話予告、カットイン予告、可動体予告などであり、予告演出(期待度示唆演出)の種別)が異なる複数の受付期間(受付演出)を用意しており、判定(大当り判定や、演出判定など)の結果に応じた種別の受付期間(受付演出)を発生可能としている。ここでは、複数の受付期間(受付演出)として、少なくとも第1D受付期間(第1D受付後演出)、第2D受付期間(第2D受付後演出)を用意している。
図322~図334を参照して、各受付期間(受付演出)の別に、各々の特徴について説明する。なお、図321までを参照しつつ上述した各受付期間については、第1D受付期間(第1D受付後演出)、第2D受付期間(第2D受付後演出)とは別の受付期間として用意されているものであってもよいし、第1D受付期間(第1D受付後演出)、第2D受付期間(第2D受付後演出)のうちのいずれかとして実現されるものであってもよい。また、以下に説明する各発明を実現する上では、以下に説明する各構成のうちの必要な構成だけを備えるだけでよく、図321までを参照しつつ上述した各受付期間についてはこれらを必ずしも備えないようにしてもよい。
図322~図324は、判定(大当り判定または演出判定)の結果として条件1Dが満たされて第1D受付期間(第1D受付演出)が発生するときの演出内容についてその一例を示すタイムチャートである。図328~図331は、第1D受付期間(第1D受付演出)が発生する変動パターンにおける演出例を示す図である。
いま、特定遊技状態(例えば、非確変・非時短である通常遊技状態)において始動条件が成立(保留消化)されて、変動パターン判定が行われた結果として「第1D変動パターン」が選択されたとすると、上記周辺制御MPU1511aでは、まず、該第1D変動パターンに対応する演出判定(予告演出判定など)を行う。そしてこの後、装飾図柄SZの変動演出(第1D変動パターンに応じた演出描写や、第1D変動パターンに応じたBGM再生の音出力など)を開始させ(「図328(a)に示される状況」)、該変動演出の実行期間内で、予告演出判定の結果に応じた演出(予告演出)を、上記選択した「第1D変動パターン」これ自体の演出に対して付加的に実行させることとなる。
ただし、「第1D変動パターン」にかかる演出では、演出判定(予告判定)としていずれの結果が得られている場合であっても、図322(a)に示されるように、装飾図柄SZの変動演出が開始されてから第1D時間が経過したタイミングtW2(例えば、SPリーチ状態内のタイミング)が到来したときに「第1D受付後演出に関しての受付け」が許容される上記第1D受付期間(有効期間)を発生させる(「図329(d)に示される状況」)。これにより、当該第1D受付期間内において遊技者による動作が受付けされると、該受付けに基づいて第1D受付後演出が行われるようになる。
この点、この実施の形態にかかる演出表示装置1600(第1演出装置)では、このような第1D受付期間が発生する場合、これに関連して、受付期間(有効期間)が間もなく発生することを示唆する前兆演出表示や、受付対象(操作受け部など)を示唆する動作対象表示(摸画像表示)、受付期間の残り時間を示唆する残り時間表示、動作対象表示(摸画像表示)や残り時間表示などを視認し難くする消滅関連表示(消滅EF表示)、受付けされたことに応じて期待度(大当り図柄が現れる割合)を示唆する受付後演出表示がそれぞれ行われるようになっている。期待度(大当り図柄が現れる割合)については、「0%」や「100%」を含むものであってもよい。なお上述の通り、この例にかかる動作対象表示(摸画像表示)は、残り時間表示を含む周縁装飾画像と一体化された「一体化摸画像表示IG」として表示されるものとなっているが、必ずしもこれに限られず、別々に表示されるものであってもよい。このことについては、他の受付期間においても同様である。
より具体的には、第1D受付期間が発生するよりも前のタイミングtW1が到来したときには、図322(b)及び図328(b),(c)に示されるように、上記前兆演出表示として「第1D前兆演出表示ZEC」が実行開始される。なお後述するが、この例にかかる「第1D前兆演出表示ZEC」は、「第1D前兆演出表示ZEC-1(図328(b)を参照)」と、該「第1D前兆演出表示ZEC-1」を視認し難くする「第1D前兆演出表示ZEC-2(図328(c)を参照)」とが順次表示されることにより実行されるようになっている。ただし、当該構成については必ずしも備えなくてもよい。この例では、図322(d)に示されるように、「第1D前兆演出表示ZEC」が実行される場合、該「第1D前兆演出表示ZEC」に対応する演出音(前兆演出音)が出力される。
また、この例にかかる「第1D前兆演出表示ZEC」は、第1D受付期間が発生するタイミングtW2において非表示にされるものとなっているが、該タイミングtW2を跨るように表示されるものであってもよい。
また後述するが、この実施の形態にかかる第1D受付期間では、当該第1D受付期間が発生するよりも前に、操作手段(例えば、操作ボタン410)に対して遊技者による動作(例えば、押圧操作)が行われた場合であっても、該動作(操作)は、動作検出手段(センサなど)によって検出され、その検出情報は、検出情報記憶手段(周辺制御RAM1511cや、プログラム内の該当する処理ステップなど)で当該第1D受付期間が発生する時点においても記憶保持されて、当該第1D受付期間内の上記受付有効判定に供される場合(ストック受付演出が実行される場合)があるようになっている。
この点、図322及び図323に示される例や、図328(c)から「I(図329(d)」へと演出が進展する例では、このようなストック受付演出が行われることなく第1D受付期間が発生した場合、すなわち第1D受付期間よりも前に得られた検出情報が当該第1D受付期間内の上記受付有効判定に供されない場合を想定している。
より具体的には、ストック受付演出が行われることなくタイミングtW2において第1D受付期間が発生する場合は、図322(b)及び図329(d)に示されるように、この例にかかる演出表示装置1600(第1演出装置)においては、一体化摸画像表示IGとして、「摸画像表示」や「残り時間表示(枠画像及びゲージ画像)」が表示される。該一体化摸画像表示IG(摸画像表示や、枠画像、ゲージ画像)は、これに対応する受付期間(ここでは、第1D受付期間)が発生するタイミングtW2において出現しうるものであってもよいし、タイミングtW2よりも前に出現して該タイミングtW2を跨ぐように表示されるものであってもよい。なお、一体化摸画像表示IG(摸画像表示や、残り時間表示(枠画像、ゲージ画像))は、第1D受付期間内で受付け(受付有効判定)がなされたときか、該受付け(受付有効判定)がなされることなく第1D受付期間が終了されたときに非表示にされる。この例にかかる第1D受付期間は、遊技者による動作(操作)の受付け(受付有効判定)がなされないときにはタイミングtW3が到来したときに終了される(図322(a)を参照)。
また、この例にかかる第1D受付期間では、一体化摸画像表示IG(摸画像表示や、残り時間表示(枠画像、ゲージ画像))が、複数態様(例えば、図232(a),(d))のいずれかで表示される。図329~図331は、一体化摸画像表示IG(摸画像表示や、残り時間表示(枠画像、ゲージ画像))が「図232(d)に示される態様」で表示された場合に相当している。一体化摸画像表示IG(摸画像表示や、枠画像、ゲージ画像)が「図232(a)に示される態様」で表示される場合については、図329~図331に示される一体化摸画像表示IG(摸画像表示や、枠画像、ゲージ画像)が、「図232(d)に示される態様」から「図232(a)に示される態様」に変更されるだけであるから、図示を割愛することとする。なお、第1D受付期間においても、図232(b),(c)に示される態様を含む複数態様のいずれかで一体化摸画像表示IG(摸画像表示や、枠画像、ゲージ画像)が表示されるようにしてもよい。
そして、図322は、このような第1D受付期間内で遊技者による動作が検出されてその検出情報に基づいてタイミングtW2aで「遊技者による動作(操作)を有効動作とする受付有効判定」がなされた場合を想定している。すなわちこの場合、図322(a)に示されるように、タイミングtW2aにおいて遊技者による動作が受付けされた(受付有効判定がなされた)ことに基づいて、第1D受付期間が終了されるとともに、該第1D受付期間に対応する受付後演出(第1D受付後演出)が実行開始されることとなる。
なお、図329(d)から「I1(図330(e1)~図330(i1))へと演出が進展する例は、第1D受付期間に対応する受付後演出(第1D受付後演出)として相対的に期待度の低い第1態様が実行される場合に相当し、図329(d)から「I2(図330(e2)~図330(i2)」へと演出が進展する例は、第1D受付期間に対応する受付後演出(第1D受付後演出)として相対的に期待度の高い第2態様が実行される場合に相当している。期待度(大当り図柄が現れる割合)については、「0%」や「100%」を含むものであってもよい。
この点、第1D受付期間では、図322に示されるように、遊技者による動作が受付けされた時点(受付けに応じて第1D受付後演出が開始された時点)であるタイミングtW2aにおいて、「一体化摸画像表示IG」を非表示にしないことはもとより、該一体化摸画像表示IGを視認し難くすることもしない。
すなわち、この実施の形態にかかる第1D受付後演出は、演出表示装置1600(第1演出装置)を利用した「第1D受付後演出表示」と、第2演出装置(例えば、サブ液晶や、可動体、演出用ランプなど)を利用した「第1D受付後特定演出」と、第3演出装置(スピーカ)を利用した第1D受付後演出音とが少なくとも複合された演出として実現されるものとなっている(必ずしも3つの演出装置による複合演出として実現しなくてもよい)が、それら演出装置のうち、一体化摸画像表示IG(摸画像表示や、残り時間表示(枠画像、ゲージ画像))が表示される演出表示装置1600(第1演出装置)においては、第1D受付後演出としての「第1受付後演出表示」が実行開始される時期を、他の演出装置に比べて遅延させるようにしており、これによって受付けがなされた以降も「一体化摸画像表示IG」の視認性をあえて維持させることとしている。
このような構成によれば、図330(e1)または(e2)に示されるように、受付けがなされた以降も、終了された受付期間内において一体化摸画像表示IGが複数態様(図232(a)~(d))のいずれで表示されていたのかなどを、遊技者は容易に認識することができるようになることから、遊技興趣が低下することを好適に抑制することが期待されるようになる。
ここで、受付期間の終了後、該受付期間内において一体化摸画像表示IGがいかなる態様で表示されていたのかの認識を容易とする上では、受付けがなされた以降の「一体化摸画像表示IGが視認容易な態様のままで表示される時間」を長く設定するようにすることが望ましいと言える。ただし、受付けがなされており受付後演出(第2演出装置、第3演出装置)が既に実行されている状況にあるにもかかわらず、一体化摸画像表示IGが受付期間中にあったときと同じ態様のままで表示され続けるようなことがあると、受付けがなされた状況にあるのか否かを遊技者側が認識し難くなり、その結果として「実行状態にある受付後演出に気付くのが遅れてしまう」といったことが懸念される。
そこで、図322(b)や、図330(f1)または(f2)に示される例においては、遊技者による動作が受付けされたことによって第1D受付期間が終了したタイミングtW2aから所定時間が経過すると(タイミングtW2bが到来すると)、摸画像表示を視認し難くする消滅関連表示(消滅EF演出)にかかる表示を開始するようにしている。
すなわち、この例にかかる演出表示装置1600(第1演出装置)においては、「一体化摸画像表示IG(摸画像表示、残り時間表示)」が表示されているなかで「消滅関連表示(消滅EF演出)」が表示されるようになっており、「消滅関連表示(消滅EF演出)」が表示される領域の少なくとも一部は「一体化摸画像表示IG(摸画像表示、残り時間表示)」が表示される領域と重複するようになっている。
このような構成によれば、受付けがなされた以降、一体化摸画像表示IGを表示し続けるようにした場合であっても、該一体化摸画像表示IGが視認し難くされることによって、受付後演出(第2演出装置、第3演出装置)が既に実行されている状況にあることを示唆することができるようになる。したがって、遊技者による注視先を一体化摸画像表示IGから受付後演出(第2演出装置、第3演出装置)へと自ずと移行されることが期待されるようになる(タイミングtW2b以降)。これにより、受付後演出(第2演出装置、第3演出装置)が既に実行されている状況においても、視認し難さはあるものの一体化摸画像表示IGを比較的長い時間にわたって表示し続けることが可能とされるようになることから、受付期間内で一体化摸画像表示IGがいずれの態様で表示されていたのか認識できないことによる遊技興趣の低下を抑制することができるようになる。
また、第1D受付期間では、これに対応する受付後演出(第1D受付後演出)として期待度の低い態様(図330(e1)~(i1))が現れる場合と、期待度の高い態様(図330(e2)~(i2))が現れる場合とで、消滅関連表示として異なる態様(第1消滅関連表示SKD1,第2消滅関連表示SKD2)が現れるようにしている。すなわちこの場合、図330(f1),(f2)に示されるように、演出表示装置1600(第1演出装置)を利用した「第1D受付後演出表示」が未だ開始されていない状況下にあったとしても、該演出表示装置1600(第1演出装置)にて現れる消滅関連表示が「第1消滅関連表示SKD1」と「第2消滅関連表示SKD2」とのいずれで現れているのかを確認することで、「第1D受付後演出表示」が期待度の高い態様で実行されるか否かを推測することができるようになる。
また、この例にかかるパチンコ機1では、図322(b)や、図330(g1)または(g2)に示されるように、消滅関連表示にかかる表示(一体化摸画像表示IGが視認し難くなる態様)が現れている期間内のタイミングtW2cが到来すると、第1D受付期間内で遊技者による動作が受付けされたことに応じた第1演出装置(演出表示装置1600)における受付後演出としての「第1D受付後演出表示UGD1(カットイン演出)」を実行開始するようにしている。ただしここでは、図329(d)から「I1(図330(e1)~(i1))」へと演出が進展する例(受付後演出として相対的に期待度の低い場合)では、図330(g1)に示されるように、第1D受付期間に対応する第1D受付後演出表示UGD1として第1態様(ここでは、姫キャラクタによるカットイン演出としての第1D受付後演出表示UGD1-1))が表示され、図329(d)から「I2(図330(e2)~(i2))」へと演出が進展する例(受付後演出として相対的に期待度の高い場合)では、図330(f2)に示されるように、第1D受付期間に対応する第1D受付後演出表示UGD1として第2態様(ここでは、侍キャラクタによるカットイン演出としての第1D受付後演出表示UGD1-2)が表示されるようになっている。
すなわちこの場合、「一体化摸画像表示IG」及び「消滅関連表示(第1消滅関連表示SKD1,第2消滅関連表示SKD2)」がそれぞれ表示されているなかで「第1D受付後演出表示UGD1(「第1D受付後演出表示UGD1-1」または「第1D受付後演出表示UGD1-2」)が実行開始されることとなる。これにより、第1D受付期間内で受付けされた以降、一体化摸画像表示IGを比較的長い時間にわたって表示し続けるようにした場合であっても、第1演出装置(演出表示装置1600)における受付後演出(第1D受付後演出表示UGD1を他の演出装置と比較して大幅に遅延させることなく開始させることができるようになり、遊技興趣の低下を抑制することができるようになる。また、一体化摸画像表示IGが視認し難くされているなかで第1D受付後演出表示UGD1が開始されることから、第1D受付期間が既に終了していることを示唆しつつ、遊技者による注視先が「一体化摸画像表示IG」から「第1D受付後演出表示UGD1(第1D受付後演出表示UGD1-1または第1D受付後演出表示UGD1-2)」へと自ずと移行されることが期待されるようになる(タイミングtW2c以降)。
その一方で、「第1D受付後演出表示UGD1(第1D受付後演出表示UGD1-1または第1D受付後演出表示UGD1-2)」については、「一体化摸画像表示IG」が表示される領域の少なくとも一部と重なるように表示される場合(必ずしも重なるように表示しなくてもよい)、「一体化摸画像表示IG」よりも背後側に表示されるものとなっており、「第1D受付後演出表示UGD1(第1D受付後演出表示UGD1-1または第1D受付後演出表示UGD1-2)」に対して「一体化摸画像表示IG」を優先表示させるようにしている。これにより、「第1D受付後演出表示UGD1(第1D受付後演出表示UGD1-1または第1D受付後演出表示UGD1-2)」が実行開始されるなかでも、受付期間内で一体化摸画像表示IGがいずれの態様で表示されていたのかの認識を容易化するようにしている。
そして、この例にかかるパチンコ機1では、こうして「第1D受付後演出表示UGD1(第1D受付後演出表示UGD1-1または第1D受付後演出表示UGD1-2)」にかかる表示が開始されると、図322(b)や、図330(h1)または(h2)に示されるように、該「第1D受付後演出表示UGD1(第1D受付後演出表示UGD1-1または第1D受付後演出表示UGD1-2)」が表示されているなかで、まず、「一体化摸画像表示IG」及び「消滅関連表示」のうち、「一体化摸画像表示IG」を非表示にする。そして、こうして「一体化摸画像表示IG」が非表示にされた後、図322(b)や、図330(i1)または(i2)に示されるように、「消滅関連表示(第1消滅関連表示SKD1または第2消滅関連表示SKD2」が非表示にされることとなり、これによって視認良好とされているもとで「第1D受付後演出表示UGD1(第1D受付後演出表示UGD1-1または第1D受付後演出表示UGD1-2)」にかかる表示が行われるようになる。
この点、「第1D受付後演出表示UGD1」とは、遊技者による動作が受付けされたことに基づいて、期待度が異なる複数態様(ここでは、第1D受付後演出表示UGD1-1または第1D受付後演出表示UGD1-2)のいずれかで表示されるものである。したがって、「第1D受付後演出表示UGD1」は、「一体化摸画像表示IG」や「消滅関連表示」が非表示にされた以降も、比較的長い時間にわたって実行されることとなる。
また、当該第1D受付期間に対応する演出例(図330)では、第1D受付期間内において受付けがなされて「第1D受付後演出表示UGD1」が実行されると、該「第1D受付後演出表示UGD1」が開始される前後で背景画像に切り替えを生じさせるようにしている。
このような構成によれば、背景画像に切り替えが生じていない図330(e),(f)に示される状況下(図322に示されるタイミングtW2a~tW2b)においては、演出表示装置1600(第1演出装置)において演出変化があったとしても、「第1D受付後演出表示UGC1」は未だ開始されていない状況にあることを示唆することができるようになる。
なお、この演出例では、「第1D受付後演出表示UGD1」や「背景変更」を、「消滅関連表示(第1消滅関連表示SKD1,第2消滅関連表示SKD2)」が表示開始される時期(タイミングtW2b)よりも遅い時期(タイミングtW2c)で表示開始させることとしたが、「消滅関連表示(第1消滅関連表示SKD1,第2消滅関連表示SKD2)」が表示開始される時期(タイミングtW2b)と同じ時期(タイミングtW2b)で表示開始させるようにしてもよい。
また、図330に示した例では、受付後演出として、期待度の低い態様が現れる場合と、期待度の高い態様が現れる場合とで同じ背景画像に切り替えられるようにしているが、期待度の低い態様が現れる場合と、期待度の高い態様が現れる場合とで異なる背景画像に切り替えられるようにしてもよい。また、期待度の高い態様が現れるときには、背景画像が切り替えられるが、期待度の低い態様が現れるときには、背景画像が切り替えられないようにしてもよい。
このように、この例にかかる演出表示装置1600(第1演出装置)では、第1D受付期間が発生する場合、これに伴って、限られた時間内であり、且つ限られた表示画面(演出表示装置1600)内で様々な表示を行うものとなっており、これによって遊技興趣の低下を抑制するようにしている。ただしこの結果として、演出表示装置1600(第1演出装置)では、受付けに応じた第1D受付後演出(第1D受付後演出表示)の開始時期(タイミングtW2c)を、受付けされたタイミングtW2aよりも遅延せざるを得ないという実情にある。
そこで、この例においては、第1D受付期間内で遊技者による動作が受付けされたときには、図322(b),(c)に併せて示されるように、該受付けがあったことに基づいて、第2演出装置を用いた第1D受付後演出(第1D受付後特定演出)を、上記第1演出装置を用いた第1D受付後演出(第1D受付後演出表示)に先行して実行開始させるようにしている。
このような構成によれば、第1D受付期間で受付けがあったタイミングtW2aから実行開始が遅延されるのは第1D受付後演出の一部(第1D受付後演出表示)に留まることとなり、当該第1D受付後演出これ自体については、同タイミングtW2aから遅れることなく実行開始させることができるようになる。
このような第2演出装置としては、演出表示装置1600(第1演出装置)をメイン液晶とするときのサブ液晶として備えられるものであってもよいし、演出動作可能な演出可動体や、演出発光可能な演出ランプなどとして備えられるものであってもよい。いずれにせよ、期待度が異なる複数態様で演出(表示演出、可動演出、発光演出など)を行いうるものとして設けられることとなる。期待度(大当り図柄が現れる割合)については、「0%」や「100%」を含むものであってもよい。
上述の通り、この実施の形態にかかるパチンコ機1では、第2演出装置としてサブ液晶1610を用いた場合を想定している。そして、図329(d)から「I1(図330(e1)~(i1))」へと演出が進展する例(受付後演出として相対的に期待度の低い場合)では、図330(e1)に示されるように、該サブ液晶1610(第2演出装置)において「女性用の着物」が表示される態様が、当該第1D受付期間に対応する上記第1D受付後特定演出UTD1(第1D受付後特定演出UTD1の期待度の低い態様である第1D受付後特定演出UTD1-1)として、上記第1演出装置を用いた第1D受付後演出(第1D受付後演出表示UGD1-1)に先行して実行開始されるようになっている。これに対し、図329(d)から「I2(図330(e2)~(i2))」へと演出が進展する例(受付後演出として相対的に期待度の高い場合)では、図330(e2)に示されるように、該サブ液晶1610(第2演出装置)において「男性用の着物」が表示される態様が、当該第1D受付期間に対応する上記第1D受付後特定演出UTD1(第1D受付後特定演出UTD1の期待度の高い態様である第1D受付後特定演出UTD1-2)として、上記第1演出装置を用いた第1D受付後演出(第1D受付後演出表示UGD1-2)に先行して実行開始されるようになっている。
また、図329(d)に示した演出例では、演出表示装置1600(第1演出装置)における「一体化摸画像表示IG」とは別に、サブ液晶1610(第2演出装置)においても第1D受付期間が発生した状態にあることを示唆する受付期間内演出(侍キャラクタ及び姫キャラクタの表示)が実行されるようになっている。該サブ液晶1610(第2演出装置)における受付期間内演出は、演出表示装置1600(第1演出装置)における「一体化摸画像表示IG」が期待度の低い態様(図示無し)で表示される場合と期待度の高い態様(図329(d)を参照)で表示される場合とで同じ態様となるように表示されるものとなっている。
すなわちこの場合、遊技者に対して動作機会(操作機会)が付与される第1D受付期間内にあるとき、演出表示装置1600(第1演出装置)では期待度に応じて異なる態様が現れ、且つサブ液晶1610(第2演出装置)では期待度にかかわらず同じ態様が現れることとなる。ただしこの後、第1D受付期間内で「遊技者による動作(操作)を有効動作とする受付有効判定」がなされると、演出表示装置1600(第1演出装置)では「一体化摸画像表示IG」にかかる表示が継続されているなかで(受付後演出としての期待度を未だ示唆していないなかで)、サブ液晶1610(第2演出装置)では期待度に応じて異なる態様が現れることとなる。このような構成によれば、1つの演出装置による演出だけを注視している場合よりも、その時々に応じて適切な演出装置を注視するようにしたほうが演出情報をより迅速に得ることができるようになることから、遊技興趣の向上を図ることができるようになる。
なお、この演出例では、サブ液晶1610(第2演出装置)における受付期間内演出(侍キャラクタ及び姫キャラクタの表示)は、第1D受付期間が発生するよりも前から継続して実行されるものとなっており、該第1D受付期間が発生することを示唆する前兆演出としても機能するものとなっている。ただし、サブ液晶1610(第2演出装置)における受付期間内演出と、サブ液晶1610(第2演出装置)における前兆演出とについては、互いに異なる演出としてそれぞれ実行されるものであってもよい。
また、この演出例では、第1D受付後特定演出UTD1として、「第1D受付後特定演出UTD1-1」及び「第1D受付後特定演出UTD1-2」のいずれが出現するかによって期待度を示唆するようにしたが、該第1D受付後特定演出UTD1については、必ずしも複数態様を用意しなくてもよい。例えば、第1D受付後特定演出UTD1として「第1D受付後特定演出UTD1-2」のみを備えることとし、該第1D受付後特定演出UTD1が出現するか否かによって期待度(大当りが得られている割合)を示唆するようにしてもよい。すなわちこの場合、「第1D受付後特定演出UTD1-2」が出現したときには、「第1D受付後特定演出UTD1-2」が出現しなかったときよりも期待度が高いことが示唆されることとなる。
また上述の通り、この実施の形態にかかるパチンコ機1では、第3演出装置(スピーカー)をさらに用意することとしており、第1D受付期間の発生に際しては、図322(d)に示されるタイミングtW2よりも少し前のタイミングにおいて、受付許容音を出力開始させることとしている。すなわち、第1D受付期間に対応する受付許容音は、該第1D受付期間が発生するタイミングtW2を跨るかたちで可聴出力されるものとなっており、当該受付許容音が可聴出力されているなかで遊技者による動作(操作)が受付けされうるものとなっている。
ここで、第1D受付期間では、受付許容音として、相対的に長い時間にわたって可聴出力状態とされる第1長許容音と、相対的に短い時間にわたって可聴出力状態とされる第1短許容音とがそれぞれ出力されるようになっている。図304(d)に示される例では、第1長許容音と第1短許容音とをそれぞれ同時期に出力開始させるようにしているが、必ずしもこれに限られない。例えば、第1長許容音及び第1短許容音の一方(または両方)を、第1D受付期間が発生するタイミングtW2やそれ以降において出力開始させるようにしてもよい。
そして、第1D受付期間では、第1長許容音及び(または)第1短許容音がそれぞれ可聴出力されているなかで遊技者による動作の受付け(受付有効判定)がなされた場合、該受付けがなされたことに基づいて、第1長許容音及び(または)第1短許容音を途中終了(可聴出力状態の途中終了)させるようにしている。
この点、第1長許容音及び(または)第1短許容音については、図322(d)に示されるように、期待度の低い態様で実行(可聴出力)される場合(図示無し)と、期待度の高い態様で実行(可聴出力)される場合(図329(d)に示される場合)とがあるようにすることが望ましい。すなわちこの場合、第1長許容音及び(または)第1短許容音は、受付期間内において期待度を示唆するものでありながらも、「一体化摸画像表示IG」とは異なり、受付け(受付有効判定)がなされるとそれを確認することができなくなるものとして実行されることとなることから、受付期間内のいずれのタイミングで受付け(受付有効判定)がなされるようにするかについての緊張感を好適に維持することが期待されるようになる。
また、第1D受付期間では、受付許容音(第1長許容音、第1短許容音)が可聴出力されているなかで遊技者による動作の受付けがなされた場合、該受付許容音を途中終了させるだけでなく、該受付けがなされたときにはこれに基づいて、上記第1D受付後演出音の可聴出力を開始させるものとなっている。第1D受付後演出音は、期待度が示唆されるように実行されるものであり、例えば、期待度の低い態様で実行(可聴出力)される場合と、期待度の高い態様で実行(可聴出力)される場合とがあるものである。すなわちこの場合、第1D受付期間では、第1演出装置にて行われる演出(表示演出)の場合とは異なり、受付期間内で行われる演出(受付許容音)と、受付けがなされたことに応じて行われる演出(第1D受付後演出音)とが競合(重複)することがなくなるようになる。
このような第1D受付後演出音は、「第1D受付後演出表示UGD1」と同様、図322(d)に示されるように、「一体化摸画像表示IG」や「消滅関連表示(消滅EF演出)」が非表示にされた以降も、比較的長い時間にわたって実行されることとなる。また、第1D受付後演出音については、図329(d)から「I1(図330(e1)~(i1))」へと演出が進展する例(受付後演出として相対的に期待度の低い場合)と、図329(d)から「I2(図330(e2)~(i2))」へと演出が進展する例(受付後演出として相対的に期待度の高い場合)とで、互いに異なる出力音(態様)が出力されるようにすることが望ましい。
なお、第1D受付期間では、受付許容音として、第1長許容音及び第1短許容音をそれぞれ出力するようにしたが、これら2つの許容音を必ずしも出力しなくてもよく、1つの受付許容音のみが出力されるようにしてもよい。
また、第1D受付期間で受付け(受付有効判定)がなされた場合、第3演出装置では、期待度を示唆する第1D受付後演出音だけではなく、期待度を示唆しない「受付音」も可聴出力するものとなっている。すなわち、「受付音」とは、図329(d)から「I1(図330(e1)~(i1))」へと演出が進展する例(受付後演出として相対的に期待度の低い場合)と、図329(d)から「I2(図330(e2)~(i2))」へと演出が進展する例(受付後演出として相対的に期待度の高い場合)とで同じ態様で可聴出力されるものである。そして、このような「受付音」は、第1D受付期間とは異なる受付期間において受付け(受付有効判定)がなされた場合にも(期待度にかかわらず)可聴出力されるものとなっている。このような構成によれば、受付後演出としてどれだけ斬新な演出を行うようにした場合であっても、「受付音」が可聴出力されたときには受付け(受付有効判定)が適正になされた状態にあることを好適に認識することができるようになることから、受付後演出の内容に集中することを促すことができるようになる。
これに対し、図323に示される例や、図329(d)から「i1(図330(e3)~(i3))」や、図329(d)から「i2(図330(e4)~(i4))」へと演出が進展する例とは、第1D受付期間内で遊技者による動作(操作)が行われず受付け(受付有効判定)がなされなかった場合を想定したものである。
すなわちこの場合、同図323に示されるように、第1D受付期間が発生した後、遊技者による動作(操作)が受付け(受付有効判定)されることなく上記タイミングtW3が到来することとなる。ただし、この例にかかる第1D受付期間では、当該第1D受付期間内で遊技者による動作(操作)が行われず受付け(受付有効判定)がなされなかった場合であっても、上記タイミングtW3が到来したことに基づいて、当該第1D受付期間内で受付有効判定がなされたときと同じ受付後演出(ここでは、第1D受付後演出)を発生させるものとなっている。
例えば、図329(d)から「i1(図330(e3)~(i3))」へと演出が進展する場合とは、第1D受付期間内で受付有効判定が仮になされていたら図329(d)から「I1(図330(e1)~(i1))」へと演出(低期待)が進展するはずだったが、実際には、第1D受付期間内で受付有効判定がなされることはなく、上記タイミングtW3が到来したことに基づいて第1D受付後演出が実行される場合に相当している。すなわちこの場合、一体化摸画像表示IGのうち「残り時間表示」としてのゲージ画像の表示面積が「0」になっている点で、「I1(図330(e1)~(i1))」の場合とは異なるが、それ以外は、図330(e3)~(i3)に示されるように、「I1(図330(e1)~(i1))」の場合と基本的には同じ態様で演出が進展されることとなる。
また、図329(d)から「i2(図330(e4)~(i4))」へと演出が進展する場合とは、第1D受付期間内で受付有効判定が仮になされていたら図329(d)から「I2(図330(e2)~(i2))」へと演出(高期待)が進展するはずだったが、実際には、第1D受付期間内で受付有効判定がなされることはなく、上記タイミングtW3が到来したことに基づいて第1D受付後演出が実行される場合に相当している。すなわちこの場合、一体化摸画像表示IGのうち「残り時間表示」としてのゲージ画像の表示面積が「0」になっている点で、「I2(図330(e2)~(i2))」の場合とは異なるが、それ以外は、図330(e4)~(i4)に示されるように、「I2(図330(e2)~(i2))」の場合と基本的には同じ態様で演出が進展されることとなる。
ただし、この実施例にかかるパチンコ機1では、第1D受付期間内で受付有効判定がなされたことに基づいて第1D受付後演出が実行される場合と、第1D受付期間内で受付有効判定がなされずタイミングtW3が到来したことに基づいて第1D受付後演出が実行される場合とでは、該第1D受付後演出(受付後演出表示や、受付後特定演出表示や、受付後演出音など)としての実行時間が互いに異なるようにすることとしている。この例では、第1D受付期間内で受付有効判定がなされずタイミングtW3が到来したことに基づいて第1D受付後演出が実行される場合は、第1D受付期間内で受付有効判定がなされたことに基づいて第1D受付後演出が実行される場合よりも、第1D受付後演出としての実行時間が短くされるようにしており、これによって第1D受付期間内で受付有効判定がなされるように遊技することを遊技者に対して促すようにしている。ただし、第1D受付期間内で受付有効判定がなされずタイミングtW3が到来したことに基づいて第1D受付後演出が実行される場合は、第1D受付期間内で受付有効判定がなされたことに基づいて第1D受付後演出が実行される場合よりも、第1D受付後演出としての実行時間が長くされるようにしてもよい。
他方、図324は、第1D受付期間が発生するよりも前に操作手段(例えば、操作ボタン410)に対して遊技者による動作(例えば、押圧操作)が行われた結果、該動作(操作)が動作検出手段(センサなど)によって検出され、その検出情報が検出情報記憶手段(周辺制御RAM1511cや、プログラム内の該当する処理ステップなど)で当該第1D受付期間が発生するまで記憶保持されて当該第1D受付期間内の上記受付有効判定に供された場合(第1D受付期間においてストック受付演出が実行された場合)を想定している。
すなわち上述の通り、この実施の形態にかかるパチンコ機1では、図324(a)に示されるように、第1D受付期間が発生するよりも前のタイミングtW1が到来すると、遊技者に対して動作機会が付与されることを示唆する前兆演出表示(ここでは、第1D前兆演出表示ZEC)が実行可能とされる。この点、該第1D前兆演出表示ZECが実行される期間には、
・遊技者による動作が行われた場合に該動作が上記動作検出手段によって検出されて該動作検出手段による検出情報が第1D受付期間内における「受付有効判定」に供される第1期間(ストック期間)と、
・遊技者による動作が行われた場合に該動作が上記動作検出手段によって検出されたとしても該動作検出手段による検出情報が第1D受付期間内における「受付有効判定」に供されることがない第2期間(非ストック期間)と
が含まれるようになっている。
また、この例にかかる「第1D前兆演出表示ZEC」は、図324及び図328(b),(c)に示されるように、上記「第1期間(ストック期間)」に対応する「第1D前兆演出表示ZEC-1(図328(b)を参照)」と、上記「第2期間(非ストック期間)」に対応する「第1D前兆演出表示ZEC-2(図328(c)を参照)」とが順次表示されることにより実行されるようになっている。すなわちこの場合、「第1D前兆演出表示ZEC」が実行される期間のうち、「第1D前兆演出表示ZEC-1(図328(b)を参照)」が実行される期間内で遊技者による動作が検出されたときにはこれが第1D受付期間内の上記受付有効判定に供されることとなるが、「第1D前兆演出表示ZEC-2(図328(c)を参照)」が実行される期間内で遊技者による動作が検出されたときにはこれが第1D受付期間内の上記受付有効判定に供されることはない。
この点、図324に示される例は、「第1D前兆演出表示ZEC」が実行される期間のうち「第1期間(ストック期間)」において遊技者による動作が行われてこれが上記動作検出手段によって検出された場合を想定したものである。
ただし、「遊技者による動作(操作)を有効動作とする受付有効判定」が許容されるのは、第1D受付期間内に限られることである。したがって、「第1期間(ストック期間)」において遊技者による動作が行われてこれが上記動作検出手段によって検出された場合であっても、その時点(第1D受付期間が未だ発生していない時点)において「受付有効判定」がなされることはない。すなわち、「第1期間(ストック期間)」で得られた検出情報(遊技者による動作の検出情報)は、第1D受付期間が発生するタイミングtW2においても記憶保持されている。そして、タイミングtW2(より正確には、タイミングtW2が発生してからすぐに(数ms後に)到来する判定用タイミングtW2A)において、該記憶保持されていた検出情報に基づいて「受付有効判定」がなされるべき状況にあるか否かが判定されることとなり、この判定結果として(記憶保持されていた検出情報(「第1期間(ストック期間)」で得られた検出情報)に基づいて)「受付有効判定」がなされることとなる(ストック受付演出)。さらには、該受付有効判定がなされたことに基づいて、発生したばかりの状態にある当該第1D受付期間が終了されるとともに、該第1D受付期間に対応する受付後演出(第1D受付後演出)が実行開始されることとなる。
したがって、「第1期間(ストック期間)」内において遊技者による動作が行われてこれが上記動作検出手段によって検出された場合であっても、該検出された時点で、第1D前兆演出表示ZECが途中終了されたり、これに対応する前兆演出音が中断されなくなったりすることはない。さらに言えば、「第1期間(ストック期間)」において遊技者による動作が行われてこれが上記動作検出手段によって検出された場合であっても、該検出されたことに基づいて演出表示装置1600(第1演出装置)内に何らかの反応を生じさせることもないし、該検出された以降、受付許容音が出力されなくなることもない。すなわち、この例にかかるパチンコ機1では、第1D受付期間が発生するタイミングtW2が到来するまでの間は、「第1期間(ストック期間)」において遊技者による動作が行われてこれが上記動作検出手段によって検出された場合と、該動作検出手段によって検出されなかった場合とのいずれであっても互いに同じ態様で演出が進展されるようになっている。
また、第1D受付期間では、該第1D受付期間が発生するよりも前に得られた検出情報に基づいて「受付有効判定」がなされた場合(ストック受付演出が実行された場合)であっても、図324及び図331に示されるように、基本的には、第1D受付期間内において得られた検出情報に基づいて受付有効判定がなされた場合と同じ態様で演出が進展されることとなる。
したがって、図324に示される例の場合(第1D受付期間においてストック受付演出が実行された場合)も、図328(c)から「J1(図331(e5)~(i5))」へと演出が進展する場合(受付後演出として相対的に期待度の低い場合)と、図328(c)から「J2(図331(e6)~(i6)」へと演出が進展する場合(受付後演出として相対的に期待度の高い場合)とがあるようになり、第1演出装置、第2演出装置、及び第3演出装置においては、基本的には、図322や図330(e1)~(i1)または図330(e2)~(i2)などを参照しつつ説明した通りの内容で演出が実行されることとなる。
例えば、図324に示される例の場合(第1D受付期間においてストック受付演出が実行された場合)も、図322に示した場合と同様、遊技者による動作が受付けされた時点(受付けに応じて第1D受付後演出が開始された時点)であるタイミングtW2(より正確には、タイミングtW2A)において、「一体化摸画像表示IG」は表示状態にあり、該一体化摸画像表示IGを視認し難くすることもしない。
ただし、図324に示される例の場合(第1D受付期間においてストック受付演出が実行された場合)は、図331(e5),(e6)に併せて示されるように、遊技者による動作が受付けされた時点(受付けに応じて第1D受付後演出が開始された時点)であるタイミングtW2(より正確には、タイミングtW2A)において「第1D前兆演出表示ZEC」が非表示にされておらずこれが表示された状態にあるようにしている。すなわちこの場合、第1D受付期間が発生するよりも前の、「第1D前兆演出表示ZEC」が実行されている期間中に得られた検出情報に基づいて、遊技者による動作が受付けされた(受付有効判定がなされた)状況にあることを示唆することができるようになる。
また、図324(b)や、図331(f5)または(f6)に示される例においても、遊技者による動作が受付けされたことによって第1D受付期間が終了したタイミングtW2(より正確には、タイミングtW2A)から所定時間が経過すると(タイミングtW2Bが到来すると)、一体化摸画像表示IG(摸画像表示)を視認し難くする消滅関連表示(消滅EF演出)にかかる表示が開始される。第1D受付後演出として期待度の低い態様(図331(e5)~(i5))が現れる場合と、期待度の高い態様(図331(e6)~(i6))が現れる場合とで、消滅関連表示として異なる態様(第1消滅関連表示SKD1,第2消滅関連表示SKD2)が現れるようになっている点も、図322や図330に示した場合と同様である。
ただし、図324に示される例の場合(第1D受付期間においてストック受付演出が実行された場合)は、図331(f5),(f6)に示されるように、消滅関連表示(第1消滅関連表示SKD1または第2消滅関連表示SKD2)は、一体化摸画像表示IG(摸画像表示)だけでなく、「第1D前兆演出表示ZEC」も視認し難くするように表示されることとなる。
すなわち、図324に示される例(ストック受付演出が実行された例)では、「第1D前兆演出表示ZEC」が表示されているなかで「消滅関連表示(消滅EF演出)」が表示されるようになっており、「消滅関連表示(消滅EF演出)」が表示される領域の少なくとも一部は「第1D前兆演出表示ZEC」が表示される領域と重複するようになっている。このような構成によれば、受付けがなされた以降、「第1D前兆演出表示ZEC」を表示し続けるようにした場合であっても、該「第1D前兆演出表示ZEC」が視認し難くされることによって、受付後演出(第2演出装置、第3演出装置)が既に実行されている状況にあることを示唆することができるようになる。
また、図324に示される例(ストック受付演出が実行された例)においても、消滅関連表示が現れている期間内のタイミングtW2Cが到来すると、図331(g5)または(g6)に示されるように、第1D受付期間内で遊技者による動作が受付けされたことに応じた第1演出装置(演出表示装置1600)における受付後演出としての「第1D受付後演出表示UGD1(カットイン演出)」が実行開始される。該「第1D受付後演出表示UGD1(カットイン演出)」が、図328(c)から「J1(図331(e5)~(i5))」へと演出が進展する例(受付後演出として相対的に期待度の低い場合)と、図328(c)から「J2(図331(e6)~(i6))」へと演出が進展する例(受付後演出として相対的に期待度の高い場合)とで、互いに異なる態様(第1D受付後演出表示UGD1-1、第1D受付後演出表示UGD1-2)として実行される点も、図322や図330に示した場合と同様である。
ただし、図324に示される例の場合(第1D受付期間においてストック受付演出が実行された場合)では、タイミングtW2Cが到来すると、「第1D前兆演出表示ZEC」が非表示にされるようになっている。
また、図324に示される例(第1D受付期間においストック受付演出が実行された例)においても、こうして「第1D受付後演出表示UGD1(第1D受付後演出表示UGD1-1または第1D受付後演出表示UGD1-2)」にかかる表示が開始された後は、図324(b)や、図331(h5)または(h6)に示されるように、該「第1D受付後演出表示UGD1(第1D受付後演出表示UGD1-1または第1D受付後演出表示UGD1-2)」が表示されているなかで、まず、「一体化摸画像表示IG」及び「消滅関連表示」のうち、「一体化摸画像表示IG」が非表示にされる。そして、こうして「一体化摸画像表示IG」が非表示にされた後、図324(b)や、図331(i5)または(i6)に示されるように、「消滅関連表示(第1消滅関連表示SKD1または第2消滅関連表示SKD2」が非表示にされることとなり、これによって視認良好とされているもとで「第1D受付後演出表示UGD1(第1D受付後演出表示UGD1-1または第1D受付後演出表示UGD1-2)」にかかる表示が行われるようになる。
なお、図324や図331に示される例(ストック受付演出が実行された例)においても、遊技者による動作が受付けされた(受付有効判定がなされた)ことに基づいて、第2演出装置を用いた第1D受付後演出(第1D受付後特定演出)及び第3演出装置を用いた第1D受付後演出(第1D受付後演出音)を、上記第1演出装置を用いた第1D受付後演出(第1D受付後演出表示)に先行して実行開始させたり、第1長許容音及び(または)第1短許容音がそれぞれ可聴出力されているなかで遊技者による動作の受付け(受付有効判定)がなされたことに基づいて、第1長許容音及び(または)第1短許容音を途中終了(可聴出力状態の途中終了)させたりする。
ただし、第1長許容音及び(または)第1短許容音については、それらの一方(または両方)を、第1D受付期間が発生するタイミングtW2やそれ以降において出力開始させるようにしてもよいことは上述した通りである。このような構成を採用した場合、図324や図331に示される例(ストック受付演出が実行された例)においては、図322や図330に示した例(受付期間内で受付けされた例)の場合とは異なり、第1長許容音及び(または)第1短許容音についてはこれらが出力開始されることがないようにしてもよい。
また、この実施例にかかるパチンコ機1では、図324や図331に示される例の場合(第1D受付期間においてストック受付演出が実行された例の場合)と、図322や図330に示した例の場合(第1D受付期間において得られた検出情報に基づいて受付けされた例の場合)とでは、第1D受付期間内で受付有効判定がなされたことに基づいて実行される当該第1D受付後演出(受付後演出表示や、受付後特定演出表示や、受付後演出音など)としての実行時間が互いに異なるようにすることとしている。この例では、第1D受付期間が発生するよりも前に得られた検出情報に基づいて第1D受付後演出が実行される場合(図324や図331を参照)は、第1D受付期間内で得られた検出情報に基づいて第1D受付後演出が実行される場合(図322や図330を参照)よりも、第1D受付後演出としての実行時間が短くされるようにしており、これによって第1D受付期間内で遊技者による操作が検出されるように遊技することを遊技者に対して促すようにしている。ただし、第1D受付期間が発生するよりも前に得られた検出情報に基づいて第1D受付後演出が実行される場合(図324や図331を参照)は、第1D受付期間内で得られた検出情報に基づいて第1D受付後演出が実行される場合(図322や図330を参照)よりも、第1D受付後演出としての実行時間が長くされるようにしてもよい。
また、図324や図331に示される例の場合(第1D受付期間においてストック受付演出が実行された例の場合)は、図323に示した例の場合(受付期間内で受付けされなかった例の場合)との間でも、第1D受付後演出(受付後演出表示や、受付後特定演出表示や、受付後演出音など)としての実行時間が互いに異なるようにすることとしている
なお、図324や図331に示される例(第1D受付期間においてストック受付演出が実行された例)では、「第1D前兆演出表示ZEC」が非表示にされるタイミングを、第1D受付後演出表示UGD1が実行開始されるタイミングtW2Cと同じにしたが、必ずしも同じタイミングにしなくてもよい。例えば、「第1D前兆演出表示ZEC」については、「一体化摸画像表示IG(摸画像表示や残り時間表示(枠画像及びゲージ画像))」と同じタイミング(タイミングtW2Cよりも後のタイミング)で非表示にされるようにしてもよい。
また、図324や図331に示される例(第1D受付期間においてストック受付演出が実行された例)では、第1D受付期間が発生するよりも前に得られた検出情報に基づいて「受付有効判定」がなされた場合、該「受付有効判定」がなされたタイミングtW2(より正確には、タイミングtW2A)において、「第1D前兆演出表示ZEC」として第1D前兆演出表示SKC-2(第2期間)が表示されている状態にあるようにしたが、これに代えて検出情報が得られたときに現れていた第1D前兆演出表示SKC-1が表示されている状態にあるようにしてもよい。すなわちこの場合、いずれのタイミングで得られた検出情報に基づいて「受付有効判定」がなされた状況にあるのかを示唆することができるようになる。
また、上述した例では、第1D前兆演出表示ZECが実行される期間として、
・遊技者による動作が行われた場合に該動作が上記動作検出手段によって検出されて該動作検出手段による検出情報が第1D受付期間内における「受付有効判定」に供される第1期間(ストック期間)と、
・遊技者による動作が行われた場合に該動作が上記動作検出手段によって検出されたとしても該動作検出手段による検出情報が第1D受付期間内における「受付有効判定」に供されることがない第2期間(非ストック期間)と
を順次発生させるようにしたが、これに代えて、第2期間(非ストック期間)を先に発生させてから第1期間(ストック期間)を発生させるようにしてもよい。
また、上述した例では、第1期間(ストック期間)と第2期間(非ストック期間)とで、第1D前兆演出表示ZECとしての演出内容が異なるようにしたが、該演出内容については同じもの(2つの期間で継続されるもの)であってもよい。また、第1D前兆演出表示ZECが実行される期間内に第2期間(非ストック期間)は必ずしも含まれなくてもよい。
ところで、この例にかかる第1D受付期間では、一体化摸画像表示IG(摸画像表示や、枠画像、ゲージ画像)が、図232(d)に示される態様ではなく、図232(a)に示される態様で表示される場合もあることは上述した通りである。図232(a)に示される態様で一体化摸画像表示IG(摸画像表示や、枠画像、ゲージ画像)が表示されることが事前決定(大当り判定の結果に基づいて事前決定)されていたにもかかわらず、第1D受付期間が発生するよりも前に得られた検出情報に基づいて当該第1D受付期間内で「受付有効判定」がなされた場合は、上述した図331に示される状況が現れた場合と「一体化摸画像表示IG(摸画像表示、枠画像、ゲージ画像)」としての態様が異なるだけで、それ以外は同じ態様で演出が進展されることとなる。すなわち、上述した図331に示される状況が現れた場合とは、図232(d)に示される態様で一体化摸画像表示IG(摸画像表示や、枠画像、ゲージ画像)が表示されることが事前決定(大当り判定の結果に基づいて事前決定)されていた場合に相当している。
このような構成によれば、第1D受付期間が発生するよりも前に得られた検出情報に基づいて上述したストック受付演出が実行された場合であっても、一体化摸画像表示IG(摸画像表示や、枠画像、ゲージ画像)としていずれの態様が現れる予定であったのかを好適に示唆することができるようになる。
図325~図327は、判定(大当り判定または演出判定)の結果として条件2Dが満たされて第2D受付期間(第2D受付演出)が発生するときの演出内容についてその一例を示すタイムチャートである。図332~図335は、第2D受付期間(第2D受付演出)が発生する変動パターンにおける演出例を示す図である。
いま、特定遊技状態(例えば、非確変・非時短である通常遊技状態)において始動条件が成立(保留消化)されて、変動パターン判定が行われた結果として「第2D変動パターン」が選択されたとすると、上記周辺制御MPU1511aでは、まず、該第2D変動パターンに対応する演出判定(予告演出判定など)を行う。そしてこの後、装飾図柄SZの変動演出(第2D変動パターンに応じた演出描写や、第2D変動パターンに応じたBGM再生の音出力など)を開始させ(「図332(a)に示される状況」)、該変動演出の実行期間内で、予告演出判定の結果に応じた演出(予告演出)を、上記選択した「第2D変動パターン」これ自体の演出に対して付加的に実行させることとなる。
なお、「第2D変動パターン」にかかる演出では、演出判定(予告判定)としていずれの結果が得られている場合であっても、図325(a)に示されるように、装飾図柄SZの変動演出が開始されてから第2D時間が経過したタイミングtX2(例えば、非リーチ状態内のタイミング)が到来したときに(条件2Dが満たされたときに)「第2D受付後演出に関しての受付け」が許容される上記第2D受付期間(有効期間)を発生させるようにしてもよいし(「図333(d)に示される状況」)、演出判定(予告判定)として所定の結果が得られた場合に限りタイミングtX2(例えば、非リーチ状態内のタイミング)が到来したときに(条件2Dが満たされたときに)「第2D受付後演出に関しての受付け」が許容される上記第2D受付期間(有効期間)を発生させるようにしてもよい。いずれにせよ、当該第2D受付期間内において遊技者による動作が受付けされると(受付有効判定されると)、該受付けに基づいて第2D受付後演出が行われるようになる。
この点、この実施の形態にかかる演出表示装置1600(第1演出装置)では、このような第2D受付期間が発生する場合、これに関連して、受付期間(有効期間)が間もなく発生することを示唆する前兆演出表示や、受付対象(操作受け部など)を示唆する動作対象表示(摸画像表示)、受付期間の残り時間を示唆する残り時間表示、動作対象表示(摸画像表示)や残り時間表示などを視認し難くする消滅関連表示(消滅EF表示)、受付けされたことに応じて期待度(大当り図柄が現れる割合)を示唆する受付後演出表示がそれぞれ行われるようになっている。期待度(大当り図柄が現れる割合)については、「0%」や「100%」を含むものであってもよい。なお上述の通り、この例にかかる動作対象表示(摸画像表示)は、残り時間表示を含む周縁装飾画像と一体化された「一体化摸画像表示IG」として表示されるものとなっているが、必ずしもこれに限られず、別々に表示されるものであってもよい。このことについては、他の受付期間においても同様である。
より具体的には、第2D受付期間が発生するよりも前のタイミングtX1が到来したときには、図325(b)及び図332(b),(c)に示されるように、上記前兆演出表示として「第2D前兆演出表示ZED」が実行開始される。この例にかかる「第2D前兆演出表示ZED」は、第2D受付期間が発生するタイミングtX2において非表示にされるものとなっているが、該タイミングtX2を跨るように表示されるものであってもよい。なおこの例では、図325(d)に示されるように、「第2D前兆演出表示ZED」が実行される場合、上述した「第1D前兆演出表示ZED」が実行される場合とは異なり、該「第2D前兆演出表示ZED」に対応する演出音(前兆演出音)が出力されることはない。
また後述するが、この実施の形態にかかる第2D受付期間も、上述した第1D受付期間と同様、当該第2D受付期間が発生するよりも前に、操作手段(例えば、操作ボタン410)に対して遊技者による動作(例えば、押圧操作)が行われた場合であっても、該動作(操作)は、動作検出手段(センサなど)によって検出され、その検出情報は、検出情報記憶手段(周辺制御RAM1511cや、プログラム内の該当する処理ステップなど)で当該第2D受付期間が発生する時点においても記憶保持されて、当該第2D受付期間内の上記受付有効判定に供される場合(ストック受付演出が実行される場合)があるようになっている。ただし、第2D受付期間が発生するよりも前に得られた検出情報に基づいて当該第2D受付期間内で「受付有効判定」がなされた場合は、上述した「第1D受付期間が発生するよりも前に得られた検出情報に基づいて当該第1D受付期間内で「受付有効判定」がなされた場合」とは異なり、一体化摸画像表示IG(摸画像表示や、残り時間表示(枠画像、ゲージ画像))が一度も表示(視認可能な状態に)されずに受付後演出(ここでは、第2D受付後演出)が実行開始されるようになっている。なお、第1D受付期間において動作機会が付与される対象(操作手段の種別)と、第2D受付期間において動作機会が付与される対象(操作手段の種別)とは互いに同じであってもよいし、異なっていてもよい。
この点、図325及び図326に示される例や、図332(c)から「K(図333(d)」へと演出が進展する例では、このようなストック受付演出が行われることなく第2D受付期間が発生した場合、すなわち第2D受付期間よりも前に得られた検出情報が当該第2D受付期間内の上記受付有効判定に供されない場合を想定している。
より具体的には、ストック受付演出が行われることなくタイミングtX2において第2D受付期間が発生する場合は、図325(b)及び図333(d)に示されるように、この例にかかる演出表示装置1600(第1演出装置)においては、一体化摸画像表示IGとして、「摸画像表示」や「残り時間表示(枠画像及びゲージ画像)」が表示される。該一体化摸画像表示IG(摸画像表示や、枠画像、ゲージ画像)は、これに対応する受付期間(ここでは、第2D受付期間)が発生するタイミングtX2において出現しうるものであってもよいし、タイミングtX2よりも前に出現して該タイミングtX2を跨ぐように表示されるものであってもよい。なお、一体化摸画像表示IG(摸画像表示や、残り時間表示(枠画像、ゲージ画像))は、第2D受付期間内で受付け(受付有効判定)がなされたときか、該受付け(受付有効判定)がなされることなく第2D受付期間が終了されたときに非表示にされる。この例にかかる第2D受付期間は、遊技者による動作(操作)の受付け(受付有効判定)がなされないときにはタイミングtX3が到来したときに終了される(図325(a)を参照)。
また、この例にかかる第2D受付期間では、一体化摸画像表示IG(摸画像表示や、残り時間表示(枠画像、ゲージ画像))が、複数態様(例えば、図232(a),(c))のいずれかで表示される。図333及び図334は、一体化摸画像表示IG(摸画像表示や、残り時間表示(枠画像、ゲージ画像))が「図232(c)に示される態様」で表示された場合に相当している。一体化摸画像表示IG(摸画像表示や、枠画像、ゲージ画像)が「図232(a)に示される態様」で表示される場合については、図333及び図334に示される一体化摸画像表示IG(摸画像表示や、枠画像、ゲージ画像)が、「図232(c)に示される態様」から「図232(a)に示される態様」に変更されるだけであるから、図示を割愛することとする。なお、第2D受付期間においても、図232(b),(d)に示される態様を含む複数態様のいずれかで一体化摸画像表示IG(摸画像表示や、枠画像、ゲージ画像)が表示されるようにしてもよい。
そして、図325は、このような第2D受付期間内で遊技者による動作が検出されてその検出情報に基づいてタイミングtX2aで「遊技者による動作(操作)を有効動作とする受付有効判定」がなされた場合を想定している。すなわちこの場合、図325(a)に示されるように、タイミングtX2aにおいて遊技者による動作が受付けされた(受付有効判定がなされた)ことに基づいて、第2D受付期間が終了されるとともに、該第2D受付期間に対応する受付後演出(第2D受付後演出)が実行開始されることとなる。
ここで、図333(d)から「K1(図334(e1)~図334(i1))へと演出が進展する例は、第2D受付期間に対応する受付後演出(第2D受付後演出)として相対的に期待度の低い第1態様が実行される場合に相当し、図333(d)から「K2(図334(e2)~図334(i2)」へと演出が進展する例は、第2D受付期間に対応する受付後演出(第2D受付後演出)として相対的に期待度の高い第2態様が実行される場合に相当している。期待度(大当り図柄が現れる割合)については、「0%」や「100%」を含むものであってもよい。
この点、第2D受付期間においても、図325に示されるように、遊技者による動作が受付けされた時点(受付けに応じて第2D受付後演出が開始された時点)であるタイミングtX2aにおいて、「一体化摸画像表示IG」を非表示にしないことはもとより、該一体化摸画像表示IGを視認し難くすることもしない。
すなわち、この実施の形態にかかる第2D受付後演出も、演出表示装置1600(第1演出装置)を利用した「第2D受付後演出表示」と、第2演出装置(例えば、サブ液晶や、可動体、演出用ランプなど)を利用した「第2D受付後特定演出」と、第3演出装置(スピーカ)を利用した第2D受付後演出音とが少なくとも複合された演出として実現されるものとなっている(必ずしも3つの演出装置による複合演出として実現しなくてもよい)が、それら演出装置のうち、一体化摸画像表示IG(摸画像表示や、残り時間表示(枠画像、ゲージ画像))が表示される演出表示装置1600(第1演出装置)においては、第2D受付後演出としての「第2受付後演出表示」が実行開始される時期を、他の演出装置に比べて遅延させるようにしており、これによって受付けがなされた以降も「一体化摸画像表示IG」の視認性をあえて維持させることとしている。
このような構成によれば、図334(e1)または(e2)に示されるように、受付けがなされた以降も、終了された受付期間内において一体化摸画像表示IGが複数態様(図232(a)~(d))のいずれで表示されていたのかなどを、遊技者は容易に認識することができるようになることから、遊技興趣が低下することを好適に抑制することが期待されるようになる。
ここで、受付期間の終了後、該受付期間内において一体化摸画像表示IGがいかなる態様で表示されていたのかの認識を容易とする上では、受付けがなされた以降の「一体化摸画像表示IGが視認容易な態様のままで表示される時間」を長く設定するようにすることが望ましいと言える。ただし、受付けがなされており受付後演出(第2演出装置、第3演出装置)が既に実行されている状況にあるにもかかわらず、一体化摸画像表示IGが受付期間中にあったときと同じ態様のままで表示され続けるようなことがあると、受付けがなされた状況にあるのか否かを遊技者側が認識し難くなり、その結果として「実行状態にある受付後演出に気付くのが遅れてしまう」といったことが懸念される。
そこで、図325(b)や、図334(f1)または(f2)に示される例においても、遊技者による動作が受付けされたことによって第2D受付期間が終了したタイミングtX2aから所定時間が経過すると(タイミングtX2bが到来すると)、摸画像表示を視認し難くする消滅関連表示(消滅EF演出)にかかる表示を開始するようにしている。
すなわち、この例にかかる演出表示装置1600(第1演出装置)においては、「一体化摸画像表示IG(摸画像表示、残り時間表示)」が表示されているなかで「消滅関連表示(消滅EF演出)」が表示されるようになっており、「消滅関連表示(消滅EF演出)」が表示される領域の少なくとも一部は「一体化摸画像表示IG(摸画像表示、残り時間表示)」が表示される領域と重複するようになっている。
このような構成によれば、受付けがなされた以降、一体化摸画像表示IGを表示し続けるようにした場合であっても、該一体化摸画像表示IGが視認し難くされることによって、受付後演出(第2演出装置、第3演出装置)が既に実行されている状況にあることを示唆することができるようになる。したがって、遊技者による注視先を一体化摸画像表示IGから受付後演出(第2演出装置、第3演出装置)へと自ずと移行されることが期待されるようになる(タイミングtX2b以降)。これにより、受付後演出(第2演出装置、第3演出装置)が既に実行されている状況においても、視認し難さはあるものの一体化摸画像表示IGを比較的長い時間にわたって表示し続けることが可能とされるようになることから、受付期間内で一体化摸画像表示IGがいずれの態様で表示されていたのか認識できないことによる遊技興趣の低下を抑制することができるようになる。
ただし、上述した第1D受付期間の場合とは異なり、第2D受付期間では、これに対応する受付後演出(第2D受付後演出)として期待度の低い態様(図334(e1)~(i1))が現れる場合と、期待度の高い態様(図334(e2)~(i2))が現れる場合とで、消滅関連表示として同じ態様(ここでは、第2消滅関連表示SKD2)が現れるようにしている。すなわちこの場合、演出表示装置1600(第1演出装置)において消滅関連表示が現れている間は、「第2D受付後演出表示」がいかなる態様で実行されるのかを認識し難くすることができるようになる。
例えば、この例にかかるパチンコ機1では、図325(b)や、図334(g1)または(g2)に示されるように、消滅関連表示にかかる表示(一体化摸画像表示IGが視認し難くなる態様)が現れている期間内のタイミングtX2cが到来すると、第2D受付期間内で遊技者による動作が受付けされたことに応じた第1演出装置(演出表示装置1600)における受付後演出としての「第2D受付後演出表示UGD2(会話予告演出)」を実行開始するようにしている。ただしここでは、図333(d)から「K1(図334(e1)~(i1))」へと演出が進展する例(受付後演出として相対的に期待度の低い場合)では、図334(g1)に示されるように、第2D受付期間に対応する第2D受付後演出表示UGD2として第1態様(ここでは、「無言」の会話予告である第2D受付後演出表示UGD2-1)が表示され、図333(d)から「K2(図334(e2)~(i2))」へと演出が進展する例(受付後演出として相対的に期待度の高い場合)では、図334(f2)に示されるように、第2D受付期間に対応する第2D受付後演出表示UGD2として第2態様(ここでは、「チャンス」に言及する会話予告である第2D受付後演出表示UGD2-2)が表示されるようになっている。
すなわちこの場合、第2D受付後演出表示UGD2が期待度の異なる複数態様(第2D受付後演出表示UGD2-1,第2D受付後演出表示UGD2-2)のいずれかで実行開始されることとなるが、それら態様のいずれが実行開始された場合であっても、消滅関連表示として一の態様(第2消滅関連表示SKD2)が当該第2D受付後演出表示UGD2に対して重なるように表示(優先表示)されてこれを視認し難くするように機能することから、「第2D受付後演出表示」がいかなる態様で実行されているのかを認識し難くすることができるようになる。
またこの場合、「一体化摸画像表示IG」及び「消滅関連表示(第2消滅関連表示SKD2)」がそれぞれ表示されているなかで「第2D受付後演出表示UGD2(「第2D受付後演出表示UGD2-1」または「第2D受付後演出表示UGD2-2」)が実行開始されることとなる。これにより、第2D受付期間内で受付けされた以降、一体化摸画像表示IGを比較的長い時間にわたって表示し続けるようにした場合であっても、第1演出装置(演出表示装置1600)における受付後演出(第2D受付後演出表示UGD2を他の演出装置と比較して大幅に遅延させることなく開始させることができるようになり、遊技興趣の低下を抑制することができるようになる。また、一体化摸画像表示IGが視認し難くされているなかで第2D受付後演出表示UGD1が開始されることから、第2D受付期間が既に終了していることを示唆しつつ、遊技者による注視先が「一体化摸画像表示IG」から「第2D受付後演出表示UGD2(第2D受付後演出表示UGD2-1または第2D受付後演出表示UGD2-2)」へと自ずと移行されることが期待されるようになる(タイミングtX2c以降)。
その一方で、「第2D受付後演出表示UGD2(第2D受付後演出表示UGD2-1または第2D受付後演出表示UGD2-2)」については、「一体化摸画像表示IG」が表示される領域の少なくとも一部と重なるように表示される場合(必ずしも重なるように表示しなくてもよい)、「一体化摸画像表示IG」よりも背後側に表示されるものとなっており、「第2D受付後演出表示UGD2(第2D受付後演出表示UGD2-1または第2D受付後演出表示UGD2-2)」に対して「一体化摸画像表示IG」を優先表示させるようにしている。これにより、「第2D受付後演出表示UGD2(第2D受付後演出表示UGD2-1または第2D受付後演出表示UGD2-2)」が実行開始されるなかでも、受付期間内で一体化摸画像表示IGがいずれの態様で表示されていたのかの認識を容易化するようにしている。
そして、この例にかかるパチンコ機1では、こうして「第2D受付後演出表示UGD2(第2D受付後演出表示UGD2-1または第2D受付後演出表示UGD2-2)」にかかる表示が開始されると、図325(b)や、図334(h1)または(h2)に示されるように、該「第2D受付後演出表示UGD2(第2D受付後演出表示UGD2-1または第2D受付後演出表示UGD2-2)」が表示されているなかで、まず、「一体化摸画像表示IG」及び「消滅関連表示」のうち、「一体化摸画像表示IG」を非表示にする。そして、こうして「一体化摸画像表示IG」が非表示にされた後、図325(b)や、図334(i1)または(i2)に示されるように、「消滅関連表示(第2消滅関連表示SKD2」が非表示にされることとなり、これによって視認良好とされているもとで「第2D受付後演出表示UGD2(第2D受付後演出表示UGD2-1または第2D受付後演出表示UGD2-2)」にかかる表示が行われるようになる。
この点、「第2D受付後演出表示UGD2」とは、遊技者による動作が受付けされたことに基づいて、期待度が異なる複数態様(ここでは、第2D受付後演出表示UGD2-1または第2D受付後演出表示UGD2-2)のいずれかで表示されるものである。したがって、「第2D受付後演出表示UGD2」は、「一体化摸画像表示IG」や「消滅関連表示」が非表示にされた以降も、比較的長い時間にわたって実行されることとなる。
この演出例では、「第2D受付後演出表示UGD2」を、「消滅関連表示(第2消滅関連表示SKD2)」が表示開始される時期(タイミングtX2b)よりも遅い時期(タイミングtX2c)で表示開始させることとしたが、「消滅関連表示(第2消滅関連表示SKD2)」が表示開始される時期(タイミングtX2b)と同じ時期(タイミングtX2b)で表示開始させるようにしてもよい。
なお、この例においては、第2D受付期間内で遊技者による動作が受付けされたときには、図315(b),(c)に併せて示されるように、該受付けがあったことに基づいて、第2演出装置を用いた第2D受付後演出(第2D受付後特定演出)を、上記第1演出装置を用いた第2D受付後演出(第2D受付後演出表示)に先行して実行開始させるようにしている。
このような構成によれば、演出表示装置1600(第1演出装置)において消滅関連表示を行った後に第2D受付後演出表示を行うようにした場合であっても、当該第2D受付後演出これ自体については、同タイミングtX2aから遅れることなく実行開始させることができるようになる。
このような第2演出装置としては、演出表示装置1600(第1演出装置)をメイン液晶とするときのサブ液晶として備えられるものであってもよいし、演出動作可能な演出可動体や、演出発光可能な演出ランプなどとして備えられるものであってもよい。いずれにせよ、期待度が異なる複数態様で演出(表示演出、可動演出、発光演出など)を行いうるものとして設けられることとなる。期待度(大当り図柄が現れる割合)については、「0%」や「100%」を含むものであってもよい。
上述の通り、この実施の形態にかかるパチンコ機1では、第2演出装置としてサブ液晶1610を用いた場合を想定している。そして、図333(d)から「K1(図334(e1)~(i1))」へと演出が進展する例(受付後演出として相対的に期待度の低い場合)では、図334(d1)に示されるように、該サブ液晶1610(第2演出装置)において「末吉」が表示される態様が、当該第2D受付期間に対応する上記第2D受付後特定演出UTD2(第2D受付後特定演出UTD2の期待度の低い態様である第2D受付後特定演出UTD2-1)として、上記第1演出装置を用いた第2D受付後演出(第2D受付後演出表示UGD2-1)に先行して実行開始されるようになっている。これに対し、図333(d)から「K2(図334(e2)~(i2))」へと演出が進展する例(受付後演出として相対的に期待度の高い場合)では、図334(e2)に示されるように、該サブ液晶1610(第2演出装置)において「吉」が表示される態様が、当該第2D受付期間に対応する上記第2D受付後特定演出UTD2(第2D受付後特定演出UTD2の期待度の高い態様である第2D受付後特定演出UTD2-2)として、上記第1演出装置を用いた第2D受付後演出(第2D受付後演出表示UGD2-2)に先行して実行開始されるようになっている。
なお、図333(d)に示した演出例では、演出表示装置1600(第1演出装置)における「一体化摸画像表示IG」とは別に、サブ液晶1610(第2演出装置)においても第2D受付期間が発生した状態にあることを示唆する受付期間内演出(おみくじの表示)が実行されるようになっている。該サブ液晶1610(第2演出装置)における受付期間内演出は、演出表示装置1600(第1演出装置)における「一体化摸画像表示IG」が期待度の低い態様(図示無し)で表示される場合と期待度の高い態様(図333(d)を参照)で表示される場合とで同じ態様となるように表示されるものとなっている。
すなわちこの場合、遊技者に対して動作機会(操作機会)が付与される第2D受付期間内にあるとき、演出表示装置1600(第1演出装置)では期待度に応じて異なる態様が現れ、且つサブ液晶1610(第2演出装置)では期待度にかかわらず同じ態様が現れることとなる。ただしこの後、第2D受付期間内で「遊技者による動作(操作)を有効動作とする受付有効判定」がなされると、演出表示装置1600(第1演出装置)では「一体化摸画像表示IG」にかかる表示が継続されているなかで(受付後演出としての期待度を未だ示唆していないなかで)、サブ液晶1610(第2演出装置)では期待度に応じて異なる態様が現れることとなる。このような構成によれば、1つの演出装置による演出だけを注視している場合よりも、その時々に応じて適切な演出装置を注視するようにしたほうが演出情報をより迅速に得ることができるようになることから、遊技興趣の向上を図ることができるようになる。
なお、この演出例では、サブ液晶1610(第2演出装置)における受付期間内演出(おみくじの表示)は、第2D受付期間が発生するよりも前から継続して実行されるものとなっており、該第2D受付期間が発生することを示唆する前兆演出としても機能するものとなっている。ただし、サブ液晶1610(第2演出装置)における受付期間内演出と、サブ液晶1610(第2演出装置)における前兆演出とについては、互いに異なる演出としてそれぞれ実行されるものであってもよい。
また、この演出例では、第2D受付後特定演出UTD2として、「第2D受付後特定演出UTD2-1」及び「第2D受付後特定演出UTD2-2」のいずれが出現するかによって期待度を示唆するようにしたが、該第2D受付後特定演出UTD2については、必ずしも複数態様を用意しなくてもよい。例えば、第2D受付後特定演出UTD2として「第2D受付後特定演出UTD2-2」のみを備えることとし、該第2D受付後特定演出UTD2が出現するか否かによって期待度(大当りが得られている割合)を示唆するようにしてもよい。すなわちこの場合、「第2D受付後特定演出UTD2-2」が出現したときには、「第2D受付後特定演出UTD2-2」が出現しなかったときよりも期待度が高いことが示唆されることとなる。
また上述の通り、この実施の形態にかかるパチンコ機1では、第3演出装置(スピーカー)をさらに用意することとしており、第2D受付期間の発生に際しては、図325(d)に示されるタイミングtX2よりも少し前のタイミングにおいて、受付許容音を出力開始させることとしている。すなわち、第2D受付期間に対応する受付許容音は、該第2D受付期間が発生するタイミングtX2を跨るかたちで可聴出力されるものとなっており、当該受付許容音が可聴出力されているなかで遊技者による動作(操作)が受付けされうるものとなっている。
ここで、第2D受付期間では、受付許容音として、相対的に長い時間にわたって可聴出力状態とされる第1長許容音が出力されず、相対的に短い時間にわたって可聴出力状態とされる第1短許容音が出力されるようになっている。ただし、第2D受付期間に対応する受付許容音については、上記第1長許容音と上記第1短許容音とのいずれとも異なる音として出力されるようにしてもよい。
そして、第2D受付期間では、これに対応する受付許容音(ここでは、第1短許容音)が可聴出力されているなかで遊技者による動作の受付けがなされた場合、該受付けがなされたことに基づいて、該受付許容音を途中終了(可聴出力状態の途中終了を)させないようにしており、これによって上記第1D受付期間ではなく、第2D受付期間が発生すること(または、発生していること)を示唆することとしている。ただし、第2D受付期間に対応する受付許容音についても受付けがなされたことに基づいてこれを途中終了させるようにしてもよい。
この点、第2D受付期間に対応する受付許容音(ここでは、第1短許容音)については、図325(d)に示されるように、期待度の低い態様で実行(可聴出力)される場合(図示無し)と、期待度の高い態様で実行(可聴出力)される場合(図333(d)に示される場合)とがあるようにすることが望ましい。
また、第2D受付期間で受付け(受付有効判定)がなされたときにはこれに基づいて、上記第2D受付後演出音の可聴出力を開始させるものとなっている。第2D受付後演出音は、「第2D受付後演出表示UGD2」と同様、図325(d)に示されるように、「一体化摸画像表示IG」や「消滅関連表示(消滅EF演出)」が非表示にされた以降も、比較的長い時間にわたって実行されることとなる。また、第2D受付後演出音については、図333(d)から「K1(図334(e1)~(i1))」へと演出が進展する例(受付後演出として相対的に期待度の低い場合)と、図333(d)から「K2(図334(e2)~(i2))」へと演出が進展する例(受付後演出として相対的に期待度の高い場合)とで、互いに異なる出力音(態様)が出力されるようにすることが望ましい。
また、第2D受付期間で受付け(受付有効判定)がなされた場合、第3演出装置では、期待度を示唆する第2D受付後演出音だけではなく、期待度を示唆しない「受付音」も可聴出力するものとなっている。すなわち、「受付音」とは、図333(d)から「K1(図334(e1)~(i1))」へと演出が進展する例(受付後演出として相対的に期待度の低い場合)と、図333(d)から「K2(図334(e2)~(i2))」へと演出が進展する例(受付後演出として相対的に期待度の高い場合)とで同じ態様で可聴出力されるものである。そして、このような「受付音」は、第2D受付期間とは異なる受付期間において受付け(受付有効判定)がなされた場合にも(期待度にかかわらず)可聴出力されるものとなっている。このような構成によれば、受付後演出としてどれだけ斬新な演出を行うようにした場合であっても、「受付音」が可聴出力されたときには受付け(受付有効判定)が適正になされた状態にあることを好適に認識することができるようになることから、受付後演出の内容に集中することを促すことができるようになる。
これに対し、図326に示される例や、図333(d)から「k(図334(e3)~(h3)」へと演出が進展する例とは、第2D受付期間内で遊技者による動作(操作)が行われず受付け(受付有効判定)がなされなかった場合を想定したものである。
すなわちこの場合、同図326に示されるように、第2D受付期間が発生した後、遊技者による動作(操作)が受付け(受付有効判定)されることなく上記タイミングtX3が到来することとなる。この例にかかる第2D受付期間では、上述した第1D受付期間の場合とは異なり、当該第2D受付期間内で遊技者による動作(操作)が行われず受付け(受付有効判定)がなされなかった場合に当該第2D受付期間内で受付有効判定がなされたときと同じ受付後演出(ここでは、第2D受付後演出)が発生することはない。
ただし、該タイミングtX3(第2D受付期間が終了し、遊技者による動作(操作)の受付けが許容されなくなった時点)にあるときの演出表示装置1600(第1演出装置)では、タイミングtX2a(第2D受付期間内において遊技者による動作(操作)の受付けがなされた時点(または、受付後演出が実行開始される時点))にあるときの演出表示装置1600(第1演出装置)と同様、図334(e3)に示されるように、一体化摸画像表示IGを非表示にしないことはもとより、一体化摸画像表示IGを視認し難くすることもしないようにしている。
このような構成によれば、遊技者による動作(操作)の受付けが間に合わずに第2D受付期間が終了してしまった場合であっても、該終了した以降、第2D受付期間内において一体化摸画像表示IGがいかなる態様で表示されていたのかを認識することが可能とされるようになることから、遊技興趣の低下を抑制することができるようになる。
そしてこの後は、遊技者による動作(操作)が受付けされなかった場合も、図334(f3)に示されるように、「一体化摸画像表示IGが視認し難くなる態様」として、消滅関連表示(消滅EF演出)が開始される。すなわち、「一体化摸画像表示IG(摸画像表示、ゲージ画像表示)」が表示されているなかで「消滅関連表示(消滅EF演出)」が表示されることとなり、「消滅関連表示(消滅EF演出)」が表示される領域の少なくとも一部は「一体化摸画像表示IG(摸画像表示、ゲージ画像表示)」が表示される領域と重複するようになっている。
このような構成によれば、受付けがなされずに第2D受付期間が終了した以降、一体化摸画像表示IGを表示し続けるようにした場合であっても、該一体化摸画像表示IGが視認し難くされることによって、当該第2D受付期間が終了した状態にあることを示唆することができるようになる。また、当該第2D受付期間が既に終了している状況においても、視認し難さはあるものの一体化摸画像表示IGを比較的長い時間にわたって表示し続けることが可能とされるようになることから、受付期間内で一体化摸画像表示IGがいずれの態様で表示されていたのか認識できないことによる遊技興趣の低下を抑制することができるようになる。
また、この例にかかるパチンコ機1では、第2D受付期間内で遊技者による動作(操作)が受付けされなかった場合、消滅関連表示(消滅EF演出)として「第3消滅関連表示SKD3」を表示させることとしている。
該「第3消滅関連表示SKD3」については、第1D受付期間に関連して表示されないものであることが望ましい。すなわちこの場合、第1D受付期間が発生していなかったことを示唆することができるようになる。また、該「第3消滅関連表示SKD3」については、第2D受付期間内で遊技者による動作(操作)が受付けされたときには表示されないものであることが望ましい。すなわちこの場合、受付けがなされることなく第2D受付期間が終了した状態にあることをより好適に示唆することができるようになる。
なお、「第3消滅関連表示SKD3」については、第2D受付期間内で受付有効判定が仮になされていたとしたら「第2D受付後演出」として期待度の高い態様が現れていたか否かにかかわらず、常に一の態様で表示されるようにすることが望ましい。
そしてこの後は、図334(g3)に示されるように、「一体化摸画像表示IG」及び「消滅関連表示(図中は、第3消滅関連表示SKD3)」のうち、まず、「一体化摸画像表示IG」を非表示にする。そして、こうして「一体化摸画像表示IG」が非表示にされた後、図334(h5)に示されるように、「消滅関連表示(図中は、第3消滅関連表示SKD3))」が非表示にされることとなる。
なお、この例にかかる第2D受付期間では、一体化摸画像表示IG(摸画像表示や、枠画像、ゲージ画像)が、図232(c)に示される態様ではなく、図232(a)に示される態様で表示される場合もあることは上述した通りである。ただし、このような状況が現れた場合は、「一体化摸画像表示IG(摸画像表示、枠画像、ゲージ画像)」としての態様が異なるだけで、それ以外は同じ態様で演出が進展されることとなるから、その説明については割愛することとする。
他方、図327は、第2D受付期間が発生するよりも前に操作手段(例えば、操作ボタン410)に対して遊技者による動作(例えば、押圧操作)が行われた結果、該動作(操作)が動作検出手段(センサなど)によって検出され、その検出情報が検出情報記憶手段(周辺制御RAM1511cや、プログラム内の該当する処理ステップなど)で当該第2D受付期間が発生するまで記憶保持されて当該第2D受付期間内の上記受付有効判定に供された場合(第2D受付期間においてストック受付演出が実行された場合)を想定している。
すなわち上述の通り、この実施の形態にかかるパチンコ機1では、図327(a)に示されるように、第2D受付期間が発生するよりも前のタイミングtX1が到来すると、遊技者に対して動作機会が付与されることを示唆する前兆演出表示(ここでは、第2D前兆演出表示ZED)が実行可能とされる。この点、該第2D前兆演出表示ZEDが実行される期間には、
・遊技者による動作が行われた場合に該動作が上記動作検出手段によって検出されて該動作検出手段による検出情報が第2D受付期間内における「受付有効判定」に供される第1期間(ストック期間)と、
・遊技者による動作が行われた場合に該動作が上記動作検出手段によって検出されたとしても該動作検出手段による検出情報が第2D受付期間内における「受付有効判定」に供されることがない第2期間(非ストック期間)と
が含まれるようになっている。
また、この例にかかる「第2D前兆演出表示ZED」は、図327及び図332(b),(c)に示されるように、上記「第1期間(ストック期間)」と上記「第2期間(非ストック期間)」とのいずれにおいても同じ態様として表示されるものとなっている。したがって、「第2D前兆演出表示ZED」の態様を確認したとしても、「第1期間(ストック期間)」と「第2期間(非ストック期間)」とのいずれが発生している状態にあるかを認識することはできないようになっている。ただし、「第2D前兆演出表示ZED」についても、上記「第1期間(ストック期間)」にあるときと、上記「第2期間(非ストック期間)」にあるときとで異なる態様が現れるようにしてもよい。
また、この例にかかる「第2D前兆演出表示ZED(図327を参照)」では、上述した「第1D前兆演出表示ZEC(図324を参照)」の場合と比べて、前兆演出表示が実行されてから受付期間が発生するまでの期間に対して上記「第1期間(ストック期間)」の占める割合が大きくされている。例えば、図324に示される例では、「タイミングtW1~tW2の期間」に対して上記「第1期間(ストック期間)」が占める割合は40%程度しかないが、図327に示される例では、「タイミングtX1~tX2の期間」に対して上記「第1期間(ストック期間)」が占める割合は70%程度あるようになっている。すなわちこの場合、「第2D前兆演出表示ZED(図327を参照)」では、前兆演出表示が開始されてから受付期間が発生するまでの期間内で遊技者による動作が検出されたときにこれが「第1期間(ストック期間)」内で行われている期待値を、「第1D前兆演出表示ZED(図324を参照)」の場合よりも高くすることができるようになる。
この点、図327に示される例は、「第2D前兆演出表示ZED」が実行される期間のうち「第1期間(ストック期間)」において遊技者による動作が行われてこれが上記動作検出手段によって検出された場合を想定したものである。
ただし、「遊技者による動作(操作)を有効動作とする受付有効判定」が許容されるのは、第2D受付期間内に限られることである。したがって、「第1期間(ストック期間)」において遊技者による動作が行われてこれが上記動作検出手段によって検出された場合であっても、その時点(第2D受付期間が未だ発生していない時点)において「受付有効判定」がなされることはない。すなわち、「第1期間(ストック期間)」で得られた検出情報(遊技者による動作の検出情報)は、第2D受付期間が発生するタイミングtX2においても記憶保持されている。そして、タイミングtX2(より正確には、タイミングtX2が発生してからすぐに(数ms後に)到来する判定用タイミングtX2A)において、該記憶保持されていた検出情報に基づいて「受付有効判定」がなされるべき状況にあるか否かが判定されることとなり、この判定結果として(記憶保持されていた検出情報(「第1期間(ストック期間)」で得られた検出情報)に基づいて)「受付有効判定」がなされることとなる(ストック受付演出)。さらには、該受付有効判定がなされたことに基づいて、発生したばかりの状態にある当該第2D受付期間が終了されるとともに、該第2D受付期間に対応する受付後演出(第2D受付後演出)が実行開始されることとなる。
したがって、「第1期間(ストック期間)」内において遊技者による動作が行われてこれが上記動作検出手段によって検出された場合であっても、該検出された時点で、第2D前兆演出表示ZEDが途中終了されることはない。さらに言えば、「第1期間(ストック期間)」において遊技者による動作が行われてこれが上記動作検出手段によって検出された場合であっても、該検出されたことに基づいて演出表示装置1600(第1演出装置)内に何らかの反応を生じさせることもないし、該検出された以降、受付許容音が出力されなくなることもない。すなわち、この例にかかるパチンコ機1では、第2D受付期間が発生するタイミングtX2が到来するまでの間は、「第1期間(ストック期間)」において遊技者による動作が行われてこれが上記動作検出手段によって検出された場合と、該動作検出手段によって検出されなかった場合とのいずれであっても互いに同じ態様で演出が進展されるようになっている。
また、第2D受付期間では、該第2D受付期間が発生するよりも前に得られた検出情報に基づいて「受付有効判定」がなされた場合(ストック受付演出が実行された場合)であっても、図327及び図335に示されるように、基本的には、第2D受付期間内において得られた検出情報に基づいて受付有効判定がなされた場合と同じ態様で演出が進展されることとなる。
したがって、図327に示される例の場合(第2D受付期間においてストック受付演出が実行された場合)も、図332(c)から「L1(図335(e4)~(i4))」へと演出が進展する場合(受付後演出として相対的に期待度の低い場合)と、図332(c)から「L2(図335(e5)~(i5)」へと演出が進展する場合(受付後演出として相対的に期待度の高い場合)とがあるようになり、第1演出装置、第2演出装置、及び第3演出装置においては、基本的には、図325や図334(e1)~(i1)または図334(e2)~(i2)などを参照しつつ説明した通りの内容で演出が実行されることとなる。
ただし上述の通り、第2D受付期間において、該第2D受付期間が発生するよりも前に得られた検出情報に基づいて「受付有効判定」がなされた場合(ストック受付演出が実行された場合)は、一体化摸画像表示IG(摸画像表示や、残り時間表示(枠画像、ゲージ画像))が一度も表示(視認可能な状態に)されずに受付後演出(ここでは、第2D受付後演出)が実行開始されるようになっている。
したがって、図327に示される例の場合(第2D受付期間においてストック受付演出が実行された場合)は、図325に示した場合とは異なり、遊技者による動作が受付けされた時点(受付けに応じて第2D受付後演出が開始された時点)であるタイミングtX2(より正確には、タイミングtX2A)において、「一体化摸画像表示IG」は表示(視認可能な状態に)されていない。
しかも、図327に示される例の場合(第2D受付期間においてストック受付演出が実行された場合)は、図335(e4),(e5)に併せて示されるように、遊技者による動作が受付けされた時点(受付けに応じて第2D受付後演出が開始された時点)であるタイミングtX2(より正確には、タイミングtX2A)において「第2D前兆演出表示ZED」が非表示にされておらずこれが表示された状態にあるようにしている。すなわちこの場合、第2D受付期間が発生するよりも前の、「第2D前兆演出表示ZED」が実行されている期間中に得られた検出情報に基づいて、遊技者による動作が受付けされた(受付有効判定がなされた)状況にあることを示唆することができるようになる。
この点、図327(b)や、図335(f4)または(f5)に示される例においても、遊技者による動作が受付けされたことによって第2D受付期間が終了したタイミングtX2(より正確には、タイミングtX2A)から所定時間が経過すると(タイミングtX2Bが到来すると)、消滅関連表示(消滅EF演出)にかかる表示が開始される。第2D受付後演出として期待度の低い態様(図335(e4)~(i4))が現れる場合と、期待度の高い態様(図335(e5)~(i5))が現れる場合とで、消滅関連表示として同じ態様(第2消滅関連表示SKD2)が現れるようになっている点も、図325や図334に示した場合と同様である。
ただし、図327に示される例の場合(第2D受付期間においてストック受付演出が実行された場合)は、図335(f4),(f5)に示されるように、消滅関連表示(第2消滅関連表示SKD2)は、一体化摸画像表示IG(摸画像表示)ではなく、「第2D前兆演出表示ZED」を視認し難くするように表示されることとなる。
すなわち、図327に示される例(第2D受付期間においてストック受付演出が実行された例)では、「第2D前兆演出表示ZED」が表示されているなかで「消滅関連表示(消滅EF演出)」が表示されるようになっており、「消滅関連表示(消滅EF演出)」が表示される領域の少なくとも一部は「第2D前兆演出表示ZED」が表示される領域と重複するようになっている。このような構成によれば、受付けがなされた以降、「第2D前兆演出表示ZED」を表示し続けるようにした場合であっても、該「第2D前兆演出表示ZED」が視認し難くされることによって、受付後演出(第2演出装置、第3演出装置)が既に実行されている状況にあることを示唆することができるようになる。
また、図327に示される例(第2D受付期間においてストック受付演出が実行された例)においても、消滅関連表示が現れている期間内のタイミングtX2Cが到来すると、図335(g4)または(g5)に示されるように、第2D受付期間内で遊技者による動作が受付けされたことに応じた第1演出装置(演出表示装置1600)における受付後演出としての「第2D受付後演出表示UGD2(会話予告演出)」が実行開始される。該「第2D受付後演出表示UGD2(会話予告演出)」が、図332(c)から「L1(図335(e4)~(i4))」へと演出が進展する例(受付後演出として相対的に期待度の低い場合)と、図332(c)から「L2(図335(e5)~(i5))」へと演出が進展する例(受付後演出として相対的に期待度の高い場合)とで、互いに異なる態様(第2D受付後演出表示UGD2-1、第2D受付後演出表示UGD2-2)として実行される点も、図325や図334に示した場合と同様である。
そして、図327に示される例(第2D受付期間においてストック受付演出が実行された例)においては、こうして「第2D受付後演出表示UGD2(第2D受付後演出表示UGD2-1または第2D受付後演出表示UGD2-2)」にかかる表示が開始された後、図327(b)や、図335(h4)または(h5)に示されるように、該「第2D受付後演出表示UGD2(第2D受付後演出表示UGD2-1または第2D受付後演出表示UGD2-2)」が表示されているなかで、まず、「第2D前兆演出表示ZED」及び「消滅関連表示(第2消滅関連表示SKD2)」のうち、「第2D前兆演出表示ZED」が非表示にされる。そして、こうして「第2D前兆演出表示ZED」が非表示にされた後、図327(b)や、図335(i4)または(i5)に示されるように、「消滅関連表示(第2消滅関連表示SKD2)」が非表示にされることとなり、これによって視認良好とされているもとで「第2D受付後演出表示UGD2(第2D受付後演出表示UGD2-1または第2D受付後演出表示UGD2-2)」にかかる表示が行われるようになる。
なお、図327や図335に示される例(第2D受付期間においてストック受付演出が実行された例)においても、遊技者による動作が受付けされた(受付有効判定がなされた)ことに基づいて、第2演出装置を用いた第2D受付後演出(第2D受付後特定演出)及び第3演出装置を用いた第2D受付後演出(第2D受付後演出音)を、上記第1演出装置を用いた第2D受付後演出(第2D受付後演出表示)に先行して実行開始させる。
ただし、図327や図335に示される例(第2D受付期間においてストック受付演出が実行された例)では、上述した図324や図331に示される例(第1D受付期間においてストック受付演出が実行された例)の場合とは異なり、第1短許容音が可聴出力されているなかで遊技者による動作の受付け(受付有効判定)がなされたことに基づいて、該第1短許容音を途中終了(可聴出力状態の途中終了)させることはない。
また、第1短許容音については、第2D受付期間が発生するタイミングtX2やそれ以降において出力開始させるようにしてもよいことは上述した通りである。このような構成を採用した場合であっても、図327や図335に示される例(第2D受付期間においてストック受付演出が実行された例)においては、図324や図331に示した例(受付期間内で受付けされた例)の場合とは異なり、第1短許容音についてはこれが必ず出力されるようにすることが望ましい。
また、この実施例にかかるパチンコ機1では、図327や図335に示される例の場合(第2D受付期間においてストック受付演出が実行された例の場合)と、図325や図334に示した例の場合(第2D受付期間内で得られた検出情報に基づいて受付けされた例の場合)とでは、第2D受付期間内で受付有効判定がなされたことに基づいて実行される当該第2D受付後演出(受付後演出表示や、受付後特定演出表示や、受付後演出音など)としての実行時間が互いに同じになるようにしている。
なお、図327や図335に示される例(第2D受付期間においてストック受付演出が実行された例)では、「第2D前兆演出表示ZED」が非表示にされるタイミングを、第2D受付後演出表示UGD2が実行開始されるタイミングtX2Cよりも後にしたが、同タイミングtX2Cにおいて非表示にされるようにしてもよい。
また、上述した例では、第2D前兆演出表示ZEDが実行される期間として、
・遊技者による動作が行われた場合に該動作が上記動作検出手段によって検出されて該動作検出手段による検出情報が第2D受付期間内における「受付有効判定」に供される第1期間(ストック期間)と、
・遊技者による動作が行われた場合に該動作が上記動作検出手段によって検出されたとしても該動作検出手段による検出情報が第2D受付期間内における「受付有効判定」に供されることがない第2期間(非ストック期間)と
を順次発生させるようにしたが、これに代えて、第2期間(非ストック期間)を先に発生させてから第1期間(ストック期間)を発生させるようにしてもよい。
また、第2D前兆演出表示ZEDが実行される期間内に第2期間(非ストック期間)は必ずしも含まれなくてもよい。
なお、この演出例にかかる第2D受付期間では、消滅関連表示SKDとして、第1D受付期間で受付けがなされたときにも出現しうる「第2D前兆演出表示ZED」を用いることとした。ただし、消滅関連表示については、第1D受付期間で関連して出現し得ない態様で実行されるようにしてもよい。
このような第1D受付期間及び第2D受付期間を用意することとした本願にかかるパチンコ機1によれば、以下に列記する優れた作用効果が奏されるようになる。
まず、この実施の形態にかかるパチンコ機1では、受付けされたときに進行される演出内容(受付後演出としてのカットイン予告、群予告、会話予告などであり、予告演出(期待度示唆演出)の種別)が異なる複数の受付期間(第1D受付期間及び第2D受付期間)を用意しており、判定(演出判定)の結果に応じた種別の受付期間(有効期間)を発生可能とするものとなっている。
この点、第1D受付期間及び第2D受付期間では、遊技者による動作が受付けされた場合は、該受付けがなされたことに基づいて受付後演出表示(第1D受付後演出表示、第2D受付後演出表示)を「演出表示装置1600」において表示可能としている。そしてこのうち、第1D受付期間及び第2D受付期間では、遊技者による動作が受付けされた場合、該受付けがなされたことに基づいて受付後演出表示を表示するだけでなく、「消滅関連表示(消滅EF演出)」をさらに出現させるようにしている。すなわちこの場合、受付けがなされた以降も、摸画像表示(または、ゲージ画像)としていずれの態様が現れていたのかを確認することが可能であることはもとより、摸画像表示(または、ゲージ画像)が非表示にされるまでの間に「摸画像表示や残り時間表示(枠画像、ゲージ画像)が視認し難くなる態様(消滅関連表示)」によってその視認性を低下させるようにしたことで、「摸画像表示(または、ゲージ画像)」から「受付後演出表示」へと遊技者による注視対象が自然に移されることが期待されるようになる。なお、「消滅関連表示(消滅EF演出)」とは、受付けされたときに進行される演出内容が異なる複数の受付期間(第1D受付期間や第2D受付期間とは異なる受付期間(図321までの図面を参照しつつ上述した受付期間など)であってもよい)に対して同じ態様が共通して用いられうるものである。
ただし、摸画像表示や残り時間表示(枠画像、ゲージ画像)とは、本来、受付けが未だなされていない受付期間内において表示されるものであることから、受付けがなされた以降も当該摸画像表示や残り時間表示(枠画像、ゲージ画像)を表示するようにした場合、受付けに応じた受付後演出表示が表示済みの状態にあるのか否かを認識し難くなり、遊技興趣が低下する懸念がある。この点、第1D受付期間及び第2D受付期間のいずれかで受付けがなされたときには、摸画像表示や残り時間表示(枠画像、ゲージ画像)は、「摸画像表示や残り時間表示(枠画像、ゲージ画像)が視認し難くなる態様(消滅関連表示)」が現れているなかで非表示(視認不能)にされる一方で、受付後演出表示は、「摸画像表示や残り時間表示(枠画像、ゲージ画像)が視認し難くなる態様(消滅関連表示)」が現れているなかで表示されるようにしている。すなわちこの場合、遊技者による動作の受付けがなされた以降、「摸画像表示や残り時間表示(枠画像、ゲージ画像)が視認し難くなる態様(消滅関連表示)」が現れているなかで、受付前表示(摸画像表示や残り時間表示(枠画像、ゲージ画像))から受付後表示(受付後演出表示)への表示演出にかかる移行が実現されることとなる。
なお、「摸画像表示や残り時間表示(枠画像、ゲージ画像)が視認し難くなる態様(消滅関連表示)」及び「受付後演出表示」はいずれも、受付けに基づいて表示されるものである点で共通する。ただし、「摸画像表示や残り時間表示(枠画像、ゲージ画像)が視認し難くなる態様(消滅関連表示)」とは、基本的には、図330(f)や、図334(f)などに示されるように、摸画像表示や残り時間表示(枠画像、ゲージ画像)が表示されている状況にあるときに該摸画像表示や残り時間表示(枠画像、ゲージ画像)を視認し難くするように出現されるものである。これに対し、「受付後演出表示」とは、例えば、図330(g)や、図334(g)などに示されるように、摸画像表示や残り時間表示(枠画像、ゲージ画像)が表示されている状況にあるときに表示されたとしても該摸画像表示や残り時間表示(枠画像、ゲージ画像)を視認し難くしないように出現されるものである。
なお、「摸画像表示や残り時間表示(枠画像、ゲージ画像)が視認し難くなる態様(消滅関連表示)」に関して「摸画像表示や残り時間表示(枠画像、ゲージ画像)を視認し難くするように出現」する手法としては、摸画像表示や残り時間表示(枠画像、ゲージ画像)が表示されている領域の少なくとも一部に、該摸画像表示や残り時間表示(枠画像、ゲージ画像)とは別の画像表示を優先表示(前側レイヤに表示)することによって実現する手法のほか、摸画像表示や残り時間表示(枠画像、ゲージ画像)とは別の画像表示によって摸画像表示や残り時間表示(枠画像、ゲージ画像)の一部が欠けて(視認不能に)見えるように作られた画像(動画)を表示することによって実現する手法などを採用することが可能である。また、摸画像表示や残り時間表示(枠画像、ゲージ画像)とは別の画像表示ではなく、摸画像表示や残り時間表示(枠画像、ゲージ画像)これ自体の表示特性にかかる数値(透過率など)を変更する手法を採用することも可能である。これに対し、「受付後演出表示」に関して「摸画像表示や残り時間表示(枠画像、ゲージ画像)を視認し難くしないように出現」する手法としては、摸画像表示や残り時間表示(枠画像、ゲージ画像)が表示されている領域の少なくとも一部に「受付後演出表示」を表示するが、摸画像表示や残り時間表示(枠画像、ゲージ画像)が優先表示とされるかたちで該「受付後演出表示」を表示(後側レイヤに表示)することによって実現する手法のほか、少なくとも摸画像表示や残り時間表示(枠画像、ゲージ画像)が表示されている間は該摸画像表示が表示される領域を除く領域にしか「受付後演出表示」を表示しないようにすることによって実現する手法などを採用することが可能である。
また、摸画像表示や残り時間表示(枠画像、ゲージ画像)が視認し難くなる態様(消滅関連表示)」として、摸画像表示や残り時間表示(枠画像、ゲージ画像)が表示されている領域の少なくとも一部に該摸画像表示や残り時間表示(枠画像、ゲージ画像)とは別の画像表示を表示する手法と、摸画像表示や残り時間表示(枠画像、ゲージ画像)これ自体の表示特性にかかる数値(透過率など)を変更する手法との両方を採用するようにしてもよい。
また、「摸画像表示や残り時間表示(枠画像、ゲージ画像)が視認し難くなる態様(消滅関連表示)」とは、「受付後演出表示」が表示されるよりも前の、該「受付後演出表示」が未だ表示されていない状況下において出現するものとなっている。すなわちこの場合、「受付後演出表示」が未だ表示されていない状況下において、摸画像表示や残り時間表示(枠画像、ゲージ画像)が上記「摸画像表示や残り時間表示(枠画像、ゲージ画像)が視認し難くなる態様(消滅関連表示)」によって視認し難くされるようになることから、摸画像表示や残り時間表示(枠画像、ゲージ画像)を視認可能としつつも、「受付後演出表示」が間もなく出現しうる状態にあり、遊技者による注視先を「視認し難くされた摸画像表示や残り時間表示(枠画像、ゲージ画像)」から変更するよう、心の準備を整えるように事前に促すことができるようになる。
また、第1D受付期間及び第2D受付期間などで受付けされた場合、「摸画像表示や残り時間表示(枠画像、ゲージ画像)が視認し難くなる態様(消滅関連表示)」は、「受付後演出表示」が表示された以降も表示されうるようになっており、該「受付後演出表示」が表示されている間に非表示にされるものとなっている。これにより、「受付後演出表示」が表示される期間のうち、「摸画像表示や残り時間表示(枠画像、ゲージ画像)が視認し難くなる態様(消滅関連表示)」が非表示とされた以降の期間では、より広い範囲で当該「受付後演出表示」にかかる演出性を提供することができるようになることから、このような表示期間中における演出性の変化によって遊技興趣の向上を図ることができるようになる。
また、第1D受付期間及び第2D受付期間に関する上述した各演出例では、図330や図334に示したように、「摸画像表示や残り時間表示(枠画像、ゲージ画像)が視認し難くなる態様(消滅関連表示)」については、摸画像表示や残り時間表示(枠画像、ゲージ画像)が表示されている領域だけでなく、該摸画像表示や残り時間表示(枠画像、ゲージ画像)が表示されていない領域にも表示されるものとなっている。そして、該領域においては、少なくともその一部に「受付後演出表示」が表示されるようになっているが、「摸画像表示や残り時間表示(枠画像、ゲージ画像)が視認し難くなる態様(消滅関連表示)」によって「受付後演出表示」の少なくとも一部が視認し難くされるように表示(例えば、後側レイヤに表示)することとしている。
このような構成によれば、消滅関連表示(消滅EF演出)は、摸画像表示や残り時間表示(枠画像、ゲージ画像)だけでなく、「受付後演出表示」をも視認し難くするものとして出現されるものとなることから、摸画像表示や残り時間表示(枠画像、ゲージ画像)が非表示にされるまでの演出性と、「受付後演出表示」の表示が開始されるときの演出性との両方を向上させることが期待されるようになる。
また、図335に示した例にかかる「消滅関連表示」は、摸画像表示や残り時間表示(枠画像、ゲージ画像)が表示されていない状況下において、第2D前兆演出表示ZEDが表示されている領域だけでなく、該第2D前兆演出表示ZEDが表示されていない領域にも表示されるものとなっている。そして、該領域においては、少なくともその一部に「受付後演出表示」が表示されるようになっているが、「消滅関連表示」によって「受付後演出表示」の少なくとも一部が視認し難くされるように表示(例えば、後側レイヤに表示)することとしている。すなわちこの場合、消滅関連表示(消滅EF演出)は、摸画像表示や残り時間表示(枠画像、ゲージ画像)ではなく、「第2D前兆演出表示ZED」及び「受付後演出表示」を視認し難くするものとして出現されるものとなることから、上述した演出性とは異なる演出性を提供することができるようになる。
また上述の通り、第1D受付期間及び第2D受付期間に関する上述した各演出例では、受付けがなされてから「受付後演出表示」が表示されるよりも前の、該「受付後演出表示」が表示されていない状況下において、消滅関連表示(消滅EF演出)とは別に、摸画像表示や残り時間表示(枠画像、ゲージ画像)を視認し難くしない受付後特定演出(第2演出装置を用いた受付後演出)を出現可能としている。これにより、第1演出装置における演出性を邪魔することなく、これに先行して受付後演出を楽しむことができるようになる。
また、第1D受付期間及び第2D受付期間に関する上述した各演出例にあって、受付後特定演出(第2演出装置を用いた受付後演出)は、消滅関連表示(消滅EF演出)が現れるよりも前の、該消滅関連表示(消滅EF演出)が未だ出現していない状況下において出現されるようにしている。また、受付後特定演出(第2演出装置を用いた受付後演出)は、消滅関連表示(消滅EF演出)が終了された以降までにわたって継続されるものとなっている。
このような構成によれば、第1演出装置における複雑な演出性を嫌う者は、より簡易化された演出性を有する第2演出装置によって受付後演出を楽しむことができるようになることから、様々なタイプの遊技者に対して遊技興趣の向上が図られるようになる。
また、第1D受付期間及び第2D受付期間に関する上述した各演出例においても、摸画像表示については、図233や図234などを参照しつつ上述した通り、動的表示によって表示されることとなる。そしてこの場合、摸画像表示については、受付けされた以降、消滅関連表示(消滅EF演出)が現れているなかでも、その動的表示は終了されておらず(非表示にされるまで)継続するようにすることが望ましい。
また、第1D受付期間及び第2D受付期間に関する上述した各演出例において、消滅関連表示(消滅EF演出)は、摸画像表示だけでなく、受付期間が終了されるまでの残り時間を示唆するゲージ画像についてもこれを視認し難くすることとした。これにより、受付けされた以降もゲージ画像を表示するようにした場合であっても、残り時間が残っているかのように見えることが抑制されるようになる。
また、この実施の形態にかかるパチンコ機1では、上記複数の受付期間のうち第2D受付期間内において遊技者による動作(操作)が受付けされた場合、該受付けがなされたことに基づいて「第2D受付後演出表示UGD2」を表示可能であるが、該第2D受付後演出表示UGD2とは別に、消滅関連表示(消滅EF演出)として上記第1D受付期間にも対応する上記態様(第2消滅関連表示SKD2)を出現可能としている。
このような構成によれば、第2消滅関連表示SKD2が出現すると、第1D、第2D受付後演出表示のいずれが出現されるか不明とされるが、第1消滅関連表示SKD1が出現すると、第1D受付後演出表示UGD1が出現することが推測可能とされるようになる。
また、上述した演出例においては、消滅関連表示(消滅EF演出)を、摸画像表示や残り時間表示(枠画像、ゲージ画像)が表示される領域の少なくとも一部を含む領域に表示(優先表示)するようにした。ただし、表示画面よりも前側にある演出装置(可動体など)を用いた演出を、摸画像表示や残り時間表示(枠画像、ゲージ画像)の少なくとも一部と正面視で重なる位置で実行することによって実現することも可能である。
なお、消滅関連表示(消滅EF演出)として同じ態様(第2消滅関連表示SKD2)が出現した場合であっても、受付期間の種別が異なるものであれば、その図柄変動で大当り図柄が停止される割合(期待度)が異なるようにすることが望ましい。
また、上述した演出例においては、第2演出装置を用いた受付後演出(受付後特定演出)を実行可能としており、該第2演出装置を用いた受付後演出(受付後特定演出)の実行期間中、第1演出装置においては摸画像表示や残り時間表示(枠画像、ゲージ画像)が相対的に視認し易い状態と、摸画像表示や残り時間表示(枠画像、ゲージ画像)が相対的に視認し難い状態とがあるようにしている。
すなわちこの場合、受付けがなされたことに基づいて第2演出装置を用いた受付後演出(受付後特定演出)の実行が開始された以降も、摸画像表示や残り時間表示(枠画像、ゲージ画像)としていずれの態様が現れていたのかを確認することが可能とされる。また、第2演出装置を用いた受付後演出(受付後特定演出)の実行期間中、摸画像表示や残り時間表示(枠画像、ゲージ画像)を相対的に視認し難い状態とされるようにしたことで、「第1演出装置」から「第2演出装置」へと遊技者による注視対象が自然に移されるように促すことが期待されるようになる。
なお、上述した演出例において、第2演出装置を用いた受付後演出(受付後特定演出)は、受付けされる前から継続表示(視認し易い状態で表示)されている摸画像表示や残り時間表示(枠画像、ゲージ画像)の視認性に影響を及ぼさないように実行開始されるものとなっている。より具体的には、摸画像表示や残り時間表示(枠画像、ゲージ画像)は、表示画面(演出表示装置1600)内の所定領域で表示されるものであるが、第2演出装置を用いた受付後演出(受付後特定演出)は、該所定領域の少なくとも一部を利用して表示される画像表示でないし、該所定領域の少なくとも一部と正面視で重なる位置で実行される演出でもないものである。
また、上述した演出例においては、受付後演出表示を、消滅関連表示(消滅EF演出)の出現タイミングよりも後に表示開始させることとしたが、消滅関連表示(消滅EF演出)の出現タイミングで表示開始させるようにしてもよい。
また、上述した各演出例にあって、消滅関連表示(消滅EF演出)は、「摸画像表示や残り時間表示(枠画像、ゲージ画像)が表示される領域」の少なくとも一部を利用して表示される画像表示として実現することとした。ただしこの場合、該画像表示については、「摸画像表示が表示される領域」に表示される面積が時間経過に応じて次第に拡大される傾向となるように表示することが望ましい。
また上述の通り、この実施の形態にかかる「摸画像表示」や「残り時間表示(枠画像、ゲージ画像)」は、一体化摸画像表示IGとして、期待度の異なる複数態様(一体化摸画像表示IGa~IGd)のいずれかで表示可能とされるものである。そして、上述した各演出例によれば、受付けされた以降も、表示位置や大きさ、動的描写なども含めて、その表示態様を維持、継続する場合があるようにしたことから、受付けがなされた以降も、受付期間内において摸画像表示や残り時間表示(枠画像、ゲージ画像)がいかなる態様で表示されていたのかを認識することが可能である。
なお上述の通り、「摸画像表示」や「残り時間表示(枠画像、ゲージ画像)」については別々に表示するようにしてもよいし、「摸画像表示」及び「残り時間表示(枠画像、ゲージ画像)」のいずれか一方だけが表示されるようにしてもよい。
また、上述した各演出例において、「摸画像表示」や「残り時間表示(枠画像、ゲージ画像)」などの「所定の画像表示」が非表示の状態(表示されていない状態)にある場合とは、遊技者側から視認できない状態であればよく、例えば、レイヤー上には表示されているが、他の画像表示を優先表示することによって「摸画像表示」や「残り時間表示(枠画像、ゲージ画像)」などの「所定の画像表示」が視認できない状態にされる場合を含む意味である。ただし、遊技者側から「摸画像表示」や「残り時間表示(枠画像、ゲージ画像)」などの「所定の画像表示」の少なくとも一部が視認できているのあれば、これは、「所定の画像表示」の態様を視認可能としていることに他ならないのであるから、「所定の画像表示」は非表示の状態にされておらず、その表示を継続している状態にあると言える。「所定の画像表示」は、「摸画像表示」や「残り時間表示(枠画像、ゲージ画像)」とは異なる画像(例えば、前兆演出表示など)であってもよい。
また、上述した各演出例において、受付後特定演出は、第2演出装置でなく、第1演出装置(演出表示装置1600の表示画面内)で行われるものとして実現するようにしてもよい。
また、第1D受付期間及び第2D受付期間では、遊技者による動作(操作)の対象が必ずしも同じでなくてもよく、互いに異なる動作を求めるものであってもよい。ただし、異なる動作を求める場合は、動作対象表示(摸画像表示)や残り時間表示(枠画像及びゲージ画像)も異なる表示として表示されることとなる。
上述した演出例では、第1D受付期間でストック受付演出が実行される場合(図331を参照)、該第1D受付期間内で受付有効判定がなされた時点(第1D受付後演出が実行開始される時点)で、第1D前兆演出表示ZEC及び一体化摸画像表示IGがそれぞれ表示されているようにした。この点、上述した演出例では、第1D前兆演出表示ZECを、一体化摸画像表示IGに対してその背後側に表示することとしたが、これに代えて、一体化摸画像表示IGを、第1D前兆演出表示ZECに対してその背後側に表示するようにしてもよい。ただしこの場合、第1D前兆演出表示ZECは、一体化摸画像表示IGの一部のみと重なるかたちで表示されるようにし、該一体化摸画像表示IG(の少なくとも一部)が表示されている状態(視認可能な状態)にあるようにすることが求められることとなる。
また、上述した演出例では、第2D受付期間内で受付有効判定がなされた場合に出現しうる消滅関連表示SKDとして、第1D受付期間内で受付有効判定がなされたときにも出現しうる「第2D前兆演出表示ZED」を用いることとしたが、これに代えて、第1D受付期間内で受付有効判定がなされたときには出現し得ない態様を用いるようにしてもよい。
また、上述した演出例では、まず、受付期間として、第2D受付期間を含む複数の受付期間を用意することとし、前兆演出では、図332(b),(c)に示される「第2D前兆演出表示ZED(特定の演出表示)」が表示されうるようにした。
この点、パチンコ機1では、図327、図332及び図335に示されるように、「第2D前兆演出表示ZED」が表示されているときに遊技者による動作が行われた場合であっても、該動作は上記動作検出手段(センサなど)によって検出され、その検出情報は上記検出情報記憶手段(周辺制御RAM1511cや、プログラム内の該当する処理ステップなど)によって記憶され、該記憶された検出情報に基づいて遊技者による動作を有効動作とする受付有効判定が上記第2D受付期間内においてなされる場合(第2D前兆演出表示ZEDが実行される期間のうち第1期間(ストック期間)で検出情報が得られた場合)があるようにしている(ストック受付演出)。このような構成によれば、前兆演出(第2D前兆演出表示ZED)が実行されている間に遊技者が勢い余って動作(操作)した場合であってもこれを契機として第2D受付後演出を開始させることが可能とされるようになり、このような柔軟な演出性を通じて遊技興趣を好適に維持することが期待されるようになる。当該構成や作用効果については、第2D受付期間においてストック受付演出が実行される場合だけでなく、第1D受付期間においてストック受付演出が実行される場合にも同様のことが言える。
また、上述した演出例では、第2D受付期間が発生するよりも前であり且つ「第2D前兆演出表示ZED」が表示されている状態にあるときに遊技者による動作が行われた場合であっても、該動作は動作検出手段によって検出され、その検出情報は上記検出情報記憶手段によって記憶されるようにしている。そして、第2D受付期間内では、当該第2D受付期間が発生するよりも前であり且つ「第2D前兆演出表示ZED」が表示されている状態にあるときに上記検出情報記憶手段によって記憶された検出情報に基づいて遊技者による動作を有効動作とする受付有効判定がなされる場合(第2D前兆演出表示ZEDが実行される期間のうち第1期間(ストック期間)で検出情報が得られた場合)があり、該受付有効判定がなされた場合は、図335に示されるように、該受付有効判定に基づく第2D受付後演出が実行開始される時点において、第2D前兆演出表示ZEDが表示されているようにした。このような構成によれば、第2D受付期間が発生するよりも前の「第2D前兆演出表示ZEDの実行期間内」に遊技者による動作が行われた場合であっても、該動作に対する検出は適正に行われ、その検出情報は、第2D受付期間が発生するタイミングtX2まで記憶保持される場合がありうることとなる。すなわちこの場合、第2D受付期間が発生するよりも前に得られた検出情報に基づいて「遊技者による動作を有効動作とする受付有効判定」が当該第2D受付期間内においてなされる場合があることとなるから、遊技者は、第2D受付期間が発生するよりも前に勢い余って動作(操作)してしまった場合であっても、該第2D受付期間が発生した以降に動作をやり直すことなく受付後演出を楽しむことができるようになる。またこの際、第2D受付期間が未だ発生していない状態(第2D前兆演出表示ZEDが表示されている状態)において勢い余って動作(操作)したことによって得られた検出情報に基づいて第2D受付後演出が実行開始される時点においては、第2D前兆演出表示ZEDが非表示にされておらず表示されている状態にあるようにしたことから、当該第2D受付後演出が、第2D前兆演出表示ZEDが表示されている状態で遊技者によって行われた動作(検出情報)に基づいて実行開始されたものであることを好適に認識させることができるようになる。当該構成や作用効果についても、第2D受付期間においてストック受付演出が実行される場合だけでなく、第1D受付期間においてストック受付演出が実行される場合にも同様のことが言える。
また、上述した演出例では、第2D受付期間内の特定タイミング(図327では、タイミングtX2a)において、該第2D受付期間内で得られた検出情報(遊技者による動作の検出情報)に基づいて遊技者による動作を有効動作とする受付有効判定がなされた場合は、該受付有効判定に基づく第2D受付後演出が実行開始される時点において、第2D前兆演出表示ZED(特定の演出表示)は表示されていないようにした。このような構成によれば、第2D受付期間が発生するよりも前に得られた検出情報に基づいて当該第2D受付期間内で受付有効判定がなされた場合と、第2D受付期間内で得られた検出情報に基づいて当該第2D受付期間内で受付有効判定がなされた場合とで、第2D受付後演出が実行開始される時点における演出表示装置1600内の演出態様が異なるようになり、これによって第2D受付期間が発生するよりも前に得られた検出情報に基づいて受付有効判定がなされた状況にあるか否かを示唆することができるようになる。当該構成や作用効果についても、第2D受付期間だけでなく、第1D受付期間においても同様のことが言える。
なお、第2D受付期間内で得られた検出情報に基づいて当該第2D受付期間内で受付有効判定がなされた場合、これに応じた第2D受付後演出が実行開始される時点において前兆演出表示(ここでは、第2D前兆演出表示ZED)が表示されている場合と表示されていない場合とがあるようにしてもよい。すなわちこの場合、第2D受付期間が発生するよりも前に得られた検出情報に基づいて受付有効判定がなされた状況にあるか否かを示唆するようにしつつも、該状況にあるか否かの認識に困難さを持たせることができるようになり、緊張感を好適に維持することができるようになる。この別例については、第1D受付期間においても同様に適用可能である。
また、上述した演出例では、第2D受付期間内で得られた検出情報に基づいて当該第2D受付期間内で受付有効判定がなされ、且つ該受付有効判定がなされたことに基づいて第2D受付後演出が実行開始される時点において前兆演出表示(ここでは、第2D前兆演出表示ZED)が表示されていない場合、該第2D受付後演出が実行開始される時点において一体化摸画像表示IG(摸画像表示や残り時間表示)が表示されているようにした。このような構成によれば、図334(e1),(e2)に示されるように、一体化摸画像表示IG(摸画像表示や残り時間表示)は、第2D受付後演出が実行開始された以降も他の画像表示によって視認し難くされることなく表示状態を維持することとなるから、第2D受付期間内においていずれの態様で表示されていたのかを好適に示唆することができるようになる。当該構成や作用効果についても、第2D受付期間だけでなく、第1D受付期間においても同様のことが言える。
また、上述した演出例では、第2D受付後演出が実行開始される時点において「前兆演出表示(ここでは、第2D前兆演出表示ZED)」が表示されている場合、図335(f)に示されるように、該「前兆演出表示(ここでは、第2D前兆演出表示ZED)」は、消滅関連表示(ここでは、第2消滅関連表示SKD2)によって視認し難くされるようにした。このような構成によれば、ストック受付演出が実行された状況にあることを示唆するようにしつつも、「前兆演出表示(ここでは、第2D前兆演出表示ZED)」が表示されていることによって「受付有効判定が未だなされていないのではないか」といった疑念を抱かせてしまうようなことが抑制されうるようになる。当該構成や作用効果についても、第2D受付期間だけでなく、第1D受付期間においても同様のことが言える。
また、上述した演出例では、第2D受付期間においてストック受付演出が実行されたときに「前兆演出表示(ここでは、第2D前兆演出表示ZED)」を視認し難くするための消滅関連表示(図335を参照)と、第2D受付期間内で得られた検出情報に基づいて受付有効判定がなされたときに「一体化摸画像表示IG(摸画像表示や残り時間表示)」を視認し難くするための消滅関連表示(図334を参照)とを、互いに同じ態様(第2消滅関連表示SKD2)として表示するようにした。これにより、第2D受付期間が終了した状況にあることをより好適に示唆することができるようになる。
また、上述した演出例では、第2D受付期間においてストック受付演出が実行されるときには(図335を参照)、これに応じた第2D受付後演出が実行開始される時点において、一体化摸画像表示(摸画像表示や残り時間表示)は表示(視認可能と)されておらず「前兆演出表示(ここでは、第2D前兆演出表示ZED)」が表示されており、第1D受付期間においてストック受付演出が実行されるときには(図331を参照)、これに応じた第1D受付後演出が実行開始される時点において、一体化摸画像表示(摸画像表示や残り時間表示)が表示(視認可能と)されているようにした。このような構成によれば、第1D受付期間及び第2D受付期間のいずれにおいてストック受付演出が実行された状況にあるのかを示唆することができるようになり、受付期間が発生してからすぐに終了されてしまうことによる遊技興趣の低下を抑制することが期待されるようになる。
また、上述した演出例では、まず、受付期間として、第1D受付期間及び第2D受付期間を含む複数の受付期間を用意することとし、第1D受付期間に対応する前兆演出(図328を参照)では第1D前兆演出表示ZEC(第1の演出表示)が表示され、第2D受付期間に対応する前兆演出(図332を参照)では第2D前兆演出表示ZED(第2の演出表示)が表示されうるようにした。
この点、パチンコ機1では、第1D前兆演出表示ZEC及び第2D前兆演出表示ZEDのいずれが表示されているときに遊技者による動作(操作)が行われた場合であっても、該動作は上記動作検出手段によって検出され、その検出情報は上記検出情報記憶手段によって記憶され、該記憶された検出情報に基づいて遊技者による動作を有効動作とする受付有効判定が上記第1D受付期間内または上記第2D受付期間内においてなされる場合があるようにしたことから、前兆演出(第1D前兆演出表示ZECまたは第2D前兆演出表示ZED)が実行されている間に遊技者が勢い余って動作した場合であってもこれを契機として受付後演出を開始させることが可能とされるようになり、このような柔軟な演出性を通じて遊技興趣を好適に維持することが期待されるようになる。
また、上述した演出例では、下記の各構成を採用することとした。すなわち、第1D受付期間及び第2D受付期間のいずれにおいても、当該受付期間が発生するよりも前であり且つ前兆演出が実行されている状態にあるときに遊技者による動作が行われた場合、該動作は上記動作検出手段によって検出され、その検出情報は上記検出情報記憶手段によって記憶されるようにした。そして、第1D受付期間内及び第2D受付期間内のいずれにおいても、当該受付期間が発生するよりも前であり且つ前兆演出が実行されている状態にあるときに上記検出情報記憶手段によって記憶された検出情報に基づいて遊技者による動作を有効動作とする受付有効判定がなされる場合があるようにした(ストック受付演出)。そして、第1D受付期間内で、当該第1D受付期間が発生するよりも前であり且つ前兆演出(第1D前兆演出表示ZEC)が実行されている状態にあるときに上記検出情報記憶手段によって記憶された検出情報に基づいて遊技者による動作を有効動作とする受付有効判定がなされた場合は、該受付有効判定に基づく上記受付後演出が実行開始される時点において、上記摸画像表示は少なくともその一部が必ず表示されているようにした。これに対し、第2D受付期間内で、当該第2D受付期間が発生するよりも前であり且つ前兆演出(第2D前兆演出表示ZED)が実行されている状態にあるときに上記検出情報記憶手段によって記憶された検出情報に基づいて遊技者による動作を有効動作とする受付有効判定がなされた場合は、該受付有効判定に基づく受付後演出が実行開始される時点において、上記摸画像表示はその一部すら表示されていないようにした。これらの構成を採用した場合、第1D受付期間及び第2D受付期間のいずれであっても、当該受付期間が発生するよりも前に得られた検出情報に基づいて「遊技者による動作を有効動作とする受付有効判定」が当該受付期間内においてなされる場合があることとなるから、遊技者は、第1D受付期間や第2D受付期間が発生するよりも前に勢い余って動作(操作)してしまった場合であっても、当該受付期間が発生した以降に動作をやり直すことなく受付後演出を楽しむことができるようになる。しかも、第1D受付期間が発生するよりも前に勢い余って動作(操作)してしまった場合はこれに基づく上記受付後演出が実行開始される時点において上記摸画像表示は少なくともその一部が必ず表示されているのに対し、第2D受付期間が発生するよりも前に勢い余って動作(操作)してしまった場合はこれに基づく上記受付後演出が実行開始される時点において上記摸画像表示はその一部すら表示されていないようにしたことから、当該受付後演出が、第1D受付期間及び第2D受付期間のいずれに基づくものであるか(いずれの受付期間が発生するよりも前に遊技者が動作したのか)を好適に示唆することができるようになる。
また、上述した演出例では、下記の各構成を採用することとした。すなわち、第1D受付期間及び第2D受付期間のいずれにおいても、当該受付期間が発生するよりも前であり且つ前兆演出が実行されている状態にあるときに遊技者による動作が行われた場合、該動作は上記動作検出手段によって検出され、その検出情報は上記検出情報記憶手段によって記憶されるようにした。そして、第1D受付期間内及び第2D受付期間内のいずれにおいても、当該受付期間が発生するよりも前であり且つ前兆演出が実行されている状態にあるときに上記検出情報記憶手段によって記憶された検出情報に基づいて遊技者による動作を有効動作とする受付有効判定がなされる場合があるようにした(ストック受付演出)。そして、第1D受付期間内で、当該第1D受付期間が発生するよりも前であり且つ前兆演出(第1D前兆演出表示ZEC)が実行されている状態にあるときに上記検出情報記憶手段によって記憶された検出情報に基づいて遊技者による動作を有効動作とする受付有効判定がなされた場合は、該受付有効判定に基づく上記受付後演出が実行開始される時点において、上記残り時間表示(枠画像及びゲージ画像)は少なくともその一部が必ず表示されているようにした。これに対し、第2D受付期間内で、当該第2D受付期間が発生するよりも前であり且つ前兆演出(第2D前兆演出表示ZED)が実行されている状態にあるときに上記検出情報記憶手段によって記憶された検出情報に基づいて遊技者による動作を有効動作とする受付有効判定がなされた場合は、該受付有効判定に基づく受付後演出が実行開始される時点において、上記残り時間表示(枠画像及びゲージ画像)はその一部すら表示されていないようにした。これらの構成を採用した場合、第1D受付期間及び第2D受付期間のいずれであっても、当該受付期間が発生するよりも前に得られた検出情報に基づいて「遊技者による動作を有効動作とする受付有効判定」が当該受付期間内においてなされる場合があることとなるから、遊技者は、第1D受付期間や第2D受付期間が発生するよりも前に勢い余って動作(操作)してしまった場合であっても、当該受付期間が発生した以降に動作をやり直すことなく受付後演出を楽しむことができるようになる。しかも、第1D受付期間が発生するよりも前に勢い余って動作(操作)してしまった場合はこれに基づく上記受付後演出が実行開始される時点において上記残り時間表示(枠画像及びゲージ画像)は少なくともその一部が必ず表示されているのに対し、第2D受付期間が発生するよりも前に勢い余って動作(操作)してしまった場合はこれに基づく上記受付後演出が実行開始される時点において上記残り時間表示(枠画像及びゲージ画像)はその一部すら表示されていないようにしたことから、当該受付後演出が、第1D受付期間及び第2D受付期間のいずれに基づくものであるか(いずれの受付期間が発生するよりも前に遊技者が動作したのか)を好適に示唆することができるようになる。
また、上述した演出例では、第1D受付期間及び第2D受付期間とで同じ操作手段に対して操作機会を付与することとした。この点、第1受付期間では、摸画像表示または残り時間表示として、第2受付期間では出現し得ない態様(図232(d)に示される一体化摸画像表示IGd)を表示可能としている。このような構成によれば、ストック受付演出がなされなかった場合であっても、第1D受付期間及び第2D受付期間のいずれが発生しているかを示唆することができるようになる。
また上述の通り、この実施例にかかる第2D受付期間では、該第2D受付期間が発生するよりも前に得られた検出情報に基づいて「遊技者による動作を有効動作とする受付有効判定」が当該第2D受付期間内においてなされた場合(ストック受付演出がなされた場合)、受付後演出が実行開始される時点において、摸画像表示または残り時間表示はその一部すら表示されていない。ただしこの場合であっても、図327及び図335に示されるように、受付有効判定が当該第2D受付期間内においてなされた(ストック受付演出がなされた)ことに基づいて、消滅関連表示(ここでは、第2消滅関連表示SKD2)を表示することとした。このような構成によれば、遊技者に対して動作を行うことを促す摸画像表示または残り時間表示が一切現れなかったとしても、受付期間内において遊技者による動作が受付けされたことに応じた「受付後演出」が実行されている状況下にあることを示唆することができるようになる。
また、第1D受付期間では、第1D受付後演出として期待度の低い態様(図331(e5)~(i5))が現れる場合と期待度の高い態様(図331(e6)~(i6))が現れる場合とで、消滅関連表示(消滅EF演出)は互いに異なる態様(第1消滅関連表示SKD1,第2消滅関連表示SKD2)で実行されるようにした。これに対し、第2D受付期間では、第2D受付後演出として期待度の低い態様(図335(e4)~(i4))が現れる場合と期待度の高い態様(図335(e5)~(i5))が現れる場合とで、消滅関連表示(消滅EF演出)は同じ態様で実行されるようにしている。このような構成によれば、第1D受付期間の場合(期待度によって消滅関連表示(消滅EF演出)の態様が異なる場合)と比べて、第2D受付期間内で受付けがなされた以降に「消滅関連表示(消滅EF演出)」を注視する重要性が低くなることから、摸画像表示または残り時間表示が表示されていないこととも相まって、第2D受付後演出表示UGD2Cとしていかなる態様が現れるかに集中させることができるようになる。
また、この演出例にかかる第2D受付期間では、受付けがなされたときに現れる消滅関連表示(消滅EF演出)として、上記第1D受付期間に対応する受付後演出(第1D受付後演出)が期待度の高い態様で実行されるときに表示される「第2消滅関連表示SKD2」を用いることとしている。すなわちこの場合、第2D受付期間では、受付けがなされさえすれば、期待度の高い態様で受付後演出が実行されるかのようなイメージを持たせることができるようになり、遊技興趣の向上を図ることができるようになる。
なお、第2D受付期間に対応する消滅関連表示(消滅EF演出)については、必ずしも「第2消滅関連表示SKD2」でなくてもよい。例えば、第2D受付期間に対応する消滅関連表示(消滅EF演出)として、上記第1D受付期間に対応する受付後演出(第1D受付後演出)が期待度の低い態様で実行されるときに表示される「第1消滅関連表示SKD1」を用いるようにしてもよいし、消滅関連表示として第1D受付期間に対応しない態様を用いるようにしてもよい。
また、上述した演出例にあって、第2D受付期間では、消滅EF演出(消滅関連表示)として、受付けがあると特定態様(例えば、第2消滅関連表示SKD2)が現れるようにし、受付けがないと特定態様とは異なる態様(例えば、第3消滅関連表示SKD3)が現れるか、または何らの態様も現れないようにすることが望ましい。このような構成によれば、第2D受付期間で動作し忘れが生じた場合、受付けがなされたときの消滅EF演出(例えば、第2消滅関連表示SKD2)が出現しないようになることから、遊技者に対し、動作し忘れが生じてしまった状況下にあることをアピールすることができるようになり、これ以降、受付期間が発生したときの緊張感を好適に維持することができるようになる。
また、上述した演出例にかかる第1D受付期間では、ストック受付演出がなされたことに基づいて第1D受付後演出が実行開始される時点において摸画像表示または残り時間表示(の少なくとも一部)が表示されている状態にあるようにし、該第1D受付後演出は、第1D受付期間よりも前に得られた検出情報に基づいて受付有効判定(ストック受付演出)がなされた場合と、第1D受付期間内で得られた検出情報に基づいて受付有効判定がなされた場合とで異なる時間にわたって実行されるようにした(図322及び図324を参照)。これに対し、上述した演出例にかかる第2D受付期間では、ストック受付演出がなされたことに基づいて第2D受付後演出が実行開始される時点において摸画像表示または残り時間表示が表示されていない状態にあるようにし、該第2D受付後演出は、第2D受付期間よりも前に得られた検出情報に基づいて受付有効判定(ストック受付演出)がなされた場合と、第2D受付期間内で得られた検出情報に基づいて受付有効判定がなされた場合とで同じ時間にわたって実行されるようにした(図325及び図327を参照)。このような構成によれば、第1D受付期間と第2D受付期間とで全く異なる演出性を提供することができるようになり、遊技興趣の向上を図ることができるようになる。
なお、遊技者が動作を行ったときの上記動作検出手段による検出や、その検出情報についての上記検出情報記憶手段による記憶については、受付期間や、その前兆演出の実行期間内に限られず、常に行うようにしてもよい。ただしこの場合、上記検出情報記憶手段により記憶された検出情報については、受付期間が発生するときまで記憶保持されないか、記憶保持されたとしても受付期間内の受付有効判定に供されないこととなる。
また、上述した演出例では、まず、受付期間として、第2D受付期間を含む複数の受付期間を用意することとしている。この点、パチンコ機1にあって、第2D受付期間では、当該第2D受付期間内で遊技者による動作が検出されない場合であっても、上記受付有効判定がなされて当該第2D受付期間に対応する受付後演出(第2D受付後演出)が実行される場合があるようにしたことから、このような柔軟な演出性を通じて遊技興趣を好適に維持することが期待されるようになる。
また、上述した演出例では、第2D受付期間に対応する前兆演出として第2D前兆演出表示ZED(特定の演出表示)が表示されるようにし、第2D受付期間が発生するよりも前であり且つ第2D前兆演出表示ZEDが表示されている状態にあるときに遊技者による動作が行われた場合であっても、該動作は上記動作検出手段によって検出され、その検出情報は上記検出情報記憶手段によって記憶されるようにした。そして、第2D受付期間内では、「当該第2D受付期間が発生するよりも前であり且つ第2D前兆演出表示ZEDが表示されている状態にあるときに上記検出情報記憶手段によって記憶された検出情報」に基づいて受付有効判定がなされる場合があるようにし(ストック受付演出)、該受付有効判定がなされた場合は、該受付有効判定に基づく受付後演出が実行開始される時点において、摸画像表示は表示されていないようにした。これに対し、「第2D受付期間内で上記検出情報記憶手段によって記憶された検出情報」に基づいて受付有効判定がなされた場合は、該受付有効判定に基づく受付後演出(第2D受付後演出)が実行開始される時点において、摸画像表示が表示されている場合があるようにした。これらの構成を採用した場合、第2D受付期間が発生するよりも前に得られた検出情報に基づいて「遊技者による動作を有効動作とする受付有効判定」が当該第2D受付期間内においてなされる場合があることとなるから、遊技者は、第2D受付期間が発生するよりも前に勢い余って動作(操作)してしまった場合であっても、該第2D受付期間が発生した以降に動作をやり直すことなく受付後演出(第2D受付後演出)を楽しむことができるようになる。しかも、受付後演出(第2D受付後演出)が実行開始される時点において摸画像表示が表示されているか否かによって、「当該第2D受付期間が発生するよりも前であり且つ第2D前兆演出表示ZEDが表示されている状態にあるときに上記検出情報記憶手段によって記憶された検出情報」に基づいて受付有効判定がなされた状態(ストック受付演出がなされた状態)にあるか否かを示唆することができるようになる。
また、上述した演出例では、第2D受付期間に対応する前兆演出として第2D前兆演出表示ZED(特定の演出表示)が表示されるようにし、第2D受付期間が発生するよりも前であり且つ第2D前兆演出表示ZEDが表示されている状態にあるときに遊技者による動作が行われた場合であっても、該動作は上記動作検出手段によって検出され、その検出情報は上記検出情報記憶手段によって記憶されるようにした。そして、第2D受付期間内では、「当該第2D受付期間が発生するよりも前であり且つ第2D前兆演出表示ZEDが表示されている状態にあるときに上記検出情報記憶手段によって記憶された検出情報」に基づいて受付有効判定がなされる場合があるようにし(ストック受付演出)、該受付有効判定がなされた場合は、該受付有効判定に基づく受付後演出が実行開始される時点において、残り時間表示は表示されていないようにした。これに対し、「第2D受付期間内で上記検出情報記憶手段によって記憶された検出情報」に基づいて受付有効判定がなされた場合は、該受付有効判定に基づく受付後演出(第2D受付後演出)が実行開始される時点において、残り時間表示が表示されている場合があるようにした。これらの構成を採用した場合、第2D受付期間が発生するよりも前に得られた検出情報に基づいて「遊技者による動作を有効動作とする受付有効判定」が当該第2D受付期間内においてなされる場合があることとなるから、遊技者は、第2D受付期間が発生するよりも前に勢い余って動作(操作)してしまった場合であっても、該第2D受付期間が発生した以降に動作をやり直すことなく受付後演出(第2D受付後演出)を楽しむことができるようになる。しかも、受付後演出(第2D受付後演出)が実行開始される時点において残り時間表示が表示されているか否かによって、「当該第2D受付期間が発生するよりも前であり且つ第2D前兆演出表示ZEDが表示されている状態にあるときに上記検出情報記憶手段によって記憶された検出情報」に基づいて受付有効判定がなされた状態(ストック受付演出がなされた状態)にあるか否かを示唆することができるようになる。
なお、「第2D受付期間内で上記検出情報記憶手段によって記憶された検出情報」に基づいて受付有効判定がなされた場合は、該受付有効判定に基づく受付後演出(第2D受付後演出)が実行開始される時点において、第2D前兆演出表示ZEDが表示されている場合と、第2D前兆演出表示ZEDが表示されていない場合とがあるようにしてもよい。すなわちこの場合、「第2D受付期間が発生するよりも前に上記検出情報記憶手段によって記憶された検出情報」に基づいて受付後演出(第2D受付後演出)が実行開始されている状態にあるのか、それとも「第2D受付期間内で上記検出情報記憶手段によって記憶された検出情報」に基づいて受付後演出(第2D受付後演出)が実行開始されている状態にあるのかを認識し難くすることができるようになり、緊張感を好適に維持することが可能とされるようになる。
また、第1D受付期間及び第2D受付期間の少なくとも一方では、「受付期間が発生するよりも前に上記検出情報記憶手段によって記憶された検出情報」に基づいて受付後演出が実行開始される場合は出現し得ない特別の演出態様を用意するようにしてもよい。すなわち、該特別の演出態様は、「受付期間が発生するよりも前に上記検出情報記憶手段によって記憶された検出情報」に基づいて受付後演出が実行開始されなかった場合には出現しうるものとなっている。該特別の演出態様が現れるか否かによって、受付後演出として期待度の高い態様が現れる割合の高さを示唆するようにすることが望ましい。
また、上述した演出例では、まず、受付期間として、第1D受付期間及び第2D受付期間を含む複数の受付期間を用意することとし、第1D受付期間が発生した場合、当該第1D受付期間内で遊技者による動作が上記動作検出手段によって検出されなくても当該第1D受付期間に対応する第1D受付後演出を実行可能であり、第2D受付期間が発生した場合、当該第2D受付期間内で遊技者による動作が上記動作検出手段によって検出されなくても当該第2D受付期間に対応する第2D受付後演出を実行可能としている。
この点、パチンコ機1では、第1D受付期間内で遊技者による動作が上記動作検出手段によって検出されることなく第1D受付後演出が実行開始されるタイミングとして、少なくとも2つのタイミングがあるようにしたことから、遊技興趣の向上を図ることが期待されるようになる。
ところで、遊技者としては第1D受付期間が発生するよりも前の「タイミングtW1~Wの期間」内で動作(操作)を行ったつもりであったが、実際には、「タイミングW~tW2の期間」内で動作(操作)を行っていたような場合、第1D受付期間が発生してから動作のやり直しを行うべき状況にあることを遊技者が認識することは困難であり、この結果として操作し忘れが生じる可能性が高いと言える。
この点、上述した演出例にかかるパチンコ機1では、第1D受付期間内で遊技者による動作が上記動作検出手段によって検出されることなく第1D受付後演出が実行開始されるタイミングとして、図324に示されるタイミングtW2(tW2A)と、図323に示されるタイミングtW3とを少なくとも用意することとし、タイミングtW2(tW2A)では「第1D受付期間が発生するよりも前(タイミングtW1~Wの期間内)に検出された遊技者による動作(検出情報)に基づいて上記受付有効判定が当該第1D受付期間内でなされることによって第1D受付後演出が実行開始される(ストック受付演出)」ようにし、タイミングtW3では「第1D受付期間の発生前も含めて、遊技者による動作を何ら検出することなく、所定タイミング(タイミングtW3)が到来したことに基づいて第1D受付後演出が実行開始される」ようにした。このような構成によれば、第1D受付期間が発生するよりも前の「タイミングtW1~Wの期間」内で動作(操作)を行ったとの誤認識が遊技者側にあり、この結果として操作し忘れが生じてしまったとしても、タイミングtW3が到来したことに基づいて第1D受付後演出が実行開始されるようになることから、遊技興趣の低下を好適に抑制することが期待されるようになる。
また、上述した演出例にあって、第2D受付期間では、「第2D受付期間が発生するよりも前に検出された遊技者による動作(検出情報)に基づいて上記受付有効判定が当該第2D受付期間内でなされることによって第2D受付後演出が実行開始される」ようにすることは可能であるが(ストック受付演出)、「第2D受付期間の発生前も含めて、遊技者による動作を何ら検出することなく、所定タイミングが到来したことに基づいて第2D受付後演出が実行開始される」ようなことはないようにした。すなわちこの場合、第1D受付期間及び第2D受付期間のいずれにおいても、「受付期間が発生するよりも前に検出された遊技者による動作(検出情報)に基づいて受付期間内で上記受付有効判定がなされうる(ストック受付演出)」ようになり、これによって受付後演出を実行開始させることが可能とされるようになる。しかも、第1D受付期間では、このような「ストック受付演出」に失敗した場合であっても、所定タイミング(タイミングtW3)が到来したことに基づいて受付後演出(第1D受付後演出)が救済的に実行されるようになっていることから、安心して「ストック受付演出」にチャレンジすることができるようになる。その一方で、第2D受付期間では、このような「ストック受付演出」に失敗した場合、受付後演出(第1D受付後演出)が救済的に実行されることはないようにされていることから、緊張感を好適に付与することができるようになる。
また、上述した演出例では、第1D受付期間に対応する前兆演出(第1D前兆演出表示ZECなど)と、第2D受付期間に対応する前兆演出(第2D前兆演出表示ZEDなど)とを互いに異なる演出態様として実行することとしたが、これらの前兆演出については互いに同じ演出態様(例えば、いずれの場合も第2D前兆演出表示ZED)として実行するようにしてもよい。このような構成によれば、前兆演出が行われているときの動作に基づくストック受付演出に失敗したときに救済(タイミングtW3)のある受付期間(第1D受付期間)が発生するか否かを認識し難くすることができるようになり、緊張感を好適に維持することが期待されるようになる。
なお、上述した演出例にかかる第1D受付期間にあって、第1D受付期間よりも前に得られた検出情報に基づいて(ストック受付演出によって)第1D受付後演出を発生させる場合は、第1D受付期間内で得られた検出情報に基づいて第1D受付後演出を発生させる場合と同じ処理(同じ動作検出手段による検出→同じ検出情報記憶手段による記憶→第1D受付期間内における同じ受付有効判定)を行うことによって第1D受付後演出を発生させることとしている。これに対し、第1D受付期間が発生した後、タイミングtW3が到来したことに基づいて第1D受付後演出を発生させる場合は、第1D受付期間内で得られた検出情報に基づいて第1D受付後演出を発生させる場合とは異なる処理(同じ動作検出手段による検出がなく、同じ検出情報記憶手段による記憶がなく、タイミングtW3が到来した旨の判定)を行うことによって第1D受付後演出を発生させることとしている。このような構成によれば、受付期間内で遊技者による動作を必要とせずに受付後演出を自動発生させるにあたり、遊技者に対して様々な演出性を提供することができるようになり、遊技興趣の向上を図ることが期待されるようになる。
また、上述した演出例では、第1D受付期間よりも前に得られた検出情報に基づいて(ストック受付演出によって)第1D受付後演出を発生させる場合と、タイミングtW3が到来したことに基づいて第1D受付後演出を発生させる場合とで、第1D受付後演出の実行時間が異なるようにしたことから、遊技興趣の向上を図ることができるようになる。しかも、上述した演出例では、第1D受付期間内の特定タイミング(タイミングtW2a)で受付有効判定がなされた場合の第1D受付後演出の実行時間については、第1D受付期間よりも前に得られた検出情報に基づいて(ストック受付演出によって)第1D受付後演出を発生させる場合とタイミングtW3が到来したことに基づいて第1D受付後演出を発生させる場合とのいずれとも異なるようにしたことから、遊技興趣の向上をより一層図ることができるようになる。
これに対し、ストック受付演出に失敗した場合の救済(自動受付)がない第2D受付期間では、第2D受付期間よりも前に得られた検出情報に基づいて(ストック受付演出によって)第2D受付後演出を発生させる場合と、第2D受付期間内の特定タイミング(タイミングtX2a)で受付有効判定がなされたことに基づいて第2D受付後演出を発生させる場合とで、第2D受付後演出の実行時間を互いに同じになるようにしたことから、ストック受付演出に失敗した場合であっても第2D受付期間内で動作をやり直すことによって同じ演出性を享受することができるようになり、救済がないことによる遊技興趣の低下を抑制することが期待されるようになる。
また、第1D受付期間よりも前の前兆演出(第1D前兆演出表示ZEC)の実行期間では、遊技者による動作があった場合であっても、該動作に関して得られた検出情報が当該第1D受付期間内の受付有効判定に供されるか否かを示唆する報知は何ら行わないようにしている。また、少なくとも演出表示装置1600においては、遊技者による動作が検出されたことを示唆することも行われないようにしてもよい。このような構成を備えることで、ストック受付演出に失敗したときの救済(タイミングtW3)が設定されている第1D受付期間であっても、緊張感を好適に維持することが期待されるようになる。
なお、第2D受付期間よりも前の前兆演出(第2D前兆演出表示ZED)の実行期間においても、遊技者による動作があった場合、該動作に関して得られた検出情報が当該第2D受付期間内の受付有効判定に供されるか否かを示唆する報知は何ら行わないようにしてもよい。また、少なくとも演出表示装置1600においては、遊技者による動作が検出されたことを示唆することも行われないようにしてもよい。
また、第1D受付期間に対応する前兆演出では、第1D前兆演出表示ZECとこれに関連する前兆演出音とがそれぞれ実行されるようにした。これに対し、第2D受付期間に対応する前兆演出では、第2D前兆演出表示ZEDは実行されるが該第2D前兆演出表示ZEDに関連する前兆演出音が実行されることはないようにした。すなわちこの場合、前兆演出音の出力有無を通じて、ストック受付演出に失敗したときの救済があるか否かを示唆することができるようになる。
また、上述した演出例では、まず、受付期間として、第1D受付期間を含む複数の受付期間を用意することとし、第1D受付期間が発生した場合、当該第1D受付期間内で遊技者による動作が上記動作検出手段によって検出されなくても当該第1D受付期間に対応する第1D受付後演出を実行可能とすることとした。
この点、パチンコ機1では、第1D受付期間内で遊技者による動作が動作検出手段によって検出されることなく第1D受付後演出が実行開始されるタイミングとしては、少なくとも、図324に示されるタイミングtW2(tW2A)と、図323に示されるタイミングtW3とがあるようにしたことから、遊技興趣の向上を図ることが期待されるようになる。
また、上述した演出例では、第1D受付期間に対応する前兆演出として、第1D前兆演出表示ZECが表示されるようにし、図324に示されるタイミングtW2(tW2A)で第1D受付後演出が実行開始されるときには、該第1D受付後演出が実行開始される時点において第1D前兆演出表示ZECは表示されているが、図323に示されるタイミングtW3において第1D受付後演出が実行開始されるときには、該第1D受付後演出が実行開始される時点において第1D前兆演出表示ZECは表示されていないようにした。すなわちこの場合、第1D受付期間内で検出情報が得られることなく第1D受付後演出が実行開始されたときにこれが図324に示されるタイミングtW2(tW2A)と図323に示されるタイミングtW3とのいずれで実行開始された状況にあるのかを示唆することができるようになる。
また、上述した演出例では、図324に示されるタイミングtW2(tW2A)で第1D受付後演出が実行開始されて、第1D前兆演出表示ZECが表示されている状況にある場合であっても、消滅関連表示として「第1消滅関連表示SKD1」または「第2消滅関連表示SKD2」を出現させるようにした(図331を参照)。そしてこの場合、消滅関連表示(消滅EF表示)は、「第1消滅関連表示SKD1」及び「第2消滅関連表示SKD2」のいずれとして表示された場合であっても、第1D前兆演出表示ZECを視認し難くするようにこれに重なるかたちで実行されるようにすることが望ましい。
また、上述した演出例では、図324に示されるタイミングtW2(tW2A)で第1D受付後演出が実行開始される場合と、図323に示されるタイミングtW3で第1受付後演出が実行開始される場合とのいずれにおいても、第1D受付後演出が実行開始される時点において、上記摸画像表示が表示されているようにした。ただしこれに代えて、図336に示されるように、図324に示されるタイミングtW2(tW2A)で第1D受付後演出が実行開始される場合は、図327に示されるタイミングtX2(tX2A)で第2D受付後演出が実行開始される場合と同様、該第1D受付後演出が実行開始される時点において、上記摸画像表示は表示されていないようにしてもよい。すなわちこの場合、第1D受付期間でストック受付演出が実行されたときも、第2D受付期間でストック受付演出が実行されたと同様、摸画像表示(ここでは、一体化摸画像表示IG)が一度も表示(視認可能な状態に)されずに受付後演出(ここでは、第1D受付後演出)が実行開始されることとなる。
また、上述した演出例では、図324に示されるタイミングtW2(tW2A)で第1D受付後演出が実行開始される場合と、図323に示されるタイミングtW3で第1受付後演出が実行開始される場合とのいずれにおいても、第1D受付後演出が実行開始される時点において、上記残り時間表示(枠画像及びゲージ画像)が表示されているようにした。ただしこれに代えて、図336に示されるように、図324に示されるタイミングtW2(tW2A)で第1D受付後演出が実行開始される場合は、図327に示されるタイミングtX2(tX2A)で第2D受付後演出が実行開始される場合と同様、該第1D受付後演出が実行開始される時点において、上記残り時間表示は表示されていないようにしてもよい。すなわちこの場合、第1D受付期間でストック受付演出が実行されたときも、第2D受付期間でストック受付演出が実行されたと同様、残り時間表示(ここでは、一体化摸画像表示IG)が一度も表示(視認可能な状態に)されずに受付後演出(ここでは、第1D受付後演出)が実行開始されることとなる。
これらの別例にかかる構成によれば、第1D受付期間よりも前に得られた検出情報に基づいて図324に示されるタイミングtW2(tW2A)で第1D受付後演出が実行開始される場合は(図336を参照)、該第1D受付後演出が実行開始される時点において摸画像表示や残り時間表示が表示されていないようになるのに対し、図323に示されるタイミングtW3で第1D受付後演出が実行開始される場合は、該第1D受付後演出が実行開始される時点において摸画像表示や残り時間表示が表示されていることとなる(図330の「i1」及び「i2」を参照)。すなわちこの場合、第1D受付期間内で遊技者による動作が検出されることなく第1D受付後演出が実行開始された場合にこれが第1タイミング(図324に示されるタイミングtW2(tW2A))と第2タイミング(図323に示されるタイミングtW3)とのいずれで実行開始された状況にあるのかを示唆することができるようになる。
また、これらの別例を採用した場合であっても、図324に示されるタイミングtW2(tW2A)で第1D受付後演出が実行開始されたときには、図336(f5),(f6)に示されるように、消滅関連表示として「第1消滅関連表示SKD1」または「第2消滅関連表示SKD2」を出現させるようにすることが望ましい。すなわちこの場合、摸画像表示や残り時間表示が表示されていないなかで「消滅関連表示」が出現されることとなり、該「消滅関連表示」は、「第1D前兆演出表示ZEC」や「第1D受付後演出表示UGD1」などを視認し難くするように表示されることとなる。
なお、これらの別例にかかる受付期間(図336を参照)については、図322~図324及び図328~図331に示した第1D受付期間の変形例として備えることとした。ただしこれに代えて、第1D受付期間及び第2D受付期間のいずれとも異なる第3D受付期間(条件3Dにより発生)として備えるようにしてもよい。この場合、第3D受付期間に対応する受付後演出(第3D受付後演出)が実行されるとき、該受付後演出が期待度の異なる複数態様のいずれで実行されるかにかかわらず、「消滅関連表示」として一の態様(例えば、第2消滅関連表示SKD2)が現れるようにしてもよい。
また、上述した演出例では、第1D受付期間内で遊技者による動作が動作検出手段によって検出されることなく第1D受付後演出が実行開始されるタイミングとしては、少なくとも、図324に示されるタイミングtW2(tW2A)と、図323に示されるタイミングtW3とがあるようにしている。そして、第1D受付期間内で遊技者による動作が上記動作検出手段によって検出されることなく図323に示されるタイミングtW3で上記第1D受付後演出が実行開始される場合、消滅関連表示(消滅EF表示)を表示可能であり、該消滅関連表示(消滅EF表示)が表示されると上記一体化摸画像表示IG(摸画像表示、残り時間表示)が視認し難くされるようにしており、これによって第1D受付期間が終了したことを好適に認識させることができるようになる。
また、上述した演出例では、第1D受付期間内で遊技者による動作が上記動作検出手段によって検出されることなく図324に示されるタイミングtW2(tW2A)で上記第1D受付後演出が実行開始されるときにも消滅関連表示(消滅EF表示)を表示可能であるが、該消滅関連表示(消滅EF表示)が表示されると上記一体化摸画像表示IG(摸画像表示、残り時間表示)とは異なる表示が視認し難くされるようにしてもよい。すなわちこの場合、第1D受付後演出が実行開始された以降、図324に示されるタイミングtW2(tW2A)と図323に示されるタイミングtW3ととのいずれで第1D受付後演出が実行開始された状況にあるのかを示唆することができるようになる。
例えば、第1D受付期間についての別例にかかる構成を採用した場合には、第1D受付期間よりも前に得られた検出情報に基づいて図324に示されるタイミングtW2(tW2A)で第1D受付後演出が実行開始される場合は、該第1D受付後演出が実行開始される時点において摸画像表示や残り時間表示が表示されていないようになる。すなわちこの場合、第1D受付期間内で遊技者による動作が上記動作検出手段によって検出されることなく図324に示されるタイミングtW2(tW2A)で上記第1D受付後演出が実行開始されるときには、消滅関連表示(消滅EF表示)が表示されると上記一体化摸画像表示IG(摸画像表示、残り時間表示)とは異なる表示(第1D前兆演出表示ZECなど)が視認し難くされることとなる。若しくは、図324に示されるタイミングtW2(tW2A)で第1D受付後演出が実行開始される場合は、図323に示されるタイミングtW3で上記第1D受付後演出が実行開始される場合には出現し得ない画像表示を表示するようにし、消滅関連表示(消滅EF表示)が、該画像表示を視認し難くするようにしてもよい。
また、消滅関連表示(消滅EF表示)については、図324に示されるタイミングtW2(tW2A)で上記第1D受付後演出が実行開始されるときに現れる場合と、図323に示されるタイミングtW3で上記第1D受付後演出が実行開始されるときに現れる場合とで同じ画像表示として表示されるようにした。すなわちこの場合、消滅関連表示(消滅EF表示)を見るだけでは図324に示されるタイミングtW2(tW2A)と図323に示されるタイミングtW3とのいずれで実行されている状況にあるのかを認識し難くすることができるようになり、消滅EF表示によって「視認し難くされる対象」へと遊技者による注視を促すことが期待されるようになる。
また、上述した演出例では、第2D受付期間が発生する場合は、当該第2D受付期間内で遊技者による動作が上記動作検出手段によって検出されることなく当該第2D受付期間に対応する第2D受付後演出が実行される場合(図327を参照)と、当該第2D受付期間内で遊技者による動作が上記動作検出手段によって検出されることなく当該第2D受付期間が終了して第2D受付後演出が実行されない場合(図326を参照)とがあるようにした。これにより、第2D受付期間が発生したときの緊張感を好適に維持することができるようになる。
この点、上述した演出例では、第2D受付期間とは異なる第1D受付期間をさらに発生可能とし、該第1D受付期間が発生する場合は、当該第1D受付期間内で遊技者による動作が上記動作検出手段によって検出されなくてもこれに対応する第1D受付後演出が必ず実行されるようにした。すなわちこの場合、第2D受付期間が発生したときには「受付期間内で遊技者による動作が上記動作検出手段によって検出されなかったときに受付後演出が発生する場合と発生しない場合とがある」ことによる緊張感を好適に付与するようにしつつも、第1D受付期間が発生したときには「受付期間内で遊技者による動作が上記動作検出手段によって検出されなかったとしてもる受付後演出が必ず発生する」ようになることから、遊技興趣の向上を図ることが期待されるようになる。
また上述の通り、この実施の形態にかかるパチンコ機1では、遊技者による操作に基づいて、演出態様に変化を生じさせる演出設定(音量、輝度、演出モードなどの少なくとも1つ)を実行可能な手段を備えている。この点、第2D受付期間内で遊技者による動作が上記動作検出手段によって検出されることなく第2D受付後演出が実行される場合と、当該第2D受付期間内で遊技者による動作が上記動作検出手段によって検出されることなく当該第2受付期間が終了して第2D受付後演出が実行されない場合とは、同じ演出設定下で生じうるようになっている。すなわち、第2D受付期間内で遊技者による動作が上記動作検出手段によって検出されることなく第2D受付後演出が実行される場合とは、自動ボタン演出状態を設定した状態において第2D受付期間が発生した場合のことを意味していない。例えば、自動ボタン演出状態に設定されていない状態(同じ演出設定下)においても、第2D受付期間では、該第2D受付期間内で遊技者による動作が上記動作検出手段によって検出されることなく第2D受付後演出が実行される場合と、該第2D受付期間内で遊技者による動作が上記動作検出手段によって検出されることなく当該第2受付期間が終了して第2D受付後演出が実行されない場合とがあることとなる。
また、上述した演出例では、まず、受付期間として、第2D受付期間を含む複数の受付期間を用意することとし、第2D受付期間に対応する前兆演出では、第2D前兆演出表示ZEDが表示されうるようにした。この点、パチンコ機1では、図327に示されるように、第2D前兆演出表示ZEDが表示される期間には、遊技者による動作が行われた場合に該動作が上記動作検出手段によって検出されて該動作検出手段による検出情報が上記第2D受付期間内における上記受付有効判定に供されるストック期間(第1期間)と、遊技者による動作が行われた場合に該動作が上記動作検出手段によって検出されたとしても該動作検出手段による検出情報が上記第2D受付期間内における上記受付有効判定に供されることがない非ストック期間(第2期間)とが含まれるようにしたことから、緊張感を好適に維持することができるようになる。当該構成や作用効果についても、第2D受付期間(第2D前兆演出表示ZED)だけでなく、第1D受付期間(第1D前兆演出表示ZEC)においても同様のことが言える(図324を参照)。
また、上述した演出例にあって、上記ストック期間(第1期間)及び上記非ストック期間(第2期間)については、図327に示されるように、第2D受付期間が発生するよりも前の期間であり且つ第2D前兆演出表示ZEDが表示される期間にいずれも含まれるものとするようにした。すなわちこの場合、遊技者は、第2D受付期間が発生するよりも前に勢い余って動作(操作)してしまった場合であっても、該第2D受付期間が発生した以降に動作をやり直すことなく第2D受付後演出を楽しむことができるようになる。また、第2D受付期間が発生するよりも前に勢い余って動作(操作)してしまった場合には、第2D受付後演出が必ずしも実行されないようにされていることから(非ストック期間)、緊張感を好適に維持することができるようになる。当該構成や作用効果についても、第2D受付期間(第2D前兆演出表示ZED)だけでなく、第1D受付期間(第1D前兆演出表示ZEC)においても同様のことが言える(図324を参照)。
また、上述した演出例では、第1D受付期間が発生する場合と、第2D受付期間が発生する場合とで、前兆演出表示が行われる期間に対してストック期間(第1期間)が占める割合が互いに異なるようにした。第1D受付期間と第2D受付期間とでは、ストック期間(第1期間)及び非ストック期間(第2期間)の少なくとも一方が互いに異なる時間として設定されるようになっている。
より具体的には、上述した演出例にあって、図324に示される例(第1D受付期間が発生する場合)では、第1D前兆演出表示ZECの実行期間(タイミングtW1~tW2の期間)に対して上記「第1期間(ストック期間)」が占める割合は40%程度しかないが、図327に示される例(第2D受付期間が発生する場合)では、第2D前兆演出表示ZEDの実行期間(タイミングtX1~tX2の期間)に対して上記「第1期間(ストック期間)」が占める割合は70%程度あるようになっている。すなわちこの場合、「第2D前兆演出表示ZED(図327を参照)」では、前兆演出表示が開始されてから受付期間が発生するまでの期間内で遊技者による動作が検出されたときにこれが「第1期間(ストック期間)」内で行われている期待値を、「第1D前兆演出表示ZED(図324を参照)」の場合よりも高くすることができるようになる。
なお、この例にかかる「第2D前兆演出表示ZED(図327を参照)」では、上述した「第1D前兆演出表示ZEC(図324を参照)」の場合と比べて、前兆演出表示が実行されてから受付期間が発生するまでの期間に対して上記「第1期間(ストック期間)」の占める割合が大きくされるようにしたが、これに代えて、該割合が小さくされるようにしてもよい。
また、上述した演出例では、少なくとも演出表示装置1600においては、上記ストック期間内で遊技者による動作が検出されたときと、上記非ストック期間内で遊技者による動作が検出されたときとで、いずれも該検出に応じた反応を何ら見せないようにした。すなわちこの場合、ストック受付演出として実行されうる状況にあるか否かを認識し難くすることができるようになり、緊張感を好適に維持することが期待されるようになる。
また、上述した演出例では、まず、受付期間として、第1D受付期間及び第2D受付期間を含む複数の受付期間を用意することとし、第1D受付期間に対応する前兆演出では第1D前兆演出表示ZECが表示され、第2D受付期間に対応する第2前兆演出では第2D前兆演出表示ZEDが表示されうるようにした。この点、パチンコ機1では、図324及び図327に示されるように、第1D前兆演出表示ZECが実行される期間と第2D前兆演出表示ZEDが実行される期間とのいずれにおいても、「遊技者による動作が行われた場合に該動作が上記動作検出手段によって検出されて該動作検出手段による検出情報が受付期間内における上記受付有効判定に供されるストック期間(前動作許容期間)」と、「遊技者による動作が行われた場合に該動作が上記動作検出手段によって検出されたとしても該動作検出手段による検出情報が受付期間内における上記受付有効判定に供されることがない非ストック期間(前動作非許容期間)」と、が含まれるようにしたことから、緊張感を好適に維持することができるようになる。
また、上述した演出例では、ストック期間(前動作許容期間)及び非ストック期間(前動作非許容期間)を、いずれも受付期間(第1D受付期間または第2D受付期間)が発生するタイミングよりも前の期間であるようにした。すなわちこの場合、受付期間(第1D受付期間または第2D受付期間)が発生するよりも前に得られた検出情報に基づいて「遊技者による動作を有効動作とする受付有効判定」が当該受付期間内においてなされる場合があることとなるから、遊技者は、受付期間が発生するよりも前に勢い余って動作(操作)してしまった場合であっても、該受付期間が発生した以降に動作をやり直すことなく受付後演出を楽しむことができるようになる。しかも、受付期間(第1D受付期間または第2D受付期間)が発生するよりも前に勢い余って動作(操作)してしまった場合には、受付後演出が必ずしも実行されないようにされていることから(非ストック期間(前動作非許容期間))、緊張感を好適に維持することができるようになる。
ところで、上述した演出例では、第1D前兆演出表示ZECが実行される期間内のストック期間(前動作許容期間)と、第2D前兆演出表示ZEDが実行される期間内のストック期間(前動作許容期間)とのいずれにおいても、遊技者に対して動作することを促すメッセージ表示は何ら表示されていない。
ただしこれに代えて、第1D前兆演出表示ZECが実行される期間のうち少なくともストック期間(前動作許容期間)では遊技者に対して動作することを促すメッセージ表示が表示されるようにし、第2D前兆演出表示ZEDが実行される期間内のストック期間(前動作許容期間)では遊技者に対して動作することを促すメッセージ表示が表示されないようにしてもよい。このような構成によれば、第1D受付期間が発生する場合は、該第1D受付期間が発生するよりも前に遊技者による動作が検出情報として得られるように促すことができるようになり、ひいてはこうして得られた検出情報に基づいて第1D受付期間内で受付有効判定がなされる演出性(ストック受付演出)をより積極的に提供することができるようになる。その一方で、第2D受付期間が発生する場合は、このようなストック受付演出が許容されていることが秘匿にされることから、演出性に面白みを付加することができるようになり、遊技興趣の向上を図ることができるようになる。
なおこの場合、第1D前兆演出表示ZECが実行される期間のうちストック期間(前動作許容期間)で表示状態にあるメッセージ表示は、非ストック期間(前動作非許容期間)の少なくとも一部においても表示状態にあるようにしてもよい。このような構成によれば、メッセージ表示が表示状態にあるときに遊技者による動作が行われとしてもこれが第1D受付期間内で受付有効判定に必ずしも供されないようになることから、緊張感を好適に維持することができるようになる。第2D前兆演出表示ZEDが実行される期間では、ストック期間(前動作許容期間)と非ストック期間(前動作非許容期間)とのいずれにおいてもメッセージ表示は表示されない。
また、上述した演出例では、図332及び図335に示されるように、第2D受付期間でストック受付演出がなされたときには、第2D前兆演出表示ZEDが表示開始されてからメッセージ表示が一切表示されることなく第2D受付後演出が実行開始されるようにした。これに対し、メッセージ表示に関しての上述した変形例では、第1D受付期間でストック受付演出がなされたときには、ストック期間(前動作許容期間)で検出情報が得られたとしても第1D受付期間が発生するよりも前の期間内でメッセージ表示を非表示にすることはなく、検出情報が得られなかったときと同様、その表示状態を維持するようにすることが望ましい。また、第1D受付期間でストック受付演出がなされたときにはこれに応じて第1D受付後演出が実行開始される時点においても、メッセージ表示が表示状態にあるようにすることが望ましい。このような構成によれば、第1D受付期間が発生する場合と、第2D受付期間が発生する場合とのいずれにおいても、ストック受付演出がなされた状況(ストック受付演出に成功した状況)にあるか否かを認識し難くして緊張感を好適に維持することができるようになる。
また、上述した演出例では、まず、受付期間として、第1D受付期間を含む複数の受付期間を用意することとし、第1D受付期間が発生した場合、当該第1D受付期間内で遊技者による動作が上記動作検出手段によって検出されなくても上記受付後演出として当該第1D受付期間に対応する第1D受付後演出を実行可能とするようにした。この点、パチンコ機1では、第1D受付期間内で遊技者による動作が上記動作検出手段によって検出されることなく上記第1D受付後演出が実行開始されるタイミングとして、少なくとも2つのタイミング(図324に示されるタイミングtW2(tW2A)、図323に示されるタイミングtW3)があるようにしたことから、遊技興趣の向上を図ることが期待されるようになる。
また、上述した演出例では、第1D受付期間内で遊技者による動作が上記動作検出手段によって検出されることなく第1D受付後演出が実行開始されるタイミングとして、図324に示されるタイミングtW2(tW2A)と、図323に示されるタイミングtW3とを少なくとも用意することとし、図324に示されるタイミングtW2(tW2A)では「第1D受付期間が発生するよりも前に検出された遊技者による動作(検出情報)に基づいて上記受付有効判定が当該第1D受付期間内でなされることによって第1D受付後演出が実行開始される(ストック受付演出)」ようにし、図323に示されるタイミングtW3では「第1D受付期間の発生前も含めて、遊技者による動作を何ら検出することなく、所定タイミング(タイミングtW3)が到来したことに基づいて第1D受付後演出が実行開始される」ようにした。
すなわちこの場合、「第1D受付期間が発生するよりも前に検出された遊技者による動作(検出情報)に基づいて第1D受付期間内で上記受付有効判定がなされうる(ストック受付演出)」ようになり、これによって第1D受付後演出を実行開始させることが可能とされるようになる。しかも、第1D受付期間では、このような「ストック受付演出」に失敗した場合であっても、所定タイミング(タイミングtW3)が到来したことに基づいて第1D受付後演出が救済的に実行されるようになっていることから、安心して「ストック受付演出」にチャレンジすることができるようになる。
また、上述した演出例では、第1D受付期間内でストック受付演出がなされたことに基づいて第1D受付後演出が実行される場合(図324を参照)と、第1D受付期間内で遊技者による動作が検出されずにタイミングtW3が到来したことに基づいて第1D受付後演出が実行される場合(図323を参照)とで、それら第1D受付後演出にかかる実行時間が互いに異なるようにした。すなわちこの場合、第1D受付期間内で遊技者による動作が検出されずに第1D受付後演出が実行されたときに、該第1D受付後演出がいずれのタイミングに基づいて実行されたものであるかを示唆することができるようになる。なおこの際、いずれの実行時間を長く設定するようにしてもよい。
また、上述した演出例では、第1D受付期間内のタイミングtW2aで検出情報に基づいて受付有効判定がなされた場合(図322を参照)は、第1D受付期間内でストック受付演出がなされたことに基づいて第1D受付後演出が実行される場合(図324を参照)、及び第1D受付期間内で遊技者による動作が検出されずにタイミングtW3が到来したことに基づいて第1D受付後演出が実行される場合(図323を参照)のいずれとも異なる時間にわたって、第1D受付後演出を実行するようにしたことから、第1D受付期間内で行われた遊技者による動作が適正に受付けされた状況にあることを示唆することができるようになる。
また、上述した演出例では、第1D受付期間及び第2D受付期間のいずれとも異なる特定受付期間を発生可能とし、該特定受付期間においても、当該特定受付期間よりも前(前兆演出の実行期間内)に得られた検出情報に基づいて受付後演出(例えば、第1D受付後演出及び第2D受付後演出のいずれとも異なる特定受付後演出)が実行される場合(ストック受付演出)と、当該特定受付期間内で遊技者による動作が検出されずに所定タイミングが到来したことに基づいて受付後演出(特定受付後演出)が実行される場合とがあるようにしてもよい。そして、特定受付期間内でストック受付演出がなされたことに基づいて受付後演出(特定受付後演出)が実行される場合と、特定受付期間内で遊技者による動作が検出されずに所定タイミングが到来したことに基づいて受付後演出(特定受付後演出)が実行される場合とで、それら受付後演出(特定受付後演出)にかかる実行時間が互いに同じになるようにしてもい。このような構成によれば、受付後演出の実行時間を見るだけでは、いずれのタイミングによって受付後演出が実行されたのかを認識し難くすることができるようになり、緊張感を好適に維持することができるようになる。
また、上述した演出例にあって、第2D受付後演出は、第2D受付期間内で遊技者による動作が上記動作検出手段によって検出されずに実行される場合(ストック受付演出)と、第2D受付期間内で遊技者による動作が上記動作検出手段によって検出されたことに基づいて実行される場合とで、その実行時間が同じであるようにしたことから、遊技興趣を好適に維持することができるようになる
これに対し、第1D受付後演出は、第1D受付期間内で遊技者による動作が上記動作検出手段によって検出されずに実行される場合(ストック受付演出)と、第1D受付期間内で遊技者による動作が上記動作検出手段によって検出されたことに基づいて実行される場合とで、その実行時間が異なるようにしたことから、受付期間の種別に応じて異なる演出性を提供することができるようになる。
また、上述した演出例では、遊技者に対して動作機会が付与されることを示唆する前兆演出においては、当該前兆演出に対応する前兆演出音が出力される場合(図322を参照)と、当該前兆演出に対応する前兆演出音が出力されない場合(図325を参照)とがあるようにしている。これにより、遊技者に対して動作機会を付与するにあたり、緊張感を好適に維持することが期待されるようになる。
また、遊技者に対して動作機会が付与される受付期間が発生するよりも前に特定の前兆演出音(第1D前兆演出表示ZECに対応する演出音)が出力されるときには、図322~図324に示されるように、受付期間内で遊技者による動作が上記動作検出手段によって検出されることなくこれに対応する受付後演出が実行開始されるタイミングとして、図324に示されるタイミングtW2(tW2A)と、図323に示されるタイミングtW3とが少なくともあるようにした。これに対し、遊技者に対して動作機会が付与される受付期間が発生するよりも前に何らの前兆演出音も出力されないときには、図325~図327に示されるように、受付期間内で遊技者による動作が上記動作検出手段によって検出されることなくこれに対応する受付後演出が実行開始されるタイミングとして、図323に示されるタイミングtW3に相当するタイミングがなく、図324に示されるタイミングtW2(tW2A)に相当するタイミングtX2(tX2A)が少なくともあるようにした。このような構成によれば、前兆演出音が出力されている状況にあるときには遊技者による動作が行われた結果としてストック受付演出に失敗した(非ストック期間内で動作検出した)としても受付後演出が必ず実行されることから、安心感のあるもとでストック受付演出にチャレンジさせることができるようになる。また、前兆演出音が出力されていない状況にあるときには、ストック受付演出に失敗した場合、遊技者は、受付後演出を発生させるために受付期間内で改めて動作を行う必要があるようになることから、緊張感のあるなかでストック受付演出にチャレンジさせることができるようになる。
なお、遊技者に対して動作機会が付与される受付期間が発生するよりも前に何らの前兆演出音も出力されないときには、図325~図327に示されるように、受付期間内で遊技者による動作が上記動作検出手段によって検出されることなくこれに対応する受付後演出が実行開始されるタイミングとして、図323に示されるタイミングtW3に相当するタイミングがなく、図324に示されるタイミングtW2(tW2A)に相当するタイミングtX2(tX2A)が少なくともある場合(第2D受付期間)と、受付期間内で遊技者による動作が上記動作検出手段によって検出されることなくこれに対応する受付後演出が実行開始されるタイミングとして、図323に示されるタイミングtW3に相当するタイミング(図示略)、及び図324に示されるタイミングtW2(tW2A)に相当するタイミング(図示略)が少なくともある場合(別の受付期間)とがあるようにしてもよい。このような構成によれば、前兆演出音が出力されていない状況にある場合、緊張感を維持しつつも、安心感も好適に提供されているなかで、ストック受付演出にチャレンジさせることができるようになる。
また、上述した演出例では、第1D前兆演出表示ZECに対応する前兆演出音が出力されている状況であり、且つストック期間(第1期間)内で遊技者による動作が行われてこれが検出されたとしても、これを契機として第1D受付期間が発生するよりも前に第1D前兆演出表示ZECやこれに対応する前兆演出音を中断させることがないようにした。これにより、遊技者による動作の検出がストック期間(第1期間)と非ストック期間(第2期間)とのいずれで行われたかを認識し難くすることができるようになる。
なお上述の通り、第1D前兆演出表示ZECについては、第1D受付期間が発生するタイミングを跨ぐかたちで行われるようにしてもよい。この際、第1D前兆演出表示ZECに対応する前兆演出音も、第1D受付期間が発生するタイミングを跨ぐかたちで出力されることとなる。そしてこの場合、第1D受付期間が発生しており、且つ第1D前兆演出表示ZECに対応する前兆演出音が出力されている状況にあるなかで遊技者による動作が行われてこれが検出されたときには、これを契機として第1D受付期間内で第1D前兆演出表示ZECやこれに対応する前兆演出音を中断させるようにしてもよい。すなわちこの場合、ストック受付演出がなされた状況にあるか、それとも第1D受付期間内で受付けされた状況にあるかを認識し難くすることができるようになる。これに対し、ストック受付演出がなされたときにはこれを契機としてタイミングtX2(tX2A)において前兆演出音が中断されることとなる。
ところで、図322~図335を参照しつつ上述した演出例や、その別例(変形例)における「ストック受付演出」とは、上述の通り、受付期間が発生するよりも前の「前兆演出の実行期間」内で遊技者による動作が行われてこれが検出情報として得られた場合、該検出情報を記憶しておき、該記憶した検出情報を、それ以降に発生する受付期間内で「受付有効判定」に供されるように用いることを意味するものである。したがって、「前兆演出の実行期間内で遊技者による動作が行われてこれが検出情報として得られること」は、「上述した自動ボタン演出状態に設定するための操作が行われたこと」とは技術的に全く異なることである。
例えば、「ストック受付演出」では、「前兆演出の実行期間」内で得られた検出情報をそのまま受付期間内で確認することで、受付期間内で遊技者による動作が検出されずとも受付有効判定がなされるようにしたものである。これに対し、上述した自動ボタン演出状態に設定するための操作が行われた場合、該操作に対応する検出情報は得られるが、該検出情報を受付期間が発生するときまで保持しておくことはない。すなわち、上述した自動ボタン演出状態に設定するための操作に対応する検出情報が得られた時点で、該検出情報が得られたことに基づいて、演出状態フラグの状態を、「自動ボタン演出状態」に対応する特定状態へと設定操作することとなる。そしてそれ以降は、受付期間が発生する都度、該受付期間内の予め定められたタイミングが到来したときに演出状態フラグの状態を確認することで、受付期間内における遊技者の動作(操作)なしで受付後演出を実行可能としたものである。
したがって、図322~図335を参照しつつ上述した演出例や、その別例(変形例)における「ストック受付演出」を実現する上では、自動ボタン演出状態にかかる設定機能を有しない遊技機であってもよいし、常に自動ボタン演出状態に制御されている遊技機であってもよい。ちなみに、図322~図335を参照しつつ上述した演出例や、その別例(変形例)にかかるパチンコ機1において、遊技者による操作によって自動ボタン演出状態に設定されているときに第1D受付期間が発生したとすると、該第1D受付期間では、図324に示されるタイミングtW2(tW2A)、及び図323に示されるタイミングtW3とは別に、それらタイミングの間にある所定タイミングが到来したことに基づいて第1D受付後演出が実行開始されることとなる。すなわちこの場合、遊技者による動作が検出されない(受付有効判定がなされない)ままで所定タイミングが到来したことに基づいて第1D受付後演出が実行開始されることとなる。これに対し、自動ボタン演出状態に設定されていないときには、当該所定タイミングが機能しなくなるから、遊技者による動作が検出されない(受付有効判定がなされない)ままでタイミングtW3が到来したことに基づいて第1D受付後演出が実行開始されることとなる。なお、遊技者による操作によって自動ボタン演出状態に設定されているときに第2D受付期間が発生したとすると、該第2D受付期間では、図327に示されるタイミングtX2(tX2A)よりも後の特定タイミングが到来したことに基づいて第2D受付後演出が実行開始されることとなる。
また、図322~図335を参照しつつ上述した演出例や、その別例(変形例)において、上述した「ストック受付演出」を成功させるために遊技者に対して求められる動作(操作)は、これに対応する受付期間内で遊技者に対して求められる動作(操作)と同じであることは言うまでもない。
また、図322~図335を参照しつつ上述した演出例や、その別例(変形例)においては、受付期間が発生するタイミングよりも所定時間以上も前に遊技者による動作が行われたとしてもその検出情報に基づいて上述した「ストック受付演出」が実行されることはないようにしている(実施形態では、対応する前兆演出の実行期間内での検出情報しか「受付有効判定」に供されない)。すなわち、動作(操作)の対象となる受付期間を遊技者が意識可能な状況にあるときに限り、このような「ストック受付演出」を実現可能とするようにすることが、特定の受付後演出を発生させることを意識して遊技者に動作(操作)を行わせるようにする上で重要であると言える。
また、上述した通り、図322~図335を参照しつつ上述した演出例や、その別例(変形例)においては、ストック期間内で検出情報が得られたとしても、該検出情報が得られたことに関しての報知が演出表示装置1600内において行われることがない。これに対し、自動ボタン演出状態への設定が行われた場合には、その設定を行った者に対して、設定が完了したか否かの報知を行う必要があることが自明である。
また、上述した通り、図322~図335を参照しつつ上述した演出例や、その別例(変形例)においては、ストック期間内で検出情報が得られた場合、該検出情報は、受付期間内で「受付有効判定」に必ず供されることとなり、これに基づいて受付後演出が必ず発生することとなる。これに対し、自動ボタン演出状態への設定が行われた場合には、所定タイミングが到来するまでの間にこれを解除することができることが自明である。
また、上述した演出例(第1D受付期間や、第2D受付期間など)では、前兆演出が実行される期間内で、ストック期間(第1期間)を先に発生させ、非ストック期間(第2期間)をこれよりも後に発生させてこれに繋がるかたちで受付期間が発生するようにした。ただしこれに代えて、前兆演出が実行される期間内で、非ストック期間(第2期間)を先に発生させ、ストック期間(第1期間)をこれよりも後に発生させてこれに繋がるかたちで受付期間が発生するようにしてもよい。なおこの場合、ストック期間(第1期間)と受付期間とに跨るかたちで遊技者による動作が検出されることも想定されるが、このような場合であっても、(受付期間で得られた検出情報は用いず)ストック期間(第1期間)で得られた検出情報に基づいて受付期間内で受付有効判定がなされるようにすることが望ましい。若しくは、ストック期間(第1期間)と受付期間とに跨るかたちで遊技者による動作が検出された場合、ストック期間(第1期間)で得られた検出情報と受付期間内で得られた検出情報との両方に基づいて受付期間内で受付有効判定がなされるようにしてもよい。このような場合であっても、図331や図335に示した態様で演出が進展されるようにしてもよい。
なお、上述した演出例や、その別例(変形例)では、自動ボタン演出状態に設定されていることについての記載が特にない限りは、自動ボタン演出状態に設定されていない状態にあるか、自動ボタン演出状態に関する機能を有していないパチンコ機1として記載されている。
また、上述した演出例や、その別例(変形例)にあって、第2D前兆演出表示ZEDが表示される期間には、図325~図327に示されるように、遊技者による動作が行われた場合に該動作が上記動作検出手段によって検出されて該動作検出手段による検出情報が第2D受付期間内における上記受付有効判定に供されるストック期間(第1期間)と、遊技者による動作が行われた場合に該動作が上記動作検出手段によって検出されたとしても該動作検出手段による検出情報が上記第2D受付期間内における上記受付有効判定に供されることがない非ストック期間(第2期間)とが含まれている。そして、第2D前兆演出表示ZEDが表示される期間のうち上記非ストック期間(第2期間)内で上記動作検出手段による検出があった後、上記動作検出手段による新たな検出がないままで当該第2D受付期間が終了した場合は、上記第2D受付後演出が実行されないようにした(図326を参照)。
これに対し、上述した演出例や、その別例(変形例)にあって、第1D前兆演出表示ZECが表示される期間にも、図322~図324に示されるように、遊技者による動作が行われた場合に該動作が上記動作検出手段によって検出されて該動作検出手段による検出情報が第1D受付期間内における上記受付有効判定に供されるストック期間(第1期間)と、遊技者による動作が行われた場合に該動作が上記動作検出手段によって検出されたとしても該動作検出手段による検出情報が上記第1D受付期間内における上記受付有効判定に供されることがない非ストック期間(第2期間)とが含まれている。それにもかかわらず、第1D前兆演出表示ZECが表示される期間のうち上記非ストック期間(第2期間)内で上記動作検出手段による検出があった後、上記動作検出手段による新たな検出がないままで当該第1D受付期間が終了した場合であっても、上記第1D受付後演出が実行されるようにした(図323に示されるタイミングtW3)。すなわちこの場合、第1D前兆演出表示ZECが行われている期間内のうち、ストック期間(第1期間)ではなく、非ストック期間(第2期間)内で遊技者による動作が検出されたとしても、遊技者による動作を新たに検出することなく第1D受付後演出を発生させることができるようになることから、遊技興趣の低下を抑制することが期待されるようになる。
また、図330及び図331に示されるように、ストック期間(第1期間)と非ストック期間(第2期間)とのいずれで検出情報が得られた場合であっても上記第1D受付期間内で検出情報を新たに得ることなしで第1D受付後演出が実行可能とされる側の演出進展においては、消滅関連表示として、第1D受付後演出にかかる態様(第1D受付後演出表示UGD1-1または第1D受付後演出表示UGD1-2)に応じて異なる態様(第1消滅関連表示SKD1または第2消滅関連表示SKD2)を出現させるようにした。これに対し、図334及び図335に示されるように、ストック期間(第1期間)と非ストック期間(第2期間)とのうちストック期間(第1期間)で検出情報が得られた場合に限り上記第2D受付期間内で検出情報を新たに得ることなしで第2D受付後演出が実行可能とされる側の演出進展においては、消滅関連表示として、第2D受付後演出にかかる態様(第2D受付後演出表示UGD2-1または第2D受付後演出表示UGD2-2)にかかわらず同じ態様(第2消滅関連表示SKD2)を出現させるようにした。
すなわち、第1D受付後演出は、ストック期間(第1期間)と非ストック期間(第2期間)とのいずれで検出情報が得られた場合であっても上記第1D受付期間内で検出情報を新たに得ることなしで実行可能とされるものであるから、遊技者の緊張感を維持することができなくなることが懸念される。この点、上記構成によれば、第1D受付後演出が実行されるときには消滅関連表示これ自体に期待度を示唆するための演出性を持たせるようにしたことから、緊張感を好適に維持することが期待されるようになる。これに対し、第2D受付後演出は、ストック期間(第1期間)と非ストック期間(第2期間)とのうちストック期間(第1期間)にあるときに検出情報が得られた場合に限り上記第2D受付期間内で検出情報を新たに得ることなしで実行可能とされるものであるから、これ自体の演出性によって遊技者の緊張感は維持されていると言える。この点、上記構成によれば、第2D受付後演出が実行されるときには消滅関連表示これ自体に期待度を示唆するための演出性を持たせないようにしたことから、ストック受付演出による受付有効判定に成功した以降は、第1D受付後演出への集中を促すことが期待されるようになる。また、第2D受付後演出が実行されるときには、消滅関連表示として、第1D受付後演出の高期待態様に対応する「第2消滅関連表示SKD2」が必ず現れるようにしたことから、遊技興趣を好適に維持することが期待されるようになる。
また、図331に示されるように、ストック期間(第1期間)と非ストック期間(第2期間)とのいずれで検出情報が得られた場合であっても上記第1D受付期間内で検出情報を新たに得ることなしで第1D受付後演出が実行可能とされる側の演出進展においては、ストック受付演出による受付有効判定がなされた場合、第1D受付後演出が実行開始される時点において摸画像表示や残り時間表示が表示されている状態にあるようにした。これに対し、図335に示されるように、ストック期間(第1期間)と非ストック期間(第2期間)とのうちストック期間(第1期間)で検出情報が得られた場合に限り上記第2D受付期間内で検出情報を新たに得ることなしで第2D受付後演出が実行可能とされる側の演出進展においては、ストック受付演出による受付有効判定がなされた場合、第2D受付後演出が実行開始される時点において摸画像表示や残り時間表示が表示されていない状態(視認できない状態)にあるようにした。
すなわち、第1D受付後演出は、ストック期間(第1期間)と非ストック期間(第2期間)とのいずれで検出情報が得られた場合であっても上記第1D受付期間内で検出情報を新たに得ることなしで実行可能とされるものであるから、遊技者の緊張感を維持することができなくなることが懸念される。この点、上記構成によれば、第1D受付後演出が実行開始される時点においても、摸画像表示や残り時間表示が表示されている状態にあることによって「受付有効判定」が未だなされていない可能性を意識付けさせて緊張感を好適に維持することが期待されるようになる。これに対し、第2D受付後演出は、ストック期間(第1期間)と非ストック期間(第2期間)とのうちストック期間(第1期間)にあるときに検出情報が得られた場合に限り上記第2D受付期間内で検出情報を新たに得ることなしで実行可能とされるものであるから、これ自体の演出性によって遊技者の緊張感は維持されていると言える。この点、上記構成によれば、第2D受付後演出が実行開始される時点において摸画像表示や残り時間表示が表示されていない状態(視認できない状態)にあることから、「受付有効判定」が適正になされた状況にあることを認識し易くなり、第1D受付後演出への集中を促すことが期待されるようになる。
なお、上述した各演出例や変形例(別例)にかかる第1D受付期間及び第2D受付期間については、下記構成に変形させて実現するようにしてもよいし、下記変形例にかかる構成(第1D受付期間、第2D受付期間)を、上述した第1D受付期間及び第2D受付期間とは別の受付期間としてさらに備えるようにしてもよい。
すなわち上述の通り、この実施の形態にかかるパチンコ機1では、遊技者による動作(操作)の受付けが許容される受付期間として、第1D受付期間及び第2D受付期間を少なくとも備えている。
この点、第1D受付期間に対応する第1D受付後演出が実行される場合には、図330及び図331に示されるように、当該第1D受付後演出が期待度(大当り図柄が現れる割合)の低い態様(第1D受付後演出表示UGD1-1)で実行される場合と、当該第1D受付後演出が期待度(大当り図柄が現れる割合)の高い態様(第1D受付後演出表示UGD1-2)で実行される場合とで異なる態様で消滅EF演出(消滅関連表示)が実行されるようにした。ただしこれに代えて、第1D受付後演出が期待度(大当り図柄が現れる割合)の低い態様(第1D受付後演出表示UGD1-1)で実行される場合と、第1D受付後演出が期待度(大当り図柄が現れる割合)の高い態様(第1D受付後演出表示UGD1-2)で実行される場合とのいずれの場合であるかにかかわらず予め定められた一の態様(同じ態様)で消滅EF演出(消滅関連表示)が実行されるようにしてもよい。
また、第2D受付期間に対応する第2D受付後演出が実行される場合には、図334及び図335に示されるように、当該第2D受付後演出が期待度(大当り図柄が現れる割合)の低い態様(第2D受付後演出表示UGD2-1)で実行される場合と、当該第2D受付後演出が期待度(大当り図柄が現れる割合)の高い態様(第2D受付後演出表示UGD2-2)で実行される場合とのいずれの場合であるかにかかわらず予め定められた一の態様(同じ態様)で消滅EF演出(消滅関連表示)が実行されるようにした。ただしこれに代えて、第2D受付後演出が期待度(大当り図柄が現れる割合)の低い態様(第2D受付後演出表示UGD2-1)で実行される場合と、第2D受付後演出が期待度(大当り図柄が現れる割合)の高い態様(第2D受付後演出表示UGD2-2)で実行される場合とで異なる態様で消滅EF演出(消滅関連表示)が実行されるようにしてもよい。
次に、上記変形例を上述した演出例に対して適用した場合について説明する。すなわち、図337は、図330に示した「第1D受付期間内で検出情報が得られたことに基づいて第1D受付後演出が実行されたとき、または第1D受付期間内で受付有効判定がなされずにタイミングtW3が到来したことに基づいて第1D受付後演出が実行されたときに現れる演出」にかかる変形例であり、図338は、図331に示した「第1D受付期間よりも前に得られた検出情報に基づいて第1D受付後演出が実行されたときに現れる演出」にかかる変形例である。また、図339は、図334に示した「第2D受付期間内で検出情報が得られたことに基づいて第2D受付後演出が実行されたとき、または第2D受付期間内で受付有効判定がなされずにタイミングtX3が到来したときに現れる演出」にかかる変形例であり、図340は、図335に示した「第2D受付期間よりも前に得られた検出情報に基づいて第2D受付後演出が実行されたときに現れる演出」にかかる変形例である。なお、この変形例において、特に言及しない構成については、「第1D受付期間に関する演出例(図322~図324、図328~図331)」や「第2D受付期間に関する演出例(図325~図327、図332~図335)」を参照しつつ上述した通りであり、「第1D受付期間に関する演出例」や「第2D受付期間に関する演出例」に対して適用可能な上述の各別例に関しても同様に適用可能である。
図337及び図338に示される変形例では、まず、第1D受付期間内で得られた検出情報に基づいて第1D受付後演出が期待度(大当り図柄が現れる割合)の低い態様で実行される場合(図337(e1)~(i1)を参照)と、第1D受付後演出が期待度(大当り図柄が現れる割合)の高い態様(図337(e2)~(i2)を参照)で実行される場合とで同じ態様で消滅EF演出(消滅関連表示)が実行されるようになっている。また、タイミングtW3が到来したことに基づいて第1D受付後演出が期待度(大当り図柄が現れる割合)の低い態様で実行される場合(図337(e3)~(i3)を参照)と、第1D受付後演出が期待度(大当り図柄が現れる割合)の高い態様(図337(e4)~(i4)を参照)で実行される場合とでも同じ態様で消滅EF演出(消滅関連表示)が実行されるようになっている。また、第1D受付期間よりも前に得られた検出情報に基づいて第1D受付後演出が期待度(大当り図柄が現れる割合)の低い態様で実行される場合(図338(e5)~(i5)を参照)と、第1D受付後演出が期待度(大当り図柄が現れる割合)の高い態様(図338(e6)~(i6)を参照)で実行される場合とでも同じ態様で消滅EF演出(消滅関連表示)が実行されるようになっている。ここでは、消滅EF演出として、第2消滅関連表示SKD2が実行されている。
これに対し、図339及び図340に示される変形例では、第2D受付期間内で得られた検出情報に基づいて第2D受付後演出が期待度(大当り図柄が現れる割合)の低い態様で実行される場合(図339(e1)~(i1)を参照)と、第2D受付後演出が期待度(大当り図柄が現れる割合)の高い態様で実行される場合(図339(e2)~(i2)を参照)とで異なる態様で消滅EF演出が実行されるようになっている。また、第2D受付期間よりも前に得られた検出情報に基づいて第2D受付後演出が期待度(大当り図柄が現れる割合)の低い態様で実行される場合(図340(e4)~(i4)を参照)と、第2D受付後演出が期待度(大当り図柄が現れる割合)の高い態様(図340(e5)~(i5)を参照)で実行される場合とでも異なる態様で消滅EF演出が実行されるようになっている。ここでは、期待度(大当り図柄が現れる割合)の低い態様で実行される場合(図339(e1)~(i1)、及び図340(e4)~(i4)を参照)に消滅EF演出として第1消滅関連表示SKD1が実行され、期待度(大当り図柄が現れる割合)の高い態様で実行される場合(図339(e2)~(i2)、及び図340(e5)~(i5)を参照)に消滅EF演出として第2消滅関連表示SKD2が実行されている。
なお、図339に示される変形例では、第2D受付期間内で受付有効判定がなされずにタイミングtX3が到来した場合、消滅EF演出として第3消滅関連表示SKD3を表示することとした。ただしこれに代えて、消滅EF演出として、該第2D受付期間内で受付有効判定が仮になされていたとするときに現れていた態様(第1消滅関連表示SKD1または第2消滅関連表示SKD2)が現れるようにしてもよい。このような構成によれば、第2D受付期間内で受付有効判定がなされかった場合であっても、タイミングtX3が到来したことに基づいて表示される消滅EF演出としての態様を確認することで、第2D受付期間内で受付有効判定が仮になされていたらいずれの態様(低期待態様または高期待態様)で第2D受付後演出が実行されていたのかを認識することができるようになる。
また、図326及び図334に示した演出例や、図339に示した変形例では、第2D受付期間内で受付有効判定がなされずにタイミングtX3が到来した場合、第2D受付後演出が実行されないようにした。ただしこれに代えて、図326及び図334に示した演出例や、図339に示した変形例であっても、図323及び図330に示した演出例や、図337に示した変形例などと同様、第2D受付期間内で受付有効判定がなされずにタイミングtX3が到来したことに基づいて、第2D受付後演出が実行されるようにしてもよい。すなわちこの場合、残り時間表示により示されている残り時間(ゲージ画像の表示面積が「0」)が異なるだけで、その他は、図334(e1)~(i1)または図334(e2)~(i2)に示した態様、若しくは図339(e1)~(i1)または図339(e2)~(i2)に示した態様で演出が進展されることとなる。
以上、本発明について、いくつかの実施形態を挙げて説明したが、本発明はこれらの実施形態に限定されるものではなく、以下に示すように、本発明の要旨を逸脱しない範囲において、種々の改良及び設計の変更が可能である。
例えば、自動演出機能に関する上述した各演出例において「オートボタン設定中」といった表示が行われるようにしている場合があるが、該表示については必ずしも行わなくてもよい。特に、自動演出モードに設定するパチンコ機1ではなく、常に自動演出機能が有効化されうる状態にあり「演出状態への設定」といった処理自体が搭載されないパチンコ機1として実現される場合には、「オートボタン設定中」といった表示は行われないようにすることが望ましい。「演出状態への設定」といった処理自体が搭載されないパチンコ機1では、遊技者による操作が許容される操作受付演出の種別に応じて、自動演出機能が奏される有効期間と、自動演出機能が奏されない有効期間とが発生するようにしてもよい。
また、上述した各演出例において、「摸画像」は、遊技者に対して操作を促す画像であればよく、例えば、下方向を指して上下動する矢印画像など、必ずしも操作対象になっている操作手段を摸した画像として表示されるものでなくてもよい。
また、上述した各演出例において自動演出機能を採用する場合、操作有効期間内で操作受付を自動発生(自動受付)させるタイミングについては、操作有効期間内であれば、いずれのタイミングに設定するものであってもよい。遊技者に対して操作機会を好適に付与するようにする上では、操作有効期間が発生してからその半分以上の時間が経過した以降に到来する所定タイミングまで操作が検出されなかったときに操作受付が自動発生(自動受付)し、該自動発生した操作受付に基づいて操作後演出が開始されるようにすることが望ましい。この意味では、操作有効期間内の残り時間が1フレームになるタイミングまで操作が検出されなかったときに操作受付が自動発生(自動受付)し、該自動発生した操作受付に基づいて操作後演出が開始されるようにすることが最も望ましいといえる。また、自動演出機能に関する上述した各演出例において、有効期間が終了した以降もバー表示を非表示とせずこれを維持する場合は、有効期間が終了されるタイミングに合わせて操作対象とされる操作手段の態様を変化させる演出(例えば、振動や、LEDを消灯させるなど)を実行することが望ましい。これにより、バー表示を非表示とせずこれを継続して表示するようにした場合であっても、「有効期間が継続しているのでは?」といった遊技者による誤認識を防ぐことが期待されるようになる。
なお、図209を参照して説明した演出例など、上述や後述の演出例において、摸画像(または、バー表示)を非表示とせずこれを維持したままで操作後演出を開始させる場合における「操作検出のあったタイミングから摸画像(または、バー表示)が非表示とされるタイミングまでの時間(タイミングtf2~tf4の期間や、タイミングtg3~tg5の期間や、タイミングth3~th4の期間など)」については、少なくとも数フレーム分(例えば、2フレーム)の時間があるだけでもよい。若しくは、1フレーム分の時間があるだけでもよい。このような時間があるだけでも、摸画像(または、バー表示)が表示される期間と、操作後演出が開始されてからの期間とは重複することとなり、遊技者によってはそれを認識しうる場合もある。
上述した各演出例において、「期間」や「時間」と記載されている場合、それらは制御上の最小単位の「期間」や「時間」であってもよく、例えば、1フレーム分の期間や時間なども含む意味である。
また、「演出理解を促すヘルプ画像」の説明例では、「水平方向への長さ単位が示されている目安画像」として、定規を例示することとしたが、これ以外の画像を用いるようにしてもよい。要は、遊技者が操作すると、特殊演出による影響を受けずに描写される表示画像を出現させるものであればよく、例えば、演出理解を促すことを目的とした画像ではなく、他の機能を奏することを目的とした表示画像(例えば、期待度を示唆する画像や、現在の演出状態を示唆する画像や、演出設定に関する状態を示唆する画像など)を、水平方向に延びるように描写される画像として表示させるものであってもよい。なお、こうした画像は、必ずしも1つで描写されるものでなくてもよく、複数の画像が横に並ぶことによって全体として水平方向に延びるように描写されるものであってもよい。
また、「複数の操作手段に対するイタズラ防止」の説明例において、イタズラ行為とは、磁石ゴトなどの不正行為とは大きく異なるものであり、あまりに厳しい対処を行うようにすることは、ホール側の不利益にも繋がりかねない。したがって、遊技者による操作が検出されることに基づいて現れる画像(特定動画を出現させるまでの過程で現れる画像も含めて)については、イタズラ防止とは何ら関係のないものとして実現するようにしてもよい。要は、複数の操作手段に対して遊技者による操作が予め定められたパターン(予め定められた手順)で行われたときに、「演出表示装置1600において、大当り判定に応じた遊技演出が実行されている状態では出現し得ない特定動画(イタズラ防止とは何ら関係のない内容の動画(例えば、予め定められたムービーを流す状態へと移行させるなど)であってもよい)を表示(再生)した」状態で、「音量調整用ボタンに対する操作があっても、演出音の出力音量にかかる音量設定値の変更は受け付けられず、現在の音量設定値も表示されず」、「輝度調整用ボタンに対する操作があっても、演出用ランプにおける輝度にかかる輝度設定値の変更は受け付けられず、現在の輝度設定値も表示されない」といった、機能制限期間を所定時間にわたって発生させる制御を行うものであればよい。なおこの場合、遊技者は、複数の操作手段に対して予め定められたパターン(手順)で操作することで、上述の特定動画が再生される機能制限期間を自らの意思で発生させることも可能である。
また、「複数の操作手段に対するイタズラ防止」の説明例において、装飾図柄の変動表示が行われる状態では、上記部分的制限期間として必ず制御されるようにしてもよい。
また、「開店時の調整確認音による騒音防止」の説明例については、要は、電源投入してからすぐには音量調整確認音や輝度調整確認音が出力可能とされる通常の状態に制御されず、音量調整確認音や輝度調整確認音が出力可能とされない制限状態を経た後に、通常の状態に制御される遊技機であって、制限状態で遊技を開始させると制限状態を早期終了させて通常の状態に制御されるようになっているものであればよく、制限状態として維持される時間の長さなどについては適宜に設定(数秒から数時間のいずれに設定)するようにしてもよい。制限状態として維持される時間の長さをあまりに短く設定した場合、開店直後の遊技期間における上述の作用効果は奏されなくなるが、電源を立ち上げてすぐにホール側が音量設定を行うときの騒音についてはこれを抑制させることは可能である。
また、「演出重要度に応じた音量調整確認音にかかる制御」の説明例では、第1特別図柄の変動中にあるときと第2特別図柄の変動中にあるときとで、有利な条件で遊技可能とされる側の第2特別図柄の変動中には音量調整確認音や輝度調整確認音が出力されないが、不利な条件で遊技可能とされる側の第1特別図柄の変動中には音量調整確認音や輝度調整確認音が出力される場合を例示することとした。ただし、第2特別図柄が非搭載とされるような遊技機に対して当該技術を採用することも可能であり、例えば、第1特別図柄よりも不利な条件で抽選が行われる特定図柄を用意し、有利な条件で遊技可能とされる側の第1特別図柄(特別図柄)の変動中には音量調整確認音や輝度調整確認音が出力されないが、不利な条件で遊技可能とされる側の特定図柄の変動中には音量調整確認音や輝度調整確認音が出力されるように構成するようにしてもよい。
また、「操作受付が許容される期間(有効期間)これ自体の演出性」の説明例において、特別操作受付演出の発生に伴う受付許容音と、第1,第2操作受付演出の発生に伴う受付許容音とは異なる演出音であってもよい。また、図210においては、受付許容音を、タイミングtr1(tr11)から出力させることとしたが、タイミングtr1(tr11)に跨る「一の音データ」として、例えば、タイミングtrAからチャンネルに割り当てられて出力させるようにしてもよい。
操作を受ける操作受け部を摸した摸画像とその周縁を装飾する周縁装飾画像とについては画像データとして個別に用意し、それらの各画像データを組み合わせた一体化摸画像として表示するようにしてもよい。
図232に示した例では、一の操作手段に対して操作機会を付与するときに、「通常ボタン摸画像BMGa」が表示される場合(図232(a),(c))と、これとは異なる形状を持った「特別ボタン摸画像BMGb」が表示される場合(図232(b),(d))とがあるようにした。ただし、「通常ボタン摸画像BMGa」が表示される場合(図232(a),(c))には第1操作手段(第1操作受け部)に対して操作機会を付与し、「特別ボタン摸画像BMGb」が表示される場合(図232(b),(d))には第1操作手段(第1操作受け部)とは異なる第2操作手段(第2操作受け部)に対して操作機会を付与するようにしてもよい。
上述した各説明例において、操作対象として用意されている部材(操作手段)としては、押圧操作(押圧動作)が求められるもの(ボタンなど)や、抜き差し操作(抜き差し動作)が求められるもの(刀装飾など)のほか、非接触やタッチなどの遊技者動作が求められるもの(近接センサなど)として実現するようにしてもよい。
周縁装飾画像SSGは、「操作機会の付与される対象である操作受け部」の周縁に実際に設けられる周縁装飾部を摸していないものとしたが、少なくとも一部が周縁装飾部を摸していないものであればよく、周縁装飾部を摸している部分があってもよい。
操作関連画像(一体化摸画像IGなど)が「ゲージ画像GGの動きに特徴を持たせた表示態様」で表示される第2の有効期間や、ゲージ画像これ自体が表示されない有効期間については、所定の設定時間が設定される有限のものではなく、時間経過とは関係のない所定条件が成立しない限りは無限に継続されるものあってもよい。
有効期間内で特定画像TGを表示する場合は、ゲージ画像GGについては必ずしも表示しなくてもよい。
図232以降で記載されている「自動受付演出」については、それよりも前で例示している「自動受付演出」にかかる実現手法のいずれを採用するようにしてもよい。自動受付演出されるときに、摸画像やゲージ画像がそれぞれどのように表示されるかについても、上述した実現手法のいずれを採用するようにしてもよい。すなわち、この実施の形態にかかるパチンコ機1では、受付演出が発生した場合、該発生したときの演出状態の種別や、若しくは該受付演出(操作後演出)これ自体の種別や、若しくは該受付演出が発生した条件などに応じて、有効期間内で遊技者による操作がなくても該操作があったときと同じ操作後演出が実行される(「自動演出機能」が有効化される)場合と、有効期間内で遊技者による操作がなければ操作後演出が実行されない(「自動演出機能」が有効化されない)場合とがあるようになっている。自動演出機能が有効化されるタイミングについては、有効期間内の所定タイミングであってもよいし、有効期間が終了するタイミングであってもよいし、有効期間が終了して少し時間が経過したタイミングであってもよい。
上述した各演出例で例示した受付期間(例えば、図282~図287に示される受付期間D,Eや、受付期間F,Gなど)は、必ずしも大当り判定(演出判定)の結果に応じた演出パターン内で発生するものでなくてもよい。例えば、図柄変動が実行されている期間中ではなく、図柄変動が実行されていない期間(例えば、大当り遊技が実行されている期間や、各種のインターバル期間など)中に(予め定められた条件が成立したことに基づいて)発生するものであってもよい。この場合、図278に示される「変動開始からx秒後」とは、x秒よりも短いy秒の図柄変動に対して適用されて、y秒の図柄変動が終了した以降に「変動開始からx秒後」のタイミングが到来し、該タイミングにおいて受付期間Dを発生させるようにしてもよい。このような構成によれば、保留が「0」の状態で図柄変動が停止された以降に受付期間Dが発生するようになることから、遊技を中止しようとする遊技者を引き留めることができるようになる。この意味では、「変動開始からx秒後」ではなく、「変動停止からx秒後」として設定されるものであってもよい。
また、上述した各演出例で例示した受付期間(例えば、図282~図287に示される受付期間D,Eや、受付期間F,Gなど)は、当該受付期間の終了条件を「予め定められた時間値が経過したこと」として必ずしも設定しなくてもよく、予め定められた終了条件が成立したとき(例えば、大入賞口に10個の遊技球が受け入れられたとき)に当該受付期間を終了させるものであってもよい。
図316(b)に示されるタイミングにおいては、図300(a)に示したように動作対象表示(摸画像表示)や残り時間表示(ゲージ画像、枠画像)は非表示の状態にあり視認できない状態にあるようにしてもよい。
また、上述した各演出例にあって、消滅EF演出(消滅エフェクト画像など)とは、受付後演出(いずれの会話が出現するかによって期待度が示唆される会話予告、可動体が動作するか否かによって期待度が示唆される可動演出、いずれの態様でカットイン表示が現れるかによって期待度が示唆されるカットイン予告など)の種別が異なる複数の受付期間に対して共通して用いられうる(同じ演出態様で実行されうる)ものであり、これによって動作受付(操作受付)が適正になされた状態(受付期間が終了した状態)にあることを認識可能とするものである。すなわち、受付後演出とは、受付期間の種別に応じて異なるものであるから、その演出内容を見たときにこれが受付期間内で行われているものであるのか、それとも受付期間が終了したことに伴い行われているものであるのかを認識し難い。この点、受付期間の種別にかかわらず、該受付期間が終了すると共通した(同じ)演出態様が現れうる消滅EF演出を用意することで、動作受付(操作受付)が適正になされて受付後演出が実行されている状態にあることを好適に示唆することができるようになる。ただし、遊技機(パチンコ機1)として、複数種別の受付後演出で共通した消滅EF演出(消滅エフェクト画像など)が実行される場合があればよく、例えば、特定種別の受付後演出が発生するときにだけ実行されうる専用の消滅EF演出を用意するようにしてもよい。
また、上述した各演出例や変形例、なお書きなどにおいて「望ましい」と記載している事項については、同構成を備えた場合におけるさらなる作用効果を記載しているだけであり、同構成については、必ずしも備えなくてもよいものであることは言うまでもない。
すなわち、実施形態では、遊技機としてパチンコ機1に適用したものを示したが、これに限定するものではなく、パチスロ機や、パチンコ機とパチスロ機とを融合させてなる遊技機に、適用しても良く、この場合でも、同様の作用効果を奏することができる。
1 パチンコ機
2 外枠
3 扉枠
4 本体枠
5 遊技盤
5a 遊技領域
1402 普通図柄表示器
1403 第一特別図柄表示器
1404 第一特別保留数表示器
1405 第二特別図柄表示器
1406 第二特別保留数表示器
1407 ラウンド表示器
1500 周辺制御ユニット
1510 周辺制御基板
2001 一般入賞口
2002 第一始動口
2003 ゲート部
2004 第二始動口
2005 大入賞口

Claims (2)

  1. 判定を行う判定手段と、
    前記判定手段の判定結果に基づいて特典を付与しうる特典付与手段と、
    遊技者による操作を検出して受付ける受付手段と、
    遊技者による操作の対象となる対象物が画像として表現された摸画像表示を表示可能な摸画像表示手段と、
    遊技者による操作の受付けが許容される受付状態を発生可能であり、該受付状態において遊技者による操作が受付けされると、受付後変化を実行可能な受付状態実行手段と
    を備え、
    前記受付状態として、第1受付状態、第2受付状態、及び第3受付状態を含む複数の受付状態が用意されており、
    前記第1受付状態において遊技者による操作が検出されたときには、該検出に応じた前記受付後変化の1つとして第1態様と第1受付音とをそれぞれ発生可能であるが、当該状態で遊技者による操作が検出されないときには前記第1態様及び前記第1受付音のいずれも発生することがないようになっており、
    前記第2受付状態において遊技者による操作が検出されたときには、該検出に応じた前記受付後変化の1つとして第2態様と第2受付音とをそれぞれ発生可能であるが、当該状態で遊技者による操作が検出されないときには前記第2態様及び前記第2受付音のうち前記第2態様のみが発生しうるようになっており、
    前記第3受付状態において遊技者による操作が検出されたときには、該検出に応じた前記受付後変化の1つとして第3態様と第3受付音とをそれぞれ発生可能であるが、当該状態で遊技者による操作が検出されない場合であっても、該状態で遊技者による操作が検出されたときと同様、前記第3態様及び前記第3受付音がいずれも発生しうるようになっており、
    さらに、
    前記第3受付状態で遊技者による操作が検出されずに前記第3態様及び前記第3受付音がいずれも発生するときには、該摸画像表示を視認し難くする表示を、該摸画像表示とは別の画像表示として表示可能であるが、前記第2受付状態で遊技者による操作が検出されずに前記第2態様及び前記第2受付音のうち前記第2態様のみが発生するときには、該摸画像表示を視認し難くする表示が、該摸画像表示とは別の画像表示として表示されることがないようになっており、
    さらに、
    前記判定手段による判定に用いられる判定情報を記憶可能な保留記憶手段と、
    前記保留記憶手段により記憶される判定情報に基づいて複数の変動パターンのいずれかを選択し、該選択した変動パターンで図柄変動を実行可能な図柄変動実行手段と
    を備え、
    前記受付状態として、第4受付状態がさらに用意されており、
    前記第4受付状態は、前記保留記憶手段により記憶される判定情報の数が所定数未満の状況にあるときに特定変動パターンで前記図柄変動が実行開始されたときには、該図柄変動が実行開始されてから特定時間が経過したときに発生しうるものであるが、前記保留記憶手段により記憶される判定情報の数が前記所定数以上の状況にあるときに前記特定変動パターンで前記図柄変動が実行開始された場合は、該図柄変動が実行開始されてから前記特定時間が経過しても発生しないようになっており、
    さらに、
    前記第1受付状態が発生する場合、当該発生する受付状態に関連する文字情報が、前記摸画像表示とは別の画像として表示されることがなく、前記第2受付状態及び前記第3受付状態のいずれかが発生する場合、当該発生する受付状態に関連する文字情報が、前記摸画像表示とは別の画像として表示されるが、前記第2受付状態で表示される文字情報と前記第3受付状態で表示される文字情報とは互いに異なる
    ことを特徴とする遊技機。
  2. 判定を行う判定手段と、
    前記判定手段の判定結果に基づいて特典を付与しうる特典付与手段と、
    遊技者による操作を検出して受付ける受付手段と、
    遊技者による操作の対象となる対象物が画像として表現された摸画像表示を表示可能な摸画像表示手段と、
    遊技者による操作の受付けが許容される受付状態を発生可能であり、該受付状態において遊技者による操作が受付けされると、受付後変化を実行可能な受付状態実行手段と
    を備え、
    前記受付状態として、第1受付状態、第2受付状態、及び第3受付状態を含む複数の受付状態が用意されており、
    前記第1受付状態において遊技者による操作が検出されたときには、該検出に応じた前記受付後変化の1つとして第1態様と第1受付音とをそれぞれ発生可能であるが、当該状態で遊技者による操作が検出されないときには前記第1態様及び前記第1受付音のいずれも発生することがないようになっており、
    前記第2受付状態において遊技者による操作が検出されたときには、該検出に応じた前記受付後変化の1つとして第2態様と第2受付音とをそれぞれ発生可能であるが、当該状態で遊技者による操作が検出されないときには前記第2態様及び前記第2受付音のうち前記第2態様のみが発生しうるようになっており、
    前記第3受付状態において遊技者による操作が検出されたときには、該検出に応じた前記受付後変化の1つとして第3態様と第3受付音とをそれぞれ発生可能であるが、当該状態で遊技者による操作が検出されない場合であっても、該状態で遊技者による操作が検出されたときと同様、前記第3態様及び前記第3受付音がいずれも発生しうるようになっており、
    さらに、
    前記第3受付状態で遊技者による操作が検出されずに前記第3態様及び前記第3受付音がいずれも発生するときには、該摸画像表示を視認し難くする表示を、該摸画像表示とは別の画像表示として表示可能であるが、前記第2受付状態で遊技者による操作が検出されずに前記第2態様及び前記第2受付音のうち前記第2態様のみが発生するときには、該摸画像表示を視認し難くする表示が、該摸画像表示とは別の画像表示として表示されることがないようになっており、
    さらに、
    前記判定手段による判定に用いられる判定情報を記憶可能な保留記憶手段と、
    前記保留記憶手段により記憶される判定情報に基づいて複数の変動パターンのいずれかを選択し、該選択した変動パターンで図柄変動を実行可能な図柄変動実行手段と
    を備え、
    前記受付状態として、第4受付状態がさらに用意されており、
    前記第4受付状態は、前記保留記憶手段により記憶される判定情報の数が所定数未満の状況にあるときに特定変動パターンで前記図柄変動が実行開始されたときには、該図柄変動が実行開始されてから特定時間が経過したときに発生しうるものであるが、前記保留記憶手段により記憶される判定情報の数が前記所定数以上の状況にあるときに前記特定変動パターンで前記図柄変動が実行開始された場合は、該図柄変動が実行開始されてから前記特定時間が経過しても発生しないようになっており、
    さらに、
    前記第1受付状態が発生する場合、当該発生する受付状態に関連する文字情報が、前記摸画像表示とは別の画像として表示されることがなく、前記第2受付状態及び前記第3受付状態のいずれかが発生する場合、当該発生する受付状態に関連する文字情報が、前記摸画像表示とは別の画像として表示されるが、前記第2受付状態で表示される文字情報と前記第3受付状態で表示される文字情報とは互いに異なる
    ようにした遊技機において、
    前記第2受付状態では、遊技者に対して複数の選択肢が提示され、遊技者による操作によってそれら選択肢のいずれを選択したかに応じて前記受付後変化として異なる表示画像が現れるようになっており、当該状態で遊技者による操作が検出されない場合は、前記受付後変化として、前記複数の選択肢のうち特定の選択肢が選択されたときに対応する前記表示画像が現れる
    ことを特徴とする遊技機。
JP2020167121A 2020-10-01 2020-10-01 遊技機 Active JP7204151B2 (ja)

Priority Applications (1)

Application Number Priority Date Filing Date Title
JP2020167121A JP7204151B2 (ja) 2020-10-01 2020-10-01 遊技機

Applications Claiming Priority (1)

Application Number Priority Date Filing Date Title
JP2020167121A JP7204151B2 (ja) 2020-10-01 2020-10-01 遊技機

Related Parent Applications (1)

Application Number Title Priority Date Filing Date
JP2019000115A Division JP6783440B2 (ja) 2019-01-04 2019-01-04 遊技機

Publications (3)

Publication Number Publication Date
JP2021010750A JP2021010750A (ja) 2021-02-04
JP2021010750A5 JP2021010750A5 (ja) 2021-12-16
JP7204151B2 true JP7204151B2 (ja) 2023-01-16

Family

ID=74226287

Family Applications (1)

Application Number Title Priority Date Filing Date
JP2020167121A Active JP7204151B2 (ja) 2020-10-01 2020-10-01 遊技機

Country Status (1)

Country Link
JP (1) JP7204151B2 (ja)

Families Citing this family (1)

* Cited by examiner, † Cited by third party
Publication number Priority date Publication date Assignee Title
JP7468379B2 (ja) 2021-01-27 2024-04-16 トヨタ紡織株式会社 合金微粒子担持触媒の製造方法、電極、燃料電池、合金微粒子の製造方法、膜電極接合体の製造方法、及び燃料電池の製造方法

Citations (4)

* Cited by examiner, † Cited by third party
Publication number Priority date Publication date Assignee Title
JP2018099320A (ja) 2016-12-20 2018-06-28 株式会社大一商会 遊技機
JP2018153475A (ja) 2017-03-17 2018-10-04 株式会社大一商会 遊技機
JP2018164554A (ja) 2017-03-28 2018-10-25 株式会社大一商会 遊技機
JP6664861B2 (ja) 2018-08-03 2020-03-13 株式会社大一商会 遊技機

Family Cites Families (2)

* Cited by examiner, † Cited by third party
Publication number Priority date Publication date Assignee Title
JPS58214148A (ja) * 1982-06-08 1983-12-13 Nec Corp レジスト材料および微細パタ−ン形成方法
JP7251271B2 (ja) * 2019-03-29 2023-04-04 東芝ライテック株式会社 照明装置

Patent Citations (4)

* Cited by examiner, † Cited by third party
Publication number Priority date Publication date Assignee Title
JP2018099320A (ja) 2016-12-20 2018-06-28 株式会社大一商会 遊技機
JP2018153475A (ja) 2017-03-17 2018-10-04 株式会社大一商会 遊技機
JP2018164554A (ja) 2017-03-28 2018-10-25 株式会社大一商会 遊技機
JP6664861B2 (ja) 2018-08-03 2020-03-13 株式会社大一商会 遊技機

Non-Patent Citations (1)

* Cited by examiner, † Cited by third party
Title
「CRリング運命の日 大当り演出集」,YouTube [online] [video],2014年07月21日,<URL:https://www.youtube.com/watch?v=p7I8mSgULpQ>,主に2:04-2:06、5:57-5:58を参照。[2022年7月22日検索]

Also Published As

Publication number Publication date
JP2021010750A (ja) 2021-02-04

Similar Documents

Publication Publication Date Title
JP7204102B2 (ja) 遊技機
JP7253773B2 (ja) 遊技機
JP7166542B2 (ja) 遊技機
JP7166540B2 (ja) 遊技機
JP7166544B2 (ja) 遊技機
JP7166539B2 (ja) 遊技機
JP7166541B2 (ja) 遊技機
JP2023054047A (ja) 遊技機
JP7204101B2 (ja) 遊技機
JP7239154B2 (ja) 遊技機
JP7239155B2 (ja) 遊技機
JP7204151B2 (ja) 遊技機
JP2023053071A (ja) 遊技機
JP7138943B2 (ja) 遊技機
JP7214102B2 (ja) 遊技機
JP7239157B2 (ja) 遊技機
JP7214104B2 (ja) 遊技機
JP7214099B2 (ja) 遊技機
JP7123497B2 (ja) 遊技機
JP7123495B2 (ja) 遊技機
JP7204148B2 (ja) 遊技機
JP7204149B2 (ja) 遊技機
JP7204146B2 (ja) 遊技機
JP7204147B2 (ja) 遊技機
JP7134578B2 (ja) 遊技機

Legal Events

Date Code Title Description
A521 Request for written amendment filed

Free format text: JAPANESE INTERMEDIATE CODE: A523

Effective date: 20211102

RD02 Notification of acceptance of power of attorney

Free format text: JAPANESE INTERMEDIATE CODE: A7422

Effective date: 20211102

A621 Written request for application examination

Free format text: JAPANESE INTERMEDIATE CODE: A621

Effective date: 20211228

RD02 Notification of acceptance of power of attorney

Free format text: JAPANESE INTERMEDIATE CODE: A7422

Effective date: 20220719

A131 Notification of reasons for refusal

Free format text: JAPANESE INTERMEDIATE CODE: A131

Effective date: 20221003

A521 Request for written amendment filed

Free format text: JAPANESE INTERMEDIATE CODE: A523

Effective date: 20221201

TRDD Decision of grant or rejection written
A01 Written decision to grant a patent or to grant a registration (utility model)

Free format text: JAPANESE INTERMEDIATE CODE: A01

Effective date: 20221220

A61 First payment of annual fees (during grant procedure)

Free format text: JAPANESE INTERMEDIATE CODE: A61

Effective date: 20221220

R151 Written notification of patent or utility model registration

Ref document number: 7204151

Country of ref document: JP

Free format text: JAPANESE INTERMEDIATE CODE: R151

R250 Receipt of annual fees

Free format text: JAPANESE INTERMEDIATE CODE: R250