JP7018552B1 - スカム除去装置用噴出ノズル及びそのスカム除去装置用噴出ノズルを備えた導水渠 - Google Patents

スカム除去装置用噴出ノズル及びそのスカム除去装置用噴出ノズルを備えた導水渠 Download PDF

Info

Publication number
JP7018552B1
JP7018552B1 JP2021568732A JP2021568732A JP7018552B1 JP 7018552 B1 JP7018552 B1 JP 7018552B1 JP 2021568732 A JP2021568732 A JP 2021568732A JP 2021568732 A JP2021568732 A JP 2021568732A JP 7018552 B1 JP7018552 B1 JP 7018552B1
Authority
JP
Japan
Prior art keywords
scum
valve body
nozzle
headrace
opening
Prior art date
Legal status (The legal status is an assumption and is not a legal conclusion. Google has not performed a legal analysis and makes no representation as to the accuracy of the status listed.)
Active
Application number
JP2021568732A
Other languages
English (en)
Other versions
JPWO2022123652A1 (ja
Inventor
秀雄 宇都宮
Current Assignee (The listed assignees may be inaccurate. Google has not performed a legal analysis and makes no representation or warranty as to the accuracy of the list.)
Utsunomiya Industry Co Ltd
Original Assignee
Utsunomiya Industry Co Ltd
Priority date (The priority date is an assumption and is not a legal conclusion. Google has not performed a legal analysis and makes no representation as to the accuracy of the date listed.)
Filing date
Publication date
Application filed by Utsunomiya Industry Co Ltd filed Critical Utsunomiya Industry Co Ltd
Application granted granted Critical
Publication of JP7018552B1 publication Critical patent/JP7018552B1/ja
Publication of JPWO2022123652A1 publication Critical patent/JPWO2022123652A1/ja
Active legal-status Critical Current
Anticipated expiration legal-status Critical

Links

Images

Classifications

    • BPERFORMING OPERATIONS; TRANSPORTING
    • B01PHYSICAL OR CHEMICAL PROCESSES OR APPARATUS IN GENERAL
    • B01DSEPARATION
    • B01D21/00Separation of suspended solid particles from liquids by sedimentation
    • B01D21/24Feed or discharge mechanisms for settling tanks
    • B01D21/2433Discharge mechanisms for floating particles
    • BPERFORMING OPERATIONS; TRANSPORTING
    • B05SPRAYING OR ATOMISING IN GENERAL; APPLYING FLUENT MATERIALS TO SURFACES, IN GENERAL
    • B05BSPRAYING APPARATUS; ATOMISING APPARATUS; NOZZLES
    • B05B1/00Nozzles, spray heads or other outlets, with or without auxiliary devices such as valves, heating means
    • B05B1/02Nozzles, spray heads or other outlets, with or without auxiliary devices such as valves, heating means designed to produce a jet, spray, or other discharge of particular shape or nature, e.g. in single drops, or having an outlet of particular shape
    • B05B1/04Nozzles, spray heads or other outlets, with or without auxiliary devices such as valves, heating means designed to produce a jet, spray, or other discharge of particular shape or nature, e.g. in single drops, or having an outlet of particular shape in flat form, e.g. fan-like, sheet-like
    • B05B1/044Slits, e.g. narrow openings defined by two straight and parallel lips; Elongated outlets for producing very wide discharges, e.g. fluid curtains
    • BPERFORMING OPERATIONS; TRANSPORTING
    • B03SEPARATION OF SOLID MATERIALS USING LIQUIDS OR USING PNEUMATIC TABLES OR JIGS; MAGNETIC OR ELECTROSTATIC SEPARATION OF SOLID MATERIALS FROM SOLID MATERIALS OR FLUIDS; SEPARATION BY HIGH-VOLTAGE ELECTRIC FIELDS
    • B03DFLOTATION; DIFFERENTIAL SEDIMENTATION
    • B03D1/00Flotation
    • B03D1/14Flotation machines
    • B03D1/1443Feed or discharge mechanisms for flotation tanks
    • B03D1/1462Discharge mechanisms for the froth
    • BPERFORMING OPERATIONS; TRANSPORTING
    • B05SPRAYING OR ATOMISING IN GENERAL; APPLYING FLUENT MATERIALS TO SURFACES, IN GENERAL
    • B05BSPRAYING APPARATUS; ATOMISING APPARATUS; NOZZLES
    • B05B1/00Nozzles, spray heads or other outlets, with or without auxiliary devices such as valves, heating means
    • B05B1/30Nozzles, spray heads or other outlets, with or without auxiliary devices such as valves, heating means designed to control volume of flow, e.g. with adjustable passages
    • B05B1/32Nozzles, spray heads or other outlets, with or without auxiliary devices such as valves, heating means designed to control volume of flow, e.g. with adjustable passages in which a valve member forms part of the outlet opening
    • B05B1/323Nozzles, spray heads or other outlets, with or without auxiliary devices such as valves, heating means designed to control volume of flow, e.g. with adjustable passages in which a valve member forms part of the outlet opening the valve member being actuated by the pressure of the fluid to be sprayed
    • BPERFORMING OPERATIONS; TRANSPORTING
    • B05SPRAYING OR ATOMISING IN GENERAL; APPLYING FLUENT MATERIALS TO SURFACES, IN GENERAL
    • B05BSPRAYING APPARATUS; ATOMISING APPARATUS; NOZZLES
    • B05B1/00Nozzles, spray heads or other outlets, with or without auxiliary devices such as valves, heating means
    • B05B1/30Nozzles, spray heads or other outlets, with or without auxiliary devices such as valves, heating means designed to control volume of flow, e.g. with adjustable passages
    • B05B1/32Nozzles, spray heads or other outlets, with or without auxiliary devices such as valves, heating means designed to control volume of flow, e.g. with adjustable passages in which a valve member forms part of the outlet opening
    • B05B1/326Gate valves; Sliding valves; Cocks
    • CCHEMISTRY; METALLURGY
    • C02TREATMENT OF WATER, WASTE WATER, SEWAGE, OR SLUDGE
    • C02FTREATMENT OF WATER, WASTE WATER, SEWAGE, OR SLUDGE
    • C02F1/00Treatment of water, waste water, or sewage
    • C02F1/24Treatment of water, waste water, or sewage by flotation
    • CCHEMISTRY; METALLURGY
    • C02TREATMENT OF WATER, WASTE WATER, SEWAGE, OR SLUDGE
    • C02FTREATMENT OF WATER, WASTE WATER, SEWAGE, OR SLUDGE
    • C02F1/00Treatment of water, waste water, or sewage
    • C02F1/40Devices for separating or removing fatty or oily substances or similar floating material
    • CCHEMISTRY; METALLURGY
    • C02TREATMENT OF WATER, WASTE WATER, SEWAGE, OR SLUDGE
    • C02FTREATMENT OF WATER, WASTE WATER, SEWAGE, OR SLUDGE
    • C02F2201/00Apparatus for treatment of water, waste water or sewage
    • C02F2201/002Construction details of the apparatus
    • C02F2201/005Valves
    • YGENERAL TAGGING OF NEW TECHNOLOGICAL DEVELOPMENTS; GENERAL TAGGING OF CROSS-SECTIONAL TECHNOLOGIES SPANNING OVER SEVERAL SECTIONS OF THE IPC; TECHNICAL SUBJECTS COVERED BY FORMER USPC CROSS-REFERENCE ART COLLECTIONS [XRACs] AND DIGESTS
    • Y02TECHNOLOGIES OR APPLICATIONS FOR MITIGATION OR ADAPTATION AGAINST CLIMATE CHANGE
    • Y02WCLIMATE CHANGE MITIGATION TECHNOLOGIES RELATED TO WASTEWATER TREATMENT OR WASTE MANAGEMENT
    • Y02W10/00Technologies for wastewater treatment
    • Y02W10/10Biological treatment of water, waste water, or sewage

Landscapes

  • Chemical & Material Sciences (AREA)
  • Life Sciences & Earth Sciences (AREA)
  • Engineering & Computer Science (AREA)
  • Hydrology & Water Resources (AREA)
  • Environmental & Geological Engineering (AREA)
  • Water Supply & Treatment (AREA)
  • Organic Chemistry (AREA)
  • Analytical Chemistry (AREA)
  • Biotechnology (AREA)
  • Chemical Kinetics & Catalysis (AREA)
  • Removal Of Floating Material (AREA)
  • Nozzles (AREA)

Abstract

スカムが浮上している水中に設けられるスカム除去装置用噴出ノズルであって、ノズル本体10の先端側ノズル部12が、扁平な筒状に形成され、その先端側ノズル部12内に、圧力水が供給されないときに、吐出用開口17aを自重で閉止する弁体20が設けられており、その弁体20に、さらに吐出用開口17aを閉塞したときにその上側の開口18aを閉塞する閉止部23が設けられていることにより、水中に設置されても抵抗が小さく、しかも、内部が水に含まれるスカム等によって汚損されにくい。

Description

本発明は、スカム除去装置に用いられるスカム除去装置用噴出ノズル、及びそのスカム除去装置用噴出ノズルを備えた導水渠に関する。
特許文献1には、下水処理場の最終沈殿池(「第二沈殿池」と称される場合もある。)に好適なスカム除去装置が開示されている。また、特許文献2には、このスカム除去装置に好適なスカム除去装置用噴出ノズルが開示されている。これら特許文献1及び2は、いずれも本出願人に係るもので、いずれも特許を得ている。特に、この特許文献1に係るスカム除去装置は、『日一君』(登録商標)の愛称の下で実用化されている。
この特許文献1に係るスカム除去装置は、最終沈殿池の水面近くの水中に設置されている噴出ノズルから圧力水が噴出されると、水面に浮かんでいるスカムをパイプスキマ側に向かって移動させてスカムを除去するように構成されている。このスカム除去装置においては、噴出ノズルからの噴出水によって最終沈殿池の表層水に緩やかな流れを作るようにしている。そして、その緩やかな表層水の流れにスカムを乗せてパイプスキマ内に流し込むようにしている。このように緩やかな流れとするのは、この最終沈殿池に流れ込んでくる原水は、生物学的処理を受けているので、生成されるスカムは少しの乱流でも細分化し、いわゆるピンフロック化し、再び原水中に混入してスカム除去が困難になるからである。
上記特許文献2のスカム除去装置用噴出ノズルは、上述の噴出ノズルに適したもので、その構成は、圧力水を噴出しない間、すなわち、スカム除去の時期が到来するまでは、圧力水の噴出する開口を浮力により閉じる閉止部材を設けたことを特徴としている。したがって、このスカム除去装置用噴出ノズルは、圧力水が供給されない間、内部の汚損を防止できるという特長がある。
ところで、下水処理場には、特許文献3に示されるように、複数の最初沈殿池(「第一沈殿池」と称される場合もある。)が並設されている。そして、各最初沈殿池には、一つの導水渠(「流入渠」と称される場合もある。)から原水が分配供給されるようになっている。
この導水渠に供給される原水中には、原水が下水という性質上、最初沈殿池で処理対象とされる沈殿性物質の他に浮上性物質が含まれている。このため、導水渠の水面には、浮上性物質の集合状態となったスカムが生成される。その生成されたスカム層の厚さが、例えば10cm程度に達したとき、スカムの除去が行われる。スカムの除去は、導水渠に原水が供給される側と反対側に設けられているスカムピット(「排水ピット」と称される場合もある。)に排出して行われる。特許文献3に示されるスカムの排出は、導水渠とスカムピットとの間に設けられている可動ゲートを開いて、スカム層を含む表層水をスカムピット内に流し込むことにより行われる。
特開2010-046622号公報 特開2011-240229号公報 特開2011-218306号公報
しかしながら、上記特許文献3に示される導水渠内のスカムの除去は、表層水の流れに同伴させてスカムをスカムピットに排出して行われるため、スカムが固化していたり、あるいは、スカムが導水渠の内壁に付着していたりしているときは、スカムが表層水の流れだけでは円滑に行われない。
そこで、本発明の目的は、スカムをスカムピットに円滑に排出することにある。
本出願人は、先に、特願2020-152897号で、スカムピットにスカムを効率よく排出できる導水渠を提案している。
この提案に係る導水渠は、スカムの上方に設けられ、そのスカムをスカムピット側に押し出すように圧力水を噴出する水噴射ノズル、スカムの下側に位置する水中に設けられ、そのスカムをスカムピット側に押し出すように圧力水を噴出する噴出ノズル、及び導水渠の内壁に設けられ、その内壁に沿って圧縮空気を噴出してその内壁からスカムを剥離する圧縮空気噴出機構を備えている。
この提案に係る導水渠は、スカムの上方及び下方から、スカムをスカムピット側に押し出すように圧力水が噴出されるとともに、スカムが導水渠の内壁から剥離されるので、スカムをスカムピットに円滑に排出できる特長がある。
しかしながら、前述したように導水渠は最終沈殿池とは異なり、流れが速いので、この導水渠に設置される噴出ノズルは、導水渠の水流を極力妨げないように工夫する必要がある、また、スカムも多いので、スカム等の付着により作動が損なわれないようにする必要もある。このため、水中に設置されるスカム除去装置用噴出ノズルのさらなる改良が望まれる。
本発明に係るスカム除去装置用噴出ノズルは、スカムが浮上している水中から圧力水を噴出させてスカムを除去するスカム除去装置用噴出ノズルであって、圧力水が供給される流入側筐体部、及び該流入側筐体部に連通し、高さに比べて幅が大きい扁平な筒状に形成された先端側ノズル部を有するノズル本体と、該ノズル本体の前記先端側ノズル部内に設けられ、該先端側ノズル部の開口を開閉可能な弁体と、を備え、
前記弁体は、板状に形成された弁本体部を有し、その弁本体部の基端部が、前記先端側ノズル部の基端部の上壁付近に、前記幅方向に沿うヒンジ軸を介して回動自在に支持されることにより、前記弁本体部の先端部が前記先端側ノズル部の開口内で、前記先端側ノズル部の下壁上面に当接して前記弁本体部の上方に上側開口を形成する位置と、前記先端側ノズル部の上壁下面に当接して前記弁本体部の下方に下側開口を形成する位置との間で上下動自在に配置され、前記流入側筐体部に圧力水が供給されないときに自重により前記弁本体部が下方に回動することにより前記下側開口を閉塞し、その圧力水が供給されるときに圧力水の圧力によって上方に回動することにより前記下側開口を開放する重さを有し、
前記弁本体部の前記先端部に、前記開口から突出した位置で上方に向けて立ち上がる閉止部が設けられており、
前記閉止部は、前記弁体が前記下側開口を閉塞したときに、該弁体と前記先端側ノズル部の上壁下面との間に形成される前記上側開口を閉塞する大きさに形成されている。
前記先端側ノズル部及び前記弁体は、開口に向かうにしたがって幅が漸次大きくなる形状に形成されているとよい。
前記下側開口は、その流路断面積が前記流入側筐体部の最大流路断面積よりも小さいとよい。
また、前記ノズル本体及び前記弁体が合成樹脂により形成されるとともに、前記弁体には、重りが設けられているとよい。
さらに、前記先端側ノズル部は、前記開口が水平方向に対して斜め上方を向くように傾斜しているとよい。
本発明に係る導水渠は、上述のスカム除去装置用噴出ノズルを備えている。
また、その導水渠は、導水渠本体とスカムピットとが接続状態に設けられ、前記導水渠本体には、生成されたスカム層の上面に対して、そのスカム層の流れを前記スカムピットに向けて助長するように圧力水を噴射する水噴射ノズル、及び、前記スカム層の下方位置で、かつ、前記導水渠本体の側壁の内側から前記スカム層に向けて圧縮空気を噴出する空気噴出機構の少なくともいずれかが設けられているとよい。
本発明のスカム除去装置用噴出ノズルは、先端側ノズル部が扁平な筒状に形成され、その中に弁体が収容されているので、水中に設置されても抵抗が小さく、また、圧力水が噴出されないときに、吐出用開口となる弁体の下側開口を弁体が自重で閉止するので、動力源が不要で簡易な構造である。しかも、弁体に閉止部を設けたので、下側開口を閉じた状態で弁体と先端側ノズル部の上壁との間に形成される上側開口も閉止でき、スカム等の内部への侵入を阻止して、汚損を防止し、弁体の回動を円滑に行わせることができる。
また、このスカム除去装置用噴出ノズルが設置された導水渠は、スカムを円滑に排出することができる。
本発明の一実施形態に係るスカム除去装置用噴出ノズルを備えた導水渠及びこの導水渠に接続状態の沈殿池の一部を示す平面図である。 図1のX1-X1線に沿う断面図であり、可動ゲートが閉じている状態を示している。 図1のX1-X1線に沿う断面図であり、可動ゲートが開いている状態を示している。 本発明の一実施形態に係るスカム除去装置用噴出ノズルの斜視図である。 図4に示すスカム除去装置用噴出ノズルの裏側から視た斜視図である。 本発明の一実施形態に係るスカム除去装置用噴出ノズルの一部を破断して内部構造を示した平面図である。 図5のX2-X2線に沿う断面図であって、スカム除去装置用噴出ノズルから圧力水が噴出されている状態を示している。 図5のX2-X2線に沿う断面図であり、圧力水が噴出されていない状態を示している。
本発明の一実施形態に係るスカム除去装置用噴出ノズル(以下、「噴出ノズル」という。)Nの具体的構成を説明する前に、図1~図3を用いてこの噴出ノズルNを備えた導水渠1について説明する。
導水渠1は、導水渠本体2及びこの導水渠本体2に接続状態のスカムピット3を含んで構成されている。この導水渠本体2は、上部開放形の長水路を呈し、その長手方向の一端側(図示の例では右端側)からは、下水からなる原水が供給されるように構成されている(矢印a参照)。
スカムピット3は、この導水渠本体2の原水の流れ方向の終端側(図示の例では左端側)に設けられており、このスカムピット3を形成する一部の壁面と導水渠本体2の終端側を形成する壁面とは共用されている。その共用されている壁面の上壁面3aの高さは、導水渠本体2内の水面よりも少し低くなるように決められている(図2参照)。そして、その上壁面3aの設けられている壁面の導水渠本体2側には、可動ゲート4が設けられていて、導水渠本体2からの原水がスカムピット3へ流入するのを制御できるように構成されている。
この可動ゲート4は、ゲート板4aと図1では省略されている駆動機構4bとを含んで構成されていて、導水渠本体2からスカムピット3内にスカムSを排出しないときは、図2に示すように閉じられ、導水渠本体2からスカムピット3内にスカムSを排出するときは、図3に示すように開けられるように構成されている。したがって、可動ゲート4が図3に示されるように開けられたときは、導水渠本体2の表層水、すなわちスカムSを含んだ原水をスカムピット3内に排出させることができる。
ゲート板4aの幅は、導水渠本体2の水路幅より少し小さく、その高さは、上壁面3aの位置と導水渠本体2内の水面位置との差分よりも十分に大きくなるように決められている。また、駆動機構4bは、ゲート板4aを上下動できるように構成されていて、ねじ棒と回転ナットとからなる方式やラックアンドピニオン方式等の周知の上下動移動機構が採用される。
スカムSを排出しないとき、駆動機構4bは、図2に示されるように、ゲート板4aの上端位置が導水渠本体2内の水面位置よりも十分に高くなるようにゲート板4aを上昇させることで、スカムピット3と導水渠本体2との間を遮断する。そして、スカムSを排出するとき、駆動機構4bは、図3に示されるように、ゲート板4aの上端位置が導水渠本体2内の水面位置よりも下で、かつ、その導水渠本体2内に生成されるスカム層Sの底面位置よりも少し下となるようにゲート板4aを降下させることにより、スカムピット3と導水渠本体2との間を連通することができる。
導水渠本体2を形成する長水路の長手方向の一方の側壁5の外側には、下水処理場の最初沈殿池に当たる複数の沈殿池6が並設されている。
この沈殿池6の側壁の一部は、導水渠本体2の側壁5により構成されている。そして、その側壁5のほぼ中間の高さ位置に開閉扉(図示せず)の付いた流入口7が設けられている。したがって、この流入口7を介して導水渠本体2内と沈殿池6内とが連通するように構成されている。このため、流入口7の開閉扉が開かれているとき、導水渠本体2内の原水は沈殿池6内に流入し、その流入した原水は、沈殿池6内を側壁5から離れる方向(図1の矢印b参照)に向けて流れることができる。なお、図示の例では、沈殿池6は、導水渠本体2の一方の側壁5の外側に並設されているが、両方の側壁5の外側に並設されていてもよい。
導水渠本体2には、水供給管8aとノズル8bとを含んで構成される複数の水噴射ノズル8が設けられている。この水噴射ノズル8は、導水渠本体2内の水面より少し上で、かつ、その導水渠本体2内の水の流れ方向の長さを所定の間隔で区分するように複数個設けられている。
水供給管8aは、導水渠本体2の相対する側壁5間で、かつ、その導水渠本体2の長手方向と直交するように設けられている。この水供給管8aには、図示しないポンプを介して所定圧の水が供給される。なお、水供給管8aに供給される水は、下水処理場の処理水を用いることができる。
ノズル8bは、水供給管8aの長手方向に所定の間隔を保ち、かつ、先端開口が導水渠本体2内の水の流れの下流側で、さらに下向きに向くように斜めに設けられている。したがって、水供給管8aに圧力水が供給されると、ノズル8bからは、導水渠本体2の水面上に層状に形成されているスカムSに対して噴出水が供給され、スカムピット3に向けて流れようとするスカムSの流れを助長させる(図3参照)。なお、本発明では、説明の便宜上、水面上にある程度の厚さに成長したスカムSを「スカム層S」というときもある。
また、この導水渠本体2には、噴出ノズル(本発明のスカム除去装置用噴出ノズル)Nが設けられている。この噴出ノズルNは、導水渠本体2内の水面より少し下の水中で、かつ、その導水渠本体2内の水の流れ方向に所定の間隔をおいて複数個設けられている。また、導水渠本体2内の水の流れ方向と直交する方向、つまり水路幅に対しても、互いに所定の間隔を保って複数個(図1に示す例では4個)の噴出ノズルNが設けられている。
この噴出ノズルNは、図示しない圧力水供給管に支持されて水中に設置されている。そしてこの噴出ノズルNは、圧力水供給管から噴出ノズルNに圧力水が供給されると、スカムピット3側に向けられている開口から圧力水を噴出して、スカムピット3に向けて流れようとするスカムSの流れを助長させることができる(図3参照)。この噴出ノズルNに供給される水は、下水処理場の処理水を用いることができる。
また、この導水渠本体2には、空気噴出機構9が設けられている。この空気噴出機構9は、パイプにより形成されており、導水渠本体2の両方の側壁5の内側に図示しない支持装置を介して導水渠本体2内の流れ方向に沿う水平に設けられている(図1~図3参照)。この空気噴出機構9は、導水渠本体2内に生成されるスカム層Sの下側になるように設置されている。例えば、導水渠1の運転によりスカムSが滞留し、その厚さが10cm近くに成長したときに、導水渠本体2からスカムピット3内にスカムSを排出するようになっている場合、空気噴出機構9は、水面から10cmよりも少し下となるように設置される。空気噴出機構9の設置位置は、導水渠本体2の設置される下水処理場によって異なるが、いずれにしても、生成されるスカムSの下となるように決められる。
この空気噴出機構9は、本出願人が既に特願2020-152897号で提案しているので、詳しい説明は省略するが、天然ゴム、合成ゴム等の弾性材からなるパイプの長さ方向に間隔をおいて多数のスリットを設けて構成したもの、鋼製のパイプの長さ方向に間隔をおいて多数の孔を設けて構成したもの等を採用することができる。また、その鋼製のパイプの孔を下向きに設けるとともに、各孔に、下方に向けて開口を有するカップ状、わん状等の吹き出し部材を取り付けて目詰まりを防止できるようにものも採用できる。この空気噴出機構9は、パイプ内に圧縮空気が供給されると、スリットや孔から原水中に気泡となって放出される。そして、その放出された気泡は側壁5の内面に沿って上昇し、側壁5に付着していたスカム層Sを剥離させことができる。
次に、噴出ノズルNについて、図4~図8を用いて説明する。
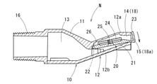
この噴出ノズルNのノズル本体10は、例えばポリカーボネート等の合成樹脂により形成され、圧力水が供給される流入側筐体部11と、流入側筐体部11に連通し、高さに比べて幅が大きい扁平な筒状に形成された先端側ノズル部12と、を備えている。扁平な先端側ノズル部12を導水渠本体2内の流れ方向の下流側に向けて配置されることで、可能な限り水流の抵抗とならないように配慮されている。
そして、このノズル本体10の平面形状は、図4から図6に示されるように、基端側より先端側(図6において左側より右側)が幅広に形成されている。先端側ノズル部12は、先端に向けて漸次幅寸法が大きくなるように形成されている。また、この先端側ノズル部12の先端は、図7及び図8に示されるように、水中内で少し上向きとなるように流入側筐体部11における圧力水の流入方向(図7の矢印c方向)に対して20°程度の角度で傾斜して形成されている。
このノズル本体10の内部は、図7及び図8に示されるように、一つの空間に形成されているが、その空間は、流入側筐体部11内の圧力水室13と、先端側ノズル部12内の弁体収容室14とに区分されている。圧力水室13は、大きい容積を有しており、弁体収容室14は、高さに比べて幅が大きい扁平な形状であり、先端に向かうほど幅が大きく形成されている。
ノズル本体10における先端側ノズル部12の幅広側の端面には、弁体収容室14を外部に開放する開口15が設けられている。この開口15は、幅広側の端面全体に及んでいるので、その開口15の形態はスリット状を呈している。なお、このノズル本体10は、上述した図1~図3に示される導水渠本体2に設置されるときは、開口15の長手方向が導水渠本体2内の水面と平行となるように、かつ両側壁5と直交するように設けられる。
流入側筐体部11の基端部には、取付部16が一体に設けられている(図4から図6参照)。この取付部16は、周囲にネジ溝を有するパイプ状を呈しており、図7及び図8に示すように、取付部16の内側空間が圧力水室13に連通している。この取付部16は、ネジ溝を介して図示しない圧力水供給管に設けられているネジ穴に螺合できるように形成されている。
弁体収容室14は、内部に弁体20が収容されている。弁体20は、弁本体部21と、ヒンジ軸22と、閉止部23と、重り24とを備えている。弁本体部21と、ヒンジ軸22と、閉止部23とは、ノズル本体10と同様、例えばポリカーボネート等の合成樹脂により一体に形成されている。
弁本体部21は、先端側ノズル部12の弁体収容室14内で上下動できる大きさの板状に形成されており、その板厚は、弁体収容室14の厚さより小さく、例えば弁体収容室14の厚さの半分以下の厚さに形成されている。この弁本体部21の幅は、先端側ノズル部12内の弁体収容室14に合わせて、先端に向かうにしたがって漸次大きくなるように形成されている。
そして、この弁本体部21の基端部の両側には、ヒンジ軸22,22が両側方に突出するようにそれぞれ水平に設けられている。これらヒンジ軸22,22は、ノズル本体10の中央部付近で、先端側ノズル部12の基端部の上壁12a付近の両側部に、回転自在に支持されている。これにより、弁本体部21は、先端部が先端側ノズル部12の開口15内で上下動するように、先端側ノズル部12の上壁12aの下面に当接する位置と、先端側ノズル部12の下壁12bの上面に当接する位置との間で揺動可能である。
この場合、ヒンジ軸22,22が先端側ノズル部12の上壁12a付近に支持されているので、弁本体部21は先端部が先端側ノズル部12の上壁12aに当接したときには、図7に示すように、弁本体部21の上面の全体が先端側ノズル部12の上壁12aの下面に接触する。そして、弁本体部21の下面と先端側ノズル部12の下壁12bの上面との間にほぼ一様な厚さの空間が形成される。この空間は、弁本体部21の下側に形成される空間であり、圧力水室13に連通する吐出流路(下側空間)17を構成する。弁体収容室14が先端に向かうにしたがって幅が漸次大きくなるように形成されているので、この吐出流路17も、先端に向かうにしたがって幅が漸次大きくなるように形成される。
そして、この図7に示すように弁本体部21の上面の全体が先端側ノズル部12の上壁12aの下面に接触した状態において、吐出流路17の先端は、弁本体部21の下面と先端側ノズル部12の下壁12bの上面との間で開放され、吐出用開口(本発明の下側開口)17aが形成される。この吐出用開口17aの流路断面積は、圧力水室13の最大流路断面積よりも小さい断面積に形成されている。
図7は、弁体収容室14の上部に弁本体部21が配置された状態であり、弁体収容室14及びその開口15は、それぞれ弁本体部21が占有する分、小さくなって、吐出流路17及び吐出用開口17aを形成しているので、これら吐出流路17及び吐出用開口17aを括弧書きで示している。
閉止部23は、先端側ノズル部12の弁体収容室14から外方(圧力水の吐出方向)に突出しており、弁本体部21の先端部を上方に屈曲させた状態に形成されている。この閉止部23は、弁本体部21の全幅にわたって形成され、その高さは、弁体収容室14の高さより大きく形成されている。そして、弁本体部21が先端側ノズル部12の下壁12bの上面に当接したときに(吐出用開口17aを閉塞したときに)、閉止部23が、弁本体部21の上面と先端側ノズル部12の上壁12aの下面との間に形成される上側空間18の開口(以下、上側開口という)18aの前方に近接して配置される。これにより、閉止部23が上側開口18aを閉塞した状態とすることができる。この上側開口18aは、弁体収容室14の開口15のうち、弁本体部21が先端側ノズル部12の下壁12bの上面に当接して配置されることにより、弁本体部21の上面と先端側ノズル部12の上壁12a下面との間に形成される開口である。
重り24は円盤状のステンレス鋼等からなり、弁本体部21の上面に所定の間隔を保ってビス25を介して2個設けられている。先端側ノズル部12の上壁12aの下面には、凹部26が形成されており、弁本体部21が先端側ノズル部12の上壁12aに当接したとき、重り24が上壁12aの凹部26内に退避できるように工夫されている(図7参照)。
したがって、弁本体部21の上面から重り24が突出するように設けられていても、弁体20が上方に揺動したときには、重り24が凹部26内に配置されるので、吐出用開口17aの開口面積を十分に確保することができる。なお、この重り24の重量は、ノズル本体10に圧力水が供給されたときに弁本体部21がヒンジ軸22を中心に図7の反時計方向に回動し、また、圧力水の供給が停止されたときに、重り24を含めた弁本体部21の重量によって図7の時計方向に回動できる範囲に決められている。
上記構成からなる弁体20は、図示しない圧力水供給管から噴出ノズルNに圧力水が供給されたときは、図7に示されるように、水圧によりヒンジ軸22,22を中心にして上方に回動させられる。これにより、弁体20と先端側ノズル部12の下壁12bとの間に、圧力水室13に連通して吐出流路17及び吐出用開口17aを開くことができる。
また、噴出ノズルNに圧力水が供給されていないときは、図8に示されるように、弁本体部21がヒンジ軸22,22を中心にして自重により下方に回動させられる。これにより、弁本体部21が先端側ノズル部12の下壁12bに当接して、吐出用開口17aは閉塞され、一方、弁本体部21の上方に形成される上側開口18aは閉止部23により閉止される。したがって、先端側ノズル部12の開口15の全体が閉じられた状態となる。
なお、上記構成の弁体20は、弁本体部21の自重を高めるために円盤状のステンレス鋼等からなる2個の重り24を設けているが、重りは一個の短冊状にすることも可能である。また、弁体20自身が十分に重量を有する場合、例えば、弁本体部21及び閉止部23をステンレス鋼等により形成する場合などのときは、重り24を省略することも可能である。ただし、ノズル本体10を重り24及びビス25を除いた部分を合成樹脂製とするときは、弁本体部21の可動を確実にするために重り24を設けることが好ましい。
さらに、上記構成の噴出ノズルNは、合成樹脂製として簡単に作ることができる。この場合は、弁体20が組み込まれる先端側ノズル部12の上壁12aの部分を開放とし、弁体20が先端側ノズル部12内に組み込まれた後にその開放部分が閉じられる。
上記構成からなる噴出ノズルNの圧力水の噴出動作について説明する。
取付部16を介して圧力水室13に圧力水が供給されると、その供給された圧力水は、一旦、圧力水室13に貯められる。そして、その圧力水室13内の圧力水は、圧力水室13より流路断面積の小さい弁体収容室14に供給される。
この先端側ノズル部12における弁体収容室14には、弁体20の基端部が先端側ノズル部12の上壁12aに支持されているため、弁本体部21の基端部においては、その下面が先端側ノズル部12の下壁12bから離間している。このため、圧力水が弁本体部21の下面を押圧しつつ先端方向に流通し、弁本体部21の先端部を押し上げ、先端側ノズル部12の上壁12a下面に接触させる。
これにより、弁本体部21の下面と先端側ノズル部12の下壁12bの上面との間に吐出流路(下側空間)17が形成され、この吐出流路17を通って圧力水が吐出用開口(下側開口)17aから吐出される。この吐出用開口17aは圧力水室13の最大流路断面積より小さい断面積に形成されているので、圧力水が勢いよく噴出される。また、吐出流路17は、扁平で吐出用開口17aに向かうにしたがって徐々に広がる形状を有しており、圧力水は水平方向に広がるように吐出される。
吐出用開口17aから放出される圧力水の水流の方向(図7の矢印d参照)は、取付部16を介して圧力水室13に供給される圧力水の水流の方向(図7の矢印c参照)に対して、先端側ノズル部12の傾きに応じて少し上向きとなる。通常、噴出ノズルNが導水渠1に設けられるときは、ノズル本体10の圧力水室13が水平に保たれるように設置されるので、先端側ノズル部12の吐出用開口17aからは水平に対して少し上向きの(水平に対して20°程度の角度で)水流が放出される。
次に、上記構成からなる噴出ノズルNを備えた導水渠1のスカム除去動作について説明する。
導水渠本体2に原水(下水)が供給され、その供給された原水が各沈殿池6に対応して設けられている流入口7を介して分配供給されると、水面上には、徐々にスカムSが生成されてくる。この状態において、噴出ノズルNには、圧力水が供給されていないので、弁体収容室14の弁体20が先端側ノズル部12の下壁12bに当接しているとともに、弁体20の上方に形成される上側開口18aが閉止部23で閉止されている。したがって、弁本体部21の上側及び下側のいずれにも外部から水が流れ込むことが防止され、ノズル本体10の内部が水に含まれるスカム等で汚損される不都合を効果的に防止することができる。図2及び図8はこの状態を示している。
スカムSの生成がある程度すすみ、その厚さが10cm程度に達した時点で、噴出ノズルNに圧力水が供給される。また、水噴射ノズル8にも圧力水が供給され、さらに、空気噴出機構9に圧縮空気が供給される。これにより、スカムSのスカムピット3への排出動作が開始される。
噴出ノズルNに圧力水が供給されると、この圧力水の供給により、水圧で弁本体部21がヒンジ軸22,22を中心にして回動させられる。これにより、閉止部23は上方に移動し吐出用開口17aを開くことができる。そして、開かれた吐出用開口17aからは、スカムSがスカムピット3側に流れるように圧力水が噴出される。吐出用開口17aからの圧力水の噴出方向は、ノズル本体10の先端側ノズル部12の傾きが少し上向きに形成されているので、スカムSを少し持ち上げるように作用し、スカムSの移動が円滑に行われる。
同時に、水噴射ノズル8からもスカムSがスカムピット3側に流れるように圧力水が噴出される。さらに、空気噴出機構9から噴出された空気により側壁5に付着していたスカムSが剥がされるので、スカムSはより円滑に、かつ、速やかにスカムピット3に排出される。図3及び図7はこの状態を示している。
導水渠本体2からほとんどのスカムSが排出された時点で、噴出ノズルN及び水噴射ノズル8への圧力水の供給が停止されるとともに、空気噴出機構9への圧縮空気の供給が停止される。これにより、スカムSのスカムピット3への排出動作が終了となる。
なお、上述のスカムSのスカムピット3への排出動作は、噴出ノズルNの他に、水噴射ノズル8及び空気噴出機構9の両方を用いるようにしたが、いずれか一方を用いるようにしてもよい。両方用いるか、それとも、いずれか一方を用いるかは、生成されるスカムSの性状等によって決められる。
上述のスカムSのスカムピット3への排出開始及びその停止動作は、自動で行うことができるが、導水渠本体2に流入する原水の水質等によって発生するスカムSが一様でないので実験により決められる。すなわち、装置運転の当初の数日間、手動で運転してスカムSの排出状態を観察して決めることが望ましい。以後、その観察結果に基いて自動運転が行われる。しかし、自動運転は以上の例に限定されるものではなく、導水渠本体2に生成されるスカムSの厚さをセンサで検出し、その検出信号に基づいて行うようにしてもよい。
以上、本発明に係る噴出ノズルについて図面を参照して詳説したが、具体的な構成は、上記実施の形態例に限定されるものではなく、本発明の要旨を逸脱しない範囲において設計変更等が可能である。
例えば、上述の例では、噴出ノズルNを下水処理施設の導水渠1に適用したが、下水処理施設の最初沈殿池又は最終沈殿池、あるいは、工場廃水用の沈殿池にも適用することもできる。この場合は、沈殿池内の水をいたずらに撹拌することなく、スカムSの浮上している表層水をパイプスキマ等のスカム排出手段側に移動できる流れを助長できるように、吐出用開口17aから噴出する水の勢いが調節される。すなわち、噴出ノズルNに供給される圧力水の圧力が調節されて吐出用開口17aから噴出する水の勢いが調節される。
また、本発明に係る噴出ノズルNは、有価物を浮上分離して回収する回収槽にも適用することができる。この回収槽の場合、本発明のスカムSは有価物に相当する。さらに、流体は水でない場合もある。したがって、本発明の「スカム」は、そのような有価物を含み、また「水」は、そのような流体も含んでいる。
下水処理場の最終沈殿池等に設置されるスカム除去装置に好適に用いることができる。
1 導水渠
2 導水渠本体
3 スカムピット
4 可動ゲート
5 側壁
6 沈殿池
7 流入口
8 水噴射ノズル
9 空気噴出機構
S スカム
N スカム除去装置用噴出ノズル(噴出ノズル)
10 ノズル本体
11 流入側筐体部
12 先端側ノズル部
12a 上壁
12b 下壁
13 圧力水室
14 弁体収容室
15 開口
16 取付部
17 吐出流路(下側空間)
17a 吐出用開口(下側開口)
18 上側空間
18a 上側開口
20 弁体
21 弁本体部
22 ヒンジ軸
23 閉止部
24 重り
25 ビス
26 凹部

Claims (7)

  1. スカムが浮上している水中から圧力水を噴出させてスカムを除去するスカム除去装置用噴出ノズルであって、圧力水が供給される流入側筐体部、及び該流入側筐体部に連通し、高さに比べて幅が大きい扁平な筒状に形成された先端側ノズル部を有するノズル本体と、該ノズル本体の前記先端側ノズル部内に設けられ、該先端側ノズル部の開口を開閉可能な弁体と、を備え、
    前記弁体は、板状に形成された弁本体部を有し、その弁本体部の基端部が、前記先端側ノズル部の基端部の上壁付近に、前記幅方向に沿うヒンジ軸を介して回動自在に支持されることにより、前記弁本体部の先端部が前記先端側ノズル部の開口内で、前記先端側ノズル部の下壁上面に当接して前記弁本体部の上方に上側開口を形成する位置と、前記先端側ノズル部の上壁下面に当接して前記弁本体部の下方に下側開口を形成する位置との間で上下動自在に配置され、前記流入側筐体部に圧力水が供給されないときに自重により前記弁本体部が下方に回動することにより前記下側開口を閉塞し、その圧力水が供給されるときに圧力水の圧力によって上方に回動することにより前記下側開口を開放する重さを有し、
    前記弁本体部の前記先端部に、前記開口から突出した位置で上方に向けて立ち上がる閉止部が設けられており、
    前記閉止部は、前記弁体が前記下側開口を閉塞したときに、該弁体と前記先端側ノズル部の上壁下面との間に形成される前記上側開口を閉塞する大きさに形成されている
    ことを特徴とするスカム除去装置用噴出ノズル。
  2. 前記先端側ノズル部及び前記弁体は、開口に向かうにしたがって幅が漸次大きくなる形状に形成されていることを特徴とする請求項1に記載のスカム除去装置用噴出ノズル。
  3. 前記下側開口は、その流路断面積が前記流入側筐体部の最大流路断面積よりも小さいことを特徴とする請求項1又は2に記載のスカム除去装置用噴出ノズル。
  4. 前記ノズル本体及び前記弁体が合成樹脂により形成されるとともに、前記弁体には、重りが設けられていることを特徴とする請求項1から3のいずれか一項に記載のスカム除去装置用噴出ノズル。
  5. 前記先端側ノズル部は、前記開口が水平方向に対して斜め上方を向くように傾斜していることを特徴とする請求項1から4のいずれか一項に記載のスカム除去装置用噴出ノズル。
  6. 請求項1から5のいずれか1項に記載のスカム除去装置用噴出ノズルを備えたことを特徴とする導水渠。
  7. 導水渠本体とスカムピットとが接続状態に設けられ、前記導水渠本体には、生成されたスカム層の上面に対して、そのスカム層の流れを前記スカムピットに向けて助長するように圧力水を噴射する水噴射ノズル、及び、前記スカム層の下方位置で、かつ、前記導水渠本体の側壁の内側から前記スカム層に向けて圧縮空気を噴出する空気噴出機構の少なくともいずれかが設けられていることを特徴とする請求項6に記載の導水渠。
JP2021568732A 2020-12-08 2020-12-08 スカム除去装置用噴出ノズル及びそのスカム除去装置用噴出ノズルを備えた導水渠 Active JP7018552B1 (ja)

Applications Claiming Priority (1)

Application Number Priority Date Filing Date Title
PCT/JP2020/045673 WO2022123652A1 (ja) 2020-12-08 2020-12-08 スカム除去装置用噴出ノズル及びそのスカム除去装置用噴出ノズルを備えた導水渠

Publications (2)

Publication Number Publication Date
JP7018552B1 true JP7018552B1 (ja) 2022-02-10
JPWO2022123652A1 JPWO2022123652A1 (ja) 2022-06-16

Family

ID=80856442

Family Applications (1)

Application Number Title Priority Date Filing Date
JP2021568732A Active JP7018552B1 (ja) 2020-12-08 2020-12-08 スカム除去装置用噴出ノズル及びそのスカム除去装置用噴出ノズルを備えた導水渠

Country Status (7)

Country Link
US (1) US12186761B2 (ja)
EP (1) EP4039656B1 (ja)
JP (1) JP7018552B1 (ja)
CN (1) CN114916226B (ja)
AU (1) AU2020449442B1 (ja)
ES (1) ES2967979T3 (ja)
WO (1) WO2022123652A1 (ja)

Cited By (1)

* Cited by examiner, † Cited by third party
Publication number Priority date Publication date Assignee Title
WO2025057686A1 (ja) * 2023-09-14 2025-03-20 宇都宮工業株式会社 下水処理場におけるスカム除去システム

Families Citing this family (2)

* Cited by examiner, † Cited by third party
Publication number Priority date Publication date Assignee Title
CN116510361A (zh) * 2023-05-29 2023-08-01 铜陵赛那机械设备制造有限公司 一种无底耙辐式浓密机
AU2024287147A1 (en) 2023-07-28 2025-02-20 Utsunomiya Kogyo Co., Ltd. Scum peeling device, water conduit, and sedimentation pond

Citations (6)

* Cited by examiner, † Cited by third party
Publication number Priority date Publication date Assignee Title
US4765889A (en) * 1987-04-06 1988-08-23 Lakeside Equipment Corporation Moving bridge filter - telescoping floating pot skimmer
JPH07303884A (ja) * 1994-05-13 1995-11-21 Saitama Pref Gov Gesuido Koushiya スカム移送収集除去装置
JPH11128916A (ja) * 1997-11-05 1999-05-18 Kubota Corp 浮遊スカム回収装置
JP2011218306A (ja) * 2010-04-12 2011-11-04 Utsunomiya Kogyo Kk スカム除去装置およびスカム除去方法
JP2011240271A (ja) * 2010-05-19 2011-12-01 Utsunomiya Kogyo Kk スカム除去装置
JP2011240229A (ja) * 2010-05-17 2011-12-01 Utsunomiya Kogyo Kk スカム除去装置用噴出ノズル

Family Cites Families (13)

* Cited by examiner, † Cited by third party
Publication number Priority date Publication date Assignee Title
US2259128A (en) * 1940-09-09 1941-10-14 George F Egan Sewer construction
US5089118A (en) * 1990-09-24 1992-02-18 John Mahoney Settling tank spray system
JP4990856B2 (ja) * 2008-08-22 2012-08-01 宇都宮工業株式会社 スカム除去装置
JP5503482B2 (ja) 2010-09-30 2014-05-28 能美防災株式会社 水噴霧ノズル
JP5431528B2 (ja) 2012-05-30 2014-03-05 新倉工業株式会社 消泡ノズル装置
JP5934161B2 (ja) * 2013-09-09 2016-06-15 武蔵エンジニアリング株式会社 ノズルおよび該ノズルを備える液体材料吐出装置
CN105351573B (zh) 2015-11-13 2017-10-31 山东莱德管阀有限公司 自密封旋启式软密封止回阀
CN105498313B8 (zh) * 2015-12-10 2018-06-22 青岛智承机电科技有限公司 浮渣清除装置
JP5946597B1 (ja) * 2016-04-20 2016-07-06 新倉工業株式会社 噴霧ノズル装置
JP6562312B2 (ja) * 2016-11-04 2019-08-21 Smc株式会社 粉塵除去装置及び粉塵除去システム
CN208474568U (zh) 2018-07-21 2019-02-05 玉环池氏阀门有限公司 一种稳流过滤式止回阀
CN111559173B (zh) * 2019-02-13 2022-10-21 精工爱普生株式会社 液体喷射装置
JP2020152897A (ja) 2019-03-13 2020-09-24 三菱製紙株式会社 熱伝導性シート

Patent Citations (6)

* Cited by examiner, † Cited by third party
Publication number Priority date Publication date Assignee Title
US4765889A (en) * 1987-04-06 1988-08-23 Lakeside Equipment Corporation Moving bridge filter - telescoping floating pot skimmer
JPH07303884A (ja) * 1994-05-13 1995-11-21 Saitama Pref Gov Gesuido Koushiya スカム移送収集除去装置
JPH11128916A (ja) * 1997-11-05 1999-05-18 Kubota Corp 浮遊スカム回収装置
JP2011218306A (ja) * 2010-04-12 2011-11-04 Utsunomiya Kogyo Kk スカム除去装置およびスカム除去方法
JP2011240229A (ja) * 2010-05-17 2011-12-01 Utsunomiya Kogyo Kk スカム除去装置用噴出ノズル
JP2011240271A (ja) * 2010-05-19 2011-12-01 Utsunomiya Kogyo Kk スカム除去装置

Cited By (2)

* Cited by examiner, † Cited by third party
Publication number Priority date Publication date Assignee Title
WO2025057686A1 (ja) * 2023-09-14 2025-03-20 宇都宮工業株式会社 下水処理場におけるスカム除去システム
JP7668076B1 (ja) * 2023-09-14 2025-04-24 宇都宮工業株式会社 下水処理場におけるスカム除去システム

Also Published As

Publication number Publication date
CN114916226B (zh) 2023-03-28
EP4039656A1 (en) 2022-08-10
CN114916226A (zh) 2022-08-16
JPWO2022123652A1 (ja) 2022-06-16
EP4039656A4 (en) 2022-12-07
EP4039656B1 (en) 2023-10-25
US20220410181A1 (en) 2022-12-29
AU2020449442B1 (en) 2022-05-12
WO2022123652A1 (ja) 2022-06-16
US12186761B2 (en) 2025-01-07
ES2967979T3 (es) 2024-05-06

Similar Documents

Publication Publication Date Title
JP7018552B1 (ja) スカム除去装置用噴出ノズル及びそのスカム除去装置用噴出ノズルを備えた導水渠
JP5443122B2 (ja) スカム除去装置
JP4990856B2 (ja) スカム除去装置
JP7112794B1 (ja) 導水渠並びに沈殿池
JP5443260B2 (ja) スカム除去装置用噴出ノズル
US5738137A (en) Apparatus for creating surges in an aquarium
KR101549795B1 (ko) 수질정화용 다기능 가동보 수문
WO2021033781A1 (ja) スカム除去装置用噴出ノズル
JP5443261B2 (ja) スカム除去装置
JP7112795B1 (ja) 導水渠システム
HK40071766B (en) Jet nozzle for scum removal device, and water conduit provided
HK40071766A (en) Jet nozzle for scum removal device, and water conduit provided with jet nozzle for scum removal device
KR100543435B1 (ko) 하수역류방지장치
EP4578835A1 (en) Scum peeling device, water conduit, and sedimentation pond
JP2006095362A (ja) スカム除去装置
JP2000271587A (ja) 上澄水排出装置
JP7668076B1 (ja) 下水処理場におけるスカム除去システム
JP7769442B2 (ja) スカム除去装置
KR100608603B1 (ko) 수중보의 수문 자동 개폐장치
CN111980122B (zh) 一种进水阀装置
PL236682B1 (pl) Dekanter pływający oraz sposób odprowadzania cieczy z wykorzystaniem dekantera pływającego
KR20050097190A (ko) 고형물과 액상물질로 층분리된 오폐수로부터 액상물질을효과적으로 배출하기 위한 장치
KR100778151B1 (ko) 부력식 어도
JP2008057161A (ja) 便器洗浄水供給装置
KR20190118310A (ko) 오폐수 처리장치용 부유식 디캔터

Legal Events

Date Code Title Description
A621 Written request for application examination

Free format text: JAPANESE INTERMEDIATE CODE: A621

Effective date: 20211117

A871 Explanation of circumstances concerning accelerated examination

Free format text: JAPANESE INTERMEDIATE CODE: A871

Effective date: 20211117

TRDD Decision of grant or rejection written
A01 Written decision to grant a patent or to grant a registration (utility model)

Free format text: JAPANESE INTERMEDIATE CODE: A01

Effective date: 20220125

A61 First payment of annual fees (during grant procedure)

Free format text: JAPANESE INTERMEDIATE CODE: A61

Effective date: 20220131

R150 Certificate of patent or registration of utility model

Ref document number: 7018552

Country of ref document: JP

Free format text: JAPANESE INTERMEDIATE CODE: R150

R250 Receipt of annual fees

Free format text: JAPANESE INTERMEDIATE CODE: R250