JP6985323B2 - Toilet Paper - Google Patents
Toilet Paper Download PDFInfo
- Publication number
- JP6985323B2 JP6985323B2 JP2019066743A JP2019066743A JP6985323B2 JP 6985323 B2 JP6985323 B2 JP 6985323B2 JP 2019066743 A JP2019066743 A JP 2019066743A JP 2019066743 A JP2019066743 A JP 2019066743A JP 6985323 B2 JP6985323 B2 JP 6985323B2
- Authority
- JP
- Japan
- Prior art keywords
- paper
- toilet
- toilet paper
- water
- embossing
- Prior art date
- Legal status (The legal status is an assumption and is not a legal conclusion. Google has not performed a legal analysis and makes no representation as to the accuracy of the status listed.)
- Active
Links
Images
Landscapes
- Paper (AREA)
- Sanitary Thin Papers (AREA)
Description
本発明は、トイレットペーパーに関する。 The present invention relates to toilet paper.
洗浄機能付きトイレともいわれるシャワートイレの普及にともない、トイレットペーパーにおいては、シャワートイレにおける使用に適することが求められている(下記、特許文献1)。
With the spread of shower toilets, which are also called toilets with a washing function, toilet paper is required to be suitable for use in shower toilets (
洗浄機能を使用すると肌に多くの水分が付着するため、トイレットペーパーには、多くの水分が付着した肌へのふき取り性、特に吸水性が高いことが重要となる。 Since a large amount of water adheres to the skin when the cleaning function is used, it is important that the toilet paper has a high wiping property, especially high water absorption, on the skin to which a large amount of water has adhered.
しかしながら、従来のトイレットペーパーは、洗浄機能を使用した後に拭き取りをすると、肌に付着した水分によって濡れ、破れたり、水分が手にまで浸透するといった問題があった。 However, the conventional toilet paper has a problem that when it is wiped off after using the cleaning function, it gets wet and tears due to the moisture adhering to the skin, and the moisture permeates into the hands.
また、シャワートイレでは、丈夫さや厚み感を高めて消費者が使用した際の安心感を得るためにプライ数を多くすることも考えられるが、トイレットペーパーは、トイレットロールとした際の直径の制限から、プライ数を多くすると1プライあたりの厚みを薄くする必要があるため、プライ数を過度に多くすると表層のプライが肌に付着した水分によって破れやすくなる。また、過度に丈夫さや厚み感を高めるようにすると風合いが低下する。 Also, in shower toilets, it is possible to increase the number of plies in order to increase the durability and thickness and give consumers a sense of security when using it, but toilet paper is limited in diameter when used as a toilet roll. Therefore, if the number of plies is increased, it is necessary to reduce the thickness per ply, and if the number of plies is excessively increased, the plies on the surface layer are easily torn by the moisture adhering to the skin. In addition, if the toughness and thickness are excessively increased, the texture will be deteriorated.
そこで、本発明の主たる課題は、トイレットペーパーとしての風合いに優れ、シャワートイレを使用しようした後の水分が付着した肌をふき取る際において十分な強度があり、安心感のある高い水分吸収性を有し、水分が手に浸透しがたいトイレットペーパーを提供することにある。 Therefore, the main problem of the present invention is that it has an excellent texture as toilet paper, has sufficient strength when wiping off the skin to which moisture has adhered after using the shower toilet, and has high moisture absorption with a sense of security. However, the purpose is to provide toilet paper in which moisture does not easily penetrate into the hands.
上記課題を解決した第一の手段は、
2〜3プライであり、
1プライの坪量が15.8〜17.8g/m2であり、
原料パルプに対して一過性湿潤紙力剤を0.01〜0.03質量%、乾燥紙力剤を0.005〜0.15質量%添加して形成され、
ポリエチレンオキサイドを含み、
縦方向の乾燥引張強度が700〜800cN/25mmであり、
エンボス加工がされ、エンボス加工による凹部の面積が1.0〜2.5mm 2 で、凹部の密度が5.0〜50個/cm 2 で、凹部のエンボス深さが、0.1472〜0.2154mmである、
ことを特徴とする、トイレットペーパーである。
The first means to solve the above problems is
2-3 plies,
The basis weight of one ply is 15.8 to 17.8 g / m 2 , and the basis weight is 15.8 to 17.8 g / m 2.
It is formed by adding 0.01 to 0.03% by mass of a transient wet paper strength agent and 0.005 to 0.15% by mass of a dry paper strength agent to the raw material pulp.
Contains polyethylene oxide,
The dry tensile strength in the vertical direction is 700 to 800 cN / 25 mm, and the dry tensile strength is 700 to 800 cN / 25 mm.
Embossed, the area of the recesses by embossing is 1.0 to 2.5 mm 2 , the density of the recesses is 5.0 to 50 pieces / cm 2 , and the embossing depth of the recesses is 0.1472-0. 2154 mm,
It is a toilet paper that is characterized by that.
第二の手段は、
温度23度±1度・湿度50%±2%の条件下で4時間以上キュアリングした試料を10組重ねて、直径10cmの孔の空いた試料台の前記孔部分を塞ぐように固定し、前記試料の孔を塞いだ部分に対してビュレットより10±2mL/分で純水を滴下し、試料の滴下面と反対の面である下面側に水の沁み出しが確認できた段階で滴下を停止し、その滴下した水の量をビュレットの目盛りより確認した値である、吸水量が1.1〜2.0ccである上記第一の手段に係るトイレットペーパーである。
The second means is
Ten sets of samples cured for 4 hours or more under the conditions of temperature 23 degrees ± 1 degree and humidity 50% ± 2% were stacked and fixed so as to close the hole portion of the sample table having a hole with a diameter of 10 cm. Pure water is dropped from the burette at 10 ± 2 mL / min on the portion of the sample that has closed the hole, and the drop is made when water spillage is confirmed on the lower surface side opposite to the drop surface of the sample. It is a toilet paper according to the first means, which has a water absorption amount of 1.1 to 2.0 cc, which is a value obtained by stopping and confirming the amount of the dropped water from the scale of the burette.
本発明によれば、風合いに優れ、シャワートイレを使用しようした後の水分が付着した肌をふき取る際において十分な強度があり、安心感のある高い水分吸収性を有し、水分が手に浸透しがたいトイレットペーパーが提供される。 According to the present invention, it has an excellent texture, has sufficient strength when wiping off the skin to which moisture has adhered after using a shower / toilet, has high moisture absorption with a sense of security, and moisture penetrates into the hand. Difficult toilet paper is provided.
本実施形態に係るトイレットペーパーは、2プライ又は3プライである。つまり、2枚又は3枚が重ねられているものである。3プライを超える多プライとすると、一般的なトイレットロールの製品形態とした場合に、1プライを薄くする必要があり、全体としての紙厚を厚くすることができるが、特にシャワートイレを使用しようした後の水分が付着した肌をふき取った際に、表層のプライが破れやすくなる。 The toilet paper according to this embodiment is 2-ply or 3-ply. That is, two or three sheets are stacked. If the number of plies exceeds 3 plies, it is necessary to make 1 ply thinner in the case of a general toilet roll product form, and the paper thickness as a whole can be increased, but let's use a shower toilet in particular. When the moisturized skin is wiped off, the ply on the surface layer is easily torn.
なお、ここでいうトイレットロールの製品形態としては、図1に示されるように、帯状のトイレットペーパー10を20〜40m、紙管(管芯とも称される)20にロール状に巻いた形態である。そのトイレットロールは、巻径L2(直径)110〜115mmである。トイレットロールの巻径は、JIS P 4501において、120mm以下と定められており、一般的なトイレットロールをセットするためのホルダーはこの120mmを基準として作成されている。本発明のトイレットロールは、巻径が110〜115mmとすることができ、一般的なホルダーに十分にセット可能な大きさにすることができる。ここで、巻径は、ムラテックKDS株式会社製ダイヤメータールール又はその相当機を用いて測定した値である。測定値は、幅方向に場所を変えて3個所測定した平均値である。なお、同一製造ロット品における平均値は5個のロールの平均値とする。
As shown in FIG. 1, the product form of the toilet roll referred to here is a form in which a strip-
他方で、本実施形態に係るトイレットペーパーでは、1プライあたり坪量が15.8g/m2以上17.8g/m2以下である。1プライの坪量がこの範囲内であれば上記2又は3プライの際に、十分な破れにくさとすることができる。 On the other hand, in the toilet paper according to the present embodiment, the basis weight per ply is 15.8 g / m 2 or more and 17.8 g / m 2 or less. If the basis weight of 1 ply is within this range, it can be made sufficiently difficult to tear in the case of the above 2 or 3 plies.
他方で、本発明に係るトイレットペーパーは、構成する繊維の75〜90質量%が広葉樹由来のパルプであるのが望ましい。広葉樹由来のパルプは繊維長が短く、紙表面の地合いを良好にしやすい。本発明に係るトイレットペーパーは、後述するように2又は3プライとプライ数が複数であるうえ乾燥紙力が高い。このようなトイレットペーパーは、硬質な感じが高まりやすいが、広葉樹由来のパルプを75質量%以上とすることで滑らかさが高まり、使用時に硬さを感じ難いものとなりやすい。なお、広葉樹由来のパルプとしては、LBKP、LUKP、LOKPなどが知られるが、漂白処理されたLBKPであるのが望ましい。なお、広葉樹由来のパルプ以外の繊維としては、針葉樹由来のパルプであるのが望ましい。この場合、塩素漂白されたNBKPであるのが望ましい。 On the other hand, in the toilet paper according to the present invention, it is desirable that 75 to 90% by mass of the constituent fibers are pulp derived from hardwood. Hardwood-derived pulp has a short fiber length and tends to improve the texture of the paper surface. As will be described later, the toilet paper according to the present invention has two or three plies and a plurality of plies, and has a high drying paper strength. Such toilet paper tends to have a hard feeling, but when the pulp derived from hardwood is 75% by mass or more, the smoothness is improved and the hardness tends to be hard to feel at the time of use. As the pulp derived from hardwood, LBKP, LUKP, LOKP and the like are known, but bleached LBKP is desirable. As the fiber other than the pulp derived from hardwood, it is desirable that the pulp is derived from softwood. In this case, chlorine bleached NBKP is desirable.
他方で、本発明に係るトイレットペーパーは、一過性湿潤紙力剤及び乾燥紙力剤を含む。乾燥紙力剤を含むことで乾燥引張強度が高まる。また、乾燥引張強度が高まると吸水性も高まる。しかし、乾燥紙力剤のみで乾燥引張強度を高めると水解性が悪化し、また、紙が硬質となって風合いや使用感が低下しやすい。他方で、一過性湿潤紙力剤は、拭き取り時の短期的な水分との接触によって水解せず、水性トイレ内のトラップに溜まる十分な量の水分に対して十分な水解性を有しつつ、紙力については乾燥紙力剤のみを使用する時に比べやや低下させて風合いを良好にする。本発明では、乾燥紙力剤ととともに一過性湿潤紙力剤を含むようにすることで、トイレットペーパーとしての風合いに優れ、シャワートイレを使用しようした後の水分が付着した肌をふき取る際において十分な強度があり、安心感のある高い水分吸収性を有し、水分が手に浸透しがたいトイレットペーパーとなる。ここで、具体的な乾燥引張強度としては、本発明に係るトイレットペーパーでは、縦方向の乾燥引張強度が、700〜800cN/25mmとする。この乾燥引張強度は、一般的に市販される汎用タイプのトイレットペーパーの2倍を超える高い乾燥引張強度である。乾燥紙力剤の添加のみでこの紙力とすると上述のように、紙が硬質となって風合いや使用感が低下しやすくなるが、一過性湿潤紙力剤を含むようにすることで、上記の優れた効果を奏する。 On the other hand, the toilet paper according to the present invention includes a transient wet paper strength agent and a dry paper strength agent. The dry tensile strength is increased by containing the dry paper force agent. Further, as the dry tensile strength increases, the water absorption also increases. However, if the dry tensile strength is increased only with a dry paper strength agent, the water decomposability deteriorates, and the paper becomes hard and the texture and usability tend to deteriorate. On the other hand, the transient wet wipes do not dissolve due to short-term contact with water during wiping, and have sufficient water solubility for a sufficient amount of water accumulated in the trap in the water-based toilet. The paper strength is slightly reduced compared to when only the dry paper strength agent is used to improve the texture. In the present invention, by including a transient wetting paper strength agent together with a dry paper strength agent, the texture as toilet paper is excellent, and when wiping off the moist skin after using the shower toilet. It is a toilet paper that has sufficient strength, has high moisture absorption with a sense of security, and does not allow moisture to penetrate into the hands. Here, as a specific dry tensile strength, in the toilet paper according to the present invention, the dry tensile strength in the vertical direction is 700 to 800 cN / 25 mm. This dry tensile strength is more than twice as high as that of a general-purpose type toilet paper generally available on the market. As mentioned above, if this paper strength is achieved only by adding a dry paper strength agent, the paper becomes hard and the texture and usability tend to deteriorate. It has the above-mentioned excellent effects.
本発明に係るトイレットペーパーの吸水量については、1.1〜2.0ccであるのが望ましい。この吸水量は、一般的に市販される汎用タイプのトイレットペーパーの2倍を超える高い吸水量である。本発明に係るトイレットペーパーは、一過性湿潤紙力剤及び乾燥紙力剤を含み、縦方向の乾燥引張強度を700〜800cN/25mmとすることで、このような高い吸水量とすることができる。この吸水量は、重ね合せた試料上に水を一定速度で滴下した時、検査紙が水を保持できる量である。測定方法は、前処理として試料を恒温恒湿機に入れ温度23度±1度・湿度50%±2%の条件下で4時間以上キュアリングする。試料を製品の姿で10組重ね、試料台に置き固定する。試料台は、直径10cmの孔の空いた台であり、この孔部分を塞ぐように試料を固定することができる。また、試料の孔を塞いだ部分の下面側を目視にて確認できるものである。次いで、試料台に試料を固定した後には、前記試料の下面側を注視しながら、ビュレットより10±2mL/分で純水を滴下する。試料の滴下面と反対の面である下面側に水の沁み出しが確認できた段階で滴下を停止し、滴下した水の量をビュレットの目盛りより確認し、吸水量とする。
The water absorption amount of the toilet paper according to the present invention is preferably 1.1 to 2.0 cc. This water absorption is more than twice as high as that of general-purpose toilet paper that is generally on the market. The toilet paper according to the present invention contains a transient wetting paper strength agent and a dry paper strength agent, and the dry tensile strength in the vertical direction is 700 to 800 cN / 25 mm, so that such a high water absorption amount can be obtained. can. This amount of water absorption is an amount that the inspection paper can hold water when water is dropped onto the stacked samples at a constant speed. As a measurement method, as a pretreatment, the sample is placed in a constant temperature and humidity chamber and cured under the conditions of a temperature of 23 degrees ± 1 degree and a humidity of 50% ± 2% for 4 hours or more.
なお、横方向の乾燥引張強度は200cN/25mm以上350cN/25mm以下、であるのが望ましい。ここで、紙の縦方向とは、MD方向とも呼ばれ、抄紙の際の流れ方向である。紙の横方向は、CD方向とも呼ばれ、抄紙の際の流れ方向(MD方向)に直行する方向である。また、本発明に係る乾燥引張強度は、JIS P 8113(2006)に基づいて測定した値であり、次のようにして測定する。試験片は縦・横方向ともに巾25mm(±0.5mm)×長さ150mm程度に裁断したものを用いる。試験片は複数プライのまま測定する。試験機は、ミネベア株式会社製ロードセル引張り試験機TG−200N及びこれに相当する相当機を用いる。なお、つかみ間隔100mm、引張速度は100mm/minに設定する。測定は、試験片の両端を試験機のつかみに締め付け、紙片を上下方向に引張り荷重をかけ、紙が破断する時の指示値(デジタル値)を読み取る手順で行う。縦方向、横方向ともに各々5組の試料を用意して各5回ずつ測定し、その測定値の平均を各方向の乾燥引張強度とする。 The dry tensile strength in the lateral direction is preferably 200 cN / 25 mm or more and 350 cN / 25 mm or less. Here, the vertical direction of the paper is also called the MD direction, and is the flow direction at the time of papermaking. The horizontal direction of the paper is also called the CD direction, and is a direction orthogonal to the flow direction (MD direction) at the time of papermaking. The dry tensile strength according to the present invention is a value measured based on JIS P 8113 (2006), and is measured as follows. The test piece used is cut to a width of 25 mm (± 0.5 mm) x a length of about 150 mm in both the vertical and horizontal directions. The test piece is measured with multiple plies. As the testing machine, a load cell tensile testing machine TG-200N manufactured by Minebea Co., Ltd. and an equivalent machine equivalent thereto are used. The gripping interval is set to 100 mm, and the tensile speed is set to 100 mm / min. The measurement is performed by tightening both ends of the test piece to the grip of the testing machine, applying a tensile load to the paper piece in the vertical direction, and reading the indicated value (digital value) when the paper breaks. Five sets of samples are prepared in each of the vertical and horizontal directions and measured five times each, and the average of the measured values is taken as the dry tensile strength in each direction.
また、本発明に係るトイレットペーパーは、縦方向の湿潤引張強度が50cN/25mm以上90cN/25mm以下、であるのが望ましい。横方向の湿潤引張強度は25cN/25mm以上40cN/25mm以下、であるのが望ましい。湿潤引張強度は、JIS P 8135(1998)に基づいて測定した値であり、次のようにして測定する。試験片は縦・横方向ともに巾25mm(±0.5mm)×長さ150mm程度に裁断したものを用いる。トイレットペーパーは複数プライの場合は複数プライのまま測定する。試験機は、ミネベア株式会社製ロードセル引張り試験機TG−200N及びこれに相当する相当機を用いる。なお、つかみ間隔100mm、引張速度は50mm/minに設定する。試験片は、105℃の乾燥機で10分間のキュアリングを行ったものを用いる。試験片の両端を試験機のつかみに締め付けた後、水を含ませた平筆を用い、試験片の中央部に約10mm幅で水平に水を付与し、その後、直ちに紙片に対して上下方向に引張り荷重をかけ、紙が破断する時の指示値(デジタル値)を読み取る手順で測定を行う。縦方向、横方向ともに各々5組の試料を用意して各5回ずつ測定し、その測定値の平均を各方向の湿潤引張強度とする。 Further, it is desirable that the toilet paper according to the present invention has a wet tensile strength in the vertical direction of 50 cN / 25 mm or more and 90 cN / 25 mm or less. It is desirable that the wet tensile strength in the lateral direction is 25 cN / 25 mm or more and 40 cN / 25 mm or less. The wet tensile strength is a value measured based on JIS P 8135 (1998), and is measured as follows. The test piece used is cut to a width of 25 mm (± 0.5 mm) x a length of about 150 mm in both the vertical and horizontal directions. If the toilet paper has multiple plies, measure with multiple plies. As the testing machine, a load cell tensile testing machine TG-200N manufactured by Minebea Co., Ltd. and an equivalent machine equivalent thereto are used. The gripping interval is set to 100 mm, and the tensile speed is set to 50 mm / min. As the test piece, a test piece that has been cured in a dryer at 105 ° C. for 10 minutes is used. After tightening both ends of the test piece to the grip of the testing machine, use a flat brush soaked in water to apply water horizontally to the center of the test piece with a width of about 10 mm, and then immediately move it up and down with respect to the piece of paper. A tensile load is applied to the paper, and the measurement is performed by reading the indicated value (digital value) when the paper breaks. Five sets of samples are prepared in each of the vertical and horizontal directions and measured five times each, and the average of the measured values is taken as the wet tensile strength in each direction.
本発明に係るトイレットペーパーにおける乾燥紙力増強剤は、原料パルプに対して0.005〜0.15質量添加するのが望ましい。乾燥紙力剤の種類は、必ずしも限定されないが、澱粉、ポリアクリルアミド、CMC(カルボキシメチルセルロース)若しくはその塩であるカルボキシメチルセルロースナトリウム、カルボキシメチルセルロースカルシウム、カルボキシメチルセルロース亜鉛が挙げられる。なかでも特に望ましい乾燥紙力増強剤は、0.01質量%添加時した坪量16.0〜17.5g/m2のシートの縦方向の乾燥引張強度が600〜700cN/25mmの範囲に調整されるものである。 It is desirable that the dry paper strength enhancer in the toilet paper according to the present invention is added in an amount of 0.005 to 0.15 mass with respect to the raw material pulp. The type of the dry paper force agent is not necessarily limited, and examples thereof include starch, polyacrylamide, CMC (carboxymethyl cellulose) or a salt thereof, sodium carboxymethyl cellulose, calcium carboxymethyl cellulose, and zinc carboxymethyl cellulose. Among them, a particularly desirable dry paper strength enhancer is adjusted so that the vertical dry tensile strength of a sheet having a basis weight of 16.0 to 17.5 g / m 2 when 0.01% by mass is added is in the range of 600 to 700 cN / 25 mm. Is to be done.
本発明に係るトイレットペーパーにおける一過性湿潤紙力剤は、原料パルプに0.01〜0.03質量%添加するのが望ましい。一過性湿潤紙力剤は、必ずしも限定されないが、ポリアミドポリアミンエピクロルヒドリン樹脂、尿素樹脂、酸コロイド・メラミン樹脂、熱架橋性塗工PAM、星光PMC株式会社社製のTS−20、グリオキシル化ポリアクリルアミド、カチオン性グリオキシル化ポリアクリルアミドなどのポリマーアルデヒド−官能性化合物、グリオキザールの二価のアルデヒドで変性したアクリルアミドモノマーと他の共重合可能な不飽和モノマーの共重合体又はジアルデヒド澱粉が挙げられる。なかでも特に望ましい一過性湿潤紙力剤は、0.02質量%添加時に、坪量16.0〜17.5g/m2のシートの縦方向の乾燥引張強度が500〜600cN/25mmの範囲に調整されるものである。より望ましい一過性湿潤紙力剤は、0.02質量%添加時に、乾燥紙力剤0.01質量%添加した際に600〜700cN/25mmの範囲に調整される坪量16.0〜17.5g/m2のシートの縦方向の乾燥引張強度をさらに700〜800cN/25mmの範囲にまで高めるものである。 It is desirable to add 0.01 to 0.03% by mass of the transient wetting paper strength agent in the toilet paper according to the present invention to the raw material pulp. The transient wetting agent is not necessarily limited, but is limited to polyamide polyamine epichlorohydrin resin, urea resin, acid colloid / melamine resin, heat-crosslinkable coating PAM, TS-20 manufactured by Seikou PMC Co., Ltd., polyacrylamide glycylated. , Polymer aldehyde-functional compounds such as cationic glyoxylated polyacrylamide, copolymers of acrylamide monomers modified with divalent aldehydes of glioxal and other copolymerizable unsaturated monomers, or dialdehyde starch. Among them, a particularly desirable transient wetting paper strength agent has a dry tensile strength in the vertical direction of a sheet having a basis weight of 16.0 to 17.5 g / m 2 in the range of 500 to 600 cN / 25 mm when 0.02% by mass is added. It is adjusted to. A more desirable transient wet paper strength agent has a basis weight adjusted to the range of 600 to 700 cN / 25 mm when 0.02% by mass is added and 0.01% by mass of a dry paper strength agent is added. The dry tensile strength of the .5 g / m 2 sheet in the vertical direction is further increased to the range of 700 to 800 cN / 25 mm.
また、本発明に係るトイレットペーパーは、ポリエチレンオキサイドを含むのがよい。表面の地合いが良好になり、水分が付着した肌をふき取る際において十分な強度としやすい。特に、ポリエチレンオキサイドは、分子量が6万をこえるものであるのがのぞましい。 Further, the toilet paper according to the present invention may contain polyethylene oxide. The texture of the surface becomes good, and it is easy to obtain sufficient strength when wiping off the skin to which moisture has adhered. In particular, polyethylene oxide should have a molecular weight of more than 60,000.
他方、本発明に係るトイレットペーパーは、実質的に保湿剤が塗布されていない保湿剤非塗布のものであるが望ましい。本発明に係る外添剤としての保湿剤は、吸湿によって紙力を低下させるポリオール類である。例えば、グリセリンである。但し、保湿性のトイレットペーパーというに値しない程度にしか影響を与えない程度であれば、上記成分が含有されていることは否定されない。 On the other hand, it is desirable that the toilet paper according to the present invention is not coated with a moisturizer and is substantially not coated with a moisturizer. The moisturizer as an external additive according to the present invention is a polyol that reduces the paper strength by absorbing moisture. For example, glycerin. However, it cannot be denied that the above-mentioned components are contained as long as the effect is not worthy of being a moisturizing toilet paper.
本発明に係るトイレットペーパーは、抄紙時に内添する原紙自体の柔らかさや紙力を定める柔軟剤や柔軟保湿剤は適宜に添加することができる。 To the toilet paper according to the present invention, a softening agent or a softening moisturizer that determines the softness and paper strength of the base paper itself to be added at the time of papermaking can be appropriately added.
ここで、本発明に係るトイレットペーパーは、エンボス加工がされていてもよい。そのエンボスパターンは必ずしも限定されるわけではない。エンボスは、マイクロエンボスやドット型のエンボス、デザインエンボス等の適宜のエンボスパターンとすることができる。本発明に係る好適なエンボスパターンは、凹部の面積が1.0〜2.5mm2で、密度が5.0〜50個/cm2で、エンボス深さが、0.1〜0.3mmである。トイレットペーパーとしての肌触りがより向上する。また、エンボス加工は、シングルエンボスと称される1プライ又は複数プライ積層状態で一方面から凸部に押されて付与されるエンボスであってもよいし、ダブルエンボスと称される、1プライ又は複数プライ積層状態で一方面から凸部に押されて凹部を形成した後に、他の1プライ又は複数積層プライのシートと重ねて形成したものでもよい。後者の場合重ねる他の1プライ又は複数積層プライのシートについても一方面が凹部となるようにエンボス加工を施し、凹部が両面に位置するように重ねられたものがより望ましい。ダブルエンボスの場合、一方面を構成するシートの凸部の頂部に接着剤等を付与して両シートを接着する態様としてもよい。本発明では特にダブルエンボスが吸水性を高めやすく望ましい。 Here, the toilet paper according to the present invention may be embossed. The embossing pattern is not always limited. The embossing can be an appropriate embossing pattern such as micro-embossing, dot-shaped embossing, or design embossing. Suitable embossing patterns according to the present invention have a recess area of 1.0 to 2.5 mm 2 , a density of 5.0 to 50 pieces / cm 2 , and an embossing depth of 0.1 to 0.3 mm. be. It feels better as toilet paper. Further, the embossing may be one-ply called single embossing or embossing applied by being pressed from one surface to the convex portion in a laminated state of multiple plies, or one-ply or double embossing. It may be formed by being pushed from one surface to a convex portion in a state of being laminated with a plurality of plies to form a concave portion, and then being stacked with another sheet of one ply or a plurality of laminated plies. In the latter case, it is more desirable that the other one-ply or multiple laminated ply sheets to be stacked are also embossed so that one side becomes a recess and stacked so that the recesses are located on both sides. In the case of double embossing, an adhesive or the like may be applied to the top of the convex portion of the sheet constituting one surface to bond the two sheets. In the present invention, double embossing is particularly desirable because it tends to increase water absorption.
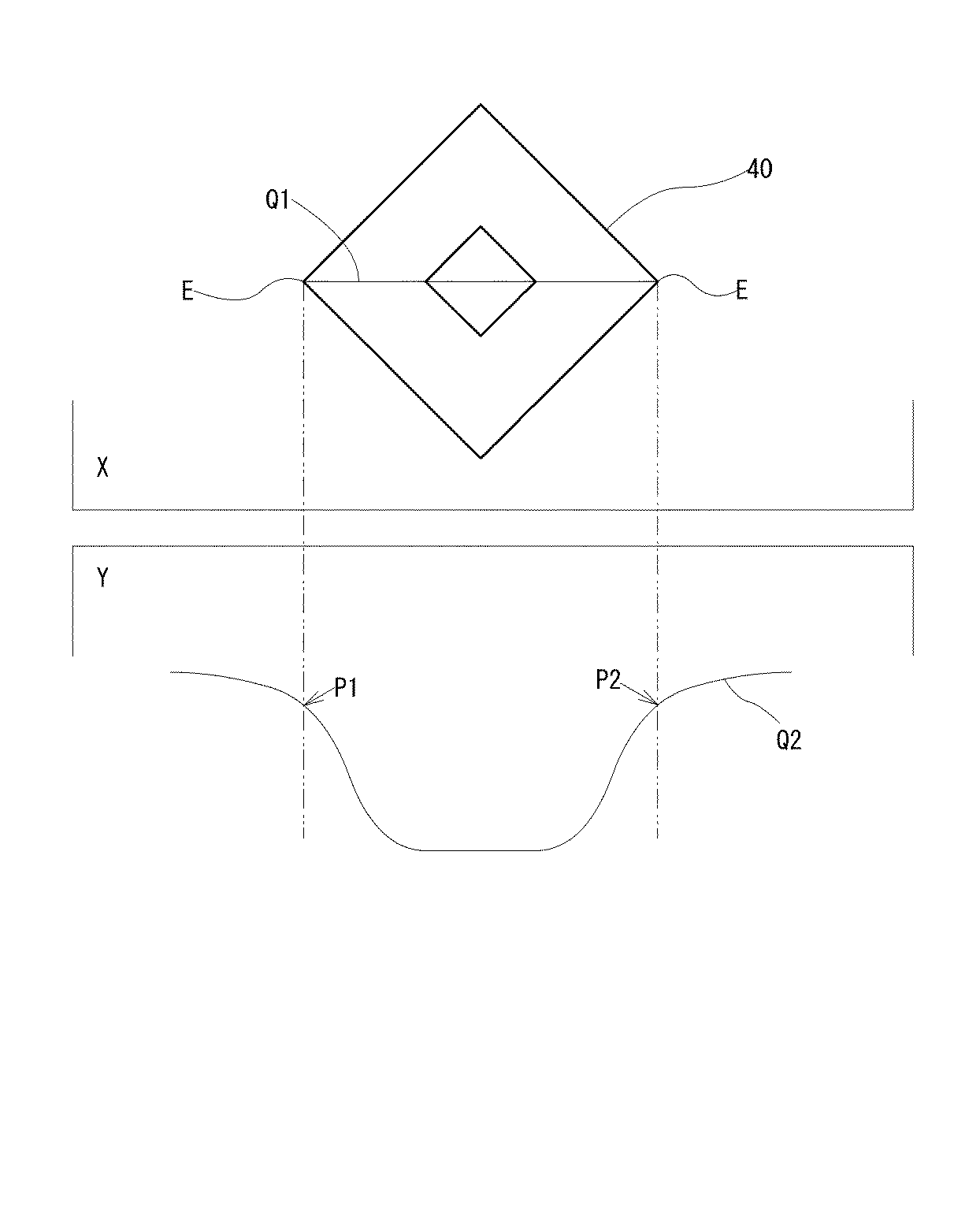
エンボスの深さは、株式会社キーエンス社製ワンショット3D測定マクロスコープ VR−3200又はその相当機と、画像解析ソフトウェア「VR−H1A」又はその相当ソフトウェアにより測定した値である。測定は、倍率12倍、視野面積24mm×18mmの条件で測定する。但し、倍率と視野面積は、エンボス(凹部)の大きさによって、適宜変更することができる。具体的な測定手順は、図2を参照して説明すると、上記ソフトウェアを用いて、平面視点で示される画像部(図中X部分)中の一つのエンボス(凹部)40の周縁の最長部を横切る線分Q1におけるエンボス深さ(測定断面曲線)プロファイルを得る。このエンボス深さプロファイルの断面曲線からλc:800μm(但し、λcはJIS−B0601「3.1.1.2」に記載の「粗さ成分とうねり成分との境界を定義するフィルタ」)より短波長の表面粗さの成分を低域フィルタによって除去して得られる断面視点で示される画像部(図中Y部分)の「輪郭曲線Q2」のうち、上に凸で最も曲がりが強くなる2つの凹部エッジ点P1,P2と、凹部エッジ点P1,P2で挟まれる最小値を求め、深さの最小値Minとする。さらに、凹部エッジ点P1,P2の深さの値の平均値を深さの最大値Maxとする。このようにして、エンボス深さ=最大値Max−最小値Minとする。又、凹部エッジ点P1,P2のX−Y平面上の距離(長さ)を最長部の長さと規定する。上記の上に凸で最も曲がりが強くなる2つの凹部エッジ点P1,P2は目視にて選択する。なお、その選択にあたっては、当該測定中のエンボス(凹部)40の平面視点の画像中の輪郭Eを参考としてもよい。同様にして、最長部に垂直な方向での最短部についてもエンボス(凹部)の深さを測定し、大きい方の値をエンボス(凹部)の深さとして採用する。以上の測定を、トイレットペーパー表面の任意の10個のエンボスについて行い、その平均値を最終的なエンボス深さとする。 The embossing depth is a value measured by the one-shot 3D measurement macroscope VR-3200 manufactured by KEYENCE CORPORATION or its equivalent, and the image analysis software "VR-H1A" or its equivalent software. The measurement is performed under the conditions of a magnification of 12 times and a visual field area of 24 mm × 18 mm. However, the magnification and the viewing area can be appropriately changed depending on the size of the emboss (recess). The specific measurement procedure will be described with reference to FIG. 2. Using the above software, the longest portion of the peripheral edge of one emboss (recess) 40 in the image portion (X portion in the figure) shown from a planar viewpoint is used. Obtain the embossing depth (measured cross-sectional curve) profile at the crossing line segment Q1. From the cross-sectional curve of this embossed depth profile, λc: 800 μm (where λc is shorter than the “filter that defines the boundary between the roughness component and the waviness component” described in JIS-B0601 “3.1.1.2”). Of the "contour curve Q2" of the image part (Y part in the figure) shown from the cross-sectional viewpoint obtained by removing the surface roughness component of the wavelength with a low frequency filter, the two that are convex upward and have the strongest bending. The minimum value between the concave edge points P1 and P2 and the concave edge points P1 and P2 is obtained, and the minimum depth is set to Min. Further, the average value of the depth values of the recessed edge points P1 and P2 is defined as the maximum depth value Max. In this way, the embossing depth = maximum value Max-minimum value Min. Further, the distance (length) of the recessed edge points P1 and P2 on the XY plane is defined as the length of the longest portion. The two concave edge points P1 and P2 that are convex on the above and have the strongest bending are visually selected. In making the selection, the contour E in the image of the plane viewpoint of the embossed (recessed portion) 40 during the measurement may be referred to. Similarly, the depth of the emboss (recess) is measured for the shortest part in the direction perpendicular to the longest part, and the larger value is adopted as the depth of the emboss (recess). The above measurement is performed for any 10 embosses on the surface of the toilet paper, and the average value thereof is taken as the final embossing depth.
なお、エンボスパターンの個々の凹部の面積についても、ワンショット3D測定マクロスコープ VR−3200又はその相当機と、画像解析ソフトウェア「VR−H1A」又はその相当ソフトウェアにより測定して得た3D画像から目視でエンボス凹部の輪郭を確認し、輪郭内部の面積を測定する。トイレットペーパー表面の任意の10個のエンボスについて行い、その平均値を最終的なエンボス凹部の面積とする。 The area of each recess of the embossed pattern is also visually observed from a 3D image obtained by measuring with the one-shot 3D measurement macroscope VR-3200 or its equivalent machine and the image analysis software "VR-H1A" or its equivalent software. Check the contour of the embossed recess with and measure the area inside the contour. This is done for any 10 embosses on the surface of the toilet paper, and the average value is taken as the area of the final embossed recess.
他方で、本発明に係るトイレットペーパーは、トイレットペーパー全体としての紙厚が200〜300μmであるのが望ましい。紙厚をこの範囲とすることで吸水量と柔らかさが向上されやすい。トイレットペーパーの紙厚の測定方法は、試験片をJIS P 8111(1998)の条件下で十分に(通常は、8時間程度)調湿した後、同条件下でダイヤルシックネスゲージ(厚み測定器)「PEACOCKH型」(尾崎製作所製)を用いて複数プライの場合は複数プライのまま測定する。具体的には、プランジャーと測定台の間にゴミ、チリ等がないことを確認してプランジャーを測定台の上におろし、前記ダイヤルシックネスゲージのメモリを移動させてゼロ点を合わせ、次いで、プランジャーを上げて試料を試験台の上におき、プランジャーを700μmに開いた状態からレバーを一気に下ろしそのときのゲージを読み取る。トイレットペーパーがエンボス加工されている場合には、構成する一つの凹部(凸部)が必ず測定台の範囲に入るようにする。なお、深さの異なる凹部が存在する場合には、最も深さの深い凹部が位置するようにする。この測定時には、プランジャーはのせるだけとして押えない。プランジャーの端子はゴム製で直径10mmの円形の平面が紙平面に対し垂直に当たるようにし、この紙厚測定時の荷重は、約70gfである。なお、紙厚は測定を10回行って得られる平均値とする。ここで、紙厚の測定時には、エンボス(凹部)の潰れが想定されるが、本発明に係る紙厚は、そのような潰れも含んで測定した値であり、そのような潰れは無視してよい。本紙厚測定において凹部の潰れによって生ずる紙厚差は無視できる。
On the other hand, it is desirable that the toilet paper according to the present invention has a paper thickness of 200 to 300 μm as a whole. By setting the paper thickness within this range, the amount of water absorption and softness are likely to be improved. To measure the thickness of toilet paper, the test piece is sufficiently adjusted under the conditions of JIS P 8111 (1998) (usually about 8 hours), and then the dial thickness gauge (thickness measuring instrument) is used under the same conditions. In the case of multiple plies using "PEACOCKH type" (manufactured by Ozaki Seisakusho), the measurement is performed with multiple plies. Specifically, make sure that there is no dust, dust, etc. between the plunger and the measuring table, lower the plunger on the measuring table, move the memory of the dial thickness gauge to set the zero point, and then set the zero point. , Raise the plunger, place the sample on the test table, lower the lever at once from the state where the plunger is opened to 700 μm, and read the gauge at that time. When the toilet paper is embossed, make sure that one concave portion (convex portion) constituting the toilet paper is within the range of the measuring table. If there are recesses with different depths, the recess with the deepest depth should be located. At the time of this measurement, the plunger is only put on and not pressed. The terminal of the plunger is made of rubber so that a circular plane having a diameter of 10 mm hits the paper plane perpendicularly, and the load at the time of measuring the paper thickness is about 70 gf. The paper thickness is an average value obtained by performing the
また、本発明に係るトイレットペーパーは、水解性が40秒以内、好ましくは20秒以上40秒以下であるのがよい。水解性が40秒以内であれば、水洗トイレ等に流水廃棄した際に配管を詰まらせるおそれは小さい。また、20秒以上であれば、シャワートイレ使用後の多量の水分を拭き取る際においても直ちに繊維がほぐれて破るおそれが小さくなる。この水解性(ほぐれやすさ)の測定は、JIS P 4501(1993)による。ほぐれやすさの試験は、水300mL(水温20±5℃)を入れた300mLのビーカーをマグネチックスターラーに載せ、回転子の回転数を600±10回転/分になるように調整する。その中に一辺が100±2mm角の試験片を投入し、ストップウォッチを押す。回転子の回転数は試験片の抵抗によって、いったん約500回転に下降し、試験片がほぐれるに従い回転数は上昇する。この回転数が540回転までに回復した時点でストップウォッチを止め、その時間を1秒単位で測定する。ほぐれやすさの結果は、試験を5回行い、その平均で表す。回転子は、直径35mm、厚さ12mmの円盤状のものとする。
Further, the toilet paper according to the present invention is preferably hydrolyzable within 40 seconds, preferably 20 seconds or more and 40 seconds or less. If the water solubility is within 40 seconds, there is little risk of clogging the pipes when running water is disposed of in a flush toilet or the like. Further, if it is 20 seconds or more, the possibility that the fibers are immediately loosened and broken even when wiping off a large amount of water after using the shower / toilet is reduced. This water solubility (easiness of loosening) is measured by JIS P 4501 (1993). For the looseness test, a 300 mL beaker containing 300 mL of water (
以下、実施例を参照しながらさらに本発明にかかるトイレットペーパーの効果について説明する。 Hereinafter, the effect of the toilet paper according to the present invention will be further described with reference to Examples.
次いで、本発明のトイレットペーパーの実施例及び比較例について「吸水量」、「水解性」を測定した。また、「風合い」について官能評価試験を行った。この官能評価試験は、被験者を10名として、実際にトイレットペーパーを使用し、柔らかさ、肌触りなどの主に硬質感に関する風合いについて評価するようにした。評価は、5段階として、良い=5点、やや良い=4点、どちらでもない=3点、やや悪い=2点、悪い=1点として点数付けを行い、その平均値を算出した。 Next, "water absorption" and "hydrolysis" were measured for Examples and Comparative Examples of the toilet paper of the present invention. In addition, a sensory evaluation test was conducted for "texture". In this sensory evaluation test, 10 subjects were actually used to evaluate the texture mainly related to the hard feeling such as softness and touch. The evaluation was performed on a scale of 5 with good = 5 points, slightly good = 4 points, neither = 3 points, slightly bad = 2 points, and bad = 1 point, and the average value was calculated.
また、各例に係るトイレットペーパーは、トイレットロールを製造し、そのトイレットロールから引き出したものとした。なお、トイレットペーパーにはダブルエンボス加工による両面凹部を有する形態である。各例に係る物性・組成は、下記表1のとおりとなった。 In addition, the toilet paper according to each example was made by manufacturing a toilet roll and drawing it from the toilet roll. The toilet paper has double-sided recesses by double embossing. The physical characteristics and composition of each example are shown in Table 1 below.
本発明に係る実施例1及び2は、一過性湿潤紙力剤と乾燥紙力剤の両方を含むものであり、吸水量が非常に高い結果となった。実施例1と実施例2は、エンボスの深さ変化させたが、実施例2のようにエンボス深さを浅くしても十分な吸水量が得られた。また、比較例1は、汎用タイプの市販品であり、一過性湿潤紙力剤と乾燥紙力剤を含まないものである。この比較例1と実施例1及び実施例2とを対比すると、吸水量が4倍以上となる結果が得られた。さらに、比較例2は、乾燥紙力剤を含むが、一過性湿潤紙力剤を含まないものである。実施例1よりもエンボスの深さを深くしたが、吸水量は実施例1よりも低い。比較例3は、一過性湿潤紙力剤を含むが、乾燥紙力剤を含まないものである。エンボスの深さは実施例1よりも深くしたが、吸水量が実施例1及び実施例2ほど高まっていない。比較例4は、一過性湿潤紙力剤を含まず、乾燥紙力剤を添加し、さらに、坪量を高くしたものであるが、乾燥引張強度が高くなりすぎて、風合いが過度に悪化し、水解性も悪化した。 Examples 1 and 2 according to the present invention contain both a transient wet paper strength agent and a dry paper strength agent, resulting in a very high water absorption. In Examples 1 and 2, the embossing depth was changed, but a sufficient amount of water absorption was obtained even if the embossing depth was made shallow as in Example 2. Further, Comparative Example 1 is a general-purpose type commercial product, which does not contain a transient wet paper strength agent and a dry paper strength agent. Comparing this Comparative Example 1 with Examples 1 and 2, the result was obtained that the water absorption amount was 4 times or more. Further, Comparative Example 2 contains a dry paper strength agent but does not contain a transient wet paper strength agent. The embossing depth was made deeper than that of Example 1, but the amount of water absorption was lower than that of Example 1. Comparative Example 3 contains a transient wetting paper strength agent but does not contain a dry paper strength agent. The depth of embossing was deeper than that of Example 1, but the amount of water absorption was not as high as that of Examples 1 and 2. In Comparative Example 4, the transient wetting paper strength agent was not contained, the dry paper strength agent was added, and the basis weight was further increased, but the dry tensile strength became too high and the texture was excessively deteriorated. However, the water solubility also deteriorated.
このように本発明の実施例のように、一過性湿潤紙力剤と乾燥紙力剤の両方を含み乾燥引張強度を700〜800cN/25mmとすることで、高い吸水量と風合いに優れるものとなり、シャワートイレを使用した後の水分が付着した肌をふき取る際において十分な強度と風合いがあり、安心感のある高い水分吸収性を有し、水分が手に浸透しがたいトイレットペーパーとなる。 As described above, as in the embodiment of the present invention, a material having both a transient wet paper strength agent and a dry paper strength agent and having a dry tensile strength of 700 to 800 cN / 25 mm is excellent in high water absorption and texture. It is a toilet paper that has sufficient strength and texture when wiping off the skin to which moisture has adhered after using the shower toilet, has high moisture absorption with a sense of security, and does not allow moisture to penetrate into the hands. ..
1…トイレットロール、10…トイレットペーパー、20…紙管(管芯)、L1…トイレットロールの巻径(直径)、L2…トイレットロールの管芯の直径、L3…トイレットロールの幅。 1 ... Toilet roll, 10 ... Toilet paper, 20 ... Paper tube (tube core), L1 ... Toilet roll winding diameter (diameter), L2 ... Toilet roll tube core diameter, L3 ... Toilet roll width.
Claims (2)
1プライの坪量が15.8〜17.8g/m2であり、
原料パルプに対して一過性湿潤紙力剤を0.01〜0.03質量%、乾燥紙力剤を0.005〜0.15質量%添加して形成され、
ポリエチレンオキサイドを含み、
縦方向の乾燥引張強度が700〜800cN/25mmであり、
エンボス加工がされ、エンボス加工による凹部の面積が1.0〜2.5mm 2 で、凹部の密度が5.0〜50個/cm 2 で、凹部のエンボス深さが、0.1472〜0.2154mmである、
ことを特徴とする、トイレットペーパー。 2-3 plies,
The basis weight of one ply is 15.8 to 17.8 g / m 2 , and the basis weight is 15.8 to 17.8 g / m 2.
It is formed by adding 0.01 to 0.03% by mass of a transient wet paper strength agent and 0.005 to 0.15% by mass of a dry paper strength agent to the raw material pulp.
Contains polyethylene oxide,
The dry tensile strength in the vertical direction is 700 to 800 cN / 25 mm, and the dry tensile strength is 700 to 800 cN / 25 mm.
Embossed, the area of the recesses by embossing is 1.0 to 2.5 mm 2 , the density of the recesses is 5.0 to 50 pieces / cm 2 , and the embossing depth of the recesses is 0.1472-0. 2154 mm,
Toilet paper that is characterized by that.
Priority Applications (1)
| Application Number | Priority Date | Filing Date | Title |
|---|---|---|---|
| JP2019066743A JP6985323B2 (en) | 2019-03-29 | 2019-03-29 | Toilet Paper |
Applications Claiming Priority (1)
| Application Number | Priority Date | Filing Date | Title |
|---|---|---|---|
| JP2019066743A JP6985323B2 (en) | 2019-03-29 | 2019-03-29 | Toilet Paper |
Publications (2)
| Publication Number | Publication Date |
|---|---|
| JP2020162903A JP2020162903A (en) | 2020-10-08 |
| JP6985323B2 true JP6985323B2 (en) | 2021-12-22 |
Family
ID=72714574
Family Applications (1)
| Application Number | Title | Priority Date | Filing Date |
|---|---|---|---|
| JP2019066743A Active JP6985323B2 (en) | 2019-03-29 | 2019-03-29 | Toilet Paper |
Country Status (1)
| Country | Link |
|---|---|
| JP (1) | JP6985323B2 (en) |
Family Cites Families (10)
| Publication number | Priority date | Publication date | Assignee | Title |
|---|---|---|---|---|
| DE60110362T3 (en) * | 2001-02-16 | 2009-01-15 | The Procter & Gamble Company, Cincinnati | Method for producing a thick and smooth embossed web |
| JP4250057B2 (en) * | 2003-10-24 | 2009-04-08 | 大王製紙株式会社 | Household hygiene tissue paper |
| JP2007075523A (en) * | 2005-09-16 | 2007-03-29 | Daio Paper Corp | Hydrolyzable sanitary paper |
| US20090220741A1 (en) * | 2008-02-29 | 2009-09-03 | John Allen Manifold | Embossed fibrous structures |
| JP5806571B2 (en) * | 2011-09-28 | 2015-11-10 | 花王株式会社 | Tissue paper |
| JP5969243B2 (en) * | 2012-03-29 | 2016-08-17 | 大王製紙株式会社 | Toilet roll manufacturing method |
| JP6589175B2 (en) * | 2013-12-27 | 2019-10-16 | 日本製紙クレシア株式会社 | Toilet paper and manufacturing method thereof |
| JP6488959B2 (en) * | 2015-09-18 | 2019-03-27 | 王子ホールディングス株式会社 | Sanitary paper |
| JP6779163B2 (en) * | 2017-03-28 | 2020-11-04 | 大王製紙株式会社 | How to make paper towels |
| JP6923175B2 (en) * | 2017-07-27 | 2021-08-18 | 日本製紙クレシア株式会社 | Toilet paper for shower toilet |
-
2019
- 2019-03-29 JP JP2019066743A patent/JP6985323B2/en active Active
Also Published As
| Publication number | Publication date |
|---|---|
| JP2020162903A (en) | 2020-10-08 |
Similar Documents
| Publication | Publication Date | Title |
|---|---|---|
| EP3907328A1 (en) | Toilet paper | |
| JP2026003037A (en) | Toilet roll | |
| JP6689944B1 (en) | Toilet Paper | |
| JP7084717B2 (en) | Toilet Paper | |
| JP6985323B2 (en) | Toilet Paper | |
| JP2023051122A5 (en) | ||
| JP7766448B2 (en) | Toilet roll | |
| JP7766447B2 (en) | Toilet roll | |
| WO2020195259A1 (en) | Toilet paper and method for producing toilet paper | |
| JP7493328B2 (en) | Toilet roll | |
| JP6914984B2 (en) | Toilet paper and manufacturing method of toilet paper | |
| WO2025115703A1 (en) | Toilet roll | |
| WO2025204265A1 (en) | Toilet paper roll | |
| WO2025204264A1 (en) | Toilet roll | |
| JP2025086165A (en) | Toilet roll | |
| JP2023051121A5 (en) | ||
| JP2023051120A5 (en) | ||
| BR112021010204B1 (en) | TOILET PAPER |
Legal Events
| Date | Code | Title | Description |
|---|---|---|---|
| A621 | Written request for application examination |
Free format text: JAPANESE INTERMEDIATE CODE: A621 Effective date: 20210519 |
|
| A871 | Explanation of circumstances concerning accelerated examination |
Free format text: JAPANESE INTERMEDIATE CODE: A871 Effective date: 20210519 |
|
| A131 | Notification of reasons for refusal |
Free format text: JAPANESE INTERMEDIATE CODE: A131 Effective date: 20210721 |
|
| A521 | Request for written amendment filed |
Free format text: JAPANESE INTERMEDIATE CODE: A523 Effective date: 20210917 |
|
| TRDD | Decision of grant or rejection written | ||
| A01 | Written decision to grant a patent or to grant a registration (utility model) |
Free format text: JAPANESE INTERMEDIATE CODE: A01 Effective date: 20211105 |
|
| A61 | First payment of annual fees (during grant procedure) |
Free format text: JAPANESE INTERMEDIATE CODE: A61 Effective date: 20211125 |
|
| R150 | Certificate of patent or registration of utility model |
Ref document number: 6985323 Country of ref document: JP Free format text: JAPANESE INTERMEDIATE CODE: R150 |
|
| R250 | Receipt of annual fees |
Free format text: JAPANESE INTERMEDIATE CODE: R250 |
|
| R250 | Receipt of annual fees |
Free format text: JAPANESE INTERMEDIATE CODE: R250 |
