JP6954635B2 - 遊技機 - Google Patents

遊技機 Download PDF

Info

Publication number
JP6954635B2
JP6954635B2 JP2018173705A JP2018173705A JP6954635B2 JP 6954635 B2 JP6954635 B2 JP 6954635B2 JP 2018173705 A JP2018173705 A JP 2018173705A JP 2018173705 A JP2018173705 A JP 2018173705A JP 6954635 B2 JP6954635 B2 JP 6954635B2
Authority
JP
Japan
Prior art keywords
case
display
unit
identification
substrate
Prior art date
Legal status (The legal status is an assumption and is not a legal conclusion. Google has not performed a legal analysis and makes no representation as to the accuracy of the status listed.)
Active
Application number
JP2018173705A
Other languages
English (en)
Other versions
JP2020044017A (ja
Inventor
年弘 新美
年弘 新美
征秀 立山
征秀 立山
航 片岡
航 片岡
公太 楪
公太 楪
Current Assignee (The listed assignees may be inaccurate. Google has not performed a legal analysis and makes no representation or warranty as to the accuracy of the list.)
Kyoraku Industrial Co Ltd
Original Assignee
Kyoraku Industrial Co Ltd
Priority date (The priority date is an assumption and is not a legal conclusion. Google has not performed a legal analysis and makes no representation as to the accuracy of the date listed.)
Filing date
Publication date
Family has litigation
First worldwide family litigation filed litigation Critical https://patents.darts-ip.com/?family=69899219&utm_source=google_patent&utm_medium=platform_link&utm_campaign=public_patent_search&patent=JP6954635(B2) "Global patent litigation dataset” by Darts-ip is licensed under a Creative Commons Attribution 4.0 International License.
Application filed by Kyoraku Industrial Co Ltd filed Critical Kyoraku Industrial Co Ltd
Priority to JP2018173705A priority Critical patent/JP6954635B2/ja
Publication of JP2020044017A publication Critical patent/JP2020044017A/ja
Application granted granted Critical
Publication of JP6954635B2 publication Critical patent/JP6954635B2/ja
Active legal-status Critical Current
Anticipated expiration legal-status Critical

Links

Images

Landscapes

  • Pinball Game Machines (AREA)

Description

本発明は、制御基板を収納する基板ケースを有する遊技機に関する。
従来、遊技機の制御基板を収納する基板ケースは、ケース部材を2つ組み合わせて構成されている。制御基板は、これらケース部材の制御基板収納部を組み合わせて形成される収納空間内に収納される(例えば、特許文献1参照)。
特開2010−167124号公報
しかしながら、従来の遊技機では、例えば、制御基板又は基板ケース等に対する不正行為が行われる可能性が残っており、当該不正行為の結果、遊技機本来の遊技性能が担保されないことで遊技者に正常な遊技を提供することが困難な虞があった。
本発明の目的は、不正を早期に発見可能とし、遊技者に対して正常な遊技を提供することである。
本発明は、上述の課題の少なくとも一部を解決するためになされたものであり、以下の適用例として実現することが可能である。なお、本欄における括弧内の参照符号や補足説明等は、本発明の理解を助けるために、後述する実施形態との対応関係を示したものであって、本発明を何ら限定するものではない。
[適用例1]
本発明に係る遊技機(1)は、遊技を制御する基板(501)と、前記基板を内包する、光透過性を有する第1ケース部(1803)と、前記基板に設けられ、遊技に使用されるデータを格納する第1記憶手段(502)と、
前記基板に設けられ、前記第1記憶手段とは異なると共に、前記基板に対してスルーホール実装される複数の第1電子部品(595)と、前記基板と一方向通信可能な演出基板(1821)と、前記演出基板を内包する、光透過性を有する第2ケース部(1823)と、前記演出基板に設けられ、演出に使用されるデータを格納する第2記憶手段(1822)と、前記演出基板に設けられ、前記第2記憶手段とは異なると共に、前記基板に対して表面実装される複数の第2電子部品(595)と、光透過性を有する素材で形成されたシール部(1560)と、を備え、前記シール部は、複数の有色領域(1575)を備え、前記複数の有色領域でない部分に、模様により固有情報が形成される第1領域(1814)と、文字を含んだ固有情報が形成される第2領域(1815)と、を有するとともに、前記第1領域と前記第2領域の境界が形成され、前記複数の有色領域は、前記シール部に印刷され、前記シール部における光透過性を低下させた領域である第1有色領域と、前記第1有色領域とは異なる位置に設けられた第2有色領域と、を有し、前記シール部は、前記第1有色領域と前記第2有色領域との間で所定の文字が付されていない前記第1領域に、前記第1ケース部に内包されている前記第1電子部品を覗くことが可能な覗き部(1574)を有し、前記シール部は、前記第2ケース部に取付けられることなく、前記第1ケース部に取付けられたことを特徴とする遊技機。
なお、特許請求の範囲を含む本明細書内で下記の言葉を使用する場合、次の意味を含むものとする。
「設ける」とは、装着する、実装する、搭載する、取付ける、貼付する、添付する、付与する、付する等の意味を含む広い概念である。
「光透過性」とは、「光透過性を有する」のように、光を透過する性質の意味で使用される場合と、「所定の光透過性を有する」のように光透過率、あるいは、光透過度の意味で使用される場合がある。
例えば、「シール部の光透過性」という場合、シール部の有色領域でなく所定の文字も付されていない部分の光透過性のことをいう。
「有色領域」とは、文字以外の線や図形であって、所定の面積を有し、光透過性を有する対象物の光透過性を低下させた領域をいう。
例えば、光透過性を有するシール部について、「シール部は電子部品を視認可能」という場合、シール部を通して視認可能という意味であり、透視可能と同義である。
本発明では、不正を早期に発見可能とし、遊技者に対して正常な遊技を提供することができる。
外枠10、遊技盤ユニット12、及び内枠14が開いた状態の遊技機1の斜視図である。 遊技盤ユニット12の背面図である。 遊技盤ユニット12の分解斜視図である。 組立体2の(a)斜視図、(b)背面図、(c)右側面図である。 組立体2の分解斜視図である。 台座20に基板ケース3を組み付ける様子を示した左側面図である。 基板ケース3の(a)斜視図、(b)背面図、(c)右側面図である。 基板ケース3の分解斜視図である。 外ケース45と内ケース40を組み合わせた封止体4の(a)背面図、(b)正面図である。 変形例に係る基板ケース1003の外ケース45における、図7のA−A線に相当する位置の矢視方向断面図である。 変形例に係る基板ケース1103の外ケース45における、図7のA−A線に相当する位置の矢視方向断面図である。 変形例に係る基板ケース1203の外ケース45における、図7のA−A線に相当する位置の矢視方向断面図である。 変形例に係る基板ケース1303の背面図である。 基板ケース1303の外ケース45における図13のB−B線矢視方向断面図である。 変形例に係る基板ケース1551の背面図である。 シール部1561がROM502の装着箇所と重なる角度から見た、シール部1561及びROM502を示す図である。 第2実施形態に係る制御基板1705が収納された基板ケース1700の背面図である。 (a)は、シール部1710の構成を説明する概略図であり、(b)は、デートマーク部1720の構成を説明する概略図である。 (a)は、開封禁止シール部1730の構成を説明する概略図であり、(b)は、開封禁止シール部1730が基板ケース1700に貼付された状態を説明する概略図である。 情報表示器1750の表示の構成を説明する概略図である。 遊技機1の性能表示に関して情報表示器1750に表示される内容および表示形態を説明する表である。 遊技機1の設定表示に関して情報表示器1750に表示される内容および表示形態を説明する表である。 (a)は、変形例に係る基板ケース1790の識別表示部1791の断面図であり、(b)は、変形例に係る基板ケース1795の識別表示部1796の断面図である。 第3実施形態に係る制御基板501が収納された基板ケース1803の背面図である。 シール部1560及びシール部1561を介して斜め上方から電子部品595を見た状態を示す図である。 透明ソケット1801の(a)平面図、(b)側面図である。 基板ケース1805〜1808における図18−1のC−C線に相当する位置の矢視方向断面図(a)〜(d)である。 基板ケース1809、1810における、図18−1のC−C線に相当する位置の矢視方向断面図(a)、(b)である。 特殊な位置表示部541を示す説明図である。 シール部1560の光透過性を低下させる一方法の説明図である。 賞球基板1811を収納したケース部1813の模式的な背面図である。 演出基板1821を収納したケース部1823の模式的な背面図である。 組立体2の分解斜視図であり、制御基板501に第1領域1900aおよび第2領域1900bが設けられている。
[第1実施形態の説明]
以下に本発明の実施形態の一例である第1実施形態について、図1〜図16を参照して説明する。まず、図1〜図9を参照し、遊技機1(パチンコ機)について説明する。
以下の説明において、図1に示す遊技盤ユニット12の一方側であって、遊技場内に設置された島の内側に向かう方向を、遊技機1の後方向とする。また、遊技盤ユニット12の他方側であって遊技者に向かう方向を、遊技機1の前方向とする。また、図2に示す遊技盤ユニット12の背面図における紙面右方向、左方向、上方向、下方向を、夫々、遊技機1の右方向、左方向、上方向、下方向とする。
図1に示すように、本実施形態の遊技機1は、外枠10と、遊技盤ユニット12と、内枠14とを備えている。外枠10は、遊技場内に設置された島に直接取り付けられる。外枠10は上下方向が左右方向より長い略長方形状に形成されている。遊技盤ユニット12と内枠14は、外枠10の一方の縦辺の近傍で外枠10に対して回動可能に支持されている。
図1〜図3に示すように、遊技盤ユニット12は、主に、ベース枠体121と、遊技盤122と、画像表示装置123と、図示しないランプ中継基板と、背面カバー124とを備えている。
遊技盤ユニット12は、ベース枠体121が外枠10に対して回動可能に取り付けられることによって、外枠10に回動可能に取り付けられている。遊技盤ユニット12は、ベース枠体121に、遊技盤122、画像表示装置123、ランプ中継基板、背面カバー124などが組み付けられることによって構成されている。
具体的には、ベース枠体121の前側に、遊技盤122が取り付けられ、ベース枠体121の後側に、画像表示装置123、ランプ中継基板、背面カバー124などが組み付けられている。
ベース枠体121及び遊技盤122には、画像表示装置123を後側に取り付けたとき、画像表示装置123が備える図示しない液晶画面が、前側から見えるようにするため、図示しない開口部が形成されている。
遊技盤122には、遊技球が流下する遊技領域が形成されている。遊技盤122は、遊技領域が表面側を向くようにベース枠体121に取り付けられる。
図2及び図3に示すように、画像表示装置123は、ベース枠体121の後側に取り付けられる。画像表示装置123は、ベース枠体121の開口部を塞ぐように配置される。また、ランプ中継基板は、ベース枠体121の後側に取り付けられる。背面カバー124は、画像表示装置123やランプ中継基板を含む画像表示ユニットの背面の一部を覆っている。
遊技盤ユニット12の後側には、後述する組立体2が組み付けられる。組立体2は、画像表示ユニットが背面カバー124で覆われる部分の下方で、ベース枠体121に対し組み付けられる。
図1に示すように、内枠14には、ガラス板を嵌め込む嵌込空間141が形成されている。このため、遊技機1を組み立てると、嵌込空間141に嵌め込まれたガラス板を介して、遊技盤ユニット12の遊技盤上に設定された遊技領域を前側から見ることができる。また、内枠14の前側には、操作ハンドル142や電飾ランプ143等が設けられている。
組立体2について説明する。図3〜図5に示すように、組立体2は、台座20と、基板ケース3と、保護カバー23とを備えている。台座20は、遊技盤ユニット12(図3参照)の後側に基板ケース3を取り付けるために用いられる部品である。図5に示すように、台座20は、左右方向に沿った2辺が上下方向に沿った2辺より長尺な略長方形状に形成されており、下辺の左右両端近傍に一対の軸部21を備え、上辺の左右方向中央に板状フック22を備えている。軸部21は、軸方向が左右方向に一致するものである。
基板ケース3には、各軸部21に係合させる一対のフック部49が設けられている。一対のフック部49は、後述する外ケース45の下辺に設けられている。フック部49は、前側に向かって凸なU字状に形成されている。
図6に示すように、基板ケース3を台座20に取り付けるときは、フック部49が背面側に向かって凸となる状態に、基板ケース3を配置する。するとフック部49が軸部21に係合可能な状態となるので、基板ケース3を台座20に近づけて、各フック部49を各軸部21に係合させる。
そして、フック部49が軸部21に係合したら、基板ケース3を、軸部21を中心に左側面視反時計回り(図6中の符号ハの矢印の方向)に回転させ、基板ケース3を台座20に重ね合わせる。図4に示すように、このとき、台座20の上辺に備えられている板状フック22が基板ケース3の上辺に設けられた窪み3aに引っ掛かる。そのため、基板ケース3は、フック部49と軸部21との係合と、板状フック22と基板ケース3との係合とにより、台座20に固定される。
図4及び図5に示すように、その後、保護カバー23を基板ケース3に取り付ける。保護カバー23は、フック部49を含む基板ケース3の下部部分を覆う。このようにして組立体2は組み立てられるとともに遊技盤ユニット12の後側に添設される。
制御基板501及び基板ケース3について説明する。図5に示すように、遊技を制御する制御基板501は、基板ケース3内に収納される。制御基板501には、ROM502が装着されている。また、制御基板501には、ROM502とは異なる複数の電子部品595が実装されている。複数の電子部品595は、IC、抵抗、コネクタ、コンデンサ、及びコイル等の種々の電子部品を含む。また、図7(b)に示すように、制御基板501には、複数のコネクタ771,772,773,774,775,776が実装されている。なお、複数のコネクタ771〜776は、図7(b)に記載しており、その他の図においては図示を省略している場合がある。
ROM502は、遊技の制御に使用される記憶内容(データ)を格納している。また、ROM502は、遊技の結果に影響を与える記憶内容(データ)を格納している。複数のコネクタ771〜776は、制御基板501の下部において、左から右側に向けて順に並んでいる。複数のコネクタ771〜776は、基板ケース3の外ケース45の下部に設けられた6個の開口部779の内側に配置されている。
複数のコネクタ771〜776のうち、複数のコネクタ774,775を、検出信号コネクタ774,775という。検出信号コネクタ774,775には、遊技球が入賞したことを検出する一般入賞口検出スイッチ、第1始動口検出スイッチ、第2始動口検出スイッチ、大入賞口検出スイッチのうちの少なくとも一部からの信号が入力される。本実施形態では、検出信号コネクタ774,775には、遊技球が入賞したことを検出する一般入賞口検出スイッチ、第1始動口検出スイッチ、第2始動口検出スイッチ、大入賞口検出スイッチ1の全ての信号が入力されるとする。検出信号コネクタ774,775は、他のコネクタ771,772,773,776とは異なる色である。本実施形態では、検出信号コネクタ774,775は、蛍光色であり、その他のコネクタ771,772,773,776は、蛍光色とは異なる色である。
ROM502は、上下左右に延びる板状の本体部580と複数の第一信号ピン582とを備えている。第一信号ピン582は、ROM502と制御基板501との間の信号を伝達する信号ピンである。第一信号ピン582は、基板ケース3を介して視認可能に配置されている。詳細には、第一信号ピン582は、ROM502の本体部580の上方及び下方に延び、制御基板501と電気的に接続されている。このため、第一信号ピン582は、基板ケース3を介して前方から視認可能である。
複数の電子部品595の夫々に設けられた信号ピンを第二信号ピン583(図5参照)という。第二信号ピン583は、複数の電子部品595の夫々と、制御基板501との間の信号を伝達する。なお、信号は、デジタル信号に限らず、アナログ信号も含む。基板ケース3を介して視認可能に配置されている。詳細には、第二信号ピン583は、各電子部品から上方、下方、左方、右方、又は前方に延び、制御基板501と電気的に接続されている。このため、第二信号ピン583は、基板ケース3を介して視認可能である。
図5に示すように、基板ケース3は、制御基板501及びROM502を視認可能で且つ接触困難に収納する箱形のケースである。また、基板ケース3は、制御基板501に実装された複数のコネクタ771〜776(図7(b)参照)を視認可能に制御基板501を内包する。基板ケース3は、例えば、透明なプラスチック等の光透過性を有する部材で形成されている。
基板ケース3は、制御基板501を内包する複数の部材511、及び封印シール7を切断する切断部材6を備えている。複数の部材511は、内ケース40、外ケース45、及びキャップ8を含む。内ケース40は、外ケース45と組み合わされることで、制御基板501を内包する内包部581を形成する。外ケース45は、基板ケース3において、ROM502側である後側に設けられている。内ケース40は、基板ケース3において、ROM502側とは反対側である前側に設けられている。尚、図4(c)においては、透明な基板ケース3に内包された制御基板501に設けられた電気部品のうち、ROM502のみを図示しており、他の電気部品は図示を省略している(図9(a)等も同様)。
図8に示すように、各ケース40,45は、制御基板501(図5参照)を収納する制御基板収納部41,46と、後述する封止基礎部5(図9参照)を構成する封止部51,56とを備えている。制御基板収納部41,46は、略長方形状に形成された板部42,47と、これら板部42,47の周囲縁部から突設され、各板部42,47の一方側の面を囲うフランジ部43,48とを有する形状に形成されている。
また、図5に示すように、内ケース40の板部42の左部には、制御基板501側である後方に向かって延びる円筒部565が設けられている。円筒部565には、前後方向に延びる孔部566が形成されている。孔部566の内側には、ねじ山が形成されている。制御基板501において、円筒部565に対向する位置には、孔部567が設けられている。
制御基板501は、内ケース40に固定される。より詳細には、内ケース40の円筒部565の後方に、制御基板501の孔部567が配置される。ビス769(図7参照)の軸部が、制御基板501の後側から、孔部567を介して、円筒部565の孔部566に挿入される。円筒部565の孔部567に形成されたねじ山に、ビス769(図7(b)参照)の軸部に設けられたねじ山が、組み合わせられる。これによって、ビス769の頭部と円筒部565の後面との間に制御基板501が挟まれ、制御基板501が内ケース40に固定された状態となる。すなわち、制御基板501は、内ケース40側にビス止めされる。
図8に示すように、制御基板収納部41のフランジ部43のうち、板部42の長尺な2辺に沿って板部42から突設されている部分(以下「雄部」という)には、L字状に形成された引掛溝430がそれぞれ3つずつ形成されている。
一方、制御基板収納部46のフランジ部48のうち、板部47の長尺な2辺に沿って板部47から突設されている部分は(以下「雌部」という)、二重壁状に形成されており、二重壁を形成する壁と壁との間に、制御基板収納部41の雄部を挿入可能な挿入溝部480が設けられている。また、各挿入溝部480には、引掛片481が形成されている。
制御基板501がビス769によってビス止めされた内ケース40と、外ケース45とが組み合わせられる場合、フランジ部43の雄部がフランジ部48の雌部に挿入される。そして、制御基板収納部41,46が、左右方向に沿った図8中の矢印αの方向に互いにスライドされる。すると、雄部に設けられた引掛溝430が引掛片481に係合するので、内ケース40と外ケース45とは、矢印αとは逆方向に互いに移動しない限り、外れないように組み合わされる。
このように組み合わされると、制御基板収納部41,46は、内部に外部から遮蔽された箱形の内包部581を形成する。内包部581には、制御基板501(図5参照)が収納された状態となる。このため、制御基板501及びROM502等が不正に交換等される可能性を抑制できる。
制御基板501は、制御基板収納部41,46が組み合わされる前に、制御基板収納部46の内側に取り付けられる。このとき制御基板501上に実装されているICなどが、制御基板収納部46の板部47に対向するように取り付けられる。これは、板部47も透明なプラスチックで形成されているので、制御基板501が基板ケース3内に収納されても、制御基板501上に実装されたROM502等の電子部品が不正に交換されていないか、板部47を介して外部から確認できるようにするためである。図2に示すように、本実施形態では、基板ケース3を備える組立体2を遊技盤ユニット12に取り付けると、遊技機1の背面側から外ケース45を通して、基板ケース3内の制御基板501に実装された電子部品を視認することができる。
図8に示すように、各ケース40,45の右端部には、封止部51,56が設けられている。図9に示すように、ケース40,45には、封止部51,56の上方に、第一ネジ止片91、第二ネジ止片96が設けられている。
制御基板収納部41,46をスライドさせて組み合わせると、これらを組み合わせた封止体4の長手方向の端部に封止部51,56によって封止基礎部5が形成される。
図7に示すように、封止基礎部5にかぶせて封止体4にキャップ8を取り付けると、封止体4の長手方向の端部には、第一ネジ止片91、第二ネジ止片96に加えて、キャップ8が備える第三ネジ止片98が重なり、ネジ止め用のネジ止部9を構成する。
図8に示すように、封止部51,56は、制御基板収納部41,46の右端部から右方に突設されている。封止部51,56は、左右方向に沿った高さが同じ高さであり、上下方向の幅が同じ幅に形成されている。
各封止部51,56には、左右方向に沿って長尺な溝部512,562が形成されている。封止部56には、左右方向に沿って平行な2つの溝部562が、所定間隔離して形成され、封止部51には、左右方向に沿って、1つの溝部512が形成されている。
図9に示すように、上記のようにケース40,45が組み合わされると、封止部51,56は、組み合わされた制御基板収納部41,46の右部に、封止基礎部5を形成する。
封止基礎部5においては、封止部51,56が一定間隔を開けて平行に配置され、封止部51,56が互いに対向する面の間に挿抜空間5a(図9参照)が形成される。
図8に示すように、封印シール7は、基板ケース3を封印する手段として用いられるものであり、認証資格を有した組織等によって発行された真正品であることを証明するものである。
封印シール7は、切断性を考慮し、紙などの切断し易い材料の一方の面に接着面が設けられたものであり、複数の切目が形成されている。図示しないが、封印シール7には、例えば、ホログラム及びQRコード(登録商標)等が印刷されている。また、封印シール7には、「開封禁止」の文字も印刷されている。
切断部材6は、基礎部60と、一対の摘部61と、切断部64とを有する形状に形成されている。切断部材6の基礎となる基礎部60は、略長方形状に形成されている。基礎部60の長尺な2辺のうち、一方には、切断部64が形成されている。切断部64は、基礎部60の先端が刃状に形成された部位である。摘部61は、基礎部60の長手方向両端に設けられ、全体に「く」の字に折り曲げられた形状に形成されている。摘部61の左端部を、遊端部61aという。
キャップ8は、封止基礎部5にかぶせて封止基礎部5全体を覆うことができる大きさに形成されており、封止基礎部5に対して着脱可能に形成されている。
キャップ8は、封止基礎部5を覆う椀状に形成された箱部80と、箱部80の長手方向の一端側に形成された第三ネジ止片98とを備えている。箱部80の内側面には、キャップ8を封止基礎部5に取り付けたときに、挿抜空間5aに挿入された切断部材6の摘部61の遊端部61aが引っ掛かる位置に、突起82が設けられている。また、箱部80の内側面には、溝部86が形成されている。
切断部材6は、封止基礎部5の挿抜空間5a(図9参照)に挿入される。その後、封印シール7が貼り付けられる。さらに、キャップ8を封止基礎部5にかぶせると、溝部86が、挿抜空間5aに挿入された切断部材6の一部に嵌る。また、突起82が切断部材6の摘部61の遊端部61aと係合する。
図7に示すように、上述したように、キャップ8を封止基礎部5にかぶせると、第三ネジ止片98が、内ケース40の第一ネジ止片91と,外ケース45の第二ネジ止片96とが組み合わされたものに重なり、ネジ止め用のネジ止部9を構成する。ネジ止部9にカシメ部材30を打ち込まれると、内ケース40、外ケース45、キャップ8が互いに固定される。
基板ケース3の封印を解くときは、カシメ部材30が取り外されるとともに、キャップ8が封止基礎部5から取り外される。基板ケース3の封印が不正に解かれる時も同様である。
切断部材6とキャップ8とは一体化している。このため、キャップ8を封止基礎部5から取り外されると、同時に切断部材6も封止基礎部5から取り外される。すると、切断部64等により、封印シール7には回復不能な傷が付けられる。
識別表示520について説明する。図5に示すように、識別表示520は、制御基板501、ROM502、内ケース40、外ケース45、及びキャップ8に付されている。識別表示520は、遊技機1に関する情報が含まれる表示である。以下の説明においては、制御基板501に設けられた識別表示520を、識別表示521といい、ROM502に設けられた識別表示520を、識別表示522という。外ケース45に設けられた識別表示520を、識別表示523といい、内ケース40に設けられた識別表示520を、識別表示524という。キャップ8に設けられた識別表示520を、識別表示525という。
図5に示すように、識別表示521は、制御基板501の背面の上部に、シルク印刷によって表示されている。識別表示521は、特定の情報を表示するための情報識別部である。識別表示522は、ROM502に、刻印によって添付されている。識別表示522は、特定の情報を表示するための情報識別部である。基板ケース3に付された識別表示523、524,525は、特定の情報を表示するための情報識別部である。識別表示524は、内ケース40の前面の右上部に、内ケース40を製造する金型による刻印によって形成されている(図9参照)。識別表示525は、キャップ8の背面に、キャップ8を製造する金型による刻印によって形成されている。識別表示523の表示態様及び情報識別部との関係については後述する。
識別表示521〜525は互いに関連しており、少なくとも同じ内容を示唆する識別表示529を含む。本実施形態では、一例として、識別表示521は、「ABCD01」の文字列であり、識別表示522は、「ABCD02」の文字列である。識別表示523は、「ABCD03」の文字列であり、識別表示524は、「ABCD04」の文字列である。識別表示525は、「ABCD05」の文字列である。識別表示521〜525において同じ内容を示唆する識別表示529は、「ABCD」である。識別表示529は、例えば、メーカ名及び機種名等に対応した表示である。本実施形態では、一例として、「ABCD」のうち、「AB」はメーカ名を表し、「CD」は機種名を表すとする。
なお、識別表示521〜525において、メーカ名を「ABCD」に含まれる「AB」で表示するのではなく、図15の識別表示1595,1596における「AA社」のように、メーカ名そのものを表示してもよい。また、機種名を「ABCD」に含まれる「CD」で表示するではなく、図15の識別表示1595,1596における「CRあいう」のように、機種名そのものを表示してもよい。また、識別表示521〜525に、図15の識別表示1595,1596における型式「GH101」のように、型式が表示されてもよい。この場合、識別表示521〜525において同じ内容を示唆する識別表示は、機種名「CRあいう」、型式「GH101」、及びメーカ名「AA社」となる。
以下の説明では、外ケース45において、基板ケース3の内側を形成する面を内面532という。外ケース45において、基板ケース3の外側を形成する面を外面531という。図4(c)、図7(c)、及び図9に示すように、外面531には、位置表示部541が設けられている。位置表示部541は、識別表示523を付与する位置を表示する部位である。位置表示部541は、基板ケース3において、ROM502に重なる部位とは異なる部位に設けられている。より詳細には、位置表示部541は、後側から見た場合に矩形状であり、外ケース45の右下部に設けられている。ROM502は、後側から見た場合に、位置表示部541より左側に設けられている。位置表示部541は、前側に向かって凹んだ凹部である。
図7(b)に示すように、位置表示部541には、光透過性を有する素材で形成されたシール部542が貼り付けられている。本実施形態ではシール部542は、一例として透明であるとする。シール部542には、印刷部797が印刷されている。本実施形態では、一例として、印刷部797は、識別表示523である。シール部542に、識別表示523が印刷されていることによって、位置表示部541に識別表示523が付された状態となる。シール部542は、基板ケース3において複数の電子部品595の少なくとも一部を跨いで配置されている。言い換えると、シール部542は、後方から見た場合に、基板ケース3において複数の電子部品595に重なる状態で配置されている。なお、図7(b)には、複数の電子部品595のうちの一部を図示しており、実際には、他の電子部品(図5参照)も存在する。外ケース45の識別表示523は、ROM502の装着箇所が視認できる角度を有するように表示されている。本実施形態では、外ケース45に付された識別表示523によりROM502の装着箇所が視認性を阻害されない。なお、後述する変形例におけるシール部1561(図16参照)の場合と同様に、基板ケース3が所定の角度にある場合に、識別表示523が、ROM502の装着箇所と重なってもよい。
このように、印刷等によって識別表示が付されたシール部等が貼り付けられて、対象物に識別表示が付された状態となる場合、識別表示を含んだシール部等を情報識別部と呼ぶこととする。本実施形態では識別表示523を含んだシール部542は、情報識別部である。なお、識別表示520は、制御基板501、ROM502、内ケース40、外ケース45、及びキャップ8に付されているが、それぞれに一つ付されているわけではなく、二つ以上付されていることもある。例えば、ROM502に二つの識別表示が付されることもあり、同様に情報識別部が二つある場合もある。
以上のように、本実施形態における遊技機1が形成される。本実施形態では、制御基板501を内包する基板ケース3が設けられている。図4、図5、図7、及び図9に示すように、基板ケース3には、識別表示523を付与する位置を表示する部位である位置表示部541が設けられている。このため、位置表示部541が設けられていない場合に比べ、検査者は、基板ケース3に付された識別表示523を容易に確認することができる。よって、不正行為の発生を抑制することができる。故に、遊技者が安心して遊技することができ、遊技者の興趣が向上する。
また、遊技機1の製造時においては、位置表示部541が設けられていない場合に比べて、製造者が、識別表示520を付与する位置を把握し易い。このため、例えばシール部542が使用され、製造者によって識別表示523が付与される場合に、複数の遊技機1の間で、異なる位置に識別表示523が付与される可能性を低減できる。このため、位置表示部541が設けられていない場合に比べて、検査者は、基板ケース3に付された識別表示523を容易に確認することができる。よって、不正行為の発生を抑制することができる。故に、遊技者が安心して遊技することができ、遊技者の興趣が向上する。
また、位置表示部541は、基板ケース3の外面531に形成され、識別表示520を位置決めするため凹部である。凹部である位置表示部541が設けられているので、例えば、基板ケース3の平面に印刷等によって位置表示部541が表示される場合に比べて、検査者が位置表示部541の位置を、把握し易い。よって、検査者は、基板ケース3に付された識別表示523を容易に確認することができる。故に、不正行為の発生を抑制することができる。このため、遊技者が安心して遊技することができ、遊技者の興趣が向上する。
また、製造者は、凹部である位置表示部541に沿って識別表示520を位置決めすることができる。このため、製造者は、遊技機1を量産する場合において、複数の遊技機1間で同じ位置に識別表示520を付することができる。複数の遊技機1間で同じ位置に識別表示520が付されるので、検査者は、識別表示520を容易に確認することができる。故に、不正行為の発生を抑制することができる。このため、遊技者が安心して遊技することができ、遊技者の興趣が向上する。
また、位置表示部541は、基板ケース3においてROM502に重なる部位とは異なる部位に設けられている。この場合、位置表示部541に付される識別表示523とROM502が重なる可能性を低減できる。このため、検査者が、識別表示523とROM502との両方を同時に確認することができる。よって、例えば、不正行為によってROM502が入れ替えられたことを容易に発見することができる。このため、遊技者が安心して遊技することができ、遊技者の興趣が向上する。
また、位置表示部541は、基板ケース3の外面531に形成され、識別表示520(523)を位置決めするための凹部である。凹部である位置表示部541が設けられているので、例えば、手が触れた場合などに、基板ケース3の平面にシール部542が貼り付けられる場合に比べて、シールの剥がれを防止することができる。シールの一部が剥がれると、検査者はそれが不正によるものか確認しなければならず、検査に時間がかかってしまう。しかし、このような位置表示部541であれば、シール部が保護されるため、検査者は、基板ケース3に付された識別表示523を容易に確認することができる。故に、不正行為の発生を抑制することができる。このため、遊技者が安心して遊技することができ、遊技者の興趣が向上する。
また、基板ケース3に添付された情報識別部である、識別表示523を含んだシール部542と、ROM502に添付された情報識別部である識別表示522とは、少なくとも同じ内容を示唆する識別表示529を含む。また、外ケース45に付された識別表示523は、ROM502の装着箇所が視認できる角度を有するように表示されている。また、本実施形態では、外ケース45に付された識別表示523によってROM502の装着箇所の視認性を阻害されることはない。外ケース45に付された識別表示523は、ROM502の装着箇所が視認できる角度を有するように表示されているので、検査者は、同じ識別表示529が付されたROM502と、基板ケース3とを確認し、不正行為が行われていないことを容易に確認することができる。また、不正行為によって、例えば、ROM502が、他のROMに入れ替えられた場合でも、ROM502と基板ケース3に付された識別表示529が同じであるか否かを判断することで、検査者は、容易に不正行為が行われたことを確認できる。このため、不正行為の発生を抑制することができる。よって、遊技者が安心して遊技することができ、遊技者の興趣が向上する。
また、基板ケース3に添付された情報識別部である、識別表示523を含んだシール部542と、ROM502に添付された情報識別部である識別表示522と、制御基板501に表示された情報識別部である識別表示521とは、少なくとも同じ内容を示唆する識別表示529(本実施形態では「ABCD」の文字列)を含む。このため、検査者は、同じ内容を示唆する識別表示529が付された制御基板501、ROM502、及び基板ケース3を確認し、不正行為が行われていないことを容易に確認することができる。また、不正行為によって、制御基板501及びROM502の少なくとも一方が、他の制御基板501及びROM502に入れ替えられた場合でも、制御基板501、ROM502、及び基板ケース3に付された識別表示529が同じであるか否かを判断することで、検査者は、容易に不正行為が行われたことを確認できる。このため、不正行為の発生を抑制することができる。よって、遊技者が安心して遊技することができ、遊技者の興趣が向上する。
基板ケース3は、複数のコネクタ771〜776を視認可能に、制御基板501を内包する。複数のコネクタ771〜776が視認可能であるので、例えば、制御基板501とは異なる機器がコネクタ771〜776に接続される不正が行われているか否かを容易に判断できる。よって、不正が行われる可能性を低減でき、遊技者が安心して遊技できる。よって、遊技者の興趣が向上する。
また、検出信号コネクタ774,775が蛍光色であるので、蛍光色でない場合に比べて、検査者が視認しやすくなる。このため、例えば、制御基板501とは異なる機器が検出信号コネクタ774,775に接続される不正が行われているか否かを容易に判断できる。よって、不正が行われる可能性を低減でき、遊技者が安心して遊技できる。故に、遊技者の興趣が向上する。
また、検出信号コネクタ774,775は、複数設けられている。このため、検出信号コネクタが1つである場合に比べて、検出信号コネクタ774,775を検査者が確認しやすい。このため、例えば、制御基板501とは異なる機器が検出信号コネクタ774,775に接続される不正が行われているか否かを容易に判断できる。よって、不正が行われる可能性を低減でき、遊技者が安心して遊技できる。故に、遊技者の興趣が向上する。
また、ROM502が備える第一信号ピン582は基板ケース3を介して視認可能に配置されている。第一信号ピン582が視認可能であるので、例えば、制御基板501とは異なる機器が第一信号ピン582に対して接続される不正が行われているか否かを容易に判断できる。このため、不正が行われる可能性を低減でき、遊技者が安心して遊技できる。よって、遊技者の興趣が向上する。
また、複数の電子部品595が備える第二信号ピン583は、基板ケース3を介して視認可能に配置されている。第二信号ピン583が視認可能であるので、例えば、制御基板501とは異なる機器が第二信号ピン583に対して接続される不正が行われているか否かを容易に判断できる。このため、不正が行われる可能性を低減でき、遊技者が安心して遊技できる。よって、遊技者の興趣が向上する。
また、制御基板501は、内ケース40側に、ビス769(図7(b)参照)によってビス止めされている。このため、ビス止めされていない場合に比べて、制御基板501を不正に交換し難い。よって、不正が行われる可能性を低減でき、遊技者が安心して遊技できる。故に、遊技者の興趣が向上する。
また、外ケース45と内ケース40とは、互いにスライドされて組み合わせられる。このため、不正行為をしようとする者が、外ケース45と内ケース40とを分離するために、単に外ケース45と内ケース40とを引き離そうとしても、外ケース45と内ケース40が分離され難い。よって、制御基板501を不正に交換し難い。よって、不正が行われる可能性を低減でき、遊技者が安心して遊技できる。故に、遊技者の興趣が向上する。
尚、本発明は上記実施形態に限定されることなく、種々の変更が可能である。以下の各変形例において、上記実施形態の構成に対応する構成は、同じ符号で示し、詳細な説明は省略する。
位置表示部541が凹部であったが、これに限定されない。例えば、位置表示部541が凸部であってもよい。図10は、基板ケース3の変形例に係る基板ケース1003の外ケース45において、図7に示すA−A線の位置における矢方向断面を示している。図10に示すように、基板ケース1003の位置表示部541は、外ケース45の外面531に形成された凸部であり、後側に突出している。位置表示部541には、シール部542によって識別表示523が付されている。
また、位置表示部541は、外面531に設けられていたが、これに限定されない。例えば、位置表示部541が、内面532に設けられてもよい。図11は、基板ケース3の変形例に係る基板ケース1103の外ケース45において、図7に示すA−A線の位置における矢方向断面を示している。図11に示すように、基板ケース1103の位置表示部541は、基板ケース1103の内面532に形成された凹部であり、後側に凹んでいる。位置表示部541には、シール部542によって識別表示523が付されている。尚、識別表示523は、シール部542の後側に印刷されている。このため、検査者は、基板ケース1103の後側から、透明な外ケース45を介して、識別表示523を確認することができる。
図12は、基板ケース3の変形例に係る基板ケース1203の外ケース45において、図7に示すA−A線の位置における矢方向断面を示している。図12に示すように、基板ケース1203の位置表示部541は、基板ケース1203の内面532に形成された凸部であり、前側に突出している。位置表示部541には、シール部542によって識別表示523が付されている。尚、識別表示523は、シール部542の後側に印刷されている。このため、検査者は、基板ケース1203の後側から、透明な外ケース45を介して、識別表示523を確認することができる。
以上のように、位置表示部541は、基板ケース3の内面532又は外面531に形成され、識別表示520を位置決めするための凸部又は凹部である。凸部又は凹部である位置表示部541が設けられているので、例えば、基板ケース3の平面に印刷等によって位置表示部541が表示される場合に比べて、検査者が識別表示520の位置を、把握し易い。よって、検査者は、基板ケース3に付された識別表示520を容易に確認することができる。故に、不正行為の発生を抑制することができる。よって、遊技者が安心して遊技することができ、遊技者の興趣が向上する。
また、製造者は、凸部又は凹部である位置表示部541に沿って識別表示520を位置決めすることができる。このため、製造者は、遊技機1を量産する場合において、複数の遊技機1間で同じ位置に識別表示520を付することができる。複数の遊技機1間で同じ位置に識別表示520が付されるので、検査者は、識別表示520を容易に確認することができる。故に、不正行為の発生を抑制することができる。このため、遊技者が安心して遊技することができ、遊技者の興趣が向上する。
また、制御基板501を内包する複数の部材511は、外ケース45、内ケース40、及びキャップ8のうち、一部を含まなくてもよい。また、複数の部材511は、外ケース45、内ケース40、及びキャップ8とは異なる部材をさらに含んでいてもよい。
また、制御基板501、ROM502、及び複数の部材511に識別表示520が付されていたが、これに限定されない。例えば、制御基板501と複数の部材511とのうち、少なくとも2つに、関連した識別表示520が付されてもよい。例えば、複数の部材511に含まれるキャップ8に識別表示525が付されなくてもよい。また、複数の部材511に含まれる内ケース40に識別表示524が付されなくてもよい。また、複数の部材511に含まれる外ケース45に識別表示523が付されなくてもよい。検査者は、制御基板501と複数の部材511とのうち、少なくとも2つに付された識別表示520を確認し、不正行為が行われか否かを容易に確認することができる。例えば、不正行為によって、制御基板501が、他の制御基板に入れ替えられた場合でも、制御基板501と複数の部材511とのうち、少なくとも2つに付された識別表示520が関連しているか否かを判断することで、検査者は、容易に不正行為が行われたことを確認できる。このため、不正行為の発生を抑制することができる。よって、遊技者が安心して遊技することができ、遊技者の興趣が向上する。
また、識別表示520は、制御基板501、外ケース45、及び内ケース40のうち、少なくとも2つに付されてもよい。この場合、検査者は、制御基板501、外ケース45、及び内ケース40のうち、少なくとも2つに付された識別表示520を確認し、不正行為が行われか否かを容易に確認することができる。例えば、不正行為によって、制御基板501が他の制御基板に入れ替えられた場合でも、制御基板501、外ケース45、及び内ケース40のうちのうち、少なくとも2つに付された識別表示520が関連しているか否かを判断することで、検査者は、容易に不正行為が行われたことを確認できる。このため、不正行為の発生を抑制することができる。よって、遊技者が安心して遊技することができ、遊技者の興趣が向上する。
また、識別表示520は、少なくとも外ケース45とROM502とに付されてもよい。この場合、検査者は、少なくとも外ケース45とROM502に付された識別表示520を確認し、不正行為が行われか否かを容易に確認することができる。例えば、不正行為によって、ROM502が他のROMに入れ替えられた場合でも、少なくとも外ケース45とROM502に付された識別表示520が関連しているか否かを判断することで、検査者は、容易に不正行為が行われたことを確認できる。このため、不正行為の発生を抑制することができる。よって、遊技者が安心して遊技することができ、遊技者の興趣が向上する。
また、識別表示520は、互いに関連していればよい。例えば、識別表示520は、全て同じ識別表示(例えば、全て「ABCD01」等)でもよい。また、識別表示520が夫々異なる表示でもよく、同じ識別表示529が含まれなくてもよい。検査者が確認できる態様であれば、識別表示520の記載内容は限定されない。また、識別表示520は文字列でなくてもよい。例えば、識別表示520は、種々のマークであってもよい。また、識別表示520が付される態様は限定されない。例えば、識別表示521だけでなく、識別表示521〜525が全てシール部に印刷されて付与されてもよい。また、該シール部は透明でなくてもよい。また、識別表示523〜525が全て基板ケース3を製造する金型によって刻印されてもよい。
また、識別表示520は、基板ケース3の素材の内部に形成されていてもよい。以下、図13及び図14を参照し、該変形例について説明する。図13及び図14に示す基板ケース1303は、基板ケース3の変形例である。基板ケース1303において、識別表示523が表示された部位を識別表示部1390という。また、識別表示部1390より外側の部位を、外側部位1391という。図14に示すように、識別表示部1390は、外側部位1391より後側に突出している。このため、識別表示部1390の厚みL1は、外側部位1391の厚みL2よりも大きい。
識別表示523は、識別表示部1390を形成する部材(本実施形態では、外ケース45の素材)の内部に形成されている。識別表示523は、識別表示部1390において厚み方向(前後方向)の複数(本実施形態では4つ)の階層1381,1382,1383,1384に分割されて設けられている。
識別表示523の「A」の文字1371は、階層1381に形成されている。「B」の文字1372は、階層1382に形成されている。「C」の文字1373は、階層1383に形成されている。「D」の文字1374は、階層1384に形成されている。「0」の文字1375は、階層1382に形成されている。「3」の文字1376は、階層1383に形成されている。
尚、識別表示523を、識別表示部1390を形成する部材の内部に形成する方法は限定されない。例えば、3Dレーザ彫刻によって、識別表示523が形成されてもよい。3Dレーザ彫刻とは、レーザを集光させ、基板ケース3の素材の内部に、例えば100ミクロンの微細なクラックを、例えば0.08mm〜0.016mmの間隔で形成する技術である。該クラックを複数形成することで、基板ケース3の内部に識別表示523が形成される。
本実施形態では、識別表示523は、識別表示部1390を形成する部材の内部に形成されている。このため、例えば、識別表示523の全体が基板ケース3の外面531又は内面532に形成されている場合に比べて、識別表示523が除去され難い。よって、不正行為の発生が抑制できる。故に、遊技者が安心して遊技することができ、遊技者の興趣が向上する。また、不正によって識別表示523が除去された場合には、基板ケース1303に傷が形成される。このため、検査者が容易に不正行為を発見できる。よって、遊技者が安心して遊技することができ、遊技者の興趣が向上する。
また、識別表示523は、識別表示部1390において厚み方向の複数の階層1381〜1384に分割されて設けられている。このため、一層のみに識別表示523が形成されている場合に比べて、識別表示523が除去され難い。よって、不正行為の発生を抑制することができる。故に、遊技者が安心して遊技することができ、遊技者の興趣が向上する。
また、基板ケース1303において、識別表示部1390の厚みL1は、外側部位1391の厚みL2より大きい。この場合、L1がL2以下の場合に比べて、不正者が識別表示520を除去しようとした場合に、基板ケース3をより深く削る必要がある。このため、基板ケース1303に傷が生じやすい。このため、検査者が容易に不正行為を発見できる。よって、遊技者が安心して遊技することができ、遊技者の興趣が向上する。
尚、識別表示523が、識別表示部1390において厚み方向の複数の階層1381〜1384に分割されていなくてもよい。例えば、一層のみに識別表示523が形成されてもよい。また、識別表示部1390の厚みL1は、外側部位1391の厚みL2以下でもよい。また、識別表示523について説明したが、識別表示524,525等、基板ケース1303に設けられる識別表示520についても同様に、基板ケース1303の内部に形成されてもよい。
上記実施形態において、基板ケース1303は、本発明の「ケース部」の一例である。
また、基板ケース3には、シール部542等以外にも種々のシールが添付されてもよい。また、シール部542等の種々のシールに設けられる印刷部(例えば、印刷部797)に表示される内容は限定されない。例えば、図15に示す変形例に係る基板ケース1551には、シール部542に加え、シール部1560及びシール部1561が貼り付けられている。なお、図15において、上記実施形態と同様の構成の部材は、同じ符号で示し、詳細な説明は省略する。
シール部1560は、基板ケース1551の外ケース45の左右方向中央部の上部に貼り付けられている。シール部1561は、基板ケース3の外ケース45の左上部に貼り付けられている。シール部1560,1561は、光透過性を有する素材で形成されている。シール部1560,1561は、夫々、複数の電子部品595(図5参照)を跨いで配置されている。なお、図15においては、シール部1560,1561の前側に位置する複数の電子部品595(図5参照)等、種々の電子部品の図示は省略している。
シール部1560には、印刷部1571が印刷されている。印刷部1571は、複数の領域1575を備えている。印刷部1571は、有色であり、本実施形態では、一例として白色の下地を有する。複数の領域1575は、コード部1572、情報表示部1573、及び記載領域1570を含む。シール部1560は、印刷部1571、コード部1572、情報表示部1573、及び記載領域1570が、ROM502と重ならない位置となるように、設けられている。
コード部1572は、シール部1560の左上部に設けられている。コード部1572は、所定の情報を含む。コード部1572は、他の機器によって情報が読み取られる部位であり、例えば、矩形状の有色(本実施形態では白色)の領域に、QRコード(登録商標)、バーコード等が黒色で印刷されている。本実施形態では、一例として、コード部1572は、QRコード(登録商標)を含む。
コード部1572は、例えば、遊技機1とは異なる機器(以下、「他機器」という。)に記憶された、制御基板501の納入先を示す情報と紐付けられている。例えば、情報携帯端末等に備えられたカメラによってコード部1572に含まれる情報であるURL(Uniform Resource Locator)が読み取られる。情報携帯端末は、該URLを使用し、ネットワークを介して他機器にアクセスする。他機器にアクセスした結果、情報携帯端末に表示される情報には、制御基板501の納入先(例えば、遊技機1が納入された店舗名)、及び、遊技機1が廃棄されたか否か等の情報が含まれている。これによって検査者は、制御基板501の納入先を示す情報、及び遊技機1が廃棄されたか否か等の情報を容易に確認することができる。
情報表示部1573には、種々の情報が含まれる。情報表示部1573は、例えば、識別表示529と同様の情報が含まれてもよい。本実施形態では、一例として、情報表示部1573には、矩形状の有色(本実施形態では白色)の領域に、「EF001」の文字列が印刷されている。該文字列は、一例として、制御基板501の管理番号である。該管理番号によって、検査者は、メーカが保有している管理番号に紐づいた情報から、遊技機1の納入先、遊技機1が廃棄されたか否か等の情報を調べることができる。なお、情報表示部1573の文字列は、メーカ名、機種名、型式等に対応する情報を含んでもよい。また、情報表示部1573が有する矩形状の領域と、コード部1572が有する矩形状の流域とは、左右方向において繋がっている。
記載領域1570は、一例として、上下方向に3行、左右方向に2列の計6個設けられている。記載領域1570は、矩形状の有色(本実施形態では白色)の下地によって印刷されている。左上の記載領域1570の上方には、「開封者」と黒色で印刷されている。右上の記載領域1570の上方には、「開封年月日」と黒色で印刷されている。左上の記載領域1570の左方には、丸1と印刷されている。左側の上下方向中央の記載領域1570の左方には、丸2と印刷されている。左下の記載領域1570の左方には、丸3と印刷されている。
例えば、検査者は、基板ケース3を開封した場合に、検査者の名前を左側の記載領域1570に記載し、基板ケース3を開封した年月日を、右側の記載領域1570に記載する。なお、検査者は、記載領域1570に、制御基板501に不正が行われたか否かを確認した年月日等を記載してもよい。
シール部1560は、電子部品798を覗くための覗き部1574を備えている。覗き部1574は、複数の領域1575同士の間に設けられている。覗き部1574は、光透過性を有する。本実施形態では、覗き部1574は、シール部1560における印刷されていない部分によって形成されており、透明である。本実施形態においては、上下方向3行の記載領域1570の間に、左右方向に延びる覗き部1574が設けられている。また、左右に並んだコード部1572及び情報表示部1573と、上側の2つ記載領域1570との間に、左右方向に延びる覗き部1574が設けられている。左右方向2列の記載領域1570の間に、上下方向に延びる覗き部1574が設けられている。
また、シール部1561は、特定の情報を表示するための情報識別部である。例えば、特定の情報としてとして、機種名、型式、メーカ名のうちの少なくとも1つが印刷される。本実施形態では、一例として、機種名「CRあいう」、型式「GH101」、及びメーカ名「AA社」が印刷されている。本実施形態では、これらの情報が印刷された部位を印刷部1563ともいう。また、シール部1561に表示される特定の情報を識別表示1595という。本実施形態では、識別表示1595は、機種名「CRあいう」、型式「GH101」、及びメーカ名「AA社」である。
また、ROM502には、シール部1562が貼り付けられている。シール部1562は、ROM502の識別表示522「ABCD02」の左側に貼り付けられている。シール部1562は、特定の情報を表示するための情報識別部である。例えば、特定の情報としてとして、機種名、型式、メーカ名のうちの少なくとも1つが印刷される。本実施形態では、一例として、シール部1562には、所定の情報として、機種名「CRあいう」、型式「GH101」、及びメーカ名「AA社」が印刷されている。また、シール部1562に表示される特定の情報を識別表示1596という。本実施形態では、識別表示1596は、機種名「CRあいう」、型式「GH101」、及びメーカ名「AA社」である。なお、ROM502の識別表示522も情報識別部であり、すなわち、本実施形態では、ROM502には、情報識別部が二つ設けられている。
また、シール部1561とシール部1562は、少なくとも同じ内容を示唆する識別表示1595,1596を含んで表示される。本実施形態においては、識別表示1595,1596における種名「CRあいう」、型式「GH101」、及びメーカ名「AA社」が全て同じであるが、一部が同じであればよい。
なお、識別表示1595,1596は、基板ケース3とROM502に付されているが、他の部材に付されてもよい。例えば、制御基板501に、識別表示1595,1596と同じ識別表示を含んで表示されてもよい。
以上のように、本変形例に係る基板ケース1551及び制御基板501等が形成される。本実施形態では、シール部542,1560,1561が複数の電子部品595(図5参照)の少なくとも一部を跨いで配置されるので、例えば、シール部542,1560,1561と電子部品595との位置関係を確認することで、検査者は、制御基板501に不正が行われたか否かを判断できる。このため、不正が行われる可能性を低減でき、遊技者が安心して遊技できる。よって、遊技者の興趣が向上する。
また、領域1575が設けられているので、検査者は、領域1575(より詳細には、記載領域1570)に、検査者の名前、及び、基板ケース3を開封した年月日を記載することができる。また、検査者は、制御基板501に不正が行われたか否かを確認した日付等を、領域1575に記載することもできる。また、領域1575の間に覗き部1574が設けられているので、領域1575のみが設けられている場合に比べて、領域1575が目立ちやすい。このため、領域1575に記載された文字等を検査者が確認し易くなる。よって、不正が行われる可能性を低減でき、遊技者が安心して遊技できる。故に、遊技者の興趣が向上する。
また、覗き部1574が設けられているので、検査者は、覗き部1574を介して、電子部品798を確認することができる。よって、覗き部1574が設けられていない場合に比べて、検査者は、電子部品798に対して不正が行われたか否かを容易に確認できる。よって、不正が行われる可能性を低減でき、遊技者が安心して遊技できる。故に、遊技者の興趣が向上する。
また、コード部1572がROM502と重ならない位置に設けられている。このため、検査者はROM502を容易に確認することができる。このため、検査者は、ROM502を確認し、不正が行われているか否かを容易に判断できる。よって、遊技者が安心して遊技できる。故に、遊技者の興趣が向上する。
また、コード部1572は、遊技機1とは異なる機器に記憶された、制御基板501の納入先を示す情報と紐付けられている。これによって、検査者は、コード部1572を使用して、制御基板501の納入先を示す情報を容易に確認することができる。このため、検査者は、納入先の情報を確認し、納入先の異なる制御基板501が装着される不正が行われたか否かを容易に判断できる。よって、遊技者が安心して遊技できる。故に、遊技者の興趣が向上する。
また、ROM502にシール部1562が貼り付けられ、シール部1562に所定の情報が表示されている。このため、検査者は、シール部1562を確認することで、ROM502が入れ替えられる不正を容易に確認することができる。よって、不正が行われる可能性を低減でき、遊技者が安心して遊技できる。故に、遊技者の興趣が向上する。
また、シール部1561に、機種名、型式、メーカ名のうちの少なくとも1つが印刷されているので、検査者は、容易に、機種名、型式、メーカ名のうちの少なくとも1つを把握することができる。よって、検査者は、機種名、型式、メーカ名のうちの少なくとも1つを確認し、不正が行われているか否かを容易に判断できる。故に、遊技者が安心して遊技できる。故に、遊技者の興趣が向上する。
なお、ROM502の形状は限定されない。上記実施形態におけるROM502は、図7に示すように、上下左右に延びる板状の本体部580を有している。しかし、本体部580が、前後左右に延びてもよい。この場合、第一信号ピンは、前方に延び、制御基板501と電気的に接続されてもよい。また、本体部580が前後左右に延びる場合、シール部1591に表示された所定の情報は、本体部580の上面又は下面に表示されてもよい。
また、シール部542,1560,1561に表示される各種の情報は、ROM502の装着箇所が視認できる角度を有するように表示されればよい。例えば、図16は、シール部1561及びROM502を、後斜め上方から見た図である。図16においては、シール部1561及びROM502以外の部材の図示は省略している。この場合、シール部1561に表示される情報が、ROM502の装着箇所に重なっている。すなわち、図16は、シール部1561に表示される情報が、ROM502の装着箇所を視認し難くなる角度から見た図である。しかし、図15に示すように、後側から見た場合には、ROM502の装着箇所を視認できる。すなわち、図15は、シール部1561に表示される情報が、ROM502の装着箇所を視認できる角度から見た図である。このように、シール部1561に表示される情報は、ROM502の装着箇所が視認できる角度を有するように表示される。なお、シール部1561を例にして説明したが、他のシール部542,1560に表示される各種情報(例えば、識別表示523の情報)が、ROM502の装着箇所が視認できる角度を有するように表示されればよい。
[第2実施形態の説明]
次に、図17−1〜図17−6を参照して、本発明の実施形態の一例である第2実施形態について説明する。なお、以下に説明する第2実施形態において、第1実施形態と同じ構成のものは、第1実施形態と同じ符号を使用して詳細な説明を省略する。
まず、図17−1〜図17−4を参照して、第2実施形態に係る基板ケース1700及び制御基板1705の構成の概要について説明する。図17−1は、第2実施形態に係る制御基板1705が収納された基板ケース1700の背面図である。図17−2(a)は、シール部1710の構成を説明する概略図であり、図17−2(b)は、デートマーク部1720の構成を説明する概略図である。図17−3(a)は、開封禁止シール部1730の構成を説明する概略図であり、図17−3(b)は、開封禁止シール部1730が基板ケース1700に貼付された状態を説明する概略図である。図17−4は、情報表示器1750の表示の構成を説明する概略図である。
図17−1に示すように、第2実施形態の遊技機1においては、制御基板1705と、制御基板1705を収納する基板ケース1700と、を備える。基板ケース1700は、第1実施形態の変形例である基板ケース1551と略同様の構成であるが、後述するシール部1710、デートマーク部1720、開封禁止シール1730、RAMクリア操作部1785、を備えている。制御基板1705は、第1実施形態の変形例である制御基板501と略同様の構成であるが、後述する情報表示器1750、操作キー部1780、RAMクリアボタン、を備えている。
シール部1710は、光透過性を有する素材で形成されており、基板ケース1700の外ケース45の左右方向中央部の上部に貼り付けられている。なお、シール部1710は、夫々、複数の電子部品595(図示を省略)等を跨いで配置されている。デートマーク部1720は、基板ケース1700の外ケース45の左右方向中央部の下部に、外ケース45の正面側において外ケース45から凸形状となるように形成されている。開封禁止シール部1730は、基板ケース1700における左右方向右端部に形成されたシール貼付部1701に貼付されている。なお、シール貼付部1701は、キャップ8によって覆われる部分である。RAMクリア操作部1785は、基板ケース1700の外ケース45の左右方向右部の下部に形成されており、制御基板1705のRAMクリアボタンを操作可能に構成されている。操作キー部1780は、特定の鍵を差込み回転操作が可能な構造のものであり、特定の鍵を差込み口が基板ケース1700の外ケース45から露出していることで、制御基板1705が基板ケース1700に収納された状態で操作可能に設けられている。なお、操作キー部1780は、遊技機1の遊技を制御するメインCPUに対して、操作キー部1780が操作されたか否かの信号が送信可能に接続されている。
情報表示器1750は、制御基板1705の左右方向右部の上角隅部に設けられており、制御基板501を覆う透明な樹脂からなる基板ケース1700の内部に配置される。また、情報表示器1750は、制御基板501に設けられているメインCPU、メインROM、メインRAMが設けられている位置とは異なる位置であって、基板ケース1700に設けられているRAMクリア操作部1785やシール部1710などによって視認が阻害されない位置に設けられる。また、情報表示器1750の周囲および近傍には、電子部品595等の制御基板1705上に設けられる複数の電子部品のいずれも設けられていない。このような情報表示器1750は、基板ケース1700に収納された制御基板1705上に設けられているにもかかわらず、目立つため、表示される情報の視認が容易となっている。
ここで、情報表示器1750と図示しないアウト球検出スイッチとについて説明する。アウト球検出スイッチは、遊技領域に発射された全ての遊技球(本実施形態では、「アウト球」と称する。)を検知し、検知結果のデータを主制御基板300へ送信可能に接続ケーブルにて接続されている。情報表示器1750は、アウト球検出スイッチでの検知結果に基づきメインCPUにて算出された数値(後述する計算式による算出値である。)によって、遊技機1の種々の性能を表示するものである。なお、この情報表示器1750において表示される数値が、所定の範囲内であるか否かによって、遊技機1の性能が維持されているか否かを判断可能となる。
図17−2(a)に示すように、シール部1710は、シール部1560と略同様の構成であり、印刷部1711、コード部1712、情報表示部1713、記載領域1570、および覗き部1574を備えている。また、コード部1712のQRコード(登録商標)を所定の端末機にて読み取ることによって、所定の端末機に表示される情報には、情報表示部1713に記載された文字列が含まれている。つまり、特定の情報を含む所定の情報が、コード部1712のQRコード(登録商標)と情報表示部1713の文字列といったように、異なる態様にて表示されていることとなる。ここで、コード部1712と情報表示部1713の構成が、シール部1560のコード部1572と情報表示部1573の構成と異なる。具体的には、コード部1712の有色領域と情報表示部1713の有色領域とに跨って「EF001」の文字列が印刷された構成となっている。このような構成のシール部1710であれば、コード部1712の有色領域と情報表示部1713の有色領域とのうちのいずれかを削り取って不正に情報を変更したりすると、シール部1560に比べて変更した痕跡が明確になり易く、不正な情報の変更を抑止することができる。さらに、前述した通り、シール部1560によって覆われた位置に設けられた電子部品798は覗き部1574から視認可能となっているが、これは電子部品798の少なくとも一部又は全体が制御基板に対して垂直をなす方向から覗き部1574を介して視認可能であるだけでなく、制御基板に対して垂直ではなく所定の角度をなす方向から覗き部1574を介して視認可能であることも意味するものである。具体的には、シール部1560によって覆われた位置に設けられた電子部品であって、制御基板1705に対して垂直をなす方向からは有色領域1575によって視認困難となっているものは、シール部1560に対して垂直ではなく所定の角度をなす方向から覗き部1574を介して視認可能となっていることである。
図17−2(b)に示すように、デートマーク部1720は、基板ケース1700を製造した年月日を表示する部分であり、日付表示部1721と年月表示部1726とから構成されている。日付表示部1721は、円形状の外縁に1〜31までの目盛りが形成されており、円中心から延びる矢印によって製造された日付が示される形態となっている。年月表示部1726は、円形状の外縁に1〜12までの目盛りが形成されており、円中心から延びる矢印によって製造された月が示されるとともに、円中心に形成された数字によって製造された年が示される形態となっている。つまり、図17−2(b)に示されたデートマーク部1720においては、「2014年12月1日」に基板ケース1700が製造されたことが示されることとなる。なお、図17−2(b)に示されたデートマーク部1720は、外ケース45を遊技機1の正面側から視認した場合のものであり、基板ケース1700を遊技機1の背面側から視認した場合には反転して示される(例えば、図17−1を参照。)こととなる。
図17−3(a)に示すように、開封禁止シール部1730は、所定の文字列が印字される情報表示部1731、QRコード(登録商標)等が印刷されるコード部1732、偽造困難なホログラムが形成されているホログラム表示部1735、を備えている。なお、コード部1732のQRコード(登録商標)を所定の端末機にて読み取ることによって、所定の端末機に表示される情報には、情報表示部1731に記載された文字列が含まれていてもよい。つまり、特定の情報を含む所定の情報が、コード部1732のQRコード(登録商標)と情報表示部1731の文字列といったように、異なる態様にて表示されていてもよい。
図17−3(b)に示すように、また、開封禁止シール部1730がシール貼付部1701に貼付されると、基板ケース1700の内ケース40と外ケース45に跨って貼付されるように、内ケース40と外ケース45とが組合さったときの境界部1738の一部を覆うように貼付されることとなる。つまり、基板ケース1700に収納されている制御基板1705に接触するため、内ケース40と外ケース45とを分解すると、開封禁止シール部1730が破断されることとなる。つまり、開封禁止シール部1730は、シール部1705等といった種々の識別情報が付された識別表示部とは異なり、基板ケース1700を分解すると形状が変化する識別表示部である。また、開封禁止シール部1730の情報表示部1731およびコード部1732は、シール貼付部1701における遊技機1の背面側に全体が視認可能となるように開封禁止シール部1730が貼付されている。さらに、開封禁止シール部1730の情報表示部1731およびコード部1732は、基板ケース1700における基板ケース1700の厚み方向の天面に対して、基板ケース1700の厚み方向に一段低くなるような位置に設けられる。つまり、基板ケース1700におけるシール部1710と開封禁止シール部1730とでは、制御基板1705を制御基板1705の厚み方向に対して垂直をなす方向に延伸させた仮想面からの距離が異なるように構成されている。
図17−4に示すように、情報表示器1750は、図示しない制御部と、横一列になるように構成された4つの7セグ表示部1770a〜1770dと、各7セグ表示部の右下に形成された4つのドット表示部1775a〜1775dから構成されている。また、情報表示器1750は、アウト球検出スイッチ302aによって検知された結果を受信した主制御基板300にて、その検知結果に基づき計測されたデータが出力されるように主制御基板300からのデータ出力を可能に接続されている。さらに、情報表示器1750は、遊技機1の電源がON状態のときには、常時点灯している。そして、情報表示器1750においては、正面から視認した場合に左側に位置する2つの7セグ表示部1770a、1770bおよび2つのドット表示部1775a、1775bを識別表示部1780aとし、右側に位置する2つの7セグ表示部1770c、1770dおよび2つのドット表示部1775c、1775dを比率表示部1780bとする。なお、4つの7セグ表示部1770a〜1770dと、4つのドット表示部1775a〜1775dとは回路が結線されているものとする。
[情報表示器1750における表示態様の説明]
次に、図17−5および図17−6を参照して、情報表示器1750における具体的な表示態様について説明する。図17−5は、遊技機1の性能表示に関して情報表示器1750に表示される内容および表示形態を説明する表であり、図17−6は、遊技機1の設定表示に関して情報表示器1750に表示される内容および表示形態を説明する表である。
図17−5に示すように、情報表示器1750において遊技機1の性能を表示する場合には、比率表示部1780bで、主制御基板300にて計算された数値が表示される。具体的には、初回電源投入時から所定区間(初回電源投入から総アウト球数が300個となってから総アウト球数が60000個となる毎)における遊技状態が低確状態のときの遊技球の払出球数と低確状態のとき(例えば、低確状態で時短遊技でないとき)の遊技球のアウト球数との比率が出力され、計算式としては、「(低確状態時の払出球数)÷(低確状態時のアウト球数)×100」であって、小数点以下第一位を四捨五入した値が出力される。なお、出力する数値が100以上である場合は、比率表示部に「99.」が表示される。また、RAMクリアおよび電源再投入をした場合であっても、RAM異常時でない限り、今までの計測が引き継がれるように設定されている。
識別表示部1780aにおいては、比率表示部1780bにおいて表示されている数値の種類について識別可能な情報が表示される。具体的には、現時点での現区間の計測値を表示している場合には「bL.」と表示され、前区間〜前々々区間における計算値を表示している場合には「b1.」〜「b3.」と表示される。なお、図17−5における点滅周期は、点灯0.3秒、消灯0.3秒とし、「bL.」〜「b3.」の表示切換のタイミングは、各表示において5.0秒表示を繰り返すものとする。
ここで、本実施形態の遊技機1における計測の流れについて説明する。まず、遊技機1において初回電源投入されて遊技が開始されると、アウト球検出スイッチによって、低確状態のときにアウト球排出口から排出される遊技球の検出が開始される。ここで、アウト球排出口から排出される遊技球は、遊技領域における全てのアウト口からのものであるため、アウト球検出スイッチでの検出結果に基づく遊技球数が総アウト球数となる。そして、総アウト球数が300個となってからは、低確状態における所定区間毎の払出球計測スイッチ(賞球として払出された遊技球数を検出するスイッチであって、図示しない。)およびアウト球検出スイッチでの検出結果に基づき、メインCPUにて計算された計算値が情報表示器1750において出力される。
また、遊技機1は、大当たり確率の設定を変更できるようなものであって、設定キー1780およびRAMクリア操作部1785のRAMクリアボタンの操作により大当たり確率の設定を変更可能である。具体的には、遊技機1の電源がONであって、設定キー部1780「ON」でRAMクリアボタン「ON」とすると、RAMクリアボタンの押圧回数に応じて、大当たり確率の設定を変更することができ、変更したい設定としたときに設定キー部1780「OFF」にすると設定を確定することができる。また、遊技機1の電源がONであって、設定キー1780「ON」でRAMクリアボタンを操作しないと、後述するように情報表示器1750に現在の遊技機1の大当たり確率の設定が表示され、設定の確認をすることができる。なお、遊技機1の出荷時、復旧情報の破損時、設定の変更中の電源の入り切り等で復旧エラー状態のときには、上述と同様に電源がONであって設定キー部1780「ON」でRAMクリアボタン「ON」とすると、設定変更が可能であるが、電源がONであって設定キー1780「ON」でRAMクリアボタンを操作しないと、遊技停止の状態となる。
図17−6に示すように、具体的には、本実施形態の遊技機1では、大当たり確率を第1設定(低確率:300分の1)〜第6設定(高確率:250分の1)の6段階に設定可能である。この設定変更および設定確認において、情報表示部1750の右側に位置する7セグ表示部1770dでは、変更しようとする設定値または現在設定されている設定値に応じて、「1」〜「6」が点灯される。さらに、設定変更をした場合に、設定変更の終了から5秒間は全ての7セグ表示部1770a〜1770dとドット表示部1775a〜1775dとが点滅する。そして、5秒間の点滅の後に識別表示部1780a、比率表示部1780bにて前述した遊技機1の性能の表示が開始される。また、設定変更および設定確認において、設定変更中/設定確認中には「設定変更中です。」、「設定確認中です。」といった現在の状態を示す音声と警告サイレンとが出力されるとともにメイン液晶にて「設定変更中/設定確認中」といった表示がされる。なお、このような遊技機においては、大当たり確率の設定の種類によらず、大当たりのときの特定の演出(図17−6では、「第1演出」とする。)の選択率、およびハズレのときの特定の演出の選択率は一定のものとする。
ここで、図17−6の表中に使用している語句について説明する。「(大当たりのとき/ハズレのとき」第1演出選択率」とは、「大当たり」又は「ハズレ」と判定されたときに実行される演出において、「第1演出」が選択(実行)される確率のことである。この「第1演出選択率」が、上述の通り、第1設定〜第6設定の各設定の大当たり確率に依らず一定である。「(大当たりのとき/ハズレのとき)第1演出出現率」とは、第1始動装置又は第2始動装置への入球に基づき実行される演出において、「第1演出」が実行される確率のことである。「大当たり」のときの「第1演出出現率」は、各設定における「大当たり確率」に「第1演出選択率」を乗じることで算出できる数値である。また、「ハズレ」のときの「第1演出出現率」は、各設定における「ハズレ確率」に「第1演出選択率」を乗じることで算出できる数値である。「ハズレ確率」とは、非確変遊技状態の場合に第1始動装置又は第2始動装置への入球に基づく判定において、「ハズレ」と判定される確率のことであり、「1」から「大当たり確率」を減じることで算出できる数値である。「総合第1演出出現率」とは、非確変遊技状態の場合の第1始動装置又は第2始動装置への入球に基づく判定と共に選択(実行)される演出において、「第1演出」が実行される確率のことである。この「総合第1演出出現率」は、各設定における「大当たりのときの第1演出出現率」と「ハズレのときの第1演出出現率」との和となる数値である。また、「第1演出信頼度」とは、非確変遊技状態の場合の第1始動装置又は第2始動装置への入球に基づく判定に伴い「第1演出」が実行されたときに、実行された「第1演出」が「大当たり」との判定と共に実行された「第1演出」であることの確率である。この「第1演出信頼度」は、「第1演出出現率」を「総合第1演出出現率」で割ることで算出できる数値である。
[第2実施形態の作用効果]
本実施形態のようなシール部1720を有する組立体2を備える遊技機1であれば、シール部1720に覗き部1574が設けられているので、検査者は、覗き部1574を介して、基板ケース1700に収納されている制御基板1705を視認して、制御基板1705に対する不正が行われたか否かを確認することができる。したがって、覗き部1574のようなものが設けられていないような基板ケースを備えた遊技機に比べて、検査者は、制御基板1705に対して不正が行われたか否かを容易に確認できるため、不正の行われる可能性の低減に繋げることができる。また、このようなシール部1720においては、複数の有色領域である記載領域1570に所定の文字を記載することができるため、光透過性を低下させたような有色領域がなく透明な部分に所定の文字が記載されるようなシールに比べて、検査者が文字による情報の内容を確認し易いものでもある。さらに、このようなシール部においては、透明な覗き部1574が複数の有色領域である記載領域1570、コード部1712、情報表示部1713の間に設けられているため、複数の有色領域のみが並べて設けられているようなものに比べて、有色領域が目立つこととなり、記載領域1570、コード部1712、情報表示部1713に記載された文字等を検査者が確認し易い。
また、本実施形態のようなシール部1720とデートマーク部1720とを有する組立体2を備える遊技機1によれば、シール部1720の記載領域1570に記載される開封年月日と、デートマーク部1720に表示された製造年月日と、は、異なる情報であるものの、所定の時系列の関係を有している。具体的には、シール部1720の記載領域1570に記載される開封年月日は、デートマーク部1720に表示された製造年月日に比べて、必ず新しい年月日となっている。したがって、検査者は、シール部1720の記載領域1570の開封年月日と、デートマーク部1720の製造年月日と、の整合性を確認することによって、不正な制御基板の交換といった不正行為を容易に確認することができる。
さらに、本実施形態のようなシール部1720と開封禁止シール部1730とを有する組立体2を備える遊技機1によれば、シール部1720のコード部1712と情報表示部1713に表示されている情報は、開封禁止シール部1730に表示されている情報と紐付けされている。したがって、検査者は、シール部1720の情報と開封禁止シール部1730の情報との整合性を確認することで、不正な制御基板の交換といった不正行為を容易に確認することができる。また、開封禁止シール部1730のコード部1732は、基板ケース1700の厚み方向において、制御基板1705を当該厚み方向に対して垂直をなす方向に延伸させた仮想面からの距離が、当該仮想面からシール部1720のコード部1712及び情報表示部1713までの距離とは異なるように設けられている。したがって、検査者は、開封禁止シール部1730のコード部1732とシール部1720のコード部1712及び情報表示部1713とが同じ高さで同一の平面上に設けられているようなものに比べて、開封禁止シール部1730のコード部1732とシール部1720のコード部1712及び情報表示部1713との情報を視認し易く、不正な制御基板の交換といった不正行為を容易に確認することができる。
そして、本実施形態のような識別表示523における文字1371と文字1372とを有する組立体2を備える遊技機1によれば、文字1371と文字1372とは、識別表示部1390の厚さ方向における異なる階層となるように形成されているため、階層1381の文字1371と階層1382の文字1372とは、基板ケース1700の天面からの距離が異なるように形成されている。このような識別表示523は、ケース部1700を形成する部材の内部に形成されているため、例えば、識別表示523の全体がケース部の外面又は内面に形成されている場合に比べて、除去され難いものである。また、識別表示523は、基板ケース1700の厚さ方向における天面からの距離が異なる位置、つまり、厚さ方向の複数の階層に分割されて設けられることとなるため、一層のみに形成されている場合に比べて除去され難いものとなっている。このような識別表示523であれば、もし、不正によって除去等された場合には、研磨されたり削られたりすることで基板ケース1700に目立つ損傷が形成されるため、検査者による不正行為の発見が容易であるとともに不正行為の発生を抑制できるものであるといえる。さらに、識別表示523における文字1371と文字1372とは、平面視において、重複する部分がないとともに離間しているため、組立体2に対して遊技機の背面側から視認したときに、文字1371と文字1372とを共に俯瞰可能であり、制御基板1705等に対する不正行為等の有無を容易に確認することもできる。
またさらに、本実施形態のような識別表示523における文字1371と文字1372とを有する組立体2を備える遊技機1によれば、文字1371と文字1372とは、識別表示部1390の厚さ方向における異なる階層となるように形成されているため、階層1381の文字1371と階層1382の文字1372とは、制御基板1705の所定の面(例えば、制御基板1705を厚み方向に対して垂直をなす方向に延伸させた仮想面)からの距離が異なるように形成されている。このような識別表示523は、ケース部1700を形成する部材の内部に形成されているため、例えば、識別表示523の全体がケース部の外面又は内面に形成されている場合に比べて、除去され難いものである。また、識別表示523は、制御基板1705の所定の面からの距離が異なる位置、つまり、厚さ方向の複数の階層に分割されて設けられることとなるため、一層のみに形成されている場合に比べて除去され難いものとなっている。このような識別表示523であれば、もし、不正によって除去等された場合には、研磨されたり削られたりすることで基板ケース1700に目立つ損傷が形成されるため、検査者による不正行為の発見が容易であるとともに不正行為の発生を抑制できるものであるといえる。さらに、識別表示523における文字1371と文字1372とは、平面視において、重複する部分がないとともに離間しているため、組立体2に対して遊技機の背面側から視認したときに、文字1371と文字1372とを共に俯瞰可能であり、制御基板1705等に対する不正行為等の有無を容易に確認することもできる。
またそして、本実施形態のようなシール部1720を有する組立体2を備える遊技機1であれば、コード部1712のQRコード(登録商標)と情報表示部1713の文字列と、いったように互いに紐付けされるとともに同じ特定の情報を含む情報が異なる態様で表示されている。したがって、コード部1712に対する不正は難しく、情報表示部1713の情報が不正に改竄されていたとしても、検査者が、コード部1712との整合性を確認することで、不正行為等の有無を容易に確認することができるとともに、不正行為を抑止することができる。また、シール部1720においては、コード部1712及び情報表示部1713と、記載領域1570との間に、覗き部1574が形成されているため、上述と同様に、制御基板1705に対して不正が行われたか否かを容易に確認できるため、不正の行われる可能性の低減に繋げることができる。
さらにまた、本実施形態のようなシール部1710と情報表示器1750とを有する組立体2を備える遊技機1によれば、例えば、情報表示器1750等といった一部の電子部品は覗き部1574を介さずとも視認可能である。したがって、即座且つ容易に視認が必要な一部の電子部品は、視認が容易であるため、不正行為の確認が容易である。また、覗き部1574を介さずとも視認可能な一部の電子部品は、覗き部1574を介して視認可能な電子部品に比べて、制御基板1705上で目立つため、覗き部1574を介さずとも視認可能な一部の電子部品に対する不正行為を抑止することができる。特に、情報表示器1750は、遊技機1の遊技盤ユニット12を開放して容易な視認を必要とする部材であるため、上述のような効果を奏することが必要とされる。
[第2実施形態のその他の形態]
上述の実施形態においては、詳細な説明を省略したが、シール部542,1561,1562、識別表示521,522,523、コネクタ771〜776も有する。これらのうちシール部542,1561,1562および識別表示521,522,523は、識別可能な所定の情報が表示されているため、所謂、識別表示であるとしてもよい。また、識別可能な所定の情報が表示されているものとしては、シール部1710、デートマーク部1720、開封禁止シール部1730、遊技機の性能表示や設定表示を表示する情報表示器1750も識別表示に含まれるとしてもよい。さらに、図示していないが、制御基板1705において設けられた種々の電子部品のうち、リード抵抗に表示されたカラーコード、ネットワーク抵抗に表示された識別コード、ICやコンデンサやトランジスタに表示された型番コード等も、識別可能な所定の情報が表示されているため、識別表示であるとしてもよい。そして、上述の実施形態におけるコネクタ771〜776については、各々で開口部の形状やピン数が異なるため、コネクタ771〜776の各々の開口部の形状やピン数は識別可能な情報であり、識別表示に含まれるものとしてもよい。なお、図示していないが、コネクタ771〜776の各々の近傍には、制御基板1705上にコネクタ番号が表示されており、このコネクタ番号も識別可能な情報であり、識別表示に含まれるものとしてもよい。
また、上述の実施形態においては、シール部1710の覗き部1574において、覗き部1574から制御基板1705の電子部品が視認可能であるものとしたが、当該電子部品が視認可能な領域はこれに限定されず、制御基板1705の電子部品が基板ケース1705を介しても視認可能な領域であれば、種々の態様のものであってもよく、同様の効果を奏する。例えば、複数の有色領域で視認困難な領域が設けられ、複数の視認困難な領域の間で当該有色領域に比べて光透過性の高い領域から制御基板を視認可能であれば、当該領域も同様の効果を奏する。また、これらの視認可能な領域は、制御基板の電子部品が視認可能であるだけでなく、制御基板自体、制御基板の配線パターン、電子部品の足等も視認可能であり、同様の効果を奏する。また、これらの視認可能な領域においては、後述するROMの透明ソケット(コネクタ)も視認でき、ROMだけでなくIC、トランジスタ、種々の抵抗等の様々な電子部品に対しても透明ソケット(コネクタ)が設けられている場合には、それらの透明ソケット(コネクタ)を視認できる。このような視認可能な領域が設けられていると、電子部品に対する不正行為を抑止できる、といった同様の効果を奏する。
さらに、上述の実施形態においては、識別表示523はシール部542に印字されているものとしたが、図13及び図14において説明したように、基板ケース1700を形成する部材の内部に形成された識別表示523を備えていてもよい。このような識別表示523としては、上述のように文字1371〜1376から構成されていてもよいが、これに限定されず種々の構成のものであってもよい。例えば、複数の識別可能な所定の情報で構成、所謂、複数の識別表示で構成されているものであってもよい。つまり、複数の識別表示が複数の階層に分かれて形成されているものであってもよい。例えば、図17−7に示すような構成のものであってもよい。図17−7は、基板ケースを形成する部材の内部に形成された識別表示の変形例を説明する図であり、(a)は、変形例に係る基板ケース1790の識別表示部1791の断面図であり、(b)は、変形例に係る基板ケース1795の識別表示部1796の断面図である。なお、図17−7の識別表示1794,1799は、図13及び図14の識別表示523と同様に、例えば、識別表示部1791,1796の内部において、3Dレーザ彫刻によって形成されているものとする。また、識別表示1794,1799及び識別表示523(図13及び図14を参照。)は、基板ケースが金型によって成型されることによって形成されたものであってもよい。
図17−7(a)に示すように、変形例に係る基板ケース1790における識別表示1794は、「A」、「B」、「C」、「0」、「3」の5つの識別表示で構成されており、識別表示部1791を形成する部材(外ケースの素材)の内部に形成されている。また、識別表示1794は、識別表示部1791において厚み方向の3つの階層1793a〜1793cに分かれて設けられている。識別表示1794において、「A」の識別表示1792bは、階層1793aに形成されており、「B」の識別表示1792cは、階層1793bに形成されており、「C」の識別表示1792aと「0」の識別表示1792dと「3」の識別表示1792eは、階層1793cにて上下方向(図17−1の上下方向)に重ならないように形成されている。そして、このような構成の識別表示部1791を左側(図17−1の左右方向の左から右に向かう方向)から視認した場合に、「A」、「B」、「C03」の各々が異なる階層となるように視認できるとともに、「C」、「0」、「3」が重ならないような構成の識別表示1794を視認できる。
図17−7(b)に示すように、変形例に係る基板ケース1795における識別表示1799は、識別表示1794と同様に、「A」、「B」、「C」、「0」、「3」の5つの識別表示で構成されており、識別表示部1796を形成する部材(外ケースの素材)の内部に形成されている。また、識別表示1794は、識別表示部1791において厚み方向の4つの階層1793a〜1793dに分けられて設けられている。識別表示1799において、「A」の識別表示1797bは、階層1798aに形成されており、「B」の識別表示1797dと「0」の識別表示1797cは、階層1798bに形成されており、「3」の識別表示1797aは、階層1798cに形成されており、「C」の識別表示1797eは、階層1798dに形成されている。そして、識別表示部1796を遊技機1の背面側から視認した場合に、「A」、「B」、「C」が左右方向(図17−1の左右方向)に重ならないように視認でき、識別表示部1796を左側(図17−1の左右方向の左から右に向かう方向)から視認した場合に、「0」、「3」の各々が異なる階層で重ならないような構成の識別表示1799を視認することができる。
このような構成の識別表示1794,1799及び識別表示523(図13及び図14を参照。)によれば、基板ケースの天面から特定の識別表示までの距離が異なったり、基板ケースに収納されている制御基板1705から特定の識別表示までの距離が異なったりするように構成することができる。具体的には、例えば、識別表示1794において、識別表示1792bは、識別表示1792aに比べて、基板ケース1790の天面からの距離が小さいものの、制御基板1705からの距離が大きいものとなるように形成されている。また、識別表示1792cは、基板ケース1790の天面からの距離について、識別表示1792aに比べて小さいものの、識別表示1792bに比べて大きいものとなるように形成されている。一方で、識別表示1792cは、制御基板1705からの距離について、識別表示1792aに比べて大きいものの、識別表示1792bに比べて小さいものとなるように形成されている。
また、このような構成の識別表示1794,1799及び識別表示523(図13及び図14を参照。)によれば、識別表示部の厚みを構成する面(図17−1の左右方向の側面を形成する面)から特定の識別表示までの距離も異なるように構成することができる。また、このような構成の識別表示1794,1799及び識別表示523(図13及び図14を参照。)によれば、基板ケースの天面、制御基板1705、および識別表示部の厚みを構成する面のいずれかから特定の識別表示の距離が略同じとなるように構成することもできる。以上のように識別表示部を形成する部材の内部に複数の階層に分かれて形成された識別表示であれば、上述と同様に、各識別表示を除去され難いとともに、削られて除去された場合には除去の痕跡が残るため、不正行為の発生が抑制できる。なお、上記において、制御基板1705から各識別表示までの距離とは、制御基板1705における配線パターンが形成されている面から各識別表示までの距離のことをいうものとする。
また、このような構成の識別表示1799によれば、各識別表示に対して視認可能な方向および角度が異なるように構成することができる。具体的には、上述のように、識別表示1799における識別表示1797aと識別表示1797bとでは、異なる方向および角度から視認可能となるように構成されている。したがって、このように形成された識別表示であれば、検査者が視認容易な方向や角度に対して識別表示を形成することができ、不正行為の抑制に繋げることができる。また、識別表示部の近傍において、識別表示の視認を阻害するような部材がある場合(例えば、識別表示部の厚みよりも厚みが大きい部材)には、当該部材によって視認性が阻害されない位置に各識別表示を形成することもできる。一方で、識別表示部の近傍において、識別表示の視認を阻害するような部材を設けないようにしてもよい。
さらに、上述の識別表示1794,1799においては、個々に独立した識別表示1792a〜1792e,1797a〜1797eで構成されているものとしたが、複数の識別表示のうちの一部の識別表示で一つの識別表示を構成するようなものであってもよい。具体的には、識別表示1794においては、2つの識別表示1792b,1792cで識別可能な所定の情報を構成するとともに、3つの識別表示1792a,1792d,1792eで識別可能な所定の情報を構成するものとしてもよい。識別表示1799においては、2つの識別表示1797a,1797cで識別可能な所定の情報を構成するとともに、3つの識別表示1797b,1797d,1797eで識別可能な所定の情報を構成する、といったように視認可能な方向や角度に応じて異なる識別表示を構成するものとしてもよい。そして、識別表示1794,1799においては、図13及び図14で説明した識別表示523と同様に、各々の5つの識別表示で一つの識別可能な所定の情報を構成するものとしてもよい。このように5つの識別表示で一つの識別可能な所定の情報を構成するものとして、具体的には、「製」「造」「番」「号」「NО.」といった組合せのものがある。より具体的には、例えば、識別表示部1791において、階層1793aに識別表示として「製」、「造」が表示され、階層1793bに識別表示として「番」、「号」が表示され、階層1793cに識別表示として「NО.」、「1234」が表示される、といったものであってもよい。また、識別表示部1390(図13及び図14を参照。)において、階層1381の識別表示1371の位置に識別表示として「製」が表示され、階層1382の識別表示1372の位置に識別表示として「造」が表示され、階層1383の識別番号1373の位置に識別表示として「番」が表示され、階層1384の識別番号1374の位置に識別表示として「号」が表示され、階層1382の識別表示1375の位置に識別表示として「NО.」が表示され、階層1383の識別番号1376の位置に識別表示として「1234」が表示される、といったものであってもよい。
そして、上述の識別表示1794,1799及び識別表示523(図13及び図14を参照。)によれば、識別表示を「A」、「B」、「C」、「0」、「3」の5つの識別表示で構成されているものとしたが、これに限定されず、種々の態様の識別表示が表示されているものであってもよい。具体的には、識別表示部1791において、階層1793aに識別表示として「メーカ名称」が表示され、階層1793bに識別表示として「機種名称」が表示され、階層1793cに識別表示として「製造場所」、「製造年月日」、「制御基板の素材名称」が表示されるものであってもよい。また、識別表示部1791におけるその他の具体例としては、階層1793aに識別表示として「QRコード(登録商標)」が表示され、階層1793bに識別表示として「機種名称」が表示され、階層1793cに識別表示として「メーカ名称」が表示される、といったものであってもよい。さらに、識別表示部1791において、階層1793aに識別表示として「製」、「造」が表示され、階層1793bに識別表示として「番」、「号」が表示され、階層1793cに識別表示として「NО.」、「1234」が表示される、といったものであってもよい。
またそして、識別表示部1390(図13及び図14を参照。)において、階層1381に識別表示として「メーカ名称」が表示され、階層1382に識別表示として「機種名称」が表示され、階層1383に識別表示として「製造場所」、「製造年月日」が表示され、階層1384に識別表示として「制御基板の素材名称」が表示される、といったものであってもよい。また、識別表示部1390におけるその他の具体例としては、階層1381に識別表示として「QRコード(登録商標)」が表示され、階層1382に識別表示として「機種名称」が表示され、階層1383に識別表示として「メーカ名称」が表示され、階層1384に識別表示として「制御基板の素材名称」が表示される、といったものであってもよい。さらに、識別表示部1390において、階層1381に識別表示として「製」、「造」が表示され、階層1382に識別表示として「番」、「号」が表示され、階層1383に識別表示として「NО.」が表示され、階層1384に識別表示として「1234」が表示され、各々の識別表示が遊技機1の背面側から視認可能なように重ならないように表示される、といったものであってもよい。
さらにそして、上述の実施形態では、基板ケースの識別表示部に形成された識別表示について詳細に説明したが、識別可能な所定の情報は制御基板に表示されていてもよい。例えば、制御基板と基板ケースを有する制御手段における基板ケースの厚み方向における異なる位置に種々の識別表示が表示されているものがある。具体的には、基板ケースの天面に最も近い位置に識別表示として「QRコード(登録商標)」が表示され、識別表示としての「QRコード(登録商標)」に比べて制御基板に近い位置に識別表示として「機種名称」が表示され、制御基板に最も近い位置又は制御基板自体に「メーカ名称」が表示されているものがある。
[第3実施形態の説明]
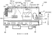
次に、図18−1〜図18−9を参照して、上述した本発明の第1実施形態の変形例の一つである第3実施形態について説明する。図18−1は第3実施形態に係る制御基板501が収納された基板ケース1803の背面図である。図18−2はシール部1560及びシール部1561を介して斜め上方から電子部品595を見た状態を示す図である。図18−3は透明ソケット1801の(a)平面図、(b)側面図である。図18−4は基板ケース1805〜1808における図18−1のC−C線に相当する位置の矢視方向断面図(a)〜(d)である。図18−5は基板ケース1809、1810における、図18−1のC−C線に相当する位置の矢視方向断面図(a)、(b)である。図18−6は特殊な位置表示部541を示す説明図である。図18−7はシール部1560の光透過性を低下させる一方法の説明図である。図18−8は賞球基板1811を収納したケース部1813の模式的な背面図である。図18−9は演出基板1821を収納したケース部1823の模式的な背面図である。なお、以下に説明する第3実施形態において、第1実施形態と同じ構成のものは、第1実施形態と同じ符号を使用して詳細な説明を省略する。
図18−1に示すように、第3実施形態の遊技機1は、主に制御基板501、制御基板501に搭載されたROM502、制御基板501に実装された複数の電子基板595、これらを収納するケース部1803、ケース部1803に貼り付けられたシール部1560及びシール部1561、ROM502に貼り付けられたシール部1562、ケース部1803に設けられた識別表示部1390で構成される。ケース部1803以外は、既に説明済みのものである。ケース部1803についても、位置表示部541がシール部1560に設けられていること以外は、ケース部1551とほぼ同様の内容である。
なお、前述のとおり、情報識別部は、識別表示が付されたシール部のことを指すが、第3実施形態の説明中、識別表示が付されていないシール部が登場することはない。このため、第3実施形態の説明では、シール部を情報識別部と呼ぶこととする。具体的には、シール部1560を第1シール部と呼ぶ場合があり、第1情報識別部と呼ぶ場合がある。シール部1561を第2シール部と呼ぶ場合があり、第2情報識別部と呼ぶ場合がある。シール部1562を第3情報識別部と呼ぶ場合がある。また、シール部全体を一つの情報識別部と捉えるのではなく、複数の情報識別部の集合体と捉えることも可能である。このため、例えばシール部1561にメーカ名、機種名、型番が表示されている場合、3つの情報識別部が含まれるとして説明する場合がある。
[ROM502の装着部分]
本実施形態では、図18−3に示すように、ROM502は、透明ソケット(コネクタ)1801を介し、取り外し可能に制御基板501に装着されている。図18−3(a)は、透明ソケットにROMが装着された状態の平面図であり、図18−3(b)は、透明ソケットにROMが装着された状態の側面図である。なお、両図とも制御基板501は、省略してある。透明ソケット1801は、通常のソケットと機能は同じであるが、高さがありソケットの樹脂部分が透明体で形成されている。すなわち、ソケットの内部においても、ROM502の第一信号ピン582に不正な配線等が接続されていないか、目視できるようになっている。これにより、いわゆるぶら下がり基板等の不正行為の発生を抑制することができる。さらにいえば、透明ソケット1801が制御基板501に実装された状態で、透明ソケット1801のピン1802aが目視できるようになっている。これにより、ピン1802aに不正な配線等が接続されるのを抑止できる。故に、遊技者が安心して遊技することができ、遊技者の興趣が向上する。
[位置表示部541] 図18−1のC−C線に相当する位置の矢視方向断面図
本実施形態では、図18−4(d)に示すように、位置表示部541は線状の凹部となっている。図18−4(d)は、ケース部1803において、図18−1のC−C線に相当する位置の矢方向断面を示している。図18−4(d)に示すように、ケース部1803の位置表示部541は、シール部1560の外縁よりも一回り大きく、ケース部1803の内面532に形成された線状の凹部であり、後側に向かって凹んだ凹部である。ケース部1803の外面531には、印刷部1571が印刷されたシール部1560が貼り付けられている。
また、本実施形態の変形例として、図11及び図12に示すように、位置表示部541がケース部1103,1203の内面532に形成されており、それを目印としてシール部1560を外面531に貼り付けるようにしてもよい(図示せず)。また、別の変形例として、図18−4(c)に示すように、位置表示部541を線状の凸部としてもよい。図18−4(c)は、ケース部1803の変形であるケース部1807において、図18−1のC−C線に相当する位置の矢方向断面を示している。図18−4(c)に示すように、ケース部1807の位置表示部541は、シール部1560の外縁よりも一回り大きく、ケース部1807の内面532に形成された線状の凸部であり、前側に突出している。ケース部1807の外面531には、印刷部1571が印刷されたシール部1560が貼り付けられている。すなわち、本段落と前段落に記載された位置表示部541は、内面532に凹、又は/及び、凸により形成されている。
このように、凹、又は/及び、凸状の位置表示部を内面532に形成し、シール部1560を外面531に貼り付ける場合、どこにシール部を貼っても位置表示部541がシール部1560と干渉することが無いので貼付を阻害しない。シールの一部が剥がれると、検査者はそれが不正によるものか確認しなければならず、検査に時間がかかってしまう。しかし、このような位置表示部541であれば、検査者は、シール部1560に印刷された印刷部1571を容易に確認することができる。故に、不正行為の発生を抑制することができる。このため、遊技者が安心して遊技することができ、遊技者の興趣が向上する。
また、外面531にシール部を貼付し、内面532に位置表示部541を設ける場合、位置表示部541は、外面531に貼付されたシール部1560の外縁、又は/及び、シール部1560の内縁、又は/及び、シール部1560の内外を交差するように形成することができる。これについて簡単に説明する。図18−6における、ケース部1820に設けられた位置表示部541aは、シール部1560の内縁に形成されたものであり、位置表示部541bの図中左右方向に延びる部分は、シール部1560の内外を交差するよう形成されたものである。位置表示部541の図中上下方向に延びる部分は、シール部1560の外縁上であるが、これも内外を交差するように形成されたといえる。
また、本実施形態の変形例として、図18−2(a)に示すように、シール部1560をケース部1805の外面531に貼付し、位置表示部541を線状の凸部として外面531に設けてもよい。図18−2(a)は、ケース部1803の変形であるケース部1805において、図18−1に示すC−C線に相当する位置の矢方向断面を示している。図18−2(a)に示すように、ケース部1805の位置表示部541は、シール部1560の外縁よりも一回り大きく、外面531に形成された線状の凸部であり、後側に突出している。位置表示部541の内側には、印刷部1571が印刷されたシール部1560が貼り付けられている。
線状の凸部である位置表示部541が設けられているので、例えば、手が触れた場合などに、平面状のケース部にシール部1560が貼り付けられる場合に比べて、シール部1560の剥がれを防止することができる。すなわち、シール部1560を貼付する目印とすると共に、貼付後はシール部1560の剥がれを防止することが出来る。シール部1560の一部が剥がれると、検査者はそれが不正によるものか確認しなければならず、検査に時間がかかってしまう。しかし、このような位置表示部541であれば、シール部1560が保護されるため、検査者は、シール部1560に印刷された印刷部1571を容易に確認することができる。故に、不正行為の発生を抑制することができる。このため、遊技者が安心して遊技することができ、遊技者の興趣が向上する。
また、別の変形例として、図18−2(b)に示すように、シール部1560をケース部1806の外面531に貼付し、位置表示部541を外面531に設けるものとして、位置表示部541を線状の凹部としてもよい。図18−2(b)は、ケース部1803の変形であるケース部1806おいて、図18−1に示すC−C線に相当する位置の矢方向断面を示している。図18−2(b)に示すように、ケース部1806の位置表示部541は、シール部1560の外縁よりも一回り大きく、外面531に形成された線状の凹部であり、前側に向かって凹んだ凹部である。位置表示部541の内側には、印刷部1571が印刷されたシール部1560が貼り付けられている。
また、別の変形例として、図18−5(a)に示すように、シール部1560をケース部1809の外面531に貼付し、位置表示部541を外面531に設けるものとして、位置表示部541を内面532にも設けてもよい。図18−5(a)は、ケース部1803の変形であるケース部1809おいて、図18−1に示すC−C線に相当する位置の矢方向断面を示している。外面531の位置表示部541によって、シール部1560が保護されると共に、内面532の位置表示部541により、より正確な位置にシール部1560を張り付けることができる。
また、別の変形例として、図18−5(b)に示すように、シール部1560をケース部1810の外面531に貼付し、位置表示部541を外面531に設けるものとして、位置表示部541を凸部と凹部としてもよい。図18−5(b)は、ケース部183の変形であるケース部1810おいて、図18−1に示すC−C線に相当する位置の矢方向断面を示している。シール部1560をより保護することができる。
上記の位置表示部541は、凸部又は/及び凹部であるが、シール部1560を貼付する位置を表示することができれば、凸部又は/及び凹部でなくてもよい。位置表示部541は、後述の覗き部1574を避けた位置に形成されている。なお、「形成され」とは、一体的に形成されているものに限らず、シール等により取付けられるものも含む意である。また、位置表示部541は、シール部1560の一部(角部)の位置を表示するL字状のものでもよい。また、ケース部1803の第1面531の裏の所定位置とは、ケース部1803の内面532を指すだけではない。基板501が無い状態でシール部1560を貼付することを想定していれば、内ケース40上に位置表示部541を設けてもよく、基板501を内包した状態でシール部1560を貼付することを想定していれば、基板上に位置表示部541を設けてもよい。
[シール部1560]
本実施形態では、図18−1に示すように、印刷部1571が印刷されたシール部1560は、ケース部1803やシール部1561の光透過性よりも低く、且つ、電子部品595を透視可能な所定の光透過性を有している。シール部1560の光透過性は、一様である必要はない。例えば、模様のようなものを印刷することで光透過性を低下させてもよい。この場合、部分で光透過性が異なっていたとしても、全体としてケース部1803やシール部1561よりも光透過性が低くなっていればよい。本実施形態でも、図中斜線部分に薄い線の模様が印刷されており光透過性を低下させている。模様によって光透過性が異なることを図18−7を用いて簡単に説明する。図18−7(a)は、シール部1560の背景が波のような模様になっており、図18−7(b)は、シール部1560aの背景が格子状になっている。両社とも電子部品595を透視することはできるが、図18−7(a)のほうが光透過性が低いことがわかる。
なお、ケース部1803は、最も高い所定の光透過性を有し、シール部1561は、ケース部1803の光透過性よりも若干低い所定の光透過性を有している。これにより、ROM502は、ケース部1803の光透過性で視認可能、電子部品595は、シール部1561又はシール部1560の光透過性で視認可能となっている。シール部1561の光透過性をケース部1803やシール部1561の光透過性よりも低くする方法としては、シール部1561の素材の光透過性を低下させてもいいし、印刷部1571によって、光透過性を低下させてもいい。
シール部1560の光透過性と、ケース部1551やシール部1561の光透過性とが同等の場合より、シール部1560の偽造が困難になり、不正行為の発生を抑制できる。また、模様によって光透過性を低くしている場合は、一見すると模様によって光透過性を下げていることがわからないため、よりシール部1560の偽造が困難になり、不正行為の発生を抑制できる。故に、遊技者が安心して遊技することができ、遊技者の興趣が向上する。
また、本実施形態では、図18−1に示すように、シール部1560の有色領域1575でなく所定の文字が付されていない部分に、所定の角度から見たときにのみ識別可能となる固有情報1804(本実施形態ではK)が表示されている。なお、本実施形態では、文字であるが、記号でも図でもよい。また、模様により固有情報が形成される第1の領域1814と、文字等と模様により固有情報が形成される第2の領域1815の境界で、模様の連続性が変化するようになっている。これによれば、シール部1560の偽造が一層困難になるため、不正行為の発生をより抑制できる。故に、遊技者が安心して遊技することができ、遊技者の興趣が向上する。なお、シール部1560は、特定の情報を表示するための情報識別部である。
また、図18−2に示すように、シール部1561を通して視認できる範囲とシール部1560を通して視認できる範囲には、異なる電子部品595が少なくとも1つ以上取付けられている。電子部品595の種類に応じた光透過性を有するシール部を貼り付けることで不正を発見しやすく、且つ、不正を行い難くすることができる。故に、遊技者が安心して遊技することができ、遊技者の興趣が向上する。
なお、シール部1561に記載される情報としては、機種名、型式記号、外部端子情報、メーカ名、QRコード(登録商標)、定格電圧、消費電力、注意事項等が想定される。また、シール部1561とシール部1560は、ROM502の装着箇所が視認できる角度を有する位置に貼付けられる。
[第1表示、第2表示]
また、本実施形態では、制御基板501と、ROM502と、電子部品595とを含むケース部1803を制御手段と呼び、制御手段のうち異なる所定箇所に第1表示1371と第2表示1372とを設けている。第1表示1371と第2表示1372とは、制御基板501のROM502が搭載される側の面501aから第1表示1371,第2表示1372が表示されるまでの距離がそれぞれ異なっている。なお、第1表示1371及び第2表示1372は、識別表示部1390だけを指すのではなく、図18−6に示すように、制御手段に設けられ、制御基板501のROMが搭載される側の面501aからの距離が異なるものであればこれも含まれる。制御基板501の外ケース45側の面501a、その反対面、内ケース40の刻印、外ケース45の刻印、シール各種等が想定される。
ただし、情報識別部と表示とが同一の情報を表すことはないものとする。なお、シール部と情報識別部は同義ではなく、一つのシール部の中に複数の情報識別部が存在する場合があるものとする。例えば、シール部1561に、メーカ名、機種名、型番が表示されていた場合、情報識別部は3つ存在するということである。情報識別部と表示の関係について、事例を挙げて説明する。例えば、第1情報識別部をメーカ名とすると、第1表示はメーカ名ではないため、例えば、シール部に表示された機種名となる。また、第2表示は、例えば、基板501の内ケース40側の面に表示された機種名となる。なお、第2情報識別部は、例えば、シール部1560の開封者情報であり、第3情報識別部は、例えば、シール部1562のメーカ名である。制御基板からの距離が異なるという複雑な第1表示と第2表示が制御手段に設けられているため、基板501やケース部1803の偽造を防止することができる。
[賞球基板1811]
また、本実施形態では、賞球基板1811とそのケース部1813が発明の構成に含まれる。図18−8に示すように、制御基板501と双方向通信可能な賞球基板1811は、光透過性を有するケース部1813内に収納される。賞球基板1811には、ROM1812が装着されている。また、賞球基板1811には、ROM1812とは異なる複数の電子部品595(図示せず)が実装されている。ROM1812は、賞球の制御に使用されるデータを格納している。
ケース部1813には、光透過性を有する素材で形成されたシール部1816が貼付されている。シール部1816は、光透過性を低下させた領域である複数の有色領域1817が印刷されている。また、シール部1816は、有色領域1817同士の間で、所定の文字が付されていない部分に、電子部品595を覗くことが可能な覗き部1819を有している。シール部1560とシール部1816は、電子部品595が透視可能な光透過性であると共に、シール部1560とシール部1816とは光透過性が異なっている。本実施形態では、シール部1560のほうがシール部1816よりも光透過性が低くなっている。例えば、シール部1560を図18−7(a)に示すような波のような模様とし、シール部1816を図18−7(b)に示すような格子模様としてもよい。
シール部1560とシール部1816との光透過性が異なっているため、シール部1560,1816の偽造が困難となり、ケース部1551,1813ごと不正な基板501,1811と入れ替えるという不正行為困難にすることができる。故に、遊技者が安心して遊技することができ、遊技者の興趣が向上する。
なお、本実施形態では設けられていないが、賞球基板1811と、ROM1812と、電子部品595とを含むケース部1813を賞球手段とし、賞球手段のうち異なる所定箇所に第1,2表示(1371,1372)のように第3表示と第4表示とを設けてもよい。
[演出基板1821]
また、本実施形態では、演出基板1821とそのケース部1823が発明の構成に含まれる。図18−9に示すように、制御基板501又は賞球基板1811からの一方向通信により演出制御可能な演出基板1821は、光透過性を有するケース部1823内に収納される。演出基板1821には、ROM1822が装着されている。また、演出基板1821には、ROM1822とは異なる複数の電子部品595(図示せず)が実装されている。ROM1822は、演出の制御に使用される記憶内容を格納している。なお、制御基板501及び賞球基板1811は、図18−6に示すように足差しタイプの基板であり、演出基板1821は表面実装タイプの基板である。表面実装の例として、両面が表面実装、片面が表面実装、全面が表面実装、一部表面実装がある。
ケース部1823には、シール部1560のように光透過性を有する素材で形成されると共に、光透過性を低下させた領域である複数の有色領域が印刷され、有色領域同士の間で、所定の文字が付されていない部分に、電子部品595を覗くことが可能な覗き部を有するシール部が、貼付されていない。有色領域及び覗き部を有するシール部をケース部1823には貼付せずに、ケース部1803のみに貼付している。このようにシール部の扱いが異なっているため、シール部1560とケース部1803の偽造が困難になり、故に、遊技者が安心して遊技することができ、遊技者の興趣が向上する。
図19に示すように、制御基板501には、第1領域1900aと、該第1領域1900aと異なる態様の第2領域1900bがあってもよい。ここで、異なる態様とは、視覚的に区別を認識できる違いをいい、例えば、第1領域1900aと第2領域1900bとの間で色が異なったり、色の濃淡が異なったりなどの色による態様や、第1領域1900aおよび第2領域1900bが線や模様などで囲まれているなど枠による態様や、第1領域1900aおよび第2領域1900bとが段差になっているなど形状による態様等、これらの1つまたは組み合わせを用いることができる。例えば、制御基板501の表面に塗布されるレジストを、第2領域1900bが第1領域1900aよりも濃いまたは薄い緑色にすることが挙げられる。また、第1領域1900aは、制御基板501においてROM502およびROM502以外の電子部品595が配置される範囲に対応して設定することが好ましい。これに対して、第2領域1900bは、制御基板501においてROM502、ROM502以外の電子部品595およびコネクタ771〜776などの基板実装部品が配置されていない範囲に対応して設定することが好ましく、例えば、制御基板501の縁部に設定するとよい。なお、第1領域1900aおよび第2領域1900b自体の中で、前述した色等の態様を異ならしてもよく、例えば、制御基板501においてROM502の配置範囲とROM502以外の電子部品595の配置範囲とで異なる態様としてもよい。第1領域1900aおよび第2領域1900bは、制御基板501の実装面(後面)または遊技盤ユニット12の背面に面する前面の何れかまたは両方に設けることができる。また、制御基板501の後面または前面の一方に第1領域1900aを設け、制御基板501の後面または前面の他方に第2領域1900bを設けてもよい。
図19に示すように、制御基板501には、第2領域1900bに、特定の情報を表示するための情報識別部1902を設けてもよい。そして、情報識別部1902には、前述した識別表示529と同様の情報が含まれている識別表示521を含んでいてもよい。このように、第1領域1900aと態様が異なる第2領域1900bに情報識別部1902を設けることで、情報識別部1902で表示される情報を、見易くすることができる。従って、検査者は、制御基板501に不正が行われたか否かを判断し易くなり、管理を容易にすることができる。そして、不正が行われる可能性を低減でき、遊技者が安心して遊技できる。よって、遊技者の興趣が向上する。
制御基板501について、特に区別する場合、実装された電子部品502,595等の基板実装部品を除く板体を「基板」ということがあり、「基板」に基板実装部品が実装されたものを「制御部」ということがある。第1領域1900aおよび第2領域1900bは基板に設けることが好ましいが、基板実装部品に異なる態様の領域を設けてもよい。
前述した識別表示523が、識別表示部1390において厚み方向(前後方向)の複数の階層1381,1382,1383,1384に分割されて設けられている構成を、外ケース45に設けられる識別表示523だけでなく、内ケース40に設けられる識別表示524や、キャップ8に設けられる識別表示525や、制御基板501に設けられる識別表示521や、ROM502に設けられる識別表示522など、制御部に付される識別表示520に適用することができる。階層1381,1382,1383,1384に分割される対象は、文字1371〜1376に限られず、図形や模様やコードや、文字の組み合わせなどの複数の識別子からなる表示であってもよい。例えば、識別表示520同士の関係が、前述したような階層1381,1382,1383,1384に分かれていてもよい。
階層1381,1382,1383,1384の位置を、識別表示523が設けられた対象(識別表示部1390の厚み方向)で説明しているが、外ケース45に設けられた識別表示523であれば、外ケース45の厚み方向に位置が異なり、内ケース40に設けられた識別表示524であれば、内ケース40の厚み方向に位置が異なり、制御基板501または基板実装部品に設けられた識別表示521,522であれば、基板の厚み方向に位置が異なる。そして、基板に付された識別表示521とROM502に付された識別表示522とは、基板の厚み方向において異なる位置にあるといえ、基板の実装面(後面)に付された識別表示と基板の前面に付された識別表示とは、基板の厚み方向において異なる位置にあるといえる。また、基板実装部品が実装された面を構成する外ケース45は、基板実装部品の設置スペースを確保するために内ケース40よりも基板から離れており、外ケース45に付された識別表示523と内ケース40に付された識別表示524とは、基板の厚み方向において異なる位置にあるといえる。
互いに関連付けられた識別表示とは、製造者などが視認により関係が直接的に認識できる態様に限らず、管理者などが保有する情報と照合したり、管理者が保有する機器により変換したりなどすることで関連性が把握可能な関係であってもよい。例えば、基板ケース3に付された識別表示523〜525が、制御基板501に付された識別表示521,522と一致する識別子を含んでいなくても、管理者が保有する情報を参照することで、両識別表示520が共通する情報を含んでいることなどを挙げられる。換言すると、互いに関連付けられた識別表示は、視認により認識できる情報から関連性を直接的に把握できる態様と、視認により認識できる情報から関連性を直接的に把握できない態様とを含んでいてもよい。このように、識別表示同士の関連性が一見判らない態様であることで、製造者や管理者以外の書き換えが難しくなり、不正が行われる可能性を低減でき、遊技者が安心して遊技できる。よって、遊技者の興趣が向上する。
なお、本件における「第1表示」、「第2表示」、「第3表示」、「第4表示」、「第1情報表示」、「第2情報表示」、「第1情報識別部」、「第2情報識別部」、「第3情報識別部」、「第4情報識別部」は、上記実施形態に記載のものに限られず、シール、シールに印字されたコード情報や文字、ケース上の刻印や、機種名、製造者名、基板の管理情報、ケースの管理情報など、基板上や基板ケース上の遊技機に関する情報の表示方法や表示内容全般を採用することが可能である。
◆[発明1]
発明1の遊技機(遊技機1)は、遊技を制御するための複数の電子部品が実装された制御基板(制御基板1705)と、当該制御基板を収納し光透過性を有する収納部(基板ケース1700)と、を有する制御手段(組立体2)と、前記収納部に貼付され、光透過性を有する素材で形成されたシール部(シール部1710)と、前記シール部に設けられ、前記制御手段に関する情報を表示するための第1情報表示部(記載領域1570、コード部1712、情報表示部1713)と、前記収納部における前記シール部とは異なる位置に設けられ、前記制御手段に関する情報を表示するための第2情報表示部(デートマーク部1720)と、を備え、前記第1情報表示部は、当該光透過性を低下させた領域である複数の有色領域(印刷部1711、複数の領域1575)と、前記複数の有色領域のうちの第1有色領域と前記第1有色領域とは異なる第2有色領域との間で所定の文字が付されていない部分であって、前記収納部に収納されている前記制御基板を視認可能な視認可能領域(覗き部1574)と、を有することを要旨とする。
発明1のようなシール部1720とデートマーク部1720とを有する組立体2を備える遊技機1によれば、シール部1720の記載領域1570に記載される開封年月日と、デートマーク部1720に表示された製造年月日と、は、異なる情報であるものの、所定の時系列の関係を有している。具体的には、シール部1720の記載領域1570に記載される開封年月日は、デートマーク部1720に表示された製造年月日に比べて、必ず新しい年月日となっている。したがって、検査者は、シール部1720の記載領域1570の開封年月日と、デートマーク部1720の製造年月日と、の整合性を確認することによって、不正な制御基板の交換といった不正行為を容易に確認することができる。
◆[発明2]
発明2の遊技機(遊技機1)は、遊技を制御するための複数の電子部品が実装された制御基板(制御基板1705)と、当該制御基板を収納し光透過性を有する収納部(基板ケース1700)と、を有する制御手段(組立体2)と、前記収納部に貼付され、光透過性を有する素材で形成された第1シール部(シール部1710)と、前記第1シール部に設けられ、前記制御手段に関する情報を表示するための第1情報表示部(コード部1712、情報表示部1713)及び第2情報表示部(記載領域1570)と、前記収納部における前記第1シール部とは異なる位置に貼付される第2シール部(開封禁止シール部1730)と、前記第2シール部に設けられ、前記制御手段に関する情報を表示するための第3情報表示部(コード部1732)と、を備え、前記第1情報表示部及び前記第3情報表示部は、端末機により読取可能な所定の態様の識別表示が含まれ、前記第2情報表示部は、当該光透過性を低下させた領域である複数の有色領域(印刷部1711、複数の領域1575)と、前記複数の有色領域のうちの第1有色領域と前記第1有色領域とは異なる第2有色領域との間で所定の文字が付されていない部分であって、前記収納部に収納されている前記制御基板を視認可能な視認可能領域(覗き部1574)と、を有し、前記第3情報表示部は、前記収納部の厚み方向において、前記制御基板を前記収納部の厚み方向に対して垂直をなす方向に延伸させた仮想面からの距離が、当該仮想面から前記第1情報表示部までの距離とは異なるように設けられていることを要旨とする。
発明2のようなシール部1720と開封禁止シール部1730とを有する組立体2を備える遊技機1によれば、シール部1720のコード部1712と情報表示部1713に表示されている情報は、開封禁止シール部1730に表示されている情報と紐付けされている。したがって、検査者は、シール部1720の情報と開封禁止シール部1730の情報との整合性を確認することで、不正な制御基板の交換といった不正行為を容易に確認することができる。また、開封禁止シール部1730のコード部1732は、基板ケース1700の厚み方向において、制御基板1705を当該厚み方向に対して垂直をなす方向に延伸させた仮想面からの距離が、当該仮想面からシール部1720のコード部1712及び情報表示部1713までの距離とは異なるように設けられている。したがって、検査者は、開封禁止シール部1730のコード部1732とシール部1720のコード部1712及び情報表示部1713とが同じ高さで同一の平面上に設けられているようなものに比べて、開封禁止シール部1730のコード部1732とシール部1720のコード部1712及び情報表示部1713との情報を視認し易く、不正な制御基板の交換といった不正行為を容易に確認することができる。
◆[発明3]
発明3の遊技機(遊技機1)は、制御基板(制御基板501,1705)及び当該制御基板を収納する収納部(基板ケース1551,1700)を有する制御手段(組立体2)と、前記制御手段に設けられた第1情報表示(識別表示523の文字1371)及び第2情報表示(識別表示523の文字1374)と、を備え、前記収納部の厚み方向において、前記収納部の天面から前記第1情報表示までの距離が、前記収納部の天面から前記第2情報表示までの距離とは異なることを要旨とする。
発明3のような識別表示523における文字1371と文字1372とを有する組立体2を備える遊技機1によれば、文字1371と文字1372とは、識別表示部1390の厚さ方向における異なる階層となるように形成されているため、階層1381の文字1371と階層1382の文字1372とは、基板ケース1700の天面からの距離が異なるように形成されている。このような識別表示523は、ケース部1700を形成する部材の内部に形成されているため、例えば、識別表示523の全体がケース部の外面又は内面に形成されている場合に比べて、除去され難いものである。また、識別表示523は、基板ケース1700の厚さ方向における天面からの距離が異なる位置、つまり、厚さ方向の複数の階層に分割されて設けられることとなるため、一層のみに形成されている場合に比べて除去され難いものとなっている。このような識別表示523であれば、もし、不正によって除去等された場合には、研磨されたり削られたりすることで基板ケース1700に目立つ損傷が形成されるため、検査者による不正行為の発見が容易であるとともに不正行為の発生を抑制できるものであるといえる。さらに、識別表示523における文字1371と文字1372とは、平面視において、重複する部分がないとともに離間しているため、組立体2に対して遊技機の背面側から視認したときに、文字1371と文字1372とを共に俯瞰可能であり、制御基板1705等に対する不正行為等の有無を容易に確認することもできる。
◆[発明4]
発明4の遊技機(遊技機1)は、制御基板(制御基板501,1705)及び当該制御基板を収納する収納部(基板ケース1551,1700)を有する制御手段(組立体2)と、前記制御手段に設けられた第1情報表示(識別表示523の文字1371)及び第2情報表示(識別表示523の文字1374)と、を備え、前記制御基板の厚み方向において、前記制御基板の所定の面から前記第1情報表示までの距離が、前記制御基板の所定の面から前記第2情報表示までの距離とは異なることを要旨とする。
発明4のような識別表示523における文字1371と文字1372とを有する組立体2を備える遊技機1によれば、文字1371と文字1372とは、識別表示部1390の厚さ方向における異なる階層となるように形成されているため、階層1381の文字1371と階層1382の文字1372とは、制御基板1705の所定の面(例えば、制御基板1705を厚み方向に対して垂直をなす方向に延伸させた仮想面)からの距離が異なるように形成されている。このような識別表示523は、ケース部1700を形成する部材の内部に形成されているため、例えば、識別表示523の全体がケース部の外面又は内面に形成されている場合に比べて、除去され難いものである。また、識別表示523は、制御基板1705の所定の面からの距離が異なる位置、つまり、厚さ方向の複数の階層に分割されて設けられることとなるため、一層のみに形成されている場合に比べて除去され難いものとなっている。このような識別表示523であれば、もし、不正によって除去等された場合には、研磨されたり削られたりすることで基板ケース1700に目立つ損傷が形成されるため、検査者による不正行為の発見が容易であるとともに不正行為の発生を抑制できるものであるといえる。さらに、識別表示523における文字1371と文字1372とは、平面視において、重複する部分がないとともに離間しているため、組立体2に対して遊技機の背面側から視認したときに、文字1371と文字1372とを共に俯瞰可能であり、制御基板1705等に対する不正行為等の有無を容易に確認することもできる。
◆[発明5]
発明5の遊技機(遊技機1)は、遊技を制御するための複数の電子部品が実装された制御基板(制御基板501,1705)と、前記複数の電子部品を視認可能に前記制御基板を収納し光透過性を有する収納部(基板ケース1551,1700)と、前記収納部に添付され所定の情報を表示するための第1情報表示部(コード部1572,1712、情報表示部1573,1713)及び第2情報表示部(記載領域1570)と、を備え、前記第1情報表示部は、特定の情報を含む第1態様と当該第1態様とは異なる第2態様とで表示され、前記第2情報表示部は、光透過性を有する素材で形成されており、当該光透過性を低下させた領域である複数の有色領域(印刷部1571,1711、複数の領域1575)と、前記複数の有色領域のうちの第1有色領域と前記第1有色領域とは異なる第2有色領域との間であって、前記制御基板を視認可能な領域(覗き部1574)と、を有することを要旨とする。
発明5のようなシール部1720を有する組立体2を備える遊技機1であれば、コード部1712のQRコード(登録商標)と情報表示部1713の文字列と、いったように互いに紐付けされるとともに同じ特定の情報を含む情報が異なる態様で表示されている。したがって、コード部1712に対する不正は難しく、情報表示部1713の情報が不正に改竄されていたとしても、検査者が、コード部1712との整合性を確認することで、不正行為等の有無を容易に確認することができるとともに、不正行為を抑止することができる。また、シール部1720においては、コード部1712及び情報表示部1713と、記載領域1570との間に、覗き部1574が形成されているため、上述と同様に、制御基板1705に対して不正が行われたか否かを容易に確認できるため、不正の行われる可能性の低減に繋げることができる。
◆[発明6]
発明6の遊技機(1)は、遊技を制御する基板(501)と、
前記基板を内包する、第1の光透過性を有するケース部(1803)と、
前記基板に設けられ、遊技に使用されるデータを格納する記憶手段(502)と、
前記基板に設けられ、前記記憶手段とは異なる複数の電子部品(595)と、
前記ケース部に設けられ、光透過性を有する素材で形成されたシール部(1560)と、
前記シール部に印刷され、前記シール部における光透過性を低下させた領域である複数の有色領域(1575)と、を備え、
前記シール部は、
前記第1の光透過性よりも低く、且つ、前記電子部品を視認可能な第2の光透過性を有し、
前記複数の有色領域のうちの第1有色領域と前記第1有色領域とは異なる第2有色領域との間で所定の文字が付されていない部分であって、前記ケース部に内包されている前記電子部品を前記第2の光透過性により覗くことが可能な覗き部(1574)を有することを要旨とする。
覗き部が設けられているので、検査者は、覗き部を介して、電子部品を確認することができる。よって、覗き部が設けられていない場合に比べて、電子部品に対して不正が行われたか否かを容易に確認できる。故に、不正が行われる可能性を低減でき、遊技者が安心して遊技できる。故に、遊技者の興趣が向上する。また、有色の複数の領域が設けられているので、例えば、検査者の名前、及び、基板ケースを開封した年月日を記載することができる。また、検査者は、領域に、制御基板に不正が行われたか否かを確認した日付等を記載することもできる。また、領域の間に覗き部が設けられているので、領域のみが設けられている場合に比べて、領域が目立ちやすい。このため、領域に記載された文字等を検査者が確認し易くなる。よって、不正が行われる可能性を低減でき、遊技者が安心して遊技できる。故に、遊技者の興趣が向上する。また、シール部の光透過性がケース部の光透過性より低くなっているため、シール部の偽造が困難となり、ケース部ごと不正な基板と入れ替えるという不正行為困難にすることができる。これにより、遊技者が安心して遊技できる。故に、遊技者の興趣が向上する。
◆[発明7−1]
発明7−1の遊技機(1)は、遊技を制御する基板(501)と、
前記基板を内包する、光透過性を有するケース部(1803)と、
前記基板に設けられ、遊技に使用されるデータを格納する記憶手段(502)と、
前記基板に設けられ、前記記憶手段とは異なる複数の電子部品(595)と、
前記ケース部の第1面に設けられ、光透過性を有する素材で形成されたシール部(1560)と、
前記ケース部の前記第1面の裏側に位置する所定位置に形成され、前記シール部を取付ける位置の目印となる位置表示部(541)と、
前記シール部に印刷され、前記シール部における光透過性を低下させた領域である複数の有色領域(1575)と、を備え、
前記シール部は、
前記複数の有色領域のうちの第1有色領域と前記第1有色領域とは異なる第2有色領域との間で所定の文字が付されていない部分であって、前記ケース部に内包されている前記電子部品を覗くことが可能な覗き部(1574)を有することを要旨とする。
この場合、製造者は、位置表示部に沿って識別表示を位置決めすることができる。このため、製造者は、遊技機を量産する場合において、複数の遊技機間で同じ位置に識別表示を付することができる。複数の遊技機間で同じ位置に識別表示が付されるので、検査者は、識別表示を容易に確認することができる。故に、不正行為の発生を抑制することができる。このため、遊技者が安心して遊技することができ、遊技者の興趣が向上する。
また、位置表示部を内面側に形成し、シール部を外面に貼り付けるため、どこにシール部を貼っても位置表示部がシール部と干渉することが無いので貼付を阻害しない。シールの一部が剥がれると、検査者はそれが不正によるものか確認しなければならず、検査に時間がかかってしまう。しかし、このような位置表示部であれば、検査者は、基板ケースに付された識別表示を容易に確認することができる。故に、不正行為の発生を抑制することができる。このため、遊技者が安心して遊技することができ、遊技者の興趣が向上する。
◆[発明7−2]
また、発明7−2の遊技機は、遊技を制御する基板(501)と、
前記基板を内包する、光透過性を有するケース部(1803)と、
前記基板に設けられ、遊技に使用されるデータを格納する記憶手段(502)と、
前記基板に設けられ、前記記憶手段とは異なる複数の電子部品(595)と、
前記ケース部の第1面に設けられ、光透過性を有する素材で形成されたシール部(1560)と、
前記ケース部の前記第1面において前記シール部の外縁に形成された凸部、又は/及び、凹部であって、前記シール部を取付ける位置の目印となる位置表示部(541)と、
前記シール部に印刷され、前記シール部における光透過性を低下させた領域である複数の有色領域(1575)と、を備え、
前記シール部は、
前記複数の有色領域のうちの第1有色領域と前記第1有色領域とは異なる第2有色領域との間で所定の文字が付されていない部分であって、前記ケース部に内包されている前記電子部品を覗くことが可能な覗き部(1574)を有することを要旨とする。
この場合、製造者は、位置表示部に沿って識別表示を位置決めすることができる。このため、製造者は、遊技機を量産する場合において、複数の遊技機間で同じ位置に識別表示を付することができる。複数の遊技機間で同じ位置に識別表示が付されるので、検査者は、識別表示を容易に確認することができる。故に、不正行為の発生を抑制することができる。このため、遊技者が安心して遊技することができ、遊技者の興趣が向上する。
また、シール部を貼付する外面に、シール部の外縁に形成された凸部、又は/及び、凹部である位置表示部が設けられているので、例えば、手が触れた場合などに、基板ケースの平面にシール部が貼り付けられる場合に比べて、シールの剥がれを防止することができる。シールの一部が剥がれると、検査者はそれが不正によるものか確認しなければならず、検査に時間がかかってしまう。しかし、このような位置表示部であれば、シール部が保護されるため、検査者は、基板ケースに付された識別表示を容易に確認することができる。故に、不正行為の発生を抑制することができる。このため、遊技者が安心して遊技することができ、遊技者の興趣が向上する。
◆[発明8]
発明8の遊技機(1)は、遊技を制御する基板(501)と、
前記基板に設けられ、遊技に使用されるデータを格納する記憶手段(502)と、
前記基板に設けられ、前記記憶手段とは異なる複数の電子部品(595)と、
前記記憶手段及び前記複数の電子部品を視認可能で且つ接触困難に収納する、第1の光透過性を有する収納部(1803)と、
前記収納部に設けられ、特定の情報を表示する第1情報識別部(1561,1595)及び第2情報識別部(1560,1572、1573)と、
前記記憶手段に設けられ、特定の情報を表示する第3情報識別部(1562,1596)と、を備え、
前記第1情報識別部及び前記第3情報識別部は、
少なくとも同じ内容を意味する識別表示を含んで表示され、
前記第2情報識別部は、
前記第1の光透過性よりも光透過性が低く、且つ、前記電子部品を視認可能な第2の光透過性により形成されており、
前記第2の光透過性よりも光透過性を低下させた領域である複数の有色領域(1575)と、
前記複数の有色領域のうちの第1有色領域と前記第1有色領域とは異なる第2有色領域との間で所定の文字が付されていない部分であって、前記収納部に収納されている前記電子部品を前記第2の光透過性により覗くことが可能な覗き部(1574)と、を有していることを要旨とする。
この場合、検査者は、同じ識別表示が表示された記憶手段と、収納部とを確認し、不正行為が行われていないことを容易に確認することができる。また、不正行為によって、例えば、記憶手段が、他の記憶手段に入れ替えられた場合でも、記憶手段と収納部に付された識別表示が同じであるか否かを判断することで、検査者は、容易に不正行為が行われたことを確認できる。このため、不正行為の発生を抑制することができる。よって、遊技者が安心して遊技することができ、遊技者の興趣が向上する。
◆[発明9−1]
発明9−1の遊技機(1)は、遊技を制御する基板(501)と、
前記基板に設けられ、遊技に使用されるデータを格納する記憶手段(502)と、
前記基板に設けられ、前記記憶手段とは異なる複数の電子部品(595)と、
前記記憶手段及び前記複数の電子部品を視認可能で且つ接触困難に収納する、光透過性を有する収納部(1803)と、
前記収納部に設けられ、特定の情報を表示する第1情報識別部(1561,1595)と、
前記収納部の第1面に設けられ、特定の情報を表示する第2情報識別部(1560,1572,1573)と、
前記記憶手段に設けられ、特定の情報を表示する第3情報識別部(1562,1596)と、
前記収納部の前記第1面の裏側に位置する所定位置に形成され、前記第2情報識別部を取付ける位置の目印となる位置表示部(541)と、を備え、
前記第1情報識別部及び前記第3情報識別部は、
少なくとも同じ内容を意味する識別表示を含んで表示され、
前記第2情報識別部は、
光透過性を有する素材で形成されており、当該光透過性を低下させた領域である複数の有色領域(1575)と、
前記複数の有色領域のうちの第1有色領域と前記第1有色領域とは異なる第2有色領域との間で所定の文字が付されていない部分であって、前記収納部に収納されている前記電子部品を覗くことが可能な覗き部(1574)と、を有することを要旨とする。
◆[発明9−2]
発明9−2の遊技機(1)は、遊技を制御する基板(501)と、
前記基板に設けられ、遊技に使用されるデータを格納する記憶手段(502)と、
前記基板に設けられ、前記記憶手段とは異なる複数の電子部品(595)と、
前記記憶手段及び前記複数の電子部品を視認可能で且つ接触困難に収納する、光透過性を有する収納部(1803)と、
前記収納部に設けられ、特定の情報を表示する第1情報識別部(1561,1595)と、
前記収納部の第1面に設けられ、特定の情報を表示する第2情報識別部(1560,1572,1573)と、
前記記憶手段に設けられ、特定の情報を表示する第3情報識別部(1562,1598)と、
前記収納部の第1面において前記第2情報識別部の外縁に形成された凸部、又は/及び、凹部であって、前記第2情報識別部を取付ける位置の目印となる位置表示部(541)と、を備え、
前記第1情報識別部及び前記第3情報識別部は、
少なくとも同じ内容を意味する識別表示を含んで表示され、
前記第2情報識別部は、
光透過性を有する素材で形成されており、当該光透過性を低下させた領域である複数の有色領域(1575)と、
前記複数の有色領域のうちの第1有色領域と前記第1有色領域とは異なる第2有色領域との間で所定の文字が付されていない部分であって、前記収納部に収納されている前記電子部品を覗くことが可能な覗き部(1574)と、を有することを要旨とする。
◆[発明10]
発明10の遊技機(1)は、遊技を制御する基板(501)と、
前記基板を内包する、光透過性を有するケース部(1803)と、
前記基板に設けられ、遊技に使用されるデータを格納する記憶手段(502)と、
前記基板に設けられ、前記記憶手段とは異なる複数の電子部品(595)と、
前記ケース部に設けられると共に、光透過性を有する素材で形成された第1シール部(1561)及び第2シール部(1560)と、を備え、
前記第2シール部は、
前記第1シール部よりも光透過性が低く、且つ、前記電子部品を視認可能な所定の光透過性により形成されており、
前記所定の光透過性よりも光透過性を低下させた領域である複数の有色領域(1575)と、
前記複数の有色領域のうちの第1有色領域と前記第1有色領域とは異なる第2有色領域との間で所定の文字が付されていない部分であって、前記ケース部に内包されている前記電子部品を前記所定の光透過性により覗くことが可能な覗き部(1574)と、
を有していることを要旨とする。
本発明によれば、第2シール部の光透過性が第1シール部の光透過性より低くなっているため、第2シール部の偽造が困難となり、ケース部ごと不正な基板と入れ替えるという不正行為困難にすることができる。よって、遊技者が安心して遊技することができ、遊技者の興趣が向上する。
◆[発明11]
発明11の遊技機(1)は、遊技を制御する基板(501)と、
前記基板に設けられ、遊技に使用されるデータを格納する記憶手段(502)と、
前記基板に設けられ、前記記憶手段とは異なる複数の電子部品(595)と、
前記記憶手段及び前記複数の電子部品を視認可能で且つ接触困難に収納する、光透過性を有する収納部(1803)と、
前記収納部に設けられると共に、光透過性を有する素材で形成され、特定の情報を表示する第1情報識別部(1561,1595)及び第2情報識別部(1560,1572,1573)と、
前記記憶手段に設けられ、特定の情報を表示する第3情報識別部(1562,1596)と、を備え、
前記第1情報識別部及び前記第3情報識別部は、
少なくとも同じ内容を意味する識別表示を含んで表示され、
前記第2情報識別部は、
前記第1情報識別部よりも光透過性が低く、且つ、前記電子部品を視認可能な所定の光透過性により形成されており、
前記所定の光透過性よりも光透過性を低下させた領域である複数の有色領域(1575)と、
前記複数の有色領域のうちの第1有色領域と前記第1有色領域とは異なる第2有色領域との間で所定の文字が付されていない部分であって、前記収納部に収納されている前記電子部品を前記所定の光透過性により覗くことが可能な覗き部(1574)と、
を有していることを要旨とする。
◆[発明12]
発明12の遊技機(1)は、基板(501)および該基板(501)に設けられた電子部品(502,595)を含む制御部と、前記制御部を内包する複数の部材(511)を含むケース部(3,1003,1103,1203,1303,1551)と、を備え、前記ケース部(3,1003,1103,1203,1303,1551)において前記基板(501)における前記電子部品(502,595)の実装面側を構成する前記部材(45)には、前記制御部に付された識別表示(521,522)と関連する識別表示(523)として、前記基板(501)の厚み方向において該基板(501)からの距離が異なる第1表示(1371)と第2表示(1372)とが付されていることを要旨とする。
この場合、基板の識別表示とケース部の識別表示とは関連しているため、もし、基板が不正に交換された場合などに基板の識別表示とケース部の識別表示とが異なるものとなって、検査者による不正行為の発見が容易になる。また、識別表示は、基板の厚さ方向における基板からの距離が異なる位置、つまり、厚さ方向の複数の階層に分割されて設けられることで、識別表示が一層のみに形成されている場合に比べて除去され難くすることができる。このような識別表示であれば、もし、この識別表示が不正によって除去等された場合には、研磨されたり削られたりすることでケース部に目立つ損傷が形成されるため、検査者による不正行為の発見が容易であるとともに不正行為の発生を抑制できる。よって、遊技者が安心して遊技することができ、遊技者の興趣が向上する。
◆[発明13]
発明13の遊技機(1)は、基板(501)および該基板(501)の実装面に設けられた電子部品(502,595)を含む制御部と、前記制御部を内包する複数の部材(511)を含むケース部(3,1003,1103,1203,1303,1551)とを有する制御手段を備え、前記制御手段に付されて互いに関連付けられた識別表示(520)として、前記基板(501)の厚み方向における前記実装面からの距離が異なるように付された第1表示(1371)および第2表示(1372)を有すると共に、前記基板(501)の厚み方向における前記実装面からの距離が、前記第2表示(1372)と同じになるように付された第3表示(1375)を有していることを要旨とする。
この場合、制御手段の識別表示が互いに関連しているため、もし、基板が不正に交換された場合などに基板の識別表示とケース部の識別表示とが異なるものとなって、検査者による不正行為の発見が容易になる。また、識別表示は、基板の厚さ方向における基板からの距離が異なる位置、つまり、厚さ方向の複数の階層に分割されて設けられることで、識別表示が一層のみに形成されている場合に比べて除去され難くすることができる。このような識別表示であれば、もし、この識別表示が不正によって除去等された場合には、研磨されたり削られたりすることでケース部に目立つ損傷が形成されるため、検査者による不正行為の発見が容易であるとともに不正行為の発生を抑制できる。よって、遊技者が安心して遊技することができ、遊技者の興趣が向上する。
◆[発明14]
発明14の遊技機(1)は、基板(501)および該基板(501)に設けられた電子部品(502,595)を含む制御部と、前記制御部を内包する複数の部材(511)を含むケース部(3,1003,1103,1203,1303,1551)と、を備え、前記ケース部(3,1003,1103,1203,1303,1551)には、前記制御部に付された識別表示(521,522)と関連する識別表示(523)として、前記基板(501)の厚み方向における位置が異なるように付された第1表示(1371)と第2表示(1372)とが付され、前記制御部には、前記ケース部(3,1003,1103,1203,1303,1551)に付された前記識別表示(523)と関連する前記識別表示(520)として、前記基板の厚み方向における位置が異なるように付された第3表示と第4表示とが付されていることを要旨とする。
この場合、基板の識別表示とケース部の識別表示とは関連しているため、もし、基板が不正に交換された場合などに基板の識別表示とケース部の識別表示とが異なるものとなって、検査者による不正行為の発見が容易になる。また、識別表示は、基板の厚さ方向における基板からの距離が異なる位置、つまり、厚さ方向の複数の階層に分割されて設けられることで、識別表示が一層のみに形成されている場合に比べて除去され難くすることができる。このような識別表示であれば、もし、この識別表示が不正によって除去等された場合には、研磨されたり削られたりすることでケース部に目立つ損傷が形成されるため、検査者による不正行為の発見が容易であるとともに不正行為の発生を抑制できる。よって、遊技者が安心して遊技することができ、遊技者の興趣が向上する。
◆[発明15]
発明15の遊技機(1)は、遊技を制御する制御基板(501)と、前記制御基板(501)に設けられ、遊技の制御に使用される記憶内容を格納する記憶手段(502)と、前記制御基板(501)に設けられ、前記記憶手段(502)とは異なる複数の電子部品(595)と、前記記憶手段(502)および前記複数の電子部品(595)を視認可能で且つ接触困難に収納する光透過性の収納部(3,1003,1103,1203,1303,1551)と、前記収納部(3,1003,1103,1203,1303,1551)に設けられ、特定の情報を表示するための第1情報識別部(523,1561)および第2情報識別部(1560)と、前記記憶手段(502)に設けられ、特定の情報を表示するための第3情報識別部(522,1562)と、を備え、前記制御基板(502)には、第1領域(1900a)と、該第1領域(1900a)と異なる態様の第2領域(1900b)があり、前記第2領域(1900b)には、特定の情報を表示するための第4情報識別部(1902)が設けられ、前記第1情報識別部(523,1561)および前記第3情報識別部(522,1562)は、少なくとも同じ識別表示(529,1595,1596)を含んで表示され、前記第1情報識別部は、前記記憶手段の装着箇所が視認できる角度を有するように表示され、前記第2情報識別部は、光透過性を有する素材で形成されており、当該光透過性を低下させた領域である複数の有色領域(1575)と、前記複数の有色領域のうちの第1有色領域(1575)と前記第1有色領域とは異なる第2有色領域(1575)との間で所定の文字が付されていない部分であって、前記収納部に収納されている前記複数の電子部品を覗くための覗き部(1574)と、を有することを要旨とする。
この場合、収納部の第1情報識別部および記憶手段の第3情報識別部には少なくとも同じ識別表示が付されているため、検査者は、同じ識別表示が表示された記憶手段と収納部とを確認し、不正行為が行われていないことを容易に確認することができる。また、第1情報識別部は記憶手段の装着箇所が視認できる角度を有するように付されているため、例えば、不正行為によって記憶手段が交換された場合でも、記憶手段と収納部に付された識別表示が同じであるか否かを判断することで、検査者は、容易に不正行為が行われたことを確認できる。さらに、収納部の第2情報識別部には覗き部が設けられているので、検査者は、覗き部を介して、収納部に内包されている複数の電子部品を視認して、これら複数の電子部品に対する不正が行われたか否かを確認することができる。したがって、覗き部のようなものが設けられていないような遊技機に比べて、検査者は、収納部に内包されている複数の電子部品に対して不正が行われたか否かを容易に確認できるため、不正の行われる可能性の低減に繋げることができる。そして、このような第2情報識別部においては、複数の有色領域に所定の文字を記載することができるため、光透過性を低下させたような有色領域がなく透明な部分に所定の文字が記載されるようなものに比べて、検査者が文字による情報の内容を確認し易い。またさらに、このような第2情報識別部においては、透明な覗き部が複数の有色領域の間に設けられているため、複数の有色領域のみが並べて設けられているようなものに比べて、有色領域が目立つこととなり、有色領域に記載された文字等を検査者が確認し易い。このように、検査者による不正行為の発見が容易であるとともに不正行為の発生を抑制できる。よって、遊技者が安心して遊技することができ、遊技者の興趣が向上する。
◆[発明16]
発明16の遊技機(遊技機1)は、遊技を制御するための複数の電子部品が実装された制御基板(制御基板1705)と、当該制御基板を収納し光透過性を有する収納部(基板ケース1700)と、を有する制御手段(組立体2)と、前記収納部に貼付され、光透過性を有する素材で形成されたシール部(シール部1710)と、を備え、前記シール部は、当該光透過性を低下させた領域である複数の有色領域(印刷部1711、複数の領域1575)と、前記複数の有色領域のうちの第1有色領域と前記第1有色領域とは異なる第2有色領域との間で所定の文字が付されていない部分であって、前記収納部に収納されている前記制御基板を視認可能な視認可能領域(覗き部1574)と、を有し、前記制御手段は、前記制御基板における前記複数の電子部品のうちの一部の電子部品(電子部品798)が前記視認可能領域を介して視認できるように実装されており、当該一部の電子部品とは異なる電子部品のうち少なくとも一つの電子部品(情報表示器1750)が前記視認可能領域を介さずとも視認できるように実装されていることを要旨とする。
発明16のようなシール部1710と情報表示器1750とを有する組立体2を備える遊技機1によれば、例えば、情報表示器1750等といった一部の電子部品は覗き部1574を介さずとも視認可能である。したがって、即座且つ容易に視認が必要な一部の電子部品は、視認が容易であるため、不正行為の確認が容易である。また、覗き部1574を介さずとも視認可能な一部の電子部品は、覗き部1574を介して視認可能な電子部品に比べて、制御基板1705上で目立つため、覗き部1574を介さずとも視認可能な一部の電子部品に対する不正行為を抑止することができる。特に、情報表示器1750は、遊技機1の遊技盤ユニット12を開放して容易な視認を必要とする部材であるため、上述のような効果を奏することが必要とされる。
◆[発明17]
発明17の遊技機(遊技機1)は、遊技を制御するための複数の電子部品が実装された制御基板(制御基板1705)と、当該制御基板を収納し光透過性を有する収納部(基板ケース1700)と、を有する制御手段(組立体2)と、前記収納部に貼付され、光透過性を有する素材で形成されたシール部(シール部1710)と、前記制御基板に実装され、遊技に係る所定の値情報を表示する所定の情報表示部(情報表示器1750)と、を備え、前記シール部は、当該光透過性を低下させた領域である複数の有色領域(印刷部1711、複数の領域1575)と、前記複数の有色領域のうちの第1有色領域と前記第1有色領域とは異なる第2有色領域との間で所定の文字が付されていない部分であって、前記収納部に収納されている前記制御基板を視認可能な視認可能領域(覗き部1574)と、を有し、前記制御手段は、前記制御基板における前記複数の電子部品のうちの一部の電子部品(電子部品798)が前記視認可能領域を介して視認できるように実装されており、前記所定の情報表示部が前記視認可能領域を介さずとも視認できるように実装されていることを要旨とする。
発明17のようなシール部1710と情報表示器1750とを有する組立体2を備える遊技機1によれば、例えば、情報表示器1750等といった一部の電子部品は覗き部1574を介さずとも視認可能である。したがって、即座且つ容易に視認が必要な一部の電子部品は、視認が容易であるため、不正行為の確認が容易である。また、覗き部1574を介さずとも視認可能な一部の電子部品は、覗き部1574を介して視認可能な電子部品に比べて、制御基板1705上で目立つため、覗き部1574を介さずとも視認可能な一部の電子部品に対する不正行為を抑止することができる。特に、情報表示器1750は、遊技機1の遊技盤ユニット12を開放して容易な視認を必要とする部材であるため、上述のような効果を奏することが必要とされる。
◆[発明18]
発明18の遊技機(1)は、遊技を制御する基板(501)と、
前記基板を内包する、光透過性を有するケース部(1803)と、
前記基板に設けられ、遊技に使用されるデータを格納する記憶手段(502)と、
前記基板に設けられ、前記記憶手段とは異なる複数の電子部品(595)と、
を有する制御手段と、
前記制御手段のうち異なる所定箇所に設けられた第1表示(1371)及び第2表示(1372)と、
前記制御手段に設けられ、光透過性を有する素材で形成されたシール部(1560)と、
前記シール部に印刷され、前記シール部における光透過性を低下させた領域である複数の有色領域(1575)と、を備え、
前記第1表示と前記第2表示とは、
前記基板の前記記憶手段が搭載される側の面から前記第1,2表示が表示されるまでの距離がそれぞれ異なっており、
前記シール部は、
前記複数の有色領域のうちの第1有色領域と前記第1有色領域とは異なる第2有色領域との間で所定の文字が付されていない部分であって、前記ケース部に内包されている前記電子部品を覗くことが可能な覗き部(1574)を有することを要旨とする。
この場合、制御手段の所定箇所に第1表示及び第2表示を設け、基盤の記憶手段搭載面から第1,2表示が表示されるまでの距離がそれぞれ異なっているため、制御手段の偽造が困難となり、制御手段ごと不正な基盤と入れ替えるという不正行為の発生を抑制できる。よって、遊技者が安心して遊技することができ、遊技者の興趣が向上する。
制御手段には、基板、ケース部、記憶手段、電子部品が含まれる。したがって、例えば、第1表示が基板、第2表示がケース部に設けられるという場合もある。
◆[発明19]
発明19の遊技機(1)は、遊技を制御する基板(501)と、
前記基板を内包する、光透過性を有するケース部(1803)と、
前記基板に設けられ、遊技に使用されるデータを格納する記憶手段(502)と、
前記基板に設けられ、前記記憶手段とは異なる複数の電子部品(595)と、
を有する制御手段と、
前記制御手段に設けられ、光透過性を有する素材で形成されたシール部(1560)と、
前記シール部に印刷され、前記シール部における光透過性を低下させた領域である複数の有色領域(1575)と、を備え、
前記記憶手段に設けられた識別表示(1562)と関連する第1,2表示(1371,1372)を前記制御手段のうち異なる所定箇所に表示すると共に、前記基板の前記記憶手段が搭載される側の面から前記第1,2表示が表示されるまでの距離がそれぞれ異なっており、
前記シール部は、
前記複数の有色領域のうちの第1有色領域と前記第1有色領域とは異なる第2有色領域との間で所定の文字が付されていない部分であって、前記ケース部に内包されている前記電子部品を覗くことが可能な覗き部(1574)を有することを要旨とする。
◆[発明20]
発明20の遊技機(1)は、遊技を制御する基板(501)と、
前記基板に設けられ、遊技に使用されるデータを格納する記憶手段(502)と、
前記基板に設けられ、前記記憶手段とは異なる複数の電子部品(595)と、
前記記憶手段及び前記複数の電子部品を視認可能で且つ接触困難に収納する、光透過性の収納部(1803)と、
を有する制御手段と、
前記制御手段のうち異なる所定箇所に設けられた第1表示(1371)及び第2表示(1372)と、
前記収納部に設けられ、特定の情報を表示する第1情報識別部(1561,1595)及び第2情報識別部(1560,1572,1573)と、
前記記憶手段に設けられ、特定の情報を表示する第3情報識別部(1562,1596)と、を備え、
前記第1表示と前記第2表示とは、
前記基板の前記記憶手段が搭載される側の面から前記第1,2表示が表示されるまでの距離がそれぞれ異なっており、
前記第1情報識別部及び前記第3情報識別部は、
少なくとも同じ内容を意味する識別表示を含んで表示され、
前記第2情報識別部は、
光透過性を有する素材で形成されており、当該光透過性を低下させた領域である複数の有色領域(1575)と、
前記複数の有色領域のうちの第1有色領域と前記第1有色領域とは異なる第2有色領域との間で所定の文字が付されていない部分であって、前記収納部に収納されている前記電子部品を覗くことが可能な覗き部(1574)と、
を有することを要旨とする。
◆[発明21]
発明21の遊技機(1)は、遊技を制御する基板(501)と、
前記基板に設けられ、遊技に使用されるデータを格納する記憶手段(502)と、
前記基板に設けられ、前記記憶手段とは異なる複数の電子部品(595)と、
前記記憶手段及び前記複数の電子部品を視認可能で且つ接触困難に収納する、光透過性を有する収納部(1803)と、
を有する制御手段と、
前記収納部に設けられ、特定の情報を表示する第1情報識別部(1561,1595)及び第2情報識別部(1560,1572,1573)と、
前記記憶手段に設けられ、特定の情報を表示する第3情報識別部(1562,1596)と、を備え、
前記第1情報識別部及び前記第3情報識別部は、
少なくとも同じ内容を意味する識別表示を含んで表示され、
前記第3情報識別部と関連する第1,2表示(1371,1372)を前記制御手段のうち異なる所定箇所に表示すると共に、前記基板の前記記憶手段が搭載される側の面から前記第1,2表示が表示されるまでの距離がそれぞれ異なり、
前記第2情報識別部は、
光透過性を有する素材で形成されており、当該光透過性を低下させた領域である複数の有色領域(1575)と、
前記複数の有色領域のうちの第1有色領域と前記第1有色領域とは異なる第2有色領域との間で所定の文字が付されていない部分であって、前記収納部に収納されている前記電子部品を覗くことが可能な覗き部(1574)と、
を有することを要旨とする。
◆[発明22]
発明22の遊技機(1)は、遊技を制御する基板(501)と、
前記基板に設けられ、遊技に使用されるデータを格納する記憶手段(502)と、
前記基板に設けられ、前記記憶手段とは異なる複数の電子部品(595)と、
前記記憶手段及び前記複数の電子部品を視認可能で且つ接触困難に収納する、光透過性を有する収納部(1803)と、
前記収納部に設けられ、特定の情報を表示する第1情報識別部(1561,1595)及び第2情報識別部(1560,1572,1573)と、
前記記憶手段に設けられ、特定の情報を表示する第3情報識別部(1562,1596)と、を備え、
前記第1情報識別部及び前記第3情報識別部は、
少なくとも同じ内容を意味する識別表示を含んで表示され、
前記第2情報識別部は、
前記記憶手段の装着箇所が視認できる角度を有するように表示され、
前記第2情報識別部は、
光透過性を有する素材で形成されており、当該光透過性を低下させた領域である複数の有色領域(1575)と、
前記複数の有色領域のうちの第1有色領域と前記第1有色領域とは異なる第2有色領域との間で所定の文字が付されていない部分であって、前記収納部に収納されている前記電子部品を覗くことが可能な覗き部(1574)と、を有することを要旨とする。
この場合、記憶手段の装着箇所が確実に視認可能となるため、制御基板に対する不正を抑止することができる。よって、遊技者が安心して遊技することができ、遊技者の興趣が向上する。
◆[発明23]
発明23の遊技機(1)は、遊技を制御する基板(501)と、
前記基板を内包する、光透過性を有する第1ケース部(1803)と、
前記基板に設けられ、遊技に使用されるデータを格納する第1記憶手段(502)と、
前記基板に設けられ、前記第1記憶手段とは異なる複数の電子部品(595)と、
前記第1ケース部に設けられ、光透過性を有する素材で形成された第1シール部(1560)と、
前記第1シール部に印刷され、前記第1シール部における光透過性を低下させた領域である複数の第1有色領域(1575)と、
前記基板と双方向通信可能な賞球基板(1811)と、
前記賞球基板を内包する、光透過性を有する第2ケース部(1813)と、
前記賞球基板に設けられ、賞球に使用されるデータを格納する第2記憶手段(1812)と、
前記賞球基板に設けられ、前記第2記憶手段とは異なる複数の電子部品(595)と、
前記第2ケース部に設けられ、光透過性を有する素材で形成された第2シール部(1816)と、
前記第2シール部に印刷され、前記第2シール部における光透過性を低下させた領域である複数の第2有色領域(1817)と、を備え、
前記第1シール部は、
前記第1有色領域と前記第1有色領域とは異なる第3有色領域との間で所定の文字が付されていない部分であって、前記第1ケース部に内包されている前記電子部品を覗くことが可能な第1覗き部(1574)を有し、
前記第2シール部は、
前記第2有色領域と前記第2有色領域とは異なる第4有色領域との間で所定の文字が付されていない部分であって、前記第2ケース部に内包されている前記電子部品を覗くことが可能な第2覗き部(1819)を有し、
前記第1シール部及び前記第2シール部は、
前記電子部品が透視可能な光透過性であると共に、それぞれの光透過性が異なることを要旨とする。
この場合、制御基板に係る第1シール部と賞球基板に係る第2シール部との光透過性が異なっているため、第1,2シール部の偽造が困難となり、ケース部ごと不正な基板と入れ替えるという不正行為を困難にすることができる。故に、遊技者が安心して遊技することができ、遊技者の興趣が向上する。
◇[発明24]
発明24の遊技機(1)は、遊技を制御する基板(501)と、
前記基板を内包する、光透過性を有する第1ケース部(1803)と、
前記基板に設けられ、遊技に使用されるデータを格納する第1記憶手段(502)と、
前記基板に設けられ、前記第1記憶手段とは異なると共に、前記基板に対してスルーホール実装される複数の電子部品(595)と、
前記基板と一方向通信可能な演出基板(1821)と、
前記演出基板を内包する、光透過性を有する第2ケース部(1823)と、
前記演出基板に設けられ、演出に使用されるデータを格納する第2記憶手段(1822)と、
前記演出基板に設けられ、前記第2記憶手段とは異なると共に、前記基板に対して表面実装される複数の電子部品(595)と、を備え、
光透過性を有する素材で形成されたシール部(1560)は、
当該光透過性を低下させた領域である複数の有色領域(1575)と、
前記複数の有色領域のうちの第1有色領域と前記第1有色領域とは異なる第2有色領域との間で所定の文字が付されていない部分であって、内包されている前記電子部品を覗くことが可能な覗き部(1574)と、
を有し、前記第2ケース部に取付けられることなく、前記第1ケース部に取付けられたことを要旨とする。
この場合、制御基板の第1ケース部と演出基板の第2ケース部とでシール部の扱いが異なっているため、第1,2ケース部とシール部の偽造が困難となり、ケース部ごと不正な基板と入れ替えるという不正行為を困難にすることができる。故に、遊技者が安心して遊技することができ、遊技者の興趣が向上する。
◆[発明25]
発明25の遊技機(1)は、遊技を制御する基板(501)と、
前記基板を内包する、光透過性を有する第1ケース部(1803)と、
前記基板に設けられ、遊技に使用されるデータを格納する第1記憶手段(502)と、
前記基板に設けられ、前記第1記憶手段とは異なる複数の電子部品(595)と、
を有する制御手段と、
前記基板と双方向通信可能な賞球基板(1811)と、
前記賞球基板を内包する、光透過性を有する第2ケース部(1813)と、
前記賞球基板に設けられ、賞球に使用されるデータを格納する第2記憶手段(1812)と、
前記賞球基板に設けられ、前記第2記憶手段とは異なる複数の電子部品(595)と、
を有する賞球手段と、
前記制御手段のうち異なる所定箇所に設けられた第1表示(1371)及び第2表示(1372)と、
前記第1ケース部に設けられ、光透過性を有する素材で形成された第1シール部(1560)と、
前記第1シール部に印刷され、前記第1シール部における光透過性を低下させた領域である複数の第1有色領域(1575)と、
前記第2ケース部に設けられ、光透過性を有する素材で形成された第2シール部(1816)と、
前記第2シール部に印刷され、前記第2シール部における光透過性を低下させた領域である複数の第2有色領域(1817)と、を備え、
前記第1表示と前記第2表示とは、
前記基板の前記第1記憶手段が搭載される側の面から前記第1,2表示が表示されるまでの距離がそれぞれ異なっており、
前記第1シール部は、
前記第1有色領域と前記第1有色領域とは異なる第3有色領域との間で所定の文字が付されていない部分であって、前記第1ケース部に内包されている前記電子部品を覗くことが可能な第1覗き部(1574)を有し、
前記第2のシール部は、
前記第2有色領域と前記第2有色領域とは異なる第4有色領域との間で所定の文字が付されていない部分であって、前記第2ケース部に内包されている前記電子部品を覗くことが可能な第2覗き部(1819)を有し、
前記第1シール部及び前記第2シール部は、
前記電子部品が透視可能な光透過性であると共に、それぞれの光透過性が異なることを要旨とする。
◆[発明26]
発明26の遊技機(1)は、遊技を制御する基板(501)と、
前記基板を内包する、光透過性を有する第1ケース部(1803)と、
前記基板に設けられ、遊技に使用されるデータを格納する第1記憶手段(502)と、
前記基板に設けられ、前記第1記憶手段とは異なる複数の電子部品(595)と、
を有する制御手段と、
前記基板と双方向通信可能な賞球基板(1811)と、
前記賞球基板を内包する、光透過性を有する第2ケース部(1813)と、
前記賞球基板に設けられ、賞球に使用されるデータを格納する第2記憶手段(1812)と、
前記賞球基板に設けられ、前記第2記憶手段とは異なる複数の電子部品(595)と、
を有する賞球手段と、
前記第1ケース部に設けられ、光透過性を有する素材で形成された第1シール部(1560)と、
前記第1シール部に印刷され、前記第1シール部における光透過性を低下させた領域である複数の第1有色領域(1575)と、
前記第2ケース部に設けられ、光透過性を有する素材で形成された第2シール部(1816)と、
前記第2シール部に印刷され、前記第2シール部における光透過性を低下させた領域である複数の第2有色領域(1817)と、を備え、
前記第1記憶手段に設けられた識別表示(1562)と関連する第1,2表示(1371,1372)を前記制御手段のうち異なる所定箇所に表示すると共に、前記基板の前記記憶手段が搭載される側の面から前記第1,2表示が表示されるまでの距離がそれぞれ異なり、
前記第1シール部は、
前記第1有色領域と前記第1有色領域とは異なる第3有色領域との間で所定の文字が付されていない部分であって、前記第1ケース部に内包されている前記電子部品を覗くことが可能な第1覗き部(1574)を有し、
前記第2のシール部は、
前記第2有色領域と前記第2有色領域とは異なる第4有色領域との間で所定の文字が付されていない部分であって、前記第2ケース部に内包されている前記電子部品を覗くことが可能な第2覗き部(1819)を有し、
前記第1シール部及び前記第2シール部は、
前記電子部品が透視可能な光透過性であると共に、それぞれの光透過性が異なることを要旨とする。
◆[発明27]
発明27の遊技機(1)は、遊技を制御する基板(501)と、
前記基板を内包する、光透過性を有する第1ケース部(1803)と、
前記基板に設けられ、遊技に使用されるデータを格納する第1記憶手段(502)と、
前記基板に設けられ、前記第1記憶手段とは異なると共に、前記基板に対してスルーホール実装される複数の電子部品(595)と、
を有する制御手段と、
前記基板と一方向通信可能な演出基板(1821)と、
前記演出基板を内包する、光透過性を有する第2ケース部(1823)と、
前記演出基板に設けられ、演出に使用されるデータを格納する第2記憶手段(1822)と、
前記演出基板に設けられ、前記第2記憶手段とは異なると共に、前記演出基板に対して表面実装される複数の電子部品(595)と、
を有する演出手段と、
前記制御手段のうち異なる所定箇所に設けられた第1表示(1371)及び第2表示(1372)と、を備え、
前記第1表示と前記第2表示とは、
前記基板の前記第1記憶手段が搭載される側の面から前記第1,2表示が表示されるまでの距離がそれぞれ異なっており、
光透過性を有する素材で形成されたシール部(1560)は、
当該光透過性を低下させた領域である複数の有色領域(1575)と、
前記複数の有色領域のうちの第1有色領域と前記第1有色領域とは異なる第2有色領域との間で所定の文字が付されていない部分であって、内包されている前記電子部品を覗くことが可能な覗き部(1574)と、
を有し、前記第2ケース部に取付けられることなく、前記第1ケース部に取付けられたことを要旨とする。
◆[発明28]
発明28の遊技機(1)は、遊技を制御する基板(501)と、
前記基板を内包する、光透過性を有する第1ケース部(1803)と、
前記基板に設けられ、遊技に使用される記憶を格納する第1記憶手段(502)と、
前記基板に設けられ、前記第1記憶手段とは異なると共に、前記基板に対してスルーホール実装される複数の電子部品(595)と、
を有する制御手段と、
前記基板と一方向通信可能な演出基板(1821)と、
前記演出基板を内包する、光透過性を有する第2ケース部(1823)と、
前記演出基板に設けられ、演出に使用される記憶を格納する第2記憶手段(1822)と、
前記演出基板に設けられ、前記第2記憶手段とは異なると共に、前記基板に対して表面実装される複数の電子部品(595)と、
を有する演出手段と、を備え、
前記第1記憶手段に設けられた識別表示(1562)と関連する第1,2表示(1371,1372)を前記制御手段のうち異なる所定箇所に表示すると共に、前記基板の前記第1記憶手段が搭載される側の面から前記第1,2表示が表示されるまでの距離がそれぞれ異なり、
光透過性を有する素材で形成されたシール部(1560)は、
当該光透過性を低下させた領域である複数の有色領域(1575)と、
前記複数の有色領域のうちの第1有色領域と前記第1有色領域とは異なる第2有色領域との間で所定の文字が付されていない部分であって、内包されている前記電子部品を覗くことが可能な覗き部(1574)と、
を有し、前記第2ケース部に取付けられることなく、前記第1ケース部に取付けられたことを要旨とする。
以上、実施形態、変形例に基づき本発明について説明してきたが、上記した発明の実施の形態は、本発明の理解を容易にするためのものであり、本発明を限定するものではない。本発明は、その趣旨並びに特許請求の範囲を逸脱することなく、変更、改良され得ると共に、本発明にはその等価物が含まれる。
1…遊技機、501…制御基板(基板)、502…ROM(第1記憶手段)、595…電子部品、1560…シール部、1574…覗き部、1575…有色領域、1803…ケース部(第1ケース部)、1821…演出基板、1822…ROM(第2記憶手段)、1823…ケース部(第2ケース部)

Claims (1)

  1. 遊技を制御する基板と、
    前記基板を内包する、光透過性を有する第1ケース部と、
    前記基板に設けられ、遊技に使用されるデータを格納する第1記憶手段と、
    前記基板に設けられ、前記第1記憶手段とは異なると共に、前記基板に対してスルーホール実装される複数の第1電子部品と、
    前記基板と一方向通信可能な演出基板と、
    前記演出基板を内包する、光透過性を有する第2ケース部と、
    前記演出基板に設けられ、演出に使用されるデータを格納する第2記憶手段と、
    前記演出基板に設けられ、前記第2記憶手段とは異なると共に、前記基板に対して表面実装される複数の第2電子部品と、
    光透過性を有する素材で形成されたシール部と、を備え、
    前記シール部は、
    複数の有色領域を備え、前記複数の有色領域でない部分に、模様により固有情報が形成される第1領域と、文字を含んだ固有情報が形成される第2領域と、を有するとともに、前記第1領域と前記第2領域の境界が形成され、
    前記複数の有色領域は、
    前記シール部に印刷され、前記シール部における光透過性を低下させた領域である第1有色領域と、前記第1有色領域とは異なる位置に設けられた第2有色領域と、を有し、
    記シール部は、
    前記第1有色領域と前記第2有色領域との間で所定の文字が付されていない前記第1領域に、前記第1ケース部に内包されている前記第1電子部品を覗くことが可能な覗き部を有し、
    記シール部は、
    前記第2ケース部に取付けられることなく、前記第1ケース部に取付けられたことを特徴とする遊技機。
JP2018173705A 2018-09-18 2018-09-18 遊技機 Active JP6954635B2 (ja)

Priority Applications (1)

Application Number Priority Date Filing Date Title
JP2018173705A JP6954635B2 (ja) 2018-09-18 2018-09-18 遊技機

Applications Claiming Priority (1)

Application Number Priority Date Filing Date Title
JP2018173705A JP6954635B2 (ja) 2018-09-18 2018-09-18 遊技機

Publications (2)

Publication Number Publication Date
JP2020044017A JP2020044017A (ja) 2020-03-26
JP6954635B2 true JP6954635B2 (ja) 2021-10-27

Family

ID=69899219

Family Applications (1)

Application Number Title Priority Date Filing Date
JP2018173705A Active JP6954635B2 (ja) 2018-09-18 2018-09-18 遊技機

Country Status (1)

Country Link
JP (1) JP6954635B2 (ja)

Families Citing this family (3)

* Cited by examiner, † Cited by third party
Publication number Priority date Publication date Assignee Title
JP7007728B2 (ja) * 2018-09-18 2022-01-25 京楽産業.株式会社 遊技機
JP7139377B2 (ja) * 2020-03-30 2022-09-20 株式会社藤商事 遊技機
JP2025082762A (ja) * 2023-11-17 2025-05-29 株式会社大一商会 遊技機

Family Cites Families (15)

* Cited by examiner, † Cited by third party
Publication number Priority date Publication date Assignee Title
JP2000296250A (ja) * 1999-04-14 2000-10-24 Takasago Electric Ind Co Ltd 遊技機の基板ボックス
JP2004243030A (ja) * 2003-02-17 2004-09-02 Sanyo Product Co Ltd 遊技機
JP4262664B2 (ja) * 2004-10-25 2009-05-13 株式会社オリンピア 遊技機
JP2010131165A (ja) * 2008-12-04 2010-06-17 Joyco Systems Corp 遊技媒体貸出装置およびこれを含む遊技媒体貸出システム
JP5600412B2 (ja) * 2009-10-30 2014-10-01 京楽産業.株式会社 遊技機
JP5576182B2 (ja) * 2010-05-21 2014-08-20 株式会社大都技研 遊技台
JP2012157598A (ja) * 2011-02-01 2012-08-23 Kyoraku Sangyo Kk 遊技機
JP6473180B2 (ja) * 2017-01-19 2019-02-20 京楽産業.株式会社 遊技機
JP6822680B2 (ja) * 2018-09-18 2021-01-27 京楽産業.株式会社 遊技機
JP6896289B2 (ja) * 2018-09-18 2021-06-30 京楽産業.株式会社 遊技機
JP6889480B2 (ja) * 2018-09-18 2021-06-18 京楽産業.株式会社 遊技機
JP6822681B2 (ja) * 2018-09-18 2021-01-27 京楽産業.株式会社 遊技機
JP6889482B2 (ja) * 2018-09-18 2021-06-18 京楽産業.株式会社 遊技機
JP6896287B2 (ja) * 2018-09-18 2021-06-30 京楽産業.株式会社 遊技機
JP6896288B2 (ja) * 2018-09-18 2021-06-30 京楽産業.株式会社 遊技機

Also Published As

Publication number Publication date
JP2020044017A (ja) 2020-03-26

Similar Documents

Publication Publication Date Title
JP6796629B2 (ja) 遊技機
JP6844861B2 (ja) 遊技機
JP6822681B2 (ja) 遊技機
JP6822680B2 (ja) 遊技機
JP6954635B2 (ja) 遊技機
JP6889480B2 (ja) 遊技機
JP6896288B2 (ja) 遊技機
JP6867042B2 (ja) 遊技機
JP6889482B2 (ja) 遊技機
JP6896287B2 (ja) 遊技機
JP6896289B2 (ja) 遊技機
JP6844860B2 (ja) 遊技機
JP7081812B2 (ja) 遊技機
JP6889481B2 (ja) 遊技機
JP6889484B2 (ja) 遊技機
JP6844863B2 (ja) 遊技機
JP6943442B2 (ja) 遊技機
JP6943443B2 (ja) 遊技機
JP6954634B2 (ja) 遊技機
JP6889483B2 (ja) 遊技機
JP6844862B2 (ja) 遊技機
JP6867039B2 (ja) 遊技機
JP6867040B2 (ja) 遊技機
JP6867041B2 (ja) 遊技機
JP7007728B2 (ja) 遊技機

Legal Events

Date Code Title Description
A621 Written request for application examination

Free format text: JAPANESE INTERMEDIATE CODE: A621

Effective date: 20190927

A131 Notification of reasons for refusal

Free format text: JAPANESE INTERMEDIATE CODE: A131

Effective date: 20201013

A521 Request for written amendment filed

Free format text: JAPANESE INTERMEDIATE CODE: A523

Effective date: 20201209

A131 Notification of reasons for refusal

Free format text: JAPANESE INTERMEDIATE CODE: A131

Effective date: 20210316

A521 Request for written amendment filed

Free format text: JAPANESE INTERMEDIATE CODE: A523

Effective date: 20210512

TRDD Decision of grant or rejection written
A01 Written decision to grant a patent or to grant a registration (utility model)

Free format text: JAPANESE INTERMEDIATE CODE: A01

Effective date: 20210907

A61 First payment of annual fees (during grant procedure)

Free format text: JAPANESE INTERMEDIATE CODE: A61

Effective date: 20210922

R150 Certificate of patent or registration of utility model

Ref document number: 6954635

Country of ref document: JP

Free format text: JAPANESE INTERMEDIATE CODE: R150

R157 Certificate of patent or utility model (correction)

Free format text: JAPANESE INTERMEDIATE CODE: R157

R250 Receipt of annual fees

Free format text: JAPANESE INTERMEDIATE CODE: R250

S531 Written request for registration of change of domicile

Free format text: JAPANESE INTERMEDIATE CODE: R313531

R350 Written notification of registration of transfer

Free format text: JAPANESE INTERMEDIATE CODE: R350

R250 Receipt of annual fees

Free format text: JAPANESE INTERMEDIATE CODE: R250