JP6861493B2 - エアフィルタ濾材、エアフィルタパック及びエアフィルタユニット - Google Patents
エアフィルタ濾材、エアフィルタパック及びエアフィルタユニット Download PDFInfo
- Publication number
- JP6861493B2 JP6861493B2 JP2016194414A JP2016194414A JP6861493B2 JP 6861493 B2 JP6861493 B2 JP 6861493B2 JP 2016194414 A JP2016194414 A JP 2016194414A JP 2016194414 A JP2016194414 A JP 2016194414A JP 6861493 B2 JP6861493 B2 JP 6861493B2
- Authority
- JP
- Japan
- Prior art keywords
- porous membrane
- ptfe porous
- air filter
- filter medium
- ptfe
- Prior art date
- Legal status (The legal status is an assumption and is not a legal conclusion. Google has not performed a legal analysis and makes no representation as to the accuracy of the status listed.)
- Active
Links
Images
Classifications
-
- B—PERFORMING OPERATIONS; TRANSPORTING
- B01—PHYSICAL OR CHEMICAL PROCESSES OR APPARATUS IN GENERAL
- B01D—SEPARATION
- B01D39/00—Filtering material for liquid or gaseous fluids
- B01D39/14—Other self-supporting filtering material ; Other filtering material
- B01D39/16—Other self-supporting filtering material ; Other filtering material of organic material, e.g. synthetic fibres
- B01D39/1692—Other shaped material, e.g. perforated or porous sheets
-
- C—CHEMISTRY; METALLURGY
- C08—ORGANIC MACROMOLECULAR COMPOUNDS; THEIR PREPARATION OR CHEMICAL WORKING-UP; COMPOSITIONS BASED THEREON
- C08J—WORKING-UP; GENERAL PROCESSES OF COMPOUNDING; AFTER-TREATMENT NOT COVERED BY SUBCLASSES C08B, C08C, C08F, C08G or C08H
- C08J9/00—Working-up of macromolecular substances to porous or cellular articles or materials; After-treatment thereof
- C08J9/0004—Use of compounding ingredients, the chemical constitution of which is unknown, broadly defined, or irrelevant
-
- B—PERFORMING OPERATIONS; TRANSPORTING
- B01—PHYSICAL OR CHEMICAL PROCESSES OR APPARATUS IN GENERAL
- B01D—SEPARATION
- B01D39/00—Filtering material for liquid or gaseous fluids
- B01D39/14—Other self-supporting filtering material ; Other filtering material
- B01D39/16—Other self-supporting filtering material ; Other filtering material of organic material, e.g. synthetic fibres
-
- B—PERFORMING OPERATIONS; TRANSPORTING
- B01—PHYSICAL OR CHEMICAL PROCESSES OR APPARATUS IN GENERAL
- B01D—SEPARATION
- B01D46/00—Filters or filtering processes specially modified for separating dispersed particles from gases or vapours
- B01D46/52—Particle separators, e.g. dust precipitators, using filters embodying folded corrugated or wound sheet material
-
- B—PERFORMING OPERATIONS; TRANSPORTING
- B01—PHYSICAL OR CHEMICAL PROCESSES OR APPARATUS IN GENERAL
- B01D—SEPARATION
- B01D63/00—Apparatus in general for separation processes using semi-permeable membranes
- B01D63/14—Pleat-type membrane modules
-
- B—PERFORMING OPERATIONS; TRANSPORTING
- B01—PHYSICAL OR CHEMICAL PROCESSES OR APPARATUS IN GENERAL
- B01D—SEPARATION
- B01D69/00—Semi-permeable membranes for separation processes or apparatus characterised by their form, structure or properties; Manufacturing processes specially adapted therefor
- B01D69/02—Semi-permeable membranes for separation processes or apparatus characterised by their form, structure or properties; Manufacturing processes specially adapted therefor characterised by their properties
-
- B—PERFORMING OPERATIONS; TRANSPORTING
- B01—PHYSICAL OR CHEMICAL PROCESSES OR APPARATUS IN GENERAL
- B01D—SEPARATION
- B01D71/00—Semi-permeable membranes for separation processes or apparatus characterised by the material; Manufacturing processes specially adapted therefor
- B01D71/06—Organic material
- B01D71/30—Polyalkenyl halides
- B01D71/32—Polyalkenyl halides containing fluorine atoms
- B01D71/36—Polytetrafluoroethylene
-
- C—CHEMISTRY; METALLURGY
- C08—ORGANIC MACROMOLECULAR COMPOUNDS; THEIR PREPARATION OR CHEMICAL WORKING-UP; COMPOSITIONS BASED THEREON
- C08J—WORKING-UP; GENERAL PROCESSES OF COMPOUNDING; AFTER-TREATMENT NOT COVERED BY SUBCLASSES C08B, C08C, C08F, C08G or C08H
- C08J9/00—Working-up of macromolecular substances to porous or cellular articles or materials; After-treatment thereof
-
- B—PERFORMING OPERATIONS; TRANSPORTING
- B01—PHYSICAL OR CHEMICAL PROCESSES OR APPARATUS IN GENERAL
- B01D—SEPARATION
- B01D2239/00—Aspects relating to filtering material for liquid or gaseous fluids
- B01D2239/06—Filter cloth, e.g. knitted, woven non-woven; self-supported material
- B01D2239/065—More than one layer present in the filtering material
- B01D2239/0668—The layers being joined by heat or melt-bonding
-
- B—PERFORMING OPERATIONS; TRANSPORTING
- B01—PHYSICAL OR CHEMICAL PROCESSES OR APPARATUS IN GENERAL
- B01D—SEPARATION
- B01D2239/00—Aspects relating to filtering material for liquid or gaseous fluids
- B01D2239/10—Filtering material manufacturing
-
- B—PERFORMING OPERATIONS; TRANSPORTING
- B01—PHYSICAL OR CHEMICAL PROCESSES OR APPARATUS IN GENERAL
- B01D—SEPARATION
- B01D2239/00—Aspects relating to filtering material for liquid or gaseous fluids
- B01D2239/12—Special parameters characterising the filtering material
- B01D2239/1208—Porosity
-
- B—PERFORMING OPERATIONS; TRANSPORTING
- B01—PHYSICAL OR CHEMICAL PROCESSES OR APPARATUS IN GENERAL
- B01D—SEPARATION
- B01D2239/00—Aspects relating to filtering material for liquid or gaseous fluids
- B01D2239/12—Special parameters characterising the filtering material
- B01D2239/1216—Pore size
-
- B—PERFORMING OPERATIONS; TRANSPORTING
- B01—PHYSICAL OR CHEMICAL PROCESSES OR APPARATUS IN GENERAL
- B01D—SEPARATION
- B01D2239/00—Aspects relating to filtering material for liquid or gaseous fluids
- B01D2239/12—Special parameters characterising the filtering material
- B01D2239/1258—Permeability
Landscapes
- Chemical & Material Sciences (AREA)
- Chemical Kinetics & Catalysis (AREA)
- Polymers & Plastics (AREA)
- Materials Engineering (AREA)
- Health & Medical Sciences (AREA)
- Medicinal Chemistry (AREA)
- Engineering & Computer Science (AREA)
- Organic Chemistry (AREA)
- General Chemical & Material Sciences (AREA)
- Separation Using Semi-Permeable Membranes (AREA)
- Filtering Materials (AREA)
- Filtering Of Dispersed Particles In Gases (AREA)
- Respiratory Apparatuses And Protective Means (AREA)
Description
第1のPTFE多孔質膜と第2のPTFE多孔質膜とを含むエアフィルタ濾材であって、
前記エアフィルタ濾材が第1主面と第2主面とを有し、
前記第1のPTFE多孔質膜と前記第2のPTFE多孔質膜とが、前記第1主面から前記第2主面へと通過する気流が前記第1のPTFE多孔質膜、前記第2のPTFE多孔質の順に通過するように配置されており、
前記第1のPTFE多孔質膜は、複数のノード及び複数のフィブリルを含み、
前記第1のPTFE多孔質膜の表面において前記複数のノードの占める面積の割合が1.5〜3.0%の範囲にあり、
前記複数のノードの面積の平均値が200μm2以上である、エアフィルタ濾材を提供する。
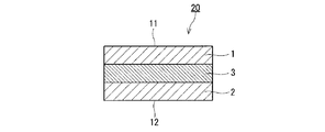
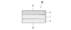
第1のPTFE多孔質膜1は、適度に通気性を有しながら、比較的粒径の大きなオイルミストを予め捕集することにより、第2のPTFE多孔質膜2がオイルミストによって目詰まりすることを防止する。第1のPTFE多孔質膜1により、エアフィルタ濾材10,20,30,40,50及び60の使用に伴う圧力損失の上昇が抑制されるため、エアフィルタ濾材10,20,30,40,50及び60の寿命が長くなる。
気孔率(%)=100×(V−(W/D))/V
V:体積(cm3)
W:重量(g)
D:PTFEの密度(g/cm3)
第2のPTFE多孔質膜2は、第1のPTFE多孔質膜1が捕集できなかった小さなオイルミストを捕集することにより、エアフィルタ濾材10,20,30,40,50及び60のオイルミストの捕集量を増加させる。
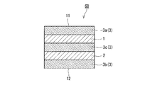
図2〜6に示すように、本実施形態のエアフィルタ濾材は、通気性繊維層3を含んでいてもよい。通気性繊維層3としては、十分な通気性を有する材料が用いられる。通気性繊維層3としては、短繊維やフィラメント等の繊維で構成された、第1のPTFE多孔質膜1及び第2のPTFE多孔質膜2よりも通気性に優れる材料、例えば、不織布、織布、メッシュ(網目状シート)及びその他の多孔質材料を用いることができる。中でも、強度、柔軟性及び作業性の点で優れることから、不織布が好ましい。
PTFEファインパウダー(旭硝子社製「CD129E」、標準比重:2.16)100重量部に液状潤滑剤(ドデカン)20重量部を均一に混合し、得られた混合物を予備成形した。次に、予備成形物をロッド状にペースト押出しし、さらにロッド状成形体を1対の金属圧延ロール間に通して、厚さ200μmの長尺シートとした。長尺シートを375℃の延伸温度(炉内温度)で長手方向に1段目で5倍に延伸した後、2段目で20倍に延伸した。次いで320℃の延伸温度(テンターの炉内温度)で横方向に7倍に延伸して、第1のPTFE多孔質膜Aを作製した。第1のPTFE多孔質膜Aの圧力損失は15Paであった。第1のPTFE多孔質膜Aの目付は1.3g/m2であった。
PTFEファインパウダー(旭硝子社製「CD129E」)100重量部に液状潤滑剤(ドデカン)20重量部を均一に混合し、得られた混合物を予備成形した。次に、予備成形物をロッド状にペースト押出しし、さらにロッド状成形体を1対の金属圧延ロール間に通して、厚さ200μmの長尺シートとした。長尺シートを375℃の延伸温度で長手方向に1段目で5倍に延伸した後、2段目で20倍に延伸した。次いで300℃の延伸温度で横方向に7倍に延伸して、第1のPTFE多孔質膜A1を作製した。第1のPTFE多孔質膜A1の圧力損失は20Paであった。第1のPTFE多孔質膜A1の目付は1.3g/m2であった。
PTFEファインパウダー(旭硝子社製「CD129E」)100重量部に液状潤滑剤(ドデカン)20重量部を均一に混合し、得られた混合物を予備成形した。次に、予備成形物をロッド状にペースト押出しし、さらにロッド状成形体を1対の金属圧延ロール間に通して、厚さ200μmの長尺シートとした。長尺シートを375℃の延伸温度で長手方向に1段目で4.5倍に延伸した後、2段目で20倍に延伸した。次いで150℃の延伸温度で横方向に6倍に延伸して、第1のPTFE多孔質膜A2を作製した。第1のPTFE多孔質膜A2の圧力損失は40Paであった。第1のPTFE多孔質膜A2の目付は1.3g/m2であった。
PTFEファインパウダー(旭硝子社製「フルオン(登録商標)PTFE CD−123」)100重量部に対し、液状潤滑剤(ナフサ)19重量%を均一に混合し、この混合物を20kg/cm2の条件で予備成形し、次いでこれをロッド状にぺースト押出成形し、さらにこのロッド状成形体を1対の金属圧延ロール間に通して、厚さ200μmの長尺シートを得た。このシートを290℃の延伸温度でシート長手方向に14倍延伸し、さらにテンター法により80℃の延伸温度でシート幅方向に30倍延伸し、未焼成PTFE多孔質膜を得た。この未焼成PTFE多孔質膜を、寸法を固定した状態で400℃で10秒間熱処理し、焼成された第1のPTFE多孔質膜Bを得た。第1のPTFE多孔質膜Bの圧力損失は110Paであった。第1のPTFE多孔質膜Bの目付は0.7g/m2であった。
PTFEファインパウダー(旭硝子社製「フルオン(登録商標)PTFE CD−123」)100重量部に対し、液状潤滑剤(ナフサ)19重量%を均一に混合し、この混合物を20kg/cm2の条件で予備成形し、次いでこれをロッド状にぺースト押出成形し、さらにこのロッド状成形体を1対の金属圧延ロール間に通して、厚さ200μmの長尺シートを得た。このシートを290℃の延伸温度でシート長手方向に15倍延伸し、さらにテンター法により80℃の延伸温度でシート幅方向に30倍延伸し、未焼成PTFE多孔質膜を得た。この未焼成PTFE多孔質膜を、寸法を固定した状態で400℃で10秒間熱処理し、焼成された第1のPTFE多孔質膜Cを得た。第1のPTFE多孔質膜Cの圧力損失は100Paであった。第1のPTFE多孔質膜Cの目付は0.7g/m2であった。
PTFEファインパウダー(ダイキン社製「ポリフロン(登録商標)PTFE F−104」)100重量部に対し、液状潤滑剤(ナフサ)19重量%を均一に混合し、この混合物を20kg/cm2の条件で予備成形し、次いでこれをロッド状にぺースト押出成形し、さらにこのロッド状成形体を1対の金属圧延ロール間に通して、厚さ200μmの長尺シートを得た。このシートを280℃の延伸温度でシート長手方向に35倍延伸し、さらにテンター法により120℃の延伸温度でシート幅方向に35倍延伸し、未焼成PTFE多孔質膜を得た。この未焼成PTFE多孔質膜を、寸法を固定した状態で400℃で10秒間熱処理し、焼成された第2のPTFE多孔質膜Dを得た。第2のPTFE多孔質膜Dの圧力損失は80Paであった。第2のPTFE多孔質膜Dの目付は0.7g/m2であった。
PTFEファインパウダー(ダイキン社製「ポリフロン(登録商標)PTFE F−104」)100重量部に液状潤滑剤(ドデカン)20重量部を均一に混合し、得られた混合物を予備成形した。次に、予備成形物をロッド状にペースト押出しし、さらにロッド状成形体を1対の金属圧延ロール間に通して、厚さ200μmの長尺シートとした。長尺シートを280℃の延伸温度で長手方向に18倍に延伸し、120℃の延伸温度で横方向に35倍に延伸して、第2のPTFE多孔質膜Eを作製した。第2のPTFE多孔質膜Eの圧力損失は140Paであった。第2のPTFE多孔質膜Eの目付は0.7g/m2であった。
PTFEファインパウダー(ダイキン社製「ポリフロン(登録商標)PTFE F−104」)100重量部に液状潤滑剤(ドデカン)20重量部を均一に混合し、得られた混合物を予備成形した。次に、予備成形物をロッド状にペースト押出しし、さらにロッド状成形体を1対の金属圧延ロール間に通して、厚さ500μmの長尺シートとした。長尺シートを280℃の延伸温度で長手方向に23倍に延伸し、120℃の延伸温度で横方向に35倍に延伸して、第2のPTFE多孔質膜Fを作製した。第2のPTFE多孔質膜Fの圧力損失は220Paであった。第2のPTFE多孔質膜Fの目付は2.0g/m2であった。
第1のPTFE多孔質膜Bを、第2のPTFE多孔質膜Gとして使用した。
PTFEファインパウダー(ダイキン社製「ポリフロン(登録商標)PTFE F−104」)100重量部に対し、液状潤滑剤(ナフサ)19重量%を均一に混合し、この混合物を20kg/cm2の条件で予備成形し、次いでこれをロッド状にぺースト押出成形し、さらにこのロッド状成形体を1対の金属圧延ロール間に通して、厚さ200μmの長尺シートを得た。このシートを280℃の延伸温度でシート長手方向に37倍延伸し、さらにテンター法により140℃の延伸温度でシート幅方向に35倍延伸し、未焼成PTFE多孔質膜を得た。この未焼成PTFE多孔質膜を、寸法を固定した状態で400℃で10秒間熱処理し、焼成された第2のPTFE多孔質膜Iを得た。第2のPTFE多孔質膜Iの圧力損失は60Paであった。
通気性繊維層として、不織布[ユニチカ社製「エルベスS0303WDO」、芯鞘構造(芯成分PET、鞘成分PE)、目付量30g/m2、見掛け密度0.136g/cm3、エンボス面積比率15%、厚さ0.22mm]を使用した。
第1のPTFE多孔質膜の表面及び第2のPTFE多孔質膜の表面を走査電子顕微鏡で観察し、観察像を得た。第1のPTFE多孔質膜A1の表面の観察像(倍率140倍)を図9Aに示す。第2のPTFE多孔質膜Fの表面の観察像(倍率1000倍)を図10Aに示す。
表1に示す組み合わせにて、第1のPTFE多孔質膜と、第2のPTFE多孔質膜と、上記の通気性繊維層とを、第1の通気性繊維層、第1のPTFE多孔質膜、第3の通気性繊維層、第2のPTFE多孔質膜、第2の通気性繊維層、の順に積層し、80℃に加熱された一対のロール間を通過させることにより熱ラミネートして、図6と同様の積層構造を有するエアフィルタ濾材を作製した。
エアフィルタ濾材を有効面積100cm2の円形のホルダーにセットした。セットしたエアフィルタ濾材に空気を透過させ、エアフィルタ濾材を通過する空気の線流速を流量計で5.3cm/秒に調整したときの圧力損失を、圧力計(マノメーター)で測定した。1つのエアフィルタ濾材について8回圧力損失を測定し、その平均を算出した。
エアフィルタ濾材を、圧力損失の測定と同様の装置にセットし、定出力エアロゾルアトマイザー(東京ダイレック社製「TSI No.3076」)を用いて平均粒径が0.15μmの多分散粒子のPAO(イネオス社製「デュラシン164」)を20〜40g/m3の濃度で5.3cm/秒の線流速でエアフィルタ濾材に透過させて圧力損失の変化を圧力計(マノメーター)で測定した。圧力損失が500Paになったときのエアフィルタ濾材の重量(mg)を測定し、圧力損失の測定前のエアフィルタ濾材の重量に対するエアフィルタ濾材の重量増加分をエアフィルタ濾材の面積(m2)で割り、さらに圧力損失の増加分[500−(測定を開始したときの圧力損失)](Pa)で割って得られた数値をPAO捕集量(mg/m2/Pa)とした。
エアフィルタ濾材を、圧力損失の測定と同様の装置にセットし、定出力エアロゾルアトマイザー(東京ダイレック社製「TSI No.3076」)を用いて平均粒径が0.5μmの多分散粒子のNaClを1〜3g/m3の濃度で5.3cm/秒の線流速でエアフィルタ濾材に透過させて圧力損失の変化を圧力計(マノメーター)で測定した。圧力損失が500Paになったときのエアフィルタ濾材の重量(mg)を測定し、圧力損失の測定前のエアフィルタ濾材の重量に対するエアフィルタ濾材の重量増加分をエアフィルタ濾材の面積(m2)で割り、さらに圧力損失の増加分[500−(測定を開始したときの圧力損失)](Pa)で割って得られた数値をNaCl捕集量(mg/m2/Pa)とした。
エアフィルタ濾材を、圧力損失の測定と同様の装置にセットし、エアフィルタ濾材を通過する気体の線流速を5.3cm/秒に調整した。粒径0.1〜0.2μmのポリαオレフィン(PAO)粒子を約1x109個/Lの濃度で含む空気をエアフィルタ濾材に透過させた。エアフィルタ濾材の下流側におけるPAO粒子の濃度をパーティクルカウンターで測定し、以下の式により捕集効率(%)を求めた。
捕集効率={1−(下流側のPAO粒子濃度/上流側のPAO粒子濃度)}×100
2 第2のPTFE多孔質膜
3 通気性繊維層
3a 第1の通気性繊維層
3b 第2の通気性繊維層
3c 第3の通気性繊維層
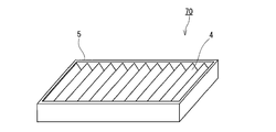
4 エアフィルタパック
5 枠体
10,20,30,40,50,60 エアフィルタ濾材
70 エアフィルタユニット
Claims (9)
- 第1のPTFE多孔質膜と第2のPTFE多孔質膜とを含むエアフィルタ濾材であって、
前記エアフィルタ濾材が第1主面と第2主面とを有し、
前記第1のPTFE多孔質膜と前記第2のPTFE多孔質膜とが、前記第1主面から前記第2主面へと通過する気流が前記第1のPTFE多孔質膜、前記第2のPTFE多孔質膜の順に通過するように配置されており、
前記第1のPTFE多孔質膜は、複数のノード及び複数のフィブリルを含み、
前記第1のPTFE多孔質膜の表面において前記複数のノードの占める面積の割合が1.5〜3.0%の範囲にあり、
前記第1のPTFE多孔質膜を構成する前記複数のノードの面積の平均値が200μm2以上であり、
前記第2のPTFE多孔質膜は、複数のノード及び複数のフィブリルを含み、
前記第2のPTFE多孔質膜の表面において前記複数のノードの占める面積の割合が0.7〜1.0%の範囲にあり、
前記第2のPTFE多孔質膜を構成する前記複数のノードの面積の平均値が3.0〜20μm 2 の範囲にあり、
前記第1のPTFE多孔質膜の平均孔径が前記第2のPTFE多孔質膜の平均孔径よりも大きく、
前記第1のPTFE多孔質膜の厚さが前記第2のPTFE多孔質膜の厚さよりも大きく、
前記第1のPTFE多孔質膜の気孔率が前記第2のPTFE多孔質膜の気孔率よりも大きい、エアフィルタ濾材。 - 前記第1のPTFE多孔質膜を構成する前記複数のノードの面積の平均値が400μm2以下である、請求項1に記載のエアフィルタ濾材。
- 前記第1のPTFE多孔質膜の平均孔径が3〜30μmであり、
前記第1のPTFE多孔質膜の厚さが7〜36μmであり、
前記第1のPTFE多孔質膜の気孔率が90〜99%である、請求項1又は2に記載のエアフィルタ濾材。 - 前記第2のPTFE多孔質膜の平均孔径が0.1〜3μmであり、
前記第2のPTFE多孔質膜の厚さが1μm以上7μm未満であり、
前記第2のPTFE多孔質膜の気孔率が50%以上90%未満である、請求項1〜3のいずれか1項に記載のエアフィルタ濾材。 - 平均粒径が0.15μmの多分散粒子のポリαオレフィンを20〜40g/m3の濃度で5.3cm/秒の線流速で前記エアフィルタ濾材に透過させて圧力損失の変化を測定したときに、圧力損失が500Paになったときの前記エアフィルタ濾材によるポリαオレフィンの捕集量が20mg/m2/Pa以上である、請求項1〜4のいずれか1項に記載のエアフィルタ濾材。
- 前記エアフィルタ濾材によるポリαオレフィンの捕集量が20mg/m 2 /Pa以上200mg/m 2 /Pa以下である、請求項5に記載のエアフィルタ濾材。
- 平均粒径が0.5μmの多分散粒子のNaClを1〜3g/m3の濃度で5.3cm/秒の線流速で前記エアフィルタ濾材に透過させて圧力損失の変化を測定したときに、圧力損失が500Paになったときの前記エアフィルタ濾材によるNaClの捕集量が8mg/m2/Pa以上である、請求項1〜6のいずれか1項に記載のエアフィルタ濾材。
- 請求項1〜7のいずれか1項に記載のエアフィルタ濾材にプリーツ加工が施されてなる、エアフィルタパック。
- 請求項8に記載のエアフィルタパックと、前記エアフィルタパックを支持する枠体と、を備えたエアフィルタユニット。
Priority Applications (8)
| Application Number | Priority Date | Filing Date | Title |
|---|---|---|---|
| JP2016194414A JP6861493B2 (ja) | 2016-09-30 | 2016-09-30 | エアフィルタ濾材、エアフィルタパック及びエアフィルタユニット |
| MYPI2019001705A MY194785A (en) | 2016-09-30 | 2017-09-25 | Air filter medium, air filter pack, and air filter unit |
| EP17856063.7A EP3520874B1 (en) | 2016-09-30 | 2017-09-25 | Air filter medium, air filter pack, and air filter unit |
| CN201780060398.XA CN109843410B (zh) | 2016-09-30 | 2017-09-25 | 空气过滤器滤材、空气过滤器组件及空气过滤器单元 |
| PCT/JP2017/034582 WO2018062112A1 (ja) | 2016-09-30 | 2017-09-25 | エアフィルタ濾材、エアフィルタパック及びエアフィルタユニット |
| US16/337,795 US11427690B2 (en) | 2016-09-30 | 2017-09-25 | Air filter medium, air filter pack, and air filter unit |
| KR1020197008644A KR102605455B1 (ko) | 2016-09-30 | 2017-09-25 | 에어 필터 여과재, 에어 필터 팩 및 에어 필터 유닛 |
| TW106133495A TWI783950B (zh) | 2016-09-30 | 2017-09-29 | 空氣過濾器濾材、空氣過濾器組及空氣過濾器單元 |
Applications Claiming Priority (1)
| Application Number | Priority Date | Filing Date | Title |
|---|---|---|---|
| JP2016194414A JP6861493B2 (ja) | 2016-09-30 | 2016-09-30 | エアフィルタ濾材、エアフィルタパック及びエアフィルタユニット |
Publications (2)
| Publication Number | Publication Date |
|---|---|
| JP2018051545A JP2018051545A (ja) | 2018-04-05 |
| JP6861493B2 true JP6861493B2 (ja) | 2021-04-21 |
Family
ID=61760691
Family Applications (1)
| Application Number | Title | Priority Date | Filing Date |
|---|---|---|---|
| JP2016194414A Active JP6861493B2 (ja) | 2016-09-30 | 2016-09-30 | エアフィルタ濾材、エアフィルタパック及びエアフィルタユニット |
Country Status (8)
| Country | Link |
|---|---|
| US (1) | US11427690B2 (ja) |
| EP (1) | EP3520874B1 (ja) |
| JP (1) | JP6861493B2 (ja) |
| KR (1) | KR102605455B1 (ja) |
| CN (1) | CN109843410B (ja) |
| MY (1) | MY194785A (ja) |
| TW (1) | TWI783950B (ja) |
| WO (1) | WO2018062112A1 (ja) |
Families Citing this family (10)
| Publication number | Priority date | Publication date | Assignee | Title |
|---|---|---|---|---|
| US10343095B2 (en) | 2014-12-19 | 2019-07-09 | Hollingsworth & Vose Company | Filter media comprising a pre-filter layer |
| EP3685900A4 (en) * | 2017-09-22 | 2021-05-26 | Nitto Denko Corporation | FILTER MEDIUM FOR AIR FILTER, FOLDED FILTER PACK AND AIR FILTER UNIT |
| KR20210106553A (ko) * | 2018-12-28 | 2021-08-30 | 닛토덴코 가부시키가이샤 | 필터 플리트 팩 및 에어 필터 유닛 |
| EP3903903A4 (en) * | 2018-12-28 | 2022-09-14 | Nitto Denko Corporation | FILTER PACK AND AIR CLEANER UNIT |
| JP7256375B2 (ja) * | 2019-03-29 | 2023-04-12 | ダイキン工業株式会社 | エアフィルタ濾材の製造方法 |
| JP7656544B2 (ja) * | 2019-12-05 | 2025-04-03 | 日東電工株式会社 | ポリテトラフルオロエチレン延伸多孔質膜とこれを用いた通気濾材及びフィルター部材 |
| MX2022011656A (es) | 2020-03-24 | 2022-10-13 | Donaldson Co Inc | Medios filtrantes de alta eficiencia. |
| EP4204131A1 (en) * | 2020-08-27 | 2023-07-05 | W. L. Gore & Associates, Inc. | Composite fluoropolymer membranes having difference surface energies |
| JP2025148626A (ja) * | 2022-08-26 | 2025-10-08 | 住友電気工業株式会社 | 複合多孔質体、および複合多孔質体の製造方法 |
| US20260077285A1 (en) * | 2022-11-22 | 2026-03-19 | Nitto Denko Corporation | Air filter medium, filter pleat pack, and air filter unit |
Family Cites Families (16)
| Publication number | Priority date | Publication date | Assignee | Title |
|---|---|---|---|---|
| CA2074349C (en) | 1991-07-23 | 2004-04-20 | Shinji Tamaru | Polytetrafluoroethylene porous film and preparation and use thereof |
| JP2792354B2 (ja) * | 1991-07-23 | 1998-09-03 | ダイキン工業株式会社 | ポリテトラフルオロエチレン多孔膜 |
| US5409515A (en) * | 1992-01-14 | 1995-04-25 | Daikin Industries, Ltd. | Filter apparatus and filter element |
| JP3070602B2 (ja) * | 1992-01-14 | 2000-07-31 | ダイキン工業株式会社 | 濾材用補強シ―ト、エアフィルタ用濾材およびエアフィルタ装置 |
| AU688404B2 (en) * | 1994-09-02 | 1998-03-12 | W.L. Gore & Associates, Inc. | Porous polytetrafluoroethylene compositions |
| JP2000300921A (ja) | 1999-04-21 | 2000-10-31 | Nitto Denko Corp | エアフィルタ濾材およびそれを用いたエアフィルタユニット |
| JP2001170424A (ja) | 1999-12-20 | 2001-06-26 | Nitto Denko Corp | エアフィルタ用ろ材およびそれを用いたエアフィルタユニット |
| JP3672868B2 (ja) | 2001-12-26 | 2005-07-20 | 日東電工株式会社 | ポリテトラフルオロエチレン多孔質膜複合材の製造方法 |
| US7306729B2 (en) * | 2005-07-18 | 2007-12-11 | Gore Enterprise Holdings, Inc. | Porous PTFE materials and articles produced therefrom |
| JP5917538B2 (ja) * | 2010-11-08 | 2016-05-18 | エーエーエフ−マックウェイ インコーポレイテッド ディー/ビー/エー エーエーエフ インターナショナル | 無菌薬学用ePTFEフィルタおよび使用方法 |
| US9707504B2 (en) * | 2012-04-20 | 2017-07-18 | Daikin Industries, Ltd. | Composition having PTFE as main component, mixed powder, material for molding, filtering medium for filter, air filter unit, and a method for manufacturing a porous membrane |
| EP2727555B1 (en) * | 2012-10-31 | 2016-10-05 | W.L. Gore & Associates GmbH | Fluoropolymer articles having a high surface roughness and high coarseness |
| JP5835389B2 (ja) * | 2014-03-26 | 2015-12-24 | ダイキン工業株式会社 | エアフィルタ用濾材、フィルタパック、エアフィルタユニット、およびエアフィルタ用濾材の製造方法 |
| JP6338054B2 (ja) * | 2014-05-30 | 2018-06-06 | 住友電工ファインポリマー株式会社 | 多孔質フィルタの製造方法 |
| CN112118500A (zh) * | 2014-10-16 | 2020-12-22 | 日东电工株式会社 | 透声膜和具备该透声膜的透声膜构件、以及传声器及电子设备 |
| WO2017056508A1 (ja) * | 2015-09-30 | 2017-04-06 | 日東電工株式会社 | エアフィルタ濾材、エアフィルタパック及びエアフィルタユニット |
-
2016
- 2016-09-30 JP JP2016194414A patent/JP6861493B2/ja active Active
-
2017
- 2017-09-25 WO PCT/JP2017/034582 patent/WO2018062112A1/ja not_active Ceased
- 2017-09-25 KR KR1020197008644A patent/KR102605455B1/ko active Active
- 2017-09-25 CN CN201780060398.XA patent/CN109843410B/zh active Active
- 2017-09-25 MY MYPI2019001705A patent/MY194785A/en unknown
- 2017-09-25 US US16/337,795 patent/US11427690B2/en active Active
- 2017-09-25 EP EP17856063.7A patent/EP3520874B1/en active Active
- 2017-09-29 TW TW106133495A patent/TWI783950B/zh not_active IP Right Cessation
Also Published As
| Publication number | Publication date |
|---|---|
| KR102605455B1 (ko) | 2023-11-24 |
| KR20190056373A (ko) | 2019-05-24 |
| WO2018062112A1 (ja) | 2018-04-05 |
| US20200002495A1 (en) | 2020-01-02 |
| EP3520874B1 (en) | 2021-03-24 |
| US11427690B2 (en) | 2022-08-30 |
| TWI783950B (zh) | 2022-11-21 |
| TW201813705A (zh) | 2018-04-16 |
| EP3520874A4 (en) | 2020-03-04 |
| EP3520874A1 (en) | 2019-08-07 |
| CN109843410A (zh) | 2019-06-04 |
| JP2018051545A (ja) | 2018-04-05 |
| MY194785A (en) | 2022-12-15 |
| CN109843410B (zh) | 2021-09-07 |
Similar Documents
| Publication | Publication Date | Title |
|---|---|---|
| JP6933456B2 (ja) | エアフィルタ濾材、エアフィルタパック及びエアフィルタユニット | |
| JP6861493B2 (ja) | エアフィルタ濾材、エアフィルタパック及びエアフィルタユニット | |
| JP6920042B2 (ja) | エアフィルタ濾材、エアフィルタパック及びエアフィルタユニット | |
| KR102628700B1 (ko) | 에어 필터 여과재, 에어 필터 팩 및 에어 필터 유닛 | |
| KR20230078711A (ko) | 에어 필터 여과재, 필터 플리츠 팩 및 에어 필터 유닛 |
Legal Events
| Date | Code | Title | Description |
|---|---|---|---|
| A621 | Written request for application examination |
Free format text: JAPANESE INTERMEDIATE CODE: A621 Effective date: 20190415 |
|
| A131 | Notification of reasons for refusal |
Free format text: JAPANESE INTERMEDIATE CODE: A131 Effective date: 20200212 |
|
| A601 | Written request for extension of time |
Free format text: JAPANESE INTERMEDIATE CODE: A601 Effective date: 20200409 |
|
| A521 | Request for written amendment filed |
Free format text: JAPANESE INTERMEDIATE CODE: A523 Effective date: 20200612 |
|
| A131 | Notification of reasons for refusal |
Free format text: JAPANESE INTERMEDIATE CODE: A131 Effective date: 20201020 |
|
| A521 | Request for written amendment filed |
Free format text: JAPANESE INTERMEDIATE CODE: A523 Effective date: 20201221 |
|
| TRDD | Decision of grant or rejection written | ||
| A01 | Written decision to grant a patent or to grant a registration (utility model) |
Free format text: JAPANESE INTERMEDIATE CODE: A01 Effective date: 20210302 |
|
| A61 | First payment of annual fees (during grant procedure) |
Free format text: JAPANESE INTERMEDIATE CODE: A61 Effective date: 20210330 |
|
| R150 | Certificate of patent or registration of utility model |
Ref document number: 6861493 Country of ref document: JP Free format text: JAPANESE INTERMEDIATE CODE: R150 |
|
| R250 | Receipt of annual fees |
Free format text: JAPANESE INTERMEDIATE CODE: R250 |
|
| R250 | Receipt of annual fees |
Free format text: JAPANESE INTERMEDIATE CODE: R250 |
|
| R250 | Receipt of annual fees |
Free format text: JAPANESE INTERMEDIATE CODE: R250 |
