JP6861439B2 - 認知機能及び手指運動機能の評価訓練用の電子ペグシステム - Google Patents

認知機能及び手指運動機能の評価訓練用の電子ペグシステム Download PDF

Info

Publication number
JP6861439B2
JP6861439B2 JP2019083343A JP2019083343A JP6861439B2 JP 6861439 B2 JP6861439 B2 JP 6861439B2 JP 2019083343 A JP2019083343 A JP 2019083343A JP 2019083343 A JP2019083343 A JP 2019083343A JP 6861439 B2 JP6861439 B2 JP 6861439B2
Authority
JP
Japan
Prior art keywords
peg
board
training
unit
training system
Prior art date
Legal status (The legal status is an assumption and is not a legal conclusion. Google has not performed a legal analysis and makes no representation as to the accuracy of the status listed.)
Expired - Fee Related
Application number
JP2019083343A
Other languages
English (en)
Other versions
JP2020178851A (ja
Inventor
さやか 岡橋
さやか 岡橋
文貴 橋谷
文貴 橋谷
慎吾 井手
慎吾 井手
菅野 明弘
明弘 菅野
潤 内海
潤 内海
哲 草場
哲 草場
山口 太郎
太郎 山口
Original Assignee
一般社団法人芝蘭会
Priority date (The priority date is an assumption and is not a legal conclusion. Google has not performed a legal analysis and makes no representation as to the accuracy of the date listed.)
Filing date
Publication date
Application filed by 一般社団法人芝蘭会 filed Critical 一般社団法人芝蘭会
Priority to JP2019083343A priority Critical patent/JP6861439B2/ja
Publication of JP2020178851A publication Critical patent/JP2020178851A/ja
Application granted granted Critical
Publication of JP6861439B2 publication Critical patent/JP6861439B2/ja
Expired - Fee Related legal-status Critical Current
Anticipated expiration legal-status Critical

Links

Images

Landscapes

  • Measurement Of The Respiration, Hearing Ability, Form, And Blood Characteristics Of Living Organisms (AREA)
  • Rehabilitation Tools (AREA)

Description

本発明は、手指運動機能の訓練に用いるペグシステムに関する。特に、リハビリテーションで用いる電子ペグシステムに関する。
脳血管障害、あるいは上肢・手指の骨折、神経難病等に起因して、腕や手に麻痺が残存する上肢麻痺患者等においては、早期かつ継続的に上肢および手指のリハビリテーションを行い、機能回復させることが、患者の良好な生活の質を保つために非常に重要である。リハビリテーションは、作業療法士により機能回復訓練及び作業能力の評価が標準的に行われている。
手指の巧緻動作評価には、いろいろな形状の物品の握り・つまみと離し、道具の操作、操作性の精度、操作速度等が含まれる。基本的な動作である握り・つまみと離しを獲得するには様々な形の積木やお手玉等が用いられ、中でもペグは市販品として数種類流通しており、個々の患者のレベルに合わせて使用される。各患者の機能障害レベルにあった適切なペグがない場合には、作業療法士がペグを手作りして訓練に使用することもある。このように、ペグとペグボード(以下、ペグとペグボードを合わせてペグシステムともいう。)は、上肢機能のリハビリを行う上で欠かせない用具の一つになっている。また、ペグとペグボードは手指の巧緻性の評価訓練に加えて、ペグをボード上の挿入穴(ペグホールともいう。)に移動させるプロセスによって、ペグは半側空間無視などの高次脳機能障害をもった脳血管障害や認知症の患者に対し、視空間認知や注意力、記憶力を向上させるための訓練としても用いられる。
例えば、「脳卒中治療ガイドライン2015」(非特許文献1)では、脳血管障害のリハビリテーションにおける日常生活活動(Activities of Daily Living;ADL)の改善には、課題を繰り返す課題反復訓練を行うことがグレードBとして示されている。作業療法では上肢や手指を用いたADLの自立を主な目標とし、そのためには日常生活場面でよく行われる手の把持動作やつまみ動作の反復訓練用として、ペグとペグボードが標準的な治療用具として用いられている。ペグの挿入訓練を通し、上肢による目標物へのリーチ動作、および手指の操作能力の改善が促される。そのため、作業療法士によるペグとペグボードを使用した機能回復訓練及び作業能力の評価が標準的に行われている(非特許文献2、3)。
ペグ操作の難易度の段階付けは、ペグボードからペグを外す、ペグボードにペグを挿す、ペグを反転させるという順であり、患者の手の大きさと手の機能レベルにあわせてペグの形・太さやペグボードの大きさ等でも段階付けできるため、患者に合った複数種類のペグシステムが準備されていることが望ましい。しかし、作業療法に標準的に用いられているペグは木製で画一的であり、異なるペグシステムを複数種類用意するのは困難であった。また、従来のペグシステムによる訓練は、作業療法士の指示に従って単純な反復動作を繰り返すというものである。そのため、専門の検査者が対面で同一の検査を繰り返し行うことから、検査者の同席のもとに訓練を行う必要があり、時間や場所の制約が生じていた。さらに検査という位置付けから、患者が自主的に訓練するというモチベーションを十分に引き出すのにも魅力的なシステムとはいえない状況にある。
また、患者に対する動作のフィードバックは、訓練実施中および実施直後の作業療法士による適宜のアドバイスや声掛け、言語によるフィードバックに留まっていた。これは月・年単位での長期に渡るリハビリテーションにおいて、患者本人が機能改善状況を客観的評価として認識することが難しく、日々の訓練へのモチベーションを維持・向上していくことを困難としていた。通常、患者のパフォーマンス評価は、一つのボード上に置かれた一定数のペグを別のボード上に移動あるいは反転移動させる所要時間を、ストップウォッチで測定したり、作業療法士による観察評価から上肢・手の動作の円滑さ、震え、他の身体部位において誘発される異常な代償動作の有無を判定したりするものであった。
従来のペグボードシステムによる訓練は作業療法士とのマンツーマンで行われることを前提としており、訓練の初期状態を作るためにペグをボードに挿入する、患者にペグを挿入する穴を指示する、穴に挿入するまでにかかった時間を評価するといった作業をすべて療法士が行う必要がある。また患者の技能に合わせて太さの異なるペグや、各々のペグに対応する穴の開いたボードを用意する必要があり、保管性と運搬性が著しく低い。
これらを改善するために、電子化により多機能化されたシステムがある(特許文献1−4)。例えば、特許文献1には、脱着可能なペグと縦横等間隔に入れるようにされたボードを用い、ペグを移動、差し込む時間を測定し、予め健常者を対象に求めた基準値との比較により、指先巧緻動作能力を算出する方法が開示されている。また、特許文献2には、ペグの位置情報を出力するセンサと取得する位置情報取得部を備え、被験者の手指機能の回復の程度をより正確かつ客観的に評価するリハビリテーション支援システムが開示されている。さらに、特許文献3には、患者の上肢の動きを検出する検出手段と、前記検出手段によって検出された情報を解析して記録する制御手段、解析情報を表示する表示手段を備え、定量的且つ作業療法士の負担を軽減できる作業療法支援装置が開示されている。また、特許文献4には、通信手段によって被験者のリハビリテーションの進捗状態をより詳細かつ客観的に評価する技術が開示されている。
いずれもペグを挿入する時間やペグ位置などの動作情報を得て、定量化や表示、評価するのみの装置であり、主に作業療法士等の作業負担軽減、効率化を目的としたものに過ぎない。また、多くのセンサや周辺機器が備わることによって、訓練装置が大型で複雑な構成となり、取扱やメンテナンスが難しくなるといった問題がある。被検者が高い訓練意欲を維持し取り組むためには、使いやすく且つ簡便な、ユーサビリティに優れた訓練装置が望ましい。
このように、ペグとペグボードからなるペグシステムは、改良されてきてはいるものの、ICT(Information and Communication Technology:情報通信技術)による検査結果の自動記録や患者のリハビリテーションに取り組むモチベーションを高めるような仕掛け、ユーザビリティの向上の必要性などが指摘されている。
特許第4431729号公報 特開2015−202341号公報 特開2017−086520号公報 特開2018−033692号公報
小川彰、出江紳一ほか日本脳卒中学会脳卒中ガイドライン委員会: 脳卒中治療ガイドライン2015、共和企画、2015。 菅原洋子:作業療法における治療訓練用具.北海道作業療法31(2)、50−56、2014。 福意武史:なぜペグボードを使うのか.古川・長尾・野田・四本編・著:作業療法のとらえかた、文光堂、47−59、2012。
本発明は、患者のレベルにあった訓練課題を提供し、訓練を行う動機付けをすることで患者のモチベーションを維持し、検査者が相対することなく患者一人でも訓練を継続可能とすることにより時間的制約をなくし、より有用性が高いペグの形態からなる認知機能及び手指運動機能の評価訓練システムを提供することを課題とする。また、光や音による応答で被験者のやる気を誘導できるだけではなく、認知リハビリや運動学習機能の訓練において、多機能性と被験者の自発性も誘導できるシステムを提供することを課題とする。さらに、ペグの検知穴への挿入の検知・正誤の判定、実施結果の解析・データ蓄積などが電子式に行われ、検査者に必要な情報を簡便に得ることができるシステムを提供することを課題とする。
本発明は、従来のペグシステムの有する課題を解決する以下の特徴を有するペグシステムを提供する。
(1)認知機能及び手指運動機能の評価訓練システムであって、磁性を有するペグと、複数のペグホールを具備したパンチボードと磁性を感知するベースユニットを備えたペグボードからなり、ペグボードには被験者がペグを挿入すべき検知穴の部位を光で示す指示部と、挿入されたペグの正誤を検出する検出部と正誤を光と音で通知する通知部を備えていることを特徴とする評価訓練システム。
(2)前記ベースユニットにはベースボードが備えられ、前記検出部と前記指示部はベースボードに配置され、前記検出部はアレイ様に配置された磁気センサからなり、ベースボード上に配置されるペグの磁気センサによる空間座標位置が前記検出部によって検出及び/又は計測され、前記指示部によって指示されたペグの挿入方向と、前記検出部によって検出されたペグの挿入方向の一致率を演算、記憶、解析する制御部と、演算された結果を表示する表示部とを備えたことを特徴とする(1)記載の評価訓練システム。
(3)ペグを挿入すべき検知穴の位置及び/又は順番を指示することによって課題の難易度が決定されるプログラムを備え、前記指示部の光による課題の指示から被験者によるペグ挿入完了までの所要時間目標値を被験者ごとに設定することが可能であり、ペグ挿入操作前に設定された課題、及び所要時間目標値に対する達成率を前記制御部により演算、記憶、解析し、前記表示部に表示することを特徴とする(1)、又は(2)記載の評価訓練システム。
(4)前記ペグボードへの電源供給と前記制御部による制御は、バッテリーを内蔵した携帯型コンピュータに接続することによって行うことができる(1)〜(3)いずれか1つ記載の評価訓練システム。
(5)前記ベースユニットに収納可能なペグ配置ボードを備え、ペグ配置ボードは磁性を有し、ペグ配置ボードにおいてペグが磁性によって自動的に方向、間隔をそろえて配置、固定されることを特徴とする(1)〜(4)いずれか1つ記載の評価訓練システム。
(6)前記ペグ及びペグボードの表面が抗菌素材が使用されるか、又は抗菌処理がなされ、衛生状態を保つことができる、(1)〜(5)いずれか1つ記載の評価訓練システム。
(7)脳血管障害及び/又は認知症の後遺症による運動機能障害及び/又は認知機能のリハビリテーション用に用いることを特徴とする(1)〜(6)いずれか1つ記載の評価訓練システム。
(8)幼児の認知機能及び/又は手指運動機能の学習トレーニング用に用いるシステムであることを特徴とする(1)〜(6)いずれか1つ記載の評価訓練システム。
本システムは、患者のモチベーションを維持できることから、作業療法士との訓練場面のみでなく、病室や自宅での自主トレーニングのツールとして用いることができる。その結果、訓練時間以外にも頻繁に手の反復訓練を可能とする。これによって、従来式のペグ使用時に比べ、モチベーションを保ちながら自主訓練に継続的に一定時間取り組みやすくなり、手の機能回復を促進させる。
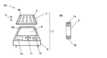
ペグとペグボードを示す外観斜視図。図1(A)にペグシステムを、(B)にペグを示す。 ペグシステムの使用開始時の態様を示す図。(A)にペグ配置ボードを引き出し、ペグを配置した状態を示す。(B)はペグシステム側面図を示す。 本発明のペグシステムを用いた訓練の一態様を示す図。 本発明のペグシステムを用いた訓練の別の態様を示す図。
本発明は、上肢麻痺患者、半側空間無視等、上肢の訓練が必要な患者のリハビリテーションのために開発された機器であるが、光や音により課題や正誤が通知され、ゲーム性が高いことから、高齢者の認知機能低下防止や、幼児の知育玩具としても使用することができる。
本発明は、従来からのペグとペグボードの機能と形態は維持しつつ、ペグホールを具備したパンチボードと磁性を感知するペグボードを備え、検知穴に挿入されたペグの正誤を光と音で通知することにより、音と光によるゲーム性を付加し訓練を行う動機付けがなされる。ここで、検知穴とは、ペグホールによって位置が特定され、磁性を感知するセンサを備えたベースボードによって挿入されたペグの向きを検知できる穴、すなわちパンチボードとべースボードによる機能的な構成を指す。このような機能的な構成は従来の木製のペグにはなかったものである。
また、木製のアナログ機器を電子化することで患者と検査者が離れた場所で訓練することや、記録を電子的に保持することなど、訓練の時間的、空間的制約をなくすことができるだけではなく、経時的、客観的に訓練の効果を評価することが可能となる。同時に、訓練の準備を自動化することで作業療法士の負担を減らし、医療経済的にも貢献することが期待できる。
知育玩具として幼児が使用する場合にも、音と光によりゲーム性が付加されていることから、飽きずに巧緻性、認知機能を高めることができる。課題を達成した場合には、幼児が好む音楽が演奏されるなど、幼児に合った態様にすることができる。多色のペグ、多色のLEDを使用することによって、光による指示もより複雑にすることができる。
また、幼児が使用する場合には、幼児が口に入れても安全な大きさや素材であるとともに、幼児の手にあったサイズや重さにすることが好ましい。ペグの形状も円柱だけではなく、横断面が三角、四角、星型など種々の形状を備えることにより、より高い認知機能を訓練することができる。また、ペグの手触りもツルツル、ザラザラなどの変化を持たせてもよい。
以下、図面を参照しながら本発明を詳細に説明する。以下の説明は、リハビリを行う患者向けのペグを中心に説明しているが、幼児用のペグシステムであっても基本的に同様のシステムとして構築すればよい。
[実施態様1]
図1(A)に示すペグシステム1は、ペグボード2とペグ3を備えている。ペグボード2は、複数のペグホール4が設けられているパンチボード5とベースユニット6からなる。ここでは縦横5列のペグホール4を設けたパンチボード5を示しているが、患者のレベルに合わせて、太さの異なるペグを挿入できるように、穴の大きさや数が異なるパンチボードが用意されている。パンチボードは厚みが比較的薄いことから省スペース化が可能となる。また、パンチボードは取り外すことができるため掃除がしやすくなり、ペグシステムを清潔に保つことができる。また、ペグやパンチボードの表面を抗菌素材、抗菌処置をすることにより、清潔に保つことができる。
ペグ3の両端には磁石が配置されている(図1(B))。ペグ3の端面7a、7bがN極、S極と異なる磁性を有するように構成されていれば、磁石は内蔵されていても、非磁性体の両端に付着されていても、ペグ自体が磁性を有する金属棒であってもよい。また、ペグの両端は、N極、S極を区別して、夫々異なる色で着色されている。ペグに備えられている磁石は、ペグをパンチボード5の穴を通して正しい位置に挿入したかを確認するための位置検出と、後述する初期配置の両方に使用する。
ベースユニット6上には、磁気センサを内蔵したベースボード8が配置されており、ベースボード8上にパンチボード5が載置される。磁気センサはペグが挿入された際に、その向きを検出する検出部として機能する。パンチボードは、難易度の低いものから高いものまで数種類用意されており、患者のレベルによって交換することができる。パンチボード5、及びベースボード8の4隅には、パンチボードをベースボードに固定するための固定具9a、9bが設けられている。固定具9a、9bはここでは、磁力によって容易に着脱ができるように、少なくとも一方を磁石とする構成としているが、パンチボードをベースボードに固定することができればどのような構成としてもよい。例えば、パンチボード上に穴を設け、それに対応する凸状部材をベースボード上に設けるなどの構成としてもよい。また、パンチボードの穴の大きさ、数などによる難易度は、パンチボードの固定具の形状、あるいはパンチボードに設けられたバーコードなどの標識によって、自動的にベースユニットの制御部が認識できるシステムとすることができる。
また、ここでは、ベースユニット6、及びこれにセットするパンチボード5とベースボード8の形状は、平面的な形状のものを示しているが、これらは曲面であっても立体的であってもよい。日常生活においては、生活者の上腕の動作範囲は三次元の立体的範囲であることから、操作者の腕の可動範囲を対象に十分にトレーニングするためには、平面操作だけのトレーニングのみだけでは不十分であり、立体的動作にも対応したペグシステムが求められる。立体的に配置されたペグホールを有する曲面あるいは立体的形状のボードとすることにより、従来の平面的なボードを備えたペグシステムと比較して、高機能な立体的動作のトレーニングにも対応することができる。
ベースユニット6には、液晶表示ディスプレイ(LCD)10、操作ボタン11、スピーカー12が設けられており、ベースユニット内部に設けられているコントロールユニットにより制御されている。液晶ディスプレイ10には、患者や療法士に対して、次の動作に対する指示やメッセージなどが表示され、操作ボタン11により、指示にしたがって、訓練の開始や結果の登録、作業の終了等の動作を選択することができる。また、スピーカー12からは、患者の訓練の結果、すなわち正答率、課題を終了するために必要な時間など、訓練結果に応じた音(音楽等)が出るように設計されている。なお、課題終了後の患者に対するフィードバックは、音だけではなく、ベースボードに配置されたLEDの点滅等、光による刺激によっても行われる。
使用時には、ベースユニットの側面部から、引き出し状のペグ配置ボード13を引き出して使用する(図2)。ペグ配置ボード13は、磁石が格子状に配置されており、ペグを立てて配置することができる(図2(A))。ペグ配置ボード13は、ベースユニット側面から引き出し可能に収納されている(図2(B))。ペグ配置ボード13からの磁力によりペグが自動的に同じ方向を向いた状態で格子状に配置される。これにより訓練開始までの時間を大幅に短縮し、作業療法士の負担を減らすことができる。また、収納時には、ペグ、パンチボードをペグ配置ボード上に置いてスライドし、本体部分に収納することができるため、場所をとることもなく、また、運搬性にも優れている。
訓練時には、患者のレベルに合わせたパンチボード5を選択し、ペグ3をパンチボード5に開けられているペグホール4を通して、磁気センサを備えたベースボード8に直立させる。ベースボード8には、磁気センサと2色のLEDを格子状に配置されている。LEDの色は、ペグの両端の着色と同じ色の光が点灯するように構成されており、検知穴の部位を示すとともに、ペグの挿入向きを示す指示部として機能する。
指示部のLEDを点灯することでペグを挿入すべき検知穴とその挿入方向が指示される。LEDに点灯する光色によって、ペグ3をペグ配置ボード13からそのままの方向、あるいは上下反転させて、ベースボード8に直立させるように指示することができる。上下反転させてペグを直立させる動作は、通常のリハビリにおいても、手の運動機能が軽度に低下している人や、ある程度麻痺は回復しているがより複雑な巧緻性を要するような応用的動作が難しい人に用いられている訓練メニューである。したがって、巧緻性を要する応用的動作の訓練など、より後期のリハビリの段階でペグを反転させる動作を多く盛り込むなど、プログラムを工夫することができる。
検知穴への挿入は磁気センサによって検知され、正解の場合はLEDが点滅し正解音が鳴る。不正解の場合はLEDが、正解とは異なる色に点灯し不正解音を鳴らす。訓練終了後に成績が液晶表示ディスプレイに表示され、成績に応じて音や表示文字が変化する。このフィードバックにより患者のモチベーションが維持される。LEDの点滅、スピーカーから聞こえる音による通知など、ベースユニット上の複数の部位が通知部として機能する。
ベースボード8には磁気センサがアレイ状に配置されているため、ペグの挿入検知の他にペグの座標計算が可能である。ペグの挿入位置とその正誤、挿入までにかかった時間、挿入に至るまでの手の動きを訓練終了時にデータベースに登録する。蓄積されたデータは患者の長期的な経過観察に役立てる。
次に、訓練の操作手順について説明する(図3)。作業療法士、あるいは被験者がペグシステム本体のスイッチをONにすることにより、表示部である液晶ディスプレイに訓練を開始することが表示される。被験者がすでに登録されている被験者の場合には、画面に表示される登録者名の中から該当する名前を操作ボタン11により選択する。登録された被験者の場合には、前回までの訓練結果により訓練レベルがすでに登録されていることから、レベルにあった課題が選択される。課題の難易度は、パンチボードの穴の大小、ペグの挿入位置の複雑さなど、被験者に適したものが選択される。未登録の被験者、すなわちゲスト被験者の場合には、作業療法士等によって、適すると考えられるレベルが選択され、課題が選択される。
課題が設定されると、ベースボードのペグホールと一致する場所、すなわち、検知穴の部位にLEDが点灯する。LEDの色は、ペグの両端のどちらかの色と一致していることから、光の色によって、ペグをどの方向で挿入すべきか被験者に対する指示が行われる。LEDの点灯と同時に時間の計測が開始される。被験者はLEDの色にしたがって、ペグを挿入する。ペグが挿入されると、磁気センサによって、被験者がペグをLEDの色にしたがって、正しい方向に挿入したか否かが判定される。また、被験者が全てのペグを挿入した時に時間の計測が終了する。一つの課題が終了すると、挿入したペグの位置の正答率、課題を終了するのに要した時間によって、音と光によるフィードバックが行われる。正否の判定等、課題の達成を光と音で通知することで、目と耳で同時に認識でき、認知機能改善にも寄与できる。
さらに次の訓練に進む場合には、被験者の成績によって、同程度の課題、あるいは、より難しい課題が提供される。訓練終了時に、登録被験者の場合には、訓練日時、作業内容(課題)、成績がデータベースに登録される。ベースユニット6本体には、磁気センサ、LEDに加えて、これらの作業を行うための演算部、記憶部、解析部、またこれらの機能を制御する制御部、バッテリーなどが備えられている。制御部は、被験者の成績を演算、記憶、解析するとともに、次に提供する課題、すなわちプログラムの選択、これに伴う指示部における光による指示、被験者の成績を音と光によって通知する通知など、ペグシステムの一連の動作を制御する。バッテリーや制御部は、ペグボードを軽量化するために、携帯型コンピュータに接続し、接続された携帯型コンピュータから供給される構成としてもよい。
データが登録されるため、被験者は次回の訓練時に前回終了時と同じレベルの課題から開始することができる。また、1ヶ月、2ヶ月、半年と訓練を重ねていったときに、訓練による被験者の回復を客観的な指標として示すことができるため、手のパフォーマンス変化が時系列で視覚的に提示でき、患者の訓練の意欲向上や自主的な訓練を支えられる。また、複数の患者の記録が集積することによって、作業療法士等によって分析され予後予測に利用され、かつ患者本人へデータに基づくフィードバックが可能となる。また、自宅で訓練を行った場合であっても、データが登録されているため、自主的に訓練した結果も、作業療法士と共有することができる。
次に、評価者である作業療法士が、より積極的に関与する態様について説明する(図4)。ペグ挿入作業、成績表示とフィードバックは、上記と同様に行われるが、患者の訓練の結果、すなわち正答率、課題を終了するために必要な時間などのリハビリテーション成績は電子情報としてコントロールユニット内に設置されたメモリ―回路に保存された後、Bluetooth(登録商標)やインターネットなどのデジタル機器用の無線通信規格を介して、作業療法士や家族のスマートフォンや電子端末表示装置、パソコン等に伝送される。これにより、自宅などで評価者不在で自主的なトレーニングを行った場合であっても作業療法士等から達成度評価を受け、同時に経時的な訓練成績を保存することもできる。こうした、訓練支援と訓練成績管理にまで対応したペグシステムは、訓練を受ける患者のモチベーションを高め、訓練効果を高めることに大きく寄与する(図4)。
また、挿入したペグの位置の正答率、課題を終了するのに要した時間の2つのパラメータで分析することによって、作業療法士等の評価者は、認知機能や運動機能を総合的に判断することができる。正答率は認知機能を反映し、所要時間は運動機能と認知機能の両者を反映すると考えられる。また、運動機能を単独で計測したい場合には、LEDによる指示を一色として、速さのみを計測する課題を設定すればよい。いくつかの課題の正答率、所要時間を分析することによって、次にどのような課題を設定すれば、より効果的なリハビリとなるか、患者に即したメニューを設定することが可能となる。また、患者の状態によっては、ペグシステムだけではなく、他の器具によるリハビリも提案することも可能となる。今まで、作業療法士が経験によって考案していた訓練メニューをより客観的な指標によって提供することが可能となる。
幼児が使用する場合にも、課題が自動的に難しく設定されることから、巧緻性、認知機能を無理なく高めることができる。また、木製のペグと比較すると、音や光によるゲーム性が高められており、飽きずに遊ぶことができる。
1…ペグシステム、2…ペグボード、3…ペグ、4…ペグホール、5…パンチボード、6…ベースユニット、8…ベースボード、10…液晶表示ディスプレイ、11…操作ボタン、12…スピーカー、13…ペグ配置ボード、

Claims (7)

  1. 認知機能及び手指運動機能の評価訓練システムであって、
    磁性を有するペグと、
    複数のペグホールを具備したパンチボードと磁性を感知するベースユニットを備えたペグボードからなり、
    前記ペグボードは、被験者がペグを挿入すべき検知穴の部位を光で示す指示部と挿入されたペグの正誤を検出する検出部と正誤を光と音で通知する通知部を備えており、
    前記指示部は、前記ベースユニット上のベースボードに配置されたLEDを点灯させることにより挿入すべき検知穴の部位を示すものであり、
    前記検出部は、前記ベースボードに内蔵された磁気センサが磁性を感知することにより挿入されたペグの正誤を検出するものであり、
    前記通知部は、前記ベースユニットに備えられたスピーカーによる音と、前記LEDによる光刺激を課題終了後に結果に応じて通知するものであり、
    さらに、前記ペグボードは前記ベースユニットに収納可能な磁性を有するペグ配置ボードを備え、ペグ配置ボードにおいてペグが磁性によって自動的に方向、間隔をそろえて配置、固定されることを特徴とする評価訓練システム。
  2. 記検出部の磁気センサはアレイ様に配置されており、
    前記ベースボード上に配置されるペグの前記磁気センサによる空間座標位置が前記検出部によって検出及び/又は計測され、
    前記指示部によって指示されたペグの挿入方向と、前記検出部によって検出されたペグの挿入方向の一致率を演算、記憶、解析する制御部と、
    演算された結果を表示する表示部とを備えたことを特徴とする請求項1記載の評価訓練システム。
  3. ペグを挿入すべき検知穴の位置及び/又は順番を指示することによって課題の難易度が決定されるプログラムを備え、
    ペグ挿入操作前に被験者ごとに設定された課題、及び前記指示部の光による課題の指示から被験者によるペグ挿入完了までの所要時間目標値に対する達成率を前記制御部により演算、記憶、解析し、前記表示部に表示することを特徴とする請求項2記載の評価訓練システム。
  4. 前記検出部の磁気センサはアレイ様に配置されており、
    前記ベースボード上に配置されるペグの前記磁気センサによる空間座標位置が前記検出部によって検出及び/又は計測され、
    前記指示部によって指示されたペグの挿入方向と前記検出部によって検出されたペグの挿入方向の一致率を演算、記憶、解析する制御は、前記ペグボードへの電源供給ととともに、
    バッテリーを内蔵した携帯型コンピュータに接続することによって行う請求項1記載の評価訓練システム。
  5. 前記ペグ及びペグボードの表面は抗菌素材が使用されるか、又は抗菌処理がなされ、
    衛生状態を保つことができる、請求項1〜4いずれか1項記載の評価訓練システム。
  6. 脳血管障害及び/又は認知症の後遺症による運動機能障害及び/又は認知機能のリハビリテーション用に用いることを特徴とする請求項1〜5いずれか1項記載の評価訓練システム。
  7. 幼児の認知機能及び/又は手指運動機能の学習トレーニング用に用いるシステムであることを特徴とする請求項1〜5いずれか1項記載の評価訓練システム。
JP2019083343A 2019-04-24 2019-04-24 認知機能及び手指運動機能の評価訓練用の電子ペグシステム Expired - Fee Related JP6861439B2 (ja)

Priority Applications (1)

Application Number Priority Date Filing Date Title
JP2019083343A JP6861439B2 (ja) 2019-04-24 2019-04-24 認知機能及び手指運動機能の評価訓練用の電子ペグシステム

Applications Claiming Priority (1)

Application Number Priority Date Filing Date Title
JP2019083343A JP6861439B2 (ja) 2019-04-24 2019-04-24 認知機能及び手指運動機能の評価訓練用の電子ペグシステム

Publications (2)

Publication Number Publication Date
JP2020178851A JP2020178851A (ja) 2020-11-05
JP6861439B2 true JP6861439B2 (ja) 2021-04-21

Family

ID=73022648

Family Applications (1)

Application Number Title Priority Date Filing Date
JP2019083343A Expired - Fee Related JP6861439B2 (ja) 2019-04-24 2019-04-24 認知機能及び手指運動機能の評価訓練用の電子ペグシステム

Country Status (1)

Country Link
JP (1) JP6861439B2 (ja)

Families Citing this family (3)

* Cited by examiner, † Cited by third party
Publication number Priority date Publication date Assignee Title
CN113426068B (zh) * 2021-08-27 2021-11-19 上海卓道医疗科技有限公司 一种康复训练设备及其工作方法
CN113856192A (zh) * 2021-09-29 2021-12-31 苏州工艺美术职业技术学院 老年智能玩具
KR102610511B1 (ko) * 2021-12-31 2023-12-07 (의) 삼성의료재단 인지 시험 및 치료 장치

Family Cites Families (5)

* Cited by examiner, † Cited by third party
Publication number Priority date Publication date Assignee Title
JPS6126505U (ja) * 1984-07-20 1986-02-17 酒井医療株式会社 知覚認知評価器具
JP3493020B2 (ja) * 2001-07-27 2004-02-03 一幸 池本 ピン・ターン訓練器具
JP6341564B2 (ja) * 2014-06-30 2018-06-13 国立大学法人 筑波大学 認知機能評価システムおよび判定装置製造方法
WO2019066495A1 (ko) * 2017-09-28 2019-04-04 주식회사 네오펙트 패그 보드, 재활 훈련 시스템 및 재활 훈련 방법
JP6340465B1 (ja) * 2017-09-29 2018-06-06 茨城県 認知機能障害を検査するシステム

Also Published As

Publication number Publication date
JP2020178851A (ja) 2020-11-05

Similar Documents

Publication Publication Date Title
US11857349B2 (en) Apparatus and related method to facilitate test via a computing device
US20200302810A1 (en) Automated assessment of cognitive, fine-motor, and memory skills
AU2001275604B2 (en) Psychological testing method and apparatus
US7997903B2 (en) Medical training apparatus
Bardorfer et al. Upper limb motion analysis using haptic interface
JP5367693B2 (ja) 視覚的認知能力および協応動作の検査および訓練
JP6861439B2 (ja) 認知機能及び手指運動機能の評価訓練用の電子ペグシステム
US20210022682A1 (en) Advanced play environment for screening and early diagnosis of infant developmental delays and neurological impairments
KR20070054596A (ko) 재활훈련 방법 및 장치와 트레이닝 관련 어플리케이션
WO2013059227A1 (en) Interactive physical therapy
JP6576218B2 (ja) 作業療法支援装置
JP2007244437A (ja) リハビリテーション並びにトレーニングのための方法及び器械
TWI509556B (zh) Goal - oriented Rehabilitation Auxiliary System and Its Work Setting Method
Orth et al. 12 What current research tells us about skill acquisition in climbing
Corrêa et al. System of upper limb motor rehabilitation training using leap motion and gear VR in sessions of home game therapy
Yang et al. Interactive tabletop arm reaching exercise
Wang et al. Lights out: An interactive tangible game for training of post-stroke reaching
Lin et al. QM-FOrMS: A portable and cost-effective upper extremity rehabilitation system
Jayasree-Krishnan et al. RehabFork: An interactive game-assisted upper limb stroke rehabilitation system
JP2023027386A (ja) バランスを判定するための機器およびその作動方法
RU2828533C1 (ru) Способ и система последовательного восстановления и развития когнитивных и двигательных функций человека
KR20210157789A (ko) 밸런스 게임 기구 시스템
SAIPULLAH DEVELOPMENT OF PRAYER RAKA’AT COUNTER USING ULTRASONIC SENSOR
JP2023049581A (ja) モジュール型電子ペグシステム
Takemata et al. DEVELOPMENT OF AN UPPER LIMB REHABILITATION SYSTEM UTILIZING GAMIFICATION

Legal Events

Date Code Title Description
A621 Written request for application examination

Free format text: JAPANESE INTERMEDIATE CODE: A621

Effective date: 20201012

A871 Explanation of circumstances concerning accelerated examination

Free format text: JAPANESE INTERMEDIATE CODE: A871

Effective date: 20201012

A975 Report on accelerated examination

Free format text: JAPANESE INTERMEDIATE CODE: A971005

Effective date: 20201027

A131 Notification of reasons for refusal

Free format text: JAPANESE INTERMEDIATE CODE: A131

Effective date: 20210112

A521 Request for written amendment filed

Free format text: JAPANESE INTERMEDIATE CODE: A523

Effective date: 20210303

TRDD Decision of grant or rejection written
A01 Written decision to grant a patent or to grant a registration (utility model)

Free format text: JAPANESE INTERMEDIATE CODE: A01

Effective date: 20210322

A61 First payment of annual fees (during grant procedure)

Free format text: JAPANESE INTERMEDIATE CODE: A61

Effective date: 20210323

R150 Certificate of patent or registration of utility model

Ref document number: 6861439

Country of ref document: JP

Free format text: JAPANESE INTERMEDIATE CODE: R150

LAPS Cancellation because of no payment of annual fees