JP6830259B2 - 電磁継電器 - Google Patents

電磁継電器 Download PDF

Info

Publication number
JP6830259B2
JP6830259B2 JP2018154212A JP2018154212A JP6830259B2 JP 6830259 B2 JP6830259 B2 JP 6830259B2 JP 2018154212 A JP2018154212 A JP 2018154212A JP 2018154212 A JP2018154212 A JP 2018154212A JP 6830259 B2 JP6830259 B2 JP 6830259B2
Authority
JP
Japan
Prior art keywords
support portion
flat plate
fixed
movable
piece
Prior art date
Legal status (The legal status is an assumption and is not a legal conclusion. Google has not performed a legal analysis and makes no representation as to the accuracy of the status listed.)
Active
Application number
JP2018154212A
Other languages
English (en)
Other versions
JP2020030904A (ja
Inventor
厚 紫芝
厚 紫芝
典雅 戸谷
典雅 戸谷
Original Assignee
株式会社飯島精機
Priority date (The priority date is an assumption and is not a legal conclusion. Google has not performed a legal analysis and makes no representation as to the accuracy of the date listed.)
Filing date
Publication date
Application filed by 株式会社飯島精機 filed Critical 株式会社飯島精機
Priority to JP2018154212A priority Critical patent/JP6830259B2/ja
Publication of JP2020030904A publication Critical patent/JP2020030904A/ja
Application granted granted Critical
Publication of JP6830259B2 publication Critical patent/JP6830259B2/ja
Active legal-status Critical Current
Anticipated expiration legal-status Critical

Links

Images

Landscapes

  • Electromagnets (AREA)

Description

本発明は、電磁石によって可動側の接点を移動させて電気回路の開閉を行う電磁継電器に関する。
従来、電磁石によって可動接点を移動させて電気回路の開閉を行う電磁継電器(電磁リレー)が知られている(たとえば、特許文献1参照)。特許文献1に記載の電磁継電器は、電磁石部と接点部とを備えている。電磁石部は、鉄心およびコイルと、鉄心に磁気的に吸引されて回動する接極子とを備えている。接極子は、磁性材料で形成されている。接点部は、弾性を有する銅合金で形成される可動接点バネと、銅または銅合金製の常閉固定端子板および常開固定端子板とを備えている。可動接点バネの一端部に、常閉可動接点と常開可動接点とが固定され、可動接点バネの他端部は、コモン端子となっている。常閉固定端子板の一端部には、常閉固定接点が固定され、常閉固定端子板の他端部は、常閉固定端子となっている。常開固定端子板の一端部には、常開固定接点が固定され、常開固定端子板の他端部は、常開固定端子となっている。
特許文献1に記載の電磁継電器では、電磁石部のコイルに電流が供給されていないときに、可動接点バネの弾性力によって、常閉可動接点と常閉固定接点とが接触している。また、この電磁継電器では、電磁石部のコイルに電流が供給されると、接極子が回動して、樹脂製のカードが移動し、可動接点バネに接触する。カードが可動接点バネに接触すると、可動接点バネが変形して、常開可動接点と常開固定接点とが接触する。また、従来、電磁継電器等で使用されるバネ材が知られている(たとえば、特許文献2参照)。特許文献2に記載のバネ材は、銅成分を主成分として鉄成分を所定量含有する銅鉄合金によって形成されている。
特開平10−326549号公報 特開平5−125468号公報
特許文献2に記載のバネ材は、銅鉄合金で形成されており、磁性を有するため、特許文献1に記載の電磁継電器において、可動接点バネとして、特許文献2に記載のバネ材を使用すれば、電磁石部の鉄心に可動接点バネを直接吸引して、可動接点バネを変形させることが可能になる。したがって、特許文献1に記載の電磁継電器において、可動接点バネとして、特許文献2に記載のバネ材を使用すれば、接極子やカード等が不要となり、電磁継電器の構成を簡素化することが可能になる。一方で、特許文献1に記載の電磁継電器において、可動接点バネとして、特許文献2に記載のバネ材を単純に使用しても、電磁継電器の組立は必ずしも容易にはならない。
そこで、本発明の課題は、構成を簡素化しつつ、組立を容易に行うことが可能な電磁継電器を提供することにある。
上記の課題を解決するため、本発明の電磁継電器は、電磁石と、可動側端子が端部に形成されるとともに電磁石の鉄心に磁気的に吸引されて弾性変形する銅鉄合金製の可動片と、固定側端子が一端部に形成されるとともに導電性材料で形成される固定片と、電磁石と可動片と固定片とが取り付けられる支持体とを備え、支持体は、電磁石を保持する厚板状の第1支持部と、可動片および固定片を保持する厚板状の第2支持部とを備え、第1支持部の一端部と第2支持部の一端部とは、第1支持部と第2支持部とが互いに略直交するように繋がっており、可動片は、L字状またはコの字状に形成される厚さが一定の平板であり、固定片は、直線状に形成される厚さが一定の平板であり、第1支持部の厚さ方向の一方を第1方向とし、第1方向の反対方向を第2方向とし、第2支持部の厚さ方向の一方を第3方向とし、第3方向の反対方向を第4方向とすると、電磁石および第2支持部は、第1支持部の第1方向側に配置され、電磁石および第1支持部は、第2支持部の第3方向側に配置され、第2支持部には、可動片が差し込まれて固定される第1固定穴と、固定片が差し込まれて固定される第2固定穴とが形成され、第1固定穴および第2固定穴は、第2支持部の厚さ方向において第2支持部を貫通しており、可動片は、可動片の厚さ方向と第1支持部の厚さ方向とが略一致するように、かつ、可動側端子が第2支持部の第4方向側に配置されるように、第3方向側から第1固定穴に差し込まれ、固定片は、固定片の厚さ方向と第1支持部の厚さ方向とが略一致するように、かつ、固定側端子が第2支持部の第4方向側に配置されるように、第3方向側から第2固定穴に差し込まれていることを特徴とする。
本発明の電磁継電器では、可動側端子が端部に形成される可動片は、銅鉄合金で形成されており、電磁石の鉄心に直接吸引されて弾性変形する。そのため、本発明では、可動片を弾性変形させるために電磁石の鉄心に吸引されて可動する磁性部材等が不要になる。したがって、本発明では、電磁継電器の構成を簡素化することが可能になる。また、本発明では、可動片および固定片を保持する支持体の第2支持部および電磁石は、電磁石を保持する支持体の第1支持部の第1方向側に配置され、電磁石および第1支持部は、第2支持部の第3方向側に配置されている。また、本発明では、可動片は、可動側端子が第2支持部の第4方向側に配置されるように、第3方向側から第1固定穴に差し込まれ、固定片は、固定側端子が第2支持部の第4方向側に配置されるように、第3方向側から第2固定穴に差し込まれている。そのため、本発明では、第1支持部の第1方向側の面に電磁石を取り付けるとともに、第3方向側から第2支持部に可動片および固定片を差し込むことで、電磁継電器を組み立てることが可能になる。したがって、本発明では、電磁継電器の組立を容易に行うことが可能になる。すなわち、本発明では、電磁継電器の構成を簡素化しつつ、電磁継電器の組立を容易に行うことが可能になる。
また、本発明では、可動片および固定片は、厚さが一定の平板であるため、可動片や固定片の厚さが一定になっていなかったり、可動片や固定片が所定形状に折り曲げられて形成されている場合と比較して、可動片および固定片の製造コストを低減することが可能になる。さらに、本発明では、可動片が第3方向側から第1固定穴に差し込まれ、かつ、固定片が第3方向側から第2固定穴に差し込まれているため、可動片および固定片を第3方向側に引っ張ることで、第2支持部から可動片および固定片を容易に引き抜くことが可能になる。したがって、本発明は、可動片や固定片が劣化したときに、可動片や固定片を容易に交換することが可能になり、その結果、可動片や固定片が劣化しても、電磁石および支持体を再利用することが可能になる。
本発明において、可動片は、一端部に可動側端子が形成される直線状の第1平板部と、第1平板部と直交するように第1平板部の他端部に繋がる直線状の第2平板部とから構成されるL字状に形成されていることが好ましい。このように構成すると、可動片がコの字状に形成されている場合と比較して、平板状に形成される可動片の材料からの可動片の取り数を増やすことが可能になるため、可動片のコストを低減することが可能になる。
本発明において、第1平板部の一部が第1固定穴に差し込まれ、第2平板部が鉄心に吸引されることが好ましい。このように構成すると、一部が第1固定穴に差し込まれる第1平板部が鉄心に吸引される場合と比較して、可動片を変形させやすくなり、可動片の変形量を大きくすることが可能になる。
本発明において、鉄心は、第2平板部の第2方向側に配置され、第1平板部は、第2支持部の第3方向側で支持部材によって第2方向側から支持されていることが好ましい。このように構成すると、可動片がL字状に形成されていても、第2平板部が鉄心に吸引されて可動片が弾性変形するときの第1平板部のねじれを抑制することが可能になる。
以上のように、本発明では、電磁継電器の構成を簡素化しつつ、電磁継電器の組立を容易に行うことが可能になる。
本発明の実施の形態にかかる電磁継電器の分解斜視図である。 図1に示す電磁石、可動片、固定片および支持体の分解斜視図である。 図1に示す電磁継電器の構成および動作を説明するための正面図である。 図1に示す電磁継電器の構成を説明するための平面図である。 本発明の他の実施の形態にかかる可動片の平面図である。
以下、図面を参照しながら、本発明の実施の形態を説明する。
(電磁継電器の構成)
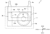
図1は、本発明の実施の形態にかかる電磁継電器1の分解斜視図である。図2は、図1に示す電磁石2、可動片3、固定片4、5および支持体6の分解斜視図である。図3は、図1に示す電磁継電器1の構成および動作を説明するための正面図である。図4は、図1に示す電磁継電器1の構成を説明するための平面図である。
本形態の電磁継電器(電磁リレー)1は、電磁石2と、一端部に可動側端子(コモン端子)3aが形成される可動片3と、一端部に固定側端子4aが形成される固定片4と、一端部に固定側端子5aが形成される固定片5と、電磁石2と可動片3と固定片4、5とが取り付けられる支持体6と、電磁石2等を覆うカバー7とを備えている。電磁継電器1(以下、「継電器1」とする。)は、たとえば、電子機器の回路基板に実装されている。
以下の説明では、直交する3方向のうちの、図1等のX方向を前後方向とし、図1等のY方向を左右方向とし、図1等のZ方向を上下方向とする。また、前後方向の一方側である図1等のX1方向側を「前」側とし、その反対側である図1等のX2方向側を「後ろ」側とし、左右方向の一方側である図1等のY1方向側を「右」側とし、その反対側である図1等のY2方向側を「左」側とし、上下方向の一方側である図1等のZ1方向側を「上」側とし、その反対側である図1等のZ2方向側を「下」側とする。
支持体6は、絶縁性を有する樹脂材料で形成されている。支持体6は、電磁石2を保持する第1支持部としての支持部6aと、可動片3および固定片4、5を保持する第2支持部としての支持部6bとを備えている。本形態の支持体6は、支持部6aと支持部6bとから構成されている。支持部6aは、上下方向を厚さ方向とする長方形の厚板状に形成されている。支持部6bは、前後方向を厚さ方向とする長方形の厚板状に形成されている。すなわち、上下方向(Z方向)は、支持部6aの厚さ方向となっており、前後方向(X方向)は、支持部6bの厚さ方向となっている。本形態では、上方向(Z1方向)は、支持部6aの厚さ方向の一方である第1方向となっており、下方向(Z2方向)は、第1方向の反対方向である第2方向となっている。また、前方向(X1方向)は、支持部6bの厚さ方向の一方である第3方向となっており、後ろ方向(X2方向)は、第3方向の反対方向である第4方向となっている。
支持部6aの厚さおよび支持部6bの厚さは一定になっている。支持部6aの端面は、前後方向または左右方向と平行になっている。支持部6bの端面は、上下方向または左右方向と平行になっている。支持部6aの後端部と支持部6bの下端部とは、支持部6aと支持部6bとが互いに略直交するように繋がっている。すなわち、支持部6bは、支持部6aの上側に配置されている。本形態では、支持部6aと支持部6bとが互いに直交しており、左右方向から見たときの支持体6の形状は、L字状になっている。支持部6aの左右方向の幅と支持部6bの左右方向の幅とは等しくなっている。支持部6aの右端面および支持部6bの右端面は、同一平面上に配置され、支持部6aの左端面および支持部6bの左端面は、同一平面上に配置されている。
図2に示すように、支持部6aには、電磁石2を固定するための固定穴6cが形成されている。支持部6bには、可動片3が差し込まれて固定される第1固定穴としての固定穴6dと、固定片4、5が差し込まれて固定される第2固定穴としての2個の固定穴6eとが形成されている。固定穴6d、6eは、前後方向で支持部6bを貫通する貫通穴である。また、固定穴6d、6eは、上下方向の幅が狭い角穴となっている。固定穴6dは、支持部6bの左上端部に形成されている。固定穴6eは、支持部6bの右上端部に形成されている。2個の固定穴6eは、上下方向に間隔をあけた状態で形成されている。2個の固定穴6eのうちの一方の固定穴6eは、固定穴6dよりも上側に配置され、他方の固定穴6eは、固定穴6dよりも下側に配置されている。
なお、支持部6bには、電磁石2を構成する後述のコイル12の端部が接続される端子の固定穴(図示省略)が形成されている。この固定穴は、前後方向で支持部6bを貫通する貫通穴であり、支持部6bの下端部の2箇所に形成されている。コイル12の端部が接続される端子は、この固定穴に差し込まれて固定されている。
電磁石2は、鋼鉄等の磁性材料で形成される鉄心10と、絶縁材料で形成されるボビン11を介して鉄心10に巻回されるコイル12とを備えている。鉄心10は、たとえば、円柱状に形成されており、鍔付きの円筒状に形成されるボビン11の内周側に配置されている。コイル12は、ボビン11の外周面に巻回されている。電磁石2は、円柱状に形成される鉄心10の軸方向と上下方向とが一致するように支持部6aの上面側に固定されている。すなわち、電磁石2は、支持部6aの上側に配置されるとともに支持部6bの前側に配置されている。鉄心10の下端部は、固定穴6cに挿入されている。
可動片3は、銅成分を主成分として鉄成分を所定量含有する銅鉄合金で形成されている。具体的には、可動片3は、鉄成分を5重量%以上含む銅鉄合金で形成されている。本形態の可動片3には、鉄成分が20重量%含まれている。可動片3は、電磁石2の鉄心10に磁気的に吸引されて弾性変形する。すなわち、可動片3は、鉄心10に磁気的に吸引される磁性と、鉄心10に磁気的に吸引されて弾性変形するバネ性とを備えている。また、可動片3は、導電性を備えている。可動片3は、L字状(L形状)に形成される厚さが一定の平板であり、可動片3には、折り曲げ部は形成されていない。具体的には、可動片3は、平板状の薄板である。可動片3は、一端部に可動側端子3aが形成される直線状(細長い長方形状)の平板部3bと、平板部3bと直交するように平板部3bの他端部に繋がる直線状(細長い長方形状)平板部3cとから構成されている。本形態の平板部3bは、第1平板部であり、平板部3cは、第2平板部である。
可動片3は、可動片3の厚さ方向と上下方向とが略一致するように、かつ、可動側端子3aが支持部6bの後ろ側に配置されるとともに平板部3cが支持部6bの前側に配置されるように、前側から固定穴6dに差し込まれている。すなわち、平板部3bの一部は、固定穴6dに差し込まれている。平板部3bは、平板部3bの長手方向と前後方向とが一致するように配置され、平板部3cは、平板部3cの長手方向と左右方向とが一致するように配置されており、平板部3cの左端部が平板部3bの前端部に繋がっている。また、平板部3cの一部は、鉄心10の上側に配置されている。すなわち、鉄心10は、平板部3cの下側に配置されている。平板部3bは、たとえば、固定穴6dに圧入されている。
平板部3bの、可動側端子3a以外の部分の左右方向の幅は一定になっている。可動側端子3aの左右方向の幅は、平板部3bの、可動側端子3a以外の部分の左右方向の幅よりも狭くなっている。平板部3cの前後方向の幅は、一定になっている。また、平板部3cの前後方向の幅は、平板部3bの、可動側端子3a以外の部分の左右方向の幅と等しくなっている。図3に示すように、平板部3cの右端部の上面には、可動側接点15が固定されている。平板部3cの右端部の下面には、可動側接点16が固定されている。可動側接点15、16は、銀合金等の導電性の高い金属によって形成されている。なお、図1、2では、可動側接点15、16の図示を省略している。
固定片4、5は、導線性材料で形成されている。たとえば、固定片4、5は、リン青銅等の銅合金で形成されている。固定片4、5は、直線状(細長い長方形状)に形成される厚さが一定の平板であり、固定片4、5には、折り曲げ部は形成されていない。具体的には、固定片4、5は、平板状の薄板である。固定片4と固定片5とは同形状に形成されている。固定片4、5は、固定片4、5の厚さ方向と上下方向とが略一致するように、かつ、固定側端子4a、5aが支持部6bの後ろ側に配置されるように、前側から固定穴6eに差し込まれている。固定片4、5は、固定片4、5の長手方向と前後方向とが一致するように配置されている。固定片4、5の、固定側端子4a、5a以外の部分の左右方向の幅は一定になっている。固定側端子4a、5aの左右方向の幅は、固定片4、5の、固定側端子4a、5a以外の部分の左右方向の幅よりも狭くなっている。固定片4、5は、たとえば、固定穴6eに圧入されている。
本形態では、固定片4が上側に配置され、固定片5が下側に配置されている。固定片4の前端部の下面には、固定側接点17が固定されている。固定片5の前端部の上面には、固定側接点18が固定されている。固定側接点17、18は、銀合金等の導電性の高い金属によって形成されている。なお、図1、2では、固定側接点17、18の図示を省略している。
カバー7は、樹脂材料で形成されている。また、カバー7は、後面側および下面側が開口する直方体または立方体の箱状に形成されている。カバー7は、前側から支持体6に取り付けられている。カバー7は、支持部6aの上側かつ支持部6bの前側に配置される電磁石2、可動片3の一部および固定片4、5の一部を覆っている。カバー7の左側面には、支持部6bの前側で下側から平板部3bを支持する支持部材としての支持部7aが形成されている。すなわち、平板部3bは、支持部6bの前側で支持部7aに下側から支持されている。支持部7aの上面は、上下方向に直交する平面となっている。平板部3bの下面は、支持部7aの上面に接触している。
継電器1では、コイル12に電流が供給されていないときに、図3(A)に示すように、可動側接点15と固定側接点17とが接触している。また、コイル12に電流が供給されると、図3(B)に示すように、平板部3cが鉄心10に磁気的に吸引されて下側に弾性変形し、可動側接点16と固定側接点18とが接触する。なお、可動側端子3a、固定側端子4a、5aおよびコイル12の端部が接続される端子は、継電器1が実装される電子機器の回路基板に半田付けされているか、または、この回路基板に実装されたコネクタに差し込まれている。
(本形態の主な効果)
以上説明したように、本形態では、可動側端子3aが一端部に形成される可動片3は、銅鉄合金で形成されており、電磁石2の鉄心10に直接吸引されて弾性変形する。そのため、本形態では、可動片3を弾性変形させるために鉄心10に吸引されて可動する磁性部材等が不要になる。したがって、本形態では、継電器1の構成を簡素化することが可能になる。また、本形態では、電磁石2および支持部6bが支持部6aの上側に配置されるとともに、可動片3は、可動側端子3aが支持部6bの後ろ側に配置されるように、前側から固定穴6dに差し込まれ、固定片4、5は、固定側端子4a、5aが支持部6bの後ろ側に配置されるように、前側から固定穴6eに差し込まれている。そのため、本形態では、支持部6aの上面に電磁石2を取り付けるとともに、前側から支持部6bに可動片3および固定片4、5を差し込むことで、継電器1を組み立てることが可能になる。したがって、本形態では、継電器1の組立を容易に行うことが可能になる。すなわち、本形態では、継電器1の構成を簡素化しつつ、継電器1の組立を容易に行うことが可能になる。
本形態では、可動片3および固定片4、5は、厚さが一定の平板である。そのため、本形態では、可動片3や固定片4、5の厚さが一定になっていなかったり、可動片3や固定片4、5が所定形状に折り曲げられて形成されている場合と比較して、可動片3および固定片4、5の製造コストを低減することが可能になる。また、本形態では、支持体6が支持部6aと支持部6bとから構成されているため、支持体6を形成するための金型の構成を簡素化することが可能になり、その結果、この金型の製造コストを低減することが可能になる。
本形態では、可動片3が前側から固定穴6dに差し込まれ、固定片4、5が前側から固定穴6eに差し込まれている。そのため、本形態では、可動片3および固定片4、5を前側に引っ張ることで、支持部6bから可動片3および固定片4、5を容易に引き抜くことが可能になる。したがって、本形態は、可動片3や固定片4、5が劣化したときに、可動片3や固定片4、5を容易に交換することが可能になり、その結果、可動片3や固定片4、5が劣化しても、電磁石2、支持体6およびカバー7を再利用することが可能になる。
本形態では、L字状に形成される可動片3の平板部3bの一部が固定穴3dに差し込まれ、平板部3cが電磁石2の鉄心10に吸引される。そのため、本形態では、平板部3bが鉄心10に吸引される場合と比較して、可動片3を変形させやすくなり、可動片3の変形量を大きくすることが可能になる。したがって、本形態では、可動側接点15、16の移動量を大きくすることが可能になり、その結果、可動側接点15と固定側接点17とが接触しているときの、可動側接点16と固定側接点18との距離、および、可動側接点16と固定側接点18とが接触しているときの、可動側接点15と固定側接点17との距離を確保することが可能になる。
本形態では、平板部3bは、支持部6bの前側で支持部7aによって下側から支持されている。そのため、本形態では、可動片3がL字状に形成されていても、平板部3cが鉄心10に吸引されて可動片3が弾性変形するときの平板部3bのねじれを抑制することが可能になる。
(他の実施の形態)
上述した形態において、支持部6aの上面は、左側に向かうにしたがって上側に向かうように緩やかに傾斜していても良い。この場合には、鉄心10の上端面が、左側に向かうにしたがって上側に向かうように緩やかに傾斜するため、コイル12に電流が供給されたときの、平板部3cの下面と鉄心10の上端面との接触面積を大きくして、電磁石2による平板部3cの磁気的な吸引力を高めることが可能になる。また、上述した形態では、継電器1は、2枚の固定片4、5を備えているが、継電器1は、固定片4のみを備えていても良いし、固定片5のみを備えていても良い。また、上述した形態において、鉄心10が平板部3bの下側に配置されて、平板部3bが鉄心10に磁気的に吸引されても良い。
上述した形態において、カバー7の左側面に、支持部6bの前側で上側から平板部3bに接触する接触面を有する支持部が形成されていても良い。すなわち、平板部3bは、支持部6bの前側で上下の両側から支持部に挟み込まれていても良い。この場合には、平板部3cが鉄心10に吸引されて可動片3が弾性変形するときの平板部3bのねじれを効果的に抑制することが可能になる。なお、平板部3cが鉄心10に吸引されて可動片3が弾性変形するときに平板部3bにねじれが生じにくいのであれば、カバー7に支持部7aが形成されていなくても良い。
上述した形態において、可動片3は、図5に示すように、コの字状に形成される厚さが一定の平板であっても良い。この場合には、可動片3は、たとえば、平板部3b、3cに加えて、一端部に可動側端子3aが形成される直線状の平板部3dを備えている。平板部3dは、平板部3dの長手方向と前後方向とが一致するように配置されている。平板部3dの前端部は、平板部3cの右端部が繋がっている。支持部6bには、平板部3dが前側から差し込まれて固定される第1固定穴が支持部6bを貫通するように形成されている。
可動片3がコの字状に形成されている場合には、平板部3cが鉄心10に吸引されて可動片3が弾性変形するときの平板部3b、3dのねじれを防止して、可動片3をバランス良く変形させることが可能になる。したがって、この場合には、カバー7に支持部7aが形成されていなくても良い。一方で、可動片3がL字状に形成されている場合には、可動片3がコの字状に形成されている場合と比較して、可動片3を変形させやすくなる。また、可動片3がL字状に形成されている場合には、可動片3がコの字状に形成されている場合と比較して、平板状に形成される可動片3の材料からの可動片3の取り数を増やすことが可能になるため、可動片3のコストを低減することが可能になる。
1 継電器(電磁継電器)
2 電磁石
3 可動片
3a 可動側端子
3b 平板部(第1平板部)
3c 平板部(第2平板部)
4、5 固定片
4a、5a 固定側端子
6 支持体
6a 支持部(第1支持部)
6b 支持部(第2支持部)
6d 固定穴(第1固定穴)
6e 固定穴(第2固定穴)
7a 支持部(支持部材)
10 鉄心
X 第2支持部の厚さ方向
X1 第3方向
X2 第4方向
Z 第1支持部の厚さ方向
Z1 第1方向
Z2 第2方向

Claims (4)

  1. 電磁石と、可動側端子が端部に形成されるとともに前記電磁石の鉄心に磁気的に吸引されて弾性変形する銅鉄合金製の可動片と、固定側端子が一端部に形成されるとともに導電性材料で形成される固定片と、前記電磁石と前記可動片と前記固定片とが取り付けられる支持体とを備え、
    前記支持体は、前記電磁石を保持する厚板状の第1支持部と、前記可動片および前記固定片を保持する厚板状の第2支持部とを備え、
    前記第1支持部の一端部と前記第2支持部の一端部とは、前記第1支持部と前記第2支持部とが互いに略直交するように繋がっており、
    前記可動片は、L字状またはコの字状に形成される厚さが一定の平板であり、
    前記固定片は、直線状に形成される厚さが一定の平板であり、
    前記第1支持部の厚さ方向の一方を第1方向とし、第1方向の反対方向を第2方向とし、前記第2支持部の厚さ方向の一方を第3方向とし、第3方向の反対方向を第4方向とすると、
    前記電磁石および前記第2支持部は、前記第1支持部の第1方向側に配置され、
    前記電磁石および前記第1支持部は、前記第2支持部の第3方向側に配置され、
    前記第2支持部には、前記可動片が差し込まれて固定される第1固定穴と、前記固定片が差し込まれて固定される第2固定穴とが形成され、
    前記第1固定穴および前記第2固定穴は、前記第2支持部の厚さ方向において前記第2支持部を貫通しており、
    前記可動片は、前記可動片の厚さ方向と前記第1支持部の厚さ方向とが略一致するように、かつ、前記可動側端子が前記第2支持部の第4方向側に配置されるように、第3方向側から前記第1固定穴に差し込まれ、
    前記固定片は、前記固定片の厚さ方向と前記第1支持部の厚さ方向とが略一致するように、かつ、前記固定側端子が前記第2支持部の第4方向側に配置されるように、第3方向側から前記第2固定穴に差し込まれていることを特徴とする電磁継電器。
  2. 前記可動片は、一端部に前記可動側端子が形成される直線状の第1平板部と、前記第1平板部と直交するように前記第1平板部の他端部に繋がる直線状の第2平板部とから構成されるL字状に形成されていることを特徴とする請求項1記載の電磁継電器。
  3. 前記第1平板部の一部が前記第1固定穴に差し込まれ、前記第2平板部が前記鉄心に吸引されることを特徴とする請求項2記載の電磁継電器。
  4. 前記鉄心は、前記第2平板部の第2方向側に配置され、
    前記第1平板部は、前記第2支持部の第3方向側で支持部材によって第2方向側から支持されていることを特徴とする請求項3記載の電磁継電器。
JP2018154212A 2018-08-20 2018-08-20 電磁継電器 Active JP6830259B2 (ja)

Priority Applications (1)

Application Number Priority Date Filing Date Title
JP2018154212A JP6830259B2 (ja) 2018-08-20 2018-08-20 電磁継電器

Applications Claiming Priority (1)

Application Number Priority Date Filing Date Title
JP2018154212A JP6830259B2 (ja) 2018-08-20 2018-08-20 電磁継電器

Publications (2)

Publication Number Publication Date
JP2020030904A JP2020030904A (ja) 2020-02-27
JP6830259B2 true JP6830259B2 (ja) 2021-02-17

Family

ID=69622659

Family Applications (1)

Application Number Title Priority Date Filing Date
JP2018154212A Active JP6830259B2 (ja) 2018-08-20 2018-08-20 電磁継電器

Country Status (1)

Country Link
JP (1) JP6830259B2 (ja)

Also Published As

Publication number Publication date
JP2020030904A (ja) 2020-02-27

Similar Documents

Publication Publication Date Title
CN102222588B (zh) 电磁继电器
US10714289B2 (en) Electromagnetic relay
CN109727817B (zh) 电磁继电器
JP5585550B2 (ja) 継電器
US10714290B2 (en) Electromagnetic relay
US8228143B2 (en) Assembly of electromagnetic relay and circuit board
EP2701173B1 (en) Electromagnet device and electromagnetic relay using the same
JP2022141412A (ja) 電磁継電器
JP4826616B2 (ja) 電磁継電器
EP2908327B1 (en) Electromagnetic relay
JP6948613B2 (ja) 接点装置、及び電磁継電器
JP5549642B2 (ja) 継電器
JP6830259B2 (ja) 電磁継電器
JP6922534B2 (ja) 電磁継電器
US12106918B2 (en) Electromagnetic relay
KR102798392B1 (ko) 전자 계전기
JP7505213B2 (ja) 電磁継電器
JP7120057B2 (ja) 電磁石装置
CN104584173B (zh) 电磁接触器
CN101329967B (zh) 高频继电器
CN107251184A (zh) 线圈端子及具备线圈端子的电磁继电器
CN112582219B (zh) 继电器
JP2023128905A (ja) 電磁継電器
JP7569979B2 (ja) 接点装置及び電磁継電器
US20090219120A1 (en) Electromagnet device

Legal Events

Date Code Title Description
A621 Written request for application examination

Free format text: JAPANESE INTERMEDIATE CODE: A621

Effective date: 20200331

A977 Report on retrieval

Free format text: JAPANESE INTERMEDIATE CODE: A971007

Effective date: 20201214

TRDD Decision of grant or rejection written
A01 Written decision to grant a patent or to grant a registration (utility model)

Free format text: JAPANESE INTERMEDIATE CODE: A01

Effective date: 20210107

A61 First payment of annual fees (during grant procedure)

Free format text: JAPANESE INTERMEDIATE CODE: A61

Effective date: 20210112

R150 Certificate of patent or registration of utility model

Ref document number: 6830259

Country of ref document: JP

Free format text: JAPANESE INTERMEDIATE CODE: R150

R250 Receipt of annual fees

Free format text: JAPANESE INTERMEDIATE CODE: R250