JP6816632B2 - Bearing with sensor and power supply circuit - Google Patents

Bearing with sensor and power supply circuit Download PDF

Info

Publication number
JP6816632B2
JP6816632B2 JP2017090430A JP2017090430A JP6816632B2 JP 6816632 B2 JP6816632 B2 JP 6816632B2 JP 2017090430 A JP2017090430 A JP 2017090430A JP 2017090430 A JP2017090430 A JP 2017090430A JP 6816632 B2 JP6816632 B2 JP 6816632B2
Authority
JP
Japan
Prior art keywords
voltage
circuit
potential side
transistor
sensor
Prior art date
Legal status (The legal status is an assumption and is not a legal conclusion. Google has not performed a legal analysis and makes no representation as to the accuracy of the status listed.)
Active
Application number
JP2017090430A
Other languages
Japanese (ja)
Other versions
JP2018189125A (en
JP2018189125A5 (en
Inventor
俊彦 岡村
俊彦 岡村
柳沢 知之
知之 柳沢
小林 英樹
英樹 小林
Current Assignee (The listed assignees may be inaccurate. Google has not performed a legal analysis and makes no representation or warranty as to the accuracy of the list.)
NSK Ltd
Original Assignee
NSK Ltd
Priority date (The priority date is an assumption and is not a legal conclusion. Google has not performed a legal analysis and makes no representation as to the accuracy of the date listed.)
Filing date
Publication date
Application filed by NSK Ltd filed Critical NSK Ltd
Priority to JP2017090430A priority Critical patent/JP6816632B2/en
Publication of JP2018189125A publication Critical patent/JP2018189125A/en
Publication of JP2018189125A5 publication Critical patent/JP2018189125A5/en
Application granted granted Critical
Publication of JP6816632B2 publication Critical patent/JP6816632B2/en
Active legal-status Critical Current
Anticipated expiration legal-status Critical

Links

Images

Landscapes

  • Control Of Electrical Variables (AREA)
  • Dc-Dc Converters (AREA)

Description

本発明は、センサ付き軸受及び電源回路に関する。 The present invention relates to a bearing with a sensor and a power supply circuit .

特許文献1には、軸受周囲の各種物理量をセンサにより検出し、検出情報を受信側装置へ無線送信するセンサ付きの軸受が記載されている。特許文献2には、デカップリングコンデンサを備えたマイクロ電源モジュールが記載されている。 Patent Document 1 describes a bearing with a sensor that detects various physical quantities around the bearing by a sensor and wirelessly transmits the detection information to a receiving device. Patent Document 2 describes a micro power supply module including a decoupling capacitor.

特開2003−307435号公報Japanese Unexamined Patent Publication No. 2003-307435 特開2009−38950号公報JP-A-2009-388950

センサ付き軸受では、発電電圧が、回転速度に応じて変動する。このため、センサに供給される電圧が変動し、センサが正常ではない動作をしてしまう可能性がある。 In bearings with sensors, the generated voltage fluctuates according to the rotation speed. Therefore, the voltage supplied to the sensor fluctuates, and the sensor may operate abnormally.

本発明は、上記に鑑みてなされたものであって、センサが正常ではない動作をしてしまう可能性を抑制できるセンサ付き軸受及び電源回路を提供することを目的とする。 The present invention has been made in view of the above, and an object of the present invention is to provide a bearing with a sensor and a power supply circuit capable of suppressing the possibility that the sensor operates abnormally.

上記の目的を達成するための本発明のセンサ付き軸受は、相対的に回転する外輪及び内輪を有する軸受本体と、物理量又は化学量を検出するセンサと、前記外輪と前記内輪との相対的な回転に基づいて発電する発電機と、前記発電機によって発電された電力を前記センサに出力する電源回路と、を備え、前記電源回路は、前記発電機の発電電圧を昇圧する昇圧回路と、前記昇圧回路で昇圧された昇圧電圧を降圧する降圧回路と、前記降圧回路で降圧された降圧電圧と基準電位との間に接続されたデカップリングコンデンサと、前記デカップリングコンデンサの高電位側の端子と、高電位側の出力端子と、を接続する高電位側の出力ラインと、前記デカップリングコンデンサの低電位側の端子と、低電位側の出力端子と、を接続する低電位側の出力ラインと、ソース−ドレイン経路が、前記低電位側の出力ライン又は前記高電位側の出力ラインに挿入されたトランジスタと、前記昇圧電圧と、設定された昇圧電圧閾値と、を比較し、前記昇圧電圧が前記昇圧電圧閾値以上の場合に、前記トランジスタをオン状態に制御する信号を前記トランジスタのゲートに出力し、前記昇圧電圧が前記昇圧電圧閾値より小さい場合に、前記トランジスタをオフ状態に制御する信号を前記トランジスタのゲートに出力する、昇圧電圧閾値比較部と、を備える。 The sensor-equipped bearing of the present invention for achieving the above object is a bearing body having a relatively rotating outer ring and an inner ring, a sensor for detecting a physical amount or a chemical amount, and a relative of the outer ring and the inner ring. The power supply circuit includes a generator that generates power based on rotation and a power supply circuit that outputs the power generated by the generator to the sensor, and the power supply circuit includes a booster circuit that boosts the generated voltage of the generator and the power supply circuit. A step-down circuit that steps down the boosted voltage boosted by the booster circuit, a decoupling capacitor connected between the step-down voltage stepped down by the step-down circuit and a reference potential, and a terminal on the high potential side of the decoupling capacitor. , The output line on the high potential side connecting the output terminal on the high potential side, and the output line on the low potential side connecting the terminal on the low potential side of the decoupling capacitor and the output terminal on the low potential side. , The source-drain path compares the transistor inserted in the output line on the low potential side or the output line on the high potential side with the boost voltage and the set boost voltage threshold, and the boost voltage is calculated. When the boost voltage threshold is equal to or higher than the boost voltage threshold, a signal for controlling the transistor to the on state is output to the gate of the transistor, and when the boost voltage is smaller than the boost voltage threshold, a signal for controlling the transistor to the off state is output. A boosted voltage threshold comparison unit that outputs to the gate of the transistor is provided.

従って、昇圧回路の昇圧電圧が昇圧電圧閾値より小さい場合には、トランジスタがオフ状態になる。このため、デカップリングコンデンサの電力が、センサに供給されない。従って、センサは、動作できない。これにより、センサが正常ではない動作をしてしまう可能性を抑制できる。 Therefore, when the boost voltage of the boost circuit is smaller than the boost voltage threshold value, the transistor is turned off. Therefore, the power of the decoupling capacitor is not supplied to the sensor. Therefore, the sensor cannot operate. As a result, it is possible to suppress the possibility that the sensor operates abnormally.

本発明の望ましい態様として、前記トランジスタは、ソース−ドレイン経路が、前記低電位側の出力ラインに挿入されていることが好ましい。 As a desirable aspect of the present invention, it is preferable that the source-drain path of the transistor is inserted into the output line on the low potential side.

従って、センサの高電位側の入力端子に印加される電位が下がることを抑制できる。 Therefore, it is possible to suppress a decrease in the potential applied to the input terminal on the high potential side of the sensor.

本発明の望ましい態様として、前記昇圧回路の一部、前記降圧回路の一部、及び、前記昇圧電圧閾値比較部は、電源ICに含まれており、前記信号は、前記電源ICから前記トランジスタのゲートに出力されることが好ましい。 As a desirable aspect of the present invention, a part of the step-up circuit, a part of the step-down circuit, and the boost voltage threshold comparison unit are included in the power supply IC, and the signal is transmitted from the power supply IC to the transistor. It is preferable to output to the gate.

従って、トランジスタの制御のために、別途の回路を設ける必要をなくすことができる。 Therefore, it is possible to eliminate the need to provide a separate circuit for controlling the transistor.

本発明の望ましい態様として、前記電源回路は、前記昇圧回路が動作しているときの前記発電電圧である閉回路電圧が、前記昇圧回路が動作していないときの前記発電電圧である開回路電圧と、設定された比率と、を乗じた電圧になるように、前記昇圧回路を制御する、最大電力点追従制御部を更に備えることが好ましい。 As a desirable aspect of the present invention, in the power supply circuit, the closed circuit voltage which is the generated voltage when the booster circuit is operating is the open circuit voltage which is the generated voltage when the booster circuit is not operating. It is preferable to further include a maximum power point tracking control unit that controls the booster circuit so that the voltage is multiplied by the set ratio.

従って、発電機から電力を好適に得ることができる。 Therefore, electric power can be suitably obtained from the generator.

上記の目的を達成するための本発明のセンサ付き軸受は、相対的に回転する外輪及び内輪を有する軸受本体と、物理量又は化学量を検出するセンサと、前記外輪と前記内輪との相対的な回転に基づいて発電する発電機と、前記発電機によって発電された電力を前記センサに出力する電源回路と、を備え、前記電源回路は、前記発電機の発電電圧を昇圧する昇圧回路と、前記昇圧回路で昇圧された昇圧電圧を降圧する降圧回路と、前記降圧回路で降圧された降圧電圧と基準電位との間に接続されたデカップリングコンデンサと、前記デカップリングコンデンサの高電位側の端子と、高電位側の出力端子と、を接続する高電位側の出力ラインと、前記デカップリングコンデンサの低電位側の端子と、低電位側の出力端子と、を接続する低電位側の出力ラインと、ソース−ドレイン経路が、前記低電位側の出力ライン又は前記高電位側の出力ラインに挿入されたトランジスタと、前記降圧電圧と、設定された降圧電圧閾値と、を比較し、前記降圧電圧が前記降圧電圧閾値以上の場合に前記トランジスタをオン状態に制御する信号を前記トランジスタのゲートに出力し、前記降圧電圧が前記降圧電圧閾値より小さい場合に前記トランジスタをオフ状態に制御する信号を前記トランジスタのゲートに出力する、降圧電圧閾値比較部(例えば、実施形態に係るナノパワー制御部215)と、を備える。 The sensor-equipped bearing of the present invention for achieving the above object is a bearing body having a relatively rotating outer ring and an inner ring, a sensor for detecting a physical amount or a chemical amount, and a relative of the outer ring and the inner ring. The power supply circuit includes a generator that generates power based on rotation and a power supply circuit that outputs the power generated by the generator to the sensor, and the power supply circuit includes a booster circuit that boosts the generated voltage of the generator and the power supply circuit. A step-down circuit that steps down the boosted voltage boosted by the booster circuit, a decoupling capacitor connected between the step-down voltage stepped down by the step-down circuit and a reference potential, and a terminal on the high potential side of the decoupling capacitor. , The output line on the high potential side connecting the output terminal on the high potential side, the output line on the low potential side connecting the terminal on the low potential side of the decoupling capacitor, and the output terminal on the low potential side. , The source-drain path compares the transistor inserted in the output line on the low potential side or the output line on the high potential side with the step-down voltage and the set step-down voltage threshold, and the step-down voltage is determined. When the step-down voltage threshold is equal to or higher than the step-down voltage threshold, a signal for controlling the transistor to the on state is output to the gate of the transistor, and when the step-down voltage is smaller than the step-down voltage threshold, a signal for controlling the transistor to the off state is output to the transistor. It is provided with a step-down voltage threshold comparison unit (for example, nanopower control unit 215 according to the embodiment) that outputs to the gate of.

従って、降圧回路の降圧電圧が降圧電圧閾値より小さい場合には、トランジスタがオフ状態になる。このため、デカップリングコンデンサの電力が、センサに供給されない。従って、センサは、動作できない。これにより、センサが正常ではない動作をしてしまう可能性を抑制できる。
上記の目的を達成するための本発明の電源回路は、発電機によって発電された電力をセンサに出力する電源回路であって、前記発電機の発電電圧を昇圧する昇圧回路と、前記昇圧回路で昇圧された昇圧電圧を降圧する降圧回路と、前記降圧回路で降圧された降圧電圧と基準電位との間に接続されたデカップリングコンデンサと、前記デカップリングコンデンサの高電位側の端子と、高電位側の出力端子と、を接続する高電位側の出力ラインと、前記デカップリングコンデンサの低電位側の端子と、低電位側の出力端子と、を接続する低電位側の出力ラインと、ソース−ドレイン経路が、前記低電位側の出力ライン又は前記高電位側の出力ラインに挿入されたトランジスタと、前記昇圧電圧と、設定された昇圧電圧閾値と、を比較し、前記昇圧電圧が前記昇圧電圧閾値以上の場合に、前記トランジスタをオン状態に制御する信号を前記トランジスタのゲートに出力し、前記昇圧電圧が前記昇圧電圧閾値より小さい場合に、前記トランジスタをオフ状態に制御する信号を前記トランジスタのゲートに出力する、昇圧電圧閾値比較部と、を備える。
従って、昇圧回路の昇圧電圧が昇圧電圧閾値より小さい場合には、トランジスタがオフ状態になる。このため、デカップリングコンデンサの電力が、センサに供給されない。従って、センサは、動作できない。これにより、センサが正常ではない動作をしてしまう可能性を抑制できる。
上記の目的を達成するための本発明の電源回路は、発電機によって発電された電力をセンサに出力する電源回路であって、前記発電機の発電電圧を昇圧する昇圧回路と、前記昇圧回路で昇圧された昇圧電圧を降圧する降圧回路と、前記降圧回路で降圧された降圧電圧と基準電位との間に接続されたデカップリングコンデンサと、前記デカップリングコンデンサの高電位側の端子と、高電位側の出力端子と、を接続する高電位側の出力ラインと、前記デカップリングコンデンサの低電位側の端子と、低電位側の出力端子と、を接続する低電位側の出力ラインと、ソース−ドレイン経路が、前記低電位側の出力ライン又は前記高電位側の出力ラインに挿入されたトランジスタと、前記降圧電圧と、設定された降圧電圧閾値と、を比較し、前記降圧電圧が前記降圧電圧閾値以上の場合に、前記トランジスタをオン状態に制御する信号を前記トランジスタのゲートに出力し、前記降圧電圧が前記降圧電圧閾値より小さい場合に、前記トランジスタをオフ状態に制御する信号を前記トランジスタのゲートに出力する、降圧電圧閾値比較部と、を備える。
従って、降圧回路の降圧電圧が降圧電圧閾値より小さい場合には、トランジスタがオフ状態になる。このため、デカップリングコンデンサの電力が、センサに供給されない。従って、センサは、動作できない。これにより、センサが正常ではない動作をしてしまう可能性を抑制できる。
Therefore, when the step-down voltage of the step-down circuit is smaller than the step-down voltage threshold value, the transistor is turned off. Therefore, the power of the decoupling capacitor is not supplied to the sensor. Therefore, the sensor cannot operate. As a result, it is possible to suppress the possibility that the sensor operates abnormally.
The power supply circuit of the present invention for achieving the above object is a power supply circuit that outputs the power generated by the generator to the sensor, and includes a booster circuit that boosts the generated voltage of the generator and the booster circuit. A step-down circuit that steps down the boosted boost voltage, a decoupling capacitor connected between the step-down voltage stepped down by the step-down circuit and a reference potential, a terminal on the high potential side of the decoupling capacitor, and a high potential. The output line on the high potential side that connects the output terminal on the side, the output line on the low potential side that connects the terminal on the low potential side of the decoupling capacitor, and the output terminal on the low potential side, and the source- A transistor whose drain path is inserted into the output line on the low potential side or the output line on the high potential side is compared with the boosted voltage and a set boosted voltage threshold, and the boosted voltage is the boosted voltage. When the threshold is equal to or higher than the threshold value, a signal for controlling the transistor to the on state is output to the gate of the transistor, and when the boost voltage is smaller than the boost voltage threshold, a signal for controlling the transistor to the off state is output to the transistor. It is provided with a boosted voltage threshold comparison unit that outputs to the gate.
Therefore, when the boost voltage of the boost circuit is smaller than the boost voltage threshold value, the transistor is turned off. Therefore, the power of the decoupling capacitor is not supplied to the sensor. Therefore, the sensor cannot operate. As a result, it is possible to suppress the possibility that the sensor operates abnormally.
The power supply circuit of the present invention for achieving the above object is a power supply circuit that outputs the power generated by the generator to the sensor, and includes a booster circuit that boosts the generated voltage of the generator and the booster circuit. A step-down circuit that steps down the boosted boost voltage, a decoupling capacitor connected between the step-down voltage stepped down by the step-down circuit and a reference potential, a terminal on the high potential side of the decoupling capacitor, and a high potential. The output line on the high potential side that connects the output terminal on the side, the output line on the low potential side that connects the terminal on the low potential side of the decoupling capacitor, and the output terminal on the low potential side, and the source- The drain path compares the transistor inserted in the output line on the low potential side or the output line on the high potential side with the step-down voltage and the set step-down voltage threshold, and the step-down voltage is the step-down voltage. When the threshold is equal to or higher than the threshold, a signal for controlling the transistor to be turned on is output to the gate of the transistor, and when the step-down voltage is smaller than the step-down voltage threshold, a signal for controlling the transistor to be turned off is output to the transistor. It is provided with a step-down voltage threshold comparison unit that outputs to the gate.
Therefore, when the step-down voltage of the step-down circuit is smaller than the step-down voltage threshold value, the transistor is turned off. Therefore, the power of the decoupling capacitor is not supplied to the sensor. Therefore, the sensor cannot operate. As a result, it is possible to suppress the possibility that the sensor operates abnormally.

本発明によれば、センサが正常ではない動作をしてしまう可能性を抑制できるセンサ付き軸受及び電源回路を提供することができる。 According to the present invention, it is possible to provide a bearing with a sensor and a power supply circuit capable of suppressing the possibility that the sensor operates abnormally.

図1は、本実施形態のセンサ付き軸受の斜視図である。FIG. 1 is a perspective view of the bearing with a sensor of the present embodiment. 図2は、本実施形態のセンサ付き軸受の分解斜視図である。FIG. 2 is an exploded perspective view of the bearing with a sensor of the present embodiment. 図3は、本実施形態のセンサ付き軸受の部分断面図である。FIG. 3 is a partial cross-sectional view of the bearing with a sensor of the present embodiment. 図4は、本実施形態のセンサ付き軸受の部分断面図である。FIG. 4 is a partial cross-sectional view of the bearing with a sensor of the present embodiment. 図5は、本実施形態のセンサ付き軸受における起電力の電圧と時間との関係を説明するための説明図である。FIG. 5 is an explanatory diagram for explaining the relationship between the voltage of the electromotive force and the time in the bearing with a sensor of the present embodiment. 図6は、本実施形態のセンサユニットの平面図である。FIG. 6 is a plan view of the sensor unit of this embodiment. 図7は、本実施形態のカバーの斜視図である。FIG. 7 is a perspective view of the cover of the present embodiment. 図8は、本実施形態のセンサ付き軸受に搭載されている回路の構成を示す図である。FIG. 8 is a diagram showing a configuration of a circuit mounted on the bearing with a sensor of the present embodiment. 図9は、本実施形態のセンサ付き軸受の電源回路の構成を示す図である。FIG. 9 is a diagram showing a configuration of a power supply circuit of the bearing with a sensor of the present embodiment. 図10は、本実施形態のセンサ付き軸受の発電機及び昇圧チョッパ回路のインピーダンスを説明する図である。FIG. 10 is a diagram illustrating the impedance of the generator of the bearing with a sensor and the step-up chopper circuit of the present embodiment. 図11は、本実施形態のセンサ付き軸受の発電機の出力電圧の例を示す図である。FIG. 11 is a diagram showing an example of the output voltage of the generator of the bearing with a sensor of this embodiment. 図12は、本実施形態のセンサ付き軸受の整流回路の出力電圧の例を示す図である。FIG. 12 is a diagram showing an example of the output voltage of the rectifier circuit of the bearing with a sensor of this embodiment. 図13は、本実施形態のセンサ付き軸受の回路の動作シーケンスの例を示す図である。FIG. 13 is a diagram showing an example of an operation sequence of the circuit of the bearing with a sensor of this embodiment.

本発明を実施するための形態(実施形態)につき、図面を参照しつつ詳細に説明する。以下の実施形態に記載した内容により本発明が限定されるものではない。また、以下に記載した構成要素には、当業者が容易に想定できるもの、実質的に同一のものが含まれる。さらに、以下に記載した構成要素は適宜組み合わせることが可能である。 An embodiment (embodiment) for carrying out the present invention will be described in detail with reference to the drawings. The present invention is not limited to the contents described in the following embodiments. In addition, the components described below include those that can be easily assumed by those skilled in the art and those that are substantially the same. Furthermore, the components described below can be combined as appropriate.

図1は、本実施形態のセンサ付き軸受の斜視図である。図2は、本実施形態のセンサ付き軸受の分解斜視図である。図3は、本実施形態のセンサ付き軸受の部分断面図である。図4は、本実施形態のセンサ付き軸受の部分断面図である。図2に示すように、センサ付き軸受1は、センサユニット5と、トーンリング30と、軸受本体20とを有している。 FIG. 1 is a perspective view of the bearing with a sensor of the present embodiment. FIG. 2 is an exploded perspective view of the bearing with a sensor of the present embodiment. FIG. 3 is a partial cross-sectional view of the bearing with a sensor of the present embodiment. FIG. 4 is a partial cross-sectional view of the bearing with a sensor of the present embodiment. As shown in FIG. 2, the bearing 1 with a sensor has a sensor unit 5, a tone ring 30, and a bearing body 20.

図3及び図4に示すように、軸受本体20は、外輪21と、内輪22と、転動体23とを有する転がり軸受である。以下、内輪22が回転輪として説明するが、外輪21と内輪22とが相対回転していれば、外輪21及び内輪22の内のどちらが回転してもよい。 As shown in FIGS. 3 and 4, the bearing body 20 is a rolling bearing having an outer ring 21, an inner ring 22, and a rolling element 23. Hereinafter, the inner ring 22 will be described as a rotating ring, but as long as the outer ring 21 and the inner ring 22 rotate relative to each other, either the outer ring 21 or the inner ring 22 may rotate.

カバー10は、円環状の天板12と、天板12の周囲に接続され、筒状の側板11とを有する。カバー10は、ケイ素鋼板、炭素鋼(JIS規格 SS400又はS45C)、マルテンサイト系ステンレス(JIS規格 SUS420)又はフェライト系ステンレス(JIS規格 SUS430)のいずれかのような軟磁性を有する材料で形成される。 The cover 10 has an annular top plate 12 and a tubular side plate 11 connected around the top plate 12. The cover 10 is made of a soft magnetic material such as silicon steel plate, carbon steel (JIS standard SS400 or S45C), martensitic stainless steel (JIS standard SUS420) or ferritic stainless steel (JIS standard SUS430). ..

図2に示すように、センサユニット5において、複数の発電部3と、センサ部40と、が、天板12の軸受本体20側対向面に取り付けられている。センサ部40は、電源基板41と、センサ基板42とを有している。 As shown in FIG. 2, in the sensor unit 5, a plurality of power generation units 3 and a sensor unit 40 are attached to the bearing body 20 side facing surfaces of the top plate 12. The sensor unit 40 has a power supply board 41 and a sensor board 42.

例えば、図1及び図2に示すように、天板12に開けられた雌ねじ穴に、黄銅など非磁性材料のボルト19が締結することで、各発電部3は、天板12に固定される。同様に、天板12に開けられた雌ねじ穴に、黄銅など非磁性材料のボルト47が締結することで、電源基板41とセンサ基板42とが、天板12に固定される。図1に示すように、ボルト19及びボルト47は、カバー10に取り付けられた状態で、天板12から突出しない長さを有している。 For example, as shown in FIGS. 1 and 2, each power generation unit 3 is fixed to the top plate 12 by fastening a bolt 19 made of a non-magnetic material such as brass to a female screw hole formed in the top plate 12. .. Similarly, the power supply board 41 and the sensor board 42 are fixed to the top plate 12 by fastening a bolt 47 made of a non-magnetic material such as brass to the female screw hole formed in the top plate 12. As shown in FIG. 1, the bolts 19 and 47 have a length that does not protrude from the top plate 12 when attached to the cover 10.

トーンリング30には、外径側に突出する凸部31と、凸部31よりも内径側に凹む凹部32とが周方向に交互に設けられている。トーンリング30は、軸受本体20側に突出する筒状突起33を内周側に有している。 The tone ring 30 is provided with convex portions 31 protruding toward the outer diameter side and concave portions 32 recessed toward the inner diameter side of the convex portions 31 alternately in the circumferential direction. The tone ring 30 has a tubular protrusion 33 protruding toward the bearing body 20 on the inner peripheral side.

トーンリング30は、ケイ素鋼板、炭素鋼(JIS規格 SS400又はS45C)、マルテンサイト系ステンレス(JIS規格 SUS420)又はフェライト系ステンレス(JIS規格 SUS430)のいずれかのような軟磁性を有する材料で形成される。 The tone ring 30 is formed of a soft magnetic material such as silicon steel plate, carbon steel (JIS standard SS400 or S45C), martensitic stainless steel (JIS standard SUS420) or ferritic stainless steel (JIS standard SUS430). To.

各発電部3は、永久磁石13と、ヨーク14と、コイル15と、を有している。永久磁石13は、天板12に接するように固定されている。ヨーク14は、磁石に接するように固定されている。ヨーク14は、ケイ素鋼板などの軟磁性を有する材料で形成されている。ヨーク14の内部における磁束量が増えるように、ヨーク14は、カバー10の材質と同等以上の透磁率を有する材料が用いられていることが望ましい。 Each power generation unit 3 has a permanent magnet 13, a yoke 14, and a coil 15. The permanent magnet 13 is fixed so as to be in contact with the top plate 12. The yoke 14 is fixed so as to be in contact with the magnet. The yoke 14 is made of a soft magnetic material such as a silicon steel plate. It is desirable that the yoke 14 is made of a material having a magnetic permeability equal to or higher than that of the cover 10 so that the amount of magnetic flux inside the yoke 14 increases.

コイル15は、導線がヨーク14を巻回するいわゆるマグネットワイヤである。発電量が増加するように、なるべく細い線径の導線を多く巻きつけることが望ましい。隣り合う発電部3のコイル15同士は、直列に接続され、直列接続された複数の発電部3のコイル15から引き出された配線が電源基板41に接続されている。 The coil 15 is a so-called magnet wire in which a conducting wire winds around a yoke 14. It is desirable to wind as many wires with as small a wire diameter as possible so that the amount of power generation increases. The coils 15 of the adjacent power generation units 3 are connected in series, and the wiring drawn from the coils 15 of the plurality of power generation units 3 connected in series is connected to the power supply board 41.

図3に示すように、側板11の一端が外輪21の外周に設けられた溝21Aにはめ込まれ固定される。筒状突起33は、内輪22の内周に設けられた溝22Aにはめ込まれ固定される。これにより、図3及び図4に示すように、ヨーク14の内周側端面及び天板12の内周側端面がトーンリング30の凸部31又は凹部32に対向する位置に配置される。 As shown in FIG. 3, one end of the side plate 11 is fitted and fixed in the groove 21A provided on the outer periphery of the outer ring 21. The tubular protrusion 33 is fitted and fixed in the groove 22A provided on the inner circumference of the inner ring 22. As a result, as shown in FIGS. 3 and 4, the inner peripheral end surface of the yoke 14 and the inner peripheral end surface of the top plate 12 are arranged at positions facing the convex portion 31 or the concave portion 32 of the tone ring 30.

図5は、本実施形態のセンサ付き軸受における起電力の電圧と時間との関係を説明するための説明図である。ここで、図5の横軸は、時間であり、縦軸は、起電力の電圧である。外輪21が固定され、内輪22が回転することによって内輪22と共にトーンリング30が回転し、トーンリング30と各発電部3とが相対的に回転する。ヨーク14の内周側端面から図3に示す凸部31の外周側端面31IFまでのエアギャップと、ヨーク14の内周側端面から図4に示す凹部32の外周側端面32IFまでのエアギャップと、が交互に入れ替わる。 FIG. 5 is an explanatory diagram for explaining the relationship between the voltage of the electromotive force and the time in the bearing with a sensor of the present embodiment. Here, the horizontal axis of FIG. 5 is time, and the vertical axis is the voltage of the electromotive force. The outer ring 21 is fixed, and the rotation of the inner ring 22 causes the tone ring 30 to rotate together with the inner ring 22, and the tone ring 30 and each power generation unit 3 rotate relatively. The air gap from the inner peripheral end surface of the yoke 14 to the outer peripheral end surface 31IF of the convex portion 31 shown in FIG. 3 and the air gap from the inner peripheral end surface of the yoke 14 to the outer peripheral end surface 32IF of the concave portion 32 shown in FIG. , Alternate.

このように、トーンリング30の外周の凸部31と凹部32とにより、各発電部3のヨーク14とトーンリング30の外周との距離が周期的に変化する。これにより、各発電部3に生じる磁束Mfが変化する。永久磁石13を備えたヨーク14とトーンリング30とが接近している場合には、永久磁石13、ヨーク14、及び、トーンリング30を通る磁束は大きく、ヨーク14とトーンリング30とが離れている場合には、永久磁石13、ヨーク14、及び、トーンリング30を通る磁束が小さくなる。この磁束Mfの密度変化に応じて、ヨーク14の周りにマグネットワイヤを巻いたコイル15に電圧変化が発生する。 In this way, the distance between the yoke 14 of each power generation unit 3 and the outer circumference of the tone ring 30 is periodically changed by the convex portion 31 and the concave portion 32 on the outer circumference of the tone ring 30. As a result, the magnetic flux Mf generated in each power generation unit 3 changes. When the yoke 14 provided with the permanent magnet 13 and the tone ring 30 are close to each other, the magnetic flux passing through the permanent magnet 13, the yoke 14 and the tone ring 30 is large, and the yoke 14 and the tone ring 30 are separated from each other. If so, the magnetic flux passing through the permanent magnet 13, the yoke 14, and the tone ring 30 becomes smaller. In response to the change in the density of the magnetic flux Mf, a voltage change is generated in the coil 15 in which the magnet wire is wound around the yoke 14.

すなわち、ヨーク14と凸部31の外周側端面31IFとが最も近づいたときに、図3に示す磁束Mfが大きくなり、図5に示す起電力の電圧V1が電源基板41に供給される。ヨーク14と凹部32の外周側端面32IFとが最も遠ざかるときに、図4に示す磁束Mfが小さくなり、図5に示す起電力の電圧V2が電源基板41に供給される。 That is, when the yoke 14 and the outer peripheral end surface 31IF of the convex portion 31 are closest to each other, the magnetic flux Mf shown in FIG. 3 becomes large, and the electromotive force voltage V1 shown in FIG. 5 is supplied to the power supply board 41. When the yoke 14 and the outer peripheral end surface 32IF of the recess 32 are farthest from each other, the magnetic flux Mf shown in FIG. 4 becomes small, and the electromotive force voltage V2 shown in FIG. 5 is supplied to the power supply board 41.

図6は、本実施形態のセンサユニットの平面図である。図6に示すように、電源基板41には、電源部43が実装されている。電源部43は、例えば、整流回路と、平滑回路と、保護回路と、電源回路と、を含む。電源部43は、発電部3から供給された単相交流電力を直流電圧に変換して、センサ基板42へ供給する。 FIG. 6 is a plan view of the sensor unit of this embodiment. As shown in FIG. 6, the power supply unit 43 is mounted on the power supply board 41. The power supply unit 43 includes, for example, a rectifier circuit, a smoothing circuit, a protection circuit, and a power supply circuit. The power supply unit 43 converts the single-phase AC power supplied from the power generation unit 3 into a DC voltage and supplies it to the sensor board 42.

センサ基板42には、センサ44と、通信回路45と、アンテナ46と、が実装されている。電源部43から出力される直流電力は、センサ44と、通信回路45と、に少なくとも供給される。 A sensor 44, a communication circuit 45, and an antenna 46 are mounted on the sensor board 42. The DC power output from the power supply unit 43 is at least supplied to the sensor 44 and the communication circuit 45.

センサ44は、軸受本体20の周囲温度を検出する温度センサ、軸受本体20の振動を検出する振動センサ、軸受本体20の周囲湿度を検出する湿度センサ、軸受本体20の潤滑油の酸化劣化に伴って生じるガス状の炭化水素、硫化水素、アンモニア等を検出するガスセンサ、軸受本体20において生じる摩擦音を検出する超音波センサ、軸受本体20の回転を検出する回転センサ等の各種検出部のうち、いずれか1つ又は複数の検出部を備える。 The sensor 44 includes a temperature sensor that detects the ambient temperature of the bearing body 20, a vibration sensor that detects the vibration of the bearing body 20, a humidity sensor that detects the ambient humidity of the bearing body 20, and oxidative deterioration of the lubricating oil of the bearing body 20. Among various detection units such as a gas sensor that detects gaseous hydrocarbons, hydrogen sulfide, ammonia, etc. generated in the bearing body, an ultrasonic sensor that detects friction noise generated in the bearing body 20, and a rotation sensor that detects the rotation of the bearing body 20. It is provided with one or more detection units.

通信回路45は、CPU(Central Processing Unit)と、無線送受信回路と、を含む装置である。装置内には、マイクロコンピュータが含まれる。センサ44が検出した検出情報は、通信回路45で処理され、アンテナ46を介して、図1に示す電磁波WVの無線通信により送信され、例えば上位装置50の通信部51で受信される。通信部51で受信した検出情報は、コンピュータ52で処理される。なお、実施形態では、通信回路45は、無線通信回路としたが、有線通信回路であっても良い。 The communication circuit 45 is a device including a CPU (Central Processing Unit) and a wireless transmission / reception circuit. The device includes a microcomputer. The detection information detected by the sensor 44 is processed by the communication circuit 45, transmitted via the antenna 46 by wireless communication of the electromagnetic wave WV shown in FIG. 1, and received by, for example, the communication unit 51 of the host device 50. The detection information received by the communication unit 51 is processed by the computer 52. In the embodiment, the communication circuit 45 is a wireless communication circuit, but it may be a wired communication circuit.

図7は、本実施形態のカバーの斜視図である。図7に示すように、カバー10には、貫通孔12Hが開けられている。貫通孔12Hは、図1に示すように、樹脂などの非磁性材料で形成された非磁性蓋17で密閉されている。 FIG. 7 is a perspective view of the cover of the present embodiment. As shown in FIG. 7, the cover 10 is provided with a through hole 12H. As shown in FIG. 1, the through hole 12H is sealed with a non-magnetic lid 17 made of a non-magnetic material such as resin.

カバー10は、軟磁性を有しているので、アンテナ46からの電磁波WVをシールドする作用を有している。このため、図6に示すように、軸受本体20の回転軸Zr方向の平面視において、アンテナ46が非磁性蓋17と重なるように配置されている。 Since the cover 10 has soft magnetism, it has a function of shielding the electromagnetic wave WV from the antenna 46. Therefore, as shown in FIG. 6, the antenna 46 is arranged so as to overlap the non-magnetic lid 17 in the plan view of the bearing body 20 in the rotation axis Zr direction.

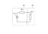
図8は、本実施形態のセンサ付き軸受に搭載されている回路の構成を示す図である。回路200は、発電機201と、電源部43と、センサ44と、通信回路45と、アンテナ46と、を含む。電源部43は、整流回路202と、平滑回路203と、保護回路204と、電源回路205と、を含む。 FIG. 8 is a diagram showing a configuration of a circuit mounted on the bearing with a sensor of the present embodiment. The circuit 200 includes a generator 201, a power supply unit 43, a sensor 44, a communication circuit 45, and an antenna 46. The power supply unit 43 includes a rectifier circuit 202, a smoothing circuit 203, a protection circuit 204, and a power supply circuit 205.

発電機201は、図2から図4までに示した複数の発電部3と、トーンリング30と、で構成される。発電機201は、単相交流電力を発電して整流回路202に出力する。整流回路202は、発電機201で発電された単相交流電力を全波整流して平滑回路203に出力する。整流回路202は、ダイオードブリッジが例示されるが、本開示はこれに限定されない。 The generator 201 is composed of a plurality of power generation units 3 shown in FIGS. 2 to 4 and a tone ring 30. The generator 201 generates single-phase AC power and outputs it to the rectifier circuit 202. The rectifier circuit 202 full-wave rectifies the single-phase AC power generated by the generator 201 and outputs it to the smoothing circuit 203. The rectifier circuit 202 is exemplified by a diode bridge, but the present disclosure is not limited to this.

平滑回路203は、整流回路202で全波整流された電圧を平滑して保護回路204に出力する。平滑回路203は、コンデンサが例示されるが、本開示はこれに限定されない。保護回路204は、平滑回路203で平滑された直流電圧が予め設定された電圧を超えないように抑制して、電源回路205の入力端子205aに出力する。保護回路204は、降伏ダイオードが例示されるが、本開示はこれに限定されない。 The smoothing circuit 203 smoothes the voltage rectified by the rectifier circuit 202 and outputs the voltage to the protection circuit 204. The smoothing circuit 203 is exemplified by a capacitor, but the present disclosure is not limited to this. The protection circuit 204 suppresses the DC voltage smoothed by the smoothing circuit 203 so as not to exceed a preset voltage, and outputs the DC voltage to the input terminal 205a of the power supply circuit 205. The protection circuit 204 is exemplified by a breakdown diode, but the present disclosure is not limited thereto.

電源回路205は、入力端子205aに供給される直流電圧を変換して、高電位側の出力端子205c及び低電位側の出力端子205dから出力する。実施形態では、電源回路205は、DC−DCコンバータであるが、本開示はこれに限定されない。電源回路205は、発電機201で発電された単相交流電圧を直流電圧に変換するAC−DCコンバータであっても良い。低電位は、接地電位が例示されるが、本開示はこれに限定されない。出力端子205c及び205dには、並列接続されたセンサ44及び通信回路45が、負荷として接続されている。 The power supply circuit 205 converts the DC voltage supplied to the input terminal 205a and outputs the DC voltage from the output terminal 205c on the high potential side and the output terminal 205d on the low potential side. In the embodiment, the power supply circuit 205 is a DC-DC converter, but the present disclosure is not limited thereto. The power supply circuit 205 may be an AC-DC converter that converts the single-phase AC voltage generated by the generator 201 into a DC voltage. The low potential is exemplified by the ground potential, but the present disclosure is not limited to this. A sensor 44 and a communication circuit 45 connected in parallel are connected to the output terminals 205c and 205d as loads.

センサ44は、電源回路205から供給される直流電力を使用して、各種の物理量又は化学量をセンシングする。通信回路45は、電源回路205から供給される直流電力を使用して、センサ44によってセンシングされたデータを、アンテナ46を介して、(図1に示す)通信部51に無線送信する。 The sensor 44 senses various physical or chemical quantities using the DC power supplied from the power supply circuit 205. The communication circuit 45 uses the DC power supplied from the power supply circuit 205 to wirelessly transmit the data sensed by the sensor 44 to the communication unit 51 (shown in FIG. 1) via the antenna 46.

図9は、本実施形態のセンサ付き軸受の電源回路の構成を示す図である。電源回路205は、電源IC(Integrated Circuits)210を備える。電源IC210は、Texas Instruments社のbq25570が例示されるが、本開示はこれに限定されない。 FIG. 9 is a diagram showing a configuration of a power supply circuit of the bearing with a sensor of the present embodiment. The power supply circuit 205 includes a power supply IC (Integrated Circuits) 210. The power supply IC 210 is exemplified by Texas Instruments bq25570, but the present disclosure is not limited thereto.

電源IC210は、NチャネルMOS型のトランジスタQ1及びQ5と、PチャネルMOS型のトランジスタQ2,Q3及びQ4と、を含む。また、電源IC210は、昇圧制御部211と、最大電力点追従(Maximum Power Point Tracking)制御部212と、コールドスタート制御部213と、降圧制御部214と、ナノパワー制御部215と、昇圧電圧閾値比較部216と、を含む。 The power supply IC 210 includes N-channel MOS type transistors Q1 and Q5 and P-channel MOS type transistors Q2, Q3 and Q4. Further, the power supply IC 210 compares the boost voltage threshold with the boost control unit 211, the maximum power point tracking control unit 212, the cold start control unit 213, the step-down control unit 214, and the nano power control unit 215. Includes part 216 and.

電源回路205は、昇圧チョッパ回路221を含む。昇圧チョッパ回路221は、電源IC210外部のコイルL1並びにコンデンサCSTOR及びCBYPと、電源IC210内部のトランジスタQ1及びQ2並びに昇圧制御部211と、で構成される。 The power supply circuit 205 includes a boost chopper circuit 221. The boost chopper circuit 221 is composed of a coil L1 outside the power supply IC 210, capacitors CSTOR and CBYP, transistors Q1 and Q2 inside the power supply IC 210, and a boost control unit 211.

トランジスタQ1のソースは、端子VSSを介して接地されている。トランジスタQ1のゲートには、昇圧制御部211からゲート信号が供給される。トランジスタQ1のドレインは、端子LBOOSTに接続されている。端子LBOOSTには、コイルL1の一端が接続されている。コイルL1の他端は、入力端子205aに接続されている。また、入力端子205aと接地電位との間には、入力電圧を平滑するコンデンサCINが接続されている。 The source of the transistor Q1 is grounded via the terminal VSS. A gate signal is supplied from the boost control unit 211 to the gate of the transistor Q1. The drain of the transistor Q1 is connected to the terminal LBOOST. One end of the coil L1 is connected to the terminal LBOOST. The other end of the coil L1 is connected to the input terminal 205a. Further, a capacitor CIN for smoothing the input voltage is connected between the input terminal 205a and the ground potential.

トランジスタQ2のドレインは、端子LBOOSTに接続されている。トランジスタQ2のゲートには、昇圧制御部211からゲート信号が供給される。トランジスタQ2のソースは、端子VSTORに接続されている。端子VSTORと接地電位との間には、並列接続されたコンデンサCSTOR及びCBYPが接続されている。 The drain of the transistor Q2 is connected to the terminal LBOOST. A gate signal is supplied from the boost control unit 211 to the gate of the transistor Q2. The source of the transistor Q2 is connected to the terminal VSTOR. Capacitors CSTOR and CBYP connected in parallel are connected between the terminal VSTOR and the ground potential.

昇圧制御部211は、ある1つのタイミングでは、トランジスタQ1をオンに制御し、トランジスタQ2をオフに制御する。これにより、コイルL1にエネルギーが蓄えられる。昇圧制御部211は、次の1つのタイミングでは、トランジスタQ1をオフに制御し、トランジスタQ2をオンに制御する。これにより、コイルL1に蓄えられたエネルギーが、コンデンサCSTOR及びCBYPに供給される。これにより、昇圧チョッパ回路221は、入力端子205aに供給された直流電圧を昇圧する。コンデンサCSTOR及びCBYPの電圧、即ち、端子VSTORの電圧が、昇圧チョッパ回路221の昇圧電圧(出力電圧)である。 The boost control unit 211 controls the transistor Q1 to be on and the transistor Q2 to be turned off at a certain timing. As a result, energy is stored in the coil L1. The boost control unit 211 controls the transistor Q1 to be off and the transistor Q2 to be turned on at the next one timing. As a result, the energy stored in the coil L1 is supplied to the capacitors CSTOR and CBYP. As a result, the boost chopper circuit 221 boosts the DC voltage supplied to the input terminal 205a. The voltage of the capacitors CSTOR and CBYP, that is, the voltage of the terminal VSTOR is the boost voltage (output voltage) of the boost chopper circuit 221.

昇圧チョッパ回路221が、本発明の昇圧回路に対応する。実施形態では、昇圧回路を昇圧チョッパ回路221としたが、本開示はこれに限定されない。 The boost chopper circuit 221 corresponds to the boost circuit of the present invention. In the embodiment, the booster circuit is a booster chopper circuit 221 but the present disclosure is not limited to this.

最大電力点追従制御部212は、昇圧制御部211を制御して、発電機201の最大電力点を追従する制御を行う。最大電力点追従制御部212は、端子VOC_SAMPに供給される電圧に基づいて、動作設定される。 The maximum power point tracking control unit 212 controls the boost control unit 211 to follow the maximum power point of the generator 201. The maximum power point tracking control unit 212 is set to operate based on the voltage supplied to the terminal VOC_SAMP.

図10は、本実施形態のセンサ付き軸受の発電機及び昇圧チョッパ回路のインピーダンスを説明する図である。発電機201は、開回路電圧Vopenを起電する。発電機201は、出力インピーダンス201aを有する。昇圧チョッパ回路221は、入力インピーダンス221aを有する。 FIG. 10 is a diagram illustrating the impedance of the generator of the bearing with a sensor and the step-up chopper circuit of the present embodiment. Generator 201 electromotive an open circuit voltage V open. The generator 201 has an output impedance 201a. The boost chopper circuit 221 has an input impedance 221a.

本発明者は、実験の結果、発電機201の出力インピーダンス201aと、昇圧チョッパ回路221の入力インピーダンス221aと、を同じにした場合に、発電機201から電力を好適に得られることを見出した。発電機201に昇圧チョッパ回路221が接続された時の閉回路電圧を、発電機201に昇圧チョッパ回路221が接続されていない時の開回路電圧Vopenの50%にすると、一般的に発電機201から最大電力を得られることが知られている。 As a result of experiments, the present inventor has found that when the output impedance 201a of the generator 201 and the input impedance 221a of the step-up chopper circuit 221 are the same, electric power can be suitably obtained from the generator 201. If the closed circuit voltage when the boost chopper circuit 221 is connected to the generator 201 is set to 50% of the open circuit voltage V open when the boost chopper circuit 221 is not connected to the generator 201, the generator is generally used. It is known that the maximum power can be obtained from 201.

そこで、実施形態では、最大電力点追従制御部212は、昇圧チョッパ回路221が動作しているときの発電電圧である閉回路電圧が、昇圧チョッパ回路221が動作していないときの発電電圧である開回路電圧Vopenと、端子VOC_SAMPに供給される電圧により設定された比率と、を乗じた電圧になるように、昇圧チョッパ回路221を制御する。昇圧制御部211は、トランジスタQ1及びQ2のオン時間及びオフ時間を制御することにより、昇圧チョッパ回路221の入力インピーダンス221aを制御する。これにより、電源回路205は、発電機201から電力を好適に得ることができる。 Therefore, in the embodiment, the maximum power point tracking control unit 212 has a closed circuit voltage which is a generated voltage when the step-up chopper circuit 221 is operating is a generated voltage when the step-up chopper circuit 221 is not operating. The boost chopper circuit 221 is controlled so that the voltage is obtained by multiplying the open circuit voltage V open and the ratio set by the voltage supplied to the terminal VOC_SAMP. The boost control unit 211 controls the input impedance 221a of the boost chopper circuit 221 by controlling the on time and the off time of the transistors Q1 and Q2. As a result, the power supply circuit 205 can suitably obtain electric power from the generator 201.

実施形態では、端子VOC_SAMPには、入力端子205aに供給される入力電圧を抵抗ROC2と抵抗ROC1とで分圧した電圧が、供給される。抵抗ROC2及びROC1の抵抗値を変えることで、開回路電圧Vopenに乗じる比率を変更できる。 In the embodiment, the terminal VOC_SAMP is supplied with a voltage obtained by dividing the input voltage supplied to the input terminal 205a by the resistor R OC2 and the resistor R OC1 . By varying the resistance value of the resistor R OC2 and R OC1, you can change the ratio to be multiplied by the open circuit voltage V open.

最大電力点追従制御部212は、一定時間毎、例えば16秒毎に、昇圧チョッパ回路221を停止させる。このとき、発電機201の開回路電圧Vopenを抵抗ROC2と抵抗ROC1とで分圧した電圧が、端子VOC_SAMPに供給される。先に説明したように、実施形態では、昇圧チョッパ回路221の入力電圧が開回路電圧Vopenの50%になるように、抵抗ROC2及びROC1の抵抗値が設定される。 The maximum power point tracking control unit 212 stops the boost chopper circuit 221 at regular time intervals, for example, every 16 seconds. At this time, divided voltage of the open circuit voltage V open between the resistor R OC2 and the resistor R OC1 of the generator 201 is supplied to the terminal VOC_SAMP. As described above, in the embodiment, the resistance values of the resistors R OC2 and R OC1 are set so that the input voltage of the step-up chopper circuit 221 is 50% of the open circuit voltage V open .

最大電力点追従制御部212は、端子VOC_SAMPに供給される電圧をサンプリングする。そして、最大電力点追従制御部212は、端子VOC_SAMPからサンプリングした電圧に基づいて、昇圧チョッパ回路221を制御する。端子VREF_SAMPと接地電位との間には、コンデンサCREFが接続されている。最大電力点追従制御部212は、端子VOC_SAMPからサンプリングした電圧を、端子VREF_SAMPに出力する。 The maximum power point tracking control unit 212 samples the voltage supplied to the terminal VOC_SAMP. Then, the maximum power point tracking control unit 212 controls the boost chopper circuit 221 based on the voltage sampled from the terminal VOC_SAMP. A capacitor CREF is connected between the terminal VREF_SAMP and the ground potential. The maximum power point tracking control unit 212 outputs the voltage sampled from the terminal VOC_SAMP to the terminal VREF_SAMP.

コールドスタート制御部213は、電源回路205の各部に電力が蓄電されていない状態から電源回路205の動作を開始させるコールドスタートを制御する。コールドスタート制御部213は、端子VIN_DCを介して、入力端子205aに接続されている。コールドスタート制御部213は、入力端子205aに供給される入力電圧が予め定められた電圧、例えば100mVに達したら、昇圧制御部211に昇圧制御を開始させる。 The cold start control unit 213 controls a cold start that starts the operation of the power supply circuit 205 from a state in which electric power is not stored in each part of the power supply circuit 205. The cold start control unit 213 is connected to the input terminal 205a via the terminal VIN_DC. The cold start control unit 213 causes the boost control unit 211 to start boost control when the input voltage supplied to the input terminal 205a reaches a predetermined voltage, for example, 100 mV.

トランジスタQ3のドレインは、端子VSTORに接続されている。トランジスタQ3のゲートには、ナノパワー制御部215からゲート信号が供給される。トランジスタQ3のソースは、端子VBATに接続されている。端子VBATと接地電位との間には、充電可能な電池BATが接続される。なお、実施形態では、電池BATとして、タンタルコンデンサを使用している。 The drain of the transistor Q3 is connected to the terminal VSTOR. A gate signal is supplied from the nanopower control unit 215 to the gate of the transistor Q3. The source of transistor Q3 is connected to terminal VBAT. A rechargeable battery BAT is connected between the terminal VBAT and the ground potential. In the embodiment, a tantalum capacitor is used as the battery BAT.

昇圧チョッパ回路221の昇圧電圧がタンタルコンデンサBATの電圧よりも高い場合には、トランジスタQ3の寄生ダイオードを介して、タンタルコンデンサBATが充電される。 When the boost voltage of the boost chopper circuit 221 is higher than the voltage of the tantalum capacitor BAT, the tantalum capacitor BAT is charged via the parasitic diode of the transistor Q3.

電源回路205は、降圧チョッパ回路222を含む。降圧チョッパ回路222は、電源IC210外部のコイルL2及びコンデンサCOUTと、電源IC210内部のトランジスタQ4及びQ5並びに降圧制御部214と、で構成される。 The power supply circuit 205 includes a step-down chopper circuit 222. The step-down chopper circuit 222 includes a coil L2 and a capacitor COUT outside the power supply IC 210, transistors Q4 and Q5 inside the power supply IC 210, and a step-down control unit 214.

トランジスタQ4のソースは、端子VSTORに接続されている。トランジスタQ4のゲートには、降圧制御部214からゲート信号が供給される。トランジスタQ4のドレインは、端子LBUCKに接続されている。端子LBUCKには、コイルL2の一端が接続されている。コイルL2の他端は、出力端子205cに接続されている。また、出力端子205cと接地電位との間には、コンデンサCOUTが接続されている。コイルL2の他端は、端子VOUTを介して、降圧制御部214にフィードバックされる。 The source of transistor Q4 is connected to terminal VSTOR. A gate signal is supplied from the step-down control unit 214 to the gate of the transistor Q4. The drain of the transistor Q4 is connected to the terminal LBUCK. One end of the coil L2 is connected to the terminal LBUCK. The other end of the coil L2 is connected to the output terminal 205c. Further, a capacitor COUT is connected between the output terminal 205c and the ground potential. The other end of the coil L2 is fed back to the step-down control unit 214 via the terminal VOUT.

トランジスタQ5のドレインは、端子LBUCKに接続されている。トランジスタQ5のゲートには、降圧制御部214からゲート信号が供給される。トランジスタQ5のソースは、端子VSSを介して接地されている。 The drain of the transistor Q5 is connected to the terminal LBUCK. A gate signal is supplied from the step-down control unit 214 to the gate of the transistor Q5. The source of the transistor Q5 is grounded via the terminal VSS.

降圧制御部214は、ある1つのタイミングでは、トランジスタQ4をオンに制御し、トランジスタQ5をオフに制御する。これにより、コイルL2にエネルギーが蓄えられる。降圧制御部214は、次の1つのタイミングでは、トランジスタQ4をオフに制御し、トランジスタQ5をオンに制御する。これにより、コイルL2に蓄えられたエネルギーが、コンデンサCOUTに供給される。これにより、降圧チョッパ回路222は、昇圧チョッパ回路221の昇圧電圧を降圧する。コンデンサCOUTの電圧、即ち、端子VOUTの電圧が、降圧チョッパ回路222の降圧電圧(出力電圧)である。 The step-down control unit 214 controls the transistor Q4 to be on and the transistor Q5 to be turned off at a certain timing. As a result, energy is stored in the coil L2. The step-down control unit 214 controls the transistor Q4 to be off and the transistor Q5 to be turned on at the next one timing. As a result, the energy stored in the coil L2 is supplied to the capacitor COUT. As a result, the step-down chopper circuit 222 steps down the step-up voltage of the step-up chopper circuit 221. The voltage of the capacitor COUT, that is, the voltage of the terminal VOUT is the step-down voltage (output voltage) of the step-down chopper circuit 222.

降圧チョッパ回路222が、本発明の降圧回路に対応する。実施形態では、降圧回路を降圧チョッパ回路222としたが、本開示はこれに限定されない。 The step-down chopper circuit 222 corresponds to the step-down circuit of the present invention. In the embodiment, the step-down circuit is a step-down chopper circuit 222, but the present disclosure is not limited to this.

ナノパワー制御部215は、バイアス電圧を、端子VRDIVに出力する。端子VRDIVから出力されるバイアス電圧は、抵抗ROV2と抵抗ROV1とで分圧されて、端子VBAT_OVに供給される。端子VRDIVから出力されるバイアス電圧は、抵抗ROK3及びROK2と抵抗ROK1とで分圧されて、端子OK_PROGに供給される。端子VRDIVから出力されるバイアス電圧は、抵抗ROK3と抵抗ROK2及びROK1とで分圧されて、端子OK_HYSTに供給される。端子VRDIVから出力されるバイアス電圧は、抵抗ROUT2と抵抗ROUT1とで分圧されて、端子VOUT_SETに供給される。 The nanopower control unit 215 outputs the bias voltage to the terminal VRDIV. Bias voltage output from the terminal VRDIV is being divided by the resistor R OV2 and the resistor R OV1, supplied to the terminal VBAT_OV. The bias voltage output from the terminal VRDIV is divided by the resistors R OK3 and R OK2 and the resistor R OK1 and supplied to the terminal OK_PROG. Bias voltage output from the terminal VRDIV is being divided by the resistor R OK3 and the resistor R OK2 and R OK1, supplied to the terminal OK_HYST. The bias voltage output from the terminal VRDIV is divided by the resistor R OUT2 and the resistor R OUT1 and supplied to the terminal VOUT_SET.

ナノパワー制御部215は、端子VBAT_OV,OK_PROG,OK_HYST及びVOUT_SETに供給される電圧に基づいて、動作設定される。 The operation of the nanopower control unit 215 is set based on the voltages supplied to the terminals VBAT_OV, OK_PROG, OK_HYST and VOUT_SET.

端子VBAT_OVに供給される電圧は、端子VBATの過電圧閾値を設定する。ナノパワー制御部215は、端子VBATの電圧が過電圧閾値を超えたら、トランジスタQ3をオフに制御する。これにより、ナノパワー制御部215は、タンタルコンデンサBATが過電圧で損傷することを抑制できる。 The voltage supplied to the terminal VBAT_OV sets the overvoltage threshold of the terminal VBAT. The nanopower control unit 215 controls the transistor Q3 to turn off when the voltage of the terminal VBAT exceeds the overvoltage threshold value. As a result, the nanopower control unit 215 can prevent the tantalum capacitor BAT from being damaged by overvoltage.

端子OK_PROGに供給される電圧は、端子VSTORの電圧(昇圧電圧)が上昇している時の第1の昇圧電圧閾値を設定する。昇圧電圧閾値比較部216は、端子VSTORの電圧が上昇しており且つ第1の昇圧電圧閾値以上である場合に、ハイレベルの信号を端子VBAT_OKに出力する。また、昇圧電圧閾値比較部216は、端子VSTORの電圧が上昇しており且つ第1の昇圧電圧閾値より小さい場合に、ローレベルの信号を端子VBAT_OKに出力する。 The voltage supplied to the terminal OK_PROG sets the first boost voltage threshold value when the voltage (boost voltage) of the terminal VSTOR is rising. The step-up voltage threshold value comparison unit 216 outputs a high-level signal to the terminal VBAT_OK when the voltage of the terminal VSTOR is rising and is equal to or higher than the first step-up voltage threshold value. Further, the boosted voltage threshold value comparison unit 216 outputs a low level signal to the terminal VBAT_OK when the voltage of the terminal VSTOR is rising and smaller than the first boosted voltage threshold value.

端子OK_HYSTに供給される電圧は、端子VSTORの電圧(昇圧電圧)が下降している時の第2の昇圧電圧閾値を設定する。昇圧電圧閾値比較部216は、端子VSTORの電圧が下降しており且つ第2の昇圧電圧閾値以上である場合に、ハイレベルの信号を端子VBAT_OKに出力する。また、昇圧電圧閾値比較部216は、端子VSTORの電圧が下降しており且つ第2の昇圧電圧閾値より小さい場合に、ローレベルの信号を端子VBAT_OKに出力する。 The voltage supplied to the terminal OK_HYST sets a second boost voltage threshold value when the voltage (boost voltage) of the terminal VSTOR is decreasing. The boosted voltage threshold value comparison unit 216 outputs a high-level signal to the terminal VBAT_OK when the voltage of the terminal VSTOR is decreasing and is equal to or higher than the second boosted voltage threshold value. Further, the boosted voltage threshold value comparison unit 216 outputs a low-level signal to the terminal VBAT_OK when the voltage of the terminal VSTOR is decreasing and smaller than the second boosted voltage threshold value.

第1の昇圧電圧閾値と第2の昇圧電圧閾値とは、同じであっても良いし、異なっていても良い。 The first boosted voltage threshold value and the second boosted voltage threshold value may be the same or different.

端子VOUT_SETに供給される電圧は、端子VOUTの電圧(降圧電圧)を設定する。抵抗ROUT2及びROUT1の抵抗値を変えることで、降圧チョッパ回路222の降圧電圧を変更できる。降圧制御部214は、降圧チョッパ回路222の降圧電圧が端子VOUT_SETに供給される電圧に合致するように、降圧チョッパ回路222を制御する。一般に、センサ44及び通信回路45の動作電圧の閾値は、1.8Vから3.3V程度である。従って、実施形態では、降圧チョッパ回路222の降圧電圧が1.8Vから3.3V程度になるように、抵抗ROUT2及びROUT1の抵抗値が設定される。 The voltage supplied to the terminal VOUT_SET sets the voltage (step-down voltage) of the terminal VOUT. By changing the resistance values of the resistors R OUT2 and R OUT1 , the step-down voltage of the step-down chopper circuit 222 can be changed. The step-down control unit 214 controls the step-down chopper circuit 222 so that the step-down voltage of the step-down chopper circuit 222 matches the voltage supplied to the terminal VOUT_SET. Generally, the threshold value of the operating voltage of the sensor 44 and the communication circuit 45 is about 1.8 V to 3.3 V. Therefore, in the embodiment, the resistance values of the resistors R OUT 2 and R OUT 1 are set so that the step-down voltage of the step-down chopper circuit 222 is about 1.8 V to 3.3 V.

ナノパワー制御部215は、発電機201の電圧が低下して昇圧チョッパ回路221の昇圧電圧がタンタルコンデンサBATの電圧よりも低下した場合には、トランジスタQ3をオンに制御する。これにより、タンタルコンデンサBATに蓄電された電力が、降圧チョッパ回路222に供給され、降圧チョッパ回路222は、降圧電圧の出力を継続できる。 When the voltage of the generator 201 drops and the step-up voltage of the step-up chopper circuit 221 drops below the voltage of the tantalum capacitor BAT, the nanopower control unit 215 controls the transistor Q3 on. As a result, the power stored in the tantalum capacitor BAT is supplied to the step-down chopper circuit 222, and the step-down chopper circuit 222 can continue to output the step-down voltage.

端子ENバーに供給される電圧は、電源IC210の動作又は非動作を設定する。電源IC210は、端子ENバーの電圧がローレベルである場合に、動作する。電源IC210は、端子ENバーの電圧がハイレベルである場合に、動作しない。実施形態では、端子ENバーは、接地されている。従って、電源IC210は、動作する。 The voltage supplied to the terminal EN bar sets the operation or non-operation of the power supply IC 210. The power supply IC 210 operates when the voltage of the terminal EN bar is at a low level. The power supply IC 210 does not operate when the voltage of the terminal EN bar is at a high level. In the embodiment, the terminal EN bar is grounded. Therefore, the power supply IC 210 operates.

端子VOUT_ENに供給される電圧は、降圧チョッパ回路222の動作又は非動作を設定する。降圧チョッパ回路222は、端子VOUT_ENの電圧がハイレベルである場合に、動作する。また、降圧チョッパ回路222は、端子VOUT_ENの電圧がローレベルである場合に、動作しない。 The voltage supplied to the terminal VOUT_EN sets the operation or non-operation of the step-down chopper circuit 222. The step-down chopper circuit 222 operates when the voltage of the terminal VOUT_EN is at a high level. Further, the step-down chopper circuit 222 does not operate when the voltage of the terminal VOUT_EN is low level.

実施形態では、端子VOUT_ENは、端子VBAT_OKに接続されている。従って、降圧チョッパ回路222は、端子VBAT_OKの電圧がハイレベルである場合に、動作する。また、降圧チョッパ回路222は、端子VBAT_OKの電圧がローレベルである場合に、動作しない。 In the embodiment, the terminal VOUT_EN is connected to the terminal VBAT_OK. Therefore, the step-down chopper circuit 222 operates when the voltage of the terminal VBAT_OK is at a high level. Further, the step-down chopper circuit 222 does not operate when the voltage of the terminal VBAT_OK is low level.

先に説明したように、端子VBAT_OKの電圧は、昇圧電圧が上昇しており且つ第1の昇圧電圧閾値以上である場合、又は、昇圧電圧が下降しており且つ第2の昇圧電圧閾値以上である場合に、ハイレベルになる。また、端子VBAT_OKの電圧は、昇圧電圧が上昇しており且つ第1の昇圧電圧閾値より小さい場合、又は、昇圧電圧が下降しており且つ第2の昇圧電圧閾値より小さい場合に、ローレベルになる。 As described above, the voltage of the terminal VBAT_OK is when the boost voltage is rising and is equal to or higher than the first boost voltage threshold, or when the boost voltage is falling and is equal to or higher than the second boost voltage threshold. In some cases, it goes to a high level. Further, the voltage of the terminal VBAT_OK becomes a low level when the boost voltage is rising and is smaller than the first boost voltage threshold, or when the boost voltage is falling and is smaller than the second boost voltage threshold. Become.

以上より、降圧チョッパ回路222は、昇圧電圧が上昇しており且つ第1の昇圧電圧閾値以上である場合、又は、昇圧電圧が下降しており且つ第2の昇圧電圧閾値以上である場合に、動作する。また、降圧チョッパ回路222は、昇圧電圧が上昇しており且つ第1の昇圧電圧閾値より小さい場合、又は、昇圧電圧が下降しており且つ第2の昇圧電圧閾値より小さい場合に、動作しない。 From the above, in the step-down chopper circuit 222, when the boost voltage is rising and is equal to or higher than the first boost voltage threshold, or when the boost voltage is falling and is equal to or higher than the second boost voltage threshold. Operate. Further, the step-down chopper circuit 222 does not operate when the boost voltage is rising and is smaller than the first boost voltage threshold, or when the boost voltage is falling and is smaller than the second boost voltage threshold.

電源回路205の高電位側の出力ライン223と、接地電位と、の間には、デカップリングコンデンサ225が、接続されている。デカップリングコンデンサ225は、バイパスコンデンサと称されることもある。デカップリングコンデンサ225は、降圧電圧の内の交流成分を通過させ、直流成分を通過させない。これにより、降圧電圧の内の直流成分だけが、高電位側の出力端子205cに供給される。デカップリングコンデンサ225は、負荷(実施形態では、センサ44及び通信回路45)の安定動作に不可欠な回路要素である。 A decoupling capacitor 225 is connected between the output line 223 on the high potential side of the power supply circuit 205 and the ground potential. The decoupling capacitor 225 is sometimes referred to as a bypass capacitor. The decoupling capacitor 225 passes the AC component in the step-down voltage and does not pass the DC component. As a result, only the DC component in the step-down voltage is supplied to the output terminal 205c on the high potential side. The decoupling capacitor 225 is a circuit element indispensable for stable operation of the load (in the embodiment, the sensor 44 and the communication circuit 45).

デカップリングコンデンサ225の低電位側の端子と、低電位側の出力端子205dと、の間には、NチャネルMOS型のトランジスタ226が配置されている。なお、トランジスタ226は、NチャネルMOS型に限定されず、PチャネルMOS型であっても良い。 An N-channel MOS type transistor 226 is arranged between the low potential side terminal of the decoupling capacitor 225 and the low potential side output terminal 205d. The transistor 226 is not limited to the N-channel MOS type, and may be a P-channel MOS type.

トランジスタ226のソースは、デカップリングコンデンサ225の低電位側の端子に接続されている。トランジスタ226のドレインは、低電位側の出力ライン224を介して、低電位側の出力端子205dに接続されている。 The source of the transistor 226 is connected to the terminal on the low potential side of the decoupling capacitor 225. The drain of the transistor 226 is connected to the output terminal 205d on the low potential side via the output line 224 on the low potential side.

トランジスタ226のゲートは、端子VBAT_OKに接続されている。従って、トランジスタ226は、端子VBAT_OKの電圧がハイレベルである場合に、オン状態になる。また、トランジスタ226は、端子VBAT_OKの電圧がローレベルである場合に、オフ状態になる。 The gate of transistor 226 is connected to terminal VBAT_OK. Therefore, the transistor 226 is turned on when the voltage of the terminal VBAT_OK is at a high level. Further, the transistor 226 is turned off when the voltage of the terminal VBAT_OK is at a low level.

先に説明したように、端子VBAT_OKの電圧は、昇圧電圧が上昇しており且つ第1の昇圧電圧閾値以上である場合、又は、昇圧電圧が下降しており且つ第2の昇圧電圧閾値以上の場合に、ハイレベルになる。また、端子VBAT_OKの電圧は、昇圧電圧が上昇しており且つ第1の昇圧電圧閾値より小さい場合、又は、昇圧電圧が下降しており且つ第2の昇圧電圧閾値より小さい場合に、ローレベルになる。 As described above, the voltage of the terminal VBAT_OK is when the boost voltage is rising and is equal to or higher than the first boost voltage threshold, or when the boost voltage is falling and is equal to or higher than the second boost voltage threshold. In some cases, it goes to a high level. Further, the voltage of the terminal VBAT_OK becomes a low level when the boost voltage is rising and is smaller than the first boost voltage threshold, or when the boost voltage is falling and is smaller than the second boost voltage threshold. Become.

従って、トランジスタ226は、昇圧電圧が上昇しており且つ第1の昇圧電圧閾値以上である場合、又は、昇圧電圧が下降しており且つ第2の昇圧電圧閾値以上の場合に、オン状態になる。 Therefore, the transistor 226 is turned on when the boost voltage is rising and is equal to or higher than the first boost voltage threshold, or when the boost voltage is falling and is equal to or higher than the second boost voltage threshold. ..

また、トランジスタ226は、昇圧電圧が上昇しており且つ第1の昇圧電圧閾値より小さい場合、又は、昇圧電圧が下降しており且つ第2の昇圧電圧閾値より小さい場合に、オフ状態になる。 Further, the transistor 226 is turned off when the boost voltage is rising and is smaller than the first boost voltage threshold, or when the boost voltage is falling and is smaller than the second boost voltage threshold.

トランジスタ226がオン状態の場合には、デカップリングコンデンサ225の電圧が、出力端子205c及び205dを介して、センサ44及び通信回路45に供給される。また、トランジスタ226がオフ状態の場合には、低電位側の出力ライン224が遮断されるので、デカップリングコンデンサ225の電圧が、センサ44及び通信回路45に供給されない。 When the transistor 226 is on, the voltage of the decoupling capacitor 225 is supplied to the sensor 44 and the communication circuit 45 via the output terminals 205c and 205d. Further, when the transistor 226 is in the off state, the output line 224 on the low potential side is cut off, so that the voltage of the decoupling capacitor 225 is not supplied to the sensor 44 and the communication circuit 45.

内輪22の回転が安定しており、発電機201の発電が安定している場合には、先に示した図5の通り、発電機201の出力電圧は安定した正弦波になる。この場合には、電源回路205の入力電圧が安定しているので、昇圧チョッパ回路221は、設定通りの昇圧電圧を出力することができる。そして、降圧チョッパ回路222は、設定通りの降圧電圧を出力することができる。また、端子VBAT_OKの電圧がハイレベルになるので、トランジスタ226がオン状態になる。従って、デカップリングコンデンサ225の、設定通りの電圧が、出力端子205c及び205dを介して、センサ44及び通信回路45に供給される。これにより、センサ44及び通信回路45は、正常に動作できる。 When the rotation of the inner ring 22 is stable and the power generation of the generator 201 is stable, the output voltage of the generator 201 becomes a stable sine wave as shown in FIG. 5 above. In this case, since the input voltage of the power supply circuit 205 is stable, the boost chopper circuit 221 can output the boost voltage as set. Then, the step-down chopper circuit 222 can output a step-down voltage as set. Further, since the voltage of the terminal VBAT_OK becomes high level, the transistor 226 is turned on. Therefore, the voltage of the decoupling capacitor 225 as set is supplied to the sensor 44 and the communication circuit 45 via the output terminals 205c and 205d. As a result, the sensor 44 and the communication circuit 45 can operate normally.

図11は、本実施形態のセンサ付き軸受の発電機の出力電圧の例を示す図である。図12は、本実施形態のセンサ付き軸受の整流回路の出力電圧の例を示す図である。内輪22の回転が不安定であり、発電機201の発電が不安定である場合には、図11に示す通り、発電機201の出力電圧は不安定になる。従って、図12に示す通り、整流回路202の出力電圧も、不安定になる。この場合には、電源回路205の入力電圧が不安定であるので、昇圧チョッパ回路221は、設定通りの昇圧電圧を出力することができなくなる。従って、降圧チョッパ回路222は、設定通りの降圧電圧を出力することができなくなる。 FIG. 11 is a diagram showing an example of the output voltage of the generator of the bearing with a sensor of this embodiment. FIG. 12 is a diagram showing an example of the output voltage of the rectifier circuit of the bearing with a sensor of this embodiment. When the rotation of the inner ring 22 is unstable and the power generation of the generator 201 is unstable, the output voltage of the generator 201 becomes unstable as shown in FIG. Therefore, as shown in FIG. 12, the output voltage of the rectifier circuit 202 also becomes unstable. In this case, since the input voltage of the power supply circuit 205 is unstable, the boost chopper circuit 221 cannot output the boost voltage as set. Therefore, the step-down chopper circuit 222 cannot output the step-down voltage as set.

この場合に、もし仮にトランジスタ226が存在しないとしたならば、以下の事態が発生することが考えられる。センサ44及び通信回路45は、降圧チョッパ回路222が設定通りの降圧電圧を出力することができなくなっても、デカップリングコンデンサ225に蓄えられた電力を使用して動作を続ける。すると、デカップリングコンデンサ225の電圧が、徐々に低下する。そして、センサ44及び通信回路45は、デカップリングコンデンサ225の電圧がセンサ44及び通信回路45の動作電圧の閾値の付近に至ったときに、正常ではない動作をしてしまう可能性がある。 In this case, if the transistor 226 does not exist, the following situation may occur. The sensor 44 and the communication circuit 45 continue to operate using the power stored in the decoupling capacitor 225 even if the step-down chopper circuit 222 cannot output the step-down voltage as set. Then, the voltage of the decoupling capacitor 225 gradually decreases. Then, when the voltage of the decoupling capacitor 225 reaches the vicinity of the threshold value of the operating voltage of the sensor 44 and the communication circuit 45, the sensor 44 and the communication circuit 45 may operate abnormally.

更に、センサ付き軸受1では、発電機201の出力電圧が内輪22の回転速度に応じて変動するので、降圧電圧の供給開始及び供給停止が頻繁に繰り返される。センサ44及び通信回路45がデカップリングコンデンサ225から電力の供給を受けて動作することで、デカップリングコンデンサ225の電圧が徐々に下がっているところに、降圧チョッパ回路222からの電力の供給が急に再開されることにより、デカップリングコンデンサ225の電圧が急に変動し、センサ44及び通信回路45に供給される電圧が急に変動する。これにより、センサ44及び通信回路45が正常ではない動作をしてしまう可能性が極めて高くなる。 Further, in the bearing 1 with a sensor, since the output voltage of the generator 201 fluctuates according to the rotation speed of the inner ring 22, the supply start and the supply stop of the step-down voltage are frequently repeated. When the sensor 44 and the communication circuit 45 operate by receiving the power supply from the decoupling capacitor 225, the power supply from the step-down chopper circuit 222 suddenly drops where the voltage of the decoupling capacitor 225 is gradually decreasing. By restarting, the voltage of the decoupling capacitor 225 suddenly fluctuates, and the voltage supplied to the sensor 44 and the communication circuit 45 suddenly fluctuates. As a result, there is an extremely high possibility that the sensor 44 and the communication circuit 45 will operate abnormally.

なお、一般の装置の電源回路では、入力電圧が安定しているので、出力電圧も安定している。また、一般の装置の負荷回路は、消費電力が大きく、デカップリングコンデンサに蓄えられた電力を即座に消費してしまうので、正常ではない動作をしてしまう可能性が極めて低い。一方、センサ付き軸受1では、内輪22の回転速度が不安定になり得るので、発電電圧が不安定になり得て、ひいては出力電圧が不安定になり得る。また、センサ付き軸受1では、負荷回路、即ちセンサ44及び通信回路45は、消費電力が小さいので、デカップリングコンデンサ225に蓄えられた電力で、動作できてしまう。従って、上記の事態は、センサ付き軸受1に特有の課題である。 Since the input voltage is stable in the power supply circuit of a general device, the output voltage is also stable. Further, the load circuit of a general device consumes a large amount of power and immediately consumes the power stored in the decoupling capacitor, so that it is extremely unlikely that the load circuit will operate abnormally. On the other hand, in the bearing 1 with a sensor, the rotation speed of the inner ring 22 can be unstable, so that the generated voltage can be unstable, and eventually the output voltage can be unstable. Further, in the bearing 1 with a sensor, the load circuit, that is, the sensor 44 and the communication circuit 45 consumes a small amount of power, and therefore can operate with the power stored in the decoupling capacitor 225. Therefore, the above situation is a problem peculiar to the bearing 1 with a sensor.

しかしながら、実施形態に係る電源回路205では、昇圧電圧が上昇しており且つ第1の昇圧電圧閾値より小さい場合、又は、昇圧電圧が下降しており且つ第2の昇圧電圧閾値より小さい場合には、端子VBAT_OKの電圧がローレベルになる。これにより、トランジスタ226がオフ状態になる。このため、デカップリングコンデンサ225に蓄えられた電力が、センサ44及び通信回路45に供給されない。従って、センサ44及び通信回路45は、動作できない。これにより、電源回路205は、センサ44及び通信回路45が正常ではない動作をしてしまう可能性を抑制できる。 However, in the power supply circuit 205 according to the embodiment, when the boost voltage is rising and is smaller than the first boost voltage threshold, or when the boost voltage is falling and is smaller than the second boost voltage threshold, , The voltage of the terminal VBAT_OK becomes low level. As a result, the transistor 226 is turned off. Therefore, the electric power stored in the decoupling capacitor 225 is not supplied to the sensor 44 and the communication circuit 45. Therefore, the sensor 44 and the communication circuit 45 cannot operate. As a result, the power supply circuit 205 can suppress the possibility that the sensor 44 and the communication circuit 45 operate abnormally.

また、トランジスタ226がオフ状態になることにより、デカップリングコンデンサ225に蓄えられた電力が、センサ44及び通信回路45に消費されずに、温存される。従って、センサ付き軸受の回転速度が回復し、発電機201の発電電力が回復し、電源回路205、センサ44及び通信回路45が次回の動作を開始する際に、デカップリングコンデンサ225への充電量が、少なくて済む。これにより、電源回路205は、デカップリングコンデンサ225の電圧の立ち上がりを早くすることができ、センサ44及び通信回路45の動作開始を早くすることができる。 Further, when the transistor 226 is turned off, the electric power stored in the decoupling capacitor 225 is preserved without being consumed by the sensor 44 and the communication circuit 45. Therefore, when the rotational speed of the bearing with the sensor is restored, the generated power of the generator 201 is restored, and the power supply circuit 205, the sensor 44, and the communication circuit 45 start the next operation, the charge amount to the decoupling capacitor 225 is charged. However, less is required. As a result, the power supply circuit 205 can accelerate the rise of the voltage of the decoupling capacitor 225, and can accelerate the start of operation of the sensor 44 and the communication circuit 45.

コンデンサCSTOR及びCBYP並びにタンタルコンデンサBATの容量の設定について、説明する。 The setting of the capacitance of the capacitors CSTOR and CBYP and the tantalum capacitor BAT will be described.

図13は、本実施形態のセンサ付き軸受の回路の動作シーケンスの例を示す図である。回路200は、動作開始後の期間T0において、コンデンサCSTOR及びCBYP並びにタンタルコンデンサBATの初期充電を行う。次の期間T1において、通信回路45は、通信部51との間の通信確立を行う。次の期間T2において、センサ44は、センシングを行う。次の期間T3において、通信回路45は、センシングデータを通信部51に送信する通信を行う。以降同様に、次の期間T4において、センサ44は、センシングを行う。次の期間T5において、通信回路45は、センシングデータを通信部51に送信する通信を行う。 FIG. 13 is a diagram showing an example of an operation sequence of the circuit of the bearing with a sensor of this embodiment. The circuit 200 performs initial charging of the capacitors CSTOR and CBYP and the tantalum capacitor BAT in the period T0 after the start of operation. In the next period T1, the communication circuit 45 establishes communication with the communication unit 51. In the next period T2, the sensor 44 performs sensing. In the next period T3, the communication circuit 45 performs communication for transmitting sensing data to the communication unit 51. Similarly, in the next period T4, the sensor 44 performs sensing. In the next period T5, the communication circuit 45 performs communication for transmitting sensing data to the communication unit 51.

コンデンサCSTOR及びCBYP並びにタンタルコンデンサBATの容量は、次の通りとする。期間T0においてコンデンサCSTOR及びCBYP並びにタンタルコンデンサBATが初期充電された後、発電機201の発電電圧が低下して、昇圧チョッパ回路221からコンデンサCSTOR及びCBYP並びにタンタルコンデンサBATへの電力供給が途絶えた場合を想定する。この場合であっても、センサ44及び通信回路45が期間T1から期間T3までの期間の動作を行える、つまり、期間T3の末尾での端子VSTORの電圧が、第2昇圧電圧閾値を超えているだけの電力を充電できるように、コンデンサCSTOR及びCBYP並びにタンタルコンデンサBATの容量を設定する。 The capacities of the capacitors CSTOR and CBYP and the tantalum capacitor BAT are as follows. When the power generation voltage of the generator 201 drops after the initial charge of the capacitors CSTOR and CBYP and the tantalum capacitor BAT in the period T0, and the power supply from the boost chopper circuit 221 to the capacitors CSTOR and CBYP and the tantalum capacitor BAT is cut off. Is assumed. Even in this case, the sensor 44 and the communication circuit 45 can operate in the period from the period T1 to the period T3, that is, the voltage of the terminal VSTOR at the end of the period T3 exceeds the second boost voltage threshold. The capacities of the capacitors CSTOR and CBYP and the tantalum capacitor BAT are set so that only the electric power can be charged.

もし仮に、コンデンサCSTOR及びCBYP並びにタンタルコンデンサBATの容量が、上記容量より小さいとしたならば、発電機201の発電電圧の変動が繰り返されると、センサ44及び通信回路45が、センシングデータを通信部51に全く送信できなくなってしまう。 If the capacities of the capacitors CSTOR and CBYP and the tantalum capacitor BAT are smaller than the above capacities, when the fluctuation of the generated voltage of the generator 201 is repeated, the sensor 44 and the communication circuit 45 communicate the sensing data. It becomes impossible to transmit to 51 at all.

一方、コンデンサCSTOR及びCBYP並びにタンタルコンデンサBATの容量が、上記容量以上であれば、発電機201の発電電圧の変動が繰り返されても、センサ44及び通信回路45が、1回の初期充電により、少なくとも1回はセンシングデータを通信部51に送信できる。従って、発電機201の発電電圧の変動が繰り返されても、回路200が、期間T0から期間T3までを繰り返すことにより、センサ44及び通信回路45が、センシングデータを通信部51に送信できる。 On the other hand, if the capacities of the capacitors CSTOR and CBYP and the tantalum capacitor BAT are equal to or larger than the above capacities, the sensor 44 and the communication circuit 45 can be charged by one initial charge even if the generated voltage of the generator 201 repeatedly fluctuates. The sensing data can be transmitted to the communication unit 51 at least once. Therefore, even if the fluctuation of the generated voltage of the generator 201 is repeated, the circuit 200 repeats the period T0 to the period T3, so that the sensor 44 and the communication circuit 45 can transmit the sensing data to the communication unit 51.

なお、コンデンサCSTOR及びCBYP並びにタンタルコンデンサBATの具体的な容量は、発電機201の発電電圧、第2昇圧電圧閾値、デカップリングコンデンサ225の容量、センサ44及び通信回路45の動作電圧の閾値、センサ44及び通信回路45の期間T1から期間T3までの期間での消費電力、回路200各部の損失等を勘案して、決定されるものである。 The specific capacities of the capacitors CSTOR and CBYP and the tantalum capacitor BAT are the power generation voltage of the generator 201, the second boost voltage threshold, the capacity of the decoupling capacitor 225, the threshold of the operating voltage of the sensor 44 and the communication circuit 45, and the sensor. It is determined in consideration of the power consumption in the period from the period T1 to the period T3 of the 44 and the communication circuit 45, the loss of each part of the circuit 200, and the like.

また、実施形態では、トランジスタ226が、デカップリングコンデンサ225の低電位側の端子と、低電位側の出力端子205dと、の間に配置されていることとしたが、本開示はこれに限定されない。トランジスタ226は、デカップリングコンデンサ225の高電位側の端子と、高電位側の出力端子205cと、の間に配置されていても良い。 Further, in the embodiment, the transistor 226 is arranged between the terminal on the low potential side of the decoupling capacitor 225 and the output terminal 205d on the low potential side, but the present disclosure is not limited to this. .. The transistor 226 may be arranged between the terminal on the high potential side of the decoupling capacitor 225 and the output terminal 205c on the high potential side.

但し、トランジスタ226が、デカップリングコンデンサ225の高電位側の端子と、高電位側の出力端子205cと、の間に配置されていると、トランジスタ226のオン抵抗により、センサ44及び通信回路45の高電位側の入力端子に印加される電位が下がってしまう。一方、トランジスタ226が、デカップリングコンデンサ225の低電位側の端子と、低電位側の出力端子205dと、の間に配置されていると、センサ44及び通信回路45の高電位側の入力端子に印加される電位が下がらない。従って、トランジスタ226が、デカップリングコンデンサ225の低電位側の端子と、低電位側の出力端子205dと、の間に配置されている方が好ましい。 However, if the transistor 226 is arranged between the terminal on the high potential side of the decoupling capacitor 225 and the output terminal 205c on the high potential side, the on-resistance of the transistor 226 causes the sensor 44 and the communication circuit 45 to operate. The potential applied to the input terminal on the high potential side drops. On the other hand, when the transistor 226 is arranged between the terminal on the low potential side of the decoupling capacitor 225 and the output terminal 205d on the low potential side, it becomes an input terminal on the high potential side of the sensor 44 and the communication circuit 45. The applied potential does not drop. Therefore, it is preferable that the transistor 226 is arranged between the terminal on the low potential side of the decoupling capacitor 225 and the output terminal 205d on the low potential side.

また、実施形態では、トランジスタ226のゲートには、端子VBAT_OKの電圧が供給されることとしたが、本開示はこれに限定されない。端子VBAT_OKの電圧がハイレベルになる場合というのは、昇圧電圧が上昇しており且つ第1の昇圧電圧閾値以上である場合、又は、昇圧電圧が下降しており且つ第2の昇圧電圧閾値以上の場合である。昇圧電圧が上昇しており且つ第1の昇圧電圧閾値以上である場合、又は、昇圧電圧が下降しており且つ第2の昇圧電圧閾値以上の場合というのは、降圧チョッパ回路222が設定通りの降圧電圧を出力できる場合である。 Further, in the embodiment, the voltage of the terminal VBAT_OK is supplied to the gate of the transistor 226, but the present disclosure is not limited to this. When the voltage of the terminal VBAT_OK becomes high level, the boost voltage is rising and is equal to or higher than the first boost voltage threshold, or the boost voltage is falling and is equal to or higher than the second boost voltage threshold. This is the case. When the step-up voltage is rising and is equal to or higher than the first boosting voltage threshold, or when the boosting voltage is falling and is equal to or higher than the second boosting voltage threshold, the step-down chopper circuit 222 is as set. This is the case when the step-down voltage can be output.

また、端子VBAT_OKの電圧がローレベルになる場合というのは、昇圧電圧が上昇しており且つ第1の昇圧電圧閾値より小さい場合、又は、昇圧電圧が下降しており且つ第2の昇圧電圧閾値より小さい場合である。昇圧電圧が上昇しており且つ第1の昇圧電圧閾値より小さい場合、又は、昇圧電圧が下降しており且つ第2の昇圧電圧閾値より小さい場合というのは、降圧チョッパ回路222が設定通りの降圧電圧を出力できない場合である。 Further, when the voltage of the terminal VBAT_OK becomes low level, the boost voltage is rising and is smaller than the first boost voltage threshold, or the boost voltage is falling and the second boost voltage threshold is low. If it is smaller. When the boost voltage is rising and is smaller than the first boost voltage threshold, or when the boost voltage is falling and is smaller than the second boost voltage threshold, the step-down chopper circuit 222 steps down as set. This is the case when the voltage cannot be output.

従って、電源回路205が、降圧チョッパ回路222の降圧電圧と、設定された降圧電圧閾値と、を比較する降圧電圧閾値比較部を、電源IC210の内部(例えば、実施形態に係るナノパワー制御部215)又は外部に備えても良い。そして、降圧電圧閾値比較部が、降圧チョッパ回路222の降圧電圧が降圧電圧閾値以上である場合にハイレベルとなり、降圧チョッパ回路222の降圧電圧が降圧電圧閾値より小さい場合にローレベルとなる信号を、トランジスタ226のゲートに出力しても良い。降圧電圧閾値は、降圧電圧が上昇している時の第1の降圧電圧閾値と、降圧電圧が下降している時の第2の降圧電圧閾値と、に分けられていても良い。 Therefore, the power supply circuit 205 has a step-down voltage threshold comparison unit that compares the step-down voltage of the step-down chopper circuit 222 with the set step-down voltage threshold value inside the power supply IC 210 (for example, the nanopower control unit 215 according to the embodiment). Alternatively, it may be provided externally. Then, the step-down voltage threshold comparison unit outputs a signal that becomes a high level when the step-down voltage of the step-down chopper circuit 222 is equal to or higher than the step-down voltage threshold, and becomes a low level when the step-down voltage of the step-down chopper circuit 222 is smaller than the step-down voltage threshold. , May be output to the gate of transistor 226. The step-down voltage threshold value may be divided into a first step-down voltage threshold value when the step-down voltage is rising and a second step-down voltage threshold value when the step-down voltage is falling.

1 センサ付き軸受
5 センサユニット
10 カバー
11 側板
12 天板
14 ヨーク
15 コイル
20 軸受本体
21 外輪
22 内輪
23 転動体
30 トーンリング
41 電源基板
42 センサ基板
43 電源部
44 センサ
45 通信回路
46 アンテナ
201 発電機
202 整流回路
203 平滑回路
204 保護回路
205 電源回路
211 昇圧制御部
212 最大電力点追従制御部
213 コールドスタート制御部
214 降圧制御部
215 ナノパワー制御部
216 昇圧電圧閾値比較部
221 昇圧チョッパ回路
222 降圧チョッパ回路
225 デカップリングコンデンサ
226 トランジスタ
1 Bearing with sensor 5 Sensor unit 10 Cover 11 Side plate 12 Top plate 14 Yoke 15 Coil 20 Bearing body 21 Outer ring 22 Inner ring 23 Rolling element 30 Tone ring 41 Power supply board 42 Sensor board 43 Power supply unit 44 Sensor 45 Communication circuit 46 Antenna 201 Generator 202 Rectifier circuit 203 Smoothing circuit 204 Protection circuit 205 Power supply circuit 211 Boost control unit 212 Maximum power point tracking control unit 213 Cold start control unit 214 Step-down control unit 215 Nano power control unit 216 Boost voltage threshold comparison unit 221 Step-up voltage threshold comparison unit 221 Boost chopper circuit 222 225 decoupling transformer 226 transistor

Claims (8)

相対的に回転する外輪及び内輪を有する軸受本体と、
物理量又は化学量を検出するセンサと、
前記外輪と前記内輪との相対的な回転に基づいて発電する発電機と、
前記発電機によって発電された電力を前記センサに出力する電源回路と、
を備え、
前記電源回路は、
前記発電機の発電電圧を昇圧する昇圧回路と、
前記昇圧回路で昇圧された昇圧電圧を降圧する降圧回路と、
前記降圧回路で降圧された降圧電圧と基準電位との間に接続されたデカップリングコンデンサと、
前記デカップリングコンデンサの高電位側の端子と、高電位側の出力端子と、を接続する高電位側の出力ラインと、
前記デカップリングコンデンサの低電位側の端子と、低電位側の出力端子と、を接続する低電位側の出力ラインと、
ソース−ドレイン経路が、前記低電位側の出力ライン又は前記高電位側の出力ラインに挿入されたトランジスタと、
前記昇圧電圧と、設定された昇圧電圧閾値と、を比較し、前記昇圧電圧が前記昇圧電圧閾値以上の場合に、前記トランジスタをオン状態に制御する信号を前記トランジスタのゲートに出力し、前記昇圧電圧が前記昇圧電圧閾値より小さい場合に、前記トランジスタをオフ状態に制御する信号を前記トランジスタのゲートに出力する、昇圧電圧閾値比較部と、
を備える、センサ付き軸受。
A bearing body having a relatively rotating outer ring and inner ring,
Sensors that detect physical or chemical quantities and
A generator that generates electricity based on the relative rotation of the outer ring and the inner ring.
A power supply circuit that outputs the power generated by the generator to the sensor,
With
The power supply circuit
A booster circuit that boosts the generated voltage of the generator and
A step-down circuit that steps down the boosted voltage boosted by the step-up circuit,
A decoupling capacitor connected between the step-down voltage stepped down by the step-down circuit and the reference potential,
An output line on the high potential side connecting the terminal on the high potential side of the decoupling capacitor and the output terminal on the high potential side,
An output line on the low potential side connecting the terminal on the low potential side of the decoupling capacitor and the output terminal on the low potential side,
A transistor whose source-drain path is inserted into the output line on the low potential side or the output line on the high potential side,
The boosted voltage is compared with the set boosted voltage threshold, and when the boosted voltage is equal to or higher than the boosted voltage threshold, a signal for controlling the transistor to be turned on is output to the gate of the transistor to boost the voltage. A boosted voltage threshold comparison unit that outputs a signal for controlling the transistor to an off state to the gate of the transistor when the voltage is smaller than the boosted voltage threshold.
Bearing with sensor.
前記トランジスタは、ソース−ドレイン経路が、前記低電位側の出力ラインに挿入されている、請求項1に記載のセンサ付き軸受。 The sensor-equipped bearing according to claim 1, wherein the transistor has a source-drain path inserted in the output line on the low potential side. 前記昇圧回路の一部、前記降圧回路の一部、及び、前記昇圧電圧閾値比較部は、電源ICに含まれており、
前記信号は、前記電源ICから前記トランジスタのゲートに出力される、請求項1又は2に記載のセンサ付き軸受。
A part of the step-up circuit, a part of the step-down circuit, and the step-up voltage threshold value comparison unit are included in the power supply IC.
The bearing with a sensor according to claim 1 or 2, wherein the signal is output from the power supply IC to the gate of the transistor.
前記電源回路は、
前記昇圧回路が動作しているときの前記発電電圧である閉回路電圧が、前記昇圧回路が動作していないときの前記発電電圧である開回路電圧と、設定された比率と、を乗じた電圧になるように、前記昇圧回路を制御する、最大電力点追従制御部を更に備える、請求項1から3までのいずれか1項に記載のセンサ付き軸受。
The power supply circuit
The closed circuit voltage, which is the generated voltage when the booster circuit is operating, is the product of the open circuit voltage, which is the generated voltage when the booster circuit is not operating, and the set ratio. The sensor-equipped bearing according to any one of claims 1 to 3, further comprising a maximum power point tracking control unit that controls the booster circuit so as to be.
相対的に回転する外輪及び内輪を有する軸受本体と、
物理量又は化学量を検出するセンサと、
前記外輪と前記内輪との相対的な回転に基づいて発電する発電機と、
前記発電機によって発電された電力を前記センサに出力する電源回路と、
を備え、
前記電源回路は、
前記発電機の発電電圧を昇圧する昇圧回路と、
前記昇圧回路で昇圧された昇圧電圧を降圧する降圧回路と、
前記降圧回路で降圧された降圧電圧と基準電位との間に接続されたデカップリングコンデンサと、
前記デカップリングコンデンサの高電位側の端子と、高電位側の出力端子と、を接続する高電位側の出力ラインと、
前記デカップリングコンデンサの低電位側の端子と、低電位側の出力端子と、を接続する低電位側の出力ラインと、
ソース−ドレイン経路が、前記低電位側の出力ライン又は前記高電位側の出力ラインに挿入されたトランジスタと、
前記降圧電圧と、設定された降圧電圧閾値と、を比較し、前記降圧電圧が前記降圧電圧閾値以上の場合に前記トランジスタをオン状態に制御する信号を前記トランジスタのゲートに出力し、前記降圧電圧が前記降圧電圧閾値より小さい場合に前記トランジスタをオフ状態に制御する信号を前記トランジスタのゲートに出力する、降圧電圧閾値比較部と、
を備える、センサ付き軸受。
A bearing body having a relatively rotating outer ring and inner ring,
Sensors that detect physical or chemical quantities and
A generator that generates electricity based on the relative rotation of the outer ring and the inner ring.
A power supply circuit that outputs the power generated by the generator to the sensor,
With
The power supply circuit
A booster circuit that boosts the generated voltage of the generator and
A step-down circuit that steps down the boosted voltage boosted by the step-up circuit,
A decoupling capacitor connected between the step-down voltage stepped down by the step-down circuit and the reference potential,
An output line on the high potential side connecting the terminal on the high potential side of the decoupling capacitor and the output terminal on the high potential side,
An output line on the low potential side connecting the terminal on the low potential side of the decoupling capacitor and the output terminal on the low potential side,
A transistor whose source-drain path is inserted into the output line on the low potential side or the output line on the high potential side,
The step-down voltage is compared with the set step-down voltage threshold, and when the step-down voltage is equal to or higher than the step-down voltage threshold value, a signal for controlling the transistor to be turned on is output to the gate of the transistor to obtain the step-down voltage. A step-down voltage threshold comparison unit that outputs a signal for controlling the transistor to an off state to the gate of the transistor when is smaller than the step-down voltage threshold value.
Bearing with sensor.
前記センサによって得られた情報を、無線又は有線で送信する通信回路を備え、
前記電源回路は、前記発電機によって発電された電力を前記通信回路にも出力する、請求項1から5までのいずれか1項に記載のセンサ付き軸受。
A communication circuit for transmitting information obtained by the sensor wirelessly or by wire is provided.
The bearing with a sensor according to any one of claims 1 to 5, wherein the power supply circuit also outputs the electric power generated by the generator to the communication circuit.
発電機によって発電された電力をセンサに出力する電源回路であって、A power supply circuit that outputs the power generated by the generator to the sensor.
前記発電機の発電電圧を昇圧する昇圧回路と、 A booster circuit that boosts the generated voltage of the generator and
前記昇圧回路で昇圧された昇圧電圧を降圧する降圧回路と、 A step-down circuit that steps down the boosted voltage boosted by the step-up circuit,
前記降圧回路で降圧された降圧電圧と基準電位との間に接続されたデカップリングコンデンサと、 A decoupling capacitor connected between the step-down voltage stepped down by the step-down circuit and the reference potential,
前記デカップリングコンデンサの高電位側の端子と、高電位側の出力端子と、を接続する高電位側の出力ラインと、 An output line on the high potential side connecting the terminal on the high potential side of the decoupling capacitor and the output terminal on the high potential side,
前記デカップリングコンデンサの低電位側の端子と、低電位側の出力端子と、を接続する低電位側の出力ラインと、 An output line on the low potential side connecting the terminal on the low potential side of the decoupling capacitor and the output terminal on the low potential side,
ソース−ドレイン経路が、前記低電位側の出力ライン又は前記高電位側の出力ラインに挿入されたトランジスタと、 A transistor whose source-drain path is inserted into the output line on the low potential side or the output line on the high potential side,
前記昇圧電圧と、設定された昇圧電圧閾値と、を比較し、前記昇圧電圧が前記昇圧電圧閾値以上の場合に、前記トランジスタをオン状態に制御する信号を前記トランジスタのゲートに出力し、前記昇圧電圧が前記昇圧電圧閾値より小さい場合に、前記トランジスタをオフ状態に制御する信号を前記トランジスタのゲートに出力する、昇圧電圧閾値比較部と、 The boosted voltage is compared with the set boosted voltage threshold, and when the boosted voltage is equal to or higher than the boosted voltage threshold, a signal for controlling the transistor to be turned on is output to the gate of the transistor to boost the voltage. A boosted voltage threshold comparison unit that outputs a signal for controlling the transistor to an off state to the gate of the transistor when the voltage is smaller than the boosted voltage threshold.
を備える、電源回路。 A power supply circuit.
発電機によって発電された電力をセンサに出力する電源回路であって、A power supply circuit that outputs the power generated by the generator to the sensor.
前記発電機の発電電圧を昇圧する昇圧回路と、 A booster circuit that boosts the generated voltage of the generator and
前記昇圧回路で昇圧された昇圧電圧を降圧する降圧回路と、 A step-down circuit that steps down the boosted voltage boosted by the step-up circuit,
前記降圧回路で降圧された降圧電圧と基準電位との間に接続されたデカップリングコンデンサと、 A decoupling capacitor connected between the step-down voltage stepped down by the step-down circuit and the reference potential,
前記デカップリングコンデンサの高電位側の端子と、高電位側の出力端子と、を接続する高電位側の出力ラインと、 An output line on the high potential side connecting the terminal on the high potential side of the decoupling capacitor and the output terminal on the high potential side,
前記デカップリングコンデンサの低電位側の端子と、低電位側の出力端子と、を接続する低電位側の出力ラインと、 An output line on the low potential side connecting the terminal on the low potential side of the decoupling capacitor and the output terminal on the low potential side,
ソース−ドレイン経路が、前記低電位側の出力ライン又は前記高電位側の出力ラインに挿入されたトランジスタと、 A transistor whose source-drain path is inserted into the output line on the low potential side or the output line on the high potential side,
前記降圧電圧と、設定された降圧電圧閾値と、を比較し、前記降圧電圧が前記降圧電圧閾値以上の場合に、前記トランジスタをオン状態に制御する信号を前記トランジスタのゲートに出力し、前記降圧電圧が前記降圧電圧閾値より小さい場合に、前記トランジスタをオフ状態に制御する信号を前記トランジスタのゲートに出力する、降圧電圧閾値比較部と、 The step-down voltage is compared with the set step-down voltage threshold, and when the step-down voltage is equal to or higher than the step-down voltage threshold value, a signal for controlling the transistor to be turned on is output to the gate of the transistor to lower the step-down voltage. A step-down voltage threshold comparison unit that outputs a signal for controlling the transistor to an off state to the gate of the transistor when the voltage is smaller than the step-down voltage threshold.
を備える、電源回路。 A power supply circuit.
JP2017090430A 2017-04-28 2017-04-28 Bearing with sensor and power supply circuit Active JP6816632B2 (en)

Priority Applications (1)

Application Number Priority Date Filing Date Title
JP2017090430A JP6816632B2 (en) 2017-04-28 2017-04-28 Bearing with sensor and power supply circuit

Applications Claiming Priority (1)

Application Number Priority Date Filing Date Title
JP2017090430A JP6816632B2 (en) 2017-04-28 2017-04-28 Bearing with sensor and power supply circuit

Related Child Applications (1)

Application Number Title Priority Date Filing Date
JP2020128319A Division JP7014269B2 (en) 2020-07-29 2020-07-29 Power circuit

Publications (3)

Publication Number Publication Date
JP2018189125A JP2018189125A (en) 2018-11-29
JP2018189125A5 JP2018189125A5 (en) 2020-03-26
JP6816632B2 true JP6816632B2 (en) 2021-01-20

Family

ID=64479886

Family Applications (1)

Application Number Title Priority Date Filing Date
JP2017090430A Active JP6816632B2 (en) 2017-04-28 2017-04-28 Bearing with sensor and power supply circuit

Country Status (1)

Country Link
JP (1) JP6816632B2 (en)

Families Citing this family (1)

* Cited by examiner, † Cited by third party
Publication number Priority date Publication date Assignee Title
JP2024037401A (en) * 2022-09-07 2024-03-19 Ntn株式会社 Power supply and bearing equipment

Family Cites Families (6)

* Cited by examiner, † Cited by third party
Publication number Priority date Publication date Assignee Title
JPH09149631A (en) * 1995-11-24 1997-06-06 Rohm Co Ltd Power supply apparatus
JPH1042553A (en) * 1996-07-25 1998-02-13 Rohm Co Ltd Power supply device
JPH1098872A (en) * 1996-09-24 1998-04-14 Rohm Co Ltd Power-supply device and electric apparatus using it
JP2003269477A (en) * 2002-03-18 2003-09-25 Ntn Corp Rolling bearing with generator
JP4788420B2 (en) * 2006-03-17 2011-10-05 株式会社デンソー Power supply
JP5228567B2 (en) * 2008-03-26 2013-07-03 ミツミ電機株式会社 Boost DC-DC converter

Also Published As

Publication number Publication date
JP2018189125A (en) 2018-11-29

Similar Documents

Publication Publication Date Title
US7522432B2 (en) Switching regulator and control circuit and method used therein
Peters et al. CMOS integrated highly efficient full wave rectifier
US7843186B2 (en) Switching regulator having high speed response
CN103855760B (en) Semiconductor integrated circuit and its operating method
US20070216378A1 (en) Circuit and method for controlling DC-DC converter
CN106160262B (en) Control device, electronic apparatus, and contactless power transmission system
US10690703B2 (en) Semiconductor device for monitoring a reverse voltage
JP2010104088A (en) Rectification control device, full-wave rectification circuit, power receiving device, electronic apparatus, contactless power transmission system, and rectification control method
JP4929003B2 (en) Semiconductor integrated circuit device
WO2016181657A1 (en) Control apparatus, electronic device, and contactless power transmission system
KR101432139B1 (en) Switching Mode Converter Providing Safe Bootstrapping Enabling System On Chip And Method For Controlling Thereof
US20160087688A1 (en) Electronic apparatus
Uluşan et al. Highly Integrated 3 V Supply Electronics for Electromagnetic Energy Harvesters With Minimum 0.4 V $ _ {\mathbf {peak}} $ Input
JP6816632B2 (en) Bearing with sensor and power supply circuit
Lazaro et al. 180-nm CMOS wideband capacitor-free inductively coupled power receiver and charger
JP7014269B2 (en) Power circuit
US8780596B2 (en) Voltage adjusting circuit, contactless card and contactless card system having the same, and methods of operating the voltage adjusting circuit and the contactless card
CN113783420A (en) Low-power-consumption charge pump circuit for non-volatile memory in Internet of things security chip and working method
JP6860039B2 (en) Control devices and electronic devices
JP5856513B2 (en) Voltage regulator
JP2003180073A (en) Power supply circuit
KR101305850B1 (en) Dual charge pump
JP6366048B2 (en) AC voltage detection circuit and power supply device including the same
AU2021103609A4 (en) An apparatus and a method for wirelessly charging multiple electronic devices
EP4586475A1 (en) Power supply device and bearing device

Legal Events

Date Code Title Description
A521 Written amendment

Free format text: JAPANESE INTERMEDIATE CODE: A523

Effective date: 20200212

A621 Written request for application examination

Free format text: JAPANESE INTERMEDIATE CODE: A621

Effective date: 20200212

A977 Report on retrieval

Free format text: JAPANESE INTERMEDIATE CODE: A971007

Effective date: 20201110

TRDD Decision of grant or rejection written
A01 Written decision to grant a patent or to grant a registration (utility model)

Free format text: JAPANESE INTERMEDIATE CODE: A01

Effective date: 20201124

A61 First payment of annual fees (during grant procedure)

Free format text: JAPANESE INTERMEDIATE CODE: A61

Effective date: 20201207

R150 Certificate of patent or registration of utility model

Ref document number: 6816632

Country of ref document: JP

Free format text: JAPANESE INTERMEDIATE CODE: R150