JP6711368B2 - 遊技機 - Google Patents

遊技機 Download PDF

Info

Publication number
JP6711368B2
JP6711368B2 JP2018092123A JP2018092123A JP6711368B2 JP 6711368 B2 JP6711368 B2 JP 6711368B2 JP 2018092123 A JP2018092123 A JP 2018092123A JP 2018092123 A JP2018092123 A JP 2018092123A JP 6711368 B2 JP6711368 B2 JP 6711368B2
Authority
JP
Japan
Prior art keywords
mpu
game
result
mode
frequency support
Prior art date
Legal status (The legal status is an assumption and is not a legal conclusion. Google has not performed a legal analysis and makes no representation as to the accuracy of the status listed.)
Active
Application number
JP2018092123A
Other languages
English (en)
Other versions
JP2019195558A (ja
Inventor
圭志朗 中村
圭志朗 中村
三宅 淳一
淳一 三宅
佐々木 賢
賢 佐々木
将人 新関
将人 新関
拓典 赤松
拓典 赤松
Current Assignee (The listed assignees may be inaccurate. Google has not performed a legal analysis and makes no representation or warranty as to the accuracy of the list.)
Sanyo Bussan Co Ltd
Original Assignee
Sanyo Bussan Co Ltd
Priority date (The priority date is an assumption and is not a legal conclusion. Google has not performed a legal analysis and makes no representation as to the accuracy of the date listed.)
Filing date
Publication date
Application filed by Sanyo Bussan Co Ltd filed Critical Sanyo Bussan Co Ltd
Priority to JP2018092123A priority Critical patent/JP6711368B2/ja
Publication of JP2019195558A publication Critical patent/JP2019195558A/ja
Application granted granted Critical
Publication of JP6711368B2 publication Critical patent/JP6711368B2/ja
Active legal-status Critical Current
Anticipated expiration legal-status Critical

Links

Images

Landscapes

  • Pinball Game Machines (AREA)

Description

本発明は、パチンコ遊技機等の遊技機に関する。
従来、遊技盤に形成された遊技領域に向かって遊技球を発射する発射手段と、遊技領域を流下する遊技球を入球させるとともに、遊技球の入球に際して内部抽選を実行する始動入球手段とを備えた遊技機が知られている(例えば、特許文献1参照)。
遊技機は、始動入球手段に遊技球が入球することによって、大当たり抽選などの内部抽選を実行し、この内部抽選の結果に基づいて、遊技状態を移行させている。このような遊技機では、遊技状態は、低頻度サポートモード(第1の遊技状態)と、低頻度サポートモードよりも遊技者にとって有利な高頻度サポートモード(第2の遊技状態)とを有している。したがって、遊技者は、高頻度サポートモードに移行することを期待して遊技をすることになる。
特開2011−235036号公報
しかしながら、第2の遊技状態から第1の遊技状態に遊技状態を移行した場合には、遊技者は、第2の遊技状態よりも不利な第1の遊技状態にて遊技をしなければならないので、遊技者の遊技への注目度は低下してしまい、ひいては直ぐに遊技を止めてしまう場合があるという問題がある。
本発明の目的は、遊技者の遊技への注目度を向上させることができる遊技機を提供することである。
本発明の遊技機は、遊技盤に形成された遊技領域に向かって遊技球を発射する発射手段と、遊技領域を流下する遊技球を入球させるとともに、遊技球の入球に際して内部抽選を実行する始動入球手段と、内部抽選の結果に基づいて、遊技における状態を移行可能な状態移行手段とを備える遊技機であって、状態は、通常モードおよび特殊モードのモードを有する第1の状態と、第1の状態よりも遊技者にとって有利な第2の状態とを備え、状態移行手段は、始動入球手段への遊技球の入球に際して実行された内部抽選の結果に基づいて、通常モードおよび特殊モードのいずれかに移行する手段と、第1の状態の通常モードおよび第2の状態では、内部抽選の結果に基づいて、第1の状態および第2の状態のいずれかに移する手段と、第1の状態の特殊モードでは、内部抽選の結果に関わらず第2の状に移行する手段とを備えることを特徴とする。
本発明によれば、遊技機は、遊技者の遊技への注目度を向上させることができる。
本発明の第1実施形態に係るパチンコ機の正面図 遊技盤の正面図 右側可変入球機構の近傍を拡大した図 図柄表示装置の表示画面を示す図 パチンコ機の電気的構成を示すブロック図 内部抽選に用いられる各カウンタの内容を示す図 電役開放発生に当選する乱数の値を記憶した電役当否テーブルを示す図 当たり発生に当選する乱数の値を記憶した当否テーブルを示す図 当たりの種別の振分先に係る乱数の値を記憶した振分テーブルを示す図 タイマ割込み処理のフローチャートを示す図 作動口用の入賞処理のフローチャートを示す図 通常処理のフローチャートを示す図 メイン処理のフローチャートを示す図 遊技回制御処理のフローチャートを示す図 データ設定処理のフローチャートを示す図 変動開始処理のフローチャートを示す図 遊技状態移行処理のフローチャートを示す図 大入賞口開閉処理のフローチャートを示す図 大入賞口開放処理のフローチャートを示す図 開閉実行モード終了時の移行処理のフローチャートを示す図 可変入球実行処理のフローチャートを示す図 変動終了処理のフローチャートを示す図 音声発光制御装置および表示制御装置の電気的構成を示すブロック図 音声発光制御装置にて実行されるタイマ割込み処理のフローチャートを示す図 演出決定処理のフローチャートを示す図 開閉実行モード用の演出の決定処理のフローチャートを示す図 遊技結果と、遊技状態等との関係を示す図 高頻度サポートモードにてスルーゲートへの入賞をトリガとして下作動口に遊技球が入賞した場合の遊技回用の演出を示す図 右側可変入球機構の周辺を示す拡大図 右入球口に遊技球が入賞(V入賞)した場合の開閉実行モード用の演出を示す図 特殊モードに滞在している場合の遊技回用の演出を示す図 本発明の第2実施形態に係る開閉実行モード終了時の移行処理のフローチャートを示す図 演出決定処理のフローチャートを示す図 開閉実行モード用の演出の決定処理のフローチャートを示す図 遊技結果と、遊技状態等との関係を示す図 右入球口に遊技球が入賞(V入賞)した場合の開閉実行モード用の演出を示す図 特殊モードに滞在している場合の遊技回用の演出を示す図 本発明の第3実施形態に係る開閉実行モード終了時の移行処理のフローチャートを示す図 変動終了処理のフローチャートを示す図 演出決定処理のフローチャートを示す図 開閉実行モード用の演出の決定処理のフローチャートを示す図 遊技結果と、遊技状態等との関係を示す図 右入球口に遊技球が入賞(V入賞)した場合の開閉実行モード用の演出を示す図 特殊モードに滞在している場合の遊技回用の演出を示す図 本発明の第4実施形態に係る開閉実行モード終了時の移行処理のフローチャートを示す図 遊技回数カウンタ設定処理のフローチャートを示す図 演出決定処理のフローチャートを示す図 開閉実行モード用の演出の決定処理のフローチャートを示す図 遊技結果と、遊技状態等との関係を示す図 右入球口に遊技球が入賞(V入賞)した場合の開閉実行モード用の演出を示す図 高頻度サポートモードにてスルーゲートへの入賞をトリガとして下作動口に遊技球が入賞した場合の遊技回用の演出を示す図
〔第1実施形態〕
以下、本発明の第1実施形態を図面に基づいて説明する。
図1は、本発明の第1実施形態に係るパチンコ機の正面図である。
パチンコ機10は、遊技機の一種であるパチンコ遊技機である。このパチンコ機10は、図1に示すように、パチンコ機10の外殻を形成する外枠11と、この外枠11に対して前方(正面側)に回動可能に取り付けられた遊技機本体12とを備えている。
遊技機本体12は、左右両側部のうち一方を支持側として回動可能となるように外枠11に支持される内枠(図示略)と、内枠の前方に配置されるとともに、左右両側部のうち一方を支持側として前方へ回動可能となるように内枠に支持される前扉枠13と、内枠の後方に配置されるとともに、左右両側部のうち一方を支持側として後方へ回動可能となるように内枠に支持される裏パックユニット(図示略)とを備えている。
なお、遊技機本体12は、その回動先端部に設けられた施錠装置(図示略)を備えている。この施錠装置は、遊技機本体12を外枠11に対して開放不能な施錠状態とする機能を有しているとともに、前扉枠13を内枠に対して開放不能な施錠状態とする機能を有している。これらの施錠状態は、パチンコ機10の前面に露出させて設けられたシリンダ錠14に対して解錠キーを用いて解錠操作を行うことによって解除される。
前扉枠13は、内枠の前面側全体を覆うようにして設けられた略楕円形状の窓部21と、窓部21に嵌め込まれた窓パネル22とを有している。なお、本実施形態では、窓パネル22は、ガラスによって無色透明に形成されているが、合成樹脂などによって無色透明に形成されていてもよい。
また、前扉枠13は、窓部21の周囲に設けられた各種ランプ部等にて構成される発光手段の一部として窓部21の上方に設けられた表示ランプ部23と、表示ランプ部23の左右両側に設けられるとともに、遊技状況に応じた効果音などを出力するスピーカ部24と、窓部21の下方に設けられた上側膨出部25および下側膨出部26とを備えている。
上側膨出部25および下側膨出部26は、上下に並設されるとともに、共に前方へ膨出するように設けられている。
上側膨出部25は、上方に開口するようにして内側に設けられた上皿25aと、遊技者に操作されることによって、情報の入力を受け付ける押ボタン25bとを有している。上皿25aは、裏パックユニットに設けられた払出装置71(図5参照)にて払い出された遊技球を一旦貯留し、一列に整列させながら遊技球発射機構81(図5参照)側へ導くための機能を有している。押ボタン25bは、遊技者に操作されることによって、遊技者にとって有利な特定制御状態に遊技状態を移行するのではないかと遊技者に期待させるような期待演出を実行する操作手段として機能する。
下側膨出部26は、同じく上方に開口するようにして内側に設けられた下皿26aを有している。下皿26aは、上皿25a内にて余剰となった遊技球を貯留する機能を有している。
さらに、前扉枠13は、下皿26aの右方に設けられた発射手段としての発射ハンドル27を備えている。この発射ハンドル27は、パチンコ機10の遊技者に操作されることによって、内枠の下方に設けられた遊技球発射機構81から内枠の上方に設けられた遊技領域に向けて遊技球を発射する。発射ハンドル27は、その回転操作量を変更することによって、遊技領域に向けて発射する遊技球の発射強度、すなわち発射の勢いを変更する。
図2は、遊技盤の正面図である。
遊技盤31は、図2に示すように、その表面に取り付けられた内レール部32および外レール部33を有し、内枠に搭載されている。前述した遊技領域は、内レール部32および外レール部33によって区画されるようにして遊技盤31に形成されている。この遊技領域は、窓部21を介して略全域を前方から視認することができる。
内レール部32および外レール部33は、遊技領域への遊技球の誘導レール34を構成し、この誘導レール34は、遊技者が発射ハンドル27を回転操作したことによって遊技球発射機構81から発射された遊技球を遊技領域の上部に案内する。
誘導レール34は、その出口部分が遊技領域の一方の側部に配置されるとともに、遊技領域の上部中央を向くようにして形成されている。このため、遊技領域の上部における遊技球の到達位置は、遊技者による発射ハンドル27の回転操作量が大きくなるにしたがって、誘導レール34の出口部分が形成された側部の側からその反対側の側部の側へとシフトしていく。なお、本実施形態では、誘導レール34の出口部分は、遊技領域の左側部に設けられている。
遊技盤31は、ルータ加工が施されることによって前後方向に貫通するように形成された大小複数の開口部を遊技領域に有している。また、遊技盤31は、各開口部に設けられた一般入賞口35、上作動口(第1始動入球部)36、下作動口(第2始動入球部)37、可変入賞装置38、およびアウト口39を有している。また、遊技盤31は、可変入賞装置38の上方に設けられた右側可変入球機構40と、中央部左側および中央部右側のそれぞれに設けられた2つのスルーゲート41と、上部右側に設けられた主表示装置42と、中央部に設けられた可変表示ユニット43等とを有している。さらに、遊技盤31は、遊技球の落下方向を適宜分散させるために、または調整等するために植設された多数の釘44や、風車等の各種部材(役物)を遊技領域に有している。
一般入賞口35、上作動口36、下作動口37、および可変入賞装置38の各種入賞口のそれぞれは、遊技球の入球を検知する検知センサ50a〜50d(図5参照)を備え、これらの検知センサ50a〜50dは、遊技盤31の背面側に配設されている。具体的には、一般入賞口35は、検知センサ50aを備え、上作動口36は、検知センサ50bを備え、下作動口37は、検知センサ50cを備え、可変入賞装置38は、検知センサ50dを備えている。パチンコ機10は、検知センサ50a〜50dの検知結果に基づいて、所定数の賞球の払い出しを実行する。なお、検知センサ50a〜50dは、遊技球の入賞を個別に検知できるものであれば、どのようなものであってもよく、例えば、電磁誘導型の近接センサなどを採用することができる。
具体的には、パチンコ機10は、一般入賞口35への入球が発生した場合には10個の賞球の払い出しを実行する。パチンコ機10は、上作動口36への入球が発生した場合および下作動口37への入球が発生した場合には3個の賞球の払い出しを実行する。パチンコ機10は、可変入賞装置38への入球が発生した場合には15個の賞球の払い出しを実行する。なお、これら賞球の個数は任意であり、例えば、各作動口36,37の賞球個数を相違させてもよい。
アウト口39は、遊技盤31の遊技領域の最下部に設けられている。各種入賞口等に入球しなかった遊技球は、このアウト口39を通って遊技領域から排出される。また、アウト口39は、遊技球の入球を検知する検知センサ50e(図5参照)を備え、この検知センサ50eは、遊技盤31の背面側に配設されている。なお、パチンコ機10は、アウト口39への入球が発生した場合には、各種入賞口への入球が発生した場合と異なり、賞球の払い出しを実行しない。
各スルーゲート41は、遊技球の入球を検知する検知センサ50f(図5参照)を備え、遊技球の入球が発生した場合には、内部抽選を実行する。この検知センサ50fは、遊技盤31の背面側に配設されている。なお、パチンコ機10は、各スルーゲート41への入球が発生した場合には、各種入賞口への入球が発生した場合と異なり、賞球の払い出しを実行しない。
ここで、入球とは、所定の開口部を遊技球が通過することをいい、開口部を通過した後に遊技領域から排出される態様だけでなく、開口部を通過した後に遊技領域から排出されずに遊技領域の流下を継続する態様も含む。ただし、以下の説明では、アウト口39への遊技球の入球と明確に区別するために、各種入賞口への遊技球の入球を入賞とも表現する。また、スルーゲート41への入球とは、遊技領域に設けられたゲートを通過した後に遊技領域から排出されずに遊技領域の流下を継続することをいう。このスルーゲート41への入球についても各種入賞口への入球と同様に入賞とも表現する。
上作動口36および下作動口37は、作動口装置としてユニット化されて遊技盤31に設置されている。各作動口36,37は、遊技領域を流下する遊技球を入球可能とすべく共に上向きに開口するとともに、上作動口36を上方に配置し、下作動口37を下方に配置するようにして鉛直方向に並設されている。下作動口37は、左右一対の可動片によって構成されたガイド片(サポート片)としての電動役物37aを有している。
電動役物37aは、遊技盤31の背面側に搭載された電動役物駆動部37bに連結されている。この電動役物37aは、電動役物駆動部37bにて駆動されることによって、閉鎖状態(非サポート状態または非ガイド状態)および開放状態(サポート状態またはガイド状態)のいずれかに設定される。閉鎖状態は、電動役物37aの上端を左右方向に近接させることによって、下作動口37を閉鎖した状態である。開放状態は、電動役物37aの上端を左右方向に離間させることによって、下作動口37を開放した状態である。
ここで、電動役物37aを閉鎖状態に設定した場合には、この電動役物37aの上端と、上作動口36の底面部との間隔は、遊技球1個分よりも狭くなる。また、電動役物37aを開放状態に設定した場合には、この電動役物37aの上端と、上作動口36の底面部との間隔は、遊技球1個分よりも広くなる。したがって、遊技球は、電動役物37aを閉鎖状態に設定した場合には、下作動口37に入賞することができず、開放状態に設定した場合には、下作動口37に入賞することができる。
なお、電動役物37aは、前述した閉鎖状態および開放状態に代えて、下作動口37に遊技球が入賞しにくい状態(閉鎖状態とは異なり遊技球の入球は可能な状態)と、下作動口37に遊技球が入賞しやすい状態とを切り換える構成としてもよい。また、下作動口37は、このような切り換えを電動役物37aの設定によって行うのではなく、下作動口37の変位によって行う構成としてもよく、このように構成した場合には、下作動口37は、電動役物37aを備えていなくてもよい。
可変入賞装置38は、遊技領域を流下する遊技球を入球可能とすべく上向きに開口する大入賞口38aと、大入賞口38aを開閉するための開閉扉38bと、開閉扉38bを駆動する可変入賞駆動部38cとを備えている。
なお、遊技者は、発射ハンドル27の回転操作量を最大として右打ちし、遊技領域の上部における遊技球の到達位置を誘導レール34の出口部分が形成された側部の側からその反対側の側部の側へとシフトさせることによって、可変表示ユニット43等を避けて可変入賞装置38や、右側可変入球機構40や、下作動口37などに遊技球を導くことができる(右打ちルート)。
また、遊技者は、発射ハンドル27の回転操作量を中程度として左打ちし、遊技領域の上部における遊技球の到達位置を誘導レール34の出口部分が形成された側部の側から遊技領域の左上部へとシフトさせることによって、上作動口36や、下作動口37などに遊技球を導くことができる(左打ちルート)。
このように、本実施形態では、遊技領域は、上作動口36への遊技球の入球を発生させやすく、下作動口37への遊技球の入球を発生させにくい第1の経路(左打ちルート)と、下作動口37への遊技球の入球を発生させやすく、上作動口36への遊技球の入球を発生させにくい第2の経路(右打ちルート)とを備えている。
ここで、遊技盤31は、可変入賞装置38の前面側を覆うようにして設けられたカバー381を備えている。このカバー381は、可変入賞装置38を前面側から視認可能とすべく透明(または半透明)に形成された透明パネル381aと、この透明パネル381aの周囲に設けられるとともに、不透明に形成された不透明パネル381bとを備えている。
したがって、遊技者は、透明パネル381aおよび窓部21を介して可変入賞装置38を前方から視認することができる。
大入賞口38aは、ルータ加工が施されることによって前後方向に貫通するように遊技領域に形成された開口部に設けられている。この大入賞口38aは、前述したように、遊技球の入球を検知する検知センサ50dを備えている。パチンコ機10は、その検知結果に基づいて、所定数の賞球の払い出しを実行する。
開閉扉38bは、矩形板状に形成されるとともに、大入賞口38aの開口を閉鎖するようにして遊技盤31に設けられている。この開閉扉38bは、窓パネル22に向かって前進して遊技盤31から突出することによって、大入賞口38aの開口を閉鎖する閉鎖状態と、遊技盤31の内部に向かって後退して遊技盤31に埋没することによって、大入賞口38aの開口を開放する開放状態とを有している。
可変入賞駆動部38cは、開閉扉38bを駆動することによって、開閉扉38bを開放状態および閉鎖状態のいずれかに設定する。
具体的には、開閉扉38bは、通常は遊技球が入賞できない閉鎖状態に設定されている。そして、内部抽選において開閉実行モードへの移行に当選し、開閉実行モードに移行した場合には、開閉扉38bは、遊技球が入賞できる開放状態に設定される。
なお、開閉実行モード(特定制御状態)とは、開閉扉38bを開放状態に設定し、大入賞口38aに遊技球を入球可能とするモードをいう。また、開閉実行モードにおいて、開閉扉38bを開放状態に設定した後、再び閉鎖状態に設定するまでを1回のラウンド遊技という。
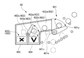
図3は、右側可変入球機構の近傍を拡大した図である。
右側可変入球機構40は、図3に示すように、遊技領域を流下する遊技球を右側可変入球機構40の内部に誘導する誘導部401と、誘導部401にて右側可変入球機構40の入口に誘導された遊技球を案内する案内通路402と、案内通路402にて案内される遊技球の行き先を切り替える切替部403と、案内通路402の案内先に設けられた右入球口404および左入球口405とを備えている。
誘導部401は、右側可変入球機構40の右側に形成された入口を閉鎖するようにして遊技盤31に設けられた羽根部材401aと、遊技盤31の盤面と直交する軸を中心として羽根部材401aを回動自在に支持するピン401bと、羽根部材401aを駆動する羽根部材駆動部401cとを備えている。
羽根部材401aは、ピン401bを中心として反時計回りに回動することによって、右側可変入球機構40の入口を閉鎖する閉鎖状態(図中一点鎖線)と、ピン401bを中心として時計回りに回動することによって、右側可変入球機構40の入口を開放する開放状態(図中実線)とを有している。羽根部材401aは、開放状態において、右側可変入球機構40の入口側に向かうにしたがって下降するように傾斜している。
羽根部材駆動部401cは、羽根部材401aを駆動することによって、羽根部材401aを閉鎖状態および開放状態のいずれかに設定する。
したがって、羽根部材駆動部401cにて羽根部材401aを開放状態に設定した場合には、遊技球は、羽根部材401aの傾斜を利用して羽根部材401aを伝って右側可変入球機構40に入球する(図中実線)。
これに対して、羽根部材駆動部401cにて羽根部材401aを閉鎖状態に設定した場合には、遊技球は、右側可変入球機構40に入球しない(図中一点鎖線)。
案内通路402は、その通路内を複数の遊技球が同時に通過できない幅に形成されている。また、案内通路402は、その途中で二股に分岐し、この分岐の上流側に位置する上流側案内通路402aと、下流側に位置する二条の下流側案内通路402b,402cとを有している。
上流側案内通路402aは、誘導部401にて右側可変入球機構40の入口に誘導された遊技球を右側可変入球機構40の入口から案内通路402の分岐位置にかけて案内する。この上流側案内通路402aは、右側可変入球機構40の入口から案内通路402の分岐位置に向かうにしたがって下降するように傾斜している。したがって、遊技球は、上流側案内通路402aの傾斜を利用して上流側案内通路402aを伝って案内通路402の分岐位置に到達する。
下流側案内通路402bは、羽根部材401aに近い位置に設けられている。また、下流側案内通路402bは、遊技球を案内通路402の分岐位置から落下させるように鉛直方向に沿って形成されている。この下流側案内通路402bは、上流側案内通路402aを伝って案内通路402の分岐位置に到達した遊技球を右入球口404に案内する。
下流側案内通路402cは、羽根部材401aから遠い位置に設けられている。また、下流側案内通路402cは、遊技球を案内通路402の分岐位置から落下させるように鉛直方向に沿って形成されている。この下流側案内通路402cは、上流側案内通路402aを伝って案内通路402の分岐位置に到達した遊技球を左入球口405に案内する。
切替部403は、下流側案内通路402bの入口を閉鎖するようにして遊技盤31に設けられたプレート403aと、遊技盤31の盤面と直交する軸を中心としてプレート403aを回動自在に支持するピン403bと、プレート403aを駆動するプレート駆動部403cとを備えている。
プレート403aは、ピン403bを中心として時計回りに回動することによって、下流側案内通路402bの入口を閉鎖する閉鎖状態(図中二点鎖線)と、ピン403bを中心として反時計回りに回動することによって、下流側案内通路402cの入口を閉塞するとともに、下流側案内通路402bの入口を開放する開放状態(図中実線)とを有している。プレート403aは、閉鎖状態において、下流側案内通路402c側に向かうにしたがって下降するように傾斜している。
プレート駆動部403cは、プレート403aを駆動することによって、プレート403aを閉鎖状態および開放状態のいずれかに設定する。
したがって、プレート駆動部403cにてプレート403aを開放状態に設定した場合には、案内通路402の分岐位置に到達した遊技球は、下流側案内通路402bの入口に案内された後、右入球口404に入球する(図中実線)。
これに対して、プレート駆動部403cにてプレート403aを閉鎖状態に設定した場合には、案内通路402の分岐位置に到達した遊技球は、プレート403aの傾斜を利用してプレート403aを伝って下流側案内通路402cの入口に案内された後、左入球口405に入球する(図中二点鎖線)。
右入球口404は、ルータ加工が施されることによって前後方向に貫通するように遊技領域に形成された開口部に設けられている。この右入球口404は、遊技球の入球を検知する検知センサ50gを備えている。なお、パチンコ機10は、右入球口404への入球が発生した場合には、各種入賞口への入球が発生した場合と異なり、賞球の払い出しを実行しない。
左入球口405は、ルータ加工が施されることによって前後方向に貫通するように遊技領域に形成された開口部に設けられている。この左入球口405に入球した遊技球は、前述したアウト口39を通った遊技球と合流し、遊技領域から排出される。なお、パチンコ機10は、左入球口405への入球が発生した場合には、各種入賞口への入球が発生した場合と異なり、賞球の払い出しを実行しない。
パチンコ機10は、右入球口404への入球が発生した場合には、開閉実行モードに移行するので、遊技球を右入球口404に案内する下流側案内通路402bには、開閉実行モードに移行することを意味する「V」の文字が表示されている。
また、パチンコ機10は、左入球口405への入球が発生した場合には、開閉実行モードに移行しないので、遊技球を左入球口405に案内する下流側案内通路402cには、開閉実行モードに移行しないことを意味する「×」の文字が表示されている。
ここで、羽根部材401aおよびプレート403aは、通常は遊技球が入賞できない閉鎖状態に設定されている。そして、内部抽選において可変入球実行モードへの移行に当選し、可変入球実行モードに移行した場合には、羽根部材401aおよびプレート403aは、遊技球が入賞できる開放状態に設定される。
なお、可変入球実行モードとは、羽根部材401aを開放状態に設定し、右側可変入球機構40に遊技球を入球可能とするととともに、プレート403aを開放状態または閉鎖状態に設定し、右入球口404および左入球口405のいずれかに遊技球を入球可能とするモードをいう。また、可変入球実行モードでは、プレート403aを開放状態に設定した後、再び閉鎖状態に設定するまでの時間(開放期間)は、羽根部材401aを開放状態に設定した後、再び閉鎖状態に設定するまでの時間(開放期間)よりも短くなっている。具体的には、プレート403aの開放期間は、羽根部材401aの開放期間の約1/10程度である。
主表示装置42は、図2に示すように、メイン表示部45と、役物用表示部46とを有し、複数のセグメント発光部を所定の態様で配列したセグメント表示器や、ドット表示器などの複数の表示装置を配置して構成されている。
なお、主表示装置42は、その前面側に設けられた窓パネル22に向かって膨出するようにして遊技盤31に設けられている。すなわち、主表示装置42は、窓パネル22を介してパチンコ機10の前方から視認可能となっている。また、主表示装置42と、窓パネル22との間の距離は、遊技球1個分よりも狭くなっている。これによって、パチンコ機10は、主表示装置42と、窓パネル22との間を遊技球が落下していくのを防止している。換言すれば、パチンコ機10は、主表示装置42の前方を遊技球が落下していくのを防止している。
メイン表示部45は、上作動口36への入賞に基づいて行われた内部抽選の結果を表示するための第1結果表示部45aと、下作動口37への入賞に基づいて行われた内部抽選の結果を表示するための第2結果表示部45bとを備えている(図5参照)。なお、メイン表示部45は、開閉実行モードとなった場合(または開閉実行モードとなる場合)に、その開閉実行モードにおけるラウンド遊技の回数を明示するためのラウンド表示部を更に備えていてもよい。
第1結果表示部45aは、上作動口36への入賞をトリガとして絵柄の変動表示を実行するとともに、その変動表示の停止結果として、上作動口36への入賞に基づいて行われた内部抽選の結果を表示する。この内部抽選の結果が開閉実行モードへの移行に対応した結果であった場合には、第1結果表示部45aは、所定の停止結果を表示する。その後、パチンコ機10は、開閉実行モードへ移行する。
第2結果表示部45bは、下作動口37への入賞をトリガとして絵柄の変動表示を実行するとともに、その変動表示の停止結果として、下作動口37への入賞に基づいて行われた内部抽選の結果を表示する。この内部抽選の結果が可変入球実行モードへの移行に対応した結果であった場合には、第2結果表示部45bは、所定の停止結果を表示する。その後、パチンコ機10は、可変入球実行モードへ移行する。また、パチンコ機10は、可変入球実行モードにおいて、右入球口404への入球が発生した場合には、開閉実行モードへ移行する。
このように、本実施形態では、上作動口36および下作動口37は、遊技領域を流下する遊技球を入球させるとともに、遊技球の入球に際して内部抽選を実行する始動入球手段として機能する。
役物用表示部46は、各スルーゲート41への入賞をトリガとして絵柄の変動表示を実行するとともに、その変動表示の停止結果として、各スルーゲート41への入賞に基づいて行われた内部抽選の結果を表示する。役物用表示部46は、内部抽選の結果が電役開放状態への移行に対応した結果であった場合には、所定の停止結果を表示する。その後、パチンコ機10は、電役開放状態へ移行する。この電役開放状態では、下作動口37に設けられた電動役物37aは、所定の態様で開放状態となる。
なお、本実施形態では、メイン表示部45および役物用表示部46は、セグメント表示器により構成されているが、これに限定されることはなく、液晶表示装置、有機EL表示装置、CRT、ドットマトリックス等の他のタイプの表示装置によって構成されていてもよい。また、メイン表示部45および役物用表示部46に変動表示させる絵柄としては、複数種の文字を変動表示させる構成、複数種の記号を変動表示させる構成、複数種のキャラクタを変動表示させる構成、または複数種の色を切り換えて表示させる構成などを採用できる。
可変表示ユニット43は、絵柄の一種である図柄を変動表示(可変表示または切換表示)する図柄表示装置51を備えている。また、可変表示ユニット43は、図柄表示装置51を囲むようにして配設されたセンターフレーム52を備えている。このセンターフレーム52の上部は、その前面側に設けられた窓パネル22に向かって膨出するようにして設けられている。これによって、パチンコ機10は、図柄表示装置51の表示画面Gの前方を遊技球が落下していくのを防止し、遊技球の落下によって表示画面Gの視認性が低下するといった不都合を生じない構成となっている。
図柄表示装置51は、液晶ディスプレイを備えた液晶表示装置として構成されている。この図柄表示装置51は、上作動口36または下作動口37への入賞に基づいて図柄の変動表示を開始する。すなわち、図柄表示装置51は、メイン表示部45の第1結果表示部45aにて変動表示を実行する場合およびメイン表示部45の第2結果表示部45bにて変動表示を実行する場合には、それに合わせて変動表示を実行する。
なお、図柄表示装置51は、液晶表示装置であることに限定されることはなく、プラズマディスプレイ装置、有機EL表示装置、またはCRT等の他の表示装置であってもよい。
センターフレーム52は、図柄表示装置51の左下側の領域に設けられた第1保留ランプ部53と、図柄表示装置51の右下側の領域に設けられた第2保留ランプ部54と、図柄表示装置51の上側の領域に設けられた第3保留ランプ部55とを備えている。
第1保留ランプ部53は、上作動口36に入賞した遊技球の保留個数を表示する部位であり、保留個数に応じて点灯する。この第1保留ランプ部53は、遊技球を最大4個まで保留することができ、第1結果表示部45aおよび図柄表示装置51の変動表示に対応している。
第2保留ランプ部54は、下作動口37に入賞した遊技球の保留個数を表示する部位であり、保留個数に応じて点灯する。この第2保留ランプ部54は、遊技球を最大4個まで保留することができ、第2結果表示部45bおよび図柄表示装置51の変動表示に対応している。
第3保留ランプ部55は、各スルーゲート41に入賞した遊技球の保留個数を表示する部位であり、保留個数に応じて点灯する。この第3保留ランプ部55は、遊技球を最大4個まで保留することができ、役物用表示部46の変動表示に対応している。
なお、各保留ランプ部53〜55は、図柄表示装置51の一部に画像として表示される等の他の構成であってもよい。
図4は、図柄表示装置の表示画面を示す図である。具体的には、図4(A)は、上作動口36への入賞をトリガとして絵柄の変動表示を実行する場合の図柄表示装置51の表示画面Gを示す図であり、図4(B)は、下作動口37への入賞をトリガとして絵柄の変動表示を実行する場合の図柄表示装置51の表示画面Gを示す図である。
図柄表示装置51の表示画面Gは、図4に示すように、3列の表示領域に区画されており、各表示領域には、左から順に左図柄列Z1、中図柄列Z2、および右図柄列Z3が表示される。なお、図4では、各表示領域の中心線を一点鎖線で示している。
上作動口36への入賞をトリガとして絵柄の変動表示を実行する場合には、各図柄列Z1〜Z3は、図4(A)に示すように、「1」〜「8」の数字からなる8種類の図柄を下方から上方に向かって昇順となるとともに、「8」の次は「1」となるように配列して構成されている。
下作動口37への入賞をトリガとして絵柄の変動表示を実行する場合には、各図柄列Z1〜Z3は、図4(B)に示すように、「A」〜「C」の英字からなる3種類の図柄を下方から上方に向かって昇順となるとともに、「C」の次は「A」となるように配列して構成されている。
したがって、遊技者は、図柄表示装置51の表示画面Gを見ることによって、上作動口36および下作動口37のいずれの作動口への入賞をトリガとして絵柄の変動表示を実行しているかを確認することができる。
図柄表示装置51は、上作動口36または下作動口37への入賞に基づいて、各図柄列Z1〜Z3の図柄を所定の向き(本実施形態では上向き)に周期的にスクロールさせるようにして図柄の変動表示を開始することによって、表示画面Gにおいて遊技回用の演出を実行する。この遊技回用の演出は、左図柄列Z1→右図柄列Z3→中図柄列Z2の順に変動表示から停止表示に切り換わり、最終的には、有効ラインL上に所定の図柄を停止表示した状態で終了する。
すなわち、遊技回とは、各作動口36,37への入賞に基づいて、メイン表示部45および図柄表示装置51にて変動表示が開始された後、所定の停止結果を表示するまでをいう。
なお、図柄表示装置51における図柄の変動表示の態様は、これに限定されることはなく任意である。例えば、図柄列の列数、各図柄列のスクロールの方向、各図柄列の図柄数などは適宜変更可能である。また、各図柄列の図柄は、数字または英字のみの態様に代えて、絵と数字または英字とを組み合わせた態様としてもよく、絵のみの態様としてもよい。
<パチンコ機10の電気的構成>
図5は、パチンコ機の電気的構成を示すブロック図である。
パチンコ機10は、図5に示すように、主制御装置60と、音声発光制御装置90と、表示制御装置100とを備え、これらの装置は、内枠の背面側に搭載されている。また、パチンコ機10は、前述した払出装置71に遊技球の払い出しをさせる払出制御を実行する払出制御装置70と、前述した遊技球発射機構81に遊技球を発射させる発射制御を実行する電源・発射制御装置80とを備え、これらの装置は、裏パックユニットに搭載されている。
主制御装置60は、遊技の主たる制御(主制御)を司る主制御基板61と、電源を監視する停電監視基板65とを備えている。なお、主制御装置60は、主制御基板61などを収容する基板ボックスを備えている。この基板ボックスは、その開放に際して痕跡を残す痕跡手段を備えていてもよく、その開放に際して痕跡を残す痕跡構造を備えていてもよい。具体的には、痕跡手段としては、複数のケース体を結合することによって基板ボックスを構成し、各ケース体の分離に際して所定部位の破壊を要する結合部(カシメ部)を設ける構成や、引き剥がしに際して粘着層が接着対象に残ることで剥がされたことの痕跡を残す封印シールを複数のケース体間の境界を跨ぐようにして貼り付ける構成などを採用することができる。また、痕跡構造としては、これらのケース体間の境界に対して接着剤を塗布する構成などを採用することができる。
主制御基板61は、主制御基板61に実装されたMPU62と、このMPU62を構成しているROM63およびRAM64とを備えている。ここで、MPU62は、ROM63およびRAM64の他、CPU、割込回路、タイマ回路、データ入出力回路、および乱数発生器としてのカウンタ回路などを複合的にチップ化した素子である。
なお、本実施形態では、ROM63およびRAM64は、MPU62に対して1チップ化されているが、個別にチップ化された構成としてもよい。これは主制御装置60以外の他の制御装置のMPUについても同様である。
ROM63は、各種の制御プログラムや固定値データを記憶するためのメモリであり、記憶している情報の保持に際して外部からの電力供給を必要としない不揮発性記憶手段である。このROM63は、当否テーブル記憶エリア63aや、振分テーブル記憶エリア63bや、電役当否テーブル記憶エリア63cや、リーチ用テーブル記憶エリア63dなどの各種エリアを有している。
RAM64は、ROM63に記憶された制御プログラムの実行に際して各種のデータ等を一時的に記憶するためのメモリであり、記憶している情報の保持に際して外部からの電力供給を必要とする揮発性記憶手段である。このRAM64は、各種カウンタエリア64aや、保留球格納エリア64bや、電役保留エリア64cや、各種フラグ格納エリア64dなどの各種エリアを有している。
MPU62は、入力ポートおよび出力ポートを備えている。MPU62の入力ポートは、主制御装置60に設けられた停電監視基板65と、複数の検知センサ50a〜50gとに接続されている。MPU62の出力ポートは、停電監視基板65と、払出制御装置70と、音声発光制御装置90とに接続されている。また、MPU62の出力ポートは、下作動口37の電動役物37aを開閉動作させる電動役物駆動部37bと、可変入賞装置38の開閉扉38bを開閉動作させる可変入賞駆動部38cと、羽根部材401aを開閉動作させる羽根部材駆動部401cと、プレート403aを開閉動作させるプレート駆動部403cと、メイン表示部45と、役物用表示部46とに接続されている。
なお、主制御基板61は、ドライバ回路を有している。MPU62は、このドライバ回路を通じて各種駆動部などの駆動制御を実行する。具体的には、電役開放状態では、MPU62は、電動役物駆動部37bの駆動制御を実行して電動役物37aを開閉させる。また、開閉実行モードでは、MPU62は、可変入賞駆動部38cの駆動制御を実行して大入賞口38aを開閉させる。また、可変入球実行モードでは、MPU62は、羽根部材駆動部401cの駆動制御を実行して羽根部材401aを開閉させるとともに、プレート駆動部403cの駆動制御を実行してプレート403aを開閉させる。また、各遊技回では、MPU62は、メイン表示部45の表示制御を実行して各作動口36,37への入賞に基づいて行われた内部抽選の結果を表示する。
停電監視基板65は、主制御基板61と、動作電力を供給する機能を有する電源・発射制御装置80とを中継し、電源・発射制御装置80から出力される直流安定24ボルトの電圧を監視する。したがって、MPU62は、停電監視基板65を介して電力を受給する。
検知センサ50a〜50gは、一般入賞口35、上作動口36、下作動口37、および可変入賞装置38の各種入賞口や、アウト口39や、右入球口404や、各スルーゲート41に1対1で対応して設けられている。MPU62は、検知センサ50a〜50gの検知結果に基づいて、各種入賞口や、アウト口39や、右入球口404や、各スルーゲート41への入賞判定(入球判定)を行っている。なお、MPU62は、上作動口36または下作動口37への入賞判定に基づいて、内部抽選を実行する。
払出制御装置70は、主制御装置60から送信されるコマンド(制御命令)に基づいて、払出装置71に賞球や貸し球(遊技に際して遊技者に貸し出す遊技球)の払い出しをさせる払出制御を実行する。
電源・発射制御装置80は、例えば、遊技場等における商用電源(外部電源)に接続されている。そして、電源・発射制御装置80は、その商用電源から供給される外部電力に基づいて主制御基板61や払出制御装置70等に対して各々に必要な動作電力を生成するとともに、その生成した動作電力を供給する。なお、電源・発射制御装置80は、バックアップ用コンデンサなどの電断時用電源部を備えている。この電断時用電源部は、パチンコ機10への電力供給が遮断された電断時においても主制御装置60のRAM64に記憶保持用の電力を供給する。
また、電源・発射制御装置80は、遊技球発射機構81に遊技球を発射させる発射制御を実行する。ここで、遊技球発射機構81は、遊技盤31の誘導レール34に向けて延びる発射レールと、上皿25aに貯留されている遊技球を発射レール上に供給する球送り装置と、発射レール上に供給された遊技球を誘導レール34に向けて発射させる電動アクチュエータであるソレノイドとを備えている。電源・発射制御装置80は、所定の発射条件が整っている場合に、このソレノイドに対して駆動信号(発射許可信号)を供給し、遊技球を発射させる。
<主制御装置60のMPU62にて内部抽選を実行するための電気的構成>
図6は、内部抽選に用いられる各カウンタの内容を示す図である。
MPU62は、図6に示すように、各カウンタC1〜C3,CINI,CS,C4の値(情報)を用いることによって、内部抽選などを実行する。具体的には、MPU62は、当たり発生の抽選に当たり乱数カウンタC1を使用し、当たり発生に際し、その当たりの種別の抽選に当たり種別カウンタC2を使用し、リーチ表示を発生させるか否かの抽選にリーチ乱数カウンタC3を使用する。また、MPU62は、当たり乱数カウンタC1の初期値設定に乱数初期値カウンタCINIを使用し、メイン表示部45および図柄表示装置51における表示継続時間の決定に変動種別カウンタCSを使用する。さらに、MPU62は、下作動口37の電動役物37aを電役開放状態とするか否かの抽選に電動役物開放カウンタC4を使用する。なお、各カウンタC1〜C3,CINI,CS,C4は、RAM64の各種カウンタエリア64a(図5参照)に設けられている。
各カウンタC1〜C3,CINI,CS,C4は、その更新の都度、前回値に1が加算され、最大値に達した後、0に戻るループカウンタとなっている。各カウンタは、定期的に更新され、その更新された値は、RAM64の所定領域に設定された抽選カウンタ用バッファに適宜格納される。抽選カウンタ用バッファに格納された値のうち、当たり乱数カウンタC1、当たり種別カウンタC2、およびリーチ乱数カウンタC3の各値は、上作動口36または下作動口37に遊技球が入賞したタイミングでRAM64に取得情報記憶手段として設けられた保留球格納エリア64b(図5参照)に格納される。
保留球格納エリア64bは、第1結果表示部用保留エリアRaと、第2結果表示部用保留エリアRbと、実行エリアAEとを備えている。
第1取得情報記憶手段として設けられた第1結果表示部用保留エリアRaは、第1エリアRa1〜第4エリアRa4の4つの記憶エリアを備えている。各エリアRa1〜Ra4は、当たり乱数カウンタC1、当たり種別カウンタC2、およびリーチ乱数カウンタC3の各値の組を格納可能な記憶容量に設定されている。MPU62は、当たり乱数カウンタC1、当たり種別カウンタC2、およびリーチ乱数カウンタC3の各値の組を保留情報として上作動口36への遊技球の入賞に合わせて各エリアRa1〜Ra4に時系列的に格納していく。具体的には、MPU62は、上作動口36への入賞が複数回連続して発生した場合に、第1エリアRa1→第2エリアRa2→第3エリアRa3→第4エリアRa4の順に保留情報を時系列的に格納していく。
このように、第1結果表示部用保留エリアRaは、4つの記憶エリアを備えているので、上作動口36への遊技球の入賞は、最大4個まで保留されるようになっている。また、第1結果表示部用保留エリアRaは、各エリアRa1〜Ra4に格納されている保留個数を書き込むための記憶エリアを備えている。
なお、上作動口36に係る保留個数は、4個に限定されることはなく任意であり、2個、3個、または5個以上といったように他の複数であってもよく、単数であってもよい。
第2取得情報記憶手段として設けられた第2結果表示部用保留エリアRbは、第1エリアRb1〜第4エリアRb4の4つの記憶エリアを備えている。各エリアRb1〜Rb4は、当たり乱数カウンタC1、当たり種別カウンタC2、およびリーチ乱数カウンタC3の各値の組を格納可能な記憶容量に設定されている。MPU62は、当たり乱数カウンタC1、当たり種別カウンタC2、およびリーチ乱数カウンタC3の各値の組を保留情報として下作動口37への遊技球の入賞に合わせて各エリアRb1〜Rb4に時系列的に格納していく。具体的には、MPU62は、下作動口37への入賞が複数回連続して発生した場合に、第1エリアRb1→第2エリアRb2→第3エリアRb3→第4エリアRb4の順に保留情報を時系列的に格納していく。
このように、第2結果表示部用保留エリアRbは、4つの記憶エリアを備えているので、下作動口37への遊技球の入賞は、最大4個まで保留されるようになっている。また、第2結果表示部用保留エリアRbは、各エリアRb1〜Rb4に格納されている保留個数を書き込むための記憶エリアを備えている。
なお、下作動口37に係る保留個数は、4個に限定されることはなく任意であり、2個、3個、または5個以上といったように他の複数であってもよく、単数であってもよい。
実行エリアAEは、各結果表示部45a,45bの変動表示を開始する際に、第1結果表示部用保留エリアRa、または第2結果表示部用保留エリアRbの記憶エリアに格納された保留情報を移動させるためのエリアである。
<各カウンタの詳細な説明>
以下、各カウンタの詳細について説明する。
まず、電動役物開放カウンタC4について説明する。電動役物開放カウンタC4は、例えば、その更新の都度、前回値に1が加算され、最大値250に達した後、0に戻ることによって、0〜250の範囲内でループするループカウンタとなっている。
電動役物開放カウンタC4は、定期的に更新され、その更新された値は、各スルーゲート41に遊技球が入賞したタイミングで抽選カウンタ用バッファに格納される。
そして、MPU62は、抽選カウンタ用バッファに格納された電動役物開放カウンタC4の値に基づいて、下作動口37の電動役物37aを電役開放状態とするか否かの抽選(電動役物開放抽選)を実行する。
ここで、パチンコ機10は、電動役物37aを開放状態に設定することによって、下作動口37への遊技球の入賞を可能とする頻度が互いに異なる複数のサポートモードを有している。具体的には、パチンコ機10は、電動役物37aを開放状態に設定する頻度が相対的に低い低頻度サポートモード(低頻度ガイド状態)と、電動役物37aを開放状態に設定する頻度が相対的に高い高頻度サポートモード(高頻度ガイド状態)とを有している。
図7は、電役開放発生に当選する乱数の値を記憶した電役当否テーブルを示す図である。
電動役物開放カウンタC4の値のうち、電役開放発生に当選する乱数の値は、図7に示すように、電役当否情報群記憶手段として設けられたROM63の電役当否テーブル記憶エリア63c(図5参照)に電役当否テーブル(電役当否情報群)として記憶されている。
また、電役当否テーブルは、図7(a)に示す低頻度サポートモード用の電役当否テーブル(低頻度用電役当否情報群)と、図7(b)に示す高頻度サポートモード用の電役当否テーブル(高頻度用電役当否情報群)とを備えている。
MPU62は、これらの電役当否テーブルと、抽選カウンタ用バッファに格納された電動役物開放カウンタC4の値とを比較することによって、電役開放発生の抽選を実行する。
これらの電役当否テーブルは、「電役開放当選」および「外れ結果」の複数の電役開放発生の抽選の結果(電役当否結果)を有している。
ここで、「電役開放当選」は、下作動口37の電動役物37aを電役開放状態とする電役当否結果である。
具体的には、電役開放発生の抽選に際して低頻度サポートモード用の電役当否テーブルを参照することになる遊技状態下では、図7(a)に示すように、「電役開放当選」となる乱数の値は1個である。換言すれば、低頻度サポートモードでは、電動役物開放抽選は、1/251の確率で電役開放発生に当選する。
また、低頻度サポートモードにおいて、「電役開放当選」となる乱数の値以外は、電役開放発生に当選せずに「外れ結果」となる。
これに対して、電役開放発生の抽選に際して高頻度サポートモード用の電役当否テーブルを参照することになる遊技状態下では、図7(b)に示すように、「外れ結果」となる乱数の値は1個である。
また、高頻度サポートモードにおいて、「外れ結果」となる乱数の値以外は、電役開放発生に当選して「電役開放結果」となる。換言すれば、高頻度サポートモードでは、電動役物開放抽選は、約250/251の確率で電役開放発生に当選する。
なお、各電役当否テーブルに記憶される乱数の値や個数は任意であり、高頻度サポートモードは、低頻度サポートモードと比較して「電役開放当選」となる確率が高くなっていればよい。
したがって、高頻度サポートモードでは、低頻度サポートモードと比較して、遊技球は、下作動口37に入賞しやすくなる。換言すれば、低頻度サポートモードでは、遊技球は、下作動口37よりも上作動口36に入賞する確率が高くなる。また、高頻度サポートモードでは、遊技球は、上作動口36よりも下作動口37に入賞する確率が高くなる。
そして、下作動口37への入賞を検知した場合には、所定数の賞球の払い出しが実行されるので、高頻度サポートモードでは、遊技者は、遊技球をあまり減らさないようにしながら遊技を行うことができる。
なお、低頻度サポートモードおよび高頻度サポートモードの構成は、これに限定されることはない。例えば、高頻度サポートモードは、電役開放発生に当選した際に、電動役物37aを開放状態に設定する回数を低頻度サポートモードと比較して多くするように構成してもよい。また、例えば、高頻度サポートモードは、電役開放発生に当選した際に、電動役物37aを開放状態に設定する1回の開放時間を低頻度サポートモードと比較して長くするように構成してもよい。また、例えば、高頻度サポートモードは、1回の電役開放状態における各回の開放の間に、電動役物37aを閉鎖状態に設定する閉鎖時間を低頻度サポートモードと比較して短くするように構成してもよい。また、例えば、高頻度サポートモードは、電動役物開放抽選を終えてから次回の電動役物開放抽選を行うまでに待機する時間として最低限確保される確保時間(役物用表示部46における1回の変動表示の継続時間)を低頻度サポートモードと比較して短くするように構成してもよい。また、例えば、複数種類の確保時間を用意し、高頻度サポートモードは、短い確保時間を低頻度サポートモードと比較して選択し易いように構成してもよく、選択される確保時間の平均を低頻度サポートモードと比較して短くするように構成してもよい。さらに、電動役物37aを開放状態に設定する回数、開放時間、および確保時間の各条件を組み合わせることによって、高頻度サポートモードは、電動役物37aを開放状態に設定する頻度を低頻度サポートモードと比較して相対的に高くするように構成してもよい。
このように、本実施形態では、低頻度サポートモードは、下作動口37よりも上作動口36に入球する確率が高くなる第1の遊技状態として機能する。また、高頻度サポートモードは、上作動口36よりも下作動口37に入球する確率が高くなることによって、低頻度サポートモードよりも遊技者にとって有利な遊技状態となる第2の遊技状態として機能する。
次に、当たり乱数カウンタC1について説明する。当たり乱数カウンタC1は、例えば、その更新の都度、前回値に1が加算され、最大値599に達した後、0に戻ることによって、0〜599の範囲内でループするループカウンタとなっている。また、当たり乱数カウンタC1は、1周ループするごとに、その時点の乱数初期値カウンタCINIの値を初期値として読み込む。なお、乱数初期値カウンタCINIは、当たり乱数カウンタC1と同様に0〜599の範囲内でループするループカウンタである。
当たり乱数カウンタC1は、定期的に更新され、その更新された値は、上作動口36または下作動口37に遊技球が入賞したタイミングで抽選カウンタ用バッファを介してRAM64の保留球格納エリア64bに格納される。具体的には、当たり乱数カウンタC1の値は、上作動口36に遊技球が入賞したタイミングでRAM64の第1結果表示部用保留エリアRaに格納され、下作動口37に遊技球が入賞したタイミングでRAM64の第2結果表示部用保留エリアRbに格納される。
そして、MPU62は、保留球格納エリア64bに格納された当たり乱数カウンタC1の値に基づいて、当たり発生の抽選(当否抽選)を実行する。
図8は、当たり発生に当選する乱数の値を記憶した当否テーブルを示す図である。
当たり乱数カウンタC1の値のうち、当たり発生に当選する乱数の値は、図8に示すように、当否情報群記憶手段として設けられたROM63の当否テーブル記憶エリア63a(図5参照)に当否テーブル(当否情報群)として記憶されている。
当否テーブルは、図8(a)に示す第1当否テーブル(第1当否情報群)と、図8(b)に示す第2当否テーブル(第2当否情報群)とを備えている。
MPU62は、これらの当否テーブルと、保留球格納エリア64bに格納された当たり乱数カウンタC1の値とを比較することによって、当たり発生(大当たり発生または小当たり発生)の抽選を実行する。
第1当否テーブルは、第1結果表示部用保留エリアRaから実行エリアAEにシフトされた当たり乱数カウンタC1の値、すなわち上作動口36への入賞に基づく当たり乱数カウンタC1の値に対して大当たり発生の抽選を行う場合に参照されるテーブルである。この第1当否テーブルは、図8(a)に示すように、「大当たり当選」となる乱数の値は「7」および「77」の2個である。
また、「小当たり当選」となる乱数の値は「100〜199」の100個である。換言すれば、上作動口36への入賞に基づいて行われた内部抽選の結果、「小当たり当選」となる確率は1/6である。
さらに、「大当たり当選」および「小当たり当選」となる乱数の値以外は、大当たり発生に当選せずに「通常外れ結果」となる。
第2当否テーブルは、第2結果表示部用保留エリアRbから実行エリアAEにシフトされた当たり乱数カウンタC1の値、すなわち下作動口37への入賞に基づく当たり乱数カウンタC1の値に対して小当たり発生の抽選を行う場合に参照されるテーブルである。この第2当否テーブルは、図8(b)に示すように、「小当たり当選」となる乱数の値は「0〜479」の480個である。換言すれば、下作動口37への入賞に基づいて行われた内部抽選の結果、「小当たり当選」となる確率は4/5である。
ここで、第1当否テーブルに記憶された「大当たり当選」および「小当たり当選」となる乱数の値は、第2当否テーブルに記憶された「小当たり当選」となる乱数の値に含まれている。
また、「小当たり当選」となる乱数の値以外は、小当たり発生に当選せずに「通常外れ結果」となる。
なお、各当否テーブルに記憶される乱数の値や個数は任意である。また、第2当否テーブルに記憶された「小当たり当選」となる乱数の値は、第1当否テーブルに記憶された「大当たり当選」および「小当たり当選」となる乱数の値を含んでいなくてもよく、第1当否テーブルに記憶された「大当たり当選」および「小当たり当選」となる乱数の値の一部を含んでいてもよい。
ここで、「大当たり当選」は、開閉実行モードに移行する当否結果である。
また、「小当たり当選」は、可変入球実行モードに移行する当否結果である。そして、パチンコ機10は、この可変入球実行モードにおいて、右入球口404への入球が発生した場合には、開閉実行モードへ移行する。
なお、以下の説明では、右入球口404への入球が発生することによって、開閉実行モードへ移行することを大当たり発生とも表現する。
ここで、上作動口36への入賞に基づいて行われた内部抽選の結果、「小当たり当選」となる確率は1/6であり、前述したように、プレート403aの開放期間は、羽根部材401aの開放期間の約1/10程度であるので、上作動口36への入賞を契機として可変入球実行モードに移行し、大当たり発生に当選する確率は約1/60程度である。
また、下作動口37への入賞に基づいて行われた内部抽選の結果、「小当たり当選」となる確率は4/5であり、前述したように、プレート403aの開放期間は、羽根部材401aの開放期間の約1/10程度であるので、下作動口37への入賞を契機として可変入球実行モードに移行し、大当たり発生に当選する確率は約1/12.5程度である。
次に、当たり種別カウンタC2について説明する。当たり種別カウンタC2は、例えば、その更新の都度、前回値に1が加算され、最大値29に達した後、0に戻ることによって、0〜29の範囲内でループするループカウンタとなっている。
当たり種別カウンタC2は、定期的に更新され、その更新された値は、上作動口36または下作動口37に遊技球が入賞したタイミングで抽選カウンタ用バッファを介してRAM64の保留球格納エリア64bに格納される。具体的には、当たり種別カウンタC2の値は、上作動口36に遊技球が入賞したタイミングでRAM64の第1結果表示部用保留エリアRaに格納され、下作動口37に遊技球が入賞したタイミングでRAM64の第2結果表示部用保留エリアRbに格納される。
そして、MPU62は、保留球格納エリア64bに格納された当たり種別カウンタC2の値に基づいて、当たり発生に際し、その当たりの種別の抽選(振分抽選)を実行する。
図9は、当たりの種別の振分先に係る乱数の値を記憶した振分テーブルを示す図である。
当たりの種別の振分先に係る乱数の値は、図9に示すように、振分情報群記憶手段として設けられたROM63の振分テーブル記憶エリア63b(図5参照)に振分テーブル(振分情報群)として記憶されている。振分テーブルは、図9(a)に示す第1振分テーブル(第1振分情報群)と、図9(b)に示す第2振分テーブル(第2振分情報群)とを備えている。
MPU62は、これらの振分テーブルと、保留球格納エリア64bに格納された当たり種別カウンタC2の値とを比較することによって、当たりの種別の抽選を実行する。
第1振分テーブルは、第1結果表示部用保留エリアRaから実行エリアAEにシフトされた当たり種別カウンタC2の値、すなわち上作動口36への入賞に基づく当たり種別カウンタC2の値に対して当たりの種別の抽選を行う場合に参照されるテーブルである。
第1振分テーブルは、図9(a)に示すように、「低頻度サポートモード結果(低頻度サポートモード対応の振分結果)」および「高頻度サポートモード結果(高頻度サポートモード対応の振分結果)」の複数の振分結果を振分先としている。具体的には、第1振分テーブルでは、当たり種別カウンタC2の値「0〜29」のうち、「0〜14」を「低頻度サポートモード結果」に振り分け、「15〜29」を「高頻度サポートモード結果」に振り分けている。
したがって、上作動口36への入賞に基づいて行われた内部抽選の結果、「低頻度サポートモード結果」となる確率は50%であり、「高頻度サポートモード結果」となる確率も50%である。
第2振分テーブルは、第2結果表示部用保留エリアRbから実行エリアAEにシフトされた当たり種別カウンタC2の値、すなわち下作動口37への入賞に基づく当たり種別カウンタC2の値に対して当たりの種別の抽選を行う場合に参照されるテーブルである。
第2振分テーブルは、図9(b)に示すように、「低頻度サポートモード結果(低頻度サポートモード対応の振分結果)」および「高頻度サポートモード結果(高頻度サポートモード対応の振分結果)」の複数の振分結果を振分先としている。具体的には、第2振分テーブルでは、当たり種別カウンタC2の値「0〜29」のうち、「0〜9」を「低頻度サポートモード結果」に振り分け、「10〜29」を「高頻度サポートモード結果」に振り分けている。
したがって、下作動口37への入賞に基づいて行われた内部抽選の結果、「低頻度サポートモード結果」となる確率は約33%であり、「高頻度サポートモード結果」となる確率は約67%である。
「低頻度サポートモード結果」は、所定の条件を満たした場合を除いて開閉実行モード終了後にサポートモードが低頻度サポートモードに設定される振分結果である。この低頻度サポートモードは、大当たり発生となるまで継続する。
「高頻度サポートモード結果」は、開閉実行モード終了後にサポートモードが高頻度サポートモードに設定される振分結果である。この高頻度サポートモードは、遊技回が終了基準回数(具体的には、100回)に達した場合には低頻度サポートモードに移行する。
次に、リーチ乱数カウンタC3について説明する。リーチ乱数カウンタC3は、例えば、その更新の都度、前回値に1が加算され、最大値238に達した後、0に戻ることによって、0〜238の範囲内でループするループカウンタとなっている。
リーチ乱数カウンタC3は、定期的に更新され、その更新された値は、上作動口36または下作動口37に遊技球が入賞したタイミングで抽選カウンタ用バッファを介してRAM64の保留球格納エリア64bに格納される。具体的には、リーチ乱数カウンタC3の値は、上作動口36に遊技球が入賞したタイミングでRAM64の第1結果表示部用保留エリアRaに格納され、下作動口37に遊技球が入賞したタイミングでRAM64の第2結果表示部用保留エリアRbに格納される。
そして、MPU62は、保留球格納エリア64bに格納されたリーチ乱数カウンタC3の値に基づいて、リーチ表示を発生させるか否かの抽選(リーチ発生抽選)を実行する。
リーチ表示は、当否抽選において「大当たり当選」または「小当たり当選」となることなく「通常外れ結果」となった場合に発生する期待演出である。
具体的には、MPU62は、当否抽選において「大当たり当選」または「小当たり当選」となることなく「通常外れ結果」となった場合に、リーチ用テーブルと、保留球格納エリア64bに格納されたリーチ乱数カウンタC3の値とを比較することによって、リーチ表示を発生させるか否かの抽選を実行し、この抽選においてリーチ表示を発生させるとなった場合にリーチ表示を発生させる。なお、リーチ用テーブルは、リーチ表示の発生に係る乱数の値を記憶したテーブルであり、ROM63のリーチ用テーブル記憶エリア63d(図5参照)に記憶されている。
ここで、当否抽選において「大当たり当選」となって、振分抽選において「高頻度サポートモード結果」に振り分けられた場合には、図柄表示装置51は、停止結果として、同一の奇数の数字を有する図柄の組み合わせを有効ラインL上に停止表示する。また、当否抽選において「大当たり当選」となって、振分抽選において「低頻度サポートモード結果」に振り分けられた場合には、図柄表示装置51は、停止結果として、同一の偶数の数字を有する図柄の組み合わせを有効ラインL上に停止表示する。さらに、上作動口36への入賞に基づいて行われた当否抽選において「小当たり当選」となった場合には、図柄表示装置51は、停止結果として、同一の数字を有する図柄の組み合わせではなく、当否抽選において「通常外れ結果」となった場合に選択されることのない互いに異なる数字を有する特別な図柄の組み合わせを有効ラインL上に停止表示する。下作動口37への入賞に基づいて行われた当否抽選において「小当たり当選」となった場合には、図柄表示装置51は、停止結果として、同一の英字を有する図柄の組み合わせを有効ラインL上に停止表示する。
リーチ表示は、同一の数字または同一の英字を有する図柄の組み合わせを最終的に停止表示させる場合(当否抽選において「大当たり当選」となった場合、または下作動口37への入賞に基づいて行われた当否抽選において「小当たり当選」となった場合)には、リーチ乱数カウンタC3の値に関わらず発生する。また、リーチ表示は、特別な図柄の組み合わせを最終的に停止表示させる場合(上作動口36への入賞に基づいて行われた当否抽選において「小当たり当選」となった場合)には、リーチ乱数カウンタC3の値に関わらず発生しない。
リーチ表示の態様は、図柄表示装置51の表示画面Gに表示される複数の図柄列Z1〜Z3のうち、一部の図柄列(例えば、図柄列Z1および図柄列Z3)を有効ラインL上に停止表示させることによって、同一の図柄の組み合わせを表示して停止結果を示唆し、その状態で残りの図柄列(例えば、図柄列Z2)を変動表示する。
したがって、パチンコ機10は、リーチ表示を発生させることによって、図柄表示装置51にて変動表示が開始された後、所定の停止結果を表示する前に、当否抽選において「大当たり当選」または「小当たり当選」となったのではないかと遊技者に期待させることができる。
なお、リーチ表示の態様は、これに限定されることはなく、一部の図柄列を停止表示させた上で残りの図柄列を変動表示させるとともに、所定のキャラクタなどを動画として背景に表示してもよく、各図柄列を縮小表示または非表示にした上で所定のキャラクタなどを動画として表示画面Gの略全体に表示してもよい。
ここで、パチンコ機10は、図柄表示装置51の変動表示の一種として期待演出を有している。期待演出とは、図柄表示装置51にて変動表示が開始された後、所定の停止結果を表示する前に、当否抽選において「大当たり当選」または「小当たり当選」となったのではないかと遊技者に期待させるような演出をいう。具体的には、パチンコ機10は、前述したリーチ表示と、予告表示との2種類の期待演出を有している。
予告表示は、当否抽選において「大当たり当選」または「小当たり当選」となった場合に、当否抽選において「大当たり当選」または「小当たり当選」となることなく「通常外れ結果」となった場合よりも演出を発生しやすくする期待演出である。この予告表示は、演出を発生しやすくする代わりに、出現率の低い演出を選択しやすくするようにしてもよく、これらを組み合わせるようにしてもよい。
なお、リーチ表示を発生させるか否かの抽選は、主制御装置60にて実行されていたのに対し、予告表示を発生させるか否かの抽選は、音声発光制御装置90にて実行される。
予告表示の態様は、図柄表示装置51の表示画面Gに表示される複数の図柄列Z1〜Z3のうち、全ての図柄列Z1〜Z3を変動表示させている、一部の図柄列(例えば、図柄列Z1)を有効ラインL上に停止表示させた上で複数の図柄列(例えば、図柄列Z2,Z3)を変動表示させている、またはリーチ表示を発生させている状況において、所定のキャラクタなどを動画として表示画面Gに表示する。この予告表示は、リーチ表示を発生させる場合およびリーチ表示を発生させない場合のいずれの場合においても発生するが、リーチ表示を発生させない場合よりもリーチ表示を発生させる場合に発生しやすくなるように設定されている。
なお、予告表示は、これに限定されることはなく、例えば、背景を変更して表示してもよく、図柄列Z1〜Z3の形態を変更して表示してもよい。
最後に、変動種別カウンタCSについて説明する。変動種別カウンタCSは、例えば、その更新の都度、前回値に1が加算され、最大値198に達した後、0に戻ることによって、0〜198の範囲内でループするループカウンタとなっている。
変動種別カウンタCSは、後述する通常処理の実行ごとに少なくとも1回更新され、その更新の都度、抽選カウンタ用バッファに格納される。
そして、MPU62は、抽選カウンタ用バッファに格納された変動種別カウンタCSの値に基づいて、メイン表示部45における絵柄の表示継続時間と、図柄表示装置51における図柄の表示継続時間とを決定する。
<主制御装置60にて実行される各種処理について>
主制御装置60のMPU62は、遊技を進行させるタイマ割込み処理および通常処理や、電源投入に伴って起動するメイン処理を実行する。以下、タイマ割込み処理、通常処理、およびメイン処理について順に説明する。
なお、MPU62は、タイマ割込み処理、通常処理、およびメイン処理の他、NMI端子(ノンマスカブル端子)への停電信号の入力によって起動するNMI割込み処理を実行するが、この処理についての説明は省略する。
<タイマ割込み処理>
図10は、タイマ割込み処理のフローチャートを示す図である。
タイマ割込み処理では、MPU62は、図10に示すように、ステップS101〜S105を定期的に(例えば、2msec周期で)実行する。
ステップS101では、MPU62は、複数の検知センサ50a〜50gの読み込み処理を実行する。この読み込み処理では、MPU62は、複数の検知センサ50a〜50gの状態を読み込み、その状態を判定して入賞検知情報としてRAM64に保存する。MPU62は、各種入賞口に対応した検知センサ50a〜50dが遊技球の入賞を検知していると判定した場合には、賞球の払い出し指示を行うための賞球コマンドを設定し、この設定したコマンドを払出制御装置70に送信する。例えば、MPU62は、可変入賞装置38に対応した検知センサ50dが遊技球の入賞を検知していると判定した場合には、特定単位個数である15個の賞球を指示するための賞球コマンドを払出制御装置70に送信する。
なお、払出制御装置70は、MPU62から送信される賞球コマンドに基づいて、払出装置71に賞球の払い出しを実行させる払出制御を行う。
ステップS102では、MPU62は、乱数初期値カウンタCINIの更新を実行する。具体的には、MPU62は、前述したように、乱数初期値カウンタCINIの前回値に1を加算して更新するとともに、更新後の値をRAM64の所定領域に設定された抽選カウンタ用バッファに格納する。なお、MPU62は、乱数初期値カウンタCINIの前回値に1を加算する際に最大値に達していた場合には、乱数初期値カウンタCINIの値を0に戻してクリアする。
ステップS103では、MPU62は、当たり乱数カウンタC1、当たり種別カウンタC2、リーチ乱数カウンタC3、および電動役物開放カウンタC4の更新を実行する。具体的には、MPU62は、前述したように、当たり乱数カウンタC1、当たり種別カウンタC2、リーチ乱数カウンタC3、および電動役物開放カウンタC4の前回値にそれぞれ1を加算して更新するとともに、更新後の値をRAM64の所定領域に設定された抽選カウンタ用バッファに格納する。なお、MPU62は、各カウンタC1〜C4の前回値にそれぞれ1を加算する際に最大値に達していた場合には、各カウンタC1〜C4の値を0に戻してクリアする。
ステップS104では、MPU62は、スルー用の入賞処理を実行する。このスルー用の入賞処理では、MPU62は、各スルーゲート41に対応した検知センサ50fが遊技球の入賞を検知していると判定した場合には、ステップS103にて更新した電動役物開放カウンタC4の値を電役保留エリア64cに格納する。また、MPU62は、第3保留ランプ部55を点灯させるためのコマンドを設定し、この設定したコマンドを音声発光制御装置90に送信する。
なお、音声発光制御装置90は、MPU62から送信されるコマンドに基づいて、第3保留ランプ部55を点灯させる。また、スルーゲート41に入賞した遊技球の保留個数は、前述したように、最大4個であり、第3保留ランプ部55は、この保留個数と対応する数だけ点灯する。
ステップS105では、MPU62は、作動口用の入賞処理を実行する。その後、MPU62は、タイマ割込み処理を終了する。
以下、作動口用の入賞処理について詳細に説明する。
<作動口用の入賞処理>
図11は、作動口用の入賞処理のフローチャートを示す図である。
作動口用の入賞処理では、MPU62は、図11に示すように、ステップS201〜S207を実行する。
ステップS201では、MPU62は、上作動口36に対応した検知センサ50bが遊技球の入賞を検知したか否かを判定することによって、上作動口36に遊技球が入賞(始動入賞)したか否かを判定する。MPU62は、ステップS201にて上作動口36に遊技球が入賞したと判定した場合には、ステップS202において、第1結果表示部用保留エリアRaに記憶されている保留個数を把握し、その保留個数を第1始動保留記憶数RaNとして第1結果表示部用保留エリアRaにおける所定の記憶エリアにセットする。その後、MPU62は、ステップS205以降の処理を実行する。
これに対して、MPU62は、ステップS201にて上作動口36に遊技球が入賞していないと判定した場合には、ステップS203において、下作動口37に対応した検知センサ50cが遊技球の入賞を検知したか否かを判定することによって、下作動口37に遊技球が入賞(始動入賞)したか否かを判定する。
MPU62は、ステップS203にて下作動口37に遊技球が入賞していないと判定した場合には、作動口用の入賞処理を終了する。また、MPU62は、ステップS203にて下作動口37に遊技球が入賞したと判定した場合には、ステップS204において、第2結果表示部用保留エリアRbに記憶されている保留個数を把握し、その保留個数を第2始動保留記憶数RbNとして第2結果表示部用保留エリアRbにおける所定の記憶エリアにセットする。その後、MPU62は、ステップS205以降の処理を実行する。
ステップS202またはステップS204の処理を実行した後、MPU62は、ステップS205において、ステップS202またはステップS204にてセットした始動保留記憶数N(RaNまたはRbN)が上限値(本実施形態では4)未満であるか否かを判定する。
MPU62は、ステップS205にて始動保留記憶数Nが上限値未満でないと判定した場合には、作動口用の入賞処理を終了する。また、MPU62は、ステップS205にて始動保留記憶数Nが上限値未満であると判定した場合には、ステップS206において、その始動保留記憶数Nの値に1を加算して更新する。
ステップS207では、MPU62は、タイマ割込み処理のステップS103にて更新した当たり乱数カウンタC1、当たり種別カウンタC2、およびリーチ乱数カウンタC3の各値の組を結果表示部用保留エリアの空き記憶エリアのうち最初の記憶エリア、すなわちステップS206にて更新した始動保留記憶数Nと対応する記憶エリアに保留情報として格納する。
例えば、MPU62は、ステップS202にて第1始動保留記憶数RaNをセットした場合には、タイマ割込み処理のステップS103にて更新した当たり乱数カウンタC1、当たり種別カウンタC2、およびリーチ乱数カウンタC3の各値の組を第1結果表示部用保留エリアRaの空き記憶エリアのうち最初の記憶エリア、すなわちステップS206にて更新した第1始動保留記憶数RaNと対応する記憶エリアに保留情報として格納する。例えば、MPU62は、ステップS202にて第1始動保留記憶数RaNに「3」をセットした場合には、ステップS206にて更新した第1始動保留記憶数RaNの「4」と対応する記憶エリアである第4エリアRa4に保留情報を格納する。
また、例えば、MPU62は、ステップS204にて第2始動保留記憶数RbNをセットした場合には、タイマ割込み処理のステップS103にて更新した当たり乱数カウンタC1、当たり種別カウンタC2、およびリーチ乱数カウンタC3の各値の組を第2結果表示部用保留エリアRbの空き記憶エリアのうち最初の記憶エリア、すなわちステップS206にて更新した第2始動保留記憶数RbNと対応する記憶エリアに保留情報として格納する。例えば、MPU62は、ステップS204にて第2始動保留記憶数RbNに「3」をセットした場合には、ステップS206にて更新した第2始動保留記憶数RbNの「4」と対応する記憶エリアである第4エリアRb4に保留情報を格納する。
また、ステップS207では、MPU62は、第1保留ランプ部53または第2保留ランプ部54を点灯させるためのコマンドを設定し、この設定したコマンドを音声発光制御装置90に送信する。その後、MPU62は、作動口用の入賞処理を終了する。
なお、音声発光制御装置90は、MPU62から送信されるコマンドに基づいて、第1保留ランプ部53または第2保留ランプ部54を点灯させる。また、上作動口36または下作動口37に入賞した遊技球の保留個数は、前述したように、最大4個であり、第1保留ランプ部53または第2保留ランプ部54は、この保留個数と対応する数だけ点灯する。
<通常処理>
図12は、通常処理のフローチャートを示す図である。
MPU62は、電源投入に伴って起動する後述のメイン処理を実行した後、遊技を進行させるための主要な処理である通常処理を実行する。この通常処理では、MPU62は、図12に示すように、ステップS301〜S314を実行する。具体的には、MPU62は、ステップS301〜S309を4msec周期で定期的に実行し、残余時間が発生した場合にステップS308〜S311を繰り返し実行し、ステップS308の判定結果に応じてステップS312以降を実行する。
ステップS301では、MPU62は、タイマ割込み処理または前回の通常処理で設定したコマンドをサブ側の各制御装置に送信するための外部出力処理を実行する。この外部出力処理では、例えば、MPU62は、賞球コマンドが設定されているか否かを判定し、賞球コマンドが設定されていると判定した場合には、その賞球コマンドを払出制御装置70に送信する。また、例えば、MPU62は、遊技回用の演出に対応したコマンドや、可変入球実行モード用の演出や、開閉実行モード用の演出に対応したコマンドなどの演出用のコマンドが設定されているか否かを判定し、演出用のコマンドが設定されていると判定した場合には、その演出用のコマンドを音声発光制御装置90に送信する。
ステップS302では、MPU62は、変動種別カウンタCSの更新を実行する。具体的には、MPU62は、前述したように、変動種別カウンタCSの前回値に1を加算して更新するとともに、更新後の値をRAM64の所定領域に設定された抽選カウンタ用バッファに格納する。なお、MPU62は、変動種別カウンタCSの前回値に1を加算する際に最大値に達していた場合には、変動種別カウンタCSの値を0に戻してクリアする。
ステップS303では、MPU62は、遊技回を進行させるための遊技回制御処理を実行する。遊技回制御処理では、MPU62は、当否抽選および振分抽選を実行するとともに、図柄表示装置51に最終的に停止表示させる絵柄に係る情報の決定およびメイン表示部45に最終的に停止表示させる絵柄に係る情報の決定などを実行する。
ステップS304では、MPU62は、遊技状態を移行させるための遊技状態移行処理を実行する。遊技状態移行処理では、MPU62は、開閉実行モード、可変入球実行モード、低頻度サポートモード、および高頻度サポートモードなどの各遊技状態への移行処理を実行する。
なお、ステップS303の遊技回制御処理およびステップS304の遊技状態移行処理については後に詳細に説明する。
ステップS305では、MPU62は、デモ表示実行判定処理を実行する。このデモ表示実行判定処理では、MPU62は、遊技回の終了後に新たな遊技回が開始されることなく予め定められたデモ開始用の開始待ち期間(例えば、3sec)を経過したか否かを判定し、開始待ち期間を経過していると判定した場合には、デモ表示を開始させるためのデモコマンドを音声発光制御装置90に送信する。
なお、音声発光制御装置90は、MPU62から送信されるデモコマンドに基づいて、デモ表示実行処理を開始する。
ここで、MPU62は、ステップS305の処理の実行回数をカウントすることによって開始待ち期間が経過したか否かを判定する。例えば、開始待ち期間を3secとし、ステップS305の処理を繰り返し実行する間隔が4msecである場合には、MPU62は、ステップS305の処理の実行回数をカウントして750回に達したときに開始待ち期間を経過したと判定する。なお、開始待ち期間を測定する構成は任意であり、例えば、リアルタイムクロックを用いて開始待ち期間を測定してもよい。また、MPU62は、ステップS305の処理の実行回数をカウントしているときに新たな遊技回を開始した場合には、そのカウントの値をリセットする。
ステップS306では、MPU62は、下作動口37に設けられた電動役物37aの駆動制御を実行するための電役サポート用処理を実行する。この電役サポート用処理では、MPU62は、RAM64の抽選カウンタ用バッファに格納された電動役物開放カウンタC4の値に基づいて、電動役物開放抽選を実行する。また、MPU62は、電動役物開放抽選の結果を表示するように、役物用表示部46の表示制御を実行する。
ステップS307では、MPU62は、遊技球発射制御処理を実行する。この遊技球発射制御処理では、MPU62は、遊技者が発射ハンドル27を回転操作したことに基づいて、電源・発射制御装置80に遊技球を発射させる発射制御を実行させる。具体的には、電源・発射制御装置80は、所定の周期(本実施形態では0.6sec)で遊技球発射機構81のソレノイドを励磁することによって、遊技球発射機構81に遊技球を発射させる。なお、ソレノイドは、発射ハンドル27の回転操作量に応じた発射強度で遊技球を発射するように励磁される。また、電源・発射制御装置80は、所定の発射条件が整っている場合に、遊技球発射機構81のソレノイドに対して駆動信号を供給し、遊技球を発射させる。
ステップS308では、MPU62は、RAM64の停電フラグ格納エリア(図示略)に停電フラグがセットされているか否かを判定する。この停電フラグは、MPU62のNMI端子に対して停電監視基板65から停電信号が入力されることによってRAM64にセットされる。停電監視基板65は、停電の発生を確認した場合に、この停電信号を出力する。なお、この停電フラグは、次回のメイン処理の実行時にクリアされる。
ここで、パチンコ機10は、RAM64等の所定のエリアに1を代入することによって各種のフラグをセットし、0を代入することによって各種のフラグをクリアする。例えば、パチンコ機10は、RAM64の停電フラグ格納エリアに1を代入することによって停電フラグをセットし、RAM64の停電フラグ格納エリアに0を代入することによって停電フラグをクリアする。
MPU62は、ステップS308にて停電フラグがセットされていると判定した場合には、ステップS309以降の処理を実行することなく、ステップS312以降の電断時処理を実行する。具体的には、ステップS312では、MPU62は、タイマ割込み処理の発生を禁止する。ステップS313では、MPU62は、RAM判定値(RAM64のチェックサム)を算出して保存する。ステップS314では、MPU62は、RAM64へのアクセスを禁止する。その後、MPU62は、電源が完全に遮断して処理が実行できなくなるまで無限ループを継続する。
これに対して、MPU62は、ステップS308にて停電フラグがセットされていないと判定した場合には、ステップS309において、次回の通常処理を実行するタイミングに至ったか否か、すなわち現在の通常処理を開始したときから所定時間(本実施形態では4msec)が経過したか否かを判定する。
MPU62は、ステップS309にて次回の通常処理を実行するタイミングに至っていないと判定した場合、すなわち残余時間が発生した場合には、ステップS310において、乱数初期値カウンタCINIの更新を実行し、ステップS311において、変動種別カウンタCSの更新を実行する。なお、MPU62は、ステップS309にて次回の通常処理を実行するタイミングに至ったと判定するまでステップS308〜S311を繰り返し実行する。
これに対して、MPU62は、ステップS309にて次回の通常処理を実行するタイミングに至ったと判定した場合、すなわち残余時間が発生していない場合には、ステップS301を再び実行することによって、次回の通常処理を開始する。
<メイン処理>
図13は、メイン処理のフローチャートを示す図である。
メイン処理では、MPU62は、図13に示すように、ステップS401〜S412を実行する。
ステップS401では、MPU62は、電源投入に伴って立ち上げ処理を実行する。この立ち上げ処理では、MPU62は、サブ側の制御基板(音声発光制御装置90の制御基板等)が動作可能な状態になるのを待つために、電源投入後、所定の時間(例えば、500msec程度)が経過するまで待機する。
ステップS402では、MPU62は、許可禁止用期間である1secが経過したか否かを判定する。MPU62は、ステップS402にて1secが経過していないと判定した場合には、ステップS402の処理を繰り返し実行する。また、MPU62は、ステップS402にて1secが経過したと判定した場合には、ステップS403以降の処理を実行する。
ここで、MPU62は、ステップS402の処理の実行回数をカウントすることによって1secが経過したか否かを判定する。例えば、ステップS402の処理を繰り返し実行する間隔が0.1msecである場合には、MPU62は、ステップS402の処理の実行回数をカウントして10000回に達したときに1secが経過したと判定する。なお、許可禁止用期間を測定する構成は任意であり、例えば、リアルタイムクロックを用いて許可禁止用期間を測定してもよい。
ステップS403では、MPU62は、RAM64へのアクセスを許可する。
ステップS404では、MPU62は、電源・発射制御装置80に設けられたRAM消去スイッチ(図示略)がオンになっているか否かを判定する。
MPU62は、ステップS404にてRAM消去スイッチがオンになっていると判定した場合には、ステップS409以降の処理を実行する。
これに対して、MPU62は、ステップS404にてRAM消去スイッチがオンになっていないと判定した場合には、ステップS405において、RAM64の停電フラグ格納エリアに停電フラグがセットされているか否かを判定する。
そして、MPU62は、ステップS405にて停電フラグがセットされていないと判定した場合には、ステップS409以降の処理を実行する。
これに対して、MPU62は、ステップS405にて停電フラグがセットされていると判定した場合には、ステップS406において、RAM判定値を算出する。
ステップS407では、MPU62は、ステップS406にて算出したRAM判定値が正常であるか否かを判定することによって、RAM64に記憶されたデータの有効性を確認する。具体的には、MPU62は、ステップS406にて算出したRAM判定値と、通常処理のステップS313(電断時処理)にて保存されたRAM判定値とを比較し、これらが一致した場合には、RAM判定値は正常であると判定し、一致しない場合には、RAM判定値は異常であると判定する。
そして、MPU62は、ステップS407にてRAM判定値が正常でないと判定した場合には、ステップS409以降の処理を実行する。
これに対して、MPU62は、ステップS407にてRAM判定値が正常であると判定した場合には、ステップS408において、RAM64の停電フラグ格納エリアに格納されている停電フラグをクリアする。
なお、RAM64に記憶されたデータの有効性は、RAM判定値の整合性を確認する方法とは異なる方法によって判定してもよく、例えば、電断時処理にてRAM64の所定のエリアにキーワードを書き込み、このキーワードが正常に書き込まれているか否かをメイン処理にて判定することによって、RAM64に記憶されたデータの有効性を確認してもよい。
前述したように、MPU62は、ステップS404にてRAM消去スイッチがオンになっていると判定した場合、ステップS405にて停電フラグがセットされていないと判定した場合、またはステップS407にてRAM判定値が正常でないと判定した場合には、ステップS409以降の処理を実行する。
具体的には、MPU62は、ステップS409において、RAM64の作業領域をクリアし、ステップS410において、RAM64の初期化を実行する。
したがって、例えば、遊技場の管理者は、遊技場の営業開始時にRAM消去スイッチを押下しながらパチンコ機10の電源を投入することによって、RAM64に記憶されたデータを初期化することができる。また、パチンコ機10は、停電監視基板65にて停電の発生を確認していない場合や、RAM判定値が異常であった場合には、RAM64に記憶されたデータを初期化する。
ステップS408またはステップS410の処理を実行した後、MPU62は、ステップS411において、サブ側の制御基板(音声発光制御装置90の制御基板等)に対して初期コマンドを送信し、ステップS412において、タイマ割込み処理の発生を許可し、前述した通常処理に移行する。
なお、サブ側の制御基板は、ステップS411にて送信された初期コマンドを受信することによって、主制御基板61との通信が正常に行われていることを認識するとともに、自己の初期化を実行する。
<遊技回制御処理>
図14は、遊技回制御処理のフローチャートを示す図である。
遊技回制御処理では、MPU62は、図14に示すように、ステップS501〜S509を実行する。
ステップS501では、MPU62は、開閉実行モード中であるか否かを判定する。MPU62は、ステップS501にて開閉実行モード中であると判定した場合には、ステップS502以降の処理を実行することなく、遊技回制御処理を終了する。したがって、開閉実行モード中であると判定した場合には、MPU62は、各作動口36,37への遊技球の入賞を検知しているか否かに関わらず遊技回の進行を開始しない。
なお、MPU62は、RAM64に記憶された開閉実行モード中フラグを参照することによって、開閉実行モード中であるか否かを判定している。以下の各処理においても同様である。MPU62は、開閉実行モードへの移行時に開閉実行モード中フラグをセットし、開閉実行モードの終了時に開閉実行モード中フラグをクリアする。
これに対して、MPU62は、ステップS501にて開閉実行モード中でないと判定した場合には、ステップS502において、メイン表示部45が変動表示中であるか否か、すなわち遊技回を進行中であるか否かを判定する。
MPU62は、ステップS502にてメイン表示部45が変動表示中でないと判定した場合には、ステップS503〜S505の遊技回開始用処理を実行する。
これに対して、MPU62は、ステップS502にてメイン表示部45が変動表示中であると判定した場合には、ステップS506〜S509の遊技回進行用処理を実行する。
まず、ステップS503〜S505の遊技回開始用処理について説明する。
ステップS503では、MPU62は、第1結果表示部用保留エリアRaに記憶されている保留個数と、第2結果表示部用保留エリアRbに記憶されている保留個数とを把握し、これらの保留個数の合計数CRNが「0」以下であるか否かを判定する。MPU62は、ステップS503にて合計数CRNが「0」以下であると判定した場合には、遊技回制御処理を終了する。
これに対して、MPU62は、ステップS503にて合計数CRNが「0」以下でないと判定した場合には、ステップS504において、第1結果表示部用保留エリアRaまたは第2結果表示部用保留エリアRbに記憶されている保留情報を遊技回の消化用に設定するためのデータ設定処理を実行する。その後、MPU62は、ステップS505において、メイン表示部45および図柄表示装置51に変動表示を開始させて遊技回を消化するための変動開始処理を実行し、遊技回制御処理を終了する。
以下、ステップS504のデータ設定処理およびステップS505の変動開始処理について詳細に説明する。
図15は、データ設定処理のフローチャートを示す図である。
データ設定処理では、MPU62は、図15に示すように、ステップS601〜S611を実行する。
ステップS601では、MPU62は、作動口用の入賞処理のステップS204にてセットされた第2結果表示部用保留エリアRbの第2始動保留記憶数RbNが「0」以下であるか否かを判定する。MPU62は、ステップS601にて第2始動保留記憶数RbNが「0」以下であると判定した場合には、ステップS602〜S606の第1結果表示部用のデータ設定処理を実行し、ステップS601にて第2始動保留記憶数RbNが「0」以下でないと判定した場合には、ステップS607〜S611の第2結果表示部用のデータ設定処理を実行する。
このように、データ設定処理は、第1結果表示部用保留エリアRaに記憶された保留情報を遊技回の消化用に設定する第1結果表示部用のデータ設定処理と、第2結果表示部用保留エリアRbに記憶された保留情報を遊技回の消化用に設定する第2結果表示部用のデータ設定処理とを有している。
そして、MPU62は、ステップS601にて第2始動保留記憶数RbNが「0」以下でないと判定した場合には、第1結果表示部用のデータ設定処理を実行することなく、第2結果表示部用のデータ設定処理を実行する。換言すれば、MPU62は、下作動口37への遊技球の入賞に基づいて第2結果表示部用保留エリアRbに記憶された保留情報があると判定した場合には、上作動口36への遊技球の入賞に基づいて第1結果表示部用保留エリアRaに記憶された保留情報があるか否かに関わらず第2結果表示部用保留エリアRbに記憶された保留情報を優先的に遊技回の消化用に設定する。
まず、ステップS602〜S606の第1結果表示部用のデータ設定処理について説明する。
ステップS602では、MPU62は、第1結果表示部用保留エリアRaの第1始動保留記憶数RaNの値に1を減算して更新する。
ステップS603では、MPU62は、第1結果表示部用保留エリアRaの第1エリアRa1に格納された保留情報を実行エリアAEに移動する。
ステップS604では、MPU62は、第1結果表示部用保留エリアRaの記憶エリアに格納された保留情報をシフトするデータシフト処理を実行する。このデータシフト処理は、各エリアRa1〜Ra4に格納されている保留情報を第1エリアRa1側に順にシフトする処理である。具体的には、MPU62は、第2エリアRa2の保留情報を第1エリアRa1にシフトし、第3エリアRa3の保留情報を第2エリアRa2にシフトし、第4エリアRa4の保留情報を第3エリアRa3にシフトする。
ステップS605では、MPU62は、RAM64に記憶された第2結果表示部フラグをクリアする。この第2結果表示部フラグは、遊技回の消化に際して第1結果表示部45aおよび第2結果表示部45bのうち、どちらのメイン表示部45に変動表示を開始させているかを特定するためのフラグである。このステップS605では、MPU62は、第2結果表示部フラグをクリアしているので、遊技回の消化に際し、上作動口36への遊技球の入賞に基づいて、第1結果表示部45aに変動表示を開始させることを示している。
ステップS606では、MPU62は、保留情報のシフトを実行したことを認識させるためのシフト時コマンドを設定し、この設定したシフト時コマンドを音声発光制御装置90に送信し、データ設定処理を終了する。このシフト時コマンドは、上作動口36への遊技球の入賞に基づいて第1結果表示部用保留エリアRaに記憶された保留情報を対象として保留情報のシフトを実行したことを音声発光制御装置90に認識させるための情報を含んでいる。
なお、音声発光制御装置90は、MPU62から送信されるシフト時コマンドに基づいて、第1保留ランプ部53の点灯状態を変更する。具体的には、音声発光制御装置90は、上作動口36に入賞した遊技球の保留個数の減少に伴って、第1保留ランプ部53の点灯個数を減少させる。
次に、ステップS607〜S611の第2結果表示部用のデータ設定処理について説明する。
ステップS607では、MPU62は、第2結果表示部用保留エリアRbの第2始動保留記憶数RbNの値に1を減算して更新する。
ステップS608では、MPU62は、第2結果表示部用保留エリアRbの第2エリアRb1に格納された保留情報を実行エリアAEに移動する。
ステップS609では、MPU62は、第2結果表示部用保留エリアRbの記憶エリアに格納された保留情報をシフトするデータシフト処理を実行する。このデータシフト処理は、各エリアRb1〜Rb4に格納されている保留情報を第1エリアRb1側に順にシフトする処理である。具体的には、MPU62は、第2エリアRb2の保留情報を第1エリアRb1にシフトし、第3エリアRb3の保留情報を第2エリアRb2にシフトし、第4エリアRb4の保留情報を第3エリアRb3にシフトする。
ステップS610では、MPU62は、RAM64に第2結果表示部フラグをセットする。このステップS610では、MPU62は、第2結果表示部フラグをセットしているので、遊技回の消化に際し、下作動口37への遊技球の入賞に基づいて、第2結果表示部45bに変動表示を開始させることを示している。
ステップS611では、MPU62は、保留情報のシフトを実行したことを認識させるためのシフト時コマンドを設定し、この設定したシフト時コマンドを音声発光制御装置90に送信し、データ設定処理を終了する。このシフト時コマンドは、下作動口37への遊技球の入賞に基づいて第2結果表示部用保留エリアRbに記憶された保留情報を対象として保留情報のシフトを実行したことを音声発光制御装置90に認識させるための情報を含んでいる。
なお、音声発光制御装置90は、MPU62から送信されるシフト時コマンドに基づいて、第2保留ランプ部54の点灯状態を変更する。具体的には、音声発光制御装置90は、下作動口37に入賞した遊技球の保留個数の減少に伴って、第2保留ランプ部54の点灯個数を減少させる。
図16は、変動開始処理のフローチャートを示す図である。
変動開始処理では、MPU62は、図16に示すように、ステップS701〜S717を実行する。
ステップS701では、MPU62は、RAM64に第2結果表示部フラグがセットされているか否かを判定する。
MPU62は、ステップS701にてRAM64に第2結果表示部フラグがセットされていないと判定した場合には、上作動口36への遊技球の入賞に基づく第1結果表示部45aに変動表示を開始させることを示しているので、ステップS702において、第1当否テーブル(図8(a)参照)をROM63の当否テーブル記憶エリア63aから読み出す。
これに対して、MPU62は、ステップS701にてRAM64に第2結果表示部フラグがセットされていると判定した場合には、下作動口37への遊技球の入賞に基づく第2結果表示部45bに変動表示を開始させることを示しているので、ステップS703において、第2当否テーブル(図8(b)参照)をROM63の当否テーブル記憶エリア63aから読み出す。
ステップS702またはステップS703の処理を実行した後、MPU62は、ステップS704において、当否判定処理を実行する。この当否判定処理では、MPU62は、実行エリアAEに格納された当たり乱数カウンタC1の値と、ステップS702またはステップS703にて読み出した当否テーブルとを比較することによって、当否抽選の結果(当否結果)を判定する。なお、前述したように、当否結果は、「大当たり当選」、「小当たり当選」、および「通常外れ結果」のいずれかであり、サポートモードが低頻度サポートモードであっても高頻度サポートモードであっても同様である。
ステップS705では、MPU62は、ステップS704にて判定した当否結果が当たり発生(「大当たり当選」または「小当たり当選」)であるか否かを判定する。MPU62は、ステップS705にて当否結果が当たり発生であると判定した場合には、ステップS706以降の処理を実行し、ステップS705にて当否結果が当たり発生でないと判定した場合には、ステップS714以降の処理を実行する。
まず、ステップS705において、MPU62にて当否結果が当たり発生であると判定された場合の処理(ステップS706以降の処理)について説明する。
ステップS706では、MPU62は、RAM64に第2結果表示部フラグがセットされているか否かを判定する。
MPU62は、ステップS706にてRAM64に第2結果表示部フラグがセットされていないと判定した場合には、上作動口36への遊技球の入賞に基づく第1結果表示部45aに変動表示を開始させることを示しているので、ステップS707において、第1振分テーブル(図9(a)参照)をROM63の振分テーブル記憶エリア63bから読み出す。
これに対して、MPU62は、ステップS706にてRAM64に第2結果表示部フラグがセットされていると判定した場合には、下作動口37への遊技球の入賞に基づく第2結果表示部45bに変動表示を開始させることを示しているので、ステップS708において、第2振分テーブル(図9(b)参照)をROM63の振分テーブル記憶エリア63bから読み出す。
ステップS707またはステップS708の処理を実行した後、MPU62は、ステップS709において、振分判定処理を実行する。この振分判定処理では、MPU62は、実行エリアAEに格納された当たり種別カウンタC2の値と、ステップS707またはステップS708にて読み出した振分テーブルとを比較することによって、振分抽選の結果(振分結果)を判定する。
ステップS710では、MPU62は、ステップS704にて判定した当否結果が「大当たり当選」であるか否かを判定する。
MPU62は、ステップS710にて当否結果が「大当たり当選」であると判定した場合には、ステップS711において、大当たり結果用の停止結果設定処理を実行する。この大当たり結果用の停止結果設定処理では、MPU62は、メイン表示部45の第1結果表示部45aに最終的に停止表示させる絵柄に係る情報をステップS709にて判定した振分結果に応じて決定し、その決定した情報をRAM64に記憶させる。ここで、MPU62は、ステップS709にて判定した振分結果と、ROM63に予め記憶された大当たり結果用の停止結果テーブルとを比較することによって、メイン表示部45の第1結果表示部45aに最終的に停止表示させる絵柄に係る情報を決定する。この大当たり結果用の停止結果テーブルは、メイン表示部45に停止表示させる絵柄の態様を振分結果ごとに相違させて規定している。
これに対して、MPU62は、ステップS710にて当否結果が「大当たり当選」でないと判定した場合(当否結果が「小当たり当選」であると判定した場合)には、ステップS712において、小当たり結果用の停止結果設定処理を実行する。この小当たり結果用の停止結果設定処理では、MPU62は、メイン表示部45の第1結果表示部45aまたは第2結果表示部45bに最終的に停止表示させる絵柄に係る情報を決定し、その決定した情報をRAM64に記憶させる。ここで、MPU62は、ROM63に予め記憶された小当たり結果用の停止結果テーブルを参照することによって、メイン表示部45の第1結果表示部45aまたは第2結果表示部45bに最終的に停止表示させる絵柄に係る情報を決定する。
ステップS711またはステップS712の処理を実行した後、MPU62は、ステップS713において、ステップS709にて判定した振分結果に応じたフラグをRAM64にセットする。具体的には、MPU62は、振分結果が「低頻度サポートモード結果」であることを特定した場合には、低頻度サポートモード結果フラグをセットし、「高頻度サポートモード結果」であることを特定した場合には、高頻度サポートモード結果フラグをセットする。その後、MPU62は、ステップS715以降の処理を実行する。
なお、以下の各処理において、MPU62は、これらのフラグを参照することによって、振分結果の判定を実行する。
次に、ステップS705において、MPU62にて当否結果が当たり発生でないと判定された場合の処理(ステップS714以降の処理)について説明する。
ステップS714では、MPU62は、通常外れ結果用の停止結果設定処理を実行する。この通常外れ結果用の停止結果設定処理では、MPU62は、メイン表示部45の第1結果表示部45aまたは第2結果表示部45bに最終的に停止表示させる絵柄に係る情報を決定し、その決定した情報をRAM64に記憶させる。ここで、MPU62は、ROM63に予め記憶された通常外れ結果用の停止結果テーブルを参照することによって、メイン表示部45に最終的に停止表示させる絵柄に係る情報を決定する。この通常外れ結果用の停止結果テーブルに設定された絵柄の態様は、大当たり結果用の停止結果テーブルおよび小当たり結果用の停止結果テーブルに設定された絵柄の態様とは異なっている。
ステップS711、ステップS712、およびステップS714のいずれかの処理を実行した後、MPU62は、ステップS715において、表示継続時間(表示継続期間)の設定処理を実行する。
表示継続時間の設定処理では、MPU62は、RAM64の抽選カウンタ用バッファにおける変動種別カウンタ用バッファに格納された変動種別カウンタCSの値を取得する。
また、表示継続時間の設定処理では、MPU62は、図柄表示装置51にてリーチ表示が発生するか否かを判定する。具体的には、MPU62は、ステップS704にて判定した当否結果が「大当たり当選」である場合、ステップS704にて判定した当否結果が下作動口37への入賞に基づく「小当たり当選」である場合、またはステップS704にて判定した当否結果が「通常外れ結果」であるとともに、リーチ発生抽選に当選した場合には、リーチ表示が発生すると判定する。なお、MPU62は、前述したように、ROM63のリーチ用テーブル記憶エリア63dに予め記憶されたリーチ用テーブルと、保留球格納エリア64bに格納されたリーチ乱数カウンタC3の値とを比較することによって、リーチ発生抽選を実行する。
MPU62は、リーチ表示が発生すると判定した場合には、ROM63のリーチ用テーブル記憶エリア63dに記憶されたリーチ発生用表示継続時間テーブルを参照することによって、変動種別カウンタ用バッファから取得した変動種別カウンタCSの値に対応した表示継続時間を決定し、その決定した表示継続時間をRAM64の各種カウンタエリア64aに設けられた表示継続時間カウンタにセットする。
MPU62は、リーチ表示が発生しないと判定した場合には、ROM63のリーチ用テーブル記憶エリア63dに記憶されたリーチ非発生用表示継続時間テーブルを参照することによって、変動種別カウンタ用バッファから取得した変動種別カウンタCSの値に対応した表示継続時間を決定し、その決定した表示継続時間をRAM64の各種カウンタエリア64aに設けられた表示継続時間カウンタにセットする。
具体的には、リーチ非発生用表示継続時間テーブルは、保留個数が多くなるほど表示継続時間を短くするように設定されている。したがって、上作動口36に係る保留情報を消化する際の表示継続時間は、上作動口36に係る保留個数が多くなるほど短くなるように設定されている。そして、下作動口37に係る保留情報を消化する際の表示継続時間は、下作動口37に係る保留個数が多くなるほど短くなるように設定されている。また、リーチ非発生用表示継続時間テーブルは、サポートモードが高頻度サポートモードである場合には、低頻度サポートモードである場合と比較して、表示継続時間を短くするように設定されている。換言すれば、保留個数が同じであれば、高頻度サポートモードである場合の表示継続時間は、低頻度サポートモードである場合のそれよりも短い。
さらに、リーチ発生用表示継続時間テーブルを参照することによって決定される表示継続時間は、リーチ非発生用表示継続時間テーブルを参照することによって決定される表示継続時間とは異なっている。
なお、リーチ非発生用表示継続時間テーブルは、保留個数が多くなるほど表示継続時間を長くする等のように前述した関係とは逆の関係に設定されていてもよく、保留個数やサポートモードに応じて変動しない構成としてもよい。また、当否結果および振分結果のそれぞれに対して個別に表示継続時間テーブルを設定してもよい。
ステップS716では、MPU62は、変動用コマンドおよび種別コマンドを設定する。MPU62は、通常処理のステップS301において、ステップS716にて設定した変動用コマンドおよび種別コマンドを音声発光制御装置90に送信する。
なお、音声発光制御装置90は、MPU62から送信される変動用コマンドおよび種別コマンドに基づいて、所定の処理を実行する。この処理については後に詳細に説明する。
変動用コマンドは、表示継続時間に係る情報を含んでいる。また、変動用コマンドは、リーチ表示が発生するか否かの情報を含んでいない。
ここで、前述したように、リーチ発生用表示継続時間テーブルを参照することによって決定される表示継続時間と、リーチ非発生用表示継続時間テーブルを参照することによって決定される表示継続時間とは互いに異なっている。
したがって、リーチ表示が発生するか否かの情報を変動用コマンドに含めなかったとしても、表示継続時間に係る情報に基づいて、サブ側の制御装置である音声発光制御装置90にてリーチ表示が発生するか否かを判定することは可能である。この意味では、変動用コマンドは、リーチ表示が発生するか否かの情報を間接的に含んでいるとも言える。なお、変動用コマンドは、リーチ表示が発生するか否かの情報を直接的に含んでいてもよい。
種別コマンドは、当否結果に係る情報を含んでいる。換言すれば、種別コマンドは、当否結果に係る情報として、「大当たり当選」、「小当たり当選」、および「通常外れ結果」に係る各情報を含んでいる。また、種別コマンドは、振分結果に係る情報を含んでいる。換言すれば、種別コマンドは、振分結果に係る情報として、「低頻度サポートモード結果」および「高頻度サポートモード結果」に係る各情報を含んでいる。
なお、以下の説明では、当否結果および振分結果を総称して遊技結果とする。換言すれば、種別コマンドは、遊技結果に係る情報を含んでいる。
ステップS717では、MPU62は、RAM64に第2結果表示部フラグがセットされているか否かを判定し、その判定結果に基づいてメイン表示部45に変動表示を開始させる。その後、MPU62は、変動開始処理を終了する。
具体的には、MPU62は、RAM64に第2結果表示部フラグがセットされていないと判定した場合には、遊技回の消化に際し、上作動口36への遊技球の入賞に基づいて、第1結果表示部45aに変動表示を開始させることを示しているので、第1結果表示部45aに変動表示を開始させる。
これに対して、MPU62は、RAM64に第2結果表示部フラグがセットされていると判定した場合には、遊技回の消化に際し、下作動口37への遊技球の入賞に基づいて、第2結果表示部45bに変動表示を開始させることを示しているので、第2結果表示部45bに変動表示を開始させる。
遊技回制御処理の説明に戻り、図14を参照してステップS506〜S509の遊技回進行用処理について説明する。
MPU62は、ステップS502において、メイン表示部45が変動表示中であるか否かを判定し、メイン表示部45が変動表示中であると判定した場合には、ステップS506〜S509の遊技回進行用処理を実行する。
ステップS506では、MPU62は、変動開始処理のステップS715にてセットした表示継続時間が経過したか否かを判定する。具体的には、MPU62は、RAM64の表示継続時間カウンタにセットされた値が「0」以下になったか否かを判定する。なお、この表示継続時間カウンタの値は、タイマ割込み処理の実行の都度、前回値に1を減算して更新される。
MPU62は、ステップS506にて表示継続時間が経過していないと判定した場合には、ステップS507において、変動表示用処理を実行する。この変動表示用処理では、MPU62は、変動表示中のメイン表示部45の表示を更新する。その後、MPU62は、遊技回制御処理を終了する。
これに対して、MPU62は、ステップS506にて表示継続時間が経過していると判定した場合には、ステップS508において、変動終了処理を実行する。この変動終了処理では、MPU62は、メイン表示部45に変動表示を開始させる際に実行された変動開始処理のステップS711、ステップS712、およびステップS714のいずれかの処理においてRAM64に記憶した情報(メイン表示部45に最終的に停止表示させる絵柄に係る情報)を特定する。そして、MPU62は、遊技回の終了に際し、この特定した情報に対応した絵柄を変動表示中のメイン表示部45に表示させるようにメイン表示部45の表示制御を実行する。なお、変動終了処理については後に詳細に説明する。
ここで、メイン表示部45に最終的に停止表示させる絵柄は、遊技結果の種類ごとに異なっている。したがって、遊技場の管理者などは、遊技回の終了に際してメイン表示部45を目視することによって、遊技結果を確認することができる。これによれば、遊技場の管理者などは、例えば、大当たり発生の抽選に当選した場合と同様の挙動をパチンコ機10に行わせようとする不正行為が行われているか否かの確認を簡易的に行うことができる。
また、メイン表示部45は、図柄表示装置51の表示画面Gと比較して表示領域が狭く、メイン表示部45に停止表示させる絵柄は、図柄表示装置51の表示画面Gに停止表示させる図柄列Z1〜Z3と比較して遊技者にとって認識しにくいものとなっている。したがって、遊技者は、遊技回の終了に際し、メイン表示部45ではなく図柄表示装置51の表示画面Gを確認することによって、当たり発生の抽選に当選したか否か等を判断することになるので、表示画面Gへの注目度を高めることができる。
ステップS509では、MPU62は、変動終了コマンドを設定する。MPU62は、通常処理のステップS301において、ステップS509にて設定した変動終了コマンドを音声発光制御装置90に送信する。その後、MPU62は、遊技回制御処理を終了する。
なお、音声発光制御装置90は、MPU62から送信される変動終了コマンドに基づいて、その遊技回の演出を終了させるための処理を実行する。ここで、音声発光制御装置90は、変動終了コマンドの受信を必要とすることなく、独自に遊技回の演出を終了するように構成されていてもよい。
<遊技状態移行処理>
図17は、遊技状態移行処理のフローチャートを示す図である。
遊技状態移行処理では、MPU62は、図17に示すように、ステップS801〜S820を実行する。
ステップS801では、MPU62は、開閉実行モード中であるか否かを判定する。
MPU62は、ステップS801にて開閉実行モード中でないと判定した場合には、ステップS802以降の処理を実行する。
これに対して、MPU62は、ステップS801にて開閉実行モード中であると判定した場合には、ステップS811以降の処理を実行する。
まず、ステップS801において、MPU62にて開閉実行モード中でないと判定された場合の処理(ステップS802以降の処理)について説明する。
ステップS802では、MPU62は、可変入球実行モード中であるか否かを判定する。
なお、MPU62は、RAM64に記憶された可変入球実行モード中フラグを参照することによって、可変入球実行モード中であるか否かを判定している。以下の各処理においても同様である。MPU62は、可変入球実行モードへの移行時に可変入球実行モード中フラグをセットし、可変入球実行モードの終了時に可変入球実行モード中フラグをクリアする。
MPU62は、ステップS802にて可変入球実行モード中でないと判定した場合には、ステップS803以降の処理を実行する。
これに対して、MPU62は、ステップS802にて可変入球実行モード中であると判定した場合には、ステップS816以降の処理を実行する。
まず、ステップS802において、MPU62にて可変入球実行モード中でないと判定された場合の処理(ステップS803以降の処理)について説明する。
ステップS803では、MPU62は、メイン表示部45の変動表示が終了したか否かを判定する。MPU62は、ステップS803にてメイン表示部45の変動表示が終了していないと判定した場合には、遊技状態移行処理を終了する。
これに対して、MPU62は、ステップS803にてメイン表示部45の変動表示が終了したと判定した場合には、ステップS804において、当否結果が当たり発生(「大当たり当選」または「小当たり当選」)であるか否かを判定する。
MPU62は、ステップS804にて当否結果が当たり発生でないと判定した場合には、遊技状態移行処理を終了する。
これに対して、MPU62は、ステップS804にて当否結果が当たり発生であると判定した場合には、ステップS805において、当否結果が「小当たり当選」であるか否かを判定する。
MPU62は、ステップS805にて当否結果が「小当たり当選」であると判定した場合には、ステップS806において、RAM64に可変入球実行モード中フラグをセットした後、遊技状態移行処理を終了する。
これに対して、MPU62は、ステップS805にて当否結果が「小当たり当選」でないと判定した場合(当否結果が「大当たり当選」であると判定した場合)には、ステップS807において、RAM64に開閉実行モード中フラグをセットした後、ステップS808以降の処理を実行する。
ステップS808では、MPU62は、RAM64の各種カウンタエリア64aに設けられたラウンドカウンタRCに「15」をセットする。このラウンドカウンタRCは、開閉実行モードへの移行に際してラウンド遊技の回数をMPU62にて特定するためのカウンタである。
ここで、開閉実行モードは、予め定められた回数のラウンド遊技を実行したことを条件として終了する。ここで、ラウンド遊技の回数は、ラウンドカウンタRCにセットした値に対応している。
なお、パチンコ機10は、1回のラウンド遊技につき、1回の大入賞口38aの開閉を実行する。また、1回のラウンド遊技は、以下の2つの条件のうち、いずれかの条件を満たすまで継続する。換言すれば、パチンコ機10は、開閉扉38bを開放状態に設定した後、以下の2つの条件のうち、いずれかの条件を満たすことによって、開閉扉38bを再び閉鎖状態に設定する。
(1)予め定められた上限継続時間(上限継続期間)が経過すること
(2)大入賞口38aへの遊技球の総入賞個数が予め定められた上限個数に達すること
ステップS809では、MPU62は、RAM64の各種カウンタエリア64aに設けられたタイマカウンタTにオープニング用の待機時間(待機期間)として「1000」をセットする。このタイマカウンタTにセットされた値は、タイマ割込み処理の実行の都度、前回値に1を減算して更新される。したがって、オープニング用の待機時間は2secとなる。なお、オープニング用の待機時間は、これに限定されることはなく任意である。
このように、MPU62は、ステップS809において、振分結果の種類に関わらずタイマカウンタTにオープニング用の待機時間をセットする。換言すれば、オープニング用の待機時間は、振分結果の種類に関わらず同一である。
なお、オープニング用の待機時間は、これに限定されることはなく、例えば、遊技者には同様と認識される程度に振分結果の種類に応じて微妙に相違させる構成としてもよい。また、例えば、オープニング用の待機時間は、「低頻度サポートモード結果」の振分結果である場合と、「高頻度サポートモード結果」の振分結果である場合とで大きく相違する等のように、振分結果の種類に応じて大きく相違させる構成としてもよい。
ステップS810では、MPU62は、オープニングコマンドを設定する。その後、MPU62は、遊技状態移行処理を終了する。このオープニングコマンドは、開閉実行モードへの移行の契機となった振分結果の情報を含んでいる。MPU62は、通常処理のステップS301において、ステップS810にて設定したオープニングコマンドを音声発光制御装置90に送信する。
なお、音声発光制御装置90は、MPU62から送信されるオープニングコマンドに基づいて、開閉実行モードへの移行を認識し、所定の処理を実行する。この処理については、後に詳細に説明する。
次に、ステップS801において、MPU62にて開閉実行モード中であると判定された場合の処理(ステップS811以降の処理)について説明する。
ステップS811では、MPU62は、大入賞口開閉処理を実行する。
図18は、大入賞口開閉処理のフローチャートを示す図である。
大入賞口開閉処理では、MPU62は、図18に示すように、ステップS901〜S916を実行する。
ステップS901では、MPU62は、大入賞口38aが開放中であるか否かを判定する。
MPU62は、ステップS901にて大入賞口38aが開放中でないと判定した場合には、ステップS902以降の処理を実行する。
これに対して、MPU62は、ステップS901にて大入賞口38aが開放中であると判定した場合には、ステップS906以降の処理を実行する。
まず、ステップS901において、MPU62にて大入賞口38aが開放中でないと判定された場合の処理(ステップS902以降の処理)について説明する。
ステップS902では、MPU62は、ラウンドカウンタRCの値が「0」以下であるか否かを判定する。
MPU62は、ステップS902にてラウンドカウンタRCの値が「0」以下であると判定した場合には、大入賞口開閉処理を終了する。
これに対して、MPU62は、ステップS902にてラウンドカウンタRCの値が「0」以下ではないと判定した場合には、ステップS903において、タイマカウンタTの値が「0」以下であるか否かを判定する。
MPU62は、ステップS903にてタイマカウンタTの値が「0」以下ではないと判定した場合には、大入賞口開閉処理を終了する。
これに対して、MPU62は、ステップS903にてタイマカウンタTの値が「0」以下であると判定した場合には、ステップS904において、大入賞口開放処理を実行する。
以下、ステップS904の大入賞口開放処理について詳細に説明する。
図19は、大入賞口開放処理のフローチャートを示す図である。
大入賞口開放処理では、MPU62は、図19に示すように、ステップS1001〜S1003を実行する。
ステップS1001では、RAM64の各種カウンタエリア64aに設けられた入賞カウンタPCに「8」をセットし、ステップS1002において、タイマカウンタTに「15000」をセットする。前述したように、タイマカウンタTは、タイマ割込み処理の実行の都度、前回値に1を減算して更新される。したがって、タイマカウンタTにセットされた時間は30secとなる。
ステップS1003では、MPU62は、大入賞口38aの開放実行処理を実行する。この開放実行処理では、MPU62は、可変入賞駆動部38cの駆動制御を実行することによって、開閉扉38bを開放状態に設定する。その後、MPU62は、大入賞口開放処理を終了する。
なお、ステップS1001にて入賞カウンタPCにセットされた値は、大入賞口38aへの遊技球の総入賞個数の上限を規定している。
また、ステップS1002にてタイマカウンタTにセットされた値は、開閉扉38bを開放状態に設定した後、再び閉鎖状態に設定するまでの上限継続時間を規定している。
ここで、パチンコ機10は、前述したように、0.6secの周期で遊技球発射機構81のソレノイドを励磁することによって、遊技球発射機構81に遊技球を発射させる。また、MPU62は、前述したように、入賞カウンタPCに「8」をセットすることによって、大入賞口38aへの遊技球の総入賞個数の上限を8個に設定している。
したがって、上限継続時間は、大入賞口38aへの遊技球の総入賞個数の上限と、遊技球の発射周期との積よりも十分に長いので、上限である8個の遊技球を大入賞口38aに入賞させることは容易である。
大入賞口開閉処理の説明に戻り、図18を参照してステップS905以降の処理について説明する。
MPU62は、ステップS904の大入賞口開放処理を実行した後、ステップS905において、開放コマンドを設定する。また、MPU62は、通常処理のステップS301において、ステップS905にて設定した開放コマンドを音声発光制御装置90に送信する。その後、MPU62は、大入賞口開閉処理を終了する。
なお、音声発光制御装置90は、MPU62から送信される開放コマンドに基づいて、開閉扉38bを開放状態に設定したことを認識し、所定の処理を実行する。
次に、ステップS901において、MPU62にて大入賞口38aが開放中であると判定された場合の処理(ステップS906以降の処理)について説明する。
ステップS906では、MPU62は、タイマカウンタTの値が「0」以下であるか否かを判定する。すなわち、MPU62は、大入賞口開放処理のステップS1002にてタイマカウンタTにセットされた上限継続時間が経過したか否かを判定する。
MPU62は、ステップS906にてタイマカウンタTの値が「0」以下でないと判定した場合には、ステップS907以降の処理を実行する。
これに対して、MPU62は、ステップS906にてタイマカウンタTの値が「0」以下であると判定した場合には、ステップS910以降の処理を実行する。
ステップS907では、MPU62は、大入賞口38aへの入賞が発生したか否かを判定する。なお、大入賞口38aへの入賞が発生したか否かの判定は、大入賞口38aに対応した検知センサ50dの検知結果に基づいて実行される。
MPU62は、ステップS907にて大入賞口38aへの入賞が発生していないと判定した場合には、大入賞口開閉処理を終了する。
これに対して、MPU62は、ステップS907にて大入賞口38aへの入賞が発生したと判定した場合には、ステップS908において、入賞カウンタPCの値に1を減算して更新する。
ステップS909では、MPU62は、入賞カウンタPCの値が「0」以下であるか否かを判定する。
MPU62は、ステップS909にて入賞カウンタPCの値が「0」以下でないと判定した場合には、大入賞口開閉処理を終了する。
これに対して、MPU62は、ステップS909にて入賞カウンタPCの値が「0」以下であると判定した場合、またはステップS906にてタイマカウンタTの値が「0」以下であると判定した場合には、ステップS910において、閉鎖実行処理を実行する。この閉鎖実行処理では、MPU62は、可変入賞駆動部38cの駆動制御を実行することによって、開閉扉38bを閉鎖状態に設定する。
ステップS911では、MPU62は、閉鎖コマンドを設定する。MPU62は、通常処理のステップS301において、ステップS911にて設定した閉鎖コマンドを音声発光制御装置90に送信する。
なお、音声発光制御装置90は、MPU62から送信される閉鎖コマンドに基づいて、開閉扉38bを閉鎖状態に設定したことを認識し、所定の処理を実行する。
ステップS912では、MPU62は、ラウンドカウンタRCの値に1を減算して更新する。
ステップS913では、MPU62は、ラウンドカウンタRCの値が「0」以下であるか否かを判定する。
MPU62は、ステップS913にてラウンドカウンタRCの値が「0」以下でないと判定した場合には、ステップS914において、タイマカウンタTの値に「500」をセットする。その後、MPU62は、大入賞口開閉処理を終了する。
ここで、ステップS914にてタイマカウンタTにセットされた値は、開閉扉38bを開放状態に設定した後、再び閉鎖状態に設定してから再び開閉扉38bを開放状態に設定するまでの開放待機時間を規定している。なお、本実施形態では、開放待機時間は1secである。この開放待機時間は、開閉実行モードの進行状況に関わらず同一である。
これに対して、MPU62は、ステップS913にてラウンドカウンタRCの値が「0」以下であると判定した場合には、ステップS915以降の処理を実行する。
ステップS915では、MPU62は、タイマカウンタTにエンディング用の待機時間(待機期間)として「2000」をセットする。このタイマカウンタTにセットされた値は、前述したように、タイマ割込み処理の実行の都度、前回値に1を減算して更新される。したがって、エンディング用の待機時間は4secとなる。なお、エンディング用の待機時間は、これに限定されることはなく任意である。
エンディング用の待機時間は、オープニング用の待機時間と同様に、振分結果の種類に関わらず同一である。
なお、エンディング用の待機時間は、これに限定されることはなく、例えば、遊技者には同様と認識される程度に振分結果の種類に応じて微妙に相違させる構成としてもよい。また、例えば、エンディング用の待機時間は、「低頻度サポートモード結果」の振分結果である場合と、「高頻度サポートモード結果」の振分結果である場合とで大きく相違する等のように、振分結果の種類に応じて大きく相違させる構成としてもよい。
ステップS916では、MPU62は、エンディングコマンドを設定する。MPU62は、通常処理のステップS301において、ステップS916にて設定したエンディングコマンドを音声発光制御装置90に送信する。その後、MPU62は、大入賞口開閉処理を終了する。
なお、音声発光制御装置90は、MPU62から送信されるエンディングコマンドに基づいて、開閉実行モードの終了を認識し、所定の処理を実行する。
遊技状態移行処理の説明に戻り、図17を参照してステップS812以降の処理について説明する。
MPU62は、ステップS811の大入賞口開閉処理を実行した後、ステップS812において、ラウンドカウンタRCの値が「0」以下であるか否かを判定する。
MPU62は、ステップS812にてラウンドカウンタRCの値が「0」以下ではないと判定した場合には、遊技状態移行処理を終了する。
これに対して、MPU62は、ステップS812にてラウンドカウンタRCの値が「0」以下であると判定した場合には、ステップS813において、タイマカウンタTの値が「0」以下であるか否かを判定する。
MPU62は、ステップS813にてタイマカウンタTの値が「0」以下でないと判定した場合には、遊技状態移行処理を終了する。
これに対して、MPU62は、ステップS813にてタイマカウンタTの値が「0」以下であると判定した場合には、ステップS814において、RAM64に記憶された開閉実行モード中フラグをクリアする。
ステップS815では、MPU62は、開閉実行モード終了時の移行処理を実行する。その後、MPU62は、遊技状態移行処理を終了する。
以下、開閉実行モード終了時の移行処理について詳細に説明する。
図20は、開閉実行モード終了時の移行処理のフローチャートを示す図である。
開閉実行モード終了時の移行処理では、MPU62は、図20に示すように、ステップS1101〜S1108を実行する。
ステップS1101では、MPU62は、振分結果が「高頻度サポートモード結果」であるか否かを判定する。
MPU62は、ステップS1101にて振分結果が「高頻度サポートモード結果」であると判定した場合には、ステップS1102以降の処理を実行する。
これに対して、MPU62は、ステップS1101にて振分結果が「高頻度サポートモード結果」でないと判定した場合(振分結果が「低頻度サポートモード結果」であると判定した場合)には、ステップS1105以降の処理を実行する。
まず、ステップS1101において、MPU62にて振分結果が「高頻度サポートモード結果」であると判定された場合の処理(ステップS1102以降の処理)について説明する。
ステップS1102では、MPU62は、高頻度サポートフラグをRAM64にセットする。MPU62は、RAM64に既に高頻度サポートフラグがセットされている場合には、これを維持する。これによって、MPU62は、サポートモードを高頻度サポートモードに設定する。
ステップS1103では、RAM64に記憶された特殊モードフラグをクリアする。
ここで、パチンコ機10は、開閉実行モード終了後に移行するサポートモードの異なる複数の遊技モードを有している。具体的には、パチンコ機10は、「低頻度サポートモード結果」および「高頻度サポートモード結果」の振分結果に応じて開閉実行モード終了後にサポートモードを設定する通常モードと、「低頻度サポートモード結果」および「高頻度サポートモード結果」の振分結果に関わらず開閉実行モード終了後にサポートモードを高頻度サポートモードに設定する特殊モードとを遊技モードとして有している。
特殊モードフラグは、通常モードおよび特殊モードのうち、どちらの遊技モードであるかを特定するためのフラグである。ステップS1103では、MPU62は、特殊モードフラグをクリアしているので、遊技モードを通常モードに設定している。
ステップS1104では、MPU62は、RAM64の各種カウンタエリア64aに設けられた遊技回数カウンタRTCの値に「100」をセットする。その後、MPU62は、開閉実行モード終了時の移行処理を終了する。
ここで、高頻度サポートモードは、RAM64に高頻度サポートフラグがセットされている場合には、遊技回数カウンタRTCにセットされた終了基準回数である100回の遊技回を消化するまで継続する。MPU62は、100回の遊技回を消化した場合には、高頻度サポートフラグをクリアする。これによって、MPU62は、サポートモードを低頻度サポートモードに設定する。
次に、ステップS1101において、MPU62にて振分結果が「高頻度サポートモード結果」でないと判定された場合の処理(ステップS1105以降の処理)について説明する。
MPU62は、ステップS1101にて振分結果が「高頻度サポートモード結果」でないと判定された場合(振分結果が「低頻度サポートモード結果」であると判定した場合)には、ステップS1105において、RAM64に特殊モードフラグがセットされているか否かを判定する。
MPU62は、ステップS1105にてRAM64に特殊モードフラグがセットされていると判定した場合(遊技モードが特殊モードであると判定した場合)には、前述したステップS1102以降の処理を実行する。換言すれば、遊技モードが特殊モードである場合には、MPU62は、「低頻度サポートモード結果」および「高頻度サポートモード結果」の振分結果に関わらず開閉実行モード終了後にサポートモードを高頻度サポートモードに設定する。
これに対して、MPU62は、ステップS1105にてRAM64に特殊モードフラグがセットされていないと判定した場合(遊技モードが通常モードであると判定した場合)には、ステップS1106において、RAM64に記憶された高頻度サポートフラグをクリアする。これによって、MPU62は、サポートモードを低頻度サポートモードに設定する。
ステップS1107では、MPU62は、特殊モードフラグをRAM64にセットする。MPU62は、RAM64に既に特殊モードフラグがセットされている場合には、これを維持する。これによって、MPU62は、遊技モードを特殊モードに設定する。
ステップS1108では、MPU62は、RAM64の各種カウンタエリア64aに設けられた遊技回数カウンタRTCの値に「30」をセットする。その後、MPU62は、開閉実行モード終了時の移行処理を終了する。
ここで、特殊モードは、RAM64に特殊モードフラグがセットされている場合には、遊技回数カウンタRTCにセットされた終了基準回数である30回の遊技回を消化するまで継続する。MPU62は、30回の遊技回を消化した場合には、特殊モードフラグをクリアする。これによって、MPU62は、遊技モードを通常モードに設定する。
なお、MPU62は、ステップS1108の処理を実行した後、下作動口37への遊技球の入賞に基づいて第2結果表示部用保留エリアRbに記憶された保留情報をクリアする。
このように、当否抽選において当たり発生となって、振分抽選において振分結果が「高頻度サポートモード結果」となった場合には、遊技状態は、現在の遊技状態に関わらず開閉実行モードの終了後に、高頻度サポートモードに移行する。高頻度サポートモードは、当否抽選において当たり発生となることなく、100回の遊技回を消化した場合には、低頻度サポートモードに移行する。高頻度サポートモードでは、遊技モードは、常に通常モードとなる。
また、当否抽選において当たり発生となって、振分抽選において振分結果が「低頻度サポートモード結果」となった場合には、遊技状態は、遊技モードが特殊モードであれば、開閉実行モードの終了後に、高頻度サポートモードに移行し、遊技モードが通常モードであれば、開閉実行モードの終了後に、低頻度サポートモードに移行する。高頻度サポートモードは、当否抽選において当たり発生となることなく、100回の遊技回を消化した場合には、低頻度サポートモードに移行する。高頻度サポートモードでは、遊技モードは、常に通常モードとなる。低頻度サポートモードは、少なくとも当否抽選において当たり発生となるまで継続する。低頻度サポートモードでは、遊技モードは、30回の遊技回を消化するまで特殊モードに滞在し、その後、通常モードに移行する。
また、当否抽選において当たり発生とならなかった場合、すなわち当否抽選において当否結果が「通常外れ結果」となった場合には、遊技状態は移行しない。
ここで、遊技回数カウンタRTCの値は、前述した変動用コマンドに含まれている。また、遊技モードに係る情報(特殊モードフラグがRAM64にセットされているか否かに係る情報)は、前述したオープニングコマンドに含まれている。
遊技状態移行処理の説明に戻り、図17を参照してステップS816以降の処理について説明する。
MPU62は、ステップS802において、可変入球実行モードであるか否かを判定し、可変入球実行モード中であると判定した場合には、ステップS816以降の処理を実行する。
ステップS816では、MPU62は、可変入球実行処理を実行する。
以下、可変入球実行処理について詳細に説明する。
図21は、可変入球実行処理のフローチャートを示す図である。
可変入球実行処理では、MPU62は、図21に示すように、ステップS1201〜S1215を実行する。
ステップS1201では、MPU62は、羽根部材401aが開放中であるか否かを判定する。
MPU62は、ステップS1201にて羽根部材401aが開放中でないと判定した場合には、ステップS1202以降の処理を実行する。
これに対して、MPU62は、ステップS1201にて羽根部材401aが開放中であると判定した場合には、ステップS1207以降の処理を実行する。
まず、ステップS1201において、MPU62にて羽根部材401aが開放中でないと判定された場合の処理(ステップS1202以降の処理)について説明する。
ステップS1202では、MPU62は、羽根部材開放実行処理を実行する。この羽根部材開放実行処理では、MPU62は、羽根部材駆動部401cの駆動制御を実行することによって、羽根部材401aを開放状態に設定する。
ステップS1203では、羽根部材開放コマンドを設定する。また、MPU62は、通常処理のステップS301において、ステップS1204にて設定した羽根部材開放コマンドを音声発光制御装置90に送信する。
なお、音声発光制御装置90は、MPU62から送信される羽根部材開放コマンドに基づいて、羽根部材401aを開放状態に設定したことを認識し、所定の処理を実行する。
ステップS1204では、MPU62は、RAM64に高頻度サポートフラグまたは特殊モードフラグがセットされているか否かを判定する。
MPU62は、ステップS1204にてRAM64に高頻度サポートフラグまたは特殊モードフラグがセットされていると判定した場合には、ステップS1205において、タイマカウンタTに「1000」をセットする。前述したように、タイマカウンタTは、タイマ割込み処理の実行の都度、前回値に1を減算して更新される。したがって、タイマカウンタTにセットされた時間は2secとなる。その後、MPU62は、可変入球実行処理を終了する。
これに対して、MPU62は、ステップS1204にてRAM64に高頻度サポートフラグまたは特殊モードフラグがセットされていないと判定した場合(通常モードの低頻度サポートモードであると判定した場合)には、ステップS1206において、タイマカウンタTに「50」をセットする。前述したように、タイマカウンタTは、タイマ割込み処理の実行の都度、前回値に1を減算して更新される。したがって、タイマカウンタTにセットされた時間は0.1secとなる。その後、MPU62は、可変入球実行処理を終了する。
次に、ステップS1201において、MPU62にて羽根部材401aが開放中であると判定された場合の処理(ステップS1207以降の処理)について説明する。
ステップS1207では、MPU62は、タイマカウンタTの値が「0」以下であるか否かを判定する。
MPU62は、ステップS1207にてタイマカウンタTの値が「0」以下でないと判定した場合には、ステップS1208以降の処理を実行する。
これに対して、MPU62は、ステップS1207にてタイマカウンタTの値が「0」以下であると判定した場合には、ステップS1214以降の処理を実行する。
まず、ステップS1207において、MPU62にてタイマカウンタTの値が「0」以下でないと判定した場合の処理(ステップS1208以降の処理)について説明する。
ステップS1208では、MPU62は、RAM64に記憶されたプレート開閉実行済フラグを参照することによって、プレート403aの開閉を実行済みであるか否かを判定する。このプレート開閉実行済フラグは、羽根部材401aを開放状態に設定した後、羽根部材401aを閉鎖状態に設定するまでの間に、プレート403aの開閉を実行したことを特定するためのフラグである。MPU62は、プレート403aの開閉を実行した時にプレート開閉実行済フラグをセットし、羽根部材401aを閉鎖状態に設定した時にプレート開閉実行済フラグをクリアする。
MPU62は、ステップS1208にてプレート403aの開閉を実行済みであると判定した場合(RAM64にプレート開閉実行済フラグがセットされている場合)には、可変入球実行処理を終了する。
これに対して、MPU62は、ステップS1208にてプレート403aの開閉を実行済みでないと判定した場合(RAM64にプレート開閉実行済フラグがセットされていない場合)には、ステップS1209において、タイマカウンタTの値が「500」以下であるか否かを判定する。換言すれば、高頻度サポートモードまたは特殊モードでは、MPU62は、羽根部材401aを開放状態に設定した後、1secを経過したか否かを判定する。なお、通常モードの低頻度サポートモードでは、MPU62は、ステップS1206にてタイマカウンタTに「50」をセットしているので、ステップS1209にてタイマカウンタTの値が「500」以下であると判定することになる。
MPU62は、ステップS1209にてタイマカウンタTの値が「500」以下でないと判定した場合(高頻度サポートモードまたは特殊モードでは、羽根部材401aを開放状態に設定した後、1secを経過していないと判定した場合)には、可変入球実行処理を終了する。
これに対して、MPU62は、ステップS1209にてタイマカウンタTの値が「500」以下であると判定した場合(高頻度サポートモードまたは特殊モードでは、羽根部材401aを開放状態に設定した後、1secを経過したと判定した場合)には、ステップS1210において、プレート開放処理を実行する。このプレート開放処理では、MPU62は、プレート駆動部403cの駆動制御を実行することによって、プレート403aを開放状態に設定する。
ステップS1211では、タイマカウンタTの値が「400」以下であるか否かを判定する。換言すれば、高頻度サポートモードまたは特殊モードでは、MPU62は、プレート403aを開放状態に設定した後、0.2secを経過したか否かを判定する。なお、通常モードの低頻度サポートモードでは、MPU62は、ステップS1206にてタイマカウンタTに「50」をセットしているので、ステップS1211にてタイマカウンタTの値が「400」以下であると判定することになる。
MPU62は、ステップS1211にてタイマカウンタTの値が「400」以下でないと判定した場合(高頻度サポートモードまたは特殊モードでは、プレート403aを開放状態に設定した後、0.2secを経過していないと判定した場合)には、可変入球実行処理を終了する。
これに対して、MPU62は、ステップS1211にてタイマカウンタTの値が「400」以下であると判定した場合(高頻度サポートモードまたは特殊モードでは、プレート403aを開放状態に設定した後、0.2secを経過したと判定した場合)には、ステップS1212において、プレート閉鎖処理を実行する。このプレート閉鎖処理では、MPU62は、プレート駆動部403cの駆動制御を実行することによって、プレート403aを閉鎖状態に設定する。
ステップS1213では、MPU62は、RAM64の各種フラグ格納エリア64dに設けられたプレート開閉実行済フラグを示すエリアに1を代入することによって、プレート開閉実行済フラグをセットする。その後、MPU62は、可変入球実行処理を終了する。
次に、ステップS1207において、MPU62にてタイマカウンタTの値が「0」以下であると判定した場合の処理(ステップS1214以降の処理)について説明する。
ステップS1214では、MPU62は、羽根部材閉鎖実行処理を実行する。この羽根部材閉鎖実行処理では、MPU62は、羽根部材駆動部401cの駆動制御を実行することによって、羽根部材401aを閉鎖状態に設定する。
ステップS1215では、MPU62は、RAM64の各種フラグ格納エリア64dに設けられたプレート開閉実行済フラグおよび可変入球実行モード中フラグを示すエリアに0を代入することによって、プレート開閉実行済フラグおよび可変入球実行モード中フラグをクリアする。その後、MPU62は、可変入球実行処理を終了する。
このように、可変入球実行モードでは、MPU62は、羽根部材401aを開放状態に設定し、右側可変入球機構40に遊技球を入球可能とするととともに、プレート403aを開放状態または閉鎖状態に設定し、右入球口404および左入球口405のいずれかに遊技球を入球可能とする。
また、高頻度サポートモードまたは特殊モードにおける可変入球実行モードでは、プレート403aを開放状態に設定した後、再び閉鎖状態に設定するまでの時間(開放期間)は、羽根部材401aを開放状態に設定した後、再び閉鎖状態に設定するまでの時間(開放期間)よりも短くなっている。具体的には、プレート403aの開放期間(本実施形態では0.2sec)は、羽根部材401aの開放期間(本実施形態では2sec)の約1/10程度である。換言すれば、右側可変入球機構40に入球した遊技球は、約1/10の確率で右入球口404に入球することになる。
なお、本実施形態では、羽根部材401aの開放期間において、プレート403aは、1回の開閉動作を実行しているが、複数回の開閉動作を実行していてもよい。
また、本実施形態では、プレート403aの開放期間を0.2secとし、羽根部材401aの開放期間を2secとしているが、これら以外の開放期間を採用してもよい。
また、本実施形態では、MPU62は、羽根部材401aを開放状態に設定した後、1secを経過したと判定した場合に、プレート403aを開放状態に設定しているが、プレート403aを開放状態に設定するタイミングは、これ以外のタイミングを採用してもよい。
これに対して、通常モードの低頻度サポートモードにおける可変入球実行モードでは、羽根部材401aを開放状態に設定した後、再び閉鎖状態に設定するまでの時間(開放期間)は、0.2secであり、プレート403aは、羽根部材401aを開放状態に設定した後、すぐに開閉することになる。換言すれば、遊技球は、右側可変入球機構40に入球できないようになっている。
遊技状態移行処理の説明に戻り、図17を参照してステップS817以降の処理について説明する。
MPU62は、ステップS816の可変入球実行処理を実行した後、ステップS817において、右入球口404に対応した検知センサ50gが遊技球の入賞を検知したか否かを判定することによって、右入球口404に遊技球が入賞(V入賞)したか否かを判定する。
MPU62は、ステップS817にて右入球口404に遊技球が入賞したと判定した場合には、ステップS818において、V入賞成功処理を実行する。このV入賞成功処理では、MPU62は、羽根部材駆動部401cの駆動制御を実行することによって、羽根部材401aを閉鎖状態に設定した後、RAM64に記憶されたプレート開閉実行済フラグおよび可変入球実行モード中フラグをクリアする。また、V入賞成功処理では、MPU62は、V入賞成功コマンドを設定する。MPU62は、通常処理のステップS301において、ステップS818にて設定したV入賞成功コマンドを音声発光制御装置90に送信する。その後、MPU62は、前述したステップS807以降の処理を実行する。
なお、音声発光制御装置90は、MPU62から送信されるV入賞成功コマンドに基づいて、右入球口404に遊技球が入賞したことを認識し、所定の処理を実行する。
これに対して、MPU62は、ステップS817にて右入球口404に遊技球が入賞していないと判定した場合には、ステップS819において、羽根部材401aを閉鎖状態に設定したか否かを判定する。
MPU62は、ステップS819にて羽根部材401aを閉鎖状態に設定していないと判定した場合には、遊技状態移行処理を終了する。
これに対して、MPU62は、ステップS819にて羽根部材401aを閉鎖状態に設定したと判定した場合には、ステップS820において、V入賞失敗処理を実行する。このV入賞失敗処理では、MPU62は、V入賞失敗コマンドを設定する。MPU62は、通常処理のステップS301において、ステップS820にて設定したV入賞失敗コマンドを音声発光制御装置90に送信する。その後、MPU62は、遊技状態移行処理を終了する。
なお、音声発光制御装置90は、MPU62から送信されるV入賞失敗コマンドに基づいて、右入球口404に遊技球が入賞しなかったことを認識し、所定の処理を実行する。
このように、パチンコ機10は、当否抽選において「大当たり当選」となった場合には、そのまま開閉実行モードに移行するのに対し、当否抽選において「小当たり当選」となった場合には、可変入球実行モードに移行し、この可変入球実行モードにおいて、右入球口404への入球が発生した場合には、開閉実行モードに移行する。
なお、パチンコ機10は、可変入球実行モードにおいて、左入球口405への入球のみが発生した場合や、右入球口404および左入球口405のいずれにも入球が発生しなかった場合には、開閉実行モードに移行しない。
ここで、前述したように、低頻度サポートモードでは、遊技球は、下作動口37よりも上作動口36に入賞する確率が高くなる。また、上作動口36への入賞に基づいて行われた内部抽選の結果、「小当たり当選」となる確率は1/6である。
しかしながら、通常モードの低頻度サポートモードでは、前述したように、上作動口36への入賞に基づいて行われた内部抽選の結果、「小当たり当選」となった場合に、遊技球は、右側可変入球機構40に入球できないようになっている。
なお、特殊モードの低頻度サポートモードでは、上作動口36への入賞に基づいて行われた内部抽選の結果、「小当たり当選」となった場合に、遊技球は、右側可変入球機構40に入球できるようになっているので、上作動口36への入賞を契機として可変入球実行モードに移行し、大当たり発生に当選する確率は約1/60程度である。
<変動終了処理>
図22は、変動終了処理のフローチャートを示す図である。
変動終了処理では、MPU62は、図22に示すように、ステップS1301〜S1309を実行する。
ステップS1301では、MPU62は、メイン表示部45に変動表示を開始させる際に実行された変動開始処理のステップS711、ステップS712、およびステップS714のいずれかの処理においてRAM64に記憶した情報(メイン表示部45に最終的に停止表示させる絵柄に係る情報)を特定する。そして、MPU62は、遊技回の終了に際し、この特定した情報に対応した絵柄を変動表示中のメイン表示部45に表示させるようにメイン表示部45の表示制御を実行する(変動終了実行処理)。
ステップS1302では、MPU62は、サポートモードが高頻度サポートモードであるか否かを判定する。
MPU62は、ステップS1302にてサポートモードが高頻度サポートモードでないと判定した場合には、ステップS1306以降の処理を実行する。
これに対して、MPU62は、ステップS1302にてサポートモードが高頻度サポートモードであると判定した場合には、ステップS1303において、開閉実行モード終了時の移行処理のステップS1104にてセットした遊技回数カウンタRTCの値に1を減算して更新する。ここで、前述したステップS716にて設定された変動用コマンドは、遊技回数カウンタRTCの値を含んでいる。
ステップS1304では、MPU62は、遊技回数カウンタRTCが「0」以下であるか否かを判定する。
MPU62は、ステップS1304にて遊技回数カウンタRTCが「0」以下でないと判定した場合には、ステップS1306以降の処理を実行する。
これに対して、MPU62は、ステップS1304にて遊技回数カウンタRTCが「0」以下であると判定した場合には、ステップS1305において、RAM64に記憶された高頻度サポートフラグをクリアする。これによって、MPU62は、サポートモードを低頻度サポートモードに設定する。
このように、当否抽選において「大当たり当選」となって高頻度サポートフラグをRAM64にセットした場合には、遊技状態は、現在の遊技状態に関わらず開閉実行モード(すなわち、ラウンド数規定モード)の終了後に、高頻度サポートモードに移行する。高頻度サポートモードは、遊技回数カウンタRTCにセットされた終了基準回数である100回の遊技回を消化するまで継続する。
ステップS1305の処理を実行した後、ステップS1302にてサポートモードが高頻度サポートモードでないと判定した場合、またはステップS1304にて遊技回数カウンタRTCが「0」以下でないと判定した場合には、MPU62は、ステップS1306において、遊技モードが特殊モードであるか否かを判定する。
MPU62は、ステップS1306にて遊技モードが特殊モードでないと判定した場合(遊技モードが通常モードであると判定した場合)には、ステップS1307以降の処理を実行することなく、変動終了処理を終了する。
これに対して、MPU62は、ステップS1306にて遊技モードが特殊モードであると判定した場合には、ステップS1307において、開閉実行モード終了時の移行処理のステップS1108にてセットした遊技回数カウンタRTCの値に1を減算して更新する。ここで、前述したステップS716にて設定された変動用コマンドは、遊技回数カウンタRTCの値を含んでいる。
ステップS1308では、MPU62は、遊技回数カウンタRTCが「0」以下であるか否かを判定する。
MPU62は、ステップS1308にて遊技回数カウンタRTCが「0」以下でないと判定した場合には、ステップS1309以降の処理を実行することなく、変動終了処理を終了する。
これに対して、MPU62は、ステップS1308にて遊技回数カウンタRTCが「0」以下であると判定した場合には、ステップS1309において、RAM64に記憶された特殊モードフラグをクリアする。これによって、MPU62は、遊技モードを通常モードに設定する。その後、MPU62は、変動終了処理を終了する。
このように、当否抽選において「大当たり当選」となって特殊モードフラグをRAM64にセットした場合には、遊技状態は、現在の遊技状態に関わらず開閉実行モード(すなわち、ラウンド数規定モード)の終了後に、特殊モードに移行する。特殊モードは、遊技回数カウンタRTCにセットされた終了基準回数である30回の遊技回を消化するまで継続する。
このように、本実施形態では、主制御装置60は、内部抽選の結果に基づいて、遊技状態を移行する遊技状態移行手段として機能する。
また、本実施形態では、低頻度サポートモードは、通常モードおよび特殊モードの遊技モードを有している。
そして、本実施形態では、主制御装置60は、低頻度サポートモードの通常モードおよび高頻度サポートモードでは、内部抽選の結果(低頻度サポートモード結果または高頻度サポートモード結果)に基づいて、低頻度サポートモードおよび高頻度サポートモードのいずれかに遊技状態を移行し、低頻度サポートモードの特殊モードでは、内部抽選の結果に関わらず高頻度サポートモードに遊技状態を移行する。これによれば、遊技者は、低頻度サポートモードに遊技状態を移行した場合であっても特殊モードに滞在していることを期待して遊技することになるので、パチンコ機10は、遊技者の遊技への注目度を向上させることができる。
なお、本実施形態では、高頻度サポートモードは、特殊モードの遊技モードを有していないが、これを有していてもよい。
また、本実施形態では、主制御装置60は、上作動口36および下作動口37への遊技球の入球に際して実行された内部抽選の結果に基づいて、遊技者にとって有利な開閉実行モードに通常制御状態から遊技状態を移行し、開閉実行モードから通常制御状態に遊技状態を移行したときに、低頻度サポートモードおよび高頻度サポートモードのいずれかに遊技状態を移行する。これによれば、遊技者は、低頻度サポートモードに移行した場合には、特殊モードに滞在しているか否かに注目することになるので、パチンコ機10は、遊技者の遊技への注目度を向上させることができる。
また、本実施形態では、右側可変入球機構40は、上作動口36または下作動口37への遊技球の入球に際して実行された内部抽選の結果に基づいて、右打ちルートに向かって発射された遊技球を入球可能とする可変入球機構として機能する。そして、主制御装置60は、右側可変入球機構40への遊技球の入球に際して通常制御状態から開閉実行モードに遊技状態を移行する。ここで、下作動口37への遊技球の入球に際して実行された内部抽選の結果に基づいて、可変入球実行モードを介して開閉実行モードに移行する確率(約1/12.5)は、上作動口36への遊技球の入球に際して実行された内部抽選の結果に基づいて、可変入球実行モードを介して開閉実行モードに移行する確率(約1/60)よりも高くなっている。これによれば、遊技者は、高頻度サポートモードに遊技状態を移行することを期待することになるので、パチンコ機10は、遊技者の遊技への注目度を向上させることができる。
また、本実施形態では、主制御装置60は、上作動口36および下作動口37への遊技球の入球に際して実行された内部抽選の結果に基づいて、通常モードおよび特殊モードのいずれかに遊技モードを移行する。具体的には、主制御装置60は、低頻度サポートモードに遊技状態を移行する場合には、特殊モードに遊技モードを移行し、高頻度サポートモードに遊技状態を移行する場合には、通常モードに遊技モードを移行する。これによれば、遊技者は、上作動口36および下作動口37への遊技球の入球に際して実行された内部抽選の結果に注目することになるので、パチンコ機10は、遊技者の遊技への注目度を向上させることができる。
なお、本実施形態では、主制御装置60は、低頻度サポートモードに遊技状態を移行する場合には、特殊モードに遊技モードを移行し、高頻度サポートモードに遊技状態を移行する場合には、通常モードに遊技モードを移行しているが、これ以外の条件に基づいて、通常モードおよび特殊モードのいずれかに遊技モードを移行してもよい。
また、本実施形態では、主制御装置60は、特殊モードに遊技モードを移行した後、所定回数の遊技回(本実施形態では30回)を消化した場合に特殊モードから通常モードに遊技モードを移行する。これによれば、遊技者は、遊技回の消化回数に注目することになるので、パチンコ機10は、遊技者の遊技への注目度を向上させることができる。
なお、本実施形態では、主制御装置60は、特殊モードに遊技モードを移行した後、30回の遊技回を消化した場合に特殊モードから通常モードに遊技モードを移行しているが、これ以外の回数の遊技回を消化した場合に特殊モードから通常モードに遊技モードを移行してもよく、例えば、遊技回の消化回数を30回および50回などのように複数の回数に振り分けて設定するようにしてもよい。
また、本実施形態では、主制御装置60は、特殊モードに遊技モードを移行した後、30回の遊技回を消化した場合に特殊モードから通常モードに遊技モードを移行しているが、例えば、上作動口36または下作動口37への入賞に基づいて行われた内部抽選の結果、「小当たり当選」となった回数が所定の回数を超えた場合に特殊モードから通常モードに遊技モードを移行するようにしてもよい。
また、本実施形態では、主制御装置60は、特殊モードに遊技モードを移行した後、30回の遊技回を消化した場合に特殊モードから通常モードに遊技モードを移行しているが、例えば、右打ちルートに向かって遊技球が発射された場合に特殊モードから通常モードに遊技モードを移行するようにしてもよい。換言すれば、主制御装置60は、特殊モードの滞在中に右打ちルートに向かって遊技球が発射された場合に、ペナルティとして特殊モードを終了するようにしてもよい。これによれば、遊技者は、高頻度サポートモードでは、右打ちルートに向かって遊技球を発射し、特殊モードの低頻度サポートモードでは、左打ちルートに向かって遊技球を発射することになるので、パチンコ機10は、遊技者の意図を確実に反映させることができ、遊技者に快適に遊技をさせることができる。
また、本実施形態では、低頻度サポートモード結果は、低頻度サポートモードおよび高頻度サポートモードのいずれかに遊技状態を移行する第1の抽選結果として機能し、高頻度サポートモード結果は、高頻度サポートモードに遊技状態を移行する第2の抽選結果として機能する。これによれば、パチンコ機10は、低頻度サポートモード結果となった場合であっても高頻度サポートモードに遊技状態を移行することができ、高頻度サポートモードに遊技状態を移行する機会を増加させることができるので、パチンコ機10は、遊技者の遊技への注目度を向上させることができる。
そして、低頻度サポートモードは、低頻度サポートモード結果となった場合に低頻度サポートモードに遊技状態を移行する通常モードと、低頻度サポートモード結果となった場合に高頻度サポートモードに遊技状態を移行する特殊モードとを有している。これによれば、遊技者は、低頻度サポートモードに遊技状態を移行した場合であっても特殊モードに滞在していることを期待して遊技することになるので、パチンコ機10は、遊技者の遊技への注目度を向上させることができる。
また、本実施形態では、低頻度サポートモードは、通常モードと、遊技者にとって有利な遊技状態に移行する確率が通常モードよりも高い特殊モードとを備えている。具体的には、本実施形態では、特殊モードは、高頻度サポートモードに移行する確率が通常モードよりも高くなっている。これによれば、遊技者は、低頻度サポートモードに遊技状態を移行した場合であっても特殊モードに滞在していることを期待して遊技することになるので、パチンコ機10は、遊技者の遊技への注目度を向上させることができる。
なお、本実施形態では、特殊モードは、高頻度サポートモードに移行する確率が通常モードよりも高く100%となっているが、100%でなくてもよい。要するに、特殊モードは、高頻度サポートモードに移行する確率が通常モードよりも高くなっていればよい。
そして、主制御装置60は、上作動口36および下作動口37への遊技球の入球に際して実行された内部抽選の結果に基づいて、遊技者にとって有利な開閉実行モードに通常制御状態から遊技状態を移行し、開閉実行モードから通常制御状態に遊技状態を移行したときに、通常モードおよび特殊モードのいずれかに遊技モードを移行する。
なお、本実施形態では、主制御装置60は、開閉実行モードから通常制御状態に遊技状態を移行したときに、通常モードおよび特殊モードのいずれかに遊技モードを移行しているが、これ以外のタイミングで通常モードおよび特殊モードのいずれかに遊技モードを移行してもよく、例えば、遊技回の消化中に通常モードおよび特殊モードのいずれかに遊技モードを移行してもよい。
<音声発光制御装置90および表示制御装置100の電気的構成>
図23は、音声発光制御装置および表示制御装置の電気的構成を示すブロック図である。
音声発光制御装置90は、図23に示すように、音声発光制御基板91と、この音声発光制御基板91に実装されたMPU92と、このMPU92を構成しているROM93およびRAM94とを備えている。ここで、MPU92は、ROM93およびRAM94の他、CPU、割込回路、タイマ回路、およびデータ入出力回路などを複合的にチップ化した素子である。
ROM93は、各種の制御プログラムや固定値データを記憶するためのメモリであり、記憶している情報の保持に際して外部からの電力供給を必要としない不揮発性記憶手段である。
RAM94は、ROM93に記憶された制御プログラムの実行に際して各種のデータ等を一時的に記憶するためのメモリであり、記憶している情報の保持に際して外部からの電力供給を必要とする揮発性記憶手段である。このRAM94は、コマンドリスト格納エリア94aなどの各種エリアを有している。
MPU92は、入力ポートおよび出力ポートを備えている。MPU92の入力ポートは、前述したように、主制御装置60に接続されている。また、MPU92の入力ポートは、押ボタン25bに接続されている。MPU92の出力ポートは、各種ランプ部23,53〜55と、スピーカ部24と、表示制御装置100とに接続されている。
MPU92は、主制御装置60から送信されるコマンドに基づいて、各種ランプ部23,53〜55や、スピーカ部24の駆動制御を実行する。
また、MPU92は、これらのコマンドを解析した結果のコマンドを表示制御装置100に送信する。なお、音声発光制御装置90は、信号線の両端にコネクタが設けられたコネクタユニット(接続ユニット)を介して表示制御装置100と電気的に接続されている。
表示制御装置100は、表示制御基板101と、MPU102と、このMPU102を構成しているプログラムROM103およびワークRAM104と、ビデオディスプレイプロセッサ(VDP)105と、キャラクタROM106と、ビデオRAM107とを備えている。ここで、MPU102は、プログラムROM103およびワークRAM104の他、CPU、割込回路、タイマ回路、およびデータ入出力回路などを複合的にチップ化した素子である。なお、MPU102、VDP105、キャラクタROM106、およびビデオRAM107は、表示制御基板101に実装されている。
MPU102は、音声発光制御装置90から送信されるコマンドを解析するとともに、このコマンドに基づいて所定の演算処理を行ってVDP105の制御を実行する。具体的には、MPU102は、VDP105に対するコマンドを生成することによってVDP105の制御を実行する。
プログラムROM103は、各種の制御プログラムや固定値データを記憶するためのメモリであり、記憶している情報の保持に際して外部からの電力供給を必要としない不揮発性記憶手段である。
ワークRAM104は、プログラムROM103に記憶された制御プログラムの実行に際して各種のデータ等を一時的に記憶するためのメモリであり、記憶している情報の保持に際して外部からの電力供給を必要とする揮発性記憶手段である。
VDP105は、図柄表示装置51に組み込まれた液晶表示部ドライバとしての画像処理デバイスを直接操作する一種の描画回路である。VDP105は、ICチップ化されているため、「描画チップ」とも呼ばれ、その実体は、描画処理専用のファームウェアを内蔵したマイコンチップとでも言うべきものである。このVDP105は、MPU102にて生成されたコマンドの内容に基づいて、キャラクタROM106から画像データを読み出し、この画像データをビデオRAM107に記憶させる。
キャラクタROM106は、図柄表示装置51に表示される図柄などのキャラクタデータを記憶するための画像データライブラリとして機能する。このキャラクタROM106は、各種図柄のビットマップ形式画像データや、ビットマップ画像の各ドットでの表現色を決定する際に参照する色パレットテーブル等を保持している。
ビデオRAM107は、図柄表示装置51に表示させる表示データを記憶するためのメモリであり、図柄表示装置51の表示内容は、このビデオRAM107の内容を書き替えることによって変更される。
<音声発光制御装置90にて実行されるタイマ割込み処理について>
図24は、音声発光制御装置にて実行されるタイマ割込み処理のフローチャートを示す図である。
音声発光制御装置90のMPU92は、遊技を進行させるタイマ割込み処理を実行する。このタイマ割込み処理では、MPU92は、図24に示すように、ステップS2001〜S2005を定期的に(例えば、2msec周期で)実行する。
ステップS2001では、MPU92は、コマンド格納処理を実行する。このコマンド格納処理では、MPU92は、MPU62からコマンドを受信した場合に、そのコマンドをRAM94に格納する。具体的には、RAM94は、MPU62から受信したコマンドの格納および読み出しをするためのリングバッファを有し、MPU92は、MPU62から受信した順序にしたがってコマンドをリングバッファに格納していく。なお、MPU92は、リングバッファに格納した順序にしたがってリングバッファからコマンドを読み出す。
ステップS2002では、MPU92は、MPU62から受信したコマンドに基づいて演出決定処理を実行する。演出決定処理では、MPU92は、遊技回用の演出や、可変入球実行モード用の演出や、開閉実行モード用の演出などを決定する。
ステップS2003では、MPU92は、ステップS2002の演出決定処理の内容に基づいて、演出実行処理を実行する。具体的には、演出実行処理では、MPU92は、各種ランプ部23,53〜55の発光制御を実行し、スピーカ部24の音声制御を実行する。
ステップS2004では、MPU92は、MPU62から受信したデモコマンドに基づいてデモ表示実行処理を実行する。デモ表示実行処理では、MPU92は、遊技回の終了後に新たな遊技回が開始されることなく予め定められたデモ開始用の開始待ち期間(例えば、3sec)を経過した場合にデモ表示を実行する。具体的には、デモ表示実行処理では、MPU92は、各種ランプ部23,53〜55の発光制御を実行し、スピーカ部24の音声制御を実行する。
ステップS2005では、ステップS2002の演出決定処理およびステップS2004のデモ表示実行処理で設定したコマンドを表示制御装置100に送信するためのコマンド送信処理を実行する。このコマンド送信処理では、MPU92は、RAM94のコマンドリスト格納エリア94aにコマンドリストとして格納された各種コマンドを表示制御装置100に送信するタイミングに至ったか否かを判定し、各種コマンドを表示制御装置100に送信するタイミングに至ったと判定した場合には、そのコマンドを表示制御装置100に送信する。
その後、MPU92は、タイマ割込み処理を終了する。
<音声発光制御装置90にて実行される演出決定処理について>
図25は、演出決定処理のフローチャートを示す図である。
音声発光制御装置90のMPU92は、遊技回用の演出や、可変入球実行モード用の演出や、開閉実行モード用の演出などを実行するために演出決定処理を実行する。この演出決定処理では、MPU92は、図25に示すように、ステップS2101〜S2116を実行する。
ステップS2101では、MPU92は、MPU62から送信された変動用コマンドおよび種別コマンドを受信しているか否かを判定する。
MPU92は、ステップS2101にて各コマンドを受信していないと判定した場合には、ステップS2109以降の処理を実行する。
これに対して、MPU92は、ステップS2101にて各コマンドを受信していると判定した場合には、ステップS2102において、種別コマンドの内容に基づいて、当否結果が「大当たり当選」であるか否かを判定する。
MPU92は、ステップS2102にて当否結果が「大当たり当選」であると判定した場合には、ステップS2103以降の処理を実行する。
これに対して、MPU92は、ステップS2102にて当否結果が「大当たり当選」でないと判定した場合には、ステップS2104以降の処理を実行する。
まず、ステップS2102において、MPU92にて当否結果が「大当たり当選」であると判定した場合の処理(ステップS2103以降の処理)について説明する。
ステップS2103では、MPU92は、大当たり用の図柄決定処理を実行する。この大当たり用の図柄決定処理では、MPU92は、振分結果が「高頻度サポートモード結果」であると判定した場合には、有効ラインL上に最終的に停止表示させる停止結果として同一の奇数の数字を有する図柄の組み合わせに係る情報を決定し、振分結果が「低頻度サポートモード結果」であると判定した場合には、有効ラインL上に最終的に停止表示させる停止結果として同一の偶数の数字を有する図柄の組み合わせに係る情報を決定する。なお、奇数および偶数の数字は、抽選などによってランダムに決定される。
次に、ステップS2102において、MPU92にて当否結果が「大当たり当選」でないと判定した場合の処理(ステップS2104以降の処理)について説明する。
ステップS2104では、MPU92は、種別コマンドの内容に基づいて、当否結果が「小当たり当選」であるか否かを判定する。
MPU92は、ステップS2104にて当否結果が「小当たり当選」であると判定した場合には、ステップS2105において、小当たり用の図柄決定処理を実行する。この小当たり用の図柄決定処理では、上作動口36への入賞に基づいて行われた当否抽選において「小当たり当選」となった場合には、MPU92は、有効ラインL上に最終的に停止表示させる停止結果として特別な図柄の組み合わせに係る情報を決定する。具体的には、MPU92は、同一の数字を有する図柄の組み合わせではなく、当否抽選において「通常外れ結果」となった場合に選択されることのない互いに異なる数字を有する特別な図柄の組み合わせ(例えば「3・4・1」)を決定する。下作動口37への入賞に基づいて行われた当否抽選において「小当たり当選」となった場合には、MPU92は、有効ラインL上に最終的に停止表示させる停止結果として同一の英字を有する図柄の組み合わせに係る情報を決定する。
これに対して、MPU92は、ステップS2104にて当否結果が「小当たり当選」でないと判定した場合(当否結果が「通常外れ結果」であると判定した場合)には、ステップS2106において、通常外れ用の図柄決定処理を実行する。この通常外れ用の図柄決定処理では、MPU92は、変動用コマンドの内容に基づいて、上作動口36および下作動口37のいずれの作動口への入賞をトリガとして絵柄の変動表示を実行するか(第1結果表示部45aおよび第2結果表示部45bのうち、どちらのメイン表示部45にて変動表示を実行するか)を判定するとともに、変動用コマンドの内容に基づいて、リーチ表示が発生するか否かを判定する。
MPU92は、上作動口36への入賞をトリガとして絵柄の変動表示を実行すると判定するとともに、リーチ表示が発生すると判定した場合には、有効ラインL上に最終的に停止表示させる停止結果としてリーチ表示の図柄の組み合わせに係る情報を決定する。なお、リーチ表示の図柄の組み合わせは、抽選などによってランダムに決定される。
これに対して、MPU92は、リーチ表示が発生しないと判定した場合には、有効ラインL上に最終的に停止表示させる停止結果として前述した図柄の組み合わせとは異なる図柄の組み合わせに係る情報を決定する。具体的には、MPU92は、同一の数字を有する図柄の組み合わせ、特別な図柄の組み合わせ、およびリーチ表示の図柄の組み合わせのいずれとも異なる組み合わせの図柄を抽選などによってランダムに決定する。
また、MPU92は、下作動口37への入賞をトリガとして絵柄の変動表示を実行すると判定するとともに、リーチ表示が発生すると判定した場合には、有効ラインL上に最終的に停止表示させる停止結果としてリーチ表示の図柄の組み合わせに係る情報を決定する。
これに対して、MPU92は、リーチ表示が発生しないと判定した場合には、有効ラインL上に最終的に停止表示させる停止結果として前述した図柄の組み合わせとは異なる図柄の組み合わせに係る情報を決定する。具体的には、MPU92は、同一の英字を有する図柄の組み合わせ、およびリーチ表示の図柄の組み合わせのいずれとも異なる組み合わせの図柄を決定する。
ステップS2103、ステップS2105、またはステップS2106の処理を実行した後、MPU92は、ステップS2107において、演出パターンの決定処理を実行する。この演出パターンの決定処理では、MPU92は、ROM93に予め記憶された演出用のテーブルを参照することによって、変動用コマンドおよび種別コマンドに対応する演出パターンを選択する。具体的には、MPU92は、演出パターンとして、演出継続時間(演出継続期間)および演出の内容を選択する。なお、ステップS2107では、MPU92は、予告表示を発生させるか否かの抽選も実行する。
ここで、特殊モードの低頻度サポートモードでは、MPU92は、上作動口36または下作動口37への入賞に基づいて行われた内部抽選の結果、「小当たり当選」となった場合には、図柄表示装置51の変動表示が終了する前に、表示画面Gにキャラクタを表示させるとともに、このキャラクタのセリフにて遊技者に対して右打ちするように報知する事前報知演出を実行する。具体的には、MPU92は、図柄表示装置51の変動表示が終了する5sec前に事前報知演出を実行する。これによれば、遊技者は、事前報知演出の確認後に右打ちを開始することによって、MPU62にて羽根部材401aを開放状態に設定する前に遊技球を右側可変入球機構40に到達させることができる。換言すれば、遊技球は、遊技球発射機構81から発射された後、5sec以内に右側可変入球機構40に到達できるようになっている。
このように、本実施形態では、特殊モードの低頻度サポートモードでは、上作動口36または下作動口37への入賞に基づいて行われた内部抽選の結果、「小当たり当選」となった場合には、遊技者は、事前報知演出の確認後に右打ちを開始することによって、遊技球を右側可変入球機構40に入球させることができるようになっている。
ここで、前述したように、低頻度サポートモードでは、遊技球は、下作動口37よりも上作動口36に入賞する確率が高くなり、高頻度サポートモードでは、遊技球は、上作動口36よりも下作動口37に入賞する確率が高くなる。そして、下作動口37への遊技球の入球に際して実行された内部抽選の結果に基づいて、可変入球実行モードを介して開閉実行モードに移行する確率(約1/12.5)は、上作動口36への遊技球の入球に際して実行された内部抽選の結果に基づいて、可変入球実行モードを介して開閉実行モードに移行する確率(約1/60)よりも高くなっている。
したがって、本実施形態では、高頻度サポートモードは、右側可変入球機構40に入球しやすくなる第1の時短状態として機能する。特殊モードの低頻度サポートモードは、高頻度サポートモードと比較して右側可変入球機構40に入球しにくくなる第2の時短状態として機能する。これによれば、右側可変入球機構40への遊技球の入球に際して通常制御状態から開閉実行モードに遊技状態を移行することができる遊技状態の種類を多様化することができるので、パチンコ機10は、遊技者の遊技への注目度を向上させることができる。
これに対して、通常モードの低頻度サポートモードでは、MPU92は、上作動口36または下作動口37への入賞に基づいて行われた内部抽選の結果、「小当たり当選」となった場合には、事前報知演出を実行しないようになっている。
このように、本実施形態では、通常モードの低頻度サポートモードでは、上作動口36または下作動口37への入賞に基づいて行われた内部抽選の結果、「小当たり当選」となった場合には、遊技者は、事前報知演出を確認できないので、遊技球を右側可変入球機構40に入球させることができないようになっている。換言すれば、通常モードの低頻度サポートモードは、右側可変入球機構40に入球できなくなる。
また、本実施形態では、高頻度サポートモードでは、遊技球は、上作動口36よりも下作動口37に入賞する確率が高くなるので、高頻度サポートモードは、右打ちルートに向かって遊技球を発射することによって、遊技者にとって有利な状況となる第1の時短状態として機能する。特殊モードの低頻度サポートモードでは、遊技球は、下作動口37よりも上作動口36に入賞する確率が高くなるので、特殊モードの低頻度サポートモードは、右打ちルートに向かって遊技球を発射することによって、高頻度サポートモードと比較して遊技者にとって不利な状況となる第2の時短状態として機能する。換言すれば、特殊モードの低頻度サポートモードは、左打ちルートに向かって遊技球を発射することによって、遊技者にとって有利な状況となる。これによれば、右側可変入球機構40への遊技球の入球に際して通常制御状態から特定制御状態に遊技状態を移行することができる遊技状態の種類を多様化することができるので、パチンコ機10は、遊技者の遊技への注目度を向上させることができる。
なお、本実施形態では、第1の時短状態は、上作動口36よりも下作動口37に入賞する確率を高くし、第2の時短状態は、下作動口37よりも上作動口36に入賞する確率を高くすることによって、遊技者にとって有利な状況および不利な状況を作り出していた。これに対して、第1の時短状態は、下作動口37へのの入賞に基づく変動表示の表示継続時間を短くし、第2の時短状態は、下作動口37へのの入賞に基づく変動表示の表示継続時間を長くすることによって、遊技者にとって有利な状況および不利な状況を作り出してもよい。
また、MPU92は、選択した演出パターンに基づいて、前述したステップS2003の演出実行処理において、表示ランプ部23の発光制御を実行するとともに、スピーカ部24の音声制御を実行する。
ステップS2108では、MPU92は、ステップS2103、ステップS2105、またはステップS2106の処理にて決定した停止結果に係る情報を含む停止結果コマンドと、ステップS2107にて選択した演出パターンを含むパターンコマンドを設定する。そして、MPU92は、RAM94のコマンドリスト格納エリア94aに格納されたコマンドリストに停止結果コマンドおよびパターンコマンドを記憶する。これらの停止結果コマンドおよびパターンコマンドは、前述したステップS2005のコマンド送信処理において、表示制御装置100に送信される。
表示制御装置100のMPU102は、MPU92から送信された停止結果コマンドおよびパターンコマンドに基づいて、遊技回用の演出を図柄表示装置51にて実行するためのデータテーブルをプログラムROM103から読み出す。そして、MPU102は、予め定められた画像更新タイミング(例えば、20msec周期)となる度に、このデータテーブルに基づいてVDP105に対してコマンドを出力する。これによって、図柄表示装置51は、音声発光制御装置90のMPU92にて選択された演出パターンに基づく遊技回用の演出を実行するとともに、MPU92にて決定された停止結果を有効ラインL上に最終的に停止表示させる。
MPU92は、ステップS2108の処理を実行した後、またはステップS2101にて変動用コマンドおよび種別コマンドを受信していないと判定した場合には、ステップS2109以降の処理を実行する。
ステップS2109では、MPU92は、MPU62から送信された可変入球実行モード用のコマンド(羽根部材開放コマンド、V入賞成功コマンド、またはV入賞失敗コマンド)を受信しているか否かを判定する。
MPU92は、ステップS2109にて可変入球実行モード用のコマンドを受信していないと判定した場合には、ステップS2112以降の処理を実行する。
これに対して、MPU92は、ステップS2109にて可変入球実行モード用のコマンドを受信したと判定した場合には、ステップS2110において、可変入球実行モード用演出の決定処理を実行する。この可変入球実行モード用演出の決定処理では、MPU92は、ステップS2109にて羽根部材開放コマンドを受信したと判定した場合には、ROM93に予め記憶された演出用のテーブルを参照することによって、羽根部材401aの開放に対応する演出パターンを選択する。また、MPU92は、ステップS2109にてV入賞成功コマンドを受信したと判定した場合には、ROM93に予め記憶された演出用のテーブルを参照することによって、V入賞の成功に対応する演出パターンを選択し、ステップS2109にてV入賞失敗コマンドを受信したと判定した場合には、ROM93に予め記憶された演出用のテーブルを参照することによって、V入賞の失敗に対応する演出パターンを選択する。
ステップS2111では、MPU92は、ステップS2110にて選択した可変入球実行モード用の演出を含む可変入球実行モード用のコマンドを設定する。そして、MPU92は、RAM94のコマンドリスト格納エリア94aに格納されたコマンドリストに可変入球実行モード用のコマンドを記憶する。この可変入球実行モード用のコマンドは、前述したステップS2005のコマンド送信処理において、表示制御装置100に送信される。
表示制御装置100のMPU102は、MPU92から送信された可変入球実行モード用のコマンドに基づいて、可変入球実行モード用の演出(羽根部材401aの開放、V入賞の成功、またはV入賞の失敗に対応する演出)を図柄表示装置51にて実行するためのデータテーブルをプログラムROM103から読み出す。そして、MPU102は、予め定められた画像更新タイミング(例えば、20msec周期)となる度に、このデータテーブルに基づいてVDP105に対してコマンドを出力する。これによって、図柄表示装置51は、可変入球実行モード用の演出を実行し、羽根部材401aを開放したこと、V入賞に成功したこと、またはV入賞に失敗したことを遊技者に報知する。
MPU92は、ステップS2111の処理を実行した後、またはステップS2109にて可変入球実行モード用のコマンドを受信していないと判定した場合には、ステップS2112以降の処理を実行する。
ステップS2112では、MPU92は、オープニングコマンドを受信しているか否かを判定する。
MPU92は、ステップS2112にてオープニングコマンドを受信していないと判定した場合には、ステップS2116以降の処理を実行する。
これに対して、MPU92は、ステップS2112にてオープニングコマンドを受信していると判定した場合には、ステップS2113において、オープニングコマンドの内容に基づいて、振分結果の種類を判定する。
ステップS2114では、MPU92は、ステップS2113にて判定した振分結果の種類に対応する開閉実行モード用の演出の決定処理を実行する。
図26は、開閉実行モード用の演出の決定処理のフローチャートを示す図である。
音声発光制御装置90のMPU92は、開閉実行モード用の演出を決定するために開閉実行モード用の演出の決定処理を実行する。この開閉実行モード用の演出の決定処理では、MPU92は、図26に示すように、ステップS2201〜S2204を実行する。
ステップS2201では、MPU92は、ステップS2113にて判定した振分結果が「高頻度サポートモード結果」であるか否かを判定する。
MPU92は、ステップS2201にて遊技結果が「高頻度サポートモード結果」であると判定した場合には、ステップS2202において、開閉実行モード用の演出として演出Aを選択する。その後、MPU62は、開閉実行モード用の演出の決定処理を終了する。
これに対して、MPU92は、ステップS2201にて振分結果が「高頻度サポートモード結果」でないと判定した場合(振分結果が「低頻度サポートモード結果」であると判定した場合)には、ステップS2203において、オープニングコマンドの内容に基づいて、当否抽選において「大当たり当選」となったときの遊技モードが特殊モードであるか否かを判定する。
MPU92は、ステップS2203にて遊技モードが特殊モードであると判定した場合には、前述したステップS2202以降の処理を実行し、開閉実行モード用の演出として演出Aを選択する。その後、MPU62は、開閉実行モード用の演出の決定処理を終了する。
これに対して、MPU92は、ステップS2203にて遊技モードが特殊モードでないと判定した場合(遊技モードが通常モードであると判定した場合)には、ステップS2204において、開閉実行モード用の演出として演出Bを選択する。その後、MPU62は、開閉実行モード用の演出の決定処理を終了する。
なお、演出Aおよび演出Bの継続時間は、開閉実行モードに際して大入賞口38aの開閉を15回実行する場合の時間と対応している。
また、MPU92は、演出Aおよび演出Bの選択結果に基づいて、前述したステップS2003の演出実行処理において、表示ランプ部23の発光制御を実行するとともに、スピーカ部24の音声制御を実行する。
演出決定処理の説明に戻り、図25を参照してステップS2115以降の処理について説明する。
ステップS2115では、MPU92は、ステップS2114にて選択した開閉実行モード用の演出に係る情報を含む開閉実行モード用コマンドを設定する。この開閉実行モード用コマンドは、前述したステップS2005のコマンド送信処理において、表示制御装置100に送信される。
表示制御装置100のMPU102は、MPU92から送信された開閉実行モード用コマンドに基づいて、開閉実行モード用の演出を図柄表示装置51にて実行するためのデータテーブルをプログラムROM103から読み出す。そして、MPU102は、予め定められた画像更新タイミング(例えば、20msec周期)となる度に、このデータテーブルに基づいてVDP105に対してコマンドを出力する。これによって、図柄表示装置51は、音声発光制御装置90のMPU92にて選択された開閉実行モード用の演出を実行する。
MPU92は、ステップS2115の処理を実行した後、またはステップS2112にてオープニングコマンドを受信していないと判定した場合には、ステップS2116以降の処理を実行する。
ステップS2116では、MPU92は、その他の処理を実行する。その他の処理では、MPU92は、例えば、MPU62から送信された開放コマンド、閉鎖コマンドおよびエンディングコマンドなどに基づいて、開閉実行モード用の演出を進行させるための処理を実行する。その後、MPU92は、演出決定処理を終了する。
<遊技結果と遊技状態等との関係について>
以下、遊技結果と、各種処理の実行に基づく遊技状態等との関係について説明する。
図27は、遊技結果と、遊技状態等との関係を示す図である。具体的には、図27は、「通常外れ結果」を除く遊技結果と、遊技状態等との関係を示す図であり、遊技結果を列方向に並べ、遊技状態等を行方向に並べている。
パチンコ機10は、図27に示すように、通常モードおよび特殊モードの遊技モードを有している。また、パチンコ機10は、「通常外れ結果」を除く遊技結果として、「高頻度サポートモード結果」および「低頻度サポートモード結果」の振分結果を有している。
以下、「通常外れ結果」を除く遊技結果と、遊技状態等との関係について説明する。なお、本実施形態では、パチンコ機10は、遊技結果と、遊技状態等との関係を以下のように設定しているが、遊技結果と、遊技状態等との組み合わせ、遊技結果の内容、および遊技状態等の内容については任意である。
通常モードの遊技モードでは、「高頻度サポートモード結果」および「低頻度サポートモード結果」の遊技結果に応じて遊技状態等の内容は異なっている。
具体的には、「高頻度サポートモード結果」では、大入賞口38aの開閉は、15回実行される。また、上作動口36への入賞に基づく「高頻度サポートモード結果」では、停止結果は、同一の奇数の数字を有する図柄の組み合わせとなるとともに、開閉実行モード用の演出は、演出Aとなる。下作動口37への入賞に基づく「高頻度サポートモード結果」では、停止結果は、同一の英字を有する図柄の組み合わせとなるとともに、開閉実行モード用の演出は、演出Aとなる。さらに、「高頻度サポートモード結果」では、サポートモードは、高頻度サポートモードに移行する。そして、次回の遊技モードは、通常モードとなる。
また、「低頻度サポートモード結果」では、大入賞口38aの開閉は、15回実行される。また、上作動口36への入賞に基づく「低頻度サポートモード結果」では、停止結果は、同一の偶数の数字を有する図柄の組み合わせとなるとともに、開閉実行モード用の演出は、演出Bとなる。下作動口37への入賞に基づく「低頻度サポートモード結果」では、停止結果は、同一の英字を有する図柄の組み合わせとなるとともに、開閉実行モード用の演出は、演出Bとなる。さらに、「低頻度サポートモード結果」では、サポートモードは、低頻度サポートモードに移行する。そして、次回の遊技モードは、「特殊モード」となる。
これに対して「特殊モード」の遊技モードでは、「高頻度サポートモード結果」および「低頻度サポートモード結果」の遊技結果に関わらず遊技状態等の内容は同一となっている。
具体的には、大入賞口38aの開閉は、15回実行される。また、上作動口36への入賞に基づく遊技結果では、停止結果は、同一の数字を有する図柄の組み合わせとなるとともに、開閉実行モード用の演出は、演出Aとなる。さらに、サポートモードは、高頻度サポートモードに移行する。そして、次回の遊技モードは、通常モードとなる。
したがって、遊技者は、停止結果や、開閉実行モード用の演出を確認することによって、振分結果が「高頻度サポートモード結果」であること、または「低頻度サポートモード結果」であることを把握することができ、次回の遊技モードが通常モードであること、または特殊モードであることを把握することができる。
<右側可変入球機構への遊技球の入球と、その後の流れについて>
図28は、高頻度サポートモードにてスルーゲートへの入賞をトリガとして下作動口に遊技球が入賞した場合の遊技回用の演出を示す図である。
なお、高頻度サポートモードは、当否抽選において「大当たり当選」または「小当たり当選」となって、振分抽選において「高頻度サポートモード結果」に振り分けられた場合や、特殊モードの滞在中に当否抽選において「大当たり当選」となって、振分抽選において「低頻度サポートモード結果」に振り分けられた場合などに移行する。また、図28は、当否結果が「小当たり当選」であったときの図柄表示装置51の表示画面Gを示す図である。
まず、MPU102は、MPU92から受信したパターンコマンドに基づいて、図柄表示装置51の表示画面Gに表示している複数の図柄列Z1〜Z3(図4(B)参照)の変動表示を開始することによって、高速変動期間に移行する。この高速変動期間では、MPU102は、各図柄列Z1〜Z3の図柄を所定の向き(本実施形態では上向き)に周期的にスクロールさせるようにして図柄の変動表示を開始する。また、MPU102は、変動用コマンドの内容に基づいて、遊技回数カウンタRTCの値を高頻度サポートモードの終了基準回数までの残り回数(図28(A)では55回)として図柄表示装置51の表示画面Gの左上に表示する。さらに、高頻度サポートモードでは、MPU102は、遊技者に右打ちを示唆すべく右向き矢印を図柄表示装置51の表示画面Gの右上に表示する。
MPU102は、高速変動期間の経過後、図28(A)に示すように、一部の図柄列(図柄列Z1および図柄列Z3)を有効ラインL(図4(B)参照)上に停止表示させることによって、同一の図柄の組み合わせ(本実施形態では「A」)を表示して停止結果を示唆し、その状態で残りの図柄列(図柄列Z2)を変動表示することによって、リーチ表示を発生させてリーチ期間に移行する。
その後、MPU102は、MPU92から受信した停止結果コマンドに基づいて、図28(B)に示すように、停止結果として、同一の英字を有する図柄の組み合わせ(本実施形態では「AAA」)を有効ラインL上に停止表示することによって、当否抽選の結果を報知する。
MPU102にて同一の英字を有する図柄の組み合わせを有効ラインL上に停止表示させた後、MPU62は、図28(C)に示すように、羽根部材駆動部401cの駆動制御を実行することによって、羽根部材401aを開放状態に設定する。
また、MPU102は、MPU92から受信した羽根部材開放コマンドに基づいて、羽根部材の開放を遊技者に報知するための演出を発生させる。具体的には、MPU102は、図柄表示装置51の表示画面Gの全面にキャラクタを表示させるとともに、このキャラクタのセリフにて遊技者に対して右打ちさせるように報知する。
そして、MPU102は、MPU92から受信した可変入球実行モード用のコマンドに基づいて、図28(D),(E)に示すように、可変入球実行モード用の演出を実行する。
可変入球実行モード用の演出では、MPU102は、可変入球実行モードにおいて、右入球口404に遊技球が入賞(V入賞)した場合に、MPU92から受信したV入賞成功コマンドに基づいて、図28(D)に示すように、V入賞の成功に対応する演出を実行する。具体的には、MPU102は、図柄表示装置51の表示画面Gの全面に「V」の文字を表示し、右入球口404に遊技球が入賞(V入賞)したことを遊技者に報知する。
また、可変入球実行モード用の演出では、MPU102は、右入球口404に遊技球が入賞(V入賞)しなかった場合に、MPU92から受信したV入賞失敗コマンドに基づいて、図28(E)に示すように、V入賞の失敗に対応する演出を実行する。具体的には、MPU102は、図柄表示装置51の表示画面Gの全面に「残念」の文字を表示し、右入球口404に遊技球が入賞(V入賞)しなかったことを遊技者に報知する。
図29は、右側可変入球機構の周辺を示す拡大図である。
MPU62は、MPU102にて同一の英字を有する図柄の組み合わせを有効ラインL上に停止表示させた後、図28(C)および図29(A)に示すように、羽根部材駆動部401cの駆動制御を実行することによって、羽根部材401aを開放状態に設定する(図中矢印参照)。
MPU62は、羽根部材401aを開放状態に設定した後、1secを経過したときに、図29(B)に示すように、プレート駆動部403cの駆動制御を実行することによって、プレート403aを開放状態に設定し(図中矢印参照)、所定の時間(本実施形態では0.2sec)を経過した後、プレート403aを閉鎖状態に設定する(図29(C)矢印参照)。
そして、MPU62は、右入球口404に遊技球が入賞(V入賞)したとき、または羽根部材401aを開放状態に設定した後、2secを経過したときに、図29(C)に示すように、羽根部材駆動部401cの駆動制御を実行することによって、羽根部材401aを閉鎖状態に設定する(図中矢印参照)。
図30は、右入球口に遊技球が入賞(V入賞)した場合の開閉実行モード用の演出を示す図である。
MPU102は、可変入球実行モードにおいて、右入球口404に遊技球が入賞(V入賞)した場合に、図28(D)および図30(A)に示すように、V入賞の成功に対応する演出を実行する。その後、パチンコ機10は、開閉実行モードに移行する。
開閉実行モード用の演出の決定処理では、MPU92は、ステップS2201にて遊技結果が「高頻度サポートモード結果」であると判定した場合、またはステップS2203にて遊技モードが特殊モードであると判定した場合には、ステップS2202において、開閉実行モード用の演出として演出Aを選択する。この演出Aでは、MPU102は、図30(B)に示すように、開閉実行モードの終了時に図柄表示装置51の表示画面Gにキャラクタを表示させるとともに、このキャラクタのセリフ「RUSH突入よ!」にて遊技者に対して遊技結果が「高頻度サポートモード結果」であることを報知する。
その後、パチンコ機10は、図30(C)に示すように、高頻度サポートモードに移行する。高頻度サポートモードでは、遊技モードは、通常モードに移行する。高頻度サポートモードでは、MPU102は、変動用コマンドの内容に基づいて、遊技回数カウンタRTCの値を高頻度サポートモードの終了基準回数までの残り回数(図30(C)では100回)として図柄表示装置51の表示画面Gの左上に表示する。さらに、高頻度サポートモードでは、MPU102は、遊技者に右打ちを示唆すべく右向き矢印を図柄表示装置51の表示画面Gの右上に表示する。
これに対して、開閉実行モード用の演出の決定処理では、MPU92は、ステップS2201にて遊技結果が「高頻度サポートモード結果」でないと判定し、ステップS2203にて遊技モードが特殊モードでないと判定した場合(遊技モードが通常モードであると判定した場合)には、ステップS2204において、開閉実行モード用の演出として演出Bを選択する。この演出Bでは、MPU102は、図30(D)に示すように、開閉実行モードの終了時に図柄表示装置51の表示画面Gにキャラクタを表示させるとともに、このキャラクタのセリフ「30回転のチャンスゾーンよ!」にて遊技者に対して遊技結果が「低頻度サポートモード結果」であること(特殊モードに移行すること)を報知する。
その後、パチンコ機10は、図30(E)に示すように、低頻度サポートモードに移行する。低頻度サポートモードでは、遊技モードは、30回の遊技回を消化するまで特殊モードに滞在し、その後、通常モードに移行する。特殊モードでは、MPU102は、変動用コマンドの内容に基づいて、遊技回数カウンタRTCの値を特殊モードの終了基準回数までの残り回数(図30(E)では30回)として図柄表示装置51の表示画面Gの左上に表示する。さらに、特殊モードの低頻度サポートモードでは、MPU102は、遊技者に左打ちを示唆すべく左向き矢印を図柄表示装置51の表示画面Gの右上に表示する。
なお、本実施形態では、特殊モードの終了基準回数までの残り回数を図柄表示装置51の表示画面Gに表示しているが、これを表示しなくてもよい。
図31は、特殊モードに滞在している場合の遊技回用の演出を示す図である。
特殊モードでは、MPU102は、MPU92から受信したパターンコマンドに基づいて、図柄表示装置51の表示画面Gに表示している複数の図柄列Z1〜Z3(図4(A)参照)の変動表示を開始することによって、高速変動期間に移行する。この高速変動期間では、MPU102は、各図柄列Z1〜Z3の図柄を所定の向き(本実施形態では上向き)に周期的にスクロールさせるようにして図柄の変動表示を開始する。また、MPU102は、変動用コマンドの内容に基づいて、遊技回数カウンタRTCの値を特殊モードの終了基準回数までの残り回数(図31(A)では15回)として図柄表示装置51の表示画面Gの左上に表示する。さらに、特殊モードの低頻度サポートモードでは、MPU102は、遊技者に左打ちを示唆すべく左向き矢印を図柄表示装置51の表示画面Gの右上に表示する。
なお、本実施形態では、特殊モードの終了基準回数までの残り回数を図柄表示装置51の表示画面Gに表示しているが、これを表示しなくてもよい。
MPU102は、高速変動期間の経過後、一部の図柄列(図柄列Z1および図柄列Z3)を有効ラインL(図4(A)参照)上に停止表示させることによって、同一の図柄の組み合わせ(本実施形態では「2」)を表示して停止結果を示唆し、その状態で残りの図柄列(図柄列Z2)を変動表示することによって、リーチ表示を発生させてリーチ期間に移行する。
その後、MPU102は、MPU92から受信した停止結果コマンドに基づいて、図31(B)に示すように、停止結果として、同一の数字を有する図柄の組み合わせ(本実施形態では「222」)を有効ラインL上に停止表示することによって、当否抽選の結果を報知する。その後、パチンコ機10は、開閉実行モードに移行する。
開閉実行モード用の演出の決定処理では、MPU92は、ステップS2201にて遊技結果が「高頻度サポートモード結果」であると判定した場合、またはステップS2203にて遊技モードが特殊モードであると判定した場合には、ステップS2202において、開閉実行モード用の演出として演出Aを選択する。換言すれば、特殊モードでは、遊技結果の内容に関わらず、開閉実行モード用の演出として演出Aを選択する。この演出Aでは、MPU102は、図31(C)に示すように、開閉実行モードの終了時に図柄表示装置51の表示画面Gにキャラクタを表示させるとともに、このキャラクタのセリフ「RUSH突入よ!」にて遊技者に対して遊技結果が「高頻度サポートモード結果」であることを報知する。
その後、パチンコ機10は、高頻度サポートモードに移行する。高頻度サポートモードでは、遊技モードは、通常モードに移行する。高頻度サポートモードでは、MPU102は、変動用コマンドの内容に基づいて、遊技回数カウンタRTCの値を高頻度サポートモードの終了基準回数までの残り回数(図31(C)では100回)として図柄表示装置51の表示画面Gの左上に表示する。さらに、高頻度サポートモードでは、MPU102は、遊技者に右打ちを示唆すべく右向き矢印を図柄表示装置51の表示画面Gの右上に表示する。
また、パチンコ機10は、当否抽選において「大当たり当選」となることなく30回の遊技回を消化した場合には、図31(D)に示すように、通常モードに移行する。
通常モードでは、MPU102は、MPU92から受信したパターンコマンドに基づいて、図柄表示装置51の表示画面Gに表示している複数の図柄列Z1〜Z3(図4(A)参照)の変動表示を開始することによって、高速変動期間に移行する。この高速変動期間では、MPU102は、各図柄列Z1〜Z3の図柄を所定の向き(本実施形態では上向き)に周期的にスクロールさせるようにして図柄の変動表示を開始する。
MPU102は、高速変動期間の経過後、一部の図柄列(図柄列Z1および図柄列Z3)を有効ラインL(図4(A)参照)上に停止表示させることによって、同一の図柄の組み合わせを表示して停止結果を示唆し、その状態で残りの図柄列(図柄列Z2)を変動表示することによって、リーチ表示を発生させてリーチ期間に移行する。
その後、MPU102は、MPU92から受信した停止結果コマンドに基づいて、停止結果として、同一の数字を有する図柄の組み合わせを有効ラインL上に停止表示することによって、当否抽選の結果を報知する。その後、パチンコ機10は、開閉実行モードに移行する。
開閉実行モード用の演出の決定処理では、MPU92は、ステップS2201にて遊技結果が「高頻度サポートモード結果」であると判定した場合には、ステップS2202において、開閉実行モード用の演出として演出Aを選択する。この演出Aでは、MPU102は、図31(C)に示すように、開閉実行モードの終了時に図柄表示装置51の表示画面Gにキャラクタを表示させるとともに、このキャラクタのセリフ「RUSH突入よ!」にて遊技者に対して遊技結果が「高頻度サポートモード結果」であることを報知する。
その後、パチンコ機10は、高頻度サポートモードに移行する。高頻度サポートモードでは、遊技モードは、通常モードに移行する。高頻度サポートモードでは、MPU102は、変動用コマンドの内容に基づいて、遊技回数カウンタRTCの値を高頻度サポートモードの終了基準回数までの残り回数(図31(C)では100回)として図柄表示装置51の表示画面Gの左上に表示する。さらに、高頻度サポートモードでは、MPU102は、遊技者に右打ちを示唆すべく右向き矢印を図柄表示装置51の表示画面Gの右上に表示する。
これに対して、開閉実行モード用の演出の決定処理では、MPU92は、ステップS2201にて遊技結果が「高頻度サポートモード結果」でないと判定し、ステップS2203にて遊技モードが特殊モードでないと判定した場合(遊技モードが通常モードであると判定した場合)には、ステップS2204において、開閉実行モード用の演出として演出Bを選択する。この演出Bでは、MPU102は、図31(E)に示すように、開閉実行モードの終了時に図柄表示装置51の表示画面Gにキャラクタを表示させるとともに、このキャラクタのセリフ「30回転のチャンスゾーンよ!」にて遊技者に対して遊技結果が「低頻度サポートモード結果」であること(特殊モードに移行すること)を報知する。
その後、パチンコ機10は、低頻度サポートモードに移行する。低頻度サポートモードでは、遊技モードは、30回の遊技回を消化するまで特殊モードに滞在し、その後、通常モードに移行する。特殊モードでは、MPU102は、変動用コマンドの内容に基づいて、遊技回数カウンタRTCの値を特殊モードの終了基準回数までの残り回数(図31(E)では30回)として図柄表示装置51の表示画面Gの左上に表示する。さらに、特殊モードの低頻度サポートモードでは、MPU102は、遊技者に左打ちを示唆すべく左向き矢印を図柄表示装置51の表示画面Gの右上に表示する。
なお、本実施形態では、特殊モードの終了基準回数までの残り回数を図柄表示装置51の表示画面Gに表示しているが、これを表示しなくてもよい。
このような本実施形態によれば、以下の作用・効果を奏することができる。
(1)主制御装置60は、低頻度サポートモードの通常モードおよび高頻度サポートモードでは、内部抽選の結果に基づいて、低頻度サポートモードおよび高頻度サポートモードのいずれかに遊技状態を移行し、低頻度サポートモードの特殊モードでは、内部抽選の結果に関わらず高頻度サポートモードに遊技状態を移行するので、遊技者は、低頻度サポートモードに遊技状態を移行した場合であっても特殊モードに滞在していることを期待して遊技することになる。したがって、パチンコ機10は、遊技者の遊技への注目度を向上させることができる。
(2)主制御装置60は、開閉実行モードから通常制御状態に遊技状態を移行したときに、低頻度サポートモードおよび高頻度サポートモードのいずれかに遊技状態を移行するので、遊技者は、低頻度サポートモードに移行した場合には、特殊モードに滞在しているか否かに注目することになる。したがって、パチンコ機10は、遊技者の遊技への注目度を向上させることができる。
(3)低頻度サポートモードは、下作動口37よりも上作動口36に入球する確率が高くなり、高頻度サポートモードは、上作動口36よりも下作動口37に入球する確率が高くなるので、遊技者は、低頻度サポートモードでは、上作動口36を狙って遊技球を発射し、高頻度サポートモードでは、下作動口37を狙って遊技球を発射することになる。したがって、パチンコ機10は、遊技者に対して低頻度サポートモードおよび高頻度サポートモードを明確に示唆することができる。
(4)下作動口37への遊技球の入球に際して実行された内部抽選の結果に基づいて、開閉実行モードに移行する確率は、上作動口36への遊技球の入球に際して実行された内部抽選の結果に基づいて、開閉実行モードに移行する確率よりも高いので、遊技者は、高頻度サポートモードに遊技状態を移行することを期待することになる。したがって、パチンコ機10は、遊技者の遊技への注目度を向上させることができる。
(5)主制御装置60は、上作動口36および下作動口37への遊技球の入球に際して実行された内部抽選の結果に基づいて、通常モードおよび特殊モードのいずれかに遊技モードを移行するので、遊技者は、上作動口36および下作動口37への遊技球の入球に際して実行された内部抽選の結果に注目することになる。したがって、パチンコ機10は、遊技者の遊技への注目度を向上させることができる。
(6)主制御装置60は、特殊モードに遊技モードを移行した後、30回の遊技回を消化した場合に特殊モードから通常モードに遊技モードを移行するので、遊技者は、遊技回の消化回数に注目することになる。したがって、パチンコ機10は、遊技者の遊技への注目度を向上させることができる。
(7)内部抽選の結果は、低頻度サポートモードおよび高頻度サポートモードのいずれかに遊技状態を移行する低頻度サポートモード結果と、高頻度サポートモードに遊技状態を移行する高頻度サポートモード結果とを備えているので、パチンコ機10は、低頻度サポートモード結果となった場合であっても高頻度サポートモードに遊技状態を移行することができ、高頻度サポートモードに遊技状態を移行する機会を増加させることができる。したがって、パチンコ機10は、遊技者の遊技への注目度を向上させることができる。
(8)低頻度サポートモードは、低頻度サポートモード結果となった場合に低頻度サポートモードに遊技状態を移行する通常モードと、低頻度サポートモード結果となった場合に高頻度サポートモードに遊技状態を移行する特殊モードとを有するので、遊技者は、低頻度サポートモードに遊技状態を移行した場合であっても特殊モードに滞在していることを期待して遊技することになる。したがって、パチンコ機10は、遊技者の遊技への注目度を向上させることができる。
(9)低頻度サポートモードは、通常モードと、遊技者にとって有利な遊技状態に移行する確率が通常モードよりも高い特殊モードとを備え、主制御装置60は、低頻度サポートモードに遊技状態を移行したときに、特殊モードに遊技モードを移行し、高頻度サポートモードに遊技状態を移行したときに、通常モードに遊技モードを移行するので、遊技者は、低頻度サポートモードに遊技状態を移行した場合であっても特殊モードに滞在していることを期待して遊技することになる。したがって、パチンコ機10は、遊技者の遊技への注目度を向上させることができる。
(10)遊技状態は、右側可変入球機構40に入球しやすくなる高頻度サポートモードと、高頻度サポートモードと比較して右側可変入球機構40に入球しにくくなる特殊モードの低頻度サポートモードとを備えているので、右側可変入球機構40への遊技球の入球に際して通常制御状態から開閉実行モードに遊技状態を移行することができる遊技状態の種類を多様化することができる。したがって、パチンコ機10は、遊技者の遊技への注目度を向上させることができる。
(11)遊技状態は、右打ちルートに向かって遊技球を発射することによって、遊技者にとって有利な状況となる高頻度サポートモードと、右打ちルートに向かって遊技球を発射することによって、高頻度サポートモードと比較して遊技者にとって不利な状況となる特殊モードの低頻度サポートモードとを備えているので、右側可変入球機構40への遊技球の入球に際して通常制御状態から開閉実行モードに遊技状態を移行することができる遊技状態の種類を多様化することができる。したがって、パチンコ機10は、遊技者の遊技への注目度を向上させることができる。
〔第2実施形態〕
以下、本発明の第2実施形態を図面に基づいて説明する。
なお、以下の説明では、既に説明した部分については、同一符号を付してその説明を省略する。
前記第1実施形態では、当否抽選において「大当たり当選」となって特殊モードフラグをRAM64にセットした場合には、遊技状態は、現在の遊技状態に関わらず開閉実行モード(すなわち、ラウンド数規定モード)の終了後に、特殊モードに移行していた。具体的には、MPU62は、ステップS1101にて振分結果が「高頻度サポートモード結果」でないと判定した後、ステップS1105にてRAM64に特殊モードフラグがセットされていないと判定した場合(遊技モードが通常モードであると判定した場合)には、ステップS1107において、特殊モードフラグをRAM64にセットしていた。換言すれば、前記第1実施形態では、MPU62は、開閉実行モードの終了後に、低頻度サポートモードに移行する場合には、必ず特殊モードに移行していた。
これに対して、本実施形態では、MPU62は、開閉実行モードの終了後に、低頻度サポートモードに移行する場合には、特殊モードに移行するか否かの抽選を実行し、この抽選に当選した場合には、特殊モードに移行する点で前記第1実施形態と異なる。
本実施形態では、主制御装置60は、前記第1実施形態とは異なる処理を実行する。具体的には、本実施形態では、開閉実行モード終了時の移行処理は、前記第1実施形態とは異なっている。以下、本実施形態における開閉実行モード終了時の移行処理の内容について説明する。
図32は、本発明の第2実施形態に係る開閉実行モード終了時の移行処理のフローチャートを示す図である。
開閉実行モード終了時の移行処理では、MPU62は、図32に示すように、ステップS1101〜S1113Aを実行する。
ステップS1101では、MPU62は、振分結果が「高頻度サポートモード結果」であるか否かを判定する。
MPU62は、ステップS1101にて振分結果が「高頻度サポートモード結果」であると判定した場合には、ステップS1102以降の処理を実行する。
これに対して、MPU62は、ステップS1101にて振分結果が「高頻度サポートモード結果」でないと判定した場合(振分結果が「低頻度サポートモード結果」であると判定した場合)には、ステップS1105以降の処理を実行する。
まず、ステップS1101において、MPU62にて振分結果が「高頻度サポートモード結果」であると判定された場合の処理(ステップS1102以降の処理)について説明する。
ステップS1102では、MPU62は、高頻度サポートフラグをRAM64にセットする。MPU62は、RAM64に既に高頻度サポートフラグがセットされている場合には、これを維持する。これによって、MPU62は、サポートモードを高頻度サポートモードに設定する。
ステップS1103では、RAM64に記憶された特殊モードフラグをクリアする。
ここで、パチンコ機10は、開閉実行モード終了後に移行するサポートモードの異なる複数の遊技モードを有している。具体的には、パチンコ機10は、「低頻度サポートモード結果」および「高頻度サポートモード結果」の振分結果に応じて開閉実行モード終了後にサポートモードを設定する通常モードと、「低頻度サポートモード結果」および「高頻度サポートモード結果」の振分結果に関わらず開閉実行モード終了後にサポートモードを高頻度サポートモードに設定する特殊モードとを遊技モードとして有している。
特殊モードフラグは、通常モードおよび特殊モードのうち、どちらの遊技モードであるかを特定するためのフラグである。ステップS1103では、MPU62は、特殊モードフラグをクリアしているので、遊技モードを通常モードに設定している。
ステップS1104では、MPU62は、RAM64の各種カウンタエリア64aに設けられた遊技回数カウンタRTCの値に「100」をセットする。その後、MPU62は、開閉実行モード終了時の移行処理を終了する。
ここで、高頻度サポートモードは、RAM64に高頻度サポートフラグがセットされている場合には、遊技回数カウンタRTCにセットされた終了基準回数である100回の遊技回を消化するまで継続する。MPU62は、100回の遊技回を消化した場合には、高頻度サポートフラグをクリアする。これによって、MPU62は、サポートモードを低頻度サポートモードに設定する。
次に、ステップS1101において、MPU62にて振分結果が「高頻度サポートモード結果」でないと判定された場合の処理(ステップS1105以降の処理)について説明する。
MPU62は、ステップS1101にて振分結果が「高頻度サポートモード結果」でないと判定された場合(振分結果が「低頻度サポートモード結果」であると判定した場合)には、ステップS1105において、RAM64に特殊モードフラグがセットされているか否かを判定する。
MPU62は、ステップS1105にてRAM64に特殊モードフラグがセットされていると判定した場合(遊技モードが特殊モードであると判定した場合)には、前述したステップS1102以降の処理を実行する。換言すれば、遊技モードが特殊モードである場合には、MPU62は、「低頻度サポートモード結果」および「高頻度サポートモード結果」の振分結果に関わらず開閉実行モード終了後にサポートモードを高頻度サポートモードに設定する。
これに対して、MPU62は、ステップS1105にてRAM64に特殊モードフラグがセットされていないと判定した場合(遊技モードが通常モードであると判定した場合)には、ステップS1106において、RAM64に記憶された高頻度サポートフラグをクリアする。これによって、MPU62は、サポートモードを低頻度サポートモードに設定する。
ステップS1109Aでは、MPU62は、特殊モードの抽選処理を実行する。具体的には、特殊モードの抽選処理では、MPU62は、開閉実行モードの終了後に、特殊モードに移行させるか否かの抽選を所定の確率(本実施形態では1/8)で実行する。
なお、本実施形態では、MPU62は、特殊モードに移行させる確率を1/8としているが、1/8より大きくてもよく、1/8より小さくてもよい。また、MPU62は、例えば、当否抽選において「大当たり当選」となるまでに消化した遊技回の回数が所定の回数よりも小さかった場合に、特殊モードに移行させる確率を低くし、当否抽選において「大当たり当選」となるまでに消化した遊技回の回数が所定の回数よりも大きかった場合に、特殊モードに移行させる確率を高くしてもよく、その他の遊技状況に応じて特殊モードに移行させる確率を変動させてもよい。
ステップS1110Aでは、MPU62は、特殊モードの抽選に当選したか否かを判定する。
MPU62は、ステップS1110Aにて特殊モードの抽選に当選したと判定した場合には、ステップS1107以降の処理を実行する。
ステップS1107では、MPU62は、特殊モードフラグをRAM64にセットする。MPU62は、RAM64に既に特殊モードフラグがセットされている場合には、これを維持する。これによって、MPU62は、遊技モードを特殊モードに設定する。
ステップS1108では、MPU62は、RAM64の各種カウンタエリア64aに設けられた遊技回数カウンタRTCの値に「30」をセットする。
ステップS1111Aでは、MPU62は、特殊モードコマンドを設定する。その後、MPU62は、開閉実行モード終了時の移行処理を終了する。この特殊モードコマンドは、遊技モードを特殊モードに設定することを音声発光制御装置90に認識させるための情報を含んでいる。MPU62は、通常処理のステップS301において、ステップS1111Aにて設定した特殊モードコマンドを音声発光制御装置90に送信する。
なお、音声発光制御装置90は、MPU62から送信される特殊モードコマンドに基づいて、特殊モードへの移行を認識し、所定の処理を実行する。この処理については、後に詳細に説明する。
ここで、特殊モードは、RAM64に特殊モードフラグがセットされている場合には、遊技回数カウンタRTCにセットされた終了基準回数である30回の遊技回を消化するまで継続する。MPU62は、30回の遊技回を消化した場合には、特殊モードフラグをクリアする。これによって、MPU62は、遊技モードを通常モードに設定する。
なお、MPU62は、ステップS1108の処理を実行した後、下作動口37への遊技球の入賞に基づいて第2結果表示部用保留エリアRbに記憶された保留情報をクリアする。
これに対して、MPU62は、ステップS1110Aにて特殊モードの抽選に当選しなかったと判定した場合には、ステップS1112A以降の処理を実行する。
ステップS1112Aでは、MPU62は、RAM64に記憶された特殊モードフラグをクリアする。これによって、MPU62は、遊技モードを通常モードに設定する。
ステップS1113Aでは、MPU62は、RAM64の各種カウンタエリア64aに設けられた遊技回数カウンタRTCの値に「0」をセットする。その後、MPU62は、開閉実行モード終了時の移行処理を終了する。
このように、当否抽選において当たり発生となって、振分抽選において振分結果が「高頻度サポートモード結果」となった場合には、遊技状態は、現在の遊技状態に関わらず開閉実行モードの終了後に、高頻度サポートモードに移行する。高頻度サポートモードは、当否抽選において当たり発生となることなく、100回の遊技回を消化した場合には、低頻度サポートモードに移行する。高頻度サポートモードでは、遊技モードは、常に通常モードとなる。
また、当否抽選において当たり発生となって、振分抽選において振分結果が「低頻度サポートモード結果」となった場合には、遊技状態は、遊技モードが特殊モードであれば、開閉実行モードの終了後に、高頻度サポートモードに移行し、遊技モードが通常モードであれば、開閉実行モードの終了後に、低頻度サポートモードに移行する。高頻度サポートモードは、当否抽選において当たり発生となることなく、100回の遊技回を消化した場合には、低頻度サポートモードに移行する。高頻度サポートモードでは、遊技モードは、常に通常モードとなる。低頻度サポートモードは、少なくとも当否抽選において当たり発生となるまで継続する。低頻度サポートモードでは、遊技モードは、1/8の確率で特殊モードとなり、7/8の確率で通常モードとなる。特殊モードとなった場合には、遊技モードは、30回の遊技回を消化するまで特殊モードに滞在し、その後、通常モードに移行する。
また、当否抽選において当たり発生とならなかった場合、すなわち当否抽選において当否結果が「通常外れ結果」となった場合には、遊技状態は移行しない。
ここで、遊技回数カウンタRTCの値は、前述した変動用コマンドに含まれている。また、遊技モードに係る情報(特殊モードフラグがRAM64にセットされているか否かに係る情報)は、前述したオープニングコマンドに含まれている。
このように、本実施形態では、主制御装置60は、内部抽選の結果に基づいて、遊技状態を移行する遊技状態移行手段として機能する。
また、本実施形態では、低頻度サポートモードは、通常モードおよび特殊モードの遊技モードを有している。
そして、本実施形態では、主制御装置60は、低頻度サポートモードの通常モードおよび高頻度サポートモードでは、内部抽選の結果(低頻度サポートモード結果または高頻度サポートモード結果)に基づいて、低頻度サポートモードおよび高頻度サポートモードのいずれかに遊技状態を移行し、低頻度サポートモードの特殊モードでは、内部抽選の結果に関わらず高頻度サポートモードに遊技状態を移行する。これによれば、遊技者は、低頻度サポートモードに遊技状態を移行した場合であっても特殊モードに滞在していることを期待して遊技することになるので、パチンコ機10は、遊技者の遊技への注目度を向上させることができる。
なお、本実施形態では、高頻度サポートモードは、特殊モードの遊技モードを有していないが、これを有していてもよい。
また、本実施形態では、主制御装置60は、上作動口36および下作動口37への遊技球の入球に際して実行された内部抽選の結果に基づいて、遊技者にとって有利な開閉実行モードに通常制御状態から遊技状態を移行し、開閉実行モードから通常制御状態に遊技状態を移行したときに、低頻度サポートモードおよび高頻度サポートモードのいずれかに遊技状態を移行する。これによれば、遊技者は、低頻度サポートモードに移行した場合には、特殊モードに滞在しているか否かに注目することになるので、パチンコ機10は、遊技者の遊技への注目度を向上させることができる。
また、本実施形態では、右側可変入球機構40は、上作動口36および下作動口37への遊技球の入球に際して実行された内部抽選の結果に基づいて、右打ちルートに向かって発射された遊技球を入球可能とする可変入球機構として機能する。そして、主制御装置60は、右側可変入球機構40への遊技球の入球に際して通常制御状態から開閉実行モードに遊技状態を移行する。ここで、下作動口37への遊技球の入球に際して実行された内部抽選の結果に基づいて、可変入球実行モードを介して開閉実行モードに移行する確率(約1/12.5)は、上作動口36への遊技球の入球に際して実行された内部抽選の結果に基づいて、可変入球実行モードを介して開閉実行モードに移行する確率(約1/60)よりも高くなっている。これによれば、遊技者は、高頻度サポートモードに遊技状態を移行することを期待することになるので、パチンコ機10は、遊技者の遊技への注目度を向上させることができる。
また、本実施形態では、主制御装置60は、上作動口36および下作動口37への遊技球の入球に際して実行された内部抽選の結果に基づいて、通常モードおよび特殊モードのいずれかに遊技モードを移行する。具体的には、主制御装置60は、低頻度サポートモードに遊技状態を移行する場合には、通常モードまたは特殊モードに遊技モードを移行し、高頻度サポートモードに遊技状態を移行する場合には、通常モードに遊技モードを移行する。これによれば、遊技者は、上作動口36および下作動口37への遊技球の入球に際して実行された内部抽選の結果に注目することになるので、パチンコ機10は、遊技者の遊技への注目度を向上させることができる。
なお、本実施形態では、主制御装置60は、低頻度サポートモードに遊技状態を移行する場合には、通常モードまたは特殊モードに遊技モードを移行し、高頻度サポートモードに遊技状態を移行する場合には、通常モードに遊技モードを移行しているが、これ以外の条件に基づいて、通常モードおよび特殊モードのいずれかに遊技モードを移行してもよい。
また、本実施形態では、主制御装置60は、特殊モードに遊技モードを移行した後、所定回数の遊技回(本実施形態では30回)を消化した場合に特殊モードから通常モードに遊技モードを移行する。これによれば、遊技者は、遊技回の消化回数に注目することになるので、パチンコ機10は、遊技者の遊技への注目度を向上させることができる。
なお、本実施形態では、主制御装置60は、特殊モードに遊技モードを移行した後、30回の遊技回を消化した場合に特殊モードから通常モードに遊技モードを移行しているが、これ以外の回数の遊技回を消化した場合に特殊モードから通常モードに遊技モードを移行してもよく、例えば、遊技回の消化回数を30回および50回などのように複数の回数に振り分けて設定するようにしてもよい。
また、本実施形態では、主制御装置60は、特殊モードに遊技モードを移行した後、30回の遊技回を消化した場合に特殊モードから通常モードに遊技モードを移行しているが、例えば、上作動口36または下作動口37への入賞に基づいて行われた内部抽選の結果、「小当たり当選」となった回数が所定の回数を超えた場合に特殊モードから通常モードに遊技モードを移行するようにしてもよい。
また、本実施形態では、主制御装置60は、特殊モードに遊技モードを移行した後、30回の遊技回を消化した場合に特殊モードから通常モードに遊技モードを移行しているが、例えば、右打ちルートに向かって遊技球が発射された場合に特殊モードから通常モードに遊技モードを移行するようにしてもよい。換言すれば、主制御装置60は、特殊モードの滞在中に右打ちルートに向かって遊技球が発射された場合に、ペナルティとして特殊モードを終了するようにしてもよい。これによれば、遊技者は、高頻度サポートモードでは、右打ちルートに向かって遊技球を発射し、特殊モードの低頻度サポートモードでは、左打ちルートに向かって遊技球を発射することになるので、パチンコ機10は、遊技者の意図を確実に反映させることができ、遊技者に快適に遊技をさせることができる。
また、本実施形態では、低頻度サポートモード結果は、低頻度サポートモードおよび高頻度サポートモードのいずれかに遊技状態を移行する第1の抽選結果として機能し、高頻度サポートモード結果は、高頻度サポートモードに遊技状態を移行する第2の抽選結果として機能する。これによれば、パチンコ機10は、低頻度サポートモード結果となった場合であっても高頻度サポートモードに遊技状態を移行することができ、高頻度サポートモードに遊技状態を移行する機会を増加させることができるので、パチンコ機10は、遊技者の遊技への注目度を向上させることができる。
そして、低頻度サポートモードは、低頻度サポートモード結果となった場合に低頻度サポートモードに遊技状態を移行する通常モードと、低頻度サポートモード結果となった場合に高頻度サポートモードに遊技状態を移行する特殊モードとを有している。これによれば、遊技者は、低頻度サポートモードに遊技状態を移行した場合であっても特殊モードに滞在していることを期待して遊技することになるので、パチンコ機10は、遊技者の遊技への注目度を向上させることができる。
また、本実施形態では、低頻度サポートモードは、通常モードと、遊技者にとって有利な遊技状態に移行する確率が通常モードよりも高い特殊モードとを備えている。具体的には、本実施形態では、特殊モードは、高頻度サポートモードに移行する確率が通常モードよりも高くなっている。これによれば、遊技者は、低頻度サポートモードに遊技状態を移行した場合であっても特殊モードに滞在していることを期待して遊技することになるので、パチンコ機10は、遊技者の遊技への注目度を向上させることができる。
なお、本実施形態では、特殊モードは、高頻度サポートモードに移行する確率が通常モードよりも高く100%となっているが、100%でなくてもよい。要するに、特殊モードは、高頻度サポートモードに移行する確率が通常モードよりも高くなっていればよい。
そして、主制御装置60は、上作動口36および下作動口37への遊技球の入球に際して実行された内部抽選の結果に基づいて、遊技者にとって有利な開閉実行モードに通常制御状態から遊技状態を移行し、開閉実行モードから通常制御状態に遊技状態を移行したときに、通常モードおよび特殊モードのいずれかに遊技モードを移行する。
なお、本実施形態では、主制御装置60は、開閉実行モードから通常制御状態に遊技状態を移行したときに、通常モードおよび特殊モードのいずれかに遊技モードを移行しているが、これ以外のタイミングで通常モードおよび特殊モードのいずれかに遊技モードを移行してもよく、例えば、遊技回の消化中に通常モードおよび特殊モードのいずれかに遊技モードを移行してもよい。
また、本実施形態では、開閉実行モード終了時の移行処理は、特殊モードに遊技モードを移行するか否かの特殊モード抽選を実行する特殊モード抽選手段として機能する。そして、主制御装置60は、特殊モード抽選に当選しなかった場合に通常モードに遊技モードを移行し、特殊モード抽選に当選した場合に特殊モードに遊技モードを移行する。これによれば、主制御装置60は、特殊モード抽選に当選しなかった場合に通常モードに遊技モードを移行し、特殊モード抽選に当選した場合に特殊モードに遊技モードを移行するので、遊技者は、特殊モード抽選の結果に注目することになる。したがって、パチンコ機10は、遊技者の遊技への注目度を向上させることができる。
なお、本実施形態では、開閉実行モード終了時の移行処理は、ステップS1109Aの特殊モードの抽選処理にて特殊モード抽選を実行しているが、例えば、振分抽選などの他の抽選とあわせて特殊モード抽選を実行してもよい。
また、本実施形態では、音声発光制御装置90および表示制御装置100は、前記第1実施形態とは異なる処理を実行する。具体的には、本実施形態では、演出決定処理は、前記第1実施形態とは異なっている。以下、本実施形態における演出決定処理の内容について説明する。
<音声発光制御装置90にて実行される演出決定処理について>
図33は、演出決定処理のフローチャートを示す図である。
音声発光制御装置90のMPU92は、遊技回用の演出や、可変入球実行モード用の演出や、開閉実行モード用の演出などを実行するために演出決定処理を実行する。この演出決定処理では、MPU92は、図33に示すように、ステップS2101〜S2111の処理を前記第1実施形態と同様に実行し、その後、ステップS2112以降の処理を実行する。
ステップS2112では、MPU92は、オープニングコマンドを受信しているか否かを判定する。
MPU92は、ステップS2112にてオープニングコマンドを受信していないと判定した場合には、ステップS2117A以降の処理を実行する。
これに対して、MPU92は、ステップS2112にてオープニングコマンドを受信していると判定した場合には、ステップS2113において、オープニングコマンドの内容に基づいて、振分結果の種類を判定する。
ステップS2114Aでは、MPU92は、ステップS2113にて判定した振分結果の種類に対応する開閉実行モード用の演出の決定処理を実行する。
図34は、開閉実行モード用の演出の決定処理のフローチャートを示す図である。
音声発光制御装置90のMPU92は、開閉実行モード用の演出を決定するために開閉実行モード用の演出の決定処理を実行する。この開閉実行モード用の演出の決定処理では、MPU92は、図34に示すように、ステップS2201〜S2204Aを実行する。
ステップS2201では、MPU92は、ステップS2113にて判定した振分結果が「高頻度サポートモード結果」であるか否かを判定する。
MPU92は、ステップS2201にて遊技結果が「高頻度サポートモード結果」であると判定した場合には、ステップS2202において、開閉実行モード用の演出として演出Aを選択する。その後、MPU62は、開閉実行モード用の演出の決定処理を終了する。
これに対して、MPU92は、ステップS2201にて振分結果が「高頻度サポートモード結果」でないと判定した場合(振分結果が「低頻度サポートモード結果」であると判定した場合)には、ステップS2203において、オープニングコマンドの内容に基づいて、当否抽選において「大当たり当選」となったときの遊技モードが特殊モードであるか否かを判定する。
MPU92は、ステップS2203にて遊技モードが特殊モードであると判定した場合には、前述したステップS2202以降の処理を実行し、開閉実行モード用の演出として演出Aを選択する。その後、MPU62は、開閉実行モード用の演出の決定処理を終了する。
これに対して、MPU92は、ステップS2203にて遊技モードが特殊モードでないと判定した場合(遊技モードが通常モードであると判定した場合)には、ステップS2204Aにおいて、開閉実行モード用の演出として演出B1を選択する。その後、MPU62は、開閉実行モード用の演出の決定処理を終了する。
なお、演出Aおよび演出B1の継続時間は、開閉実行モードに際して大入賞口38aの開閉を15回実行する場合の時間と対応している。
また、MPU92は、演出Aおよび演出B1の選択結果に基づいて、前述したステップS2003の演出実行処理において、表示ランプ部23の発光制御を実行するとともに、スピーカ部24の音声制御を実行する。
ここで、本実施形態の演出B1は、前記第1実施形態の演出Bと異なっている。
具体的には、前記第1実施形態の演出Bでは、MPU102は、開閉実行モードの終了時に図柄表示装置51の表示画面Gにキャラクタを表示させるとともに、このキャラクタのセリフ「30回転のチャンスゾーンよ!」にて遊技者に対して遊技結果が「低頻度サポートモード結果」であること(特殊モードに移行すること)を報知していた(図30(D)および図31(E)参照)。
これに対して、本実施形態の演出B1では、MPU102は、開閉実行モードの終了時に図柄表示装置51の表示画面Gにキャラクタや、このキャラクタのセリフを表示せず、遊技者に対して特殊モードに移行することを報知しない点で前記第1実施形態の演出Bと異なっている。
演出決定処理の説明に戻り、図33を参照してステップS2115以降の処理について説明する。
ステップS2115では、MPU92は、ステップS2114Aにて選択した開閉実行モード用の演出に係る情報を含む開閉実行モード用コマンドを設定する。この開閉実行モード用コマンドは、前述したステップS2005のコマンド送信処理において、表示制御装置100に送信される。
表示制御装置100のMPU102は、MPU92から送信された開閉実行モード用コマンドに基づいて、開閉実行モード用の演出を図柄表示装置51にて実行するためのデータテーブルをプログラムROM103から読み出す。そして、MPU102は、予め定められた画像更新タイミング(例えば、20msec周期)となる度に、このデータテーブルに基づいてVDP105に対してコマンドを出力する。これによって、図柄表示装置51は、音声発光制御装置90のMPU92にて選択された開閉実行モード用の演出を実行する。
MPU92は、ステップS2115の処理を実行した後、またはステップS2112にてオープニングコマンドを受信していないと判定した場合には、ステップS2117A以降の処理を実行する。
ステップS2117Aでは、MPU92は、特殊モードコマンドを受信しているか否かを判定する。
MPU92は、ステップS2117Aにて特殊モードコマンドを受信していると判定した場合には、ステップS2118Aにおいて、特殊モードコマンドの内容に基づいて、特殊モード報知処理を実行する。この特殊モード報知処理では、MPU92は、特殊モード報知コマンドを設定する。この特殊モード報知コマンドは、前述したステップS2005のコマンド送信処理において、表示制御装置100に送信される。
表示制御装置100のMPU102は、MPU92から送信された特殊モード報知コマンドに基づいて、遊技者に対して特殊モードに移行することを報知するためのデータテーブルをプログラムROM103から読み出す。そして、MPU102は、予め定められた画像更新タイミング(例えば、20msec周期)となる度に、このデータテーブルに基づいてVDP105に対してコマンドを出力する。これによって、図柄表示装置51は、特殊モードに移行することを遊技者に報知する。具体的には、MPU102は、開閉実行モードの終了時に図柄表示装置51の表示画面Gにキャラクタを表示させるとともに、このキャラクタのセリフ「30回転のチャンスゾーンよ!」にて遊技者に対して特殊モードに移行することを報知する。
これに対して、MPU92は、ステップS2117Aにて特殊モードコマンドを受信していないと判定した場合には、ステップS2116以降の処理を実行する。
ステップS2116では、MPU92は、その他の処理を実行する。その他の処理では、MPU92は、例えば、MPU62から送信された開放コマンド、閉鎖コマンドおよびエンディングコマンドなどに基づいて、開閉実行モード用の演出を進行させるための処理を実行する。その後、MPU92は、演出決定処理を終了する。
<遊技結果と遊技状態等との関係について>
以下、遊技結果と、各種処理の実行に基づく遊技状態等との関係について説明する。
図35は、遊技結果と、遊技状態等との関係を示す図である。具体的には、図35は、「通常外れ結果」を除く遊技結果と、遊技状態等との関係を示す図であり、遊技結果を列方向に並べ、遊技状態等を行方向に並べている。
パチンコ機10は、図35に示すように、通常モードおよび特殊モードの遊技モードを有している。また、パチンコ機10は、「通常外れ結果」を除く遊技結果として、「高頻度サポートモード結果」および「低頻度サポートモード結果」の振分結果を有している。
以下、「通常外れ結果」を除く遊技結果と、遊技状態等との関係について説明する。なお、本実施形態では、パチンコ機10は、遊技結果と、遊技状態等との関係を以下のように設定しているが、遊技結果と、遊技状態等との組み合わせ、遊技結果の内容、および遊技状態等の内容については任意である。
通常モードの遊技モードでは、「高頻度サポートモード結果」および「低頻度サポートモード結果」の遊技結果に応じて遊技状態等の内容は異なっている。
具体的には、「高頻度サポートモード結果」では、大入賞口38aの開閉は、15回実行される。また、上作動口36への入賞に基づく「高頻度サポートモード結果」では、停止結果は、同一の奇数の数字を有する図柄の組み合わせとなるとともに、開閉実行モード用の演出は、演出Aとなる。下作動口37への入賞に基づく「高頻度サポートモード結果」では、停止結果は、同一の英字を有する図柄の組み合わせとなるとともに、開閉実行モード用の演出は、演出Aとなる。さらに、「高頻度サポートモード結果」では、サポートモードは、高頻度サポートモードに移行する。そして、次回の遊技モードは、通常モードとなる。
また、「低頻度サポートモード結果」では、大入賞口38aの開閉は、15回実行される。また、上作動口36への入賞に基づく「低頻度サポートモード結果」では、停止結果は、同一の偶数の数字を有する図柄の組み合わせとなるとともに、開閉実行モード用の演出は、演出B1となる。下作動口37への入賞に基づく「低頻度サポートモード結果」では、停止結果は、同一の英字を有する図柄の組み合わせとなるとともに、開閉実行モード用の演出は、演出B1となる。さらに、「低頻度サポートモード結果」では、サポートモードは、低頻度サポートモードに移行する。そして、次回の遊技モードは、1/8の確率で「特殊モード」となり、7/8の確率で「通常モード」となる。
これに対して「特殊モード」の遊技モードでは、「高頻度サポートモード結果」および「低頻度サポートモード結果」の遊技結果に関わらず遊技状態等の内容は同一となっている。
具体的には、大入賞口38aの開閉は、15回実行される。また、上作動口36への入賞に基づく遊技結果では、停止結果は、同一の数字を有する図柄の組み合わせとなるとともに、開閉実行モード用の演出は、演出Aとなる。さらに、サポートモードは、高頻度サポートモードに移行する。そして、次回の遊技モードは、通常モードとなる。
したがって、遊技者は、停止結果や、開閉実行モード用の演出を確認することによって、振分結果が「高頻度サポートモード結果」であること、または「低頻度サポートモード結果」であることを把握することができ、次回の遊技モードが通常モードであること、または特殊モードであることを把握することができる。
<右側可変入球機構への遊技球の入球後の流れについて>
図36は、右入球口に遊技球が入賞(V入賞)した場合の開閉実行モード用の演出を示す図である。
MPU102は、可変入球実行モードにおいて、右入球口404に遊技球が入賞(V入賞)した場合に、図36(A)に示すように、V入賞の成功に対応する演出を実行する。その後、パチンコ機10は、開閉実行モードに移行する。
開閉実行モード用の演出の決定処理では、MPU92は、ステップS2201にて遊技結果が「高頻度サポートモード結果」であると判定した場合、またはステップS2203にて遊技モードが特殊モードであると判定した場合には、ステップS2202において、開閉実行モード用の演出として演出Aを選択する。この演出Aでは、MPU102は、図36(B)に示すように、開閉実行モードの終了時に図柄表示装置51の表示画面Gにキャラクタを表示させるとともに、このキャラクタのセリフ「RUSH突入よ!」にて遊技者に対して遊技結果が「高頻度サポートモード結果」であることを報知する。
その後、パチンコ機10は、図36(C)に示すように、高頻度サポートモードに移行する。高頻度サポートモードでは、遊技モードは、通常モードに移行する。高頻度サポートモードでは、MPU102は、変動用コマンドの内容に基づいて、遊技回数カウンタRTCの値を高頻度サポートモードの終了基準回数までの残り回数(図36(C)では100回)として図柄表示装置51の表示画面Gの左上に表示する。さらに、高頻度サポートモードでは、MPU102は、遊技者に右打ちを示唆すべく右向き矢印を図柄表示装置51の表示画面Gの右上に表示する。
これに対して、開閉実行モード用の演出の決定処理では、MPU92は、ステップS2201にて遊技結果が「高頻度サポートモード結果」でないと判定し、ステップS2203にて遊技モードが特殊モードでないと判定した場合(遊技モードが通常モードであると判定した場合)には、ステップS2204Aにおいて、開閉実行モード用の演出として演出B1を選択する。
そして、MPU62は、ステップS1110Aにて特殊モードの抽選に当選したと判定した場合には、ステップS1111Aにおいて、特殊モードコマンドを設定し、MPU92は、ステップS2117Aにて特殊モードコマンドを受信していると判定した場合には、ステップS2118Aにおいて、特殊モードコマンドの内容に基づいて、特殊モード報知処理を実行する。この特殊モード報知処理では、MPU92は、特殊モード報知コマンドを設定する。この特殊モード報知コマンドは、前述したステップS2005のコマンド送信処理において、表示制御装置100に送信される。
MPU102は、MPU92から送信される特殊モードコマンドに基づいて、図36(D)に示すように、開閉実行モードの終了後に図柄表示装置51の表示画面Gにキャラクタを表示させるとともに、このキャラクタのセリフ「30回転のチャンスゾーンよ!」にて遊技者に対して特殊モードに移行することを報知する。
これに対して、MPU62は、ステップS1110Aにて特殊モードの抽選に当選しなかったと判定した場合には、特殊モードコマンドを設定しないので、MPU102は、開閉実行モードの終了時に図柄表示装置51の表示画面Gにキャラクタや、このキャラクタのセリフを表示せず、遊技者に対して特殊モードに移行することを報知しない(図示略)。
なお、本実施形態では、MPU102は、開閉実行モードの終了時に図柄表示装置51の表示画面Gにキャラクタや、このキャラクタのセリフを表示せず、遊技者に対して特殊モードに移行することを報知しないことによって、特殊モードの抽選に当選しなかったことを報知していた。これに対して、MPU102は、開閉実行モードの終了時に図柄表示装置51の表示画面Gにキャラクタや、このキャラクタのセリフを表示し、特殊モードの抽選に当選したかのごとく偽装を施すようにしてもよい。これによれば、遊技者は、特殊モードの抽選に当選したか否かの予測を楽しみながら遊技を行うことができる。
その後、パチンコ機10は、図36(E)に示すように、低頻度サポートモードに移行する。低頻度サポートモードでは、遊技モードは、1/8の確率で特殊モードとなり、7/8の確率で通常モードとなる。特殊モードとなった場合には、遊技モードは、30回の遊技回を消化するまで特殊モードに滞在し、その後、通常モードに移行する。特殊モードでは、MPU102は、変動用コマンドの内容に基づいて、遊技回数カウンタRTCの値を特殊モードの終了基準回数までの残り回数(図36(E)では30回)として図柄表示装置51の表示画面Gの左上に表示する。さらに、特殊モードの低頻度サポートモードでは、MPU102は、遊技者に左打ちを示唆すべく左向き矢印を図柄表示装置51の表示画面Gの右上に表示する。
なお、本実施形態では、特殊モードの終了基準回数までの残り回数を図柄表示装置51の表示画面Gに表示しているが、これを表示しなくてもよい。
図37は、特殊モードに滞在している場合の遊技回用の演出を示す図である。
特殊モードでは、MPU102は、MPU92から受信したパターンコマンドに基づいて、図柄表示装置51の表示画面Gに表示している複数の図柄列Z1〜Z3(図4(A)参照)の変動表示を開始することによって、高速変動期間に移行する。この高速変動期間では、MPU102は、各図柄列Z1〜Z3の図柄を所定の向き(本実施形態では上向き)に周期的にスクロールさせるようにして図柄の変動表示を開始する。また、MPU102は、変動用コマンドの内容に基づいて、遊技回数カウンタRTCの値を特殊モードの終了基準回数までの残り回数(図37(A)では15回)として図柄表示装置51の表示画面Gの左上に表示する。さらに、特殊モードの低頻度サポートモードでは、MPU102は、遊技者に左打ちを示唆すべく左向き矢印を図柄表示装置51の表示画面Gの右上に表示する。
なお、本実施形態では、特殊モードの終了基準回数までの残り回数を図柄表示装置51の表示画面Gに表示しているが、これを表示しなくてもよい。
MPU102は、高速変動期間の経過後、一部の図柄列(図柄列Z1および図柄列Z3)を有効ラインL(図4(A)参照)上に停止表示させることによって、同一の図柄の組み合わせ(本実施形態では「2」)を表示して停止結果を示唆し、その状態で残りの図柄列(図柄列Z2)を変動表示することによって、リーチ表示を発生させてリーチ期間に移行する。
その後、MPU102は、MPU92から受信した停止結果コマンドに基づいて、図37(B)に示すように、停止結果として、同一の数字を有する図柄の組み合わせ(本実施形態では「222」)を有効ラインL上に停止表示することによって、当否抽選の結果を報知する。その後、パチンコ機10は、開閉実行モードに移行する。
開閉実行モード用の演出の決定処理では、MPU92は、ステップS2201にて遊技結果が「高頻度サポートモード結果」であると判定した場合、またはステップS2203にて遊技モードが特殊モードであると判定した場合には、ステップS2202において、開閉実行モード用の演出として演出Aを選択する。換言すれば、特殊モードでは、遊技結果の内容に関わらず、開閉実行モード用の演出として演出Aを選択する。この演出Aでは、MPU102は、図37(C)に示すように、開閉実行モードの終了時に図柄表示装置51の表示画面Gにキャラクタを表示させるとともに、このキャラクタのセリフ「RUSH突入よ!」にて遊技者に対して遊技結果が「高頻度サポートモード結果」であることを報知する。
その後、パチンコ機10は、高頻度サポートモードに移行する。高頻度サポートモードでは、遊技モードは、通常モードに移行する。高頻度サポートモードでは、MPU102は、変動用コマンドの内容に基づいて、遊技回数カウンタRTCの値を高頻度サポートモードの終了基準回数までの残り回数(図37(C)では100回)として図柄表示装置51の表示画面Gの左上に表示する。さらに、高頻度サポートモードでは、MPU102は、遊技者に右打ちを示唆すべく右向き矢印を図柄表示装置51の表示画面Gの右上に表示する。
また、パチンコ機10は、当否抽選において「大当たり当選」となることなく30回の遊技回を消化した場合には、図37(D)に示すように、通常モードに移行する。
通常モードでは、MPU102は、MPU92から受信したパターンコマンドに基づいて、図柄表示装置51の表示画面Gに表示している複数の図柄列Z1〜Z3(図4(A)参照)の変動表示を開始することによって、高速変動期間に移行する。この高速変動期間では、MPU102は、各図柄列Z1〜Z3の図柄を所定の向き(本実施形態では上向き)に周期的にスクロールさせるようにして図柄の変動表示を開始する。
MPU102は、高速変動期間の経過後、一部の図柄列(図柄列Z1および図柄列Z3)を有効ラインL(図4(A)参照)上に停止表示させることによって、同一の図柄の組み合わせを表示して停止結果を示唆し、その状態で残りの図柄列(図柄列Z2)を変動表示することによって、リーチ表示を発生させてリーチ期間に移行する。
その後、MPU102は、MPU92から受信した停止結果コマンドに基づいて、停止結果として、同一の数字を有する図柄の組み合わせを有効ラインL上に停止表示することによって、当否抽選の結果を報知する。その後、パチンコ機10は、開閉実行モードに移行する。
開閉実行モード用の演出の決定処理では、MPU92は、ステップS2201にて遊技結果が「高頻度サポートモード結果」であると判定した場合には、ステップS2202において、開閉実行モード用の演出として演出Aを選択する。この演出Aでは、MPU102は、図37(C)に示すように、開閉実行モードの終了時に図柄表示装置51の表示画面Gにキャラクタを表示させるとともに、このキャラクタのセリフ「RUSH突入よ!」にて遊技者に対して遊技結果が「高頻度サポートモード結果」であることを報知する。
その後、パチンコ機10は、高頻度サポートモードに移行する。高頻度サポートモードでは、遊技モードは、通常モードに移行する。高頻度サポートモードでは、MPU102は、変動用コマンドの内容に基づいて、遊技回数カウンタRTCの値を高頻度サポートモードの終了基準回数までの残り回数(図37(C)では100回)として図柄表示装置51の表示画面Gの左上に表示する。さらに、高頻度サポートモードでは、MPU102は、遊技者に右打ちを示唆すべく右向き矢印を図柄表示装置51の表示画面Gの右上に表示する。
これに対して、開閉実行モード用の演出の決定処理では、MPU92は、ステップS2201にて遊技結果が「高頻度サポートモード結果」でないと判定し、ステップS2203にて遊技モードが特殊モードでないと判定した場合(遊技モードが通常モードであると判定した場合)には、ステップS2204Aにおいて、開閉実行モード用の演出として演出B1を選択する。
そして、MPU62は、ステップS1110Aにて特殊モードの抽選に当選したと判定した場合には、ステップS1111Aにおいて、特殊モードコマンドを設定し、MPU92は、ステップS2117Aにて特殊モードコマンドを受信していると判定した場合には、ステップS2118Aにおいて、特殊モードコマンドの内容に基づいて、特殊モード報知処理を実行する。この特殊モード報知処理では、MPU92は、特殊モード報知コマンドを設定する。この特殊モード報知コマンドは、前述したステップS2005のコマンド送信処理において、表示制御装置100に送信される。
MPU102は、MPU92から送信される特殊モードコマンドに基づいて、開閉実行モードの終了後に図柄表示装置51の表示画面Gにキャラクタを表示させるとともに、このキャラクタのセリフ「30回転のチャンスゾーンよ!」にて遊技者に対して特殊モードに移行することを報知する(図36(D)参照)。さらに、特殊モードの低頻度サポートモードでは、MPU102は、遊技者に左打ちを示唆すべく左向き矢印を図柄表示装置51の表示画面Gの右上に表示する。
これに対して、MPU62は、ステップS1110Aにて特殊モードの抽選に当選しなかったと判定した場合には、特殊モードコマンドを設定しないので、MPU102は、図37(E)に示すように、開閉実行モードの終了時に図柄表示装置51の表示画面Gにキャラクタや、このキャラクタのセリフを表示せず、遊技者に対して特殊モードに移行することを報知しない。
なお、本実施形態では、MPU102は、開閉実行モードの終了時に図柄表示装置51の表示画面Gにキャラクタや、このキャラクタのセリフを表示せず、遊技者に対して特殊モードに移行することを報知しないことによって、特殊モードの抽選に当選しなかったことを報知していた。これに対して、MPU102は、開閉実行モードの終了時に図柄表示装置51の表示画面Gにキャラクタや、このキャラクタのセリフを表示し、特殊モードの抽選に当選したかのごとく偽装を施すようにしてもよい。これによれば、遊技者は、特殊モードの抽選に当選したか否かの予測を楽しみながら遊技を行うことができる。
その後、パチンコ機10は、低頻度サポートモードに移行する。低頻度サポートモードでは、遊技モードは、1/8の確率で特殊モードとなり、7/8の確率で通常モードとなる。特殊モードとなった場合には、遊技モードは、30回の遊技回を消化するまで特殊モードに滞在し、その後、通常モードに移行する。特殊モードでは、MPU102は、変動用コマンドの内容に基づいて、遊技回数カウンタRTCの値を特殊モードの終了基準回数までの残り回数として図柄表示装置51の表示画面Gの左上に表示する。さらに、特殊モードの低頻度サポートモードでは、MPU102は、遊技者に左打ちを示唆すべく左向き矢印を図柄表示装置51の表示画面Gの右上に表示する。
なお、本実施形態では、特殊モードの終了基準回数までの残り回数を図柄表示装置51の表示画面Gに表示しているが、これを表示しなくてもよい。
このような本実施形態によれば、前記第1実施形態における(1)〜(4),(5)〜(8),(10),(11)と同様の作用・効果を奏することができる他、以下の作用・効果を奏することができる。
(12)主制御装置60は、特殊モード抽選に当選しなかった場合に通常モードに遊技モードを移行し、特殊モード抽選に当選した場合に特殊モードに遊技モードを移行するので、遊技者は、特殊モード抽選の結果に注目することになる。したがって、パチンコ機10は、遊技者の遊技への注目度を向上させることができる。
〔第3実施形態〕
以下、本発明の第3実施形態を図面に基づいて説明する。
なお、以下の説明では、既に説明した部分については、同一符号を付してその説明を省略する。
前記第1実施形態では、当否抽選において「大当たり当選」となって特殊モードフラグをRAM64にセットした場合には、遊技状態は、現在の遊技状態に関わらず開閉実行モード(すなわち、ラウンド数規定モード)の終了後に、特殊モードに移行していた。この特殊モードは、RAM64に特殊モードフラグがセットされている場合には、遊技回数カウンタRTCにセットされた終了基準回数である30回の遊技回を消化するまで継続していた。
これに対して、本実施形態では、MPU62は、特殊モードに移行した後、遊技回を消化する都度、特殊モードを継続するか否かの抽選を実行し、この抽選に当選しなかった場合には、通常モードに移行する点で前記第1実施形態と異なる。
本実施形態では、主制御装置60は、前記第1実施形態とは異なる処理を実行する。具体的には、本実施形態では、開閉実行モード終了時の移行処理および変動終了処理は、前記第1実施形態とは異なっている。以下、本実施形態における開閉実行モード終了時の移行処理および変動終了処理の内容について説明する。
図38は、本発明の第3実施形態に係る開閉実行モード終了時の移行処理のフローチャートを示す図である。
開閉実行モード終了時の移行処理では、MPU62は、図38に示すように、ステップS1101〜S1107を実行する。なお、本実施形態では、MPU62は、ステップS1107の処理を実行した後、ステップS1108の処理を実行することなく、開閉実行モード終了時の移行処理を終了する点で前記第1実施形態と異なる。
<変動終了処理>
図39は、変動終了処理のフローチャートを示す図である。
変動終了処理では、MPU62は、図39に示すように、ステップS1301〜S1310Bを実行する。なお、本実施形態では、MPU62は、ステップS1301〜S1305の処理を前記第1実施形態と同様に実行した後、ステップS1306以降の処理を実行する。
ステップS1305の処理を実行した後、ステップS1302にてサポートモードが高頻度サポートモードでないと判定した場合、またはステップS1304にて遊技回数カウンタRTCが「0」以下でないと判定した場合には、MPU62は、ステップS1306において、遊技モードが特殊モードであるか否かを判定する。
MPU62は、ステップS1306にて遊技モードが特殊モードでないと判定した場合(遊技モードが通常モードであると判定した場合)には、ステップS1307B以降の処理を実行することなく、変動終了処理を終了する。
これに対して、MPU62は、ステップS1306にて遊技モードが特殊モードであると判定した場合には、ステップS1307Bにおいて、特殊モードの継続抽選処理を実行する。具体的には、特殊モードの継続抽選処理では、MPU62は、遊技回の終了後に、特殊モードを継続させるか否かの抽選を所定の確率(本実施形態では29/30)で実行する。
なお、本実施形態では、MPU62は、特殊モードを継続させる確率を29/30(通常モードに移行させる確率を1/30)としているが、29/30より大きくてもよく、29/30より小さくてもよい。また、MPU62は、例えば、当否抽選において「大当たり当選」となるまでに消化した遊技回の回数が所定の回数よりも小さかった場合に、特殊モードを継続させる確率を低くし、当否抽選において「大当たり当選」となるまでに消化した遊技回の回数が所定の回数よりも大きかった場合に、特殊モードを継続させる確率を高くしてもよく、その他の遊技状況に応じて特殊モードを継続させる確率を変動させてもよい。
ステップS1308Bでは、MPU62は、特殊モードの継続抽選に当選したか否かを判定する。
MPU62は、ステップS1308Bにて特殊モードの継続抽選に当選したと判定した場合には、ステップS1309以降の処理を実行することなく、変動終了処理を終了する。
これに対して、MPU62は、ステップS1308Bにて特殊モードの継続抽選に当選しなかったと判定した場合には、ステップS1309において、RAM64に記憶された特殊モードフラグをクリアする。これによって、MPU62は、遊技モードを通常モードに設定する。
ステップS1310Bでは、MPU62は、通常モードコマンドを設定する。その後、MPU62は、変動終了処理を終了する。この通常モードコマンドは、遊技モードを通常モードに設定することを音声発光制御装置90に認識させるための情報を含んでいる。MPU62は、通常処理のステップS301において、ステップS1310Bにて設定した通常モードコマンドを音声発光制御装置90に送信する。
なお、音声発光制御装置90は、MPU62から送信される通常モードコマンドに基づいて、通常モードへの移行を認識し、所定の処理を実行する。この処理については、後に詳細に説明する。
このように、当否抽選において「大当たり当選」となって特殊モードフラグをRAM64にセットした場合には、遊技状態は、現在の遊技状態に関わらず開閉実行モード(すなわち、ラウンド数規定モード)の終了後に、特殊モードに移行する。特殊モードは、ステップS1307Bの特殊モードの継続抽選処理に当選すれば継続する。
このように、本実施形態では、主制御装置60は、内部抽選の結果に基づいて、遊技状態を移行する遊技状態移行手段として機能する。
また、本実施形態では、低頻度サポートモードは、通常モードおよび特殊モードの遊技モードを有している。
そして、本実施形態では、主制御装置60は、低頻度サポートモードの通常モードおよび高頻度サポートモードでは、内部抽選の結果(低頻度サポートモード結果または高頻度サポートモード結果)に基づいて、低頻度サポートモードおよび高頻度サポートモードのいずれかに遊技状態を移行し、低頻度サポートモードの特殊モードでは、内部抽選の結果に関わらず高頻度サポートモードに遊技状態を移行する。これによれば、遊技者は、低頻度サポートモードに遊技状態を移行した場合であっても特殊モードに滞在していることを期待して遊技することになるので、パチンコ機10は、遊技者の遊技への注目度を向上させることができる。
なお、本実施形態では、高頻度サポートモードは、特殊モードの遊技モードを有していないが、これを有していてもよい。
また、本実施形態では、主制御装置60は、上作動口36および下作動口37への遊技球の入球に際して実行された内部抽選の結果に基づいて、遊技者にとって有利な開閉実行モードに通常制御状態から遊技状態を移行し、開閉実行モードから通常制御状態に遊技状態を移行したときに、低頻度サポートモードおよび高頻度サポートモードのいずれかに遊技状態を移行する。これによれば、遊技者は、低頻度サポートモードに移行した場合には、特殊モードに滞在しているか否かに注目することになるので、パチンコ機10は、遊技者の遊技への注目度を向上させることができる。
また、本実施形態では、右側可変入球機構40は、上作動口36および下作動口37への遊技球の入球に際して実行された内部抽選の結果に基づいて、右打ちルートに向かって発射された遊技球を入球可能とする可変入球機構として機能する。そして、主制御装置60は、右側可変入球機構40への遊技球の入球に際して通常制御状態から開閉実行モードに遊技状態を移行する。ここで、下作動口37への遊技球の入球に際して実行された内部抽選の結果に基づいて、可変入球実行モードを介して開閉実行モードに移行する確率(約1/12.5)は、上作動口36への遊技球の入球に際して実行された内部抽選の結果に基づいて、可変入球実行モードを介して開閉実行モードに移行する確率(約1/60)よりも高くなっている。これによれば、遊技者は、高頻度サポートモードに遊技状態を移行することを期待することになるので、パチンコ機10は、遊技者の遊技への注目度を向上させることができる。
また、本実施形態では、主制御装置60は、上作動口36および下作動口37への遊技球の入球に際して実行された内部抽選の結果に基づいて、通常モードおよび特殊モードのいずれかに遊技モードを移行する。具体的には、主制御装置60は、低頻度サポートモードに遊技状態を移行する場合には、特殊モードに遊技モードを移行し、高頻度サポートモードに遊技状態を移行する場合には、通常モードに遊技モードを移行する。これによれば、遊技者は、上作動口36および下作動口37への遊技球の入球に際して実行された内部抽選の結果に注目することになるので、パチンコ機10は、遊技者の遊技への注目度を向上させることができる。
なお、本実施形態では、主制御装置60は、低頻度サポートモードに遊技状態を移行する場合には、特殊モードに遊技モードを移行し、高頻度サポートモードに遊技状態を移行する場合には、通常モードに遊技モードを移行しているが、これ以外の条件に基づいて、通常モードおよび特殊モードのいずれかに遊技モードを移行してもよい。
また、本実施形態では、変動終了処理は、主制御装置60にて特殊モードに遊技モードを移行した後、通常モードに遊技モードを移行するか否かの通常モード抽選を実行する通常モード抽選手段として機能する。そして、主制御装置60は、通常モード抽選に当選した場合に通常モードに遊技モードを移行する。これによれば、主制御装置60は、通常モード抽選に当選した場合に通常モードに遊技モードを移行するので、遊技者は、通常モード抽選の結果に注目することになる。したがって、パチンコ機10は、遊技者の遊技への注目度を向上させることができる。
なお、本実施形態では、主制御装置60は、特殊モードに遊技モードを移行した後、特殊モードを継続させる確率を29/30に設定した通常モード抽選に当選しなかった場合に特殊モードから通常モードに遊技モードを移行しているが、例えば、特殊モードを継続させる確率を29/30および28/30などのように複数の確率に振り分けて設定するようにしてもよい。
また、本実施形態では、低頻度サポートモード結果は、低頻度サポートモードおよび高頻度サポートモードのいずれかに遊技状態を移行する第1の抽選結果として機能し、高頻度サポートモード結果は、高頻度サポートモードに遊技状態を移行する第2の抽選結果として機能する。これによれば、パチンコ機10は、低頻度サポートモード結果となった場合であっても高頻度サポートモードに遊技状態を移行することができ、高頻度サポートモードに遊技状態を移行する機会を増加させることができるので、パチンコ機10は、遊技者の遊技への注目度を向上させることができる。
そして、低頻度サポートモードは、低頻度サポートモード結果となった場合に低頻度サポートモードに遊技状態を移行する通常モードと、低頻度サポートモード結果となった場合に高頻度サポートモードに遊技状態を移行する特殊モードとを有している。これによれば、遊技者は、低頻度サポートモードに遊技状態を移行した場合であっても特殊モードに滞在していることを期待して遊技することになるので、パチンコ機10は、遊技者の遊技への注目度を向上させることができる。
また、本実施形態では、低頻度サポートモードは、通常モードと、遊技者にとって有利な遊技状態に移行する確率が通常モードよりも高い特殊モードとを備えている。具体的には、本実施形態では、特殊モードは、高頻度サポートモードに移行する確率が通常モードよりも高くなっている。これによれば、遊技者は、低頻度サポートモードに遊技状態を移行した場合であっても特殊モードに滞在していることを期待して遊技することになるので、パチンコ機10は、遊技者の遊技への注目度を向上させることができる。
なお、本実施形態では、特殊モードは、高頻度サポートモードに移行する確率が通常モードよりも高く100%となっているが、100%でなくてもよい。要するに、特殊モードは、高頻度サポートモードに移行する確率が通常モードよりも高くなっていればよい。
そして、主制御装置60は、上作動口36および下作動口37への遊技球の入球に際して実行された内部抽選の結果に基づいて、遊技者にとって有利な開閉実行モードに通常制御状態から遊技状態を移行し、開閉実行モードから通常制御状態に遊技状態を移行したときに、通常モードおよび特殊モードのいずれかに遊技モードを移行する。
なお、本実施形態では、主制御装置60は、開閉実行モードから通常制御状態に遊技状態を移行したときに、通常モードおよび特殊モードのいずれかに遊技モードを移行しているが、これ以外のタイミングで通常モードおよび特殊モードのいずれかに遊技モードを移行してもよく、例えば、遊技回の消化中に通常モードおよび特殊モードのいずれかに遊技モードを移行してもよい。
また、本実施形態では、音声発光制御装置90および表示制御装置100は、前記第1実施形態とは異なる処理を実行する。具体的には、本実施形態では、演出決定処理は、前記第1実施形態とは異なっている。以下、本実施形態における演出決定処理の内容について説明する。
<音声発光制御装置90にて実行される演出決定処理について>
図40は、演出決定処理のフローチャートを示す図である。
音声発光制御装置90のMPU92は、遊技回用の演出や、可変入球実行モード用の演出や、開閉実行モード用の演出などを実行するために演出決定処理を実行する。この演出決定処理では、MPU92は、図40に示すように、ステップS2101〜S2111の処理を前記第1実施形態と同様に実行し、その後、ステップS2112以降の処理を実行する。
ステップS2112では、MPU92は、オープニングコマンドを受信しているか否かを判定する。
MPU92は、ステップS2112にてオープニングコマンドを受信していないと判定した場合には、ステップS2119B以降の処理を実行する。
これに対して、MPU92は、ステップS2112にてオープニングコマンドを受信していると判定した場合には、ステップS2113において、オープニングコマンドの内容に基づいて、振分結果の種類を判定する。
ステップS2114Bでは、MPU92は、ステップS2113にて判定した振分結果の種類に対応する開閉実行モード用の演出の決定処理を実行する。
図41は、開閉実行モード用の演出の決定処理のフローチャートを示す図である。
音声発光制御装置90のMPU92は、開閉実行モード用の演出を決定するために開閉実行モード用の演出の決定処理を実行する。この開閉実行モード用の演出の決定処理では、MPU92は、図41に示すように、ステップS2201〜S2204Bを実行する。
ステップS2201では、MPU92は、ステップS2113にて判定した振分結果が「高頻度サポートモード結果」であるか否かを判定する。
MPU92は、ステップS2201にて遊技結果が「高頻度サポートモード結果」であると判定した場合には、ステップS2202において、開閉実行モード用の演出として演出Aを選択する。その後、MPU62は、開閉実行モード用の演出の決定処理を終了する。
これに対して、MPU92は、ステップS2201にて振分結果が「高頻度サポートモード結果」でないと判定した場合(振分結果が「低頻度サポートモード結果」であると判定した場合)には、ステップS2203において、オープニングコマンドの内容に基づいて、当否抽選において「大当たり当選」となったときの遊技モードが特殊モードであるか否かを判定する。
MPU92は、ステップS2203にて遊技モードが特殊モードであると判定した場合には、前述したステップS2202以降の処理を実行し、開閉実行モード用の演出として演出Aを選択する。その後、MPU62は、開閉実行モード用の演出の決定処理を終了する。
これに対して、MPU92は、ステップS2203にて遊技モードが特殊モードでないと判定した場合(遊技モードが通常モードであると判定した場合)には、ステップS2204Bにおいて、開閉実行モード用の演出として演出B2を選択する。その後、MPU62は、開閉実行モード用の演出の決定処理を終了する。
なお、演出Aおよび演出B2の継続時間は、開閉実行モードに際して大入賞口38aの開閉を15回実行する場合の時間と対応している。
また、MPU92は、演出Aおよび演出B2の選択結果に基づいて、前述したステップS2003の演出実行処理において、表示ランプ部23の発光制御を実行するとともに、スピーカ部24の音声制御を実行する。
ここで、本実施形態の演出B2は、前記第1実施形態の演出Bと異なっている。
具体的には、前記第1実施形態の演出Bでは、MPU102は、開閉実行モードの終了時に図柄表示装置51の表示画面Gにキャラクタを表示させるとともに、このキャラクタのセリフ「30回転のチャンスゾーンよ!」にて遊技者に対して遊技結果が「低頻度サポートモード結果」であること(特殊モードに移行すること)を報知していた(図30(D)および図31(E)参照)。
これに対して、本実施形態の演出B2では、MPU102は、開閉実行モードの終了時に図柄表示装置51の表示画面Gにキャラクタを表示させるとともに、このキャラクタのセリフ「チャンスゾーン突入よ!」にて遊技者に対して遊技結果が「低頻度サポートモード結果」であること(特殊モードに移行すること)を報知する点で前記第1実施形態の演出Bと異なっている。
演出決定処理の説明に戻り、図40を参照してステップS2115以降の処理について説明する。
ステップS2115では、MPU92は、ステップS2114Bにて選択した開閉実行モード用の演出に係る情報を含む開閉実行モード用コマンドを設定する。この開閉実行モード用コマンドは、前述したステップS2005のコマンド送信処理において、表示制御装置100に送信される。
表示制御装置100のMPU102は、MPU92から送信された開閉実行モード用コマンドに基づいて、開閉実行モード用の演出を図柄表示装置51にて実行するためのデータテーブルをプログラムROM103から読み出す。そして、MPU102は、予め定められた画像更新タイミング(例えば、20msec周期)となる度に、このデータテーブルに基づいてVDP105に対してコマンドを出力する。これによって、図柄表示装置51は、音声発光制御装置90のMPU92にて選択された開閉実行モード用の演出を実行する。
MPU92は、ステップS2115の処理を実行した後、またはステップS2112にてオープニングコマンドを受信していないと判定した場合には、ステップS2119B以降の処理を実行する。
ステップS2119Bでは、MPU92は、通常モードコマンドを受信しているか否かを判定する。
MPU92は、ステップS2119Bにて通常モードコマンドを受信していると判定した場合には、ステップS2120Bにおいて、通常モードコマンドの内容に基づいて、通常モード報知処理を実行する。この通常モード報知処理では、MPU92は、通常モード報知コマンドを設定する。この通常モード報知コマンドは、前述したステップS2005のコマンド送信処理において、表示制御装置100に送信される。
表示制御装置100のMPU102は、MPU92から送信された通常モード報知コマンドに基づいて、遊技者に対して通常モードに移行することを報知するためのデータテーブルをプログラムROM103から読み出す。そして、MPU102は、予め定められた画像更新タイミング(例えば、20msec周期)となる度に、このデータテーブルに基づいてVDP105に対してコマンドを出力する。これによって、図柄表示装置51は、通常モードに移行することを遊技者に報知する。具体的には、MPU102は、図柄表示装置51の表示画面Gにキャラクタを表示させるとともに、このキャラクタのセリフ「チャンスゾーン終了」にて遊技者に対して通常モードに移行することを報知する。
これに対して、MPU92は、ステップS2119Bにて通常モードコマンドを受信していないと判定した場合には、ステップS2116以降の処理を実行する。
ステップS2116では、MPU92は、その他の処理を実行する。その他の処理では、MPU92は、例えば、MPU62から送信された開放コマンド、閉鎖コマンドおよびエンディングコマンドなどに基づいて、開閉実行モード用の演出を進行させるための処理を実行する。その後、MPU92は、演出決定処理を終了する。
<遊技結果と遊技状態等との関係について>
以下、遊技結果と、各種処理の実行に基づく遊技状態等との関係について説明する。
図42は、遊技結果と、遊技状態等との関係を示す図である。具体的には、図42は、「通常外れ結果」を除く遊技結果と、遊技状態等との関係を示す図であり、遊技結果を列方向に並べ、遊技状態等を行方向に並べている。
パチンコ機10は、図42に示すように、通常モードおよび特殊モードの遊技モードを有している。また、パチンコ機10は、「通常外れ結果」を除く遊技結果として、「高頻度サポートモード結果」および「低頻度サポートモード結果」の振分結果を有している。
以下、「通常外れ結果」を除く遊技結果と、遊技状態等との関係について説明する。なお、本実施形態では、パチンコ機10は、遊技結果と、遊技状態等との関係を以下のように設定しているが、遊技結果と、遊技状態等との組み合わせ、遊技結果の内容、および遊技状態等の内容については任意である。
通常モードの遊技モードでは、「高頻度サポートモード結果」および「低頻度サポートモード結果」の遊技結果に応じて遊技状態等の内容は異なっている。
具体的には、「高頻度サポートモード結果」では、大入賞口38aの開閉は、15回実行される。また、上作動口36への入賞に基づく「高頻度サポートモード結果」では、停止結果は、同一の奇数の数字を有する図柄の組み合わせとなるとともに、開閉実行モード用の演出は、演出Aとなる。下作動口37への入賞に基づく「高頻度サポートモード結果」では、停止結果は、同一の英字を有する図柄の組み合わせとなるとともに、開閉実行モード用の演出は、演出Aとなる。さらに、「高頻度サポートモード結果」では、サポートモードは、高頻度サポートモードに移行する。そして、次回の遊技モードは、通常モードとなる。
また、「低頻度サポートモード結果」では、大入賞口38aの開閉は、15回実行される。また、上作動口36への入賞に基づく「低頻度サポートモード結果」では、停止結果は、同一の偶数の数字を有する図柄の組み合わせとなるとともに、開閉実行モード用の演出は、演出B2となる。下作動口37への入賞に基づく「低頻度サポートモード結果」では、停止結果は、同一の英字を有する図柄の組み合わせとなるとともに、開閉実行モード用の演出は、演出B2となる。さらに、「低頻度サポートモード結果」では、サポートモードは、低頻度サポートモードに移行する。そして、次回の遊技モードは、「特殊モード」となる。
これに対して「特殊モード」の遊技モードでは、「高頻度サポートモード結果」および「低頻度サポートモード結果」の遊技結果に関わらず遊技状態等の内容は同一となっている。
具体的には、大入賞口38aの開閉は、15回実行される。また、上作動口36への入賞に基づく遊技結果では、停止結果は、同一の数字を有する図柄の組み合わせとなるとともに、開閉実行モード用の演出は、演出Aとなる。さらに、サポートモードは、高頻度サポートモードに移行する。そして、次回の遊技モードは、通常モードとなる。
したがって、遊技者は、停止結果や、開閉実行モード用の演出を確認することによって、振分結果が「高頻度サポートモード結果」であること、または「低頻度サポートモード結果」であることを把握することができ、次回の遊技モードが通常モードであること、または特殊モードであることを把握することができる。
<右側可変入球機構への遊技球の入球後の流れについて>
図43は、右入球口に遊技球が入賞(V入賞)した場合の開閉実行モード用の演出を示す図である。
MPU102は、可変入球実行モードにおいて、右入球口404に遊技球が入賞(V入賞)した場合に、図43(A)に示すように、V入賞の成功に対応する演出を実行する。その後、パチンコ機10は、開閉実行モードに移行する。
開閉実行モード用の演出の決定処理では、MPU92は、ステップS2201にて遊技結果が「高頻度サポートモード結果」であると判定した場合には、ステップS2202において、開閉実行モード用の演出として演出Aを選択する。この演出Aでは、MPU102は、図43(B)に示すように、開閉実行モードの終了時に図柄表示装置51の表示画面Gにキャラクタを表示させるとともに、このキャラクタのセリフ「RUSH突入よ!」にて遊技者に対して遊技結果が「高頻度サポートモード結果」であることを報知する。
その後、パチンコ機10は、図43(C)に示すように、高頻度サポートモードに移行する。高頻度サポートモードでは、遊技モードは、通常モードに移行する。高頻度サポートモードでは、MPU102は、変動用コマンドの内容に基づいて、遊技回数カウンタRTCの値を高頻度サポートモードの終了基準回数までの残り回数(図43(C)では100回)として図柄表示装置51の表示画面Gの左上に表示する。さらに、高頻度サポートモードでは、MPU102は、遊技者に右打ちを示唆すべく右向き矢印を図柄表示装置51の表示画面Gの右上に表示する。
これに対して、開閉実行モード用の演出の決定処理では、MPU92は、ステップS2201にて遊技結果が「高頻度サポートモード結果」でないと判定し、ステップS2203にて遊技モードが特殊モードでないと判定した場合(遊技モードが通常モードであると判定した場合)には、ステップS2204Bにおいて、開閉実行モード用の演出として演出B2を選択する。この演出B2では、MPU102は、図43(D)に示すように、開閉実行モードの終了時に図柄表示装置51の表示画面Gにキャラクタを表示させるとともに、このキャラクタのセリフ「チャンスゾーン突入よ!」にて遊技者に対して遊技結果が「低頻度サポートモード結果」であること(特殊モードに移行すること)を報知する。
その後、パチンコ機10は、図43(E)に示すように、低頻度サポートモードに移行する。低頻度サポートモードでは、遊技モードは、ステップS1307Bの特殊モードの継続抽選処理に当選すれば特殊モードを継続し、当選しなければ通常モードに移行する。さらに、特殊モードの低頻度サポートモードでは、MPU102は、遊技者に左打ちを示唆すべく左向き矢印を図柄表示装置51の表示画面Gの右上に表示する。
図44は、特殊モードに滞在している場合の遊技回用の演出を示す図である。
特殊モードでは、MPU102は、MPU92から受信したパターンコマンドに基づいて、図柄表示装置51の表示画面Gに表示している複数の図柄列Z1〜Z3(図4(A)参照)の変動表示を開始することによって、高速変動期間に移行する。この高速変動期間では、MPU102は、各図柄列Z1〜Z3の図柄を所定の向き(本実施形態では上向き)に周期的にスクロールさせるようにして図柄の変動表示を開始する。
MPU102は、高速変動期間の経過後、一部の図柄列(図柄列Z1および図柄列Z3)を有効ラインL(図4(A)参照)上に停止表示させることによって、同一の図柄の組み合わせ(本実施形態では「2」)を表示して停止結果を示唆し、その状態で残りの図柄列(図柄列Z2)を変動表示することによって、リーチ表示を発生させてリーチ期間に移行する。
その後、MPU102は、MPU92から受信した停止結果コマンドに基づいて、図44(B)に示すように、停止結果として、同一の数字を有する図柄の組み合わせ(本実施形態では「222」)を有効ラインL上に停止表示することによって、当否抽選の結果を報知する。その後、パチンコ機10は、開閉実行モードに移行する。
開閉実行モード用の演出の決定処理では、MPU92は、ステップS2201にて遊技結果が「高頻度サポートモード結果」であると判定した場合、またはステップS2203にて遊技モードが特殊モードであると判定した場合には、ステップS2202において、開閉実行モード用の演出として演出Aを選択する。換言すれば、特殊モードでは、遊技結果の内容に関わらず、開閉実行モード用の演出として演出Aを選択する。この演出Aでは、MPU102は、図44(C)に示すように、開閉実行モードの終了時に図柄表示装置51の表示画面Gにキャラクタを表示させるとともに、このキャラクタのセリフ「RUSH突入よ!」にて遊技者に対して遊技結果が「高頻度サポートモード結果」であることを報知する。
その後、パチンコ機10は、高頻度サポートモードに移行する。高頻度サポートモードでは、遊技モードは、通常モードに移行する。高頻度サポートモードでは、MPU102は、変動用コマンドの内容に基づいて、遊技回数カウンタRTCの値を高頻度サポートモードの終了基準回数までの残り回数(図44(C)では100回)として図柄表示装置51の表示画面Gの左上に表示する。さらに、高頻度サポートモードでは、MPU102は、遊技者に右打ちを示唆すべく右向き矢印を図柄表示装置51の表示画面Gの右上に表示する。
また、パチンコ機10は、ステップS1307Bの特殊モードの継続抽選処理に当選しなければ通常モードに移行する。
ここで、MPU62は、ステップS1308Bにて特殊モードの継続抽選に当選しなかったと判定した場合には、ステップS1310Bにおいて、通常モードコマンドを設定し、MPU92は、ステップS2119Bにて通常モードコマンドを受信していると判定した場合には、ステップS2120Bにおいて、通常モードコマンドの内容に基づいて、通常モード報知処理を実行する。この通常モード報知処理では、MPU92は、通常モード報知コマンドを設定する。この通常モード報知コマンドは、前述したステップS2005のコマンド送信処理において、表示制御装置100に送信される。
MPU102は、MPU92から送信される通常モードコマンドに基づいて、図44(D)に示すように、図柄表示装置51の表示画面Gにキャラクタを表示させるとともに、このキャラクタのセリフ「チャンスゾーン終了」にて遊技者に対して通常モードに移行することを報知する。
その後、パチンコ機10は、図44(E)に示すように、通常モードに移行する。
これに対して、MPU62は、ステップS1308Bにて特殊モードの継続抽選に当選したと判定した場合には、通常モードコマンドを設定しないので、MPU102は、図柄表示装置51の表示画面Gにキャラクタや、このキャラクタのセリフを表示せず、遊技者に対して通常モードに移行することを報知しない。さらに、特殊モードの低頻度サポートモードでは、MPU102は、遊技者に左打ちを示唆すべく左向き矢印を図柄表示装置51の表示画面Gの右上に表示する。
通常モードでは、MPU102は、MPU92から受信したパターンコマンドに基づいて、図柄表示装置51の表示画面Gに表示している複数の図柄列Z1〜Z3(図4(A)参照)の変動表示を開始することによって、高速変動期間に移行する。この高速変動期間では、MPU102は、各図柄列Z1〜Z3の図柄を所定の向き(本実施形態では上向き)に周期的にスクロールさせるようにして図柄の変動表示を開始する。
MPU102は、高速変動期間の経過後、一部の図柄列(図柄列Z1および図柄列Z3)を有効ラインL(図4(A)参照)上に停止表示させることによって、同一の図柄の組み合わせを表示して停止結果を示唆し、その状態で残りの図柄列(図柄列Z2)を変動表示することによって、リーチ表示を発生させてリーチ期間に移行する。
その後、MPU102は、MPU92から受信した停止結果コマンドに基づいて、停止結果として、同一の数字を有する図柄の組み合わせを有効ラインL上に停止表示することによって、当否抽選の結果を報知する。その後、パチンコ機10は、開閉実行モードに移行する。
開閉実行モード用の演出の決定処理では、MPU92は、ステップS2201にて遊技結果が「高頻度サポートモード結果」であると判定した場合には、ステップS2202において、開閉実行モード用の演出として演出Aを選択する。この演出Aでは、MPU102は、図44(C)に示すように、開閉実行モードの終了時に図柄表示装置51の表示画面Gにキャラクタを表示させるとともに、このキャラクタのセリフ「RUSH突入よ!」にて遊技者に対して遊技結果が「高頻度サポートモード結果」であることを報知する。
その後、パチンコ機10は、高頻度サポートモードに移行する。高頻度サポートモードでは、遊技モードは、通常モードに移行する。高頻度サポートモードでは、MPU102は、変動用コマンドの内容に基づいて、遊技回数カウンタRTCの値を高頻度サポートモードの終了基準回数までの残り回数(図44(C)では100回)として図柄表示装置51の表示画面Gの左上に表示する。さらに、高頻度サポートモードでは、MPU102は、遊技者に右打ちを示唆すべく右向き矢印を図柄表示装置51の表示画面Gの右上に表示する。
これに対して、開閉実行モード用の演出の決定処理では、MPU92は、ステップS2201にて遊技結果が「高頻度サポートモード結果」でないと判定し、ステップS2203にて遊技モードが特殊モードでないと判定した場合(遊技モードが通常モードであると判定した場合)には、ステップS2204Bにおいて、開閉実行モード用の演出として演出B2を選択する。この演出B2では、MPU102は、図44(F)に示すように、開閉実行モードの終了時に図柄表示装置51の表示画面Gにキャラクタを表示させるとともに、このキャラクタのセリフ「チャンスゾーン突入よ!」にて遊技者に対して遊技結果が「低頻度サポートモード結果」であること(特殊モードに移行すること)を報知する。
その後、パチンコ機10は、低頻度サポートモードに移行する。低頻度サポートモードでは、遊技モードは、ステップS1307Bの特殊モードの継続抽選処理に当選すれば特殊モードを継続し、当選しなければ通常モードに移行する。さらに、特殊モードの低頻度サポートモードでは、MPU102は、遊技者に左打ちを示唆すべく左向き矢印を図柄表示装置51の表示画面Gの右上に表示する。
このような本実施形態によれば、前記第1実施形態における(1)〜(5),(7)〜(11)と同様の作用・効果を奏することができる他、以下の作用・効果を奏することができる。
(13)主制御装置60は、通常モード抽選に当選した場合に通常モードに遊技モードを移行するので、遊技者は、通常モード抽選の結果に注目することになる。したがって、パチンコ機10は、遊技者の遊技への注目度を向上させることができる。
〔第4実施形態〕
以下、本発明の第4実施形態を図面に基づいて説明する。
なお、以下の説明では、既に説明した部分については、同一符号を付してその説明を省略する。
前記第1実施形態では、当否抽選において「大当たり当選」となって特殊モードフラグをRAM64にセットした場合には、遊技状態は、現在の遊技状態に関わらず開閉実行モード(すなわち、ラウンド数規定モード)の終了後に、特殊モードに移行していた。この特殊モードは、RAM64に特殊モードフラグがセットされている場合には、遊技回数カウンタRTCにセットされた終了基準回数である30回の遊技回を消化するまで継続していた。
これに対して、本実施形態では、特殊モードは、RAM64に特殊モードフラグがセットされている場合には、遊技回数カウンタRTCにセットされた終了基準回数である30回または50回の遊技回を消化するまで継続する点で前記第1実施形態と異なる。
本実施形態では、主制御装置60は、前記第1実施形態とは異なる処理を実行する。具体的には、本実施形態では、開閉実行モード終了時の移行処理は、前記第1実施形態とは異なっている。以下、本実施形態における開閉実行モード終了時の移行処理の内容について説明する。
図45は、本発明の第4実施形態に係る開閉実行モード終了時の移行処理のフローチャートを示す図である。
開閉実行モード終了時の移行処理では、MPU62は、図45に示すように、ステップS1101〜S1110Cを実行する。
ステップS1101では、MPU62は、振分結果が「高頻度サポートモード結果」であるか否かを判定する。
MPU62は、ステップS1101にて振分結果が「高頻度サポートモード結果」であると判定した場合には、ステップS1102以降の処理を実行する。
これに対して、MPU62は、ステップS1101にて振分結果が「高頻度サポートモード結果」でないと判定した場合(振分結果が「低頻度サポートモード結果」であると判定した場合)には、ステップS1105以降の処理を実行する。
まず、ステップS1101において、MPU62にて振分結果が「高頻度サポートモード結果」であると判定された場合の処理(ステップS1102以降の処理)について説明する。
ステップS1102では、MPU62は、高頻度サポートフラグをRAM64にセットする。MPU62は、RAM64に既に高頻度サポートフラグがセットされている場合には、これを維持する。これによって、MPU62は、サポートモードを高頻度サポートモードに設定する。
ステップS1103では、RAM64に記憶された特殊モードフラグをクリアする。
ここで、パチンコ機10は、開閉実行モード終了後に移行するサポートモードの異なる複数の遊技モードを有している。具体的には、パチンコ機10は、「低頻度サポートモード結果」および「高頻度サポートモード結果」の振分結果に応じて開閉実行モード終了後にサポートモードを設定する通常モードと、「低頻度サポートモード結果」および「高頻度サポートモード結果」の振分結果に関わらず開閉実行モード終了後にサポートモードを高頻度サポートモードに設定する特殊モードとを遊技モードとして有している。
特殊モードフラグは、通常モードおよび特殊モードのうち、どちらの遊技モードであるかを特定するためのフラグである。ステップS1103では、MPU62は、特殊モードフラグをクリアしているので、遊技モードを通常モードに設定している。
ステップS1104では、MPU62は、RAM64の各種カウンタエリア64aに設けられた遊技回数カウンタRTCの値に「100」をセットする。その後、MPU62は、開閉実行モード終了時の移行処理を終了する。
ここで、高頻度サポートモードは、RAM64に高頻度サポートフラグがセットされている場合には、遊技回数カウンタRTCにセットされた終了基準回数である100回の遊技回を消化するまで継続する。MPU62は、100回の遊技回を消化した場合には、高頻度サポートフラグをクリアする。これによって、MPU62は、サポートモードを低頻度サポートモードに設定する。
次に、ステップS1101において、MPU62にて振分結果が「高頻度サポートモード結果」でないと判定された場合の処理(ステップS1105以降の処理)について説明する。
MPU62は、ステップS1101にて振分結果が「高頻度サポートモード結果」でないと判定された場合(振分結果が「低頻度サポートモード結果」であると判定した場合)には、ステップS1105において、RAM64に特殊モードフラグがセットされているか否かを判定する。
MPU62は、ステップS1105にてRAM64に特殊モードフラグがセットされていると判定した場合(遊技モードが特殊モードであると判定した場合)には、前述したステップS1102以降の処理を実行する。換言すれば、遊技モードが特殊モードである場合には、MPU62は、「低頻度サポートモード結果」および「高頻度サポートモード結果」の振分結果に関わらず開閉実行モード終了後にサポートモードを高頻度サポートモードに設定する。
これに対して、MPU62は、ステップS1105にてRAM64に特殊モードフラグがセットされていないと判定した場合(遊技モードが通常モードであると判定した場合)には、ステップS1109Cにおいて、遊技回数カウンタ設定処理を実行する。この遊技回数カウンタ設定処理については後に詳細に説明する。
ステップS1106では、MPU62は、RAM64に記憶された高頻度サポートフラグをクリアする。これによって、MPU62は、サポートモードを低頻度サポートモードに設定する。
ステップS1107では、MPU62は、特殊モードフラグをRAM64にセットする。MPU62は、RAM64に既に特殊モードフラグがセットされている場合には、これを維持する。これによって、MPU62は、遊技モードを特殊モードに設定する。
ステップS1110Cでは、MPU62は、特殊モードコマンドを設定する。その後、MPU62は、開閉実行モード終了時の移行処理を終了する。この特殊モードコマンドは、遊技モードを特殊モードに設定することを音声発光制御装置90に認識させるための情報を含んでいる。MPU62は、通常処理のステップS301において、ステップS1110Cにて設定した特殊モードコマンドを音声発光制御装置90に送信する。
なお、音声発光制御装置90は、MPU62から送信される特殊モードコマンドに基づいて、特殊モードへの移行を認識し、所定の処理を実行する。この処理については、後に詳細に説明する。
図46は、遊技回数カウンタ設定処理のフローチャートを示す図である。
遊技回数カウンタ設定処理では、MPU62は、図46に示すように、ステップS1401〜S1404を実行する。
ステップS1401では、MPU62は、RAM64に高頻度サポートフラグがセットされているか否かを判定する。換言すれば、MPU62は、当否抽選において「大当たり当選」または「小当たり当選」となったときのサポートモードが高頻度サポートモードであるか否かを判定する。
MPU62は、ステップS1401にてサポートモードが高頻度サポートモードであると判定された場合には、ステップS1402において、遊技回数カウンタRTCの値が「90」以上であるか否かを判定する。換言すれば、MPU62は、開閉実行モードの終了後に、高頻度サポートモードに移行した後、10回の遊技回を消化する前に当否抽選において「小当たり当選」となったか否かを判定する。
MPU62は、ステップS1402にて遊技回数カウンタRTCの値が「90」以上であると判定した場合には、ステップS1403において、RAM64の各種カウンタエリア64aに設けられた遊技回数カウンタRTCの値に「50」をセットする。その後、MPU62は、開閉実行モード終了時の移行処理を終了する。
これに対して、MPU62は、ステップS1401にてサポートモードが高頻度サポートモードでないと判定された場合(サポートモードが低頻度サポートモードであると判定された場合)、またはステップS1402にて遊技回数カウンタRTCの値が「90」以上でないと判定した場合には、ステップS1404において、RAM64の各種カウンタエリア64aに設けられた遊技回数カウンタRTCの値に「30」をセットする。その後、MPU62は、開閉実行モード終了時の移行処理を終了する。
ここで、特殊モードは、RAM64に特殊モードフラグがセットされている場合には、遊技回数カウンタRTCにセットされた終了基準回数である30回または50回の遊技回を消化するまで継続する。MPU62は、30回または50回の遊技回を消化した場合には、特殊モードフラグをクリアする。これによって、MPU62は、遊技モードを通常モードに設定する。
ここで、特殊モードの継続回数(30回または50回)に係る情報は、前述した特殊モードコマンドに含まれている。
なお、MPU62は、ステップS1107の処理を実行した後、下作動口37への遊技球の入賞に基づいて第2結果表示部用保留エリアRbに記憶された保留情報をクリアする。
このように、当否抽選において当たり発生となって、振分抽選において振分結果が「高頻度サポートモード結果」となった場合には、遊技状態は、現在の遊技状態に関わらず開閉実行モードの終了後に、高頻度サポートモードに移行する。高頻度サポートモードは、当否抽選において当たり発生となることなく、100回の遊技回を消化した場合には、低頻度サポートモードに移行する。高頻度サポートモードでは、遊技モードは、常に通常モードとなる。
また、当否抽選において当たり発生となって、振分抽選において振分結果が「低頻度サポートモード結果」となった場合には、遊技状態は、遊技モードが特殊モードであれば、開閉実行モードの終了後に、高頻度サポートモードに移行し、遊技モードが通常モードであれば、開閉実行モードの終了後に、低頻度サポートモードに移行する。高頻度サポートモードは、当否抽選において当たり発生となることなく、100回の遊技回を消化した場合には、低頻度サポートモードに移行する。高頻度サポートモードでは、遊技モードは、常に通常モードとなる。低頻度サポートモードは、少なくとも当否抽選において当たり発生となるまで継続する。低頻度サポートモードでは、遊技モードは、30回または50回の遊技回を消化するまで特殊モードに滞在し、その後、通常モードに移行する。
また、当否抽選において当たり発生とならなかった場合、すなわち当否抽選において当否結果が「通常外れ結果」となった場合には、遊技状態は移行しない。
ここで、遊技回数カウンタRTCの値は、前述した変動用コマンドおよび特殊モードコマンドに含まれている。また、遊技モードに係る情報(特殊モードフラグがRAM64にセットされているか否かに係る情報)は、前述したオープニングコマンドに含まれている。
このように、本実施形態では、主制御装置60は、内部抽選の結果に基づいて、遊技状態を移行する遊技状態移行手段として機能する。
また、本実施形態では、低頻度サポートモードは、通常モードおよび特殊モードの遊技モードを有している。
そして、本実施形態では、主制御装置60は、低頻度サポートモードの通常モードおよび高頻度サポートモードでは、内部抽選の結果(低頻度サポートモード結果または高頻度サポートモード結果)に基づいて、低頻度サポートモードおよび高頻度サポートモードのいずれかに遊技状態を移行し、低頻度サポートモードの特殊モードでは、内部抽選の結果に関わらず高頻度サポートモードに遊技状態を移行する。これによれば、遊技者は、低頻度サポートモードに遊技状態を移行した場合であっても特殊モードに滞在していることを期待して遊技することになるので、パチンコ機10は、遊技者の遊技への注目度を向上させることができる。
なお、本実施形態では、高頻度サポートモードは、特殊モードの遊技モードを有していないが、これを有していてもよい。
また、本実施形態では、主制御装置60は、上作動口36および下作動口37への遊技球の入球に際して実行された内部抽選の結果に基づいて、遊技者にとって有利な開閉実行モードに通常制御状態から遊技状態を移行し、開閉実行モードから通常制御状態に遊技状態を移行したときに、低頻度サポートモードおよび高頻度サポートモードのいずれかに遊技状態を移行する。これによれば、遊技者は、低頻度サポートモードに移行した場合には、特殊モードに滞在しているか否かに注目することになるので、パチンコ機10は、遊技者の遊技への注目度を向上させることができる。
また、本実施形態では、右側可変入球機構40は、上作動口36および下作動口37への遊技球の入球に際して実行された内部抽選の結果に基づいて、右打ちルートに向かって発射された遊技球を入球可能とする可変入球機構として機能する。そして、主制御装置60は、右側可変入球機構40への遊技球の入球に際して通常制御状態から開閉実行モードに遊技状態を移行する。ここで、下作動口37への遊技球の入球に際して実行された内部抽選の結果に基づいて、可変入球実行モードを介して開閉実行モードに移行する確率(約1/12.5)は、上作動口36への遊技球の入球に際して実行された内部抽選の結果に基づいて、可変入球実行モードを介して開閉実行モードに移行する確率(約1/60)よりも高くなっている。これによれば、遊技者は、高頻度サポートモードに遊技状態を移行することを期待することになるので、パチンコ機10は、遊技者の遊技への注目度を向上させることができる。
また、本実施形態では、主制御装置60は、上作動口36および下作動口37への遊技球の入球に際して実行された内部抽選の結果に基づいて、通常モードおよび特殊モードのいずれかに遊技モードを移行する。具体的には、主制御装置60は、低頻度サポートモードに遊技状態を移行する場合には、特殊モードに遊技モードを移行し、高頻度サポートモードに遊技状態を移行する場合には、通常モードに遊技モードを移行する。これによれば、遊技者は、上作動口36および下作動口37への遊技球の入球に際して実行された内部抽選の結果に注目することになるので、パチンコ機10は、遊技者の遊技への注目度を向上させることができる。
なお、本実施形態では、主制御装置60は、低頻度サポートモードに遊技状態を移行する場合には、特殊モードに遊技モードを移行し、高頻度サポートモードに遊技状態を移行する場合には、通常モードに遊技モードを移行しているが、これ以外の条件に基づいて、通常モードおよび特殊モードのいずれかに遊技モードを移行してもよい。
また、本実施形態では、主制御装置60は、特殊モードに遊技モードを移行した後、所定回数の遊技回(本実施形態では30回または50回)を消化した場合に特殊モードから通常モードに遊技モードを移行する。これによれば、遊技者は、遊技回の消化回数に注目することになるので、パチンコ機10は、遊技者の遊技への注目度を向上させることができる。
なお、本実施形態では、主制御装置60は、特殊モードに遊技モードを移行した後、30回または50回の遊技回を消化した場合に特殊モードから通常モードに遊技モードを移行しているが、これ以外の回数の遊技回を消化した場合に特殊モードから通常モードに遊技モードを移行してもよい。
また、本実施形態では、主制御装置60は、特殊モードに遊技モードを移行した後、30回または50回の遊技回を消化した場合に特殊モードから通常モードに遊技モードを移行しているが、例えば、上作動口36または下作動口37への入賞に基づいて行われた内部抽選の結果、「小当たり当選」となった回数が所定の回数を超えた場合に特殊モードから通常モードに遊技モードを移行するようにしてもよい。
また、本実施形態では、主制御装置60は、特殊モードに遊技モードを移行した後、30回または50回の遊技回を消化した場合に特殊モードから通常モードに遊技モードを移行しているが、例えば、右打ちルートに向かって遊技球が発射された場合に特殊モードから通常モードに遊技モードを移行するようにしてもよい。換言すれば、主制御装置60は、特殊モードの滞在中に右打ちルートに向かって遊技球が発射された場合に、ペナルティとして特殊モードを終了するようにしてもよい。これによれば、遊技者は、高頻度サポートモードでは、右打ちルートに向かって遊技球を発射し、特殊モードの低頻度サポートモードでは、左打ちルートに向かって遊技球を発射することになるので、パチンコ機10は、遊技者の意図を確実に反映させることができ、遊技者に快適に遊技をさせることができる。
また、本実施形態では、低頻度サポートモード結果は、低頻度サポートモードおよび高頻度サポートモードのいずれかに遊技状態を移行する第1の抽選結果として機能し、高頻度サポートモード結果は、高頻度サポートモードに遊技状態を移行する第2の抽選結果として機能する。これによれば、パチンコ機10は、低頻度サポートモード結果となった場合であっても高頻度サポートモードに遊技状態を移行することができ、高頻度サポートモードに遊技状態を移行する機会を増加させることができるので、パチンコ機10は、遊技者の遊技への注目度を向上させることができる。
そして、低頻度サポートモードは、低頻度サポートモード結果となった場合に低頻度サポートモードに遊技状態を移行する通常モードと、低頻度サポートモード結果となった場合に高頻度サポートモードに遊技状態を移行する特殊モードとを有している。これによれば、遊技者は、低頻度サポートモードに遊技状態を移行した場合であっても特殊モードに滞在していることを期待して遊技することになるので、パチンコ機10は、遊技者の遊技への注目度を向上させることができる。
また、本実施形態では、低頻度サポートモードは、通常モードと、遊技者にとって有利な遊技状態に移行する確率が通常モードよりも高い特殊モードとを備えている。具体的には、本実施形態では、特殊モードは、高頻度サポートモードに移行する確率が通常モードよりも高くなっている。これによれば、遊技者は、低頻度サポートモードに遊技状態を移行した場合であっても特殊モードに滞在していることを期待して遊技することになるので、パチンコ機10は、遊技者の遊技への注目度を向上させることができる。
なお、本実施形態では、特殊モードは、高頻度サポートモードに移行する確率が通常モードよりも高く100%となっているが、100%でなくてもよい。要するに、特殊モードは、高頻度サポートモードに移行する確率が通常モードよりも高くなっていればよい。
そして、主制御装置60は、上作動口36および下作動口37への遊技球の入球に際して実行された内部抽選の結果に基づいて、遊技者にとって有利な開閉実行モードに通常制御状態から遊技状態を移行し、開閉実行モードから通常制御状態に遊技状態を移行したときに、通常モードおよび特殊モードのいずれかに遊技モードを移行する。
なお、本実施形態では、主制御装置60は、開閉実行モードから通常制御状態に遊技状態を移行したときに、通常モードおよび特殊モードのいずれかに遊技モードを移行しているが、これ以外のタイミングで通常モードおよび特殊モードのいずれかに遊技モードを移行してもよく、例えば、遊技回の消化中に通常モードおよび特殊モードのいずれかに遊技モードを移行してもよい。
また、本実施形態では、主制御装置60は、高頻度サポートモードに遊技状態を移行した後、開閉実行モードに遊技状態を移行するまでの遊技回の消化回数と、終了基準回数(本実施形態では100回)よりも小さい回数(本実施形態では90回)に設定された閾値とを比較した結果に基づいて、遊技者にとって有利な50回の特殊モード(有利側遊技状況)と、有利側遊技状況よりも遊技者にとって不利な30回の特殊モード(不利側遊技状況)とに振り分ける。これによれば、遊技者は、高頻度サポートモードに遊技状態を移行した後、開閉実行モードに遊技状態を移行するまでの遊技回の消化回数に注目することになるので、パチンコ機10は、遊技者の遊技への注目度を向上させることができる。
なお、本実施形態では、有利側遊技状況を50回の特殊モードとし、不利側遊技状況を30回の特殊モードとしているが、例えば、当否抽選において「大当たり当選」となる確率を相違させることによって、有利側遊技状況および不利側遊技状況を設定してもよい。要するに、有利側遊技状況は、遊技者にとって有利な遊技状況であればよく、不利側遊技状況は、有利側遊技状況よりも遊技者にとって不利な遊技状況であればよい。
また、本実施形態では、主制御装置60は、高頻度サポートモードに遊技状態を移行した後、開閉実行モードに遊技状態を移行するまでの遊技回の消化回数が終了基準回数よりも小さい回数に設定された閾値よりも小さい場合に、有利側遊技状況に振り分け、大きい場合に、不利側遊技状況に振り分けている。これによれば、遊技者は、高頻度サポートモードに遊技状態を移行した後、終了基準回数よりも小さい回数に設定された閾値までの遊技回に注目することになるので、パチンコ機10は、遊技者の遊技への注目度を向上させることができる。
なお、本実施形態では、高頻度サポートモードに遊技状態を移行した後、開閉実行モードに遊技状態を移行するまでの遊技回の消化回数と、終了基準回数よりも小さい回数に設定された閾値とを比較し、この閾値よりも小さい場合に、有利側遊技状況に振り分け、大きい場合に、不利側遊技状況に振り分けているが、この閾値よりも大きい場合に、有利側遊技状況に振り分け、小さい場合に、不利側遊技状況に振り分けてもよい。
また、本実施形態では、特殊モードは、50回(所定回数)の遊技回を消化した場合に特殊モードから通常モードに遊技モードを移行する有利側遊技状況と、30回(所定回数よりも少ない回数)の遊技回を消化した場合に特殊モードから通常モードに遊技モードを移行する不利側遊技状況とを有する。これによれば、30回の特殊モードは、50回よりも少ない回数の遊技回を消化した場合に特殊モードから通常モードに遊技モードを移行するので、50回の特殊モードと比較して遊技者にとって不利な遊技状況とすることができる。したがって、パチンコ機10は、遊技者の遊技への注目度を向上させることができる。
なお、本実施形態では、パチンコ機10は、前記第3実施形態と同様に、主制御装置60にて特殊モードに遊技モードを移行した後、通常モードに遊技モードを移行するか否かの通常モード抽選を実行する通常モード抽選手段を備え、主制御装置60は、通常モード抽選に当選した場合に通常モードに遊技モードを移行してもよい。この場合には、特殊モードは、通常モード抽選に当選する確率の低い有利側遊技状況と、通常モード抽選に当選する確率の高い不利側遊技状況とを有していてもよい。
これによれば、主制御装置60は、通常モード抽選に当選した場合に通常モードに遊技モードを移行するので、遊技者は、通常モード抽選の結果に注目することになる。また、不利側遊技状況は、通常モード抽選に当選する確率が高いので、有利側遊技状況と比較して遊技者にとって不利な遊技状況とすることができる。したがって、パチンコ機10は、遊技者の遊技への注目度を向上させることができる。
また、本実施形態では、音声発光制御装置90および表示制御装置100は、前記第1実施形態とは異なる処理を実行する。具体的には、本実施形態では、演出決定処理は、前記第1実施形態とは異なっている。以下、本実施形態における演出決定処理の内容について説明する。
<音声発光制御装置90にて実行される演出決定処理について>
図47は、演出決定処理のフローチャートを示す図である。
音声発光制御装置90のMPU92は、遊技回用の演出や、可変入球実行モード用の演出や、開閉実行モード用の演出などを実行するために演出決定処理を実行する。この演出決定処理では、MPU92は、図47に示すように、ステップS2101〜S2111の処理を前記第1実施形態と同様に実行し、その後、ステップS2112以降の処理を実行する。
ステップS2112では、MPU92は、オープニングコマンドを受信しているか否かを判定する。
MPU92は、ステップS2112にてオープニングコマンドを受信していないと判定した場合には、ステップS2117C以降の処理を実行する。
これに対して、MPU92は、ステップS2112にてオープニングコマンドを受信していると判定した場合には、ステップS2113において、オープニングコマンドの内容に基づいて、振分結果の種類を判定する。
ステップS2114Cでは、MPU92は、ステップS2113にて判定した振分結果の種類に対応する開閉実行モード用の演出の決定処理を実行する。
図48は、開閉実行モード用の演出の決定処理のフローチャートを示す図である。
音声発光制御装置90のMPU92は、開閉実行モード用の演出を決定するために開閉実行モード用の演出の決定処理を実行する。この開閉実行モード用の演出の決定処理では、MPU92は、図48に示すように、ステップS2201〜S2204Cを実行する。
ステップS2201では、MPU92は、ステップS2113にて判定した振分結果が「高頻度サポートモード結果」であるか否かを判定する。
MPU92は、ステップS2201にて遊技結果が「高頻度サポートモード結果」であると判定した場合には、ステップS2202Cにおいて、開閉実行モード用の演出として演出A3を選択する。その後、MPU62は、開閉実行モード用の演出の決定処理を終了する。
これに対して、MPU92は、ステップS2201にて振分結果が「高頻度サポートモード結果」でないと判定した場合(振分結果が「低頻度サポートモード結果」であると判定した場合)には、ステップS2203において、オープニングコマンドの内容に基づいて、当否抽選において「大当たり当選」となったときの遊技モードが特殊モードであるか否かを判定する。
MPU92は、ステップS2203にて遊技モードが特殊モードであると判定した場合には、前述したステップS2202C以降の処理を実行し、開閉実行モード用の演出として演出A3を選択する。その後、MPU62は、開閉実行モード用の演出の決定処理を終了する。
これに対して、MPU92は、ステップS2203にて遊技モードが特殊モードでないと判定した場合(遊技モードが通常モードであると判定した場合)には、ステップS2204Cにおいて、開閉実行モード用の演出として演出B3を選択する。その後、MPU62は、開閉実行モード用の演出の決定処理を終了する。
なお、演出A3および演出B3の継続時間は、開閉実行モードに際して大入賞口38aの開閉を15回実行する場合の時間と対応している。
また、MPU92は、演出A3および演出B3の選択結果に基づいて、前述したステップS2003の演出実行処理において、表示ランプ部23の発光制御を実行するとともに、スピーカ部24の音声制御を実行する。
ここで、本実施形態の演出A3は、前記第1実施形態の演出Aと異なっている。
具体的には、前記第1実施形態の演出Aでは、MPU102は、開閉実行モードの終了時に図柄表示装置51の表示画面Gにキャラクタを表示させるとともに、このキャラクタのセリフ「RUSH突入よ!」にて遊技者に対して遊技結果が「高頻度サポートモード結果」であること(通常モードに移行すること)を報知していた(図30(B)および図31(C)参照)。
これに対して、本実施形態の演出A3では、MPU102は、開閉実行モードの終了時に図柄表示装置51の表示画面Gにキャラクタを表示させるとともに、このキャラクタのセリフ「RUSH突入よ!10回転以内に当選すればオマケがつくよ!」にて遊技者に対して遊技結果が「高頻度サポートモード結果」であること(通常モードに移行すること)を報知するとともに、10回転以内に当選すれば、その後の特殊モードは、50回の遊技回を消化するまで継続することを報知する点で前記第1実施形態の演出Aと異なっている。
また、本実施形態の演出B3は、前記第1実施形態の演出Bと異なっている。
具体的には、前記第1実施形態の演出Bでは、MPU102は、開閉実行モードの終了時に図柄表示装置51の表示画面Gにキャラクタを表示させるとともに、このキャラクタのセリフ「30回転のチャンスゾーンよ!」にて遊技者に対して遊技結果が「低頻度サポートモード結果」であること(特殊モードに移行すること)を報知していた(図30(D)および図31(E)参照)。
これに対して、本実施形態の演出B3では、MPU102は、開閉実行モードの終了時に図柄表示装置51の表示画面Gにキャラクタや、このキャラクタのセリフを表示せず、遊技者に対して特殊モードに移行することを報知しない点で前記第1実施形態の演出Bと異なっている。
演出決定処理の説明に戻り、図47を参照してステップS2115以降の処理について説明する。
ステップS2115では、MPU92は、ステップS2114Cにて選択した開閉実行モード用の演出に係る情報を含む開閉実行モード用コマンドを設定する。この開閉実行モード用コマンドは、前述したステップS2005のコマンド送信処理において、表示制御装置100に送信される。
表示制御装置100のMPU102は、MPU92から送信された開閉実行モード用コマンドに基づいて、開閉実行モード用の演出を図柄表示装置51にて実行するためのデータテーブルをプログラムROM103から読み出す。そして、MPU102は、予め定められた画像更新タイミング(例えば、20msec周期)となる度に、このデータテーブルに基づいてVDP105に対してコマンドを出力する。これによって、図柄表示装置51は、音声発光制御装置90のMPU92にて選択された開閉実行モード用の演出を実行する。
MPU92は、ステップS2115の処理を実行した後、またはステップS2112にてオープニングコマンドを受信していないと判定した場合には、ステップS2117C以降の処理を実行する。
ステップS2117Cでは、MPU92は、特殊モードコマンドを受信しているか否かを判定する。
MPU92は、ステップS2117Cにて特殊モードコマンドを受信していると判定した場合には、ステップS2118Cにおいて、特殊モードコマンドの内容に基づいて、特殊モード報知処理を実行する。この特殊モード報知処理では、MPU92は、特殊モード報知コマンドを設定する。この特殊モード報知コマンドは、前述したステップS2005のコマンド送信処理において、表示制御装置100に送信される。ここで、特殊モードコマンドは、遊技回数カウンタRTCの値を含んでいる。
表示制御装置100のMPU102は、MPU92から送信された特殊モード報知コマンドに基づいて、遊技者に対して特殊モードに移行することを報知するためのデータテーブルをプログラムROM103から読み出す。そして、MPU102は、予め定められた画像更新タイミング(例えば、20msec周期)となる度に、このデータテーブルに基づいてVDP105に対してコマンドを出力する。これによって、図柄表示装置51は、特殊モードに移行することを遊技者に報知する。具体的には、MPU102は、開閉実行モードの終了時に図柄表示装置51の表示画面Gにキャラクタを表示させるとともに、MPU92から送信された特殊モード報知コマンドに基づいて、このキャラクタのセリフ「30回転のチャンスゾーンよ!」または「50回転のチャンスゾーンよ!」にて遊技者に対して特殊モードに移行することを報知する。
これに対して、MPU92は、ステップS2117Cにて特殊モードコマンドを受信していないと判定した場合には、ステップS2116以降の処理を実行する。
ステップS2116では、MPU92は、その他の処理を実行する。その他の処理では、MPU92は、例えば、MPU62から送信された開放コマンド、閉鎖コマンドおよびエンディングコマンドなどに基づいて、開閉実行モード用の演出を進行させるための処理を実行する。その後、MPU92は、演出決定処理を終了する。
<遊技結果と遊技状態等との関係について>
以下、遊技結果と、各種処理の実行に基づく遊技状態等との関係について説明する。
図49は、遊技結果と、遊技状態等との関係を示す図である。具体的には、図49は、「通常外れ結果」を除く遊技結果と、遊技状態等との関係を示す図であり、遊技結果を列方向に並べ、遊技状態等を行方向に並べている。
パチンコ機10は、図49に示すように、通常モードおよび特殊モードの遊技モードを有している。また、パチンコ機10は、「通常外れ結果」を除く遊技結果として、「高頻度サポートモード結果」および「低頻度サポートモード結果」の振分結果を有している。
以下、「通常外れ結果」を除く遊技結果と、遊技状態等との関係について説明する。なお、本実施形態では、パチンコ機10は、遊技結果と、遊技状態等との関係を以下のように設定しているが、遊技結果と、遊技状態等との組み合わせ、遊技結果の内容、および遊技状態等の内容については任意である。
通常モードの遊技モードでは、「高頻度サポートモード結果」および「低頻度サポートモード結果」の遊技結果に応じて遊技状態等の内容は異なっている。
具体的には、「高頻度サポートモード結果」では、大入賞口38aの開閉は、15回実行される。また、上作動口36への入賞に基づく「高頻度サポートモード結果」では、停止結果は、同一の奇数の数字を有する図柄の組み合わせとなるとともに、開閉実行モード用の演出は、演出A3となる。下作動口37への入賞に基づく「高頻度サポートモード結果」では、停止結果は、同一の英字を有する図柄の組み合わせとなるとともに、開閉実行モード用の演出は、演出A3となる。さらに、「高頻度サポートモード結果」では、サポートモードは、高頻度サポートモードに移行する。そして、次回の遊技モードは、通常モードとなる。
また、「低頻度サポートモード結果」では、大入賞口38aの開閉は、15回実行される。また、上作動口36への入賞に基づく「低頻度サポートモード結果」では、停止結果は、同一の偶数の数字を有する図柄の組み合わせとなるとともに、開閉実行モード用の演出は、演出B3となる。下作動口37への入賞に基づく「低頻度サポートモード結果」では、停止結果は、同一の英字を有する図柄の組み合わせとなるとともに、開閉実行モード用の演出は、演出B3となる。さらに、「低頻度サポートモード結果」では、サポートモードは、低頻度サポートモードに移行する。そして、次回の遊技モードは、「特殊モード」となる。
これに対して「特殊モード」の遊技モードでは、「高頻度サポートモード結果」および「低頻度サポートモード結果」の遊技結果に関わらず遊技状態等の内容は同一となっている。
具体的には、大入賞口38aの開閉は、15回実行される。また、上作動口36への入賞に基づく遊技結果では、停止結果は、同一の数字を有する図柄の組み合わせとなるとともに、開閉実行モード用の演出は、演出A3となる。さらに、サポートモードは、高頻度サポートモードに移行する。そして、次回の遊技モードは、通常モードとなる。
したがって、遊技者は、停止結果や、開閉実行モード用の演出を確認することによって、振分結果が「高頻度サポートモード結果」であること、または「低頻度サポートモード結果」であることを把握することができ、次回の遊技モードが通常モードであること、または特殊モードであることを把握することができる。
<右側可変入球機構への遊技球の入球後の流れについて>
図50は、右入球口に遊技球が入賞(V入賞)した場合の開閉実行モード用の演出を示す図である。
MPU102は、可変入球実行モードにおいて、右入球口404に遊技球が入賞(V入賞)した場合に、図28(D)および図50(A)に示すように、V入賞の成功に対応する演出を実行する。その後、パチンコ機10は、開閉実行モードに移行する。
開閉実行モード用の演出の決定処理では、MPU92は、ステップS2201にて遊技結果が「高頻度サポートモード結果」であると判定した場合には、ステップS2202Cにおいて、開閉実行モード用の演出として演出A3を選択する。この演出A3では、MPU102は、図50(B)に示すように、開閉実行モードの終了時に図柄表示装置51の表示画面Gにキャラクタを表示させるとともに、このキャラクタのセリフ「RUSH突入よ!10回転以内に当選すればオマケがつくよ!」にて遊技者に対して遊技結果が「高頻度サポートモード結果」であること(通常モードに移行すること)を報知するとともに、10回転以内に当選すれば、その後の特殊モードは、50回の遊技回を消化するまで継続することを報知する。
その後、パチンコ機10は、図50(C)に示すように、高頻度サポートモードに移行する。高頻度サポートモードでは、遊技モードは、通常モードに移行する。高頻度サポートモードでは、MPU102は、変動用コマンドの内容に基づいて、遊技回数カウンタRTCの値を高頻度サポートモードの終了基準回数までの残り回数(図50(C)では100回)として図柄表示装置51の表示画面Gの左上に表示する。さらに、高頻度サポートモードでは、MPU102は、遊技者に右打ちを示唆すべく右向き矢印を図柄表示装置51の表示画面Gの右上に表示する。
これに対して、開閉実行モード用の演出の決定処理では、MPU92は、ステップS2201にて遊技結果が「高頻度サポートモード結果」でないと判定し、ステップS2203にて遊技モードが特殊モードでないと判定した場合(遊技モードが通常モードであると判定した場合)には、ステップS2204Cにおいて、開閉実行モード用の演出として演出B3を選択する。
そして、MPU62は、ステップS1402にて遊技回数カウンタRTCの値が「90」以上でないと判定した場合(図28(A)参照)には、ステップS1404において、RAM64の各種カウンタエリア64aに設けられた遊技回数カウンタRTCの値に「30」をセットし、ステップS1110Cにおいて、特殊モードコマンドを設定する。MPU92は、ステップS2117Cにて特殊モードコマンドを受信していると判定した場合には、ステップS2118Cにおいて、特殊モードコマンドの内容に基づいて、特殊モード報知処理を実行する。この特殊モード報知処理では、MPU92は、特殊モード報知コマンドを設定する。この特殊モード報知コマンドは、前述したステップS2005のコマンド送信処理において、表示制御装置100に送信される。
MPU102は、MPU92から送信される特殊モードコマンドに基づいて、図50(D)に示すように、開閉実行モードの終了後に図柄表示装置51の表示画面Gにキャラクタを表示させるとともに、このキャラクタのセリフ「30回転のチャンスゾーンよ!」にて遊技者に対して特殊モードに移行することを報知するとともに、特殊モードは、30回の遊技回を消化するまで継続することを報知する。
その後、パチンコ機10は、図50(E)に示すように、低頻度サポートモードに移行する。低頻度サポートモードでは、遊技モードは、30回の遊技回を消化するまで特殊モードに滞在し、その後、通常モードに移行する。特殊モードでは、MPU102は、変動用コマンドの内容に基づいて、遊技回数カウンタRTCの値を特殊モードの終了基準回数までの残り回数(図50(E)では30回)として図柄表示装置51の表示画面Gの左上に表示する。さらに、特殊モードの低頻度サポートモードでは、MPU102は、遊技者に左打ちを示唆すべく左向き矢印を図柄表示装置51の表示画面Gの右上に表示する。
なお、本実施形態では、特殊モードの終了基準回数までの残り回数を図柄表示装置51の表示画面Gに表示しているが、これを表示しなくてもよい。
<右側可変入球機構への遊技球の入球と、その後の流れについて>
図51は、高頻度サポートモードにてスルーゲートへの入賞をトリガとして下作動口に遊技球が入賞した場合の遊技回用の演出を示す図である。
なお、高頻度サポートモードは、当否抽選において「大当たり当選」または「小当たり当選」となって、振分抽選において「高頻度サポートモード結果」に振り分けられた場合や、特殊モードの滞在中に当否抽選において「大当たり当選」となって、振分抽選において「低頻度サポートモード結果」に振り分けられた場合などに移行する。また、図51は、当否結果が「小当たり当選」であったときの図柄表示装置51の表示画面Gを示す図である。
まず、MPU102は、MPU92から受信したパターンコマンドに基づいて、図柄表示装置51の表示画面Gに表示している複数の図柄列Z1〜Z3(図4(B)参照)の変動表示を開始することによって、高速変動期間に移行する。この高速変動期間では、MPU102は、各図柄列Z1〜Z3の図柄を所定の向き(本実施形態では上向き)に周期的にスクロールさせるようにして図柄の変動表示を開始する。また、MPU102は、変動用コマンドの内容に基づいて、遊技回数カウンタRTCの値を高頻度サポートモードの終了基準回数までの残り回数(図51(A)では95回)として図柄表示装置51の表示画面Gの左上に表示する。
MPU102は、高速変動期間の経過後、図51(A)に示すように、一部の図柄列(図柄列Z1および図柄列Z3)を有効ラインL(図4(B)参照)上に停止表示させることによって、同一の図柄の組み合わせ(例えば「A」)を表示して停止結果を示唆し、その状態で残りの図柄列(図柄列Z2)を変動表示することによって、リーチ表示を発生させてリーチ期間に移行する。
その後、MPU102は、MPU92から受信した停止結果コマンドに基づいて、停止結果として、同一の英字を有する図柄の組み合わせ(例えば「AAA」)を有効ラインL上に停止表示することによって、当否抽選の結果を報知する(図28(B)参照)。
MPU102にて同一の英字を有する図柄の組み合わせを有効ラインL上に停止表示させた後、MPU62は、羽根部材駆動部401cの駆動制御を実行することによって、羽根部材401aを開放状態に設定する(図28(C)参照)。
また、MPU102は、MPU92から受信した羽根部材開放コマンドに基づいて、羽根部材の開放を遊技者に報知するための演出を発生させる。具体的には、MPU102は、図柄表示装置51の表示画面Gの全面にキャラクタを表示させるとともに、このキャラクタのセリフにて遊技者に対して右打ちさせるように報知する。
そして、MPU102は、MPU92から受信した可変入球実行モード用のコマンドに基づいて、可変入球実行モード用の演出を実行する。
可変入球実行モード用の演出では、MPU102は、可変入球実行モードにおいて、右入球口404に遊技球が入賞(V入賞)した場合に、MPU92から受信したV入賞成功コマンドに基づいて、V入賞の成功に対応する演出を実行する。具体的には、MPU102は、図柄表示装置51の表示画面Gの全面に「V」の文字を表示し、右入球口404に遊技球が入賞(V入賞)したことを遊技者に報知する(図28(D)参照)。
また、可変入球実行モード用の演出では、MPU102は、右入球口404に遊技球が入賞(V入賞)しなかった場合に、MPU92から受信したV入賞失敗コマンドに基づいて、V入賞の失敗に対応する演出を実行する。具体的には、MPU102は、図柄表示装置51の表示画面Gの全面に「残念」の文字を表示し、右入球口404に遊技球が入賞(V入賞)しなかったことを遊技者に報知する(図28(E)参照)。
MPU102は、可変入球実行モードにおいて、右入球口404に遊技球が入賞(V入賞)した場合に、V入賞の成功に対応する演出を実行する。その後、パチンコ機10は、開閉実行モードに移行する。
開閉実行モード用の演出の決定処理では、MPU92は、ステップS2201にて遊技結果が「高頻度サポートモード結果」であると判定した場合には、ステップS2202Cにおいて、開閉実行モード用の演出として演出A3を選択する。この演出A3では、MPU102は、図51(B)に示すように、開閉実行モードの終了時に図柄表示装置51の表示画面Gにキャラクタを表示させるとともに、このキャラクタのセリフ「RUSH突入よ!10回転以内に当選すればオマケがつくよ」にて遊技者に対して遊技結果が「高頻度サポートモード結果」であること(通常モードに移行すること)を報知するとともに、10回転以内に当選すれば、その後の特殊モードは、50回の遊技回を消化するまで継続することを報知する。
その後、パチンコ機10は、図51(C)に示すように、高頻度サポートモードに移行する。高頻度サポートモードでは、遊技モードは、通常モードに移行する。高頻度サポートモードでは、MPU102は、変動用コマンドの内容に基づいて、遊技回数カウンタRTCの値を高頻度サポートモードの終了基準回数までの残り回数(図51(C)では100回)として図柄表示装置51の表示画面Gの左上に表示する。さらに、高頻度サポートモードでは、MPU102は、遊技者に右打ちを示唆すべく右向き矢印を図柄表示装置51の表示画面Gの右上に表示する。
これに対して、開閉実行モード用の演出の決定処理では、MPU92は、ステップS2201にて遊技結果が「高頻度サポートモード結果」でないと判定し、ステップS2203にて遊技モードが特殊モードでないと判定した場合(遊技モードが通常モードであると判定した場合)には、ステップS2204Cにおいて、開閉実行モード用の演出として演出B3を選択する。
そして、MPU62は、ステップS1402にて遊技回数カウンタRTCの値が「90」以上であると判定した場合(図51(A)参照)には、ステップS1404において、RAM64の各種カウンタエリア64aに設けられた遊技回数カウンタRTCの値に「50」をセットし、ステップS1110Cにおいて、特殊モードコマンドを設定する。MPU92は、ステップS2117Cにて特殊モードコマンドを受信していると判定した場合には、ステップS2118Cにおいて、特殊モードコマンドの内容に基づいて、特殊モード報知処理を実行する。この特殊モード報知処理では、MPU92は、特殊モード報知コマンドを設定する。この特殊モード報知コマンドは、前述したステップS2005のコマンド送信処理において、表示制御装置100に送信される。
MPU102は、MPU92から送信される特殊モードコマンドに基づいて、図51(D)に示すように、開閉実行モードの終了後に図柄表示装置51の表示画面Gにキャラクタを表示させるとともに、このキャラクタのセリフ「50回転のチャンスゾーンよ!」にて遊技者に対して特殊モードに移行することを報知するとともに、特殊モードは、50回の遊技回を消化するまで継続することを報知する。
その後、パチンコ機10は、図51(E)に示すように、低頻度サポートモードに移行する。低頻度サポートモードでは、遊技モードは、50回の遊技回を消化するまで特殊モードに滞在し、その後、通常モードに移行する。特殊モードでは、MPU102は、変動用コマンドの内容に基づいて、遊技回数カウンタRTCの値を特殊モードの終了基準回数までの残り回数(図51(E)では50回)として図柄表示装置51の表示画面Gの左上に表示する。さらに、特殊モードの低頻度サポートモードでは、MPU102は、遊技者に左打ちを示唆すべく左向き矢印を図柄表示装置51の表示画面Gの右上に表示する。
なお、本実施形態では、特殊モードの終了基準回数までの残り回数を図柄表示装置51の表示画面Gに表示しているが、これを表示しなくてもよい。
このような本実施形態によれば、前記第1実施形態における(1)〜(5),(7)〜(11)と同様の作用・効果を奏することができる他、以下の作用・効果を奏することができる。
(14)主制御装置60は、特殊モードに遊技モードを移行した後、30回または50回の遊技回を消化した場合に特殊モードから通常モードに遊技モードを移行するので、遊技者は、遊技回の消化回数に注目することになる。したがって、パチンコ機10は、遊技者の遊技への注目度を向上させることができる。
(15)主制御装置60は、高頻度サポートモードに遊技状態を移行した後、開閉実行モードに遊技状態を移行するまでの遊技回の消化回数と、終了基準回数よりも小さい回数に設定された閾値とを比較した結果に基づいて、遊技者にとって有利な50回の特殊モードと、50回の特殊モードよりも遊技者にとって不利な30回の特殊モードとに振り分けるので、遊技者は、高頻度サポートモードに遊技状態を移行した後、開閉実行モードに遊技状態を移行するまでの遊技回の消化回数に注目することになる。したがって、パチンコ機10は、遊技者の遊技への注目度を向上させることができる。
(16)主制御装置60は、高頻度サポートモードに遊技状態を移行した後、開閉実行モードに遊技状態を移行するまでの遊技回の消化回数と、終了基準回数よりも小さい回数に設定された閾値とを比較し、この閾値よりも小さい場合に、50回の特殊モードに振り分けるので、遊技者は、高頻度サポートモードに遊技状態を移行した後、終了基準回数よりも小さい回数に設定された閾値までの遊技回に注目することになる。したがって、パチンコ機10は、遊技者の遊技への注目度を向上させることができる。
(17)30回の特殊モードは、50回よりも少ない回数の遊技回を消化した場合に特殊モードから通常モードに遊技モードを移行するので、50回の特殊モードと比較して遊技者にとって不利な遊技状況とすることができる。したがって、パチンコ機10は、遊技者の遊技への注目度を向上させることができる。
〔各実施形態の変形例〕
なお、本発明は、前記各実施形態に限定されるものではなく、本発明の目的を達成できる範囲での変形、改良等は本発明に含まれるものである。
(1)前記各実施形態では、パチンコ機10は、1回のラウンド遊技につき、1回の大入賞口38aの開閉を実行していた。これに対して、パチンコ機10は、1回のラウンド遊技につき、複数回の大入賞口38aの開閉を実行してもよい。
(2)前記各実施形態では、パチンコ機10は、開閉扉38bを開放状態に設定した後、予め定められた上限継続時間(上限継続期間)が経過すること、または大入賞口38aへの遊技球の総入賞個数が予め定められた上限個数に達することによって、開閉扉38bを再び閉鎖状態に設定していた。これに対して、例えば、上限個数は、上限継続時間に応じて変動するようにしてもよく、開閉扉38bを再び閉鎖状態に設定するための条件は任意である。
(3)前記各実施形態では、パチンコ機10は、開閉扉38bを開放状態に設定した後、大入賞口38aへの遊技球の総入賞個数が予め定められた上限個数である8個に達することによって、開閉扉38bを再び閉鎖状態に設定していた。これに対して、例えば、パチンコ機10は、上限個数を8個以外の任意の個数に設定してもよい。また、例えば、パチンコ機10は、振分結果に応じて上限個数を相違させて設定してもよい。さらに、例えば、パチンコ機10は、1回の開閉実行モード中におけるラウンドごとに上限個数を相違させて設定してもよい。
(4)前記各実施形態では、パチンコ機10は、開閉扉38bを開放状態に設定した後、大入賞口38aへの遊技球の総入賞個数が予め定められた上限個数に達することによって、開閉扉38bを再び閉鎖状態に設定していた。これに対して、例えば、パチンコ機10は、遊技球が入球したことを契機として開閉扉38bを閉鎖状態に設定する終了契機口を備え、予め定められた時間が経過することによって、この終了契機口への入球を可能とするように構成されていてもよい。
(5)前記各実施形態では、パチンコ機10は、開閉扉38bを開放状態に設定した後、予め定められた上限継続時間(上限継続期間)が経過することによって、開閉扉38bを再び閉鎖状態に設定していた。これに対して、例えば、パチンコ機10は、開閉扉38bを開放状態に設定した後、大入賞口38aへの入賞が発生したときから予め定められた時間が経過することによって、開閉扉38bを再び閉鎖状態に設定してもよい。
(6)前記各実施形態では、パチンコ機10は、開閉扉38bを開放状態に設定した後、開閉扉38bを再び閉鎖状態に設定していた。これに対して、例えば、パチンコ機10は、開閉扉38bを開放状態に設定した後、開閉扉38bを再び閉鎖状態に設定することなく、次回のラウンド遊技に移行するようにしてもよい。
(7)前記各実施形態では、パチンコ機10は、1種類の開閉実行モードを有していた。具体的には、パチンコ機10は、上限継続時間でラウンド遊技を15回実行する開閉実行モードを有していた。これに対して、パチンコ機10は、上限継続時間の態様や、ラウンド遊技の実行回数について、これらとは相違する開閉実行モードを有していてもよい。また、パチンコ機10は、上限継続時間の態様を相違させることによって、複数種類の開閉実行モードを設定する構成としてもよく、これに代えて、半開や全開といったように開閉扉38bの開放の度合いを相違させることによって、複数種類の開閉実行モードを設定する構成としてもよい。さらに、上限継続時間の態様は、遊技者からは同一の態様に見えるものの正確な上限継続時間は相違するように設定してもよい。
(8)前記各実施形態では、遊技結果と、開閉実行モード用の演出とは、1対1で対応するように予め設定されていた。これに対して、例えば、開閉実行モード用の演出は、遊技結果に対応させることなく、複数種類の演出からランダムに選択して設定するようにしてもよく、複数種類の演出から抽選などによって選択して設定し、その選択率を遊技結果に応じて相違させるようにしてもよい。
(9)前記各実施形態では、MPU62は、大当たり発生の抽選に当たり乱数カウンタC1を使用し、大当たり発生に際し、その大当たりの種別の抽選に当たり種別カウンタC2を使用していた。これに対して、MPU62は、大当たり発生に際し、その大当たりの種別の抽選に当たり乱数カウンタC1を使用してもよい。この場合には、当たり種別カウンタC2は、RAM64の各種カウンタエリア64aに設けられていなくてもよい。
(10)前記各実施形態では、パチンコ機10は、サポートモードを設定することによって、遊技者にとって有利な遊技状態と、不利な遊技状態とを作り出していたが、これら以外の遊技状態を設定することによって、遊技者にとって有利な遊技状態と、不利な遊技状態とを作り出してもよい。例えば、パチンコ機10は、開閉実行モードの終了後に高頻度サポートモードを継続させる遊技回の回数を相違させることによって、遊技者にとって有利な遊技状態と、不利な遊技状態とを作り出してもよい。また、例えば、パチンコ機10は、開閉実行モードの終了後に高確率モードを継続させる遊技回の回数を相違させることによって、遊技者にとって有利な遊技状態と、不利な遊技状態とを作り出してもよい。
(11)前記各実施形態では、パチンコ機10は、上作動口36に係る保留情報を第1結果表示部用保留エリアRaに格納し、下作動口37に係る保留情報を第2結果表示部用保留エリアRbに格納することによって、上作動口36に係る保留情報と、下作動口37に係る保留情報とを別々に格納していた。これに対して、パチンコ機10は、上作動口36に係る保留情報と、下作動口37に係る保留情報とを一緒に格納してもよい。
(12)前記各実施形態では、MPU62は、上作動口36に係る保留情報があるか否かに関わらず下作動口37に係る保留情報を優先的に遊技回の消化用に設定していた。これに対して、MPU62は、上作動口36に係る保留情報と、下作動口37に係る保留情報とを、それぞれの保留情報の入賞順に遊技回の消化用に設定してもよい。
(13)前記各実施形態では、主制御装置60は、音声発光制御装置90にコマンドを送信し、音声発光制御装置90は、そのコマンドを解析した結果のコマンドを表示制御装置100に送信することによって、表示制御装置100の制御を実行していた。これに対して、主制御装置60は、表示制御装置100にコマンドを送信し、表示制御装置100は、そのコマンドを解析した結果のコマンドを音声発光制御装置90に送信することによって、音声発光制御装置90の制御を実行してもよい。なお、主制御装置60から音声発光制御装置90に送信されるコマンドや、音声発光制御装置90から表示制御装置100に送信されるコマンドは、前記各実施形態に記載したコマンドに限らず任意である。
(14)前記各実施形態では、パチンコ機10は、主制御装置60と、音声発光制御装置90と、表示制御装置100とを別々の制御装置として備えていた。これに対して、例えば、音声発光制御装置90と、表示制御装置100とを同一の制御装置として備えていてもよく、音声発光制御装置90および表示制御装置100の少なくともいずれかの制御装置を主制御装置60と同一の制御装置として備えていてもよい。
(15)前記各実施形態では、図柄表示装置51は、上作動口36または下作動口37への入賞に基づいて、各図柄列Z1〜Z3の図柄を所定の向きに周期的にスクロールさせるようにして図柄の変動表示を開始することによって、表示画面Gにおいて遊技回用の演出を実行していた。これに対して、遊技回用の演出は、前記各実施形態に記載した演出に限らず任意である。例えば、パチンコ機10は、遊技盤31に設けられた可動式の装飾部材と、図柄表示装置51とを組み合わせて動作させることによって、遊技回用の演出を実行してもよい。また、例えば、パチンコ機10は、遊技盤31に設けられた発光手段と、図柄表示装置51とを組み合わせて動作させることによって、遊技回用の演出を実行してもよい。さらに、例えば、パチンコ機10は、これらの装飾部材および発光手段と、図柄表示装置51とを組み合わせて動作させることによって、遊技回用の演出を実行してもよい。
(16)前記各実施形態では、パチンコ機10は、上作動口36または下作動口37への入賞に基づいて、内部抽選(当否抽選および振分抽選)を実行し、その後、メイン表示部45および図柄表示装置51は、変動表示を実行するとともに、その変動表示の停止結果として、上作動口36または下作動口37への入賞に基づいて行われた内部抽選の結果を表示していた。これに対して、例えば、メイン表示部45および図柄表示装置51は、内部抽選を実行する前に変動表示を開始し、その変動表示の停止結果として、変動表示を開始した後に行われた内部抽選の結果を表示してもよい。この場合には、変動表示を開始した後、その変動表示を停止する前に、内部抽選を実行するとともに、停止結果等の設定を実行すればよい。
(17)前記各実施形態では、パチンコ機10は、メイン表示部45を備え、メイン表示部45は、絵柄の変動表示を実行するとともに、その変動表示の停止結果として、内部抽選の結果を表示していた。これに対して、例えば、メイン表示部45は、その変動表示の停止結果として、内部抽選の結果に関わらず同一の停止結果を表示してもよく、ランダムに停止結果を表示することによって、内部抽選の結果を識別できないようにしてもよい。また、例えば、パチンコ機10は、メイン表示部45を備えていなくてもよい。
(18)前記各実施形態では、図柄表示装置51は、上作動口36または下作動口37への入賞に基づいて、各図柄列Z1〜Z3の図柄を所定の向きに周期的にスクロールさせるようにして図柄の変動表示を開始することによって、表示画面Gにおいて遊技回用の演出を実行していた。これに対して、図柄表示装置51は、内部抽選の結果を明示する図柄(絵柄)を表示することによって、表示画面Gにおいて遊技回用の演出を実行してもよい。
例えば、図柄表示装置51は、各図柄列Z1〜Z3の図柄を表示する領域よりも狭い領域および各図柄列Z1〜Z3の図柄を表示する領域の周縁の領域の少なくともいずれかに所定の領域を設定し、各図柄列Z1〜Z3の図柄の変動表示を停止する際に、この所定の領域に内部抽選の結果を明示する図柄を表示してもよい。この所定の領域に表示する図柄は、各図柄列Z1〜Z3の図柄の変動表示中には、変動表示を実行していてもよく、非表示となっていてもよい。
ここで、所定の領域に表示する図柄は、遊技者にとって識別しにくい文字や、色や、模様を採用してもよく、これらの組み合わせを採用してもよい。また、遊技者にとって識別しにくい文字や、色や、模様ではなくても、相互に類似する図柄や、その組み合わせを採用することによって、遊技者にとって識別しにくいようにしてもよい。これによれば、遊技場の管理者などは、例えば、遊技回の終了に際してメイン表示部45を目視することなく、図柄表示装置51を目視することによって、大当たり発生の抽選に当選した場合と同様の挙動をパチンコ機10に行わせようとする不正行為が行われているか否かの確認を簡易的に行うことができる。
(19)前記各実施形態では、パチンコ機10は、単独で動作するように構成されていたが、携帯電話機などの外部機器と連動させることによって、情報を送受信するように構成されていてもよい。例えば、遊技者が遊技機に設けられたボタン等を操作することによって、光学コードを出力することができるように遊技機を構成するとともに、この光学コードの情報を携帯電話等に設けられたカメラにて撮像して読み取り、ウェブサイトにアクセスすることによって、遊技機の情報をウェブサーバーに送信できるように遊技機を構成してもよい。また、遊技者がウェブサイトにアクセスすることによって発行されたパスワードを遊技機に設けられたボタン等を操作して遊技機に入力することによって、ウェブサーバーの情報を受信できるように遊技機を構成してもよい。
(20)前記各実施形態では、本発明の遊技機としてパチンコ機10を例示して説明していた。これに対して、本発明の遊技機は、パチンコ機10とは異なる他のタイプのパチンコ機であってもよく、例えば、本発明の遊技機は、特定の領域に遊技球が入球すると、電動役物を所定の回数だけ開放させるパチンコ機や、特定の領域に遊技球が入球すると、大当たりの権利を発生させるパチンコ機などであってもよい。また、本発明の遊技機は、アレンジボール機や、雀球等の他のタイプの遊技機であってもよい。
〔各実施形態から抽出される発明群〕
以下、前記各実施形態から抽出される発明群の特徴を説明する。なお、本発明群の特徴のうち、前記各実施形態において対応する構成を括弧書きで示すが、本発明群の特徴は、前記各実施形態に限定されるものではなく、本発明群の特徴の目的を達成できる範囲での変形、改良等や、各特徴の組み合わせは本発明群の特徴に含まれるものである。
<特徴A群>
特徴A1.
遊技盤に形成された遊技領域に向かって遊技球を発射する発射手段(発射ハンドル27)と、前記遊技領域を流下する遊技球を入球させるとともに、遊技球の入球に際して内部抽選を実行する始動入球手段(上作動口36および下作動口37)と、前記内部抽選の結果に基づいて、遊技状態を移行する遊技状態移行手段(主制御装置60)とを備える遊技機(パチンコ機10)であって、
前記遊技状態は、
通常モードおよび特殊モードの遊技モードを有する第1の遊技状態(低頻度サポートモード)と、
前記第1の遊技状態よりも遊技者にとって有利な第2の遊技状態(高頻度サポートモード)とを備え、
前記遊技状態移行手段は、前記第1の遊技状態の通常モードおよび前記第2の遊技状態では、前記内部抽選の結果に基づいて、前記第1の遊技状態および前記第2の遊技状態のいずれかに遊技状態を移行し、前記第1の遊技状態の特殊モードでは、前記内部抽選の結果に関わらず前記第2の遊技状態に遊技状態を移行することを特徴とする遊技機。
本発明群の特徴A1によれば、遊技状態移行手段は、第1の遊技状態の通常モードおよび第2の遊技状態では、内部抽選の結果に基づいて、第1の遊技状態および第2の遊技状態のいずれかに遊技状態を移行し、第1の遊技状態の特殊モードでは、内部抽選の結果に関わらず第2の遊技状態に遊技状態を移行するので、遊技者は、第1の遊技状態に遊技状態を移行した場合であっても特殊モードに滞在していることを期待して遊技することになる。したがって、遊技機は、遊技者の遊技への注目度を向上させることができる。
特徴A2.
本発明群の特徴A1に記載された遊技機において、
前記遊技状態移行手段は、前記始動入球手段への遊技球の入球に際して実行された内部抽選の結果に基づいて、遊技者にとって有利な特定制御状態(開閉実行モード)に通常制御状態から遊技状態を移行し、前記特定制御状態から前記通常制御状態に遊技状態を移行したときに、前記第1の遊技状態および前記第2の遊技状態のいずれかに遊技状態を移行することを特徴とする遊技機。
本発明群の特徴A2によれば、遊技状態移行手段は、特定制御状態から通常制御状態に遊技状態を移行したときに、第1の遊技状態および第2の遊技状態のいずれかに遊技状態を移行するので、遊技者は、第1の遊技状態に移行した場合には、特殊モードに滞在しているか否かに注目することになる。したがって、遊技機は、遊技者の遊技への注目度を向上させることができる。
特徴A3.
本発明群の特徴A2に記載された遊技機において、
前記始動入球手段は、
第1始動入球部(上作動口36)と、
前記第1始動入球部と異なる第2始動入球部(下作動口37)とを備え、
前記第1の遊技状態は、前記第2始動入球部よりも前記第1始動入球部に入球する確率が高くなり、前記第2の遊技状態は、前記第1始動入球部よりも前記第2始動入球部に入球する確率が高くなることによって、前記第1の遊技状態よりも遊技者にとって有利な遊技状態となることを特徴とする遊技機。
本発明群の特徴A3によれば、第1の遊技状態は、第2始動入球部よりも第1始動入球部に入球する確率が高くなり、第2の遊技状態は、第1始動入球部よりも第2始動入球部に入球する確率が高くなるので、遊技者は、第1の遊技状態では、第1始動入球部を狙って遊技球を発射し、第2の遊技状態では、第2始動入球部を狙って遊技球を発射することになる。したがって、遊技機は、遊技者に対して第1の遊技状態および第2の遊技状態を明確に示唆することができる。
特徴A4.
本発明群の特徴A3に記載された遊技機において、
前記遊技領域は、
前記第1始動入球部への遊技球の入球を発生させやすく、前記第2始動入球部への遊技球の入球を発生させにくい第1の経路(左打ちルート)と、
前記第2始動入球部への遊技球の入球を発生させやすく、前記第1始動入球部への遊技球の入球を発生させにくい第2の経路(右打ちルート)とを備え
前記始動入球手段への遊技球の入球に際して実行された内部抽選の結果に基づいて、前記第2の経路に向かって発射された遊技球を入球可能とする可変入球機構(右側可変入球機構40)を備え、
前記遊技状態移行手段は、前記可変入球機構への遊技球の入球に際して前記通常制御状態から前記特定制御状態に遊技状態を移行し、
前記第2始動入球部への遊技球の入球に際して実行された内部抽選の結果に基づいて、前記特定制御状態に移行する確率は、前記第1始動入球部への遊技球の入球に際して実行された内部抽選の結果に基づいて、前記特定制御状態に移行する確率よりも高いことを特徴とする遊技機。
本発明群の特徴A4によれば、第2始動入球部への遊技球の入球に際して実行された内部抽選の結果に基づいて、特定制御状態に移行する確率は、第1始動入球部への遊技球の入球に際して実行された内部抽選の結果に基づいて、特定制御状態に移行する確率よりも高いので、遊技者は、第2の遊技状態に遊技状態を移行することを期待することになる。したがって、遊技機は、遊技者の遊技への注目度を向上させることができる。
特徴A5.
本発明群の特徴A1から特徴A4のいずれかに記載された遊技機において、
前記遊技状態移行手段は、前記始動入球手段への遊技球の入球に際して実行された内部抽選の結果に基づいて、前記通常モードおよび前記特殊モードのいずれかに遊技モードを移行することを特徴とする遊技機。
本発明群の特徴A5によれば、遊技状態移行手段は、始動入球手段への遊技球の入球に際して実行された内部抽選の結果に基づいて、通常モードおよび特殊モードのいずれかに遊技モードを移行するので、遊技者は、始動入球手段への遊技球の入球に際して実行された内部抽選の結果に注目することになる。したがって、遊技機は、遊技者の遊技への注目度を向上させることができる。
特徴A6.
本発明群の特徴A1から特徴A4のいずれかに記載された遊技機において、
前記特殊モードに遊技モードを移行するか否かの特殊モード抽選を実行する特殊モード抽選手段(開閉実行モード終了時の移行処理)を備え、
前記遊技状態移行手段は、前記特殊モード抽選に当選しなかった場合に前記通常モードに遊技モードを移行し、前記特殊モード抽選に当選した場合に前記特殊モードに遊技モードを移行することを特徴とする遊技機。
本発明群の特徴A6によれば、遊技状態移行手段は、特殊モード抽選に当選しなかった場合に通常モードに遊技モードを移行し、特殊モード抽選に当選した場合に特殊モードに遊技モードを移行するので、遊技者は、特殊モード抽選の結果に注目することになる。したがって、遊技機は、遊技者の遊技への注目度を向上させることができる。
特徴A7.
本発明群の特徴A1から特徴A6のいずれかに記載された遊技機において、
前記遊技状態移行手段は、前記特殊モードに遊技モードを移行した後、所定回数の遊技回を消化した場合に前記特殊モードから前記通常モードに遊技モードを移行することを特徴とする遊技機。
本発明群の特徴A7によれば、遊技状態移行手段は、特殊モードに遊技モードを移行した後、所定回数の遊技回を消化した場合に特殊モードから通常モードに遊技モードを移行するので、遊技者は、遊技回の消化回数に注目することになる。したがって、遊技機は、遊技者の遊技への注目度を向上させることができる。
特徴A8.
本発明群の特徴A1から特徴A6のいずれかに記載された遊技機において、
前記遊技状態移行手段にて前記特殊モードに遊技モードを移行した後、前記通常モードに遊技モードを移行するか否かの通常モード抽選を実行する通常モード抽選手段(変動終了処理)を備え、
前記遊技状態移行手段は、前記通常モード抽選に当選した場合に前記通常モードに遊技モードを移行することを特徴とする遊技機。
本発明群の特徴A8によれば、遊技状態移行手段は、通常モード抽選に当選した場合に通常モードに遊技モードを移行するので、遊技者は、通常モード抽選の結果に注目することになる。したがって、遊技機は、遊技者の遊技への注目度を向上させることができる。
このような本発明の特徴A群によれば、遊技者の遊技への注目度を向上させることができるので、次のような課題を解決することができる。
従来、遊技盤に形成された遊技領域に向かって遊技球を発射する発射手段と、遊技領域を流下する遊技球を入球させるとともに、遊技球の入球に際して内部抽選を実行する始動入球手段とを備えた遊技機が知られている。
遊技機は、始動入球手段に遊技球が入球することによって、大当たり抽選などの内部抽選を実行し、この内部抽選の結果に基づいて、遊技状態を移行させている。このような遊技機では、遊技状態は、低頻度サポートモード(第1の遊技状態)と、低頻度サポートモードよりも遊技者にとって有利な高頻度サポートモード(第2の遊技状態)とを有している。したがって、遊技者は、高頻度サポートモードに移行することを期待して遊技をすることになる。
しかしながら、第2の遊技状態から第1の遊技状態に遊技状態を移行した場合には、遊技者は、第2の遊技状態よりも不利な第1の遊技状態にて遊技をしなければならないので、遊技者の遊技への注目度は低下してしまい、ひいては直ぐに遊技を止めてしまう場合があるという問題がある。
<特徴B群>
特徴B1.
遊技盤に形成された遊技領域に向かって遊技球を発射する発射手段(発射ハンドル27)と、前記遊技領域を流下する遊技球を入球させるとともに、遊技球の入球に際して内部抽選を実行する始動入球手段(上作動口36および下作動口37)と、前記内部抽選の結果に基づいて、遊技状態を移行する遊技状態移行手段(主制御装置60)とを備える遊技機(パチンコ機10)であって、
前記遊技状態は、
第1の遊技状態(低頻度サポートモード)と、
前記第1の遊技状態よりも遊技者にとって有利な第2の遊技状態(高頻度サポートモード)とを備え、
前記内部抽選の結果は、
前記第1の遊技状態および前記第2の遊技状態のいずれかに遊技状態を移行する第1の抽選結果(低頻度サポートモード結果)と、
前記第2の遊技状態に遊技状態を移行する第2の抽選結果(高頻度サポートモード結果)とを備えることを特徴とする遊技機。
本発明群の特徴B1によれば、内部抽選の結果は、第1の遊技状態および第2の遊技状態のいずれかに遊技状態を移行する第1の抽選結果と、第2の遊技状態に遊技状態を移行する第2の抽選結果とを備えているので、遊技機は、第1の抽選結果となった場合であっても第2の遊技状態に遊技状態を移行することができ、第2の遊技状態に遊技状態を移行する機会を増加させることができる。したがって、遊技機は、遊技者の遊技への注目度を向上させることができる。
特徴B2.
本発明群の特徴B1に記載された遊技機において、
前記第1の遊技状態は、
前記第1の抽選結果となった場合に前記第1の遊技状態に遊技状態を移行する通常モードと、
前記第1の抽選結果となった場合に前記第2の遊技状態に遊技状態を移行する特殊モードとを有することを特徴とする遊技機。
本発明群の特徴B2によれば、第1の遊技状態は、第1の抽選結果となった場合に第1の遊技状態に遊技状態を移行する通常モードと、第1の抽選結果となった場合に第2の遊技状態に遊技状態を移行する特殊モードとを有するので、遊技者は、第1の遊技状態に遊技状態を移行した場合であっても特殊モードに滞在していることを期待して遊技することになる。したがって、遊技機は、遊技者の遊技への注目度を向上させることができる。
特徴B3.
本発明群の特徴B2に記載された遊技機において、
前記遊技状態移行手段は、前記始動入球手段への遊技球の入球に際して実行された内部抽選の結果に基づいて、遊技者にとって有利な特定制御状態(開閉実行モード)に通常制御状態から遊技状態を移行し、前記特定制御状態から前記通常制御状態に遊技状態を移行したときに、前記第1の遊技状態および前記第2の遊技状態のいずれかに遊技状態を移行することを特徴とする遊技機。
本発明群の特徴B3によれば、遊技状態移行手段は、特定制御状態から通常制御状態に遊技状態を移行したときに、第1の遊技状態および第2の遊技状態のいずれかに遊技状態を移行するので、遊技者は、第1の遊技状態に移行した場合には、特殊モードに滞在しているか否かに注目することになる。したがって、遊技機は、遊技者の遊技への注目度を向上させることができる。
特徴B4.
本発明群の特徴B3に記載された遊技機において、
前記始動入球手段は、
第1始動入球部(上作動口36)と、
前記第1始動入球部と異なる第2始動入球部(下作動口37)とを備え、
前記第1の遊技状態は、前記第2始動入球部よりも前記第1始動入球部に入球する確率が高くなり、前記第2の遊技状態は、前記第1始動入球部よりも前記第2始動入球部に入球する確率が高くなることによって、前記第1の遊技状態よりも遊技者にとって有利な遊技状態となることを特徴とする遊技機。
本発明群の特徴B4によれば、第1の遊技状態は、第2始動入球部よりも第1始動入球部に入球する確率が高くなり、第2の遊技状態は、第1始動入球部よりも第2始動入球部に入球する確率が高くなるので、遊技者は、第1の遊技状態では、第1始動入球部を狙って遊技球を発射し、第2の遊技状態では、第2始動入球部を狙って遊技球を発射することになる。したがって、遊技機は、遊技者に対して第1の遊技状態および第2の遊技状態を明確に示唆することができる。
特徴B5.
本発明群の特徴B4に記載された遊技機において、
前記遊技領域は、
前記第1始動入球部への遊技球の入球を発生させやすく、前記第2始動入球部への遊技球の入球を発生させにくい第1の経路(左打ちルート)と、
前記第2始動入球部への遊技球の入球を発生させやすく、前記第1始動入球部への遊技球の入球を発生させにくい第2の経路(右打ちルート)とを備え
前記始動入球手段への遊技球の入球に際して実行された内部抽選の結果に基づいて、前記第2の経路に向かって発射された遊技球を入球可能とする可変入球機構(右側可変入球機構40)を備え、
前記遊技状態移行手段は、前記可変入球機構への遊技球の入球に際して前記通常制御状態から前記特定制御状態に遊技状態を移行し、
前記第2始動入球部への遊技球の入球に際して実行された内部抽選の結果に基づいて、前記特定制御状態に移行する確率は、前記第1始動入球部への遊技球の入球に際して実行された内部抽選の結果に基づいて、前記特定制御状態に移行する確率よりも高いことを特徴とする遊技機。
本発明群の特徴B5によれば、第2始動入球部への遊技球の入球に際して実行された内部抽選の結果に基づいて、特定制御状態に移行する確率は、第1始動入球部への遊技球の入球に際して実行された内部抽選の結果に基づいて、特定制御状態に移行する確率よりも高いので、遊技者は、第2の遊技状態に遊技状態を移行することを期待することになる。したがって、遊技機は、遊技者の遊技への注目度を向上させることができる。
特徴B6.
本発明群の特徴B2から特徴B5のいずれかに記載された遊技機において、
前記遊技状態移行手段は、前記始動入球手段への遊技球の入球に際して実行された内部抽選の結果に基づいて、前記通常モードおよび前記特殊モードのいずれかに遊技モードを移行することを特徴とする遊技機。
本発明群の特徴B6によれば、遊技状態移行手段は、始動入球手段への遊技球の入球に際して実行された内部抽選の結果に基づいて、通常モードおよび特殊モードのいずれかに遊技モードを移行するので、遊技者は、始動入球手段への遊技球の入球に際して実行された内部抽選の結果に注目することになる。したがって、遊技機は、遊技者の遊技への注目度を向上させることができる。
特徴B7.
本発明群の特徴B2から特徴B5のいずれかに記載された遊技機において、
前記特殊モードに遊技モードを移行するか否かの特殊モード抽選を実行する特殊モード抽選手段(開閉実行モード終了時の移行処理)を備え、
前記遊技状態移行手段は、前記特殊モード抽選に当選しなかった場合に前記通常モードに遊技モードを移行し、前記特殊モード抽選に当選した場合に前記特殊モードに遊技モードを移行することを特徴とする遊技機。
本発明群の特徴B7によれば、遊技状態移行手段は、特殊モード抽選に当選しなかった場合に通常モードに遊技モードを移行し、特殊モード抽選に当選した場合に特殊モードに遊技モードを移行するので、遊技者は、特殊モード抽選の結果に注目することになる。したがって、遊技機は、遊技者の遊技への注目度を向上させることができる。
特徴B8.
本発明群の特徴B2から特徴B7のいずれかに記載された遊技機において、
前記遊技状態移行手段は、前記特殊モードに遊技モードを移行した後、所定回数の遊技回を消化した場合に前記特殊モードから前記通常モードに遊技モードを移行することを特徴とする遊技機。
本発明群の特徴B8によれば、遊技状態移行手段は、特殊モードに遊技モードを移行した後、所定回数の遊技回を消化した場合に特殊モードから通常モードに遊技モードを移行するので、遊技者は、遊技回の消化回数に注目することになる。したがって、遊技機は、遊技者の遊技への注目度を向上させることができる。
特徴B9.
本発明群の特徴B2から特徴B7のいずれかに記載された遊技機において、
前記遊技状態移行手段にて前記特殊モードに遊技モードを移行した後、前記通常モードに遊技状態を移行するか否かの通常モード抽選を実行する通常モード抽選手段(変動終了処理)を備え、
前記遊技状態移行手段は、前記通常モード抽選に当選した場合に前記通常モードに遊技モードを移行することを特徴とする遊技機。
本発明群の特徴B9によれば、遊技状態移行手段は、通常モード抽選に当選した場合に通常モードに遊技モードを移行するので、遊技者は、通常モード抽選の結果に注目することになる。したがって、遊技機は、遊技者の遊技への注目度を向上させることができる。
このような本発明の特徴B群によれば、遊技者の遊技への注目度を向上させることができるので、次のような課題を解決することができる。
従来、遊技盤に形成された遊技領域に向かって遊技球を発射する発射手段と、遊技領域を流下する遊技球を入球させるとともに、遊技球の入球に際して内部抽選を実行する始動入球手段とを備えた遊技機が知られている。
遊技機は、始動入球手段に遊技球が入球することによって、大当たり抽選などの内部抽選を実行し、この内部抽選の結果に基づいて、遊技状態を移行させている。このような遊技機では、遊技状態は、低頻度サポートモード(第1の遊技状態)と、低頻度サポートモードよりも遊技者にとって有利な高頻度サポートモード(第2の遊技状態)とを有している。したがって、遊技者は、高頻度サポートモードに移行することを期待して遊技をすることになる。
しかしながら、第1の遊技状態および第2の遊技状態の移行先は、それぞれ内部抽選の結果に関連付けられているので、遊技者の遊技への注目度は低下してしまうという問題がある。
<特徴C群>
特徴C1.
遊技盤に形成された遊技領域に向かって遊技球を発射する発射手段(発射ハンドル27)と、前記遊技領域を流下する遊技球を入球させるとともに、遊技球の入球に際して内部抽選を実行する始動入球手段(上作動口36および下作動口37)と、前記内部抽選の結果に基づいて、遊技状態を移行する遊技状態移行手段(主制御装置60)とを備える遊技機(パチンコ機10)であって、
前記遊技状態は、
第1の遊技状態(低頻度サポートモード)と、
前記第1の遊技状態よりも遊技者にとって有利な第2の遊技状態(高頻度サポートモード)とを備え、
前記第1の遊技状態は、
通常モードと、
遊技者にとって有利な遊技状態に移行する確率が前記通常モードよりも高い特殊モードとを備え、
前記遊技状態移行手段は、前記第1の遊技状態に遊技状態を移行したときに、前記特殊モードに遊技モードを移行し、前記第2の遊技状態に遊技状態を移行したときに、前記通常モードに遊技モードを移行することを特徴とする遊技機。
本発明群の特徴C1によれば、第1の遊技状態は、通常モードと、遊技者にとって有利な遊技状態に移行する確率が通常モードよりも高い特殊モードとを備え、遊技状態移行手段は、第1の遊技状態に遊技状態を移行したときに、特殊モードに遊技モードを移行し、第2の遊技状態に遊技状態を移行したときに、通常モードに遊技モードを移行するので、遊技者は、第1の遊技状態に遊技状態を移行した場合であっても特殊モードに滞在していることを期待して遊技することになる。したがって、遊技機は、遊技者の遊技への注目度を向上させることができる。
特徴C2.
本発明群の特徴C1に記載された遊技機において、
前記遊技状態移行手段は、前記始動入球手段への遊技球の入球に際して実行された内部抽選の結果に基づいて、遊技者にとって有利な特定制御状態(開閉実行モード)に通常制御状態から遊技状態を移行し、前記特定制御状態から前記通常制御状態に遊技状態を移行したときに、前記第1の遊技状態および前記第2の遊技状態のいずれかに遊技状態を移行することを特徴とする遊技機。
本発明群の特徴C2によれば、遊技状態移行手段は、特定制御状態から通常制御状態に遊技状態を移行したときに、第1の遊技状態および第2の遊技状態のいずれかに遊技状態を移行するので、遊技者は、第1の遊技状態に移行した場合には、特殊モードに滞在しているか否かに注目することになる。したがって、遊技機は、遊技者の遊技への注目度を向上させることができる。
特徴C3.
本発明群の特徴C2に記載された遊技機において、
前記始動入球手段は、
第1始動入球部(上作動口36)と、
前記第1始動入球部と異なる第2始動入球部(下作動口37)とを備え、
前記第1の遊技状態は、前記第2始動入球部よりも前記第1始動入球部に入球する確率が高くなり、前記第2の遊技状態は、前記第1始動入球部よりも前記第2始動入球部に入球する確率が高くなることによって、前記第1の遊技状態よりも遊技者にとって有利な遊技状態となることを特徴とする遊技機。
本発明群の特徴C3によれば、第1の遊技状態は、第2始動入球部よりも第1始動入球部に入球する確率が高くなり、第2の遊技状態は、第1始動入球部よりも第2始動入球部に入球する確率が高くなるので、遊技者は、第1の遊技状態では、第1始動入球部を狙って遊技球を発射し、第2の遊技状態では、第2始動入球部を狙って遊技球を発射することになる。したがって、遊技機は、遊技者に対して第1の遊技状態および第2の遊技状態を明確に示唆することができる。
特徴C4.
本発明群の特徴C3に記載された遊技機において、
前記遊技領域は、
前記第1始動入球部への遊技球の入球を発生させやすく、前記第2始動入球部への遊技球の入球を発生させにくい第1の経路(左打ちルート)と、
前記第2始動入球部への遊技球の入球を発生させやすく、前記第1始動入球部への遊技球の入球を発生させにくい第2の経路(右打ちルート)とを備え
前記始動入球手段への遊技球の入球に際して実行された内部抽選の結果に基づいて、前記第2の経路に向かって発射された遊技球を入球可能とする可変入球機構(右側可変入球機構40)を備え、
前記遊技状態移行手段は、前記可変入球機構への遊技球の入球に際して前記通常制御状態から前記特定制御状態に遊技状態を移行し、
前記第2始動入球部への遊技球の入球に際して実行された内部抽選の結果に基づいて、前記特定制御状態に移行する確率は、前記第1始動入球部への遊技球の入球に際して実行された内部抽選の結果に基づいて、前記特定制御状態に移行する確率よりも高いことを特徴とする遊技機。
本発明群の特徴C4によれば、第2始動入球部への遊技球の入球に際して実行された内部抽選の結果に基づいて、特定制御状態に移行する確率は、第1始動入球部への遊技球の入球に際して実行された内部抽選の結果に基づいて、特定制御状態に移行する確率よりも高いので、遊技者は、第2の遊技状態に遊技状態を移行することを期待することになる。したがって、遊技機は、遊技者の遊技への注目度を向上させることができる。
特徴C5.
本発明群の特徴C1から特徴C4のいずれかに記載された遊技機において、
前記遊技状態移行手段は、前記始動入球手段への遊技球の入球に際して実行された内部抽選の結果に基づいて、前記通常モードおよび前記特殊モードのいずれかに遊技モードを移行することを特徴とする遊技機。
本発明群の特徴C5によれば、遊技状態移行手段は、始動入球手段への遊技球の入球に際して実行された内部抽選の結果に基づいて、通常モードおよび特殊モードのいずれかに遊技モードを移行するので、遊技者は、始動入球手段への遊技球の入球に際して実行された内部抽選の結果に注目することになる。したがって、遊技機は、遊技者の遊技への注目度を向上させることができる。
特徴C6.
本発明群の特徴C1から特徴C4のいずれかに記載された遊技機において、
前記特殊モードに遊技モードを移行するか否かの特殊モード抽選を実行する特殊モード抽選手段(開閉実行モード終了時の移行処理)を備え、
前記遊技状態移行手段は、前記特殊モード抽選に当選しなかった場合に前記通常モードに遊技モードを移行し、前記特殊モード抽選に当選した場合に前記特殊モードに遊技モードを移行することを特徴とする遊技機。
本発明群の特徴C6によれば、遊技状態移行手段は、特殊モード抽選に当選しなかった場合に通常モードに遊技モードを移行し、特殊モード抽選に当選した場合に特殊モードに遊技モードを移行するので、遊技者は、特殊モード抽選の結果に注目することになる。したがって、遊技機は、遊技者の遊技への注目度を向上させることができる。
特徴C7.
本発明群の特徴C1から特徴C6のいずれかに記載された遊技機において、
前記遊技状態移行手段は、前記特殊モードに遊技モードを移行した後、所定回数の遊技回を消化した場合に前記特殊モードから前記通常モードに遊技モードを移行することを特徴とする遊技機。
本発明群の特徴C7によれば、遊技状態移行手段は、特殊モードに遊技モードを移行した後、所定回数の遊技回を消化した場合に特殊モードから通常モードに遊技モードを移行するので、遊技者は、遊技回の消化回数に注目することになる。したがって、遊技機は、遊技者の遊技への注目度を向上させることができる。
特徴C8.
本発明群の特徴C1から特徴C6のいずれかに記載された遊技機において、
前記遊技状態移行手段にて前記特殊モードに遊技モードを移行した後、前記通常モードに遊技モードを移行するか否かの通常モード抽選を実行する通常モード抽選手段(変動終了処理)を備え、
前記遊技状態移行手段は、前記通常モード抽選に当選した場合に前記通常モードに遊技モードを移行することを特徴とする遊技機。
本発明群の特徴C8によれば、遊技状態移行手段は、通常モード抽選に当選した場合に通常モードに遊技モードを移行するので、遊技者は、通常モード抽選の結果に注目することになる。したがって、遊技機は、遊技者の遊技への注目度を向上させることができる。
このような本発明の特徴C群によれば、遊技者の遊技への注目度を向上させることができるので、次のような課題を解決することができる。
従来、遊技盤に形成された遊技領域に向かって遊技球を発射する発射手段と、遊技領域を流下する遊技球を入球させるとともに、遊技球の入球に際して内部抽選を実行する始動入球手段とを備えた遊技機が知られている。
遊技機は、始動入球手段に遊技球が入球することによって、大当たり抽選などの内部抽選を実行し、この内部抽選の結果に基づいて、遊技状態を移行させている。このような遊技機では、遊技状態は、低頻度サポートモード(第1の遊技状態)と、低頻度サポートモードよりも遊技者にとって有利な高頻度サポートモード(第2の遊技状態)とを有している。したがって、遊技者は、高頻度サポートモードに移行することを期待して遊技をすることになる。
しかしながら、第2の遊技状態から第1の遊技状態に遊技状態を移行した場合には、遊技者は、第2の遊技状態よりも不利な第1の遊技状態にて遊技をしなければならないので、遊技者の遊技への注目度は低下してしまい、ひいては直ぐに遊技を止めてしまう場合があるという問題がある。
<特徴D群>
特徴D1.
遊技盤に形成された遊技領域に向かって遊技球を発射する発射手段(発射ハンドル27)と、前記遊技領域を流下する遊技球を入球させるとともに、遊技球の入球に際して内部抽選を実行する始動入球手段(上作動口36および下作動口37)と、前記内部抽選の結果に基づいて、遊技状態を移行する遊技状態移行手段(主制御装置60)とを備える遊技機(パチンコ機10)であって、
前記遊技状態は、
第1の遊技状態(低頻度サポートモード)と、
前記第1の遊技状態よりも遊技者にとって有利な第2の遊技状態(高頻度サポートモード)とを備え、
前記第1の遊技状態は、
通常モードと、
遊技者にとって有利な遊技状態に移行する確率が前記通常モードよりも高い特殊モードとを備え、
前記遊技状態移行手段は、前記特殊モードに遊技モードを移行した後、前記通常モードに遊技モードを移行するか否かの通常モード抽選を実行する通常モード抽選手段(変動終了処理)を備え、
前記遊技状態移行手段は、前記通常モード抽選に当選した場合に前記通常モードに遊技モードを移行することを特徴とする遊技機。
本発明群の特徴D1によれば、第1の遊技状態は、通常モードと、遊技者にとって有利な遊技状態に移行する確率が通常モードよりも高い特殊モードとを備えているので、遊技者は、第1の遊技状態に遊技状態を移行した場合であっても特殊モードに滞在していることを期待して遊技することになる。そして、遊技状態移行手段は、通常モード抽選に当選した場合に通常モードに遊技モードを移行するので、遊技者は、通常モード抽選の結果に注目することになる。したがって、遊技機は、遊技者の遊技への注目度を向上させることができる。
特徴D2.
本発明群の特徴D1に記載された遊技機において、
前記遊技状態移行手段は、前記始動入球手段への遊技球の入球に際して実行された内部抽選の結果に基づいて、遊技者にとって有利な特定制御状態(開閉実行モード)に通常制御状態から遊技状態を移行し、前記特定制御状態から前記通常制御状態に遊技状態を移行したときに、前記第1の遊技状態および前記第2の遊技状態のいずれかに遊技状態を移行することを特徴とする遊技機。
本発明群の特徴D2によれば、遊技状態移行手段は、特定制御状態から通常制御状態に遊技状態を移行したときに、第1の遊技状態および第2の遊技状態のいずれかに遊技状態を移行するので、遊技者は、第1の遊技状態に移行した場合には、特殊モードに滞在しているか否かに注目することになる。したがって、遊技機は、遊技者の遊技への注目度を向上させることができる。
特徴D3.
本発明群の特徴D2に記載された遊技機において、
前記始動入球手段は、
第1始動入球部(上作動口36)と、
前記第1始動入球部と異なる第2始動入球部(下作動口37)とを備え、
前記第1の遊技状態は、前記第2始動入球部よりも前記第1始動入球部に入球する確率が高くなり、前記第2の遊技状態は、前記第1始動入球部よりも前記第2始動入球部に入球する確率が高くなることによって、前記第1の遊技状態よりも遊技者にとって有利な遊技状態となることを特徴とする遊技機。
本発明群の特徴D3によれば、第1の遊技状態は、第2始動入球部よりも第1始動入球部に入球する確率が高くなり、第2の遊技状態は、第1始動入球部よりも第2始動入球部に入球する確率が高くなるので、遊技者は、第1の遊技状態では、第1始動入球部を狙って遊技球を発射し、第2の遊技状態では、第2始動入球部を狙って遊技球を発射することになる。したがって、遊技機は、遊技者に対して第1の遊技状態および第2の遊技状態を明確に示唆することができる。
特徴D4.
本発明群の特徴D3に記載された遊技機において、
前記遊技領域は、
前記第1始動入球部への遊技球の入球を発生させやすく、前記第2始動入球部への遊技球の入球を発生させにくい第1の経路(左打ちルート)と、
前記第2始動入球部への遊技球の入球を発生させやすく、前記第1始動入球部への遊技球の入球を発生させにくい第2の経路(右打ちルート)とを備え
前記始動入球手段への遊技球の入球に際して実行された内部抽選の結果に基づいて、前記第2の経路に向かって発射された遊技球を入球可能とする可変入球機構(右側可変入球機構40)を備え、
前記遊技状態移行手段は、前記可変入球機構への遊技球の入球に際して前記通常制御状態から前記特定制御状態に遊技状態を移行し、
前記第2始動入球部への遊技球の入球に際して実行された内部抽選の結果に基づいて、前記特定制御状態に移行する確率は、前記第1始動入球部への遊技球の入球に際して実行された内部抽選の結果に基づいて、前記特定制御状態に移行する確率よりも高いことを特徴とする遊技機。
本発明群の特徴D4によれば、第2始動入球部への遊技球の入球に際して実行された内部抽選の結果に基づいて、特定制御状態に移行する確率は、第1始動入球部への遊技球の入球に際して実行された内部抽選の結果に基づいて、特定制御状態に移行する確率よりも高いので、遊技者は、第2の遊技状態に遊技状態を移行することを期待することになる。したがって、遊技機は、遊技者の遊技への注目度を向上させることができる。
特徴D5.
本発明群の特徴D1から特徴D4のいずれかに記載された遊技機において、
前記遊技状態移行手段は、前記始動入球手段への遊技球の入球に際して実行された内部抽選の結果に基づいて、前記通常モードおよび前記特殊モードのいずれかに遊技モードを移行することを特徴とする遊技機。
本発明群の特徴D5によれば、遊技状態移行手段は、始動入球手段への遊技球の入球に際して実行された内部抽選の結果に基づいて、通常モードおよび特殊モードのいずれかに遊技モードを移行するので、遊技者は、始動入球手段への遊技球の入球に際して実行された内部抽選の結果に注目することになる。したがって、遊技機は、遊技者の遊技への注目度を向上させることができる。
特徴D6.
本発明群の特徴D1から特徴D4のいずれかに記載された遊技機において、
前記特殊モードに遊技モードを移行するか否かの特殊モード抽選を実行する特殊モード抽選手段(開閉実行モード終了時の移行処理)を備え、
前記遊技状態移行手段は、前記特殊モード抽選に当選しなかった場合に前記通常モードに遊技モードを移行し、前記特殊モード抽選に当選した場合に前記特殊モードに遊技モードを移行することを特徴とする遊技機。
本発明群の特徴D6によれば、遊技状態移行手段は、特殊モード抽選に当選しなかった場合に通常モードに遊技モードを移行し、特殊モード抽選に当選した場合に特殊モードに遊技モードを移行するので、遊技者は、特殊モード抽選の結果に注目することになる。したがって、遊技機は、遊技者の遊技への注目度を向上させることができる。
このような本発明の特徴D群によれば、遊技者の遊技への注目度を向上させることができるので、次のような課題を解決することができる。
従来、遊技盤に形成された遊技領域に向かって遊技球を発射する発射手段と、遊技領域を流下する遊技球を入球させるとともに、遊技球の入球に際して内部抽選を実行する始動入球手段とを備えた遊技機が知られている。
遊技機は、始動入球手段に遊技球が入球することによって、大当たり抽選などの内部抽選を実行し、この内部抽選の結果に基づいて、遊技状態を移行させている。このような遊技機では、遊技状態は、低頻度サポートモード(第1の遊技状態)と、低頻度サポートモードよりも遊技者にとって有利な高頻度サポートモード(第2の遊技状態)とを有している。したがって、遊技者は、高頻度サポートモードに移行することを期待して遊技をすることになる。
しかしながら、第2の遊技状態から第1の遊技状態に遊技状態を移行した場合には、遊技者は、第2の遊技状態よりも不利な第1の遊技状態にて遊技をしなければならないので、遊技者の遊技への注目度は低下してしまい、ひいては直ぐに遊技を止めてしまう場合があるという問題がある。
<特徴E群>
特徴E1.
遊技盤に形成された遊技領域に向かって遊技球を発射する発射手段(発射ハンドル27)と、前記遊技領域を流下する遊技球を入球させるとともに、遊技球の入球に際して内部抽選を実行する始動入球手段(上作動口36および下作動口37)と、前記内部抽選の結果に基づいて、遊技状態を移行する遊技状態移行手段(主制御装置60)とを備える遊技機(パチンコ機10)であって、
前記遊技状態は、
第1の遊技状態(低頻度サポートモード)と、
終了基準回数の遊技回を消化するまで継続し、前記第1の遊技状態よりも遊技者にとって有利な第2の遊技状態(高頻度サポートモード)とを備え、
前記遊技状態移行手段は、前記始動入球手段への遊技球の入球に際して実行された内部抽選の結果に基づいて、遊技者にとって有利な特定制御状態(開閉実行モード)に通常制御状態から遊技状態を移行し、前記第2の遊技状態に遊技状態を移行した後、前記特定制御状態に遊技状態を移行するまでの遊技回の消化回数と、前記終了基準回数よりも小さい回数に設定された閾値とを比較した結果に基づいて、遊技者にとって有利な有利側遊技状況(50回の特殊モード)と、前記有利側遊技状況よりも遊技者にとって不利な不利側遊技状況(30回の特殊モード)とに振り分けることを特徴とする遊技機。
本発明群の特徴E1によれば、遊技状態移行手段は、第2の遊技状態に遊技状態を移行した後、特定制御状態に遊技状態を移行するまでの遊技回の消化回数と、終了基準回数よりも小さい回数に設定された閾値とを比較した結果に基づいて、遊技者にとって有利な有利側遊技状況と、有利側遊技状況よりも遊技者にとって不利な不利側遊技状況とに振り分けるので、遊技者は、第2の遊技状態に遊技状態を移行した後、特定制御状態に遊技状態を移行するまでの遊技回の消化回数に注目することになる。したがって、遊技機は、遊技者の遊技への注目度を向上させることができる。
特徴E2.
本発明群の特徴E1に記載された遊技機において、
前記遊技状態移行手段は、前記第2の遊技状態に遊技状態を移行した後、前記特定制御状態に遊技状態を移行するまでの遊技回の消化回数と、前記終了基準回数よりも小さい回数に設定された閾値とを比較し、前記閾値よりも小さい場合に、前記有利側遊技状況に振り分け、大きい場合に、前記不利側遊技状況に振り分けることを特徴とする遊技機。
本発明群の特徴E2によれば、遊技状態移行手段は、第2の遊技状態に遊技状態を移行した後、特定制御状態に遊技状態を移行するまでの遊技回の消化回数と、終了基準回数よりも小さい回数に設定された閾値とを比較し、この閾値よりも小さい場合に、有利側遊技状況に振り分けるので、遊技者は、第2の遊技状態に遊技状態を移行した後、終了基準回数よりも小さい回数に設定された閾値までの遊技回に注目することになる。したがって、遊技機は、遊技者の遊技への注目度を向上させることができる。
特徴E3.
本発明群の特徴E2に記載された遊技機において、
前記第1の遊技状態は、
通常モードと、
遊技者にとって有利な遊技状態に移行する確率が前記通常モードよりも高い特殊モードとを備え、
前記遊技状態移行手段は、前記特定制御状態から前記通常制御状態に遊技状態を移行したときに、前記通常モードおよび前記特殊モードのいずれかに遊技モードを移行することを特徴とする遊技機。
本発明群の特徴E3によれば、第1の遊技状態は、通常モードと、遊技者にとって有利な遊技状態に移行する確率が通常モードよりも高い特殊モードとを備えているので、遊技者は、第1の遊技状態に遊技状態を移行した場合であっても特殊モードに滞在していることを期待して遊技することになる。そして、遊技状態移行手段は、特定制御状態から通常制御状態に遊技状態を移行したときに、通常モードおよび特殊モードのいずれかに遊技モードを移行するので、遊技者は、特殊モードに移行するか否かに注目することになる。したがって、遊技機は、遊技者の遊技への注目度を向上させることができる。
特徴E4.
本発明群の特徴E3に記載された遊技機において、
前記遊技状態移行手段は、前記特殊モードに遊技モードを移行した後、所定回数の遊技回を消化した場合に前記特殊モードから前記通常モードに遊技モードを移行し、
前記特殊モードは、
所定回数の遊技回を消化した場合に前記特殊モードから前記通常モードに遊技モードを移行する前記有利側遊技状況と、
所定回数よりも少ない回数の遊技回を消化した場合に前記特殊モードから前記通常モードに遊技モードを移行する前記不利側遊技状況とを有することを特徴とする遊技機。
本発明群の特徴E4によれば、遊技状態移行手段は、特殊モードに遊技モードを移行した後、所定回数の遊技回を消化した場合に特殊モードから通常モードに遊技モードを移行するので、遊技者は、遊技回の消化回数に注目することになる。また、不利側遊技状況は、所定回数よりも少ない回数の遊技回を消化した場合に特殊モードから通常モードに遊技モードを移行するので、有利側遊技状況と比較して遊技者にとって不利な遊技状況とすることができる。したがって、遊技機は、遊技者の遊技への注目度を向上させることができる。
特徴E5.
本発明群の特徴E3に記載された遊技機において、
前記遊技状態移行手段にて前記特殊モードに遊技モードを移行した後、前記通常モードに遊技モードを移行するか否かの通常モード抽選を実行する通常モード抽選手段(変動終了処理)を備え、
前記遊技状態移行手段は、前記通常モード抽選に当選した場合に前記通常モードに遊技モードを移行し、
前記特殊モードは、
前記通常モード抽選に当選する確率の低い前記有利側遊技状況と、
前記通常モード抽選に当選する確率の高い前記不利側遊技状況とを有することを特徴とする遊技機。
本発明群の特徴E5によれば、遊技状態移行手段は、通常モード抽選に当選した場合に通常モードに遊技モードを移行するので、遊技者は、通常モード抽選の結果に注目することになる。また、不利側遊技状況は、通常モード抽選に当選する確率が高いので、有利側遊技状況と比較して遊技者にとって不利な遊技状況とすることができる。したがって、遊技機は、遊技者の遊技への注目度を向上させることができる。
特徴E6.
本発明群の特徴E3から特徴E5のいずれかに記載された遊技機において、
前記遊技状態移行手段は、前記始動入球手段への遊技球の入球に際して実行された内部抽選の結果に基づいて、前記通常モードおよび前記特殊モードのいずれかに遊技モードを移行することを特徴とする遊技機。
本発明群の特徴E6によれば、遊技状態移行手段は、始動入球手段への遊技球の入球に際して実行された内部抽選の結果に基づいて、通常モードおよび特殊モードのいずれかに遊技モードを移行するので、遊技者は、始動入球手段への遊技球の入球に際して実行された内部抽選の結果に注目することになる。したがって、遊技機は、遊技者の遊技への注目度を向上させることができる。
特徴E7.
本発明群の特徴E3から特徴E5のいずれかに記載された遊技機において、
前記特殊モードに遊技モードを移行するか否かの特殊モード抽選を実行する特殊モード抽選手段(開閉実行モード終了時の移行処理)を備え、
前記遊技状態移行手段は、前記特殊モード抽選に当選しなかった場合に前記通常モードに遊技モードを移行し、前記特殊モード抽選に当選した場合に前記特殊モードに遊技モードを移行することを特徴とする遊技機。
本発明群の特徴E7によれば、遊技状態移行手段は、特殊モード抽選に当選しなかった場合に通常モードに遊技モードを移行し、特殊モード抽選に当選した場合に特殊モードに遊技モードを移行するので、遊技者は、特殊モード抽選の結果に注目することになる。したがって、遊技機は、遊技者の遊技への注目度を向上させることができる。
特徴E8.
本発明群の特徴E1から特徴E7のいずれかに記載された遊技機において、
前記遊技状態移行手段は、前記特定制御状態から前記通常制御状態に遊技状態を移行したときに、前記第1の遊技状態および前記第2の遊技状態のいずれかに遊技状態を移行することを特徴とする遊技機。
本発明群の特徴E8によれば、遊技状態移行手段は、特定制御状態から通常制御状態に遊技状態を移行したときに、第1の遊技状態および第2の遊技状態のいずれかに遊技状態を移行するので、遊技者は、第1の遊技状態に移行した場合には、特殊モードに滞在しているか否かに注目することになる。したがって、遊技機は、遊技者の遊技への注目度を向上させることができる。
特徴E9.
本発明群の特徴E8に記載された遊技機において、
前記始動入球手段は、
第1始動入球部(上作動口36)と、
前記第1始動入球部と異なる第2始動入球部(下作動口37)とを備え、
前記第1の遊技状態は、前記第2始動入球部よりも前記第1始動入球部に入球する確率が高くなり、前記第2の遊技状態は、前記第1始動入球部よりも前記第2始動入球部に入球する確率が高くなることによって、前記第1の遊技状態よりも遊技者にとって有利な遊技状態となることを特徴とする遊技機。
本発明群の特徴E9によれば、第1の遊技状態は、第2始動入球部よりも第1始動入球部に入球する確率が高くなり、第2の遊技状態は、第1始動入球部よりも第2始動入球部に入球する確率が高くなるので、遊技者は、第1の遊技状態では、第1始動入球部を狙って遊技球を発射し、第2の遊技状態では、第2始動入球部を狙って遊技球を発射することになる。したがって、遊技機は、遊技者に対して第1の遊技状態および第2の遊技状態を明確に示唆することができる。
特徴E10.
本発明群の特徴E9に記載された遊技機において、
前記遊技領域は、
前記第1始動入球部への遊技球の入球を発生させやすく、前記第2始動入球部への遊技球の入球を発生させにくい第1の経路(左打ちルート)と、
前記第2始動入球部への遊技球の入球を発生させやすく、前記第1始動入球部への遊技球の入球を発生させにくい第2の経路(右打ちルート)とを備え
前記始動入球手段への遊技球の入球に際して実行された内部抽選の結果に基づいて、前記第2の経路に向かって発射された遊技球を入球可能とする可変入球機構(右側可変入球機構40)を備え、
前記遊技状態移行手段は、前記可変入球機構への遊技球の入球に際して前記通常制御状態から前記特定制御状態に遊技状態を移行し、
前記第2始動入球部への遊技球の入球に際して実行された内部抽選の結果に基づいて、前記特定制御状態に移行する確率は、前記第1始動入球部への遊技球の入球に際して実行された内部抽選の結果に基づいて、前記特定制御状態に移行する確率よりも高いことを特徴とする遊技機。
本発明群の特徴E10によれば、第2始動入球部への遊技球の入球に際して実行された内部抽選の結果に基づいて、特定制御状態に移行する確率は、第1始動入球部への遊技球の入球に際して実行された内部抽選の結果に基づいて、特定制御状態に移行する確率よりも高いので、遊技者は、第2の遊技状態に遊技状態を移行することを期待することになる。したがって、遊技機は、遊技者の遊技への注目度を向上させることができる。
このような本発明の特徴E群によれば、遊技者の遊技への注目度を向上させることができるので、次のような課題を解決することができる。
従来、遊技盤に形成された遊技領域に向かって遊技球を発射する発射手段と、遊技領域を流下する遊技球を入球させるとともに、遊技球の入球に際して内部抽選を実行する始動入球手段とを備えた遊技機が知られている。
遊技機は、始動入球手段に遊技球が入球することによって、大当たり抽選などの内部抽選を実行し、この内部抽選の結果に基づいて、遊技状態を移行させている。このような遊技機では、遊技状態は、低頻度サポートモード(第1の遊技状態)と、低頻度サポートモードよりも遊技者にとって有利な高頻度サポートモード(第2の遊技状態)とを有している。したがって、遊技者は、高頻度サポートモードに移行することを期待して遊技をすることになる。
しかしながら、第2の遊技状態は、終了基準回数の遊技回を消化するまで継続し、遊技機は、第2の遊技状態における大当たり抽選に当選するタイミングに関わらず、内部抽選の結果に基づいて、遊技状態を移行しているので、遊技者の遊技への注目度は低下してしまうという問題がある。
<特徴F群>
特徴F1.
遊技盤に形成された遊技領域に向かって遊技球を発射する発射手段(発射ハンドル27)と、前記遊技領域を流下する遊技球を入球させるとともに、遊技球の入球に際して内部抽選を実行する始動入球手段(上作動口36および下作動口37)と、前記内部抽選の結果に基づいて、遊技状態を移行する遊技状態移行手段(主制御装置60)とを備える遊技機(パチンコ機10)であって、
前記始動入球手段への遊技球の入球に際して実行された内部抽選の結果に基づいて、遊技球を入球可能とする可変入球機構(右側可変入球機構40)を備え、
前記遊技状態は、
前記可変入球機構に入球しやすくなる第1の時短状態(高頻度サポートモード)と、
前記第1の時短状態と比較して前記可変入球機構に入球しにくくなる第2の時短状態(特殊モードの低頻度サポートモード)とを備え、
前記遊技状態移行手段は、前記可変入球機構への遊技球の入球に際して遊技者にとって有利な特定制御状態(開閉実行モード)に通常制御状態から遊技状態を移行することを特徴とする遊技機。
本発明群の特徴F1によれば、遊技状態は、可変入球機構に入球しやすくなる第1の時短状態と、第1の時短状態と比較して可変入球機構に入球しにくくなる第2の時短状態とを備えているので、可変入球機構への遊技球の入球に際して通常制御状態から特定制御状態に遊技状態を移行することができる遊技状態の種類を多様化することができる。したがって、遊技機は、遊技者の遊技への注目度を向上させることができる。
特徴F2.
本発明群の特徴F1に記載された遊技機において、
前記始動入球手段は、
第1始動入球部(上作動口36)と、
前記第1始動入球部と異なる第2始動入球部(下作動口37)とを備え、
前記遊技領域は、
前記第1始動入球部への遊技球の入球を発生させやすく、前記第2始動入球部への遊技球の入球を発生させにくい第1の経路(左打ちルート)と、
前記第2始動入球部への遊技球の入球を発生させやすく、前記第1始動入球部への遊技球の入球を発生させにくい第2の経路(右打ちルート)とを備え、
前記可変入球機構は、前記始動入球手段への遊技球の入球に際して実行された内部抽選の結果に基づいて、前記第2の経路に向かって発射された遊技球を入球可能とすることを特徴とする遊技機。
本発明群の特徴F2によれば、遊技者は、第1の時短状態では、第2の経路に向かって遊技球を発射し、第2の時短状態では、第1の経路に向かって遊技球を発射することになる。したがって、遊技機は、遊技者の意図を確実に反映させることができ、遊技者に快適に遊技をさせることができる。
特徴F3.
本発明群の特徴F1または特徴F2に記載された遊技機において、
前記遊技状態は、
通常モードと、特殊モードとしての前記第2の時短状態との遊技モードを有する第1の遊技状態(低頻度サポートモード)と、
前記第1の遊技状態よりも遊技者にとって有利な第2の遊技状態(高頻度サポートモード)とを備え、
前記遊技状態移行手段は、前記第1の遊技状態の通常モードおよび前記第2の遊技状態では、前記内部抽選の結果に基づいて、前記第1の遊技状態および前記第2の遊技状態のいずれかに遊技状態を移行し、前記第1の遊技状態の特殊モードでは、前記内部抽選の結果に関わらず前記第2の遊技状態に遊技状態を移行することを特徴とする遊技機。
本発明群の特徴F3によれば、遊技状態移行手段は、第1の遊技状態の通常モードおよび第2の遊技状態では、内部抽選の結果に基づいて、第1の遊技状態および第2の遊技状態のいずれかに遊技状態を移行し、第1の遊技状態の特殊モードでは、内部抽選の結果に関わらず第2の遊技状態に遊技状態を移行するので、遊技者は、第1の遊技状態に遊技状態を移行した場合であっても特殊モードに滞在していることを期待して遊技することになる。したがって、遊技機は、遊技者の遊技への注目度を向上させることができる。
特徴F4.
本発明群の特徴F3に記載された遊技機において、
前記遊技状態移行手段は、前記始動入球手段への遊技球の入球に際して実行された内部抽選の結果に基づいて、前記通常制御状態から前記特定制御状態に遊技状態を移行し、前記特定制御状態から前記通常制御状態に遊技状態を移行したときに、前記第1の遊技状態および前記第2の遊技状態のいずれかに遊技状態を移行することを特徴とする遊技機。
本発明群の特徴F4によれば、遊技状態移行手段は、特定制御状態から通常制御状態に遊技状態を移行したときに、第1の遊技状態および第2の遊技状態のいずれかに遊技状態を移行するので、遊技者は、第1の遊技状態に移行した場合には、特殊モードに滞在しているか否かに注目することになる。したがって、遊技機は、遊技者の遊技への注目度を向上させることができる。
特徴F5.
本発明群の特徴F3または特徴F4に記載された遊技機において、
前記遊技状態移行手段は、前記始動入球手段への遊技球の入球に際して実行された内部抽選の結果に基づいて、前記通常モードおよび前記特殊モードのいずれかに遊技モードを移行することを特徴とする遊技機。
本発明群の特徴F5によれば、遊技状態移行手段は、始動入球手段への遊技球の入球に際して実行された内部抽選の結果に基づいて、通常モードおよび特殊モードのいずれかに遊技モードを移行するので、遊技者は、始動入球手段への遊技球の入球に際して実行された内部抽選の結果に注目することになる。したがって、遊技機は、遊技者の遊技への注目度を向上させることができる。
特徴F6.
本発明群の特徴F3または特徴F4に記載された遊技機において、
前記特殊モードに遊技モードを移行するか否かの特殊モード抽選を実行する特殊モード抽選手段(開閉実行モード終了時の移行処理)を備え、
前記遊技状態移行手段は、前記特殊モード抽選に当選しなかった場合に前記通常モードに遊技モードを移行し、前記特殊モード抽選に当選した場合に前記特殊モードに遊技モードを移行することを特徴とする遊技機。
本発明群の特徴F6によれば、遊技状態移行手段は、特殊モード抽選に当選しなかった場合に通常モードに遊技モードを移行し、特殊モード抽選に当選した場合に特殊モードに遊技モードを移行するので、遊技者は、特殊モード抽選の結果に注目することになる。したがって、遊技機は、遊技者の遊技への注目度を向上させることができる。
特徴F7.
本発明群の特徴F3または特徴F4に記載された遊技機において、
前記遊技状態移行手段は、前記特殊モードに遊技モードを移行した後、所定回数の遊技回を消化した場合に前記特殊モードから前記通常モードに遊技モードを移行することを特徴とする遊技機。
本発明群の特徴F7によれば、遊技状態移行手段は、特殊モードに遊技モードを移行した後、所定回数の遊技回を消化した場合に特殊モードから通常モードに遊技モードを移行するので、遊技者は、遊技回の消化回数に注目することになる。したがって、遊技機は、遊技者の遊技への注目度を向上させることができる。
特徴F8.
本発明群の特徴F3または特徴F4に記載された遊技機において、
前記遊技状態移行手段にて前記特殊モードに遊技モードを移行した後、前記通常モードに遊技モードを移行するか否かの通常モード抽選を実行する通常モード抽選手段(変動終了処理)を備え、
前記遊技状態移行手段は、前記通常モード抽選に当選した場合に前記通常モードに遊技モードを移行することを特徴とする遊技機。
本発明群の特徴F8によれば、遊技状態移行手段は、通常モード抽選に当選した場合に通常モードに遊技モードを移行するので、遊技者は、通常モード抽選の結果に注目することになる。したがって、遊技機は、遊技者の遊技への注目度を向上させることができる。
このような本発明の特徴F群によれば、遊技者の遊技への注目度を向上させることができるので、次のような課題を解決することができる。
従来、遊技盤に形成された遊技領域に向かって遊技球を発射する発射手段と、遊技領域を流下する遊技球を入球させるとともに、遊技球の入球に際して内部抽選を実行する始動入球手段とを備えた遊技機が知られている。
遊技機は、始動入球手段に遊技球が入球することによって、大当たり抽選などの内部抽選を実行し、この内部抽選の結果に基づいて、遊技状態を移行させている。このような遊技機では、遊技状態は、低頻度サポートモード(第1の遊技状態)と、低頻度サポートモードよりも遊技者にとって有利な高頻度サポートモード(第2の遊技状態)とを有している。したがって、遊技者は、高頻度サポートモードに移行することを期待して遊技をすることになる。
また、このような遊技機の一種として、始動入球手段への遊技球の入球に際して実行された内部抽選の結果に基づいて、遊技球を入球可能とする可変入球機構を備えた遊技機が知られている。
この遊技機は、始動入球手段への遊技球の入球に際して実行された内部抽選の結果に基づいて、遊技者にとって有利な特定制御状態(開閉実行モード)に通常制御状態から遊技状態を移行し、可変入球機構への遊技球の入球に際して通常制御状態から特定制御状態に遊技状態を移行する遊技状態移行手段を備えている。
そして、高頻度サポートモードは、可変入球機構に入球しやすくなることによって、第1の遊技状態よりも遊技者にとって有利な状態となっている。
しかしながら、第2の遊技状態から第1の遊技状態に遊技状態を移行した場合には、遊技者は、第2の遊技状態よりも不利な第1の遊技状態にて遊技をしなければならないので、遊技者の遊技への注目度は低下してしまい、ひいては直ぐに遊技を止めてしまう場合があるという問題がある。
<特徴G群>
特徴G1.
遊技盤に形成された遊技領域に向かって遊技球を発射する発射手段(発射ハンドル27)と、前記遊技領域を流下する遊技球を入球させるとともに、遊技球の入球に際して内部抽選を実行する始動入球手段(上作動口36および下作動口37)と、前記内部抽選の結果に基づいて、遊技状態を移行する遊技状態移行手段(主制御装置60)とを備える遊技機(パチンコ機10)であって、
前記始動入球手段は、
第1始動入球部(上作動口36)と、
前記第1始動入球部と異なる第2始動入球部(下作動口37)とを備え、
前記遊技領域は、
前記第1始動入球部への遊技球の入球を発生させやすく、前記第2始動入球部への遊技球の入球を発生させにくい第1の経路(左打ちルート)と、
前記第2始動入球部への遊技球の入球を発生させやすく、前記第1始動入球部への遊技球の入球を発生させにくい第2の経路(右打ちルート)とを備え、
前記遊技状態は、
前記第2の経路に向かって遊技球を発射することによって、遊技者にとって有利な状況となる第1の時短状態(高頻度サポートモード)と、
前記第2の経路に向かって遊技球を発射することによって、前記第1の時短状態と比較して遊技者にとって不利な状況となる第2の時短状態(特殊モードの低頻度サポートモード)とを備え、
前記遊技機は、
前記始動入球手段への遊技球の入球に際して実行された内部抽選の結果に基づいて、前記第2の経路に向かって発射された遊技球を入球可能とする可変入球機構(右側可変入球機構40)を備え、
前記遊技状態移行手段は、前記可変入球機構への遊技球の入球に際して遊技者にとって有利な特定制御状態(開閉実行モード)に通常制御状態から遊技状態を移行することを特徴とする遊技機。
本発明群の特徴G1によれば、遊技状態は、第2の経路に向かって遊技球を発射することによって、遊技者にとって有利な状況となる第1の時短状態と、第2の経路に向かって遊技球を発射することによって、第1の時短状態と比較して遊技者にとって不利な状況となる第2の時短状態とを備えているので、可変入球機構への遊技球の入球に際して通常制御状態から特定制御状態に遊技状態を移行することができる遊技状態の種類を多様化することができる。したがって、遊技機は、遊技者の遊技への注目度を向上させることができる。
特徴G2.
本発明群の特徴G1に記載された遊技機において、
前記遊技状態移行手段は、前記第2の時短状態の滞在中に前記第2の経路に向かって遊技球が発射された場合に、前記第2の時短状態を終了することを特徴とする遊技機。
本発明群の特徴G2によれば、遊技状態移行手段は、第2の時短状態の滞在中に第2の経路に向かって遊技球が発射された場合に、第2の時短状態を終了するので、遊技者は、第1の時短状態では、第2の経路に向かって遊技球を発射し、第2の時短状態では、第1の経路に向かって遊技球を発射することになる。したがって、遊技機は、遊技者の意図を確実に反映させることができ、遊技者に快適に遊技をさせることができる。
特徴G3.
本発明群の特徴G1または特徴G2に記載された遊技機において、
前記遊技状態は、
通常モードと、特殊モードとしての前記第2の時短状態との遊技モードを有する第1の遊技状態(低頻度サポートモード)と、
前記第1の遊技状態よりも遊技者にとって有利な第2の遊技状態(高頻度サポートモード)とを備え、
前記遊技状態移行手段は、前記第1の遊技状態の通常モードおよび前記第2の遊技状態では、前記内部抽選の結果に基づいて、前記第1の遊技状態および前記第2の遊技状態のいずれかに遊技状態を移行し、前記第1の遊技状態の特殊モードでは、前記内部抽選の結果に関わらず前記第2の遊技状態に遊技状態を移行することを特徴とする遊技機。
本発明群の特徴G3によれば、遊技状態移行手段は、第1の遊技状態の通常モードおよび第2の遊技状態では、内部抽選の結果に基づいて、第1の遊技状態および第2の遊技状態のいずれかに遊技状態を移行し、第1の遊技状態の特殊モードでは、内部抽選の結果に関わらず第2の遊技状態に遊技状態を移行するので、遊技者は、第1の遊技状態に遊技状態を移行した場合であっても特殊モードに滞在していることを期待して遊技することになる。したがって、遊技機は、遊技者の遊技への注目度を向上させることができる。
特徴G4.
本発明群の特徴G3に記載された遊技機において、
前記遊技状態移行手段は、前記始動入球手段への遊技球の入球に際して実行された内部抽選の結果に基づいて、前記通常制御状態から前記特定制御状態に遊技状態を移行し、前記特定制御状態から前記通常制御状態に遊技状態を移行したときに、前記第1の遊技状態および前記第2の遊技状態のいずれかに遊技状態を移行することを特徴とする遊技機。
本発明群の特徴G4によれば、遊技状態移行手段は、特定制御状態から通常制御状態に遊技状態を移行したときに、第1の遊技状態および第2の遊技状態のいずれかに遊技状態を移行するので、遊技者は、第1の遊技状態に移行した場合には、特殊モードに滞在しているか否かに注目することになる。したがって、遊技機は、遊技者の遊技への注目度を向上させることができる。
特徴G5.
本発明群の特徴G3または特徴G4に記載された遊技機において、
前記遊技状態移行手段は、前記始動入球手段への遊技球の入球に際して実行された内部抽選の結果に基づいて、前記通常モードおよび前記特殊モードのいずれかに遊技モードを移行することを特徴とする遊技機。
本発明群の特徴G5によれば、遊技状態移行手段は、始動入球手段への遊技球の入球に際して実行された内部抽選の結果に基づいて、通常モードおよび特殊モードのいずれかに遊技モードを移行するので、遊技者は、始動入球手段への遊技球の入球に際して実行された内部抽選の結果に注目することになる。したがって、遊技機は、遊技者の遊技への注目度を向上させることができる。
特徴G6.
本発明群の特徴G3または特徴G4に記載された遊技機において、
前記特殊モードに遊技モードを移行するか否かの特殊モード抽選を実行する特殊モード抽選手段(開閉実行モード終了時の移行処理)を備え、
前記遊技状態移行手段は、前記特殊モード抽選に当選しなかった場合に前記通常モードに遊技モードを移行し、前記特殊モード抽選に当選した場合に前記特殊モードに遊技モードを移行することを特徴とする遊技機。
本発明群の特徴G6によれば、遊技状態移行手段は、特殊モード抽選に当選しなかった場合に通常モードに遊技モードを移行し、特殊モード抽選に当選した場合に特殊モードに遊技モードを移行するので、遊技者は、特殊モード抽選の結果に注目することになる。したがって、遊技機は、遊技者の遊技への注目度を向上させることができる。
特徴G7.
本発明群の特徴G3または特徴G4に記載された遊技機において、
前記遊技状態移行手段は、前記特殊モードに遊技モードを移行した後、所定回数の遊技回を消化した場合に前記特殊モードから前記通常モードに遊技モードを移行することを特徴とする遊技機。
本発明群の特徴G7によれば、遊技状態移行手段は、特殊モードに遊技モードを移行した後、所定回数の遊技回を消化した場合に特殊モードから通常モードに遊技モードを移行するので、遊技者は、遊技回の消化回数に注目することになる。したがって、遊技機は、遊技者の遊技への注目度を向上させることができる。
特徴G8.
本発明群の特徴G3または特徴G4に記載された遊技機において、
前記遊技状態移行手段にて前記特殊モードに遊技モードを移行した後、前記通常モードに遊技モードを移行するか否かの通常モード抽選を実行する通常モード抽選手段(変動終了処理)を備え、
前記遊技状態移行手段は、前記通常モード抽選に当選した場合に前記通常モードに遊技モードを移行することを特徴とする遊技機。
本発明群の特徴G8によれば、遊技状態移行手段は、通常モード抽選に当選した場合に通常モードに遊技モードを移行するので、遊技者は、通常モード抽選の結果に注目することになる。したがって、遊技機は、遊技者の遊技への注目度を向上させることができる。
このような本発明の特徴G群によれば、遊技者の遊技への注目度を向上させることができるので、次のような課題を解決することができる。
従来、遊技盤に形成された遊技領域に向かって遊技球を発射する発射手段と、遊技領域を流下する遊技球を入球させるとともに、遊技球の入球に際して内部抽選を実行する始動入球手段とを備えた遊技機が知られている。
遊技機は、始動入球手段に遊技球が入球することによって、大当たり抽選などの内部抽選を実行し、この内部抽選の結果に基づいて、遊技状態を移行させている。このような遊技機では、遊技状態は、低頻度サポートモード(第1の遊技状態)と、低頻度サポートモードよりも遊技者にとって有利な高頻度サポートモード(第2の遊技状態)とを有している。したがって、遊技者は、高頻度サポートモードに移行することを期待して遊技をすることになる。
また、このような遊技機の一種として、始動入球手段への遊技球の入球に際して実行された内部抽選の結果に基づいて、遊技球を入球可能とする可変入球機構を備えた遊技機が知られている。
この遊技機は、始動入球手段への遊技球の入球に際して実行された内部抽選の結果に基づいて、遊技者にとって有利な特定制御状態(開閉実行モード)に通常制御状態から遊技状態を移行し、可変入球機構への遊技球の入球に際して通常制御状態から特定制御状態に遊技状態を移行する遊技状態移行手段を備えている。
そして、高頻度サポートモードは、可変入球機構に入球しやすくなることによって、第1の遊技状態よりも遊技者にとって有利な状態となっている。
しかしながら、第2の遊技状態から第1の遊技状態に遊技状態を移行した場合には、遊技者は、第2の遊技状態よりも不利な第1の遊技状態にて遊技をしなければならないので、遊技者の遊技への注目度は低下してしまい、ひいては直ぐに遊技を止めてしまう場合があるという問題がある。
以上のように、本発明は、パチンコ遊技機等の遊技機に好適に利用できる。
10…パチンコ機、35…一般入賞口、36…上作動口、37…下作動口、38…可変入賞装置、38a…大入賞口、38b…開閉扉、38c…可変入賞駆動部、39…アウト口、40…右側可変入球機構、51…図柄表示装置、60…主制御装置、62…MPU、90…音声発光制御装置、92…MPU、100…表示制御装置、102…MPU。

Claims (4)

  1. 遊技盤に形成された遊技領域に向かって遊技球を発射する発射手段と、前記遊技領域を流下する遊技球を入球させるとともに、遊技球の入球に際して内部抽選を実行する始動入球手段と、前記内部抽選の結果に基づいて、遊技における状態を移行可能な状態移行手段とを備える遊技機であって、
    記状態は、
    通常モードおよび特殊モードのモードを有する第1の状態と、
    前記第1の状態よりも遊技者にとって有利な第2の状態とを備え、
    記状態移行手段は、前記始動入球手段への遊技球の入球に際して実行された内部抽選の結果に基づいて、前記通常モードおよび前記特殊モードのいずれかに移行する手段と、前記第1の状態の通常モードおよび前記第2の状態では、前記内部抽選の結果に基づいて、前記第1の状態および前記第2の状態のいずれかに移する手段と、前記第1の状態の特殊モードでは、前記内部抽選の結果に関わらず前記第2の状に移行する手段とを備えることを特徴とする遊技機。
  2. 請求項1に記載された遊技機において、
    記状態移行手段は、前記始動入球手段への遊技球の入球に際して実行された内部抽選の結果に基づいて、遊技者にとって有利な特定制御状態に通常制御状態から移行し、前記特定制御状態から前記通常制御状態に移行したときに、前記第1の状態および前記第2の状態のいずれかに移行することを特徴とする遊技機。
  3. 請求項2に記載された遊技機において、
    前記始動入球手段は、
    第1始動入球部と、
    前記第1始動入球部と異なる第2始動入球部とを備え、
    前記第1の状態は、前記第2始動入球部よりも前記第1始動入球部に入球する確率が高くなり、前記第2の状態は、前記第1始動入球部よりも前記第2始動入球部に入球する確率が高くなることによって、前記第1の状態よりも遊技者にとって有利な状態となることを特徴とする遊技機。
  4. 請求項3に記載された遊技機において、
    前記遊技領域は、
    前記第1始動入球部への遊技球の入球を発生させやすく、前記第2始動入球部への遊技球の入球を発生させにくい第1の経路と、
    前記第2始動入球部への遊技球の入球を発生させやすく、前記第1始動入球部への遊技球の入球を発生させにくい第2の経路とを備え
    前記始動入球手段への遊技球の入球に際して実行された内部抽選の結果に基づいて、前記第2の経路に向かって発射された遊技球を入球可能とする可変入球機構を備え、
    記状態移行手段は、前記可変入球機構への遊技球の入球に際して前記通常制御状態から前記特定制御状態に移行し、
    前記第2始動入球部への遊技球の入球に際して実行された内部抽選の結果に基づいて、前記特定制御状態に移行する確率は、前記第1始動入球部への遊技球の入球に際して実行された内部抽選の結果に基づいて、前記特定制御状態に移行する確率よりも高いことを特徴とする遊技機。
JP2018092123A 2018-05-11 2018-05-11 遊技機 Active JP6711368B2 (ja)

Priority Applications (1)

Application Number Priority Date Filing Date Title
JP2018092123A JP6711368B2 (ja) 2018-05-11 2018-05-11 遊技機

Applications Claiming Priority (1)

Application Number Priority Date Filing Date Title
JP2018092123A JP6711368B2 (ja) 2018-05-11 2018-05-11 遊技機

Related Child Applications (1)

Application Number Title Priority Date Filing Date
JP2020093461A Division JP2020124641A (ja) 2020-05-28 2020-05-28 遊技機

Publications (2)

Publication Number Publication Date
JP2019195558A JP2019195558A (ja) 2019-11-14
JP6711368B2 true JP6711368B2 (ja) 2020-06-17

Family

ID=68537072

Family Applications (1)

Application Number Title Priority Date Filing Date
JP2018092123A Active JP6711368B2 (ja) 2018-05-11 2018-05-11 遊技機

Country Status (1)

Country Link
JP (1) JP6711368B2 (ja)

Cited By (2)

* Cited by examiner, † Cited by third party
Publication number Priority date Publication date Assignee Title
JP2020124641A (ja) * 2020-05-28 2020-08-20 株式会社三洋物産 遊技機
JP2022190095A (ja) * 2021-03-15 2022-12-22 株式会社三洋物産 遊技機

Family Cites Families (3)

* Cited by examiner, † Cited by third party
Publication number Priority date Publication date Assignee Title
JP5664575B2 (ja) * 2012-02-28 2015-02-04 タイヨーエレック株式会社 遊技機
JP5358000B2 (ja) * 2012-05-11 2013-12-04 京楽産業.株式会社 遊技機
JP5839729B2 (ja) * 2013-10-07 2016-01-06 株式会社ユニバーサルエンターテインメント 遊技機

Cited By (2)

* Cited by examiner, † Cited by third party
Publication number Priority date Publication date Assignee Title
JP2020124641A (ja) * 2020-05-28 2020-08-20 株式会社三洋物産 遊技機
JP2022190095A (ja) * 2021-03-15 2022-12-22 株式会社三洋物産 遊技機

Also Published As

Publication number Publication date
JP2019195558A (ja) 2019-11-14

Similar Documents

Publication Publication Date Title
JP2022190095A (ja) 遊技機
JP2017121444A (ja) 遊技機
JP6733710B2 (ja) 遊技機
JP2017121446A (ja) 遊技機
JP2021106996A (ja) 遊技機
JP6848188B2 (ja) 遊技機
JP2021106997A (ja) 遊技機
JP6711368B2 (ja) 遊技機
JP2020146566A (ja) 遊技機
JP2017121445A (ja) 遊技機
JP6706002B2 (ja) 遊技機
JP2021192872A (ja) 遊技機
JP2020124641A (ja) 遊技機
JP6891854B2 (ja) 遊技機
JP6733711B2 (ja) 遊技機
JP2023014384A (ja) 遊技機
JP2023014383A (ja) 遊技機
JP2023001252A (ja) 遊技機
JP2023014385A (ja) 遊技機
JP2023012543A (ja) 遊技機
JP2022107710A (ja) 遊技機
JP2022060495A (ja) 遊技機
JP2021106998A (ja) 遊技機
JP6720579B2 (ja) 遊技機
JP6720578B2 (ja) 遊技機

Legal Events

Date Code Title Description
A621 Written request for application examination

Free format text: JAPANESE INTERMEDIATE CODE: A621

Effective date: 20190422

A977 Report on retrieval

Free format text: JAPANESE INTERMEDIATE CODE: A971007

Effective date: 20191216

A131 Notification of reasons for refusal

Free format text: JAPANESE INTERMEDIATE CODE: A131

Effective date: 20191224

A521 Request for written amendment filed

Free format text: JAPANESE INTERMEDIATE CODE: A523

Effective date: 20200225

TRDD Decision of grant or rejection written
A01 Written decision to grant a patent or to grant a registration (utility model)

Free format text: JAPANESE INTERMEDIATE CODE: A01

Effective date: 20200428

A61 First payment of annual fees (during grant procedure)

Free format text: JAPANESE INTERMEDIATE CODE: A61

Effective date: 20200511

R150 Certificate of patent or registration of utility model

Ref document number: 6711368

Country of ref document: JP

Free format text: JAPANESE INTERMEDIATE CODE: R150

R250 Receipt of annual fees

Free format text: JAPANESE INTERMEDIATE CODE: R250

R250 Receipt of annual fees

Free format text: JAPANESE INTERMEDIATE CODE: R250

R250 Receipt of annual fees

Free format text: JAPANESE INTERMEDIATE CODE: R250