JP6680098B2 - 示差屈折率検出器 - Google Patents

示差屈折率検出器 Download PDF

Info

Publication number
JP6680098B2
JP6680098B2 JP2016118084A JP2016118084A JP6680098B2 JP 6680098 B2 JP6680098 B2 JP 6680098B2 JP 2016118084 A JP2016118084 A JP 2016118084A JP 2016118084 A JP2016118084 A JP 2016118084A JP 6680098 B2 JP6680098 B2 JP 6680098B2
Authority
JP
Japan
Prior art keywords
light
light receiving
stray
refractive index
detection signal
Prior art date
Legal status (The legal status is an assumption and is not a legal conclusion. Google has not performed a legal analysis and makes no representation as to the accuracy of the status listed.)
Active
Application number
JP2016118084A
Other languages
English (en)
Other versions
JP2017223507A (ja
Inventor
恭章 中村
恭章 中村
Current Assignee (The listed assignees may be inaccurate. Google has not performed a legal analysis and makes no representation or warranty as to the accuracy of the list.)
Shimadzu Corp
Original Assignee
Shimadzu Corp
Priority date (The priority date is an assumption and is not a legal conclusion. Google has not performed a legal analysis and makes no representation as to the accuracy of the date listed.)
Filing date
Publication date
Application filed by Shimadzu Corp filed Critical Shimadzu Corp
Priority to JP2016118084A priority Critical patent/JP6680098B2/ja
Publication of JP2017223507A publication Critical patent/JP2017223507A/ja
Application granted granted Critical
Publication of JP6680098B2 publication Critical patent/JP6680098B2/ja
Active legal-status Critical Current
Anticipated expiration legal-status Critical

Links

Images

Landscapes

  • Investigating Or Analysing Materials By Optical Means (AREA)

Description

本発明は、液体クロマトグラフなどの分析装置において試料成分を検出する検出器として用いられる示差屈折率検出器に関するものである。
液体クロマトグラフ用の検出器として示差屈折率検出器が知られている。示差屈折率検出器は、試料を含む溶液を流通させるための試料セルと参照液を流通させるための参照セルが透明な隔壁を隔てて配置されたフローセルを備えている。そのフローセルに対して光源からスリットを介して光が照射され、試料セルと参照セルの両セルを透過した光が少なくとも2つの受光領域に分割された受光素子へ導かれ、受光素子上にスリット像が結像される。
試料セルとフローセルを同じ液が流れているとき、すなわち、試料セル内とフローセル内の屈折率が同一であるときに、受光素子の2つの受光領域を跨ぐようにしてスリット像が結像し、分割された2つの受光領域に入射する光の光量が同じになるように、測定光の光路が調整される。試料セル内に試料成分が導入されて試料セル内の屈折率が変化すると、フローセルを通過する測定光の経路が変化して受光素子上に結像されるスリット像が変位し、それに伴って各受光領域に入射する光の光量が変化するため、各受光領域の検出信号の差分をとることによってスリット像の変位量を検出することができる。これにより、試料溶液の屈折率変化量、すなわち試料セルを通過する試料成分濃度を検出することができる(特許文献1参照。)。
特開2008−32512号公報
示差屈折率検出器では、一般的に、試料セルと参照セルの屈折率差を示す値RIを以下の(1)式によって求める。ここで、MAは受光素子の一方の受光領域の検出信号値、MBは他方の受光領域の検出信号値、αは検出器固有の係数である。
RI=(MA−MB)/(MA+MB)×α (1)
しかし、受光素子の各受光領域には、例えばフローセルを収容するセル収容部の壁面等で反射した光が迷光として入射しており、上記(1)式の検出信号値MA、MBにはその迷光に相当する信号値も含まれている。各受光領域に入射する測定光成分に相当する信号値(測定成分値)をそれぞれmA、mB、各受光領域に入射する迷光に相当する信号値(迷光成分値)をそれぞれSA、SBとすれば、
MA=mA+SA、MB=mB+SB
であるから、上記(1)式は次式(2)のように表される。
RI=((mA+SA)−(mB+SB))/(mA+SA+mB+SB)×α (2)
ここで、各受光領域に入射する迷光の光量に大きな差はなくSA≒SBと考えることができるため、上記(2)式はさらに、
RI=(mA−mB)/(mA+SA+mB+SB)×α
=(mA−mB)/(mA+mB+S)×α (3)
ただし、S=SA+SB
と表すことができる。
上記(3)式からわかるように、迷光成分値SはRIを求める式中の分母に対してより大きな影響を与え、迷光成分値Sが大きいほど分母が大きくなってRI値が小さくなる。これは、迷光Sが大きくなるほど検出器の検出感度が低下することを意味する。
さらに、迷光成分値Sの大きさには検出器ごとの個体差が存在する。そのため、すべての検出器で同じ式を用いてRI値を求めた場合には、同じ試料を測定していても検出器ごとにRI値が異なってしまうという問題が生じる。そこで、検出器の生産段階において、標準試料を用いてそれぞれの検出器のRI値を測定し、それらのRI値が等しくなるように係数αを決定することで、すべての検出器でRI値を等しく表示させることは可能である。
迷光成分値Sによる影響をなくすように係数αを決めるということは、迷光成分値Sが大きくなるほど係数αも大きくなることを意味する。しかし、係数αが大きいと、ノイズドリフトも係数倍されてしまう。例えば、迷光量が多く迷光がゼロのときに比べて感度が0.8倍に下がっていたとすると、係数αを1.25倍にしておく必要がある。この補正のおかげでRI値は1.25倍され、迷光がゼロのときと同じRI値を表示するようになるが、同時に検出信号に含まれるノイズ成分も1.25倍されてしまう。
示差屈折率検出器は、受光素子であるフォトダイオードの信号をオペアンプやADコンバータを介して取得するため、あまりに光量が大きいと回路上の素子の出力信号が振り切れてしまう(飽和してしまう)。そのため、最適な光量というものがあり、迷光量の多い検出器も少ない検出器も同一の最適光量に調整されて出荷される。一方で、示差屈折率検出器はフォトダイオードに入射する光量が他の検出器に比べて比較的多い検出器であるため、ノイズ成分は電気回路等に起因したショットノイズが主であり、ノイズ成分の量は迷光量とほとんど関係がない。にもかかわらず、迷光Sの大きさに応じて係数αを大きくすると、その分だけノイズも大きくなってしまい、結果としてS/N比が低下し、感度が悪くなってしまう。
そこで、本発明は、示差屈折率検出器において受光素子に入射する迷光による感度の低下を防止することを目的とするものである。
本発明に係る示差屈折率検出器は、測定光を発する光源と、試料を含む溶液を流通させるための試料セル、及び前記測定光を透過させる隔壁を隔てて前記試料セルと隣接するように設けられた参照セルを有し、前記測定光が前記試料セルと前記参照セルの両方を通過するように前記測定光の光路上に配置されたフローセルと、前記試料セルと前記参照セルとの間の屈折率差が変化したときに前記フローセルを経た光による像が変位する方向に並んで隣接配置された2つの受光領域をもち、前記フローセルを経た前記測定光による像を前記受光領域上に結像させる受光素子と、前記受光素子への迷光の入射光量に由来する検出信号値を迷光成分値として記憶する迷光成分値記憶部と、前記各受光領域への入射光量に由来する検出信号を前記受光素子から取り込み、その検出信号値から前記迷光成分値記憶部に記憶された前記迷光成分値を差し引いて、前記試料セルと前記参照セルの屈折率差を示す値を求める演算部と、を備えている。
本発明に係る示差屈折率検出器において、前記演算部は、前記受光素子の一方の前記受光領域への入射光量に由来する検出信号値をMA、前記受光素子の他方の前記受光領域への入射光量に由来する検出信号値をMB、前記受光素子全体の迷光成分値をS、検出器固有係数をαとして、前記屈折率差を示す値RIを、
Figure 0006680098

により求めることができる。RIを求める式の分母から迷光成分値Sが除算されるので、迷光量が大きくてもRI値が低下することがなくなり、検出感度の低下が防止される。
また、上記式では、受光素子の各受光領域に入射する迷光の光量が同一であると仮定しているが、各受光領域に入射する迷光の光量が異なっている場合もある。そのため、検出感度及び検出精度をさらに向上せしめるためには、各受光領域に入射する迷光の光量を考慮してRI値を求めることが望ましい。
そこで、本発明に係る示差屈折率検出器において、前記演算部は、前記受光素子の一方の受光領域への入射光量に由来する検出信号値をMA、前記受光素子の他方の受光領域への入射光量に由来する検出信号値をMB、前記一方の受光領域の迷光成分値をSA、前記他方の受光領域の迷光成分値をSB、検出器固有係数をαとして、前記屈折率差を示す値RIを、
Figure 0006680098

により求めることができる。上記式を用いることで、両受光領域のそれぞれに入射した純粋な測定光に由来する検出信号値(MA−SA)、(MB−SB)によってRI値が算出されるため、迷光成分値SA、SBによる影響をより確実に排除して、示差屈折率検出器の検出感度及び検出精度をより向上させることができる。
また、受光素子に入射する迷光の光量に由来する迷光成分値は、既述のように、検出器ごとに異なる値、すなわち各検出器固有の値であるが、光源や光学系の劣化等によって経時的に変化し得るものでもある。そこで、本発明に係る示差屈折率検出器においては、前記光源によって前記測定光を発光させながら前記測定光の像が前記受光素子の前記受光領域に結像しない状態にして得られた前記受光素子の検出信号値を測定し、その測定値を前記迷光成分値として前記迷光成分値記憶部に記憶させる迷光成分値測定動作を実行するように構成された迷光測定部をさらに備えていてもよい。かかる迷光測定部を備えていることにより、検出器の出荷前だけでなく検出器の出荷後も迷光成分値の測定を行なうことができ、迷光成分値の経時的な変化にも対応することができる。
ところで、最近の示差屈折率検出器では、長寿命な発光ダイオード(LED)が光源として用いられている場合がある。LEDの発光スペクトルの波長範囲はレーザーを除く他の光源に比べて狭く、LEDから発せられる光は単一波長に近いものである。かかるLEDを光源とした場合、LEDから発せられる光の波長と試料セルを流れる試料成分の吸収波長が一致してしまったときに、光源からの光の一部が試料成分に吸収されてしまい、受光素子の各受光領域に入射する測定光の光量が小さくなる。そうすると、受光素子からの検出信号値のうち上述した(3)式における測定光成分値mA、mBは小さくなる一方で、迷光成分値SA、SBは小さくならないため、(3)式の分母が相対的に分子よりも大きくなり、RI値が小さくなって検出感度が低下する。すなわち、光源としてLEDを用い、そのLEDの発光波長に吸収をもつ試料を測定する場合に、迷光による検出感度の低下が顕著になる。
上記の問題は特定の試料成分に対して生じる問題であり、係数αによって補正することはできない。本発明は、検出信号値から迷光成分値を差し引いてRI値を求めるため、光源からの測定光の一部が試料成分によって吸収された場合でも、分母が分子よりも相対的に大きくなることがなく、上記のような問題に対して特に有効である。
本発明に係る示差屈折率検出器では、受光素子への迷光の入射光量に由来する検出信号値を迷光成分値として迷光成分値記憶部に記憶させておき、演算部は、各受光領域への入射光量に由来する検出信号を受光素子から取り込み、その検出信号値から迷光成分値記憶部に記憶された迷光成分値を差し引いて、試料セルと参照セルの屈折率差を示す値を求めるように構成されているので、試料セルと参照セルの屈折率差に対する迷光成分値の影響が小さくなる。これにより、迷光による検出感度の低下を防止することができる。
一実施例の示差屈折率検出器を示す概略構成図である。 受光素子に入射する測定光と迷光による検出信号値を説明するための概念図である。 迷光成分値の測定時の構成の一例を示す概略構成図である。 同測定時における受光素子への入射光の状態を示す概念図である。 迷光成分値の他の測定方法を説明するための概念図である。
以下、示差屈折率検出器の一実施例について図面を用いて説明する。
図1は一実施例の示差屈折率検出器を示す概略構成図である。
一実施例の示差屈折率検出器は、フローセル2、光源4、スリット8、レンズ10、ミラー12、ゼログラス14、受光素子16及び演算制御装置20を備えている。光源4は広い波長範囲の光を発するタングステンランプ等のランプであってもよいし、LEDのように狭い波長範囲の光を発するものであってもよい。フローセル2は、スリット8を介して入射する光源4からの測定光6の光軸上に配置されている。フローセル2は試料セル2aと参照セル2bをもち、それらのセル2a,2bが透明な隔壁によって仕切られている。
フローセル2の前方にはレンズ10が配置され、後方にフローセル2を透過した光を反射させるミラー12が配置されている。ミラー12により反射された測定光の光路上にフォトダイオードなどの受光素子16が設けられており、ミラー12で反射してフローセル2を透過した測定光が受光素子16上に結像されるようになっている。反射後の測定光の光路上のレンズ10と受光素子16との間に、受光素子16上でのスリット像を平行移動させるためのゼログラス14が配置されている。受光素子16には演算処理装置20が接続されている。
光源4から発せられた光はスリット8を通って測定光6となり、レンズ10を通ってフローセル2に照射され、フローセル2を透過してミラー12で反射される。ミラー12からの反射光は再びフローセル2を透過してレンズ10によって受光素子16上にスリット像として結像される。受光素子16は2つの受光領域16Aと16Bを備え、それぞれの受光領域への入射光量に基づく検出信号が演算処理装置20に取り込まれるようになっている。
試料セル2a内と参照セル2b内の屈折率差が変化すると、フローセル2を通過する測定光6の光路に変化が生じ、受光素子16の受光面に結像するスリット像が一定方向へ変位する。受光素子16の受光領域16Aと16Bは、スリット像の変位方向に並んで隣接配置されている。
試料セル2a内と参照セル2b内の屈折率差が0であるときに、スリット像が受光領域16A,16Bの境界部分を跨ぐようにして受光素子16の受光面上に結像されるように調整される。試料セル2a内に試料成分が導入されて試料セル2a内の屈折率が変化すると、試料セル2a内と参照セル2b内の屈折率差が変化し、受光素子16の受光面に結像するスリット像が変位する。その変位を受光領域16Aと16Bの検出信号値の差分をとることにより検出し、試料セル2a内と参照セル2b内の屈折率差を求める。
演算処理装置20は、この示差屈折率検出器内に設けられたコンピュータや、この示差屈折率検出器に接続された専用の又は汎用のコンピュータによって実現されるものである。演算処理装置20には、演算部22、迷光成分値記憶部24及び迷光成分値測定部26が設けられている。演算部22は、上述のように、受光素子16の各受光領域16A、16Bの検出信号値に基づいてフローセル2における試料セル2aと参照セル2bとの屈折率差を求めるものであるが、具体的な算出方法については後述する。迷光成分値記憶部24は、受光素子16に入射する迷光に由来する信号値を迷光成分値として記憶するものである。迷光成分値26は、迷光成分値を測定する迷光成分値測定動作を実行するように構成されている。
演算部22及び迷光成分値測定部26は、演算処理装置20に設けられた記憶装置に格納されたプログラムとそのプログラムを実行する演算素子によって実現される機能である。また、迷光成分値記憶部24は、演算処理装置20に設けられた記憶装置内の記憶領域によって実現される機能である。
図2に示されているように、受光素子16の各受光領域16A、16Bには、フローセル2を経てスリット像として結像する測定光のほかに、フローセル2を収容するセル収容部(図示は省略)の壁面等で反射した光等が迷光として入射している。受光領域16A、16Bのそれぞれの検出信号値をMA、MBとすると、検出信号値MAには、測定光に由来する検出信号値mAと迷光に由来する検出信号値(迷光成分値)SAが含まれており、検出信号値MBには、測定光に由来する検出信号値mBと迷光に由来する検出信号値(迷光成分値)SBが含まれている。演算処理装置20の迷光成分値記憶部24は、予め測定された迷光成分値SA及びSBを記憶している。
好ましい実施形態は、演算部22が、試料セル2aと参照セル2bの屈折率差を表わす値RIを、次式を用いて算出するように構成されている。なお、αは検出器固有の係数であり、SはSA+SBの合計値である。
Figure 0006680098
上記の式は、受光領域16Aと16Bに入射する迷光の光量が同一であると仮定したものである。この式では、受光素子16全体に入射した迷光の光量に由来する検出信号値Sが分母から除算されるため、迷光の多い検出器であってもRI値が低下することがなく、安定した検出感度が得られる。
さらに好ましい実施形態では、演算部22が、試料セル2aと参照セル2bの屈折率差を表わす値RIを、次式を用いて算出するように構成されている。なお、αは検出器固有の係数である。
Figure 0006680098
上記の式は、受光領域16Aと16Bのそれぞれに入射する迷光の光量を考慮したものである。この式では、受光素子16全体に入射した迷光の光量に由来する検出信号値Sが分母から除算されるだけでなく、分子の検出信号値SA、SBからもそれぞれ迷光成分値SA、SBが除算されるので、受光領域16Aと16Bで迷光の入射光量が異なっている場合にも、その影響を受けることなく安定した検出感度を実現することができる。
迷光成分値測定部26は、受光素子16の各受光領域16A、16Bに迷光のみが入射する状態にしたときの各受光領域16A、16Bの検出信号値を迷光成分値として迷光成分値記憶部24に記憶させるように構成されている。
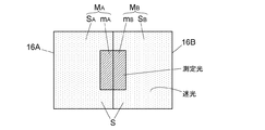
迷光成分値の測定方法として種々の方法があるが、その一例として、図3に示されているように、フローセル2とミラー12との間に、フローセル2を経て受光素子16へ向かう光を遮蔽する例えば黒色アルマイトなどの遮蔽板28を角度をつけて挿入し、図4に示されているように、受光領域16A、16Bに測定光が入射しない状態にする方法が挙げられる。この状態で受光領域16A、16Bの検出信号値を測定することにより、迷光成分値SA、SBが得られる。
この迷光成分値測定動作を実現するための検出器の構成として、遮蔽板28を測定光6の光路上に自動的に配置するシャッタ機構が設けられていてもよい。また、迷光成分値を測定する際に、ユーザが手動で遮蔽板28を測定光6の光路上に導入するようになっていてもよい。
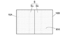
また、他の方法として、受光素子16上の像の位置を決定するゼログラス14を駆動し、図5(A)、(B)に示されているように、各受光領域16A、16Bに測定光が入射しない状態を作り、迷光成分値SA、SBを順次測定する方法が挙げられる。一般的に、ゼログラス14は自動的に駆動されるようになっているため、この方法を採用することで、検出器を起動した際のイニシャル動作の一環として、又は他の調整動作の一環として、迷光成分値測定動作を自動的に実行するように構成することができる。
また、ミラー12を駆動できるようにし、ミラーの反射角度を変えることで、受光素子16に像がまったく入らない状態にして迷光成分値SA、SBを測定しても良い。
なお、迷光成分値測定部26は演算処理装置20に必ずしも設けられている必要はない。演算処理装置20に迷光成分値測定部26が設けられていない場合、迷光成分値SA、SBは検出器の出荷時から装置固有の値として保持されることとなる。一方で、迷光成分値測定部26が設けられていれば、必要に応じて迷光成分値SA、SBの更新を行なうことができる。
以上において説明した実施例では、受光素子16が2つの受光領域16A、16Bに分割されたものについて説明したが、受光領域16A、16Bのそれぞれがさらに複数の受光領域に分割された示差屈折率検出器も存在する。そのような示差屈折率検出器においても、スリット像の変位方向へ並んで隣接配置された2つの受光領域の検出信号値から2つのセル2a、2bの屈折率差を求めるという原理は同じであり、本発明はそのような示差屈折率検出器に対しても適用することができる。
2 フローセル
2a 試料セル
2b 参照セル
4 光源
6 測定光
8 スリット
10 レンズ
12 ミラー
14 ゼログラス
16 受光素子
16A,16B 受光領域
20 演算処理装置
22 演算部
24 迷光成分値記憶部
26 迷光成分値測定部
28 遮蔽板

Claims (4)

  1. 測定光を発する光源と、
    試料を含む溶液を流通させるための試料セル、及び前記測定光を透過させる隔壁を隔てて前記試料セルと隣接するように設けられた参照セルを有し、前記測定光が前記試料セルと前記参照セルの両方を通過するように前記測定光の光路上に配置されたフローセルと、
    前記試料セルと前記参照セルとの間の屈折率差が変化したときに前記フローセルを経た光による像が変位する方向に並んで隣接配置された2つの受光領域をもち、前記フローセルを経た前記測定光による像を前記受光領域上に結像させる受光素子と、
    前記受光素子への迷光の入射光量に由来する検出信号値を迷光成分値として記憶する迷光成分値記憶部と、
    前記各受光領域への入射光量に由来する検出信号を前記受光素子から取り込み、その検出信号値から前記迷光成分値記憶部に記憶された前記迷光成分値を差し引いて、前記試料セルと前記参照セルの屈折率差を示す値を求める演算部と、を備え
    前記演算部は、前記受光素子の一方の前記受光領域への入射光量に由来する検出信号値をM 、前記受光素子の他方の前記受光領域への入射光量に由来する検出信号値をM 、前記受光素子全体の迷光成分値をS、検出器固有係数をαとして、前記屈折率差を示す値RIを、
    Figure 0006680098

    により求めるように構成されている、示差屈折率検出器。
  2. 測定光を発する光源と、
    試料を含む溶液を流通させるための試料セル、及び前記測定光を透過させる隔壁を隔てて前記試料セルと隣接するように設けられた参照セルを有し、前記測定光が前記試料セルと前記参照セルの両方を通過するように前記測定光の光路上に配置されたフローセルと、
    前記試料セルと前記参照セルとの間の屈折率差が変化したときに前記フローセルを経た光による像が変位する方向に並んで隣接配置された2つの受光領域をもち、前記フローセルを経た前記測定光による像を前記受光領域上に結像させる受光素子と、
    前記受光素子への迷光の入射光量に由来する検出信号値を迷光成分値として記憶する迷光成分値記憶部と、
    前記各受光領域への入射光量に由来する検出信号を前記受光素子から取り込み、その検出信号値から前記迷光成分値記憶部に記憶された前記迷光成分値を差し引いて、前記試料セルと前記参照セルの屈折率差を示す値を求める演算部と、を備え、
    前記演算部は、前記受光素子の一方の受光領域への入射光量に由来する検出信号値をM、前記受光素子の他方の受光領域への入射光量に由来する検出信号値をM、前記一方の受光領域の迷光成分値をS、前記他方の受光領域の迷光成分値をS、検出器固有係数をαとして、前記屈折率差を示す値RIを、
    Figure 0006680098

    により求めるように構成されている示差屈折率検出器。
  3. 測定光を発する光源と、
    試料を含む溶液を流通させるための試料セル、及び前記測定光を透過させる隔壁を隔てて前記試料セルと隣接するように設けられた参照セルを有し、前記測定光が前記試料セルと前記参照セルの両方を通過するように前記測定光の光路上に配置されたフローセルと、
    前記試料セルと前記参照セルとの間の屈折率差が変化したときに前記フローセルを経た光による像が変位する方向に並んで隣接配置された2つの受光領域をもち、前記フローセルを経た前記測定光による像を前記受光領域上に結像させる受光素子と、
    前記受光素子への迷光の入射光量に由来する検出信号値を迷光成分値として記憶する迷光成分値記憶部と、
    前記各受光領域への入射光量に由来する検出信号を前記受光素子から取り込み、その検出信号値から前記迷光成分値記憶部に記憶された前記迷光成分値を差し引いて、前記試料セルと前記参照セルの屈折率差を示す値を求める演算部と、
    前記光源によって前記測定光を発光させながら前記測定光の像が前記受光素子の前記受光領域に結像しない状態にして得られた前記受光素子の検出信号値を測定し、その測定値を前記迷光成分値として前記迷光成分値記憶部に記憶させる迷光成分値測定動作を実行するように構成された迷光測定部と、を備えている、示差屈折率検出器。
  4. 前記光源は発光ダイオードである請求項1からのいずれか一項に記載の示差屈折率検出器。
JP2016118084A 2016-06-14 2016-06-14 示差屈折率検出器 Active JP6680098B2 (ja)

Priority Applications (1)

Application Number Priority Date Filing Date Title
JP2016118084A JP6680098B2 (ja) 2016-06-14 2016-06-14 示差屈折率検出器

Applications Claiming Priority (1)

Application Number Priority Date Filing Date Title
JP2016118084A JP6680098B2 (ja) 2016-06-14 2016-06-14 示差屈折率検出器

Publications (2)

Publication Number Publication Date
JP2017223507A JP2017223507A (ja) 2017-12-21
JP6680098B2 true JP6680098B2 (ja) 2020-04-15

Family

ID=60686924

Family Applications (1)

Application Number Title Priority Date Filing Date
JP2016118084A Active JP6680098B2 (ja) 2016-06-14 2016-06-14 示差屈折率検出器

Country Status (1)

Country Link
JP (1) JP6680098B2 (ja)

Family Cites Families (5)

* Cited by examiner, † Cited by third party
Publication number Priority date Publication date Assignee Title
JP2732320B2 (ja) * 1990-10-31 1998-03-30 有限会社島村計器製作所 液体クロマトグラフィー用示差屈折率検出装置
JP4793413B2 (ja) * 2008-07-30 2011-10-12 株式会社島津製作所 示差屈折率検出器
JP2010249649A (ja) * 2009-04-15 2010-11-04 Olympus Corp 測光装置および測光方法
JP2013221763A (ja) * 2012-04-13 2013-10-28 Shimadzu Corp 分光分析装置、分光分析方法及び分光分析装置用プログラム
EP2874525B1 (en) * 2012-07-23 2018-08-22 SensAbility Pty Ltd A device and a method for characterising a chromatic property of foodstuff

Also Published As

Publication number Publication date
JP2017223507A (ja) 2017-12-21

Similar Documents

Publication Publication Date Title
US8772723B2 (en) Optical gas sensor device and method for determining the concentration of a gas
JP5959509B2 (ja) 測定ユニットおよびガス分析装置
JP5032836B2 (ja) オイルミスト検出装置
CN108061722A (zh) 一种一氧化碳浓度的检测装置及检测方法
JP5666870B2 (ja) 光学式測距装置および電子機器および光学式測距装置の校正方法
CN102680097B (zh) 分光特性测量方法以及分光特性测量装置
CN105358962B (zh) 用于在补偿背景信号的情况下测量来自测量体积的散射光的装置
KR101753873B1 (ko) 적외선광 산란보정 비분산형 연기감지장치
KR101009598B1 (ko) 에지검출장치
CN114556135B (zh) 光学装置
US20190234873A1 (en) Turbidity sensor and method for measuring turbidity
JPH09269293A (ja) 微粒子検知器
JP6680098B2 (ja) 示差屈折率検出器
KR20160114445A (ko) 라이다 시스템
WO2015122237A1 (ja) 分光分析装置および分光分析方法
JP2016153774A (ja) オイルミスト検出装置
JP2000187786A (ja) 火災検出装置及び火災検出装置における汚れ補償方法
JP6828621B2 (ja) 検出装置
JP7602408B2 (ja) オイルミスト測定装置
US20190195768A1 (en) Apparatus and method for monitoring particle flow in a stack
WO2015052822A1 (ja) 試験装置および試験方法
WO2016129166A1 (ja) オイルミスト検出装置
JP2022017606A (ja) 濃度センサ
US11002604B2 (en) Correction method of detection signal value in spectrophotometer and spectrophotometer having correction function of detection signal value
RU159141U1 (ru) Первичный преобразователь фотоколориметрического газоанализатора

Legal Events

Date Code Title Description
A621 Written request for application examination

Free format text: JAPANESE INTERMEDIATE CODE: A621

Effective date: 20180925

A131 Notification of reasons for refusal

Free format text: JAPANESE INTERMEDIATE CODE: A131

Effective date: 20190716

A977 Report on retrieval

Free format text: JAPANESE INTERMEDIATE CODE: A971007

Effective date: 20190717

A521 Written amendment

Free format text: JAPANESE INTERMEDIATE CODE: A523

Effective date: 20190903

TRDD Decision of grant or rejection written
A01 Written decision to grant a patent or to grant a registration (utility model)

Free format text: JAPANESE INTERMEDIATE CODE: A01

Effective date: 20200218

A61 First payment of annual fees (during grant procedure)

Free format text: JAPANESE INTERMEDIATE CODE: A61

Effective date: 20200302

R151 Written notification of patent or utility model registration

Ref document number: 6680098

Country of ref document: JP

Free format text: JAPANESE INTERMEDIATE CODE: R151