JP6635552B2 - Furniture components and furniture - Google Patents

Furniture components and furniture Download PDF

Info

Publication number
JP6635552B2
JP6635552B2 JP2016116595A JP2016116595A JP6635552B2 JP 6635552 B2 JP6635552 B2 JP 6635552B2 JP 2016116595 A JP2016116595 A JP 2016116595A JP 2016116595 A JP2016116595 A JP 2016116595A JP 6635552 B2 JP6635552 B2 JP 6635552B2
Authority
JP
Japan
Prior art keywords
upholstery
fitting groove
soft member
furniture
soft
Prior art date
Legal status (The legal status is an assumption and is not a legal conclusion. Google has not performed a legal analysis and makes no representation as to the accuracy of the status listed.)
Active
Application number
JP2016116595A
Other languages
Japanese (ja)
Other versions
JP2017217403A (en
Inventor
慎也 内藤
慎也 内藤
Current Assignee (The listed assignees may be inaccurate. Google has not performed a legal analysis and makes no representation or warranty as to the accuracy of the list.)
Okamura Corp
Original Assignee
Okamura Corp
Priority date (The priority date is an assumption and is not a legal conclusion. Google has not performed a legal analysis and makes no representation as to the accuracy of the date listed.)
Filing date
Publication date
Family has litigation
First worldwide family litigation filed litigation Critical https://patents.darts-ip.com/?family=60656411&utm_source=google_patent&utm_medium=platform_link&utm_campaign=public_patent_search&patent=JP6635552(B2) "Global patent litigation dataset” by Darts-ip is licensed under a Creative Commons Attribution 4.0 International License.
Application filed by Okamura Corp filed Critical Okamura Corp
Priority to JP2016116595A priority Critical patent/JP6635552B2/en
Publication of JP2017217403A publication Critical patent/JP2017217403A/en
Application granted granted Critical
Publication of JP6635552B2 publication Critical patent/JP6635552B2/en
Active legal-status Critical Current
Anticipated expiration legal-status Critical

Links

Images

Landscapes

  • Chair Legs, Seat Parts, And Backrests (AREA)

Description

本発明は、什器構成部材、及び什器に関する。   The present invention relates to furniture components and furniture.

従来、什器として、例えば特許文献1、2に示されるように、対向して配置された一対の支持材と、これら一対の支持材同士の間に張設される張材と、によって背凭れや座等の荷重支持部材が構成された椅子が知られている。このような椅子では、支持材同士の間に生じる張材の張力は張材から入力される荷重に対しての反発力となり、この反発力によって着座者の荷重を十分な強度をもって受け止めることを可能にした構成となっている。   2. Description of the Related Art Conventionally, as furniture, for example, as shown in Patent Documents 1 and 2, a backrest is formed by a pair of support members arranged facing each other and a tension member stretched between the pair of support members. 2. Description of the Related Art A chair provided with a load supporting member such as a seat is known. In such a chair, the tension of the upholstery generated between the supports becomes a repulsive force against the load input from the upholstery, and this repulsive force can receive the load of the occupant with sufficient strength The configuration is as follows.

ところで、前述のような椅子の張材は、張力をもって架設されているため、局所的な衝撃に弱いという課題を有している。具体的に張材は、支持材の適所に抜け止めされた状態で位置決めされたうえで、荷重入力方向の縁部に小さな曲率をもたせて巻き付けられている。そのため、張材の縁部近傍は常時大きな張力で引っ張られた状態となっている。さらに、支持材の縁部は、椅子全体としても幅方向の側部を構成する部位であるので、例えば他の家具や壁面等に対する衝突が繰り返されることによって破損・汚損が生じ易くなっていた。
これに対して、特許文献1に開示される椅子の場合には、最も張材が引っ張られやすい支持材の角部に外周方向に開口する嵌合溝を形成し、この嵌合溝に張材を支持材よりも外方に向けて押し出す軟質材からなる縁材が嵌合された構成となっている。このような構成とすることで、張材に最も局所的な伸びが発生し衝撃に弱い部位を保護することを可能としている。
By the way, since the upholstery of the chair as described above is installed with tension, it has a problem that it is vulnerable to local impact. Specifically, the upholstery material is positioned in a state where it is prevented from falling out of place on the support material, and is wound around the edge in the load input direction with a small curvature. Therefore, the vicinity of the edge of the upholstery material is always in a state of being pulled with a large tension. Furthermore, since the edge of the support member is a portion constituting a side portion in the width direction of the whole chair, for example, repeated collisions with other furniture, wall surfaces, and the like are likely to cause breakage and soiling.
On the other hand, in the case of the chair disclosed in Patent Literature 1, a fitting groove that opens in the outer peripheral direction is formed at a corner of the support member where the tension member is most likely to be pulled, and the tension member is formed in this fitting groove. Is formed by fitting an edge member made of a soft material that extrudes outward from the support member. With such a configuration, it is possible to protect a portion where the upholstery is most locally stretched and vulnerable to impact.

特許第4061160号公報Japanese Patent No. 4061160 特許第5291439号公報Japanese Patent No. 5291439

しかしながら、特許文献1に開示されるような従来の什器では、嵌合溝に対して縁材の手前側(張材の張設面側)が遊端部となるため、張材の張力や外的衝撃の大きさによって縁材が嵌合溝に対して緩むおそれがあり、その点で改善の余地があった。   However, in the conventional furniture disclosed in Patent Literature 1, the front side of the edge material (the side on which the upholstery is stretched) is the free end with respect to the fitting groove. Depending on the magnitude of the mechanical impact, the edge material may be loosened with respect to the fitting groove, and there is room for improvement in that respect.

本発明は、上述する問題点に鑑みてなされたもので、外的衝撃による軟質部材の離脱を防止できる什器構成部材、及び什器を提供することを目的とする。   The present invention has been made in view of the above-described problems, and an object of the present invention is to provide a furniture component and a furniture that can prevent detachment of a soft member due to an external impact.

上記目的を達成するため、本発明に係る什器構成部材は、対向して配置された一対の支持材と、前記一対の支持材同士の間に張設される張材と、前記支持材と前記張材との間に介在され、前記張材の張力によって弾性変形可能な材料から形成された軟質部材と、を備え、前記支持材は、前記張材に対して交差する方向に延びる第一面と、該第一面に内方に凹むように形成され、前記張材の外周縁端を係合する嵌合溝と、前記第一面に交差し前記張材に沿って配置された第二面と、を有し、前記軟質部材は、前記第一面と前記張材との間に挟み込まれる第一部位と、前記第二面と前記張材との間に挟み込まれる第二部位と、前記第一部位から前記嵌合溝に向けて少なくとも一部が延設された第三部位と、を有していることを特徴としている。   In order to achieve the above object, a furniture component according to the present invention includes a pair of support members that are arranged to face each other, a tension member that is stretched between the pair of support members, and the support member and the support member. A soft member formed of a material elastically deformable by the tension of the upholstery, the first surface extending in a direction intersecting with the upholstery. And a fitting groove formed in the first surface so as to be depressed inward and engaging an outer peripheral edge of the upholstery, and a second groove intersecting with the first surface and disposed along the upholstery. And a soft member, a first portion sandwiched between the first surface and the upholstery, and a second portion sandwiched between the second surface and the upholstery, A third part extending at least partially from the first part toward the fitting groove.

また、本発明に係る什器は、床面に設置される支持構造体と、該支持構造体に支持された上記に記載の什器構成部材と、を備えたことを特徴としている。   Further, the furniture according to the present invention is characterized by comprising a support structure installed on a floor surface and the above-described furniture component member supported by the support structure.

本発明では、軟質部材が支持材の第一面から第二面に対して第一部位及び第二部位から構成されるL字状をなして面接触により当接可能な構成となるため、支持材に対して軟質部材を密接させることができる。とくに、支持材の第一面から第二面にかけて湾曲している形状となる場合には、その密接効果が高くなる。さらに、本発明では、嵌合溝の内側に向けて少なくとも軟質部材の第三部位の一部が延設されているので、張材の外周縁部が嵌合溝から抜けようとする力によって支持材から浮き上がろうとする軟質部材の部位を、張材の張力で押え込むことができる。したがって、軟質部材の浮き上がった部分の空間を利用して衝突時の衝撃を吸収することが可能となり、軟質部材の薄型化を図ることができる。
そして、支持材の角部近傍に衝突等の衝撃によってモーメントが作用した場合でも、軟質部材と支持材とが面接触する領域が大きいことから、軟質部材全体が支持材から外れることを抑制することができる。
また、軟質部材が支持材の第一面から第二面に対して第一部位及び第二部位から構成されるL字状をなして当接する構成となるため、支持材に対する軟質部材の取り付け作業が容易になる。
さらに、什器構成部材を備える什器を用いることで、移動に際して他の什器や建築躯体に衝突した場合でも、その衝撃により張材が破れにくい什器となる。
In the present invention, since the soft member has an L-shaped configuration composed of the first portion and the second portion with respect to the first surface to the second surface of the support material and is configured to be able to contact by surface contact, The soft member can be brought into close contact with the material. In particular, when the support material has a curved shape from the first surface to the second surface, the close contact effect is enhanced. Furthermore, in the present invention, since at least a part of the third portion of the soft member extends toward the inside of the fitting groove, the outer peripheral edge of the upholstery is supported by a force that tends to fall out of the fitting groove. The portion of the soft member that is going to rise from the material can be pressed down by the tension of the upholstery material. Therefore, the impact at the time of collision can be absorbed by utilizing the space of the raised portion of the soft member, and the thickness of the soft member can be reduced.
Even when a moment acts due to an impact such as a collision near the corner of the support member, since the area where the soft member and the support member come into surface contact is large, it is possible to suppress the entire soft member from coming off the support member. Can be.
Further, since the soft member comes into contact with the first surface and the second surface of the support member in an L-shape composed of the first portion and the second portion, the attaching operation of the soft member to the support member is performed. Becomes easier.
Furthermore, by using a furniture provided with a furniture component member, even if it collides with another furniture or a building skeleton during movement, the furniture is hardly broken by the impact.

また、本発明に係る什器構成部材では、前記第三部位は、前記嵌合溝の内壁に係合されていることが好ましい。   Further, in the furniture component according to the present invention, it is preferable that the third portion is engaged with an inner wall of the fitting groove.

この場合には、軟質部材は支持材における二箇所の屈曲部位に対して外嵌した状態で配置されるため、支持材への密着度をより高めることができるとともに、張材が強く巻き付けられる部位への衝撃をより確実に抑制することができる。   In this case, since the soft member is arranged so as to be fitted to the two bent portions of the support member, the degree of adhesion to the support member can be further increased, and the portion where the tension member is strongly wound is provided. Can be more reliably suppressed.

また、本発明に係る什器構成部材では、前記第二面には、前記軟質部材を対をなす前記支持材に向かう方向への移動を規制する規制部が形成されていることを特徴としてもよい。   In the furniture component member according to the present invention, the second surface may be provided with a restricting portion that restricts movement of the soft member in a direction toward the support member forming a pair. .

この場合には、支持材の第二面に形成される規制部によって軟質部材が対をなす支持材に向かう方向への移動が規制された状態で支持され、軟質部材の外側端部の近傍に規制部が設けられることから、張材の張力や衝突等による外的衝撃が軟質部材の外側端部に作用した場合でも、軟質部材の外側端部が引き剥がされる力を小さく抑えることができる。そのため、外的衝撃による軟質部材の離脱を防止することが可能となる。   In this case, the soft member is supported in a state where the movement in the direction toward the paired support member is regulated by the regulating portion formed on the second surface of the support member, and is provided near the outer end of the soft member. Since the restricting portion is provided, even when an external impact due to the tension of the upholstery material, a collision, or the like acts on the outer end portion of the soft member, the force at which the outer end portion of the soft member is peeled can be reduced. Therefore, detachment of the soft member due to external impact can be prevented.

また、本発明に係る什器構成部材では、前記軟質部材における前記第一部位と前記第二部位との交差部分は、他部位よりも厚肉に形成されていることを特徴とすることが好ましい。   In the furniture component according to the present invention, it is preferable that an intersection of the first part and the second part in the soft member is formed to be thicker than other parts.

本発明では、軟質部材における第一部位と第二部位との交差部分が厚肉化されているので、張材の張力によって最も強く支持材に押し付けられる部位に加わる衝撃を確実に受け止めることができる。しかも、衝撃によって軟質部材をずらす方向へのモーメントが作用した場合であっても、軟質部材は第一部位と第二部位に対して広く面接触しているので、支持材に対して外れにくくなる。   In the present invention, since the intersection between the first portion and the second portion in the soft member is thickened, it is possible to reliably receive the impact applied to the portion pressed against the supporting material by the tension of the upholstery most strongly. . In addition, even when a moment acts in the direction to shift the soft member due to the impact, the soft member is in wide surface contact with the first portion and the second portion, so that the soft member is not easily detached from the support member. .

また、本発明に係る什器構成部材では、前記張材の外周縁端には、前記嵌合溝に圧入される抜止部が形成され、前記嵌合溝内に位置する前記軟質部材の前記第三部位は、前記嵌合溝の内壁と前記抜止部との間に挟持されていることが好ましい。   Further, in the furniture component member according to the present invention, a retaining portion that is press-fitted into the fitting groove is formed at an outer peripheral edge of the upholstery, and the third member of the soft member positioned in the fitting groove is formed. The portion is preferably sandwiched between the inner wall of the fitting groove and the retaining portion.

この場合には、嵌合溝内で張材の張力によって張材の抜止部が傾動し、嵌合溝の内壁に張材の抜止部が押し付けられ、軟質部材の第三部位が抜止部によって押圧されて保持力が高められるため、軟質部材の脱落をより確実に防止することができる。
また、第三部位が抜止部によって押圧されることにより弾性変形し、第一部位が第三部位が嵌合溝から抜け出す側に押し出されることになる。この押し出された第一部位においても張力をもった張材に密着した状態でより押圧されるので、軟質部材の脱落をより確実に防止することができる。
In this case, the retaining portion of the upholstery is tilted by the tension of the upholstery in the fitting groove, the retaining portion of the upholstery is pressed against the inner wall of the fitting groove, and the third portion of the soft member is pressed by the retaining portion. As a result, the holding force is enhanced, so that the soft member can be more reliably prevented from falling off.
Further, the third portion is elastically deformed by being pressed by the retaining portion, and the first portion is pushed to the side where the third portion comes out of the fitting groove. The extruded first portion is further pressed in a state of being in close contact with the tensioned tension member, so that the soft member can be more reliably prevented from falling off.

本発明の什器構成部材、及び什器によれば、外的衝撃による軟質部材の離脱を防止できる。   ADVANTAGE OF THE INVENTION According to the furniture component and the furniture of this invention, detachment of a soft member by an external impact can be prevented.

本発明の第一実施形態による椅子を側方から見た斜視図である。It is the perspective view which looked at the chair by the first embodiment of the present invention from the side. 図1に示す椅子を後方(背凭れ側)から見た斜視図である。It is the perspective view which looked at the chair shown in FIG. 1 from the back (backrest side). 図2に示すA−A線断面図である。FIG. 3 is a sectional view taken along line AA shown in FIG. 2. 図2に示すB−B線断面図である。FIG. 3 is a sectional view taken along line BB shown in FIG. 2. 図3及び図4に示す張材取付け部の詳細構成を示す水平断面図である。FIG. 5 is a horizontal sectional view showing a detailed configuration of the upholstery attachment section shown in FIGS. 3 and 4. 第二実施形態による椅子の張材取付け部の詳細構成を示す水平断面図であって、図5に対応する図である。It is a horizontal sectional view showing the detailed composition of the upholstery attachment part of the chair by a second embodiment, and is a figure corresponding to Drawing 5. 図6に示す張材取付け部の作用を説明するための水平断面図である。FIG. 7 is a horizontal sectional view for explaining the operation of the upholstery attachment section shown in FIG. 6. 第三実施形態による椅子の張材取付け部の詳細構成を示す水平断面図であって、図5に対応する図である。It is a horizontal sectional view showing the detailed composition of the upholstery attachment part of the chair by a third embodiment, and is a figure corresponding to Drawing 5. 第一変形例による椅子の張材取付け部の詳細構成を示す水平断面図であって、図5に対応する図である。It is a horizontal sectional view which shows the detailed structure of the upholstery attachment part of the chair by a 1st modification, and is a figure corresponding to FIG. 第二変形例による椅子の張材取付け部の詳細構成を示す水平断面図であって、図5に対応する図である。It is a horizontal sectional view showing the detailed composition of the upholstery attachment part of the chair by the 2nd modification, and is a figure corresponding to Drawing 5.

以下、本発明の実施形態による什器構成部材、及び什器について、図面に基づいて説明する。   Hereinafter, furniture constituent members and furniture according to an embodiment of the present invention will be described with reference to the drawings.

(第一実施形態)
図1に示す本実施形態による什器構成部材は、椅子1(什器)における背凭れ50、或いは座体40に用いられるものである。本実施形態では、背凭れ50に什器構成部材が適用された一例について説明する。
本実施形態の椅子1は、床面F上に設けられる脚体10と、脚部10の上部に設置されるボックス状(不図示)の支基20と、支基20の上部に取り付けられた座受け部材30と、座受け部材30にスライド可能に支持され着座者が着座する座体(椅子用荷重支持部材)40と、支基20から延び座体40に着座した着座者の背中を支持する背凭れ(椅子用荷重支持部材)50と、を備えている。
(First embodiment)
1 is used for the backrest 50 or the seat body 40 of the chair 1 (furniture). In the present embodiment, an example in which furniture components are applied to the backrest 50 will be described.
The chair 1 of the present embodiment is provided with a leg 10 provided on a floor F, a box-shaped (not shown) support base 20 installed on the upper part of the leg 10, and an upper part of the support base 20. The seat receiving member 30, a seat body (chair load supporting member) 40 slidably supported by the seat receiving member 30 and seated by a seated person, and supporting the back of the seated person extending from the support base 20 and sitting on the seat body 40. (A chair load supporting member) 50.

以下の説明において、便宜上、座体40に着座した着座者が前を向く方向を「前方」、その反対方向を「後方」と称し、これらの方向を「前後方向X1」と称する。また、椅子1が設置される床面F側とその反対側を結ぶ方向を上下方向と称する。また、椅子1の幅方向、つまり前後方向X1と直交する水平方向を「左右方向X2」と称する。   In the following description, for convenience, the direction in which the occupant sitting on the seat body 40 faces forward is referred to as “forward”, the opposite direction is referred to as “rearward”, and these directions are referred to as “front-back direction X1”. A direction connecting the floor F side on which the chair 1 is installed and the opposite side is referred to as a vertical direction. A width direction of the chair 1, that is, a horizontal direction orthogonal to the front-rear direction X1 is referred to as a "left-right direction X2".

脚部10は、キャスタ11A付きの多岐脚11と、多岐脚11の中央部より起立し昇降機構であるガススプリング(不図示)を内蔵する脚柱12と、を有している。脚柱12の下部を構成する外筒13は、多岐脚11に回転不能に嵌合して支持されている。脚柱12の上部を構成する内筒14は、上端部に支基20を固定して支持するとともに、下部が外筒13に水平方向で回転可能に支持されている。   The leg 10 includes a multi-leg 11 with casters 11A, and a pillar 12 that stands up from the center of the multi-leg 11 and has a built-in gas spring (not shown) that is a lifting mechanism. The outer cylinder 13 constituting the lower part of the pillar 12 is non-rotatably fitted to and supported by the multi-leg 11. The inner cylinder 14 forming the upper part of the pillar 12 has a support base 20 fixedly supported at the upper end, and the lower part is supported by the outer cylinder 13 so as to be rotatable in the horizontal direction.

支基20には、脚柱12の昇降調整機構と背凭れ50の傾動調整機構が内蔵されている。
座受け部材30は、支基20の上部に取り付けられた4本のリンクアーム(不図示。以下同じ。)と、リンクアーム同士を連結する左右一対の固定フレーム(図示省略)と、を有している。本実施形態では、脚部10、支基20及び座受け部材30によって支持構造体3を構成している。
座体40は、座フレーム41と、座フレーム41に張設された張材42と、を有している。張材42の上面は、着座者の荷重を受ける荷重支持面42Uとされている。
The support base 20 has a built-in elevation adjustment mechanism for the pillar 12 and an inclination adjustment mechanism for the backrest 50.
The seat receiving member 30 has four link arms (not shown, the same applies hereinafter) attached to the upper part of the support base 20, and a pair of left and right fixed frames (not shown) connecting the link arms. ing. In the present embodiment, the support structure 3 is configured by the legs 10, the support base 20, and the seat receiving member 30.
The seat body 40 has a seat frame 41 and an upholstery member 42 stretched over the seat frame 41. The upper surface of the upholstery 42 is a load supporting surface 42U that receives a load of the occupant.

図1及び図2に示すように、背凭れ50は、背フレーム51と、背フレーム51に張設された張材52と、を有している。張材52の前面は、着座者の荷重を受ける荷重支持面52Fとされている。背フレーム51は、支基20に連結され強度部材からなる背後枠53と、背後枠53の前方に設けられた背前枠54と、を有している。
背後枠53は、下辺部531と、側辺部532と、上辺部533と、を有している。下辺部531と側辺部532と上辺部533とは、例えばアルミ等の金属または所定の強度を有する樹脂等により一体に形成され、又は別部材で形成されている。
なお、背後枠53は、枠形状であることに限定されることはなく、板状などの他の形状であってもかまわない。
As shown in FIGS. 1 and 2, the backrest 50 includes a back frame 51 and an upholstery member 52 stretched over the back frame 51. The front surface of the upholstery 52 is a load supporting surface 52F that receives the load of the occupant. The back frame 51 has a back frame 53 connected to the support base 20 and made of a strength member, and a back frame 54 provided in front of the back frame 53.
The back frame 53 has a lower side 531, a side 532, and an upper side 533. The lower side 531, the side 532, and the upper side 533 are integrally formed of, for example, a metal such as aluminum or a resin having a predetermined strength, or are formed as separate members.
The back frame 53 is not limited to a frame shape, but may be another shape such as a plate shape.

下辺部531は、支基2内の不図示の傾動調整機構に連結され、支基2の後部の左右両側から延びている。下辺部531は、上方に向かうにしたがって次第に後方に向かって傾斜されている。また、各下辺部531には、側方に延びる肘掛け55が設けられている。
各下辺部531の上端部には、側辺部532が連結されている。各側辺部532は、上方に向かうにしたがって次第に左右方向X2の外側に向かって傾斜している。
側辺部532の下部は、上方に向かうにしたがって次第に前方に向かって傾斜している。側辺部532の上部は、上方に向かうにしたがって次第に後方に向かって傾斜している。各側辺部532の上部どうしは、上辺部533で連結されている。
The lower side portion 531 is connected to a tilt adjustment mechanism (not shown) in the support base 2 and extends from both left and right sides of a rear portion of the support base 2. The lower side 531 is gradually inclined rearward as going upward. Each lower side 531 is provided with an armrest 55 extending laterally.
A side portion 532 is connected to the upper end of each lower side portion 531. Each side 532 gradually inclines outward in the left-right direction X2 as it goes upward.
The lower part of the side part 532 is gradually inclined forward as it goes upward. The upper part of the side part 532 is gradually inclined rearward as going upward. The upper portions of the respective side portions 532 are connected by an upper side portion 533.

背前枠54は、背後枠53の側辺部532の上部に連結された上部腕部541と、側辺部532の下部に連結された下部腕部542と、左右方向X2に(荷重支持面52Fに沿って)離間して配置された一対の縦杆(支持材)60と、一対の縦杆60の上端どうしを連結する上杆61と、を有している。
上部腕部541、下部腕部542、縦杆60及び上杆61は、例えば樹脂等で一体として形成されている。縦杆60及び上杆61は、張材52から作用する力に応じて弾性変形可能に構成されている。
The front frame 54 includes an upper arm portion 541 connected to an upper portion of the side portion 532 of the rear frame 53, a lower arm portion 542 connected to a lower portion of the side portion 532, and a left-right direction X2 (load support surface). It has a pair of vertical rods (supporting members) 60 spaced apart (along 52F) and an upper rod 61 connecting upper ends of the pair of vertical rods 60.
The upper arm 541, the lower arm 542, the vertical rod 60, and the upper rod 61 are integrally formed of, for example, resin or the like. The vertical rod 60 and the upper rod 61 are configured to be elastically deformable according to the force applied from the upholstery member 52.

図3に示すように、上部腕部541は、背後枠53の側辺部532の上部にボルト54Xにより固定されている。上部腕部541は、背後枠53の側辺部532から前方に延びるとともに、前方に向かうにしたがって次第に左右方向X2の外側に延びている。
図4に示すように、背後枠53の側辺部532の下部には、固定コマ53aがボルト53Xで固定されている。下部腕部542は、固定コマ53aを外嵌している。下部腕部542と固定コマ53aとは、抜け止めピン53bにより固定されている。下部腕部542は、背後枠53の側辺部532から前方に延びるとともに、前方に向かうにしたがって次第に左右方向X2の外側に延びている。
As shown in FIG. 3, the upper arm portion 541 is fixed to an upper portion of the side portion 532 of the back frame 53 by a bolt 54X. The upper arm portion 541 extends forward from the side edge portion 532 of the rear frame 53, and gradually extends outward in the left-right direction X2 toward the front.
As shown in FIG. 4, a fixing piece 53a is fixed to a lower portion of the side portion 532 of the rear frame 53 with a bolt 53X. The lower arm 542 has the fixed top 53a fitted outside. The lower arm 542 and the fixed top 53a are fixed by a retaining pin 53b. The lower arm portion 542 extends forward from the side edge portion 532 of the rear frame 53, and gradually extends outward in the left-right direction X2 toward the front.

図1に示すように、縦杆60は、上部で上部腕部541が連結されるとともに、下部で下部腕部542に連結されている。
図2に示すように、各縦杆60は、上下方向に沿って延びている。詳細には、縦杆60は、下方に向かうにしたがって次第に左右方向X2の内側に向かって傾斜している。一対の縦杆60の下端どうしは、互いに連結されている。
図3及び図4に示すように、縦杆60は、荷重支持面52F(図1参照)と直交する面直方向に沿った断面(左右方向X2に沿った水平断面)において、荷重支持面52Fに沿うとともに左右方向X2に幅広な板状をなしている。
As shown in FIG. 1, the upper part of the vertical rod 60 is connected to the upper arm 541, and the lower part is connected to the lower arm 542 at the lower part.
As shown in FIG. 2, each vertical rod 60 extends in the up-down direction. Specifically, the vertical rod 60 is gradually inclined inward in the left-right direction X2 as it goes downward. The lower ends of the pair of vertical rods 60 are connected to each other.
As shown in FIGS. 3 and 4, the vertical rod 60 has a load supporting surface 52F in a cross section (horizontal cross section along the left-right direction X2) perpendicular to the load supporting surface 52F (see FIG. 1). And a wide plate shape in the left-right direction X2.

図4に示すように、縦杆60の下部では、内縁(左右方向X2の内側の端部)側に向かうにしたがって、張材52に直交する方向の厚みが薄くなるように形成されている。
縦杆60の外縁(左右方向X2の外側の端部)には、内方に向かって凹む嵌合溝62が形成されている。嵌合溝62には、張材52の端部が巻き込まれている。
図3及び図4に示すように、上部腕部541及び下部腕部542が前方に向かうにしたがって次第に左右方向X2の外側に延びていることで、縦杆60は側辺部532よりも左右方向X2の外側に配置されている。
As shown in FIG. 4, the lower part of the vertical rod 60 is formed such that the thickness in the direction orthogonal to the upholstery 52 becomes thinner toward the inner edge (the inner end in the left-right direction X2).
At the outer edge (outer end in the left-right direction X2) of the vertical rod 60, a fitting groove 62 that is recessed inward is formed. The end of the upholstery member 52 is wound into the fitting groove 62.
As shown in FIGS. 3 and 4, the upper arm 541 and the lower arm 542 gradually extend outward in the left-right direction X <b> 2 toward the front, so that the vertical rod 60 is more horizontal than the side 532. It is arranged outside X2.

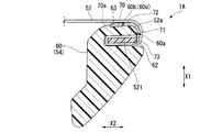
ここで、図5は、図3及び図4に示す張材取付け部1A(什器構成部材)の詳細を示した断面図である。
図5に示すように、縦杆60は、張材52に対して交差する方向に延び張材52の外周縁端52aを係合する第一面60aと、第一面60aに交差し張材52に沿って配置された第二面60bと、を有している。
張材52の外周縁端52aは、硬質部材から形成される抜止部521に巻き回した状態で例えば縫合、接着、溶着等の固定手段により固着されている。この抜止部521は、嵌合溝62内に押し込まれた状態で嵌合している。
Here, FIG. 5 is a cross-sectional view showing the details of the upholstery mounting portion 1A (furniture constituent member) shown in FIGS. 3 and 4.
As shown in FIG. 5, the vertical rod 60 extends in a direction intersecting the upholstery 52 and engages an outer peripheral edge 52 a of the upholstery 52. And a second surface 60b disposed along the second surface 52.
The outer peripheral edge 52a of the upholstery member 52 is fixed to the retaining portion 521 formed of a hard member by a fixing means such as suturing, bonding, welding or the like while being wound therearound. The retaining portion 521 is fitted while being pushed into the fitting groove 62.

縦杆60と張材52との間には、張材52の張力によって弾性変形可能な材料から形成された軟質部材70が介在されている。縦杆60の第二面60bには、第二面60bから前方に向けて突出するとともに、軟質部材70を対をなす縦杆60に向かう方向への移動を規制する係合凸部63(規制部)が形成されている。具体的に係合凸部63は、第二面60bの張設方向の中間部分で段差部が形成されている。そのため、第二面60bは、その段差部から左右方向X2の外側部分が内側部分よりも切り取られて形成された切欠き面60cを有している。   A soft member 70 formed of a material that can be elastically deformed by the tension of the upholstery 52 is interposed between the vertical rod 60 and the upholstery 52. On the second surface 60b of the vertical rod 60, an engagement protrusion 63 (restriction) that projects forward from the second surface 60b and restricts the movement of the soft member 70 in the direction toward the paired vertical rod 60. Part) is formed. Specifically, the engaging convex portion 63 has a step portion formed at an intermediate portion in the extending direction of the second surface 60b. Therefore, the second surface 60b has a cutout surface 60c formed by cutting the outer part in the left-right direction X2 from the step part than the inner part.

軟質部材70は、図5に示すように、縦杆60の第一面60aに接触する第一部位71と、第二面60bの切欠面60cに接触する第二部位72と、第一部位71から嵌合溝62に向けて少なくとも一部が延設された第三部位73と、を有している。つまり、軟質部材70は、第一面60a及び切欠面60cを覆った状態で配置される。
そして、係合凸部63には、軟質部材70の第二部位72の左右方向X2の内側の内端70aが係止されている。
As shown in FIG. 5, the soft member 70 includes a first portion 71 that contacts the first surface 60a of the vertical rod 60, a second portion 72 that contacts the cutout surface 60c of the second surface 60b, and a first portion 71. And a third portion 73 that extends at least partially toward the fitting groove 62. That is, the soft member 70 is arranged so as to cover the first surface 60a and the notch surface 60c.
Further, the inner end 70a inside the second portion 72 of the soft member 70 in the left-right direction X2 is locked to the engagement convex portion 63.

軟質部材70は、張材52が縦杆60に取り付けられた状態で張材52と縦枠60との間に介在して外物の衝突に対する緩衝部材として機能するものである。このため、軟質部材70は、少なくとも縦杆60よりも柔らかく弾力性を有する素材で形成される。すなわち、軟質部材70は、比較的硬質な素材によって形成される縦杆60と例えば机の天板などの外物とが衝き当たる際にこれらの間に挟まって張材52が損傷することを防ぐため、外物が衝き当たった際に自身が変形して(具体的には凹んで)張材52が受ける外物衝突の衝撃を緩和することができる弾力性を有する素材によって形成される。具体的には例えばエラストマー素材によって形成される。   The soft member 70 functions as a cushioning member against collision of an external object by being interposed between the upholstery member 52 and the vertical frame 60 in a state where the upholstery member 52 is attached to the vertical rod 60. Therefore, the soft member 70 is formed of a material that is softer and more elastic than at least the vertical rod 60. That is, the soft member 70 prevents the tension member 52 from being damaged by being sandwiched between the vertical rod 60 formed of a relatively hard material and an external object such as a desk top plate when they hit each other. Therefore, it is formed of a material having elasticity that can be deformed (specifically, dented) when an external object collides with the upholstery member 52 so as to reduce the impact of the external object collision received by the upholstery member 52. Specifically, for example, it is formed of an elastomer material.

このように構成された張材取付け部1A(什器構成部材)では、図5に示すように、軟質部材70の第一部位71を上述した第一面60aに接触させ、第二部位72を第二面60bの切欠面60cに対して接触させて支持させるとともに、張材52の抜止部521を嵌合溝62に嵌合させることで、張材52と縦杆60との間に軟質部材70を介在させた状態で張材52が縦枠60に所定の張力をもって取り付けられる。   In the upholstery attachment section 1A (furniture component) configured as described above, as shown in FIG. 5, the first portion 71 of the soft member 70 is brought into contact with the above-described first surface 60a, and the second portion 72 is placed in the second position. The notch 60c of the two surfaces 60b is brought into contact with and supported by the notch 60c, and the retaining member 521 of the upholstery 52 is fitted in the fitting groove 62, so that the soft member 70 The upholstery member 52 is attached to the vertical frame 60 with a predetermined tension in a state where is interposed.

本実施形態では、軟質部材70が縦杆60の第一面60aから第二面60bに対して第一部位71及び第二部位72から構成されるL字状をなして面接触により当接可能な構成となるため、縦杆60に対して軟質部材70を密接させることができる。とくに、縦杆60の第一面60aから第二面60bにかけて湾曲している形状となる場合には、その密接効果が高くなる。
さらに、本実施形態では、嵌合溝62の内側に向けて少なくとも軟質部材70の第三部位73の一部が延設されているので、張材52の外周縁部が嵌合溝62から抜けようとする力によって縦杆60から浮き上がろうとする軟質部材70の部位を、張材52の張力で押え込むことができる。したがって、軟質部材70の浮き上がった部分の空間を利用して衝突時の衝撃を吸収することが可能となり、軟質部材70の薄型化を図ることができる。
In the present embodiment, the soft member 70 can make contact with the first surface 60a to the second surface 60b of the vertical rod 60 in an L-shape including the first portion 71 and the second portion 72 by surface contact. Therefore, the soft member 70 can be brought into close contact with the vertical rod 60. In particular, when the vertical rod 60 has a curved shape from the first surface 60a to the second surface 60b, the close contact effect is enhanced.
Further, in the present embodiment, at least a portion of the third portion 73 of the soft member 70 extends toward the inside of the fitting groove 62, so that the outer peripheral edge of the upholstery member 52 comes off the fitting groove 62. The portion of the soft member 70 that tends to rise from the vertical rod 60 by the force to be applied can be pressed down by the tension of the upholstery member 52. Therefore, the impact at the time of collision can be absorbed by utilizing the space of the raised portion of the soft member 70, and the thickness of the soft member 70 can be reduced.

そして、縦杆60の角部近傍に衝突等の衝撃によってモーメントが作用した場合でも、軟質部材と縦杆60とが面接触する領域が大きいことから、軟質部材70全体が縦杆60から外れることを抑制することができる。
また、軟質部材70が縦杆60の第一面60aから第二面60bに対して第一部位71及び第二部位72から構成されるL字状をなして当接する構成となるため、縦杆60に対する軟質部材70の取り付け作業が容易になる。
さらに、本実施形態のように張材取付け部1Aを備える椅子1を用いることで、移動に際して他の什器や建築躯体に衝突した場合でも、その衝撃により張材52が破れにくい什器となる。
Even when a moment acts on the vicinity of the corner of the vertical rod 60 due to an impact such as a collision or the like, since the area where the soft member and the vertical rod 60 come into surface contact with each other is large, the entire soft member 70 may come off from the vertical rod 60. Can be suppressed.
Further, since the soft member 70 comes into contact with the first surface 60a to the second surface 60b of the vertical rod 60 in an L-shape composed of the first portion 71 and the second portion 72, The work of attaching the soft member 70 to the soft member 60 is facilitated.
Further, by using the chair 1 including the upholstery mounting portion 1A as in the present embodiment, even if the furniture 1 collides with another fixture or a building skeleton during movement, the furniture becomes hard to be broken by the impact.

また、本実施形態では、縦杆60の第二面60bに形成される係合凸部63によって軟質部材70が対をなす縦杆60に向かう方向への移動が規制された状態で支持され、軟質部材70の外側端部の近傍に係合凸部63が設けられることから、張材52の張力や衝突等による外的衝撃が軟質部材70の外側端部に作用した場合でも、軟質部材70の外側端部が引き剥がされる力を小さく抑えることができる。そのため、外的衝撃による軟質部材70の離脱を防止することが可能となる。   Further, in the present embodiment, the soft member 70 is supported in a state where the movement in the direction toward the paired vertical rods 60 is restricted by the engagement convex portions 63 formed on the second surface 60b of the vertical rod 60, Since the engaging projection 63 is provided near the outer end of the soft member 70, even if an external impact due to the tension of the upholstery 52 or a collision acts on the outer end of the soft member 70, The force with which the outer end portion of the web is peeled off can be kept small. Therefore, it is possible to prevent the soft member 70 from coming off due to an external impact.

次に、本発明の什器構成部材、及び什器による他の実施形態について、添付図面に基づいて説明するが、上述の第一実施形態と同一又は同様な部材、部分には同一の符号を用いて説明を省略し、第一実施形態と異なる構成について説明する。   Next, fixture components of the present invention and other embodiments using fixtures will be described with reference to the accompanying drawings, but the same or similar members and portions as those of the above-described first embodiment will be denoted by the same reference numerals. A description is omitted, and a configuration different from the first embodiment will be described.

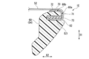
(第二実施形態)
図6に示す第二実施形態による張材取付け部1B(什器構成部材)は、軟質部材70において、第一部位71の後端から縦杆60に形成される嵌合溝62の内側に向けて延在される第三部位73を有する構成となっている。第三部位73は、嵌合溝62の内壁と張材52の抜止部521との間に挟持された状態で嵌合溝62内に配置されている。本実施形態も、上述した第一実施形態と同様の係合凸部63が縦杆60の第二面60bに形成され、軟質部材70の第二部位72の内端70aが係合凸部63に当接した状態で配置されている。
(Second embodiment)
The upholstery attachment portion 1B (furniture component) according to the second embodiment shown in FIG. 6 is configured such that the soft member 70 extends from the rear end of the first portion 71 toward the inside of the fitting groove 62 formed in the vertical rod 60. It has a configuration having a third portion 73 that extends. The third portion 73 is disposed in the fitting groove 62 in a state of being sandwiched between the inner wall of the fitting groove 62 and the retaining portion 521 of the upholstery member 52. Also in the present embodiment, the same engagement protrusion 63 as that in the first embodiment described above is formed on the second surface 60b of the vertical rod 60, and the inner end 70a of the second portion 72 of the soft member 70 is It is arranged in contact with

本第二実施形態では、図7に示すように、嵌合溝62内で張材52の張力によって張材52の抜止部521がその先端部分を支点にして前方に傾動すると、嵌合溝62の前方内壁62bに張材52の抜止部521が押し付けられる。これにより、軟質部材70の第三部位73が抜止部521によって押圧されて保持力が高められるため、軟質部材70の脱落をより確実に防止することができる。
なお、第三部位73が抜止部521によって押圧されることにより弾性変形し、第一部位71が左右方向X2の外側(第三部位73が嵌合溝62から抜け出す側)に押し出されることになる。この押し出された第一部位71においても張力をもった張材52に密着した状態でより押圧されるので、軟質部材70の脱落をより確実に防止することができる。
In the second embodiment, as shown in FIG. 7, when the retaining portion 521 of the upholstery member 52 in the fitting groove 62 is tilted forward with its tip portion as a fulcrum by the tension of the upholstery member 52, the fitting groove 62 is formed. The retaining portion 521 of the upholstery member 52 is pressed against the front inner wall 62b. Thereby, the third portion 73 of the soft member 70 is pressed by the retaining portion 521 to increase the holding force, so that the soft member 70 can be more reliably prevented from falling off.
The third portion 73 is elastically deformed by being pressed by the retaining portion 521, and the first portion 71 is pushed out in the left-right direction X2 (the side where the third portion 73 comes out of the fitting groove 62). . Since the extruded first portion 71 is further pressed in a state in which the first portion 71 is in close contact with the tension member 52 having tension, it is possible to more reliably prevent the soft member 70 from falling off.

(第三実施形態)
次に、図8に示すように、第三実施形態による張材取付け部1C(什器構成部材)は、縦杆60の第二面60bに係合凹部64(規制部)が形成され、軟質部材70の第二部位72には係合凹部64に係合する被係止凸部74が形成された構成となっている。係合凹部64は、嵌合溝62の溝奥部に連通している。被係止凸部74は、係合凹部64に挿入した状態で、その突出端部74aが嵌合溝62内に位置するように配置されている。軟質部材70は、上述した第一実施形態と同様に、縦杆60の第一面60aに接触する第一部位71と、第二面60bに接触する第二部位72と、を有し、上記の第二実施形態の第三部位73(図6参照)は省略されている。また、嵌合溝62の奥側には、係合凹部64の同軸線上の位置に凹溝62aが形成されている。張材52によって後方に押圧されて軟質部材70の第二部位72が変形すると、係合凹部64内に係合される被係合凸部74がさらに奥に進出したときにその突出端部74aが嵌合溝62の凹溝62aの位置まで変形することが可能となっている。
(Third embodiment)
Next, as shown in FIG. 8, the upholstery mounting portion 1 </ b> C (furniture component member) according to the third embodiment has an engaging recess 64 (a regulating portion) formed in the second surface 60 b of the vertical rod 60, and the soft member 70 has a second portion 72 in which a locked convex portion 74 that engages with the engaging concave portion 64 is formed. The engagement recess 64 communicates with a deep portion of the fitting groove 62. The locked convex portion 74 is arranged such that the protruding end portion 74 a thereof is located in the fitting groove 62 when inserted into the engaging concave portion 64. The soft member 70 has a first portion 71 that contacts the first surface 60a of the vertical rod 60 and a second portion 72 that contacts the second surface 60b, as in the first embodiment described above. The third part 73 (see FIG. 6) of the second embodiment is omitted. Further, a concave groove 62 a is formed at a position on the coaxial line of the engaging concave portion 64 on the inner side of the fitting groove 62. When the second portion 72 of the soft member 70 is deformed by being pressed backward by the upholstery member 52, the protruding end portion 74 a of the protruding end portion 74 a Can be deformed to the position of the concave groove 62a of the fitting groove 62.

この場合には、張材52とともに引っ張られた軟質部材70の被係止凸部74が縦杆60の第二面60bに形成される係合凹部64に係合することから、軟質部材70における対をなす縦杆60に向かう方向への移動を規制することができる。   In this case, the locked convex portion 74 of the soft member 70 pulled together with the upholstery member 52 engages with the engaging concave portion 64 formed on the second surface 60 b of the vertical rod 60, so that the soft member 70 The movement in the direction toward the paired vertical rods 60 can be restricted.

以上、本発明による什器構成部材、及び什器の実施形態について説明したが、本発明は上記の実施形態に限定されるものではなく、その趣旨を逸脱しない範囲で適宜変更可能である。
例えば、縦杆60の第二面60bと軟質部材70の第二部位72との係合構造は、上述した実施形態に限定されることはない。他の例として、軟質部材70の第二部位72に、縦杆60の第二面60bに係形成される係合凸部に係合する被係止凹部が形成される構成であってもよい。この場合には、張材52とともに張設面方向の内側に引っ張られた軟質部材70の被係止凹部が縦杆60に形成された係合凸部に係合することから、軟質部材70の張設面方向の内側への移動を規制することができる。
As described above, the embodiments of the furniture component member and the furniture according to the present invention have been described. However, the present invention is not limited to the above embodiment, and can be appropriately changed without departing from the gist thereof.
For example, the engagement structure between the second surface 60b of the vertical rod 60 and the second portion 72 of the soft member 70 is not limited to the above-described embodiment. As another example, a configuration in which a locked concave portion that engages with an engaging convex portion formed on the second surface 60b of the vertical rod 60 may be formed in the second portion 72 of the soft member 70 may be used. . In this case, the locked concave portion of the soft member 70 pulled inward in the direction of the tensioning surface together with the upholstery member 52 engages with the engaging convex portion formed on the vertical rod 60, so that the soft member 70 The movement inward in the direction of the stretching surface can be restricted.

また、図9に示す第一変形例による張材取付け部1D(什器構成部材)ように、軟質部材70における縦杆60の第一面60a及び第二面60bの交差部に接触する部位、すなわち第一部位71と第二部位72が交差する領域70bは、他部位よりも厚肉に形成されていることが好ましい。
この場合には、軟質部材70の第一面71の近傍部位が厚肉化しているので、小さな曲率で巻き付けられた張材52の張力が最も大きく作用する部位の厚さが大になる。しかし、軟質部材70が縦杆60の第二面60bに広く面接触していることによって、厚肉部位の縦杆60からの浮き上がりを防止することができる。
Further, as in the upholstery attachment portion 1D (furniture component member) according to the first modification shown in FIG. 9, a portion that contacts the intersection of the first surface 60a and the second surface 60b of the vertical rod 60 in the soft member 70, that is, The region 70b where the first part 71 and the second part 72 intersect is preferably formed thicker than other parts.
In this case, since the portion near the first surface 71 of the soft member 70 is thickened, the thickness of the portion where the tension of the upholstery member 52 wound with a small curvature acts most greatly increases. However, since the soft member 70 is in broad surface contact with the second surface 60b of the vertical rod 60, it is possible to prevent the thick part from rising from the vertical rod 60.

さらに、図10に示す第二変形例による張材取付け部1E(什器構成部材)のように、縦杆60の第二面60bに軟質部材70に対する移動を規制するための規制部を省略した構成としてもよい。すなわち、第一実施形態における係合凸部63(図5参照)が第二面60bに形成されず、軟質部材70の第二部位72が第二面60bに当接した状態のみとなっている。
この場合も、嵌合溝62内で張材52の張力によって軟質部材70の第三部位73が抜止部521に押圧されることにより弾性変形し、第一部位71が左右方向X2の外側(第三部位73が嵌合溝62から抜け出す側)に押し出されることになる。この押し出された第一部位71においても張力をもった張材52に密着した状態でより押圧されるので、軟質部材70の脱落をより確実に防止することができる。
Further, as in the upholstery attachment portion 1E (furniture component member) according to the second modification shown in FIG. 10, a configuration in which a restriction portion for restricting movement of the vertical rod 60 with respect to the soft member 70 on the second surface 60b is omitted. It may be. That is, the engagement protrusion 63 (see FIG. 5) in the first embodiment is not formed on the second surface 60b, and only the state where the second portion 72 of the soft member 70 is in contact with the second surface 60b. .
Also in this case, the third portion 73 of the soft member 70 is pressed by the retaining portion 521 in the fitting groove 62 by the tension of the upholstery member 52 and is elastically deformed, and the first portion 71 is moved outward (in the left-right direction X2). The three parts 73 are pushed out to the side where they come out of the fitting groove 62). Since the extruded first portion 71 is further pressed in a state in which the first portion 71 is in close contact with the tension member 52 having tension, it is possible to more reliably prevent the soft member 70 from falling off.

また、嵌合溝62の深さ方向の奥側に、嵌合溝62の内部に突出する抜止突部が設けられた構成とすることも可能である。この場合、嵌合溝62内に嵌合される張材52の外周縁部に抜止突部を係止させることができ、張材52が嵌合溝62から離脱することを防止することができる。また、上述した第二実施形態のように軟質部材70に第三部位73を有する場合には、その第三部位73に抜止突部を係止させて、軟質部材70の嵌合溝62から離脱を防ぐようにしてもよい。   Further, it is also possible to adopt a configuration in which a retaining projection protruding into the fitting groove 62 is provided on the inner side in the depth direction of the fitting groove 62. In this case, the retaining projection can be locked to the outer peripheral edge of the upholstery member 52 fitted in the fitting groove 62, and the upholstery member 52 can be prevented from being detached from the fitting groove 62. . Further, when the soft member 70 has the third portion 73 as in the above-described second embodiment, the retaining projection is locked to the third portion 73 so that the third member 73 is detached from the fitting groove 62 of the soft member 70. May be prevented.

本実施形態では、支持材として背前枠54の縦杆60を対象としているが、この部位であることに限定されることはなく、背前枠54の対向する上部腕部541や下部腕部542であってもよい。あるいは、背凭れ50に限定されず、座体40の張材42と座フレーム41とが取り付けられる部位を対象とすることも可能である。   In the present embodiment, the vertical rod 60 of the back frame 54 is targeted as the support material, but the present invention is not limited to this portion, and the upper arm 541 and the lower arm opposing the back frame 54 are not limited thereto. 542. Alternatively, the present invention is not limited to the backrest 50, and may be a portion where the upholstery member 42 of the seat body 40 and the seat frame 41 are attached.

なお、本実施形態では、軟質部材70の第一部位71及び第二部位72がそれぞれ縦杆60の第一面60a及び第二面60bに接触、あるいは当接した状態で配置されているが、必ずしも接触、あるいは当接することに限定されることはない。例えば、軟質部材70と縦杆60(支持材)との間にさらに別部材が介在させるようにしてもかまわない。
さらに、本実施形態では、背前枠54における縦杆60及び上杆61が張材52から作用する力に応じて弾性変形可能に構成されているが、弾性変形しない構成であってもよい。
In the present embodiment, the first portion 71 and the second portion 72 of the soft member 70 are arranged in contact with or in contact with the first surface 60a and the second surface 60b of the vertical rod 60, respectively. It is not necessarily limited to contact or contact. For example, another member may be interposed between the soft member 70 and the vertical rod 60 (support member).
Further, in the present embodiment, the vertical rod 60 and the upper rod 61 of the back frame 54 are configured to be elastically deformable according to the force applied from the upholstery member 52, but may be configured not to be elastically deformed.

また、本実施形態では、本発明の什器構成部材を備える什器として椅子1を対象としているが、椅子1であることに制限されることはなく、張材を有する他の什器であってもかまわない。   Further, in the present embodiment, the chair 1 is targeted as a furniture including the furniture component member of the present invention, but is not limited to the chair 1 and may be another furniture having upholstery. Absent.

その他、本発明の趣旨を逸脱しない範囲で、上記した実施形態における構成要素を周知の構成要素に置き換えることは適宜可能である。   In addition, it is possible to appropriately replace the components in the above-described embodiments with known components without departing from the spirit of the present invention.

1 椅子(什器)
1A〜1E 張材取付け部(什器構成部材)
10 脚部
20 支基
40 座体
50 背凭れ
51 背フレーム
52 張材
521 抜止部
54 背前枠
60 縦杆(支持材)
60a 第一面
60b 第二面
62 嵌合溝
63 係合凸部(規制部)
64 係合凹部(規制部)
70 軟質部材
71 第一部位
72 第二部位
73 第三部位
74 被係止凸部
F 床面
X1 前後方向
X2 左右方向
1 chair (furniture)
1A to 1E Upholstery mounting part (furniture component)
DESCRIPTION OF SYMBOLS 10 leg part 20 support base 40 seat body 50 backrest 51 back frame 52 upholstery 521 retaining part 54 back frame 60 vertical rod (supporting material)
60a First surface 60b Second surface 62 Fitting groove 63 Engagement convex portion (restriction portion)
64 Engagement recess (regulator)
Reference Signs List 70 Soft member 71 First portion 72 Second portion 73 Third portion 74 Locked convex portion F Floor surface X1 Front-back direction X2 Left-right direction

Claims (6)

対向して配置された一対の支持材と、
前記一対の支持材同士の間に張設される張材と、
前記支持材と前記張材との間に介在され、前記張材の張力によって弾性変形可能な材料から形成された軟質部材と、
を備え、
前記支持材は、
前記張材に対して交差する方向に延びる第一面と、
該第一面に内方に凹むように形成され、前記張材の外周縁端を係合する嵌合溝と、
前記第一面に交差し前記張材に沿って配置された第二面と、を有し、
前記軟質部材は、
前記第一面と前記張材との間に挟み込まれる第一部位と、
前記第二面と前記張材との間に挟み込まれる第二部位と、
前記第一部位から前記嵌合溝に向けて少なくとも一部が延設された第三部位と、を有していることを特徴とする什器構成部材。
A pair of support members arranged facing each other,
A tension member stretched between the pair of support members,
A soft member that is interposed between the support member and the upholstery and is formed of a material that can be elastically deformed by the tension of the upholstery;
With
The support material is
A first surface extending in a direction intersecting with the upholstery,
A fitting groove formed to be concave inward on the first surface, and engaging an outer peripheral edge of the upholstery material;
A second surface intersecting the first surface and arranged along the upholstery,
The soft member,
A first portion sandwiched between the first surface and the upholstery,
A second portion sandwiched between the second surface and the upholstery,
And a third part extending at least partially from the first part toward the fitting groove.
前記第三部位は、前記嵌合溝の内壁に係合されていることを特徴とする請求項1に記載の什器構成部材。   The fixture member according to claim 1, wherein the third portion is engaged with an inner wall of the fitting groove. 前記第二面には、前記軟質部材を対をなす前記支持材に向かう方向への移動を規制する規制部が形成されていることを特徴とする請求項1又は2に記載の什器構成部材。   3. The furniture component according to claim 1, wherein a regulating portion that regulates movement of the soft member in a direction toward the support member forming a pair is formed on the second surface. 4. 前記軟質部材における前記第一部位と前記第二部位との交差部分は、他部位よりも厚肉に形成されていることを特徴とする請求項1乃至3のいずれか1項に記載の什器構成部材。   The furniture configuration according to any one of claims 1 to 3, wherein an intersection between the first part and the second part in the soft member is formed thicker than other parts. Element. 前記張材の外周縁端には、前記嵌合溝に圧入される抜止部が形成され、
前記嵌合溝内に位置する前記軟質部材の前記第三部位は、前記嵌合溝の内壁と前記抜止部との間に挟持されていることを特徴とする請求項1乃至4のいずれか1項に記載の什器構成部材。
At the outer peripheral edge of the upholstery, a retaining portion that is press-fitted into the fitting groove is formed,
The said 3rd site | part of the said soft member located in the said fitting groove is pinched between the inner wall of the said fitting groove and the said retaining part, The Claim 1 characterized by the above-mentioned. Furniture component described in the section.
床面に設置される支持構造体と、
該支持構造体に支持された請求項1乃至5のいずれか1項に記載の什器構成部材と、
を備えたことを特徴とする什器。
A support structure installed on the floor,
The furniture component according to any one of claims 1 to 5, which is supported by the support structure.
Furniture comprising:
JP2016116595A 2016-06-10 2016-06-10 Furniture components and furniture Active JP6635552B2 (en)

Priority Applications (1)

Application Number Priority Date Filing Date Title
JP2016116595A JP6635552B2 (en) 2016-06-10 2016-06-10 Furniture components and furniture

Applications Claiming Priority (1)

Application Number Priority Date Filing Date Title
JP2016116595A JP6635552B2 (en) 2016-06-10 2016-06-10 Furniture components and furniture

Publications (2)

Publication Number Publication Date
JP2017217403A JP2017217403A (en) 2017-12-14
JP6635552B2 true JP6635552B2 (en) 2020-01-29

Family

ID=60656411

Family Applications (1)

Application Number Title Priority Date Filing Date
JP2016116595A Active JP6635552B2 (en) 2016-06-10 2016-06-10 Furniture components and furniture

Country Status (1)

Country Link
JP (1) JP6635552B2 (en)

Families Citing this family (1)

* Cited by examiner, † Cited by third party
Publication number Priority date Publication date Assignee Title
JP2020069338A (en) * 2018-11-02 2020-05-07 株式会社オカムラ Load support member and chair provided with the same

Family Cites Families (6)

* Cited by examiner, † Cited by third party
Publication number Priority date Publication date Assignee Title
JP2009112396A (en) * 2007-11-02 2009-05-28 Okamura Corp Backrest device of chair
JP2011045567A (en) * 2009-08-27 2011-03-10 Kokuyo Co Ltd Swivel chair
JP5940337B2 (en) * 2012-03-26 2016-06-29 タカノ株式会社 Lumber support mounting structure
WO2014147663A1 (en) * 2013-03-21 2014-09-25 タカノ株式会社 Office chair
WO2016063973A1 (en) * 2014-10-24 2016-04-28 株式会社岡村製作所 Furniture, load supporting member for chair, and chair
JP6001144B2 (en) * 2015-08-10 2016-10-05 株式会社岡村製作所 Lumber support and chair with it

Also Published As

Publication number Publication date
JP2017217403A (en) 2017-12-14

Similar Documents

Publication Publication Date Title
JP2007130345A (en) Spring mounting structure
US11019930B2 (en) Load support structure for chair, load support body for chair, and chair
WO2011049073A1 (en) Chair
JP2015084927A (en) Chair
JP2008302062A (en) Rocking chair
JP6635552B2 (en) Furniture components and furniture
JP2009112396A (en) Backrest device of chair
JP2019084337A (en) Chair with lumbar support device
JP6148905B2 (en) Chair
JP6257073B2 (en) Chair
JP2018075110A (en) Load support member for chair, and chair
JP5226247B2 (en) Chair
JP6739247B2 (en) Fixture components and fixtures
JP2019083954A (en) Lumber pad device
JP7330857B2 (en) Chair
JP2013132405A (en) Chair
JP6695219B2 (en) Chair load support member and chair
JP2013119371A (en) Child seat attachment structure
JP5020404B1 (en) Child seat mounting structure
JP4936269B2 (en) Connecting structure of armpit
JP6927730B2 (en) Load-bearing member for chair
JP2024067430A (en) Lumbar support and chair
JP4867023B2 (en) Chair headrest
WO2025094363A1 (en) Backrest and chair
JP2015080642A (en) Chair

Legal Events

Date Code Title Description
RD03 Notification of appointment of power of attorney

Free format text: JAPANESE INTERMEDIATE CODE: A7423

Effective date: 20181012

A621 Written request for application examination

Free format text: JAPANESE INTERMEDIATE CODE: A621

Effective date: 20190227

TRDD Decision of grant or rejection written
A01 Written decision to grant a patent or to grant a registration (utility model)

Free format text: JAPANESE INTERMEDIATE CODE: A01

Effective date: 20191119

A61 First payment of annual fees (during grant procedure)

Free format text: JAPANESE INTERMEDIATE CODE: A61

Effective date: 20191213

R150 Certificate of patent or registration of utility model

Ref document number: 6635552

Country of ref document: JP

Free format text: JAPANESE INTERMEDIATE CODE: R150

R157 Certificate of patent or utility model (correction)

Free format text: JAPANESE INTERMEDIATE CODE: R157

R250 Receipt of annual fees

Free format text: JAPANESE INTERMEDIATE CODE: R250

R250 Receipt of annual fees

Free format text: JAPANESE INTERMEDIATE CODE: R250

R250 Receipt of annual fees

Free format text: JAPANESE INTERMEDIATE CODE: R250

R250 Receipt of annual fees

Free format text: JAPANESE INTERMEDIATE CODE: R250