JP6626041B2 - 遊技機 - Google Patents

遊技機 Download PDF

Info

Publication number
JP6626041B2
JP6626041B2 JP2017121072A JP2017121072A JP6626041B2 JP 6626041 B2 JP6626041 B2 JP 6626041B2 JP 2017121072 A JP2017121072 A JP 2017121072A JP 2017121072 A JP2017121072 A JP 2017121072A JP 6626041 B2 JP6626041 B2 JP 6626041B2
Authority
JP
Japan
Prior art keywords
display
special
game
value
variable display
Prior art date
Legal status (The legal status is an assumption and is not a legal conclusion. Google has not performed a legal analysis and makes no representation as to the accuracy of the status listed.)
Expired - Fee Related
Application number
JP2017121072A
Other languages
English (en)
Other versions
JP2019004976A (ja
Inventor
小倉 敏男
敏男 小倉
Current Assignee (The listed assignees may be inaccurate. Google has not performed a legal analysis and makes no representation or warranty as to the accuracy of the list.)
Sankyo Co Ltd
Original Assignee
Sankyo Co Ltd
Priority date (The priority date is an assumption and is not a legal conclusion. Google has not performed a legal analysis and makes no representation as to the accuracy of the date listed.)
Filing date
Publication date
Application filed by Sankyo Co Ltd filed Critical Sankyo Co Ltd
Priority to JP2017121072A priority Critical patent/JP6626041B2/ja
Publication of JP2019004976A publication Critical patent/JP2019004976A/ja
Application granted granted Critical
Publication of JP6626041B2 publication Critical patent/JP6626041B2/ja
Expired - Fee Related legal-status Critical Current
Anticipated expiration legal-status Critical

Links

Images

Landscapes

  • Display Devices Of Pinball Game Machines (AREA)

Description

本発明は、可変表示を行い、遊技者にとって有利な有利状態に制御可能な遊技機に関する。
従来、変動表示を行う遊技機として、変動表示パターンとしてリーチ変動表示パターンを高確率で決定可能な高確率決定用テーブルと、リーチ変動表示パターンを低確率で決定可能な低確率決定用テーブルとを切り替えて、リーチ変動表示パターンによるリーチの発生割合を周期的に変化させるものがある(例えば、特許文献1参照)。
また、大当り後の変動回数10回、20回、30回等の特定回数の変動表示において、襖が閉じる画像によって演出図柄が隠される特殊変動状態となるようにシナリオ情報が設定されたものもある(例えば、特許文献2参照)。
特開平09−262345号公報 特開2012−115588号公報
しかしながら、変動パターンを特許文献1のように抽選のみで決定する場合にあっては、確率の偏りによって、非リーチの変動パターンが選択され続けてしまい、リーチ変動パターン等の特定変動パターンが長期間実行されないという現象が起こりうるのに対し、特許文献2のように、シナリオ情報を用いることで、これらリーチ変動パターン等の特定変動パターンが長期間実行されないという現象を解消することはできるものの、変動回数が1000回以上となっても大当りが発生しない場合もあり得るため、これら大当りが発生しない可能性がある長期間の変動回数に対応したシナリオ情報を予め記憶しておく必要があり、これらシナリオ情報を記憶するための記憶容量が増大してしまうという問題があるとともに、これらシナリオ情報にもとづいて特定変動パターンを決定する場合には、特定変動パターンを決定が単調となってしまい、遊技興趣が低下してしまうという問題があった。
本発明は、このような問題点に着目してなされたもので、記憶容量の増大を抑えつつ、可変表示パターンの決定が単調となってしまうことによる遊技興趣の低下を抑制できる遊技機を提供することを目的とする。
前記課題を解決するために、手段Aの遊技機は
可変表示を行い、遊技者にとって有利な有利状態に制御可能な遊技機であって、
特定可変表示パターンを含む複数種類の可変表示パターンからいずれか一の可変表示パターンを決定する可変表示パターン決定手段と、
可変表示に関する情報を、保留記憶として記憶可能な保留記憶手段と、
保留記憶に対応する可変表示について、前記可変表示パターン決定手段の決定前に可変表示パターンを判定する事前判定手段と、
前記事前判定手段の判定結果にもとづいて、前記事前判定手段の判定対象の保留記憶に対応する可変表示の実行前に、事前予告演出を実行する事前予告演出実行手段と、
特定可変表示パターンを所定時期で実行するための時期規定情報を記憶可能な時期規定情報記憶手段と、
特定可変表示パターンの実行時期を特定するための時期特定情報を、可変表示の実行に応じて更新する時期特定情報更新手段と、
を備え
特定可変表示パターンとして、第1特定可変表示パターンと、第2特定可変表示パターンと、を含み、
前記時期規定情報として、特定可変表示パターンの実行時期が第1所定時期となるようにする第1時期規定情報と、特定可変表示パターンの実行時期が第2所定時期となるようにする第2時期規定情報と、を含み、
前記時期特定情報として、前記第1所定時期を特定するための第1時期特定情報と、前記第2所定時期を特定するための第2時期特定情報とを、含み、
前記可変表示パターン決定手段は、
前記第1時期特定情報と前記第1時期規定情報とにもとづいて、第1特定可変表示パターンを決定可能であり、
前記第2時期特定情報と前記第2時期規定情報とにもとづいて、第2特定可変表示パターンを決定可能であり、
前記事前予告演出実行手段は、第1特定可変表示パターン又は第2特定可変表示パターンで実行される可変表示より前に、前記事前予告演出を実行可能である、
ことを特徴としている。
さらに、前記課題を解決するために、手段1の遊技機は、
可変表示(例えば、第1特別図柄や第2特別図柄の変動表示、演出図柄の変動表示)を行い、遊技者にとって有利な有利状態(例えば、大当り遊技状態)に制御可能な遊技機(例えば、パチンコ遊技機1)であって、
複数種類の可変表示パターンからいずれか一の可変表示パターンを決定する可変表示パターン決定手段(例えば、遊技制御用マイクロコンピュータ100が、図43に示す変形例3における複数の変動パターンのうちから1の変動パターンを変動パターン設定処理において決定する部分)と、
特定可変表示パターン(例えば、スーパーリーチやと特殊非リーチはずれの変動パターン)を所定の時期(例えば、128回の変動表示を実行する時期や大当り後の変動表示回数が80〜100回である時期)で実行するための時期規定情報(例えば、図44に示す変形例3のシナリオAとシナリオBのデータ)を記憶可能な時期規定情報記憶手段(例えば、ROM101)と、
特定可変表示パターンの実行時期を特定するための第1時期特定情報(例えば、変形例3における周期判定用カウンタ1)と該第1時期特定情報とは異なる情報である第2時期特定情報(例えば、変形例3における特別ゾーン演出用カウンタ)とを、可変表示の実行に応じて更新する時期特定情報更新手段(例えば、変形例3において、特別図柄停止処理におけるS182において、特別ゾーン演出用カウンタを周期判定用カウンタ1と同様に1減算更新する部分)と、
を備え、
前記可変表示パターン決定手段は、前記第1時期特定情報と前記第2時期特定情報とのいずれかと前記時期規定情報とにもとづいて、特定可変表示パターンを決定可能である(例えば、図47に示す変形例3の変動パターン設定処理において、周期判定用カウンタ1の余り値および除算値がシナリオAに記述された周期判定条件を満たす場合には、特定可変表示パターンであるスーパーリーチの変動パターンを決定するとともに、特別ゾーン演出用カウンタの余り値がシナリオBのデータに記述された数値範囲に該当する場合には、特定可変表示パターンである特殊非リーチはずれの変動パターンに変動パターンを更新する部分)
ことを特徴としている。
この特徴によれば、記憶容量の増大を抑えつつ、可変表示パターンの決定が単調となってしまうことによる遊技興趣の低下を抑制できる。
手段2の遊技機は、手段1の遊技機であって、
特定可変表示パターンは、第1特定可変表示パターン(例えば、スーパーリーチの変動パターン)と第2特定可変表示パターン(例えば、特殊非リーチはずれの変動パターン)を含み、
前記時期規定情報記憶手段(例えば、ROM101)は、第1特定可変表示パターンを所定の時期(例えば、128回の変動表示を実行する時期)で実行するための第1時期規定情報(シナリオAのデータ)と、第2特定可変表示パターンを所定の時期で実行するための第2時期規定情報(シナリオBのデータ)とを記憶可能であって、
前記可変表示パターン決定手段は、前記第1時期特定情報と前記第1時期規定情報とにもとづいて第1特定可変表示パターンを決定可能(例えば、図47に示す変形例3の変動パターン設定処理において、遊技制御用マイクロコンピュータ100が、周期判定用カウンタ1の余り値および除算値がシナリオAに記述された周期判定条件を満たす場合には、特定可変表示パターンであるスーパーリーチの変動パターンを決定可能)であるとともに、前記第2時期特定情報と前記第2時期規定情報とにもとづいて第2特定可変表示パターンを決定可能である(例えば、図47に示す変形例3の変動パターン設定処理において、遊技制御用マイクロコンピュータ100が、特別ゾーン演出用カウンタの余り値がシナリオBのデータに記述された数値範囲に該当する場合には、特定可変表示パターンである特殊非リーチはずれの変動パターンに変動パターンを更新する部分)
ことを特徴としている。
この特徴によれば、第1時期特定情報に対応した第1時期規定情報と、第2時期特定情報に対応した第2時期規定情報とを個別に記憶することができる。
手段3の遊技機は、手段2の遊技機であって、
複数種類の有利状態(例えば、確変大当りA1、確変大当りA2、確変大当りB1、確変大当りB2、非確変大当り)に制御可能な遊技機であって、
前記第1時期特定情報(例えば、変形例3における周期判定用カウンタ1)の設定値として有利状態の種類に応じて異なる設定値(図45に示すように、大当り種別に応じた異なる設定値)を設定するとともに、前記第2時期特定情報(例えば、変形例3における特別ゾーン演出用カウンタ)の設定値として有利状態の種類に係わらず同一の設定値(図45に示すように、全ての大当りついて「101」)を設定する設定値設定手段(例えば、遊技制御用マイクロコンピュータ100が、変形例3の大当り終了処理のS214aにおいて、周期判定用カウンタ1には、図45に示すように、大当り種別によって異なる周期判定用カウンタ設定値を設定し、特別ゾーン演出用カウンタには、図45に示すように、大当り種別に関係なく一律に「101」を設定する部分)
を備える
ことを特徴としている。
この特徴によれば、第1特定可変表示パターンが決定される所定の時期が有利状態の種類によって変化する一方、第2特定可変表示パターンが決定される所定の時期が有利状態の種類によって変化しないようにできる。
手段4の遊技機は、手段1、手段2、手段3のいずれかの遊技機であって、
前記可変表示パターン決定手段は、前記第2時期特定情報と前記時期規定情報とにもとづく決定を、前記第1時期特定情報と前記時期規定情報とにもとづく決定よりも優先して前記可変表示パターンを決定する(例えば、図47に示す変形例3の変動パターン設定処理のS172eにおいて、S172aにて決定した変動パターンを特殊非リーチはずれの変動パターンに更新する部分)
ことを特徴としている。
この特徴によれば、可変表示パターンを決定するための処理が複雑化してしまうことを防ぐことができる。
手段5の遊技機は、手段1〜手段4のいずれかの遊技機であって、
可変表示に関する情報(例えば、始動入賞時に抽出した乱数値MR1〜MR4のそれぞれを示す数値データ)について保留記憶情報として記憶可能な保留記憶手段(例えば、RAM102における第1特図保留記憶部151Aと第2特図保留記憶部151B)と、
保留記憶情報に対応する可変表示について、前記可変表示パターン決定手段の決定前に可変表示パターンを判定する事前判定手段(例えば、遊技制御用マイクロコンピュータ100が入賞時判定処理を実行して変動パターンを判定する部分)と、
前記事前判定手段の判定結果にもとづいて、前記事前判定手段の判定対象の保留記憶情報に対応する可変表示の実行前に、事前予告演出を実行する事前予告演出実行手段(例えば、演出制御用CPU120が、入賞時判定処理が実行されることによって主基板11から送信される図柄指定コマンドと変動カテゴリコマンドを受信することに基づいて、保留表示予告演出決定処理にて保留表示予告演出の実行を決定した場合に、決定した表示態様にて保留記憶表示を表示する部分)と、
を備え、
前記事前判定手段は、前記第1時期特定情報と前記第2時期特定情報とのいずれかと前記時期規定情報とにもとづいて、特定可変表示パターンが決定されることを前記可変表示パターン決定手段の決定前に判定可能である(例えば、遊技制御用マイクロコンピュータ100が入賞時判定処理のS130、S135、S139の処理を実行することで、周期判定用カウンタ2や変形例における周期判定用カウンタ1とシナリオデータとに基づいてスーパーリーチが決定されることを判定する部分や、変形例3において、特別ゾーン演出用カウンタ2を使用して、特殊非リーチはずれの変動パターンとなることを入賞時判定処理にて判定する部分)
ことを特徴としている。
この特徴によれば、所定の時期に実行される特定可変表示パターンに対して事前予告演出を実行することができる。
手段6の遊技機は、手段5の遊技機であって、
始動条件の成立(例えば、始動入賞口への入賞)にもとづいて可変表示を行う遊技機であって、
前記実行時期を特定するための情報であって、前記事前判定手段が判定するための判定用第1時期特定情報(例えば、周期判定用カウンタ2)と判定用第2時期特定情報(例えば、特別ゾーン演出用カウンタ2)とを、前記始動条件の成立に応じて更新する判定用時期特定情報更新手段(例えば、変形例3において、周期判定用カウンタ2と特別ゾーン演出用カウンタ2とを入賞時判定処理の実行後のS113において減算更新する部分)
を備え、
前記事前判定手段は、前記判定用第1時期特定情報と前記判定用第2時期特定情報とのいずれかと前記時期規定情報とにもとづいて、特定可変表示パターンが決定されることを前記可変表示パターン決定手段の決定前に判定可能である(例えば、変形例3において、入賞時判定処理にて、周期判定用カウンタ2、特別ゾーン演出用カウンタ2、シナリオA、シナリオBとに基づいてスーパーリーチや特殊非リーチはずれの変動パターンが決定されることを判定する部分)
ことを特徴としている。
この特徴によれば、事前判定手段による判定の処理が複雑化してしまうことを防ぐことができる。
手段7の遊技機は、手段1〜手段6のいずれかの遊技機であって、
第1識別情報の可変表示(例えば、第1特別図柄の変動表示)と第2識別情報の可変表示(例えば、第2特別図柄の変動表示)とを実行可能な遊技機であって、
前記時期特定情報更新手段は、第1識別情報の可変表示および第2識別情報の可変表示のいずれか一方の識別情報の可変表示の実行に応じて前記第1時期特定情報と前記第2時期特定情報を更新し、他方の識別情報の可変表示の実行に応じて前記第1時期特定情報と前記第2時期特定情報の更新を行わない(例えば、図40に示す、変形例1の特別図柄停止処理におけるS182aの処理を実行することで、変動特図指定バッファ値が「1」である場合には周期判定用カウンタ1を1減算更新し、変動特図指定バッファ値が「1」ではない場合には周期判定用カウンタ1を1減算更新しない部分)
ことを特徴としている。
この特徴によれば、特定可変表示パターンの所定の時期における実行を適切に行うことができる。
手段8の遊技機は、手段1〜手段7のいずれかの遊技機であって、
遊技球が通過することによって賞球が払い出される所定領域(例えば、第2始動入賞口となる普通可変入賞球装置6B、大入賞口となる第1特別可変入賞球装置7Aや第2特別可変入賞球装置7B、第1始動入賞口となる普通入賞球装置6A、一般入賞領域となる一般入賞口N1〜一般入賞口N4)と、
遊技を制御する主基板に設けられ、遊技球の所定領域への通過によって払い出される賞球に関する所定情報(例えば、連比、役比)を表示可能な情報表示手段(例えば、主基板11上に設けられた表示モニタ29)と、
を備え、
前記情報表示手段は、視認性を妨げられないように、遊技を制御する主基板上に設けられている(例えば、図3に示すように、パチンコ遊技機1の背面側から、放熱孔によって表示モニタ29の視認性が遮られないように形成された基板ケース201に収納されて設けられている部分)
ことを特徴としている。
この特徴によれば、どのような調整を加えられたかを認識できる。
尚、本発明は、本発明の請求項に記載された発明特定事項のみを有するものであって良いし、本発明の請求項に記載された発明特定事項とともに該発明特定事項以外の構成を有するものであってもよい。
パチンコ遊技機を正面から見た正面図である。 パチンコ遊技機の回路構成例を示すブロック図である。 パチンコ遊技機の背面図である。 (A),(B)は、演出制御コマンドを例示する図である。 各乱数を示す説明図である。 変動パターンを例示する図である。 表示結果判定テーブルを示す説明図である。 (A)は、大当り種別判定テーブルの構成例を示す図であり、(B)は、各種大当りの内容を示す図である。 (A)は、大当り用変動パターン判定テーブル(確変大当り用)を示す図であり、(B)は、大当り用変動パターン判定テーブル(非確変大当り用)を示す図である。 (A)〜(G)は、はずれ用変動パターン判定テーブルA〜Gを示す図である。 遊技制御用データ保持エリアの構成例を示すブロック図である。 (A)は、演出制御用データ保持エリアの構成例を示すブロック図であり、(B)は、始動入賞時受信コマンドバッファの構成を示す図である。 (A)は、主基板を簡略化した正面図、(B)は、表示モニタの表示内容を説明する説明図である。 主基板のRAMにおける記憶領域の一部の構成を示す図である。 主基板におけるCPUのメモリマップを示した図である。 主基板RAMの記憶領域に対応するRAM領域を示した図である。 (A)は、表示モニタに表示される項目の表示時間を示すタイムチャート、(B−1)〜(B−5)は、表示モニタの表示内容の変化を説明する説明図である。 リングバッファの記憶領域に記憶されたデータの移動を説明する説明図である。 遊技制御用タイマ割込み処理の一例を示すフローチャートである。 入賞情報処理の一例を示すフローチャートである。 入賞情報表示制御処理の一例を示すフローチャートである。 特別図柄プロセス処理の一例を示すフローチャートである。 始動入賞処理の一例を示すフローチャートである。 入賞時判定処理の一例を示すフローチャートである。 特別図柄通常処理の一例を示すフローチャートである。 変動パターン設定処理の一例を示すフローチャートである。 特別図柄停止処理の一例を示すフローチャートである。 大当り終了処理の一例を示すフローチャートである。 演出制御メイン処理の一例を示すフローチャートである。 コマンド解析処理の一例を示すフローチャートである。 演出制御プロセス処理の一例を示すフローチャートである。 保留表示予告演出決定処理の一例を示すフローチャートである。 (A)は、大当りの保留記憶についての表示パターン決定割合の例を示す図であり、(B)は、はずれの保留記憶についての表示パターン決定割合の例を示す図である。 (A)は、保留表示更新処理の一例を示すフローチャートであり、(B)は、第1保留記憶表示エリア及び第2保留記憶表示エリアの更新例を示す図である。 演出図柄変動開始処理の一例を示すフローチャートである。 シナリオデータによるスーパーリーチの決定状況を示す図である。 大当り種別毎のストーリー種別と周期判定用カウンタにセットされる設定値との関係を示す図である。 大当り種別に応じたストーリー種別によるスーパーリーチの決定状況の違いを示す図である。 変形例1における始動入賞処理の一例を示すフローチャートである。 変形例1における特別図柄停止処理の一例を示すフローチャートである。 変形例2における複数のシナリオデータの例を示す図である。 変形例2における複数のシナリオデータを大当り種別に応じて設定する例を示す図である。 変形例3における変動パターンを例示する図である。 変形例3におけるシナリオデータを説明する図である。 変形例3における大当り種別と周期判定用カウンタにセットされる設定値と特別ゾーン演出用カウンタにセットされる設定値との関係を示す図である。 変形例3における、各種の大当り後の変動パターンの決定状況を示す図である。 変形例3における変動パターン設定処理の一例を示すフローチャートである。
本発明に係る遊技機を実施するための形態を実施例に基づいて以下に説明する。
まず、遊技機の一例であるパチンコ遊技機1の全体の構成について説明する。図1は、パチンコ遊技機1を正面からみた正面図である。図2は、パチンコ遊技機1の回路構成例を示すブロック図である。尚、以下の説明において、図1の手前側をパチンコ遊技機1の前方(前面、正面)側、奥側を後方(背面)側として説明する。尚、本実施例におけるパチンコ遊技機1の前面とは、遊技者側からパチンコ遊技機1を見たときに該遊技者と対向する対向面である。尚、本実施例におけるフローチャートの各ステップの説明において、例えば「ステップS1」と記載する箇所を「S1」と略記する場合がある。また、本実施例においては、『実行』と『実施』とは同義であるとともに『可変表示』と『変動表示』も同義である。
図1は、本実施例におけるパチンコ遊技機1の正面図であり、主要部材の配置レイアウトを示す。パチンコ遊技機1(以下、遊技機と略記する場合がある)は、大別して、遊技盤面を構成する遊技盤2(ゲージ盤)と、遊技盤2を支持固定する遊技機用枠3(台枠)とから構成されている。遊技盤2には、ガイドレールによって囲まれた、ほぼ円形状の遊技領域が形成されている。この遊技領域には、遊技媒体としての遊技球が、所定の打球発射装置から発射されて打ち込まれる。
遊技盤2の所定位置(図1に示す例では、遊技領域の右側方)には、第1特別図柄表示器4Aと、第2特別図柄表示器4Bとが設けられている。第1特別図柄表示器4Aと第2特別図柄表示器4Bはそれぞれ、例えば7セグメントやドットマトリクスのLED(発光ダイオード)等から構成され、変動表示ゲームの一例となる特図ゲームにおいて、各々を識別可能な複数種類の識別情報(特別識別情報)である特別図柄(「特図」ともいう)が、変動可能に表示(変動表示または可変表示ともいう)される。例えば、第1特別図柄表示器4Aと第2特別図柄表示器4Bはそれぞれ、「0」〜「9」を示す数字や「−」を示す記号等から構成される複数種類の特別図柄を変動表示する。複数種類の特別図柄には、それぞれに対応した図柄番号が付されている。一例として、「0」〜「9」を示す数字それぞれには、「0」〜「9」の図柄番号が付され、「−」を示す記号には、「10」の図柄番号が付されていればよい。以下では、第1特別図柄表示器4Aにおいて変動表示される特別図柄を「第1特図」ともいい、第2特別図柄表示器4Bにおいて変動表示される特別図柄を「第2特図」ともいう。第1特別図柄表示器4Aと第2特別図柄表示器4Bはともに、例えば方形状に形成されている。尚、第1特図の種類と第2特図の種類は同じ(例えば、ともに「0」〜「9」を示す数字、及び、「−」を示す記号)であってもよいし、種類が異なっていてもよい。
遊技盤2における遊技領域の中央付近には、演出表示装置5が設けられている。演出表示装置5は、例えばLCD(液晶表示装置)等から構成され、各種の演出画像を表示する表示領域を形成している。演出表示装置5の表示領域では、特図ゲームにおける第1特別図柄表示器4Aによる第1特図の変動表示や第2特別図柄表示器4Bによる第2特図の変動表示のそれぞれに対応して、例えば3つといった複数の変動表示部となる演出図柄表示エリアにて、各々を識別可能な複数種類の識別情報(装飾識別情報)である演出図柄が変動表示される。この演出図柄の変動表示も、変動表示ゲームに含まれる。一例として、演出表示装置5の表示領域には、「左」、「中」、「右」の演出図柄表示エリア5L,5C,5Rが配置されている。そして、特図ゲームにおいて第1特別図柄表示器4Aにおける第1特図の変動と第2特別図柄表示器4Bにおける第2特図の変動のうち、いずれかが開始されることに対応して、「左」、「中」、「右」の各演出図柄表示エリア5L,5C,5Rにおいて演出図柄(飾り図柄ともいう)の変動(例えば上下方向のスクロール表示)が開始される。その後、特図ゲームにおける変動表示結果として確定特別図柄が停止表示されるときに、演出表示装置5における「左」、「中」、「右」の各演出図柄表示エリア5L,5C,5Rにて、演出図柄の変動表示結果となる確定演出図柄(最終停止図柄)が停止表示される。
このように、演出表示装置5の表示領域では、第1特別図柄表示器4Aにおける第1特図を用いた特図ゲーム、または、第2特別図柄表示器4Bにおける第2特図を用いた特図ゲームと同期して、各々が識別可能な複数種類の演出図柄の変動表示を行い、変動表示結果となる確定演出図柄を導出表示(あるいは単に「導出」ともいう)する。
演出表示装置5の表示領域の下部の左右2箇所には、第1保留記憶表示エリア5D、第2保留記憶表示エリア5Uが設定されている。第1保留記憶表示エリア5D、第2保留記憶表示エリア5Uでは、特図ゲームに対応した変動表示の保留記憶数(特図保留記憶数)を特定可能に表示する保留記憶表示が行われる。ここで、特図ゲームに対応した変動表示の保留は、普通入賞球装置6Aが形成する第1始動入賞口や、普通可変入賞球装置6Bが形成する第2始動入賞口を、遊技球が通過(進入)することによる始動入賞に基づいて発生する。即ち、特図ゲームや演出図柄の変動表示といった変動表示ゲームを実行するための始動条件(「実行条件」ともいう)は成立したが、先に成立した開始条件に基づく変動表示ゲームが実行中であることやパチンコ遊技機1が大当り遊技状態に制御されていることなどにより、変動表示ゲームの開始を許容する開始条件が成立していないときに、成立した始動条件に対応する変動表示の保留が行われる。本実施例では、第1始動入賞口を遊技球が通過(進入)することによる始動入賞に基づいて発生した保留記憶表示を丸型の白色表示とし、第2始動入賞口を遊技球が通過(進入)することによる始動入賞に基づいて発生した保留記憶表示を同様に丸型の白色表示とする。
尚、以下の説明において、第1保留記憶表示エリア5D、第2保留記憶表示エリア5Uを保留表示エリアと称することがあり、保留記憶数は、第1保留記憶表示エリア5D、第2保留記憶表示エリア5Uに表示される保留記憶表示の数により認識できるようになっている。更に、この保留記憶表示が集まった表示を保留表示と称することがある。第1保留記憶表示エリア5D、第2保留記憶表示エリア5Uにおける保留表示は、第1始動入賞口を遊技球が通過(進入)することによる始動入賞に基づいて発生したものであるか、第2始動入賞口を遊技球が通過(進入)することによる始動入賞に基づいて発生したものであるかに応じて、その表示態様(例えば表示色や形状)を異ならせても良い。
図1に示す例では、保留記憶表示エリアとともに、第1特別図柄表示器4A及び第2特別図柄表示器4Bの上部と下部に、特図保留記憶数を特定可能に表示するための第1保留表示器25Aと第2保留表示器25Bとが設けられている。第1保留表示器25Aは、第1特図保留記憶数を特定可能に表示する。第2保留表示器25Bは、第2特図保留記憶数を特定可能に表示する。第1特図保留記憶数は、第1特図を用いた特図ゲームの実行が保留されている記憶数である。第2特図保留記憶数は、第2特図を用いた特図ゲームの実行が保留されている記憶数である。第1特図保留記憶数と第2特図保留記憶数とを加算した変動表示の保留記憶数は、特に、合計保留記憶数ともいう。単に「特図保留記憶数」というときには、通常、第1特図保留記憶数、第2特図保留記憶数及び合計保留記憶数のいずれも含む概念を指すが、特に、これらの一部(例えば第1特図保留記憶数と第2特図保留記憶数を含む一方で合計保留記憶数は除く概念)を指すこともあるものとする。
演出表示装置5の下方には、普通入賞球装置6Aと、普通可変入賞球装置6Bとが設けられている。普通入賞球装置6Aは、例えば所定の玉受部材によって常に一定の開放状態に保たれる始動領域(第1始動領域)としての第1始動入賞口を形成する。普通可変入賞球装置6Bは、図2に示す普通電動役物用となるソレノイド81によって、垂直位置となる通常開放状態と傾動位置となる拡大開放状態とに変化する一対の可動翼片を有する電動チューリップ型役物(普通電動役物)を備え、始動領域(第2始動領域)としての第2始動入賞口を形成する。
一例として、普通可変入賞球装置6Bでは、普通電動役物用のソレノイド81がオフ状態であるときに可動翼片が垂直位置となることにより、遊技球が第2始動入賞口を通過(進入)しがたい通常開放状態となる。その一方で、普通可変入賞球装置6Bでは、普通電動役物用のソレノイド81がオン状態であるときに可動翼片が傾動位置となる傾動制御により、遊技球が第2始動入賞口を通過(進入)しやすい拡大開放状態となる。普通入賞球装置6Aに形成された第1始動入賞口を通過(進入)した遊技球は、例えば図2に示す第1始動口スイッチ22Aによって検出される。普通可変入賞球装置6Bに形成された第2始動入賞口を通過(進入)した遊技球は、例えば図2に示す第2始動口スイッチ22Bによって検出される。また、普通入賞球装置6Aと、普通可変入賞球装置6Bの周囲には、図1に示すように、4つの一般入賞口N1〜N2が設けられている。一般入賞口N1を通過(進入)した遊技球は、例えば図2に示す一般入賞口スイッチ24Aによって検出される。一般入賞口N2を通過(進入)した遊技球は、例えば図2に示す一般入賞口スイッチ24Bによって検出される。一般入賞口N3を通過(進入)した遊技球は、例えば図2に示す一般入賞口スイッチ24Cによって検出される。一般入賞口N4を通過(進入)した遊技球は、例えば図2に示す一般入賞口スイッチ24Dによって検出される。これら一般入賞口スイッチ24A〜24Dによって遊技球が検出されたことに基づき、所定個数(例えば5個)の遊技球が賞球として払い出される。
普通入賞球装置6Aと普通可変入賞球装置6Bの下方位置には、特別可変入賞球装置7が設けられている。特別可変入賞球装置7は、図2に示す大入賞口扉用となるソレノイド82によって開閉駆動される大入賞口扉を備え、その大入賞口扉によって開放状態と閉鎖状態とに変化する特定領域としての大入賞口を形成する。一例として、特別可変入賞球装置7では、大入賞口扉用のソレノイド82がオフ状態であるときに大入賞口扉が大入賞口を閉鎖状態として、遊技球が大入賞口を通過(進入)できなくする。その一方で、特別可変入賞球装置7では、大入賞口扉用のソレノイド82がオン状態であるときに大入賞口扉が大入賞口を開放状態として、遊技球が大入賞口を通過(進入)しやすくする。このように、特定領域としての大入賞口は、遊技球が通過(進入)しやすく遊技者にとって有利な開放状態と、遊技球が通過(進入)できず遊技者にとって不利な閉鎖状態とに変化する。尚、遊技球が大入賞口を通過(進入)できない閉鎖状態に代えて、あるいは閉鎖状態の他に、遊技球が大入賞口を通過(進入)しにくい一部開放状態を設けてもよい。
大入賞口を通過(進入)した遊技球は、例えば図2に示すカウントスイッチ23によって検出される。カウントスイッチ23によって遊技球が検出されたことに基づき、所定個数(例えば15個)の遊技球が賞球として払い出される。こうして、特別可変入賞球装置7において開放状態となった大入賞口を遊技球が通過(進入)したときには、例えば第1始動入賞口や第2始動入賞口といった、他の入賞口を遊技球が通過(進入)したときよりも多くの賞球が払い出される。従って、特別可変入賞球装置7において大入賞口が開放状態となれば、その大入賞口に遊技球が進入可能となり、遊技者にとって有利な第1状態となる。その一方で、特別可変入賞球装置7において大入賞口が閉鎖状態となれば、大入賞口に遊技球を通過(進入)させて賞球を得ることが不可能または困難になり、遊技者にとって不利な第2状態となる。
遊技盤2の所定位置(図1に示す例では、遊技領域の左側方)には、普通図柄表示器20が設けられている。一例として、普通図柄表示器20は、第1特別図柄表示器4Aや第2特別図柄表示器4Bと同様に7セグメントやドットマトリクスのLED等から構成され、特別図柄とは異なる複数種類の識別情報である普通図柄(「普図」あるいは「普通図」ともいう)を変動可能に表示(変動表示)する。このような普通図柄の変動表示は、普図ゲーム(「普通図ゲーム」ともいう)と称される。普通図柄表示器20の上方には、普図保留表示器25Cが設けられている。普図保留表示器25Cは、例えば4個のLEDを含んで構成され、通過ゲート41を通過した有効通過球数としての普図保留記憶数を表示する。
遊技盤2の表面には、前述の構成以外にも、遊技球の流下方向や速度を変化させる風車及び多数の障害釘が設けられている。また、一般入賞口N1〜N4以外の一般入賞口が設けられてもよい。遊技領域の最下方には、いずれの入賞口にも進入しなかった遊技球が取り込まれるアウト口が設けられている。
遊技機用枠3の左右上部位置には、効果音等を再生出力するためのスピーカ8L,8Rが設けられており、更に遊技領域周辺部には、遊技効果ランプ9が設けられている。パチンコ遊技機1の遊技領域における各構造物(例えば普通入賞球装置6A、普通可変入賞球装置6B、特別可変入賞球装置7等)の周囲には、装飾用LEDが配置されていてもよい。遊技機用枠3の右下部位置には、遊技媒体としての遊技球を遊技領域に向けて発射するために遊技者等によって操作される打球操作ハンドル(操作ノブ)が設けられている。例えば、打球操作ハンドルは、遊技者等による操作量(回転量)に応じて遊技球の弾発力を調整する。打球操作ハンドルには、打球発射装置が備える発射モータの駆動を停止させるための単発発射スイッチや、タッチリング(タッチセンサ)が設けられていればよい。
遊技領域の下方における遊技機用枠3の所定位置には、賞球として払い出された遊技球や貸し出しによって払い出された遊技球を、打球発射装置へと供給可能に保持(貯留)する上皿(打球供給皿)が設けられている。遊技機用枠3の下部には、上皿から溢れた余剰球などを、パチンコ遊技機1の外部へと排出可能に保持(貯留)する下皿が設けられている。下皿を形成する部材には、例えば下皿本体の上面における手前側の所定位置(例えば下皿の中央部分)などに、遊技者が把持して傾倒操作が可能なスティックコントローラ31Aが設けられている。スティックコントローラ31Aは、遊技者が把持する操作桿を含み、操作桿の所定位置(例えば遊技者が操作桿を把持したときに操作手の人差し指が掛かる位置など)には、トリガボタンが設けられている。トリガボタンは、遊技者がスティックコントローラ31Aの操作桿を操作手(例えば左手など)で把持した状態において、所定の操作指(例えば人差し指など)で押引操作することなどにより所定の指示操作ができるように構成されていればよい。操作桿の内部には、トリガボタンに対する押引操作などによる所定の指示操作を検出するトリガセンサが内蔵されていればよい。
スティックコントローラ31Aの下部における下皿の本体内部などには、操作桿に対する傾倒操作を検出するコントローラセンサユニット35Aが設けられていればよい。例えば、コントローラセンサユニット35Aは、パチンコ遊技機1と正対する遊技者の側からみて操作桿の中心位置よりも左側で遊技盤2の盤面と平行に配置された2つの透過形フォトセンサ(平行センサ対)と、この遊技者の側からみて操作桿の中心位置よりも右側で遊技盤2の盤面と垂直に配置された2つの透過形フォトセンサ(垂直センサ対)とを組合せた4つの透過形フォトセンサを含んで構成されていればよい。上皿を形成する部材には、例えば上皿本体の上面における手前側の所定位置(例えばスティックコントローラ31Aの上方)などに、遊技者が押下動作などにより所定の指示操作を可能なプッシュボタン31Bが設けられている。プッシュボタン31Bは、遊技者からの押下動作を、機械的、電気的、あるいは、電磁的に、検出できるように構成されていればよい。プッシュボタン31Bの配置位置における上皿の本体内部などには、プッシュボタン31Bに対してなされた遊技者による押下動作を検出するプッシュセンサ35Bが設けられていればよい。
パチンコ遊技機1には、例えば図2に示すような主基板11、演出制御基板12、音声制御基板13、ランプ制御基板14といった、各種の制御基板が搭載されている。また、パチンコ遊技機1には、主基板11と演出制御基板12との間で伝送される各種の制御信号を中継するための中継基板15なども搭載されている。その他にも、パチンコ遊技機1における遊技盤2などの背面には、例えば払出制御基板、情報端子基板、発射制御基板、インタフェース基板などといった、各種の基板が配置されている。
主基板11は、メイン側の制御基板であり、図3に示すように、基板ケース201に収納された状態で、パチンコ遊技機1の背面に搭載されている。主基板11には、パチンコ遊技機1における遊技の進行を制御するための各種回路が搭載されている。主基板11は、主として、特図ゲームにおいて用いる乱数の設定機能、所定位置に配設されたスイッチ等からの信号の入力を行う機能、演出制御基板12などからなるサブ側の制御基板に宛てて、指令情報の一例となる制御コマンドを制御信号として出力して送信する機能、ホールの管理コンピュータに対して各種情報を出力する機能などを備えている。また、主基板11には、図13(A)に示すように、パチンコ遊技機1の背面側から視認可能な表示モニタ29が設けられており、該表示モニタ29に、入賞に関する各種の入賞情報を表示する機能も備えている。主基板11は、基板ケース201に封入されており、主基板11の中央には表示モニタ29(例えば、7セグメント)が配置されている。表示モニタ29は、主基板11を視認する際の正面に配置されている。主基板11は、遊技領域を覆うようにパチンコ遊技機1の前面に開放可能に設けられているガラス扉枠を開放していない状態では視認できないので、主基板11を視認する際の正面とは、ガラス扉枠を開放した状態における遊技盤2の裏面側を視認する際の正面であり、パチンコ遊技機1の正面とは異なる。ただし、主基板11を視認する際の正面とパチンコ遊技機1の正面とが共通するようにしてもよい。
また、主基板11(遊技制御用マイクロコンピュータ100)は、各入賞口(第1大入賞口、第2大入賞口、第2始動入賞口、第1始動入賞口、一般入賞口N1〜N4、以下、「進入領域」ともいう)への遊技球の進入数の集計を行い、該集計による連比、役比などの各種の入賞情報が表示モニタ29に表示されるようになっており、これら入賞情報が表示されることで、遊技場に設置後における連比、役比などの各種の入賞情報を確認できる。つまり、パチンコ遊技機1のメーカ側においては、予め定められた頻度で一般入賞口に遊技媒体が進入するように(試験を通過するように)遊技盤面を設計することが通常である。また、試験を行う際には、あらかじめ定められた頻度で一般入賞口に遊技媒体が進入しているかが確認される。さらに、パチンコ遊技機1を設置した後においても、どのような調整が行われているか、その調整の結果、設計どおりの頻度で一般入賞口に遊技媒体が進入しているかが確認される。そこで、本実施例のパチンコ遊技機1では、当該パチンコ遊技機1において、設置後にどのような調整を加えられたかを認識できるようになっている。
演出制御基板12は、主基板11とは独立したサブ側の制御基板であり、中継基板15を介して主基板11から伝送された制御信号を受信して、演出表示装置5、スピーカ8L,8R及び遊技効果ランプ9といった演出用の電気部品による演出動作を制御するための各種回路が搭載されている。即ち、演出制御基板12は、演出表示装置5における表示動作や、スピーカ8L,8Rからの音声出力動作の全部または一部、遊技効果ランプ9などにおける点灯/消灯動作の全部または一部といった、演出用の電気部品に所定の演出動作を実行させるための制御内容を決定する機能を備えている。
図4(A)は、本実施例で用いられる演出制御コマンドの内容の一例を示す説明図である。演出制御コマンドは、例えば2バイト構成であり、1バイト目はMODE(コマンドの分類)を示し、2バイト目はEXT(コマンドの種類)を表す。MODEデータの先頭ビット(ビット7)は必ず「1」とされ、EXTデータの先頭ビットは「0」とされる。尚、図4(A)に示されたコマンド形態は一例であって、他のコマンド形態を用いてもよい。また、この例では、制御コマンドが2つの制御信号で構成されることになるが、制御コマンドを構成する制御信号数は、1であってもよいし、3以上の複数であってもよい。
特にコマンド8CXXHは、変動表示結果指定コマンドであり、特別図柄や演出図柄などの変動表示結果を指定する演出制御コマンドである。変動表示結果指定コマンドでは、例えば図4(B)に示すように、変動表示結果が「はずれ」であるか「大当り」であるかの決定結果(事前決定結果)や、変動表示結果が「大当り」となる場合の大当り種別を複数種類のいずれとするかの決定結果(大当り種別決定結果)に応じて、異なるEXTデータが設定される。変動表示結果指定コマンドでは、例えば図4(B)に示すように、コマンド8CX0Hは、変動表示結果が「はずれ」となる旨の事前決定結果を示す第1変動表示結果指定コマンドである。コマンド8CX1Hは、変動表示結果が「大当り」で大当り種別が「確変大当りA1」となる旨の事前決定結果及び大当り種別決定結果を通知する第2変動表示結果指定コマンドである。コマンド8CX2Hは、変動表示結果が「大当り」で大当り種別が「確変大当りA2」となる旨の事前決定結果及び大当り種別決定結果を通知する第3変動表示結果指定コマンドである。コマンド8CX3Hは、変動表示結果が「大当り」で大当り種別が「確変大当りB1」となる旨の事前決定結果及び大当り種別決定結果を通知する第4変動表示結果指定コマンドである。コマンド8CX4Hは、変動表示結果が「大当り」で大当り種別が「確変大当りB2」となる旨の事前決定結果及び大当り種別決定結果を通知する第5変動表示結果指定コマンドである。コマンド8CX5Hは、変動表示結果が「大当り」で大当り種別が「非確変大当り」となる旨の事前決定結果及び大当り種別決定結果を通知する第6変動表示結果指定コマンドである。
また、コマンド8F00Hは、演出表示装置5における「左」、「中」、「右」の各演出図柄表示エリア5L,5C,5Rで演出図柄の変動停止(確定)を指定する図柄確定コマンドである。コマンド95XXHは、パチンコ遊技機1における現在の遊技状態を指定する遊技状態指定コマンドである。遊技状態指定コマンドでは、例えばパチンコ遊技機1における現在の遊技状態に応じて、異なるEXTデータが設定される。具体的な一例として、コマンド9500Hを時短制御と確変制御がいずれも行われない遊技状態(低確低ベース状態、通常状態)に対応した第1遊技状態指定コマンドとし、コマンド9501Hを時短制御が行われる一方で確変制御は行われない遊技状態(低確高ベース状態、時短状態)に対応した第2遊技状態指定コマンドとする。また、コマンド9502Hを確変制御が行われる一方で時短制御は行われない遊技状態(高確低ベース状態、時短なし確変状態)に対応した第3遊技状態指定コマンドとし、コマンド9503Hを時短制御と確変制御がともに行われる遊技状態(高確高ベース状態、時短付確変状態)に対応した第4遊技状態指定コマンドとする。
主基板11に搭載された遊技制御用マイクロコンピュータ100は、例えば1チップのマイクロコンピュータであり、遊技制御用のプログラムや固定データ等を記憶するROM101(Read Only Memory 101)と、遊技制御用のワークエリアを提供するRAM102(Random Access Memory 102)と、遊技制御用のプログラムを実行して制御動作を行うCPU103(Central Processing Unit 103)と、CPU103とは独立して乱数値を示す数値データの更新を行う乱数回路104と、I/O105(Input/Outputport 105)と、現時点の時刻情報を出力可能なRTC106(Real-Time Clock 106)とを備えて構成される。一例として、遊技制御用マイクロコンピュータ100では、CPU103がROM101から読み出したプログラムを実行することにより、パチンコ遊技機1における遊技の進行を制御するための処理が実行される。このときには、CPU103がROM101から固定データを読み出す固定データ読出動作や、CPU103がRAM102に各種の変動データを書き込んで一時記憶させる変動データ書込動作、CPU103がRAM102に一時記憶されている各種の変動データを読み出す変動データ読出動作、CPU103がI/O105を介して遊技制御用マイクロコンピュータ100の外部から各種信号の入力を受け付ける受信動作、CPU103がI/O105を介して遊技制御用マイクロコンピュータ100の外部へと各種信号を出力する送信動作なども行われる。
図5は、主基板11の側においてカウントされる乱数値を例示する説明図である。図5に示すように、本実施例では、主基板11の側において、特図表示結果判定用の乱数値MR1、大当り種別判定用の乱数値MR2、変動パターン判定用の乱数値MR3、普図表示結果判定用の乱数値MR4のそれぞれを示す数値データが、カウント可能に制御される。尚、遊技効果を高めるために、これら以外の乱数値が用いられてもよい。こうした遊技の進行を制御するために用いられる乱数は、遊技用乱数ともいう。乱数回路104は、これらの乱数値MR1〜MR4の一部または全部を示す数値データをカウントするものであればよい。CPU103は、例えば図11に示す遊技制御カウンタ設定部154に設けられたランダムカウンタといった、乱数回路104とは異なるランダムカウンタを用いて、ソフトウェアによって各種の数値データを更新することで、乱数値MR1〜MR4の一部を示す数値データをカウントするようにしてもよい。
特図表示結果判定用の乱数値MR1は、特図ゲームにおける特別図柄などの変動表示結果を「大当り」として大当り遊技状態に制御するか否かを決定するために用いられる乱数値であり、例えば「1」〜「65536」の範囲の値をとる。大当り種別判定用の乱数値MR2は、変動表示結果を「大当り」とする場合における大当り種別を「確変大当りA1」、「確変大当りA2」、「確変大当りB1」、「確変大当りB2」、「非確変」のいずれかに決定するために用いられる乱数値であり、例えば「1」〜「100」の範囲の値をとる。変動パターン判定用の乱数値MR3は、特別図柄や演出図柄の変動表示における変動パターンを、予め用意された複数種類のいずれかに決定するために用いられる乱数値であり、例えば「1」〜「997」の範囲の値をとる。普図表示結果判定用の乱数値MR4は、普通図柄表示器20による普図ゲームにおける変動表示結果を「普図当り」とするか「普図はずれ」とするかなどの決定を行うために用いられる乱数値であり、例えば「3」〜「13」の範囲の値をとる。
図6は、本実施例における変動パターンを示している。本実施例では、変動表示結果が「はずれ」となる場合のうち、演出図柄の変動表示態様が「非リーチ」である場合と「リーチ」である場合のそれぞれに対応して、また、変動表示結果が「大当り」となる場合などに対応して、複数の変動パターンが予め用意されている。尚、変動表示結果が「はずれ」で演出図柄の変動表示態様が「非リーチ」である場合に対応した変動パターンは、非リーチ変動パターン(「非リーチはずれ変動パターン」ともいう)と称され、変動表示結果が「はずれ」で演出図柄の変動表示態様が「リーチ」である場合に対応した変動パターンは、リーチ変動パターン(「リーチはずれ変動パターン」ともいう)と称される。また、非リーチ変動パターンとリーチ変動パターンは、変動表示結果が「はずれ」となる場合に対応したはずれ変動パターンに含まれる。変動表示結果が「大当り」である場合に対応した変動パターンは、大当り変動パターンと称される。
本実施例では、図6に示すように、非リーチはずれ変動パターンとして、例えば、後述するように、時短制御が実行されていない低ベース状態において第1保留記憶数が2以下の場合に決定される変動パターンであって、変動時間が12000ミリ秒である短縮なしのPA1−1の変動パターンと、低ベース状態において第1保留記憶数が3の場合に決定される変動パターンであって、変動時間が5750ミリ秒に短縮されるPA1−2の変動パターンと、低ベース状態において第1保留記憶数が4の場合に決定される変動パターンであって、変動時間が3750ミリ秒に短縮されるPA1−3の変動パターンと、時短制御が実行されている高ベース状態において決定され、変動時間が5000ミリ秒と、PA1−1やPA1−2に比較して短いPA1−4の変動パターンとが設けられている。大当り変動パターンやリーチ変動パターンには、ノーマルリーチのリーチ演出が実行されるノーマルリーチ変動パターンと、スーパーリーチα、スーパーリーチβといったスーパーリーチのリーチ演出が実行されるスーパーリーチ変動パターンとがある。尚、本実施例では、ノーマルリーチ変動パターンを1種類のみしか設けていないが、本発明はこれに限定されるものではなく、スーパーリーチと同様に、ノーマルリーチα、ノーマルリーチβ、…のように、複数のノーマルリーチ変動パターンを設けても良い。また、スーパーリーチ変動パターンでも、スーパーリーチαやスーパーリーチβに加えてスーパーリーチγ…といった3以上のスーパーリーチ変動パターンを設けても良い。
図6に示すように、本実施例におけるノーマルリーチのリーチ演出が実行されるノーマルリーチ変動パターンの特図変動時間については、スーパーリーチ変動パターンであるスーパーリーチα、スーパーリーチβよりも短く設定されている。また、本実施例におけるスーパーリーチα、スーパーリーチβといったスーパーリーチのリーチ演出が実行されるスーパーリーチ変動パターンの特図変動時間については、スーパーリーチβのスーパーリーチ演出が実行される変動パターンの方が、スーパーリーチαのスーパーリーチ演出が実行される変動パターンよりも特図変動時間が長く設定されている。尚、本実施例では、前述したようにスーパーリーチβ、スーパーリーチα、ノーマルリーチの順に変動表示結果が「大当り」となる大当り期待度が高くなるように設定されているため、ノーマルリーチ変動パターン及びスーパーリーチ変動パターンにおいては変動時間が長いほど大当り期待度が高くなっている。尚、本実施例においては、後述するように、これら変動パターンを、例えば、非リーチの種別や、ノーマルリーチの種別や、スーパーリーチの種別等のように、変動パターンの種別を先に決定してから、該決定した種別に属する変動パターンに属する変動パターンから実行する変動パターンを決定するのではなく、これらの種別を決定することなしに変動パターン判定用の乱数値MR3のみを用いて決定するようにしているが、本発明はこれに限定されるものではなく、たとえば、変動パターン判定用の乱数値MR3に加えて、変動パターン種別判定用の乱数値を設けて、これら変動パターン種別判定用の乱数値から変動パターンの種別を先に決定してから、該決定した種別に属する変動パターンに属する変動パターンから実行する変動パターンを決定するようにしても良い。
図2に示す遊技制御用マイクロコンピュータ100が備えるROM101には、ゲーム制御用のプログラムの他にも、遊技の進行を制御するために用いられる各種の選択用データ、テーブルデータ、所定周期の変動表示回数(所定期間)毎にスーパーリーチの変動パターンを決定するともに、該所定周期の変動表示回数(所定期間)毎の所定周期変動表示の前後の変動表示においてリーチやスーパーリーチの変動パターンを決定しないようにするためのシナリオデータ、図37に示すように、大当りが発生した場合において該発生した大当りの種別に対応した設定値を、後述する周期判定用カウンタ1や周期判定用カウンタ2に設定(セット)するための周期判定用カウンタ設定値データ(ストーリーデータ)などが格納されている。例えば、ROM101には、CPU103が各種の判定や決定、設定を行うために予め用意された複数の判定テーブルや設定テーブルなどを構成するデータが記憶されている。また、ROM101には、CPU103が主基板11から各種の制御コマンドとなる制御信号を送信するために用いられる複数のコマンドテーブルを構成するテーブルデータや、図6に示すような変動パターンを複数種類格納する変動パターンテーブルを構成するテーブルデータなどが、記憶されている。
本実施例のシナリオデータには、図36に示すように、所定周期を128回の変動表示回数とするためのデータとして、周期判定用カウンタ1や周期判定用カウンタ2のカウンタ値を除算する周期値として「128」が記述されているとともに、周期判定用カウンタ1や周期判定用カウンタ2を周期値にて除した除算値および除算した余り値に関する周期判定条件と周期前後判定条件とが記述されている。この周期判定条件としては、周期判定用カウンタ1や周期判定用カウンタ2を周期値「128」にて除した余り値が「0」となって割り切れている値であって、除算値が26よりも小さい値であることが記述されている。よって、周期判定用カウンタ1や周期判定用カウンタ2は、後述するように、変動表示が終了する毎、または有効始動入賞が発生する毎に1減算更新されるので、原則として、128回の変動表示毎または128回の有効始動入賞毎に、余り値が「0」となって周期判定条件が成立することになる。
また、周期前後判定条件としては、128回毎の変動表示である所定周期変動表示の前後4回の変動表示であることを判定するための除算した余り値の数値範囲および除算値が記述されている。具体的には、周期判定用カウンタ1や周期判定用カウンタ2を周期値「128」にて除した余り値が1〜4または124〜127の範囲の値であって、除算値が26よりも小さい値であることが記述されている。よって、周期判定条件が成立する128回毎の変動表示の前後4回の変動表示である場合に周期前後判定条件が成立することになる。このようにシナリオデータが記述されていることにより、本実施例では、図36に示すように、128回の変動表示を所定周期として、該128回毎の変動表示である所定周期変動表示においてスーパーリーチはずれの変動パターンが必ず決定されるようになっているとともに、所定周期変動表示の前後4回の変動表示においては、リーチやスーパーリーチの変動パターンが決定されないようになっている。尚、所定周期変動表示の前後4回の変動表示以外の5〜123回の変動表示については、通常の抽選によりリーチやスーパーリーチを含む変動パターンが決定可能とされている。本実施例では、リーチやスーパーリーチを含む変動パターンを決定不能とする回数を、上記したように、前後4回の変動表示とした形態を例示しているが、これらの変動回数は、4回以外であってもよく、適宜に決定すればよい。また、本実施例では、大当り後80回の変動表示が実行されるまでは時短状態(高ベース状態)に制御されるため、これらの期間において周期判定用カウンタ1や周期判定用カウンタ2により周期判定等がなされないようにするために、周期判定用カウンタ1や周期判定用カウンタ2を周期値「128」にて除した除算値が26よりも小さい値であることも周期判定条件と周期前後判定条件としているが、本発明はこれに限定されるものではなく、例えば、遊技状態が時短状態(高ベース状態)である場合には、周期判定条件と周期前後判定条件の成立判定を行わないようにすることで、周期判定条件と周期前後判定条件を余り値のみの条件にて記述するようにしてもよい。
図7は、ROM101に記憶される表示結果判定テーブルの構成例を示している。本実施例では、表示結果判定テーブルとして、第1特図と第2特図とで共通の表示結果判定テーブルを用いているが、本発明はこれに限定されるものではなく、第1特図と第2特図とで個別の表示結果判定テーブルを用いるようにしても良い。表示結果判定テーブルは、第1特別図柄表示器4Aによる第1特図を用いた特図ゲームや第2特別図柄表示器4Bによる第2特図を用いた特図ゲームにおいて変動表示結果となる確定特別図柄が導出表示される以前に、その変動表示結果を「大当り」として大当り遊技状態に制御するか否かを、特図表示結果判定用の乱数値MR1に基づいて決定するために参照されるテーブルである。
本実施例の表示結果判定テーブルでは、パチンコ遊技機1における遊技状態が通常状態または時短状態(低確状態)であるか、確変状態(高確状態)であるかに応じて、特図表示結果判定用の乱数値MR1と比較される数値(判定値)が、「大当り」や「はずれ」の特図表示結果に割り当てられている。表示結果判定テーブルにおいて、特図表示結果判定用の乱数値MR1と比較される判定値を示すテーブルデータは、特図表示結果を「大当り」として大当り遊技状態に制御するか否かの決定結果に割り当てられる判定用データとなっている。本実施例の表示結果判定テーブルでは、遊技状態が確変状態(高確状態)であるときに、通常状態または時短状態(低確状態)であるときよりも多くの判定値が、「大当り」の特図表示結果に割り当てられている。これにより、パチンコ遊技機1において確変制御が行われる確変状態(高確状態)では、通常状態または時短状態(低確状態)であるときに特図表示結果を「大当り」として大当り遊技状態に制御すると決定される確率(本実施例では約1/200)に比べて、特図表示結果を「大当り」として大当り遊技状態に制御すると決定される確率が高くなる(本実施例では約1/30)。即ち、表示結果判定テーブルでは、パチンコ遊技機1における遊技状態が確変状態(高確状態)であるときに、通常状態や時短状態であるときに比べて大当り遊技状態に制御すると決定される確率が高くなるように、判定用データが大当り遊技状態に制御するか否かの決定結果に割り当てられている。
図8は、ROM101に記憶される大当り種別判定テーブルの構成例を示している。本実施例の大当り種別判定テーブルは、特図表示結果を「大当り」として大当り遊技状態に制御すると決定されたときに、大当り種別判定用の乱数値MR2に基づき、大当り種別を複数種類のいずれかに決定するために参照されるテーブルである。大当り種別判定テーブルでは、特図ゲームにおいて変動表示(変動)が行われた特別図柄が第1特図(第1特別図柄表示器4Aによる特図ゲーム)であるか第2特図(第2特別図柄表示器4Bによる特図ゲーム)であるかに応じて、大当り種別判定用の乱数値MR2と比較される数値(判定値)が、「非確変」や「確変大当りA1」、「確変大当りA2」、「確変大当りB1」、「確変大当りB2」といった複数種類の大当り種別に割り当てられている。ここで、本実施例における大当り種別について、図8(B)を用いて説明すると、本実施例では、大当り種別として、大当り遊技状態の終了後において高確制御と時短制御とが実行されて高確高ベース状態に移行する確変大当りA1、確変大当りA2、確変大当りB1、確変大当りB2と、大当り遊技状態の終了後において時短制御のみが実行されて低確高ベース状態に移行する非確変大当りとが設定されている。
「確変大当りA1」と「確変大当りA2」による大当り遊技状態と「非確変大当り」による大当り遊技状態では、前述したように、特別可変入賞球装置7を遊技者にとって有利な第1状態に変化させるラウンドが16回(いわゆる16ラウンド)、繰返し実行される通常開放大当りである。一方、「確変大当りB1」と「確変大当りB2」による大当り遊技状態では、前述したように、特別可変入賞球装置7を遊技者にとって有利な第1状態に変化させるラウンドが5回(いわゆる5ラウンド)、繰返し実行される短期開放大当りである。よって、「確変大当りA1」と「確変大当りA2」を16ラウンド(16R)確変大当りと呼称し、「確変大当りB1」と「確変大当りB2」を5ラウンド(5R)確変大当りと呼称する場合がある。「確変大当りA1」、「確変大当りA2」、「確変大当りB1」、「確変大当りB2」の大当り遊技状態の終了後において実行される高確制御と時短制御は、該大当り遊技状態の終了後において所定回数(本実施例では80回)の特図ゲーム(変動表示)が実行されるか、或いは所定回数の特図ゲーム(変動表示)が実行されるまでに再度大当りが発生するまで継続して実行される。よって、所定回数の特図ゲーム(変動表示)が実行されるまでに再度発生した大当りが「確変大当りA1」、「確変大当りA2」、「確変大当りB1」、「確変大当りB2」のいずれかである場合には、大当り遊技状態の終了後に再度、高確制御と時短制御が実行されるので、大当り遊技状態が通常状態を介することなく連続的に発生する、いわゆる連荘状態となる。
「確変大当りA1」、「確変大当りA2」は、図8(B)に示すように、確変制御や時短制御の回数並びにラウンド数も同一であるが、大当り遊技中の第5ラウンドにおいて昇格演出が実行されるか否かが異なる。つまり、「確変大当りA1」は、演出図柄の確定演出図柄として16ラウンドの確変大当り組合せが停止表示されることで、16ラウンドの確変大当りであることが大当りの発生時に報知され、大当り遊技中の第5ラウンドにおいて昇格演出が実行されない確変大当りであり、「確変大当りA2」は、演出図柄の確定演出図柄として5ラウンドの確変大当り組合せが停止表示されることで、5ラウンドの確変大当りであることが大当りの発生時に報知され、大当り遊技中の第5ラウンドにおいて昇格演出(バトル演出)が実行され、該昇格演出(バトル演出)に勝利することで、6ラウンド以降の大当り遊技が実行(継続)される確変大当りである。
「確変大当りB1」、「確変大当りB2」は、図8(B)に示すように、確変制御や時短制御の回数並びにラウンド数も同一であるが、大当り遊技中の第5ラウンドにおいて昇格演出が実行されるか否かが異なる。つまり、「確変大当りB1」は、演出図柄の確定演出図柄として5ラウンドの確変大当り組合せが停止表示されることで、5ラウンドの確変大当りであることが大当りの発生時に報知され、大当り遊技中の第5ラウンドにおいて昇格演出が実行されない確変大当りであり、「確変大当りB2」は、演出図柄の確定演出図柄として5ラウンドの確変大当り組合せが停止表示され、大当り遊技中の第5ラウンドにおいて昇格演出(バトル演出)が実行され、該昇格演出(バトル演出)に敗北することで、5ラウンドで大当り遊技が終了する確変大当りである。
このように、本実施例では、「確変大当りA2」と「確変大当りB2」では、大当り遊技中の第5ラウンドにおいて同じ昇格演出(バトル演出)が実行され、昇格演出(バトル演出)の最終結果が勝利となった場合には、遊技者にとって有利な度合いが高い16ラウンドの大当り遊技となり、昇格演出(バトル演出)の最終結果が敗北となった場合には、遊技者にとって有利な度合いが低い5ラウンドの大当り遊技となるので、例え、演出図柄の確定演出図柄として5ラウンドの確変大当り組合せが停止表示されても、大当り遊技中の第5ラウンドにおいて昇格演出(バトル演出)に勝利して16ラウンドの大当り遊技となる可能性があるので、遊技者に16ラウンドの大当り遊技となる期待感を大当り遊技中においても継続させることができるとともに、大当り遊技中の第5ラウンドに遊技者を注目させることができるので、遊技興趣を向上することができる。尚、本実施例では、大当りの種別を、「確変大当りA1」、「確変大当りA2」、「確変大当りB1」、「確変大当りB2」、「非確変大当り」とした形態を例示しているが、本発明はこれに限定されるものではなく、例えば、非確変大当りを確変大当りと同様に、ラウンド数の異なる複数種類としたり、或いは、確変大当りの種別を、ラウンド数の違いのみの2種類のみとする等のように、大当りの種類は適宜に決定すればよい。
一方、「非確変大当り」による大当り遊技状態の終了後において実行される時短制御は、所定回数(本実施例では80回)の特図ゲームが実行されること、或いは該所定回数の特図ゲームが実行される前に大当り遊技状態となることにより終了する。
図8(A)に示す大当り種別判定テーブルの設定例では、変動特図が第1特図であるか第2特図であるかに応じて、「確変大当りA1」、「確変大当りA2」、「確変大当りB1」、「確変大当りB2」の大当り種別に対する判定値の割当てが異なっている。即ち、変動特図が第1特図である場合には、所定範囲の判定値(「81」〜「100」の範囲の値)がラウンド数の少ない「確変大当りB1」と「確変大当りB2」の大当り種別に割り当てられる一方で、変動特図が第2特図である場合には、「確変大当りB1」の大当り種別に対して、第1特図の場合よりも少ない数の判定値(「96」〜「100」の範囲の値)が割り当てられている。このような設定により、第1特別図柄表示器4Aによる第1特図を用いた特図ゲームを開始するための第1開始条件が成立したことに基づいて大当り種別を複数種類のいずれかに決定する場合と、第2特別図柄表示器4Bによる第2特図を用いた特図ゲームを開始するための第2開始条件が成立したことに基づいて大当り種別を複数種類のいずれかに決定する場合とで、大当り種別をラウンド数の少ない「確変大当りB1」、「確変大当りB2」に決定する割合を、異ならせることができる。特に、第2特図を用いた特図ゲームでは大当り種別を「確変大当りB1」や「確変大当りB2」としてラウンド数の少ない短期開放大当り状態に制御すると決定されることが少ないので、例えば時短制御に伴う高開放制御により、普通可変入賞球装置6Bが形成する第2始動入賞口に遊技球が進入しやすい遊技状態において、得られる賞球が少ない短期開放大当り状態の頻発を回避して遊技興趣が低下してしまうことを防止できるようになっている。すなわち、第2特図を用いた特図ゲームでは大当り種別を、ラウンド数の多い「確変大当りA1」や「確変大当りA2」に決定する割合が、第1特図を用いた特図ゲームの場合よりも高いので、例えば時短制御に伴う高開放制御により、普通可変入賞球装置6Bが形成する第2始動入賞口に遊技球が進入しやすい遊技状態において、得られる賞球が多くなり易く、遊技興趣を高めることができる。
また、図8(A)に示す大当り種別判定テーブルの設定例では、変動特図が第1特図である場合には、昇格演出が実行される「確変大当りA2」や「確変大当りB2」に対して判定値が割り当てられているのに対し、変動特図が第2特図である場合には、昇格演出が実行される「確変大当りA2」や「確変大当りB2」に対して判定値が割り当てられていないので、変動特図が第2特図である場合の確変大当りによる大当り遊技状態においては、昇格演出が実行されることはなく、演出図柄の確定演出図柄によって、16ラウンド確変大当りか、或いは5ラウンド確変大当りかが解るようにすることで、時短制御に伴う高開放制御により、普通可変入賞球装置6Bが形成する第2始動入賞口に遊技球が進入しやすい遊技状態において、大当り遊技状態のラウンド数が不明瞭になることにより、遊技興趣が低下してしまうことを防止できるようになっているが、本発明はこれに限定されるものではなく、変動特図が第2特図である場合の確変大当りについても、「確変大当りA2」や「確変大当りB2」を、例えば、変動特図が第1特図である場合よりも低い割合にて決定するようにしても良い。
尚、図8(A)に示す大当り種別判定テーブルの設定例では、「非確変」の大当り種別に対する判定値の割当ては、変動特図が第1特図であるか第2特図であるかに係わらず同一とされているので、非確変の大当りとなる確率と確変の大当りとなる確率は、変動特図が第1特図であるか第2特図であるかにかかわらず同一とされている。尚、本実施例では、変動特図が第2特図である場合にも「確変大当りB1」が決定可能な形態を例示しているが、本発明はこれに限定されるものではなく、変動特図が第2特図である場合には、ラウンド数の少ない「確変大当りB1」や「確変大当りB2」を決定しないようにしてもよい。また、本実施例では、図8(A)に示すように、変動特図が第1特図であるか第2特図で、各大当り種別に対する判定値の割り当てが異なる大当り種別テーブルを使用する形態を例示したが、本発明はこれに限定されるものではなく、変動特図が第1特図であるか第2特図であるかにかかわらず、各大当り種別に対する判定値の割り当てが共通のテーブルデータを参照して、大当り種別の決定を行うようにしてもよい。
また、ROM101には、変動パターン判定用の乱数値MR3に基づいて変動パターンを決定するための変動パターン判定テーブルも記憶されており、変動パターンを、事前決定結果に応じて前述した複数種類のうちのいずれかの変動パターンに決定する。具体的には、変動パターン判定テーブルとしては、図9及び図10に示すように、特図表示結果を「大当り」にすることが事前決定されたときに使用される大当り用変動パターン判定テーブルと、特図表示結果を「はずれ」にすることが事前決定されたときに使用されるはずれ用変動パターン判定テーブルとが予め用意されている。
図9(A)及び図9(B)に示すように、大当り用変動パターン判定テーブルとしては、大当り種別が「確変大当りA1」、「確変大当りA2」、「確変大当りB1」、「確変大当りB2」である場合に使用される大当り用変動パターン判定テーブル(確変大当り用)と、大当り種別が「非確変大当り」である場合に使用される大当り用変動パターン判定テーブル(非確変大当り用)が予め用意されており、これら大当り用変動パターン判定テーブル(確変大当り用)と大当り用変動パターン判定テーブル(非確変大当り用)には、ノーマルリーチ大当りの変動パターン(PB1−1)、スーパーリーチα大当りの変動パターン(PB1−2)、スーパーリーチβ大当りの変動パターン(PB1−3)の各変動パターンに対して、変動パターン判定用の乱数値MR3がとりうる範囲のうち所定の乱数値が判定値として割り当てられている。尚、本実施例では、大当り用変動パターン判定テーブル(確変大当り用)が使用される場合にはスーパーリーチβが決定され易く、大当り用変動パターン判定テーブル(非確変大当り用)が使用される場合にはスーパーリーチαが決定され易いようにこれら大当り用変動パターン判定テーブル(確変大当り用)と大当り用変動パターン判定テーブル(非確変大当り用)とに判定値が割り当てられていることで、スーパーリーチβの変動パターンが実行されたときには、「確変大当りA1」、「確変大当りA2」、「確変大当りB1」、「確変大当りB2」となるのではないかという遊技者の期待感を高めることできる。
また、図9(A)及び図9(B)に示すように、大当り用変動パターン判定テーブル(確変大当り用)と大当り用変動パターン判定テーブル(非確変大当り用)には、いずれもノーマルリーチ大当りの変動パターン(PB1−1)、スーパーリーチα大当りの変動パターン(PB1−2)、スーパーリーチβ大当りの変動パターン(PB1−3)の各変動パターンに対して判定値が割り当てられているため、大当りとなる場合には、必ずノーマルリーチまたはスーパーリーチの演出が実行されるようになっているが、非リーチの変動パターンについても大当りとなる場合に決定するようにしてもよい。
また、はずれ用変動パターン判定テーブルには、第1特図保留記憶数が2個以下であって第1特図の変動パターンを決定する場合に使用されるはずれ用変動パターン判定テーブルAと、第1特図保留記憶数が3個であって第1特図の変動パターンを決定する場合に使用されるはずれ用変動パターン判定テーブルBと、第1特図保留記憶数が4個であって第1特図の変動パターンを決定する場合に使用されるはずれ用変動パターン判定テーブルCと、遊技状態が時短制御の実施されている高ベース状態であって第1特図の変動パターンを決定する場合に使用されるはずれ用変動パターン判定テーブルDと、第2特図の変動パターンを決定する場合に使用されるはずれ用変動パターン判定テーブルEと、変動表示が所定回数である128回の変動表示が実行される毎の所定周期変動である場合にスーパーリーチの種別を決定するために使用されるはずれ用変動パターン判定テーブルFと、変動表示が所定周期変動の前後4回の変動表示である場合に使用されるはずれ用変動パターン判定テーブルGとが予め用意されている。
図10に示すように、はずれ用変動パターン判定テーブルAにおいては、短縮なしの非リーチはずれの変動パターン(PA1−1)、ノーマルリーチはずれの変動パターン(PA2−1)、スーパーリーチαはずれの変動パターン(PA2−2)、スーパーリーチβはずれの変動パターン(PA2−3)に対して変動パターン判定用の乱数値MR3がとりうる範囲のうち所定の乱数値が判定値として割り当てられている。また、はずれ用変動パターン判定テーブルBにおいては、第1特図保留記憶数が3個に対応する短縮の非リーチはずれの変動パターン(PA1−2)、ノーマルリーチはずれの変動パターン(PA2−1)、スーパーリーチαはずれの変動パターン(PA2−2)、スーパーリーチβはずれの変動パターン(PA2−3)に対して変動パターン判定用の乱数値MR3がとりうる範囲のうち所定の乱数値が判定値として割り当てられている。また、はずれ用変動パターン判定テーブルCにおいては、第1特図保留記憶数が4個に対応する短縮の非リーチはずれの変動パターン(PA1−3)、ノーマルリーチはずれの変動パターン(PA2−1)、スーパーリーチαはずれの変動パターン(PA2−2)、スーパーリーチβはずれの変動パターン(PA2−3)に対して変動パターン判定用の乱数値MR3がとりうる範囲のうち所定の乱数値が判定値として割り当てられている。
尚、図6に示すように、短縮なしの非リーチはずれの変動パターン(PA1−1)よりも非リーチはずれの変動パターン(PA1−2)の方が変動時間は短く、更に、変動パターン(PA1−2)よりも非リーチはずれの変動パターン(PA1−3)の方が変動時間は短い。よって、第1保留記憶数が増加した場合には、変動時間が短い非リーチはずれの変動パターンが決定されることにより、保留記憶が消化されやすくなって、第1保留記憶数が上限数である4に達しているときに第1始動入賞することで、保留記憶がなされない無駄な第1始動入賞が発生し難くなるようになるとともに、第1保留記憶数が減少した場合には、変動時間が長い短縮なしの非リーチはずれの変動パターン(PA1−1)が決定されることによって、変動表示の時間が長くなることにより、変動表示が実行されないことによる遊技の興趣低下を防ぐことができるようになる。
また、はずれ用変動パターン判定テーブルDにおいては、短縮なしの非リーチはずれの変動パターン(PA1−1)、ノーマルリーチはずれの変動パターン(PA2−1)に対して変動パターン判定用の乱数値MR3がとりうる範囲のうち所定の乱数値が判定値として割り当てられている。尚、はずれ用変動パターン判定テーブルDにおいては、スーパーリーチαはずれの変動パターン(PA2−2)、スーパーリーチβはずれの変動パターン(PA2−3)に対して乱数値は割り当てられていない。よって、時短状態において第2特図保留記憶数が「0」となって第1特図ゲームが実行される場合であっても、後述する時短状態中に第1特図ゲームが実行される場合と同じく、スーパーリーチαはずれの変動パターン(PA2−2)、スーパーリーチβはずれの変動パターン(PA2−3)は決定されないようになっている。また、決定される非リーチはずれの変動パターンは、短縮の非リーチはずれの変動パターン(PA1−4)ではなく短縮なしの非リーチはずれの変動パターン(PA1−1)であり、このようにすることで短縮なしの非リーチはずれの変動パターン(PA1−1)が実行されている間に第2始動入賞口への入賞によって、第2保留記憶が発生する可能性を高めて、昇格演出を伴う確変大当りが決定可能な第1保留記憶が無用に消化されてしまうことを極力防ぐことができるようになっているが、本発明はこれに限定されるものではなく、時短状態において第1特図ゲームが実行される場合においても変動時間を短縮できるようにするために、これら短縮なしの非リーチはずれの変動パターン(PA1−1)に代えて短縮の非リーチはずれの変動パターン(PA1−4)を決定するようにしてもよい。
また、はずれ用変動パターン判定テーブルEにおいては、時短制御中に対応する短縮の非リーチはずれの変動パターン(PA1−4)、ノーマルリーチはずれの変動パターン(PA2−1)に対して変動パターン判定用の乱数値MR3がとりうる範囲のうち所定の乱数値が判定値として割り当てられている。尚、はずれ用変動パターン判定テーブルEにおいては、スーパーリーチαはずれの変動パターン(PA2−2)、スーパーリーチβはずれの変動パターン(PA2−3)に対して乱数値は割り当てられていない。つまり、本実施例では、第2特図ゲームの場合は、第1特図ゲームよりも、本発明の特定可変表示パターンであるスーパーリーチはずれの変動パターンが決定される割合が低くなるように設定されている。尚、本実施例では、第2特図ゲームの場合は、特定可変表示パターンであるスーパーリーチはずれの変動パターンの決定割合を「0」とした形態を例示しているが、本発明はこれに限定されるものではなく、これらスーパーリーチはずれの変動パターンの決定割合が、第1特図ゲームにおいてスーパーリーチはずれの変動パターンの決定割合と異なる「0」以外の割合であっても良い。
また、本実施例では、第2特図ゲームの場合には、常にはずれ用変動パターン判定テーブルEを用いて変動パターンが決定されるので、時短状態(高ベース状態)でないときに第2特図ゲームが実行される場合においてもスーパーリーチαはずれの変動パターン(PA2−2)、スーパーリーチβはずれの変動パターン(PA2−3)が決定されないようになっているが、本発明はこれに限定されるものではなく、例えば、第2特図のはずれ変動パターンの判定用テーブルとして、時短状態(高ベース状態)であるときにおいて使用する判定用テーブル(時短時用)と、時短状態(高ベース状態)ではないときに使用する判定用テーブル(非時短時用)とを設けておき、判定用テーブル(非時短時用)については、スーパーリーチαはずれの変動パターン(PA2−2)、スーパーリーチβはずれの変動パターン(PA2−3)に乱数値を割り当てることにより、時短状態(高ベース状態)でないときに第2特図ゲームが実行される場合にあっては、スーパーリーチαはずれの変動パターン(PA2−2)、スーパーリーチβはずれの変動パターン(PA2−3)を決定可能とするようにしてもよい。また、判定用テーブル(非時短時用)については、短縮の非リーチはずれの変動パターン(PA1−4)に代えて短縮なしの非リーチはずれの変動パターン(PA1−1)を決定するようにしてもよい。
また、はずれ用変動パターン判定テーブルFにおいては、スーパーリーチαはずれの変動パターン(PA2−2)、スーパーリーチβはずれの変動パターン(PA2−3)に対してのみ変動パターン判定用の乱数値MR3がとりうる範囲のうち所定の乱数値が判定値として割り当てられている。つまり、はずれ用変動パターン判定テーブルFを用いて変動パターンを決定する場合である所定周期変動においては、必ずスーパーリーチαはずれの変動パターン(PA2−2)またはスーパーリーチβはずれの変動パターン(PA2−3)のいずれかが決定されることになる。尚、本実施例では、スーパーリーチαはずれの変動パターン(PA2−2)とスーパーリーチβはずれの変動パターン(PA2−3)の双方に乱数値をほぼ均等に割り当てることで、所定周期変動においては、一方の種類のスーパーリーチのみが決定されやすくなることで、出現したスーパーリーチが、所定周期変動となったことにより決定されたスーパーリーチであることを遊技者に認識され易くなって、遊技興趣が低下してしまうことを防ぐことができるようにしているが、本発明はこれに限定されるものではなく、スーパーリーチαはずれの変動パターン(PA2−2)とスーパーリーチβはずれの変動パターン(PA2−3)の一方のみ、例えば、後述するように、大当り期待度が高いスーパーリーチβはずれの変動パターン(PA2−3)のみに乱数値を割り当てることで、所定周期変動においては、必ず同じ種類のスーパーリーチの変動パターンが決定されるようにしてもよい。
また、はずれ用変動パターン判定テーブルGにおいては、短縮ありの非リーチはずれの変動パターン(PA1−2)に対してのみ、変動パターン判定用の乱数値MR3がとりうる全ての乱数値が判定値として割り当てられている。よって、はずれ用変動パターン判定テーブルGが使用される所定周期変動の前後4回の変動表示においては、必ず、短縮ありの非リーチはずれの変動パターン(PA1−2)が決定される。尚、本実施例では、これら所定周期変動の前後4回の変動表示において、短縮なしの非リーチはずれの変動パターン(PA1−1)を全て決定してしまうと、変動時間が12000ミリ秒である非リーチの変動が4回連続することになって、遊技が間延びしてしまい、遊技興趣が低下してしまう可能性があるので、変動時間が5750ミリ秒である短縮ありの非リーチはずれの変動パターン(PA1−2)を決定する形態を例示したが、本発明はこれに限定されるものではなく、これら所定周期変動の前後4回の変動表示において決定する非リーチの変動パターンは適宜に選択すれば良く、1種類ではなく、複数種類の非リーチの変動パターンを決定可能とすることで、所定周期変動の前後の期間であることを遊技者に認識され難くするようにしてもよい。
図2に示す遊技制御用マイクロコンピュータ100が備えるRAM102には、遊技の進行などを制御するために用いられる各種のデータを保持する領域として、例えば図11に示すような遊技制御用データ保持エリア150が設けられている。図11に示す遊技制御用データ保持エリア150は、第1特図保留記憶部151Aと、第2特図保留記憶部151Bと、普図保留記憶部151Cと、遊技制御フラグ設定部152と、遊技制御タイマ設定部153と、遊技制御カウンタ設定部154と、遊技制御バッファ設定部155とを備えている。
第1特図保留記憶部151Aは、普通入賞球装置6Aが形成する第1始動入賞口を遊技球が通過(進入)して始動入賞(第1始動入賞)が発生したものの未だ開始されていない特図ゲーム(第1特別図柄表示器4Aにおける第1特図を用いた特図ゲーム)の保留データを記憶する。一例として、第1特図保留記憶部151Aは、第1始動入賞口への入賞順(遊技球の検出順)に保留番号と関連付けて、その遊技球の通過(進入)における第1始動条件の成立に基づいてCPU103により乱数回路104等から抽出された特図表示結果判定用の乱数値MR1や大当り種別判定用の乱数値MR2、変動パターン判定用の乱数値MR3を示す数値データなどを保留データとして、その記憶数が所定の上限値(例えば「4」)に達するまで記憶する。こうして第1特図保留記憶部151Aに記憶された保留データは、第1特図を用いた特図ゲームの実行が保留されていることを示し、この特図ゲームにおける変動表示結果(特図表示結果)に基づき大当りとなるか否かなどを判定可能にする保留情報となる。
第2特図保留記憶部151Bは、普通可変入賞球装置6Bが形成する第2始動入賞口を遊技球が通過(進入)して始動入賞(第2始動入賞)が発生したものの未だ開始されていない特図ゲーム(第2特別図柄表示器4Bにおける第2特図を用いた特図ゲーム)の保留データを記憶する。一例として、第2特図保留記憶部151Bは、第2始動入賞口への入賞順(遊技球の検出順)に保留番号と関連付けて、その遊技球の通過(進入)における第2始動条件の成立に基づいてCPU103により乱数回路104等から抽出された特図表示結果判定用の乱数値MR1や大当り種別判定用の乱数値MR2、変動パターン判定用の乱数値MR3を示す数値データなどを保留データとして、その数が所定の上限値(例えば「4」)に達するまで記憶する。こうして第2特図保留記憶部151Bに記憶された保留データは、第2特図を用いた特図ゲームの実行が保留されていることを示し、この特図ゲームにおける変動表示結果(特図表示結果)に基づき大当りとなるか否かなどを判定可能にする保留情報となる。
尚、第1始動入賞口を遊技球が通過(進入)したことによる第1始動条件の成立に基づく保留情報(第1保留情報)と、第2始動入賞口を遊技球が通過(進入)したことによる第2始動入賞の成立に基づく保留情報(第2保留情報)とを、共通の保留記憶部にて保留番号と対応付けて記憶するようにしてもよい。この場合には、第1始動入賞口と第2始動入賞口のいずれを遊技球が通過(進入)したかを示す始動口データを保留情報に含め、保留番号と対応付けて記憶させればよい。
普図保留記憶部151Cは、通過ゲート41を通過した遊技球がゲートスイッチ21によって検出されたにもかかわらず、未だ普通図柄表示器20により開始されていない普図ゲームの保留情報を記憶する。例えば、普図保留記憶部151Cは、遊技球が通過ゲート41を通過した順に保留番号と対応付けて、その遊技球の通過に基づいてCPU103により乱数回路104等から抽出された普図表示結果判定用の乱数値MR4を示す数値データなどを保留データとして、その数が所定の上限値(例えば「4」)に達するまで記憶する。遊技制御フラグ設定部152には、パチンコ遊技機1における遊技の進行状況などに応じて状態を更新可能な複数種類のフラグが設けられている。例えば、遊技制御フラグ設定部152には、複数種類のフラグそれぞれについて、フラグの値を示すデータや、オン状態あるいはオフ状態を示すデータが記憶される。遊技制御タイマ設定部153には、パチンコ遊技機1における遊技の進行を制御するために用いられる各種のタイマが設けられている。例えば、遊技制御タイマ設定部153には、複数種類のタイマそれぞれにおけるタイマ値を示すデータが記憶される。
遊技制御カウンタ設定部154には、パチンコ遊技機1における遊技の進行を制御するために用いられるカウント値を計数するための複数種類のカウンタが設けられている。例えば、遊技制御カウンタ設定部154には、変動表示が所定回数である128回の変動表示が実行される毎の所定周期変動であるか否かを判定可能とするための周期判定用カウンタ1と周期判定用カウンタ2、後述する役比や連比等を算出するためのゲート通過数カウンタ、第1始動入賞数カウンタ、第2始動入賞数カウンタ、第1一般入賞数カウンタ,第2一般入賞数カウンタ,第3一般入賞数カウンタ,第4一般入賞数カウンタ、大入賞数カウンタ等の複数種類のカウンタそれぞれにおけるカウント値を示すデータが記憶される。周期判定用カウンタ1は、変動パターンを変動開始時に決定する際に所定周期変動であるか否かを判定するために使用されるカウンタであり、周期判定用カウンタ2は、入賞時判定処理において変動パターンの先読み判定を行う際に所定周期変動であるか否かを判定するために使用されるカウンタである。尚、遊技制御カウンタ設定部154には、遊技用乱数の一部または全部をCPU103がソフトウェアにより更新可能にカウントするためのランダムカウンタが設けられてもよい。遊技制御カウンタ設定部154のランダムカウンタには、乱数回路104で生成されない乱数値、例えば、乱数値MR2〜MR4を示す数値データが、ランダムカウント値として記憶され、CPU103によるソフトウェアの実行に応じて、定期的あるいは不定期に、各乱数値を示す数値データが更新される。CPU103がランダムカウント値を更新するために実行するソフトウェアは、ランダムカウント値を乱数回路104における数値データの更新動作とは別個に更新するためのものであってもよいし、乱数回路104から抽出された数値データの全部または一部にスクランブル処理や演算処理といった所定の処理を施すことによりランダムカウント値を更新するためのものであってもよい。
遊技制御バッファ設定部155には、パチンコ遊技機1における遊技の進行を制御するために用いられるデータを一時的に記憶する各種のバッファが設けられている。例えば、遊技制御バッファ設定部155には、複数種類のバッファそれぞれにおけるバッファ値を示すデータが記憶される。
図2に示す遊技制御用マイクロコンピュータ100が備えるI/O105は、遊技制御用マイクロコンピュータ100に伝送された各種信号を取り込むための入力ポートと、遊技制御用マイクロコンピュータ100の外部へと各種信号を伝送するための出力ポートとを含んで構成されている。
図2に示すように、演出制御基板12には、プログラムに従って制御動作を行う演出制御用CPU120と、演出制御用のプログラムや固定データ等を記憶するROM121と、演出制御用CPU120のワークエリアを提供するRAM122と、演出表示装置5における表示動作の制御内容を決定するための処理などを実行する表示制御部123と、演出制御用CPU120とは独立して乱数値を示す数値データの更新を行う乱数回路124と、I/O125とが搭載されている。一例として、演出制御基板12では、演出制御用CPU120がROM121から読み出した演出制御用のプログラムを実行することにより、演出用の電気部品による演出動作を制御するための処理が実行される。このときには、演出制御用CPU120がROM121から固定データを読み出す固定データ読出動作や、演出制御用CPU120がRAM122に各種の変動データを書き込んで一時記憶させる変動データ書込動作、演出制御用CPU120がRAM122に一時記憶されている各種の変動データを読み出す変動データ読出動作、演出制御用CPU120がI/O125を介して演出制御基板12の外部から各種信号の入力を受け付ける受信動作、演出制御用CPU120がI/O125を介して演出制御基板12の外部へと各種信号を出力する送信動作なども行われる。尚、演出制御用CPU120、ROM121、RAM122は、演出制御基板12に搭載された1チップの演出制御用マイクロコンピュータに含まれてもよい。
演出制御基板12には、演出表示装置5に対して映像信号を伝送するための配線や、音声制御基板13に対して音番号データを示す情報信号としての効果音信号を伝送するための配線、ランプ制御基板14に対してランプデータを示す情報信号としての電飾信号を伝送するための配線などが接続されている。尚、演出制御基板12の側においても、主基板11と同様に、例えば、予告演出等の各種の演出の種別を決定するための乱数値(演出用乱数ともいう)が設定されている。
図2に示す演出制御基板12に搭載されたROM121には、演出制御用のプログラムの他にも、演出動作を制御するために用いられる各種のデータテーブルなどが格納されている。例えば、ROM121には、演出制御用CPU120が各種の判定や決定、設定を行うために用意された複数の判定テーブルを構成するテーブルデータ、各種の演出制御パターンを構成するパターンデータなどが記憶されている。一例として、ROM121には、演出制御用CPU120が各種の演出装置(例えば演出表示装置5やスピーカ8L,8R、遊技効果ランプ9及び装飾用LED、演出用模型など)による演出動作を制御するために使用する演出制御パターンを複数種類格納した演出制御パターンテーブルが記憶されている。演出制御パターンは、パチンコ遊技機1における遊技の進行状況に応じて実行される各種の演出動作に対応して、その制御内容を示すデータなどから構成されている。演出制御パターンテーブルには、例えば特図変動時演出制御パターンと、予告演出制御パターンと、各種演出制御パターン等が、格納されていればよい。
特図変動時演出制御パターンは、複数種類の変動パターンに対応して、特図ゲームにおいて特別図柄の変動が開始されてから特図表示結果となる確定特別図柄が導出表示されるまでの期間における、演出図柄の変動表示動作やリーチ演出、再抽選演出などにおける演出表示動作、あるいは、演出図柄の変動表示を伴わない各種の演出表示動作といった、様々な演出動作の制御内容を示すデータなどから構成されている。予告演出制御パターンは、例えば、予め複数パターンが用意された予告パターンに対応して実行される予告演出となる演出動作の制御内容を示すデータなどから構成されている。各種演出制御パターンは、パチンコ遊技機1における遊技の進行状況に応じて実行される各種の演出動作に対応して、その制御内容を示すデータなどから構成されている。特図変動時演出制御パターンのうちには、例えばリーチ演出を実行する変動パターンごとに、それぞれのリーチ演出における演出態様を異ならせた複数種類のリーチ演出制御パターンが含まれてもよい。
図2に示す演出制御基板12に搭載されたRAM122には、演出動作を制御するために用いられる各種データを保持する領域として、例えば図12(A)に示すような演出制御用データ保持エリア190が設けられている。図12(A)に示す演出制御用データ保持エリア190は、演出制御フラグ設定部191と、演出制御タイマ設定部192と、演出制御カウンタ設定部193と、演出制御バッファ設定部194とを備えている。演出制御フラグ設定部191には、例えば演出表示装置5の画面上における演出画像の表示状態などといった演出動作状態や主基板11から送信された演出制御コマンド等に応じて状態を更新可能な複数種類のフラグが設けられている。例えば、演出制御フラグ設定部191には、複数種類のフラグそれぞれについて、フラグの値を示すデータや、オン状態あるいはオフ状態を示すデータが記憶される。演出制御タイマ設定部192には、例えば演出表示装置5の画面上における演出画像の表示動作などといった各種演出動作の進行を制御するために用いられる複数種類のタイマが設けられている。例えば、演出制御タイマ設定部192には、複数種類のタイマそれぞれにおけるタイマ値を示すデータが記憶される。演出制御カウンタ設定部193には、各種演出動作の進行を制御するために用いられる複数種類のカウンタが設けられている。例えば、演出制御カウンタ設定部193には、複数種類のカウンタそれぞれにおけるカウント値を示すデータが記憶される。演出制御バッファ設定部194には、各種演出動作の進行を制御するために用いられるデータを一時的に記憶する各種のバッファが設けられている。例えば、演出制御バッファ設定部194には、複数種類のバッファそれぞれにおけるバッファ値を示すデータが記憶される。
本実施例では、図12(B)に示すような始動入賞時受信コマンドバッファ194Aを構成するデータが、演出制御バッファ設定部194の所定領域に記憶される。始動入賞時受信コマンドバッファ194Aには、第1特図保留記憶の合計保留記憶数の最大値(例えば「4」)に対応した格納領域(バッファ番号「1−1」〜「1−4」に対応した領域)と、変動表示中の第1特図に対応した格納領域(バッファ番号「1−0」に対応した領域)とが設けられている。また、始動入賞時受信コマンドバッファ194Aには、第2特図保留記憶の合計保留記憶数の最大値(例えば「4」)に対応した格納領域(バッファ番号「2−1」〜「2−4」に対応した領域)と、変動表示中の第2特図に対応した格納領域(バッファ番号「2−0」に対応した領域)とが設けられている。第1始動入賞口や第2始動入賞口への始動入賞があったときには、始動口入賞指定コマンド(第1始動口入賞指定コマンドまたは第2始動口入賞指定コマンド)、図柄指定コマンド、変動カテゴリ指定コマンド及び保留記憶数通知コマンド(第1保留記憶数通知コマンドまたは第2保留記憶数通知コマンド)という4つのコマンドが1セットとして、主基板11から演出制御基板12へと送信される。始動入賞時受信コマンドバッファ194Aにおける第1特図保留記憶に対応した格納領域と第2特図保留記憶に対応した格納領域は、これらの始動口入賞指定コマンド、図柄指定コマンド、変動カテゴリ指定コマンド、保留記憶数通知コマンドを対応付けて、第1特図保留記憶と第2特図保留記憶とに分けて格納するための格納領域(エントリ)が確保されている。
これら格納領域(エントリ)の記憶内容は、開始条件が成立して最上位の保留記憶(バッファ番号「1−1」またはバッファ番号「2−1」)の変動表示が開始されるときに、後述するように1つずつ上位にシフトされていくとともに、該開始条件が成立した保留記憶の内容を格納するバッファ番号「1−0」またはバッファ番号「2−0」の記憶内容は、当該変動表示を終了するときに実行される演出図柄変動停止処理においてクリアされるようになっている。
更に、本実施例の始動入賞時受信コマンドバッファ194Aには、後述する保留表示予告演出決定処理(図32)において保留表示予告演出の実行の有無の決定に伴う表示パターンの決定が未決定であるか否か、つまり、新たな始動入賞の発生によって、始動口入賞指定コマンド、図柄指定コマンド、変動カテゴリ指定コマンド、保留記憶数通知コマンドが新たに格納されたことにより表示パターンの決定が未決定である旨を示す表示未決定フラグと、保留記憶表示の表示パターン(表示態様)に応じたフラグ値がセットされる保留表示フラグと、を第1特図保留記憶及び第2特図保留記憶に対応する各バッファ番号に対応付けて格納できるように記憶領域が、各格納領域(エントリ)毎に確保されている。尚、保留表示フラグには、後述する保留表示予告演出決定処理において、保留表示予告演出の実行が決定されなかった場合には、通常の保留記憶表示の表示パターンに対応する「0」が格納されることで、通常の表示態様(例えば、白抜き○)の保留記憶表示が第1保留記憶表示エリア5D、第2保留記憶表示エリア5Uに表示され、保留表示予告演出の実行が決定された場合には、通常の表示態様とは異なる特別態様(例えば、四角形(◇)や星(☆))の保留記憶表示の表示パターンに対応する「1」(四角形(◇))または「2」(星(☆))がセットされることで、通常の表示態様とは異なる特別態様の保留記憶表示が第1保留記憶表示エリア5D、第2保留記憶表示エリア5Uに表示されて、該保留記憶表示に対応する変動表示において、大当りとなる可能性やスーパーリーチとなる可能性が高いことが予告されるようになっている。
演出制御用CPU120は、第1始動入賞口への始動入賞時には、コマンドを始動入賞時受信コマンドバッファ194Aの第1特図保留記憶に対応する空きエントリにおける先頭(バッファ番号の最も若いエントリ)から格納していき、第2始動入賞口への始動入賞時には、コマンドを始動入賞時受信コマンドバッファ194Aの第2特図保留記憶に対応する空きエントリにおける先頭(バッファ番号の最も若いエントリ)から格納していく。始動入賞時には、始動口入賞指定コマンドから保留記憶数通知コマンドまでが順次送信される。従って、コマンド受信が行われれば、第1特図保留記憶または第2特図保留記憶に対応するバッファ番号の末尾「1」〜「4」のそれぞれに対応する格納領域に、始動口入賞指定コマンド、図柄指定コマンド、変動カテゴリ指定コマンド、保留記憶数通知コマンドの順に格納されていくことになる。
図12(B)に示す始動入賞時受信コマンドバッファ194Aに格納されているコマンドは、演出図柄の変動表示を開始するごとに、直前に終了した変動表示の保留記憶に対応したエントリ(バッファ番号「1−0」または「2−0」のエントリ)に格納されているものが削除されるとともに、該開始する変動表示の保留記憶に対応したエントリ(バッファ番号「1−1」または「2−1」に対応したエントリ)に格納されているものと、該開始する変動表示の保留記憶以降のエントリの記憶内容がシフトされる。例えば図12(B)に示す格納状態において第1特図保留記憶の演出図柄の変動表示が終了した場合には、バッファ番号「0」に格納されている各コマンドが削除され、バッファ番号「1」に格納されている各コマンドがバッファ番号「0」にシフトされるとともに、バッファ番号「2」に対応した領域にて格納されている各コマンドがバッファ番号「1」に対応した領域にシフトされ、バッファ番号「3」、「4」のそれぞれに対応した領域にて格納されている各コマンドが、バッファ番号「2」、「3」に対応した領域にシフトされる。よって、バッファ番号「0」は、その時点において変動表示されている保留記憶に関する各コマンドを格納するための領域(エントリ)となる。
ここで、本実施例の主基板11における遊技球の集計及び役物比率等の表示について説明する。主基板11には、遊技の入賞に関する情報、例えば、第1始動口(ヘソ)への入賞による賞球数、第2始動入賞口(電チュー)への入賞による賞球数、大入賞口(アタッカー)への入賞による賞球数、賞球合計数が入力、集計され、表示モニタ29は、賞球合計数のうち大入賞口(アタッカー)への入賞による賞球数が占める割合である連比(%)、賞球合計数のうち第2始動入賞口(電チュー)への入賞による賞球数と大入賞口(アタッカー)への入賞による賞球数が占める割合である役比(%)を表示するようになっている。連比とは、賞球合計数のうち大入賞口(アタッカー)への入賞による賞球数(下記の連続役物獲得球数)が占める割合である。役比とは、賞球合計数のうち第2始動入賞口(電チュー)への入賞による賞球数と大入賞口(アタッカー)への入賞による賞球数(下記の役物獲得球数)が占める割合である。賞球合計数(下記の総獲得球数)は、大入賞口(アタッカー)への入賞による賞球数と、第2始動入賞口(電チュー)への入賞による賞球数と、大入賞口(アタッカー)及び第2始動入賞口(電チュー)以外の入賞口(第1始動入賞口、一般入賞口)への入賞による賞球数と、の総和である。尚、大入賞口(アタッカー)及び第2始動入賞口(電チュー)は、可変役物であり、遊技球の通過可能幅が変動することで、遊技球の入賞想定割合が変動する役物である。また、大入賞口(アタッカー)及び第2始動入賞口(電チュー)以外の入賞口(第1始動入賞口、一般入賞口)は、固定役物であり、遊技球の通過可能幅が固定されており、遊技球の入賞想定割合は一定の役物である。
遊技の入賞に関する情報の集計、計算方法としては、6000個の賞球数における第1始動口(ヘソ)及び一般入賞口(ソデ)への入賞による賞球数(一般賞球数)、第2始動入賞口(電チュー)への入賞による賞球数である普通電役賞球数(電チュー賞球数)、大入賞口(アタッカー)への入賞による賞球数である特別電役賞球数(アタッカー賞球数)を集計する。その集計を1セットとし、10セット分、すなわち60000個分の連比(%)、役比(%)を算出する。尚、集計する第1始動口(ヘソ)及び一般入賞口(ソデ)への入賞による賞球数(一般賞球数)、普通電役賞球数(電チュー賞球数)、特別電役賞球数(アタッカー賞球数)は、リングバッファに記録されるようになっており、少なくとも11セット分の記録容量があり、1セット毎に更新するようになっている。つまり、6000個の11セット分の記憶を相当数量(例えば、数バイト分)記憶しており、それらの累計の連比(%)、役比(%)を算出することができる。
表示モニタ29は、6000個分の連比(%)、役比(%)、及び累計の連比(%)、役比(%)を所定時間(例えば、30秒)毎に切り替えて表示することができる。すなわち、一つの表示手段で4つの表示を切り替えて表示するようになっている。この場合、全て表示を行うのに2分要するが、遊技が進行することで集計される第1始動口(ヘソ)への入賞による賞球数、第2始動入賞口(電チュー)への入賞による賞球数、大入賞口(アタッカー)への入賞による賞球数が変化することになる。とすると、例えば、6000個分の連比(%)を表示した後に入賞した賞球数を、その後に表示される60000個分の役比(%)に反映してしまうと、6000個分の連比(%)と60000個分の役比(%)とで食い違いが生じてしまうおそれがある。そこで、第1始動口(ヘソ)への入賞による賞球数、第2始動入賞口(電チュー)の入賞による賞球数、大入賞口(アタッカー)への入賞による賞球数、賞球合計数が入力、集計は、切替表示における所定のタイミング(例えば、6000個分の連比(%)の表示タイミングなど)で行うようにすれば、このような食い違いを防ぐことができる。
以下に計算方法の一例として、賞球合計数が60000個であり、第2始動入賞口(電チュー)への入賞による賞球数と大入賞口(アタッカー)への入賞による賞球数との合計である役物獲得球数が42000個である場合の役物比率(役比(%))の計算方法を説明する。尚、以下の説明において、総獲得球数とは、パチンコ遊技機1から払い出された遊技媒体(賞球)の総累計数をいう。また、役物獲得球数とは、アタッカー及び電チューに遊技媒体が入賞することによって払い出された遊技媒体の累計数をいう。また、連続役物獲得球数とは、アタッカーに遊技媒体が入賞することによって払い出された遊技媒体の累計数をいう。このため、連比は、下記(1)式で求めることができる。また、役比は、下記(2)式で求めることができる。
連比=[連続役物獲得球数/総獲得数]×100 ・・・(1)
役比=[(連続役物獲得球数+役物獲得球数)/総獲得数]×100 ・・・(2)
賞球合計数が60000個であり、役物獲得球数が42000個である場合の役物比率は、42000を60000で除算することにより0.70(小数点以下3桁切り捨て)として求められる。しかしながら、パチンコ遊技機1に用いられるマイクロコンピュータは小数点以下の演算を行うことができないため、以下の手法での演算が必要となる。
まず、第1の演算方法を説明する。第1の演算方法において、まず、役物獲得球数を100倍して4200000とする。そしてこの4200000を60000で除算する。これにより商として70が求められる。ここで求められた70より役物比率が70%として求められる。つまり、被除数を100倍することにより、小数点以下2桁までの演算結果を求められるようにしている。ここで、小数点以下3桁までの演算結果を求める場合1000倍すればよい。
次に、第2の演算方法を説明する。第2の演算方法において、まず、賞球合計数を100で除算して600とする。そしてこの600で42000を除算する。これにより商として70が求められる。ここで求められた70より役物比率が70%として求められる。つまり、除数を100で除算することにより、小数点以下2桁までの演算結果を求められるようにしている。ここで、小数点以下3桁までの演算結果を求める場合1000で除算すればよい。上記した例で賞球合計数は60000個であるが、長い期間の役物比率を算出するために、賞球合計数を格納するための領域として3バイトの領域が設けられている。つまり本例では3バイトの格納領域に00EA60hとして格納される。また、同様に役物獲得球数も3バイトの格納領域に00A410hが格納される。ここで、パチンコ遊技機1に用いられるマイクロコンピュータは最大2バイトの値同士の演算しか行うことができない。従って、演算を容易にするために、下位1バイトについて切り捨てを行ってもよい。
ここで上記第2の演算方法を簡略化して行う第3の演算方法を説明する。第3の演算方法ではパチンコ遊技機1に用いられるマイクロコンピュータでの演算が容易になるように、賞球合計数の00EA60hに対し、下位1バイトの60hを切り捨て、賞球合計数を00EAh、つまり10進数表記で234を算出する。同じく、役物獲得球数の00A410hに対し、下位1バイトの10hを切り捨て、役物獲得球数を00A4h、つまり10進数表記で164を算出する。そして、上記第2の演算方法と同様に、賞球合計数を100で除算(273/100)して2を算出する。そして、この2で156を除算して、商として78が求められる。ここで求められた78より役物比率が78%として求められる。
第3の演算方法ではパチンコ遊技機1で用いられるマイクロコンピュータでの演算が容易になる一方、+12%の誤差が生じる。ただし、賞球合計数および役物獲得球数がともに10倍の場合の誤差は+1%となる。つまり、役物比率を算出するための期間が長くなることにより誤差は縮小され、本来の数値に近似する。
また、基板ケース201は、透光性を有する材質で形成されており、主基板11、及び表示モニタ29が視認可能になっている。基板ケース201には主基板11に接続される配線コネクタが挿通する図示しない孔部と、主基板11の電気部品の熱を放出するための放熱孔とが形成されている。主基板11に設けられた表示モニタ29は、放熱孔が真正面にはない位置に配置されている。このため放熱孔によって表示モニタ29の視認性が遮られないようにされている。尚、ここでの「真正面」とは、主基板11を視点としての真正面を意味し、主基板11を視認しようとする従業員等と主基板11との間を意味する。 ここで、パチンコ遊技機1に用いられるマイクロコンピュータは最大2バイトの値同士の演算しか行うことができない。従って、演算を容易にするために、下位1バイトについて切り捨てを行ってもよい。
ここで上記第2の演算方法を簡略化して行う第3の演算方法を説明する。第3の演算方法ではパチンコ遊技機1に用いられるマイクロコンピュータでの演算が容易になるように、賞球合計数の00EA60hに対し、下位1バイトの60hを切り捨て、賞球合計数を00EAh、つまり10進数表記で234を算出する。同じく、役物獲得球数の00A410hに対し、下位1バイトの10hを切り捨て、役物獲得球数を00A4h、つまり10進数表記で164を算出する。そして、上記第2の演算方法と同様に、賞球合計数を100で除算(273/100)して2を算出する。そして、この2で156を除算して、商として78が求められる。ここで求められた78より役物比率が78%として求められる。
また、遊技の入賞に関する情報が記憶される記憶領域(リングバッファ、10セット合計バッファ(最大2バイトのカウンタを10個備えるリングバッファに記憶された遊技の入賞に関する情報を合計したもの)、賞球合計数バッファ)はリセットボタンが操作された場合に初期化は行われず、継続して記憶されてもよい。リングバッファについては後にさらに説明する。尚、記憶された値のチェックサムを算出し、異常が検出された場合に初期化を行ったり、記憶された賞球合計数の値よりも役物獲得球数の値が大きかったり、役物獲得球数の値よりも連続役物獲得球数の値が大きかったりした場合など、状況として起こりえない事象が検知された場合などには遊技の入賞に関する情報が記憶される記憶領域の初期化処理を行ってもよい。また、初期化処理を行うことなく、エラー表示や警告表示などを行ってもよいし、エラー表示や警告表示を行うとともに、あるいは行った後に初期化処理を行ってもよい。エラー表示や警告表示については後にさらに説明する。
役比(%)の計算は、例として総獲得球数を34321個、役物獲得球数を19876個とすると、19876個に対して34321個を除数として除算し、割合を計算する。19876/34321=0.57912・・・となり約57.9%の役比(%)であることが算出される。遊技制御用マイクロコンピュータ100において演算を行う場合には小数点での計算を避けなければならないため、以下のような計算式に置き換える。19876/34321の除算において分母の34321を100で除算し、小数点を切り捨て、19876/343=57.9475・・・となる。小数点以下は切り捨てられるため57%の役比(%)であることが算出され、表示モニタ29に表示されることとなり、この例の場合には正確な計算によって算出した値とは表示上では誤差がないものとなる。
16ビットにおける最小値は32768(最上位ビットの値以外が0)で誤差が最大となる値は総獲得球数および役物獲得球数がそれぞれ32799であるときである。これを上記の方法で計算すると、32799/32799=100%、遊技制御用マイクロコンピュータ100での計算に置き換えると32799/327=100.3%で+0.3%の誤差となる。小数点を切り捨てて計算を行った場合に、例えば、正確な値が69.9%、遊技制御用マイクロコンピュータの計算による値が70.1%となった場合に69%→70%で表示上1%の誤差が表示されることが考えられるが、1%の誤差という表示上においても非常に小さい誤差で役比(%)(又は連比(%))が表示できる。
また、上記の計算方法を用いる場合に、総獲得球数を100で除算するため、総獲得球数が100未満の場合には計算を行うことができない。さらに、32768未満である場合にも徐々に誤差が大きくなる。10000未満である場合には誤差が1%を超え、さらに大きな誤差となる場合がある。つまり、総獲得球数が少ないほど誤差が大きくなってしまう。このため特定の数以上の総獲得球数(例えば16ビットの最小値である32768)をカウンタによって集計するまでは、表示モニタに役比(%)、連比(%)の表示を行わなかったり、表示を行ったとしても誤差が大きい可能性があることを専用のランプの発光や、報知音を出力したり、表示された値を点滅表示させるなどして報知してもよい。
また、表示モニタ29は役比(%)と、連比(%)とを7セグメント上に表示するものであり、それぞれの値を所定期間毎(例えば30秒毎)に切り替えて表示する。この場合に、例えば役比(%)を30秒間表示している間に、電チューやアタッカーへ新たに遊技媒体が入賞するという事象が発生し、それに従い計算した値を30秒後に連比(%)の値として表示してしまうと、役比(%)と連役(%)との値が乖離してしまう虞がある。このため、役比(%)と連比(%)は同一割込み内で計算し算出された値を順次表示していくことが好ましい。
また、7セグメントに表示可能な数値を2ケタとした場合(例えば7セグメントが2つ設けられている場合)に100%を100として表示ができなくなる。この場合には100の代わりに99を表示するようにしてもよい。図13(A)に示す表示モニタ29では、下位2桁に数値を表示可能としているが、この場合でも、上位2桁を使用することなく、数値を表示してもよい。あるいは、特定の条件の下で、上位2桁の一部に数値を表示してもよい。尚、本実施例では、アタッカーと電チューのそれぞれに設けられたセンサによって遊技媒体が入賞したことを検出し、その検出結果に基づいてそれぞれの賞球数を個別に集計する形態を例示したが、本発明はこれに限定されるものではなく、アタッカーに入賞した遊技媒体と電チューに入賞した遊技媒体とが排出される排出通路が合流した後に設けられたセンサとを使い、その検出結果に基づいて役物獲得球数、連続役物獲得球数を集計するようにしてもよい。
以下、連比役比の表示について、より具体的に説明する。本実施例において主基板11は、遊技盤2(図1参照)の裏面側に設けられている。遊技盤2の裏面側には、主基板11以外の他、演出制御基板12などの各周辺基板も設けられている(図3参照)。
主基板11におけるRAM102の遊技制御カウンタ設定部154には、前述したゲート通過数カウンタ、第1始動入賞数カウンタ、第2始動入賞数カウンタ、第1一般入賞数カウンタ,第2一般入賞数カウンタ,第3一般入賞数カウンタ,第4一般入賞数カウンタ、大入賞数カウンタが設けられている。ゲート通過数カウンタは、ゲートスイッチ21が遊技球を検出した数を計数するカウンタである。第1始動入賞数カウンタは、第1始動口スイッチ22Aが遊技球を検出した数を計数するカウンタである。第2始動入賞数カウンタは、第2始動口スイッチ22Bが遊技球を検出した数を計数するカウンタである。第1一般入賞数カウンタは、一般入賞口スイッチ24Aが遊技球を検出した数を計数するカウンタである。第2一般入賞数カウンタは、一般入賞口スイッチ24Bが遊技球を検出した数を計数するカウンタである。第3一般入賞数カウンタは、一般入賞口スイッチ24Cが遊技球を検出した数を計数するカウンタである。第4一般入賞数カウンタは、一般入賞口スイッチ24Dが遊技球を検出した数を計数するカウンタである。大入賞数カウンタは、カウントスイッチ23が遊技球を検出した数を計数するカウンタである。
尚、主基板11には、図示しないクリアスイッチが接続されている。クリアスイッチは、遊技盤2の裏側面において、従業員等が容易に操作できない位置に配置されている。クリアスイッチを操作することにより、後に説明するRAM102に記憶された連比や役比に用いるデータがクリアされる。クリアスイッチは、連比や役比の算出などに障害が生じた場合など、連比や役比の算出をやり直さざるを得ない状態に陥った時に操作されるスイッチである。このため、通常の連比や役比の算出を行うためのデータの収集を行っている際には、操作する必要がないスイッチである。また、クリアスイッチを操作すると、データのクリアのほかにクリアスイッチ操作信号が主基板11に送信される。尚、主基板11の遊技制御用マイクロコンピュータ100には、前述したように、RTC106が設けられおり、RTC106によって現在時刻を検出できる。RTC106は、初期設定を行うことで所定の時刻や経過時間などを測定できるが、本実施例においてRTC106は、遊技場の営業可能時間を計測可能とされている。
主基板11は、13(A)に示すように、基板ケース201に収容されている。基板ケース201には、かしめピン11Bが取り付けられている。このかしめピン11Bが設けられていることにより、主基板11が基板ケース201に完全に封入された状態となり、主基板11に対する不正行為を防止するようになっている。基板ケース201は、かしめられた基板ケース(以下「かしめ基板ケース」ともいう)である。
また、表示モニタ29は、主基板11上に設けられている。また、基板ケース201には、主基板11が封入されたことを証明するための封印シール11Sが貼られている。封印シール11Sは例えば基板ケース201における取り外し部分をまたいで貼られている。封印シール11Sは、主基板11からは離れた位置に配置されており、表示モニタ29の真正面など、表示モニタ29の視認性が遮られる位置とは異なる位置に配置されている。このように、表示モニタ29は、封印シール11Sによって隠されない位置に配置されている。表示モニタ29は、第1表示部29A、第2表示部29B、第3表示部29C、及び第4表示部29Dを備えている。第1表示部29A〜第4表示部29Dは、いずれも「8」の字を描く7つのセグメントによって構成される7セグメントと、7セグメントの右側方下部に配置されたドットによって構成されている。これらの第1表示部29A〜第4表示部29Dは、それぞれ種々の色、例えば赤色、青色、緑色、黄色、白色等で点灯、点滅可能とされている。また、これらの色を極短周期で変化させながら異なる色やいわゆるレインボーで表示させることもできる。
表示モニタ29には、図13(B)に示す表示No1〜4の各項目が表示される。上位2桁の第1表示部29A及び第2表示部29Bには集計期間が表示され、下位2桁の第3表示部29C及び第4表示部29Dには、数値が百分率で表示される。表示No1では、短期の連比が表示され、表示No2では、短期の役比が表示される。表示No3では、総累計の連比が表示され、表示No2では、総累計の役比が表示される。ここでの短期とは、払い出された賞球数(獲得球数)が6000個であった期間を意味する。総累計を求める期間は、連比、役比の算出を開始してからの通算、又は連比、役比の計算を一旦リセットしてからの通算の期間を意味する。尚、上記の例では、連比や役比は、遊技状態によらずに算出するが、遊技状態を考慮して算出してもよい。例えば、連比は、賞球合計数のうち、大当り遊技状態中の大入賞口への入賞による賞球数が占める割合としてもよい。また、役比は、賞球合計数は、役比は、賞球合計数のうち、時短状態(高ベース状態)中の第2始動入賞口への入賞による賞球数と大当り遊技状態中の大入賞口への入賞による賞球数が占める割合としてもよい。
表示No1の短期連比が表示される場合には、第1表示部29A及び第2表示部29Bに「y6.」が表示され、表示No2の短期役比が表示される場合には、第1表示部29A及び第2表示部29Bに「y7.」が表示される。また、表示No1の短期連比が表示される場合には、第1表示部29A及び第2表示部29Bには、短期連比が百分率表示(%表示)され、表示No2の短期役比が表示される場合には、第1表示部29A及び第2表示部29Bには、短期役比が百分率表示(%表示)される。表示No3の総累計連比が表示される場合には、第1表示部29A及び第2表示部29Bに「A6.」が表示され、表示No4の総累計役比が表示される場合には、第1表示部29A及び第2表示部29Bに「A7.」が表示される。また、表示No3の総累計連比が表示される場合には、第3表示部29C及び第4表示部29Dには、総累計連比が百分率表示(%表示)され、表示No4の総累計役比が表示される場合には、第3表示部29C及び第4表示部29Dには、総累計役比が百分率表示(%表示)される。
主基板11は、連比及び役比を算出するにあたり、大入賞口(アタッカー)、第1始動入賞口、第2始動入賞口、及び一般入賞口N1〜一般入賞口N4に進入した遊技球の進入数の集計を行っている。CPU103は、メイン処理において、ゲートスイッチ21、第1始動口スイッチ22A及び第2始動口スイッチ22B、カウントスイッチ23、並びに、一般入賞口スイッチ24A〜24Dの各スイッチの状態(検出信号の有無)を確認するスイッチ処理を行っている。このスイッチ処理において、各スイッチから出力される検出信号に基づいて、いずれの進入領域に遊技球が進入したのかを特定する。そして、ゲートスイッチ21から検出信号が出力された場合には、ゲート通過数カウンタの値を加算し、第1始動口スイッチ22A,第2始動口スイッチ22Bから検出信号が出力された場合には、第1始動入賞数カウンタ,第2始動入賞数カウンタの値を加算し、カウントスイッチ23から検出信号が出力された場合には、大入賞数カウンタの値を加算し、一般入賞口スイッチ24Aから検出信号が出力された場合には、第1一般入賞数カウンタの値を加算し、一般入賞口スイッチ24Bから検出信号が出力された場合には、第2一般入賞数カウンタの値を加算し、一般入賞口スイッチ24Cから検出信号が出力された場合には、第3一般入賞数カウンタの値を加算し、一般入賞口スイッチ24Dから検出信号が出力された場合には、第4一般入賞数カウンタの値を加算することで、各進入領域への遊技球の進入数(各入賞口への遊技球の入賞数)を集計する。尚、各カウンタの値はRAM102に記憶されている。
このように、各進入領域への遊技球の進入数を集計するためのステップを、各進入領域に対応したスイッチの状態を確認する一連の処理において併せて実行する(スイッチの状態確認処理であるスイッチ処理に含める)ことにより、別途の集計プログラムを実行させることなく、即ち、実行プログラムが増加することによる容量不足という問題を生じさせることなく、各進入領域への遊技球の進入数を集計可能となっている。
主基板11のCPU103は、集計した各入賞口への遊技球の入賞数に基づいて、各入賞口への入賞による賞球数を算出し、算出した賞球数を入賞口ごとにRAM102に記憶させる。遊技球の入賞による賞球数は、入賞口に対する1回の入賞で払い出される遊技球数と、当該入賞口への入賞回数を乗じた数で算出される。遊技球の入賞による賞球数は、入賞口毎にあらかじめ定められている。ここで区分される入賞口ごとの賞球数は、図14に示すように、一般入賞口賞球(一般入賞口N1〜一般入賞口N4(ソデ)への入賞による賞球)、第1始動入賞口賞球(第1始動入賞口(ヘソ)への入賞による賞球)、普通電役賞球(電チューへの入賞による賞球)、特別電役賞球(アタッカーへの入賞による賞球)の賞球数である。また、RAM102は、総賞球数も記憶している。尚、CPU103では、一般入賞口への遊技球の入賞数及び第1始動口への遊技球入賞数を個別に集計しているが、一般入賞口への遊技球の入賞数及び第1始動口への遊技球入賞数をまとめて集計してもよい。また、一般入賞口賞球の賞球数と、第1始動口賞球の賞球数とを個別に算出しているが、一般入賞口賞球の賞球数と、第1始動口賞球の賞球数とをまとめて算出してもよい。
RAM102は、これらの賞球数を記憶するためのリングバッファとアクティブバッファを備えている。リングバッファは、6000個の賞球数ごとの各入賞口への入賞による賞球数を記憶する最大2バイトのカウンタからなる10個の第1記憶領域〜第10記憶領域を備えている。このように、リングバッファでは、所定単位(最大2バイト)の記憶領域を備えている。また、アクティブバッファは、6000個の賞球数ごとの各入賞口への入賞による賞球数を記憶する最大2バイトのカウンタからなる第0記憶領域を備えている。第0記憶領域には、遊技の進行によって増加する入賞口毎の賞球数が加算される。第0記憶領域〜第10記憶領域の11個の記憶領域は、256×256=65536のデータを記憶可能であり、6000個までのデータは余裕をもって記憶できる。
また、RAM102には、入賞口毎に、第1記憶領域〜第10記憶領域に記憶された賞球数(10セット分)の総和と、総累計との記憶領域が設けられている。10セット分の総和及び総累計の記憶領域は、最大3バイトのカウンタで構成されている、このため、256×256×256=16777216のデータを記憶可能であり、60000個までのデータは余裕をもって記憶できる。また、RAM102には、10セット分及び総累計の役比及び連比を記憶する連比役比記憶領域を備えている。主基板11のCPU103では、10セット分及び総累計の各入賞口への遊技球の入賞数に基づく賞球数によって、10セット分及び総累計の役比及び連比を算出し、10セット分及び総累計の役比及び連比を記憶する連比役比記憶領域に記憶させる。10セット分及び総累計の役比及び連比を記憶する連比役比記憶領域は、いずれも最大1バイトのカウンタで構成されている。10セット分及び総累計の役比及び連比は、例えば整数で記憶させる場合には、最大1バイトのカウンタで余裕をもって記憶できる。
ここで、主基板11のCPU103のメモリ空間について説明する。図15は主基板におけるCPUのメモリマップを示した図である。CPU103は、上述の内蔵レジスタ、ROM101、RAM102などにアクセスするためのメモリ空間を有している。具体的には、図15のメモリマップに示すように、ROM101のアドレス/データ信号線は、メモリ空間のROM領域(本実施形態では、0000H〜2FFFH(Hは16進数を示す。以下、同じ)のうち、0000H〜2FBFH。2FC0H〜2FFFHはプログラム管理エリア)に割り当てられ、CPU103は、このROM領域を指定してROM101からのデータの読み出しを行う。また、本実施例では、ROM領域を第一領域〜第八領域の8つの領域に分けて管理を行っており、第一領域は0000Hから始まる領域としている。
また、内蔵レジスタのアドレス/データ信号線は、メモリ空間のレジスタエリア(本実施形態では、FE00H〜FEBFH)に割り当てられ、CPU103は、このレジスタエリアを介して内蔵レジスタからのデータの読み出しやレジスタへのデータの書き込みを行う。また、RAM102のアドレス/データ信号線は、メモリ空間のRWM領域(本実施形態では、F000H〜F3FFH)に割り当てられ、CPU103は、このRWM領域を指定してRAM102からのデータの読み出しやRAM102へのデータの書き込みを行う。尚、メモリ空間の他の領域(本実施形態では、3000H〜EFFFH、F400H〜FDFFH、FEC0H〜FFFFH)は非使用領域とされている。
また、RAM102の記憶領域に対応するRAM領域(本実施形態では、0000H〜2FFFHの16Kバイト領域)は、図16に示すように、RAM制御領域、非使用領域、RAMデータ領域及びその他領域で構成されている。このRAM制御領域に対応するRAM102の記憶領域には、CPU103が実行する複数種類の命令それぞれに対応する命令データ(オペコード)やCPU103がそれぞれの命令を実行するために必要な補足データ(オペランド)によって構成される制御プログラム用のデータ(単に、制御プログラムデータと称する場合がある)が一時的に記憶され、RAMデータ領域に対応するRAM102の記憶領域には、上記の制御プログラムによって参照される参照データ(例えば、上述の各種抽選データ)が一時的に記憶される。
また、非使用領域に対応するRAM102の記憶領域及びその他領域に対応するRAM102の記憶領域には、連比や役比の表示に用いるデータが一時的記憶される。例えば、非使用領域に対応するRAM102の記憶領域には、入賞口毎の賞球数の総累計を記憶する記憶領域及び総累計の連比役比記憶領域が設けられている。またその他領域に対応するRAM102の記憶領域には、入賞口毎の第0記憶領域を備えるアクティブバッファ、第1記憶領域〜第10記憶領域を備えるリングバッファ、入賞口毎の賞球数(10セット分)の総和の記憶領域、及び10セット分の連比役比記憶領域が設けられている。尚、非使用領域に対応するRAM102の記憶領域と、その他領域に対応するRAM102の記憶領域とには、サブルーチンの先頭アドレスが互いに異なるデータがそれぞれ記憶されている。尚、本実施形態では、RAM領域の各々のアドレスに対応するRAM102の記憶領域には、1バイト(8ビット)のデータが記憶可能であり、上述の各データ(命令データ、補足データ、参照データ、管理データ)が1バイトを超えるバイト数(例えば、2バイト)のデータである場合には、RAM制御領域の連続する複数のアドレスに対応するRAM102の記憶領域に1バイト毎に分割して記憶している。
また、主基板11は、表示モニタ29に対して、連比及び役比を表示する制御を行う。ここで、主基板11は、複数の項目を順次表示する制御を行う。図17(A)は、役物比率表示装置に表示される項目の表示時間を示すタイムチャートである。図17(A)に示すように、表示モニタ29に対する表示を開始すると、まず表示No1の短期連比が表示される。表示No1の短期連比の表示は、緑字で表示される。表示No1の短期連比の表示では、図17(B−1)に示すように、第1表示部29Aに「y」の文字が表示され、第2表示部29Bに「6.」の文字が表示される。また、第3表示部29C及び第4表示部29Dには、短期連比が表示される。例えば、短期連比が41%の場合、第3表示部29Cに「4.」の文字が表示され、第4表示部29Dに「1.」の文字が表示される。
表示No1の表示が30秒間継続すると、表示No2の短期役比が表示される。表示No2の短期連比の表示は、赤字で表示される。表示No2の短期役比の表示では、図17(B−2)に示すように、第1表示部29Aに「y」の文字が表示され、第2表示部29Bに「7.」の文字が表示される。また、第3表示部29C及び第4表示部29Dには、短期役比が表示される。例えば、短期役比が63%の場合、第3表示部29Cに「4.」の文字が表示され、第4表示部29Dに「3.」の文字が表示される。表示No2の表示が30秒間継続すると、表示No3の総累計連比が表示される。表示No3の総累計連比の表示は、赤字で表示される。表示No3の総累計連比の表示では、図17(B−3)に示すように、第1表示部29Aに「A」の文字が表示され、第2表示部29Bに「6.」の文字が表示される。また、第3表示部29C及び第4表示部29Dには、総累計連比が表示される。例えば、総累計連比が58%の場合、第3表示部29Cに「5.」の文字が表示され、第4表示部29Dに「8.」の文字が表示される。
表示No3の表示が30秒間継続すると、表示No4の総累計役比が表示される。表示No4の総累計役比の表示は、赤字で表示される。表示No4の総累計役比の表示では、図17(B−4)に示すように、第1表示部29Aに「A」の文字が表示され、第2表示部29Bに「7.」の文字が表示される。また、第3表示部29C及び第4表示部29Dには、総累計役比が表示される。例えば、総累計役比が68%の場合、第3表示部29Cに「6.」の文字が表示され、第4表示部29Dに「8.」の文字が表示される。表示No4の表示が30秒間継続すると、図17(B−5)に示すように、表示No1の短期連比が表示される。以後、表示No1の短期連比〜表示No4の総累計役比の表示が30秒毎に順次表示される。また、その表示の色は、表示No1の短期連比のみが緑色とされ、表示No2の短期役比〜表示No4の総累計役比は赤色とされる。このように、表示モニタ29は、短期連比、短期役比、総累計連比、総累計役比を30秒ごとに切り替えて表示する。また、主基板11では、アクティブバッファにおける第0記憶領域の賞球合計が所定の容量である6000個に到達すると、リングバッファにおける第0記憶領域〜第10記憶領域の記憶を更新する。さらには、10セット分の総和及び総累計の記憶領域、10セット分及び総累計の役比及び連比を記憶する連比役比記憶領域の記憶をそれぞれ更新する。
アクティブバッファ及びリングバッファにおける更新では、アクティブバッファの第0記憶領域に記憶されている数値をリングバッファの第1記憶領域に移動させる。また、リングバッファの第1記憶領域〜第9記憶領域に記憶されている数値をそれぞれ第2記憶領域〜第10記憶領域に移動させる。例えば、図18に示すように、第0記憶領域〜第9記憶領域における一般入賞口賞球の賞球数がそれぞれ「27」「81」「120」「36」「225」「87」「66」「117」「45」「21」であったとする。このときに、アクティブバッファの第0記憶領域における賞球合計が6000個に到達すると、第1憶領域〜第10記憶領域における一般入賞口賞球の賞球数をそれぞれ「27」「81」「120」「36」「225」「87」「66」「117」「45」「21」に更新する。また、第0記憶領域の賞球数を「0」とし、第10記憶領域の賞球数を消去する。第0記憶領域〜第10記憶領域に記憶される賞球数を更新する際には、記憶している賞球数を一旦消去してから新たな賞球数を記憶させてもよい。あるいは、記憶されている賞球数に上書きする形で新たな賞球数を記憶させてもよい。
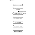
次に、本実施例におけるパチンコ遊技機1の動作(作用)を説明する。主基板11では、所定の電源基板からの電力供給が開始されると、遊技制御用マイクロコンピュータ100が起動し、CPU103によって遊技制御メイン処理となる所定の処理が実行される。遊技制御メイン処理を開始すると、CPU103は、割込み禁止に設定した後、必要な初期設定を行う。この初期設定では、例えば、RAM102におけるRAM制御領域及びRAMデータ領域がクリアされる。このため、電源基板からの電力供給が開始されたときには、RAM102の非使用領域及びその他領域に記憶される連比や役比の表示に用いるデータは、クリアされることなく維持される。RAM102の非使用領域及びその他領域に記憶される連比や役比の表示に用いるデータは、クリアスイッチが操作されることでクリアされる。また、遊技制御用マイクロコンピュータ100に内蔵されたCTC(カウンタ/タイマ回路)のレジスタ設定を行う。これにより、以後、所定時間(例えば、2ミリ秒)ごとにCTCから割込み要求信号がCPU103へ送出され、CPU103は定期的にタイマ割込み処理を実行することができる。初期設定が終了すると、割込みを許可した後、ループ処理に入る。尚、遊技制御メイン処理では、パチンコ遊技機1の内部状態を前回の電力供給停止時における状態に復帰させるための処理を実行してから、ループ処理に入るようにしてもよい。
こうした遊技制御メイン処理を実行したCPU103は、CTCからの割込み要求信号を受信して割込み要求を受け付けると、図19のフローチャートに示す遊技制御用タイマ割込み処理を実行する。図19に示す遊技制御用タイマ割込み処理を開始すると、CPU103は、まず、所定のスイッチ処理を実行することにより、スイッチ回路110を介してゲートスイッチ21、第1始動口スイッチ22A、第2始動口スイッチ22B、カウントスイッチ23、一般入賞口スイッチ24A、一般入賞口スイッチ24B、一般入賞口スイッチ24C、一般入賞口スイッチ24Dといった各種スイッチから入力される検出信号の状態を判定し、各スイッチに対応する入賞数カウンタへの加算を実行する(S11)。
続いて、入賞が発生した場合、つまり、第1始動口スイッチ22A、第2始動口スイッチ22B、カウントスイッチ23、一般入賞口スイッチ24A、一般入賞口スイッチ24B、一般入賞口スイッチ24C、一般入賞口スイッチ24Dからの検出信号の入力があった場合には、各検出信号による入賞に対応した賞球個数の設定などを行う賞球処理(S12)を実行する。次いで、CPU103は、役比、連比等の入賞情報を算出する入賞情報処理(S13)、該入賞情報処理にて算出された役比、連比等の入賞情報を表示モニタ29に表示する入賞情報表示制御処理(S14)を行う。その後、所定のメイン側エラー処理(S15)を実行することにより、パチンコ遊技機1の異常診断を行い、その診断結果に応じて必要ならば警告を実行可能とする。この後、所定の情報出力処理を実行することにより、例えばパチンコ遊技機1の外部に設置されたホール管理用コンピュータに供給される大当り情報、始動情報、確率変動情報、払出情報、セキュリティ情報などのデータ(信号)を出力する(S16)。
情報出力処理に続いて、主基板11の側で用いられる乱数値MR1や乱数値MR1〜MR4といった遊技用乱数の少なくとも一部をソフトウェアにより更新するための遊技用乱数更新処理を実行する(S17)。この後、CPU103は、特別図柄プロセス処理を実行する(S18)。特別図柄プロセス処理では、遊技制御フラグ設定部152に設けられた特図プロセスフラグの値をパチンコ遊技機1における遊技の進行状況に応じて更新し、第1特別図柄表示器4Aや第2特別図柄表示器4Bにおける表示動作の制御や、特別可変入賞球装置7における大入賞口の開閉動作設定などを、所定の手順で行うために、各種の処理が選択されて実行される。
特別図柄プロセス処理に続いて、普通図柄プロセス処理が実行される(S19)。CPU103は、普通図柄プロセス処理を実行することにより、普通図柄表示器20における表示動作(例えばセグメントLEDの点灯、消灯など)を制御して、普通図柄の変動表示や普通可変入賞球装置6Bにおける可動翼片の傾動動作設定などを可能にする。普通図柄プロセス処理を実行した後、CPU103は、コマンド制御処理を実行することにより、主基板11から演出制御基板12などのサブ側の制御基板に対して制御コマンドを伝送させる(S20)。これらの一例として、コマンド制御処理では、遊技制御バッファ設定部155に設けられた送信コマンドバッファの値によって指定されたコマンド送信テーブルにおける設定に対応して、I/O105に含まれる出力ポートのうち、演出制御基板12に対して演出制御コマンドを送信するための出力ポートに制御データをセットした後、演出制御INT信号の出力ポートに所定の制御データをセットして演出制御INT信号を所定時間にわたりオン状態としてからオフ状態とすることなどにより、コマンド送信テーブルでの設定に基づく演出制御コマンドの伝送を可能とする。コマンド制御処理を実行した後には、割込み許可状態に設定してから、遊技制御用タイマ割込み処理を終了する。
以下、遊技制御用タイマ割込処理における各種処理の内容について説明する。図20は、本実施例の入賞情報処理を示すフローチャートである。CPU103は、図20に示すように、入賞情報処理において、異常操作が検出されたか否か判断する(S301)。異常操作が検出されたか否かは、クリアスイッチからクリアスイッチ操作信号が送信されたか否かで判断する。その結果、クリアスイッチ操作信号が送信されており、異常操作が検出された場合(S301;Y)には、警告表示準備を行い(S302)、S303に進む。また、クリアスイッチ操作信号が送信されておらず、異常操作が検出されない場合(S301;N)には、入賞情報を取得する(S303)。入賞情報は、第1始動口スイッチ22A及び第2始動口スイッチ22B、カウントスイッチ23、並びに一般入賞口スイッチ24A〜24Dのいずれかによって遊技球が検出されることによって取得される。
続いて、現在の時刻が営業時間内であるか否かを判断する(S304)。現在の時刻が営業時間内であるか否かは、RTC106からの出力される現在の時刻情報によって判断される。その結果、RTC106から出力された時刻情報から特定される現在の時刻が営業時間内である場合には(S304;Y)、ガラス扉枠が閉鎖されているか否かを扉開放センサ90からの出力信号により判断する(S305)。その結果、扉開放センサ90から信号が出力されておらず、ガラス扉枠が閉鎖されている場合には(S305;Y)、単位時間当たりにアタッカーに遊技球が所定球数以上入賞しているか否かを判断する(S306)。ここでの単位時間及び所定球数は、通常の遊技では入賞し得ない状態を想定した数値が設定される。具体的には、遊技球の発射は、最大1分間100発であるため、例えば、1分間に100個を上限として適宜決定できる。より具体的には、単位時間が1秒間である場合に所定球数が5個、又は、単位時間が10秒である場合に所定個数が30個などである。単位時間は、RTC106によって計測される。また、アタッカーへの遊技球の入賞個数は、カウントスイッチ23による遊技球の検出個数によって計測される。
その結果、単位時間当たりにアタッカーに遊技球が所定球数以上入賞していない場合(S306;N)には、S303で取得した入賞情報に応じた賞球数を加算する賞球数加算処理を行う(S307)。尚、賞球数加算処理は、警告表示準備が行われていない場合に行う。ここで、警告表示準備が行われている場合には、そのまま入賞情報処理を終了する。賞球数加算処理では、図14に示す第0記憶領域における一般入賞口賞球(ソデ)、第1始動口賞球(ヘソ)、普通電役賞球(電チュー)、特別電役賞球(アタッカー)の各賞球数を加算する。また、賞球数加算処理では、アクティブバッファにおける第0記憶領域における一般入賞口賞球(ソデ)、第1始動口賞球(ヘソ)、普通電役賞球(電チュー)、特別電役賞球(アタッカー)の各賞球数の賞球合計を算出する。ここで、アクティブバッファにおける第0記憶領域の賞球合計が所定の容量である6000となった場合には、アクティブバッファの第0記憶領域に記憶されている数値をリングバッファの第1記憶領域に移動させる。また、リングバッファの第1記憶領域〜第9記憶領域に記憶されている数値をそれぞれ第2記憶領域〜第10記憶領域に移動させる。また、リングバッファにおける第10記憶領域に記憶されていた数値を消去する。
続いて、算出タイマがタイムアップした(算出タイマ=0)か否かを判断する(S308)。その結果、算出タイマがタイムアップしていない場合(S308;N)には、そのまま入賞情報処理を終了する。また、算出タイマがタイムアップしている場合(S308;Y)には、算出タイマをセット(算出タイマ=2000ms)する(S309)。それから、S307で加算して得られた賞球数(賞球合計)が算出実行数となっているか否かを判断する(S310)。算出実行数は、適宜の数とすることができるが、例えばリングバッファにおける第0記憶領域〜第9記憶領域に記憶されている数値をそれぞれ第1記憶領域〜第10記憶領域に移動させる基準となる賞球合計の6000個よりもわずかに少ない数、例えば5900個とすることができる。また、算出実行数は、6000個から最大払出し球数を減じた数よりもわずかに小さい数とすることが好適である。
その結果、賞球数(賞球合計)が算出実行数となっていない場合には(S310;N)、そのまま入賞情報処理を終了する。また、賞球数が算出実行数となっている場合には(S310;Y)、連比及び役比を算出する(S311)。ここでは、短期連比、短期役比、累計連比(総累計連比)、累計役比(総累計役比)をそれぞれ算出する。このため、短期連比、短期役比、累計連比、累計役比は、いずれも同一のタイマ割込み内で算出される。その後、連比・役比表示処理を行って(S312)、入賞情報処理を終了する。また、S304で営業時間内でないと判断した場合(S304;N)、S305でガラス扉枠が閉鎖していないと判断した場合(S305;N)、S306で単位時間当たりにアタッカーに遊技球が所定球数以上入賞していると判断した場合(S306;Y)には、エラー表示準備を行う(S313)。その後、入賞情報処理を終了する。
図21は、本実施例の入賞情報表示制御処理(S14)を示すフローチャートである。CPU103は、図21に示すように、まず、連比・役比表示準備が済んでいるか否かを判断する(S321)。連比・役比表示準備処理が済んでいないと判断した場合(S321;N)には、エラー表示準備が済んでいるか否かを判断する(S322)。その結果、エラー表示準備が済んでいると判断した場合(S322;Y)には、エラー表示を行う(S323)。エラー表示は、適宜行うことができる。例えば、表示モニタ29の上位2桁に「E」「R」を表示し、下位2桁に「0」「1」を表示することができる。また、エラー表示を行う際に、他の表示装置、例えば演出表示装置5、第1特別図柄表示器4A、第2特別図柄表示器4B等に所定のエラー表示を行ってもよいし、遊技効果ランプ9を適宜のパターンで点灯、点滅などさせてもよい。あるいは、スピーカ8L,8Rから所定の警報音を発生させてもよい。あるいは、主基板11に設けられたパチンコ遊技機1のエラーを表示するための7セグメント表示器に適宜の表示を行ってもよい。また、これらを組み合わせて行ってもよい。
エラー表示を行ったら、警告表示準備が済んでいるか否かを判断する(S324)。また、S322において、エラー表示準備が済んでいるか否かを判断していないと判断した場合(S322;N)にも、警告表示準備が済んでいるか否かを判断する(S324)。その結果、警告表示準備が済んでいると判断した場合(S324;Y)には、警告表示を行う(S325)。警告表示は、警告表示以外の表示とは異なるように、適宜行うことができる。例えば、表示モニタ29の上位2桁に「E」「R」を表示し、下位2桁に「0」「6」を表示することができる。このとき、警告がなされる状態であることを示すために、表示モニタ29を点滅させてもよいし、表示モニタ29の表示の色を変化させながら表示させてもよい。あるいは、表示モニタ29の表示の明度を高くして表示を行ってもよい。このように、警告表示は、他の表示よりも目立つようにして行うのが好適である。
また、警告表示を行う際に、他の表示装置、例えば演出表示装置5、第1特別図柄表示器4Aに、第2特別図柄表示器4B等に所定の警告表示を行ってもよいし、遊技効果ランプ9を適宜のパターンで点灯、点滅などさせてもよい。あるいは、スピーカ8L,8Rから所定の警告音を発生させてもよい。あるいは、主基板11に設けられたパチンコ遊技機1のエラーを表示するための7セグメント表示器に適宜の表示を行ってもよい。また、これらを組み合わせて行ってもよい。尚、演出表示装置5に他のエラー表示等が行われている場合には、これら表示されているエラーの表示を消去しないように警告表示を行うことが好適である。警告表示を行ったら、入賞情報表示制御処理を終了する。また、S324で警告表示準備が済んでいないと判断した場合(S324;N)にも、入賞情報表示制御処理を終了する。
また、連比・役比表示準備が済んでいると判断した場合(S321;Y)には、短期連比表示を行う(S326)。続いて、短期連比表示を開始して所定時間(30秒)が経過したか否かを判断する(S327)。ここで、所定時間が経過していないと判断した場合(S327;N)には、S326に戻り、短期連比表示を継続する。また、所定時間が経過したと判断した場合(S327;Y)には、S328に進む。こうして、短期連比表示は、30秒(30000ms)間継続して行われる。続いて、短期役比表示を行い(S328)、短期役比表示を開始して所定時間(30秒)が経過したか否かを判断する(S329)。ここで、所定時間が経過していないと判断した場合(S329;N)には、S328に戻り、短期役比表示を継続する。また、所定時間が経過したと判断した場合(S329;Y)には、S330に進む。こうして、短期役比表示は、30秒間継続して行われる。
続いて、累積連比表示を行い(S330)、累積連比表示を開始して所定時間(30秒)が経過したか否かを判断する(S331)。ここで、所定時間が経過していないと判断した場合(S331;N)には、S330に戻り、累積連比表示を継続する。また、所定時間が経過したと判断した場合(S331;Y)には、S332に進む。こうして、累積連比表示は、30秒間継続して行われる。続いて、累積役比表示を行い(S332)、累積役比表示を開始して所定時間(30秒)が経過したか否かを判断する(S333)。ここで、所定時間が経過していないと判断した場合(S333;N)には、S332に戻り、累積役比表示を継続する。こうして、短期役比表示は、30秒間継続して行われる。また、所定時間が経過したと判断した場合(S333;Y)には、入賞情報表示制御処理を終了する。このように、本実施例のパチンコ遊技機1では、主基板11に設けられた表示モニタ29によって短期連比、短期役比、累積連比、累積役比が表示される。また、表示モニタ29は、視認性を妨げられないように、遊技を制御する主基板11上に設けられている。このため、遊技盤2に設けられた遊技釘(障害釘)や風車などについてどのような調整が加えられたかを認識できる。
また、表示モニタ29は、主基板11を視認する際の正面に配置されている。このため、表示モニタ29に対する視認性が妨げられることを防止できる。また、主基板11は、基板ケース201に設けられた放熱孔が真正面にはない位置に配置されている。このため、主基板11上に設けられた表示モニタ29が放熱孔によって見にくくならないようにすることができる。したがって、主基板11上に設けられた表示モニタ29に対する視認性が妨げられることを防止できる。また、主基板11は、主基板11以外の各周辺基板とは重ならない位置に配置されている。このため、主基板11上に設けられた表示モニタ29が演出制御基板12などの周辺基板によって見にくくならないようにすることができる。したがって、主基板11上に設けられた表示モニタ29に対する視認性が妨げられることを防止できる。
また、表示モニタ29には、電チューやアタッカーの通過(入賞)によって払い出された賞球と、一般入賞口の通過(入賞)によって払い出された賞球との関係に関する連比や役比を表示することができる。また、表示モニタ29は、短期連比と累計連比など、所定情報を所定期間ごとに切り替えて表示可能である。このため、複数の期間についての情報を表示するための表示器を設ける必要がないので、部品点数の削減に寄与することができる。また、表示モニタ29には、賞球数が6000個となるごとの連比(短期連比)や役比(短期役比)が表示されるので、総賞球数が6000個となるなど、一定の単位に対応した期間の数値を容易に認識することができる。所定単位に対応した期間は、賞球数が6000個となる以外の期間であってもよい。例えば、賞球数が1000個、10000個となる期間でもよい。あるいは、賞球数ではなく時間を単位としてもよい。例えば、所定単位に対応した期間を1時間、3時間、10時間などの適宜の時間としてもよい。
また、表示モニタ29は、賞球数が6000個となるごとの連比(短期連比)や役比(短期役比)のほか、累計連比及び累計役比を切り替えて表示している。このため、所定単位ごとの短期連比や短期役比と累計連比や累計役比などを容易に比較することができる。また、表示モニタ29は、かしめられた基板ケース201内に収容された主基板11に設けられている。このため、表示モニタ29における表示を改ざんするなどの不正の防止に寄与することができる。また、パチンコ遊技機1は、適正な所定情報が表示できなくなる不正を検知検出する検出手段を備えている。ここでの不正とは、例えば遊技上の営業時間外における賞球数の計数、ガラス扉枠の開放中における賞球数の計数、許容入賞数を超えた遊技球の入賞などがある。パチンコ遊技機1は、遊技場の営業時間内で稼働するものであり、営業時間以外の時間における賞球の計数は、不正行為である蓋然性が高い。また、パチンコ遊技機1は、扉枠を閉じて遊技を行うものであり、扉枠の開放中の賞球の計数は、不正行為である蓋然性が高い。
また、パチンコ遊技機1の遊技中、遊技球は、一定の速度を超えて発射させることができない。例えば、遊技球の発射は、最大1分間100発である。このため、1分間での遊技球の入賞の上限数はほぼ100個となる。したがって、例えば1分間に100個、あるいは12秒間に20個を超える遊技球の入賞が検出された場合には、不正行為があった蓋然性が極めて高くなる。
パチンコ遊技機1では、不正を検知するために、営業時間内でない場合、ガラス扉枠が閉鎖されていない場合、単位時間当たりにアタッカーに遊技球が所定球数以上入賞している場合の賞球数の加算を排除している。したがって、これらの不正による連比、役比の情報などの改ざんを抑制することができる。尚、単位時間当たりにアタッカーに遊技球が所定球数以上入賞している場合の賞球数に代えて、単位時間あたりの払出球数に基づいて不正を検出してもよい。
また、上記のパチンコ遊技機1では、RAM102が備えるアクティブバッファの第0記憶領域が所定の容量である6000個となった場合に、リングバッファにおける第10記憶領域に記憶されていた数値を消去する。このため、リングバッファが容量不足となることを防ぐことができる。また、リングバッファでは、第1記憶領域〜第10記憶領域が設けられており、アクティブバッファの第0記憶領域のデータがリングバッファの第1記憶領域に移動する場合、第10記憶領域のデータが消去される。このため、消去されるデータが所定単位ごととされるので、リングバッファの容量不足を防ぐことができる。また、消去されずに残るデータを多くしておくことができる。尚、アクティブバッファの第0記憶領域のデータをリングバッファの第1記憶領域に移動させる際、リングバッファにおける第9記憶領域のデータを第10記憶領域に移動させる。このとき、第10記憶領域のデータを消去して、第9記憶領域のデータを移動させてもよいし、第10記憶領域のデータに第9記憶領域のデータを上書きしてもよい。この場合でも、リングバッファの容量不足を防ぐことができる。
アクティブバッファの第0記憶領域のデータをリングバッファの第1記憶領域に移動させる際、リングバッファでは、その一部の記憶領域である第10記憶領域のデータが消去される。このため、消去されるデータを少なくすることができるので、リングバッファの容量不足を防ぐことができるとともに、多くのデータで連比や役比を算出できる。
尚、リングバッファのデータを消去する際には、その一部第10記憶領域のデータを消去するのみではなく、第1記憶領域〜第10記憶領域のデータの全てを消去するようにしてもよい。この場合、リングバッファの容量不足をより好適に防ぐことができる。また、所定の条件に応じてリングバッファの一部又は全部のデータを消去するようにしてもよい。例えば、営業時間開始時最初には、リングバッファの全部のデータを消去し、以後はリングバッファの一部のデータを消去するようにしてもよい。また、上記の例では、リングバッファにおけるデータの移動について説明しているが、リングバッファ以外のデータ、例えば総累計を記憶する記憶領域についても、同様に一部や全部のデータを消去するようにしてもよい。
また、上記のパチンコ遊技機1では、短期連比、短期役比、累計連比、累計役比の各データを30秒の周期ごとに表示している。このため、各データを容易に比較することができる。尚、各データを表示する周期は30秒ではなく、適宜の周期としてもよい。例えば、10秒毎としてもよいし、1分毎としてもよい。または、1時間ごととしてもよい。また、表示されるデータは、短期連比、短期役比、累計連比、累計役比のデータ以外のデータとしてもよいし、これらのデータの一部のみとしてもよい。また、短期連比、短期役比、累計連比、累計役比の各データを30秒の周期ごとに表示するにあたり、短期連比については、他のデータと異なる表示を行っている。具体的には、短期連比については赤字で表示し、他のデータは緑字で表示している。このため、短期連比から新たなデータを表示することを認識させることができる。
また、本実施例のパチンコ遊技機1では、異常操作が行われたときに、警告表示を行うようにしている。具体的に、クリアスイッチが操作された場合に異常操作として警告を表示する。クリアスイッチは、連比や役比の算出などに障害が生じた場合に操作されるいわば非常用のスイッチである。このスイッチが操作されると、連比や役比のデータの改ざんを行うことができるので、クリアスイッチの操作を異常操作として検出する。パチンコ遊技機1では、この異常操作を警告表示によって警告できるので、データの改ざんなどの不正を抑制することができる。
図22は、特別図柄プロセス処理として、図19に示すS18にて実行される処理の一例を示すフローチャートである。この特別図柄プロセス処理において、CPU103は、まず、始動入賞処理を実行する(S21)。該始動入賞処理を実行した後、CPU103は、遊技制御フラグ設定部152に設けられた特図プロセスフラグの値に応じて、S22〜S29の処理のいずれかを選択して実行する。S21の始動入賞処理では、図23に示すように、CPU103は、まず、普通入賞球装置6Aが形成する第1始動入賞口に対応して設けられた第1始動口スイッチ22Aからの検出信号に基づき、第1始動口スイッチ22Aがオンであるか否かを判定する(S100)。このとき、第1始動口スイッチ22Aがオンであれば(S100;Y)、第1特図を用いた特図ゲームの保留記憶数である第1特図保留記憶数が、所定の上限値(例えば上限記憶数としての「4」)となっているか否かを判定する(S101)。CPU103は、例えば遊技制御カウンタ設定部154に設けられた第1保留記憶数カウンタの格納値である第1保留記憶数カウント値を読み取ることにより、第1特図保留記憶数を特定できればよい。S101にて第1特図保留記憶数が上限値ではないときには(S101;N)、例えば遊技制御バッファ設定部155に設けられた始動口バッファの格納値を、「1」に設定する(S102)。
S100にて第1始動口スイッチ22Aがオフであるときや(S100;N)、S101にて第1特図保留記憶数が上限値に達しているときには(S101;Y)、普通可変入賞球装置6Bが形成する第2始動入賞口に対応して設けられた第2始動口スイッチ22Bからの検出信号に基づき、第2始動口スイッチ22Bがオンであるか否かを判定する(S103)。このとき、第2始動口スイッチ22Bがオンであれば(S103;Y)、第2特図を用いた特図ゲームの保留記憶数である第2特図保留記憶数が、所定の上限値(例えば上限記憶数としての「4」)となっているか否かを判定する(S104)。CPU103は、例えば遊技制御カウンタ設定部154に設けられた第2保留記憶数カウンタの格納値である第2保留記憶数カウント値を読み取ることにより、第2特図保留記憶数を特定できればよい。S104にて第2特図保留記憶数が上限値ではないときには(S104;N)、例えば遊技制御バッファ設定部155に設けられた始動口バッファの格納値を、「2」に設定する(S105)。
S102,S105の処理のいずれかを実行した後には、始動口バッファの格納値である始動口バッファ値に応じた特図保留記憶数を1加算するように更新する(S107)。例えば、始動口バッファ値が「1」であるときには第1保留記憶数カウント値を1加算する一方で、始動口バッファ値が「2」であるときには第2保留記憶数カウント値を1加算する。こうして、第1保留記憶数カウント値は、第1始動入賞口を遊技球が通過(進入)して第1特図を用いた特図ゲームに対応した第1始動条件が成立したときに、1増加するように更新される。また、第2保留記憶数カウント値は、第2始動入賞口を遊技球が通過(進入)して第2特図を用いた特図ゲームに対応した第2始動条件が成立したときに、1増加するように更新される。このときには、合計保留記憶数も1加算するように更新する(S108)。例えば、遊技制御カウンタ設定部154に設けられた合計保留記憶数カウンタの格納値である合計保留記憶数カウント値を、1加算するように更新すればよい。
S108の処理を実行した後に、CPU103は、乱数回路104や遊技制御カウンタ設定部154のランダムカウンタによって更新されている数値データのうちから、特図表示結果判定用の乱数値MR1や大当り種別判定用の乱数値MR2、変動パターン判定用の乱数値MR3を示す数値データを抽出する(S109)。こうして抽出した各乱数値を示す数値データは、始動口バッファ値に応じた特図保留記憶部における空きエントリの先頭に、保留記憶(保留情報)としてセットされることで記憶される(S110)。例えば、始動口バッファ値が「1」であるときには、第1特図保留記憶部151Aに乱数値MR1〜MR3を示す数値データが格納される一方、始動口バッファ値が「2」であるときには、第2特図保留記憶部151Bに乱数値MR1〜MR3を示す数値データが格納される。
特図表示結果判定用の乱数値MR1や大当り種別判定用の乱数値MR2を示す数値データは、特別図柄や演出図柄の変動表示結果を「大当り」とするか否か、更には変動表示結果を「大当り」とする場合の大当り種別を判定するために用いられる。変動パターン判定用の乱数値MR3は、特別図柄や演出図柄の変動表示時間を含む変動パターンを判定するために用いられる。CPU103は、S109の処理を実行することにより、特別図柄や演出図柄の変動表示結果や変動表示時間を含む変動表示態様の判定に用いられる乱数値のうち全部を示す数値データを抽出する。
S110の処理に続いて、始動口バッファ値に応じた始動口入賞指定コマンドの送信設定が行われる(S111)。例えば、始動口バッファ値が「1」であるときにはROM101における第1始動口入賞指定コマンドテーブルの記憶アドレスを送信コマンドバッファにおいて送信コマンドポインタにより指定されたバッファ領域に格納することなどにより、演出制御基板12に対して第1始動口入賞指定コマンドを送信するための設定を行う。これに対して、始動口バッファ値が「2」であるときにはROM101における第2始動口入賞指定コマンドテーブルの記憶アドレスを送信コマンドバッファのバッファ領域に格納することなどにより、演出制御基板12に対して第2始動口入賞指定コマンドを送信するための設定を行う。こうして設定された始動口入賞指定コマンドは、例えば特別図柄プロセス処理が終了した後、図19に示すS20のコマンド制御処理が実行されることなどにより、主基板11から演出制御基板12に対して伝送される。
S111の処理に続いて、入賞時判定処理を実行する(S112)。その後、前述した周期判定用カウンタ2のカウンタ値を1減算更新する(S113)。このように、入賞時判定処理後に周期判定用カウンタ2のカウンタ値を1減算更新するのは、変動表示の開始時おいて変動パターンを決定する場合においては、周期判定用カウンタ1のカウンタ値は減算更新されておらず、変動表示の終了時に減算更新されることに合わせることで、処理を簡素化するためである。そして、例えばROM101における保留記憶数通知コマンドテーブルの記憶アドレスを送信コマンドバッファにおいて送信コマンドポインタによって指定されたバッファ領域に格納することなどにより、演出制御基板12に対して保留記憶数通知コマンドを送信するための設定を行う(S114)。こうして設定された保留記憶数通知コマンドは、例えば特別図柄プロセス処理が終了した後、図19に示すS20のコマンド制御処理が実行されることなどにより、主基板11から演出制御基板12に対して伝送される。
S114の処理を実行した後には、始動口バッファ値が「1」であるか否かを判定する(S115)。このとき、始動口バッファ値が「1」であれば(S115でY)始動口バッファをクリアして、その格納値を「0」に初期化してから(S116)、S103の処理に進む。これに対して、始動口バッファ値が「2」であるときには(S115でN)、始動口バッファをクリアして、その格納値を「0」に初期化してから(S117)、始動入賞処理を終了する。これにより、第1始動口スイッチ22Aと第2始動口スイッチ22Bの双方が同時に有効な遊技球の始動入賞を検出した場合でも、確実に双方の有効な始動入賞の検出に基づく処理を完了できる。
図24(A)は、入賞時判定処理として、図23のS112にて実行される処理の一例を示すフローチャートである。本実施例において、特別図柄や演出図柄の変動表示が開始されるときには、後述する特別図柄通常処理(図22のS22、図25)により、特図表示結果(特別図柄の変動表示結果)を「大当り」として大当り遊技状態に制御するか否かの判定が行われる。また、後述する変動パターン設定処理(図22のS23、図26)において、演出図柄の変動表示態様を具体的に規定する変動パターンの判定などが行われる。他方、これらの判定とは別に、遊技球が始動入賞口(第1始動入賞口または第2始動入賞口)にて検出されたタイミングで、CPU103がS112の入賞時判定処理を実行することにより、特図表示結果として大当り図柄を導出表示すると判定されるか否かの判定や、演出図柄の変動表示態様がスーパーリーチを伴う特定表示態様となるか否かの先読み判定などを行う。これにより、始動入賞口に進入した遊技球の検出に基づく特別図柄や演出図柄の変動表示が開始されるより前、つまり、該変動表示の開始時に大当りとするか否かが判定されるよりも前に、特図表示結果が「大当り」となることや、演出図柄の変動表示態様がいずれのカテゴリの変動表示態様となるかを判定し、この判定結果に基づいて、演出制御用CPU120などにより、後述するように、保留表示予告演出が実行されるようになる。
図24(A)に示す入賞時判定処理において、CPU103は、まず、例えば遊技制御フラグ設定部152などに設けられた時短フラグや確変フラグの状態を確認することなどにより、パチンコ遊技機1における現在の遊技状態を特定する(S121)。CPU103は、確変フラグがオンであるときには確変状態であることを特定し、確変フラグがオフで時短フラグがオンであるときには時短状態であることを特定し、確変フラグと時短フラグがともにオフであるときには通常状態であることを特定すればよい。
S121の処理に続いて、図7に示す表示結果判定テーブルを選択してセットする(S122)。その後、図23のS109にて抽出された特図表示結果判定用の乱数値MR1を示す数値データが所定の大当り判定範囲内であるか否かを判定する(S123)。大当り判定範囲には、S122の処理により選択された表示結果判定用テーブルにおいて「大当り」の特図表示結果に割り当てられた個々の判定値が設定され、CPU103が乱数値MR1と各判定値とを逐一比較することにより、乱数値MR1と合致する判定値の有無を判定できればよい。あるいは、大当り判定範囲に含まれる判定値の最小値(下限値)と最大値(上限値)とを示す数値を設定して、CPU103が乱数値MR1と大当り判定範囲の最小値や最大値とを比較することにより、乱数値MR1が大当り判定範囲の範囲内であるか否かを判定できればよい。このとき、乱数値MR1が大当り判定範囲の範囲内であると判定されることにより、その乱数値MR1を含む保留データに基づく変動表示結果が「大当り」に決定されると判定できる。
S123にて大当り判定範囲内ではないと判定された場合、つまり、変動表示時に大当りとならないと判定された場合には(S123;N)、変動表示結果が「はずれ」となることに応じた図柄指定コマンドの送信設定を実行し(S124)、始動口バッファの格納値が「1」であるか否か、つまり、始動入賞が第1始動入賞口への入賞であるか否かを判定する。始動口バッファの格納値が「1」ではない場合、つまり、始動入賞が第2始動入賞口への入賞である場合には(S125;N)、図10(E)に示すはずれ用変動パターン判定テーブルEを選択してセットして、S139へ進む。
一方、始動口バッファの格納値が「1」である場合、つまり、始動入賞が第1始動入賞口への入賞である場合には(S125;Y)には、時短フラグがセットされているか否か、つまり、現在の遊技状態が時短状態であるか否かを判定する(S127)。時短フラグがセットされている場合は(S127;Y)、図10(D)に示すはずれ用変動パターン判定テーブルDを選択してセットして、S139へ進む。時短フラグがセットされていない場合は(S127;N)、周期判定用カウンタ2のカウンタ値が非設定であるか否か、つまり、その営業当日において起動してから一度も大当りが発生していないことにより、周期判定用カウンタ2に初期値が設定されていない状態であるか否かを判定する。周期判定用カウンタ2のカウンタ値が非設定である場合(S129;Y)には、図10(A)に示すはずれ用変動パターン判定テーブルAを選択してセットして、S139へ進み、周期判定用カウンタ2のカウンタ値が設定されていれば、周期判定用カウンタ2のカウンタ値を、ROM101に記憶されているシナリオデータに記述されている周期値「128」にて除算し(S130)、該除算した余り値と除算値とがシナリオデータに記述されている周期判定条件、具体的には、前述したように、余り値が「0」(128で割り切れる値であること)であって、除算値が26よりも小さい値であることを満たしているか否かを判定する(S131)。よって、26以上の除算値は周期判定条件を満たさないことになるので、後述するように、例えば、周期判定用カウンタ2の設定値(初期値)として非確変大当りに対応する「3345」がセットされた場合に、周期判定用カウンタ2が、始動入賞の繰り返し発生により「3328」となって128にて除算した余り値が「0」となっても、除算値が「26」であるので、周期判定条件を満たさないと判定されることになる。
ここで、本実施例におけるS130の演算方法について説明する。本実施例では、周期判定用カウンタ1および周期判定用カウンタ2のカウンタに2バイトのカウンタを割り当てている。これは、1バイト(最大値254)では、後述するように、各周期判定用カウンタに設定される設定値(初期値)として、最大「3345」の値をセットすることができないためである。よって、本実施例では、2バイトでカウント可能な「0〜64515」の範囲の値を設定値(初期値)として設定可能であるので、後述する最大「3345」までの各設定値(初期値)をセットすることが可能である。
演算としては、まず、余りの値が「0」に相当しなければ、そもそも、周期判定条件を満たさないことになるので、まず、余りの値が「0」に相当するかを演算する。具体的には、2バイトの周期判定用カウンタ2の下位バイトのみを読み出し、該読み出した下位バイトの二進数の数列と、余り演算を行うためのカウンタマスク値である「01111111」との論理積をとる。カウンタマスク値を二進数「01111111」とするのは、下位バイトの二進数の数列を余り値である「0〜127」の数値に加工するためである。
そして、論理積が「00000000」であれば、余り値が「0」つまり、周期値「128」にて割り切れた値であることになる。
このように、論理積が「00000000」、つまり余り値が「0」である場合には、周期判定用カウンタ2の上位バイトの値も読み出して、上位バイトと下位バイトの二進数の数列を、「128」に対応する二進数である「10000000」で除した除算値が、十進数の「26」に対応する二進数「11010」よりも小さい値であるか否かを判定し、二進数「11010」よりも小さい値である場合には、周期判定条件が満たされたものと判定し、二進数「11010」以上の場合(本実施例の場合には「26」となる場合のみがある)には、周期判定条件が満たされていないものと判定すればよい。
尚、本実施例では、除算値に関する条件も周期判定条件並びに周期前後判定条件に含める形態を例示しているが、本発明はこれに限定されるものではなく、前述したように、除算値に関する条件を含めない場合にあっては、上記した演算のうち、下位バイトの演算のみを実行すればよい。
本実施例では、上記のように、周期判定用カウンタ1および周期判定用カウンタ2の下位バイトをカウンタマスク値である「01111111」との論理積をとって余り値とする演算を行うことで、周期的にスーパーリーチを行うために必要なデータ容量を削減できるようになっている。つまり、周期的にスーパーリーチを行うためには、変動回数に応じて減算更新または加算更新されるカウンタを設けるとともに、スーパーリーチを行うタイミングに相当する変動回数に応じた周期毎のカウンタ値(例えば、128回、256回、384回、512回、・・・のカウンタ値)のデータを、実際に到達する可能性のある周期の数だけ記憶しておき、カウンタの値が、記憶されているいずれかの周期毎のカウンタ値になったときに、スーパーリーチの変動パターンを決定するようにする必要がある。よって、本実施例のように、周期判定用カウンタ1および周期判定用カウンタ2を2バイトのカウンタとした場合には、周期毎のカウンタ値のそれぞれのデータに2バイトのデータが必要となり、128回、256回、384回、512回・・・3200回のように、25周期分のデータを記憶する場合には、2バイトの25倍の50バイトものデータが必要となってしまうが、本実施例によれば、これら50バイトのデータに代えて、最低限のデータとして周期値「128」の値を示す1バイトのデータにて周期的にスーパーリーチを行うことができるので、記憶容量の増大を抑えつつ、周期的にスーパーリーチを行うことができる。
周期判定条件を満たす場合(S131;Y)、つまり、新たな始動入賞による変動表示が所定周期変動表示であると判定される場合には、図10(F)に示すはずれ用変動パターン判定テーブルFを選択してセットして(S135)、S139へ進む。一方、周期判定条件を満たさない場合(S131;N)には、余り値と除算値とがROM101に記憶されているシナリオデータに記述されている周期前後判定条件を満たすか否かを判定する(S132)。尚、周期前後判定条件としては、前述したように、所定周期変動表示の前後の4回の変動表示に該当する余り値の数値範囲とされている。
余り値と除算値とが周期前後判定条件を満たす場合(S132;Y)、つまり、新たな始動入賞による変動表示が所定周期変動表示の前後の4回の変動表示に該当する場合には、図10(G)に示すはずれ用変動パターン判定テーブルGを選択してセットして(S134)、S139へ進み、余り値と除算値とが周期前後判定条件を満たさない場合(S132;N)、つまり、新たに発生した始動入賞が第1始動入賞口への入賞であって、該始動入賞による変動表示が、所定周期変動表示並びに所定周期変動表示の前後4回の変動表示でもなく、遊技状態が時短状態でもない場合には、図10(A)に示すはずれ用変動パターン判定テーブルAを選択してセットして、S139へ進む。
尚、はずれ用変動パターン判定テーブルAは、第1保留記憶数が2個以下である場合に使用されるはずれ用変動パターン判定テーブルであるが、本実施例では、該はずれ用変動パターン判定テーブルA以外に、図10(B)及び図10(C)に示すように、第1保留記憶数が3個である場合に使用されるはずれ用変動パターン判定テーブルBと、第1保留記憶数が4個である場合に使用されるはずれ用変動パターン判定テーブルCが予め用意されているが、図10に示すように、これらはずれ用変動パターン判定テーブルA〜Cのうち、はずれ用変動パターン判定テーブルAでは、非リーチの変動パターンに対して変動パターン判定用の乱数値MR3がとりうる範囲のうち1〜450までの値が割り当てられており、はずれ用変動パターン判定テーブルB,Cでは、非リーチの変動パターンに対して変動パターン判定用の乱数値MR3がとりうる範囲のうち1〜500を超える値が割り当てられている。一方、はずれ用変動パターン判定テーブルA〜Cでは、いずれも、スーパーリーチの変動パターンに対して変動パターン判定用の乱数値MR3がとりうる範囲のうち701〜997までの値が割り当てられている。
このため、はずれ用変動パターン判定テーブルAを用いて変動パターンを判定することで、非リーチとスーパーリーチの判定は、該判定後に保留記憶数が変化しても必ず非リーチまたはスーパーリーチの変動パターンとなるので、始動入賞時の判定においては、はずれ用変動パターン判定テーブルAを用いて判定するようになっている。
一方、S123にて大当り判定範囲内であると判定された場合、つまり、新たな始動入賞による変動表示の際に大当りとなると判定される場合には(S123;Y)、図24(A)に示すように、大当り種別判定用の乱数値MR2に基づいて、大当り種別を判定する(S136)。このとき、CPU103は、始動口バッファ値に対応して特定される変動特図(「1」に対応する「第1特図」または「2」に対応する「第2特図」)に応じて、大当り種別判定テーブルを構成するテーブルデータから大当り種別判定用テーブルデータを選択する。そして、選択した大当り種別判定用テーブルデータを参照することにより、大当り種別が複数種別のいずれに判定されるかを判定する。
また、S136において判定した大当り種別に応じた図柄指定コマンドの送信設定を実行し(S137)、大当り変動パターンを複数のいずれかに判定するためのテーブルとして、大当り用変動パターン判定テーブルを選択してセットして(S138)、S139に進む。
S139においては、S126、S128、S133、S134、S135、S138のいずれかの処理にて設定された変動パターン判定テーブルと変動パターン判定用の乱数値MR3を示す数値データとを用いて、乱数値MR3が含まれる判定値の範囲に応じた変動カテゴリを判定する。本実施例では、図24(B)に示すように、少なくとも変動表示結果が「はずれ」となる場合に、合計保留記憶数にかかわらず共通して「非リーチ」の変動表示態様となる変動カテゴリと、「スーパーリーチ」の変動表示態様となる変動カテゴリと、「非リーチ」と「スーパーリーチ」以外の変動表示態様(例えばノーマルリーチ)となる「その他」の変動カテゴリと、を設け、乱数値MR3に基づいて、このような変動カテゴリに決定されるか否かを判定できればよい。その後、S139の処理による判定結果に応じた変動カテゴリ指定コマンドを、演出制御基板12に対して送信するための設定を行ってから(S140)、入賞時判定処理を終了する。
S22の特別図柄通常処理は、特図プロセスフラグの値が“0”のときに実行される。この特別図柄通常処理では、第1特図保留記憶部151Aや第2特図保留記憶部151Bに記憶されている保留データの有無などに基づいて、第1特別図柄表示器4Aや第2特別図柄表示器4Bによる特図ゲームを開始するか否かの判定が行われる。また、特別図柄通常処理では、特図表示結果判定用の乱数値MR1を示す数値データに基づき、特別図柄や演出図柄の変動表示結果を「大当り」とするか否かを、その変動表示結果が導出表示される前に決定(事前決定)する。更に、特別図柄通常処理では、特図ゲームにおける特別図柄の変動表示結果に対応して、第1特別図柄表示器4Aや第2特別図柄表示器4Bによる特図ゲームにおける確定特別図柄(大当り図柄やはずれ図柄のいずれか)が設定される。特別図柄通常処理では、特別図柄や演出図柄の変動表示結果を事前決定したときに、特図プロセスフラグの値が“1”に更新される。
S23の変動パターン設定処理は、特図プロセスフラグの値が“1”のときに実行される。この変動パターン設定処理には、変動表示結果を「大当り」とするか否かの事前決定結果などに基づき、変動パターン判定用の乱数値MR3を示す数値データを用いて変動パターンを複数種類のいずれかに決定する処理などが含まれている。変動パターン設定処理が実行されて特別図柄の変動表示が開始されたときには、特図プロセスフラグの値が“2”に更新される。S22の特別図柄通常処理やS23の変動パターン設定処理により、特別図柄の変動表示結果となる確定特別図柄や特別図柄及び演出図柄の変動表示時間を含む変動パターンが決定される。即ち、特別図柄通常処理や変動パターン設定処理は、特図表示結果判定用の乱数値MR1、大当り種別判定用の乱数値MR2、変動パターン判定用の乱数値MR3を用いて、特別図柄や演出図柄の変動表示態様を決定する処理を含んでいる。
S24の特別図柄変動処理は、特図プロセスフラグの値が“2”のときに実行される。この特別図柄変動処理には、第1特別図柄表示器4Aや第2特別図柄表示器4Bにおいて特別図柄を変動させるための設定を行う処理や、その特別図柄が変動を開始してからの経過時間を計測する処理などが含まれている。例えば、S24の特別図柄変動処理が実行されるごとに、遊技制御タイマ設定部153に設けられた特図変動タイマにおける格納値である特図変動タイマ値を1減算あるいは1加算して、第1特別図柄表示器4Aにおける第1特図を用いた特図ゲームであるか、第2特別図柄表示器4Bにおける第2特図を用いた特図ゲームであるかにかかわらず、共通のタイマによって経過時間の測定が行われる。また、計測された経過時間が変動パターンに対応する特図変動時間に達したか否かの判定も行われる。このように、S24の特別図柄変動処理は、第1特別図柄表示器4Aにおける第1特図を用いた特図ゲームでの特別図柄の変動や、第2特別図柄表示器4Bにおける第2特図を用いた特図ゲームでの特別図柄の変動を、共通の処理ルーチンによって制御する処理となっていればよい。そして、特別図柄の変動を開始してからの経過時間が特図変動時間に達したときには、特図プロセスフラグの値が“3”に更新される。
S25の特別図柄停止処理は、特図プロセスフラグの値が“3”のときに実行される。この特別図柄停止処理には、第1特別図柄表示器4Aや第2特別図柄表示器4Bにて特別図柄の変動を停止させ、特別図柄の変動表示結果となる確定特別図柄を停止表示(導出)させるための設定を行う処理が含まれている。そして、遊技制御フラグ設定部152に設けられた大当りフラグがオンとなっているか否かの判定などが行われ、大当りフラグがオンである場合には特図プロセスフラグの値が“4”に更新される。その一方で、大当りフラグがオフである場合には、特図プロセスフラグの値が“0”に更新される。
S26の大当り開放前処理は、特図プロセスフラグの値が“4”のときに実行される。この大当り開放前処理には、変動表示結果が「大当り」となったことなどに基づき、大当り遊技状態においてラウンドの実行を開始して大入賞口を開放状態とするための設定を行う処理などが含まれている。このときには、例えば大当り種別が「非確変大当り」、「確変大当りA1」、「確変大当りA2」、「確変大当りB1」、「確変大当りB2」のいずれであるかに対応して、大入賞口を開放状態とする期間の上限を設定するようにしてもよい。一例として、大当り種別に関係なく、大入賞口を開放状態とする期間の上限を「29秒」に設定するとともに、ラウンドを実行する上限回数となる大入賞口の開放回数を、「非確変大当り」または「確変大当りA1」、「確変大当りA2」である場合には、「16回」に設定することにより、通常開放大当り状態とする設定が行われればよい。一方、大当り種別が「確変大当りB1」、「確変大当りB2」である場合には、ラウンドを実行する上限回数となる大入賞口の開放回数を「5回」に設定することにより、短期開放大当り状態とする設定が行われればよい。このときには、特図プロセスフラグの値が“5”に更新される。
S27の大当り開放中処理は、特図プロセスフラグの値が“5”のときに実行される。この大当り開放中処理には、大入賞口を開放状態としてからの経過時間を計測する処理や、その計測した経過時間やカウントスイッチ23によって検出された遊技球の個数などに基づいて、大入賞口を開放状態から閉鎖状態に戻すタイミングとなったか否かを判定する処理などが含まれている。そして、大入賞口を閉鎖状態に戻すときには、大入賞口扉用のソレノイド82に対するソレノイド駆動信号の供給を停止させる処理などを実行した後、特図プロセスフラグの値が“6”に更新される。S28の大当り開放後処理は、特図プロセスフラグの値が“6”のときに実行される。この大当り開放後処理には、大入賞口を開放状態とするラウンドの実行回数が大入賞口開放回数最大値に達したか否かを判定する処理や、大入賞口開放回数最大値に達した場合に大当り終了指定コマンドを送信するための設定を行う処理などが含まれている。そして、ラウンドの実行回数が大入賞口開放回数最大値に達していないときには、特図プロセスフラグの値が“5”に更新される一方、大入賞口開放回数最大値に達したときには、特図プロセスフラグの値が“7”に更新される。
S29の大当り終了処理は、特図プロセスフラグの値が“7”のときに実行される。この大当り終了処理には、演出表示装置5やスピーカ8L,8R、遊技効果ランプ9などといった演出装置により、大当り遊技状態の終了を報知する演出動作としてのエンディング演出が実行される期間に対応した待ち時間が経過するまで待機する処理や、大当り遊技状態の終了に対応して確変制御や時短制御を開始するための各種の設定(確変フラグや時短フラグのセット)を行う処理などが含まれている。こうした設定が行われたときには、特図プロセスフラグの値が“0”に更新される。
尚、大当り終了処理においては、遊技制御バッファ設定部155に記憶されている大当り種別バッファ値を読み出して、大当り種別が「非確変大当り」、「確変大当りA1」、「確変大当りA2」、「確変大当りB1」、「確変大当りB2」のいずれであったかを特定する。そして、特定した大当り種別が「非確変大当り」ではないと判定された場合には、確変制御を開始するための設定(確変フラグのセットと確変制御中に実行可能な特図ゲームの上限値に対応して予め定められたカウント初期値(本実施例では「80」)を確変回数カウンタにセット)と時短制御を開始するための設定(時短フラグのセットと時短制御中に実行可能な特図ゲームの上限値に対応して予め定められたカウント初期値(本実施例では「80」)を時短回数カウンタにセット)を行う。また、特定した大当り種別が「非確変大当り」である場合には、時短制御を開始するための設定(時短フラグのセットと時短制御中に実行可能な特図ゲームの上限値に対応して予め定められたカウント初期値(本実施例では「80」)を時短回数カウンタにセット)を行う。
図25は、特別図柄通常処理として、図22のS22にて実行される処理の一例を示すフローチャートである。図22に示す特別図柄通常処理において、CPU103は、まず、第2特図保留記憶数が「0」であるか否かを判定する(S141)。第2特図保留記憶数は、第2特別図柄表示器4Bによる第2特図を用いた特図ゲームの保留記憶数である。例えば、S141の処理では、遊技制御カウンタ設定部154に記憶されている第2保留記憶数カウント値を読み出し、その読出値が「0」であるか否かを判定すればよい。S141にて第2特図保留記憶数が「0」以外であるときには(S141;N)、第2特図保留記憶部151Bにて保留番号「1」に対応して記憶されている保留データとして、特図表示結果判定用の乱数値MR1、大当り種別判定用の乱数値MR2、変動パターン判定用の乱数値MR3を示す数値データをそれぞれ読み出す(S142)。このとき読み出された数値データは、例えば変動用乱数バッファなどに格納されて、一時記憶されればよい。
S142の処理に続いて、第2特図保留記憶数カウント値や合計保留記憶数カウント値を1減算して更新することなどにより、第2特図保留記憶数と合計保留記憶数を1減算させるように更新するとともに、第2特図保留記憶部151Bのデータを更新する。具体的には、第2特図保留記憶部151Bにて保留番号「1」より下位のエントリ(例えば保留番号「2」〜「4」に対応するエントリ)に記憶された乱数値MR1〜MR3を示す保留データを、1エントリずつ上位にシフトする(S143)。その後、変動特図指定バッファの格納値である変動特図指定バッファ値を「2」に更新した後(S144)、S149に移行する。
一方、S141にて第2特図保留記憶数が「0」であるときには(S141;Y)、第1特図保留記憶数が「0」であるか否かを判定する(S145)。第1特図保留記憶数は、第1特別図柄表示器4Aによる第1特図を用いた特図ゲームの保留記憶数である。例えば、S145の処理では、遊技制御カウンタ設定部154にて第1保留記憶数カウンタが記憶する第1保留記憶数カウント値を読み出し、その読出値が「0」であるか否かを判定すればよい。このように、S145の処理は、S141にて第2特図保留記憶数が「0」であると判定されたときに実行されて、第1特図保留記憶数が「0」であるか否かを判定する。これにより、第2特図を用いた特図ゲームは、第1特図を用いた特図ゲームよりも優先して実行が開始されることになる。尚、第2特図を用いた特図ゲームが第1特図を用いた特図ゲームよりも優先して実行されるものに限定されず、例えば第1始動入賞口や第2始動入賞口を遊技球が進入(通過)して始動入賞が発生した順に、特図ゲームの実行が開始されるようにしてもよい。この場合には、始動入賞が発生した順番を特定可能なデータを記憶するテーブルを設けて、その記憶データから第1特図と第2特図のいずれを用いた特図ゲームの実行を開始するかを決定できればよい。
S145にて第1特図保留記憶数が「0」以外であるときには(S145;N)、第1特図保留記憶部151Aにて保留番号「1」に対応して記憶されている保留データとして、特図表示結果判定用の乱数値MR1、大当り種別判定用の乱数値MR2、変動パターン判定用の乱数値MR3を示す数値データをそれぞれ読み出す(S146)。このとき読み出された数値データは、例えば変動用乱数バッファなどに格納されて、一時記憶されればよい。S146の処理に続いて、第1特図保留記憶数カウント値や合計保留記憶数カウント値を1減算して更新することなどにより、第1特図保留記憶数と合計保留記憶数を1減算させるように更新するとともに、第1特図保留記憶部151Aのデータを更新する。具体的には、第1特図保留記憶部151Aにて保留番号「1」より下位のエントリ(例えば保留番号「2」〜「4」に対応するエントリ)に記憶された乱数値MR1〜MR3を示す保留データを、1エントリずつ上位にシフトする(S147)。その後、変動特図指定バッファの格納値である変動特図指定バッファ値を「1」に更新した後(S148)、S149に移行する。
S149においては、特別図柄の変動表示結果である特図表示結果を「大当り」と「はずれ」のいずれとするかを決定するための使用テーブルとして、図7に示す表示結果判定テーブルを選択してセットする。続いて、変動用乱数バッファに格納された特図表示結果判定用の乱数値MR1を示す数値データを、「大当り」や「はずれ」の各特図表示結果に割り当てられた判定値と比較して、特図表示結果を「大当り」と「はずれ」のいずれとするかを決定する(S150)。尚、このS150においては、その時点の遊技状態が、確変フラグがセットされている高確状態であれば、特図表示結果判定用の乱数値MR1が10000〜12180の範囲に該当すれば「大当り」と判定し、該当しなければ「はずれ」と判定する。また、確変フラグがセットされていない低確状態であれば、特図表示結果判定用の乱数値MR1が1〜328の範囲に該当すれば「大当り」と判定し、該当しなければ「はずれ」と判定する。このように、S149で選択される特図表示結果判定テーブルにおいては、その時点の遊技状態(高確、低確)に対応して異なる判定値が「大当り」に割り当てられていることから、S150の処理では、特図ゲームなどの変動表示が開始されるときの遊技状態が高確状態であるか否かに応じて、異なる判定用データ(判定値)を用いて特図表示結果を「大当り」とするか否かが決定されることで、遊技状態が高確状態である場合には、低確状態である場合よりも高確率で「大当り」と判定される。
S150にて特図表示結果を決定した後には、その特図表示結果が「大当り」であるか否かを判定する(S151)。そして、「大当り」であると判定された場合には(S151;Y)、遊技制御フラグ設定部152に設けられた大当りフラグをオン状態にセットする(S152)。このときには、大当り種別を複数種類のいずれかに決定するための使用テーブルとして、図8(A)に示す大当り種別判定テーブルを選択してセットする(S153)。こうしてセットされた大当り種別判定テーブルを参照することにより、変動用乱数バッファに格納された大当り種別判定用の乱数値MR2を示す数値データと、大当り種別判定テーブルにおいて「非確変」、「確変A1」、「確変A2」、「確変B1」、「確変B2」の各大当り種別に割り当てられた判定値のいずれと合致するかに応じて、大当り種別を複数種別のいずれとするかを決定する(S154)。
S154の処理にて大当り種別を決定することにより、大当り遊技状態の終了後における遊技状態を、時短状態と、時短状態よりも遊技者にとって有利度が高い確変状態とのうち、いずれの遊技状態に制御するかが、変動表示結果としての確定特別図柄が導出される以前に決定されることになる。こうして決定された大当り種別に対応して、例えば遊技制御バッファ設定部155に設けられた大当り種別バッファの格納値である大当り種別バッファ値を設定することなどにより(S155)、決定された大当り種別を記憶する。一例として、大当り種別が非確変大当りに対応する「非確変」であれば大当り種別バッファ値を「0」とし、「確変A1」またはであれば「1」とし、「確変A2」またはであれば「2」とし、「確変B1」またはであれば「3」とし、「確変B2」またはであれば「4」とすればよい。
一方、S151にて「大当り」ではないと判定された場合には(S151;N)、S156に進む。S156においては、大当り遊技状態に制御するか否か(大当りフラグがセットされているか否か)の事前決定結果、更には、大当り遊技状態とする場合における大当り種別の決定結果に対応して、確定特別図柄を設定する。一例として、特図表示結果を「はずれ」とする旨の事前決定結果に対応して、はずれ図柄となる「−」の記号を示す特別図柄を、確定特別図柄に設定する。また、S151にて特図表示結果が「大当り」であると判定された場合には、S154における大当り種別の決定結果に応じて、大当り図柄となる「1」、「3」、「5」、「7」、「8」の数字を示す特別図柄のいずれかを、確定特別図柄に設定する。即ち、大当り種別を「非確変」とする決定結果に応じて「8」の数字を示す特別図柄を、確定特別図柄に設定する。また、大当り種別を「確変A1」とする決定結果に応じて「7」の数字を示す特別図柄を、確定特別図柄に設定する。また、大当り種別を「確変A2」とする決定結果に応じて「3」の数字を示す特別図柄を、確定特別図柄に設定する。大当り種別を「確変B1」とする決定結果に応じて「5」の数字を示す特別図柄を、確定特別図柄に設定する。また、大当り種別を「確変B2」とする決定結果に応じて「1」の数字を示す特別図柄を、確定特別図柄に設定する。
S156にて確定特別図柄を設定した後には、特図プロセスフラグの値を変動パターン設定処理に対応した値である“1”に更新してから(S157)、特別図柄通常処理を終了する。尚、S145にて第1特図を用いた特図ゲームの保留記憶数が「0」である場合には(S145;Y)、予め定められたデモ演出実行条件(例えば、最後の変動表示停止からの経過時間を計時する経過期間タイマカウンタのカウントアップ)が成立したか否かを判定し(S158)、デモ演出実行条件が成立していなければ(S158;N)、該特別図柄通常処理を終了する一方、デモ演出実行条件が成立していれば(S158;Y)、所定のデモ表示設定を行ってから(S159)、特別図柄通常処理を終了する。このデモ表示設定では、例えば演出表示装置5において所定の演出画像を表示することなどによるデモンストレーション表示(デモ画面表示)を指定する演出制御コマンド(客待ちデモ指定コマンド)が、主基板11から演出制御基板12に対して送信済みであるか否かを判定する。このとき、既に、客待ちデモ指定コマンドを送信済みであれば、そのままデモ表示設定を終了する。これに対して、未送信であれば、客待ちデモ指定コマンドを送信するための設定を行ってから、デモ表示設定を終了する。
図26は、変動パターン設定処理として、図22のS23にて実行される処理の一例を示すフローチャートである。図26に示す変動パターン設定処理において、CPU103は、まず、大当りフラグがオンであるか否かを判定する(S161)。そして、大当りフラグがオンであれば(S161;Y)、変動パターンを複数種別のいずれかに決定するための使用テーブルとして、大当り用変動パターン判定テーブルを選択してセットする(S162)。
S161にて大当りフラグがオフであるときには(S161;N)、変動特図指定バッファ値が「1」であるか、つまり、第1特図ゲームであるか否かを判定する(S163a)。変動特図指定バッファ値が「1」ではない場合(S163a;N)、つまり、第2特図ゲームである場合には、図10(E)に示すはずれ用変動パターン判定テーブルEを選択してセットして(S163b)、S172へ進む。一方、変動特図指定バッファ値が「1」である場合(S163a;Y)、つまり、第1特図ゲームである場合には、時短フラグがセットされているか否か、つまり、現在の遊技状態が時短状態であるか否かを判定する(S164a)。時短フラグがセットされている場合は(S164a;Y)、図10(D)に示すはずれ用変動パターン判定テーブルDを選択してセットして、S172へ進む。また、時短フラグがセットされていない場合は(S164a;N)、周期判定用カウンタ1のカウンタ値が非設定であるか否か、つまり、その営業当日において起動してから一度も大当りが発生していないことにより、周期判定用カウンタ1に初期値が設定されていない状態であるか否かを判定する(S165)。
周期判定用カウンタ1のカウンタ値が非設定である場合(S165;Y)には、更に、その時点の第1保留記憶数が2以下であるか否かを判定する(S169a)。その時点の第1保留記憶数が2以下である場合には(S169a;Y)、図10(A)に示すはずれ用変動パターン判定テーブルAを選択してセットして、S172へ進む。一方、その時点の第1保留記憶数が2以下でない場合には(S169a;N)、その時点の第1保留記憶数が「3」であるか否かを判定し(S170a)、その時点の第1保留記憶数が「3」である場合には(S170a;Y)、図10(B)に示すはずれ用変動パターン判定テーブルBを選択してセットして(S170b)、S172へ進み、その時点の第1保留記憶数が「3」でない場合(S170a;N)、つまり、その時点の第1保留記憶数が「4」である場合には、図10(C)に示すはずれ用変動パターン判定テーブルCを選択してセットして(S171)、S172へ進む。
また、周期判定用カウンタ1のカウンタ値が非設定ではない場合(S165;N)には、周期判定用カウンタ1のカウンタ値を、ROM101に記憶されているシナリオデータに記述されている周期値「128」にて除算し(S166)、余り値と除算値とがROM101に記憶されているシナリオデータに記述されている周期判定条件を満たしているか否か(周期判定条件が成立しているか否か)を判定する(S167a)。これら除算の演算方法は、前述したS130における方法と同じであるので、ここでの説明は省略する。余り値と除算値とが周期判定条件を満たす場合(S167a;Y)、つまり、該変動表示が所定周期変動表示である場合には、図10(F)に示すはずれ用変動パターン判定テーブルFを選択してセットして(S167b)、S172へ進む。一方、周期判定条件を満たさない場合(S167a;N)には、余り値と除算値とがROM101に記憶されているシナリオデータに記述されている周期前後判定条件を満たすか否か(周期前後判定条件が成立しているか否か)を判定する(S168a)。尚、周期判定条件並びに周期前後判定条件は、前述したS131、S132の周期判定条件並びに周期前後判定条件と同一でよい。周期前後判定条件を満たす場合(S168a;Y)には、図10(G)に示すはずれ用変動パターン判定テーブルGを選択してセットして(S168b)、S172へ進む。また、周期前後判定条件を満たさない場合(S168a;N)には、前述したS169aに進むことで、その時点の第1保留記憶数に応じて、はずれ用変動パターン判定テーブルA〜はずれ用変動パターン判定テーブルCのいずれかを選択してセットしてS172へ進む。
S172においては、S162、S163b、S164b、S167b、S168b、S169b、S170b、S171のいずれかの処理にて設定された変動パターン判定テーブルと変動用乱数バッファなどに格納されている変動パターン判定用の乱数値MR3を示す数値データとを用いて、選択された大当り用変動パターン判定テーブルまたははずれ用変動パターン判定テーブルA〜Gのいずれかを参照することにより、変動パターンを複数種類のいずれかに決定する。S172にて変動パターンを決定した後には、変動特図指定バッファ値に応じて、第1特別図柄表示器4Aにおける第1特図を用いた特図ゲームと、第2特別図柄表示器4Bにおける第2特図を用いた特図ゲームのいずれかを開始させるように、特別図柄の変動を開始させるための設定を行う(S173)。一例として、変動特図指定バッファ値が「1」であれば、第1特別図柄表示器4Aにおける第1特図の表示を更新させる駆動信号を送信するための設定を行う。一方、変動特図指定バッファ値が「2」であれば、第2特別図柄表示器4Bにおける第2特図の表示を更新させる駆動信号を送信するための設定を行う。
S173の処理に続いて、特別図柄の変動開始時用となる各種コマンドを送信するための設定を行う(S174)。例えば、変動特図指定バッファ値が「1」である場合に、CPU103は、主基板11から演出制御基板12に対して遊技状態指定コマンド、第1変動開始コマンド、変動パターン指定コマンド、変動表示結果指定コマンド、第1保留記憶数通知コマンドを順次に送信するために、予め用意された第1変動開始用コマンドテーブルのROM101における記憶アドレス(先頭アドレス)を示す設定データを、遊技制御バッファ設定部155に設けられた送信コマンドバッファにおいて送信コマンドポインタによって指定されたバッファ領域に格納する。他方、変動特図指定バッファ値が「2」である場合に、CPU103は、主基板11から演出制御基板12に対して遊技状態指定コマンド、第2変動開始コマンド、変動パターン指定コマンド、変動表示結果指定コマンド、第2保留記憶数通知コマンドを順次に送信するために、予め用意された第2変動開始用コマンドテーブルのROM101における記憶アドレスを示す設定データを、送信コマンドバッファにおいて送信コマンドポインタによって指定されたバッファ領域に格納する。
S174の処理を実行した後、その変動パターンの決定結果に応じた特別図柄の変動表示時間である特図変動時間を設定する(S175)。特別図柄の変動表示時間となる特図変動時間は、特図ゲームにおいて特別図柄の変動を開始してから変動表示結果(特図表示結果)となる確定特別図柄が導出表示されるまでの所要時間である。その後、特図プロセスフラグの値を特別図柄変動処理に対応した値である“2”に更新してから(S176)、変動パターン設定処理を終了する。S174でのコマンド送信設定に基づいて、変動パターン設定処理が終了してから図19に示すS20のコマンド制御処理が実行されるごとに、主基板11から演出制御基板12に対して遊技状態指定コマンド、第1変動開始コマンドまたは第2変動開始コマンド、変動パターン指定コマンド、変動表示結果指定コマンド、第1保留記憶数通知コマンドまたは第2保留記憶数通知コマンドが、順次に送信されることになる。尚、これらの演出制御コマンドが送信される順番は任意に変更可能であり、例えば変動表示結果指定コマンドを最初に送信してから、第1変動開始コマンドまたは第2変動開始コマンド、変動パターン指定コマンド、遊技状態指定コマンド、第1保留記憶数通知コマンドまたは第2保留記憶数通知コマンドの順などで送信されるようにしてもよい。
図27は、特別図柄停止処理として、図22のS25にて実行される処理の一例を示すフローチャートである。特別図柄停止処理において、CPU103は、S24の特別図柄変動処理で参照される終了フラグをセットして特別図柄の変動を終了させ、第1特別図柄表示器4Aや第2特別図柄表示器4Bに停止図柄を導出表示する制御を行う(S180)。尚、変動特図指定バッファ値が第1特図を示す「1」である場合には、第1特別図柄表示器4Aでの第1特別図柄の変動を終了させ、変動特図指定バッファ値が第2特図を示す「2」である場合には、第2特別図柄表示器4Bでの第2特別図柄の変動を終了させる。また、演出制御基板12に図柄確定コマンドを送信する制御を行う(S181)。そして、周期判定用カウンタ1のカウンタ値を1減算更新する。そして、大当りフラグがセットされているか否かを判定し(S183)、大当りフラグがセットされていない場合(S183;N)には、S190に移行する。一方、大当りフラグがセットされている場合(S183;Y)には、CPU103は、確変フラグや時短フラグがセットされていれば、確変フラグ及び時短フラグをクリアし(S184)、演出制御基板12に、記憶されている大当りの種別に応じて大当り開始1指定コマンド(確変A1)、大当り開始2指定コマンド(確変A2)、大当り開始3指定コマンド(確変B1)、大当り開始4指定コマンド(確変B2)、大当り開始5指定コマンド(非確変)を送信するための設定を行う(S185)。更にCPU103は、演出制御基板12に通常状態を示す遊技状態指定コマンドを送信するための設定を行う(S186)。
そして、大当り表示時間タイマに大当り表示時間(大当りが発生したことを、例えば、演出表示装置5において報知する時間)に相当する値を設定する(S187)。また、大入賞口開放回数カウンタに開放回数(例えば、非確変大当りや確変大当りAの場合には16回、確変大当りBの場合には5回)をセットする(S188)。そして、特別図柄プロセスフラグの値を大当り開放前処理(S26)に対応した値である“4”に更新する(S189)。一方、S190においてCPU103は、確変回数カウンタの値が「0」であるか否かを判定する。確変回数カウンタの値が「0」である場合(S190;Y)には、S195に進む。確変回数カウンタの値が「0」でない場合(S190;N)、つまり、確変回数が残存している高確状態である場合には、該確変回数カウンタの値を−1する(S191)。そして、減算後の確変回数カウンタの値が「0」であるか否かを判定し(S193)、「0」でない場合(S193;N)にはS195に進み、確変回数カウンタの値が「0」である場合(S193;Y)には、確変制御を終了させるために、確変フラグをクリアした後(S194)、S195に進む。
また、S195においてCPU103は、時短回数カウンタの値が「0」であるか否かを判定する。時短回数カウンタの値が「0」である場合(S195;Y)には、S200に進む。時短回数カウンタの値が「0」でない場合(S195;N)、つまり、時短回数が残存している時短状態である場合には、該時短回数カウンタの値を−1する(S196)。そして、減算後の時短回数カウンタの値が「0」であるか否かを判定し(S197)、「0」でない場合(S197;N)にはS200に進む。一方、時短回数カウンタの値が「0」である場合(S197;Y)には、時短制御を終了させるために、時短フラグをクリアした後(S198)、確変フラグまたは時短フラグのセット状態に対応した遊技状態指定コマンドの送信設定を行った後(S199)、S200に進む。S200では、特図プロセスフラグの値を特別図柄通常処理に対応した値である“0”に更新してから、当該特別図柄停止処理を終了する。
図28は、大当り終了処理として、図22のS29にて実行される処理の一例を示すフローチャートである。大当り終了処理において、CPU103は、大当り終了表示タイマが動作中、つまりタイマカウント中であるか否かを判定する(S201)。大当り終了表示タイマが動作中でない場合(S201;N)には、大当り終了表示タイマに、演出表示装置5において大当り終了表示を行う時間(大当り終了表示時間)に対応する表示時間に相当する値を設定し(S204)、処理を終了する。一方、大当り終了表示タイマが動作中である場合(S201;Y)には、大当り終了表示タイマの値を1減算する(S205)。そして、CPU103は、大当り終了表示タイマの値が0になっているか否か、即ち、大当り終了表示時間が経過したか否か確認する(S206)。経過していなければ処理を終了する。
大当り終了表示時間を経過していれば(S206;Y)、CPU103は、記憶されている大当り種別が「確変大当りA1」、「確変大当りA2」、「確変大当りB1」、「確変大当りB2」であるかを判定する(S207)。大当り種別が「確変大当りA1」、「確変大当りA2」、「確変大当りB1」、「確変大当りB2」である場合(S207;Y)には、確変フラグをセットし(S208)、時短フラグをセットし(S209)、確変回数カウンタ並びに時短回数カウンタに「80」をセットした後(S210)、S213に進む。一方、大当り種別が「確変大当りA1」、「確変大当りA2」、「確変大当りB1」、「確変大当りB2」でない場合(S207;N)には、S211とS212を実行することで、時短フラグをセットするとともに時短回数カウンタに「80」をセットした後、S213に進む。
S213では、大当りフラグをクリアし、終了する大当り種別に応じた設定値(カウント初期値)を、周期判定用カウンタ1にセットする(S214a)。具体的には、図37に示すように、「確変大当りA1」の場合には、設定値として「3301」をセットし、「確変大当りA2」の場合には、設定値として「3312」をセットし、「確変大当りB1」の場合には、設定値として「3323」をセットし、「確変大当りB2」の場合には、設定値として「3334」をセットし、「非確変大当り」の場合には、設定値として「3345」をセットする。更に、その時点において第1特図保留記憶部151Aと第2特図保留記憶部151Bに記憶されている保留記憶情報の数である合計保留記憶情報数を特定し(S214b)、S214aにて設定した設定値から該合計保留記憶情報数を減算した値を周期判定用カウンタ2に設定する(S214c)。このように、大当り遊技の終了時において、既に記憶されている保留記憶情報の数を減算した設定値を周期判定用カウンタ2に設定することで、周期判定用カウンタ2による周期の特定を正確に行うことができる。
本実施例では、周期判定用カウンタ1に上記したように設定値(カウント初期値)をセットすることにより、各大当りの終了後に最初に所定周期変動表示と判定されてスーパーリーチはずれの変動パターンが決定されるまでの変動回数が、大当り種別に応じて異なるというストーリー性が付与されることで、遊技興趣を高めることができる。特に、本実施例では、図37および図38に示すように、遊技者にとって有利度が高い「確変大当りA1」でストーリーAの設定値(カウント初期値)がセットされる場合には、大当りの終了後に最初に所定周期変動表示と判定されてスーパーリーチはずれの変動パターンが決定されるまでの変動回数が「101」回と短く、遊技者にとって有利度が低い「確変大当りB2」でストーリーDの設定値(カウント初期値)がセットされる場合には、大当りの終了後に最初に所定周期変動表示と判定されてスーパーリーチはずれの変動パターンが決定されるまでの変動回数が「134」回と長く、更に、遊技者にとって有利度が低い「非確変大当り」でストーリーEの設定値(カウント初期値)がセットされる場合には、所定周期変動表示と判定されてスーパーリーチはずれの変動パターンが決定されるまでの変動回数が「145」回と長くなるようになっている。
つまり、図38に示すように、「確変大当りA1」でストーリーAの設定値がセットされる場合には、16ラウンドの大当り状態が終了して高確高ベース状態の80回のはずれの変動表示において、時短状態(高ベース状態)であることに基づいて、はずれ用変動パターン判定テーブルEを用いて変動パターンが抽選決定され、その後、81回目〜96回目までのはずれ変動表示においては、第1保留記憶数に応じてはずれ用変動パターン判定テーブルA〜はずれ用変動パターン判定テーブルCのいずれかを用いて変動パターンが抽選決定される。そして、97回目〜100回目までのはずれ変動表示においては、はずれ用変動パターン判定テーブルGを用いて非リーチPA1−2(短縮1)の変動パターンのみが決定され、リーチはずれやスーパーリーチはずれの変動パターンは決定されない。そして、101回目のはずれ変動表示においては、はずれ用変動パターン判定テーブルFを用いてスーパーリーチはずれの変動パターンのみが決定される。また、102回目〜105回目までのはずれ変動表示においては、はずれ用変動パターン判定テーブルGを用いて非リーチPA1−2(短縮1)の変動パターンのみが決定される。その後においては、101回目からの変動表示回数が128回目となる毎に、スーパーリーチはずれの変動パターンが決定されるとともに、該128回目毎にスーパーリーチはずれの変動パターンが決定される前後の4回のはずれの変動表示においては、非リーチPA1−2(短縮1)の変動パターンのみが決定されるようになる。
一方、「非確変大当り」でストーリーEの設定値がセットされる場合には、16ラウンドの大当り状態が終了して低確高ベース状態の80回のはずれの変動表示において、時短状態(高ベース状態)であることに基づいて、はずれ用変動パターン判定テーブルEを用いて変動パターンが抽選決定され、その後、81回目〜140回目までのはずれ変動表示においては、第1保留記憶数に応じてはずれ用変動パターン判定テーブルA〜はずれ用変動パターン判定テーブルCのいずれかを用いて変動パターンが抽選決定される。そして、141回目〜144回目までのはずれ変動表示においては、はずれ用変動パターン判定テーブルGを用いて非リーチPA1−2(短縮1)の変動パターンのみが決定され、リーチはずれやスーパーリーチはずれの変動パターンは決定されない。そして、145回目のはずれ変動表示においては、はずれ用変動パターン判定テーブルFを用いてスーパーリーチはずれの変動パターンのみが決定される。また、146回〜149回までのはずれ変動表示においては、はずれ用変動パターン判定テーブルGを用いて非リーチPA1−2(短縮1)の変動パターンのみが決定される。その後においては、145回目からの変動表示回数が128回目となる毎に、スーパーリーチはずれの変動パターンが決定されるとともに、該128回目毎にスーパーリーチはずれの変動パターンが決定される前後の4回のはずれの変動表示においては、非リーチPA1−2(短縮1)の変動パターンのみが決定されるようになる。
このように、本実施例では、遊技者にとって有利度が高い大当りが発生した場合には、80回の高確高ベース状態が終了してから短い期間でスーパーリーチを必ず発生させることができるようになることで、80回の高確高ベース状態が終了してしまっても、再度、大当りとなるのではないかをいう遊技者の期待感を持続させることができるようになっているとともに、同じ、16ラウンドの「確変大当りA1」と「非確変大当り」とで、大当り後に最初に所定周期変動表示と判定されてスーパーリーチはずれの変動パターンが決定されるまでの変動回数が異なるとともに、同じ16ラウンド確変大当りである「確変大当りA1」と「確変大当りA2」、並びに5ラウンドの「確変大当りB1」と「確変大当りB2」についても、大当り後に最初に所定周期変動表示と判定されてスーパーリーチはずれの変動パターンが決定されるまでの変動回数が異なるようになるので、遊技興趣を向上できるようになっているが、本発明はこれに限定されるものではなく、これら設定値(カウント初期値)として、大当り種別に関係なく、同一の設定値(カウント初期値)を設定するようにしても良い。
また、本実施例では、図37に示すように、周期判定用カウンタ1に設定値(カウント初期値)がセットされることで、上記したように、大当り遊技終了後において、これら周期判定用カウンタ1によってスーパーリーチの変動パターンが決定されるまでの期間は、大当り遊技終了後において時短状態(高ベース状態)が終了した後となる形態を例示したが、本発明はこれに限定されるものではなく、大当り遊技終了後において時短状態(高ベース状態)が終了するまでの期間中において周期判定用カウンタ1によってスーパーリーチの変動パターンが決定されるようになる設定値(カウント初期値)をセットするようにしてもよい。
上記したS214の処理を行った後、大当り種別に応じた大当り終了指定コマンドの送信設定を行う(S215)。そして、セットされた確変フラグや時短フラグに基づく遊技状態を演出制御基板12に通知するための遊技状態指定コマンドの送信設定を行った後(S216)、特図プロセスフラグの値を特別図柄通常処理に対応した値である“0”に更新する(S217)。
次に、演出制御基板12の動作を説明する。図29は、演出制御基板12に搭載されている演出制御用CPU120が実行する演出制御メイン処理を示すフローチャートである。演出制御用CPU120は、電源が投入されると、メイン処理の実行を開始する。メイン処理では、まず、RAM領域のクリアや各種初期値の設定、また演出制御の起動間隔(例えば、2ms)を決めるためのタイマの初期設定等を行うための初期化処理を行う(S51)。その後、演出制御用CPU120は、タイマ割込フラグの監視(S52)を行うループ処理に移行する。タイマ割込が発生すると、演出制御用CPU120は、タイマ割込処理においてタイマ割込フラグをセットする。メイン処理において、タイマ割込フラグがセット(オン)されていたら、演出制御用CPU120は、そのフラグをクリアし(S53)、以下の処理を実行する。
演出制御用CPU120は、まず、受信した演出制御コマンドを解析し、受信した演出制御コマンドに応じたフラグをセットする処理等を行う(コマンド解析処理:S54)。このコマンド解析処理において演出制御用CPU120は、受信コマンドバッファに格納されている主基板11から送信されてきたコマンドの内容を確認する。尚、遊技制御用マイクロコンピュータ100から送信された演出制御コマンドは、演出制御INT信号にもとづく割込処理で受信され、RAM122に形成されているバッファ領域に保存されている。コマンド解析処理では、バッファ領域に保存されている演出制御コマンドがどのコマンド(図4参照)であるのか解析する。次いで、演出制御用CPU120は、演出制御プロセス処理を行う(S55)。演出制御プロセス処理では、制御状態に応じた各プロセスのうち、現在の制御状態(演出制御プロセスフラグ)に対応した処理を選択して演出表示装置5の表示制御を実行する。そして、大当り図柄判定用乱数などの演出用乱数を生成するためのカウンタのカウント値を更新する演出用乱数更新処理を実行し(S56)、その後、S52に移行する。
図30は、コマンド解析処理として、図29のS54にて実行される処理の一例を示すフローチャートである。図30に示すコマンド解析処理において、演出制御用CPU120は、まず、演出制御コマンド受信用バッファの記憶内容を確認することなどにより、中継基板15を介して伝送された主基板11からの受信コマンドがあるか否かを判定する(S221)。このとき、受信コマンドがなければ(S221;N)、コマンド解析処理を終了する。
S221にて受信コマンドがある場合には(S221;Y)、例えば受信コマンドのMODEデータを確認することなどにより、その受信コマンドが第1始動口入賞指定コマンドであるか否かを判定する(S222)。そして、第1始動口入賞指定コマンドであるときには(S222;Y)、第1保留記憶数通知待ち時間を設定する(S223)。例えば、S223の処理では、第1保留記憶数通知コマンドの受信待ち時間に対応して予め定められたタイマ初期値が、演出制御タイマ設定部192に設けられたコマンド受信制御タイマにセットされればよい。S222にて受信コマンドが第1始動口入賞指定コマンドではない場合には(S222;N)、その受信コマンドは第2始動口入賞指定コマンドであるか否かを判定する(S224)。そして、第2始動口入賞指定コマンドであるときには(S224;Y)、第2保留記憶数通知待ち時間を設定する(S225)。例えば、S225の処理では、第2保留記憶数通知コマンドの受信待ち時間に対応して予め定められたタイマ初期値が、コマンド受信制御タイマにセットされればよい。
S224にて受信コマンドが第2始動口入賞指定コマンドではない場合には(S224;N)、その受信コマンドは図柄指定コマンドであるか否かを判定する(S226)。S226にて受信コマンドが図柄指定コマンドではない場合には(S226;N)、その受信コマンドは変動カテゴリコマンドであるか否かを判定する(S227)。S227にて受信コマンドが変動カテゴリコマンドではない場合には(S227;N)、その受信コマンドは第1保留記憶数通知コマンドであるか否かを判定する(S228)。そして、第1保留記憶数通知コマンドであるときには(S228;Y)、例えばコマンド受信制御タイマによる計時動作を初期化することなどにより、第1保留記憶数通知待ち時間をクリアする(S229)。
S228にて受信コマンドが第1保留記憶数通知コマンドではない場合には(S228;N)、その受信コマンドは第2保留記憶数通知コマンドであるか否かを判定する(S230)。そして、第2保留記憶数通知コマンドであるときには(S230;Y)、例えばコマンド受信制御タイマによる計時動作を初期化することなどにより、第2保留記憶数通知待ち時間をクリアする(S231)。そして、S229,S231の処理のいずれかを実行した後は、格納したエントリの表示未決定フラグに、保留表示態様が未決定である旨を示す「1」をセットする(S232)。
S226にて受信コマンドが図柄指定コマンドである場合や(S226;Y)、S227にて受信コマンドが変動カテゴリコマンドである場合(S227;Y)、あるいはS223,S225,S232の処理のいずれかを実行した後には、受信コマンドを図示しない始動入賞時受信コマンドバッファ194Aにおける空き領域の先頭に格納し(S233)、S221の処理に戻る。尚、変動開始コマンド(第1変動開始コマンドまたは第2変動開始コマンド)とともに保留記憶数通知コマンド(第1保留記憶数通知コマンドまたは第2保留記憶数通知コマンド)を受信した場合には、保留記憶数通知コマンドを始動入賞時受信コマンドバッファ194Aに格納しないようにしてもよい。即ち、始動入賞の発生に対応して受信した演出制御コマンドを、始動入賞時受信コマンドバッファ194Aにおける空き領域の先頭から順次に格納することができればよい。S230にて受信コマンドが第2保留記憶数通知コマンドではない場合には(S230;N)、その他の受信コマンドに応じた設定を行ってから(S234)、S221の処理に戻る。
図31は、演出制御メイン処理における演出制御プロセス処理(S55)を示すフローチャートである。演出制御プロセス処理では、演出制御用CPU120は、先ず、保留表示予告演出の有無とともに保留記憶表示の表示パターンを決定する保留表示予告演出決定処理を実行し(S71)、次いで、演出表示装置5の第1保留記憶表示エリア5D及び第2保留記憶表示エリア5Uにおける保留記憶表示を、始動入賞時受信コマンドバッファ194Aの記憶内容に応じた表示に更新する保留表示更新処理を実行する(S72)。その後、演出制御用CPU120は、演出制御プロセスフラグの値に応じてS73〜S79のうちのいずれかの処理を行う。各処理において、以下のような処理を実行する。
変動パターン指定コマンド受信待ち処理(S73):遊技制御用マイクロコンピュータ100から変動パターン指定コマンドを受信しているか否か確認する。具体的には、コマンド解析処理で変動パターン指定コマンドを受信しているか否か確認する。変動パターン指定コマンドを受信していれば、演出制御プロセスフラグの値を演出図柄変動開始処理(S74)に対応した値に変更する。演出図柄変動開始処理(S74):演出図柄の変動が開始されるように制御する。そして、演出制御プロセスフラグの値を演出図柄変動中処理(S75)に対応した値に更新する。演出図柄変動中処理(S75):変動パターンを構成する各変動状態(変動速度)の切替タイミング等を制御するとともに、変動時間の終了を監視する。そして、変動時間が終了したら、演出制御プロセスフラグの値を演出図柄変動停止処理(S76)に対応した値に更新する。演出図柄変動停止処理(S76):全図柄停止を指示する演出制御コマンド(図柄確定コマンド)を受信したことにもとづいて、演出図柄の変動を停止し表示結果(停止図柄)を導出表示する制御を行う。そして、演出制御プロセスフラグの値を大当り表示処理(S77)または変動パターン指定コマンド受信待ち処理(S73)に対応した値に更新する。
大当り表示処理(S77):変動時間の終了後、演出表示装置5に大当りの発生を報知するための画面を表示する制御を行う。そして、演出制御プロセスフラグの値を大当り遊技中処理(S78)に対応した値に更新する。大当り遊技中処理(S78):大当り遊技中の制御を行う。例えば、大入賞口開放中指定コマンドや大入賞口開放後指定コマンドを受信したら、演出表示装置5におけるラウンド数の表示制御等を行う。尚、大当りの種別が、「確変大当りA2」または「確変大当りB2」である場合には、5ラウンド目であるときに、昇格演出を含むラウンド演出を実行する。そして、演出制御プロセスフラグの値を大当り終了演出処理(S79)に対応した値に更新する。大当り終了演出処理(S79):演出表示装置5において、大当り遊技状態が終了したことを遊技者に報知する表示制御を行う。そして、演出制御プロセスフラグの値を変動パターン指定コマンド受信待ち処理(S73)に対応した値に更新する。
図32は、保留表示予告演出決定処理として、図31のS71にて実行される処理の一例を示すフローチャートである。図32に示す保留表示予告演出決定処理において、演出制御用CPU120は、先ず、始動入賞時受信コマンドバッファ194Aをチェックし(S241)、始動入賞時のコマンドの新たな格納が有るか否かを、表示未決定フラグに「1」がセットされているエントリが存在するか否かにより判定する(S242)。表示未決定フラグに「1」がセットされているエントリが無い場合は(S242;N)、保留表示予告演出決定処理を終了し、表示未決定フラグに「1」がセットされているエントリが有る場合は(S242;Y)、該エントリの図柄指定コマンドが第1図柄指定コマンドであるか否か、つまり、図柄指定コマンドがはずれを示すコマンドであるか否かを判定する(S243)。該エントリの図柄指定コマンドが第1図柄指定コマンドでない場合、つまり、大当り(確変大当りA1、確変大当りA2、確変大当りB1、確変大当りB2、非確変大当りのいずれか)を示すコマンドである場合は(S243;N)、当該エントリの図柄指定コマンドから大当り種別を特定する(S244)。
そして、例えば乱数回路124や演出制御カウンタ設定部193のランダムカウンタなどから抽出した保留表示予告演出用の乱数値を示す数値データとS244において特定した大当り種別に基づいて、図示しない大当り時保留表示予告演出判定テーブルを参照することにより、保留表示予告演出を実行するか否かと、保留表示予告演出を実行する場合における表示パターンと、を決定する(S245)。S245においては、例えば、図24(A)に示すような決定割合で保留表示予告演出の実行の有無と表示パターン(予告種別)とを決定する。図24(A)に示す決定割合の設定例では、S244の処理において特定した大当り種別に応じて、保留表示予告演出の有無や表示パターン(予告種別)の決定割合を異ならせている。
具体的には、保留表示予告演出の表示パターン(予告種別)として、表示パターンα及び表示パターンβの2種類が設けられている。このうち、保留表示予告演出の表示パターンが表示パターンαに決定された場合には、保留記憶表示が白色の四角形(◇)で第1保留記憶表示エリア5Dまたは第2保留記憶表示エリア5Uに表示され、保留表示予告演出の表示パターン(予告種別)が表示パターンβに決定された場合には、保留記憶表示が白色の星形(☆)で第1保留記憶表示エリア5Dまたは第2保留記憶表示エリア5Uに表示される。尚、変動表示結果が大当りとなる場合は、保留表示予告演出が非実行に決定される場合が無く、必ず保留表示予告演出の実行が決定されて表示パターン(予告種別)として表示パターンαまたは表示パターンβのどちらかの表示パターン(予告種別)が決定される。
また、図33(A)に示すように、大当り種別が「確変大当りA1」、「確変大当りA2」である場合には、表示パターン(予告種別)として表示パターンβが決定される割合は、表示パターンαが決定される割合よりも高く設定されている。一方で、大当り種別が「確変大当りB1」、「確変大当りB2」または「非確変大当り」である場合には、表示パターン(予告種別)として表示パターンβが決定される割合は、表示パターンαが決定される割合よりも低く設定されている。このような設定により、変動表示結果が「大当り」であり、かつ表示パターン(予告種別)として表示パターンβの表示が実行された場合は、表示パターンαの表示が実行された場合よりも大当り種別が「確変大当りA1」、「確変大当りA2」である割合が高くなり、遊技者の16ラウンドの確変大当りとなることに対する期待度を高めることができる。
尚、本実施例では、変動表示結果が「大当り」である場合は、必ず保留表示予告演出の実行を決定することで保留記憶表示を白色の四角(◇)に表示する表示パターンαまたは白色の星形(☆)に表示する表示パターンβのいずれか一方の表示パターンを実行しているが、本発明はこれに限定されるものではなく、変動表示結果が「大当り」である場合であっても、変動表示結果が「はずれ」である場合と同様に保留表示予告演出の非実行を決定する場合を設けても良い。
また、S243において、表示未決定フラグに「1」がセットされているエントリの図柄指定コマンドが第1図柄指定コマンドである場合、つまり、はずれを示すコマンドである場合は(S243;Y)、新たな格納のあったエントリの変動カテゴリ指定コマンドが示す変動カテゴリを特定する(S247)。具体的には、該エントリの変動カテゴリ指定コマンドがC600Hであれば、「非リーチ」の変動パターンのカテゴリであると特定し、C601Hであれば、「スーパーリーチ」の変動パターンのカテゴリであると特定し、C602Hであれば、ノーマルリーチを含む「その他」の変動パターンのカテゴリであると特定すれば良い。
そして、例えば乱数回路124や演出制御カウンタ設定部193のランダムカウンタなどから抽出した保留表示予告演出用の乱数値を示す数値データと、S247において特定した変動パターンのカテゴリとに基づいて、図示しないはずれ時保留表示予告演出判定テーブルを参照することにより、保留表示予告演出を実行するか否かと、保留表示予告演出を実行する場合における表示パターン(予告種別)と、を決定する(S248)。S248においては、例えば、図33(B)に示すような決定割合で保留表示予告演出の実行の有無と表示パターン(予告種別)とを決定する。図33(B)に示す決定割合の設定例では、S247の処理において特定した変動パターンのカテゴリに応じて、保留表示予告演出の実行の有無や表示パターン(予告種別)の決定割合を異ならせている。
具体的には、表示パターン(予告種別)として、表示パターンα及び表示パターンβの2種類が設けられている。このうち、表示パターン(予告種別)が表示パターンαに決定された場合には、保留記憶表示が白色の四角形(◇)で第1保留記憶表示エリア5Dまたは第2保留記憶表示エリア5Uに表示され、表示パターン(予告種別)が表示パターンβに決定された場合には、保留記憶表示が白色の星形(☆)で第1保留記憶表示エリア5Dまたは第2保留記憶表示エリア5Uに表示される。尚、保留表示予告演出が非実行に決定される場合は、保留記憶表示が丸型(○)で第1保留記憶表示エリア5Dまたは第2保留記憶表示エリア5Uに表示される。
図33(B)に示すように、変動表示結果が「はずれ」であり、変動パターンのカテゴリが「その他」である場合には、変動表示結果が「はずれ」であり、変動パターンのカテゴリが「非リーチ」である場合よりも保留表示予告演出が実行される割合(「予告演出なし」以外に決定される割合)が高く設定されている。また、変動表示結果が「はずれ」であり、変動パターンのカテゴリが「スーパーリーチ」である場合には、変動表示結果が「はずれ」であり、変動パターンのカテゴリが「その他」である場合よりも保留表示予告演出が実行される割合(「予告演出なし」以外に決定される割合)が高く設定されている。
変動表示結果が「はずれ」である場合において保留表示予告演出の実行が決定される際には、変動カテゴリが「その他」である場合には、変動パターンのカテゴリが「非リーチ」である場合よりも表示パターンαが決定される割合が高く設定されている。また、変動パターンのカテゴリが「スーパーリーチ」である場合には、変動パターンのカテゴリが「その他」である場合よりも表示パターンαが決定される割合が高く設定されている。更に、変動表示結果が「はずれ」である場合において保留表示予告演出の実行が決定される際には、変動パターンのカテゴリが「その他」である場合には、変動パターンのカテゴリが「非リーチ」である場合よりも表示パターンβが決定される割合が高く設定されており、変動パターンのカテゴリが「スーパーリーチ」である場合には、変動パターンのカテゴリが「その他」である場合よりも表示パターンβが決定される割合が高く設定されている。
尚、変動表示結果が「はずれ」である場合においては、変動パターンのカテゴリが「非リーチ」、「その他」、「スーパーリーチ」のいずれにおいても、保留表示予告演出が非実行に決定される割合が最も高く設定されており、保留表示予告演出が実行に決定され、かつ表示パターンβが決定される割合が最も低く設定されている。
更に、図33(A)に示すように、変動表示結果が「大当り」である場合においては、保留表示予告演出が非実行(予告演出なし)に決定されることがないとともに、保留表示予告演出が実行に決定され、かつ表示パターンαまたは表示パターンβが決定される割合は、変動表示結果が「はずれ」である場合のいずれの変動パターンのカテゴリにおける表示パターンαまたは表示パターンβが決定される割合よりも高く設定されている。
更に、変動表示結果が「はずれ(非リーチ)」、「はずれ(スーパーリーチ)」、「はずれ(その他)」である場合において、保留表示予告演出の実行が決定される際には、表示パターンαが決定される割合が、表示パターンβが決定される割合よりも高く設定されている。一方、変動表示結果が「大当り(確変大当りA1または確変大当りA2)」である場合において、保留表示予告演出の実行が決定される際には、表示パターンβが決定される割合が、表示パターンαが決定される割合よりも高く設定されている。
このような設定により、保留表示予告演出の表示パターン(予告種別)として表示パターンαまたは表示パターンβが実行(表示)された場合には、表示パターンαまたは表示パターンβが実行(表示)されない場合よりも変動表示結果が「大当り」となる可能性が高く、特に表示パターンβが実行(表示)された場合には、変動表示結果が「大当り」であり、かつ大当り種別が「確変大当りA1」または「確変大当りA2」となる割合が高まるため、遊技者の期待度を高めることができる。
尚、本実施例では、上記したように、所定周期変動表示であるときの「スーパーリーチ」と、所定周期変動表示ではないときの「スーパーリーチ」とを区別することなく、同じように保留表示予告演出の実行の有無を決定するようにしているが、本発明はこれに限定されるものではなく、変動パターンのカテゴリとして、所定周期変動表示であるときの「スーパーリーチ」であることに対応するカテゴリを設けておき、変動パターンのカテゴリから所定周期変動表示であるときの「スーパーリーチ」であることが特定されるときには、所定周期変動表示ではないときの「スーパーリーチ」よりも高い割合(100%を含む)にて、保留表示予告演出の実行を決定するようにしてもよい。
S248の実行後、演出制御用CPU120は、S247において保留表示予告演出の実行が決定されたか否か、つまり、表示パターン(予告種別)を表示パターンαと表示パターンβのいずれかに決定したか否かを判定する(S249)。S245の実行後または保留表示予告演出の実行が決定された場合は(S249;Y)、決定した表示パターン(予告種別)に対応するフラグ値を当該エントリの保留表示フラグにセットする(S246)。具体的には、S245またはS248において決定した表示パターン(予告種別)が保留記憶表示を「◇」で示す表示パターンαであれば当該エントリの保留表示フラグに「1」をセットし、S245またはS248において決定した表示パターン(予告種別)が保留記憶表示を「☆」で示す表示パターンβであれば当該エントリの保留表示フラグに「2」をセットした後、S251に進む。
また、S249において、保留表示予告演出の実行が決定されていない場合は(S249;N)、当該エントリの保留表示フラグに、白色の「○」を示す「0」をセットした後(S250)、S251に進む。尚、S246またはS250実行後、演出制御用CPU120は、当該エントリの表示未決定フラグの値を「0」に変更して(S251)、保留表示予告演出決定処理を終了する。
尚、本実施例では、S242において始動入賞時のコマンドの新たな格納が有ることを条件に該始動入賞における保留記憶での保留表示予告演出の実行と非実行を決定しているが、第1始動入賞口への始動入賞と第2始動入賞口への始動入賞が同時に発生したことによりS242において第1特図と第2特図との双方で始動入賞時のコマンドの新たな格納が有ると判定された場合、つまり、表示未決定フラグに「1」がセットされているエントリが第1特図保留記憶にも第2特図保留記憶にも存在する場合には、双方のエントリを保留表示予告演出の実行と非実行の決定対象としている。第1特図における始動入賞時のコマンドが新たに格納された保留記憶と第2特図における始動入賞時のコマンドが新たに格納された保留記憶の双方を保留表示予告演出の実行と非実行の決定対象とする場合は、保留表示予告演出の実行を示す「1」または「2」の保留表示フラグのエントリが存在しなければ第1特図の保留記憶の保留表示と第2特図の保留表示の双方において保留表示予告演出が同時に実行される場合がある。
また、本実施例では、前述のように第1始動入賞口への始動入賞と第2始動入賞口への始動入賞が同時に発生した場合には、第1特図における始動入賞時のコマンドが新たに格納された保留記憶と第2特図における始動入賞時のコマンドが新たに格納された保留記憶の双方を保留表示予告演出の実行と非実行の決定の対象としているが、本発明はこれに限定されるものではなく、このような場合は、第1特図における保留記憶での保留表示予告演出の実行と非実行、第2特図における保留記憶での保留表示予告演出の実行と非実行を、いずれか一方のみで決定するようにしても良い。
具体的には、遊技状態が、高開放制御が行われない通常状態である場合は、第1特図における保留記憶での保留表示予告演出の実行と非実行の決定を第2特図における保留記憶での保留表示予告演出の実行と非実行の決定よりも優先して行う。そして、第1特図における保留記憶での保留表示予告演出の実行を決定した場合は、第2特図における保留記憶の保留表示予告演出の実行を一義的に非実行に決定し、第1特図における保留記憶での保留表示予告演出の非実行を決定した場合は、第2特図における保留記憶の保留表示予告演出の実行と非実行を決定すれば良い。
一方、遊技状態が、高開放制御が行われる時短状態(高確高ベース状態・低確高ベース状態)である場合は、第2特図における保留記憶での保留表示予告演出の実行と非実行の決定を第1特図における保留記憶での保留表示予告演出の実行と非実行の決定よりも優先して行う。そして、第2特図における保留記憶での保留表示予告演出の実行を決定した場合は、第1特図における保留記憶の保留表示予告演出の実行を一義的に非実行に決定し、第2特図における保留記憶での保留表示予告演出の非実行を決定した場合は、第1特図における保留記憶の保留表示予告演出の実行と非実行を決定すれば良い。
図34(A)は、S72において実行される保留表示更新処理の処理内容を示すフローチャートである。本実施例の保留表示更新処理においては、まず、図12(B)に示す始動入賞時受信コマンドバッファ194Aに記憶されている始動口入賞指定コマンドとして、第1始動入賞口を示す「B100(H)」のコマンドが記憶されている数に基づいて、第1始動入賞に対応する保留記憶数(第1特図保留記憶数)を特定し(S261)、その時点において第1保留記憶表示エリア5Dにおける保留記憶の表示数と一致しているか否か、つまり、保留記憶数に変化(増加または減少)があったか否かを判定する(S262)。該判定において一致している場合(保留記憶数に変化がない場合)には、S265に進む一方、一致していない場合(保留記憶数に変化がある場合)には、S264に進んで、第1保留記憶表示エリア5Dの表示を行うための表示バッファデータを、その時点で始動入賞時受信コマンドバッファ194Aにおける第1特図保留記憶のそれぞれのエントリに格納されている保留表示フラグから特定される表示態様の表示データに上書き更新することにより、第1保留記憶表示エリア5Dの表示を更新し、その後、S265に進む。
S265では、S261と同様に、図12(B)に示す始動入賞時受信コマンドバッファ194Aに記憶されている始動口入賞指定コマンドとして、第2始動入賞口を示す「B200(H)」のコマンドが記憶されている数に基づいて、第2始動入賞に対応する保留記憶数(第2特図保留記憶数)を特定し、その時点において第2保留記憶表示エリア5Uにおける保留記憶の表示数と一致しているか否か、つまり、保留記憶数に変化(増加または減少)があったか否かを判定する(S266)。該判定において一致している場合(保留記憶数に変化がない場合)には、処理を終了する一方、一致していない場合(保留記憶数に変化がある場合)には、S268に進んで、第2保留記憶表示エリア5Uの表示を行うための表示バッファデータを、その時点で始動入賞時受信コマンドバッファ194Aにおける第2特図保留記憶のそれぞれのエントリに格納されている保留表示フラグから特定される表示態様の表示データに上書き更新することにより、第2保留記憶表示エリア5Uの表示を更新し、その後、当該処理を終了する。
尚、本実施例では、前述したように、保留記憶数に変化がある場合には、第1保留記憶表示エリア5Dや第2保留記憶表示エリア5Uの表示を更新し、保留記憶数に変化がない場合には、第1保留記憶表示エリア5Dや第2保留記憶表示エリア5Uの表示を更新しない形態を例示しているが、本発明はこれに限定されるものではなく、保留記憶数の増減に関係なく、第1保留記憶表示エリア5Dや第2保留記憶表示エリア5Uの表示を更新するようにしても良いし、或いは、保留記憶数が減少する場合、つまり、保留記憶の表示が中央側にスライドする場合には、第1保留記憶表示エリア5Dや第2保留記憶表示エリア5Uの表示が大きく変更するので、これら第1保留記憶表示エリア5Dや第2保留記憶表示エリア5Uの表示を全て一旦消去(表示バッファデータを消去)してから、始動入賞時受信コマンドバッファ194Aにおける第1特図保留記憶または第2特図保留記憶のそれぞれのエントリに格納されている保留表示フラグから特定される表示態様の表示データを表示バッファデータに描画することにより、第1保留記憶表示エリア5Dや第2保留記憶表示エリア5Uの表示を変更するようにしても良い。
このような処理を行うことにより、変動表示の開始時に実行される、後述する演出図柄変動開始処理において保留記憶が消費されて、始動入賞時受信コマンドバッファ194Aの保留記憶がシフトされた場合には、シフト後の始動入賞時受信コマンドバッファ194Aの保留記憶に基づいて、図34(B)に示すように、第1保留記憶表示エリア5Dや第2保留記憶表示エリア5Uにおける保留記憶表示もシフトされて表示されるとともに、始動入賞により、新たな保留記憶があった場合には、該保留表示更新処理の前に実行される前述した保留表示予告演出決定処理にて、当該保留記憶の表示パターンが決定されて保留表示フラグにセットされ、該保留表示フラグにセットされたフラグ値に応じた表示態様にて、第1保留記憶表示エリア5Dや第2保留記憶表示エリア5Uに表示されるようになる。
具体的には、図34(B)に示すように、第1特図保留記憶数が1つであれば1つの保留記憶表示を表示する。この保留記憶表示の表示態様としては、該保留記憶に対応する保留表示フラグのフラグ値が「0」である場合には、図34(B)に示すように「○」の表示態様にて表示され、保留表示フラグのフラグ値が「1」である場合には、「◇」の表示態様にて表示され、保留表示フラグのフラグ値が「2」である場合には、「☆」の表示態様にて表示される。尚、第1特図保留記憶数が2つであれば、2つの保留記憶表示が表示され、それぞれの保留記憶表示が、対応する保留記憶の保留表示フラグにセットされたフラグ値に応じた態様にて第1保留記憶表示エリア5Dに表示される。また、第1特図保留記憶数が3つであれば、3つの保留記憶表示が表示され、それぞれの保留記憶表示が、対応する保留記憶の保留表示フラグにセットされたフラグ値に応じた態様にて第1保留記憶表示エリア5Dに表示される。また、第1特図保留記憶数が4つであれば、4つの保留記憶表示が表示され、それぞれの保留記憶表示が、対応する保留記憶の保留表示フラグにセットされたフラグ値に応じた態様にて第1保留記憶表示エリア5Dに表示される。
また、第2特図保留記憶数が1つであれば1つの保留記憶表示を表示する。この保留記憶表示の表示態様としては、第1特図の場合と同じく、該保留記憶に対応する保留表示フラグのフラグ値が「0」である場合には、「○」の表示態様にて表示され、保留表示フラグのフラグ値が「1」である場合には、「◇」の表示態様にて表示され、保留表示フラグのフラグ値が「2」である場合には、「☆」の表示態様にて表示される。尚、第2特図保留記憶数が2つであれば、例えば、図34(B)に示すように、2つの保留記憶表示が表示され、それぞれの保留記憶表示が、対応する保留記憶の保留表示フラグにセットされたフラグ値に応じた態様として、例えば、1の保留記憶表示が「○」の表示態様、1の保留記憶表示が「☆」の表示態様にて第2保留記憶表示エリア5Uに表示される。また、第2特図保留記憶数が3つであれば、3つの保留記憶表示が表示され、それぞれの保留記憶表示が、対応する保留記憶の保留表示フラグにセットされたフラグ値に応じた態様にて第2保留記憶表示エリア5Uに表示される。また、第2特図保留記憶数が4つであれば、4つの保留記憶表示が表示され、それぞれの保留記憶表示が、対応する保留記憶の保留表示フラグにセットされたフラグ値に応じた態様にて第2保留記憶表示エリア5Uに表示される。そして、変動表示が実行される毎に、保留記憶が減少(消費)されることに応じて、図34(B)に示すように、保留記憶表示も、所定のシフト方向(本実施例では画面の中央方向)にシフトする。
図35は、図31に示された演出制御プロセス処理における演出図柄変動開始処理(S74)を示すフローチャートである。演出図柄変動開始処理において、演出制御用CPU120は、まず、S271において第1変動開始コマンド受信フラグがセットされているか否かを判定する(S271)。第1変動開始コマンド受信フラグがセットされている場合は(S271;Y)、始動入賞時受信コマンドバッファ194Aにおける第1特図保留記憶のバッファ番号「1−0」〜「1−4」に対応付けて格納されている各種コマンドデータと各種フラグを、バッファ番号1個分ずつ上位にシフトする(S272)。尚、バッファ番号「1−0」の内容については、シフトする先が存在しないためにシフトすることはできないので消去される。
具体的には、第1特図保留記憶のバッファ番号「1−1」に対応付けて格納されている各種コマンドデータと各種フラグをバッファ番号「1−0」に対応付けて格納するようにシフトし、第1特図保留記憶のバッファ番号「1−2」に対応付けて格納されている各種コマンドデータと各種フラグをバッファ番号「1−1」に対応付けて格納するようにシフトし、第1特図保留記憶のバッファ番号「1−3」に対応付けて格納されている各種コマンドデータと各種フラグをバッファ番号「1−2」に対応付けて格納するようにシフトし、第1特図保留記憶のバッファ番号「1−4」に対応付けて格納されている各種コマンドデータと各種フラグをバッファ番号「1−3」に対応付けて格納するようにシフトする。
また、S271において第1変動開始コマンド受信フラグがセットされていない場合は(S271;N)、第2変動開始コマンド受信フラグがセットされているか否かを判定する(S273)。第2変動開始コマンド受信フラグがセットされていない場合は(S273;N)、演出図柄変動開始処理を終了し、第2変動開始コマンド受信フラグがセットされている場合は(S273;Y)、始動入賞時受信コマンドバッファ194Aにおける第2特図保留記憶のバッファ番号「2−0」〜「2−4」に対応付けて格納されている各種コマンドデータと各種フラグを、バッファ番号1個分ずつ上位にシフトする(S274)。尚、バッファ番号「2−0」の内容については、シフトする先が存在しないためにシフトすることはできないので消去される。
具体的には、第2特図保留記憶のバッファ番号「2−1」に対応付けて格納されている各種コマンドデータと各種フラグをバッファ番号「2−0」に対応付けて格納するようにシフトし、第2特図保留記憶のバッファ番号「2−2」に対応付けて格納されている各種コマンドデータと各種フラグをバッファ番号「2−1」に対応付けて格納するようにシフトし、第2特図保留記憶のバッファ番号「2−3」に対応付けて格納されている各種コマンドデータと各種フラグをバッファ番号「2−2」に対応付けて格納するようにシフトし、第2特図保留記憶のバッファ番号「2−4」に対応付けて格納されている各種コマンドデータと各種フラグをバッファ番号「2−3」に対応付けて格納するようにシフトする。
S272またはS274の実行後、演出制御用CPU120は、変動パターン指定コマンド格納領域から変動パターン指定コマンドを読み出す(S275)。次いで、表示結果指定コマンド格納領域に格納されているデータ(即ち、受信した表示結果指定コマンド)に応じて演出図柄の表示結果(停止図柄)を決定する(S276)。この場合、演出制御用CPU120は、表示結果指定コマンドで指定される表示結果に応じた演出図柄の停止図柄を決定し、決定した演出図柄の停止図柄を示すデータを演出図柄表示結果格納領域に格納する。
尚、この実施例では、受信した変動表示結果指定コマンドが確変大当りA1に該当する第2変動表示結果指定コマンドである場合において、演出制御用CPU120は、例えば、停止図柄として3図柄が「7」で揃った演出図柄の組合せ(大当り図柄)を決定する。また、受信した変動表示結果指定コマンドが確変大当りA2に該当する第3変動表示結果指定コマンドである場合においては、停止図柄として、「5」で揃った演出図柄の組合せ(大当り図柄)を決定する。また、受信した変動表示結果指定コマンドが確変大当りB1に該当する第4変動表示結果指定コマンドである場合においては、停止図柄として、「3」で揃った演出図柄の組合せ(大当り図柄)を決定する。また、受信した変動表示結果指定コマンドが確変大当りB2に該当する第5変動表示結果指定コマンドである場合においては、停止図柄として、「5」で揃った演出図柄の組合せ(大当り図柄)を決定する。また、受信した変動表示結果指定コマンドが非確変大当りに該当する第6変動表示結果指定コマンドである場合において、演出制御用CPU120は、例えば、停止図柄として3図柄が偶数図柄で揃った演出図柄の組合せ(大当り図柄)を決定する。また、受信した変動表示結果指定コマンドが、はずれに該当する第1変動表示結果指定コマンドである場合には、停止図柄として3図柄が不揃いとなる演出図柄の組合せ(はずれ図柄)を決定する。
このように、本実施例では、昇格演出が実行される「確変大当りA2」の場合と「確変大当りB2」の場合では、共に、停止図柄として、「5」で揃った演出図柄の組合せ(大当り図柄)を決定するので、これら演出図柄の停止図柄(確定図柄)からは、16ラウンド大当りであるのか、5ラウンド大当りであるのかが不明となるようになっており、大当り遊技中の5ラウンド目の昇格演出(バトル演出)に勝利するか否かによって、16ラウンド大当りであるのか5ラウンド大当りであるのかが報知される。
次いで、演出制御用CPU120は、予告演出決定処理を実施して、当該変動表示において予告演出を実行するか否かを決定する(S277)。予告演出決定処理においては、例えば、キャラクタが登場するキャラクタ予告演出や、予告画像が段階的に変化するステップアップ予告や、所定のキャラクタの一群が表示領域を横切る群予告等の実行を決定するようにすればよく、これら異なる態様の予告演出を決定する場合には、予告演出を開始するタイミングが予告演出の態様に応じて異なるので、後述する予告演出開始待ちタイマに、予告演出の態様に応じた異なる期間を設定すれば良い。
S277の予告演出決定処理の後に、S278において演出制御用CPU120は、予告演出実行決定フラグがセットされているか否か、つまり、S277の予告演出決定処理において、いずれかの予告演出が決定されたか否かを判定する。予告演出実行決定フラグがセットされている場合には、S279に進んで、予告演出開始待ちタイマに、予告演出開始までの期間として予告演出に対応する期間を設定し(S279)、予告演出実行決定フラグをクリアして(S280)、S281に進む。一方、予告演出実行決定フラグがセットされていない場合には、S279経由することなくS281に進む。
S281において演出制御用CPU120は、変動パターン指定コマンドに応じた演出制御パターン(プロセステーブル)を選択する。そして、選択したプロセステーブルのプロセスデータ1におけるプロセスタイマをスタートさせる(S282)。尚、プロセステーブルには、演出表示装置5の表示を制御するための表示制御実行データ、各LEDの点灯を制御するためのランプ制御実行データ、スピーカ8L,8Rから出力する音の制御するための音制御実行データや、プッシュボタン31Bやスティックコントローラ31Aの操作を制御するための操作部制御実行データ等が、各プロセスデータn(1〜N番まで)に対応付けて時系列に順番配列されている。
次いで、演出制御用CPU120は、プロセスデータ1の内容(表示制御実行データ1、ランプ制御実行データ1、音制御実行データ1、操作部制御実行データ1)に従って演出装置(演出用部品としての演出表示装置5、演出用部品としての各種ランプ及び演出用部品としてのスピーカ8L,8R、操作部(プッシュボタン31B、スティックコントローラ31A等))の制御を実行する(S283)。例えば、演出表示装置5において変動パターンに応じた画像を表示させるために、表示制御部123に指令を出力する。また、各種ランプを点灯/消灯制御を行わせるために、ランプ制御基板14に対して制御信号(ランプ制御実行データ)を出力する。また、スピーカ8L,8Rからの音声出力を行わせるために、音声制御基板13に対して制御信号(音番号データ)を出力する。
尚、この実施例では、演出制御用CPU120は、変動パターン指定コマンドに1対1に対応する変動パターンによる演出図柄の変動表示が行われるように制御するが、演出制御用CPU120は、変動パターン指定コマンドに対応する複数種類の変動パターンから、使用する変動パターンを選択するようにしてもよい。そして、変動時間タイマに、変動パターン指定コマンドで特定される変動時間に相当する値を設定する(S284)。また、変動制御タイマに所定時間を設定する(S285)。尚、所定時間は例えば30msであり、演出制御用CPU120は、所定時間が経過する毎に左中右の演出図柄の表示状態を示す画像データをVRAMに書き込み、表示制御部123がVRAMに書き込まれた画像データに応じた信号を演出表示装置5に出力し、演出表示装置5が信号に応じた画像を表示することによって演出図柄の変動が実現される。次いで、演出制御プロセスフラグの値を演出図柄変動中処理(S75)に対応した値にする(S286)。
演出図柄変動中処理において演出制御用CPU120は、プロセスタイマ、変動時間タイマ、変動制御タイマのそれぞれの値を−1する。また、演出制御用CPU120は、予告演出開始待ちタイマがセットされている(予告演出を行うことに決定されている)か、または予告演出実行中フラグがセットされている(予告演出の実行中である)場合には予告演出処理を実行する。演出図柄変動中処理において演出制御用CPU120は、プロセスタイマがタイマアウトしたか否か確認する。プロセスタイマがタイマアウトしていたら、プロセスデータの切り替えを行う。即ち、プロセステーブルにおける次に設定されているプロセスタイマ設定値をプロセスタイマに設定することによってプロセスタイマをあらためてスタートさせる。また、その次に設定されている表示制御実行データ、ランプ制御実行データ、音制御実行データ、操作部制御データ等にもとづいて演出装置(演出用部品)に対する制御状態を変更する。
次に、変動制御タイマがタイマアウトしているか否かを確認する。変動制御タイマがタイマアウトしている場合には、演出制御用CPU120は、左中右の演出図柄の次表示画面(前回の演出図柄の表示切り替え時点から30ms経過後に表示されるべき画面)の画像データを作成し、VRAMの所定領域に書き込む。そのようにして、演出表示装置5において、演出図柄の変動制御が実現される。表示制御部123は、設定されている背景画像等の所定領域の画像データと、プロセステーブルに設定されている表示制御実行データにもとづく画像データとを重畳したデータに基づく信号を演出表示装置5に出力する。そのようにして、演出表示装置5において、演出図柄の変動における背景画像、キャラクタ画像及び演出図柄が表示される。また、変動制御タイマに所定値を再セットする。
また、プロセスタイマがタイマアウトしていない場合、変動制御タイマがタイマアウトしていない場合、演出制御用CPU120は、変動時間タイマがタイマアウトしているか否か確認する。変動時間タイマがタイマアウトしていれば、演出制御プロセスフラグの値を演出図柄変動停止処理に応じた値に更新する。変動時間タイマがタイマアウトしていなくても、図柄確定指定コマンドを受信したことを示す確定コマンド受信フラグがセットされていたら、演出制御プロセスフラグの値を演出図柄変動停止処理に応じた値に更新することで、繰り返し、主基板11にて決定された変動パターンに応じた演出図柄の変動制御が実現される。
以上、本発明の実施例を図面により説明してきたが、具体的な構成はこれら実施例に限られるものではなく、本発明の要旨を逸脱しない範囲における変更や追加があっても本発明に含まれる。
例えば、前記実施例では、図23に示すように、第1始動入賞口への入賞および第2始動入賞口への入賞のいずれについても周期判定用カウンタ2の値を−1し、図27に示すように、第1特図ゲームの終了および第2特図ゲームの終了のいずれについても周期判定用カウンタ1の値を−1する形態を例示しているが、本発明はこれに限定されるものではなく、変形例1として図39、図40に示すように、例えば、発生した始動入賞が第1始動入賞口への入賞であった場合(図39に示すS113aでY)に周期判定用カウンタ2の値を−1する(S113b)するとともに、これら第1始動入賞口への入賞にもとづく第1特図ゲームの終了については、S182aにてYと判定することで、周期判定用カウンタ1の値を−1する(182b)一方で、発生した始動入賞が第2始動入賞口への入賞であった場合(図39に示すS113aでN)には周期判定用カウンタ2の値を−1しないとともに、これら第2始動入賞口への入賞にもとづく第2特図ゲームの終了については、S182aにてNと判定することで、周期判定用カウンタ1の値を−1しないようにしてもよい。つまり、周期判定用カウンタ1の更新を、第1特図ゲームまたは第2特図ゲームの一方については行い、他方については行わないとともに、周期判定用カウンタ2の更新についても、周期判定用カウンタ1の更新を行う特図ゲームに対応する始動入賞口への入賞については更新する一方、更新を行う特図ゲームに対応しない始動入賞口への入賞については更新しないようにしてもよく、このようにするで、周期的にスーパーリーチを行うために必要となる周期判定用カウンタ1等の更新処理の簡素化を図りつつ、周期的なスーパーリーチの実行を適切に行うことができるとともに、これら周期的なスーパーリーチの実行についての保留表示予告演出も適切に行うことができる。尚、この場合にあっては、前述した大当り終了処理のS214bにおいては、周期判定用カウンタ1の更新を行う特図ゲームに対応する保留記憶情報の数を特定すればよい。
尚、本変形例1においては、周期判定用カウンタ1(周期判定用カウンタ2)の更新を、第1特図ゲームの実行(第1始動入賞口への入賞)については減算更新し、第2特図ゲームの実行(第2始動入賞口への入賞)については減算更新しない形態を例示したが、逆に、周期判定用カウンタ1(周期判定用カウンタ2)の更新を、第2特図ゲームの実行(第2始動入賞口への入賞)については減算更新し、第1特図ゲームの実行(第1始動入賞口への入賞)については減算更新しないようにしてもよい。また、例えば、低ベース状態においては、周期判定用カウンタ1(周期判定用カウンタ2)の更新を、第1特図ゲームの実行(第1始動入賞口への入賞)については減算更新し、第2特図ゲームの実行(第2始動入賞口への入賞)については減算更新しないようにする一方、高ベース状態においては、周期判定用カウンタ1(周期判定用カウンタ2)の更新を、第2特図ゲームの実行(第2始動入賞口への入賞)については減算更新し、第1特図ゲームの実行(第1始動入賞口への入賞)については減算更新しないようにしてもよい。つまり、周期判定用カウンタの更新対象とする特図の種別を、遊技状態(低ベース、高ベース)において変更するようにしてもよい。
また、前記実施例では、第1特図ゲームと第2特図ゲームのいずれか一方を排他的に実行する形態、つまり、第1特図ゲームと第2特図ゲームとを同時に実行しない形態を例示しているが、本発明はこれに限定されるものではなく、例えば、第1特図ゲームを第2特図ゲームの実行に関係なく実行するとともに、第2特図ゲームを第1特図ゲームの実行に関係なく実行することや、いずれか一方の特図ゲーム中に、所定回数の他方の特図ゲームを実行可能とすること等により、第1特図ゲームと第2特図ゲームとを重複して実行可能なものであってもよい。尚、このように、第1特図ゲームと第2特図ゲームとを重複して実行可能なものとした場合には、第1特図ゲームと第2特図ゲームの実行や、有効な第1始動入賞や有効な第2始動入賞によって、周期判定用カウンタ1や周期判定用カウンタ2を減算更新してしまうと、シナリオデータに記述された周期値に対応しない不適切な時期にスーパーリーチが決定されてしまう可能性があるので、このような場合には、上記したように、周期判定用カウンタの更新対象とする特図の種別を、いずれか一方とすることで、処理の簡素化を図りつつ、周期的なスーパーリーチの実行を適切に行うことができるようになる。
ここで、例えば時短状態に代えてKT状態(小当りタイム状態)に制御可能な遊技機や、第1特図ゲームと第2特図ゲームとで変動パターンの選択傾向が異なる遊技機にも本発明を適用してもよい。KT状態に制御可能な遊技機では、第1特図ゲームと第2特図ゲームとが同一期間に変動可能となっており、第2特図ゲームの方が第1特図ゲームのよりも小当り当選確率が高く、通常状態においては第1特図ゲームの変動時間よりも第2特図ゲームの変動時間の方が長く、KT状態においては第2特図ゲームの変動時間よりも第1特図ゲームの変動時間の方が長い。つまり、KT状態とは、第2特図ゲームの変動時間が通常状態よりも短縮されているため、第2特図ゲームの変動による小当りが比較的短い間隔で発生するようになっている状態である。このような第1特図ゲームと第2特図ゲームとで変動パターンの選択傾向が異なる遊技機において、図39に示す処理を適用することによって、意図しないタイミングでスーパーリーチが決定されてしまうことを防止できる。
また、前記実施例では、第2保留情報に基づく第2特図を用いた特図ゲームの実行を、第1保留情報に基づく第1特図を用いた特図ゲームの実行よりも優先して実行する形態を例示しているが、本発明はこれに限定されるものではなく、これら特図ゲームの実行を、始動入賞が発生した順に実行するようにもよい。
また、前記実施例では、図36に示すように、1のシナリオデータを設けることで、所定周期(128回の変動表示)毎にスーパーリーチの変動表示を実行する形態を例示しているが、本発明はこれに限定されるものではなく、図41に変形例2として示すように、128回の変動表示毎にスーパーリーチの変動表示を実行するシナリオ1のデータ、64回の変動表示毎にスーパーリーチの変動表示を実行するシナリオ2のデータ等、シナリオデータとしてスーパーリーチの変動表示を実行する周期の異なる複数のシナリオデータ1〜5を設けてもよい。また、このように複数のシナリオデータを設ける場合は、大当り終了処理において該終了した大当り遊技の大当り種別に応じて、図42示すように、周期の異なるシナリオデータをセットする処理を実行し、該セットされたシナリオデータと周期判定用カウンタ1とによりスーパーリーチの変動パターンを決定することで、大当り遊技終了後において、必ずスーパーリーチの変動表示が実行される周期を、大当りの種別に応じて異ならせることで遊技興趣を向上できるようにしてもよい。つまり、図42に示す変形例2では、大当り遊技中におけるラウンド数の違い、昇格演出の実行の有無の違い、大当り遊技終了後に確変制御が実行されるか否かの違いに応じて、周期が異なるシナリオデータがセットされるようになっている。尚、この場合には、例えば、図42に示すように、終了した大当り遊技が遊技者にとって有利度が高い大当りである場合には、有利度が低い大当りである場合よりも長い周期とするように設定したり、逆に、終了した大当り遊技が遊技者にとって有利度が高い大当りである場合には、有利度が低い大当りである場合よりも短い周期とするように設定してもよい。
また、図42は、一例であって、例えば、大当り遊技後に時短制御が実行される変動表示の回数が異なる大当り種別を設け、時短制御が実行される変動表示回数の違いに応じて、異なるシナリオ種別のシナリオデータをセットするようにしてもよく、これら大当りの種別は、適宜に決定されればよい。また、図42の例では、大当り種別の全てに周期値の異なるシナリオ種別のシナリオデータをセットする形態を例示しているが、本発明はこれに限定されるものではなく、一部の異なる大当り種別には、同一のシナリオデータをセットするようにしてもよい。また、本変形例2では、シナリオデータの違いとして周期を例示しているが、周期以外の違い、例えば、スーパーリーチの決定に使用するはずれ用変動パターン判定テーブルとしてスーパーリーチを決定する割合が違うはずれ用変動パターン判定テーブルを使用するように記述されたシナリオデータであってもよく、複数の違いを適宜に組み合わせたシナリオデータとしてもよい。
また、前記実施例では、特定可変表示パターンをスーパーリーチの変動パターンとし、該スーパーリーチの変動パターンを周期判定用カウンタ1に基づいて周期的に決定する形態を例示しているが、本発明はこれに限定されるものではなく、例えば、図43に変形例3として示すように、特定可変表示パターンとして、高ベースの終了時である大当り遊技終了後80回目から100回目までの21回の特定ゾーンの変動表示専用の特殊変動パターンである特殊非リーチはずれPA1−5(変動時間8秒)を設けて、該特殊非リーチはずれPA1−5の変動パターンを、大当り遊技終了後80回目から100回目までの21回の特定ゾーンの変動表示において、必ず決定するようにしてもよい。
このように、特殊非リーチはずれPA1−5の変動パターンを、大当り遊技終了後80回目から100回目までの21回の特定ゾーンの変動表示において、必ず決定するようにするためには、図44に示すように、前記実施例において用いた周期判定用カウンタ1に基づいて特定可変表示パターンであるスーパーリーチの変動パターンを決定するシナリオデータであるシナリオAに加えて、特殊非リーチはずれPA1−5の変動パターンを決定するためのシナリオデータ(時期規定情報)であるシナリオBをROM101に記憶しておくとともに、図45に示すように、周期判定用カウンタ1と同様に、特別図柄停止処理におけるS182において1ずつ減算更新されるカウンタであって、該シナリオBに対応した時期特定情報である特別ゾーン演出用カウンタを周期判定用カウンタ1とは別個に設けておき、これら特別ゾーン演出用カウンタには、大当り種別に関係なく、一律に同じ設定値(初期値)である「101」の値を、大当り終了処理におけるS214aにおいて、周期判定用カウンタ1の設定値とともにセットして、図26に示す変動パターン設定処理に代えて図47に示す変動パターン設定処理を実行するようにすればよい。
つまり、本変形例3の変動パターン設定処理では、S162、S163b、S164b、S167b、S168b、S169b、S170b、S171のいずれかの処理にて設定された変動パターン判定テーブルと変動用乱数バッファなどに格納されている変動パターン判定用の乱数値MR3を示す数値データとを用いて変動パターンを決定した後(S172a)、特別ゾーン演出用カウンタが非設定であるか否かを判定し(S172b)、非設定ではない場合(設定されている場合)には、該特別ゾーン演出用カウンタのカウンタ値について、周期判定用カウンタ1について実施した除算を同様に実行する(S172c)。このように、特別ゾーン演出用カウンタについても同様に除算を実行するのは、各カウンタについての処理を共通化することで、プログラム容量を削減するためであるが、プログラムの記憶容量を十分に確保できる場合には、特別ゾーン演出用カウンタについては、演算をしないプログラムとしたり、或いは、異なる除算(演算)を行うようにしてもよい。
そして、除算した余り値が1〜20の範囲にあるか否かを判定し(S172d)、1〜20の範囲にある場合、つまり、大当り遊技終了後の変動回数が80回から100回の特別ゾーンの変動表示である場合には、S172aで決定した変動パターンを、シナリオBに基づいて特殊非リーチはずれPA1−5の変動パターンに書き換え更新した後(S172e)、S173に進む。このように、本変形例3では、特別ゾーン演出用カウンタのカウンタ値に基づいて決定した変動パターンを、周期判定用カウンタ1や抽選によって決定した変動パターンよりも優先することで、変動パターンを決定する処理が複雑化してしまうことを防ぐようにしているが、本発明はこれに限定されるものではなく、例えば、特別ゾーン演出用カウンタのカウンタ値に応じて、周期判定用カウンタ1や抽選によって決定した変動パターンを逆に優先するようにしてもよい。
尚、本変形例3では、はずれ用変動パターン判定テーブルと乱数値MR3を示す数値データを用いずに特殊非リーチはずれPA1−5を決定しているが、他の変動パターンと同様に、特殊非リーチはずれPA1−5に乱数値MR3の全ての値が割り当てられたはずれ用変動パターン判定テーブル(特別ゾーン用)を設定しておき、該はずれ用変動パターン判定テーブル(特別ゾーン用)と乱数値MR3とから特殊非リーチはずれPA1−5を100%の割合にて決定するようにしてもよい。尚、これらはずれ用変動パターン判定テーブル(特別ゾーン用)として、大当り遊技終了後の変動回数が80回目用のはずれ用変動パターン判定テーブルと、大当り遊技終了後の変動回数が81〜100回目用のはずれ用変動パターン判定テーブルとを個別に設けて、いずれのはずれ用変動パターン判定テーブルを使用するかをシナリオBと特別ゾーン演出用カウンタのカウンタ値にて特定するようにしてもよい。このように、はずれ用変動パターン判定テーブル(特別ゾーン用)として複数のはずれ用変動パターン判定テーブルを使用する場合にあっては、それぞれのはずれ用変動パターン判定テーブルによって決定される変動パターンが異なるようにしてもよい。具体的には、例えば、特殊非リーチはずれの変動パターンとして、大当り遊技終了後の変動回数が80回目用の特殊1非リーチハズレの変動パターンと、大当り遊技終了後の変動回数が81から100回目用の特殊2非リーチハズレの変動パターンとを設けるとともに、はずれ用変動パターン判定テーブル(特別ゾーン用)として、特殊1非リーチハズレの変動パターンに全ての乱数値MR3が割り当てられた大当り遊技終了後の変動回数が80回目用のはずれ用変動パターン判定テーブルと、特殊2非リーチハズレの変動パターンに全ての乱数値MR3が割り当てられた大当り遊技終了後の変動回数が81から100回目用のはずれ用変動パターン判定テーブルを個別に設けて、いずれのはずれ用変動パターン判定テーブルを使用するかをシナリオBにて特定して、大当り遊技終了後の変動回数が80回目の変動パターンとして特殊1非リーチハズレのみを決定し、大当り遊技終了後の変動回数が81から100回目の変動パターンとして特殊2非リーチハズレのみを決定するようにしてもよい。また、遊技制御用マイクロコンピュータ100側では、大当り遊技終了後の変動回数が80〜100回目の変動表示については、特殊非リーチはずれPA1−5を決定し、演出制御用CPU120側で、大当り遊技終了後の変動回数をカウントしておき、該大当り遊技終了後の変動回数が80回の場合には、特殊1非リーチハズレの演出制御パターン(プロセステーブル)をセットし、該大当り遊技終了後の変動回数が81回〜100回の場合には、特殊2非リーチハズレの演出制御パターン(プロセステーブル)をセットするようにしてもよい。
以上のようにして特別ゾーン演出用カウンタを用いて特殊非リーチはずれPA1−5を決定することで、本変形例3では、図46に示すように、周期判定用カウンタ1に基づいてスーパーリーチの変動パターンが決定されるまでの期間は、終了した大当り遊技状態の大当りの種別によって異なる一方、特別ゾーン演出用カウンタを基づいて特殊非リーチはずれPA1−5の変動パターンが決定されるまでの期間は、終了した大当り遊技状態の大当りの種別によらず、全ての大当りについて同じく、大当り遊技終了後の変動回数が80回から100回の期間となる。このように、本変形例3では、周期判定用カウンタ1と特別ゾーン演出用カウンタについて、演算を使用して特定可変表示パターンを決定する時期を特定するので、記憶容量の増大を抑えつつ時期を特定できるとともに、複数のカウンタを使用することで、特定可変表示パターンの決定が単調となって遊技興趣が低下してしまうことを抑制できる。尚、変形例3についても、特別ゾーン演出用カウンタについて、例えば、事前判定に使用するための特別ゾーン演出用カウンタ2を設け、周期判定用カウンタ2と同じく、S214cにおいて、S214bにて特定した保留記憶情報の合計数を減じた値を特別ゾーン演出用カウンタ2に設定するとともに、S113において、周期判定用カウンタ2と同じく、特別ゾーン演出用カウンタ2を減算更新して、該特別ゾーン演出用カウンタ2を用いて特殊非リーチはずれの変動パターンが決定されるか否かを入賞時判定処理にてさらに判定し、これら特殊非リーチはずれの変動パターンについても保留表示予告演出の対象とするようにしてもよい。このように、周期判定用カウンタ2や特別ゾーン演出用カウンタ2を設けて事前判定することで、判定の処理が複雑化してしまうことを防ぐことができる。
尚、上記変形例3では、スーパーリーチ以外の第2の特定可変表示パターンを特殊非リーチはずれPA1−5の変動パターンとした形態を例示したが、本発明はこれに限定されるものではなく、該特殊非リーチはずれPA1−5の変動パターン以外の変動パターンを第2の特定可変表示パターンとしたり、或いは、特殊非リーチはずれPA1−5の変動パターン以外の変動パターンを第2の特定可変表示パターンに加えるようにしてもよい。また、上記変形例3では、特別ゾーン演出用カウンタに、初期値として「101」と小さい値を設定することで、第2の特定可変表示パターンである特殊非リーチはずれPA1−5の変動パターンを周期的には実行しない形態を例示したが、これら第2の特定可変表示パターンも、第1の特定可変表示パターンであるスーパーリーチの変動パターンと同じく、周期的に実行するようにしてもよく、この場合には、第1の特定可変表示パターンの周期と第2の特定可変表示パターンの周期とが異なるようにすることで、特定可変表示パターンの決定が単調となって遊技興趣が低下してしまうことを、更に抑制できる。
また、前記実施例や前記変形例に示す遊技機は、所謂先読み判定である入賞時判定処理を行って保留表示の表示態様を変化さえる保留表示予告演出を実行する形態を例示しているが、本発明はこれに限定されるものではなく、これら入賞時判定処理および保留表示予告演出を実行しないものであっても良いし、予告演出として、保留表示の態様変化による予告演出ではない予告演出、例えば、背景が変化するものや、特定の停止図柄(チャンス目)が停止するもの、特定のキャラクタが登場するもの等のように、予告対象の変動表示までに実行可能な演出を行うものであってもよい。
また、前記実施例や前記変形例に示す遊技機は、例えば、遊技状態に応じて、第1特図ゲームと第2特図ゲームのいずれか一方のみが実行可能、例えば、通常状態(低確率低ベース状態)では、第1特図ゲームのみが実行可能であり、時短状態(高ベース状態)では第2特図ゲームのみが実行可能なものであってもよい。
また、前記実施例や前記変形例に示す遊技機は、第2特図ゲームの方がスーパーリーチに決定される割合が高い形態、つまり、第1識別情報の可変表示(第1特図ゲーム)と第2識別情報の可変表示(第2特図ゲーム)とで特定可変表示パターンを異なる割合にて決定する形態を例示しているが、本発明はこれに限定されるものではなく、第1特図ゲームと第2特図ゲームでスーパーリーチに決定される割合が同じものや、第1特図ゲームの方が第2特図ゲームよりもスーパーリーチに決定される割合が高いものであってもよい。
また、前記実施例や前記変形例においては、大当りが第1特図ゲームと第2特図ゲームの変動表示結果のみによって発生する形態を例示しているが、本発明はこれに限定されるものではなく、例えば、第1特図ゲームと第2特図ゲームの変動表示結果では直接大当りとはならず、変動表示において所定の小当り図柄が停止表示された場合に、内部に進入した遊技球が通過することで大当りとなる特定領域を有する可変装置を、遊技球が進入不能または進入困難な状態から進入可能な状態とし、該可変装置に進入した遊技球が特定領域を通過したことにより大当りが発生する遊技機であってもよい。
また、前記実施例および前記変形例では、起動後において最初に大当りとなるまでは、周期判定用カウンタ1がセットされず、これら周期判定用カウンタ1によってスーパーリーチが決定されることがないので、起動後において最初に大当りとなるまでの期間におけるスーパーリーチの出現率と、起動後において最初に大当りとなった後の期間におけるスーパーリーチの出現率が異なるものとなるので、これらスーパーリーチの出現率がことならないように、起動後において最初に大当りとなるまでの期間において変動パターンの抽選において使用されるはずれ用変動パターン判定テーブルA、はずれ用変動パターン判定テーブルB、はずれ用変動パターン判定テーブルCと、起動後において最初に大当りとなった後の期間における低ベース状態にて変動パターンの抽選において使用されるはずれ用変動パターン判定テーブルα、はずれ用変動パターン判定テーブルβ、はずれ用変動パターン判定テーブルθとを設けておき、はずれ用変動パターン判定テーブルA〜はずれ用変動パターン判定テーブルCによりスーパーリーチが決定される割合を、はずれ用変動パターン判定テーブルα〜はずれ用変動パターン判定テーブルθによりスーパーリーチが決定される割合よりも若干高くすることで、起動後において最初に大当りとなるまでの期間におけるスーパーリーチの出現率と、起動後において最初に大当りとなった後の期間におけるスーパーリーチの出現率とが異ならないようにしてもよい。
また、前記実施例および前記変形例では、シナリオデータによってスーパーリーチ等の特定可変表示パターンを100%の割合で決定または決定しない(前後4回の変動表示)形態を例示しているが、本発明はこれに限定されるものではなく、例えば、周期的な128回目の変動表示については、スーパーリーチ(特定可変表示パターン)を、通常の決定割合(例えば、低ベースにおいて使用されるはずれ用変動パターン判定テーブルA〜はずれ用変動パターン判定テーブルCによる決定割合)よりも高い割合にて決定し、周期的な128回目の変動表示の前後4回の変動表示については、これら通常の決定割合よりも低い割合にて決定すれば、100%や0%でなくてもよい。
また、前記変形例のそれぞれは、個別のものではなく、各変形例を前記実施例に適宜組み合わせて適用することができる。
また、前記実施例では、周期判定用カウンタ1とシナリオデータとに基づいてスーパーリーチの変動パターンが決定されるかを容易に判定可能とするために、周期判定用カウンタ1とは別個に周期判定用カウンタ2を使用し、該周期判定用カウンタ2を始動入賞口への入賞によって減算更新する形態を例示しているが、本発明はこれに限定されるものではなく、周期判定用カウンタ2を使用せずに周期判定用カウンタ1のみを用いて、周期判定用カウンタ1のカウンタ値と、始動入賞口への入賞時点において記憶されている保留記憶情報の記憶数とから、該始動入賞口への入賞に対応する変動表示において変動パターンが決定される際の周期判定用カウンタ1のカウンタ値を算出し、該算出したカウンタ値とシナリオデータとに基づいて、どのはずれ用変動パターンの判定テーブルが選択されてスーパーリーチの変動パターンが決定されるか否かを判定するようにしてもよい。
また、前記実施例では、遊技者にとって有利な有利状態を大当り遊技状態とした形態を例示しているが、本発明はこれに限定されるものではなく、例えば、時短制御が実行される高ベース状態や、確変制御が実行される高確状態等のように、遊技者にとって有利な状態が含まれる。
また、前記実施例では、遊技機の一例としてパチンコ遊技機1を例示しているが、本発明はこれに限定されるものではなく、例えば、予め定められた球数の遊技球が遊技機内部に循環可能に内封され、遊技者による貸出要求に応じて貸し出された貸出球や、入賞に応じて付与された賞球数が加算される一方、遊技に使用された遊技球数が減算されて記憶される、所謂、封入式遊技機にも本発明を適用可能である。尚、これら封入式遊技機においては遊技球ではなく得点やポイントが遊技者に付与されるので、これら付与される得点やポイントが遊技価値に該当する。
また、前記実施例では、遊技球を打球発射装置により遊技領域よりも下方から打ち出す形態を例示したが、本発明はこれに限定されるものではなく、例えば、前記打球発射装置をパチンコ遊技機1における遊技領域の上方位置に設けることによって、遊技球を遊技領域の上方位置から打ち出すようにしても良い。
また、前記実施例では、第1特別図柄表示器4Aと第2特別図柄表示器4Bはそれぞれ表示結果となる最終停止図柄を含む複数種類の特別図柄を変動表示した後に、最終停止図柄を停止表示するようになっているが、本発明はこれに限定されるものではなく、表示結果となる最終停止図柄を含めずに複数種類の特別図柄を変動表示した後に、最終停止図柄を停止表示するものであっても良い。つまり、表示結果となる最終停止図柄は、変動表示に用いられる特別図柄と異なる図柄であっても良い。
1 パチンコ遊技機、4A 第1特別図柄表示器、4B 第2特別図柄表示器、5 演出表示装置、100 遊技制御用マイクロコンピュータ、120 演出制御用CPU

Claims (1)

  1. 可変表示を行い、遊技者にとって有利な有利状態に制御可能な遊技機であって、
    特定可変表示パターンを含む複数種類の可変表示パターンからいずれか一の可変表示パターンを決定する可変表示パターン決定手段と、
    可変表示に関する情報を、保留記憶として記憶可能な保留記憶手段と、
    保留記憶に対応する可変表示について、前記可変表示パターン決定手段の決定前に可変表示パターンを判定する事前判定手段と、
    前記事前判定手段の判定結果にもとづいて、前記事前判定手段の判定対象の保留記憶に対応する可変表示の実行前に、事前予告演出を実行する事前予告演出実行手段と、
    特定可変表示パターンを所定時期で実行するための時期規定情報を記憶可能な時期規定情報記憶手段と、
    特定可変表示パターンの実行時期を特定するための時期特定情報を、可変表示の実行に応じて更新する時期特定情報更新手段と、
    を備え、
    特定可変表示パターンとして、第1特定可変表示パターンと、第2特定可変表示パターンと、を含み、
    前記時期規定情報として、特定可変表示パターンの実行時期が第1所定時期となるようにする第1時期規定情報と、特定可変表示パターンの実行時期が第2所定時期となるようにする第2時期規定情報と、を含み、
    前記時期特定情報として、前記第1所定時期を特定するための第1時期特定情報と、前記第2所定時期を特定するための第2時期特定情報とを、含み、
    前記可変表示パターン決定手段は、
    前記第1時期特定情報と前記第時期規定報とにもとづいて、第1特定可変表示パターンを決定可能であり、
    前記第2時期特定情報と前記第2時期規定情報とにもとづいて、第2特定可変表示パターンを決定可能であり、
    前記事前予告演出実行手段は、第1特定可変表示パターン又は第2特定可変表示パターンで実行される可変表示より前に、前記事前予告演出を実行可能である、
    ことを特徴とする遊技機。
JP2017121072A 2017-06-21 2017-06-21 遊技機 Expired - Fee Related JP6626041B2 (ja)

Priority Applications (1)

Application Number Priority Date Filing Date Title
JP2017121072A JP6626041B2 (ja) 2017-06-21 2017-06-21 遊技機

Applications Claiming Priority (1)

Application Number Priority Date Filing Date Title
JP2017121072A JP6626041B2 (ja) 2017-06-21 2017-06-21 遊技機

Publications (2)

Publication Number Publication Date
JP2019004976A JP2019004976A (ja) 2019-01-17
JP6626041B2 true JP6626041B2 (ja) 2019-12-25

Family

ID=65026161

Family Applications (1)

Application Number Title Priority Date Filing Date
JP2017121072A Expired - Fee Related JP6626041B2 (ja) 2017-06-21 2017-06-21 遊技機

Country Status (1)

Country Link
JP (1) JP6626041B2 (ja)

Families Citing this family (1)

* Cited by examiner, † Cited by third party
Publication number Priority date Publication date Assignee Title
JP7778517B2 (ja) 2021-10-04 2025-12-02 キヤノン株式会社 画像形成装置

Family Cites Families (3)

* Cited by examiner, † Cited by third party
Publication number Priority date Publication date Assignee Title
JP5651448B2 (ja) * 2010-12-03 2015-01-14 株式会社平和 遊技機
JP2017018495A (ja) * 2015-07-14 2017-01-26 株式会社平和 遊技機
JP6749216B2 (ja) * 2016-11-02 2020-09-02 株式会社三共 遊技機

Also Published As

Publication number Publication date
JP2019004976A (ja) 2019-01-17

Similar Documents

Publication Publication Date Title
JP5504206B2 (ja) 遊技機
JP5611106B2 (ja) 遊技機
JP6377684B2 (ja) 遊技機
JP6646627B2 (ja) 遊技機
JP6749216B2 (ja) 遊技機
JP6550634B2 (ja) 遊技機
JP5956399B2 (ja) 遊技機
JP5956398B2 (ja) 遊技機
JP6467392B2 (ja) 遊技機
JP6626041B2 (ja) 遊技機
JP2014158922A (ja) 遊技機
JP2018183393A (ja) 遊技機
JP2018183392A (ja) 遊技機
JP2018183391A (ja) 遊技機
JP6441207B2 (ja) 遊技機
JP6368182B2 (ja) 遊技機
JP6632573B2 (ja) 遊技機
JP2019004964A (ja) 遊技機
JP6700236B2 (ja) 遊技機
JP6698611B2 (ja) 遊技機
JP2018068857A (ja) 遊技機
JP6698615B2 (ja) 遊技機
JP6633011B2 (ja) 遊技機
JP6334608B2 (ja) 遊技機
JP6557636B2 (ja) 遊技機

Legal Events

Date Code Title Description
A621 Written request for application examination

Free format text: JAPANESE INTERMEDIATE CODE: A621

Effective date: 20180712

A131 Notification of reasons for refusal

Free format text: JAPANESE INTERMEDIATE CODE: A132

Effective date: 20190507

A977 Report on retrieval

Free format text: JAPANESE INTERMEDIATE CODE: A971007

Effective date: 20190426

A521 Request for written amendment filed

Free format text: JAPANESE INTERMEDIATE CODE: A523

Effective date: 20190628

TRDD Decision of grant or rejection written
A01 Written decision to grant a patent or to grant a registration (utility model)

Free format text: JAPANESE INTERMEDIATE CODE: A01

Effective date: 20191126

A61 First payment of annual fees (during grant procedure)

Free format text: JAPANESE INTERMEDIATE CODE: A61

Effective date: 20191128

R150 Certificate of patent or registration of utility model

Ref document number: 6626041

Country of ref document: JP

Free format text: JAPANESE INTERMEDIATE CODE: R150

LAPS Cancellation because of no payment of annual fees