JP6561069B2 - 経皮的薬物送達装置のレセプタクル部分および方法 - Google Patents

経皮的薬物送達装置のレセプタクル部分および方法 Download PDF

Info

Publication number
JP6561069B2
JP6561069B2 JP2016563064A JP2016563064A JP6561069B2 JP 6561069 B2 JP6561069 B2 JP 6561069B2 JP 2016563064 A JP2016563064 A JP 2016563064A JP 2016563064 A JP2016563064 A JP 2016563064A JP 6561069 B2 JP6561069 B2 JP 6561069B2
Authority
JP
Japan
Prior art keywords
housing
receptacle
assembly
support
microneedle
Prior art date
Legal status (The legal status is an assumption and is not a legal conclusion. Google has not performed a legal analysis and makes no representation as to the accuracy of the status listed.)
Expired - Fee Related
Application number
JP2016563064A
Other languages
English (en)
Other versions
JP2017514576A (ja
JP2017514576A5 (ja
Inventor
アンドリュー・ティー・ベイカー
エリザベス・デイブラー・ギャズビー
ラッセル・エフ・ロス
ルーク・ヘーガン
Current Assignee (The listed assignees may be inaccurate. Google has not performed a legal analysis and makes no representation or warranty as to the accuracy of the list.)
Sorrento Therapeutics Inc
Original Assignee
Sorrento Therapeutics Inc
Priority date (The priority date is an assumption and is not a legal conclusion. Google has not performed a legal analysis and makes no representation as to the accuracy of the date listed.)
Filing date
Publication date
Application filed by Sorrento Therapeutics Inc filed Critical Sorrento Therapeutics Inc
Publication of JP2017514576A publication Critical patent/JP2017514576A/ja
Publication of JP2017514576A5 publication Critical patent/JP2017514576A5/ja
Application granted granted Critical
Publication of JP6561069B2 publication Critical patent/JP6561069B2/ja
Expired - Fee Related legal-status Critical Current
Anticipated expiration legal-status Critical

Links

Images

Classifications

    • AHUMAN NECESSITIES
    • A61MEDICAL OR VETERINARY SCIENCE; HYGIENE
    • A61MDEVICES FOR INTRODUCING MEDIA INTO, OR ONTO, THE BODY; DEVICES FOR TRANSDUCING BODY MEDIA OR FOR TAKING MEDIA FROM THE BODY; DEVICES FOR PRODUCING OR ENDING SLEEP OR STUPOR
    • A61M37/00Other apparatus for introducing media into the body; Percutany, i.e. introducing medicines into the body by diffusion through the skin
    • A61M37/0015Other apparatus for introducing media into the body; Percutany, i.e. introducing medicines into the body by diffusion through the skin by using microneedles
    • AHUMAN NECESSITIES
    • A61MEDICAL OR VETERINARY SCIENCE; HYGIENE
    • A61MDEVICES FOR INTRODUCING MEDIA INTO, OR ONTO, THE BODY; DEVICES FOR TRANSDUCING BODY MEDIA OR FOR TAKING MEDIA FROM THE BODY; DEVICES FOR PRODUCING OR ENDING SLEEP OR STUPOR
    • A61M37/00Other apparatus for introducing media into the body; Percutany, i.e. introducing medicines into the body by diffusion through the skin
    • A61M37/0069Devices for implanting pellets, e.g. markers or solid medicaments
    • AHUMAN NECESSITIES
    • A61MEDICAL OR VETERINARY SCIENCE; HYGIENE
    • A61MDEVICES FOR INTRODUCING MEDIA INTO, OR ONTO, THE BODY; DEVICES FOR TRANSDUCING BODY MEDIA OR FOR TAKING MEDIA FROM THE BODY; DEVICES FOR PRODUCING OR ENDING SLEEP OR STUPOR
    • A61M37/00Other apparatus for introducing media into the body; Percutany, i.e. introducing medicines into the body by diffusion through the skin
    • A61M37/0015Other apparatus for introducing media into the body; Percutany, i.e. introducing medicines into the body by diffusion through the skin by using microneedles
    • A61M2037/0023Drug applicators using microneedles
    • AHUMAN NECESSITIES
    • A61MEDICAL OR VETERINARY SCIENCE; HYGIENE
    • A61MDEVICES FOR INTRODUCING MEDIA INTO, OR ONTO, THE BODY; DEVICES FOR TRANSDUCING BODY MEDIA OR FOR TAKING MEDIA FROM THE BODY; DEVICES FOR PRODUCING OR ENDING SLEEP OR STUPOR
    • A61M37/00Other apparatus for introducing media into the body; Percutany, i.e. introducing medicines into the body by diffusion through the skin
    • A61M37/0015Other apparatus for introducing media into the body; Percutany, i.e. introducing medicines into the body by diffusion through the skin by using microneedles
    • A61M2037/0046Solid microneedles

Landscapes

  • Health & Medical Sciences (AREA)
  • Engineering & Computer Science (AREA)
  • Dermatology (AREA)
  • Medical Informatics (AREA)
  • Anesthesiology (AREA)
  • Biomedical Technology (AREA)
  • Heart & Thoracic Surgery (AREA)
  • Hematology (AREA)
  • Life Sciences & Earth Sciences (AREA)
  • Animal Behavior & Ethology (AREA)
  • General Health & Medical Sciences (AREA)
  • Public Health (AREA)
  • Veterinary Medicine (AREA)
  • Media Introduction/Drainage Providing Device (AREA)
  • Infusion, Injection, And Reservoir Apparatuses (AREA)

Description

(関連出願の相互参照)
本出願は、米国仮出願第61/996,158号(2014年4月30日出願)の利益を主張し、その内容全体を参照により本明細書に組み込む。
本主題は、マイクロニードル組立品を使用して、皮膚を通して患者に薬物製剤を送達するための装置に一般的に関連する。
多くの装置が、マイクロニードル組立品を使用して、薬物およびその他の医薬品化合物の経皮的送達を行なうために過去に開発されている。マイクロニードルは、大きな従来型の針と比べて、患者に引き起こす痛みが少ないという利点がある。さらに、針を介した薬物の従来的皮下(しばしば、筋肉中)送達は、大量の薬物を一度に送達するように働き、それによって薬物の生物学的利用率のスパイクを生じることがよくある。特定の代謝プロフィールを持つ薬剤では、これは大きな問題ではない。しかし、多くの薬物は、患者の血流中で定常状態濃度を有することによって恩恵を受ける。かかる薬物の周知の例は、インスリンである。経皮的薬物送達装置は技術的に、長期間に渡って一定速度で薬物をゆっくりと投与することができる。あるいは、経皮的薬物送達装置は可変速度で薬物を投与しうる。従って、経皮的薬物送達装置は、従来的皮下薬物送達方法に対して、いくつかの利点を提供する。
特性の新しいバランスを提供する経皮的薬物送達装置の少なくとも一部分に対する要望がある。
本開示の一態様は、使用者の皮膚に連結するための経皮的薬物送達装置の一部分としての使用に適切でありうるレセプタクルの提供である。レセプタクルは、使用者に固定するためのハウジング、弾力性のある第一の力供給体、少なくとも一つの変形可能な構成要素、およびハウジングに対して内向きおよび外向きに動かすためにハウジングに移動可能なように取り付けられたマイクロニードル組立品を含むことができる。ハウジングに移動可能なように取り付けられているマイクロニードル組立品は、マイクロニードル組立品をハウジングに対して外向きに使用者の皮膚に押し付けるために、ハウジングとマイクロニードル組立品との間に位置付けられている力供給体と、マイクロニードル組立品とハウジングとの間に接続されている少なくとも一つの変形可能な構成要素の両方を含みうる。マイクロニードル組立品とハウジングとの間の相対的動きを許容し、かつマイクロニードル組立品がハウジングから外れ落ちるのを少なくとも部分的に制限するために、少なくとも一つの変形可能な構成要素は、マイクロニードル組立品とハウジングとの間に接続されうる。
ハウジングの内部へのマイクロニードル組立品のマイクロニードルの少なくとも先端の任意の動きを制限するために、レセプタクルは、ハウジングとマイクロニードル組立品との間に位置付けられた少なくとも一つの拘束部材をさらに含むことができる。ハウジングの内部へのマイクロニードルの少なくとも先端の任意の動きを制限するために、少なくとも一つの拘束部材は、ハウジングの内面と係合するようにマイクロニードル組立品に接続され、それに対して外向きに延長しうる。少なくとも一つの拘束部材は、マイクロニードル組立品の周りに連続的に延長する少なくとも一つのフランジおよび/または一つ以上のローブの形態でありうる。
力供給体は、マイクロニードル組立品をハウジングに対して外向きに押すために、ハウジングとマイクロニードル組立品との間に位置付けられたバネを備えることができる。少なくとも一つの変形可能な構成要素は、マイクロニードル組立品とハウジングとの間に接続された粘着膜など、少なくとも一つの柔軟な構成要素でありうる。レセプタクルは、流体をマイクロニードル組立品のニードルに供給するために、マイクロニードル組立品の後側と裏打ち構造との間に少なくとも部分的に画定されたチャンバーをさらに含むことができる。さらに、カニューレは裏打ち構造に取り付けられ、チャンバーと流体連通している場合がある。
本開示の別の態様によると、経皮的薬物送達装置の一部分として使用されるレセプタクルは、ハウジング、ハウジングに移動可能なように位置付けられた支持構造、および支持構造に取り付けられたマイクロニードル組立品を含むことができる。支持構造は両端、および装置の別の部分に接続するために内向きに配向されたコネクタ部分を持つことができ、コネクタ部分は支持構造の第一の端部に近接する場合がある。マイクロニードル組立品は、支持構造の第二の端部に近接する場合がある。支持構造は側壁を持つスリーブを備えることができ、コネクタ部分はスナップフィットコネクタ部分でありうる。スナップフィットコネクタ部分は、スリーブの側壁から放射状に内向きに延長する、間隔を置いた柔軟な一式のタブを含むことができる。
本開示の一態様は、経皮的薬物送達装置の一部分として使用できるレセプタクルを少なくとも部分的に組み立てる方法の提供である。方法は、ハウジングと支持構造との間の力供給体を圧縮する工程、およびハウジングと支持構造との間の少なくとも一つの変形可能な構成要素を接続する工程を含むことができる。少なくとも一つの変形可能な膜は、バネの拡張を制限すると同時に、ハウジングと支持構造との間の相対的動きを許容するように構成される場合がある。マイクロニードル組立品は、ハウジングに対して支持構造と共に動くように支持構造に取り付けられうる。
力供給体(例えば、バネ)の圧縮は、力供給体がハウジングと支持構造との間に位置付けられている間に、ハウジングと支持構造との間の第一の相対的動きを起こす工程を含みうる。方法はハウジングおよび支持構造の少なくとも一つを解除する工程をさらに含むことができ、力供給体が、解除に応答してハウジングと支持構造との間の第二の相対的動きを起こし、少なくとも一つの変形可能な構成要素が、ハウジングと支持構造との間の第二の相対的動きを停止する。
前述は、基本的理解を提供するために、本開示の一部の態様を簡略化した要約を示している。前述の要約は広範囲ではなく、本発明の主要または重要な要素を特定すること、または本発明の範囲を線引きすることは目的としていない。前述の要約の目的は、以下に示されるより詳細な説明の前置きとして、本開示の一部の概念を簡略形態で示すことである。例えば、その他の態様が以下から明らかになるであろう。
以下で添付図面に言及するが、これらは必ずしも原寸に比例しては描かれておらず、概略図の場合がある。図面は例示目的のみであり、本発明を制限するとして解釈されるべきでない。
本開示の第一の実施形態による、その起動前の構成にあり、かつ保持リングを含む薬物送達装置の図である。 第一の実施形態による、保持リングおよび剥離裏紙がなく、マイクロニードル組立品がフラッシュ位置にある、起動済みの構成にある図1の薬物送達装置の側面図である。 平面図であることを除くと図2と同様である。 保持リングのない図1の薬物送達装置の部分的分解立体図である。 図1の薬物送達装置のレセプタクル部分組立品の分離横断面図である。 図5のレセプタクル部分組立品の支持構造およびマイクロニードル組立品の一部の概略横断面図である。 図6の支持構造のフレームまたはベゼルの分離概略底面図である。 図1の薬物送達装置のカートリッジ部分組立品の分離上面図である。 図8のカートリッジ部分組立品の底面図である。 図8のカートリッジ部分組立品の概略横断面図である。 図1の薬物送達装置のコントローラ部分組立品の上面図であり、コントローラ部分組立品は非作動状態にある。 図11のコントローラ部分組立品の底面図である。 図11のコントローラ部分組立品の横断面図である。 図11のコントローラ部分組立品の分解立体図である。 保持リングのない起動前の構成にある、図1の薬物送達装置の横断面図である。 薬物送達装置が起動前の構成と起動済みの構成との間の中間の構成にあることを除くと、図15と同様の概略図である。 薬物送達装置が起動済みの構成で示されていることを除くと、図15と同様の概略図である。 薬物送達装置が起動済みの構成にあることに応答して、コントローラ部分組立品が開いているラッチ機構の概略図である。 薬物送達装置が起動済みの構成にあることに応答して、コントローラ部分組立品が開いているラッチ機構の概略図である。 薬物送達装置が完全に起動された構成または起動後の構成で示されていることを除くと、図15と同様の概略図である。 第二の実施形態等による、薬物送達装置の下部支持構造の両端の分離図である。 第二の実施形態等による、薬物送達装置の下部支持構造の両端の分離図である。 第二の実施形態等による、保持リングのない起動前の構成にある、薬物送達装置の横断面図である。 図23の一部分の拡大図である。
例示的実施形態が以下に記述され、添付の図面に示されるが、いくつかの図にわたって類似の数字は類似の部分を指す。記述される実施形態は例を提供し、本発明の範囲を限定するものとして解釈されるべきではない。その他の実施形態および記述される実施形態の変更および改善は、当業者であれば思い浮かぶはずであり、このようなその他の実施形態、変更、および改善のすべては本発明の範囲内である。
以下に、第一の実施形態の薬物送達装置10の非常に簡潔で一般的な初期検討に続いて、装置10の別々の部分組立品より詳細な検討など、より詳細な検討がなされる。図1を参照すると、装置10がその起動前の構成で示されており、例えば保持リング12の形態で示されている保持装置が装置に取り付けられている。保持リング12は、装置10が例えば図1に示される起動前の構成から、例えば図2および3に示される起動済みの構成に移行するのを制限するためのものである。
図4の部分的分解図を参照すると、装置10はそれぞれが自己充足的でありうる複数の主要部分組立品を含むとして特徴付けられうる。主要部分組立品は、レセプタクル14、レセプタクルに移動可能なように取り付けるためのカートリッジ16またはその他の適切な容器またはレザバー、およびカートリッジに取り付けられた機械的コントローラ18を含みうる。随意に、カートリッジ16およびコントローラ18は、主要部分組立品の一つを共に形成するとして特徴付けられうる。
保護剥離裏紙20は、レセプタクル14のそれぞれの面に取り付けられる少なくとも一つの変形可能な膜22(図2および15〜17)の粘着裏地をカバーしうる。すべての保護用裏紙20等を取り外した後、好ましくは(例えば随意に)装置10が図1に示される完全に組み立てられた構成にある時、レセプタクル14を使用者の(例えば、患者の)皮膚に接着性の変形可能な膜22によって取り付けうる。変形可能な構成要素または膜22は、レセプタクル14の少なくともフレームまたはハウジングを使用者の皮膚に留めるための粘着ファスナー、またはより一般的にファスナーと呼ばれる場合があり、これは以下でより詳細に検討される。
第一の実施形態のレセプタクル14は、液体薬物製剤の形態でありうる流体を使用者の皮膚中に提供するためなど、使用者の皮膚を貫通するためにマイクロニードルを持つマイクロニードル組立品またはアレイ24(図5、6および15〜17)を含む。マイクロニードル組立品24はより一般的には、患者またはその他の使用者の皮膚に連結し、薬物製剤を使用者の皮膚の上皮部分に投薬することなどにより、薬物製剤を使用者の皮膚に投薬するための装置として言及される場合がある。装置10が図2に示される様子とは対照的に、一般的には、マイクロニードル組立品24のマイクロニードルの少なくとも先端がレセプタクル14の下部開口部を通って外向きに突出している。より具体的な例として、装置10が起動済みの構成にあり、マイクロニードルアレイ24が使用者の皮膚を貫通する間、マイクロニードルの少なくとも先端、またはその全長が一般的には、レセプタクル14の下部開口部を通って外向きに突出している。
非常に一般的に説明すれば、カートリッジ16は、装置10の少なくとも起動前の構成の間、液体薬物製剤を密封された状態で一般的には完全に含有する少なくとも一つの貯蔵容器またはレザバーの形態であるかまたはそれを備える。起動前の構成では、カートリッジ様貯蔵容器16(例えば、レザバー)の内部は、マイクロニードル組立品24と流体連通していない。対照的に、装置10が起動済みの構成にある時、貯蔵容器16の内部はマイクロニードル組立品24と流体連通しており、これは以下で詳細に検討される。
装置10が図1に示されるように配向され起動前の構成にある時、コントローラ18のフレームまたはハウジング26のボタン様外側端部の形態でありうる起動装置または押圧機構は、レセプタクル14の開口部を通って外向きに延長する。装置10は、コントローラハウジング26のボタン様端部がレセプタクル14に対して内向きに押されることに応答して、起動前の構成から起動済みの構成に移行する。第一の実施形態では、起動前の構成から起動済みの構成への移行には、装置10のそれぞれの部分組立品間の相対的動きを含む。コントローラハウジング26のボタン様端部は、起動前の構成から起動済みの構成への移行を引き起こすために、異なるように構成される、および/または押圧機構などのその他任意の適切な構成要素と置き換えられうる。以下でより詳細に検討されるように、コントローラのハウジング26は、装置10を作動させるための押圧機構、またはより具体的には押しボタンと呼ばれる場合がある。
レセプタクル14、カートリッジ16およびコントローラ18は、最初はお互いに別々の構成要素として製作され、その後それぞれお互いに取り付けられうる。例えば、コントローラ18は、少なくとも一つの機械的接続および/またはその他任意の適切な固定技術によって、カートリッジ16に都合よく取り付けられうる。同様に、カートリッジ16は、少なくとも一つの機械的接続および/またはその他任意の適切な固定技術によって、レセプタクル14に都合よく取り付けられうる。それぞれの、大部分の、または少なくとも一部の機械的接続は、接続を形成するためのコネクタ部分によって少なくとも部分的に画定される場合があり、それぞれの、または少なくとも一部の接続はスナップフィット接続である場合があり、各スナップフィット接続は柔軟で弾力のあるラッチを備えうる。一つ以上の接続は、装置10を起動前の構成に解除可能なように固定するためでありうる。また、装置10のコネクタ部分は、装置の機構間の相対的動きを拘束し、装置を起動済みの構成に固定するように構成されうるが、これは以下でより詳細に検討される。
主に図5を参照すると、第一の実施形態のレセプタクル14は、外部フレームまたは本体30および内部フレームまたは本体32を持つ複合フレームまたはハウジングを含む。レセプタクルのハウジングの外側本体30は、少なくとも部分的に内部空間の周りに延長する少なくとも一つの側壁34を含む。第一の実施形態では、少なくとも一つの側壁34は実質的に円錐台形に構成された単一側壁34の形態であり、その結果、外側本体30の内部空間は実質的に円錐台形となる。側壁34の環状上端は、外側本体30の内部空間への上部開口部36の周りに延長する。側壁34の下端は、外向きに延長する環状取り付けフランジ38として終わる、および/または取り付けフランジ38は側壁34の環状下端から外向きに延長する。取り付けフランジ38は、外側本体30の内部空間への下部開口部の周りに延長する。フランジ38は取り付けフランジと呼ばれることがあるが、これは粘着膜22が、装置10を使用者の皮膚に取り付けるために取り付けフランジと一般的に関連するためであり、これは以下でより詳細に検討される。
本開示のこの詳細説明部分の理解を簡単にするために、「上部」および「下部」などの位置的基準系が使用され、図面中の装置10またはその機構の配向を参照して理解できる。しかし、例えば、第一の実施形態の装置10は反転および非反転位置の両方で使用できるように構成されているので、本発明は、本開示のこの詳細説明部分で使用される位置的基準系に限定されない。
引き続き図5を参照すると、その周りに外側本体の円錐台形側壁34が延長する外側本体30の中心軸は、理解を簡単にするために本開示のこの詳細説明部分全体を通して使用されうる基準系としての役割を果たす場合があり、ここで、軸方向は外側本体の中心軸に沿って(例えば、並行して)延長し、半径方向は外側本体の中心軸から(例えば、垂直に)外向きに延長する。さらに軸方向に関して、内側および外側の軸位置または方向は、外側本体30の上部と下部開口部との間の中程の位置に対してなど、それぞれの機構の中心に対して確立されうる。例えば、コントローラハウジング26のボタン様端は、レセプタクル14のハウジングの上部開口部36を通って軸方向に外向きに延長する。別の例として、外側本体30のかなりの部分が、内側本体32から放射状に外向きに位置付けられる。理解を簡単にするために本開示のこの詳細説明部分で使用するために、一つ以上の基準系が確立される一方、本発明はその他の適切な基準系を参照して記述および理解もされうるため、本発明は本開示のこの詳細説明部分に使用される基準系に限定されない。
さらに外側本体30の側壁34の円錐台形形状および外側本体の中心軸に関して、外側本体の内部空間に位置付けられた装置10の多くの機構は、実質的に円環形状を持つ場合があり、外側本体と実質的に同軸上に配置されうる。あるいは、外側本体30および外側本体の内部空間に位置付けられる装置10の機構は異なる形状でありうる。例えば、外側本体30の少なくとも一つの側壁34は、外側本体の内部空間の周りに集合的に延長する複数の側壁の形態である場合があり、側壁はそれぞれ隅または同種の場所で交わる。従って、外側本体30の内部空間に位置付けられた装置10の機構は、外側本体の隅に概して対応する隅を持つ構成を代替的に持ちうる。例えば、本開示の側壁の各側壁について、側壁は、それぞれが隅または同種の場所で交わる複数の側壁の形態となるように、分割されうる。同様に、本開示のその他の機構は任意の適切な方法で分割または構成されうる。
引き続き図5を参照すると最もよく理解されるように、レセプタクル14の複合ハウジングの内側本体32は、複合ハウジングの外側本体30によって画定される内部空間中に位置付けられる。第一の実施形態では、外側本体30は内側本体32の材料よりも柔軟な(例えば、より大きな弾性係数またはより大きな曲げ弾性率を有する)材料で構成され、その結果外側本体の少なくとも一部分が内側本体に対して曲がる場合がある。内側本体32は、一つ以上の機械的接続、接着材料および/またはその他任意の適切な固定技術によって、外側本体30の内部に取り付けられる。実用的で本開示の一態様による場合、接着材料を使用する代わりに機械的接続を使用しうる。
内側本体32は、内側本体の軸方向に延長する円筒状側壁44から放射状に外向きに延長する環状シートフランジ42を含む。外側本体30は、内側本体32のシートフランジ42と側壁44との間に画定された股に係合するショルダーを含む。側壁44の上端は、外側本体30の内部環状窪みに係合し、シートフランジ42の外側端部は外側本体の側壁34の内面に対して係合する。あるいは、レセプタクル14のフレームまたはハウジングの外側本体30および内側本体32は、同じタイプの材料で作成される場合があり、お互いに一体的に形成されうる。それにもかかわらず、本開示のこの詳細説明部分の理解を簡単にするために、レセプタクル14のハウジングは数字30、32で示されうる。少なくともレセプタクルのフレームまたはハウジング30、32は、装置10の使用者に留めるためのものであり、これは以下でより詳細に検討される。
第一の実施形態のレセプタクル14は、サポートまたはサポート組立品、および一つ以上の柔軟性のあるまたは変形可能な構成要素をさらに含む。変形可能構成要素は、変形可能な膜22および少なくとも一つの金属性コイル圧縮バネ46の形態であるかまたはこれらを備えうる力供給体をさらに含みうる。第一の実施形態では、レセプタクル14のサポート組立品は、ハウジング30、32に移動可能なように取り付けられた第一の放射状外側支持構造50を含み、サポート組立品は、外側支持構造50に固定して取り付けられた第二の放射状内側支持構造52をさらに含む。例として、支持構造50、52は、一つ以上のスナップフィット接続によってお互いに接続される場合があり、各スナップフィット接続は柔軟で弾力のあるラッチを備えうるが、これは以下でより詳細に検討される。
マイクロニードル組立品24は、内側支持構造52に固定して取り付けられうる。本開示のこの詳細説明部分の理解を簡単にするために、レセプタクル14のサポート組立品は数字50、52で示されうる。第一の実施形態では、マイクロニードル組立品24は、サポート組立品50、52、変形可能な膜22およびバネ46によってハウジング30、32に移動可能なように取り付けられる。変形可能な膜22およびバネ46は随意に、サポート組立品50、52の部分と呼ばれる場合がある。
外側支持構造50は、ハウジング30、32内で往復してスライドするように構成されたスリーブ50を含むかまたはその形態でありうる。スリーブ50は、スリーブの主側壁の下端から放射状に外向きに延長する環状シートフランジ54を含む。スリーブ50の上端で、環状の内側隅は丸みを帯びる場合があり、その結果それは環状傾斜面58、または同種のものを備える。
スリーブ50は、スリーブの主側壁から放射状に内向きに延長する一式の間隔を置いた柔軟なタブまたはラッチ56をさらに含み、この一式は集合的に環状に延長すると見なされる。タブまたはラッチ56の大部分、少なくとも一部、またはそれぞれは、その自由端に突起を含む場合があり、突起はタブまたはラッチの自由端から放射状に内向きに延長する。タブまたはラッチ56は、コネクタ部分、またはより具体的にはラッチ様スナップフィットコネクタ部分でありうるが、これは以下でより詳細に検討される。第一の実施形態のスリーブ50のコネクタラッチ56は、スリーブと一体的に形成されうる一方、代わりにこれらのコネクタ部分は元々スリーブから別々に形成することができ、任意の適切な方法でレセプタクル14に取り付けられうるか、または他の方法で関連付けられうる。ラッチ56は支持構造またはスリーブ50の第一の端部に近接しうる一方、マイクロニードル組立品24はスリーブの第二の端部に近接しうるが、これは以下でより詳細に検討される。
バネ46は一般的には、スリーブ50の側壁および複合ハウジング30、32の内側本体32の側壁の両方の周りに延長するコイルバネである。バネ46の両端はそれぞれシートフランジの表面42、54と係合し、その結果シートフランジ42、54はバネのシートの役割をする。複合ハウジング30、32の内側本体32は、サポート、シートおよび/またはガイドと呼ばれる場合があるが、これは例えば、内側本体32のシートフランジ42がバネ46のシートとしての役割を果たしうるからである。別の例として、内側本体32の側壁の下部の放射状外面は、バネ46の軸方向圧縮および拡張を誘導するためのガイドとしての役割を果たしうる。さらに、内側本体32の放射状内面は、内側本体とスリーブ50との間の軸方向にスライドする相対的動きをガイドするためのガイドとしての役割を果たしうる。
以下により詳細に検討されるように、バネ46は、レセプタクル14のハウジング30、32に対して外向きにマイクロニードル組立品24を間接的に押し付けるための力供給体と呼ばれる場合がある。より一般的には、レセプタクル14は、マイクロニードル組立品24をハウジング30、32に対して外向きに押し付けるための力供給体を含む。力供給体は、少なくともバネ46、一つ以上のバネ46、および/または弾性物体の形態でありうる一つ以上のその他の適切な力供給機構を含みうるが、これは以下でより詳細に検討される。
変形可能な膜22は、レセプタクルのサポート組立品50、52(従ってマイクロニードル組立品24)がレセプタクルのハウジング30、32から分離しないように、バネ46またはその他任意の適切な力供給体を制限するための拘束装置またはリテーナーと呼ばれる場合がある。一実施形態では、バネ46またはその他の適切な力供給体は、変形可能な膜22によって提供される拘束または保持機能がなければ、レセプタクルのサポート組立品50、52(従ってマイクロニードル組立品24)をレセプタクルのハウジング30、32から押し出すことができる場合がある。あるいは、またはさらに、これらの拘束または保持機能は、装置10の一つ以上のその他の機構によって提供されうる。
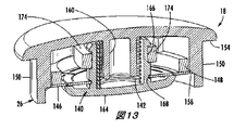
図5に示されるように、環状チャネル部材60は、スリーブと共に移動するようにスリーブ50の下端に固定して取り付けられる。チャネル部材60は、中央が開いている環状取り付けプレート62および軸方向に延長する環状取り付けおよび拘束フランジ64、66を含む。フランジ64、66は、取り付けプレート62の内側および外側周縁からそれぞれ内向きに延長する。取り付けフランジがスペーサー、スタンドオフ、または同種のものとして機能することができるように、取り付けフランジ64の上縁はスリーブ50の下端に固定して取り付けられる場合があり、その結果ギャップが取り付けプレート62とスリーブ50のシートフランジ54との間に画定される。あるいは、ギャップは省略されるか、またはその他任意の適切な方法で提供されうる。
フランジ66は、拘束フランジ、拘束ローブ等と呼ばれる場合があるが、これは少なくとも一つの拘束フランジ66等の環状傾斜上面が、外側バネ46の所定の圧縮に応答して複合ハウジング30、32とスリーブ50との間の第一の方向の相対的動きを制限するために、外側本体30の側壁34の内面に係合しうるからである。より具体的には、外側本体30の拘束ローブ、拘束フランジ66等、および側壁34は、装置10の使用中にマイクロニードル組立品24がレセプタクル部分組立品14の内部のあまり奥まで押し込まれないように制御するように協同的に構成されうるが、これは以下でより詳細に検討される。
プレート62は取り付けプレートと呼ばれることがあるが、これは粘着膜22が、装置10を使用者の皮膚に少なくとも部分的に取り付けるために取り付けプレートに一般的に取り付けられるからであり、これは以下でより詳細に検討される。チャネル部材60は、スリーブ50の材料よりも柔軟な材料で作成される場合があり、これは以下でより詳細に検討される。あるいは、スリーブ50およびチャネル部材60は、同じタイプの材料で作成される、および/またはその他任意の適切な方法でお互いに係合して接続される、またはそれらはお互いに一体的に形成されうる。従って、チャネル部材60はスリーブ50の一部として特徴付けられる場合があり、逆もまたしかりである。
図6も参照すると、内側支持構造52はフレーム70および裏打ち構造72を含む。上記で少なくとも暗示されるように、裏打ち構造72は、それと一緒に移動するためにスリーブ50の側壁に一般的には固定して取り付けられ、マイクロニードル組立品24の周縁は裏打ち構造に固定して取り付けられる。より具体的には、マイクロニードル組立品24の周縁は、それと共に動くようにフレーム70と裏打ち構造との間に固定して取り付けられる。マイクロニードル組立品24は、締まりばめ、接着材料および/またはその他任意の適切な固定技術など、一つ以上の機械的接続によってフレーム70と裏打ち構造72との間に取り付けられうるが、これは以下でより詳細に検討される。
例として、マイクロニードル組立品24は、WO2012/020332(Ross)、WO2011/070457(Ross)、WO2011/135532(Ross)、US2011/0270221(Ross)、およびUS2013/0165861(Ross)の一つ以上に開示されるように構成することができ、これらの文書のそれぞれは参照によりその全体が本明細書に組み込まれる。一般的に、装置10のマイクロニードル組立品24は、適切な基材またはサポートから外向きに延長する一つ以上のマイクロニードル74を含むように構成されることによるなど、流体薬物製剤を使用者の皮膚の中および/または皮膚を通して送達するための当技術分野で知られた任意の適切な構成を持つことができ、この詳細説明部分ではこの基材またはサポートは支持プレート76と呼ばれる場合があるが、これは理解を簡単にするためであって本開示の範囲を限定することを目的としない。図6に示されるように、支持プレート76は上面78(例えば、裏側)および底面80を持ち、複数のマイクロニードル74は底面80から外向きに延長する。支持プレート76およびマイクロニードル74は一般に、金属材料、セラミック材料、ポリマー(例えば、プラスチック)材料および/またはその他任意の適切な材料などの、硬質、半硬質、または柔軟な材料シートから作られる場合がある。例えば、支持プレート76およびマイクロニードル74は、反応性イオンエッチングまたはその他任意の適切な方法でシリコンから形成されうる。
支持プレート76は、開口部と呼ばれる場合がある一つ以上の経路を一般的に画定するが、これは薬物製剤がその間を流れることができるように、上面78と底面80との間に延長し、それぞれの場所で開いている。例えば、単一開口部が、支持プレート76の各マイクロニードル74の場所に画定され、薬物製剤を上面78からこのようなマイクロニードル74に送達できるようになる。しかし、その他の実施形態では、支持プレート76は、各マイクロニードル74場所に、および/または各マイクロニードルの場所から間隔を置いて位置付けられたその他任意の適切な数の開口部を画定する場合がある。
マイクロニードル組立品24の各マイクロニードル74は、底面80から下向きに延長し、底面80から離れた先端を持つ穿孔または針様の形状(例えば、円錐もしくはピラミッド形状または円錐もしくはピラミッド形状に移行する円筒形状)に移行する基部を含みうる。各マイクロニードル74の先端は支持プレート76から最も遠くに配置され、各マイクロニードル74の最小寸法(例えば、直径はたは断面幅)を画定しうる。さらに、各マイクロニードル74は、その基部とその先端との間に、マイクロニードル74が角質層を貫通して使用者の表皮内へと通過するために十分な任意の適切な長さを一般的に画定する場合がある。マイクロニードルが表皮の内面を通って真皮内に貫通しないように、マイクロニードル74の長さを制限することが望ましい場合がある。これは薬物製剤を投与される患者の痛みを最小限に抑えるのに有利に役立つ場合がる。
一つの実施形態では、各マイクロニードル74は、約800μm未満、約750μm未満、または約500μm(例えば、約200μm〜約400μmの範囲の長さ)、またはその間のその他任意の部分的範囲など、約1000マイクロメートル(μm)未満の長さを持つ場合がある。一つの特定の例では、マイクロニードル74は約290μmの長さを持ちうる。マイクロニードル74の長さは、装置10が使用者に使用される場所によって異なる場合がある。例えば、使用者の脚に使用される装置用のマイクロニードル74の長さは、使用者の腕に使用される装置用のマイクロニードル74の長さとはかなり異なる場合がある。各マイクロニードル74は、任意の適切なアスペクト比(すなわち、各マイクロニードル74の断面幅寸法に対する長さ)を一般的に画定する場合がある。特定の実施形態では、アスペクト比は、3より大きい、または4より大きいなど、2より大きい場合がある。断面幅寸法(例えば、直径)が各マイクロニードル74の長さに対して変化する場合、アスペクト比は平均断面幅寸法に基づいて決定される場合がある。
各マイクロニードル74は、支持プレート76に画定される開口部と流体連通する一つ以上のチャネルを画定する場合がある。一般的に、チャネルは、各マイクロニードル74上および/または各マイクロニードル内の任意の適切な位置に画定される場合がある。例えば、チャネルは、各マイクロニードル74の外部表面に沿って画定される場合がある。より具体的な例として、各チャネルは、マイクロニードル74の外部表面によって画定され、マイクロニードルの長さに沿って延長する外向きの開放溝によって画定される場合がある。あるいはおよび/またはさらに、チャネルは、各マイクロニードル74が中空のシャフトを形成するように、マイクロニードル74の内部を通って画定される場合がある。いずれにしても、チャネルは、薬物製剤が支持プレート76の上面78から、開口部を通って、チャネルの中に流れることを可能にする経路を形成し、その時点で薬物製剤が使用者の皮膚内におよび/または使用者の皮膚を通って送達されてもよいように一般的に構成される場合がある。チャネルは、任意の適切な断面形状を画定するように構成される場合がある。例えば、1つの実施形態では、各チャネルは、半円または円の形状を画定する場合がある。別の実施形態では、各チャネルは、「v」型またはその他任意の適切な断面形状など、円以外の形状を画定する場合がある。
マイクロニードル74によって画定されたチャネルの寸法は、薬物製剤の毛細管流動を誘発するために特に選択される場合がある。チャネル内の毛細管圧は、チャネルの断面寸法に反比例し、対象流体の表面エネルギーに、流体とチャネルの間に画定される界面での接触角のコサインをかけたものに正比例する。従って、マイクロニードル組立品24を通した薬物製剤の毛細管流動を促進するため、チャネルの断面幅寸法(例えば、チャネルの直径)を選択的に制御する場合があり、寸法が小さいほど一般に毛細管圧が高くなる。例えば、いくつかの実施形態では、チャネルの断面幅寸法は、各チャネルの幅に関して、各チャネルの断面積が、約1,250平方マイクロメートル(μm)〜約60,000μm、または約6,000μm〜20,000μm、またはその間のその他任意の部分的範囲など、約1,000μm〜約125,000μmの範囲になるように選択される場合がある。
マイクロニードル組立品24は、その支持プレート76から延長する任意の適切な数のマイクロニードル74を一般的に含みうる。例えば、一つの実施形態では、マイクロニードル組立品24内に含まれるマイクロニードル74の実際の数は、約50マイクロニードル/平方センチメートル(cm)〜約1250マイクロニードル/cm、または100マイクロニードル/cm〜約500マイクロニードル/cm、またはその間のその他任意の部分的範囲など、約10マイクロニードル/cm〜約1,500マイクロニードル/cmの範囲である場合がある。マイクロニードル74は、さまざまな異なるパターンで支持プレート76上に一般的に配置される場合があり、このようなパターンは、任意の特定の使用のために設計されうる。例えば、一つの実施形態では、マイクロニードル74は、長方形もしくは正方形の格子、または同心円など、均一な様式で離間される場合がある。このような実施形態では、マイクロニードル74の間隔は、多くの要因に一般的に依存し、これにはマイクロニードル74の長さおよび幅、並びにマイクロニードル74を通して送達されることが意図されている薬物製剤の量とタイプが含まれるがこれに限定されない。
マイクロニードル組立品24の両端のそれぞれは、一つ以上の膜(例えば、ポリマーフィルム)によってカバーされうる(例えば、マイクロニードル組立品は一つ以上の膜を含みうる)。例えば、前に参照によって本明細書に組み込まれた文書の少なくとも一つによって開示されるように、マイクロニードル74は、ナノトポグラフィを随意に含みうる一つ以上の膜によってカバーされる場合がある。しかし、任意のエンボス加工またはナノトポグラフィを省略しうる。別の例として、支持プレート76の上面78は、一つ以上の流量制御膜またはその他の適切な膜でカバーされる場合がある。例えば、流量制御膜は、薬物製剤の流量を制御することが当技術分野で知られている透過性、半透過性または微孔性の材料から製作されうる。
図6を参照すると最もよく理解されるように、マイクロニードル組立品の支持プレート76の少なくとも一部分は、(支持プレートを分離して考えると)下向きに開いており全体的に実質的に長方形またはその他任意の適切な形状を持ちうる周辺チャネル82の形態であるかまたはそれを含む、実質上長方形の周縁を持ちうる。同様に、第一の実施形態の裏打ち構造72は、(裏打ち構造を分離して考えると)下向きに開いており全体的に長方形またはその他任意の適切な形状を持ちうる内側および外側チャネル84、でありうる。
実質的に長方形のガスケット88は内側チャネル84で係合し、マイクロニードル組立品24の上面78を形成するかまたはそこに位置付けられる流量制御膜および/またはその他の適切な膜のマージンにしっかりと係合する。ガスケット88と関連するこれらの確実な係合は、フレーム70が裏打ち構造に固定して取り付けられていることに少なくとも部分的に起因しうる。より具体的には、フレーム70は、マイクロニードル組立品24の周辺チャネル82と裏打ち構造72の外側チャネル86との間に固定して取り付けられうる。以下でより詳細に検討されるように、フレーム70は、締まりばめ、取り付けフレームおよび/またはその他任意の適切な固定技術など、一つ以上の機械的接続で、周辺チャネル82と外側チャネル86との間に取り付けられうる。第一の実施形態では、マイクロニードル組立品24は、対象の接続によって、レセプタクル14のサポート組立品の裏打ち構造72に実質的に固定して接続される。
フレーム70は、実質的にS型の断面を持つ実質的に長方形の斜面として特徴付けられうる。フレーム70の外側周縁は、例えばプレスばめによって外側チャネル86に取り付けられる場合があり、その結果フレームの外側周縁は、外側チャネルの一部であるかまたは他の方法で外側チャネルと関連する(例えば、部分的に画定する)フランジと対する面同士が接触して圧迫する状態となり、フレームの内側周辺マージンは、支持プレート76の底面80と対する面同士が接触して圧迫する状態となる。より具体的には、フレーム70は支持プレートの周辺チャネル82の表面と係合する。
あるいは、マイクロニードル組立品24は、任意の適切な方法で、裏打ち構造72、スリーブ50またはハウジング30、32に取り付けられうる。例えば、前述のように、装置10の形態は図面に示されたものとは異なるように構成されうる。より具体的な例として、フレーム70、チャネル82、84、86、ガスケット88およびその他の長方形の形態は、その他任意の適切な形状でありうる。別の例として、裏打ち構造72は図面では一つの単一部分として示されているが、任意の適切な方法でお互いに接続された別々の部分からできている場合がある。追加的例として、フレーム70の外周は、一つ以上の付着または取り付け機構の使用を通して、外側チャネル86に固定されうるが、これは以下でより詳細に検討される。
図6に示される実施形態では、周辺で閉じたギャップ90が、ガスケット88の放射状内面の一部、裏打ち構想72の下面の中心部、ならびにマイクロニードル組立品24の上面78に形成されるかまたは位置付けられた流量制御膜および/またはその他の適切な膜の中心部の間に画定されるように、裏打ち構造72の下面77、支持プレート76の上面78、ガスケット88および内側チャネル84は協同的に構成される。この周辺で閉じたギャップ90は、支持プレート76を通って延長する開口部および裏打ち構造72を通って延長する穴または供給経路91(図5および24)に開かれているのを除いて、好ましくは密封または閉じているプレナムチャンバー90と呼ばれる場合がある。
また図5を参照すると、レセプタクル14は、それと共に動くように裏打ち構造72に固定して取り付けられた少なくとも一つのカニューレ92をさらに含む。例えば、カニューレ92の下部は、締まりばめ、接着材料および/またはその他任意の適切な固定技術などの一つ以上の機械的接続によって、裏打ち構造72を通って延長する供給経路内に固定して取り付けられうる。カニューレ92の下部開放端はプレナムチャンバー90(図6)と流体連通しており、一般的に鋭くとがっているカニューレの上部開放端はカートリッジ16(図4および8〜10)の所定部分を貫通するために裏打ち構造72から軸方向に上向きに延長するが、これは以下でより詳細に検討される。カニューレ92は、裏打ち構造72の空洞内に収納されたシーリングガスケット94を通して延長する場合がある、および/またはプレナムチャンバー90のシーリングは任意の適切な方法で提供される場合がある。
引き続き図5を参照すると、変形可能な膜22は一片の両面感圧接着テープの形態である場合があり、テープは片側に比較的永久的な接着材料の高分子フィルム、および反対側に比較的剥離可能な接着材料を有する。接着剤が塗布された変形可能な膜パッチ22は実質的に、中心に位置する丸い開口部を持つディスク型である場合があり、マイクロニードル74(図6)がディスク型パッチの中心開口部を通って外向きに突出する。比較的永久的な接着材料は、膜パッチ22の放射状内側マージン部分を環状取り付けプレート62に永久的に接続するためであり、比較的永久的な接着材料は、膜パッチ22の放射状外側マージン部分を環状取り付けフランジ38に永久的に接続するためである。随意に、チャネル部材60は省略される場合があり、比較的永久的な接着材料が、膜パッチ22の放射状内側マージン部分をスリーブ50のシートフランジ54にまたは別の適切な機構に接続する場合がある。あるいは、シートフランジ54、環状チャネル部材60および/またはそれらの部分は内側または下部支持構造52の一部でありうるが、これは以下でより詳細に検討される。
比較的剥離可能な接着材料は、装置10を使用者に留める目的で、膜パッチ22を使用者の皮膚に剥離可能なように接続するためである。例えば、接着剤は、アクリル接着材料など、従来的接着材料から選択されうる。より具体的な例として、比較的剥離可能な接着材料は、少なくとも二つの緩和モードを持つシリコン接着材料である可能性があり、シリコン接着材料の接着剤結合は一つのモードではもう一方よりも強い場合がある。例えば、シリコン接着材は、膜パッチ22が使用者の皮膚からゆっくりと分離する時は、膜パッチ22が使用者の皮膚から素早く分離する時と比べて低い接着強度を持ちうる。シリコーン接着材はシリコーンゲルであるかまたはシリコーンゲルを含みうる。このようにして、膜パッチ22は、使用後に使用者が皮膚から簡単に取り外すことができる一方、同時に、装置10が、例えば使用中に誤って装置に突き当たるかまたは強く打つことなどによって、不注意にまたは時期尚早に皮膚から外れるのを防止する。
一次的に存在して、膜パッチ22の比較的剥離可能な接着材料を取り外し可能なようにカバーする保護用裏紙20(図1)は、中心に位置する丸い開口部を持つディスク型である場合があり、外向きに突出するプルタブはディスクから突出しうる。保護用裏紙20は、膜パッチ22の比較的剥離可能な接着材料と係合する従来的な剥離コーティングを持つ従来的な紙ベース材料を有するか、または保護用裏紙はその他任意の適切な構成でありうる。
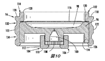
図8〜10を参照すると、レセプタクルまたはカートリッジ16(図2)は、装置10と関連する薬物製剤を受けて含有するための、貯蔵容器16を含むかまたは貯蔵容器の形態でありうる。第一の実施形態のカートリッジ様貯蔵容器16は、本体96に画定されて幅広い空洞と狭い空洞との間に延長し、それぞれに対して開いている経路などにより、お互いに対して開いた比較的幅広い空洞98および比較的狭い空洞100(図10)を画定する少なくとも一つの本体96を含む。第一の実施形態では、本体96に画定された経路は両方の空洞98、100と隣接する。
図10を参照して最もよく理解されるように、幅広い空洞を画定する本体96の少なくとも一つの表面が多数の断面で凹面となるように、幅広い空洞98は実質的に凹面または実質的にボウル型である。つまり、幅広い空洞98は、本体96の実質的に凹面の壁によって少なくとも部分的に画定され、実質的に凹面の壁はより具体的には実質的にボウル型の壁でありうる。
これも図10を参照して最もよく理解されるように、狭い空洞100は、円錐台形部分に向かって先細になる円筒形部分を含む。図10に示されるように、空洞98、100を接続している経路の一端は、狭い空洞100の先端の最も高い点で開いており、空洞98、100を接続している経路のもう一方の端は実質的にボウル型の幅広い空洞98の最も低い点で開いている。つまり、対象の経路のそれぞれの端は、幅広い空洞98を少なくとも部分的に画定する実質的に凹面の壁の中心部分に隣接して、またはより具体的には中心部分で開いている場合がある。より具体的には、対象の経路のそれぞれの端は、幅広い空洞98を少なくとも部分的に画定する実質的にボウル型の壁の中心部分に隣接して、またはより具体的には中心部分で開いている場合がある。空洞98、100および関連する経路は、上述とは異なるように構成されうる。それでもなお、本開示のこの詳細説明部分の理解を簡単にするため、「狭い」および「幅広い」などの相対的用語は特定目的で使用されるが、本発明はこのような用語または相対的サイズに限定されない。
本体96は、本体の両端にそれぞれ位置付けられた向かい合った外側開口部を画定する。これらの開口部は、空洞98、100にそれぞれ開いており、隣接する。幅広い空洞98への外側開口部は、比較的幅広い閉鎖部102によって閉じられ、狭い空洞100への外側開口部は比較的狭い閉鎖部104によって閉じられる。幅広い閉鎖部102および狭い閉鎖部104はそれぞれ、本体96の両端に近接して取り付けられる、またはより具体的には本体の両端に取り付けられる。
狭い閉鎖部104は、自己密閉部材を狭い空洞100への外側開口部の上に固定するキャップ106等を含む。自己密閉部材は、ディスク型の自己密閉隔壁108またはその他任意の適切な自己密閉部材でありうる。キャップ106は、自己密閉隔壁108を狭い空洞100への外側開口部の上に固定し、その結果自己密閉隔壁は、狭い空洞への外側開口部を画定する本体96のフランジの端部と対する面同士が接触して圧迫された状態となる。この構成では、隔壁108は、狭い空洞100への外側開口部を少なくとも部分的に閉じる、またはより具体的には完全に閉じる。
キャップ106は、自己密閉隔壁108へのアクセスを提供するために中心に位置する開口部を持つディスク110等を一般的に含む。キャップ106は、ディスク110の周縁から軸方向に延長する環状フランジ112をさらに含む。キャップ106は、締まりばめ、接着材料、溶接継手(例えば、スピン溶接、超音波溶接、レーザー溶接または熱かしめ)および/またはその他任意の適切な固定技術など、一つ以上の機械的接続によって、本体96の対応するフランジと係合し、それに取り付けられているキャップ106の少なくともフランジ112によって取り付けられうる。フランジ112は、円筒形フランジまたはシリンダー112であると説明される場合があり、ディスク110はシリンダー112の末端縁から内向きに延長する環状フランジと呼ばれる場合がある。
幅広い閉鎖部102は、移動可能な部材を幅広い空洞98への外側開口部の上に固定するキャップ114等を含む。幅広い空洞98への外側の開口部の上の移動可能な部材は、ディスク型の変形可能な膜116の場合がある。キャップ114は、ディスク型部材または変形可能な膜116幅を広い空洞98への外側開口部の上に固定する場合があり、その結果変形可能な膜116は、幅広い空洞への外側開口部を画定する本体96の末端縁と対する面同士が接触して圧迫された状態となる。この構成では、膜116は、幅広い空洞98への外側開口部を少なくとも部分的に閉じる、またはより具体的には完全に閉じる。
一般的に言うと、キャップ114は、ディスク118、ならびにディスクから反対方向の軸方向に延長する内側環状フランジ120および外側環状フランジ122を含みうる。ディスク118は、変形可能な膜116へのアクセスを供給するための、中心に位置する開口部を持つ。図10を参照すると、キャップ114は、外側フランジ122の端部から放射状に内向きに延長し本体のフランジ124の末端縁と係合する環状フランジ126によってなど、本体96の対応するフランジ124と係合し、フランジに取り付けられたキャップ114の少なくとも外側122によって取り付けられうる。内側および外側フランジ120、122は、一体的にに形成された同軸の内側および外側シリンダー120、122であると説明される場合があり、キャップ114の環状ショルダー128は、内側および外側シリンダー120、122および/またはフランジ120、122の間の移行部に画定されうる。あるいは、またはさらに、キャップ114の外側フランジ122は、締まりばめ、接着材料、溶接継手(例えば、スピン溶接、超音波溶接、レーザー溶接または熱かしめ)および/またはその他任意の適切な固定技術など、一つ以上の機械的接続によって、本体96のフランジ124に取り付けられうる。
最初に図8を参照すると、キャップ114またはその部分は、解除可能でありうる機械的接続を少なくとも部分的に形成するための支持および/または画定をするコネクタ部分のための構造と呼ばれる場合がある。例えば、キャップ114のコネクタ部分の一部は、内側シリンダーまたはフランジ120から放射状に外向きに延長する、一式の間隔を置いた、フランジ様の弓状の突出コネクタ部分130の形態でありうる。別の例として、キャップ114のコネクタ部分のその他は、外側シリンダーまたはフランジ122によって画定され、キャップ114の長さに沿ってお互いに間隔を置いた、外向き配向のまたは開いた、上部および下部環状溝コネクタ部分132、134の形態でありうる。第一の実施形態のキャップ114のコネクタ部分130、132、134はキャップ114と一体的に形成されうる一方、これらのコネクタ部分は代替的には元々キャップ114から別々に形成されることもあり、任意の適切な方法でカートリッジ16に取り付けられうる、または他の方法で関連付けられうる。より一般的には、コネクタ部分130、132、134は、レセプタクルまたはカートリッジ16の本体96から外向きに延長し、コネクタ部分130、132、134は任意の適切な方法で本体96に接続されるか、または他の方法で関連付けられうる。
図11〜14および初めは主に図14を参照すると、コントローラ18は、コントローラハウジング26と、プランジャー140等の形態でありうる起動装置または押圧機構と、プランジャーをコントローラハウジングに対して移動するためのコントローラハウジングとプランジャーとの間に位置付けられた少なくとも一つの金属性コイル圧縮バネ142の形態であるかまたはそれを備えうる少なくとも一つの力供給体と、ハウジングとプランジャーとの間の相対的動きを選択的に制限し許容するためのラッチ機構144とを含む。コントローラ18は、ガイド部材またはディスク146および弾性リング148も含む。
以下により詳細に検討されるように、バネ142は、コントローラハウジング26に対して外向きにプランジャー140を押し付けるための力供給体と呼ばれる場合がある。より一般的には、コントローラ18は、コントローラハウジング26に対して外向きにプランジャー140を押し付けるための力供給体を含み、力供給体はバネ142、バネ142、および/または弾性物体の形態でありうる一つ以上のその他の適切な力供給機構の一つ以上を備えうるが、これは以下でより詳細に検討される。図示した実施形態では、第一の力供給体またはバネ46(図5)は、第二の力供給体またはバネ142よりも大きく、より強力な場合があるが、これは以下でより詳細に検討される。
コントローラハウジング26は、少なくとも一つの壁、またはより具体的には、プレートまたはディスク152の形態でありうる末端部分から軸方向に延長する一対の間隔を置いた弓状の壁150を含む。末端部分またはディスク152は一般的にまたは少なくともいくらかドーム型である場合があり、手で押すための押しボタンまたは押しボタンの一部としての役割を果たしうるが、これは以下でより詳細に検討される。同様に、コントローラハウジング26全体、またはその部分は、押しボタンと呼ばれることがあり、これは以下でより詳細に検討される。コントローラハウジング26および/またはその機構は異なるように構成される場合があるが、本発明の範囲を狭める目的ではなく理解を簡単にするために、本開示のこの詳細説明部分では、コントローラハウジング26はボタン26と呼ばれる場合があり、ディスク152はボタンプレートまたはボタンディスク152と呼ばれる場合がある。弓状の壁150は、ボタンディスク152の周辺に沿って延長するが、それから内向きに間隔を置いており、その結果ボタンディスクの環状ショルダー154は弓状の壁150から放射状に外向きに延長する。弓状の壁150の溝は弓状ショルダー156を画定する(図12)。
弓状の壁150はそれぞれ、少なくとも部分的に機械的接続を形成するための、支持および/または画定コネクタ部分のための構造と呼ばれる場合がある。例えば、弓状の壁150のコネクタ部分は、弓状の壁150から放射状に内向きに延長する、一式の間隔を置いた、フランジ様の弓状の突出コネクタ部分158(図12)の形態でありうる。コネクタハウジング26のコネクタ部分158はコントローラハウジング26と一体的に形成されうる一方、これらのコネクタ部分は代替的には元々コントローラハウジングから別々に形成することができ、任意の適切な方法でコントローラ18に取り付けられうるか、または他の方法で関連付けられうる。
コントローラハウジング26は、中心突起、コイルバネ142およびプランジャー140の中に延長しガイドするために、ボタンディスク152の内側から同軸性に延長するガイドまたはガイドポスト160(図13および14)を含む。プランジャー140は、ドーム型ヘッド164から同軸性に延長する円筒形シャフト162(図14)を含む。環状溝166、168(図13)の形態でありうる、外向きに開いた上部および下部の窪みは、プランジャーのシャフト162内に画定される。コントローラハウジング26の少なくとも一つの壁150は、少なくとも部分的にシャフト162の周りに延長し、シャフトは少なくとも部分的にバネ142の周りに延長し、バネは少なくとも部分的にガイドまたはガイドポスト160の周りに延長する。
図12および14を参照すると、ラッチ機構144は、弓状の壁150の間の穴、スロットまたはギャップの中に少なくとも部分的に延長する、またはより具体的には少なくとも部分的に通って延長する両端を持つ。ラッチ144の各端部は、軸方向に突出した弓状スカート部分172、および弓状の傾斜付き面170を持つ放射状に外向きに突出するアクチュエータまたは作動タブを含む。ラッチ144の両端のそれぞれについては、傾斜付き作動面170およびスカート部分172はそれぞれ、弓状の壁150の隣接端部の間に実質的に完全に延長し、その結果ラッチの端部は弓状の壁150の隣接端部の間の穴、ギャップまたはスロットを妨害する、またはより具体的には実質的に閉じる。
図14、18、および19を参照すると、ラッチ144は、ラッチの両端の間に延長する一対のロック部材、ロックバー、またはロックアーム174をさらに含む。プランジャー140がその格納位置にある時、そのシャフト162は、ロックアーム174の中間部分の間に画定された空間を通って延長し、ラッチがロックまたは非作動状態にある時、ロックアームの中間部分はシャフト162の上部溝166の中に延長する。この状態では、ロックアーム174はシャフト162の一つ以上のショルダー、ここでこれらのショルダーは少なくとも部分的に上部環状溝166を画定する。対になったガイド部材またはガイドアーム176は、弓状の壁150の内面とそれぞれ係合するように、ラッチの両端の近くから弓状に延長しうる。ラッチ144は対になった形態を持つものとして記述されてきたが、ラッチは各対の一つを省略すること等により、異なるように構成されうる。
図13を参照すると、ガイドディスク146の内周は、プランジャー140のシャフト162の上部溝168に保持されうる。弾性リング148は、ラッチ144のガイドディスク146とガイドアーム176との間に、それぞれが向かい合って接触した状態で位置付けられうる。弾性リング148は、ラッチ144をその非作動状態に維持するのを助けるためにスカート部分172の内面と係合する場合がある、および/またはラッチ144は、ラッチを非作動状態に偏らせる弾性材料から作られる場合がある。
押しボタンまたはコントローラハウジング26の少なくとも一つの弓状の壁150は、少なくとも部分的に内部空間の周りに延長する。プランジャー140、バネ142、ラッチ144、ガイドディスク146、弾性リング148、ガイドポスト160および/またはシャフト162のそれぞれの少なくとも一部分は、少なくとも一つの弓状の壁150がその周りに延長する内部空間内に位置付けられうる。プランジャー140、バネ142、ラッチ144、ガイドディスク146、弾性リング148、ガイドポスト160および/またはシャフト162のそれぞれの実質的に全体が、少なくとも一つの弓状の壁150がその周りに延長する内部空間内に位置付けられうる。コントローラ18のその他の構成も本開示の範囲内である。
装置10と関連しうる一部の方法の例が上述されてきたが、第一の実施形態に従ってその他が以下で検討される。例えば図5を再び参照すると、マイクロニードル組立品24は、レセプタクルのサポート組立品50、52がレセプタクルのハウジング30、32に移動可能なように取り付けられる前または後のいずれかに、上述の方法でサポート組立品50、52に実質的に固定して取り付けられる場合がある。サポート組立品50、52、従ってサポート組立品50、52によって保持されるマイクロニードル組立品24がハウジング30、32に対して内向きおよび外向きに動くように、サポート組立品50、52はレセプタクルのハウジング30、32に移動可能なように取り付けられる。
引き続き図5を参照すると、支持構造またはサポート組立品50、52は、それぞれの力供給体(バネ47を備えうる)をサポート組立品50、52とハウジング30、32との間で圧縮し、次に少なくとも一つの変形可能な構成要素(変形可能な膜22など)をサポート組立品50、52とハウジング30、32との間で接続することによって、ハウジング30、32に移動可能なように取り付けられうる。変形可能な膜22は、バネ47の拡張を制限すると同時に、サポート組立品50、52とハウジング30、32との間の相対的動きを許容するためのものである。例えば、少なくとも変形可能な膜22は、サポート組立品50、52およびバネ47がハウジング30、32から外れ落ちる、またはより具体的には抜け出すことを防止しうる。これに関して上記を繰り返すと、変形可能な膜22は、レセプタクルのサポート組立品50、52(従ってマイクロニードル組立品24)がレセプタクルのハウジング30、32から分離しないように、バネ46またはその他任意の適切な力供給体を制限するための拘束装置またはリテーナーと呼ばれる場合がある。
さらにハウジング30、32への支持構造または組立品50、52の取り付けに関して、バネ47の手動圧縮は、サポート組立品50、52とハウジング30、32との間の第一の相対的動きを生じることから成りうる。変形可能な膜22を設置した後、サポート組立品50、52および/またはハウジング30、32は手動で解除される場合があり、その結果バネ47がサポート組立品50、52とハウジング30、32との間の第二の相対的動きを生じる。第二の相対的動きは、変形可能な膜22および/またはその他任意の適切な形態によって部分的に制限されうる。
一般的に述べると、コントローラ18は、図14に示されるようにその形態を実質的に同軸性に配列し、次に図13に示されるように形態をそれぞれお互いに接触させることによって組み立てられうる。より具体的には、バネ142を備える場合がある対象の力供給体は、押しボタンまたはコントローラハウジング26と押圧機構またはプランジャー140との間で圧縮されうる。この圧縮は、コントローラハウジング26とプランジャー140との間の相対的動きを通して達成されうる。この一部またはその他の相対的動きの一部として、プランジャー140のシャフト162は、ラッチ機構144の穴の中に動かされ通り抜ける場合がある。ラッチ機構144の対象の穴は、ロック部材またはアーム174間に画定されうる。シャフト162は、シャフトがロックアーム174を押し広げて穴を拡大することによって、ラッチ機構144の穴を通過する場合があり、ここでロックアームはシャフト162の溝166内に動いて、対象の相対的動きを停止し、プランジャー140を格納位置に保持する。これに関して、ロックアーム174はより具体的には、プランジャー140を格納位置に保持するために、シャフト162の少なくとも一つのショルダーに係合し、シャフトの対象のショルダーは溝166を部分的に画定する。しかし、対象のショルダーは異なるように構成される場合がある。
図19を参照して最もよく理解されるように、カートリッジ16およびコントローラ18はお互いにおよび/またはその他の機構(ガイドディスク146および支持リング148など)に接続され、ラッチ機構144の軸方向の動きを制限するために協力する。カートリッジの突出コネクタ部分130(図8)がコントローラの突出コネクタ部分158(図12)間に画定された空間を通り抜けるまたはその逆となるように、カートリッジとコントローラとの間の相対的な軸方向の動きを生じさせることによって、カートリッジ16およびコントローラ18は図2に示されるようにお互いに接続されうる。相対的な軸方向の動きは、カートリッジ16の内側フランジ120(図8および10)の自由端およびコントローラ18のガイドディスク146(図12〜14)がお互いに係合し、キャップ114のショルダー128(図8および10)およびコントローラハウジング26の弓状の壁150(図11〜13)がお互いに係合するまで継続しうる。その後、カートリッジ16とコントローラ18との間の相対的回転を通して、突出コネクタ部分130、158がそれぞれお互いに縦に係合し、その結果カートリッジおよびコントローラが突出コネクタ部分130、158によってお互いに取り付けられる。さらに、またはあるいは、カートリッジ16およびコントローラ18は、その他任意の適切な機械的接続および/またはその他の適切な固定技術によって、お互いに取り付けられうる。例えば、コネクタ部分130、158は、例えばスピン溶接、超音波溶接、レーザー溶接、熱かしめおよび/またはその他任意の適切な技術によって形成されうる一つ以上の溶接継手で補足されるかまたは置き換えられうる。別の例として、カートリッジ16およびコントローラ18は、一つ以上のスナップフィット接続によってお互いに接続される場合があり、各スナップフィット接続は柔軟で弾力のあるラッチを備えうるが、これは以下でより詳細に検討される。
図10を参照して最もよく理解されるように、装置10の使用のための準備には、レザバーまたはカートリッジ16に薬物製剤を充填することを含みうる。薬物製剤は自己密閉隔壁108を通して狭い空洞100内に注入される場合があり、その結果薬物製剤が狭い空洞と幅広い空洞との間の経路によって幅広い空洞98にも流入する。例えば、薬物製剤は、自己密閉隔壁を備えるキャップを持つ従来的バイアルを満たすのに従来的に使用される従来的充填装置を使用して、自己密閉隔壁108を通して注入されうる。充填装置は、自己密閉隔壁108を通って延長するための同軸性の針を含む場合があり、針の一つは空洞98、100を部分真空に引き、もう一方の針は薬物製剤を注入する。すべての空気がカートリッジの内部から実質的に除去されるように、薬物製剤はカートリッジ16の内部を実質的に満たす場合がある。
カートリッジ16およびコントローラ18がお互いに取り付けられる前または後に、カートリッジ16に薬物製剤を充填しうる。いずれにしても、カートリッジ16は一般的に、無菌条件下で薬物製剤が充填される。一例では、レザバーまたはカートリッジ16の内部容積は最大約500μLであり、マイクロニードル組立品24は約12.5mm×約12.5mmでありうる。別の例では、レザバーまたはカートリッジ16の内部容積は最大約2mLであり、マイクロニードル組立品24は約25mm×約25mmでありうる。その他の容積およびサイズは本開示の範囲内である。例えば、レザバーまたはカートリッジ16の内部の容積は、約100μL〜約2mL以上の範囲でありうる。当業者であれば、装置10と関連したクリーンルームおよび滅菌の適切な使用の方法を理解するであろう。
図4を使用して最もよく理解されるように、一緒に組み立てられたカートリッジ16およびコントローラ18は、保持リング12(図12)によって随意に取り囲まれ、その後、カートリッジ16の下端をレセプタクル14の上部開口部36内に導入することによって、レセプタクル14に取り付けられうる。図4、5、8および15を参照して理解されうるように、ラッチコネクタ部分56(図4および5)の突出先端とカートリッジ16の外側ハウジングまたはフランジ122(図8〜10)との間に相対的な滑りがありうる。対象の相対的な滑りは、カートリッジがスリーブ50(図4および5)によって取り囲まれる内部空間に少なくとも部分的に位置付けられる時のレセプタクル14とカートリッジ16との間の相対的動きに応答したものである場合があり、この相対的動きは、ボタンディスク152を手動で押し下げることによって生じうる。カートリッジ16およびコントローラ18は、ボタンディスク152が押し下げられるのに応答してお互いに動くように、上述のように予めお互いに取り付けられている場合がある。
装置10は図1および15では起動前の構成で示されているが、保持リング12は図15から省略されている。カートリッジ16およびコントローラ18がレセプタクル14に初めに設置される時、レセプタクル14とカートリッジ16との間の相対的動きは、起動前の構成に達した時に自動的に停止される場合がある。レセプタクル14とカートリッジ16との間の相対的動きは、薬物送達装置を起動前の構成に解除可能なように固定するための少なくとも一つの障害物の係合に応答して停止されうる。障害物は、少なくとも一つの解除可能な機械的接続および/または少なくとも一つの保持装置を備えうる。例えば、保持リング12(図1)またはその他任意の適切な保持装置は、ボタンディスク152のショルダー154(図12および13)とスリーブ50(図4および5)の上縁との間で係合して、装置10が起動前の構成に達した時に相対的動きを停止しうる。
第一の実施形態によると、装置10は、装置が起動前の構成に達した時に、保持リング12等がボタンディスク152のショルダー154とスリーブ50の上縁との間で係合して、レセプタクル14とカートリッジ16との間の相対的動きを停止するのと実質的に同時に、ラッチコネクタ部分56(図5および15)の突出先端が下部溝コネクタ部分134(図8〜10)に達するように構成される。ラッチコネクタ部分56の突出先端が下部溝コネクタ部分134に達する時、ラッチコネクタ部分56の放射状で内向きに偏った性質は、ラッチコネクタ部分56の先端に近接した突起を下部溝コネクタ部分134内に突出させ、下部溝コネクタ部分134を少なくとも部分的に画定するかまたはそれに近接するカートリッジ16の少なくとも一つの縁またはショルダーと係合し、装置10が起動前の構成に達した時に相対的動きを停止する機械的接続を形成する。第一の実施形態では、これらの機械的接続は解除可能なスナップフィット接続(例えば、ラッチコネクタ部分56は、柔軟で弾性のあるラッチと呼ばれる場合がある)であるが、これらはその他の適切な接続を備えうる。ラッチおよび下部溝コネクタ部分56、134によって画定される機械的コネクタは、少なくとも一つの戻り止めまたは少なくとも一つの下部機械的コネクタ56、134と呼ばれる場合がある。随意に、保持リング12または下部機械的コネクタ56、134の少なくとも一つは省略される場合がある。
第一の実施形態では、少なくとも下部機械的コネクタ56、134は、レセプタクル14とカートリッジ16との間の所定の相対的動きに応答して、接続状態から非接続状態に移行しうる解除可能コネクタである。例えば、レセプタクル14とカートリッジ16との間のこのような所定の相対的動きは、所定量を超えるレセプタクルとカートリッジとの間の相対的動きを生じさせるために使用される力によって生じうる。従って、保持リング12が装置10から省略されるかまたは装置から取り外されていて、装置を起動前の構成に維持することが望ましい場合、方法には、下部機械的コネクタ56、134が外れるのに十分な所定量を超えないレセプタクル14とカートリッジ16との間の相対的動きを起こすそうとする力が含まれうる。
装置10が図1に示される起動前の構成にある時、保護用裏紙20を取り外して、粘着膜22を使用者(例えば、患者)の皮膚に係合させて装置を使用者の皮膚に留めることができる。係合は、装置10と使用者との間の相対的動きを通して一般的に促進される。装置10が使用者の皮膚に向かって動かされる時、マイクロニードル組立品24のマイクロニードルが使用者の皮膚に触れる装置10の第一の形態でありうるが、これはバネ46を備えうる力供給体の作用のためにマイクロニードル組立品24がレセプタクル14から外向きに偏っているためである。つまり、マイクロニードル組立品24は、装置10が使用者に固定される前に使用者の皮膚に係合する場合がある。第一の実施形態では、装置10が使用者の皮膚に最初に係合する時、マイクロニードル組立品24が使用者の皮膚に係合し、マイクロニードル組立品の使用者の皮膚への係合はバネ46の圧縮を生じるかまたは含む。
外向きに配向した比較的解除可能な粘着膜22の接着材料は、少なくともレセプタクルのハウジング30、32を使用者に固定するため、粘着膜22はファスナーと呼ばれる場合がある。あるいは、締結は、その他任意の適切な固定技術で補足されるかまたは置き換えられうる。例えば、装置10または少なくともレセプタクルのハウジング30、32は、締結ストラップおよび/またはその他任意の適切な固定機構を使用して追加的または代替的に使用者に留められうる。
ハウジング30、チャネル部材60および粘着膜22の外側本体は比較的柔軟な性質のため、ならびにマイクロニードル組立品24がバネ46および移動可能なように取り付けられたスリーブ50などによってレセプタクルのハウジング30、32に移動可能なように取り付けているために、装置10は使用者の体の輪郭に少なくともいくらかは適合し、使用者の体の少なくとも一部の動きを許容しながら取り付けられたままとなる。レセプタクルのハウジング30、32に対するマイクロニードル組立品24の可動性は、バネ46の強度、取り付けフランジ38とチャネル部材60との間にわたる粘着膜22の柔軟性、および拘束フランジ66の上縁と外側本体30との間の選択的係合によって制御されうる。
さまざまな因子に応じて、外側本体30、チャネル部材60および粘着膜22の一つ以上の柔軟性を調整するかまたは実質的に排除しうる。同様に、レセプタクルのハウジング30、32に対するマイクロニードル組立品24の可動性は、スリーブ50をレセプタクルのハウジング30、32に固定して取り付け、バネ46を排除することなどによって、調整するかまたは実質的に排除しうる。
バネ46の剛性、粘着膜22の柔軟性、マイクロニードル74のサイズおよび数ならびにそれらが粘着膜22の中心開口部を通って外向きにどれだけ遠くまで突出するか、および/または同種のものと関連しうる因子に応じて、マイクロニードルは、起動前の構成にある装置10が粘着膜22によって使用者の皮膚に最初に取り付けられるのに応答して、使用者の皮膚を貫通しうる。あるいは、またはさらに、マイクロニードルは、その後使用者の皮膚に対して装置10が押し付けられるのに応答して、使用者の皮膚を貫通するかまたは少なくともさらに貫通する場合があるが、これは装置10から保持リング12を取り外す前など(ただしこれに限定されない)に、ボタンディスク152を押すことによって促進されうる。例えば、ボタンディスク152を手またはその他の適切な物で素早く叩いて、マイクロニードル74を使用者の皮膚の中に押し込みうる。いったんマイクロニードル74が使用者の皮膚の中に十分に延長したら、比較的変形可能なまたは柔軟な性質のハウジング30の外側本体、チャネル部材60および粘着膜22のそれぞれ、ならびにレセプタクルのハウジング30、32に移動可能なように取り付けられたマイクロニードル組立品24は、使用者が体をある程度動かしてもマイクロニードルが使用者の皮膚にとどまるのを許容しようとする。
上述を少なくとも部分的に反復し、本開示の一態様に従うと、バネ46は、マイクロニードルが使用者の皮膚中に十分に入って留まるように、マイクロニードル74がレセプタクル部分組立品14から十分離れて外向きに延長するのを許容しようとするやり方で、レセプタクル14のハウジング30、32に対してマイクロニードル組立品24を外向きに押し付けるための力供給体であるか、または力供給体の一部でありうる。装置10または少なくともレセプタクルのハウジング30、32が上述のように使用者に留められている間、バネ46を備えうる力供給体は一般的に、レセプタクルのハウジング30、32に対して外向きにマイクロニードル組立品24を押し付け、薬物製剤の送達中マイクロニードル組立品と皮膚との間に十分良好な接触があること確実にしようとするやり方で、皮膚に対して押し付ける。バネ46を備えうる力供給体は、マイクロニードルアレイ24の各マイクロニードルの皮膚への適正な挿入を確実にしようとし、さらに、挿入後および装置10が投薬後に取り外されるまでマイクロニードルが皮膚中に維持されるのを確実にしようとする。より一般的には、バネ46、変形可能な膜22および/またはその他の適切な形態を備える機械的機構は、マイクロニードルの適正な挿入を確実にしようとする。対象の機械的機構は、回転および並進自由度を持つバネおよび接合の組み合わせを通して、マイクロニードルと皮膚との間に実質的に均一な力を提供しうる。自由度および力は、ほとんどの体の動きの間、マイクロニードルおよび皮膚がお互いに十分にかみ合ったままとなるこをと確実にしようとする。自由度は、マイクロニードルに対するすべての損傷も防止しようとする。
装置10が使用者に固定されており、マイクロニードル組立品24が使用者の皮膚に係合している時、保持リング12またはその他の任意の適切な保持装置を、装置の残りの部分から取り外すか、または少なくとも部分的に取り外しうる。保持リング12は、手動で保持リングをコントローラ18から引いて外すことによって取り外しうる。次に、下部機械的コネクタ56、134を接続状態から分離状態に移行させるために、ボタンディスク152を十分な量の力(例えば、所定量の力または所定量よりも大きな力)で押しうる。分離状態へのこの移行には、ラッチコネクタ部分56の先端に近接する突起が下部溝コネクタ部分134から押し出されることが含まれる。その後、ボタンディスク152が引き続き押されるのに応答して、レセプタクル14とカートリッジ16との間に相対的動きが起こるが、これにはまた、ラッチコネクタ部分56の突出先端とカートリッジ16の外側ハウジングまたはフランジ122との間の相対的滑りが含まれる場合がある。これに関して、図16は、起動前の構成と起動済みの構成の間の中間構成にある装置10を概略的に示す。
ボタンディスク152を押すことによって生じうる、レセプタクル14とカートリッジ16との間のさらなる相対的動きに応答して、装置10は図17に概略的に示される起動済みの構成に達する。図17に示されるように、カートリッジ16の空洞98、100がレセプタクル14のプレナムチャンバー90(図6)と流体連通するように、カニューレ92は隔壁108を貫通している。つまり、図17に示されるように、レザバーまたはカートリッジ16は内側位置にあり、マイクロニードル組立品24と流体連通している。
図15に示される起動前の構成では、レザバーまたはカートリッジ16は外側位置にあり、マイクロニードル組立品24と流体連通している。例示実施形態では、レザバーまたはカートリッジ16は、カートリッジが外側位置(図1および15)から内側位置(図17)への通路に沿って動くように、押しボタンまたはコントローラハウジング26によって押されるためのものである。内側位置では、レザバーまたはカートリッジ16はマイクロニードル組立品24と流体連通している。押しボタンまたはコントローラハウジング26は、レザバーまたはカートリッジ16を第一の位置から第二の位置への通路に沿って動かすために、少なくともレセプタクル14のハウジング30、32中まで押し込まれうる。押しボタンまたはコントローラハウジング26は、より一般的には押圧機構と呼ばれる場合がある。これに関して、押しボタンまたはコントローラハウジング26は、その他任意の適切な押圧機構で置換されうる。
装置10が図17に示される起動済みの構成に達した時、レセプタクル14とカートリッジ16との間の相対的動きは、少なくとも一つの障害物の係合に応答して停止されうる。障害は、少なくとも一つの解除可能な機械的接続および/または少なくとも一つのその他の係合を備えうる。例えば、起動済みの構成に達した時、カートリッジ16の下部キャップ106は、レセプタクル14の裏打ち構造72の上面に係合してその間の相対的動きを制限しうる。また、起動済みの構成に達した時、ラッチコネクタ部分56の突出先端が下部溝コネクタ部分132(図8〜10)に達し、その結果ラッチコネクタ部分の放射状で内向きに偏った性質が、ラッチコネクタ部分56の先端に近接した突起を上部溝コネクタ部分132内に突出させ、上部溝コネクタ部分132を少なくとも部分的に画定するかまたはそれに近接するカートリッジ16の少なくとも一つの縁またはショルダーと係合し、レセプタクル14とカートリッジ16との間の相対的動きを停止する機械的接続を形成する。第一の実施形態では、これらの機械的接続はスナップフィット接続であり、それらは随意に実質的に解除不能な接続でありうる。ラッチおよび上部溝コネクタ部分56、132によって画定される機械的コネクタは、少なくとも一つの戻り止めまたは少なくとも一つの上部機械的コネクタ56、132と呼ばれる場合がある。随意に、上部機械的コネクタ56、132は省略しうる。
図18で、コントローラハウジング26(図14)のボタンディスク152など、一部の機構は図を明確にするために除去されている。図18に示されるように、ラッチ144は、押しボタンまたはコントローラハウジング26がレセプタクル14の十分奥まで押し込まれるのに応答して、自動的に開かれ、押圧機構またはプランジャー140はラッチが開かれるのに応答して解除される。より具体的に、図18の大きな矢印で模式的に示されるように、押しボタンまたはコントローラハウジング26が十分に押され、その結果装置10が起動済みの構成に達するかまたは実質的に近づくのに反応して、スリーブ50の傾斜面58、170(図4、5、11、12、14および17)およびラッチ144はそれぞれお互いに係合する。傾斜面58、170間の滑り係合に応答して、ラッチ144の作動両端は、図18の大きな矢印で模式的に示されるように内向きに駆動される。結果として図19の大きな矢印で模式的に示されるように、ラッチ144はプランジャー140を解除してバネ142が拡張し、従って、プランジャー164のヘッドをカートリッジ16の変形可能な膜116に押し付ける。より具体的には、ラッチ144の両端が内向きに駆動されるのに応答して、ロックアーム174は外向きに曲がり、従って、プランジャー140のシャフト162の上部溝166から出て、その結果ラッチ144がプランジャー140を解除し、バネ142がプランジャーを駆動する。第一の実施形態では、ラッチ機構またはラッチ144は、バネ142の拡張を制限するラッチ状態と、バネ142の拡張を許容するラッチ解除状態との間を移行するように適合され、柔軟な膜22は、ラッチ144の動作とは独立して、バネ142の拡張を許容および制限するために、マイクロニードル組立品24とレセプタクル部分組立品14のハウジング30との間に接続されている。
装置10の完全に起動されたまたは起動後の構成を示す図20を参照して最もよく理解されるように、ガイドディスク146および関連する形態は、薬物製剤の実質的にすべてが幅広い空洞98(図10および16)から押し出されることを確実にするようなやり方で、プランジャー140の動きをガイドするガイド装置として機能しうる。プランジャーがバネ142によって動かされてガイドディスクが変形する間、ガイドディスクの内縁がプランジャー140のシャフト162の下部溝168(図13)内にとどまるように、ガイドディスク146は十分に変形可能または柔軟でありうる。ガイドディスク146の中心部分はほぼ円錐形状(例えば、実質的に円錐形または実質的に円錐台形)に変形し、その結果、プランジャー140が制御された様式で幅広い空洞98内に駆動される。ガイドディスク146は一般的に、ガイドディスクの内側円周が下部溝168中でかつガイドディスクの外側円周と同軸のままとなるように変形する。ガイドディスク146のこの変形および制御された動きは、プランジャー140軸が幅広い空洞98の軸と実質的に平行で完全に一致するようにする。こうすると、プランジャー140は幅広い空洞98と整列したままとなり、プランジャーが動きを完了した後の幅広い空洞98の流体がもしある場合、最小となる。カートリッジ16とコントローラ18との間に整列のずれがある場合、ガイドディスク146は、プランジャー140軸が幅広い空洞98の軸と実質的に平行で完全に一致したままとなるようなやり方で、プランジャー140の動きを補償することを許容するようにする。プランジャー140は、プランジャーの動きを阻害する摩擦力を排除するようにするやり方で、ガイドディスク146によって移動可能なように取り付けられる。
上述を少なくとも部分的に反復し、本開示の一態様によると、バネ142は、プランジャー140を変形可能な膜116に押し付けるための力供給体であるかまたは力供給体の一部でありうる。この力供給体は、変形可能な膜116等を屈曲させるために、少なくともバネ142、一つ以上のバネ142、および/またはその他任意の適切な力供給機構を含みうる。同様に、プランジャー140はより一般的には押圧機構と呼ばれる場合があり、プランジャーは、一つ以上のその他の適切な押圧機構で置換または補足されうる。
カートリッジ16内の流体の圧力を増加させるために、バネ142は、解除されたプランジャー140をレザバーまたはカートリッジ16に対して駆動し、その結果流体がカートリッジからマイクロニードル組立品24に供給される。より具体的には、流体がマイクロニードル組立品24に供給されるように、レザバーまたはカートリッジを少なくとも部分的に潰すために、バネ142は解除されたプランジャー140をレザバーまたはカートリッジ16に対して駆動する。より具体的に、第一の実施形態によると、バネ142は、そのドーム型ヘッド164(図14)が変形可能な膜116を屈曲させるようにプランジャー140を駆動し、ドーム型ヘッドは、変形可能な膜116を幅広い空洞98(図10および16)を画定するカートリッジの本体96の実質的に表面全体と強制的に接触させ、その結果幅広い空洞98の薬物製剤の実質的にすべてが狭い空洞100に流れ込む。前に示したように、カートリッジ16は容器またはレザバーを備え、幅広い空洞98内に駆り立てられるまたは押し込まれる変形可能な膜116は、少なくとも部分的につぶれた容器またはレザバーとして特徴付けられうる。
変形可能な膜116と幅広い空洞98(図10および16)との間の接触が、空洞98の最も幅広いエリアから空洞98の最も狭いエリアへと次第に進み、結果として薬物製剤の実質的にすべてが空洞98から押し出されるように、ドーム型ヘッド164(図14)は構成されうる。より具体的には、ドーム型ヘッド164および実質的にボウル型の幅広い空洞98は協同的に構成される場合があり、薬物製剤の実質的にすべてが空洞98から押し出されるように、変形可能な膜116と幅広い空洞98との間の接触が空洞98の最も幅広いエリアから空洞98の最も狭いエリアに次第に進むように、ガイドディスク146はプランジャー140をガイドする。別の特定例として、ドーム型ヘッド164の湾曲およびボウル型の幅広い空洞98の湾曲は、薬物製剤の実質的にすべてが空洞98から押し出されるのを確実にしようと務める方法で、協同的に選択される場合がある。上記を反復すると、空洞98、100の間に延長する経路のそれぞれの端部は、幅広い空洞98を少なくとも部分的に画定する実質的に凹面または実質的にボウル型の中心部分に近接してまたはより具体的には中心部で開いている場合があり、この構成は、薬物製剤の実質的にすべてが空洞98から押し出されるのを確実にしようとする。あるいは、薬物製剤の実質的にすべてが空洞98等から押し出されるのが望ましくない一部の状況がある場合がある。
薬物製剤は狭い空洞100からカニューレ92を通ってプレナムチャンバー90(図6)に流れ込む。第一の実施形態では、薬物製剤は、支持プレート76の上面78上の流量制御膜および/またはその他の適切な膜を通り、次に支持プレートの開口部を通って、マイクロニードル74と関連するチャネルへ流れ、その後使用者の皮膚内に流れることによってプレナムチャンバー90を出る。より一般的には、バネ142を備えうる力供給体は、流体をレザバーまたはカートリッジ16からマイクロニードル組立品24へ、次に使用者の皮膚内へと少なくとも間接的に押し出され、レザバーまたはカートリッジと使用者の皮膚との間の流路は任意の適切な方法で提供または画定されうる。
上述のように空洞98(図10および16)から押し出される薬物製剤は、薬物製剤がプレナムチャンバー90を実質的に均一に満たし、支持プレート76の上面78上の流量制御膜および/またはその他の適切な膜を通ってマイクロニードル74のそれぞれに流れるようにするやり方で加圧された薬物製剤を含む場合がある。支持プレート76の上面78上の流量制御膜および/またはその他の適切な膜は、流量制御膜および/またはその他の適切な膜を通って流れる薬物製剤から生じる圧力低下が、プランジャー140の作用を通して薬物製剤に与えられる圧力エネルギーのすべてを実質的に消費するように、選択されうる。結果として、マイクロニードル組立品24を通した薬物製剤の毛細管流動のみがありうる。さらにまたはあるいは、マイクロニードル組立品24を通した薬物製剤の強制流動は、プランジャー140の作用を通して薬物製剤に与えられる圧力エネルギーによって生じる場合がある。
本開示の一態様では、装置10による薬物製剤の送達は、圧力駆動流動および毛細管流動による場合がある。マイクロニードル組立品24のマイクロニードルが皮膚に挿入され、装置10が作動状態にある時、マイクロニードルは間質液で濡れる場合があり、薬物溶液が圧力下でレザバーまたはカートリッジ16から流れる場合がある。二つの液体前面は、支持プレート76に画定された開口部内またはそれに近接して交わり、次に薬物製剤が皮膚内に自由に流れ込む。レザバーまたはカートリッジ16が空になった時、毛細管力によって、残りの薬物製剤の少なくとも一部、または実質的にすべてが装置10から吸い出されて皮膚内に入りうる。
本開示の一態様では、押しボタンまたはコントローラハウジング26は外側押圧機構と呼ばれる場合があり、プランジャー140は内側押圧機構と呼ばれる場合があり、内側押圧機構は、外側押圧機構とレセプタクル14のハウジング30、32との間の所定の相対的動きに応答して、レザバーまたはカートリッジ16を少なくとも部分的に潰すために外側押圧機構に対して動かされるために外側押圧機構に取り付けられている。ハウジング30、32と外側押圧機構またはコントローラハウジング26との間の所定の相対的動きが起こった時、スリーブ50およびラッチ144の傾斜面58、170(図4、5、11、12、14および17)は上述のようにそれぞれお互いに係合する、またはラッチ144はその他任意の適切な方法で開かれうる。
一例では、プランジャー140および変形可能な膜116は、実質的にすべての薬物製剤が幅広い空洞98(図10および16)から押し出されるのを促進するために、カートリッジの本体96の材料よりも変形可能であるかまたは柔軟で剛性の少ない材料で作成されうる。例えばさらに移動可能な部材に関しては、より具体的にはディスク型の変形可能な膜116の形態である場合があり、この変形可能な膜は伸張性のある、柔軟な、折り畳み可能な、引き伸ばせるおよび/または同種のものでありうる任意の適切に構成された材料から形成されうる。より具体的な例として、変形可能な膜116は、ポリイソプレンフィルムなどの柔軟な非多孔質フィルムである場合がある。一例では、変形可能な膜116は非常に低い流体/蒸気透過性および低い引張係数を持ちうる。例えば、変形可能な膜116の水蒸気透過性は、水性薬物製剤と共に使用された時、低くなる。変形可能な膜116の引張係数は約1.5GPa未満、またはより具体的には1.5GPa未満でありうる。低い引張係数は、プランジャー140を完全に展開するために必要な力を最小化しようとする。あるいは、変形可能な膜116はより高い引張係数を持つ場合があり、より強力なバネ142を使用しうる。適切なフィルムラミネートを変形可能な膜116として使用しうる。
本開示の第一の実施形態では、変形可能な膜116は伸びて幅広い空洞98(図10および16)の形状に適合する(例えば、実質的に適合する)。さらにまたはあるいは、変形可能な膜116は、変形可能な膜が幅広い空洞98の形状に実質的に適合するようなやり方で少なくとも部分的に開くように構成される場合がある。代替的実施形態のより具体的な例として、変形可能な膜116は、幅広い空洞98の形状に実質的に適合するように開く蛇腹の形態である、蛇腹に実質的に類似している、または少なくとも部分的に蛇腹の形態である等の場合がある。この代替的実施形態では、変形可能な膜116は伸びない場合があり、変形可能な膜116は非伸張性材料から作られる場合がある。別の代替的実施形態では、変形可能な膜116によって少なくとも部分的に画定される空洞が満たされた時、変形可能な膜は平らな基部に対して外向きに膨張し、膨張した変形可能な膜を平らな基部に押し付けて平らにするために、プランジャー140のヘッドは平らな場合がある。別の代替的実施形態では、カートリッジ16は、平らな支持面によって支持されるバッグまたは袋などの変形可能な部材の形態である場合があり、カートリッジを平らな支持面に押し付けて平らにするために、プランジャー140のヘッドは平らな場合がある。
装置10を作成しうる材料に関してより一般的には、適切な材料は、薬物製剤を含有および投薬するための医療装置など、医療装置のために一般的に使用されるものから選択されうる。より具体的な例として、バネ46、142、フレームまたはベゼル70およびカニューレ92は、ステンレス鋼などの金属またはその他任意の適切な材料から作成されうる。装置10のその他の構成要素は、高分子(例えば、プラスチック)材料から作成されうる。例えば、レセプタクル14の比較的柔軟な外側本体30およびのチャネル部材60は天然ゴム材料から作成されうる。さらなる例として、自己密閉隔壁108はシリコーンおよび/またはその他任意の適切な材料を含みうる。レザバーまたはカートリッジ16の本体96は、環状オレフィンポリマーなどであるがこれに限定されない硬い高分子材料から作られる場合があり、カートリッジはポリスチレンまたは別の適切な材料で密閉される場合がある。装置10を作成するさまざまな材料のすべては、生分解性である場合があり米国薬局方協会の要件を満たす。
上述のように、第一の実施形態のバネ46、142は、お互いと比べた時、異なるサイズおよび/または強度を持ちうる。バネ46は、装置10が上述のように使用者に留められている間、バネ46がマイクロニードル組立品24を1N〜10Nの範囲、またはより一般的には約1N〜約10Nの範囲、またはその間のその他任意の部分範囲の力で使用者の皮膚に押し付けるように構成されうる。バネ142によって提供される力は、例えば、マイクロニードル組立品24のサイズ、マイクロニードル組立品24の上面78に位置付けられうる流量制御膜および/またはその他の適切な膜、および望ましい流量に依存しうる。バネ142によって提供される力は、1.1N〜1.3N、約1.1N〜約1.3N、2N〜2.2N、約2N〜約2.2N、2.4N〜2.6N、約2.4N〜約2.6N、2.7N〜2.9N、約2.7N〜約2.9Nの範囲、またはその間のその他任意の部分範囲でありうる。
より一般的に上記を反復すると、バネ46、142のそれぞれは、力供給体とより一般的に呼ばれる場合がある、および/または一つ以上の適切な力供給体で置換または補足される場合がある。このような代替的実施形態では、適切な力供給体には、圧縮フォーム、膨潤性ポリマー、空気圧アクチュエータ、油圧アクチュエータ、電気ソレノイドアクチュエータ、圧電アクチュエータ、電気化学的アクチュエータ、回転機械的アクチュエータ、および/または同種のものを含みうるがこれらに限定されない。
図21〜23を参照すると、記載された変形および当業者には明らかとなる変形を除いて、本開示の第二の実施形態は第一の実施形態と同様である。例えば、第二の実施形態は、第一の実施形態の第二のバージョンまたはその他の変更等と呼ばれる場合がある。従って、上記で使用された参照番号は、図21〜23に示される実施形態等の以下の検討でも使用される。
図21および22は、第二の実施形態等による、内側または下部支持構造52(例えば、図5および6を参照)の分離図である。下部支持構造52は、中心に位置する下向きに延長する先細の裏打ち構造72を持つベースプレート200を持つ単一本体の形態でありうる。図22に示されるように、裏打ち構造72は、ベースプレート200の残りの部分からオフセットされた中心仕切り202を含む場合がある。仕切り202の下面はプレナムチャンバー90(図6、23および24)の側部を画定し、カニューレ92(図5、23および24)を少なくとも部分的に受けるための供給経路91は仕切り202を通って延長する。図22を参照すると、仕切り202の各縁、または同種のものは、内側ライザー206と外側ライザー208との間に位置付けられた少なくとも一つのステップまたはショルダー204によって、ベースプレート200の残りの部分からオフセットされうる。
図22に示されるように、環状周辺フランジ209はベースプレート200の周辺から下向きに延長する場合があり、その結果、周辺フランジは支持構造52の裏打ち構造72ならびに環状内側チャネル84および外側チャネル86のそれぞれを少なくとも部分的に囲んで延長する。環状内側チャネル84は、ショルダー204と内側ライザー206との間に少なくとも部分的に画定されうる。環状外側チャネル86は、外側ライザー208とフランジ209との間に少なくとも部分的に画定されうる。
図21を参照して最もよく理解されるように、下部支持構造52は、ベースプレート200の切断されて面取りされたまたは丸められた隅およびフランジ209の関連部分を備える、一つ以上の拘束ローブ66を含みうる。さらに、下部支持構造52は、バネ46(図5および23)のための、環状で上を向いた下部シート54を含みうる。また、円筒形ガイドスリーブ212、およびシーリングガスケット94(図5および24)のためのレセプタクル214は、裏打ち構造72の中心仕切り202から上向きに延長しうる。
図23および24も参照すると、ガスケット88は内側および外側チャネル84、86の一つまたは両方で係合する場合があり、その結果、ガスケット88がマイクロニードル組立品24の上面78を形成するかまたはそこに位置付けられる流量制御膜および/またはその他の適切な膜のマージンとしっかりと係合する。ガスケット88と関連するこれらのしっかりとした係合は、フレーム70が裏打ち構造72に固定して取り付けられていること、またはより具体的にはフレーム70がマイクロニードル組立品24の周辺チャネル82と裏打ち構造72の外側チャネル86との間に固定して取り付けられていることから少なくとも部分的に生じる場合がある。フレーム70は、周辺チャネル82と外側チャネル86との間に任意の適切な方法で取り付けられうる。例えば、環状フレーム部材216の形態でありうる少なくとも一つの取り付け部材が、外側チャネル86に位置付けられ、接着材料、超音波溶接、機械的ファスナーなどによって、および/またはその他任意の適切な方法でベースプレート200の下面に固定して取り付けられる場合があり、フレーム70の外側マージン部分は、フレーム部材216の内側マージン部分とベースプレート200の下面との間にしっかりと固定される。
図21および23を参照して最もよく理解されるように、上部および下部支持構造50、52は、一つ以上のスナップフィット接続によってお互いに固定して接続される場合があり、各スナップフィット接続は、それぞれが下部支持構造の穴またはスロット210を通って延長しそれらと固定して関連する、上部支持構造の一つ以上の柔軟で弾力のあるタブまたはラッチ218(図23)を備えうる。より具体的には、レセプタクル14の組み立てと関連しうる上部支持構造50と下部支持構造52との間の相対的動きの間、上部サポート50のラッチ218の自由端は下部支持構造52の穴210を通過する場合があり、上部支持構造のラッチコネクタ部分218の放射状に内向きに偏った性質は、上部サポートのラッチコネクタ部分218の先端に近接する突起を、下部支持構造52の穴210を随意に少なくとも部分的に画定するまたは穴に近接する下部支持構造52の少なくとも一つの縁またはショルダーと係合させて、上部支持構造50および下部支持構造52をお互いに実質的に固定して接続する機械的接続を形成する。
同様に、図23を参照すると、カートリッジおよびコントローラ部分組立品16、18は、一つ以上のスナップフィット接続によってお互いに固定して接続される場合があり、各スナップフィット接続は、それぞれがカートリッジ部分組立品16の幅広い閉鎖部102の穴またはスロット210を通って延長しそれらと固定して関連する、コントローラ部分組立品18の一つ以上の柔軟で弾力のあるタブまたはラッチ218を備えうる。より具体的には、装置10の組み立てと関連しうるカートリッジ部分組立品16とコントローラ部分組立品18との間の相対的動きの間、コントローラ部分組立品18のラッチ218の自由端はカートリッジ部分組立品16の穴210を通過し、コントローラ部分組立品のラッチコネクタ部分218の放射状に内向きに偏った性質は、コントローラ部分組立品のラッチコネクタ部分218の先端に近接する突起を、カートリッジ部分組立品16の穴210を随意に部分的に画定するかまたは穴に近接するカートリッジ部分組立品16の少なくとも一つの縁またはショルダーと係合させて、カートリッジ部分組立品16およびコントローラ部分組立品18をお互いに実質的に固定して接続する機械的接続を形成する。少なくとも部分的に前述を反復すると、コントローラ部分組立品18は、コントローラ部分組立品をカートリッジ部分組立品16に接続するために、コントローラ部分組立品のフレームまたはハウジング26に対して外向きに延長する少なくとも一つの柔軟で弾力のあるラッチ218を含む場合がある。
本開示全体を通して、ラッチ56、218およびそれぞれラッチの自由端に近接する突起と係合するための縁またはショルダーの位置はお互いに交換することができ、および/またはスナップフィット接続は一つ以上のその他の適切な接続を補足または置換しうる。例えば、前述を少なくとも部分的に反復すると、コントローラ部分組立品18は、コントローラ部分組立品をカートリッジ部分組立品16および/またはレセプタクル部分組立品14に接続するためにコントローラ部分組立品のフレームまたはハウジング26に対して外向きに延長する少なくとも一つの柔軟で弾力のあるラッチ218を含む場合がある、および/または、図面には示されていないが、カートリッジ部分組立品16は、カートリッジ部分組立品をコントローラ部分組立品および/またはレセプタクル部分組立品14、または同種のものに接続するために、カートリッジ部分組立品のフレーム、ハウジング、または同種のものに対して外向きに延長する少なくとも一つの柔軟で弾力のあるラッチ218を含む場合がある。
図面に少なくとも部分的に示されるように、ラッチ56、218およびそれぞれがラッチの自由端に近接する突起と係合するための縁またはショルダーは、それぞれ装置10の軸に沿って間隔を置いた連続配置で実質的に同軸性に配置されうる。つまり、スナップフィットコネクタ部分(例えば、ラッチ56、218および対応するコネクタ部分132、134、210)は、それぞれ装置10の軸に沿って間隔を置いた連続配置で実質的に同軸性に配置されうる。
図23を参照すると、狭い空洞100から外向きに延長し、幅広い空洞98(図10および16)に開く細長いチャネル222が、幅広い空洞98を画定するカートリッジの本体96の表面に含まれる場合がある。プランジャー140が変形可能な膜116を屈曲させて、幅広い空洞98を画定するカートリッジの本体96の表面の実質的に全体と接触するように、装置10が上述のように作動する時、チャネル222は、幅広い空洞98の薬物製剤の実質的にすべてが狭い空洞100内に流れることを確実にするようなやり方で作動しうる。
図21〜23を参照して最もよく理解されるように、拘束ローブ66はマイクロニードル組立品24の周りに延長するひと続きとして配列される。図23を参照すると、装置10が上述のように使用される時もまた、拘束ローブ66、または同種のものは、外側バネ46の所定の圧縮に応答して、外側本体30の側壁34の内面と一時的に係合する場合がある。この係合は、マイクロニードル組立品24がレセプタクル部分組立品14の内部のあまりにも奥まで押し込まれるのを制限するためでありうる。より具体的には、この係合は、マイクロニードルが使用者の皮膚内に十分に挿入されるのを妨げうる形でマイクロニードル74がレセプタクル14の中に埋め込まれるのを防ぐようなやり方で、複合ハウジング30、32と上部支持構造50との間の一方向のさらなる相対的動きを一時的に制限するためでありうる。つまり、(例えば、仮に)使用中に外側バネ46が十分に圧縮された時、マイクロニードル74がレセプタクル14のハウジングから十分外向きに位置付けられたままとなるように、複合ハウジング30、32と上部支持構造50との間の一方向のさらなる相対的動きを制限するために、拘束ローブ66は外側本体30の側壁34の内面と一時的に係合し、結果としてマイクロニードルは使用者の皮膚内に延長するのに十分露出したままとなる。
本開示の一態様によると、少なくとも一つの拘束部材は拘束フランジまたはローブ66を備える場合があり、少なくとも一つの拘束部材は、マイクロニードル組立品24と装置のハウジング(レセプタクル14のハウジング30、32など)との間に位置付けられうる。少なくとも一つの拘束部材、拘束フランジまたはローブ66は、マイクロニードル74、またはマイクロニードルの少なくとも先端のレセプタクルのハウジング内部への任意の動きを制限するように構成されうる。より具体的には、少なくとも一つの拘束部材、拘束フランジまたはローブ66は、マイクロニードル74、またはマイクロニードルの少なくとも先端のレセプタクルのハウジング内部への任意の動きを制限するために、レセプタクル14のハウジング30、32の内面と係合するようにマイクロニードル組立品24に接続されそこから外向きに延長しうる。
図23および23を参照すると、また装置10が上述のように使用される時、カートリッジ部分組立品16の下部または狭い閉鎖部104または同種のものはガイドスリーブ212内に動く場合があり、カートリッジ部分組立品16とガイドスリーブ212との間の滑ってガイドする相対的動きは、カートリッジ部分組立品へのカニューレ92の実質的に同軸性の挿入を確実にしようとする。
上述の例は本発明の範囲を制限することを決して意図しない。本開示は例示的実施形態を参照して上記で検討されてきたが、本発明の精神および範囲から逸脱することなく、さまざまな追加、修正および変更をそれに対して行うことができることを当業者であれば理解するはずであり、その一部の態様が以下の請求項に記述される。

Claims (20)

  1. 使用者の皮膚と係合し流体を供給するための経皮的薬物送達装置の一部分として使用されるレセプタクルであって、前記レセプタクルが、
    前記使用者に留めるためのハウジングと、
    弾力性のある第一の力供給体と、
    少なくとも一つの変形可能な構成要素と、
    前記ハウジングに対して内向きおよび外向きに動くように、前記ハウジングに移動可能なように取り付けられたマイクロニードル組立品と、を含み
    前記マイクロニードル組立品は、
    前記力供給体と、
    前記少なくとも一つの変形可能な構成要素とから構成され、
    前記マイクロニードル組立品を前記ハウジングに対して外向きに前記使用者の前記皮膚に押し付けるために、前記力供給体は、前記ハウジングと前記マイクロニードル組立品との間に位置付けられ、
    前記少なくとも一つの変形可能な構成要素が、前記マイクロニードル組立品と前記ハウジングとの間に接続されており、その目的が、
    前記マイクロニードル組立品と前記ハウジングとの間の相対的動きを許容し、かつ
    前記マイクロニードル組立品が前記ハウジングから外れ落ちることを少なくとも部分的に制限することである、レセプタクル。
  2. 前記ハウジングの内部への前記マイクロニードル組立品のマイクロニードルの少なくとも先端の任意の動きを制限するために、前記ハウジングと前記マイクロニードル組立品との間に位置付けられた少なくとも一つの拘束部材であって、前記ハウジングの内面と係合するように前記マイクロニードル組立品に接続されそれに対して外向きに延長する、該少なくとも一つの拘束部材をさらに含む、請求項1に記載のレセプタクル。
  3. 前記少なくとも一つの拘束部材が複数のローブを備え、前記ローブが前記マイクロニードル組立品の周りに連続的に配置されている、請求項2に記載のレセプタクル。
  4. 前記少なくとも一つの変形可能な構成要素が、前記マイクロニードル組立品と前記ハウジングとの間に接続された膜を備える、請求項1に記載のレセプタクル。
  5. 請求項1に記載のレセプタクルであって、
    流体を前記マイクロニードル組立品のニードルに供給するために、前記マイクロニー
    ドル組立品の後側と裏打ち構造との間に少なくとも部分的に画定されたチャンバーと、
    前記裏打ち構造に取り付けられ、前記チャンバーと流体連通しているカニューレとをさらに備える、レセプタクル。
  6. 請求項1に記載のレセプタクルであって、前記レセプタクルが、
    サポートであって、前記マイクロニードル組立品が、前記マイクロニードル組立品と前記ハウジングとの間の相対的動きを許容するように、前記ハウジングに取り付けられており、
    前記マイクロニードル組立品が、前記サポートによって前記ハウジングに取り付けられており、および
    前記サポートが、前記ハウジングに対して動くように前記ハウジングに取り付けられており、これが前記サポートと前記ハウジングとの間に接続されている前記少なくとも一つの変形可能な構成要素を含む、サポートと、
    前記マイクロニードル組立品のニードルに流体を供給するために、前記マイクロニードル組立品と前記サポートの少なくとも一部分との間に位置付けられたチャンバーと、
    前記サポートに取り付けられ、前記チャンバーと流体連通しているカニューレとをさらに備える、レセプタクル。
  7. サポート組立品をさらに備える、請求項1に記載のレセプタクルであって、
    前記マイクロニードル組立品が、前記サポート組立品を動かすために前記サポート組立品に実質的に固定するように接続されており、これが
    前記サポート組立品の裏打ち構造に取り付けられている前記サポート組立品のフレームの外周縁を含み、および
    前記マイクロニードル組立品が、前記フレームと前記裏打ち構造との間に保持されており、
    前記ハウジングに移動可能なように取り付けられている前記マイクロニードル組立品が、少なくとも前記力供給体および前記少なくとも一つの変形可能な構成要素によって前記ハウジングに移動可能なように接続されている前記サポート組立品を含む、レセプタクル。
  8. 請求項1に記載のレセプタクルであって、
    前記ハウジングが、
    少なくとも内部空間の周りに延長する外側本体と、
    前記外側本体に取り付けられ、前記外側本体が少なくとも部分的に延長する前記内部空間内に少なくとも部分的に位置付けられた内側本体とを備え、前記内側本体が少なくとも部分的に別の内部空間の周りに延長し、
    前記レセプタクルが、前記内側本体が少なくとも部分的に延長する前記内部空間内に少なくとも部分的に位置付けられたサポート組立品をさらに備え、前記サポート組立品と共に動くように前記マイクロニードル組立品が前記サポート組立品に取り付けられており、
    前記ハウジングに対して動くように前記サポートが前記ハウジングに取り付けられている前記マイクロニードル組立品が、前記ハウジングに対して動くように前記ハウジングに取り付けられている前記サポート組立品を含み、これが前記サポート組立品と前記ハウジングとの間に接続されている前記少なくとも一つの変形可能な構成要素を含む、レセプタクル。
  9. 請求項8に記載のレセプタクルであって、
    前記サポート組立品が、フレームおよび裏打ち構造を含む支持構造を備え、
    前記マイクロニードル組立品が、前記フレームおよび前記裏打ち構造と共に動くように、前記フレームと前記裏打ち構造との間に位置付けられているレセプタクル。
  10. 経皮的薬物送達装置の一部分として使用されるレセプタクルであって、前記レセプタクルが、
    ハウジングと、
    前記ハウジング内に移動可能なように位置付けられた支持構造であって、前記支持構造が第一の端部および第二の端部をなす両端および前記装置の別の部分に接続するために内向きに配向されたコネクタ部分を備え、前記コネクタ部分が前記支持構造の前記第一の端部に近接するものと、
    前記ハウジングに対して前記支持構造と共に動くように、前記支持構造に取り付けられたマイクロニードル組立品であって、前記マイクロニードル組立品が前記支持構造の前記第二の端部に近接するものと、
    前記ハウジングと前記支持構造との間の相対的動きを制限するために、前記支持構造と前記ハウジングとの間に接続された膜とを備えるレセプタクル。
  11. 請求項10に記載のレセプタクルであって、
    前記支持構造が側壁を持つスリーブを備え、
    前記コネクタ部分が、前記スリーブの前記側壁から放射状に内向きに延長する、間隔を置いた柔軟な一式のタブを備えるスナップフィットコネクタ部分である、レセプタクル。
  12. バネをさらに備え、前記スリーブを前記ハウジングに対して外向きに押すために、前記バネが前記ハウジングと前記スリーブとの間に位置付けられる、請求項11に記載のレセプタクル。
  13. 前記ハウジングと前記スリーブとの間の相対的動きを制限するために、前記スリーブと前記ハウジングとの間に前記膜が接続されている、請求項12に記載のレセプタクル。
  14. 前記ハウジングの内部への前記マイクロニードル組立品のマイクロニードルの少なくとも先端の任意の動きを制限するために、前記ハウジングと前記マイクロニードル組立品との間に位置付けられた少なくとも一つの拘束部材であって、前記ハウジングの内面と係合するように前記マイクロニードル組立品に接続されそれに対して外向きに延長する、該少なくとも一つの拘束部材をさらに含む、請求項10に記載のレセプタクル。
  15. 前記少なくとも一つの拘束部材が複数のローブを備え、前記ローブが前記マイクロニードル組立品の周りに連続的に配置されている、請求項14に記載のレセプタクル。
  16. 経皮的薬物送達装置の一部分として使用されるレセプタクルであって、前記レセプタクルが、
    ハウジングと、
    前記ハウジングに移動可能なように取り付けられたサポート組立品であって、前記サポート組立品が、少なくとも一つのスナップフィットコネクタによってお互いに実質的に固定して接続された第一の部分および第二の部分を備えるものと、
    前記ハウジングに対して前記サポート組立品と共に動くように、前記サポート組立品の前記第二の部分に取り付けられたマイクロニードル組立品と、
    前記ハウジングと前記サポート組立品との間の相対的動きを制限するために、前記サポート組立品と前記ハウジングとの間に接続された膜とを備えるレセプタクル。
  17. 前記サポート組立品、従って前記マイクロニードル組立品を前記ハウジングに対して外向きに押すための力供給体をさらに備える、請求項16に記載のレセプタクル。
  18. 経皮的薬物送達装置の一部分として使用されるレセプタクルを少なくとも部分的に組み立てる方法であって、前記方法が、
    ハウジングと支持構造との間の力供給体を圧縮する工程と、
    前記ハウジングと前記支持構造との間の少なくとも一つの変形可能な構成要素を接続する工程であって、その目的が、
    前記力供給体の拡張を制限すると同時に、
    前記ハウジングと前記支持構造との間の相対的動きを許容するためであり、
    前記ハウジングに対して前記支持構造と共に動くように、マイクロニードル組立品が前記支持構造に取り付けられる工程を含む方法。
  19. 請求項18に記載の方法であって、前記圧縮が、前記力供給が前記ハウジングと前記支持構造との間に位置付けられている間に前記ハウジングと前記支持構造との間に第一の相対的動きを起こす工程を含み、前記方法が、
    前記ハウジングと前記支持構造の少なくとも一つを解除する工程と、
    前記力供給体が、前記解除に応答して前記ハウジングと前記支持構造との間の第二の相対的動きを起こす工程と、
    前記少なくとも一つの変形可能な構成要素が、前記ハウジングと前記支持構造との間の前記第二の相対的動きを停止する工程とをさらに含む方法。
  20. 請求項18に記載の方法であって、前記マイクロニードル組立品を前記支持構造に取り付ける工程をさらに含み、
    前記支持構造が裏地を備え、
    前記支持構造への前記マイクロニードル組立品の前記取付けが、
    前記マイクロニードル組立品を前記裏打ち構造とフレームとの間に位置付ける工程と、
    前記マイクロニードル組立品が前記フレームと前記裏打ち構造との間に保持されるように、前記フレームの外周縁を前記裏打ち構造に取り付ける工程とを含む方法。
JP2016563064A 2014-04-30 2015-04-29 経皮的薬物送達装置のレセプタクル部分および方法 Expired - Fee Related JP6561069B2 (ja)

Applications Claiming Priority (3)

Application Number Priority Date Filing Date Title
US201461996158P 2014-04-30 2014-04-30
US61/996,158 2014-04-30
PCT/US2015/028158 WO2015168215A1 (en) 2014-04-30 2015-04-29 Receptacle portion of transdermal drug delivery apparatus and methods

Publications (3)

Publication Number Publication Date
JP2017514576A JP2017514576A (ja) 2017-06-08
JP2017514576A5 JP2017514576A5 (ja) 2018-03-15
JP6561069B2 true JP6561069B2 (ja) 2019-08-14

Family

ID=54359269

Family Applications (1)

Application Number Title Priority Date Filing Date
JP2016563064A Expired - Fee Related JP6561069B2 (ja) 2014-04-30 2015-04-29 経皮的薬物送達装置のレセプタクル部分および方法

Country Status (11)

Country Link
US (1) US11040183B2 (ja)
EP (1) EP3137150B1 (ja)
JP (1) JP6561069B2 (ja)
KR (2) KR102365067B1 (ja)
CN (1) CN106232172B (ja)
AU (1) AU2015253258B9 (ja)
BR (1) BR112016023597A2 (ja)
CA (2) CA2945003C (ja)
MX (1) MX376608B (ja)
RU (1) RU2667305C2 (ja)
WO (1) WO2015168215A1 (ja)

Families Citing this family (21)

* Cited by examiner, † Cited by third party
Publication number Priority date Publication date Assignee Title
KR101711350B1 (ko) * 2016-07-25 2017-03-02 김미영 피부용 수동식 인젝터기
KR102006937B1 (ko) * 2017-09-29 2019-08-02 이승준 주사장치
EP3574941A1 (en) * 2018-05-28 2019-12-04 Sensile Medical AG Drug delivery device with needle actuation mechanism
DE102019200563A1 (de) * 2019-01-17 2020-07-23 Lts Lohmann Therapie-Systeme Ag Applikator
IL293479A (en) 2019-12-05 2022-08-01 Sorrento Therapeutics Inc Method of treating cancer by administration of an anti-pd-1 or anti-pd-l1 therapeutic agent via a lymphatic delivery device
CA3205976A1 (en) 2021-01-22 2022-07-28 Russell F. Ross Device for microliter-scale lymphatic delivery of coronavirus vaccines
US12161832B2 (en) 2021-03-01 2024-12-10 Deka Products Limited Partnership Medical agent dispensing systems, methods, and apparatuses
US12377219B2 (en) 2021-03-01 2025-08-05 Deka Products Limited Partnership Medical agent dispensing apparatuses, systems, and methods
US12357804B2 (en) 2021-03-01 2025-07-15 Deka Products Limited Partnership Medical agent dispensing systems, methods, and apparatuses
WO2022192594A2 (en) 2021-03-11 2022-09-15 Sorrento Therapeutics, Inc. Nucleic acid molecules and vaccines comprising same for the prevention and treatment of coronavirus infections and disease
US12053284B2 (en) 2021-11-08 2024-08-06 Satio, Inc. Dermal patch for collecting a physiological sample
US11877848B2 (en) 2021-11-08 2024-01-23 Satio, Inc. Dermal patch for collecting a physiological sample
US12048543B2 (en) 2021-11-08 2024-07-30 Satio, Inc. Dermal patch for collecting a physiological sample with removable vial
US11964121B2 (en) 2021-10-13 2024-04-23 Satio, Inc. Mono dose dermal patch for pharmaceutical delivery
US12214346B2 (en) 2021-10-13 2025-02-04 Satio, Inc. Dermal patch with a diagnostic test strip
US12178979B2 (en) 2021-10-13 2024-12-31 Satio, Inc. Dermal patch for delivering a pharmaceutical
US11452474B1 (en) 2021-04-14 2022-09-27 Satio, Inc. Dual lever dermal patch system
US12023156B2 (en) 2021-10-13 2024-07-02 Satio, Inc. Dermal patch for collecting a physiological sample
EP4352100A1 (en) 2021-06-09 2024-04-17 Sorrento Therapeutics, Inc. Method of treating cancer by administration of an anti-pd-1 or anti-pd-l1 therapeutic agent via a lymphatic microneedle delivery device
CA3228858A1 (en) 2021-08-18 2023-02-23 Russell F. Ross Therapeutic agents targeting the lymphatic system
WO2025129128A1 (en) 2023-12-15 2025-06-19 Vivasor, Inc. Compositions and methods for non-viral delivery of therapeutic compounds

Family Cites Families (27)

* Cited by examiner, † Cited by third party
Publication number Priority date Publication date Assignee Title
US5279544A (en) 1990-12-13 1994-01-18 Sil Medics Ltd. Transdermal or interdermal drug delivery devices
US6623457B1 (en) 1999-09-22 2003-09-23 Becton, Dickinson And Company Method and apparatus for the transdermal administration of a substance
US6656147B1 (en) * 2000-07-17 2003-12-02 Becton, Dickinson And Company Method and delivery device for the transdermal administration of a substance
AU2001296817B2 (en) * 2000-10-13 2006-05-11 Alza Corporation Microprotrusion member retainer for impact applicator
US6830562B2 (en) 2001-09-27 2004-12-14 Unomedical A/S Injector device for placing a subcutaneous infusion set
US6780171B2 (en) 2002-04-02 2004-08-24 Becton, Dickinson And Company Intradermal delivery device
WO2005079441A2 (en) 2004-02-17 2005-09-01 Children's Hospital Medical Center Injection device for administering a vaccine
WO2006015299A2 (en) 2004-07-30 2006-02-09 Microchips, Inc. Multi-reservoir device for transdermal drug delivery and sensing
US20070250018A1 (en) 2004-08-12 2007-10-25 Hirotoshi Adachi Transdermal Drug Administration System with Microneedles
US20080009800A1 (en) 2004-12-02 2008-01-10 Nickel Janice H Transdermal drug delivery device
US8419708B2 (en) 2006-02-10 2013-04-16 Hisamitsu Pharmaceuticals Co., Inc. Transdermal drug administration apparatus having microneedles
US9370621B2 (en) 2008-12-16 2016-06-21 Medtronic Minimed, Inc. Needle insertion systems and methods
EP2424611A4 (en) 2009-05-01 2012-10-24 Nanbu Plastics Co Ltd DEVICE FOR TRANSDERMAL ADMINISTRATIONS
EP2459267B1 (en) * 2009-07-31 2017-12-20 3M Innovative Properties Company Hollow microneedle arrays
WO2011075100A1 (en) * 2009-12-16 2011-06-23 Becton, Dickinson And Company Self-injection device
US8328757B2 (en) * 2010-01-08 2012-12-11 Wisconsin Alumni Research Foundation Bladder arrangement for microneedle-based drug delivery device
US20110172609A1 (en) 2010-01-08 2011-07-14 Ratio, Inc. Microneedle component assembly for drug delivery device
US20110172637A1 (en) * 2010-01-08 2011-07-14 Ratio, Inc. Drug delivery device including tissue support structure
US9173994B2 (en) 2010-08-20 2015-11-03 Purdue Research Foundation Touch-actuated micropump for transdermal drug delivery and method of use
US8814831B2 (en) 2010-11-30 2014-08-26 Becton, Dickinson And Company Ballistic microneedle infusion device
AU2011349277A1 (en) * 2010-12-22 2013-06-27 Valeritas, Inc. Microneedle patch applicator
US20130158468A1 (en) * 2011-12-19 2013-06-20 Seventh Sense Biosystems, Inc. Delivering and/or receiving material with respect to a subject surface
CN102327656B (zh) * 2011-10-18 2013-05-08 清华大学 一次性阵列式微型注射针头
US20130211289A1 (en) * 2012-01-25 2013-08-15 Tasso, Inc. Handheld Device for Drawing, Collecting, and Analyzing Bodily Fluid
WO2014004462A1 (en) 2012-06-25 2014-01-03 Flugen, Inc. Multiple drug delivery device
CN104736192B (zh) 2012-10-10 2018-02-13 3M创新有限公司 用于将微针装置施用至皮肤的施用装置和方法
CA2944997C (en) * 2014-04-30 2023-04-04 Kimberly-Clark Worldwide, Inc. Transdermal drug delivery apparatus and methods

Also Published As

Publication number Publication date
US20170043148A1 (en) 2017-02-16
CA3160375A1 (en) 2015-11-05
EP3137150A4 (en) 2017-12-13
KR20160146841A (ko) 2016-12-21
RU2016143584A (ru) 2018-05-08
JP2017514576A (ja) 2017-06-08
CA2945003A1 (en) 2015-11-05
RU2667305C2 (ru) 2018-09-18
WO2015168215A1 (en) 2015-11-05
MX2016013612A (es) 2017-02-02
CA2945003C (en) 2022-08-09
BR112016023597A2 (pt) 2017-08-15
CN106232172A (zh) 2016-12-14
AU2015253258B2 (en) 2019-08-29
MX376608B (es) 2025-03-04
AU2015253258B9 (en) 2019-09-05
CN106232172B (zh) 2020-05-22
AU2015253258A1 (en) 2016-11-17
RU2016143584A3 (ja) 2018-05-08
KR102365067B1 (ko) 2022-02-21
EP3137150A1 (en) 2017-03-08
EP3137150B1 (en) 2019-09-04
KR20220026606A (ko) 2022-03-04
CA3160375C (en) 2024-04-30
US11040183B2 (en) 2021-06-22

Similar Documents

Publication Publication Date Title
JP6566964B2 (ja) 経皮的薬物送達装置および方法
JP6250191B2 (ja) 経皮的薬物送達装置のカートリッジ部分および方法
JP6298541B2 (ja) 経皮的薬物送達装置のコントローラ部分および方法
JP6561069B2 (ja) 経皮的薬物送達装置のレセプタクル部分および方法
HK40056942A (en) Transdermal drug delivery apparatus

Legal Events

Date Code Title Description
A529 Written submission of copy of amendment under article 34 pct

Free format text: JAPANESE INTERMEDIATE CODE: A529

Effective date: 20161017

RD02 Notification of acceptance of power of attorney

Free format text: JAPANESE INTERMEDIATE CODE: A7422

Effective date: 20161019

RD04 Notification of resignation of power of attorney

Free format text: JAPANESE INTERMEDIATE CODE: A7424

Effective date: 20170125

A521 Request for written amendment filed

Free format text: JAPANESE INTERMEDIATE CODE: A523

Effective date: 20180201

A621 Written request for application examination

Free format text: JAPANESE INTERMEDIATE CODE: A621

Effective date: 20180329

A711 Notification of change in applicant

Free format text: JAPANESE INTERMEDIATE CODE: A711

Effective date: 20181128

A977 Report on retrieval

Free format text: JAPANESE INTERMEDIATE CODE: A971007

Effective date: 20190110

A521 Request for written amendment filed

Free format text: JAPANESE INTERMEDIATE CODE: A523

Effective date: 20190123

A131 Notification of reasons for refusal

Free format text: JAPANESE INTERMEDIATE CODE: A131

Effective date: 20190205

A601 Written request for extension of time

Free format text: JAPANESE INTERMEDIATE CODE: A601

Effective date: 20190426

A521 Request for written amendment filed

Free format text: JAPANESE INTERMEDIATE CODE: A523

Effective date: 20190507

A131 Notification of reasons for refusal

Free format text: JAPANESE INTERMEDIATE CODE: A131

Effective date: 20190528

A521 Request for written amendment filed

Free format text: JAPANESE INTERMEDIATE CODE: A523

Effective date: 20190531

TRDD Decision of grant or rejection written
A01 Written decision to grant a patent or to grant a registration (utility model)

Free format text: JAPANESE INTERMEDIATE CODE: A01

Effective date: 20190625

A61 First payment of annual fees (during grant procedure)

Free format text: JAPANESE INTERMEDIATE CODE: A61

Effective date: 20190722

R150 Certificate of patent or registration of utility model

Ref document number: 6561069

Country of ref document: JP

Free format text: JAPANESE INTERMEDIATE CODE: R150

R250 Receipt of annual fees

Free format text: JAPANESE INTERMEDIATE CODE: R250

R250 Receipt of annual fees

Free format text: JAPANESE INTERMEDIATE CODE: R250

LAPS Cancellation because of no payment of annual fees