JP6552017B2 - 遊技機 - Google Patents

遊技機 Download PDF

Info

Publication number
JP6552017B2
JP6552017B2 JP2018118219A JP2018118219A JP6552017B2 JP 6552017 B2 JP6552017 B2 JP 6552017B2 JP 2018118219 A JP2018118219 A JP 2018118219A JP 2018118219 A JP2018118219 A JP 2018118219A JP 6552017 B2 JP6552017 B2 JP 6552017B2
Authority
JP
Japan
Prior art keywords
unit
frame
view
ball
main body
Prior art date
Legal status (The legal status is an assumption and is not a legal conclusion. Google has not performed a legal analysis and makes no representation as to the accuracy of the status listed.)
Active
Application number
JP2018118219A
Other languages
English (en)
Other versions
JP2018161516A (ja
Inventor
市原 高明
高明 市原
亜弥 附柴
亜弥 附柴
有希 杉本
有希 杉本
Current Assignee (The listed assignees may be inaccurate. Google has not performed a legal analysis and makes no representation or warranty as to the accuracy of the list.)
Daiichi Co Ltd
Original Assignee
Daiichi Shokai Co Ltd
Priority date (The priority date is an assumption and is not a legal conclusion. Google has not performed a legal analysis and makes no representation as to the accuracy of the date listed.)
Filing date
Publication date
Application filed by Daiichi Shokai Co Ltd filed Critical Daiichi Shokai Co Ltd
Priority to JP2018118219A priority Critical patent/JP6552017B2/ja
Publication of JP2018161516A publication Critical patent/JP2018161516A/ja
Application granted granted Critical
Publication of JP6552017B2 publication Critical patent/JP6552017B2/ja
Active legal-status Critical Current
Anticipated expiration legal-status Critical

Links

Images

Landscapes

  • Pinball Game Machines (AREA)

Description

本発明は、ぱちんこ遊技機(一般的に「パチンコ機」とも称する)や回胴式遊技機(一般的に「パチスロ機」とも称する)等の遊技機に関するものである。
パチンコ機等の遊技機は、遊技者の操作によって遊技球等の遊技媒体が打込まれる遊技領域を区画している遊技パネルと、遊技パネルに取付けられており遊技領域内に打込まれた遊技媒体の受入れに応じて所定数の遊技媒体が払出される複数の受入口(一般入賞口、可変入賞口、始動口、可変始動口、大入賞口、役物入賞口、等)と、を備えている。
この種の遊技機として、遊技領域内に遊技媒体が打込まれることで変化する遊技状態に応じて、遊技者側から視認不能な位置から視認可能な位置へ移動する演出装飾体を備えたものが提案されている(特許文献1)。遊技状態に応じて演出装飾体を視認可能な位置へ移動(出現)させることで、演出装飾体の出現により遊技者を驚かせることができると共に、チャンスの到来を予感させることができ、遊技者の興趣の低下を抑制させることができる。
しかしながら、特許文献1の遊技機は、遊技媒体がこぼれてしまうと、外枠と本体枠との間に遊技球が挟まれてしまう虞があった。
特開2013−17524号公報
そこで、本発明は上記の実情に鑑み、外枠と本体枠との間に遊技球が挟まれることを低減させることを目的とする。
手段1:遊技機において、
外枠と、前記外枠に対して開閉可能な本体枠とを備え、遊技媒体を用いて遊技が行われる遊技機であって、
前記外枠は、
下部に設けられて前記本体枠が外枠に対して閉じた状態で前記本体枠が載置される幕板を含む下部部材と、
前記外枠の左方側に設けられ、前記本体枠を開閉可能に支持するヒンジ部材と、
を少なくとも有し、
前記ヒンジ部材が設けられた側において後方に退避した位置には、前記幕板の後面側に遊技球を排出するための遊技球排出領域を設けるとともに、前記遊技球排出領域の後方を含んで横長に形成される立壁部を備え、
前記ヒンジ部材が設けられた側において後方に退避した位置の前記立壁部の上端は、前記幕板の前記本体枠が載置される部分のうち前記立壁部が後方に退避した位置に存在しない部分の上端より高くなるようにし、
前記立壁部は、前記本体枠が閉じたときの前記本体枠下端後面より少なくとも遊技球1個分隔てた後方に位置している」ものであることを特徴とする。
このように、本発明によれば、外枠と本体枠との間に遊技球が挟まれることを低減させることができる。
本発明の一実施形態であるパチンコ機の正面図である。 パチンコ機の右側面図である。 パチンコ機の平面図である。 パチンコ機の背面図である。 パチンコ機を前から見た斜視図である。 パチンコ機を後ろから見た斜視図である。 本体枠から扉枠を開放させると共に、外枠から本体枠を開放させた状態で前から見たパチンコ機の斜視図である。 パチンコ機を扉枠、遊技盤、本体枠、及び外枠に分解して前から見た分解斜視図である。 パチンコ機を扉枠、遊技盤、本体枠、及び外枠に分解して後ろから見た分解斜視図である。 パチンコ機における外枠の正面図である。 外枠の右側面図である。 外枠を前から見た斜視図である。 外枠を後ろから見た斜視図である。 外枠を分解して前から見た分解斜視図である。 (a)は外枠における外枠側上ヒンジ部材の部位を左枠部材を省略して下側から見た斜視図であり、(b)は(a)を分解して示す分解斜視図である。 (a)は外枠の外枠側上ヒンジ部材に対して本体枠の本体枠側上ヒンジ部材が取外されている状態を拡大して示す斜視図であり、(b)は外側上ヒンジ部材に本体側上ヒンジ部材が取付けられている状態を拡大して示す斜視図である。 外枠におけるロック部材の作用を示す説明図である。 (a)は図1におけるA−A断面図であり、(b)は(a)において外枠に対して扉枠と共に本体枠を開いた状態を示す断面図である。 (a)は外枠側下ヒンジ部材の部位に誘導羽根を備えて外枠に対して本体枠を開いた状態で示す説明図であり、(b)は(a)の実施形態において外枠に対して本体枠を閉じた状態で示す説明図であり、(c)は(a)及び(b)とは異なる実施形態の誘導羽根を備えて外枠に対して本体枠を開いた状態で示す説明図であり、(d)は(c)の実施形態において外枠に対して本体枠を閉じた状態で示す説明図である。 パチンコ機における扉枠の正面図である。 扉枠の背面図である。 扉枠を右前から見た斜視図である。 扉枠を左前から見た斜視図である。 扉枠を後ろから見た斜視図である。 扉枠を主な部材毎に分解して前から見た分解斜視図である。 扉枠を主な部材毎に分解して後ろから見た分解斜視図である。 扉枠の皿ユニットを前から見た斜視図である。 皿ユニットを後ろから見た斜視図である。 皿ユニットを主な部材毎に分解して前から見た分解斜視図である。 皿ユニットを主な部材毎に分解して後ろから見た分解斜視図である。 (a)は皿ユニットの演出操作ユニットを前から見た斜視図であり、(b)は演出操作ユニットを後ろから見た斜視図である。 演出操作ユニットを主な部材毎に分解して上から見た斜視図である。 演出操作ユニットを主な部材毎に分解して下から見た分解斜視図である。 演出操作ユニットの取付ベースユニットを分解して上から見た分解斜視図である。 取付ベースユニットを分解して下から見た分解斜視図である。 演出操作ユニットのタッチユニットを分解して上から見た分解斜視図である。 タッチユニットを分解して下から見た分解斜視図である。 演出操作ユニットのボタンユニットを分解して上から見た分解斜視図である。 ボタンユニットを分解して下から見た分解斜視図である。 皿ユニットの平面図である。 図40におけるB−B断面において演出操作ユニットの部位を拡大して示す断面図である。 図40におけるC−C断面において演出操作ユニットの部位を拡大して示す断面図である。 (a)は皿ユニットの扉右下演出ユニットの正面図であり、(b)は扉右下演出ユニットの右側面図である。 (a)は扉右下演出ユニットを前から見た斜視図であり、(b)は扉右下演出ユニットを後ろから見た斜視図である。 図43(b)の扉右下演出ユニットにおけるD−D断面図である。 扉右下演出ユニットを分解して前から見た分解斜視図である。 扉右下演出ユニットを分解して後ろから見た分解斜視図である。 扉右下演出ユニットの回転体内部ユニットを分解して前から見た分解斜視図である。 回転体内部ユニットを分解して後ろから見た分解斜視図である。 (a)は扉右下演出ユニットの扉右下回転体が前を向いた状態の正面図であり、(b)は扉右下回転体が後ろを向いた状態の正面図である。 (a)は皿ユニットの上皿球抜きユニットを皿ユニットベースに取付けた状態で前から見た斜視図であり、(b)は上皿球抜きユニットを皿ユニットベースに取付けた状態で後ろから見た斜視図である。 上皿球抜きユニットを分解して前から見た分解斜視図である。 上皿球抜きユニットを分解して後ろから見た分解斜視図である。 (a)は皿ユニットの下皿球抜きユニットを前から見た斜視図であり、(b)は下皿球抜きユニットを後ろから見た斜視図である。 (a)は扉枠のファールカバーユニットを前から見た斜視図であり、(b)はファールカバーユニットを後ろから見た斜視図である。 (a)はファールカバーユニットを蓋部材を外して前から見た分解斜視図であり、(b)はファールカバーユニットを蓋部材を外して後ろから見た分解斜視図である。 蓋部材を外した状態のファールカバーユニットの正面図である。 本体枠を前から見た斜視図である。 本体枠を後ろから見た斜視図である。 本体枠を主な部材毎に分解して前から見た分解斜視図である。 本体枠を主な部材毎に分解して後ろから見た分解斜視図である。 払出ユニットを前から見た斜視図である。 払出ユニットを後ろから見た斜視図である。 払出ユニットを主な構成毎に分解して前から見た分解斜視図である。 払出ユニットを主な構成毎に分解して後ろから見た分解斜視図である。 (a)は払出ユニットの球誘導ユニットを前から見た斜視図であり、(b)は球誘導ユニットを後ろから見た斜視図である。 球誘導ユニットの分解斜視図である。 (a)は払出ユニットの払出装置を前から見た斜視図であり、(b)は払出装置を後ろから見た斜視図である。 払出装置を分解して前から見た分解斜視図である。 払出装置を分解して後ろから見た分解斜視図である。 (a)は払出装置の正面図であり、(b)は(a)におけるE−E線で切断した断面図である。 (a)は払出装置において球抜き可動片により球抜き通路を閉鎖した状態を示す説明図であり、(b)は球抜き可動片により球抜き通路を開放した状態を示す説明図である。 払出装置における払出羽根の部位を拡大して示す説明図である。 (a)は払出ユニットにおける上部満タン球経路ユニットを前から見た斜視図であり、(b)は上部満タン球経路ユニットを後ろから見た斜視図である。 (a)は上部満タン球経路ユニットを分解して前から見た分解斜視図であり、(b)は上部満タン球経路ユニットを分解して後ろから見た分解斜視図である。 (a)は払出ユニットにおける下部満タン球経路ユニットを前から見た斜視図であり、(b)は下部満タン球経路ユニットを後ろから見た斜視図である。 下部満タン球経路ユニットを分解して前から見た分解斜視図である。 下部満タン球経路ユニットを分解して後ろから見た分解斜視図である。 (a)は下部満タン球経路ユニットにおいて誘導路開閉扉が閉じている状態を示す説明図であり、(b)は誘導路開閉扉が開いている状態を示す説明図である。 扉枠のファールカバーユニットと下部満タン球経路ユニットとの関係を示す説明図である。 図76乃至図80とは異なる形態の誘導路開閉扉を示す説明図である。 払出ユニットにおける遊技球の流れを示す説明図である。 遊技盤の正面図である。 遊技盤を右前から見た斜視図である。 遊技盤を左前から見た斜視図である。 遊技盤を後ろから見た斜視図である。 遊技盤を主な構成毎に分解して前から見た分解斜視図である。 遊技盤を主な構成毎に分解して後ろから見た分解斜視図である。 遊技盤における前構成部材と遊技パネルのみを示す前から見た斜視図である。 遊技盤における前構成部材と遊技パネルのみを示す後ろから見た斜視図である。 遊技盤の表ユニットを前から見た斜視図である。 遊技盤の表ユニットを後ろから見た斜視図である。 (a)は表ユニットの始動口ユニットを前上から見た斜視図であり、(b)は始動口ユニットを後ろ下から見た斜視図である。 (a)は表ユニットのサイドユニットを前から見た斜視図であり、(b)はサイドユニットを後ろから見た斜視図である。 (a)は表ユニットのアタッカユニットを前上から見た斜視図であり、(b)はアタッカユニットを後ろ上から見た斜視図であり、(c)はアタッカユニットを後ろ下から見た斜視図である。 表ユニットのセンター役物を前から見た斜視図である。 表ユニットのセンター役物を後ろから見た斜視図である。 裏ユニットを前から見た斜視図である。 裏ユニットを後ろから見た斜視図である。 裏ユニットを主な構成毎に分解して前から見た分解斜視図である。 裏ユニットを主な構成毎に分解して後ろから見た分解斜視図である。 (a)は裏ユニットにおける裏上可動演出ユニットを前から見た斜視図であり、(b)は裏上可動演出ユニットを後ろから見た斜視図である。 裏上可動演出ユニットを分解して前から見た分解斜視図である。 裏上可動演出ユニットを分解して後ろから見た分解斜視図である。 裏上可動演出ユニットの裏上装飾体ユニットを分解して前から見た分解斜視図である。 裏上可動演出ユニットの裏上装飾体ユニットを分解して後ろから見た分解斜視図である。 裏上可動装飾体ユニットにおける裏上副装飾体の動きを示す説明図である。 裏上可動演出ユニットの裏上装飾体ユニットが退避位置の時の内部機構の状態を示す正面図である。 裏上可動演出ユニットの裏上装飾体ユニットが第一出現位置の時の内部機構の状態を示す正面図である。 裏上可動演出ユニットの裏上装飾体ユニットが第二出現位置の時の内部機構の状態を示す正面図である。 (a)は裏上可動演出ユニットの内部機構の一部を示す正面図であり、(b)は内部機構における(a)とは異なる一部を前から見た斜視図であり、(c)は(b)を後ろから見た斜視図である。 裏上可動演出ユニットの内部機構の一部の動きを示す説明図である。 (a)は退避位置における内部機構を構成している主な部材の状態を示す説明図であり、(b)は(a)の状態から第一伝達部材が回転して第一被伝達部材への回転の伝達が開始された状態を示す説明図である。 (c)は図113(b)の状態から第一伝達部材と共に第一被伝達部材が更に回転して裏上装飾体ユニットが退避位置から第一出現位置へ向かって下降している状態を示す説明図であり、(d)は(c)の状態から第一伝達部材と共に第一被伝達部材が更に回転して第一被伝達部材への回転の伝達が終了し裏上装飾体ユニットが第一出現位置に到達した状態を示す説明図である。 (e)は図114(d)の状態から第一伝達部材と一緒に回転していた伝達機構の第二伝達部材が更に回転して第二被伝達部材への回転の伝達が開始された状態を示す説明図であり、(f)は(e)の状態から第二伝達部材と共に第二被伝達部材が回転して裏上装飾体ユニットが第一出現位置から第二出現位置へ向かって下降しながら回転している状態を示す説明図である。 (g)は図115の(f)の状態から第二伝達部材と共に第二被伝達部材が回転して裏上装飾体ユニットが第二出現位置へ向かって更に下降しながら回転している状態を示す説明図であり、(h)は(g)の状態から第二伝達部材と共に第二被伝達部材が更に回転して第二被伝達部材への回転の伝達が終了し裏上装飾体ユニットが第一出現位置の状態から下降しながら半回転して第二出現位置に到達した状態を示す説明図である。 (a)は裏ユニットの裏下前可動演出ユニットを前から見た斜視図であり、(b)は裏ユニットの裏下前可動演出ユニットを後ろから見た斜視図である。 (a)は裏下前可動演出ユニットの裏下前第一装飾体と裏下前第二装飾体とを通常の退避位置の状態で正面から示す説明図であり、(b)は裏下前可動演出ユニットの裏下前第一装飾体と裏下前第二装飾体とを出現位置の状態で正面から示す説明図である。 (a)は裏ユニットの裏右可動演出ユニットを前から見た斜視図であり、(b)は裏ユニットの裏右可動演出ユニットを後ろから見た斜視図である。 (a)は裏右回転装飾体の第一装飾面を正面へ向けた状態で示す裏右可動演出ユニットの正面図であり、(b)は(a)において裏右回転装飾体のシャッターを開いた状態で示す裏右可動演出ユニットの正面図であり、(c)は裏右回転装飾体の第二装飾面を正面へ向けた状態で示す裏右可動演出ユニットの正面図であり、(d)は裏右回転装飾体の第三装飾面を正面へ向けた状態で示す裏右可動演出ユニットの正面図である。 (a)は裏ユニットの裏左可動演出ユニットを前から見た斜視図であり、(b)は裏ユニットの裏左可動演出ユニットを後ろから見た斜視図である。 (a)は裏左回転装飾体の第一装飾面を正面へ向けた状態で示す裏左可動演出ユニットの正面図であり、(b)は裏左回転装飾体の第二装飾面を正面に向けた状態で示す裏左可動演出ユニットの正面図であり、(c)は裏左回転装飾体の第三装飾面を正面に向けた状態で示す裏左可動演出ユニットの正面図であり、(d)は(a)の状態で裏左回転装飾体の裏左突出装飾体を出現位置とした状態を示す裏左可動演出ユニットの正面図である。 図122(a)におけるF−F線で切断した断面図である。 (a)は裏ユニットの裏下後可動演出ユニットを前から見た斜視図であり、(b)は裏ユニットの裏下後可動演出ユニットを後ろから見た斜視図である。 裏下後可動演出ユニットの昇降ユニットを分解して前から見た分解斜視図である。 裏下後可動演出ユニットの昇降ユニットを分解して後ろから見た分解斜視図である。 裏下後回転装飾ユニットが下降端位置の時の昇降ユニットの状態を正面から示す説明図である。 裏下後回転装飾ユニットが上昇端位置の時の昇降ユニットの状態を正面から示す説明図である。 (a)は裏下後可動演出ユニットの正面図であり、(b)は裏下後可動演出ユニットの裏下後回転装飾体ユニットを前から見た斜視図であり、(c)は裏下後可動演出ユニットの裏下後回転装飾体ユニットを後ろから見た斜視図である。 裏下後回転装飾体ユニットを分解して前から見た分解斜視図である。 裏下後回転装飾体ユニットを分解して後ろから見た分解斜視図である。 図129(a)におけるG−G線で切断した断面図である。 (a)は裏下後回転装飾ユニットの裏下後回転装飾体が回転停止している状態を示す正面図であり、(b)は裏下後回転装飾体が正面視反時計回りの方向へ回転している状態を示す正面図であり、(c)は裏下後回転装飾体が開いて正面視時計回りの方向へ回転する直前の状態を示す正面図であり、(d)は裏下後回転装飾体が正面視時計回りの方向へ回転している状態を示す正面図である。 (a)は裏下後回転装飾体ユニットにおいて裏下後回転駆動モータに係る駆動機構の構成を示す説明図であり、(b)は裏下後回転装飾体ユニットにおいて回転ダンパに係る差動機構の構成を示す説明図であり、(c)は裏下後回転装飾体ユニットにおいて裏下後回転駆動モータに係る駆動機構と回転ダンパに係る差動機構とを連結している連結機構の構成を示す説明図である。 (a)は裏下後回転装飾体が閉じて回転停止している時の連結機構の状態を示す説明図であり、(b)は裏下後回転装飾体が反時計回りの方向へ回転している時の連結機構の状態を示す説明図である。 (a)は裏下後回転装飾体が閉じて回転停止している時の連結機構の状態を示す説明図であり、(b)は駆動機構の連結リングが時計回りの方向へ回転して裏下後回転装飾体が開きつつある時の連結機構の状態を示す説明図であり、(c)は駆動機構の連結リングが更に時計回りの方向へ回転して裏下後回転装飾体が完全に開いた時の連結機構の状態を示す説明図であり、(d)は開いた状態の裏下後回転装飾体が駆動機構の連結機構と共に時計回りの方向へ回転している時の連結機構の状態を示す説明図である。 裏ユニットの裏四隅可動演出ユニットを前から見た斜視図である。 裏ユニットの裏四隅可動演出ユニットを後ろから見た斜視図である。 裏四隅可動演出ユニットにおける裏四隅第一ユニットを分解して前から見た分解斜視図である。 裏四隅可動演出ユニットにおける裏四隅第一ユニットを分解して後ろから見た分解斜視図である。 裏四隅可動演出ユニットにおける裏四隅第二ユニットを分解して前から見た分解斜視図である。 裏四隅可動演出ユニットにおける裏四隅第二ユニットを分解して後ろから見た分解斜視図である。 (a)は通常の退避位置の状態での裏四隅可動演出ユニットにおける裏四隅第一ユニットの正面図であり、(b)は裏四隅第一装飾体が出現位置の状態での裏四隅第一ユニットの正面図であり、(c)は裏四隅第二装飾体が出現位置の状態での裏四隅第一ユニットの正面図である。 (a)は裏四隅第一ユニットにおいて裏四隅第一装飾体が退避位置の時の駆動機構の状態を左側面から示す説明図であり、(b)は裏四隅第一ユニットにおいて裏四隅第一装飾体が退避位置から出現位置へ向かう途中の駆動機構の状態を左側面から示す説明図であり、(c)は裏四隅第一ユニットにおいて裏四隅第一装飾体が出現位置の時の駆動機構の状態を左側面から示す説明図である。 (a)は裏四隅第一ユニットにおいて裏四隅第二装飾体が退避位置の時の駆動機構の状態を左側面から示す説明図であり、(b)は裏四隅第一ユニットにおいて裏四隅第二装飾体が退避位置から出現位置へ向かう途中の駆動機構の状態を左側面から示す説明図であり、(c)は裏四隅第一ユニットにおいて裏四隅第二装飾体が出現位置の時の駆動機構の状態を左側面から示す説明図である。 センター役物における表上可動演出ユニットの表上可動装飾体の動きを示す遊技盤の正面図である。 裏ユニットにおける裏上可動演出ユニットの裏上装飾体が第一出現位置の状態を示す遊技盤の正面図である。 裏ユニットにおける裏上可動演出ユニットの裏上装飾体が第二出現位置で、且つ、裏下前可動演出ユニットの裏下前第一装飾体と裏下前第二装飾体とが出現位置の状態を示す遊技盤の正面図である。 裏ユニットにおける裏右可動演出ユニットの裏右回転装飾体の第一装飾面を前方へ向けた状態で一対のシャッターが開いていると共に、裏左可動演出ユニットの裏左回転装飾体の第一装飾面を前方へ向けた状態で裏左突出装飾体が出現位置の状態を示す遊技盤の正面図である。 裏ユニットにおける裏右可動演出ユニットの裏右回転装飾体と裏左可動演出ユニットの裏左回転装飾体とを夫々の第二装飾面を前方へ向けた状態で示す遊技盤の正面図である。 裏ユニットにおける裏右可動演出ユニットの裏右回転装飾体と裏左可動演出ユニットの裏左回転装飾体とを夫々の第三装飾面を前方へ向けた状態で示す遊技盤の正面図である。 裏ユニットにおける裏下後可動演出ユニットの裏下後回転装飾体を上昇端位置で正面視反時計回りの方向へ回転させている状態を示す遊技盤の正面図である。 裏ユニットにおける裏下後可動演出ユニットの裏下後回転装飾体を上昇端位置で正面視時計回りの方向へ回転させていると共に、裏四隅可動演出ユニットの裏四隅第二装飾体が出現位置の状態を示す遊技盤の正面図である。 裏ユニットにおける裏四隅可動演出ユニットの裏四隅第一装飾体を出現位置の状態で示す遊技盤の正面図である。 前構成部材及び表ユニットを遊技領域内における前後方向の略中央で切断した遊技盤の正面図である。 (a)は図155において遊技領域内の右部を拡大して示す正面図であり、(b)は(a)におけるH−H線で切断して要部のみを示す断面図である。 図155において上大入賞口付近を拡大して示す説明図である。
[1.パチンコ機の全体構造]
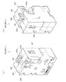
本発明の一実施形態であるパチンコ機1について、図面を参照して詳細に説明する。まず、図1乃至図9を参照して本実施形態のパチンコ機1の全体構成について説明する。図1は本発明の一実施形態であるパチンコ機の正面図である。図2はパチンコ機の右側面図であり、図3はパチンコ機の平面図であり、図4はパチンコ機の背面図である。図5はパチンコ機を前から見た斜視図であり、図6はパチンコ機を後ろから見た斜視図である。図7は本体枠から扉枠を開放させると共に、外枠から本体枠を開放させた状態で前から見たパチンコ機の斜視図である。図8はパチンコ機を扉枠、遊技盤、本体枠、及び外枠に分解して前から見た分解斜視図であり、図9はパチンコ機を扉枠、遊技盤、本体枠、及び外枠に分解して後ろから見た分解斜視図である。
本実施形態のパチンコ機1は、遊技ホールの島設備(図示しない)に設置される枠状の外枠2と、外枠2の前面を開閉可能に閉鎖する扉枠3と、扉枠3を開閉可能に支持していると共に外枠2に開閉可能に取付けられている本体枠4と、本体枠4に前側から着脱可能に取付けられると共に扉枠3を通して遊技者側から視認可能とされ遊技者によって遊技球が打込まれる遊技領域5aを有した遊技盤5と、を備えている。
パチンコ機1の外枠2は、図8及び図9等に示すように、上下に離間しており左右に延びている上枠部材10及び下枠部材20と、上枠部材10及び下枠部材20の両端同士を連結しており上下に延びている左枠部材30及び右枠部材40と、を備えている。上枠部材10、下枠部材20、左枠部材30、及び右枠部材40は、前後の幅が同じ幅に形成されている。また、上枠部材10及び下枠部材20の左右の長さに対して、左枠部材30及び右枠部材40の上下の長さが、長く形成されている。
また、外枠2は、左枠部材30及び右枠部材40の下端同士を連結し下枠部材20の前側に取付けられる幕板部材50と、上枠部材10の正面視左端部側に取付けられている外枠側上ヒンジ部材60と、幕板部材50の正面視左端側上部と左枠部材30とに取付けられている外枠側下ヒンジ部材70と、を備えている。外枠2の外枠側上ヒンジ部材60と外枠側下ヒンジ部材70とによって、本体枠4及び扉枠3が開閉可能に取付けられている。
パチンコ機1の扉枠3は、正面視の外形が四角形で前後に貫通している貫通口111を有した枠状の扉枠ベースユニット100と、扉枠ベースユニット100の前面下部に取付けられ遊技球を貯留可能な上皿201及び下皿202を有した皿ユニット200と、扉枠ベースユニット100の前面上部に取付けられるトップユニット350と、扉枠ベースユニット100の前面左部に取付けられる左サイドユニット400と、扉枠ベースユニット100の前面右部に取付けられる右サイドユニット450と、扉枠ベースユニット100の前面右下部に皿ユニット200を貫通して取付けられ上皿201に貯留された遊技球を遊技盤5の遊技領域内へ打込むために遊技者が操作可能なハンドルユニット500と、扉枠ベースユニット100の後面下部に取付けられ遊技領域内へ打ち損じた遊技球を受けて皿ユニット200の下皿202へ排出するファールカバーユニット520と、扉枠ベースユニット100の後面下部に取付けられ上皿201の遊技球を球発射装置680へ送るための球送りユニット540と、扉枠ベースユニット100の後面に取付けられ貫通口111を閉鎖するガラスユニット560と、ガラスユニット560の後面下部を覆う防犯カバー580と、を備えている。
パチンコ機1の本体枠4は、一部が外枠2の枠内に挿入可能とされると共に遊技盤5の外周を支持可能とされた枠状の本体枠ベース600と、本体枠ベース600の正面視左側の上下両端に取付けられ外枠2の外枠側上ヒンジ部材60及び外枠側下ヒンジ部材70に夫々回転可能に取付けられると共に扉枠3の扉枠側上ヒンジ部材140及び扉枠側下ヒンジ部材150が夫々回転可能に取付けられる本体枠側上ヒンジ部材620及び本体枠側下ヒンジ部材640と、本体枠ベース600の正面視左側面に取付けられる補強フレーム660と、本体枠ベース600の前面下部に取付けられており遊技盤5の遊技領域5a内に遊技球を打込むための球発射装置680と、本体枠ベースの正面視右側面に取付けられており外枠2と本体枠4、及び扉枠3と本体枠4の間を施錠する施錠ユニット700と、本体枠ベース600の正面視上辺及び左辺に沿って後側に取付けられており遊技者側へ遊技球を払出す逆L字状の払出ユニット800と、本体枠ベース600の後面下部に取付けられている基板ユニット900と、本体枠ベース600の後側に開閉可能に取付けられ本体枠ベース600に取付けられた遊技盤5の後側を覆う裏カバー980と、を備えている。
本体枠4の払出ユニット800は、本体枠ベース600の後側に取付けられる逆L字状の払出ユニットベース801と、払出ユニットベース801の上部に取付けられており上方へ開放された左右に延びた箱状で図示しない島設備から供給される遊技球を貯留する球タンク802と、球タンク802の下側で払出ユニットベース801に取付けられており球タンク802内の遊技球を正面視左方向へ誘導する左右に延びたタンクレール803と、払出ユニットベース801における正面視左側上部の後面に取付けられタンクレール803からの遊技球を蛇行状に下方へ誘導する球誘導ユニット820と、球誘導ユニット820の下側で払出ユニットベース801から着脱可能に取付けられており球誘導ユニット820により誘導された遊技球を払出制御基板ボックス950に収容された払出制御基板からの指示に基づいて一つずつ払出す払出装置830と、払出ユニットベース801の後面に取付けられ払出装置830によって払出された遊技球を下方へ誘導すると共に皿ユニット200における上皿201での遊技球の貯留状態に応じて遊技球を通常放出口又は満タン放出口の何れかから放出させる上部満タン球経路ユニット850と、払出ユニットベース801の下端に取付けられ上部満タン球経路ユニット850の通常放出口から放出された遊技球を前方へ誘導して前端から扉枠3の貫通球通路526へ誘導する通常誘導路及び満タン放出口から放出された遊技球を前方へ誘導して前端から扉枠3の満タン球受口530へ誘導する満タン誘導路を有した下部満タン球経路ユニット860と、を備えている。
本体枠4の基板ユニット900は、本体枠ベース600の後側に取付けられる基板ユニットベース910と、基板ユニットベース910の正面視左側で本体枠ベース600の後側に取付けられ内部に低音スピーカを有したスピーカユニット920と、基板ユニットベース910の後側で正面視右側に取付けられ内部に電源基板が収容されている電源基板ボックス930と、スピーカユニット920の後側に取付けられており内部にインターフェイス制御基板が収容されているインターフェイス制御基板ボックス940と、電源基板ボックス930及びインターフェイス制御基板ボックス940に跨って取付けられており内部に遊技球の払出しを制御する払出制御基板が収容された払出制御基板ボックス950と、を備えている。
パチンコ機1の遊技盤5は、図8及び図9等に示すように、遊技球が打込まれる遊技領域5aの外周を区画し球発射装置680から発射された遊技球を遊技領域5aの上部に案内する外レール1001及び内レール1002を有した前構成部材1000と、前構成部材1000の後側に取付けられると共に遊技領域5aの後端を区画する平板状の遊技パネル1100と、遊技パネル1100の後側の下部に取付けられており上方に開放された箱状の基板ホルダ1200と、基板ホルダ1200の後側に取付けられておりパチンコ機1の遊技を制御するための主制御基板を有している主制御ユニット1300と、遊技パネル1100の前側で遊技領域5a内に取付けられ遊技領域5a内に打込まれた遊技球を受入可能な複数の入賞口を有した表ユニット(図示は省略)と、基板ボックス1200の上側で遊技パネル1100の後側に取付けられ遊技パネル1100を通して遊技者側から視認可能な液晶表示装置を有した裏ユニット(図示は省略)と、を備えている。
本実施形態のパチンコ機1は、上皿201に遊技球を貯留した状態で、遊技者がハンドルレバー504を回転操作すると、球発射装置680によってハンドルレバー504の回転角度に応じた強さで遊技球が遊技盤5の遊技領域5a内へ打込まれる。そして、遊技領域5a内に打込まれた遊技球が、図示しない入賞口に受入れられると、受入れられた入賞口に応じて、所定数の遊技球が払出装置830によって上皿201に払出される。この遊技球の払出しによって遊技者の興趣を高めることができるため、上皿201内の遊技球を遊技領域5a内へ打込ませることができ、遊技者に遊技を楽しませることができる。
[2.外枠の全体構成]
パチンコ機1の外枠2について、図10乃至図15を参照して説明する。図10はパチンコ機における外枠の正面図であり、図11は外枠の右側面図である。また、図12は外枠を前から見た斜視図であり、図13は外枠を後ろから見た斜視図である。図14は、外枠を分解して前から見た分解斜視図である。図15は(a)は外枠における外枠側上ヒンジ部材の部位を左枠部材を省略して下側から見た斜視図であり、(b)は(a)を分解して示す分解斜視図である。外枠2は、遊技ホール等のパチンコ機1が設置される島設備(図示は省略)に取付けられるものである。
外枠2は、図示するように、上下に離間しており左右に延びている上枠部材10及び下枠部材20と、上枠部材10及び下枠部材20の両端同士を連結しており上下に延びている左枠部材30及び右枠部材40と、を備えている。上枠部材10、下枠部材20、左枠部材30、及び右枠部材40は、前後の幅が同じ幅に形成されている。また、上枠部材10及び下枠部材20の左右の長さに対して、左枠部材30及び右枠部材40の上下の長さが、長く形成されている。また、外枠2は、上枠部材10及び下枠部材20の左右両端面と、左枠部材30及び右枠部材40の左右方向の外側を向いた側面とが、同一面となるように組立てられている。
また、外枠2は、上枠部材10の正面視左端部側に取付けられている外枠側上ヒンジ部材60と、外枠側上ヒンジ部材60の下面に取付けられているロック部材66と、幕板部材50の正面視左端側上部と左枠部材30とに取付けられている外枠側下ヒンジ部材70と、を備えている。外枠2の外枠側上ヒンジ部材60と外枠側下ヒンジ部材70とによって、本体枠4及び扉枠3を開閉可能に取付けることができる。
また、外枠2は、左枠部材30及び右枠部材40の下端同士を連結し下枠部材20の前側に取付けられる幕板部材50と、幕板部材50の後側に取付けられていると共に両端が左枠部材30及び右枠部材40に夫々取付けられる幕板補強部材80と、幕板部材50の上面における左右中央から左寄りの位置に取付けられている平板状の左滑り部材81と、幕板部材50の上面における右端付近の位置に取付けられている平板状の右滑り部材82と、を備えている。幕板補強部材80は、中実の部材(例えば、木材、合板、等)によって形成されており、下枠部材20、左枠部材30、及び右枠部材40に、取付けられている。
更に、外枠2は、上枠部材10と左枠部材30、上枠部材10と右枠部材40、下枠部材20と左枠部材30、及び下枠部材20と右枠部材40を、夫々連結している連結部材85を備えている。また、外枠2は、右枠部材40の内側(左側面側)に取付けられており後述する施錠ユニット700の外枠用鉤703が係止される上鉤掛部材90及び下鉤掛部材91を、備えている。
[2−1.上枠部材]
外枠2の上枠部材10は、所定厚さの無垢(中実)の材料(例えば、木材、合板、等)によって形成されている。この上枠部材10は、左右両端における前後方向の中央に、上下に貫通しており左右方向中央側へ窪んだ係合切欠部11を備えている。この係合切欠部11内には、連結部材85の後述する左上連結部材85A及び右上連結部材85Bの上横固定部87が取付けられる。また、上枠部材10は、正面視左側端部の上面と前面に、一般面よりも窪んだ取付段部12を備えている。この取付段部12には、外枠側上ヒンジ部材60が取付けられる。
[2−2.下枠部材]
外枠2の下枠部材20は、所定厚さの無垢(中実)の材料(例えば、木材、合板、等)によって形成されている。この下枠部材20は、左右の長さ及び上下の厚さが、上枠部材10の左右の長さ及び上下の厚さと同じ寸法に形成されていると共に、前後の幅が、上枠部材10の前後の幅よりも長く形成されている。下枠部材20は、左右両端における前後方向の中央よりも後側寄りの位置に、上下に貫通しており左右方向中央側へ窪んだ係合切欠部21を備えている。この係合切欠部21内には、連結部材85の後述する左下連結部材85C及び右下連結部材85Dの下横固定部88が取付けられる。
また、下枠部材20は、左右両端の前面から後方へ窪んだ前端切欠部22を備えている。下枠部材20において、前端切欠部22の後端から下枠部材20の後面までの前後方向の幅が、上枠部材10の前後方向の幅と同じ寸法に形成されている。この下枠部材20は、外枠2に組立てた状態で、左右の前端切欠部22同士の間の部位が、幕板部材50内に挿入される。
[2−3.左枠部材及び右枠部材]
外枠2の左枠部材30及び右枠部材40は、一定の断面形状で上下に延びており、アルミ合金等の金属の押出形材によって形成されている。左枠部材20及び右枠部材40は、平面視において互いに対称の形状に形成されている。左枠部材30及び右枠部材40は、外枠2として組立てた時に、左右方向の外側となる側面において、前後方向中央に対して後寄りの位置から後端付近までの間に、内側へ窪んだ凹部31,41と、凹部31,41の反対側の側面から膨出しており内部が空洞に形成されている突出部32,42と、を備えている。この左枠部材30及び右枠部材40は、突出部32,42によって、強度・剛性が高められている。また、突出部32,42内には、連結部材85の後述する左上連結部材85A及び右上連結部材85Bの後側の下横固定部88が挿入されて取付けられる。
また、左枠部材30及び右枠部材40は、表面に上下に延びた複数の溝が形成されている。この複数の溝によって、パチンコ機1を遊技ホール等の島設備に設置したり運搬したりする等の際に、作業者の指掛りとなってパチンコ機1を持ち易くすることができると共に、パチンコ機1の外観の意匠性を高めることとができる。
[2−4.幕板部材]
外枠2の幕板部材50は、後側が開放された箱状に形成されている。幕板部材50は、上面における正面視左端付近に後方へ平板状に延出している後方延出部51と、後方延出部51の左端から遊技球が通過可能な大きさでU字状に切欠かれており上下に貫通している左排出孔52と、後方延出部51における左排出孔52の右側において遊技球が通過可能な大きさで上下に貫通している右排出孔53と、後方延出部51の後端を含む幕板部材50の上面の後端から上方へ平板状に延出している立壁部54と、立壁部54の上端付近から前方へ膨出しており前面が上方へ向かうに従って後方へ向かうように傾斜している返し部55と、を備えている。
幕板部材50は、後方延出部51の前側の上面と、後方延出部51の上面とに、外枠側下ヒンジ部材70が載置されるように、外枠側下ヒンジ部材70の後述する水平部71が取付けられる。また、幕板部材50の左排出孔52は、外枠2に組立てた状態で外枠側下ヒンジ部材60の後述する排出孔74と一致する位置に形成されている。また、右排出孔53は、外枠に組立てた状態で外枠側下ヒンジ部材60よりも右側となる位置に形成されている。右排出孔53は、左排出孔52よりも大きく形成されている(図18等を参照)。
また、幕板部材50は、後方延出部51よりも右側の上面が、前端側が低くなるように傾斜している。また、幕板部材50は、上面における後方延出部51よりも右側の部位に左滑り部材81を取付けるための左取付部56と、上面における右端付近に右滑り部材82を取付けるための右取付部57と、を備えている。幕板部材50は、上面に、左滑り部材81及び右滑り部材82を介して本体枠3の下面が載置される。
この幕板部材50は、図示するように、前面に浅いレリーフ状の装飾が形成されている。また、幕板部材50は、図示は省略するが、箱状の内部が複数のリブによって格子状に仕切られており、強度・剛性が高められている。また、幕板部材50は、幕板補強部材80の前側半分を、内部に収容可能に形成されている。
[2−5.外枠側上ヒンジ部材]
外枠2の外枠側上ヒンジ部材60は、図示するように、水平に延びた平板状で外形が四角形の上固定部61と、上固定部61の前端から前方へ延出している平板状の前方延出部62と、前方延出部62の右端から前方へ向かうに従って前方延出部62の左右中央へ延びており上下に貫通している軸受溝63と、上固定部61の平面視左辺から下方へ延びている平板状の横固定部64と、前方延出部62の左端から前端を周って軸受溝63が開口している部位までの端辺から下方へ延びており横固定部64と連続している平板状の垂下部65と、を備えている(図15(b)等を参照)。
外枠側上ヒンジ部材60は、外枠2が組立てられた状態で、上固定部61が、上枠部材10の取付段部12の上面に載置されており、図示しないビスによって固定されている。また、前方延出部62は、上枠部材10の前端よりも前方へ延出している。また、横固定部64は、左枠部材30の外側側面の凹部31内に上側から挿入された状態で、ビスによって左枠部材30に固定されている。
この外枠側上ヒンジ部材60は、軸受溝63内に本体枠側上ヒンジ部材620の本体枠上ヒンジピン622を挿入させることで、外枠側下ヒンジ部材70と協働して本体枠4を開閉可能に支持することができる。この外枠側上ヒンジ部材60は、金属板をプレス成型により屈曲させて形成されている。
[2−6.ロック部材]
外枠2のロック部材66は、図15に示すように、左右が所定幅で前後に延びている帯板状のロック本体66aと、ロック本体66aの後端から右方へ突出している操作部66bと、ロック本体66aの後端から左方へ延びた後に斜め左前方へ延びている弾性変形可能な棒状の弾性部66cと、ロック本体66aの後端付近で上下に貫通している取付孔66dと、を備えている。このロック部材66は、合成樹脂によって形成されている。ロック部材66は、取付ビス67によって、外枠側上ヒンジ部材60における前方延出部62の下面に回動可能に取付けられる。
このロック部材66は、取付孔66dを通して、ロック本体66aの後端が、外枠側上ヒンジ部材60の前方延出部62における軸受溝63よりも後側の位置に取付けられる。また、ロック部材66を外枠側上ヒンジ部材60に取付けた状態では、ロック本体66aが、平面視で軸受溝63を遮ることができると共に、前端付近の右側面が、外枠側上ヒンジ部材60の垂下部65における軸受溝63の開口まで延びている部位と当接可能となるように前方へ延びている(図17を参照)。
また、ロック本体66aの後端から左方へ延びている弾性部66cの先端は、外枠側上ヒンジ部材60における垂下部65の内周面に当接している。このロック部材66は、弾性部66cの付勢力によって取付孔66dを中心に、前端が左方へ回動する方向に付勢されている。従って、通常の状態では、ロック部材66のロック本体66aの前端付近の右側面が、垂下部65に当接している(図17を参照)。この状態では、軸受溝63におけるロック本体66aよりも前側の部位に、本体枠側上ヒンジ部材620の後述する本体枠上ヒンジピン622を収容可能な空間が形成される。
このロック部材66は、操作部66bを操作することで、弾性部66cの付勢力に抗してロック本体66aを回動させることができる。そして、操作部66bの操作によって、ロック本体66aを、その前端が左方へ移動する方向へ回動させることで、平面視において軸受溝63からロック本体66aを後退させることができ、軸受溝63が全通している状態とすることができる。これにより、軸受溝63内に本体枠上ヒンジピン622を挿入したり、軸受溝63内から本体枠上ヒンジピン622を外したりすることができる。
[2−7.外枠側下ヒンジ部材]
外枠2の外枠側下ヒンジ部材70は、図示するように、水平に延びている平板状の水平部71と、水平部71の左辺において前後方向中央よりも後側の部位から上方へ立上がっている平板状の立上り部72と、水平部71の前端付近から上方へ突出している外枠下ヒンジピン73と、水平部71を上下に貫通しており遊技球が一つのみ通過可能な大きさの排出孔74と、を備えている。この外枠側下ヒンジ部材70は、金属板をプレス成型により屈曲させて形成されている。
外枠側下ヒンジ部材70の水平部71は、平面視において、左辺を底辺とした台形に形成されている。外枠下ヒンジピン73は、円柱状で、上下方向中央よりも上部が、上端が窄まった円錐台状に形成されている。この外枠下ヒンジピン73は、水平部71の前端付近における左寄りの位置に取付けられている。排出孔74は、水平部71において、立上り部72の前後方向中央の部位と接し、水平部71の左辺から右方へ逆U字状に延びるように形成されている。この排出孔74は、幕板部材50の左排出孔52と、略同じ大きさに形成されている。
外枠側下ヒンジ部材70は、外枠2が組立てられた状態では、水平部71が、幕板部材50の左端付近の上面と後方延出部51上に載置されており、水平部71が、幕板部材50の上面を貫通する図示しないビスによって幕板補強部材80に固定されている。また、外枠2が組立てられた状態では、立上り部72が、左枠部材30の内側側面における突出部32よりも前側の部位に、図示しないビスによって取付けられている。この外枠側下ヒンジ部材70は、外枠下ヒンジピン73を、本体枠4の本体枠側下ヒンジ部材640における本体枠用下ヒンジ孔(図示は省略)に挿通させることで、外枠側上ヒンジ部材60と協働して本体枠4を開閉可能に取付けることができる。
また、外枠2が組立てられた状態では、排出孔74が、幕板部材50の左排出孔52と一致している。これにより、水平部71上の遊技球を、排出孔74及び左排出孔52を通して、幕板部材50の後側へ落下(排出)させることができる。詳述すると、外枠2に対して本体枠4を閉じる時に、外枠2と本体枠4との間に落下した遊技球が、本体枠4が閉じられるのに従って、外枠2と本体枠4との間が徐々に狭くなることから、間隔が広い後方側へ転動とすることとなり、排出孔74から排出させることができる。この際に、排出孔74が、パチンコ機1に組立てた状態で、外枠2に対して本体枠4を閉じた時に、本体枠4の後端と略同じとなる位置に形成されているため、外枠2と本体枠4との間に落下した遊技球を、排出孔74から排出させることで本体枠4よりも後側へ転動するのを阻止し易くすることができ、外枠側下ヒンジ部材70の部位に遊技球が留まり難くすることができる。
[2−8.連結部材]
外枠2の連結部材85は、上枠部材10と左枠部材30とを連結する左上連結部材85Aと、上枠部材10と右枠部材40とを連結する右上連結部材85Bと、下枠部材20と左枠部材30とを連結する左下連結部材85Cと、下枠部材20と右枠部材40とを連結する右下連結部材85Dと、がある。
連結部材85は、水平に延びた平板状の水平固定部86と、水平固定部86の左右側辺の何れか一方から上方へ延出している平板状の上横固定部87と、水平固定部86における上横固定部87が延出している部位と同じ側から下方へ延出している平板状の下横固定部88と、を備えている。この連結部材85は、平板状の金属板を屈曲させて形成されている。
左上連結部材85A及び右上連結部材85Bでは、水平固定部86の前後方向の中央から上横固定部87が上方へ延出していると共に、上横固定部87の前後両側から下横固定部88が下方へ延出している。つまり、左上連結部材85A及び右上連結部材85Bでは、下横固定部88が前後に離間して二つ備えられている。左上連結部材85A及び右上連結部材85Bの水平固定部86は、上枠部材10の下面に当接した状態で上枠部材10に固定される。また、左上連結部材85A及び右上連結部材85Bの上横固定部87は、上枠部材10の係合切欠部11内に挿入されて、上枠部材10の左右方向の端部に固定される。また、左上連結部材85A及び右上連結部材85Bの前側の下横固定部88は、左枠部材30又は右枠部材40突出部32,42よりも前側の内側側面に固定される。更に、左上連結部材85A及び右上連結部材85Bの後側の下横固定部88は、左枠部材30又は右枠部材40突出部32,42内に挿入されて外側側面から捩じ込まれるビスにより左枠部材30又は右枠部材40に固定される。
左下連結部材85C及び右下連結部材85Dでは、上横固定部87の後端が、水平固定部86の後端よりも後方へ突出していると共に、上横固定部87の水平固定部86よりも後方へ突出している部位の下端から下横固定部88が水平固定部86よりも下方へ延出している。また、左下連結部材85C及び右下連結部材85Dでは、上横固定部87の後端から水平固定部86と同じ側へ突出している屈曲部89を更に備えている。左下連結部材85C及び右下連結部材85Dの水平固定部86は、下枠部材20の上面に当接した状態で固定される。また、左下連結部材85C及び右下連結部材85Dの上横固定部87は、左枠部材30又は右枠部材40の突出部32,42よりも前側の内側側面に固定される。更に、左下連結部材85C及び右下連結部材85Dの下横固定部88は、下枠部材20の係合切欠部21内に挿入されて下枠部材20の左右方向の端部面に固定される。
[2−9.外枠側上ヒンジ部材のロック機構]
次に、本実施形態のパチンコ機1の外枠2において、外枠側上ヒンジ部材60におけるロック部材66による本体枠4の本体枠側上ヒンジ部材620に対するロック機構について、図16及び図17を参照して説明する。図16は(a)は外枠の外枠側上ヒンジ部材に対して本体枠の本体枠側上ヒンジ部材が取外されている状態を拡大して示す斜視図であり、(b)は外側上ヒンジ部材に本体側上ヒンジ部材が取付けられている状態を拡大して示す斜視図である。図17は外枠におけるロック部材の作用を示す説明図である。
外枠2におけるロック部材66は、外枠側上ヒンジ部材60の前方延出部62に取付けた状態(通常の状態)では、弾性部66cの先端が垂下部65の内周面と当接しており、ロック本体66aがく字状に屈曲した軸受溝63の一部を閉塞するようになっていると共に、ロック本体66aの先端部分が、軸受溝63の最深部分を閉塞した状態とはならず、軸受溝63の最深部分に本体枠4の本体枠側上ヒンジ部材620の本体枠上ヒンジピン622を挿入可能な空間が形成された状態となっている。
本実施形態における外枠側上ヒンジ部材60とロック部材66とを用いた本体枠上ヒンジピン622の支持機構は、本体枠上ヒンジピン622が軸受溝63の最深部分に挿入されてロック本体66aの前端の右側面が、右側の垂下部65と接近している状態(この状態ではロック本体66aの前端の右側面と右側の垂下部65との間に僅かな隙間があり当接した状態となっていない)である通常の軸支状態においては、屈曲している軸受溝63の最深部分に位置する本体枠上ヒンジピン622とロック本体63の前端面との夫々の中心が斜め方向にずれて対向した状態となっている。
そして、この通常の軸支状態においては、重量のある本体枠4を軸支している本体枠上ヒンジピン622が軸受溝63の前端部分に当接した状態となっているので、本体枠上ヒンジピン622からロック部材66aの前端面への負荷がほとんどかかっていない。つまり、ロック部材66の弾性部66cに対し負荷がかかっていない状態となっている。なお、ロック本体66aの前端面が円弧状に形成されているため、ロック部材66を回動させるために操作部66bを回動操作した時に、ロック部材66がスムーズに回動するようになっている。また、図示では、ロック本体66aの前端面の円弧中心が、取付孔66dの中心(ロック部材66の回転中心)とされている。
従って、本体枠上ヒンジピン622がく字状に形成された軸受溝63の傾斜に沿って抜ける方向に作用力Fがかかって、ロック本体66aの円弧状の前端面に当接したとき、その作用力Fを、本体枠上ヒンジピン622と円弧状の前端面との当接部分に作用する分力F1(ロック本体66aの前端面の円弧の法線方向)と、本体枠上ヒンジピン622と軸受溝63の一側内面との当接部分に作用する分力F2と、に分けたときに、分力F1の方向が取付孔66d(取付ビス67)の中心(ロック部材66の回転中心)を向くため、ロック部材66のロック本体66aの前端が、右側の垂下部65から離れる方向に回転させるモーメントが働かず、本体枠上ヒンジピン622がロック部材66のロック本体66aの前端部と軸受溝63の一側内面との間に挟持された状態が保持される。
このため、通常の軸支状態、或は、本体枠上ヒンジピン622の作用力がロック部材66にかかった状態でも、ロック部材66の弾性部66cに常時負荷がかからず、合成樹脂で一体形成される弾性部66cのクリープによる塑性変形を防止し、長期間に亘って本体枠上ヒンジピン622の軸受溝63からの脱落を防止することができる。なお、仮に無理な力がかかってロック部材66のロック本体66aの前端部が右方へ移動する方向へ回転させられても、ロック本体66aの前端右側面が垂下部65に当接してそれ以上回転しないので、ロック部材66が前方延出部62の外側にはみ出ないようになっている。
なお、ロック本体66aの前端面の形状は円弧状でなくても、上記した分力F1の作用により回転モーメントが生じない位置又はロック部材66をその前端部が前方突出部62の外側に向って回転させる回転モーメントが生ずる位置にロック部材66の回転中心(取付ビス67により固定される軸)を位置させることにより、常時ロック部材66の弾性部66cに対しても負荷がかかることはないし、ロック部材66が回転してもロック本体66aの前端の右側面が垂下部65に当接するだけであるため、ロック部材66が前方延出部62の外側にはみ出ることもない。
外枠側上ヒンジ部材60の軸受溝63に、本体枠側上ヒンジ部材620の本体枠上ヒンジピン622を支持させる場合は、軸受溝63の開放されている側から軸受溝63内に本体枠上ヒンジピン622を挿入する。軸受溝63内に本体枠上ヒンジピン622を挿入すると、ロック部材66のロック本体66aの右側面に本体枠上ヒンジピン622が当接し、弾性部66cの付勢力に抗してロック本体66aの前端が左方へ移動するようにロック部材66が取付ビス67を中心に回動する。これにより、軸受溝63を閉鎖していたロック本体66aが後退して軸受溝63が開放され、軸受溝63の最深部(前端)へ本体枠上ヒンジピン622を移動させることができるようになる。
そして、軸受溝63の最深部に本体枠上ヒンジピン622を移動させると、本体枠上ヒンジピン622とロック部材66のロック本体66aとの当接が解除され、弾性部66cの付勢力によってロック本体66aの前端が右方へ移動するようにロック部材66が回動し、ロック部材66が通常の状態に復帰する。これにより、本体枠上ヒンジピン622が、軸受溝63内におけるロック本体66aの前端よりも前側の空間に収容された状態となり、本体枠上ヒンジピン622が、軸受溝63の最深部において回動可能な状態で保持(ロック)された状態となる。
軸受溝63内から本体枠上ヒンジピン622を取外す場合は、ロック部材66の操作部66bを操作して、ロック本体66aの前端が左方へ移動するようにロック部材66を回動させ、弾性部66cの付勢力に抗して軸受溝63からロック本体66aを後退させる。これにより、軸受溝63の最深部と開口部とが連通した状態となり、軸受溝63から本体枠上ヒンジピン622を取外すことができる。
[2−10.外枠側下ヒンジ部材の部位における防犯機構と球噛み防止機構]
本実施形態のパチンコ機1における外枠2の外枠側下ヒンジ部材70の部位における防犯機構と外枠2と本体枠4との間に遊技球が挟まれるのを防止するための球噛み防止機構について、図18及び図19を参照して説明する。図18(a)は図1におけるA−A断面図であり、(b)は(a)において外枠に対して扉枠と共に本体枠を開いた状態を示す断面図である。図19(a)は外枠側下ヒンジ部材の部位に誘導羽根を備えて外枠に対して本体枠を開いた状態で示す説明図であり、(b)は(a)の実施形態において外枠に対して本体枠を閉じた状態で示す説明図であり、(c)は(a)及び(b)とは異なる実施形態の誘導羽根を備えて外枠に対して本体枠を開いた状態で示す説明図であり、(d)は(c)の実施形態において外枠に対して本体枠を閉じた状態で示す説明図である。
外枠2は、組立てた状態では、幕板部材50の上面における正面視左端部に外枠側下ヒンジ部材70が取付けられている。外枠側下ヒンジ部材70の水平部71は、幕板部材50の上面の左端付近と後方延出部51の上面とに載置された状態で取付けられている。この幕板部材50には、上面の後端から上方へ立上がっている立壁部54を備えている。これにより、外枠側下ヒンジ部材70と本体枠側下ヒンジ部材640との間の隙間を通して、本体枠4(パチンコ機1)の後側へピアノ線等の不正な工具を侵入させようとしても、不正な工具の先端が幕板部材50の上面の後端から上方へ延出している立壁部54に当接するため、不正な工具がこれ以上後側へ挿入されるのを阻止することができ、外枠側下ヒンジ部材70の部位を介して不正行為が行われるのを防止することができる。
また、立壁部54の上端に、前方へ延出している返し部55を備えているため、立壁部54に当接した不正な工具が上方へ曲がった場合、返し部55によって不正な工具の先端を更に前方へ折返させることができるため、本体枠4の後側に不正な工具が侵入させられるのを阻止することができ、外枠側下ヒンジ部材70の部位を介して不正行為が行われるのを確実に阻止することができる。
ところで、幕板部材50の上面の後端に上方へ延出している立壁部54を備えるようにした場合、図18(b)に示すように、外枠2に対して本体枠4を開いている状態で、遊技球が外枠側下ヒンジ部材70(水平部71)上に落下した場合、水平部71上の遊技球が、立壁部54の存在によって水平部71の後端から後方へ排出されないため、外枠2と本体枠4との間に挟まれてしまう虞がある。これに対して、本実施形態では、外枠側下ヒンジ部材70の水平部71と、幕板部材50の後方延出部51とに、遊技球が通過可能な排出孔74、右排出孔52、及び左排出孔53を備えているため、外枠側下ヒンジ部材70の水平部71上の遊技球を、排出孔74等から下方へ排出することができ、外枠2と本体枠4との間に遊技球が挟まれるのを低減させることができる。
従って、外枠2と本体枠4との間に遊技球が挟まれることで、外枠側下ヒンジ部材70の周りが破損したり、本体枠4が正常な状態で閉まらずに外枠2と本体枠4との間に隙間ができてしまい、その隙間を使って不正行為が行われてしまったりするのを防止することができる。
また、本実施形態では、上記の構成に加えて、外枠2に対して本体枠4を開いている時に、外枠側下ヒンジ部材70上に落下した遊技球を、排出孔74等から排出させ易くするために、図19に示すように、外枠2や本体枠4に、遊技球を排出孔74等へ誘導する誘導羽根95,96を、備えるようにしても良い。
具体的に説明すると、図19(a)及び(b)に示す誘導羽根95は、先端が本体枠4よりも外側へ突出しており、基端側が本体枠4における左側面の後端付近の下側で上下に延びた軸周りに回動可能に取付けられており、棒状に形成されている。この誘導羽根95は、図示しないバネによって、平面視において反時計回りの方向へ回動するように付勢されている。そして、誘導羽根95は、図19(a)に示すように、外枠2に対して本体枠4を開いた状態で、先端が本体枠4の左側面に対して直角よりもやや後方へ斜めに突出した状態となるように、反時計回りの方向への回動端が規制されている。従って、誘導羽根95は、この状態からは、バネの付勢力に抗することで、先端側が後方へ移動するように回動することができる。
外枠2に対して本体枠4を開いている状態から、本体枠4を閉じる方向へ回動させると、誘導羽根95の先端が外枠側下ヒンジ部材70の立上り部72の右側面に当接し、誘導羽根95が図示しないバネの付勢力に抗して基端側を中心に先端が後方へ移動する方向(平面視において時計回りの方向)に回動する。そして、本体枠4を更に閉じる方向へ回動させると、誘導羽根95が本体枠4から後方へ突出しているような状態へ更に回動し、誘導羽根95が邪魔することなく外枠2に対して本体枠4を閉じることができる(図19(b)を参照)。
外枠2に対して本体枠4を閉じる際に、外枠側上ヒンジ部材70の水平部71上に遊技球が落下した場合、本体枠4の後端から誘導羽根95が斜め左後方へ突出しているため、外枠2と本体枠4との間に落下した遊技球を、本体枠4の左側面と誘導羽根95とによって右側へ寄せることができ、本体枠4の後側へ遊技球が転動していってしまうのを抑制することができると共に、遊技球を右側へ寄せることで排出孔74へ誘導することができ、排出孔74から遊技球を排出させることができる。従って、外枠2と本体枠4との間に遊技球が挟まれるのを防止することができる。
なお、外枠2に対して本体枠4を開く時には、誘導羽根95が図示しないバネの付勢力によって、平面視において反時計回りの方向に、図19(a)の位置の状態まで回動する。従って、本実施形態の誘導羽根95は、本体枠4の開閉動作に伴って回動(可動)するものである。
一方、図19(c)及び(d)に示す誘導羽根96は、図示するように、両端が外枠2と本体枠4とに取付けられており、外枠2に対して本体枠4を開けている時には扇状に展開されると共に後方へ向かって低くなるように傾斜し、外枠2に対して本体枠4を閉めた時には折り畳まれる扇形の蛇腹状に形成されている。この誘導羽根96は、上記の誘導羽根95と同様に、本体枠4の開閉動作に伴って可動する。
この誘導羽根96は、外枠2に対して本体枠4を開いている時に、外枠側下ヒンジ部材70上へ遊技球が落下すると、外枠2と本体枠4との間で展開されている誘導羽根96によって、落下してきた遊技球を本体枠4よりも後側へ転動させて誘導することができ、本体枠4の後側で開口している排出孔74や右排出孔53から遊技球を下方へ排出することができる。従って、この誘導羽根96によっても、外枠2と本体枠4との間に遊技球が挟まれるのを防止することができる。
本実施形態によれば、誘導羽根95,96によって、水平部71上の遊技球を排出孔74へ誘導させることができるため、排出孔74を大きくしなくても遊技球を排出孔74から排出させることができ、水平部71を貫通している孔(排出孔74)が大きくなることで外枠側下ヒンジ部材70の強度が低下してしまうのを抑制することができる。従って、外枠2と本体枠4との間に不正行為を行うための工具が差し込まれても、外枠側下ヒンジ部材70が十分な強度を有しているため、外枠側下ヒンジ部材70が歪み難く、外枠側下ヒンジ部材70の部位で隙間が形成されてしまうのを抑制することができ、不正行為が行われるのを防止することができる。
[3.扉枠の全体構成]
パチンコ機1の扉枠3について、図20乃至図26を参照して説明する。図20はパチンコ機における扉枠の正面図であり、図21は扉枠の背面図である。図22は扉枠を右前から見た斜視図であり、図23は扉枠を左前から見た斜視図であり、図24は扉枠を後ろから見た斜視図である。図25は扉枠を主な部材毎に分解して前から見た分解斜視図であり、図26は扉枠を主な部材毎に分解して後ろから見た分解斜視図である。
扉枠3は、正面視の外形が四角形で枠状の扉枠ベースユニット100と、扉枠ベースユニット100の前面下部に取付けられる皿ユニット200と、扉枠ベースユニット100の前面上部に取付けられるトップユニット350と、扉枠ベースユニット100の前面左部に取付けられる左サイドユニット400と、扉枠ベースユニット100の前面右部に取付けられる右サイドユニット450と、扉枠ベースユニット100の前面右下部に皿ユニット200を貫通して取付けられるハンドルユニット500と、を備えている。
また、扉枠3は、扉枠ベースユニット100の後面下部に取付けられるファールカバーユニット520と、扉枠ベースユニット100の後面下部に取付けられる球送りユニット540と、扉枠ベースユニット100の後面に取付けられ貫通口111を閉鎖するガラスユニット560と、ガラスユニット560の後面下部を覆う防犯カバー580と、を備えている。
扉枠3の扉枠ベースユニット100は、図25及び図26に等に示すように、外形が縦長の長方形で前後に貫通している貫通口111を有した板状の扉枠ベース110と、扉枠ベース110の前面で正面視右下隅に取付けられておりハンドルユニット500を取付けるための筒状のハンドル取付部材120と、扉枠ベース110の後側に取付けられている枠状の補強ユニット130と、補強ユニット130の正面視左端側の上下両端に取付けられており前方へ突出して本体枠4の本体枠側上ヒンジ部材620及び本体枠側下ヒンジ部材640に回転可能に取付けられる扉枠側上ヒンジ部材140及び扉枠側下ヒンジ部材150と、扉枠ベース110の後側に回動可能に取付けられておりガラスユニット560を着脱可能に取付けるためのガラスユニット取付部材160と、を備えている。
扉枠3の皿ユニット200は、詳細は後述するが、上下に列設されており前方へ膨出しており遊技球を貯留可能な上皿201及び下皿202と、上皿201及び下皿202が取付けられていると共に扉枠ベースユニット100の前面に取付けられる板状の皿ユニットベース210と、上皿201の前側で皿ユニットベース210に取付けられ画像を表示可能な上皿液晶表示装置244、遊技者が操作可能なタッチパネル246及び上皿演出ボタン257を有している演出操作ユニット220と、上皿201及び下皿202を前側から覆う皿ユニットカバー260と、正面視上皿201の右側に配置されており遊技状態に応じて回転する扉右下回転体270Aを有している扉右下演出ユニット270と、扉右下演出ユニット270を前側から覆う透明な演出ユニットカバー300と、上皿201に貯留されている遊技球を下皿202へ抜くための上皿球抜きユニット310と、下皿202に貯留されている遊技球を下方へ抜くための下皿球抜きユニット320と、遊技ホールの島設備においてパチンコ機1と隣接して配置される球貸機(図示は省略する。CRユニットとも称す)を操作するための球貸操作ユニット330と、皿ユニットベース210の上部に取付けられており発光装飾可能な上皿トップ装飾部材340と、を主に備えている。
扉枠3のトップユニット350は、図25及び図26等に示すように、扉枠ベースユニット100の前面において上辺に沿って取付けられる一部が透光性を有したユニットベース360と、ユニットベース360の前面で左右の中央に取付けられており前方へ膨出している透光性を有したトップ装飾部材370と、トップ装飾部材370内に取付けられており高音域のサウンドを出力するトップスピーカ(図示は省略)と、ユニットベース360の後側に取付けられており前面に複数のLEDが取付けられている扉枠上装飾基板380と、を備えている。
扉枠3の左サイドユニット400は、図25及び図26等に示すように、扉枠ベースユニット100の前面で貫通口111の左側外周縁に沿って取付けられる平板状のユニットベース410と、ユニットベース410の前面に取付けられており上端がトップユニット350のトップ装飾部材370の左端まで延びている透光性を有した左サイド装飾部材420と、左サイド装飾部材420の前側で正面視扉枠3の左上隅となる位置に取付けられており左スピーカ(図示は省略)を有した左スピーカユニット430と、ユニットベース410の後側に取付けられており前面に複数のLEDが取付けられた扉枠左装飾基板440と、を備えている。
扉枠3の右サイドユニット450は、図25及び図26等に示すように、扉枠ベースユニット100の前面で貫通口111の右側外周縁に沿って取付けられる平板状のユニットベース460と、ユニットベース460の前側に取付けられており上端がトップユニット350のトップ装飾部材370の右端まで延びている透光性を有した右サイド装飾部材470と、右サイド装飾部材470の前面で正面視扉枠3の右上隅となる位置に取付けられており右スピーカ(図示は省略)を有した右スピーカユニット480と、ユニットベース460と右サイド装飾部材470との間に取付けられており前面に複数のLEDが取付けられた扉枠右装飾基板(図示は省略)と、を備えている。
扉枠3のハンドルユニット500は、図25及び図26等に示すように、扉枠ベースユニット100のハンドル取付部材120に取付けられるハンドル本体502と、ハンドル本体502に回動可能に取付けられており遊技者が回動操作可能なハンドルレバー504と、ハンドルレバー504の前側からハンドル本体502に取付けられておりハンドル本体502と協働してハンドルレバー504を回動可能に支持しているハンドルカバー506と、を備えている。また、ハンドルユニット500は、図示は省略するが、ハンドル本体502内に取付けられておりハンドルレバー504の回転角度を検知するハンドル操作センサと、ハンドル本体502に取付けられており遊技者が操作可能なストップボタンと、ハンドル本体502内に取付けられており遊技者とハンドルレバー504との接触を検知する接触検知センサと、を備えている。
扉枠3のファールカバーユニット520は、図25、図26、及び図55乃至図57等に示すように、扉枠ベースユニット100の後側に取付けられ前側が開放された浅い箱状のユニット本体522と、ユニット本体522の前面に取付けられている平板状の蓋部材524と、を主に備えている。ファールカバーユニット520は、正面視左上隅において前後に貫通しており本体枠4の下部満タン球経路ユニット860の通常誘導路と皿ユニット200の上皿球供給口210aとを連通させる貫通球通路526と、貫通球通路526の正面視右側で後方へ向かって開口しており本体枠4の下部満タン球経路ユニット860の満タン誘導路と連通可能な満タン球受口528と、満タン球受口528の正面視右側で上方へ向かって開口しており本体枠4の球発射装置680により発射されにも関わらず遊技領域5a内へ到達しなかった遊技球(ファール球)を受けるファール球受口530と、正面視右下隅で前方へ向かって開口しており満タン球受口528及びファール球受口530に受入れられた遊技球を放出すると共に皿ユニット200の下皿球供給口210cと連通する球放出口532と、を備えている。
扉枠3の球送りユニット540は、図25及び図26等に示すように、左右に延びており後側が開放された箱状のユニット本体542と、ユニット本体542の後側に取付けられており前側が開放された箱状でファールカバーユニット520の正面視右側で扉枠ベースユニット100の後側に着脱可能に取付けられるユニットカバー544と、前方へ向かって開口しており皿ユニット200の上皿201に貯留されている遊技球が進入する球進入口546と、球進入口546に進入した遊技球を放出可能とされており後方へ向かって開口している球放出口548と、球進入口546に進入した遊技球を排出可能とされており球進入口546の下側で前方へ向かって開口している球排出口550と、を備えている。また、球送りユニット540は、図示は省略するが、球進入口546から進入した遊技球を一つずつ球放出口548から放出させるための球送りソレノイドと、球進入口546から進入した遊技球を球放出口548側又は球排出口550側の何れかに切換える切換機構と、を備えている。
扉枠3のガラスユニット560は、図25及び図26等に示すように、扉枠ベースユニット100の貫通口111よりも大きい枠状のユニット枠562と、ユニット枠562の前後両側に取付けられておりユニット枠562の枠内を閉鎖する一対のガラス板564と、を備えている。
[3−1.皿ユニットの全体構成]
扉枠3の皿ユニット200について、図27乃至図42を参照して詳細に説明する。図27は扉枠の皿ユニットを前から見た斜視図であり、図28は皿ユニットを後ろから見た斜視図である。図29は皿ユニットを主な部材毎に分解して前から見た分解斜視図であり、図30は皿ユニットを主な部材毎に分解して後ろから見た分解斜視図である。図31(a)は皿ユニットの演出操作ユニットを前から見た斜視図であり、(b)は演出操作ユニットを後ろから見た斜視図である。図32は演出操作ユニットを主な部材毎に分解して上から見た斜視図であり、図33は演出操作ユニットを主な部材毎に分解して下から見た分解斜視図である。図34は演出操作ユニットの取付ベースユニットを分解して上から見た分解斜視図であり、図35は取付ベースユニットを分解して下から見た分解斜視図である。
また、図36は演出操作ユニットのタッチユニットを分解して上から見た分解斜視図であり、図37はタッチユニットを分解して下から見た分解斜視図である。図38は演出操作ユニットのボタンユニットを分解して上から見た分解斜視図であり、図39はボタンユニットを分解して下から見た分解斜視図である。図40は皿ユニットの平面図であり、図41は図40におけるB−B断面において演出操作ユニットの部位を拡大して示す断面図であり、図42は図40におけるC−C断面において演出操作ユニットの部位を拡大して示す断面図である。
更に、図43(a)は皿ユニットの扉右下演出ユニットの正面図であり、(b)は扉右下演出ユニットの右側面図であり、図44(a)は扉右下演出ユニットを前から見た斜視図であり、(b)は扉右下演出ユニットを後ろから見た斜視図である。図45は、図43(b)の扉右下演出ユニットにおけるD−D断面図である。図46は扉右下演出ユニットを分解して前から見た分解斜視図であり、図47は扉右下演出ユニットを分解して後ろから見た分解斜視図である。図48は扉右下演出ユニットの回転体内部ユニットを分解して前から見た分解斜視図であり、図49は回転体内部ユニットを分解して後ろから見た分解斜視図である。図50(a)は扉右下演出ユニットの扉右下回転体が前を向いた状態の正面図であり、(b)は扉右下回転体が後ろを向いた状態の正面図である。
また、図51(a)は皿ユニットの上皿球抜きユニットを皿ユニットベースに取付けた状態で前から見た斜視図であり、(b)は上皿球抜きユニットを皿ユニットベースに取付けた状態で後ろから見た斜視図である。図52は上皿球抜きユニットを分解して前から見た分解斜視図であり、図53は上皿球抜きユニットを分解して後ろから見た分解斜視図である。また、図54(a)は皿ユニットの下皿球抜きユニットを前から見た斜視図であり、(b)下皿球抜きユニットを分解して前から見た分解斜視図である。
皿ユニット200は、扉枠ベースユニット100から前方へ膨出している。この皿ユニット200は、払出装置830から払出され遊技領域5a内に打込むための遊技球を貯留する上皿201と、上皿201の下側に配置されており上皿201から供給される遊技球を貯留可能な下皿202と、を備えている。また、皿ユニット200は、扉枠ベースユニット100に取付けられる平板状の皿ユニットベース210と、皿ユニットベース210の前面上部に取付けられると共に左右中央より左側が前方へ大きく膨出しており上皿201を形成している上皿本体212と、皿ユニットベース210の前面下部で左右中央に取付けられると共に前方へ大きく膨出しており下皿202を形成している下皿本体214と、を備えている。
また、皿ユニット200は、上皿本体212の前側及び皿ユニットベース210の前面に取付けられる演出操作ユニット220と、上皿本体212、下皿本体214、及び演出操作ユニットの前側及び下側を覆い皿ユニットベース210の前面に取付けられる皿ユニットカバー260と、演出操作ユニット220の右側に配置されており皿ユニットベース210の前面右部に取付けられる扉右下演出ユニット270と、扉右下演出ユニット270の前側を覆い皿ユニットベース210の前面に取付けられる演出ユニットカバー300と、皿ユニットベース210を前後から挟むように取付けられており上皿本体212の上皿201内に貯留されている遊技球を下皿202へ抜き取るための上皿球抜きユニット310と、下皿本体214の下側に取付けられており下皿202に貯留されている遊技球を下方へ排出するための下皿球抜きユニット320と、を備えている。
更に、皿ユニット200は、演出操作ユニット220の上面に取付けられており遊技ホールの島設備においてパチンコ機1と隣接して配置される球貸機を操作するための球貸操作ユニット330と、皿ユニットベース210の上部に取付けられており発光装飾可能な上皿トップ装飾部材340と、皿ユニットカバー260の後側で皿ユニットベース210の前面左側に取付けられており前方へ向かって光を照射可能な複数のLEDを備えている皿ユニット左装飾基板345と、演出ユニットカバー300の後側且つ扉右下演出ユニット270の下側で皿ユニットベース210の前面右側に取付けられており前方へ向かって光を照射可能な複数のLEDを備えている皿ユニット右装飾基板346と、皿ユニットベース210の後側に取付けられており後述する上皿前装飾基板233、上皿後装飾基板235、上皿液晶基板241、加振装置242、タッチパネル246、演出ボタン装飾基板251、演出ボタン押圧センサ258、扉右下中継基板281、皿ユニット左装飾基板345、及び皿ユニット右装飾基板346と遊技盤5の図示しない周辺制御基板との接続を中継する皿ユニット中継基板347と、を備えている。
[3−1a.皿ユニットベース]
皿ユニット200の皿ユニットベース210は、図29及び図30に示すように、扉枠ベースユニット100の全幅に亘って左右に長く延びている。皿ユニットベース210は、正面視左上隅付近で前後に貫通していると共に後方へ筒状に延びている上皿球供給口210aと、上皿球供給口210aの下側で前後に貫通していると共に上下に延びている複数の長穴からなるスピーカスリット210bと、正面視左右中央の下部において前後に貫通していると共に後方へ筒状に延びている下皿球供給口210cと、下皿球供給口210cの正面視右上側で前後に貫通していると共に上下に延びており上部が上皿本体212の右端に位置する上皿球送り口210dと、を備えている。
また、皿ユニットベース210は、上皿球送り口210dの正面視左側で前後に貫通している内周が四角形の透口210eと、透口210eの下辺から前方へ板状に突出している受片210fと、上皿球送り口210dの正面視右上側で前後に貫通している逃し口210gと、正面視右下隅で前後に貫通しており扉枠ベースユニット100のハンドル取付部材120が挿通されるハンドル挿通口210hと、正面視右隅付近で前後に貫通しており施錠ユニット700の鍵シリンダ710が挿通されるシリンダ挿通口210iと、筒状の下皿球供給口210cの正面視右側の側面において後端から前方へ向かって切欠かれている切欠部210jと、を備えている。
[3−1b.上皿本体]
皿ユニット200の上皿本体212は、図29及び図30に示すように、正面視左右の中央より左側の方が大きく前方へ膨出しており、上方及び後方へ開放された容器状に形成されている。上皿本体212は、正面視右端側に左方及び後方へのみ開放されており遊技球が流通可能な誘導通路部212aを備えている。この上皿本体212は、底面が全体的に右端が低くなるように傾斜している。詳述すると、上皿本体212を皿ユニットベース210に取付けた状態で、上皿本体212の底面が、上皿球供給口210aの下側の位置から上皿球送り口210dの上端から遊技球の外径よりも若干下側の位置へ向かって低くなるように傾斜している。これにより、上皿球供給口210aから前方へ放出された遊技球を、上皿本体212内に受けて貯留することができると共に、受けた遊技球を誘導通路部212aの右端側から上皿球送り口210dへ供給することができる。
また、上皿本体212は、底面の後端側で左右の中央から右端付近まで延びている金属製のアース金具212bを備えている。このアース金具212bは、図示は省略するが、電気的に接地(アース)されており、遊技球が接触することで、遊技球に帯電した静電気を除去することができる。
[3−1c.下皿本体]
皿ユニット200の下皿本体214は、図29及び図30に示すように、前端辺に対して後端辺が長い平面視台形で、上方及び後方が開放された容器状に形成されている。下皿本体214は、底面に上下に貫通しており下皿球抜きユニット320によって閉鎖可能とされている球抜き孔214aを備えており、球抜き孔214aへ向かって低くなるように底面が傾斜している。この下皿本体214は、皿ユニットベース210の下皿球供給口210cから前方へ放出された遊技球を受けて貯留することができると共に、球抜き孔214aから遊技球を皿ユニット200の下方へ排出することができる。
[3−1d.演出操作ユニットの全体構成]
皿ユニット200の演出操作ユニット220は、図31乃至図33に示すように、正面視左右の中央で皿ユニットベース210及び上皿本体212に取付けられる取付ベースユニット220Aと、取付ベースユニット220Aに取付けられるタッチユニット220Bと、タッチユニット220Bの正面視左側で取付ベースユニット220Aに取付けられるボタンユニット220Cと、タッチユニット220Bと取付ベースユニット220Aとの間に介装される円筒状の複数のダンパ222と、タッチユニット220B及びボタンユニット220Cの外周を上側から覆うように取付ベースユニット220Aに取付けられるユニットカバー224と、取付ベースユニット220Aの正面視右端に取付けられる装飾部材226と、を備えている。
演出操作ユニット220のダンパ222は、円筒状に形成されており、外周面における軸方向の中央に溝222aが全周に亘って形成されている。本実施形態におけるダンパ222は、合成ゴムによって形成されている。複数のダンパ222によって、タッチユニット220Bが叩かれた時の衝撃を緩和させて取付ベースユニット220や皿ユニットベース210側へ作用する負荷(衝撃)を低減させることができると共に、タッチユニット220Bの後述する加振装置242による振動が、取付ベースユニット220や皿ユニットベース210側へ伝達されるのを低減させることができる。
[3−1d−1.取付ベースユニット]
演出操作ユニット220の取付ベースユニット220Aは、図32乃至図35に示すように、皿ユニットベース210の前面に取付けられ上方が開放された浅い箱状の取付ベース230と、取付ベース230の上側に取付けられると共に後端が上皿本体212の前端に取付けられ上側からタッチユニット200Bを収容可能な上方が開放された浅い箱状のユニットケース231と、ユニットケース231の前端に取付けられる横長の上皿前レンズ部材232と、上皿前レンズ部材232とユニットケース231との間に配置され前面に複数のLEDを備えた上皿前装飾基板233と、上皿前レンズ部材232の前側を覆いユニットカバー224に取付けられる透光性を有した上皿前装飾部材234と、を備えている。
また、取付ベースユニット220Aは、ユニットケース231の後端に取付けられており上方へ向かって光を照射可能な複数のLEDを備えた上皿後装飾基板235と、上皿後装飾基板235の上側に配置されユニットカバー224に取付けられる透光性を有した上皿後装飾部材236と、上皿後装飾部材236の前側においてユニットカバー224とユニットケース231とによって挟持され上皿後装飾基板235からの光を導いて上端が線状に発光可能な線状発光レンズ部材237と、上皿後装飾部材236の正面視右側でユニットカバー224に取付けられる筒状のボタン取付部材238と、ボタン取付部材238によって上下にスライド可能に取付けられる上皿球抜きボタン239と、を備えている。
取付ベース230は、前後の略中央から前側に、前方へ向かうに従って低くなるように傾斜している平板状の取付側受部230aと、取付側受部230aを貫通しており左右に離間した二つの貫通口230bと、貫通口230bの周縁から下方へ延出している筒状の筒状受部230cと、を備えている。貫通口230bは、内周が四角形に形成されている。筒状受部230cは、下方へ向かうに従って窄まるように角錐筒状に形成されている(図42を参照)。詳述すると、筒状受部230cは、前側の内周壁が取付側受部230aの面に対して略垂直に延びており、後側の内周壁が取付側受部230aの面に対して下方へ向かうに従って前方へ向かうように傾斜して延びている。また、筒状受部230cは、左右両側の内周壁が取付側受部230aの面の垂直に対して下端(先端)同士が僅かに接近するように傾斜して延びている。
ユニットケース231は、上方へ開放されておりタッチユニット220Bを収容可能な収容凹部231aと、収容凹部231aの底面の正面視左右両端付近から夫々前後に離間して一対ずつ上方へ円柱状に突出している横支持ピン231bと、収容凹部231aの底面の前端付近から左右に離間して上方へ円柱状に突出している一対の前支持ピン231cと、収容凹部231aにおいて底面の前後端側の左右中央から上方へ突出している中央支持突起231dと、収容凹部231aの底面の下側から下方へ向かうに従って窄まるように角錐状に突出しており左右に離間した二つの受突部231eと、を備えている。
また、ユニットケース231は、収容凹部231aよりも正面視左側で上下に円形に貫通しておりボタンユニット220Cの下部が挿通される挿通孔231fと、上面における挿通孔231fの周りに配置されておりボタンユニット220Cを取付けるためのボタンユニット取付部231gと、収容凹部231aの後側の外周壁において左右に延びていると共に上端から下方へ窪み線状発光レンズ部材237の線状発光部237bが配置される切欠部231hと、を備えている。
ユニットケース231の収容凹部231aは、平面視の形状が、左右に延びた四角形と、その四角形の左右両辺から外側へ突出した台形とを組合せた形状に形成されている。また、収容凹部231aは、左右両側の台形の部位の底面に対して、四角形の部位の底面が、下方へ低く形成されている。この収容凹部231aの底面の段差は、ダンパ222の高さ(軸方向の長さ)よりも若干低く形成されている。
四つの横支持ピン231bは、収容凹部231aにおける台形の部位の底面から上方へ突出しており、筒状のダンパ222内へ挿入可能に形成されている。また、横支持ピン231bは、上端側に、上端側へ向かうに従って直径が小さくなる円錐台状のテーパ部231iを備えている(図41を参照)。横支持ピン231bは、収容凹部231aの底面からテーパ部231iの中間までの距離が、ダンパ222の長さと同じとされており、全体がダンパ222よりも長く形成されている。一対の前支持ピン231cは、筒状のダンパ222内へ挿入可能とされており、ダンパ222の半分の長さよりも若干長く形成されている。
中央支持突起231dの上端は、収容凹部231aにおける台形の部位の底面と同じ高さまで突出している。受突部231eは、外周が四角形の円錐台状に形成されている。二つの受突部231eは、取付ベース230の二つの貫通口230bと対応した位置に形成されている。受突部231eは、前側の外周壁が収容凹部231aの底面に対して略垂直に延びており、後側の外周壁が収容凹部231aの底面に対して下方へ向かうに従って前方へ向かうように傾斜して延びている。また、受突部231eは、左右両側の外周壁が収容凹部231aの面の垂直に対して下端(先端)同士が僅かに接近するように傾斜して延びている。受突部231eの外周壁の形状は、取付ベース230の筒状受部230cの内周壁の形状と対応している。この受突部231eは、組立てた状態で、下端が取付ベース231の貫通口230a内に挿入されると共に、筒状受部230cの内周壁との間に僅かな隙間が形成される。
上皿前装飾部材234は、皿ユニット200が組立てられた状態で、前面が外部に露出する。上皿後装飾基板235は、上皿後装飾部材236を発光装飾させるための複数の装飾用LED235aと、線状発光レンズ部材237を発光装飾させるための複数の周縁用LED235bと、を備えている。
線状発光レンズ部材237は、上皿後装飾部材236よりも左右が長く形成されており、上皿後装飾基板235の複数の周縁用LED235bの上側に配置される受光部237aと、受光部237aと連続しユニットケース231の切欠部231hに嵌め込まれる平板状の線状発光部237bと、を備えている。線状発光レンズ部材237は、線状発光部237bをユニットケース231の切欠部231hに嵌め込むことで、線状発光部237aの前面が収容凹部231aの内周壁の一部を形成する。また、線状発光レンズ部材237は、皿ユニット200が組立てられた状態で、線状発光部237bの上端が外部に露出する。この線状発光レンズ部材237は、周縁用LED235bからの光を受光部237aで受光することができ、受光部237aで受光した光を線状発光部237bへ導光して線状発光部237bの上端全体を(線状に)発光させることができる。
上皿球抜きボタン239は、ボタン取付部材238によって上下にスライド可能に取付けられ、ボタン取付部材238よりも下方へ延出している延出片239aを備えている。この上皿球抜きボタン239を下方へ押圧することで、上皿球抜きユニット310を動作させて上皿201内に貯留されている遊技球を、上皿201から下皿202へ排出する(抜く)ことができる。
取付ベースユニット220Aは、四つの横支持ピン231bと二つの前支持ピン231cに夫々挿入されたダンパ222によって、タッチユニット220Bを弾性的に支持することができる。また、タッチユニット220Bが取付けられるユニットケース231の下方へ突出している二つの受突部231eの外周面と、ユニットケース231の下側で受突部231eの下端が挿入されている取付ベース230の筒状受部の内周面との間に僅かな隙間を形成している。これにより、タッチユニット220B側からユニットケース231が下方へ移動するような力(衝撃)が作用した時に、その力が直ちに取付ベース230の取付側受部230aに伝達されず、ユニットケース231の収容凹部231aの底面が下方へある程度撓んで受突部231eの下端の外周面が筒状受部230cの内周面に当接することで、取付ベース230側へ力が伝達される。つまり、ユニットケース231から取付ベース230へ力を伝達させる際に、ユニットケース231が撓むため、その撓みによって力をある程度減衰させて取付ベース230へ伝達させることができる。
また、ユニットケース231の受突部231e及び取付ベース230の筒状受部230cは、それらが形成されている面(タッチユニット220Bの上面と平行な面)に対して傾斜した外周面及び内周面を備えているため、受突部231eから筒状受部230cへ伝達される力の一部が、筒状受部230cが備えられている取付側受部230aの底面に沿った方向へ作用する。これにより、受突部231e(ユニットケース231)側からの力が分散し、取付ベース230に対して一方向へ大きな力が作用するのを回避させることができ、取付ベース230が破損し難くなる。
[3−1d−2.タッチユニット]
演出操作ユニット220のタッチユニット220Bは、図36及び図37に示すように、上方が開放された浅い箱状の下ケース240と、下ケース240内に上側から取付けられる上皿液晶基板241と、下ケース240内において上皿液晶基板241の左右両外側に配置される一対の加振装置242と、一対の加振装置242及び上皿液晶基板241の上側を覆うと共に下ケース240に取付けられ上方が開放された浅い箱状のベース部材243と、ベース部材243内に上側から挿入され上皿液晶基板241によって制御され画像を表示可能な上皿液晶表示装置244と、上皿液晶表示装置244の外周を覆う薄い金属板からなる枠状のアース金具245と、アース金具245及び上皿液晶表示装置244の上面を覆う透明なタッチパネル246と、タッチパネル246の外周を上側から覆いベース部材243を通して下ケース240に取付けられる枠状の上カバー247と、を備えている。
また、タッチユニット220Bは、下ケース240、ベース部材243及び上カバー247を組立てた状態で、それらの後端面において、下ケース240の下端から上カバー247の上端まで上下に延びていると共に、下ケース240等の後端面の左右の略全長に亘って延びており、下ケース240、ベース部材243及び上カバー247の後端面に貼付けられている防水性を有したシート状の防水シール248を備えている。
下ケース240は、外形がユニットケース231の収容凹部213aの内形と対応しており、収容凹部213a内に収容可能に形成されている。下ケース240は、左右に延びた長方形状の基板取付部240aと、基板取付部240aの左右両側から夫々台形に突出している平板状の突出部240bと、各突出部240bをダンパ222の外径と同じ内形で上下に貫通していると共に一部が左右方向外側へ開放されており前後に離間して形成された一対のダンパ取付凹部240cと、ダンパ取付凹部240cの内周面から突出しているフランジ部240dと、突出部240bにおける一対のダンパ取付凹部240cの間で基板取付部240a寄りに配置され加振装置242が取付けられる加振装置取付部240eと、を備えている。
下ケース240のダンパ取付凹部240cは、平面視の形状がC字状に形成されており、C字の開放されている側からダンパ222を挿入させることができる。また、フランジ部240dは、ダンパ取付凹部240cの上下の略中央で、ダンパ取付凹部240cのC字状の内周面の全周に亘って備えられている。このフランジ部240dは、ダンパ222の溝222a内に挿入可能とされている。
加振装置242は、小型の加振駆動モータ242aと、加振駆動モータ242aの回転軸に重心が偏芯して取付けられる錘242bと、を備えている。この加振装置242は、加振駆動モータ242aによって錘242bを回転させることで、振動を発生させることができる。
ベース部材243は、上皿液晶表示装置244が上側から挿入され浅い箱状に形成された液晶取付凹部243aと、液晶取付凹部243aの左右両側から外方へ延出している延出部243bと、延出部243bの先端で下ケース240のダンパ取付凹部240cと対応する位置で上下に貫通しており上側が大径に座グリされたネジ孔243cと、ネジ孔243cの下端側に形成されており下端へ向かうに従って直径が大きくなるC面取り状のテーパ部243d(図41を参照)と、を備えている。
ベース部材243のネジ孔243cの下側の内径は、ユニットケース231における横支持ピン231bのテーパ部231iよりも先端側が通過することができると共に、テーパ部231iよりも基端側(下側)が通過することができない大きさに形成されている。
タッチパネル246は、衝撃に強く割れ難い強化ガラスと、強化ガラスの上面に備えられた静電容量方式の透明なセンサシートと、強化ガラス及びセンサシートの外周を覆う枠状の保護カバーと、を備えている。
タッチユニット220Bは、下ケース240の左右に夫々一対ずつ備えられたダンパ取付凹部240c内に、C字の開放されている側からダンパ222を挿入して、ダンパ222を取付けることができる。この際に、ダンパ取付凹部240cの内周面から突出しているフランジ部240dが、ダンパ222の溝222a内に挿入される。これにより、ダンパ取付凹部240c内のダンパ222が、軸方向へ移動するのが規制される。ダンパ取付凹部240cにダンパ222を取付けた状態では、ダンパ222の上端がベース部材243の延出部243bの下面に当接すると共に、ダンパ222の下端が下ケース240の下端(下面)よりも下方へ突出する。
また、タッチユニット220Bは、一対の加振装置242の加振駆動モータ242aが、下ケース240とベース部材243との間に挟持されている。一対の加振装置242は、夫々独立して振動を発生させることができる。
また、タッチユニット220Bは、タッチパネル246を通して上皿液晶表示装置244に表示される画像を上側から視認することができる。そして、上皿液晶表示装置244にボタン等の画像を表示させ、遊技者がその画像のボタンを操作するようにタッチパネル246に触れることで、画像のボタンを操作することができる。
更に、タッチユニット220Bは、後側の外周面に防止水シール248が貼付けられているため、皿ユニット200上で飲み物等の液体をこぼした時に、その液体がタッチユニット220B内に浸入するのを防止することができ、タッチユニット220Bが液体の浸入によって破損するのを防止することができる。
[3−1d−3.ボタンユニット]
演出操作ユニット220のボタンユニット220Cは、図38及び図39に示すように、取付ベースユニット220Aにおけるユニットケース231のボタンユニット取付部231gに取付けられる円筒状のユニット本体250と、ユニット本体250の下側に配置され上面にLEDが備えられた演出ボタン装飾基板251と、演出ボタン装飾基板251の下側を覆いユニット本体250の下側に取付けられる基板カバー252と、を備えている。
また、ボタンユニット220Cは、ユニット本体250内に上側から上下へスライド可能に挿入される筒状のボタンベース253と、ボタンベース253とユニット本体250との間に配置されボタンベース253を上方へ付勢するバネ部材254と、ボタンベース253内に挿入され演出ボタン装飾基板251のLEDからの光を上方へ導くことが可能な導光部材255と、導光部材255の上側に配置され複数の微小なプリズムを備えたシート状の拡散レンズ部材256と、拡散レンズ部材256の上側を覆いボタンベース253に取付けられる透光性を有した上皿演出ボタン257と、演出ボタン装飾基板251の上面に取付けられておりボタンベース253の下降端への移動を検知する演出ボタン押圧センサ258と、を備えている。
ユニット本体250は、外周面の下端から外方へ延出しボタンユニット取付部231gに取付けられる三つの取付片250aと、内周面の下端から内方へ延出しているフランジ状の棚部250bと、内周面に沿って棚部250bを貫通している一対の貫通口250cと、を備えている。
ボタンベース253は、棚部250bの内周に挿入される筒状の下筒部253aと、下筒部253aの上端から上方へ向かうに従って直径が大きくなる円錐筒状の上筒部253bと、上筒部253bの上端から下方へ延出しており下端がユニット本体250の貫通口250cを貫通可能とされていると共に下端から外方へ突出しユニット本体250の下面と係合(当接)可能な爪を有する一対の係合爪部253cと、上筒部253bの外周面から上端の外径よりも短く外方へ放射状に突出しており下端がユニット本体250の棚部250bの上面と当接可能な複数の平板状の当接片253dと、下筒部253a及び上筒部253bの外周面から外方へ平板状に延出しており演出ボタン押圧センサ258に検知される検知片253eと、を備えている。
バネ部材254は、図示するように、コイルバネとされている。このバネ部材254は、下端がユニット本体250の棚部250bの上面に当接され、上端がボタンベース253における複数の当接片253dによって支持される。
導光部材255は、ボタンベース253における上筒部253bの上部に嵌め込まれる円盤状の本体部255aと、本体部255aの下面から下方へボタンベース253の下筒部253aの下端付近まで延びている円柱状の複数の導光部255bと、を備えている。複数の導光部255bは、演出ボタン装飾基板251のLEDと対応するように備えられており、LEDからの光を導いて本体部255aの上面全体から放出させることができる。
このボタンユニット220Cは、ボタンベース253、導光部材255、拡散レンズ部材256、及び上皿演出ボタン本体が一体的に組立てられており、それらが一緒にユニット本体250内を上下にスライドすることができる。これらボタンベース253等は、バネ部材254の付勢力によって、上皿演出ボタン257の上面がユニット本体250の上端よりも上方へ突出すると共に、ボタンベース253の一対の係合爪部253cがユニット本体250の下面と係合することで、これ以上の上昇が規制され、上皿演出ボタン257等が上昇端に位置した状態となる。
バネ部材254の付勢力に抗して上皿演出ボタン257を下方へ押圧すると、上皿演出ボタン257等が下降し、ボタンベース253の検知片253eが、演出ボタン押圧センサ258によって検知され、上皿演出ボタン257の押圧操作が検知される。上皿演出ボタン257の押圧により、ボタンベース253が下降すると、ボタンベース253の複数の当接片253dの下端が、ユニット本体250の棚部250bの上面に当接し、これ以上の下降が規制され、上皿演出ボタン257等が下降端に位置した状態となる。
また、ボタンユニット220Cは、演出ボタン装飾基板251のLEDを発光させることで、上皿演出ボタン257を発光装飾させることができる。演出ボタン装飾基板251のLEDは、フルカラーLEDとされており、上皿演出ボタン257を様々な色に発光装飾させることができる。
[3−1d−4.演出操作ユニットの特徴]
本実施形態の演出操作ユニット220は、図41に示すように、組立てた状態で、タッチユニット220Bの下ケース240のダンパ取付凹部240cに取付けられたダンパ222の下端が、下ケース240の下面よりも下方へ突出していることから、取付ベースユニット220Aのユニットケース231の収容凹部231aの底面と、タッチユニット220Bの下ケース240の下面との間に、隙間が形成される。また、ユニットケース231の四つの横支持ピン231bの先端面(上端面)は、ベース部材243のネジ孔243cの座グリの底面と一致しており、横支持ピン231bに対するタッチユニット220Bの上方へ移動が、横支持ピン231bの上端にねじ込まれたビス227の頭部の平座金によって規制されている。また、横支持ピン231bの上端側に形成されたテーパ部231iと、ベース部材243のネジ孔243cの下端側に形成されたテーパ部243dとは、互いに離間している。
また、演出操作ユニット220は、図42に示すように、ユニットケース231の前支持ピン231cに挿入されているダンパ222の上面は、収容凹部231aの底面における横支持ピン231b側の底面よりも若干上方へ突出している。また、ユニットケース231の収容凹部231aの底面と、下ケース240の下面との間に隙間が形成されていることから、ユニットケース231の前支持ピン231cに挿入されたダンパ222の上面と、下ケース240の下面との間にも隙間が形成されている。また、ユニットケース231の中央支持突起231dの上面と下ケース240の下面との間にも隙間が形成されている。つまり、タッチユニット220Bは、左右両側の横支持ピン231bに挿入されたダンパ222によって、下面が宙に浮いた状態で取付ベースユニット220Aに取付けられている。
更に、演出操作ユニット220は、取付ベースユニット220Aの取付ベース230における下方へ窄まる角錐筒状の筒状受部230c内に、上側からタッチユニット220Bが取付けられているユニットケース231における下方へ窄まる角錐状の受突部231eの下端が挿入されている。この筒状受部230cの内周壁と、受突部231eの外周壁との間には、僅かな隙間が形成されている。これにより、通常の状態では、取付ベース230には、ユニットケース231の内側(収容凹部231aの中央側)が宙に浮いた状態で、ユニットケース231の外周付近のみが取付けられている。
また、演出操作ユニット220は、図31等に示すように、タッチユニット220Bにおいて遊技領域5aに近い後側の辺に沿って線状発光レンズ部材237の線状発光部237bの上端が線状(帯状)に露出している。線状発光部237bの上端の長さは、タッチユニット220Bの後辺の長さの約2/3である。このタッチユニット220Bの後辺に沿って露出している線状発光部237bの上端の後側に、上皿後装飾部材236が配置されている。また、上皿後装飾部材236の正面視右側に、上皿球抜きボタン239が配置されている。更に、タッチユニット220Bの正面視左側に、ボタンユニット220Cが配置されている。
この演出操作ユニット220は、遊技領域5a内に遊技球を打込むことで変化する遊技状態に応じて、遊技者に対して様々な演出を提示することができる。例えば、タッチユニット220Bの上皿液晶表示装置244に画像を表示させることで、透明なタッチパネル246を通して画像(演出画像)を遊技者に提示して楽しませることができる。
この上皿液晶表示装置244に表示される画像として、操作ボタンを模した画像を表示させると共に、タッチパネル246のセンサシート246bによるタッチの検知を受付可能とすることで、遊技者に対して画像の操作ボタンを操作させることができ、タッチパネル246を用いた演出を楽しませることができる。タッチパネル246を用いた演出の際に上皿液晶表示装置244に表示される画像は、操作ボタンに限定するものではなく、様々な画像を表示させることができる。
また、演出操作ユニット220では、タッチユニット220Bを複数のダンパ222によってユニットケース231から浮いた状態で支持しているため、遊技状態に応じて加振装置242を動作させることで、タッチユニット220Bを振動させることができる。タッチパネル246を用いた演出の際に、加振装置242によってタッチパネル246(タッチユニット220B)を振動させることで、加振装置242による振動をタッチパネル246に接触している遊技者の指や手等に伝達させて、遊技者に対して画像の操作ボタンを操作しているにも関わらず恰も実体のある操作ボタンを操作しているように錯覚させて驚かせることができ、タッチパネル246と振動による演出を遊技者に楽しませて興趣が低下するのを抑制することができる。
更に、演出操作ユニット220では、タッチユニット220Bの正面視左側にボタンユニット220Cを備えているため、遊技状態に応じて遊技者に上皿演出ボタン257を押圧操作させて、上皿演出ボタン257の操作を楽しませることができる。詳述すると、タッチパネル246における画像の操作ボタンでは、タッチパネル246に触れるだけであるため実際の操作ボタンと比較して操作感に欠ける嫌いがあるが、上皿演出ボタン257では現実に押圧操作することができるため、上皿演出ボタン257の操作に違和感を与えてしまうことがなく、上皿演出ボタン257の操作を快適に楽しませることができ、遊技に対する興趣が低下するのを抑制することができる。
この演出操作ユニット220は、前方へ膨出している皿ユニット200において上皿201が備えられている部位に配置されているため、タッチユニット220Bやボタンユニット220Cを用いた演出中以外においても、遊技者をタッチユニット220B等を上から叩く虞がある。これに対して、演出操作ユニット220では、タッチユニット220Bをダンパ222によって下側のユニットケース231から浮いた状態で支持しているため、タッチユニット220Bが上から叩かれても、ダンパ222の弾性力によってその衝撃をある程度吸収することができる。詳述すると、タッチユニット220Bが叩かれたり等して上から衝撃(荷重)が作用すると、左右の横支持ピン231bが挿入されているダンパ222に伝達され、タッチユニット220Bが下降しながらダンパ222が圧縮される。横支持ピン231bに支持されたダンパ222が圧縮されることで、タッチユニット220Bからの衝撃が吸収される。
そして、更に、衝撃によってタッチユニット220Bが下降すると、下ケース240の下面が前支持ピン231cが挿入されているダンパ222の上端に当接し、タッチユニット220Bの下降に伴って前支持ピン231cに支持されているダンパ222が下方へ圧縮される。これにより、横支持ピン231bに支持されているダンパ222に加えて、前支持ピン231cに支持されているダンパ222によっても、タッチユニット220Bからの衝撃が吸収される。
タッチユニット220Bに作用する衝撃によってタッチユニット220Bが更に下降すると、タッチユニット220Bの下ケース240の下面がユニットケース231における収容凹部231aの左右両側の底面と中央支持突起231dの上面とに当接する。これにより、タッチユニット220Bからの衝撃が、複数のダンパ222介さず、タッチユニット220Bからユニットケース231へ直接作用することとなる。
更に、タッチユニット220Bが下降すると、中央支持突起231dからの荷重によってユニットケース231の収容凹部231aの底面が、その中央が下方へ移動するように撓むこととなる。この収容凹部231aの底面の撓みによる弾性力によって、タッチユニット220Bからの衝撃が吸収される。この収容凹部231aの底面が撓むことで、収容凹部231aの底面の下側から下方へ突出している一対の受突部231eが下降する。そして、タッチユニット220Bからの衝撃によって受突部231eが更に下降すると、受突部231eの外周壁の下端側が、取付ベース230の筒状受部230cの内周壁に当接し、タッチユニット220Bからの衝撃が、ユニットケース231から取付ベース230へ伝達されることとなる。
受突部231eの外周壁と筒状受部230cの内周壁は、夫々が下方へ窄まる角錐状に形成さていることから、受突部231eから筒状受部230c(取付ベース230側)へ伝達される荷重が、取付ベース230の取付側受部230aの底面に沿った方向と底面に垂直な方向とに分散されて伝達される。このように、タッチユニット220Bに作用した衝撃が、取付ベース230に伝達されるまでに、その衝撃を吸収する構成が幾重にも配置されているため、タッチユニット220Bに作用した衝撃を十分に吸収して緩和させることができ、その衝撃によって、タッチユニット220B、ユニットケース231、取付ベース230等を破損し難くすることができる。
また、演出操作ユニット220は、遊技状態に応じて上皿後装飾基板235の周縁用LED235bによりタッチユニット220Bの後側の外周縁に沿って延びている線状発光レンズ部材237の線状発光部237bの上端を線状に発光させることができる。これにより、遊技者の関心をタッチユニット220Bへ引付けることができ、タッチユニット220Bにおける上皿液晶表示装置244に表示される画像や、タッチパネル246を用いたタッチ演出等を楽しませて興趣が低下するのを抑制することができる。
また、遊技状態に応じて、上皿後装飾基板235の装飾用LED235aによりタッチパネル220Bの後側(線状発光部237bよりも後側)に配置されている上皿後装飾部材236を発光装飾させることができる。この上皿後装飾部材236を発光装飾させることで、線状発光レンズ部材237の線状発光部237bの発光と同様に、遊技者の関心をタッチユニット220B等の演出操作ユニット220へ引付けることができ、演出操作ユニット220によって提示される演出を楽しませて興趣が低下するのを抑制することができる。
更に、上皿液晶基板241や上皿液晶表示装置244を備えたタッチユニット220Bを、取付ベースユニット220Aの取付ベース230とユニットケース231とによって、皿ユニットカバー260の後述する上皿下被覆部262の上面よりも高い位置に配置していると共に、タッチユニット220Bの後側の外周面に防水シール248を貼付けている。これにより、上皿201において、外気に触れることで上皿本体212や遊技球の表面で結露した水(水滴)が、上皿201の下方(上皿下被覆部262上)へ流動しても、タッチユニット220B内へ結露した水が浸入するのを防止することができ、タッチユニット220Bにおいて不具合が発生するのを防止することができる。
また、図42に示すように、上皿後装飾部材236や線状発光レンズ部材237を発光装飾させる上皿後装飾基板235を、上皿201の底面よりも高い位置に配置しているため、上皿201で結露した水滴にさらされることがなく、上皿後装飾基板235においてショートや腐蝕等の不具合が発生するのを防止することができる。
[3−1e.皿ユニットカバー]
皿ユニット200の皿ユニットカバー260は、図27乃至図30に示すように、左右に延びていると共に、左右の中央が前方へ膨出しており、後方へ開放された殻状に形成されている。皿ユニットカバー260は、左右の略中央で前方へ開口しており後端が皿ユニットベース210によって閉鎖される下皿開口部261と、下皿開口部261の内周壁における天板側(上側)を形成しており上皿本体212及び演出操作ユニット220の下側を覆う上皿下被覆部262と、下皿開口部261の正面視左側に配置されており本体枠4のスピーカユニット920の低音スピーカからの音を透過させるスピーカグリル263と、スピーカグリル263の上側に配置され皿ユニット左装飾基板345によって発光装飾される皿ユニット左装飾部材264と、下皿開口部261の正面視右側に配置されておりハンドルユニット500のハンドル本体502の後部が通過するハンドル口265と、皿ユニットカバー260の底面を形成しており下皿本体214の下側を覆う底板部266と、左右の中央で底板部266を上下に貫通しており下皿球抜きユニット320によって閉鎖される底板開口部267と、を備えている。
下皿開口部261は、内周壁の底板側(下側)が下皿本体214によって閉鎖される。スピーカグリル263及び皿ユニット左装飾部材264は、金属板に複数の孔を設けたパンチングメタルによって構成されている。
この皿ユニットカバー260は、正面視左側の表面が滑らかな感じに形成されているのに対して、右側の表面がゴツゴツした感じに形成されている。また、正面視の右側は、略全体的に透光性を有している。
皿ユニットカバー260は、皿ユニット200に組立てた状態で、タッチユニット220Bの上面と上皿下被覆部262の下面との間が、片手で掴むことが可能な間隔に形成されている。これにより、遊技者が、タッチユニット220Bをタッチ操作する際に、下皿開口部261の上側を掴むことで、タッチする指(手や腕)を安定させることができ、タッチユニット220Bのタッチ操作を行い易くできる。
詳述すると、組立てた状態では、タッチユニット220Bの前端上面と上皿下被覆部262の下面との間の厚さが約25mmに、タッチユニット220Bの後端上面と上皿下被覆部262の下面との間の厚さが約50mmに、上皿下被覆部262の前端からタッチユニット220Bの後端までの前後の距離が約60mmに、夫々形成されている。また、タッチユニット220Bの上面が、水平に対して約20度傾斜している。これにより、タッチユニット220Bの上面と上皿下被覆部262の下面との間を、遊技者の手で掴むことができる。
[3−1f.扉右下演出ユニット]
皿ユニット200の扉右下演出ユニット270は、図43乃至図50に示すように、ハンドルユニット500の上側、且つ、演出操作ユニット200の右側に配置されており、遊技状態に応じて回転すると共に発光装飾する球状の扉右下回転体270Aを備えている。扉右下演出ユニット270は、皿ユニットベース210の前面で逃し口210gを閉鎖するように取付けられ扉右下回転体270Aを回転可能に支持するユニットベース271と、ユニットベース271に取付けられている扉右下駆動モータ272と、扉右下駆動モータ272の回転軸に固定されている駆動ギア273と、駆動ギア273と噛合し扉右下回転体270Aに取付けられている従動ギア274と、従動ギア274を回転可能に支持しておりユニットベース271に取付けられている軸部材275と、を備えている。
また、扉右下演出ユニット270は、従動ギア274とは扉右下回転体270Aの反対側に取付けられておりユニットベース271に回転可能に支持されている回転体側軸受部材276と、扉右下回転体270Aの従動ギア274とは反対側をユニットベース271と協働して回転可能に支持しているベース側軸受部材277と、ユニットベース271に取付けられており扉右下回転体270Aの回転位置を検知可能な二つの回転検知センサ278と、扉右下回転体270Aの正面視左側でユニットベース271に取付けられている装飾部材279と、ユニットベース271の後側に取付けられており前面に複数のLEDを備えた扉右下ベース装飾基板280と、ユニットベース271の後側に取付けられており扉右下駆動モータ272、回転検知センサ278、扉右下ベース装飾基板280、及び後述する扉右下回転体装飾基板291と周辺制御基板(図示は省略)との接続を中継する扉右下中継基板281と、を備えている。
扉右下回転体270Aは、外殻を構成し夫々が半球殻状の前外殻部材285及び後外殻部材286と、前外殻部材285と後外殻部材286との間に配置される回転体内部ユニット290と、を備えている。前外殻部材285及び後外殻部材286は、回転軸を中心に半円形状の切欠部285a,286aが夫々形成されている。前外殻部材285は、透光性を有した半球殻状の表面に、金属光沢を有し周方向へ帯状に延びている帯装飾285bと、帯装飾285bの中央に配置されているハート形のハート装飾285cと、を備えている。一方、後外殻部材286は、透光性を有した半球殻状の表面に、金属光沢を有し周方向へ帯状に延びている帯装飾286bを備えている。前外殻部材285と後外殻部材286とを合わせた時に、前外殻部材285の帯装飾285bと後外殻部材286の帯装飾286bとが繋がるように形成されている。
回転体内部ユニット290は、図48及び図49に示すように、円盤状で両面に複数のLEDが備えられている扉右下回転体装飾基板291と、扉右下回転体装飾基板291の中心に取付けられており扉右下回転体装飾基板291の面に対して垂直に延びており先端が軸部材275に取付けられる円柱状の第一固定軸部材292と、第一固定軸部材292とは扉右下回転体装飾基板291の反対側に取付けられており扉右下回転体装飾基板291の面に対して垂直に延びており先端がユニットベース271及びベース側軸受部材277に取付けられる円筒状の第二固定軸部材293と、を備えている。図示は省略するが、第二固定軸部材293の内部には、扉右下中継基板281と扉右下回転体装飾基板291とを接続する配線コードが挿入されている。
また、回転体内部ユニット290は、扉右下回転体装飾基板291の両側に配置されており前外殻部材285及び後外殻部材286の内側に取付けられる平板で円環状の透明なリフレクタベース294と、リフレクタベース294に取付けられており円環状で軸方向外側へ開いた朝顔状の第一リフレクタ295と、第一リフレクタ295の円環内を通してリフレクタベース294に取付けられており中心に六角形の貫通孔296aを有した第二リフレクタ296と、を備えている。第一リフレクタ295及び第二リフレクタ296は、表面に金属光沢を有したメッキ層が備えられており、扉右下回転体装飾基板291からの光を反射させることができる。また、第一リフレクタ295及び第二リフレクタ296には、放射状に延びた平板状のリブが複数備えられている。
この回転体内部ユニット290は、扉右下回転体装飾基板291、第一固定軸部材292、及び第二固定軸部材293と、リフレクタベース294、第一リフレクタ295、及び第二リフレクタ296とが、相対回転可能に互いに分離している。
ユニットベース271は、扉右下回転体270Aの後側に配置される環状のリング部271aと、リング部271aの外周におけるリング部271aの中心に対して正面視斜め右上の部位から前方へ平板状に突出している第一突出片271bと、リング部271aの外周における第一突出片271bとは反対側の部位から前方へ平板状に突出している第二突出片271cと、第二突出片271cの前端から後方へ向かってU字状に窪み第二固定軸部材293の先端が挿入される軸受溝271dと、を備えている。
扉右下駆動モータ272は、第一突出片271bの外側の側面(右側の側面)に、回転軸が貫通した状態で取付けられる。従動ギア274は、駆動ギア273よりも大径に形成されている。軸部材275は、第一突出片271bの前端に取付けられる取付部275aと、取付部275aから筒状に突出している筒状軸部275bと、を備えている。この軸部材275は、筒状軸部275bの外周によって従動ギア274を回転可能に支持できると共に、筒状軸部275bの内周によって第一固定軸部材292の先端を回転不能に支持できる。
回転体側軸受部材276は、第二固定軸部材293が回転可能に挿入される軸受孔276aと、外方へ延出している平板状の検知片276bと、を備えている。ベース側軸受部材277は、ユニットベース271における第二突出片271cの前端のU字状の軸受溝271dの開放されている前端側を閉鎖するように、第二突出片271cの前端に取付けられる。二つの回転検知センサ278は、扉右下回転体270Aの回転軸を挟んで対称に第二突出片271cに取付けられる。二つの回転検知センサ275は、扉右下回転体270Aのハート装飾285cが前方を向く回転位置(図50(a)を参照)と、ハート装飾285cが後方を向く回転位置(図50(b)を参照)とを、夫々検知することができる。
本実施形態の扉右下演出ユニット270は、遊技状態に応じて、扉右下駆動モータ272によって扉右下回転体270Aを回転させることができると共に、ハート装飾285cが前方を向くように停止するか否かで、遊技者に対してチャンスの到来等を示唆することができ、遊技者を楽しませて興趣が低下するのを抑制することができる。
また、扉右下演出ユニット270は、扉右下回転体270A内部の扉右下回転体装飾基板291が回転不能に取付けられていることから、扉右下回転体270Aの回転中に、扉右下回転体装飾基板291(のLED)を発光させると、扉右下回転体270Aの回転につれて扉右下回転体装飾基板291から照射される光の位置が移動すると共に、第一リフレクタ295や第二リフレクタ296によって反射誘導される光の方向が変化するため、扉右下回転体装飾基板291のLEDを点滅させなくても、光が点滅しているように扉右下回転体270Aを発光装飾させたり、LEDから多様な色の光を照射することで扉右下回転体270Aを虹色に発光装飾させたりすることができ、遊技者を楽しませることができる。
[3−1g.演出ユニットカバー]
皿ユニット200の演出ユニットカバー300は、図29及び図30に示すように、扉右下演出ユニット270における球状の扉右下回転体270Aの前側を覆う半球状で透明な回転体カバー部301と、回転体カバー部301の外周に形成されており皿ユニットカバー260の正面視右側の装飾と連続した装飾部302と、回転体カバー部301の下部右側において前後に貫通しており施錠ユニット700の鍵シリンダ710が挿通されるシリンダ挿通口303と、を備えている。
演出ユニットカバー300は、全体が後方が開放された容器状で、透光性を有している。この演出ユニットカバー300は、回転体カバー部301の上側が扉右下演出ユニット270の扉右下ベース装飾基板280によって発光装飾されると共に、回転体カバー部301の下側が皿ユニット右装飾基板346によって発光装飾される。
[3−1h.上皿球抜きユニット]
皿ユニット200の上皿球抜きユニット310は、図51乃至図53に示すように、皿ユニットベース210の透口210e及び受片210fを前側から覆うように皿ユニットベース210の前面に取付けられ後方が開放された縦長箱状で上部に上皿球抜きボタン239の延出片239aが挿通可能な挿通口311aを有しているカバー311と、カバー311内における皿ユニットベース210の透口210eの正面視左上となる位置に取付けられている前ベース部材312と、前ベース部材312によって回転可能に支持されており上皿球抜きボタン239の押圧により回動する押圧伝達部材313と、押圧伝達部材313を上皿球抜きボタン239が上昇する方向へ付勢している第一バネ部材314と、を備えている。
また、上皿球抜きユニット310は、皿ユニットベース210の上皿球送り口210dを後側から閉鎖するように皿ユニットベース210の後側に取付けられている後ベース部材315と、後ベース部材315と皿ユニットベース210との間に配置されていると共に後ベース部材315によって昇降可能に取付けられており上側から押圧伝達部材313が接触している上皿球抜きスライダ316と、上皿球抜きスライダ316を上方へ付勢している第二バネ部材317と、を備えている。
前ベース部材312は、皿ユニットベース210の前面と平行に延びておりカバー311に取付けられる平板状のベース部312aと、ベース部312aの左右両辺から前方へ平板状に延出している一対の延出片312bと、延出片312bの前端から後方へU字状に凹んだ軸支部312cと、ベース部312aの前面下端付近に備えられており第一バネ部材314の後端が係止される鉤状のバネ係止部(図示は省略)と、を備えている。
押圧伝達部材313は、両端が前ベース部材312の一対の軸支部312c内へ回転可能に挿入される横長円柱状の軸部313aと、軸部313aから後方へ平板状に延出している後方延出片313bと、後方延出片313bの上面における正面視左端付近から上方へ平板状に延出しており上皿球抜きボタン239の延出片239cの下端が当接可能な上方延出片313cと、後方延出片313bの下面における正面視右端から下方へ平板状に延出している下方延出片313dと、軸部313aにおける正面視左端付近の下側から下方へ突出しており第一バネ部材314の前端が係止される鉤状のバネ係止部313eと、を備えている。下方延出片313dは、後方へ向かうに従って下方へ延びる三角形に形成されており、下端が上皿球抜きスライダ316と当接可能とされている。
後ベース部材315は、皿ユニットベース210の後面と平行に平板状に延びており皿ユニットベース210に取付けられるベース部315aと、ベース部315aの前面で左右に離間して備えられており上皿球抜きスライダ316の左右両端をスライド可能に支持するスライダ支持部315bと、ベース部315aの上端における皿ユニットベース210の上皿球送り口210dの上部と対応する位置に前方へ開口していると共にベース部315aの後側で下方へ開口し遊技球が流通可能な上部入口315cと、を備えている。
また、後ベース部材315は、ベース部315aの後側で上部入口315cと連続して下方へ延びていると共に後方へ開放されており下端が後方へ湾曲している第一誘導路315dと、第一誘導路315dの下側から下方へ延びた後に正面視左方へ延びて左端が左方へ開放されており全体が後方へ開放されているL字状の第二誘導路315eと、第二誘導路315eにおける左方へ延びた部位の後端側を閉鎖している平板状の通路蓋315fと、L字状の第二誘導路315eに二辺が囲まれるようにベース部315aを前後に貫通している開口部315gと、ベース部315aの前面から前方へボス状に突出しており第二バネ部材317の上端が係止されるバネ係止部315hと、を備えている。
後ベース部材315におけるL字状の第二誘導路315eは、左方へ延びた部位が、左方へ向かうに従って低くなるように傾斜している。この第二誘導路315eの左端は、図51(b)に示すように、皿ユニットベース210における筒状の下皿球供給口210cの切欠部210jに挿入されており、第二誘導路315eと下皿球供給口210cとが互いに連通している。
上皿球抜きスライダ316は、平板状で左右両端が後ベース部材315のスライダ支持部315bにスライド可能に支持されるスライダベース316aと、スライダベース316aの上端における正面視中央より左側から前方へ皿ユニットベース210の透口210eを通って受片210fの上側へ延出し上面に押圧伝達部材313の下方延出片313dの下端が当接可能な伝達片316bと、伝達片316bの下側でスライダベース316aの後側から下方へ向かうに従って後方へ突出している三角状の作動伝達部316cと、スライダベース316aの前面から突出しており第二バネ部材317の下端が係止される鉤状のバネ係止部316dと、を備えている。
上皿球抜きユニット310は、皿ユニット200を組立てた状態で、後ベース部材315の上部入口315cが、上皿本体212の誘導通路部212aの正面視右端側となる下端に開口している。これにより、上皿201内の遊技球を、上部入口315cからベース部315aの後側の第一誘導部315dを介して球送りユニット540へ供給することができる。
また、上皿球抜きユニット310は、上皿球抜きボタン239を下方へ押圧すると、上皿球抜きボタン239の延出片239aによって押圧伝達部材313が、第一バネ部材314の付勢力に抗して軸部313aを中心に、下方延出片313dの下端が下方へ移動する方向へ回動する。押圧伝達部材313の回動に伴って下方延出片313dの下端が下方へ移動すると、下方延出片313dの下端が当接している上皿球抜きスライダ316の伝達片316bによって上皿球抜きスライダ316が第二バネ部材317の付勢力に抗して下方へスライドする。
この上皿球抜きスライダ316が下方へスライドすることで、作動伝達部316cが、球送りユニット540の切換機構を動作させて球送りユニット540内での流路が切換えられて、第一誘導路315d側が第二誘導路315e側と連通した状態となる。これにより、上皿201内の遊技球が、上部入口315c、第一誘導路315d、球送りユニット540、及び第二誘導路315eを通って、下皿球供給口210cから下皿202へ排出され、上皿201内の遊技球を抜くことができる。
なお、上皿球抜きボタン239の下方への押圧を解除すると、第一バネ部材314及び第二バネ部材317の付勢力によって、上皿球抜きスライダ316や上皿球抜きボタン239が上昇し、元の状態に復帰することができる。
[3−1i.下皿球抜きユニット]
皿ユニット200の下皿球抜きユニット320は、図54等に示すように、皿ユニットカバー260の底板開口部267を閉鎖するように下皿本体214の下側に取付けられ下皿本体214の球抜き孔214aと一致する開口部321aを有している平板状の下皿球抜きベース321と、下皿球抜きベース321上を左右にスライドし開口部321aを閉鎖可能な平板状のスライド蓋322と、スライド蓋322の前端に取付けられており皿ユニットカバー260の前面から外部へ露出する摘み部323と、スライド蓋322によって開口部321aを閉鎖する方向へスライド蓋322を付勢しているバネ部材324と、バネ部材324の付勢力に抗してスライド蓋322を開口部321aを開放している位置に保持する保持装置325と、を備えている。
下皿球抜きベース321の開口部321aは、正面視左右中から右寄りの位置に形成されている。この下皿球抜きベース321は、下皿本体212に取付けることで、下皿球抜きベース321と下皿本体212との間でスライド蓋322を左右へスライド可能に支持することができる。スライド蓋322は、正面視左端側に保持装置325によって保持される保持突起322aを備えている。
保持装置325は、下皿球抜きベース321に取付けられる本体325aと、本体325aから開閉可能に突出しており保持突起322aを掴むことができる一対の保持爪325bと、を備えている。保持装置325は、開いている一対の保持爪325aの間に、保持突起322aを挿入して本体325a側へ押圧すると、一対の保持爪325bが閉じて保持突起322aを保持すると共に、一対の保持爪325bが閉じた状態で維持される。この状態で、保持突起322aを本体325a側へ移動させると、一対の保持爪325aが開いた状態となり、保持突起322aの保持が解除される。
この下皿球抜きユニット320は、摘み部323(スライド蓋322)が正面視右側へ移動している状態では、開口部321aと下皿本体214の球抜き孔214aとの間にスライド蓋322が位置し、下皿202内の遊技球が、球抜き孔214aから下方へ抜けることがなく、下皿202内に遊技球を貯留させることができる。
この状態から、摘み部323を左側へ操作することでスライド蓋322が左方へスライドし、開口部321aと球抜き孔214aとが連通する。これにより、下皿202内の遊技球が球抜き孔214a及び開口部321aを通って皿ユニット200の下方へ抜けるようになり、下皿202内の遊技球を抜くことができる。この際に、スライド蓋322の保持突起322aが、保持装置325の一対の保持爪325bによって保持されるため、摘み部323の操作をやめてもスライド蓋322が開いたままの状態となり、下皿202内の遊技球を抜き続けることができる。
スライド蓋322を閉めるには、摘み部323を左側へ僅かに操作すると、一対の保持爪325bが開いて保持突起322aの保持が解除され、バネ部材324の付勢力によってスライド蓋322が右側へスライドして、球抜き孔214aを閉鎖する。このように、下皿球抜きユニット320の摘み部323を操作することで、下皿202に遊技球を貯留させたり、下皿202に貯留された遊技球を抜いたりすることができる。
[3−1j.球貸操作ユニット]
皿ユニット200の球貸操作ユニット330は、図29及び図30等に示すように、演出操作ユニット220における正面視右端付近の上面に取付けられ透光性を有しているユニットケース331と、ユニットケース331の上面に露出しており遊技者が操作可能な球貸ボタン332と、球貸ボタン332の後側でユニットケース331の上面に露出しており遊技者が操作可能な返却ボタン333と、返却ボタン333の後側でユニットケース331の上面を通して遊技者側から視認可能とされている表示部334と、を備えている。
この球貸操作ユニット330は、パチンコ機1に隣接して設けられた球貸機に対して現金やプリペイドカードを投入した上で、球貸ボタン332を押すと、所定数の遊技球を皿ユニット200の上皿201内へ貸出す(払出す)ことができると共に、返却ボタン333を押すと貸出された分の残りを引いた上で投入した現金の残金やプリペイドカードが返却される。また、表示部334には、球貸機に投入した現金やプリペイドカードの残数、或は、球貸機が故障した時のエラーコード等、が表示される。
[3−1k.上皿トップ装飾部材]
皿ユニット200の上皿トップ装飾部材340は、図29及び図30等に示すように、皿ユニットベース210の上端における左右中央に取付けられ左右に帯状に延びた透光性を有する上皿トップレンズ340aと、上皿トップレンズ340aの下側に取付けられており上面に複数のLEDが取付けられた上皿トップ装飾基板340bと、を備えている。
この上皿トップ装飾部材340は、上皿トップ装飾基板340bのLEDを発光させることで、上皿トップレンズ340aを帯状に発光させることができる。この上皿トップ装飾部材340は、演出操作ユニット200の後側に配置されていることから、上皿後装飾部材236や線状発光レンズ部材237等の発光装飾と同様に、上皿トップ装飾部材340を発光装飾させることで、遊技者の関心をタッチユニット220B等の演出操作ユニット220へ引付けることができ、演出操作ユニット220によって提示される演出を楽しませて興趣が低下するのを抑制することができる。
[3−1l.皿ユニットの特徴的な作用効果]
本実施形態の皿ユニット200は、遊技領域5aの下側の遊技球を貯留する上皿201を有した皿ユニット200の上面における演出操作ユニット220のタッチユニット220Bに、遊技領域5a内に遊技球を打込むことで変化する遊技状態に応じて上皿液晶表示装置244に画像を表示させる際に、上皿液晶表示装置244の遊技領域5aに近い側の後側の外周縁に沿って帯状の線状発光レンズ部材237、上皿後装飾部材236、及び上皿トップ装飾部材340等を発光させることができるため、遊技者の視線が遊技領域5a内に集中していても、視線(視界)の外側から入る線状発光レンズ部材237等の光に気付くことができ、遊技者の視線(関心)を線状発光レンズ部材237等つまり上皿液晶表示装置244側へ引き付けることができる。従って、上皿液晶表示装置244において、遊技状態に応じて画像等の演出を提示する際に、線状発光レンズ部材237等を発光させることで、遊技者に対して上皿液晶表示装置244による演出の提示に気付かせることができ、上皿液晶表示装置244による演出を楽しませて興趣が低下するのを抑制することができる。
また、皿ユニット200に遊技状態に応じて画像を表示可能な上皿液晶表示装置244を備えていることから、チャンスの到来を示唆する画像を表示させるようにした場合、遊技領域5a外に配置されている上皿液晶表示装置244によってチャンスの到来が示唆されることとなるため、遊技者に対して遊技領域5a内での遊技と、遊技領域5a外の上皿液晶表示装置244での演出との両方を気に掛けさせることができる。従って、遊技領域5a内と遊技領域5a外(上皿液晶表示装置244)とを気に掛けさせることで、スピード感のあるタイトな遊技を楽しませることができ、遊技者の興趣が低下するのを抑制することができると共に、上皿液晶表示装置244においてチャンスの到来を示唆する画像を表示する時に、線状発光レンズ部材237等を発光させることで、遊技者を上皿液晶表示装置244に注目させることができ、チャンスの到来を確実に認識させて遊技者を楽しませることができる。この場合、遊技者によっては、遊技領域5a内と遊技領域5a外との両方が気になることで、どちらにも集中できなくなって興趣を低下させてしまう虞があるが、遊技状態(チャンスの到来)に応じて線状発光レンズ部材237等が発光するため、線状発光レンズ部材237等が発光するまでは遊技領域5a内へ集中することができ、遊技領域5a内での遊技を楽しませることができると共に、線状発光レンズ部材237等の発光時には上皿液晶表示装置244での演出を楽しませることができ、遊技にメリハリを付けて飽き難くすることができる。
また、遊技領域5aの下側で遊技者側へ膨出した皿ユニット200に上皿液晶表示装置244を備えているため、上皿液晶表示装置244が遊技者から近い位置に配置されることとなる。これにより、本パチンコ機1の正面に位置している遊技者によって上皿液晶表示装置244が隠れ易くなり、上皿液晶表示装置244を隣や後ろの他の遊技者からは見え難くなるため、上皿液晶表示装置244により提示される演出を当該遊技者のみに楽しませることができる。従って、上皿液晶表示装置244による演出を楽しんでいる時に、他の遊技者によって覗かれることで、不快に感じて興趣を低下させてしまうのを低減させることができると共に、上皿液晶表示装置244による演出の提示の際に線状発光レンズ部材237等が発光することで、上皿液晶表示装置244による演出を見逃し難くすることができ、上皿液晶表示装置244による演出を楽しませて興趣が低下するのを抑制することができる。
更に、線状発光レンズ部材237等を帯状に発光させるようにしているため、点状に発光させる場合と比較して、線状発光レンズ部材237等の発光を目立ち易くすることができ、遊技者の意識が遊技領域5a内に集中していても、線状発光レンズ部材237等の発光に気付かせ易くすることができ、上皿液晶表示装置244やタッチパネル246等による演出を楽しませて興趣が低下するのを抑制することができる。また、線状発光レンズ部材237等を帯状に発光させるため、他の発光装飾体等の発光とは異なる発光態様となり、発光装飾体等の発光と誤認してしまうのを低減させることができ、確実に線状発光レンズ部材237等の発光に気付かせることができる。
また、上皿液晶表示装置244の外周縁のうち遊技領域5aに近い後側の位置に線状発光レンズ部材237等を配置しているため、線状発光レンズ部材237等を発光させた時に、線状発光レンズ部材237等の光を遊技者の視界に入り易くすることができ、線状発光レンズ部材237等の発光に気付かせて上皿液晶表示装置244の演出を楽しませることができる。
また、上皿201等を有している皿ユニット200の上面に上皿液晶表示装置244等を有した演出操作ユニット200を備えており、皿ユニット200の上皿201は遊技領域5a内に打込むための遊技球の量を確認するための遊技者がある程度の頻度で視線を向けることから、上皿201へ視線を向けた際に上皿液晶表示装置244や線状発光レンズ部材237等が視界に入り易く、線状発光レンズ部材237の発光に気付き易くなる。また、遊技者が上皿201へある程度の頻度で視線を向けることから、視線を遊技領域5a内から上皿201(上皿液晶表示装置244)へ向け易い。従って、線状発光レンズ部材237等の発光に気付いた時に、即座に視線を上皿液晶表示装置244へ移すことができ、上皿液晶表示装置244により提示される演出を楽しませて興趣が低下するのを抑制することができる。
更に、遊技領域5aの下側に演出操作ユニット200を配置しており、下側から遊技者へ線状発光レンズ部材237等からの光が照射されるため、遊技領域5aの上側に配置した場合と比較して、遊技者の目に入り易く線状発光レンズ部材237等の発光に気付かせ易くすることができ、遊技者を上皿液晶表示装置244に確実に注目させることが可能となり、演出操作ユニット200による演出を楽しませて興趣が低下するのを抑制することができる。
また、遊技領域5aの左右方向の中央と対応する位置に演出操作ユニット200(上皿液晶表示装置244)を配置しているため、遊技者の視線の中心が遊技領域5a内のどの位置にあっても、線状発光レンズ部材237等からの光に気付き易くすることができ、遊技者を確実に上皿液晶表示装置244へ注目させることが可能となり、演出操作ユニット200による演出を楽しませて興趣が低下するのを抑制することができる。
また、演出操作ユニット200にタッチパネル246を備えているため、画像による演出の他に、遊技者にタッチパネル246を操作させる演出も行うことができ、多彩な演出によって遊技者を楽しませることができると共に、遊技者にタッチパネル246を操作させることで、演出に参加させることができ、遊技者に対して能動的に演出を楽しませて興趣が低下するのを抑制することができる。
更に、タッチユニット220Bの後側の外周縁に沿って配置された線状発光レンズ部材237(線状発光部237b)が、上皿201における遊技球を球送りユニット540(球発射装置680)へ送る誘導通路部212aに沿って配置されていると共に、誘導通路部212aとの間に上皿球抜きユニット310を動作させる上皿球抜きボタン239を配置されている。つまり、遊技者が遊技に必要な遊技球を確認する場所の近傍に線状発光レンズ部材237が備えられており、遊技中でも遊技者が気にする位置に線状発光レンズ部材237を配置した構成としているため、線状発光レンズ部材237の発光に気付かせることができ、遊技者の関心をタッチユニット220Bに引付けてタッチユニット220Bによる演出(上皿液晶表示装置244による演出画像、タッチパネル246のタッチ操作、等)のタイミングに気付き易くすることができる。
また、上皿液晶基板241や上皿液晶表示装置244を備えたタッチユニット220Bを、取付ベースユニット220Aの取付ベース230とユニットケース231とによって、皿ユニットカバー260の上皿下被覆部262の上面よりも高い位置に配置していると共に、タッチユニット220Bの後側の外周面に防水シール248を貼付けているため、上皿201において、外気に触れることで上皿本体212や遊技球の表面で結露した水(水滴)が、上皿201の下方(上皿下被覆部262上)へ流動しても、タッチユニット220B内へ結露した水が浸入するのを防止することができ、タッチユニット220Bにおいて不具合が発生するのを防止することができる。
また、図42に示すように、上皿後装飾部材236や線状発光レンズ部材237を発光装飾させる上皿後装飾基板235を、上皿201の底面よりも高い位置に配置しているため、上皿201で結露した水滴にさらされることがなく、上皿後装飾基板235においてショートや腐蝕等の不具合が発生するのを防止することができる。
更に、皿ユニット200の演出操作ユニット220において、加振装置242によってタッチパネル246と上皿液晶表示装置244とを備えたタッチユニット220Bを振動させた際に、タッチユニット220Bが複数(二つ)のダンパ222を挟んで浮いた状態で取付ベースユニット220Aのユニットケース231に取付けられているため、タッチユニット220B(加振装置242)の振動がダンパ222によって吸収・減衰されて取付ベースユニット220Aに伝わることとなり、取付ベースユニット220Aの振動を低減させることができる。従って、タッチユニット220Bのタッチパネル246をタッチ操作した際に、加振装置242によってタッチユニット220Bを振動させると、タッチユニット220Bのみが振動することとなるため、遊技者に対してタッチユニット220Bのタッチパネル246の操作感を十分に付与することができ、遊技者にタッチパネル246のタッチ操作を楽しませて興趣が低下するのを抑制することができる。
また、加振装置242によってタッチユニット220Bを振動させることができるため、遊技者に対してタッチパネル246の操作感の他に、タッチユニット220Bの振動によって驚かせたり、タッチパネル246を操作するタイミングを示唆したりすることができ、タッチユニット220Bのタッチパネル246による操作演出を楽しませて興趣が低下するのを抑制することができる。
更に、タッチユニット220Bを複数のダンパ222によって下側から支持しているため、タッチユニット220Bを上側から叩いたり強く押したりしてタッチユニット220Bに衝撃や荷重等が加えられても、ダンパ222によってその衝撃等を吸収することが可能となるため、衝撃等によってタッチユニット220Bや取付ベースユニット220A等が破損してしまうのを低減させることができ、タッチユニット220B等の破損により遊技が中断することで遊技者の興趣が低下してしまうのを抑制することができる。
また、タッチユニット220Bの操作する部位をタッチパネル246としていることから、遊技者が操作する際には、ボタンを押圧操作する場合と比較して、タッチパネル246に触れている時間が長くなるため、タッチパネル246に触れた時に加振装置242でタッチユニット220Bを振動させると、その振動を遊技者の指(手)に確実に伝達させることができる。従って、遊技者の指が振動することでタッチパネル246を操作していることを遊技者に実感させることができるため、十分な操作感を付与することができ、遊技者にタッチパネル246の操作を楽しませて興趣が低下するのを抑制することができる。
また、タッチユニット220Bの上皿液晶表示装置244に表示される画像を変更することで、タッチ操作(ボタン)の種類を簡単に変更することができ、多様な演出に対応することが可能となり、多様な演出によって遊技者を飽き難くして興趣が低下するのを抑制することができる。更に、タッチユニット220Bにタッチパネル246を備えているため、従来の押圧ボタンと比較して、タッチ、タップ(シングルタップ、ダブルタップ)、ドラッグ、フリック、ピンチ(ピンチアウト、ピンチイン)、スワイプ、タッチアンドホールド、等の様々な操作を行うことができる。これにより、より多彩な操作演出を行うことができ、遊技者を楽しませて興趣が低下するのを抑制することができる。
更に、タッチユニット220Bを、取付ベースユニット220A(ユニットケース231)に対して上方へ移動不能且つ下方へ移動可能に取付けるようにしており、複数のダンパ222の弾性力(付勢力)によってタッチユニット220Bが上側の移動端に押し付けられた状態となるため、タッチパネル246の操作中にタッチユニット220Bを動き難くすることができ、タッチパネル246の操作を的確に行い易くすることができる。また、タッチユニット220Bが動き難くなることから、遊技者に対してタッチユニット220Bが動かないものであると思わせることができ、動かないと思っていたタッチユニット220Bが遊技状態に応じて加振装置242により振動することで遊技者を驚かせることができ、遊技者を楽しませて興趣が低下するのを抑制することができる。
また、互いに離間した複数の加振装置242によってタッチユニット220Bを振動させるようにしているため、例えば、タッチパネル246において遊技者が操作する部位に近い位置の加振装置242を駆動させることで、強い振動を伝達させることができる。従って、タッチパネル246において、遊技者が操作すべき位置と異なる位置を操作した場合、遊技者に伝達される振動が異なることとなるため、遊技者に対して、操作を間違えていることを知らせることが可能となり、遊技者に対して正しい操作を行わせることができ、タッチパネル246を用いた操作演出を楽しませて興趣が低下するのを抑制することができる。
また、互いに離間した複数の加振装置242を備えているため、各加振装置242の振動の周波数や強さ等を適宜制御することで、タッチパネル246の任意の位置で共振現象を発生させることができる。従って、遊技者が操作した任意の位置で共振現象が発生するように各加振装置242を制御することで、より一層の操作感を付与したり、遊技者を大いに驚かせたりすることができ、遊技者を楽しませて興趣が低下するのを抑制することができる。
更に、タッチユニット220Bが上側から叩かれたり強く押されたりしてタッチユニット220Bに衝撃や荷重等が作用した場合、タッチユニット220Bの左右両端側がダンパ222を挟んでユニットケース231に取付けられているため、ダンパ222とタッチユニット220Bの撓りとによって上側からの衝撃等をある程度吸収して(減衰させて)ユニットケース231側へ伝達させることができる。また、ユニットケース231側では、ユニットケース231の外縁が下側の取付ベース230に取付けられているため、ユニットケース231を介したタッチユニット220B側からの衝撃や荷重等を、取付ベース230に対して広く分散させて伝達させることができる。この際に、ユニットケース231の下面から下方へ突出した受突部231eの外周壁と、取付ベース230の取付側受部230aの底面において受突部231eが挿入されている筒状受部230cの内周壁との間に隙間が形成されているため、タッチユニット220Bからの衝撃や荷重等によって、ユニットケース231が下方へ撓んだ後に、受突部231eと筒状受部230cとが当接してユニットケース231から取付ベース230へ衝撃等が伝達されることとなり、ユニットケース231の撓みによって、衝撃等が更に減衰された状態で取付ベース230に伝達される。この受突部231eの外周壁と筒状受部230cの内周壁は、下方へ窄まっているため、受突部231eと筒状受部230cとが当接すると、受突部231e(ユニットケース231)側からの衝撃や荷重等が、取付ベース230の取付側受部230aの底面に対して斜め方向へ伝達され、取付ベース230の取付側受部230aの底面に垂直な方向と底面に沿った方向とに分解されることとなり、取付ベース230を撓ませようする底面に垂直な方向(下方向)の力が小さくなって取付ベース230側へ伝達される。従って、タッチユニット220Bが上側から叩かれたり強く押されたりしても、複数のダンパ222、ユニットケース231、取付ベース230によって、その衝撃等を効果的に減衰させることができ、タッチユニット220Bや取付ベースユニット220Aが破損するのを抑制することができる。
[3−2.ファールカバーユニット]
扉枠3のファールカバーユニット520について、図55乃至図57を参照して詳細に説明する。図55(a)は扉枠のファールカバーユニットを前から見た斜視図であり、(b)はファールカバーユニットを後ろから見た斜視図である。また、図56(a)はファールカバーユニットを蓋部材を外して前から見た分解斜視図であり、(b)はファールカバーユニットを蓋部材を外して後ろから見た分解斜視図である。更に、図57は、蓋部材を外した状態のファールカバーユニットの正面図である。
本実施形態のファールカバーユニット520は、図示するように、扉枠ベースユニット100の後側に取付けられ前側が開放された浅い箱状のユニット本体522と、ユニット本体522の前面に取付けられている平板状の蓋部材524と、を備えている。ファールカバーユニット520は、正面視左上隅において前後に貫通しており本体枠4の下部満タン球経路ユニット860の通常誘導路861と皿ユニット200の上皿球供給口210aとを連通させる貫通球通路526と、貫通球通路526の正面視右側で後方へ向かって開口しており本体枠4の下部満タン球経路ユニット860の満タン誘導路862と連通可能な満タン球受口528と、を備えている。
また、ファールカバーユニット520は、満タン球受口528の正面視右側で上方へ向かって開口しており本体枠4の球発射装置680により発射されにも関わらず遊技領域5a内へ到達しなかった遊技球(ファール球)を受けるファール球受口530と、正面視右下隅で前方へ向かって開口しており満タン球受口528及びファール球受口530に受入れられた遊技球を放出すると共に皿ユニット200の下皿球供給口210cと連通する球放出口532と、を備えている。
更に、ファールカバーユニット520は、ユニット本体522及び蓋部材524とによって、満タン球受口528及びファール球受口530と球放出口532との間に形成されており所定量の遊技球を貯留可能な広さを有している貯留通路533と、貯留通路533の内壁の一部を構成しており下端が回動可能にユニット本体522に取付けられている平板状の可動片534と、可動片534の貯留通路533から遠ざかる方向への回動を検知する満タン検知センサ535と、可動片534を貯留通路533の中心側へ付勢しているバネ536と、を備えている。
このファールカバーユニット520は、皿ユニット200の下皿202内が遊技球で一杯になって、球放出口532から遊技球が下皿202側へ放出されなく無くると、貯留通路533内にある程度の数の遊技球を貯留することができる。そして、貯留通路533内にある程度の数の遊技球が貯留されると、遊技球の重さによって可動片534の上端が貯留通路533から遠ざかる方向へ移動するように可動片534が回動し、その回動が満タン検知センサ535によって検知される。これにより、下皿202が遊技球で満タンになっていると判断することができるため、満タン検知センサ535により満タンが検知されると、これ以上の遊技球の払出しを停止させると共に、その旨を遊技者や遊技ホールの係員等に報知して、下皿202の満タンを解消させるように促すことができる。
また、ファールカバーユニット520は、ユニット本体522の後側で貫通球通路526の下側に取付けられており、本体枠4の後述する払出ユニット800における下部満タン球経路ユニット860の誘導路開閉扉863の作動突部863eが当接可能な扉開閉当接部537を備えている(図80を参照)。扉開閉当接部537は、後面が下方へ向かうに従って前方へ移動するように傾斜している。この扉開閉当接部537は、本体枠4に対して扉枠3を閉じると、誘導路扉部材863の作動突部863eが当接するように形成されている。この扉開閉当接部537に誘導路開閉部863の作動突部863eが当接することで、誘導路扉部材863が回動して通常誘導路861及び満タン誘導路862の下流端(前側開口)を開放させることができる。
[4.本体枠の全体構成]
本実施形態のパチンコ機1における本体枠4について、図58乃至図61を参照して説明する。図58は本体枠を前から見た斜視図であり、図59は本体枠を後ろから見た斜視図である。また、図60は本体枠を主な部材毎に分解して前から見た分解斜視図であり、図61は本体枠を主な部材毎に分解して後ろから見た分解斜視図である。本実施形態の本体枠4は、図示するように、前方が開放された箱状に形成されており、内部に遊技盤5が着脱可能に収容される。この本体枠4は、正面左辺側前端の上下において、遊技ホールの島設備に取付けられる枠状の外枠2に開閉可能に取付けられると共に、開放された前面側が閉鎖されるように扉枠3が開閉可能に取付けられるものである。
本実施形態の本体枠4は、一部が外枠2の枠内に挿入可能とされると共に遊技盤5の外周を支持可能とされた枠状の本体枠ベース600と、本体枠ベース600の正面視左側の上下両端に取付けられ外枠2の外枠側上ヒンジ部材60及び外枠側下ヒンジ部材70に夫々回転可能に取付けられると共に扉枠3の扉枠側上ヒンジ部材140及び扉枠側下ヒンジ部材150が夫々回転可能に取付けられる本体枠側上ヒンジ部材620及び本体枠側下ヒンジ部材640と、本体枠ベース600の正面視左側面に取付けられる補強フレーム660と、を備えている。
また、本体枠4は、本体枠ベース600の前面下部に取付けられており遊技盤5の遊技領域5a内に遊技球を打込むための球発射装置680と、本体枠ベースの正面視右側面に取付けられており外枠2と本体枠4、及び扉枠3と本体枠4の間を施錠する施錠ユニット700と、本体枠ベース600の正面視上辺及び左辺に沿って後側に取付けられており遊技者側へ遊技球を払出す逆L字状の払出ユニット800と、本体枠ベース600の後面下部に取付けられている基板ユニット900と、本体枠ベース600の後側に開閉可能に取付けられ本体枠ベース600に取付けられた遊技盤5の後側を覆う裏カバー980と、を備えている。
[4−1.本体枠ベース]
本実施形態における本体枠4の本体枠ベース600は、図58乃至図61に示すように、正面視の形状が上下に延びた長方形に形成されている。この本体枠ベース600は、上端よりやや下側の位置から全高の約3/4の高さの範囲で前後に貫通しており遊技盤5が前側から挿入される遊技盤挿入口601と、遊技盤挿入口601の下辺を形成しており遊技盤5が載置される遊技盤載置部602と、遊技盤載置部602の左右方向中央から上方へ突出しており遊技盤5の下端の左右及び後方への移動を規制する遊技盤規制部603と、を備えている。
また、本体枠4は、遊技盤載置部602の正面視右下側に形成されている球発射装置680を取付けるための発射装置取付部604と、発射装置取付部604の正面視右側で前後に貫通しており施錠ユニット700の鍵シリンダ710が挿通されるシリンダ挿通口605と、遊技盤載置部602の正面視左右中央から左寄り下側で前後に貫通しており基板ユニット900の低音スピーカを前方へ臨ませる接続用開口部606と、遊技盤載置部602の正面視左下側で前後に貫通しており基板ユニット900におけるスピーカユニット920を前方へ臨ませる円形状のスピーカ用開口部607と、を備えている。
更に、本体枠4は、遊技盤挿入口601の正面視右辺から後方へ板状に延出しており、右側面に施錠ユニット700が取付けられると共に、後端に裏カバー980が回動可能に取付けられる後方延出部608を備えている。また、本体枠4は、後面における正面視左端の上下両端部付近に形成されており、本体枠側上ヒンジ部材620及び本体枠側下ヒンジ部材640を取付けるための上ヒンジ取付部609及び下ヒンジ取付部610を備えている。
また、本体枠4は、接続用開口部606を開閉可能に閉鎖する開口カバー615と、遊技盤載置部602の正面視左右中央より左側でやや下側の位置に回動可能に取付けられ、遊技盤挿通口601に挿通された遊技盤5の前方への移動を規制可能な遊技盤ロック部材616と、を備えている。
[4−2.本体枠側上ヒンジ部材及び本体枠側下ヒンジ部材]
本実施形態における本体枠4の本体枠側上ヒンジ部材620と本体枠側下ヒンジ部材640について、図47乃至図50を参照して説明する。この本体枠側上ヒンジ部材620及び本体枠側下ヒンジ部材640は、本体枠4の上ヒンジ取付部609及び下ヒンジ取付部610に取付けられるものである。
本体枠側上ヒンジ部材620は、水平に延びた平板状の板材の後部が下方へL字状に折り曲げられている上ヒンジ本体621と、上ヒンジ本体621の前端から上方へ円柱状に突出しており外枠側上ヒンジ部材60に軸支される本体枠上ヒンジピン622と、本体枠上ヒンジピン622の正面視左側で上ヒンジ本体621を貫通しており扉枠側上ヒンジ部材140を軸支するための扉枠用上ヒンジ孔623と、を備えている。本体枠側上ヒンジ部材620は、上ヒンジ本体621における下方へ折り曲げられた部位が、本体枠4の上ヒンジ取付部609に取付けられる。
本体枠側下ヒンジ部材640は、水平に延びた平板状の板材の後部が上方へL字状に折り曲げられている下ヒンジ第一本体641と、下ヒンジ第一本体641の前端で上下に貫通しており外枠2の外枠側下ヒンジ部材70に軸支される外枠用下ヒンジ孔(図示は省略)と、下ヒンジ第一本体641の上側に配置されており水平に延びた平板状の板材の後部が上方へL字状に折り曲げられて下ヒンジ第二本体643と、下ヒンジ第二本体643の前端で上下に貫通しており扉枠3の扉枠側下ヒンジ部材150を軸支するための扉枠用下ヒンジ孔644と、下ヒンジ第二本体643の水平に延びている部位における扉枠用下ヒンジ孔644よりも後側で左端から上方へ延出しており扉枠3の回動範囲を規制するための規制片645と、を備えている。
下ヒンジ第二本体643は、水平に延びた部位が、下ヒンジ第一本体641の水平に延びた部位の上側に一定の間隔を開けた状態で、上方へ折り曲げられた部位が下ヒンジ第一本体641の上方へ折り曲げられた部位の前面に当接している。この本体側下ヒンジ部材640は、下ヒンジ第一本体641及び下ヒンジ第二本体643の上方へ折り曲げられた部位が、本体枠4の下ヒンジ取付部610に取付けられる。
[4−3.補強フレーム]
本実施形態における本体枠4の補強フレーム660について、図47乃至図50を参照して説明する。補強フレーム660は、本体枠ベース600の左側面に取付けられるものである。この補強フレーム660は、平面視の断面形状が、右側が開放されたコ字状に形成されており、一定の断面形状で上下に延びている。また、補強フレーム660には、前端から右方へ延びている部位の後側に、本体枠ベース600の遊技盤挿入口601に挿入された遊技盤5が前方及び上下に移動するのを規制する左位置決め部材661が、上下に離間して一組取付けられている。
この補強フレーム660によって本体枠ベース600のヒンジ側(正面視左側)を補強することができると共に、外枠2と本体枠4の間を通した左側からの本体枠4内(遊技盤5)への不正な工具の差し込みを防止することができる。
[4−4.球発射装置]
本実施形態における本体枠4の球発射装置680について、図58、図60及び図61を参照して説明する。球発射装置680は、皿ユニット200の上皿201に貯留されている遊技球を、本体枠4に取付けられた遊技盤5の遊技領域5a内に打込むための装置である。この球発射装置680は、扉枠3の前面右下隅のハンドルユニット500のハンドルレバー504の回動角度に応じて、遊技球の打込強さが変化する。
球発射装置680は、本体枠ベース600の発射装置取付部604に取付けられる平板状の発射ベース681と、発射ベース681の正面視右部の後面に取付けられており回動軸が発射ベース681を貫通して前方へ延出しているロータリーソレノイドからなる発射ソレノイド682と、発射ソレノイド682の回転軸に基端が取付けられている打球槌683と、打球槌683の先端付近から左斜め上方へ延出するように発射ベース681の前面に取付けられており遊技球が転動可能な発射レール684と、を備えている。
この球発射装置680は、扉枠3の球送りユニット540から遊技球が発射レール684の上面右端に供給されるようになっており、発射レール684の上面右端に遊技球が供給されている状態で、ハンドルレバー504を回動操作すると、その回動操作角度に応じた強さで発射ソレノイド682が駆動して、打球槌683により遊技球を打球する。そして、打球槌683により打たれた遊技球は、発射レール684を通って遊技盤5の外レール1001及び内レール1002に案内されて遊技領域5a内に打込まれる。
なお、遊技球の打込強さ等の関係で、打球した遊技球が遊技領域5a内に到達しなかった場合は、発射レール684と遊技盤5(外レール1001及び内レール1002)との間から、下方のファールカバーユニット520のファール球受口530へ落下し、ファールカバーユニット520内を通って下皿202に排出される。
[4−5.施錠ユニット]
本実施形態における本体枠4の施錠ユニット700について、図58乃至図61を参照して説明する。本実施形態の施錠ユニット700は、本体枠4に取付けられ、本体枠4と扉枠3、本体枠4と外枠2、との間を施錠することができる。施錠ユニット700は、本体枠ベース600の後方延出部608の右側面に取付けられ上下に延びているユニットベース701と、ユニットベース701から前方へ突出しており扉枠3と係止可能な複数の扉枠用鉤702と、ユニットベース701から後方へ突出しており外枠2と係止可能な複数の外枠用鉤703と、ユニットベース701の下部にから前方に円柱状に突出しており前側から挿入した開錠鍵の回動方向に応じて扉枠用鉤702又は外枠用鉤703の何れかの係止を開錠させる鍵シリンダ710と、を備えている。
[4−6.払出ユニット]
本実施形態における本体枠4の払出ユニット800について、図62乃至図73を参照して説明する。図62は払出ユニットを前から見た斜視図であり、図63は払出ユニットを後ろから見た斜視図である。また、図64は払出ユニットを主な構成毎に分解して前から見た分解斜視図であり、図65は払出ユニットを主な構成毎に分解して後ろから見た分解斜視図である。また、図66(a)は払出ユニットの球誘導ユニットを前から見た斜視図であり、(b)は球誘導ユニットを後ろから見た斜視図である。更に、図67は、球誘導ユニットの分解斜視図である。また、図68(a)は払出ユニットの払出装置を前から見た斜視図であり、(b)は払出装置を後ろから見た斜視図である。また、図69は払出装置を分解して前から見た分解斜視図であり、図70は払出装置を分解して後ろから見た分解斜視図である。更に、図71(a)は払出装置の正面図であり、(b)は(a)におけるE−E線で切断した断面図である。また、図72(a)は払出装置において球抜き可動片により球抜き通路を閉鎖した状態を示す説明図であり、(b)は球抜き可動片により球抜き通路を開放した状態を示す説明図である。図73は、払出装置における払出羽根の部位を拡大して示す説明図である。
また、図74(a)は払出ユニットにおける上部満タン球経路ユニットを前から見た斜視図であり、(b)は上部満タン球経路ユニットを後ろから見た斜視図である。また、図75(a)は上部満タン球経路ユニットを分解して前から見た分解斜視図であり、(b)は上部満タン球経路ユニットを分解して後ろから見た分解斜視図である。更に、図76(a)は払出ユニットにおける下部満タン球経路ユニットを前から見た斜視図であり、(b)は下部満タン球経路ユニットを後ろから見た斜視図である。また、図77は下部満タン球経路ユニットを分解して前から見た分解斜視図であり、図78は下部満タン球経路ユニットを分解して後ろから見た分解斜視図である。更に、図79(a)は下部満タン球経路ユニットにおいて誘導路開閉扉が閉じている状態を示す説明図であり、(b)は誘導路開閉扉が開いている状態を示す説明図である。また、図80は、扉枠のファールカバーユニットと下部満タン球経路ユニットとの関係を示す説明図である。図81は、図76乃至図80とは異なる実施形態の誘導路開閉扉を示す説明図である。また、図82は、払出ユニットにおける遊技球の流れを示す説明図である。
本実施形態の払出ユニット800は、図62及び図63等に示すように、本体枠ベース600の後側に取付けられる逆L字状の払出ユニットベース801と、払出ユニットベース801の上部に取付けられており上方へ開放された左右に延びた箱状で図示しない遊技ホールの島設備から供給される遊技球を貯留する球タンク802と、球タンク802の下側で払出ユニットベース801に取付けられており球タンク802内の遊技球を正面視左方向へ誘導する左右に延びたタンクレール803と、を備えている。タンクレール803内では、遊技球を左方へ誘導させながら、上方から揺動可能に垂下している球均し部材804(図82を参照)によって、前後二列に整列させる。
また、払出ユニット800は、払出ユニットベース801における正面視左側上部の後面に取付けられタンクレール803からの遊技球を蛇行状に下方へ誘導する球誘導ユニット820と、球誘導ユニット820の下側で払出ユニットベース801から着脱可能に取付けられており球誘導ユニット820により誘導された遊技球を払出制御基板ボックス950に収容された払出制御基板からの指示に基づいて一つずつ払出す払出装置830と、を備えている。タンクレール803から払出装置830までは、遊技球が二列で流通し、払出装置830からは、遊技球が一つずつ払出される。
更に、払出ユニット800は、払出ユニットベース801の後面に取付けられ払出装置830によって払出された遊技球を下方へ誘導すると共に皿ユニット200における上皿201での遊技球の貯留状態に応じて遊技球を通常放出口850d又は満タン放出口850eの何れかから放出させる上部満タン球経路ユニット850と、払出ユニットベース801の下端に取付けられ上部満タン球経路ユニット850の通常放出口850dから放出された遊技球を前方へ誘導して前端から扉枠3の貫通球通路526へ誘導する通常誘導路861、満タン放出口850eから放出された遊技球を前方へ誘導して前端から扉枠3の満タン球受口530へ誘導する満タン誘導路862、及び通常誘導路861及び満タン誘導路862の前端開口を本体枠4に対する扉枠3の開閉に応じて開閉する誘導路開閉扉863、を有した下部満タン球経路ユニット860と、を備えている。
[4−6a.球誘導ユニット]
本実施形態における払出ユニット800の球誘導ユニット820について、図66及び図67を参照して説明する。球誘導ユニット820は、上下に延びており後側が開放された箱状の前ケース821と、前ケース821の後側に取付けられており前側が開放された箱状の後ケース822と、前ケース821と後ケース822との間に取付けられており前ケース821と後ケース822と間を仕切る平板状の仕切板823と、仕切板823を貫通して前後両端が前ケース821及び後レース822に取付けられている棒状の軸部材824と、軸部材824によって回動可能に取付けられており前ケース内及び後ケース内に夫々配置されている一対の可動片部材前825及び可動片部材後826と、前ケース821内に取付けられており一対の可動片部材前825及び可動片部材後826の回動位置を検知可能な球切れ検知センサ827と、を備えている。
前ケース821は、右側面の上部において遊技球が通過可能に開口している球誘導入口821aと、底面の左右方向中央よりも右寄りの位置で遊技球が通過可能に開口している球誘導出口821bと、球誘導入口821aと球誘導出口821bとを連通しており遊技球が流通可能な誘導通路821cと、を備えている。誘導通路821cは、球誘導入口821aから左端付近まで水平に対して小さい角度で低くなるように斜めに延びている導入部821dと、導入部821dから前ケース821の左辺に沿って高さの中央付近まで下方へ真っ直ぐ延びている検知部821eと、検知部821dから前ケース821の左右の幅で蛇行状に延びている蛇行部821fと、で構成されている。また、前ケース821は、誘導通路821cにおける検知部821eの正面視右側の壁に切欠部821gを備えている。
後ケース822は、右側面の上部において遊技球が通過可能に開口している球誘導入口822aと、底面の左右方向中央よりも右寄りの位置で遊技球が通過可能に開口している球誘導出口822bと、球誘導入口822aと球誘導出口822bとを連通しており遊技球が流通可能な誘導通路822cと、を備えている。誘導通路822cは、球誘導入口822aから左端付近まで水平に対して小さい角度で低くなるように斜めに延びている導入部822dと、導入部822dから後ケース822の左辺に沿って高さの中央付近まで下方へ真っ直ぐ延びている検知部822eと、検知部822dから後ケース822の左右の幅で蛇行状に延びている蛇行部822fと、で構成されている。また、後ケース822は、誘導通路822cにおける検知部822eの正面視右側の壁に切欠部822gを備えている。
この後ケース822は、前ケース821に対して左右に略対称に形成されており、球誘導ユニット820を組立てた状態で、誘導通路821cと誘導通路822cとが前後に一致するように形成されている。
軸部材824は、前ケース821及び後ケース822における切欠部821g,822gの上端の下側且つ誘導通路821c,822cの外側の位置に前後の端部が取付けられている。
可動片部材前825は、上下に延びた平板状の可動片825aと、可動片825aの右側の面の上端で前後に貫通しており軸部材824が挿通される軸孔825bと、可動片825aの上端から可動片825aの右面に対して直角に右方向へ延びている延出部825cと、延出部825cと可動片825aとを連結しており軸孔825bを中心に扇状に延びている連結部825dと、延出部825cの上部及び連結部825dの外周の中央付近から外方へ夫々突出しており前後に貫通している貫通孔を有した錘取付部825eと、延出部825cの右側先端から外方へ平板状に延出しており球切れ検知センサ827により検知可能な検知片825fと、連結部825dの外周における可動片825aに近い位置から外方へ平板状に延出しているストッパ片825gと、を備えている。
この可動片部材前825は、軸孔825bに軸部材824を通すと、その自重によって、連結部825dの外周から突出している錘取付部825eが、軸孔825bの直下に位置するように回動し、可動片825aが軸孔825bの部位から斜め下方へ延出した状態となる。従って、球誘導ユニット820を組立てた状態では、連結部825dが前ケース821の切欠部821gに挿通されて、可動片825aの下端が誘導通路821c内に突出した状態となると共に、ストッパ片825gが誘導通路821c(検知部821e)の外壁に当接した状態となる。このストッパ片825gが誘導通路821cの外壁に当接することで、可動片825aの下端が、誘導通路821c内へ突出する方向(正面視左方向)へこれ以上回動するのが規制される。また、可動片部材前825は、可動片825aの下端を、誘導通路821cの壁に接近させる方向(正面視右方向)へ回動させると、可動片825aの左側の面が、誘導通路821cの内面と一致する。この状態では、可動片部材前825の検知片825fは、球切れ検知センサ827に対して非検知の状態となる。つまり、誘導通路821c内に遊技球がある時は、球切れ検知センサ827が非検知となる。
可動片部材後826は、上下に延びた平板状の可動片826aと、可動片826aの右側の面の上端で前後に貫通しており軸部材824が挿通される軸孔826bと、可動片826aの上端から可動片826aの右面に対して直角に右方向へ延びている延出部826cと、延出部826cと可動片826aとを連結しており軸孔826bを中心に扇状に延びている連結部826dと、延出部826cの上部及び連結部826dの外周の中央付近から外方へ夫々突出しており前後に貫通している貫通孔を有した錘取付部826eと、延出部826cの右側先端から外方へ平板状に延出しており球切れ検知センサ827により検知可能な検知片826fと、連結部826dの外周における可動片826aに近い位置から外方へ平板状に延出しているストッパ片826gと、を備えている。
この可動片部材後826は、軸孔826bに軸部材824を通すと、その自重によって、連結部826dの外周から突出している錘取付部826eが、軸孔826bの直下に位置するように回動し、可動片826aが軸孔826bの部位から斜め下方へ延出した状態となる。従って、球誘導ユニット820を組立てた状態では、連結部826dが後ケース822の切欠部822gに挿通されて、可動片826aの下端が誘導通路822c内に突出した状態となると共に、ストッパ片826gが誘導通路822c(検知部822e)の外壁に当接した状態となる。このストッパ片826gが誘導通路822cの外壁に当接することで、可動片826aの下端が、誘導通路822c内へ突出する方向(正面視左方向)へこれ以上回動するのが規制される。また、可動片部材前826は、可動片826aの下端を、誘導通路822cの壁に接近させる方向(正面視右方向)へ回動させると、可動片826aの左側の面が、誘導通路822cの内面と一致する。この状態では、可動片部材前826の検知片826fは、球切れ検知センサ827に対して非検知の状態となる。つまり、誘導通路822c内に遊技球がある時は、球切れ検知センサ827が非検知となる。
本実施形態の球誘導ユニット820は、タンクレール803によって複数の遊技球が前後に夫々一列で並ばされた状態で供給され、複数の遊技球が一列に並んだ状態で、前ケース821及び後ケース822によって、前後に二列の状態で下方の払出装置830へ誘導することができる(図82を参照)。この際に、前ケース821と後ケース822とは仕切板823によって仕切られているため、夫々の誘導通路821c,822cを流通する遊技球が、互いに干渉し合うことはなく、良好に流通することができる。
また、球誘導ユニット820の誘導通路821c,822c内を遊技球が流通すると、遊技球が可動片部材前825及び可動片部材後826の可動片825a,826aに当接し、可動片825a,826aが誘導通路821c,822cの壁面と一致する方向へ可動片部材前825及び可動片部材後826が回動する。これにより、可動片部材前825及び可動片部材後826の検知片825f,826fが球切れ検知センサ827に対して非検知の状態となり、誘導通路821c,822c内に遊技球があることが判る。
そして、球誘導ユニット820の下流側の払出装置830により遊技球の払出し等が行われると、誘導通路821c,822c内の遊技球が下流へ流れることとなる。誘導通路821c,822c内を遊技球が流れると、導入部821d,822dを流れる遊技球の勢いが強くなり、導入部821d,822dを流れた遊技球が、検知部821e,822eの上部で可動片825a,826a側へ跳ね返り、可動片825a,826aに当接することとなる。この遊技球の当接により、可動片825a,826aが振動することとなるため、その振動により可動片825a,826aと誘導通路821c,822cの切欠部821g,822gとの間に挟まれたり侵入したりした埃やゴミ等を除去することができ、自重等によって可動片825,826aが良好に回動できるようになる。
また、球誘導ユニット820は、各誘導通路821c,822c内を流通する遊技球を夫々別々の可動片部材前825及び可動片部材826によって検知するようにしていると共に、可動片部材前825及び可動片部材後826の夫々の検知片825f,826fを一つの球切れ検知センサ827で検知するようにしているため、何れかの誘導通路821c,822c内の遊技球がなくなると、可動片部材前825又は可動片部材後826の可動片825a,826aが誘導通路821c,822c内へ突出するように回動し、遊技球のなくなった側の検知片825f,826fが球切れ検知センサ827で検知される。従って、遊技球の球切れを早期に検知することができるため、速やかに遊技球を補充させることができ、遊技が中断する時間を可及的に短くすることで、遊技者の興趣の低下を抑制することができる。
更に、可動片部材前825及び可動片部材後826の錘取付部825e,826eに、錘として金属ビスを捩じ込んで取付けることで、可動片部材前825及び可動片部材後826と錘の重量とによって、可動片825a,826aの下端側を、誘導通路821c,822c内に突出する方向へ回動させ易くすることができる。また、可動片825a,826aの上端を誘導通路821c,822cの外側で回動可能に取付けて、下端側が誘導通路821c,822c内に突出するようにしているため、誘導通路821c,822c内の埃やゴミ等が、可動片825a,826aの上端や下端に付着することがない。従って、可動片825a,826aが誘導通路821c,822cの壁側に回動しても、可動片825a,826aの下端と壁との間に埃やゴミ等が噛み込むことはないため、自重等によって良好に回動することができ、可動片825a,826aが回動しなくなるような不具合の発生を抑制することができる。
このように、本実施形態の球誘導ユニット820は、自重によって下端側が遊技球の流通する誘導通路821c,822c内へ突出する可動片部材前825及び可動片部材後826の可動片825a,826aにおいて、遊技球と当接する面の反対側の錘取付部825e,826eに金属ビスからなる錘を取付けることで、可動片部材前825及び可動片部材826の自重と錘の重量とによって、可動片825a,826aの下端側を誘導通路821c,822c内に回動(突出)させ易くすることができる。また、可動片825a,826aの上端を誘導通路822cの外側で回動可能に取付けて、下端側が誘導通路821c,822c内に突出するようにしているため、誘導通路821c,822c内の埃やゴミ等が、可動片825a,826aの上端や下端に付着することがない。従って、可動片825a,826aが誘導通路821c,822cの壁側に回動しても、可動片825a,826aの下端と壁との間に埃やゴミ等が噛み込むことはないため、自重等によって良好に回動することができ、可動片825a,826(可動片部材前825及び可動片部材後826)が回動しなくなるような不具合の発生を抑制することができる。
また、錘としての金属ビスを、貫通孔とされた錘取付部825e,826eに捩じ込んで取付けるため、可動片部材前825及び可動片部材後826が頻繁に回動しても、錘が可動片部材前825及び可動片部材後826(錘取付部825e,826e)から外れることがなく、長期に亘って可動片部材前825及び可動片部材後826を良好な状態に維持することができる。また、錘取付部825e,826eに金属ビスを捩じ込むだけで、可動片部材前825及び可動片部材後826に錘を容易に取付けることができるため、錘の取付けの手間を簡略化することができ、パチンコ機1の組立てに係るコストを低減させることができる。
更に、誘導通路821c,822c内において可動片825a,825cが内部に突出する部位よりも上流側に、可動片825a,825cへ向かって遊技球を誘導させる導入部822dを備えていることから、誘導通路821c,822c内を遊技球が流れることで、遊技球が可動片825a,826aに当接するため、遊技球の当接によって可動片825a,826aを振動させることができる。従って、可動片825a,826aの振動により、可動片825a,826aと誘導通路821c,822cの壁との間に挟まれたり侵入したりした埃やゴミ等を除去することができ、自重等によって可動片部材前825及び可動片部材後826が良好に回動するようにできる。
従って、可動片部材前825及び可動片部材後826を良好に回動させることができるため、誘導通路821c,822c内の遊技球の状態(有無)を確実に検知させることができ、遊技球の誤検知等による不具合の発生を抑制させることができる。また、払出装置830へ供給される遊技球が誘導通路821c,822c内からなくなっても、可動片825a,826aを介して確実に誘導通路821c,822c内の有無を検知することができるため、速やかに遊技球を補充させることができ、遊技が中断する時間を可及的に短くすることで、遊技者の興趣の低下を抑制することができる。
[4−6b.払出装置]
本実施形態における払出ユニット800の払出装置830について、図68乃至図73を参照して説明する。払出装置830は、後側が開放されている箱状で、上面における左右方向中央に遊技球が通過可能に開口している払出入口831a、底面における正面視左端付近で遊技球が通過可能に開口している払出出口831b、底面における正面視右端付近で遊技球が通過可能に開口している球抜き出口831c、払出入口831aと払出出口831bとを連通しており遊技球が流通可能な払出通路831d、及び払出通路831dの途中から分岐して球抜き出口831cと連通しており遊技球が流通可能な球抜き通路831e、を有している前箱831と、前箱831の後側に取付けられており前側が開放されている箱状で、上面における左右方向中央に遊技球が通過可能に開口している払出入口832a、底面における正面視左端付近で遊技球が通過可能に開口している払出出口832b、底面における正面視右端付近で遊技球が通過可能に開口している球抜き出口832c、払出入口832aと払出出口832bとを連通しており遊技球が流通可能な払出通路832d、及び払出通路832dの途中から分岐して球抜き出口832cと連通しており遊技球が流通可能な球抜き通路832e、を有している後箱832、を備えている。
また、払出装置830は、前箱831の前側に取付けられており後側が開放されている浅い箱状の前カバー833と、前箱831内に取付けられており回転軸が前箱831を貫通して前カバー833内に延出している払出モータ834と、払出モータ834の回転軸に取付けられている駆動ギア835と、駆動ギア835と噛合しており前箱831と前カバー833とで回転可能に取付けられている平歯車状の中間ギア836と、中間ギア836と噛合している従動ギア837と、従動ギア837が回転可能に貫通しており前端が前カバー833に取付けられていると共に後端が前箱831を貫通して後箱832に取付けられている軸部材838と、軸部材837を貫通して回転可能に取付けられていると共に前箱831及び後箱832の払出通路831d,832d内に配置されており従動ギア837と一体回転する払出羽根839と、前箱831と後箱832との間に取付けられており払出羽根839の回転を検知する羽根回転検知センサ840と、を備えている。
更に、払出装置830は、前箱831と後箱832の間に取付けられており前箱831の払出通路831dと後箱832の払出通路832dとを仕切る平板状の仕切板841と、前箱831と後箱832との間に取付けられており払出羽根839の回転により払出されて払出出口831b,832bから放出される遊技球を検知する払出検知センサ842と、払出通路831d,832dと球抜き通路831e,832eとが分岐している部位で前箱831と後箱832とによって回動可能に取付けられており球抜き通路831e,832eを閉鎖可能な球抜き可動片843と、前箱831及び後箱832の正面視右側面上部で上下にスライド可能に取付けられており球抜き可動片843を回動可能又は回動不能とする球抜きレバー844と、を備えている。
前箱831の払出通路831dは、払出入口831aから球抜き出口831cへ向かうように正面視右下へ斜めに延び、前箱831の全高に対して上面から約1/3の高さのところで下方へ垂直に延びるように折れ曲がり、全高の中央付近で左方へ略水平に延びるように曲がった後に、前箱831の左右の幅に対して左端から約1/3のところで再び下方へ垂直に延びるように折れ曲がっており、前箱831の全高に対して底面から約1/4の高さのところで払出出口831bの直上へ位置するようにクランク状に折れ曲がって払出出口831bへ垂直に延びている。払出通路831d内のクランク状に折れ曲がっている部位に払出羽根839が配置される。
一方、球抜き通路831eは、払出通路831dにおいて払出入口831aから右下へ斜めに延びている部位を更に延長する形態で、前箱831の全高に対して上面から約1/3の高さから中央付近の高さまでの間で分岐している。
また、前箱831は、払出通路831d内の払出出口831bへ向かって垂直に延びている部位において下方へ向かうに従って後方へ突出している誘導棚831fと、正面視右側面の上部に形成されており球抜きレバー844を上下にスライド可能に取付けるためのレバー取付部831gと、を備えている。
後箱832の払出通路832dは、払出入口832aから球抜き出口832cへ向かうように正面視右下へ斜めに延び、後箱832の全高に対して上面から約1/3の高さのところで下方へ垂直に延びるように折れ曲がり、全高の中央付近で左方へ略水平に延びるように曲がった後に、後箱832の左右の幅に対して左端から約1/3のところで再び下方へ垂直に延びるように折れ曲がっており、後箱832の全高に対して底面から約1/4の高さのところで払出出口832bの直上へ位置するようにクランク状に折れ曲がって払出出口832bへ垂直に延びている。払出通路832d内のクランク状に折れ曲がっている部位に払出羽根839が配置される。
一方、球抜き通路832eは、払出通路832dにおいて払出入口832aから右下へ斜めに延びている部位を更に延長する形態で、後箱832の全高に対して上面から約1/3の高さから中央付近の高さまでの間で分岐している。
また、後箱832は、払出通路832d内の払出出口832bへ向かって垂直に延びている部位において下方へ向かうに従って前方へ突出している誘導棚832fと、正面視右側面の上部に形成されており球抜きレバー844を上下にスライド可能に取付けるためのレバー取付部832gと、を備えている。
前箱831及び裏箱832の払出通路831d,832dと球抜き通路831e,832eは、同じ形状に形成されている。払出通路831d,832dは、払出羽根839が配置されている部位の上流までが仕切板841によって仕切られている。また、誘導棚831f,832fと払出出口831b,832bとの間に、払出検知センサ842が取付けられている。つまり、前箱831の払出通路831dを流通した遊技球と、後箱832の払出通路832dを流通した遊技球とは、夫々の誘導棚831f,832fによって前箱831と後箱832との前後の境界付近に寄せられて、一つの払出検知センサ842により検知される。
従動ギア837は、中間ギア836と噛合する平歯車状のギア部837aと、ギア部837aの後面から周方向へ60度の角度の間隔で放射状に突出しており羽根回転検知センサ840によって検知可能な複数の検知片837bと、ギア部837aの中心から後方へ円筒状に突出していると共に後端の周面に凹凸が形成されており払出羽根839と連結可能な連結部837cと、を備えている。
払出羽根839は、前後に円筒状に延びており軸部材838が挿通されるベース筒部839aと、ベース筒部839aの前端から周方向に一定間隔でベース筒部839aの軸直角方向へ突出している複数(三つ)の前羽根839bと、ベース筒部839aの後端から前羽根839bとは互い違いとなるように周方向に一定間隔でベース筒部839aの軸直角方向へ突出している複数(三つ)の後羽根839cと、ベース筒部839aの前端から前方へ筒状に突出していると共に前端の周面に従動ギア837の連結部387cと連結可能な凹凸が形成されている被連結部839dと、を備えている。
払出羽根839の前羽根839b及び後羽根839cは、周方向へ120度の角度の間隔で夫々三つずつ備えられており、互い違いとなるように、前羽根839bに対して後羽根839cが、周方向へ60度の角度でオフセットして外方へ延出している。本実施形態の払出羽根839は、三つの前羽根839b(後羽根839c)同士の間が中心側へ窪んだ円弧によって結ばれており、その円弧の直径が遊技球の直径と同じか若干大きい。これにより、前羽根839b(後羽根839c)同士の間には、遊技球が一つのみ収容することが可能な球収容部839eが形成されている。
また、三つの前羽根839b及び後羽根839cは、ベース筒部839aの軸を中心としたそれらの外周の直径D1が、遊技球の外径の1〜1.4倍に形成されている。また、前羽根839b(後羽根839c)同士の間の円弧の部位(球収容部839e)におけるベース筒部839aの軸に最も接近した部位までの、ベース筒部839aの軸を中心とした直径D2は、遊技球の外径の約0.3〜0.4倍に形成されている(図73を参照)。つまり、前羽根839b及び後羽根839cの外周から球収容部839eの最も凹んだ部位までの深さ[(直径D1−直径D2)/2]が、遊技球の外径の0.1〜0.4倍とされている。
従って、前羽根839b(後羽根839c)同士の間の円弧の部位(球収容部839e)により、遊技球の外周の約3/10(1/4〜1/3の間)を保持することができる。換言すると、遊技球の外径の約1/5(1/7〜1/4)の深さを収容することができる。これにより、払出通路831d,832d内の遊技球を、速やかに前羽根839b(後羽根839c)同士の間(球収容部839e)に収容することができる。
本実施形態の払出羽根839は、払出装置830を組立てた状態で、前羽根839bが前箱831の払出通路831d内に、後羽根839cが後箱832の払出通路832d内に位置し、夫々の払出通路831d,832d内の遊技球を、夫々払出すことができる。また、払出羽根839は、払出通路831d,832dにおいて、前箱821及び後箱832の全高の中央よりも下側でクランク状に折れ曲がっている部位に配置されている。詳しくは、払出通路831d,832dにおいて、前箱821及び後箱832の全高の中央付近から下方へ垂直に延びている部位の直下に、払出羽根839の回転中心が位置している。そして、払出通路831d,832dのクランク状に折れ曲がっている部位では、払出羽根839から遠い側の壁(内壁)が、払出羽根839の回転中心を中心とし、前羽根839b及び後羽根839cの外周から遊技球の外径よりも小さい距離Sだけ離れた円弧状に形成されている(図62を参照)。なお、本実施形態では、距離Sが、遊技球の外径の0.7〜0.9倍とされている。換言すると、球収容部839eの最も凹んだ部位から払出通路831d,832dの円弧状に形成されている部位までの距離が、遊技球の外径の1.03〜1.1倍とされている。
これにより、払出装置830は、払出羽根839上に流下してきた遊技球が、前羽根839b,839cの外周に当接すると、払出通路831d,832dのクランク状に折れ曲がっている部位を通ることができず、払出出口831b,832bから下方へ放出されることはない。一方、遊技球が、球収容部839eに収容されると、払出羽根839の回転と共に移動し、払出通路831d,832dのクランク状に折れ曲がっている部位を通ることができ、払出出口831b,832bから下方へ放出される。
また、払出装置830では、前羽根839b及び後羽根839cの直径D1を、遊技球の外径の約1.2〜1.4倍とすると共に、球収容部839eにより遊技球の外径の1/7〜1/4の深さを収容するようにしているため、払出羽根839の外径を可及的に小さくしつつ、遊技球の収容にかかる時間を短くすることができる。これにより、払出羽根839を速く回転させても、球収容部839eに遊技球を収容させて、払出出口831b,832b側へ送ることができる。従って、従来よりも単位時間当りの遊技球の払出数を多くすることができ、遊技球の払出しにかかる時間を短縮することができる。
球抜き可動片843は、上下及び前後に板状に延びており下部が折れ曲がって正面視く字状に形成されている本体部843aと、本体部843aの上端で前後に筒状に延びており両端が夫々前箱831及び後箱832に回動可能に取付けられる軸筒部843bと、本体部843aのく字状に折れ曲がっている外側面の上部から突出している突出部843cと、本体部843cのく字状に折れ曲がっている下部において前後に貫通している貫通孔からなる錘取付部843d(図72を参照)と、を備えている。
球抜き可動片843は、払出装置830を組立てた状態では、本体部843aの下部が正面視斜め左下へ延びるような向きで、上端の軸筒部843bが、前箱831及び後箱832の払出通路831d,832dにおいて、払出入口831a,832aから正面視右下へ斜めに延びている部位で、且つ、下方へ折れ曲がる部位よりもやや上側の正面視右側の壁の外側の位置で、回動可能に取付けられている。
本実施形態の払出装置830は、通常の状態では、球抜きレバー844を下方へスライドさせた状態としており、球抜きレバー844の下部が球抜き可動片843の突出部843cに正面視右側から当接している。これにより、球抜き可動片843は、正面視反時計回りへの回動が規制されている(図72(a)を参照)。
この通常の状態では、球抜き可動片843のく字状に折れ曲がっている本体部843aにおいて、曲がっている部位よりも上側が垂直に延びていると共に、曲がっている部位の下側が正面視斜め左下へ延びている。そして、本体部843aの下端は、払出通路831d,832dと球抜き通路831e,832eとが分岐している部位の近傍に位置している。従って、球抜き可動片843(本体部843a)によって、球抜き通路831e,832eを閉鎖していると共に、本体部843aの左側を向いた面が、払出通路831d,832dの一部の壁を形成している。
本実施形態の球抜き可動片843は、通常の状態において、球抜き可動片843の重心が、軸筒部843bの中心を通る垂直線の正面視左側に位置するように形成されており、自重によって正面視反時計回りに回転させようとする力が作用しているが、球抜きレバー844によって反時計回りへの回動が規制されているため、通常の状態が維持される。
通常の状態から、球抜きレバー844を上方へスライドさせると、球抜きレバー844の下部が、球抜き可動片843の突出部843cから離れ、球抜き可動片843の正面視反時計回りへの回動の規制が解除される。従って、球抜き可動片843は、重心が軸筒部843bの直下へ位置するように、自重によって反時計回りへ回動することとなる。なお、球抜き可動片843は、本体部843aの下部の右側側面が、前箱831及び後箱832の右側面を形成している部材の左面に当接するまで、反時計回りに回動することができる(図61(b)を参照)。これにより、球抜き通路831e,832eが開放された状態となり、払出入口831a,832aから進入した遊技球が、払出通路831d,832dの途中で、球抜き可動片843の本体部843aに当接して球抜き可動片843を正面視反時計回りへ回動させて球抜き通路831e,832eを開放し、開放された球抜き通路831e,832eを流通して球抜き出口831c,832cから下方へ放出されることとなる。
本実施形態では、球抜き可動片843に錘取付部843dを備えているため、この錘取付部843dに金属ビスからなる錘を捩じ込んで取付けることで、球抜きレバー844を上方へスライドさせて、正面視反時計回りへの回動の規制を解除した時に、球抜き可動片843の自重と錘の重量とによって、球抜き可動片843の下端を球抜き通路381e,832e内へ突出する方向へ(正面視反時計回りに)回動させ易くすることができる。
また、球抜きレバー844を下方へスライドさせて球抜き通路831e,832eを閉鎖している通常の状態において、払出入口831a,832aから進入した遊技球が、球抜き可動片843の本体部843aに当接するようにしているため、遊技球の当接によって球抜き可動片843を振動させることができる。従って、球抜き可動片843の下端と球抜き通路831e,832eの内面との間に挟まれたり侵入したりした埃やゴミ等を、球抜き可動片843の振動によって除去することができ、埃やゴミ等を噛み込んで球抜き可動片843が回動できなくなるのを防止することができる。
また、錘としての金属ビスを、貫通孔とされた錘取付部843dに捩じ込んで取付けることができるため、球抜き可動片843が頻繁に回動しても、錘が球抜き可動片843(錘取付部843d)から外れることがなく、長期に亘って球抜き可動片843を良好な状態に維持することができる。また、錘取付部843dに金属ビスを捩じ込むだけで、球抜き可動片843に錘を容易に取付けることができるため、錘の取付けの手間を簡略化することができ、パチンコ機1の組立てに係るコストを低減させることができる。
ところで、球抜き可動片843によって球抜き通路831e,832eを長期に亘って閉鎖していると、球抜き可動片843の回転軸に微細な埃が付着したり回転軸が錆びたりして、球抜き可動片843が回動し辛くなることがある。これに対して、本実施形態では、払出入口831a,832aから進入した遊技球が、球抜き可動片843の本体部843aに当接するようにしているため、球抜き可動片843により球抜き通路831e,832eを閉鎖している状態から、閉鎖を解除する球抜きレバー844を上方へスライドさせてロックを外した時に、遊技球が球抜き可動片843に当接することで、その当接の衝撃によって球抜き可動片843を回動させることができ、球抜き通路831e,832eを確実に開放させることができる。
従って、球抜きレバー844を操作して球抜き通路831e,832eを開放させる際に、球抜き可動片843が良好に回動することができるため、遊技球の抜取り作業を確実に行うことができ、メンテナンス等の際の作業性を良くすることができる。
[4−6c.上部満タン球経路ユニット]
本実施形態における払出ユニット800の上部満タン球経路ユニット850について、図74及び図75を参照して詳細に説明する。上部満タン球経路ユニット850は、払出ユニットベース801において、払出装置830の下側の位置に取付けられるものである。この上部満タン球経路ユニット850は、払出ユニットベース801に取付けられ後側が開放された箱状の上部満タンベース851と、上部満タンベース851の後側に取付けられており前側が開放された箱状の上部満タンカバー852と、上部満タンカバー852の後側に回転可能に取付けられており払出装置830を上方へ押圧可能な払出装置押圧部材853と、を備えている。
また、上部満タン球経路ユニット850は、上面における正面視左右中央から左側の部位で遊技球が通過可能に上方へ開口している上部払出球受口850aと、上面における正面視左右中央から右側の部位で遊技球が通過可能に上方へ開口している上部球抜き入口850bと、上部満タンベース851と上部満タンカバー852との間に形成されており上部払出球受口850aに受けられた遊技球が流通する所定広さの上部球貯留通路850cと、上部球貯留通路850cの下端における上部払出球受口850aの直下の部位で下方へ開口している通常放出口850dと、上部球貯留通路850cの下端における通常放出口850dを除いた部位で下方へ開口している満タン放出口850eと、通常放出口850dと満タン放出口850eとの間から上方へ突出しており上部球貯留通路850c内の下部を左右に仕切っている仕切片850fと、を備えている。
また、上部満タン球経路ユニット850は、上部球抜き入口850bから進入した遊技球を下方へ誘導する上部球抜き通路850gと、上部球抜き通路850gの下端で下方へ向かって開口している上部球抜き出口850hと、を備えている。この上部満タン球経路ユニット850は、正面視で左側から、通常放出口850d、満タン放出口850e、上部球抜き出口850hが順に並んで下方へ開口している。また、上部満タン球経路ユニット850は、上部満タンベース851の右端に裏カバー980を取付けるための裏カバー取付部854を備えている。
この上部満タン球経路ユニット850は、払出ユニット800に組立てた状態で、上部払出球受口850aが、払出装置830の払出出口831bの直下に位置していると共に、上部球抜き入口850bが、払出装置830の球抜き出口831cの直下に位置している。また、上部満タン球経路ユニット850は、払出ユニット800に組立てた状態で、通常放出口850d、満タン放出口850e、及び上部球抜き出口850hは、下部満タン球経路ユニット860の通常誘導路861、満タン誘導路862、及び下部球抜き誘導路865の夫々後端開口の直上に夫々開口している(図82を参照)。
上部満タン球経路ユニット850は、払出装置830によって払出されて払出出口831bから下方へ放出された遊技球が、上部払出球受口850aから上部球貯留通路850c内へ進入する。上部球貯留通路850cの下端の通常放出口850dが閉鎖されていない状態では、上部払出球受口850aから上部球貯留通路850c内へ進入した遊技球が、上部払出球受口850aの直下に開口している通常放出口850dから放出される。
扉枠3の上皿201内が遊技球で満たされて遊技球を貯留させることができなくなり、更に、下部満タン球経路ユニット860の通常誘導路861内が遊技球で満たされると、通常放出口850dが閉鎖された状態となる。この状態で上部球貯留通路850c内に遊技球が進入すると、通常放出口850dの上側に貯留される。そして、通常放出口850dの上側に貯留されている遊技球の量が、仕切片850fよりも高くなると、新たに上部球貯留通路850c内に進入してきた遊技球は、仕切片850fを乗り越えて満タン放出口850eから下方へ放出されることとなり、下部満タン球経路ユニット860の満タン誘導路862を通って下皿202に送られることとなる。
このように、上部満タン球経路ユニット850は、払出装置830から払出された遊技球を、扉枠3における上皿201での遊技球の貯留量に応じて、自動的に上皿201から下皿202へ振分けることができる。
[4−6d.下部満タン球経路ユニット]
本実施形態における払出ユニット800の下部満タン球経路ユニット860について、図76乃至図81を参照して詳細に説明する。下部満タン球経路ユニット860は、払出ユニットベース801における上部満タン球経路ユニット850の下側に取付けられるものである。下部満タン球経路ユニット860は、上部満タン球経路ユニット850の通常放出口850dから放出された遊技球を前方へ誘導して前端から扉枠3の貫通球通路526へ誘導する通常誘導路861と、上部満タン球経路ユニット850の満タン放出口850eから放出された遊技球を前方へ誘導して前端から扉枠3の満タン球受口530へ誘導する満タン誘導路862と、通常誘導路861及び満タン誘導路862の前端開口を本体枠4に対する扉枠3の開閉に応じて開閉する誘導路開閉扉863と、誘導路開閉扉863を通常誘導路861及び満タン誘導路862の前端開口を閉鎖する方向へ付勢している閉鎖バネ864と、を備えている。
また、下部満タン球経路ユニット860は、上部満タン球経路ユニット850の上部球抜き出口850hから放出された遊技球を前方へ誘導し前後方向の中央右端から基板ユニット900の基板ユニットベース910上へ放出する下部球抜き誘導路865を、備えている。
下部満タン球経路ユニット860は、通常誘導路861、満タン誘導路862、及び下部球抜き誘導路865が、正面視において、左側から順に右側へ並んでいる。これら通常誘導路861、満タン誘導路862、及び下部球抜き誘導路865は、後端が上方へ向かって開口している。また、通常誘導路861、及び満タン誘導路862は、左右に遊技球が複数並ぶ幅で、前端側が低くなるように本体枠4の前端付近まで前方へ延びている。更に、満タン誘導路862は、通常誘導路861よりも低い位置で前方へ延びている。これら通常誘導路861、満タン誘導路862、及び下部球抜き誘導路865は、図示するように、上下に分割可能な上ケース866及び下ケース867によって形成されている。
誘導路開閉扉863は、下ケース867の前端における通常誘導路861と満タン誘導路862との間の部位に、回動可能に取付けられており、閉鎖バネ864によって正面視時計回りの方向へ付勢されている。更に詳述すると、下部満タン球経路ユニット860の前端において、正面視で通常誘導路861の前端開口の右側に開口している満タン誘導路862は、通常誘導路861に対して一つの遊技球の高さ分低い位置に配置されている。そして、誘導路開閉扉863は、通常誘導路861の下側で、且つ、満タン誘導路862の左側の位置で、前後に延びた軸周りに対して回動可能に取付けられている。
誘導路開閉扉863は、回転可能に取付けられる円盤状の基部863aと、基部863aから斜め左上側に平板状に延びており通常誘導路861の前端開口を閉鎖可能な第一扉板部863bと、基部863aから右側に平板状に延びており満タン誘導路862の前端開口を閉鎖可能な第二扉板部863cと、基部863aから斜め左下側に平板状に延びている延出部863dと、延出部863dの先端部前面から前方へ突出しており扉枠3におけるファールカバーユニット520の扉開閉当接部537と当接可能な作動突部863eと、を備えている。
ここで、通常誘導路861及び満タン誘導路862の前端開口を閉鎖するとは、開口を密閉する必要はなく、遊技球が通過不能となれば良いことである。作動突部863eは、正面視の形状が、基部863aを中心とした短い円弧状に形成されており、前端面が、反時計回りの方向の端部側へ近付くに従って前方へ突出するように傾斜している。
誘導路開閉扉863は、閉鎖バネ864によって正面視時計回りの方向へ付勢されており、第二扉板部863cが、下カバー867の前端における満タン誘導路862の前端開口の下側から前方へ突出しているボス部867aに当接することで、時計回りの方向への回動が規制される。
本実施形態の下部満タン球経路ユニット860は、パチンコ機1を組立てた状態で、前端が、扉枠3のファールカバーユニット520における貫通球通路526、満タン球受口530、及び扉開閉当接部537と対向する位置に取付けられている(図80を参照)。そして、誘導路開閉扉863は、本体枠4に対して扉枠3が開いている状態では、作動突部863eに何も当接していないため、誘導路開閉扉863は閉鎖バネ864の付勢力によって、正面視時計回りの方向へ回動させられ、第二扉板部863cが下ケース867のボス部867aに当接した状態で停止する。この状態では、第一扉板部863bと第二扉板部863cが、通常誘導路861と満タン誘導路862の前端開口の前面に位置しており、前端開口を閉鎖している(図79(a)を参照)。従って、この状態では、通常誘導路861及び満タン誘導路862内の遊技球が、前端開口から前方へ移動することができず、扉枠3を開けても、通常誘導路861や満タン誘導路862から遊技球がこぼれることはない。
そして、本体枠4に対して扉枠3を閉じると、誘導路開閉扉863の作動突部863eの前端面に、扉枠3におけるファールカバーユニット520の扉開閉当接部537が当接し、作動突部863eの前端面の傾斜によって、閉鎖バネ864の付勢力に抗して誘導路開閉扉863を正面視反時計回りの方向へ回動させようとする力が作用する。これにより、通常誘導路861及び満タン誘導路862の前端開口を閉鎖していた第一扉板部863bと第二扉板部863cが、前端開口から離れる方向へ回動し、通常誘導路861及び満タン誘導路862の前端開口が開放された状態となる(図79(b)を参照)。この状態では、図示するように、第一扉板部863bが通常誘導路861の前端開口の下側に、第二扉板部863cが満タン誘導路862の前端開口の上側に位置している。
この通常誘導路861及び満タン誘導路862の前端開口を開放させた状態では、本体枠4に対して扉枠3が完全に閉じられた状態となっていると共に、通常誘導路861及び満タン誘導路862の前端開口の前側に、扉枠3におけるファールカバーユニット520の貫通球通路526及び満タン球受口528が位置しており、通常誘導路861及び満タン誘導路862側から、貫通球通路526及び満タン球受口528側へ遊技球を受渡すことができる。
このように、通常誘導路861及び満タン誘導路862の前端開口を上下方向に異ならせると共に、誘導路開閉扉863を回動させることで通常誘導路861及び満タン誘導路862の前端開口を開閉させるようにしているため、誘導路開閉扉863の動作範囲を可及的に狭くすることができ、通常誘導路861及び満タン誘導路862の開閉機構を小型化することができる。従って、相対的に他の部材のためのスペースを広くすることができ、パチンコ機1の内部空間をより有効活用することができる。
本実施形態の払出ユニット800は、扉枠3の上皿201が遊技球で一杯になり、上皿201へ遊技球を放出することができなくなった状態で、払出装置830から更に多くの遊技球が払出されると、下部満タン球経路ユニット860の通常誘導路861内が遊技球で一杯になるまで遊技球を貯留することができる。そして、通常誘導路861が遊技球で一杯になった状態で払出装置830から更に遊技球が払出されると、上部満タン球経路ユニット850の上部球貯留通路850c内において、遊技球が通常放出口850dよりも上側に留って仕切片850fを超えると、満タン放出口850e側へ流通するようになり、満タン放出口850eから、下部満タン球経路ユニット860の満タン誘導路862、ファールカバーユニット520を通って下皿202へ遊技球の払出しが自動的に切換えられる。その後、払出装置830から更に遊技球が払出されて、上皿201に加えて下皿202も遊技球で一杯になって下皿202へ遊技球を供給することができなくなると、ファールカバーユニット520の貯留通路533内に遊技球が貯留される。そして、貯留通路533内に遊技球が貯留されることで可動片534が回動して満タン検知センサ535により検知されると、上皿201及び下皿202が遊技球で満タンであることが報知されると共に、満タン検知センサ535による可動片534の検知が解除されるまで払出装置830による遊技球の払出しが一時的に停止される。
なお、満タン検知センサ535による可動片534の検知に対する払出装置830による遊技球の払出しの停止を、例えば、ファールカバーユニット520の貯留通路533内に可動片534が検知されるまで遊技球が貯留されている状態で、その上流側の貯留通路533、下部満タン球経路ユニット860の満タン誘導路862、及び上部満タン球経路ユニット850の上部球貯留通路850c内を満たすことが可能な数の遊技球が払出されると、払出装置830による遊技球の払出しを停止させるようにしても良い。これにより、従来のパチンコ機よりも多くの遊技球を貯留することができるため、大当り遊技中等の多くの遊技球が払出される遊技状態において、遊技球の払出しによって上皿201や下皿202が遊技球で一杯になることに対して気に掛ける必要を低減させることができ、遊技者を大当り遊技に専念させて楽しませることができる。
このように、本実施形態の払出ユニット800では、上部満タン球経路ユニット850及び下部満タン球経路ユニット860内において、従来のパチンコ機よりも多くの遊技球を貯留することができるため、本体枠4に対して扉枠3を開いた時に、上部満タン球経路ユニット850及び下部満タン球経路ユニット860内に多くの遊技球が貯留されていると、それら遊技球の荷重が、通常誘導路861及び満タン誘導路862の前端開口を閉鎖している誘導路開閉扉863に大きく作用することとなり、誘導路開閉扉863が破損し易くなる虞がある。そこで、図81に示すような実施形態の誘導路開閉扉870としても良い。
図81に示す誘導路開閉扉870は、回転可能に取付けられる円盤状の基部870aと、基部870aから斜め左上側に平板状に延びており通常誘導路861の前端開口を閉鎖可能な第一扉板部870bと、基部870aから右側に平板状に延びており満タン誘導路862の前端開口を閉鎖可能な第二扉板部870cと、基部870aから斜め左下側に平板状に延びている延出部(図示は省略)と、延出部の先端部前面から前方へ突出しており扉枠3におけるファールカバーユニット520の扉開閉当接部537と当接可能な作動突部870eと、を備えている。また、誘導路開閉扉870は、第一扉板部870b及び第二扉板部870cの後面に、遊技球の一部が嵌る複数の凹部870を備えている。
誘導路開閉扉870の第一扉板部870b及び第二扉板部870cの後面は、図示するように、基部870aから遠ざかるに従って後方へ移動するように斜めに傾斜している。従って、通常誘導路861や満タン誘導路862内を前方へ向かって転動してきた遊技球が、第一扉板部870bや第二扉板部870cの後面に当接すると、後面の傾斜によって基部870a側へ転動することとなり、通常誘導路861や満タン誘導路862内に貯留された遊技球を基部870a側へ寄せることができる。これにより、通常誘導路861や満タン誘導路862内に貯留された遊技球の荷重が、第一扉板部870bや第二扉板部870cにおいて、下ケース867に取付けられている基部870aに近い位置に作用するため、第一扉板部870bや第二扉板部870cを変形し難くさせることができ、誘導路開閉扉870を破損し難くして耐久性を高めることができる。
また、誘導路開閉扉870の複数の凹部870dは、図示するように、第一扉板部870b及び第二扉板部870cの後面において、遊技球が基部870a側へ寄った位置で保持されるように配置されている。これにより、通常誘導路861や満タン誘導路862内を流通してきた遊技球が凹部870dに嵌ることで、確実に遊技球を基部870a側へ寄った位置とすることができ、上述と同様の作用効果を奏することができる。
なお、図示は省略するが、凹部870dは、遊技球が嵌った状態でも誘導路開閉扉870が回動できるように、基部870aを中心として円弧状に延びている。
この場合、通常誘導路861及び満タン誘導路862の左右の幅Wを、遊技球の直径の整数倍と異ならせることが望ましい。これにより、第一扉板部870b及び第二扉板部870cの後面によって基部870a側へ寄せられた遊技球に対して、その後側に当接する遊技球が、通常誘導路861及び満タン誘導路862の左右外側の内壁に当接していると、後側の遊技球から作用する荷重の方向が基部870a側へ寄った斜め前方へ向くこととなり、ケース867に取付けられている基部870a側へ荷重を多く作用させることができ、上述した作用効果を確実に発揮させることができる。
[4−7.基板ユニット]
本実施形態における本体枠4の基板ユニット900について、図58乃至図61を参照して説明する。本体枠4の基板ユニット900は、本体枠ベース600の後側に取付けられる基板ユニットベース910と、基板ユニットベース910の正面視左側で本体枠ベース600の後側に取付けられ内部に低音スピーカを有したスピーカユニット920と、基板ユニットベース910の後側で正面視右側に取付けられ内部に電源基板が収容されている電源基板ボックス930と、スピーカユニット920の後側に取付けられており内部にインターフェイス制御基板が収容されているインターフェイス制御基板ボックス940と、電源基板ボックス930及びインターフェイス制御基板ボックス940に跨って取付けられており内部に遊技球の払出しを制御する払出制御基板が収容された払出制御基板ボックス950と、を備えている。
払出制御基板ボックス950内に収容された払出制御基板によって、払出装置830が制御されている。
[5.遊技盤の全体構成]
次に、パチンコ機1の遊技盤5の全体構成について、図83乃至図90を参照して詳細に説明する。図83は、遊技盤の正面図である。図84は遊技盤を右前から見た斜視図であり、図85は遊技盤を左前から見た斜視図である。また、図86は、遊技盤を後ろから見た斜視図である。更に、図87は遊技盤を主な構成毎に分解して前から見た分解斜視図であり、図88は遊技盤を主な構成毎に分解して後ろから見た分解斜視図である。また、図89は遊技盤における前構成部材と遊技パネルのみを示す前から見た斜視図であり、図90は遊技盤における前構成部材と遊技パネルのみを示す後ろから見た斜視図である。
本実施形態の遊技盤5は、図示するように、遊技者がハンドルユニット500のハンドルレバー504を操作することで遊技球が打込まれる遊技領域5aを有している。また、遊技盤5は、遊技領域5aの外周を区画し外形が正面視略四角形状とされた前構成部材1000と、前構成部材1000の後側に取付けられており遊技領域5aの後端を区画する板状の遊技パネル1100と、遊技パネル1100の後側下部に取付けられている基板ホルダ1200と、基板ホルダ1200の後面に取付けられており遊技球を遊技領域5a内へ打込むことで行われる遊技内容を制御する主制御基板を有している主制御ユニット1300と、を備えている。遊技パネル1100の前面において遊技領域5a内となる部位には、遊技球と当接する複数の障害釘が所定のゲージ配列で植設されている(図示は省略)。
また、遊技盤5は、主制御基板からの制御信号に基づいて遊技状況を表示し前構成部材1000の左下隅に遊技者側へ視認可能に取付けられている機能表示ユニット1400と、遊技パネル1100の後側に前側から視認可能に取付けられている中央液晶表示装置1500と、中央液晶表示装置1500の後側に取付けられている周辺制御ユニット1600と、遊技パネル1100の前面に取付けられる表ユニット2000と、遊技パネル1100の後面に取付けられる裏ユニット3000と、を更に備えている。
遊技パネル1100は、外周が枠状の前構成部材1000の内周よりもやや大きく形成されていると共に透明な平板状のパネル板1110と、パネル板1110の外周を保持しており前構成部材1000の後側に取付けられると共に後面に裏ユニット3000が取付けられる枠状のパネルホルダ1120と、を備えている。
表ユニット2000は、遊技領域5a内に打込まれた遊技球を受入可能としており常時開口している複数の一般入賞口2001と、複数の一般入賞口2001とは遊技領域5a内の異なる位置で遊技球を受入可能に常時開口している第一始動口2002と、遊技領域5a内の所定位置に取付けられており遊技球の通過を検知するゲート部2003と、遊技球がゲート部2003を通過することにより抽選される普通抽選結果に応じて遊技球の受入れが可能となる第二始動口2004と、第一始動口2002又は第二始動口2004への遊技球の受入れにより抽選される第一特別抽選結果又は第二特別抽選結果に応じて何れかにおいて遊技球の受入れが可能となる下大入賞口2005及び上大入賞口2006と、を備えている。
また、技領域5a内の左右方向中央でアウト口1111の直上に取付けられており第一始動口2002を有している始動口ユニット2100と、始動口ユニット2100の正面視左方で内レール1002に沿って取付けられており複数の一般入賞口2001を有しているサイドユニット2200と、始動口ユニット2100の右方に取付けられており一つの一般入賞口2001、ゲート部2003、第二始動口2004、及び下大入賞口2005を有しているアタッカユニット2300と、始動口ユニット2100、サイドユニット2200、及びアタッカユニット2300の上方に取付けられており上大入賞口2006を有している枠状のセンター役物2500と、を備えている。
裏ユニット3000は、パネルホルダ1120の後面に取付けられ前方が開放されている箱状の裏箱3010と、裏箱3010の後面に取付けられており中央液晶表示装置1500を着脱可能に取付けるためのロック機構3020と、裏箱3010の下部左側前端付近に取付けられている左下球通路ユニット3030と、裏箱3010の下部右側前端付近に取付けられている右下球通路ユニット3040と、を備えている。
また、裏ユニット3000は、裏箱3010の後面で開口部3010aの背面視左方に取付けられているランプ駆動基板3060と、ランプ駆動基板3060の後方を覆うランプ駆動基板カバー3061と、裏箱3010の後面で開口部3010aの背面視下方に取付けられているモータ駆動基板3062と、モータ駆動基板3062の後方を覆うモータ駆動基板カバー3063と、裏箱3010の後面で背面視左下隅に取付けられているパネル中継基板3064と、を備えている。
更に、裏ユニット3000は、裏箱3010の前端で上辺及び左辺に沿って取付けられている裏周縁装飾ユニット3080と、裏箱3010内で開口部3010aの上方に取付けられている裏上可動演出ユニット3100と、裏箱3010内の前端付近で開口部3010aの下方に取付けられている裏下前可動演出ユニット3200と、裏箱3010内で開口部3010aの右方に取付けられている裏右可動演出ユニット3300と、裏箱3010内で開口部3010aの左方に取付けられている裏左可動演出ユニット3400と、裏箱3010内で開口部3010aの下方且つ裏下前可動演出ユニット3200の後方に取付けられている裏下後可動演出ユニット3500と、裏箱3010内で裏上可動演出ユニット3100及び裏下後可動演出ユニット3500の夫々左右両側に取付けられている裏四隅可動演出ユニット3600と、を備えている。
[5−1.前構成部材]
次に、前構成部材1000について、図83乃至図90を参照して説明する。前構成部材1000は、正面視の外形が略正方形とされ、内形が略円形状に前後方向へ貫通しており、内形の内周によって遊技領域5aの外周を区画している。この前構成部材1000は、正面視で左右方向中央から左寄りの下端から時計回りの周方向へ沿って円弧状に延び正面視左右方向中央上端を通り過ぎて右斜め上部まで延びた外レール1001と、外レール1001に略沿って前構成部材1000の内側に配置され正面視左右方向中央下部から正面視左斜め上部まで円弧状に延びた内レール1002と、内レール1002の下端の正面視右側で遊技領域5aの最も低くなった位置に形成されており後方へ向かって低くなるように傾斜しているアウト誘導部1003と、を備えている。
また、前構成部材1000は、アウト誘導部1003の正面視右端から前構成部材1000の右辺付近まで右端側が僅かに高くなるように直線状に傾斜している右下レール1004と、右下レール1004の右端から前構成部材1000の右辺に沿って外レール1001の上端の下側まで延びており上部が前構成部材1000の内側へ湾曲している右レール1005と、右レール1005の上端と外レール1001の上端とを繋いでおり外レール1001に沿って転動して来た遊技球が当接する衝止部1006と、を備えている。
また、前構成部材1000は、内レール1002の上端に回動可能に軸支され、外レール1001との間を閉鎖するように内レール1002の上端から上方へ延出した閉鎖位置と正面視時計回りの方向へ回動して外レール1001との間を開放した開放位置との間でのみ回動可能とされると共に閉鎖位置側へ復帰するように図示しないバネによって付勢された逆流防止部材1007を、備えている。
[5−2.遊技パネル]
次に、遊技パネル1100について、図83乃至図90を参照して説明する。遊技パネル1100は、外周が枠状の前構成部材1000の内周よりもやや大きく形成されていると共に透明な合成樹脂で形成されている平板状のパネル板1110と、パネル板1110の外周を保持しており前構成部材1000の後側に取付けられると共に後面に裏ユニット3000が取付けられる枠状のパネルホルダ1120と、を備えている。遊技パネル1100のパネル板1110は、遊技領域5a内において最も低い位置となる部位に前後に貫通しているアウト口1111が形成されている。また、パネル板1110には、前後に貫通しており表ユニット2000を取付けるための取付口1112(図89及び図90等を参照)が複数形成されている。
パネルホルダ1120は、パネル板1110を後側から着脱可能に保持している。また、パネルホルダ1120は、裏ユニット3000を取付けるための取付孔と、位置決め孔とが後面に複数形成されている。
遊技パネル1100を前構成部材1000の後側に取付けた状態では、前構成部材1000のアウト誘導部1003の後側にパネル板1110のアウト口1111が開口した状態となる。これにより、遊技領域5aの下端へ流下した遊技球が、アウト誘導部1003によって後側のアウト口1111へ誘導され、アウト口1111を通って遊技パネル1100の後側へ排出させることができる。
[5−3.基板ホルダ]
次に、基板ホルダ1200について、図83乃至図90を参照して説明する。基板ホルダ1200は、上方及び前方が開放された横長の箱状に形成されており、底面が左右方向中央へ向かって低くなるように傾斜している。この基板ホルダ1200は、遊技盤5に組立てた状態では、遊技パネル1100の後側に取付けられている裏ユニット3000の下部を下側から覆うことができる。これにより、アウト口1111を通って遊技パネル1100の後側へ排出された遊技球、及び、表ユニット2000及び裏ユニット3000から下方へ排出された遊技球、を全て受けることができ、底面に形成された排出部1201(図87を参照)から下方へ排出させることができる。
[5−4.主制御基板ユニット]
次に、主制御ユニット1300について、図83乃至図90を参照して説明する。主制御ユニット1300は、基板ホルダ1200の後面に着脱可能に取付けられている。この主制御ユニット1300は、遊技内容及び遊技球の払出し等を制御する主制御基板(図示は省略)と、主制御基板を収容しており基板ホルダ1200に取付けられる主制御基板ボックス1320と、を備えている。
主制御基板ボックス1320は、複数の封印機構を備えており、一つの封印機構を用いて主制御基板ボックス1320を閉じると、次に、主制御基板ボックス1320を開けるためにはその封印機構を破壊する必要があり、主制御基板ボックス1320の開閉の痕跡を残すことができる。従って、開閉の痕跡を見ることで、主制御基板ボックス1320の不正な開閉を発見することができ、主制御基板への不正行為に対する抑止力が高められている。
[5−5.機能表示ユニット]
次に、機能表示ユニット1400について、図83乃至図90を参照して説明する。機能表示ユニット1400は、図83等に示すように、遊技領域5aの外側で前構成部材1000の左下隅に取付けられている。この機能表示ユニット1400は、遊技盤5をパチンコ機1に組立てた状態で、扉枠3の貫通口111を通して前方(遊技者側)から視認することができる(図1を参照)。この機能表示ユニット1400は、複数のLEDを用いて、遊技状態(遊技状況)や、普通抽選結果や特別抽選結果等を表示するものである。
機能表示ユニット1400は、詳細な図示は省略するが、遊技状態を表示する一つのLEDからなる状態表示器と、後述するゲート部に対する遊技球の通過により抽選される普通抽選結果を表示する二つのLEDからなる普通図柄表示器と、ゲート部に対する遊技球の通過に係る保留数を表示する二つのLEDからなる普通保留表示器と、後述する第一始動口への遊技球の受入れにより抽選された第一特別抽選結果を表示する八つのLEDからなる第一特別図柄表示器と、第一始動口への遊技球の受入れ係る保留数を表示する二つのLEDからなる第一特別保留数表示器と、後述する第二始動口への遊技球の受入れにより抽選された第二特別抽選結果を表示する八つのLEDからなる第二特別図柄表示器と、第二始動口への遊技球の受入れ係る保留数を表示する二つのLEDからなる第二特別保留数表示器と、第一特別抽選結果又は第二特別抽選結果が「大当り」等の時に、後述する上大入賞口や下大入賞口の開閉パターンの繰返し回数(ラウンド数)を表示する二つのLEDからなるラウンド表示器と、を主に備えている。
この機能表示ユニット1400では、備えられているLEDを、適宜、点灯、消灯、及び、点滅、等させることにより、保留数や図柄等を表示することができる。
[5−6.中央液晶表示装置]
次に、中央液晶表示装置1500について、図83乃至図90を参照して説明する。中央液晶表示装置1500は、正面視において遊技領域5aの中央に配置されており、遊技パネル1100の後側に裏ユニット3000の裏箱3010を介して取付けられている。詳述すると、中央液晶表示装置1500は、裏箱3010の後壁の略中央の後面に対して、着脱可能に取付けられている。この中央液晶表示装置1500は、遊技盤5を組立てた状態で、枠状のセンター役物2500の枠内を通して、前側(遊技者側)から視認することができる。この中央液晶表示装置1500は、白色LEDをバックライトとしたフルカラーの表示装置であり、静止画像や動画を表示することができる。
中央液晶表示装置1500は、図87及び図88に示すように、正面視左側面から外方へ突出している二つの左固定片1501と、正面視右側面から外方へ突出している右固定片1502と、を備えている。この中央液晶表示装置1500は、液晶画面を前方へ向けた状態で、後述する裏箱3010の枠状の液晶取付部内の正面視左内周面に開口している二つの固定溝に、裏箱3010の斜め後方から二つの左固定片1501を挿入した上で、右固定片1502側を前方へ移動させて、右固定片1502をロック機構の開口部内に挿入し、ロック機構を下方へスライドさせることにより、裏箱3010に取付けられる。
[5−7.周辺制御ユニット]
次に、周辺制御ユニット1600について、図83乃至図90を参照して説明する。周辺制御ユニット1600は、中央液晶表示装置1500の後面に取付けられている。周辺制御ユニット1600は、図示は省略するが、主制御基板からの制御信号に基いて遊技者に提示する演出を制御する周辺制御基板と、中央液晶表示装置1500に表示される演出画像の表示を制御する画像表示制御基板と、演出画像、演出サウンド、演出制御プログラム、等が記憶されたROMを備えているROM基板と、周辺制御基板、画像表示制御基板、及びROM基板を収容している周辺制御基板ボックス1620と、を備えている。
[5−8.表ユニットの全体構成]
次に、表ユニット2000について、図91乃至図97を参照して説明する。図91は遊技盤の表ユニットを前から見た斜視図であり、図92は遊技盤の表ユニットを後ろから見た斜視図である。また、図93(a)は表ユニットの始動口ユニットを前上から見た斜視図であり、(b)は始動口ユニットを後ろ下から見た斜視図である。また、図94(a)は表ユニットのサイドユニットを前から見た斜視図であり、(b)はサイドユニットを後ろから見た斜視図である。更に、図95(a)は表ユニットのアタッカユニットを前上から見た斜視図であり、(b)はアタッカユニットを後ろ上から見た斜視図であり、(c)はアタッカユニットを後ろ下から見た斜視図である。また、図96は表ユニットのセンター役物を前から見た斜視図であり、図97は表ユニットのセンター役物を後ろから見た斜視図である。
遊技盤5の表ユニット2000は、遊技パネル1100のパネル板1110に、前方から取付けられており、前端がパネル板1110の前面よりも前方へ突出していると共に、後端が取付口1112を貫通してパネル板1110の後面よりも後方へ突出している。本実施形態の表ユニット2000は、遊技領域5a内に打込まれた遊技球を受入可能としており常時開口している複数の一般入賞口2001と、複数の一般入賞口2001とは遊技領域5a内の異なる位置で遊技球を受入可能に常時開口している第一始動口2002と、遊技領域5a内の所定位置に取付けられており遊技球の通過を検知するゲート部2003と、遊技球がゲート部2003を通過することにより抽選される普通抽選結果に応じて遊技球の受入れが可能となる第二始動口2004と、第一始動口2002又は第二始動口2004への遊技球の受入れにより抽選される第一特別抽選結果又は第二特別抽選結果に応じて何れかにおいて遊技球の受入れが可能となる下大入賞口2005及び上大入賞口2006と、を備えている。
複数(ここでは四つ)の一般入賞口2001は、遊技領域5a内の下部に配置されている。第一始動口2002は、遊技領域5a内の左右方向中央でアウト口1111の直上に配置されている。ゲート部2003は、遊技領域5a内における右部で上下方向中央から下寄りに配置されている。第二始動口2004は、ゲート部2003の直下に配置されている。下大入賞口2005は、第二始動口2004の下方で遊技領域5a内の下端部付近に配置されている。上大入賞口2005は、第二始動口2004の上方で遊技領域5a内の上端部付近に配置されている。
また、表ユニット2000は、遊技領域5a内の左右方向中央でアウト口1111の直上に取付けられており第一始動口2002を有している始動口ユニット2100と、始動口ユニット2100の正面視左方で内レール1002に沿って取付けられており複数(ここでは三つ)の一般入賞口2001を有しているサイドユニット2200と、始動口ユニット2100の右方に取付けられており一つの一般入賞口2001、ゲート部2003、第二始動口2004、及び下大入賞口2005を有しているアタッカユニット2300と、始動口ユニット2100、サイドユニット2200、及びアタッカユニット2300の上方に取付けられており上大入賞口2006を有している枠状のセンター役物2500と、を備えている。
[5−8a.始動口ユニット]
次に、表ユニット2000の始動口ユニット2100について、図93等を参照して説明する。始動口ユニット2100は、遊技領域5a内において、左右方向中央の下端部付近でアウト口1111の直上に配置されており、パネル板1110に前方から取付けられている。この始動口ユニット2100は、第一始動口2002を有している。
始動口ユニット2100は、パネル板1110に取付けられるユニットベース2101と、ユニットベース2101の前面上部に取付けられていると共に前方へ突出しており第一始動口2002を形成している球受部材2102と、球受部部材2102の下側でユニットベース2101の前面に取付けられており前方へ突出していると共に左右に延びている箱枠状の前飾りベース2103と、前飾りベース2103内においてユニットベース2101の前面に取付けられており前面に複数のLEDが実装されている表中央装飾基板2104と、を備えている。
また、始動口ユニット2100は、前飾りベース2103の前面に取付けられており所定の装飾が施されていると共に表中央装飾基板2104によって発光装飾される前面飾り部材2105と、ユニットベース2101の後側に取付けられており第一始動口2002に受入れられた遊技球を下方へ誘導する誘導通路部材2106と、誘導通路部材2106に取付けられており第一始動口2002に受入れられた遊技球を検知する第一始動口センサ2107と、を備えている。
球受部材2102は、上方及び後方が開放された容器状に形成されており、第一始動口2002として上方からの遊技球を受けて後方へ誘導させることができる。前飾りベース2103は、球受部材2102(第一始動口2002)を中心に左右へ均等に延びており、上面が左右両端へ向かうに従って低くなるように傾斜している。前面飾り部材2105は、左右に延びており、後述する下大入賞口2005を開閉する下大入賞口扉部材2352と略同じ大きさ及び形状で板状に形成されているフェイク部2105aを有している。このフェイク部2105aによって、第一始動口2002の下側に大入賞口があるように遊技者を錯覚させることができる。
[5−8b.サイドユニット]
次に、表ユニット2000のサイドユニット2200について、図94等を参照して説明する。サイドユニット2200は、遊技領域5a内において、始動口ユニット2100の左方で内レール1002に沿って延びており、パネル板1110に前方から取付けられている。サイドユニット2200は、三つの一般入賞口2001を有している。
このサイドユニット2200は、パネル板1110の前面に取付けられ内レール1002に沿うように円弧状に延びている平板状のユニットベース2201と、ユニットベース2201の前面下部の上縁付近に取付けられていると共に前方へ突出しており一般入賞口2001を形成している二つの第一球受部材2202と、ユニットベース2201の前面で左右方向中央から左寄りに取付けられていると共に前方へ突出しており一般入賞口2001を形成している第二球受部材2203と、ユニットベース2201の後方に配置されており前面に複数のLEDが実装されているサイド装飾基板2204と、サイド装飾基板2204を後方から覆うようにユニットベース2201の後面に取付けられている基板カバー2205と、を備えている。
ユニットベース2201は、正面視左方へ向かうに従って高くなるように円弧状に延びている。また、ユニットベース2201は、第二球受部材2203が取付けられる部位よりも左方且つ上方の部位に、右方へ向かって低くなるように傾斜している第一棚部2201aを有し、前方へ突出している突出部2201bを備えている。このユニットベース2201は、透光性を有しており、サイド装飾基板2204により発光装飾される。
第一球受部材2202は、上方及び後方が開放された容器状に形成されており、一般入賞口2001として上方からの遊技球を受けて後方へ誘導させることができる。
第二球受部材2203は、後方が開放された箱状に形成されており、上面に右方へ向かって低くなるように傾斜している第二棚部2203aと、第二棚部2203aの下側で左上方へ開口しており一般入賞口2001を形成している球受部2203bと、を有している。
基板カバー2205は、前方が開放されている浅い箱状に形成されており、二つの第一球受部材2202及び第二球受部材2203の球受部2203bの後方となる部位に上方へ開放されていると共に前後に延びており一般入賞口2001に受入れられた遊技球を後方へ誘導する樋状の誘導部2205aを有している。
サイドユニット2200は、遊技パネル1100(パネル板1110)に取付けた状態で、基板カバー2205が取付口1112内に挿入されており、一般入賞口2001に受入れられた遊技球を、誘導部2205aによってパネル板1112の後方へ誘導することができる。
[5−8c.アタッカユニット]
次に、表ユニット2000のアタッカユニット2300について、図95等を参照して説明する。アタッカユニット2300は、遊技領域5a内において、正面視右下隅に配置されており、パネル板1110に前方から取付けられている。このアタッカユニット2300は、一つの一般入賞口2001、ゲート部2003、第二始動口2004、及び下大入賞口2005を、有している。具体的には、一般入賞口2001の右方に第二始動口2004が配置されていると共に、第二始動口2004の直上にゲート部2003が配置されており、更に、一般入賞口2001及び第二始動口2004の下方に下大入賞口2005が配置されている。下大入賞口2005は、第二始動口2004の直下から一般入賞口2001の直下を超えて左方へ長く左右に延びている。
アタッカユニット2300は、一般入賞口2001及びゲート部2003を有しておりパネル板1110に前方から取付けられるユニットベース2301と、ユニットベース2301の前面上部に取付けられており第二始動口2004の前方を装飾する始動口前部材2302と、ユニットベース2301の前面で始動口前部材2302と下大入賞口2005との間の部位に取付けられており前方へ突出している棚部材2303と、ユニットベース2301の後側に取付けられており第二始動口2004に受入れられた遊技球を誘導する球誘導部材2304と、ユニットベース2301に取付けられており遊技球のゲート部2003の通過を検知するゲートセンサ2305と、を備えている。
また、アタッカユニット2300は、ユニットベース2301の後側において始動口前部材2302と棚部材2303との間に相当する部位に配置されており前面に複数のLEDが実装されている下アタッカ装飾基板2306と、下アタッカ装飾基板2306の後方を覆うようにユニットベース2301の後面に取付けられている基板カバー2307と、下アタッカ装飾基板2306とユニットベース2301との間に取付けられている格子枠状の遮光部材(図示は省略)と、を備えている。
また、アタッカユニット2300は、ユニットベース2301の後側に取付けられており第二始動口2004を開閉させる第二始動口ユニット2320と、ユニットベース2301の後側に取付けられており下大入賞口2005を開閉させる下大入賞口ユニット2350と、を備えている。
ユニットベース2301は、ゲート部2003が上端部から前方へ突出していると共に、一つの一般入賞口2001がゲート部2003の正面視左下の部位から前方へ突出している。また、ユニットベース2301は、一般入賞口2001に受入れられた遊技球を後方へ案内する樋状の樋部2301aを備えている。このユニットベース2301は、透光性を有している。
始動口前部材2302は、第二始動口2004の左右両側辺に沿って前方へ延びている一対の側壁部2302a(図156(a)を参照)と、正面視左側の側壁部2302aの上端から左方へ向かって高くなるように延びている誘導部2302bと、正面視右側の側壁部2302aから右方へ遊技球が通過可能な距離を開けて前方へ延びている平板状の外壁部2302cと、一対の側壁部2302a、誘導部2302b、及び外壁部2302cの前端を連結している平板状の前板部2302dと、を備えている。誘導部2302bは、左端がゲート部2003よりも左方へ延び出している。
棚部材2303は、図156(a)等に示すように、始動口前部材2302の右側の側壁部2302aの直下から一般入賞口2001の左右中央の直下まで、左端が低くなるように上面が延びている。これにより、下大入賞口2005が開状態の時に、遊技球が棚部材2303の上面を転動して左端から放出されると、極めて高い確率で下大入賞口2005に受入れられる。球誘導部材2304は、基板カバー2307の後面に取付けられている。また、球誘導部材2304は、第二始動口2004に受入れられた遊技球を、ユニットベース2301の後方において、第二始動口ユニット2320と下大入賞口ユニット2350との間を通して、下大入賞口ユニット2350よりも後方へ誘導した後に、下方へ放出するように形成されている。
第二始動口ユニット2320は、前端に第二始動口2004が開口しておりユニットベース2301の後面に取付けられている前ケース2321と、前ケース2321の後側に取付けられている後ケース2322と、前ケース2321内に第二始動口2004よりも前方に突出可能に前後へスライド可能に支持されている第二始動口扉部材2323と、第二始動口扉部材2323を前後へスライド駆動させ後ケース2322内に取付けられている始動口ソレノイド2324と、前ケース2321及び後ケース2322に挟まれるように取付けられており第二始動口2004に受入れられた遊技球を検知する第二始動口センサ2325と、を備えている。
第二始動口ユニット2320は、アタッカユニット2300に組立てた状態では、前ケース2321の前端がユニットベース2301を後方から貫通してユニットケース2301の前面と略同一面上に位置している。これにより、第二始動口2004は、前方へ向かって開口している。そして、始動口ソレノイド2324が非通電の通常の状態では、第二始動口扉部材2323が前ケース2321内に没入しており、第二始動口2004の前方を流下する遊技球は第二始動口2004に進入することなく、第二始動口2001を通り過ぎて下方へ流下する。一方、始動口ソレノイド2324に通電されると、第二始動口扉部材2323が、第二始動口2004よりも前方へ突出した状態となる。この状態で、第二始動口2004の前方を遊技球が流下すると、その遊技球が第二始動口扉部材2323に当接して流通方向が下方から後方へと変化し、第二始動口2004に受入れられる。第二始動口2004に受入れられた遊技球は、第二始動口センサ2325により検知された後に、球誘導部材2304に誘導されて下方へ排出される。
下大入賞口ユニット2350は、ユニットベース2301の後面に取付けられ前面に左右に延びた長方形の下大入賞口2005が開口しているユニットケース2351と、下大入賞口2005を開閉可能としユニットケース2351に回動可能に取付けられている横長長方形で平板状の下大入賞口扉部材2352と、ユニットケース2351内に取付けられており遊技状態に応じて下大入賞口扉部材2352を開閉駆動させる下大入賞口ソレノイド2353と、ユニットケース2351に取付けられており下大入賞口2005に受入れられた遊技球を検知する下大入賞口センサ2354と、ユニットケース2351の下面に取付けられており上面に複数のLEDが実装されている下大入賞口装飾基板2355と、下大入賞口ソレノイド2353、下大入賞口センサ2354、始動口ソレノイド2324、及び第二始動口センサ2325等と、主制御基板との接続を中継しているアタッカユニット中継基板2356と、を備えている。
下大入賞口2005は、前方へ向かって開口している。この下大入賞口2005を開閉可能な下大入賞口扉部材2352は、下辺の左右両端部がユニットケース2351によって回動可能に取付けられており、上辺が前方且つ下方へ移動するように回動させることで下大入賞口2005を閉状態から開状態とすることができる。
下大入賞口ユニット2350は、下大入賞口ソレノイド2353が非通電の通常の状態では、下大入賞口扉部材2352が直立して下大入賞口2005を閉鎖している。そして、下大入賞口ソレノイド2353が遊技状態に応じて通電されると、上辺が前方且つ下方へ移動するように下大入賞口扉部材2352が回動して、上辺が下辺よりもやや上方へ位置した状態となる。つまり、下大入賞口扉部材2352が、下大入賞口2005の下辺から前方へ向かって高くなるように傾斜した状態となる。
この状態で下大入賞口2005の前方を遊技球が流下して下大入賞口扉部材2352に当接すると、下大入賞口扉部材2352の傾斜により流通方向が下方から後方へと変化し、下大入賞口2005に受入れられることとなる。そして、下大入賞口2005に受入れられた遊技球は、下大入賞口センサ2354により検知された後に、ユニットケース2351の下面から下方へ排出される。
[5−8d.センター役物]
次に、表ユニット2000のセンター役物2500について、主に図96及び図97を参照して説明する。センター役物2500は、遊技領域5a内において、始動口ユニット2100やアタッカユニット2300よりも上方で正面視略中央でやや上寄りに配置されており、遊技パネル1100のパネル板1110の前面に取付けられている。センター役物2500は、枠状に形成されており、枠内を通して遊技パネル1100の後方に配置されている中央液晶表示装置1500を前方から視認することができる。センター役物2500は、遊技状態に応じて遊技球の受入れが可能となる上大入賞口2006を有している。センター役物2500は、図83等に示すように、下辺の一部が始動口ユニット2100とアタッカユニット2300との間を通って右下レール1004付近まで下方へ延びている。つまり、このセンター役物2500は、遊技領域5aを左右に分断している。
センター役物2500は、パネル板1112の中央で大きく開口している取付口1112の周縁に沿ってパネル板1110の前面に当接する平板枠状のフランジ部2511と、フランジ部2511から前方へ突出しており枠内への遊技球の浸入を阻止する前周壁部2512と、フランジ部2511から後方へ突出して取付口1112内に挿入される後周壁部2513と、を有している枠状のセンターベース2510を備えている。
センターベース2510の前周壁部2512は、下辺の一部を除いてフランジ部2511の略全周に亘って形成されている。前周壁部2512は、上辺における左右方向中央からやや左寄りの位置が最も高くなっている。
また、センター役物2500は、センターベース2510の前周壁部2512において正面視左辺下部の外周面で遊技領域5a内の遊技球が進入可能に開口しているワープ入口2520と、ワープ入口2520に進入した遊技球をセンターベース2510の枠内で下辺の正面視左端付近へ誘導するワープ通路2521と、ワープ通路2521の下流端で遊技球が通過可能に開口しているワープ出口2523と、ワープ出口2523から放出された遊技球が転動可能とされておりセンターベース2510の枠内で下辺に沿って左右に延びていると共に供給された遊技球を遊技領域5a内へ放出するステージ2530と、を備えている。
ステージ2530は、左右両端が高く遊技領域5aの左右方向中央に対応する部位の左右両側が最も低くなるように湾曲しており、最も低くなっている部位の間が若干高くなるように膨出している。このステージ2530は、遊技領域5aの左右方向中央に対応する部位に形成されており前端から後方へ切欠かれている中央誘導溝2531と、最も低くなっている二つの部位に夫々形成されており前方へ向かって低くなると共に左右へ広がる扇状のサイド誘導溝2532と、を備えている。遊技盤5を組立てた状態では、中央誘導溝2531の直下に第一始動口2002が位置しており、中央誘導溝2531から遊技領域5a内へ放出された遊技球が、極めて高い確率で第一始動口2002に受入れられる。
また、センター役物2500は、前周壁部2512において上辺の正面視右端部の外周面で遊技領域5a内の遊技球が進入可能に開口している右上入口2540と、右上入口2540の下方でセンターベース2510の上辺の右部に形成されており正面視左辺に上大入賞口2006が開口している所定広さの上遊技空間2541と、上遊技空間2541の底部における正面視右端からセンターベース2510の右辺に沿って下方へ延びていると共に下端が左方へ折れ曲がっており遊技球が流通可能な右通路2542と、右通路2542の下端で下方へ向かって開口している右下出口2543と、を備えている。
右上入口2540は、遊技球の外径よりも若干大きい幅で鉛直に延びており、上部が上方へ向かって広がっている。上遊技空間2541は、遊技球が上下方向及び左右方向へ十分に移動できる広さに形成されている。この上遊技空間2541は、右上入口2540よりも正面視左方に上大入賞口2006が開口している。また、上遊技空間2541は、右上入口2540の直下に正面視右方へ向かって低くなるように傾斜している案内部2541aを有している。この案内部2541aにより、右上入口2540を通って落下してきた遊技球を、上遊技空間2541内で跳ね上がらせることなく、上遊技空間2541の底面に沿って転動させて、右通路2542へスムーズに案内させることができる。
右通路2542は、前側と後側の壁面に左右に延びた突条2542aが、上下方向へ交互に複数備えられており、各突条2542aに遊技球が当接することにより、遊技球の流下速度を減衰させることができる。右下出口2543は、遊技盤5を組立てた状態で、アタッカユニット2300におけるゲート部2003の直上に開口している。なお、図示は省略するが、遊技パネル1100(パネル板1110)には、右下出口2543とゲート部2003との間にも、複数の障害釘が植設されている。
更に、センター役物2500は、上大入賞口2006を閉鎖している上大入賞口扉部材2550と、上大入賞口扉部材2550を遊技状態に応じて開閉駆動する上大入賞口ソレノイド2551と、上大入賞口2006に受入れられた遊技球を検知する上大入賞口センサ2552と、上大入賞口センサ2552により検知された遊技球をフランジ部2511よりも後方へ誘導する後方誘導路2553(図156を参照)と、後方誘導路2553の後端に開口しており遊技球が通過可能な後方放出口2554と、後方誘導路2553の途中から分岐しておりセンターベース2510の正面視右辺に沿って遊技球を下方へ誘導する逃し通路2555と、逃し通路の下端に開口している排出口2556と、を備えている。
上大入賞口扉部材2550は、上遊技空間2541内における右上入口2540よりも正面視左方に開口している上大入賞口2006を開閉するものである。この上大入賞口扉部材2550は、下端が右上入口2540よりも左方で上遊技空間2541の底面付近で前後に延びた軸周りに対して回転可能に取付けられており、直立した状態で上端が上遊技空間の天井付近まで延びている。この上大入賞口扉部材2550は、通常の状態では直立しており、上大入賞口2006を閉鎖している。そして、遊技状態に応じて上大入賞口ソレノイド2551に通電されると、上端が正面視右方へ移動するように回動して、遊技球が受入可能となるように上大入賞口2006を開放する。この状態では、上大入賞口扉部材2550の上端が、下端よりも高くなっていると共に右上入口2540よりも正面視右方へ位置している。従って、右上入口2540を通って上大入賞口扉部材2550に落下した遊技球は、上大入賞口扉部材2550により誘導されて上大入賞口2006に受入れられる。
上大入賞口2006に受入れられた遊技球は、上大入賞口扉部材2550の左下に配置されている上大入賞口センサ2552に検知された後に、後方誘導路2553によりフランジ部2551の後方へ誘導される。この後方誘導路2553の後端に開口している後方放出口2554は、通常は後述する裏ユニット3000の裏右可動演出ユニット3300における裏右回転装飾体3310の第一装飾面3310aの外周面によって閉鎖されている。従って、後方放出口2554から遊技球が放出されない時には、後方放出口2554の直前で分岐している逃し通路2555へ遊技球が進入し、逃し通路2555を通って排出口2556から下方へ排出される。
また、センター役物2500は、センターベース2510の上辺に取付けられている表上可動演出ユニット2560と、センターベース2510の下辺に取付けられている表下可動演出ユニット2570と、を備えている。センター役物2500の表上可動演出ユニット2560は、センターベース2510の枠内において昇降可能に取付けられておりパチンコ機1のコンセプトに沿った装飾が施されている表上可動装飾体2561と、表上可動装飾体2561の後側に取付けられており前面に複数のLEDが実装されている表上可動装飾体装飾基板(図示は省略)と、センターベース2510の後側に取付けられており遊技状態に応じて表上可動装飾体2561を昇降させる表上駆動モータ2563と、を備えている。
表下可動演出ユニット2570は、センターベース2510の下辺におけるステージ2530よりも下方へ延出している部位に取付けられており前面に装飾が施されている平板状で透光性を有している表下装飾体2571と、表下装飾体2571よりも前方で回転可能に取付けられている第一回転装飾体2572、第二回転装飾体2573、及び第三回転装飾体2574と、センターベース2510の後側に取付けられており遊技状態に応じて第一回転装飾体2572、第二回転装飾体2573、及び第三回転装飾体2574を回転させる表下駆動モータ2575と、表下装飾体2571の後側に取付けられており前面に複数のLEDが実装されている表下可動装飾体装飾基板2576と、を備えている。
表下可動演出ユニット2570は、第一回転装飾体2572、第二回転装飾体2573、及び第三回転装飾体2574が、手裏剣を模した形状に形成されており、表下駆動モータ2575の駆動により、夫々同一方向へ回転する。
[5−9.裏ユニットの全体構成]
次に、遊技盤5における裏ユニット3000の全体構成について、主に図98乃至図101を参照して詳細に説明する。図98は裏ユニットを前から見た斜視図であり、図99は裏ユニットを後ろから見た斜視図である。図100は裏ユニットを主な構成毎に分解して前から見た分解斜視図であり、図101は裏ユニットを主な構成毎に分解して後ろから見た分解斜視図である。裏ユニット3000は、遊技パネル1100におけるパネルホルダ1120の後面に取付けられている。また、裏ユニット3000の後面には中央液晶表示装置1500が着脱可能に取付けられている。
裏ユニット3000は、パネルホルダ1120の後面に取付けられ前方が開放されている箱状で後壁に四角い開口部3010aを有している裏箱3010と、裏箱3010の後面に取付けられており中央液晶表示装置1500を着脱可能に取付けるためのロック機構3020と、裏箱3010の下部左側前端付近に取付けられておりサイドユニット2200の一般入賞口2001に受入れられた遊技球を下方へ誘導して基板ホルダ1200上へ放出する左下球通路ユニット3030と、裏箱3010の下部右側前端付近に取付けられておりアタッカユニット2300の一般入賞口2001に受入れられた遊技球と上大入賞口2006に受入れられて後述する裏右左可動演出ユニット3300における裏右下ベース3303の排出口3303aから排出された遊技球とセンター役物2500の逃し通路2555の排出口2556から排出された遊技球とを下方へ誘導して基板ホルダ1200上へ放出する右下球通路ユニット3040と、左下球通路ユニット3030及び右下球通路ユニット3040に夫々取付けられており一般入賞口2001に受入れられた遊技球を検知する一般入賞口センサ3050と、を備えている。
また、裏ユニット3000は、裏箱3010の後面で開口部3010aの背面視左方に取付けられており周辺制御基板からの制御コマンドに基づいて各装飾基板を駆動するランプ駆動基板3060と、ランプ駆動基板3060の後方を覆うように裏箱3010の後面に取付けられているランプ駆動基板カバー3061と、裏箱3010の後面で開口部3010aの背面視下方に取付けられており周辺制御基板からの制御コマンドに基づいて各駆動モータを駆動するモータ駆動基板3062と、モータ駆動基板3062の後方を覆うように裏箱3010の後面に取付けられているモータ駆動基板カバー3063と、裏箱3010の後面で背面視左下隅に取付けられており主制御基板と各入賞口センサや各入賞口ソレノイド等との接続を中継しているパネル中継基板3064と、を備えている。
更に、裏ユニット3000は、裏箱3010の前端で上辺及び左辺に沿って取付けられている裏周縁装飾ユニット3080と、裏箱3010内で開口部3010aの上方に取付けられている裏上可動演出ユニット3100と、裏箱3010内の前端付近で開口部3010aの下方に取付けられている裏下前可動演出ユニット3200と、裏箱3010内で開口部3010aの右方に取付けられている裏右可動演出ユニット3300と、裏箱3010内で開口部3010aの左方に取付けられている裏左可動演出ユニット3400と、裏箱3010内で開口部3010aの下方且つ裏下前可動演出ユニット3200の後方に取付けられている裏下後可動演出ユニット3500と、裏箱3010内で裏上可動演出ユニット3100及び裏下後可動演出ユニット3500の夫々左右両側に取付けられている裏四隅可動演出ユニット3600と、を備えている。
[5−9a.裏箱]
次に、裏ユニット3000の裏箱3010について、図98乃至図101等を参照して詳細に説明する。裏箱3010は、前方が開放されている箱状で後壁に四角く貫通している開口部3010aと、開口部3010aの周縁から間隔を開けて後方へ平板状に突出している枠状の液晶取付部3010bと、液晶取付部3010bにおける背面視右辺において内側から外側へ向かって窪んでおり中央液晶表示装置1500の左固定片1501が挿入される二つの固定溝3010cと、液晶取付部3010bの背面視左辺の上下方向中央において後端から裏箱3010の後壁まで切欠かれている切欠部3010dと、を備えている。
開口部3010aは、中央液晶表示装置1500の表示画面と略同じ大きさに形成されている。また、液晶取付部3010bは、枠内に中央液晶表示装置1500を嵌め込むことが可能な大きさに形成されている。裏箱3010は、後面における切欠部3010dの背面視左側にロック機構3020が上下にスライド可能に取付けられる。
また、裏箱3010は、前端から外方へ延出している平板状の固定片部3010eを備えている。この固定片部3010eは、前面が遊技パネル1100のパネルホルダ1120の後面に当接した状態で、パネルホルダ1120に取付けられる。
また、裏箱3010は、詳細な説明は省略するが、各可動演出ユニット等を取付けるためのボスや取付孔等が適宜位置に形成されている。
[5−9b.左下球通路ユニット]
次に、裏ユニット3000の左下球通路ユニット3030について、図98乃至図101等を参照して詳細に説明する。この左下球通路ユニット3030は、裏箱3010において、サイドユニット2200の後方に相当する部位に取付けられている。この左下球通路ユニット3030は、正面視形状が上下に延びる辺が左右に延びる辺よりも短いL字形状に形成されており、内部が中空に形成されている。左下球通路ユニット3030は、前面に前方へ向かって開口しており遊技球が通過可能な三つの進入口3031を備えている。これら三つの進入口3031は、サイドユニット2200における三つの誘導部2205aと対応した位置に形成されている。
この左下球通路ユニット3030は、中空の内部が、正面視右方へ向かって低くなるように傾斜しており、三つの進入口3031から進入した遊技球が、下面の右端付近で下方へ放出される。この左下球通路ユニット3030には、一般入賞口センサ3050が取付けられており、進入口3031から内部に進入した遊技球が一般入賞口センサ3050によって検知される。つまり、サイドユニット2200の一般入賞口2001に受入れられた遊技球は、左下球通路ユニット3030に取付けられている一般入賞口センサ3050によって検知される。
[5−9c.右下球通路ユニット]
次に、裏ユニット3000の右下球通路ユニット3040について、図98乃至図101等を参照して詳細に説明する。この右下球通路ユニット3040は、裏箱3010において、アタッカユニット2300の後方に相当する部位に取付けられている。この右下球通路ユニット3040は、前方へ向かって開口しておりアタッカユニット2300の一般入賞口2001に受入れられた遊技球が進入可能な第一進入口3041と、後述する裏右可動演出ユニット3300の下面に開口している排出口3303aの直下で上方へ向かって開口している第二進入口3042と、第二進入口3042の正面視右方且つ上方で上方へ向かって開口しておりセンター役物2500の逃し通路2555を流通して排出口2556から排出された遊技球が進入可能な第三進入口3043と、を備えている。
この右下球通路ユニット3040は、第一進入口3041、第二進入口3042、及び第三進入口3043に進入した遊技球を、夫々独立した通路を通して下方へ排出している。右下球通路ユニット3040には、第一進入口3041に進入した遊技球を検知する一般入賞口センサ3050が取付けられている。つまり、アタッカユニット2300の一般入賞口2001に受入れられた遊技球は、右下球通路ユニット3040に取付けられている一般入賞口センサ3050により検知される。
[5−9d.裏周縁装飾ユニット]
次に、裏ユニット3000の裏周縁装飾ユニット3080について、図98乃至図101等を参照して詳細に説明する。この裏周縁装飾ユニット3080は、遊技領域5a内においてセンター役物2500の上方、左方、及び左下方に相当する部位で、裏箱3010の前端の上辺及び左辺に沿って取付けられている。この裏周縁装飾ユニット3080は、C字状に延びている透光性を有した裏周縁装飾部材3081と、裏周縁装飾部材3081の後側に取付けられており前面に複数のLEDが実装されている裏周縁装飾基板3082と、裏周縁装飾基板3082の後方を覆っており裏周縁装飾部材3081の後側に取付けられている基板カバー3083と、を備えている。
この裏周縁装飾ユニット3080は、裏周縁装飾基板3082のLEDを適宜発光させることにより、裏周縁装飾部材3081を発光装飾させることができる。また、遊技盤5を組立てた状態では、透明なパネル板1110を通して裏周縁装飾部材3081の前面が遊技者側から視認可能となり、遊技領域5a内におけるセンター役物2500の外側を装飾している。
[5−9e.裏上可動演出ユニット]
次に、裏ユニット3000の裏上可動演出ユニット3100について、主に図102乃至図116を参照して詳細に説明する。図102(a)は裏ユニットにおける裏上可動演出ユニットを前から見た斜視図であり、(b)は裏上可動演出ユニットを後ろから見た斜視図である。また、図103は裏上可動演出ユニットを分解して前から見た分解斜視図であり、図104は裏上可動演出ユニットを分解して後ろから見た分解斜視図である。また、図105は裏上可動演出ユニットの裏上装飾体ユニットを分解して前から見た分解斜視図であり、図106は裏上可動演出ユニットの裏上装飾体ユニットを分解して後ろから見た分解斜視図である。更に、図107は、裏上可動装飾体ユニットにおける裏上副装飾体の動きを示す説明図である。また、図108は裏上可動演出ユニットの裏上装飾体ユニットが退避位置の時の内部機構の状態を示す正面図であり、図109は裏上可動演出ユニットの裏上装飾体ユニットが第一出現位置の時の内部機構の状態を示す正面図であり、図110は裏上可動演出ユニットの裏上装飾体ユニットが第二出現位置の時の内部機構の状態を示す正面図である。
また、図111(a)は裏上可動演出ユニットの内部機構の一部を示す正面図であり、(b)は内部機構における(a)とは異なる一部を前から見た斜視図であり、(c)は(b)を後ろから見た斜視図である。更に、図112は、裏上可動演出ユニットの内部機構の一部の動きを示す説明図である。また、図113(a)は退避位置における内部機構を構成している主な部材の状態を示す説明図であり、(b)は(a)の状態から第一伝達部材が回転して第一被伝達部材への回転の伝達が開始された状態を示す説明図であり、図114(c)は図113(b)の状態から第一伝達部材と共に第一被伝達部材が更に回転して裏上装飾体ユニットが退避位置から第一出現位置へ向かって下降している状態を示す説明図であり、(d)は(c)の状態から第一伝達部材と共に第一被伝達部材が更に回転して第一被伝達部材への回転の伝達が終了し裏上装飾体ユニットが第一出現位置に到達した状態を示す説明図である。
更に、図115(e)は図114(d)の状態から第一伝達部材と一緒に回転していた伝達機構の第二伝達部材が更に回転して第二被伝達部材への回転の伝達が開始された状態を示す説明図であり、(f)は(e)の状態から第二伝達部材と共に第二被伝達部材が回転して裏上装飾体ユニットが第一出現位置から第二出現位置へ向かって下降しながら回転している状態を示す説明図であり、図116(g)は図115の(f)の状態から第二伝達部材と共に第二被伝達部材が回転して裏上装飾体ユニットが第二出現位置へ向かって更に下降しながら回転している状態を示す説明図であり、(h)は(g)の状態から第二伝達部材と共に第二被伝達部材が更に回転して第二被伝達部材への回転の伝達が終了し裏上装飾体ユニットが第一出現位置の状態から下降しながら半回転して第二出現位置に到達した状態を示す説明図である。
裏上可動演出ユニット3100は、裏箱3010内において、開口部3010aの上方に取付けられている。この裏上可動演出ユニット3100は、裏箱3010内に取付けられ左右に延びているユニットベース3101と、ユニットベース3101の後側に取付けられておりユニットベース3101との間に空間を形成している後カバー3102と、ユニットベース3101の正面視右端付近の前面に取付けられており回転軸がユニットベース3101を貫通してユニットベース3101と後カバー3102との間へ突出している裏上駆動モータ3103と、を備えている。
また、裏上可動演出ユニット3100は、裏上駆動モータ3103の回転軸に固定されている平歯車状の駆動ギア3104と、駆動ギア3104と噛合している平歯車状の第一大径ギア3105a、及び第一大径ギア3105aよりも小径で第一大径ギア3105aの後側で第一大径ギア3105aと一体回転する第一小径ギア3105bを有しており、駆動ギア3104の正面視左方に配置されている第一従動ギア3105と、第一従動ギア3105の第一小径ギア3105bと噛合している平歯車状の第二大径ギア3106a、及び第二大径ギア3106aよりも小径で第二大径ギア3106aの前側で第二大径ギア3106aと一体回転する第二小径ギア3106bを有しており、第一従動ギア3105の正面視左方に配置されている第二従動ギア3106と、第二従動ギア3106の第二小径ギア3106bと噛合している平歯車状の第一伝達ギア3107aを有しており第二従動ギア3106の正面視左方に配置されている第一伝達部材3107と、第一伝達部材3107の第一伝達ギア3107aと噛合している平歯車状の第二伝達ギア3108aを有しており第一伝達部材3107の正面視左方に配置されている第二伝達部材3108と、を備えている(図111(a)等を参照)。
第一従動ギア3105、第二従動ギア3106、第一伝達部材3107、及び第二伝達部材3108は、ユニットベース3101と後カバー3102との間で、ユニットベース3101と後カバー3102とにより回転可能に取付けられている。
第一伝達部材3107は、平歯車状の第一伝達ギア3107aの前面で外周縁付近から回転軸と平行に前方へ突出している円柱状の第一伝達ピン3107bと、第一伝達ピン3107bの公転半径よりも小さい半径で第一伝達ギア3107aの前面から同心円上に前方へ突出している円盤状の第一ロック突部3107cと、第一ロック突部3107cと第一伝達ピン3107bとの間で、第一ロック突部3107cの外周面における第一伝達ギア3107aの中心と第一伝達ピン3107bの中心とを結んだ軸線を境に両側へ均等な範囲から第一ロック突部3107cの中心へ向かって扇状に切欠かれている第一切欠部3107dと、を有している。
第二伝達部材3108は、平歯車状の第二伝達ギア3108aの前面で外周縁付近から回転軸と平行に前方へ突出している円柱状の第二伝達ピン3108bと、第二伝達ピン3108bの公転半径よりも小さい半径で第二伝達ギア3108aの前面から同心円上に前方へ突出している円盤状の第二ロック突部3108cと、第二ロック突部3108cと第二伝達ピン3108bとの間で、第二ロック突部3108cの外周面における第二伝達ギア3108aの中心と第二伝達ピン3108bの中心とを結んだ軸線を境に両側へ均等な範囲から第二ロック突部3108cの中心へ向かって扇状に切欠かれている第二切欠部3108dと、を有している。
第一伝達部材3107及び第二伝達部材3108の第一伝達ギア3107a及び第二伝達ギア3108aは、同一の直径に形成されている。また、第一伝達部材3107及び第二伝達部材3108の第一伝達ピン3107b及び第二伝達ピン3108bは、円柱状の直径が同一に形成されていると共に、公転半径が同一に形成されている。第一伝達部材3107及び第二伝達部材3108の第一ロック突部3107c及び第二ロック突部3108cは、同一の直径に形成されている。更に、第一伝達部材3107及び第二伝達部材3108の第一切欠部3107d及び第二切欠部3108dは、第一ロック突部3107c及び第二ロック突部3108cの円周に対して72度の角度範囲で扇状に形成されている。
更に、裏上可動演出ユニット3100は、ユニットベース3101の正面視左端付近の前面において下端がユニットベース3101に取付けられており上下に延びている円柱状のスライドシャフト3109と、スライドシャフト3109の上端をユニットベース3101の前面に取付けているシャフト取付部材3110と、スライドシャフト3109により上下にスライド可能に取付けられており後方へ延出している平板状り検知片3111aを有している左スライダ3111と、左スライダ3111の検知片3111aを検知しユニットベース3101に取付けられている裏上昇降検知センサ3112と、ユニットベース3101の前面で裏上駆動モータ3103よりも正面視左方で上部が取付けられており、下端がユニットベース3101の下面より下方へ突出するように上下に延びているレールブラケット3113と、レールブラケット3113の正面視左側面に取付けられており上下にスライドする右スライダ3114aを有しているスライドレール3114と、スライドレール3114の右スライダ3114aに取付けられており上下に延びたラックギア3115aを有しているラック部材3115と、左右両端が左スライダ3111とラック部材3115とに夫々取付けられている平板状の第一可動ベース3116と、を備えている。
また、裏上可動演出ユニット3100は、流滴状に形成されている平板状の第一基板部3117a、及び第一基板部3117aにおける流滴状の先端から前方へ突出している円柱状の第一作用ピン3117bを有しており、ユニットベース3101の前面における第一伝達部材3107の正面視右方の位置で第一作用ピン3117bが公転するようにユニットベース3101に回転可能に取付けられていると共に第一伝達部材3107の回転が伝達可能とされている第一被伝達部材3117と、第一被伝達部材3117の第一作用ピン3117bが左右方向へ摺動可能に挿入される第一軸受スリット3118aを有しており第一可動ベース3116の後面に取付けられている軸受部材3118と、を備えている。
第一可動ベース3116は、前後に貫通していると共に下端から上下方向中央付近まで延びている開口部3116aを有している。第一可動ベース3116の後面において、開口部3116aの正面視右方にラック部材3115が取付けられている。ラック部材3115のラックギア3115aは、歯先が正面視左方を向いた状態で開口部3116aに沿って延びている。
この第一可動ベース3116は、左スライダ3111及び右スライダ3114aを介して、スライドシャフト3109及びスライドレール3114により上下へスライド可能(昇降可能)に取付けられている。また、第一可動ベース3116は、軸受部材3118の第一軸受スリット3118aに挿入されている第一被伝達部材3117の第一作用ピン3117bにより、上下方向の位置が規制されている。従って、第一被伝達部材3117を回転させて第一作用ピン3117bを公転させて、第一作用ピン3117bの上下方向の位置を変化させると、第一作用ピン3117bが第一軸受スリット3118a内を左右方向へ摺動すると共に、第一可動ベース3116が上下方向へスライドする。つまり、第一被伝達部材3117を回転させると、第一可動ベース3116が上下にスライドする。
第一被伝達部材3117の第一基板部3117aは、正面視の形状が、第二従動ギア3106の第二大径ギア3106aのギア歯の谷径と略同じ直径の基円と、その基円の外方から接するように延びた二辺と、で主に構成された形状(所謂、流滴状)に形成されている。第一被伝達部材3117は、第一ベース部3117aにおける基円の中心を、回転中心としており、この回転中心は、第二従動ギア3106の中心と同軸上に配置されている。第一作用ピン3117bは、第一基板部3117aにおける基円と接している二辺が交わっている(流滴状の先端)付近から突出している。
この第一被伝達部材3117は、第一基板部3117aの基円と同じ直径で第一基板部3117aの後面から後方へ突出している円筒状の第一被伝達本体部3117cと、第一被伝達本体部3117cの外周面から中心へ向かって凹んでおり第一伝達ピン3107bが摺動可能に挿入される第一伝達スリット3117dと、第一被伝達本体部3117cの外周面における第一伝達スリット3117dの両側において、外周面から中心へ向かって円弧状に凹んでいる一対の第一ロック凹部3117eと、を有している。
第一ロック凹部3117eは、第一伝達部材3107の第一ロック突部3107cの直径に対して、若干大きい直径の円弧で凹んでいる。また、一対の第一ロック凹部3117eは、夫々の凹んでいる円弧の中心と、第一被伝達部材3117の回転中心とを結ぶ線同士が、90度の角度で交わるように形成されている。
この第一被伝達部材3117は、裏上可動演出ユニット3100を組立てた状態では、第一被伝達本体部3117cが、第一伝達部材3107の第一伝達ピン3107b及び第一ロック突部3107cと、前後方向の位置が同じとなっている。これにより、第一伝達スリット3117d内に第一伝達ピン3107bを挿入させることができ、第一伝達ピン3170b及び第一伝達スリット3117dを介して回転を伝達させることができる。また、第一ロック凹部3117e内に第一ロック突部3107cの一部を挿入させることができ、第一ロック凹部3117e内に第一ロック突部3107cの一部が挿入されることにより、第一被伝達部材3117の回転を規制(ロック)することができる。
また、裏上可動演出ユニット3100は、上端部に前後に貫通していると共に左右に延びている第二軸受スリット3119a、及び上下方向の略中央で前後に貫通している軸受孔3119bを有しており、軸受孔3119bが開口部3116aから前方へ臨むように第一可動ベース3116の後面において上下にスライド可能に取付けられている第二可動ベース3119と、第一可動ベース3116の前方に配置されており、第二可動ベース3119の軸受孔3119aへ回転可能に挿入される軸部3151aを有し、パチンコ機1のコンセプトに沿った所定のキャラクタの顔を含む頭部を模した裏上装飾体ユニット3150と、第二可動ベース3119を貫通している裏上装飾体ユニット3150の軸部3151aの後端に取付けられておりラック部材3115のラックギア3115aと噛合している平歯車状の装飾体回転ギア3120と、装飾体回転ギア3120の後方を被覆するように第二可動ベース3119の後面に取付けられている平板状のギアカバー3121と、を備えている。
第二可動ベース3119を、第一可動ベース3116に対して相対的にスライドさせると、第二可動ベース3119の軸受孔3119bに取付けられている裏上装飾体ユニット3150も第二可動ベース3119と一緒にスライドする。この際に、第一可動ベース3116に取付けられているラック部材3115のラックギア3115aに、裏上装飾体ユニット3150の軸部3151aに取付けられている装飾体回転ギア3120が噛合しているため、第二可動ベース3119がスライドすると、装飾体回転ギア3120が裏上装飾体ユニット3150と共に回転する。
更に、裏上可動演出ユニット3100は、正面視第二伝達部材3108の下方且つユニットベース3101の前方でユニットベース3101に回転可能に取付けられており第二伝達部材3108の回転が伝達可能とされている第二被伝達部材3122と、第二被伝達部材3122の前面で回転面に沿った方向へスライド可能に取付けられている回転リンク部材3123と、回転リンク部材3123の前面で第二被伝達部材3122に対するスライド方向と交差している方向へスライド可能に取付けられていると共に、第一可動ベース3116の後方で回転可能に取付けられており、回転中心に対して偏芯した位置から後方へ突出し第二可動ベース3119の第二軸受スリット3119a内へ摺動可能に挿入される円柱状の第二作用ピン3124aを有している第二可動ベース駆動部材3124と、第二可動ベース駆動部材3124を第一可動ベース3116に対して回転可能に取付けている軸部材3125と、を備えている。
第二被伝達部材3122は、ユニットベース3101に回転可能に取付けられる円盤状の第二基板部3122aと、第二基板部3122aの周縁から後方へ突出している円筒状の第二被伝達本体部3122bと、第二被伝達本体部3122bの外周面から中心へ向かって凹んでおり第二伝達ピン3108bが摺動可能に挿入される第二伝達スリット3122cと、第二被伝達本体部3122bの外周面における第二伝達スリット3122cの両側において、外周面から中心へ向かって円弧状に凹んでいる一対の第二ロック凹部3122dと、第二基板部3122aの前面から後方へ凹んでいると共に回転軸に対して直角に延びており一方の端部が第二基板部3122aの外周面に開口している溝状の第一伝達案内部3122eと、を有している(図111(b)及び(c)等を参照)。
第二被伝達部材3122は、第二基板部3122a(第二被伝達本体部3122b)の半径が、回転中心から第二伝達部材3108の回転中心まで距離よりも短く、且つ、第二ロック突部3108cの外周面までの距離よりも長く形成されている。第二ロック凹部3122dは、第二伝達部材3108の第二ロック突部3108cの直径に対して、若干大きい直径の円弧で凹んでいる。また、一対の第二ロック凹部3122dは、夫々の凹んでいる円弧の中心と、第二被伝達部材3122の回転中心とを結ぶ線同士が、90度の角度で交わるように形成されている。
第一案内伝達部3122eは、第二伝達スリット3122cの延びている方向に対して、54度の角度で傾いて延びている。また、第一案内伝達部3122eは、第二伝達スリット3122cが周面に開口している方向とは、反対方向へ周面に開口している。
回転リンク部材3123は、平板状のリンク本体部3123aと、リンク本体部3123aの後面から突出しており第二被伝達部材3122の第一伝達案内部3122e内へ摺動可能に挿入される平板状の一対の第一被伝達案内部3123bと、リンク本体部3123aの前面から突出している前方突部3123cと、前方突部3123cの前面から後方へ凹んでいると共に第一被伝達案内部3123bが延びている方向に対して交差する方向に延びており両端が前方突部3123cの外周面に開口している溝状の第二伝達案内部3123dと、を有している(図111(b)及び(c)等を参照)。
回転リンク部材3123の一対の第一被伝達案内部3123bは、リンク本体部3123aの中心を通る軸線に対して対称に備えられていると共に、中心から偏芯して備えられている。第二伝達案内部3123cは、リンク本体部3123aの中心を通る軸線上に備えられている。第一被伝達案内部3123bと第二伝達案内部3123cは、95度の角度で交差する方向へ夫々が延びている。
第二可動ベース駆動部材3124は、第二作用ピン3124aが回転中心に対して偏芯した位置から後方へ突出しており、第一可動ベース3116に回転可能に取付けられる駆動本体部3124bと、駆動本体部3124bの後面から後方へ突出し回転中心を通ると共に回転軸に対して直角に延びており、回転リンク部材3123の第二伝達案内部3123d内に摺動可能に挿入される第二被伝達案内部3124cと、を有している(図111(b)及び(c)等を参照)。
裏上装飾体ユニット3150は、図105及び図106等に示すように、平板状で後面の中央から円柱状に突出している軸部3151aを有している装飾体ベース3151と、装飾体ベース3151の前面に取付けられており所定のキャラクタの頭部を立体的に模しており二つの楕円状の開口部3152aを有している裏上装飾体3152と、装飾体ベース3151の前面に取付けられており前面に複数のLEDが実装されているC字状の裏上装飾体基板3153と、を備えている。
また、裏上装飾体ユニット3150は、裏上装飾体3152の後方で装飾体ベース3151の前面の略中央に配置されており左右に延びている円柱状の案内シャフト3154と、案内シャフト3154の両端を装飾体ベース3151の前面に取付けている一対のシャフトブラケット3155と、案内シャフト3154によって左右へ案内可能に取付けられており、左右方向中央下部に上下に延びている案内スリット3156aを有している平板状の副装飾体用スライダ3156と、副装飾体用スライダ3156の前面に取付けられており裏上装飾体3152の一対の開口部3152aを閉鎖していると共に開口部3152aから臨む部位に楕円形の副装飾3157aが施されている裏上副装飾体3157と、裏上副装飾体3157の後方で副装飾体用スライダ3156の前面に取付けられており前面に複数のLEDが実装されている裏上副装飾基板3158と、を備えている。
更に、裏上装飾体ユニット3150は、装飾体ベース3151の前面下端付近に回転軸が左右に延びるように取付けられている裏上副駆動モータ3159と、裏上副駆動モータ3159の回転軸に取付けられているウォームギア3160と、ウオームギア3156よりも上方で装飾体ベース3151に回転可能に取付けられている円盤状の本体部3161a、本体部3161aの外周面に沿って延びておりウォームギア3160と噛合しているギア部3161b、本体部3161aにおけるギア部3161bと反対側の外周面から副装飾体用スライダ3156の後方へ延出している延出片3161c、及び延出片3161cの先端から前方へ突出しており副装飾体用スライダ3156の案内スリット3156a内へ摺動可能に挿入されている円柱状の摺動ピン3161d、を有しているギア部材3161と、を備えている。
裏上装飾体ユニット3150は、裏上装飾体3152の二つの開口部3152aが所定のキャラクタの目の外周を形成しており、二つの開口部3152aから前方へ臨む裏上副装飾体3157の副装飾3157aが瞳を形成している。裏上装飾体3152及び裏上副装飾体3157は、透光性を有しており、夫々の後方に配置されている裏上装飾基板3153及び裏上副装飾基板3158のLEDにより発光装飾される。
この裏上装飾体ユニット3150は、図示するように、通常の状態では、裏上装飾体3152によって摸されている所定のキャラクタの頭部が、天地が逆転した状態となっている。また、裏上装飾体ユニット3150は、裏上副駆動モータ3159の回転駆動により、裏上装飾体3152に対して裏上副装飾体3157を左右にスライドさせることができる。これにより、裏上装飾体3152によって摸されている所定のキャラクタの瞳(副装飾3157a)が左右にキョロキョロする可動演出を行うことができる。
続いて、裏上可動演出ユニット3100の動作について、詳細に説明する。まず、裏上装飾体ユニット3150における裏上副装飾体3157の動作について説明する。図107(a)に示すように、通常の状態では、ギア部材3161の延出片3161cが、上方へ鉛直に延びた状態で取付けられている。この状態では、副装飾体用スライダ3156が左右に延びているスライド範囲の略中央に位置しており、副装飾体用スライダ3156の前面に取付けられている裏上副装飾体3157の二つの副装飾3157aが、裏上装飾体3152の二つの開口部3152a内の略中央に夫々位置している。つまり、通常の状態では、裏上装飾体3152により摸されている所定のキャラクタが正面を見ている。
この通常の状態で、例えば、裏上副駆動モータ3159によりウォームギア3160を、右側面視において時計回りの方向へ回転させると、ウォームギア3160に噛合しているギア部3161bによりギア部材3161が正面視反時計回りの方向へ回転し、回転中心よりも上方に位置している摺動ピン3161dが左方へ移動するように公転する。この摺動ピン3161dの左方への公転移動により、摺動ピン3161dが案内スリット3156a内を下方へ摺動すると共に、摺動ピン3161dが案内スリット3156aの内面を左方へ押圧し、副装飾体用スライダ3156が左方へスライドする。これにより、副装飾3157aが左方へ移動するため、裏上装飾体3152により摸されている所定のキャラクタが左方を見ている状態となる(図107(b)を参照)。
一方、裏上副駆動モータ3159によりウォームギア3160を、右側面視において反時計回りの方向へ回転させると、ウォームギア3160に噛合しているギア部3161bによりギア部材3161が正面視時計回りの方向へ回転し、回転中心よりも上方に位置している摺動ピン3161dが右方へ移動するように公転する。この摺動ピン3161dの右方への公転移動により、摺動ピン3161dが案内スリット3156a内を下方へ摺動すると共に、摺動ピン3161dが案内スリット3156aの内面を右方へ押圧し、副装飾体用スライダ3156が右方へスライドする。これにより、副装飾3157aが右方へ移動するため、裏上装飾体3152により摸されている所定のキャラクタが右方を見ている状態となる(図107(c)を参照)。
このように、裏上副駆動モータ3159の回転駆動により、副装飾3157aを左右へ移動させることができるため、遊技状態に応じて、裏上装飾体3152により摸されている所定のキャラクタが見ている方向が変化する可動演出を行うことができる。また、副装飾3157aを左右へ往復移動させることで、裏上装飾体3152により摸されている所定のキャラクタの目を、キョロキョロさせる可動演出も行うことができ、多彩な可動演出を遊技者に提示することができる。
続いて、裏上可動演出ユニット3100における裏上装飾体ユニット3150の昇降動作について詳細に説明する。本実施形態の裏上可動演出ユニット3100は、裏上装飾体ユニット3150を昇降させることができると共に、裏上装飾体ユニット3150を180度回転させることができる。
まず、裏上装飾体ユニット3150を昇降させるための裏上可動演出ユニット3100の内部機構について説明する。図108及び図111等に示すように、正面視右端に回転軸を前後方向へ向けた裏上駆動モータ3103が配置されている。この裏上駆動モータ3103の回転軸に取付けられている駆動ギア3104と噛合する第一従動ギア3105の回転中心は、駆動ギア3104の回転中心に対して正面視左下に配置されている。この第一従動ギア3105と噛合する第二従動ギア3106の回転中心は、第一従動ギア3105の回転中心に対して正面視左上で、駆動ギア3104の回転中心と略同じ高さに配置されている。また、第二従動ギア3106と噛合する第一伝達ギア3107aを有する第一伝達部材3107の回転中心は、第二従動ギア3106の回転中心に対して正面視左下で、第一従動ギア3105の回転中心と略同じ高さに配置されている。更に、第一伝達部材3107の第一伝達ギア3107aと噛合する第二伝達ギア3108aを有する第二伝達部材3108の回転中心は、第一伝達部材3107の回転中心に対して正面視左上で、第二従動ギア3106の回転中心よりも高い位置に配置されている。
また、第一伝達部材3106からの回転が伝達される第一被伝達部材3117の回転中心は、第一伝達部材3106の回転中心に対して正面視右上で、第二従動ギア3106と同軸上の位置に配置されている。一方、第二伝達部材3108からの回転が伝達される第二被伝達部材3122の回転中心は、第二伝達部材3108の回転中心に対して正面視直下からやや左寄りで、第二伝達部材3107の回転中心よりも低い位置に配置されている。この第二被伝達部材3122の回転が伝達される第二可動ベース駆動部材3124の回転中心は、第二被伝達部材3122の回転中心を通る上下に鉛直に延びた軸線上に配置されている。
裏上装飾体ユニット3150は、通常の状態では、上下の昇降範囲内における上昇端に位置していると共に、裏上装飾体3152により摸されている所定のキャラクタの天地が逆転している。この裏上装飾体ユニット3150は、通常の状態では、図83等に示すように、その大部分がセンター役物2500の後方に位置しており、僅かな一部のみがセンター役物2500の枠内を通して遊技者側から視認することができる。つまり、裏上装飾体ユニット3150は、通常の状態では、遊技者側からほとんど視認することができない退避位置に位置している。
裏上装飾体ユニット3150が退避位置の時には、図108及び図113(a)等に示すように、第一伝達部材3107の第一伝達ピン3107bが第一伝達部材3107の回転中心に対して正面視左上(鉛直線から左方へ約27度傾いた位置)に位置していると共に、第二伝達部材3108の第二伝達ピン3108bが第二伝達部材3108の回転中心に対して正面視右上(鉛直線から右方へ約13度傾いた位置)に位置している。また、この退避位置の時には、第一被伝達部材3117の第一作用ピン3117bが、第一被伝達部材3117の回転中心に対して正面視左上(鉛直線から左方へ約45度傾いた位置)に位置していると共に、第一被伝達部材3117の第一伝達スリット3117dが、回転中心から第一作用ピン3117bを結んだ軸線よりも水平に対して小さい角度(鉛直線に対して約72度の角度)で正面視左上へ向かって延びている。
また、退避位置の時には、第二被伝達部材3122の第二伝達スリット3122cが、回転中心から正面視左上(鉛直線から左方へ約36度の角度)へ向かって延びている。また、第二可動ベース駆動部材3124は、回転中心が第二被伝達部材3122の回転中心よりも上方で、第二伝達部材3108の回転中心よりもやや下方に位置していると共に、第二作用ピン3124aが第二可動ベース駆動部材3124の回転中心に対して正面視右上(鉛直線から右方へ約45度傾いた位置)に位置している。
更に、退避位置の時には、第一伝達部材3107の第一ロック突部3107cが第一被伝達部材3117の一方(第一伝達部材3107の回転中心に近い方)の第一ロック凹部3117eに挿入されている。これにより、第一被伝達部材3117の回転が規制(ロック)されていため、第一可動ベース3116が上下にスライドすることはない。また、第二伝達部材3108の第二ロック突部3108cが第二被伝達部材3122の一方(第二伝達部材3108の回転中心に近い方)の第二ロック凹部3122dに挿入されている。これにより、第二被伝達部材3122の回転が規制(ロック)されているため、第二可動ベース駆動部材3124は回転することはなく、第二可動ベース3119が上下にスライドすることはない。
また、裏上装飾体ユニット3150が退避位置の時には、第一可動ベース3116を上下へスライド可能に取付けている左スライダ3111の検知片3111aが、裏上昇降検知センサ3112により検知されている。
裏上可動演出ユニット3100は、裏上装飾体ユニット3150が退避位置の状態で、裏上駆動モータ3103により駆動ギア3104を正面視反時計回りの方向へ回転させると、第一従動ギア3105及び第二従動ギア3106を介して第一伝達部材3107が時計回りの方向へ、第二伝達部材3108が反時計回りの方向へ、夫々同じ速度で回転する。そして、まず、第一伝達部材3107の第一伝達ピン3107dが第一被伝達部材3117の第一伝達スリット3117d内への進入を開始する(図113(b)を参照)。
そして、駆動ギア3104を更に反時計回りの方向へ回転させて第一伝達部材3107が更に時計回りの方向へ回転すると、第一切欠部3107dが第一ロック凹部3117eの位置へ回動してきて第一ロック凹部3117e内から第一ロック突部3107cが外れると共に、第一伝達ピン3107bが第一伝達スリット3117dの内面に当接して、第一伝達スリット3117dを下方へ押圧する。これにより、第一伝達部材3107の回転が第一被伝達部材3117に伝達されて第一被伝達部材3117が正面視反時計回りの方向へ回転する。この際に、第一ロック凹部3117eの部位には第一切欠部3107dが位置し、第一ロック凹部3117e内から第一ロック突部3107cが外れた(ロックが解除された)状態となっているため、第一ロック突部3107cにより回転が阻止されることなく第一被伝達部材3117が回転する(図114(c))を参照。
この第一被伝達部材3117が正面視反時計回りの方向へ回転することで、第一作用ピン3117bが下方へ向かうように公転し、第一作用ピン3117bが摺動可能に挿入されている第一軸受スリット3118aを介して第一可動ベース3116が下方へスライドすることとなる。この第一可動ベース3116には、第二可動ベース3119を介して裏上装飾体ユニット3150が取付けられていることから、第一可動ベース3116と共に裏上装飾体ユニット3105も下方へスライドする。
第一可動ベース3116が下方へスライドする際に、回転リンク部材3123の第二伝達案内部3123dが上下に延びていることから、第一可動ベース3116に取付けられていると共に第二伝達案内部3123dに案内されている第二被伝達案内部3124cを有する第二可動ベース駆動部材3214が、第一可動ベース3116と一緒に下方へ移動することができ、第一可動ベース3116がスムーズにスライドする。
そして、駆動ギア3104を更に反時計回りの方向へ回転させて第一伝達部材3107が更に正面視時計回りの方向へ回転すると、第一伝達ピン3107bが第一伝達スリット3117dから外れると共に、第一ロック突部3107cが、当初第一ロック突部3107cが挿入されていた第一ロック凹部3117eとは異なるもう一方の第一ロック凹部3117e内に進入する。これにより、第一被伝達部材3117の回転が停止し、第一可動ベース3116の下方へのスライドが停止する(図109及び図114(d)を参照)。この状態は、第一可動ベース3116が、昇降範囲の下降端に位置した状態であり、裏上装飾体ユニット3150が第一出現位置に位置している状態である。また、第一伝達部材3107において、第一伝達ピン3107bが第一被伝達部材3117の第一伝達スリット3117d内に挿入されている回転範囲が、第一特定回転範囲である。
裏上装飾体ユニット3150が第一出現位置の状態では、退避位置の状態と同様に天地が逆転している状態で、図147に示すように、裏上装飾体3152の上下方向のおよそ半分が、センター役物2500の枠内から遊技者側へ臨んでいる。この第一出現位置の状態では、裏上装飾体3152の一対の開口部3152aと、開口部3152a内に臨んでいる副装飾3157aとが、部分的に遊技者側から視認することができるため、これにより、裏上装飾体3152により摸されている所定のキャラクタが、上から逆さまになって覗いているような可動演出を提示することができる。
裏上装飾体ユニット3150が第一出現位置の状態では、第一伝達部材3107と一緒に回転している第二伝達部材3108の第二伝達ピン3108bが、第二被伝達部材3122の第二伝達スリット3122cに到達していない。また、第一可動ベース3116に取付けられている第二可動ベース駆動部材3124の回転中心が、第二被伝達部材3122の回転中心よりも下方に位置していると共に、回転リンク部材3123の第二伝達案内部3123dに対して第二可動ベース駆動部材3124の第二被伝達案内部3124cの上部のみが案内された状態となっている。
裏上装飾体ユニット3150が第一出現位置の状態から、駆動ギア3104を更に反時計回りの方向へ回転させて、第一伝達部材3107を更に時計回りの方向へ回転させると共に第二伝達部材3108を更に正面視反時計回りの方向へ回転させると、第一伝達ピン3107bが第一伝達スリット3117dから遠ざかると共に、第二伝達ピン3108bが第二被伝達部材3122の第二伝達スリット3122c内へ進入を開始する(図115(e)を参照)。
そして、駆動ギア3104を更に反時計回りの方向へ回転させて第二伝達部材3108が更に反時計回りの方向へ回転すると、第二切欠部3108dが第二ロック凹部3122dの位置へ回動してきて第二ロック凹部3122d内から第二ロック突部3108cが外れると共に、第二伝達ピン3108bが第二伝達スリット3122cの内面に当接して、第二伝達スリット3122cを正面視右方へ押圧する。これにより、第二伝達部材3108の回転が第二被伝達部材3122に伝達されて第二被伝達部材3122が正面視時計回りの方向へ回転する。この際に、第二ロック凹部3122dの部位には第二切欠部3108dが位置し、第二ロック凹部3122d内から第二ロック突部3108cが外れた(ロックが解除された)状態となっているため、第二ロック突部3108cにより回転が阻止されることなく第二被伝達部材3122が回転する(図115(f))を参照。
この第二被伝達部材3122が正面視時計回りの方向へ回転すると、第二被伝達部材3122の前面に形成されている第一伝達案内部3122eも回転するため、この第一伝達案内部3122eにスライド可能に案内されている第一被伝達案内部3123bを有する回転リンク部材3123も、同じ時計回りの方向へ回転しようとする。一方、回転リンク部材3123の前面の第二伝達案内部3123dには、第一可動ベース3116に回転可能に取付けられている第二可動ベース駆動部材3124の第二被伝達案内部3124cの上部がスライド可能に案内されている。これにより、第一被伝達部材3122によって回転リンク部材3123を、時計回りの方向へ回転させようとすると、第二伝達案内部3123dも回転しようとして、第二伝達案内部3123d及び第二被伝達案内部3124cを介して、回転リンク部材3123を中心として第二可動ベース駆動部材3124を公転させようとする。
しかしながら、第二可動ベース駆動部材3124は、第一可動ベース3116に回転可能に取付けられており、回転リンク部材3123を中心として公転することができないため、第二被伝達案内部3124cに作用する力の反力によって、逆に回転リンク部材3123を、第二可動ベース駆動部材3124を中心として公転させようとする。この際に、回転リンク部材3123が、第一伝達案内部3122eの延びている方向(第一方向)と、第二伝達案内部3123dの延びている方向(第一方向に対して交差している方向へ延びている第二方向)へ、スライドすることができるため、回転リンク部材3123に作用する力が小さくなるように、回転リンク部材3123が第一方向と第二方向へ沿ってスライドすることとなる。これにより、回転リンク部材3123の回転と、第一方向及び第二方向へのスライドとによって、第一被伝達部材3122の回転が第二可動ベース駆動部材3124に伝達され、第二可動ベース駆動部材3124が正面視時計回りの方向へ回転することとなる(図115(f)〜図116(h)を参照)。
換言すると、回転リンク部材3123は、第一伝達案内部3122e及び第一被伝達案内部3123bにより、第二被伝達部材3122により強制的に回転させられる。この回転リンク部材3123が正面視時計回りの方向へ回転すると、図115(e)において上下に延びていた第二伝達案内部3123dが、その上端が右方へ移動するように斜めに回転傾斜する(図115(f)を参照)。この第二伝達案内部3123dが回転傾斜すると、第二伝達案内部3123dに案内されている第二被伝達案内部3124cを介して第二可動ベース駆動部材3124が公転しようとするが、第二可動ベース駆動部材3124が第一可動ベース3116に取付けられて公転することができないため、回転リンク部材3123から第二可動ベース駆動部材3124へ作用する力の反力により、回転リンク部材3123が第一伝達案内部3122eに沿って開放されている側(正面視右方)へ大きくスライドすると共に、第二伝達案内部3123dに沿って第二可動ベース駆動部材3124の回転中心側(下方)へ僅かにスライドし、第二伝達案内部3123dが傾斜した角度と同じ角度で第二可動ベース駆動部材3124が回転する。
この第二可動ベース駆動部材3124が正面視時計回りの方向へ回転すると、その第二作用ピン3124aが下方へ移動するように公転するため、第二作用ピン3124aが摺動可能に挿入されている第二軸受スリット3119aを介して第二可動ベース3119が下方へスライドすることとなる。この第二可動ベース3119には、裏上装飾体ユニット3150が取付けられていることから、第二可動ベース3119と共に裏上装飾体ユニット3105も第一出現位置から更に下方へスライドする。この際に、裏上装飾体ユニット3150は、軸部3151aと第二可動ベース3119の軸受孔3119bとにより回転可能に取付けられていると共に、軸部3151aの後端に取付けられている装飾体回転ギア3120が、第一可動ベース3116に取付けられているラック部材3115のラックギア3115aと噛合しているため、第二可動ベース3119が下方へスライドすると、装飾体回転ギア3120と一緒に裏上装飾体ユニット3150が正面視反時計回りの方向へ回転する(図115(f)等を参照)。
駆動ギア3104を更に反時計回りの方向へ回転させて第二伝達部材3108を介して第二被伝達部材3122が更に時計回りの方向へ回転すると、回転リンク部材3123が第二被伝達部材3122と同じ角度で時計回りの方向へ回転し、第一伝達案内部3122eに沿って開放されている側へ更にスライドすると共に、第二伝達案内部3123dに沿って回転リンク部材3123の中心が第二可動ベース駆動部材3124の回転中心に接近するようにスライドして、第二可動ベース駆動部材3124が更に時計回り周りの方向へ回転する。これにより、第二可動ベース3119と共に裏上装飾体ユニット3150が更に下方へスライドすると共に、裏上装飾体ユニット3150が反時計回りの方向へ更に回転する(図116(g)を参照)。
そして、駆動ギア3104を更に反時計回りの方向へ回転させて第二伝達部材3108が更に反時計回りの方向へ回転すると、第二伝達ピン3108bが第二伝達スリット3122cから外れると共に、第二ロック突部3108cが、当初第二ロック突部3108cが挿入されていた第二ロック凹部3122dとは異なるもう一つの第二ロック凹部3122d内に進入する。これにより、第二被伝達部材3122の回転が停止し、第二可動ベース3199の下方へのスライドが停止すると共に、裏上装飾体ユニット3150が第一出現位置の状態に対して天地が180度回転した状態で停止する(図110及び図116(h)を参照)。この状態は、第一可動ベース3116及び第二可動ベース3119が、伴に昇降範囲の下降端に位置した状態であり、裏上装飾体ユニット3150が第二出現位置に位置している状態である。また、第二伝達部材3108において、第二伝達ピン3108bが第二被伝達部材3122の第二伝達スリット3122c内に挿入されている回転範囲が、第二特定回転範囲である。
裏上装飾体ユニット3150(裏上装飾体3152)が第二出現位置の状態では、第二被伝達部材3122の第二ロック凹部3122d内に、第二伝達部材3108の第二ロック突部3108cが挿入されているため、第二被伝達部材3122の回転が阻止されており、第二可動ベース3119がこれ以上下方へスライドすることはない。また、裏上装飾体ユニット3150が第二出現位置の状態では、図148に示すように、裏上装飾体3152により摸されている所定のキャラクタの天地が正常な状態になっていると共に、裏上装飾体3152がセンター役物2500の枠内の略中央に位置して裏上装飾体3152の略全体が遊技者側から視認することができる。
この裏上可動演出ユニット3100は、裏上装飾体ユニット3150が第一出現位置から第二出現位置へ下降すると、天地が逆転していた裏上装飾体3152が下降しながら180度回転しながら下降して、天地が正常な状態でセンター役物2500の枠内(中央液晶表示装置1500の前面)の略中央に位置する可動演出を遊技者に提示することができ、遊技者を大いに驚かせることができる。
裏上装飾体ユニット3150が第二出現位置の状態で、裏上駆動モータ3103により駆動ギア3104を、上記とは範囲方向(正面視時計回りの方向)へ回転させると、裏上装飾体ユニット3150が逆の動作をしながら第一出現位置を通って退避位置へ向かって上昇し、左スライダ3111の検知片3111aが裏上昇降検知センサ3112により検知されると、裏上駆動モータ3103による駆動ギア3104の回転が停止して、裏上装飾体ユニット3150が退避位置に復帰する。
この裏上可動演出ユニット3100は、裏上装飾体ユニット3150を、退避位置から第一出現位置へ、更に、第一出現位置から第二出現位置へ、二段階に昇降させることができると共に、昇降とは別に裏上副装飾体3157(副装飾3157a)を裏上装飾体3152に対して左右(裏上装飾体3152の天地方向に対して直角方向)にスライドさせることができるため、それらの動きを適宜組合せることで、多彩な可動演出を提示することができる。
[5−9f.裏下前可動演出ユニット]
次に、裏ユニット3000の裏下前可動演出ユニット3200について、主に図117及び図118を参照して詳細に説明する。図117(a)は裏ユニットの裏下前可動演出ユニットを前から見た斜視図であり、(b)は裏ユニットの裏下前可動演出ユニットを後ろから見た斜視図である。また、図118(a)は裏下前可動演出ユニットの裏下前第一装飾体と裏下前第二装飾体とを通常の退避位置の状態で正面から示す説明図であり、(b)は裏下前可動演出ユニットの裏下前第一装飾体と裏下前第二装飾体とを出現位置の状態で正面から示す説明図である。
裏下前可動演出ユニット3200は、裏箱3010内の前端付近で開口部3101aよりも下方に配置されている。この裏下前可動演出ユニット3200は、裏下後可動演出ユニット3500の前面に取付けられる平板状のユニットベース3201と、ユニットベース3201の後面における正面視左上隅に取付けられており回転軸がユニットベース3201を貫通して前方へ突出している裏下前駆動モータ3202と、裏下前駆動モータ3202の回転軸に取付けられている駆動ギア3203と、駆動ギア3203に正面視右下から噛合しておりユニットベース3201に回転可能に取付けられている伝達ギア3204と、伝達ギア3204に正面視右下から噛合しておりユニットベース3201に回転可能に取付けられているピニオンギア3205と、を備えている。
また、裏下前可動演出ユニット3200は、ピニオンギア3205に正面視右方から噛合していると共に上下に延びているラックギア3206a、及び正面視右方へ突出している平板状の検知片3206bを有しており、ユニットベース3201に上下へスライド可能に取付けられているラック部材3206と、ユニットベース3201の前面に取付けられており、駆動ギア3203、伝達ギア3204、ピニオンギア3205、及びラック部材3206を前方から覆うユニットカバー3207と、ユニットカバー3207に取付けられておりラック部材3206の検知片3206bを検知可能な裏下前可動検知センサ3208と、を備えている。
更に、裏下前可動演出ユニット3200は、正面視左右方向中央と左端との間の位置から後方へ円柱状に突出しているリンクピン3209aを有しており、正面視左端がラック部材3206の上端に取付けられていると共に正面視右端がユニットベース3201に上下へスライド可能に取付けられている立体的な装飾が施された透光性を有する裏下前第一装飾体3209と、裏下前第一装飾体3209の後面に取付けられており前面に複数のLEDが実装されている裏下前第一装飾基板3210と、帯板状で基端部が裏下前第一装飾体3209とユニットベース3201との間におけるユニットベース3201の左右方向中央付近で回転可能にユニットベース3201及びユニットカバー3207に取付けられていると共に、リンクピン3209aが摺動可能に挿入されている円弧状に延びたリンクスリット3211aを有しているリンク部材3211と、リンク部材3211の先端部に取付けられており所定のキャラクタの手を模した裏下前第二装飾体3212と、裏下前第二装飾体3212の後面に取付けられており前面に複数のLEDが実装されている裏下前第二装飾基板3213と、を備えている。
続いて、裏下前可動演出ユニット3200における裏下前第一装飾体3209及び裏下前第二装飾体3212の動作について説明する。この裏下前可動演出ユニット3200は、図118(a)に示すように、通常の状態では、裏下前第一装飾体3209が取付けられているラック部材3206、上下のスライド方向に対して下降端に位置していると共に、裏下前第二装飾体3212が取付けられているリンク部材3211が、先端が水平に対して若干上方へ位置するように斜めに延びている。
この状態では、裏下前第一装飾体3209及び裏下前第二装飾体3212が、センター役物2500の枠内よりも下方に位置しており、遊技者側から視認することができない(図83等を参照)。つまり、通常の状態では、裏下前第一装飾体3209及び裏下前第二装飾体3212が、遊技者から視認できない退避位置の状態にある。裏下前第一装飾体3209及び裏下前第二装飾体3212が退避位置の状態では、ラック部材3206の検知片3206bが、裏下前可動検知センサ3208により検知されている。
裏下前可動演出ユニット3200は、通常の状態で、裏下前駆動モータ3202により駆動ギア3203を正面視反時計回りの方向へ回転させると、ピニオンギア3205が反時計回りの方向へ回転し、ピニオンギア3205と噛合しているラックギア3206aによりラック部材3206が上昇する。このラック部材3206の上端には裏下前第一装飾体3209が取付けられているため、ラック部材3206と一緒に裏下前第一装飾体3209も上昇する。
この裏下前装飾体3209が上昇すると、リンク部材3211のリンクスリット3211a内に挿入されているリンクピン3209aも上昇するため、リンクピン3209aがリンクスリット3211aの内面を上方へ押圧しながらリンクスリット3211a内を摺動することとなり、リンク部材3211が基端を中心に正面視時計回りの方向へ回動することとなる。そして、リンク部材3211の先端には裏下前第二装飾体3212が取付けられていることから、裏下前第一装飾体3209の上昇に伴って、裏下前第二装飾体3212が上方へ移動するように回動する。
その後、ラック部材3206が上昇端に到達すると、裏下前駆動モータ3202の回転が停止し、裏下前第一装飾体3209の上昇が停止すると共に、裏下前第二装飾体3212の回動が停止する。この状態では、図118(b)に示すように、リンク部材3211が略鉛直に直立した状態となり、裏下前第一装飾体3209の上方に裏下前第二装飾体3212が位置している。
また、裏下前第一装飾体3209及び裏下前第二装飾体3212が上昇した状態では、図148に示すように、裏下前第一装飾体3209及び裏下前第二装飾体3212が、センター役物2500の正面視枠内に位置しており、遊技者側(前方)から十分に視認することができる。つまり、裏下前第一装飾体3209及び裏下前第二装飾体3212が、遊技者側から視認できる出現位置の状態にある。この裏下前第一装飾体3209及び裏下前第二装飾体3212は、図148に示すように、出現位置の状態で、裏上可動演出ユニット3100の裏上装飾体3152よりも前方に位置しており、裏上装飾体3152と接触することはない。また、裏下前第二装飾体3212は、出現位置へ移動させることで、第二出現位置の裏上装飾体3152に対して、一部が前後に重なるように形成されている。
なお、裏下前第一装飾体3209及び裏下前第二装飾体3212が出現位置の状態で、裏下前駆動モータ3102により駆動ギア3103を、上記とは逆方向(正面視時計回りの方向)へ回転させると、裏下前第一装飾体3209が下降すると共に、裏下前第二装飾体3212が正面視左方へ移動するように回動する。そして、ラック部材3206の検知片3206bが裏下前可動検知センサ3208により検知されると、裏下前駆動モータ3102の回転駆動が停止し、裏下前第一装飾体3209の下降が停止すると共に、裏下前第二装飾体3212の回動が停止して、裏下前第一装飾体3209及び裏下前第二装飾体3212が退避位置に復帰した状態となる。
このように、裏下前可動演出ユニット3200は、裏下前第一装飾体3209及び裏下前第二装飾体3212を、センター役物2500の枠外(退避位置)と枠内(出現位置)との間で移動させることができるため、センター役物2500の枠内に出現させることで遊技者を驚かせることができる。また、裏下前第一装飾体3209が上昇し、裏下前第二装飾体3212が回動して出現するようにしており、裏下前第一装飾体3209と裏下前第二装飾体3212とが互いに異なる動きをして出現するため、可動演出の動きが複雑な動きをしているように錯覚させることができ、遊技者を楽しませることができる。
[5−9g.裏右可動演出ユニット]
次に、裏ユニット3000の裏右可動演出ユニット3300について、主に図119及び図120を参照して詳細に説明する。図119(a)は裏ユニットの裏右可動演出ユニットを前から見た斜視図であり、(b)は裏ユニットの裏右可動演出ユニットを後ろから見た斜視図である。また、図120(a)は裏右回転装飾体の第一装飾面を正面へ向けた状態で示す裏右可動演出ユニットの正面図であり、(b)は(a)において裏右回転装飾体のシャッターを開いた状態で示す裏右可動演出ユニットの正面図であり、(c)は裏右回転装飾体の第二装飾面を正面へ向けた状態で示す裏右可動演出ユニットの正面図であり、(d)は裏右回転装飾体の第三装飾面を正面へ向けた状態で示す裏右可動演出ユニットの正面図である。
裏右可動演出ユニット3300は、裏箱3010内で開口部3010aの正面視右方に取付けられている。この裏右可動演出ユニット3300は、裏箱3010内に取付けられ正面視コ字状で上下に延びている裏右板金ベース3301と、裏右板金ベース3301の前面上部に取付けられている裏右上ベース3302と、裏右板金ベース3301の前面下部に取付けられている裏右下ベース3303と、裏右下ベース3303の下面に取付けられている裏右駆動モータ3304と、裏右駆動モータ3304により回転駆動され、裏右上ベース3302及び裏右下ベース3303により回転可能に取付けられている円柱状の裏右回転装飾体3310と、を備えている。
裏右板金ベース3301は、金属板により形成されている。裏右上ベース3302は、裏右回転装飾体3310の上部を覆う高さの低い円筒状のカバー部3302aと、カバー部3302aの周方向の所定範囲を切欠いた切欠部3302bと、を有している。裏右下ベース3303は、上下に貫通している排出口3303aを有している。裏右上ベース3302の切欠部3302bは、遊技盤5を組立てた状態で、センター役物2500における後方放出口2554の直後に位置している。また、裏右下ベース3303の排出口3303aは、右下球通路ユニット3040の第二進入口3042の直上に位置している。
裏右回転装飾体3310は、外周面を周方向へ三つに分割している第一装飾面3310a、第二装飾面3310b、及び第三装飾面3310cを有している。裏右回転装飾体3310は、第一装飾面3310aにおいて上下に延びて開口している開口部3311と、開口部3311を回転中心側から閉鎖しており夫々上下にスライド可能に取付けられている一対のシャッター3312と、一対のシャッター3312よりも回転中心側で開口部3311における上下方向中央に取付けられている内側装飾体3313と、内側装飾体3313よりも回転中心側に取付けられており外側を向いている面に複数のLEDが実装されている裏右第一装飾基板(図示は省略)と、裏右第一装飾基板よりも回転中心側に取付けられており一対のシャッター3312を接近又は離反するようにスライドさせる裏右シャッターソレノイド(図示は省略)と、を備えている。
裏右回転装飾体3310の第一装飾面3310aでは、通常は一対のシャッター3312が互いに接近して当接している(図120(a)を参照)。そして、遊技状態に応じて裏右シャッターソレノイドの駆動により一対のシャッター3312を離反させると、一対のシャッター3312の間から内側装飾体3313が外側へ臨んだ状態となり、この状態で裏右第一装飾基板のLEDを発光させることで発光装飾された内側装飾体3313を遊技者に見せることができる。
また、裏右回転装飾体3310における第二装飾面3310bには、詳細な図示は省略するが、所定の文字をレリーフ状に形成しており透光性を有している裏右文字装飾3318を有している。この第二装飾面3310bよりも回転中心側には、外側を向いている面に複数のLEDが実装されている裏右第二装飾基板(図示は省略)が取付けられており、裏右第二装飾基板により第二装飾面3310b(裏右文字装飾3318)を発光装飾させることができる。
更に、裏右回転装飾体3310における第三装飾面3310cには、図120(d)に示すように、裏右上ベース3302のカバー部3302aと同じ高さの部位に遊技球が進入可能に開口している裏右球入口3320と、裏右球入口3320と連通していると共に裏右下ベース3303の排出口3303aと連通可能とされており外周面よりも回転中心側に配置されている遊技球が流通可能な裏右演出空間3321と、裏右演出空間3321内に取付けられており裏右球入口3320に進入した遊技球を下方へ向かって螺旋状に転動させる球誘導部材3322と、裏右演出空間3321に隣接して上下に延びており前面に複数のLEDが実装されている裏右第三装飾基板3323と、を備えている。
続いて、裏右可動演出ユニット3300における裏右回転装飾体3310の動作について説明する。この裏右可動演出ユニット3300は、裏右駆動モータ3304の回転駆動により、裏右回転装飾体3310を、上下方向に延びている軸線を中心として何れの方向へも回転させることができる。裏右可動演出ユニット3300は、通常の状態(第一装飾状態)では、図120(a)に示すように、第一装飾面3310aが前方を向いている。この第一装飾面3310aでは、開口部3311よりも回転中心側に配置されている一対のシャッター3312が、通常は互いに当接して開口部3311を閉鎖している。
また、第一装飾状態では、裏右上ベース3302におけるカバー部3302aの切欠部3302bが、第一装飾面3310aの外周面により閉鎖されている。従って、裏右可動演出ユニット3300が第一装飾状態では、切欠部3302bと一致しているセンター役物2500の後方放出口2554も、第一装飾面3310aの外周面により閉鎖されている。これにより、第一装飾状態で、センター役物2500の上大入賞口2006に遊技球が受入れられた場合、後方誘導路2553の後方放出口2554が第一装飾面3310aの外周面により閉鎖されているため、上大入賞口2006に受入れられた遊技球は、後方誘導路2553の後端付近で分岐している逃し通路2555へ進入し、逃し通路2555を通って排出口2556から裏右球通路ユニット3040の第三進入口3043へ受け渡され、裏右球通路ユニット3040内を通って下方へ排出される。
この裏右可動演出ユニット3300は、第一装飾状態で、図示しない裏右シャッターソレノイドに通電させると、一対のシャッター3312が上下方向へ離反して、一対のシャッター3312の間から内側装飾体3313が外側へ臨む状態となる(図120(b)を参照)。そして、内側装飾体3313よりも回転中心側に配置されている図示しない裏右第一装飾基板のLED(高輝度LED)を発光させて、一対のシャッター3312の間から臨む内側装飾体3313を発光装飾させる。これにより、遊技者に対してチャンスの到来等を示唆することができる。
また、裏右可動演出ユニット3300は、裏右駆動モータ3304の回転駆動により裏右回転装飾体3310の第二装飾面3310bを前方へ向けて停止させた状態(第二装飾状態)とすることができる(図120(c)を参照)。この第二装飾状態で、図示しない裏右第二装飾基板のLEDを発光させることにより、第二装飾面3310bに形成されている所定の文字からなる裏右文字装飾3318を発光装飾させることができ、遊技者に対してチャンスの到来等を示唆することができる。また、第二装飾状態では、第一装飾状態と同様に、カバー部3302aの切欠部3302bが第二装飾面3310bの外周面により閉鎖されている。
更に、裏右可動演出ユニット3300は、裏右駆動モータ3304の回転駆動により裏右回転装飾体3310の第三装飾面3310cを前方へ向けて停止させた状態(第三装飾状態)とすることができる(図120(d)を参照)。この第三装飾状態では、図示するように、遊技球を流通させることが可能な裏右演出空間3321が遊技者側から視認することができる。また、第三装飾状態では、裏右球入口3320がカバー部3302aの切欠部3302bの部位に位置している。従って、第三装飾状態では、センター役物2500の後方放出口2554と裏右球入口3320とが一致して、遊技球が流通可能に連通している。
そして、第三装飾状態で、センター役物2500の上大入賞口2006に受入れられた遊技球は、後方誘導路2553の後方放出口2554から裏右球入口3320へ進入し、裏右演出空間3321に配置されている球誘導部材3322により、裏右演出空間3321内を上下に延びた軸線周りを螺旋状に複数回(ここでは8回)回転しながら流下する(図156(a)を参照)。これにより、上大入賞口2006に受入れられた遊技球を、裏右演出空間3321で螺旋状に流下させることができるため、上大入賞口2006に受入れられた遊技球を遊技者に確実に視認させることができ、上大入賞口2006への遊技球の受入れによる遊技球の払出しに対する期待感を高めさせることができると共に、螺旋状に流下する遊技球により遊技者を楽しませることができ、興趣の低下を抑制することができる。
その後、裏右演出空間3321内を流下した遊技球は、裏下右ベース3303の排出口3303aから排出されて、直下に開口している右下球誘導ユニット3040の第二進入口3042に進入し、右下球通路ユニット3040内を通って下方の基板ホルダ1200内に排出される。
このように、裏右可動演出ユニット3300によれば、多彩な可動演出を遊技者に提示することができ、遊技者を楽しませることができる。
[5−9h.裏左可動演出ユニット]
次に、裏ユニット3000の裏左可動演出ユニット3400について、主に図121乃至図123を参照して詳細に説明する。図121(a)は裏ユニットの裏左可動演出ユニットを前から見た斜視図であり、(b)は裏ユニットの裏左可動演出ユニットを後ろから見た斜視図である。また、図122(a)は裏左回転装飾体の第一装飾面を正面へ向けた状態で示す裏左可動演出ユニットの正面図であり、(b)は裏左回転装飾体の第二装飾面を正面に向けた状態で示す裏左可動演出ユニットの正面図であり、(c)は裏左回転装飾体の第三装飾面を正面に向けた状態で示す裏左可動演出ユニットの正面図であり、(d)は(a)の状態で裏左回転装飾体の裏左突出装飾体を出現位置とした状態を示す裏左可動演出ユニットの正面図である。更に、図123は、図122(a)におけるF−F線で切断した断面図である。
裏左可動演出ユニット3400は、裏箱3010内で開口部3010aの正面視左方に取付けられている。この裏左可動演出ユニット3400は、裏箱3010内に取付けられ正面視コ字状で上下に延びている裏左板金ベース3401と、裏左板金ベース3401の前面上部に取付けられている裏左上ベース3402と、裏左板金ベース3401の前面下部に取付けられている裏左下ベース3403と、裏左下ベース3403の下面に取付けられている裏左駆動モータ3404と、裏左駆動モータ3404により回転駆動され、裏左上ベース3402及び裏左下ベース3403により回転可能に取付けられている円柱状の裏左回転装飾体3410と、を備えている。裏左板金ベース3401は、金属板により形成されている。
裏左回転装飾体3410は、外周面を周方向へ三つに分割している第一装飾面3410a、第二装飾面3410b、及び第三装飾面3410cを有している。この裏左回転装飾体3410は、図122(a)に示すように、第一装飾面3410aに、ドアを摸したドア装飾3411を有している。裏左回転装飾体3410は、第一装飾面よりも回転中心側に配置されており、外側を向いている面に複数のLEDが実装されている裏左第一装飾基板3412を有している。この裏左第一装飾基板3412のLEDを適宜発光させることで、第一装飾面3410aを発光装飾させることができる。
また、裏左回転装飾体3410の第二装飾面3410bには、詳細な図示は省略するが、裏右回転装飾体3310の裏右文字装飾3318とは異なる文字を、レリーフ状に形成している透光性を有する裏左文字装飾3413を有している。この第二装飾面3410bよりも回転中心側には、外側を向いている面に複数のLEDが実装されている裏左第二装飾基板3414が取付けられており、裏左第二装飾基板3414により第二装飾面3410b(裏左文字装飾3413)を発光装飾させることができる。
更に、裏左回転装飾体3410の第三装飾面3410cには、外周面を形成している裏左投影部3415と、裏左投影部3415よりも回転中心側に配置されており透光性を有する投影フィルム3416と、投影フィルム3416よりも回転中心側に配置されており外側を向いている面に複数のカラーLEDが実装されている裏左第三装飾基板3417と、を備えている。投影フィルム3416は、図示は省略するが、単色で表されると共に互いに異なる図柄とされている、赤色で投影される赤図柄と、青色で投影される青図柄と、を有しており、赤図柄と青図柄とが重なっている部位が乳白色又は透明とされ、且つ、赤図柄及び青図柄以外の部位が黒色又は不透光性とされている。この第三装飾部3410cでは、裏左第三装飾基板3417において、赤色の光を発光させると赤図柄を裏左投影部3415に投影させることができ、青色の光を発光させると青図柄を裏左投影部3415に投影させることができる。
また、第三装飾面3410cには、裏左投影部3415における第一装飾面3410aに近い側の端部で上下に配置されており開閉可能な一対の扉部材3420と、各扉部材3420よりも回転中心側に配置されており裏左回転装飾体3410の外周面よりも内側の退避位置と外周面よりも外側へ突出する出現位置との間でスライド可能に取付けられている一対の裏左突出装飾体3421と、裏左回転装飾体3410内に取付けられており各裏左突出装飾体3421をスライド駆動させる一対の裏左装飾体ソレノイド3422と、を備えている。
扉部材3420は、図示するように、上下に延びた略長方形に形成されている。この扉部材3420は、図示は省略するが、第一装飾面3410aから遠い側の上下に延びている辺の両端が回転可能に取付けられており、反対側の上下に延びている辺側が第三装飾面3410cよりも外側へ移動するように開閉する。また、扉部材3420は、回転可能に取付けられている上下に延びている辺付近の内側面から突出している鉤状の閉止爪3420aを有している。
裏左突出装飾体3421は、第一装飾面3410aを前方(正面)へ向けた時に、スライド方向が左右方向となるように取付けられている。この裏左突出装飾体3421は、図122(d)等に示すように、手裏剣を摸した形状に形成されている。裏左突出装飾体3421は、先端付近から第一装飾面3410aから遠ざかる方向へ突出しており、扉部材3420の閉止爪3420aと係合可能な閉止片3421aを有している。
続いて、裏左可動演出ユニット3400における裏左回転装飾体3410の動作について説明する。この裏左可動演出ユニット3400は、裏左駆動モータ3404の回転駆動により、裏左回転装飾体3410を、上下方向に延びている軸線を中心として何れの方向へも回転させることができる。裏左可動演出ユニット3400は、通常の状態(第一装飾状態)では、図122(a)に示すように、第一装飾面3410aを前方へ向けて停止している。この第一装飾状態で、裏左第一装飾基板3412のLEDを適宜発光させることで、第一装飾面3410aを発光装飾させることができる。第一装飾面3410aには、ドアを模したドア装飾3411が備えられているため、第一装飾面3410aを発光装飾させることで、遊技者に対してドア装飾3411が開くのではないかと思わせることができ、遊技者の期待感を高めさせることができる。
また、裏左可動演出ユニット3400は、通常の状態では、裏左回転装飾体3410の裏左突出装飾体3421が、図示しないバネの付勢力により、裏左回転装飾体3410の内部に収容された退避位置に位置している。この退避位置の状態では、扉部材3420の外面が第三装飾面3410cと同一面状となる閉状態となっていると共に、裏左突出装飾体3421の閉止片3421aが、扉部材3420の閉止爪3420aに係止されている。これにより、裏左回転装飾体3410をグルグル回転させて裏左突出装飾体3421や扉部材3420に遠心力が作用しても、図示しないバネの付勢力により裏左突出装飾体3421の出現位置へのスライドを阻止することができると共に、閉止片3421aが係止爪3420aに係止されることで扉部材3420が開くのを阻止することができる。
そして、第一装飾状態の時に、裏左装飾体ソレノイド3422を駆動(通電)させると、図示しないバネの付勢力に抗して裏左突出装飾体3421が、外側へスライドすると共に、裏左突出装飾体3421の先端に押されて扉部材3420が開き、裏左突出装飾体3421が第三装飾面3410cよりも外側へ突出した出現位置の状態となる。これにより、円筒状で回転する裏左回転装飾体3410から、裏左突出装飾体3421が突出することで、遊技者を驚かせることができる。また、一対の裏左突出装飾体3421は、夫々独立して突出させることができるため、多彩な可動演出を遊技者に提示することができる。
この裏左突出装飾体3421は、出現位置の状態で、裏左装飾体ソレノイド3422の駆動を停止させると、図示しないバネにより退避位置へスライドする。この際に、閉止片3421aが、係止爪3420aに係止され、扉部材3420を開状態から閉状態へ回動させることができ、自動的に通常の状態に復帰する。
また、裏左可動演出ユニット3400は、裏左駆動モータ3404の回転駆動により裏左回転装飾体3410の第二装飾面3410bを前方へ向けて停止させた状態(第二装飾状態)とすることができる(図122(b)を参照)。この第二装飾状態の時に、裏左第二装飾基板3414のLEDを適宜発光させることにより、裏左文字装飾3413を発光装飾させることができ、遊技者に対してチャンスの到来等を示唆することができる。
更に、裏左可動演出ユニット3400は、裏左駆動モータ3404の回転駆動により裏左回転装飾体3410の第三装飾面3410cを前方へ向けて停止させた状態(第三装飾状態)とすることができる(図122(c)を参照)。この第三装飾状態で、裏左第三装飾基板3417のLEDにより、赤色の光を発光させると赤図柄を裏左投影部3415に投影させることができ、青色の光を発光させると青図柄を裏左投影部3415に投影させることができる。これにより、裏左投影部3415に投影される図柄によって、遊技者に対してチャンスの到来等を示唆することができ、遊技者を楽しませたり期待感を高めさせたりすることができる。
このように、裏右可動演出ユニット3300によれば、多彩な可動演出を遊技者に提示することができ、遊技者を楽しませることができる。
[5−9i.裏下後可動演出ユニット]
次に、裏ユニット3000の裏下後可動演出ユニット3500について、主に図124乃至図136を参照して詳細に説明する。図124(a)は裏ユニットの裏下後可動演出ユニットを前から見た斜視図であり、(b)は裏ユニットの裏下後可動演出ユニットを後ろから見た斜視図である。また、図125は裏下後可動演出ユニットの昇降ユニットを分解して前から見た分解斜視図であり、図126は裏下後可動演出ユニットの昇降ユニットを分解して後ろから見た分解斜視図である。また、図127は裏下後回転装飾ユニットが下降端位置の時の昇降ユニットの状態を正面から示す説明図であり、図128は裏下後回転装飾ユニットが上昇端位置の時の昇降ユニットの状態を正面から示す説明図である。
また、図129(a)は裏下後可動演出ユニットの正面図であり、(b)は裏下後可動演出ユニットの裏下後回転装飾体ユニットを前から見た斜視図であり、(c)は裏下後可動演出ユニットの裏下後回転装飾体ユニットを後ろから見た斜視図である。更に、図130は裏下後回転装飾体ユニットを分解して前から見た分解斜視図であり、図131は裏下後回転装飾体ユニットを分解して後ろから見た分解斜視図である。また、図132は、図129(a)におけるG−G線で切断した断面図である。
更に、図133(a)は裏下後回転装飾ユニットの裏下後回転装飾体が回転停止している状態を示す正面図であり、(b)は裏下後回転装飾体が正面視反時計回りの方向へ回転している状態を示す正面図であり、(c)は裏下後回転装飾体が開いて正面視時計回りの方向へ回転する直前の状態を示す正面図であり、(d)は裏下後回転装飾体が正面視時計回りの方向へ回転している状態を示す正面図である。また、図134(a)は裏下後回転装飾体ユニットにおいて裏下後回転駆動モータに係る駆動機構の構成を示す説明図であり、(b)は裏下後回転装飾体ユニットにおいて回転ダンパに係る差動機構の構成を示す説明図であり、(c)は裏下後回転装飾体ユニットにおいて裏下後回転駆動モータに係る駆動機構と回転ダンパに係る差動機構とを連結している連結機構の構成を示す説明図である。
また、図135(a)は裏下後回転装飾体が閉じて回転停止している時の連結機構の状態を示す説明図であり、(b)は裏下後回転装飾体が反時計回りの方向へ回転している時の連結機構の状態を示す説明図である。また、図136(a)は裏下後回転装飾体が閉じて回転停止している時の連結機構の状態を示す説明図であり、(b)は駆動機構の連結リングが時計回りの方向へ回転して裏下後回転装飾体が開きつつある時の連結機構の状態を示す説明図であり、(c)は駆動機構の連結リングが更に時計回りの方向へ回転して裏下後回転装飾体が完全に開いた時の連結機構の状態を示す説明図であり、(d)は開いた状態の裏下後回転装飾体が駆動機構の連結機構と共に時計回りの方向へ回転している時の連結機構の状態を示す説明図である。
裏下後可動演出ユニット3500は、裏箱3010内の後端付近で開口部3010aよりも下方に取付けられている。この裏下後可動演出ユニット3500は、裏箱3010内に取付けられると共に前面に裏下前可動演出ユニット3200が取付けられる昇降ユニット3510と、昇降ユニット3510により上下に昇降させられる裏下後回転装飾体ユニット3550と、を備えている。
裏下後可動演出ユニット3500の昇降ユニット3510は、裏箱3010内における開口部3010aよりも下方で後壁の前面に取付けられるユニットベース3511と、ユニットベース3511の正面視左下隅の後面に取付けられておりユニットベース3511を貫通して回転軸が前方へ突出している裏下後昇降駆動モータ3512と、裏下後昇降駆動モータ3512の回転軸に取付けられている平歯車状の昇降駆動ギア3513と、昇降駆動ギア3513と噛合している平歯車状の第一伝達ギア3514a、及び第一伝達ギア3514aの前面で一体回転すると共に第一伝達ギア3514aよりも直径が小さい第二伝達ギア3514bを有しておりユニットベース3511に回転可能に取付けられている伝達ギア部材3514と、伝達ギア部材3514の第二伝達ギア3514bと噛合しておりユニットベース3511に回転可能に取付けられている平歯車状の昇降駆動ピニオンギア3515と、を備えている。
また、昇降ユニット3510は、左右方向略中央で上下に延びており前後方向に貫通している案内スリット3516a、及び正面視左端下部から左方へ突出している平板状の検知片3516b、を有しており、ユニットベース3510の前面に上下へスライド可能に取付けられていると共に後面において案内スリット3516aにより裏下後回転装飾体ユニット3550を上下にスライド可能に取付けている昇降ベース3516と、昇降ベース3516の正面視左端付近の後面に取付けられており上下に延びていると共に昇降駆動ピニオンギア3515と噛合している昇降駆動ラックギア3517と、上下に延びており上端がユニットベース3511の上端と同じ高さでユニットベース3511の前面に取付けられている固定側ラックギア3518と、固定側ラックギア3518と噛合していると共に裏下後回転装飾体ユニット3550の後面に取付けられている上下に延びた可動側ラックギア3551bと噛合しており、昇降ベース3516に回転可能に取付けられている平歯車状の加速ギア3519と、を備えている。
更に、昇降ユニット3510は、昇降ベース3516の正面視左方で昇降駆動ギア3513、伝達ギア部材3514、昇降駆動ピニオンギア3515、及び固定側ラックギア3518の前方を覆うようにユニットベース3511の前面に取付けられているギアカバー左3520と、ギアカバー左3520の前面に取付けられており昇降ベース3516の検知片3516bを検知可能な裏下後昇降検知センサ3521と、昇降ベース3516の正面視右方でユニットベース3511の前面に回転可能に取付けられている平歯車状の案内ピニオンギア3522と、案内ピニオンギア3522と噛合していると共に上下に延びており昇降ベース3516の正面視右端側後面に取付けられている案内ラックギア3523と、案内ラックギア3523の前方を覆いユニットベース3511の前面に取付けられているギアカバー右3524と、下端側が昇降ベース3516に取付けられていると共に上端側がギアカバー左3520及びギアカバー右3524に夫々取付けられており昇降ベース3516を上方へ付勢している一対のアシストバネ3525と、を備えている。
また、昇降ユニット3510は、ユニットベース3511の正面視右端側の後面に取付けられている基板ベース3526と、基板ベース3526の後面に取付けられており、裏下後昇降駆動モータ3512、裏下後昇降検知センサ3521、裏下後回転駆動モータ3553、裏下後回転検知センサ3570、及び裏下後装飾基板3572とモータ駆動基板3062及びランプ駆動基板3060との接続を中継している裏下後中継基板3527と、を備えている。
続いて、裏下後可動演出ユニット3500における昇降ユニット3510の動作について説明する。この裏下後可動演出ユニット3500は、通常の状態では裏下後回転装飾体3550が最も下降している下降端位置に位置している。この下降端位置の状態では、図127に示すように、昇降ベース3516に取付けられている昇降駆動ラックギア3517及び案内ラックギア3523の上端において、ユニットベース3511に取付けられている昇降駆動ピニオンギア3515及び案内ピニオンギア3522が、夫々噛合している。また、昇降ベース3516に取付けられている加速ギア3519は、ユニットベース3511に取付けられている固定側ラックギア3518の下端で噛合していると共に、裏下後回転装飾体ユニット3550に取付けられている可動側ラックギア3551bの上端で噛合している。
また、下降端位置の状態では、案内ブッシュ3528を介して昇降ベース3516の案内スリット3516a内に挿入されている裏下後回転装飾体ユニット3550の案内ピン3552bが、案内スリット3516aの下端に位置している。更に、下降端位置の状態では、昇降ベース3516の検知片3516bが、裏下後昇降検知センサ3521により検知されていると共に、一対のアシストバネ3525が、伸長して昇降ベース3516を上方へ付勢している。
裏下後可動演出ユニット3500は、裏下後回転装飾体ユニット3550が、下降端位置の時には、図83等に示すように、裏下後回転装飾体3568が中央液晶表示装置1500の下端よりも下方でセンター役物2500の枠内のステージ2530の上方において一部が遊技者側から視認可能となっている。
裏下後回転装飾体ユニット3550が下降端位置の時に、裏下後昇降駆動モータ3512により昇降駆動ギア3513を正面視反時計回りの方向へ回転させると、昇降駆動ピニオンギア3515が反時計回りの方向へ回転し、昇降駆動ピニオンギア3515と噛合している昇降駆動ラックギア3517により昇降ベース3516が上昇する。この昇降ベース3516が上昇すると、昇降ベース3516に回転可能に取付けられている加速ギア3519も、昇降ベース3516と一緒に上昇する。この加速ギア3519は、ユニットベース3511に取付けられている固定側ラックギア3518と噛合しているため、ユニットベース3511に対して昇降ベース3516(加速ギア3519)が上昇すると、加速ギア3519が正面視反時計回りの方向へ回転することとなる。
この加速ギア3519は、固定側ラックギア3518とは反対側で、裏下後回転装飾体ユニット3550に取付けられている可動側ラックギア3551bが噛合しているため、加速ギア3519が反時計回りの方向へ回転すると、可動側ラックギア3551bを介して裏下後回転装飾体ユニット3550が昇降ベース3516に対して相対的に上昇する。この際に、裏下後回転装飾体ユニット3550は、ユニットベース3511の固定側ラックギア3518と噛合している加速ギア3519により、昇降ベース3516の二倍の速度で上昇する。
また、昇降ユニット3510では、昇降ベース3516において、昇降駆動ラックギア3517とは反対側の案内ラックギア3523が、ユニットベース3511に回転可能に取付けられている案内ピニオンギア3522と噛合していることから、昇降ベース3516の右端側がこじられることなく、昇降ベース3516が真っ直ぐに上昇することができる。更に、昇降ユニット3510では、一対のアシストバネ3525により昇降ベース3516を上方へ付勢しているため、裏下後昇降駆動モータ3512に係る負荷を低減させている。なお、一対のアシストバネ3525において、昇降駆動ラックギア3517から遠い正面視右側のアシストバネ3525は、左側のアシストバネ3525よりも長く伸長されて付勢力が強められており、昇降ベース3516を傾き難くアシストしている。
そして、裏下後回転装飾体ユニット3550が最も上昇した上昇端位置に位置すると、裏下後昇降駆動モータ3512が停止する。この上昇端位置の状態では、図128に示すように、裏下後回転装飾体ユニット3550の案内ピン3552bが、昇降ベース3516の案内スリット3516aの上端に位置している。また、上昇端位置の状態では、昇降ベース3516に取付けられている昇降駆動ラックギア3517及び案内ラックギア3523の下端において、ユニットベース3511に取付けられている昇降駆動ピニオンギア3515及び案内ピニオンギア3522が、夫々噛合している。また、昇降ベース3516に取付けられている加速ギア3519は、ユニットベース3511に取付けられている固定側ラックギア3518の上端で噛合していると共に、裏下後回転装飾体ユニット3550に取付けられている可動側ラックギア3551bの下端で噛合している。
裏下後回転装飾体ユニット3550が上昇端位置の時には、図152に示すように、裏下後回転装飾体3568が、正面視において、センター役物2500の枠内(中央液晶表示装置1500の前面)の略中央に位置している。なお、裏下後回転装飾体ユニット3550が上昇端位置の状態で、裏下後昇降駆動モータ3512により昇降駆動ギア3513を正面視時計回りの方向へ回転させると、上記とは逆の動作をして裏下後回転装飾体ユニット3550が下降し、下降端位置に復帰する。
続いて、裏下後可動演出ユニット3500の裏下後回転装飾体ユニット3550について説明する。裏下後回転装飾体ユニット3550は、上部から前方へ延びている円筒状の軸筒部3551a、及び下部の後面で上下に延びており加速ギア3159と噛合する可動側ラックギア3551b、を有しており、上下に延びていると共に前方が開放されている浅い容器状の装飾体ベース3551と、上部に装飾体ベース3551の軸筒部3551aよりも大径で前後に貫通しており軸筒部3551aが同心円上に挿通される貫通孔3552a、及び下部から前方へ円柱状に突出しており昇降ユニット3510の案内スリット3516a内に挿入される案内ピン3552b、を有しており、後方が開放されている浅い箱状で装飾体ベース3551の前面に取付けられているベースカバー3552と、を備えている。
また、裏下後回転装飾体ユニット3550は、ベースカバー3552の下部後面に取付けられている裏下後回転駆動モータ3553と、裏下後回転駆動モータ3553の回転軸に取付けられている平歯車状の回転駆動ギア3554と、回転駆動ギア3554と噛合しており装飾体ベース3551とベースカバー3552との間で回転可能に取付けられている平歯車状の第一従動ギア3555と、第一従動ギア3555と噛合しており装飾体ベース3551とベースカバー3552との間で回転可能に取付けられている平歯車状の第二従動ギア3556と、第二従動ギア3556と噛合しており装飾体ベース3551とベースカバー3552との間で回転可能に取付けられている平歯車状の第三従動ギア3557と、第三従動ギア3557と噛合しており装飾体ベース3551とベースカバー3552との間で回転可能に取付けられている平歯車状の第四従動ギア3558と、第四従動ギア3558と噛合している円環状の駆動リングギア3559a、駆動リングギア3559aの前端から周方向へ離間して前方へ突出している複数(ここでは三つ)の係合凸部3559b、及び駆動リングギア3559aの後端から外方へフランジ状に突出しており周方向の一部が切欠かれている駆動検知片3559cを有している駆動ギア部材3559と、周方向へ等間隔に形成されている四つの取付孔3560a、及び後端から前方へ向かって凹んでおり駆動ギア部材3559の複数の係合凸部3559bが挿入係合されている複数の係合凹部3560b、を有しており、駆動ギア部材3559と略同じ大きさの外径及び内径に形成されているリング状の連結リング3560と、を備えている。
駆動リングギア3559及び連結リング3560の外径と内径は、ベースカバー3552の貫通孔3552aの内径よりも小さく、装飾体ベース3551の軸筒部3551aの外径よりも大きく形成されている。また、駆動リングギア3559及び連結リング3560は、内形が同一である。裏下後回転装飾体ユニット3550では、裏下後回転駆動モータ3553、回転駆動ギア3554、第一従動ギア3555、第二従動ギア3556、第三従動ギア3557、第四従動ギア3558、駆動ギア部材3559、及び連結リング3560が、裏下後回転駆動モータ3553により直接的に回転駆動される駆動機構3550Aを構成している(図134(a)等を参照)。
更に、裏下後回転装飾体ユニット3550は、前方からベースカバー3552の貫通孔3552a、連結リング3560、及び駆動リング部材3559を貫通していると共に装飾体ベース3551の軸筒部3551aが挿入される筒状の外筒部3561a、外筒部3561aの後端から前方へ向かって凹んでおり周方向に間隔を開けて形成されている複数の接続凹部3561b、ベースカバー3552の前方で外筒部3561aの前端から外方へ延出している平板状のベース部3561c、ベース部3561cを前後に貫通しており外筒部の軸芯を中心として放射状に延びている四つのガイドスリット3561d、を有している回転装飾体ベース3561と、回転装飾体ベース3561の外筒部3561a内に挿入されていると共に装飾体ベース3551の軸筒部3551aが挿通される円筒状の内筒部3562a、駆動ギア部材3559の後方で内筒部3562aの後端外周に形成されているリング状の差動リングギア3562b、差動リングギア3562bの前面から周方向へ間隔を開けて突出しており回転装飾体ベース3561の接続凹部3561b内に挿入接続される複数の接続凸部3562c、差動リングギア3562bの後端から外方へフランジ状に突出しており周方向の一部が切欠かれている差動検知片3562d、を有している差動ギア部材3562と、差動ギア部材3562の差動リングギア3562bと噛合しており装飾体ベース3551とベースカバー3552との間で第四従動ギア3558と同軸上に回転可能に取付けられている平歯車状の差動伝達ギア3563と、差動伝達ギア3563と噛合している平歯車状のダンパギア3564と、ダンパギア3564に回転抵抗を付与する状態でダンパギア3564を回転可能に取付けており、装飾体ベース3551の後面に取付けられている回転ダンパ部材3565と、を備えている。
回転装飾体ベース3561における外筒部3561aの外径は、駆動ギア部材3559及び連結リング3560の内径よりも若干小さく、外筒部3561aの外周面により駆動ギア部材3559及び連結リング3560を回転可能に取付けている。また、外筒部3561aの内径は、差動ギア部材3562における内筒部3562aの外径よりも若干大きい。ベース部3561cは、ベースカバー3552の貫通孔3552aよりも大きく形成されている。ガイドスリット3561dは、外筒部3561aの周方向に対して90度の角度の間隔で形成されている。
差動ギア部材3562の内筒部3562aは、内径が装飾体ベース3551の軸筒部3551aの外径よりも若干大きく、軸筒部3551aにより回転可能に取付けられる。回転ダンパ部材3565は、詳細な図示は省略するが、内部に封入されている粘性流体の粘性抵抗により、ダンパギア3564が取付けられる回転軸に対して回転抵抗を付与しているものである。裏下後回転装飾体ユニット3550では、回転装飾体ベース3561、差動ギア部材3562、差動伝達ギア3563、ダンパギア3564、及び回転ダンパ部材3565が、回転ダンパ部材3565により直接的に回転抵抗が付与される差動機構3550Bを構成している(図134(b)等を参照)。
また、裏下後回転装飾体ユニット3550は、ガイドスリット3561dを貫通して後方へ突出している円柱状のスライドピン3566aを有しており、回転装飾体ベース3561におけるベース部3561cの前面で各ガイドスリット3561dによりスライド可能に夫々取付けられている四つの装飾体スライダ3566と、前後に貫通しており装飾体スライダ3566のスライドピン3566aが回転可能に挿入される先端孔3567aを先端側に有していると共に、後方へ円柱状に突出しており連結リング3560の取付孔3560aに回転可能に挿入される基端ピン3567bを基端側に有しており、帯板状の四つの連結アーム3567と、各装飾体スライダ3566の前面に取付けられており前面に装飾が施されている四つの裏下後回転装飾体3568と、各裏下後回転装飾体3568の後面に取付けられており連結アーム3567の回動範囲を規制している四つの回動規制部材3569と、を備えている。
裏下後回転装飾体3568は、正面視の形状が略四角形に形成されており、四つの頂点の内の一つが直角に形成されていると共に、直角の頂点を通る対角線上の反対側の頂点が鋭角に形成されている。裏下回転装飾体3568は、直角の頂点を、回転装飾体ベース3561の回転中心軸側へ向けると共に、直角の頂点を通る対角線が、装飾体スライダ3566のスライド方向(回転装飾体ベース3561のガイドスリット3561dが延びている方向)へ延びるように、装飾体スライダ3566に取付けられている。四つの裏下後回転装飾体3568は、回転装飾体ベース3561のガイドスリット3561dにより、互いに接近・離反するようにスライドすることができる。
裏下後回転装飾体ユニット3550では、装飾体スライダ3566、連結アーム3567、裏下後回転装飾体3568、及び回動規制部材3569が、駆動機構3550Aと差動機構3550Bとを連結して回転を伝達させている連結機構3550Cを構成している(図134(c)等を参照)。
更に、裏下後回転装飾体ユニット3550は、装飾体ベース3551とベースカバー3552との間に取付けられており、駆動ギア部材3559の駆動検知片3559cと差動リングギア3562の差動検知片3562dの回転位置を検知する裏下後回転検知センサ3570と、回転装飾体ベース3561の中心を前方から貫通して後端が装飾体ベース3551における軸筒部3551aに取付けられている固定装飾体ベース3571と、回転装飾体ベース3561の前方且つ裏下後回転装飾体3568の後方で固定装飾体ベース3571の前面に取付けられており前面に複数のLEDが実装されている裏下後装飾基板3572と、裏下後装飾基板3572と裏下後回転装飾体3568との間で固定装飾体ベース3571の前面に取付けられており前面に装飾が施されていると共に透光性を有している円盤状の裏下後固定装飾体3573と、を備えている。
続いて、裏下後可動演出ユニット3500における裏下後回転装飾体ユニット3550の裏下後回転装飾体3568の動作について説明する。裏下後回転装飾体ユニット3550は、通常の状態では、四つの裏下後回転装飾体35が回転装飾体ベース3561の回転中心側へスライドして互いに当接している。通常の状態では、駆動ギア部材3559は、駆動検知片3559cの切欠かれている部位を正面視左方へ向けて停止している(図134(a)を参照)。また、差動ギア部材3562は、差動検知片3562dの切欠かれている部位を正面視右方へ向けて停止している(図134(b)を参照)。また、四つの連結アーム3567は、連結リング3560の取付孔3560aに回転可能に取付けられている基端ピン3567bの中心と、先端の先端孔3567aの中心とを結んだ軸線が、連結リング3560の回転中心を中心とした円に接するように延びており、先端孔3567aに回転可能に取付けられている装飾体スライダ3566のスライドピン3566aが、回転装飾体ベース3561におけるガイドスリット3561dの回転中心側の端部に位置している。また、四つの連結アーム3567は、通常の状態では、基端ピン3567bに対して、先端孔3567aが、正面視時計回りの方向へ離れている(図134(c)等を参照)。
この通常の状態(図135(a)等を参照)で、裏下後回転駆動モータ3553により回転駆動ギア3554を正面視時計回りの方向へ回転させると、駆動ギア部材3559と一緒に連結リング3560が正面視反時計回りの方向へ回転することとなる。この連結リング3560が正面視反時計回りの方向へ回転しようとすると、取付孔3560aに取付けられている基端ピン3567bを介して連結アーム3567が、その連結アーム3567の先端孔3567aが装飾体スライダ3566のスライドピン3566aを介して取付けられている回転装飾体ベース3561のガイドスリット3561dから、遠ざかる方向へ移動しようとすることから、先端孔3560aに取付けられているスライドピン3566aが、ガイドスリット3561d内において回転中心側へスライドしようとする。
しかしながら、この通常の状態では、スライドピン3566aがガイドスリット3561dの回転中心側の端部に位置しており、これ以上回転中心側へスライドすることができない。これにより、連結アーム3567がガイドスリット3561dを介して回転装飾体ベース3561を正面視反時計回りの方向へ回転するように引っ張ることとなる。この回転装飾体ベース3561には、差動ギア部材3562、差動伝達ギア3563、及びダンパギア3564を介して回転ダンパ部材3565の回転抵抗が作用しているため、回転ダンパ部材3565の回転抵抗に抗して回転装飾体ベース3561が反時計回りの方向へ回転することとなる。
この回転装飾体ベース3561が正面反時計回りの方向へ回転する際には、装飾体スライダ3566のスライドピン3566aが、ガイドスリット3561dの回転中心側の端部に位置しており、各装飾体スライダ3566に取付けられている裏下後回転装飾体3568が回転中心側へ位置して互いに当接している状態で回転する(図135(b)を参照)。また、四つの裏下後回転装飾体3568の正面視反時計回りの方向への回転中は、裏下後回転装飾体3568が取付けられている装飾体スライダ3566に、連結アーム3567により回転中心側へスライドするような力が作用しているため、裏下後回転装飾体3568が遠心力により外側へスライドすることはない。
一方、通常の状態(図136(a)等を参照)で、裏下後回転駆動モータ3553により回転駆動ギア3554を正面視反時計回りの方向へ回転させると、駆動ギア部材3559と一緒に連結リング3560が時計回りの方向へ回転することとなる。この連結リング3560が時計回りの方向へ回転しようとすると、取付孔3560aに取付けられている基端ピン3567bを介して連結アーム3567が、その連結アーム3567の先端孔3567aが装飾体スライダ3566のスライドピン3566aを介して取付けられている回転装飾体ベース3561のガイドスリット3561dへ、接近する方向へ移動しようとすることから、先端孔3560aに取付けられているスライドピン3566aが、ガイドスリット3561dを介して回転装飾体ベース3561を時計回りの方向へ回転させようとする。
しかしながら、回転装飾体ベース3561には、差動ギア部材3562、差動伝達ギア3563、及びダンパギア3564を介して回転ダンパ部材3565の回転抵抗が作用しているため、回転装飾体ベース3561が時計回りの方向へ回転する前に、スライドピン3566aがガイドスリット3561dに沿って回転中心から外側の方向へ移動することとなる(図136(b)を参照)。これにより、各スライドピン3566a(装飾体スライダ3566)が外側へ向かってスライドすることで、各裏下後回転装飾体3568が、互いに離反するように外側へスライドすることとなる。
そして、連結リング3560が更に正面視時計回りの方向へ回転して、取付孔3560aが回転装飾体ベース3561におけるガイドスリット3561dの軸線上に到達すると、連結アーム3567がガイドスリット3561dに沿って延びた状態となると共に連結アーム3567の側面が回動規制部材3569に当接して、連結アーム3567のこれ以上の回動が阻止される。この状態では、連結アーム3567を介して装飾体スライダ3566が最も外側へスライドした状態となり、各裏下後回転装飾体3568同士が最も離反して開いた状態となる(図136(c)を参照)。また、裏下後回転装飾体3568が開いた状態では、裏下後回転装飾体3568の後方に配置されている裏下後固定装飾体3573が、裏下後回転装飾体3568同士の間から視認できるようになる(図133(c)及び(d)等を参照)。
裏下後回転装飾体3568が開いた状態で、連結リング3560が更に正面視時計回りの方向へ回転すると、回動規制部材3569により連結アーム3567の回動が規制されているため、回転装飾体ベース3561が回転ダンパ部材3565の回転抵抗に抗して時計回りの方向へ回転することとなり、裏下後回転装飾体3568が開いた状態で時計回りの方向へ回転することとなる(図136(d)を参照)。裏下後回転装飾体3568が開くことで大きくなって目立つようになり、遊技者を驚かせることができる。
なお、開いている状態の裏下後回転装飾体3568を閉じる場合は、裏下後回転駆動モータ3553により連結リング3567を上記とは逆の正面視反時計回りの方向へ回転させることで、各裏下後回転装飾体3568が、回転中心側へスライドして、閉じた状態となる。
このように、裏下後可動演出ユニット3500は、裏下後回転装飾体ユニット3550を上昇端位置へ移動させることで、裏下後回転装飾体3568をセンター役物2500の枠内(遊技領域5a)の中央へ移動させることができ、裏下後回転装飾体3568を目立たせることができる。この状態で、裏下後回転装飾体3568を、正面視反時計回りの方向へ回転させると、遊技領域5aの中央で回転することで、遊技者を驚かせることができる。また、裏下後回転装飾体3568を、正面視時計回りの方向へ回転させると、裏下後回転装飾体3568が開いて大きくなった状態で回転するため、遊技者を更に驚かせることができ、多彩な可動演出を遊技者に提示することができる。
[5−9j.裏四隅可動演出ユニット]
次に、裏ユニット3000の裏四隅可動演出ユニット3600について、主に図137乃至図145を参照して詳細に説明する。図137は裏ユニットの裏四隅可動演出ユニットを前から見た斜視図であり、図138は裏ユニットの裏四隅可動演出ユニットを後ろから見た斜視図である。また、図139は裏四隅可動演出ユニットにおける裏四隅第一ユニットを分解して前から見た分解斜視図であり、図140は裏四隅可動演出ユニットにおける裏四隅第一ユニットを分解して後ろから見た分解斜視図である。また、図141は裏四隅可動演出ユニットにおける裏四隅第二ユニットを分解して前から見た分解斜視図であり、図142は裏四隅可動演出ユニットにおける裏四隅第二ユニットを分解して後ろから見た分解斜視図である。
また、図143(a)は通常の退避位置の状態での裏四隅可動演出ユニットにおける裏四隅第一ユニットの正面図であり、(b)は裏四隅第一装飾体が出現位置の状態での裏四隅第一ユニットの正面図であり、(c)は裏四隅第二装飾体が出現位置の状態での裏四隅第一ユニットの正面図である。更に、図144(a)は裏四隅第一ユニットにおいて裏四隅第一装飾体が退避位置の時の駆動機構の状態を左側面から示す説明図であり、(b)は裏四隅第一ユニットにおいて裏四隅第一装飾体が退避位置から出現位置へ向かう途中の駆動機構の状態を左側面から示す説明図であり、(c)は裏四隅第一ユニットにおいて裏四隅第一装飾体が出現位置の時の駆動機構の状態を左側面から示す説明図である。また、図145(a)は裏四隅第一ユニットにおいて裏四隅第二装飾体が退避位置の時の駆動機構の状態を左側面から示す説明図であり、(b)は裏四隅第一ユニットにおいて裏四隅第二装飾体が退避位置から出現位置へ向かう途中の駆動機構の状態を左側面から示す説明図であり、(c)は裏四隅第一ユニットにおいて裏四隅第二装飾体が出現位置の時の駆動機構の状態を左側面から示す説明図である。
裏四隅可動演出ユニット3600は、裏箱3010内における開口部3010aよりも外方の四隅に取付けられている。裏四隅可動演出ユニット3600は、裏箱3010内の四隅における右上隅と左下隅に取付けられる裏四隅第一ユニット3610、裏箱3010内の四隅における左上隅と右下隅に取付けられる裏四隅第二ユニット3650と、を備えている。右上隅に取付けられる裏四隅第一ユニット3610Aに対して、左下隅に取付けられる裏四隅第一ユニット3610Bは、前後に延びた軸線周りに180度回転させた状態で取付けられる。また、左上隅に取付けられる裏四隅第二ユニット3650Aに対して、右下隅に取付けられる裏四隅第二ユニット3650Bは、前後に延びた軸線まわりに180度回転させた状態で取付けられる。
以下では、右上隅に取付けられる裏四隅第一ユニット3610(3610A)と、左上隅に取付けられる裏四隅第二ユニット3650(3650A)について説明し、左下隅に取付けられる裏四隅第一ユニット3610(3610B)と右下隅に取付けられる裏四隅第二ユニット3650(3650B)については、右上隅と左上隅に取付けられているものに対して180度回転しているだけであるため、説明は省略する。
まず、裏四隅第一ユニット3610は、図139及び図140等に示すように、裏箱3010内に取付けられ後方及び下方が開放されている浅い箱状のユニットベース3611と、ユニットベース3611の前面における左右方向の略中央に取付けられており左方(裏箱3010の左右方向中央を向いている方)が開放されている浅い箱状のモータベース3612と、モータベース3612の左側面に取付けられておりモータベース3612の開放されている左側面の前後方向略中央よりも前側を覆っているモータベースカバー前3613と、モータベースカバー前3613よりも後方でモータベース3612の左面に取付けられており右方及び前方が開放されている箱状のモータベースカバー後3614と、モータベース3612の右側面の前部に取付けられており回転軸がモータベース3612内に突出している裏四隅駆動モータ3615と、裏四隅駆動モータ3615の回転軸に取付けられておりモータベースカバー前3613により左方が覆われるようにモータベース3612内に収容されている伝達部材3616と、を備えている。
伝達部材3616は、裏四隅駆動モータ3615の回転軸に取付けられている円柱状の取付軸部3616aと、取付軸部3616aの先端から軸直角方向へ延びている円盤状のベース部3616bと、ベース部3616bにおける右方を向いている面から右方へ板状に突出している検知片3616cと、ベース部3616bの左方を向いている面に備えられている第一伝達部3617と、ベース部3616bの右方を向いている面に備えられている第二伝達部3618と、を備えている。
伝達部材3616の第一伝達部3617は、ベース部3616bの周縁付近からベース部3616bの回転軸と平行に左方へ突出している円柱状の第一伝達ピン3617aと、第一伝達ピン3617aの公転半径よりも小さい半径でベース部3616bの左面から同心円上に左方へ突出している円筒状の第一ロック突部3617bと、第一ロック突部3617bと第一伝達ピン3617aとの間で、第一ロック突部3617bの外周面におけるベース部3616bの中心と第一伝達ピン3617aの中心とを結んだ軸線を境に両側へ均等な範囲から第一ロック突部3617bの中心へ向かって扇状に切欠かれている第一切欠部3617cと、を有している。
伝達部材3616の第二伝達部3618は、ベース部3616bの周縁付近からベース部3616bの回転軸と平行に右方へ突出している円柱状の第二伝達ピン3618aと、第二伝達ピン3618aの公転半径よりも小さい半径でベース部3616bの右面から同心円上に右方へ突出している円筒状の第二ロック突部3618bと、第二ロック突部3618bと第二伝達ピン3618aとの間で、第二ロック突部3618bの外周面におけるベース部3616bの中心と第二伝達ピン3618aの中心とを結んだ軸線を境に両側へ均等な範囲から第二ロック突部3618bの中心へ向かって扇状に切欠かれている第二切欠部3618cと、を有している。
伝達部材3616は、第一伝達ピン3617aと第二伝達ピン3618aの公転半径は、同じである。また、第一伝達ピン3617aに対して、第二伝達ピン3618aが、ベース部3616bの回転軸を中心に180度回転した位置から突出している。更に、第一ロック突部3617bと第二ロック突部3618bの直径は、同じである。更に、伝達部材3616は、第一伝達部3617の第一切欠部3617cと第二伝達部3618の第二切欠部3618cが、第一ロック突部3617bと第二ロック突部3618bの円周に対して72度の角度範囲で扇状に形成されている。
また、裏四隅第一ユニット3610は、伝達部材3616よりも後方の位置で両端がモータベース3612及びモータベースカバー後3614に両端が取付けられている円柱状の被伝達軸部材3619と、被伝達軸部材3619が貫通することにより回転可能に取付けられていると共に伝達部材3616における第一伝達部3617からの回転が伝達されて回転し、回転軸に対して直角方向へ延びている作用アーム3620aを有している第一被伝達部材3620と、被伝達軸部材3619の直下における第一被伝達部材3620よりも下方でモータベース3612及びモータベースカバー後3614に両端が取付けられているリンク軸部材3621と、リンク軸部材3621が基端側を貫通することにより回転可能に取付けられており回転軸に対して直角方向へ第一被伝達部材3620の作用アーム3620aと同じ長さで延びているリンクアーム3622と、上端が第一被伝達部材3620における作用アーム3620aの先端に回転可能に取付けられていると共に上端よりも下側でリンクアーム3622が作用アーム3620aと平行に延びるようにリンクアーム3622の先端が回転可能に取付けられており、下方へ延びているリンク部材3623と、リンク部材3623の下端前面に取付けられており手裏剣を摸した裏四隅第一装飾体3624と、裏四隅第一装飾体3624の後面に取付けられており前面に複数のLEDが実装されている裏四隅第一装飾基板3625と、を備えている。
第一被伝達部材3620は、左端から作用アーム3620aが延出しており被伝達軸部材3619が貫通している軸部3620bと、軸部3620bの右端から回転軸に対して直角方向へ延びている円盤状の第一被伝達本体部3620cと、第一被伝達本体部3620cの外周面から中心へ向かって凹んでおり第一伝達ピン3617aが摺動可能に挿入される第一伝達スリット3620dと、第一被伝達本体部3620cの外周面における第一伝達スリット3620dの両側において、外周面から中心へ向かって円弧状に凹んでいる一対の第一ロック凹部3620eと、を有している。
第一伝達スリット3620dは、第一被伝達本体部3620cの外周面に開口している向きが、作用アーム3620aが延びている向きと略同じである。第一ロック凹部3620eは、第一伝達部3617の第一ロック突部3617bの直径に対して、若干大きい直径の円弧で凹んでいる。また、一対の第一ロック凹部3620eは、夫々の凹んでいる円弧の中心と、第一被伝達部材3620の回転中心とを結ぶ線同士が、90度の角度で交わるように形成されている。
この第一被伝達部材3620は、裏四隅第一ユニット3610(裏四隅可動演出ユニット3600)を組立てた状態では、第一被伝達本体部3620cが、第一伝達部3617の第一伝達ピン3617a及び第一ロック突部3617bと、左右方向の位置が同じとなっている。これにより、第一伝達スリット3620d内に第一伝達ピン3617aを挿入させることができ、第一伝達ピン3617a及び第一伝達スリット3620dを介して回転を伝達させることができる。また、第一ロック凹部3620e内に第一ロック突部3617bの一部を挿入させることができ、第一ロック凹部3620e内に第一ロック突部3617bの一部が挿入されることにより、第一被伝達部材3620の回転を規制(ロック)することができる。
リンク部材3623には、第一被伝達部材3620の作用アーム3620aの先端と、リンクアーム3622の先端とが、夫々リンクピン3626により回転可能に取付けられている。また、リンク部材3623の前面上部にはリンクカバー3627が取付けられている。裏四隅第一ユニット3610は、モータベース3612と、第一被伝達部材3620の作用アーム3620aと、リンクアーム3622と、リンク部材3623とで、平行リンクを形成しており、第一被伝達部材3620を回転させることで、リンク部材3623を介して裏四隅第一装飾体3624を上下に昇降させることができる。
更に、裏四隅第一ユニット3610は、ユニットベース3611の後端開口を閉鎖しておりユニットベース3611に取付けられている平板状のベースカバー3628と、左右に延びている円柱状で被伝達軸部材3619を中心にして公転する第二作用ピン3629aを有しており、モータベース3612と第一被伝達部材3620との間で被伝達軸部材3619が貫通することにより回転可能に取付けられていると共に伝達部材3616における第二伝達部3618からの回転が伝達されて回転する第二被伝達部材3629と、第二被伝達部材3629の第二作用ピン3629aの公転により前後方向へ延びた軸周りに公転し後方へ円柱状に延びている第一連結ピン3630aを有しており、被伝達軸部材3619よりも後方でユニットベース3611とベースカバー3628とにより回転可能に取付けられている回転連結部材3630と、回転連結部材3630よりも下方でユニットベース3611とベースカバー3628とにより前後方向へ延びた軸周りに回転可能に取付けられており、回転中心から偏芯した位置に後方へ円柱状に突出している第二連結ピン3631aを有している裏四隅第二装飾体ベース3631と、を備えている。
また、裏四隅第一ユニット3610は、一方の端部側が回転連結部材3630の第一連結ピン3630aに回転可能に取付けられていると共に、反対側の端部側が裏四隅第二装飾体ベース3631の第二連結ピン3631aに回転可能に取付けられている帯板状の連結アーム3632と、裏四隅第二装飾体ベース3631の前面に取付けられており円弧状に延びている裏四隅第二装飾体3633と、裏四隅第二装飾体3633の後面に取付けられており前面に複数のLEDが実装されている裏四隅第二装飾基板3634と、裏四隅第二装飾体3633における先端付近の後面に取付けられており裏四隅第二装飾基板3634の後側の一部を覆う基板カバー3635と、モータベース3612に取付けられており伝達部材3616の検知片3616cを検知可能な裏四隅昇降検知センサ3636と、を備えている。
第二被伝達部材3629は、周縁から右方へ第二作用ピン3629aが突出しており被伝達軸部材3619を中心とした円盤状の第二被伝達本体部3629bと、第二被伝達本体部3629bの外周面から中心へ向かって凹んでおり第二伝達ピン3618aが摺動可能に挿入される第二伝達スリット3629cと、第二被伝達本体部3629bの外周面における第二伝達スリット3629cの両側において、外周面から中心へ向かって円弧状に凹んでいる一対の第二ロック凹部3629dと、を有している。
第二被伝達部材3629の第二伝達スリット3629cは、第二被伝達本体部3629bの外周面に開口している向きが、被伝達軸部材3619を挟んで第二作用ピン3629aとは反対方向を向いている。第二ロック凹部3629dは、第二伝達部3618の第二ロック突部3618bの直径に対して、若干大きい直径の円弧で凹んでいる。また、一対の第二ロック凹部3629dは、夫々の凹んでいる円弧の中心と、第二被伝達部材3629の回転中心とを結ぶ線同士が、90度の角度で交わるように形成されている。
この第二被伝達部材3629は、裏四隅第一ユニット3610(裏四隅可動演出ユニット3600)を組立てた状態では、第二被伝達本体部3629bが、第二伝達部3618の第二伝達ピン3618a及び第二ロック突部3618bと、左右方向の位置が同じとなっている。これにより、第二伝達スリット3629c内に第二伝達ピン3618aを挿入させることができ、第二伝達ピン3618a及び第二伝達スリット3629cを介して回転を伝達させることができる。また、第二ロック凹部3629d内に第二ロック突部3618bの一部を挿入させることができ、第二ロック凹部3629d内に第二ロック突部3618bの一部が挿入されることにより、第二被伝達部材3629の回転を規制(ロック)することができる。
回転連結部材3630は、回転中心から軸直角方向へ扇状に延びており後面の周縁から第一連結ピン3630aが後方へ突出している平板状の本体部3630bと、本体部3630bの周辺から前方へ板状に突出している突出片3630cと、突出片3630cの一部が前端から後方へ向かって第二被伝達部材3629の第二作用ピン3629aが摺動可能に挿通されるように切欠かれている第二被作用部3630dと、を備えている。
回転連結部材3630は、回転中心が、第二被伝達部材3629の回転中心と同じ高さに取付けられている。この回転連結部材3630は、第二被伝達部材3629が回転して第二作用ピン3629aが公転することで、第二被作用部3630dが第二作用ピン3629aにより押圧されて回転する。
裏四隅第二装飾体3633は、手裏剣や刀等の刃物の刃先を摸した形状に形成されており、刃先の細くなった側が裏四隅第二装飾体ベース3631に取付けられている。
裏四隅第一ユニット3610は、ベースカバー3628と、回転連結部材3630と、裏四隅第二装飾体ベース3631と、連結アーム3632とで、回転リンクを形成しており、回転連結部材3630が回転すると、連結アーム3632を介して裏四隅第二装飾体ベース3631が同じ方向へ回転する。これにより、裏四隅第二装飾体ベース3631に取付けられている裏四隅第二装飾体3633を、その先端側が下方へ向かうように回転(回動)させることができる。
続いて、裏四隅第二ユニット3650は、図141及び図142等に示すように、裏箱3010内に取付けられ後方及び下方が開放されている浅い箱状のユニットベース3651と、ユニットベース3651の前面における左右方向の略中央に取付けられており右方(裏箱3010の左右方向中央を向いている方)が開放されている浅い箱状のモータベース3652と、モータベース3652の右側面に取付けられておりモータベース3652の開放されている右側面の前後方向略中央よりも前側を覆っているモータベースカバー前3653と、モータベースカバー前3653よりも後方でモータベース3652の右面に取付けられており左方及び前方が開放されている箱状のモータベースカバー後3654と、モータベース3652の左側面の前部に取付けられており回転軸がモータベース3652内に突出している裏四隅駆動モータ3655と、裏四隅駆動モータ3655の回転軸に取付けられておりモータベースカバー前3653により右方が覆われるようにモータベース3652内に収容されている伝達部材3656と、を備えている。
伝達部材3656は、裏四隅駆動モータ3655の回転軸に取付けられている円柱状の取付軸部3656aと、取付軸部3656aの先端から軸直角方向へ延びている円盤状のベース部3656bと、ベース部3656bにおける右方を向いている面から右方へ板状に突出している検知片3656cと、ベース部3656bの右方を向いている面に備えられている第一伝達部3657と、ベース部3656bの左方を向いている面に備えられている第二伝達部3658と、を備えている。
伝達部材3656の第一伝達部3657は、ベース部3656bの周縁付近からベース部3656bの回転軸と平行に右方へ突出している円柱状の第一伝達ピン3657aと、第一伝達ピン3657aの公転半径よりも小さい半径でベース部3656bの右面から同心円上に右方へ突出している円筒状の第一ロック突部3657bと、第一ロック突部3657bと第一伝達ピン3657aとの間で、第一ロック突部3657bの外周面におけるベース部3656bの中心と第一伝達ピン3657aの中心とを結んだ軸線を境に両側へ均等な範囲から第一ロック突部3657bの中心へ向かって扇状に切欠かれている第一切欠部3657cと、を有している。
伝達部材3656の第二伝達部3658は、ベース部3656bの周縁付近からベース部3656bの回転軸と平行に左方へ突出している円柱状の第二伝達ピン3658aと、第二伝達ピン3658aの公転半径よりも小さい半径でベース部3656bの左面から同心円上に左方へ突出している円筒状の第二ロック突部3658bと、第二ロック突部3658bと第二伝達ピン3658aとの間で、第二ロック突部3658bの外周面におけるベース部3656bの中心と第二伝達ピン3658aの中心とを結んだ軸線を境に両側へ均等な範囲から第二ロック突部3658bの中心へ向かって扇状に切欠かれている第二切欠部3658cと、を有している。
伝達部材3656は、第一伝達ピン3657aと第二伝達ピン3658aの公転半径は、同じである。また、第一伝達ピン3657aに対して、第二伝達ピン3658aが、ベース部3656bの回転軸を中心に180度回転した位置から突出している。更に、第一ロック突部3657bと第二ロック突部3658bの直径は、同じである。更に、伝達部材3656は、第一伝達部3657の第一切欠部3657cと第二伝達部3658の第二切欠部3658cが、第一ロック突部3657bと第二ロック突部3658bの円周に対して72度の角度範囲で扇状に形成されている。
また、裏四隅第二ユニット3650は、伝達部材3656よりも後方の位置で両端がモータベース3652及びモータベースカバー後3654に両端が取付けられている円柱状の被伝達軸部材3659と、被伝達軸部材3659が貫通することにより回転可能に取付けられていると共に伝達部材3656における第一伝達部3657からの回転が伝達されて回転し、回転軸に対して直角方向へ延びている作用アーム3660aを有している第一被伝達部材3660と、被伝達軸部材3659の直下における第一被伝達部材3660よりも下方でモータベース3652及びモータベースカバー後3654に両端が取付けられているリンク軸部材3661と、リンク軸部材3661が基端側を貫通することにより回転可能に取付けられており回転軸に対して直角方向へ第一被伝達部材3660の作用アーム3660aと同じ長さで延びているリンクアーム3662と、上端が第一被伝達部材3660における作用アーム3660aの先端に回転可能に取付けられていると共に上端よりも下側でリンクアーム3662が作用アーム3660aと平行に延びるようにリンクアーム3662の先端が回転可能に取付けられており、下方へ延びているリンク部材3663と、リンク部材3663の下端前面に取付けられており手裏剣を摸した裏四隅第一装飾体3664と、裏四隅第一装飾体3664の後面に取付けられており前面に複数のLEDが実装されている裏四隅第一装飾基板3665と、を備えている。
第一被伝達部材3660は、左端から作用アーム3660aが延出しており被伝達軸部材3659が貫通している軸部3660bと、軸部3660bの右端から回転軸に対して直角方向へ延びている円盤状の第一被伝達本体部3660cと、第一被伝達本体部3660cの外周面から中心へ向かって凹んでおり第一伝達ピン3657aが摺動可能に挿入される第一伝達スリット3660dと、第一被伝達本体部3660cの外周面における第一伝達スリット3660dの両側において、外周面から中心へ向かって円弧状に凹んでいる一対の第一ロック凹部3660eと、を有している。
第一伝達スリット3660dは、第一被伝達本体部3660cの外周面に開口している向きが、作用アーム3660aが延びている向きと略同じである。第一ロック凹部3660eは、第一伝達部3657の第一ロック突部3657bの直径に対して、若干大きい直径の円弧で凹んでいる。また、一対の第一ロック凹部3660eは、夫々の凹んでいる円弧の中心と、第一被伝達部材3660の回転中心とを結ぶ線同士が、90度の角度で交わるように形成されている。
この第一被伝達部材3660は、裏四隅第二ユニット3650(裏四隅可動演出ユニット3600)を組立てた状態では、第一被伝達本体部3660cが、第一伝達部3657の第一伝達ピン3657a及び第一ロック突部3657bと、左右方向の位置が同じとなっている。これにより、第一伝達スリット3660d内に第一伝達ピン3657aを挿入させることができ、第一伝達ピン3657a及び第一伝達スリット3660dを介して回転を伝達させることができる。また、第一ロック凹部3660e内に第一ロック突部3657bの一部を挿入させることができ、第一ロック凹部3660e内に第一ロック突部3657bの一部が挿入されることにより、第一被伝達部材3660の回転を規制(ロック)することができる。
リンク部材3663には、第一被伝達部材3660の作用アーム3660aの先端と、リンクアーム3662の先端とが、夫々リンクピン3666により回転可能に取付けられている。また、リンク部材3663の前面上部にはリンクカバー3667が取付けられている。裏四隅第二ユニット3650は、モータベース3652と、第一被伝達部材3660の作用アーム3660aと、リンクアーム3662と、リンク部材3663とで、平行リンクを形成しており、第一被伝達部材3660を回転させることで、リンク部材3663を介して裏四隅第一装飾体3664を上下に昇降させることができる。
更に、裏四隅第二ユニット3650は、ユニットベース3651の後端開口を閉鎖しておりユニットベース3651に取付けられている平板状のベースカバー3668と、左右に延びている円柱状で被伝達軸部材3659を中心にして公転する第二作用ピン3669aを有しており、モータベース3652と第一被伝達部材3660との間で被伝達軸部材3659が貫通することにより回転可能に取付けられていると共に伝達部材3656における第二伝達部3658からの回転が伝達されて回転する第二被伝達部材3669と、第二被伝達部材3669の第二作用ピン3669aの公転により前後方向へ延びた軸周りに公転し後方へ円柱状に延びている第一連結ピン3670aを有しており、被伝達軸部材3659よりも後方でユニットベース3651とベースカバー3668とにより回転可能に取付けられている回転連結部材3670と、回転連結部材3670よりも下方でユニットベース3651とベースカバー3668とにより前後方向へ延びた軸周りに回転可能に取付けられており、回転中心から偏芯した位置に後方へ円柱状に突出している第二連結ピン3671aを有している裏四隅第二装飾体ベース3671と、を備えている。
また、裏四隅第二ユニット3650は、一方の端部側が回転連結部材3670の第一連結ピン3670aに回転可能に取付けられていると共に、反対側の端部側が裏四隅第二装飾体ベース3671の第二連結ピン3671aに回転可能に取付けられている帯板状の連結アーム3672と、裏四隅第二装飾体ベース3671の前面に取付けられており円弧状に延びている裏四隅第二装飾体3673と、裏四隅第二装飾体3673の後面に取付けられており前面に複数のLEDが実装されている裏四隅第二装飾基板3674と、裏四隅第二装飾体3673における先端付近の後面に取付けられており裏四隅第二装飾基板3674の後側の一部を覆う基板カバー3675と、モータベース3652に取付けられており伝達部材3656の検知片3656cを検知可能な裏四隅昇降検知センサ3676と、を備えている。
第二被伝達部材3669は、周縁から左方へ第二作用ピン3669aが突出しており被伝達軸部材3659を中心とした円盤状の第二被伝達本体部3669bと、第二被伝達本体部3669bの外周面から中心へ向かって凹んでおり第二伝達ピン3658aが摺動可能に挿入される第二伝達スリット3669cと、第二被伝達本体部3669bの外周面における第二伝達スリット3669cの両側において、外周面から中心へ向かって円弧状に凹んでいる一対の第二ロック凹部3669dと、を有している。
第二被伝達部材3669の第二伝達スリット3669cは、第二被伝達本体部3669bの外周面に開口している向きが、被伝達軸部材3659を挟んで第二作用ピン3669aとは反対方向を向いている。第二ロック凹部3669dは、第二伝達部3658の第二ロック突部3658bの直径に対して、若干大きい直径の円弧で凹んでいる。また、一対の第二ロック凹部3669dは、夫々の凹んでいる円弧の中心と、第二被伝達部材3669の回転中心とを結ぶ線同士が、90度の角度で交わるように形成されている。
この第二被伝達部材3669は、裏四隅第二ユニット3650(裏四隅可動演出ユニット3600)を組立てた状態では、第二被伝達本体部3669bが、第二伝達部3658の第二伝達ピン3658a及び第二ロック突部3658bと、左右方向の位置が同じとなっている。これにより、第二伝達スリット3669c内に第二伝達ピン3658aを挿入させることができ、第二伝達ピン3658a及び第二伝達スリット3669cを介して回転を伝達させることができる。また、第二ロック凹部3669d内に第二ロック突部3658bの一部を挿入させることができ、第二ロック凹部3669d内に第二ロック突部3658bの一部が挿入されることにより、第二被伝達部材3669の回転を規制(ロック)することができる。
回転連結部材3670は、回転中心から軸直角方向へ扇状に延びており後面の周縁から第一連結ピン3670aが後方へ突出している平板状の本体部3670bと、本体部3670bの周辺から前方へ板状に突出している突出片3670cと、突出片3670cの一部が前端から後方へ向かって第二被伝達部材3669の第二作用ピン3669aが摺動可能に挿通されるように切欠かれている第二被作用部3670dと、を備えている。
回転連結部材3670は、回転中心が、第二被伝達部材3669の回転中心と同じ高さに取付けられている。この回転連結部材3670は、第二被伝達部材3669が回転して第二作用ピン3669aが公転することで、第二被作用部3670dが第二作用ピン3669aにより押圧されて回転する。
裏四隅第二装飾体3673は、手裏剣や刀等の刃物の刃先を摸した形状に形成されており、刃先の細くなった側が裏四隅第二装飾体ベース3671に取付けられている。
裏四隅第二ユニット3650は、ベースカバー3668と、回転連結部材3670と、裏四隅第二装飾体ベース3671と、連結アーム3672とで、回転リンクを形成しており、回転連結部材3670が回転すると、連結アーム3672を介して裏四隅第二装飾体ベース3671が同じ方向へ回転する。これにより、裏四隅第二装飾体ベース3671に取付けられている裏四隅第二装飾体3673を、その先端側が下方へ向かうように回転(回動)させることができる。
続いて、裏四隅可動演出ユニット3600における裏四隅第一装飾体3624,3664と裏四隅第二装飾体3633,3673の動作について、主に図143乃至図145を参照して説明する。裏四隅可動演出ユニット3600は、裏四隅第一ユニット3610と裏四隅第二ユニット3650とが、裏四隅第二装飾体3633,3673、裏四隅第二装飾基板3634,3674、及び基板カバー3635,3675を除いて、略左右対称に形成されており、裏四隅第二装飾体3633,3673、裏四隅第二装飾基板3634,3674、及び基板カバー3635,3675が、点対称に形成されている。従って、ここでは、正面視右上隅の裏四隅第一ユニット3610(3610A)のみを用いて説明し、他の裏四隅第一ユニット3610B及び裏四隅第二ユニット3650については説明を省略する。
裏四隅可動演出ユニット3600(裏四隅第一ユニット3610)は、図143(a)等に示すように、上下に移動する裏四隅第一装飾体3624がユニットベース3611に接近している状態となっていると共に、回動する裏四隅第二装飾体3633が水平に延びている状態となっている。この通常の状態では、図83等に示すように、裏四隅第一装飾体3624及び裏四隅第二装飾体3633が、遊技者側から殆ど視認することができない退避位置に位置している。
この通常の状態では、図144(a)及び図145(a)に示すように、伝達部材3616において、第一伝達部3617の第一伝達ピン3617aが回転中心の直上に位置していると共に、第二伝達部3618の第二伝達ピン3618aが回転中心の直下に位置している。また、通常の状態では、第一被伝達部材3620の作用アーム3620aが斜め上前方へ延出していると共に、第一伝達スリット3620dが斜め上前方へ向かって開口しており、第一伝達スリット3620dの下方の第一ロック凹部3620e内に第一伝達部3617の第一ロック突部3617bが挿入されている。これにより、リンク部材3623を介して裏四隅第一装飾体3624が上昇端に位置していると共に、第一被伝達部材3620が回転不能にロックされている。
また、通常の状態では、第二被伝達部材3629において、第二作用ピン3629aが回転中心に対して斜め上後方に位置していると共に第二伝達スリット3629cが斜め下前方へ向かって開口しており、第二伝達スリット3629cの上方の第二ロック凹部3629d内に第二伝達部3618の第二ロック突部3618bが挿入されている。これにより、回転連結部材3630、連結アーム3632、及び裏四隅第二装飾体ベース3631を介して裏四隅第二装飾体3633が略水平に延びていると共に、第二被伝達部材3629が回転不能にロックされている。更に、通常の状態では、伝達部材3616の検知片3616cが、裏四隅昇降検知センサ3636により検知されている。
この通常の状態で、裏四隅駆動モータ3615により第一伝達部3617の第一伝達ピン3617aが後方へ移動するように伝達部材3616を左側面視で反時計回りの方向へ回転させると、第一伝達ピン3617aが後方へ移動するように公転して、第一被伝達部材3620の第一伝達スリット3620d内に進入すると同時に、第一ロック突部3617bが第一ロック凹部3620e内から外れてロックが解除され、第一被伝達部材3620が回転可能な状態となる。また、伝達部材3616の検知片3616cが公転して、裏四隅昇降検知センサ3636が非検知の状態となる。そして、第一伝達ピン3617aが更に反時計回りの方向へ公転すると、第一伝達ピン3617aが第一伝達スリット3620dの内面を下方へ押圧し、第一被伝達部材3620が被伝達軸部材3619を中心に時計回りの方向へ回転することとなる。
この第一被伝達部材3620が左側面視で時計回りの方向へ回転すると、軸直角方向へ延びている作用アーム3620aの先端が下方へ移動するように回転することとなるため、作用アーム3620aの先端に取付けられているリンク部材3623を介して裏四隅第一装飾体3624が下方へ移動することとなる(図144(b)を参照)。この際に、リンク部材3623は、作用アーム3620aとリンクアーム3622とによる平行リンクによって取付けられているため、裏四隅第一装飾体3624がそのままの姿勢で下方へ移動する。
一方、伝達部材3616における第二伝達部3618では、第二伝達ピン3618aが第二被伝達部材3629から遠ざかる方向へ公転すると共に、第二ロック突部3618bが第二ロック凹部3629d内に挿入されており、第二被伝達部材3629が回転することはなく裏四隅第二装飾体3633は退避位置から回動することはない。
そして、第一伝達ピン3617aが更に左側面視で反時計回りの方向へ公転して、第一伝達スリット3620dから外れると、第一被伝達部材3620の回転が停止して、裏四隅第一装飾体3624の下方への移動が停止する(図143(b)及び図144(c)を参照)。この第一伝達ピン3617aが第一伝達スリット3620dから外れる際に、第一伝達スリット3620dの上方の第一ロック凹部3620e内に第一ロック突部3617bが進入し、第一ロック突部3617bにより第一被伝達部材3620の回転がロックされる。従って、第一被伝達部材3620がこれ以上時計回りの方向へ回転することはなく、裏四隅第一装飾体3624が停止したままの状態で維持される。この状態では、図154に示すように、裏四隅第一装飾体3624がセンター役物2500の枠内に位置しており、遊技者側から視認することができる。つまり、裏四隅第一装飾体3624が、出現位置の状態である。
裏四隅第一装飾体3624が出現位置の状態で、裏四隅駆動モータ3615により、伝達部材3616を上記とは逆方向(左側面視で時計回りの方向)へ回転させると、上記とは逆の動作をして第一被伝達部材3620が反時計回りの方向へ回転し、作用アーム3620aを介して裏四隅第一装飾体3624が上昇し、通常の状態(退避位置の状態)に復帰する。そして、伝達部材3616の検知片3616cが、裏四隅昇降検知センサ3636により検知されると、裏四隅駆動モータ3615の回転(駆動)が停止する。本実施形態では、伝達部材3616(第一伝達部3617)において、第一伝達ピン3617aが第一伝達スリット3620d内に挿入されている回転範囲が、第一特定回転範囲である。
この裏四隅第一ユニット3610は、通常の状態(図145(a)の状態)で、裏四隅駆動モータ3615により第二伝達部3618の第二伝達ピン3618aが後方へ移動するように伝達部材3616を左側面視で時計回りの方向へ回転させると、第二伝達ピン3618aが後方へ移動するように公転して、第二被伝達部材3629の第二伝達スリット3629c内に進入すると同時に、第二ロック突部3618bが第二ロック凹部3629d内から外れてロックが解除され、第二被伝達部材3629が回転可能な状態となる。また、伝達部材3616の検知片3616cが公転して、裏四隅昇降検知センサ3636が非検知の状態となる。そして、第二伝達ピン3618aが更に時計回りの方向へ公転すると、第二伝達ピン3618aが第二伝達スリット3629cの内面を上方へ押圧し、第二被伝達部材3629が被伝達軸部材3619を中心に反時計回りの方向へ回転することとなる。
この第二被伝達部材3629が左側面視で反時計回りの方向へ回転すると、第二被伝達部材3629の第二作用ピン3629aが下方へ移動するように公転し、第二作用ピン3629aの下方への移動に伴って、回転連結部材3630の第二被作用部3630dが下方へ移動するように回転連結部材3630が前後に延びた軸周り(正面視で反時計回りの方向)に回転する。そして、回転連結部材3630が回転すると、連結アーム3632により連結されている裏四隅第二装飾体ベース3631が回転連結部材3630と同じ方向へ回転し、裏四隅第二装飾体ベース3631に取付けられている裏四隅第二装飾体3633も同じ方向(先端側が下方へ移動する方向、つまり、正面視で反吐血周りの方向)へ回転することとなる(図145(d)を参照)。
一方、伝達部材3616における第一伝達部3617では、第一伝達ピン3617aが第一被伝達部材3620から遠ざかる方向へ公転すると共に、第一ロック突部3617bが第一ロック凹部3620e内に挿入されており、第一被伝達部材3620が回転することはなく裏四隅第一装飾体3624は退避位置から移動することはない。
そして、第二伝達ピン3618aが更に左側面視で時計回りの方向へ公転して、第二伝達スリット3629cから外れると、第二被伝達部材3629の回転が停止して、裏四隅第二装飾体3633の先端側が下方へ向かう回転が停止する(図143(c)及び図145(c)を参照)。この第二伝達ピン3618aが第二伝達スリット3629cから外れる際に、第二伝達スリット3629cの上方の第二ロック凹部3629d内に第二ロック突部3618bが進入し、第二ロック突部3618bにより第二被伝達部材3629の回転がロックされる。従って、第二被伝達部材3629がこれ以上反時計回りの方向へ回転することはなく、裏四隅第二装飾体3633が回転停止したままの状態で維持される。この状態では、図143(c)に示すように、裏四隅第二装飾体3633が、水平に対して約45度傾いており、図153に示すように、裏四隅第二装飾体3633がセンター役物2500の枠内を通して遊技者側から視認することができる。つまり、裏四隅第二装飾体3633が、出現位置の状態である。
裏四隅第二装飾体3633が出現位置の状態で、裏四隅駆動モータ3615により、伝達部材3616を上記とは逆方向(左側面視で反時計回りの方向)へ回転させると、上記とは逆の動作をして第二被伝達部材3629が時計回りの方向へ回転し、回転連結部材3630や連結アーム3632等を介して裏四隅第二装飾体3633が、その先端側が上昇するように回転し、通常の状態(退避位置の状態)に復帰する。そして、伝達部材3616の検知片3616cが、裏四隅昇降検知センサ3636により検知されると、裏四隅駆動モータ3615の回転(駆動)が停止する。本実施形態では、伝達部材3616(第二伝達部3618)において、第二伝達ピン3618aが第二伝達スリット3629c内に挿入されている回転範囲が、第二特定回転範囲である。
このように、裏四隅可動演出ユニット3600は、一つの裏四隅駆動モータ3615,3655の回転により、裏四隅第一装飾体3624,3664を出現させたり、裏四隅第二装飾体3633,3673を出現させたりすることができると共に、右上隅の裏四隅第一ユニット3610A、左下隅の裏四隅第一ユニット3610B、左上隅の裏四隅第二ユニット3650A、及び右下隅の裏四隅第二ユニット3650Bを、夫々独立して別々に動作させることができるため、より多彩な可動演出を遊技者に提示することができ、遊技者を楽しませて興趣の低下を抑制することができる。
[5−10.遊技盤における可動演出]
次に、本実施形態の遊技盤5における主な可動演出について、主に図146乃至図154を参照して詳細に説明する。図146は、センター役物における表上可動演出ユニットの表上可動装飾体の動きを示す遊技盤の正面図である。また、図147は裏ユニットにおける裏上可動演出ユニットの裏上装飾体が第一出現位置の状態を示す遊技盤の正面図であり、図148は裏ユニットにおける裏上可動演出ユニットの裏上装飾体が第二出現位置で、且つ、裏下前可動演出ユニットの裏下前第一装飾体と裏下前第二装飾体とが出現位置の状態を示す遊技盤の正面図である。
また、図149は、裏ユニットにおける裏右可動演出ユニットの裏右回転装飾体の第一装飾面を前方へ向けた状態で一対のシャッターが開いていると共に、裏左可動演出ユニットの裏左回転装飾体の第一装飾面を前方へ向けた状態で裏左突出装飾体が出現位置の状態を示す遊技盤の正面図である。更に、図150は、裏ユニットにおける裏右可動演出ユニットの裏右回転装飾体と裏左可動演出ユニットの裏左回転装飾体とを夫々の第二装飾面を前方へ向けた状態で示す遊技盤の正面図である。また、図151は、裏ユニットにおける裏右可動演出ユニットの裏右回転装飾体と裏左可動演出ユニットの裏左回転装飾体とを夫々の第三装飾面を前方へ向けた状態で示す遊技盤の正面図である。
更に、図152は、裏ユニットにおける裏下後可動演出ユニットの裏下後回転装飾体を上昇端位置で正面視反時計回りの方向へ回転させている状態を示す遊技盤の正面図である。また、図153は、裏ユニットにおける裏下後可動演出ユニットの裏下後回転装飾体を上昇端位置で正面視時計回りの方向へ回転させていると共に、裏四隅可動演出ユニットの裏四隅第二装飾体が出現位置の状態を示す遊技盤の正面図である。また、図154は、裏ユニットにおける裏四隅可動演出ユニットの裏四隅第一装飾体を出現位置の状態で示す遊技盤の正面図である。
この遊技盤5は、図83等に示すように、通常の状態では、センター役物2500の枠内を通して後方に配置されている中央液晶表示装置1500の表示画面が、遊技者側から良好に視認することができる。また、通常の状態では、センター役物2500における表上可動演出ユニット2560の表上可動装飾体2561が上昇していると共に、表下可動演出ユニット2570の第一回転装飾体2572、第二回転装飾体2573、及び第三回転装飾体2574が回転停止している。更に、通常の状態では、裏上可動演出ユニット3100の裏上装飾体3152が、天地が逆転した状態でセンター役物2500の枠内よりも上側後方の退避位置に位置しており、一部がセンター役物2500の枠内の上辺よりも下方に突出して遊技者側から視認することができる状態となっている。
また、通常の状態では、裏下前可動演出ユニット3200の裏下前第一装飾体3209と裏下前第二装飾体3212が、センター役物2500の下辺の後方となって遊技者側から視認し難い退避位置に位置している。また、通常の状態では、裏右可動演出ユニット3300と裏左可動演出ユニット3400の裏右回転装飾体3310と裏左回転装飾体3410とが、夫々第一装飾面3310a,3410aを前方(正面)へ向けた状態で回転停止しており、更に、裏右回転装飾体3310の一対のシャッター3312が閉じていると共に、裏左回転装飾体3410の二つの裏左突出装飾体3421が裏左回転装飾体3410内へ視認不能に没入している退避位置に位置している。
更に、通常の状態では、裏下後可動演出ユニット3500の裏下後回転装飾体3568が下降端位置に位置しており、一部が遊技者側から視認できるようにセンター役物2500の下辺から枠内に臨んでいる。また、通常の状態では、裏四隅可動演出ユニット3600の裏四隅第一装飾体3624,3664及び裏四隅第二装飾体3633,3673が、遊技者側から視認し難いセンター役物2500の枠内よりも外方の退避位置に位置している。
この遊技盤5は、通常の状態から、第一始動口2002や第二始動口2004に遊技球が受入れられることで抽選される第一特別抽選結果や第二特別抽選結果に応じて、表上可動演出ユニット2560、表下可動演出ユニット2570、裏上可動演出ユニット3100、裏下前可動演出ユニット3200、裏右可動演出ユニット3300、裏左可動演出ユニット3400、裏下後可動演出ユニット3500、及び裏四隅可動演出ユニット3600が、所定の可動演出を行う。
具体的には、例えば、センター役物2500の表上可動演出ユニット2560では、表上駆動モータ2563の回転駆動により、表上可動装飾体2561を通常の位置から下降させて中央液晶表示装置1500の前面上部に位置させる(図146を参照)。これにより、中央液晶表示装置1500の上部が表上可動装飾体2561により覆われることで、遊技者に対して遊技状態が変化するのではないかと思わせることができ、遊技に対する期待感を高めさせることができる。
また、センター役物2500の表下可動演出ユニット2570では、裏下駆動モータ2575により、第一回転装飾体2572、第二回転装飾体2573、及び第三回転装飾体2574を、グルグルと回転させる(図96(b)を参照)。これにより、遊技者に対して何か良いことがあるのではないかと思わせることができ、遊技に対する期待感を高めさせることができる。
更に、裏ユニット3000の裏上可動演出ユニット3100では、裏上駆動モータ3103の回転駆動により、裏上装飾体3152を天地が逆転している状態で、退避位置から第一出現位置へ下降させる(図147を参照)。この状態では、裏上装飾体3152の一対の開口部3152aと、開口部3152a内に臨んでいる副装飾3157aとが、センター役物2500の枠内を通して部分的に遊技者側から視認することができる。これにより、裏上装飾体3152により摸されている所定のキャラクタが、上から逆さまになって覗いているように見えるため、遊技者を驚かせることができると共に、キャラクタの出現により楽しませることができ、遊技に対する興趣の低下を抑制することができる。また、この状態で、裏上副駆動モータ3159の回転駆動により、裏上副装飾体3157を左右に往復移動させると、裏上装飾体3152によって摸されている所定のキャラクタの瞳(副装飾3157a)が左右にキョロキョロすることとなり、遊技者を更に驚かせることができると共に可動演出を楽しませることができる。
また、裏上可動演出ユニット3100では、裏上装飾体3152が第一出現位置の状態で、更に裏上駆動モータ3103の回転駆動により、裏上装飾体3152を更に下方の第二出現位置へ移動させる(図148を参照)。裏上装飾体3152が第一出現位置から第二出現位置へ下降する際に、裏上装飾体3152により摸されている所定のキャラクタの天地が逆転していた状態から、天地が正常な状態へ回転しながら下降するため、裏上装飾体3152の動きがダイナミックな動きとなり、遊技者の関心を強く引き付けることができると共に、遊技者を大いに驚かせることができ。
裏上装飾体3152が第二出現位置の状態では、図示するように、裏上装飾体3152により摸されている所定のキャラクタの天地が正常な状態になっていると共に、裏上装飾体3152がセンター役物2500の枠内の略中央に位置している。これにより、裏上装飾体3152が遊技領域5a内で目立つようになり、遊技者の関心を強く引き付けることができると共に、遊技者に対して有利遊技状態が発生するのを大いに予感させることができる。この第二出現位置の状態でも裏上副駆動モータ3159の回転駆動により、裏上装飾体3152によって摸されている所定のキャラクタの瞳を左右にキョロキョロさせることができ、遊技者をより楽しませることができる。
この裏上可動演出ユニット3100では、裏上装飾体3152を、退避位置と第一出現位置との間で昇降させたり、第一出現位置と第二出現位置との間で昇降させたり、退避位置と第二出現位置との間で昇降させたり、することができると共に、第一出現位置や第二出現位置の時に、瞳をキョロキョロさせたりさせなかったりすることができるため、それらの動作を適宜組み合わせることにより多彩な可動演出を行うことができ、遊技者を飽きさせ難くすることができる。
また、裏ユニット3000の裏下前可動演出ユニット3200では、裏上可動演出ユニット3100の裏上装飾体3152が第二出現位置の時に、裏下前駆動モータ3202の回転駆動により、退避位置の裏下前第一装飾体3209と裏下前第二装飾体3212とを、センター役物2500の枠内に位置している出現位置へ移動させる(図148を参照)。これにより、図示するように、手を摸した裏下前第一装飾体3209が、頭(顔)を摸した裏上装飾体3152の前方に位置することで、所定のキャラクタがあたかも呪文を唱えているような(印を結んでいるような)状態となるため、遊技者に対して強いインパクトを与えることができ、有利遊技状態の発生に対する期待感をより一層高めさせることができる。
更に、裏ユニット3000の裏右可動演出ユニット3300では、通常の状態(第一装飾面3310を前方へ向けて回転停止している状態)で、図示しない裏右シャッターソレノイドにより一対のシャッター3312を離反させて、シャッター3312の間から内側装飾体3313を前方へ臨ませる(図149を参照)と共に、内側装飾体3313を発光装飾させる。これにより、遊技者に対してチャンスの到来等を示唆することができる。
また、裏右可動演出ユニット3300では、裏右駆動モータ3304により、裏右回転装飾体3310を、グルグル回転させる。これにより、遊技者に対して、遊技状態が変化する兆しを感じさせることができ、遊技に対する期待感を高めさて興趣の低下を抑制させることができる。
また、裏右可動演出ユニット3300では、裏右駆動モータ3304により、裏右回転装飾体3310を回転させて第二装飾面3310bを前方(正面)へ向けて停止させる(図150を参照)。これにより、第二装飾面3310bの裏右文字装飾3318が遊技者側から視認できるようになるため、裏右文字装飾3318の認識によりチャンスの到来を遊技者に予感させることができる。
更に、裏右可動演出ユニット3300では、裏右駆動モータ3304により、裏右回転装飾体3310を回転させて第三装飾面3310cを前方(正面)へ向けて停止させる(図151を参照)。これにより、裏右演出空間3321内で上下へ螺旋状に延びている球誘導部材3322が遊技者側から視認できるようになるため、遊技者に対して裏右演出空間3321内へ遊技球が供給される時期、つまり、上大入賞口2006が開くのではないかと思わせることができ、遊技に対する期待感を高めさせることができる。
また、裏ユニット3000の裏左可動演出ユニット3400では、通常の状態(第一装飾面3410を前方へ向けて回転停止している状態)で、裏左装飾体ソレノイド3422の駆動により、裏左回転装飾体3410の外周面から裏左突出装飾体3421が外方へ突出する(図149を参照)。これにより、円筒状で回転する裏左回転装飾体3410から、裏左突出装飾体3421が突出することで、遊技者を驚かせることができると共に、何か良いことがあるのではないかと思わせて遊技に対する期待感を高めさせることができる。
また、裏左可動演出ユニット3400では、裏左駆動モータ3404の回転駆動により、裏左回転装飾体3410を、グルグル回転させる。これにより、遊技者に対して、遊技状態が変化する兆しを感じさせることができ、遊技に対する期待感を高めさて興趣の低下を抑制させることができる。
更に、裏左可動演出ユニット3400では、裏左駆動モータ3404により、裏左回転装飾体3410を回転させて第一装飾面3410aを前方(正面)へ向けて停止させる(図83等を参照)。この第一装飾面3410aには、ドアを模したドア装飾3411が備えられているため、遊技者に対して裏右可動演出ユニット3300における裏右回転装飾体3310の第一装飾面3310aのシャッター3312と同様にドア装飾3411も開くのではないかと思わせることができ、遊技に対する期待感を高めさせることができる。
また、裏左可動演出ユニット3400では、裏左駆動モータ3404により、裏左回転装飾体3410を回転させて第二装飾面3410bを前方(正面)へ向けて停止させる(図150を参照)。これにより、第二装飾面3410bの裏左文字装飾3413が遊技者側から視認できるようになるため、裏左文字装飾3413の認識によりチャンスの到来を遊技者に予感させることができる。
また、裏左可動演出ユニット3400では、裏左駆動モータ3404により、裏左回転装飾体3410を回転させて第三装飾面3410cを前方(正面)へ向けて停止させる(図151を参照)。そして、図示は省略するが、この状態で、裏左第三装飾基板3417のLEDにより、赤色の光を発光させると赤図柄を裏左投影部3415に投影させることができ、青色の光を発光させると青図柄を裏左投影部3415に投影させることができる。これにより、裏左投影部3415に投影される図柄によって、遊技者に対してチャンスの到来等を示唆することができ、遊技者を楽しませたり期待感を高めさせたりすることができる。
これら裏右可動演出ユニット3300及び裏左可動演出ユニット3400は、裏右回転装飾体3310及び裏左回転装飾体3410を、同時にグルグルと回転させることで、センター役物2500の枠内の左右両端(中央液晶表示装置1500の左右両外側)で可動演出を行うことができ、回転する裏右回転装飾体3310及び裏左回転装飾体3410により遊技者の期待感を高めさせて興趣の低下を抑制することができる。また、裏右回転装飾体3310及び裏左回転装飾体3410を、回転停止させる装飾面を適宜選択することで、可動演出のパターンを多彩にすることができ、遊技者が飽き難くすることができる。
更に、裏ユニット3000の裏下後可動演出ユニット3500では、裏下後昇降駆動モータ3512の回転駆動により、裏下後回転装飾体3568をセンター役物2500の枠内の略中心である上昇端位置へ上昇させる。そして、裏下後回転装飾体3568が上昇端位置の時に、裏下後回転駆動モータ3553により、裏下後回転装飾体3568を正面視反時計回りの方向へグルグルと回転させる(図152を参照)。これにより、センター役物2500のステージ2530の上方で遊技者側へ僅かに望んでいる裏下後回転装飾体3568が上昇してセンター役物2500の枠内の中央に位置することで、遊技者を驚かせて何か良いことがあるのではないかと思わせることができ、遊技に対する期待感を高めさせることができる。加えて、裏下後回転装飾体3568が反時計周りの方向へグルグル回転することで、遊技者に対して、更に遊技に対する期待感を高めさせることができる。
また、裏下後可動演出ユニット3500では、裏下後回転装飾体3568が上昇端位置の時に、裏下後回転駆動モータ3553により、裏下後回転装飾体3568を正面視時計回りの方向へ回転させると、四つの裏下後回転装飾体3568が互いに離反するように開いて大きくなった状態で回転する(図153を参照)。これにより、反時計回りに回転している時と比較して、裏下後回転装飾体3568の直径が大きくなるため、遊技者の遊技に対する期待感をより一層高めさせることができる。
また、裏ユニット3000の裏四隅可動演出ユニット3600では、裏四隅駆動モータ3615,3655の回転駆動により、裏四隅第一装飾体3624,3664が、退避位置からセンター役物2500の枠内に位置する出現位置へ昇降する(図154を参照)。これにより、四つの裏四隅第一装飾体3624,3664が出現することで遊技者を驚かせることができると共に、チャンスの到来等を示唆することができる。
また、裏四隅可動演出ユニット3600では、裏四隅駆動モータ3615,3655の回転駆動により、裏四隅第二装飾体3633,3673が、退避位置からセンター役物2500の枠内に位置する出現位置へ回動する(図153を参照)。これにより、センター役物2500の枠内の中央を中心に放射状に延びる四つの裏四隅第二装飾体3633,3673が出現することで、遊技者を驚かせることができると共に、何か良いことがあるのではないかと思わせることができ、遊技に対する期待感を高めさせることができる。裏四隅可動演出ユニット3600では、裏下後可動演出ユニット3500の裏下後回転装飾体3568が上昇端位置の時に、裏四隅第二装飾体3633,3673を出現位置へ回動させることで、センター役物2500の枠内に大型の手裏剣が出現したように見せることができる(図153を参照)。これにより、遊技者に対して有利遊技状態の発生を確信させることができ、遊技に対する期待感を可及的に高めさせることができると共に、遊技に対する興趣を高めさせることができる。
[6.遊技内容]
次に、本実施形態のパチンコ機1による遊技内容について、主に図155乃至図157を参照して説明する。図155は、前構成部材及び表ユニットを遊技領域内における前後方向の略中央で切断した遊技盤の正面図である。また、図156(a)は図155において遊技領域内の右部を拡大して示す正面図であり、(b)は(a)におけるH−H線で切断して要部のみを示す断面図である。更に、図157は、図155において上大入賞口付近を拡大して示す説明図である。
本実施形態のパチンコ機1は、扉枠3の前面右下隅に配置されたハンドルユニット500のハンドルレバー504を遊技者が回転操作することで、皿ユニット200の上皿201に貯留された遊技球が、遊技盤5における外レール1001と内レール1002との間を通って遊技領域5a内の上部へと打ち込まれて、遊技球による遊技が開始される。遊技領域5a内の上部へ打ち込まれた遊技球は、その打込強さによって遊技領域5a内を左右に分割しているセンター役物2500の上側の左側、或いは、右側の何れかを流下する。なお、遊技球の打込み強さは、ハンドルレバー504の回転量によって調整することができ、時計回りの方向へ回転させるほど強く打込むことができる。
また、遊技領域5a内には、適宜位置に所定のゲージ配列で複数の障害釘(図示は省略)が遊技パネル1100(パネル板1110)の前面に植設されており、遊技球が障害釘に当接することで、遊技球の流下速度が抑制されると共に、遊技球に様々な動きが付与されて、その動きを楽しませられるようになっている。また、遊技領域5a内には、障害釘の他に、遊技球の当接により回転する風車(図示は省略)が適宜位置に備えられている。
センター役物2500の上部へ打込まれた遊技球が、センター役物2500の前周壁部2512の外周面のうち、最も高くなった部位よりも正面視左側へ進入すると、図示しない複数の障害釘に遊技球が当接しながら、センター役物2500の左側を流下することとなる。そして、センター役物2500の左側を流下する遊技球が、センター役物2500の前周壁部2512の外周面に開口しているワープ入口2520に進入すると、ワープ通路2521を通ってセンター役物2500の枠内に開口しているワープ出口2522からステージ2530の左端に供給される。
センター役物2500のステージ2530に供給された遊技球は、ステージ2530上を左右へ転動して行ったり来たりして、遊技領域5aにおける左右方向中央の両側に形成されているサイド誘導溝2532から前方へ放出されると、遊技領域5a内におけるステージ2530の下方で始動口ユニット2100の上方の領域を流下することとなる。これにより、始動口ユニット2100の第一始動口2002に遊技球が受入れられる可能性がある。
ステージ2530を転動している遊技球が、ステージ2530の遊技領域5aにおける左右方向中央の中央誘導溝2531から前方へ放出されると、中央誘導溝2531の直下に開口している始動口ユニット2100の第一始動口2002に、高い確率で受入れられる。この第一始動口2002に遊技球が受入れられると、主制御基板及び払出制御基板を介して払出装置830から所定数(例えば、3個)の遊技球が、上皿201に払出される。
ところで、センター役物2500の左側へ流下した遊技球が、ワープ入口2520に進入しなかった場合、複数の障害釘やサイドユニット2200の第一棚部2201a等によって、センター役物2500の下方で遊技領域5a内の左右方向中央へ向かうように誘導され、下流側に配置されている一般入賞口2001や第一始動口2002等に受入れられる可能性がある。そして、一般入賞口2001に遊技球が受入れられると、主制御基板及び払出制御基板を介して払出装置830から所定数(例えば、10個)の遊技球が、上皿201に払出される。
また、センター役物2500の左側へ流下した遊技球は、始動口ユニット2100とアタッカユニット2300との間に延びているセンター役物2500の下辺により、アタッカユニット2300側へは流下することはなく、アタッカユニット2300の一般入賞口2001、第二始動口2004、及び下大入賞口2005等に受入れられることはない。なお、始動口ユニット2100には、第一始動口2002の下側に、アタッカユニット2300における下大入賞口2005を開閉する下大入賞口扉部材2352と似ている横長四角形のフェイク部2105aが備えられているため、従来のパチンコ機のように第一始動口の下側に大入賞口があると錯覚させることができる。
一方、遊技領域5a内においてセンター役物2500の上部に打込まれた遊技球が、センター役物2500の前周壁部2512の外周面の最も高くなった部位よりも右側に進入する(打込まれる)と、右上入口2540から上遊技空間2541、及び右通路2542を通って右下出口2543からアタッカユニット2300におけるゲート部2003の直上へ放出される。これにより、センター役物2500の右側を流下するように打込まれた(右打ちされた)遊技球は、極めて高い確率でゲート部2003を通過することとなる。そして、ゲート部2003を通過した遊技球は、第二始動口2004の前方を通って棚部材2303上に流下し、棚部材2303上を正面視左方へ転動した後に、棚部材2303の正面視左端から下方へ放出される。棚部材2303から放出された遊技球は、下大入賞口2005の前方を通って右下レール1005上へ流下し、右下レール1005上を正面視左方へ転動してアウト口1111から遊技領域5a外へ排出される。
右下出口2543から放出された遊技球が、ゲート部2003の正面視左側を流下した場合、アタッカユニット2300の一般入賞口2001、始動口前部材2302の誘導部2302bを介して第二始動口2004、又は、下大入賞口2005に、受入れられる可能性がある。一方、ゲート部2003の正面視右側を遊技球が流下した場合、一般入賞口2001や第二始動口2004等に受入れられることなく、右下レール1005上へ流下して、アウト口1111から排出される。
従って、下大入賞口2005が開いている時に、ゲート部2003及びゲート部2003の左側を遊技球が通過すると、高い確率で下大入賞口2005に受入れられる。
ゲート部2003を遊技球が通過してゲートセンサ2305により検知されると、主制御基板において普通抽選が行われ、抽選された普通抽選結果が「普通当り」の場合、第二始動口扉部材2323が所定時間(例えば、0.3〜3秒)の間、前進して第二始動口2004を開状態とする。従って、第二始動口扉部材2323が前進して開状態となっているタイミングで、遊技球が第二始動口2004の前方に到達すると、第二始動口扉部材2323により流通方向が後方へ変えられて第二始動口2004に受入れられることとなる。第二始動口2004に遊技球が受入れられると、主制御基板及び払出制御基板を介して払出装置830から所定数(例えば、4個)の遊技球が、上皿201に払出される。
本実施形態では、ゲート部2003を遊技球が通過することで行われる普通抽選において、普通抽選を開始してから普通抽選結果を示唆するまでにある程度の時間を設定している(例えば、0.1〜10秒、普通変動時間とも称す)。この普通抽選結果の示唆は、遊技盤5の機能表示ユニット1400に表示される。
また、遊技球がゲート部2003を通過してから普通抽選結果が示唆されるまでの間に、遊技球がゲート部2003を通過すると、普通抽選結果の示唆を開始することができないため、普通抽選結果の示唆の開始を、先の普通抽選結果の示唆が終了するまで保留するようにしている。また、普通抽選結果の保留数は、4つまでを上限とし、それ以上については、ゲート部2003を遊技球が通過しても、保留せずに破棄している。これにより、保留が貯まることで遊技ホール側の負担の増加を抑制している。
本実施形態のパチンコ機1は、第一始動口2002及び第二始動口2004に遊技球が受入れられると、主制御基板において、遊技者に有利な有利遊技状態(例えば、「大当り」、「中当り」、「小当り」、「確率変動当り」、「時間短縮当り」、等)を発生させる特別抽選結果の抽選が行われる。そして、抽選された特別抽選結果を、所定時間(例えば、5〜360秒)かけて遊技者に示唆する。なお、第一始動口2002及び第二始動口2004に遊技球が受入れられることで抽選される特別抽選結果には、「ハズレ」、「小当り」、「2R大当り」、「15R大当り」、「確変(確率変更)当り」、「時短(時間短縮)当り」、「確変時短当り」、「確変時短無し当り」、等がある。
第一始動口2002及び第二始動口2004への遊技球の受入れにより抽選された特別抽選結果(第一特別抽選結果及び第二特別抽選結果)が、有利遊技状態を発生させる特別抽選結果の場合、アタッカユニット2300の下大入賞口扉部材2352、又は、センター役物2500の上大入賞口扉部材2550の何れかが、抽選された特別抽選結果に応じた開閉パターンで開閉動作し、下大入賞口2005又は上大入賞口2006へ遊技球を受入れさせることができるようになる。この下大入賞口2005又は上大入賞口2006が開状態の時に、下大入賞口2005又は上大入賞口2006に遊技球が受入れられると、主制御基板及び払出基板によって払出装置830から所定数(例えば、10個、又は、13個)の遊技球が、上皿201に払出される。従って、下大入賞口扉部材2352又は上大入賞口扉部材2550が所定パターンで開閉動作している時に、下大入賞口2005又は上大入賞口2006に遊技球を受入れさせることで、多くの遊技球を払出させることができ、遊技者を楽しませることができる。
特別抽選結果が「小当り」の場合、下大入賞口扉部材2352又は上大入賞口扉部材2550が、所定短時間(例えば、0.2秒〜0.6秒の間)の間、開状態となって閉鎖する開閉パターンを複数回(例えば、2回)繰返す。一方、特別抽選結果が「大当り」の場合、下大入賞口扉部材2352又は上大入賞口扉部材2550が、開状態となった後に、所定時間(例えば、約30秒)経過、或いは、下大入賞口2005又は上大入賞口2006への所定個数(例えば、10個)の遊技球の受入れ、の何れかの条件が充足すると、下大入賞口扉部材2352又は上大入賞口扉部材2550を閉状態とする開閉パターン(一回の開閉パターンを1ラウンドと称す)を、所定回数(所定ラウンド数)繰返す。例えば、「2R大当り」であれば2ラウンド、「15R大当り」であれば15ラウンド、夫々繰返して、遊技者に有利な有利遊技状態を発生させる。
なお、「大当り」では、大当り遊技の終了後に、「大当り」等の特別抽選結果が抽選される確率を変更(「確変当り」)したり、特別抽選結果を示唆する演出画像の表示時間を変更(「時短当り」)したりする「当り」がある。
本実施形態では、第一始動口2002及び第二始動口2004への遊技球の受入れにより特別抽選の開始から抽選された特別抽選結果が示唆されるまでの間に、第一始動口2002及び第二始動口2004に遊技球が受入れられると、特別抽選結果の示唆を開始することができないため、先に抽選された特別抽選結果の示唆が完了するまで、特別抽選結果の示唆の開始が保留される。この保留される特別抽選結果の保留数は、第一始動口2002及び第二始動口2004に対して、夫々4つまでを上限とし、それ以上については、第一始動口2002及び第二始動口2004に遊技球が受入れられても特別抽選結果を保留せずに、破棄している。これにより、保留が貯まることで遊技ホール側の負担の増加を抑制している。
この特別抽選結果の示唆は、機能表示ユニット1400と中央液晶表示装置1500とで行われる。機能表示ユニット1400では、主制御基板によって直接制御されて特別抽選結果の示唆が行われる。機能表示ユニット1400での特別抽選結果の示唆は、複数のLEDを、点灯・消灯を繰返して所定時間点滅させ、その後に、点灯しているLEDの組み合わせによって特別抽選結果を示唆する。
一方、中央液晶表示装置1500では、主制御基板からの制御信号に基いて、周辺制御基板によって間接的に制御され演出画像として特別抽選結果の示唆が行われる。中央液晶表示装置1500での特別抽選結果を示唆する演出画像は、複数の図柄からなる図柄列を、左右方向へ三つ並べて表示した状態で、各図柄列を変動させ、変動表示されている図柄列を順次停止表示させ、停止表示される三つの図柄列の図柄が、特別抽選結果と対応した組み合わせとなるように夫々の図柄列が停止表示される。特別抽選結果が「ハズレ」以外の場合は、三つの図柄列が停止して各図柄が停止表示された後に、特別抽選結果を示唆する確定画像が中央液晶表示装置1500に表示されて、抽選された特別抽選結果に応じた有利遊技状態(例えば、小当り遊技、大当り遊技、等)が発生する。
なお、機能表示ユニット1400での特別抽選結果を示唆する時間(LEDの点滅時間(変動時間))と、中央液晶表示装置1500での特別抽選結果を示唆する時間(図柄列が変動して確定画像が表示されるまでの時間)とは、異なっており、機能表示ユニット1400の方が短い時間に設定されている。
また、周辺制御基板では、中央液晶表示装置1500による特別抽選結果を示唆するための演出画像の表示の他に、抽選された特別抽選結果に応じて、表上可動演出ユニット2560、表下可動演出ユニット2570、裏上可動演出ユニット3100、裏下前可動演出ユニット3200、裏右可動演出ユニット3300、裏左可動演出ユニット3400、裏下後可動演出ユニット3500、及び裏四隅可動演出ユニット3600、等を適宜用いて可動演出を行うようにしており、可動演出によっても遊技者を楽しませることができ、遊技者の遊技に対する興趣が低下するのを抑制することができる。
ところで、本実施形態のパチンコ機1では、上大入賞口2006に対して遊技球の受入れが可能となる際に、裏ユニット3000における裏右可動演出ユニット3300の裏右回転装飾体3310を回転させて第三装飾面3310cを前方(正面)へ向けた状態とすると、上大入賞口2006に受入れられた遊技球が流通する後方誘導路2553の後方放出口2554と裏右球入口3320とが一致した状態となる(図156を参照)。この状態で、上大入賞口2006に遊技球が受入れられると、後方誘導路2553の後方放出口2554から裏右球入口3320へと進入し、裏右演出空間3321に配置されている球誘導部材3322により、裏右演出空間3321内を上下に延びた軸線周りを螺旋状に複数回(ここでは8回)回転しながら流下することとなる(図156(a)を参照)。
これにより、上大入賞口2006に受入れられた遊技球を、裏右演出空間3321で螺旋状に流下させることができるため、上大入賞口2006に受入れられた遊技球を遊技者に確実に視認させることができ、上大入賞口2006への遊技球の受入れによる遊技球の払出しに対する期待感を高めさせることができると共に、螺旋状に流下する遊技球により遊技者を楽しませることができ、興趣の低下を抑制することができる。
なお、上大入賞口2006が開状態の時に、裏右回転装飾体3310において第三装飾面3310c以外が前方を向いている場合は、後方誘導路2553の後方放出口2554が第一装飾面3310aや第二装飾面3310bの外周面により閉鎖されているため、上大入賞口2006に受入れられた遊技球は、後方誘導路2553の後端付近で分岐している逃し通路2555へ進入し、逃し通路2555を通って下方へ排出される。これにより、上大入賞口2006が受入可能となる際に、裏右可動演出ユニット3300の裏右演出空間3321を用いた演出を行ったり、裏右演出空間3321を用いない演出を行ったりすることができ、多彩なバリエーションを遊技者に提示して楽しませることができる。また、何らかの理由により、裏右回転装飾体3310が第三装飾面3310cを前方へ向けることができなかった場合でも、上大入賞口2006に受入れられた遊技球が、後方誘導路2553において滞ることがなく、遊技を問題なく継続させることができる。
[7.本実施形態と本発明の関係]
本実施形態において遊技パネル1100におけるパネル板1110の取付口1112に取付けられている枠状のセンター役物2500の枠内は本発明の遊技パネルの視認口に、本実施形態の裏ユニット3000における裏上可動演出ユニット3100の裏上駆動モータ3103は本発明の駆動モータに、本実施形態における裏上可動演出ユニット3100の第一伝達部材3107、第一可動ベース3116、第一被伝達部材3117、及び軸受部材3118は本発明の出現機構に、本実施形態における裏上可動演出ユニット3100の第二伝達部材3108、第一可動ベース3116、第二可動ベース3119、第二被伝達部材3122、回転リンク部材3123、及び第二可動ベース駆動部材3124は本発明の移動機構に、本実施形態における裏上可動演出ユニット3100のラック部材3115のラックギア3115a、第二可動ベース3119、及び装飾体回転ギア3120は本発明の回転機構に、本実施形態における裏上可動演出ユニット3100の裏上装飾体ユニット3150(裏上装飾体3152)は本発明の演出装飾体に、夫々相当している。
[8.本実施形態の特徴的な作用効果]
このように、本実施形態のパチンコ機1によると、遊技者が遊技領域5a内に遊技球を打込んで遊技状態を変化させると、遊技パネル1100(パネル板1110)の後側に配置されている裏ユニット3000における裏上可動演出ユニット3100の裏上装飾体3152が、変化した遊技状態に応じて駆動される裏上駆動モータ3103により動作する第一伝達部材3107、第一可動ベース3116、第一被伝達部材3117、及び軸受部材3118等の出現機構によって、遊技者が視認可能な退避位置と視認可能な第一出現位置の間で移動し、同じく裏上駆動モータ3103により動作する第二伝達部材3108、第二可動ベース3119、第二被伝達部材3122、回転リンク部材3123、第二可動ベース駆動部材3124等の移動機構によって、第一出現位置と第二出現位置との間で移動すると共に、移動機構による裏上装飾体3152の移動により動作するラックギア3115a、第二可動ベース3119、及び装飾体回転ギア3120等の回転機構によって、方向性のあるキャラクタの頭(顔)を立体的に形成した装飾を有する裏上装飾体3152が、正常な向きと正常でない向きとの間で回転する。従って、多彩な可動演出を遊技者に見せることができるため、遊技者を飽き難くすることができると共に、楽しませることができ、遊技者の遊技に対する興趣の低下を抑制させることができる。
具体的な可動演出は、退避位置の時に裏上装飾体3152が正常でない向きとし、遊技状態に応じて駆動される裏上駆動モータ3103により動作する第一被伝達部材3117等の出現機構によって、裏上装飾体3152が退避位置から第一出現位置へ移動すると、キャラクタの顔がひっくり返った状態で上方から出現するため、遊技者に対して、あたかもキャラクタが上(天井裏)から覗いているように見せることができ、この状態で裏上装飾体3152を退避位置へ戻すと、全体として、キャラクタが上(天井裏)から様子を伺っているような可動演出を行うことができる。また、裏上装飾体3152が第一出現位置の状態から第二被伝達部材3122等の移動機構によって第二出現位置へ移動させると、移動機構による移動により動作する装飾体回転ギア3120等の回転機構によって裏上装飾体3152が第一出現位置から第二出現位置へ移動しながら回転し、第二出現位置で正常な向きとなる。これにより、ひっくり返っていたキャラクタが移動しながら回転して正常な向きとなるため、遊技者に対して、あたかも上(天井裏)から覗いていたキャラクタが宙返りして降りてきたように見せることができ、遊技者を大いに驚かせて強いインパクトを与えることができる。そして、裏上装飾体3152が退避位置へ戻る際にも、裏上装飾体3152を回転させて戻すことで、遊技者に対して、あたかもキャラクタが宙返りしながら上方(天井裏)へ隠れるように見せることができ、裏上装飾体3152が退避位置へ戻る時にも遊技者を楽しませることができる。このように、従来のパチンコ機では成し得なかったような多彩な可動演出を遊技者に提示することができ、遊技者を飽き難くすることができると共に楽しませることができ、遊技に対する興趣の低下を抑制させることができる。
また、裏上装飾体3152を方向性のある立体的なキャラクタとしているため、裏上装飾体3152を視認不能な退避位置から視認可能な第一出現位置へ移動させると、遊技者が一瞬にして裏上装飾体3152が正常な向きであるか正常でない向きであるかを認識することが可能となり、裏上装飾体3152の向きが変化する可動演出を大いに楽しませることができ、遊技者を飽き難くして遊技に対する興趣の低下を抑制させることができる。また、裏上装飾体3152を出現させると、キャラクタが出現(登場)することとなるため、遊技者に対して何か良いことがあるのではないかと強く思わせることができ、遊技に対する期待感を高めさせることができる。
また、第一被伝達部材3117等の出現機構により裏上装飾体3152を遊技パネル1100の面に沿って移動させるようにしているため、裏上装飾体3152を前後方向へ移動させる場合と比較して、裏上装飾体の移動距離を長くしてインパクトのある可動演出を行えるようにしたり、裏上装飾体3152を大きくして見た目のインパクトを高めたりすることができ、遊技者をより楽しませて興趣の低下を抑制させることができる。
更に、装飾体回転ギア3120等の回転機構によって裏上装飾体3152を前後方向に延びている軸周りに回転させるようにしており、裏上装飾体3152が正常な向きでも正常でない向きでも裏上装飾体3152の全体像を遊技者に認識させることができるため、回転機構により方向性のある裏上装飾体3152を回転させた時に、遊技者に対して裏上装飾体3152の向きが変わった(回転した)ことを明確に認識させることができる。従って、方向性のある裏上装飾体3152の向きが変わる意外性や面白味を発揮させることができるため、所望の演出効果を十分に得ることができ、遊技者を楽しませて遊技に対する興趣の低下を抑制させることができる。
また、裏上装飾体3152を前後方向に延びている軸周りに回転させるようにしているため、パチンコ機1(遊技盤5)内において裏上装飾体3152の占めるスペースを確保し易くなり、裏上装飾体3152を相対的に大型化することができる。従って、裏上装飾体3152を目立たせることができるため、大型の裏上装飾体3152の出現により遊技者を大いに驚かせることができると共に、遊技に対する期待感を高めさせることができ、遊技者の興趣の低下を抑制させることができる。
更に、退避位置の裏上装飾体3152を、第一被伝達部材3117等の出現機構によって下方の第一出現位置へ移動させるようにしているため、裏上装飾体3152が上方から降りてきて出現することから、裏上装飾体3152の出現により遊技者に対して上から啓示が示されるように感じさせることが可能となり、遊技者に何か良いことがあるのではないかと思わせることができ、遊技に対する期待感を高めさせて遊技者の遊技に対する興趣の低下を抑制させることができる。
また、退避位置の下方に第一出現位置を配置しているため、裏上装飾体3152を正常でない向きで出現させた時に、裏上装飾体3152の装飾の上側から順に見えてくるため、遊技者に対して大きな違和感を与えることはない。従って、裏上装飾体3152を正常でない向きで出現させても遊技者を楽しませることができ、遊技者の遊技に対する興趣の低下を抑制させることができる。
また、第一被伝達部材3117等の出現機構とは別に第二被伝達部材3122等の移動機構により裏上装飾体3152を第一出現位置から更に第二出現位置へ移動させることができるため、裏上装飾体3152を退避位置から二段階に移動させることができ、多段階に移動する裏上装飾体3152の動きを遊技者に楽しませることができると共に、より多彩な可動演出を遊技者に提示することができ、遊技者を飽き難くさせて興趣の低下を抑制させることができる。
また、一つの裏上駆動モータ3103により装飾体回転ギア3120等の回転機構、第一被伝達部材3117等の出現機構、及び第二被伝達部材3122等の移動機構を、動作させるようにしているため、回転機構、出現機構、及び移動機構を夫々別々に三つの駆動モータによって動作させるようにした場合と比較して、駆動モータ(裏上駆動モータ3103)の数が一つとなり、その分だけスペースを余分に確保することができ、裏上装飾体3152を大型化したり、裏上装飾体3152の移動距離を長くしたりすることができる。従って、裏上装飾体3152そのものや裏上装飾体の動き等を目立たせることができるため、裏上装飾体3152の出現により遊技者を大いに驚かせることができると共に、遊技に対する期待感を高めさせることができ、遊技者の興趣の低下を抑制させることができる。また、一つの裏上駆動モータ3103により、回転機構、出現機構、及び移動機構を動作させて裏上装飾体3152に可動演出を行わせることができるため、多彩な可動演出を行うようにしても演出等に係る周辺制御基板での制御の負荷の増加を抑制することができ、制御の負荷の増大による不具合の発生を防止して本パチンコ機1での遊技を中断させることなく楽しませることができる。
更に、本実施形態のパチンコ機1によると、遊技領域5a内に遊技球を打込んで遊技状態を変化させると、変化した遊技状態に応じて裏ユニット3000における裏上可動演出ユニット3100の裏上駆動モータ3103、又は、裏四隅可動演出ユニット3600の裏四隅駆動モータ3615,3655の何れかが駆動して、第一伝達部材3107と第二伝達部材3108とが、又は、伝達部材3616,3656の第一伝達部3617,3657と第二伝達部3618,3658とが、一緒に回転する。そして、初めに第一伝達部材3107、又は、第一伝達部3617,3657、が第一特定回転範囲内に到達すると、第一伝達部材3107、又は、第一伝達部3617,3657の回転が、第一被伝達部材3117、又は、第一被伝達部材3620,3660に伝達されて、裏上装飾体3512、又は、裏四隅第一装飾体3624,3664が可動する。その後、第一伝達部材3107、又は、第一伝達部3617,3657が更に回転して、第一伝達部材3107、又は、第一伝達部3617,3657が、第一特定回転範囲内から出ると、第一伝達部材3107、又は、第一伝達部3617,3657による第一被伝達部材3117、又は、第一被伝達部材3620,3660への回転の伝達が停止して、裏上装飾体3512、又は、裏四隅第一装飾体3624,3664の可動が停止する。これまでの間では、第二伝達部材3108、又は、第二伝達部3618,3658も回転しているが、第二伝達部材3108、又は、第二伝達部3618,3658が第二特定回転範囲内に到達していないため、第二伝達部材3108、又は、第二伝達部3618,3658の回転が、第二被伝達部材3122、又は、第二被伝達部材3629,3669に伝達されることはなく、第二被伝達部材3112、又は、第二被伝達部材3629,3669による裏上装飾体3512、又は裏四隅第二装飾体3633,3673の可動は行われない。そして、第一伝達部材3107、又は、第一伝達部3617,3657が第一特定回転範囲内から出て、第一伝達部材3107、又は、第一伝達部3617,3657と一緒に回転している第二伝達部材3108、又は、第二伝達部3618,3658が第二特定回転範囲内に到達すると、第二伝達部材3108、又は、第二伝達部3618,3658の回転が第二被伝達部材3122、又は、第二被伝達部材3629,3669に伝達されて、裏上装飾体3152が更に、又は、裏四隅第二装飾体3633,3673が可動する。この際に、第二伝達部材3108、又は、第二伝達部3618,3658と一緒に回転している第一伝達部材3107、又は、第一伝達部3617,3657は、第一特定回転範囲外であるため、第一伝達部材3107、又は、第一伝達部3617,3657の回転が第一被伝達部材3117、又は、第一被伝達部材3620,3660に伝達されることはなく、第一被伝達部材3117、又は、第一被伝達部材3620,3660による裏上装飾体3152、又は、裏四隅第一装飾体3624,3664の可動は行われない。そして、第二伝達部材3108、又は、第二伝達部3618,3658が第二特定回転範囲内からでると、第二伝達部材3108、又は、第二伝達部3618,3658による第二被伝達部材3122、又は、第二被伝達部材3269,3669への回転の伝達が停止して裏上装飾体3152、又は、裏四隅第二装飾体3633,3673の可動が停止する。
このように、第一伝達部材3107及び第二伝達部材3108、又は、第一伝達部3617,3657及び第二伝達部3618,3658が、第一特定回転範囲内及び第二特定回転範囲内の時のみ、第一被伝達部材3117及び第二被伝達部材3122、又は、第一被伝達部材3620,3660及び第二被伝達部材3633,3673に回転を伝達させて裏上装飾体3152、又は、裏四隅第一装飾体3624,3664又は裏四隅第二装飾体3633,3673を可動させることができるため、第一伝達部材3107及び第二伝達部材3108、又は、第一伝達部3617,3657及び第二伝達部3618,3658が、第一特定回転範囲外及び第二特定回転範囲外の時には裏上装飾体3152等、又は、裏四隅第一装飾体3624,3664及び裏四隅第二装飾体3633,3673等の荷重が、第一被伝達部材3117及び第二被伝達部材3122、又は、第一被伝達部材3620,3660及び第二被伝達部材3629,3669を介して、裏上駆動モータ3103、又は、裏四隅駆動モータ3615,3655に作用することはなく、裏上装飾体3512、又は、裏四隅第一装飾体3624,3664及び裏四隅第二装飾体3633,3673の停止中に、裏上駆動モータ3103、又は、裏四隅駆動モータ3615,3655へかかる負荷を軽減させることができる。従って、遊技中に裏上駆動モータ3103や、裏四隅駆動モータ3615,3655が破損することで遊技が中断してしまうのを抑制することができ、遊技の中断による遊技者の不快感を低減させることができ、興趣の低下を抑制することができる。
また、第一伝達部材3107及び第二伝達部材3108、又は、第一伝達部3617,3657及び第二伝達部3618,3658が、第一特定回転範囲外及び第二特定回転範囲外では、第一被伝達部材3117及び第二被伝達部材3122、又は、第一被伝達部材3620,3660及び第二被伝達部材3629,3669へ回転を伝達させないため、第一伝達部材3107及び第二伝達部材3108、又は、第一伝達部3617,3657及び第二伝達部3618,3658が、第一特定回転範囲外及び第二特定回転範囲外の時には第一被伝達部材3117及び第二被伝達部材3122、又は、第一被伝達部材3620,3660及び第二被伝達部材3629,3669を介して裏上装飾体3152、又は、裏四隅第一装飾体3624,3664及び裏四隅第二装飾体3633,3673が可動することはない。つまり、第一伝達部材3107及び第二伝達部材3108、又は、第一伝達部3617,3657及び第二伝達部3618,3658が、第一特定回転範囲内及び第二特定回転範囲内から出ることで、第一被伝達部材3117及び第二被伝達部材3122、又は、第一被伝達部材3620,3660及び第二被伝達部材3629,3669の回転停止と同時に裏上装飾体3152、又は、裏四隅第一装飾体3624,3664及び裏四隅第二装飾体3633,3673の可動が停止して可動がロックされることとなるため、従来の技術のようにロックされる際に装飾体が戻るような不自然な動きをすることはなく、裏上装飾体3152、裏四隅第一装飾体3624,3664、及び裏四隅第二装飾体3633,3673に自然な動きをさせることができ、遊技者に裏上装飾体3152、裏四隅第一装飾体3624,3664、及び裏四隅第二装飾体3633,3673の動きを楽しませて興趣の低下を抑制させることができる。
更に、裏上駆動モータ3103、又は、裏四隅駆動モータ3615,3655により別々に回転する第一被伝達部材3117と第二被伝達部材3122と、又は、第一被伝達部材3620,3660と第二被伝達部材3629,3669と、を備えていることから、裏上装飾体3152を二段階に、又は、裏四隅第一装飾体3624,3664及び裏四隅第二装飾体3633,3673の二つのうちの何れかを、可動させることができるため、裏上装飾体3152、裏四隅第一装飾体3624,3664及び裏四隅第二装飾体3633,3673、により多彩な可動演出を遊技者に提示することができ、遊技者が飽き難い遊技機とすることができると共に、裏上装飾体3152、裏四隅第一装飾体3624,3664、及び裏四隅第二装飾体3633,3673の可動演出を楽しませることができ、遊技者の興趣の低下を抑制させることができる。
また、一つの裏上駆動モータ3103、又は、裏四隅駆動モータ3615,3655により、第一被伝達部材3117と第二被伝達部材3122とを、又は、第一被伝達部材3620,3660と第二被伝達部材3629,3669とを、別々に回転させることができ、一つの裏上駆動モータ3103、又は、裏四隅駆動モータ3615,3655だけで裏上装飾体3152、又は、裏四隅第一装飾体3624,3664及び裏四隅第二装飾体3663,3673に、複雑な動きをさせることができるため、例えば、第一被伝達部材3117と第二被伝達部材3122とを、又は、第一被伝達部材3620,3660と第二被伝達部材3629,3669とを、夫々別々の駆動モータで回転させるようにした場合と比較して、裏上駆動モータ3103や、裏四隅駆動モータ3615,3655の数が少なくなり、可動演出の制御に係る負荷を低減させることができ、過負荷による裏上駆動モータ3103や裏四隅駆動モータ3615,3655(裏上装飾体3152や裏四隅第一装飾体3624,3664及び裏四隅第二装飾体3633,3673)の誤動作を防止して確実に所望の可動演出を遊技者に提示することができる。
更に、第一伝達部材3107及び第二伝達部材3108、又は、第一伝達部3617,3657及び第二伝達部3618,3658には、回転中心よりも離れた位置から突出している第一伝達ピン3107b及び第二伝達ピン3108b、又は、第一伝達ピン3617a及び第二伝達ピン3618aを有していると共に、第一被伝達部材3117及び第二被伝達部材3122、又は、第一被伝達部材3620,3660及び第二被伝達部材3629,3669には、第一伝達ピン3107b及び第二伝達ピン3108b、又は、第一伝達ピン3617及び第二伝達ピン3618aが摺動可能に挿入可能とされており第一被伝達本体部3117c及び第二被伝達本体部3122b、又は、第一被伝達本体部3620c,3660c及び第二被伝達本体部3629b,3669bの外周面から回転中心へ向かって延びている溝状の第一伝達スリット3117d及び第二伝達スリット3122c、又は、第一伝達スリット3620d,3660d及び第二伝達スリット3629c,3669cを有している。これにより、裏上駆動モータ3103、又は、裏四隅駆動モータ3615,3655により第一伝達部材3107及び第二伝達部材3108、又は、第一伝達部3617,3657及び第二伝達部3618,3658を回転させることで第一伝達部材3107及び第二伝達部材3108、又は、第一伝達部3617,3657及び第二伝達部3618,3658の第一伝達ピン3107b及び第二伝達ピン3108b、又は、第一伝達ピン3617a,3657a及び第二伝達ピン3618a,3658aが公転し、第一伝達部材3107及び第二伝達部材3108、又は、第一伝達部3617,3657及び第二伝達部3618,3658が第一特定回転範囲及び第二特定回転範囲内の一方の端部から第一特定回転範囲内及び第二特定回転範囲内に進入すると、第一伝達ピン3107b及び第二伝達ピン3108b、又は、第一伝達ピン3617a,3657a及び第二伝達ピン3618a,3658aが、第一被伝達部材3117及び第二被伝達部材3122、又は、第一被伝達部材3620,3660及び第二被伝達部材3629,3669の第一伝達スリット3117d及び第二伝達スリット3122c、又は、第一伝達スリット3620d,3660d及び第二伝達スリット3629c,3669cにおける外周面で開口している部位から第一伝達スリット3117d及び第二伝達スリット3122c、又は、第一伝達スリット3620d,3660d及び第二伝達スリット3629c,3669c内へ進入することとなる。
この第一伝達ピン3107b及び第二伝達ピン3108b、又は、第一伝達ピン3617a,3657a及び第二伝達ピン3618a,3658aが第一伝達スリット3117d内及び第二伝達スリット3122c内、又は、第一伝達スリット3620d,3660d内及び第二伝達スリット3629c,3669c内に進入して第一伝達スリット3117d内及び第二伝達スリット3122c内、又は、第一伝達スリット3620d,3660d内及び第二伝達スリット3629c,3669c内に挿入された状態となると、第一伝達ピン3107b及び第二伝達ピン3108b、又は、第一伝達ピン3617a,3657a及び第二伝達ピン3618a,3658aの公転に伴って、第一伝達ピン3107b及び第二伝達ピン3108b、又は、第一伝達ピン3617a,3657a及び第二伝達ピン3618a,3658aが第一伝達スリット3117d内及び第二伝達スリット3122c内、又は、第一伝達スリット3620d,3660d内及び第二伝達スリット3629c,3669c内を第一被伝達部材3117及び第二被伝達部材3122、又は、第一被伝達部材3620,3660及び第二被伝達部材3629,3669の回転中心の方向へ摺動すると共に、第一伝達スリット3117d内及び第二伝達スリット3122c内、又は、第一伝達スリット3620d,3660d内及び第二伝達スリット3629c,3669c内を公転する方向へ押圧することとなり、第一伝達ピン3107b及び第二伝達ピン3108b、又は、第一伝達ピン3617a,3657a及び第二伝達ピン3618a,3658aの押圧により第一被伝達部材3117及び第二被伝達部材3122、又は、第一被伝達部材3620,3660及び第二被伝達部材3629,3669が回転することとなる。
その後、第一伝達ピン3107b及び第二伝達ピン3108b、又は、第一伝達ピン3617a,3657a及び第二伝達ピン3618a,3658aが更に公転して、第一伝達ピン3107b及び第二伝達ピン3108b、又は、第一伝達ピン3617a,3657a及び第二伝達ピン3618a,3658aが第一被伝達部材3117及び第二被伝達部材3122、又は、第一被伝達部材3620,3660及び第二被伝達部材3629,3669の回転中心に最も接近した位置を越えると、第一伝達ピン3107b及び第二伝達ピン3108b、又は、第一伝達ピン3617a,3657a及び第二伝達ピン3618a,3658aが第一伝達スリット3117d内及び第二伝達スリット3122c内、又は、第一伝達スリット3620d,3660d内及び第二伝達スリット3629c,3669c内を第一被伝達部材3117及び第二被伝達部材3122、又は、第一被伝達部材3620,3660及び第二被伝達部材3629,3669の回転中心から遠ざかる方向(開口している外周面の方向)へ摺動し、第一伝達スリット3117d及び第二伝達スリット3122c、又は、第一伝達スリット3620d,3660d及び第二伝達スリット3629c,3669cにおける第一被伝達部材3117及び第二被伝達部材3122、又は、第一被伝達部材3620,3660及び第二被伝達部材3629,3669の外周面に開口している部位から第一伝達スリット3117d外及び第二伝達スリット3122c外、又は、第一伝達スリット3620d,3660d外及び第二伝達スリット3629c,3669c外へ出ることとなる。第一伝達ピン3107b及び第二伝達ピン3108b、又は、第一伝達ピン3617a,3657a及び第二伝達ピン3618a,3658aが第一伝達スリット3117d外及び第二伝達スリット3122c外、又は、第一伝達スリット3620d,3660d外及び第二伝達スリット3629c,3669c外へ出ると、第一伝達ピン3107b及び第二伝達ピン3108b、又は、第一伝達ピン3617a,3657a及び第二伝達ピン3618a,3658aによる第一伝達スリット3117d内及び第二伝達スリット3122c内、又は、第一伝達スリット3620d,3660d内及び第二伝達スリット3629c,3669c内の押圧がなくなるため、第一被伝達部材3117及び第二被伝達部材3122、又は、第一被伝達部材3620,3660及び第二被伝達部材3629,3669の回転が停止することとなる。
なお、この場合、第一伝達部材3107及び第一被伝達部材3117及び第二伝達部材3108と第二被伝達部材3122、又は、伝達部材3616と第一被伝達部材3620,3660及び第二被伝達部材3629,3669の回転軸が延びている方向から見て、第一伝達部材3107及び第二伝達部材3108、又は、第一伝達部3617,3657及び第二伝達部3618,3658における公転する第一伝達ピン3107b及び第二伝達ピン3108b、又は、第一伝達ピン3617a,3657a及び第二伝達ピン3618a,3658aの旋回軌跡が、第一被伝達部材3117及び第二被伝達部材3122、又は、第一被伝達部材3620,3660及び第二被伝達部材3629,3669における第一伝達スリット3117d及び第二伝達スリット3122c、又は、第一伝達スリット3620d,3660d及び第二伝達スリット3629c,3669cの旋回軌跡と重なる第一伝達部材3107及び第二伝達部材3108、又は、第一伝達部3617,3657及び第二伝達部3618,3658の回転範囲が、第一特定回転範囲及び第二特定回転範囲となる。従って、第一伝達部材317及び第二伝達部材3108、又は、第一伝達部3617,3657及び第二伝達部3618,3658の回転範囲において、第一伝達ピン3107b及び第二伝達ピン3108b、又は、第一伝達ピン3617a,3657a及び第二伝達ピン3618a,3658aが第一伝達スリット3117d内及び第二伝達スリット3122c内、又は、第一伝達スリット3620d,3660d内及び第二伝達スリット3629c,3669c内に挿入されている範囲(第一特定回転範囲及び第二特定回転範囲)内の時のみ第一伝達部材3107及び第二伝達部材3108、又は、第一伝達部3617,3657及び第二伝達部3618,3658の回転を第一被伝達部材3117及び第二被伝達部材3122、又は、第一被伝達部材3620,3660及び第二被伝達部材3629,3669へ伝達させることができ、上述した作用効果を奏するパチンコ機1を確実に具現化することができる。
また、第一伝達部材3107及び第二伝達部材3108、又は、第一伝達部3617,3657及び第二伝達部3618,3658の第一伝達ピン3107b及び第二伝達ピン3108b、又は、第一伝達ピン3617a,3657a及び第二伝達ピン3618a,3658aと、第一被伝達部材3117及び第二被伝達部材3122、又は、第一被伝達部材3620,3660及び第二被伝達部材3629,3669の第一伝達スリット3117d及び第二伝達スリット3122c、又は、第一伝達スリット3620d,3660d及び第二伝達スリット3629c,3669cとによって回転を伝達させるようにしているため、第一伝達部材3107及び第二伝達部材3108、又は、第一伝達部3617,3657及び第二伝達部3618,3658、や、第一被伝達部材3117及び第二被伝達部材3122、又は、第一被伝達部材3620,3660及び第二被伝達部材3629,3669の回転位置が多少ズレていても、外周面に開放されている部位から第一伝達スリット3117d内及び第二伝達スリット3122c内、又は、第一伝達スリット3620d,3660d内及び第二伝達スリット3629c,3669c内に第一伝達ピン3617a,3657a及び第二伝達ピン3618a,3658aを挿入させることができると共に、開放されている部位から第一伝達スリット3117d外及び第二伝達スリット3122c外、又は、第一伝達スリット3620d,3660d外及び第二伝達スリット3629c,3669c外に第一伝達ピン3617a,3657a及び第二伝達ピン3618a,3658aを出させることができ、第一伝達部材3107及び第二伝達部材3108、又は、第一伝達部3617,3657及び第二伝達部3618,3658を正転・逆転させても第一被伝達部材3117及び第二被伝達部材3122、又は、第一被伝達部材3620,3660及び第二被伝達部材3629,3669に対して確実に回転を伝達させることができる。
また、第一伝達部材3107及び第二伝達部材3108、又は、第一伝達部3617,3657及び第二伝達部3618,3658には、第一伝達ピン3617a,3657a及び第二伝達ピン3618a,3658aの公転半径よりも小さい半径の円盤状の第一ロック突部3107c及び第二ロック突部3108c、又は、第一ロック突部3617b,3657b及び第二ロック突部3618b,3658bと、第一ロック突部3107c及び第二ロック突部3108c、又は、第一ロック突部3617b,3657b及び第二ロック突部3618b,3658bの外周面における第一伝達ピン3617a,3657a及び第二伝達ピン3618a,3658aを向いている部位を扇状に切欠いた第一切欠部3107d及び第二切欠部3108d、又は、第一切欠部3617c,3657c及び第二切欠部3618c,3658cと、を更に有していると共に、第一被伝達部材3117及び第二被伝達部材3122、又は、第一被伝達部材3620,3660及び第二被伝達部材3629,3669には、円板状の第一被伝達本体部3117c及び第二被伝達本体部3122b、又は、第一被伝達本体部3620c,3660c及び第二被伝達本体部3629b,3669bの外周面における第一伝達スリット3117d及び第二伝達スリット3122c、又は、第一伝達スリット3620d,3660d及び第二伝達スリット3629c,3669cの両側において、外周面から回転中心へ向かって円弧状に切欠かれ、第一ロック突部3107c及び第二ロック突部3108c、又は、第一ロック突部3617b,3657b及び第二ロック突部3618b,3658bの外周面と当接可能な第一ロック凹部3117e及び第二ロック凹部3122d、又は、第一ロック凹部3620e,3660e及び第二ロック凹部3629d,3669d、を更に有している。
そして、第一伝達ピン3617a,3657a及び第二伝達ピン3618a,3658aが、第一伝達スリット3117d内及び第二伝達スリット3122c内、又は、第一伝達スリット3620d,3660d内及び第二伝達スリット3629c,3669c内に挿入されている時には、第一切欠部3107d及び第二切欠部3108d、又は、第一切欠部3617c,3657c及び第二切欠部3618c,3658cが第一ロック凹部3117e及び第二ロック凹部3122d、又は、第一ロック凹部3620e,3660e及び第二ロック凹部3629d,3669dに対向し、第一伝達ピン3617a,3657a及び第二伝達ピン3618a,3658aが第一伝達スリット3117d内及び第二伝達スリット3122c内、又は、第一伝達スリット3620d,3660d内及び第二伝達スリット3629c,3669c内に挿入されていない時には、第一ロック突部3107c及び第二ロック突部3108c、又は、第一ロック突部3617b,3657b及び第二ロック突部3618b,3658bが第一ロック凹部3117e及び第二ロック凹部3122d、又は、第一ロック凹部3620e,3660e及び第二ロック凹部3629d,3669dと当接しているようにする。
これにより、第一伝達ピン3617a,3657a及び第二伝達ピン3618a,3658aが第一伝達スリット3117d内及び第二伝達スリット3122c内、又は、第一伝達スリット3620d,3660d内及び第二伝達スリット3629c,3669c内に挿入される前の状態では、二つの第一ロック凹部3117e及び第二ロック凹部3122d、又は、第一ロック凹部3620e,3660e及び第二ロック凹部3629d,3669dのうち第一伝達部材3107及び第二伝達部材3108、又は、第一伝達部3617,3657及び第二伝達部3618,3658の回転中心と第一被伝達部材3117及び第二被伝達部材3122、又は、第一被伝達部材3620,3660及び第二被伝達部材3629,3669の回転中心とを結んだ軸線に近い側の第一ロック凹部3117e内及び第二ロック凹部3122d内、又は、第一ロック凹部3620e,3660e内及び第二ロック凹部3629d,3669d内に第一ロック突部3107c及び第二ロック突部3108c、又は、第一ロック突部3617b,3657b及び第二ロック突部3618b,3658bが挿入されて当接している。従って、第一被伝達部材3117及び第二被伝達部材3122、又は、第一被伝達部材3620,3660及び第二被伝達部材3629,3669が回転しようとしても第一ロック突部3107c及び第二ロック突部3108c、又は、第一ロック突部3617b,3657b及び第二ロック突部3618b,3658bの当接により回転が阻止(ロック)されており、回転することができない。
一方、第一ロック凹部3117e内及び第二ロック凹部3122d内、又は、第一ロック凹部3620e,3660e内及び第二ロック凹部3629d,3669d内に挿入されている第一ロック突部3107c及び第二ロック突部3108c、又は、第一ロック突部3617b,3657b及び第二ロック突部3618b,3658bは、円盤状に形成されているため、第一ロック突部3107c及び第二ロック突部3108c、又は、第一ロック突部3617b,3657b及び第二ロック突部3618b,3658bの外周面が円弧状の第一ロック凹部3117e及び第二ロック凹部3122d、又は、第一ロック凹部3620e,3660e及び第二ロック凹部3629d,3669dの周面に対して摺動するように第一伝達部材3107及び第二伝達部材3108、又は、第一伝達部3617,3657及び第二伝達部3618,3658が回転できる。
そして、この状態で裏上駆動モータ3103、又は、裏四隅駆動モータ3615,3655により第一伝達部材3107及び第二伝達部材3108、又は、第一伝達部3617,3657及び第二伝達部3618,3658を回転させると、公転する第一伝達ピン3617a,3657a及び第二伝達ピン3618a,3658aが、第一伝達スリット3117d内及び第二伝達スリット3122c内、又は、第一伝達スリット3620d,3660d内及び第二伝達スリット3629c,3669c内に進入すると同時に、回転している第一ロック突部3107c及び第二ロック突部3108c、又は、第一ロック突部3617b,3657b及び第二ロック突部3618b,3658bが第一ロック凹部3117e内及び第二ロック凹部3122d内、又は、第一ロック凹部3620e,3660e内及び第二ロック凹部3629d,3669d内から外れて第一ロック凹部3117e及び第二ロック凹部3122d、又は、第一ロック凹部3620e,3660e及び第二ロック凹部3629d,3669dの位置に第一切欠部3107d及び第二切欠部3108d、又は、第一切欠部3617c,3657c及び第二切欠部3618c,3658cが位置するようになり、第一被伝達部材3117及び第二被伝達部材3122、又は、第一被伝達部材3620,3660及び第二被伝達部材3629,3669のロックが解除されて回転可能な状態となる。
この状態で第一伝達部材3107及び第二伝達部材3108、又は、第一伝達部3617,3657及び第二伝達部3618,3658が更に回転することで公転している第一伝達ピン3617a,3657a及び第二伝達ピン3618a,3658aが第一伝達スリット3117d内及び第二伝達スリット3122c内、又は、第一伝達スリット3620d,3660d内及び第二伝達スリット3629c,3669c内を摺動すると共に回転方向へ押圧して第一被伝達部材3117及び第二被伝達部材3122、又は、第一被伝達部材3620,3660及び第二被伝達部材3629,3669が回転することとなる。その後、第一伝達部材3107及び第二伝達部材3108、又は、第一伝達部3617,3657及び第二伝達部3618,3658が更に回転して公転している第一伝達ピン3617a,3657a及び第二伝達ピン3618a,3658aが第一伝達スリット3117d内及び第二伝達スリット3122c内、又は、第一伝達スリット3620d,3660d内及び第二伝達スリット3629c,3669c内から抜けると同時に、最初に第一ロック突部3107c及び第二ロック突部3108c、又は、第一ロック突部3617b,3657b及び第二ロック突部3618b,3658bが挿入されていた第一ロック凹部3117e及び第二ロック凹部3122d、又は、第一ロック凹部3620e,3660e及び第二ロック凹部3629d,3669dとは第一伝達スリット3117d及び第二伝達スリット3122c、又は、第一伝達スリット3620d,3660d及び第二伝達スリット3629c,3669cを挟んで反対側の第一ロック凹部3117e及び第二ロック凹部3122d、又は、第一ロック凹部3620e,3660e及び第二ロック凹部3629d,3669dが第一伝達部材3107及び第二伝達部材3108、又は、第一伝達部3617,3657及び第二伝達部3618,3658の回転中心と第一被伝達部材3117及び第二被伝達部材3122、又は、第一被伝達部材3620,3660及び第二被伝達部材3629,3669の回転中心とを結んだ軸線に近い側となり、その第一ロック凹部3117e内及び第二ロック凹部3122d内、又は、第一ロック凹部3620e,3660e内及び第二ロック凹部3629d,3669d内に第一ロック突部3107c及び第二ロック突部3108c、又は、第一ロック突部3617b,3657b及び第二ロック突部3618b,3658bが進入して、第一ロック凹部3117e内及び第二ロック凹部3122d内、又は、第一ロック凹部3620e,3660e内及び第二ロック凹部3629d,3669d内に第一ロック突部3107c及び第二ロック突部3108c、又は、第一ロック突部3617b,3657b及び第二ロック突部3618b,3658bが当接することとなる。
つまり、第一伝達部材3107及び第二伝達部材3108、又は、第一伝達部3617,3657及び第二伝達部3618,3658からの回転の伝達が停止されると同時に、反対側の第一ロック凹部3117e内及び第二ロック凹部3122d内、又は、第一ロック凹部3620e,3660e内及び第二ロック凹部3629d,3669d内への第一ロック突部3107c及び第二ロック突部3108c、又は、第一ロック突部3617b,3657b及び第二ロック突部3618b,3658bの当接により第一被伝達部材3117及び第二被伝達部材3122、又は、第一被伝達部材3620,3660及び第二被伝達部材3629,3669の回転が阻止(ロック)された状態となる。
従って、第一伝達部材3107及び第二伝達部材3108、又は、第一伝達部3617,3657及び第二伝達部3618,3658と、第一被伝達部材3117及び第二被伝達部材3122、又は、第一被伝達部材3620,3660及び第二被伝達部材3629,3669とで、第一被伝達部材3117及び第二被伝達部材3122、又は、第一被伝達部材3620,3660及び第二被伝達部材3629,3669の回転をロックするようにしているため、第一被伝達部材3117及び第二被伝達部材3122、又は、第一被伝達部材3620,3660及び第二被伝達部材3629,3669の回転をロックするためのロック機構を別途備えるようにした場合と比較して、パチンコ機1の構成を簡略化してコストの増加を抑制することができると共に、ロック機構を別途備える分だけスペースを確保することができるため、その分、裏上装飾体3152や、裏四隅第一装飾体3624,3664及び裏四隅第二装飾体3663,3673を大型化することができ、大きな裏上装飾体3152等による可動演出によってより遊技者を楽しませることができる。
また、第一伝達部材3107及び第二伝達部材3108、又は、第一伝達部3617,3657及び第二伝達部3618,3658の第一切欠部3107d及び第二切欠部3108d、又は、第一切欠部3617c,3657c及び第二切欠部3618c,3658cを、第一ロック突部3107c及び第二ロック突部3108c、又は、第一ロック突部3617b,3657b及び第二ロック突部3618b,3658bの中心(回転中心)と第一伝達ピン3617a,3657a及び第二伝達ピン3618a,3658aの中心とを結んだ軸線を境に両側へ均等な範囲で第一ロック突部3107c及び第二ロック突部3108c、又は、第一ロック突部3617b,3657b及び第二ロック突部3618b,3658bを切欠いていると共に、第一被伝達部材3117及び第二被伝達部材3122、又は、第一被伝達部材3620,3660及び第二被伝達部材3629,3669の第一ロック凹部3117e及び第二ロック凹部3122d、又は、第一ロック凹部3620e,3660e及び第二ロック凹部3629d,3669dを、第一伝達スリット3117d及び第二伝達スリット3122c、又は、第一伝達スリット3620d,3660d及び第二伝達スリット3629c,3669cの両側に形成しているため、第一伝達部材3107及び第二伝達部材3108、又は、第一伝達部3617,3657及び第二伝達部3618,3658の第一特定回転範囲及び第二特定回転範囲における何れの端部の外側でも第一被伝達部材3117及び第二被伝達部材3122、又は、第一被伝達部材3620,3660及び第二被伝達部材3629,3669の回転をロックさせることができ、第一被伝達部材3117及び第二被伝達部材3122、又は、第一被伝達部材3620,3660及び第二被伝達部材3629,3669を介して裏上装飾体3152、又は、裏上四隅第一装飾体3624,3664及び裏四隅第二装飾体3633,3673等からの裏上駆動モータ3103、又は、裏四隅駆動モータ3615,3655への荷重の作用を低減させることができる。
更に、本実施形態のパチンコ機1によると、遊技領域5a内に遊技球を打込んで遊技状態を変化させると、変化した遊技状態に応じて裏上可動演出ユニット3100の裏上駆動モータ3103が回転する。この裏上駆動モータ3103が回転すると、ユニットベース3101に取付けられている第一伝達部材3107と第二伝達部材3108が、裏上駆動モータ3103と一緒に回転する。そして、第一伝達部材3107が回転して第一特定回転範囲の一方の範囲端部から第一特定回転範囲内に入ると、第一伝達部材3107の回転が第一被伝達部材3117に伝達されて第一被伝達部材3117が回転する。この第一被伝達部材3117が回転すると、第一可動ベース3116が、遊技パネル1100の面と平行な方向へ延びている第一可動範囲の両端のうちの一方である基端から反対の先端側、つまり、上端の退避位置から下方の第一出現位置へ向かってスライドする。この第一可動ベース3116には、第二可動ベース3119を介して裏上装飾体3152が取付けられているため、第一可動ベース3116のスライドに伴って裏上装飾体3152が下方へ移動することとなる。その後、第一伝達部材3107が回転して第一特定回転範囲の反対側の範囲端部に到達すると同時に、第一可動ベース3116が第一可動範囲の反対側の先端、つまり、下降端に到達し、更に、第一伝達部材3107が第一特定回転範囲内から離れると、第一可動ベース3116が下降端で可動が停止した状態となる。なお、第一伝達部材3107が回転している間でも、第二伝達部材3108が回転しているが、第二伝達部材3108は第二特定回転範囲内に入っていないため、第二伝達部材3108によって第二可動ベース3119が第一可動ベース3116に対して相対的にスライドさせられることはない。
第一可動ベース3116には、第二伝達部材3108からの回転が伝達される第二可動ベース駆動部材3124が回転可能に取付けられている。この第二可動ベース駆動部材3124は、回転リンク部材3123に第二伝達案内部3123dの延びている方向(第二方向)へスライド可能に取付けられているため、第一可動ベース3116がスライドすると、第二方向が第一可動ベース3116の移動方向と平行になるように回転リンク部材3123及び第二可動ベース駆動部材3124とが夫々回転すると共に、第二可動ベース駆動部材3124が回転リンク部材3123に対して第二方向へ相対的にスライドする。この際に、第二可動ベース駆動部材3124が回転すると、第二可動ベース駆動部材3124が回転した分だけ第二可動ベース3119が第一可動ベース3116に対してスライドし、裏上装飾体3152が第二可動ベース3119の移動方向へ少しだけ移動することとなるが、第二方向が第一可動ベース3116の移動方向と平行になると、第二可動ベース駆動部材3124の回転が停止し、第一可動ベース3116に対する裏上装飾体3152の移動も停止する。この第二可動ベース3119の移動方向は、第一可動ベース3116の移動方向と同じ上下方向であるため、第二可動ベース駆動部材3124の回転により少しだけ第二可動ベース3119がスライドしても、遊技者に気付かれることはなく、裏上装飾体3152に違和感のない動きをさせることができる。なお、最初の状態において、第二方向を第一可動ベース3116の移動方向と平行にしている場合は、回転リンク部材3123及び第二可動ベース駆動部材3124は回転することはなく、第二可動ベース3119は相対的にスライドしない。
続いて、裏上駆動モータ3103の回転により第一伝達部材3107が第一特定回転範囲内から離れ、第一伝達部材3107と第二伝達部材3108とが更に回転して、第二伝達部材3108が第二特定回転範囲の一方の範囲端部から第二特定回転範囲内に入ると、第二伝達部材3108の回転が第二被伝達部材3122に伝達されて第二被伝達部材3122が回転を開始する。この第二被伝達部材3122が回転すると、第一伝達案内部3122eの延びている方向(第一方向)へスライド可能に取付けている部位を介して回転リンク部材3123が、第二被伝達部材3122を中心に公転することとなる。この回転リンク部材3123が公転することにより、第二方向の延びている向きが回転しようとすることとなる。そして、第二方向の向き(回転リンク部材3123)が回転しようとすると、第二可動ベース駆動部材3124を第二方向へスライド可能に取付けている部位からの反力が小さくなるように、回転リンク部材3123が第一方向と第二方向に沿って夫々スライドしながら、第二可動ベース駆動部材3124を回転させることとなり、第二伝達部材3108からの回転を、第二被伝達部材3122及び回転リンク部材3123を介して第二可動ベース駆動部材3124に伝達させることができる。
この第二可動ベース駆動部材3124に回転が伝達されることにより、第一可動ベース3116に対して第二可動ベース3119が、第二可動範囲の両端のうちの一方である基端(上端)から反対の先端(下端)側へ向かって第一ベース3116の移動方向と同じ下方向へスライドすることとなる。これにより、第二可動ベース3119に取付けられている裏上装飾体3152も、第二可動ベース3119と一緒に下方へ移動することとなる。その後、第二伝達部材3108が回転して第二特定回転範囲の反対側の範囲端部に到達すると同時に、第二可動ベース3119が第二可動範囲の反対側の先端(第二出現位置)に到達し、更に、第二伝達部材3108が回転して第二特定回転範囲内から離れると、第二可動ベース3119が第二可動範囲の先端で可動が停止した状態となる。
この第二可動ベース3119が、第一可動ベース3116に対してスライドすると、第二可動ベース3119に回転可能に取付けられている装飾体回転ギア3120が、第一可動ベース3116に取付けられているラック部材3115のラックギア3115aに沿って回転しながら移動することとなる。そして、装飾体回転ギア3120に裏上装飾体3152が取付けられているため、第二可動ベース3119をスライドさせると、裏上装飾体3152が回転しながら第二可動ベース3119と共に下方へ移動することとなる。
なお、この状態で裏上駆動モータ3103を逆回転させることにより、上記とは逆の動きをして第二可動ベース3119及び第一可動ベース3116、つまり、裏上装飾体3152を、最初の状態に戻すことができる。
このように、本実施形態によれば、第一可動ベース3116と第二可動ベース3119とを別々に可動させることができるため、裏上装飾体3152に対して二段階に移動する動きを付与することができ、裏上装飾体3152に複雑な動きをさせることができる。また、裏上装飾体3152の可動演出として、第一可動ベース3116のみを可動させたり、第一可動ベース3116の可動後に第二可動ベース3119を可動させたりすることにより、可動演出のパターンを多彩化することができるため、裏上装飾体3152の可動演出を飽き難くさせることができ、遊技者を楽しませて興趣の低下を抑制させることができる。
また、第二可動ベース3119をスライドさせると、裏上装飾体3152が回転しながら第二可動ベース3119と共に下方へ移動するため、裏上装飾体3152に対して、より多彩な動きを付与することができ、遊技者を飽き難くして遊技に対する興趣の低下を抑制させることができる。
更に、第一可動ベース3116と第二可動ベース3119とを同じ上下方向へスライドさせるようにしており、裏上装飾体3152を同一方向へより長い距離を移動させることができるため、裏上装飾体3152による可動演出のインパクトを高めることができ、遊技者を楽しませて興趣の低下を抑制させることができる。
また、第一伝達部材3107からの回転を、一旦、第一被伝達部材3117に伝達させてから、第一被伝達部材3117により第一可動ベース3116を可動させるようにしているため、第一伝達部材3107における第一特定回転範囲の周長を第一被伝達部材3117によって増幅させることが可能となり、第一可動ベース3116の退避位置から第一出現位置までの第一可動範囲をより大きくすることができ、大きく動く裏上装飾体3152により遊技者を楽しませて興趣の低下を抑制させることができる。
また、一つの裏上駆動モータ3103だけで裏上装飾体3152に複雑な動きをさせることができるため、例えば、第一可動ベース3116に第二可動ベース3119を可動させる別の駆動モータを備えるようにした場合と比較して、駆動モータの数を少なくすることができ、可動演出の制御に係る負荷を低減させることができると共に、第一可動ベース3116に駆動モータを備える必要がないことから第一可動ベース3116に作用する荷重(重量)を低減させることができる。また、第一可動ベース3116に第二可動ベース3119用の駆動モータを備える必要がないことから、その駆動モータの重量の分だけ裏上装飾体3152を大きく(重く)することが可能となり、大きな裏上装飾体3152が複雑な動きをすることにより、遊技者に対するインパクトを高くすることができると共に、大きな裏上装飾体3152が二段階の複雑な動きをすることにより遊技者に対して何か良いことがあるのではないかと思わせることができ、遊技に対する期待感を高めさせて興趣の低下を抑制させることができる。
以上、本発明について好適な実施形態を挙げて説明したが、本発明はこれらの実施形態に限定されるものではなく、以下に示すように、本発明の要旨を逸脱しない範囲において、種々の改良及び設計の変更が可能である。
すなわち、上記実施形態では、遊技機としてパチンコ機1に適用したものを示したが、これに限定するものではなく、パチスロ機や、パチンコ機とパチスロ機とを融合させてなる遊技機に、適用しても良く、この場合でも、上記と同様の作用効果を奏することができる。
1 パチンコ機
2 外枠
3 扉枠
4 本体枠
5 遊技盤
5a 遊技領域
1000 前構成部材
1100 遊技パネル
1110 パネル板
1112 取付口
1500 中央液晶表示装置
2000 表ユニット
2500 センター役物
3000 裏ユニット
3010 裏箱
3010a 開口部
3100 裏上可動演出ユニット
3103 裏上駆動モータ(駆動モータ)
3104 駆動ギア
3105 第一従動ギア
3106 第二従動ギア
3107 第一伝達部材(出現機構)
3108 第二伝達部材(移動機構)
3109 スライドシャフト
3111 左スライダ
3114 スライドレール
3115 ラック部材
3115a ラックギア(回転機構)
3116 第一可動ベース(出現機構、移動機構)
3117 第一被伝達部材(出現機構)
3118 軸受部材(出現機構)
3119 第二可動ベース(回転機構、移動機構)
3120 装飾体回転ギア(回転機構)
3122 第二被伝達部材(移動機構)
3123 回転リンク部材(移動機構)
3124 第二可動ベース駆動部材(移動機構)
3150 裏上装飾体ユニット(演出装飾体)
3151a 軸部
3152 裏上装飾体(演出装飾体)

Claims (2)

  1. 外枠と、前記外枠に対して開閉可能な本体枠とを備え、遊技媒体を用いて遊技が行われる遊技機であって、
    前記外枠は、
    下部に設けられて前記本体枠が外枠に対して閉じた状態で前記本体枠が載置される幕板を含む下部部材と、
    前記外枠の左方側に設けられ、前記本体枠を開閉可能に支持するヒンジ部材と、
    を少なくとも有し、
    前記ヒンジ部材が設けられた側において後方に退避した位置には、前記幕板の後面側に遊技球を排出するための遊技球排出領域を設けるとともに、前記遊技球排出領域の後方を含んで横長に形成される立壁部を備え、
    前記ヒンジ部材が設けられた側において後方に退避した位置の前記立壁部の上端は、前記幕板の前記本体枠が載置される部分のうち前記立壁部が後方に退避した位置に存在しない部分の上端より高くなるようにし、
    前記立壁部は、前記本体枠が閉じたときの前記本体枠下端後面より少なくとも遊技球1個分隔てた後方に位置している
    ことを特徴とする遊技機。
  2. 前記立壁部は、横方向の途中で前後方向に折れ曲がる屈曲部を有することを特徴とする請求項1に記載の遊技機。
JP2018118219A 2018-06-21 2018-06-21 遊技機 Active JP6552017B2 (ja)

Priority Applications (1)

Application Number Priority Date Filing Date Title
JP2018118219A JP6552017B2 (ja) 2018-06-21 2018-06-21 遊技機

Applications Claiming Priority (1)

Application Number Priority Date Filing Date Title
JP2018118219A JP6552017B2 (ja) 2018-06-21 2018-06-21 遊技機

Related Parent Applications (1)

Application Number Title Priority Date Filing Date
JP2014013013A Division JP6375528B2 (ja) 2014-01-28 2014-01-28 遊技機

Publications (2)

Publication Number Publication Date
JP2018161516A JP2018161516A (ja) 2018-10-18
JP6552017B2 true JP6552017B2 (ja) 2019-07-31

Family

ID=63859536

Family Applications (1)

Application Number Title Priority Date Filing Date
JP2018118219A Active JP6552017B2 (ja) 2018-06-21 2018-06-21 遊技機

Country Status (1)

Country Link
JP (1) JP6552017B2 (ja)

Family Cites Families (5)

* Cited by examiner, † Cited by third party
Publication number Priority date Publication date Assignee Title
JP5283125B2 (ja) * 2009-09-10 2013-09-04 サミー株式会社 遊技機のヒンジ機構
JP5621315B2 (ja) * 2010-05-14 2014-11-12 株式会社三洋物産 遊技機
JP5459855B2 (ja) * 2010-06-30 2014-04-02 サミー株式会社 遊技機
JP5834565B2 (ja) * 2011-07-15 2015-12-24 株式会社三洋物産 遊技機
JP5374573B2 (ja) * 2011-12-02 2013-12-25 京楽産業.株式会社 遊技機

Also Published As

Publication number Publication date
JP2018161516A (ja) 2018-10-18

Similar Documents

Publication Publication Date Title
JP6375528B2 (ja) 遊技機
JP2019177215A (ja) 遊技機
JP2015146883A (ja) 遊技機
JP6692383B2 (ja) 遊技機
JP6598320B2 (ja) 遊技機
JP6552017B2 (ja) 遊技機
JP6552019B2 (ja) 遊技機
JP2018099632A (ja) 遊技機
JP6552018B2 (ja) 遊技機
JP6552139B2 (ja) 遊技機
JP6552020B2 (ja) 遊技機
JP6611283B2 (ja) 遊技機
JP6534468B2 (ja) 遊技機
JP6386734B2 (ja) 遊技機
JP6508753B2 (ja) 遊技機
JP6399636B2 (ja) 遊技機
JP6552140B2 (ja) 遊技機
JP6418748B2 (ja) 遊技機
JP2015146880A (ja) 遊技機
JP6611284B2 (ja) 遊技機
JP2018158167A (ja) 遊技機
JP6315444B2 (ja) 遊技機
JP2018167123A (ja) 遊技機
JP2018167122A (ja) 遊技機
JP2015217129A (ja) 遊技機

Legal Events

Date Code Title Description
A131 Notification of reasons for refusal

Free format text: JAPANESE INTERMEDIATE CODE: A131

Effective date: 20190207

A977 Report on retrieval

Free format text: JAPANESE INTERMEDIATE CODE: A971007

Effective date: 20190215

A521 Request for written amendment filed

Free format text: JAPANESE INTERMEDIATE CODE: A523

Effective date: 20190313

TRDD Decision of grant or rejection written
A01 Written decision to grant a patent or to grant a registration (utility model)

Free format text: JAPANESE INTERMEDIATE CODE: A01

Effective date: 20190627

A61 First payment of annual fees (during grant procedure)

Free format text: JAPANESE INTERMEDIATE CODE: A61

Effective date: 20190627

R150 Certificate of patent or registration of utility model

Ref document number: 6552017

Country of ref document: JP

Free format text: JAPANESE INTERMEDIATE CODE: R150

R250 Receipt of annual fees

Free format text: JAPANESE INTERMEDIATE CODE: R250