JP6539751B2 - プリフォームを不均一に調温するための方法 - Google Patents

プリフォームを不均一に調温するための方法 Download PDF

Info

Publication number
JP6539751B2
JP6539751B2 JP2017557907A JP2017557907A JP6539751B2 JP 6539751 B2 JP6539751 B2 JP 6539751B2 JP 2017557907 A JP2017557907 A JP 2017557907A JP 2017557907 A JP2017557907 A JP 2017557907A JP 6539751 B2 JP6539751 B2 JP 6539751B2
Authority
JP
Japan
Prior art keywords
preform
container
heating
orientation
blow
Prior art date
Legal status (The legal status is an assumption and is not a legal conclusion. Google has not performed a legal analysis and makes no representation as to the accuracy of the status listed.)
Expired - Fee Related
Application number
JP2017557907A
Other languages
English (en)
Other versions
JP2018515370A (ja
Inventor
アレクサンダー シル
アレクサンダー シル
ベルンハルト オルリヒ
ベルンハルト オルリヒ
アルネ ヴィーゼ
アルネ ヴィーゼ
Original Assignee
カーハーエス コーポプラスト ゲーエムベーハー
カーハーエス コーポプラスト ゲーエムベーハー
ヘンケル アーゲー ウント コンパニー カーゲーアーアー
ヘンケル アーゲー ウント コンパニー カーゲーアーアー
Priority date (The priority date is an assumption and is not a legal conclusion. Google has not performed a legal analysis and makes no representation as to the accuracy of the date listed.)
Filing date
Publication date
Application filed by カーハーエス コーポプラスト ゲーエムベーハー, カーハーエス コーポプラスト ゲーエムベーハー, ヘンケル アーゲー ウント コンパニー カーゲーアーアー, ヘンケル アーゲー ウント コンパニー カーゲーアーアー filed Critical カーハーエス コーポプラスト ゲーエムベーハー
Publication of JP2018515370A publication Critical patent/JP2018515370A/ja
Application granted granted Critical
Publication of JP6539751B2 publication Critical patent/JP6539751B2/ja
Expired - Fee Related legal-status Critical Current
Anticipated expiration legal-status Critical

Links

Images

Classifications

    • BPERFORMING OPERATIONS; TRANSPORTING
    • B29WORKING OF PLASTICS; WORKING OF SUBSTANCES IN A PLASTIC STATE IN GENERAL
    • B29CSHAPING OR JOINING OF PLASTICS; SHAPING OF MATERIAL IN A PLASTIC STATE, NOT OTHERWISE PROVIDED FOR; AFTER-TREATMENT OF THE SHAPED PRODUCTS, e.g. REPAIRING
    • B29C49/00Blow-moulding, i.e. blowing a preform or parison to a desired shape within a mould; Apparatus therefor
    • B29C49/02Combined blow-moulding and manufacture of the preform or the parison
    • B29C49/06Injection blow-moulding
    • BPERFORMING OPERATIONS; TRANSPORTING
    • B29WORKING OF PLASTICS; WORKING OF SUBSTANCES IN A PLASTIC STATE IN GENERAL
    • B29CSHAPING OR JOINING OF PLASTICS; SHAPING OF MATERIAL IN A PLASTIC STATE, NOT OTHERWISE PROVIDED FOR; AFTER-TREATMENT OF THE SHAPED PRODUCTS, e.g. REPAIRING
    • B29C49/00Blow-moulding, i.e. blowing a preform or parison to a desired shape within a mould; Apparatus therefor
    • B29C49/42Component parts, details or accessories; Auxiliary operations
    • B29C49/64Heating or cooling preforms, parisons or blown articles
    • B29C49/6409Thermal conditioning of preforms
    • B29C49/6436Thermal conditioning of preforms characterised by temperature differential
    • B29C49/6454Thermal conditioning of preforms characterised by temperature differential through the preform thickness
    • BPERFORMING OPERATIONS; TRANSPORTING
    • B29WORKING OF PLASTICS; WORKING OF SUBSTANCES IN A PLASTIC STATE IN GENERAL
    • B29CSHAPING OR JOINING OF PLASTICS; SHAPING OF MATERIAL IN A PLASTIC STATE, NOT OTHERWISE PROVIDED FOR; AFTER-TREATMENT OF THE SHAPED PRODUCTS, e.g. REPAIRING
    • B29C49/00Blow-moulding, i.e. blowing a preform or parison to a desired shape within a mould; Apparatus therefor
    • B29C49/42Component parts, details or accessories; Auxiliary operations
    • B29C49/48Moulds
    • BPERFORMING OPERATIONS; TRANSPORTING
    • B29WORKING OF PLASTICS; WORKING OF SUBSTANCES IN A PLASTIC STATE IN GENERAL
    • B29CSHAPING OR JOINING OF PLASTICS; SHAPING OF MATERIAL IN A PLASTIC STATE, NOT OTHERWISE PROVIDED FOR; AFTER-TREATMENT OF THE SHAPED PRODUCTS, e.g. REPAIRING
    • B29C49/00Blow-moulding, i.e. blowing a preform or parison to a desired shape within a mould; Apparatus therefor
    • B29C49/42Component parts, details or accessories; Auxiliary operations
    • B29C49/62Venting means
    • BPERFORMING OPERATIONS; TRANSPORTING
    • B29WORKING OF PLASTICS; WORKING OF SUBSTANCES IN A PLASTIC STATE IN GENERAL
    • B29CSHAPING OR JOINING OF PLASTICS; SHAPING OF MATERIAL IN A PLASTIC STATE, NOT OTHERWISE PROVIDED FOR; AFTER-TREATMENT OF THE SHAPED PRODUCTS, e.g. REPAIRING
    • B29C49/00Blow-moulding, i.e. blowing a preform or parison to a desired shape within a mould; Apparatus therefor
    • B29C49/42Component parts, details or accessories; Auxiliary operations
    • B29C49/64Heating or cooling preforms, parisons or blown articles
    • B29C49/6409Thermal conditioning of preforms
    • B29C49/6436Thermal conditioning of preforms characterised by temperature differential
    • BPERFORMING OPERATIONS; TRANSPORTING
    • B29WORKING OF PLASTICS; WORKING OF SUBSTANCES IN A PLASTIC STATE IN GENERAL
    • B29CSHAPING OR JOINING OF PLASTICS; SHAPING OF MATERIAL IN A PLASTIC STATE, NOT OTHERWISE PROVIDED FOR; AFTER-TREATMENT OF THE SHAPED PRODUCTS, e.g. REPAIRING
    • B29C49/00Blow-moulding, i.e. blowing a preform or parison to a desired shape within a mould; Apparatus therefor
    • B29C49/02Combined blow-moulding and manufacture of the preform or the parison
    • B29C2049/023Combined blow-moulding and manufacture of the preform or the parison using inherent heat of the preform, i.e. 1 step blow moulding
    • BPERFORMING OPERATIONS; TRANSPORTING
    • B29WORKING OF PLASTICS; WORKING OF SUBSTANCES IN A PLASTIC STATE IN GENERAL
    • B29CSHAPING OR JOINING OF PLASTICS; SHAPING OF MATERIAL IN A PLASTIC STATE, NOT OTHERWISE PROVIDED FOR; AFTER-TREATMENT OF THE SHAPED PRODUCTS, e.g. REPAIRING
    • B29C49/00Blow-moulding, i.e. blowing a preform or parison to a desired shape within a mould; Apparatus therefor
    • B29C49/02Combined blow-moulding and manufacture of the preform or the parison
    • B29C2049/024Combined blow-moulding and manufacture of the preform or the parison not using inherent heat of the preform, i.e. 2 step blow moulding
    • BPERFORMING OPERATIONS; TRANSPORTING
    • B29WORKING OF PLASTICS; WORKING OF SUBSTANCES IN A PLASTIC STATE IN GENERAL
    • B29CSHAPING OR JOINING OF PLASTICS; SHAPING OF MATERIAL IN A PLASTIC STATE, NOT OTHERWISE PROVIDED FOR; AFTER-TREATMENT OF THE SHAPED PRODUCTS, e.g. REPAIRING
    • B29C2949/00Indexing scheme relating to blow-moulding
    • B29C2949/07Preforms or parisons characterised by their configuration
    • B29C2949/076Preforms or parisons characterised by their configuration characterised by the shape
    • B29C2949/0768Preforms or parisons characterised by their configuration characterised by the shape characterised by the shape of specific parts of preform
    • B29C2949/077Preforms or parisons characterised by their configuration characterised by the shape characterised by the shape of specific parts of preform characterised by the neck
    • B29C2949/0772Closure retaining means
    • B29C2949/0773Threads
    • B29C2949/0774Interrupted threads
    • BPERFORMING OPERATIONS; TRANSPORTING
    • B29WORKING OF PLASTICS; WORKING OF SUBSTANCES IN A PLASTIC STATE IN GENERAL
    • B29CSHAPING OR JOINING OF PLASTICS; SHAPING OF MATERIAL IN A PLASTIC STATE, NOT OTHERWISE PROVIDED FOR; AFTER-TREATMENT OF THE SHAPED PRODUCTS, e.g. REPAIRING
    • B29C2949/00Indexing scheme relating to blow-moulding
    • B29C2949/07Preforms or parisons characterised by their configuration
    • B29C2949/079Auxiliary parts or inserts
    • B29C2949/0795Parts to assist orientation of preform, e.g. in mould
    • B29C2949/0796Parts to assist orientation of preform, e.g. in mould at neck portion
    • BPERFORMING OPERATIONS; TRANSPORTING
    • B29WORKING OF PLASTICS; WORKING OF SUBSTANCES IN A PLASTIC STATE IN GENERAL
    • B29CSHAPING OR JOINING OF PLASTICS; SHAPING OF MATERIAL IN A PLASTIC STATE, NOT OTHERWISE PROVIDED FOR; AFTER-TREATMENT OF THE SHAPED PRODUCTS, e.g. REPAIRING
    • B29C49/00Blow-moulding, i.e. blowing a preform or parison to a desired shape within a mould; Apparatus therefor
    • B29C49/42Component parts, details or accessories; Auxiliary operations
    • B29C49/4205Handling means, e.g. transfer, loading or discharging means
    • B29C49/42113Means for manipulating the objects' position or orientation
    • B29C49/42119Rotation, e.g. rotating a predetermined angle for asymmetric preform or with asymmetric heat profile
    • BPERFORMING OPERATIONS; TRANSPORTING
    • B29WORKING OF PLASTICS; WORKING OF SUBSTANCES IN A PLASTIC STATE IN GENERAL
    • B29CSHAPING OR JOINING OF PLASTICS; SHAPING OF MATERIAL IN A PLASTIC STATE, NOT OTHERWISE PROVIDED FOR; AFTER-TREATMENT OF THE SHAPED PRODUCTS, e.g. REPAIRING
    • B29C49/00Blow-moulding, i.e. blowing a preform or parison to a desired shape within a mould; Apparatus therefor
    • B29C49/42Component parts, details or accessories; Auxiliary operations
    • B29C49/64Heating or cooling preforms, parisons or blown articles
    • BPERFORMING OPERATIONS; TRANSPORTING
    • B29WORKING OF PLASTICS; WORKING OF SUBSTANCES IN A PLASTIC STATE IN GENERAL
    • B29CSHAPING OR JOINING OF PLASTICS; SHAPING OF MATERIAL IN A PLASTIC STATE, NOT OTHERWISE PROVIDED FOR; AFTER-TREATMENT OF THE SHAPED PRODUCTS, e.g. REPAIRING
    • B29C49/00Blow-moulding, i.e. blowing a preform or parison to a desired shape within a mould; Apparatus therefor
    • B29C49/42Component parts, details or accessories; Auxiliary operations
    • B29C49/64Heating or cooling preforms, parisons or blown articles
    • B29C49/6409Thermal conditioning of preforms
    • B29C49/6436Thermal conditioning of preforms characterised by temperature differential
    • B29C49/6458Thermal conditioning of preforms characterised by temperature differential tangentially, i.e. along circumference
    • BPERFORMING OPERATIONS; TRANSPORTING
    • B29WORKING OF PLASTICS; WORKING OF SUBSTANCES IN A PLASTIC STATE IN GENERAL
    • B29KINDEXING SCHEME ASSOCIATED WITH SUBCLASSES B29B, B29C OR B29D, RELATING TO MOULDING MATERIALS OR TO MATERIALS FOR MOULDS, REINFORCEMENTS, FILLERS OR PREFORMED PARTS, e.g. INSERTS
    • B29K2067/00Use of polyesters or derivatives thereof, as moulding material
    • B29K2067/003PET, i.e. poylethylene terephthalate
    • BPERFORMING OPERATIONS; TRANSPORTING
    • B29WORKING OF PLASTICS; WORKING OF SUBSTANCES IN A PLASTIC STATE IN GENERAL
    • B29LINDEXING SCHEME ASSOCIATED WITH SUBCLASS B29C, RELATING TO PARTICULAR ARTICLES
    • B29L2031/00Other particular articles
    • B29L2031/712Containers; Packaging elements or accessories, Packages
    • B29L2031/7158Bottles

Landscapes

  • Engineering & Computer Science (AREA)
  • Manufacturing & Machinery (AREA)
  • Mechanical Engineering (AREA)
  • Physics & Mathematics (AREA)
  • Thermal Sciences (AREA)
  • Blow-Moulding Or Thermoforming Of Plastics Or The Like (AREA)

Description

本発明は、熱可塑性材料からなるプリフォームを不均一に調温するための方法に関するものであり、その際、容器へとブロー成形するために複数のプリフォームが備えられており、当該方法においてはプリフォームに対し周囲に沿って温度プロフィールが用意され、当該温度プロフィールはプリフォームの半径方向の周囲方向にて複数の領域が異なって加熱されることによって発生される。その際プリフォームは通常その長手軸の周りで回転対称に形成されている。プリフォームの温度調節は加熱によって行われ、例えばプリフォームが加熱区間を通って搬送されることによって行われる。加熱工程の間、プリフォームには周囲に沿って温度プロフィールが用意される。
その種の方法は例えば、断面が円形形状とは異なるプリフォームから容器が製造されるべきである場合に、用いられる。例えば、楕円形の断面、又は、三角形又は四角形の断面を有する容器を製造する場合、プリフォームの断面は円形形状とは異なるものとなり得る。
ブロー圧の作用によって容器を形成する際、熱可塑性材料からなるプリフォーム、例えばPET(ポリエチレンテレフタレート)からなるプリフォームは、ブロー成形機内で、種々の処理ステーションへと供給される。一般的には、その種のブロー成形機は加熱装置並びにブロー装置を有しており、それらの領域内では前もって調温されたプリフォームは2軸の方向づけによって容器へと拡張(膨張)される。この拡張は、拡張されるべきプリフォーム内へと導入される圧縮空気を用いて、行われる。プリフォームのその種の拡張時の方法技術的な経過については、特許文献1に詳述されている。
容器を形成するためのブローステーションの基本的な構造は特許文献2に記載されている。プリフォームを調温するための措置については特許文献3に詳述されている。
ブロー成形のための装置内部では、複数のプリフォーム並びにブロー成形された複数の容器を種々の操作装置を用いて搬送することが出来る。特には、プリフォームが乗せられる搬送ロッドを用いることが有利であることが示された。しかしながら、プリフォームはその他の支持装置を用いて取り扱われてもよい。プリフォームを取り扱うためのグリップトングの使用、及び、プリフォームの開口部領域内へ挿入可能である保持のための拡張ロッド(拡張マンドレル)の使用も同様に、使用可能な構成の一部である。
複数の渡しホイールを使用する容器の取り扱いは、例えば特許文献4に、ブローホイールと排出経路の間に渡しホイールが配設された場合が、記載されている。
既に説明したプリフォームの取り扱いは、一方では、プリフォームが先に射出成形方法で作製され、次に中間支持され、また、しばらくしてその温度に関して調整され、また、容器へと膨らまされる、いわゆる2段式方法において行われる。また他方では、プリフォームが、その射出成形技術的な作製及び十分な硬化の後、直接適切に温度調節されそれに続き膨らまされる、いわゆる1段式(単段式)方法において行われる。
使用されているブローステーションに関して、異なる実施形態が知られている。回転性の搬送ホイールにブローステーションが配設されている場合においては頻繁に、型担体(モールドキャリア)が本のように開放可能であることが起こり得る。しかしながら、互いに変位可能に又はその他の様態で案内される型担体を使用することも出来る。位置固定のブローステーションであって、特には容器を整形するための複数のキャビティを収容することに適したブローステーションにおいては、通常互いに平行に配設されたプレートが型担体として用いられる。
このような非円形のボトルの製造については、既に特許文献5に記載されている。最初にプリフォームの対称な調温が行われ、それに続き選択された領域における温度が選択的に上昇される。プリフォームの周方向に温度プロフィールを発生させるための別のバリエーションは、特許文献6、特許文献7並びに特許文献8にも同様に記載されている。選択的な遮断による温度調節は特許文献9に記載されている。
特許文献10からは、同時に二つのプリフォームに対して、周方向の温度調節を受けさせることが知られている。特許文献11では、従来技術から知られている、プリフォームを温度調節するための方法の構成が明らかになる。
非円形の容器がブロー成形されるべきである場合のみならず、例えば非円形のスプレーボトルに対してそうであるように、容器に螺嵌されるべきキャップが容器に対して特定の配向状態にあるべきである場合には、特別な問題が発生する。その問題を解決するためには、プリフォームへブロー成形に必要な温度プロフィールが与えられる前に、螺嵌されるべきキャップのための、プリフォームに既に完成まで形成されているネジ部が、常に同一の配向状態で、すなわち所望の配向状態で、存在し、従って、プリフォームの温度調節の後、ネジ部の目標配向が、プリフォームの目標温度調節に対応することが条件となる。そのようにしてのみ、容器のブロー成形後に、螺嵌されるべきキャップが非円形の容器に対して所望の配向状態にあることが保証される。
プリフォームの配向に関して、プリフォームを例えば搬送ロッドに配すること、及び、加熱区間へ導入する際に搬送ロッドを配向すること、当該配向は例えば、搬送ロッドに形成されている突起部にして、配向構造と協働する突起部を用いて行われ、搬送ロッドがその搬送経路上で当該配向構造に沿って移動することが知られている。しかしながらそれにより、プリフォームも所望のネジ部配向でロッドに位置決めされていることは、依然として保障されていない。
上述の問題点を解決するための可能性としては、プリフォームの規格化ネジを変更することが考えられ、そうすることでネジ領域に追加の配向構造か形成され、当該追加の配向構造は配向要素と協働し、プリフォームはその搬送経路で例えば加熱区間へ到着する際に当該配向要素に沿って案内される。従って、前の段落で記載したようにロッドを配向することと合わせて、ロッドに関する所望の配向挙動と同様に、ロッドに保持されているプリフォーム及びそのネジ部に関する所望の配向挙動が問題となる。この解決法については、そのような配向がそのために特別に形成されたプリフォームを前提としており、それがプリフォームの価格の上昇を導くことが欠点と見なされる。
DE−OS 43 40 291 DE−OS 42 12 583 DE−OS 23 52 926 DE−OS 199 06 438 US 3,775,524 US 3,632,713 US 3,950,459 US 3,892,830 DE−OS 33 14 106 US 5,292,243 EP 0 620 099
従って、本発明の課題は、簡単な方法でプリフォームの所望の配向の可能性を提供しまた上述の欠点を避ける従来技術に対する代替策を示すような冒頭挙げた種類の方法を示すことである。
この課題は本発明に従い、プリフォームを配向するために、プリフォームが回転してずらされ、また、配向要素が規格化ネジに係合し、また、配向要素が規格化ネジ内の予め決定された接触面との接触状態に至ると同時に、プリフォームの更なる回転が妨げられることによって解決される。特に、規格化ネジの接触面としてベンティングスロットを使用することが有利であることが明らかになった。また、代替的に又は追加的に、ネジ終端部又はネジ始端部を接触面として使用することが有利であることも明らかになった。規格化ネジなる用語には、円筒状の基本形状を備えたプリフォームネジ部も含まれ、そこではネジ山が半径方向外側の突起として延伸している。ネジ山はネジ山の延びを横切る縁面、すなわちプリフォームの長手軸の方向の縁面を有している。規格化ネジのネジ溝内のそのような縁は、例えば、ネジ始端部、ネジ終端部、又は、いわゆる、複数のネジ溝に渡って一直線上に延伸しているベンティングスロットである。位置決め構造を獲得するため、位置決めの目的のためだけに変更部分が設けられているようなネジは、規格化ネジとは見なされない。従ってこの本願の意味において規格化ネジと称されるネジは、例えば、円形断面を有する容器へとブロー成形されるべきプリフォームにおいて既に備えられるが、それらにおいては詳述された様態での配向は必要ない。本発明の目的は正に、通常のプリフォームをネジ領域における変更なしに使用することが出来ることである。
上述の縁は、通常プリフォームのシリンダ状の基本形状の面法線に対して傾いて形成されており、すなわち、通常それらの縁が半径方向において、シリンダ表面に対して垂直ではなく、むしろ角度αだけ90°の位置から傾いている。その際、好ましくは、その角度αは0°から60°の間であり、更に好ましくは0°から45°の間であり、格別に好ましくは30°よりも小さい。
現在一般的な規格化ネジは、例えばPCO1881規格のネジやPCO1880規格のネジである。これらのネジは、製造者の連合である、いわゆるISBT(International Society of Beverage Technologists)、Thread Finish Review Sub-Committee、www.threadspecs.com、によって定められている。
本発明に従う解決法を用いることで、プリフォームの変更が行われないことが達成される。また、既にこれまで、プリフォームを製造するために使用されている機械は、依然として使用可能である。
本発明の更なる有利な構成は、従属請求項に記載されている。
プリフォームが加熱工程の間、共に移動する支持要素によって保持される場合に、特に有利であることが明らかになった。そのために、プリフォームは例えば搬送ロッドに載せられてもよい。それは例えば、加熱区間の導入領域(搬入領域)で行われ得る。しかしながら、別の支持要素も考慮される。プリフォームの不均一な調温を実行するべきである場合に、はじめて支持要素及びプリフォームをまとめることも考えられる。例えば、はじめにプリフォームが均一に加熱され、当該加熱がその後に加熱区間の終結部分において所望の不均一な熱プロフィールを付与するために行われることも、考えられる。更に、はじめにプリフォームを均一に加熱し、当該加熱がその後、例えば周期付けて燃料供給される固定的な加熱要素内で所望の不均一な熱プロフィールを付与するために行われることも、考えられる。
支持要素を用いることには、取り扱いのための支持要素を最適に形成することが出来る点で有利である一方で、支持要素を用いない場合は、プリフォームは可能な限り材料節約的に製造されており、そして加熱区間の領域でのプリフォーム自体での取り扱いは困難である。特に支持要素が配向され、そしてプリフォームもまた配向されることが考えられる。双方が配向された所望の位置を取った場合に、両者は例えば位置固定的に互いに接続される。そのような接続は例えば通常のクランプシャフトによって知られている。その場合、ネジ部の所望の配向は支持要素の配向と関連しており、その結果、その後、後続の処理工程では支持要素の配向はプリフォームの配向ももたらす。従って、例えば支持要素の配向を用いて、所望の配向でのブローステーションへの装填を、そのために新たにプリフォームの配向について考慮せずに、実行出来る。特に搬送ロッド又はその他の支持要素がプリフォームと共にブローステーション内へ装填されることが考えられる。
基本的にプリフォームを配向するためは、プリフォーム自体が能動的に回転して移動される。プリフォームは原材料の使用が最適化されておりまた可能な限り僅かな材料コストで製造されているので、プリフォームを保持している支持要素が回転されることによって、プリフォームの回転が行われる場合が、有利であることが分かっている。
後続の図面と関連して、本発明は本発明の実施例を用いてより詳細に説明される。
プリフォームから容器を製造するためのブローステーションの斜視図を示す。 ブロー型の縦切断図を示しており、その内部でプリフォームが伸ばされ膨張される。 容器をブロー成形するための装置の基本的な経路を具体的に示すための見取り図を示す。 増加された加熱能力を備えて変更された加熱区間を示す。 プリフォームの縦切断図を示す。 ボトル形状の容器の縦切断図を示す。 楕円形の断面を有する容器の上面図を示す。 楕円形の断面及び非対称に配された開口部を有する容器の上面図を示す。 ブロー型の断面図を示しており、その内部で楕円形の断面を有する容器がブロー成形される。 プリフォームの回転移動のタイミングを具体的に示すための時間グラフを示す。 プリフォームの選択的な冷却を具体的に示すための原理図を示す。 プリフォームが回転されない場合における、互い違い配設されたヒーターボックスによる、プリフォームの温度調節を具体的に示すための概略図を示す。 加熱装置を別々に制御することによるプリフォームの温度調節を具体的に示すための概略図を示す。 第一の実施バリエーションに従う配向要素を備えた、搬送ロッドに保持されているプリフォームの斜視図及び断面図を示す。 第二の実施バリエーションに従う配向要素を備えた、図14と同様の斜視図及び断面図を示している。 搬送ロッド及びプリフォームのための配向要素と共に、加熱区間の導入領域を拡大図で示す。 規格化プリフォームのネジ領域PCO1881の拡大図、及び、ネジ終端部の高さでのプリフォームの長手軸に対して垂直なネジ部領域の断面図を示す。
プリフォーム1を容器2へと変形するための装置の原則的な構造は、図1及び図2に図示されている。これらの図面を用いて、単にプリフォーム1から容器2をブロー成形するプロセスの基本的な方法を説明する。
図示されている容器2を成形するための装置は、基本的に、1つのブローステーション3から構成されており、当該ブローステーション3はその内部へプリフォーム1を入れることが出来るブロー型(ブローモールド)4を備えて設けられている。プリフォーム1はポリエチレンテレフタレートからなる射出成形部材でありえる。プリフォーム1のブロー型4内への挿入を可能とするためそして完成した容器2の取り出しを可能とするため、ブロー型4は通常、割型5、6及びボトム部7から構成されており、当該ボトム部7はリフト装置8によって位置決め可能である、すなわちこの例では降下及び上昇可能である。プリフォーム1はブローステーション3の領域内では搬送マンドレル9によって保持されており、当該搬送マンドレル9はプリフォーム1と共に、装置内部の複数の処理ステーションを通過する。しかしながら、プリフォーム1を例えばグリッパー又はその他の操作手段を介して直接ブロー型内へセットすることも可能である。図示されている例においては、開口部を下方に向けてセットされたプリフォームのブロー成形が行われる。同様にプリフォームが開口部を上方に向けてセットされるようなブローステーションも一般的である。
圧縮空気の供給を可能とするために、搬送マンドレル9の下方には接続ピストン10が配設されており、当該接続ピストン10はプリフォーム1へ圧縮空気を供給し、同時に搬送マンドレル9に対する密閉を行う。構成を変更すれば、基本的に、固定的な圧縮空気供給ラインを用いることも考えられる。
プリフォーム1の伸長は、この実施例においては、シリンダ12によって位置決めされる伸縮ロッドを用いて行われる。別の実施例に従えば、伸縮ロッド11の機械的な位置決めはカーブセグメントを介して実行され、当該カーブセグメントはピックアップローラーによる作用を受けている。カーブセグメントを用いることは、特には複数のブローステーションが1つの回転性のブローホイールに配設されている場合に、合目的である。従来技術においてはリニアモータ駆動部(リニアモータドライブ)を備えた伸縮ロッドも知られている。
図1に示されている実施形態においては、伸縮システムは、2つのシリンダ12のタンデム配置が提供されるように、形成されている。第1シリンダ13によって、伸縮ロッド11が先ず実際の伸縮工程の前にプリフォーム1の底部14の領域まで移動される。実際の伸縮工程の間、外へ出される伸縮ロッドを備えた第1シリンダ13は、第1シリンダ13を支持するキャリッジ15と共に、第2シリンダ16によって又はカーブ制御を介して、位置決めされる。特に、伸縮工程を実行する間カーブ軌道に沿って滑動する1つのガイドローラー17によって、現行の伸縮位置が設定されるように、第2シリンダ16をカーブ制御して作動することが考えられる。ガイドローラー17は第2シリンダ16によってガイド軌道に対して押し付けられる。キャリッジ15は2つのガイド要素18に沿ってスライドする。
保持部19、20の領域内に配設されている割型5、6を閉じた後、狭幅装置20を用いて、保持部19、20の互いに対する間隔が狭められる。
プリフォーム1の開口部部分に別の型を押し付けるために、図2に従い、ブロー型の領域に個別のネジインサートを用いることが企図されている。
図2はブローされた容器2に加えて、破線で記載されたプリフォーム1及び概略的に拡張中の容器の膨れを示している。
図3は、本発明の技術分野についての一般的な理解のために、加熱区間24並びに回転性のブローホイール25を備えて設けられているブロー成形機の基本的な構造を示している。プリフォーム供給部26から出発し、プリフォーム1は受け渡しホイール27、28、29によって加熱区間24の領域へと搬送される。プリフォーム1を調温するために、加熱区間24に沿って、放射ヒーター30並びにファン31が配設されている。プリフォーム1を十分に調温した後、それらはブローホイール25へ渡され、その領域内には、例えば図1及び図2について詳述したように形成されたブローステーション3が配設されている。完成までブローされた容器2は、排出区間32の別の受け渡しホイールによって引き渡される。
容器2内へ詰められた食料品、特には飲料の長期間の有用性(使用可能性)を保証するような材料特性を容器2が有するように、プリフォーム1を容器2へと変形することが可能である、プリフォーム1を加熱及び位置決めする際には特別な方法工程が維持されなければならい。更に、有利な種々の効果が、特別な寸法決定規則を維持することによって達成され得る。
熱可塑性材料としては、様々な合成物質を利用することが出来る。例えばPET、PEN、又は、PPが使用可能である。
位置決め工程の間のプリフォーム1の拡張(膨張)は、圧縮空気を供給することによって行われる。圧縮空気の供給工程は、プリブローフェーズとそれに続くメインブローフェーズに分けられており、プリブローフェーズでは例えば圧搾空気のようなガスが低い圧力レベルで供給され、また、メインブローフェーズでは高い圧力レベルで供給される。プリブローフェーズの間は、通常、圧縮空気がインターバル(合間)をおいて10barから25barの圧力で用いられ、また、メインブローフェーズの間は、インターバルをおいて25barから40barの圧力で供給される。
同様に図3からは、図示されている実施形態において加熱区間24が周回性の複数の搬送要素33から形成されており、それらがチェーン状に互いに接して並べられておりまた転向ホイール34に沿って案内されていることが見て取れる。特には、チェーン状の配置によって基本的に長方形形状の基本輪郭を張ることが考えられている。図示されている実施形態においては、受け渡しホイール29及び供給ホイール35へと向かう加熱区間24の延長部分の領域では、比較的大きく寸法決定された単独の転向ホイール34が用いられており、また、隣接する転向部の領域では比較してより小さく寸法決定された2つの転向ホイール36が用いられる。しかしながら、基本的にはその他の任意のガイド部も考えられる。
加熱区間24の適切な延長部分の領域内に3つの転向ホイール34、36が位置決めされているので、そのうちでも特にそれぞれのより小さい転向ホイール36が加熱区間24の直線的な移行部の領域に位置決めされており、また、より大きな転向ホイール24は受け渡しホイール29及び供給ホイール35に対する直接的な受け渡し領域に位置決めされているので、受け渡しホイール29及び供給ホイール35の互いに可能な限り密集した配置を可能とするために、図示された配置が格別に合目的であることが判明した。チェーン状の搬送要素33を使用する代わりに、例えば、回転性の加熱ホイールを使用することも可能である。
容器2の完成までのブローの後、それらの容器2は取り出しホイール37によってブローステーション3の領域から外部へと案内され、また、受け渡しホイール28及び排出ホイール38を介して排出区間32へと搬送される。
図4に示されている変更された加熱区間24においては、より多くの放射ヒーター30によって、単位時間あたりに、より多くのプリフォーム1を調温することが可能である。図4においては、ファン31が冷却空気流路の領域内へ冷却空気を導入し、当該冷却空気流路は、それぞれ割り当てられている放射ヒーターと向かい合っており、また、流出開口部を介して冷却空気を放出する。複数の流出装置を配設することによって、冷却空気のための流れの方向は本質的にプリフォーム1の搬送方向に対して横方向に実現される。冷却空気流路39は、放射ヒーター30の反対側の表面の領域に、加熱放射用のリフレクターを提供してもよいし、同様に、放出される冷却空気を介して放射ヒーターの冷却を実現することも可能である。
上述の加熱装置もまた単なる例として理解されるべきものである。従来技術においては、例えば、単独位置加熱装置を備え加熱ホイールとして形成された構成のような、複数の代替的な構成が知られている。従来技術においてはその他にも、例えば、マイクロ波の放射によるプリフォームの加熱のような加熱方法も知られている。本発明は、加熱装置の具体的な様態とは無関係であり、また、加熱方法にも依存しない。
通常はそしてまた図5における実施形態に対応して、プリフォーム1は、開口部部分52、開口部部分52をネック領域53から分離しネックリングとも称されるサポートリング54、ネック領域53を壁部部分55へと移行させる肩部領域56、並びに、底部57から構成されている。サポートリング54は開口部部分52をプリフォーム1の長手軸に対して横方向に突出する。肩部領域56の部位では、プリフォーム1の外径は、ネック領域53から始まり壁部部分55の方向へ向かって、広がってゆく。プリフォーム1から容器63を製造する場合には、壁部部分55は基本的に容器の側面壁部を形成する。底部57は丸められて形成されている。
開口部部分52は例えば雄ネジ部62を備えていてもよく、当該雄ネジ部62は完成した容器63においてねじ込み式キャップを装着することを可能にする。それに対しまた同様に、王冠(栓)のための噛合面を作るために、開口部部分52に外側への隆起部(膨らみ)を設けることも可能である。更に、はめ込みキャップをかぶせることを可能にするための、複数のその他の構成も考えられる。規格化(標準化)されたネジは複数知られている。図17にはそのような規格化されたネジ62が拡大図で描写されている。
図5の描写からは、壁部部分55が内周面59及び外周面60を有することが見て取れる。内周面59はプリフォーム内部空間61を画定している。
肩部領域56では、プリフォーム壁部64の厚さは、ネック領域53から壁部領域55への方向で壁厚を増加させながら延伸していてもよい。長手軸58の方向では、プリフォーム1はプリフォーム長さ65を有している。長手軸58の方向では、開口部部分52及びサポートリング54は共通の開口部部分長さ66で延伸している。ネック領域53は長手軸58の領域でネック長さ67を有している。ネック領域53ではプリフォーム1は好ましくは一定の壁厚で延伸している。
壁部領域55では、プリフォーム1は壁厚68を有しており、また、底部57の領域には底部厚69が見て取れる。プリフォーム1のその他の寸法決定は、内径70及び外径71を用いて行われ、それらは近似的に円筒状に延びる壁部領域55において測られる。
図6に図示されているボトル形状の容器63においては、基本的に、開口部領域52及びサポートリング54が変化されていないことが見て取れる。容器63のその他の領域は、実行された2軸の方向づけによって、左右方向でも、長手方向でも、プリフォーム1と比較して、拡張されている。それにより容器63は、容器長さ72及び容器径73を有しており、当該容器径73は考慮されるべき精度を勘案すると、以下においては、具体的な内径或いは外径に関して区別されるべきものではない。
図6はとりわけブロー成形された容器63の底部領域を示している。容器63は、側壁部74及び容器底部(ボトルボトム)75を有している。容器底部75は、スタンドリング(接地環状部)76、及び、容器内部空間77への方向で内側にアーチ状のドーム部78、から構成されている。ドーム部78は、ドーム斜面部79及び中央部分80から形成されている。
容器63は、容器開口部長さ81及び容器ネック部長さ82を有しており、その際少なくとも容器開口部長さ81は一般的にプリフォーム1の開口部長さ66と等しい。
配向工程の前のプリフォーム1の加熱は、様々なバリエーションが考えられる。トンネル状の加熱区間を使用する場合は、調温は滞在時間の長さにのみ依存して実行される。それに対しまた同様に、プリフォーム1に対して赤外線(赤外光)又は高周波光を作用させる放射ヒーターの使用も考えられる。そのような光を用いることで、プリフォーム1の範囲での長手軸方向或いは円周方向に温度プロフィールを発生させることが可能となる。
その種の放射ヒーターが複数の互いに独立して制御可能な加熱要素であって長手軸58の方向で互いに並んで配設されている加熱要素から形成される場合、開口部部分52への方向でプリフォーム1の上方の延長部分の範囲で加熱要素を集中的に制御することによって、壁部部分55が厚くされた領域においては、底部7へ向けられている壁部部分55の領域よりも、より大きな熱エネルギーを入射させることが出来る。放射ヒーターが一様にのみ制御可能である場合、その種の熱プロフィールは、加熱要素を長手軸58の方向において異なる間隔で配設することによっても、実現され得る。
図7は、非円形の断面積を有する容器の断面図を楕円形上で示している。したがってこの場合は、一定の容器径は存在せず、容器径73は、測定方向に応じて、最小径83及び最大径84の間にある。図7に従う実施形態においては、容器63の開口部部分52は実質的に中心に配置されている。
図8に従う実施形態においては、容器63は図7に従う容器63と類似の形態を有している。しかしながら開口部部分52は、容器中心線85に対してずらされて配置されている。
図9は加熱装置86の領域に配されたプリフォーム1の水平方向断面図を示している。加熱装置86が放射ヒーター87並びにリフレクター88を有していることが見て取れる。プリフォーム1の周囲89は、この実施形態においては、4つの角度領域90、91、92、93に分割されている。周囲89の方向においては、角度領域90、91、92、93の調温は異なった様態で行われるべきものである。図7に対応する輪郭を備える容器63を製造するために、例えば、角度領域90、92、並びに、角度領域91、93をそれぞれ少なくともほぼ同様に調温することが、合目的である。特には、楕円形の容器63が製造されるべきである場合には、角度領域90、92に対して、角度領域91、93よりも高い温度を用意することが企図されている。それぞれの角度領域90、91、92、93の大きさは、ブロー成形されるべき容器63の形態に依存する。
周囲89の方向での温度プロフィールを実現するために、例えば、図10で具体的に示されているように、段階的な移動を伴って、プリフォーム1をその長手軸58の周りで回転させることが出来る。その際には、短い移動期間95及び静止期間96が連続して続くこととなる。4つの角度領域90、91、92、93を備える周方向での温度プロフィールの場合には、以下のような移動が行われ得る、すなわち、先ず、予め設定された静止期間96内では角度領域90が加熱装置86へと向けられており、そして、静止期間96の終了後、移動期間95内では角度領域91が比較的迅速に加熱装置86を通り過ぎるような移動が行われ得る。そして、移動期間95が終了する頃には、角度領域92が加熱装置86へ向けられている。従って、プリフォーム1は約180°回転される。
例えば、プリフォーム1を先ず予め均一に温度調整し、それに続き上述の移動により温度プロフィールを作ることも可能である。同様に、冷たいプリフォーム1から始まりそれぞれの移動フェーズによって温度プロフィールが達成されるように、回転時のプリフォームの移動経路を設けることも可能である。少なくとも、予調温に続いて温度プロフィールを行う場合には、移動期間95は基本的に、静止期間96よりも短い。継続時間の比率は例えば1:10であり得る。
図11は温度プロフィールを与えるための別の可能性を示している。この場合、予調温されたプリフォーム1はステップ駆動で、冷却ノズル103の前へ移動され、当該冷却ノズル103からは冷却ガスが流れ出ている。その際例えば空気を用いてもよい。
図12に従う実施形態においては、複数のプリフォーム1が、互いに向かい合う搬送経路の両側面で互い違いに配設されている加熱装置86の間を通り過ぎるように案内されている。この場合はプリフォーム1の回転は想定されておらず、搬送経路のそれぞれの側面で互いに連続している加熱ゾーンによって、段階的な加熱が実現されている。互い違いにセットされ向かい合う配置によって、複数の加熱装置が互いへと放射することは避けられる。しかしながら、適切な冷却部を用いる場合は、互いに向かい合う配置を実現することも、又は、部分的に重なるように互いに向かい合いまたずれた配置を実現することも、可能である。
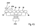
図13は、別のバリエーションを示している。図13の場合は、プリフォーム1は搬送方向104にも、また回転方向105にも移動する。加熱装置86は1つの加熱制御部106に接続されており、当該加熱制御部106は、搬送方向104に互いに連続して存在する加熱装置86を、通り過ぎるプリフォーム1に周方向での所望の温度プロフィールがもたらされるように、制御する。この実施例においては、正確な温度設定をサポートするために、搬送方向において比較的小さく寸法決定された加熱装置を使用することが、合目的である。
製品にまでブローされた容器2には、例えばその充填の後、蓋(栓)が取り付けられる。ブロー成形された容器2に対する蓋の配向(位置決め)が重要でない場合は、不均一な加熱の間にプリフォーム1が、より正確にはプリフォーム1のネジ62がどのように配向されているかも、重要ではない。ブロー成形された容器2がその長手軸58に対して回転対称である場合も同様に、加熱区間24内で温度プロフィールを与える際の、ネジの配向に関する挙動は重要ではない。しかしながらこれは、キャップ(蓋)が、製品にまでブロー成形されまた回転対称ではない容器2に、予め定められた状態であるべきである場合、例えばブロー成形された容器2が楕円形の断面を有し、従って、キャップがそれに対して予め定められた状態で存在するべき好ましい方向を有している場合には、状況が異なる。これは例えば、手で扱われるスプレーノズルを備えたフタを有するスプレーボトルの場合に知られている。その場合は往々にして、ハンドトリガーがスプレーボトル本体に対して特定の方向に配向された状態にあることが望まれる。
図14は、搬送ロッド9によって保持されているプリフォーム1の斜視図及び断面図を、第1の実施バリエーションに従う配向要素(位置決め要素)140と共に示しているのに対し、図15は、図14と類似の図面を用いて第2の実施バリエーションを示している。両方のバリエーションは、単に配向要素140、150についてのみ異なっており、それ以外は同じ様態で形成されており、その際配向要素140、150は同様に形成されたネジ部の別々の構造に係合しているので、両方の図面は、同時に説明され、またそれぞれの差異については最後に説明される。
図14の実施例に従えば、プリフォーム1は下方に向けられ開口部領域で搬送ロッド9によって保持されている。搬送ロッド9は、その地面側の端部に偏心して配設された1本の配向ピン(位置決めシャフト)141を有しており、当該配向ピン141は、図16について後述するように、搬送ロッド9を配向するために用いられる。搬送ロッド9は更に、1つのギアホイール142を有しており、当該ギアホイール142は、半径方向で搬送ロッド9のその他の領域から突き出ており、またそれは、例えばロッド9を搬送するために使用され、そして、搬送チェーンと協働する。
プリフォーム1のネジは、規格化ネジの1種、すなわち図17において拡大図で示されているPCO1881に準拠するネジである。このネジはとりわけ、いわゆるベンティングスロット143を有しており、当該ベンティングスロット143は特には図14の左側の描写及び図17において認識することが出来る。合計4つのベンティングスロット143を識別することができ、それらは、ネジの全長に渡ってプリフォーム1の長手方向58に延伸しているが、その目的は、螺合されているキャップが螺脱される場合に、通気を可能とすることである。ベンティングスロット143は、ベンティングスロット143によって断たれているネジ山173の側方端面によって、画定されている。これらの端面は、正に適した当接面である。配向要素140がそのような端面と接触している間は、プリフォーム1が更に回転することは出来ない。搬送ロッド9が更に回転される場合、配向要素140はプリフォーム1を固定的に保持しているので、その結果ロッド9は固定的に保持されたプリフォーム1に対して回転することが出来る。この当接位置への到達前は、プリフォーム1はロッド9と共に回転することが出来る。
配向要素140は、好ましくは半径方向の弾性部材(バネ部材)へ形成されており、また、そのプリフォームネジ部62へ係合する領域に、幅の狭い係合刃を有している。当該係合刃は、それが隣り合うネジ山173の間に係合することが出来るように、そして、プリフォーム1の特定の配向位置に到達した際にベンティングスロット143の端面に対してぶつかるように、寸法決定されている。
図15の配向要素150は類似の様態で形成されている。しかしながら、この第2の実施バリエーションでは、ネジ終端部171が、配向要素150のための当接面として利用される。更に、配向要素150はその係合領域にてプリフォームネジ部62内へ、2つの上下に並び互いに間隔を置いて配されている幅の狭い刃を有している。これらの両方の刃の間には、凹部が延伸しており、当該凹部内でプリフォームネジ部62のネジ山173が、凹部に沿って滑ることが出来る。この時点ではプリフォーム1の回転は止められるので、その結果、例えば回転駆動されるロッド9は更に回転することが出来るが、プリフォーム1はその到達された配向位置に留まる。別の類似の様態では、ネジ始端部172が配向要素150のための当接面として利用される。
プリフォーム1及び搬送ロッド9の配向について更に説明するために、搬送ロッド9及びプリフォーム1のための複数の配向要素と共に加熱区間24の導入領域を拡大図で示している図16について指摘する。図16にて示されている導入領域へ、搬送ロッド9がその上に立てられたプリフォーム1と共に入ってゆく。搬送方向で狭まる凹部161を備える地面側の配向レーン160は、そこに形成されている配向ピン141、151を用いてロッド9を配向するために用いられる。配向ホイール165は、当該ホイール165と共に周回する複数の配向要素(位置決め要素)166を有しており、当該配向要素166は、カム制御で半径方向に揺動され得る。ロッド9は回転駆動され、配向要素166は配向ホイール165の特定の回転位置に到達した際に係合位置へ半径方向に揺動するので、その結果、プリフォーム1のネジ領域への係合が行われる。搬送ロッド9及びそれによって保持されているプリフォーム1は、配向要素166がネジ部62の予め定められた接触面との接触に至るまで、回転する。これは、図14及び図15の実施バリエーションに従えば、例えば、ベンティングスロット143、又は、ネジ終端部171、又は、ネジ始端部172であってもよい。配向ホイール165は、例えば加熱区間24の上流に接続されていてもよいし、又は、加熱区間の一部であってもよい。配向工程の終了の頃には、プリフォーム1のネジ部62及びロッド9の配向ピン141は、互いに予め設定された所望の配向状態にある。搬送ロッド9が例えば挟持式(クランプ式)に形成されている場合、挟持力は以下のような決定され得る、すなわち、機械が障害なく駆動している際にプリフォーム1が配向された姿勢でロッド9に対して位置固定されて保持されているように決定され得る。ロッド9及びプリフォーム1からなる一体構成は、その後、共にブローマシンを通って搬送され得るので、その結果、例えばプリフォーム1のネジ部62を配向するために、ロッド9の配向ピン141を使用することが出来る。その後有利には、搬送ロッド9及びそれにより保持されているプリフォーム1と共に加熱区間9を通り抜けるだけでなく、同様に例えば共にブローステーション3へ向かって移動され、また、例えば有利には共にブローステーション3にセットされる。搬送ロッド9及びそれにより保持されているプリフォーム1は、その後、例えばブローマシンを後にする前に、分離されてもよい。しかしながら、搬送ロッド9は例えば、製品にまでブローされた容器2と共に、下流の充填機械に向かって搬送されてもよい。
図17では、下方の断面図から、考慮の対象となる接触面(ベンティングスロット、ネジ始端部、ネジ終端部)が通常、プリフォーム1のシリンダ状の基本形状の面法線174に対して、傾いて形成されていること、が見て取れる。ネジ終端部171の例では、通常角度αの傾斜が設けられていることが表されている。ネジ始端部172及びネジ終端部171はさらに、半径R1及び半径R2によって、並びに、高さhによって、定義されている。これらの大きさは特定の様態で関連していることが好ましい、すなわち、半径R1及び/又は半径R2が高さhの半分(h/2)よりも小さいことが好ましく、高さhの三分の一(h/3)よりも小さいことが更に好ましい。これは、それぞれの規格化ネジのための具体的なネジタイプとは無関係に、好ましい。更に、それぞれのネジタイプにとっては、半径R1及び半径R2の間に直線的な角領域Iが延伸している場合であって、好ましくは角領域Iが高さhの10%よりも大きい場合、更に好ましくは20%よりも大きい場合、更により好ましくは30%よりも大きい場合が、好ましい。
1 プリフォーム
2 容器
9 支持要素、搬送ロッド
24 加熱区間
58 容器長手軸
62 ネジ部、規格化ネジ部
140、150 配向要素(位置決め要素)
143 接触面、ベンティングスロット
171 接触面、ネジ終端部
172 接触面、ネジ始端部

Claims (8)

  1. 熱可塑性材料からなるプリフォーム(1)にして、その長手軸の周りで回転対称であってまた規格化ネジ部を有しているプリフォーム(1)を調温するための方法にして、
    前記プリフォーム(1)が、容器長手軸(58)に対して横方向に切断した場合に非円形の断面を有する容器(2)へとブロー成形で変形するために、備えられており、また、前記プリフォーム(1)が温度調整のために加熱され、その際、前記プリフォーム(1)には加熱工程の間に周囲に沿って温度プロフィールを用意され、当該温度プロフィールは、前記プリフォーム(1)の半径方向の周囲方向において複数の領域が異なって加熱されることによって、発生され、その際、上述の複数の領域が異なって加熱される前に、前記プリフォーム(1)の前記規格化ネジ部(62)が予め定められた目標位置へと配向される、
    前記方法において、
    前記プリフォーム(1)を配向するために、前記プリフォーム(1)が回転してずらされ、配向要素(140、150)が前記規格化ネジ部(62)内へ係合し、前記配向要素(140、150)が前記規格化ネジ部(62)内の予め定められた接触面(143、171、172)と接触すると同時に、前記プリフォーム(1)の更なる回転が防止されること、
    を特徴とする方法。
  2. 請求項1に記載の方法において、
    前記配向要素(140、150)が、前記規格化ネジ部(62)の少なくとも1つのベンティングスロット(143)に係合し
    記接触面が前記ベンティングスロット(143)によって、又は、一対の前記ベンティングスロット(143)によって形成されいること
    を特徴とする方法。
  3. 請求項2に記載の方法において、
    前記接触面が、1つの前記ベンティングスロット(143)のみ又は複数の前記ベンティングスロット(143)のうちの幾つかのみによって形成されるように、前記配向要素(140、150)が寸法決定されまたそのような高さ位置に配置されていること
    を特徴とする方法。
  4. 請求項1から3の何れか一項に記載の方法において、
    前記接触面が、前記規格化ネジ部(62)のネジ終端部(171)及び/又はネジ始端部(172)によって形成されていること
    を特徴とする方法。
  5. 請求項1からの何れか一項に記載の方法において、
    前記プリフォーム(1)がその温度調節のために加熱区間(24)を通って搬送され、また、前記加熱区間(24)を通るその経路上で少なくとも部分的に共に移動する支持要素(9)によって保持されており、その際、前記持要素(9)が前記加熱区間(24)を通る経路上で同様に配向され、また、配向された前記支持要素(9)及び配向された前記プリフォーム(1)が、共にそしてそれらの前記加熱区間(24)の終わりに占められているブローステーション(3)に対する相対的な配向を維持したまま、搬送されること
    を特徴とする方法。
  6. 請求項に記載の方法において、
    前記支持要素(9)が搬送ロッド(9)として設計されていること
    を特徴とする方法。
  7. 請求項又はに記載の方法において、
    前記プリフォーム(1)が、前記支持要素(9)の回転によって、回転してずらされること、
    を特徴とする方法。
  8. 請求項1からの何れか一項に記載の方法において、
    前記接触面(143、171、172)が前記プリフォーム表面の面法線(174)に対して角度αだけ傾いて配置されており、当該角度αが60°よりも小さいこと、又は45°より小さいこと、又は30°よりも小さいこと、
    を特徴とする方法。
JP2017557907A 2015-05-08 2016-04-07 プリフォームを不均一に調温するための方法 Expired - Fee Related JP6539751B2 (ja)

Applications Claiming Priority (3)

Application Number Priority Date Filing Date Title
DE102015005769.3 2015-05-08
DE102015005769.3A DE102015005769A1 (de) 2015-05-08 2015-05-08 Verfahren zur inhomogenen Temperierung von Vorformlingen
PCT/EP2016/000568 WO2016180510A1 (de) 2015-05-08 2016-04-07 Verfahren zur inhomogenen temperierung von vorformlingen

Publications (2)

Publication Number Publication Date
JP2018515370A JP2018515370A (ja) 2018-06-14
JP6539751B2 true JP6539751B2 (ja) 2019-07-03

Family

ID=55699601

Family Applications (1)

Application Number Title Priority Date Filing Date
JP2017557907A Expired - Fee Related JP6539751B2 (ja) 2015-05-08 2016-04-07 プリフォームを不均一に調温するための方法

Country Status (6)

Country Link
US (1) US20180264707A1 (ja)
EP (1) EP3294526A1 (ja)
JP (1) JP6539751B2 (ja)
CN (1) CN107548344A (ja)
DE (1) DE102015005769A1 (ja)
WO (1) WO2016180510A1 (ja)

Families Citing this family (12)

* Cited by examiner, † Cited by third party
Publication number Priority date Publication date Assignee Title
DE102016005272B4 (de) * 2016-04-29 2020-03-12 Khs Corpoplast Gmbh Heizvorrichtung zur thermischen Konditionierung von für die Blasformung vorgesehenen Vorformlingen
FR3053907B1 (fr) 2016-12-23 2018-08-17 Sidel Participations Procede de reglage initial d'une machine de formage d'une installation de production de recipients
FR3062643B1 (fr) * 2017-08-04 2020-02-28 Sidel Participations Dispositif de transport tournant pour un corps creux
DE102017011087A1 (de) 2017-11-30 2019-06-06 Khs Corpoplast Gmbh Verfahren und Vorrichtung für die Herstellung von gefüllten Behältern aus temperaturkonditionierten Vorformlingen
FR3103131B1 (fr) * 2019-11-20 2021-11-05 Sidel Participations "Procédé d'orientation d'une préforme dans un moule"
EP4596226A3 (en) * 2021-06-29 2025-10-01 Discma AG Method of heating a preform suitable for blow molding
EP4363195B1 (en) * 2021-06-29 2025-07-09 Discma AG Method of thermal imaging for a blow molding process
DE102021133797A1 (de) * 2021-12-20 2023-06-22 Krones Aktiengesellschaft Vorrichtung und Verfahren zum Herstellen von Kunststoffbehältnissen mit nicht kreisförmigen Querschnitten
DE102022100090A1 (de) 2022-01-04 2023-07-06 Khs Gmbh Heizverfahren und Heizvorrichtung zur thermischen Konditionierung von Vorformlingen mit temperaturausgezeichneten Umfangsbereichen (preferential heating)
DE102022105331A1 (de) * 2022-03-08 2023-09-14 Krones Aktiengesellschaft Verfahren und Vorrichtung zum Herstellen von Kunststoffbehältnissen mit nicht kreisförmigem Querschnitt
DE102022109816A1 (de) * 2022-04-22 2023-10-26 Krones Aktiengesellschaft Vorrichtung und Verfahren zum Herstellen von Kunststoffbehältnissen mit nicht kreisförmigen Querschnitten
DE102022109966A1 (de) * 2022-04-26 2023-10-26 Khs Gmbh Heizverfahren und Heizvorrichtung zur thermischen Konditionierung von Vorformlingen, sowie Behälterherstellungsmaschine für die Umformung von Vorformlingen mit einer Heizvorrichtung

Family Cites Families (24)

* Cited by examiner, † Cited by third party
Publication number Priority date Publication date Assignee Title
US3632713A (en) 1969-11-26 1972-01-04 Phillips Petroleum Co Blow molding oriented articles using elongated oval plug
US3775524A (en) 1971-06-01 1973-11-27 Phillips Petroleum Co Selective parison heating for oriented generally oval-shaped hollow articles
US3892830A (en) 1972-04-10 1975-07-01 Phillips Petroleum Co Precise temperature adjustment of reheated parison preforms
US3950459A (en) 1972-12-27 1976-04-13 Phillips Petroleum Company Continuous process for producing, reheating, and blow molding parisons
DE2352926A1 (de) 1973-10-22 1975-04-24 Heidenreich & Harbeck Gmbh Verfahren und vorrichtung zum erwaermen eines werkstueckes aus kunststoff
DE3314106C2 (de) 1983-04-19 1986-07-24 C.F. Spiess & Sohn Kunststoffwerk GmbH & Co, 6719 Kleinkarlbach Vorrichtung zum Herstellen von Hohlkörpern aus warmformbarem Kunststoff
DE4212583A1 (de) 1992-04-15 1993-10-21 Krupp Corpoplast Masch Vorrichtung zur Blasformung
US5292243A (en) 1992-09-28 1994-03-08 Cincinnati Milacron Inc. Apparatus for heating portions of container preforms
US5282526A (en) * 1992-09-28 1994-02-01 Cincinnati Milacron Inc. Apparatus and method for orienting container preforms
FR2703944B1 (fr) 1993-04-15 1995-06-23 Sidel Sa Procédé et installation pour le traitement thermique du corps d'une préforme en matériau thermoplastique.
DE4340291A1 (de) 1993-11-26 1995-06-01 Krupp Corpoplast Masch Mehrfachnutzung von Blasluft
DE19647260B4 (de) * 1996-11-15 2007-08-02 Beiersdorf Ag Behältnis und Verfahren zu seiner Herstellung
DE19906438A1 (de) 1999-02-16 2000-08-17 Krupp Corpoplast Masch Verfahren und Vorrichtung zur Übergabe von Behältern
JP2001088204A (ja) * 1999-09-22 2001-04-03 Tahara:Kk 吹込成形におけるプリフォームの位置決め方法および装置
JP2003039533A (ja) * 2001-07-27 2003-02-13 Taisei Kako Co Ltd ボトルのブロー成形装置、並びに、ボトルのブロー成形方法
JP4504794B2 (ja) * 2004-12-03 2010-07-14 日本山村硝子株式会社 キャップ、内容物充填容器および内容物充填容器の洗浄方法
DE102005011805A1 (de) * 2005-03-15 2007-01-11 Sig Technology Ltd. Verfahren und Vorrichtung zur Blasformung von Behältern
US20070042074A1 (en) * 2005-08-19 2007-02-22 Husky Injection Molding Systems Ltd. Apparatus & molding system for rotating molded articles
US7611659B2 (en) * 2006-05-03 2009-11-03 Graham Packaging Company, L.P. Method and apparatus for making a plastic container having an oriented finish portion
FR2915418B1 (fr) * 2007-04-25 2012-11-16 Sidel Participations Procede de chauffe d'ebauches pour la fabrication de recipients
IT1390889B1 (it) * 2008-07-18 2011-10-19 S I P A Societa' Ind Progettazione E Automazione S P A Impianto di convogliamento di contenitori in materiale plastico
EP2253452B1 (de) * 2009-05-18 2015-12-16 Krones AG Vorrichtung und Verfahren zum Temperieren von Kunststoffvorformlingen
DE102010027907A1 (de) * 2010-04-19 2011-10-20 Krones Ag Vorrichtung und Verfahren zum Handhaben eines Behälterproduktes
JP2012254819A (ja) * 2011-06-10 2012-12-27 Kirin Brewery Co Ltd プラスチック成形体

Also Published As

Publication number Publication date
WO2016180510A1 (de) 2016-11-17
CN107548344A (zh) 2018-01-05
US20180264707A1 (en) 2018-09-20
DE102015005769A1 (de) 2016-11-10
EP3294526A1 (de) 2018-03-21
JP2018515370A (ja) 2018-06-14

Similar Documents

Publication Publication Date Title
JP6539751B2 (ja) プリフォームを不均一に調温するための方法
CN102398362B (zh) 用于制造椭圆形塑料容器的设备及方法
US8100688B2 (en) Device for blow molding containers
TWI551423B (zh) 用來對塑膠材料預形體進行回火之設備及方法
US5206039A (en) Apparatus for conditioning pressure molded plastic articles
CN109219564B (zh) 符合工效学的一体式手柄组件
US8992208B2 (en) Device for transporting preforms for blow molding containers
US10549472B2 (en) Heat device and method for the thermal conditioning of preforms provided for blow moulding
US8465274B2 (en) Moulding unit for a plant for blow-moulding plastic containers, particularly bottles
AU2018204788B2 (en) Blow moulding machine, preforms, system and process
US10857701B2 (en) Method and heating device for temperature conditioning of preforms and blow molding machine comprising such a device
CN102438808A (zh) 用于吹塑成形容器以及用于灌装容器的方法和装置
JP6313157B2 (ja) ブロー成形装置
JP2019504785A (ja) ブロー成形のために設けられるパリソンを熱的にコンディショニングするための加熱装置
JP6719028B2 (ja) アクティブプリフォームクランプを有する高速交換ロッド
CN102112292A (zh) 用于吹塑成型容器的方法和设备
JP2011529808A6 (ja) 容器をブロー成形するための方法および装置
JP6749425B2 (ja) マグネット保持部を備えるロッドチェーン
US12076905B2 (en) Method for producing resin container and apparatus for producing resin container
US10105872B2 (en) Apparatus and a method for producing oval plastic containers
US11660801B2 (en) Starwheel preform orienting apparatus
CN101790450B (zh) 用于吹塑成型容器的方法和装置
US20070042074A1 (en) Apparatus & molding system for rotating molded articles
CN110869185B (zh) 用于用温度处理过的预成型坯制造被灌装的容器的方法和设备
JP5784238B2 (ja) パリソンまたはパリソンから製造される容器のための保持装置

Legal Events

Date Code Title Description
A621 Written request for application examination

Free format text: JAPANESE INTERMEDIATE CODE: A621

Effective date: 20171222

A977 Report on retrieval

Free format text: JAPANESE INTERMEDIATE CODE: A971007

Effective date: 20181121

A131 Notification of reasons for refusal

Free format text: JAPANESE INTERMEDIATE CODE: A131

Effective date: 20181204

A601 Written request for extension of time

Free format text: JAPANESE INTERMEDIATE CODE: A601

Effective date: 20190301

A521 Request for written amendment filed

Free format text: JAPANESE INTERMEDIATE CODE: A523

Effective date: 20190412

TRDD Decision of grant or rejection written
A01 Written decision to grant a patent or to grant a registration (utility model)

Free format text: JAPANESE INTERMEDIATE CODE: A01

Effective date: 20190521

A61 First payment of annual fees (during grant procedure)

Free format text: JAPANESE INTERMEDIATE CODE: A61

Effective date: 20190610

R150 Certificate of patent or registration of utility model

Ref document number: 6539751

Country of ref document: JP

Free format text: JAPANESE INTERMEDIATE CODE: R150

LAPS Cancellation because of no payment of annual fees