JP6534945B2 - 使用済燃料の再処理方法及び再処理装置 - Google Patents

使用済燃料の再処理方法及び再処理装置 Download PDF

Info

Publication number
JP6534945B2
JP6534945B2 JP2016030084A JP2016030084A JP6534945B2 JP 6534945 B2 JP6534945 B2 JP 6534945B2 JP 2016030084 A JP2016030084 A JP 2016030084A JP 2016030084 A JP2016030084 A JP 2016030084A JP 6534945 B2 JP6534945 B2 JP 6534945B2
Authority
JP
Japan
Prior art keywords
fuel
reprocessing
fluoride
fluorination
uranium
Prior art date
Legal status (The legal status is an assumption and is not a legal conclusion. Google has not performed a legal analysis and makes no representation as to the accuracy of the status listed.)
Active
Application number
JP2016030084A
Other languages
English (en)
Other versions
JP2017146270A (ja
Inventor
国義 星野
国義 星野
深澤 哲生
哲生 深澤
伸二 渡邊
伸二 渡邊
笹平 朗
朗 笹平
大輔 渡邉
大輔 渡邉
Current Assignee (The listed assignees may be inaccurate. Google has not performed a legal analysis and makes no representation or warranty as to the accuracy of the list.)
Hitachi GE Nuclear Energy Ltd
Original Assignee
Hitachi GE Nuclear Energy Ltd
Priority date (The priority date is an assumption and is not a legal conclusion. Google has not performed a legal analysis and makes no representation as to the accuracy of the date listed.)
Filing date
Publication date
Application filed by Hitachi GE Nuclear Energy Ltd filed Critical Hitachi GE Nuclear Energy Ltd
Priority to JP2016030084A priority Critical patent/JP6534945B2/ja
Publication of JP2017146270A publication Critical patent/JP2017146270A/ja
Application granted granted Critical
Publication of JP6534945B2 publication Critical patent/JP6534945B2/ja
Active legal-status Critical Current
Anticipated expiration legal-status Critical

Links

Images

Classifications

    • YGENERAL TAGGING OF NEW TECHNOLOGICAL DEVELOPMENTS; GENERAL TAGGING OF CROSS-SECTIONAL TECHNOLOGIES SPANNING OVER SEVERAL SECTIONS OF THE IPC; TECHNICAL SUBJECTS COVERED BY FORMER USPC CROSS-REFERENCE ART COLLECTIONS [XRACs] AND DIGESTS
    • Y02TECHNOLOGIES OR APPLICATIONS FOR MITIGATION OR ADAPTATION AGAINST CLIMATE CHANGE
    • Y02EREDUCTION OF GREENHOUSE GAS [GHG] EMISSIONS, RELATED TO ENERGY GENERATION, TRANSMISSION OR DISTRIBUTION
    • Y02E30/00Energy generation of nuclear origin
    • Y02E30/30Nuclear fission reactors
    • YGENERAL TAGGING OF NEW TECHNOLOGICAL DEVELOPMENTS; GENERAL TAGGING OF CROSS-SECTIONAL TECHNOLOGIES SPANNING OVER SEVERAL SECTIONS OF THE IPC; TECHNICAL SUBJECTS COVERED BY FORMER USPC CROSS-REFERENCE ART COLLECTIONS [XRACs] AND DIGESTS
    • Y02TECHNOLOGIES OR APPLICATIONS FOR MITIGATION OR ADAPTATION AGAINST CLIMATE CHANGE
    • Y02WCLIMATE CHANGE MITIGATION TECHNOLOGIES RELATED TO WASTEWATER TREATMENT OR WASTE MANAGEMENT
    • Y02W30/00Technologies for solid waste management
    • Y02W30/50Reuse, recycling or recovery technologies

Landscapes

  • Inorganic Compounds Of Heavy Metals (AREA)

Description

本発明は、使用済燃料の再処理方法及び再処理装置に関する。
高温ガス炉は、軽水炉と比較して原子炉出口温度が高く、650〜950℃の高温である。炉心温度が高いため、セラミックス材料で炉心が構成されている。高温ガス炉は、炉心の構成材料および冷却材の特性に基づく固有の安全性が高く、異常時の過渡挙動も緩慢である。また、原子炉出口温度が高いため、熱利用率が高く、経済性にも優れている。
高温ガス炉は、燃料として被覆燃料粒子を用いる。この被覆燃料粒子は、燃料核に熱分解炭素、炭化珪素で多重に被覆した微小粒子である。被覆燃料粒子の被覆層は、核分裂生成物(以下「FP」ともいう。)の漏洩に対する障壁としての機能をもっており、高温照射下においても核分裂生成ガスを被覆燃料粒子内部にほぼ完全に保持できる。
被覆粒子燃料は、その高い耐熱性および閉じ込め性の観点から、高温ガス炉だけでなく、フッ化物塩冷却高温炉(FHR)等、他の炉型へ適用されることも検討されている。
高温ガス炉等の使用済の被覆粒子燃料は、放射性物質閉じ込め機能の観点から、化学的、機械的に安定なSiC等で被覆されている。このため、脱被覆・再処理に際しての課題が残っている。
非特許文献1においては、その課題へのアプローチとして、機械的脱被覆法が提案されている。
非特許文献2には、フッ化脱被覆と湿式処理とを組み合わせた研究例が記載されている。
武井、他:日本原子力学会和文論文誌、Vol.2,No.4,pp.490−499(2003) 前田、他:JAERI−M 7060(1977年4月)
非特許文献1に記載の機械的脱被覆法には、破砕物の飛散や装置・工具メンテナンス等の課題がある。すなわち、機械的脱被覆における飛散物による汚染や機器の損耗が問題となる。また、燃料成分と被覆材成分との分離にも課題が残っている。
非特許文献2に記載のフッ化脱被覆と湿式処理との組み合わせには、フッ化脱被覆の際の揮発ウランの処理の課題がある。すなわち、燃料成分と被覆材成分との分離の問題であり、フッ化処理の際に、被覆材成分にウランが同伴するため、ウランの除染をする必要がある。結果として、ウラン廃棄物が発生するという問題がある。
さらに、資源の有効活用の観点から再処理が必要であるだけでなく、近年、使用済燃料の長期毒性低減のため、マイナーアクチノイド(MA)の分離、核変換による対策のニーズがあり、高温ガス炉の燃料についても、再処理し、MA分離・核変換をする必要性がある。
そこで、化学的・機械的に安定で従来法では処理困難な被覆粒子燃料の脱被覆・再処理をする技術が必要となる。
本発明は、被覆燃料粒子を再処理する際、機械的脱被覆によらないで被覆成分を除去し、飛散物による汚染や機器の損耗等を少なくするとともに、ウランを除染の対象とすることなく回収することを目的とする。
本発明の使用済燃料の再処理方法は、使用済の被覆粒子燃料の構成元素をフッ化する工程と、フッ化する工程で生成したフッ化物を冷却することによりウラン及びプルトニウムのフッ化物を他のガスから分離する工程と、を含む。
本発明によれば、被覆燃料粒子を再処理する際、被覆成分を機械的脱被覆によらないで除去するため、飛散物による汚染や機器の損耗等を少なくするとともに、ウランを回収することができる。
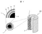
TRISO燃料を含む燃料コンパクトの構造を示す模式図である。 本発明の一実施形態に係る高温ガス炉の使用済燃料の再処理方法を示すフロー図である。 本発明の他の実施形態に係る高温ガス炉の使用済燃料の再処理方法を示すフロー図である。 従来技術における高温ガス炉の使用済燃料の再処理方法を示すフロー図である。 他の従来技術における高温ガス炉の使用済燃料の再処理方法を示すフロー図である。 本発明の一実施形態に係る使用済燃料の再処理装置を示す概略構成図である。
本発明は、高温ガス炉の使用済燃料の再処理方法及び再処理装置に関する。
まず、高温ガス炉で用いる被覆燃料粒子(TRISO燃料)及びその使用形態である燃料コンパクトの構造について説明する。
図1は、TRISO燃料を含む燃料コンパクトの構造を示す模式図である。ここで、TRISO燃料は、TRIstructural−ISOtropic fuelの略称である。
本図において、燃料コンパクト100は、TRISO燃料粒子1(TRISO型被覆燃料粒子)を黒鉛粉末2で焼き固めたものである。拡大して示すように、TRISO燃料粒子1は、その内部にUO燃料核11を有し、UO燃料核11を内側から順に低密度熱分解炭素12、高密度熱分解炭素13、炭化ケイ素14、高密度熱分解炭素15の各層で覆った構成を有する。言い換えると、TRISO燃料粒子1は、UO燃料核11と、その周囲を被覆する被覆層と、で構成されている。そして、この被覆層は、低密度熱分解炭素12、高密度熱分解炭素13、炭化ケイ素14及び高密度熱分解炭素15を順に積層した構成である。
なお、本明細書においては、TRISO燃料粒子1と、これを黒鉛粉末2とともに焼き固めた燃料コンパクト100と、について説明しているが、燃料粒子は、この構造を有するものに限定されるものではなく、ウランを被覆した構成を有する他の燃料粒子であるBISO燃料粒子等の被覆粒子であっても、本発明の方式を適用可能である。ここで、BISOは、Buffer ISOtropic(緩衝等方性)の略称である。
つぎに、従来技術について図面を用いて説明する。
図4は、従来技術における高温ガス炉の使用済燃料の再処理工程を示すフロー図である。
本図に示すように、非特許文献1に記載の機械的脱被覆法においては、TRISO燃料粒子を機械的に脱被覆し(S401)、これにより燃料成分と被覆材成分とに分離する。そして、燃料成分については、湿式の再処理(S402)を施すことにより、燃料を取り出し、残渣は廃棄物とする。なお、被覆材成分については、廃棄物とする。
この方法の問題点は、S401の機械的脱被覆工程において飛散物が発生し、周囲が汚染されること、機械的に脱被覆するため機器の損耗が著しいこと等である。
図5は、他の従来技術における高温ガス炉の使用済燃料の再処理工程を示すフロー図である。
本図に示すように、非特許文献2に記載の分離方法においては、フッ化処理(S501)を施すことにより、燃料成分と被覆材成分とに分離する。そして、燃料成分については、湿式の再処理(S502)を施すことにより、燃料を取り出し、残渣は廃棄物とする。
被覆材成分については、ウランが含まれるため、除染(S503)をすることにより、ウランを分離する。このため、ウランを含む廃棄物と、それ以外の廃棄物と、が発生する。
図2は、本発明の一実施形態に係る高温ガス炉の使用済燃料の再処理方法を示すフロー図である。
本図においては、被覆粒子燃料を構成する被覆材成分、燃料成分及びFP廃棄物成分をフッ化物とし、複数種類のフッ化物の蒸気圧の差を利用して、当該フッ化物のいくつかが凝縮又は固化する温度に冷却することにより、各成分に分離する。
本図に示すように、まず、使用済の燃料コンパクトを破砕し、TRISO燃料粒子(以下、単に「燃料粒子」又は「被覆粒子燃料」ともいう。)を取り出す(S101)。
SiC及び炭素材で被覆された燃料粒子に、フッ素ガスを作用させ、約600℃でフッ化処理を行い、フッ化物のうち、揮発性であるSi、C、U及びPu、並びに微量のFPのフッ化物は、揮発性フッ化物ガスとして取り出す(フッ化工程S102)。本図においては、Si、C、U及びPuのフッ化物はそれぞれ、SiF、CF、UF、PuFと記載している。また、FPのフッ化物は、フッ化残渣(単にFP)と記載している。
揮発性フッ素ガスは、コールドトラップ等により、各フッ化物の蒸気圧の差を利用して、被覆材に含まれる元素のSi及びCのフッ化物と、燃料に含まれるU及びPuのフッ化物とに分離する(第一の分離工程S103)。ここで、コールドトラップを用いる場合は、冷媒としてメタノール、空気等を用い、温度を−60℃〜−80℃とする。
Si及びCのフッ化物は、熱分解処理装置等を用いて分解処理し、酸化物等の安定な化合物へ変換する(S104)。なお、熱分解処理(S104)等は、半導体産業における処理技術を適用することができる。
一方、U、Puおよび微量のFP元素のフッ化物は、水蒸気等と反応させて、酸化物に転換する(酸化工程S105)。この酸化物は、溶媒抽出法や溶融塩法により精製処理することにより再処理(S106)をして、ウラン(U)およびMOX燃料(混合酸化物燃料)の原料とする。また、S105において発生するフッ化水素(HF)は、フッ化工程(S102)において利用する。
被覆粒子燃料をフッ化処理した際に生成した不揮発性フッ化物(FP)は、水蒸気等と反応させることにより酸化物に転換し(S107)、再処理工程(S106)で発生する高レベル廃棄物と合わせて、ガラス固化等により廃棄体とする。
なお、酸化工程S105で得られた物質は、酸化物であるため、再処理工程S106には、湿式再処理、溶融塩再処理等の方法が適用可能である。
図3は、本発明の他の実施形態に係る高温ガス炉の使用済燃料の再処理方法を示すフロー図である。
本図において図2と異なる点について説明する。概略としては、被覆成分のフッ化物をフッ化剤として再利用する点である。
図3においては、被覆粒子燃料をフッ化処理した際に生成するSi及びCのフッ化物ガスを回収し、フッ化剤として再利用する。以下、詳述する。
図3においては、図2のS104に代わり、Si及びCのフッ化物の分離をする工程(第二の分離工程S204)を設けている。S204においては、Si及びCのフッ化物ガスをそれらの蒸気圧の差を利用して、CFガスとSiFガスとに分離する。ここで、コールドトラップを用いる場合は、冷媒としてプロパノール等を用い、温度を−100℃〜−110℃とする。
S204において分離されたCのフッ化物(CF)のガスは、回収され、S102におけるフッ化剤として再利用される。一方、S204において凝縮又は固化することにより分離されたSiのフッ化物(SiF)は、水蒸気等との反応により、HFガスに変換し(フッ化水素回収工程S210)、S102におけるフッ化剤として再利用される。
なお、SiFの沸点は−95℃であり、CFの沸点は−128℃であり、Fの沸点は−188℃である。このため、S204では、一旦SiFをトラップし、CFおよびフッ化での余剰のFを含む残りのガスをフッ化プロセスに戻して再利用し、トラップしたSiFは、トラップの温度をSiFの沸点以上として再び気化し、HOと反応させ、生成したHFをフッ化プロセスに戻して再利用する。
図6は、本発明の一実施形態に係る使用済燃料の再処理装置を示す概略構成図である。
本図においては、再処理装置60は、燃料コンパクト投入部61と、破砕機62と、フッ化炉63と、熱交換部64と、を備えている。
燃料コンパクト投入部61から破砕機62に送られた燃料コンパクトは、機械的に破砕され、TRISO燃料粒子(被覆燃料粒子)と黒鉛とに分離される。被覆燃料粒子は、フッ化炉63に送られ、加熱され、フッ素ガスと反応し、フッ化物のガスとなる。このフッ化物のガスは、熱交換部64に送られ、フッ化物の蒸気圧の違いを利用して分離するために適切な温度に冷却される。熱交換部64にて凝縮又は固化したフッ化物は、他のフッ化物を供給しない条件で再度加熱し、気化することにより、回収する。
本図には示していないが、本発明の再処理装置は、図2及び3のフロー図に示す工程を実施するための機器を備えていることが望ましい。
具体的には、熱交換部64にてウラン及びプルトニウムのフッ化物を他のガスから分離した後に残ったガスからケイ素のフッ化物を分離するためのもう1つの熱交換部、ケイ素のフッ化物を分離して残った炭素のフッ化物(CF)をフッ化炉に還流するための配管、ケイ素のフッ化物を水と反応させることによりフッ化水素を生成するフッ化水素回収部、ウラン及びプルトニウムのフッ化物からウラン及びプルトニウムの酸化物を生成する酸化物生成部、フッ化水素回収部又は酸化物生成部で発生したフッ化水素をフッ化炉に還流するための配管、ウラン及びプルトニウムの酸化物から燃料成分を取り出す再処理部などである。
以下、本発明の効果をまとめて述べる。
本発明によれば、機械的脱被覆によらないため、飛散物による汚染や機器の損耗等を抑制することができる。
本発明によれば、被覆材と燃料成分とを効率的に分離することができる。
本発明によれば、フッ化処理によりガス化して分離処理をするため、後段の再処理工程において種々の方法が適用可能となる。
本発明によれば、被覆材の排ガス処理を不要とすることができる。
本発明によれば、プロセスガスとして使用するフッ素ガスの量を低減することができる。
1:TRISO燃料粒子、2:黒鉛粉末、11:UO燃料核、12:低密度熱分解炭素、13、15:高密度熱分解炭素、14:炭化ケイ素、60:再処理装置、61:燃料コンパクト投入部、62:破砕機、63:フッ化炉、64:熱交換部、100:燃料コンパクト。

Claims (8)

  1. 使用済の被覆粒子燃料の構成元素をフッ化するフッ化工程と、
    前記フッ化工程で生成したフッ化物を冷却することによりウラン及びプルトニウムのフッ化物を他のガスから分離する第一の分離工程と、
    前記第一の分離工程で残ったガスからケイ素のフッ化物を分離する第二の分離工程と、を含み、
    前記第二の分離工程で残った炭素のフッ化物は、前記フッ化工程に用いる、使用済燃料の再処理方法。
  2. さらに、前記ケイ素のフッ化物を水と反応させることによりフッ化水素を生成するフッ化水素回収工程を含み、
    前記フッ化水素回収工程で得られた前記フッ化水素は、前記フッ化工程に用いる、請求項記載の使用済燃料の再処理方法。
  3. さらに、前記ウラン及びプルトニウムのフッ化物からウラン及びプルトニウムの酸化物を生成する酸化工程を含み、
    前記酸化工程で得られたフッ化水素は、前記フッ化工程に用いる、請求項1又は2に記載の使用済燃料の再処理方法。
  4. さらに、前記ウラン及びプルトニウムの酸化物から燃料成分を取り出す再処理工程を含む、請求項記載の使用済燃料の再処理方法。
  5. 使用済の被覆粒子燃料の構成元素をフッ化するフッ化炉と、
    前記フッ化炉で生成したフッ化物を冷却することによりウラン及びプルトニウムのフッ化物を他のガスから分離する熱交換部と、
    前記他のガスからケイ素のフッ化物を分離するもう1つの熱交換部と、を含み、
    前記もう1つの熱交換部でガスとして得られた炭素のフッ化物は、前記フッ化炉に還流する構成とした、使用済燃料の再処理装置。
  6. さらに、前記ケイ素のフッ化物を水と反応させることによりフッ化水素を生成するフッ化水素回収部を含み、
    前記フッ化水素回収部で得られた前記フッ化水素は、前記フッ化炉に還流する構成とした、請求項記載の使用済燃料の再処理装置。
  7. さらに、前記ウラン及びプルトニウムのフッ化物からウラン及びプルトニウムの酸化物を生成する酸化物生成部を含み、
    前記酸化物生成部で得られたフッ化水素は、前記フッ化炉に還流する構成とした、請求項5又は6に記載の使用済燃料の再処理装置。
  8. さらに、前記ウラン及びプルトニウムの酸化物から燃料成分を取り出す再処理部を含む、請求項記載の使用済燃料の再処理装置。
JP2016030084A 2016-02-19 2016-02-19 使用済燃料の再処理方法及び再処理装置 Active JP6534945B2 (ja)

Priority Applications (1)

Application Number Priority Date Filing Date Title
JP2016030084A JP6534945B2 (ja) 2016-02-19 2016-02-19 使用済燃料の再処理方法及び再処理装置

Applications Claiming Priority (1)

Application Number Priority Date Filing Date Title
JP2016030084A JP6534945B2 (ja) 2016-02-19 2016-02-19 使用済燃料の再処理方法及び再処理装置

Publications (2)

Publication Number Publication Date
JP2017146270A JP2017146270A (ja) 2017-08-24
JP6534945B2 true JP6534945B2 (ja) 2019-06-26

Family

ID=59681363

Family Applications (1)

Application Number Title Priority Date Filing Date
JP2016030084A Active JP6534945B2 (ja) 2016-02-19 2016-02-19 使用済燃料の再処理方法及び再処理装置

Country Status (1)

Country Link
JP (1) JP6534945B2 (ja)

Families Citing this family (2)

* Cited by examiner, † Cited by third party
Publication number Priority date Publication date Assignee Title
JP2019024818A (ja) * 2017-07-28 2019-02-21 株式会社ユニバーサルエンターテインメント 遊技機
CN109065206A (zh) * 2018-07-25 2018-12-21 清华大学 基于电化学插层氧化法的堆芯燃料元件的首端处理方法

Family Cites Families (6)

* Cited by examiner, † Cited by third party
Publication number Priority date Publication date Assignee Title
JPS4914048B1 (ja) * 1968-04-04 1974-04-04
US4278559A (en) * 1978-02-16 1981-07-14 Electric Power Research Institute Method for processing spent nuclear reactor fuel
JP3823593B2 (ja) * 1999-03-31 2006-09-20 株式会社日立製作所 使用済核燃料の再処理方法および使用済核燃料からの燃料再加工方法
JP2001153991A (ja) * 1999-11-25 2001-06-08 Hitachi Ltd 使用済原子燃料の再処理方法
JP2002255558A (ja) * 2001-02-26 2002-09-11 Hitachi Ltd フッ化物の酸化物転換方法
JP4029193B2 (ja) * 2004-07-30 2008-01-09 独立行政法人 日本原子力研究開発機構 固気分離法を用いるフッ化物揮発法による再処理方法

Also Published As

Publication number Publication date
JP2017146270A (ja) 2017-08-24

Similar Documents

Publication Publication Date Title
JP6534945B2 (ja) 使用済燃料の再処理方法及び再処理装置
JP4196173B2 (ja) 使用済核燃料の再処理方法
Piro Advances in Nuclear Fuel Chemistry
US8867692B2 (en) Systems and methods for treating material
Masson et al. Block-type HTGR spent fuel processing: CEA investigation program and initial results
JP7461775B2 (ja) 高レベル放射性物質処理システム及び高レベル放射性物質処理方法
JP2013101066A (ja) ジルコニウムを含む使用済燃料の処理装置および方法
CN113795894B (zh) 基于等离子体的乏燃料干法后处理方法
JP3823593B2 (ja) 使用済核燃料の再処理方法および使用済核燃料からの燃料再加工方法
JPH02201199A (ja) 高放射性廃棄物の処理方法
KR101369123B1 (ko) 산화리튬을 이용한 염화리튬 염속의 2족 핵종의 분리 및 염화리튬 재생방법
JP3930406B2 (ja) 被覆粒子燃料の再処理方法
Holcomb Re-evaluating the Thermal-Spectrum Molten-Salt Breeder Reactor Fuel Cycle in a Modern Context
Van der Walt et al. Plasma technology for the manufacturing of nuclear materials at Necsa
Kivel et al. Development of a high temperature treatment device for spent nuclear fuel
JP2021156851A (ja) 高レベル放射性物質処理システム及び高レベル放射性物質処理方法
Soucek et al. Recovery of actinides from spent nuclear fuel by pyrochemical reprocessing
Amano et al. FLUOREX reprocessing technology with uranium removal from spent fuel by fluorination-volatilization reaction of uranium
JP2001153991A (ja) 使用済原子燃料の再処理方法
US20100314592A1 (en) Method for processing nuclear fuels containing silicon carbide and for decladding nuclear fuel particles
JP7756058B2 (ja) 高レベル放射性物質処理システム及び高レベル放射性物質処理方法
US3149909A (en) Fludized solids process for recovery of uranium from zirconium-type fuel elements
RU2569998C2 (ru) Способ обработки металлических радиоактивных отходов, образованных при переработке ядерного топлива водо-водяных реакторов и реакторов рбмк
Yang et al. Recovery of uranium phosphate by a stepwise thermal treatment of uranium-bearing spent TBP
JP2023110249A (ja) 燃料デブリの処理方法

Legal Events

Date Code Title Description
A621 Written request for application examination

Free format text: JAPANESE INTERMEDIATE CODE: A621

Effective date: 20180219

A977 Report on retrieval

Free format text: JAPANESE INTERMEDIATE CODE: A971007

Effective date: 20181115

A131 Notification of reasons for refusal

Free format text: JAPANESE INTERMEDIATE CODE: A131

Effective date: 20181218

A521 Request for written amendment filed

Free format text: JAPANESE INTERMEDIATE CODE: A523

Effective date: 20190107

TRDD Decision of grant or rejection written
A01 Written decision to grant a patent or to grant a registration (utility model)

Free format text: JAPANESE INTERMEDIATE CODE: A01

Effective date: 20190514

A61 First payment of annual fees (during grant procedure)

Free format text: JAPANESE INTERMEDIATE CODE: A61

Effective date: 20190530

R150 Certificate of patent or registration of utility model

Ref document number: 6534945

Country of ref document: JP

Free format text: JAPANESE INTERMEDIATE CODE: R150

S533 Written request for registration of change of name

Free format text: JAPANESE INTERMEDIATE CODE: R313533

R350 Written notification of registration of transfer

Free format text: JAPANESE INTERMEDIATE CODE: R350