JP6464459B2 - Column base bracket, building unit including column base bracket, and installation method thereof - Google Patents

Column base bracket, building unit including column base bracket, and installation method thereof Download PDF

Info

Publication number
JP6464459B2
JP6464459B2 JP2015138098A JP2015138098A JP6464459B2 JP 6464459 B2 JP6464459 B2 JP 6464459B2 JP 2015138098 A JP2015138098 A JP 2015138098A JP 2015138098 A JP2015138098 A JP 2015138098A JP 6464459 B2 JP6464459 B2 JP 6464459B2
Authority
JP
Japan
Prior art keywords
unit
column base
rope
column
building
Prior art date
Legal status (The legal status is an assumption and is not a legal conclusion. Google has not performed a legal analysis and makes no representation as to the accuracy of the status listed.)
Expired - Fee Related
Application number
JP2015138098A
Other languages
Japanese (ja)
Other versions
JP2017020236A (en
Inventor
祐介 稲岡
祐介 稲岡
真平 山本
真平 山本
悠 三田
悠 三田
Current Assignee (The listed assignees may be inaccurate. Google has not performed a legal analysis and makes no representation or warranty as to the accuracy of the list.)
Panasonic Intellectual Property Management Co Ltd
Original Assignee
Panasonic Intellectual Property Management Co Ltd
Priority date (The priority date is an assumption and is not a legal conclusion. Google has not performed a legal analysis and makes no representation as to the accuracy of the date listed.)
Filing date
Publication date
Application filed by Panasonic Intellectual Property Management Co Ltd filed Critical Panasonic Intellectual Property Management Co Ltd
Priority to JP2015138098A priority Critical patent/JP6464459B2/en
Publication of JP2017020236A publication Critical patent/JP2017020236A/en
Application granted granted Critical
Publication of JP6464459B2 publication Critical patent/JP6464459B2/en
Expired - Fee Related legal-status Critical Current
Anticipated expiration legal-status Critical

Links

Images

Landscapes

  • Joining Of Building Structures In Genera (AREA)

Description

本発明は、柱脚金具及び柱脚金具を備える建物ユニット並びにその設置方法に関する。   The present invention relates to a column base, a building unit including the column base, and a method for installing the same.

一般的に、住宅などの建物は、建築現場で建てられる。例えば、木造住宅の場合、建築現場において、コンクリート基礎の上に柱、梁などの建築材を用いて軸組みなどを行い、その後に水廻り設備、電気設備などの住宅設備(設備機器)が設置される。   Generally, a building such as a house is built at a construction site. For example, in the case of a wooden house, building construction such as pillars and beams is used on a concrete foundation at a construction site, and then housing equipment (equipment equipment) such as watering equipment and electrical equipment is installed. Is done.

住宅設備は、建築現場で設置されると、品質にばらつきが生じ、あるいは、建築工期が長くなる。そこで、従来、浴室(ユニットバス)、トイレなどからなる設備ユニットを工場で予め生産し、当該設備ユニットを建築現場に運搬して、その他の玄関、居室などを在来工法によって現場施工する技術が知られている(例えば、特許文献1参照)。   When the housing equipment is installed at the construction site, the quality varies, or the construction period becomes long. Therefore, conventionally, there is a technology for producing equipment units consisting of bathrooms (unit baths), toilets, etc. in advance in the factory, transporting the equipment units to the construction site, and constructing other entrances, living rooms, etc. on site using conventional construction methods. It is known (see, for example, Patent Document 1).

特開平2−232445号公報JP-A-2-232445

建築現場で設備ユニットを設置する際には、設備ユニットを吊り上げて基礎の上などに配置する。この場合、設備ユニットを吊り上げた際に、設備の重量によって設備ユニットが変形又は破損する恐れがある。   When installing an equipment unit at a construction site, the equipment unit is lifted and placed on the foundation. In this case, when the equipment unit is lifted, the equipment unit may be deformed or damaged by the weight of the equipment.

そこで、本発明は、吊り上げを支援することで、建物ユニットが変形又は破損するのを抑制することができる柱脚金具及び当該柱脚金具を備える建物ユニット並びにその設置方法を提供することを目的とする。   Then, this invention aims at providing the column base metal fitting which can suppress that a building unit deform | transforms or breaks by supporting lifting, a building unit provided with the said column base metal fitting, and its installation method. To do.

上記目的を達成するため、本発明の一態様に係る柱脚金具は、基礎に連結固定される下板と、柱の木口に設けられたホゾ穴に挿入されるホゾ部が設けられた上板と、前記下板に立設され、前記上板を支持する支持部と、前記上板の下面から前記下板に向けて、先端が前記下板から離間するように突出したロープ掛部とを備える。   In order to achieve the above object, a column base metal fitting according to an aspect of the present invention includes a lower plate that is connected and fixed to a foundation, and an upper plate that is provided with a relief portion that is inserted into a relief hole provided in the top of the pillar. And a support portion that is erected on the lower plate and supports the upper plate, and a rope hook portion that protrudes from the lower surface of the upper plate toward the lower plate so that the tip is separated from the lower plate. Prepare.

また、本発明の一態様に係る建物ユニットは、前記柱脚金具を備え、建物の一部を構成する建物ユニットであって、各々が、建築現場以外で予め組み立てられた1以上のユニットを備え、前記1以上のユニットの一のユニットは、複数の前記柱脚金具と、各々の木口にホゾ穴が設けられた複数の柱と、前記複数の柱脚金具を介して前記複数の柱と固定された土台とを備え、前記複数の柱の各々の前記ホゾ穴に、前記複数の柱脚金具の各々の前記ホゾ部が挿入されて、前記複数の柱脚金具と前記複数の柱と前記土台とが一体化している。   Moreover, the building unit which concerns on 1 aspect of this invention is a building unit which comprises the said column base metal fitting and comprises a part of building, Comprising: Each is equipped with one or more units assembled beforehand except the construction site One unit of the one or more units includes a plurality of the column base brackets, a plurality of columns each provided with a hollow hole in each end, and the plurality of columns fixed via the plurality of column base brackets. A plurality of column base brackets, a plurality of columns, and a base. Are integrated.

また、本発明の一態様に係る建物ユニットの設置方法は、前記柱脚金具を複数備え、建物の一部を構成する建物ユニットを基礎に設置する建物ユニットの設置方法であって、建築現場以外で、複数の柱の各々の木口に設けられたホゾ穴に前記複数の柱脚金具の前記ホゾ部を挿入し、かつ、土台に前記複数の柱脚金具を接続することにより、前記建物ユニットが有する1以上のユニットの一のユニットを組み立てる工程と、組み立てられた前記一のユニットを建築現場に運搬する工程と、前記複数の柱脚金具の前記ロープ掛部にロープを掛けて吊るすことにより、当該一のユニットを前記基礎に載置する工程とを含む。   A building unit installation method according to one aspect of the present invention is a building unit installation method that includes a plurality of the column base brackets and is installed on the basis of a building unit that forms a part of the building. Then, the building unit is inserted by inserting the tenon portion of the plurality of column base metal fittings into a tenon hole provided in the mouth of each of the plurality of pillars, and connecting the plurality of column base metal fittings to a base. A step of assembling one unit of one or more units having, a step of transporting the assembled one unit to a construction site, and hanging a rope around the rope hanging portions of the plurality of column base brackets, Placing the one unit on the foundation.

本発明に係る柱脚金具などによれば、吊り上げを支援することで、建物ユニットが変形又は破損するのを抑制することができる。   According to the column base metal fitting etc. which concern on this invention, it can suppress that a building unit deform | transforms or breaks by assisting lifting.

本発明の実施の形態に係る建物ユニットを屋外側の面から見たときの斜視図である。It is a perspective view when the building unit which concerns on embodiment of this invention is seen from the surface of the outdoor side. 本発明の実施の形態に係る建物ユニットの縦断面図である。It is a longitudinal cross-sectional view of the building unit which concerns on embodiment of this invention. 本発明の実施の形態に係る建物ユニットの1階を構成する第1ユニットの平断面図である。It is a plane sectional view of the 1st unit which constitutes the 1st floor of the building unit concerning an embodiment of the invention. 本発明の実施の形態に係る建物ユニットの2階を構成する第2ユニットの平断面図である。It is a plane sectional view of the 2nd unit which constitutes the 2nd floor of the building unit concerning an embodiment of the invention. 本発明の実施の形態に係る第1ユニットの軸組みを示す斜視図である。It is a perspective view which shows the shaft assembly of the 1st unit which concerns on embodiment of this invention. 本発明の実施の形態に係る柱の下部を示す斜視図である。It is a perspective view which shows the lower part of the pillar which concerns on embodiment of this invention. 本発明の実施の形態に係る土台の端部を示す斜視図である。It is a perspective view which shows the edge part of the base which concerns on embodiment of this invention. 本発明の実施の形態に係る面材の下面図である。It is a bottom view of the face material which concerns on embodiment of this invention. 本発明の実施の形態に係る面材の断面図である。It is sectional drawing of the face material which concerns on embodiment of this invention. 本発明の実施の形態に係る柱脚金具の斜視図である。It is a perspective view of the column base metal fitting concerning an embodiment of the invention. 本発明の実施の形態に係る柱脚金具の正面図である。It is a front view of the column base metal fitting concerning an embodiment of the invention. 本発明の実施の形態に係る柱脚金具と柱及び土台との接続を示す斜視図である。It is a perspective view which shows the connection of the column base metal fitting which concerns on embodiment of this invention, a column, and a foundation. 本発明の実施の形態に係る第2ユニットの床梁(横架材)の一部を示す斜視図である。It is a perspective view which shows a part of floor beam (horizontal member) of the 2nd unit which concerns on embodiment of this invention. 本発明の実施の形態に係る第1ユニットの組み立て工程における柱脚金具と土台との接続を説明するための図である。It is a figure for demonstrating the connection of the column base metal fitting and a base in the assembly process of the 1st unit which concerns on embodiment of this invention. 本発明の実施の形態に係る第1ユニットの組み立て工程における柱脚金具と柱との接続を説明するための図である。It is a figure for demonstrating the connection of the column base metal fitting and a pillar in the assembly process of the 1st unit which concerns on embodiment of this invention. 本発明の実施の形態に係る第1ユニットの組み立て工程における面材の接続工程を含む仕上げを説明するための図である。It is a figure for demonstrating finishing including the connection process of the face material in the assembly process of the 1st unit which concerns on embodiment of this invention. 本発明の実施の形態に係る第1ユニットの吊り上げに用いる吊具の斜視図である。It is a perspective view of the hanging tool used for lifting of the 1st unit concerning an embodiment of the invention. 本発明の実施の形態に係る第1ユニットの吊り上げに用いる吊金具の三面図である。It is a three-plane figure of the hanging metal fitting used for lifting of the 1st unit concerning an embodiment of the invention. 本発明の実施の形態に係る建物ユニットの設置方法における吊金具にロープを掛ける様子を説明するための斜視図である。It is a perspective view for demonstrating a mode that a rope is hung on the hanging metal fitting in the installation method of the building unit which concerns on embodiment of this invention. 本発明の実施の形態に係る建物ユニットの設置方法におけるロープを柱脚金具のロープ掛部に掛ける様子を説明するための側面図である。It is a side view for demonstrating a mode that the rope in the installation method of the building unit which concerns on embodiment of this invention is hung on the rope hanging part of a column base metal fitting. 本発明の実施の形態に係る建物ユニットの設置方法における第1ユニットが吊り上げられている様子を説明するための斜視図である。It is a perspective view for demonstrating a mode that the 1st unit in the installation method of the building unit which concerns on embodiment of this invention is lifted. 本発明の実施の形態に係る建物ユニットの設置方法における第1ユニットを基礎に設置固定する様子を説明するための斜視図である。It is a perspective view for demonstrating a mode that it installs and fixes on the basis of the 1st unit in the installation method of the building unit which concerns on embodiment of this invention.

以下では、本発明の実施の形態に係る柱脚金具、建物ユニット及びその設置方法について、図面を用いて詳細に説明する。なお、以下に説明する実施の形態は、いずれも本発明の好ましい一具体例を示すものである。したがって、以下の実施の形態で示される数値、形状、材料、構成要素、構成要素の配置及び接続形態、ステップ、ステップの順序などは、一例であり、本発明を限定する趣旨ではない。よって、以下の実施の形態における構成要素のうち、本発明の最上位概念を示す独立請求項に記載されていない構成要素については、任意の構成要素として説明される。   Below, the column base metal fitting, building unit, and installation method concerning the embodiment of the present invention are explained in detail using a drawing. Note that each of the embodiments described below shows a preferred specific example of the present invention. Therefore, numerical values, shapes, materials, components, arrangement and connection forms of components, steps, order of steps, and the like shown in the following embodiments are merely examples, and are not intended to limit the present invention. Therefore, among the constituent elements in the following embodiments, constituent elements that are not described in the independent claims showing the highest concept of the present invention are described as optional constituent elements.

また、各図は、模式図であり、必ずしも厳密に図示されたものではない。また、各図において、同じ構成部材については同じ符号を付している。また、以下の実施の形態において、略同じ又は略正方形などの表現を用いている。例えば、略同じは、完全に同じであることを意味するだけでなく、実質的に同じである、すなわち、例えば数%程度の誤差を含むことも意味する。他の「略」を用いた表現についても同様である。   Each figure is a mimetic diagram and is not necessarily illustrated strictly. Moreover, in each figure, the same code | symbol is attached | subjected about the same structural member. In the following embodiments, expressions such as substantially the same or substantially square are used. For example, substantially the same not only means that they are completely the same, but also means that they are substantially the same, that is, they contain an error of, for example, a few percent. The same applies to expressions using other “abbreviations”.

(実施の形態)
[建物ユニット]
まず、本実施の形態に係る建物ユニット1の概要について、図1を用いて説明する。図1は、本実施の形態に係る建物ユニット1を屋外側の面から見たときの斜視図である。
(Embodiment)
[Building unit]
First, the outline | summary of the building unit 1 which concerns on this Embodiment is demonstrated using FIG. FIG. 1 is a perspective view of the building unit 1 according to the present embodiment as viewed from the outdoor side.

建物ユニット1は、建物の一部を構成する。建物ユニット1は、建物を建築する際のコアとなるコアユニットである。建物ユニット1の周囲に、玄関、居室などが建築現場で建設される。建物は、例えば住宅であるが、店舗、工場又は倉庫などの非住宅でもよい。建物は、例えば、2階建て以上であるが、1階建て(平屋)でもよく、あるいは、地下室を有してもよい。   The building unit 1 constitutes a part of a building. The building unit 1 is a core unit serving as a core when building a building. Around the building unit 1, an entrance, a living room, etc. are constructed at a construction site. The building is, for example, a house, but may be a non-house such as a store, a factory, or a warehouse. The building is, for example, two stories or more, but may be one story (one-story), or may have a basement.

本実施の形態に係る建物ユニット1は、住宅に必要な水廻り設備の大半を集約させた水廻りコアユニットである。水廻り設備の大半を建物ユニット1に集約させることで、小さな住宅であっても広い居住空間を確保することができる。   The building unit 1 according to the present embodiment is a water core unit that aggregates most of the water facilities necessary for a house. By consolidating most of the watering equipment in the building unit 1, a large living space can be secured even in a small house.

本実施の形態では、建物ユニット1の形状は、略直方体状であり、少なくとも1つの側面が建物の外壁になる。具体的には、建物ユニット1の凹部2が設けられた側面が建物の外壁になる。なお、凹部2は、空調の室外機、貯湯タンク及びヒートポンプを含む給湯器(給湯システム)、並びに、蓄電装置などが配置されるスペースとして利用することができる。   In this Embodiment, the shape of the building unit 1 is a substantially rectangular parallelepiped shape, and at least 1 side surface becomes an outer wall of a building. Specifically, the side surface of the building unit 1 where the recess 2 is provided is the outer wall of the building. In addition, the recessed part 2 can be utilized as a space in which an outdoor unit for air conditioning, a hot water heater (hot water supply system) including a hot water storage tank and a heat pump, a power storage device, and the like are arranged.

建物ユニット1は、基礎3に連結固定される。基礎3は、例えば、コンクリート及び鉄筋などから形成された布基礎であり、上面から上方に向かってアンカーボルト(図示せず)が突出している。アンカーボルトを柱脚金具100に締結することで、建物ユニット1が固定される。   The building unit 1 is connected and fixed to the foundation 3. The foundation 3 is a cloth foundation formed of, for example, concrete and reinforcing bars, and anchor bolts (not shown) project upward from the upper surface. The building unit 1 is fixed by fastening the anchor bolt to the column base 100.

図1に示すように、建物ユニット1は、1以上のユニット10を備える。本実施の形態では、建物ユニット1は、例えば2階建て以上の住宅の一部を構成する住宅ユニットであり、複数階の各々の階を構成するユニット10を複数個積み上げて形成されている。建物ユニット1は、第1ユニット11と、第2ユニット12とを含む2つのユニット10を備える。   As shown in FIG. 1, the building unit 1 includes one or more units 10. In the present embodiment, the building unit 1 is a housing unit that constitutes a part of a house having two or more stories, for example, and is formed by stacking a plurality of units 10 that constitute each floor of a plurality of floors. The building unit 1 includes two units 10 including a first unit 11 and a second unit 12.

第1ユニット11は、複数階のうちの一の階を構成するユニットである。本実施の形態では、第1ユニット11は、建物の1階を構成する。第2ユニット12は、第1ユニット11の直上階を構成するユニットである。本実施の形態では、第2ユニット12は、建物の2階を構成する。   The 1st unit 11 is a unit which constitutes one floor among a plurality of floors. In the present embodiment, the first unit 11 constitutes the first floor of a building. The second unit 12 is a unit that constitutes a floor directly above the first unit 11. In the present embodiment, the second unit 12 constitutes the second floor of the building.

1以上のユニット10の各々は、工場などの建築現場以外で予め組み立てられる。つまり、第1ユニット11及び第2ユニット12の各々は、工場などで各種設備が予め組み込まれた工業化ユニットである。工場生産により、高品質かつ高機能のユニットを製造することができ、また、建築現場での建築工期を短縮することができる。   Each of the one or more units 10 is pre-assembled outside a construction site such as a factory. That is, each of the first unit 11 and the second unit 12 is an industrialized unit in which various facilities are incorporated in advance at a factory or the like. High-quality and high-function units can be manufactured through factory production, and the construction period at the construction site can be shortened.

工場で組み立てられた(生産された)第1ユニット11及び第2ユニット12はそれぞれ、トラックなどの運搬車両によって建築現場に運搬される。運搬された第1ユニット11及び第2ユニット12は、建築現場で積み重ねられて、互いに連結固定される。なお、トラックの高さ制限の許容範囲内である場合など運搬が可能であれば、第1ユニット11と第2ユニット12とを工場などで連結固定した後に建築現場に運搬してもよい。   The first unit 11 and the second unit 12 assembled (produced) at the factory are each transported to a building site by a transport vehicle such as a truck. The transported first unit 11 and second unit 12 are stacked at a construction site and connected and fixed to each other. In addition, as long as transportation is possible, for example, when the height of the truck is within an allowable range, the first unit 11 and the second unit 12 may be transported to a construction site after being connected and fixed at a factory or the like.

第1ユニット11及び第2ユニット12は、互いに略同じ大きさである。第1ユニット11及び第2ユニット12の各々は、例えば、トラックなどの運搬車両の荷台に載せたときに道路交通法の高さ制限を超えないような高さに設計されている。第1ユニット11及び第2ユニット12の各々のサイズは、一例として、平面サイズが4655mm×1925mmであり、高さが2700mmである。   The first unit 11 and the second unit 12 are substantially the same size. Each of the first unit 11 and the second unit 12 is designed to have a height that does not exceed the height limit of the Road Traffic Law when placed on the platform of a transport vehicle such as a truck. As an example, the size of each of the first unit 11 and the second unit 12 is a plane size of 4655 mm × 1925 mm and a height of 2700 mm.

第1ユニット11及び第2ユニット12の各々は、木造軸組工法によって形成されている。具体的には、第1ユニット11及び第2ユニット12の各々は、複数の柱と、横架材と、面材と、ユニットの下部に設けられた、当該ユニットを吊るすための吊具が係止可能な係止構造とを備える。各ユニットの詳細な構成については、後で説明する。   Each of the first unit 11 and the second unit 12 is formed by a wooden shaft assembly method. Specifically, each of the first unit 11 and the second unit 12 includes a plurality of pillars, a horizontal member, a face member, and a hanging tool provided at the lower part of the unit for hanging the unit. And a locking structure that can be stopped. The detailed configuration of each unit will be described later.

[設備]
本実施の形態では、建物ユニット1は、設備を備える。設備は、具体的には、住宅設備であり、例えば、水廻り設備、電気設備、空調設備などを含んでいる。各設備は、建物ユニット1を構成する1以上のユニット10の少なくとも1つに、建築現場以外で予め設置されている。
[Facility]
In the present embodiment, the building unit 1 includes equipment. The equipment is specifically residential equipment, and includes, for example, watering equipment, electrical equipment, air conditioning equipment, and the like. Each facility is installed in advance in at least one of the one or more units 10 constituting the building unit 1 outside the construction site.

水廻り設備は、例えば、バス(浴室)、トイレ、洗面台及びキッチンの少なくとも1つを含む。水廻り設備は、さらに、給湯器(給湯システム)、並びに、天井裏、床下又は壁内に形成されたパイプスペースに設置される配水管(排水管、給水管及び給湯管)などを含んでもよい。   The watering facility includes, for example, at least one of a bath (bathroom), a toilet, a sink, and a kitchen. The water supply facility may further include a water heater (a hot water supply system) and a water pipe (a drain pipe, a water supply pipe and a hot water supply pipe) installed in a pipe space formed in the back of the ceiling, under the floor or in the wall. .

図2は、本実施の形態に係る建物ユニット1の縦断面図である。図3は、本実施の形態に係る建物ユニット1の1階を構成する第1ユニット11の平断面図である。図4は、本実施の形態に係る建物ユニット1の2階を構成する第2ユニット12の平断面図である。なお、図2〜図4は、建物ユニット1に設けられた水廻り設備の一例を説明するための模式的な図であり、図1と比較して必ずしも一致しない点がある。   FIG. 2 is a longitudinal sectional view of the building unit 1 according to the present embodiment. FIG. 3 is a plan sectional view of the first unit 11 constituting the first floor of the building unit 1 according to the present embodiment. FIG. 4 is a plan sectional view of the second unit 12 constituting the second floor of the building unit 1 according to the present embodiment. 2 to 4 are schematic diagrams for explaining an example of a watering facility provided in the building unit 1, and there is a point that does not necessarily coincide with FIG. 1.

本実施の形態では、図2及び図3に示すように、第1ユニット11の内部に、トイレ21と、2つの洗面台22とが設置されている。また、図2及び図4に示すように、第2ユニット12の内部に、トイレ21と、洗面台22と、ユニットバス23とが設置されている。また、図示しないが、各種配水管が第1ユニット11と第2ユニット12との間のスペースなどに設けられている。   In the present embodiment, as shown in FIGS. 2 and 3, a toilet 21 and two washstands 22 are installed inside the first unit 11. As shown in FIGS. 2 and 4, a toilet 21, a washbasin 22, and a unit bath 23 are installed inside the second unit 12. Although not shown, various water distribution pipes are provided in the space between the first unit 11 and the second unit 12.

電気設備は、例えば、分電盤、情報盤、各種設備機器を操作するための操作盤、創蓄連携機器(創蓄連携システム)、及び、照明などの設備機器を含んでいる。電気設備は、さらに、スイッチ、コンセント及び配線(情報配線、電気配線)などの配線設備を含んでもよい。分電盤、情報盤、操作盤、創蓄連携機器、スイッチ、コンセントなどは、屋内に配置される。各種配線は、天井裏、床下又は壁内に配置される。   The electrical equipment includes, for example, a distribution board, an information board, an operation panel for operating various equipment, a creation cooperation device (creation cooperation system), and equipment such as lighting. The electrical equipment may further include wiring equipment such as a switch, an outlet, and wiring (information wiring, electrical wiring). Distribution boards, information panels, operation panels, creation / cooperation devices, switches, outlets, etc. are installed indoors. Various wirings are arranged behind the ceiling, under the floor or in the wall.

空調設備は、例えば、室内に設置されるエアコンなどの空調室内機、天井裏などに設置される熱交換器などを含んでいる。空調設備は、さらに、パイプスペースに設置されるダクトなどの各種配管を含んでもよい。   The air conditioning equipment includes, for example, an air conditioning indoor unit such as an air conditioner installed indoors, a heat exchanger installed in a ceiling, and the like. The air conditioning equipment may further include various pipes such as ducts installed in the pipe space.

なお、図2〜図4に示した各設備の個数及び配置などは、一例に過ぎず、特に限定されない。例えば、本実施の形態では、第1ユニット11と第2ユニット12との両方が水廻り設備を備える例について示したが、第1ユニット11のみ(又は第2ユニット12のみ)が水廻り設備を備えてもよい。   In addition, the number and arrangement of each facility shown in FIGS. 2 to 4 are merely examples, and are not particularly limited. For example, in the present embodiment, the example in which both the first unit 11 and the second unit 12 are provided with the watering equipment has been described, but only the first unit 11 (or only the second unit 12) has the watering equipment. You may prepare.

[第1ユニット]
以下では、建物ユニット1を構成する1以上のユニット10の詳細について説明する。
[First unit]
Below, the detail of the one or more units 10 which comprise the building unit 1 is demonstrated.

まず、建物ユニット1の1階を構成する第1ユニット11について、図1〜図3を適宜参照しながら図5を用いて説明する。図5は、本実施の形態に係る建物ユニット1の1階を構成する第1ユニット11の軸組みを示す斜視図である。   First, the 1st unit 11 which comprises the 1st floor of the building unit 1 is demonstrated using FIG. 5, referring FIGS. 1-3 suitably. FIG. 5 is a perspective view showing a shaft assembly of the first unit 11 constituting the first floor of the building unit 1 according to the present embodiment.

第1ユニット11は、例えば、木造軸組工法による建築構造体(軸組構造体)を備える。建築構造体は、柱及び横架材(例えば、土台)などの建材からなる軸組と、根太などの建材からなる床組とを備える。建築構造体は、工場などの建築現場以外で予め組み建てられている。   The first unit 11 includes, for example, a building structure (shaft structure) by a wooden shaft construction method. The building structure includes a shaft set made of building materials such as columns and horizontal members (for example, foundations) and a floor set made of building materials such as joists. The building structure is built in advance outside a construction site such as a factory.

第1ユニット11は、図5に示すように、複数の柱31と、土台32と、面材33と、枠材34と、野縁35と、柱脚金具100とを備える。第1ユニット11は、さらに、図1〜図3及び図5に示すように、筋違36と、間柱37と、壁下地材38と、床下地材39とを備える。   As shown in FIG. 5, the first unit 11 includes a plurality of columns 31, a base 32, a face material 33, a frame material 34, a field edge 35, and a column base metal 100. As shown in FIGS. 1 to 3 and 5, the first unit 11 further includes a strut 36, a stud 37, a wall base material 38, and a floor base material 39.

なお、本実施の形態では、第1ユニット11は、例えば17本の柱31を備えるが、図5(図1など他の図も同様)においては、全ての柱31に参照符号を付している訳ではなく、参照符号を付していない柱も存在する。土台32及び柱脚金具100などのその他の構成要素についても同様である。   In the present embodiment, the first unit 11 includes, for example, 17 pillars 31. In FIG. 5 (the same applies to other figures such as FIG. 1), all the pillars 31 are denoted by reference numerals. There are also columns that are not marked with reference numerals. The same applies to other components such as the base 32 and the column base 100.

第1ユニット11は、天井側の梁(具体的には、胴差し又は二階梁)を備えない。図1及び図2に示すように、第1ユニット11の複数の柱31の上部には、第2ユニット12の床側の梁(具体的には、横架材42)が、第1ユニット11の天井側の梁として接続される。   The first unit 11 does not include a beam on the ceiling side (specifically, a torso or a second floor beam). As shown in FIG. 1 and FIG. 2, on the upper part of the plurality of pillars 31 of the first unit 11, the floor-side beam (specifically, the horizontal member 42) of the second unit 12 is provided. It is connected as a beam on the ceiling side.

複数の柱31は、第1ユニット11の垂直材であり、建物の管柱として機能する。複数の柱31の各々は、例えば、木材から形成され、具体的には、断面が略正方形の角材から形成される。   The plurality of columns 31 are vertical members of the first unit 11 and function as tube columns of the building. Each of the plurality of pillars 31 is formed from, for example, wood, and specifically, is formed from a square member having a substantially square cross section.

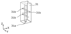
図6Aは、本実施の形態に係る柱31の下部を示す斜視図である。図6Aに示すように、複数の柱31の各々は、下部側の木口にホゾ穴31aが設けられている。ホゾ穴31aに柱脚金具100のホゾ部140(図8A参照)が挿入されることで、柱31の下部には柱脚金具100が固定される。   FIG. 6A is a perspective view showing the lower part of the pillar 31 according to the present embodiment. As shown in FIG. 6A, each of the plurality of pillars 31 is provided with a relief hole 31a in the lower end of the end. The column base 100 is fixed to the lower portion of the column 31 by inserting the ridge portion 140 (see FIG. 8A) of the column base 100 into the recess 31 a.

木口に設けられたホゾ穴31aは、例えば、柱31の長手方向(Z軸方向)に沿って凹んだ円柱状の穴であり、ホゾ部140の長さ以上の深さを有する。ホゾ穴31aには、ピン、ボルトなどの固定具を挿入するための貫通孔31bが設けられている。本実施の形態では、柱31の短手方向(X軸方向又はY軸方向)に沿って柱31を貫通する複数の貫通孔31bが設けられている。複数の貫通孔31bの各々は、断面が円形の貫通孔であり、ホゾ穴31aと交差している。複数の貫通孔31bの貫通方向及びその形状などは、特に限定されない。   The side hole 31a provided in the mouth is, for example, a cylindrical hole that is recessed along the longitudinal direction (Z-axis direction) of the column 31 and has a depth greater than or equal to the length of the side part 140. The hole 31a is provided with a through hole 31b for inserting a fixture such as a pin or bolt. In the present embodiment, a plurality of through-holes 31 b that penetrates the column 31 along the short direction (X-axis direction or Y-axis direction) of the column 31 are provided. Each of the plurality of through holes 31b is a through hole having a circular cross section, and intersects the side hole 31a. The penetration direction and the shape of the plurality of through holes 31b are not particularly limited.

土台32は、第1ユニット11の横架材の一例であり、建物の土台として機能する。図1に示すように、土台32は、基礎3に載置される。土台32は、例えば、複数の木材から形成され、具体的には、断面が略正方形の複数の角材から形成される。   The base 32 is an example of a horizontal member of the first unit 11 and functions as a base of a building. As shown in FIG. 1, the base 32 is placed on the foundation 3. The base 32 is formed from, for example, a plurality of woods, and specifically, formed from a plurality of square members having a substantially square cross section.

土台32は、複数の柱31の下部に固定されている。具体的には、土台32は、柱脚金具100に接続されることで、複数の柱31と固定されている。   The base 32 is fixed to the lower part of the plurality of pillars 31. Specifically, the base 32 is fixed to the plurality of columns 31 by being connected to the column base metal 100.

図6Bは、本実施の形態に係る土台32の端部を示す斜視図である。図6Bに示すように、土台32を形成する複数の木材の各々の木口にホゾ穴32aが設けられている。ホゾ穴32aに柱脚金具100の土台接続部150(図8A参照)が挿入されることで、土台32と柱脚金具100とが固定される。これにより、図5に示すように、複数の柱脚金具100と複数の柱31と土台32とが一体化している。   FIG. 6B is a perspective view showing an end portion of the base 32 according to the present embodiment. As shown in FIG. 6B, a relief hole 32 a is provided at the mouth of each of the plurality of timbers forming the base 32. The base 32 and the column base metal 100 are fixed by inserting the base connection part 150 (see FIG. 8A) of the column base metal 100 into the relief hole 32a. Thereby, as shown in FIG. 5, the some column base metal fitting 100, the some pillar 31, and the base 32 are integrated.

木口に設けられたホゾ穴32aは、例えば、木材の長手方向に沿って設けられたスリット状の穴であり、土台接続部150の長さ以上の深さ(スリット長さ)を有する。ホゾ穴32aには、ピン、ボルトなどの固定具を挿入するための貫通孔32bが設けられている。複数の貫通孔32bの各々は、断面が円形の貫通孔であり、ホゾ穴32aと交差している。複数の貫通孔32bの貫通方向及びその形状などは、特に限定されない。   The relief hole 32a provided in the mouth is, for example, a slit-like hole provided along the longitudinal direction of the wood, and has a depth (slit length) that is greater than or equal to the length of the base connection portion 150. The hole 32a is provided with a through hole 32b for inserting a fixture such as a pin or bolt. Each of the plurality of through holes 32b is a through hole having a circular cross section, and intersects the side hole 32a. The penetration direction and the shape of the plurality of through holes 32b are not particularly limited.

面材33は、複数の柱31の上部に架け渡されている。面材33は、例えば、天井下地材である。面材33としては、例えば、構造用合板、ボード又はパネルなどの板材を用いることができる。   The face material 33 is bridged over the plurality of pillars 31. The face material 33 is, for example, a ceiling base material. As the face material 33, for example, a plate material such as a structural plywood, a board, or a panel can be used.

図7A及び図7Bはそれぞれ、本実施の形態に係る面材33の下面図及び断面図である。具体的には、図7Bは、図7AのVIIB−VIIB線における断面を示している。   7A and 7B are a bottom view and a cross-sectional view of the face member 33 according to the present embodiment, respectively. Specifically, FIG. 7B shows a cross section taken along the line VIIB-VIIB in FIG. 7A.

本実施の形態では、面材33は、略矩形の板材である。面材33は、一例として、厚さ9mmの板材である。   In the present embodiment, the face material 33 is a substantially rectangular plate material. As an example, the face material 33 is a plate material having a thickness of 9 mm.

図7Aに示すように、複数の面材33が複数の柱31の間に架け渡されて、枠材34及び野縁35に接続されている。面材33は、各辺に沿って枠材34及び野縁35に接続されている。本実施の形態では、面材33は、例えば、隣り合う2辺に沿って枠材34及び野縁35に接続されている。   As shown in FIG. 7A, a plurality of face members 33 are bridged between a plurality of pillars 31 and connected to a frame member 34 and a field edge 35. The face material 33 is connected to the frame material 34 and the field edge 35 along each side. In the present embodiment, the face member 33 is connected to the frame member 34 and the field edge 35 along, for example, two adjacent sides.

図7Bに示すように、面材33は、例えば釘33aなどの固着具によって枠材34及び野縁35に固定されている。図7Aに示すように、面材33は、複数の釘33aによって枠材34及び野縁35に固定されている。複数の釘33aは、所定の間隔(例えば、等間隔)に設けられている。これにより、面材33の主面に水平な面内における四方からの力を受けることができるので、第1ユニット11の上部に梁又は桁を設けなくても、第1ユニット11の上部の強度を高めることができる。なお、面材33は、柱31の上部に直接固定されてもよい。   As shown in FIG. 7B, the face member 33 is fixed to the frame member 34 and the field edge 35 by a fixing tool such as a nail 33a. As shown in FIG. 7A, the face member 33 is fixed to the frame member 34 and the field edge 35 by a plurality of nails 33a. The plurality of nails 33a are provided at predetermined intervals (for example, equal intervals). As a result, it is possible to receive a force from four directions in a plane horizontal to the main surface of the face member 33, so that the strength of the upper portion of the first unit 11 can be obtained without providing a beam or a girder on the upper portion of the first unit 11. Can be increased. The face material 33 may be directly fixed to the upper part of the column 31.

枠材34は、複数の柱31の側面に接続され、複数の柱31の上部に架け渡されている。本実施の形態では、枠材34は、図5に示すように、略矩形の環状かつ格子状に設けられている。   The frame member 34 is connected to the side surfaces of the plurality of columns 31 and spans the upper portions of the plurality of columns 31. In the present embodiment, the frame member 34 is provided in a substantially rectangular annular and lattice shape as shown in FIG.

枠材34は、例えば、木材から形成され、具体的には、断面が略正方形の角材から形成される。枠材34は、例えば、金折などの補強金具及び釘などの固着具などによって複数の柱31の側面に固定されている。   The frame member 34 is made of, for example, wood, and specifically, a square member having a substantially square cross section. The frame member 34 is fixed to the side surfaces of the plurality of pillars 31 by, for example, reinforcing metal fittings such as gold folds and fixing tools such as nails.

野縁35は、枠材34に接続されている。図5及び図7Bに示すように、野縁35の下面に面材33が接続されている。   The field edge 35 is connected to the frame member 34. As shown in FIGS. 5 and 7B, the face material 33 is connected to the lower surface of the field edge 35.

野縁35は、例えば、木材から形成され、具体的には、断面が略正方形の角材から形成される。野縁35は、例えば、金折などの補強金具及び釘などの固着具などによって枠材34の側面に固定されている。   The field edge 35 is formed from, for example, wood, and specifically, is formed from a square member having a substantially square cross section. The field edge 35 is fixed to the side surface of the frame member 34 by, for example, a reinforcing metal fitting such as a gold fold and a fixing tool such as a nail.

筋違36は、隣り合う柱31の一方の下部と他方の上部との間に斜め(筋交い状)に設けられている。本実施の形態では、2つの筋違36が、隣り合う柱31の間に交差して設けられているが、これに限らない。1つの筋違36のみが、隣り合う柱31の間に斜めに設けられてもよい。筋違36は、例えば、断面が略矩形の板材から形成され、補強金具及び固着具によって柱31及び土台32などに固定される。なお、筋違36は、柱31又は土台32にホゾ接ぎされてもよい。   The struts 36 are provided obliquely (in a bracing shape) between one lower portion and the other upper portion of the adjacent pillars 31. In the present embodiment, the two struts 36 are provided so as to intersect between the adjacent pillars 31, but are not limited thereto. Only one striation 36 may be provided obliquely between the adjacent pillars 31. The striation 36 is formed of, for example, a plate material having a substantially rectangular cross section, and is fixed to the column 31 and the base 32 by a reinforcing metal fitting and a fixing tool. The struts 36 may be tanged to the pillar 31 or the base 32.

間柱37は、隣り合う柱31の間に設けられた垂直材の一例であり、壁下地材38が固定されている。間柱37は、例えば、断面が略矩形の板材から形成され、補強金具及び固着具によって土台32などに固定される。なお、間柱37は、土台32にホゾ接ぎされてもよい。   The inter-column 37 is an example of a vertical member provided between the adjacent columns 31, and a wall base material 38 is fixed to the inter-column 37. The spacers 37 are formed of, for example, a plate material having a substantially rectangular cross section, and are fixed to the base 32 or the like by reinforcing metal fittings and fixing tools. The interstice 37 may be tanged to the base 32.

壁下地材38は、隣り合う柱31の間に設けられた内壁下地材である。壁下地材38としては、例えば、構造用合板、ボード又はパネルなどの板材を用いることができる。   The wall base material 38 is an inner wall base material provided between adjacent columns 31. As the wall base material 38, for example, a plate material such as a structural plywood, a board or a panel can be used.

床下地材39は、土台32上に設けられている。例えば、第1ユニット11は、根太、大引、火打ち土台などの床組に必要な部材を備えていてもよい。例えば、床下地材39は、根太などに接続されている。床下地材39としては、例えば、構造用合板、ボード又はパネルなどの板材を用いることができる。   The floor base material 39 is provided on the base 32. For example, the 1st unit 11 may be provided with members required for floor sets, such as a joist, a large draw, and a struck foundation. For example, the floor base material 39 is connected to a joist or the like. As the floor base material 39, for example, a plate material such as a structural plywood, a board or a panel can be used.

なお、第1ユニット11には、ドア、窓などが設けられていてもよい。   Note that the first unit 11 may be provided with a door, a window, or the like.

本実施の形態では、第1ユニット11が枠材34、野縁35、筋違36、間柱37、壁下地材38及び床下地材39の少なくとも1つを備えることで、第1ユニット11の強度が増すので、吊り上げ時における変形又は破損などを抑制することができる。   In the present embodiment, the first unit 11 includes at least one of the frame material 34, the field edge 35, the struts 36, the studs 37, the wall base material 38, and the floor base material 39, thereby increasing the strength of the first unit 11. Therefore, deformation or breakage at the time of lifting can be suppressed.

なお、第1ユニット11は少なくとも、複数の柱31、土台32、面材33及び柱脚金具100を備えていればよい。つまり、第1ユニット11は、枠材34、野縁35、筋違36、間柱37、壁下地材38及び床下地材39を備えていなくてもよい。例えば、第1ユニット11が建築現場で基礎3に固定された後に、枠材34、野縁35、筋違36、間柱37、壁下地材38及び床下地材39が取り付けられてもよい。   In addition, the 1st unit 11 should just be provided with the some pillar 31, the base 32, the face material 33, and the column base metal 100 at least. That is, the first unit 11 may not include the frame material 34, the field edge 35, the struts 36, the studs 37, the wall base material 38, and the floor base material 39. For example, after the first unit 11 is fixed to the foundation 3 at the construction site, the frame material 34, the field edge 35, the struts 36, the studs 37, the wall base material 38, and the floor base material 39 may be attached.

また、壁下地材38を取り付けた後に、クロス、タイルなどの内装材を施工してもよい。あるいは、床下地材39を取り付けた後に、フローリング、畳などの床材を施行してもよい。内装材及び床材の施工は、工場で予め行われてもよく、建築現場で行われてもよい。   Further, after the wall base material 38 is attached, interior materials such as cloth and tiles may be applied. Alternatively, floor materials such as flooring and tatami mats may be applied after the floor base material 39 is attached. The construction of the interior material and the flooring material may be performed in advance at a factory or may be performed at a construction site.

また、第1ユニット11の側面が建物の外壁になる場合、壁下地材38に、板壁、塗壁又は張壁などの外壁を施工してもよい。外壁の施工も、工場で予め行われてもよく、建築現場で行われてもよい。   Moreover, when the side surface of the 1st unit 11 becomes an outer wall of a building, you may construct outer walls, such as a plate wall, a coating wall, or a tension wall, in the wall base material 38. FIG. The construction of the outer wall may be performed in advance at the factory or may be performed at the construction site.

[柱脚金具]
柱脚金具100は、複数の柱31の各々に対応して設けられている。すなわち、第1ユニット11は、複数の柱31と同数の柱脚金具100を備える。柱脚金具100は、対応する柱31の下部と土台32とを接続して固定する。複数の柱脚金具100の少なくとも1つには、係止構造(具体的には、ロープ掛部160(図8A参照))が設けられている。
[Column base bracket]
The column base 100 is provided corresponding to each of the plurality of columns 31. That is, the first unit 11 includes the same number of column base brackets 100 as the plurality of columns 31. The column base metal 100 connects and fixes the lower part of the corresponding column 31 and the base 32. At least one of the plurality of column base brackets 100 is provided with a locking structure (specifically, a rope hooking portion 160 (see FIG. 8A)).

以下では、柱脚金具100の詳細について、図8A〜図8Cを用いて説明する。図8Aは、本実施の形態に係る柱脚金具100の斜視図である。図8Bは、本実施の形態に係る柱脚金具100の平面図である。図8Cは、本実施の形態に係る柱脚金具100と柱31及び土台32との接続を示す斜視図である。   Below, the detail of the column base metal fitting 100 is demonstrated using FIG. 8A-FIG. 8C. FIG. 8A is a perspective view of the column base metal fitting 100 according to the present embodiment. FIG. 8B is a plan view of the column base metal fitting 100 according to the present embodiment. FIG. 8C is a perspective view showing the connection between the column base 100, the column 31, and the base 32 according to the present embodiment.

図8A及び図8Bに示すように、柱脚金具100は、金具本体101と、複数のピン102とを備える。ピン102は、固定具の一例であり、柱脚金具100と柱31又は土台32とを連結固定するための部材である。柱脚金具100は、ピン102の代わりに、ボルト及びナットを備えてもよい。   As shown in FIGS. 8A and 8B, the column base metal fitting 100 includes a metal fitting body 101 and a plurality of pins 102. The pin 102 is an example of a fixture, and is a member for connecting and fixing the column base 100 and the column 31 or the base 32. The column base 100 may include bolts and nuts instead of the pins 102.

金具本体101は、下板110と、上板120と、縦板130と、ホゾ部140と、土台接続部150と、ロープ掛部160とを備える。金具本体101は、鉄、又は、ステンレス鋼、炭素鋼などの合金などから形成される。具体的には、金具本体101は、下板110、上板120、縦板130、ホゾ部140、土台接続部150、ロープ掛部160などが互いに溶接されて形成される。   The metal fitting body 101 includes a lower plate 110, an upper plate 120, a vertical plate 130, a ridge portion 140, a base connection portion 150, and a rope hook portion 160. The metal fitting body 101 is made of iron or an alloy such as stainless steel or carbon steel. Specifically, the metal fitting body 101 is formed by welding a lower plate 110, an upper plate 120, a vertical plate 130, a ridge portion 140, a base connection portion 150, a rope hook portion 160, and the like.

下板110は、基礎3に連結固定される板部である。図8Aに示すように、下板110には、貫通孔111が設けられている。基礎3に設けられたボルト(アンカーボルト)が貫通孔111に挿入され、ナットなどの締結具によって下板110と基礎3とが締結固定される。下板110の平面視形状は、例えば、略正方形であり、柱31の木口と略同じ大きさである。   The lower plate 110 is a plate portion connected and fixed to the foundation 3. As shown in FIG. 8A, the lower plate 110 is provided with a through hole 111. Bolts (anchor bolts) provided on the foundation 3 are inserted into the through holes 111, and the lower plate 110 and the foundation 3 are fastened and fixed by a fastener such as a nut. The plan view shape of the lower plate 110 is, for example, a substantially square shape and is approximately the same size as the top of the pillar 31.

上板120は、下板110に対向するように設けられた板部である。上板120の上面には、柱31のホゾ穴31aに挿入されるホゾ部140が設けられている。上板120の上面には柱31の木口が載置され、金具本体101が柱31及び面材33などの荷重を支える。上板120の平面視形状は、例えば、略正方形であり、柱31の木口と略同じ大きさである。   The upper plate 120 is a plate portion provided to face the lower plate 110. On the upper surface of the upper plate 120, there is provided a relief portion 140 that is inserted into the relief hole 31 a of the column 31. The upper end of the upper plate 120 is mounted with the top of the pillar 31, and the metal fitting body 101 supports the loads of the pillar 31 and the face material 33. The plan view shape of the upper plate 120 is, for example, a substantially square shape and is approximately the same size as the top of the pillar 31.

縦板130は、下板110に立設され、上板120を支持する支持部の一例である。縦板130の平面視形状は、例えば、略正方形であり、土台32の木口と略同じ大きさである。   The vertical plate 130 is an example of a support unit that stands on the lower plate 110 and supports the upper plate 120. The shape of the vertical plate 130 in plan view is, for example, a substantially square shape, and is approximately the same size as the wooden mouth of the base 32.

本実施の形態では、金具本体101は、支持部として、下板110と上板120とを接続する3枚の縦板130を備える。3枚の縦板130は、下板110の3辺に沿って設けられている。具体的には、3枚の縦板130はそれぞれ、下板110の端部と上板120の端部とに溶接されている。図8A及び図8Bに示すように、下板110、上板120及び3枚の縦板130によって、一面が開放された略立方体が形成されている。   In the present embodiment, the metal fitting body 101 includes three vertical plates 130 that connect the lower plate 110 and the upper plate 120 as support portions. The three vertical plates 130 are provided along the three sides of the lower plate 110. Specifically, the three vertical plates 130 are respectively welded to the end portion of the lower plate 110 and the end portion of the upper plate 120. As shown in FIGS. 8A and 8B, the lower plate 110, the upper plate 120, and the three vertical plates 130 form a substantially cube whose one surface is open.

ホゾ部140は、上板120の上面に設けられている。具体的には、ホゾ部140は、側面に1以上の貫通孔が設けられた円柱部である。本実施の形態では、図8Aに示すように、ホゾ部140には、3つの貫通孔141a〜141cが設けられている。3つの貫通孔141a〜141cは、上下方向に並んで配置されている。真ん中の貫通孔141bの貫通方向は、上側の貫通孔141a及び下側の貫通孔141cの貫通方向と略直交している。図8Cに示すように、3つの貫通孔141a〜141cの各々には、柱31がホゾ部140に接続された状態で、ピン102が挿入される。   The ridge portion 140 is provided on the upper surface of the upper plate 120. Specifically, the relief portion 140 is a cylindrical portion having one or more through holes provided on the side surface. In the present embodiment, as shown in FIG. 8A, the through-hole portion 140 is provided with three through holes 141 a to 141 c. The three through holes 141a to 141c are arranged side by side in the vertical direction. The through direction of the middle through hole 141b is substantially orthogonal to the through direction of the upper through hole 141a and the lower through hole 141c. As shown in FIG. 8C, the pin 102 is inserted into each of the three through holes 141 a to 141 c in a state where the pillar 31 is connected to the relief portion 140.

土台接続部150は、横架材に接続された接続部の一例であり、本実施の形態では、土台32に接続される。土台接続部150は、縦板130から側方に延設されている。具体的には、土台接続部150は、縦板130の外側の側面に立設された板部であり、貫通孔151が設けられている。本実施の形態では、2つの貫通孔151が設けられている。2つの貫通孔151の各々には、土台32が土台接続部150に接続された状態で、ピン102が挿入される。   The base connection part 150 is an example of a connection part connected to the horizontal member, and is connected to the base 32 in the present embodiment. The base connection part 150 extends from the vertical plate 130 to the side. Specifically, the base connection portion 150 is a plate portion erected on the outer side surface of the vertical plate 130 and is provided with a through hole 151. In the present embodiment, two through holes 151 are provided. The pin 102 is inserted into each of the two through holes 151 in a state where the base 32 is connected to the base connecting portion 150.

ロープ掛部160は、第1ユニット11の下部に設けられた係止構造の一例である。ロープ掛部160は、下板110と上板120と3つの縦板130とによって囲まれた空間170内に設けられている。本実施の形態では、空間170の開放された一面が第1ユニット11の外側の面になるように、柱脚金具100は配置される。したがって、図1及び図5に示すように、第1ユニット11を外側から目視した際に、空間170の開放された一面を介してロープ掛部160が目視可能となる。言い換えると、ロープ掛部160には、外側から容易にロープを掛けることが可能になる。   The rope hook 160 is an example of a locking structure provided at the lower part of the first unit 11. The rope hanging portion 160 is provided in a space 170 surrounded by the lower plate 110, the upper plate 120, and the three vertical plates 130. In the present embodiment, the column base metal fitting 100 is arranged so that one open surface of the space 170 becomes an outer surface of the first unit 11. Therefore, as shown in FIGS. 1 and 5, when the first unit 11 is viewed from the outside, the rope hook 160 can be viewed through the open surface of the space 170. In other words, the rope hooking portion 160 can be easily hooked from the outside.

本実施の形態では、ロープ掛部160は、空間170内に設けられて空間170の外方に突出していない。このため、第1ユニット11を設置後の現場施工の際に、ロープ掛部160が邪魔にならずに、作業性を高めることができる。また、ロープ掛部160が邪魔にならないので、建物の建物ユニット1以外の部分の設計の自由度を高めることもできる。   In the present embodiment, the rope hooking portion 160 is provided in the space 170 and does not protrude outward from the space 170. For this reason, in the field construction after installing the first unit 11, the workability can be improved without the rope hooking portion 160 interfering. Moreover, since the rope hook part 160 does not get in the way, it is possible to increase the degree of freedom in designing the part other than the building unit 1 of the building.

また、下板110に設けられた貫通孔111も同様に、空間170の開放された一面を介して目視可能となる。したがって、貫通孔111に挿入された、基礎3から突出したアンカーボルトを、ナットなどを用いて容易に締結することができる。つまり、本実施の形態に係る柱脚金具100は、柱31及び土台32に接続された後に、基礎3に連結固定可能な構造を有している。具体的には、柱31及び土台32に接続された後であっても、基礎3との連結に用いられる構造(貫通孔111)が外部に露出するように設けられている。   Similarly, the through-hole 111 provided in the lower plate 110 can be viewed through the open surface of the space 170. Therefore, the anchor bolt protruding from the foundation 3 inserted into the through hole 111 can be easily fastened using a nut or the like. That is, the column base metal fitting 100 according to the present embodiment has a structure that can be connected and fixed to the foundation 3 after being connected to the column 31 and the base 32. Specifically, even after being connected to the pillar 31 and the base 32, a structure (through hole 111) used for connection to the foundation 3 is provided so as to be exposed to the outside.

ロープ掛部160は、先端が下板110から離間するように、上板120から突出している。具体的には、ロープ掛部160は、上板120の下面から下板110に向けて、下端(すなわち、先端)が下板110から離間するように突出した柱状部である。本実施の形態では、ロープ掛部160の形状は、円柱であるが、角柱でもよい。   The rope hook 160 protrudes from the upper plate 120 so that the tip is separated from the lower plate 110. Specifically, the rope hooking portion 160 is a columnar portion that protrudes from the lower surface of the upper plate 120 toward the lower plate 110 so that the lower end (that is, the tip) is separated from the lower plate 110. In the present embodiment, the shape of the rope hook 160 is a cylinder, but may be a prism.

本実施の形態では、ロープ掛部160は、先端に設けられた拡径部161を有する。拡径部161は、例えば、円板状であるが、これに限定されない。拡径部161は、矩形板状でもよく、あるいは、先端の一部のみが鉤状に突出していてもよい。ロープ掛部160の先端に拡径部161が設けられていることで、引っ掛けたロープが外れにくくすることができる。   In the present embodiment, the rope hooking portion 160 has an enlarged diameter portion 161 provided at the tip. Although the enlarged diameter part 161 is disk shape, for example, it is not limited to this. The enlarged diameter portion 161 may have a rectangular plate shape, or only a part of the tip may protrude in a bowl shape. By providing the enlarged diameter portion 161 at the tip of the rope hook 160, the hooked rope can be made difficult to come off.

なお、図8A及び図8Bでは、3つの土台接続部150を備える柱脚金具100について説明したが、これに限らない。例えば、第1ユニット11のコーナー部分に用いられる柱脚金具は、土台接続部150を1つのみ又は2つのみ備えていてもよい。すなわち、柱脚金具が備える土台接続部150の個数及び配置は、当該柱脚金具が接続される土台32の本数及び配置に応じて決定される。   In addition, although FIG. 8A and 8B demonstrated the column base metal fitting 100 provided with the three base connection parts 150, it is not restricted to this. For example, the column base metal fitting used for the corner portion of the first unit 11 may include only one or two base connection portions 150. That is, the number and arrangement of the base connection portions 150 included in the column base metal are determined according to the number and arrangement of the bases 32 to which the column base metal is connected.

同様に、本実施の形態では、第1ユニット11が備える全ての柱31の各々に、ロープ掛部160を備える柱脚金具100を接続したが、これに限らない。言い換えると、第1ユニット11が備える全ての柱脚金具がロープ掛部160を備えなくてもよく、少なくとも1つの柱脚金具がロープ掛部160を備えてもよい。   Similarly, in this Embodiment, the column base metal fitting 100 provided with the rope hook part 160 was connected to each of all the columns 31 with which the 1st unit 11 is provided, but it is not restricted to this. In other words, all the column base fittings included in the first unit 11 may not include the rope hanging portion 160, and at least one column base fitting may include the rope hanging portion 160.

[第2ユニット]
続いて、建物ユニット1の2階を構成する第2ユニット12について、図1、図2及び図4を用いて説明する。
[Second unit]
Then, the 2nd unit 12 which comprises the 2nd floor of the building unit 1 is demonstrated using FIG.1, FIG.2 and FIG.4.

第2ユニット12は、第1ユニット11と比較して、凹部2が設けられていない点が異なっているが、第2ユニット12にも凹部2が設けられていてもよい。なお、第1ユニット11に凹部2が設けられていなくてもよい。   The second unit 12 is different from the first unit 11 in that the recess 2 is not provided, but the second unit 12 may also be provided with the recess 2. The first unit 11 may not be provided with the recess 2.

第2ユニット12は、第1ユニット11と同様に、木造軸組工法による建築構造体(軸組構造体)を備える。第2ユニット12の建築構造体も、工場などの建築現場以外で予め組み立てられている。   Similar to the first unit 11, the second unit 12 includes a building structure (shaft structure) by a wooden shaft construction method. The building structure of the second unit 12 is also assembled in advance outside a building site such as a factory.

第2ユニット12は、図1に示すように、複数の柱41と、横架材42と、面材43とを備える。また、図1、図2及び図4に示すように、第2ユニット12は、さらに、枠材44と、野縁45と、筋違46と、間柱47と、壁下地材48と、床下地材49とを備える。   As shown in FIG. 1, the second unit 12 includes a plurality of columns 41, a horizontal member 42, and a face material 43. As shown in FIGS. 1, 2, and 4, the second unit 12 further includes a frame material 44, a field edge 45, a streak 46, a stud 47, a wall base material 48, and a floor base. Material 49.

第2ユニット12は、横架材42以外の各部材は、第1ユニット11が備える対応する部材と略同じである。具体的には、柱41、面材43、枠材44、野縁45、筋違46、間柱47、壁下地材48及び床下地材49はそれぞれ、第1ユニット11の柱31、面材33、枠材34、野縁35、筋違36、間柱37、壁下地材38及び床下地材39と略同じである。例えば、各部材の寸法、個数及び配置などは、第1ユニット11の各部材と異なっていてもよく、あるいは、同じでもよい。各部材の機能は、第1ユニット11の各部材と同じである。   In the second unit 12, each member other than the horizontal member 42 is substantially the same as the corresponding member provided in the first unit 11. Specifically, the pillar 41, the face material 43, the frame material 44, the field edge 45, the strut 46, the intermediary pillar 47, the wall base material 48, and the floor base material 49 are respectively the pillar 31 and the face material 33 of the first unit 11. , Substantially the same as the frame material 34, the field edge 35, the struts 36, the studs 37, the wall base material 38, and the floor base material 39. For example, the size, number, and arrangement of each member may be different from or different from each member of the first unit 11. The function of each member is the same as that of each member of the first unit 11.

例えば、本実施の形態では、第2ユニット12の柱41は、柱脚金具100ではなく、横架材42に直接接続されている。また、柱41は、第1ユニット11の柱31よりも短い。同様に、筋違46及び間柱47の寸法なども、第1ユニット11の筋違36及び間柱47の寸法と異なっている。   For example, in the present embodiment, the column 41 of the second unit 12 is directly connected to the horizontal member 42 instead of the column base 100. Further, the pillar 41 is shorter than the pillar 31 of the first unit 11. Similarly, the size of the streak 46 and the spacer 47 is different from the size of the streak 36 and the spacer 47 of the first unit 11.

以下では、横架材42について説明する。   Hereinafter, the horizontal member 42 will be described.

[横架材]
横架材42は、複数の柱41の下部に固定されている。横架材42は、土台32及び柱脚金具100の機能を果たす。
[Horizontal material]
The horizontal member 42 is fixed to the lower portions of the plurality of columns 41. The horizontal member 42 functions as the base 32 and the column base 100.

横架材42は、第1ユニット11上に第2ユニット12が積み上げられた場合に、第1ユニット11の複数の柱31の上部に接続される。具体的には、横架材42は、第1ユニット11の天井側の梁として接続される。例えば、ボルトとナット、又は、補強金具などを用いて第1ユニット11と第2ユニット12とが連結固定される。具体的には、横架材42又は複数の柱41と複数の柱31とが連結固定される。   The horizontal member 42 is connected to the upper portions of the plurality of pillars 31 of the first unit 11 when the second unit 12 is stacked on the first unit 11. Specifically, the horizontal member 42 is connected as a beam on the ceiling side of the first unit 11. For example, the first unit 11 and the second unit 12 are connected and fixed using bolts and nuts, reinforcing metal fittings, or the like. Specifically, the horizontal member 42 or the plurality of columns 41 and the plurality of columns 31 are connected and fixed.

横架材42は、第2ユニット12を吊るすための吊具が係止可能な係止構造を有する。具体的には、図9に示すように、横架材42は、係止構造として、側方に突出した突出部423を備える。   The horizontal member 42 has a locking structure in which a hanging tool for hanging the second unit 12 can be locked. Specifically, as shown in FIG. 9, the horizontal member 42 includes a protruding portion 423 protruding sideways as a locking structure.

図9は、本実施の形態に係る第2ユニット12の横架材42の一部を示す斜視図である。図9に示すように、横架材42は、鉄骨部421と、2つの木部422と、突出部423を備える。   FIG. 9 is a perspective view showing a part of the horizontal member 42 of the second unit 12 according to the present embodiment. As shown in FIG. 9, the horizontal member 42 includes a steel frame part 421, two wooden parts 422, and a protruding part 423.

鉄骨部421は、H形鋼であり、ウェブ421aと、2つのフランジ421bとを備える。ウェブ421aには、開口部421cが設けられている。開口部421cは、水廻り設備、空調設備、電気設備などに接続された配水管、ダクト、電気配線などが挿通される貫通孔である。開口部421cの形状は、例えば、断面が円形の貫通孔であるが、特に限定されない。配水管、ダクト、電気配線などは、第1ユニット11及び第2ユニット12の間の空間(具体的には、横架材42によって形成される空間)などに配置される。このため、開口部421cを設けることで、配水管などを建物ユニット1の外部に容易に導くことができる。   The steel frame portion 421 is an H-shaped steel, and includes a web 421a and two flanges 421b. The web 421a is provided with an opening 421c. The opening 421c is a through-hole through which a water pipe, duct, electric wiring, etc. connected to a watering facility, an air conditioning facility, an electrical facility, and the like are inserted. The shape of the opening 421c is, for example, a through hole having a circular cross section, but is not particularly limited. The water distribution pipe, duct, electrical wiring, and the like are arranged in a space (specifically, a space formed by the horizontal member 42) between the first unit 11 and the second unit 12. For this reason, by providing the opening 421c, a water pipe or the like can be easily guided to the outside of the building unit 1.

木部422は、2つのフランジ421bの各々に固着されている。木部422は、フランジ421bと略同じ幅を有する。木部422は、例えば、集成材から形成された板材である。   The wood part 422 is fixed to each of the two flanges 421b. The wood part 422 has substantially the same width as the flange 421b. The wood part 422 is a board | plate material formed from the laminated material, for example.

突出部423は、鉄骨部421に設けられた金属製の板部である。本実施の形態では、建物ユニット1を基礎3に載置した後、現場施工によって、建物ユニット1をコアとして建物の残りの部分を建築する。このとき、突出部423は、建物の残りの部分の梁と第2ユニット12とを接続するのに利用される。具体的には、突出部423に設けられた貫通孔を介してボルト及びナットにより締結することで、突出部423に梁が接続固定される。   The protruding portion 423 is a metal plate portion provided on the steel frame portion 421. In the present embodiment, after the building unit 1 is placed on the foundation 3, the remaining part of the building is constructed with the building unit 1 as a core by on-site construction. At this time, the protrusion 423 is used to connect the beam of the remaining part of the building and the second unit 12. Specifically, the beam is connected and fixed to the protruding portion 423 by fastening with a bolt and a nut through a through hole provided in the protruding portion 423.

また、上述したように、突出部423は、係止構造として機能する。すなわち、突出部423は、第2ユニット12を釣り上げる際にロープを係止させる際にも利用される。具体的には、突出部423をロープの輪に通し、突出部423の下面をロープが持ち上げることにより、第2ユニット12を吊り上げることができる。このように、第2ユニット12は、柱脚金具100を備えないが、横架材42に設けられた突出部423を係止構造として利用することができる。   Further, as described above, the protruding portion 423 functions as a locking structure. That is, the protrusion 423 is also used when the rope is locked when the second unit 12 is lifted. Specifically, the second unit 12 can be lifted by passing the protrusion 423 through a rope ring and lifting the lower surface of the protrusion 423 by the rope. Thus, although the 2nd unit 12 is not provided with the column base metal fitting 100, the protrusion part 423 provided in the horizontal member 42 can be utilized as a latching structure.

なお、横架材42は、図9に示す構造に限らず、土台32と同様に、鉄骨が用いられずに角材のみから形成されてもよい。また、開口部421cが貫通孔である例について示したが、開口部421cは、横架材42に設けられた切り欠きなどでもよい。   Note that the horizontal member 42 is not limited to the structure shown in FIG. 9, and may be formed only of square members without using a steel frame, similarly to the base 32. In addition, although the example in which the opening 421c is a through hole has been described, the opening 421c may be a notch provided in the horizontal member 42 or the like.

[建物ユニットの設置方法]
続いて、建物ユニット1の設置方法について説明する。本実施の形態では、建物ユニット1の設置方法は、第1ユニット11を基礎3へ載置する工程と、第2ユニット12を、載置された第1ユニット11上に載置する工程とを含んでいる。以下では、第1ユニット11を載置する工程を中心に説明し、第2ユニット12を載置する工程については、第1ユニット11の載置工程と異なる点を中心に説明する。
[How to install building units]
Then, the installation method of the building unit 1 is demonstrated. In the present embodiment, the installation method of the building unit 1 includes a step of placing the first unit 11 on the foundation 3 and a step of placing the second unit 12 on the placed first unit 11. Contains. Below, it demonstrates centering on the process of mounting the 1st unit 11, and demonstrates the process of mounting the 2nd unit 12 centering on a different point from the mounting process of the 1st unit 11. FIG.

第1ユニット11を載置する工程は、建築現場以外でのユニットの組み立て工程と、ユニットの運搬工程と、ユニットの載置工程とを含んでいる。   The process of placing the first unit 11 includes a unit assembling process, a unit transporting process, and a unit placing process outside the construction site.

[ユニットの組み立て]
以下では、まず、組み立て工程について、図10A〜図10Cを用いて説明する。
[Assembling the unit]
Below, an assembly process is first demonstrated using FIG. 10A-FIG. 10C.

図10Aは、本実施の形態に係る第1ユニット11の組み立て工程における柱脚金具100と土台32との接続を説明するための図である。図10Bは、本実施の形態に係る第1ユニット11の組み立て工程における柱脚金具100と柱31との接続を説明するための図である。図10Cは、本実施の形態に係る第1ユニット11の組み立て工程における面材33の接続工程を含む仕上げ工程を説明するための図である。   FIG. 10A is a view for explaining the connection between the column base 100 and the base 32 in the assembly process of the first unit 11 according to the present embodiment. FIG. 10B is a view for explaining the connection between the column base 100 and the column 31 in the assembly process of the first unit 11 according to the present embodiment. FIG. 10C is a diagram for describing a finishing process including a connecting process of the face material 33 in the assembling process of the first unit 11 according to the present embodiment.

まず、柱脚金具100の土台接続部150に土台32を接続する。具体的には、土台32の木口に設けられたスリット状のホゾ穴32aに、土台接続部150を挿入する。例えば、柱脚金具100を所定の位置に固定した状態で、図10Aの(a)に示すように、土台接続部150の上方からスリット状のホゾ穴32aを入れる。   First, the base 32 is connected to the base connection part 150 of the column base 100. Specifically, the base connection part 150 is inserted into a slit-like burrow 32 a provided at the mouth of the base 32. For example, in a state where the column base metal fitting 100 is fixed at a predetermined position, as shown in FIG. 10A (a), a slit-like relief hole 32a is inserted from above the base connection portion 150.

その後、図10Aの(b)に示すように、土台32の貫通孔32b及び土台接続部150の貫通孔151にピン102を挿入することで、土台32と土台接続部150(柱脚金具100)とを固定する。複数の柱脚金具100の土台接続部150の各々に土台32を接続することで、図10Aの(c)に示すように、第1ユニット11の下部が完成する。このとき、必要に応じて床下地材39などを設けてもよい。   Then, as shown in FIG. 10A (b), by inserting the pin 102 into the through hole 32b of the base 32 and the through hole 151 of the base connection part 150, the base 32 and the base connection part 150 (column base metal fitting 100). And fix. By connecting the base 32 to each of the base connection portions 150 of the plurality of column base brackets 100, the lower portion of the first unit 11 is completed as shown in FIG. 10A (c). At this time, a floor base material 39 or the like may be provided as necessary.

次に、柱脚金具100のホゾ部140に柱31を接続する。具体的には、柱31の木口に設けられたホゾ穴31aに、ホゾ部140を挿入する。例えば、柱脚金具100を所定の位置に固定した状態で、図10Bの(a)に示すように、ホゾ部140の上方から柱31のホゾ穴31aを入れる。その後、図10Bの(b)に示すように、柱31の貫通孔31b及びホゾ部140の貫通孔141a〜141cの各々にピン102を挿入することで、柱31とホゾ部140(柱脚金具100)とを固定する。以降、同様にして複数の柱31の各々を柱脚金具100に接続することで、図10Bの(c)に示すように、第1ユニット11の主な軸組みが完成する。   Next, the column 31 is connected to the ridge portion 140 of the column base metal 100. Specifically, the relief portion 140 is inserted into the relief hole 31 a provided at the mouth of the pillar 31. For example, in the state where the column base 100 is fixed at a predetermined position, as shown in (a) of FIG. 10B, the relief hole 31a of the pillar 31 is inserted from above the relief portion 140. Thereafter, as shown in FIG. 10B (b), by inserting the pin 102 into each of the through hole 31b of the column 31 and the through holes 141a to 141c of the ridge portion 140, the column 31 and the ridge portion 140 (column base brackets) are inserted. 100). Thereafter, by connecting each of the plurality of pillars 31 to the column base 100 in the same manner, the main shaft assembly of the first unit 11 is completed as shown in FIG.

なお、柱脚金具100と土台32との接続、及び、柱脚金具100と柱31との接続は、いずれが先に行われてもよい。なお、土台32を先に柱脚金具100に接続することで、組み立て時の柱31の倒壊などを抑制し、安全性を高めることができる。   Any of the connection between the column base 100 and the base 32 and the connection between the column base 100 and the column 31 may be performed first. In addition, by connecting the base 32 to the column base 100 first, collapse of the column 31 at the time of assembly can be suppressed, and safety can be improved.

次に、図10Cの(a)に示すように、柱31の上部に面材33を架け渡す。具体的には、柱31の上部に枠材34と野縁35とを接続した後、野縁35に面材33を接続する。以降、筋違36、間柱37、壁下地材38及び床下地材39を取り付け、水廻り設備などの各種設備を取り付けることで、図10Cの(b)に示すように、第1ユニット11を組み立てることができる。このとき、図10Cには示していないが、例えば、第1ユニット11の上部には、ダクト、電気配線などが配置されていてもよい。   Next, as shown to (a) of FIG. 10C, the face material 33 is bridged on the upper part of the column 31. Specifically, after the frame member 34 and the field edge 35 are connected to the upper part of the column 31, the face material 33 is connected to the field edge 35. Thereafter, the first unit 11 is assembled as shown in (b) of FIG. 10C by attaching the struts 36, the studs 37, the wall base material 38, and the floor base material 39, and attaching various facilities such as a watering facility. be able to. At this time, although not shown in FIG. 10C, for example, a duct, electrical wiring, or the like may be disposed on the upper portion of the first unit 11.

なお、設備の取り付け、及び、筋違36、間柱37、壁下地材38などの取り付けは、いずれが先に行われてもよい。例えば、筋違36などを取り付ける前に設備を取り付けることで、ユニット内部への設備の搬入などを容易に行うことができる。   Note that any of the attachment of the equipment and the attachment of the struts 36, the studs 37, the wall base material 38, and the like may be performed first. For example, by installing the equipment before attaching the streak 36 or the like, the equipment can be easily carried into the unit.

工場などの建築現場で組み立てられた第1ユニット11は、トラックなどの荷台に載せられて建築現場へ運搬される。なお、第1ユニット11をトラックの荷台に載せる際には、基礎3への載置(詳細は後述する)と同様にクレーンなどで吊り上げてもよく、あるいは、ベルトコンベアなどで第1ユニット11をスライドさせて載せてもよい。   The first unit 11 assembled at a construction site such as a factory is placed on a loading platform such as a truck and transported to the construction site. When the first unit 11 is placed on the truck bed, it may be lifted by a crane or the like in the same manner as on the foundation 3 (details will be described later), or the first unit 11 may be lifted by a belt conveyor or the like. You may slide it.

[吊具]
ここで、第1ユニット11の吊り上げに利用する吊具200について、図11及び図12を用いて説明する。
[Suspension]
Here, the lifting tool 200 used for lifting the first unit 11 will be described with reference to FIGS. 11 and 12.

図11は、本実施の形態に係る第1ユニット11の吊り上げに用いる吊具200の斜視図である。図12は、本実施の形態に係る第1ユニット11の吊り上げに用いる吊金具210の三面図である。具体的には、図12の(a)は、吊金具210の平面図(上面図)、(b)は正面図、(c)は側面図(右側面図)を示している。   FIG. 11 is a perspective view of a hanging tool 200 used for lifting the first unit 11 according to the present embodiment. FIG. 12 is a three-side view of the hanging bracket 210 used for lifting the first unit 11 according to the present embodiment. Specifically, FIG. 12A is a plan view (top view) of the hanging bracket 210, FIG. 12B is a front view, and FIG. 12C is a side view (right side view).

図11に示すように、吊具200は、吊金具210と、複数のロープ220(同図には1つのみを図示している)とを備える。   As shown in FIG. 11, the hanger 200 includes a hanger 210 and a plurality of ropes 220 (only one is shown in the figure).

吊金具210は、金属製の矩形の枠体である。吊金具210は、例えば、鉄、又は、ステンレス鋼、炭素鋼などの金属の合金から形成される。本実施の形態では、図12に示すように、吊金具210は、枠部211と、複数の第1ロープ掛部212と、複数の第2ロープ掛部213とを備える。   The hanging metal fitting 210 is a metal rectangular frame. The hanging bracket 210 is made of, for example, iron or a metal alloy such as stainless steel or carbon steel. In the present embodiment, as shown in FIG. 12, the hanging metal fitting 210 includes a frame portion 211, a plurality of first rope hanging portions 212, and a plurality of second rope hanging portions 213.

枠部211は、吊金具210の本体であり、略矩形の枠状に形成されている。具体的には、枠部211は、略矩形の枠の内部に、H字状の補強部が架け渡されている。枠部211は、複数のH形鋼がボルト及びナットなどの締結具によって組み合わされて形成されている。枠部211は、平面視において、第1ユニット11と略同じ大きさである。   The frame portion 211 is a main body of the hanging bracket 210 and is formed in a substantially rectangular frame shape. Specifically, the frame portion 211 has an H-shaped reinforcing portion spanned inside a substantially rectangular frame. The frame portion 211 is formed by combining a plurality of H-shaped steels with fasteners such as bolts and nuts. The frame part 211 is substantially the same size as the first unit 11 in plan view.

複数の第1ロープ掛部212は、枠部211の外周に沿って設けられている。複数の第1ロープ掛部212の各々は、切り欠き状の凹部212aが設けられた板であり、枠部211の側面に溶接又は締結具などによって固定されている。第1ロープ掛部212は、略矩形の枠の内部に架け渡された、H字状の補強部にも設けてもよい。   The plurality of first rope hook portions 212 are provided along the outer periphery of the frame portion 211. Each of the plurality of first rope hooks 212 is a plate provided with a notch-shaped recess 212a, and is fixed to the side surface of the frame 211 by welding or a fastener. The first rope hook portion 212 may also be provided in an H-shaped reinforcing portion that is spanned inside a substantially rectangular frame.

凹部212aは、第1ロープ掛部212の上端に設けられている。凹部212aにロープ220が掛けられることで、ロープ220の脱落などを抑制することができる。   The recess 212 a is provided at the upper end of the first rope hook 212. The rope 220 is hung on the recess 212a, so that the rope 220 can be prevented from dropping off.

複数の第2ロープ掛部213は、枠部211の上部に設けられている。複数の第2ロープ掛部213は、吊金具210をクレーンなどによって吊り上げる際に、クレーンのフックと吊金具210とを固定するために用いられる。具体的には、第2ロープ掛部213には、クレーンのフックに接続されたロープが掛けられる。   The plurality of second rope hook portions 213 are provided on the upper portion of the frame portion 211. The plurality of second rope hooks 213 are used to fix the hook of the crane and the hanging bracket 210 when the hanging bracket 210 is lifted by a crane or the like. Specifically, a rope connected to the hook of the crane is hung on the second rope hook 213.

複数のロープ220は、図11に示すように、第1ロープ221と、第2ロープ222と、ターンバックル223とを備える。   As shown in FIG. 11, the plurality of ropes 220 includes a first rope 221, a second rope 222, and a turnbuckle 223.

第1ロープ221は、ステンレス鋼などの金属製のワイヤーロープである。第1ロープ221は、両端に輪221a及び221bが設けられている。第1ロープ221の輪221aが第1ロープ掛部212の凹部212aに掛けられて、輪221bには、ターンバックル223の一方の端部が接続される。   The first rope 221 is a wire rope made of metal such as stainless steel. The first rope 221 is provided with rings 221a and 221b at both ends. The wheel 221a of the first rope 221 is hooked on the recess 212a of the first rope hook 212, and one end of the turnbuckle 223 is connected to the wheel 221b.

第2ロープ222は、ステンレス鋼などの金属製のワイヤーロープである。第2ロープ222は、両端に輪222a及び222bが設けられている。第2ロープ222の輪222aが第1ユニット11のロープ掛部160又は第2ユニット12の突出部423に掛けられて、輪222bには、ターンバックル223の他方の端部が接続される。   The second rope 222 is a wire rope made of metal such as stainless steel. The second rope 222 is provided with rings 222a and 222b at both ends. The wheel 222a of the second rope 222 is hung on the rope hook 160 of the first unit 11 or the protrusion 423 of the second unit 12, and the other end of the turnbuckle 223 is connected to the wheel 222b.

ターンバックル223は、長さ調整部の一例であり、ロープ220の全長を調整する。具体的には、ターンバックル223は、ロープ220の全長を調整することで、ロープ220にかかる張力を調整する。これにより、複数のロープ220の各々にかかる張力を調整することができるので、吊金具210と第1ユニット11とをバランス良く吊り上げることができる。   The turnbuckle 223 is an example of a length adjustment unit, and adjusts the overall length of the rope 220. Specifically, the turnbuckle 223 adjusts the tension applied to the rope 220 by adjusting the entire length of the rope 220. Thereby, since the tension | tensile_strength concerning each of several rope 220 can be adjusted, the hanging bracket 210 and the 1st unit 11 can be lifted with sufficient balance.

なお、複数のロープ220の各々は、1本のロープのみから構成されてもよい。例えば、第1ユニット11の高さに応じた長さのロープを用いることもできる。   Each of the plurality of ropes 220 may be composed of only one rope. For example, a rope having a length corresponding to the height of the first unit 11 can be used.

[ユニットの載置]
続いて、上述した吊具200を用いて第1ユニット11を吊り上げて基礎3に載置する工程について、図13A〜図13Dを用いて説明する。
[Unit placement]
Then, the process of lifting the 1st unit 11 using the hanging tool 200 mentioned above and mounting in the foundation 3 is demonstrated using FIG. 13A-FIG. 13D.

図13Aは、本実施の形態に係る建物ユニット1の設置方法における吊金具210にロープ220を掛ける様子を説明するための斜視図である。図13Bは、本実施の形態に係る建物ユニット1の設置方法におけるロープ220を柱脚金具100のロープ掛部160に掛ける様子を説明するための側面図である。図13Cは、本実施の形態に係る建物ユニット1の設置方法における第1ユニット11が吊り上げられている様子を説明するための斜視図である。図13Dは、本実施の形態に係る建物ユニット1の設置方法における第1ユニット11を基礎3に設置固定する様子を説明するための斜視図である。   FIG. 13A is a perspective view for explaining a state in which the rope 220 is hung on the hanging bracket 210 in the installation method of the building unit 1 according to the present embodiment. FIG. 13B is a side view for explaining a state where the rope 220 is hung on the rope hanging portion 160 of the column base metal 100 in the installation method of the building unit 1 according to the present embodiment. FIG. 13C is a perspective view for explaining a state in which first unit 11 is lifted in the installation method for building unit 1 according to the present embodiment. FIG. 13D is a perspective view for explaining how the first unit 11 is installed and fixed to the foundation 3 in the installation method of the building unit 1 according to the present embodiment.

本実施の形態では、第1ユニット11の係止構造(具体的には、柱脚金具100のロープ掛部160)に吊具200を掛けて吊るすことにより、第1ユニット11を基礎3に載置する。   In the present embodiment, the first unit 11 is mounted on the foundation 3 by hanging the hanging tool 200 on the locking structure of the first unit 11 (specifically, the rope hanging portion 160 of the column base metal 100). Put.

まず、建築現場では、吊具200を準備する。具体的には、吊金具210の第1ロープ掛部212にロープ220を掛ける。本実施の形態では、図13Aに示すように、第1ロープ掛部212の凹部212aに、第1ロープ221の輪221aを掛ける。   First, a hanging tool 200 is prepared at a construction site. Specifically, the rope 220 is hung on the first rope hook 212 of the hanging bracket 210. In the present embodiment, as shown in FIG. 13A, the ring 221a of the first rope 221 is hung on the recess 212a of the first rope hook 212.

吊金具210に掛けるロープ220の本数は特に限定されないが、少なくとも4本のロープ220を掛けることで、第1ユニット11を安定して吊り上げることができる。また、必要に応じて、建築現場で吊金具210を組み立ててもよい。   The number of ropes 220 to be hung on the hanging bracket 210 is not particularly limited, but the first unit 11 can be stably lifted by hanging at least four ropes 220. Moreover, you may assemble the hanging bracket 210 at a construction site as needed.

次に、吊金具210を第1ユニット11の上方に配置する。具体的には、クレーンによって吊金具210を吊り上げることで、第1ユニット11の上方に配置する。本実施の形態では、クレーンのフック300と、吊金具210の第2ロープ掛部213とをロープで接続する。クレーンがフック300を第1ユニット11の高さ以上に持ち上げて、水平に移動させることにより、吊金具210を第1ユニット11の上方に配置する。   Next, the hanging bracket 210 is disposed above the first unit 11. Specifically, the suspension fitting 210 is lifted by a crane and disposed above the first unit 11. In the present embodiment, the crane hook 300 and the second rope hook 213 of the hanging bracket 210 are connected by a rope. The crane lifts the hook 300 to the height of the first unit 11 and moves it horizontally, so that the hanging bracket 210 is disposed above the first unit 11.

次に、ロープ220を第1ユニット11のロープ掛部160に掛ける。具体的には、図13Bに示すように、第2ロープ222の輪222aをロープ掛部160に掛ける。その後、ターンバックル223を操作することで、ロープ220の長さを調整し、ロープ220にかかる張力を調整する。   Next, the rope 220 is hung on the rope hook 160 of the first unit 11. Specifically, as shown in FIG. 13B, the ring 222 a of the second rope 222 is hung on the rope hook 160. Thereafter, by operating the turnbuckle 223, the length of the rope 220 is adjusted, and the tension applied to the rope 220 is adjusted.

本実施の形態では、複数のロープ220は、重量の大きなユニット10の支持(吊り上げ)に利用されるため、充分な強度が必要とされる。このために、第1ロープ221及び第2ロープ222には、金属製のワイヤーロープを用いる。金属製のワイヤーロープは、力を加えて変形させるのが難しく、ロープを掛ける際に結んだり解いたりするのは困難である。   In the present embodiment, since the plurality of ropes 220 are used for supporting (lifting) the unit 10 having a large weight, sufficient strength is required. For this purpose, a metal wire rope is used for the first rope 221 and the second rope 222. Metal wire ropes are difficult to deform with force, and are difficult to tie or untie when hanging the rope.

ここで、柱脚金具100では、ロープ掛部160と下板110とが離間しているので、第2ロープ222の輪222aをそのまま掛けることができる。つまり、ロープ220を結んだり解いたりするのではなく、予め端部に設けられた輪222aをロープ掛部160に通して引っ掛けるだけでよい。これにより、第1ユニット11を適切に吊り上げることができる。   Here, in the column base 100, the rope hooking portion 160 and the lower plate 110 are separated from each other, so that the ring 222a of the second rope 222 can be hung as it is. That is, instead of tying or unfastening the rope 220, it is only necessary to hook the ring 222a provided at the end in advance through the rope hook 160. Thereby, the 1st unit 11 can be appropriately lifted.

全てのロープ220の長さを調節した後、クレーンがフック300を上昇させることにより、図13Cに示すように、吊金具210が吊り上げられ、吊金具210に連動して第1ユニット11も吊り上げられる。   After adjusting the lengths of all the ropes 220, the crane raises the hook 300, whereby the hanging bracket 210 is lifted as shown in FIG. 13C, and the first unit 11 is also lifted in conjunction with the hanging bracket 210. .

このとき、第1ユニット11の柱31に固定具230を設けてもよい。つまり、本実施の形態では、柱31の上部と吊金具210とを固定した後、吊金具210を吊り上げてもよい。   At this time, the fixture 230 may be provided on the column 31 of the first unit 11. That is, in the present embodiment, the hanging bracket 210 may be lifted after the upper portion of the column 31 and the hanging bracket 210 are fixed.

固定具230は、柱31の側面に接続された角材である。図13Cに示すように、固定具230は、柱31の上端から上方に突出するように設けられている。具体的には、固定具230は、吊金具210と第1ユニット11とがロープ220で接続された状態で、吊金具210と柱31との距離以上の長さで突出している。   The fixing tool 230 is a square member connected to the side surface of the column 31. As shown in FIG. 13C, the fixture 230 is provided so as to protrude upward from the upper end of the column 31. Specifically, the fixture 230 protrudes with a length equal to or longer than the distance between the hanging bracket 210 and the column 31 in a state where the hanging bracket 210 and the first unit 11 are connected by the rope 220.

本実施の形態では、吊金具210の平面視形状は、第1ユニット11の平面視形状と略同じである。このため、固定具230は、吊金具210に当接する。例えば、複数の固定具を第1ユニット11の異なる側面の柱31に取り付けることで、吊金具210の水平方向への移動を規制することができる。   In the present embodiment, the planar view shape of the hanging bracket 210 is substantially the same as the planar view shape of the first unit 11. For this reason, the fixture 230 abuts on the hanging bracket 210. For example, by attaching a plurality of fixtures to the pillars 31 on different side surfaces of the first unit 11, the movement of the hanging bracket 210 in the horizontal direction can be restricted.

次に、図13Dに示すように、第1ユニット11を水平移動させて下ろすことにより、第1ユニット11を基礎3に載置する。このとき、基礎3から上方に突出したアンカーボルト4を、柱脚金具100の貫通孔111に挿通させる。   Next, as shown in FIG. 13D, the first unit 11 is placed on the foundation 3 by horizontally moving and lowering the first unit 11. At this time, the anchor bolt 4 protruding upward from the foundation 3 is inserted into the through hole 111 of the column base metal 100.

第1ユニット11を載置した後、ロープ220を取り外す。具体的には、ターンバックル223を緩め、ロープ220の長さを長くすることで、容易にロープ掛部160からロープ220を取り外すことができる。このとき、1階と2階との間でロープ220を外すことができるので、高所作業を行わなくて済む。   After placing the first unit 11, the rope 220 is removed. Specifically, the rope 220 can be easily detached from the rope hook 160 by loosening the turnbuckle 223 and increasing the length of the rope 220. At this time, since the rope 220 can be removed between the first floor and the second floor, it is not necessary to perform work at a high place.

次に、柱脚金具100を締結具によって基礎3に連結固定する。具体的には、柱脚金具100の下板110を間に挟んで、アンカーボルト4とナットとを締結することで、柱脚金具100を基礎3に固定する。   Next, the column base metal 100 is connected and fixed to the foundation 3 with a fastener. Specifically, the column base metal 100 is fixed to the foundation 3 by fastening the anchor bolt 4 and the nut with the lower plate 110 of the column base metal 100 interposed therebetween.

以上のようにして、第1ユニット11を基礎3に載置し、固定することができる。   As described above, the first unit 11 can be placed on the foundation 3 and fixed.

第1ユニット11を基礎3に載置した後、複数の柱31の上部に梁を接続する。本実施の形態では、第2ユニット12の横架材42を、第1ユニット11の上部の梁として接続する。すなわち、図13B〜図13Dで示した作業と同様の作業を第2ユニット12に対して行うことで、第2ユニット12を第1ユニット11の上に載置する。   After placing the first unit 11 on the foundation 3, the beams are connected to the upper portions of the plurality of columns 31. In the present embodiment, the horizontal member 42 of the second unit 12 is connected as an upper beam of the first unit 11. That is, the second unit 12 is placed on the first unit 11 by performing the same operation as that shown in FIGS. 13B to 13D on the second unit 12.

[効果など]
以上のように、本実施の形態に係る柱脚金具100は、基礎3に連結固定される下板110と、柱31の木口に設けられたホゾ穴31aに挿入されるホゾ部140が設けられた上板120と、下板110に立設され、上板120を支持する支持部(縦板130)と、上板120の下面から下板110に向けて、先端が下板110から離間するように突出したロープ掛部160とを備える。
[Effects, etc.]
As described above, the column base metal fitting 100 according to the present embodiment is provided with the lower plate 110 that is connected and fixed to the foundation 3, and the ridge portion 140 that is inserted into the ridge hole 31 a provided in the bottom of the column 31. The upper plate 120 and the lower plate 110 are erected and support portions (vertical plates 130) that support the upper plate 120, and the tip is separated from the lower plate 110 from the lower surface of the upper plate 120 toward the lower plate 110. And a rope hooking portion 160 protruding in this manner.

これにより、ロープ掛部160と下板110とが離間しているので、ロープ220を結んだり解いたりすることなく、そのまま掛けることができる。具体的には、ロープ220(第2ロープ222の輪222a)をロープ掛部160に通して引っ掛けるだけでよいので、作業性を高めることができる。これにより、作業時間が短くなり、建築工期を短縮することができる。   Thereby, since the rope hooking part 160 and the lower board 110 are spaced apart, the rope 220 can be hung without being tied or unwound. Specifically, since it is only necessary to hook the rope 220 (the ring 222a of the second rope 222) through the rope hook 160, workability can be improved. Thereby, work time becomes short and a construction period can be shortened.

また、柱脚金具100は柱31の下部に設けられており、本実施の形態では、柱脚金具100にロープ掛部160が設けられている。したがって、吊具200を用いて第1ユニット11を下から持ち上げるようにして吊り上げることができる。これにより、第1ユニット11の荷重を支える力が安定する。したがって、第1ユニット11をバランス良く吊り上げることができるので、変形又は破損を一層抑制することができる。さらに、吊具200の取り外し作業を低所で行うことができるので、作業性を高めることができる。   Moreover, the column base metal 100 is provided in the lower part of the column 31, and the rope hanging part 160 is provided in the column base metal 100 in this Embodiment. Therefore, the first unit 11 can be lifted from the bottom using the lifting tool 200. Thereby, the force which supports the load of the 1st unit 11 is stabilized. Therefore, since the first unit 11 can be lifted with a good balance, deformation or breakage can be further suppressed. Furthermore, since the removal operation | work of the hanging tool 200 can be performed in a low place, workability | operativity can be improved.

また、金属材料から形成される柱脚金具100を吊り上げに利用することで、木材などから形成される土台32の破損又は変形を抑制することができる。   Moreover, the damage or deformation | transformation of the base 32 formed from a timber etc. can be suppressed by utilizing the column base metal fitting 100 formed from a metal material for lifting.

また、ロープ掛部160は、先端に設けられた拡径部161を有する。   Further, the rope hooking portion 160 has an enlarged diameter portion 161 provided at the tip.

これにより、ロープ掛部160の先端に拡径部161が設けられていることで、引っ掛けたロープ220が外れにくくすることができる。したがって、第1ユニット11の吊り上げをより確実にすることができ、第1ユニット11の変形又は破損を抑制することができるだけでなく、作業の安全性を高めることができる。   Thereby, since the enlarged diameter part 161 is provided in the front-end | tip of the rope hook part 160, the hooked rope 220 can be made hard to come off. Therefore, the lifting of the first unit 11 can be made more reliable, the deformation or breakage of the first unit 11 can be suppressed, and the safety of work can be improved.

また、支持部は、下板110と上板120とを接続する1以上の縦板130を備え、ロープ掛部160は、下板110と上板120と1以上の縦板130とによって囲まれた空間170内に設けられている。   Further, the support portion includes one or more vertical plates 130 that connect the lower plate 110 and the upper plate 120, and the rope hanging portion 160 is surrounded by the lower plate 110, the upper plate 120, and one or more vertical plates 130. The space 170 is provided.

これにより、ロープ掛部160が空間170の外方に突出していないので、第1ユニット11を設置後の現場施工の際に、ロープ掛部160が邪魔にならずに作業性を高めることができる。また、ロープ掛部160が邪魔にならないので、建物の建物ユニット1以外の部分の設計の自由度を高めることもできる。   Thereby, since the rope hooking part 160 does not protrude outward of the space 170, the workability can be improved without the rope hooking part 160 getting in the way when the first unit 11 is installed on the site. . Moreover, since the rope hook part 160 does not get in the way, it is possible to increase the degree of freedom in designing the part other than the building unit 1 of the building.

また、柱脚金具100は、さらに、支持部から側方に延設された、土台に接続される土台接続部150を備える。   Moreover, the column base metal 100 further includes a base connection part 150 that extends from the support part to the side and is connected to the base.

これにより、柱脚金具100によって柱31と土台32とを強固に接続することができる。   Thereby, the column 31 and the base 32 can be firmly connected by the column base metal 100.

また、柱脚金具100は、柱31及び土台32に接続された後に、基礎3に連結固定可能な構造を有する。   The column base 100 has a structure that can be connected and fixed to the foundation 3 after being connected to the column 31 and the base 32.

これにより、柱脚金具100が第1ユニット11として組み込まれた後に、柱脚金具100を基礎3に容易に、かつ、強固に締結固定することができる。   Thereby, after the column base 100 is assembled as the first unit 11, the column base 100 can be easily and firmly fastened and fixed to the foundation 3.

また、本実施の形態に係る建物ユニット1は、柱脚金具100を備え、建物の一部を構成する建物ユニット1であって、各々が、建築現場以外で予め組み立てられた1以上のユニット10を備え、1以上のユニット10の一のユニットである第1ユニット11は、複数の柱脚金具100と、各々の木口にホゾ穴31aが設けられた複数の柱31と、複数の柱脚金具100を介して複数の柱31に固定された土台32とを備え、複数の柱31の各々のホゾ穴31aに、複数の柱脚金具100の各々のホゾ部140が挿入されている。   Moreover, the building unit 1 which concerns on this Embodiment is the building unit 1 which comprises the column base metal fitting 100, and comprises a part of building, Comprising: Each of the one or more units 10 each assembled beforehand except the construction site The first unit 11, which is one unit of the one or more units 10, includes a plurality of column-base brackets 100, a plurality of columns 31 provided with a relief hole 31 a at each end, and a plurality of column-base brackets A base 32 fixed to the plurality of pillars 31 via 100 is provided, and each of the tenon portions 140 of the plurality of column base fittings 100 is inserted into each of the tenon holes 31a of the plurality of pillars 31.

これにより、柱脚金具100は柱31の下部に設けられており、本実施の形態では、柱脚金具100にロープ掛部160が設けられている。したがって、吊具200を用いて第1ユニット11を下から持ち上げるようにして吊り上げることができる。これにより、第1ユニット11の荷重を支える力が安定する。したがって、第1ユニット11をバランス良く吊り上げることができるので、変形又は破損を一層抑制することができる。さらに、吊具200の取り外し作業を低所で行うことができるので、作業性を高めることができる。   Thereby, the column base metal 100 is provided in the lower part of the column 31, and the rope hanging part 160 is provided in the column base metal 100 in the present embodiment. Therefore, the first unit 11 can be lifted from the bottom using the lifting tool 200. Thereby, the force which supports the load of the 1st unit 11 is stabilized. Therefore, since the first unit 11 can be lifted with a good balance, deformation or breakage can be further suppressed. Furthermore, since the removal operation | work of the hanging tool 200 can be performed in a low place, workability | operativity can be improved.

また、本実施の形態に係る建物ユニット1の設置方法は、柱脚金具100を複数備え、建物の一部を構成する建物ユニット1を基礎3に設置する建物ユニットの設置方法であって、建築現場以外で、複数の柱31の各々の木口に設けられたホゾ穴31aに複数の柱脚金具100のホゾ部140を挿入し、かつ、土台32に複数の柱脚金具100を接続することにより、建物ユニット1が有する1以上のユニット10の一のユニットである第1ユニット11を組み立てる工程と、組み立てられた第1ユニット11を建築現場に運搬する工程と、複数の柱脚金具100のロープ掛部160にロープ220を掛けて吊るすことにより、第1ユニット11を基礎3に載置する工程とを含む。   Moreover, the installation method of the building unit 1 which concerns on this Embodiment is the installation method of the building unit which equips the foundation 3 with the building unit 1 which comprises the column base metal fitting 100 and comprises a part of building, Outside the site, by inserting the ridge portion 140 of the plurality of column base metal fittings 100 into the tenon holes 31a provided in the respective ends of the plurality of pillars 31 and connecting the plurality of column base metal fittings 100 to the base 32 The step of assembling the first unit 11 which is one unit of the one or more units 10 of the building unit 1, the step of transporting the assembled first unit 11 to the construction site, and the ropes of the plurality of column base brackets 100 A step of placing the first unit 11 on the foundation 3 by hanging the rope 220 on the hanging portion 160.

これにより、柱31の下部に設けられた柱脚金具100のロープ掛部160にロープ220を掛けることで、第1ユニット11を下から持ち上げるようにして吊り上げることができる。これにより、第1ユニット11の荷重を支える力が安定する。したがって、第1ユニット11をバランス良く吊り上げることができるので、変形又は破損を一層抑制することができる。さらに、吊具200の取り外し作業を低所で行うことができるので、作業性を高めることができる。   Accordingly, the first unit 11 can be lifted so as to be lifted from below by hanging the rope 220 on the rope hanging portion 160 of the column base 100 provided at the lower portion of the column 31. Thereby, the force which supports the load of the 1st unit 11 is stabilized. Therefore, since the first unit 11 can be lifted with a good balance, deformation or breakage can be further suppressed. Furthermore, since the removal work of the hanging tool 200 can be performed in a low place, workability can be improved.

また、組み立てる工程では、さらに、複数の柱31の上部に面材33を架け渡す。   Further, in the assembling process, the face material 33 is further bridged over the plurality of pillars 31.

例えば、建物ユニット1に水廻り設備が設置されている場合は、重い設備が設置された状態で第1ユニット11を吊り上げるので、面材33が設けられていない場合、第1ユニット11は変形又は破損しやすい。具体的には、第1ユニット11を吊り上げた際に、水廻り設備の荷重が土台32などにかかり、複数の柱31が斜めになる恐れがある。すなわち、複数の柱31の上部が互いに近付くように、又は、互いから離れるように第1ユニット11は変形する恐れがある。   For example, when a watering facility is installed in the building unit 1, the first unit 11 is lifted in a state where a heavy facility is installed. Therefore, when the face material 33 is not provided, the first unit 11 is deformed or Easy to break. Specifically, when the first unit 11 is lifted, the load of the watering equipment is applied to the base 32 and the like, and the plurality of pillars 31 may be inclined. In other words, the first unit 11 may be deformed so that the upper portions of the plurality of pillars 31 approach each other or away from each other.

これに対して、本実施の形態では、建築現場以外で複数の柱31の上部に面材33が架け渡されているので、面材33が複数の柱31の上部の距離を確保することができるので、接近及び離反を抑制することができる。したがって、第1ユニット11を吊り上げる際に第1ユニット11が変形又は破損するのを抑制することができる。   On the other hand, in this Embodiment, since the face material 33 is spanned on the upper part of the some pillar 31 except a construction site, the face material 33 can ensure the distance of the upper part of the some pillar 31. FIG. Since it can do, approach and separation can be controlled. Therefore, the first unit 11 can be prevented from being deformed or damaged when the first unit 11 is lifted.

このように、梁などを設けなくても面材33を設けることで、第1ユニット11の強度を充分に確保することができる。したがって、第1ユニット11の変形又は破損を抑制することができるので、天井の高さを高く確保することができる。   Thus, the strength of the first unit 11 can be sufficiently ensured by providing the face material 33 without providing a beam or the like. Therefore, since the deformation | transformation or damage of the 1st unit 11 can be suppressed, the height of a ceiling can be ensured high.

(その他)
以上、本発明に係る柱脚金具、建物ユニット及びその設置方法について、上記実施の形態及びその変形例に基づいて説明したが、本発明は、上記の実施の形態に限定されるものではない。
(Other)
As mentioned above, although the column base metal fittings, building unit, and the installation method concerning the present invention were explained based on the above-mentioned embodiment and its modification, the present invention is not limited to the above-mentioned embodiment.

例えば、上記の実施の形態では、建物ユニット1が2つのユニット10を備える例について示したが、建物ユニット1は1つのみ又は3個以上のユニット10を備えてもよい。   For example, in the above embodiment, the example in which the building unit 1 includes the two units 10 has been described. However, the building unit 1 may include only one unit or three or more units 10.

また、例えば、上記の実施の形態では、2つのユニット10が建物の1階と2階とをそれぞれ構成する例について示したが、これに限らない。各ユニット10は、3階以上の上層階を構成してもよく、あるいは、地下1階などの地下階を構成してもよい。   Further, for example, in the above-described embodiment, the example in which the two units 10 respectively configure the first floor and the second floor of the building is shown, but the present invention is not limited thereto. Each unit 10 may constitute an upper floor of three or more floors, or may constitute an underground floor such as the first basement floor.

また、例えば、上記の実施の形態では、ロープ掛部160は、上板120から突出しているが、これに限らない。ロープ掛部160は、下板110又は縦板130から突出していてもよい。例えば、ロープ掛部160は、下板110の上面から鉤状(例えば、逆J字状)に突出していてもよい。あるいは、ロープ掛部160は、縦板130の内側の側面から、先端が下方に向かう鉤状(例えば、L字状)に突出していてもよい。いずれの場合も、ロープ掛部160の先端が下板110から離間させておくことで、ロープ220を係止させることができる。   Further, for example, in the above-described embodiment, the rope hooking portion 160 protrudes from the upper plate 120, but is not limited thereto. The rope hook 160 may protrude from the lower plate 110 or the vertical plate 130. For example, the rope hook 160 may protrude from the upper surface of the lower plate 110 in a bowl shape (for example, an inverted J shape). Alternatively, the rope hook 160 may protrude from the inner side surface of the vertical plate 130 in a hook shape (for example, an L shape) whose tip is directed downward. In either case, the rope 220 can be locked by keeping the tip of the rope hooking portion 160 away from the lower plate 110.

また、例えば、ロープ掛部160は、下板110と上板120との間に設けられているが、これに限らない。ロープ掛部160は、下板110と上板120と3つの縦板130とによって囲まれる空間170より外方に突出して設けられてもよい。   Further, for example, the rope hooking portion 160 is provided between the lower plate 110 and the upper plate 120, but is not limited thereto. The rope hook 160 may be provided to protrude outward from the space 170 surrounded by the lower plate 110, the upper plate 120, and the three vertical plates 130.

また、例えば、ロープ掛部160は、拡径部161を備えていなくてもよい。例えば、ロープ掛部160は、先端程細くなる円錐又は角錐形状を有してもよい。   In addition, for example, the rope hanging portion 160 may not include the enlarged diameter portion 161. For example, the rope hooking portion 160 may have a conical or pyramidal shape that becomes narrower at the tip.

また、例えば、上記の実施の形態では、柱脚金具100が支持部として3枚の縦板130を備える例を示したが、これに限らない。縦板130は、1枚又は2枚でもよく、4枚以上でもよい。あるいは、支持部は、凹部が設けられた角柱でもよい。当該凹部に、ロープ掛部160が設けられていてもよい。   Further, for example, in the above-described embodiment, the example in which the column base metal fitting 100 includes the three vertical plates 130 as the support portion is shown, but the present invention is not limited thereto. The vertical plate 130 may be one or two, or four or more. Alternatively, the support portion may be a prism having a recess. A rope hook 160 may be provided in the recess.

また、例えば、上記の実施の形態では、第1ユニット11が複数の柱31と同数の柱脚金具100を備える例について示したが、これに限らない。柱脚金具100の個数は、柱31の本数より少なく、複数の柱31の一部は、土台32に直接固定されてもよい。   Further, for example, in the above-described embodiment, the example in which the first unit 11 includes the same number of column bases 100 as the plurality of columns 31 is shown, but the present invention is not limited thereto. The number of column bases 100 may be less than the number of columns 31, and some of the columns 31 may be directly fixed to the base 32.

また、例えば、上記の実施の形態では、ロープ220を用いてユニット10を吊るす例について示したが、柱脚金具100を備えていない第2ユニット12の場合などは、これに限らない。すなわち、ユニット10の下部に設けられる係止構造は、ロープ220が係止可能な構造には限らない。例えば、係止構造が貫通孔であり、吊具が、先端にボルトが設けられた金属棒(例えば鉄棒)と、ナットとでもよい。この場合、ユニット10の下部に設けられた貫通孔に金属棒を挿入し、ナットで締結することで、金属棒をユニット10の下部に固定する。その後、金属棒を持ち上げることにより、ユニット10を吊るすことができる。   For example, in the above-described embodiment, the example in which the unit 10 is suspended using the rope 220 has been described. However, the case of the second unit 12 that does not include the column base 100 is not limited thereto. That is, the locking structure provided in the lower part of the unit 10 is not limited to a structure in which the rope 220 can be locked. For example, the locking structure may be a through hole, and the hanging tool may be a metal bar (for example, an iron bar) provided with a bolt at the tip and a nut. In this case, the metal rod is fixed to the lower portion of the unit 10 by inserting the metal rod into a through hole provided in the lower portion of the unit 10 and fastening with a nut. Thereafter, the unit 10 can be suspended by lifting the metal rod.

また、例えば、上記の実施の形態では、1以上のユニット10が木造軸組工法によって形成される例について示したが、これに限らない。例えば、2×4工法などの木造枠組壁工法、又は、鉄骨造などの他の工法を用いてもよい。したがって、例えば、柱31及び41は、木材に限らず、鉄骨材でもよい。また、柱31及び41は、枠の一部でもよい。   Further, for example, in the above-described embodiment, an example in which one or more units 10 are formed by a wooden shaft assembly method is shown, but the present invention is not limited thereto. For example, a wooden frame wall construction method such as a 2 × 4 construction method or another construction method such as a steel frame construction may be used. Therefore, for example, the pillars 31 and 41 are not limited to wood but may be steel frames. Further, the columns 31 and 41 may be part of the frame.

その他、各実施の形態に対して当業者が思いつく各種変形を施して得られる形態や、本発明の趣旨を逸脱しない範囲で各実施の形態における構成要素及び機能を任意に組み合わせることで実現される形態も本発明に含まれる。   In addition, the embodiment can be realized by arbitrarily combining the components and functions in each embodiment without departing from the scope of the present invention, or a form obtained by subjecting each embodiment to various modifications conceived by those skilled in the art. Forms are also included in the present invention.

1 建物ユニット
3 基礎
10 ユニット
31、41 柱
31a ホゾ穴
32 土台
33、43 面材
100 柱脚金具
110 下板
120 上板
130 縦板(支持部)
140 ホゾ部
150 土台接続部
160 ロープ掛部
161 拡径部
220 ロープ
DESCRIPTION OF SYMBOLS 1 Building unit 3 Foundation 10 Unit 31, 41 Column 31a Side hole 32 Base 33, 43 Face material 100 Column base metal 110 Lower board 120 Upper board 130 Vertical board (support part)
140 Horizon part 150 Base connection part 160 Rope hook part 161 Wide diameter part 220 Rope

Claims (8)

基礎に連結固定される下板と、
柱の木口に設けられたホゾ穴に挿入されるホゾ部が設けられた上板と、
前記下板に立設され、前記上板を支持する支持部と、
前記上板の下面から前記下板に向けて、先端が前記下板から離間するように突出したロープ掛部とを備える
柱脚金具。
A lower plate connected and fixed to the foundation;
An upper plate provided with a relief portion to be inserted into a relief hole provided in the column mouth;
A support portion standing on the lower plate and supporting the upper plate;
A column base bracket comprising: a rope hook portion protruding from a lower surface of the upper plate toward the lower plate so that a tip is separated from the lower plate.
前記ロープ掛部は、前記先端に設けられた拡径部を有する
請求項1に記載の柱脚金具。
The column base metal fitting according to claim 1, wherein the rope hook portion has a diameter-expanded portion provided at the tip.
前記支持部は、前記下板と前記上板とを接続する1以上の縦板を備え、
前記ロープ掛部は、前記下板と前記上板と前記支持部とによって囲まれた空間内に設けられている
請求項1又は2に記載の柱脚金具。
The support portion includes one or more vertical plates that connect the lower plate and the upper plate,
The column base metal fitting according to claim 1 or 2, wherein the rope hanging portion is provided in a space surrounded by the lower plate, the upper plate, and the support portion.
さらに、
前記支持部から側方に延設された、土台に接続される土台接続部を備える
請求項1〜3のいずれか1項に記載の柱脚金具。
further,
The column base metal fitting according to any one of claims 1 to 3, further comprising a base connection portion that extends laterally from the support portion and is connected to a base.
前記柱及び前記土台に接続された後に、前記基礎に連結固定可能な構造を有する
請求項4に記載の柱脚金具。
The column base metal fitting according to claim 4, having a structure that can be connected and fixed to the foundation after being connected to the column and the base.
請求項1〜5のいずれか1項に記載の柱脚金具を備え、建物の一部を構成する建物ユニットであって、
各々が、建築現場以外で予め組み立てられた1以上のユニットを備え、
前記1以上のユニットの一のユニットは、
複数の前記柱脚金具と、
各々の木口にホゾ穴が設けられた複数の柱と、
前記複数の柱脚金具を介して前記複数の柱と固定された土台とを備え、
前記複数の柱の各々の前記ホゾ穴に、前記複数の柱脚金具の各々の前記ホゾ部が挿入されて、前記複数の柱脚金具と前記複数の柱と前記土台とが一体化している
建物ユニット。
A building unit comprising the column base metal fitting according to any one of claims 1 to 5 and constituting a part of a building,
Each comprises one or more units pre-assembled outside the construction site,
One unit of the one or more units is:
A plurality of the column base brackets;
A plurality of pillars each provided with a hole in each end,
Comprising a plurality of pillars and a base fixed via the plurality of pillar base brackets;
The tenon portion of each of the plurality of column base brackets is inserted into the tenon hole of each of the plurality of columns, and the plurality of column base brackets, the plurality of columns, and the foundation are integrated. unit.
請求項1〜5のいずれか1項に記載の柱脚金具を複数備え、建物の一部を構成する建物ユニットを基礎に設置する建物ユニットの設置方法であって、
建築現場以外で、複数の柱の各々の木口に設けられたホゾ穴に前記複数の柱脚金具の前記ホゾ部を挿入し、かつ、土台に前記複数の柱脚金具を接続することにより、前記建物ユニットが有する1以上のユニットの一のユニットを組み立てる工程と、
組み立てられた前記一のユニットを建築現場に運搬する工程と、
前記複数の柱脚金具の前記ロープ掛部にロープを掛けて吊るすことにより、当該一のユニットを前記基礎に載置する工程とを含む
建物ユニットの設置方法。
A plurality of the column base metal fittings according to any one of claims 1 to 5, wherein the building unit is installed on the basis of a building unit constituting a part of the building,
Outside the construction site, by inserting the horn portion of the plurality of column base metal fittings into a hole provided in the mouth of each of the plurality of columns, and connecting the plurality of column base metal brackets to a base, Assembling one unit of one or more units of the building unit;
Transporting the assembled unit to the construction site;
A method of installing a building unit, including a step of placing the one unit on the foundation by hanging a rope on the rope hanging portion of the plurality of column base metal fittings.
前記組み立てる工程では、さらに、前記複数の柱の上部に面材を架け渡す
請求項7に記載の建物ユニットの設置方法。
The building unit installation method according to claim 7, wherein in the assembling step, a face material is further bridged on top of the plurality of pillars.
JP2015138098A 2015-07-09 2015-07-09 Column base bracket, building unit including column base bracket, and installation method thereof Expired - Fee Related JP6464459B2 (en)

Priority Applications (1)

Application Number Priority Date Filing Date Title
JP2015138098A JP6464459B2 (en) 2015-07-09 2015-07-09 Column base bracket, building unit including column base bracket, and installation method thereof

Applications Claiming Priority (1)

Application Number Priority Date Filing Date Title
JP2015138098A JP6464459B2 (en) 2015-07-09 2015-07-09 Column base bracket, building unit including column base bracket, and installation method thereof

Publications (2)

Publication Number Publication Date
JP2017020236A JP2017020236A (en) 2017-01-26
JP6464459B2 true JP6464459B2 (en) 2019-02-06

Family

ID=57887838

Family Applications (1)

Application Number Title Priority Date Filing Date
JP2015138098A Expired - Fee Related JP6464459B2 (en) 2015-07-09 2015-07-09 Column base bracket, building unit including column base bracket, and installation method thereof

Country Status (1)

Country Link
JP (1) JP6464459B2 (en)

Families Citing this family (1)

* Cited by examiner, † Cited by third party
Publication number Priority date Publication date Assignee Title
JP7387936B1 (en) * 2023-05-22 2023-11-28 ミサワホーム株式会社 Fixing structure and fixing method

Family Cites Families (5)

* Cited by examiner, † Cited by third party
Publication number Priority date Publication date Assignee Title
JPS51127518A (en) * 1975-04-28 1976-11-06 Nat Jutaku Kenzai Box residence
JPS57183303U (en) * 1981-05-18 1982-11-20
JP2001040774A (en) * 1999-08-03 2001-02-13 Sekisui House Ltd Box-type building and its room box
JP2001241116A (en) * 2000-02-29 2001-09-04 Motojima Kayoko Architectural hardware
JP2013014976A (en) * 2011-07-06 2013-01-24 Mitsubishi Electric Corp Lifting package house

Also Published As

Publication number Publication date
JP2017020236A (en) 2017-01-26

Similar Documents

Publication Publication Date Title
KR101372300B1 (en) Unit Moduler Structure For extension
JP2017214739A (en) Manufacturing method of building unit
JP6726878B2 (en) Building unit construction method
JP6464459B2 (en) Column base bracket, building unit including column base bracket, and installation method thereof
JP6715480B2 (en) Building unit and method of manufacturing building unit
JP5756000B2 (en) Spiral staircase mounting structure
KR101959068B1 (en) Jig structure for construction of building outer wall
JP6541107B2 (en) Building unit and installation method thereof
JP6775138B2 (en) Building unit
JP2010106612A (en) Joint structure of flat column and beam
JP2009057716A (en) Building unit connection structure and unit building
JP2014156969A (en) Air-conditioning unit and construction method of the same
JP2023053521A (en) Building renovation methods
JP2009030259A (en) Skeleton construction method using steel frame of multistory parking space
JP7116575B2 (en) Building construction method
JP6715514B2 (en) Building unit
JP3019502U (en) House with earthquake-resistant evacuation room
JP6697763B2 (en) Building unit manufacturing method
KR101209408B1 (en) A prefabricated house construction device
CN112324120B (en) A cantilever scaffolding
KR200407075Y1 (en) Frame Unit
JP7303712B2 (en) unit building
JP6817601B2 (en) Building unit construction method and hanging members
JPH07119522B2 (en) Formwork device
JP2025030765A (en) How to construct beams for floor expansion

Legal Events

Date Code Title Description
A621 Written request for application examination

Free format text: JAPANESE INTERMEDIATE CODE: A621

Effective date: 20180209

A977 Report on retrieval

Free format text: JAPANESE INTERMEDIATE CODE: A971007

Effective date: 20181113

TRDD Decision of grant or rejection written
A01 Written decision to grant a patent or to grant a registration (utility model)

Free format text: JAPANESE INTERMEDIATE CODE: A01

Effective date: 20181211

A61 First payment of annual fees (during grant procedure)

Free format text: JAPANESE INTERMEDIATE CODE: A61

Effective date: 20181218

R151 Written notification of patent or utility model registration

Ref document number: 6464459

Country of ref document: JP

Free format text: JAPANESE INTERMEDIATE CODE: R151

LAPS Cancellation because of no payment of annual fees