JP6419740B2 - ペンダント型救命具 - Google Patents

ペンダント型救命具 Download PDF

Info

Publication number
JP6419740B2
JP6419740B2 JP2016027326A JP2016027326A JP6419740B2 JP 6419740 B2 JP6419740 B2 JP 6419740B2 JP 2016027326 A JP2016027326 A JP 2016027326A JP 2016027326 A JP2016027326 A JP 2016027326A JP 6419740 B2 JP6419740 B2 JP 6419740B2
Authority
JP
Japan
Prior art keywords
compressed gas
pendant
water
wearer
vent pipe
Prior art date
Legal status (The legal status is an assumption and is not a legal conclusion. Google has not performed a legal analysis and makes no representation as to the accuracy of the status listed.)
Active
Application number
JP2016027326A
Other languages
English (en)
Other versions
JP2017144846A (ja
Inventor
浩光 手島
浩光 手島
Current Assignee (The listed assignees may be inaccurate. Google has not performed a legal analysis and makes no representation or warranty as to the accuracy of the list.)
TESHIMA TUSHO CORPORATION
Original Assignee
TESHIMA TUSHO CORPORATION
Priority date (The priority date is an assumption and is not a legal conclusion. Google has not performed a legal analysis and makes no representation as to the accuracy of the date listed.)
Filing date
Publication date
Application filed by TESHIMA TUSHO CORPORATION filed Critical TESHIMA TUSHO CORPORATION
Priority to JP2016027326A priority Critical patent/JP6419740B2/ja
Publication of JP2017144846A publication Critical patent/JP2017144846A/ja
Application granted granted Critical
Publication of JP6419740B2 publication Critical patent/JP6419740B2/ja
Active legal-status Critical Current
Anticipated expiration legal-status Critical

Links

Images

Landscapes

  • Professional, Industrial, Or Sporting Protective Garments (AREA)

Description

本発明は、装着者が堀、池、湖、河川、海など水中に不意に落下したり津波に巻き込まれたりした際に、口鼻顔面を水面に浮かべて呼吸を確保する仕組みのペンダント型救命具に関するものである。
従来より、キャンプ、釣り、散歩、水遊びなどの水場でのレジャーにおいては、十分な準備と注意をしているにも関わらず不意の水難事故が後を絶たないのが実情である。また、島国である我が国において津波は常に警戒しなければならない天災である。
予期せずに衣服を着用した状態で突然、川や海などの水中へ落下してしまった場合は、適切な対応ができず幼児や泳げない人は勿論であるが日頃泳ぎが達者な人でも溺れてしまい、水難事故による犠牲となることも少なくない。
この様な水難事故の発生を防止するために、突然水中に落下した際に装着者の意識的な動作によらず自動的に作動し、少なくとも口鼻は水面に浮いて呼吸を確保することができる救命具が望まれる。
そこで、水中において自動で作動しまたはレバー等を操作することで撃針によって圧縮ガスボンベに孔を開けて前記圧縮ガスボンベに充填した圧縮ガスを浮き袋に噴出させることで膨らませて浮力を生じさせる形式の救命具が提案されており、例えばベルト型の救命具(特許文献1参照)やウエストポーチ型の救命具(特許文献2参照)または首に巻き回して装着する救命胴衣(特許文献3参照)などが知られている。
しかしながら、前記特許文献1に記載されている救命具は、水泳の途中で溺れるのを防止する目的としたものであって浮き袋が浮き輪状で胴部に装着されるものであり多大な浮力を要することから圧縮ガスの容器も含めて大型化が必要となり不意の水没に備えて常時装着するには不向きであり、また、前記特許文献2に記載されているウエストポーチ型の救命具も前記浮き輪状の救命具と同じく腰に装着した状態で人体に浮力を付与する形式であり大きな浮力を要することからボンベを含めて大容量となり実用的でない。
一方、特許文献3に記載された首着型の救命胴衣は図29に示すように首部に装着して呼吸を確保する形式であることから比較的小型であって常時装着性が高いと思われるが、自動ガス充填装置が浮き袋と一体となって救命具を形成していることから小型化を目指す場合は圧縮ガスボンベの大きさも制限されることから十分な浮力を得られない可能性が有り、かつ、直に首に巻回させて装着するものであり、首からの抜脱を防ぐ程度に締め付けて装着しなければならず、首周りが窮屈でしかも単にマフラーのように装着するものであり装飾性に乏しく、特に冬季を除くと外観的にも違和感が生じるという問題がある。
また、前記従来の救命具において圧縮ガスボンベの封止を解除して圧縮ガスボンベ内の圧縮ガスを噴出させる手段として紐やボタンを操作したときに圧縮ガスボンベに備えた例えば板状の封止部材を撃針により孔を開けて噴出させる手段(特許文献4参照)が知られているが、このような手段は常時における誤作動を防ぐには極めて有効であるが機構が複雑になったり撃針を用いるなど部品が身体を損傷するという危険もあり安全面での問題があるばかりか緊急時における作動の確実性にも問題が生じる。
特開第2006−273303号公報 特開第2004−98936号公報 特開第2002−127986号公報 実用新案登録第3091738号公報
本発明は、前記従来の水中で圧縮ガスを身体に装着した浮き袋に充填することで生じる浮力を利用する形式の救命具が有する問題点を解決するためになされたものであり、簡易な構成であって小型、軽量で着用性が高く、季節や時間などに拘わらず装着できるばかりか、自ら好んで装着したくなるようなデザインを採用できるなど装飾性に富み、水中に不意に落下した場合であっても、日常、常時これを身に付けて生活をしていたおかげで、自動的に作動して浮き袋が少なくとも装着者の顎下で膨張し、口鼻顔面が水面に浮いて呼吸が確保できるペンダント型救命具を提供することを課題とする。
前記課題を解決する為の本発明は、ペンダント部と、浮き袋を備えた首紐部とを有するペンダント型救命具であって、前記ペンダント部は圧縮ガスを充填した圧縮ガスタンクと、前記圧縮ガスタンクから突出して先端部に設けた吹き出し口より前記圧縮ガスタンク内の圧縮ガスを噴出可能である通気管とを有するとともに、前記通気管には前記首紐部に備えた浮き袋の開口部が封止手段を備えて接続され、前記封止手段は平常時においては前記圧縮ガスの噴出を封止するとともに、装着者が水中に落下した際には封止が解除されて前記圧縮ガスタンク内の圧縮ガスが前記通気管を介して前記接続された浮き袋内に噴出することで前記浮き袋が膨張して少なくとも装着者の顔面を水面に浮かす浮力を発揮し、装着者の呼吸を確保して水難事故を防止することを特徴とする。
更に、本発明において、前記通気管は、その側面に形成された吹き出し口が前記浮き袋の開口部に覆われるように嵌挿されて接続され、前記封止手段が前記浮き袋の開口部の外周の前記通気管の吹き出し口が位置する箇所を巻回して前記圧縮ガスの噴出を防ぐ水解性の封止帯であって、前記封止帯が平常時においては前記圧縮ガスの噴出を封止するとともに、装着者が水中に落下した際には前記封止帯が水によって解れて封止が解除され前記圧縮ガスタンク内に充填している圧縮ガスが前記浮き袋に噴出することで、部品点数の少ない簡易な構成であって確実に圧縮ガスタンク内の圧縮ガスを浮き袋に噴出させることができる。
本発明において、「水解性」とは、空気中では耐湿潤性を有して強靱であるが水に溶ける性質や水濡れにより強度が低下する性質、あるいは水との化学反応によって分解される性質などを利用した部材であることを示し、装着者が水中に落下した際に即座にその水解性の機能を発揮して巻き止めを解除するものであり、水解性の具体的性質については上記した性質に限られない(以下同じ)。
また、本発明において、前記通気管の先端部における吹き出し口より基端側に前記浮き袋の開口部の抜脱を防止するフランジが突設され、弾性を有する前記開口部の開口端が前記通気管の前記フランジを乗り超えた状態で接続されていることで、通気管へ浮き袋を抜脱しないように容易に接続が可能である。
更にまた、本発明において、前記通気管はそれぞれ前記吹き出し口と前記フランジを有する先端部が二股状に分岐して突出するとともに、前記首紐部の膨張時に装着者の左右の顎部に位置する部分に備えられた前記両側の浮き袋の各開口部に前記各先端部が嵌挿されて接続されていることで、浮き袋が発揮する浮力は装着者の前面側が高く、背面側が低くなり、装着者は水中で自然に仰向けの姿勢となり、例え装着者が失神していたとしても顔面が水面より浮かんで呼吸が確保できるため、救助を待つ姿勢として理想的である。
また、前記首紐部は前記浮き袋が萎んだ状態で水解性部材により一体的細紐状に保持されており、装着者が水中に落下した際に前記水解性部材が解れて前記保持が解除されることで、平常時は浮き袋が細紐状であるため装着者の邪魔にならないとともに、水解性の装飾帯によって浮き袋を細紐状に巻きとめている場合はペンダントの首紐部としての可飾性を持たせることができる。
本発明において、前記ペンダント部と装着者の背面に位置する前記首紐部とにそれぞれ接続されて装着者の腰に巻回される紐部を有することで、装着者が水中に落下した際の衝撃などで前記ペンダント部が装着者の背面側に移動したり、ペンダント型救命具が装着者から外れてしまったり、浮き袋膨張時において浮き袋の左右方向へのズレを防止することも可能である。

本発明によれば、前記従来の水中で圧縮ガスを身体に装着した浮き袋に充填することで生じる浮力を利用して呼吸を確保する形式の救命具と同様に水没したときに瞬時に作動して浮力を生じさせて迅速な救命を図ることができることは言うまでもなく、小型、軽量で着用性が高く、年齢や性別、季節や場所、行動の種類などに拘わらず違和感なく装着できるばかりか、装着者が自ら好んで装着したくなるようなデザインを採用することができるなど装飾性に富んだペンダント型救命具を提供することができる。
更に、水解性の封止手段を用いたことから、従来の救命具に用いられている圧縮ガスボンベに撃針などにより孔を開けて圧縮ガスを浮き袋内に導入する方式のように撃針を動かすレバーやスプリング等の装置を必要としないため部品点数が少なくて済み、小型化が可能であるとともに撃針やレバーの部品により装着者に損傷を与える心配もなく安全であり、作動も確実である。
本発明であるペンダント型救命具の好ましい実施の形態を示す正面図 図1に示した実施の形態のペンダント型救命具を装着した状態の正面図。 図1に示した実施の形態のペンダント型救命具を装着した状態の側面図。 図1に示した実施の形態のペンダント型救命具の装着者が水中に落下した際に浮き袋が膨らみ水面に浮いた状態を示す側面図。 図1に示した実施の形態における平常時の装着状態の平面図。 図1に示した実施の形態におけるペンダント部の正面断面図。 図1に示した実施の形態におけるペンダント部の側面断面図。 図1に示した実施の形態におけるペンダント部から突出した通気管と浮き袋の接続部分を示す断面図。 図1に示した実施の形態における通気管の吹き出し口を示す正面断面図。 図1に示した実施の形態における通気管の吹き出し口を示す側面断面図。 図1に示した実施の形態における萎んだ状態の浮き袋を細紐状に装飾帯で巻き止めるとともに浮き袋の外側で通気管の吹き出し口の軸線上を巻き止める手順を示す説明図。 図11の手順終了後の状態を示す側面図。 図1に示した実施の形態における圧入逆止弁付近断面図。 図1に示した実施の形態における圧入逆止弁拡大断面図。 図1に示した実施の形態における浮き袋の原形、長さ固定紐および首紐後部の側面図。 図1に示した実施の形態における浮き袋の側面断面図。 図1に示した実施の形態における浮き袋膨張時の装着状態の平面図。 図1に示した実施の形態における浮き袋を萎んだ状態で保持する水解性の装飾帯および封止手段である水解性の封止帯が水で解れ、圧縮ガスタンク内の圧縮ガスが通気管を介して浮き袋へ噴出する状態を示す説明図。 図18の長手方向断面図。 図1に示した実施の形態における浮き袋の膨張時の側面図。 図1に示した実施の形態における首紐前部と首紐後部の接続部分を示す部分図。 図1に示した実施の形態における首紐後部同士を連結具によって接続した状態を示す部分図。 図1に示した実施の形態における胴紐前部と胴紐後部の接続部分を示す部分図。 図1に示した実施の形態における胴紐前部と胴紐後部の接続部分を示す正面部分図。 図1に示した実施の形態における封止帯を示す図。 図1に示した実施の形態における装飾帯を示す図。 図1に示した実施の形態における封止帯の防水カバーを示す図。 図1に示した実施の形態における装飾帯の防水カバーを示す図。 従来例を示す図。
次に本発明を図面に示す好ましい実施の形態に基いて詳細に説明する。
図1乃至図5は、本発明であるペンダント型救命具の好ましい実施の形態の全体と、その装着状態を示すもので、本実施の形態は、主として全体が縦長楕円板状のペンダント部1とこのペンダント部1を首に掛けるための首紐部2とからなり、前記ペンダント部1は例えば空気などの軽量で無害な圧縮ガスAを充填した圧縮ガスタンク11と、この圧縮ガスタンク11の少なくとも前面を覆う装飾体16と、前記圧縮ガスタンク11内に基端12を気密に連通させるとともに先端部13が二方向に分岐して圧縮ガスタンク11から突出するように固定され、各先端部13,13の側面に対向して設けた吹き出し口14,14より圧縮ガスタンク11内の圧縮ガスAを噴出可能な通気管15とを有し、首紐部2は開口部31を通気管15の先端部13に嵌挿されて接続した浮き袋3を備えている。尚、図面中の符号Xは装着した平常時の状態を示し、符号Yは水没して浮き袋3が膨張した状態を示す。
そして、首紐部2は例えば外部がポリアミドなどの合成樹脂製でかつ防水性を有する素材で形成されており、内部が天然ゴムなどの弾力性に富んだゴム製のシート素材で構成した丈夫でしかも膨張性を有する二重構造で、原形での内容量が500〜600ミリリットル程度に形成された浮き袋3を備えた一対の首紐前部21と、首紐前部21に基端22を接続して先端23に留め具24A(24B)を備えた一対の首紐後部25とからなり、本実施の形態では各浮き袋3は太さが長さ方向に均一でなく、背面に最も近い箇所が最も小径であるとともに開口部31側が大径になるよう形成されて膨らんだときに全体がほぼ円錐台形状を呈する。
また、前記一対の留め具24A,24Bは互いに連結されて、容易に連結が解除されない強度を有するものであって、本実施の形態ではフックと環を用いるが、これに限定されるものではなく、例えばバックルなどを用いても良い。
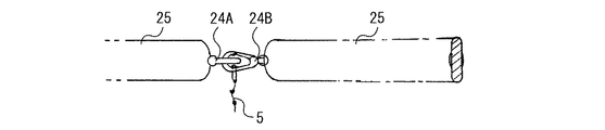
更に、本実施の形態では、前記首紐部2と、前記ペンダント部1の圧縮ガスタンク11の下部に基端42,42を接続して装着者の腰に巻回される胴紐部4と、首紐部2と胴紐部4を装着者の背面側(首の後ろ位置)で接続する縦紐5を有しており、前記胴紐部4はペンダント部1の下部に基端42,42を接続した一対の胴紐前部41,41と、前記胴紐前部41,41の先端43,43に両端を互いに接続される平帯状の胴紐後部44とから形成される。
これらの胴紐部4、縦紐5は、首紐部2により首に掛けたペンダント部1を胸元の所定位置に配置しておくことにより前記浮き袋3が膨張したときに浮き袋3が身体の周りに浮遊せずに例えば顎下の所定位置に接して確実に配置されるようにするために用いるものである。
そして、図6乃至図8で示すように、前記通気管15は圧縮ガスタンク11の上部より先端部が突出して気密に固定され、圧縮ガスタンク11内と連通する基端12から延出して左右二方向に先端部13,13が分岐し、各先端部13には内部の通気通路17の軸線と直交するように2箇所の吹き出し口14,14が形成されている。
また、図9,図10で示すように通気管15における各先端部13には各吹き出し口14より基端側の位置にフランジ18が突設されており、浮き袋3の開口部31に通気管15の側面に形成された各吹き出し口14が覆われるように被冠させるとともに環状突起を突出させた開口端32が前記フランジ18を乗り越えて係止されることで開口部31より圧縮ガスAが漏れないように且つ容易に抜脱しないように気密に固定されている。このとき、接着剤(図示せず)や結着部材(図示せず)によって更に強固に通気管15と浮き袋3を固定しても良い。
更に、図11,図12で示すように前記通気管15における先端に被冠させた浮き袋3における開口部31の吹き出し口14,14が位置する箇所で浮き袋3の外周を水解性を有する材質により形成される封止帯6できつく巻き止めることによって、形成される封止手段Sにより、圧縮ガスタンク11に圧縮ガスを充填しても通気管15の各吹き出し口14を介して浮き袋3へ圧縮ガスが噴出されない状態となる。
そして、本実施の形態では一対の浮き袋3,3は中の空気を抜いて萎ませた状態で圧縮ガスタンク11から突出した通気管15の各先端部13,13に一端を浮き袋3内で固定した長さ固定紐33の他端を繋ぐとともに通気管15に浮き袋3の開口部31を被せて取り付け、前述のように吹き出し口14付近を上から水解性の封止帯6で巻回し、浮き袋3の他の部分を水解性を有する装飾帯7で巻いて水で解れるように一体的細紐状に形成するとともに圧縮ガスタンク11の圧入逆止弁8から一定量の圧縮ガスAを圧入、充填してペンダント型救命具として装着できる準備が整う。
尚、本実施の形態は前述のように装着前に圧縮ガスタンク11の圧入逆止弁8から一定量の圧縮ガスAを圧入、充填する必要があるが、本実施の形態では図13,図14で示すように圧入逆止弁8は圧縮ガスタンク11下部に圧縮ガスタンク11内と気密に連通して形成された圧入口19へ固定され外部から圧入される圧縮ガスAを通気通路82の軸線と直交して先端部81の側面に対向して設けた吹き出し口83,83から圧縮ガスタンク11内へ導入する中空キャップ形を呈する固定部84と、固定部84に突設されたフランジ85を乗り越えて開口端86を係止させ、更に例えばリング状の金属からなる結着部材87で固定するとともに吹き出し口83,83を被冠して外部から圧入された圧縮ガスAの吹き出し口83,83からの逆流を防ぐゴム状で筒形の弁部88とからなり、組み合わせた状態で弁部88は固定部84以下の径であるため、圧入口19から弁部88を挿入するようにして例えばネジ機構を用いて圧入口19と固定部84を後付けで固定が可能であるため非常に作業性が良い。なお、図面中の符号89は外部から圧入された圧縮ガスAの圧入口19と固定部84の隙間からの逆流を防ぐシール部材である。
そして、本実施の形態は、図2に示すように、浮き袋3を前方に備えて環状に形成される首紐部2を通常のペンダントと同様にペンダント部1を胸に配置して首に掛けて、ペンダント部1の下部において基端42,42を接続した胴紐部4を腰に巻回するとともに縦紐5により前記胴紐部4と首紐部2とを背中の部分で接続して装着する。
殊に、本実施の形態では、図21乃至図24で示すように浮き袋3と首紐部2の繋ぎ部分、首紐部2の背中部分の留め具24A,24Bとの繋ぎ、胴紐部4の胴紐前部42と背中部分の平帯状の胴紐後部44との繋ぎ、および脱着部分のそれぞれ強度が十分で簡単に脱着ができ、また、装着時、装着者背面の縦紐5の上端は首紐部2の留め具24A,24B部分で脱着でき、下端は胴紐部4の胴紐後部44の接続部分51で脱着ができる仕組みなので、装着する時は先に縦紐5の上端と首紐部2を接続し、取り外す時は縦紐5の下端と胴紐部4の接続部分51から外すことで、脱着が簡単にできる。
また、本実施の形態において、首紐部2、胴紐部4および縦紐5に長さ調整機構(図示せず)を設ける場合には、装着者の体型に合わせてそれぞれの長さを調節して的確に装着することができ、また、子供の成長に合わせてペンダント型救命具を買い替えることなく装着が可能でもある。
そして、本実施の形態であるペンダント型救命具を装着した状態で装着者が水中に不意に落ちた際に、水解性の封止帯6,装飾帯7が水に触れて解れて浮き袋3による通気管15の各吹き出し口14,14への封止状態が解除されて圧縮ガスタンク11内に充填してある圧縮ガスAが通気管15の各吹き出し口14,14を通り首部に巻回装着していた首紐部2の首からペンダント部1に掛けて配置されていて水解性帯の被覆を解かれた浮き袋3,3へ噴出し浮き袋3,3が顎下部分で膨らむことで装着者の頭部を顔面の口鼻が水面に露出する状態で浮かす浮力を発揮させ、装着者の呼吸を確保することができる。
このとき、本実施の形態では膨らんだ浮き袋3,3が胴紐部4、縦紐5により身体の周りに浮遊せずに左右の顎下の所定位置に接して確実に配置される。
本実施の形態では、各浮き袋3は装着者の背面に最も近い箇所が最も小径であるとともに開口部31部分が大径に形成されているので各浮き袋3の浮力は装着者の顎下に位置する箇所が高く、背面側が低くなり、装着者は水中で自然に仰向けの姿勢となるため、救助を待つ姿勢として理想的であり、例え失神状態でも呼吸可能の状態を維持できる。また、本実施の形態では浮き袋3が膨張した時、二重構造で破損の心配も少なく首周りにも優しい形状である。
また、本実施の形態は、長さ固定紐33を浮き袋3内に通したことで、圧縮ガスAによって浮き袋が膨張した際に原形から大きく変形することがなく、原形での内容量のガス量で浮力を得ることができるので予め定めた圧縮ガスの容量で十分に必要な浮力が生じ、少ない容量の圧縮ガスタンク11を採用できるので小型で軽量の圧縮ガスタンク11を用いることができ、装着の負担も生じない。殊に、本実施の形態は、前記特許文献3に提示されている実施の形態と同様に装着者の顔面を水面に浮かす救命具であるが、首部に直接浮き袋を装着するものであって装着感が優れたものと言えない前記特許文献3に提示されている実施の形態の救命具と異なり、装着時には浮き袋3はペンダント部1と首部の間に位置する首紐部2部分に配置されていて通常のペンダントと同様に首部(特に前部)に負担がなく、落下時には顎下位置で浮き袋3,3が確実に膨らんで必要な浮力を発揮させることができる。
更に、本実施の形態では、装着に際して圧縮ガスタンク11の下部に基端42,42を接続した胴紐部4を腰に巻回するとともに縦紐5により前記胴紐部4と首紐部2とを背中の部分で接続していることにより膨らんだ浮き袋3,3を確実に所定位置である顎下部に配置した状態に保持しておくことができるので装着者が水中で移動したり、姿勢を変えても確実に救命効果を発揮させることができる。
尚、本実施の形態では、長さ固定紐33は圧縮ガスタンク11から突出した通気管15の各先端部13,13に一端を固定し、他端を浮き袋3内で固定したが、長さ固定紐33は一端を首紐後部25に固定するとともにその他端を通気管15の各先端部13に固定しても良い。
また、図25,図26に示した封止帯6、装飾帯7はそれぞれ水解性であることから平常時の水解を防止するために図27,図28で示す防水カバー61,71を当て防備することもできる。この防水カバー61,71は例えば面ファスナー(図示せず)などの固定手段によって装着者(またはその保護者など)が任意に着脱可能に形成されており、日常、飲み水をこぼしたり突然の雨などの水濡れ要因に対して封止帯6および装飾帯7が意図せず水解してしまい、浮き袋が膨張するような事態を防止することができる。
このように、本実施の形態は、防水カバー61,71を備えることにより、平常時において封止手段Sが誤って解除することを防止することができることから、従来の撃針を用いるような封止手段に比べて簡単で安全な構成で前記従来の撃針を用いるような封止手段と同様な誤動作防止効果を得ることができる。
尚、防水カバー61は例えば封止帯6の表面側を覆うことによりペンダント型救命具の装着者が水中に落下した場合であっても、防水帯61は封止帯6の全域を水密に覆うものでは無い為、封止帯6は問題なくその水解性の機能を発揮する。
また、装飾帯7に備える防水カバー71についても一部(例えば装着者の胸に接する側)に非被覆部を設けておけばそこから水分が吸収されて全体が水解される。尚、残った防水カバー61,71は浮き袋3の膨張力によって破断可能にしておくことで浮き袋3,3が膨らむことについて支障がない。
以上のように、本実施の形態のペンダント型救命具によれば、圧縮ガスタンクに充填した圧縮ガスを用いて浮き袋を膨張させる形式を採用しても小型で簡単かつ安全な構成とすることができ、かつ幼児や子供が好んで常時装着するという目的のもとペンダント部および首紐部に装飾的な要素を取りいれる事で常時装着性を高めて、水中に不意に落下したり津波に巻き込まれたりした際に、即座に封止手段を形成する封止帯が水に解れることで圧縮ガスが浮き袋へ噴出して膨張させることで、装着者の呼吸が確保され水難事故に対し常に備えることを可能としたものである。
なお、本実施の形態において圧縮ガスタンク11はその外側に可飾性を付与するために圧縮ガスタンク11から突出する通気管15および圧縮ガスタンク11に形成された圧入口19を除く略全面を覆うように形成された装飾体16により被蓋されたものであるが、例えば半面や一部のみを装飾するように装飾体16を形成してもよい。勿論、圧縮ガスタンク11と装飾体16を一体に形成した場合であっても問題はない。
また、ペンダント部1の装飾体16は本実施の形態では表面が薄板楕円形のきわめて一般的な形状としたが、動物、植物、ヒーローやお姫様などのキャラクター、または丸型や星型その他の幾何学的形状など、装着者の性別、年齢、趣向などに合わせて幼児用から成人向けまで好んで装着できるデザインが可能であり、また日常誰もが好んで装着できるように封止帯6および装飾帯7も含めてトータルデザインすることが可能であり、サイズも首紐部2、胴紐部4、縦紐5の長さを予めまたは装着時に適宜調整を行うことによって万人が常用できるものである。
更に、本実施の形態においては胸元に装着されるペンダント部1に圧縮ガスタンク11を配置しており、水没時に圧縮ガスタンク11から噴出する圧縮ガスAの気化熱により圧縮ガスタンク11が冷却されて装着者に危害を与えることを防止するために、圧縮ガスタンク11を被う装飾体16の全部または装着者に触れる裏面部分を断熱効果を有する素材で形成するとよく、また、装飾体が圧縮ガスタンク11の全体を覆わない場合であっても少なくとも装着者の胸元に触れる部分に断熱手段を施すとよい(図示せず)。
更にまた、本実施の形態において浮き袋3は二重構造であることから気密性が担保され安全であるが、素材を選択することにより一重であってもよく、また、浮き袋3の少なくとも開口端32から通気管15の各先端部13の吹き出し口14,14を越えた位置までの通気管15を被冠する部分は弾力性に富んだゴム状の一重構造でやや厚く形成してもよく、特に開口端32は環状に厚みを持たせて強度を高めており、通気管15と気密に固定が可能で圧縮ガスAによる浮き袋3の膨張時にも抜脱しない強固な作りにすることができる。
加えて、水没時に圧縮ガスタンク11からの圧縮ガスAの噴出に伴う気化熱により浮き袋3部分も冷却されることが考えられるので、素材として耐低温性のものを採用するとよく、また、本実施の形態のように二重構造の場合には少なくとも外側に断熱効果を有する素材を用いるとよい。
1 ペンダント部、2 首紐部、3 浮き袋、4 胴紐部、5 縦紐、6 封止帯、7 装飾帯、8 圧入逆止弁、11 圧縮ガスタンク、12 基端、13 先端部、14 吹き出し口、15 通気管、16 装飾体、17 通気通路、18 フランジ、19 圧入口、21 首紐前部、22 基端、23 先端、24A,24B 留め具、25 首紐後部、31 開口部、32 開口端、33 形状保持紐、41 胴紐前部、42 基端、43 先端、44 胴紐後部、61 防水カバー、71 防水カバー、81 先端部、82 通気通路、83 吹き出し口、84 固定部、85 フランジ、86 開口端、87 結着部材、88 弁部、89 シール部材、A 圧縮ガス、C (装着者の)顎、N (装着者の)首、S 封止手段、W 水面、X 平常時の状態、Y 膨張した状態

Claims (5)

  1. ペンダント部と、浮き袋を備えた首紐部とを有するペンダント型救命具であって、
    前記ペンダント部は圧縮ガスを充填した圧縮ガスタンクと、前記圧縮ガスタンクから突出して先端部に設けた吹き出し口より前記圧縮ガスタンク内の圧縮ガスを噴出可能である通気管とを有するとともに前記通気管には前記首紐部に備えた浮き袋の開口部が封止手段を備えて接続され、
    前記通気管は、その側面に形成された吹き出し口が前記浮き袋の開口部に覆われるように嵌挿されて接続され、前記封止手段が前記浮き袋の開口部の外周の前記通気管の吹き出し口が位置する箇所を巻回して前記圧縮ガスの噴出を防ぐ水解性の封止帯であって、前記封止手段は平常時においては前記圧縮ガスの噴出を封止するとともに装着者が水中に落下した際に前記封止帯が水によって解れて封止が解除されて前記圧縮ガスタンク内に充填している圧縮ガスが前記通気管を介して前記接続された浮き袋内に噴出することで前記浮き袋が膨張して少なくとも装着者の顔面を水面に浮かす浮力を発揮し、装着者の呼吸を確保して水難事故を防止することを特徴とするペンダント型救命具。
  2. 前記通気管の先端部における吹き出し口より基端側に前記接続される浮き袋の開口部が抜脱することを防止するフランジが突設され、弾性を有する前記開口部の開口端が前記通気管の前記フランジを乗り超えた状態で接続されていることを特徴とする請求項1記載のペンダント型救命具。
  3. 前記通気管はそれぞれ前記吹き出し口と前記フランジを有する先端部が二股状に分岐して突出するとともに、前記首紐部の膨張時に装着者の左右の顎部に位置する部分に備えられた前記両側の浮き袋の各開口部に前記各先端部が嵌挿されて接続されていることを特徴とする請求項2記載のペンダント型救命具。
  4. 前記首紐部は前記浮き袋が萎んだ状態で水解性部材により一体的細紐状に保持されており、装着者が水中に落下した際に前記水解性部材が解れて前記保持が解除されることを特徴とする請求項1,2または3記載のペンダント型救命具。
  5. 前記ペンダント部と装着者の背面に位置する前記首紐部とにそれぞれ接続されて装着者の腰に巻回される紐部を有することを特徴とする請求項1,2,3または4記載のペンダント型救命具。
JP2016027326A 2016-02-16 2016-02-16 ペンダント型救命具 Active JP6419740B2 (ja)

Priority Applications (1)

Application Number Priority Date Filing Date Title
JP2016027326A JP6419740B2 (ja) 2016-02-16 2016-02-16 ペンダント型救命具

Applications Claiming Priority (1)

Application Number Priority Date Filing Date Title
JP2016027326A JP6419740B2 (ja) 2016-02-16 2016-02-16 ペンダント型救命具

Publications (2)

Publication Number Publication Date
JP2017144846A JP2017144846A (ja) 2017-08-24
JP6419740B2 true JP6419740B2 (ja) 2018-11-07

Family

ID=59681151

Family Applications (1)

Application Number Title Priority Date Filing Date
JP2016027326A Active JP6419740B2 (ja) 2016-02-16 2016-02-16 ペンダント型救命具

Country Status (1)

Country Link
JP (1) JP6419740B2 (ja)

Families Citing this family (2)

* Cited by examiner, † Cited by third party
Publication number Priority date Publication date Assignee Title
JP6850931B1 (ja) * 2020-04-20 2021-03-31 義基 片上 溺水感知器
JP2024020881A (ja) * 2022-08-02 2024-02-15 日本化薬株式会社 パラシュート、これを備える安全装置および飛行体

Family Cites Families (5)

* Cited by examiner, † Cited by third party
Publication number Priority date Publication date Assignee Title
US1806786A (en) * 1931-05-26 glaus
US3308494A (en) * 1964-11-30 1967-03-14 Robert J Licher Inflatable life preserver
JPS6010991U (ja) * 1983-07-04 1985-01-25 矢野 和男 抜け止め式パイプ継手
JPH02241890A (ja) * 1989-03-14 1990-09-26 Kazuo Toda 溺水者浮上救助器具
JP3806574B2 (ja) * 2000-04-28 2006-08-09 久栄 松沢 水難救命用ウェストバッグ

Also Published As

Publication number Publication date
JP2017144846A (ja) 2017-08-24

Similar Documents

Publication Publication Date Title
US10384751B2 (en) Inflatable personal bodywear flotation device
US6231411B1 (en) Fashionable emergency flotation aid
US8920205B2 (en) Personal floatation device
ES2694684T3 (es) Dispositivo de flotación, hinchable de manera automática, resistente a las salpicaduras
US6767267B2 (en) Apparatus to be worn as a necklace around the neck of a small child, which, when submerged in water, will inflate an float the child's head above water
US20150197323A1 (en) Wearable and buoyant life saving apparatuses
US7798879B2 (en) Personal flotation device
US7900573B2 (en) Submarine escape suit
JP6419740B2 (ja) ペンダント型救命具
CA2837229C (en) Marker and recovery device
JP7222931B2 (ja) ウォータースポーツ用カラー救命具
US7918701B2 (en) Buoyancy and rescue device
JP3806574B2 (ja) 水難救命用ウェストバッグ
KR20050081843A (ko) 팽창가능한 안전장치
CN210212720U (zh) 一种救助救生衣
CN208855846U (zh) 一种成人儿童救生衣
CN204871530U (zh) 一种救生腰带
WO2008053439A1 (en) Safety inflatable floating device
CN213057448U (zh) 一种抗风浪游泳圈
JP2511916Y2 (ja) ベルト型救命浮袋
WO1998036800A1 (en) A swimming aid device
TWM499370U (zh) 臂掛式救生組件
AU5974198A (en) A swimming aid device
HK1190372B (en) Marker and recovery device
HK1190372A (en) Marker and recovery device

Legal Events

Date Code Title Description
A621 Written request for application examination

Free format text: JAPANESE INTERMEDIATE CODE: A621

Effective date: 20170724

A977 Report on retrieval

Free format text: JAPANESE INTERMEDIATE CODE: A971007

Effective date: 20180418

A131 Notification of reasons for refusal

Free format text: JAPANESE INTERMEDIATE CODE: A131

Effective date: 20180502

A521 Written amendment

Free format text: JAPANESE INTERMEDIATE CODE: A523

Effective date: 20180517

TRDD Decision of grant or rejection written
A01 Written decision to grant a patent or to grant a registration (utility model)

Free format text: JAPANESE INTERMEDIATE CODE: A01

Effective date: 20180928

A61 First payment of annual fees (during grant procedure)

Free format text: JAPANESE INTERMEDIATE CODE: A61

Effective date: 20181010

R150 Certificate of patent or registration of utility model

Ref document number: 6419740

Country of ref document: JP

Free format text: JAPANESE INTERMEDIATE CODE: R150