JP6288360B2 - データ保存媒体及びその製造方法、データ読出装置並びにデータ読出方法 - Google Patents

データ保存媒体及びその製造方法、データ読出装置並びにデータ読出方法 Download PDF

Info

Publication number
JP6288360B2
JP6288360B2 JP2017154623A JP2017154623A JP6288360B2 JP 6288360 B2 JP6288360 B2 JP 6288360B2 JP 2017154623 A JP2017154623 A JP 2017154623A JP 2017154623 A JP2017154623 A JP 2017154623A JP 6288360 B2 JP6288360 B2 JP 6288360B2
Authority
JP
Japan
Prior art keywords
data
pattern
unit
concavo
area
Prior art date
Legal status (The legal status is an assumption and is not a legal conclusion. Google has not performed a legal analysis and makes no representation as to the accuracy of the status listed.)
Expired - Fee Related
Application number
JP2017154623A
Other languages
English (en)
Other versions
JP2017212023A (ja
Inventor
尚子 中田
尚子 中田
博和 小田
博和 小田
Current Assignee (The listed assignees may be inaccurate. Google has not performed a legal analysis and makes no representation or warranty as to the accuracy of the list.)
Dai Nippon Printing Co Ltd
Original Assignee
Dai Nippon Printing Co Ltd
Priority date (The priority date is an assumption and is not a legal conclusion. Google has not performed a legal analysis and makes no representation as to the accuracy of the date listed.)
Filing date
Publication date
Application filed by Dai Nippon Printing Co Ltd filed Critical Dai Nippon Printing Co Ltd
Priority to JP2017154623A priority Critical patent/JP6288360B2/ja
Publication of JP2017212023A publication Critical patent/JP2017212023A/ja
Application granted granted Critical
Publication of JP6288360B2 publication Critical patent/JP6288360B2/ja
Expired - Fee Related legal-status Critical Current
Anticipated expiration legal-status Critical

Links

Images

Landscapes

  • Optical Recording Or Reproduction (AREA)
  • Manufacturing Optical Record Carriers (AREA)
  • Optical Record Carriers And Manufacture Thereof (AREA)

Description

本発明は、データ保存媒体及びその製造方法、データ読出装置並びにデータ読出方法に関する。
種々の情報を記録する媒体としての紙は、古くから利用されており、現在においても、多くの情報が紙面上に記録されている。一方、産業の発達とともに、動画、静止画等の画像情報を記録するフィルム(マイクロフィルム等)、音の情報を記録するレコード盤等が利用され、近年では、デジタルデータを記録する媒体として、磁気記録媒体、光学式記録媒体、半導体記録媒体等が利用されている。
上述したような媒体に記録される情報等として、100年を超える超長期に保存されることが求められるものがある。上記媒体は、その用途に応じて、それぞれ利用に支障が生じない程度の耐久性を備えており、例えば、紙、フィルム、レコード盤等の媒体は、数年といった時間尺度においては、十分な耐久性を有する媒体といえる。しかしながら、100年を超えるような時間尺度においては、経年劣化を避けることはできず、保存した情報が滅失するおそれがあり、水や熱によって損傷を受けるおそれもある。例えば、マイクロフィルムは、セルロースアセテートを原料とするものにあっては、保管環境の温度・湿度によって分解が生じ、表面に酢酸が生成されてデータ読出が不可能となるビネガーシンドロームが起こるため、寿命は30年以下とされている。ポリエステルを原料とするものにあっては、500年程度の寿命といわれているものの、ISO、JIS等の規格で定められた環境下で保管しなければ達成できず、保管環境が情報滅失のリスク要因の一つとなることに変わりはない。
また、磁気記録媒体、光学式記録媒体、半導体記録媒体等は、一般的な電子機器の利用にあたって支障が生じない程度の耐久性を備えるものの、数十年といった時間尺度での耐久性を考慮した設計はなされていないため、恒久的、半永久的に情報を保存する用途には適していない。例えば、半導体記録媒体としてのフラッシュメモリに代表されるEEPROMにおいては、フローティングゲートへの電荷の保持によってデータが記録・保存されるが、保管環境によってフローティングゲートにおける電荷の保持時間が左右されてしまう。また、データの書き込みを繰り返すことで絶縁層が損傷し、電荷が保持できなくなるおそれもある。長寿命の半導体記録媒体としてROMが知られているが、情報が記録・保存されたROMからバックアップとしてのROM(複製物)を作製するのは膨大な費用がかかってしまう。
さらに、上記の媒体は、耐火性、耐熱性に欠けるという問題がある。例えば、情報が記録・保存された上記媒体の保管場所にて火災が発生すると、その熱によりデータが滅失してしまうため、既存の媒体では情報を恒久的、半永久的に保存することは、実質的に不可能である。
一方、恒久的、半永久的に情報を保存可能な方法として、石英ガラスのような耐久性を有する媒体に情報を記録・保存する方法が提案されている(特許文献1,2参照)。具体的には、円柱状の媒体内の微小セルに光透過率の違いとして三次元的にデータを記録し、この媒体を回転させながらコンピュータトモグラフィの技術を利用して情報の読み出しを行う方法(特許文献1参照)、円柱状の媒体に対して照射角度を変えながら電磁波を照射して透過率の違いを測定し、コンピュータトモグラフィの技術を利用して情報の読み出しを行う方法(特許文献2参照)が提案されている。
特許第4991487号公報 特許第5286246号公報
上記特許文献1,2に開示されているように、円柱状の石英ガラスを媒体として用い、その内部に三次元的に情報を記録・保存する方法であれば、恒久的、半永久的に情報を記録・保存することができる。このようにして記録・保存された情報を読み出すときには、媒体内に三次元的に分散したセルから情報を抽出する必要があるため、コンピュータトモグラフィの技術を利用し、フーリエ変換処理等を行う必要がある。しかしながら、数百年という超長期的な時間尺度を経た後に、情報を記録・保存したときと同じコンピュータトモグラフィの技術が存在していなければ、記録・保存された情報を読み出すことができないという問題がある。
また、情報が記録・保存された上記媒体が破損してしまうことにより情報が滅失してしまうリスクを軽減するために、上記媒体のバックアップとしての複製物を作製する場合、情報の記録・保存されていない別個の石英ガラスを準備し、情報を新たに記録・保存する方法を採用する必要がある。そのため、記録・保存すべき情報の原本が存在していない場合には複製物を作製することができず、また複製物を作製する作業が煩雑であるとともに、多大なコストがかかってしまうという問題もある。
このような課題に鑑みて、本発明は、保管環境の変化に対して耐久性があるデータ保存媒体であって、当該データ保存媒体のバックアップとしての複製物を容易に作製可能なデータ保存媒体及びその製造方法、データ読出装置並びにデータ読出方法を提供することを目的とする。
上記課題を解決するために、本発明は、データが保存されてなるデータ保存媒体を製造する方法であって、第1面及び当該第1面に対向する第2面を有する、石英からなるデータ保存媒体用基材の前記第1面側に凹凸構造を形成する際に用いられるパターンデータを生成するパターンデータ生成工程と、前記パターンデータに基づいて、前記データ保存媒体用基材の前記第1面に前記凹凸構造を形成する凹凸構造形成工程とを含み、前記凹凸構造は、前記データ保存媒体用基材の前記第1面側に定義される保存領域内のデータ領域に形成される、前記データのデータ内容を表現するデータ凹凸構造と、前記保存領域内における前記データ領域以外の領域であるダミー領域に形成されるダミー凹凸構造と、前記データ凹凸構造及び前記ダミー凹凸構造の境界を判定するための判定凹凸構造とを含み、前記判定凹凸構造は、前記データ凹凸構造及び前記ダミー凹凸構造と異なる形状及び寸法を有し、前記パターンデータ生成工程は、前記データ凹凸構造に対応する第1パターンデータを生成する第1工程と、前記第1工程にて生成された前記第1パターンデータに前記判定凹凸構造に対応する第3パターンデータを付加する工程と、前記ダミー凹凸構造に対応する第2パターンデータを前記第3パターンデータが付加された前記第1パターンデータに付加することで、前記パターンデータを生成する第2工程とを有し、前記第2工程において、前記第1パターンデータに基づき、前記保存領域内における前記凹凸構造の面積密度が実質的に均一になるように前記第2パターンデータを前記第1パターンデータに付加することを特徴とするデータ保存媒体の製造方法を提供する(発明1)。
また、本発明は、データが保存されてなるデータ保存媒体を製造する方法であって、第1面及び当該第1面に対向する第2面を有する、石英からなるデータ保存媒体用基材の前記第1面側に凹凸構造を形成する際に用いられるパターンデータを生成するパターンデータ生成工程と、前記パターンデータに基づいて、前記データ保存媒体用基材の前記第1面に前記凹凸構造を形成する凹凸構造形成工程とを含み、前記凹凸構造は、前記データ保存媒体用基材の前記第1面側に定義される保存領域内のデータ領域に形成される、前記データのデータ内容を表現するデータ凹凸構造と、前記保存領域内における前記データ領域以外の領域であるダミー領域に形成されるダミー凹凸構造と、前記データ凹凸構造及び前記ダミー凹凸構造の境界を判定するための判定凹凸構造とを含み、前記判定凹凸構造は、複数種の構造を有し、前記パターンデータ生成工程は、前記データ凹凸構造に対応する第1パターンデータを生成する第1工程と、前記第1工程にて生成された前記第1パターンデータに前記判定凹凸構造に対応する第3パターンデータを付加する工程と、前記ダミー凹凸構造に対応する第2パターンデータを前記第3パターンデータが付加された前記第1パターンデータに付加することで、前記パターンデータを生成する第2工程とを有し、前記第2工程において、前記第1パターンデータに基づき、前記保存領域内における前記凹凸構造の面積密度が実質的に均一になるように前記第2パターンデータを前記第1パターンデータに付加することを特徴とするデータ保存媒体の製造方法を提供する(発明2)。
保存すべきデータを物理的構造に変換した凹凸構造をデータ保存媒体に形成する際、当該データのデータ量(データビット列のビット数)よっては、保存領域内の一部の領域に凹凸構造が形成されないことがある。また、データ内容の異なる複数のデータを一のデータ保存媒体に保存する場合に、凹凸構造で表現される各データが明確に区分され得るように、各データに対応する凹凸構造の間に、凹凸構造が形成されない領域が設けられることがある。このようなデータ保存媒体の複製物を、インプリント技術を用いて作製する場合に、データ保存媒体が、凹凸構造がない領域を有することで、転写パターンに欠陥が生じるおそれがある。転写パターンに欠陥が生じてしまうと、データ保存媒体の複製物に形成された凹凸構造により表現されるデータ(複製物の凹凸構造から復元されるデータ)のデータ内容が、データ保存媒体に保存されているデータのデータ内容と異なるものとなるおそれがある。しかしながら、上記発明(発明1)によれば、凹凸構造のない領域が存在したとしても、当該領域にダミー凹凸構造が形成されるため、インプリント技術を用いて高精度に複製物を作製することが可能なデータ保存媒体を製造することができる。
上記発明(発明1,2)においては、前記パターンデータ生成工程において、前記保存領域に相当するパターンデータ生成領域を設定し、前記第1工程において、前記データ凹凸構造に対応する第1図形セルを前記パターンデータ生成領域内に配置して前記第1パターンデータを生成し、前記第2工程は、前記第1パターンデータに基づき、前記パターンデータ生成領域内において前記第1図形セルが配置された領域を第1パターンデータ生成領域として抽出する工程、前記第1パターンデータ生成領域以外の領域を前記ダミー領域に相当する第2パターンデータ生成領域として抽出する工程、及び前記第2パターンデータ生成領域に前記ダミー凹凸構造に対応する第2図形セルを配置して前記第2パターンデータを生成する工程を含むのが好ましい(発明)。
また、上記発明(発明1,2)においては、前記保存領域は、行列状に配置された複数の単位保存領域を含み、前記データ凹凸構造は、前記データを分割して得られる複数の単位データのそれぞれのデータ内容を表現する複数の単位データ凹凸構造からなり、前記パターンデータ生成工程において、前記複数の単位保存領域のそれぞれに相当する複数の単位パターンデータ生成領域を設定し、前記第1工程において、前記各単位データ凹凸構造に対応する第1図形セルを、前記複数の単位パターンデータ生成領域の行列配置順に、各単位パターンデータ生成領域に配置して前記第1パターンデータを生成し、前記第2工程は、前記第1パターンデータに基づき、前記複数の単位パターンデータ生成領域のそれぞれにおいて前記第1図形セルが配置された領域を第1パターンデータ生成領域として抽出する工程、前記第1パターンデータ生成領域以外の領域を前記ダミー領域に相当する第2パターンデータ生成領域として抽出する工程、及び前記第2パターンデータ生成領域に前記ダミー凹凸構造に対応する第2図形セルを配置して前記第2パターンデータを生成する工程を含むのが好ましい(発明)。
上記発明(発明)においては、前記第2パターンデータを生成する工程において、前記第1パターンデータに基づき、前記第1図形セルが配置された前記第1パターンデータ生成領域の総面積に対する前記第1図形セルの総面積の比率を算出し、当該第1図形セルの総面積の比率と実質的に同一の面積率で前記第2パターンデータ生成領域に前記第2図形セルを配置して前記第2パターンデータを生成してもよいし(発明)、前記第1パターンデータに基づき、前記第2パターンデータ生成領域の周囲に位置する前記単位パターンデータ生成領域を抽出し、抽出された単位パターンデータ生成領域の総面積に対する前記第1図形セルの総面積の比率を算出し、当該第1図形セルの総面積の比率と実質的に同一の面積率で前記第2パターンデータ生成領域に前記第2図形セルを配置して前記第2パターンデータを生成してもよい(発明)。
上記発明(発明)においては、前記第2パターンデータを生成する工程において、前記第2パターンデータ生成領域の周囲に位置する前記単位パターンデータ生成領域における前記第1図形セルの総面積の比率から、前記単位パターンデータ生成領域における前記第1図形セルの総面積の比率の勾配を算出し、当該第1図形セルの総面積の比率の勾配に基づいて、前記第2パターンデータ生成領域に前記第2図形セルを配置して前記第2パターンデータを生成するのが好ましい(発明)。
上記発明(発明1〜7)において、前記データ凹凸構造及び前記ダミー凹凸構造は、相互に実質的に同一の寸法を有するものとすることができる(発明8)。
また、本発明は、データが保存されてなるデータ保存媒体であって、第1面及びそれに対向する第2面を有する、石英からなる基材と、前記基材の第1面上に設定された保存領域内に形成されてなる凹凸構造とを備え、前記保存領域は、少なくとも一方向に並列されてなる複数の単位保存領域と、隣接する前記単位保存領域の間に位置するデータ非保存領域とを含み、前記凹凸構造は、前記単位保存領域内のデータ領域に形成されてなる、前記データのデータ内容を表現するデータパターンと、前記単位保存領域内における前記データ領域以外の領域であるダミー領域に形成されてなるダミーパターンと、前記単位保存領域内に形成されてなり、前記データパターン及び前記ダミーパターンの境界を判別するための判別パターンとを含み、前記判別パターンは、複数種のパターンを有し、前記データパターン及び前記ダミーパターンのそれぞれは、前記保存領域内における前記凹凸構造の面積密度が実質的に均一になるように前記データ領域及び前記ダミー領域のそれぞれに形成されていることを特徴とするデータ保存媒体を提供する(発明9)。上記発明(発明9)において、前記データパターン及び前記ダミーパターンは、互いに実質的に同一の形状及び寸法を有し、前記判別パターンは、前記データパターン及び前記ダミーパターンと異なる形状及び寸法を有するのが好ましい(発明10)。
さらに、本発明は、上記発明(発明9,10)に係るデータ保存媒体に保存されているデータを読み出す装置であって、前記保存領域を含む画像データを取得する画像データ取得部と、前記画像データから、前記保存領域に形成されている前記凹凸構造のうちの前記データパターンを抽出し、抽出された前記データパターンに基づいて前記データを読み出すデータ読出部とを備えることを特徴とするデータ読出装置を提供する(発明11)。
上記発明(発明11)においては、前記データ読出部は、前記判別パターンを指標として、前記画像データから、前記凹凸構造のうちの前記データパターンを抽出するのが好ましい(発明12)。
さらにまた、本発明は、上記発明(発明9,10)に係るデータ保存媒体に保存されているデータを読み出す方法であって、前記保存領域を含む画像データを取得する画像データ取得工程と、前記画像データから、前記保存領域に形成されている前記凹凸構造のうちの前記データパターンを抽出し、抽出された前記データパターンに基づいて前記データを読み出すデータ読出工程とを有することを特徴とするデータ読出方法を提供する(発明13)。
上記発明(発明13)において、前記データ読出工程において、前記判別パターンを指標として、前記画像データから、前記凹凸構造のうちの前記データパターンを抽出するのが好ましい(発明14)。
本発明によれば、保管環境の変化に対して耐久性があるデータ保存媒体であって、当該データ保存媒体のバックアップとしての複製物を容易に作製可能なデータ保存媒体及びその製造方法、データ読出装置並びにデータ読出方法を提供することができる。
図1は、本発明の一実施形態に係るデータ保存媒体の概略構成を示す平面図である。 図2は、本発明の一実施形態における単位保存領域の概略構成を示す平面図である。 図3は、本発明の一実施形態における保存領域を示す平面図である。 図4は、本発明の一実施形態に係るデータ保存媒体の部分拡大切断端面図であって、図2におけるI−I線切断端面図である。 図5は、本発明の一実施形態におけるアドレスパターンの行番号及び列番号の数字を表すパターンを示す平面図である。 図6は、本発明の一実施形態における境界パターンの構成を示す平面図である。 図7は、本発明の一実施形態における境界パターンの配置例を示す平面図である。 図8は、本発明の一実施形態における単位データパターン、ダミーパターン、境界パターン、アドレスパターン及び境界パターンの配置例を示す部分平面図である。 図9は、本発明の一実施形態における描画データを生成する工程を示す概略図である。 図10は、本発明の一実施形態に係るデータ保存媒体の製造方法の工程を示す斜視図である。 図11は、本発明の一実施形態に係るデータ保存媒体の複製物を製造する工程を示す工程フロー図である。 図12は、本発明の一実施形態におけるデータ読出装置の構成を概略的に示すブロック図である。 図13は、本発明の一実施形態におけるデータ保存用媒体の構成を概略的に示す部分拡大斜視図である。
本発明の実施の形態について、図面を参照しながら説明する。
[データ保存媒体]
図1は、本実施形態に係るデータ保存媒体の概略構成を示す平面図であり、図2は、本実施形態における単位保存領域の概略構成を示す平面図であり、図3は、本実施形態における保存領域を示す平面図であり、図4は、本実施形態に係るデータ保存媒体の部分拡大切断端面図であって、図2におけるI−I線切断端面図である。
本実施形態に係るデータ保存媒体1は、第1面21及び当該第1面21に対向する第2面22を有し、略方形状の石英ガラスからなる基材2と、基材2の第1面21上に設定された保存領域SA内に形成されてなる凹凸構造とを備える。
保存領域SA内には、複数の単位保存領域UAがM行×N列(M及びNは、その一方が2以上の整数であり、他方が1以上の整数である。)の行列配置で並列されている。図3に示すように、本実施形態においては、48個の単位保存領域UA(UA1〜UA48)が8行(M=8)×6列(N=6)の行列配置で並列されている例を挙げて説明するが、この態様に限定されるものではない。
保存領域SAは、複数の単位保存領域UAと、隣接する単位保存領域UAの間に位置する、畦道状のデータ非保存領域NAとを含む。本実施形態において、各単位保存領域UAは、凹凸構造としての単位データパターン31、ダミーパターン32及び判別パターン33が形成されている領域であり、データ非保存領域NAは、アドレスパターン4及び境界パターン5が形成されている領域である。
単位保存領域UAの大きさは、後述する撮像部111における撮影可能領域の大きさに応じて適宜設定され得るものである。また、データ非保存領域NAの大きさは、少なくともアドレスパターン4を形成可能な大きさである限り特に制限されないが、データ非保存領域NAの大きさを可能な限り小さくすることにより、保存領域SA中における単位保存領域UAの占める割合を増大させることができ、データの記録容量を大きくすることができる。
各単位保存領域UAに形成されている単位データパターン31は、データ保存媒体1に記録・保存されているデータが複数に分割された単位データのデータ内容(単位ビット列)を表現する凹部(ホール)311及び凸部(ホールが存在しない部分)312からなる。本実施形態においては、当該単位データの単位ビット列のうちの「1」が凹部311と定義され、「0」が凸部312と定義されている。例えば、図2においては、左上から「1010011101・・・」という単位ビット列(単位ビット行列)で表現される単位データがデータ保存媒体1の単位保存領域UAに記録・保存されている。なお、単位ビット列のうちの「1」が凸部312と定義され、「0」が凹部311と定義されてもよい。
データ保存媒体1に記録・保存されているデータの種類としては、特に限定されるものではなく、例えば、テキストデータ、動画や静止画等の画像データ、音声データ等が挙げられる。
各単位保存領域UAにおいて、単位データパターン31が形成されている領域はデータ領域DTAであり、単位保存領域UA内のデータ領域DTA以外の領域がダミー領域DMAである。このダミー領域DMAにダミーパターン32が形成されている。
ダミー領域DMAの総面積に対するダミーパターン32(凹部321)の総面積の比率(以下、「ダミーパターン32の面積密度」という。)は、データ領域DTAの総面積に対する単位データパターン31(凹部311)の総面積の比率(以下、「単位データパターン31の面積密度」という。)と実質的に同一である。具体的には、ダミーパターン32の面積密度は、単位データパターン31の面積密度の90〜110%程度、好ましくは95〜105%程度である。ダミーパターン32の面積密度が単位データパターン31の面積密度と実質的に同一であることで、後述するように、データ保存媒体1を用いたインプリント処理により当該データ保存媒体1の複製物を作製する際に、転写パターンのパターン欠陥が生じるのを防止することができる。
単位データパターン31及びダミーパターン32の形状(平面視形状)は、互いに実質的に同一であるのが好ましい。図2に示すように、本実施形態における単位データパターン31及びダミーパターン32を構成する凹部311,321は、平面視略正方形のホール形状である。単位データパターン31の凹部311の寸法は、一般的な撮像素子により凹部311を光学的に認識可能な寸法であればよいが、データ保存媒体1における記録・保存可能なデータ容量を増大させるために、単位データパターン31の凹部311の寸法は、例えば、400μm以下、好ましくは100〜250μm程度に設定され得る。ダミーパターン32の凹部321の寸法は、特に限定されるものではないが、単位データパターン31の凹部311の寸法と実質的に同一であるのが好ましい。単位データパターン31の凹部311及びダミーパターン32の凹部321の形状及び寸法が互いに実質的に同一であることで、データ保存媒体1を用いたインプリント処理により当該データ保存媒体1の複製物を作製する際に、転写パターンのパターン欠陥が生じるのを防止することができる。
本実施形態において、単位データパターン31とダミーパターン32とは、一の単位保存領域UA内に形成され得る。そして、単位データパターン31(凹部311)とダミーパターン32(321)とが互いに実質的に同一の形状及び寸法を有する場合、単位データパターン31(データ領域DTA)とダミーパターン32(ダミー領域DMA)との境界を判別するのが困難となる。そこで、本実施形態においては、データのビット列の各ビットに対応する複数の単位データパターン31のうち、データのビット列の最後のビットに対応する単位データパターン31(凹部311又は凸部312)と、ダミーパターン32との間に、単位データパターン31(データ領域DTA)とダミーパターン32(ダミー領域DMA)との境界を明確に判別する役割を果たす判別パターン33が形成されている。
かかる判別パターン33は、その役割を確実に果たすべく、単位データパターン31(凹部311)及びダミーパターン32(凹部321)とは形状及び寸法の異なる凹部331として構成され得る。本実施形態において、判別パターン33の形状(平面視形状)は、長手方向が行方向に沿った略長方形状である。これにより、後述するデータ読出装置100においてデータ保存媒体1からデータを読み出す際に、単位データパターン31のみを選択的に抽出することができ、データ保存媒体1に保存されているデータを正確に読み出すことができる。
なお、データ保存媒体1に保存されるデータの多くは、データファイルの終端を表す制御記号(EOF)をそのデータ内容に含むため、別途判別パターン33を設けることなく、データファイルの終端を表す制御記号に対応するパターンを上記判別パターン33として用いてもよい。また、当該制御記号と同様の記号を2値化したビット列に対応するパターンを上記判別パターン33として用いてもよいし、データファイルの終端を表す2値化したビット列を別途定め、そのビット列に対応するパターンを上記判別パターン33として用いてもよい。なお、本実施形態において、少なくとも1種の判別パターン33が形成されていればよいが、複数種のパターン(例えば、単位データパターン31(凹部311)及びダミーパターン32(凹部321)とは形状及び寸法の異なるパターン(凹部331)と、データファイルの終端を表す制御記号に対応するパターンとの2種のパターン)が上記判別パターン33として形成されていてもよい。
本実施形態において、データ非保存領域NAに形成されているアドレスパターン4は、保存領域SA内における各単位保存領域UAの位置情報を表現する凹部41及び凸部42により構成される。本実施形態において、保存領域SA内における各単位保存領域UAの位置情報を表すアドレスパターン4は、各単位保存領域UAの並列位置を表すp行目(pは1以上M以下の整数である。)及びq列目(qは1以上N以下の整数である。)という行番号及び列番号(p,q)の数字を表す点字を模したパターン(図5参照)を凹部41及び凸部42により表現してなるものである。図2においては、単位保存領域UAが04行02列目に位置する領域である、ということがアドレスパターン4により表現されている。
なお、本実施形態におけるアドレスパターン4は、単位データパターンUPと同様、行番号及び列番号の数字を2値化したビット列を表す凹凸構造4(凹部41及び凸部42)により構成されていてもよい。
境界パターン5は、一の単位保存領域UAと、その行方向及び列方向においてデータ非保存領域NAを介して隣接する他の単位保存領域UAとの境界を示すパターンであって、略方形状の各単位保存領域UAの4角の外側に位置するように形成されている。かかる境界パターン5が形成されていることで、後述するように、撮像部111にて各単位保存領域UAを容易に認識することが可能となり、複数の単位データパターン31として記録・保存されているデータの正確な読み出しが可能となる。
本実施形態において、境界パターン5は、略十字状であって、その交点Lから外側に向かって延伸する4つのパターン51〜54のうちの1つのパターン51の長さ(交点から当該パターンの延伸方向における長さ)が、他の3つのパターン52〜54の長さよりも短い(図6(a)参照)。このような形状を有する境界パターン5は、保存領域SA内の複数の単位保存領域UAの並列順(図3における左上から横方向に向かう順)に、90°ずつ回転させるようにして形成されている(図7参照)。後述するように、本実施形態に係るデータ保存媒体1に記録・保存されているデータを読み出す際に、各単位保存領域UAの画像データを、データ保存媒体1を撮像部111に対して相対的に移動させながら取得する。そのため、撮像部111の移動のたびに撮像部111の位置合わせを行い、画像データを取得することになるが、単位保存領域UAの並列順に境界パターン5が90°ずつ回転していることで、撮像部111を走査させながら、単位保存領域UAの並列順に画像データを取得することができる。
なお、境界パターン5は、その他の態様(平面視形状)として、略L字状(基準点Cpから2方向に延伸する、互いに直交する2つのパターンを有するもの)であってもよいし(図6(b)参照)、略十字状であって、基準点Cpから外側に延伸する4つのパターンの長さ(交点から当該パターンの延伸方向における長さ)が実質的に同一のものであってもよい(図6(c)参照)。
図8に示すように、単位データパターン31、ダミーパターン32、判別パターン33及びアドレスパターン4は、いずれも、保存領域SA内に設定された仮想グリッドGrの交点PIに重なるようにして形成されており、境界パターン5は、仮想グリッドGrのグリッド線に重なるように形成されている。より具体的には、単位データパターン31(凹部311)、ダミーパターン32(凹部321)、判別パターン33(凹部331)及びアドレスパターン4(凹部41)のそれぞれの基準点Cpが仮想グリッドGrの交点PIに重なるように、境界パターン5の基準点Cpが仮想グリッドGrのグリッド線に重なり、かつ隣接する交点PI(図8においては上下方向に隣接する交点PI)の略中間に位置するように、単位データパターン31、ダミーパターン32、判別パターン33、アドレスパターン4及び境界パターン5が形成されている。ここで、単位データパターン31、ダミーパターン32及びアドレスパターン4の基準点Cpは、単位データパターン31、ダミーパターン32及びアドレスパターン4を構成する凹部311,321,41の平面視における中心点であり、判別パターン33の基準点Cpは、平面視において行方向左側に偏心した点であり、境界パターン5の基準点Cpは、略十字状の交点Lである。なお、少なくとも単位データパターン31、ダミーパターン32及び判別パターン33の基準点Cpが仮想グリッドGrの交点PIに重なるようにして形成されていればよく、アドレスパターン4及び境界パターン5の基準点Cpは、仮想グリッドGrの交点PIに重なっていてもよいし、仮想グリッドGrのグリッド線には重なるが交点PIには重なっていなくてもよいし、仮想グリッドGrの交点PI及びグリッド線のいずれにも重なっていなくてもよい。
上述した構成を有する本実施形態に係るデータ保存媒体1においては、記録・保存されているデータのデータ内容が、保存領域SAの各単位保存領域UAに形成されている凹凸構造(単位データパターン31)により表現されている。このデータ保存媒体1は、石英からなる基材を加工することにより作製され得るものであって、極めて優れた耐熱性及び耐水性を有する。したがって、保存環境が変化したとしても記録・保存されているデータが滅失することなく、当該データを超長期的に(数百年以上の単位で)保存することができる。
また、本実施形態に係るデータ保存媒体1は、基材2の第1面21に形成された凹凸構造(単位データパターン31)によりデータが記録・保存されている。そのため、後述するように、当該データ保存媒体1を用いてインプリントリソグラフィ処理を行うことで、データが記録・保存されたデータ保存媒体1の複製物(バックアップ)を、当該データ(デジタルデータ)が存在していなくても容易に作製することができる。そして、かかるデータ保存媒体1における単位データパターン31の形成されない領域(ダミー領域DMA)にダミーパターン32が形成されていることで、データ保存媒体1を用いたインプリント処理による転写不良の発生を防止することができ、高精度に複製物(バックアップ)を作製することができる。
さらに、本実施形態に係るデータ保存媒体1に記録・保存されているデータは、一般的な撮像素子を用いて光学的に認識可能な凹凸構造により表現されているため、超長期的な将来においても、そのときに存在する撮像素子を用いて当該凹凸構造(単位データパターン31の凹部311及び凸部312)を撮像してビット列に変換するだけで、容易にデータを復元することができる。
さらにまた、本実施形態に係るデータ保存媒体1においては、データが凹凸構造として記録・保存される各単位保存領域UAの保存領域SA内における位置を示すアドレスパターン4が形成されているため、データ保存媒体1に記録・保存されているデータの一部(複数の単位保存領域UAのうちの一部の単位保存領域UAに形成されている単位データパターン31)を読み出す場合であっても、当該アドレスパターン4に基づいて、目的とするデータ(データの一部)を容易に読み出すことができる。また、単位保存領域UAに形成されている凹凸構造(単位データパターン31の凹部311)の一部が破損してしまった場合であっても、凹凸構造の一部が破損してしまった単位保存領域UAをアドレスパターン4によって特定することができるため、データ保存媒体1の複製物(バックアップ)が予め作製されていれば、当該複製物から当該単位保存領域UAに記録・保存されているデータを容易に読み出すことができ、データ保存媒体1の他の単位保存領域UAから読み出されたデータと結合することで、データ保存媒体1に記録・保存されているデータの復元が可能となる。
〔データ保存媒体の製造方法〕
上述した構成を有するデータ保存媒体1は、以下のようにして製造することができる。図9は、本実施形態に係るデータ保存媒体1を作製する前段階として描画データを生成する工程を概略的に示すフロー図であり、図10は、本実施形態に係るデータ保存媒体1を作製する工程を切断端面図にて示すフロー図である。
[描画データ生成工程]
データ保存媒体1に記録・保存されるデータDに基づき、データ保存媒体1の保存領域SAの複数の単位保存領域UAに単位データパターン31を形成するための第1描画データを生成する。
具体的には、まず、データDの全ビット列を、その先頭から所定のビット長単位でX個(Xは2以上の整数である。)の単位ビット列に分割し、当該単位ビット列を含む単位データUD1〜UDXを生成する。各単位データUDの単位ビット列のビット長は、単位保存領域UAに記録・保存可能なビット長と同一に設定され得る。本実施形態における各単位保存領域UAに8行×16列のビット行列でデータが保存され得る場合、記録・保存されるデータDの全ビット列を、その先頭から128ビット長の単位ビット列の単位データUDに分割する。
次に、各単位データUDの単位ビット列を、8行×16列の単位ビット行列UMに変換し、当該単位ビット行列UMに基づいて、単位パターンデータD31を生成する。本実施形態においては、このとき、単位保存領域UAに相当する単位パターンデータ生成領域内に仮想グリッドGrを定義し、当該仮想グリッドGrの交点PIに重なるように、単位ビット行列UMのうちのビット「1」に対応する位置にのみ、凹部311に対応する図形セル(正方形の図形セル)を配置し、ビット「0」に対応する位置には図形セルを配置しない(図8参照)。この単位パターンデータD31は、8行×16列の行列を構成する各位置における図形セルの有無によって、単位ビット行列UMを構成する128ビットの情報を表現している。この単位パターンデータD31が、単位保存領域UAに単位データパターン31を形成する際の描画データとして用いられる。
続いて、上記単位パターンデータD31のうち、データDのビット列の終端を含む単位ビット列UDXの単位パターンデータD31に、判別パターンデータD33を付加する。具体的には、データDのビット列の終端がビット「1」であれば、当該単位パターンデータD31において終端に配置された図形セルに続いて、判別パターン33に対応する図形セル(長方形の図形セル)を配置する。一方、データDのビット列の終端がビット「0」であれば、当該単位パターンデータD31において終端に図形セルを配置しなかった仮想グリッドGrの交点PIに続いて、判別パターン33に対応する図形セル(長方形の図形セル)を配置する(図9参照)。
このようにして判別パターンデータD33が付加された単位パターンデータD31を、畦道状のデータ非保存領域NAを設けるようにして行列状に配置し、行列状に配置された各単位パターンデータD31に対応したアドレスパターンデータD4及び境界パターンデータD5を付加する。
アドレスパターンデータD4は、データ保存媒体1に記録・保存されるデータDにおける単位データUDの配列順に沿って付加される。このアドレスパターンデータD4が、データ非保存領域NAにアドレスパターン4を形成する際の描画データとして用いられる。
このようにして生成された、単位パターンデータD31、判別パターンデータD33、アドレスパターンデータD4、及び境界パターンデータD5を含む第1描画データから、ダミー領域DMAに相当する領域(ダミーパターンデータ生成領域)を抽出する。当該ダミーパターンデータ領域は、判別パターンデータD33に基づき、判別パターン33に対応する図形セルが配置された交点PI以降の行列配置順に従った交点PI(図形セルが配置されていない交点PI)を含む領域として抽出される。
このようにしてダミーパターンデータ生成領域を抽出し、それ以外の領域(すべての単位パターンデータ生成領域中、単位パターンデータD31が付加された領域)の単位データパターン31の面積密度ADUP(%)を算出する。かかる面積密度ADUPは、すべての単位保存領域UA中における、単位パターンデータ31に対応する図形セルが配置された領域(図3を参照すれば、単位保存領域UA1〜UA13、UA14の一部、UA17〜UA28、UA30〜UA38、UA39の一部、UA42〜UA48に相当する単位パターンデータ生成領域)の面積の合計に対する、当該領域に配置されたすべての図形セルの面積の合計の比として算出される。本実施形態において、隣接する図形セルのピッチが、単位データパターン31に対応する図形セルの大きさ(1辺の長さ)の2倍になるように、仮想グリッドGrが定義されているため、仮にすべての単位パターンデータ生成領域内の交点PIに図形セルが配置されたときの面積密度は25%となる。そのため、単位データパターン31の面積密度ADUP(%)は、下記式により算出される。
ADUP=Nb1/Nab×25
上記式中、Nb1は「データDの全ビット列におけるビット「1」の総数」を表し、Nabは「データDの全ビット数」を表す。
このようにして算出された面積密度ADUP(%)を指標として、抽出されたダミーパターンデータ生成領域にダミーパターンデータD32を付加する。上記のようにして算出された面積密度ADUP(%)は、保存領域SAにおける単位データパターン31の面積密度を表すため、ダミーパターンデータ生成領域におけるダミーパターン32の面積密度が、当該面積密度ADUPと実質的に同一(面積密度ADUPに対する90〜110%程度、好ましくは95〜105%程度)の面積密度となるように、ダミーパターン32に対応する図形セルをダミーパターンデータ生成領域に配置する。ダミーパターン32に対応する図形セルが配置されるとき、例えば、乱数表等を用いて、ダミーパターンデータ生成領域内の交点PIのうち、ダミーパターン32に対応する図形セルを配置する交点PIを決定することができる。このようにして、ダミーパターンデータD32(第2描画データ)を生成し、それを第1描画データに付加することで、描画データを生成することができる。
[データ保存媒体作製工程]
続いて、第1面11及び第1面11に対向する第2面12を有する、石英からなるデータ保存媒体用基材10を準備し、当該基材10の第1面11上に、単位データパターン31、ダミーパターン32、判別パターン33、アドレスパターン4及び境界パターン5のそれぞれに対応するレジストパターンR31,R32,R33,R4,R5を形成する(図10(a)参照)。
かかるレジストパターンR31,R32,R33,R4,R5は、半導体の製造プロセス等で利用されている従来公知の露光装置(電子線描画装置、レーザ描画装置等)を用いて形成され得る。この露光装置を用いて、上記のようにして生成された描画データに基づいて、データ保存媒体用基材10の第1面11側に形成されているレジスト層にパターン潜像を形成し、現像処理を施すことにより、レジストパターンR31,R32,R33,R4,R5を形成することができる。
上記レジスト層を構成する材料としては、特に限定されるものではなく、従来公知のエネルギー線感応型レジスト材料(例えば、電子線感応型レジスト材料等)等を用いることができる。なお、図10(a)に示す例においては、ポジ型のエネルギー線感応型レジスト材料を用いているため、パターン潜像の形成されたレジスト層に現像処理を施すことで、凹状のレジストパターンR31,R32,R33,R4,R5が形成される。
このようにしてレジストパターンR31,R32,R33,R4,R5を形成した後、当該レジストパターンR31,R32,R33,R4,R5をマスクとして用い、ウェットエッチング法又はドライエッチング法によりデータ保存媒体用基材10の第1面11をエッチングし(図10(b)参照)、残存するレジストパターンR31,R32,R33,R4,R5を除去する。これにより、基材2の第1面21に、単位データパターン31、ダミーパターン32、判別パターン33、アドレスパターン4及び境界パターン5が形成されてなる、本実施形態に係るデータ保存媒体1を作製することができる。なお、データ保存媒体用基材10の第1面11側表面に酸化クロム等からなるハードマスク層が形成されているものを用いてもよい。この場合において、レジストパターンR31,R32,R33,R4,R5をマスクとしたエッチングによりハードマスクパターンを形成し、当該ハードマスクパターンをマスクとしてデータ保存媒体用基材10の第1面11をエッチングし、ハードマスクパターンを除去することによりデータ保存媒体1を作製することができる。
このようにして作製されたデータ保存媒体1を用い、その複製物を作製する方法について説明する。図11は、本実施形態に係るデータ保存媒体1の複製物を作製する工程を切断端面にて示す工程フロー図である。
まず、基材2の第1面21に単位データパターン31、ダミーパターン32、判別パターン33、アドレスパターン4及び境界パターン5が形成されてなるデータ保存媒体1と、第1面51及びそれに対向する第2面52を有し、第1面51上に樹脂層60が設けられてなる基板50とを準備する(図11(a)参照)。
基板50を構成する材料としては、特に限定されるものではなく、例えば、石英ガラス基板、ソーダガラス基板、蛍石基板、フッ化カルシウム基板、フッ化マグネシウム基板、アクリルガラス基板、ホウケイ酸ガラス基板等のガラス基板;ポリカーボネート基板、ポリプロピレン基板、ポリエチレン基板、その他ポリオレフィン基板等の樹脂基板等からなる単層基板や、上記基板のうちから任意に選択された2以上を積層してなる積層基板等が挙げられる。
樹脂層60は、後述の工程(図11(b)参照)にて、データ保存媒体1の単位データパターン31、ダミーパターン32、判別パターン33、アドレスパターン4及び境界パターン5の反転パターンが形成される層である。樹脂層60を構成する樹脂材料としては、熱可塑性樹脂、熱硬化性樹脂、紫外線硬化性樹脂等の樹脂材料を用いることができ、より具体的には、アクリル系樹脂、スチレン系樹脂、オレフィン系樹脂、ポリカーボネート系樹脂、ポリエステル系樹脂、エポキシ系樹脂、シリコーン系樹脂等を用いることができる。
次に、基板50上の樹脂層60に、データ保存媒体1の第1面21を押し当てて、当該樹脂層60にデータ保存媒体1の単位データパターン31、ダミーパターン32、判別パターン33、アドレスパターン4及び境界パターン5を転写し、それらの反転パターンを形成する(図11(b)参照)。樹脂層60が硬化した後、当該樹脂層60からデータ保存媒体1及び基板50を剥離することで、樹脂製モールド70が作製される(図11(c)参照)。このとき、本実施形態に係るデータ保存媒体1には、単位データパターン31の形成されていない領域(ダミー領域DMA)にはダミーパターン32が形成されているため、データ保存媒体1の第1面21の全面において、剥離時にかかる応力が実質的に均一になる。そのため、転写不良等が生じることなく、高精度な反転パターンを有する樹脂製モールド70を作製することができる。
続いて、第1面11’及びそれに対向する第2面12’を有する、石英からなる複製物用基材10’を準備し、当該複製物用基材10’の第1面11’上にレジスト層80を形成し、当該レジスト層80に樹脂製モールド70における反転パターンが形成されている面を押し当て、その状態でレジスト層80を硬化させる(図11(d)参照)。
レジスト層80が硬化した後、樹脂製モールド70をレジスト層80から剥離することで、樹脂製モールド70の反転パターンが転写されたレジストパターン90が形成される(図11(e)参照)。このときも同様に、上記樹脂製モールド70は、本実施形態に係るデータ保存媒体1のダミーパターン32が高精度に転写された反転パターンを有するため、樹脂製モールド70の全面において、剥離時にかかる応力が実質的に均一になる。
そして、レジストパターン90をマスクとして用いて、複製物用基材10’の第1面11’をエッチングする。これにより、データ保存媒体1の複製物1’を作製することができる(図11(f)参照)。なお、レジスト層80の硬化に影響がない限りにおいて、必要に応じて複製物用基材10’の第1面11’側表面に酸化クロム等からなるハードマスク層が形成されているものを用いてもよい。この場合において、ハードマスク層上にレジストパターン90を形成し、レジストパターン90をマスクとしたエッチングによりハードマスクパターンを形成し、ハードマスクパターンをマスクとして複製物用基材10’の第1面11’をエッチングした後、ハードマスクパターンを除去することでデータ保存媒体1の複製物1’を作製することができる。
上述したように、本実施形態によれば、半導体製造プロセス等で利用されている従来公知のリソグラフィ技術を利用することで、データ保存媒体1を容易に、かつ高精度に作製することができる。また、当該データ保存媒体1が破損した場合等に備え、それに記録・保存されているデータのバックアップとしての複製物は、従来公知のインプリント技術を利用して容易に作製され得る。
〔データ読出装置・データ読出方法〕
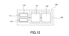
上述した構成を有するデータ保存媒体1に記録・保存されたデータを読み出すためのデータ読出装置及び当該データ読出装置を用いたデータ読出方法について説明する。図12は、本実施形態におけるデータ読出装置の概略構成を示すブロック図である。
本実施形態におけるデータ読出装置100は、データ保存媒体1の保存領域SAの画像データを取得する画像データ取得部110と、当該画像データに基づいたデータ処理等を行う制御部121及び画像データ取得部110により取得された画像データや制御部121により生成された各種データ、各種プログラム等を記憶する記憶部122を有する制御装置120とを備える。
画像データ取得部110は、CCDカメラのような所定の撮影対象領域内の画像を画像データとして取り込む撮像部111と、撮影対象領域がデータ保存媒体1の保存領域SAの各単位保存領域UAを撮影部111に対して順次相対的に移動させるように走査処理を行う走査部112とを含む。かかる画像データ取得部110としては、汎用の光学顕微鏡等を用いることができる。
制御部121は、各種プログラムの指示に従って演算処理を行う。具体的には、制御部121は、各単位保存領域UAに形成されている単位データパターン31の画像データに基づいて、単位データ(単位ビット列)を読み出したり、判別パターン33の画像データに基づいて、単位データ(単位ビット列)の終端を判別したり、データ非保存領域NAに形成されているアドレスパターン4の画像データに基づいて単位保存領域UAの位置情報を読み出したり、画像データ取得部110により取得された画像データや、種々の生成されたデータ等を記憶部122に記憶させたり、読み出された単位データ(単位ビット列)を結合して、データ保存媒体1に記録・保存されているデータを復元したりする。
記憶部122は、画像データ取得部110により取得された保存領域SA(単位保存領域UA)の画像データを記憶する他、単位保存領域UAに形成されている単位データパターン31の画像データに基づいて読み出された単位データ(単位ビット列)とアドレスパターン4の画像データに基づいて読み出された単位保存領域UAの位置情報とを関連付けて記憶する。かかる制御部121及び記憶部122を有する制御装置120としては、汎用のコンピュータ等を用いることができる。
このような構成を有するデータ読出装置100を用いて、データ保存媒体1に記録・保存されているデータを読み出す方法について説明する。
まず、画像データ取得部110にデータ保存媒体1がセットされると、画像データ取得部110は、走査部112により、データ保存媒体1を撮像部111に対して相対的に移動させ、撮像部111により、データ保存媒体1の保存領域SAの各単位保存領域UAを順に撮像させ、各単位保存領域UA及びそれに対応するアドレスパターン4の画像を含む画像データを取得する。
画像データ取得部110の走査部112は、データ保存媒体1の境界パターン5を認識することで、単位保存領域UAとそれに対応するアドレスパターン4とが撮影対象領域に含まれるように、データ保存媒体1を撮像部111に対して相対的に移動させる。これにより、撮像部111により撮像された画像に、少なくとも一の単位保存領域UAとそれに対応するアドレスパターン4とが含まれる。
画像データ取得部110により取得された各画像データは、制御装置120の記憶部122に記憶され、制御部121は、記憶部122に記憶された各画像データから、単位保存領域UAに形成されている単位データパターン31に基づいて単位データ(単位ビット列)を読み出すとともに、その単位保存領域UAの位置情報をアドレスパターン4に基づいて読み出し、その単位データ(単位ビット列)と位置情報とを関連付けて記憶部122に記憶させる。
単位データパターン31に基づいて単位データ(単位ビット列)を読み出す際、制御部121は、単位保存領域UA及び境界パターン5を含む画像データ上に仮想グリッドGrを定義する。この仮想グリッドGrは、4角に位置する境界パターン5の基準点Cpを通るように定義される。そして、制御部121は、単位保存領域UA内における仮想グリッドGrの各交点PI上に凹部311が存在するか否かを判定する。凹部311が存在するか否かの判定は、例えば、画像データにおける明暗分布に基づいて行われ得る。
制御部121は、凹部311が存在すると判定した交点PIにはビット「1」を、凹部311が存在しないと判定した交点PIにはビット「0」を対応付け、これにより単位データ(単位ビット列)が読み出される。
制御部121は、単位データパターン31に基づいて単位データ(単位ビット列)を読み出す場合、画像データにおける左上に位置する境界パターン5を認識し、当該境界パターン5の基準点Cpを指標とし、その右下の方向に位置する仮想グリッドGrの交点PIであって、単位保存領域UA内の交点PI上から右方向に、凹部311が存在するか否かの判定を開始する。
制御部121は、各画像データから単位パターンデータ31に基づいて単位データ(単位ビット列)を読み出しながら、判別パターン33を認識したとき、判別パターン33以降の凹凸構造がダミーパターン32であると判断し、単位データ(単位ビット列)の読み出しを中止する。
その後、制御部121は、記憶部122に記憶されている単位データ(単位ビット列)を結合し、データ(ビット列)を生成する。
データ(ビット列)を生成するにあたり、制御部121は、単位データ(単位ビット列)に関連付けられて記憶されている位置情報に基づいて、単位データ(単位ビット列)の結合順序を決定する。具体的には、制御部121は、位置情報としての行番号を第1優先順位とし、列番号を第2優先順位として行番号及び列番号の小さい順に単位データ(単位ビット列)を結合させる。このようにして、データ保存媒体1に保存されているデータを復元することができる。
上述したように、本実施形態におけるデータ読出装置及びデータ読出方法によれば、判別パターン33を認識することで、ダミーパターン32に基づいたデータを読み出すことがなく、単位パターンデータ31に基づいて単位データのみを読み出すことができるため、データ保存媒体1に保存されているデータを正確に復元することができる。
以上説明した実施形態は、本発明の理解を容易にするために記載されたものであって、本発明を限定するために記載されたものではない。したがって、上記実施形態に開示された各要素は、本発明の技術的範囲に属する全ての設計変更や均等物をも含む趣旨である。
上記実施形態において、データ保存媒体1は、第1面11及びそれに対向する第2面12を有する、石英からなるデータ保存媒体用基材10の第1面11に、単位データパターン31、ダミーパターン32、判別パターン33、アドレスパターン4及び境界パターン5を同時に形成することで作製されるが(図10参照)、本発明はこのような態様に限定されるものではない。例えば、図13に示すように、第1面11’及びそれに対向する第2面12’を有する、石英からなる基材10’の第1面11’上に、複数の単位保存領域UA及びデータ非保存領域NAを含む保存領域SAが設定され、当該保存領域SAのデータ非保存領域NAに、各単位保存領域UAに対応するアドレスパターン4及び境界パターン5が形成されてなるデータ保存用媒体を準備し、当該データ保存用媒体の各単位保存領域UAに、単位データパターン31、ダミーパターン32及び判別パターン33を同時に形成することで、データ保存媒体1を作製してもよい。
上記実施形態において、ポジ型のエネルギー線感応型レジスト材料を用いてレジストパターンR31,R32,R33,R4,R5を形成する態様を例に挙げて説明したが(図10参照)、本発明はこのような態様に限定されるものではなく、ネガ型のエネルギー線感応型レジスト材料を用いてレジストパターンを形成してもよい。これにより、単位データパターン31、ダミーパターン32、判別パターン33及びアドレスパターン4を凸部(ピラー)及び凸部を有しない部分とし、境界パターン5を凸部(ピラー)とするデータ保存媒体1を作製することができる。
上記実施形態においては、ダミーパターンデータ生成領域以外の領域(保存領域SA中における単位データパターン31が形成される領域)における単位パターンデータD31の面積密度ADUPを算出し、当該面積密度ADUPを指標としてダミーパターンデータD32を生成する態様を例に挙げて説明したが、本発明はこのような態様に限定されるものではない。例えば、ダミーパターンデータ生成領域を抽出した後、当該領域の周囲を囲む単位保存領域に相当する領域における単位パターンデータD31の面積密度ADUPを算出し、当該面積密度ADUPを指標として、ダミーパターンデータ生成領域にダミーパターン32に対応する図形セルを配置してもよい。例えば、図3を参照して説明すると、単位保存領域UA14(UA14の一部)〜UA16に相当する領域が、ダミーパターンデータ生成領域であるため、当該領域の周囲を囲む単位保存領域UA7〜UA11、UA13、UA17、UA19〜UA23に相当する領域における単位パターンデータD31の面積密度ADUPを指標として、ダミーパターン32に対応する図形セルが配置される。単位データパターン31の面積密度は、保存領域SA内の複数の単位保存領域ごとに異なることが通常である。例えば、保存領域SA全体における単位データパターン31の面積密度が15%であったとしても、ダミー領域DMAの周囲における単位データパターン31の面積密度が10%である場合や、20%である場合もある。そのため、保存領域SA全体における単位データパターン31の面積密度を指標としてダミー領域DMAに15%の面積密度でダミーパターン32を形成したとしても、ダミー領域DMAの周囲における単位データパターン31の面積密度が10%である場合には、ダミー領域DMAとデータ領域DTAとの間で面積密度の差が大きくなってしまう。このようなデータ保存媒体1を用いてインプリント処理により複製物を作製する場合、データ領域DTAとダミー領域DMAとの境界にて、剥離時の応力が大きくなり、欠陥が発生するおそれがある。しかしながら、ダミー領域DMAの周囲の単位保存領域における単位データパターン31の面積密度と、ダミー領域DMAにおけるダミーパターン32の面積密度とを実質的に同一とすることで、データ領域DTAとダミー領域DMAとの境界における上記剥離時の応力を小さくすることができ、インプリント処理による複製物を高精度に作製することができる。
また、ダミーパターンデータ生成領域を抽出し、保存領域SA中における各単位保存領域UAの単位パターンデータD31の面積密度ADUPを算出した後、抽出された領域を中心とした、保存領域SA内における面積密度ADUPの変化の勾配を算出し、当該勾配を指標として、ダミー領域DMAにおけるダミーパターン32の面積密度を求め、当該ダミーパターン32の面積密度に基づいて、ダミーパターン32に対応する図形セルを配置してもよい。このような態様でダミーパターン32を形成することで、保存領域SA全体において剥離時にかかる応力の変化を小さくすることができるため、インプリント処理による複製物を高精度に作製することができる。
1…データ保存媒体
2…基材
21…第1面
22…第2面
31…単位データパターン
32…ダミーパターン
33…判別パターン
4…アドレスパターン
5…境界パターン
SA…保存領域
UA…単位保存領域
NA…データ非保存領域
Gr…仮想グリッド
PI…交点

Claims (14)

  1. データが保存されてなるデータ保存媒体を製造する方法であって、
    第1面及び当該第1面に対向する第2面を有する、石英からなるデータ保存媒体用基材の前記第1面側に凹凸構造を形成する際に用いられるパターンデータを生成するパターンデータ生成工程と、
    前記パターンデータに基づいて、前記データ保存媒体用基材の前記第1面に前記凹凸構造を形成する凹凸構造形成工程と
    を含み、
    前記凹凸構造は、前記データ保存媒体用基材の前記第1面側に定義される保存領域内のデータ領域に形成される、前記データのデータ内容を表現するデータ凹凸構造と、前記保存領域内における前記データ領域以外の領域であるダミー領域に形成されるダミー凹凸構造と、前記データ凹凸構造及び前記ダミー凹凸構造の境界を判定するための判定凹凸構造とを含み、
    前記判定凹凸構造は、前記データ凹凸構造及び前記ダミー凹凸構造と異なる形状及び寸法を有し、
    前記パターンデータ生成工程は、前記データ凹凸構造に対応する第1パターンデータを生成する第1工程と、前記第1工程にて生成された前記第1パターンデータに前記判定凹凸構造に対応する第3パターンデータを付加する工程と、前記ダミー凹凸構造に対応する第2パターンデータを前記第3パターンデータが付加された前記第1パターンデータに付加することで、前記パターンデータを生成する第2工程とを有し、
    前記第2工程において、前記第1パターンデータに基づき、前記保存領域内における前記凹凸構造の面積密度が実質的に均一になるように前記第2パターンデータを前記第1パターンデータに付加する
    ことを特徴とするデータ保存媒体の製造方法。
  2. データが保存されてなるデータ保存媒体を製造する方法であって、
    第1面及び当該第1面に対向する第2面を有する、石英からなるデータ保存媒体用基材の前記第1面側に凹凸構造を形成する際に用いられるパターンデータを生成するパターンデータ生成工程と、
    前記パターンデータに基づいて、前記データ保存媒体用基材の前記第1面に前記凹凸構造を形成する凹凸構造形成工程と
    を含み、
    前記凹凸構造は、前記データ保存媒体用基材の前記第1面側に定義される保存領域内のデータ領域に形成される、前記データのデータ内容を表現するデータ凹凸構造と、前記保存領域内における前記データ領域以外の領域であるダミー領域に形成されるダミー凹凸構造と、前記データ凹凸構造及び前記ダミー凹凸構造の境界を判定するための判定凹凸構造とを含み、
    前記判定凹凸構造は、複数種の構造を有し、
    前記パターンデータ生成工程は、前記データ凹凸構造に対応する第1パターンデータを生成する第1工程と、前記第1工程にて生成された前記第1パターンデータに前記判定凹凸構造に対応する第3パターンデータを付加する工程と、前記ダミー凹凸構造に対応する第2パターンデータを前記第3パターンデータが付加された前記第1パターンデータに付加することで、前記パターンデータを生成する第2工程とを有し、
    前記第2工程において、前記第1パターンデータに基づき、前記保存領域内における前記凹凸構造の面積密度が実質的に均一になるように前記第2パターンデータを前記第1パターンデータに付加する
    ことを特徴とするデータ保存媒体の製造方法。
  3. 前記パターンデータ生成工程において、前記保存領域に相当するパターンデータ生成領域を設定し、
    前記第1工程において、前記データ凹凸構造に対応する第1図形セルを前記パターンデータ生成領域内に配置して前記第1パターンデータを生成し、
    前記第2工程は、前記第1パターンデータに基づき、前記パターンデータ生成領域内において前記第1図形セルが配置された領域を第1パターンデータ生成領域として抽出する工程、前記第1パターンデータ生成領域以外の領域を前記ダミー領域に相当する第2パターンデータ生成領域として抽出する工程、及び前記第2パターンデータ生成領域に前記ダミー凹凸構造に対応する第2図形セルを配置して前記第2パターンデータを生成する工程を含む
    ことを特徴とする請求項1又は2に記載のデータ保存媒体の製造方法。
  4. 前記保存領域は、行列状に配置された複数の単位保存領域を含み、
    前記データ凹凸構造は、前記データを分割して得られる複数の単位データのそれぞれのデータ内容を表現する複数の単位データ凹凸構造からなり、
    前記パターンデータ生成工程において、前記複数の単位保存領域のそれぞれに相当する複数の単位パターンデータ生成領域を設定し、
    前記第1工程において、前記各単位データ凹凸構造に対応する第1図形セルを、前記複数の単位パターンデータ生成領域の行列配置順に、各単位パターンデータ生成領域に配置して前記第1パターンデータを生成し、
    前記第2工程は、前記第1パターンデータに基づき、前記複数の単位パターンデータ生成領域のそれぞれにおいて前記第1図形セルが配置された領域を第1パターンデータ生成領域として抽出する工程、前記第1パターンデータ生成領域以外の領域を前記ダミー領域に相当する第2パターンデータ生成領域として抽出する工程、及び前記第2パターンデータ生成領域に前記ダミー凹凸構造に対応する第2図形セルを配置して前記第2パターンデータを生成する工程を含む
    ことを特徴とする請求項1又は2に記載のデータ保存媒体の製造方法。
  5. 前記第2パターンデータを生成する工程において、前記第1パターンデータに基づき、前記第1図形セルが配置された前記第1パターンデータ生成領域の総面積に対する前記第1図形セルの総面積の比率を算出し、当該第1図形セルの総面積の比率と実質的に同一の面積率で前記第2パターンデータ生成領域に前記第2図形セルを配置して前記第2パターンデータを生成することを特徴とする請求項に記載のデータ保存媒体の製造方法。
  6. 前記第2パターンデータを生成する工程において、前記第1パターンデータに基づき、前記第2パターンデータ生成領域の周囲に位置する前記単位パターンデータ生成領域を抽出し、抽出された単位パターンデータ生成領域の総面積に対する前記第1図形セルの総面積の比率を算出し、当該第1図形セルの総面積の比率と実質的に同一の面積率で前記第2パターンデータ生成領域に前記第2図形セルを配置して前記第2パターンデータを生成することを特徴とする請求項に記載のデータ保存媒体の製造方法。
  7. 前記第2パターンデータを生成する工程において、前記第2パターンデータ生成領域の周囲に位置する前記単位パターンデータ生成領域における前記第1図形セルの総面積の比率から、前記単位パターンデータ生成領域における前記第1図形セルの総面積の比率の勾配を算出し、当該第1図形セルの総面積の比率の勾配に基づいて、前記第2パターンデータ生成領域に前記第2図形セルを配置して前記第2パターンデータを生成することを特徴とする請求項に記載のデータ保存媒体の製造方法。
  8. 前記データ凹凸構造及び前記ダミー凹凸構造は、相互に実質的に同一の寸法を有することを特徴とする請求項1〜7のいずれかに記載のデータ保存媒体の製造方法。
  9. データが保存されてなるデータ保存媒体であって、
    第1面及びそれに対向する第2面を有する、石英からなる基材と、
    前記基材の第1面上に設定された保存領域内に形成されてなる凹凸構造と
    を備え、
    前記保存領域は、少なくとも一方向に並列されてなる複数の単位保存領域と、隣接する前記単位保存領域の間に位置するデータ非保存領域とを含み、
    前記凹凸構造は、前記単位保存領域内のデータ領域に形成されてなる、前記データのデータ内容を表現するデータパターンと、前記単位保存領域内における前記データ領域以外の領域であるダミー領域に形成されてなるダミーパターンと、前記単位保存領域内に形成されてなり、前記データパターン及び前記ダミーパターンの境界を判別するための判別パターンとを含み、
    前記判別パターンは、複数種のパターンを有し、
    前記データパターン及び前記ダミーパターンのそれぞれは、前記保存領域内における前記凹凸構造の面積密度が実質的に均一になるように前記データ領域及び前記ダミー領域のそれぞれに形成されていることを特徴とするデータ保存媒体。
  10. 前記データパターン及び前記ダミーパターンは、互いに実質的に同一の形状及び寸法を有し、
    前記判別パターンは、前記データパターン及び前記ダミーパターンと異なる形状及び寸法を有することを特徴とする請求項9に記載のデータ保存媒体。
  11. 請求項9又は10に記載のデータ保存媒体に保存されているデータを読み出す装置であって、
    前記保存領域を含む画像データを取得する画像データ取得部と、
    前記画像データから、前記保存領域に形成されている前記凹凸構造のうちの前記データパターンを抽出し、抽出された前記データパターンに基づいて前記データを読み出すデータ読出部と
    を備えることを特徴とするデータ読出装置。
  12. 記データ読出部は、前記判別パターンを指標として、前記画像データから、前記凹凸構造のうちの前記データパターンを抽出することを特徴とする請求項11に記載のデータ読出装置。
  13. 請求項9又は10に記載のデータ保存媒体に保存されているデータを読み出す方法であって、
    前記保存領域を含む画像データを取得する画像データ取得工程と、
    前記画像データから、前記保存領域に形成されている前記凹凸構造のうちの前記データパターンを抽出し、抽出された前記データパターンに基づいて前記データを読み出すデータ読出工程と
    を有することを特徴とするデータ読出方法。
  14. 記データ読出工程において、前記判別パターンを指標として、前記画像データから、前記凹凸構造のうちの前記データパターンを抽出することを特徴とする請求項13に記載のデータ読出方法。
JP2017154623A 2017-08-09 2017-08-09 データ保存媒体及びその製造方法、データ読出装置並びにデータ読出方法 Expired - Fee Related JP6288360B2 (ja)

Priority Applications (1)

Application Number Priority Date Filing Date Title
JP2017154623A JP6288360B2 (ja) 2017-08-09 2017-08-09 データ保存媒体及びその製造方法、データ読出装置並びにデータ読出方法

Applications Claiming Priority (1)

Application Number Priority Date Filing Date Title
JP2017154623A JP6288360B2 (ja) 2017-08-09 2017-08-09 データ保存媒体及びその製造方法、データ読出装置並びにデータ読出方法

Related Parent Applications (1)

Application Number Title Priority Date Filing Date
JP2015186066A Division JP6191669B2 (ja) 2015-09-18 2015-09-18 データ保存媒体及びその製造方法、データ読出装置並びにデータ読出方法

Related Child Applications (1)

Application Number Title Priority Date Filing Date
JP2018020879A Division JP6451885B2 (ja) 2018-02-08 2018-02-08 データ保存媒体の製造方法、データ保存媒体、データ読出装置及びデータ読出方法

Publications (2)

Publication Number Publication Date
JP2017212023A JP2017212023A (ja) 2017-11-30
JP6288360B2 true JP6288360B2 (ja) 2018-03-07

Family

ID=60475600

Family Applications (1)

Application Number Title Priority Date Filing Date
JP2017154623A Expired - Fee Related JP6288360B2 (ja) 2017-08-09 2017-08-09 データ保存媒体及びその製造方法、データ読出装置並びにデータ読出方法

Country Status (1)

Country Link
JP (1) JP6288360B2 (ja)

Family Cites Families (7)

* Cited by examiner, † Cited by third party
Publication number Priority date Publication date Assignee Title
JPH11175991A (ja) * 1997-12-12 1999-07-02 Sony Corp トラッキング制御装置、トラッキング制御方法、記録再生装置及び光ディスク
JP2003006944A (ja) * 2001-06-22 2003-01-10 Hitachi Ltd 光ディスク原盤、光ディスク基板及びその製造方法
JP2003296972A (ja) * 2002-04-01 2003-10-17 Hitachi Maxell Ltd 情報記録媒体及びその製造方法
JP2004185779A (ja) * 2002-12-06 2004-07-02 Ricoh Co Ltd フレキシブル光ディスクの製造方法及びフレキシブル光ディスク
JP2009289386A (ja) * 2008-06-02 2009-12-10 Pulstec Industrial Co Ltd ガラスディスク、ガラスディスクのデータ再生方法、および、ガラスディスクの製造方法
JP2010055663A (ja) * 2008-08-26 2010-03-11 Teac Corp 光ディスク装置
JP6046861B2 (ja) * 2013-05-17 2016-12-21 ダグ カーソン アンド アソシエーツ,インク. イメージアーカイブディスク

Also Published As

Publication number Publication date
JP2017212023A (ja) 2017-11-30

Similar Documents

Publication Publication Date Title
CN107615384B (zh) 数据保存介质和其制造方法、数据读出装置以及方法
JP6658714B2 (ja) 情報記録媒体の作成方法
US9177593B2 (en) Image archive disc
KR20180052615A (ko) 정보 보존 장치 및 정보 판독 장치
CN106228103B (zh) 一种双层码的识别方法
JP6481786B2 (ja) データ読出装置並びにデータ読出方法
JP6288360B2 (ja) データ保存媒体及びその製造方法、データ読出装置並びにデータ読出方法
JP6451885B2 (ja) データ保存媒体の製造方法、データ保存媒体、データ読出装置及びデータ読出方法
JP6191669B2 (ja) データ保存媒体及びその製造方法、データ読出装置並びにデータ読出方法
JP6288359B2 (ja) データ読出装置及びデータ読出方法
JP6191668B2 (ja) データ保存媒体及びその製造方法、データ保存用媒体、データ読出装置並びにデータ読出方法
JP6436254B2 (ja) データ保存媒体、データ読出装置及びデータ読出方法
JP6288356B2 (ja) データ保存媒体、データ読出装置及びデータ読出方法
JP2018156364A (ja) データ保存媒体及びその製造方法、データ保存用媒体、データ読出装置並びにデータ読出方法
JP6187562B2 (ja) データ保存媒体、データ読出装置及びデータ読出方法
JP2018174011A (ja) データ保存媒体及びその製造方法
JP6131916B2 (ja) 情報保存装置
CN108664867A (zh) 一种基底以及基底上编码图案的处理方法和处理装置
JP6149771B2 (ja) 情報保存装置および情報読出装置
JP6319497B2 (ja) 情報保存装置
JP2015185184A5 (ja)

Legal Events

Date Code Title Description
A521 Written amendment

Free format text: JAPANESE INTERMEDIATE CODE: A523

Effective date: 20170928

A621 Written request for application examination

Free format text: JAPANESE INTERMEDIATE CODE: A621

Effective date: 20170928

A871 Explanation of circumstances concerning accelerated examination

Free format text: JAPANESE INTERMEDIATE CODE: A871

Effective date: 20170928

A975 Report on accelerated examination

Free format text: JAPANESE INTERMEDIATE CODE: A971005

Effective date: 20171005

TRDD Decision of grant or rejection written
A01 Written decision to grant a patent or to grant a registration (utility model)

Free format text: JAPANESE INTERMEDIATE CODE: A01

Effective date: 20180109

A61 First payment of annual fees (during grant procedure)

Free format text: JAPANESE INTERMEDIATE CODE: A61

Effective date: 20180122

R150 Certificate of patent or registration of utility model

Ref document number: 6288360

Country of ref document: JP

Free format text: JAPANESE INTERMEDIATE CODE: R150

LAPS Cancellation because of no payment of annual fees