JP6229554B2 - 検出装置および検出方法 - Google Patents
検出装置および検出方法 Download PDFInfo
- Publication number
- JP6229554B2 JP6229554B2 JP2014045462A JP2014045462A JP6229554B2 JP 6229554 B2 JP6229554 B2 JP 6229554B2 JP 2014045462 A JP2014045462 A JP 2014045462A JP 2014045462 A JP2014045462 A JP 2014045462A JP 6229554 B2 JP6229554 B2 JP 6229554B2
- Authority
- JP
- Japan
- Prior art keywords
- region
- hand
- unit
- image
- detection
- Prior art date
- Legal status (The legal status is an assumption and is not a legal conclusion. Google has not performed a legal analysis and makes no representation as to the accuracy of the status listed.)
- Expired - Fee Related
Links
Images
Classifications
-
- G—PHYSICS
- G06—COMPUTING OR CALCULATING; COUNTING
- G06F—ELECTRIC DIGITAL DATA PROCESSING
- G06F3/00—Input arrangements for transferring data to be processed into a form capable of being handled by the computer; Output arrangements for transferring data from processing unit to output unit, e.g. interface arrangements
- G06F3/01—Input arrangements or combined input and output arrangements for interaction between user and computer
- G06F3/017—Gesture based interaction, e.g. based on a set of recognized hand gestures
-
- G—PHYSICS
- G06—COMPUTING OR CALCULATING; COUNTING
- G06F—ELECTRIC DIGITAL DATA PROCESSING
- G06F3/00—Input arrangements for transferring data to be processed into a form capable of being handled by the computer; Output arrangements for transferring data from processing unit to output unit, e.g. interface arrangements
-
- G—PHYSICS
- G06—COMPUTING OR CALCULATING; COUNTING
- G06F—ELECTRIC DIGITAL DATA PROCESSING
- G06F3/00—Input arrangements for transferring data to be processed into a form capable of being handled by the computer; Output arrangements for transferring data from processing unit to output unit, e.g. interface arrangements
- G06F3/01—Input arrangements or combined input and output arrangements for interaction between user and computer
- G06F3/03—Arrangements for converting the position or the displacement of a member into a coded form
- G06F3/0304—Detection arrangements using opto-electronic means
-
- G—PHYSICS
- G06—COMPUTING OR CALCULATING; COUNTING
- G06T—IMAGE DATA PROCESSING OR GENERATION, IN GENERAL
- G06T7/00—Image analysis
- G06T7/10—Segmentation; Edge detection
- G06T7/11—Region-based segmentation
-
- G—PHYSICS
- G06—COMPUTING OR CALCULATING; COUNTING
- G06T—IMAGE DATA PROCESSING OR GENERATION, IN GENERAL
- G06T7/00—Image analysis
- G06T7/20—Analysis of motion
-
- G—PHYSICS
- G06—COMPUTING OR CALCULATING; COUNTING
- G06T—IMAGE DATA PROCESSING OR GENERATION, IN GENERAL
- G06T7/00—Image analysis
- G06T7/70—Determining position or orientation of objects or cameras
-
- G—PHYSICS
- G06—COMPUTING OR CALCULATING; COUNTING
- G06V—IMAGE OR VIDEO RECOGNITION OR UNDERSTANDING
- G06V10/00—Arrangements for image or video recognition or understanding
- G06V10/40—Extraction of image or video features
- G06V10/56—Extraction of image or video features relating to colour
-
- G—PHYSICS
- G06—COMPUTING OR CALCULATING; COUNTING
- G06V—IMAGE OR VIDEO RECOGNITION OR UNDERSTANDING
- G06V40/00—Recognition of biometric, human-related or animal-related patterns in image or video data
- G06V40/20—Movements or behaviour, e.g. gesture recognition
- G06V40/28—Recognition of hand or arm movements, e.g. recognition of deaf sign language
-
- G—PHYSICS
- G06—COMPUTING OR CALCULATING; COUNTING
- G06T—IMAGE DATA PROCESSING OR GENERATION, IN GENERAL
- G06T2207/00—Indexing scheme for image analysis or image enhancement
- G06T2207/10—Image acquisition modality
- G06T2207/10004—Still image; Photographic image
-
- G—PHYSICS
- G06—COMPUTING OR CALCULATING; COUNTING
- G06T—IMAGE DATA PROCESSING OR GENERATION, IN GENERAL
- G06T2207/00—Indexing scheme for image analysis or image enhancement
- G06T2207/10—Image acquisition modality
- G06T2207/10016—Video; Image sequence
-
- G—PHYSICS
- G06—COMPUTING OR CALCULATING; COUNTING
- G06T—IMAGE DATA PROCESSING OR GENERATION, IN GENERAL
- G06T2207/00—Indexing scheme for image analysis or image enhancement
- G06T2207/10—Image acquisition modality
- G06T2207/10024—Color image
-
- G—PHYSICS
- G06—COMPUTING OR CALCULATING; COUNTING
- G06T—IMAGE DATA PROCESSING OR GENERATION, IN GENERAL
- G06T2207/00—Indexing scheme for image analysis or image enhancement
- G06T2207/30—Subject of image; Context of image processing
- G06T2207/30196—Human being; Person
Landscapes
- Engineering & Computer Science (AREA)
- Theoretical Computer Science (AREA)
- Physics & Mathematics (AREA)
- General Physics & Mathematics (AREA)
- General Engineering & Computer Science (AREA)
- Human Computer Interaction (AREA)
- Computer Vision & Pattern Recognition (AREA)
- Multimedia (AREA)
- Psychiatry (AREA)
- Social Psychology (AREA)
- General Health & Medical Sciences (AREA)
- Health & Medical Sciences (AREA)
- Image Analysis (AREA)
- User Interface Of Digital Computer (AREA)
- Image Processing (AREA)
- Manipulator (AREA)
Description
実施例1に係る検出装置10について説明する。図1は、検出装置の機能的な構成の一例を示す図である。検出装置10は、ユーザの指し示した位置を検出して操作入力が可能な装置である。検出装置10は、例えば、デスクトップ型PC(Personal Computer)、ノート型PCなどの情報処理装置であってもよい。また、検出装置10は、例えば、タブレット端末、スマートフォン、PDA(Personal Digital Assistant)などの携帯端末装置であってもよい。図1に示すように、検出装置10は、カメラ20と、表示部21と、記憶部22と、制御部23とを有する。
図3の例では、スタンド25にカメラ20および表示部21が設けられている。表示部21は、画像を投影する。図3の例は、スタンド25に設けられた表示部21がテーブル上に画像を投影する場合を示しており、テーブル上の画像が表示される表示領域26が示されている。ユーザは、ジェスチャーなどにより表示領域26に対して各種の操作指示を行う。スタンド25に設けられたカメラ20は、表示領域26を所定のフレームレートで撮影する。検出装置10は、周期的に撮影される画像からユーザの手を検出して操作を検出する。
0.2 < S < 0.5 (2)
次に、本実施例に係る検出装置10が操作を検出する際の動作について説明する。図4は、操作を検出する際の動作の流れの一例を模式的に示した図である。
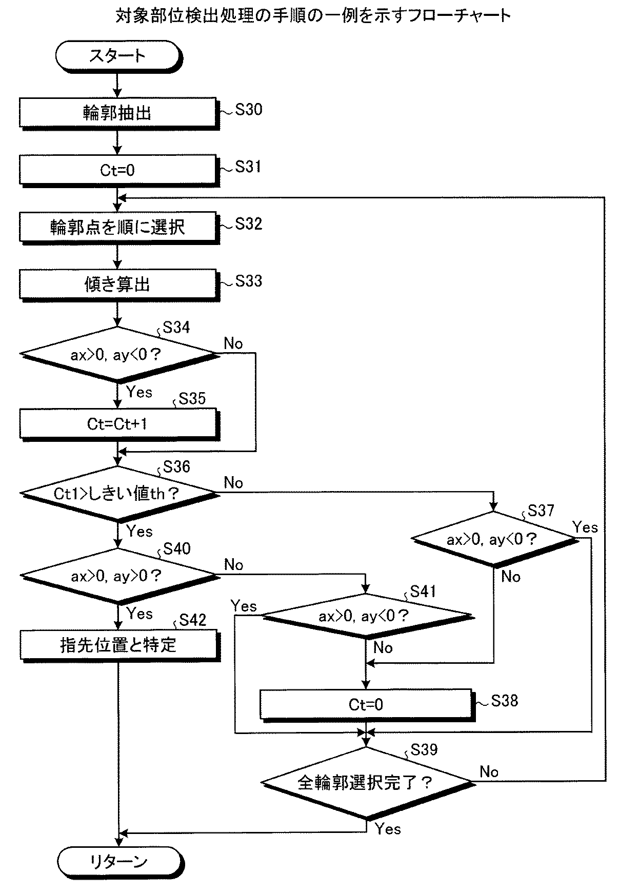
最初に、本実施例に係る検出装置10が、画像から手の領域に含まれる認識対象部位を検出する検出処理の流れについて説明する。図6は、検出処理の手順の一例を示すフローチャートである。この検出処理は、所定のタイミング、例えば、画像が撮影される毎に実行される。
上述してきたように、本実施例に係る検出装置10は、撮影される画像から手領域を特定する。検出装置10は、特定された領域の移動量に基づいて、移動量が小さい非操作側の手領域と当該非操作側の手領域よりも移動量が大きい操作側の手領域とを決定する。検出装置10は、決定された非操作側の手領域と操作側の手領域が結合して撮影された場合、撮影画像から非操作側の手領域を除いた領域を導出する。検出装置10は、導出された領域の画像に対して検出処理を行う。これにより、検出装置10は、検出精度の低下を抑制できる。
また、上記の実施例で説明した各種の処理は、あらかじめ用意されたプログラムをパーソナルコンピュータやワークステーションなどのコンピュータシステムで実行することによって実現することもできる。そこで、以下では、上記の実施例と同様の機能を有するプログラムを実行するコンピュータシステムの一例を説明する。図9は、検出プログラムを実行するコンピュータを示す図である。
20 カメラ
21 表示部
22 記憶部
23 制御部
30 手領域情報
40 特定部
41 決定部
42 格納部
43 導出部
44 検出部
45 操作認識部
Claims (4)
- 撮影される画像から手の領域を特定する特定部と、
前記特定部により特定された領域の移動量に基づいて、移動量が小さい第1の領域と当該第1の領域よりも移動量が大きい第2の領域とを決定する決定部と、
前記決定部により決定された第1の領域と第2の領域が結合して撮影された場合、撮影画像から第1の領域を除いた領域を導出する導出部と、
前記導出部により導出された領域の画像に対して検出処理を行う検出部と、
を有することを特徴とする検出装置。 - 前記決定部により第1の領域と決定された範囲を記憶する記憶部をさらに有し、
前記導出部は、前記記憶部に記憶された第1の領域の範囲をマスクして、撮影画像から第1の領域を除いた領域を導出する
ことを特徴とする請求項1に記載の検出装置。 - 前記決定部は、周期的に撮影される画像毎に画像内の所定の一辺から近い順に、特定された手の領域に対して識別番号を順に付与し、各画像間で同じ識別番号が付与された手の領域の移動量を求める
ことを特徴とする請求項1または2に記載の検出装置。 - コンピュータが、
撮影される画像から手の領域を特定し、
特定された領域の移動量に基づいて、移動量が小さい第1の領域と当該第1の領域よりも移動量が大きい第2の領域とを決定し、
決定された第1の領域と第2の領域が結合して撮影された場合、撮影画像から第1の領域を除いた領域を導出し、
導出された領域の画像に対して検出を行う
処理を実行することを特徴とする検出方法。
Priority Applications (3)
| Application Number | Priority Date | Filing Date | Title |
|---|---|---|---|
| JP2014045462A JP6229554B2 (ja) | 2014-03-07 | 2014-03-07 | 検出装置および検出方法 |
| EP14196936.0A EP2916261A3 (en) | 2014-03-07 | 2014-12-09 | Detecting device and detecting method |
| US14/569,913 US9727145B2 (en) | 2014-03-07 | 2014-12-15 | Detecting device and detecting method |
Applications Claiming Priority (1)
| Application Number | Priority Date | Filing Date | Title |
|---|---|---|---|
| JP2014045462A JP6229554B2 (ja) | 2014-03-07 | 2014-03-07 | 検出装置および検出方法 |
Publications (2)
| Publication Number | Publication Date |
|---|---|
| JP2015170206A JP2015170206A (ja) | 2015-09-28 |
| JP6229554B2 true JP6229554B2 (ja) | 2017-11-15 |
Family
ID=52023269
Family Applications (1)
| Application Number | Title | Priority Date | Filing Date |
|---|---|---|---|
| JP2014045462A Expired - Fee Related JP6229554B2 (ja) | 2014-03-07 | 2014-03-07 | 検出装置および検出方法 |
Country Status (3)
| Country | Link |
|---|---|
| US (1) | US9727145B2 (ja) |
| EP (1) | EP2916261A3 (ja) |
| JP (1) | JP6229554B2 (ja) |
Families Citing this family (6)
| Publication number | Priority date | Publication date | Assignee | Title |
|---|---|---|---|---|
| RU2014113049A (ru) * | 2014-04-03 | 2015-10-10 | ЭлЭсАй Корпорейшн | Процессор изображений, содержащий систему распознавания жестов со слежением за объектом на основании вычислительных признаков контуров для двух или более объектов |
| CN109872277A (zh) * | 2017-12-04 | 2019-06-11 | 北京京东尚科信息技术有限公司 | 信息处理方法和装置 |
| JP7397282B2 (ja) * | 2019-09-11 | 2023-12-13 | 株式会社Mixi | 静止判定システム及びコンピュータプログラム |
| US11941629B2 (en) * | 2019-09-27 | 2024-03-26 | Amazon Technologies, Inc. | Electronic device for automated user identification |
| US12439145B1 (en) | 2020-09-25 | 2025-10-07 | Apple Inc. | Determining an intended gesture when hands are occupied |
| CN114690900B (zh) * | 2022-03-16 | 2023-07-18 | 中数元宇数字科技(上海)有限公司 | 一种虚拟场景中的输入识别方法、设备及存储介质 |
Family Cites Families (15)
| Publication number | Priority date | Publication date | Assignee | Title |
|---|---|---|---|---|
| JP4332649B2 (ja) * | 1999-06-08 | 2009-09-16 | 独立行政法人情報通信研究機構 | 手の形状と姿勢の認識装置および手の形状と姿勢の認識方法並びに当該方法を実施するプログラムを記録した記録媒体 |
| JP4444583B2 (ja) | 2003-05-21 | 2010-03-31 | 富士通株式会社 | 物体検出装置及びプログラム |
| EP1743277A4 (en) * | 2004-04-15 | 2011-07-06 | Gesturetek Inc | MONITORING OF BI-MANUAL MOVEMENTS |
| JP4682820B2 (ja) * | 2005-11-25 | 2011-05-11 | ソニー株式会社 | オブジェクト追跡装置及びオブジェクト追跡方法、並びにプログラム |
| US8005263B2 (en) * | 2007-10-26 | 2011-08-23 | Honda Motor Co., Ltd. | Hand sign recognition using label assignment |
| JP5303355B2 (ja) * | 2009-05-21 | 2013-10-02 | 学校法人 中央大学 | 周期ジェスチャ識別装置、周期ジェスチャ識別方法、周期ジェスチャ識別プログラム、及び記録媒体 |
| US8522308B2 (en) * | 2010-02-11 | 2013-08-27 | Verizon Patent And Licensing Inc. | Systems and methods for providing a spatial-input-based multi-user shared display experience |
| US8593402B2 (en) * | 2010-04-30 | 2013-11-26 | Verizon Patent And Licensing Inc. | Spatial-input-based cursor projection systems and methods |
| WO2011142313A1 (ja) | 2010-05-11 | 2011-11-17 | 日本システムウエア株式会社 | 物体認識装置、方法、プログラム、および該ソフトウェアを格納したコンピュータ可読媒体 |
| KR20120072009A (ko) * | 2010-12-23 | 2012-07-03 | 한국전자통신연구원 | 다중 사용자의 인터렉션 인식 장치 및 방법 |
| JP5742583B2 (ja) * | 2011-08-19 | 2015-07-01 | 富士通株式会社 | 画像処理装置、画像処理方法及び画像処理プログラム |
| US9275277B2 (en) * | 2013-02-22 | 2016-03-01 | Kaiser Foundation Hospitals | Using a combination of 2D and 3D image data to determine hand features information |
| KR20130088104A (ko) * | 2013-04-09 | 2013-08-07 | 삼성전자주식회사 | 비접촉 방식의 인터페이스를 제공하기 위한 휴대 장치 및 방법 |
| EP2797030B1 (en) * | 2013-04-24 | 2021-06-16 | Accenture Global Services Limited | Biometric recognition |
| KR101472455B1 (ko) * | 2013-07-18 | 2014-12-16 | 전자부품연구원 | 손동작 기반 사용자 인터페이스장치 및 그 방법 |
-
2014
- 2014-03-07 JP JP2014045462A patent/JP6229554B2/ja not_active Expired - Fee Related
- 2014-12-09 EP EP14196936.0A patent/EP2916261A3/en not_active Withdrawn
- 2014-12-15 US US14/569,913 patent/US9727145B2/en not_active Expired - Fee Related
Also Published As
| Publication number | Publication date |
|---|---|
| JP2015170206A (ja) | 2015-09-28 |
| US20150253861A1 (en) | 2015-09-10 |
| EP2916261A2 (en) | 2015-09-09 |
| US9727145B2 (en) | 2017-08-08 |
| EP2916261A3 (en) | 2015-12-02 |
Similar Documents
| Publication | Publication Date | Title |
|---|---|---|
| JP6201379B2 (ja) | 位置算出システム、位置算出プログラム、および、位置算出方法 | |
| JP6229554B2 (ja) | 検出装置および検出方法 | |
| US20160063731A1 (en) | Tracking processing device and tracking processing system provided with same, and tracking processing method | |
| JP7378354B2 (ja) | ライブ動画ストリームからの指の押下の検出 | |
| MY195861A (en) | Information Processing Method, Electronic Device, and Computer Storage Medium | |
| US9836130B2 (en) | Operation input device, operation input method, and program | |
| CN103562822A (zh) | 信息处理设备、信息处理方法以及记录介质 | |
| WO2011007746A1 (ja) | 指先操作型情報提供システム、対話操作装置、コンピュータープログラム、及び記録媒体 | |
| KR20120044484A (ko) | 이미지 처리 시스템에서 물체 추적 장치 및 방법 | |
| JP2013215549A (ja) | 画像処理装置、画像処理プログラムおよび画像処理方法 | |
| JP2017199289A (ja) | 情報処理装置、その制御方法、プログラム、及び記憶媒体 | |
| JP6028589B2 (ja) | 入力プログラム、入力装置および入力方法 | |
| US10095940B2 (en) | Image processing apparatus, image processing method and non-transitory computer readable medium | |
| US20150153834A1 (en) | Motion input apparatus and motion input method | |
| CN103679130B (zh) | 手追踪方法、手追踪设备和手势识别系统 | |
| US10042426B2 (en) | Information processing apparatus for detecting object from image, method for controlling the apparatus, and storage medium | |
| JP2016139396A (ja) | ユーザーインターフェイス装置、方法およびプログラム | |
| JP6455186B2 (ja) | 指先位置推定装置、指先位置推定方法、及び、プログラム | |
| JP2016099643A (ja) | 画像処理装置、画像処理方法および画像処理プログラム | |
| JP2018124918A (ja) | 画像処理装置、画像処理方法及びプログラム | |
| US9483125B2 (en) | Position information obtaining device and method, and image display system | |
| JP2015184906A (ja) | 肌色検出条件決定装置、肌色検出条件決定方法及び肌色検出条件決定用コンピュータプログラム | |
| US11340706B2 (en) | Gesture recognition based on depth information and computer vision | |
| US20180088741A1 (en) | Information processing apparatus, method of controlling the same, and storage medium | |
| JP2018055685A (ja) | 情報処理装置、その制御方法、プログラム、および記憶媒体 |
Legal Events
| Date | Code | Title | Description |
|---|---|---|---|
| A621 | Written request for application examination |
Free format text: JAPANESE INTERMEDIATE CODE: A621 Effective date: 20161102 |
|
| A977 | Report on retrieval |
Free format text: JAPANESE INTERMEDIATE CODE: A971007 Effective date: 20170907 |
|
| TRDD | Decision of grant or rejection written | ||
| A01 | Written decision to grant a patent or to grant a registration (utility model) |
Free format text: JAPANESE INTERMEDIATE CODE: A01 Effective date: 20170919 |
|
| A61 | First payment of annual fees (during grant procedure) |
Free format text: JAPANESE INTERMEDIATE CODE: A61 Effective date: 20171002 |
|
| R150 | Certificate of patent or registration of utility model |
Ref document number: 6229554 Country of ref document: JP Free format text: JAPANESE INTERMEDIATE CODE: R150 |
|
| LAPS | Cancellation because of no payment of annual fees |
