JP6168317B2 - 遊技機 - Google Patents

遊技機 Download PDF

Info

Publication number
JP6168317B2
JP6168317B2 JP2015252863A JP2015252863A JP6168317B2 JP 6168317 B2 JP6168317 B2 JP 6168317B2 JP 2015252863 A JP2015252863 A JP 2015252863A JP 2015252863 A JP2015252863 A JP 2015252863A JP 6168317 B2 JP6168317 B2 JP 6168317B2
Authority
JP
Japan
Prior art keywords
effect
value
specific
winning
specific condition
Prior art date
Legal status (The legal status is an assumption and is not a legal conclusion. Google has not performed a legal analysis and makes no representation as to the accuracy of the status listed.)
Expired - Fee Related
Application number
JP2015252863A
Other languages
English (en)
Other versions
JP2016064283A (ja
Inventor
金子 裕司
裕司 金子
幸正 安田
幸正 安田
哲郎 ▲高▼嶋
哲郎 ▲高▼嶋
Current Assignee (The listed assignees may be inaccurate. Google has not performed a legal analysis and makes no representation or warranty as to the accuracy of the list.)
Sanyo Bussan Co Ltd
Original Assignee
Sanyo Bussan Co Ltd
Priority date (The priority date is an assumption and is not a legal conclusion. Google has not performed a legal analysis and makes no representation as to the accuracy of the date listed.)
Filing date
Publication date
Application filed by Sanyo Bussan Co Ltd filed Critical Sanyo Bussan Co Ltd
Priority to JP2015252863A priority Critical patent/JP6168317B2/ja
Publication of JP2016064283A publication Critical patent/JP2016064283A/ja
Application granted granted Critical
Publication of JP6168317B2 publication Critical patent/JP6168317B2/ja
Expired - Fee Related legal-status Critical Current
Anticipated expiration legal-status Critical

Links

Images

Landscapes

  • Game Rules And Presentations Of Slot Machines (AREA)

Description

本発明は、スロットマシン等の遊技機に関するものである。
複数のリールを回転させたあとに停止させる遊技機としては、例えばスロットマシンがある。スロットマシンでは、各リールの外周部に複数の図柄が付与されており、表示窓を通じて各リールに付与された図柄の一部が視認可能な構成となっている。そして、遊技者がメダルを投入することで有効ラインが設定され、その後、遊技者がスタートレバーを操作することでスロットマシンの内部にてビッグボーナス(以下、「BB」という)役や小役、再遊技といった役の抽選が行われるとともに各リールが回転を開始し、各リールが回転を開始した後にストップスイッチを操作して停止指令を発生させることで各リールが順次停止して1回のゲームが終了する。そして、全てのリールが回転を停止した際に有効ライン上に当選した役と対応する図柄の組合せが停止すると入賞となり、メダルが払い出される特典や遊技状態が移行される特典等が遊技者に付与される。このため、スロットマシンでは、図柄の変動を見て、そして所定の図柄を狙って停止させるという遊技に積極参加できる点に特徴があるといえる。
近年のスロットマシンでは、リールの他に画像表示装置や効果音発生装置等を備え、役の抽選結果を示唆する補助演出を行うものが一般的である(例えば特許文献1参照)。また、所定のスイッチを操作した場合に演出内容が変化する補助演出、すなわち遊技者が参加可能な補助演出を行うものも提案されている。
特開2005−152109号公報
ここで本発明者らは、所定のスイッチを操作して所定の条件を成立させた場合に、補助演出の結果が変化する構成を想起するに至った。しかしながら、かかる構成においては、所定の条件の難易度により、遊技者が補助演出に参加する意欲を減退させてしまう可能性が考えられる。所定の条件の難易度が高い場合には、所定の条件を成立させることができないことによって遊技者が補助演出に参加する意欲を減退させてしまう可能性が考えられるし、所定の条件の難易度が低い場合には、繰り返し補助演出に参加した場合にマンネリ化してしまい、遊技者が補助演出に参加する意欲を減退させてしまう可能性が考えられるからである。
なお、以上の問題は、上記例示したようなスロットマシンに限らず、遊技者の参加可能な特定演出を実行可能なスロットマシンにも該当する問題であり、複数種の絵柄を循環表示させ、その後の停止操作手段の操作に基づいて循環表示を終了させる他の遊技機にも該当する問題である。
本発明は上記例示した事情等に鑑みてなされたものであり、好適な形で遊技者の参加可能な特定演出を実行することが可能な遊技機を提供することを目的とするものである。
請求項1に記載の発明では、複数種の絵柄を循環表示させる複数の循環表示手段と、前記各循環表示手段による前記絵柄の循環表示を開始させるべく操作される開始操作手段と、役の抽選を行う抽選手段と、前記絵柄の循環表示を個別に停止させるべく操作される複数の停止操作手段と、前記役の抽選に当選した当選役と対応する当選絵柄が有効位置に停止した場合、遊技者に特典を付与する特典付与手段とを備えた遊技機において、特定演出を実行可能な特定演出実行手段と、前記特定演出を実行している場合、特定操作手段の操作に基づく特定条件が成立したか否かを判定するとともに、所定時間を経過した場合、前記特定条件が成立しなかったと判定する特定条件判定手段と、前記特定条件判定手段の判定結果に基づいて、前記特定演出の結果を変化させる演出結果変化手段と、前記特定条件判定手段の判定結果に基づいて、次回の特定演出における所定時間を変更する所定時間変更手段とを備え、前記特定条件は、前記特定操作手段を複数回操作することであって、前記特定条件成立となる前記特定操作手段の操作回数を記憶する第1回数記憶手段と、前記特定操作手段になされた操作回数を記憶する第2回数記憶手段と、前記第1回数記憶手段に記憶された操作回数と、前記第2回数記憶手段に記憶された操作回数と、に基づいて前記特定条件の達成度を導出する達成度導出手段とを備え、前記所定時間変更手段は、前記第2回数記憶手段に記憶された回数が0以外の値であって前記特定演出が終了するまでに前記特定条件判定手段が前記特定条件が成立したと判定しなかった場合、前記達成度導出手段の導出結果に応じて前記所定時間を変更し、前記第2回数記憶手段に記憶された回数が0である場合、予め定められた初期時間に変更することを特徴とする。
好適な形で遊技者の参加可能な特定演出を実行することが可能となる。
一実施の形態におけるスロットマシンの正面図。 前面扉を閉じた状態を示すスロットマシンの斜視図。 前面扉を開いた状態を示すスロットマシンの斜視図。 前面扉の背面図。 筐体の正面図。 各リールの図柄配列を示す図。 表示窓から視認可能となる図柄と組合せラインとの関係を示す説明図。 入賞態様と付与される特典との関係を示す説明図。 スロットマシンのブロック図。 タイマ割込み処理を示すフローチャート。 通常処理を示すフローチャート。 抽選処理を示すフローチャート。 通常遊技状態用抽選テーブルの一例を示す図。 リール制御処理を示すフローチャート。 BB状態処理を示すフローチャート。 連打演出を行う場合に補助表示部に表示される一連の表示態様を示す図。 連打演出を行う場合に補助表示部に表示される一連の表示態様を示す図。 連打演出を行う場合に補助表示部に表示される一連の表示態様を示す図。 表示制御装置のブロック図。 表示タイマ割込み処理を示すフローチャート。 コマンド割込み処理を示すフローチャート。 表示メイン処理を示すフローチャート。 駆動データ出力処理を示すフローチャート。 特定時間処理を示すフローチャート。 抽選結果コマンド処理を示すフローチャート。 操作回数設定処理にてセットされる設定値を示す図。 演出スイッチ検知処理を示すフローチャート。 記憶値設定処理を示すフローチャート。 第2の実施の形態における抽選結果コマンド処理を示すフローチャート。
(第1の実施の形態)
以下、遊技機の一種である回胴式遊技機、具体的にはスロットマシンに適用した場合の一実施の形態を、図面に基づいて詳細に説明する。図1はスロットマシン10の正面図、図2はスロットマシン10の前面扉12を閉じた状態の斜視図、図3はスロットマシン10の前面扉12を開いた状態の斜視図、図4は前面扉12の背面図、図5は筐体11の正面図である。
図1〜図5に示すように、スロットマシン10は、その外殻を形成する筐体11を備えている。筐体11は、全体として前面を開放した箱状に形成されており、遊技ホールへの設置の際にいわゆる島設備に対し釘を打ち付ける等して取り付けられる。
筐体11の前面側には、前面扉12が開閉可能に取り付けられている。すなわち、筐体11には、その正面から見て左側部に上下一対の支軸13a,13bが設けられており、前面扉12には、各支軸13a,13bと対応する位置に軸受部14a,14bが設けられている。そして、各軸受部14a,14bに各支軸13a,13bが挿入された状態では、前面扉12が筐体11に対して両支軸13a,13bを結ぶ上下方向へ延びる開閉軸線を中心として回動可能に支持され、前面扉12の回動によって筐体11の前面開放側を開放したり閉鎖したりすることができるようになっている。また、前面扉12は、その裏面に設けられた施錠装置20によって開放不能な施錠状態とされる。前面扉12の右端側上部には、施錠装置20と一体化されたキーシリンダ21が設けられており、キーシリンダ21に対する所定のキー操作によって前記施錠状態が解除されるように構成されている。
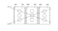
前面扉12の中央部上寄りには、遊技者に遊技状態を報知する遊技パネル25が設けられている。遊技パネル25には、縦長の3つの表示窓26L,26M,26Rが横並びに形成されており、各表示窓26L,26M,26Rを通じてスロットマシン10の内部が視認可能な状態となっている。なお、各表示窓26L,26M,26Rを1つにまとめて共通の表示窓としてもよい。
図3に示すように、筐体11は仕切り板30によりその内部が上下2分割されており、仕切り板30の上部には、可変表示手段を構成するリールユニット31が取り付けられている。リールユニット31は、円筒状(円環状)にそれぞれ形成された左リール32L,中リール32M,右リール32Rを備えている。各リール32L,32M,32Rは、その中心軸線が当該リールの回転軸線となるように回転可能に支持されている。各リール32L,32M,32Rの回転軸線は略水平方向に延びる同一軸線上に配設され、それぞれのリール32L,32M,32Rが各表示窓26L,26M,26Rと1対1で対応している。したがって、各リール32L,32M,32Rの表面の一部はそれぞれ対応する表示窓26L,26M,26Rを通じて視認可能な状態となっている。また、リール32L,32M,32Rが正回転すると、各表示窓26L,26M,26Rを通じてリール32L,32M,32Rの表面は上から下へ向かって移動しているかのように映し出される。
ここで、リールユニット31の構成を簡単に説明する。
各リール32L,32M,32Rは、それぞれがステッピングモータに連結されており、各ステッピングモータの駆動により各リール32L,32M,32Rが個別に、すなわちそれぞれ独立して回転駆動し得る構成となっている。ステッピングモータは、例えば504パルスの駆動信号(以下、励磁パルスとも言う。)を与えることにより1回転されるように設定されており、この励磁パルスによってステッピングモータの回転位置、すなわちリールの回転位置が制御される。また、リールユニット31には、リールが1回転したことを検出するためのリールインデックスセンサが各リール32L,32M,32Rに設置されている。そして、リールインデックスセンサからは、リールが1回転したことを検出した場合、その検出の都度、後述する主制御装置101に検出信号が出力されるようになっている。このため主制御装置101は、リールインデックスセンサの検出信号と、当該検出信号が入力されるまでに出力した励磁パルス数とに基づいて、各リール32L,32M,32Rの角度位置を1回転毎に確認するとともに補正することができる。
各リール32L,32M,32Rの外周面には、その長辺方向(周回方向)に、識別情報としての図柄が複数個描かれている。より具体的には、21個の図柄が等間隔に描かれている。このため、所定の位置においてある図柄を次の図柄へ切り替えるには、24パルス(=504パルス÷21図柄)の励磁パルスの出力を要する。また、主制御装置101は、リールインデックスセンサの検出信号が入力されてから出力した励磁パルス数により、表示窓26L,26M,26Rから視認可能な状態となっている図柄を把握したり、表示窓26L,26M,26Rから視認可能な位置に所定の図柄を停止させたりする制御を行うことができる。
次に、各リール32L,32M,32Rに描かれている図柄について説明する。
図6には、左リール32L,中リール32M,右リール32Rの図柄配列が示されている。同図に示すように、各リール32L,32M,32Rには、それぞれ21個の図柄が一列に配置されている。また、各リール32L,32M,32Rに対応して番号が0〜20まで付されているが、これら番号は主制御装置101が表示窓26L,26M,26Rから視認可能な状態となっている図柄を認識するための番号であり、リール32L,32M,32Rに実際に付されているわけではない。但し、以下の説明では当該番号を使用して説明する。
図柄としては、「青7」図柄(例えば、左リール32Lの20番目)、「ベル」図柄(例えば、左リール32Lの19番目)、「リプレイ」図柄(例えば、左リール32Lの18番目)、「赤チェリー」図柄(例えば、左リール32Lの17番目)、「スイカ」図柄(例えば、左リール32Lの16番目)、「白7」図柄(例えば、左リール32Lの13番目)、「青チェリー」図柄(例えば、左リール32Lの10番目)、「青年」図柄(例えば、左リール32Lの9番目)、「赤7」図柄(例えば、左リール32Lの6番目)、「白チェリー」図柄(例えば、左リール32Lの3番目)、「星」図柄(例えば、中リール32Mの19番目)の11種類がある。そして、図6に示すように、各リール32L,32M,32Rにおいて各種図柄の数や配置順序は全く異なっている。
各表示窓26L,26M,26Rは、対応するリールに付された21個の図柄のうち図柄全体を視認可能となる図柄が3個となるように形成されている。このため、各リール32L,32M,32Rがすべて停止している状態では、3×3=9個の図柄が表示窓26L,26M,26Rを介して視認可能な状態となる。
本スロットマシン10では、各リール32L,32M,32Rの図柄が視認可能となる位置を結ぶようにして、計4本の組合せラインが設定されている。より詳しくは、図7に示すように、左リール32Lの上段図柄,中リール32Mの中段図柄,右リール32Rの上段図柄を結んだ第1ラインL1と、左リール32Lの上段図柄,中リール32Mの中段図柄,右リール32Rの下段図柄を結んだ第2ラインL2と、左リール32Lの下段図柄,中リール32Mの中段図柄,右リール32Rの上段図柄を結んだ第3ラインL3と、左リール32Lの下段図柄,中リール32Mの中段図柄,右リール32Rの下段図柄を結んだ第4ラインL4と、が設定されている。そして、有効化された組合せライン、すなわち有効ライン上に図柄が所定の組合せで停止した場合には、入賞成立として、遊技媒体たるメダルが所定数払い出される特典が付与されたり、遊技状態が移行される特典が付与されたりするようになっている。
図8には、入賞となる図柄の組合せと、入賞となった場合に付与される特典とが示されている。
メダル払出が行われる小役入賞としては、スイカ入賞,赤ベル入賞,青ベル入賞,白ベル入賞,赤チェリー入賞,青チェリー入賞,白チェリー入賞がある。各リール32L,32M,32Rの「スイカ」図柄が有効ライン上に停止した場合には、スイカ入賞として8枚のメダル払出が行われる。左リール32Lの「赤7」図柄と中リール32M及び右リール32Rの「ベル」図柄とが有効ライン上に停止した場合には、赤ベル入賞として10枚のメダル払出が行われる。左リール32Lの「青7」図柄と中リール32M及び右リール32Rの「ベル」図柄とが有効ライン上に停止した場合には、青ベル入賞として10枚のメダル払出が行われる。左リール32Lの「白7」図柄と中リール32M及び右リール32Rの「ベル」図柄とが有効ライン上に停止した場合には、白ベル入賞として10枚のメダル払出が行われる。左リール32Lの「赤チェリー」図柄が有効ライン上に停止した場合には、赤チェリー入賞として2枚のメダル払出が行われる。左リール32Lの「青チェリー」図柄が有効ライン上に停止した場合には、青チェリー入賞として2枚のメダル払出が行われる。左リール32Lの「白チェリー」図柄が有効ライン上に停止した場合には、白チェリー入賞として2枚のメダル払出が行われる。すなわち、赤チェリー入賞,青チェリー入賞,白チェリー入賞の各チェリー入賞の場合には、中リール32Mと右リール32Rについて、有効ライン上に停止する図柄がどのような図柄であっても良い。換言すれば、左リール32Lの「赤チェリー」図柄,「青チェリー」図柄,「白チェリー」図柄のいずれかと、中リール32M及び右リール32Rの任意の図柄との組合せが有効ライン上に停止した場合には、チェリー入賞が成立するとも言える。ここで、左リール32Lの上段及び下段にはそれぞれ2本の有効ラインが設定されるため、左リール32Lのいずれかの「チェリー」図柄が上段又は下段に停止した場合には、2本の有効ライン上にてチェリー入賞が成立することとなり、結果として4(=2×2)枚のメダル払出が行われる。
遊技状態の移行のみが行われる状態移行入賞としては、第1BB入賞と第2BB入賞がある。
各リール32L,32M,32Rの「赤7」図柄が有効ライン上に停止した場合には、第1BB入賞となり、各リール32L,32M,32Rの「青7」図柄が有効ライン上に停止した場合には、第2BB入賞となる。これらBB入賞が成立した場合には、遊技状態がBB状態に移行する。
メダルを投入することなく次ゲームの遊技を行うことが可能な再遊技の特典が付与される入賞としては、再遊技入賞がある。各リール32L,32M,32Rの「リプレイ」図柄が有効ライン上に停止した場合には、再遊技入賞となる。
なお以下では、各入賞と対応する図柄の組合せを入賞図柄の組合せとも言う。例えば、赤ベル図柄の組合せとは、赤ベル入賞となる図柄の組合せ、すなわち「赤7」図柄,「ベル」図柄,「ベル」図柄の組合せである。また、各入賞と対応する各リール32L,32M,32Rの図柄を入賞図柄とも言う。例えば、赤ベル図柄とは、左リール32Lにおいては「赤7」図柄であり、中リール32M及び右リール32Rにおいては「ベル」図柄である。
遊技パネル25の下方左側には、各リール32L,32M,32Rの回転を開始させるために操作されるスタートレバー41が設けられている。スタートレバー41はリール32L,32M,32Rを回転開始、すなわち図柄の可変表示を開始させるべく操作される開始操作手段又は始動操作手段を構成する。所定数のメダルが投入されている状態でスタートレバー41を操作された場合、各リール32L,32M,32Rが回転を開始するようになっている。
スタートレバー41の右側には、回転している各リール32L,32M,32Rを個別に停止させるために操作されるボタン状のストップスイッチ42〜44が設けられている。各ストップスイッチ42〜44は、停止対象となるリール32L,32M,32Rに対応する表示窓26L,26M,26Rの直下にそれぞれ配置されている。すなわち、左ストップスイッチ42が操作された場合には左リール32Lの回転が停止し、中ストップスイッチ43が操作された場合には中リール32Mの回転が停止し、右ストップスイッチ44が操作された場合には右リール32Rの回転が停止する。ストップスイッチ42〜44はリール32L,32M,32Rの回転に基づく図柄の可変表示を停止させるべく操作される停止操作手段を構成する。
表示窓26L,26M,26Rの下方右側には、メダルを投入するためのメダル投入口45が設けられている。メダル投入口45は遊技媒体を入力する入力手段を構成する。また、メダル投入口45が遊技者によりメダルを直接投入するという動作を伴う点に着目すれば、遊技媒体を直接入力する直接入力手段を構成するものとも言える。
メダル投入口45から投入されたメダルは、前面扉12の背面に設けられた通路切替手段としてのセレクタ46によって貯留用通路47か排出用通路48のいずれかへ導かれる。より詳しくは、セレクタ46にはメダル通路切替ソレノイド46aが設けられており、そのメダル通路切替ソレノイド46aの非励磁時にはメダルが排出用通路48側に導かれ、前記メダル通路切替ソレノイド46aの励磁時にはメダルが貯留用通路47側に導かれるようになっている。貯留用通路47に導かれたメダルは、筐体11の内部に収納されたホッパ装置51へと導かれる。一方、排出用通路48に導かれたメダルは、前面扉12の前面下部に設けられたメダル排出口49からメダル受け皿50へと導かれ、遊技者に返還される。
ホッパ装置51は、メダルを貯留する貯留タンク52と、メダルを遊技者に払い出す払出装置53とより構成されている。払出装置53は、図示しないメダル払出用回転板を回転させることにより、排出用通路48に設けられた開口48aへメダルを排出し、排出用通路48を介してメダル受け皿50へメダルを払い出すようになっている。また、ホッパ装置51の右方には、貯留タンク52内に所定量以上のメダルが貯留されることを回避するための予備タンク54が設けられている。ホッパ装置51の貯留タンク52内部には、この貯留タンク52から予備タンク54へとメダルを排出する誘導プレート52aが設けられている。したがって、誘導プレート52aが設けられた高さ以上にメダルが貯留された場合、かかるメダルが予備タンク54に貯留されることとなる。
メダル投入口45の下方には、ボタン状の返却スイッチ55が設けられている。メダル投入口45に投入されたメダルがセレクタ46内に詰まった状況下で返却スイッチ55を操作された場合、セレクタ46が機械的に連動して動作され、当該セレクタ46内に詰まったメダルがメダル排出口49から返却されるようになっている。
表示窓26L,26M,26Rの下方左側には、遊技媒体としてのクレジットされた仮想メダルを一度に3枚投入するための第1クレジット投入スイッチ56が設けられている。また、第1クレジット投入スイッチ56の左方には、第2クレジット投入スイッチ57と、第3クレジット投入スイッチ58とが設けられている。第2クレジット投入スイッチ57は仮想メダルを一度に2枚投入するためのものであり、第3クレジット投入スイッチ58は仮想メダルを1枚投入するためのものである。各クレジット投入スイッチ56〜58は前記メダル投入口45とともに遊技媒体を入力する入力手段を構成する。また、メダル投入口45が遊技者によりメダルを直接投入するという動作を伴うのに対し、各クレジット投入スイッチ56〜58は貯留記憶に基づく仮想メダルの投入という動作を伴うに過ぎない点に着目すれば、遊技媒体を間接入力する間接入力手段を構成するものとも言える。
第1クレジット投入スイッチ56の右方には、後述する連打演出等の所定の補助演出が開始された場合に操作されるボタン状の演出スイッチ66が設けられている。
スタートレバー41の左方には、精算スイッチ59が設けられている。すなわち、本スロットマシン10では、所定の最大値(メダル50枚分)となるまでの余剰の投入メダルや入賞時の払出メダルを仮想メダルとして貯留記憶するクレジット機能を有しており、仮想メダルが貯留記憶されている状況下で精算スイッチ59を操作された場合、仮想メダルが現実のメダルとしてメダル排出口49から払い出されるようになっている。この場合、クレジットされた仮想メダルを現実のメダルとして払い出すという機能に着目すれば、精算スイッチ59は貯留記憶された遊技媒体を実際に払い出すための精算操作手段を構成するものとも言える。
遊技パネル25の表示窓26L,26M,26R下方には、クレジットされている仮想メダル数を表示するクレジット表示部60と、BB状態が終了するまでに払い出される残りのメダル数を表示する残払出枚数表示部61と、入賞時に払い出したメダルの枚数を表示する払出枚数表示部62とがそれぞれ設けられている。これら表示部60〜62は7セグメント表示器によって構成されているが、液晶表示器等によって代替することは当然可能である。
前面扉12の上部には、遊技の進行に伴い点灯したり点滅したりする上部ランプ63と、遊技の進行に伴い種々の効果音を鳴らしたり、遊技者に遊技状態を報知したりする左右一対のスピーカ64と、遊技者に各種情報を与える補助表示部65とが設けられている。補助表示部65は、遊技の進行に伴って各種表示演出を実行するためのものであり、各リール32L,32M,32Rによる遊技を主表示部によるものと考えることができることから、本実施形態では補助表示部65と称している。補助表示部65の背面には、上部ランプ63やスピーカ64、補助表示部65を駆動させるための表示制御装置81が設けられている。
筐体11の内部においてホッパ装置51の左方には、電源ボックス70が設けられている。電源ボックス70は、その内部に電源装置91を収容するとともに、電源スイッチ71やリセットスイッチ72、設定キー挿入孔73などを備えている。電源スイッチ71は、主制御装置101を始めとする各部に電源を供給するための起動スイッチである。リセットスイッチ72は、スロットマシン10のエラー状態をリセットするためのスイッチである。また、設定キー挿入孔73は、ホール管理者などがメダルの出玉調整を行うためのものである。すなわち、ホール管理者等が設定キーを設定キー挿入孔73へ挿入してON操作することにより、スロットマシン10の当選確率を設定できるようになっている。なお、リセットスイッチ72は、エラー状態をリセットする場合の他に、スロットマシン10の当選確率を変更する場合にも操作される。
リールユニット31の上方には、遊技を統括管理する主制御装置101が筐体11に取り付けられている。
次に、本スロットマシン10の電気的構成について、図9のブロック図に基づいて説明する。
主制御装置101には、演算処理手段であるCPU102を中心とするマイクロコンピュータが搭載されている。CPU102には、電源装置91の他に、所定周波数の矩形波を出力するクロック回路103や、入出力ポート104などが内部バスを介して接続されている。かかる主制御装置101は、スロットマシン10に内蔵されるメイン基盤としての機能を果たすものである。
主制御装置101の入力側には、リールユニット31(より詳しくは各リール32L,32M,32Rが1回転したことを個別に検出するリールインデックスセンサ)、スタートレバー41の操作を検出するスタート検出センサ41a、各ストップスイッチ42〜44の操作を個別に検出するストップ検出センサ42a〜44a、メダル投入口45から投入されたメダルを検出する投入メダル検出センサ45a、ホッパ装置51から払い出されるメダルを検出する払出検出センサ51a、各クレジット投入スイッチ56〜58の操作を個別に検出するクレジット投入検出センサ56a〜58a、精算スイッチ59の操作を検出する精算検出センサ59a、リセットスイッチ72の操作を検出するリセット検出センサ72a、設定キー挿入孔73に設定キーが挿入されてON操作されたことを検出する設定キー検出センサ73a等の各種センサが接続されており、これら各種センサからの信号は入出力ポート104を介してCPU102へ出力されるようになっている。
また、主制御装置101の入力側には、入出力ポート104を介して電源装置91が接続されている。電源装置91には、主制御装置101を始めとしてスロットマシン10の各電子機器に駆動電力を供給する電源部91aや、停電監視回路91bなどが搭載されている。
停電監視回路91bは電源の遮断状態を監視し、停電時はもとより、電源スイッチ71による電源遮断時に停電信号を生成するためのものである。そのため停電監視回路91bは、電源部91aから出力されるこの例では直流12ボルトの安定化駆動電圧を監視し、この駆動電圧が例えば10ボルト未満まで低下したとき電源が遮断されたものと判断して停電信号が出力されるように構成されている。停電信号はCPU102と入出力ポート104のそれぞれに供給され、CPU102ではこの停電信号を認識することにより後述する停電処理が実行される。また、この停電信号は表示制御装置81にも供給されるように構成されている。
電源部91aは、出力電圧が10ボルト未満まで低下した場合でも、主制御装置101などの制御系において駆動電圧として使用される5ボルトの安定化電圧が出力されるように構成されている。この安定化電圧が出力される時間としては、主制御装置101による停電処理を実行するに十分な時間が確保されている。
主制御装置101の出力側には、リールユニット31(より詳しくは各リール32L,32M,32Rを回転させるためのステッピングモータ)、セレクタ46に設けられたメダル通路切替ソレノイド46a、ホッパ装置51、クレジット表示部60、残払出枚数表示部61、払出枚数表示部62、表示制御装置81、図示しないホール管理装置などに情報を送信できる外部集中端子板121等が入出力ポート104を介して接続されている。
表示制御装置81は、上部ランプ63やスピーカ64、補助表示部65を駆動させるための制御装置であり、これらを駆動させるためのCPU、ROM、RAM等が一体化された基板を備えている。そして、主制御装置101からの信号を受け取った上で、表示制御装置81が独自に上部ランプ63、スピーカ64、補助表示部65を駆動制御する。したがって、表示制御装置81は、遊技を統括管理するメイン基盤たる主制御装置101との関係では補助的な制御を実行するサブ基盤となっている。また、表示制御装置81には、演出スイッチ66(より詳しくは当該演出スイッチ66の操作を検出する演出スイッチ検出センサ)が接続されている。なお、各種表示部60〜62も表示制御装置81が駆動制御する構成としてもよい。
上述したCPU102には、このCPU102によって実行される各種の制御プログラムや固定値データを記憶したROM105と、このROM105に記憶されている制御プログラムを実行するにあたって各種のデータを一時的に記憶する作業エリアを確保するためのRAM106の他に、図示はしないが周知のように割込み回路を始めとしてタイマ回路、データ送受信回路などスロットマシン10において必要な各種の処理回路や、クレジット枚数をカウントするクレジットカウンタなどの各種カウンタが内蔵されている。ROM105とRAM106によって記憶手段としてのメインメモリが構成され、図10〜図15のフローチャートに示される各種処理を実行するためのプログラムは、制御プログラムの一部として上述したROM105に記憶されている。
RAM106は、スロットマシン10の電源が遮断された後においても電源装置91からバックアップ電圧が供給されてデータを保持(バックアップ)できる構成となっている。RAM106には、各種のデータを一時的に記憶するためのメモリや、役の抽選結果を記憶するための当選フラグ格納エリア106a、各リール32L,32M,32Rの停止制御を行う場合に用いる停止情報を記憶するための停止情報格納エリア106b、BB状態等の遊技状態を記憶するための状態情報格納エリア106c等の他に、バックアップエリアが設けられている。
バックアップエリアは、停電等の発生により電源が遮断された場合において、電源遮断時(電源スイッチ71の操作による電源遮断をも含む。以下同様)のスタックポインタの値を記憶しておくためのエリアであり、停電解消時(電源スイッチ71の操作による電源投入をも含む。以下同様)には、バックアップエリアの情報に基づいてスロットマシン10の状態が電源遮断前の状態に復帰できるようになっている。バックアップエリアへの書き込みは停電処理(図10参照)によって電源遮断時に実行され、バックアップエリアに書き込まれた各値の復帰は電源投入時のメイン処理において実行される。
また、CPU102のNMI端子(ノンマスカブル割込端子)には、停電等の発生による電源遮断時に、停電監視回路91bからの停電信号が入力されるように構成されている。そして、電源遮断時には、停電フラグ生成処理としてのNMI割込み処理が即座に実行されるようになっている。
続いて、主制御装置101のCPU102により実行される各制御処理について説明する。かかるCPU102の処理としては、大別して、電源投入に伴い起動されるメイン処理と、定期的に(本実施の形態では1.49msec周期で)起動されるタイマ割込み処理と、NMI端子への停電信号の入力に伴い起動されるNMI割込み処理とがある。以下では、これら各処理のうち遊技の進行に関わる処理、すなわちタイマ割込み処理と、メイン処理にて行われる通常処理とを図10〜図15のフローチャートを参照しながら説明する。
図10は、主制御装置101で定期的に実行されるタイマ割込み処理のフローチャートであり、主制御装置101のCPU102により例えば1.49msecごとにタイマ割込みが発生する。
先ず、ステップS101に示すレジスタ退避処理では、後述する通常処理で使用しているCPU102内の全レジスタの値をRAM106のバックアップエリアに退避させる。ステップS102では停電フラグがセットされているか否かを確認し、停電フラグがセットされているときにはステップS103に進み、停電処理を実行する。
ここで、停電処理について概略を説明する。
停電の発生等によって電源が遮断されると、電源装置91の停電監視回路91bから停電信号が出力され、当該停電信号がNMI端子を介して主制御装置101に入力される。主制御装置101は、停電信号が入力された場合、即座にNMI割込み処理を実行し、停電フラグをRAM106に設けられた停電フラグ格納エリアにセットする。
停電処理では、先ずコマンドの送信が終了しているか否かを判定し、送信が終了していない場合には本処理を終了してタイマ割込み処理に復帰し、コマンドの送信を終了させる。コマンドの送信が終了している場合には、CPU102のスタックポインタの値をRAM106のバックアップエリアに保存する。その後、入出力ポート104における出力ポートの出力状態をクリアし、図示しない全てのアクチュエータをオフ状態にする。そして、停電解消時にRAM106のデータが正常か否かを判定するためのRAM判定値を算出してバックアップエリアに保存することにより、それ以後のRAMアクセスを禁止する。以上の処理を行った後は、電源が完全に遮断して処理が実行できなくなるのに備え、無限ループに入る。なお、例えばノイズ等に起因して停電フラグが誤ってセットされる場合を考慮し、無限ループに入るまでは停電信号が出力されているか否かを確認する。停電信号が出力されていなければ停電状態から復旧したこととなるため、RAM106への書き込みを許可すると共に停電フラグをリセットし、タイマ割込み処理に復帰する。停電信号の出力が継続してなされていれば、そのまま無限ループに入る。ちなみに、無限ループ下においても停電信号が出力されているか否かを確認しており、停電信号が出力されなくなった場合にはメイン処理に移行する。
タイマ割込み処理の説明に戻り、ステップS102にて停電フラグがセットされていない場合には、ステップS104以降の各種処理を行う。
すなわち、ステップS104では、誤動作の発生を監視するためのウオッチドッグタイマの値を初期化するウオッチドッグタイマのクリア処理を行う。ステップS105では、CPU102自身に対して次回のタイマ割込みを設定可能とする割込み終了宣言処理を行う。ステップS106では、各リール32L,32M,32Rを回転させるために、それぞれの回胴駆動モータであるステッピングモータを駆動させるステッピングモータ制御処理を行う。ステップS107では、入出力ポート104に接続されたストップ検出センサ42a〜44a,投入メダル検出センサ45a,払出検出センサ51a等の各種センサ(図9参照)の状態を読み込むと共に、読み込み結果が正常か否かを監視するセンサ監視処理を行う。ステップS108では、各カウンタやタイマの値を減算するタイマ演算処理を行う。ステップS109では、メダルのベット数や、払出枚数をカウントした結果を外部集中端子板121へ出力するカウンタ処理を行う。
ステップS110では、後述する抽選結果コマンド等の各種コマンドを表示制御装置81へ送信するコマンド出力処理を行う。ステップS111では、クレジット表示部60、残払出枚数表示部61及び払出枚数表示部62にそれぞれ表示されるセグメントデータを設定するセグメントデータ設定処理を行う。ステップS112では、セグメントデータ設定処理で設定されたセグメントデータを各表示部60〜62に供給して該当する数字、記号などを表示するセグメントデータ表示処理を行う。ステップS113では、入出力ポート104からI/O装置に対応するデータを出力するポート出力処理を行う。ステップS114では、先のステップS101にてバックアップエリアに退避させた各レジスタの値をそれぞれCPU102内の対応するレジスタに復帰させる。その後ステップS115にて次回のタイマ割込みを許可する割込み許可処理を行い、この一連のタイマ割込み処理を終了する。
次に、遊技に関わる主要な制御を行う通常処理について図11のフローチャートに基づき説明する。
先ずステップS201では、次回のタイマ割込みを許可する割込み許可処理を行う。ステップS202では、遊技を可能とするための開始前処理を行う。開始前処理では、表示制御装置81等が初期化を終了するまで待機する。表示制御装置81等の初期化が終了した場合には、ステップS203〜ステップS213に示す遊技管理処理を行う。
遊技管理処理として、ステップS203では、RAM106に格納された各種遊技情報等のデータ(例えば前回の遊技で用いた乱数値等)をクリアする。その後、ステップS204では開始待ち処理を行う。
開始待ち処理では、前回の遊技で再遊技入賞が成立したか否かを判定する。再遊技入賞が成立した場合には、前回のベット数と同数の仮想メダルを自動投入する自動投入処理を行い、開始待ち処理を終了する。なお、自動投入処理では、クレジット表示部60に表示された仮想メダル数を減じることなく仮想メダルの投入を行う。つまり、前回の遊技で再遊技入賞が成立した場合には、遊技者は所有するメダルを減らすことなく且つメダルを投入することなく今回の遊技を行うことができる。再遊技入賞が成立しなかった場合には、タイマ割込み処理のセンサ監視処理ステップS107にてなされたセンサの読み込み結果に異常が発生していないかを確認するセンサ異常確認処理を行い、異常が発生している場合にはスロットマシン10をエラー状態とするとともにエラーの発生を報知する異常発生時処理を行う。かかるエラー状態は、リセットスイッチ72が操作されるまで維持される。センサの読み込み結果が正常である場合には精算スイッチ59が操作されたか否かを判定し、精算スイッチ59が操作された場合には、クレジットされた仮想メダルと同数のメダルを払い出すメダル返却処理を行う。メダル返却処理の終了後又は精算スイッチ59が操作されていない場合には、前回の開始待ち処理から今回の開始待ち処理までの間にメダルの投入又はクレジット投入スイッチ56〜58の操作がなされたか否かを判定し、いずれかが行われた場合には、ベット数の変更等を行うメダル投入処理を行い、開始待ち処理を終了する。また、前回の開始待ち処理から今回の開始待ち処理までの間にメダルの投入とクレジット投入スイッチ56〜58の操作のいずれもなされていない場合には、そのまま開始待ち処理を終了する。
開始待ち処理の終了後、ステップS205ではメダルのベット数が規定数(本実施の形態では3)に達しているか否かを判定し、ベット数が規定数に達していない場合には、ステップS204の開始待ち処理に戻り、当該処理のうちセンサ異常確認処理以降の処理を行う。ベット数が規定数に達している場合には、ステップS206にてスタートレバー41が操作されたか否かを判定する。スタートレバー41が操作されていない場合には、ステップS204の開始待ち処理に戻り、当該処理のうちセンサ異常確認処理以降の処理を行う。
一方、スタートレバー41が操作された場合には、規定数のメダルがベットされている状況下でスタートレバー41が操作されると遊技を開始できる構成となっているため、遊技を開始させるべく開始指令が発生したことを意味する。かかる場合には、ステップS207にて開始コマンドをセットする。ここで、開始コマンドとは、開始指令が発生したことを把握させるべく表示制御装置81に対して送信されるコマンドである。但し、通常処理では、上記開始コマンド等の各種コマンドをリングバッファにセットするのみであって、表示制御装置81に対してコマンドを送信しない。表示制御装置81へのコマンド送信は、先述したタイマ割込み処理のコマンド出力処理S110にて行われる。開始コマンドをセットした場合には、ステップS208にて上述した第1ラインL1〜第4ラインL4の全ての組合せラインを有効ラインと設定する有効ライン設定処理を行うとともに、ステップS209にてメダル通路切替ソレノイド46aを非励磁状態に切り替えてベット受付を禁止する。その後、ステップS210の抽選処理、ステップS211のリール制御処理、ステップS212のメダル払出処理、ステップS213のBB状態処理を順に実行し、ステップS203に戻る。
次に、ステップS210の抽選処理について、図12のフローチャートに基づき説明する。
ステップS301では、役の当否判定を行う際に用いる乱数を取得する。本スロットマシン10では、スタートレバー41が操作されると、ハード回路がその時点におけるフリーランカウンタの値をラッチする構成となっている。フリーランカウンタは0〜65535の乱数を生成しており、CPU102は、スタートレバー41の操作を確認した後、ハード回路がラッチした値をRAM106に格納する。かかる構成とすることにより、スタートレバー41が操作されたタイミングで速やかに乱数を取得することが可能となり、同期等の問題が発生することを回避することが可能となる。本スロットマシン10のハード回路は、スタートレバー41が操作される毎にその都度のフリーランカウンタの値をラッチする構成となっている。
乱数を取得した後、ステップS302では、役の当否判定を行うための抽選テーブルを選択する。本スロットマシン10では、大別して通常遊技状態,BB状態の2種類の遊技状態を有している。そこでステップS302では、状態情報格納エリア106cにセットされている設定フラグに基づいてスロットマシン10の現在の遊技状態を判別し、遊技状態と対応した抽選テーブルを選択する。例えば、状態情報格納エリア106cに設定フラグがセットされていない場合には、現在の遊技状態が通常遊技状態であると判別し、通常遊技状態用抽選テーブルを選択する。また、本スロットマシン10では、「設定1」から「設定6」まで6段階の当選確率が予め用意されており、設定キー挿入孔に設定キーを挿入してON操作するとともに所定の操作を行うことにより、いずれの当選確率に基づいて内部処理を実行させるのかを設定することができる。ステップS302では、設定状態が「設定1」のときにメダル払出の期待値が最も低い抽選テーブルを選択し、「設定6」のときにメダル払出の期待値が最も高い抽選テーブルを選択する。
抽選テーブルについて、簡単に説明する。図13は、「設定3」の通常遊技状態で選択される通常遊技状態用抽選テーブルである。抽選テーブルには、インデックス値IVが設定されており、各インデックス値IVには、当選となる役がそれぞれ一義的に対応付けられるとともにポイント値PVが設定されている。
抽選テーブルを選択した後、ステップS303ではインデックス値IVを1とし、続くステップS304では役の当否を判定する際に用いる判定値DVを設定する。かかる判定値設定処理では、現在の判定値DVに、現在のインデックス値IVと対応するポイント値PVを加算して新たな判定値DVを設定する。なお、初回の判定値設定処理では、ステップS301にて取得した乱数値を現在の判定値DVとし、この乱数値に現在のインデックス値IVである1と対応するポイント値PVを加算して新たな判定値DVとする。
その後、ステップS305ではインデックス値IVと対応する役の当否判定を行う。役の当否判定では判定値DVが65535を超えたか否かを判定する。65535を超えた場合には、ステップS306に進み、そのときのインデックス値IVと対応する当選フラグをRAM106の当選フラグ格納エリア106aにセットする。例えば、IV=4のときに判定値DVが65535を超えた場合、ステップS306では、赤ベル,青ベル及び白ベルに当選したことを示す当選フラグ(以下、「全ベル当選フラグ」という。)を当選フラグ格納エリア106aにセットする。
ちなみに、セットされた当選フラグが第1BBに当選したことを示す当選フラグ(以下、「第1BB当選フラグ」という。)又は第2BBに当選したことを示す当選フラグ(以下、「第2BB当選フラグ」という。)でない場合、当選フラグ格納エリア106aにセットされた当選フラグは該当選フラグがセットされたゲームの終了後にリセットされる(通常処理のS203参照)。一方、当選フラグが第1BB当選フラグ又は第2BB当選フラグである場合、これら当選フラグは対応するBB入賞が成立したことを条件の1つとしてリセットされる。すなわち、第1BB当選フラグと第2BB当選フラグは、複数回のゲームにわたって有効とされる場合がある。なお、第1BB当選フラグ又は第2BB当選フラグを持ち越した状態におけるステップS306では、現在のインデックス値IVが3〜11であればインデックス値IVと対応する当選フラグをセットし、現在のインデックス値IVが1又は2であれば対応する当選フラグをセットしない。つまり、第1BB当選フラグ又は第2BB当選フラグが持ち越されているゲームでは、第1BB及び第2BB以外の役に当選した場合には対応する当選フラグをセットする一方、第1BB又は第2BBに当選した場合には対応する当選フラグをセットしない。
ステップS305にて判定値DVが65535を超えなかった場合には、インデックス値IVと対応する役に外れたことを意味する。かかる場合にはステップS307にてインデックス値IVを1加算し、続くステップS308ではインデックス値IVと対応する役があるか否か、すなわち当否判定すべき判定対象があるか否かを判定する。具体的には、1加算されたインデックス値IVが抽選テーブルに設定されたインデックス値IVの最大値を超えたか否かを判定する。当否判定すべき判定対象がある場合にはステップS304に戻り、役の当否判定を継続する。このとき、ステップS304では、先の役の当否判定に用いた判定値DV(すなわち現在の判定値DV)に現在のインデックス値IVと対応するポイント値PVを加算して新たな判定値DVとし、ステップS305では、当該判定値DVに基づいて役の当否判定を行う。ちなみに、図13に示した抽選テーブルを用いて役の当否判定を行う場合、第1BB又は第2BBに当選となる確率は約200分の1、スイカに当選となる確率は約50.0分の1、赤ベル,青ベル,白ベルの全てに当選となる確率は約50.0分の1、赤ベル,青ベル,白ベルのいずれかに当選となる確率は約6.00分の1、赤チェリー,青チェリー,白チェリーのいずれかに当選となる確率は約6.00分の1、再遊技に当選となる確率は約7.30分の1となる。また、いずれの役にも当選しない外れの確率は約2.06分の1となる。
ステップS306にて当選フラグをセットした後、又はステップS308にて当否判定すべき判定対象がないと判定した場合には、役の当否判定が終了したことを意味する。かかる場合には、ステップS309にて抽選結果コマンドをセットする。ここで、抽選結果コマンドとは、役の当否判定の結果を把握させるべく表示制御装置81に対して送信されるコマンドである。ステップS310では、リール停止制御用の停止情報を設定する停止情報設定処理を行い、抽選処理を終了する。
次に、ステップS211のリール制御処理について、図14のフローチャートに基づき説明する。
リール制御処理では、先ずステップS401において各リール32L,32M,32Rの回転を開始させる回転開始処理を行う。
回転開始処理では、前回の遊技でリールが回転を開始した時点から予め定めたウエイト時間(例えば4.1秒)が経過したか否かを確認し、経過していない場合にはウエイト時間が経過するまで待機する。ウエイト時間が経過した場合には、次回の遊技のためのウエイト時間を再設定するとともに、RAM106に設けられたモータ制御格納エリアに回転開始情報をセットするモータ制御初期化処理を行う。かかる処理を行うことにより、タイマ割込み処理のステッピングモータ制御処理S106にてステッピングモータの加速処理が開始され、各リール32L,32M,32Rが回転を開始する。このため、遊技者が規定数のメダルをベットしてスタートレバー41を操作したとしても、直ちに各リール32L,32M,32Rが回転を開始しない場合がある。その後、各リール32L,32M,32Rが所定の回転速度で定速回転するまで待機するとともに、定速回転となった場合に定速回転コマンドをセットし、回転開始処理を終了する。ここで、定速回転コマンドとは、各リール32L,32M,32Rが定速回転となったことを把握させるべく表示制御装置81に対して送信されるコマンドである。
回転開始処理に続き、ステップS402では、ストップスイッチ42〜44のいずれかが操作されたか否かを判定する。いずれのストップスイッチ42〜44も操作されていない場合には、ストップスイッチ42〜44のいずれかが操作されるまで待機する。ストップスイッチ42〜44のいずれかが操作されたと判定した場合には、ステップS403に進み、回転中のリールと対応するストップスイッチが操作されたか否か、すなわち停止指令が発生したか否かを判定する。停止指令が発生していない場合には、ステップS404にて第1操作コマンドをセットした後にステップS402に戻り、ストップスイッチ42〜44のいずれかが操作されるまで待機する。ここで、第1操作コマンドとは、停止指令と無関係な操作がいずれのストップスイッチに対してなされたかを把握させるべく、表示制御装置81に対して送信されるコマンドである。一方、停止指令が発生した場合には、ステップS405にて第2操作コマンドをセットする。ここで、第2操作コマンドとは、いずれのストップスイッチが操作されて停止指令が発生したのかを把握させるべく表示制御装置81に対して送信されるコマンドである。第2操作コマンドをセットした場合には、回転中のリールを停止させるべくステップS406〜ステップS412に示す停止制御処理を行う。
ステップS406では、ストップスイッチの操作されたタイミングで基点位置(本実施の形態では下段)に到達している到達図柄の図柄番号を確認する。具体的には、リールインデックスセンサの検出信号が入力された時点から出力した励磁パルス数により、基点位置に到達している到達図柄の図柄番号を確認する。続くステップS407では、停止情報格納エリア106bに格納されている停止情報に基づいて、今回停止させるべきリールのスベリ数を算出する。本スロットマシン10では、各リール32L,32M,32Rを停止させる停止態様として、ストップスイッチ42〜44が操作された場合に、基点位置に到達している到達図柄をそのまま停止させる停止態様と、対応するリールを1図柄分滑らせた後に停止させる停止態様と、2図柄分滑らせた後に停止させる停止態様と、3図柄分滑らせた後に停止させる停止態様と、4図柄分滑らせた後に停止させる停止態様との5パターンの停止態様が用意されている。そこでステップS407では、停止情報格納エリア106bに格納されている停止情報に基づいて、スベリ数として0〜4のいずれかの値を算出する。その後、ステップS408では、算出したスベリ数を到達図柄の図柄番号に加算し、基点位置に実際に停止させる停止図柄の図柄番号を決定する。ステップS409では今回停止させるべきリールの到達図柄の図柄番号と停止図柄の図柄番号が等しくなったか否かを判定し、等しくなった場合にはステップS410にてリールの回転を停止させるリール停止処理を行う。その後、ステップS411では、全リール32L,32M,32Rが停止したか否かを判定する。全リール32L,32M,32Rが停止していない場合には、ステップS412にて停止情報第2設定処理を行う。停止情報第2設定処理とは、RAM106の停止情報格納エリア106bに格納された停止情報を、リールの停止後に変更する処理である。停止情報第2設定処理では、セットされている当選フラグと、停止しているリールの停止出目と、に基づいて停止情報を変更する。停止情報第2設定処理が終了した場合には、ステップS402に戻る。
ステップS411にて全リール32L,32M,32Rが停止していると判定した場合には、ステップS413にて払出判定処理を行う。払出判定処理とは、当選図柄の組合せが有効ライン上に並んでいることを条件の1つとしてメダルの払出枚数を設定する処理である。払出判定処理では、各リール32L,32M,32Rの下段に停止した停止図柄の図柄番号から各有効ライン上に形成された図柄の組合せを導出し、有効ライン上で入賞が成立しているか否かを判定する。入賞が成立している場合には、さらに入賞成立役が当選フラグ格納エリア106aにセットされている当選フラグと対応しているか否かを判定する。入賞成立役が当選フラグと対応している場合には、入賞成立役と、当該入賞成立役と対応する払出数と、をRAM106に設けられた払出情報格納エリアにセットする。一方、入賞成立役が当選フラグと対応していない場合には、スロットマシン10をエラー状態とするとともにエラーの発生を報知する異常発生時処理を行う。かかるエラー状態は、リセットスイッチ72が操作されるまで維持される。払出判定処理が終了した場合には、ステップS414にて今回のゲームにおける入賞成立役を表示制御装置81に把握させるべく入賞結果コマンドをセットし、リール制御処理を終了する。
次に、ステップS212のメダル払出処理について、概略を説明する。
メダル払出処理では、払出情報格納エリアにセットされた払出数が0か否かを判定する。払出数が0の場合、先の払出判定処理にて小役入賞が成立していないと判定したことを意味する。かかる場合には、払出判定処理にてセットした入賞成立役に基づいて、再遊技入賞が成立したか否かを判定する。再遊技入賞が成立していない場合にはそのままメダル払出処理を終了し、再遊技入賞が成立している場合には、遊技状態を再遊技状態とする再遊技設定処理を行い、メダル払出処理を終了する。なお、先に説明した開始待ち処理S204では、現在の遊技状態が再遊技状態であると判定した場合に自動投入処理を行っている。
一方、払出情報格納エリアにセットされた払出数が0でない場合には、当該払出数と同数のメダルを払い出し、メダル払出処理を終了する。メダルの払い出しについて具体的には、クレジットカウンタのカウント値が上限(貯留されているメダル数が50枚)に達していない場合、クレジットカウンタのカウント値に払出数を加算するとともに加算後の値をクレジット表示部60に表示させる。また、クレジットカウンタのカウント値が上限に達している場合、又は払出数の加算途中でカウント値が上限に達した場合には、メダル払出用回転板を駆動し、メダルをホッパ装置51からメダル排出口49を介してメダル受け皿50へ払い出す。なお、メダル払出処理では、メダルの払い出しにあわせて払出枚数表示部62に表示される払出数を変更する処理も行っている。また、現在の遊技状態がBB状態である場合には、後述する残払出数カウンタの値から払出数を減算するとともに、残払出枚数表示部61に表示される残払出数を減算する処理を行う。
ステップS213のBB状態処理を図15のフローチャートに基づいて説明する。
BB状態処理の説明に先立ち、BB状態について説明する。BB状態は、複数回のRB状態で構成されている。RB状態は、12回のJACゲームで構成されている。JACゲームとは、メダル払出の特典が付与される入賞(例えば赤ベル入賞等)の成立する確率が通常遊技状態と比して非常に高いゲームである。そして、JACゲーム中に入賞が8回成立すると、JACゲームが12回行われる前であってもRB状態が終了する。また、BB状態は、メダル払出数が所定数(具体的には150枚)に達したことを以って終了する。加えて、RB状態の途中でメダル払出数が所定数に達した場合、BB状態のみならずRB状態も終了する。さらに、本スロットマシン10では、RB状態に移行する図柄の組合せを設定しておらず、BB状態に移行した直後及びRB状態が終了した直後にRB状態に移行する構成としている。故に、BB状態とは、所定数のメダル払出が行われるまでRB状態に連続して移行するゲームであるとも言える。
さて、BB状態処理では、先ずステップS501にて現在の遊技状態がBB状態か否かを判定する。BB状態でない場合には、ステップS502〜ステップS505に示すBB判定処理を行う。
BB判定処理では、ステップS502にて第1BB当選フラグ又は第2BB当選フラグがセットされているか否かを判定する。いずれかのBB当選フラグがセットされている場合には、ステップS503に進み、先の払出判定処理にてセットした入賞成立役に基づいて、第1BB入賞又は第2BB入賞が成立したか否かを判定する。そして、いずれかのBB入賞が成立した場合には、ステップS504にて遊技状態をBB状態に移行させるべくBB開始処理を実行する。具体的には、当選フラグ格納エリア106aにセットされているBB当選フラグをクリアするとともにBB設定フラグをRAM106の状態情報格納エリア106cにセットし、遊技状態をBB状態とする。また、前記状態情報格納エリア106cに設けられたBB状態中に払出可能な残りのメダル数をカウントするための残払出数カウンタに150をセットし、残払出枚数表示部61に150を表示させる処理を行う。続くステップS505では、RB開始処理を行う。RB開始処理では、RB設定フラグをRAM106の状態情報格納エリア106cにセットし、遊技状態をRB状態とする。また、RB状態下で成立した入賞回数をカウントするための残払出入賞カウンタに8をセットするとともに、JACゲームの残りゲーム数をカウントするための残JACゲームカウンタに12をセットする。なお、残払出入賞カウンタと残JAC入賞カウンタは、状態情報格納エリア106cに設けられている。RB開始処理が終了した場合には、ステップS506にて状態コマンドをセットし、本処理を終了する。ここで、状態コマンドとは、現在の遊技状態すなわち次ゲームの遊技状態を把握させるべく表示制御装置81に対して送信されるコマンドである。ステップS506では、状態情報格納エリア106cを参照し、当該状態情報格納エリア106cにセットされている設定フラグと対応する状態コマンドをセットする。例えば、状態情報格納エリア106cにBB設定フラグがセットされている場合には、BB状態であることを示す状態コマンドをセットする。状態コマンドをセットした場合には、BB状態処理を終了する。
BB当選フラグがセットされていない場合(ステップS502がNOの場合)、又はBB入賞が成立していない場合(ステップS503がNOの場合)には、BB開始処理等を実行することなくステップS506にて状態コマンドをセットし、本処理を終了する。
ステップS501にて現在の遊技状態がBB状態であると判定した場合には、ステップS507〜ステップS516に示すBB終了判定処理を実行する。BB終了判定処理では、先ずステップS507において、先の払出判定処理にてセットした入賞成立役に基づいて入賞が成立したか否かを判定する。入賞が成立した場合には、ステップS508にて残払出入賞カウンタの値を1減算する。その後、或いはステップS507にて入賞が成立しなかったと判定した場合には、JACゲームを1つ消化したことになるため、ステップS509にて残JACゲームカウンタの値を1減算する。続いて、ステップS510では残払出入賞カウンタ又は残JACゲームカウンタのいずれかが0になったか否かを判定する。いずれかが0になっていたとき、つまり入賞が8回成立したかJACゲームが12回消化されたときには、RB状態の終了条件が成立したことを意味するため、ステップS511にて残払出入賞カウンタ及び残JACゲームカウンタの値をクリアするRB終了処理を行う。続くステップS512では、残払出数カウンタのカウント値が0か否かを確認する。0でない場合には、BB状態中に払い出されたメダル数が所定数に達しておらず、BB状態の終了条件が成立していないことを意味するため、ステップS513に進み、先述したRB開始処理を行う。その後、ステップS506にて状態コマンドをセットし、本処理を終了する。
ステップS510において残払出入賞カウンタ及び残JACゲームカウンタのいずれの値も0になっていないとき、つまり入賞がまだ8回成立しておらずJACゲームも12回消化されていないときには、ステップS514に進み、残払出数カウンタのカウント値が0か否かを確認する。0でない場合には、BB状態中に払い出されたメダル数が所定数に達しておらず、BB状態の終了条件が成立していないことを意味するため、ステップS506にて状態コマンドをセットし、本処理を終了する。一方、残払出数カウンタのカウント値が0である場合には、BB状態の終了条件が成立したことを意味するため、ステップS515〜ステップS516に示すBB状態終了処理を行う。BB状態終了処理では、先ずステップS515において、先述したRB終了処理を行う。その後、ステップS516にてBB設定フラグや各種カウンタなどを適宜クリアするBB終了処理を行う。また、ステップS512にて残払出数カウンタのカウント値が0である場合にも、BB状態の終了条件が成立したことを意味するため、ステップS516にてBB終了処理を行う。BB終了処理を行った場合には、ステップS506にて状態コマンドをセットし、BB状態処理を終了する。
本スロットマシン10では、第1BB又は第2BB(以下、これらを総称して単にBBという。)の当選有無を示唆する補助演出を行う場合がある。図16〜図18は、BB当選の有無を示唆する補助演出の1つである連打演出の一連の表示態様を示す図である。
連打演出では、スタートレバー41の操作に伴って各リール32L,32M,32Rが回転を開始した場合、演出スイッチ66を連打すると演出が進行する旨が報知されるとともに、図16(a)に示すように、3段に積み重ねられた円柱状の木片と、上段の木片に載置された「7」図柄を模した像と、木槌を持った青年キャラクタとが表示される。そして、演出スイッチ66の操作回数が第1の所定回数に到達するまでは、図16(b)に示すように、青年キャラクタが木片に狙いをつけて木槌を振りかぶる様が表示され、その後、図16(c)に示すように、青年キャラクタが下段の木片を木槌で打ち抜く様が表示される。
演出スイッチ66の操作回数が第1の所定回数に到達した場合には、図16(d)に示すように、下段の木片に徐々に亀裂が入る様が表示される。演出スイッチ66がさらに操作されて操作回数が第2の所定回数となった場合には、下段の木片が砕け散る様が表示されるとともに、図17(a)に示すように、「7」図柄を模した像が2段となった木片の上で揺れ動く様が表示される。演出スイッチ66がさらに操作されて操作回数が第3の所定回数となった場合には、図17(b)に示すように、下段の木片に徐々に亀裂が入る様が表示される。演出スイッチ66がさらに操作されて操作回数が第4の所定回数となった場合には、下段の木片が砕け散る様が表示されるとともに、図17(c)に示すように、「7」図柄を模した像が1段となった木片の上で揺れ動く様が表示される。
演出スイッチ66がさらに操作されて操作回数が第5の所定回数となった場合には、下段の木片が砕け散る様が表示される。そして、BBに当選している場合には、図18(a)に示すように、「7」図柄を模した像が床面に落下した後に倒れることなく静止する様が表示され、青年キャラクタがガッツポーズをしながらBB当選している旨を報知する。一方、BBに当選していない場合には、図18(b)に示すように、「7」図柄を模した像が床面に落下した後に倒れてしまう様が表示され、青年キャラクタががっかりしたポーズをしながらBB当選していない旨を報知する。また、連打演出が開始されてから所定時間を経過するまでの間に演出スイッチ66の操作回数が第5の所定回数に到達しなかった場合には、青年キャラクタががっかりしたポーズをするもののBB当選の有無については報知しない。例えば、演出スイッチ66の操作回数が第1の所定回数に到達する前に所定時間を経過した場合には、図18(c)に示すように、3段に積み重ねられた円柱状の木片と、上段の木片に載置された「7」図柄を模した像と、がっかりしたポーズをする青年キャラクタとが表示され、BB当選の有無については報知されない。
以上のとおり、連打演出では、演出スイッチ66の操作回数にあわせて演出が進行するようになっており、所定時間内に演出スイッチ66の操作回数が第5の所定回数に到達しなかった場合には、BB当選の有無が報知されないようになっている。そこで以下では、連打演出の実行に関わる各種制御処理を行う表示制御装置81について説明する。
図19は、表示制御装置81の電気的構成を示すブロック図である。
表示制御装置81は、上部ランプ63やスピーカ64、補助表示部65を駆動させるための制御装置であり、演算処理手段であるCPU82を中心とするマイクロコンピュータが搭載されている。
CPU82の入力側には、主制御装置101から送信されるコマンド等の制御信号をラッチする信号ラッチ回路83と、クロック回路84から1msec毎に発生されるクロック信号をラッチするラッチ回路85と、演出スイッチ66と、が接続されている。また、CPU82には、入力ポート86を介して電源装置91が接続されており、駆動電圧が例えば10ボルト未満まで低下した場合に停電信号が入力されるように構成されている。
CPU82には、このCPU82によって実行される各種の制御プログラムや固定値データを記憶したROM87と、このROM87に記憶されている制御プログラムを実行するにあたって各種のデータを一時的に記憶する作業エリアを確保するためのRAM88の他に、各種処理回路や各種カウンタが内蔵されている。RAM88には、各種のデータを一時的に記憶するためのメモリや、役の抽選結果を記憶するための抽選結果格納エリア88a、各リール32L,32M,32Rの回転状況を記憶するための回転情報格納エリア88b、補助演出を実行する際に用いる各種データを記憶するための演出情報格納エリア88c等が設けられている。
CPU82の出力側には、上部ランプ63と、スピーカ64と、補助表示部65と、が接続されている。そして、CPU82は、主制御装置101から送信される各種コマンド等の制御信号や演出スイッチの操作状況に基づいて各種の制御処理を行い、上部ランプ63やスピーカ64、補助表示部65の駆動制御を実行する。以下では、上部ランプ63、スピーカ64、補助表示部65を総称して補助演出部ともいう。
続いて、表示制御装置81のCPU82により実行される各制御処理を図20〜図28のフローチャートを参照しながら説明する。かかるCPU82の処理としては大別して、電源投入に伴い起動される表示メイン処理と、定期的に(本実施の形態では1msec周期で)起動される表示タイマ割込み処理と、主制御装置101からの制御信号の入力に基づいて起動されるコマンド割込み処理とがある。ここでは、説明の便宜上、はじめに表示タイマ割込み処理とコマンド割込み処理とを説明し、その後、表示メイン処理を説明する。
図20は、表示制御装置81で定期的に実行される表示タイマ割込み処理のフローチャートである。表示制御装置81のCPU82は、クロック回路84から発生されるクロック信号に基づき、例えば1msecごとに表示タイマ割込み処理を実行する。
表示タイマ割込み処理では、先ずステップS1101にて次回のコマンド割込みを禁止し、ステップS1102にて割込みフラグを読み込む。ステップS1103では、読み込んだ割込みフラグが有効か否かを判定し、有効でない場合にはそのまま本処理を終了する。割込みフラグが有効な場合には、ステップS1104にて割込みタイマカウンタに1を加算するとともに、ステップS1105にて割込みフラグをクリアする。ここで、割込みタイマカウンタとは、表示タイマ割込み処理を行った回数を記憶しておくためのカウンタであり、タイマ割込みは1msecごとに発生するため、かかるカウンタ値により例えば所定の処理を行ってからの経過時間を把握することができる。割込みフラグが有効でない場合、又は割込みタイマカウンタの値を更新した後には、ステップS1106にて次回のコマンド割込みを許可し、本処理を終了する。
図21は、コマンド割込み処理を示すフローチャートである。上述した通り、主制御装置101は、現在の遊技状態や遊技の進行状況等に応じて各種コマンドを表示制御装置81に対して送信する。表示制御装置81は、主制御装置101から送信されたコマンドの受信に基づいて、より具体的には信号ラッチ回路83からの信号入力に基づいて、直ちにコマンド割込み処理を実行する。
コマンド割込み処理では、ステップS1201にて次回のタイマ割り込みを禁止し、ステップS1202にてストローブ信号が正常か否かを判定する。ストローブ信号は主制御装置101からコマンドと共に送信される信号であり、CPU82は、このストローブ信号の受信に基づいてコマンド割り込み処理を開始する。ストローブ信号が正常の場合には、ステップS1203にてコマンドデータを取得するとともに、ステップS1204にて取得したコマンドデータが正常か否かを判定する。コマンドデータが正常な場合には、ステップS1205にていずれのコマンドを受信したかを把握するコマンド受信処理を行い、ステップS1206にてリトライカウンタに最大数をセットする。また、コマンドデータが正常でない場合には、ステップS1207にてリトライカウンタの値を1加算する。一方、ステップS1202においてストローブ信号が正常でない場合には、何らかの誤動作であると判断し、ステップS1208にてリトライカウンタに最大数をセットする。
ステップS1209では、リトライカウンタの値が最大値か否かを判定する。リトライカウンタの値が最大値の場合、主制御装置101からのコマンドを正常に受信した、又は、主制御装置101からのコマンドに何らかの異常があり、許容されるリトライ回数分のコマンド割込み処理を行ったにも関わらずコマンドを正常に受信できなかったことを意味する。かかる場合にはステップS1210に進み、割込みフラグを読み込む。その後、ステップS1211にてリトライカウンタの値をクリアするとともに、ステップS1212にて割込みフラグをクリアする。
ステップS1209にてリトライカウンタの値が最大値でなかった場合、又はステップS1212にて割込みフラグをクリアした場合には、ステップS1213にて次回のタイマ割込みを許可し、本処理を終了する。
なお、表示タイマ割込み処理の最中に主制御装置101からコマンドを受信した場合、このコマンドは信号ラッチ回路83にてラッチされ、表示タイマ割込み処理が終了した後に直ちにコマンド割込み処理が実行される。同様に、コマンド割込み処理の最中に表示タイマ割込み処理の実行タイミングとなった場合には、クロック信号がラッチ回路85にてラッチされ、コマンド割込み処理が終了した後に直ちに表示タイマ割込み処理が実行される。つまり、本スロットマシン10では、表示タイマ割込み処理とコマンド割込み処理の間で多重割込みが発生しない構成となっている。
図22は電源投入後に実行されるCPU82の表示メイン処理を示すフローチャートである。表示メイン処理は、停電からの復旧や電源スイッチ71のオン操作によって電源が投入された際に実行される。
先ずステップS1301では、初期化処理として、スタックポインタの値をCPU82に設定するとともに、コマンド割込み処理や表示タイマ割込み処理を許可する割込みモードを設定し、その後CPU82のレジスタ群や、I/O装置等に対する各種の設定などを行う。
初期化処理が終了すると、ステップS1302では、システム状態が電圧低下状態か否か、すなわち駆動電圧が所定電圧(本実施形態では10ボルト未満)まで低下したか否かを判定する。そして、システム状態が電圧低下状態である場合には電源が遮断されたものと判断し、ステップS1303にて停電処理を行う。
システム状態が電圧低下状態でない場合には、ステップS1304にて割込みタイマカウンタの値が0か否かを判定する。割込みタイマカウンタの値が0でない場合、上述した表示タイマ割込み処理にて割込みタイマカウンタ値の更新が行われたことを意味する。かかる場合にはステップS1305に進み、補助演出部を駆動させるべく駆動データを出力する駆動データ出力処理を行う。この駆動データ出力処理については詳細を後述する。
割込みタイマカウンタの値が0の場合、又は駆動データ出力処理の終了後には、ステップS1306にて主制御装置101からコマンドを受信しているか否か、より詳しくはコマンド割込み処理にてコマンドを受信しているか否かを確認する。
コマンドを受信している場合には、ステップS1307にて受信コマンドチェック処理を行う。受信コマンドチェック処理では、先のコマンド割込み処理にていずれのコマンドを受信したかを判別し、受信したコマンドの種別に基づいて行うべき補助演出を決定する等の処理を行う。受信コマンドチェック処理にて行われる処理としては、開始コマンド受信に基づいて行う開始コマンド処理、抽選結果コマンドの受信に基づいて行う抽選結果コマンド処理、定速回転コマンド受信に基づいて行う定速回転コマンド処理、第1操作コマンド又は第2操作コマンド受信に基づいて行う操作コマンド処理、入賞結果コマンド受信に基づいて行う入賞結果コマンド処理、状態コマンドの受信に基づいて行う状態コマンド処理等がある。詳細は後述するが、受信コマンドチェック処理では、主制御装置101から受信したコマンドデータに基づいて、補助演出部の駆動制御内容すなわち実行すべき補助演出の内容を決定している。
コマンドを受信していない場合、又は受信コマンドチェック処理の終了後にはステップS1308に進み、補助演出を行うか否か等の判定に用いる乱数値の更新処理を行い、ステップS1302に戻る。
ここで、ステップS1305の駆動データ出力処理について、図23のフローチャートに基づき説明する。駆動データ出力処理とは、補助演出部を駆動させるべく駆動データを出力する処理である。つまり、本スロットマシン10では、コマンド割込み処理にて主制御装置101からのコマンドデータを取得し、受信コマンドチェック処理にて取得したコマンドデータに基づいて補助演出を設定し、駆動データ出力処理にて補助演出部の駆動を行っている。
駆動データ出力処理では、先ずステップS1401にて誤動作の発生を監視するためのウオッチドッグタイマの値をリセットする。ステップS1402では、起動時コマンドチェック処理を行う。本スロットマシン10では、停電が解消した場合、主制御装置101から表示制御装置81に対して復電コマンドが送信されるようになっている。そこで、停電解消から所定時間以内(本実施形態では2秒以内)に復電コマンドを受信しなかった場合には、起動時コマンドチェック処理において補助演出部の駆動制御を実行し、エラーの発生を報知する。ステップS1403では、デバイス制御処理を行う。詳細は後述するが、主制御装置101から各種コマンドを受信した場合、受信したコマンドに基づいて補助演出部に行わせるべき補助演出が決定される。デバイス制御処理では、決定した補助演出を行わせるべく対応する駆動データを補助演出部に対して出力する処理を行う。かかる処理を行うことにより、例えば上部ランプ63が所定の色で点灯したり、補助表示部65に所定の識別情報が表示されたりする等の補助演出が行われる。ステップS1404では、システム状態変更処理を行う。システム状態には電圧低下状態、初期化状態、通常状態があり、その都度のシステム状態に応じて補助表示部65の初期化処理を行う。ステップS1405では、電圧低下チェック処理を行う。電圧低下チェック処理では入力ポート86から供給される停電信号を監視し、停電信号がOFF状態からON状態に切り替った場合にシステム状態を通常状態から電圧低下状態に変更する。ステップS17406では、特定時間処理を行う。特定時間処理とは、予め定めた特定時間(本実施形態では10msec)毎に定期的に行われる処理であり、例えば上部ランプ63を駆動するためのLEDデータテーブルによる出力データ用バッファの更新、スピーカ64から出力する楽音のボリューム変更等を行う処理である。
ここで、特定時間処理について、図24のフローチャートに基づき説明する。
ステップS1501では、10msecタイマカウンタの値を更新する処理を行う。具体的には、10msecタイマカウンタの値に現在の割込みタイマカウンタの値を加算する処理を行う。続くステップS1502では、10msecタイマカウンタの値が10以上か否かを判定し、10より小さい場合にはそのまま本処理を終了する。一方、10msecタイマカウンタの値が10以上の場合、特定時間が経過したことを意味する。かかる場合にはステップS1503にて10msecタイマカウンタの値を10減算し、ステップS1504〜ステップS1510に示す駆動データ変更処理を行って本処理を終了する。
駆動データ変更処理では、先ずステップS1504において演出データ更新処理を行う。演出データ更新処理では、上述したデバイス制御処理S1403にて補助演出部に出力する駆動データの更新を行う。ステップS1505では、LEDデータテーブルから出力用データバッファへのデータセットを行うLEDデータ変更処理を行う。ステップS1506では、BB状態中のBGMとLED演出とを同期させるためのLED・音声同期チェック処理を行う。ステップS1507では、BGM再生中に何もせずに放置された場合、30秒後にBGMの音量を小さくするフェードアウト処理を行う。ステップS1508では、演出スイッチ66の状態を読み込む演出スイッチ検知処理を行う。ステップS1509では、何もせずに放置された場合、60秒後にデモ演出を開始させるデモ開始チェック処理を行う。ステップS1510では、ボリュームつまみの値をチェックし、音声のボリュームを変更させるためのボリュームチェック処理を行う。
駆動データ出力処理の説明に戻り、特定時間処理の終了後、ステップS1407では駆動データ切換処理を行う。駆動データ切換処理とは、主制御装置101からのコマンド受信を契機とする場合以外で、時間経過、遊技状態等により駆動データの切換を行う処理である。駆動データ切換処理では、例えば上部ランプ63を点灯させる色の切換、補助表示部65に表示している表示場面の切換等の処理を行っている。つまり、駆動データ切換処理は、先の特定時間処理とは異なり、補助演出を時間と共に変化させていくための処理である。
駆動データ切換処理の後、ステップS1408では割り込みタイマカウンタの値をクリアし、ステップS1409ではシステム状態が電圧低下状態か否かを再度確認する。システム状態が電圧低下状態の場合には停電処理を行い、電圧低下状態でない場合にはそのまま本処理を終了する。
ここで、ステップS1307の受信コマンドチェック処理のうち補助演出に関わる抽選結果コマンド処理を、図25のフローチャートを用いて説明する。
ステップS1601では、抽選結果コマンドを受信したか否かを判定し、受信していない場合にはそのまま本処理を終了する。抽選結果コマンドを受信した場合には、ステップS1602に進み、抽選結果コマンドの示す情報、すなわち主制御装置101にて行われた役の抽選結果を、RAM88の抽選結果格納エリア88aに格納する。ステップS1603では、乱数を取得する。ステップS1604では、役の抽選結果に基づいて、補助演出を行うか否かを判定するための演出抽選テーブルを選択する。
演出抽選テーブルについて簡単に説明すると、表示制御装置81のROM87には、役の抽選結果と対応する演出抽選テーブルが予め記憶されている。具体的には、第1BB又は第2BBに当選した場合に用いられるBB用演出抽選テーブルと、スイカに当選した場合に用いられるスイカ用演出抽選テーブルと、全てのベルに当選した場合に用いられる全ベル用演出抽選テーブルと、いずれかのベルに当選した場合に用いられるベル用演出抽選テーブルと、いずれかのチェリーに当選した場合に用いられるチェリー用演出抽選テーブルと、再遊技に当選した場合に用いられる再遊技用演出抽選テーブルと、外れの場合に用いられる外れ用演出抽選テーブルと、が記憶されている。そして、各演出抽選テーブルには、補助演出を行わないことを示す演出番号「0」と、補助演出の具体的内容を示す「1」〜「6」の演出番号と、のうちいずれかが、表示制御装置81の取得し得る乱数値毎に定められている。本スロットマシン10では、演出番号「4」が連打演出と対応しており、BB用演出抽選テーブルでは70%の割合で演出番号「4」が選択され、スイカ用演出抽選テーブル及び全ベル用演出抽選テーブルでは12.5%の割合で演出番号「4」が選択され、ベル用演出抽選テーブル及びチェリー用演出抽選テーブルでは1%の割合で演出番号「4」が選択されるようになっている。また、再遊技用演出抽選テーブル及び外れ用演出抽選テーブルでは、演出番号「4」が選択されないようになっている。
抽選結果コマンド処理の説明に戻り、ステップS1605では、選択した演出抽選テーブルと取得した乱数とを参照し、取得した乱数と対応する演出番号が「0」でないか否か、すなわち補助演出を行うか否かを判定する。補助演出を行う場合には、ステップS1606〜ステップS1612に示す補助演出開始処理を行った後に本処理を終了し、補助演出を行わない場合には、そのまま本処理を終了する。
補助演出開始処理では、先ずステップS1606において、取得した乱数と対応する演出番号が「4」であるか否か、すなわち連打演出を行うか否かを判定する。連打演出を行う場合には、ステップS1607にて演出フラグをセットするとともに、ステップS1608〜ステップS1610にて操作回数設定処理を行う。上述したとおり、連打演出では、演出スイッチ66の操作回数が第1の所定回数,第2の所定回数,第3の所定回数,第4の所定回数,第5の所定回数となる毎に演出内容が変化する。操作回数設定処理では、演出内容を変化させる上記各所定回数を設定する。
操作回数設定処理では、先ずステップS1608において記憶値が0であるか否かを判定する。詳細は後述するが、記憶値とは、連打演出が終了した際にセットされる値である。記憶値が0である場合には、ステップS1609に進み、操作回数の設定値として、表示制御装置81のROM87に予め記憶された既定値を、表示制御装置81の演出情報格納エリア88cに設けられた設定値格納エリアにセットする。図26は、操作回数設定処理にてセットされる設定値を示す図である。記憶値が0である場合には、第1の所定回数と対応する第0設定値として「3」を第0設定値格納エリアにセットし、第2の所定回数と対応する第1設定値として「7」を第1設定値格納エリアにセットし、第3の所定回数と対応する第2設定値として「13」を第2設定値格納エリアにセットし、第4の所定回数と対応する第3設定値として「21」を第3設定値格納エリアにセットし、第5の所定回数と対応する第4設定値として「30」を第4設定値格納エリアにセットする。また、記憶値が0でない場合には、ステップS1610にて設定値算出処理を行うことにより、第0設定値〜第4設定値を設定値格納エリアにセットする。具体的には、記憶値が5である場合には、第0設定値として「1」を第0設定値格納エリアにセットし、第1設定値として「2」を第1設定値格納エリアにセットし、第2設定値として「3」を第2設定値格納エリアにセットし、第3設定値として「4」を第3設定値格納エリアにセットし、第4設定値として「5」を第4設定値格納エリアにセットする。記憶値が5以外の値である場合には、第0設定値として記憶値に0.1を乗算した値を第0設定値格納エリアにセットし、第1設定値として記憶値に0.25を乗算した値を第1設定値格納エリアにセットし、第2設定値として記憶値に0.45を乗算した値を第2設定値格納エリアにセットし、第3設定値として記憶値に0.7を乗算した値を第3設定値格納エリアにセットし、第4設定値として記憶値に1.0を乗算した値を第4設定値格納エリアにセットする。なお、乗算結果が整数とならない場合には、小数点以下を四捨五入した値を対応する設定値としてセットする。
操作回数設定処理が終了した場合には、ステップS1611にて連打演出の初期表示データをセットし、本処理を終了する。これにより、補助表示部65では、図16(a)〜(c)に示す一連の表示態様が行われることとなる。
ステップS1606にて行う補助演出が連打演出でないと判定した場合には、ステップS1612に進み、演出番号と対応する補助演出を開始するための演出設定処理を行い、本処理を終了する。
次に、特定時間処理にて行われる演出スイッチ検出処理(ステップS1508、図24参照)を、図27のフローチャートに基づいて説明する。
ステップS1701では、演出スイッチ66の操作を確認する操作確認処理を行う。操作確認処理では、演出スイッチ検出センサからの入力信号がOFF信号→ON信号→OFF信号と切り替わった場合、演出スイッチ66が操作されたと判定する。ステップS1702では、演出フラグがセットされているか否かを判定する。演出フラグがセットされていない場合には、今遊技回において連打演出を行っていないことを意味するため、そのまま本処理を終了する。一方、演出フラグがセットされている場合には、ステップS1703に進み、連打演出開始後の経過時間を測定するためのタイマが動作していないか否かを判定する。タイマが動作していない場合には、ステップS1704にて動作フラグをセットした後にステップS1706に進み、タイマが動作している場合には、ステップS1705にてタイマに1を加算した後にステップS1706に進む。なお、ステップS1703では、動作フラグのセット有無によってタイマの動作有無を判定している。
ステップS1706では、タイマの値が500でないか否かを判定する。タイマの値が500でない場合には、ステップS1707に進み、ステップS1701の確認結果に基づいて、演出スイッチ66が操作されたか否かを判定する。演出スイッチ66が操作されていない場合には、そのまま本処理を終了し、演出スイッチ66が操作された場合には、ステップS1708にて演出情報格納エリア88cに設けられた操作カウンタに1を加算する。続くステップS1709では、操作カウンタの値が操作回数設定処理(ステップS1608〜ステップS1610)にてセットした設定値と一致するか否かを判定する。演出情報格納エリア88cには設定値カウンタが設けられており、ステップS1709では、設定値カウンタの値と対応する設定値と一致するか否かを判定する。なお、設定値カウンタの初期値は0である。操作カウンタの値が設定値と一致しない場合には、そのまま本処理を終了し、操作カウンタの値が設定値と一致する場合には、ステップS1710にて設定値カウンタの値に1を加算する。続くステップS1711では、設定値カウンタの値が5でないか否かを判定する。設定値カウンタの値が5でない、すなわち設定値カウンタの値が1〜4のいずれかである場合には、ステップS1712に進み、設定値カウンタの値と対応する表示データを設定し、本処理を終了する。ステップS1711にて設定値カウンタの値が5であると判定した場合には、ステップS1713に進み、報知用データを設定する。このとき、抽選結果格納エリア88aを参照し、BB当選している場合には、BB当選を報知する当選報知用データを設定し、BB当選していない場合には、BB非当選を報知する非当選報知用データを設定する。報知用データを設定した場合には、ステップS1714にて記憶値として0をセットするとともに、ステップS1715にてタイマ,操作カウンタ及び設定値カウンタを0クリアする演出終了処理を行い、本処理を終了する。
ステップS1706にてタイマの値が500であると判定した場合には、ステップS1716にて記憶値設定処理を行い、本処理を終了する。
記憶値設定処理では、図28のフローチャートに示すように、ステップS1801にてBB当選の有無を報知しない非報知データを設定する。ステップS1802では、操作カウンタの値が0であるか否かを判定する。操作カウンタの値が0である場合には、ステップS1803にて記憶値として0をセットする。操作カウンタの値が0でない場合には、ステップS1804に進み、操作カウンタの値が1〜4のいずれかであるか否かを判定する。操作カウンタの値が1〜4のいずれかである場合には、ステップS1805にて記憶値として5をセットする。操作カウンタの値が0〜4でない場合には、ステップS1806に進み、記憶値として操作カウンタの値をセットする。記憶値をセットした場合には、ステップS1807にて上述した演出終了処理を行い、本処理を終了する。
ここで、上記各処理を行った場合の連打演出の具体例を説明する。
先ず、記憶値として0がセットされている場合を説明する。記憶値として0がセットされている場合とは、スロットマシン10が初期状態である場合と、1回前に行った連打演出において報知用データをセットした場合(ステップS1714、図27参照)と、1回前に行った連打演出において演出スイッチ66が操作されなかった場合(ステップS1803、図28参照)と、である。
抽選結果コマンド処理では、記憶値が0である場合、操作回数設定処理において、第0設定値として「3」をセットし、第1設定値として「7」をセットし、第2設定値として「13」をセットし、第3設定値として「21」をセットし、第4設定値として「30」をセットする(ステップS1609、図25及び図26参照)。その後、初期表示データをセットする。これにより、補助表示部65には、図16(a)〜(c)に示す一連の表示態様が表示される。
連打演出を開始した場合、演出スイッチ検知処理では、タイマの値が500となるまでの間、操作カウンタの値が設定値と一致したか否かを判定する。ここで、タイマの値は演出スイッチ検知処理において1加算され、演出スイッチ検知処理は、10msec毎の特定時間処理にて行われる。つまり、連打演出では、連打演出を開始してから5秒が経過するまでの間、操作カウンタの値が設定値と一致したか否かが判定される。
設定値カウンタの値が0である場合、演出スイッチ検知処理では、演出スイッチ66の操作回数が3回となったか否かを判定する。そして、演出スイッチ66の操作回数が3回となった場合には、設定値カウンタの値に1を加算するとともに、設定値カウンタの値(すなわち1)と対応する表示データを設定する。これにより、補助表示部65には、図16(d)に示す表示態様が表示される。
設定値カウンタの値が1である場合、演出スイッチ検知処理では、演出スイッチ66の操作回数が7回となったか否かを判定する。そして、演出スイッチ66の操作回数が7回となった場合には、設定値カウンタの値に1を加算するとともに、設定値カウンタの値(すなわち2)と対応する表示データを設定する。これにより、補助表示部65には、図17(a)に示す表示態様が表示される。
設定値カウンタの値が2である場合、演出スイッチ検知処理では、演出スイッチ66の操作回数が13回となったか否かを判定する。そして、演出スイッチ66の操作回数が13回となった場合には、設定値カウンタの値に1を加算するとともに、設定値カウンタの値(すなわち3)と対応する表示データを設定する。これにより、補助表示部65には、図17(b)に示す表示態様が表示される。
設定値カウンタの値が3である場合、演出スイッチ検知処理では、演出スイッチ66の操作回数が21回となったか否かを判定する。そして、演出スイッチ66の操作回数が21回となった場合には、設定値カウンタの値に1を加算するとともに、設定値カウンタの値(すなわち4)と対応する表示データを設定する。これにより、補助表示部65には、図17(c)に示す表示態様が表示される。
設定値カウンタの値が4である場合、演出スイッチ検知処理では、演出スイッチ66の操作回数が30回となったか否かを判定する。そして、演出スイッチ66の操作回数が30回となった場合には、設定値カウンタの値に1を加算し、設定値カウンタの値を5とする。設定値カウンタの値が5となった場合には、報知用データを設定する。このとき、抽選結果格納エリア88aを参照し、BB当選している場合には、BB当選を報知する当選報知用データを設定し、BB当選していない場合には、BB非当選を報知する非当選報知用データを設定する。これにより、補助表示部65には、BB当選していれば図18(a)に示す表示態様が表示され、BB非当選であれば図18(b)に示す表示態様が表示される。
連打演出を開始してから5秒経過した場合には、そのときの演出スイッチ66の操作回数に関わらず、非報知データを設定する。これにより、補助表示部65には、BB当選の有無に関わらず、図18(c)等に示す表示態様が表示される。
次に、記憶値として20がセットされている場合を説明する。記憶値として20がセットされている場合とは、1回前に行った連打演出において演出スイッチ66が20回操作された場合(ステップS1806、図28参照)である。
抽選結果コマンド処理では、記憶値が20である場合、操作回数設定処理において設定値算出処理を行い、第0設定値として「2」をセットし、第1設定値として「5」をセットし、第2設定値として「9」をセットし、第3設定値として「14」をセットし、第4設定値として「20」をセットする(ステップS1610、図25及び図26参照)。その後、初期表示データをセットする。これにより、補助表示部65には、図16(a)〜(c)に示す一連の表示態様が表示される。
連打演出を開始した場合、演出スイッチ検知処理では、タイマの値が500となるまでの間、操作カウンタの値が設定値と一致したか否かを判定する。
設定値カウンタの値が0である場合、演出スイッチ検知処理では、演出スイッチ66の操作回数が2回となったか否かを判定する。そして、演出スイッチ66の操作回数が2回となった場合には、設定値カウンタの値に1を加算するとともに、設定値カウンタの値(すなわち1)と対応する表示データを設定する。これにより、補助表示部65には、図16(d)に示す表示態様が表示される。
設定値カウンタの値が1である場合、演出スイッチ検知処理では、演出スイッチ66の操作回数が5回となったか否かを判定する。そして、演出スイッチ66の操作回数が5回となった場合には、設定値カウンタの値に1を加算するとともに、設定値カウンタの値(すなわち2)と対応する表示データを設定する。これにより、補助表示部65には、図17(a)に示す表示態様が表示される。
設定値カウンタの値が2である場合、演出スイッチ検知処理では、演出スイッチ66の操作回数が9回となったか否かを判定する。そして、演出スイッチ66の操作回数が9回となった場合には、設定値カウンタの値に1を加算するとともに、設定値カウンタの値(すなわち3)と対応する表示データを設定する。これにより、補助表示部65には、図17(b)に示す表示態様が表示される。
設定値カウンタの値が3である場合、演出スイッチ検知処理では、演出スイッチ66の操作回数が14回となったか否かを判定する。そして、演出スイッチ66の操作回数が14回となった場合には、設定値カウンタの値に1を加算するとともに、設定値カウンタの値(すなわち4)と対応する表示データを設定する。これにより、補助表示部65には、図17(c)に示す表示態様が表示される。
設定値カウンタの値が4である場合、演出スイッチ検知処理では、演出スイッチ66の操作回数が20回となったか否かを判定する。そして、演出スイッチ66の操作回数が20回となった場合には、設定値カウンタの値に1を加算し、設定値カウンタの値を5とする。設定値カウンタの値が5となった場合には、報知用データを設定する。このとき、抽選結果格納エリア88aを参照し、BB当選している場合には、BB当選を報知する当選報知用データを設定し、BB当選していない場合には、BB非当選を報知する非当選報知用データを設定する。これにより、補助表示部65には、BB当選していれば図18(a)に示す表示態様が表示され、BB非当選であれば図18(b)に示す表示態様が表示される。
連打演出を開始してから5秒経過した場合には、そのときの演出スイッチ66の操作回数に関わらず、非報知データを設定する。これにより、補助表示部65には、BB当選の有無に関わらず、図18(c)等に示す表示態様が表示される。
以上のとおり、先の連打演出にて報知データがセットされることとなる回数の操作が演出スイッチ66に対してなされなかった場合、次の連打演出では報知データがセットされることとなる演出スイッチ66の操作回数が少なくなるようになっている。
以上詳述した本実施の形態によれば、以下の優れた効果を奏する。
連打演出では、当該連打演出が開始されてから5秒経過するまでの間に演出スイッチ66が第4設定値と対応する回数だけ操作された場合、報知用データを設定してBB当選の有無を報知し、演出スイッチ66が第4設定値と対応する回数だけ操作されなかった場合、非報知データを設定してBB当選の有無を報知しない構成とした。かかる構成とすることにより、演出スイッチ66を操作しなければ連打演出においてBB当選の有無が報知されないため、BB当選の有無を把握したい遊技者に演出スイッチ66を操作するよう促すことが可能となり、連打演出に対しても遊技者を積極参加させることが可能となる。
先の連打演出にて第4設定値と対応する回数の操作が演出スイッチ66に対してなされなかった場合、次の連打演出では第4設定値にセットされる演出スイッチ66の操作回数が少なくなる構成とした。かかる構成とすることにより、演出スイッチ66を操作して連打演出に参加しているにも関わらず、5秒経過するまでに第4設定値と対応する回数の操作が行えずに非報知データばかり繰り返し設定されてしまう事象が発生することを抑制することが可能となる。この結果、遊技者を問わず報知用データの設定される条件(以下、「特定条件」という。)を成立させることができた達成感を味わわせることが可能となるとともに、遊技者の連打演出に対する参加意欲を高めることが可能となる。
先の連打演出にて第4設定値と対応する回数の操作が演出スイッチ66に対してなされなかった場合、次の連打演出では、設定値算出処理を行って第4設定値にセットする演出スイッチ66の操作回数を決定する構成とした。また、連打演出を終了する際に演出スイッチ66の操作回数に基づいて記憶値をセットする構成とし、設定値算出処理では、前記記憶値を用いて第4設定値にセットする演出スイッチ66の操作回数を決定する構成とした。かかる構成とすることにより、遊技者が演出スイッチ66を操作する速さに基づいて第4設定値にセットする値を変化させることが可能となる。この結果、遊技者に即した特定条件を設定することが可能となる。
確かに、先の連打演出にて第4設定値と対応する回数の操作が演出スイッチ66に対してなされなかった場合、演出スイッチ66の操作回数に基づくことなく次の連打演出における第4設定値を決定する構成とすることも可能である。しかしながら、かかる構成とした場合には、5秒間に演出スイッチ66を操作できる回数が遊技者によって異なるため、遊技者が連打演出に対する参加意欲を減退させてしまう可能性が考えられる。例えば、演出スイッチ66の操作回数に基づくことなく次の連打演出における第4設定値を15と決定する構成とした場合、5秒間に演出スイッチ66を30回は操作できないものの29回操作できる遊技者は、特定条件を容易に達成可能な状況となったことで参加意欲を減退させてしまう可能性が考えられる。また、5秒間に演出スイッチ66を10回しか操作できない遊技者は、特定条件の変更後も特定条件を達成できずに参加意欲を減退させてしまう可能性が考えられる。一方、記憶値を用いて第4設定値にセットする演出スイッチ66の操作回数を決定する構成においては、遊技者の演出スイッチ66の操作回数に基づいて第4設定値を決定することができ、上記懸念を好適に解消しつつ、遊技者に即した特定条件を設定することが可能となる。
記憶値設定処理では、演出スイッチ66の操作回数が5回以上であった場合、記憶値として演出スイッチ66の操作回数をセットする構成とした。かかる構成とすることにより、遊技者に即した難易度の特定条件を設定することが可能となる。また、5回という閾値を設定することにより、演出スイッチ66を複数回操作して特定条件が成立した場合にBB当選の有無が報知されるという連打演出の遊技性を維持することが可能となる。
記憶値設定処理では、演出スイッチ66の操作回数が1〜4回であった場合、記憶値として5をセットする構成とした。かかる構成とすることにより、特定条件成立となる演出スイッチ66の操作回数が遊技機を設計する設計者の想定以上に少なくなることを回避することが可能となる。さらにいうと、本スロットマシン10における連打演出は、第4設定値のみならず第0設定値〜第3設定値と対応する回数の操作が演出スイッチ66になされた場合に、演出内容が進行する。すなわち、連打演出には、演出スイッチ66の操作に基づく演出内容の進行契機が5つ設定されている。このため、演出スイッチ66の操作回数が1〜4回であった場合に記憶値として5をセットする構成とすることにより、先の連打演出において演出スイッチ66になされた操作回数が少なかった場合であっても、次の連打演出において演出スイッチ66が1回操作される毎に演出内容を進行させることが可能となる。この結果、連打演出の実行に関わる処理構成が複雑化することを抑制することが可能となるとともに、演出内容データが多大なものとなることを抑制することが可能となる。
ここで、演出スイッチ66の操作回数が1〜4回であった場合に記憶値として5ではなく演出スイッチ66の操作回数をセットする構成について考える。かかる構成とした場合には、例えば記憶値として4をセットした場合、第0設定値〜第3設定値のいずれかに同一の値がセットされることとなる。これは、1回の演出スイッチ66の操作に対して演出内容を複数回進行させる必要が生じ、処理構成が複雑化することとなる。また、かかる懸念を解消すべく、1回の演出スイッチ66の操作に対して演出内容を1回進行させる構成とする一方で途中の演出の一部を省略する構成とした場合には、連打演出の進行の不自然さに遊技者が違和感を抱く可能性が懸念されることとなる。さらに、かかる懸念を解消すべく、演出内容の進行契機が5つより少ない場合用の表示データを予め準備しておく構成とした場合には、演出内容データが多大なものとなってしまう。一方、演出スイッチ66の操作回数が1〜4回であった場合に記憶値として5をセットする構成とした場合には、上記各懸念を好適に解消することが可能となる。
記憶値設定処理では、演出スイッチ66の操作回数が0であった場合、記憶値として0をセットする構成とした。そして、操作回数設定処理では、記憶値が0であった場合、設定値として既定値をセットする構成とした。演出スイッチ66が操作されなかった場合には、連打演出に参加する意思のない遊技者が遊技を行っていると想定されるため、次回の特定条件成立となる演出スイッチ66の操作回数として予め定められた既定値をセットする構成とすることにより、特定条件の難易度が不要に低下することを回避することが可能となる。
特定条件が成立した場合には、記憶値として0をセットする構成とした。かかる構成とすることにより、連打演出への参加がマンネリ化することを抑制することが可能となる。例えば、第4設定値として10がセットされている連打演出において演出スイッチ66を10回操作した場合には、特定条件成立となって報知用データが設定されるとともに、記憶値として0がセットされる。次の連打演出では、記憶値として0がセットされているため、第4設定値として既定値(すなわち30)がセットされることとなる。このため、先の連打演出と同じ意識で演出スイッチ66を10回操作した場合には、特定条件非成立となって非報知データが設定されることとなる。したがって、特定条件を成立させることができないかもしれないという適度な緊張感を遊技者に抱かせつつ連打演出に参加させることが可能となり、連打演出への参加がマンネリ化することを抑制することが可能となる。
演出スイッチ66の操作を連打演出が開始されてから5秒以内に行う必要がある構成とした。このように特定条件を成立させることが可能な期間が定められている構成においては、特定条件が変化しない場合、例えば演出スイッチ66を操作する速さの遅い遊技者が特定条件を成立させることができない可能性が考えられる。そこで、次の連打演出における特定条件が先の連打演出において特定条件が成立したか否かによって変化する構成とすることにより、遊技者を問わず特定条件成立の達成感を味わわせることが可能となるとともに、遊技者の連打演出に対する参加意欲を高めることが可能となる。
(第2の実施の形態)
上記第1の実施の形態では、先の連打演出において特定条件を成立させることができなかった場合、次の連打演出において特定条件成立となる演出スイッチ66の操作回数が少なくなる構成としたが、演出スイッチ66の操作回数ではなく特定条件を成立させることが可能な期間が長くなる構成とすることも可能である。そこで本実施の形態では、かかる構成について具体的に説明する。なお、基本構成については上記第1の実施の形態と同一であるため、以下では相違点についてのみ説明する。
図29は、本実施の形態における抽選結果コマンド処理を示すフローチャートである。
ステップS1901では、抽選結果コマンドを受信したか否かを判定し、受信していない場合にはそのまま本処理を終了する。抽選結果コマンドを受信した場合には、ステップS1902に進み、抽選結果コマンドの示す情報、すなわち主制御装置101にて行われた役の抽選結果を、RAM88の抽選結果格納エリア88aに格納する。ステップS1903では、乱数を取得する。ステップS1904では、役の抽選結果に基づいて、補助演出を行うか否かを判定するための演出抽選テーブルを選択する。
演出抽選テーブルについて簡単に説明すると、表示制御装置81のROM87には、役の抽選結果と対応する演出抽選テーブルが予め記憶されている。具体的には、第1BB又は第2BBに当選した場合に用いられるBB用演出抽選テーブルと、スイカに当選した場合に用いられるスイカ用演出抽選テーブルと、全てのベルに当選した場合に用いられる全ベル用演出抽選テーブルと、いずれかのベルに当選した場合に用いられるベル用演出抽選テーブルと、いずれかのチェリーに当選した場合に用いられるチェリー用演出抽選テーブルと、再遊技に当選した場合に用いられる再遊技用演出抽選テーブルと、外れの場合に用いられる外れ用演出抽選テーブルと、が記憶されている。そして、各演出抽選テーブルには、補助演出を行わないことを示す演出番号「0」と、補助演出の具体的内容を示す「1」〜「6」の演出番号と、のうちいずれかが、表示制御装置81の取得し得る乱数値毎に定められている。本スロットマシン10では、演出番号「4」が連打演出と対応しており、BB用演出抽選テーブルでは70%の割合で演出番号「4」が選択され、スイカ用演出抽選テーブル及び全ベル用演出抽選テーブルでは12.5%の割合で演出番号「4」が選択され、ベル用演出抽選テーブル及びチェリー用演出抽選テーブルでは1%の割合で演出番号「4」が選択されるようになっている。また、再遊技用演出抽選テーブル及び外れ用演出抽選テーブルでは、演出番号「4」が選択されないようになっている。
抽選結果コマンド処理の説明に戻り、ステップS1905では、選択した演出抽選テーブルと取得した乱数とを参照し、取得した乱数と対応する演出番号が「0」でないか否か、すなわち補助演出を行うか否かを判定する。補助演出を行う場合には、ステップS1906〜ステップS1913に示す補助演出開始処理を行った後に本処理を終了し、補助演出を行わない場合には、そのまま本処理を終了する。
補助演出開始処理では、先ずステップS1906において、取得した乱数と対応する演出番号が「4」であるか否か、すなわち連打演出を行うか否かを判定する。連打演出を行う場合には、ステップS1907にて演出フラグをセットする。続くステップS1908では、操作回数の設定値として、表示制御装置81のROM87に予め記憶された既定値を、表示制御装置81の演出情報格納エリア88cに設けられた設定値格納エリアにセットする。
ステップS1909では、記憶値が0であるか否かを判定する。記憶値が0である場合には、ステップS1910に進み、演出スイッチ検知処理のステップS1706にて確認するタイマの終了値として、表示制御装置81のROM87に予め記憶された既定値である「500」を、表示制御装置81の演出情報格納エリア88cに設けられた終了値格納エリアにセットする。また、記憶値が0でない場合には、ステップS1911にて終了値算出処理を行うことにより、終了値を終了値格納エリアにセットする。
終了値算出処理では、記憶値を第4設定値の値(すなわち「30」)で除算し、特定条件の達成度を導出する。その後、達成度の逆数と、そのときに終了値格納エリアにセットされている値(すなわち先の連打演出を行う際にセットされた終了値)と、を乗算し、当該乗算結果を終了値格納エリアにセットする。
終了値をセットした場合には、ステップS1912にて連打演出の初期表示データをセットし、本処理を終了する。
ステップS1906にて行う補助演出が連打演出でないと判定した場合には、ステップS1913に進み、演出番号と対応する補助演出を開始するための演出設定処理を行い、本処理を終了する。
ここで、上記抽選結果コマンド処理を行った場合の具体例を説明する。
先ず、記憶値として0がセットされている場合を説明する。記憶値として0がセットされている場合とは、スロットマシン10が初期状態である場合と、1回前に行った連打演出において報知用データをセットした場合(ステップS1714、図27参照)と、1回前に行った連打演出において演出スイッチ66が操作されなかった場合(ステップS1803、図28参照)と、である。
抽選結果コマンド処理では、記憶値が0である場合、終了値として「500」をセットする。これにより、演出スイッチ検知処理では、連打演出を開始した場合、タイマの値が500となるまでの間、すなわち連打演出が開始されてから5秒が経過するまでの間、操作カウンタの値が設定値と一致したか否かを判定する。
連打演出が開始されてから5秒が経過するまでの間に演出スイッチ66が20回しか操作されなかった場合には、記憶値設定処理において記憶値として20がセットされる(ステップS1806、図28参照)。
次ゲーム以降の抽選結果コマンド処理では、記憶値が20である場合、終了値算出処理において達成度が約67%であると算出する。そして、達成度の逆数(すなわち1.5)と、そのときに終了値格納エリアにセットされている値(すなわち500)と、を乗算し、当該乗算結果である「750」を終了値格納エリアにセットする。これにより、演出スイッチ検知処理では、連打演出を開始した場合、タイマの値が750となるまでの間、すなわち連打演出が開始されてから7.5秒が経過するまでの間、操作カウンタの値が設定値と一致したか否かを判定する。
連打演出が開始されてから7.5秒が経過するまでの間に演出スイッチ66が20回しか操作されなかった場合には、記憶値設定処理において記憶値として20がセットされる(ステップS1806、図28参照)。
次ゲーム以降の抽選結果コマンド処理では、記憶値が20である場合、終了値算出処理において達成度が約67%であると算出する。そして、達成度の逆数(すなわち1.5)と、そのときに終了値格納エリアにセットされている値(すなわち750)と、を乗算し、当該乗算結果である「1125」を終了値格納エリアにセットする。これにより、演出スイッチ検知処理では、連打演出を開始した場合、タイマの値が1125となるまでの間、すなわち連打演出が開始されてから11.25秒が経過するまでの間、操作カウンタの値が設定値と一致したか否かを判定する。
以上のとおり、先の連打演出にて特定条件が成立しなかった場合、次の連打演出では先の連打演出よりも長時間にわたって特定条件が成立したか否かが判定される。
以上詳述した本実施の形態によれば、以下の優れた効果を奏する。
連打演出では、当該連打演出が開始されてから終了値と対応する時間が経過するまでの間に演出スイッチ66が30回操作された場合、報知用データを設定してBB当選の有無を報知し、演出スイッチ66が30回操作されなかった場合、非報知データを設定してBB当選の有無を報知しない構成とした。かかる構成とすることにより、演出スイッチ66を操作しなければ連打演出においてBB当選の有無が報知されないため、BB当選の有無を把握したい遊技者に演出スイッチ66を操作するよう促すことが可能となり、連打演出に対しても遊技者を積極参加させることが可能となる。
先の連打演出にて特定条件が成立しなかった場合、次の連打演出では、特定条件が成立したか否かを判定される時間が先の連打演出よりも長くなる構成とした。かかる構成とすることにより、次の連打演出において特定条件の成立する可能性を高めることが可能となり、演出スイッチ66を操作して連打演出に参加しているにも関わらず特定条件が成立しない事象が繰り返し発生することを抑制することが可能となる。この結果、遊技者を問わず特定条件成立の達成感を味わわせることが可能となるとともに、遊技者の連打演出に対する参加意欲を高めることが可能となる。
先の連打演出にて演出スイッチ66に対して30回の操作がなされなかった場合、次の連打演出では、終了値算出処理を行って終了値を決定する構成とした。また、連打演出を終了する際に演出スイッチ66の操作回数に基づいて記憶値をセットする構成とし、終了値算出処理では、前記記憶値を用いて終了値を決定する構成とした。かかる構成とすることにより、遊技者が演出スイッチ66を操作する速さに基づいて終了値を変化させることが可能となる。この結果、遊技者の演出スイッチ66を操作する速さを問わず、特定条件の成立する可能性を高めることが可能となる。
終了値算出処理では、特定条件の達成度を導出し、達成度の逆数と、そのときに終了値格納エリアにセットされている値と、を乗算し、当該乗算結果を終了値格納エリアにセットする構成とした。かかる構成とすることにより、特定条件を成立させることが可能な期間が必要以上に長くなり、特定条件を成立させる難易度が不要に低下することを回避することが可能となる。
記憶値設定処理では、演出スイッチ66の操作回数が0であった場合、記憶値として0をセットする構成とした。そして、抽選結果コマンド処理では、記憶値が0であった場合、終了値として既定値をセットする構成とした。演出スイッチ66が操作されなかった場合には、連打演出に参加する意思のない遊技者が遊技を行っていると想定されるため、次回の終了値として予め定められた既定値をセットする構成とすることにより、特定条件の難易度が不要に低下することを回避することが可能となる。
なお、上述した各実施の形態の記載内容に限定されず、例えば次のように実施してもよい。
(1)上記第1の実施の形態では、先の連打演出にて第4設定値と対応する回数の操作が演出スイッチ66に対してなされなかった場合、次の連打演出では第4設定値にセットされる演出スイッチ66の操作回数が少なくなる構成としたが、これに加えて、先の連打演出にて第4設定値と対応する回数の操作が演出スイッチ66に対してなされた場合、次の連打演出では第4設定値にセットされる演出スイッチ66の操作回数が多くなる構成としてもよい。かかる構成とした場合には、特定条件を成立させる毎に特定条件を成立させる難易度が高くなるため、遊技者の挑戦意欲を高めることが可能となる。
上記第2の実施の形態についても同様であり、先の連打演出にて第4設定値と対応する回数の操作が演出スイッチ66に対してなされた場合、次の連打演出では特定条件を成立させることが可能な期間が短くなる構成としてもよい。
(2)上記第1の実施の形態では、演出スイッチ66の操作回数が1〜4回であった場合、記憶値として5をセットする構成としたが、演出スイッチ66の操作回数と同数を記憶値としてセットする構成としてもよい。
(3)上記第1の実施の形態では、記憶値が0である場合、設定値として既定値をセットする構成としたが、そのときに設定値としてセットされている値を保持する構成としてもよい。
上記第2の実施の形態についても同様であり、記憶値が0である場合、そのときに終了値としてセットされている値を保持する構成としてもよい。
(4)上記各実施の形態において、遊技者が遊技を終了した状況にあるか否かを判断し、遊技者が遊技を終了した状況にあると判断した場合には、次の連打演出において設定値又は終了値として既定値をセットする構成としてもよい。かかる構成とした場合には、遊技者が変わる毎に特定条件や特定条件を成立させることが可能な期間を初期状態に戻すことが可能となる。
なお、遊技者が遊技を終了した状況にあるか否かを判断する構成としては、例えば精算スイッチ59が操作された場合に遊技者が遊技を終了した状況にあると判断する構成や、デモ演出を開始した場合に遊技者が遊技を終了した状況にあると判断する構成が代表例として挙げられる。
(5)上記各実施の形態では、連打演出を演出スイッチ66の操作に基づく演出内容の進行契機が5つ設定された構成としたが、1つのみ設定された構成、すなわち報知用データの設定有無のみが演出スイッチ66の操作に基づく構成としてもよい。
(6)上記各実施の形態では、記憶値としてセットされる0以外の最低値を5としたが、2以上の値であれば、特定条件を成立させるべく演出スイッチ66を複数回操作するという連打演出の遊技性を確保できるため、上記各実施の形態と同様の作用効果を奏することが期待できる。
(7)上記各実施の形態では、BB当選の有無を報知する連打演出を備えた構成としたが、スイカ等の小役当選を報知する連打演出や役の抽選結果を報知する連打演出を備えた構成としてもよいことはいうまでもない。
(8)上記各実施の形態では、連打演出において操作される演出スイッチ66を備えた構成を説明したが、演出スイッチ66を備えない構成としてもよい。かかる構成とする場合には、例えばクレジット投入スイッチ56〜58等の遊技の進行に関する役割を終えたスイッチの操作回数を判定する構成とすれば、上記各実施の形態と同様の作用効果を奏することが期待できる。
(9)上記各実施の形態では、特定条件が成立しなかった場合、非報知データを設定してBB当選の有無を報知しない構成としたが、BB当選の有無を報知する構成としてもよい。但し、かかる構成とした場合には、特定条件を成立させたか否かに関わらずBB当選の有無が報知されることとなるため、遊技者が連打演出に対する参加意欲を減退させてしまう可能性が考えられる。
(10)上記第1の実施の形態と上記第2の実施の形態を組み合わせてもよい。かかる構成とした場合であっても、上述した作用効果を奏することは明らかである。
(11)上記各実施の形態において入賞成立となる各図柄の組合せは一例であり、これら図柄の組合せに限定されるものではない。また、入賞成立となる図柄の組合せの数も任意である。
(12)上記各実施の形態では、BB状態を備えたスロットマシンについて説明したが、かかる構成に限定されるものではなく、BB状態を備えないスロットマシンであっても良いし、RB状態やSB状態等の他の遊技状態を備えたスロットマシンであっても良い。
(13)上記各実施の形態では、メダルが3枚ベットされた後に開始指令が発生したか否かを判定する構成としたが、1枚ベットされた後や2枚ベットされた後にも開始指令が発生したか否かを判定する構成としてもよいことは言うまでもない。
(14)上記各実施の形態では、付与される特典として、遊技状態が移行する特典と、再遊技の特典の他に、メダルを払い出す特典を備える構成としたが、かかる構成に限定されるものではなく、遊技者に何らかの特典が付与される構成であればよい。例えば、メダルを払い出す特典に代えてメダル以外の賞品を払い出す構成であってもよい。また、現実のメダル投入やメダル払出機能を有さず、遊技者の所有するメダルをクレジット管理するスロットマシンにおいては、クレジットされたメダルの増加が特典の付与に相当する。
(15)上記各実施の形態では、リールを3つ並列して備え、有効ラインとして4ラインを有するスロットマシンについて説明したが、かかる構成に限定されるものではなく、例えばリールを5つ並列して備えたスロットマシンや、有効ラインを7ライン有するスロットマシンであってもよい。
(16)上記各実施の形態では、スロットマシン10について具体化した例を示したが、スロットマシンとパチンコ機とを融合した形式の遊技機に適用してもよい。即ち、スロットマシンのうち、メダル投入及びメダル払出機能に代えて、パチンコ機のような球投入及び球払出機能をもたせた遊技機としてもよい。かかる遊技機をスロットマシンに代えて使用すれば、遊技ホールでは球のみを遊技価値として取り扱うことができるため、パチンコ機とスロットマシンとが混在している現在の遊技ホールにおいてみられる、遊技価値たるメダルと球との別個の取扱による設備上の負担や遊技機設置個所の制約といった問題を解消し得る。また、パチンコ機に適用しても良い。
以下、本発明の遊技機を、必要に応じて効果等を示しつつ説明する。なお以下においては、理解の容易のため、上記実施の形態において対応する構成を括弧書き等で適宜示すが、この括弧書き等で示した具体的構成に限定されるものではない。
遊技機1.複数種の絵柄(図柄)を循環表示させる複数の循環表示手段(リール32L,32M,32R)と、
前記各循環表示手段による前記絵柄の循環表示を開始させるべく操作される開始操作手段(スタートレバー41、第1〜第3クレジット投入スイッチ56〜58)と、
役の抽選を行う抽選手段(主制御装置101の抽選処理機能)と、
前記絵柄の循環表示を個別に停止させるべく操作される複数の停止操作手段(ストップスイッチ42〜44)と、
前記役の抽選に当選した当選役と対応する当選絵柄(当選図柄の組合せ)が有効位置(有効ライン)に停止した場合、遊技者に特典を付与する特典付与手段(主制御装置101のメダル払出処理S212、BB状態処理S213等)と
を備えた遊技機において、
特定演出(連打演出)を実行可能な特定演出実行手段(補助表示部65)と、
前記特定演出を実行している場合、特定操作手段(演出スイッチ66)の操作に基づく特定条件(連打演出が開始されてから5秒経過するまでに演出スイッチ66を第4設定値と対応する回数だけ操作すること)が成立したか否かを判定する特定条件判定手段(表示制御装置81の操作回数判定機能S1709及び経過時間判定機能S1706)と、
前記特定条件判定手段の判定結果に基づいて、前記特定演出の結果を変化させる演出結果変化手段(表示制御装置81の報知用データ設定機能及び非報知データ設定機能)と、
前記特定条件判定手段の判定結果に基づいて、次回の特定演出における特定条件を変更する特定条件変更手段(表示制御装置81の設定値算出処理機能S1610)と
を備えたことを特徴とする遊技機。
本遊技機によれば、特定演出は、当該特定演出を実行している最中に特定操作手段の操作に基づく特定条件が成立したか否かが判定され、その判定結果に基づいて結果が変化する。かかる構成とすることにより、特定操作手段を操作するよう遊技者を促すことが可能となり、特定演出に対しても遊技者を積極参加させることが可能となる。また、次回の特定演出における特定条件は、先の特定演出において特定条件が成立したか否かによって変化する。かかる構成とすることにより、特定演出を複数回行った場合であっても、遊技者が特定演出に対する参加意欲を減退させてしまうことを抑制することが可能となる。
以上の結果、好適な形で遊技者の参加可能な特定演出を実行することが可能となる。
遊技機2.上記遊技機1において、前記特定条件変更手段は、前記特定演出が終了するまでに前記特定条件判定手段が前記特定条件が成立したと判定しなかったことに基づいて、次回の特定演出における特定条件を、前記特定条件判定手段が判定した特定条件よりも成立させることが容易な条件に変更することを特徴とする遊技機。
本遊技機によれば、先の特定演出において特定条件が成立しなかったことに基づいて、次回の特定演出における特定条件が、先の特定演出における特定条件よりも成立させることが容易な条件に変更される。かかる構成とすることにより、特定操作手段を操作して特定演出に参加しているにも関わらず特定条件が成立しない事象が繰り返し発生することを抑制することが可能となる。この結果、遊技者を問わず特定条件成立の達成感を味わわせることが可能となるとともに、遊技者の特定演出に対する参加意欲を高めることが可能となる。
遊技機3.上記遊技機1又は遊技機2において、前記特定条件は、前記特定操作手段を複数回操作することであって、前記特定条件成立となる前記特定操作手段の操作回数を記憶する第1回数記憶手段(表示制御装置81の設定値記憶エリア)と、前記特定操作手段になされた操作回数を記憶する第2回数記憶手段(表示制御装置81の操作カウンタ)と、を備え、前記特定条件変更手段は、前記特定演出が終了するまでに前記特定条件判定手段が前記特定条件が成立したと判定しなかった場合、前記第2回数記憶手段の記憶結果に基づいて、前記第1回数記憶手段に記憶された回数を変更することを特徴とする遊技機。
本遊技機によれば、特定操作手段が第1回数記憶手段に記憶された回数分だけ操作された場合、特定条件成立となる。そして、特定演出が終了するまでに特定条件が成立しなかった場合には、特定操作手段の操作回数に基づいて、第1回数記憶手段に記憶された回数が変更される。かかる構成とすることにより、遊技者が特定操作手段を操作する速さに基づいて、特定条件成立となる操作回数を変化させることが可能となる。この結果、遊技者に即した特定条件を設定することが可能となる。
遊技機4.上記遊技機3において、前記特定条件変更手段は、前記第2回数記憶手段に記憶された回数が所定回数(5)以上である場合、前記第2回数記憶手段に記憶された回数を前記第1回数記憶手段に記憶させることを特徴とする遊技機。
本遊技機によれば、特定操作手段の操作回数が所定回数以上である場合には、次回の特定条件成立となる特定操作手段の操作回数として、先の特定演出において特定操作手段になされた操作回数が記憶される。かかる構成とすることにより、遊技者に即した難易度の特定条件を設定することが可能となる。また、所定回数という閾値を設定することにより、特定操作手段を複数回操作して特定条件を成立させた場合に特定演出の結果が変化するという特定演出の遊技性を維持することが可能となる。
遊技機5.上記遊技機4において、前記特定条件変更手段は、前記第2回数記憶手段に記憶された回数が1以上であって前記所定回数よりも少ない場合、前記第1回数記憶手段に前記所定回数を記憶させることを特徴とする遊技機。
本遊技機によれば、特定操作手段の操作回数が1以上であって所定回数よりも少ない場合、次回の特定条件成立となる特定操作手段の操作回数として所定回数が記憶される。かかる構成とすることにより、特定条件成立となる特定操作手段の操作回数が遊技機を設計する設計者の想定以上に少なくなることを回避することが可能となる。
遊技機6.上記遊技機5において、前記特定操作手段の操作に基づいて前記特定演出の演出内容を進行させる演出進行手段(表示制御装置81の表示データ設定機能S1712及び報知用データ設定機能S1713)を備え、前記所定回数を、前記演出進行手段が前記演出内容を進行させる進行回数としたことを特徴とする遊技機。
本遊技機によれば、特定演出の演出内容は特定操作手段の操作に基づいて進行し、所定回数は演出内容の進行回数とされている。かかる構成とすることにより、先の特定演出において特定操作手段になされた操作回数が少なかった場合であっても、次回の特定演出において特定操作手段が1回操作される毎に演出内容を進行させることが可能となる。この結果、特定演出の実行に関わる処理構成が複雑化することを抑制することが可能となるとともに、演出内容データが多大なものとなることを抑制することが可能となる。
遊技機7.上記遊技機3乃至遊技機6のいずれかにおいて、前記特定条件変更手段は、前記第2回数記憶手段に記憶された回数が0である場合、予め定められた初期回数(30)を前記第1回数記憶手段に記憶させることを特徴とする遊技機。
本遊技機によれば、特定操作手段が操作されなかった場合、次回の特定条件成立となる特定操作手段の操作回数として予め定められた初期回数が記憶される。特定操作手段が操作されなかった場合には、特定演出に参加する意思のない遊技者が遊技を行っていると想定されるため、次回の特定条件成立となる特定操作手段の操作回数として予め定められた初期回数を記憶する構成とすることにより、特定条件の難易度が不要に低下することを回避することが可能となる。
遊技機8.上記遊技機1乃至遊技機7のいずれかにおいて、遊技状況を判断する遊技状況判断手段(表示制御装置81)と、前記遊技状況判断手段が遊技者が遊技を終了した状況にあると判断した場合、次回の特定演出における特定条件を予め定めた初期条件(連打演出が開始されてから5秒経過するまでに演出スイッチ66を30回操作すること)に変更する特定条件第2変更手段と、を備えたことを特徴とする遊技機。
本遊技機によれば、遊技者が遊技を終了した状況にあると判断した場合には、次回の特定演出における特定条件を予め定めた初期条件に変更する。かかる構成とすることにより、遊技者が変わる毎に特定条件を初期条件に戻すことが可能となる。
遊技機9.上記遊技機1乃至遊技機8のいずれかにおいて、前記特定条件判定手段は、前記特定演出が開始されてから所定時間(5秒)を経過した場合、前記特定条件が成立しなかったと判定することを特徴とする遊技機。
本遊技機によれば、特定演出が開始されてから所定時間を経過した場合、特定条件が成立しなかったと判定される。かかる構成においては、特定演出が開始されてから所定時間を経過する前までに特定操作手段を操作して特定条件を成立させる必要があり、特定条件が予め定められた1つの条件しかない場合、遊技者によっては特定条件を成立させることができない可能性が考えられる。そこで、次回の特定演出における特定条件が先の特定演出において特定条件が成立したか否かによって変化する構成とすることにより、遊技者を問わず特定条件成立の達成感を味わわせることが可能となるとともに、遊技者の特定演出に対する参加意欲を高めることが可能となる。
遊技機10.上記遊技機1乃至遊技機9のいずれかにおいて、前記特定演出は、前記役の抽選結果が特定役(BB)当選であるか否かを示唆する演出であって、前記演出結果変化手段は、前記特定演出が終了するまでに前記特定条件判定手段が前記特定条件が成立したと判定しなかった場合、前記役の抽選結果が前記特定役当選であったとしても前記特定役当選を示唆しないことを特徴とする遊技機。
本遊技機によれば、特定条件が成立しなかった場合、仮に役の抽選結果が特定役当選であったとしても特定演出において特定役当選を示唆しない。かかる構成とすることにより、特定役当選の有無を把握したい遊技者に特定操作手段を操作するよう促すことが可能となる。
遊技機11.複数種の絵柄(図柄)を循環表示させる複数の循環表示手段(リール32L,32M,32R)と、
前記各循環表示手段による前記絵柄の循環表示を開始させるべく操作される開始操作手段(スタートレバー41、第1〜第3クレジット投入スイッチ56〜58)と、
役の抽選を行う抽選手段(主制御装置101の抽選処理機能)と、
前記絵柄の循環表示を個別に停止させるべく操作される複数の停止操作手段(ストップスイッチ42〜44)と、
前記役の抽選に当選した当選役と対応する当選絵柄(当選図柄の組合せ)が有効位置(有効ライン)に停止した場合、遊技者に特典を付与する特典付与手段(主制御装置101のメダル払出処理S212、BB状態処理S213等)と
を備えた遊技機において、
特定演出(連打演出)を実行可能な特定演出実行手段(補助表示部65)と、
前記特定演出を実行している場合、特定操作手段(演出スイッチ66)の操作に基づく特定条件(連打演出が開始されてから終了値と対応する時間が経過するまでに演出スイッチ66を30回だけ操作すること)が成立したか否かを判定するとともに、所定時間(終了値と対応する時間)を経過した場合、前記特定条件が成立しなかったと判定する特定条件判定手段(表示制御装置81の操作回数判定機能S1709及び経過時間判定機能S1706)と、
前記特定条件判定手段の判定結果に基づいて、前記特定演出の結果を変化させる演出結果変化手段(表示制御装置81の報知用データ設定機能及び非報知データ設定機能)と、
前記特定条件判定手段の判定結果に基づいて、次回の特定演出における所定時間を変更する所定時間変更手段(表示制御装置81の終了値算出処理機能S1911)と
を備えたことを特徴とする遊技機。
本遊技機によれば、特定演出は、当該特定演出を実行している最中に特定操作手段の操作に基づく特定条件が成立したか否かが判定されるとともに、所定時間を経過した場合に特定条件が成立しなかったと判定され、その判定結果に基づいて結果が変化する。かかる構成とすることにより、特定操作手段を操作するよう遊技者を促すことが可能となり、特定演出に対しても遊技者を積極参加させることが可能となる。また、次回の特定演出における所定時間は、先の特定演出において特定条件が成立したか否かによって変化する。かかる構成とすることにより、特定演出を複数回行った場合であっても、遊技者が特定演出に対する参加意欲を減退させてしまうことを抑制することが可能となる。
以上の結果、好適な形で遊技者の参加可能な特定演出を実行することが可能となる。
遊技機12.上記遊技機11において、前記所定時間変更手段は、前記特定演出が終了するまでに前記特定条件判定手段が前記特定条件が成立したと判定しなかったことに基づいて、次回の特定演出における所定時間を、先の特定演出における時間よりも長くすることを特徴とする遊技機。
本遊技機によれば、先の特定演出において特定条件が成立しなかったことに基づいて、次回の特定演出における所定時間が、先の特定演出における時間よりも長くなる。かかる構成とすることにより、次回の特定演出において特定条件の成立する可能性を高めることが可能となり、特定操作手段を操作して特定演出に参加しているにも関わらず特定条件が成立しない事象が繰り返し発生することを抑制することが可能となる。この結果、遊技者を問わず特定条件成立の達成感を味わわせることが可能となるとともに、遊技者の特定演出に対する参加意欲を高めることが可能となる。
遊技機13.上記遊技機11又は遊技機12において、前記特定条件は、前記特定操作手段を複数回操作することであって、前記特定条件成立となる前記特定操作手段の操作回数を記憶する第1回数記憶手段(表示制御装置81の設定値記憶エリア)と、前記特定操作手段になされた操作回数を記憶する第2回数記憶手段(表示制御装置81の操作カウンタ)と、を備え、前記所定時間変更手段は、前記特定演出が終了するまでに前記特定条件判定手段が前記特定条件が成立したと判定しなかった場合、前記第2回数記憶手段の記憶結果に基づいて、前記所定時間を変更することを特徴とする遊技機。
本遊技機によれば、特定操作手段が第1回数記憶手段に記憶された回数分だけ操作された場合、特定条件成立となる。そして、特定演出が終了するまでに特定条件が成立しなかった場合には、特定操作手段の操作回数に基づいて、次回の特定演出における所定時間が変更される。かかる構成とすることにより、遊技者が特定操作手段を操作する速さに基づいて、特定条件を成立させることが可能な期間の長さを変化させることが可能となる。この結果、遊技者に即した特定演出を実行することが可能となる。
遊技機14.上記遊技機13において、前記第1回数記憶手段に記憶された操作回数と、前記第2回数記憶手段に記憶された操作回数と、に基づいて前記特定条件の達成度を導出する達成度導出手段(表示制御装置81の終了値算出機能S1911における達成度算出機能)を備え、前記所定時間変更手段は、前記達成度導出手段の導出結果に応じて前記所定時間を変更することを特徴とする遊技機。
本遊技機によれば、特定条件成立となる回数と、特定操作手段になされた操作回数と、に基づいて特定条件の達成度が導出され、当該導出結果に応じて所定時間が変更される。かかる構成とすることにより、特定条件を成立させることが可能な期間が必要以上に長くなり、特定条件を成立させる難易度が不要に低下することを回避することが可能となる。
遊技機15.上記遊技機13又は遊技機14において、前記所定時間変更手段は、前記第2回数記憶手段に記憶された回数が0である場合、予め定められた初期時間(5秒)に変更することを特徴とする遊技機。
本遊技機によれば、特定操作手段が操作されなかった場合、特定条件を成立させることが可能な時間として初期時間が設定される。特定操作手段が操作されなかった場合には、特定演出に参加する意思のない遊技者が遊技を行っていると想定されるため、次回の特定条件を成立させることが可能な時間として予め定められた初期時間を設定する構成とすることにより、特定条件の難易度が不要に低下することを回避することが可能となる。
遊技機16.上記遊技機11乃至遊技機15のいずれかにおいて、遊技状況を判断する遊技状況判断手段(表示制御装置81)と、前記遊技状況判断手段が遊技者が遊技を終了した状況にあると判断した場合、次回の特定演出における所定時間を予め定めた初期時間(5秒)に変更する所定時間第2変更手段と、を備えたことを特徴とする遊技機。
本遊技機によれば、遊技者が遊技を終了した状況にあると判断した場合には、次回の特定演出における所定時間を予め定めた初期時間に変更する。かかる構成とすることにより、遊技者が変わる毎に特定条件を成立させることが可能な期間を初期状態に戻すことが可能となる。
遊技機17.上記遊技機11乃至遊技機16のいずれかにおいて、前記特定演出は、前記役の抽選結果が特定役(BB)当選であるか否かを示唆する演出であって、前記演出結果変化手段は、前記特定演出が終了するまでに前記特定条件判定手段が前記特定条件が成立したと判定しなかった場合、前記役の抽選結果が前記特定役当選であったとしても前記特定役当選を示唆しないことを特徴とする遊技機。
本遊技機によれば、特定条件が成立しなかった場合、仮に役の抽選結果が特定役当選であったとしても特定演出において特定役当選を示唆しない。かかる構成とすることにより、特定役当選の有無を把握したい遊技者に特定操作手段を操作するよう促すことが可能となる。
なお、上記遊技機1乃至遊技機10のいずれかの構成と、上記遊技機11乃至遊技機17のいずれかの構成と、を組み合わせてもよい。かかる構成とした場合であっても、上述した作用効果を奏することが期待できる。
10…スロットマシン、32…リール、41…スタートレバー、42〜44…ストップスイッチ、56…第1クレジット投入スイッチ、57…第2クレジット投入スイッチ、58…第3クレジット投入スイッチ、63…上部ランプ、64…スピーカ、65…補助表示部、66…演出スイッチ、81…表示制御装置、101…主制御装置、102…CPU。

Claims (2)

  1. 複数種の絵柄を循環表示させる複数の循環表示手段と、
    前記各循環表示手段による前記絵柄の循環表示を開始させるべく操作される開始操作手段と、
    役の抽選を行う抽選手段と、
    前記絵柄の循環表示を個別に停止させるべく操作される複数の停止操作手段と、
    前記役の抽選に当選した当選役と対応する当選絵柄が有効位置に停止した場合、遊技者に特典を付与する特典付与手段と
    を備えた遊技機において、
    特定演出を実行可能な特定演出実行手段と、
    前記特定演出を実行している場合、特定操作手段の操作に基づく特定条件が成立したか否かを判定するとともに、所定時間を経過した場合、前記特定条件が成立しなかったと判定する特定条件判定手段と、
    前記特定条件判定手段の判定結果に基づいて、前記特定演出の結果を変化させる演出結果変化手段と、
    前記特定条件判定手段の判定結果に基づいて、次回の特定演出における所定時間を変更する所定時間変更手段と
    を備え、
    前記特定条件は、前記特定操作手段を複数回操作することであって、
    前記特定条件成立となる前記特定操作手段の操作回数を記憶する第1回数記憶手段と、
    前記特定操作手段になされた操作回数を記憶する第2回数記憶手段と、
    前記第1回数記憶手段に記憶された操作回数と、前記第2回数記憶手段に記憶された操作回数と、に基づいて前記特定条件の達成度を導出する達成度導出手段と
    を備え、
    前記所定時間変更手段は、前記第2回数記憶手段に記憶された回数が0以外の値であって前記特定演出が終了するまでに前記特定条件判定手段が前記特定条件が成立したと判定しなかった場合、前記達成度導出手段の導出結果に応じて前記所定時間を変更し、前記第2回数記憶手段に記憶された回数が0である場合、予め定められた初期時間に変更することを特徴とする遊技機。
  2. 前記遊技機はスロットマシンであることを特徴とする請求項1に記載の遊技機。
JP2015252863A 2015-12-25 2015-12-25 遊技機 Expired - Fee Related JP6168317B2 (ja)

Priority Applications (1)

Application Number Priority Date Filing Date Title
JP2015252863A JP6168317B2 (ja) 2015-12-25 2015-12-25 遊技機

Applications Claiming Priority (1)

Application Number Priority Date Filing Date Title
JP2015252863A JP6168317B2 (ja) 2015-12-25 2015-12-25 遊技機

Related Parent Applications (1)

Application Number Title Priority Date Filing Date
JP2011188509A Division JP5862861B2 (ja) 2011-08-31 2011-08-31 遊技機

Related Child Applications (1)

Application Number Title Priority Date Filing Date
JP2017128300A Division JP6478072B2 (ja) 2017-06-30 2017-06-30 遊技機

Publications (2)

Publication Number Publication Date
JP2016064283A JP2016064283A (ja) 2016-04-28
JP6168317B2 true JP6168317B2 (ja) 2017-07-26

Family

ID=55804602

Family Applications (1)

Application Number Title Priority Date Filing Date
JP2015252863A Expired - Fee Related JP6168317B2 (ja) 2015-12-25 2015-12-25 遊技機

Country Status (1)

Country Link
JP (1) JP6168317B2 (ja)

Family Cites Families (4)

* Cited by examiner, † Cited by third party
Publication number Priority date Publication date Assignee Title
JP4869752B2 (ja) * 2006-03-20 2012-02-08 株式会社三共 遊技機
JP4945411B2 (ja) * 2007-11-27 2012-06-06 株式会社大都技研 遊技台
JP2011103929A (ja) * 2009-11-12 2011-06-02 Daito Giken:Kk 遊技台
JP5862861B2 (ja) * 2011-08-31 2016-02-16 株式会社三洋物産 遊技機

Also Published As

Publication number Publication date
JP2016064283A (ja) 2016-04-28

Similar Documents

Publication Publication Date Title
JP5862860B2 (ja) 遊技機
JP5729536B2 (ja) 遊技機
JP5741990B2 (ja) 遊技機
JP5741991B2 (ja) 遊技機
JP2009131477A5 (ja)
JP5862861B2 (ja) 遊技機
JP5741989B2 (ja) 遊技機
JP2014223383A (ja) 遊技機
JP6365856B2 (ja) 遊技機
JP6478072B2 (ja) 遊技機
JP6168317B2 (ja) 遊技機
JP6168318B2 (ja) 遊技機
JP5370629B2 (ja) 遊技機
JP2015134269A (ja) 遊技機
JP2015134268A (ja) 遊技機
JP2015134267A (ja) 遊技機
JP6083540B2 (ja) 遊技機
JP2018149397A (ja) 遊技機
JP5704355B2 (ja) 遊技機
JP5704356B2 (ja) 遊技機
JP5831675B2 (ja) 遊技機
JP5831677B2 (ja) 遊技機
JP5354322B2 (ja) 遊技機
JP5831676B2 (ja) 遊技機
JP2011110312A (ja) 遊技機

Legal Events

Date Code Title Description
A131 Notification of reasons for refusal

Free format text: JAPANESE INTERMEDIATE CODE: A132

Effective date: 20161005

A521 Request for written amendment filed

Free format text: JAPANESE INTERMEDIATE CODE: A523

Effective date: 20161202

TRDD Decision of grant or rejection written
A01 Written decision to grant a patent or to grant a registration (utility model)

Free format text: JAPANESE INTERMEDIATE CODE: A01

Effective date: 20170531

A61 First payment of annual fees (during grant procedure)

Free format text: JAPANESE INTERMEDIATE CODE: A61

Effective date: 20170613

R150 Certificate of patent or registration of utility model

Ref document number: 6168317

Country of ref document: JP

Free format text: JAPANESE INTERMEDIATE CODE: R150

R250 Receipt of annual fees

Free format text: JAPANESE INTERMEDIATE CODE: R250

R250 Receipt of annual fees

Free format text: JAPANESE INTERMEDIATE CODE: R250

R250 Receipt of annual fees

Free format text: JAPANESE INTERMEDIATE CODE: R250

R250 Receipt of annual fees

Free format text: JAPANESE INTERMEDIATE CODE: R250

R250 Receipt of annual fees

Free format text: JAPANESE INTERMEDIATE CODE: R250

LAPS Cancellation because of no payment of annual fees