JP6071237B2 - Aircraft defense device - Google Patents

Aircraft defense device Download PDF

Info

Publication number
JP6071237B2
JP6071237B2 JP2012092950A JP2012092950A JP6071237B2 JP 6071237 B2 JP6071237 B2 JP 6071237B2 JP 2012092950 A JP2012092950 A JP 2012092950A JP 2012092950 A JP2012092950 A JP 2012092950A JP 6071237 B2 JP6071237 B2 JP 6071237B2
Authority
JP
Japan
Prior art keywords
flying object
aircraft
flying
warhead
fragments
Prior art date
Legal status (The legal status is an assumption and is not a legal conclusion. Google has not performed a legal analysis and makes no representation as to the accuracy of the status listed.)
Active
Application number
JP2012092950A
Other languages
Japanese (ja)
Other versions
JP2013221660A (en
Inventor
貴史 石渡
貴史 石渡
秀幸 大羽
秀幸 大羽
玄 又江
玄 又江
後藤 哲哉
哲哉 後藤
Current Assignee (The listed assignees may be inaccurate. Google has not performed a legal analysis and makes no representation or warranty as to the accuracy of the list.)
Mitsubishi Heavy Industries Ltd
Original Assignee
Mitsubishi Heavy Industries Ltd
Priority date (The priority date is an assumption and is not a legal conclusion. Google has not performed a legal analysis and makes no representation as to the accuracy of the date listed.)
Filing date
Publication date
Application filed by Mitsubishi Heavy Industries Ltd filed Critical Mitsubishi Heavy Industries Ltd
Priority to JP2012092950A priority Critical patent/JP6071237B2/en
Publication of JP2013221660A publication Critical patent/JP2013221660A/en
Application granted granted Critical
Publication of JP6071237B2 publication Critical patent/JP6071237B2/en
Active legal-status Critical Current
Anticipated expiration legal-status Critical

Links

Images

Landscapes

  • Radar Systems Or Details Thereof (AREA)

Description

本発明は、航空機防御装置及び航空機防御方法に関する。   The present invention relates to an aircraft defense device and an aircraft defense method.

航空機に搭載される空対空ミサイル(AAM)は、近年、機体旋回能力の向上やシーカ視野の拡大により、前方目標のみならず側方目標への発射が可能となっている。後方目標については、自機から後方に発射されるミサイルのアイデアが古くから存在する。しかし、後方に発射されるミサイルは、発射後一時的に対気速度がゼロになるために機体運動制御が困難になるという問題があり、未だ実用化されていない。   In recent years, air-to-air missiles (AAMs) mounted on aircraft have been able to launch not only forward targets but also side targets due to improved aircraft turning capabilities and expanded seeker vision. Regarding the backward target, the idea of a missile launched backward from its own aircraft has existed for a long time. However, missiles that are launched rearward have a problem that it is difficult to control the movement of the aircraft because the airspeed temporarily becomes zero after launch, and have not yet been put into practical use.

したがって、後方の敵航空機を排除することができず、後方の敵航空機によるミサイル又は固定武装を用いた攻撃は大きな脅威となる。自機を後方から攻撃するミサイルに対する防御方法として、フレア、チャフ、ECM(Electronic Counter Measures)によりミサイルを欺瞞する方法が用いられている。しかし、近年はミサイルに搭載されるシーカの識別能力が向上しているため、ミサイルを欺瞞することが難しくなっている。   Therefore, the enemy aircraft behind cannot be excluded, and attacks using missiles or fixed armament by enemy aircraft behind are a great threat. As a defense method against a missile that attacks the aircraft from behind, a method of deceiving the missile by using flare, chaff, or ECM (Electronic Counter Measurements) is used. However, in recent years, the identification ability of seekers mounted on missiles has improved, making it difficult to deceive missiles.

図1は、本発明に関連する技術として、特許文献1に記載の後方目標用対空ミサイル102を示している。ミサイル102は、コントロール翼104と、TVC(Thrust Vector Control)装置107とを備える。コントロール翼104はミサイル102の前胴部103に設けられ、TVC装置107はミサイル102の尾部に設けられる。TVC装置107の主ロケットモータのノズル108が離脱可能なドーム106に覆われる。   FIG. 1 shows a rear target anti-air missile 102 described in Patent Document 1 as a technique related to the present invention. The missile 102 includes a control wing 104 and a TVC (Thrust Vector Control) device 107. The control wing 104 is provided in the front trunk portion 103 of the missile 102, and the TVC device 107 is provided in the tail portion of the missile 102. The nozzle 108 of the main rocket motor of the TVC device 107 is covered with a removable dome 106.

自機の後方から接近する敵戦闘機やミサイルのような脅威が発生した場合、ミサイル102が自機から後ろ向きに投下される。投下後、ミサイル102の速度がある速度に低下するまでは、ミサイル102はコントロール翼104の操舵により自機の速度方向に安定飛しょうを行う。ミサイル102の速度がある速度に低下したら、TVC装置107の主ロケットモータに点火する。ノズル108からの噴流は、ドーム106を自機の速度方向に離脱し、ミサイル102を自機の速度方向の逆方向に加速する推力を発生する。この後、コントロール翼104は前翼として使用され、ミサイル102の誘導・制御は前翼104による操舵及びTVC装置107によるTVCの組合せにより実行される。   When a threat such as an enemy fighter or missile approaching from behind the aircraft occurs, the missile 102 is dropped backward from the aircraft. After the dropping, until the speed of the missile 102 drops to a certain speed, the missile 102 flies stably in the speed direction of its own aircraft by steering the control wing 104. When the speed of the missile 102 drops to a certain speed, the main rocket motor of the TVC device 107 is ignited. The jet flow from the nozzle 108 generates a thrust force that separates the dome 106 in the speed direction of the own machine and accelerates the missile 102 in the direction opposite to the speed direction of the own machine. Thereafter, the control wing 104 is used as a front wing, and the guidance and control of the missile 102 is executed by a combination of steering by the front wing 104 and TVC by the TVC device 107.

TVC装置107を搭載しているため、ミサイル102は対気速度がゼロのときでもある程度の機体運動能力を確保することが可能であると考えられる。しかしながら、TVC装置107を搭載するとミサイル102の小型化が困難になり、自機に多数のミサイル102を搭載することができなくなると考えられる。   Since the TVC device 107 is installed, it is considered that the missile 102 can ensure a certain degree of airframe movement ability even when the airspeed is zero. However, if the TVC device 107 is mounted, it is difficult to reduce the size of the missile 102, and it is considered that a large number of missiles 102 cannot be mounted on the own aircraft.

特許文献2は、航空機防御装置を開示している。航空機防御装置は、自機の後方から接近する敵戦闘機やミサイルのような脅威が発生した場合使用され、航空機から放出されるときに航空機から受ける初速を利用して飛行する飛しょう体を具備する。飛しょう体は、飛しょう体の後方の飛行物体をロックオンするシーカと、操舵翼と、飛しょう体と飛行物体とが相対的に接近するように操舵翼を駆動する操舵装置とを備える。航空機から受ける初速を利用して飛行するため、飛しょう体は推進装置を備える必要がない。したがって、飛しょう体の小型化が可能であり、多数の飛しょう体を航空機に搭載することができる。   Patent Document 2 discloses an aircraft defense device. Aircraft defense devices are used in the event of threats such as enemy fighters and missiles approaching from behind the aircraft, and have a flying object that uses the initial speed received from the aircraft when released from the aircraft. To do. The flying object includes a seeker that locks on a flying object behind the flying object, a steering wing, and a steering device that drives the steering wing so that the flying object and the flying object are relatively close to each other. In order to fly using the initial speed received from the aircraft, the flying object does not need to have a propulsion device. Therefore, the flying object can be reduced in size, and a large number of flying objects can be mounted on the aircraft.

特開平6−341798号公報JP-A-6-341798 特開2012−21754号公報JP 2012-21754 A

本発明の目的は、航空機を後方の脅威から防御するための航空機防御装置及び航空機防御方法において、脅威を破壊する確率を高めることである。   An object of the present invention is to increase the probability of destroying a threat in an aircraft defense device and an aircraft defense method for protecting an aircraft from a rear threat.

以下に、(発明を実施するための形態)で使用される番号を用いて、課題を解決するための手段を説明する。これらの番号は、(特許請求の範囲)の記載と(発明を実施するための形態)との対応関係を明らかにするために付加されたものである。ただし、それらの番号を、(特許請求の範囲)に記載されている発明の技術的範囲の解釈に用いてはならない。   The means for solving the problem will be described below using the numbers used in the (DETAILED DESCRIPTION). These numbers are added to clarify the correspondence between the description of (Claims) and (Mode for Carrying Out the Invention). However, these numbers should not be used to interpret the technical scope of the invention described in (Claims).

本発明による航空機防御装置は、航空機(10)から放出されるときに前記航空機から受ける初速を利用して飛行する飛しょう体(30)を具備する。前記飛しょう体は、前記飛しょう体の後方の飛行物体(80)をロックオンするシーカ(33)と、操舵翼(40)と、前記飛しょう体と前記飛行物体とが相対的に接近するように前記操舵翼を駆動する操舵装置(39)と、複数のフラグメント(53)を前記飛しょう体の後方に向けて円錐状に飛散させる弾頭(37)とを備える。   The aircraft defense device according to the present invention includes a flying body (30) that uses the initial speed received from the aircraft when released from the aircraft (10). In the flying object, the seeker (33) that locks on the flying object (80) behind the flying object, the steering wing (40), and the flying object and the flying object relatively approach each other. Thus, the steering device (39) for driving the steering wing and the warhead (37) for scattering a plurality of fragments (53) conically toward the rear of the flying body.

前記複数のフラグメントは金属製であることが好ましい。   The plurality of fragments are preferably made of metal.

前記弾頭は、前記飛しょう体の後方側が細い錐台又は錐体に成形されたさく薬(51)と、前記さく薬よりも前記飛しょう体の後方側に配置される弾かく(52)とを備えることが好ましい。前記弾頭が起爆すると前記弾かくが破砕されて前記複数のフラグメントが生成することが好ましい。   The warhead is composed of a frustum (51) formed into a frustum or a cone with a narrow rear side of the flying body, and a bullet (52) disposed on the rear side of the flying body with respect to the glaze. It is preferable to provide. It is preferable that when the warhead detonates, the bullets are crushed to generate the plurality of fragments.

本発明による航空機防御方法は、後方の飛行物体(80)をロックオンするシーカ(33)を備えた飛しょう体(30)を航空機(10)から放出するステップと、前記航空機から放出されたときに前記航空機から受けた初速を利用して飛行しながら、前記飛しょう体が前記飛行物体へ相対的に接近するステップと、前記飛しょう体が前記飛行物体へ相対的に接近した後に前記飛しょう体の弾頭(37)が複数のフラグメント(53)を飛散させるステップとを具備する。前記飛しょう体を前記航空機から放出する前記ステップにおいて、前記シーカが前記航空機の後方を向く姿勢で前記飛しょう体を放出する。前記飛しょう体が前記飛行物体へ相対的に接近する前記ステップは、前記シーカが出力する信号に基づいて前記飛しょう体の操舵翼(40)を駆動するステップを備える。前記弾頭が前記複数のフラグメントを飛散させる前記ステップにおいて、前記複数のフラグメントを前記飛しょう体の後方に向けて円錐状に飛散させる。   The aircraft defense method according to the present invention includes a step of releasing a flying body (30) having a seeker (33) for locking on a flying object (80) behind the aircraft (10), and when released from the aircraft The flying object relatively approaching the flying object while flying using the initial velocity received from the aircraft, and the flying object after the flying object relatively approaches the flying object A body warhead (37) scatters a plurality of fragments (53). In the step of releasing the flying object from the aircraft, the flying object is released in a posture in which the seeker faces the rear of the aircraft. The step of relatively approaching the flying object to the flying object includes a step of driving a steering wing (40) of the flying object based on a signal output from the seeker. In the step in which the warhead scatters the plurality of fragments, the plurality of fragments are scattered in a conical shape toward the rear of the flying body.

本発明によれば、航空機を後方の脅威から防御するための航空機防御装置及び航空機防御方法において、脅威を破壊する確率を高めることができる。   ADVANTAGE OF THE INVENTION According to this invention, the probability of destroying a threat can be raised in the aircraft defense apparatus and the aircraft defense method for protecting an aircraft from a back threat.

図1は、従来の後方目標用対空ミサイルの概略図である。FIG. 1 is a schematic view of a conventional rear target anti-air missile. 図2は、本発明の第1の実施形態に係る航空機防御装置及び航空機防御方法の概念図である。FIG. 2 is a conceptual diagram of the aircraft defense device and the aircraft defense method according to the first embodiment of the present invention. 図3は、第1の実施形態に係る航空機防御装置が備える飛しょう体放出装置のブロック図である。FIG. 3 is a block diagram of a flying object discharge apparatus provided in the aircraft defense apparatus according to the first embodiment. 図4は、第1の実施形態に係る航空機防御装置が備える飛しょう体の斜視図である。FIG. 4 is a perspective view of a flying body provided in the aircraft defense device according to the first embodiment. 図5は、飛しょう体の弾頭の構造を示す概略図である。FIG. 5 is a schematic view showing the structure of a flying warhead. 図6は、弾頭起爆時のフラグメント飛散パターンを示す概念図である。FIG. 6 is a conceptual diagram showing a fragment scattering pattern at the time of warhead detonation. 図7は、フラグメントによる飛行物体の破壊メカニズムの概念図である。FIG. 7 is a conceptual diagram of a flying object destruction mechanism caused by fragments. 図8は、フラグメントによる飛行物体の他の破壊メカニズムの概念図である。FIG. 8 is a conceptual diagram of another destruction mechanism of a flying object by fragments.

添付図面を参照して、本発明による航空機防御装置及び航空機防御方法を実施するための形態を以下に説明する。   With reference to the accompanying drawings, a mode for carrying out an aircraft defense device and an aircraft defense method according to the present invention will be described below.

(第1の実施形態)
図2を参照して、本発明の第1の実施形態に係る航空機防御装置は、飛行中の航空機10を飛行物体80のような後方の脅威から防御するために用いられる。以下、飛行物体80が空対空ミサイル(AAM)の場合を説明するが、飛行物体80は敵航空機のようなAAM以外の飛行物体でもよい。航空機10は、尾翼11と、機体尾部(胴体の尾部)10aとを備えている。図において航空機10は戦闘機として示されているが、航空機10は輸送機や哨戒機であってもよい。
(First embodiment)
With reference to FIG. 2, the aircraft defense device according to the first embodiment of the present invention is used to protect a flying aircraft 10 from a backward threat such as a flying object 80. Hereinafter, although the case where the flying object 80 is an air-to-air missile (AAM) will be described, the flying object 80 may be a flying object other than AAM such as an enemy aircraft. The aircraft 10 includes a tail 11 and a body tail (fuselage tail) 10a. Although the aircraft 10 is shown as a fighter in the figure, the aircraft 10 may be a transport aircraft or a patrol aircraft.

第1の実施形態に係る航空機防御装置は、飛しょう体放出装置20と、飛しょう体30とを備えている。飛しょう体放出装置20は機体尾部10aに設けられる。飛しょう体30は飛しょう体放出装置20によって機体尾部10aから放出される。   The aircraft defense device according to the first embodiment includes a flying object discharge device 20 and a flying object 30. The flying object discharge device 20 is provided in the body tail part 10a. The flying object 30 is discharged from the aircraft tail 10a by the flying object discharge device 20.

図3を参照して、飛しょう体放出装置20は、放出機構21を備える。以下、機体尾部10aに設けられた放出機構21から飛しょう体30が放出される場合を説明するが、放出機構21は航空機10のパイロンや機体胴体に設けられてもよい。   Referring to FIG. 3, the flying object discharge device 20 includes a discharge mechanism 21. Hereinafter, although the case where the flying body 30 is released from the release mechanism 21 provided in the body tail portion 10a will be described, the release mechanism 21 may be provided in the pylon or the fuselage body of the aircraft 10.

図4を参照して、飛しょう体30は、胴体31と、翼32と、シーカ33と、オートパイロット34と、慣性装置35と、信管36と、弾頭37と、サーボアンプ38と、操舵装置39と、操舵翼40と、フェアリング41とを備える。胴体31は、飛しょう体軸線Sを軸とする円筒形状を有する。翼32は、例えば、胴体31の後部に設けられた固定安定翼である。シーカ33は、飛しょう体30の後方の目標をロックオン可能なように、胴体31の後部に設けられる。オートパイロット34、慣性装置35、信管36、弾頭37、サーボアンプ38、及び操舵装置39は、胴体31内に設けられる。操舵翼40は操舵装置39に設けられる。フェアリング41は胴体31の先端に設けられる。操舵装置39は操舵翼40を駆動する。シーカ33は、飛しょう体30を目標に誘導するために、加速度指令の信号を出力する。慣性装置35は、飛しょう体30の加速度を検出して検出加速度として出力する。オートパイロット34は、加速度指令及び検出加速度に基づいて、舵角指令を出力する。サーボアンプ38は、舵角指令と操舵翼40の舵角とが一致するように、操舵装置39を制御する。すなわち、操舵装置39は、シーカ33がロックオンした目標と飛しょう体30とが相対的に接近するように操舵翼40を駆動する。信管36は、近接信管であって、目標の近傍で弾頭37を起爆する。起爆された弾頭37は、多数のフラグメントを飛散させる。フラグメントによって目標が破壊される。   Referring to FIG. 4, a flying body 30 includes a fuselage 31, a wing 32, a seeker 33, an autopilot 34, an inertial device 35, a fuze 36, a warhead 37, a servo amplifier 38, and a steering device. 39, a steering blade 40, and a fairing 41. The body 31 has a cylindrical shape with the flying body axis S as an axis. The wing 32 is, for example, a fixed stable wing provided at the rear portion of the body 31. The seeker 33 is provided at the rear part of the body 31 so that the target behind the flying body 30 can be locked on. The autopilot 34, the inertia device 35, the fuse 36, the warhead 37, the servo amplifier 38, and the steering device 39 are provided in the body 31. The steering blade 40 is provided in the steering device 39. The fairing 41 is provided at the tip of the body 31. The steering device 39 drives the steering blade 40. The seeker 33 outputs an acceleration command signal in order to guide the flying object 30 to the target. The inertial device 35 detects the acceleration of the flying object 30 and outputs the detected acceleration. The autopilot 34 outputs a steering angle command based on the acceleration command and the detected acceleration. The servo amplifier 38 controls the steering device 39 so that the steering angle command and the steering angle of the steering blade 40 coincide. That is, the steering device 39 drives the steering blade 40 so that the target on which the seeker 33 is locked on and the flying object 30 are relatively close to each other. The fuze 36 is a proximity fuze and detonates the warhead 37 near the target. The detonated warhead 37 scatters a number of fragments. Fragments destroy targets.

飛しょう体30が推進装置を備えないため、飛しょう体30の小型化が可能である。したがって、多数の飛しょう体30を航空機10に搭載することができる。   Since the flying body 30 does not include a propulsion device, the flying body 30 can be downsized. Therefore, a large number of flying bodies 30 can be mounted on the aircraft 10.

図5を参照して、弾頭37の構造を説明する。弾頭37は、複数のフラグメントを飛しょう体30の後方に向けて円錐状に飛散させるために適した構造を有する。弾頭37は、例えば、飛しょう体30の後方側が細く飛しょう体軸線Sを軸とする錐台(円錐台又は角錐台)に成形されたさく薬51と、さく薬51よりも飛しょう体30の後方側に配置された弾かく52とを備える。弾かく52は、飛しょう体軸線Sを軸とする柱体(円柱体又は角柱体)にさく薬51の形状に対応する凹部を形成した形状を有する。弾かく52は、金属又は他の材料により形成される。さく薬51は、弾かく52の凹部に配置される。弾頭37が起爆したときに破砕されやすいように、弾かく52には格子状の溝が形成されることが好ましい。尚、弾頭37の構造は図5に示す例に限定されない。さく薬51は、飛しょう体30の後方側が細く飛しょう体軸線Sを軸とする錐体(円錐体又は角錐体)に成形されてもよい。   The structure of the warhead 37 will be described with reference to FIG. The warhead 37 has a structure suitable for scattering a plurality of fragments conically toward the rear of the flying body 30. The warhead 37 includes, for example, a spray 51 formed on a frustum (conical frustum or truncated pyramid) having a narrow rear side of the flying body 30 and having the flying body axis S as an axis, and the flying body 30 more than the spray 51. And a bullet 52 arranged on the rear side. The elastic shell 52 has a shape in which a concave portion corresponding to the shape of the medicine 51 is formed in a column body (cylindrical body or prismatic body) having the flying body axis S as an axis. Bullet 52 is made of metal or other material. The glaze 51 is disposed in the concave portion of the spring 52. It is preferable that a lattice-like groove is formed in the bullet 52 so that the warhead 37 is easily crushed when detonated. The structure of the warhead 37 is not limited to the example shown in FIG. The glaze 51 may be formed into a cone (cone or pyramid) with the flying body axis S as the axis and the rear side of the flying body 30 is thin.

以下、本実施形態に係る航空機防御方法を説明する。   Hereinafter, the aircraft defense method according to the present embodiment will be described.

放出機構21は、シーカ33が航空機10の後方を向いた状態で飛しょう体30を保持する。航空機10のパイロットは、航空機10の後方から接近する飛行物体80に気づいた場合、手動操作により放出トリガ信号を生成する。放出機構21は、放出トリガ信号に応答して、シーカ33が航空機10の後方を向く姿勢で飛しょう体30を放出する。すなわち、放出された瞬間における飛しょう体30の航空機10に対する相対速度がほぼゼロである。   The discharge mechanism 21 holds the flying body 30 with the seeker 33 facing the rear of the aircraft 10. When the pilot of the aircraft 10 notices the flying object 80 approaching from behind the aircraft 10, the pilot of the aircraft 10 generates a discharge trigger signal by manual operation. In response to the release trigger signal, the release mechanism 21 releases the flying body 30 in a posture in which the seeker 33 faces the rear of the aircraft 10. That is, the relative speed of the flying object 30 with respect to the aircraft 10 at the moment of release is almost zero.

ここで、飛しょう体30が機体尾部10aから放出されるため、飛しょう体30が尾翼11に衝突することが防止される。   Here, since the flying body 30 is released from the body tail portion 10a, the flying body 30 is prevented from colliding with the tail wing 11.

尚、シーカ33が飛行物体80をロックオンした後に飛しょう体30を放出してもよく、放出後にシーカ33が飛行物体80をロックオンしてもよい。   The flying object 30 may be released after the seeker 33 locks on the flying object 80, and the seeker 33 may lock on the flying object 80 after the release.

飛しょう体30は、放出されるときに航空機10から受けた初速を利用して飛行する。操舵装置39は、シーカ33が出力する信号に基づいて、飛しょう体30の後方から飛行物体80が追いつく形で飛しょう体30と飛行物体80とが相対的に接近するように操舵翼40を駆動する。ここで、飛しょう体30は、推進装置を用いずに、初速のみで飛しょう体30の機体運動制御に必要な空気力を得て自律誘導を行う。飛しょう体30は、空気抵抗により速度が徐々に低下しながら飛行物体80に接近し、飛行物体80の近傍で弾頭37を起爆して飛行物体80を破壊する。このように、本実施形態に係る航空機防御装置は航空機10を後方の脅威から防御する。   The flying body 30 flies using the initial speed received from the aircraft 10 when released. Based on the signal output from the seeker 33, the steering device 39 moves the steering wing 40 so that the flying object 30 and the flying object 80 relatively approach each other so that the flying object 80 catches up from behind the flying object 30. To drive. Here, the flying body 30 performs autonomous guidance by obtaining the aerodynamic force necessary for the body motion control of the flying body 30 only at the initial speed without using the propulsion device. The flying object 30 approaches the flying object 80 while the velocity is gradually reduced due to air resistance, and detonates the flying object 80 in the vicinity of the flying object 80 to destroy the flying object 80. As described above, the aircraft defense device according to the present embodiment protects the aircraft 10 from the rear threat.

ここで、飛しょう体30が放出されるときに航空機10から受けた初速を利用して飛行するため、飛しょう体30と飛行物体80の対気速度方向が一致する。そのため、飛しょう体30と飛行物体80の相対速度が小さくなり、且つ、誘導時間が長くなる。したがって、本実施形態によれば、推力装置を有して目標に向かう方向の対気速度で飛行する通常の飛しょう体に比べて、飛行物体80の近傍に飛しょう体30を誘導することが容易になる。   Here, since the flight is performed using the initial speed received from the aircraft 10 when the flying object 30 is released, the airspeed directions of the flying object 30 and the flying object 80 coincide. Therefore, the relative speed between the flying object 30 and the flying object 80 is reduced, and the induction time is increased. Therefore, according to the present embodiment, it is possible to guide the flying body 30 in the vicinity of the flying object 80 as compared with a normal flying body that has a thrust device and flies at an air speed toward the target. It becomes easy.

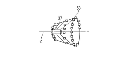
図6を参照して、弾頭37が起爆したときのフラグメント飛散パターンを説明する。弾頭37が起爆すると、さく薬51の燃焼により、弾かく52が破砕されて複数のフラグメント53が生成し、複数のフラグメント53が飛しょう体30の後方に向けて飛しょう体軸線Sを軸とする円錐状に飛散される。飛散したフラグメント53により飛行物体80が破壊される。尚、弾かく52が金属製の場合、金属製のフラグメント53が生成される。   The fragment scattering pattern when the warhead 37 detonates will be described with reference to FIG. When the warhead 37 detonates, the bomb 52 is crushed by the combustion of the powder 51 to generate a plurality of fragments 53, and the plurality of fragments 53 are directed toward the rear of the flying object 30 with the flying object axis S as the axis. It is scattered in a conical shape. The flying object 80 is destroyed by the scattered fragment 53. In addition, when the bomb 52 is made of metal, a metal fragment 53 is generated.

図7を参照して、フラグメント53による飛行物体80の破壊メカニズムを説明する。フラグメント53を衝突させて飛行物体80を破壊する。飛しょう体30の後方に向けて複数のフラグメント53を飛散させることで、フラグメント53と飛行物体80の間の相対速度の平均値が増し、フラグメント53の衝突による破壊力を高めることができる。特に、シーカが搭載される飛行物体80の先端部の破壊効果を高めることができる。更に、フラグメント53を円錐状に飛散させることで、同数のフラグメント53を球状に飛散させる場合に比べて、フラグメント53が飛行物体80の進行延長線上に密に存在する時間が長くなり、フラグメント53と飛行物体80とが衝突する確率を高めることができる。すなわち、飛しょう体30の後方に向けて複数のフラグメント53を円錐状に飛散させることで、飛行物体80を破壊する確率を高めることができる。   With reference to FIG. 7, the destruction mechanism of the flying object 80 by the fragment 53 is demonstrated. The flying object 80 is destroyed by colliding the fragment 53. By scattering the plurality of fragments 53 toward the rear of the flying object 30, the average value of the relative speed between the fragment 53 and the flying object 80 increases, and the destructive force due to the collision of the fragments 53 can be increased. In particular, the effect of destroying the tip of the flying object 80 on which the seeker is mounted can be enhanced. Further, by scattering the fragments 53 in a conical shape, it takes longer for the fragments 53 to be densely present on the traveling extension line of the flying object 80 than when the same number of fragments 53 are scattered in a spherical shape. The probability that the flying object 80 collides can be increased. That is, the probability of destroying the flying object 80 can be increased by scattering the plurality of fragments 53 conically toward the rear of the flying body 30.

図8を参照して、フラグメント53による飛行物体80の他の破壊メカニズムを説明する。複数のフラグメント53が金属製であり、且つ、飛行物体80がレーダー式近接信管及び弾頭を備える場合、飛行物体80が航空機10に接近する前に、飛行物体80のレーダー式近接信管が金属製のフラグメント53で反射したレーダー反射波を検知して飛行物体80の弾頭を起爆させる。金属製のフラグメント53を飛しょう体30の後方に向かって円錐状に飛散させることで、同数の金属製のフラグメント53を球状に飛散させる場合に比べて、金属性のフラグメント53が飛行物体80の進行延長線上に密に存在する時間が長くなり、金属製のフラグメント53で反射したレーダー反射波により飛行物体80の弾頭が起爆する確率を高めることができる。   With reference to FIG. 8, the other destruction mechanism of the flying object 80 by the fragment 53 is demonstrated. When the plurality of fragments 53 are made of metal and the flying object 80 includes a radar proximity fuze and warhead, the radar proximity fuze of the flying object 80 is made of metal before the flying object 80 approaches the aircraft 10. The radar reflected wave reflected by the fragment 53 is detected and the warhead of the flying object 80 is detonated. Compared with the case where the same number of metal fragments 53 are scattered in a spherical shape by scattering the metal fragments 53 in a conical shape toward the rear of the flying body 30, the metal fragments 53 are formed on the flying object 80. The time of being densely present on the traveling extension line becomes longer, and the probability that the warhead of the flying object 80 is detonated by the radar reflected wave reflected by the metal fragment 53 can be increased.

以上、実施の形態を参照して本発明による航空機防御装置及び航空機防御方法を説明したが、本発明による航空機防御装置及び航空機防御方法は上記実施形態に限定されない。上記実施形態に変更を加えることが可能である。例えば、飛しょう体放出装置20が飛しょう体30を自動的に放出してもよい。   The aircraft defense device and the aircraft defense method according to the present invention have been described above with reference to the embodiments. However, the aircraft defense device and the aircraft defense method according to the present invention are not limited to the above embodiments. It is possible to add a change to the said embodiment. For example, the flying object discharge device 20 may automatically release the flying object 30.

10…航空機
10a…機体尾部
11…尾翼
20…飛しょう体放出装置
21…放出機構
22…後方警戒センサ
23…演算部
30…飛しょう体
31…胴体
32…翼
33…シーカ
34…オートパイロット
35…慣性装置
36…信管
37…弾頭
38…サーボアンプ
39…操舵装置
40…操舵翼
41…フェアリング
51…さく薬
52…弾かく
53…フラグメント
60…レーダー反射波
S…飛しょう体軸線
102…後方目標用対空ミサイル
103…前胴部
104…コントロール翼
106…ドーム
107…TVC装置
108…推進用ノズル
DESCRIPTION OF SYMBOLS 10 ... Aircraft 10a ... Aircraft tail part 11 ... Tail 20 ... Flying object discharge device 21 ... Release mechanism 22 ... Backward warning sensor 23 ... Calculation part 30 ... Flying object 31 ... Body 32 ... Wing 33 ... Seeker 34 ... Autopilot 35 ... Inertial device 36 ... Fuze 37 ... Warhead 38 ... Servo amplifier 39 ... Steering device 40 ... Steering blade 41 ... Fairing 51 ... Splashing 52 ... Strike 53 ... Fragment 60 ... Radar reflected wave S ... Flying body axis 102 ... Back target Anti-aircraft missile 103 ... Front trunk 104 ... Control blade 106 ... Dome 107 ... TVC device 108 ... Propulsion nozzle

Claims (4)

航空機から放出されるときに前記航空機から受ける初速を利用して飛行する飛しょう体を具備し、
前記飛しょう体は、
前記飛しょう体の後方の飛行物体をロックオンするシーカと、
操舵翼と、
前記飛しょう体と前記飛行物体とが相対的に接近するように前記操舵翼を駆動する操舵装置と、
複数のフラグメントを前記飛しょう体の後方に向けて円錐状に飛散させる弾頭と
を備え、
前記弾頭は、
さく薬と、
前記さく薬よりも前記飛しょう体の後方側に配置され、格子状の溝が形成された弾かくと
を備え、
前記さく薬は、前記弾かくの前記格子状の溝が形成されている部分の凹部に配置され
前記さく薬は、前記飛しょう体の後方側が細い錐台又は錐体に成形され、
前記弾頭が起爆すると前記弾かくが破砕されて前記複数のフラグメントが生成する
航空機防御装置。
Comprising a flying object that uses the initial speed received from the aircraft when released from the aircraft;
The flying object is
A seeker that locks on the flying object behind the flying object;
The steering wing,
A steering device that drives the steering wing so that the flying object and the flying object are relatively close to each other;
A warhead that scatters a plurality of fragments conically toward the rear of the flying body,
The warhead is
With the pills,
It is arranged on the rear side of the flying body with respect to the glaze, and has a bullet with a lattice-like groove formed thereon,
The laxative is placed in the concave portion of the portion where the lattice-like grooves of the elastic are formed ,
The glaze is shaped into a narrow frustum or cone on the rear side of the flying body,
An aircraft defense device in which when the warhead detonates, the bullets are crushed to generate the plurality of fragments .
前記複数のフラグメントは金属製である
請求項1の航空機防御装置。
The aircraft defense apparatus according to claim 1, wherein the plurality of fragments are made of metal.
後方の飛行物体をロックオンするシーカを備えた飛しょう体を航空機から放出するステップと、
前記航空機から放出されたときに前記航空機から受けた初速を利用して飛行しながら、前記飛しょう体が前記飛行物体へ相対的に接近するステップと、
前記飛しょう体が前記飛行物体へ相対的に接近した後に前記飛しょう体の弾頭が複数のフラグメントを飛散させるステップと
を具備し、
前記飛しょう体を前記航空機から放出する前記ステップにおいて、前記シーカが前記航空機の後方を向く姿勢で前記飛しょう体を放出し、
前記飛しょう体が前記飛行物体へ相対的に接近する前記ステップは、前記シーカが出力する信号に基づいて前記飛しょう体の操舵翼を駆動するステップを備え、
前記弾頭が前記複数のフラグメントを飛散させる前記ステップにおいて、前記複数のフラグメントを前記飛しょう体の後方に向けて円錐状に飛散させ、
前記弾頭は、
さく薬と、
前記さく薬よりも前記飛しょう体の後方側に配置され、格子状の溝が形成された弾かくと
を備え、
前記弾頭の起爆前に、前記さく薬は、前記弾かくの前記格子状の溝が形成されている部分の凹部に配置され
前記さく薬は、前記飛しょう体の後方側が細い錐台又は錐体に成形され、
前記弾頭が起爆すると前記弾かくが破砕されて前記複数のフラグメントが生成する
航空機防御方法。
Releasing a flying object with a seeker to lock on a flying object behind the aircraft;
The flying object relatively approaching the flying object while flying using the initial speed received from the aircraft when released from the aircraft;
The projectile warhead scatters a plurality of fragments after the projectile is relatively close to the flying object;
In the step of releasing the flying object from the aircraft, the seeker releases the flying object in a posture facing the rear of the aircraft;
The step of the flying body relatively approaching the flying object comprises a step of driving a steering wing of the flying body based on a signal output by the seeker,
In the step in which the warhead scatters the plurality of fragments, the plurality of fragments are scattered in a conical shape toward the rear of the flying body,
The warhead is
With the pills,
It is arranged on the rear side of the flying body with respect to the glaze, and has a bullet with a lattice-like groove formed thereon,
Prior to the initiation of the warhead, the spray is placed in a recess in the portion of the bullet where the lattice-like grooves are formed ,
The glaze is shaped into a narrow frustum or cone on the rear side of the flying body,
An aircraft defense method in which when the warhead detonates, the bullet is crushed to produce the plurality of fragments .
航空機から放出されるときに前記航空機から受ける初速を利用して飛行する飛しょう体を具備し、
前記飛しょう体は、
前記飛しょう体の後方の飛行物体をロックオンするシーカと、
操舵翼と、
前記飛しょう体と前記飛行物体とが相対的に接近するように前記操舵翼を駆動する操舵装置と、
複数のフラグメントを前記飛しょう体の後方に向けて円錐状に飛散させる弾頭と
を備え、
前記弾頭は、
さく薬と、
前記さく薬よりも前記飛しょう体の後方側に配置され、格子状の溝が形成された弾かくと
を備え、
前記さく薬は、前記弾かくの前記格子状の溝が形成されている部分の凹部に配置され、
前記弾かくは、飛しょう体軸線を軸とする柱体に前記凹部を形成した形状を有する
航空機防御装置



Comprising a flying object that uses the initial speed received from the aircraft when released from the aircraft;
The flying object is
A seeker that locks on the flying object behind the flying object;
The steering wing,
A steering device that drives the steering wing so that the flying object and the flying object are relatively close to each other;
A warhead that scatters a plurality of fragments conically toward the rear of the flying body;
With
The warhead is
With the pills,
It is arranged on the rear side of the flying body rather than the above-mentioned glaze, and has a lattice-shaped groove.
With
The laxative is placed in the concave portion of the portion where the lattice-like grooves of the elastic are formed,
The elastic structure has a shape in which the concave portion is formed in a column having the flying body axis as an axis.
Aircraft defense device .



JP2012092950A 2012-04-16 2012-04-16 Aircraft defense device Active JP6071237B2 (en)

Priority Applications (1)

Application Number Priority Date Filing Date Title
JP2012092950A JP6071237B2 (en) 2012-04-16 2012-04-16 Aircraft defense device

Applications Claiming Priority (1)

Application Number Priority Date Filing Date Title
JP2012092950A JP6071237B2 (en) 2012-04-16 2012-04-16 Aircraft defense device

Publications (2)

Publication Number Publication Date
JP2013221660A JP2013221660A (en) 2013-10-28
JP6071237B2 true JP6071237B2 (en) 2017-02-01

Family

ID=49592759

Family Applications (1)

Application Number Title Priority Date Filing Date
JP2012092950A Active JP6071237B2 (en) 2012-04-16 2012-04-16 Aircraft defense device

Country Status (1)

Country Link
JP (1) JP6071237B2 (en)

Family Cites Families (4)

* Cited by examiner, † Cited by third party
Publication number Priority date Publication date Assignee Title
US4444117A (en) * 1981-03-30 1984-04-24 The Boeing Company Stacked tube submunition dispenser
US7621222B2 (en) * 2001-08-23 2009-11-24 Raytheon Company Kinetic energy rod warhead with lower deployment angles
US7930978B1 (en) * 2008-05-19 2011-04-26 Raytheon Company Forward firing fragmentation warhead
JP5506581B2 (en) * 2010-07-16 2014-05-28 三菱重工業株式会社 Aircraft defense device

Also Published As

Publication number Publication date
JP2013221660A (en) 2013-10-28

Similar Documents

Publication Publication Date Title
US9074858B2 (en) Projectile-deployed countermeasure system
US8122810B2 (en) Rocket propelled barrier defense system
JP4249782B2 (en) Vehicle-mounted protection device and method against flying enemies
US8205537B1 (en) Interceptor projectile with net and tether
US8399816B2 (en) Rocket propelled barrier defense system
US6626077B1 (en) Intercept vehicle for airborne nuclear, chemical and biological weapons of mass destruction
US6279482B1 (en) Countermeasure apparatus for deploying interceptor elements from a spin stabilized rocket
US9134098B1 (en) Countermeasure system and method for defeating incoming projectiles
US8563910B2 (en) Systems and methods for targeting a projectile payload
US4519315A (en) Fire and forget missiles system
JP2007525637A (en) Active defensive device and associated apparatus, system, and method
US10731950B2 (en) Vehicle defense projectile
RU2527610C2 (en) Two-stage antitank guided missile
US20060000348A1 (en) Missile interceptor
US5177316A (en) Process and apparatus for attacking rotating wing aircraft
JP6071237B2 (en) Aircraft defense device
RU22326U1 (en) CARRIER MISSILE DEFENSE DEVICE
USH1011H (en) Anti-aircraft mine
JP5506581B2 (en) Aircraft defense device
CA2251076A1 (en) Countermeasure apparatus for deploying interceptor elements from a spin stabilized rocket
US8424444B2 (en) Countermeasure systems including pyrotechnically-gimbaled targeting units and methods for equipping vehicles with the same
KR20230042693A (en) Incoming threat protection system and how to use it
RU2680558C1 (en) Method of increasing the probability of overcoming zones of missile defense
KR101594441B1 (en) Apparatus for destroying guide missile
RU2477832C2 (en) Anti-ship missile

Legal Events

Date Code Title Description
A621 Written request for application examination

Free format text: JAPANESE INTERMEDIATE CODE: A621

Effective date: 20141212

A977 Report on retrieval

Free format text: JAPANESE INTERMEDIATE CODE: A971007

Effective date: 20151016

A131 Notification of reasons for refusal

Free format text: JAPANESE INTERMEDIATE CODE: A131

Effective date: 20151027

A521 Written amendment

Free format text: JAPANESE INTERMEDIATE CODE: A523

Effective date: 20151214

A131 Notification of reasons for refusal

Free format text: JAPANESE INTERMEDIATE CODE: A131

Effective date: 20160524

A521 Written amendment

Free format text: JAPANESE INTERMEDIATE CODE: A523

Effective date: 20160701

TRDD Decision of grant or rejection written
A01 Written decision to grant a patent or to grant a registration (utility model)

Free format text: JAPANESE INTERMEDIATE CODE: A01

Effective date: 20161130

A61 First payment of annual fees (during grant procedure)

Free format text: JAPANESE INTERMEDIATE CODE: A61

Effective date: 20161227

R151 Written notification of patent or utility model registration

Ref document number: 6071237

Country of ref document: JP

Free format text: JAPANESE INTERMEDIATE CODE: R151