JP5916640B2 - 水力発電用水車の流量調整用ノズル - Google Patents

水力発電用水車の流量調整用ノズル Download PDF

Info

Publication number
JP5916640B2
JP5916640B2 JP2013009776A JP2013009776A JP5916640B2 JP 5916640 B2 JP5916640 B2 JP 5916640B2 JP 2013009776 A JP2013009776 A JP 2013009776A JP 2013009776 A JP2013009776 A JP 2013009776A JP 5916640 B2 JP5916640 B2 JP 5916640B2
Authority
JP
Japan
Prior art keywords
water
nozzle
runner
flow rate
plate
Prior art date
Legal status (The legal status is an assumption and is not a legal conclusion. Google has not performed a legal analysis and makes no representation as to the accuracy of the status listed.)
Active
Application number
JP2013009776A
Other languages
English (en)
Other versions
JP2014141905A (ja
Inventor
直哉 江原
直哉 江原
Original Assignee
デンヨー株式会社
喜多機械産業株式会社
Priority date (The priority date is an assumption and is not a legal conclusion. Google has not performed a legal analysis and makes no representation as to the accuracy of the date listed.)
Filing date
Publication date
Application filed by デンヨー株式会社, 喜多機械産業株式会社 filed Critical デンヨー株式会社
Priority to JP2013009776A priority Critical patent/JP5916640B2/ja
Publication of JP2014141905A publication Critical patent/JP2014141905A/ja
Application granted granted Critical
Publication of JP5916640B2 publication Critical patent/JP5916640B2/ja
Active legal-status Critical Current
Anticipated expiration legal-status Critical

Links

Images

Classifications

    • YGENERAL TAGGING OF NEW TECHNOLOGICAL DEVELOPMENTS; GENERAL TAGGING OF CROSS-SECTIONAL TECHNOLOGIES SPANNING OVER SEVERAL SECTIONS OF THE IPC; TECHNICAL SUBJECTS COVERED BY FORMER USPC CROSS-REFERENCE ART COLLECTIONS [XRACs] AND DIGESTS
    • Y02TECHNOLOGIES OR APPLICATIONS FOR MITIGATION OR ADAPTATION AGAINST CLIMATE CHANGE
    • Y02EREDUCTION OF GREENHOUSE GAS [GHG] EMISSIONS, RELATED TO ENERGY GENERATION, TRANSMISSION OR DISTRIBUTION
    • Y02E10/00Energy generation through renewable energy sources
    • Y02E10/20Hydro energy

Landscapes

  • Hydraulic Turbines (AREA)

Description

本発明は、水力発電用水車、特にクロスフロー水車の流量調整用ノズルに関するものである。
水力発電は、水ジェットをランナに衝突させて水平軸の水車を回すペルトン水車、水をランナと交差させて流すことにより水車を回すクロスフロー水車、ランナ外周から半径方向に水を流入して軸方向に流出させる際の反動により水車を回すフランシス水車等の水車により発電機を駆動して発電を行う。それら水車の内、クロスフロー水車は、落差2〜100mの広い範囲で適用可能で、構造がシンプルで部品点数が少なく、メンテナンスが容易であるため、1,000kW以下の小水力発電で広く採用されている。
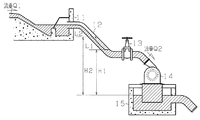
図7は、水力発電の概略説明図である。水力発電は、河川等から流れ込む水を受水槽11に貯め、貯めた水を、水圧管路12,入口弁13等を介して水力発電装置14に流して発電を行う。
水力発電の発電機出力P(kW)は、重力加速度が9.8(m/s)で、流量をQ(m/s)、有効落差をH(m)、効率をηとすると、
(数1)
P=9.8×Q×H×η
となる。
なお、「有効落差」とは、水車に作用する落差で、総落差から損失落差を差し引いた値をいい、「総落差」とは、図7に示すように、発電のための取水点と放水点の標高差、図7の例では、受水槽11の水位と放水槽15の水位との差であり、「損失落差」とは、水路や管路の中を水が流れるときに発生する圧力損失、図7の例では、水圧管路12や入口弁13等の中を水が流れるときに発生する圧力損失を落差に置き換えたものである。
水力発電において、発電出力を一定に保つには、上記数式1から明らかなように、流量Qと有効落差Hを一定に保つ必要があり、そのため、水力発電装置14に流す流量Q2を受水槽11に流れ込む流量Q1以下にして一定に保ち、かつ、受水槽11に流れ込む流量Q1の余剰分を、受水槽11から図示しない余水管を通して河川へ放流することにより、受水槽11の水位を一定に保つようにしている。
図8は、クロスフロー水車を使った発電装置の一例を示す図であり、図9は、図8のA−A断面図である。図8,図9において、1はクロスフロー水車のケーシング、2は入口管、3はランナ、GBはガイドベーンであり、16は導水管、17は空気吸入弁、20は発電機、21は端子箱、22は口出し線である。
このクロスフロー水車は、水圧管路から導水管16を通して入口管2に水を受け、その水を、先端吐出部Nよりランナ3に対して交差する方向に流すことによりランナ3を回転させ、それにより発電機20を駆動して発電を行う。導水管16は、水圧管路12(図7)に接続する為の円形フランジと、入口管2に接続する為の角形フランジとを両端に有し、その間の管部は断面円形から断面四角形に変形させている。
このような水力発電は、河川や池の水を利用しているが河川等には、季節に応じて渇水期と豊水期があり、図10に流況図を示すように、年間を通じて流量は一定ではなく、そ
れに伴って水力発電に利用できる流量は変化する。なお、流況図は、年間の流量測定データを、大きい順に並べたグラフであり、横軸が日数、縦軸が流量を表している。
そこで、そのような流量の変化に合わせて効率よく水車の運転が行えるように、従来のクロスフロー水車では、入口管2の内部にガイドベーンGBを設けて、その開度を変化させることにより流量調整を行うようにしている。なお、ガイドベーンを設けて流量調整を行うことは、例えば、特許文献1,特許文献2に示されている。
特許文献2にはさらに、流量調整のための別の手段として、入口管の内部に、ノズル形状に板取りされた2枚のスライド可能な仕切板を設けて流量調整を行うことや、入口管の両側面に設けた水車カバーの一方に、ランナの外周の一部に沿う円弧状の溝を穿設し、該溝を介して外部側から入口管内に、ランナの外周側を覆う湾曲板状の流水量調節板を、該ランナの軸方向に沿って摺動可能に貫通させて設け、入口管内の流路をランナの軸方向にて仕切る流水案内板を一体的に設けて、それら流水量調節板及び流水案内板をランナの軸方向に沿って無段階的に進退移動させることにより、流量調整を行うことも示されている。
特開平2−20833号公報 特開平5−18344号公報
しかしながら、上記従来の水力発電用水車の流量調整手段は、いずれも可動部分を有していて、それらの位置を機械的制御や電気的制御で行う必要があり、その制御機構が複雑でコストも高くなり、故障の発生も多くなって、設置場所によっては修理にも手間が掛かるという問題点があった。また、ノズル形状に板取りされた2枚のスライド可能な仕切板を設けたものや、ランナの外周側を覆う湾曲板状の流水量調節板、及び、入口管内の流路をランナの軸方向にて仕切る流水案内板を、ランナの軸方向に沿って無段階的に進退移動させるものでは、水の流れをランナの軸方向に制限することにより流量調節を行うので、最大流量のとき以外は、ランナの羽根の一部しか使用しない状態になって、ランナの使用効率が悪くなるという問題点もあった。
本発明は、そのような問題点に鑑み、水力発電用水車の流量調整手段として、可動部分のないノズルを採用することにより、構造が簡単で、制御が不要でコストがあまり掛からないようにすることを目的とするものである。さらに、常にランナの羽根全体を使用するようにしてランナの使用効率を高く維持することを目的とするものである。
前記課題を解決するため、本願の請求項1にかかる発明は、水圧管路を通して送られてくる水を導入し、その水を先端吐出部から吐出させて水車を回転させるようにした入口管の前記先端吐出部に、水流方向と軸心を交差させてランナを設けたクロスフロー水車の、前記入口管の内部に着脱自在に設ける可動部分のないノズルであって、前記ランナ側に配置し、ランナとほぼ同じ横幅を有する下面板と、該下面板に対向した上面板と、該下面板及び上面板の間に渡した2枚の側板とで断面四角形に形成されており、先端に、前記入口管の先端吐出部より小断面の吐出部を有し、前記上面板の先端を前記下面板の先端より長くして前記ランナの外周直近まで延伸させたことを特徴とする。
また、本願の請求項2にかかる発明は、請求項1にかかる発明において、前記上面板の延伸部分を、前記ランナと離れる方向に屈曲させたことを特徴とする。
また、本願の請求項3にかかる発明は、請求項1又は2にかかる発明において、前記側板を、前記上面板の外側方向に延長させて支持部を形成し、該支持部の縁部と前記下面板の外面が、前記入口管の先端部内面に嵌合するようにしたことを特徴とする。
本発明は、次のような効果を奏する。
すなわち、請求項1にかかる発明においては、水を先端吐出部から吐出させて水車を回転させるようにした入口管の内部に、着脱自在に、断面四角形で、ランナとほぼ同じ横幅を有し、先端に、入口管の先端吐出部より小断面の吐出部を有し、上面板の先端を下面板の先端より長くしてランナの外周直近まで延伸させた可動部分のないノズルを設けるようにしたので、水力発電用水車の流量調整手段として、構造が簡単で、制御が不要になり、コストを抑えることができる。また、常にランナの全幅にわたり水を流して羽根全体を使用し、かつ、水がスムーズに流れてランナに当たるようになって、水車の効率が向上する。しかも、同じ流量でもノズル取り付け前より有効落差を大きくして発電出力を向上させることができる。
また、請求項2にかかる発明においては、請求項1にかかる水力発電用水車の流量調整用ノズルにおいて、上面板の延伸部分を、ランナと離れる方向に屈曲させたので、ランナの羽根に水が当たる面積が広くなり、水車の効率がさらに向上して、発電機出力を増加させるころができる。
また、請求項3にかかる発明においては、請求項1又は2にかかる水力発電用水車の流量調整用ノズルにおいて、前記側板を、前記上面板の外側方向に延長させて支持部を形成し、該支持部の縁部と前記下面板の外面が、前記入口管の先端部内面に嵌合するようにしたので、上面板と支持部を上にした状態で入口管の中へ嵌め込むだけで取り付けることができ、入口管へのノズルの着脱が簡単になり、取り付けた後は、ノズルは水圧により完全に固定されるようになる。
本願発明の一実施例に係るノズルを適用したクロスフロー水車の断面図である。 本願発明の一実施例に係るノズルを示す図である。 流れ込む流量が減少してノズルを取り付けたときの状態を示す図である。 流量と有効落差及び有効落差と出力の関係を示す図である。 本願発明の他の実施例に係るノズルを適用したクロスフロー水車の断面図である。 本願発明の他の実施例に係るノズルを示す図である。 水力発電の概略説明図である。 クロスフロー水車を使った発電装置の一例を示す図である。 従来のクロスフロー水車の断面図である。 流況図の一例を示す図である。
以下、本発明の実施例を図面に基づいて詳細に説明する。
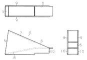
図1は、本願発明の一実施例に係るノズルを適用したクロスフロー水車の断面図である。符号は、図9のものに対応しており、4はノズルである。ノズル4は、入口管2の内部に着脱自在に設ける。
図2は、本願発明の一実施例に係るノズルを示す図である。この図は、図1のものとは上下を反転させて、正面図,平面図及び側面図を示している。図2において、5は流入口、6は噴出口、7は下面板、8は上面板、9は側板、10は支持部である。
入口管2は、図7の水圧管路12のような水圧管路を通して送られてくる水を、クロスフロー水車のケーシング1内に導入する。クロスフロー水車は、入口管2の先端吐出部に、水流方向と軸心を交差させてランナ3を設けている。入口管2の内部には、ノズル4が着脱自在に設けられる。
ノズル4は、材質をSUS304として、強度を高くし、長期間水に浸かっても錆びないようにしており、ランナ3とほぼ同じ横幅を有する下面板7と、それに対向した上面板8と、下面板7及び上面板8の左右両縁間に渡した2枚の側板9,9とで断面四角形に形成されていて、流入口5と噴出口6を有している。ノズル4の吐出部nの断面積は、前記入口管2の先端吐出部Nの断面積より小さく形成されている。
また、上面板8の先端を下面板7の先端より長くしてランナ3の外周直近まで延伸させてることにより、水流をスムーズにし、かつ、図中Rで示す広い範囲でランナ3に水流が当たるようにしている。
さらに側板9を、上面板8の外側まで延ばして支持部10を形成しており、該支持部10の上縁部と下面板7の外面が、入口管2の、先端に向かうにしたがって狭くなっている先端部内面に合致する形状になるようにして、ノズル4が入口管2の先端部内面に嵌合するようにしている。
このようなノズル4を入口管2へ取り付ける際には、一旦入口弁13(図7)を閉じて水を止め、入口管2から導水管16(図8)を取り外した後、ノズル4を上面板8と支持部10を上にした状態で入口管2の中へ嵌め込む。このようにすれば、入口管2へのノズル4の取り付けを簡単に行うことができ、取り付けた後は、ノズル4は水圧により完全に固定される。また、ノズル4を取り外す際には、水を止めた後、導水管16を取り外して、入口管2からノズル4を引き抜く。このように、ノズル4の着脱はきわめて簡単に行うことができる。
ここで、ノズル4を取り付けることによる水位の変化、及び発電出力の変化について、図3と図4を使って説明する。図3は、流れ込む流量が減少してノズルを取り付けたときの状態を示す図であり、図4は、流量と有効落差及び有効落差と出力の関係を示す図である。符号は、図7のものに対応している。
前提条件として、本発明は、落差は大きく取れるが、河川の水量はあまり確保できないような条件下での運用を想定しており、もともと利用可能な流量が少ないので、渇水期に、受水槽11内の水位を所定のレベルに維持しようとしてノズル4の吐出部nの断面積を小さくしすぎると、ランナ3に流す流量が少なくなりすぎて、発電効率が悪くなってしまう。そこで、渇水期でも最低限の流量をランナ3に流せるように、ノズル4の吐出部nの断面積をある程度以上確保するとともに、水位が水圧管路12内まで低下した状態でも運転できるようにしている。
そのような水力発電施設において、豊水期には、河川から受水槽11に流れ込む流量Q1が十分あって、受水槽11が満水状態になって、図4に示すように、最大の有効落差H0及び水力発電装置14に流れ込む水の最大流量Q20により、最大の発電出力P0が得られる。
一方、渇水期には、受水槽11に流れ込む流量Q1が減少して受水槽11の水位が低下していき、さらに低下して、水圧管路12内で、所定の水位L1まで低下したときに、入口管2内にノズル4を取り付ける。その時の有効落差はH1で、水力発電装置14に流れ込む水の流量はQ21であり、流量Q21は、河川から流れ込む流量Q1と平衡している。ノズル4を取り付ける直前までは、そのような、有効落差H1,流量Q21の水流により、水力発電装置14から出力P1が得られていたことになる。
その状態で、水力発電装置14の入口管2に、吐出部断面積が小さいノズル4を取り付けると、吐出部断面積が小さくなった分、ノズルから吐出する水の流量が減少する。一方、流れ込む水の流量Q21は変化がないので、ノズルから吐出する水の流量<流量Q21となって、水圧管路12内の水位は徐々に上昇する。
ここで、流れ込む水の流量をQ、流出係数をC、吐出部断面積をA、ノズル4からの吐出流速をVとすると、
(数2)
Q=C×A×V
となり、流れ込む水の流量Q21は変化しないので、吐出部断面積Aが小さくなったことで、吐出流速Vが速くなる。
また、有効落差をHとすると、
(数3)
V=(2×9.8×H)1/2
となるので、吐出流速Vが速くなるのにともなって、有効落差Hが大きくなっていく。
その内、ノズルから吐出する水の流速が速くなっていくのに応じて吐出流量が多くなっていき、流れ込む水の流量Q21と平衡するようになって、水圧管路12内の水位が水位L2で一定になり、その時の有効落差はH2となる。そして、有効落差H2により、水力発電装置14から出力P2が得られる。この時、有効落差H2は、ノズル取り付け前の有効落差H1より大きくなっているため、出力P2は、ノズル4を取り付ける前の出力P1より大きくなる。
このように、入口管2内にノズル4を取り付けることにより、流れ込む水の流量が同じでも、取り付け前より有効落差が大きくなり、発電出力を大きくすることができる。
ただ、このように水位が水圧管路12内まで低下した状態で運転する場合、流れ込む流量Q1が変動すると、有効落差Hと吐出する流量Q2が変動する。それにともなって、発電機の出力も変動し、そのままでは、出力電圧や周波数を一定に保てなくなる。その対策としては、発電機と負荷との間にインバータを介在させ、そのインバータにより出力電圧及び周波数を一定に保持させるようにすればよい。
そして、このような可動部分のないノズル4を用いることにより、構造が簡単で、制御が不要になり、コストを抑えながら、発電に使える流量の変動に応じた流量調整が可能になる。また、常にランナの全幅にわたり水を流して羽根全体を使用し、かつ、水がスムーズに流れてランナに当たるようになって、水車の効率が向上する。
また、吐出部nの断面積が異なるノズル4を複数種類用意しておけば、よりきめの細かい流量調整が可能になり、流れ込む様々な流量に対して無駄なく対応できる。
図5は、本願発明の他の実施例に係るノズルを適用したクロスフロー水車の断面図であり、図6は、そのノズルを示す図である。符号は、図1,図2のものに対応している。
この実施例では、上面板8の延伸部分を、ランナ3と離れる方向にわずかに屈曲させている。このようにすると、図中Rで示すような、さらに広い面積でランナ3に水流が当たるようになり、水車効率がさらによくなる。
1 ケーシング
2 入口管
3 ランナ
4 ノズル
5 流入口
6 噴出口
7 下面板
8 上面板
9 側板
10 支持部
11 受水槽
12 水圧管路
13 入口弁
14 水力発電装置
15 放水槽
16 導水管
20 発電機

Claims (3)

  1. 水圧管路を通して送られてくる水を導入し、その水を先端吐出部から吐出させて水車を回転させるようにした入口管の前記先端吐出部に、水流方向と軸心を交差させてランナを設けたクロスフロー水車の、前記入口管の内部に着脱自在に設ける可動部分のないノズルであって、
    前記ランナ側に配置し、ランナとほぼ同じ横幅を有する下面板と、該下面板に対向した上面板と、該下面板及び上面板の間に渡した2枚の側板とで断面四角形に形成されており、先端に、前記入口管の先端吐出部より小断面の吐出部を有し、前記上面板の先端を前記下面板の先端より長くして前記ランナの外周直近まで延伸させたことを特徴とする水力発電用水車の流量調整用ノズル。
  2. 前記上面板の延伸部分を、前記ランナと離れる方向に屈曲させたことを特徴とする請求項1に記載の水力発電用水車の流量調整用ノズル。
  3. 前記側板を、前記上面板の外側方向に延長させて支持部を形成し、該支持部の縁部と前記下面板の外面が、前記入口管の先端部内面に嵌合するようにしたことを特徴とする請求項1又は2に記載の水力発電用水車の流量調整用ノズル。
JP2013009776A 2013-01-23 2013-01-23 水力発電用水車の流量調整用ノズル Active JP5916640B2 (ja)

Priority Applications (1)

Application Number Priority Date Filing Date Title
JP2013009776A JP5916640B2 (ja) 2013-01-23 2013-01-23 水力発電用水車の流量調整用ノズル

Applications Claiming Priority (1)

Application Number Priority Date Filing Date Title
JP2013009776A JP5916640B2 (ja) 2013-01-23 2013-01-23 水力発電用水車の流量調整用ノズル

Publications (2)

Publication Number Publication Date
JP2014141905A JP2014141905A (ja) 2014-08-07
JP5916640B2 true JP5916640B2 (ja) 2016-05-11

Family

ID=51423395

Family Applications (1)

Application Number Title Priority Date Filing Date
JP2013009776A Active JP5916640B2 (ja) 2013-01-23 2013-01-23 水力発電用水車の流量調整用ノズル

Country Status (1)

Country Link
JP (1) JP5916640B2 (ja)

Families Citing this family (3)

* Cited by examiner, † Cited by third party
Publication number Priority date Publication date Assignee Title
KR101690601B1 (ko) * 2015-06-22 2016-12-28 주식회사 씨이피 유량을 이용한 소수력발전시스템
CN105240185B (zh) * 2015-11-05 2017-11-17 山东华泰保尔水务农业装备工程有限公司 一种带弹簧卡片导向的高效轴流式水涡轮
CN114215673A (zh) * 2022-01-13 2022-03-22 绿创能源有限公司 一种水动力回收系统

Family Cites Families (6)

* Cited by examiner, † Cited by third party
Publication number Priority date Publication date Assignee Title
JPS6073881U (ja) * 1983-10-28 1985-05-24 株式会社明電舎 クロスフロ−水車のノズル構造
JPS60127482U (ja) * 1984-02-06 1985-08-27 神鋼電機株式会社 クロスフロ−水車
FR2562955A1 (fr) * 1984-04-16 1985-10-18 Radisa Sa Injecteur pour turbine hydraulique
JPH051659Y2 (ja) * 1985-10-21 1993-01-18
CN102369352A (zh) * 2009-05-26 2012-03-07 利维坦能源空气动力学有限公司 水电式涡轮机喷嘴和它们的关系
JP5354700B2 (ja) * 2011-04-06 2013-11-27 株式会社三栄水栓製作所 水力発電機

Also Published As

Publication number Publication date
JP2014141905A (ja) 2014-08-07

Similar Documents

Publication Publication Date Title
US8475113B2 (en) Hydroelectric power device
US9797107B1 (en) Hydroelectric power generating apparatus
US8388301B2 (en) Turbine system for utilizing the energy of oceanic waves
US20050265820A1 (en) Means to regulate water velocity through a hydro electric turbine
CA2917716C (en) An assembly for generating electricity
CN103353386A (zh) 一种试验用自循环水槽
KR20170129791A (ko) 간이 수력 발전 장치
JP5916640B2 (ja) 水力発電用水車の流量調整用ノズル
JP6168902B2 (ja) 小水力発電装置
RU2666211C1 (ru) Аэрационная система для гидравлической турбины
KR101709146B1 (ko) 소수력 발전장치용 수차의 회전저항력 완화장치
US20130266445A1 (en) Francis-Type Pump for a Hydroelectric Power Plant
CN202756164U (zh) 一种多级水能发电装置
KR101871703B1 (ko) 수력 발전시스템
KR101784493B1 (ko) 해양 양식단지 방류구용 친환경 소수력 발전시설
CN207454161U (zh) 江河截流式水力发电站
CN105908683A (zh) 一种新型的水轮泵泄水消能方法
TWM538985U (zh) 一種導流裝置
KR20130016443A (ko) 유체흐름관에 저항을 주지않는 발전수차 가동방법
RU2348830C1 (ru) Способ увеличения мощности гэс и гидроэлектростанция
KR101273647B1 (ko) 조류 발전기용 샤프트 및 이를 갖는 조류 발전기
JP5288567B2 (ja) 河川に設置する発電用水車
JP4722711B2 (ja) 排水装置
Wei et al. Effect of Air Layer on the Performance of an Open Ducted Cross Flow Turbine
JPH0849641A (ja) 発電用水車の維持放流装置

Legal Events

Date Code Title Description
A621 Written request for application examination

Free format text: JAPANESE INTERMEDIATE CODE: A621

Effective date: 20140905

A977 Report on retrieval

Free format text: JAPANESE INTERMEDIATE CODE: A971007

Effective date: 20150710

A131 Notification of reasons for refusal

Free format text: JAPANESE INTERMEDIATE CODE: A131

Effective date: 20150804

A521 Request for written amendment filed

Free format text: JAPANESE INTERMEDIATE CODE: A523

Effective date: 20151001

A711 Notification of change in applicant

Free format text: JAPANESE INTERMEDIATE CODE: A711

Effective date: 20151119

RD02 Notification of acceptance of power of attorney

Free format text: JAPANESE INTERMEDIATE CODE: A7422

Effective date: 20151119

A521 Request for written amendment filed

Free format text: JAPANESE INTERMEDIATE CODE: A821

Effective date: 20151119

TRDD Decision of grant or rejection written
A01 Written decision to grant a patent or to grant a registration (utility model)

Free format text: JAPANESE INTERMEDIATE CODE: A01

Effective date: 20160405

A61 First payment of annual fees (during grant procedure)

Free format text: JAPANESE INTERMEDIATE CODE: A61

Effective date: 20160405

R150 Certificate of patent or registration of utility model

Ref document number: 5916640

Country of ref document: JP

Free format text: JAPANESE INTERMEDIATE CODE: R150

R250 Receipt of annual fees

Free format text: JAPANESE INTERMEDIATE CODE: R250

R250 Receipt of annual fees

Free format text: JAPANESE INTERMEDIATE CODE: R250

R250 Receipt of annual fees

Free format text: JAPANESE INTERMEDIATE CODE: R250

R250 Receipt of annual fees

Free format text: JAPANESE INTERMEDIATE CODE: R250

R250 Receipt of annual fees

Free format text: JAPANESE INTERMEDIATE CODE: R250

R250 Receipt of annual fees

Free format text: JAPANESE INTERMEDIATE CODE: R250

R250 Receipt of annual fees

Free format text: JAPANESE INTERMEDIATE CODE: R250

R250 Receipt of annual fees

Free format text: JAPANESE INTERMEDIATE CODE: R250