JP5779989B2 - ねじ切削方法 - Google Patents

ねじ切削方法 Download PDF

Info

Publication number
JP5779989B2
JP5779989B2 JP2011121310A JP2011121310A JP5779989B2 JP 5779989 B2 JP5779989 B2 JP 5779989B2 JP 2011121310 A JP2011121310 A JP 2011121310A JP 2011121310 A JP2011121310 A JP 2011121310A JP 5779989 B2 JP5779989 B2 JP 5779989B2
Authority
JP
Japan
Prior art keywords
screw
thread
chaser
blade type
thread cutting
Prior art date
Legal status (The legal status is an assumption and is not a legal conclusion. Google has not performed a legal analysis and makes no representation as to the accuracy of the status listed.)
Expired - Fee Related
Application number
JP2011121310A
Other languages
English (en)
Other versions
JP2012030348A (ja
Inventor
順 高野
順 高野
園部 治
治 園部
吉川 正樹
正樹 吉川
拓也 長濱
拓也 長濱
孝将 川井
孝将 川井
Current Assignee (The listed assignees may be inaccurate. Google has not performed a legal analysis and makes no representation or warranty as to the accuracy of the list.)
JFE Steel Corp
Original Assignee
JFE Steel Corp
Priority date (The priority date is an assumption and is not a legal conclusion. Google has not performed a legal analysis and makes no representation as to the accuracy of the date listed.)
Filing date
Publication date
Application filed by JFE Steel Corp filed Critical JFE Steel Corp
Priority to JP2011121310A priority Critical patent/JP5779989B2/ja
Publication of JP2012030348A publication Critical patent/JP2012030348A/ja
Application granted granted Critical
Publication of JP5779989B2 publication Critical patent/JP5779989B2/ja
Expired - Fee Related legal-status Critical Current
Anticipated expiration legal-status Critical

Links

Images

Landscapes

  • Non-Disconnectible Joints And Screw-Threaded Joints (AREA)

Description

本発明は、ねじ切削方法に関する。このねじ切削方法は、一般に油井やガス井の探査や生産に使用されるチュービングおよびケーシングを包含する油井管、すなわちOCTG(oil country tubular goods)、ライザー管、ならびにラインパイプなどの鋼管の接続に用いるのに好適な、シール性と耐圧縮性に優れた鋼管用ねじ継手を製作する際のねじ切り加工に好ましく用いうる。
前記ねじ継手は、油井管など産油産業設備に使用される鋼管の接続に広く使用されている。オイルやガスの探索や生産に使用される鋼管の接続には、従来API(米国石油協会)規格に規定された標準的なねじ継手が使用されてきた。しかし、近年、原油や天然ガスの井戸は深井戸化が進み、垂直井から水平井や傾斜井が増加していることから、掘削・生産環境は苛酷化している。また、海洋や極地など劣悪な環境での井戸の開発が増加していることなどから、耐圧縮性能、耐曲げ性能、外圧シール性能(耐外圧性能)など、ねじ継手への要求性能は多様化している。そのため、プレミアムジョイントと呼ばれる高性能の特殊ねじ継手を使用することが増加している。
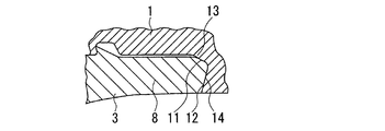
図2〜図4は、油井管用プレミアムジョイントの模式的説明図であり、これらは、円管のねじ継手の縦断面図である。ねじ継手は、ピン部材3とこれに対応するボックス部材1とを備えており、ピン部材3(ピン3)は、その外面に雄ねじ7と、ピン3の先端側に雄ねじ7に隣接して設けられたノーズ部8(ピンノーズ8)と呼ばれるねじ無し部とを有する。ノーズ部8は、その外周面にシール部11を、その端面にはトルクショルダ部12を有する。相対するボックス部材1は、その内面に、それぞれピン3の雄ねじ7、シール部11、およびショルダ部12と螺合するか、または接触することができる部分である、雌ねじ5、シール部13、および、ショルダ部14を有している。
なお、ねじ形状を記述する量として、図5に示すロードフランク角度β(雄ねじのねじ山後面すなわちロードフランク面18が継手軸への垂線に対してなす角度β)、スタブフランク角度γ(雄ねじのねじ山前面すなわちスタブフランク面19が継手軸への垂線に対してなす角度γ)、ねじ隙間G(雄ねじのねじ山7aとこれに噛み合う雌ねじのねじ溝5aとの隙間G)が用いられる。なお角度β、γは、図示のように、面18,19のそれぞれにおいて頂部が底部からみてこれら両面間の中心側にくる場合を正、その逆側にくる場合を負とされる。
ねじ隙間Gの役割について、図6を用いて説明する。ねじ締付け時には、雄ねじのロードフランク面18が雌ねじの対応面で押されることでピン3先端がボックス1にメタル接触してシール部が形成される(図6(a))。一方、シール部のシール効果を高めるために管軸方向の圧縮力を加えながら締付けを行う場合(図6(b))も多々ある。この場合、雄ねじのスタブフランク面が雌ねじの対応面と押し合うことで、シール部及びショルダ部における接触面圧を軽減し、シール部及びショルダ部が過大に塑性変形するのを防止する。すなわち耐圧縮性能を向上させる。この効果を十分なものとするにはねじ隙間Gを小さくする必要があるが、小さくし過ぎると雄ねじのスタブフランク面19と雌ねじの対応面との間でゴーリング(焼付き、むしれ)が起り易くなる。すなわち耐ゴーリング性能が低下する。また、ねじ締付け後のねじ継手には管軸方向の引張力が加わる場合(図6(c))も多々ある。この場合、雄ねじのロードフランク面が雌ねじの対応面と押し合うことでシール部の接触面圧低下によるシール性低下を防止する。すなわち耐引張性能を向上させる。この効果を十分なものとするにはねじ隙間Gを小さくする必要があるが、小さくし過ぎると雄ねじのロードフランク面と雌ねじの対応面との間でゴーリング(焼付き、むしれ)が起り易くなる。すなわち耐ゴーリング性能が低下する。
このように、ねじ隙間Gは、ねじ継手の耐圧縮乃至引張性能、耐ゴーリング性能への主要な影響因子であって、適正範囲に調整する必要があるため、例えば特許文献1では、ねじ隙間Gの好適範囲を0.05〜0.25mmとしている。
上記ねじ継手の製作時には、ピン部材用とした管体の外周面とボックス部材用とした管体の内周面とに対してそれぞれねじ切削(ねじ切り)加工が施される。このねじ切削方法として、例えば特許文献1に記載されるように、通常、チェザーと呼ばれるねじ切削用刃物を管体の被切削面に押し当て、管体を回転させつつ管軸方向に前後進させる方法が採用される。このとき1つのねじ切削工程が必要に応じて複数の切削深さ段階に分割され、その相異なる切削深さ段階に応じてチェザーを移動し、切削する。チェザーの送りピッチ(管体に対するチェザーの1周回あたりの管軸方向移動量)は、ねじの規格ピッチに応じた一定の標準に設定される。ねじ隙間Gはねじの規格形状の許容範囲内で刃幅を変更することで調整される。また、チェザーには、図7に示すように凸刃型2Aと凹刃型2Bとがあり、通常、1つのねじ継手のピン用、ボックス用の両管体をねじ切り加工する際には同型のチェザー(凸刃型、凹刃型のいずれか一方のみ)が使用される。
WO00/06937号公報
上述のとおり、従来のねじ切削加工では、1つのねじ継手のピン用、ボックス用の両管体をねじ切り加工する際には同型のチェザー(凸刃型、凹刃型のいずれか一方のみ)が使用される。そのため、チェザー送りピッチPを変えるとねじ隙間Gが変化する(図8参照)。したがって、ねじピッチの相異なるねじ継手のねじ隙間を適正値に統一しようとする場合、チェザー送りピッチの変更に付随するねじ隙間の変化を補償して、ねじ隙間を一定値に統一するためには、相異なるねじピッチごとに相異なる刃形状のチェザーを準備する必要があり、チェザー準備工数が嵩むという課題があった。
本発明は、前記課題を解決するためになされたものであり、その要旨は次のとおりである。
(1)鋼管用ねじ継手の素材としたねじ用管体と雌ねじ用管体とに凹部1つのみの凹刃型または凸部1つのみの凸刃型からなるねじ切削用刃物であるチェザーを用いてねじ切削加工を施すにあたり、凹刃型、凸刃型のうちいずれか一方の刃型のチェザーを雄ねじ用管体に、他方の刃型のチェザーを雌ねじ用管体に、それぞれ用いることを特徴とするねじ切削方法。
本発明によれば、ねじピッチを変更してもねじ隙間が一定に保たれるので、従来(ねじピッチを変更するとねじ隙間が変化し、これを補償してねじ隙間を一定に保つには、チェザー刃形状を変更する必要がある)と比べて、チェザー準備工数が削減でき、ねじ継手製造コストを低減できる。
本発明の実施形態の1例を示す断面図 鋼管用ねじ継手の例を示す断面図 図2におけるピンノーズ付近を示す拡大断面図 図2におけるねじ部分を示す拡大断面図 ねじ隙間、ロードフランク角度、スタブフランク角度の定義を示す断面図 ねじ隙間の役割を説明するための断面図 凸刃型、凹刃型の各チェザーを示す断面図 従来のねじ切削方法を示す断面図
図1は本発明の実施形態の1例を示す断面図である。この実施形態では、雌ねじ用(ボックス用)管体1Aのねじ切削には凹刃型チェザー2Bを使用し、一方、雄ねじ用(ピン用)管体3Aのねじ切削には凸刃型チェザー2Aを使用している。これにより、図示のとおり、ねじ隙間Gは凹凸のチェザー刃幅のみに依存し、ねじピッチPに依存しなくなる(G=b-c)ので、ねじピッチPの変更に対して同じ刃形状のチェザーを用いてねじ隙間Gを一定とすることができる。尚、図1の例とは逆に、雄ねじ用管体に凹刃型、雌ねじ用管体に凸刃型を用いても同様である。
以下の形状のねじ切削へ適用すると良い。
ロードフランク角度が-10〜+3°、スタブフランク角度が+10〜+30°。
ねじ山底部の幅がねじ山頂部の幅よりも大きく、その比率が1.1倍以上。
ねじ山底部の幅がねじ山高さよりも大きく、その比率が1.2倍以上。
雄ねじと雌ねじのスタブ面の間隔Gが0.025〜0.150mm、特にスタブ面の間隔Gが0.100mm以下といった狭いねじの切削に適している。
油井管用ねじ継手の製作では、1つまたは切削深さに応じた複数のチェザーを用いてねじ切削が行われる。
前記油井管用ねじ継手のねじ隙間を一定としてねじピッチを5水準違えるにあたり、本発明に則り、図1の例とは逆に、雌ねじ用管体は凸刃型チェザーで、雄ねじ用管体は凹刃型チェザーで、チェザーの送りピッチを凹凸とも同じとして、継手ごとに変更して、ねじ切削を行った。このとき、準備する相異なる刃形状のチェザーの総数は、雌雄で各1個、計2個であり、以下に示す比較例に比べチェザー準備工数が大幅に削減できてねじ継手製造コストが削減できた。
(比較例)
前記油井管用ねじ継手のねじ隙間を一定としてねじピッチを5水準違えるにあたり、従来通り雌雄双方とも凸刃型チェザーでねじ切削を行った。このとき、準備する相異なる刃形状のチェザーの総数は、雌用1個×5水準=5個と、雄用1個×5水準=5個との合計10個を必要とした。
1 ボックス(ボックス部材)
1A 雌ねじ用管体(ボックス用管体)
2 チェザー(ねじ切削用刃物;2Aは凸刃型、2Bは凹刃型)
3 ピン(ピン部材)
3A 雄ねじ用管体(ピン用管体)
5 雌ねじ(雌ねじ部)
5a 雌ねじのねじ溝
7 雄ねじ(雄ねじ部)
7a 雄ねじのねじ山
8 ノーズ部(ピンノーズ)
11、13 シール部(詳しくはメタルタッチシール部)
12、14 ショルダ部(詳しくはトルクショルダ部)
18 ロードフランク面
19 スタブフランク面

Claims (1)

  1. 鋼管用ねじ継手の素材としたねじ用管体と雌ねじ用管体とに凹部1つのみの凹刃型または凸部1つのみの凸刃型からなるねじ切削用刃物であるチェザーを用いてねじ切削加工を施すにあたり、凹刃型、凸刃型のうちいずれか一方の刃型のチェザーを雄ねじ用管体に、他方の刃型のチェザーを雌ねじ用管体に、それぞれ用いることを特徴とするねじ切削方法。
JP2011121310A 2010-06-30 2011-05-31 ねじ切削方法 Expired - Fee Related JP5779989B2 (ja)

Priority Applications (1)

Application Number Priority Date Filing Date Title
JP2011121310A JP5779989B2 (ja) 2010-06-30 2011-05-31 ねじ切削方法

Applications Claiming Priority (3)

Application Number Priority Date Filing Date Title
JP2010149282 2010-06-30
JP2010149282 2010-06-30
JP2011121310A JP5779989B2 (ja) 2010-06-30 2011-05-31 ねじ切削方法

Publications (2)

Publication Number Publication Date
JP2012030348A JP2012030348A (ja) 2012-02-16
JP5779989B2 true JP5779989B2 (ja) 2015-09-16

Family

ID=45844401

Family Applications (1)

Application Number Title Priority Date Filing Date
JP2011121310A Expired - Fee Related JP5779989B2 (ja) 2010-06-30 2011-05-31 ねじ切削方法

Country Status (1)

Country Link
JP (1) JP5779989B2 (ja)

Family Cites Families (6)

* Cited by examiner, † Cited by third party
Publication number Priority date Publication date Assignee Title
US3994516A (en) * 1975-03-05 1976-11-30 Otis Engineering Corporation Telescoping pipe coupling with improved pressure seal connection threads
US4485511A (en) * 1982-08-11 1984-12-04 Pmc Industries, Inc. Die head with different axial tool paths
US4568113A (en) * 1983-04-04 1986-02-04 Awb, Inc. Pipe connection
JPS60186103U (ja) * 1984-05-23 1985-12-10 宇野沢 敦夫 ねじ切り用カツタ−
SE505157C2 (sv) * 1995-10-31 1997-07-07 Seco Tools Ab Metod och skär för gängning
DE69914871T2 (de) * 1998-07-31 2004-12-30 Jfe Steel Corp. Schraubverbindung für ölfeldrohre,und verfahren zur verschraubung von verbindungen

Also Published As

Publication number Publication date
JP2012030348A (ja) 2012-02-16

Similar Documents

Publication Publication Date Title
CA3001670C (en) Threaded connection for steel pipe
JP4535064B2 (ja) 鋼管用ねじ継手
CN202611607U (zh) 管用螺纹接头
CA2931087C (en) Threaded joint for heavy-walled oil country tubular goods
JP5660308B2 (ja) 鋼管用ねじ継手
CN107101054A (zh) 油井管用螺纹接头
CN103527870B (zh) 管的螺纹接头
JP5779990B2 (ja) ねじ切削方法
JP6103137B2 (ja) 管用ねじ継手
JP5783146B2 (ja) 鋼管用ねじ継手
US10125554B2 (en) Threaded joint for oil country tubular goods
JP5776222B2 (ja) 鋼管用ねじ継手
JP5779989B2 (ja) ねじ切削方法
JP6020087B2 (ja) 管用ねじ継手
JP5906588B2 (ja) 鋼管用ねじ継手の製造方法
JP5742885B2 (ja) 耐焼付き性に優れた油井管用ねじ継手
JP2014105761A (ja) 管用ねじ継手
JP5906587B2 (ja) 鋼管用ねじ継手の製造方法
JP5910284B2 (ja) 鋼管用ねじ継手の皮膜形成方法および鋼管用ねじ継手製品
OA18648A (en) Threaded fitting for steel pipes.

Legal Events

Date Code Title Description
RD04 Notification of resignation of power of attorney

Free format text: JAPANESE INTERMEDIATE CODE: A7424

Effective date: 20111114

RD03 Notification of appointment of power of attorney

Free format text: JAPANESE INTERMEDIATE CODE: A7423

Effective date: 20130708

A621 Written request for application examination

Free format text: JAPANESE INTERMEDIATE CODE: A621

Effective date: 20140220

RD04 Notification of resignation of power of attorney

Free format text: JAPANESE INTERMEDIATE CODE: A7424

Effective date: 20140411

A977 Report on retrieval

Free format text: JAPANESE INTERMEDIATE CODE: A971007

Effective date: 20141121

A131 Notification of reasons for refusal

Free format text: JAPANESE INTERMEDIATE CODE: A131

Effective date: 20141202

A521 Request for written amendment filed

Free format text: JAPANESE INTERMEDIATE CODE: A523

Effective date: 20150121

TRDD Decision of grant or rejection written
A01 Written decision to grant a patent or to grant a registration (utility model)

Free format text: JAPANESE INTERMEDIATE CODE: A01

Effective date: 20150616

A61 First payment of annual fees (during grant procedure)

Free format text: JAPANESE INTERMEDIATE CODE: A61

Effective date: 20150629

R150 Certificate of patent or registration of utility model

Ref document number: 5779989

Country of ref document: JP

Free format text: JAPANESE INTERMEDIATE CODE: R150

R250 Receipt of annual fees

Free format text: JAPANESE INTERMEDIATE CODE: R250

R250 Receipt of annual fees

Free format text: JAPANESE INTERMEDIATE CODE: R250

R250 Receipt of annual fees

Free format text: JAPANESE INTERMEDIATE CODE: R250

LAPS Cancellation because of no payment of annual fees