JP5778340B2 - 多用途トラベルスイート - Google Patents

多用途トラベルスイート Download PDF

Info

Publication number
JP5778340B2
JP5778340B2 JP2014515873A JP2014515873A JP5778340B2 JP 5778340 B2 JP5778340 B2 JP 5778340B2 JP 2014515873 A JP2014515873 A JP 2014515873A JP 2014515873 A JP2014515873 A JP 2014515873A JP 5778340 B2 JP5778340 B2 JP 5778340B2
Authority
JP
Japan
Prior art keywords
seat
deployed
bed
housing
utility
Prior art date
Legal status (The legal status is an assumption and is not a legal conclusion. Google has not performed a legal analysis and makes no representation as to the accuracy of the status listed.)
Active
Application number
JP2014515873A
Other languages
English (en)
Other versions
JP2014520026A (ja
Inventor
グレン エー. ジョンソン
グレン エー. ジョンソン
トミー ジー. プラント
トミー ジー. プラント
Current Assignee (The listed assignees may be inaccurate. Google has not performed a legal analysis and makes no representation or warranty as to the accuracy of the list.)
BE Aerospace Inc
Original Assignee
BE Aerospace Inc
Priority date (The priority date is an assumption and is not a legal conclusion. Google has not performed a legal analysis and makes no representation as to the accuracy of the date listed.)
Filing date
Publication date
Application filed by BE Aerospace Inc filed Critical BE Aerospace Inc
Publication of JP2014520026A publication Critical patent/JP2014520026A/ja
Application granted granted Critical
Publication of JP5778340B2 publication Critical patent/JP5778340B2/ja
Active legal-status Critical Current
Anticipated expiration legal-status Critical

Links

Images

Classifications

    • BPERFORMING OPERATIONS; TRANSPORTING
    • B64AIRCRAFT; AVIATION; COSMONAUTICS
    • B64DEQUIPMENT FOR FITTING IN OR TO AIRCRAFT; FLIGHT SUITS; PARACHUTES; ARRANGEMENT OR MOUNTING OF POWER PLANTS OR PROPULSION TRANSMISSIONS IN AIRCRAFT
    • B64D11/00Passenger or crew accommodation; Flight-deck installations not otherwise provided for
    • B64D11/06Arrangements of seats, or adaptations or details specially adapted for aircraft seats
    • B64D11/0602Seat modules, i.e. seat systems including furniture separate from the seat itself
    • B64D11/0604Seat modules, i.e. seat systems including furniture separate from the seat itself including a bed, e.g. cocoon type passenger seat modules
    • BPERFORMING OPERATIONS; TRANSPORTING
    • B64AIRCRAFT; AVIATION; COSMONAUTICS
    • B64DEQUIPMENT FOR FITTING IN OR TO AIRCRAFT; FLIGHT SUITS; PARACHUTES; ARRANGEMENT OR MOUNTING OF POWER PLANTS OR PROPULSION TRANSMISSIONS IN AIRCRAFT
    • B64D11/00Passenger or crew accommodation; Flight-deck installations not otherwise provided for
    • B64D11/06Arrangements of seats, or adaptations or details specially adapted for aircraft seats
    • BPERFORMING OPERATIONS; TRANSPORTING
    • B64AIRCRAFT; AVIATION; COSMONAUTICS
    • B64DEQUIPMENT FOR FITTING IN OR TO AIRCRAFT; FLIGHT SUITS; PARACHUTES; ARRANGEMENT OR MOUNTING OF POWER PLANTS OR PROPULSION TRANSMISSIONS IN AIRCRAFT
    • B64D11/00Passenger or crew accommodation; Flight-deck installations not otherwise provided for
    • B64D11/06Arrangements of seats, or adaptations or details specially adapted for aircraft seats
    • B64D11/0602Seat modules, i.e. seat systems including furniture separate from the seat itself
    • B64D11/0605Seat modules, i.e. seat systems including furniture separate from the seat itself including tables or desks

Landscapes

  • Engineering & Computer Science (AREA)
  • Aviation & Aerospace Engineering (AREA)
  • Special Chairs (AREA)
  • Seats For Vehicles (AREA)
  • Passenger Equipment (AREA)

Description

本発明は、幅広い環境での用途を持つ多用途トラベルスイートに関するものである。本発明は、特定の使用形態に限定されるものではなく、航空機、船舶、及び陸上車両での使用という環境の範囲内で本発明は記載される。本発明は、より具体的には、長距離国際線航空機のプレミアムクラスでの使用に適したトラベルスイートの例によって記載される。
長距離国際線の航空機では、一般に、比較的低運賃によって最小限のアメニティで大半の乗客を収容するエコノミークラスと、より充実したアメニティで比較的少人数のより高い運賃を支払った乗客を収容するビジネスクラスと、高級な料理と飲み物、大きな座席設備エリアなどを含む豪華なアメニティによって比較的高い運賃で比較的僅かな人数の乗客を収容するプレミアムクラスと、の3つのサービスクラスを乗客に提供している。ボーイング747及びエアバス380のような、より大型の長距離航空機の出現によって、広い空間、プライバシー保護、及び、効率的な機能エリア、のためにより高い運賃を支払う余裕があるプレミアムクラスの乗客の旅行嗜好に応えられるような広い空間が実現されている。
従来技術による長距離用プレミアム設備は、一般に、広範な可動域によって、離着陸及び食事のための完全な直立位置と、一部倒したリクライニング位置と、フルリクライニング位置との間で動くような比較的広い座席を備えるものである。フルリクライニング位置では、背もたれと座部とフットレストが略フルフラットである横臥形態に広がって寝台を成し、多くの場合、頭側が足側より僅かに高くなる。場合によっては、座席に連結されていないオットマンを、フルフラット形態の座席に当接させることで、寝台の長さが延長される。このような座席ユニットでは、同一の要素が異なる用途で共通して使用される。例えば、上述のように、同一の構造が座席と寝台の両方に用いられる。このように座席構成部品を設計することには、本質的には、設計における妥協が必要となる。例えば、相互に動く背もたれと座部とレッグレストとを備える座席に必要な要件として、本質的に、多くのモータ及び連結要素が必要となる。これにより、重量、費用、及び複雑さが増大するだけではなく、さらには、クッション間を横方向に延びる継ぎ目によって、寝台面が実際には平坦ではなくなる。また、座席の重力荷重のための要件として、比較的硬質の発泡クッション材が必要となるが、それは、寝台面として使用した場合には硬くて寝心地が悪いものである。
そこで、本発明の目的は、2つ以上の異なる用途に供するのではなく特定の用途に専従する主要構成部品を有するトラベルスイートを提供することである。このようにして、プレミアムクラスの乗客は、より高い運賃に見合うより高級な所産を受けることができる。本出願に記載の請求項に係る発明的な設計要素によると、プレミアム運賃を支払った乗客は、座席が、座席と寝台の両方として機能する従来のプレミアム座席構成と略同じ空間を占有しながら、より特別な旅行体験が可能となる。
本発明のこれら及び他の目的ならびに効果は、フロアと、所定エリアを画定する囲壁と、出入口と、を有する筐体を備える多用途トラベルスイートを提供することにより達成される。座席は、筐体の第1の側に隣接して配置されており、展開された座席形態と、筐体の第1の側に対して格納された保管形態と、の間で可動である。寝台は、筐体の第2の側に隣接して配置されており、座席がその格納保管形態であるときの、展開されたフルフラット形態と、座席がその展開座席形態であるときの、格納された保管位置と、の間で可動である。ユーティリティ・チェアは、筐体の第1の側と反対側の筐体の第3の側に隣接して配置されており、寝台がその格納保管形態であるときの、展開された使用形態と、寝台がその展開フルフラット形態であるときの、格納された形態と、の間で可動である。ユーティリティ・テーブルは、筐体内に配置されており、格納された位置と、ユーティリティ・チェア前方の第1の使用位置と、座席前方の第2の使用位置と、の間で可動である。
本発明の好ましい一実施形態によれば、座席は、展開された直立座席形態と、展開されたリクライニング座席形態と、筐体の第1の側に対して格納された保管形態との間で可動である。
本発明の別の好ましい実施形態によれば、寝台の、その展開形態と格納形態の両方における長手方向は、座席の、その展開形態と格納形態の両方における幅方向に対して、略垂直である。
本発明の別の好ましい実施形態によれば、格納された座席は、寝台が展開位置にあるときに、寝台のヘッドボードを形成する。
本発明の別の好ましい実施形態によれば、格納された寝台の隣接部分は、展開された座席の隣接する側のアームレストを形成する。
本発明の別の好ましい実施形態によれば、ユーティリティ・チェアは、展開使用形態と格納形態との間で回転するように取り付けられている。
本発明の別の好ましい実施形態によれば、オットマンが、筐体の第3の側に配置されており、オットマンの少なくとも第1の部分は、オットマンとユーティリティ・チェアのそれぞれが格納保管形態でユーティリティ・チェアに隣接して配置される。
本発明の別の好ましい実施形態によれば、ユーティリティ・テーブルは、格納保管位置と、ユーティリティ・チェア前方の第1の使用位置との間で回動するように装着されており、さらに、ユーティリティ・テーブルは、ユーティリティ・チェア前方の第1の使用位置と座席前方の第2の使用位置との間で摺動するように装着されている。
本発明の別の好ましい実施形態によれば、オットマンが、筐体の第3の側に配置されており、オットマンの少なくとも第2の部分は、展開された座席に対して使用位置となるように、側方に延びる水平軸に沿って回転されるように装着されている。
本発明の別の好ましい実施形態によれば、ユーティリティ・チェアは、チェアの第1の側に取り付けられたサイドトレイを有し、これは、起こされた水平使用位置と、降ろされてユーティリティ・チェアの基部に沿った垂直格納位置と、の間で可動である。
本発明の別の好ましい実施形態により、多用途トラベルスイートを提供が提供される。この多用途トラベルスイートは、フロアと、所定エリアを画定する囲壁と、出入口と、を有する筐体を備える。座席は、筐体の第1の側に隣接して配置されており、展開された直立座席形態と、展開されたリクライニング座席形態と、筐体の第1の側に対して格納された保管形態と、の間で可動である。寝台は、筐体の第2の側に隣接して配置されており、座席がその格納保管形態であるときの、展開されたフルフラット形態と、座席がその展開座席形態であるときの、格納された保管位置と、の間で可動である。寝台の、その展開形態と格納形態の両方における長手方向は、座席の、その展開形態と格納形態の両方における幅方向に対して略垂直であり、また、格納された座席は、寝台展開位置にある寝台のヘッドボードを形成し、格納された寝台の一部分は、展開された座席の隣接する側のアームレストを形成する。ユーティリティ・チェアは、筐体の第1の側と反対側の筐体の第3の側に隣接して配置されており、寝台がその格納保管形態であるときに、展開された使用形態と、寝台がその展開フルフラット形態であるときに、格納された形態と、の間で可動である。ユーティリティ・テーブルは、筐体内に配置されており、格納された位置と、ユーティリティ・チェア前方の第1の使用位置と、座席前方の第2の使用位置との間で回転するように装着されている。
本発明の別の好ましい実施形態によれば、オットマンは、筐体の第3の側に配置されており、オットマンの少なくとも第1の部分は、格納保管形態のユーティリティ・チェアを有している。
本発明の別の好ましい実施形態によれば、ユーティリティ・テーブルは、格納保管位置と、ユーティリティ・チェア前方の第1の使用位置との間で回転するように装着されており、さらに、ユーティリティ・テーブルは、ユーティリティ・チェア前方の第1の使用位置と、座席前方の第2の使用位置との間で摺動するように装着されている。
本発明の別の好ましい実施形態によれば、オットマンが、筐体の第3の側に配置されており、オットマンの少なくとも第2の部分が、展開された座席に対して使用位置となるように、側方に延びる水平軸に沿って回転されるように装着されている。
本発明の別の好ましい実施形態によれば、ユーティリティ・チェアは、チェアの第1の側に取り付けられたサイドトレイを含む。サイドトレイは、起こされた水平使用位置と、降ろされてユーティリティ・チェアの基部に沿った垂直格納位置と、の間で可動である。
本発明の別の好ましい実施形態により、航空機客室リビングエリアが提供される。この航空機客室リビングエリアは、該リビングエリアに所定の配列で配置された複数の多用途トラベルスイートを含む。トラベルスイートの各々は、所定エリアを画定する囲壁及びフロアと、出入口と、を有する筐体を備える。座席は、筐体の第1の側に隣接して配置されており、展開された座席形態と、筐体の第1の側に対して格納された保管形態と、の間で可動である。寝台は、筐体の第2の側に隣接して配置されており、座席がその格納保管形態であるときの、展開されたフルフラット形態と、座席がその展開座席形態であるときの、格納された保管位置と、の間で可動である。ユーティリティ・チェアは、筐体の第1の側と反対側の筐体の第3の側に隣接して配置されており、寝台がその格納保管形態であるときの、展開された使用形態と、寝台がその展開フルフラット形態であるときの、格納された形態と、の間で可動である。ユーティリティ・テーブルは、筐体内に配置されており、格納された位置と、ユーティリティ・チェア前方の第1の使用位置と、座席前方の第2の使用位置と、の間で可動である。
本発明の別の好ましい航空機客室トラベルスイートの実施形態によれば、座席は、展開された直立座席形態と、展開されたリクライニング座席形態と、筐体の第1の側に対して格納された保管形態と、の間で可動である。
本発明の別の好ましい航空機客室トラベルスイートの実施形態によれば、寝台の、その展開形態と格納形態の両方における長手方向は、座席の、その展開形態と格納形態の両方における幅方向に対して、略垂直である。
本発明の別の好ましい航空機客室トラベルスイートの実施形態によれば、その環境が、長距離プレミアムクラス乗客室であることが含まれる。
本発明の別の好ましい航空機客室トラベルスイートの実施形態によれば、その環境が、航空機乗務員休憩室であることが含まれる。
上記で本発明の目的のいくつかについて記載した。本発明の他の目的ならびに効果は、以下の図面を併用して、発明についての説明を進めるにつれて明らかになるであろう。
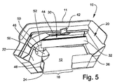
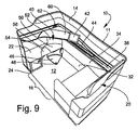
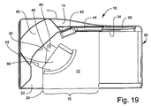
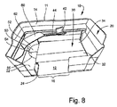
図1は、プレミアムクラス航空機客室におけるトラベルスイートの好ましい1通りの配置を示す客室間取り図である。 図2は、座席がその直立位置にある多用途トラベルスイートを示す斜視図であり、座部を背もたれに対して持ち上げて格納することを示している。 図3は、図2に従った斜視図であり、格納された保管位置にある座席を示している。 図4は、図2に従った斜視図であり、座部を前方に並進させたリクライニング位置にある座席を示している。 図5は、図2に従った斜視図であり、寝台を、図2〜4におけるその格納位置から、限界の長さと幅のフルフラット位置まで広げることを進める段階の座席を示している。 図6は、図2に従った斜視図であり、寝台を、図2〜4におけるその格納位置から、限界の長さと幅のフルフラット位置まで広げることを進める段階の座席を示している。 図7は、図2に従った斜視図であり、寝台を、図2〜4におけるその格納位置から、限界の長さと幅のフルフラット位置まで広げることを進める段階の座席を示している。 図8は、図2に従った斜視図であり、寝台を、図2〜4におけるその格納位置から、限界の長さと幅のフルフラット位置まで広げることを進める段階の座席を示している。 図9は、図2に従った斜視図であり、ユーティリティ・チェアを使用するため、格納位置から展開位置へ展開することを示している。 図10は、図2に従った斜視図であり、ユーティリティ・チェアを使用するため、格納位置から展開位置へ展開することを示している。 図11は、図2に従った斜視図であり、ユーティリティ・チェアを使用するため、格納位置から展開位置へ展開することを示している。 図12は、トラベルスイートのユーティリティ・テーブル側を示す部分端部図である。 図13は、図2に従った斜視図であり、座席に着座したユーザが使用するための位置にテーブルを動かすことを示している。 図14は、図2に従った斜視図であり、座席に着座したユーザが使用するための位置にテーブルを動かすことを示している。 図15は、図2に従った斜視図であり、座席に着座したユーザが使用するための位置にテーブルを動かすことを示している。 図16は、図2に従った斜視図であり、座席に着座したユーザが使用するための展開位置にオットマンを動かすことを示している。 図17は、図2に従った斜視図であり、座席に着座したユーザが使用するための展開位置にオットマンを動かすことを示している。 図18は、多用途トラベルスイートの平面図であり、ユーティリティ・チェアをその格納位置で示している。 図19は、多用途トラベルスイートの平面図であり、ユーティリティ・チェアをその展開使用位置で示している。
ここで特に図面を参照すると、図1には、本発明の好ましい一実施形態によるプレミアムクラス客室における多用途トラベルスイート10の配置を示す客室間取り図が全体的に示されている。トラベルスイート10は、トラベルスイート10が設置される特定の航空機の空間配置、及び、必要な重量とバランス及びに従って、構成及び配置される。トラベルスイート10は、独立型ユニットとすることができ、又は、隣接する壁を共有するように設計することができる。図1に示す好ましい一実施形態では、プレミアムクラス航空機客室“C”の幅に沿って、横並びの構成で配列された4つのトラベルスイート10を示している。客室“C”のサイズ、及びプレミアム客室に充てられた全客室空間の割合に応じて、他の同様の配列を客室“C”内に配置することができる。
本出願において開示する実施形態では、各トラベルスイート10は、該トラベルスイート10を航空機の床の所要の位置に取り外し可能に固定するための図示していない適切な通路への取付け性及び取付け機構を備えたフロア12を有する筐体11によって画定される。壁14は、トラベルスイート10のエリアを区切るとともに、内装部品のための取付け構造及び支持構造を提供し、さらにトラベルスイート10の乗客のプライバシを守る。図示した個々のトラベルスイート10は、一人の乗客向けのものであるが、2つの座席とそれに応じたより広い寝台とを備えたより大きなユニットも、同じく本発明の対象とする範囲内にある。同様に、図示したトラベルスイート10の壁14は、腰の高さ近くまで上方に広がっている。他の実施形態では、より一層のプライバシ保護と騒音減衰を可能とするため、より高い壁を設けることができる。
出入口16は、トラベルスイート10へのアクセスを可能にする。他の実施形態、特に、より高い壁を備えた実施形態では、さらなるプライバシ保護と騒音減衰を可能とするため、アコーディオンドア、折り畳みドア、またはポケットドア等のドアを設けてもよい。
トラベルスイート10は、求められるプレミアムクラスの旅行体験を提供するために、個々に機能するいくつかのユニットを有する。乗客座席20が、筐体の一端に配置されており、それぞれ図2、3、及び4に示すように、直立位置と、格納位置と、リクライニング位置と、の間で可動である。座席20は、直立位置であるかリクライニング位置であるかにかかわらず、座ることにのみ使用されることを目的としたものである。これは、公知のフルフラット・プレミアム座席製品のように、フルフラット形態に拡張されるものではない。
図4に示すように、通常は筐体11の反対側端部に配置されているオットマン22を、着座乗客のフットレスト及びレッグレストとして使用することができる位置に動かすことが可能である。好ましい一実施形態では、オットマン22は、その使用位置にスライドさせるのではなく、フロア12に隣接して横方向に延びる軸24を中心として回転させるという点に留意されたい。さらに、図16も参照することができる。
眠るためには、座席20は、図3の格納保管位置に動かされるとともに、使用しない間は筐体11の後壁に対して格納されて、寝台30用のヘッドボードを形成する。図5〜図8に最も良く示されているように、寝台30は、連結された回動クッションパネル32、34で構成されており、これを出入口16に向かって開くことで、水平なフルフラット寝台面が形成される。寝台30は、座席20に隣接したヘッド側で、側方に延びるレール36によって支持され、フット側で、後で詳細に説明するチェア40によって支持される。寝台30がその格納位置にあるときには、上縁部が、座席20の右手側のアームレスト38として機能する。図8に示す寝台の全展開位置では、乗客の上半身は、隣の乗客が横から直接見ることができないように遮られる。出入口16は、寝台の乗客が起き上がりたい場合に、自身の足を寝台30から伸ばして左に向きを変え、航空機客室の通路面に降ろすことができるように、適切に配置されている。ビデオモニタ42が、スライド44上に配置されており、これは、所望の向きに位置決めするために回動可能であるとともに、所望の位置から所望の視距離に位置決めするために摺動可能である。
図9〜図12を参照すると、ユーティリティ・チェア40の格納保管位置と展開使用位置との間の移行が示されている。図9には、格納位置のチェア40が示されており、このチェア40は、フロア12上のスイベル48に装着された基部46の上に、回動するように取り付けられている。チェア40は、座部50と、背もたれ52と、チェア40の側部に取り付けられたサイドトレイ54とを有し、図9及び図10に示す起こされた水平使用位置と、図11及び図12に示すチェア40の基部46に沿った垂直格納位置と、の間で可動である。チェア40が占める空間は、隣接するオットマン22の側壁56の湾曲形状にチェア40を適合させることにより、その格納位置と展開位置の両方において最適化されている。
図11及び図12に示すように、展開位置にあるチェア40では、オットマン22の上面が、小さなサイドテーブルとして機能する。ユーティリティ・テーブル60は、筐体11の隅角部を斜めに横切るように、展開位置のチェア40の前方に配置されている。筐体11の壁14には、コンピュータ用、PDA充電器ユニット用の適切な電源コンセントと適当な通信接続ポートとを備えた電源/通信タップ62が設けられている。展開位置では、ユーティリティ・チェア40に一人のユーザが着座することができる一方で、別のユーザが座席20に着座する。この特徴は、図示はしていないが上記で述べた2座席の実施形態において、特に有用である。
テーブル60は、図9〜図12に示すチェアでの使用位置から回動ならびに摺動されるように取り付けられており、テーブル60は、図13〜図15に示すように座席での使用位置に動かされる。引き続き座席20に向かってテーブル60を動かすことで、座席20の乗客の作業台及び食台としてテーブルを役立てることができる。
図15〜図16に示すように、オットマン22は、図15では、離着陸のために筐体11の壁14及びチェア40の背もたれ52に対して格納されている。オットマン22を、座席20での使用位置に展開するには、オットマン22を、前方の座席20に向かって、図17に示す位置に回転させる。これは、オットマンが取り付けられて、フロア12上で側方に延びる水平枢軸によって達成される。このようにして、その格納位置におけるオットマン22の後側が、図17に示すように上に向いて、足及び下腿支持台となる。さらに、注目されるのは、図16において、座席20と寝台30の両方がそれぞれの格納位置にあるときの、トラベルスイート10におけるかなりの量の追加スペースである。
図18は、ユーティリティ・チェア40がその格納位置にあるトラベルスイート10の平面図である。
図19は、ユーティリティ・チェア40がその展開位置にあるトラベルスイート10の平面図である。
よって、上記で説明及び例示したトラベルスイート10は、航空機、船舶、ならびにその他車両及び非車両の寝台設備エリアなど、スペースと重量が重要なコスト要因であるような多くの潜在的用途がある。トラベルスイート10は、航空機旅行という事情では、プレミアム乗客エリアを想定することができるが、同一または類似のトラベルスイート10を、他の事情では、より安価なクラスのトラベル及び/または収容設備として考えることができる。
上記で多用途トラベルスイートについて記載した。本発明の種々の詳細は、その範囲から逸脱することなく変更することができる。また、本発明の好ましい実施形態ならびに発明を実施するための最良の形態についての上記説明は、単なる例示目的で提示されるものであって、限定する目的のものではなく、本発明は請求項により規定される。
以下の項目は、国際出願時の特許請求の範囲に記載の要素である。
(項目1)
多用途トラベルスイートであって、
(a)フロアと、所定エリアを画定する囲壁と、出入口とを有する、筐体と、
(b)前記筐体の第1の側に隣接して配置された座席であって、展開された座席形態と、前記筐体の前記第1の側に対して格納された保管形態と、の間で可動である前記座席と、
(c)前記筐体の第2の側に隣接して配置された寝台であって、前記座席がその格納保管形態であるときの、展開されたフルフラット形態と、前記座席がその展開座席形態であるときの、格納された保管位置と、の間で可動である前記寝台と、
(d)前記筐体の前記第1の側と反対側の前記筐体の第3の側に隣接して配置されたユーティリティ・チェアであって、前記寝台がその格納保管形態であるときの、展開された使用形態と、前記寝台がその展開フルフラット形態であるときの、格納された形態と、の間で可動である前記ユーティリティ・チェアと、
(e)前記筐体の範囲内に配置されたユーティリティ・テーブルであって、格納された位置と、前記ユーティリティ・チェア前方の第1の展開使用位置と、前記座席前方の第2の展開使用位置と、の間で可動である前記ユーティリティ・テーブルと、を備える多用途トラベルスイート。
(項目2)
前記座席は、展開された直立座席形態と、展開されたリクライニング座席形態と、前記筐体の前記第1の側に対して格納された保管形態と、の間で可動である、項目1に記載の多用途トラベルスイート。
(項目3)
前記寝台の、その展開形態と格納形態の両方における長手方向は、前記座席の、その展開形態と格納形態の両方における幅方向に対して、略垂直である、項目1に記載の多用途トラベルスイート。
(項目4)
格納された前記座席は、前記寝台が展開位置にあるときに、該寝台のヘッドボードを形成する、項目1に記載の多用途トラベルスイート。
(項目5)
格納された前記寝台の隣接部分は、展開された前記座席の隣接する側のアームレストを形成する、項目1に記載の多用途トラベルスイート。
(項目6)
前記ユーティリティ・チェアは、前記展開使用形態と前記格納形態との間で回転するように取り付けられている、項目1に記載の多用途トラベルスイート。
(項目7)
前記筐体の前記第3の側に配置されたオットマンであって、該オットマンの少なくとも第1の部分は、前記オットマンと前記ユーティリティ・チェアのそれぞれが格納保管形態で前記ユーティリティ・チェアに隣接して配置される、前記オットマンを有する、項目1に記載の多用途トラベルスイート。
(項目8)
前記ユーティリティ・テーブルは、前記格納保管位置と、前記ユーティリティ・チェア前方の前記第1の使用位置との間で回動するように装着されており、さらに、前記ユーティリティ・テーブルは、前記ユーティリティ・チェア前方の前記第1の使用位置と、前記座席前方の前記第2の使用位置と、の間で摺動するように装着されている、項目1に記載の多用途トラベルスイート。
(項目9)
前記筐体の前記第3の側に配置されたオットマンであって、該オットマンの少なくとも第2の部分は、展開された前記座席に対して使用位置となるように、側方に延びる水平軸に沿って回転されるように装着されている、前記オットマンを有する、項目1に記載の多用途トラベルスイート。
(項目10)
前記ユーティリティ・チェアは、該チェアの第1の側に取り付けられたサイドトレイであって、起こされた水平使用位置と、降ろされて該ユーティリティ・チェアの基部に沿った垂直格納位置と、の間で可動である前記サイドトレイを有する、項目1に記載の多用途トラベルスイート。
(項目11)
多用途トラベルスイートであって、
(a)フロアと、所定エリアを画定する囲壁と、出入口とを有する、筐体と、
(b)前記筐体の第1の側に隣接して配置された座席であって、展開された直立座席形態と、展開されたリクライニング座席形態と、前記筐体の前記第1の側に対して格納された保管形態と、の間で可動である前記座席と、
(c)前記筐体の第2の側に隣接して配置された寝台であって、該寝台は、前記座席がその格納保管形態であるときの、展開されたフルフラット形態と、前記座席がその展開座席形態であるときの、格納された保管位置と、の間で可動であり、また、該寝台の、その展開形態と格納形態の両方における長手方向は、前記座席の、その展開形態と格納形態の両方における幅方向に対して略垂直であり、格納された前記座席は、寝台展開位置にある該寝台のヘッドボードを形成し、格納された該寝台の一部分によって、展開された前記座席の隣接する側のアームレストを形成する、前記寝台と、
(d)前記筐体の前記第1の側と反対側の前記筐体の第3の側に隣接して配置されたユーティリティ・チェアであって、前記寝台がその格納保管形態であるときの、展開された使用形態と、前記寝台がその展開フルフラット形態であるときの、格納された形態と、の間で可動である前記ユーティリティ・チェアと、
(e)前記筐体の範囲内に配置されたユーティリティ・テーブルであって、格納された位置と、前記ユーティリティ・チェア前方の第1の展開使用位置と、前記座席前方の第2の展開使用位置と、の間で回転するように装着されている前記ユーティリティ・テーブルと、を備える多用途トラベルスイート。
(項目12)
前記筐体の前記第3の側に配置されたオットマンであって、該オットマンの少なくとも第1の部分は、前記ユーティリティ・チェアをその格納保管形態で含む、前記オットマンを有する、項目11に記載の多用途トラベルスイート。
(項目13)
前記ユーティリティ・テーブルは、前記格納保管位置と、前記ユーティリティ・チェア前方の前記第1の使用位置との間で回転するように装着されており、さらに、前記ユーティリティ・テーブルは、前記ユーティリティ・チェア前方の前記第1の使用位置と、前記座席前方の前記第2の使用位置と、の間で摺動するように装着されている、項目11に記載の多用途トラベルスイート。
(項目14)
前記筐体の前記第3の側に配置されたオットマンであって、該オットマンの少なくとも第2の部分は、展開された前記座席に対して使用位置となるように、側方に延びる水平軸に沿って回転されるように装着されている、前記オットマンを有する、項目11に記載の多用途トラベルスイート。
(項目15)
前記ユーティリティ・チェアは、該チェアの第1の側に取り付けられたサイドトレイであって、起こされた水平使用位置と、降ろされて該ユーティリティ・チェアの基部に沿った垂直格納位置と、の間で可動である前記サイドトレイを有する、項目11に記載の多用途トラベルスイート。
(項目16)
航空機客室リビングエリアであって、該航空機客室に所定の配列で配置された複数の多用途トラベルスイートを含み、該トラベルスイートの各々は、
(a)所定エリアを画定する囲壁及びフロアと、出入口とを有する、筐体と、
(b)前記筐体の第1の側に隣接して配置された座席であって、展開された座席形態と、前記筐体の前記第1の側に対して格納された保管形態と、の間で可動である前記座席と、
(c)前記筐体の第2の側に隣接して配置された寝台であって、前記座席がその格納保管形態であるときの、展開されたフルフラット形態と、前記座席がその展開座席形態であるときの、格納された保管位置と、の間で可動である前記寝台と、
(d)前記筐体の前記第1の側と反対側の前記筐体の第3の側に隣接して配置されたユーティリティ・チェアであって、前記寝台がその格納保管形態であるときの、展開された使用形態と、前記寝台がその展開フルフラット形態であるときの、格納された形態と、の間で可動である前記ユーティリティ・チェアと、
(e)前記筐体の範囲内に配置されたユーティリティ・テーブルであって、格納された位置と、前記ユーティリティ・チェア前方の第1の使用位置と、前記座席前方の第2の展開使用位置と、の間で可動である前記ユーティリティ・テーブルと、を備える。
(項目17)
前記座席は、展開された直立座席形態と、展開されたリクライニング座席形態と、前記筐体の前記第1の側に対して格納された保管形態と、の間で可動である、項目16に記載の多用途トラベルスイート。
(項目18)
前記寝台の、その展開形態と格納形態の両方における長手方向は、前記座席の、その展開形態と格納形態の両方における幅方向に対して、略垂直である、項目16に記載の多用途トラベルスイート。
(項目19)
環境が、長距離プレミアムクラス乗客室を含む、項目18に記載の航空機客室環境。
(項目20)
環境が、航空機乗務員休憩室を含む、項目18に記載の航空機客室環境。

Claims (19)

  1. 多用途トラベルスイートであって、
    (a)フロアと、所定エリアを画定する囲壁と、出入口とを有する、筐体と、
    (b)前記筐体の第1の側に隣接して配置された座席であって、展開された座席形態と、前記筐体の前記第1の側に対して格納された保管形態と、の間で可動である前記座席と、
    (c)前記筐体の第2の側に隣接して配置された寝台であって、前記座席がその格納保管形態であるときの、展開されたフルフラット形態と、前記座席がその展開座席形態であるときの、格納された保管位置と、の間で可動である前記寝台と、
    (d)前記筐体の前記第1の側と反対側の前記筐体の第3の側に隣接して配置されたユーティリティ・チェアであって、前記寝台がその格納保管形態であるときの、展開された使用形態と、前記寝台がその展開フルフラット形態であるときの、格納された形態と、の間で可動である前記ユーティリティ・チェアと、
    (e)前記筐体の範囲内に配置されたユーティリティ・テーブルであって、格納された位置と、前記ユーティリティ・チェア前方の第1の展開使用位置と、前記座席前方の第2の展開使用位置と、の間で可動である前記ユーティリティ・テーブルと、を備え
    格納された前記寝台の隣接部分は、展開された前記座席の隣接する側のアームレストを形成する、
    多用途トラベルスイート。
  2. 前記座席は、展開された直立座席形態と、展開されたリクライニング座席形態と、前記筐体の前記第1の側に対して格納された保管形態と、の間で可動である、請求項1に記載の多用途トラベルスイート。
  3. 前記寝台の、その展開形態と格納形態の両方における長手方向は、前記座席の、その展開形態と格納形態の両方における幅方向に対して、略垂直である、請求項1に記載の多用途トラベルスイート。
  4. 格納された前記座席は、前記寝台が展開位置にあるときに、該寝台のヘッドボードを形成する、請求項1に記載の多用途トラベルスイート。
  5. 前記ユーティリティ・チェアは、前記展開使用形態と前記格納形態との間で回転するように取り付けられている、請求項1に記載の多用途トラベルスイート。
  6. 前記筐体の前記第3の側に配置されたオットマンであって、該オットマンの少なくとも第1の部分は、前記オットマンと前記ユーティリティ・チェアのそれぞれが格納保管形態で前記ユーティリティ・チェアに隣接して配置される、前記オットマンを有する、請求項1に記載の多用途トラベルスイート。
  7. 前記ユーティリティ・テーブルは、前記格納保管位置と、前記ユーティリティ・チェア前方の前記第1の展開使用位置との間で回動するように装着されており、さらに、前記ユーティリティ・テーブルは、前記ユーティリティ・チェア前方の前記第1の展開使用位置と、前記座席前方の前記第2の展開使用位置と、の間で摺動するように装着されている、請求項1に記載の多用途トラベルスイート。
  8. 前記筐体の前記第3の側に配置されたオットマンであって、該オットマンの少なくとも第2の部分は、展開された前記座席に対して使用位置となるように、側方に延びる水平軸に沿って回転されるように装着されている、前記オットマンを有する、請求項1に記載の多用途トラベルスイート。
  9. 前記ユーティリティ・チェアは、該チェアの第1の側に取り付けられたサイドトレイであって、起こされた水平使用位置と、降ろされて該ユーティリティ・チェアの基部に沿った垂直格納位置と、の間で可動である前記サイドトレイを有する、請求項1に記載の多用途トラベルスイート。
  10. 多用途トラベルスイートであって、
    (a)フロアと、所定エリアを画定する囲壁と、出入口とを有する、筐体と、
    (b)前記筐体の第1の側に隣接して配置された座席であって、展開された直立座席形態と、展開されたリクライニング座席形態と、前記筐体の前記第1の側に対して格納された保管形態と、の間で可動である前記座席と、
    (c)前記筐体の第2の側に隣接して配置された寝台であって、該寝台は、前記座席がその格納保管形態であるときの、展開されたフルフラット形態と、前記座席がその展開座席形態であるときの、格納された保管位置と、の間で可動であり、また、該寝台の、その展開形態と格納形態の両方における長手方向は、前記座席の、その展開形態と格納形態の両方における幅方向に対して略垂直であり、格納された前記座席は、寝台展開位置にある該寝台のヘッドボードを形成し、格納された該寝台の一部分によって、展開された前記座席の隣接する側のアームレストを形成する、前記寝台と、
    (d)前記筐体の前記第1の側と反対側の前記筐体の第3の側に隣接して配置されたユーティリティ・チェアであって、前記寝台がその格納保管形態であるときの、展開された使用形態と、前記寝台がその展開フルフラット形態であるときの、格納された形態と、の間で可動である前記ユーティリティ・チェアと、
    (e)前記筐体の範囲内に配置されたユーティリティ・テーブルであって、格納された位置と、前記ユーティリティ・チェア前方の第1の展開使用位置と、前記座席前方の第2の展開使用位置と、の間で可動である前記ユーティリティ・テーブルと、を備える多用途トラベルスイート。
  11. 前記筐体の前記第3の側に配置されたオットマンであって、該オットマンの少なくとも第1の部分は、前記ユーティリティ・チェアをその格納保管形態で含む、前記オットマンを有する、請求項10に記載の多用途トラベルスイート。
  12. 前記ユーティリティ・テーブルは、前記格納保管位置と、前記ユーティリティ・チェア前方の前記第1の展開使用位置との間で回転するように装着されており、さらに、前記ユーティリティ・テーブルは、前記ユーティリティ・チェア前方の前記第1の展開使用位置と、前記座席前方の前記第2の展開使用位置と、の間で摺動するように装着されている、請求項10に記載の多用途トラベルスイート。
  13. 前記筐体の前記第3の側に配置されたオットマンであって、該オットマンの少なくとも第2の部分は、展開された前記座席に対して使用位置となるように、側方に延びる水平軸に沿って回転されるように装着されている、前記オットマンを有する、請求項10に記載の多用途トラベルスイート。
  14. 前記ユーティリティ・チェアは、該チェアの第1の側に取り付けられたサイドトレイであって、起こされた水平使用位置と、降ろされて該ユーティリティ・チェアの基部に沿った垂直格納位置と、の間で可動である前記サイドトレイを有する、請求項10に記載の多用途トラベルスイート。
  15. 航空機客室リビングエリアであって、該航空機客室に所定の配列で配置された複数の多用途トラベルスイートを含み、該トラベルスイートの各々は、
    (a)所定エリアを画定する囲壁及びフロアと、出入口とを有する、筐体と、
    (b)前記筐体の第1の側に隣接して配置された座席であって、展開された座席形態と、前記筐体の前記第1の側に対して格納された保管形態と、の間で可動である前記座席と、
    (c)前記筐体の第2の側に隣接して配置された寝台であって、前記座席がその格納保管形態であるときの、展開されたフルフラット形態と、前記座席がその展開座席形態であるときの、格納された保管位置と、の間で可動である前記寝台と、
    (d)前記筐体の前記第1の側と反対側の前記筐体の第3の側に隣接して配置されたユーティリティ・チェアであって、前記寝台がその格納保管形態であるときの、展開された使用形態と、前記寝台がその展開フルフラット形態であるときの、格納された形態と、の間で可動である前記ユーティリティ・チェアと、
    (e)前記筐体の範囲内に配置されたユーティリティ・テーブルであって、格納された位置と、前記ユーティリティ・チェア前方の第1の使用位置と、前記座席前方の第2の展開使用位置と、の間で可動である前記ユーティリティ・テーブルと、を備え
    格納された前記寝台の隣接部分は、展開された前記座席の隣接する側のアームレストを形成する、
    航空機客室リビングエリア。
  16. 前記座席は、展開された直立座席形態と、展開されたリクライニング座席形態と、前記筐体の前記第1の側に対して格納された保管形態と、の間で可動である、請求項15に記載の多用途トラベルスイート。
  17. 前記寝台の、その展開形態と格納形態の両方における長手方向は、前記座席の、その展開形態と格納形態の両方における幅方向に対して、略垂直である、請求項15に記載の多用途トラベルスイート。
  18. 環境が、長距離プレミアムクラス乗客室を含む、請求項17に記載の航空機客室環境。
  19. 環境が、航空機乗務員休憩室を含む、請求項17に記載の航空機客室環境。
JP2014515873A 2011-06-17 2012-06-06 多用途トラベルスイート Active JP5778340B2 (ja)

Applications Claiming Priority (3)

Application Number Priority Date Filing Date Title
US13/163,089 US8662447B2 (en) 2011-06-17 2011-06-17 Flexible-usage travel suite
US13/163,089 2011-06-17
PCT/US2012/040989 WO2012173836A1 (en) 2011-06-17 2012-06-06 Flexible-usage travel suite

Publications (2)

Publication Number Publication Date
JP2014520026A JP2014520026A (ja) 2014-08-21
JP5778340B2 true JP5778340B2 (ja) 2015-09-16

Family

ID=46298689

Family Applications (1)

Application Number Title Priority Date Filing Date
JP2014515873A Active JP5778340B2 (ja) 2011-06-17 2012-06-06 多用途トラベルスイート

Country Status (6)

Country Link
US (1) US8662447B2 (ja)
EP (1) EP2720944B1 (ja)
JP (1) JP5778340B2 (ja)
CN (1) CN103596844B (ja)
CA (1) CA2833769C (ja)
WO (1) WO2012173836A1 (ja)

Families Citing this family (57)

* Cited by examiner, † Cited by third party
Publication number Priority date Publication date Assignee Title
US9187178B2 (en) * 2012-03-20 2015-11-17 B/E Aerospace, Inc. Premium class aircraft passenger suite with separate seating areas
EP2879907B1 (en) * 2012-08-01 2020-03-25 B/E Aerospace Inc. Passenger suite seating arrangement with moveable video monitor
DE102012020847A1 (de) * 2012-10-24 2014-04-24 Recaro Aircraft Seating Gmbh & Co. Kg Fahrzeugsitz
US20140248827A1 (en) * 2013-03-04 2014-09-04 The Boeing Company Aircraft Circulation System for Passenger Cabins
US9022462B2 (en) * 2013-03-08 2015-05-05 B/E Aerospace, Inc. Stowable aircraft cabin attendant seat
US9038945B2 (en) * 2013-03-15 2015-05-26 B/E Aerospace, Inc. Integrated aircraft galley system
EP2783983A1 (en) * 2013-03-28 2014-10-01 Etihad Airways Passenger module for a seating array for an aircraft cabin
AU2014240781A1 (en) * 2013-03-28 2015-11-12 Etihad Airways Passenger module and seating array for an aircraft cabin
USD718945S1 (en) * 2013-04-10 2014-12-09 Etihad Airways Seating layout for a transport vehicle
USD736009S1 (en) * 2013-04-15 2015-08-11 Etihad Airways Seating for a transport vehicle
US9321533B2 (en) * 2013-05-29 2016-04-26 The Boeing Company Aircraft passageway storage units
GB2516433B (en) 2013-07-19 2016-02-17 British Airways Plc Aircraft passenger seat fixing system
US9545999B2 (en) * 2013-12-13 2017-01-17 Robert J. Henshaw Seating arrangement
WO2015092157A1 (fr) 2013-12-17 2015-06-25 Steelcase Sa Espace de travail et de discussion
USD798622S1 (en) * 2014-02-12 2017-10-03 British Airways Plc Seating unit
EP3122635B1 (en) * 2014-03-26 2019-01-02 BE Aerospace, Inc. Deployable center console shelf
US9834308B2 (en) * 2014-03-26 2017-12-05 B/E Aerospace, Inc. Aircraft passenger seat center console unit
USD786571S1 (en) * 2014-06-12 2017-05-16 Roger Webb Associates Ltd. Office furniture
USD778653S1 (en) 2015-02-13 2017-02-14 Steelcase Inc. Table top
USD758115S1 (en) 2015-02-13 2016-06-07 Steelcase, Inc. Personal workspace furniture
US9622570B1 (en) 2015-02-13 2017-04-18 Steelcase Inc. Personal workspace assembly
USD758776S1 (en) 2015-02-13 2016-06-14 Steelcase, Inc. Personal workspace furniture
USD758777S1 (en) 2015-02-13 2016-06-14 Steelcase, Inc. Personal workspace furniture
JP6608950B2 (ja) * 2015-04-08 2019-11-20 サフラン シーツ ユーエスエー エルエルシー 汎用休息用座席
US10023315B2 (en) * 2015-06-24 2018-07-17 B/E Aerospace, Inc. Passenger seat table assembly
US20160374468A1 (en) 2015-06-29 2016-12-29 Ipic-Gold Class Entertainment, Llc Theater Seating
EP3362359B1 (en) 2015-10-14 2019-07-10 B/E Aerospace, Inc. Aircraft passenger suite privacy screen control apparatus and method
WO2017173425A1 (en) * 2016-04-01 2017-10-05 B/E Aerospace, Inc. Amenity monument for aircraft cabins
GB201612734D0 (en) * 2016-07-22 2016-09-07 Acumen Design Ass Ltd A seating suite for a premium aircraft cabin
FR3055128A1 (fr) * 2016-08-17 2018-02-23 Zodiac Seats France Agencement de sieges permettant d'augmenter l'intimite des passagers, notamment d'un avion
US10322807B2 (en) * 2017-04-03 2019-06-18 B/E Aerospace, Inc. Sequentially extending and rotating table mechanism
USD895987S1 (en) * 2017-06-13 2020-09-15 Teknion Limited Freestanding enclosure
US10779647B2 (en) * 2017-06-21 2020-09-22 New Deal Design, Llc Office furniture system with integrated digital resources
SG11202001908SA (en) * 2017-09-20 2020-04-29 Singapore Airlines Ltd Aircraft passenger room
EP3708417B1 (en) * 2017-11-06 2022-12-21 Jamco Corporation Aircraft seat unit, and aircraft seat unit assembly
US11919643B2 (en) * 2018-04-10 2024-03-05 Rockwell Collins, Inc. Self-deploying counter for multimode transformable monuments
US10899458B2 (en) 2018-05-21 2021-01-26 The Boeing Company Sleep systems for aircraft
CN108545092B (zh) * 2018-06-14 2024-04-19 中瑞福宁机器人(沈阳)有限公司 一种用于创造独立空间的折叠式新型设施
GB2577508B (en) 2018-09-26 2021-12-29 Safran Seats Gb Ltd Aircraft cabin
US11702207B2 (en) * 2018-11-29 2023-07-18 Safran Seats Usa Llc Business class seats for a passenger vehicle
US11319072B2 (en) * 2019-04-01 2022-05-03 B/E Aerospace, Inc. Business class travel suite arrangements for narrow body and wide body aircraft
GB2586027B (en) * 2019-07-29 2023-05-17 Safran Seats Gb Ltd Aircraft passenger accommodation unit with moveable ottoman
US11498681B2 (en) 2020-01-14 2022-11-15 B/E Aerospace, Inc. Integrated seating armrest, stowage and bed surface
US11230382B2 (en) * 2020-02-05 2022-01-25 B/E Aerospace, Inc. Combined divan aircraft seat for aircraft passenger compartment suites
US11786043B2 (en) * 2020-05-13 2023-10-17 Lon L. Aldrich Slidable bed arrangement
US12077068B2 (en) 2020-11-09 2024-09-03 Ford Global Technologies, Llc Authorization-based adjustment of passenger compartment arrangement
US11731535B2 (en) 2020-11-09 2023-08-22 Ford Global Technologies, Llc Vehicular system capable of adjusting a passenger compartment from a child care arrangement to a second arrangement
US12257932B2 (en) 2020-11-09 2025-03-25 Ford Global Technologies, Llc Exterior imager utilized in adjusting a passenger compartment arrangement
US11772519B2 (en) 2020-11-09 2023-10-03 Ford Global Technologies, Llc Vehicular system capable of adjusting a passenger compartment from a first arrangement to a child seat arrangement
US11772517B2 (en) 2020-11-09 2023-10-03 Ford Global Technologies, Llc Vehicular system capable of adjusting a passenger compartment from a child seat arrangement to a second arrangement
US11772520B2 (en) 2020-11-09 2023-10-03 Ford Global Technologies, Llc Remote notification and adjustment of a passenger compartment arrangement
US11904732B2 (en) 2020-11-09 2024-02-20 Ford Global Technologies, Llc Vehicular system capable of adjusting a passenger compartment from a first arrangement to a child care arrangement
US12059378B2 (en) 2020-12-14 2024-08-13 B/E Aerospace, Inc. Enclosed patient suite with mounted medical systems
US11198378B1 (en) * 2021-06-24 2021-12-14 Ming C Kuo Double-deck passenger vehicle
US20240351690A1 (en) * 2023-04-20 2024-10-24 The Boeing Company Lounge system for an internal cabin of an aircraft
US20240409217A1 (en) * 2023-06-06 2024-12-12 B/E Aerospace, Inc. Passsnger suite with secondary seat and amenities
US12428159B1 (en) * 2025-04-08 2025-09-30 Ming C Kuo Double-deck passenger vehicle

Family Cites Families (16)

* Cited by examiner, † Cited by third party
Publication number Priority date Publication date Assignee Title
GB9425078D0 (en) * 1994-12-13 1995-02-08 British Airways Plc A seating unit
US6220660B1 (en) * 1998-01-02 2001-04-24 Johnson Controls Technology Company Vehicle activity center
JP4690548B2 (ja) * 1998-10-15 2011-06-01 ブリティッシュ エアウェイズ パブリック リミテッド カンパニー 座席ユニット
DE10339077A1 (de) * 2003-08-26 2005-03-31 Airbus Deutschland Gmbh Passagierabteil in der Kabine eines Verkehrsflugzeugs
EP1720766B1 (en) * 2004-02-20 2013-04-10 Singapore Airlines Limited An aircraft cabin
WO2006137829A2 (en) * 2004-08-10 2006-12-28 Sarnoff Corporation Method and system for performing adaptive image acquisition
US7201349B2 (en) * 2004-09-09 2007-04-10 Airbus Medical unit in an aircraft
US7188806B2 (en) * 2004-10-22 2007-03-13 B E Aerospace, Inc. Aircraft passenger accommodation unit with deployable bed
GB0425323D0 (en) * 2004-11-17 2004-12-22 Britax Aircraft Interiors Uk L Aircraft seat
WO2007072045A2 (en) * 2005-12-23 2007-06-28 British Airways Plc Aircraft passenger seat
GB2438162A (en) * 2006-05-19 2007-11-21 British Airways Plc Reclining aircraft seat convertible into bed
US7721991B2 (en) * 2006-10-12 2010-05-25 Be Aerospace, Inc. Translatable and rotatable passenger seat
GB0706775D0 (en) * 2007-04-05 2007-05-16 Premium Aircraft Interiors Uk Aircraft seat
GB0706776D0 (en) * 2007-04-05 2007-05-16 Premium Aircraft Interiors Uk Movable furniture
DE102008035375A1 (de) * 2008-07-30 2010-02-11 Airbus Deutschland Gmbh Unit zur Unterbringung von zumindest einem Mitglied einer Flugzeugbesatzung
FR2935684B1 (fr) * 2008-09-10 2011-05-13 Airbus Systeme de sieges pour passager integrant un meuble multi-fonctionnel, et aeronef comprenant un tel systeme

Also Published As

Publication number Publication date
US8662447B2 (en) 2014-03-04
CN103596844A (zh) 2014-02-19
WO2012173836A1 (en) 2012-12-20
US20120318918A1 (en) 2012-12-20
EP2720944A1 (en) 2014-04-23
CA2833769A1 (en) 2012-12-20
CA2833769C (en) 2015-08-11
EP2720944B1 (en) 2017-03-08
JP2014520026A (ja) 2014-08-21
CN103596844B (zh) 2015-06-17

Similar Documents

Publication Publication Date Title
JP5778340B2 (ja) 多用途トラベルスイート
CN109018371B (zh) 用于交通工具客舱的座椅单元
US9545999B2 (en) Seating arrangement
EP3092174B1 (en) Aircraft passenger seating arrangement
JP5097208B2 (ja) 移動および回転可能な乗客シート
US20190233117A1 (en) Airliner passenger suite seating arrangements with shared aisle suite access
US11180254B2 (en) Space-efficient flat-bed seating arrangement
US20190092475A1 (en) Aircraft seating assemblies
CN101808899A (zh) 飞机乘客座椅
CN104271446A (zh) 具有独立的座位区域的豪华舱飞行器乘客套间
CA2850038A1 (en) Aircraft divan convertible to a bunk bed
US20120112500A1 (en) Vehicle Seating Apparatus
WO2021074690A1 (en) Individual aircraft passenger arrangement with separate seat and bed
WO2006054104A1 (en) Seatbed
US11801941B2 (en) Suite with improved arrangement, in particular for an aircraft cabin

Legal Events

Date Code Title Description
A977 Report on retrieval

Free format text: JAPANESE INTERMEDIATE CODE: A971007

Effective date: 20141218

A131 Notification of reasons for refusal

Free format text: JAPANESE INTERMEDIATE CODE: A131

Effective date: 20141224

A521 Request for written amendment filed

Free format text: JAPANESE INTERMEDIATE CODE: A523

Effective date: 20150319

TRDD Decision of grant or rejection written
A01 Written decision to grant a patent or to grant a registration (utility model)

Free format text: JAPANESE INTERMEDIATE CODE: A01

Effective date: 20150623

A61 First payment of annual fees (during grant procedure)

Free format text: JAPANESE INTERMEDIATE CODE: A61

Effective date: 20150708

R150 Certificate of patent or registration of utility model

Ref document number: 5778340

Country of ref document: JP

Free format text: JAPANESE INTERMEDIATE CODE: R150

R250 Receipt of annual fees

Free format text: JAPANESE INTERMEDIATE CODE: R250

R250 Receipt of annual fees

Free format text: JAPANESE INTERMEDIATE CODE: R250

R250 Receipt of annual fees

Free format text: JAPANESE INTERMEDIATE CODE: R250

R250 Receipt of annual fees

Free format text: JAPANESE INTERMEDIATE CODE: R250

R250 Receipt of annual fees

Free format text: JAPANESE INTERMEDIATE CODE: R250

R250 Receipt of annual fees

Free format text: JAPANESE INTERMEDIATE CODE: R250

R250 Receipt of annual fees

Free format text: JAPANESE INTERMEDIATE CODE: R250

R250 Receipt of annual fees

Free format text: JAPANESE INTERMEDIATE CODE: R250