JP5700775B2 - Delivery slip - Google Patents

Delivery slip Download PDF

Info

Publication number
JP5700775B2
JP5700775B2 JP2010253579A JP2010253579A JP5700775B2 JP 5700775 B2 JP5700775 B2 JP 5700775B2 JP 2010253579 A JP2010253579 A JP 2010253579A JP 2010253579 A JP2010253579 A JP 2010253579A JP 5700775 B2 JP5700775 B2 JP 5700775B2
Authority
JP
Japan
Prior art keywords
slip
adhesive layer
base material
separation
delivery
Prior art date
Legal status (The legal status is an assumption and is not a legal conclusion. Google has not performed a legal analysis and makes no representation as to the accuracy of the status listed.)
Active
Application number
JP2010253579A
Other languages
Japanese (ja)
Other versions
JP2011121362A (en
Inventor
秀造 岡部
秀造 岡部
一広 杉浦
一広 杉浦
禎 若尾
禎 若尾
Original Assignee
小林クリエイト株式会社
Priority date (The priority date is an assumption and is not a legal conclusion. Google has not performed a legal analysis and makes no representation as to the accuracy of the date listed.)
Filing date
Publication date
Application filed by 小林クリエイト株式会社 filed Critical 小林クリエイト株式会社
Priority to JP2010253579A priority Critical patent/JP5700775B2/en
Publication of JP2011121362A publication Critical patent/JP2011121362A/en
Application granted granted Critical
Publication of JP5700775B2 publication Critical patent/JP5700775B2/en
Active legal-status Critical Current
Anticipated expiration legal-status Critical

Links

Images

Landscapes

  • Laminated Bodies (AREA)
  • Credit Cards Or The Like (AREA)

Description

本発明は、通信販売業界や百貨店業界あるいは運輸業界において、商品を配送する際に使用される配送伝票に関する。   The present invention relates to a delivery slip used for delivering a product in a mail order industry, a department store industry, or a transportation industry.

従来、商品の配送時に使用される配送伝票として、本出願人が先に出願した2枚構造の配送伝票が知られている(例えば特許文献1を参照)。図15と図16に示すように、この従来の配送伝票1は、台紙2に上紙3を剥離可能に貼り合わせたもので、ミシン目からなる輪郭切り取り線4によって上紙3が本票3aと分離票3bに区切られ、輪郭切り取り線4よりもひと回り大きな輪郭ハーフカット線5によって台紙2が剥離片2aと非剥離片2bに区切られている。また、非剥離片2bの表面には宣伝や広告を印刷した情報表示部6が設けられている。   2. Description of the Related Art Conventionally, a two-sheet delivery slip filed previously by the present applicant has been known as a delivery slip used at the time of delivery of goods (see, for example, Patent Document 1). As shown in FIG. 15 and FIG. 16, this conventional delivery slip 1 is obtained by attaching an upper paper 3 to a mount 2 in a peelable manner, and the upper paper 3 is formed by a contour cut line 4 made of perforation. The backing sheet 2 is divided into a peeling piece 2a and a non-peeling piece 2b by a contour half-cut line 5 that is slightly larger than the contour cut line 4. Moreover, the information display part 6 which printed the advertisement and the advertisement is provided in the surface of the non-peeling piece 2b.

そして、図17に示すように、配送時に非剥離片2bを残した状態で剥離片2aを剥がし取ると、剥離片2aが剥離剤層7を介して剥離され、本票3aの裏面に露出した粘着剤層8により配送伝票1を配送予定の商品(被着体)に貼付することができる。また、図18に示すように、被着体100に貼付された配送伝票1は、輪郭切り取り線4のミシン目を切断して本票3aから分離票3bを切り離すと、分離票3bに隠れていた非剥離片2bの表面の情報表示部6が現れるようになっている。   Then, as shown in FIG. 17, when the peeling piece 2a is peeled off while leaving the non-peeling piece 2b at the time of delivery, the peeling piece 2a is peeled off through the release agent layer 7 and exposed on the back surface of the vote 3a. With the adhesive layer 8, the delivery slip 1 can be affixed to a product (adhered body) to be delivered. As shown in FIG. 18, the delivery slip 1 attached to the adherend 100 is hidden in the separation slip 3b when the perforation of the contour cut line 4 is cut to separate the separation slip 3b from the main slip 3a. The information display section 6 on the surface of the non-peeling piece 2b appears.

特許第3960552号公報Japanese Patent No. 3960552

ところで、上記のような従来の配送伝票1は、情報表示部6に印刷した宣伝や広告を商品の受取人に伝達できるというメリットがある反面、分離票3bを非剥離片2bよりもひと回り小さなサイズに設定しなければならないという制約がある。このため、分離票3bに印刷される送り主や送り先等の配送情報の印刷スペースが狭くなってしまうという問題があった。また、分離票3bを切り離す時に、輪郭切り取り線4のミシン目を切断しなければならないので、その作業が面倒であるとともに、場合によってはうまく切り取れずに分離票3bが破れてしまうという問題もあった。   By the way, the conventional delivery slip 1 as described above has an advantage that advertisements and advertisements printed on the information display unit 6 can be transmitted to the recipient of the product, but the separation slip 3b is slightly smaller than the non-peeling piece 2b. There is a restriction that it must be set to. For this reason, there is a problem that a printing space for delivery information such as a sender and a destination printed on the separation sheet 3b becomes narrow. Further, since the perforation of the contour cut line 4 must be cut when the separation slip 3b is cut off, the work is troublesome, and in some cases, the separation slip 3b may be broken without being cut well. It was.

本発明は、このような問題を解決するためになされたものであり、その目的とするところは、分離票のサイズを自由に設定することができ、しかも簡単かつ確実に分離票を切り離すことができる配送伝票を提供することにある。   The present invention has been made to solve such a problem, and the object of the present invention is to be able to freely set the size of the separation sheet and to separate the separation sheet easily and reliably. It is to provide a delivery slip that can be made.

上記の目的を達成するため、本発明による配送伝票は、接着力を有する透視可能な接着剤層と、接着剤層の表面に貼付された表面基材と、接着剤層の裏面に粘着剤層を介して貼付された裏面基材と、から構成され、表面基材から接着剤層に向けて表面基材を横切って切り込み形成され、表面基材を本票と分離票に区切る表面側ハーフカット部と、裏面基材から接着剤層に向けて切り込み形成され、裏面基材を本票に対向した剥離片と分離票に対向した非剥離片に区切る裏面側ハーフカット部と、非剥離片の表面に印刷された情報表示部と、を備え、分離票が剥離剤層を介して接着剤層に擬似接着され、かつ、剥離片が剥離剤層を介して粘着剤層に貼り合わされていることを特徴とするものである。 In order to achieve the above object, the delivery slip according to the present invention includes a transparent adhesive layer having adhesive strength, a surface base material affixed to the surface of the adhesive layer, and an adhesive layer on the back surface of the adhesive layer. The surface side half-cut is formed by cutting and forming across the surface base material from the surface base material to the adhesive layer and separating the surface base material into a main slip and a separation slip. A back-side half-cut portion that is cut into the adhesive layer from the back surface base material and divides the back surface base material into a peeling piece facing the slip and a non-peeling piece facing the separation slip, and a non-peeling piece An information display section printed on the surface, the separation slip is pseudo-bonded to the adhesive layer via the release agent layer, and the release piece is bonded to the adhesive layer via the release agent layer It is characterized by.

ここで、透視可能な接着剤層とは、接着剤を硬化させて無色透明、有色透明、あるいは半透明な層状にしたものであり、表面基材を接着し、また、表面基材裏面に塗工された剥離剤層を介してその部分の表面基材(分離票となる部分)を擬似接着する機能を有するとともに、下層にある情報表示部を透かして見ることができるものをいう。表面基材としては、印刷可能なものであればその素材は特に限定されず、例えば上質紙、普通紙、再生紙等の各種紙類や、ポリエステルフィルム、ポリプロピレンフィルム等の各種樹脂フィルムを使用することができる。裏面基材としては、表面基材と同様に、各種の紙類や樹脂フィルムを使用することができる。   Here, the transparent adhesive layer is a transparent, colored, transparent or translucent layer formed by curing the adhesive, and adheres to the surface substrate and is applied to the back surface of the surface substrate. It has a function of pseudo-adhering the surface substrate (part serving as a separation sheet) through the processed release agent layer and can see through the information display section in the lower layer. The material for the surface substrate is not particularly limited as long as it can be printed. For example, various papers such as high-quality paper, plain paper, and recycled paper, and various resin films such as polyester film and polypropylene film are used. be able to. As the back substrate, various papers and resin films can be used in the same manner as the front substrate.

また、上記の構成によれば、分離票は接着剤層に擬似接着されているが、本発明において「擬似接着」とは、剥離後に再貼付できないように接着されている状態だけでなく、剥離後に再貼付できるように接着されている状態も含む。これに対して、剥離片は粘着剤層に貼り合わされているので、剥離片を剥がした後に露出する粘着剤層によって配送伝票を再貼付することができる。   In addition, according to the above configuration, the separation slip is pseudo-adhered to the adhesive layer, but in the present invention, the “pseudo-adhesion” is not only the state of being adhered so that it cannot be re-applied after peeling, It includes a state where it is adhered so that it can be reapplied later. On the other hand, since the peeling piece is bonded to the pressure-sensitive adhesive layer, the delivery slip can be attached again by the pressure-sensitive adhesive layer that is exposed after the peeling piece is peeled off.

また、本発明による配送伝票において、裏面基材の少なくとも周縁2辺、3辺、又は4辺に沿って裏面側ハーフカット部が形成されており、その周縁部に剥離片が設けられていれば良い。   Further, in the delivery slip according to the present invention, if the back side half-cut portion is formed along at least the peripheral side 2 side, 3 side, or 4 side of the back side base material, and a peeling piece is provided on the peripheral side portion good.

また、本発明による配送伝票において、接着剤層が分離票の部分のみに設けられていると、接着剤層を形成するための高価な接着剤の使用量が最小限で済み、低コストで製造することができるので好ましい。   In addition, in the delivery slip according to the present invention, when the adhesive layer is provided only on the separation slip portion, the amount of expensive adhesive used to form the adhesive layer can be minimized and manufactured at a low cost. This is preferable.

更に、本発明による配送伝票において、裏面側ハーフカット部が表面側ハーフカット部よりも本票側にずらした位置に配置されていると、分離票を剥がし取った後、非剥離片の一部が本票によって支持され、非剥離片に印刷された情報表示部を確実に保持することができるので好ましい。   Furthermore, in the delivery slip according to the present invention, when the back side half-cut portion is arranged at a position shifted to the main slip side from the front side half-cut portion, a part of the non-peeling piece is removed after peeling off the separation slip. Is preferable because it is supported by this vote and can securely hold the information display portion printed on the non-peeling piece.

本発明の配送伝票によれば、情報表示部が接着剤層によって覆われているので、分離票を非剥離片より小さなサイズに設定しなくても良い。このため、分離票のサイズや形状を自由に設定することが可能になり、分離票に印刷される配送情報の印刷スペースを広く確保することができる。また、分離票と接着剤層は剥離剤層を介して擬似接着され、本票と分離票の境界には予めカット加工された表面側ハーフカット部が設けられている。このため、被着体に貼付された配送伝票から分離票を剥がす際に、本票と分離票を互いに破損することなく簡単かつ確実に分離票を切り離すことができる。   According to the delivery slip of the present invention, since the information display part is covered with the adhesive layer, the separation slip does not have to be set to a size smaller than the non-peeling piece. For this reason, it is possible to freely set the size and shape of the separation slip, and it is possible to secure a wide printing space for the delivery information printed on the separation slip. Further, the separation slip and the adhesive layer are pseudo-bonded via the release agent layer, and a front-side half-cut portion cut in advance is provided at the boundary between the main slip and the separation slip. For this reason, when removing the separation slip from the delivery slip attached to the adherend, the separation slip can be easily and reliably separated without damaging the main slip and the separation slip.

第1実施形態の配送伝票を表面から見た平面図。The top view which looked at the delivery slip of 1st Embodiment from the surface. 第1実施形態の配送伝票を裏面から見た平面図。The top view which looked at the delivery slip of 1st Embodiment from the back surface. 図1のA−A断面図。AA sectional drawing of FIG. 第1実施形態の配送伝票の剥離片を剥がす時の状態を示す平面図。The top view which shows the state when peeling the peeling piece of the delivery slip of 1st Embodiment. 第1実施形態の配送伝票の剥離片を剥がす時の状態を示す断面図。Sectional drawing which shows a state when peeling the peeling piece of the delivery slip of 1st Embodiment. 第1実施形態の配送伝票から分離票を剥がす時の状態を示す平面図。The top view which shows the state when peeling a separation slip from the delivery slip of 1st Embodiment. 第1実施形態の配送伝票の変形例を示す断面図。Sectional drawing which shows the modification of the delivery slip of 1st Embodiment. 第2実施形態の配送伝票を示す断面図。Sectional drawing which shows the delivery slip of 2nd Embodiment. 第2実施形態の配送伝票の変形例を示す断面図。Sectional drawing which shows the modification of the delivery slip of 2nd Embodiment. 第3実施形態の配送伝票を裏面から見た平面図。The top view which looked at the delivery slip of 3rd Embodiment from the back surface. 第3実施形態の配送伝票の断面図。Sectional drawing of the delivery slip of 3rd Embodiment. 第3実施形態の配送伝票から分離票を剥がす時の状態を示す平面図。The top view which shows the state when peeling a separation slip from the delivery slip of 3rd Embodiment. 第3実施形態の配送伝票の変形例を示す断面図。Sectional drawing which shows the modification of the delivery slip of 3rd Embodiment. 裏面基材に設けられた剥離片の変形例を示す平面図。The top view which shows the modification of the peeling piece provided in the back surface base material. 従来の配送伝票を示す平面図。The top view which shows the conventional delivery slip. 図15のB−B断面図。BB sectional drawing of FIG. 従来の配送伝票の剥離片を剥がす時の状態を示す断面図。Sectional drawing which shows the state when peeling the peeling piece of the conventional delivery slip. 従来の配送伝票から分離票を剥がす時の状態を示す平面図。The top view which shows the state when peeling a separation slip from the conventional delivery slip.

以下、本発明を実施するための形態について、図面を参照しながら説明する。   Hereinafter, embodiments for carrying out the present invention will be described with reference to the drawings.

〔第1実施形態〕
図1〜7は本発明の配送伝票の第1実施形態を示すものである。
[First Embodiment]
1 to 7 show a first embodiment of a delivery slip of the present invention.

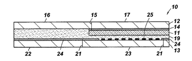
図1〜3に示すように、本実施形態の配送伝票10は、通信販売業者や百貨店業者が商品を配送する際に使用するものであり、接着力を有する透視可能な接着剤層11と、接着剤層11の表面に貼付された表面基材12と、接着剤層11の裏面に貼付された裏面基材13とからなる3枚構造を有している。   As shown in FIGS. 1 to 3, the delivery slip 10 of the present embodiment is used when a mail order dealer or a department store delivers goods, and a transparent adhesive layer 11 having an adhesive force, It has a three-sheet structure composed of a surface base material 12 attached to the surface of the adhesive layer 11 and a back surface base material 13 attached to the back surface of the adhesive layer 11.

接着剤層11は、接着剤を硬化させて薄い層状に成形したものであり、無色透明や有色透明で下層の表示を透視可能になっている。なお、接着剤層11は透視可能であれば、透明でなく半透明であっても良い。   The adhesive layer 11 is formed into a thin layer by curing the adhesive, and is colorless and transparent or colored and transparent so that the lower layer display can be seen through. The adhesive layer 11 may be translucent rather than transparent as long as it can be seen through.

表面基材12は、印刷可能なものであればその素材は特に限定されず、例えばプリンタ適性に優れた上質紙を使用することができる。また、上質紙以外に、普通紙、再生紙等の各種紙類や、ポリエステルフィルム、ポリプロピレンフィルム等の各種樹脂フィルムを使用しても良い。裏面基材13も同様に、印刷可能なものであればその素材は特に限定されず、表面基材12と同じ素材を使用することができる。   The material of the surface base material 12 is not particularly limited as long as it can be printed. For example, high-quality paper excellent in printer suitability can be used. In addition to high-quality paper, various papers such as plain paper and recycled paper, and various resin films such as polyester film and polypropylene film may be used. Similarly, the back substrate 13 is not particularly limited as long as it can be printed, and the same material as the front substrate 12 can be used.

接着剤層11と表面基材12は、剥離剤層14を介して擬似接着されている。本実施形態では、表面基材12の裏面全体に剥離剤を塗工した剥離剤層14が設けられており、表面基材12が剥離剤層14と接着剤層11との境界面で剥離可能になっている。剥離剤としては、例えばシリコーンを含有しないメジウム(体質顔料のみをビヒクルに分散した無色インキ)や、シリコーンを含有した剥離オーバープリントニス(体質顔料を含まない無色透明インキ)等を使用することができる。   The adhesive layer 11 and the surface base material 12 are pseudo-bonded via the release agent layer 14. In this embodiment, a release agent layer 14 having a release agent applied to the entire back surface of the surface base material 12 is provided, and the surface base material 12 can be peeled off at the boundary surface between the release agent layer 14 and the adhesive layer 11. It has become. As the release agent, for example, a medium not containing silicone (a colorless ink in which only an extender pigment is dispersed in a vehicle), a release overprint varnish containing a silicone (a colorless transparent ink not containing an extender pigment), or the like can be used. .

表面基材12には、接着剤層11に向けてハーフカット加工を施したハーフカット部(以下これを「表面側ハーフカット部」という)15が設けられている。この表面側ハーフカット部15は、表面基材12の上面から剥離剤層14と接着剤層11の境界面まで到達する深さに切り込み形成され、表面基材12を本票16と分離票17に区切っている。本実施形態では表面側ハーフカット部15が表面基材12の略中央部を縦断する位置に設定されており、左側半分の本票16が貼付票として機能し、右側半分の分離票17が受領票として機能する。なお、分離票17にはその左下の角を切り落としたコーナーカット部18が形成されている。   The surface base material 12 is provided with a half-cut portion (hereinafter referred to as “surface-side half-cut portion”) 15 that is half-cut processed toward the adhesive layer 11. The surface-side half-cut portion 15 is cut and formed to a depth that reaches the boundary surface between the release agent layer 14 and the adhesive layer 11 from the upper surface of the surface base material 12. It is divided into. In this embodiment, the front-side half-cut portion 15 is set at a position that cuts the substantially central portion of the surface base material 12, the left-side half slip 16 functions as a pasting slip, and the right-half separation slip 17 is received. Serves as a vote. The separation sheet 17 has a corner cut portion 18 formed by cutting off the lower left corner.

接着剤層11と裏面基材13は、粘着剤層19を介して貼り合わされている。本実施形態では接着剤層11の裏面全体に粘着剤を塗布した粘着剤層19が設けられており、粘着剤層19によって接着剤層11が被着体に貼付される。粘着剤としては、ゴム系、アクリル系、ホットメルト系、シリコーン系等の各種粘着剤を使用することができるが、この中でも特にラベル用途のアクリル系エマルジョン型粘着剤が好適である。ただし、この粘着剤もまた接着剤層11を構成する接着剤と同様に、下層の表示を透視できるように透明又は半透明なものを使用する。   The adhesive layer 11 and the back surface base material 13 are bonded together via an adhesive layer 19. In the present embodiment, a pressure-sensitive adhesive layer 19 in which a pressure-sensitive adhesive is applied to the entire back surface of the adhesive layer 11 is provided, and the adhesive layer 11 is attached to the adherend by the pressure-sensitive adhesive layer 19. Various adhesives such as rubber-based, acrylic-based, hot-melt-based, and silicone-based adhesives can be used as the adhesive, and among these, an acrylic emulsion-type adhesive for labeling is particularly preferable. However, this pressure-sensitive adhesive is also transparent or translucent so that the display on the lower layer can be seen through like the adhesive constituting the adhesive layer 11.

裏面基材13には、接着剤層11に向けてハーフカット加工を施したハーフカット部(以下これを「裏面側ハーフカット部」という)21が設けられている。この裏面側ハーフカット部21は、裏面基材13の下面から粘着剤層19まで到達する深さに切り込み形成され、裏面基材13を本票16に対向した剥離片22と分離票17に対向した非剥離片23に区切っている。本実施形態では、図2に示すように裏面側ハーフカット部21が分離票17の輪郭よりもひと回り小さいサイズの輪郭を有するように設定されており、裏面側ハーフカット部21の外側の領域が剥離片22として機能し、内側の領域が非剥離片23として機能する。   The back substrate 13 is provided with a half-cut portion (hereinafter referred to as “back-side half-cut portion”) 21 that is half-cut toward the adhesive layer 11. The back side half-cut portion 21 is formed by cutting to a depth reaching the pressure-sensitive adhesive layer 19 from the lower surface of the back surface base material 13, and the back surface base material 13 is opposed to the separation piece 22 and the separation slip 17. The non-peeling piece 23 is divided. In the present embodiment, as shown in FIG. 2, the back side half-cut part 21 is set to have a size that is slightly smaller than the outline of the separation sheet 17, and the area outside the back side half-cut part 21 is It functions as the peeling piece 22, and the inner region functions as the non-peeling piece 23.

剥離片22と粘着剤層19は、剥離剤層24を介して貼り合わされている。本実施形態では、剥離片22から非剥離片23に一部はみ出すように剥離剤を塗工した剥離剤層24が設けられており、剥離片22が剥離剤層24と粘着剤層19との境界面で剥離可能になっている。ここで、剥離剤を余分に塗工した理由は、裏面側ハーフカット部21の加工時の位置ずれを吸収するためである。剥離剤としては、上述したメジウムや剥離オーバープリントニスを使用することができる。   The release piece 22 and the pressure-sensitive adhesive layer 19 are bonded together with the release agent layer 24 interposed therebetween. In this embodiment, a release agent layer 24 coated with a release agent so as to partially protrude from the release piece 22 to the non-release piece 23 is provided, and the release piece 22 is formed of the release agent layer 24 and the adhesive layer 19. It can be peeled off at the interface. Here, the reason why the release agent is applied excessively is to absorb a positional shift during processing of the back side half-cut portion 21. As the release agent, the above-described medium or release overprint varnish can be used.

非剥離片23と粘着剤層19は直に接着されている。本実施形態では、非剥離片23の表面に情報表示部25が設けられており、非剥離片23が粘着剤層19に直に接触することで剥離不能になっている。なお、情報表示部25には通信販売業者や百貨店業者が利用者に伝達したい情報として、例えば宣伝や広告等を印刷することができる。   The non-peeling piece 23 and the pressure-sensitive adhesive layer 19 are directly bonded. In this embodiment, the information display part 25 is provided on the surface of the non-peeling piece 23, and the non-peeling piece 23 cannot be peeled by directly contacting the pressure-sensitive adhesive layer 19. For example, advertisements and advertisements can be printed on the information display unit 25 as information that the mail-order dealer or department store wants to transmit to the user.

上記の構成からなる配送伝票10は、下記の手順により製造される。   The delivery slip 10 having the above configuration is manufactured by the following procedure.

まず、表面基材12の裏面に剥離剤を塗工して剥離剤層14を形成し、剥離剤層14の上にこの剥離剤層14を介して表面基材12を擬似接着させることのできる接着剤を塗布する。塗布した接着剤を硬化させて接着剤層11を形成し、次いで、接着剤層11の裏面全体に粘着剤を塗布して粘着剤層19を形成する。一方、裏面基材13について、剥離片22の表面に剥離剤を塗布して乾燥させた剥離剤層24を形成し、非剥離片23の表面に宣伝や広告等の情報表示部25を予め印刷する。   First, a release agent is applied to the back surface of the surface substrate 12 to form a release agent layer 14, and the surface substrate 12 can be pseudo-adhered on the release agent layer 14 via the release agent layer 14. Apply adhesive. The applied adhesive is cured to form the adhesive layer 11, and then the adhesive is applied to the entire back surface of the adhesive layer 11 to form the adhesive layer 19. On the other hand, with respect to the back substrate 13, a release agent layer 24 is formed by applying a release agent to the surface of the release piece 22 and drying, and an information display unit 25 such as an advertisement or advertisement is printed on the surface of the non-release piece 23 in advance. To do.

そして、表面基材12の裏面にある粘着剤層19と裏面基材13の表面にある剥離剤層24とを対向させ、両者を貼り合わせる。その後、表面基材12と裏面基材13にそれぞれハーフカット加工を施して表面側ハーフカット部15と裏面側ハーフカット部21を形成する。そして、最後に表面基材12の本票16と分離票17に伝票番号記入欄26、配送情報記入欄27、商品番号記入欄28及び受領印欄29を印刷すれば、配送伝票10が完成する。   And the adhesive layer 19 in the back surface of the surface base material 12 and the release agent layer 24 in the surface of the back surface base material 13 are made to oppose, and both are bonded together. Thereafter, the front surface base 12 and the back surface base material 13 are respectively subjected to half-cut processing to form the front surface side half cut portion 15 and the back surface side half cut portion 21. Finally, if the slip number entry field 26, the delivery information entry field 27, the product number entry field 28, and the receipt stamp field 29 are printed on the main slip 16 and the separation slip 17 of the surface base material 12, the delivery slip 10 is completed. .

以上が本実施形態の配送伝票の構成であり、以下にその使用方法を説明する。   The above is the configuration of the delivery slip of the present embodiment, and the usage method will be described below.

商品の配送注文を受けた通信販売業者や百貨店業者は、まずプリンタで配送伝票10に所定事項を印字する。配送伝票10には、本票16と分離票17の伝票番号記入欄26に伝票番号が印字され、配送情報記入欄27に商品の送り主や送り先等の配送情報が印字され、商品番号記入欄28には注文された商品の商品番号が印字される。これらの所定事項が印字された配送伝票10は、配送する商品と共に配送業者に委託される。   A mail-order dealer or department store dealer who has received a delivery order for a product first prints a predetermined item on the delivery slip 10 using a printer. In the delivery slip 10, the slip number is printed in the slip number entry field 26 of the main slip 16 and the separation slip 17, the delivery information entry field 27 is printed with delivery information such as the product sender and destination, and the product number entry field 28. The product number of the ordered product is printed on. The delivery slip 10 on which these predetermined items are printed is entrusted to a delivery company together with the product to be delivered.

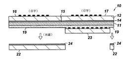
配送業者は、配送すべき商品に配送伝票10を貼付する。図4に示すように、配送伝票10を裏返し、裏面側ハーフカット部21を境にして剥離片22を剥がす。ここで、図5に示すように、非剥離片23は粘着剤層19に直に接着されているのに対して、剥離片22は剥離剤層24によって接着力が弱められているので、非剥離片23を残した状態で剥離片22だけを粘着剤層19から剥がし取ることができる。そして、裏面の周縁部に露出した粘着剤層19によって、商品を梱包した箱に配送伝票10を貼り付けて、配送伝票10に表示された配達情報に従って商品を配達する。   The delivery company attaches the delivery slip 10 to the product to be delivered. As shown in FIG. 4, the delivery slip 10 is turned over, and the peeling piece 22 is peeled off at the back side half-cut portion 21 as a boundary. Here, as shown in FIG. 5, the non-peeling piece 23 is directly bonded to the pressure-sensitive adhesive layer 19, whereas the peeling piece 22 is weakened in adhesive force by the peeling agent layer 24. Only the peeling piece 22 can be peeled off from the pressure-sensitive adhesive layer 19 with the peeling piece 23 left. And the delivery slip 10 is affixed to the box which packed the goods with the adhesive layer 19 exposed to the peripheral part of the back surface, and goods are delivered according to the delivery information displayed on the delivery slip 10.

配送業者は商品を配達した際、分離票17の受領印欄29に受取人の捺印又はサインをもらう。そして、図6に示すように分離票17のコーナーカット部18を摘んで分離票17を本票16から切り離し、配達控えとして持ち帰る。このとき、分離票17は剥離剤層14によって接着力が弱められているので、分離票17だけを接着剤層11から簡単に剥がし取ることができる。また、本票16と分離票17の境界には予めカット加工された表面側ハーフカット部15が設けられているので、ミシン目を切断する作業が不要であり、本票16と分離票17を互いに破損することなく確実に切り離すことができる。   When the delivery company delivers the merchandise, it receives the recipient's seal or signature in the receipt stamp field 29 of the separation slip 17. Then, as shown in FIG. 6, the corner cut portion 18 of the separation slip 17 is picked to separate the separation slip 17 from the main slip 16 and take it home as a delivery receipt. At this time, since the adhesive strength of the separation sheet 17 is weakened by the release agent layer 14, only the separation sheet 17 can be easily peeled off from the adhesive layer 11. In addition, since the front side half-cut portion 15 that has been cut in advance is provided at the boundary between the main vote 16 and the separation vote 17, it is not necessary to cut the perforation. They can be reliably separated without being damaged.

分離票17を切り離すと、商品の梱包箱(被着体)100は、図6のように分離票17の下面に残された接着剤層11と非剥離片23が現れるので、梱包箱100の地肌が完全に露出することがなく外観見栄えを損なわない。また、接着剤層11は透視可能な接着剤により構成されているので、接着剤層11を通してその下層の非剥離片23に印刷された情報表示部25の内容を透かして読み取ることが可能である。   When the separation sheet 17 is separated, the product packaging box (adhered body) 100 has the adhesive layer 11 and the non-peeling piece 23 left on the lower surface of the separation sheet 17 as shown in FIG. The appearance of the appearance is not impaired because the background is not completely exposed. Moreover, since the adhesive layer 11 is made of a transparent adhesive, it is possible to read through the content of the information display unit 25 printed on the non-peeling piece 23 under the adhesive layer 11. .

このように、本実施形態の配送伝票10によれば、情報表示部25に印刷された宣伝や広告を受取人に伝達することができる。しかも、情報表示部25は接着剤層11によって覆われているので、従来の配送伝票1と違って、分離票17を非剥離片23よりも小さなサイズに設定しなければならないという制約が無くなる。したがって、分離票17のサイズや形状を自由に設定することが可能になり、分離票17に印刷される送り主や送り先等の配送情報の印刷スペースを広く確保することができる。   Thus, according to the delivery slip 10 of this embodiment, the advertisement and advertisement printed on the information display unit 25 can be transmitted to the recipient. Moreover, since the information display unit 25 is covered with the adhesive layer 11, unlike the conventional delivery slip 1, there is no restriction that the separation slip 17 must be set to a size smaller than the non-peeling piece 23. Accordingly, the size and shape of the separation slip 17 can be freely set, and a wide print space for delivery information such as a sender and a destination printed on the separation slip 17 can be secured.

なお、本実施形態において、接着剤層11の裏面には情報表示部25の部分に粘着剤層19が塗工されているが、非剥離片23が剥がれないように接着されていれば良いので、図7に示すように非剥離片23の周縁部のみを接着し、情報表示部25の部分に粘着剤層19が塗工されていなくても良い。   In the present embodiment, the pressure-sensitive adhesive layer 19 is applied to the information display unit 25 on the back surface of the adhesive layer 11, but it is sufficient that the non-peeling piece 23 is adhered so as not to peel off. As shown in FIG. 7, only the peripheral portion of the non-peeling piece 23 is bonded, and the pressure-sensitive adhesive layer 19 may not be applied to the information display portion 25.

〔第2実施形態〕
図8と図9は本発明の配送伝票の第2実施形態を示すものである。
[Second Embodiment]
8 and 9 show a second embodiment of the delivery slip of the present invention.

図8に示すように、本実施形態の配送伝票10は、接着剤層11と表面基材12と裏面基材13からなる3枚構造である点では上述した実施形態と同じであるが、接着剤層11と剥離剤層14の形成箇所が異なっている。   As shown in FIG. 8, the delivery slip 10 of the present embodiment is the same as the above-described embodiment in that it has a three-sheet structure including the adhesive layer 11, the front surface base material 12, and the back surface base material 13. The formation place of the agent layer 11 and the release agent layer 14 is different.

すなわち、接着剤層11を構成する接着剤は高価な材料であるため、製造コストを重視した場合、接着剤の使用量はなるべく少ない方が良い。また、接着剤層11は少なくとも非剥離片23の部分を覆うことができる最小限の面積で充分である。そこで、本実施形態では本票16の一部の領域と分離票17の全部の領域に限定して接着剤層11が形成されており、これに対応して、裏面に剥離剤層14を塗工した分離票17が剥離可能に擬似接着されている。また、本票16の部分は粘着剤層19によって剥離不能に接着されている。すなわち、本実施形態では、本票16の部分では表面基材12の裏面に直接、分離票17の部分では接着剤層11の裏面に、それぞれ粘着剤を塗布した粘着剤層19が設けられている。なお、プリンタ適性を考慮すると、本票16の部分の粘着剤層19を分離票17の部分より厚く塗布して、配送伝票10全体を同じ厚さにするのが好ましい。   In other words, since the adhesive constituting the adhesive layer 11 is an expensive material, the amount of adhesive used should be as small as possible when the manufacturing cost is emphasized. Moreover, the adhesive layer 11 is sufficient with a minimum area that can cover at least the portion of the non-peeling piece 23. Therefore, in the present embodiment, the adhesive layer 11 is formed only on a part of the slip 16 and the entire separation slip 17, and the release agent layer 14 is applied to the back surface correspondingly. The processed separation sheet 17 is pseudo-bonded so as to be peeled off. In addition, the portion of the slip 16 is adhered by the pressure-sensitive adhesive layer 19 so as not to be peeled off. That is, in the present embodiment, a pressure-sensitive adhesive layer 19 coated with a pressure-sensitive adhesive is provided directly on the back surface of the surface base material 12 in the portion of the slip 16 and on the back surface of the adhesive layer 11 in the portion of the separation slip 17. Yes. In consideration of the suitability of the printer, it is preferable to apply the adhesive layer 19 in the part of the slip 16 thicker than the part of the separation slip 17 so that the entire delivery slip 10 has the same thickness.

本実施形態の配送伝票10によれば、高価な接着剤層11の面積が小さくて済むので、第1実施形態のものに比べてより低コストで製造することが可能になる。また、第1実施形態と同様に、裏面側ハーフカット部21を境に非剥離片23を残した状態で剥離片22だけを剥がし取れば、裏面の周縁部に露出した粘着剤層19によって配送伝票10を被着体に貼り付けることができる。そして、商品の配達後、分離票17を本票16から切り離して剥がし取ると、接着剤層11と非剥離片23が現れ、接着剤層11を通してその下層の非剥離片23に印刷された情報表示部25を透かして見ることができる。   According to the delivery slip 10 of the present embodiment, since the area of the expensive adhesive layer 11 can be reduced, it can be manufactured at a lower cost than that of the first embodiment. Similarly to the first embodiment, if only the peeling piece 22 is peeled off with the non-peeling piece 23 left behind at the back side half-cut part 21, the adhesive layer 19 exposed at the peripheral edge of the back side is delivered. The slip 10 can be attached to the adherend. After the product is delivered, when the separation sheet 17 is separated from the main sheet 16 and peeled off, the adhesive layer 11 and the non-peeling piece 23 appear, and the information printed on the non-peeling piece 23 under the adhesive layer 11 is displayed. The display unit 25 can be seen through.

なお、本実施形態でも接着剤層11の裏面には情報表示部25の部分に粘着剤層19が塗工されているが、上記と同様の理由から、図9に示すように非剥離片23の周縁部のみを接着し、情報表示部25の部分に粘着剤層19が塗工されていなくても良い。   In this embodiment, the pressure-sensitive adhesive layer 19 is coated on the information display portion 25 on the back surface of the adhesive layer 11, but for the same reason as described above, as shown in FIG. The adhesive layer 19 may not be applied to the information display portion 25.

〔第3実施形態〕
図10〜13は本発明の配送伝票の第3実施形態を示すものである。
[Third Embodiment]
10 to 13 show a third embodiment of the delivery slip of the present invention.

図10と図11に示すように、本実施形態の配送伝票10は、接着剤層11と表面基材12と裏面基材13からなる3枚構造である点では上述した実施形態と同じであるが、非剥離片23の形成箇所が異なっている。   As shown in FIGS. 10 and 11, the delivery slip 10 of the present embodiment is the same as the above-described embodiment in that it has a three-sheet structure including an adhesive layer 11, a front surface base material 12, and a back surface base material 13. However, the formation location of the non-peeling piece 23 is different.

すなわち、第1実施形態と第2実施形態の構成によると、分離票17を剥がし取った際に接着剤層11のみで非剥離片23の情報表示部25を支持することになるので、強度不足になる恐れがある。そこで、本実施形態では裏面側ハーフカット部21が表面側ハーフカット部15から本票16側にずらした位置に配置されており、上述した実施形態のものよりも非剥離片23の面積が大きく設定されている。   That is, according to the configuration of the first embodiment and the second embodiment, the information display unit 25 of the non-peeled piece 23 is supported only by the adhesive layer 11 when the separation sheet 17 is peeled off, so that the strength is insufficient. There is a risk of becoming. Therefore, in the present embodiment, the back-side half-cut portion 21 is disposed at a position shifted from the front-side half-cut portion 15 to the main vote 16 side, and the area of the non-peeling piece 23 is larger than that of the above-described embodiment. Is set.

本実施形態の配送伝票10によれば、上述した実施形態と同様な効果が得られるとともに、図12に示すように配送伝票10から分離票17を剥がし取った際に、非剥離片23の一辺が商品の梱包箱(被着体)100に貼付された本票16によって支持される。このため、非剥離片23が接着剤層11だけでなく本票16によって補強されるので、情報表示部25を確実に保持することができる。   According to the delivery slip 10 of the present embodiment, the same effects as those of the above-described embodiment can be obtained, and when the separation slip 17 is peeled off from the delivery slip 10 as shown in FIG. Is supported by the slip 16 attached to the product packaging box (adhered body) 100. For this reason, since the non-peeling piece 23 is reinforced by not only the adhesive layer 11 but also the slip 16, the information display unit 25 can be reliably held.

なお、本実施形態でも接着剤層11の裏面には情報表示部25の部分に粘着剤層19が塗工されているが、上記と同様の理由から、図13に示すように非剥離片23の周縁部のみを接着し、情報表示部25の部分に粘着剤層19が塗工されていなくても良い。   In this embodiment, the pressure-sensitive adhesive layer 19 is applied to the information display portion 25 on the back surface of the adhesive layer 11, but for the same reason as described above, as shown in FIG. The adhesive layer 19 may not be applied to the information display portion 25.

以上説明した実施形態では、図2や図9のように非剥離片23の周縁部に設けた剥離片22を剥がし取るようにしたが、これに代えて、図14に示すような各種の形態を採用することもできる。   In the embodiment described above, the peeling piece 22 provided on the peripheral edge of the non-peeling piece 23 is peeled off as shown in FIGS. 2 and 9, but instead of this, various forms as shown in FIG. Can also be adopted.

例えば、図14(a)は裏面基材13の周縁2辺に沿って「ニ」字形の裏面側ハーフカット部21Aを形成した例であり、同図(b)は裏面基材13の周縁3辺に沿って「コ」字形の裏面側ハーフカット部21Bを形成した例であり、同図(c)は裏面基材13の周縁4辺に沿って「ロ」字形に裏面側ハーフカット部21Cを形成した例である。そして、これらの裏面側ハーフカット部21A,21B,21Cの外側部分に設けられた剥離片22をそれぞれ剥がして貼り付けるようになっている。   For example, FIG. 14A is an example in which a “D” -shaped back side half-cut portion 21 </ b> A is formed along two peripheral edges of the back surface base material 13, and FIG. This is an example in which a “U” -shaped back side half-cut portion 21B is formed along the side, and FIG. 10C shows the back side half-cut portion 21C in a “B” shape along the four peripheral edges of the back surface base material 13. Is an example of forming. And the peeling piece 22 provided in the outer part of these back surface side half cut parts 21A, 21B, and 21C is peeled off, respectively, and is affixed.

これらの例のように、裏面基材13には、その周囲に接着可能な幅の剥離片22が設けられていて、少なくとも裏面基材13の一部を残す形で非剥離片23が設けられていれば良い。   As in these examples, the back surface base material 13 is provided with a peelable piece 22 having a width that can be adhered to the periphery thereof, and the non-peelable piece 23 is provided so as to leave at least a part of the back surface base material 13. It should be.

また、上述した実施形態では分離票17の裏面に剥離剤層14が設けられ、剥がした後の分離票17が再貼付できないように擬似接着されているが、これに代えて、分離票17の裏面に粘着剤層を設け、これと対向する接着剤層11の表面に剥離剤層を設けること等によって、剥がした後の分離票17が再貼付できるように擬似接着されていても良い。これにより、剥がした後の分離票17を配達記録として伝票処理台帳等に貼り付けて管理することもできる。   Further, in the above-described embodiment, the release agent layer 14 is provided on the back surface of the separation sheet 17 and is pseudo-bonded so that the separation sheet 17 after being peeled cannot be reattached. By providing a pressure-sensitive adhesive layer on the back surface and providing a release agent layer on the surface of the adhesive layer 11 opposite to the pressure-sensitive adhesive layer, pseudo-bonding may be performed so that the separation sheet 17 after peeling can be reattached. Thus, the separation sheet 17 after being peeled can be managed by being pasted on a slip processing ledger or the like as a delivery record.

10…配送伝票
11…接着剤層
12…表面基材
13…裏面基材
14…剥離剤層
15…表面側ハーフカット部
16…本票
17…分離票
18…コーナーカット部
19…粘着剤層
21…裏面側ハーフカット部
22…剥離片
23…非剥離片
24…剥離剤層
25…情報表示部
26…伝票番号記入欄
27…配送情報記入欄
28…商品番号記入欄
29…受領印欄
DESCRIPTION OF SYMBOLS 10 ... Delivery slip 11 ... Adhesive layer 12 ... Surface base material 13 ... Back surface base material 14 ... Release agent layer 15 ... Front side half cut part 16 ... This vote 17 ... Separation slip 18 ... Corner cut part 19 ... Adhesive layer 21 ... Back side half-cut part 22 ... Peeling piece 23 ... Non-peeling piece 24 ... Peeling agent layer 25 ... Information display part 26 ... Voucher number entry field 27 ... Delivery information entry field 28 ... Product number entry field 29 ... Receive stamp field

Claims (4)

接着力を有する透視可能な接着剤層と、
接着剤層の表面に貼付された表面基材と、
接着剤層の裏面に粘着剤層を介して貼付された裏面基材と、から構成され、
表面基材から接着剤層に向けて前記表面基材を横切って切り込み形成され、表面基材を本票と分離票に区切る表面側ハーフカット部と、
裏面基材から接着剤層に向けて切り込み形成され、裏面基材を本票に対向した剥離片と分離票に対向した非剥離片に区切る裏面側ハーフカット部と、
非剥離片の表面に印刷された情報表示部と、を備え、
分離票が剥離剤層を介して接着剤層に擬似接着され、かつ、剥離片が剥離剤層を介して粘着剤層に貼り合わされている
ことを特徴とする配送伝票。
A transparent adhesive layer having an adhesive force;
A surface base material affixed to the surface of the adhesive layer;
A back substrate pasted through a pressure-sensitive adhesive layer on the back surface of the adhesive layer, and
A surface-side half-cut portion that is cut across the surface base material from the surface base material toward the adhesive layer, and divides the surface base material into a main slip and a separation slip,
A back side half-cut portion that is formed by cutting from the back surface base material toward the adhesive layer and divides the back surface base material into a peeled piece facing the slip and a non-peeled piece facing the separation slip,
An information display portion printed on the surface of the non-peeling piece,
A delivery slip, wherein the separation slip is pseudo-bonded to the adhesive layer through the release agent layer, and the release piece is bonded to the adhesive layer through the release agent layer.
裏面基材の少なくとも周縁2辺、3辺、又は4辺に沿って裏面側ハーフカット部が形成されており、その周縁部に剥離片が設けられていることを特徴とする請求項1に記載の配送伝票。   The back side half-cut part is formed along at least 2 sides, 3 sides, or 4 sides of a back surface base material, The exfoliation piece is provided in the peripheral portion. Delivery slips. 接着剤層が分離票の部分のみに設けられていることを特徴とする請求項1又は2に記載の配送伝票。   The delivery slip according to claim 1 or 2, wherein the adhesive layer is provided only on the separation slip portion. 裏面側ハーフカット部が表面側ハーフカット部よりも本票側にずらした位置に配置されていることを特徴とする請求項1乃至3のいずれか1項に記載の配送伝票。

The delivery slip according to any one of claims 1 to 3, wherein the back-side half-cut portion is arranged at a position shifted to the main slip side from the front-side half-cut portion.

JP2010253579A 2009-11-13 2010-11-12 Delivery slip Active JP5700775B2 (en)

Priority Applications (1)

Application Number Priority Date Filing Date Title
JP2010253579A JP5700775B2 (en) 2009-11-13 2010-11-12 Delivery slip

Applications Claiming Priority (3)

Application Number Priority Date Filing Date Title
JP2009260249 2009-11-13
JP2009260249 2009-11-13
JP2010253579A JP5700775B2 (en) 2009-11-13 2010-11-12 Delivery slip

Publications (2)

Publication Number Publication Date
JP2011121362A JP2011121362A (en) 2011-06-23
JP5700775B2 true JP5700775B2 (en) 2015-04-15

Family

ID=44285735

Family Applications (1)

Application Number Title Priority Date Filing Date
JP2010253579A Active JP5700775B2 (en) 2009-11-13 2010-11-12 Delivery slip

Country Status (1)

Country Link
JP (1) JP5700775B2 (en)

Cited By (1)

* Cited by examiner, † Cited by third party
Publication number Priority date Publication date Assignee Title
JP2022021628A (en) * 2020-07-22 2022-02-03 小林クリエイト株式会社 Information printing form

Families Citing this family (3)

* Cited by examiner, † Cited by third party
Publication number Priority date Publication date Assignee Title
JP5946056B2 (en) * 2012-03-23 2016-07-05 大王製紙株式会社 Shipping label
JP6119955B2 (en) * 2012-10-01 2017-04-26 大王製紙株式会社 Shipping label
JP7776128B2 (en) * 2022-01-21 2025-11-26 株式会社中川製作所 Information display labels, label forming sheets and delivery slips

Family Cites Families (11)

* Cited by examiner, † Cited by third party
Publication number Priority date Publication date Assignee Title
JPH07134554A (en) * 1993-11-09 1995-05-23 Lintec Corp Sheet for managing physical distribution and method for managing physical distribution by using the sheet
JPH07266746A (en) * 1994-03-30 1995-10-17 Dainippon Printing Co Ltd Invoice
JP2000153846A (en) * 1998-11-18 2000-06-06 Dainippon Printing Co Ltd Delivery slip
JP2000211269A (en) * 1999-01-27 2000-08-02 Dainippon Printing Co Ltd Delivery slip
JP4170498B2 (en) * 1999-02-22 2008-10-22 大日本印刷株式会社 Delivery slip
JP4071046B2 (en) * 2002-05-31 2008-04-02 トッパン・フォームズ株式会社 Delivery slip
JP2005288990A (en) * 2004-04-05 2005-10-20 Dainippon Printing Co Ltd Delivery slip
JP4905975B2 (en) * 2007-04-19 2012-03-28 小林クリエイト株式会社 Delivery slip
JP4859819B2 (en) * 2007-12-04 2012-01-25 大王製紙株式会社 Information recording adhesive sheet
JP5468249B2 (en) * 2008-12-04 2014-04-09 大王製紙株式会社 Information recording adhesive sheet
JP5392843B2 (en) * 2009-03-03 2014-01-22 小林クリエイト株式会社 Delivery slip

Cited By (2)

* Cited by examiner, † Cited by third party
Publication number Priority date Publication date Assignee Title
JP2022021628A (en) * 2020-07-22 2022-02-03 小林クリエイト株式会社 Information printing form
JP7624191B2 (en) 2020-07-22 2025-01-30 小林クリエイト株式会社 Information printing form

Also Published As

Publication number Publication date
JP2011121362A (en) 2011-06-23

Similar Documents

Publication Publication Date Title
JP4905975B2 (en) Delivery slip
JP5697140B2 (en) Delivery slip
JP5700775B2 (en) Delivery slip
JP2008213224A (en) Delivery slip
JP2006281739A (en) Label slip
JP4464456B1 (en) Slip sheet
JP6011061B2 (en) Delivery slip with seal
JP5848064B2 (en) Label for double-sided printing and method for attaching the label
JP2011079151A (en) Delivery slip
JP6011062B2 (en) Delivery slip with seal
JP3112423U (en) Delivery slip
JP4920706B2 (en) Slip sheet
JP5707678B2 (en) Delivery slip
JP5214395B2 (en) Delivery slip sheet
JP2010228438A (en) Delivery slip
JP5539655B2 (en) Attached sheet
JP6819137B2 (en) Delivery slip
JP2010228281A (en) Delivery slip
JP2008213335A (en) Delivery slip
JP5339598B2 (en) Form with card and its manufacturing method
JP3178208U (en) Delivery slip
JP4429807B2 (en) label
JP3178210U (en) Delivery slip
JP5231904B2 (en) Delivery slip
JP4012059B2 (en) Card-integrated paper

Legal Events

Date Code Title Description
A621 Written request for application examination

Free format text: JAPANESE INTERMEDIATE CODE: A621

Effective date: 20131011

A977 Report on retrieval

Free format text: JAPANESE INTERMEDIATE CODE: A971007

Effective date: 20140303

A131 Notification of reasons for refusal

Free format text: JAPANESE INTERMEDIATE CODE: A131

Effective date: 20141201

A521 Request for written amendment filed

Free format text: JAPANESE INTERMEDIATE CODE: A523

Effective date: 20150127

TRDD Decision of grant or rejection written
A01 Written decision to grant a patent or to grant a registration (utility model)

Free format text: JAPANESE INTERMEDIATE CODE: A01

Effective date: 20150216

A61 First payment of annual fees (during grant procedure)

Free format text: JAPANESE INTERMEDIATE CODE: A61

Effective date: 20150216

R150 Certificate of patent or registration of utility model

Ref document number: 5700775

Country of ref document: JP

Free format text: JAPANESE INTERMEDIATE CODE: R150

R250 Receipt of annual fees

Free format text: JAPANESE INTERMEDIATE CODE: R250

R250 Receipt of annual fees

Free format text: JAPANESE INTERMEDIATE CODE: R250

R250 Receipt of annual fees

Free format text: JAPANESE INTERMEDIATE CODE: R250

R250 Receipt of annual fees

Free format text: JAPANESE INTERMEDIATE CODE: R250