JP5697828B2 - ピーラー - Google Patents

ピーラー Download PDF

Info

Publication number
JP5697828B2
JP5697828B2 JP2014043900A JP2014043900A JP5697828B2 JP 5697828 B2 JP5697828 B2 JP 5697828B2 JP 2014043900 A JP2014043900 A JP 2014043900A JP 2014043900 A JP2014043900 A JP 2014043900A JP 5697828 B2 JP5697828 B2 JP 5697828B2
Authority
JP
Japan
Prior art keywords
peeler
region
blades
blade
present
Prior art date
Legal status (The legal status is an assumption and is not a legal conclusion. Google has not performed a legal analysis and makes no representation as to the accuracy of the status listed.)
Expired - Fee Related
Application number
JP2014043900A
Other languages
English (en)
Other versions
JP2014100601A (ja
Inventor
邦夫 鈴木
賢一 渡辺
Original Assignee
アーネスト株式会社
Priority date (The priority date is an assumption and is not a legal conclusion. Google has not performed a legal analysis and makes no representation as to the accuracy of the date listed.)
Filing date
Publication date
Application filed by アーネスト株式会社 filed Critical アーネスト株式会社
Priority to JP2014043900A priority Critical patent/JP5697828B2/ja
Publication of JP2014100601A publication Critical patent/JP2014100601A/ja
Application granted granted Critical
Publication of JP5697828B2 publication Critical patent/JP5697828B2/ja
Expired - Fee Related legal-status Critical Current
Anticipated expiration legal-status Critical

Links

Images

Landscapes

  • Knives (AREA)

Description

本発明は、野菜又は果物その他の青果物の皮を剥くピーラー(皮剥き器)に関する。
ピーラーの一例として、特許文献1及び特許文献2に記載されたものがある。
図13は、特許文献1に記載されたピーラー1000の斜視図である。
ピーラー1000は、ハンドル1010と、ハンドル1010の先端に形成されているU字型の支持部1020と、支持部1020に支持された刃1030と、からなる。
図14は、特許文献2に記載されたピーラー2000の斜視図である。
ピーラー2000は、ハンドル2010と、ハンドル2010の先端に取り付けられた刃2020と、からなる。
図15は、刃2020の拡大斜視図である。
刃2020はV型の断面を有しており、長さ方向に延びる開口部2021が中心線に沿って形成されている。開口部2021の両縁に刃面2022が形成されている。
図16は、特許文献2に記載されたピーラー2000の変形例に係るピーラー3000に使用される刃3010の斜視図であり、図17は図16のA−A線における断面図である。
ピーラー3000に使用される刃3010は、図17に示すように、「コ」の字型をなしており、二つの角部に開口3011が形成され、これらの開口3011に面して、それぞれ刃3012が形成されている。
特開2010−104400号公報 特開平11−267010号公報
図13に示すピーラー1000及び図14に示す2000は、何れも1個の刃1030、2020を有するものとして形成されている。
このため、刃1030、2020の耐久期間が経過した場合には、ピーラー1000、2000を捨てて、新しいものに取り替えることが必要であった。
また、ピーラー1000、2000は1個の刃1030、2020のみを有するものであるため、他の種類の刃を使用する必要がある場合には、その刃を有する他のピーラーを用意しなければならなかった。
さらに、ピーラー1000、2000で剥くことができる皮の厚さは一定であるため、ピーラーで剥く皮の厚さを変えたい場合にも、ピーラー1000、2000とは別のピーラーを用意しなければならなかった。
図16に示したピーラー3000は2個の刃3012を有しているが、2個の刃3012は同一種類の刃(例えば、平刃)であるため、ピーラー1000、2000の場合と同様に、他の種類の刃を使用する必要がある場合には、その刃を有する他のピーラーを用意しなければならなかった。
さらに、図16に示した刃3010においては、形成し得る刃3012の最大数は2であり、3個以上の刃を形成することは構造的に不可能である。
本発明はこのような従来のピーラーにおける問題点に鑑みてなされたものであり、3個以上の刃を有するピーラーを提供することを目的とする。
上記の目的を達成するため、本発明は、把手として機能する少なくとも一つの第一領域と、前記第一領域と連続する第二領域とを有する本体と、前記第二領域において前記本体に取り付けられた少なくとも3個の刃と、を備えるピーラーを提供する。
本発明に係るピーラーにおいては、前記刃はその長さ方向が前記第一領域の長さ方向の軸線と平行になるように取り付けられていることが好ましい。
本発明に係るピーラーにおいては、前記刃はその長さ方向が前記第一領域の長さ方向の軸線と直交するように取り付けられていることが好ましい。
本発明に係るピーラーは、前記第二領域はその中心から半径方向の外側に向かって突出する突出部分を備えることができ、この場合、前記刃は前記突出部分の先端に取り付けられる。
本発明に係るピーラーにおいては、前記第一領域は前記第二領域に対して取り外しが可能であることが好ましい。
本発明に係るピーラーにおいては、前記少なくとも3個の刃のうち少なくとも1個の刃は他の刃と種類が異なるものであることが好ましい。
本発明に係るピーラーにおいては、前記少なくとも3個の刃のうち少なくとも1個の刃は他の刃と、対象物の皮を剥くときの皮の厚さが異なるものであることが好ましい。
本発明に係るピーラーによれば、3個以上の刃のうち所望の刃を使用することができる。このため、1個の刃しか有しない従来のピーラー1000、2000と比較して、3倍(もしくは3倍以上)の耐久期間を有することができ、仮に、3個以上の刃のうちの何れか1個の刃が破損した場合であっても、残りの刃を使用し続けることが可能である。
また、突出部分を設けることにより、3個以上の各刃間の距離をより長くすることができるので、例えば、ある一つの刃で対象物の皮を剥くときに、他の刃を気にすることなく、皮を剥くことができる。
把手としての第一領域を第二領域に対して取り外しが可能であるように構成することにより、ピーラーの使用者は所望の把手を選択することができ、種々の形状の把手を使用することが可能になる。
また、3個以上の刃のうち少なくとも1個の刃を他の刃と種類が異なるものにすることにより、最大で3種類の異なる種類の刃を取り付けることができるため、皮の剥き方に応じた刃を選択することが可能になる。
さらに、本発明に係るピーラーにおいては、3個以上の刃における各開口部のサイズを相互に異なるようにすることができるため、対象物の皮を剥くときの皮の厚さとして最大で3種類の皮の厚さを選択することが可能である。
以下、本発明の様々な具体化を、添付図面を基に、その効果・利点と共に、詳述する。
本発明の第一の実施の形態に係るピーラーの平面図である。 図1のA−A線における断面図である。 本発明の第一の実施の形態の変形例に係るピーラーの平面図である。 本発明の第二の実施の形態に係るピーラーの平面図である。 図4のB−B線における断面図である。 本発明の第三の実施の形態に係るピーラーの平面図である。 本発明の第三の実施の形態に係るピーラーにおける第一領域の第一の変形例を示す平面図である。 本発明の第三の実施の形態に係るピーラーにおける第一領域の第二の変形例を示す平面図である。 本発明の第三の実施の形態に係るピーラーにおける第一領域の第三の変形例を示す平面図である。 本発明の第三の実施の形態の変形例に係るピーラーの平面図である。 本発明の第四の実施の形態に係るピーラーの斜視図である。 図11のC方向から見た場合の本発明の第四の実施の形態に係るピーラーの側面図である。 第一の従来のピーラーの斜視図である。 第二の従来のピーラーの斜視図である。 第二の従来のピーラーにおける刃の拡大斜視図である。 第三の従来のピーラーの斜視図である。 図16のA−A線における断面図である。
(第一の実施の形態)
図1は、本発明の第一の実施の形態に係るピーラー100の平面図、図2は図1のA−A線における断面図である。
本実施の形態に係るピーラー100は、本体110と、本体110に取り付けられた3個の刃121、122、123と、からなる。
本体110は直線状の棒状体である。本体110は、第一領域111(破線101の右側の領域)と、第一領域111と連続する第二領域112(破線101の左側の領域)とを有している。
本体110の第一領域111はピーラー100の把手として機能する。
3個の刃121、122、123は第二領域112において本体110に取り付けられている。
3個の刃131、132、133の各々は、図1に示すように、それらの長さ方向が本体110の軸線と平行になるように本体110にそれぞれ取り付けられている。
3個の刃121、122、123のうち少なくとも1個の刃は他の刃と種類が異なるように設定されている。例えば、刃121は鋸歯、刃122、123は平刃である。
さらに、3個の刃121、122、123のうち少なくとも1個の刃は他の刃と対象物の皮を剥くときの皮の厚さが異なるように設定されている。例えば、刃121に隣接して形成される開口部(例えば、図16において、刃3012に隣接して形成されている開口3011に対応するもの)のサイズは他の二つの刃122、123に隣接して形成される開口部のサイズよりも大きく(あるいは、小さく)形成されている。このため、刃121を用いて対象物の皮を剥く場合には、他の二つの刃122、123を用いる場合と比較して、対象物の皮をより厚く剥くことができる。
以上のような構造を有する本実施の形態に係るピーラー100は、以下のようにして使用される。
ピーラー100の使用者は、把手としての第一領域111を持って、例えば、皮剥きの対象物(例えば、大根などの根菜)の表面に刃121を当て、上から下に向かう方向Xにピーラー100を移動させることにより、対象物の皮を剥くことができる。
違う種類の刃で皮を剥く場合には、例えば、刃121(鋸歯)の代わりに刃122(平刃)を対象物の表面に当て、上から下への方向Xにピーラー100を移動させる。
また、剥く皮の厚さを変えたい場合には、例えば、刃121(開口部のサイズが大きい)の代わりに刃122(開口部のサイズが小さい)を対象物の表面に当て、上から下への方向Xにピーラー100を移動させる。
以上のように、本実施の形態に係るピーラー100によれば、3個の刃121、122、123のうち所望の刃を使用することができる。このため、1個の刃しか有しない従来のピーラー1000、2000と比較して、3倍の耐久期間を有することができ、仮に、3個の刃121、122、123のうちの何れか1個の刃が破損した場合であっても、残りの2個の刃を使用し続けることが可能である。
また、本実施の形態に係るピーラー100においては、最大で3種類の異なる種類の刃を取り付けることができるため、皮の剥き方に応じた刃を選択することが可能である。
さらに、本実施の形態に係るピーラー100においては、3個の刃における各開口部のサイズを相互に異なるようにすることができるため、対象物の皮を剥くときの皮の厚さとして最大で3種類の皮の厚さを選択することが可能である。
本実施の形態に係るピーラー100の構造は、上記の構造に限定されるものではなく、種々の改変が可能である。
例えば、本実施の形態に係るピーラー100は3個の刃121、122、123を有するものとして形成されているが、刃の数は3には限定されない。4個以上の任意の数の刃を有するものとして形成することが可能である。
本実施の形態に係るピーラー100における本体110は、把手として機能する第一領域111を一つ備えているが、二つの第一領域111を備えることも可能である。
図3は、本体110が二つの第一領域111を有する場合のピーラー100の平面図である。
図3に示すように、本体110は第二領域112の左右にそれぞれ第一領域111を備えている。
このように二つの第一領域111を設けることにより、ピーラー100の使用者は両手で対象物の皮剥きを行うことが可能になる。あるいは、二人が二つの第一領域111の各々を持って対象物の皮を剥くことも可能になる。
(第二の実施の形態)
図4は本発明の第二の実施の形態に係るピーラー200の平面図、図5は図4のB−B線における断面図である。
本実施の形態に係るピーラー200は、第一の実施の形態に係るピーラー100と比較して、本体110の第二領域の形状が異なっている。この点を除いて、本実施の形態に係るピーラー200は第一の実施の形態に係るピーラー100と同一の形状を有している。
本実施の形態における本体110の第二領域210は、図5に示すように、本体110(または第一領域111)の軸線102から半径方向の外側に向かって等円周角の間隔で突出する3個の突出部分211A、211B、211Cを備えている。各突出部分211A、211B、211Cは逆U字型に近い形状をなしている。
3個の刃121、122、123は、3個の突出部分211A、211B、211Cの各々の頂点に取り付けられている。
このように、本実施の形態に係るピーラー200によれば、第一の実施の形態に係るピーラー100と比較して、3個の刃121、122、123間の距離をより長くすることができるので、例えば、刃121で対象物の皮を剥くときに、他の刃122、123を気にすることなく、皮を剥くことができる。
(第三の実施の形態)
図6は、本考案の第三の実施の形態に係るピーラー300の平面図である。
本実施の形態に係るピーラー300においては、本体110の第一領域111と第二領域112とは一体ではなく、別体のものとして形成されており、第一領域111と第二領域112とはキャップ部材310を介して相互に連結されている。
第一領域111及び第二領域112は、キャップ部材310に取り外し自在に嵌め込まれている。
例えば、キャップ部材310には両側面に凹部(図示せず)が形成されており、第一領域111及び第二領域112をその凹部に差し込むことにより、キャップ部材310に対して取り外し自在に取り付けられる。
あるいは、キャップ部材310の凹部の内壁に雌ネジを切り、さらに、第一領域111及び第二領域112の各々の先端に雄ネジを形成することにより、第一領域111及び第二領域112をキャップ部材310の凹部に螺合させることができる。
このように、本実施の形態に係るピーラー300においては、把手として機能する第一領域111は取り外し可能であるため、把手としての第一領域111を他の把手に交換することが可能である。すなわち、本実施の形態に係るピーラー300においては、把手としての第一領域111は直線状の棒状体をなしているが、第一領域111を他の形状のものに交換することも可能である。
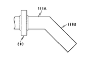
図7は、第一領域111の第一の変形例を示す平面図である。
図7に示すように、第一領域111を、直線部分111Aと、この直線部分111Aに対して傾斜する傾斜部分111Bとから構成することも可能である。
図8は、第一領域111の第二の変形例を示す平面図である。
図8に示すように、第一領域111を円弧状とすることも可能である。
図9は、第一領域111の第三の変形例を示す平面図である。
図9に示すように、第一領域111をT字型に形成することも可能である。
以上のように、ピーラー300の使用者は、自分が持ちやすい形状の把手を選択することが可能である。
本実施の形態に係るピーラー300においては、第一領域111及び第二領域112は何れもキャップ部材310に対して取り外し自在であるように構成されているが、第一領域111のみをキャップ部材310に対して取り外し自在に構成し、第二領域112はキャップ部材310に対して固定しておくことも可能である。
図10は、本実施の形態に係るピーラー300の変形例の平面図である。
図10に示すように、キャップ部材310と同一構造のキャップ部材311を介して、第二領域112にもう一つの第一領域111Aを連結させることも可能である。
図10に示したピーラー300の変形例は、図3に示したピーラー100(本体110が二つの第一領域111を有する)に対応するものである。
(第四の実施の形態)
図11は、本発明の第四の実施の形態に係るピーラー400の斜視図であり、図12は図11のC方向から見た場合のピーラー400の側面図である。
本実施の形態に係るピーラー400は、本体410と、本体410に取り付けられた3個の刃121、122、123と、からなる。
本体410は直線状の棒状体である。本体410は、第一領域411(破線401の上側の領域)と、第一領域411と連続する第二領域412(破線401の下側の領域)とを有している。
本体410の第一領域411はピーラー400の把手として機能する。
第二領域412には、本体410の下端から3方向に突出する3個の突出部分421、422、423が形成されており、3個の刃121、122、123は3個の突出部分421、422、423の各々の先端に取り付けられている。
3個の刃121、122、123の各々は、図11に示すように、それらの長さ方向が本体410の軸線と直交するように本体410に取り付けられている。
ピーラー400の使用者は把手としての第一領域411を持って、本体410の軸線方向に沿ってピーラー400を上下させることにより、対象物の皮を剥くことができる。
本実施の形態に係るピーラー400においても、図3に示したピーラー100または図10に示したピーラー300と同様に、二つの第一領域411を設けることが可能である。
また、図6に示したピーラー300のように、第一領域411と第二領域412とをキャップ部材310を介して連結するようにすることも可能である。
(付記)
以上、本発明の実施の形態を詳細に開示し記述したが、以上の記述は本発明の適用可能な局面を例示したものであって、本発明はこれに限定されるものではない。即ち、記述した局面に対する様々な修正及び/又は変形例を、この発明の範囲から逸脱することの無い範囲内で考えることが可能である。
100 本発明の第一の実施の形態に係るピーラー
110 本体
111 第一領域
112 第二領域
121、122、123 刃
200 本発明の第二の実施の形態に係るピーラー
210 第二領域
211A、211B、211C 突出部分
300 本発明の第三の実施の形態に係るピーラー
310 キャップ部材
400 本発明の第四の実施の形態に係るピーラー
410 本体
411 第一領域
412 第二領域
421、422、423 突出部分

Claims (3)

  1. 第二領域と、前記第二領域の長さ方向の左右にそれぞれ前記第二領域と連続して設けられた、把手として機能する二つの第一領域とを有する本体と、
    前記第二領域において前記本体に取り付けられた少なくとも3個の刃と、
    を備えるピーラー。
  2. 請求項1に記載のピーラーであって、
    前記二つの第一領域の内の少なくとも一つの第一領域は、少なくとも、前記第二領域との連続部分から直線状に延在する棒状体の部分と、前記棒状体の部分から連続的に下方へ向けて延在する部分とを備える
    ことを特徴とする、ピーラー
  3. 請求項1又は2に記載のピーラーであって、
    前記二つの第一領域の内の少なくとも一つの第一領域は、前記第二領域に対して取り外しが可能であることを特徴とする、ピーラー。
JP2014043900A 2014-03-06 2014-03-06 ピーラー Expired - Fee Related JP5697828B2 (ja)

Priority Applications (1)

Application Number Priority Date Filing Date Title
JP2014043900A JP5697828B2 (ja) 2014-03-06 2014-03-06 ピーラー

Applications Claiming Priority (1)

Application Number Priority Date Filing Date Title
JP2014043900A JP5697828B2 (ja) 2014-03-06 2014-03-06 ピーラー

Related Parent Applications (1)

Application Number Title Priority Date Filing Date
JP2012001829U Continuation JP3176196U (ja) 2012-03-30 2012-03-30 ピーラー

Publications (2)

Publication Number Publication Date
JP2014100601A JP2014100601A (ja) 2014-06-05
JP5697828B2 true JP5697828B2 (ja) 2015-04-08

Family

ID=51023653

Family Applications (1)

Application Number Title Priority Date Filing Date
JP2014043900A Expired - Fee Related JP5697828B2 (ja) 2014-03-06 2014-03-06 ピーラー

Country Status (1)

Country Link
JP (1) JP5697828B2 (ja)

Families Citing this family (2)

* Cited by examiner, † Cited by third party
Publication number Priority date Publication date Assignee Title
CN104856549A (zh) * 2015-06-03 2015-08-26 杜杭华 一种手拿式萝卜去皮器
CN107692788A (zh) * 2017-11-11 2018-02-16 孙祎 一种削皮刀

Family Cites Families (6)

* Cited by examiner, † Cited by third party
Publication number Priority date Publication date Assignee Title
JPH0141370Y2 (ja) * 1987-02-06 1989-12-07
JPH0535815Y2 (ja) * 1988-08-23 1993-09-10
JPH0477816U (ja) * 1990-11-20 1992-07-07
JPH071051Y2 (ja) * 1992-01-20 1995-01-18 昇 佐藤 皮剥器
JP2002199983A (ja) * 2001-01-09 2002-07-16 Seiji Ueki 皮むき器
US20090205141A1 (en) * 2008-02-15 2009-08-20 Matthew Frank Multi-purpose untensil

Also Published As

Publication number Publication date
JP2014100601A (ja) 2014-06-05

Similar Documents

Publication Publication Date Title
USD867100S1 (en) Flex taper grip
USD809138S1 (en) Handle for surgical and dental tool
USD883571S1 (en) Shaver handle
USD875968S1 (en) Pipette tip sheet assembly
USD976590S1 (en) Combined cleaning tool and removable telescopic brush
USD776876S1 (en) Shaving razor handle
USD910917S1 (en) Handle for a shaving razor
USD1072360S1 (en) Thumb guard
USD945875S1 (en) Torque limiting nut
USD895157S1 (en) Longitudinal beam
USD847367S1 (en) Pipette tip
USD808480S1 (en) Ice hockey stick
USD791321S1 (en) Shaft instrument for shaving tissue
USD782271S1 (en) Tool handle
USD977635S1 (en) Handle of a medical tool
USD902481S1 (en) Hand held cosmetic device
USD1027308S1 (en) Razor handle
USD837617S1 (en) Asymmetric spatula
USD795035S1 (en) Diamond saw blade
USD821160S1 (en) Knife
JP5697828B2 (ja) ピーラー
USD789746S1 (en) Goblet-shaped wine decanter
USD857886S1 (en) Handles for surgical instruments
USD897687S1 (en) Toothbrush
USD851469S1 (en) Spoon colander

Legal Events

Date Code Title Description
A521 Request for written amendment filed

Free format text: JAPANESE INTERMEDIATE CODE: A821

Effective date: 20140306

A621 Written request for application examination

Free format text: JAPANESE INTERMEDIATE CODE: A621

Effective date: 20140827

A871 Explanation of circumstances concerning accelerated examination

Free format text: JAPANESE INTERMEDIATE CODE: A871

Effective date: 20140829

A975 Report on accelerated examination

Free format text: JAPANESE INTERMEDIATE CODE: A971005

Effective date: 20140918

A131 Notification of reasons for refusal

Free format text: JAPANESE INTERMEDIATE CODE: A131

Effective date: 20141118

A521 Request for written amendment filed

Free format text: JAPANESE INTERMEDIATE CODE: A523

Effective date: 20150115

TRDD Decision of grant or rejection written
A01 Written decision to grant a patent or to grant a registration (utility model)

Free format text: JAPANESE INTERMEDIATE CODE: A01

Effective date: 20150204

A61 First payment of annual fees (during grant procedure)

Free format text: JAPANESE INTERMEDIATE CODE: A61

Effective date: 20150211

R150 Certificate of patent or registration of utility model

Ref document number: 5697828

Country of ref document: JP

Free format text: JAPANESE INTERMEDIATE CODE: R150

R250 Receipt of annual fees

Free format text: JAPANESE INTERMEDIATE CODE: R250

R250 Receipt of annual fees

Free format text: JAPANESE INTERMEDIATE CODE: R250

R250 Receipt of annual fees

Free format text: JAPANESE INTERMEDIATE CODE: R250

R250 Receipt of annual fees

Free format text: JAPANESE INTERMEDIATE CODE: R250

LAPS Cancellation because of no payment of annual fees