JP5661237B2 - 二重ねじ山カニューレ状縫合糸アンカー - Google Patents

二重ねじ山カニューレ状縫合糸アンカー Download PDF

Info

Publication number
JP5661237B2
JP5661237B2 JP2008234418A JP2008234418A JP5661237B2 JP 5661237 B2 JP5661237 B2 JP 5661237B2 JP 2008234418 A JP2008234418 A JP 2008234418A JP 2008234418 A JP2008234418 A JP 2008234418A JP 5661237 B2 JP5661237 B2 JP 5661237B2
Authority
JP
Japan
Prior art keywords
suture
suture anchor
engaging member
anchor
thread
Prior art date
Legal status (The legal status is an assumption and is not a legal conclusion. Google has not performed a legal analysis and makes no representation as to the accuracy of the status listed.)
Active
Application number
JP2008234418A
Other languages
English (en)
Other versions
JP2009101142A (ja
Inventor
クリスチャン・ディマッテオ
クリス・キルバン−ピーターソン
ネイサン・エス・コールドウエル
ジョナサン・ハウ
ヒュー・エス・ウエスト
Current Assignee (The listed assignees may be inaccurate. Google has not performed a legal analysis and makes no representation or warranty as to the accuracy of the list.)
DePuy Mitek LLC
Original Assignee
DePuy Mitek LLC
Priority date (The priority date is an assumption and is not a legal conclusion. Google has not performed a legal analysis and makes no representation as to the accuracy of the date listed.)
Filing date
Publication date
Application filed by DePuy Mitek LLC filed Critical DePuy Mitek LLC
Publication of JP2009101142A publication Critical patent/JP2009101142A/ja
Application granted granted Critical
Publication of JP5661237B2 publication Critical patent/JP5661237B2/ja
Active legal-status Critical Current
Anticipated expiration legal-status Critical

Links

Images

Classifications

    • AHUMAN NECESSITIES
    • A61MEDICAL OR VETERINARY SCIENCE; HYGIENE
    • A61BDIAGNOSIS; SURGERY; IDENTIFICATION
    • A61B17/00Surgical instruments, devices or methods
    • A61B17/04Surgical instruments, devices or methods for suturing wounds; Holders or packages for needles or suture materials
    • A61B17/0401Suture anchors, buttons or pledgets, i.e. means for attaching sutures to bone, cartilage or soft tissue; Instruments for applying or removing suture anchors
    • AHUMAN NECESSITIES
    • A61MEDICAL OR VETERINARY SCIENCE; HYGIENE
    • A61BDIAGNOSIS; SURGERY; IDENTIFICATION
    • A61B17/00Surgical instruments, devices or methods
    • A61B17/56Surgical instruments or methods for treatment of bones or joints; Devices specially adapted therefor
    • A61B17/58Surgical instruments or methods for treatment of bones or joints; Devices specially adapted therefor for osteosynthesis, e.g. bone plates, screws or setting implements
    • A61B17/68Internal fixation devices, including fasteners and spinal fixators, even if a part thereof projects from the skin
    • A61B17/84Fasteners therefor or fasteners being internal fixation devices
    • A61B17/86Pins or screws or threaded wires; nuts therefor
    • A61B17/8625Shanks, i.e. parts contacting bone tissue
    • A61B17/863Shanks, i.e. parts contacting bone tissue with thread interrupted or changing its form along shank, other than constant taper
    • AHUMAN NECESSITIES
    • A61MEDICAL OR VETERINARY SCIENCE; HYGIENE
    • A61BDIAGNOSIS; SURGERY; IDENTIFICATION
    • A61B17/00Surgical instruments, devices or methods
    • A61B17/04Surgical instruments, devices or methods for suturing wounds; Holders or packages for needles or suture materials
    • A61B17/0401Suture anchors, buttons or pledgets, i.e. means for attaching sutures to bone, cartilage or soft tissue; Instruments for applying or removing suture anchors
    • A61B2017/0409Instruments for applying suture anchors
    • AHUMAN NECESSITIES
    • A61MEDICAL OR VETERINARY SCIENCE; HYGIENE
    • A61BDIAGNOSIS; SURGERY; IDENTIFICATION
    • A61B17/00Surgical instruments, devices or methods
    • A61B17/04Surgical instruments, devices or methods for suturing wounds; Holders or packages for needles or suture materials
    • A61B17/0401Suture anchors, buttons or pledgets, i.e. means for attaching sutures to bone, cartilage or soft tissue; Instruments for applying or removing suture anchors
    • A61B2017/0414Suture anchors, buttons or pledgets, i.e. means for attaching sutures to bone, cartilage or soft tissue; Instruments for applying or removing suture anchors having a suture-receiving opening, e.g. lateral opening
    • AHUMAN NECESSITIES
    • A61MEDICAL OR VETERINARY SCIENCE; HYGIENE
    • A61BDIAGNOSIS; SURGERY; IDENTIFICATION
    • A61B17/00Surgical instruments, devices or methods
    • A61B17/04Surgical instruments, devices or methods for suturing wounds; Holders or packages for needles or suture materials
    • A61B17/0401Suture anchors, buttons or pledgets, i.e. means for attaching sutures to bone, cartilage or soft tissue; Instruments for applying or removing suture anchors
    • A61B2017/044Suture anchors, buttons or pledgets, i.e. means for attaching sutures to bone, cartilage or soft tissue; Instruments for applying or removing suture anchors with a threaded shaft, e.g. screws
    • AHUMAN NECESSITIES
    • A61MEDICAL OR VETERINARY SCIENCE; HYGIENE
    • A61BDIAGNOSIS; SURGERY; IDENTIFICATION
    • A61B17/00Surgical instruments, devices or methods
    • A61B17/04Surgical instruments, devices or methods for suturing wounds; Holders or packages for needles or suture materials
    • A61B17/0401Suture anchors, buttons or pledgets, i.e. means for attaching sutures to bone, cartilage or soft tissue; Instruments for applying or removing suture anchors
    • A61B2017/0445Suture anchors, buttons or pledgets, i.e. means for attaching sutures to bone, cartilage or soft tissue; Instruments for applying or removing suture anchors cannulated, e.g. with a longitudinal through-hole for passage of an instrument
    • AHUMAN NECESSITIES
    • A61MEDICAL OR VETERINARY SCIENCE; HYGIENE
    • A61BDIAGNOSIS; SURGERY; IDENTIFICATION
    • A61B17/00Surgical instruments, devices or methods
    • A61B17/04Surgical instruments, devices or methods for suturing wounds; Holders or packages for needles or suture materials
    • A61B17/0401Suture anchors, buttons or pledgets, i.e. means for attaching sutures to bone, cartilage or soft tissue; Instruments for applying or removing suture anchors
    • A61B2017/0446Means for attaching and blocking the suture in the suture anchor
    • A61B2017/0456Surface features on the anchor, e.g. ribs increasing friction between the suture and the anchor

Landscapes

  • Health & Medical Sciences (AREA)
  • Surgery (AREA)
  • Life Sciences & Earth Sciences (AREA)
  • Biomedical Technology (AREA)
  • Nuclear Medicine, Radiotherapy & Molecular Imaging (AREA)
  • Engineering & Computer Science (AREA)
  • Rheumatology (AREA)
  • Heart & Thoracic Surgery (AREA)
  • Medical Informatics (AREA)
  • Molecular Biology (AREA)
  • Animal Behavior & Ethology (AREA)
  • General Health & Medical Sciences (AREA)
  • Public Health (AREA)
  • Veterinary Medicine (AREA)
  • Surgical Instruments (AREA)

Description

開示の内容
〔発明の分野〕
本発明は、概して、医療装置および処置に関し、より具体的には、軟部組織を骨に取り付けるためのシステムおよび方法に関する。
〔発明の背景〕
靱帯、腱、および/または他の軟部組織が体内でそれらの関連する骨から完全にまたは部分的に剥離することは、特に運動選手の間で、比較的ありふれた傷害である。このような傷害は、一般に、これらの組織に加えられる過剰な圧力の結果である。例として、組織の剥離は、転倒のような事故、仕事関連の活動中、運動競技イベントを行っている間、または、多くの他の状況および/もしくは活動のいずれかにおいて無理をすることの結果として生じうる。
部分剥離の場合、十分な時間が与えられ、その傷害に過度の圧力をさらにかけないように気をつければ、その傷害はしばしば自然に治る。しかしながら、完全剥離の場合は、軟部組織を、その関連する一つまたは複数の骨に再び取り付けるために、手術が必要となるであろう。軟部組織を骨に再び取り付けるのに、数多くの装置を現在利用することができる。現在利用可能であるこのような装置の例としては、ねじ、ステープル、縫合糸アンカーおよび鋲が含まれる。ねじを利用した軟部組織の再取付処置では、剥離した軟部組織を通常骨の上でその組織の元の位置まで戻す。次に、ねじが軟部組織を通して骨にねじ込まれ、ねじのシャンクおよび頭部が軟部組織を骨に対して保持する。同様に、ステープルを利用した軟部組織の再取付処置では、剥離した軟部組織が通常骨の上をその組織の元の位置まで戻される。次に、ステープルが軟部組織を通して骨に押し込まれ、ステープルの足部およびブリッジ部が軟部組織を骨に対して保持する。
縫合糸アンカーを利用した軟部組織の再取付処置では、アンカー収容穴が一般に最初に、組織を再取り付けする所望の点において骨に開けられる。次に、縫合糸アンカーが適当な設置具を用いてその穴に配備される。これにより、縫合糸が骨に効果的に固定され、縫合糸の自由端が骨から外へ延びる。縫合糸の自由端は、軟部組織の中または周りに通され、軟部組織を骨にしっかりと縛り付けるのに用いられる。
現在の縫合糸アンカーは軟部組織を骨に固定するのに有効であるが、現在の装置での一つの欠点は、縫合糸アンカーが、ドライバーが加えるトルクに持ちこたえるのに十分な長さを備えた頭部を持たなければならないということである。長さを長くした結果、縫合糸アンカーは、頭部を骨の外表面の下に位置させるために、通常、少なくとも部分的に、下にある柔らかい海綿骨の中へと延びる。縫合糸アンカーの骨係合部分は、このため、大部分が、皮質骨ではなく、海綿骨の中に置かれ、海綿骨と係合する。これは、皮質骨の長さが約1mm〜3mmしかなく、ドライバー頭部が多くの場合3mmよりも長いという事実によるものである。一旦植え込むと、縫合糸によりアンカーに加えられた張力によってアンカーが皮質骨の中へと移動することがあり、そして、このために縫合糸アンカーの頭部が盛り上がり、結果として、いろいろな問題があるが、とりわけ固定が弱くなることがある。
したがって、軟部組織を骨に取り付ける方法および装置を改善する必要性が残っている。
〔発明の概要〕
縫合糸を骨に固定するための方法および装置が提供される。一実施形態では、近位端、遠位端、および中を延びる内腔部を備えた細長い本体を有する縫合糸アンカーが提供される。第一のねじ山が、細長い本体の近位端から遠位端に向かってその細長い本体の周囲に延び、第二のねじ山が、第一および第二のねじ山が互いに間隔をおくように、第一のねじ山の少なくとも一部分の間において細長い本体の周囲に延びる。ある例示的な実施形態において、細長い本体は一定の谷底の直径を有する。縫合糸アンカーは、細長い本体の遠位端の近傍に位置する縫合糸係合部材であって、縫合糸をその周りに置くことができるように、かつ、縫合糸の後端部が細長い本体の内腔部を通って延び近位端から出ることができるように位置付けられた、縫合糸係合部材をも含むことができる。
第一および第二のねじ山はさまざまな構成を有することができる。一実施形態において、第一のねじ山は、近位端から縫合糸係合部材のすぐ近位側の位置まで延びることができ、第二のねじ山は、近位端から延び、第一のねじ山の近位側で終了することができる。別の実施形態では、第一および第二のねじ山は、これら第一および第二のねじ山が実質的に同じ長さを有するように、近位端から縫合糸係合部材のすぐ近位側の位置まで延びることができる。あるいは、第一のねじ山は近位端から遠位端まで延びることができ、第二のねじ山は近位端から延び、第一のねじ山の近位側で終了することができる。別の実施形態では、第一および第二のねじ山は、これら第一および第二のねじ山が実質的に同じ長さを有し、かつ細長い本体の全長に沿って延びるように、近位端から遠位端まで延びることができる。
縫合糸アンカーは、さまざまな他の特徴も含むことができる。たとえば、縫合糸アンカーは、縫合糸アンカーの遠位端に形成された遠位先端部を含むことができる。ねじ山を遠位先端部に形成することができ、あるいは、遠位先端部をねじ無しにすることもできる。先端部は、先が鈍くてもよいし、または骨穴に挿入しやすいように先を尖らせてもよく、また、先端部は中空であっても中実であってもよい。他の実施形態において、縫合糸アンカーは、ドライバーを収容するように構成された近位端を含むことができる。たとえば、内腔部の近位部分は、中にドライバー工具を収容するための非対称または非円形断面形状を有することができる。
縫合糸係合部材もいろいろな構成を有することができる。ある例示的な実施形態では、縫合糸係合部材は、好ましくは内腔部の長さ方向軸に対して実質的に垂直に、内腔部の対向する壁部の間に延びる。縫合糸係合部材は、さまざまな形状および大きさを有することができる。たとえば、一実施形態では、縫合糸係合部材は、複数の縫合糸の配置を容易にするように、波形のような特徴部を含む。
さらに別の実施形態において、細長い本体であって、その細長い本体の近位端から遠位端に向かって延びる第一および第二のねじ山、細長い本体の近位端の中へと延びる内腔部、および、細長い本体の側壁に形成された切欠部を備えた、細長い本体を有する、縫合糸アンカーが提供される。切欠部は、内腔部とつながっており、内腔部を横切って延びる縫合糸係合部材であって、縫合糸が縫合糸係合部材の周りに延びることができ、かつ縫合糸の後端部がカニューレ状本体を通って延びることができるように構成された、縫合糸係合部材を画定している。
他の態様では、縫合糸アンカーが提供され、この縫合糸アンカーは、カニューレ状本体であって、カニューレ状本体の近位端から遠位端に向かって延びる第一および第二のねじ山、カニューレ状本体の側壁に形成され、細長い本体を通って延びている内腔部と流体連通している開口部、および、内腔部を横切って延びる縫合糸係合部材であって、縫合糸が縫合糸係合部材の周りに延びることができ、かつ縫合糸の後端部がカニューレ状本体を通って延びることができるように構成された、縫合糸係合部材を備えた、カニューレ状本体を有する。
例示的な縫合糸アンカーシステムも提供され、一実施形態において、このシステムは縫合糸アンカーを含むことができ、その縫合糸アンカーは、カニューレ状本体であって、そのカニューレ状本体の近位端から遠位端へ向けて延びる第一および第二のねじ山を備えたカニューレ状本体と、遠位端の近傍に位置する縫合糸係合部材であって、縫合糸がその縫合糸係合部材の周りに延びることができ、かつその縫合糸の後端部がカニューレ状本体を通って延びることができるように構成された、縫合糸係合部材と、を有する。このシステムはドライバー工具をも含むことができ、ドライバー工具は、縫合糸アンカーを骨に押し込むために、縫合糸アンカーの近位端の中に挿入され、かつこの近位端に係合するように構成された遠位端を有する。
ねじ山はさまざまな構成を有することができる。一実施形態において、第二のねじ山は、第一のねじ山の遠位端の近位側の場所で終了する遠位端を有することができる。あるいは、第一および第二のねじ山は、実質的に同じ長さを有することができる。縫合糸アンカーは、前述したものを含むさまざまな他の特徴を含むこともできる。
縫合糸を骨に固定するための例示的な方法も提供される。一実施形態では、縫合糸を骨に固定する方法は、縫合糸が、縫合糸アンカーの遠位部分に形成された縫合糸係合部材の周りに延び、かつ縫合糸の後端部が、縫合糸アンカーを貫通する内腔部の中を通って延び、縫合糸アンカーの近位端から出るように、縫合糸を縫合糸アンカーに連結することを含む。ドライバーが縫合糸アンカーの近位端に挿入され、そのドライバーを回して、縫合糸アンカーを骨穴にねじ込み、縫合糸を骨に固定する。ある例示的な実施形態において、縫合糸アンカーは、縫合糸アンカーの側壁に形成された開口部であって、縫合糸アンカーの内腔部に流体が流れ込むことを許容する、開口部を含む。縫合糸アンカーは、互いに軸方向に間隔をおいた第一および第二のねじ山であって、第一および第二のねじ山が同じ速度で骨に押し込まれるように、同じピッチを有する、第一および第二のねじ山を含むことができる。一実施形態において、第一および第二のねじ山は、第一および第二のねじ山が海綿骨に係合するように、縫合糸アンカーの少なくとも近位部分に形成することができる。別の実施形態において、第一のねじ山は、第一のねじ山が皮質骨および海綿骨と係合するように、縫合糸アンカーの遠位部分に沿って延びることができる。さらに別の実施形態では、第一および第二のねじ山は、第一および第二のねじ山が皮質骨および海綿骨と係合するように、縫合糸アンカーの近位端から遠位端まで延びることができる。
本発明は、添付図面とともに解される以下の詳細な説明により、よりよく理解されるであろう。
〔発明の詳細な説明〕
次に、本明細書で開示する装置および方法の構造、機能、製造および使用法の原理の総合的な理解を提供するために特定の例示的な実施形態を説明する。これらの実施形態の一つ以上の例が添付図面に示されている。当業者には分かるであろうが、本明細書に具体的に記載され、添付図面に示されている装置および方法は、非限定的な例示的実施形態であり、本発明の範囲は、特許請求の範囲によってのみ定められる。一つの例示的実施形態に関連して図示または説明した特徴は、他の実施形態の特徴と組み合わせてもよい。このような変更例および変形例は、本発明の範囲内に含まれることが意図されている。
本発明は、概して、骨に縫合糸を固定するための方法および装置を提供する。ある例示的な実施形態では、カニューレ状縫合糸アンカー(cannulated suture anchor)が提供され、このカニューレ状縫合糸アンカーには、その中または表面に形成された縫合糸係合部材であって、縫合糸の後端部が縫合糸アンカーを通って延びることができるように、縫合糸をその周囲で収容するように構成された、縫合糸係合部材を含む。カニューレ状縫合糸アンカーを使用すると、縫合糸アンカーを骨に押し込むために、ドライバーを縫合糸アンカーの内腔部に挿入することが可能となる。このような構成は、縫合糸アンカーとドライバーとの間の増大された係合により、縫合糸アンカーのトルク強度を最大にすることができる。これは、さらに、金属もしくはプラスチックのような非吸収性材料、生体吸収性材料、および/または、骨伝導性材料を含む幅広い材料から縫合糸アンカーを形成することを可能にする。カニューレ状縫合糸アンカーはまた、固定しやすくするために、内腔部が、骨成長促進剤、密封剤、接着剤等のような材料をその内腔部に挿入可能にできるので、特に有益である。縫合糸アンカーは、硬い皮質骨内での固定を最適にするように構成された二重のねじ山を備えた、少なくとも近位部分をさらに含むことができ、これにより縫合糸アンカーが移動する恐れを軽減する。当業者には分かるであろうが、軟部組織を骨に固定するための方法および装置が本明細書に開示されるが、これらの方法および装置は、さまざまな物体を互いに固定するさまざまな他の医療処置に用いることができる。
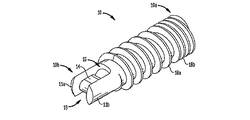
図1A〜図1Dは、軟部組織を骨に固定するためのカニューレ状縫合糸アンカー10の例示的な一実施形態を図示している。示されているように、縫合糸アンカー10は、ほぼ細長い本体という形態をしており、その細長い本体は近位端10aおよび遠位端10bを有し、内腔部10cが細長い本体を通って延びている。少なくとも一つの骨係合表面特徴部が、骨に係合するためにその外面の少なくとも一部分の上に形成されることができる。図示の実施形態において、縫合糸アンカー10は、ねじ山付き近位部分12aと、ねじ山無し遠位部分12bとを含む。縫合糸アンカー10は、縫合糸アンカー10の遠位端10bの近傍で内腔部10c内に配された縫合糸係合部材14をさらに含む。縫合糸係合部材14は、縫合糸が縫合糸係合部材14の周囲に延びることができ、かつ、縫合糸の後端部が縫合糸アンカー10の内腔部10cを通って延び、縫合糸アンカー10の近位端10aから出ることができるように、一本以上の縫合糸を縫合糸係合部材14の周りに収容するように構成することができる。
縫合糸アンカー10は、さまざまな材料から形成できる。ある例示的な実施形態において、この材料は、ドライバーを縫合糸アンカー10の内腔部10cに挿入し、かつ、このドライバーを用いて、縫合糸アンカー10を損傷させることなく骨に縫合糸アンカー10を押し込むことを可能とするのに十分な物理的特性を有する。材料の特性は、もちろん、縫合糸アンカー10の具体的な構成によって決まる。たとえば、縫合糸アンカー10の内腔部10cは、ドライバーと縫合糸アンカー10との間の面接触の量に加えて、縫合糸アンカー10のトルク強度を最大にする長さを有することができ、これにより、生体吸収性および/または骨伝導性材料のような、より弱い材料を使用可能にする。当業者には分かるであろうが、プラスチックおよび金属を含むさまざまな他の材料を、縫合糸アンカー10を形成することに用いることもできる。
縫合糸アンカー10の本体は、さまざまな構成、形状および大きさを有することができる。ある例示的な実施形態において、本体は、骨に形成された骨トンネル内に植え込まれるように構成され、より好ましくは、本体は、皮質骨の厚みの端から端まで完全に係合することができる大きさおよび形状を有する。上述したように、図示の実施形態において、本体は、ほぼ細長い円筒形状を有し、内腔部10cがその本体を通って延びている。内腔部10cの直径dはさまざまでありうるが、ある例示的な実施形態では、直径dは、一つ以上の、好ましくは三つの縫合糸対を中に収容するのに十分である。ある例示的な実施形態では、内腔部10cは、約1.5mm〜3.0mmの範囲の直径dを有する。これにより、それぞれ約0.711mm(0.028インチ)の最大外径を有する三本の縫合糸の6つの後端部を内腔部10cに通して配することができる。図1A〜図1Dにさらに示されているように、内腔部10cは、縫合糸アンカー10の全長を通って延びることができ、これには、後に詳述するように、遠位先端部を通ることも含まれる。もっとも、後で詳述するように、縫合糸係合部材14は内腔部10cの一部を横切って延びていてもよい。別の実施形態において、内腔部10cは、実質的に中実の先端部より前で終了することができる。この先端部は、示されているように、鈍くなっていても、つまり、丸くなっていてもよく、あるいは、骨トンネルに挿入しやすいように先が鋭くなっていてもよい。本明細書において後で開示するように、または、当該技術分野で既知のように、他の先端部構成も利用することができる。
本体の近位端10aは、頭部の無いものであってもよく、これは、本体のカニューレ状の構成が、ドライバーを内腔部10cに挿入して、縫合糸アンカー10を骨に押し込むことを可能にするからである。内腔部10cとドライバー機構との間の係合を容易にするために、さまざまな手法を用いることができるが、ある例示的な実施形態では、内腔部10cまたは少なくともその一部が、ドライバーの対応する非対称なまたは非円形の形状を補完する非対称または非円形の形状を有する。この非対称部分は、ドライバーと縫合糸アンカー10との間の面接触を最大にするように、内腔部10cの相当な長さに沿って延びることが好ましい。非限定的な例として、図1Cおよび図1Dは、対応する六角形駆動先端部を有するドライバーを収容するために内腔部10c内に形成された六角断面形状部を図示している。後で詳述するように、この六角断面部は、縫合糸アンカー10の最も近位の端部10aから延び、切欠部16の近位端の直ぐ近位側で終了している。例示的なドライバーがより詳細に後述され、また、本願出願人が所有する、発明の名称が「Cannulated Suture Anchor」である、2006年11月1日出願の米国特許出願第11/555,545号、発明の名称が「Suture Anchor With Pulley」である、2006年11月1日出願の米国特許出願第11/555,557号、および、発明の名称が「Wired Sutures」である、2006年11月1日出願の米国特許出願第11/555,568号にも開示されている。これら米国特許出願は全て、参照により全体として本明細書に組み込まれる。
図1A〜図1Dにさらに示されているように、本体は、その上に形成され、骨と係合するように構成された一つ以上の骨係合表面特徴部をも含むことができる。歯部、隆起部、突起部等のさまざまな表面特徴部を使用することができるが、ある例示的な実施形態では、本体は、その周囲に延びる一本以上のねじ山を含むことができ、より好ましくは、そのねじ山は、本体の少なくとも近位部分に形成され、堅い皮質骨との固定を強化し、植え込まれたときの縫合糸アンカーの移動を防止する。図1A〜図1Dに示されているように、本体は、周囲に延びる第一のねじ山18aおよび第二のねじ山18bを有するねじ山付き近位部分12aと、ねじ山無し遠位部分12bとを含む。第一のねじ山18aは、本体の近位端10aで始まり、縫合糸係合部材14の直ぐ近位側で終了する。第一のねじ山18aが終了する具体的な場所は、先端部の構成に加え、縫合糸アンカー10の具体的な構成によりさまざまでありうる。後で詳述するように、図示の縫合糸アンカー10は、縫合糸アンカー10の遠位端10bに形成された切欠部22を含むことができ、第一のねじ山18aは、その切欠部22の近位端の直ぐ近位側で終了することができる。結果として、第一のねじ山18aは、縫合糸アンカー10の長さの約75%に沿って延びる。もっとも、当業者には分かるであろうが、第一のねじ山18aの長さはさまざまでありうる。図1A〜図1Dにさらに示されているように、本体は、第一のねじ山18aの間に延びる第二のねじ山18bをさらに含むことができる。第二のねじ山18bは、以下により詳細に説明されるように、本体の一部分のみにわたって延びていてもよいし、遠位先端部を含むか、または除く本体の全長にわたって延びていてもよい。図1A〜図1Dに示されているように、第二のねじ山18bは、本体の最も近位の部分のみに沿って延びていて、第一のねじ山18aの近位側で終了している。図示の第二のねじ山18bは、したがって、縫合糸アンカー10の長さの約25%にわたって延びている。この結果、図示の縫合糸アンカー10は、二重ねじ山付き近位領域および単一ねじ山付き遠位領域を備えたねじ山付き近位部分12aを含む。
第一のねじ山18aに対する第二のねじ山18bの位置はさまざまでありうるが、ある例示的な実施形態では、示されているように、第二のねじ山18bは第一のねじ山18aの間に延びており、ねじ山18a、18bは縫合糸アンカー10の軸Aに沿って互いに等距離で間隔を置いている、つまり、ねじ山18a、18bは、軸方向に整合されている。第一のねじ山18aおよび第二のねじ山18bは、構成が等しくても、異なっていてもよいが、ある例示的な実施形態では、第一のねじ山18aおよび第二のねじ山18bは全く同じものであり、ピッチが同じであることを含み、同じ形状および大きさを有する。これにより、第一のねじ山18aおよび第二のねじ山18bは、骨に独立したコース(軌道)を同時に切ることができる。ピッチは、意図されている用途に加え、縫合糸アンカーの具体的な構成によりさまざまであってよいが、ある例示的な実施形態では、ピッチは約3.18mm〜1.27mm(8TPI〜20TPI)であり、より好ましくは、ピッチは約1.69mm(15TPI)である。第一のねじ山18aおよび第二のねじ山18bは、半径方向に互いに整合されることもでき、あるいは、代わりに、ねじ山のうちの一方、たとえば第一のねじ山18aが他方のねじ山、たとえば第二のねじ山18bより先に骨と係合し、挿入を容易にするように、第二のねじ山18bが第一のねじ山18aから半径方向にずれていてもよい。
各ねじ山18a、18bの外形もいろいろであってよく、ねじ山18a、18bは、谷底と頂との間で一定の厚みを有してもよいし、厚みは、示されているように谷底から頂へ減少してもよい。頂の形状もまたいろいろでありうる。図1A〜図1Dに示されているように、ねじ山18a、18bは、各々、v字形状の構成を有し、約40°で延びる対向した表面を備え、かつ、平坦な頂を備える。このような構成は、骨との係合を容易とし、これにより、アンカー10が植え込まれたときの縫合糸の移動を防止する。
図1A〜図1Dにさらに示されているように、縫合糸アンカー10は、縫合糸アンカー10の全長に沿って、または、少なくともねじ山付き部分に沿って一定のままである谷径、つまり、谷底の直径dminを有することができる。山径dmaxも縫合糸アンカー10の全長に沿って一定のままであってよい。具体的な寸法は、縫合糸アンカーの大きさおよび意図されている適用によりいろいろでありうるが、ある例示的な実施形態において縫合糸アンカー10は、約1〜2mmだけ、より好ましくは1.5mmだけ異なる山径dmaxおよび谷径dminを有する。たとえば、山径は約5.5mmであってよく、谷径は約4mmであってよい。当業者には分かるであろうが、山径および/または谷径もいろいろであってよく、縫合糸アンカー10の一部に沿って、または、全長に沿ってしだいに細くなることもできる。
前述したように、縫合糸アンカー10は、縫合糸係合部材14をさらに含むことができる。縫合糸係合部材14は、さまざまな構成を有することができるが、ある例示的な実施形態では、縫合糸アンカー10の内腔部10cを通って延びる一本以上の縫合糸と係合するように構成されている。図1A〜図1Dに示されているように、縫合糸係合部材14は、縫合糸アンカー10の向き合った内側側壁の間で内腔部10cの端から端まで横切るように延びる支柱、すなわち、細長い部材という形態をしている。縫合糸アンカー10の長さ方向軸Aに対する縫合糸係合部材14の角度方向はさまざまでありうるが、ある例示的な実施形態において、縫合糸係合部材14は、アンカー10の長さ方向軸Aに対して実質的に垂直に延びる。縫合糸係合部材14の場所もさまざまでありうるが、ある例示的な実施形態において、縫合糸係合部材14は、縫合糸アンカー10の遠位端10bに、または、その近傍に位置させられている。図1A〜図1Dに示されている実施形態において、縫合糸係合部材14は、縫合糸アンカー10の最も遠位の端部に縫合糸設置溝部19を形成するように、縫合糸アンカー10の最も遠位の端部10bのすぐ近位側に位置している。縫合糸係合部材14の凹状の構成は、縫合糸係合部材14の周りに置かれた縫合糸を、縫合糸アンカー10の遠位端10bと同じ高さまたは同じ高さより低く(sub-flush)設置可能とすることができ、これにより、縫合糸は、縫合糸アンカー10を骨に挿入することを邪魔しない。遠位端10bの近くの縫合糸係合部材14の場所もまた、縫合糸係合部材14から近位側に延びる、内腔部の残りがドライバーを収容することを可能にするため、有益である。当業者には分かるであろうが、縫合糸係合部材14は、縫合糸アンカー10と一体に形成することができる、すなわち、縫合糸アンカー10および縫合糸係合部材14は、一体品として成型することができるか、または、一点の材料から形成することができ、あるいは、縫合糸係合部材14は、縫合糸アンカー10に不動にまたは取り外し可能に結合されることができる。
図1A〜図1Dにさらに示されているように、縫合糸係合部材14の周りに縫合糸を位置付けしやすくするために、縫合糸アンカー10は、縫合糸係合部材14の近傍において縫合糸アンカー10の側壁に形成された一つ以上の切欠部を含むことができる。図1Aおよび図1Bに最もよく示されているように、ある例示的な実施形態において、縫合糸アンカー10は、切欠部16を含む。この切欠部16は、縫合糸係合部材14の場所のすぐ近位側から始まり、また、縫合糸アンカー10の遠位端10bの周りに延び、これにより、縫合糸アンカー10が、縫合糸係合部材14の両側に形成された、向き合った切欠部または開口部と、縫合糸を設置するための縫合糸設置溝19を画定する遠位切欠部と、を含む。切欠部16はまた、縫合糸アンカー10上に、向かい合った遠位アーム部11a、11bを画定することもできる。アーム部11a、11bは、互いに間隔を置いており、かつ、そのアームの間に延びる縫合糸係合部材14を有する。
当業者には分かるであろうが、切欠部16の具体的な場所および構成は、縫合糸係合部材14の具体的な場所および構成を定めることができる。これは、切欠部16が、縫合糸係合部材14を作る製造工程中に形成されうるからである。あるいは、向かい合ったアーム部11a、11bの具体的な場所および構成は、切欠部16の具体的な場所および構成を定めることができる。これは、アーム部11a、11bの形状および大きさが切欠部16の形状および大きさを定めるからである。切欠部16および/またはアーム部11a、11bに対する縫合糸係合部材14の場所もまた縫合糸アンカー10の遠位端の構成を定めるものであり、また、縫合糸アンカー10が縫合糸を設置するための遠位溝部19を含むかどうかをも定める。
これも当業者には分かるであろうが、縫合糸係合部材14は、さまざまな他の構成を有することができ、また、縫合糸係合部材14は、固定されていてもよいし、可動であってもよく、たとえば、回転可能および/またはスライド可能であってもよい。さまざまな例示的な構成が本明細書に開示されており、また、本明細書において先に参照した本願出願人が所有する米国特許出願でより詳細に開示されている。
前述したように、図1A〜図1Dは、第一のねじ山18aの長さよりも短い長さを有する第二のねじ山18bを示しているが、他の実施形態では、第一および第二のねじ山が同じ長さを有することができる。図2A〜図2Bは、同じ長さを有する第一のねじ山28aおよび第二のねじ山28bを有する縫合糸アンカー30の別の実施形態を図示している。具体的には、第一のねじ山28aおよび第二のねじ山28bは、近位端20aで始まり、縫合糸係合部材24、または、本体に形成された切欠部26のすぐ近位側の場所で第一および第二のねじ山の両方が終了している。第一のねじ山28aおよび第二のねじ山28bは、このようにして、縫合糸アンカー20の長さの約75%に沿って延びている。このような構成は、二重のねじ山が、特にアンカーの近位部分22aが係合する海綿骨内で、固定を改善するのでとりわけ有益である。アンカー20の遠位部分22bは、ねじが切られていなくてもよく、また、図1A〜図1Dについて前述したのと同じ構成を有してもよく、または、遠位部分22bは、本明細書で述べるような、もしくは、当該技術分野で既知であるようなさまざまな他の構成を有してもよい。
図3A〜図3Dに示される、さらに別の実施形態において、縫合糸アンカー30は、骨に突き刺しやすくするために、先の尖った先端部33を含むことができる。示されているように、遠位先端部33は、中実で先の尖った構成を有することができ、また、遠位先端部33は、縫合糸アンカー30の最も遠位の端部を形成することができる。縫合糸係合部材34は、したがって、遠位先端部33の近位側に位置させられることができ、また、切欠部36は、図3Cおよび図3Dに最もよく示されているように、縫合糸アンカー30の対向する壁部を貫通する空洞という形態をしていてもよい。縫合糸アンカー30の残りの部分は、図1A〜図1Dについて前述したアンカーと同様であってもよい。一般に、縫合糸アンカー30は、近位端30aから切欠部36のすぐ近位側の位置まで延びる第一のねじ山38aと、その第一のねじ山38aの間に配され、近位端30aから延びて第一のねじ山38aより近位側で終了する第二のねじ山38bとを含むことができる。
あるいは、ねじ山は、縫合糸アンカーの全長に沿って延びることができる。図4A〜図4Dは、近位端40aから遠位端40bまでの全長に沿って延びる第一のねじ山48aを有する縫合糸アンカー40の別の実施形態を示している。第一のねじ山48aは、したがって、先の尖った先端部43に向かって延び、そして、先の尖った先端部43において終わっていてよい。第二のねじ山48bは、図4A〜図4Dに示されているように、アンカー40の近位部分だけに沿って延びることができ、あるいは、代わりに、同様に全長に沿って延びることもできる。当業者には分かるであろうが、遠位先端部の構成に加えて、ねじ山の具体的な構成はさまざまであってもよく、事実上、特徴の組合せは、アンカーを形成するために所望に応じて組み合わせることができる。図4A〜図4Dにさらに示されているように、ねじ山48aが最も遠位の部分に沿って延びることができるようにするために、すなわち、切欠部46および縫合糸係合部材44を越えて遠位へ延びることができるようにするために、切欠部46および縫合糸係合部材44は、アンカーのより中央部分に位置してもよい。この結果、切欠部46はねじ山を貫通する。これも図4A〜図4Dに示されているように、切欠部46よりも遠位に位置する本体の部分は、アンカーの残りの近位部分の谷底の直径または谷径dよりも小さい谷底の直径または谷径dを有することができる。これにより、より小さな先端部が形成され、骨にはめ込みやすくなる。
図5Aおよび図5Bは、縫合糸アンカー50の別の実施形態を示している。この実施形態では、もつれることを防止しつつ、縫合糸がスライドして動きやすいように、縫合糸係合部材54が波形に仕上げられている点を除いて、縫合糸アンカー50はアンカー40と同様である。波形の数は、このアンカーと共に用いられる縫合糸の数によっていろいろでありうるが、図示の実施形態では、縫合糸係合部材54が、3つの縫合糸設置溝部55a、55b、55cを画定する2つの波形を含んでいる。したがって、3つの縫合糸を、各縫合糸が溝部55a、55b、55cに載った状態で縫合糸係合部材54の周りに位置させることができる。これにより、隣接する縫合糸を動かすことなく、各縫合糸を縫合糸係合部材54に対して個別にスライドさせることができる。この波形は、縫合糸をアンカー50に通したときに縫合糸の整列を保つことを助けることができ、これによりもつれを防止する。当業者には分かるであろうが、縫合糸の整列を維持するのを補助し、もつれを防止し、かつ/またはスライド運動を容易とするのにさまざまな他の手法を用いることができる。たとえば、縫合糸係合部材は、その中を通って形成された1本以上の通路であって、各通路が1本の縫合糸を収容するように構成されている、1本以上の通路を含んでもよい。
前述したように、使用時には、本明細書に開示したさまざまな縫合糸アンカーは、一本以上の縫合糸を収容するように、また、アンカーを骨に押し込みこれにより縫合糸を骨に固定するためのドライバーを収容するように構成することができる。さまざまなドライバーを使用することができるが、図6および図7は、本明細書に開示した縫合糸アンカーとともに使用するために特に構成されたドライバーの二つの例示的な実施形態を示している。初めに図6を参照すると、示されているように、ドライバー60は、概して細長いシャフトであって、そのシャフトの遠位端に形成された駆動先端部62を備えた、シャフトを有している。駆動先端部62は、縫合糸アンカーの形状および大きさに対応した形状および大きさを有する。具体的には、図示の実施形態において駆動先端部62は、六角形断面形状を有し、この六角形断面形状により、先端部62は、図1A〜図1Dのアンカー10のような縫合糸アンカー内に形成された六角形内腔部の中に置かれ、かつ六角形内腔部に係合することができる。駆動先端部62の長さはさまざまでありうるが、この長さは、駆動先端部62と縫合糸アンカーとの間の面接触を高めるために最大にすることが好ましい。ある例示的な実施形態において、駆動先端部62は、駆動先端部62が縫合糸アンカーの近位端から延びることができ、かつ、縫合糸係合部材のすぐ近位側において終わることができるように構成された、長さを有している。図6にさらに示されているように、駆動先端部62は、この駆動先端部62の中に形成された一つ以上の縫合糸設置溝部64であって、縫合糸が駆動先端部62と縫合糸アンカーとの間で係合することを防ぐために縫合糸の末端部を設置するように構成された、一つ以上の縫合糸設置溝部64を含むこともできる。図6には二つの向かい合った縫合糸設置溝部64が示されているが、駆動先端部62は任意の数の溝部を含んでいてもよく、各溝部の形状および大きさは、縫合糸アンカーと共に用いられる縫合糸の数量によりさまざまでありうる。図7に示す別の実施形態では、ドライバー70がカニューレ状となっていて、縫合糸が、駆動先端部72の外面に沿って延びるのではなく、駆動先端部72の内腔部74を通って延び、そしてドライバーの細長いシャフトを通って延びることを可能にすることができる。当業者には分かるであろうが、ドライバーと縫合糸との間の係合を容易にするために、また、ドライバーと縫合糸との間で一本以上の縫合糸を自由に通すことができるように、さまざまな他の手法を用いることもできる。
縫合糸アンカーおよびドライバーと共に使用される縫合糸の具体的な数量は、縫合糸アンカーおよびドライバーの大きさ、特に縫合糸アンカーの内腔部の直径、および、(ドライバー60の場合は)ドライバーに形成した縫合糸係合溝部の大きさ、または(ドライバー70の場合は)ドライバー内の内腔部の直径によって決まってよい。たとえば、縫合糸アンカーが比較的小さな内腔部を有する場合、ドライバーは必然的に比較的小さな直径を有することになり、したがって(ドライバー60の場合)小さな縫合係合溝部、または(ドライバー70の場合)小さな内腔部を有することになる。したがって、縫合糸アンカーの縫合糸係合部材の周りに位置させられた1本の縫合糸であって、(ドライバー60の場合)ドライバー内の縫合糸収容溝部を通って延びるか、または、(ドライバー70の場合)ドライバー内の内腔部を通って延びる二つの後端部を有する、1本の縫合糸を用いることのみが可能となるであろう。組織を骨に固定するのに一本の縫合糸で十分でありうるが、二本以上を用いることが好ましく、二本または三本の縫合糸を用いることがより好ましい。したがって、縫合糸アンカーおよび/またはドライバーの大きさを増大させるのではなく、本発明は、縫合糸を1本だけ取り付けるように構成された縫合糸アンカーおよびドライバーと共に2本の縫合糸を利用するためのさまざまな例示的な手法を提供する。これは、トルク故障級(torque failure rating)を上げるために縫合糸アンカーの内腔部の直径およびドライバーの遠位先端部の直径を最大にしながら、縫合糸アンカーが完全に皮質骨内に置かれる大きさに形成できるので特に有益である。これにより、本明細書で先に開示したような脆い材料またはより弱い材料を含む幅広い材料からアンカーを作ることも可能になる。
本発明は、組織を骨に固定するための例示的な方法をも提供する。軟部組織を骨に取り付けることに関してある方法を説明するが、本明細書に開示する方法および装置は、一つの構造体を他の構造体に固定するためのさまざまな医療処置で使用することができる。一般に、患者の骨に穴が形成される。穴の直径は、好ましくは、縫合糸アンカーの最大外径より若干小さく、穴の長さは、好ましくは、縫合糸アンカーの長さと同じであるか、または若干長い。穴は皮質骨を完全に貫通し、縫合糸アンカーが皮質骨の厚みの端から端まで完全に係合できるようにする。穴は、縫合糸アンカーの長さ次第で、海面骨の中へと延びることもできる。前述した本願出願人が所有する特許出願に開示された手法を含むさまざまな手法を用いて1本以上の縫合糸を縫合糸アンカーに連結することができ、そして、たとえば図7に示されているように、ドライバーの遠位先端部を縫合糸アンカーの内腔部に挿入することができる。縫合糸の後端部はドライバーに沿って外面的に延びることもできるし、ドライバーの内腔部を通って延びることもできる。次にドライバーを用いて縫合糸アンカーを骨トンネルに挿入することができる。たとえば、縫合糸アンカーがその上に形成されたねじ山を含む場合、ドライバーは、縫合糸アンカーを骨の穴にねじ込むために回転されることができる。ねじ山は骨の穴と係合し、これにより縫合糸アンカーが外れることを防止する。縫合糸アンカーが二重のねじ山を含む場合、第二のねじ山は骨の内部での補足的な固定を与える。非限定的な例として、図8は、骨Bに植え込まれた図1A〜図1Cの縫合糸アンカー10であって、この縫合糸アンカー10に連結された3本の縫合糸80a、80b、80cを有する、縫合糸アンカー10を図示している。示されているように、縫合糸80a〜80cは縫合糸係合部材14の周りに延び、また、アンカー10の内腔部およびドライバー70の内腔部を通って延びており、これにより、ドライバー70が縫合糸80a〜80cに邪魔されることなく縫合糸10を骨に押し込むことができる。他の実施形態では、ドライバーは骨アンカーを骨穴に打ち込むのに用いてもよく、また、締まりばめ、圧縮ばめ、および/または、リブもしくは突起部のような、縫合糸アンカーに形成された表面特徴部を用いて縫合糸アンカーを骨穴内部に保持することができる。ドライバーは、オプションとして、ねじ山付き縫合糸アンカーを骨穴にはめ込むのに用いてもよい。ねじ山は、後で縫合糸アンカーを取り除くことを可能にできる。
骨アンカーを骨穴内部に適切に固定したら、本明細書で前述したものなどのさまざまな材料を、ドライバーの中を通して縫合糸アンカーの中へまたは周りへと導入することができる。ドライバーは取り除くことができ、次に縫合糸の後端部は、軟部組織を骨に固定するのに用いることができる。たとえば、縫合糸の一方または両方の後端部を針に取り付け、骨に固定すべき組織に縫合糸を通すのにその針を用いることも可能にすることができる。縫合糸は、縫合糸アンカーを骨に挿入する前または後に組織に通すことができる。軟部組織を骨の方に近づけたら、手術を終わらせるためにこのような場合に一般的に行われるように、縫合糸の後端部を相互に固定し、余分な部分を取り除くことができる。一旦植え込まれたら、内腔部の中へと延びている切欠部は、骨成長促進剤、密封剤、接着剤等のような材料を、固定を促進するために中に導入することを可能にすることができる。
当業者には、上記の実施形態に基づいて本発明のさらなる特徴および利点が分かるであろう。したがって、本発明は、添付の特許請求の範囲によって示されている点を除き、具体的に示されかつ記載されたことによって限定されるものではない。本明細書に列挙した全ての刊行物および参考文献は、参照することにより全体として本明細書に明白に組み込まれるものである。
〔実施の態様〕
(1)縫合糸アンカーにおいて、
細長い本体であって、
近位端、
遠位端、
前記細長い本体の中を長さ方向に延びる内腔部、
前記近位端から前記遠位端に向かって前記細長い本体の周囲に延びる第一のねじ山、ならびに、
前記第一のねじ山の少なくとも一部分の間において前記細長い本体の周囲に延びる第二のねじ山であって、前記第一および第二のねじ山が長さ方向に互いに間隔をおいている、第二のねじ山、
を有し、
一定の谷底の直径を有する、
細長い本体と、
前記細長い本体の前記遠位端の近傍に配された縫合糸係合部材であって、縫合糸が前記縫合糸係合部材の周りに配されることができるように、かつ、前記縫合糸の後端部が前記細長い本体の前記内腔部を通って延び、前記近位端から出ることができるように位置させられた、縫合糸係合部材と、
を備える、縫合糸アンカー。
(2)実施態様1に記載の縫合糸アンカーにおいて、
前記第一のねじ山は、前記近位端から前記縫合糸係合部材のすぐ近位側の位置まで延びており、
前記第二のねじ山は、前記近位端から延び、前記第一のねじ山の近位側で終了している、縫合糸アンカー。
(3)実施態様1に記載の縫合糸アンカーにおいて、
前記第一および第二のねじ山は、前記第一および第二のねじ山が互いと実質的に同じ長さを有するように、前記近位端から前記縫合糸係合部材のすぐ近位側の位置まで延びている、縫合糸アンカー。
(4)実施態様1に記載の縫合糸アンカーにおいて、
前記第一のねじ山は、前記近位端から前記遠位端まで延びており、
前記第二のねじ山は、前記近位端から延び、前記第一のねじ山の近位側で終了している、縫合糸アンカー。
(5)実施態様1に記載の縫合糸アンカーにおいて、
前記第一および第二のねじ山は、前記第一および第二のねじ山が互いと実質的に同じ長さを有し、かつ前記細長い本体の全長に沿って延びるように、前記近位端から前記遠位端まで延びる、縫合糸アンカー。
(6)実施態様1に記載の縫合糸アンカーにおいて、
前記縫合糸アンカーの前記遠位端に形成された、ねじ山無し遠位先端部、
をさらに備える、縫合糸アンカー。
(7)実施態様1に記載の縫合糸アンカーにおいて、
前記縫合糸アンカーの前記遠位端に形成された、先の尖った遠位先端部、
をさらに備える、縫合糸アンカー。
(8)実施態様1に記載の縫合糸アンカーにおいて、
前記縫合糸係合部材は、前記内腔部の向かい合った壁部の間に延びる、縫合糸アンカー。
(9)実施態様8に記載の縫合糸アンカーにおいて、
前記縫合糸係合部材は、波形に仕上げられている、縫合糸アンカー。
(10)実施態様1に記載の縫合糸アンカーにおいて、
前記内腔部の近位端が、ドライバー工具を中に収容するための非対称な断面形状を有する、縫合糸アンカー。
(11)縫合糸アンカーにおいて、
細長い本体であって、
前記細長い本体の近位端から遠位端に向かって延びる第一および第二のねじ山、
前記細長い本体の前記近位端の中へと延びる内腔部、ならびに、
前記細長い本体の側壁に形成され、前記内腔部とつながっている切欠部。
を有し、
前記切欠部は、
前記内腔部を横切って延びる縫合糸係合部材であって、縫合糸が前記縫合糸係合部材の周りに延びることができ、かつ前記縫合糸の後端部が前記カニューレ状本体を通って延びることができるように構成された、縫合糸係合部材、
を画定している、
細長い本体、
を備える、縫合糸アンカー。
(12)実施態様11に記載の縫合糸アンカーにおいて、
前記第二のねじ山は、前記第一のねじ山の遠位端の近位側の場所で終了する遠位端を有する、縫合糸アンカー。
(13)実施態様11に記載の縫合糸アンカーにおいて、
前記第一および第二のねじ山は、互いと実質的に同じ長さを有し、
前記第一および第二のねじ山は、前記近位端から前記遠位端まで延びている、縫合糸アンカー。
(14)実施態様11に記載の縫合糸アンカーにおいて、
前記カニューレ状本体の前記遠位端に形成された、ねじ山無し遠位先端部、
をさらに備える、縫合糸アンカー。
(15)実施態様11に記載の縫合糸アンカーにおいて、
前記カニューレ状本体の前記遠位端に形成された、先の尖った遠位先端部、
をさらに備える、縫合糸アンカー。
(16)実施態様11に記載の縫合糸アンカーにおいて、
前記縫合糸係合部材は、波形に仕上げられている、縫合糸アンカー。
(17)実施態様11に記載の縫合糸アンカーにおいて、
前記内腔部の少なくとも一部が、ドライバー工具を中に収容するための非円形断面形状を有する、縫合糸アンカー。
(18)縫合糸アンカーにおいて、
カニューレ状本体であって、
前記カニューレ状本体の近位端から遠位端に向かって延びる第一および第二のねじ山、
前記カニューレ状本体の側壁に形成され、前記細長い本体を通って延びている内腔部と流体連通している開口部、ならびに、
前記内腔部を横切って延びる縫合糸係合部材であって、縫合糸が前記縫合糸係合部材の周りに延びることができ、かつ前記縫合糸の後端部が前記カニューレ状本体を通って延びることができるように構成された、縫合糸係合部材、
を備えた、
カニューレ状本体、
を備える、縫合糸アンカー。
(19)実施態様11に記載の縫合糸アンカーにおいて、
前記第二のねじ山は、前記第一のねじ山の遠位端の近位側の場所で終了する遠位端を有する、縫合糸アンカー。
(20)実施態様11に記載の縫合糸アンカーにおいて、
前記第一および第二のねじ山は、互いと実質的に同じ長さを有する、縫合糸アンカー。
(21)実施態様11に記載の縫合糸アンカーシステムにおいて、
前記縫合糸係合部材は、前記縫合糸係合部材が前記縫合糸係合部材の周りに延びる複数の縫合糸を整列させるように構成されるよう、前記縫合糸係合部材上に形成された少なくとも一つの隆起部を含む、縫合糸アンカーシステム。
二重ねじ山付き領域および単一ねじ山付き領域を備えた近位部分と、縫合糸係合部材を備えたねじ山無し遠位部分とを有するカニューレ状縫合糸アンカーの一実施形態の側面図である。 図1Aのカニューレ状縫合糸アンカーの斜視図である。 図1Aのカニューレ状縫合糸アンカーの断面図である。 図1Aのカニューレ状縫合糸アンカーの別の断面図である。 二重ねじ山付き近位部分と、および縫合糸係合部材を備えたねじ山無し遠位部分とを有するカニューレ状縫合糸アンカーの別の実施形態の側面図である。 図2Aのカニューレ状縫合糸アンカーの斜視図である。 二重ねじ山付き領域および単一ねじ山付き領域を備えた近位部分と、縫合糸係合部材および骨貫通先端部を備えたねじ山無し遠位部分とを有するカニューレ状縫合糸アンカーのさらに別の実施形態の側面図である。 図3Aのカニューレ状縫合糸アンカーの斜視図である。 図3Aのカニューレ状縫合糸アンカーの断面図である。 図3Aのカニューレ状縫合糸アンカーの別の断面図である。 他の実施形態による、二重ねじ山付き近位領域と、縫合糸係合部材および骨貫通先端部を備えた単一ねじ山付き遠位部分とを有するカニューレ状縫合糸アンカーの側面図である。 図4Aのカニューレ状縫合糸アンカーの斜視図である。 図4Aのカニューレ状縫合糸アンカーの断面図である。 図4Aのカニューレ状縫合糸アンカーの別の断面図である。 二重ねじ山付き領域および単一ねじ山付き領域を備えた近位部分と、先の尖った先端部を有するねじ山付き遠位部分と、波形に仕上げられた縫合糸係合部材とを有するカニューレ状縫合糸アンカーのさらに別の実施形態の側面図である。 図5Aのカニューレ状縫合糸アンカーの断面図である。 縫合糸アンカーを骨に挿入するためのドライバー工具の一実施形態の斜視図である。 縫合糸アンカーと係合したところが示されているドライバー工具の別の実施形態の断面図である。 骨に植え込まれ、三本の縫合糸が連結されている図1Aの縫合糸アンカーの部分断面図である。

Claims (18)

  1. 縫合糸アンカーにおいて、
    細長い本体であって、
    近位端、
    遠位端、
    前記細長い本体の中を長さ方向に延びる内腔部、
    前記近位端から前記遠位端に向かって前記細長い本体の周囲に延びる第一のねじ山、ならびに、
    前記第一のねじ山の少なくとも一部分の間において前記細長い本体の周囲に延びる第二のねじ山であって、前記第一および第二のねじ山が長さ方向に互いに間隔をおいている、第二のねじ山、
    を有し、
    一定の谷底の直径を有する、
    細長い本体と、
    前記細長い本体の前記遠位端の近傍に配された縫合糸係合部材であって、縫合糸が前記縫合糸係合部材の周りに配されることができるように、かつ、前記縫合糸の後端部が前記細長い本体の前記内腔部を通って延び、前記近位端から出ることができるように位置させられた、縫合糸係合部材と、
    を備え、
    前記縫合糸アンカーは、前記細長い本体の対向する側壁のそれぞれから前記遠位端に連続して形成された切欠部を含み、前記切欠部は、遠位方向に突出する向かい合った遠位アームを画定し、
    前記縫合糸係合部材は、前記向かい合った遠位アームの間に露出して延びており、
    前記縫合糸係合部材は、前記向かい合った遠位アームの遠位端より近位側の位置に配され、
    前記縫合糸係合部材は、前記縫合糸アンカーの遠位側から見た場合に露出している、
    縫合糸アンカー。
  2. 請求項1に記載の縫合糸アンカーにおいて、
    前記第一のねじ山は、前記近位端から前記縫合糸係合部材のすぐ近位側の位置まで延びており、
    前記第二のねじ山は、前記近位端から延び、前記第一のねじ山の近位側で終了している、縫合糸アンカー。
  3. 請求項1に記載の縫合糸アンカーにおいて、
    前記第一および第二のねじ山は、前記第一および第二のねじ山が互いと実質的に同じ長さを有するように、前記近位端から前記縫合糸係合部材のすぐ近位側の位置まで延びている、縫合糸アンカー。
  4. 請求項1に記載の縫合糸アンカーにおいて、
    前記第一のねじ山は、前記近位端から前記遠位端まで延びており、
    前記第二のねじ山は、前記近位端から延び、前記第一のねじ山の近位側で終了している、縫合糸アンカー。
  5. 請求項1に記載の縫合糸アンカーにおいて、
    前記第一および第二のねじ山は、前記第一および第二のねじ山が互いと実質的に同じ長さを有し、かつ前記細長い本体の全長に沿って延びるように、前記近位端から前記遠位端まで延びる、縫合糸アンカー。
  6. 請求項1に記載の縫合糸アンカーにおいて、
    前記縫合糸アンカーの前記遠位端に形成された、ねじ山無し遠位先端部、
    をさらに備える、縫合糸アンカー。
  7. 請求項1からのいずれか1つに記載の縫合糸アンカーにおいて、
    前記縫合糸係合部材は、波形に仕上げられている、縫合糸アンカー。
  8. 請求項1に記載の縫合糸アンカーにおいて、
    前記内腔部の近位端が、ドライバー工具を中に収容するための非対称な断面形状を有する、縫合糸アンカー。
  9. 縫合糸アンカーにおいて、
    細長い本体であって、
    前記細長い本体の近位端から遠位端に向かって延びる第一および第二のねじ山、
    前記細長い本体の前記近位端の中へと延びる内腔部、ならびに、
    前記細長い本体の側壁に形成され、前記内腔部とつながっている切欠部、
    を有し、
    前記切欠部は、
    前記内腔部を横切って延びる縫合糸係合部材であって、縫合糸が前記縫合糸係合部材の周りに延びることができ、かつ前記縫合糸の後端部が前記細長い本体を通って延びることができるように構成された、縫合糸係合部材、
    を画定している、
    細長い本体、
    を備え、
    前記縫合糸アンカーは、前記細長い本体の対向する側壁のそれぞれから前記遠位端に連続して形成された前記切欠部を含み、前記切欠部は、遠位方向に突出する向かい合った遠位アームを画定し、
    前記縫合糸係合部材は、前記向かい合った遠位アームの間に露出して延びており、
    前記縫合糸係合部材は、前記向かい合った遠位アームの遠位端より近位側の位置に配され、
    前記縫合糸係合部材は、前記縫合糸アンカーの遠位側から見た場合に露出している、
    縫合糸アンカー。
  10. 請求項に記載の縫合糸アンカーにおいて、
    前記第二のねじ山は、前記第一のねじ山の遠位端の近位側の場所で終了する遠位端を有する、縫合糸アンカー。
  11. 請求項に記載の縫合糸アンカーにおいて、
    前記第一および第二のねじ山は、互いと実質的に同じ長さを有し、
    前記第一および第二のねじ山は、前記近位端から前記遠位端まで延びている、縫合糸アンカー。
  12. 請求項に記載の縫合糸アンカーにおいて、
    前記細長い本体の前記遠位端に形成された、ねじ山無し遠位先端部、
    をさらに備える、縫合糸アンカー。
  13. 請求項に記載の縫合糸アンカーにおいて、
    前記縫合糸係合部材は、波形に仕上げられている、縫合糸アンカー。
  14. 請求項に記載の縫合糸アンカーにおいて、
    前記内腔部の少なくとも一部が、ドライバー工具を中に収容するための非円形断面形状を有する、縫合糸アンカー。
  15. 縫合糸アンカーにおいて、
    カニューレ状本体であって、
    前記カニューレ状本体の近位端から遠位端に向かって延びる第一および第二のねじ山、
    前記カニューレ状本体の側壁に形成され、前記カニューレ状本体を通って延びている内腔部と流体連通している開口部、ならびに、
    前記内腔部を横切って延びる縫合糸係合部材であって、縫合糸が前記縫合糸係合部材の周りに延びることができ、かつ前記縫合糸の後端部が前記カニューレ状本体を通って延びることができるように構成された、縫合糸係合部材、
    を備えた、
    カニューレ状本体、
    を備え、
    前記縫合糸アンカーは、前記カニューレ状本体の対向する側壁のそれぞれから前記遠位端に連続して形成された前記開口部を含み、前記開口部は、遠位方向に突出する向かい合った遠位アームを画定し、
    前記縫合糸係合部材は、前記向かい合った遠位アームの間に露出して延びており、
    前記縫合糸係合部材は、前記向かい合った遠位アームの遠位端より近位側の位置に配され、
    前記縫合糸係合部材は、前記縫合糸アンカーの遠位側から見た場合に露出している、
    縫合糸アンカー。
  16. 請求項15に記載の縫合糸アンカーにおいて、
    前記第二のねじ山は、前記第一のねじ山の遠位端の近位側の場所で終了する遠位端を有する、縫合糸アンカー。
  17. 請求項15に記載の縫合糸アンカーにおいて、
    前記第一および第二のねじ山は、互いと実質的に同じ長さを有する、縫合糸アンカー。
  18. 請求項15に記載の縫合糸アンカーシステムにおいて、
    前記縫合糸係合部材は、前記縫合糸係合部材が前記縫合糸係合部材の周りに延びる複数の縫合糸を整列させるように構成されるよう、前記縫合糸係合部材上に形成された少なくとも一つの隆起部を含む、縫合糸アンカーシステム。
JP2008234418A 2007-09-14 2008-09-12 二重ねじ山カニューレ状縫合糸アンカー Active JP5661237B2 (ja)

Applications Claiming Priority (2)

Application Number Priority Date Filing Date Title
US11/855,670 2007-09-14
US11/855,670 US8882801B2 (en) 2007-09-14 2007-09-14 Dual thread cannulated suture anchor

Publications (2)

Publication Number Publication Date
JP2009101142A JP2009101142A (ja) 2009-05-14
JP5661237B2 true JP5661237B2 (ja) 2015-01-28

Family

ID=40089924

Family Applications (1)

Application Number Title Priority Date Filing Date
JP2008234418A Active JP5661237B2 (ja) 2007-09-14 2008-09-12 二重ねじ山カニューレ状縫合糸アンカー

Country Status (6)

Country Link
US (1) US8882801B2 (ja)
EP (2) EP3332715B1 (ja)
JP (1) JP5661237B2 (ja)
CN (1) CN101422381B (ja)
AU (1) AU2008212597A1 (ja)
CA (2) CA2639507C (ja)

Families Citing this family (79)

* Cited by examiner, † Cited by third party
Publication number Priority date Publication date Assignee Title
US8894661B2 (en) 2007-08-16 2014-11-25 Smith & Nephew, Inc. Helicoil interference fixation system for attaching a graft ligament to a bone
US8114128B2 (en) 2006-11-01 2012-02-14 Depuy Mitek, Inc. Cannulated suture anchor
US8702754B2 (en) 2007-09-14 2014-04-22 Depuy Mitek, Llc Methods for anchoring suture to bone
US8672967B2 (en) * 2009-10-30 2014-03-18 Depuy Mitek, Llc Partial thickness rotator cuff repair system and method
FR2960763B1 (fr) 2010-06-03 2013-08-02 Tornier Sa Implant de suture
US9308080B2 (en) 2010-03-10 2016-04-12 Smith & Nephew Inc. Composite interference screws and drivers
US9579188B2 (en) 2010-03-10 2017-02-28 Smith & Nephew, Inc. Anchor having a controlled driver orientation
US9775702B2 (en) 2010-03-10 2017-10-03 Smith & Nephew, Inc. Composite interference screws and drivers
JP5899124B2 (ja) 2010-03-10 2016-04-06 スミス アンド ネフュー インコーポレーテッド 複合締まりスクリューおよびデバイス
US8460340B2 (en) * 2010-08-30 2013-06-11 Depuy Mitek, Llc Knotless suture anchor
US8469998B2 (en) 2010-08-30 2013-06-25 Depuy Mitek, Llc Knotless suture anchor
US8435264B2 (en) 2010-08-30 2013-05-07 Depuy Mitek, Llc Knotless suture anchor and driver
US8679159B2 (en) 2010-08-30 2014-03-25 Depuy Mitek, Llc Anchor driver with suture clutch
JP6139418B2 (ja) 2011-03-11 2017-05-31 スミス アンド ネフュー インコーポレイテッド トレフィン
KR20140043768A (ko) 2011-06-07 2014-04-10 스미스 앤드 네퓨, 인크. 외과용 앵커 전달 시스템
US9332979B2 (en) * 2011-07-22 2016-05-10 Arthrex, Inc. Tensionable knotless acromioclavicular repairs and constructs
JP5956586B2 (ja) 2011-10-03 2016-07-27 カイエン メディカル インコーポレイテッド 縫合糸固定具およびその使用方法
US9023082B2 (en) * 2011-10-21 2015-05-05 Depuy Mitek, Llc Suture anchor assembly with compressible distal tip
US9277911B2 (en) * 2011-10-21 2016-03-08 Depuy Mitek, Llc Suture anchor system with compressible distal tip
US20130123809A1 (en) 2011-11-11 2013-05-16 VentureMD Innovations, LLC Transosseous attachment instruments
US10470756B2 (en) 2011-11-16 2019-11-12 VentureMD Innovations, LLC Suture anchor and method
US10548585B2 (en) 2011-11-16 2020-02-04 VentureMD Innovations, LLC Soft tissue attachment
US10675014B2 (en) 2011-11-16 2020-06-09 Crossroads Extremity Systems, Llc Knotless soft tissue attachment
US9131937B2 (en) 2011-11-16 2015-09-15 VentureMD Innovations, LLC Suture anchor
US9265494B2 (en) 2011-12-20 2016-02-23 Medos International Sarl Knotless instability anchor
US9314239B2 (en) 2012-05-23 2016-04-19 Depuy Mitek, Llc Methods and devices for securing suture to tissue
US8979909B2 (en) 2012-06-29 2015-03-17 Depuy Mitek, Llc Tissue repair suture plates and methods of use
US9247936B2 (en) 2012-09-20 2016-02-02 Medos International Sarl Suture leader
US9237888B2 (en) * 2012-09-20 2016-01-19 Medos International Sarl Methods and devices for threading sutures
US9597068B2 (en) 2012-09-20 2017-03-21 Depuy Mitek, Llc Self-cinching suture anchors, systems, and methods
US9198650B2 (en) * 2012-12-27 2015-12-01 Medos International Sarl Multi-piece anchor inserter
US9687221B2 (en) 2013-02-13 2017-06-27 Venture MD Innovations, LLC Method of anchoring a suture
EP2964149B1 (en) * 2013-03-06 2022-06-08 Smith & Nephew, Inc. Composite interference screws and drivers
US9427270B2 (en) * 2013-03-14 2016-08-30 Smith & Nephew, Inc. Reduced area thread profile for an open architecture anchor
US9155531B2 (en) 2013-03-15 2015-10-13 Smith & Nephew, Inc. Miniaturized dual drive open architecture suture anchor
US9808298B2 (en) 2013-04-09 2017-11-07 Smith & Nephew, Inc. Open-architecture interference screw
USD740417S1 (en) * 2014-08-08 2015-10-06 Dunamis, LLC Suture anchor
USD741480S1 (en) * 2014-08-08 2015-10-20 Dunamis, LLC Suture anchor
WO2016044053A1 (en) * 2014-09-19 2016-03-24 Crossroads Extremity Systems, Llc Bone fixation implant and means of fixation
US10022115B2 (en) * 2014-10-29 2018-07-17 Valeris Medical, Llc Two suture anchor
KR101626083B1 (ko) * 2014-12-05 2016-05-31 전북대학교산학협력단 수술용 앵커
US10779811B2 (en) 2014-12-11 2020-09-22 Smith & Nephew, Inc. Bone anchor having improved fixation strength
KR101647995B1 (ko) * 2015-02-10 2016-08-17 (주) 신한씨스텍 봉합사 앵커
KR101786466B1 (ko) * 2015-03-09 2017-10-19 (주) 신한씨스텍 캐뉼라 드라이버 및 이를 포함하는 봉합사 앵커 키트
US9974534B2 (en) * 2015-03-31 2018-05-22 Biomet Sports Medicine, Llc Suture anchor with soft anchor of electrospun fibers
US10820918B2 (en) 2015-07-17 2020-11-03 Crossroads Extremity Systems, Llc Transosseous guide and method
US9962174B2 (en) 2015-07-17 2018-05-08 Kator, Llc Transosseous method
US10258401B2 (en) 2015-07-17 2019-04-16 Kator, Llc Transosseous guide
US10226243B2 (en) 2015-08-04 2019-03-12 Kator, Llc Transosseous suture anchor
US12383253B2 (en) 2015-08-04 2025-08-12 Crossroads Extremity Systems, Llc Suture anchor
US10080562B2 (en) 2015-08-06 2018-09-25 DePuy Synthes Products, Inc. Methods, systems, and devices for surgical suturing
KR102259795B1 (ko) * 2015-12-16 2021-06-03 콘메드 코포레이션 매듭없는 봉합선 앵커 및 전개 장치
US10383616B2 (en) 2016-01-25 2019-08-20 Medos International Sarl Methods for attaching soft tissue to bone
US10820915B2 (en) 2018-03-06 2020-11-03 Medos International Sarl Methods, systems, and devices for instability repair
CN108403174B (zh) * 2018-07-12 2018-11-02 上海凯利泰医疗科技股份有限公司 一种对抗疏松骨质的锚钉装置及锚钉系统
US11903813B2 (en) * 2019-04-15 2024-02-20 Kevin L. Harreld Intraosseous screw with cortical window and system and method for associating soft tissue with bone
EP3763297A1 (fr) 2019-07-10 2021-01-13 Keri Medical SA Dispositif d'ancrage osseux
CN113116430B (zh) * 2019-12-31 2024-08-16 杭州德晋医疗科技有限公司 防止缠绕的锚钉及锚钉输送器
DE102020107245A1 (de) 2020-03-17 2021-09-23 Karl Storz Se & Co. Kg Knochenankerelement zum Einbringen in einen Knochen und/oder Fixieren von Gewebe an dem Knochen, Einbringer, Knochenankersystem und Verfahren zum Konfektionieren eines Knochenankersystems
US20210338225A1 (en) 2020-04-29 2021-11-04 DePuy Synthes Products, Inc. Knotless anchor insertion
US12349894B2 (en) * 2020-05-06 2025-07-08 Smith & Nephew, Inc. Suture anchor insertion assemblies and methods of use
US12533118B2 (en) * 2020-07-29 2026-01-27 Globus Medical, Inc. Internal fibula sling
US12161318B2 (en) 2020-12-01 2024-12-10 Dunamis Medical Technologies, Llc Re-tensionable suture anchor system and related methods
CN112957089B (zh) * 2021-03-19 2022-06-14 北京德益达美医疗科技有限公司 一种带线锚钉
JP7728562B2 (ja) * 2021-04-12 2025-08-25 帝人メディカルテクノロジー株式会社 縫合糸アンカー及び縫合糸アンカーシステム
USD1028232S1 (en) 2021-04-27 2024-05-21 Medos International Sarl Suture anchor insertion device
WO2022240769A1 (en) * 2021-05-10 2022-11-17 Nanova Biomaterials Inc. Tissue anchoring device and use thereof
CN113425350B (zh) * 2021-05-13 2023-03-17 花沐医疗科技(上海)有限公司 一种复合可吸收带线锚钉及其制备方法
US12508014B2 (en) 2021-11-01 2025-12-30 Medos International Sarl Anchors and anchoring systems
CN114010292A (zh) * 2021-11-30 2022-02-08 上海市同济医院 一种拉索式张力性骨小梁重建型股骨近端髓内钉
US12533120B2 (en) 2021-12-16 2026-01-27 Orthotek, LLC Luggage tag suture assemblies and related surgical techniques
US11350926B1 (en) 2021-12-16 2022-06-07 Christopher Ninh Continuous loop suture assembly and related surgical techniques
US12137894B2 (en) 2021-12-30 2024-11-12 Medos International Sarl Knotless anchor inserter tool extraction
USD1019945S1 (en) 2021-12-30 2024-03-26 Medos International Sarl Suture anchor insertion device
US20230255614A1 (en) * 2022-02-16 2023-08-17 Hs West Investments, Llc Suture anchors with locking threads that interlock with adjacent bone tissue
CN115059489B (zh) * 2022-05-25 2026-04-21 杭州图强工程材料有限公司 胀壳式预应力锚杆
CN116269570B (zh) * 2023-02-28 2025-08-19 苏州竞捷医疗科技有限公司 骨锚钉及连接固定装置
CN117281566A (zh) * 2023-10-20 2023-12-26 北京市春立正达医疗器械股份有限公司 一种新型全螺纹锁定带线锚钉
CN117297688A (zh) * 2023-11-06 2023-12-29 北京市春立正达医疗器械股份有限公司 一种可吸收带线锚钉

Family Cites Families (156)

* Cited by examiner, † Cited by third party
Publication number Priority date Publication date Assignee Title
US5028A (en) * 1847-03-20 monohot
US673624A (en) * 1900-07-30 1901-05-07 B Nels Nelson Saw.
US1448543A (en) * 1918-10-09 1923-03-13 Jagger Peter Burd Rope-untwisting apparatus
US2382019A (en) * 1944-05-02 1945-08-14 Miller Edwin August Compound screw
US2453247A (en) 1948-02-06 1948-11-09 Plasticbilt Corp Reinforced plastic bobbin construction
US3438299A (en) 1968-01-26 1969-04-15 Illinois Tool Works Extruding screw
US3541918A (en) 1969-07-25 1970-11-24 Thomas B Johnson Self-locking fastener
USRE28111E (en) * 1971-01-04 1974-08-13 Fastener with improved thread construction
US3861269A (en) 1971-01-04 1975-01-21 Superior Dry Wall Screw Mfg Co Fastener with improved thread construction
US3762418A (en) * 1972-05-17 1973-10-02 W Wasson Surgical suture
AR206516A1 (es) 1973-10-26 1976-07-30 Ethicon Inc Una combinacion de aguja sutura
JPS53104060A (en) * 1977-02-23 1978-09-09 Yamashina Seikoushiyo Kk Selffextruding fastener
GB1565178A (en) 1977-02-24 1980-04-16 Interfix Ltd Bone screw
US4463753A (en) * 1980-01-04 1984-08-07 Gustilo Ramon B Compression bone screw
US4372293A (en) * 1980-12-24 1983-02-08 Vijil Rosales Cesar A Apparatus and method for surgical correction of ptotic breasts
US5601557A (en) * 1982-05-20 1997-02-11 Hayhurst; John O. Anchoring and manipulating tissue
US4576534A (en) * 1983-08-04 1986-03-18 Illinois Tool Works Inc. Thread form for soft material
US4643178A (en) * 1984-04-23 1987-02-17 Fabco Medical Products, Inc. Surgical wire and method for the use thereof
US4632100A (en) 1985-08-29 1986-12-30 Marlowe E. Goble Suture anchor assembly
US4870957A (en) 1988-12-27 1989-10-03 Marlowe Goble E Ligament anchor system
US4946468A (en) * 1989-06-06 1990-08-07 Mitek Surgical Products, Inc. Suture anchor and suture anchor installation tool
IT1237496B (it) * 1989-10-26 1993-06-08 Giuseppe Vrespa Dispositivo a vite per l'ancoraggio di protesi alle ossa, metodo per l'applicazione di tale dispositivo e relativa attrezzatura
US5156788A (en) 1989-11-14 1992-10-20 United States Surgical Corporation Method and apparatus for heat tipping sutures
US5041129A (en) 1990-07-02 1991-08-20 Acufex Microsurgical, Inc. Slotted suture anchor and method of anchoring a suture
US5100417A (en) 1990-07-13 1992-03-31 American Cyanamid Company Suture anchor and driver assembly
DK0465910T3 (da) 1990-07-13 1996-03-11 Acufex Microsurgical Inc forbedret suturanker og indføringsindretning
US5258016A (en) 1990-07-13 1993-11-02 American Cyanamid Company Suture anchor and driver assembly
US5320629B1 (en) 1991-01-07 2000-05-02 Advanced Surgical Inc Device and method for applying suture
CA2062012C (en) 1991-03-05 2003-04-29 Randall D. Ross Bioabsorbable interference bone fixation screw
US5152790A (en) 1991-03-21 1992-10-06 American Cyanamid Company Ligament reconstruction graft anchor apparatus
GB2260704B (en) * 1991-09-30 1995-08-23 Philip Richardson Suturing apparatus
US5156616A (en) 1992-02-10 1992-10-20 Meadows Bruce F Apparatus and method for suture attachment
US5505736A (en) * 1992-02-14 1996-04-09 American Cyanamid Company Surgical fastener with selectively coated ridges
US5336231A (en) * 1992-05-01 1994-08-09 Adair Edwin Lloyd Parallel channel fixation, repair and ligation suture device
US5176682A (en) * 1992-06-01 1993-01-05 Chow James C Y Surgical implement
US5443509A (en) * 1992-12-10 1995-08-22 Linvatec Corporation Interference bone-fixation screw with multiple interleaved threads
US5868789A (en) * 1997-02-03 1999-02-09 Huebner; Randall J. Removable suture anchor apparatus
US6162234A (en) 1993-03-23 2000-12-19 Freedland; Yosef Adjustable button cinch anchor orthopedic fastener
US5423860A (en) * 1993-05-28 1995-06-13 American Cyanamid Company Protective carrier for suture anchor
US5370662A (en) 1993-06-23 1994-12-06 Kevin R. Stone Suture anchor assembly
US5824011A (en) * 1993-06-23 1998-10-20 Kevin R. Stone Suture anchor assembly
US5674230A (en) * 1993-10-08 1997-10-07 United States Surgical Corporation Surgical suturing apparatus with locking mechanisms
US5584835A (en) 1993-10-18 1996-12-17 Greenfield; Jon B. Soft tissue to bone fixation device and method
US5573547A (en) 1993-10-19 1996-11-12 Leveen; Harry H. Brush fixation method for attachment of tissues and occlusion of blood vessels
US5527322A (en) * 1993-11-08 1996-06-18 Perclose, Inc. Device and method for suturing of internal puncture sites
US5417712A (en) 1994-02-17 1995-05-23 Mitek Surgical Products, Inc. Bone anchor
US5466243A (en) 1994-02-17 1995-11-14 Arthrex, Inc. Method and apparatus for installing a suture anchor through a hollow cannulated grasper
US5522843A (en) * 1994-02-23 1996-06-04 Orthopaedic Biosystems Limited, Inc. Apparatus for attaching soft tissue to bone
US5486197A (en) 1994-03-24 1996-01-23 Ethicon, Inc. Two-piece suture anchor with barbs
US5573548A (en) 1994-06-09 1996-11-12 Zimmer, Inc. Suture anchor
US6001101A (en) 1994-07-05 1999-12-14 Depuy France Screw device with threaded head for permitting the coaptation of two bone fragments
US5464427A (en) 1994-10-04 1995-11-07 Synthes (U.S.A.) Expanding suture anchor
US5534011A (en) * 1994-10-27 1996-07-09 Vesica Medical, Inc. Method and apparatus for threading a suture anchor
US5643295A (en) * 1994-12-29 1997-07-01 Yoon; Inbae Methods and apparatus for suturing tissue
WO1996025887A1 (en) 1995-02-23 1996-08-29 Mitek Surgical Products, Inc. Suture anchor assembly
US5607428A (en) * 1995-05-01 1997-03-04 Lin; Kwan C. Orthopedic fixation device having a double-threaded screw
US5571139A (en) 1995-05-19 1996-11-05 Jenkins, Jr.; Joseph R. Bidirectional suture anchor
US5662683A (en) 1995-08-22 1997-09-02 Ortho Helix Limited Open helical organic tissue anchor and method of facilitating healing
JPH0956727A (ja) 1995-08-22 1997-03-04 Nagoya Rashi Seisakusho:Kk 後十字靭帯再建術用ワイヤー誘導器
US5957953A (en) * 1996-02-16 1999-09-28 Smith & Nephew, Inc. Expandable suture anchor
US5814070A (en) * 1996-02-20 1998-09-29 Howmedica Inc. Suture anchor and driver
FR2750595B1 (fr) * 1996-07-02 1998-12-04 Dev Sed Soc Et Vis medicale notamment pour la chirurgie et ancillaire de pose
US6569188B2 (en) * 1996-08-05 2003-05-27 Arthrex, Inc. Hex drive bioabsorbable tissue anchor
US6117162A (en) * 1996-08-05 2000-09-12 Arthrex, Inc. Corkscrew suture anchor
US6319270B1 (en) 1996-08-05 2001-11-20 Arthrex, Inc. Headed bioabsorbable tissue anchor
US5733307A (en) * 1996-09-17 1998-03-31 Amei Technologies, Inc. Bone anchor having a suture trough
US6436124B1 (en) * 1996-12-19 2002-08-20 Bionx Implants Oy Suture anchor
US5707395A (en) * 1997-01-16 1998-01-13 Li Medical Technologies, Inc. Surgical fastener and method and apparatus for ligament repair
US5709708A (en) * 1997-01-31 1998-01-20 Thal; Raymond Captured-loop knotless suture anchor assembly
US5935129A (en) * 1997-03-07 1999-08-10 Innovasive Devices, Inc. Methods and apparatus for anchoring objects to bone
US5782864A (en) * 1997-04-03 1998-07-21 Mitek Surgical Products, Inc. Knotless suture system and method
US5779417A (en) 1997-05-12 1998-07-14 Illinois Tool Works Inc. Fastener having primary and secondary threads
US5916224A (en) 1997-07-09 1999-06-29 The United States Of America As Represented By The Secretary Of The Army Tendon repair clip implant
AU9661298A (en) 1997-09-05 1999-03-22 Richard J. Deslauriers Self-retaining anchor track and method of making and using same
US6027523A (en) * 1997-10-06 2000-02-22 Arthrex, Inc. Suture anchor with attached disk
US6264677B1 (en) * 1997-10-15 2001-07-24 Applied Biological Concepts, Inc. Wedge screw suture anchor
US5895351A (en) * 1998-02-06 1999-04-20 Arthrotek Inc. Tissue distracting cannula
US6146406A (en) * 1998-02-12 2000-11-14 Smith & Nephew, Inc. Bone anchor
US5961524A (en) * 1998-03-11 1999-10-05 Stryker Technologies Corporation Screw and method of attachment to a substrate
US6398785B2 (en) * 1998-04-14 2002-06-04 Joseph Edward Carchidi Apparatus for rigidly fixing craniomaxillofacial tissue grafts and bone plates
DE19831338C2 (de) * 1998-07-13 2003-06-18 Sepitec Foundation Vaduz Knochenschraube
US6436100B1 (en) 1998-08-07 2002-08-20 J. Lee Berger Cannulated internally threaded bone screw and reduction driver device
US5967783A (en) * 1998-10-19 1999-10-19 Ura; Robert S. Threaded dental implant with a core to thread ratio facilitating immediate loading and method of installation
CA2352185C (en) * 1998-11-26 2008-04-15 Synthes (U.S.A.) Bone screw having a constant diameter thread
US6045573A (en) * 1999-01-21 2000-04-04 Ethicon, Inc. Suture anchor having multiple sutures
US8343186B2 (en) 2004-04-06 2013-01-01 Arthrex, Inc. Fully threaded suture anchor with transverse anchor pin
US9521999B2 (en) * 2005-09-13 2016-12-20 Arthrex, Inc. Fully-threaded bioabsorbable suture anchor
FR2788960B1 (fr) * 1999-02-02 2001-05-18 Europ Foot Platform Broche filetee
US6129730A (en) * 1999-02-10 2000-10-10 Depuy Acromed, Inc. Bi-fed offset pitch bone screw
US6077277A (en) * 1999-04-05 2000-06-20 Starion Instruments, Inc. Suture welding device
US6096060A (en) * 1999-05-20 2000-08-01 Linvatec Corporation Bioabsorbable threaded soft tissue anchor system
US6464706B1 (en) 1999-06-10 2002-10-15 Thomas F. Winters Tissue fixation device and method
US6123711A (en) * 1999-06-10 2000-09-26 Winters; Thomas F. Tissue fixation device and method
US6610071B1 (en) * 1999-07-26 2003-08-26 Beth Israel Deaconess Medical Center Suture system
US6527794B1 (en) 1999-08-10 2003-03-04 Ethicon, Inc. Self-locking suture anchor
US6554852B1 (en) * 1999-08-25 2003-04-29 Michael A. Oberlander Multi-anchor suture
US6533454B1 (en) * 1999-09-30 2003-03-18 Bionx Implants Oy Surgical system for tissue fixation
US6159235A (en) 1999-12-21 2000-12-12 Kim; Andrew C. Selflock anchor screw
US6623492B1 (en) * 2000-01-25 2003-09-23 Smith & Nephew, Inc. Tissue fastener
US6468277B1 (en) 2000-04-04 2002-10-22 Ethicon, Inc. Orthopedic screw and method
US6461373B2 (en) 2000-05-26 2002-10-08 Arthrex, Inc. Biointerference screw fixation technique
US7144414B2 (en) 2000-06-27 2006-12-05 Smith & Nephew, Inc. Surgical procedures and instruments
US6743233B1 (en) 2000-08-02 2004-06-01 Orthopaedic Biosystems, Ltd., Inc. Medical screw and method of installation
US6585730B1 (en) * 2000-08-30 2003-07-01 Opus Medical, Inc. Method and apparatus for attaching connective tissues to bone using a knotless suture anchoring device
US6923824B2 (en) 2000-09-12 2005-08-02 Axya Medical, Inc. Apparatus and method for securing suture to bone
US6569186B1 (en) * 2000-10-05 2003-05-27 Biomet, Inc. Soft tissue screw and fixation device
US6503251B1 (en) 2000-10-23 2003-01-07 John H. Shadduck Offset helix surgical fixation screws and methods of use
SE0004334D0 (sv) * 2000-11-24 2000-11-24 Sahltech Ab Electron spectroscopy
ES2378608T3 (es) * 2000-12-22 2012-04-16 Tyco Healthcare Group Lp Tornillo de sutura
US6770076B2 (en) * 2001-02-12 2004-08-03 Opus Medical, Inc. Method and apparatus for attaching connective tissues to bone using a knotless suture anchoring device
US6610080B2 (en) * 2001-02-28 2003-08-26 Axya Medical, Inc. Parabolic eyelet suture anchor
US6508830B2 (en) * 2001-04-30 2003-01-21 Musculoskeletal Transplant Foundation Suture anchor
US20020173822A1 (en) 2001-05-17 2002-11-21 Justin Daniel F. Threaded suture anchor
US6641597B2 (en) * 2001-05-25 2003-11-04 Arthrex, Inc. Interference fit knotless suture anchor fixation
US7083629B2 (en) 2001-05-30 2006-08-01 Satiety, Inc. Overtube apparatus for insertion into a body
SE0102749D0 (sv) * 2001-08-15 2001-08-15 Astra Tech Ab Implant, arrangement comprising an implant, and method for inserting said implant in bone tissue
US6916321B2 (en) * 2001-09-28 2005-07-12 Ethicon, Inc. Self-tapping resorbable two-piece bone screw
WO2003029237A1 (en) 2001-10-01 2003-04-10 Pliva, Farmaceutska Industrija, Dionicko Drustvo Products of condensations of hydroxycoumarin derivatives with aromatic and aliphatic dialdehydes, their preparation and antiviral action thereof
US6652563B2 (en) * 2001-10-02 2003-11-25 Arthrex, Inc. Suture anchor with internal suture loop
US6953463B2 (en) * 2001-10-12 2005-10-11 Hs West Investments, Llc Interference screws having increased proximal diameter
US20030125745A1 (en) * 2001-11-05 2003-07-03 Bio One Tech Inc. Bone-fixing device
US6656183B2 (en) 2001-11-08 2003-12-02 Smith & Nephew, Inc. Tissue repair system
US6685728B2 (en) * 2002-01-25 2004-02-03 Stryker Endoscopy Threaded suture anchor and method of use
WO2003063683A2 (en) * 2002-01-26 2003-08-07 Emory University Needle-suture combinations and methods of use
US20030158555A1 (en) * 2002-02-15 2003-08-21 Roy Sanders Surgical screw and tool for its insertion
WO2003070108A1 (en) 2002-02-22 2003-08-28 Degima Medizinprodukte Gmbh Soft tissue suture anchor
US7156864B2 (en) 2002-03-28 2007-01-02 David Lintner Suture anchor
US7022129B2 (en) 2002-03-29 2006-04-04 Ethicon, Inc. Threaded cable anchor
US6773440B2 (en) * 2002-07-02 2004-08-10 Satiety, Inc. Method and device for use in tissue approximation and fixation
US6773450B2 (en) * 2002-08-09 2004-08-10 Quill Medical, Inc. Suture anchor and method
US7090690B2 (en) * 2002-11-19 2006-08-15 Arthrocare Corporation Devices and methods for repairing soft tissue
US7217279B2 (en) * 2003-11-14 2007-05-15 Ethicon, Inc. Suture loop anchor
US7390328B2 (en) * 2003-12-19 2008-06-24 Abbott Laboratories Device and method for suturing of internal puncture sites
EP1725178A1 (en) 2003-12-19 2006-11-29 Depuy International Limited A bone screw
US8579940B2 (en) 2004-04-06 2013-11-12 Arthrex, Inc. Suture anchor with apertures at tip
US20060282081A1 (en) * 2004-04-16 2006-12-14 Fanton Gary S Apparatus and method for securing tissue to bone with a suture
US8114127B2 (en) * 2004-06-22 2012-02-14 Hs West Investments, Llc Bone anchors for use in attaching soft tissue to bone
US7322978B2 (en) 2004-06-22 2008-01-29 Hs West Investments, Llc Bone anchors for use in attaching soft tissue to a bone
US7473252B2 (en) * 2004-10-07 2009-01-06 Coaptus Medical Corporation Systems and methods for shrinking and/or securing cardiovascular tissue
DE102004050040A1 (de) 2004-10-08 2006-04-20 Aesculap Ag & Co. Kg Knochenschraube
US20060079904A1 (en) * 2004-10-13 2006-04-13 Raymond Thal Multirow knotless suture anchor assembly
WO2006099109A2 (en) 2005-03-10 2006-09-21 Tyco Healthcare Group Lp Suture anchors
DE102005021885A1 (de) 2005-05-04 2006-11-16 Karl Storz Gmbh & Co. Kg Vorrichtung zum Einbringen eines Ankerelements samt Faden in einen Knochen
EP1762186B1 (en) * 2005-09-12 2011-02-16 Arthrex, Inc. Suture anchor with eyelet
GB0524360D0 (en) 2005-11-30 2006-01-04 Biocomposites Ltd Suture anchor
US8740947B2 (en) 2006-02-15 2014-06-03 Warsaw, Orthopedic, Inc. Multiple lead bone fixation apparatus
US8075604B2 (en) * 2006-02-16 2011-12-13 Warsaw Orthopedic, Inc. Multi-thread bone screw and method
DE102006010116A1 (de) * 2006-02-27 2007-08-30 Karl Storz Gmbh & Co.Kg Ankerelement zum knotenfreien Fixieren von Gewebe an einem Knochen
US20070213730A1 (en) * 2006-03-09 2007-09-13 Jonathan Martinek Cannulated suture anchor system
US20070219558A1 (en) * 2006-03-15 2007-09-20 Allen Deutsch Method and apparatus for arthroscopic surgery using suture anchors
US20070219557A1 (en) * 2006-03-17 2007-09-20 Bourque Bernard J Soft tissue fixation
US20080009904A1 (en) * 2006-03-17 2008-01-10 Bourque Barnard J Soft Tissue Fixation
US7828820B2 (en) * 2006-03-21 2010-11-09 Biomet Sports Medicine, Llc Method and apparatuses for securing suture
JP5389337B2 (ja) * 2006-05-18 2014-01-15 オーソレクス,インコーポレイテッド 組織の無結節固定に対するスウィベルアンカー
US8114128B2 (en) * 2006-11-01 2012-02-14 Depuy Mitek, Inc. Cannulated suture anchor
US8702754B2 (en) * 2007-09-14 2014-04-22 Depuy Mitek, Llc Methods for anchoring suture to bone

Also Published As

Publication number Publication date
EP3332715B1 (en) 2020-06-03
US8882801B2 (en) 2014-11-11
EP2036501A2 (en) 2009-03-18
CN101422381B (zh) 2016-10-05
US20090076544A1 (en) 2009-03-19
CA2639507A1 (en) 2009-03-14
CN101422381A (zh) 2009-05-06
EP3332715A1 (en) 2018-06-13
CA2962989C (en) 2021-01-12
CA2962989A1 (en) 2009-03-14
CA2639507C (en) 2017-05-23
EP2036501B1 (en) 2018-03-07
JP2009101142A (ja) 2009-05-14
AU2008212597A1 (en) 2009-04-02
EP2036501A3 (en) 2010-09-15

Similar Documents

Publication Publication Date Title
JP5661237B2 (ja) 二重ねじ山カニューレ状縫合糸アンカー
US11576664B2 (en) Methods for anchoring suture to bone
US11986178B2 (en) Knotless instability anchor
US9706987B2 (en) Suture anchor with pulley
US8858596B2 (en) Suture anchor having a suture engaging structure
AU2017268513B2 (en) Methods for anchoring suture to bone
AU2014250694B2 (en) Dual thread cannulated suture anchor
HK1132162B (en) Dual thread cannulated suture anchor
HK1132162A (en) Dual thread cannulated suture anchor
AU2014215944A1 (en) Methods for anchoring suture to bone

Legal Events

Date Code Title Description
RD04 Notification of resignation of power of attorney

Free format text: JAPANESE INTERMEDIATE CODE: A7424

Effective date: 20100714

A621 Written request for application examination

Free format text: JAPANESE INTERMEDIATE CODE: A621

Effective date: 20110802

RD04 Notification of resignation of power of attorney

Free format text: JAPANESE INTERMEDIATE CODE: A7424

Effective date: 20111201

A977 Report on retrieval

Free format text: JAPANESE INTERMEDIATE CODE: A971007

Effective date: 20130128

A131 Notification of reasons for refusal

Free format text: JAPANESE INTERMEDIATE CODE: A131

Effective date: 20130205

A601 Written request for extension of time

Free format text: JAPANESE INTERMEDIATE CODE: A601

Effective date: 20130502

A602 Written permission of extension of time

Free format text: JAPANESE INTERMEDIATE CODE: A602

Effective date: 20130509

A601 Written request for extension of time

Free format text: JAPANESE INTERMEDIATE CODE: A601

Effective date: 20130605

A602 Written permission of extension of time

Free format text: JAPANESE INTERMEDIATE CODE: A602

Effective date: 20130610

A601 Written request for extension of time

Free format text: JAPANESE INTERMEDIATE CODE: A601

Effective date: 20130705

A602 Written permission of extension of time

Free format text: JAPANESE INTERMEDIATE CODE: A602

Effective date: 20130710

A521 Request for written amendment filed

Free format text: JAPANESE INTERMEDIATE CODE: A523

Effective date: 20130805

A131 Notification of reasons for refusal

Free format text: JAPANESE INTERMEDIATE CODE: A131

Effective date: 20131203

A601 Written request for extension of time

Free format text: JAPANESE INTERMEDIATE CODE: A601

Effective date: 20140303

A602 Written permission of extension of time

Free format text: JAPANESE INTERMEDIATE CODE: A602

Effective date: 20140306

A601 Written request for extension of time

Free format text: JAPANESE INTERMEDIATE CODE: A601

Effective date: 20140403

A602 Written permission of extension of time

Free format text: JAPANESE INTERMEDIATE CODE: A602

Effective date: 20140408

A601 Written request for extension of time

Free format text: JAPANESE INTERMEDIATE CODE: A601

Effective date: 20140502

A602 Written permission of extension of time

Free format text: JAPANESE INTERMEDIATE CODE: A602

Effective date: 20140509

A521 Request for written amendment filed

Free format text: JAPANESE INTERMEDIATE CODE: A523

Effective date: 20140530

TRDD Decision of grant or rejection written
A01 Written decision to grant a patent or to grant a registration (utility model)

Free format text: JAPANESE INTERMEDIATE CODE: A01

Effective date: 20141111

A61 First payment of annual fees (during grant procedure)

Free format text: JAPANESE INTERMEDIATE CODE: A61

Effective date: 20141203

R150 Certificate of patent or registration of utility model

Ref document number: 5661237

Country of ref document: JP

Free format text: JAPANESE INTERMEDIATE CODE: R150

R250 Receipt of annual fees

Free format text: JAPANESE INTERMEDIATE CODE: R250

R250 Receipt of annual fees

Free format text: JAPANESE INTERMEDIATE CODE: R250

R250 Receipt of annual fees

Free format text: JAPANESE INTERMEDIATE CODE: R250

R250 Receipt of annual fees

Free format text: JAPANESE INTERMEDIATE CODE: R250

R250 Receipt of annual fees

Free format text: JAPANESE INTERMEDIATE CODE: R250

R250 Receipt of annual fees

Free format text: JAPANESE INTERMEDIATE CODE: R250

R250 Receipt of annual fees

Free format text: JAPANESE INTERMEDIATE CODE: R250

R250 Receipt of annual fees

Free format text: JAPANESE INTERMEDIATE CODE: R250

R250 Receipt of annual fees

Free format text: JAPANESE INTERMEDIATE CODE: R250