JP5628131B2 - 心血管状態の治療において脂肪組織由来細胞を使用する方法 - Google Patents
心血管状態の治療において脂肪組織由来細胞を使用する方法 Download PDFInfo
- Publication number
- JP5628131B2 JP5628131B2 JP2011229609A JP2011229609A JP5628131B2 JP 5628131 B2 JP5628131 B2 JP 5628131B2 JP 2011229609 A JP2011229609 A JP 2011229609A JP 2011229609 A JP2011229609 A JP 2011229609A JP 5628131 B2 JP5628131 B2 JP 5628131B2
- Authority
- JP
- Japan
- Prior art keywords
- cells
- tissue
- cell
- regenerative
- adipose
- Prior art date
- Legal status (The legal status is an assumption and is not a legal conclusion. Google has not performed a legal analysis and makes no representation as to the accuracy of the status listed.)
- Expired - Fee Related
Links
Images
Landscapes
- Medicines Containing Material From Animals Or Micro-Organisms (AREA)
- Medicines That Contain Protein Lipid Enzymes And Other Medicines (AREA)
Description
本出願は、2004年2月20日に出願された「心血管状態の治療において脂肪組織由来細胞
を使用する方法」(METHODS OF USING ADIPOSE TISSUE-DERIVED CELLS IN THE TREATMENT
OF CARDIOVASCULAR CONDITIONS)の表題の米国特許出願第10/783,957号の一部継続出願(
これは、2003年2月20日に出願された「心血管状態の治療において脂肪組織由来細胞を使
用する方法」(METHODS OF USING ADIPOSE TISSUE-DERIVED CELLS IN THE TREATMENT OF C
ARDIOVASCULAR CONDITIONS)の表題の米国仮出願第60/449,279号及び2003年4月15日に出
願された「心血管状態の治療において脂肪組織由来細胞を使用する方法」(METHODS OF US
ING ADIPOSE TISSUE-DERIVED CELLS IN THE TREATMENT OF CARDIOVASCULAR CONDITIONS)
の表題の米国仮出願第60/462,911号に対する優先権を主張する)及び2004年6月25日に出
願された「組織から再生細胞を分離及び濃縮するためのシステむ並びに方法」(SYSTEMS A
ND METHODS FOR SEPARATING AND CONCENTRATING REGENERATIVE CELLS FROM TISSUE)の表
題の米国特許出願第10/877,822号の一部継続出願(これは、2003年8月20日に出願された
「脂肪組織から細胞を分離するためのシステム及び方法」(SYSTEMS AND METHODS FOR SEP
ARATING CELLS FROM ADIPOSE TISSUE)の表題の米国仮出願第60/496,467号及び2003年に出
願された「脂肪組織から細胞を分離するためのシステム及び方法」(SYSTEMS AND METHODS
FOR SEPARATING CELLS FROM ADIPOSE TISSUE)の表題の米国仮出願番号第60/482,820号)
であり、その両方が、2002年12月9日に出願された「患者を脂肪吸引細胞で治療するため
のシステムおよび方法」(SYSTEMS AND METHODS FOR TREATING PATIENTS WITH PROCESSED
LIPOASPIRATE CELLS)の表題の米国特許出願第10/316,127号(これは、2001年12月7日に出
願された米国仮出願第60/338,856号の利益を主張する)の一部継続出願である。上述した
出願の全ての内容は、この引用により、本明細書に明白に組み込まれる。
(1.発明の分野)
本発明は、一般に脂肪組織由来再生細胞に、より詳細には、脂肪由来再生細胞(例えば
、脂肪由来幹細胞及び脂肪由来前駆細胞)、脂肪由来再生細胞を使用する方法、脂肪由来
再生細胞を含む組成物並びに脂肪由来再生細胞を調製及び使用するためのシステムに関し
、これらは心血管疾患及び障害を治療するために使用される。
心血管疾患及び障害は、全ての先進工業国において主要な死因及び障害である。米国単
独で、心血管疾患は、死亡率の約40パーセントの原因であり、58,000,000人のアメリカ人
を冒す(American-Heart-Association, 2002)。特に心血管疾患を破壊的とする主要な要
因の1つは、心臓がダメージ後にそれ自体を修復することができないことである。心筋細
胞は、分裂して損傷領域を再び形成することができないので、傷害又は疾患の結果として
の心臓細胞損失は、主に不可逆的である(Abbateらの文献, 2002;Remmeの文献, 2000)
。
るために最も有効であった。実際に、平均心臓移植受容者の1年及び5年生存率は、現在70
パーセントを超える。しかし、残念なことに、移植は、多くの理由、すなわち適切なドナ
ーの不足、該手法の費用、並びに移植片拒絶及び感染、腎機能障害及び免疫抑制性関連癌
などの関連した問題の可能性が高いため、厳しく制限された治療形態である(American-H
eart-Association, 2002)。
医療の使用がある。再生医療は、臨床目的の様式では、幹細胞(すなわち、体の特定化さ
れていないマスター細胞)が無期限にそれ自体を再生し、成熟した特定化された細胞へと
発達する能力を利用する。幹細胞は、発生初期の間の胚において、胎児の組織において、
並びに一部の成人器官及び組織において見いだされる(Pera らの文献, 2000)。胚幹細
胞(以下、「ESC」と記載する)は、体の全ての細胞及び組織タイプになることが公知で
ある。ESCは、個体の全ての遺伝情報を含むだけでなく、体の200+細胞及び組織のいずれ
にもなれる新生能も含む。従って、これらの細胞は、再生医療にとって多大な可能性を有
する。例えば、ESCは、心臓、肺又は腎臓などの特定の組織へと成長させることができ、
次いでこれらを、ダメージを受け、及び病気にかかった器官を修復するために使用するこ
とができるだろう(Assady らの文献, 2001;Jacobson らの文献, 2001;Odorico らの文
献, 2001)。しかし、ESC由来組織は、臨床的限界を有する。ESCは、必然的に別の個体、
すなわち胚に由来するので、レシピエントの免疫系が、新たな生物材料を拒絶するリスク
がある。このような拒絶反応を防止するために免疫抑制剤が利用できるが、このような薬
物は、また、細菌感染及びウイルスに対するものなどの望ましい免疫応答を遮断すること
が公知である。更に、ESC、すなわち胚の供与源に対する倫理的議論は十分に詳述されて
おり、当分の間はさらなる、及びおそらく克服しがたい障壁が存在する。
Cは、多くの非胚組織に静かに存在し、おそらく、これらが傷ついた組織を治癒すること
ができるように、外傷又はその他の破壊的な疾患過程に応答する用意をしている(Arvids
son らの文献, 2002; Bonner-Weir 及び Sharmaらの文献, 2002; Clarke 及び Frisen,
2001; Crosby 及び Strainらの文献, 2001; Jiang らの文献, 2002a)。特に、明らか
になりつつある科学的証拠では、それぞれの個体が、全てとまではいかないが多くの種類
の細胞及び組織になる能力をESCと共有し得るASCのプールを有することを示す(Young ら
の文献, 2001; Jiang らの文献, 2002a; Jiang らの文献, 2002b; Schwartz らの文献
, 2002)。従って、ESCのようなASCは、再生医療の臨床応用に対する多大な可能性を有す
る。
g らの文献, 2002b; Alisonの文献, 1998; Crosby 及び Strainらの文献, 2001)。し
かし、これらの組織におけるASCの頻度は低い。例えば、骨髄における間充織幹細胞の頻
度は、100,000個の有核細胞に1つ〜1,000,000個の有核細胞に1つの間と見積もられる(D'
Ippolito らの文献, 1999; Banfi らの文献, 2001; Falla らの文献, 1993)。同様に
、皮膚からのASCの抽出には、一連の複雑な数週間にわたる細胞培養工程を含み(Toma ら
の文献, 2001)、骨格筋由来ASCの臨床応用には、2〜3週培養期が必要である(Hagege ら
の文献, 2003)。従って、このような組織由来のASCのいずれの提唱された臨床応用でも
、細胞精製及び細胞培養の過程によって細胞数、純度及び成熟を増加させる必要がある。
牲を伴う。この犠牲には、以下の技術的困難の1つ以上を含み得る:細胞老化による細胞
機能の喪失、潜在的に有用な非幹細胞集団の喪失、患者に対する細胞の潜在的適用の遅延
、金銭的費用の増大及び培養の間の環境微生物による細胞の混入のリスクの増大。骨髄由
来ASCの治療有効性を調べている最近の研究では、細胞培養に関連する問題を回避するた
めに、本質的に全骨髄を使用した(Horwitz らの文献, 2001; Orlic らの文献, 2001;
Stamm らの文献, 2003; Strauer らの文献, 2002)。しかし、臨床的利益は、最適以下
であり、結果は、ほぼ確実に、生得的に骨髄で利用可能なASC用量及び純度の制限と関連
した。
らの文献, 2002)。骨髄、皮膚、筋肉、肝臓及び脳とは異なり、脂肪組織は、相対的に大
量に収集するのが比較的容易である(Commons らの文献, 2001; Katz らの文献, 2001b
)。更に、ASC由来脂肪は、インビトロで骨、脂肪、軟骨及び筋肉を含む複数の組織を発
生する能力を有することが示された(Ashjian らの文献, 2003; Mizuno らの文献, 2002
; Zuk らの文献, 2001; Zuk らの文献, 2002)。従って、脂肪組織は、再生医療に使用
するためのASCの最適な供与源を提示する。しかし、ASC由来脂肪を収集するための適切な
方法が、当該技術分野にはない。既存の方法は、多数の欠点をもつ。例えば、既存の方法
は、脂肪組織の除去のための吸引装置に至適に適応させる能力を欠いている。また、既存
の方法は、組織相の処理を介して脂肪組織相を収集することが部分的又は完全に自動化さ
れていない(Katz らの文献, 2001a)。既存の方法は、更に100mlよりも多い脂肪組織の
容積容量をもたない。既存の方法は、更に組織相の処理を介して脂肪組織相を収集するこ
とによる部分的に又は完全に閉じた系がなおも欠如する。最後に、既存の方法は、試料間
で材料の相互汚染を伴うリスクを減らすための使い捨て構成部分がない。要約すると、脂
肪組織からASCを収集するための従来技術の方法では、上記の皮膚、筋肉、肝臓及び脳か
らASCを収集することに付随した技術的困難性が克服されない。
SC集団を産生し、かつ非常に迅速かつ確実に現象した抽出後の操作の必要性若しくは該作
用の必要性を伴わずにASC集団を賛成する、脂肪組織からASCを収集するための装置、シス
テム又は方法に関する技術には、緊急の需要が存在する。理想的には、このような装置、
システム又は方法には、レシピエント内に直接配置するために適した様式でASCをもたら
すであろう。心血管疾患及び障害の治療のためにASC由来脂肪を使用する方法及び組成物
と組み合わせて、このような装置、システム又は方法を利用することにより、該疾患の治
療に革命をもたらすであろう。心血管疾患の有病率及び現在の治療選択肢の不足を考える
と、このような治療が、緊急に必要とされる。
を目的とする。
本発明は、心血管の状態、疾患及び障害の治療のために使用することができる再生細胞
、例えば成人幹細胞及び前駆細胞に関する。本発明は、組織、例えば脂肪組織から再生細
胞を分離及び濃縮するためのシステム及び方法にも関する。本発明は、更に、心血管に関
連した治療適用のための再生細胞組成物に関する。従って、一般的実施態様において、本
発明は、組織由来再生細胞を使用するための、治療上の心血管に関連した利益を促進し、
生みだし、又は補助するために必要なこのような添加物と共に直接レシピエント内に配置
される組成物、方法及びシステムに向けられる。
子を合成及び分泌する該細胞の能力;他の細胞の生存、増殖及び/又は傷害反応の変化を
刺激する成長因子を合成し及び分泌する該細胞の能力;新血管形成に直接関与する細胞を
増殖及び/又は分化させる該細胞の能力;ダメージを受けた心筋を生着させ、及び瘢痕形
成(コラーゲン沈着、コラーゲン分解及び架橋)を変化させる該細胞の能力;心筋収縮に
寄与することができる心筋細胞又は心筋細胞様の筋細胞を増殖及び分化させる該細胞の能
力;心筋細胞を増殖及び分化させる該細胞の能力;灌流を改善して、ダメージを受けた心
筋を再生する該細胞の能力;並びに心筋梗塞後の肥大(再造形)の進行を予防する該細胞
の能力;に基づいて、心血管の状態、疾患及び障害を治療するために使用してもよい。
からなっていてもよい。ある実施態様において、治療上の利益を引き出すために、複数の
再生細胞の用量及び/又はタイプの投与が必要であってもよい。加えて、1つ以上の成長
因子などの添加物を再生細胞と共に投与してもよい。好ましい実施態様において、再生細
胞は、血管形成因子、動脈形成因子及び/又は心臓特異的成長因子と共に、単独又はその
他の添加物と組み合わせて投与される。また、再生細胞は、1つ以上の免疫抑制剤と共に
投与してもよい。
部位に直接細胞を投与することを含む。これは:心臓(心外膜)の外部表面を介した心筋
内への直接注射によって;適切なカニューレの挿入を介して内部表面(心内膜)を介した
心筋内への直接注射、動脈又は静脈注入(逆行流メカニズムを含む)によって;又は本明
細書に開示したか、若しくは心臓周囲の注射などの従来技術において公知の他の手段によ
って;達成してもよい。当該技術分野の当業者に公知の投与の経路には、心内膜心筋、冠
内、経静脈、心外膜心筋、心室内、逆行性冠静脈洞又は静脈内を含むが、これらに限定さ
れるわけではない。
進してもよい。患者に投与する前に、修飾された再生細胞の1つ以上の遺伝子、例えば心
臓遺伝子の発現が変化されるように、細胞を遺伝子移入によって修飾することもできる。
また、本発明は、被験体に再注入するために適した所与の組織から、再生細胞、例えば
幹細胞及び前駆細胞を分離及び濃縮することができる高度に多用途のシステム及び方法に
も関する。好ましい実施態様において、システムは、自動化されている。本発明のシステ
ムは、収集チャンバ、処理チャンバ、廃物チャンバ、アウトプットチャンバ及び試料チャ
ンバの1つ以上を一般に含む。種々のチャンバは、生物材料を含む液体を密閉された無菌
の液体/組織経路内で1つのチャンバから別のチャンバに通し得るように、1つ以上の導管
を経て共に結合されている。一つの実施態様において、処理チャンバ、アウトプットチャ
ンバ及び試料チャンバが最適である。一つの実施態様において、処理を介した組織抽出か
らレシピエント内への装置の設置までの全ての手順は、全て同じ施設において、実際は、
更に本手順を受ける患者と同じ部屋の中でさえも行われるであろう。
)組織除去システムを提供する工程;b)組織除去システムを使用して患者から脂肪組織
を除去する工程であって、脂肪組織は、ある濃度の再生細胞を有する前記工程、c)少な
くとも一部の脂肪組織を処理して、処理前の脂肪組織の再生細胞の濃度以外の再生細胞の
濃度を得る工程;及びd)患者に投与する前に、組織除去システムから再生細胞を除去す
ることなく患者に再生細胞を投与する工程;を含む。
まれる特徴が、状況、本明細書及び当該技術分野の当業者の知識から明らかなほど相互に
矛盾しないことを条件として、本発明の範囲内に含まれる。本発明のさらなる利点及び態
様は、以下の詳細な説明において明らかである。
本発明は、脂肪由来再生細胞、例えば幹細胞及び前駆細胞を使用する、心血管の状態、
疾患及び障害を治療するためのシステム並びに方法を提供する。具体的には、本発明は、
本発明の脂肪由来再生細胞が、(1)PIGF、VEGF、bFGF、IGF-II、エオタキシン、G-CSF、
GM-CSF、IL-12 p40/p70、IL-12 p70、IL-13、IL-6、IL-9、レプチン、MCP-1、M-CSF、MIG
、PF-4、TIMP-1、TIMP-2、TNF-α及びトロンボポエチンを含む血管形成成長因子及び動脈
形成成長因子を発現し、(2)血管形成において十分に確立された機能を有する内皮前駆
細胞(EPC)を含み、(3)インビトロにおいて血管内に発生し、及び(4)インビボにお
ける虚血組織の生存を支援し、(2)血管形成において十分に確立された機能を有する内
皮前駆細胞(EPC)を含み、(3)インビトロにおいて血管内に発生し、及び(4)インビ
ボにおける虚血組織の生存を支援し、(5)後肢の閉塞/再灌流傷害後の灌流を回復し、
(6)心臓傷害後に動物に注射したときに心臓にホーミングし、(7)心臓傷害後に動物に
注射したときに、これらの心筋細胞又は心筋様細胞への分化に一致したマーカーを発現す
る細胞へ分化し、(8)マウスにおける後肢虚血の外科的モデルにおける灌流後心筋梗塞
を改善し、(9)再造形の進行を防げ、並びに(10)心筋梗塞の小及び大動物モデルにお
ける機能を改善することを証明する。従って、本開示は、本発明の再生細胞が、心血管疾
患及び障害の治療のために有用であることを証明する。
本発明がより容易に理解され得るように、いくつかの用語を最初に定義してある。さら
なる定義は、詳細な説明の全体にわたって記載してある。
の構造又は機能の、完全若しくは部分的な再生、回復又は置換を生じさせるか、或いは寄
与し、これにより治療的、構造的又は美容的利益を提供する本発明のシステム及び方法を
使用して得られる任意の不均一又は均一な細胞をいう。再生細胞の例には:成人幹細胞、
内皮細胞、内皮前駆型細胞、内皮前駆細胞、マクロファージ、線維芽細胞、周皮細胞、平
滑筋細胞、前脂肪細胞、分化した又は分化していない脂肪細胞、ケラチノサイト、単能性
及び多分化能前駆体並びに前駆細胞(及びこれらの子孫)、リンパ球、好中球、組織球(
組織マクロファージ)、リンパ系関連細胞、ニューロン、神経前駆細胞並びにシュワン細
胞を含む。
生したか、既存のものか、若しくは修復された組織又は組織成分に、それ自体又はそれら
の子孫を組み込むことによる。例えば、ASC及び/又はこれらの子孫を新たに発生した骨
、筋肉又はその他の構造的若しくは機能的な組織に組み込んで、これにより治療的、構造
的若しくは美容的改善を生じさせるか又は寄与させてもよい。同様に、内皮細胞又は内皮
細胞前駆体若しくは前駆細胞及びこれらの子孫を、新たに発生、修復、又は拡張された血
管に組み込んで、これにより治療的、構造的若しくは美容的改善を生じさせるか又は寄与
させてもよい。
若しくは組織成分の構造又は機能の生成、保持、回復及び/又は再生を促進する分子、例
えば成長因子を発現及び/又は分泌することによる。例えば、再生細胞は、組織又は細胞
の増殖の増強を生じ、次いで構造若しくは機能の改善に直接又は間接的に関与する分子を
発現及び/又は分泌してもよい。再生細胞は、例えば以下の機能:新血管の発生を刺激す
る、すなわち血管形成を促進する;既存の先在的な小血管(側副)の酸素供給量を、これ
らの血液環境収容力を拡大することによって改善する;傷害部位から遠く離れている部位
からの再生細胞の動員を誘導し、これにより傷害部位へのこのような細胞のホーミング及
び遊走を増強する;傷害部位内の細胞の増殖を刺激し、及び/又は生存を促進し、これに
より機能又は構造の保持を促進する;抗アポトーシスの特性をもつ分子を送達し、これに
より細胞死及び機能の永久的喪失の割合又は可能性を減少させる;並びに内因性再生細胞
及び/又はその他の生理学的メカニズムと相互作用する;の1つ以上を行い得る、血管内
皮増殖因子(VEGF)、胎盤成長因子(PIGF)、bFGF、IGF-II、エオタキシン、G-CSF、GM-
CSF、IL-12 p40/p70、IL-12 p70、IL-13、IL-6、IL-9、レプチン、MCP-1、M-CSF、MIG、P
F-4、TIMP-1、TIMP-2、TNF-α、トロンボポエチン及びこれらのアイソフォームを含む成
長因子を発現し、及び/又は分泌してもよい。
を使用して分離して、濃縮した形態で使用してもよく、或いはこれらを;成長因子若しく
はその他の生物学的な応答調節剤での刺激若しくはプライミングによって;遺伝子移入(
一過性又は安定な移入)によって;物理的特性(例えば、サイズ又は密度)、固相材料に
対する差動的粘着、細胞表面若しくは細胞内分子の発現、細胞培養又はその他のエクスビ
ボ若しくはインビボでの操作、修飾又は更に本明細書に記述したような分画に基づいた、
生じる集団のさらなる細分画によって;修飾してもよい。また、再生細胞を、合成足場若
しくは生物学的足場などの他の細胞又は装置、或いは更に本明細書に記述したような細胞
の関連した特徴を修飾若しくは増強する因子、薬物、化学物質若しくは他の薬剤を送達す
る材料又は装置と組み合わせて使用してもよい。
して、少なくとも部分的に脱凝集した後に多量の液体中に存在する細胞の組成物をいう。
例えば、本発明の再生細胞組成物は、ASC、内皮細胞、内皮前駆型細胞、内皮前駆細胞、
マクロファージ、線維芽細胞、周皮細胞、平滑筋細胞、前脂肪細胞、分化した又は分化し
ていない脂肪細胞、ケラチノサイト、単能性及び多分化能前駆体並びに前駆細胞(及びこ
れらの子孫)及びリンパ球を含む複数の異なるタイプの再生細胞を含む。また、再生細胞
組成物は、組織断片に存在し得るコラーゲン、又は本明細書に記述した組織脱凝集過程で
使用されるか、若しくは生じる残留コラゲナーゼ若しくはその他の酵素若しくは薬剤など
の1つ以上の混入物を含んでいてもよい。
かで配置することによって引き出される任意の治療的、構造的又は美容的利益をいう。本
明細書に使用される「心血管の状態、疾患又は障害」という句は、被験体、特にヒト被験
者において、不十分な、望まれない、又は異常な心機能によって特徴づけられる全ての障
害、例えば虚血性心疾患、高血圧性心疾患及び肺高血圧性心疾患、弁膜症、先天性心疾患
、中毒性又は感染性心筋症及び心不全を引き起こす何らかの状態、例えば鬱血性心不全を
含むことが意図される。不十分な、又は異常な心機能は、疾患、傷害及び/又は老化の結
果であり得る。背景として、心筋傷害に対する反応では、いくらかの細胞が死滅する際の
明確に規定された経路をたどるものの、その他はいまだ死滅していないが機能不全である
休止状態に入る。これに炎症細胞の浸潤及び瘢痕の一部としてのコラーゲンの沈着が続き
、これらの全てが、新血管の内部成長及びある程度の連続的細胞死と並行して起こる。本
明細書に使用される「虚血」という用語は、血液の流入の減少によって、及び/又は酸素
及び/又はその他の栄養素の供給の減少によって生じる任意の組織虚血(例えば、ショッ
クの場合などの局所的組織虚血又は全般的な組織虚血)をいう。「心筋虚血」という用語
は、冠状動脈硬化症及び/又は心筋に対する不十分な血液、酸素及び/又は栄養供給量に
よって生じる循環障害をいう。「心筋梗塞」という用語は、血流の欠如によって生じる心
筋組織に対する虚血性発作をいう。具体的には、この発作は、冠循環における閉塞(例え
ば、血栓又は塞栓)イベントによって生じ、ここでの心筋の代謝需要は、心筋組織に対す
る酸素及び又は栄養素の供給を上回る環境をもたらす。
ら発生する過程をいう(Folkmanの文献, 1995)。「修復」という用語は、ダメージを受
けた脈管構造及び組織の再編成をいう。組織虚血の軽減は、血管形成にきわめて依存的で
ある。新血管の自発的増殖は、虚血領域の内側及び周囲における副行循環をもたらし、血
流を改善し、虚血によって生じる症候を軽減する。本明細書に使用される「血管形成因子
」又は「血管形成タンパク質」という用語は、既存の脈管構造からの新血管の増殖(「血
管形成」)を促進することができる任意の公知のタンパク質、ペプチド又はその他の薬剤
をいう。本発明に使用するために適した血管形成因子は、胎盤成長因子(Luttun らの文
献, 2002)、マクロファージコロニー刺激因子(Aharinejad らの文献, 1995)、顆粒球
マクロファージコロニー刺激因子(Buschmann らの文献, 2003)、血管内皮成長因子(VE
GF)-A、VEGF-A、VEGF-B、VEGF-C、VEGF-D、VEGF-E(Mints らの文献, 2002)、ニューロ
ピリン(Wang らの文献, 2003)、線維芽細胞成長因子(FGF)-1、FGF-2(bFGF)、FGF-3
、FGF-4、FGF-5、FGF-6(Botta らの文献, 2000)、アンジオポエチン1、アンジオポエチ
ン2(Sundberg らの文献., 2002)、エリスロポエチン(Ribatti らの文献, 2003)、BMP
-2、BMP-4、BMP-7(Carano 及び Filvaroffらの文献, 2003)、TGF-β(Xiong らの文献,
2002)、IGF-1(Shigematsu らの文献, 1999)、オステオポンチン(Asou らの文献, 20
01)、プレイオトロピン(Beecken らの文献, 2000)、アクチビン(Lamouille らの文献
, 2002)、エンドセリン-1(Bagnato 及び Spinellaらの文献, 2003)及びその組み合わ
せを含むが、これらに限定されるわけではない。血管形成因子は、独立して、又は互いに
組み合わせて作用することができる。組み合わせのときに、血管形成因子は、相乗的に作
用することもでき、それによる該因子群の併用効果は、別々に摂取された個々の因子の効
果の合計よりも大きい。また、「血管形成因子」又は「血管形成タンパク質」という用語
は、このような因子の機能的類似体を包含する。機能的類似体には、例えば因子の機能的
部分を含む。また、機能的類似体には、因子の受容体と結合し、従って血管形成及び/又
は組織修復を促進する際の因子の活性を模倣する抗イディオタイプの抗体を含む。このよ
うな抗イディオタイプ抗体を産生するための方法は、当該技術分野において周知であり、
例えばWO97/23510に記述されており、その内容は、引用により本明細書組み込まれる。
得ることもできる。例えば、因子は、これらの天然の供与源から精製することができ、又
は合成的に、若しくは組換え発現によって産生することができる。因子は、タンパク質組
成物として患者に投与することができる。或いは、因子は、因子をコードする発現プラス
ミドの形態で投与することができる。適切な発現プラスミドの構築は、当該技術分野にお
いて周知である。発現プラスミドを構築するために適したベクターには、例えばアデノウ
イルスベクター、レトロウイルスベクター、アデノ随伴ウイルスベクター、RNAベクター
、リポソーム、カチオン脂質、レンチウイルスベクター及びトランスポゾンを含む。
び/又はその他の動脈の増殖を増強する過程をいう(Carmelietの文献, 2000;Scholz ら
の文献, 2001;Scholz らの文献, 2002)。より詳細には、動脈形成は、血液を虚血組織
、腫瘍又は炎症部位に供給する既存の細動脈結合からの、内皮細胞及び平滑筋細胞の増殖
による動脈のインサイチューでの補充及び膨張である。これらの血管は、主に患部組織の
外側で成長し、虚血領域、腫瘍又は炎症部位への栄養素の送達のために重要である。動脈
形成は、心筋虚血に対する通常の応答の一部である(Mills らの文献, 2000;Monteiro
らの文献, 2003)。加えて、冠状動脈バイパス移植片(CABG)の一般的外科的技術では、
実質的に、人工側副血管を作製するだけである(Sergeant らの文献, 1997)。従って、
梗塞後の動脈形成を増強する過程により、虚血組織への血流が改善して、細胞死の減少及
び梗塞サイズの減少を生じるであろう。これらの改善により、心機能の改善及び治療利益
が生じるであろう。
能力を有する種々のその他の細胞タイプに分化する潜在性をもつ多分化能の再生細胞をい
う。本明細書に開示した幹細胞のいくつかは、多分化能をもつであろう。
数の細胞タイプに分化する潜在性をもつ多分化能の再生細胞をいう。また、本明細書に使
用される「前駆細胞」は、1つ以上の特定機能を行い、かつ自己複製する能力が制限され
たか、又はない単一の細胞タイプのみに分化する潜在性をもつ単能性細胞をいう。特に、
本明細書に使用される「内皮前駆細胞」は、血管内皮細胞に分化する潜在性をもつ多能性
又は単能性細胞をいう。
能性再生細胞をいう。前駆型細胞及びこれらの子孫は、適切な条件下で増殖することがで
きる広範な増殖能力を保持し、例えばリンパ球及び内皮細胞であってもよい。
細胞密度(<10,000細胞/ウェル)でプレートにまき、MSC増殖を補助する増殖培地(例
えば、10%のウシ胎児血清、5%のウマ血清及び抗菌薬/抗真菌薬を補ったDMEM/F12培地)
中で培養するクローン原性アッセイ法において観察されるコロニー数をいう。培養物をヘ
マトキシリンで染色後に、細胞を2週間培養し、50細胞を超えるコロニーをCFU-Fとして計
数する。幹細胞頻度は、プレートにまいた100個の有核細胞あたりに観察されるCFU-Fの数
として算出される(例えば;1,000個の有核再生細胞で開始したプレートにおいて計数さ
れる15コロニーは、1.5%の幹細胞頻度を示す)。幹細胞数は、得られた有核ADC細胞の総
数を乗じた幹細胞頻度として算出される。再生細胞から増殖した高い割合(〜100%)のCF
U-Fが、細胞表面分子CD105を発現し、これは骨髄由来幹細胞によっても発現される(Barr
y らの文献, 1999)。また、CD105は、脂肪組織派生幹細胞によっても発現される(Zuk
らの文献, 2002)。
をいう。脂肪組織には、ASC並びに内皮前駆型細胞及び前駆細胞を含む複数の再生細胞タ
イプを含む。
本明細書に使用される「脂肪組織の単位」という用語は、別々の、又は測定可能な脂肪
組織の量をいう。脂肪組織の単位は、単位の重量及び/又は体積を決定することによって
測定してもよい。上で同定されたデータに基づいて、患者から除去された、処理された脂
肪吸引液の単位は、細胞成分の少なくとも0.1%が幹細胞である細胞成分を有し;すなわち
、これは、上記の通りに決定したときに少なくとも0.1%の幹細胞頻度を有する。本明細書
における開示に関して、脂肪組織の単位は、患者から除去される脂肪組織の全量又は患者
から除去される脂肪組織の全量未満である量をいってもよい。従って、脂肪組織の単位は
、別の脂肪組織の単位と組み合わせて、個々の単位の合計である重量又は体積を有する脂
肪組織の単位を形成してもよい。
部分は、50%未満である量をいい、主要部分は、50%よりも多い量をいう。従って、患者か
ら除去された脂肪組織の全量未満である脂肪組織の単位は、除去された脂肪組織の一部で
ある。
来の、処理されて活性細胞成分(例えば、再生を含む成分)が分離された脂肪組織をいう
。この画分は、本明細書において「脂肪由来細胞」又は「ADC」と称される。典型的には
、ADCは、脂肪組織からの細胞を洗浄し、分離し、濃縮することによって得られた再生細
胞のペレットをいう。ペレットは、典型的には、細胞が遠心チャンバ又は細胞濃縮器の底
に凝集するように、細胞の懸濁液を遠心分離することによって得られる。
置」及び「移植すること」は、本明細書において同義的にに使用され、所望の部位に再生
細胞の少なくとも部分的な局在化を生じる方法又は経路によって被験体内に本発明の再生
細胞を配置することをいう。再生細胞は、細胞又は細胞成分の少なくとも一部が生存可能
なままで、被験体の所望の位置に送達させる任意の適切な経路によって投与することがで
きる。被験体に投与後の細胞の生存期間は、数時間、例えば24時間から数日程度の間、数
年程度もの間であることができる。
本明細書に使用される「治療」という用語は、疾患若しくは障害の少なくとも1つの有
害作用又は症候を減少又は軽減させることを含む。
効果をもたらすために十分な再生細胞の量をいう。前記用量は、1回以上の投与で投与す
ることができる。しかし、有効な用量と考えられる量の正確な決定は、患者の年齢、サイ
ズ、型又は疾患の程度、疾患の段階、再生細胞の投与経路、使用される補助療法の型又は
程度、進行中の疾患過程及び望まれる治療のタイプ(例えば、攻撃的治療対従来治療)を
含むが、これらに限定されるわけではない、それぞれの患者についての個別の要因に基づ
いてよい。
類を含む。好ましい実施態様において、被験体は、霊長類である。より好ましい実施態様
において、被験体は、ヒトである。
本明細書に以前に記述したように、再生細胞、例えば幹細胞及び前駆細胞は、多種多様
な組織から収集することができる。本発明のシステムは、全てのこのような組織に対して
使用してもよい。しかし、脂肪組織は、再生細胞の特に豊富な供与源である。従って、本
発明のシステムは、本明細書において、例示のみで限定することなく、再生細胞の供与源
として脂肪組織を使用して例証してある。
織は、脂肪吸引によって(注射器又は動力で補助される)、又は脂肪酸組織切除、例えば
吸引補助された脂肪形成術、超音波補助された脂肪形成術及び切除による脂肪酸組織切除
術又はその組み合わせによって患者から除去してもよい。脂肪組織を除去し、収集して、
本明細書に記述した本発明のシステムの実施態様のいずれに従って処理してもよい。収集
される組織の量は、ドナーの肥満度指数及び年齢、収集に利用できる回数、アクセス可能
な脂肪組織収集部位の入手可能性、同時の及び既存の薬物適用及び条件(抗凝固療法など
)、並びに組織を収集するための臨床目的を含む多くの要因に依存する。例えば、痩せた
個体から抽出される100mlの脂肪組織の再生細胞の割合は、肥満ドナーから抽出されるも
のよりも高い(表1)。これは、肥満個体における脂肪含量の増加による希釈効果を反映
している可能性が高い。従って、本発明の一つの態様に従って、より痩せた患者から取り
除かれるであろう量と比較して、重量超過のドナーからは、より大量の組織を得ることが
望ましい。また、この観察は、本発明の有用性が、大量の脂肪組織をもつ個体に限定され
るわけではないことを示す。
まない。例えば、生じる再生細胞は、実質的にコラーゲン及び細胞外基質成分を含まない
が、結合組織に存在する線維芽細胞で構成され得る。従って、本発明のシステムは、研究
及び/又は治療目的のために使用し得る不均一な複数の脂肪由来再生細胞を産生する。好
ましい実施態様において、細胞は、レシピエントの体内に配置又は再注入するために適し
ている。その他の実施態様において、例えば、細胞は、研究のために使用してもよく、例
えば、細胞は、長期間生存し、かつさらなる研究のために使用することができる幹細胞又
は前駆体細胞株を確立するために使用することができる。
の図面に図示してある。可能な場合は、同じか、又は同様の部分を指すために、図面及び
明細書において同じか、又は同様の参照番号を使用してある。図面は、簡略形態のもので
あり、正確なスケールではないことに注意すべきである。本明細書における開示に関して
、便宜及び明快さのみを目的として、上部、下部、左、右上、下、上、上方、下方、真下
、後部、正面、遠位及び近位などの方向の用語を、添付の図面に関して使用してある。こ
のような方向の用語は、いずれの様式でも本発明の範囲を限定するものと解釈されるべき
でない。
様は、例証として示され、限定によるのではないことが理解される。以下の詳細な記述の
意図は、例示的実施態様を議論しているが、添付の請求の範囲によって定義されるとおり
の本発明の精神及び範囲内に入るであろう実施態様の全ての修飾、変形例及び均等物を包
含するものと解釈される。本発明は、当該技術分野の従来法で使用される種々の医学技法
と組み合わせて利用してもよい。
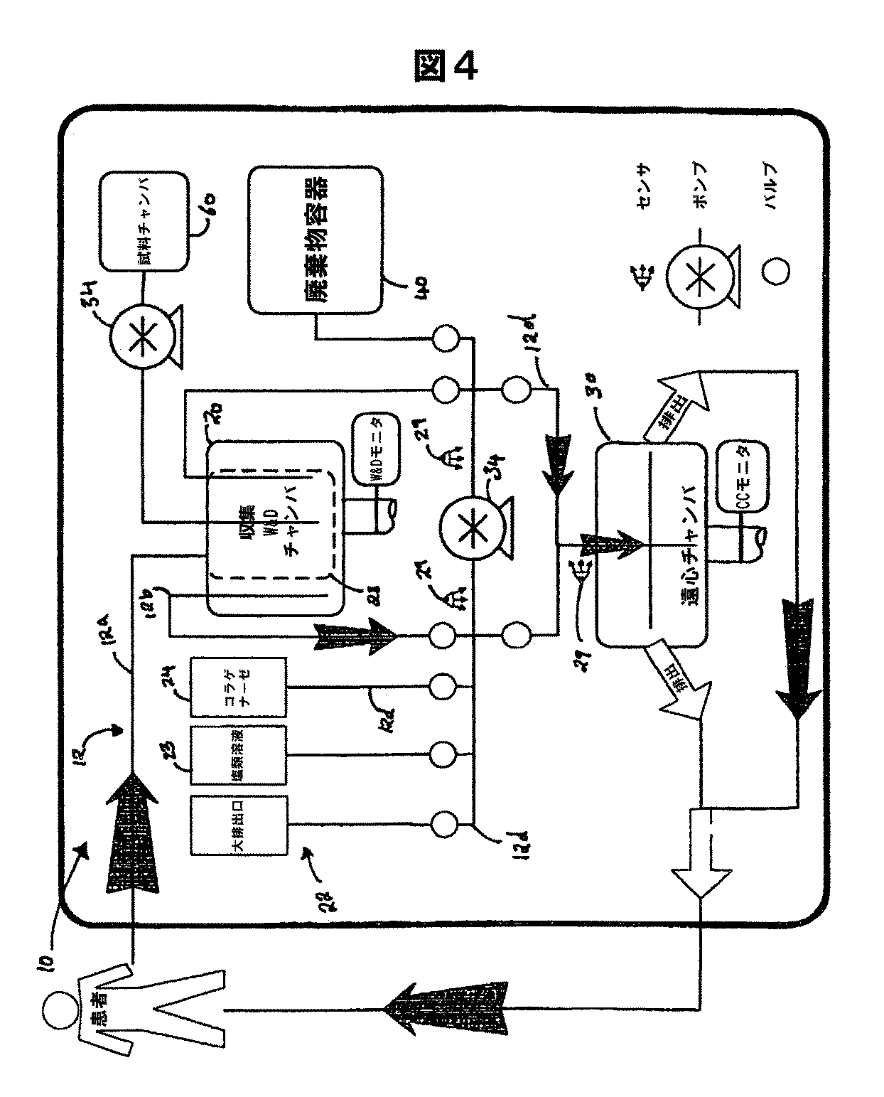
バ30、廃物チャンバ40、排出チャンバ50及び試料チャンバ60の1つ以上で構成される。種
々のチャンバは、生物材料を含む液体がチャンバ間を通るが、密閉された無菌の液体/組
織経路を維持するように、1つ以上の導管12を介して共に結合されている。導管は、本明
細書において同義的に内腔及び管といわれ、それぞれ強固な、又は柔軟な本体を含んでい
てもよい。ある実施態様において、導管は、臨床環境において従来法で使用されるポリエ
チレン管、シリコーン又は従来技術において公知の他のいずれかの材料などの柔軟なチュ
ーブの形態である。導管12は、液体又は組織の通過が望まれるかどうかに応じてサイズを
変化させることができる。また、導管12は、システムを通って循環する組織又は液体の量
に応じてサイズを変更してもよい。例えば、液体の通過のために、導管は、約0.060〜約0
.750インチの範囲の直径を有してもよく、組織の通過のために、導管は、0.312〜0.750イ
ンチの直径を有してもよい。一般に、導管のサイズは、導管が収容することができる体積
と組織又は液体が前記導管を通るために必要とされる時間とのバランスをとるように選択
される。システムの自動化された実施態様において、前述のパラメーター、すなわち体積
及び輸送のための時間は、適切なシグナルをシステムの処理デバイスに伝達することがで
きるように特定しなければならない。これにより、チャンバ間で正確な体積の液体及び組
織を動かすことができる装置が可能になる。使用される柔軟な管は、崩壊の可能性を減少
させるために、陰圧に耐えることができるべきである。また、使用される柔軟チューブは
、例えばシステムに使用され得る容積式ポンプによって発生される陽圧に耐えることがで
きるべきである。
のポート、例えば出口22又は入口21ポートを備えていてもよい。ポートは、ゴム隔壁で閉
じられた注射針アクセスポート51などの密封されたポートでもよい。入口は、導管を経由
して1つ以上のカニューレに結合されていてもよい(図示せず)。例えば、組織入口ポー
ト21は、組み込まれた使い捨て脂肪吸引カニューレに結合されていてもよく、導管は、柔
軟チューブであってもよい。導管は、一般にシステムのチャンバ間の液体通路を提供する
ように位置が定められる。この末端に向かって、導管及びポートを、例えば手動又は自動
的に作動し得る吸引装置に結合してもよい(図示せず)。吸引装置は、例えば注射器又は
電気ポンプであってもよい。吸引装置は、患者から組織を吸引するために十分な陰圧を提
供することができるべきである。一般に、当業者、例えば外科医に公知の任意の適切な吸
引装置を使用してもよい。
ランプ(図示せず)を更に含んでいてもよい。クランプは、システムの異なる領域を効率
的に封止することによってシステムの無菌を維持するために有用である。或いは、導管12
は、システムを通る材料の流れを制御する1つ以上の弁14を含んでいてもよい。弁14は、
図において白丸として識別される。好ましい実施態様において、弁は、電気機械的なピン
チバルブであってもよい。別の実施態様において、弁は、空気圧バルブであってもよい。
更にその他の実施態様において、弁は、調水弁又は機械弁であってもよい。このような弁
は、好ましくは調節系によって起動され、これは、レバーに結合されていてもよい。レバ
ーは、レバーが起動されるように手動で操作してもよい。自動化された実施態様において
、調節システムは、レバー、並びに予め定められた起動条件で弁を起動し得る処理デバイ
スに結合させてもよい。一定の自動化された実施態様において、弁の起動は、部分的に自
動化されていても、処理を最適化し得るように、部分的に使用者の好みによって決定され
てもよい。更にその他の実施態様において、一定の弁が手動で、及び他には、処理装置に
よって自動で起動させてもよい。また、弁14は、1つ以上のポンプ、例えばペリスタル型
ポンプ34又は容積式ポンプ(図示せず)と組み合わせて使用してもよい。また、導管12及
び/又は弁14は、センサ29、例えば光学センサ、超音波センサ、圧力センサ又はシステム
を通って流れる種々の液体成分及び流体レベル間を区別することができる従来技術におい
て公知のその他のモニター形態を備えていてもよい。好ましい実施態様において、センサ
29は、光学センサであってもよい。
ィルタが、システム28のチャンバ内にあってもよい。システム内の異なるチャンバは、異
なるフィルタを備えていてもよい。フィルタは、望まれない細胞及びシステムによって使
用されるであろう脱凝集薬から、再生細胞、例えば幹細胞及び/又は前駆細胞を分離する
ために有効である。一つの実施態様において、フィルタアッセンブリ36は、中空繊維濾過
装置を含む。別の実施態様において、フィルタアッセンブリ36は、浸透濾過装置を含み、
これは、沈降過程と共に使用しても、又は使用しなくてもよい。更なる実施態様において
、フィルタアッセンブリ36は、遠心分離装置を含み、これは、エラトリエーション装置及
び過程と共に使用しても、又は使用しなくてもよい。更に別の実施態様において、システ
ムは、これらのフィルタリング装置の組み合わせを含む。本発明の濾過機能は、コラーゲ
ン、遊離脂質、遊離脂肪細胞及び残留コラゲナーゼなどの最終濃縮物から除去するいくつ
かのフィルタで、並びに最終生成物を濃縮するために使用されるその他のフィルタで、2
倍となり得る。システムのフィルタは、20〜800μmの直径及び/又は長さの範囲の複数の
細孔を備えていてもよい。好ましい実施態様において、収集チャンバ20は、80〜400μmの
範囲の複数の細孔が前に置かれたフィルタ28を有する。別の好ましい実施態様において、
収集チャンバ20は、複数の265μmの細孔が前に置かれたフィルタ28を有する。その他の実
施態様において、フィルタは、着脱可能でもよく、及び/又は使い捨てであってもよい。
ために置かれた1つ以上の温度調節装置(図示せず)を備えていてもよい。温度調節装置
は、加熱器、冷却器又は両方であってもよく、すなわち、これは加熱器及び冷却器との間
を切り替えることができてもよい。温度装置は、組織、脱凝集薬、再懸濁薬、すすぎ薬、
洗浄剤又は添加物を含むシステムを通過するいずれの材料の温度を調整してもよい。例え
ば、脂肪組織の加熱により、脱凝集が容易になるが、再生細胞出口の冷却により、生存度
を維持することが望ましい。また、最適な組織処理のために事前に温められた試薬が必要
である場合、温度装置の役割は、温度を増減する以外に、予め定められた温度を維持する
ことであろう。
れたシステムの配置を維持する蓋を含んでいてもよい。蓋は、液体、空気及びその他の混
入物に不浸透性である膜でもよく、又はこれは、従来技術において公知の他のいかなる適
切な蓋でもあってもよい。更にまた、システムの全てのポートは、これらがシステムの無
菌を損なうことなくチャンバ内の材料を引き抜くための注射器、針又はその他の装置を収
容することができるようにデザインされていてもよい。
介して患者から摘出してもよい。吸引された組織は、処理のためにシステムに置く前に摘
出してもよい。吸引された組織は、典型的にはゴム隔壁で閉じられた注射針アクセスポー
トなどの密封された入口(収集チャンバー上には図示せず)を介して導管12を通って収集
チャンバ20へ移される。或いは、組織摘出工程は、システムの一部であってもよい。例え
ば、収集チャンバ20は、患者に挿入される標準的なカニューレを使用する組織除去を容易
にする真空ライン11を備えていてもよい。従って、本実施態様において、システム全体が
患者に付着される。組織は、密閉された無菌の経路の一部である12aなどの、導管を介し
て入口21を通して収集チャンバ20に導入してもよい。収集チャンバ20は、複数の柔軟若し
くは強固なキャニスター若しくはシリンダ又はこれらの組み合わせを備えていてもよい。
例えば、収集チャンバ20は、異なるサイズの1つ以上の強固なキャニスターを備えていて
もよい。また、収集チャンバ20は、1つ以上の軟質バッグを備えていてもよい。このよう
なシステムにおいて、バッグは、好ましくはバッグに吸引を適用することによりバッグが
圧壊する可能性を減少させるのを補助する内部又は外部のフレームなどの支持体と共に提
供される。収集チャンバ20は、処理チャンバ30において行われる処理の洗浄及び濃縮工程
前に、組織を適切に洗浄して脱凝集するために必要な生理食塩水の量を保持するサイズに
する。好ましくは、収集チャンバ20に存在する組織又は液体の体積は、裸眼で容易に確認
可能である。例えば、脂肪組織から再生細胞を得るためには、適切な収集チャンバは、80
0mlの脂肪吸引液及び1200mlの生理食塩水を保持する容積を有する。従って、一つの実施
態様において、収集チャンバ20は、少なくとも2リットルの容積を有する。別の実施態様
において、血液から赤血球を分離して濃縮するためには、収集チャンバ20は、少なくとも
1.5リットルの容積を有する。一般に、収集チャンバ20のサイズは、患者から収集される
組織のタイプ及び量に応じて変化するであろう。収集チャンバ20は、約5mlほどの少量〜
約2リットルの組織を保持するような大きさにしてもよい。より少ない組織体積、例えば5
ml〜100mlのためには、組織を収集チャンバ20に移す前に注射器で集めてもよい。
してもよい。好ましい実施態様において、収集チャンバ20は、ISO 10993標準規格に記載
されているような、血管内接触に関して要求される生体適合性を満たす使い捨て材料で構
築される。例えば、アクリルポリカーボネート又はABSを使用してもよい。収集チャンバ2
0の流体経路は、好ましくは発熱物質がなく、すなわち疾患伝染の危険のない血液用途に
適している。一つの実施態様において、収集チャンバ20は、使用者がチャンバに存在する
組織のおおよその体積を視覚的に決定することができる材料で構築される。その他の実施
態様において、収集チャンバ20内の組織及び/又は液体の体積は、自動センサ29によって
決定される。収集チャンバ20は、好ましくは自動化された実施態様において、システムが
合理的な精度でチャンバ内の組織及び/又は液体の体積を決定することができるようにデ
ザインされる。好ましい実施態様において、システムは、プラスマイナス15パーセントの
正確さで収集チャンバ内の体積を検出する。
ンバの形態で、例えば265μmのメッシュサイズをもつ医療等級ポリエステルのおおよそ円
錐体の前に置かれたフィルタ28を含む医療等級ポリカーボネートで構築されたチャンバで
ある(図5を参照されたい)。強固な組織収集コンテナは、およそ8インチの高さ及び直径
おおよそ5インチのサイズを有してもよく;壁厚は、約0.125インチであってもよい。シリ
ンダの内部には、例えば吸引管のための1つ以上のポート、無菌ドッキング技術を介する
連絡のための管を備えた1つ以上のポート及び/又はゴム隔壁を介して、針穴でアクセス
するための1つ以上のポートを介してアクセスしてもよい。収集チャンバ20の内部の前に
置かれたフィルタ28は、好ましくは脂肪組織を保持するように、及び非脂肪組織を通過す
るよう、例えば組織が患者から除去されるように構築される。より具体的には、フィルタ
28は、遊離脂質、血液及び生理食塩水を通過させ、その一方で脂肪組織を最初の収集の間
に、又は別の実施態様において、収集の後に脂肪組織の断片を保持することが可能であっ
てもよい。その事に関し、フィルタ28は、同じか、又は異なるサイズのいずれかであるが
、約20μm〜5mmの範囲の複数の細孔を含む。好ましい実施態様において、フィルタ28は、
複数の400μmの細孔を含む。好ましい実施態様において、フィルタ28は、約265μmの細孔
径及び約47%の開口領域をもつ約200μm厚さの医療等級ポリエステルメッシュである。こ
の材料は、すすぎの間に組織を保持するが、組織脱凝集後に細胞がメッシュを通って出て
行くことができる。従って、組織を患者から吸引するときに、非脂肪組織が脂肪組織から
分離されるであろう。同じ機能は、異なる材料、メッシュサイズ、並びにポートの数及び
型によって達成することができる。例えば、100μmより小さい又は数千ミクロンほどの大
きさのメッシュ細孔径は、生理食塩水及び血液細胞を通過させると同時に脂肪組織凝集体
及び断片を保持するという同じ目的を達成するであろう。同様に、同じ目的を、代わりの
強固なプラスチック材料を使用することによって、又は当業者に公知であろう多くのその
他の修飾によって達成することができるであろう。
浄溶液供与源23及びコラゲナーゼなどの組織脱凝集薬供与源24を含んでいてもよい。収集
チャンバ20は、洗浄及び脱凝集溶液又は薬剤を無菌的様式で組織に添加することができる
密閉された液体経路を含む。
様式でこれらの内容物を保持することができる任意の適切な容器、例えば折り畳みバッグ
であってもよい。これらの容器は、洗浄溶液及び脱凝集薬が収集チャンバ20の内部に送達
され得るように、導管12eなどの導管12が収集チャンバ20に結合されていてもよい。洗浄
溶液及び脱凝集薬は、生理食塩水23及び/又は脱凝集薬24のための容器の外側に適用され
る単純な重力圧、又は導管、例えば図4の導管12d上への容量形ポンプの設置によるものを
含む任意の当該技術分野で認識される様式によって収集チャンバ20の内部に送達してもよ
い。自動化された実施態様において、システムの処理デバイスは、最初に使用者によって
入力された情報(例えば、処理される組織の体積)に基づいて、種々のパラメーター、例
えば洗浄のために必要とされる生理食塩水の体積及びサイクルの時間又は数、並びに脱凝
集薬の濃度又は量及び脱凝集のために必要とされる時間を算出する。或いは、量、時間そ
の他は、使用者が手動で操作することができる。
されるべきである。好ましい実施態様において、収集チャンバ内部の懸濁液の温度は、摂
氏37度に維持される。ある実施態様において、外科的処置又は医療適用を延期する必要が
ある場合、選択した組織を後で使用するために収集チャンバに貯蔵してもよい。組織は、
室温にて、若しくはおよそ室温で、又は摂氏約4度にて、96時間までの間貯蔵してもよい
。
ていない電解質溶液を含む当業者に公知のいずれの溶液であってもよい。処理される組織
のタイプにより、使用される洗浄溶液のタイプ又は組み合わせが決定される。典型的には
、生理食塩水などの洗浄溶液は、脂肪組織を患者から除去して収集チャンバに配置した後
に、収集チャンバ20に入る。しかし、洗浄溶液は、脂肪組織が抽出される前に収集チャン
バ20に送達してもよく、又は脂肪組織と共に収集チャンバ20に送達してもよい。収集チャ
ンバ20において、洗浄溶液及び抽出された脂肪組織は、下に記述した方法を含むいずれの
手段によって混合してもよい。
放出される遊離脂質の量を最小にする)。一つの実施態様において、組織は、収集チャン
バ20全体を様々な度数の弧をなして(例えば約45度〜約90度の弧をなして)様々な速度、
例えば毎分約30回転にて回転させて撹拌される。その他の実施態様において、組織は、収
集チャンバの内面にしっかりと付着された1つ以上のパドル又は突出部を含む収集チャン
バ20全体を様々な度数の弧をなして(例えば約45度〜約90度の弧をなして)様々な速度、
例えば毎分約30回転にて回転させて撹拌される。上記収集チャンバ20の回転は、収集チャ
ンバ20に付着されたか、又は付近にある駆動メカニズムによって達成してもよい。駆動メ
カニズムは、従来技術において公知の単純なベルト若しくはギア又はその他の駆動メカニ
ズムであってもよい。回転の速度は、例えば毎分30回転であってもよい。一般に、より高
速では、より大量の遊離脂質を発生することが見いだされており、最適ではないであろう
。
とによって撹拌され、回転可能シャフトは、回転可能シャフト25にしっかりと付着された
1つ以上のパドル25a又は突出部を含み、シャフトが回転されるとこれが混合物を通過する
。ある実施態様において、しっかりと付着された25aパドルを備えた回転可能シャフト25
は、収集チャンバ20の底面にある。これは、例えば回転磁場内にパドル様の装置を置くこ
と(例えば、マグネチックスターラ)によって達成してもよい。或いは、組織の撹拌は、
当該技術分野において公知の単純な攪拌機、すなわち回転を伴わずに振盪上下を実行する
装置を使用して達成してもよい。また、組織は、振盪、撹拌、反転などを含むその他のい
ずれの当該技術分野で認識される手段を使用して洗浄してもよい。
織脱凝集薬を収集チャンバ20に送達してもよい。脱凝集薬は、当業者に公知のいずれの脱
凝集薬であってもよい。使用してもよい脱凝集薬は、中性プロテアーゼ、コラゲナーゼ、
トリプシン、リパーゼ、ヒアルロニダーゼ、デオキシリボヌクレアーゼ、ブレンドザイム
(Blendzyme)酵素混合物ファミリーのメンバー、例えばリベラーゼ(Liberase)H1、ペ
プシン、超音波若しくはその他の物理的エネルギー、レーザー、マイクロ波、その他の機
械装置及び/又はこれらの組み合わせを含む。本発明の好ましい脱凝集薬は、コラゲナー
ゼである。脱凝集薬は、その他の溶液と共に添加してもよい。例えば、上記のような生理
食塩水供与源23から送達される生理食塩水などの生理食塩水をコラゲナーゼの添加と共に
脂肪組織を添加し、又は直後にコラゲナーゼを添加してもよい。一つの実施態様において
、洗浄した脂肪組織を37℃にて、又は約37℃にて約20〜60分間コラゲナーゼを含む酵素溶
液と混合させる。その他の実施態様において、消化時間を減少させるために、より高濃度
のコラゲナーゼ又は同様の薬剤を添加してもよい。次いで洗浄した脂肪組織及び組織脱凝
集薬を、洗浄した脂肪組織が脱凝集されるまで、上記の撹拌方法と同様の様式で撹拌して
もよい。例えば、洗浄した脂肪組織及び組織脱凝集薬は、およそ90度の弧をなして収集チ
ャンバ全体を回転させることによって、シャフトが回転されると溶液を通過する1つ以上
のパドルを含むシャフトを有することによって、及び/又は収集チャンバの内面にパドル
又は突出部を含む収集チャンバ全体を回転させることによって、撹拌してもよい。
完全に脱凝集させてもよい。例えば、脂肪由来細胞が脂肪組織の単位と組み合わされる実
施態様において、収集した脂肪組織を部分的に脱凝集して、部分的に脱凝集した脂肪組織
の一部を除去し、次いで収集チャンバに残った脂肪組織の残りの部分を脱凝集し続けるこ
とが望ましい。或いは、洗浄した脂肪組織の一部を任意の消化前に除去してもよく、及び
試料容器に別にして置いてあってもよい。別の実施態様において、収集した脂肪組織を患
者に戻して再導入する前に、部分的に脱凝集して細胞を濃縮させる。一つの実施態様にお
いて、脂肪組織は、しばらくの間、一般に約20分未満の間、組織脱凝集薬と混合させる。
次いで、部分的に脱凝集した組織の一部を収集チャンバから除去して、残りの部分的に脱
凝集した組織を、組織脱凝集薬と脂肪組織を更に40分間混合することによって更に脱凝集
してもよい。脂肪由来細胞が、再生細胞の本質的に純粋な集団として使用されるときは、
脂肪組織を完全に脱凝集させてもよい。
組織及び脱凝集薬溶液を沈降させる。典型的には、約15秒〜数分までの範囲の時間である
が、他の時間、修飾された実施態様で実行してもよい。浮揚層には、更に洗浄して濃縮す
ることが必要な再生細胞を含む。非浮揚層には、血液、コラーゲン、脂質及び組織のその
他の非再生細胞成分を含む。非浮揚層は、廃物チャンバに除去しなければならない。
上の導管12を介して1つ以上の廃棄物容器40に排出され得るように、チャンバの最下点に
排出口22を含む。収集チャンバ20は、一般に、排出口22が収集チャンバの底に位置するよ
うに、直立位置である(又は、配置してもよい)。排出は、受動的でも、又は能動的であ
ってもよい。例えば、上記の非浮揚性成分は、重力を使用して、陽圧若しくは陰圧を適用
することによって、ポンプ34を使用することによって、又は通気口32を使用することによ
って排出することができる。自動化された実施態様において、処理デバイスは、非浮揚層
を収集チャンバ20から排出するように一定の弁及び/ポンプに信号を送ることができる。
また、自動化された実施態様では、浮揚性と非浮揚性の液体間の界面が到達した時を検出
することができるセンサ29を備えていてもよい。また、自動化された実施態様では、導管
内を流れて収集チャンバの外に導かれる廃水の光屈折の変化を検出することができるセン
サ29、例えば光学センサを備えていてもよい。適切な光屈折の変化により、流出導管内に
浮揚層が存在するという信号を送り、これにより非浮揚層が排液されたことを示してもよ
い。次いで、センサ29が、次の工程に進行する信号を処理デバイスに送る。
もよい。例えば、ある治療的又は研究適用では、コラーゲン、タンパク質、マトリックス
若しくは間質成分、脂質、脂肪細胞又は組織のその他の成分が望ましい。このような実施
態様において、上記の通りに廃物チャンバに除去されなければならないのは、再生細胞を
含む浮揚層である。次いで、非浮揚層が、必要に応じて更に処理のためにシステムに保持
される。
入物を除去してもよい。従って、収集チャンバ20は、典型的には洗浄溶液をチャンバの内
部に送達することができるようにするための1つ以上のポート21、及び廃棄することがで
きるようにするための1つ以上のポート22、及び収集チャンバ20から外に向けるためのそ
の他の材料を含む。例えば、収集チャンバは、本明細書に記述された1つ以上の密封され
た入口を含んでいてもよい。また、収集チャンバ20は、洗浄溶液を収集チャンバ内に送達
し、及び/又は廃棄物を外に輸送するが、システムが無菌のままであることを更に確実す
るために、トップキャップ及びボトムキャップなどの1つ以上のキャップ(図示せず)を
含んでいてもよい。ポート21は、収集チャンバのキャップに、又は収集チャンバの側壁に
提供されてもよい。
達するまで繰り返してもよい。言い換えると、脂肪組織断片を含む上記の混合物の浮揚性
材料を含む収集チャンバ20の残りの材料を、望まれない材料の量が望まれる所定のレベル
に減少されるまで、更に1回以上洗浄してもよい。洗浄の終了点を決定するための1つの方
法は、組織溶液の赤血球の量を測定することである。これは、540nmの波長で吸収される
光を測定することによって達成することができる。好ましい実施態様において、約0.546
〜約0.842の間の範囲が許容可能であると考えられる。
を種々の容器に添加してもよい。添加物のいくつかの例には、洗浄及び脱凝集を最適化す
る薬剤、処理の間に活性な細胞集団の生存度を増強する添加物、抗菌薬(例えば、抗生物
質)、脂肪細胞及び/若しくは赤血球を溶解する添加物又は関心対象の細胞集団を濃縮す
る(固相部分に対する、又は細胞集団の実質的減少又は濃縮を促進するその他のものに対
する差動的粘着による)添加物を含む。その他の可能性のある添加物には、再生細胞の回
復及び生存度を促進するか(例えば、カスパーゼ阻害剤)又は注入若しくは据付に対する
有害反応の可能性を減少させるもの(例えば、細胞又は結合組織の再凝集の阻害剤)を含
む。
合物の非浮揚画分には、再生細胞、例えば幹細胞及びその他の脂肪由来前駆細胞を含むと
考えられる。本明細書において論議したように、再生細胞が、含む非浮揚画分は、処理チ
ャンバ30へ移されて、そこで脂肪由来幹細胞などの関心対象の再生細胞を混合物の非浮揚
画分に存在するその他の細胞及び材料から分離される。この非浮揚画分は、本明細書にお
いて再生細胞組成物と称し、幹細胞、前駆細胞、内皮前駆細胞、脂肪細胞及び本明細書に
記述したその他の再生細胞を含む複数の異なる細胞のタイプを含む。また、再生細胞組成
物には、脂肪組織断片に存在するコラーゲン及びその他の結合組織タンパク質並びにその
断片、又は組織脱凝集過程からの残留コラゲナーゼなどの1つ以上の混入物を含んでいて
もよい。
で管12、弁14及びポンプ34を経由して収集チャンバから処理チャンバ30へ移動するように
位置する。処理チャンバは、10mL〜1.2Lの範囲の組織/流体混合物を収容するような大き
さに設定される。好ましい実施態様において、処理チャンバは、800mLに適応するような
大きさに設定される。ある実施態様において、収集チャンバ20からの再生細胞組成物の全
てが処理チャンバ30に向けられる。しかし、その他の実施態様において、一部の再生細胞
組成物は、処理チャンバ30に向けられ、別の部分は、システムの異なる領域、例えば試料
チャンバ60に向けられ、後で処理チャンバ30にて処理された細胞と再び混合する。
してもよい。好ましい実施態様において、処理チャンバ30は、ISO 10993標準規格に記載
されているような血管内接触に関して要求される生体適合性を満たす使い捨て材料で構築
される。例えば、ポリカーボネート、アクリル、ABS、エチレン酢酸ビニル又はスチレン
ブタジエンコポリマー(SBC)を使用してもよい。別の実施態様において、使い捨て処理
チャンバの流体経路は、発熱物質を含まない。処理チャンバは、従来法で血液バンクにお
いて血液を処理する際に使用されるものなどのプラスチック袋の形態であってもよく;又
はその他の実施態様において、それは、構造的に強固であってもよい(図6)。一つの実
施態様において、処理チャンバ30は、所有者が共通する2001年12月7日に出願の米国特許
出願第10/316,127号及び2002年12月20日に出願の米国特許出願番号第10/325,728号(これ
らの全体の含量が、参照として本明細書に組み入れられる)に開示された処理チャンバに
類似していてもよい。
し、及び濃縮するために適したいずれの方法で構築してもよい。ある実施態様において、
収集チャンバ20からの再生細胞組成物を処理チャンバ30に導入し、ここで組成物を濾過し
て特定の再生細胞集団を分離及び/又は濃縮することができる。細胞濾過は、特定の成分
及び細胞をその他の異なる細胞成分又はタイプから分離する方法である。例えば、本発明
の再生細胞組成物は、幹細胞、前駆細胞及び脂肪細胞を含む複数の異なる細胞のタイプ並
びに脂肪組織断片に存在するコラーゲン、又は組織脱凝集過程からの残留コラゲナーゼな
どの1つ以上の混入物を含む。処理チャンバ30に存在するフィルタ36により、再生細胞、
例えば幹細胞又は内皮前駆体細胞の特定の亜集団その他の分離及び濃縮が可能であろう。
形態(形状)、フィルタの表面領域、濾過される溶液の流れる方向、膜の内外で生じる圧
力、特定の細胞集団の希釈、粒子サイズ及び形状並びに細胞サイズ及び細胞生存度を含む
が、これらに限定されるわけではない。本明細書に開示によれば、分離又は濾過されるこ
とが望まれる特定の細胞は、典型的には脂肪由来幹細胞である。しかし、ある実施態様に
おいて、特定の細胞は、内皮前駆細胞などの脂肪由来前駆細胞を単独で、又は幹細胞と組
み合わせて含んでいてもよい。
づけてもよい。ある実施態様において、フィルタアッセンブリ36は、異なる機能を実行し
、及び再生細胞組成物を異なる部分又は成分に分離するように構築された複数のフィルタ
を含む。例えば、フィルタの1つは、コラーゲンを再生細胞組成物から分離するように構
成してもよく、フィルタの1つは、脂肪細胞及び/又は脂質成分を再生細胞組成物から分
離するように構成してもよく、並びにフィルタの1つは、組織脱凝集薬などの残留する酵
素を再生細胞組成物から分離するように構成してもよい。ある実施態様において、フィル
タの1つは、組成物からコラーゲン及び組織脱凝集薬を分離するなどの2つの機能を実行す
ることができる。複数のフィルタが、典型的には連続的に配置される;しかし、さらにフ
ィルタの少なくとも一部を平行に配置してもよい。フィルタアッセンブリ36のフィルタの
連続配置を図2に示してある。フィルタアッセンブリ36のフィルタの平行配置を図3に示し
てある。
タ及び第三のフィルタを含む。第一のフィルタは、粒子が再生細胞組成物に存在するコラ
ーゲンを除去するように構成される。これらのコラーゲン粒子は、典型的にはおよそ0.1
ミクロンの直径であり、20ミクロンまでの長さであることができる。コラーゲン粒子は、
消化に応じて、様々なサイズであってもよい。また、これらは、原繊維であってもよく、
これらがねじれ及び回転を有することを意味する。本明細書に記述したいずれのフィルタ
も、ポリエーテルサルホン、ポリエステル、PTFE、ポリプロピレン、PVDF又は場合により
セルロースから作製されていてもよい。コラーゲンを濾過するためには、2つの可能性が
ある。1つは、例えばおそらく10ミクロンの範囲のフィルタを必要とするであろうより大
きな粒子を最初に除去しようとして、細胞を通過させることである。第2の方法は、細胞
をトラップしてコラーゲンを通過させるためにコラーゲンを十分に消化することを意図し
て、4.5ミクロンなどのより小さなサイズのフィルタを使用することである。これには、
細胞をフィルタに浮かせて戻す手段が必要であろう。また、コラーゲン線維を引きよせて
保持するであろうフィルタを提供する可能性もあろう。
構成される。一つの実施態様において、第二のフィルタは、ポリエステルで構築すること
ができ、約30〜約50ミクロンの間の細孔径を有し、好ましい細孔径は、約40ミクロンであ
る。第二のフィルタについて言及するときに、このような装置の配置は、最初により大き
な細胞及び粒子の除去を容易にするために、2番目ではなく最初に位置していてもよい。
第三のフィルタは、使用されないか、若しくは残留コラゲナーゼ又は組成物に存在するそ
の他の組織脱凝集薬を除去するように構成される。好ましい実施態様において、コラゲナ
ーゼは、時間とともに変性し得る。一つの実施態様において、第三のフィルタは、1μm未
満の直径又は長さを有する複数の細孔を含む。ある実施態様において、細孔は、1μmより
小さい直径を有してもよい。その他の実施態様において、細孔は、10kD及び5ミクロンの
間の直径を有する。ある実施態様において、第三のフィルタは、本明細書で論議したよう
に、小量の生理食塩水又はその他の洗浄溶液中に再生細胞集団を濃縮するように構成して
もよい。目下のところ好ましいものは、最終フィルタのみが中空繊維単位である。あらゆ
るフィルタが、中空繊維型である必要はない。中空繊維単位は、コラゲナーゼを除去する
際に最も効率的で再生細胞に対する有害効果が最小限であるので、好ましい実施態様にお
いて、これが最終フィルタのために使用される。装置が既製品の寄せ集めである実施態様
において、3つのフィルタが別々の筐体内にある。中空繊維単位を第三のフィルタのため
に使用する場合、第一及び第二のフィルタ1つを筐体内で一体にすることも可能である。
最終フィルタが中空繊維構造ではない場合、3つ全てのフィルタを1つの筐体内に含めるこ
とができる。
チャンバ30とは別の構成部分として提供してもよい。加えて、フィルタアッセンブリ36の
フィルタは、複数の処理チャンバに、又はインライン様式で提供してもよい。ある実施態
様において、導管又は管は、処理チャンバ又はチャンバ群としても作用し得る。処理チャ
ンバは、これがフィルタを接続する導管の内部の大きさになるように、大きさを小さくす
ることができる。このタイプのシステムは、組織溶液の体積が適切な大きさにされている
場合、正確に機能するであろう。従って、導管は、液体を細胞と共に含めることにより、
該液体がフィルタを通って流れるにつれて、処理チャンバとして作用し得る。システムを
準備し、及び実行する過程で細胞/組織が不必要に失われないように、導管の体積を最小
にするように注意がはらわれる。
されていない組織脱凝集薬を含む再生細胞組成物を、第一のフィルタを通して、組成物か
らのコラーゲン粒子の少なくとも一部及び好ましくは実質的に全てを除去するように方向
づけてもよく、その結果、濾過した溶液中に存在するコラーゲン粒子はより少ないか、好
ましくは存在しない。次いで、脂肪細胞及び/又は消化されない組織脱凝集薬を含む濾過
された再生細胞組成物を、第二のフィルタを通して、濾過した再生細胞組成物からの遊離
の脂肪細胞の少なくとも一部及び好ましくは実質的に全てを除去するように方向づけても
よい。その後、消化されない組織脱凝集薬を含む2回濾過した再生細胞組成物を、本明細
書で論議した中空繊維濾過装置などの第三のフィルタを通して、再生細胞組成物から消化
されていない組織脱凝集薬を除去し、又は減少させるように方向づけてもよい。
過した後に残っている組成物)を複数の出口に向けてもよく、これには、複数の出口を含
む処理チャンバの一部を含み得る。これらの出口は、必要な圧力を維持し、並びに収集チ
ャンバ20、排出チャンバ50及び/又は廃棄物容器40を含み得るその他の容器への導管を介
した連絡を提供する役割を果たす。
ーを含む。すなわち言い換えると、フィルタは、フィルタ媒体と共に形成された一体の中
空管を含む。開示したシステム10で使用することができるフィルタ媒体の例には、ポリス
ルホン、ポリエーテルサルホン又は混合エステル材料などを含む。これらの中空繊維又は
フィルタ媒体の中空管は、フィルタアッセンブリ36の円柱形カートリッジ内に含まれてい
てもよい。フィルタ媒体の個々のチューブ又は線維は、典型的には約0.1mm〜約1mmの範囲
の内径を有し、好ましい値は、約0.5mmである。適切な円柱形カートリッジの直径及び長
さにより、カートリッジに置くことができるフィルタ媒体の個々のチューブの数を決定す
る。適切な中空繊維フィルターカートリッジの1つの例は、FiberFlo(登録商標)Tangent
ial Flow Filter、カタログ#M-C-050-K(Minntech社、Minneapolis、Minnesota)である
。フィルタ媒体の細孔径は、約10キロダルトン及び約5ミクロンの間の範囲であることが
でき、好ましい細孔径は、約0.5ミクロンである。
位置し、かつ第1の末端と第2の末端との間に延びている内腔とがいったいとなっている本
体を有する。それぞれの中空管の本体には、複数の細孔を含む。細孔は、図12Aに示した
ように、一般に本体において、再生細胞組成物が本体の内腔を通って流れることによって
濾過され、かつ生成物が本体の内腔を接線方向に通って濾過されるように配向される。言
い換えると、液体中の粒子が小さなほど、本体の内腔を通る液体の流れに相対的に細孔を
接線方向に通過する。新生細胞を伴う組成物は、組成物が濾過されるときに、それぞれの
中空管の内腔を通過する。好ましくは、組成物の流れは、それぞれの中空管の本体の細孔
に対して接線方向である。
と比較して増強されるであろう。例えば、いくつかの濾過技術によれば、フィルタ媒体の
細孔は、図12Bに図示したように、フィルタ媒体が、濾過される液体の経路を遮断するよ
うに、フィルタが液体の流れに対して垂直に配向されるように配置される。この種の濾過
では、再生細胞組成物から濾過される粒子、例えば幹細胞がフィルタの片側に蓄積して細
孔を通る液体の流れを遮断する傾向がある。この遮断がフィルタの効率を減少させ得る。
加えて、細胞は、液流の圧力、並びにフィルタの上流側に蓄積する細胞の重量によって常
に圧縮される。これが、幹細胞の溶解の増大を引き起こし得る。従って、液体の流れが、
フィルタの細孔の向きに平行であるような濾過技術では、大きな細胞及び小さな粒子の両
方が、液体が細孔を通過するにつれて、フィルタ媒体に望ましくない向きになり得る。従
って、細胞などの液体中の生成物が大きいほど細孔を遮断し、これにより濾過効果が減少
して、細胞破裂又は傷害の発生を増加させてしまうであろう。
れる。フィルタの本体の細孔を通過する能力を有する液体の一部は、本体の内側に対する
液体の陽圧、並びに本体の外側に対して適用される陰圧の手助けにより、そのようになる
。本実施態様において、細胞は、典型的には液流の圧力又はその他の細胞の重量を受けず
、従って、幹細胞に対するずり応力が減少される。従って、濾過の効率及び有効性は、塊
となる速度を減少させること、及び再生細胞溶解を減少させることによって増強すること
ができる。生理食塩水及び望まれないタンパク質分子のサイズのため、濾過の間にこれら
の分子及びその他の小さな成分は、中空管の本体の細孔を通って中空管の外側に通過し、
廃棄物容器40に向けられる。一つの実施態様において、濾過は、中空管フィルタ媒体の外
側に対して真空を発生することによって増強される。再生細胞、例えば幹細胞又は前駆細
胞のサイズのため、これらの細胞は、典型的には本体の細孔を通過することができず、従
って中空管フィルタの内部に(例えば、チューブの内腔内に)残り、フィルタと処理チャ
ンバとの間の導管を通って処理チャンバ30に、又は排出チャンバ50に向けて戻される。
およそ550cm2のフィルタ媒体の表面領域を含む。個々の媒体チューブは、典型的には約0.
5mmの直径を有する。130mlの再生細胞組成物の処理において、およそ120mlのさらなる生
理食塩水を組成物に添加してもよい。処理又は濾過時間は、およそ8分であってもよい。
中空繊維チューブの両側(例えば、本体の内腔内部及び本体の外側の圧力)の圧力の差を
膜の内外で生じる圧力とみなした。膜の内外で生じる圧力は、約1mmHg〜約500mmHgの範囲
であることができ、好ましい圧力は、約200mmHgである。中空繊維濾過を使用する平均凝
集細胞の回復及び生存度は、生細胞のおよそ80%であり得る。
しい。例えば、収集チャンバから処理チャンバへ移される再生細胞組成物におけるコラゲ
ナーゼの初濃度が0.078U/mlである場合、最終的な再生細胞組成物のコラゲナーゼ濃度は
、0.00078U/mlであろう。コラゲナーゼは、中空繊維フィルタ内に除去され、中空繊維フ
ィルタは、上記で論議した第三のフィルタに一致する。
。図1〜3に関して、処理チャンバ30とフィルタアッセンブリ36のフィルタリングチャンバ
ーとの間に、ポンプ34などのポンプを提供してもよい。加えて、通気口32及び圧力センサ
39などの通気口及び圧力センサを、処理チャンバ30及びフィルタアッセンブリ36と直列に
提供してもよい。また、排出チャンバ50のための取り付け具を提供してもよい。これらの
至適構成部分(例えば、ポンプ34、通気口32、圧力センサ39及び排出チャンバ50のための
取り付け具)は、処理チャンバ30及びフィルタアッセンブリ36との間に、処理チャンバ30
に含まれる液体がフィルタアッセンブリ36を通って流れる前に、これらの至適構成部分の
1つ以上に流れ得るように提供してもよい。例えば、液体は、それがフィルタアッセンブ
リ36へと通過する前に、ポンプ34を通って流れてもよい。又は、液体は、システムにおい
てプレフィルタ液圧を得るために、フィルタアッセンブリを通過する前に圧力センサ39を
通してもよい。ある状況では、これらの構成部分の1つ以上を、図6に図示したように、通
気口32などの処理チャンバ30の構成部品として提供してもよい。図示した実施態様におい
て、圧力センサ39は、ポンプ34によって生じる再生細胞組成物の圧力を、これがフィルタ
アッセンブリ36のフィルタリングチャンバーに入るときに決定するように並んでいる。こ
の構造により、フィルタ膜を挟んで膜の内外で生じる圧力のモニタリングを容易にするこ
とができる。組成物がフィルタアッセンブリ36を通って濾過されるときに、望まれないタ
ンパク質の除去を手助けするために、さらなる生理食塩水又はその他の緩衝液及び洗浄溶
液を再生細胞組成物に添加することができる。この繰り返しの洗浄を、再生細胞の純度を
増強するために複数回行うことができる。ある実施態様において、生理食塩水は、濾過を
増強するために必要であると考えられるいずれの工程で添加することもできる。
れないタンパク質及び生理食塩水又はその他の洗浄溶液は、以下の様式で除去される。再
生細胞、並びにコラーゲン及び結合組織粒子又は断片、脂肪細胞及びコラゲナーゼを伴う
組成物を、最小体積に到達するまで、一連のフィルタを通して循環させる。最小体積は、
システムの合計滞留量及びいくつかの予め定められた定数の関数である。滞留量は、処理
チャンバの全てが空である場合、管及び導管に含まれる液体の体積である。一つの実施態
様において、最小体積は、15mlである。最小体積に到達するときに、予め定められた体積
の洗浄溶液をシステムに導入して、再生細胞組成物と混合させる。次いで、この洗浄溶液
と再生細胞組成物との混合物を、最小体積が再び到達されるまで、フィルタを通して循環
させる。このサイクルを複数回繰り返して、組成物中の再生細胞の純度を増強すること、
言い換えると、組成物中のその他の材料に対する再生細胞の比を増大することができる。
図10及び11を参照されたい。
後(例示的実施態様において、約1×105〜約1×107細胞/mlの範囲内の最小濃度を使用す
ることができ、好ましい実施態様において、約1×107細胞/mlを使用することができる)
、具体的実施態様に応じて、排出バッグなどの排出チャンバ50を処理チャンバ30及び/又
はフィルタアッセンブリ36の排出口に接続してもよい。次いで、通気口32などの通気口を
開いて、濃縮された再生細胞の排出を容易にしてもよい。一つの態様において、最小濃度
に到達した時のこの決定は、経験的に実験を実行し、装置の電子制御部にプログラムされ
た後で行われる。決定では、何の工程を行うことが望まれるか、すなわちいくつの幹細胞
/前駆細胞が望まれるか、又は細胞濃度の範囲を、工程に入力することができる。科学的
データに基づいて、所望の結果を達成するために、所定の量の脂肪組織を得てシステム内
に入れることが必要である。通気口32を開放すると共に、ポンプ34などのポンプも濃縮し
た再生細胞を排出バッグに移すように機能し得る。一つの実施態様において、排出バッグ
50は、一端に取り付け具をもつチューブを有する空の血液バッグに類似する。無菌様式に
おいて、排出バッグに対する取り付け具を排出口に付着してもよく、濃縮した再生細胞を
排出バッグへ移してもよい。
圧力を変えるために提供してよい。例えば、収集チャンバ20の圧力の減少を生じさせるた
めに、真空ポンプ26を導管12bなどの導管を介して収集チャンバ20に結合してもよい。ま
た、真空ポンプ26は、導管12gなどの導管を経由して処理チャンバ30に結合してもよい。
ポンプ34との接続の際の真空ポンプ26の操作に関して、2つの別々の真空ポンプ又は供与
源を提供してもよく、又は処理の特定の時点でそれを必要とする種々の導管への真空牽引
を方向づける弁を使用することにより、単一のものを提供してもよい。加えて、真空ポン
プ26は、導管12fなどの導管を介して廃棄物容器40に結合してもよい。
再生細胞を含む液体の流れを方向づけることができる。この圧力は、例えば自動的に、又
は手動でシステム10の1つ以上の弁14の位置を制御することによって複数の方向に供給す
ることができる。システム10は、陽圧を使用して、若しくは陰圧、又はこれらの組み合わ
せの使用により、適切に機能させることができる。例えば、再生細胞は、上記の第一及び
第二のフィルタを介して第三のフィルタに接続された軟らかい面の容器に引くことができ
る。軟らかい面の容器は、第三のフィルタより前に一列に(連続的に)接続することがで
きる。最終的な排出チャンバは、第三のフィルタの向こう側(例えば、下流側)にある軟
らかい面の容器であってもよい。本実施態様において、圧力は、フィルタを介して1つの
軟らかい面の容器から第二の軟らかい面の容器に再生細胞を移動させるために使用される
。
透濾過及び沈降の組み合わせを使用して達成してもよい。例えば、このような生理食塩水
を使用するシステムでは、組織再生細胞組成物(例えば、幹細胞及び/又は脂肪由来前駆
細胞を含む組成物)を通し、次いでフィルタを通す。再生細胞組成物からの細胞の浸透濾
過に関連する変数のいくつかには、フィルタ媒体の細孔径、細孔の形態又は形状、フィル
タの表面領域、濾過される再生細胞組成物の流れ方向、注入される生理食塩水の流速、膜
の内外で生じる圧力、細胞集団の希釈、細胞サイズ及び生存度を含むが、これらに限定さ
れるわけではない。
るために、浸透濾過及び沈降を実行するフィルタアッセンブリ36を使用する。例えば、及
び限定するためにではないが、処理チャンバ30は、図6に示したように、側壁30a、上面30
b及び底面30cを有する一般に円柱形の本体として定義される。 無菌の通気口32は、上面
30bに提供される。
のフィルタ36bなどの2つのフィルタを含むフィルタアッセンブリ36を含むものとして図示
してある。フィルタ36a及び36bの細孔径は、典型的には約0.05ミクロン〜約10ミクロンの
間の範囲である。大きな細孔のフィルタ36aには、約5μmの直径をもつ細孔を含んでいて
もよく、小さな細孔のフィルタ36bには、約1〜3μmの直径をもつ細孔を含んでいてもよい
。一つの実施態様において、フィルタは、約785mm2の表面領域を有する。フィルタ36a及
び36bは、処理チャンバ30の内部を第1のチャンバ37a、第2のチャンバ37b、及び第3のチャ
ンバ37cを含むように分割する。図6に示したように、第1のチャンバ37aは、第2のチャン
バ37bと第3のチャンバ37cとの間に位置する。加えて、第1のチャンバ37aは、入口31及び
出口31bを有する処理チャンバ30の領域であるとして示してある。図示した処理チャンバ3
0には、ポート31a、31b及び31cなどの、処理チャンバ30の外側から処理チャンバ30の内部
への連絡経路を提供する複数のポートを含む。ポート31a、31b及び31cは、処理チャンバ3
0の本体の側壁30aに配置されたものとして図示してある。しかし、ポート31a、31b及び31
cは、その他の領域にも同様に位置することができる。ポート31は、導管に結合されて、
その結果再生細胞を含む組成物が処理チャンバ30の内部に通過することができるように構
築された試料入口として図示してある。ポート3lbを導管に結合させ、その結果、分離さ
れ及び濃縮された細胞を処理チャンバ30の内部から除去し得るように構築された排出口と
して図示してある。ポート31cは、生理食塩水などの新鮮な洗浄溶液の処理チャンバ30の
内部への送達のための導管に結合されるように構築された入口として図示してある。
塩水又はその他の緩衝液は、入口31cを経て底部チャンバ37b内に導入される。生理食塩水
は、約10ml/分の速度でチャンバ37a内の再生細胞組成物を通るように向けてもよい。生理
食塩水の流速は、それが重力に反作用するようにする。生理食塩水の流れは、チャンバ内
の細胞を細胞の密度に基づいて分離する能力を与える。典型的には、生理食塩水により組
成物を強制的に通すほど、組成物中のより大きな細胞が中心チャンバ37aの底面に沈着し
て、より小さな細胞及びタンパク質は、第二のフィルタ36bを通って上部チャンバ37c内に
運び去られる。この濾過は、より大きな細胞がその場所で回転して、より小さな粒子を遊
離させて生理食塩水と共に運び去ることができるように生理食塩水の流速を調整すること
によって達成される。無菌通気口32はチャンバ30に含まれ、正確な気圧勾配が処理ユニッ
ト内の3つのチャンバ内に維持されることを確実にする。上部チャンバ37cには、吸収媒体
33を含めることができる。吸収媒体の目的は、溶液中の望まれないタンパク質を捕捉して
、例えば生理食塩水流速が減少している場合に、これらがフィルタ媒体を越えて処理液の
中に戻らないことを確実することである。吸収媒体は、吸収剤である濾過剤のタイプ又は
外へ濾過するための誘因材料若しくは成分であることができる。廃棄物を引き出すのを補
助するために、流出ポートを上部フィルタの上に付加することができる。この別の実施態
様は、廃棄物を引き抜くのを補助するために、上部から穏やかな真空を適用してもよい。
吸収媒体は、例示した実施態様と同様に、流速が比較的小さなときに実装することができ
る。過剰な生理食塩水及びタンパク質はその後、廃棄物容器に運び去られる。
びタンパク質から十分に分離されたときに、分離された細胞を含む組成物を本明細書にお
いて論議したように濃縮してもよい。組成物が3lb排出口を通ってチャンバ37aから除去さ
れた後で、又はこれがチャンバ37aにある間に、これを更に濃縮してもよい。一つの実施
態様において、組成物中の細胞の濃度は、以下の様式で増大される。細胞が十分に分離さ
れた後、フィルタ36a及び36bなどのフィルタを互いに移動してもよい。この動作は、2つ
のフィルタ間の体積(例えば、チャンバー37aの体積)を減少させる効果を有する。また
、振動部材を処理チャンバ30と接続して提供し組成物中の細胞の濃縮を容易にしてもよい
。一つの実施態様において、振動部材は、フィルタ36b(例えば、小さな細孔フィルタ)
に連結してもよい。振動により、フィルタ内にトラップされる細胞の発生頻度を減少させ
ることができる。組成物の体積の減少により、過剰な生理食塩水を廃棄物として除去して
、細胞をより少ない体積に濃縮することができる。
離された後、再生細胞組成物を、過剰の生理食塩水を濾過するために重力を使用する別の
チャンバー(図示せず)に移すことができる。好ましい実施態様において、沈降は、浸透
と同時に行うことができる。この沈降は、約10kDから約2ミクロンにわたる細孔径を有す
るフィルタ上部に組成物を導入することによって達成してもよい。一つの実施態様におい
て、適切なフィルタは、約1ミクロンの細孔径を有する。重力により、生理食塩水及びよ
り小さな粒子は、フィルタを通過することができるが、組成物中の細胞がフィルタを通っ
て流れるのを防止することができる。望まれる細胞の濃度が得られた後、及び濾過された
より小さな粒子がフィルタの下に除去された後、再生細胞組成物を撹拌してフィルタから
細胞を除去し、濃縮された再生細胞を排出バッグに移してもよい。より小さな粒子は、出
口を通って廃棄物として引き抜くことができる。
移して、ここで組成物を遠心分離して再生細胞を分離及び濃縮することができる。遠心分
離の原理は、当該技術分野において周知であり、簡潔さのために本明細書では繰り返さな
い。標準的な当該技術分野で認識される遠心分離装置、構成部分及びパラメーターが本明
細書において利用される。遠心機装置の一部として使用するための例示的な処理チャンバ
を図7及び8に示してある。典型的には、遠心機装置は、遠心チャンバー(図7に示したも
のなど)を軸周辺で回転させ、これにより溶液中の細胞に対する力を重力よりも大きく増
加させる。溶液中のより高密度又はより重い材料が、典型的には遠心チャンバ、すなわち
図7の排出チャンバ50の一端に沈降して、再生細胞ペレットを形成する。次いで、ペレッ
トを再懸濁して、所望の濃度の細胞及び/又は所望の体積の細胞及び培地で溶液を得ても
よい。図7に示した処理チャンバは、遠心分離及び重力を使用して細胞を分離し、濃縮す
るように構築されている。具体的には、遠心分離の間に、遠心力が、再生細胞組成物のよ
り高密度成分、例えば再生細胞を遠心チャンバの最も外側の末端に向ける。遠心チャンバ
が減速して最終的に止まると、再生細胞が遠心チャンバに残って、細胞ペレットの最も外
側の末端に形成するのを重力が補助する。従って、再生細胞組成物の望まれない成分、す
なわち廃棄物は、細胞ペレットを邪魔することなく除去することができる。
胞濃縮器を備えてもよい。遠心分離過程の更なる実施態様において、遠心分離エラトリエ
ーションを適用してもよい。本実施態様において、細胞は、遠心分離によって適用される
方向の(例えば外側の)力が異なる割合で細胞及び溶質を沈降させるように、個々の細胞
沈降速度に基づいて分離してもよい。エラトリエーションでは、標的細胞集団の沈降速度
は、遠心力と反対方向に溶液をポンピングすることによって適用される反対の(例えば、
内側の)流れに対向する。対向流は、溶液内の細胞及び粒子が分離されるように調整され
る。エラトリエーションは、細胞分離の多くの例に適用されており(Inoue, Carsten ら
の文献,1981; Hayner, Braun らの文献, 1984; Nogaの文献 1999)、流れ及び遠心分離パ
ラメーターを最適化するために使用される原理及び実務は、本明細書における本開示を考
慮して当業者が適用することができる。
エーション実施態様は、力が回転ロータを使用して溶液に適用される程度まで、遠心分離
実施と同様であることができる。現在の実施態様のエラトリエーション分離と関連した変
数のいくつかには、回転するチャンバのサイズ及び形状、ロータの直径、ロータの速度、
向流管の直径、向流の流速、並びに溶液から除去される粒子及び細胞のサイズと密度を含
むが、これらに限定されるわけではない。遠心分離と同様に、再生細胞は、個々の細胞密
度に基づいて分離することができる。
びコラゲナーゼを含む溶液を回転するロータのチャンバに導入する。溶液をチャンバに添
加した後、更なる生理食塩水を予め定められた流速にてチャンバに添加する。生理食塩水
の流速は、ロータの速度、細胞直径及び経験的に確立されたチャンバ定数の関数として、
事前に決定することができる。流速は、例えばIVポンプと同様の装置で制御される。更な
る生理食塩水の目的は、図9.2に図示したように、より大きな粒子がチャンバの一方へ移
動し、より小さな粒子が他方へ移動するロータ内条件を提供することである。流れは、こ
の用途において、図9.3に示すように、より小さな粒子がチャンバを出て、廃棄物容器に
移動するように調整される。この移動により、ロータ内に幹細胞などの実質的に相同の細
胞集団を有する溶液が生じる。幹細胞が(チャンバから除去された望まれないタンパク質
及び遊離脂質を伴う)溶液中の残りのものから分離から分離されたことが決定された後、
向流を止める。次いで、チャンバ内部の細胞は、チャンバの外側の壁上に濃縮されたペレ
ットを形成する。向流を逆転させて、細胞ペレットを排出バッグに移す。
ポート、例えばポート51又は52を含んでいてもよい。これらのポートの1つ以上は、上記
の方法又はその一部の任意の組み合わせを使用して得られた再生細胞を、導管を経てその
他の外科的装置、細胞培養装置、細胞マリネード装置、遺伝子療法装置又は精製装置に移
すようにデザインしてもよい。また、これらのポートは、再生細胞を、導管を経て、シス
テム内の、若しくは上記と同じ目的のための別のシステムの一部としての更なるチャンバ
又は容器に移すようにデザインしてもよい。また、ポート及び導管は、1つ以上の添加物
、例えば成長因子、再懸濁液、細胞培養試薬、細胞膨張試薬、細胞保存試薬又は遺伝子を
細胞に導入する薬剤を含む細胞修飾試薬を添加するために使用してもよい。また、ポート
及び導管を使用して、再生細胞を移植材料(例えば、足場又は骨断片)などのその他の標
的、並びにその他の外科用移植材料及び装置に移してもよい。
テムの処理デバイスを再プログラムすること、既存のシステムのために異なる、又は更な
る容器及び/又はチャンバを提供することにより、細胞を1つ以上の更なるシステム又は
装置に移すことにより、及び/又はその任意の組み合わせで、細胞の更なる処理を開始し
てもよい。例えば、システムは、システムを使用して得られた再生細胞が以下の1つ以上
:(1つ以上の再生細胞型の)細胞増殖及び細胞維持(細胞シートをすすぐこと、及び培
地を交換することを含む);継代培養すること;細胞を播種すること;一過性トランスフ
ェクション(大量の供給源からトランスフェクト細胞を播種することを含む);収集する
こと(酵素的、非酵素的に収集すること、及び機械で擦過することによって収集すること
を含む);細胞生存度を測定すること;細胞プレーティング(例えば、マイクロタイター
プレート上で、増殖のために細胞を個々のウェルから拾い上げること、新鮮なウェル内で
の細胞の増殖を含む);高スループットスクリーニング;細胞療法適用;遺伝子療法適用
;組織操作適用;治療的タンパク質適用;ウイルスワクチン適用;バンキング若しくはス
クリーニング、細胞増殖、溶解、接種、感染若しくは誘導の測定のための再生細胞又は上
清の収集;株化細胞の産生(ハイブリドーマ細胞を含む);透過性研究のための細胞の培
養;RNAi及びウイルス耐性研究のための細胞;ノックアウト及びトランスジェニック動物
試験のための細胞;親和性精製研究;構造生物学適用;アッセイ法開発及びタンパク質操
作適用;を受け得るように、上記手段のいずれかによって変更することができる。
に増殖させるが、その他の集団は維持される(及びこれにより、培養する選択された細胞
での希釈によって減少する)か、又は必要とされる増殖条件ではないために失われる培養
条件を使用するアプローチを使用することができる。Sekiyaらは、この点に関して、骨髄
由来幹細胞のために使用され得る条件を記述している(Sekiya らの文献, 2002)。この
アプローチ(組織培養プラスチックに対する差動的粘着の有無にかかわらず)は、本発明
の更なる実施態様に適用することができる。本実施態様において、最終的な再生細胞ペレ
ットは、排出チャンバから除去されて、細胞培養成分を提供する第2のシステムに置かれ
る。これは、Tsaoらの米国特許第6,001,642号によって、又はArmstrongらの米国特許第6,
238,908号によって記述されたものなどの従来の研究室組織培養インキュベーター又はBio
reactorスタイルの装置の形態であることができる。代わりの実施態様において、細胞増
殖又は細胞培養成分を、既存のシステムに、例えば排出チャンバに添加して、短時間での
粘着及び/又は脂肪由来細胞集団の細胞培養をすることができる。この別の実施態様では
、細胞培養及び/又は細胞増殖成分をシステムに統合して、このシステムから細胞を除去
し、別のシステム内に配置する必要を無くすことができるであろう。
容器に添加しても、又は提供してもよい。また、これらの添加物は、既存のシステムと関
連する別のシステムの一部として、又は既存のシステムとは別々に提供してもよい。例え
ば、ある実施態様において、添加物は、システムから再生細胞を除去する必要なく、添加
され、又は提供される。その他の実施態様において、添加物は、システムの使っていない
ポート内に添加物を含む新たな容器若しくはチャンバを無菌様式で接続することによって
添加され、又は提供される。更にその他の実施態様において、添加物は、本発明のシステ
ムに接続していない第2のシステム又は装置において添加され、又は提供される。添加物
のいくつかの例には、本明細書に記述したような、洗浄及び脱凝集を最適化する薬剤、処
理の間に活性な細胞集団の生存度を増強する添加物、抗菌薬(例えば、抗生物質)、脂肪
細胞及び/若しくは赤血球を溶解する添加物又は関心対象の細胞集団を濃縮する(固相部
分に対する差動的粘着又はさもなければ細胞集団の実質的減少又は濃縮を促進することに
よる)添加物を含む。
駆細胞に存在する抗原を認識して、結合する細胞特異的抗体の使用など、特定の再生細胞
タイプを分離及び濃縮するための任意の適切な方法を使用してもよい。これらには、ポジ
ティブ選択(標的細胞を選択する)、ネガティブ選択(望まれない細胞の選択的除去)の
両方又はその組み合わせを含む。また、酵素などの細胞内マーカーを、特異的な酵素が作
用したときに蛍光を発する分子を使用する選択に使用してもよい。加えて、最終細胞ペレ
ット内の再生細胞の特定の集団の差動的粘着及び/又は溶離を可能にするように選択され
た接着性をもつ固相材料をシステムの排出チャンバに挿入することができる。
差動的に発現される表面分子を認識する抗体の使用及び/又は抗体の組み合わせを含むで
あろう。特異的細胞表面マーカー(又はその組み合わせ)の発現に基づいた選択は、別の
一般に適用される技術であり、この技術では、抗体が固相支持体構造に(直接又は間接的
に)付着される(Geiselhart らの文献, 1996;Formanek らの文献, 1998;Graepler ら
の文献, 1998;Kobari らの文献, 2001;Mohr らの文献, 2001)。
成される液状材料の上(又は下)に層状にし、細胞密度に基づいた細胞集団の分離のため
に遠心機に配置することができるであろう。同様の実施態様において、アフェレーシス(
Smithの文献、1997)及びエラトリエーション(反流の有無にかかわらず)(Lasch らの
文献 2000)などの連続的な流れのアプローチ(Ito 及び Shinomiyaの文献, 2001)を使
用してもよい。
物質、免疫抑制因子、医療用具又は任意のその組み合わせなどの更なる生物学的成分又は
構造成分を含んでいてもよい。例えば、その他の細胞(例えば、心臓球)、組織(例えば
、心臓組織)、組織断片、VEGFなどの成長因子及びその他の公知の血管形成又は動脈形成
成長因子、生物学的に活性又は不活性な化合物(例えば、カルディオジェノール(cardio
genol)C)、再吸収可能な足場又は再生細胞集団の送達、有効性、耐容性若しくは機能を
増強することが意図されるその他の添加物を添加してもよい。
グナリングタンパク質、例えばRXRファミリーのタンパク質及びgpl3O及び/又は成長因子
、例えばIGF-1をコードする)の挿入によって、又は構造又は治療目的の誘導のために再
生細胞の機能を変化し、増強し、又は補充するような方法で細胞培養システムに配置する
ことによって(本明細書に記述したか、又は従来技術において公知のように)修飾しても
よい。例えば、遺伝子工学を使用して、患者に再注入する前に心筋細胞又は心筋細胞様細
胞に分化する再生細胞のペーシング速度をカスタマイズし、確実に最適な拍動速度にする
ことができるであろう。
0)に開示されたように、当業者に公知であり、(Waither 及び Steinらの文献, 2000)
及び(Athanasopoulos らの文献, 2000)に開示されたように、ウイルストランスフェク
ション技術、より具体的にはアデノ随伴ウイルス遺伝子移入技術を含み得る。また、(Mu
ramatsu らの文献, 1998)に開示されたように、非ウイルスに基づいた技術を行ってもよ
い。1つ以上の細胞分化因子、例えば成長因子又はサイトカインをコードする遺伝子を添
加することができる。種々の細胞分化薬の例が、(Gimble らの文献, 1995;Lennon らの
文献, 1995;Majumdar らの文献, 1998;Caplan 及び Goldbergらの文献(1999);Ohgus
hi 及び Caplanらの文献(1999);Pittenger らの文献, 1999;Caplan 及び Bruderらの
文献(2001);Fukudaの文献, 2001;Worster らの文献, 2001;Zukらの文献 2001)に開
示されている。また、抗アポトーシス性若しくは抗壊死性の因子又は薬剤をコードする遺
伝子を添加することができる。遺伝子(又は遺伝子の組み合わせ)の添加は、当該技術分
野において公知のいずれの技術によるものであり得、アデノウイルスの形質導入、「遺伝
子銃」リポソームを媒介した形質導入及びレトロウイルス又はレンチウイルスを媒介した
形質導入、プラスミド、アデノ随伴ウイルス含むが、これらに限定されない。次いで、形
質導入をインサイチューで続けるか、開始することができる。これらの再生細胞を時間と
共に細胞に遺伝子を放出すること、及び/又は提示することができる遺伝子送達媒体を有
するキャリア物質と共に移植することができるであろう。
れるときは、1つ以上の免疫抑制因子を、細胞を受ける患者及び/又は組織に投与し、移
植の拒絶反応を減少させ、及び好ましくは妨げてよい。本明細書に使用される「免疫抑制
剤又は免疫抑制薬」という用語は、正常な免疫機能を阻害するか、又は妨げる医薬品を含
むことが意図される。本明細書に開示した方法に適した免疫抑制因子の例は、米国特許出
願公開第20020182211号に開示されたようなCTLA4及びB7経路を介してT細胞及びB細胞のカ
ップリングを妨げる薬剤などのT細胞/B細胞同時刺激経路を阻害する薬剤を含む。好まし
い免疫抑制因子は、シクロスポリンAである。その他の例には、モフェチルミオフェニル
酸、ラパマイシン及び抗胸腺細胞グロブリンを含む。一つの実施態様において、免疫抑制
剤は、少なくとも1つのその他の治療薬と共に投与される。免疫抑制剤は、投与経路に適
合し得る製剤で投与され、かつ所望の治療効果を達成するために十分な用量で被験体に投
与される。別の実施態様において、免疫抑制剤は、本発明の再生細胞に対する寛容を誘導
するのに十分な時間、一過性に投与される。
び関連する方法を含むいずれの当業者に認識される様式によって添加物と接触しても、組
み合わせても、混合しても、又は添加してもよい。例えば、振盪、反転、パルスによる圧
縮又は移動ローラを使用してもよい。
覆又は他の材料及びMacroPore Biosurgery社によって製造されたものなどの関連した構成
部分によって囲むことができる(例えば、米国特許第6,269,716号;第5,919,234号;第6,
673, 362号;第6,635, 064号;第6,653,146号;第6,391,059号;第6,343,531号;第6,280
,473を参照されたい)。
年9月14日に出願米国仮特許出願第60/322,070号の利益を主張する同一出願人による2002
年9月12日に出願された非造血組織由来非胚細胞の保存(PRESERVATION OF NON EMBRYONIC
CELLS FROM NON HEMATOPOIETIC TISSUES)の題名の米国特許出願番号第10/242,094号(こ
れらの内容は、その全体が引用により本明細書に明白に組み込まれる)に記載されている
ように凍結保存してもよい。
肉内又は患者内の標的部位に細胞を送達することができる他の技術のいずれかによってレ
シピエント内に配置のために注射器などの送達装置に充填してもよい。言い換えると、細
胞を、当業者に公知のいずれの手段によって患者に配置してもよい。好ましい実施態様に
は、針若しくはカテーテルによるか、又は直接的な外科的移植による配置を含む。他の実
施態様において、細胞は、容器、注射器又はカテーテルなどの形態であってもよい排出チ
ャンバに自動的に輸送されてもよく、これを患者に細胞を配置するために使用してもよい
。また、後で細胞を使用するために、又は凍結保存のために貯臓するための容器を使用し
てもよい。全ての回収方法が無菌様式で行われる。外科的移植の実施態様において、細胞
は、本明細書に記述したように、予備成形したマトリックス又は足場などの付加物と共に
適用することができる。
、自動化されている。別の実施態様において、システムは、自動化され、かつ手動の構成
部分を有する。システムは、再使用可能なハードウエア構成部分若しくはモジュールに接
続され、又は取り付けられた1つ以上の使い捨ての構成部分を備えてもよい。本発明の自
動化されたシステムは、適当なシステムの操作を促す画面表示を提供する(図16を参照さ
れたい)。また、自動化されたシステムでは、システムの使い捨て構成部分の適当な設置
に関する手順の状態及び/又は段階的説明を提供するスクリーンを提供してもよい。また
、スクリーンは、これらが適切な場合に「トラブルシューティング」ガイダンスを生じ、
及び提供する場合に、システムの問題又は故障を示してもよい。一つの実施態様において
、スクリーンは、使用者が、例えばタッチスクリーンを介してシステムにパラメーターを
入力することができるユーザインタフェース画面である。
ッサ又はパーソナルコンピュータ)及び使用者の入力に基づいて処理の1つ以上の工程を
操作するための、及び自動化するためのシステムに対する制御ロジックを提供する付随す
るソフトウエアプログラムを含んでいてもよい。ある実施態様において、システムの1つ
以上の態様により、処理デバイスに常駐するソフトウェアを介して使用者がプログラム可
能であってもよい。処理デバイスは、読み出し専用メモリ(ROM)に1つ以上の予めプログ
ラムされたソフトウエアプログラムを有してもよい。例えば、処理デバイスは、血液の処
理用に合わせて予めプログラムされたソフトウェア、少量の再生細胞を得るために脂肪組
織を処理するための別のプログラム及びより大量の再生細胞を得るために脂肪組織を処理
するための別のプログラムを有してもよい。また、処理デバイスは、必要とされる再生細
胞の量、処理される組織のタイプ、必要とされる後処理操作のタイプ、治療的適用のタイ
プその他などの関連した情報の使用者による入力に基づいて処理を最適化するための適切
なパラメーターを使用者に提供する予めプログラムされたソフトウェアを有してもよい。
経路に沿って液体及び組織の進入及び放出を制御する工程;適当な起動の順序及び/又は
方向を制御する工程;圧力センサで妨害物を検出する工程;体積測定機構を使用して特定
の経路に沿って移動する組織及び/又は液体の量を測定する機構をミキシングする工程;
熱管理装置を使用して種々の構成部分の温度を維持する工程;並びに分離濃縮処理をタイ
ミング機構及びソフトウェア機構に組み込む工程などの工程;を自動化させてもよい。ま
た、処理装置は、処理される組織タイプ及び/又は収集される細胞集団若しくは亜集団並
びに実行される手順(例えば、再生細胞と共に増大された脂肪組織を使用する組織増強又
は再生細胞で覆われた移植骨を使用する骨修復適用のための細胞の処理)のタイプに基づ
いて遠心速度を制御することができる。また、処理デバイスは、他のコンピュータ又はネ
ットワークと通信する標準的なパラレルポート若しくはシリアルポート又は他の手段を含
んでいてもよい。従って、処理デバイスは、スタンドアロン装置であることができ、又は
本明細書に記述した更に処理方法のための1つ以上の更なる装置と連動させることができ
る。
織体積及び細胞数パラメーター、適用される酵素の用量、インキュベーション時間、オペ
レーターの同一性、日時、患者の同一性などを含む「実行データ」を自動的に収集させて
もよい。装置の好ましい実施態様において、これらの変数のデータ入力を可能にするため
に、処理のドキュメンテーションの一部として、処理デバイスにバーコード読み取りシス
テムなどの特徴認識システムが組み込まれるであろうこと(例えば、使い捨てセットのロ
ットナンバー及び有効期限、コラゲナーゼのロットナンバー及び有効期限、患者/試料識
別子など)。これにより、データ入力の誤りの機会が減少されるであろう。このようなバ
ーコード読み取りシステムは、USB又は当該技術分野において公知の他のインタフェース
ポート及びシステムを使用して処理デバイスに容易に組み込むことができる。このように
して、装置により、データ入力及び処理のドキュメンテーションの制御の統合が提供され
るであろう。これらのパラメーターのプリントアウトレポートは、使用者が定義したプロ
グラムされたシステムの操作のパラメーターの一部であるだろう。当然、これには、プリ
ンタ構成部分(ハードウェア及びドライバ)又はソフトウェア内のプリンタドライバ、更
に装置のハードウエア内のプリンタのためのインターフェイス出力コネクタ(例えば、US
Bポート)の組み込みが必要であろう。
用者は、最初に処理される組織の量を選択し、患者にシステムを取り付けてもよく、シス
テムが自動的に必要とされる組織を吸引して、更に使用者が入力することなく中断されず
に順番に再生細胞を分離して濃縮してもよい。また、使用者が必要とされる再生細胞の量
を入力して、システムが組織の必要な量を吸引して組織を処理させてもよい。また、完全
に自動化されたシステムは、多数(例えば、2つ以上)の使用者入力パラメーター、例え
ば洗浄サイクルの数、遠心分離の速度などに基づいて変更することができるシステムを含
む。また、システムは、使用者が介入することなくシステムが一定の工程を経る間、半自
動モードで実行することができるが、特定のプロセスが生じ得る前に使用者の介入が必要
である。他の実施態様において、システムは、使用者が所定時間にて所定の操作を行うよ
うに案内するための指示を示す単一の統合システムである。例えば、処理デバイスは、シ
ステムの管、チャンバ及びその他の構成部分の適切な挿入のために必要な工程を介して、
使用者を促してもよい。従って、使用者は、確実に適当な順序の操作を行うことができる
。加えて、このようなシステムは、その処理において、工程の不注意による起動又は終了
を防止するために、使用者によるそれぞれの操作工程の確認が必要であり得る。更なる実
施態様において、システムは、管、チャンバの正確な挿入、妨害物の非存在などを確認す
るための自動化された試験を開始してもよい。更なる実施態様において、本発明のシステ
ムは、システムを通る組織の流れの自動化された制御を介して複数の分離及び濃縮過程を
行うようにプログラムすることができる。この機能は、患者に対する外科手術の間に、例
えばこの機能がなければ失われるであろう組織がシステム内に収集される場合、及び組織
からの再生細胞を分離し、濃縮し、患者に戻す場合に重要であろう。
できるように、使い捨てにしてもよい(本明細書において、「使い捨てセット(類)と称
する)。これを実施することにより、患者の組織と接触することとなる任意の表面を、使
用後に適切に処分されることを確実にするのを補助することができる。例示的な使い捨て
セットを図13に図示してある。好ましい実施態様において、システムの使い捨て構成部分
は、使いやすく、かつ搭載しやすく、及び多くの管連絡及び複雑な管連絡の中継の必要を
なくした、使うのに便利な「既製品」にするために、事前に滅菌して包装されている。こ
のような使い捨て構成部分は、製造が比較的廉価で、従ってこれらの処分により実質的な
費用が生じない。一つの実施態様において、使い捨てシステム(「使い捨てセット(類)
」として本明細書に同義的に呼ばれる)には、収集チャンバ20、処理チャンバ30、廃物チ
ャンバ40、排出チャンバ50、フィルタアッセンブリ36、試料バッグ60及び付随する導管12
又は管を含み、本質的にこれらからなり、又はこれらからなる。システムの使い捨てセッ
トの好ましい実施態様において、収集チャンバ20及び処理チャンバ30は、強固なフレーム
内に収納された導管12を経由して接続される。また、処理チャンバ30の回転封鎖ネットワ
ーク(図7及び8)は、同じリジットフレームに収容してもよい。別の好ましい実施態様に
おいて、使い捨てセットの種々のチャンバ及び容器は、ポンプ、弁、センサ及びシステム
を自動化するその他の装置が、使用者が操作しなくても必要に応じて適切に起動又は停止
されるように、システムの処理デバイスと連絡することができる必要なインターフェイス
を含む。また、インターフェイスは、システムをセットアップするために必要な時間及び
専門知識を減少させ、更に適切にシステムをセットアップする方法を示すこと、及び誤っ
た設置の場合には使用者に警戒することによって誤りが減少される。
ば、システムの種々の適用には、使い捨てセットの一部であってもよい更なる構成部分が
必要であろうことを認識するであろう。従って、使い捨てセットは、患者から脂肪又はそ
の他の組織を得て、再生細胞を患者に戻すために適した1つ以上の針又は注射器を更に含
んでいてもよい。含まれる針及び注射器のタイプ、数及び取り合わせは、処理される組織
のタイプ及び量に依存するであろう。使い捨てセットには、システムに使用される洗浄液
及びその他の処理試薬を保持するための一つ以上の強固な、又は柔軟な容器を更に含んで
いてもよい。例えば、使い捨てセットは、生理食塩水、酵素及び手順のために必要とされ
る任意のその他の処理液又は交替液を保持するための容器を含んでいてもよい。加えて、
適切な洗浄液、債権濁液、添加物、薬剤又は移植材料は、本発明のシステム及び方法と組
み合わせて使用するための使い捨てセットと共に提供されてもよい。
めに必要とされるその他の全ての組み合わせが、キットの形態で提供されてよい。例えば
、本発明のキットは、例えば注射器に基づいた脂肪吸引のための最適な長さ及びゲージの
針、並びに少量の組織を処理することができる好ましいフィルタ媒体を含む無菌の注射器
を含んでいてもよい。本発明に使用してもよく、及びまた本発明のキットに含めてもよい
その他の例示的な設備及び供給品は、表II及びIIIに一覧を記載してある。
ンプの制御を起動する多彩なセンサ、遠心モーター、遠心モーターの回転フレーム、ユー
ザインタフェース画面及びUSBポート、連動若しくはドッキング装置又は使い捨てセット
を再使用可能なハードウェアコンポーネント及びその他の関連する装置に安全に取り付け
、及び連結するように使い捨てセットを接続するための構成から本質的になるか、又は害
構成からなる。例示的な再使用可能部材を図14に図示してある。他の好ましい実施態様に
おいて、再使用可能部材には、再生細胞組成物から再生細胞を分離し及び濃縮するための
手段、例えば回転遠心機を含む。この実施態様において、図15Aに示したような、使い捨
てセットの処理チャンバ(遠心チャンバーを含む)の一部と接続され、及び連結される再
使用可能部材がデザインされる。再使用可能部材において再生細胞を分離し、及び濃縮す
るための手段は、回転遠心機に限定されず、回転膜フィルタを含む本明細書に記述したそ
の他のいかなる構成を含んでいてもよいことが理解される。また、再使用可能部材は、い
くつかの異なる組織処理手順を実施し、システムの種々のポンプ及び従って弁を選択的に
起動するように予めプログラムされたソフトウェアを含む、本明細書に記述した処理デバ
イスを収納してもよい。また、プロセッサには、ドナー/患者情報、処理又は収集情報、
ダウンロード又はコンパイルするための他のデータを格納するためのデータ貯蔵能を含ん
でいてもよい。再使用可能部材には、種々の使い捨てセットを使用してもよい。使い捨て
セットは、例えば、再使用可能部材に存在する処理デバイスを制御すること、すなわち使
い捨てセットの種々の構成部分、並びに使い捨てセットの種々の構成部分とその他の付随
する装置及びシステムへ、及びそれらから信号を送り、かつ受け取ることができる様式で
再使用可能なハードウェアコンポーネントに安全に取り付け、並びに連結するように使い
捨てセットを接続するための連動装置又は構成を介して再使用可能部材に接続される。
織を収容することができる収集チャンバ20;収集チャンバ20において洗浄し、及び消化さ
れた約800mLの組織によって生じた再生細胞組成物を処理することができる処理チャンバ3
0;少なくとも0.5mLの再生細胞を収容することができる排出チャンバ50;及び約10Lの廃
棄物を収容することができる廃棄物容器40;を含む。この実施態様において、ハードウエ
ア装置は、24"L X 1 8"W X 36"H(約61cm(長さ)×約46cm(奥行)×約91cm(高さ) )よりも大
きくない。別の寸法の使い捨てセット並びにハードウエア装置の種々の構成部分を必要に
応じて構築してもよく、かつ限定されることなく本発明によって包含されることが意図さ
れる。
使用可能部材と共に構築された使い捨てセットの図を図15Aに図示してある。システムは
、好ましくはそれが不適当に搭載された使い捨て構成部分を検出することができるように
デザインされる。例えば、それぞれの使い捨てセットの構成部分は、システムの適切な場
所に管、チャンバなどを適切に整列させ、及び挿入するために色で誘導されたマークを有
していてもよい。更なる実施態様において、本明細書に開示したシステムは、携帯ユニッ
トである。例えば、携帯ユニットは、脂肪組織が収集行われた位置から脂肪組織収穫のた
めの別の位置に有する移動することができるであろう。ある実施態様において、携帯ユニ
ットは、患者のベッドサイドのそばで脂肪組織を収集し、処理するために適している。従
って、携帯ユニットは、患者間を移動することができるシステムの一部であってもよい。
従って、携帯ユニットは、適所にてロックし、従って手順の全体にわたって便利な位置で
、安定かつ安全な位置で容易に置くこと、並びに使用することができる車輪上にあっても
よい。他の実施態様において、携帯ユニットは、卓上などの平坦な表面に設置し、及び操
作するためにデザインされる。また、携帯ユニットは、筐体ユニットに封入してもよい。
携帯ユニットは、手順を手助けするために、ハンガー、かぎ、ラベル、スケール及びその
他の装置を更に含んでいてもよい。遠心機、処理装置、ディスプレイスクリーンなどの本
明細書に記述したシステムの再使用可能部材の全ては、システムの携帯ユニットに載置し
てもよい。
また、再生細胞を得るための代わりの手動実施態様も本発明の範囲内である。例えば、
一つの実施態様において、脂肪組織は、本明細書に記述されたシステムの構成部分、設備
及び/又は供給物のいずれの組み合わせを使用してもよい。
る以下の工程及び情報に従って実施してもよい。最初に、脂肪組織を患者から収集する。
組織回収ライン又はサンプリング部位カプラを開いて、6OOml血液バッグのサイドポート
にスパイクを挿入する。およそ1Omlの脂肪組織をとがっていないカニューレを介して1OmI
注射器に収集する。とがっていないカニューレを比較的鋭い針(14G)と交換する。サン
プリング部位をヨウ素ワイプで拭く。脂肪組織を、サンプリング部位を介して600mlのバ
ッグに注入する。次いで、注射器及び針を鋭利物チャンバに廃棄する。十分な組織をバッ
グ内におくために、これらの工程を繰り返す。十分な組織は、患者及び適用の臨床特性に
基づいて、個別的基準で決定される。
表面の上に掛ける。青い止血クランプを600m1バッグとスパイクとの間の管に配置する。
管を封止するためにクランプを閉じる。600mlバッグに対してスパイクを使用して、生理
食塩水バッグを入れる(この状況では、600mlのバッグに対して針を使用して、ゴム中隔
を介して生理食塩水バッグを入れ、針の挿入前にヨウ素で中隔を拭く)。青いクランプを
放し、およそ150m1の生理食塩水を600m1バッグに入れる。所望の量の生理食塩水が600m1
バッグに入ったときに、青いクランプを閉じる。600m1バッグをおよそ15秒にわたって10
〜15回反転させる。第2の青いクランプを3Lの廃物バッグからスパイクに導く管に適用す
る。3Lのバッグに対するスパイクを使用して600m1バッグに入れる。600m1バッグを作業表
面上で反転させて懸下し、およそ1分間置く。3Lのバッグに導く青いクランプを放す。廃
液を3Lのバッグに流す。組織が管に入る前に、青いクランプを適用して流れを止める。60
0m1バッグを作業表面まで降ろす。これらの工程を更に2回繰り返す。生理食塩水廃棄物が
なおも顕著に赤く見える場合、第3の更なるサイクルを指示する。ヒートシーラーを使用
して、3Lの廃物バッグと600m1バッグとの間で管を封止する。シールは、管のおおよそ中
間点でなされる。3Lの廃物バッグを除去し、廃棄する。600mlのバッグを作業表面に戻す
。
ンプを放して、およそ150m1の生理食塩水を600mlのバッグに入れる。600mlのバッグのサ
ンプリング部位をヨウ素ワイプで拭く。サンプリング部位を介して、コラゲナーゼを600m
lのバッグに注射する。コラゲナーゼを、37℃の水浴又はマイクロ波以外の同等物中でコ
ラゲナーゼのバイアルを解凍することによって調製する。22Gの針をもつ1mlの注射器をバ
イアルに挿入する。コラゲナーゼを針内に引き抜く。針を取り出し、0.2μmフィルタ及び
第2の22Gの針と交換する。次いで、コラゲナーゼを0.2μmフィルタ及び針を介して注射器
から排出する。脂肪組織の消化は、0.1〜0.2 Wunsch単位/mlの最終コラゲナーゼ濃度にて
行う。加温パッドをロッカーの上に置く。この間に、なおも付着したままで、生理食塩水
バッグをロッカーの側にセットする。動いているときに、生理食塩水バッグに導く管がロ
ッカーに引っかからないような方法で確実に配置されるように注意を払う。加温パッドコ
ントローラを37℃にセットする。600m1バッグをロッカー上に置く。ロッカーを最大にセ
ットする。バッグを観察して、確実にこれを安定にして、かつおよそ1時間(55±10分)
揺動させる。
適用して、廃物バッグに至る前に管を閉じる。無菌接続装置を使用して、四分バッグセッ
ト(以下の説明に従って事前に準備した)を事前に廃物バッグに取り付けた管に取り付け
る。四分パックは、2つの連結された四分パックとして見ることができる。これを2つのパ
ックに分割する管を確認して、管をそれ自体の上に折り畳んで戻し、折り畳まれた管の上
に(管の両方の小片の上に)金属ループをすべり込ませる。ループを約0.5インチ(約1.27
センチメートル)すべらせる。屈曲部で形成された圧着が、管を封止するように作用する
。ループを部分的に圧着するために、止血鉗子を使用して閉じる。ループは、処理の間に
取り外す必要があるので、ループをあまりきつく圧着させない。600m1バッグを作業表面
上で反転させて懸下し、およそ3分間置く。四分セットに導く管の上の青いクランプを放
して、四分セット内に細胞分画(黄色/オレンジ脂肪層の下の層)を排出させる。脂肪層
が管に入るのを防止するように注意を払う。この過程では、脂肪層が管に近くなるにつれ
て、手動で圧着して管の流れを遅らせることができる。次いで、四分バッグセットに導く
管を青いクランプで閉じて、600mlのバッグを作業表面に戻し、生理食塩水バッグを懸下
する。生理食塩水と600m1バッグとの間の管の青いクランプを放して、およそ150m1の生理
食塩水を600mlのバッグに入れる。600m1バッグをおよそ15秒にわたって約10〜15回反転さ
せる。次いで、600m1バッグを作業表面上で反転させて懸下し、約3〜5分間置く。四分セ
ットに導く管の青いクランプを放して、細胞分画(黄色/オレンジ脂肪層の下の層)を四
分セットに排出させる。脂肪層が管に入るのを防止するように注意を払う。例えば、脂肪
層が管に近くなるにつれて、手動で圧着して管の流れを遅らせることができる。四分バッ
グセットに導く管を青いクランプで閉じる。次いで、四分セットから600mlのバッグに導
く管を熱封止する。次いで、600m1バッグを取り出し、廃棄する。
して管を封止する。四分セットをバランス上に置く。水を第2の「ダミー」四分セットに
加えて、四分セットのバランスをとる。四分セット及びバランスをとったセットを遠心機
の向かい合うバケットに置く。中空フィルタについては、細胞を洗浄し、バッグ内に置き
、管をバッグと上記の中空繊維フィルタアッセンブリとの間で封止する。ペリスタル型ポ
ンプを使用して、液体を、フィルタアッセンブリを通して流し、細胞濃縮物を下流側端部
のバッグに収集する。四分セットバッグが確実に圧縮されず、直立するように注意を払う
。遠心を400×gにて10分間作動させる。四分セットを遠心機から取り出し、バッグの最上
部の硬い管がちょうどバックプレートの最上位にあるような方法で、血漿搾り器に置くよ
うに注意を払う。バッグが高すぎる場合、非常に多くの生理食塩水が保持され、低すぎる
場合、管は、フロントプレートが閉じる能力を妨げて、更に非常に多くの生理食塩水が保
持される。青いクランプを満杯の四分セットから空のものに導く各々のラインに適用する
。金属ループ及び青いクランプを取り除いて、上清を空の四分セットに流れさせる。でき
る限り多くの生理食塩水を搾り取るが、細胞ペレットを除去しないように注意を払う。上
清を含む各々のバッグ内に流れる管を熱封止する。上清を含む廃物バッグを除去する。青
いクランプを、細胞を含む各々の四分セットバッグに導く管に適用する。バッグを血漿搾
り器から取り出す。無菌接続装置を使用して、四分パックに導く管を生理食塩水バッグに
接続する。四分セットバッグの1つに導く青いクランプを除去して、およそ15Omlの生理食
塩水をバッグ内に流入させ、次いでクランプを再び適用して生理食塩水の流れを止める。
次いで、満杯の四分セットバッグをおよそ15秒間にわたって約10〜15回反転させる。次い
で、空の四分セットバッグに導く青いクランプを除去して、満杯のバッグの全ての内容物
を空のバッグに排出させる。金属ループクランプを再び適用して、2つの四分セットバッ
グ間で管を封止する。次いで、管を熱封止して、塩水バッグを取り出す。次いで、満杯の
四分セットバッグをおよそ15秒間にわたって約10〜15回反転させる。別のダミー四分セッ
トをバランス上に置き、細胞四分セットに対して再びバランスをとる。次いで、四分セッ
トバッグ(満杯のもの、空のもの)を、四分セットバッグが圧縮されず、直立するように
遠心機に入れる。
ッグの最上部の硬い管がちょうどバックプレートの最上位にあるような方法で、血漿搾り
器に慎重に置く。バッグが高すぎる場合、非常に多くの生理食塩水が保持され、低すぎる
場合、管は、フロントプレートが閉じる能力を妨げて、更に非常に多くの生理食塩水が保
持される。金属ループを取り除いて、再生細胞ペレットを除去しないように注意しながら
、満杯のバッグから空のバッグに全ての上清を搾り取る。バッグ間の管を封止して、満杯
の(廃棄物)バッグを取り出して廃棄する。次いで、新たなサンプリング部位カプラを残
りのバッグに挿入する。次いで、細胞ペレットの細胞を残りの生理食塩水(もしあれば)
に再懸濁して、再生細胞を得る。再懸濁は、バッグの穏やかな操作(例えば、圧搾し、及
びこすること)によって行うことができる。
入するために適した組織、例えば脂肪組織から再生細胞を分離し、濃縮するための自動化
されたシステム及び方法を図示する。図4に示したシステムのある実施態様において、シ
ステムは、患者から所与の量の組織を吸引するための自動化された工程を更に含む。図4
に示したシステムは、図15Aに示したシステムの自動化された実施態様に達するために、
図14に示したシステムの再使用可能部材に接続された図13に示した使い捨てセットを備え
る。使い捨てセットは、例えば再使用可能部材に存在する処理デバイスを制御すること、
すなわち使い捨てセットの種々の構成部分、並びに使い捨てセットの種々の構成部分と他
の付随する装置及びシステムへ、及び信号を送り、かつ受け取ることができる様式で、再
使用可能なハードウェアコンポーネントに安全に取り付け、及び連結するように使い捨て
セットを接続するための連動若しくはドッキング装置又は構成を介して再使用可能部材に
接続される。
して、特定のパラメーター、例えば収集される組織の体積を入力し、患者にシステムを取
り付け、システムは、予めプログラムした及び/又は使用者の入力パラメーターを使用し
て、中断されずに順番に図4に示した工程の全てを自動的に行う。このような順番を図15B
に図示してある。或いは、組織は、使用者が手動で患者から吸引してもよく、処理(すな
わち、再生細胞の分離濃縮)のためのシステムに移してもよい。
ら取り除き、収集チャンバ20に導入してもよい。図4の収集チャンバの詳細な図解を図5に
示してある。図5に図示したように、収集チャンバ20は、標準的なカニューレを使用する
組織除去を容易にする真空ライン11を備えていてもよい。使用者は、この時点で収集チャ
ンバ20に向けられた組織の見積もられる体積を入力してもよい。組織は、組織、生理食塩
水及び他の薬剤が無菌様式で組織に添加することができる密閉された液体経路の一部であ
る入口21を介して収集チャンバ20に導入される。システムの光学センサ、例えばセンサ29
は、組織の使用者入力体積が収集チャンバ20に存在する時を検出することができる。ある
実施態様において、使用者入力よりも少ない組織が収集チャンバに存在する場合、使用者
は、収集チャンバ20に存在する体積の組織の処理を開始するための選択肢を有する。ある
実施態様において、患者から除去した組織の一部を、ユーザインタフェースを利用した使
用者の入力を経て起動され得るポンプ、例えばペリスタル型ポンプを使用することにより
導管を経て試料チャンバ60に向ける。
び脱凝集するために必要とされる工程を起動する。例えば、処理デバイスは、自動化され
た弁及びポンプを使用して収集された組織の体積に基づいてプリセットした体積の洗浄剤
を導入してもよい。このサイクルは、光学センサが、廃水液体が十分に透明で、かつ望ま
れない材料がないことを測定するまで、収集チャンバにおいて繰り返してもよい。例えば
、12b又は12dの収集チャンバの導管の導出に沿った光学センサ29により、望まれない材料
が除去されたことを検出することができ、処理デバイスに必要とされる弁を閉じて次の工
程を開始する信号を送ることができる。
した量を導入してもよい。また、処理デバイスは、収集される組織の初期体積に基づいて
、又は使用者の入力に基づいて、予め設定した期間、収集チャンバ内の組織の撹拌を起動
してもよい。図4に図示した実施例において、一旦脱凝集薬、例えばコラゲナーゼが、コ
ラゲナーゼ供与源24を介して収集チャンバ20に添加されると、収集チャンバ20内のモータ
ーが処理デバイスを介して起動する。モーターは、マグネチックスターラ及びパドル様の
装置を含む回転可能シャフト25を起動し、この場合、1つ以上のパドル25aは、収集チャン
バ28の前に置かれたフィルタのフィルタケージ27にしっかりと取り付けられている。パド
ルを脱凝集薬の存在下において撹拌し、その結果、再生細胞が組織から離れる。
まで上昇させる。一旦予め設定した期間が経過したら、必要な弁及びポンプを処理デバイ
スによって起動して、非浮揚部分を廃物チャンバ40へと除去する。12b又は12dの収集チャ
ンバの導管の導出に沿った光学センサ29まで続く廃物チャンバ40への移動により、溶液の
浮揚画分が廃物チャンバ30へ移動されたことについて決定することができる。12b又は12d
の収集チャンバの導管の導出に沿った光学センサ29は、望まれない材料が除去されたこと
を検出することができ、処理デバイスに必要とされる弁を閉じ信号を送ることができる。
。これは、必要な弁及びペリスタル型ポンプを用いることにより達成する。ある実施態様
において、処理チャンバ30への再生細胞組成物の移動の前に、生理食塩水の更なる量を収
集チャンバ20に残っている溶液の浮揚画分に添加してもよい。別の洗浄サイクルを繰り返
してもよい。このサイクル後に、溶液を静置させて、非浮揚画分(これは、再生細胞を含
む)を理チャンバ30に移して、浮揚画分を廃物チャンバ40に排出する。更なる洗浄サイク
ルを使用して、全ての分離された再生細胞の処理チャンバ30への移動を最適化する。
りの前に、組成物を1回以上の更なる洗浄工程に供してもよい。これにより、収集チャン
バ20からの廃棄物及び残留する混入物を確実に除去する。同様に、濃縮工程後に、再生細
胞組成物を残留する混入物を除去するための更なる1回以上の洗浄工程に供してもよい。
望まれない材料は、同じ様式で、すなわち上記の通りに処理デバイスからのシグナルを介
して弁及びポンプを制御して、処理チャンバから廃物チャンバ40に除去してもよい。
た処理チャンバ30は、遠心チャンバの形態である。図4の処理チャンバの詳細な図解を図7
及び8に示してある。このような処理チャンバ30は、一般に回転シールネットワーク30.1
、外部ハウジング30.2、1つ以上のシール30.3、1つ以上の軸受30.4及び処理チャンバをシ
ステムの再使用可能部材に存在する遠心装置に接続するための付加物30.6;フレーム53に
収納された排出チャンバ50の形態である、回転シールから外へ延びてそれぞれの末端の遠
心チャンバにて終わる導管の形態の1つ以上の流体経路30.5で構成され、該フレームは、1
つ以上のポート52及び手動で排出チャンバ50の位置を変えるための1つ以上のハンドルを
含む。
ことができるように含まれる。加えて、処理チャンバの液体経路は、いつでも無菌様式で
(例えば、薬剤又は洗浄溶液を添加するために)アクセスすることができ、これは処理チ
ャンバの遠心チャンバが回転している間でさえも可能である。
プシール30.3及び外部ハウジング30.2を含む回転シャフトを含む。本実施態様において、
軸受30.4は、本明細書においてレースと呼ばれる外側及び内側の軸(図示せず)を更に含
む。これらのレースは、精度接地球(precision ground spheres)によって分離してもよ
い。軸受を含むレース及び球は、好ましくは体液との接触のために適した材料で製造され
ているか、又は体液との接触のために適した被覆材料である。好ましい実施態様において
、例えばレース及び球は、窒化シリコーン又はジルコニアを使用して製造されている。更
にまた、本実施態様において、3つのリップシールは、環状の「U」形のチャンネル(図示
せず)並びに環状のばね(図示せず)を備える。環状の「U」形のチャンネルは、好まし
くは回転シールネットワーク30.1の回転シャフトとの結合に耐える接合部,が形成される
ように、軟質な材料を使用して製造されている。加えて、リップシールは、好ましくは、
処理チャンバを通って流れる再生細胞組成物からの圧力が、シールアセンブリを張力の増
加によって回転シャフトとのその接合部を締めるような様式で配向される。シールは、回
転シールネットワーク30.1の外部筐体30.2の溝にはめるために、必要に応じて拡大し、及
び/又はつぶすことができる1つ以上の環状のクリップ(図示せず)によって適所に留め
てもよい。回転シールネットワーク30.1、又はその近くで発生する熱を制御して、通過に
よって移動する溶液中の細胞の溶解を防止しなければならない。これは、例えば回転シャ
フトを構築するために硬い材料を選択すること、シールと接触する回転シャフトの範囲を
研摩すること、及び回転シャフトとシールとの間の接触を最小にすることによって達成し
てもよい。
気ガスケットを備える(図示せず)。このシール及びガスケットは、システムの無菌を損
ない得る任意の生物学的物質に対して蛇行状経路を提供する。別の実施態様において、回
転シールネットワーク30.1は、個々の流体経路を単離する複数のばねで負荷されたシール
30.3を備える。シール30.3は、滅菌すること、並びに潤滑剤を伴わずに回転シャフトを封
止することができる材料で製作される。別の実施態様において、回転シールネットワーク
30.1は、一対のセラミック盤が損なわれており、これにより、異なる液体経路を生じ、か
つシステムの回転に耐えることができ、かつ細胞溶解を生じさせない(図示せず)。別の
実施態様において、液体経路は、柔軟であり、処理チャンバに関して巻き付かせること、
及び巻き付かせないことができる。これは、処理チャンバ30の2回転毎に1回転で回る柔軟
な流体経路を有することによって達成される。これにより、回転シールを回転させる必要
が全くなくなる。
収集チャンバ20からポンピングされ、次いで最低2つの液体経路30.5に分かれ、そのそれ
ぞれが処理チャンバ30の中心軸から外側へ放射状に広がり、処理チャンバ30の外端部の近
くで、すなわち排出チャンバ50を収納する遠心チャンバ内で終わる(図7及び8)。従って
、好ましい実施態様において、処理チャンバ30は、図7及び8に示したように、2つ以上の
排出チャンバ50を備える。これらの排出チャンバ50は、これらが処理30.7の間にある向き
にあり、濃縮された再生細胞30.8の回収のために別の向きであるように配置される。例え
ば、排出変更には、処理の間にある角度で傾けて、細胞回収のために別の角度で傾ける。
細胞回収角度は、処理角度よりも垂直である。排出チャンバ50の2つの位置は、処理チャ
ンバ30から突出するハンドル53を介して手動で操作してもよい。再生細胞は、これらが注
射器を使用して回収配向30.8にあるときに、排出チャンバ50から手動で回収することがで
きる。別の実施態様において、流体経路30.5は、これが処理チャンバの外側で分かれ、次
いで処理チャンバ30、すなわち排出チャンバ50(図示せず)を収納する遠心チャンバ内の
外端部に接続されるように構築される。本実施態様において、大量の再生細胞組成物及び
/又は添加物、溶液などを、直接遠心チャンバ及び/又は排出チャンバに運搬してもよい
。
上の弁14を提供してもよい。好ましい実施態様において、弁14は、電気機械的弁である。
加えて、圧力センサ29などのセンサを処理チャンバ30と収集チャンバ20との同一線上に提
供してもよい。弁、ポンプする及びセンサは、システムの濃縮工程を自動化するために、
再使用可能部材に存在する処理デバイスと足並みを揃えて作動する(図14)。
イスとの連絡を介して遠心装置を起動する。次いで、再生細胞組成物は、最初に収集され
た組織の量及び/又は使用者の入力を基づいて事前にプログラムされた時間、事前にプロ
グラムされた負荷に供される。ある実施態様において、この工程は、自動的に、又は使用
者の入力により繰り返してもよい。例えば、組成物は、およそ400回の重力の負荷におよ
そ5分間供される。排出チャンバ50は、チャンバの外側の両極端が高密度粒子及び細胞の
ための小さな貯蔵所を形成するように構築される。排出チャンバ50は、細胞ペレットと称
される高密度粒子を保持し、その一方で、より軽い上清を流体経路、例えば回転シールネ
ットワーク30.1の回転軸に沿って、処理チャンバ30の中央の低い位置から回転シールネッ
トワーク30.1を通って廃棄物容器40に移動する流体経路を介して除去することができる。
弁14及びポンプ34は、排出チャンバ50に存在する細胞ペレットを妨害することのなく、廃
棄物容器へ上清を除去するための工程を起動する信号を処理デバイスに送る。
胞を含む。一部の実施態様において、上清を除去して廃物チャンバ40に向けた後に、流体
経路30.5を使用して、更なる溶液及び/又は他の添加物と共に遠心分離後に形成される細
胞ペレットを再懸濁してもよい。この方法での細胞ペレットの再懸濁は、望まれないタン
パク質及び化学物質を除去するための再生細胞の更なる洗浄、並びに細胞への酸素の流れ
を増大するために行うことができる。生じる懸濁液は、更なるおよそ400回の重力の負荷
に、更におよそ5分間供してもよい。第2の細胞ペレットが形成された後、生じる上清を廃
物チャンバ40に除去して、上記の様式で最終洗浄液を生理食塩水又はいくつかのその他の
適切な緩衝液で行ってもよい。この繰り返しの洗浄を複数回行って、再生細胞溶液の純度
を増強することができる。ある実施態様において、生理食塩水は、処理を増強するために
必要であると考えられるいずれの工程にて添加することもできる。図4に示したシステム
を使用して得られた再生細胞の濃度は、収集される組織の量、患者の年齢、患者のプロフ
ィールなどに応じて変化し得る。例示的収率を表1に提供してある。
に適切な向きに配置された後に、適切な注射器を使用して無菌的様式で回収してもよい。
その他の実施態様において、最終ペレットは、排出チャンバ50内の容器に自動的に移動し
てもよく、これは必要に応じて除去され、及び貯蔵され、又は使用されるであろう。この
容器は、いずれの適切な形態又はサイズのものであってもよい。例えば、容器は、注射器
であってもよい。ある実施態様において、排出容器50自体が熱封止されていても(自動的
に、又は手動で)、並びに患者への再注入を含む本明細書に記述したような治療的適用に
おける再生細胞のその後の収集及び使用のための処理チャンバのその他の構成部分から単
離してもよい。また、細胞は、排出チャンバからの収集の前に、又は第2のシステム又は
装置に移動後に、本明細書に記述したような更なる処理に供してもよい。図14に示した再
使用可能部材は、必要に応じて更なる処理のための1つ以上の更なるシステム又は装置に
これを接続することができるように構築される。
生細胞は、実施例に記載したようなこれらの特性に基づいて、心血管疾患及び障害の治療
のために使用することができる。従って、本発明の一実施態様において、脂肪組織由来細
胞をドナーの脂肪組織から抽出して、本明細書において証明されたメカニズムの1つ以上
を介して、障害を受け、若しくは変性した心筋又はその他の心血管組織に対する治療的利
益を引き出すために使用される。好ましい実施態様において、細胞は、脂肪組織が移植さ
れる人の脂肪組織から抽出され、これにより移植に対する抗原性及び/又は免疫原性の反
応と関連した潜在的合併症が減少する。患者は、典型的には医師又はその他の臨床医療提
供者によって行われる以下の1つ以上の手順:患者の健康歴、理学検査及びEKG、血清心臓
酵素プロフィール及び心エコー検査を含むが、これらに限定されるわけではない客観的デ
ータによって、心筋障害又は疾患を評価するために評価される。
少させるようにデザインされたいずれかの製品を受け取る前に行われる。しかし、一定の
実施態様において、患者は、収集手順の前にアスピリン及び/又はその他の抗血小板物質
(すなわち、クロピドグレル)を受け取っていてもよい。加えて、一つの好ましい方法に
は、いずれかの血管再生手順が試みられる前の脂肪組織の収集を含む。しかし、当業者に
よって理解されるように、収集のタイミングは、変わることが予想され、とりわけ患者の
安定性、患者の凝固プロフィール、提供者の利用能及び質看護標準(quality care st及
びard)を含むいくつか要因に依存するであろう。最後に、収集のタイミングは、影響を
受けた患者に対して看護を施す役割を担う開業医によって決定されるであろう。
おいて約3000ccまでで変更することができる。除去される脂肪の体積は、患者間で変化し
、以下の:年齢、体体質、凝固プロフィール、血行力学的な安定性、梗塞の重症度、同時
罹患率及び医師の選択を含むが、これらに限定されるわけではない多くの要因に依存する
であろう。
の例には、とりわけ急性心筋梗塞症(心臓麻痺)、鬱血性心不全(療法として、又は移植
に対するブリッジとしてのいずれか)、非虚血性心筋症(すなわち中毒性又は感染性)、
及び冠状動脈バイパス移植片外科手術の補充を含むが、これらに限定されるわけではない
。細胞は前もって抜き取っても、凍結保存された様式で貯蔵されてもよく、又はこれらは
、所定の必要な時間にて、又は必要な時間の近くにて、抜き取ってもよい。本明細書に開
示したように、細胞は、更に細胞を精製し、修飾し、刺激し、若しくはその他の変化のた
めの更なる処理又は更なる後処理を伴わずに、患者に投与しても、又は障害を受けた組織
に、若しくは障害を受けた組織の付近に直接適用してもよい。例えば、患者から得られた
細胞は、患者にこれらを投与する前に細胞を培養せずに、その必要のある患者に投与して
もよい。一つの実施態様において、脂肪組織の収集は、患者のベッドサイドにて行われる
。患者の臨床状態をモニターするために、血行力学的モニタリングを使用してもよい。
後に患者に送達することができる。例えば、細胞を、脂肪由来再生細胞の組成物を得るた
めの脂肪組織の処理の直後に投与してもよい。一つの実施態様において、好ましい送達の
タイミングは、心臓傷害後に存在する神経ホルモン性及び炎症性環境を利用するために、
梗塞のおよそ数時間〜数日後に行うべきである。最終的に、送達のタイミングは、患者の
利用能及び脂肪組織の処理に必要とされる時間に依存するであろう。別の実施態様におい
て、本明細書に論議したように、患者に再注入される細胞が、更なる修飾、精製、刺激又
はその他の操作に対する被験体に供される場合、送達のためのタイミングは、比較的長く
てもよい。更に、脂肪由来細胞は、梗塞後に複数回投与されてもよい。例えば、細胞は、
長期間(例えば、数時間)にわたって連続的に投与してもよく、又は長期間にわたって複
数の大量瞬時注射で投与してもよい。ある実施態様において、細胞の最初の投与は、梗塞
後6時間などの約12時間以内に投与されるであろうし、細胞の複数回用量では、12時間の
間隔で投与されるであろう。
タイプに関連があるであろう。細胞の総数の一部を後で使用するために保持しても、又は
凍結保存してもよい。加えて、送達される用量は、患者に対する細胞の送達経路に依存す
る。心外膜又は心内膜の送達システムが使用されるときは、これらのシステム及び方法は
、心血管状態を治療するための最も直接的な経路を提供することができので、必要とされ
る細胞はより少数であろう。本発明の一つの実施態様において、患者に送達される多数の
細胞、例えば精製されていない細胞は、約5.5×104細胞であることが予想される。しかし
、この数は、所望の治療効果を達成するためにオーダー単位で調整することができる。
添加物と共に適用してもよい。例えば、一つの実施態様において、及び本明細書に記述し
たように、細胞は、抗体を媒介したポジティブ及び/又はネガティブ細胞選択を使用する
ことによって更に精製して該細胞集団を濃縮し、有効性を増大させ、罹患率を減少させ、
又は手順の容易化を促進してもよい、同様に、細胞は、移植された細胞の運命を支持及び
/又は指向させることによってインビボでの組織操作を促進する生体適合性マトリックス
と共に適用してもよい。同様に、細胞は、該細胞によって提供される治療反応を促進する
ことが考えられるか又は意図される遺伝子産物を発現するように遺伝子操作後に投与して
もよい。操作の例は、血管形成又は血管形成を促進する因子(例えば、VEGF)の発現、特
異的な細胞系列への分化を促進する発生遺伝子(例えば、MyoD)の発現、又は細胞成長及
び増殖を刺激するもの(例えば、bFGF-1)を制御する(増減させる)ための操作を含む。
心室パッチ、心膜、血管及びその他の構造が操作された組織を、レシピエントへの挿入又
は移植の前にADCを使用して天然若しくは合成のマトリックス又は足場上で合成すること
ができるであろう(Eschenhagen らの文献, 2002;Zimmermann らの文献, 2004;Zimmerm
ann らの文献, 2002;Nerem及びEnsleyらの文献, 2004)。
。これは、心臓の外面(心外膜)を介した心筋内へ直接注射、適切なカニューレの挿入を
介した内面(心内膜)を介した心筋への直接注射によって、動脈若しくは静脈注入(逆行
性の流れのメカニズムを含む)によって、又は心臓周囲注射などの本明細書に開示された
か、若しくは従来技術において公知の他の手段によって達成してもよい。当該技術分野の
当業者に公知の投与経路には、静脈内、冠内、心内膜心筋、心外膜心筋、心室内、逆行性
冠静脈洞又は静脈内を含むが、これに限定されるわけではない。
か、又は心筋若しくはチャンバへの直接注射による全身投与を含むいくつかの経路によっ
て適用してもよい。全身投与、特に末梢の静脈のアクセスによるものは、心臓の天然の灌
流及び脂肪組織由来細胞が損傷の部位に戻る能力に依拠して、浸潤が最小限であるという
利点を有する。細胞は、一回の大量瞬時投与で、緩徐な注入を介して、若しくは数時間ま
で離して交互に一連の適用によって注射してもよく、又は提供された細胞は、適切に数日
若しくは数週貯蔵される。また、細胞は、心臓を通る細胞の初回通過が増強されるように
、カテーテル法を使用することによって適用してもよく;適用は、バルーンを使用して心
筋血流を管理することによって更に改善されるであろう。末梢静脈のアクセスと同様に、
細胞は、一回の大量瞬時投与で、又は複数回のより少量の一定分量で、カテーテルを介し
て注射してもよい。また、細胞は、心外膜注射によって心筋に直接適用してもよい。これ
は、心臓切開法(冠状動脈バイパス手術など)又は補助人工心臓の設置の状況における直
接可視化の下で使用することができるであろう。あまり観血的ではない直接適用手段が可
能にさせるであろう心内膜様式で、針を備えたカテーテルを使用して、心筋に直接細胞を
送達してよい。
テーテル又は肺動脈カテーテルを介した静脈内送達を含む。他の実施態様において、細胞
は、現在承認された方法を介してアクセスされる冠内経路を介して送達してもよい。細胞
の流れは、患者の脈管構造に配置された遠位及び近位のバルーン連続膨張/収縮によって
制御されていてもよく、これにより細胞移植又は細胞治療作用を促進する一時的な流れの
ない帯域が生じる。別の実施態様において、細胞は、意図される標的組織を画像化又は検
出する能力に加えて、適合性カテーテルの使用を必要とし得る心内膜(心室の内部表面)
法を介して送達してもよい。或いは、細胞は、心外膜(心臓の外面)法を介して送達して
もよい。この送達は、心臓切開手順時の直接の可視化を介して、又は特化された細胞送達
装置を必要とする胸腔鏡検査アプローチを介して達成してもよい。更にまた、細胞は、単
独で、又は上記で確認したアプローチの1つ以上と組み合わせて、以下の経路:皮下、筋
肉内、舌下、逆行性冠灌流、冠状動脈バイパス機構、体外膜型肺(ECMO)機器を介して、
及び心臓周囲窓を経由して送達することができる。
される。別の実施態様において、細胞は、患者に投与する前に、人工若しくは天然の媒体
又は組織足場に再懸濁してもよい。
患者に投与される細胞用量は、収集される脂肪組織の量及びドナーの肥満度指数(利用
できる脂肪組織の量の測定値として)に依存的である。また、収集される組織の量は、心
筋の傷害又は退化の程度によって決定される。複数回の組織収集を使用するか、又は適用
の間に適切に細胞を貯蔵する一回の収集を使用する、複数回の治療は、本発明の範囲内で
ある。
間未満)のために、細胞を、栄養液の補充の有無にかかわらず密封容器中で室温以下にて
貯蔵してもよい。中期貯蔵(48時間未満)は、好ましくは2〜8℃にて等浸透圧の緩衝溶液
(例えば、プラズマライト(Plasmalyte)(登録商標))中で、細胞接着を防げる材料で
構成されたか、又は被覆された容器中で行われる。より長期間の貯蔵は、好ましくは同一
出願人により譲渡された2002年9月13日に出願のPCT出願番号PCT/USO2/29207及び2001年9
月14日に出願の米国仮出願第60/322,070号(その両方の内容は、引用により本明細書に組
み込まれる)に開示されたものなどの適切な凍結保存及び細胞機能の保持を促進する条件
下での細胞の貯蔵によって行われる。
体として作用し得る。例えば、心血管障害又は疾患と関連する症候を軽減させるために適
した1つ以上の成長因子を発現するように細胞を操作することにより、細胞を患者に投与
して、成長因子の1つ以上を放出するように操作することができる。放出は、制御された
様式で長期間提供することができる。例えば、放出は、成長因子の局部的上昇及び/又は
該成長因子の量で組織の受傷領域の近くで局部的退縮があるように、成長因子がパルス化
されるか、又は周期的な様式で放出されるように制御することができる。
の回復を補助するだけでなく、障害を受けた組織の修復も促進する。
細胞送達は、以下の場所:診療所、臨床オフィス、救急治療部、病棟、集中治療室、手
術室、カテーテルセット及び放射線学的セットで行ってもよいが、限定されるわけではな
い。
加、心不全の割合の減少、梗塞サイズの減少、収縮力(dP/dT)の増加、心室剛性(-dP/
dTの増大)の減少、関連する罹患率(肺水腫、腎不全、不整脈、標的血管血管再生)の減
少、運動耐容性又はその他の生活の質の改善及び死亡率の低下の測定の1つによって証明
されるであろうが、限定されるわけではない。細胞療法の効果は、措置後の数日〜数週間
の期間にわたって明らかであり得る。しかし、有益効果は、措置後の数時間という早い時
期に観察されてもよく、数年間持続し得る。
手順には:凝固研究、酸素飽和度、血行力学的モニタリング及び心臓リズムモニタリング
を含み、限定されるわけではない。細胞の送達後、患者は、有害事象についておよそ24時
間の期間のモニタリングが必要であろう。本手順による機能の改善を評価するための追跡
調査には、:患者の機能的能力(例えば、労作性呼吸困難、発作性の夜間の呼吸困難、口
峡炎)、心エコー検査、核灌流研究、磁気共鳴映像法、ポジトロン放出断層撮影法及び冠
動脈造影法を含んでいてもよく、限定されるわけではない。
細胞集団は、患者に直接投与される。言い換えると、活性細胞集団(例えば、幹細胞及び
/又は内皮前駆細胞)は、患者に投与される前にシステムから除去されることなく、又は
システムの外部環境に曝露されることなく患者に投与される。閉鎖システムを提供するこ
とにより、患者に投与される材料の混入の可能性が減少される。従って、閉鎖システムに
おける脂肪組織の処理は、活性細胞集団が無菌である可能性がより高いので、既存の方法
を上回る利点を提供する。このような実施態様において、幹細胞及び/又は内皮前駆細胞
が外部環境に曝露されるか、又はシステムから除去される唯一の時は、細胞が処理装置内
に引き抜かれる時、及び患者に投与される時である。一つの実施態様において、処理装置
は、また、閉鎖システムの一部であることができる。従って、これらの実施態様に使用さ
れる細胞は、培養又は凍結保存のために処理されることがなく、更なる処理を伴わずに患
者に投与してもよく、又は他の組織又は細胞と混合した後に患者に投与してもよい。
蔵する。集団は、幹細胞及び/又は内皮前駆細胞の集団の一部を後で適用するために保持
するが、一方で一部を患者に直ちに適用するように、複数の一定分量又は単位に分けても
よい。また、同一出願人による、2001年9月14日に出願された米国仮特許出願第60/322,07
0号の利益を主張する2002年9月12日に出願された非造血組織由来非胚細胞の保存(PRESERV
ATION OF NON EMBRYONIC CELLS FROM NON HEMATOPOIETIC TISSUES)の題名の米国特許出願
第10/242,094号(これらの内容は、明白に引用により本明細書に組み込まれる)に開示さ
れたように、細胞バンクにおける細胞の全部又は一部の中期〜長期貯蔵も本発明の範囲内
である。処理終了後、濃縮細胞を、当業者に公知のいずれかの手段によるレシピエントへ
の配置のための注射器などのデリバリー装置に装填してもよい。
管形成若しくは動脈形成成長因子などの成長因子、生物学的に活性若しくは不活性な化合
物、再吸収可能なプラスチック足場又は集団の送達、有効性、耐容性若しくは機能を増強
することを意図した他の添加物と組み合わせて適用してもよい。また、細胞集団は、構造
的又は治療的な目的の誘導のために、DNAの挿入によって、又は細胞の機能を変化し、増
強し、若しくは補充するような方法で細胞培養に置くことによって修飾してもよい。例え
ば、(Morizono らの文献, 2003;Mosca らの文献, 2000)に開示されたように、幹細胞
のための遺伝子移入技術が当業者に公知であり、かつ(Walther 及び Steinらの文献, 20
00)及び(Athanasopoulos らの文献, 2000)に開示されたように、ウイルストランスフ
ェクション技術及びより具体的には、アデノ随伴ウイルス遺伝子移入技術を含んでいても
よい。また、(Muramatsu らの文献, 1998)に開示されたように、非ウイルスに基づいた
技術が行われてもよい。
する遺伝子と組み合わせることができ、これらは、細胞が心臓修復又は再生の間の成長因
子のそれ自体の供与源として作用することができるであろう。抗アポトーシス因子をコー
ドする遺伝子又は薬剤を適用することもできるであろう。
本発明のある実施態様において、細胞は、サイトカイン及び成長因子などの1つ以上の
細胞の分化薬と共に患者に投与される。種々の細胞分化薬の例は、(Gimble らの文献, 1
995;Lennon らの文献, 1995;Majumdar らの文献, 1998;Caplan 及び Goldbergらの文
献(1999);Ohgushi 及び Caplanらの文献(1999);Pittenger らの文献, 1999;Capla
n 及び Bruderらの文献(2001);Fukudaの文献,2001;Worster らの文献, 2001;Zuk
らの文献, 2001)に開示されている。
のとして解釈されるべきではない。この出願の全体にわたって引用された発行された特許
、公開された特許出願及び同時係属特許出願を含む全ての引例した参照文献の内容は、引
用により本明細書に明白に組み込まれる。
び/又は引用により本明細書に組み込まれる方法によって得た。
血管内皮成長因子(VEGF)は、血管形成の重要な制御因子の1つである(Nagy らの文献
, 2003;Folkmanの文献, 1995)。胎盤成長因子は、VEGFファミリーの別のメンバーであ
り、側副血管が灌流及び剪断力の増大に応答して補充し、及び拡大される過程である動脈
形成並びに血管形成の両方において同様の役割を果たす(Nagy らの文献, 2003;Pipp ら
の文献, 2003;Scholz らの文献, 2003)。具体的には、PIGFノックアウトマウスへの野
生型(PIGF+/+)細胞の移植により、後肢虚血からの迅速な回復を誘導する能力が回復す
る(Scholz らの文献, 2003)。
胞によるPIGF及びVEGF発現を、3人のドナー由来細胞を使用するELISAアッセイ法を使用し
て調べた(R&D Systems社, Minneapolis、MN)。1人のドナーは、高血糖及び2型糖尿病(
冠状動脈疾患の患者を含む微小血管及び巨大血管疾患と高度に関連した状態)の病歴を有
した。それぞれのドナー由来のADC細胞を、10% FCS及び5% HSを補ったDMEM/F-12培地中
に1,000細胞/cm2にてプレートにまき、コンフルエントまで培養した。上清試料を採取し
、PIGF及びVEGFタンパク質の発現についてアッセイした。図l6A及び16Bに示したように、
結果は、本発明の脂肪由来再生細胞によるVEGF(図16A)及びPIGF(図16B)の両方の強い
発現を示した。
成関連サイトカインの相対的な量を測定した。再生細胞は、10%のFBSを含むα-MEM中で細
胞コンフルエントを越えて5日まで培養し、その時に、細胞培養培地を収集して抗体アレ
イ解析によって評価した(RayBio(登録商標)マウスサイトカイン抗体アレイII(RayBio
tech社)。以下の血管形成関連成長因子が検出された:血管内皮成長因子(VEGF)、bFGF
、IGF-1I、エオタキシン、G-CSF、GM-CDF、IL-12 p40/p70、IL-12 p70、IL-13、IL-6、I
L-9、レプチン、MCP-1、M-CDF、MIG、PF-4、TIMP-1、TIMP-2、TNF-α及びトロンボポエチ
ン。以下の血管形成関連成長因子又はサイトカイン:血管内皮成長因子(VEGF)、エオタ
キシン、G-CSF、IL-6、MCP-1及びPF-4は、10%のFBSを含むブランク対照培地と比較して少
なくとも2倍に上昇した。
成長因子を発現することを証明する。また、これらのデータは、正常患者及び糖尿病性患
者の両者に由来する脂肪組織由来幹細胞及び前駆細胞が、血管形成成長因子及び動脈形成
成長因子を発現することを証明する。糖尿病患者は、心血管疾患のリスクが高いので、こ
れは重要であり、これらのデータは、ADC細胞が糖尿病環境において血管形成能を保持す
ることを示す。糖尿病患者が正常患者のものと同等のレベルにてVEGF及びPIGFを発現した
という知見は、糖尿病患者が自己の脂肪由来再生細胞による血管形成療法のための候補と
なり得ることを示唆する。
内皮細胞及びこれらの前駆体である内皮前駆細胞(EPC)は、血管形成に関与すること
が公知である。EPCが脂肪由来再生細胞に存在するかどうかを決定するために、ヒト脂肪
由来再生細胞をEPC細胞表面マーカー、例えばCD-34について評価した。
児血清(FBS)を含むリン酸塩生理食塩水緩衝液(PBS)中でインキュベートして、ヒト内
皮細胞マーカーCD-31(分化した内皮細胞マーカー)及びCD-34(EPCマーカー)並びに多
分化能細胞に選択的に発現されるヒトABCG2(ATP結合カセット輸送体)に対する蛍光標識
した抗体と共に4℃にて20〜30分間インキュベートした。洗浄後、細胞をFACSAria Sorter
(Beckton Dickenson社-Immunocytometry)で解析した。次いで、データ取得及び解析をF
ACSDivaソフトウェア(BD社-Immunocytometry, CA)によって行った。結果(図示せず)
は、健康な成人由来の脂肪由来再生細胞がEPCマーカーCD-34及びABCG2を発現したが、内
皮細胞マーカーCD-31は発現しないことを示した。EPCマーカーCD-34及びABCG2を発現する
細胞は、糖尿病の病歴をもつドナーに由来する再生細胞において同様の頻度で検出された
。
ために、再生細胞をフィブロネクチンコートしたプレート上にプレートにまき、成熟内皮
細胞を除去するために内皮細胞培地中で3日間培養した。非接着細胞を除去して、再びプ
レートにまいた。14日後、コロニーをFITC抱合したUlex europaeus Agglutinin-1((Vec
tor Labs社, Burlingame, CA)及びDiI標識したアセチル化LDL(Molecular Probes社, Eu
gene, OR)での染色によって同定した。図17に示したように、結果は、およそ500EPC/106
ADC細胞のEPC頻度を示す。
脂肪組織由来再生細胞内のEPCの存在は、これらの細胞が新血管発生に直接関与し、及
び血管形成を増強し、かつ灌流を回復することができることを示す。
血管形成のための当該技術分野において認識されるアッセイ法は、線維芽細胞の支持細
胞層上で増殖する内皮細胞が、新生毛細管ネットワークを暗示するCD31ポジティブチュー
ブの複雑なネットワークを発生するものである(Donovan らの文献, 2001)。脂肪由来再
生細胞は、内皮細胞、EPC及び他の間質性細胞前駆体を含むので、我々は、これらの再生
細胞が支持細胞層の非存在下で毛細管様構造を形成する能力を試験した。正常マウスの鼠
径部の脂肪褥から得られる再生細胞は、培養の2週間後に毛細管ネットワークを発生した
(図18A)。特に、STZの投与の8週後のストレプトゾトシン(STZ)で誘導される1型糖尿
病の高血糖マウス由来の再生細胞は、正常マウス由来細胞によって形成されるものと同等
の毛細管組織を形成した(図18B)。
なる成長因子なしで培養した。これらの再生細胞も、毛細管組織を形成した。更にまた、
形成された脈管構造は、内皮細胞マーカーCD31、CD34、VE-カドヘリン及びフォンビルブ
ラント因子/VIII因子をポジティブに染色したが、汎リンパ球マーカーのCD45を染色しな
かった。
な若年及び高齢マウス由来の再生細胞(1、12又は18月齢)を完全培地(10%のFCSを補っ
たα-MEM)中で、さらなる成長因子なしで2週間培養した。毛細管様ネットワークは、全
てのドナー由来の再生細胞の培養において観察された。(図示せず)
前述のデータは、正常及び糖尿病、並びに若年及び高齢患者由来の脂肪由来再生細胞が
、新生毛細管組織の形成と一致した脈管構造を形成することができることを証明する。従
って、本発明の再生細胞は、血管形成不全を治療するために使用され得る。
細胞がインビボでの血管形成活性を発揮しない場合は、インビトロでの血管形成の可能
性は、有望ではあるものの、ほとんど価値がない。齧歯類における重篤な肢虚血の外科的
誘導は、十分に認識されたモデルであり、動脈形成(主に剪断力の増大に応答した側副血
管の漸増及び膨張)及び血管形成(虚血に応答した新血管の発生)の同時発生的過程を観
察することができる(Schattemanの文献, 2000; Scholzの文献, 2002; Takahashiの文献,
1999)。このモデルは、ヒト細胞が灌流を回復する能力を観察することができる、免疫
不全(NOD-SCID)マウスにおいて開発した。具体的には、動物をケタミン及びキシラジン
で麻酔し(8Omg.kg;7.5mg/kg)、仰臥位で手術面に置いた。手術前の血流値を、後述す
るように両方の後肢について決定した。動物をベタジンと共に用意して、通常の無菌様式
の布で包み、循環水浴に置いた。片側の1.5cmの切開を行って、後肢の根本からちょうど
膝の近くまで延長し、その二分枝の近くの腸骨動脈を、大腿深動脈表層内まで曝露した。
脈管構造を以下の部位:1)その二分枝の近くの腸骨動脈、2)大腿深動脈の根本のわずか
に遠位、3)表面大腿動脈の枝分れのすぐ近くにて、3-0絹結紮糸で結紮した。結紮後、脈
管構造をひとまとめにして除去した。次いで、結紮して、その後に除去されたあらゆる明
らかな副行循環を確認することを試みた。創傷及び筋肉層を4-0 vicrylで閉じて、皮膚を
5-0 vicryl縫合によって閉じた。動物をブプレノルフィン(0.5mg/kg)で術後処理し、自
発的に横になるまで循環水浴で回復させた。手術24時間後に、動物に尾静脈を介して5×1
06個のADC細胞を注射した。NOD-SCIDマウスには、ドナー細胞を注射し、1つの研究ではヒ
ト糖尿病患者由来細胞のドナー細胞を注射した。流れを処理の14日後に撮像した。
置マウスは、0/5のADC処理した動物と比較して、全ての下後肢構造を失った)及び流れの
回復の統計学的に有意な改善を示した(図19)。最も著しいのは、糖尿病ヒトドナー細胞
を受けたNOD SCIDマウスにおいて、14日の流れが、未処置の動物(p<O.O5)における10
±10%と比較して、処理した動物において50±11%まで回復した。19日までに、反跳が生じ
、その結果、実験の肢における灌流が、対照のものよりも大きかった(136±37%)。この
反応は、2つの正常(非糖尿病)ドナーから得られた細胞で観察される範囲内である(50
〜90%)。
の実験において、ADC細胞処理したマウスは、未処置のマウスの56±4%と比較して、14日
にて80±12%の流れの回復を示した。
このモデルにおいて、血流の回復は、側副血管の漸増及び膨張並びに下肢の血管形成に
由来する。また、これらの過程は、梗塞後の心臓における流れの回復のための鍵となる。
従って、ADCがインビボにおいてこれらの過程を強力に刺激する能力は、心筋梗塞状態に
おけるADC細胞の適用を支持する。また、糖尿病ドナー(心血管疾患のより高いリスクの
患者集団のメンバー)から得られたADC細胞もこの活性を示した点に留意することが重要
である。
自己脂肪組織の移植は、形成外科及び再建外科における比較的一般的な手法である{Fu
ltonの文献、1998;Shiffuianの文献, 2001)}。しかし、この手法は、脂肪組織断片が
血管を供給することなく移植され、その結果、移植片生存が新血管新生に依存的であるこ
とによって制限される(Colemanの文献、1995、Eppley らの文献, 1990)。従って、制限
された手段では、移植された組織が虚血組織を表す。
に移植したもので行った。右脚には、0.2gの脂肪組織断片を単独で移植し、左脚には、3
つの異なる用量にて脂肪由来再生細胞の添加によって補った0.2gの脂肪組織断片を移植し
た(1.7×105〜1.3×106細胞/移植片;用量あたり3匹の動物);このようにして、反対
側の脚を対照として行った。次いで、動物を1月間維持して、その後に動物を安楽死させ
、移植片を回し、重量を量り、ホルマリン中で固定して、組織学の解析のためにパラフィ
ンに包埋した。
における移植片重量の保持の用量依存的な増大を示す。更に、移植片の免疫組織化学的解
析では、脂肪由来再生細胞処理した移植片におけるかなりの新血管形成及び灌流を示した
(図20B、矢印)。これは、脂肪組織形態の保持とも関連していた(図20B)。
上のように、ADC細胞が十分に灌流されていない虚血組織の生存を促進するという論証
は、心血管疾患における臨床的可能性の重要な指標である。
心筋に対する寒冷傷害は、心筋再生における細胞療法の役割を調査するための十分に確
立された外科的モデルである(Marchlinski らの文献, 1987)。ADC細胞が障害を受けた
心筋を生着させ、これにより瘢痕形成(コラーゲン沈着及び架橋)を阻害する能力を証明
するために、B6129SF1/Jマウスにおいて心筋の寒冷傷害を行った。傷害直後に、lacZ遺
伝子遺伝子導入されたROSA26マウスから収集した1,000,000(1.0×106)個のADC細胞を、
室内経路を介して注射した。B-ガラクトシダーゼで染色したレシピエント心臓組織では、
青い染色によってドナーの脂肪由来再生細胞存在を検出する。マウス心臓を収集し、注射
後の5回の時点:1日、7日、14日、28日、84日で処理した。図10に示したように、結果は
、上で参照した全ての時点にて梗塞心筋領域のドナー由来の脂肪由来再生細胞の生着を証
明する。図21は、移植の組織学的スケジュールを示す。
疫組織化学的解析では、多くのドナー由来細胞が、心筋細胞マーカー肉腫ミオシン重鎖(
図22)トロポニンI及びnkx2.5を発現することを示した。これは、ADC細胞が障害を受け
た心臓における傷害の部位及び心筋細胞又は心筋細胞様細胞に分化する部位にホーミング
できることを示す。従って、ADC細胞により、心臓麻痺(心筋梗塞)後に失われる心筋細
胞又は心筋細胞様細胞を補充することができるであろう。
おけるドナー由来の処理した脂肪吸引液の生着を研究した。この実験設定では、免疫適格
性ウィスターラットの左冠動脈前下行枝を7-0プロレン(prolene)縫合及び動脈上で係蹄
として作用するサイラスティック管の小片を使用して一時的に閉塞した。1時間後、閉塞
を開放し、血液を虚血心筋に再灌流させた。このモデルは、ヒト臨床パラダイムに存在す
る傷害及び修復のメカニズムをより綿密に表す。再灌流の直後に、Rosa 26マウスから得
られたおよそ1,000,000(1×106)個のADC細胞を心臓の左心房に注射した。心臓を注射の
1週後に収集した。図23に示したように、結果は、ドナー由来ADC細胞の生着を証明する。
従って、本発明の再生細胞は、臨床的に適切で、灌流を改善し、かつ障害を受けた心筋
を再生する可能性を有する。
急性心筋梗塞(「AMI」)は、虚血心筋を生じ、これが最終的に鬱血性心不全を引き起
こす通気口のネガティブな環境を惹起する。ADCを使用する細胞心筋形成術では、再生細
胞を提供することによってこの進行を変化させて、虚血によって損傷を受けたこれらの宿
主細胞を置き換え/修復する可能性を有する。本実施例は、心筋梗塞の小動物モデルを記
述し、ADCの大量瞬時投与を受けたこれらの動物における機能改善を証明する。
紮することによって誘導した。18匹のラットを2群:(1)ADC処理した群(n=10)又は(2
)生理食塩水処理した群(n=8)にランダムに分けた。ADC処理した動物については、5,00
0,000個のADCを再灌流の15分後に、左心室空洞に導入した(冠内送達の近似)。梗塞の前
に、及びAMIの4、8及び12週後に、心エコー解析を行った。研究終了直後に、浸潤性収縮
測定を行って、左心室の収縮/弛緩を解析した。次いで、心臓を弛緩期で停止させて、組
織学的解析のために調製した。
が駆出画分(76.0±0.9%対68.3±1.9%,p<0.01、図24);ベースライン収縮(+dP/dT:5
494.46±550.76mmHg対2837.61±301.19mmHg、p<0.05、図25);ベースライン弛緩(-dP
/dT:-6326.28±544.61対-2716.49±331.83mmHg、p<0.05、図26):及び心室中隔の厚
みを含む再造形パラメーター(弛緩期:1.23 ±0.03mm対1.50±0.11mm、p<0.05、図27)
を大幅に改善したことが明らかになった。また、ADC処理により、心室中隔厚(収縮期、
図28)及び後方壁厚(弛緩期(図29)及び収縮期(図30)の両方において)において明ら
かに心室拡張の進行を防止した。
上記で証明したように、ADCは、小動物におけるAMI後の心機能を改善することができる
。この研究では、これらの機能的利益が、大動物においても観察することができることを
証明する。また、この研究では、左冠動脈前下行枝(「LAD」)へのADCの血管内送達が安
全かつ実行可能であることを証明する。
8時間後に、脂肪組織を、右鼠径部脂肪酸組織切除を介して収集し、自己ADCを単離して、
ブタを生理食塩水(対照)又は40,000,000〜140,000,000(52×106)個のADCの冠内注入の
いずれかにランダム化し、LADの閉塞部位の遠位に注入した。冠動脈造影法、左心室(LV
)血管映画撮影及び2D心エコー検査法を梗塞の前に、梗塞直後に、及び6ヶ月目に、ベー
スライン行った。
ヶ月の追跡調査期間まで、主要な有害な心臓通気口を伴わずに生存した。図31のように、
10匹のブタにおいて測定可能な心エコー検査による左室駆出率(「LVEF」)は、細胞注入
群(3.0%±6.0%、平均±SD)対対照群(-9.0%±5.0%、p=0.0l)において有意に増加した
。血管映画撮影(n=12)によるLVEFでは、それぞれ3.7%±5.0%対-2.0%±7.5%の値で同様
の傾向を示した(p=0.16)。結果を下記の表IVに要約してある。要約すると、これらの結
果は、ADCが大動物における心臓機能の有意な改善を生じさせること、及びADCの送達は、
心室収縮機能を保存するのに安全かつ有効であることを示す。
心筋梗塞(心臓麻痺)は、心筋に虚血傷害をもたらす。組織損傷は、障害を受けた組織
の初期の再灌流によって、及び心筋組織の再生によって最小限にすることができる(Murr
y らの文献, 1996;Orlic らの文献, 2001;Orlic らの文献, 2003;Rajnoch らの文献,
2001;Strauer らの文献, 2002;Assmus らの文献, 2002)。本明細書に開示したような
脂肪組織由来細胞療法では、例えば多数の非培養細胞及びより純粋な細胞の使用の少なく
とも1つでは、骨髄収集などの非脂肪組織由来療法と関連した罹患率の減弱を伴うため、
非脂肪組織由来細胞療法と比較して、再生細胞の優れた供与源を提供しようと努める。
いる。患者には、脂肪組織由来細胞療法が指示される。患者の体質を、脂肪組織収集のた
めに適した部位について調べる。収集部位は、以下の:正常な解剖学的構造によって限定
される潜在的スペース、損傷のリスクがある主要な血管又は臓器の構造でない、及びアク
セスの容易さの少なくと別によって特徴づけられる。いまだ使用されていな収集部位が好
ましいが、以前の収集部位でも、さらなる脂肪組織収集を妨げない。潜在的な収集部位に
は、以下の:左右の脚の下方末端の横向き及び中央の腿領域、前腹壁パンヌス及び左右の
側腹部領域を含むが、これらに限定されるわけではない。
の皮下注射を、例えば異なる標準化された用量の処方計画で受ける。メス(例えば、11-
刃メス)を使用して、患者の右の彼の中央腿領域及び/又は左脚に真皮を横断するように
小さな刺創を作製する。刃を360度回転して、創傷を完了する。先端のとがっていないカ
ニューレ(例えば、14ゲージカニューレ)を切開の下の皮下脂肪組織面に挿入する。カニ
ューレを動力援助式吸引装置に接続する。カニューレを脂肪組織面の全体にわたって移動
して、結合組織構造を崩壊させる。およそ500ccの吸引液が得られる。脂肪組織の除去後
、止血を標準的な外科的技術で達成し、創傷を閉じる。
を得る。梗塞のおよそ6時間後に、患者に幹細胞を投与する。脂肪吸引液の処理に基づい
て、患者は、およそ5.5×104幹細胞〜5.5×105幹細胞の間の範囲の幹細胞の初回量を受け
ると見積もられる。患者は、初回投与の後、12時間の間隔で2回の補足的投薬量を受ける
。幹細胞は、中心静脈カテーテルを介して患者に投与することができる。他の実施態様に
おいて、標的領域における細胞の移植を促進するために、幹細胞の流れを標的部位の下流
に位置するバルーンによって、及び標的部位の上流のバルーンによって制御して、低い又
は最小の血流領域を生じさせる。
患者の改善は、細胞投与手順のおよそ6時間後の範囲内に認められる。細胞投与手順の
数日後に、患者のさらなる改善が認められ、心臓駆出率の増加、心不全の割合の減少、梗
塞サイズの減少、運動耐容性の改善及び他の生活の質の測定によって証明される。
該技術分野の当業者の知識から明らかであろういずれの種類の組み合わせに含まれる特色
も相互に不一致ではないことを条件として、本発明の範囲内に含まれる。本発明を要約す
るために、本発明の一定の態様、利点及び新規特色を本明細書に記述した。もちろん、必
ずしも、全てのこのような態様、利点又は特色が、本発明のあらゆる詳細な実施態様にお
いて実施されるというわけではないことを理解すべきである。本発明のさらなる利点及び
態様は、上記詳細な説明及び特許請求の範囲において明らかである。
わけではない。前述の記述を考慮することにより、当業者に排他的ではない範囲で、開示
した実施態様に対する複数の変更及び修飾が行われるであろう。加えて、その他の組み合
わせ、省略、置換及び修飾も、本明細書における開示からみて当業者に明らかであろう。
従って、本発明は、開示した実施態様によって限定されることは意図されず、添付の特許
請求の範囲を参照することによって定義される。
多数の刊行物及び特許を以上において引用した。各々の引用した刊行物及び特許は、そ
の全体が引用により本明細書に組み込まれる。
当業者であれば、本明細書に記述した本発明の特定の実施態様に対する多くの均等物を
認識し、又はルーチン試験のみを使用して確認することができるであろう。このような均
等物は、特許請求の範囲に包含されることが意図される。
Claims (12)
- 心筋梗塞後のベースライン駆出率及びベースライン収縮を改善させるための薬剤の製造における、脂肪由来再生細胞を含む細胞の濃縮集団の使用であって、該脂肪由来再生細胞を含む細胞の濃縮集団が培養されたものではなく、かつ、該脂肪由来再生細胞を含む細胞の濃縮集団が、密閉された無菌の液体/組織経路を維持するように構成されたシステムにおいて単離されたものである、前記使用。
- 前記脂肪由来再生細胞を含む細胞の濃縮集団が、脂肪由来幹細胞を含む、請求項1記載の使用。
- 前記脂肪由来再生細胞を含む細胞の濃縮集団が、脂肪由来前駆細胞を含む、請求項1記載の使用。
- 前記薬剤が、大量瞬時投与での投与用に製剤されている、請求項1〜3のいずれか1項記載の使用。
- 前記薬剤が、多回投与用に製剤されている、請求項1〜3のいずれか1項記載の使用。
- 前記薬剤が、少なくとも1つの血管形成因子をさらに含む、請求項1〜5のいずれか1項記載の使用。
- 前記薬剤が、少なくとも1つの動脈形成因子をさらに含む、請求項1〜5のいずれか1項記載の使用。
- 前記薬剤が、1つ以上の免疫抑制剤をさらに含む、請求項1〜7のいずれか1項記載の使用。
- 前記薬剤が、心内膜心筋経路、心外膜心筋経路、心室内経路、冠内経路、逆行性冠静脈洞経路、動脈内経路、心膜内経路又は静脈内経路を介する投与用に製剤されている、請求項1〜8のいずれか1項記載の使用。
- 前記脂肪由来再生細胞を含む細胞の濃縮集団が、遺伝子移入によって修飾されている、請求項1〜8のいずれか1項記載の使用。
- 前記脂肪由来再生細胞を含む細胞の濃縮集団が、添加物をさらに含む、請求項1〜10のいずれか1項記載の使用。
- 前記添加物が、成長因子、免疫抑制剤及び細胞再凝集阻害剤からなる群から選択される、請求項11記載の使用。
Priority Applications (1)
| Application Number | Priority Date | Filing Date | Title |
|---|---|---|---|
| JP2011229609A JP5628131B2 (ja) | 2011-10-19 | 2011-10-19 | 心血管状態の治療において脂肪組織由来細胞を使用する方法 |
Applications Claiming Priority (1)
| Application Number | Priority Date | Filing Date | Title |
|---|---|---|---|
| JP2011229609A JP5628131B2 (ja) | 2011-10-19 | 2011-10-19 | 心血管状態の治療において脂肪組織由来細胞を使用する方法 |
Related Parent Applications (1)
| Application Number | Title | Priority Date | Filing Date |
|---|---|---|---|
| JP2008513441A Division JP5210155B2 (ja) | 2005-05-25 | 2005-05-25 | 心血管状態の治療において脂肪組織由来細胞を使用する方法 |
Publications (3)
| Publication Number | Publication Date |
|---|---|
| JP2012051923A JP2012051923A (ja) | 2012-03-15 |
| JP2012051923A5 JP2012051923A5 (ja) | 2012-07-26 |
| JP5628131B2 true JP5628131B2 (ja) | 2014-11-19 |
Family
ID=45905659
Family Applications (1)
| Application Number | Title | Priority Date | Filing Date |
|---|---|---|---|
| JP2011229609A Expired - Fee Related JP5628131B2 (ja) | 2011-10-19 | 2011-10-19 | 心血管状態の治療において脂肪組織由来細胞を使用する方法 |
Country Status (1)
| Country | Link |
|---|---|
| JP (1) | JP5628131B2 (ja) |
Families Citing this family (3)
| Publication number | Priority date | Publication date | Assignee | Title |
|---|---|---|---|---|
| US9580678B2 (en) | 2013-06-21 | 2017-02-28 | The Regents Of The University Of California | Microfluidic tumor tissue dissociation device |
| US10722540B1 (en) | 2016-02-01 | 2020-07-28 | The Regents Of The University Of California | Microfluidic device and method for shear stress-induced transformation of cells |
| KR102370343B1 (ko) | 2016-06-08 | 2022-03-03 | 더 리전트 오브 더 유니버시티 오브 캘리포니아 | 조직 및 세포를 프로세싱하기 위한 방법 및 장치 |
Family Cites Families (5)
| Publication number | Priority date | Publication date | Assignee | Title |
|---|---|---|---|---|
| EP1379869A4 (en) * | 2001-03-15 | 2004-08-11 | Xiao Yong Fu | METHOD FOR THERAPEUTICALLY TREATING A CLINICALLY DETECTED CARDIOPATHOLOGICAL FORM IN A MAMMAL |
| US20030161816A1 (en) * | 2001-12-07 | 2003-08-28 | Fraser John K. | Systems and methods for treating patients with processed lipoaspirate cells |
| SG146666A1 (en) * | 2003-09-17 | 2008-10-30 | Macropore Biosurgery Inc | Methods of using regenerative cells in the treatment of peripheral vascular disease and related disorders |
| JP4336821B2 (ja) * | 2003-12-25 | 2009-09-30 | 有限会社金沢大学ティ・エル・オー | 哺乳動物の骨髄細胞または臍帯血由来細胞と脂肪組織を利用した心筋細胞の誘導 |
| CA2609361C (en) * | 2005-05-25 | 2017-11-14 | Cytori Therapeutics, Inc. | Methods of using adipose tissue-derived cells in the treatment of cardiovascular conditions |
-
2011
- 2011-10-19 JP JP2011229609A patent/JP5628131B2/ja not_active Expired - Fee Related
Also Published As
| Publication number | Publication date |
|---|---|
| JP2012051923A (ja) | 2012-03-15 |
Similar Documents
| Publication | Publication Date | Title |
|---|---|---|
| JP5210155B2 (ja) | 心血管状態の治療において脂肪組織由来細胞を使用する方法 | |
| US9597395B2 (en) | Methods of using adipose tissue-derived cells in the treatment of cardiovascular conditions | |
| EP2348103B1 (en) | Methods of using regenerative cells in the treatment of peripheral vascular disease and related disorders | |
| US9849149B2 (en) | Methods of using regenerative cells in the treatment of erectile dysfunction | |
| US8404229B2 (en) | Methods of using adipose derived stem cells to treat acute tubular necrosis | |
| US8105580B2 (en) | Methods of using adipose derived stem cells to promote wound healing | |
| WO2006014157A1 (en) | Methods of using regenerative cells to promote wound healing | |
| JP5628131B2 (ja) | 心血管状態の治療において脂肪組織由来細胞を使用する方法 | |
| AU2013216683B2 (en) | Methods of using adipose tissue-derived cells in the treatment of cardiovascular conditions | |
| EP1778834B1 (en) | Methods of using regenerative cells in the treatment of renal diseases and disorders | |
| HK1180602A (en) | Method for curing cardiovascular diseases by using cells from adipose tissue | |
| HK1132918A (en) | Methods of using adipose tissue-derived cells in the treatment of cardiovascular conditions |
Legal Events
| Date | Code | Title | Description |
|---|---|---|---|
| A521 | Request for written amendment filed |
Free format text: JAPANESE INTERMEDIATE CODE: A523 Effective date: 20120611 |
|
| A131 | Notification of reasons for refusal |
Free format text: JAPANESE INTERMEDIATE CODE: A131 Effective date: 20130702 |
|
| A601 | Written request for extension of time |
Free format text: JAPANESE INTERMEDIATE CODE: A601 Effective date: 20131001 |
|
| A602 | Written permission of extension of time |
Free format text: JAPANESE INTERMEDIATE CODE: A602 Effective date: 20131004 |
|
| A521 | Request for written amendment filed |
Free format text: JAPANESE INTERMEDIATE CODE: A523 Effective date: 20131226 |
|
| A521 | Request for written amendment filed |
Free format text: JAPANESE INTERMEDIATE CODE: A821 Effective date: 20131226 |
|
| A131 | Notification of reasons for refusal |
Free format text: JAPANESE INTERMEDIATE CODE: A131 Effective date: 20140218 |
|
| A601 | Written request for extension of time |
Free format text: JAPANESE INTERMEDIATE CODE: A601 Effective date: 20140514 |
|
| A602 | Written permission of extension of time |
Free format text: JAPANESE INTERMEDIATE CODE: A602 Effective date: 20140519 |
|
| A521 | Request for written amendment filed |
Free format text: JAPANESE INTERMEDIATE CODE: A821 Effective date: 20140807 |
|
| TRDD | Decision of grant or rejection written | ||
| A01 | Written decision to grant a patent or to grant a registration (utility model) |
Free format text: JAPANESE INTERMEDIATE CODE: A01 Effective date: 20140909 |
|
| A61 | First payment of annual fees (during grant procedure) |
Free format text: JAPANESE INTERMEDIATE CODE: A61 Effective date: 20141001 |
|
| R150 | Certificate of patent or registration of utility model |
Ref document number: 5628131 Country of ref document: JP Free format text: JAPANESE INTERMEDIATE CODE: R150 |
|
| R250 | Receipt of annual fees |
Free format text: JAPANESE INTERMEDIATE CODE: R250 |
|
| R250 | Receipt of annual fees |
Free format text: JAPANESE INTERMEDIATE CODE: R250 |
|
| S111 | Request for change of ownership or part of ownership |
Free format text: JAPANESE INTERMEDIATE CODE: R313113 |
|
| R350 | Written notification of registration of transfer |
Free format text: JAPANESE INTERMEDIATE CODE: R350 |
|
| RD02 | Notification of acceptance of power of attorney |
Free format text: JAPANESE INTERMEDIATE CODE: R3D02 |
|
| R250 | Receipt of annual fees |
Free format text: JAPANESE INTERMEDIATE CODE: R250 |
|
| R250 | Receipt of annual fees |
Free format text: JAPANESE INTERMEDIATE CODE: R250 |
|
| R250 | Receipt of annual fees |
Free format text: JAPANESE INTERMEDIATE CODE: R250 |
|
| R250 | Receipt of annual fees |
Free format text: JAPANESE INTERMEDIATE CODE: R250 |
|
| R250 | Receipt of annual fees |
Free format text: JAPANESE INTERMEDIATE CODE: R250 |
|
| LAPS | Cancellation because of no payment of annual fees |
