JP5617841B2 - 画像処理装置、画像処理方法および画像処理用プログラム - Google Patents
画像処理装置、画像処理方法および画像処理用プログラム Download PDFInfo
- Publication number
- JP5617841B2 JP5617841B2 JP2011531779A JP2011531779A JP5617841B2 JP 5617841 B2 JP5617841 B2 JP 5617841B2 JP 2011531779 A JP2011531779 A JP 2011531779A JP 2011531779 A JP2011531779 A JP 2011531779A JP 5617841 B2 JP5617841 B2 JP 5617841B2
- Authority
- JP
- Japan
- Prior art keywords
- image
- term
- attribute
- function
- candidate
- Prior art date
- Legal status (The legal status is an assumption and is not a legal conclusion. Google has not performed a legal analysis and makes no representation as to the accuracy of the status listed.)
- Active
Links
Images
Classifications
-
- H—ELECTRICITY
- H04—ELECTRIC COMMUNICATION TECHNIQUE
- H04N—PICTORIAL COMMUNICATION, e.g. TELEVISION
- H04N1/00—Scanning, transmission or reproduction of documents or the like, e.g. facsimile transmission; Details thereof
- H04N1/40—Picture signal circuits
-
- G—PHYSICS
- G06—COMPUTING OR CALCULATING; COUNTING
- G06F—ELECTRIC DIGITAL DATA PROCESSING
- G06F18/00—Pattern recognition
- G06F18/20—Analysing
- G06F18/24—Classification techniques
- G06F18/241—Classification techniques relating to the classification model, e.g. parametric or non-parametric approaches
- G06F18/2413—Classification techniques relating to the classification model, e.g. parametric or non-parametric approaches based on distances to training or reference patterns
-
- G—PHYSICS
- G06—COMPUTING OR CALCULATING; COUNTING
- G06F—ELECTRIC DIGITAL DATA PROCESSING
- G06F18/00—Pattern recognition
- G06F18/20—Analysing
- G06F18/24—Classification techniques
- G06F18/241—Classification techniques relating to the classification model, e.g. parametric or non-parametric approaches
- G06F18/2415—Classification techniques relating to the classification model, e.g. parametric or non-parametric approaches based on parametric or probabilistic models, e.g. based on likelihood ratio or false acceptance rate versus a false rejection rate
-
- G—PHYSICS
- G06—COMPUTING OR CALCULATING; COUNTING
- G06T—IMAGE DATA PROCESSING OR GENERATION, IN GENERAL
- G06T3/00—Geometric image transformations in the plane of the image
- G06T3/40—Scaling of whole images or parts thereof, e.g. expanding or contracting
- G06T3/4053—Scaling of whole images or parts thereof, e.g. expanding or contracting based on super-resolution, i.e. the output image resolution being higher than the sensor resolution
- G06T3/4076—Scaling of whole images or parts thereof, e.g. expanding or contracting based on super-resolution, i.e. the output image resolution being higher than the sensor resolution using the original low-resolution images to iteratively correct the high-resolution images
-
- G—PHYSICS
- G06—COMPUTING OR CALCULATING; COUNTING
- G06T—IMAGE DATA PROCESSING OR GENERATION, IN GENERAL
- G06T5/00—Image enhancement or restoration
- G06T5/50—Image enhancement or restoration using two or more images, e.g. averaging or subtraction
-
- G—PHYSICS
- G06—COMPUTING OR CALCULATING; COUNTING
- G06T—IMAGE DATA PROCESSING OR GENERATION, IN GENERAL
- G06T5/00—Image enhancement or restoration
- G06T5/73—Deblurring; Sharpening
-
- G—PHYSICS
- G06—COMPUTING OR CALCULATING; COUNTING
- G06V—IMAGE OR VIDEO RECOGNITION OR UNDERSTANDING
- G06V10/00—Arrangements for image or video recognition or understanding
- G06V10/70—Arrangements for image or video recognition or understanding using pattern recognition or machine learning
- G06V10/764—Arrangements for image or video recognition or understanding using pattern recognition or machine learning using classification, e.g. of video objects
-
- G—PHYSICS
- G06—COMPUTING OR CALCULATING; COUNTING
- G06T—IMAGE DATA PROCESSING OR GENERATION, IN GENERAL
- G06T2207/00—Indexing scheme for image analysis or image enhancement
- G06T2207/20—Special algorithmic details
- G06T2207/20004—Adaptive image processing
- G06T2207/20012—Locally adaptive
-
- G—PHYSICS
- G06—COMPUTING OR CALCULATING; COUNTING
- G06T—IMAGE DATA PROCESSING OR GENERATION, IN GENERAL
- G06T2207/00—Indexing scheme for image analysis or image enhancement
- G06T2207/20—Special algorithmic details
- G06T2207/20076—Probabilistic image processing
Landscapes
- Engineering & Computer Science (AREA)
- Theoretical Computer Science (AREA)
- Physics & Mathematics (AREA)
- General Physics & Mathematics (AREA)
- Data Mining & Analysis (AREA)
- Evolutionary Computation (AREA)
- Artificial Intelligence (AREA)
- Computer Vision & Pattern Recognition (AREA)
- Multimedia (AREA)
- Bioinformatics & Cheminformatics (AREA)
- Life Sciences & Earth Sciences (AREA)
- General Engineering & Computer Science (AREA)
- Evolutionary Biology (AREA)
- Bioinformatics & Computational Biology (AREA)
- Signal Processing (AREA)
- Databases & Information Systems (AREA)
- Computing Systems (AREA)
- Health & Medical Sciences (AREA)
- General Health & Medical Sciences (AREA)
- Software Systems (AREA)
- Medical Informatics (AREA)
- Probability & Statistics with Applications (AREA)
- Image Processing (AREA)
- Image Analysis (AREA)
- Facsimile Image Signal Circuits (AREA)
Description
本発明は、画像処理装置、画像処理方法および画像処理用プログラムに関し、特に、劣化画像を復元する画像処理装置、画像処理方法および画像処理用プログラムに関する。
ぼかし、ノイズ、低解像度化等によって劣化した劣化画像を復元する一般的な方法として、MAP推定(Maximum a Posteriori Estimation :最大事後確率推定)がある。MAP推定は、推定したい量に関する事前知識を利用して、最適化された結果を得る手法である。従って、MAP推定では、どのような事前知識を用いるかが重要である。事前知識を学習によって得て、MAP推定を行い、劣化画像を復元する方法が、例えば、非特許文献1,2に記載されている。
非特許文献1には、復元対象の画像を顔画像に特化し、顔画像の事前知識を学習によって獲得し、その事前知識に基づいてMAP推定を行う方法が記載されている。また、非特許文献1には、復元対象の画像を文字画像に特化し、文字画像の事前知識を学習によって獲得してMAP推定を行う場合についても記載されている。
また、非特許文献2には、一般の画像を復元対象画像とし、一般の画像における事前知識を学習により求め、その事前知識に基づいてMAP推定を行う方法が記載されている。
Simon Baker, Takeo Kanade, "Limits on Super-Resolution and How to Break Them",IEEE TRANSACTIONS ON PATTERN ANALYSIS AND MACHINE INTELLIGENCE, VOL.24, NO.9, September 2002
Stefan Roth, Michael J.Black, "Fields of Experts: A Framework for Learning Image Priors", Computer Vision and Pattern Recognition,2005. CVPR2005. IEEE Computer Society Conference on Volume2, pp.860-867, June 2005
非特許文献1に記載された方法では、顔の構造情報等の詳細な事前知識に基づいて、MAP推定を行うことで、劣化画像から高画質の復元画像を得ることができる。しかし、復元対象画像が、顔画像(あるいは文字画像)に特化されているため、復元可能な画像が限定されていた。
一方、非特許文献2に記載された方法では、復元可能な画像は限定されないが、全ての画像に適用可能な事前知識を用いる。その結果、画質改善効果が少なくなってしまう。
そこで、本発明は、復元対象画像を限定せずに、劣化画像から高画質の復元画像を得ることができる画像処理装置、画像処理方法および画像処理用プログラムを提供することを目的とする。
本発明による画像処理装置は、劣化画像内に存在し得る要素として予め定められた要素である属性毎に、入力された劣化画像内の各領域に関して属性が存在する確率を条件付確率として計算する条件付確率計算手段と、条件付確率計算手段が属性毎に劣化画像内の各領域に関して計算した条件付確率と、ある領域にある属性が存在するときに復元画像の候補のその領域にその属性が現れる条件付確率として定められた事前知識と、入力された劣化画像とを用いて、復元画像の候補を変数とする関数であって、復元画像の候補が真の復元画像に近いほど値が小さくなる関数である最適化関数を決定する最適化関数決定手段と、最適化関数の値を最小とする復元画像の候補を特定し、その候補を劣化画像の復元画像として決定する復元画像決定手段とを備えることを特徴とする。
本発明による画像処理方法は、劣化画像内に存在し得る要素として予め定められた要素である属性毎に、入力された劣化画像内の各領域に関して属性が存在する確率を条件付確率として計算し、属性毎に劣化画像内の各領域に関して計算した前記条件付確率と、ある領域にある属性が存在するときに復元画像の候補のその領域にその属性が現れる条件付確率として定められた事前知識と、入力された劣化画像とを用いて、復元画像の候補を変数とする関数であって、復元画像の候補が真の復元画像に近いほど値が小さくなる関数である最適化関数を決定し、最適化関数の値を最小とする復元画像の候補を特定し、その候補を劣化画像の復元画像として決定することを特徴とする。
本発明による画像処理用プログラムは、コンピュータに、劣化画像内に存在し得る要素として予め定められた要素である属性毎に、入力された劣化画像内の各領域に関して属性が存在する確率を条件付確率として計算する条件付確率計算処理、条件付確率計算処理で属性毎に劣化画像内の各領域に関して計算した条件付確率と、ある領域にある属性が存在するときに復元画像の候補のその領域にその属性が現れる条件付確率として定められた事前知識と、入力された劣化画像とを用いて、復元画像の候補を変数とする関数であって、復元画像の候補が真の復元画像に近いほど値が小さくなる関数である最適化関数を決定する最適化関数決定処理、および、最適化関数の値を最小とする復元画像の候補を特定し、その候補を劣化画像の復元画像として決定する復元画像決定処理を実行させることを特徴とする。
本発明によれば、復元対象画像を限定せずに、劣化画像から高画質の復元画像を得ることができる。
以下、本発明の実施形態を図面を参照して説明する。
図1は、本発明の画像処理装置の例を示すブロック図である。本発明の画像処理装置は、劣化画像入力部10と、属性確率演算部11と、最適化関数決定部12と、最適化処理部13と、復元画像出力部14と、事前知識記憶部15とを備える。なお、以下の説明では、本発明の画像処理装置が、画像をベクトルで表し、そのベクトルを用いて演算する場合を例にして説明する。すなわち、本発明の画像処理装置が、画像を、画素値が所定順に並べられた列ベクトルとして扱う場合を例にして説明する。ここでは、画像を、画素値がラスタスキャン順に並べられた列ベクトルとする場合を例にする。ただし、画像をベクトルとして扱うことは、本発明の一例であり、本発明において、画像はベクトル以外の形式(例えば、行列等)で表されていてもよい。
図1は、本発明の画像処理装置の例を示すブロック図である。本発明の画像処理装置は、劣化画像入力部10と、属性確率演算部11と、最適化関数決定部12と、最適化処理部13と、復元画像出力部14と、事前知識記憶部15とを備える。なお、以下の説明では、本発明の画像処理装置が、画像をベクトルで表し、そのベクトルを用いて演算する場合を例にして説明する。すなわち、本発明の画像処理装置が、画像を、画素値が所定順に並べられた列ベクトルとして扱う場合を例にして説明する。ここでは、画像を、画素値がラスタスキャン順に並べられた列ベクトルとする場合を例にする。ただし、画像をベクトルとして扱うことは、本発明の一例であり、本発明において、画像はベクトル以外の形式(例えば、行列等)で表されていてもよい。
劣化画像入力部10は、復元対象となる劣化画像が入力される入力デバイスである。劣化画像の入力態様は、特に限定されない。また、本発明の画像処理装置に入力される劣化画像は、特定の被写体を写した画像に限定されない。
属性確率演算部11は、劣化画像入力部10に入力された劣化画像中にどのような属性が存在しているかを計算する。この処理は、具体的には、劣化画像内の各領域について、各属性が存在している確率を、条件付確率として求める処理である。
属性とは、劣化画像内に存在し得る要素(すなわち、画像内に存在する可能性がある要素)として予め定められた要素である。例えば、人物、人の顔、建物のような被写体となり得る物や、被写体とともに撮影され得る文字、背景等が属性(要素)となる。さらに、エッジ(輝度勾配が大きい領域)や、コーナー(角になっている領域)のような、画像中に現れる特徴的な部分も属性(要素)に該当する。属性の種類は予め定められている。入力された劣化画像をXと表すこととする。また、属性の種類がK種類定められていて、そのi番目の属性をAiと表すこととする。なお、i=1,・・・,Kである。また、画像中の領域をRと表すこととする。属性確率演算部11は、劣化画像X内の領域Rについて属性Aiが存在している条件付確率P(Ai|X,R)を、属性毎に、劣化画像X内の各領域について求める。
図2は、4つの異なる属性を例にして劣化画像内の属性に関する条件付確率分布を模式的に示す説明図である。図2(a)は、人間の顔を属性A1とし、その属性A1が存在する条件付確率が高い部分と低い部分の分布を表している。なお、図2(e)は、図2において模式的に示した色の濃淡と条件付確率との関係を示しており、条件付確率が高いほど白色に近い色で表し、条件付確率が低いほど黒色に近い色で表すことを示している。図2(a)では、人間の顔に該当する領域で条件付確率P(A1|X,R)が高くなることを示している。同様に、図2(b)は、窓を属性A2とし、その属性A2が存在する条件付確率の分布を表している。図2(b)では、窓に該当する領域で条件付確率P(A2|X,R)が高くなることを示している。また、図2(c)では、建物を属性A3とし、その属性A3が存在する条件付確率の分布を表している。図2(c)では、建物に該当する領域で条件付確率P(A3|X,R)が高くなることを示している。また、図2(d)では、背景を属性A4とし、その属性A4が存在する条件付確率の分布を表している。図4(d)では、背景に該当する領域で条件付確率P(A4|X,R)が高くなることを示している。
なお、画像内の領域Rの定め方は、特に限定されず、例えば、画像内の一つ一つの画素をそれぞれ一つの領域Rとしてもよい。この場合、各領域Rは、画素を識別する画素番号で表すことができる。また、領域Rとして、複数の画素からなる領域を定めてもよい。この場合、領域Rは、画素番号の集合で表すことができる。また、注目する範囲毎に領域Rの大きさを変えてもよい。あるいは、画像全体を一つの領域Rとしてもよい。
属性確率演算部11は、例えば、属性毎に予め定められたテンプレートと、画像から抽出した領域Rとの類似度を計算し、類似度から条件付確率P(Ai|X,R)を求めればよい。ここで、類似度を変数として条件付確率P(Ai|X,R)を求める関数は、予め属性毎に定められ、属性確率演算部11は、その関数に類似度を代入することによって、条件付確率P(Ai|X,R)を計算すればよい。ただし、条件付確率P(Ai|X,R)を計算するアルゴリズムは、特に限定されず、他の方法で条件付確率P(Ai|X,R)を計算してもよい。
最適化関数決定部12は、入力された劣化画像Xと、属性確率演算部11によって計算された条件付確率P(Ai|X,R)と、予め定められた事前知識とを用いて、復元画像を決定するための最適化関数を決定する。最適化関数とは、復元画像の候補を変数とし、真の復元画像に復元画像の候補が近いほど(すなわち類似しているほど)、値が小さくなる関数である。以下、最適化関数をE(Y)と表す。Yは、最適化関数に変数として代入される復元画像の候補を意味する。最適化関数決定部12の具体的な構成については後述する。
事前知識記憶部15は、最適化関数決定部12が最適化関数を決定する際に用いる事前知識を記憶する記憶装置である。
最適化処理部13は、最適化関数E(Y)の値を最小化する復元画像の候補Yを計算し、その候補Yを復元画像として決定する。
復元画像出力部14は、最適化処理部13によって決定された復元画像を出力する出力デバイスである。例えば、復元画像出力部14は、復元画像を表示するディスプレイ装置によって実現される。ただし、ディスプレイ装置は復元画像出力部14の例示であり、復元画像出力部14は、表示以外の態様で復元画像を出力する出力デバイスであってもよい。
次に、最適化関数の例および最適化関数決定部12の構成例について説明する。本実施形態では、最適化関数は、2つの項の和として表される。第1の項は、復元画像の候補Yを劣化させた画像と、実際に入力された劣化画像Xとの差を表す項である。以下、第1の項を経験誤差項と称する。第2の項は、個々の属性にそれぞれ着目し、着目している属性について、画像内にその着目している属性が存在する場合に小さな値を示すような評価関数を求めた場合における、属性毎の評価関数の総和である。この評価関数は、Yを変数とする関数である。この評価関数は、エネルギーと称することもできる。以下、第2の項を正則化項と称する。経験誤差項は、復元画像の候補Yが真の復元画像に近づくほど小さな値となる。正則化項は、最適化関数から解(真の復元画像)を求める際に、解を安定化させるために設けられる。最適化関数を経験誤差項のみで表した場合、最適化処理部13にてとり得る解は無数に存在し、解が不安定になる。そこで、経験誤差項だけでなく正則化項も用いて最適化関数を表すことで、無数の解の中から解を限定し、解を安定させることができる。
図3は、最適化関数決定部12の例を示すブロック図である。最適化関数決定部12は、経験誤差項設定部121と、正則化項設定部122と、最適化関数構成部123とを備える。なお、図3では、劣化画像入力部10と、属性確率演算部11と、事前知識記憶部15と、最適化処理部13も図示している。
経験誤差項設定部121は、劣化画像入力部10に入力された劣化画像Xを用いて、経験誤差項を定める。例えば、経験誤差項設定部121は、以下の式(1)に示すように経験誤差項を定めればよい。
Edata(Y,X)=|B・Y−X|2 式(1)
Edata(Y,X)は、経験誤差項である。Bは、復元画像が劣化する過程を表す行列である。経験誤差項設定部121が定めるEdata(Y,X)において、Yは、ベクトル変数となる。変数である復元画像候補Yが真の復元画像に近づくほど経験誤差項Edata(Y,X)の値は小さくなる。
復元画像が劣化する過程を表す行列Bとして、例えば、カメラボケを表すローパスフィルタを表す行列を用いればよい。以下、このように、行列Bが、カメラボケ(ぼかし)による劣化を表す行列である場合を例にして、行列Bの具体例を説明する。
図4ないし図6を用いて、ぼかしの模擬の例を説明する。ぼかしは、画像内の画素毎に、画素値を、近傍の他の画素の画素値との平均値で置き換えることで模擬できる。図4は、ぼかしの対象となる画像の例を示し、図4では、5×5画素の画像を例示している。例えば、画素値a22の画素に着目した場合、その着目画素の画素値を、その画素値a22およびその近傍画素の画素値a11,a12,a13,a21,a23,a31,a32,a33の平均値で置き換える。また、例えば、画素値a23の画素に着目した場合、その着目画素の画素値を、その画素値a23およびその近傍画素の画素値a12,a13,a14,a22,a24,a32,a33,a34の平均値で置き換える。他の画素についても、同様に画素値の置換を行うことで、ぼかしを模擬できる。図5は、図4に例示する画像を表す列ベクトルである。図6は、ぼかしによる劣化を表す行列Bの例である。ただし、図6では、行列Bの2行分の要素を示し、他の行の図示は省略している。図6において、具体的に示した2行のうち、最初の行を便宜的にk行目と称し、その次の行をk+1行目と称することとする。
図4に示す画像は、図5に示す列ベクトルで表すことができる。従って、ぼかしを模擬するためにこの列ベクトルに乗じる行列Bとして、図6に例示する行列を用いればよい。図6に示すk行目は、画素値a22の置換に用いる行列成分である。また、図6に示すk+1行目は、画素値a23の置換に用いる行列成分である。なお、上述のように、図6では他の行を省略している。図6に示す行列Bの右側から、図5に示す列ベクトルを乗じれば、各画素の平均値を計算することができる。図6に示す行列Bの他の行の計算に関しても同様である。従って、ぼかしによる劣化を表す行列Bは、例えば、以下の条件を満たすように定めておけばよい。第1の条件は、各行が画像中の各画素に対応していることである。第2の条件は、平均計算に用いる画素の個数をnとしたときに、各行の個々の成分の値を、その成分に乗じられる画素値がその行に対応する画素およびその近傍の画素の画素値である場合には1/nとし、その乗じられる画素値がその行に対応する画素およびその近傍の画素以外の画素の画素値である場合には0とすることである。なお、この条件は一例であり、例えば、行列Bの各行の値を均等とするかわりに、正規分布に基づいて設定するなど、他の条件を満足するように行列Bを定めてもよい。
ただし、式(1)における行列Bの定め方は、上記の方法に限定されず、他の方法で定めてもよい。例えば、ぼかし以外の要因による劣化を表す行列を行列Bとして定めてもよい。
また、ここでは、式(1)を用いて経験誤差項を定める方法を説明したが、劣化画像Xに存在する異常値に対するロバスト性を向上させるために、経験誤差項設定部121は、以下の式(1)’に示すように経験誤差項を定めてもよい。
Edata(Y,X)=|B・Y−X|q 式(1)’
式(1)’において、qは、q>0を満たす実数である。例えば、q=1としてもよい。
正則化項設定部122は、劣化画像入力部10に入力された劣化画像Xと、属性確率演算部11によって計算された条件付確率P(Ai|X,R)と、事前知識とを用いて、正則化項を定める。正則化項は、以下の式(2)に示すように表される。
Ereg(Y)は、正則化項である。既に説明したように、正則化項は、個々の属性をそれぞれ着目し、着目している属性について、画像内に着目している属性が存在する場合に小さな値を示すような評価関数を求めた場合における、属性毎の評価関数の総和である。式(2)におけるEi(Y)が属性毎の評価関数であり、式(2)の右辺はその総和を表している。
また、Ei(Y)は、属性確率演算部11によって計算された条件付確率P(Ai|X,R)と、事前知識記憶部15に記憶される事前知識P(Y|Ai,R)とによって表される。事前知識P(Y|Ai,R)は、領域Rに属性Aiが存在するときに、復元画像の候補Yの領域Rに属性Aiが現れている確率を条件付確率として表している。例えば、I番目の属性であるAIが、人間の顔の属性であるとする。この場合、復元画像の候補Yの領域Rの画素値が人間の顔を表す状態になっているほど、P(Y|AI,R)は大きな値となる。このような事前知識P(Y|Ai,R)は、例えば、非特許文献2に記載された方法を用いて予め、学習により求めておき、事前知識記憶部15に記憶させておく。
事前知識P(Y|Ai,R)の例を示す。事前知識P(Y|Ai,R)は、画像Yの関数として定めておく。例えば、式(3)に例示するようなYの関数として事前知識P(Y|Ai,R)を定めておけばよい。
式(3)において、kは、属性に含まれる個々の構成部をそれぞれ識別する値であり、Nは、属性に含まれる個々の構成部の総数である。属性に含まれる個々の構成部の例として、例えば、属性が人間の顔である場合における右目、左目、口等の各構成部が挙げられる。属性が右目、左目等の複数の構成部を含まずに、属性全体が一つの構成部として捉えられる場合には、N=1となる。Jki(R)は、属性Aiにおけるk番目の構成部を検出するための領域Rにおけるフィルタを表す行列である。Jki(R)・Yの値が大きいほど、画像Y内の領域Rにその構成部らしい箇所が存在していることを意味する。例えば、属性Aiが人間の顔であり、その属性に含まれる各構成部のうち、k番目の構成部が右目であるとする。この場合、Jki(R)・Yの値が大きければ大きいほど、画像Y内における領域Rに人間の顔の右目らしい箇所が存在していることを意味する。このようなフィルタJki(R)は、各属性のそれぞれの構成部毎に定められる。また、αkiは、式(3)において、1〜N番目までの構成部に対応する以下の部分の重みを規定する係数である。
また、確率は画像全体で積分したときに1になるという制約がある。式(3)における右辺のZは、この制約を有効にするための規格化定数である。
式(3)におけるJki(R)およびαkiは、学習により予め定めておけばよい。例えば、属性Aiを撮影した学習画像(学習データ)を用意し、その学習データから、各構成部に関してJki(R)およびαkiを学習によって求めておけばよい。そして、例えば、式(3)のようなYの関数として表される事前知識P(Y|Ai,R)を属性毎に定めておく。
正則化項設定部122は、領域R毎に、条件付確率P(Ai|X,R)および事前知識P(Y|Ai,R)の減少関数を定め、領域毎の関数の総和として、各属性の評価関数を定めればよい。条件付確率P(Ai|X,R)および事前知識P(Y|Ai,R)の減少関数の例として、例えば、P(Ai|X,R)と、P(Y|Ai,R)の対数との積に−1を乗じた関数を定めればよい。この例では、正則化項設定部122は、i番目の属性Aiについての評価関数Ei(Y)を、以下の式(4)のように定める。
個々の領域についての関数は、上記の例では、−P(Ai|X,R)・log{P(Y|Ai,R)}である。着目している領域に属性が存在すれば、この関数の値は小さくなる。
正則化項設定部122は、属性毎に式(4)のように定めた評価関数の総和として、式(2)に示すように正則化項Ereg(Y)を定めればよい。
なお、正則化項は、最適化関数E(Y)を最適化(最小化)して得られる解を安定化させるために設けられる。
最適化関数構成部123は、経験誤差項Edata(Y,X)と正則化項Ereg(Y)の和として、最適化関数E(Y)を定める。すなわち、最適化関数構成部123は、以下に示す式(5)のように、最適化関数E(Y)を定める。
E(Y)=Edata(Y,X)+Ereg(Y) 式(5)
属性確率演算部11と、最適化関数決定部12(経験誤差項設定部121、正則化項設定部122および最適化関数構成部123)と、最適化処理部13は、例えば、画像処理用プログラムに従って動作するコンピュータのCPUによって実現される。この場合、コンピュータのプログラム記憶装置(図示せず)が画像処理用プログラムを記憶し、CPUがそのプログラムを読み込み、プログラムに従って、属性確率演算部11、最適化関数決定部12(経験誤差項設定部121、正則化項設定部122、最適化関数構成部123)、最適化処理部13として動作すればよい。また、属性確率演算部11、最適化関数決定部12および最適化処理部13がそれぞれ別のハードウェアで実現されていてもよい。経験誤差項設定部121、正則化項設定部122、および最適化関数構成部123に関しても、それぞれ別のハードウェアで実現されていてもよい。
次に、動作について説明する。
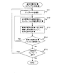
図7は、本発明の画像処理装置の処理経過の例を示すフローチャートである。劣化画像入力部10に劣化画像Xが入力されると、まず、属性確率演算部11が、劣化画像X内の各領域について、各属性が存在している確率を、条件付確率P(Ai|X,R)として計算する(ステップS1)。
図7は、本発明の画像処理装置の処理経過の例を示すフローチャートである。劣化画像入力部10に劣化画像Xが入力されると、まず、属性確率演算部11が、劣化画像X内の各領域について、各属性が存在している確率を、条件付確率P(Ai|X,R)として計算する(ステップS1)。
図8は、条件付確率の計算(ステップS1)の処理経過の例を示すフローチャートである。ステップS1において、属性確率演算部11は、一つのテンプレートを選択する(ステップS11)。テンプレートは、属性を表す画像として、予め属性毎に用意された画像あるいはフィルタである。ステップS11において、属性確率演算部11は、属性毎に用意されている複数のテンプレートの中から一つのテンプレートを選択する。
次に、属性確率演算部11は、入力された劣化画像Xから領域Rを抽出し、テンプレートマッチングを行う(ステップS12)。具体的には、属性確率演算部11は、劣化画像Xから領域Rを抽出し、その領域Rとテンプレートとの類似度を計算する。例えば、属性確率演算部11は、領域Rとテンプレートの対応する画素毎に、画素値の差の絶対値を計算し、その総和の逆数を類似度として定めればよい。あるいは、他の計算方法で類似度を算出してもよい。
なお、領域Rは、テンプレートと同じ大きさであっても、あるいは、テンプレートと異なる大きさであってもよい。テンプレートと異なる大きさの領域Rを抽出する場合には、その領域Rをテンプレートと同じ大きさ(すなわち、テンプレートと同じ画素数)に拡大または縮小して、類似度を計算すればよい。
また、既に説明したように、劣化画像Rに含まれる個々の画素をそれぞれ一つの領域Rとしてもよい。この場合には、属性確率演算部11は、ステップS12において、領域Rとなる1画素とその周囲の画素を抽出して、テンプレートとの類似度を計算すればよい。
ステップS12の次に、属性確率演算部11は、類似度を変数として条件付確率P(Ai|X,R)を求める関数に、ステップS12で計算した類似度を代入し、条件付確率P(Ai|X,R)を計算する(ステップS13)。
類似度を変数として条件付確率P(Ai|X,R)を求める関数は、予め属性毎に定められている。属性確率演算部11は、現在選択しているテンプレートが示す属性に対応する関数を選択し、その関数に類似度を代入すればよい。
条件付確率P(Ai|X,R)を求める関数は、以下のように定めておけばよい。例えば、パラメータ以外は共通となる関数の形式を定めておき、学習によって属性毎にパラメータを定めればよい。具体例を挙げると、例えば、条件付確率P(Ai|X,R)を求める関数が、類似度の自乗に比例する関数であり、パラメータとなる比例係数が属性毎に異なるとする。そして、一つの属性に着目した場合、その属性が存在する画像を学習データとして複数用意し、テンプレートマッチングで得られる類似度と、条件付確率P(Ai|X,R)との対応関係を学習データから求めて、着目している属性についてのパラメータ(ここでは比例係数)を定める。同様に、他の属性についても、パラメータを定めればよい。なお、ここでは、条件付確率P(Ai|X,R)を求める関数を、類似度の自乗に比例する関数であると定める場合を例にしたが、関数の形式は他の形式であってもよい。
ステップS13の次に、属性確率演算部11は、劣化画像Xにおいて、条件付確率P(Ai|X,R)を計算していない領域があるか否かを判定する(ステップS14)。そのような領域があれば(ステップS14のYes)、属性確率演算部11は、ステップS12以降の処理を繰り返す。そのような領域がなければ(ステップS14のNo)、属性確率演算部11は、未選択のテンプレートがあるか否かを判定する(ステップS15)。未選択のテンプレートがあれば(ステップS15のYes)、属性確率演算部11は、ステップS11以降の処理を繰り返す。未選択のテンプレートがなければ(ステップS15のNo)、属性確率演算部11は、ステップS1の処理を終了する。この結果、属性毎に、劣化画像Xの各領域について、それぞれ条件付確率P(Ai|X,R)が得られる。
なお、図8では、テンプレートマッチングを行う場合を例示したが、条件付確率P(Ai|X,R)の計算方法は、図8に示す方法に限定されず、他の計算方法で条件付確率P(Ai|X,R)を算出してもよい。
ステップS1の後、最適化関数決定部12の経験誤差設定部121は、式(1)に示すように、経験誤差項Edata(Y,X)を定める(ステップS2、図7参照)。式(1)における行列B(すなわち、復元画像が劣化する過程を表す行列B)は、予め定めておけばよい。
次に、正則化項設定部122は、正則化項Ereg(Y)を定める(ステップS3)。ステップS3において、正則化項設定部122は、例えば、式(4)に例示する評価関数Ei(Y)を属性毎に定め、各属性の評価関数Ei(Y)の総和として、式(2)に示すように正則化項Ereg(Y)を定めればよい。
次に、最適化関数構成部123は、式(5)に示すように、経験誤差項Edata(Y,X)と正則化項Ereg(Y)の和として、最適化関数E(Y)を定める(ステップS4)。
次に、最適化処理部13は、最適化関数構成部123によって決定された最適化関数E(Y)を最小化するときのYを求め、その画像Yを、劣化画像Xの復元画像として決定する(ステップS5)。ステップS5において、最適化処理部13は、例えば、勾配法によって、最適化関数E(Y)を最小化するときのYを求めればよい。
次に、最適化処理部13は、ステップS5で決定した復元画像を復元画像出力部14に出力させる(ステップS6)。例えば、最適化処理部13は、復元画像を復元画像出力部14に表示させる。
本発明によれば、劣化画像Xから条件付確率P(Ai|X,R)をそれぞれ求め、劣化画像Xと、条件付確率P(Ai|X,R)と、複数種類の属性についてそれぞれ定めた事前知識P(Y|Ai,R)とを用いて、最適化関数E(Y)を定める。そして、最適化関数E(Y)を最小にするYを復元画像として決定する。従って、特定の被写体を撮影した劣化画像だけに限定することなく、高画質の復元画像を得ることができる。条件付確率P(Ai|X,R)を計算することで、属性毎の事前知識P(Y|Ai,R)を利用することができ、複数の事前知識から最適化関数E(Y)を定めるので、一般的な画像を高画質の復元画像に復元することができる。
次に、上記の実施形態の変形例について説明する。
上記の実施形態では、正則化項設定部122が、i番目の属性Aiについての評価関数Ei(Y)を式(4)に示すように定める場合を示したが、評価関数Ei(Y)は、式(4)に限定されない。例えば、正則化項設定部122は、i番目の属性Aiについての評価関数Ei(Y)を、以下に示す式(6)のように定めてもよい。
上記の実施形態では、正則化項設定部122が、i番目の属性Aiについての評価関数Ei(Y)を式(4)に示すように定める場合を示したが、評価関数Ei(Y)は、式(4)に限定されない。例えば、正則化項設定部122は、i番目の属性Aiについての評価関数Ei(Y)を、以下に示す式(6)のように定めてもよい。
式(6)の例では、領域R毎に定められる、条件付確率P(Ai|X,R)および事前知識P(Y|Ai,R)の減少関数は、−log{P(Ai|X,R)・P(Y|Ai,R)}である。この領域R毎の関数の総和を、式(6)のように評価関数Ei(Y)としてもよい。
また、正則化項設定部122は、評価関数Ei(Y)を、以下に示す式(7)のように定めてもよい。
式(7)の例では、領域R毎に定められる、条件付確率P(Ai|X,R)および事前知識P(Y|Ai,R)の減少関数は、−P(Ai|X,R)・P(Y|Ai,R)である。この領域R毎の関数の総和を、式(7)のように評価関数Ei(Y)としてもよい。
また、正則化項設定部122は、評価関数Ei(Y)を、以下に示す式(8)のように定めてもよい。
式(8)の例では、領域R毎に定められる、条件付確率P(Ai|X,R)および事前知識P(Y|Ai,R)の減少関数は、−log{P(Ai|X,R)}・P(Y|Ai,R)である。この領域R毎の関数の総和を、式(8)のように評価関数Ei(Y)としてもよい。
このように属性毎の評価関数Ei(Y)の定め方は一つの方法に限定されない。いずれの場合であっても、正則化項設定部122は、式(2)に示すように、属性毎の評価関数Ei(Y)の総和を正則化項Ereg(Y)と定めればよい。
また、上記の実施形態では、領域R毎の関数の総和として評価関数を属性毎に定め、属性毎の評価関数の総和として正則化項Ereg(Y)を定める場合を示した。正則化項設定部122は、正則化項Ereg(Y)を、以下に示す式(9)の計算によって算出してもよい。
式(9)では、領域毎に、各属性毎の関数の総和の対数に−1を乗じた結果を定め、領域毎に求めた結果を、正則項Ereg(Y)とする。式(9)の例では、属性毎に定める関数として、P(Ai|X,R)・P(Y|Ai,R)を定め、属性毎に定めたその関数の総和の対数をとる。
また、上記の実施形態では、最適化関数構成部123は、式(5)に示すように、経験誤差項と正則化項との和として最適化関数E(Y)を定める場合を示した。最適化関数E(Y)を、経験誤差項と正則化項との重み付き和として定めてもよい。すなわち、最適化関数E(Y)を、以下に示す式(10)のように定めてもよい。
E(Y)=Edata(Y,X)+λ・Ereg(Y) 式(10)
式(10)におけるλは、正則化項の重みを示す重み係数であり、予め定められる。入力される劣化画像Xの劣化度が小さいことが予め分かっている場合には、λを小さな値に定めて正則化項の重みを下げればよい。逆に、入力される劣化画像Xの劣化度が大きいことが予め分かっている場合には、λを大きな値に定めて正則化項の重みを上げればよい。経験誤差項と正則化項との重み付き和として最適化関数E(Y)を定めることにより、入力される劣化画像の劣化度に応じて、より適切な復元画像を得ることができる。
次に、本発明の最小構成を説明する。図9は、本発明の最小構成の例を示すブロック図である。本発明の画像処理装置は、条件付確率計算手段31と、最適化関数決定手段32と、復元画像決定手段33とを備える。
条件付確率計算手段31(例えば、属性確率演算部11)は、劣化画像内に存在し得る要素として予め定められた要素である属性毎に、入力された劣化画像内の各領域に関して属性が存在する確率を条件付確率として計算する。
最適化関数決定手段32(例えば、最適化関数決定部12)は、条件付確率計算手段31が属性毎に劣化画像内の各領域に関して計算した条件付確率と、ある領域にある属性が存在するときに復元画像の候補のその領域にその属性が現れる条件付確率として定められた事前知識と、入力された劣化画像とを用いて、復元画像の候補を変数とする関数であって、復元画像の候補が真の復元画像に近いほど値が小さくなる関数である最適化関数を決定する。
復元画像決定手段33(例えば、最適化処理部13)は、最適化関数の値を最小とする復元画像の候補を特定し、その候補を劣化画像の復元画像として決定する。
そのような構成によれば、特定の被写体を撮影した劣化画像だけに限定することなく、一般的な画像を高画質の復元画像に復元することができる。
なお、上記の実施形態には、以下の(付記1)〜(付記12)に示すような画像処理装置の特徴的な構成が開示されている。
(付記1)劣化画像内に存在し得る要素として予め定められた要素である属性毎に、入力された劣化画像内の各領域に関して属性が存在する確率を条件付確率として計算する条件付確率計算手段(例えば、属性確率演算部11)と、条件付確率計算手段が属性毎に劣化画像内の各領域に関して計算した条件付確率と、ある領域にある属性が存在するときに復元画像の候補のその領域にその属性が現れる条件付確率として定められた事前知識と、入力された劣化画像とを用いて、復元画像の候補を変数とする関数であって、復元画像の候補が真の復元画像に近いほど値が小さくなる関数である最適化関数を決定する最適化関数決定手段(例えば、最適化関数決定部12)と、最適化関数の値を最小とする復元画像の候補を特定し、その候補を劣化画像の復元画像として決定する復元画像決定手段(例えば、最適化処理部13)とを備えることを特徴とする画像処理装置。
(付記2)最適化関数決定手段が、復元画像の候補Yを劣化させた画像と、実際に入力された劣化画像Xとの差を表す項である第1の項(例えば、式(1)におけるEdata(Y,X))を定める第1の項設定手段(例えば、経験誤差項設定部121)と、条件付確率計算手段に計算された条件付確率と事前知識の減少関数を領域毎に定め、領域毎の減少関数の和として、各属性に関する関数を定め、各属性に関して定めた関数の総和を第2の項として定める第2の項設定手段(例えば、式(2)におけるEreg(Y)を定める正則化項設定部122)と、第1の項と第2の項との和を最適化関数と定める最適化関数構成手段(例えば、最適化関数構成部123)とを含む付記1に記載の画像処理装置。
(付記3)最適化関数決定手段が、復元画像の候補Yを劣化させた画像と、実際に入力された劣化画像Xとの差を表す項である第1の項(例えば、式(1)におけるEdata(Y,X))を定める第1の項設定手段(例えば、経験誤差項設定部121)と、属性毎に定めた関数の総和に所定の演算を行う関数を領域毎に定め、領域毎に定めたその関数の和を第2の項として定める第2の項設定手段(例えば、式(9)におけるEreg(Y)を定める正則化項設定部122)と、第1の項と第2の項との和を最適化関数と定める最適化関数構成手段(例えば、最適化関数構成部123)とを含む付記1に記載の画像処理装置。
(付記4)最適化関数構成手段が、第1の項と第2の項との重み付き和を最適化関数と定める付記2または付記3に記載の画像処理装置。
(付記5)第1の項設定手段が、復元画像の候補Yに対して画像劣化過程を示す演算を行った結果と劣化画像との差を表す項として、第1の項を定める付記2から付記4のうちのいずれかに記載の画像処理装置。
(付記6)予め定められた事前確率を記憶する事前確率記憶手段(例えば、事前知識記憶部15)を備える付記1から付記5のうちのいずれかに記載の画像処理装置。
(付記7)劣化画像内に存在し得る要素として予め定められた要素である属性毎に、入力された劣化画像内の各領域に関して属性が存在する確率を条件付確率として計算する条件付確率計算部(例えば、属性確率演算部11)と、条件付確率計算部が属性毎に劣化画像内の各領域に関して計算した条件付確率と、ある領域にある属性が存在するときに復元画像の候補の前記領域に前記属性が現れる条件付確率として定められた事前知識と、入力された劣化画像とを用いて、復元画像の候補を変数とする関数であって、復元画像の候補が真の復元画像に近いほど値が小さくなる関数である最適化関数を決定する最適化関数決定部(例えば、最適化関数決定部12)と、前記最適化関数の値を最小とする復元画像の候補を特定し、当該候補を劣化画像の復元画像として決定する復元画像決定部(例えば、最適化処理部13)とを備えることを特徴とする画像処理装置。
(付記8)最適化関数決定部が、復元画像の候補Yを劣化させた画像と、実際に入力された劣化画像Xとの差を表す項である第1の項(例えば、式(1)におけるEdata(Y,X))を定める第1の項設定部(例えば、経験誤差項設定部121)と、条件付確率計算部に計算された条件付確率と事前知識の減少関数を領域毎に定め、領域毎の減少関数の和として、各属性に関する関数を定め、各属性に関して定めた関数の総和を第2の項として定める第2の項設定部(例えば、式(2)におけるEreg(Y)を定める正則化項設定部122)と、前記第1の項と前記第2の項との和を最適化関数と定める最適化関数構成部(例えば、最適化関数構成部123)とを含む付記7に記載の画像処理装置。
(付記9)最適化関数決定部が、復元画像の候補Yを劣化させた画像と、実際に入力された劣化画像Xとの差を表す項である第1の項(例えば、式(1)におけるEdata(Y,X))を定める第1の項設定部(例えば、経験誤差項設定部121)と、属性毎に定めた関数の総和に所定の演算を行う関数を領域毎に定め、領域毎に定めた前記関数の和を第2の項として定める第2の項設定部(例えば、式(9)におけるEreg(Y)を定める正則化項設定部122)と、前記第1の項と前記第2の項との和を最適化関数と定める最適化関数構成部(例えば、最適化関数構成部123)とを含む付記7に記載の画像処理装置。
(付記10)最適化関数構成部が、第1の項と第2の項との重み付き和を最適化関数と定める付記8に記載の画像処理装置。
(付記11)第1の項設定部が、復元画像の候補Yに対して画像劣化過程を示す演算を行った結果と劣化画像との差を表す項として、第1の項を定める付記8に記載の画像処理装置。
(付記12)予め定められた事前確率を記憶する事前確率記憶部(例えば、事前知識記憶部15)を備える付記7に記載の画像処理装置。
以上、実施形態を参照して本願発明を説明したが、本願発明は上記実施形態に限定されるものではない。本願発明の構成や詳細には、本願発明のスコープ内で当業者が理解し得る様々な変更をすることができる。
この出願は、2009年9月15日に出願された日本特許出願2009−213524を基礎とする優先権を主張し、その開示の全てをここに取り込む。
本発明は、劣化画像を復元する画像処理装置に好適に適用される。
10 劣化画像入力部
11 属性確率演算部
12 最適化関数決定部
13 最適化処理部
14 復元画像出力部
15 事前知識記憶部
121 経験誤差項設定部
122 正則化項設定部
123 最適化関数構成部
11 属性確率演算部
12 最適化関数決定部
13 最適化処理部
14 復元画像出力部
15 事前知識記憶部
121 経験誤差項設定部
122 正則化項設定部
123 最適化関数構成部
Claims (12)
- 劣化画像内に存在し得る要素として予め定められた要素である属性毎に、入力された劣化画像内の各領域に関して属性が存在する確率を条件付確率として計算する条件付確率計算手段と、
条件付確率計算手段が属性毎に劣化画像内の各領域に関して計算した条件付確率と、ある領域にある属性が存在するときに復元画像の候補の前記領域に前記属性が現れる条件付確率として定められた事前知識と、入力された劣化画像とを用いて、復元画像の候補を変数とする関数であって、復元画像の候補が真の復元画像に近いほど値が小さくなる関数である最適化関数を決定する最適化関数決定手段と、
前記最適化関数の値を最小とする復元画像の候補を特定し、当該候補を劣化画像の復元画像として決定する復元画像決定手段とを備える
ことを特徴とする画像処理装置。 - 最適化関数決定手段は、
復元画像の候補Yを劣化させた画像と、実際に入力された劣化画像Xとの差を表す項である第1の項を定める第1の項設定手段と、
条件付確率計算手段に計算された条件付確率と事前知識の減少関数を領域毎に定め、領域毎の減少関数の和として、各属性に関する関数を定め、各属性に関して定めた関数の総和を第2の項として定める第2の項設定手段と、
前記第1の項と前記第2の項との和を最適化関数と定める最適化関数構成手段とを含む
請求項1に記載の画像処理装置。 - 最適化関数決定手段は、
復元画像の候補Yを劣化させた画像と、実際に入力された劣化画像Xとの差を表す項である第1の項を定める第1の項設定手段と、
属性毎に定めた関数の総和に所定の演算を行う関数を領域毎に定め、領域毎に定めた前記関数の和を第2の項として定める第2の項設定手段と、
前記第1の項と前記第2の項との和を最適化関数と定める最適化関数構成手段とを含む
請求項1に記載の画像処理装置。 - 最適化関数構成手段は、第1の項と第2の項との重み付き和を最適化関数と定める
請求項2または請求項3に記載の画像処理装置。 - 第1の項設定手段は、復元画像の候補Yに対して画像劣化過程を示す演算を行った結果と劣化画像との差を表す項として、第1の項を定める
請求項2から請求項4のうちのいずれか1項に記載の画像処理装置。 - 予め定められた事前確率を記憶する事前確率記憶手段を備える
請求項1から請求項5のうちのいずれか1項に記載の画像処理装置。 - 劣化画像内に存在し得る要素として予め定められた要素である属性毎に、入力された劣化画像内の各領域に関して属性が存在する確率を条件付確率として計算し、
属性毎に劣化画像内の各領域に関して計算した前記条件付確率と、ある領域にある属性が存在するときに復元画像の候補の前記領域に前記属性が現れる条件付確率として定められた事前知識と、入力された劣化画像とを用いて、復元画像の候補を変数とする関数であって、復元画像の候補が真の復元画像に近いほど値が小さくなる関数である最適化関数を決定し、
前記最適化関数の値を最小とする復元画像の候補を特定し、当該候補を劣化画像の復元画像として決定する
ことを特徴とする画像処理方法。 - 最適化関数を決定するときに、
復元画像の候補Yを劣化させた画像と、実際に入力された劣化画像Xとの差を表す項である第1の項を定め、
属性毎に劣化画像内の各領域に関して計算した条件付確率と事前知識の減少関数を領域毎に定め、領域毎の減少関数の和として、各属性に関する関数を定め、各属性に関して定めた関数の総和を第2の項として定め、
前記第1の項と前記第2の項との和を最適化関数と定める
請求項7に記載の画像処理方法。 - 最適化関数を決定するときに、
復元画像の候補Yを劣化させた画像と、実際に入力された劣化画像Xとの差を表す項である第1の項を定め、
属性毎に定めた関数の総和に所定の演算を行う関数を領域毎に定め、領域毎に定めた前記関数の和を第2の項として定め、
前記第1の項と前記第2の項との和を最適化関数と定める
請求項7に記載の画像処理方法。 - コンピュータに、
劣化画像内に存在し得る要素として予め定められた要素である属性毎に、入力された劣化画像内の各領域に関して属性が存在する確率を条件付確率として計算する条件付確率計算処理、
条件付確率計算処理で属性毎に劣化画像内の各領域に関して計算した条件付確率と、ある領域にある属性が存在するときに復元画像の候補の前記領域に前記属性が現れる条件付確率として定められた事前知識と、入力された劣化画像とを用いて、復元画像の候補を変数とする関数であって、復元画像の候補が真の復元画像に近いほど値が小さくなる関数である最適化関数を決定する最適化関数決定処理、および、
前記最適化関数の値を最小とする復元画像の候補を特定し、当該候補を劣化画像の復元画像として決定する復元画像決定処理
を実行させるための画像処理用プログラム。 - コンピュータに、
最適化関数決定処理で、
復元画像の候補Yを劣化させた画像と、実際に入力された劣化画像Xとの差を表す項である第1の項を定める第1の項設定処理、
条件付確率計算処理で計算した条件付確率と事前知識の減少関数を領域毎に定め、領域毎の減少関数の和として、各属性に関する関数を定め、各属性に関して定めた関数の総和を第2の項として定める第2の項設定処理、および、
前記第1の項と前記第2の項との和を最適化関数と定める最適化関数構成処理
を実行させる請求項10に記載の画像処理用プログラム。 - コンピュータに、
最適化関数決定処理で、
復元画像の候補Yを劣化させた画像と、実際に入力された劣化画像Xとの差を表す項である第1の項を定める第1の項設定処理、
属性毎に定めた関数の総和に所定の演算を行う関数を領域毎に定め、領域毎に定めた前記関数の和を第2の項として定める第2の項設定処理、および、
前記第1の項と前記第2の項との和を最適化関数と定める最適化関数構成処理
を実行させる請求項10に記載の画像処理用プログラム。
Applications Claiming Priority (3)
| Application Number | Priority Date | Filing Date | Title |
|---|---|---|---|
| JP2009213524 | 2009-09-15 | ||
| JP2009213524 | 2009-09-15 | ||
| PCT/JP2010/005517 WO2011033744A1 (ja) | 2009-09-15 | 2010-09-09 | 画像処理装置、画像処理方法および画像処理用プログラム |
Publications (2)
| Publication Number | Publication Date |
|---|---|
| JPWO2011033744A1 JPWO2011033744A1 (ja) | 2013-02-07 |
| JP5617841B2 true JP5617841B2 (ja) | 2014-11-05 |
Family
ID=43758359
Family Applications (1)
| Application Number | Title | Priority Date | Filing Date |
|---|---|---|---|
| JP2011531779A Active JP5617841B2 (ja) | 2009-09-15 | 2010-09-09 | 画像処理装置、画像処理方法および画像処理用プログラム |
Country Status (3)
| Country | Link |
|---|---|
| US (1) | US9196025B2 (ja) |
| JP (1) | JP5617841B2 (ja) |
| WO (1) | WO2011033744A1 (ja) |
Families Citing this family (5)
| Publication number | Priority date | Publication date | Assignee | Title |
|---|---|---|---|---|
| US20130204811A1 (en) * | 2012-02-08 | 2013-08-08 | Nec Corporation | Optimized query generating device and method, and discriminant model learning method |
| US8832006B2 (en) | 2012-02-08 | 2014-09-09 | Nec Corporation | Discriminant model learning device, method and program |
| JP6713185B2 (ja) * | 2015-10-15 | 2020-06-24 | 株式会社日立ハイテク | テンプレートマッチングを用いた検査装置および検査方法 |
| CN110222578B (zh) * | 2019-05-08 | 2022-12-27 | 腾讯科技(深圳)有限公司 | 对抗测试看图说话系统的方法和装置 |
| CN117078234B (zh) * | 2023-10-17 | 2024-02-27 | 深圳市城市交通规划设计研究中心股份有限公司 | 一种优化的路网养护维修方法、电子设备及存储介质 |
Citations (2)
| Publication number | Priority date | Publication date | Assignee | Title |
|---|---|---|---|---|
| JP2006242746A (ja) * | 2005-03-03 | 2006-09-14 | Raitoron Kk | 微細な試料を可視化する装置と方法、微細な格子の乱れを可視化する装置と方法 |
| JP2009069902A (ja) * | 2007-09-10 | 2009-04-02 | Nikon Corp | 画像処理方法およびプログラム |
Family Cites Families (4)
| Publication number | Priority date | Publication date | Assignee | Title |
|---|---|---|---|---|
| US6766067B2 (en) * | 2001-04-20 | 2004-07-20 | Mitsubishi Electric Research Laboratories, Inc. | One-pass super-resolution images |
| US6987520B2 (en) * | 2003-02-24 | 2006-01-17 | Microsoft Corporation | Image region filling by exemplar-based inpainting |
| US7715658B2 (en) * | 2005-08-03 | 2010-05-11 | Samsung Electronics Co., Ltd. | Apparatus and method for super-resolution enhancement processing |
| US7941004B2 (en) * | 2008-04-30 | 2011-05-10 | Nec Laboratories America, Inc. | Super resolution using gaussian regression |
-
2010
- 2010-09-09 WO PCT/JP2010/005517 patent/WO2011033744A1/ja not_active Ceased
- 2010-09-09 JP JP2011531779A patent/JP5617841B2/ja active Active
- 2010-09-09 US US13/395,820 patent/US9196025B2/en active Active
Patent Citations (2)
| Publication number | Priority date | Publication date | Assignee | Title |
|---|---|---|---|---|
| JP2006242746A (ja) * | 2005-03-03 | 2006-09-14 | Raitoron Kk | 微細な試料を可視化する装置と方法、微細な格子の乱れを可視化する装置と方法 |
| JP2009069902A (ja) * | 2007-09-10 | 2009-04-02 | Nikon Corp | 画像処理方法およびプログラム |
Non-Patent Citations (5)
| Title |
|---|
| CSNG199800687008; 工藤 博幸、斎藤 恒雄: '"一般化EMアルゴリズムを用いた画像復元"' 電子情報通信学会論文誌 Vol.J75-D-II, No.5, 19920525, p.908-916, 社団法人電子情報通信学会 * |
| CSNG200300664009; 藤田 和弘、外2名: '"画像確率モデルに基づく非一様劣化画像のパラメータ推定と復元"' 映像情報メディア学会誌 Vol.55, No.6, 20010620, p.878-885, (社)映像情報メディア学会 * |
| JPN6010056796; Stefan Roth, Michael J. Black: '"Fields of Experts: a framework for learning image priors"' IEEE Computer Society Conference on Computer Vision and Pattern Recognition, 2005. vol.2, 20050620, p.860-867, IEEE * |
| JPN6014035215; 工藤 博幸、斎藤 恒雄: '"一般化EMアルゴリズムを用いた画像復元"' 電子情報通信学会論文誌 Vol.J75-D-II, No.5, 19920525, p.908-916, 社団法人電子情報通信学会 * |
| JPN6014035216; 藤田 和弘、外2名: '"画像確率モデルに基づく非一様劣化画像のパラメータ推定と復元"' 映像情報メディア学会誌 Vol.55, No.6, 20010620, p.878-885, (社)映像情報メディア学会 * |
Also Published As
| Publication number | Publication date |
|---|---|
| JPWO2011033744A1 (ja) | 2013-02-07 |
| WO2011033744A1 (ja) | 2011-03-24 |
| US9196025B2 (en) | 2015-11-24 |
| US20120170861A1 (en) | 2012-07-05 |
Similar Documents
| Publication | Publication Date | Title |
|---|---|---|
| US11610082B2 (en) | Method and apparatus for training neural network model used for image processing, and storage medium | |
| CN108229526B (zh) | 网络训练、图像处理方法、装置、存储介质和电子设备 | |
| US9430817B2 (en) | Blind image deblurring with cascade architecture | |
| US9344690B2 (en) | Image demosaicing | |
| US11741579B2 (en) | Methods and systems for deblurring blurry images | |
| US8908989B2 (en) | Recursive conditional means image denoising | |
| US11928799B2 (en) | Electronic device and controlling method of electronic device | |
| JP2022053060A (ja) | 情報処理装置、情報処理方法およびプログラム | |
| JP5617841B2 (ja) | 画像処理装置、画像処理方法および画像処理用プログラム | |
| US11200708B1 (en) | Real-time color vector preview generation | |
| JP7458857B2 (ja) | 画像処理装置、画像処理方法及びプログラム | |
| JP7443030B2 (ja) | 学習方法、プログラム、学習装置、および、学習済みウエイトの製造方法 | |
| JP2026506769A (ja) | 高解像度画像の生成 | |
| CN113222921A (zh) | 一种图像处理方法及系统 | |
| JP2004246618A (ja) | パターン認識における照合に用いられる画像の生成ならびに同画像を用いたパターン認識のための方法、装置、およびプログラム | |
| US20240354905A1 (en) | Information processing apparatus, information processing method, and storage medium | |
| CN116310276B (zh) | 目标检测方法、装置、电子设备及存储介质 | |
| JP6564158B2 (ja) | 画像処理装置、画像処理方法、および画像処理プログラム | |
| JP6604131B2 (ja) | 電子機器および情報表示プログラム | |
| JP4453202B2 (ja) | 画像処理装置および画像処理方法、並びにコンピュータ読み取り可能な記録媒体 | |
| Yousaf et al. | Closed-loop restoration approach to blurry images based on machine learning and feedback optimization | |
| Tanaka et al. | Restoration of motion-blurred line drawings by Differential Evolution and Richardson-Lucy algorithm | |
| Bhavani et al. | Low-Light Image Enhancement Using Hilbert-Huang Transform and Adaptive Illumination Modeling | |
| Al-Ameen | Image Deconvolution Using Adapted Cauchy Method | |
| Yadav et al. | Deep Learning-Based Framework for Damage Introduction and Its Segmentation in Ancient Mural Paintings |
Legal Events
| Date | Code | Title | Description |
|---|---|---|---|
| A621 | Written request for application examination |
Free format text: JAPANESE INTERMEDIATE CODE: A621 Effective date: 20130805 |
|
| TRDD | Decision of grant or rejection written | ||
| A01 | Written decision to grant a patent or to grant a registration (utility model) |
Free format text: JAPANESE INTERMEDIATE CODE: A01 Effective date: 20140819 |
|
| A61 | First payment of annual fees (during grant procedure) |
Free format text: JAPANESE INTERMEDIATE CODE: A61 Effective date: 20140901 |
|
| R150 | Certificate of patent or registration of utility model |
Ref document number: 5617841 Country of ref document: JP Free format text: JAPANESE INTERMEDIATE CODE: R150 |
