JP5594635B2 - Liquid crystal display element and image display apparatus using the same - Google Patents
Liquid crystal display element and image display apparatus using the same Download PDFInfo
- Publication number
- JP5594635B2 JP5594635B2 JP2013102370A JP2013102370A JP5594635B2 JP 5594635 B2 JP5594635 B2 JP 5594635B2 JP 2013102370 A JP2013102370 A JP 2013102370A JP 2013102370 A JP2013102370 A JP 2013102370A JP 5594635 B2 JP5594635 B2 JP 5594635B2
- Authority
- JP
- Japan
- Prior art keywords
- liquid crystal
- crystal display
- opening
- pixel electrode
- electrode
- Prior art date
- Legal status (The legal status is an assumption and is not a legal conclusion. Google has not performed a legal analysis and makes no representation as to the accuracy of the status listed.)
- Active
Links
Images
Landscapes
- Liquid Crystal (AREA)
- Devices For Indicating Variable Information By Combining Individual Elements (AREA)
- Thin Film Transistor (AREA)
Description
液量表示素子及びそれを用いた画像表示装置に関する。 The present invention relates to a liquid amount display element and an image display device using the same.
近年、パーソナルコンピュータのディスプレイ、あるいはテレビといった情報及び画像表示装置の分野において、液晶ディスプレイ(LCD:Liquid Crystal Display)が大きく普及してきている。その液晶ディスプレイの市場、技術開発動向においては、画素(ピクセル)サイズの小型化による高精細化、高画質化と共に、画面の大型化が顕著である。そのため大面積の画面に非常に多くの小さな画素を配列させる必要があり、大面積の画面を対象とした微細加工プロセスが開発されている。 2. Description of the Related Art In recent years, liquid crystal displays (LCDs) have become very popular in the field of information and image display devices such as personal computer displays or televisions. In the liquid crystal display market and technological development trend, not only high-definition and high-quality images due to downsizing of the pixel size, but also enlargement of the screen is remarkable. Therefore, it is necessary to arrange a very large number of small pixels on a large-area screen, and a fine processing process for large-area screens has been developed.
一方、小さな画像表示素子(対角線方向の大きさで数インチ、あるいは1インチ以下の液晶表示素子等)と拡大投射光学系とを組み合わせた画像表示装置であるプロジェクタも普及しつつあり、オフィスにおけるプレゼンテーションのみならず、ホームシアタ等の家庭における娯楽にも用いられつつある。液晶ディスプレイにおいて、高精細な画像を維持しつつ、その画面が大型化するとコストが高くなるのに対し、プロジェクタに適用する液晶表示素子は画面が小さくてもよいためコスト面で非常に有利となる。 On the other hand, projectors, which are image display devices that combine a small image display element (such as a liquid crystal display element having a diagonal size of several inches or 1 inch or less) with an enlarged projection optical system, are also becoming popular, and are used in office presentations. In addition, it is also being used for entertainment at home such as home theater. In a liquid crystal display, while maintaining a high-definition image, the cost increases when the screen is enlarged, whereas the liquid crystal display element applied to the projector is very advantageous in terms of cost because the screen may be small. .
しかし、ここで、小型の画像表示素子の画像を高精細化することを考えた場合、もともと小さな画面領域に、多くの画素を配列させることになるため、1画素のサイズをより微細化する必要が生じる。すなわち、いかに画素サイズを小さくするかが課題となる。そこで、半導体の微細加工技術の進歩にともない、より微細なサイズの画素が実現されつつある。 However, here, when considering increasing the resolution of an image of a small image display element, since many pixels are originally arranged in a small screen area, it is necessary to further reduce the size of one pixel. Occurs. That is, how to reduce the pixel size is a problem. Therefore, with the progress of semiconductor microfabrication technology, pixels with finer sizes are being realized.
また、電化製品、精密機器、及び映像機器においては、省スペース化、及び省電力化が望まれており、特に、プロジェクタに関しては携帯可能なものが注目されている。そのため、1つの開発動向としてプロジェクタの小型化及び軽量化があげられる。特に、単板式のカラー液晶プロジェクタは、3板式のカラープロジェクタと比較して光学系が簡易であり、小型化及び軽量化に適している(特許文献1)。 In addition, in electrical appliances, precision equipment, and video equipment, space saving and power saving are desired. In particular, portable projectors are attracting attention. Therefore, one development trend is to reduce the size and weight of the projector. In particular, a single-plate color liquid crystal projector has a simple optical system compared to a three-plate color projector, and is suitable for miniaturization and weight reduction (Patent Document 1).
しかしながら、単板式のカラー液晶プロジェクタにおける画像表示素子の単位画素は複数のドットを有し、その各々に着色層を配置した構成である。上記のように画素は高精細化される動向にあるが、光を変調させるために液晶を駆動するスイッチング素子や補助容量などの電気・電子回路は、画素の高精細化に比例して、必ずしも小さくできる訳ではない。これは、スイッチング素子や補助容量は、半導体基板やガラス基板等の基板上に微細加工技術を用いて作製され、半導体プロセスの制限により、実現できる細線幅に限度があるためである。また、技術的にはより微細な加工が可能であっても、設備投資等を考えるとコスト上の問題から実現が困難な場合もある。その結果、1ドットに占めるスイッチング素子の面積割合が大きくなり、開口率が低下する。また、着色層での光吸収による光の透過率の低下や、着色層での光吸収によって発生した熱に起因して色度低下、画質劣化、及び信頼性の問題が生じる。 However, the unit pixel of the image display element in the single-plate color liquid crystal projector has a plurality of dots, and a colored layer is arranged on each of the dots. As described above, pixels are in the trend toward higher definition, but electrical and electronic circuits such as switching elements and auxiliary capacitors that drive liquid crystals to modulate light are not necessarily proportional to the higher definition of pixels. It cannot be made smaller. This is because the switching element and the auxiliary capacitor are manufactured on a substrate such as a semiconductor substrate or a glass substrate using a fine processing technique, and there is a limit to a thin line width that can be realized due to a limitation of a semiconductor process. Further, even if technically finer processing is possible, it may be difficult to realize due to cost problems in view of capital investment. As a result, the area ratio of the switching element occupying one dot increases, and the aperture ratio decreases. In addition, a decrease in light transmittance due to light absorption in the colored layer and a problem in chromaticity decrease, image quality deterioration, and reliability due to heat generated by light absorption in the colored layer occur.
本発明の目的は、上記課題である、液晶表示素子の画素を高精細化すると光の利用効率が低下してしまう、という問題を解決する液晶表示素子及びそれを用いた表示装置を提供することにある。 An object of the present invention is to provide a liquid crystal display element and a display device using the same, which solve the above-mentioned problem that the use efficiency of light is reduced when the pixels of the liquid crystal display element are made high definition. It is in.
本発明の液晶表示素子は、積層されたスイッチング素子と複数の画素電極とを少なくとも含む第1の基板と、積層された着色層と共通電極を少なくとも含む第2の基板とが、液晶層を挟んで対向している。第1の基板上に複数のゲート線が平行かつ等間隔に配置され、ゲート線とは直角に複数のデータ線が平行かつ等間隔に配置され、ゲート線とデータ線とで囲まれた領域により1つのドットが形成されている。また、ドットは、ゲート線とデータ線の交差部に設けられたスイッチング素子と、スイッチング素子を介して設けられた第1の画素電極とを少なくとも有する第1の開口部と、第2の画素電極と制御電極とを少なくとも有する第2の開口部とを有している。第1の開口部は、第2の開口部の着色層よりも光の透過率が高い高透過率領域を有している。高透過率領域は、着色層に設けられたスルーホールからなる。第2の画素電極は、保護絶縁膜を介して第1の画素電極の上層に形成され、かつ、第2の画素電極と第1の画素電極とは保護絶縁膜を介して部分的に重なり合っている。さらに、第1の開口部における光の透過率変化に関する閾値電圧と第2の開口部における光の透過率変化に関する閾値電圧が異なっている。 In the liquid crystal display element of the present invention, a first substrate including at least a stacked switching element and a plurality of pixel electrodes, and a second substrate including at least a stacked colored layer and a common electrode sandwich the liquid crystal layer. Are facing each other. A plurality of gate lines are arranged in parallel and at equal intervals on the first substrate, a plurality of data lines are arranged in parallel and at equal intervals at right angles to the gate lines, and a region surrounded by the gate lines and the data lines. One dot is formed. In addition, the dot includes a first opening having at least a switching element provided at an intersection of the gate line and the data line, and a first pixel electrode provided via the switching element, and a second pixel electrode. And a second opening having at least a control electrode. The first opening has a high transmittance region having a higher light transmittance than the colored layer of the second opening. The high transmittance region consists of through holes provided in the colored layer. The second pixel electrode is formed in an upper layer of the first pixel electrode through the protective insulating film, and the second pixel electrode and the first pixel electrode partially overlap with each other through the protective insulating film. Yes. Further, the threshold voltage relating to the light transmittance change in the first opening is different from the threshold voltage relating to the light transmittance change in the second opening.
本発明によると、液晶表示素子のパネル全体の光の透過率を大きくすることができ、これにより、正面輝度及びコントラストを大きくできる。また、中間階調において、画質が低下することがない。 According to the present invention, it is possible to increase the light transmittance of the entire panel of the liquid crystal display element, thereby increasing the front luminance and contrast. Further, the image quality does not deteriorate at the intermediate gradation.
以下に、添付の図面に基づき、本発明の実施の形態を説明する。なお、同一の機能を有する構成には添付図面中、同一の番号を付与し、その説明を省略することがある。 Embodiments of the present invention will be described below with reference to the accompanying drawings. In addition, the same number is attached | subjected to the structure which has the same function in an accompanying drawing, and the description may be abbreviate | omitted.
[実施形態1]
本発明に係る液晶表示素子の第1の実施形態について説明する。
[Embodiment 1]
A liquid crystal display device according to a first embodiment of the present invention will be described.
図1に本発明に係る液晶表示素子の第1の実施形態のドットの構成を示す上面の概略図、図2に図1のA−A’方向の断面の概略図を示す。 FIG. 1 is a schematic top view showing a dot configuration of a liquid crystal display element according to the first embodiment of the present invention, and FIG. 2 is a schematic cross-sectional view in the A-A ′ direction of FIG.
なお、液晶表示素子は、複数のドット(通常レッド、グリーン、ブルーの3つのドット)で1つの画素を形成し、複数の画素で液晶表示パネルを形成している。説明では、1つのドットを例にして説明する。 In the liquid crystal display element, one pixel is formed by a plurality of dots (usually three dots of red, green, and blue), and a liquid crystal display panel is formed by the plurality of pixels. In the description, one dot will be described as an example.
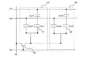
図1に示すように、1つのドット14は、光の透過率の高い領域(以降すべて「高透過率領域」とする)27が設けられた第1の開口部25と、着色領域28が設けられた第2の開口部26とで構成された開口部29と、遮光領域であるブラックマトリクス61とから構成される。
As shown in FIG. 1, each dot 14 is provided with a
また、図2に示す通り、第1の基板21と第2の基板22との間に、液晶層12が設けられている。第1の基板21は、第1の透明基板23の液晶層12側の表面に、第1の画素電極31と、第2の画素電極32と、スイッチング素子となる薄膜トランジスタ(以下「TFT:Thin Film Transistor」とする)39とが形成されている。また、第2の基板22は、第2の透明基板24の液晶層12側に、レッド、グリーン、及びブルー等が着色された着色層62、及びブラックマトリクス61が設けられ、その上に所定の形状にパターニングされたITO(Indium Tin Oxide)等の透明電極が共通電極33として設けられている。なお、第1の開口部25には着色層62を設けない。そうすることで、高透過率領域27として無着色領域を形成している。なお、必要に応じて設けられる配向膜は図示していない。
As shown in FIG. 2, the
ドット14内には、第1の画素電極31、第2の画素電極32及び共通電極33がそれぞれ設けられており、ゲート線48と電気的に接続しているゲート電極47(図中のゲート電極47に電気的に接続しているゲート線48については図3にて示す)によりTFT39を動作させて、第1の画素電極31(又は第2の画素電極32)を選択し、第1の画素電極31(又は第2の画素電極32)と共通電極33の間に電圧を印加して液晶の配向を制御し、画像表示をする。
A
本実施形態における高透過率領域27は、前記したような完全な無着色領域でなくても良く、着色領域28よりも光の透過率が大きくなっていればよい。例えば、第2の基板22全体を着色層62で覆い、第1の開口部25に、部分的にスルーホールを設けたり、部分的に着色層62を薄くして光の透過率を大きくしたりし、高透過率領域27としてもよい。これにより高透過率領域27では、顔料や染料等の着色材による光吸収を小さくし、バックライト光源から入射された光が効率良く透過できるため着色領域28と比べて光の透過効率が大きくなる。
The
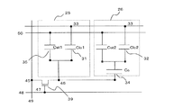
図3に本実施形態における液晶表示素子の第1の基板21側のドットレイアウトを示す平面の概略図、図4に本実施形態における液晶表示素子のドットの等価回路図を示す。
FIG. 3 is a schematic plan view showing a dot layout on the
図3に示すように、TFT39が形成された第1の基板21では、横方向に延びる複数本のゲート線48と、縦方向に延びる複数本のデータ線49とで囲まれる領域によって1つのドット14が構成されている。そして、このドット14には、TFT39、第1の画素電極31、第2の画素電極32、制御電極34、共通電極33、蓄積容量電極35、共通容量線50が備えられている。
As shown in FIG. 3, in the
図2、図3、及び図4に示すように、第1の画素電極31はTFT39のソース電極46と、制御電極34と、蓄積容量電極35とが電気的に接続しており、第1の画素電極31と制御電極34と蓄積容量電極35とが同電位の場合、制御電極34と共通容量線50との間と、蓄積容量電極35と共通容量線50との間に第1の蓄積容量Cst1が形成される。また、第1の画素電極31と、対向基板である第2の基板22に配置された共通電極33との間には、液晶層12を介して第1の液晶容量Clc1が形成される。
As shown in FIGS. 2, 3, and 4, in the
一方、第2の画素電極32は電気的にフローティング状態であり、制御電極34と第3の保護絶縁膜43を介して結合容量Ccを形成している。また、第2の画素電極32と共通容量線50との間に第2の蓄積容量Cst2が形成される。さらに、第2の画素電極32と共通電極33との間には、液晶層12を介して第2の液晶容量Clc2が形成される。
On the other hand, the
ドット14の2つの開口部25、26は、それぞれ光の透過率が異なる高透過率領域27と着色領域28から構成され、高透過率領域27にはTFT39と電気的に接続する第1の画素電極31が配置され、着色領域26には制御電極34と結合容量Ccを形成する第2の画素電極32が配置されている。
The two
これら結合容量Cc、第1の蓄積容量Cst1、及び第2の蓄積容量Cst2のそれぞれの容量サイズは各絶縁膜の材質(誘電率)と厚さ、及び各電極の大きさ等のパラメータにより所望の値に設定することが可能である。 The respective capacitance sizes of the coupling capacitor Cc, the first storage capacitor Cst1, and the second storage capacitor Cst2 are set according to parameters such as the material (dielectric constant) and thickness of each insulating film, and the size of each electrode. It can be set to a value.
第1の画素電極31へ印加される電圧V1と、第2の画素電極32へ印加される電圧V2との画素電極電圧比V1/V2は、制御電極34と第2の画素電極32との間の結合容量Ccと、第2の画素電極32と共通容量線50との間の付加容量Cst2、及び液晶容量Clc2との比によって定まる。ここで、共通容量線50の電圧を共通電極33と同電圧とした場合には、上記の画素電極電圧比V1/V2は以下の数式が成立する。
The pixel electrode voltage ratio V1 / V2 between the voltage V1 applied to the
したがって、第1の画素電極31と第2の画素電極32の印加電圧の違いにより、各領域27、28の液晶分子に異なる電圧が印加される。これにより、各領域27、28における電圧−透過率特性(V−T特性)が変化し、第1の画素電極31におけるV−T特性の光の透過率変化に関する閾値電圧Vth1と第2の画素電極32におけるV−T特性の光の透過率変化に関する閾値電圧Vth2とに差が生じる。このような光の透過率変化に関する閾値電圧の差は、主に、第1の開口部25には存在しない結合容量Ccが第2の開口部26に形成されていることにより生じる。数式1より、V1>V2の関係が成り立ち、第2の画素電極32に印加される電圧V2は、第1の画素電極31に印加される電圧V1より相対的に小さくなるため、第1の画素電極31におけるV−T特性の光の透過率変化に関する閾値電圧Vth1と第2の画素電極32におけるV−T特性の光の透過率変化に関する閾値電圧Vth2との間には以下の関係が成り立つ。
Therefore, different voltages are applied to the liquid crystal molecules in the
したがって、詳しくは後述するが、本実施形態の液晶表示素子では、図6に示すような電圧−透過率特性(V−T特性)を得ることができる。横軸にTFT39のソース電極46の電圧をとり、縦軸に透過率をとるとVth2はVth1より右側(高電圧側)へシフトする。光の透過率は、第1の開口部25が有する高透過率領域27(第1の画素電極31に対応)の透過率と第2の開口部26が有する着色領域28(第2の画素電極32に対応)の透過率の和となる。そのため、低電圧においては液晶表示パネルの光の透過率を大きくすることができる。また、Vth2はVth1より高電圧側にシフトしているため、中間階調電圧を大きく設定できる。それにより、細かな色彩を表現でき、着色領域28を透過した輝度を大きく、高透過率領域27を透過した輝度を小さくできるため、高透過率領域27からの無色光による色味の低減を小さくすることができる。
Therefore, as will be described in detail later, in the liquid crystal display element of this embodiment, voltage-transmittance characteristics (VT characteristics) as shown in FIG. 6 can be obtained. When the voltage of the
本実施形態の第1の基板21及び第2の基板22について、さらに詳細に説明する。
The
はじめに、第1の基板21について説明する。図2、図3に示すように、TFT39はゲート電極47がソース電極46、及びドレイン電極45よりも上部位置に配置されたトップゲート構造である。活性層(半導体層)40は、アモルファスシリコンやポリシリコン等の使用が可能であり、セルフアライン技術によって形成することができる。
First, the
CVD(Chemical Vapor Deposition)法などでガラスから成る第1の透明基板23上に島状の半導体層40が形成され、これを覆って第1の保護絶縁膜41が形成され、その上にゲート電極47が形成され、さらにその上に第2の保護絶縁膜42が形成される。
An island-
第2の保護絶縁膜42上にはソース電極46とドレイン電極45が形成され、第1のコンタクトホール37を介してソース電極46並びにドレイン電極45と半導体層40のソースドレイン領域とを接続している。ゲート電極47の下部は半導体層40のチャネル領域である。
A
ソース電極46、及びドレイン電極45上には第3の保護絶縁膜43が全面に形成されている。第3の保護絶縁膜43には第2のコンタクトホール38が設けられる。一方のドレイン電極45はデータ線49に接続され、他方のソース電極46は第2のコンタクトホール38を介して第1の画素電極31と接続される。
A third protective insulating
TFT39は、ゲート電極47と、ドレイン電極45と、ソース電極46とを備えており、TFT39は、走査線であるゲート線48と映像信号線であるデータ線49との交点の近傍にドット毎に設けられている。ゲート電極47はゲート線48に、ドレイン電極45はデータ線49に、ソース電極46は第1の画素電極31にそれぞれ電気的に接続されている。
The
TFT39近傍においては、半導体層40は第1の保護絶縁膜41で覆われ、ゲート電極47は第2の保護絶縁膜42で保護されている。また、保護絶縁膜41、42には窒化シリコン等を用いることができる。
In the vicinity of the
第1の画素電極31及び第2の画素電極32は透明電極から成り、ITO等の材料を用いることができる。また、第1の画素電極31と第2の画素電極32は同じ層に成形するため、第1の画素電極31と第2の画素電極32を一体的に形成できる。
The
第1の画素電極31はTFT39のソース電極46に電気的に接続されており、第1の画素電極31は第2コンタクトホール38を介して制御電極34へ電気的に接続している。制御電極34はTFTのソース電極46と一体的に形成することも可能である。
The
ゲート線48、ソース電極46、ドレイン電極45、共通容量線50はクロム等の金属膜が使用される。また、共通容量線50はゲート線48と一体的に形成することも可能である。
For the
本実施形態では、第2の画素電極32に対して容量を付加するための共通容量線50が設けられた構成となっているが、第2の画素電極32と制御電極34との間の結合容量Ccと、第2の画素電極32と共通電極33との間の液晶容量Clc2とで第1の画素電極31へ印加される電圧V1と第2の画素電極32へ印加される電圧V2に必要な電位差が得られれば、特に共通容量線50を設ける必要はない。
In the present embodiment, a
また、本実施形態においては、ゲート線48が選択された瞬間に、データ線49からTFT39を介して信号電圧が、ソース電極46に接続された第1の画素電極31、及び制御電極34に書き込まれる。この時、フローティング状態である第2の画素電極32の電位は、結合容量Ccと、蓄積容量Cst2及び液晶容量Clc2の容量比にしたがって、制御電極34と共通容量線50との間の所定電位に定まる。共通容量線50は例えば第2の基板22上の共通電極33と同電位となるように構成してもよく、また、前段のゲート線48等に接続してもよい。
In the present embodiment, the signal voltage is written from the
第1の画素電極31(又は第2の画素電極32)と制御電極34との間の第3の保護絶縁膜43は、有機材料系の保護絶縁膜でもよく、表面を平坦化する効果を有する膜であることが望ましい。また、窒化膜と有機膜とを積層した組み合わせにより信頼性、絶縁性、平坦性を向上させてよい。
The third protective insulating
また、蓄積容量線50と第2の画素電極32の間に形成される第3の保護絶縁膜43は、ゲート線48やデータ線49の上層に形成される保護絶縁膜と異なる材料で構成してもよい。蓄積容量線50と第2の画素電極32の間に形成される第3の保護絶縁膜43は、可視光に対して透明でかつ誘電率が大きく、厚膜化が可能で平坦化性を有する材料が望ましく、ゲート線48やデータ線49の上層に配置される保護絶縁膜は可視光に対して透明でかつ誘電率が低く、厚膜化が可能で平坦化性を有するものが望ましい。これにより、第2の画素電極32に形成される容量結合Ccを大きくすると同時に、データ線49とゲート線48の寄生容量を小さくすることができる。
The third protective insulating
次に、第2の基板22について図2を用いて説明する。
Next, the
図2に示すように、第2の基板22は、ガラスから成る第2の透明基板24上に、液晶層12側の面にブラックマトリクス61、及びレッド、グリーン、あるいはブルー等からなる着色層62を形成したカラーフィルタである。第2の基板22は第2の透明基板24の液晶層12側に、印刷法等によりレッド、グリーンあるいはブルーの着色層62、及びブラックマトリクス61を形成し、その上にITOをスパッタ成膜した後、フォトリソグラフィー技術によりITOを所望の形状にパターニングして共通電極33を形成した。
As shown in FIG. 2, the
実施形態7及び8で詳しく説明するが、高透過率領域27として、第2の基板22の着色層62の第1の開口部25へ、スルーホール(図2、図19、20、21、及び図22参照)を設けることができ、このスルーホールに対しては透明なレジストを配置して用いることができる。また、着色層62の厚みを部分的に薄くして、光の透過効率を向上させても良い。着色層62の厚みを部分的に薄くする手法では、作業工程を増やすことがなく、高透過率領域27と着色領域28の段差の大きさを低減することもできるため、表示品質を向上できる。
As will be described in detail in Embodiments 7 and 8, as the
高透過率領域27と着色領域28の境界にブラックマトリクス61を設けても良く、その場合、結合容量部の金属配線によって反射された光を遮光でき、画質劣化を低減できる。ブラックマトリクス61は、第1の基板21と第2の基板22の重ね合わせずれマージンを見込む分だけ幅広に設けることが望ましい。
A
第2の基板22の着色層62の液晶層12側には、オーバーコート63を設けることができる。オーバーコート63により高透過率領域27と着色領域28の着色層62の段差を平坦化することができ、表示品質を向上させることができる。また、第2の基板22の液晶層12側には、柱状スペーサを形成してもよい。柱状スペーサを形成することにより、第1の基板21と第2の基板22との間のギャップを高精度に調整することができる。
An
さらに、図4の等価回路に従っていれば、各構成要素の平面形状は、図2の形状に限定されるものではない。 Furthermore, as long as the equivalent circuit of FIG. 4 is followed, the planar shape of each component is not limited to the shape of FIG.
以下に製造方法について説明する。 The manufacturing method will be described below.
上記のように処理した第1の基板21及び第2の基板22に、それぞれ配向剤(図示せず)を塗布し、ラビングする。次に、第1の基板21上にシール材(図示せず)を線状に塗布すると共に、第2の基板22上に球状スペーサー(図示せず)を散布し、両基板21、22を互いに貼り合わせ、加熱によりシール材を硬化させる。第2の基板22上に柱状スペーサが形成されている場合は、球状スペーサを散布することなく、両基板21、22を張り合わせればよい。次に、シール材により第1の基板21と第2の基板22とが一体化された構造を、個々の液晶表示パネルの形状に切断した後に、ネマティック液晶を注入孔から注入した後、注入孔を光硬化樹脂で封止する。
An alignment agent (not shown) is applied to each of the
次に、液晶表示パネルの両側に偏光板(図示せず)をその透過軸が互いに直交するように両面に貼り付け、周辺駆動回路(図示せず)を取り付けてモジュール化して、液晶表示素子を完成させる。偏光板は視野角補償のための位相差フィルムが一体化した偏光板であって良く、バックライト輝度の指向性を高めて正面輝度を向上可能なフィルム付きの偏光板であってもよい。なお、本実施形態では、液晶駆動にTN(Twisted Nematic:ねじれネマティック)方式を適用しており、ノーマリホワイトの状態である。 Next, polarizing plates (not shown) are attached to both sides of the liquid crystal display panel so that the transmission axes thereof are orthogonal to each other, and a peripheral drive circuit (not shown) is attached to form a module. Finalize. The polarizing plate may be a polarizing plate in which a retardation film for viewing angle compensation is integrated, or may be a polarizing plate with a film capable of improving the directivity of backlight luminance and improving the front luminance. In the present embodiment, a TN (twisted nematic) method is applied to the liquid crystal drive, which is normally white.
以下の実施例で本実施形態の特徴をさらに説明する。 The features of this embodiment are further described in the following examples.
図5に本実施形態の液晶表示素子のドットで構成した画素を示す上面の概略図を示す。単位画素13は、1画素(繰り返し単位)がレッドドット92とグリーンドット93とブルードット94の(3×1)個のドットから構成される。3つのドット92、93、94の着色層62としてレッド、グリーン、ブルーの3色を適用し、着色領域28として各色付領域64、65、66を有する第2の開口部26と、高透過率領域27を有する第1の開口部25とで開口部29が構成されている。本実施例では、横111μm、縦111μmの単位画素13に対し、1ドット14は横37μm、縦111μmの長方形で構成し、それぞれ均等な大きさに分割した。各色のドット14は、ドット14の長辺に垂直な方向へレッドドット92⇒グリーンドット93⇒ブルードット94の順で周期的に配列している。
FIG. 5 is a schematic view of the upper surface showing pixels formed of dots of the liquid crystal display element of the present embodiment. In the
なお、便宜上、以下のようにXY直交座標系を設定する。ドットが配列される方向において、レッドドット92⇒グリーンドット93⇒ブルードット94に向かう方向を+X方向とし、その反対方向を−X方向とする。+X方向及び−X方向を総称してX軸方向という。また、各ドット14のデータ線長手方向をY軸方向とする。
For convenience, the XY orthogonal coordinate system is set as follows. In the direction in which the dots are arranged, the direction from
本実施例の液晶表示素子は、上述の通り、単位画素のサイズは横111μm×縦111μmであり、表示画素数は、横480×縦600のVGA(Video Graphics Array)である。着色領域28と高透過率領域27を合わせた開口率は55.9%であり、着色領域28と高透過率領域27の面積比率は、各ドット14について7:3の割合である。したがって、着色領域28の開口率は39.13%であり、高透過率領域27の開口率は16.77%である。
As described above, the liquid crystal display element of this embodiment has a unit pixel size of 111 μm × 111 μm and a display pixel number of 480 × 600 VGA (Video Graphics Array). The combined aperture ratio of the
また、液晶容量Clc2の容量値は50μF、蓄積容量Cst2の容量値は100μF、結合容量Ccの容量値は150μFとし、液晶容量Clc1の容量値は15μF、蓄積容量Cst1の容量値は75μFと構成した。したがって、数式1より(画素電極電圧比V1/V2)=1/2となり、第2の画素電極32には、第1の画素電極31の電位に対して1/2倍の電圧が印加されることになる。
The capacitance value of the liquid crystal capacitor Clc2 is 50 μF, the capacitance value of the storage capacitor Cst2 is 100 μF, the capacitance value of the coupling capacitor Cc is 150 μF, the capacitance value of the liquid crystal capacitor Clc1 is 15 μF, and the capacitance value of the storage capacitor Cst1 is 75 μF. . Therefore, (Equation 1) (pixel electrode voltage ratio V1 / V2) = 1/2, and a voltage that is ½ times the potential of the
本実施例における液晶表示素子では、階調を調整(γ調整)する場合に白表示(255/255階調)を1Vに設定し、2V−5Vを中間階調へ設定した。 In the liquid crystal display element in this example, when adjusting the gradation (γ adjustment), the white display (255/255 gradation) was set to 1V, and 2V-5V was set to the intermediate gradation.
以上の構成で、各材料の物性値をもとに光の透過率をシミュレータにより計算した結果、液晶層12での光の透過率は81%、平行偏光板での光の透過率は40%、着色層62での光の透過率は38%であり、着色領域64、65、66での光の透過率は4.86%、高透過率領域27の光の透過率は5.48%であった。このとき、本実施例の液晶表示素子の光の透過率はそれらの光の透過率の合計値である10.3%となった。本実施例の材料を適用して、従来のように開口部に高透過率領域27を設けず着色領域28のみで第2の基板22を構成した例を計算すると、白表示状態での液晶表示パネルの光の透過率は6.94%である。本実施例においては、白表示状態での液晶表示パネルの光の透過率は10.3%であり、高透過率領域27を有さない場合に比べて液晶表示パネルの光の透過率が1.48倍向上することができる。これにより、正面輝度、コントラストを大きくできるため、視認性に優れた液晶表示パネルを提供できる。また、液晶表示パネルの光の透過率を大きくできるため、バックライトの消費電力を小さくでき、モジュールを省電力化できる。
With the above configuration, the light transmittance was calculated by the simulator based on the physical property values of each material. As a result, the light transmittance in the
また、図6にシミュレータにより計算した液晶表示素子の電圧−透過率特性のグラフを示す。図6に示すように、横軸(X軸)に制御電極34の電圧をとり、縦軸(Y軸)に各領域27、28の光の透過率をプロットしてグラフ化すると、第1の開口部25と第2の開口部26とでは液晶分子へ印加される電圧が異なるため、電圧−透過率特性(V−T特性)の光の透過率変化に関する閾値電圧が異なる。特に、本実施例では、数式2で示したように、第2の開口部26の光の透過率変化に関する閾値電圧Vth1が第1の開口部25の光の透過率変化に関する閾値電圧Vth2よりも相対的に小さくなるため、第2の開口部26のV−T特性カーブは、第1の開口部25のV−T特性カーブよりも+X軸方向(高電圧側)へシフトすることがわかる。液晶表示パネルの光の透過率は、高透過率領域27を有する第1の開口部25と着色領域28を有する第2の開口部26とからの光の透過率の和になる。そのため、Vth1より小さい電圧では光の透過率を大きくすることができ、高輝度にできる。中間階調電圧においては、第1の開口部25での光の透過率は小さくなる。しかし、Vth1よりもVth2は高電位側にシフトしているため、第2の開口部26においては光の透過率を保つことができる。したがって、着色領域28を透過した光の輝度を大きく、高透過率領域27を透過した光の輝度を小さくできるため、高透過率領域27からの無色光による色味の低減を小さくすることができ、さらに、中間階調電圧を幅広く設定できることから、細かな色の違いも表現できる。中間階調電圧よりも高い電圧を印加すれば、第2の開口部26からも光が透過しなくなるので、低輝度へ飽和、つまり黒を表示することができる。
FIG. 6 shows a graph of voltage-transmittance characteristics of the liquid crystal display element calculated by the simulator. As shown in FIG. 6, when the voltage of the
第1の開口部25と第2の開口部26でのV−T特性が同じである場合、低電圧では光の透過率を本実施例と同等なレベルにすることができるが、Vth1とVth2が同じ値であるため、中間階調電圧として設定できる範囲が小さく、電圧を上げるとすぐに低輝度、つまり黒表示になってしまう。また、中間階調を表示する際には、第1の開口領域25の高透過率領域27を透過した光の成分を分離できず、無色の光の成分が多く混ざるため、色味の変化や色度低下、画質劣化が生じる。一方、本実施例によれば、中間階調において、第1の開口部25の高透過率領域27から透過した光の寄与を低減できるため、中間階調で画質低下することのない高品質な表示素子を提供できる。
When the VT characteristics of the
なお、本実施例においては、+X方向へ順にレッドドット92、グリーンドット93、ブルードット94の順序で配列しているが、この順序に限定されず、1つの画素13がレッド、グリーン、ブルーの3色のドット92、93、94で構成され、周期的に配列していれば順序は任意でよい。また、4色以上のドット14で構成されていてもよく、この場合、さらに多くの色表現や階調を向上させることができる。
In this embodiment, the
また、各ドット92、93、94の高透過率領域27はそれぞれ同じ面積で構成しているが、高透過率領域27は、ドット92、93、94毎に異なる面積で構成されても良く、好ましくは、(グリーンドット93)>(レッドドット92)>(ブルードット94)の関係であることが望ましい。また、高透過率領域27は、単位画素13の少なくとも1つのドットに設けてあれば良く、レッドドット92、ブルードット94には高透過率領域27を設けず、グリーンドット93にのみ高透過率領域27を設けてもよい。
Further, the
以上より、高精細化した画素を有する液晶表示素子において、中間階調における表示劣化を低減しつつ、同時に、光の透過率を大きく向上させることができた。これにより、表面輝度が大きく視認性に優れた液晶表示装置を提供できる。 As described above, in the liquid crystal display element having high-definition pixels, it was possible to greatly improve the light transmittance while reducing display deterioration in the intermediate gradation. Thereby, a liquid crystal display device having a large surface brightness and excellent visibility can be provided.
上記の実施形態、及び実施例の液晶表示素子は、さらに以下の特徴を持つ。 The liquid crystal display elements of the above embodiments and examples further have the following characteristics.
(結合容量比)={(結合容量Cc)/(液晶容量Clc2)+(蓄積容量Cst2)}は1以上であることが望ましく、結合容量比が大きいほど、各領域27、28のV−T特性において飽和する電圧値(飽和電圧)の差が大きくなるため、第1の開口部25と第2の開口部26の中間輝度を分離しやすい。中間階調の電圧は、白表示の設定電圧Vwから黒表示の設定電圧Vbまでの間の電圧を、階調数に応じて各階調へ振り分けるため、中間輝度に対応する電圧Vmは、Vw<Vm<Vbの関係が成り立つ。そのため、図6に示した液晶表示素子の例では、中間輝度に対応する電圧は2.0Vから5.0V程度の間で任意に設定することが可能である。これにより、中間階調の表示において高透過率領域27から透過した光成分の寄与をさらに低減できる。なお、本実施例においては、(結合容量比)=4となっている。
(Coupling capacitance ratio) = {(coupling capacitance Cc) / (liquid crystal capacitance Clc2) + (accumulation capacitance Cst2)} is preferably 1 or more, and the larger the coupling capacitance ratio, the VT of each of the
図5に示すように、データ線49、ゲート線48、及びTFT39を覆うようにブラックマトリクス61を設けると、特に、外光の強い場所においては、液晶表示パネルの外部から入射する光を遮光できるため明所でのコントラストを向上し、視認性の良い液晶表示素子を提供できる。また、ブラックマトリクス61は、共通容量線50や第1の画素電極31と第2の画素電極32の境界領域を覆うように設けてもよく(図示せず)、これにより画素電極の境界領域に発生するディスクリネーションを隠すことができるため、光漏れを低減できコントラストを向上できる。
As shown in FIG. 5, when the
第3の保護絶縁膜43を薄くすることにより、単位面積あたりの容量を大きくすることができるため、結合容量部の面積を低減でき開口を広くすることができる。
By reducing the thickness of the third protective insulating
制御電極34の下層に共通容量線50を設けることにより、蓄積容量を大きくとることができ開口部29を広くレイアウトすることが可能なため、液晶表示パネルの光の透過率を向上することができる。
By providing the
また、データ線49、ドレイン電極45、及び制御電極34を同時に形成でき、さらに、第1の画素電極31と第2の画素電極32を同時に形成できるため省プロセス、及び低コスト化できる。
In addition, since the
なお、第2の基板22側へ各着色層62を設ける形態を説明したが、COT(Color filter On TFT)技術を用いて着色層62を第1の基板21側に設けても効果に変わりはない。
In addition, although the form which provides each
上記の説明はいずれもノーマリホワイトモードの例について述べたが、ノーマリブラックモードにも適用できる。ノーマリブラックモードに適用する場合は、第1の開口部25を着色領域28とし、第2の開口部26を高透過率領域27とすればよい。
In the above description, the example of the normally white mode has been described. However, the present invention can also be applied to the normally black mode. When applied to the normally black mode, the
また、V−T特性の光の透過率変化に関する閾値電圧が小さい液晶材料を適用することが望ましい。V−T特性の光の透過率変化に関する閾値電圧が小さい液晶剤を適用することにより、第1の開口部25と、第2の開口部26の飽和電圧値との差を大きく設定しやすく、低電圧駆動化、及び低消費電力化できる。
In addition, it is desirable to apply a liquid crystal material having a small threshold voltage related to a change in transmittance of light having a VT characteristic. By applying a liquid crystal agent having a small threshold voltage related to the light transmittance change of the VT characteristic, it is easy to set a large difference between the saturation voltage value of the
さらに、結合容量Ccを形成する領域は第2の開口部26へ設けることが望ましい。第2の開口部26は着色層62があるため、高透過率領域27よりも光を吸収する。これにより容量結合領域部の金属表面で発生する外光反射を大きく低減できる。
Furthermore, it is desirable to provide a region for forming the coupling capacitor Cc in the
また、高精細画素に対しては、高透過率領域27として、着色層62に図1に示すようなスリット状のスルーホールを設けることによって無着色領域を形成することは有効である。スリット状にスルーホールを形成した場合、スルーホールはゲート線の延びる方向へ沿った帯状のパターンであり、液晶表示パネルを上面から観察するとデータ線49の延びる方向に沿った横ストライプ状の模様となる。このようなスルーホールは簡素な開口パターンであるため加工精度を向上でき、スルーホールの面積のバラつきを低減できる。
For high-definition pixels, it is effective to form a non-colored region by providing a slit-like through hole as shown in FIG. When the through hole is formed in a slit shape, the through hole is a band-like pattern along the direction in which the gate line extends. When the liquid crystal display panel is observed from the upper surface, a horizontal stripe pattern along the direction in which the
高透過率領域27は、光を透過しやすく放熱効果が大きいため、液晶表示パネル内部の温度を低減できる。これによりバックライト光源から出射された光による着色層62の劣化を低減でき、信頼性を向上させることができる。
Since the
本実施形態におけるTFT39はトップゲート構造として示されているが、ゲートがソース、及びドレインよりも下部位置に配置されたボトムゲート構造でもよい。トップゲート構造では、断線不良などが起こりにくく、ボトムゲート構造では、各層を連続して堆積できるために膜の清浄度が高く、製造の安定性に優れているという特長を有している。またTFT39は、フィン型でも良い。また半導体層もアモルファスシリコン、ポリシリコン、酸化物半導体、有機半導体でも良い。このうちポリシリコンを用いた場合は表示部の他にゲートドライバ、ソースドライバ、信号処理回路、電源回路などの周辺回路を同じ基板上に作り込める利点がある。またTFT39の型はn型、p型いずれでも良いが、電子移動度は正孔移動度よりも1桁以上大きいため、n型のほうが好ましい。
Although the
次に、本実施形態の回路構成の変形例について説明する。図7に、図4に示した等価回路の他の等価回路図を示す。図4に示す回路構成と大きく異なるところは、第2の画素電極を完全なフローティングとならないように形成するようにした点である。すなわち、本実施形態の液晶表示素子は、図4で示した等価回路図のように、第2の画素電極32に何らかの原因で電荷が蓄積される可能性があるフローティングの構成とせず、図7に示すように第2の画素電極32と制御電極34との間に、結合容量Ccと並列して実質的に有限の抵抗値を有する第1の結合抵抗R1が接続されるようにする。例えば、第3の保護絶縁膜43の代わりにアモルファスシリコン等の半導体膜を形成すればよい。そして、この半導体膜に適当な不純物イオンをドープすることにより所望の抵抗値を得ることができる。
Next, a modified example of the circuit configuration of the present embodiment will be described. FIG. 7 shows another equivalent circuit diagram of the equivalent circuit shown in FIG. A significant difference from the circuit configuration shown in FIG. 4 is that the second pixel electrode is formed so as not to be completely floating. That is, the liquid crystal display element of the present embodiment does not have a floating configuration in which charges may be accumulated in the
また、図7の等価回路の構成と同様の効果を持つものとして、結合容量Ccと並列に結合抵抗R1を接続するのではなく、蓄積容量Cst2と並列に有限の抵抗値を有する第2の結合抵抗R2を接続することも出来る。この場合は、共通容量線50と第2の画素電極32との間に、第3の保護絶縁膜43の代わりに上述と同様にアモルファスシリコンまたは、p−Si等の半導体膜を形成し、ドープ処理すればよい。第2の画素電極32に蓄積される電荷の影響により表示が焼きついたり、動画像を表示した時に液晶の応答時間を越えるような残像が生じたりすることを防ぐために、これらの結合容量Ccあるいは蓄積容量Cst2に並列に接続される結合抵抗Rは、蓄積された電荷の放電がなされるような値に設定される。液晶表示素子の使用形態に応じて、1フレーム表示期間内で放電が完了するように設定することや、数秒から数分の動作休止により放電が完了するようにすることが可能である。これ以外の構成は、上述した構成と同様である。
Further, as having the same effect as the configuration of the equivalent circuit of FIG. 7, the second coupling having a finite resistance value in parallel with the storage capacitor Cst2 instead of connecting the coupling resistor R1 in parallel with the coupling capacitor Cc. A resistor R2 can also be connected. In this case, a semiconductor film such as amorphous silicon or p-Si is formed between the
図8に、さらに他の等価回路図を示す。 FIG. 8 shows still another equivalent circuit diagram.
図8に示すように、第2の画素電極32と共通容量線50を接続するように第2のTFT15を形成し、第2のTFT15のゲートを前段のゲート線48に接続することにより、前段のゲート線48が選択された瞬間に共通容量線50の電位を第2の画素電極32に書き込むことにより、画素電極32に蓄積された電荷を放電させることができるように構成したものである。
As shown in FIG. 8, the
図7及び図8に示した等価回路は、後述の実施形態にも好適に適用できる。 The equivalent circuits shown in FIGS. 7 and 8 can be suitably applied to the embodiments described later.
[実施形態2]
本発明に係る液晶表示素子の第2の実施形態について説明する。
[Embodiment 2]
A liquid crystal display device according to a second embodiment of the present invention will be described.
図9に、本発明に係る液晶表示素子の第2の実施形態のドットで構成した画素の上面の概略図、図10に、図9のB−B’方向の断面の概略図、図11に、図10の第1の基板側のドットレイアウトを示す平面の概略図、図12に、図9のC−C’方向の断面の概略図をそれぞれ示す。実施形態1と同一のものについては、説明を省略する。
FIG. 9 is a schematic view of the upper surface of a pixel constituted by dots of the second embodiment of the liquid crystal display element according to the present invention, FIG. 10 is a schematic view of a cross section in the BB ′ direction of FIG. 10 is a schematic plan view showing a dot layout on the first substrate side in FIG. 10, and FIG. 12 is a schematic cross-sectional view in the CC ′ direction in FIG. The description of the same components as those in
図9に示すように、レッドドット92、ブルードット94、及びグリーンドット93の3つのドットで単位画素13を形成しているが、グリーンドット93のみ第1の開口部25と第2の開口部26とで開口部29を構成した。レッドドット92とブルードット94の開口部29は1つの開口部のみで構成されている。
As shown in FIG. 9, the
グリーンドット93の第2の開口部26にはグリーン色付領域65を、第1の開口部25には薄膜グリーン色付領域67が設けている。レッドドット92の開口部29にはレッド色付領域64、ブルードット94の開口部29にはブルー色付領域66が設けられている。また、開口部以外の配線上にはブラックマトリクス61が設けられている。
A green
図10及び図11に示すように、TFT39のソース電極46とITO等の透明材料から成る第1の画素電極31は第2コンタクトホール38を介して接続される。第2の画素電極32は、窒化シリコン膜等から成る第4の保護絶縁膜44を介して一部分が第1の画素電極31の上層に形成される。すなわち、第1の画素電極31と第2の画素電極32が互いに積層する領域では第4の保護絶縁膜44を介して結合容量Ccが形成される。
As shown in FIGS. 10 and 11, the
また、第2の基板22はカラーフィルタであり、第2の透明基板24の液晶層12側には、ブラックマトリクス61、着色層62、オーバーコート63、共通電極33が形成されており、第2の画素電極32を含む第2の開口部26には厚膜の着色層62が設けられている。なお、第1の開口部25においては、高透過率領域27を完全な無着色領域とせずに、第1の透明基板23の、第1の画素電極31上でかつ、第2の画素電極32が覆っていない部分に対応する第2の透明基板24上に、第2の開口部26の着色領域62と比べて厚みが小さく、色純度の小さい着色層(薄い着色層)68を設けた。第2の開口部26に設けられた着色層62と第1の開口部25の高透過率領域27に設けられた薄い着色層68の光の透過率を比較すると、第2の開口部26に設けられた着色層62の方が小さくなっている。
The
なお、本実施形態の例では、着色層62、及び高透過率領域27の薄い着色層68の色はグリーンである。
In the example of this embodiment, the color of the
また、第1の開口部25と第2の開口部26の境界にはブラックマトリクス61が形成されている。このブラックマトリクス61は着色層62と高透過率領域27の薄い着色層68の段差部に配置されており、第1の基板21側の第1の画素電極31と第2の画素電極32の境界線と対向する位置に設けられている。
A
この液晶表示素子の構成が上述した第1の実施形態の構成と大きく異なるところは、第1の画素電極31と制御電極34が一体形成されており、第1の画素電極31と第2の画素電極32が異層に形成される点である。
The configuration of the liquid crystal display element is greatly different from the configuration of the first embodiment described above. The
したがって、画素電極は、TFT39のソース電極46と電気的に接続する第1の画素電極31と、第1の画素電極31との間に容量を形成する第2の画素電極32とで構成されている。
Therefore, the pixel electrode includes a
また、グリーンドット93のみに第1の開口部25と第2の開口部26を設けた構成なため、図12からわかるように、レッドドット92とブルードット94は高透過率領域27を有していない。
Further, since the
さらに、図9に示すように第1の開口部25と第2の開口部26の境界領域にブラックマトリクス61を設けると、第1の画素電極31と第2の画素電極32の境界で発生するディスクリネーションを隠すことができるため、光漏れを低減でき効果的にコントラストを向上させることができる。
Further, as shown in FIG. 9, when a
なお、本実施形態の説明では、図9に示すように、グリーンドット93のみ、第1の開口部と第2の開口部を有する構成としたが、レッドドット92及びブルードット94も上述したグリーンドット93と同様な構成としてもかまわない。
In the description of the present embodiment, as shown in FIG. 9, only the
[実施形態3]
本発明に係る液晶表示素子の第3の実施形態について説明する。
[Embodiment 3]
A third embodiment of the liquid crystal display element according to the present invention will be described.
図13は本発明に係る液晶表示素子の第3の実施形態のドットの断面の概略図である。図14は本発明に係る液晶表示素子の第3の実施形態の電圧−透過率特性を示すグラフである。なお、上述の実施形態と同一のものについては説明を省略する。 FIG. 13 is a schematic view of a cross section of a dot of the third embodiment of the liquid crystal display element according to the present invention. FIG. 14 is a graph showing voltage-transmittance characteristics of the third embodiment of the liquid crystal display device according to the present invention. In addition, description is abbreviate | omitted about the same thing as the above-mentioned embodiment.
本実施形態の液晶表示素子は、横電界駆動方式の液晶表示パネルである。共通電極33及び第1の画素電極31はいずれも櫛歯形状をしており、各電極の櫛歯はいずれもゲート線(図示せず)と平行に延びている。さらに、共通電極33と第1の画素電極31の櫛歯は相互に噛み合うように、かつ、共通電極33と第1の画素電極31の櫛歯が相互に隔置されるように、配置されている。
The liquid crystal display element of this embodiment is a horizontal electric field drive type liquid crystal display panel. Both the
共通電極33と第1の画素電極31に挟まれた領域をコラム、また、共通電極33と第1の画素電極31との対を電極対、電極の幅と電極間の幅の合計を電極ピッチと以下称する。
The region sandwiched between the
第1の開口部25における共通電極33と画素電極31との電極間隔81は、第2の開口部26における共通電極33と第1の画素電極31との電極間隔82より大きく構成される。すなわち、第1の開口部25と第2の開口部26は画素ピッチが異なる構成である。
The
共通電極33及び第1の画素電極31はITOで構成した。対向基板(第2の基板)22には第2の透明基板24にカラーフィルタとして機能するための着色層62が設けられている。なお、COT技術を用いて着色層62を第1の基板23に設けても本発明の効果に変わりはない。
The
またドット反転駆動を適用して動作させる場合、共通電極33の電圧は基本的に一定であるため共通電極33上の液晶は駆動されない。このためノーマリブラック方式を採用すれば、共通電極33は遮光層の役割も果たすことになるため、ブラックマトリクス61の領域の面積を低減できる。ただし、共通電極33が金属であると強い外光に対する反射が無視できなくなるため、共通配線の反射率が低いことが重要である。
Further, when operating by applying dot inversion driving, the liquid crystal on the
第1の開口部25、第2の開口部26ともに横電界により液晶分子が駆動する。本実施形態の液晶表示素子においては、ゲート線48(図3及び図9参照)を介して供給される走査用信号により選択され、かつ、データ線49(図3及び図9参照)を介して供給されるデータ信号が書き込まれた画素において、共通電極33と第1の画素電極31との間で、第1の透明基板23に平行な電界を生じさせ、この電界に従って液晶分子の配向方向を第1の透明基板23と平行な平面内において回転させ、所定の表示が行われる。
Both the
共通電極33と第1の画素電極31とはいずれも第3の保護絶縁膜43上に形成されている。このように、共通電極33と第1の画素電極31とを同層上に形成することにより、共通電極33と第1の画素電極31とを同一工程において、かつ、同一材料で形成することができ、製造効率を向上させることができる。
Both the
これ以外の構成は、上述した第1の実施形態または第2の実施形態と略同様である。 Other configurations are substantially the same as those in the first embodiment or the second embodiment described above.
本実施形態における作用を説明する。横電界駆動方式において、液晶分子が駆動する閾値電圧Vcは以下の数式で表すことができる。 The operation in this embodiment will be described. In the lateral electric field driving method, the threshold voltage Vc driven by the liquid crystal molecules can be expressed by the following formula.
L:電極間隔、d:セルギャップ、K22:弾性定数(ツイスト)、ε0:真空中の誘電率、Δε:誘電率異方性である。 L: electrode spacing, d: cell gap, K 22 : elastic constant (twist), ε 0 : dielectric constant in vacuum, Δε: dielectric anisotropy.
数式3から閾値電圧Vcは電極間隔に比例することがわかる。したがって、第1の開口部25の電極間隔81は、第2の開口部26の電極間隔82より大きいため、第1の開口部の光の透過率特性に関する閾値電圧Vth1の方が、第2の開口部の光の透過率特性に関する閾値電圧Vth2よりも相対的に大きくなる。
From
本実施形態における液晶表示素子の一例では、第1の開口部25の開口率は28%、第2の開口部26の開口率は12%で、着色層62の光の透過率は40%、平行偏光板の光の透過率は44%であった。
In an example of the liquid crystal display element in the present embodiment, the aperture ratio of the
図14は本実施形態の液晶表示素子の電圧−透過率特性を示すグラフである。本実施形態における液晶表示素子では、階調を調整(γ調整)する場合に白表示(255/255階調)を液晶表示パネルの光の透過率のピークである4.5Vに設定し、0.5V−4Vを中間階調へ設定した。これにより、白表示時には、高透過率領域27を透過した光を効率的に利用し、液晶表示パネルの正面輝度を向上できる。また、中間階調を表示する場合においては、高透過率領域27を透過した光が小さい電圧値を適用し、着色層62を透過した光を効率的に利用できるため、色味の変化や色度低下を最小限に抑えて表示することができる。
FIG. 14 is a graph showing the voltage-transmittance characteristics of the liquid crystal display element of this embodiment. In the liquid crystal display element according to the present embodiment, when the gradation is adjusted (gamma adjustment), white display (255/255 gradation) is set to 4.5 V, which is the peak of light transmittance of the liquid crystal display panel, and 0 .5V-4V was set to the intermediate gradation. Thereby, at the time of white display, the light transmitted through the
まず、白表示状態の光の透過率について説明する。高透過率領域27を設けず着色領域28のみでカラーフィルタを構成した例を計算すると、白表示状態の液晶表示パネルの光の透過率は5.6%である。一方、本実施形態においては、白表示状態の液晶表示パネルの光の透過率は7.8%であり、着色領域28のみの場合に比べて液晶表示パネルの光の透過率を1.39倍向上させることができる。つまり、高透過率領域27により光が効率良く液晶表示パネルを透過するため、白表示状態での液晶表示パネルの光の透過率を大きく向上させることができる。これにより、正面輝度、コントラストを大きくできるため、視認性に優れた液晶表示パネルを提供できる。また、光液晶表示パネルの光の透過率を大きくできるため、バックライトの消費電力を小さくでき、モジュールを低消費電力化できる。
First, the light transmittance in the white display state will be described. When calculating an example in which the color filter is configured by only the
本実施例では、上述したように、第1の開口部25の光の透過率特性に関する閾値電圧Vth1の方が第2の開口部26の光の透過率特性に関する閾値電圧Vth2よりも相対的に大きくなるため、第1の開口部25のV−T特性カーブは、第2の開口部26のV−T特性カーブよりも+X軸方向(高電圧側)へシフトすることがわかる。液晶表示パネルの光の透過率は、高透過率領域27を有する第1の開口部25と着色領域28を有する第2の開口部26とからの光の透過率の和になる。そのため、第1の開口部25の光の透過率変化に関する閾値電圧Vth1より大きい電圧では光の透過率を大きくすることができ、高輝度にできる。中間階調電圧においては、第1の開口部25での光の透過率は小さくなる。しかし、第2の開口部26の光の透過率変化に関する閾値電圧Vth2が第1の開口部の光の透過率変化に関する閾値電圧Vth1より低電圧側にシフトしているため、第2の開口部26においては光の透過率を保つことができる。したがって、着色領域28を透過した光の輝度を大きく、高透過率領域27を透過した光の輝度を小さくできるため、高透過率領域27からの無色光による色味の低減を小さくすることができ、さらに、中間階調電圧を幅広く設定できることから、細かな色の違いも表現できる。中間階調電圧よりも低い電圧を印加すれば、第2の開口部26からも光が透過しなくなるので、低輝度へ飽和、つまり黒を表示することができる。
In this embodiment, as described above, the threshold voltage Vth1 related to the light transmittance characteristic of the
次に、中間階調表示の画質について説明する。従来の第1の開口部25と第2の開口部26でのV−T特性が同じである場合、中間階調を表示する際に高透過率領域27を透過した光の成分を分離できず、無色の光の成分が多く混ざるため、色味の変化や色度低下、画質劣化が生じる。一方、本実施形態によれば、中間階調において高透過率領域27から透過した光の寄与を低減できるため、中間階調で画質低下することのない高品質な表示素子を提供できる。
Next, the image quality of intermediate gradation display will be described. When the VT characteristics of the conventional
また、本実施形態の液晶表示素子はノーマリブラックであり、黒表示は従来の液晶表示パネルと同等の品質であるため、液晶表示パネルの光の透過率の向上によってコントラストも向上できる。 In addition, the liquid crystal display element of this embodiment is normally black, and the black display has the same quality as a conventional liquid crystal display panel. Therefore, the contrast can be improved by improving the light transmittance of the liquid crystal display panel.
したがって、本実施形態における液晶表示素子は、中間階調における表示劣化を低減しつつ、同時に、白表示状態の光の透過率を大きく向上した。これにより、表面輝度が大きく視認性に優れた液晶表示素子を提供できる。 Therefore, the liquid crystal display element in the present embodiment has greatly improved the light transmittance in the white display state while reducing display deterioration in the intermediate gradation. Thereby, a liquid crystal display element having a large surface brightness and excellent visibility can be provided.
コラム数(櫛歯電極の数)、電極ピッチは本実施形態に限ることなく、画素サイズに応じて適宜、設定すればよい。また、電極材料は金属で形成してもよく、特に高精細かつ高精度にパターニング加工できるものが望ましい。高精度にパターニングすることによって同層の電極間でのショートを防ぎ、歩留りを向上できる。 The number of columns (the number of comb electrodes) and the electrode pitch are not limited to those in this embodiment, and may be set as appropriate according to the pixel size. Further, the electrode material may be formed of metal, and in particular, an electrode material that can be patterned with high definition and high accuracy is desirable. By patterning with high accuracy, short-circuits between electrodes in the same layer can be prevented and yield can be improved.
共通電極33の端部はデータ線49の端部より第1の画素電極31に近くし、第2の基板22側から見たときにデータ線49を完全に覆うようにすることで、データ線49から発生する電界を第1の画素電極31に対して遮蔽している。このため表示電圧が他画素の表示電圧によって乱される縦クロストークを防ぐことができる。
The end of the
共通電極33は、低抵抗の金属で形成してもよく、ITOの一部に金属を積層させて低抵抗化してもよい。共通電極33を低抵抗化することにより共通電位の遅延を低減し、信号ノイズを低減できるため、横クロストークの発生を抑制できる。抵抗値は画面のサイズに応じて適宜設定することが望ましい。
The
縦クロストーク及び横クロストークの発生が抑制されることに伴い、データ線49及びゲート線48からの漏れ電界に起因して発生する表示不良を防止するためのブラックマトリクス61を設ける必要がなくなる。従って、ブラックマトリクス61はコントラストの改善のためにのみ形成すればよいこととなり、ブラックマトリクス61の幅を短縮または削除することが可能である。ブラックマトリクス61の幅を短縮または削除することに伴い、液晶表示素子の開口率を大きくすることができる。また、第1の基板21と第2の基板22の重ねずれに対してのマージンを大きくでき、歩留りを向上できる。
As the occurrence of vertical crosstalk and horizontal crosstalk is suppressed, there is no need to provide a
また、共通電極33は、コンタクトホールを介して共通容量線50へ電気的に接続してもよい。共通容量線50へ接続することにより、低抵抗化され、共通電位(COM電位)の遅延を低減できる。これにより、フリッカやノイズを低減した表示品質に優れた液晶表示素子を提供できる。
Further, the
[実施形態4]
本発明に係る液晶表示素子の第4の実施形態について説明する。
[Embodiment 4]
A liquid crystal display device according to a fourth embodiment of the present invention will be described.
図15は本発明に係る液晶表示素子の第4の実施形態を示す第1の基板23側のドットレイアウトの平面の概略図であり、図16は図15のD−D’方向の断面の概略図である。なお、図16には第1の基板23だけでなく、対向基板(第2の基板)24も記載している。本発明の第5の実施形態は、フリンジ・フィールド・スイッチング(FFS)方式を適用した液晶表示素子である。また、上述の実施形態と同一のものについては説明を省略する。
FIG. 15 is a schematic diagram of a plane of a dot layout on the
図16に示すように、第1の開口部25、第2の開口部26において第1の画素電極31と共通電極33とが第4の保護絶縁膜44を介して配置されている。第1の開口部25では、画素電極31と共通電極33とは保護絶縁膜を介して互いに対向せず、画素電極31は隣り合う共通電極33の間に配置されている。また、第2の開口部26では、画素電極31は第2の開口部26の全面を覆うように配置されており、第1の画素電極31の上には第4の保護絶縁膜44を介して共通電極33が配線されている。
As shown in FIG. 16, the
図15及び図16に示すように、第1の画素電極31はTFT39のソース電極46と電気的に接続しており、また、第4の保護絶縁膜44上では、共通電極33が隣接したドットと電気的に接続しており、格子状のネットワークを形成している。
As shown in FIGS. 15 and 16, the
これ以外の構成は、上述した第3の実施形態と略同様である。 Other configurations are substantially the same as those of the third embodiment described above.
第1の開口部25では、電極間隔が大きいため、液晶12へ印加される電界は小さく、液晶を駆動するための閾値電圧が大きくなる。一方、第2の開口部26では、第4の保護絶縁膜44のみを介して電界を印加するため、効率良く液晶へ電界印加でき、液晶駆動電圧の閾値が小さい。
In the
したがって、ノーマリブラック方式であれば、第3の実施形態と同様に、本実施形態における液晶表示素子は、中間階調における表示劣化を低減しつつ、同時に、白表示状態での光の透過率を大きく向上させることができる。これにより、表面輝度が大きく視認性に優れた液晶表示素子を提供できる。 Therefore, in the case of the normally black method, as in the third embodiment, the liquid crystal display element according to the present embodiment reduces the display deterioration in the intermediate gradation, and at the same time, the light transmittance in the white display state. Can be greatly improved. Thereby, a liquid crystal display element having a large surface brightness and excellent visibility can be provided.
[実施形態5]
本発明に係る液晶表示素子の第5の実施形態について説明する。
[Embodiment 5]
A fifth embodiment of the liquid crystal display element according to the present invention will be described.
図17は本発明に係る液晶表示素子の第5の実施形態を示すドットの断面の概略図、図18は本発明に係る液晶表示素子の第5の実施形態の等価回路を示す図である。なお、上述の実施形態と同一のものについては説明を省略する。 FIG. 17 is a schematic diagram of a cross section of a dot showing a fifth embodiment of the liquid crystal display element according to the present invention, and FIG. 18 is a diagram showing an equivalent circuit of the fifth embodiment of the liquid crystal display element according to the present invention. In addition, description is abbreviate | omitted about the same thing as the above-mentioned embodiment.
本実施形態は、TN方式の液晶表示素子である。図17に示すように、第2の基板22には、ブラックマトリクス61、共通電極33、着色層62及び平坦化効果のあるオーバーコート63が積層して設けられている。着色層62は、共通電極33よりも液晶層12側に設けられている。また第1の開口部25には高透過率領域27が設けられ、第2の開口部26には着色層62により着色領域28が設けられている。
The present embodiment is a TN liquid crystal display element. As shown in FIG. 17, the
第1の基板21においては、スイッチング素子であるTFT39を介して第1の画素電極31が電気的に接続されている。第1の画素電極31は、第1の開口部25、及び第2の開口部26にまたがって形成されており、共通の画素電極となっている。本実施形態において、第1の開口部25、及び第2の開口部26の画素電極31は同層に形成されているため一体形成することが可能である。
In the
これ以外は、上述した第1の実施形態、及び第2の実施形態と略同様である。 Except this, it is substantially the same as the first embodiment and the second embodiment described above.
着色層62の材料は誘電率を有する誘電体であるため、共通電極33に付加容量を与える。第1の開口部25では着色層62がないため、第1の開口部25に対応する共通電極33の付加容量C1cfと、第2の開口部に対応する共通電極33の付加容量C2cfの関係は以下のようになる。
Since the material of the
(第1の開口部25の共通電極33付加容量C1cf)<(第2の開口部26の共通電極33付加容量C2cf)。
(
したがって、第2の開口部26における付加容量の方が大きいため、第2の開口部26では第1の開口部25よりもV−T特性の光の透過率変化に関する閾値電圧が大きくなる。これにより、第1の開口部と第2の開口部ではV−T特性に差が生じるため、第1の実施形態と同様の効果(図6参照)を得ることができる。
Accordingly, since the additional capacitance in the
本実施形態によれば、第1の基板21側の画素電極を増やすことなく第1の実施形態と同様の効果を得ることができるため、工程歩留りを向上でき、低コスト化が可能である。また、高透過率領域27としてスルーホールを形成するだけでよく、省プロセス化できる。さらに、結合容量を付加するための領域をドット内に個別に設ける必要がないため、高開口率にレイアウトしやすく、高い光の透過率を得ることができる。
According to the present embodiment, the same effects as in the first embodiment can be obtained without increasing the number of pixel electrodes on the
また、第2の基板22の液晶層12側に平坦化膜を設けてもよい。本実施形態では、着色層62の誘電率を効果的に利用するため、平坦化膜の誘電率は、着色層62の誘電率よりも小さいことが望ましい。
Further, a planarization film may be provided on the
[実施形態6]
本発明に係る液晶表示素子の第6の実施形態について説明する。
[Embodiment 6]
A liquid crystal display device according to a sixth embodiment of the present invention will be described.
図19は本発明に係る液晶表示素子の第6の実施形態のドットの上面図である。図20は、図19のA−A’方向の断面の概略図である。上述の実施形態と同一のものについては説明を省略する。 FIG. 19 is a top view of dots of the sixth embodiment of the liquid crystal display device according to the present invention. FIG. 20 is a schematic view of a cross section in the A-A ′ direction of FIG. 19. The description of the same components as those in the above embodiment is omitted.
図19及び図20に示すように、第1の開口部25には高透過率領域27として、面積が小さいスルーホールが、第1の開口部25の領域内に分散して複数配置されている。
As shown in FIGS. 19 and 20, a plurality of through-holes having a small area are dispersed and arranged in the
これ以外は、上述した第1の実施形態及び第2の実施形態と略同様である。 Other than this, it is substantially the same as the first embodiment and the second embodiment described above.
上述の他の実施形態のように、スルーホールをゲート線の延びる方向へ沿ったスリット状にした場合、液晶表示パネルを上面から観察するとデータ線49の延びる方向に沿った横ストライプ状の模様となる。そのため、スルーホールを透過した光が縦縞模様として観察されて表示品質が低下する。しかし、本実施形態によれば、スルーホールを透過した光は、分散配置された微小スルーホールによって分散されて出射されるため縦縞模様を視認し難くし、画質を向上できる。第1の開口部25の領域内に複数設けられた小面積の微小スルーホールのパターンは任意の形状でよく、第1の開口部25の領域内でムラ無く均等に分散して配置されていれば良い。スルーホールのサイズや数は液晶表示パネルの画素サイズに応じて適宜、調整するのが望ましい。
When the through hole is formed in a slit shape along the direction in which the gate line extends as in the other embodiments described above, when the liquid crystal display panel is observed from the upper surface, a horizontal stripe pattern along the direction in which the
[実施形態7]
本発明に係る液晶表示素子の第7の実施形態について説明する。
[Embodiment 7]
A seventh embodiment of the liquid crystal display element according to the present invention will be described.
図21は本発明に係る液晶表示素子の第7の実施形態のドットの概略構成図である。図22は、図21のA−A’方向の断面の概略図である。上述の実施形態と同一のものについては説明を省略する。 FIG. 21 is a schematic configuration diagram of dots of the seventh embodiment of the liquid crystal display element according to the present invention. FIG. 22 is a schematic view of a cross section in the A-A ′ direction of FIG. 21. The description of the same components as those in the above embodiment is omitted.
図21及び図22に示すように第1の開口部25に設けられた高透過率領域27は、半径rの円形のスルーホールとして形成されている。この円形のスルーホールは、特定の面積を有するように決まっているわけではないので、半径rの大きさを適宜調整することで、円形のスルーホールの面積を変化させてよく、また、バックライトの輝度分布に応じて複数の円形のスルーホールを第1の開口部25内に分布させてもよい。
As shown in FIGS. 21 and 22, the
これ以外は、上述した第1の実施形態、及び第2の実施形態と略同様である。 Except this, it is substantially the same as the first embodiment and the second embodiment described above.
前述のように第1の開口部25に形成したスルーホールは、着色領域28と比べてバックライト光源の光透過効率が非常に大きいため、透過光のムラが顕著に現れる。この透過光のムラは、特に、白表示時に強調され、バックライト光源の輝度ムラを視認されやすく、表示品質が低下する。
As described above, the through-hole formed in the
特に、白色発光ダイオード(LED:Light Emitting Diode)を導光板の側部に取り付けたサイド入射式(エッジライト方式)のバックライトでは、白色LED近傍の輝度ムラが発生しやすい。そのため、バックライト光源の白色LED近傍のスルーホールの面積は小さく、白色LEDから遠いバックライト光源の中央部分(両側入射の場合)もしくはバックライト光源の白色LEDと反対側のサイド(片側入射の場合)ではスルーホールの面積を大きく設定することにより、バックライト光源のムラを低減でき、表示品質に優れた液晶表示素子を提供することができる。 In particular, in a side incident type (edge light type) backlight in which a white light emitting diode (LED) is attached to the side portion of the light guide plate, luminance unevenness in the vicinity of the white LED is likely to occur. Therefore, the area of the through hole near the white LED of the backlight source is small, and the center part of the backlight source far from the white LED (in the case of both-side incidence) or the side opposite to the white LED of the backlight source (in the case of one-side incidence) ), By setting the through-hole area to be large, it is possible to reduce the unevenness of the backlight light source and provide a liquid crystal display element with excellent display quality.
また、図19に示した第1の開口部25に複数の微小スルーホールを設ける場合についても、バックライト光源の輝度ムラに応じて、微小スルーホールの個数もしくはサイズを液晶表示パネル内で分布をさせることにより、同様に輝度ムラを低減することができる。例えば、サイド入射式のバックライトではLEDの配置によって生じる輝度分布(輝度ムラ)が発生するが、1ドット内に配置されるスルーホールの個数や面積を調整し、上述のバックライトの輝度分布に応じて画素毎に最適化が可能である。LED近傍の領域ではスルーホール密度を小さく、LEDから遠い部分ではスルーホールの密度を大きくすることで、LED(バックライト)側では光が液晶表示パネルから透過しにくく、LEDから遠い部分では光が液晶表示パネルから透過しやすくなる。そのため、液晶表示パネルの表面から出射される輝度の分布を均一化することができる。なお、バックライトに搭載されるLEDは白色LEDに限らず、レッド色、グリーン色、及びブルー色のLEDを組み合わせたバックライトであっても良い。
Also, in the case where a plurality of minute through holes are provided in the
スルーホールの形状は特定の形に制限されず、各画素のスルーホールの面積が、液晶表示パネルの面内において、光源の輝度のムラに応じた面分布をもっていれば良い。また、様々な形状を組み合わせて構成されていても良く、画素レイアウトに応じて設定すればよい。これにより、画素が正方形以外の特殊な画素形状である場合であってもスルーホールを効率よく配置でき、開口率を向上することができる。 The shape of the through hole is not limited to a specific shape, and it is sufficient that the area of the through hole of each pixel has a surface distribution corresponding to the luminance unevenness of the light source in the plane of the liquid crystal display panel. Moreover, it may be configured by combining various shapes, and may be set according to the pixel layout. Thereby, even if a pixel is a special pixel shape other than a square, a through hole can be arrange | positioned efficiently and an aperture ratio can be improved.
[実施形態8]
本発明に係る液晶表示素子を使用した液晶表示装置の一例として、プロジェクタ装置について説明する。
[Embodiment 8]
A projector device will be described as an example of a liquid crystal display device using the liquid crystal display element according to the present invention.
図23に、本発明に係る液晶表示素子を使用した表示装置の一例である、プロジェクタ装置の概略構成図を示す。本発明に係るプロジェクタ装置は、上述の第1の実施形態から第7の実施形態のいずれかの液晶表示素子を適用したプロジェクタ装置である。 FIG. 23 shows a schematic configuration diagram of a projector apparatus which is an example of a display apparatus using the liquid crystal display element according to the present invention. A projector device according to the present invention is a projector device to which any one of the liquid crystal display elements of the first to seventh embodiments described above is applied.
図23に示すように、本発明に係るプロジェクタ装置74は、光源70と、凹凸レンズ71と、フレネルレンズ72と、液晶表示素子11と、投射レンズ73とから構成される単板式のプロジェクタ装置である。
As shown in FIG. 23, the projector device 74 according to the present invention is a single-plate projector device including a
光源70には、例えば、ハロゲンランプ、キセノンランプ、メタルハライドランプ、及び超高圧水銀ランプ(UHEランプ)が用いられる。また、LEDを適用してもよい。
As the
光源70から出射された光は、凹凸レンズ71、フレネルレンズ72により集光されて液晶表示素子11へ入射される。このとき液晶表示素子11は、光が液晶表示素子11の第2の基板22側から入射するように配置している。プロジェクタ光源70からの出射された光の輝度は非常に強力であり、光源70から出射された光が直接TFT39へ照射された場合、光リークが発生しやすい。本実施形態に適用する液晶表示素子11において、TFT39はブラックマトリクス61で覆われているため、第2の基板22側から入射することによりブラックマトリクス61で完全に遮光でき、TFT39の光リークを低減することができる。
The light emitted from the
液晶表示素子11を透過した光は、フレネルレンズ72、投射レンズ73により光学調整されてプロジェクタ装置74から出射される。プロジェクタ装置74から出射された光は、スクリーンに投影して映像を表示することができる。
The light transmitted through the liquid
ブラックマトリクス61は光を反射する材料であることが望ましい。上記のように第2の基板22側から入射される光は、ブラックマトリクス61で吸収され、液晶表示パネル内部の温度が上がってしまうため液晶剤や着色材が劣化する。ブラックマトリクス61に反射材料を用いることにより熱の発生を低減でき信頼性を向上できる。また、ブラックマトリクス61と光源70の間に、ハーフミラーシートを設けて熱吸収を低減しても良い。また、ハーフミラーシートは偏光素子と一体となって構成され、液晶表示素子11の表面に配置しても良い。
The
上述した実施形態に記載した光の透過効率の高い液晶表示素子11を適用することにより、正面輝度、及びコントラストに優れたプロジェクタ装置74を提供することができる。また、光源の輝度を抑えることができるため、低消費電力化しやすく小型プロジェクタ装置に好適である。スルーホールを設けた高透過率領域27では、着色領域28と比べて光の吸収が小さいため熱の発生を低減できる。これにより、液晶表示パネル内の温度上昇を低減できるため、色層劣化による色度低下を抑制し、信頼性を向上できる。
By applying the liquid
本発明におけるプロジェクタ表示装置74の光学系は、本実施形態に限定されるものではなく、本発明に記載の液晶表示素子11を適用すれば、その他の光学系を用いても好適に適用できる。
The optical system of the projector display device 74 in the present invention is not limited to this embodiment, and can be suitably applied even if other optical systems are used if the liquid
特に、ハロゲンランプ、キセノンランプ、メタルハライドランプ等の点発光型の光源70を用いる場合には、第6の実施形態に記載した液晶表示素子11のように、複数のスルーホールを分散させて用いることが好ましい。上述のような点発光型の光源は、光が中心から放射状に発散して出射されるため液晶表示パネルの平面に入射する際の面内輝度分布が大きく、特にプロジェクタ装置の表示画像は投影レンズにより拡大して投影されるため、液晶表示パネルからの出射光の輝度ムラが大きく強調されやすい。したがって、バックライト光源の輝度分布に応じてスルーホールを形成した液晶表示素子11を組み合わせて、表示品質を大きく向上させたプロジェクタ装置を提供できる。
In particular, when a point
また、液晶駆動方式の例としては、横電界方式ではインプレイン・スイッチング(IPS)方式、フリンジ・フィールド・スイッチング(FFS)方式、アドヴァンスト・フリンジ・フィールド・スイッチング(AFFS)方式等が挙げられる。また、垂直配向方式ではマルチドメイン化され視野角依存性が低減されたマルチドメイン・ヴァーティカル・アライメント(MVA)方式、パターンド・ヴァーティカル・アライメント(PVA)方式、アドヴァンスト・スーパー・ヴイ(ASV)方式等が挙げられる。更に、オプティカリー・コンペンセイティド・ベンド(OCB)方式、フィルム補償TN方式の液晶表示パネルも好適に使用することができる。 Examples of the liquid crystal driving method include an in-plane switching (IPS) method, a fringe field switching (FFS) method, an advanced fringe field switching (AFFS) method and the like in the horizontal electric field method. In the vertical alignment method, the multi-domain vertical alignment (MVA) method, the patterned vertical alignment (PVA) method, and the advanced super vui (ASV), which are multi-domained and have reduced viewing angle dependency, are used. ) Method. Furthermore, an optically compensated bend (OCB) type and a film compensation TN type liquid crystal display panel can also be suitably used.
本発明の液晶表示素子は、携帯電話、PDA(Personal Digital Assistants)、ゲーム機、デジタルカメラ、ビデオカメラ及びビデオプレーヤ等の携帯端末装置の表示素子や、またはノートパソコン、キャッシュディスペンサ及び自動販売機等の端末装置の表示素子、またはプロジェクタや投影機などに好適に利用することができる。 The liquid crystal display element of the present invention is a display element of a portable terminal device such as a mobile phone, a PDA (Personal Digital Assistant), a game machine, a digital camera, a video camera and a video player, or a notebook computer, a cash dispenser, a vending machine, etc. It can be suitably used for display elements of terminal devices, projectors, projectors, and the like.
11 液晶表示素子
12 液晶層
13 単位画素
14 ドット
15 第2のTFT
21 第1の基板
22 第2の基板
23 第1の透明基板
24 第2の透明基板
25 第1の開口部
26 第2の開口部
27 光の透過率の高い領域(高透過率領域)
28 着色領域
29 開口部
31 第1の画素電極
32 第2の画素電極
33 共通電極
34 制御電極
35 蓄積容量電極
37 第1コンタクトホール
38 第2コンタクトホール
39 TFT(スイッチング素子)
40 活性層、半導体層
41 保護絶縁膜(第1の保護絶縁膜)
42 保護絶縁膜(第2の保護絶縁膜)
43 保護絶縁膜(第3の保護絶縁膜)
44 保護絶縁膜(第4の保護絶縁膜)
45 ドレイン電極
46 ソース電極
47 ゲート電極
48 ゲート線
49 データ線
50 共通容量線
61 ブラックマトリクス
62 着色層
63 オーバーコート、平坦化膜
64 レッド色付領域
65 グリーン色付領域
66 ブルー色付領域
67 薄膜グリーン色付領域
68 薄い着色層
70 光源
71 凹凸レンズ
72 フレネルレンズ
73 投影レンズ
74 液晶プロジェクタ
81 第1の開口部の電極間隔
82 第2の開口部の電極間隔
92 レッド色ドット
93 グリーン色ドット
94 ブルー色ドット
11 Liquid
21 1st board |
28
40 active layer,
42 Protective insulating film (second protective insulating film)
43 Protective insulating film (third protective insulating film)
44 Protective insulating film (fourth protective insulating film)
45
Claims (4)
前記第1の基板上に複数のゲート線が平行かつ等間隔に配置され、前記ゲート線とは直角に複数のデータ線が平行かつ等間隔に配置され、前記ゲート線と前記データ線とで囲まれた領域により1つのドットが形成されており、
前記ドットは、前記ゲート線と前記データ線の交差部に設けられた前記スイッチング素子と、前記スイッチング素子を介して設けられた第1の画素電極とを少なくとも有する第1の開口部と、第2の画素電極と制御電極とを少なくとも有する第2の開口部とを有しており、
前記第1の開口部は、前記第2の開口部の前記着色層より光の透過率が高い高透過率領域を有しており、
前記高透過率領域は、前記着色層に設けられたスルーホールからなり、
前記第2の画素電極は、保護絶縁膜を介して第1の画素電極の上層に形成され、かつ、前記第2の画素電極と前記第1の画素電極とは前記保護絶縁膜を介して部分的に重なり合っており、
前記第1の開口部における光の透過率変化に関する閾値電圧と前記第2の開口部における光の透過率変化に関する閾値電圧が異なることを特徴とする、液晶表示素子。 A liquid crystal display element in which a first substrate including at least a stacked switching element and a plurality of pixel electrodes and a second substrate including at least a stacked colored layer and a common electrode are opposed to each other with a liquid crystal layer interposed therebetween. ,
A plurality of gate lines are arranged in parallel and at equal intervals on the first substrate, a plurality of data lines are arranged in parallel and at equal intervals at right angles to the gate lines, and are surrounded by the gate lines and the data lines. One dot is formed by the area
The dot includes a first opening having at least the switching element provided at the intersection of the gate line and the data line, and a first pixel electrode provided via the switching element, and a second opening A second opening having at least a pixel electrode and a control electrode,
The first opening has a high transmittance region having a higher light transmittance than the colored layer of the second opening,
The high transmittance region consists of a through hole provided in the colored layer,
The second pixel electrode is formed in an upper layer of the first pixel electrode via a protective insulating film, and the second pixel electrode and the first pixel electrode are partly interposed via the protective insulating film. Overlap each other,
The liquid crystal display element, wherein a threshold voltage related to a change in light transmittance in the first opening is different from a threshold voltage related to a change in light transmittance in the second opening.
Priority Applications (1)
| Application Number | Priority Date | Filing Date | Title |
|---|---|---|---|
| JP2013102370A JP5594635B2 (en) | 2013-05-14 | 2013-05-14 | Liquid crystal display element and image display apparatus using the same |
Applications Claiming Priority (1)
| Application Number | Priority Date | Filing Date | Title |
|---|---|---|---|
| JP2013102370A JP5594635B2 (en) | 2013-05-14 | 2013-05-14 | Liquid crystal display element and image display apparatus using the same |
Related Parent Applications (1)
| Application Number | Title | Priority Date | Filing Date |
|---|---|---|---|
| JP2009052006A Division JP5387950B2 (en) | 2009-03-05 | 2009-03-05 | Liquid crystal display element and image display apparatus using the same |
Publications (2)
| Publication Number | Publication Date |
|---|---|
| JP2013210649A JP2013210649A (en) | 2013-10-10 |
| JP5594635B2 true JP5594635B2 (en) | 2014-09-24 |
Family
ID=49528478
Family Applications (1)
| Application Number | Title | Priority Date | Filing Date |
|---|---|---|---|
| JP2013102370A Active JP5594635B2 (en) | 2013-05-14 | 2013-05-14 | Liquid crystal display element and image display apparatus using the same |
Country Status (1)
| Country | Link |
|---|---|
| JP (1) | JP5594635B2 (en) |
Family Cites Families (6)
| Publication number | Priority date | Publication date | Assignee | Title |
|---|---|---|---|---|
| JP2764770B2 (en) * | 1991-07-12 | 1998-06-11 | ホシデン・フィリップス・ディスプレイ株式会社 | Liquid crystal display device |
| JPH0695144A (en) * | 1992-09-10 | 1994-04-08 | Hosiden Corp | Liquid crystal display element |
| JP3485997B2 (en) * | 1995-04-14 | 2004-01-13 | シチズン時計株式会社 | Liquid crystal display |
| JPH09230310A (en) * | 1996-02-22 | 1997-09-05 | Seiko Epson Corp | Display device, active matrix liquid crystal display device and display method |
| JP2006017777A (en) * | 2004-06-30 | 2006-01-19 | Nippon Paint Co Ltd | Color filter manufacturing method and liquid crystal display device using the same |
| JP4361844B2 (en) * | 2004-07-28 | 2009-11-11 | 富士通株式会社 | Liquid crystal display |
-
2013
- 2013-05-14 JP JP2013102370A patent/JP5594635B2/en active Active
Also Published As
| Publication number | Publication date |
|---|---|
| JP2013210649A (en) | 2013-10-10 |
Similar Documents
| Publication | Publication Date | Title |
|---|---|---|
| JP5387950B2 (en) | Liquid crystal display element and image display apparatus using the same | |
| CN100389356C (en) | Four-color liquid crystal display and panel for the same | |
| TWI609219B (en) | Pixel element, pixel array structure and display panel | |
| US9135873B2 (en) | Liquid crystal display device | |
| US8045073B2 (en) | Liquid crystal display device having spacer provided in red pixel(s) | |
| JP4583922B2 (en) | Liquid crystal display device and manufacturing method thereof | |
| JP2003344836A (en) | Transflective liquid crystal device and electronic device using the same | |
| CN101750779A (en) | Liquid ctystal display device | |
| US10761382B2 (en) | Pixel structure | |
| US20100045915A1 (en) | Liquid crystal display | |
| CN106802518B (en) | Liquid crystal display device | |
| CN101308297B (en) | Liquid crystal display panel and liquid crystal display device using the same | |
| CN106444172A (en) | Liquid crystal display apparatus | |
| JP6220628B2 (en) | Display device | |
| US8477278B1 (en) | Liquid crystal display panel | |
| US20060028604A1 (en) | Liquid crystal display device | |
| JP5594637B2 (en) | Liquid crystal display element and image display apparatus using the same | |
| US10025137B2 (en) | Liquid crystal display device having transmitting region and reflecting region | |
| JP2015125365A (en) | Liquid crystal display | |
| JP5594638B2 (en) | Liquid crystal display element and image display apparatus using the same | |
| JP5594636B2 (en) | Liquid crystal display element and image display apparatus using the same | |
| JP5677923B2 (en) | Liquid crystal display | |
| US7440043B2 (en) | Liquid crystal display device and electronic device | |
| JP5594635B2 (en) | Liquid crystal display element and image display apparatus using the same | |
| US11119367B2 (en) | Liquid crystal display device |
Legal Events
| Date | Code | Title | Description |
|---|---|---|---|
| A977 | Report on retrieval |
Free format text: JAPANESE INTERMEDIATE CODE: A971007 Effective date: 20131211 |
|
| A131 | Notification of reasons for refusal |
Free format text: JAPANESE INTERMEDIATE CODE: A131 Effective date: 20140415 |
|
| RD04 | Notification of resignation of power of attorney |
Free format text: JAPANESE INTERMEDIATE CODE: A7424 Effective date: 20140529 |
|
| A521 | Request for written amendment filed |
Free format text: JAPANESE INTERMEDIATE CODE: A523 Effective date: 20140612 |
|
| TRDD | Decision of grant or rejection written | ||
| A01 | Written decision to grant a patent or to grant a registration (utility model) |
Free format text: JAPANESE INTERMEDIATE CODE: A01 Effective date: 20140701 |
|
| A61 | First payment of annual fees (during grant procedure) |
Free format text: JAPANESE INTERMEDIATE CODE: A61 Effective date: 20140725 |
|
| R150 | Certificate of patent or registration of utility model |
Ref document number: 5594635 Country of ref document: JP Free format text: JAPANESE INTERMEDIATE CODE: R150 |
|
| R250 | Receipt of annual fees |
Free format text: JAPANESE INTERMEDIATE CODE: R250 |
|
| R250 | Receipt of annual fees |
Free format text: JAPANESE INTERMEDIATE CODE: R250 |
|
| R250 | Receipt of annual fees |
Free format text: JAPANESE INTERMEDIATE CODE: R250 |
|
| R250 | Receipt of annual fees |
Free format text: JAPANESE INTERMEDIATE CODE: R250 |
|
| R250 | Receipt of annual fees |
Free format text: JAPANESE INTERMEDIATE CODE: R250 |
|
| R250 | Receipt of annual fees |
Free format text: JAPANESE INTERMEDIATE CODE: R250 |
|
| R250 | Receipt of annual fees |
Free format text: JAPANESE INTERMEDIATE CODE: R250 |
|
| R250 | Receipt of annual fees |
Free format text: JAPANESE INTERMEDIATE CODE: R250 |
|
| R250 | Receipt of annual fees |
Free format text: JAPANESE INTERMEDIATE CODE: R250 |
