JP5225722B2 - Fluoroscopy system, operation confirmation device, chemical injection device, computer program - Google Patents

Fluoroscopy system, operation confirmation device, chemical injection device, computer program Download PDF

Info

Publication number
JP5225722B2
JP5225722B2 JP2008076522A JP2008076522A JP5225722B2 JP 5225722 B2 JP5225722 B2 JP 5225722B2 JP 2008076522 A JP2008076522 A JP 2008076522A JP 2008076522 A JP2008076522 A JP 2008076522A JP 5225722 B2 JP5225722 B2 JP 5225722B2
Authority
JP
Japan
Prior art keywords
data
chemical
injection
syringe
confirmation
Prior art date
Legal status (The legal status is an assumption and is not a legal conclusion. Google has not performed a legal analysis and makes no representation as to the accuracy of the status listed.)
Expired - Fee Related
Application number
JP2008076522A
Other languages
Japanese (ja)
Other versions
JP2009226077A (en
Inventor
雅志 後藤
茂 根本
龍二 池田
Current Assignee (The listed assignees may be inaccurate. Google has not performed a legal analysis and makes no representation or warranty as to the accuracy of the list.)
Nemoto Kyorindo Co Ltd
Original Assignee
Nemoto Kyorindo Co Ltd
Priority date (The priority date is an assumption and is not a legal conclusion. Google has not performed a legal analysis and makes no representation as to the accuracy of the date listed.)
Filing date
Publication date
Application filed by Nemoto Kyorindo Co Ltd filed Critical Nemoto Kyorindo Co Ltd
Priority to JP2008076522A priority Critical patent/JP5225722B2/en
Publication of JP2009226077A publication Critical patent/JP2009226077A/en
Application granted granted Critical
Publication of JP5225722B2 publication Critical patent/JP5225722B2/en
Expired - Fee Related legal-status Critical Current
Anticipated expiration legal-status Critical

Links

Images

Classifications

    • AHUMAN NECESSITIES
    • A61MEDICAL OR VETERINARY SCIENCE; HYGIENE
    • A61BDIAGNOSIS; SURGERY; IDENTIFICATION
    • A61B6/00Apparatus or devices for radiation diagnosis; Apparatus or devices for radiation diagnosis combined with radiation therapy equipment
    • A61B6/44Constructional features of apparatus for radiation diagnosis
    • A61B6/4494Means for identifying the diagnostic device

Landscapes

  • Apparatus For Radiation Diagnosis (AREA)
  • Magnetic Resonance Imaging Apparatus (AREA)
  • Infusion, Injection, And Reservoir Apparatuses (AREA)

Description

本発明は、少なくとも薬液シリンジと薬液注入装置とデータ保存装置とを有する透視撮像システム、この透視撮像システムの動作確認装置および薬液注入装置、この薬液注入装置のコンピュータプログラムおよびデータ処理方法、に関する。   The present invention relates to a fluoroscopic imaging system including at least a chemical syringe, a chemical injection device, and a data storage device, an operation confirmation device and a chemical injection device of the fluoroscopic imaging system, a computer program of the chemical injection device, and a data processing method.

現在、被験者の透視画像データである断層画像を撮像する透視撮像装置としては、CT(Computed Tomography)スキャナ、MRI(Magnetic Resonance Imaging)装置、PET(Positron Emission Tomography)装置、超音波診断装置、等がある。また、被験者の透視画像データである血管画像を撮像する透視撮像装置としては、CTアンギオ装置、MRA(MR Angio)装置、等がある。   Currently, as a fluoroscopic imaging apparatus that captures a tomographic image that is a fluoroscopic image data of a subject, a CT (Computed Tomography) scanner, an MRI (Magnetic Resonance Imaging) apparatus, a PET (Positron Emission Tomography) apparatus, an ultrasonic diagnostic apparatus, and the like is there. In addition, as a fluoroscopic imaging apparatus that captures a blood vessel image that is a fluoroscopic image data of a subject, there are a CT angio apparatus, an MRA (MR Angio) apparatus, and the like.

上述のような透視撮像装置を使用するとき、被験者に造影剤や生理食塩水などの薬液を注入することがあり、この注入を自動的に実行する薬液注入装置も実用化されている。一般的な薬液注入装置は、薬液が充填されている薬液シリンジを保持し、そのシリンダ部材にピストン部材を圧入することで被験者に薬液を注入する。   When using the fluoroscopic imaging apparatus as described above, a chemical solution such as a contrast medium or physiological saline may be injected into a subject, and a chemical solution injection apparatus that automatically executes this injection has also been put into practical use. A general chemical solution injection device holds a chemical solution syringe filled with a chemical solution, and injects a chemical solution into a subject by press-fitting a piston member into the cylinder member.

透視撮像装置はスタンドアロンでも機能するが、通常は透視撮像装置を一部とした透視撮像システムが構築される。このような透視撮像システムは、例えば、カルテ管理装置、撮像管理装置、透視撮像装置、データ保存装置、画像閲覧装置、等からなる。   Although the fluoroscopic imaging device functions as a stand-alone, normally, a fluoroscopic imaging system including part of the fluoroscopic imaging device is constructed. Such a fluoroscopic imaging system includes, for example, a chart management device, an imaging management device, a fluoroscopic imaging device, a data storage device, an image browsing device, and the like.

カルテ管理装置は、一般的にはHIS(Hospital Information System)等と呼称されており、いわゆる電子カルテを管理する。この電子カルテは、被験者ごとに作成されている。   The medical chart management device is generally called a HIS (Hospital Information System) or the like, and manages a so-called electronic medical chart. This electronic medical record is created for each subject.

例えば、ある被験者から透視画像データを撮像する場合、その被験者の電子カルテに基づいてカルテ管理装置で撮像オーダデータが作成される。この撮像オーダデータは、被験者から透視画像データが撮像される撮像作業ごとに生成される。   For example, when fluoroscopic image data is imaged from a subject, imaging order data is created by the medical record management device based on the electronic medical record of the subject. This imaging order data is generated for each imaging operation in which fluoroscopic image data is imaged from the subject.

より具体的には、撮像オーダデータは、例えば、固有の識別情報である撮像作業ID(Identity)、透視撮像装置の識別情報、被験者ID、撮像開始および終了の日時、等からなる。   More specifically, the imaging order data includes, for example, imaging work ID (Identity) that is unique identification information, identification information of the fluoroscopic imaging apparatus, a subject ID, imaging start and end dates, and the like.

このような撮像オーダデータがHISから撮像管理装置に供給される。撮像管理装置は、一般的にはRIS(Radiology Information System)等と呼称されており、被験者から透視画像データを撮像するための撮像オーダデータを記憶する。   Such imaging order data is supplied from the HIS to the imaging management apparatus. The imaging management apparatus is generally called RIS (Radiology Information System) or the like, and stores imaging order data for imaging fluoroscopic image data from a subject.

透視撮像装置は、RISから撮像オーダデータを取得して撮像作業を実行する。その場合、透視撮像装置では、撮像オーダデータに対応して被験者から透視画像データが撮像される。この透視画像データは、透視撮像装置で撮像オーダデータの少なくとも一部が付与されてデータ保存装置に出力される。   The fluoroscopic imaging apparatus acquires imaging order data from the RIS and executes an imaging operation. In that case, in the fluoroscopic imaging apparatus, fluoroscopic image data is captured from the subject corresponding to the imaging order data. The fluoroscopic image data is output with at least a part of the imaging order data by the fluoroscopic imaging device to the data storage device.

このデータ保存装置は、一般的にはPACS(Picture Archive and Communication System)等と呼称されており、撮像オーダデータが付与された透視画像データを保存する。   This data storage device is generally called a PACS (Picture Archive and Communication System) or the like, and stores fluoroscopic image data to which imaging order data is added.

PACSには、一般にビューアと呼称される画像閲覧装置が接続されている。この画像閲覧装置は、例えば、撮像オーダデータを検索キーとして透視画像データを読み出し、その透視画像データを表示する。   An image browsing apparatus generally called a viewer is connected to the PACS. For example, the image browsing apparatus reads the fluoroscopic image data using the imaging order data as a search key, and displays the fluoroscopic image data.

上述のような透視撮像システムとしては、各種の提案がある(例えば、特許文献1,2参照)。
特開2001−101320号 特開2005−198808号
There are various proposals for the fluoroscopic imaging system as described above (see, for example, Patent Documents 1 and 2).
JP 2001-101320 A JP-A-2005-198808

上述のような透視撮像システムでは、透視撮像装置により透視画像データが撮像される被験者に、薬液注入装置により薬液シリンジから造影剤などの薬液が注入されるので、透視画像データの画質を向上させることができる。   In the fluoroscopic imaging system as described above, a chemical solution such as a contrast medium is injected from a chemical syringe by a chemical injection device into a subject whose fluoroscopic image data is captured by the fluoroscopic imaging device, thereby improving the image quality of the fluoroscopic image data. Can do.

また、上述のような薬液注入装置では、被験者に注入する薬液の圧力をグラフ表示し、必要により記録することもできる。しかし、現在の医療現場では、実際に被験者に薬液を注入する以前に、その薬液注入装置の動作を確認することが要求されている。   Moreover, in the chemical | medical solution injection | pouring apparatus as mentioned above, the pressure of the chemical | medical solution inject | poured into a test subject can be displayed on a graph, and it can also record if necessary. However, in the current medical field, it is required to confirm the operation of the chemical injection device before actually injecting the chemical into the subject.

例えば、薬液注入装置に薬液シリンジを搭載することなく、そのピストン駆動機構を可動させることはできる。しかし、これではピストン駆動機構が空転するだけであり、薬液の注入をシミュレートすることはできない。特に、現在の透視撮像システムでは、実際に被験者に薬液を注入する以前に薬液注入装置の動作を確認したとしても、その証拠を記録することができない。   For example, the piston drive mechanism can be moved without mounting the chemical syringe on the chemical injection device. However, this only causes the piston drive mechanism to idle, and the injection of the chemical cannot be simulated. In particular, in the current fluoroscopic imaging system, even if the operation of the chemical solution injector is confirmed before the chemical solution is actually injected into the subject, the evidence cannot be recorded.

本発明は上述のような課題に鑑みてなされたものであり、実際に被験者に薬液を注入することなく薬液注入装置の動作を確認することができ、この確認したことを記録することができる透視撮像システム、この透視撮像システムの動作確認装置および薬液注入装置、この薬液注入装置のコンピュータプログラムおよびデータ処理方法、を提供することを目的とする。   The present invention has been made in view of the above-described problems, and it is possible to confirm the operation of the chemical injection device without actually injecting the chemical into the subject, and to record the confirmation. It is an object of the present invention to provide an imaging system, an operation confirmation device and a chemical injection device for the fluoroscopic imaging system, a computer program and a data processing method for the chemical injection device.

本発明の透視撮像システムは、透視画像データが撮像される被験者に注入される薬液が充填されている薬液シリンジと、薬液シリンジを駆動して被験者に薬液を注入する薬液注入装置と、撮像された透視画像データを保存するデータ保存装置と、を有する透視撮像システムであって、薬液注入装置は、装填された薬液シリンジを駆動して薬液の注入を実行するシリンジ駆動機構と、設定される注入制御データによりシリンジ駆動機構を動作制御する注入制御部と、注入制御データによるシリンジ駆動機構の動作履歴からなる注入履歴データを生成する履歴生成部と、生成された注入履歴データをデータ保存装置に送信して透視画像データとともに保存させるデータ出力部と、を有し、薬液シリンジと同様に薬液注入装置に装填されて駆動される動作確認装置を有し、動作確認装置は薬液注入装置の動作確認条件を示す確認条件データが記録されており、薬液注入装置は、シリンジ駆動機構に装填された動作確認装置から確認条件データを取得するデータ取得部と、取得された確認条件データの少なくとも一部を注入制御データの少なくとも一部として設定する制御設定部とを、さらに有し、履歴生成部は、確認条件データで設定された注入制御データによる動作履歴からなる確認履歴データを生成し、データ出力部は、生成された確認履歴データをデータ保存装置に送信して保存させる。   The fluoroscopic imaging system of the present invention has been imaged with a chemical syringe filled with a chemical solution to be injected into a subject whose fluoroscopic image data is imaged, a chemical injection device that drives the chemical syringe to inject a chemical into the subject, and A fluoroscopic imaging system having a data storage device for storing fluoroscopic image data, wherein the chemical liquid injection device drives a loaded chemical liquid syringe to inject the chemical liquid, and injection control to be set An injection control unit that controls the operation of the syringe drive mechanism according to data, a history generation unit that generates injection history data including an operation history of the syringe drive mechanism based on the injection control data, and the generated injection history data are transmitted to the data storage device. And a data output unit that stores the image data together with the fluoroscopic image data. It has an operation check device, and the operation check device records the check condition data indicating the operation check condition of the chemical liquid injector, and the chemical liquid injector acquires the check condition data from the operation check device loaded in the syringe drive mechanism. And a control setting unit that sets at least a part of the acquired confirmation condition data as at least a part of the injection control data, and the history generation unit includes the injection set by the confirmation condition data. Confirmation history data including an operation history based on the control data is generated, and the data output unit transmits the generated confirmation history data to the data storage device for storage.

本発明の透視撮像システムでは、透視画像データが撮像される被験者に、薬液注入装置により駆動される薬液シリンジから薬液が注入され、撮像された透視画像データはデータ保存装置で保存される。その薬液注入装置では、注入制御部が設定された注入制御データによりシリンジ駆動機構を動作制御することで、このシリンジ駆動機構が装填された薬液シリンジを駆動して薬液の注入を実行する。すると、この注入制御データによるシリンジ駆動機構の動作履歴からなる注入履歴データを履歴生成部が生成するので、この生成された注入履歴データをデータ出力部がデータ保存装置に送信して透視画像データとともに保存させる。このため、被験者に実際に薬液を注入したときの注入履歴データを透視画像データとともに保存することができる。ただし、薬液注入装置に薬液シリンジではなく動作確認装置が装填されて駆動された場合は、薬液注入装置は、シリンジ駆動機構に装填された動作確認装置からデータ取得部で確認条件データを取得する。そして、取得された確認条件データの少なくとも一部を注入制御データの少なくとも一部として制御設定部が設定する。すると、その確認条件データで設定された注入制御データによる動作履歴からなる確認履歴データを履歴生成部が生成し、この生成された確認履歴データをデータ出力部がデータ保存装置に送信して保存させる。このため、被験者に実際に薬液を注入することなく薬液注入装置の動作を確認することができ、この動作確認の確認履歴データも保存することができる。   In the fluoroscopic imaging system of the present invention, a chemical solution is injected from a chemical solution syringe driven by a chemical solution injection device into a subject whose fluoroscopic image data is imaged, and the captured fluoroscopic image data is stored in a data storage device. In the chemical solution injection device, the syringe drive mechanism is controlled by the injection control data set by the injection control unit, so that the chemical solution syringe loaded with the syringe drive mechanism is driven to execute the injection of the chemical solution. Then, since the history generation unit generates injection history data including the operation history of the syringe drive mechanism based on the injection control data, the data output unit transmits the generated injection history data to the data storage device together with the fluoroscopic image data. Save. For this reason, the injection history data when the chemical solution is actually injected into the subject can be stored together with the fluoroscopic image data. However, when the operation check device is loaded instead of the drug syringe and driven in the drug injection device, the drug injection device acquires confirmation condition data from the operation check device loaded in the syringe drive mechanism by the data acquisition unit. Then, the control setting unit sets at least a part of the acquired confirmation condition data as at least a part of the injection control data. Then, the history generation unit generates confirmation history data including an operation history based on the injection control data set in the confirmation condition data, and the data output unit transmits the generated confirmation history data to the data storage device to be stored. . For this reason, it is possible to confirm the operation of the chemical solution injector without actually injecting the chemical solution into the subject, and it is also possible to save the confirmation history data of this operation confirmation.

また、本発明の透視撮像システムにおいて、薬液シリンジは、収容されている薬液に関連した薬液条件データが記録されており、データ取得部は、薬液シリンジから薬液条件データを取得し、制御設定部は、取得された薬液条件データの少なくとも一部を注入制御データの少なくとも一部として設定してもよい。   Further, in the fluoroscopic imaging system of the present invention, the liquid syringe is recorded with liquid condition data related to the stored liquid, the data acquisition unit acquires the liquid condition data from the liquid syringe, and the control setting unit Alternatively, at least a part of the obtained chemical solution condition data may be set as at least a part of the injection control data.

また、本発明の透視撮像システムにおいて、動作確認装置は、確認条件データが記録されているRFIDチップが搭載されており、薬液シリンジは、薬液条件データが記録されているRFIDチップが搭載されており、データ取得部は、動作確認装置のRFIDチップから確認条件データを取得するとともに薬液シリンジのRFIDチップから薬液条件データを取得するRFIDリーダを有してもよい。   In the fluoroscopic imaging system of the present invention, the operation confirmation device is equipped with an RFID chip in which confirmation condition data is recorded, and the chemical syringe is equipped with an RFID chip in which chemical condition data is recorded. The data acquisition unit may include an RFID reader that acquires the check condition data from the RFID chip of the operation check device and acquires the liquid condition data from the RFID chip of the liquid syringe.

また、本発明の透視撮像システムにおいて、薬液シリンジは、シリンダ部材にピストン部材がスライド自在に挿入されており、シリンジ駆動機構は、シリンダ部材を保持してピストン部材をスライド移動させ、動作確認装置は、シリンダ部材と同様に薬液注入装置に保持されるダミー本体部材と、ピストン部材と同様に薬液注入装置にスライド移動されるダミースライド部材と、ダミー本体部材を保持した薬液注入装置がダミースライド部材をスライド移動させるときに薬液シリンジで薬液が注入されるときと同等な移動抵抗を発生させるダミー抵抗機構と、を有してもよい。   In the fluoroscopic imaging system of the present invention, the chemical syringe has the piston member slidably inserted into the cylinder member, the syringe drive mechanism holds the cylinder member and slides the piston member, and the operation check device is The dummy main body member held by the chemical liquid injection device as in the cylinder member, the dummy slide member slid to the chemical liquid injection device as in the piston member, and the chemical injection device holding the dummy main body member as the dummy slide member. You may have the dummy resistance mechanism which generate | occur | produces the movement resistance equivalent to when a chemical | medical solution is inject | poured with a chemical | medical solution syringe when sliding.

また、本発明の透視撮像システムにおいて、薬液シリンジは、移動抵抗が相違する複数種類があり、動作確認装置は、複数種類の薬液シリンジと同等な移動抵抗を発生する複数種類があり、自身の種類と対応する薬液シリンジの種類と移動抵抗との少なくとも一つが確認条件データに記録されていてもよい。   Further, in the fluoroscopic imaging system of the present invention, there are a plurality of types of chemical solution syringes having different movement resistances, and there are a plurality of types of operation check devices that generate a movement resistance equivalent to a plurality of types of chemical solution syringes, and their own types. And at least one of the corresponding type of liquid syringe and movement resistance may be recorded in the confirmation condition data.

また、本発明の透視撮像システムにおいて、被験者から透視画像データを撮像する撮像作業ごとの撮像オーダデータを保持する撮像管理装置を、さらに有し、薬液注入装置は、動作制御の開始以前に撮像管理装置から撮像オーダデータの少なくとも一部を取得するデータ入力部を、さらに有し、制御設定部は、取得された撮像オーダデータの少なくとも一部を注入制御データの少なくとも一部として設定し、制御設定部は、注入制御データに撮像オーダデータと薬液条件データとの一方が設定されている場合は他方も設定されていないと動作制御を実行せず、注入制御データが確認条件データで設定されている場合は撮像オーダデータの設定に関係なく動作制御を実行してもよい。   The fluoroscopic imaging system of the present invention further includes an imaging management device that holds imaging order data for each imaging operation for imaging fluoroscopic image data from a subject, and the chemical injection device manages imaging before the start of operation control. A data input unit that acquires at least a part of the imaging order data from the apparatus; and the control setting unit sets at least a part of the acquired imaging order data as at least a part of the injection control data, and performs control setting. When one of the imaging order data and the liquid condition data is set in the injection control data, the operation control is not executed unless the other is set, and the injection control data is set in the confirmation condition data In this case, the operation control may be executed regardless of the setting of the imaging order data.

また、本発明の透視撮像システムにおいて、少なくとも薬液注入装置とデータ保存装置とのデータ通信を仲介するデータ制御装置を、さらに有し、データ制御装置は、薬液注入装置から注入履歴データと確認履歴データとを受信してデータ保存装置に送信してもよい。   The fluoroscopic imaging system of the present invention further includes a data control device that mediates at least data communication between the drug solution injector and the data storage device, and the data controller includes injection history data and confirmation history data from the drug solution injector. May be received and transmitted to the data storage device.

また、本発明の透視撮像システムにおいて、少なくとも撮像管理装置と薬液注入装置とのデータ通信を仲介するデータ制御装置を、さらに有し、データ制御装置は、撮像管理装置から撮像オーダデータを受信して薬液注入装置に送信してもよい。   The fluoroscopic imaging system of the present invention further includes a data control device that mediates at least data communication between the imaging management device and the chemical liquid injector, and the data control device receives imaging order data from the imaging management device. You may transmit to a chemical injection device.

また、本発明の透視撮像システムにおいて、薬液注入装置は、注入制御データの取得要求の入力操作を受け付け、入力操作された取得要求をデータ制御装置に送信し、データ制御装置は、受信した取得要求に対応して撮像オーダデータの少なくとも一部を撮像管理装置から取得し、取得した撮像オーダデータの少なくとも一部を薬液注入装置に返信し、注入設定部は、取得要求に対応してデータ制御装置から返信された撮像オーダデータの少なくとも一部を注入制御データの少なくとも一部として注入制御部に設定してもよい。   Further, in the fluoroscopic imaging system of the present invention, the chemical injection device accepts an input operation of an acquisition request for injection control data, transmits the input request for the input operation to the data control device, and the data control device receives the acquired acquisition request. In response to the acquisition, at least a part of the imaging order data is acquired from the imaging management device, and at least a part of the acquired imaging order data is returned to the chemical injection device, and the injection setting unit responds to the acquisition request by the data control device At least a part of the imaging order data returned from may be set in the injection control unit as at least a part of the injection control data.

本発明の動作確認装置は、本発明の透視撮像システムの動作確認装置であって、薬液注入装置の動作確認条件を示す確認条件データが記録されており、薬液シリンジと同様に薬液注入装置に装填されて駆動される。   The operation check device of the present invention is an operation check device of the fluoroscopic imaging system of the present invention, in which confirmation condition data indicating operation check conditions of the chemical solution injection device is recorded, and loaded into the drug solution injection device in the same manner as the drug solution syringe To be driven.

また、本発明の動作確認装置において、確認条件データが記録されているRFIDチップが搭載されていてもよい。   In the operation check device of the present invention, an RFID chip in which check condition data is recorded may be mounted.

また、本発明の動作確認装置において、薬液シリンジは、シリンダ部材にピストン部材がスライド自在に挿入されており、シリンジ駆動機構は、シリンダ部材を保持してピストン部材をスライド移動させ、シリンダ部材と同様に薬液注入装置に保持されるダミー本体部材と、ピストン部材と同様に薬液注入装置にスライド移動されるダミースライド部材と、ダミー本体部材を保持した薬液注入装置がダミースライド部材をスライド移動させるときに薬液シリンジで薬液が注入されるときと同等な移動抵抗を発生させるダミー抵抗機構と、を有してもよい。   In the operation check device of the present invention, the chemical syringe has the piston member slidably inserted into the cylinder member, and the syringe drive mechanism holds the cylinder member and slides the piston member, similar to the cylinder member. A dummy main body member held in the chemical liquid injector, a dummy slide member slid to the chemical liquid injector like the piston member, and a chemical liquid injector holding the dummy main body member when the dummy slide member slides. You may have a dummy resistance mechanism which generates the movement resistance equivalent to when a chemical | medical solution is inject | poured with a chemical | medical solution syringe.

本発明の薬液注入装置は、本発明の透視撮像システムの薬液注入装置であって、設定される注入制御データによりシリンジ駆動機構を動作制御する注入制御部と、注入制御データによるシリンジ駆動機構の動作履歴からなる注入履歴データを生成する履歴生成部と、生成された注入履歴データをデータ保存装置に送信して透視画像データとともに保存させるデータ出力部と、シリンジ駆動機構に装填された動作確認装置から確認条件データを取得するデータ取得部と、取得された確認条件データの少なくとも一部を注入制御データの少なくとも一部として設定する制御設定部と、を有し、履歴生成部は、確認条件データで設定された注入制御データによる動作履歴からなる確認履歴データを生成し、データ出力部は、生成された確認履歴データをデータ保存装置に送信して保存させる。   The chemical injection device of the present invention is the chemical injection device of the fluoroscopic imaging system of the present invention, and includes an injection control unit that controls the operation of the syringe drive mechanism according to the set injection control data, and the operation of the syringe drive mechanism based on the injection control data From a history generation unit that generates injection history data consisting of a history, a data output unit that transmits the generated injection history data to a data storage device and stores it together with fluoroscopic image data, and an operation check device loaded in the syringe drive mechanism A data acquisition unit for acquiring the confirmation condition data, and a control setting unit for setting at least a part of the acquired confirmation condition data as at least a part of the injection control data. Confirmation history data consisting of operation history based on the set injection control data is generated, and the data output unit generates the generated confirmation history data. The is saved and transmitted to the data storage device.

本発明のコンピュータプログラムは、本発明の薬液注入装置のためのコンピュータプログラムであって、設定される注入制御データによりシリンジ駆動機構を動作制御する注入制御処理と、注入制御データによるシリンジ駆動機構の動作履歴からなる注入履歴データを生成する履歴生成処理と、生成された注入履歴データをデータ保存装置に送信して透視画像データとともに保存させるデータ出力処理と、シリンジ駆動機構に装填された動作確認装置から確認条件データを取得するデータ取得処理と、取得された確認条件データの少なくとも一部を注入制御データの少なくとも一部として設定する制御設定処理と、を有し、履歴生成処理では、確認条件データで設定された注入制御データによる動作履歴からなる確認履歴データも生成され、データ出力処理では、生成された確認履歴データもデータ保存装置に送信して保存させる。   The computer program of the present invention is a computer program for the chemical liquid injector of the present invention, and includes an injection control process for controlling the operation of the syringe drive mechanism according to the set injection control data, and an operation of the syringe drive mechanism based on the injection control data. From a history generation process for generating injection history data consisting of a history, a data output process for transmitting the generated injection history data to a data storage device and storing it together with fluoroscopic image data, and an operation confirmation device loaded in the syringe drive mechanism A data acquisition process for acquiring the confirmation condition data, and a control setting process for setting at least a part of the acquired confirmation condition data as at least a part of the injection control data. Confirmation history data consisting of operation history based on the set injection control data is also generated, The chromatography data output processing, confirmation is generated historical data also is stored and transmitted to the data storage device.

本発明のデータ処理方法は、本発明の薬液注入装置のデータ処理方法であって、設定される注入制御データによりシリンジ駆動機構を動作制御する注入制御工程と、注入制御データによるシリンジ駆動機構の動作履歴からなる注入履歴データを生成する履歴生成工程と、生成された注入履歴データをデータ保存装置に送信して透視画像データとともに保存させるデータ出力工程と、シリンジ駆動機構に装填された動作確認装置から確認条件データを取得するデータ取得工程と、取得された確認条件データの少なくとも一部を注入制御データの少なくとも一部として設定する制御設定工程と、を有し、履歴生成工程では、確認条件データで設定された注入制御データによる動作履歴からなる確認履歴データも生成され、データ出力工程では、生成された確認履歴データもデータ保存装置に送信して保存させる。   The data processing method of the present invention is a data processing method of the chemical injection device of the present invention, and includes an injection control step for controlling the operation of the syringe drive mechanism based on the set injection control data, and an operation of the syringe drive mechanism based on the injection control data From a history generation step for generating injection history data consisting of a history, a data output step for transmitting the generated injection history data to a data storage device and storing it together with fluoroscopic image data, and an operation confirmation device loaded in the syringe drive mechanism A data acquisition step for acquiring the confirmation condition data, and a control setting step for setting at least a part of the acquired confirmation condition data as at least a part of the injection control data. Confirmation history data consisting of operation history based on the set injection control data is also generated. Check is historical data also is stored and transmitted to the data storage device.

なお、本発明で云う各種の構成要素は、その機能を実現するように形成されていればよく、例えば、所定の機能を発揮する専用のハードウェア、所定の機能がコンピュータプログラムにより付与されたデータ処理装置、コンピュータプログラムによりデータ処理装置に実現された所定の機能、これらの任意の組み合わせ、等として実現することができる。   It should be noted that the various constituent elements referred to in the present invention only have to be formed so as to realize their functions. For example, dedicated hardware that exhibits a predetermined function, data provided with a predetermined function by a computer program It can be realized as a processing device, a predetermined function realized in the data processing device by a computer program, an arbitrary combination thereof, or the like.

また、本発明で云う各種の構成要素は、個々に独立した存在である必要もなく、複数の構成要素が一個の部材として形成されていること、一つの構成要素が複数の部材で形成されていること、ある構成要素が他の構成要素の一部であること、ある構成要素の一部と他の構成要素の一部とが重複していること、等でよい。   In addition, the various components referred to in the present invention do not have to be individually independent, but a plurality of components are formed as a single member, and a single component is formed of a plurality of members. It may be that a certain component is a part of another component, a part of a certain component overlaps a part of another component, and the like.

また、本発明のデータ処理方法は、複数の工程を順番に記載してあるが、その記載の順番は複数の工程を実行する順番を限定するものではない。このため、本発明のデータ処理方法を実施するときには、その複数の工程の順番は内容的に支障しない範囲で変更することができる。   Moreover, although the data processing method of this invention has described several process in order, the order of the description does not limit the order which performs several process. For this reason, when implementing the data processing method of this invention, the order of the some process can be changed in the range which does not interfere in content.

さらに、本発明のデータ処理方法は、複数の工程が個々に相違するタイミングで実行されることに限定されない。このため、ある工程の実行中に他の工程が発生すること、ある工程の実行タイミングと他の工程の実行タイミングとの一部ないし全部が重複していること、等でもよい。   Furthermore, the data processing method of the present invention is not limited to being executed at a timing at which a plurality of steps are individually different. For this reason, another process may occur during execution of a certain process, or a part or all of the execution timing of a certain process and the execution timing of another process may overlap.

本発明の透視撮像システムでは、透視画像データが撮像される被験者に、薬液注入装置により駆動される薬液シリンジから薬液が注入され、撮像された透視画像データはデータ保存装置で保存される。その薬液注入装置では、注入制御部が設定された注入制御データによりシリンジ駆動機構を動作制御することで、このシリンジ駆動機構が装填された薬液シリンジを駆動して薬液の注入を実行する。すると、この注入制御データによるシリンジ駆動機構の動作履歴からなる注入履歴データを履歴生成部が生成するので、この生成された注入履歴データをデータ出力部がデータ保存装置に送信して透視画像データとともに保存させる。このため、被験者に実際に薬液を注入したときの注入履歴データを透視画像データとともに保存することができる。ただし、薬液注入装置に薬液シリンジではなく動作確認装置が装填されて駆動された場合は、薬液注入装置は、シリンジ駆動機構に装填された動作確認装置からデータ取得部で確認条件データを取得する。そして、取得された確認条件データの少なくとも一部を注入制御データの少なくとも一部として制御設定部が設定する。すると、その確認条件データで設定された注入制御データによる動作履歴からなる確認履歴データを履歴生成部が生成し、この生成された確認履歴データをデータ出力部がデータ保存装置に送信して保存させる。このため、被験者に実際に薬液を注入することなく薬液注入装置の動作を確認することができ、この動作確認の確認履歴データも保存することができる。従って、被験者に実際に薬液を注入する以前に薬液注入装置の動作を確認したことを証拠としてデータ保存することができる。このため、例えば、その確認後に被験者に薬液を注入したときに障害が発生したような場合でも、原因や責任の調査を容易とすることができる。   In the fluoroscopic imaging system of the present invention, a chemical solution is injected from a chemical solution syringe driven by a chemical solution injection device into a subject whose fluoroscopic image data is imaged, and the captured fluoroscopic image data is stored in a data storage device. In the chemical solution injection device, the syringe drive mechanism is controlled by the injection control data set by the injection control unit, so that the chemical solution syringe loaded with the syringe drive mechanism is driven to execute the injection of the chemical solution. Then, since the history generation unit generates injection history data including the operation history of the syringe drive mechanism based on the injection control data, the data output unit transmits the generated injection history data to the data storage device together with the fluoroscopic image data. Save. For this reason, the injection history data when the chemical solution is actually injected into the subject can be stored together with the fluoroscopic image data. However, when the operation check device is loaded instead of the drug syringe and driven in the drug injection device, the drug injection device acquires confirmation condition data from the operation check device loaded in the syringe drive mechanism by the data acquisition unit. Then, the control setting unit sets at least a part of the acquired confirmation condition data as at least a part of the injection control data. Then, the history generation unit generates confirmation history data including an operation history based on the injection control data set in the confirmation condition data, and the data output unit transmits the generated confirmation history data to the data storage device to be stored. . For this reason, it is possible to confirm the operation of the chemical solution injector without actually injecting the chemical solution into the subject, and it is also possible to save the confirmation history data of this operation confirmation. Therefore, data can be stored as evidence that the operation of the chemical solution injector has been confirmed before the chemical solution is actually injected into the subject. For this reason, for example, even when a failure occurs when a chemical solution is injected into a subject after the confirmation, the investigation of the cause and responsibility can be facilitated.

本発明の実施の形態を図面を参照して以下に説明する。本発明の実施の形態の透視撮像システム1000は、図2および図3に示すように、撮像管理装置であるRIS100、透視撮像装置であるCTスキャナ200、データ保存装置であるPACS300、薬液注入装置400、データ制御装置である制御ボックス500、画像閲覧装置600、通信ネットワーク700、薬液シリンジ800、カルテ管理装置であるHIS900、動作確認装置1100、を有する。   Embodiments of the present invention will be described below with reference to the drawings. 2 and 3, the fluoroscopic imaging system 1000 according to the embodiment of the present invention includes an RIS100 that is an imaging management device, a CT scanner 200 that is a fluoroscopic imaging device, a PACS300 that is a data storage device, and a chemical injection device 400. A control box 500 that is a data control device, an image browsing device 600, a communication network 700, a chemical solution syringe 800, a HIS 900 that is a medical record management device, and an operation confirmation device 1100.

本実施の形態の透視撮像システム1000では、図示するように、HIS900が、LAN(Local Area Network)等の通信ネットワーク700によりRIS100と接続されている。   In the fluoroscopic imaging system 1000 of the present embodiment, as shown in the figure, the HIS 900 is connected to the RIS 100 via a communication network 700 such as a LAN (Local Area Network).

このRIS100およびPACS300は、通信ネットワーク701,702によりCTスキャナ200と接続されている。一方、制御ボックス500も、通信ネットワーク703〜705により、RIS100、PACS300、薬液注入装置400、と接続されている。そして、PACS300には、画像閲覧装置600が通信ネットワーク706により接続されている。   The RIS 100 and PACS 300 are connected to the CT scanner 200 via communication networks 701 and 702. On the other hand, the control box 500 is also connected to the RIS 100, the PACS 300, and the chemical liquid injector 400 through the communication networks 703 to 705. An image browsing apparatus 600 is connected to the PACS 300 via a communication network 706.

本実施の形態の透視撮像システム1000は、いわゆるDICOM(Digital Imaging and COmmunications in Medicine)規格に準拠している。このため、その各種装置100〜600,900は、DICOMの規約で各種データを相互通信する。   The fluoroscopic imaging system 1000 of the present embodiment conforms to the so-called DICOM (Digital Imaging and Communication in Medicine) standard. Therefore, the various devices 100 to 600 and 900 mutually communicate various data according to the DICOM protocol.

本実施の形態の透視撮像システム1000では、CTスキャナ200、PACS300、薬液注入装置400、制御ボックス500、HIS900、が各々一個であり、何れの組み合わせも一対一の関係となっている。   In the fluoroscopic imaging system 1000 of the present embodiment, there is one CT scanner 200, PACS 300, chemical solution injector 400, control box 500, and HIS 900, and any combination has a one-to-one relationship.

本実施の形態のHIS900は、いわゆるコンピュータ装置からなり、専用のコンピュータプログラムが実装されている。このコンピュータプログラムに対応してコンピュータ装置が各種処理を実行することにより、HIS900には、カルテ管理部901等の各部が各種機能として論理的に実現されている。   The HIS 900 according to the present embodiment is a so-called computer device, and a dedicated computer program is installed. As the computer apparatus executes various processes corresponding to the computer program, each unit such as the chart management unit 901 is logically realized as various functions in the HIS 900.

カルテ管理部901は、上述のコンピュータプログラムに対応して認識されるHDD(Hard Disc Drive)の記憶エリアなどに相当し、いわゆる電子カルテを被験者ごとに記憶している。   The medical chart management unit 901 corresponds to a storage area of an HDD (Hard Disc Drive) recognized corresponding to the above computer program, and stores a so-called electronic medical record for each subject.

この電子カルテは、例えば、固有の識別情報であるカルテID、被験者ごとの被験者ID、被験者の体重や性別や年齢などの個人管理データ、被験者の疾病に関するカルテデータ、等のテキストデータからなる。   This electronic medical record is composed of text data such as a medical chart ID that is unique identification information, a subject ID for each subject, personal management data such as the subject's weight, sex, and age, and medical record data relating to the subject's disease.

このような電子カルテのカルテデータには、治療全般に関連した個人条件データとして、被験者がアレルギ体質かに起因した警告要否の二値フラグ、被験者ごとに注入に不適な造影剤などの薬液IDからなる不適ID、被験者ごとに注入に不適な造影剤などの含有成分からなる不適成分、被験者ごとに注入に不適な化学分類からなる不適分類、等が登録されている。なお、本実施の形態の薬液シリンジ800は、プレフィルドタイプを想定しているため、上述の薬液IDは薬液シリンジ800の製品IDに相当する。   Such medical chart data includes, as personal condition data related to the overall treatment, a binary flag indicating whether the subject is allergic or not, and a medical solution ID such as a contrast agent that is inappropriate for injection for each subject. Inadequate IDs consisting of, inappropriate components composed of components such as contrast agents that are unsuitable for injection for each subject, unsuitable classifications composed of chemical classification unsuitable for injection for each subject, and the like are registered. In addition, since the chemical | medical solution syringe 800 of this Embodiment assumes the prefilled type, the above-mentioned chemical | medical solution ID is corresponded to product ID of the chemical | medical solution syringe 800. FIG.

本実施の形態のRIS100も、いわゆるコンピュータ装置からなり、実装されている専用のコンピュータプログラムに対応して各種処理を実行することにより、オーダ管理部101、オーダ選定部102、統合制御部103、等の各部が各種機能として論理的に実現されている。   The RIS 100 of the present embodiment is also a so-called computer device, and executes various processes corresponding to a dedicated computer program that is installed, thereby order management unit 101, order selection unit 102, integrated control unit 103, etc. Are logically realized as various functions.

オーダ管理部101は、上述のコンピュータプログラムに対応して認識されるHDDの記憶エリアなどに相当し、被験者から透視画像データを撮像するための撮像オーダデータを固有の識別情報で管理する。この撮像オーダデータは、HIS900から取得する電子カルテに基づいて作成される。   The order management unit 101 corresponds to a storage area of an HDD recognized corresponding to the above-described computer program, and manages imaging order data for imaging fluoroscopic image data from a subject with unique identification information. The imaging order data is created based on an electronic medical record acquired from the HIS 900.

このように作成される撮像オーダデータは、例えば、固有の識別情報である撮像作業ID、CT撮像やMR撮像などの作業種別、前述の電子カルテの被験者IDと個人管理データとカルテデータ、CTスキャナ200の識別情報、撮像開始および終了の日時、身体区分または撮像部位、撮像作業に対応した造影剤などの薬液種別からなる適正種別、撮像作業に適合した薬液IDからなる適正ID、等のテキストデータからなる。   The imaging order data created in this way includes, for example, an imaging work ID that is unique identification information, a work type such as CT imaging and MR imaging, the above-described electronic medical record subject ID, personal management data, medical record data, and CT scanner. Text data such as 200 identification information, date and time of start and end of imaging, body classification or imaging site, appropriate type consisting of a chemical type such as a contrast medium corresponding to the imaging operation, appropriate ID consisting of a chemical ID suitable for the imaging operation, etc. Consists of.

なお、上述のように撮像オーダデータには電子カルテのカルテデータが内包されるので、そのカルテデータの個人条件データも内包される。このため、撮像オーダデータには、警告要否の二値フラグ、薬液の不適IDと不適成分と不適分類、等も登録される。   As described above, since the imaging order data includes the electronic medical chart data, the personal condition data of the medical chart data is also included. For this reason, a binary flag indicating whether a warning is necessary, an inappropriate ID of a chemical solution, an inappropriate component, an inappropriate classification, and the like are registered in the imaging order data.

オーダ選定部102は、例えば、キーボードなどの入力操作に対応してCPUが所定処理を実行する機能などに相当し、作業者の入力操作に対応して複数の撮像オーダデータから一つを選定する。   The order selection unit 102 corresponds to, for example, a function in which the CPU executes a predetermined process in response to an input operation such as a keyboard, and selects one of a plurality of imaging order data in response to an input operation by an operator. .

統合制御部103は、例えば、CPUが通信I/F(Interface)により各種データを送受信する機能などに相当し、上述の選定されている一つの撮像オーダデータをCTスキャナ200や制御ボックス500から受信する取得要求に対応して返信する。   The integrated control unit 103 corresponds to, for example, a function in which the CPU transmits and receives various types of data through a communication I / F (Interface), and receives the selected one imaging order data from the CT scanner 200 and the control box 500. Reply in response to the acquisition request.

本実施の形態のCTスキャナ200は、図3に示すように、撮像実行機構である透視撮像ユニット201と撮像制御ユニット210とを有する。透視撮像ユニット201は、被験者から透視画像データを撮像する。撮像制御ユニット210は、透視撮像ユニット201を動作制御する。   As shown in FIG. 3, the CT scanner 200 according to the present embodiment includes a fluoroscopic imaging unit 201 and an imaging control unit 210 that are imaging execution mechanisms. The fluoroscopic imaging unit 201 captures fluoroscopic image data from the subject. The imaging control unit 210 controls the operation of the fluoroscopic imaging unit 201.

より詳細には、撮像制御ユニット210は、専用のコンピュータプログラムが実装されているコンピュータ装置からなる。このコンピュータ装置がコンピュータプログラムに対応して各種処理を実行することにより、撮像制御ユニット210には、要求送信部211、オーダ受信部212、撮像制御部213、データ付与部214、画像送信部215、等の各部が各種機能として論理的に実現されている。   More specifically, the imaging control unit 210 includes a computer device on which a dedicated computer program is installed. When this computer apparatus executes various processes corresponding to the computer program, the imaging control unit 210 includes a request transmission unit 211, an order reception unit 212, an imaging control unit 213, a data addition unit 214, an image transmission unit 215, Are logically realized as various functions.

要求送信部211は、キーボードなどの入力操作に対応してCPUが通信I/Fにより各種データを送受信する機能などに相当し、作業者の入力操作に対応してRIS100に撮像オーダデータの取得要求を送信する。オーダ受信部212は、RIS100から返信される撮像オーダデータを受信する。   The request transmission unit 211 corresponds to a function for the CPU to transmit and receive various data through a communication I / F in response to an input operation such as a keyboard. The request transmission unit 211 requests the RIS 100 to acquire imaging order data in response to an operator's input operation Send. The order receiving unit 212 receives imaging order data returned from the RIS 100.

撮像制御部213は、受信した撮像オーダデータに対応して透視撮像ユニット201を動作制御する。データ付与部214は、透視撮像ユニット201で撮像された透視画像データに撮像オーダデータを付与する。   The imaging control unit 213 controls the operation of the fluoroscopic imaging unit 201 corresponding to the received imaging order data. The data assigning unit 214 assigns imaging order data to the fluoroscopic image data captured by the fluoroscopic imaging unit 201.

画像送信部215は、撮像オーダデータが付与された透視画像データをPACS300に送信する。なお、上述のように生成される透視画像データは、例えば、断層画像のビットマップデータからなる。   The image transmission unit 215 transmits the fluoroscopic image data to which the imaging order data is added to the PACS 300. The fluoroscopic image data generated as described above includes, for example, bitmap data of a tomographic image.

本実施の形態のPACS300は、やはり専用のコンピュータプログラムが実装されているデータベースサーバからなる。PACS300は、CTスキャナ200から撮像オーダデータが付与された透視画像データを受信して保存する。   The PACS 300 according to the present embodiment includes a database server on which a dedicated computer program is mounted. The PACS 300 receives and stores fluoroscopic image data to which imaging order data is added from the CT scanner 200.

本形態の薬液注入装置400は、図3および図5に示すように、注入制御ユニット401と注入実行ヘッド410とが別体に形成されており、その注入制御ユニット401と注入実行ヘッド410とは有線接続されている。   As shown in FIG. 3 and FIG. 5, the chemical injection device 400 according to the present embodiment includes an injection control unit 401 and an injection execution head 410 that are formed separately, and the injection control unit 401 and the injection execution head 410 are different from each other. Wired connection.

注入制御ユニット401は、メイン操作部402、タッチパネル403、コントローラユニット404、コンピュータユニット405、通信I/F406、等を有する。注入実行ヘッド410は、図6に示すように、着脱自在に装着される薬液シリンジ800を駆動して薬液を被験者に注入する。   The injection control unit 401 includes a main operation unit 402, a touch panel 403, a controller unit 404, a computer unit 405, a communication I / F 406, and the like. As shown in FIG. 6, the injection execution head 410 drives a drug solution syringe 800 that is detachably attached to inject the drug solution into the subject.

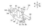
この薬液シリンジ800は、シリンダ部材810とピストン部材820とを有しており、シリンダ部材810にピストン部材820がスライド自在に挿入されている。シリンダ部材810は、円筒状のシリンダ本体811を有しており、このシリンダ本体811の閉塞した前端中央に導管部812が形成されている。   The chemical syringe 800 includes a cylinder member 810 and a piston member 820, and the piston member 820 is slidably inserted into the cylinder member 810. The cylinder member 810 has a cylindrical cylinder body 811, and a conduit portion 812 is formed at the center of the closed front end of the cylinder body 811.

シリンダ部材810のシリンダ本体811の後端は開口されており、この開口からシリンダ本体811の内部にピストン部材820がスライド自在に挿入されている。シリンダ部材810は、シリンダ本体811の後端外周に円環状にシリンダフランジ813が形成されており、ピストン部材820は、ピストン本体821の後端外周に円環状にピストンフランジ822が形成されている。   A rear end of the cylinder body 811 of the cylinder member 810 is opened, and a piston member 820 is slidably inserted into the cylinder body 811 through the opening. The cylinder member 810 has an annular cylinder flange 813 formed on the outer periphery of the rear end of the cylinder body 811, and the piston member 820 has an annular piston flange 822 formed on the outer periphery of the rear end of the piston body 821.

図35に示すように、注入実行ヘッド410の上面前部には、薬液シリンジ800のシリンダ部材810が着脱自在に上方から装着される半円筒形の凹部1417が形成されている。   As shown in FIG. 35, a semi-cylindrical recess 1417 in which a cylinder member 810 of the chemical syringe 800 is detachably mounted from above is formed on the upper front portion of the injection execution head 410.

この凹部1417の前部には、シリンジ駆動機構の一部として薬液シリンジ800のシリンダフランジ813を着脱自在に保持するシリンジ保持機構411が形成されている。凹部1417の後方には、ピストンフランジ822を保持してスライド移動させるシリンジ駆動機構412が配置されている。   A syringe holding mechanism 411 that removably holds the cylinder flange 813 of the chemical syringe 800 is formed as a part of the syringe drive mechanism at the front portion of the concave portion 1417. A syringe drive mechanism 412 that holds and slides the piston flange 822 is disposed behind the recess 1417.

このシリンジ駆動機構412は、例えば、作動時にも磁界を発生しない超音波モータを駆動源として有しており、ネジ機構などによりピストン部材820をスライド移動させる(図示せず)。また、シリンジ駆動機構412にはロードセルも内蔵されており、そのロードセルは、ピストン部材820を押圧する圧力を検出する(図示せず)。   The syringe drive mechanism 412 has, for example, an ultrasonic motor that does not generate a magnetic field even when activated as a drive source, and slides the piston member 820 by a screw mechanism or the like (not shown). The syringe drive mechanism 412 also has a built-in load cell that detects the pressure that presses the piston member 820 (not shown).

また、注入実行ヘッド410の上面後部には、シリンジ駆動機構412の動作指示などが入力操作されるサブ操作部413が形成されており、このサブ操作部413は、後述する最終確認スイッチ414を有する。   Further, a sub operation unit 413 for inputting an operation instruction of the syringe drive mechanism 412 and the like is formed on the upper rear portion of the injection execution head 410, and the sub operation unit 413 includes a final confirmation switch 414 described later. .

なお、本実施の形態の薬液シリンジ800としては複数種類があり、少なくとも一部には所定位置にRFIDチップ830が搭載されている。注入実行ヘッド410は、シリンジ保持機構411で薬液シリンジ800が適正に保持されたときのみRFIDチップ830と無線通信する位置にデータ取得部としてRFIDリーダ416が搭載されている。   There are a plurality of types of chemical syringes 800 according to the present embodiment, and an RFID chip 830 is mounted at a predetermined position at least in part. The injection execution head 410 is equipped with an RFID reader 416 as a data acquisition unit at a position where it wirelessly communicates with the RFID chip 830 only when the liquid syringe 800 is properly held by the syringe holding mechanism 411.

薬液シリンジ800のRFIDチップ830には、少なくとも薬液に関連する薬液条件データが登録されている。より詳細には、薬液シリンジ800は、薬液が充填された状態で出荷される、いわゆるプレフィルドタイプであり、RFIDチップ830には、出荷される以前に薬液条件データが登録される。   In the RFID chip 830 of the chemical solution syringe 800, at least chemical condition data related to the chemical solution is registered. More specifically, the chemical syringe 800 is a so-called prefilled type that is shipped in a state where the chemical solution is filled, and the chemical condition data is registered in the RFID chip 830 before shipping.

この薬液条件データは、例えば、充填されている薬液に関連する、CT用かMR用かなどの作業種別からなる適正種別、造影剤かなどの薬液種別、プレフィルドシリンジの製品IDからなる薬液ID、造影剤などの含有成分、造影剤などの化学分類、粘度、消費期限、などの各種データと、その薬液シリンジ800に関連する、シリンジ容量、シリンダ耐圧、シリンダ内径、ピストンストローク、ロット番号、販売価格、などの各種データからなる。   This chemical solution condition data includes, for example, an appropriate type including a work type such as CT or MR, a chemical type such as a contrast agent, a chemical ID including a product ID of a prefilled syringe, Contained components such as contrast media, chemical classification of contrast media, various data such as viscosity, expiry date, etc., and syringe volume, cylinder pressure, cylinder bore, piston stroke, lot number, sales price related to the chemical syringe 800 It consists of various data such as.

なお、上述の薬液条件データの薬液IDは、その薬液の化学分類と含有成分と化学構造とに起因して登録されており、シリンジ容量などには関連していない。例えば、CT用で心臓用の造影剤としてA社とB社との製品が存在している場合、薬液の種別である「CT用で心臓用の造影剤」は共通でも、水溶性か油性か、イオン性か非イオン性か、モノマー型かダイマー型か、などの化学分類が相違するならば、その薬液IDは相違する。   In addition, the chemical | medical solution ID of the above-mentioned chemical | medical solution condition data is registered resulting from the chemical classification of the chemical | medical solution, a containing component, and a chemical structure, and is not related to syringe capacity | capacitance etc. For example, if there are products from Company A and Company B as contrast agents for the heart for CT, the type of drug solution “contrast agent for the heart for CT” is common, but is it water-soluble or oily? If the chemical classification such as ionic or nonionic, monomer type or dimer type is different, the chemical ID is different.

さらに、その薬液種別と化学分類とが共通でも、含有成分が相違するならば薬液IDは相違し、薬液種別と化学分類と含有成分とが共通でも、例えば、一つでも含有成分の化学構造が相違するならば薬液IDは相違する。   Furthermore, even if the chemical type and chemical classification are common, the chemical ID is different if the contained components are different, and even if the chemical type, chemical class, and contained component are common, for example, the chemical structure of one contained component is the same. If they are different, the chemical ID is different.

一方、プレフィルドタイプで容量が「200(ml)」と「500(ml)」との薬液シリンジに同一の薬液が充填されているならば、その薬液シリンジは容量により製品としては別個であるが薬液条件データの薬液IDは同一である。   On the other hand, if the same chemical solution is filled in the prefilled type drug syringes with the capacity of "200 (ml)" and "500 (ml)", the drug solution syringe is separate as a product depending on the volume. The chemical ID of the condition data is the same.

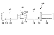
また、本実施の形態の透視撮像システム1000は、図7に示すように、上述のような薬液シリンジ800と同様に薬液注入装置400に装填されて駆動される動作確認装置1100を有する。   Further, as shown in FIG. 7, the fluoroscopic imaging system 1000 according to the present embodiment includes an operation confirmation device 1100 that is loaded and driven in the chemical solution injection device 400 in the same manner as the chemical solution syringe 800 as described above.

より詳細には、本実施の形態の動作確認装置1100は、上述のようにシリンダ部材810にピストン部材820がスライド自在に挿入されている薬液シリンジ800を駆動して薬液を被験者に注入する薬液注入装置400の動作確認を支援することに利用される。   More specifically, the operation check device 1100 according to the present embodiment drives the drug solution syringe 800 in which the piston member 820 is slidably inserted into the cylinder member 810 as described above to inject the drug solution into the subject. This is used to support the operation check of the device 400.

このため、本実施の形態の動作確認装置1100は、シリンダ部材810と同様に薬液注入装置400に保持されるダミー本体部材1110と、ピストン部材820と同様に薬液注入装置400にスライド移動されるダミースライド部材1120と、ダミー本体部材1110を保持した薬液注入装置400がダミースライド部材1120をスライド移動させるときに薬液シリンジ800で薬液が注入されるときと同等な移動抵抗を発生させるダミー抵抗機構1140と、を有する。   For this reason, the operation check apparatus 1100 of the present embodiment includes a dummy main body member 1110 held by the chemical liquid injector 400 similarly to the cylinder member 810 and a dummy slide-moved to the chemical liquid injector 400 similar to the piston member 820. A slide member 1120 and a dummy resistance mechanism 1140 that generates a movement resistance equivalent to that when a chemical solution is injected by the chemical syringe 800 when the chemical solution injection device 400 holding the dummy main body member 1110 slides the dummy slide member 1120; Have.

ダミー本体部材1110は、シリンダ部材810のシリンダ本体811と同等な外形のダミー本体1111を有し、その後端外周にはシリンダフランジ813と同等な外形のダミーフランジ1113が形成されている。   The dummy main body member 1110 has a dummy main body 1111 having the same outer shape as the cylinder main body 811 of the cylinder member 810, and a dummy flange 1113 having the same outer shape as the cylinder flange 813 is formed on the outer periphery of the rear end.

ダミースライド部材1120は、シリンダ部材810から後方に突出したピストン部材820と同等な外形に形成されている。このため、ダミースライド部材1120は、ピストン本体821と同等な外形のダミー本体1121の後端外周にピストンフランジ822と同等な外形のダミーフランジ1122が形成されている。   The dummy slide member 1120 has an outer shape equivalent to the piston member 820 that protrudes rearward from the cylinder member 810. For this reason, the dummy slide member 1120 is formed with a dummy flange 1122 having the same outer shape as the piston flange 822 on the outer periphery of the rear end of the dummy main body 1121 having the same outer shape as the piston main body 821.

ダミー抵抗機構1140は、例えば、ダミー本体部材1110に内蔵されており、ダミースライド部材1120が連結されている。このダミー抵抗機構1140は、例えば、移動抵抗を発生する既存のダンパ機構からなる。   For example, the dummy resistance mechanism 1140 is built in the dummy main body member 1110, and the dummy slide member 1120 is connected thereto. The dummy resistance mechanism 1140 is composed of, for example, an existing damper mechanism that generates a movement resistance.

このようなダンパ機構としては、例えば、「Kinechek(登録商標)」が利用される。このダミー抵抗機構1140は、前端に手動で回転自在な抵抗操作部1141を有し、この抵抗操作部1141の手動操作により発生する移動抵抗が可変自在に設定される。   As such a damper mechanism, for example, “Kinechek (registered trademark)” is used. This dummy resistance mechanism 1140 has a resistance operation portion 1141 that can be manually rotated at the front end, and a movement resistance generated by manual operation of the resistance operation portion 1141 is variably set.

なお、薬液シリンジ800は、移動抵抗が相違する複数種類がある。そこで、ダミー本体部材1110の前端には抵抗目盛1142が表記されており、この抵抗目盛1142に抵抗操作部1141を対応させることにより、ダミー抵抗機構1140は、複数種類の薬液シリンジ800と同等な複数段階に移動抵抗を可変する。   Note that there are a plurality of types of chemical syringes 800 with different movement resistances. Therefore, a resistance scale 1142 is written on the front end of the dummy main body member 1110. By making the resistance operation portion 1141 correspond to the resistance scale 1142, the dummy resistance mechanism 1140 has a plurality of equivalents of the plurality of types of drug solution syringes 800. Variable movement resistance in stages.

さらに、この動作確認装置1100も、前述の薬液シリンジ800と同様に所定位置にRFIDチップ1130が搭載されている。このRFIDチップ1130には、薬液注入装置400の動作確認条件を示す確認条件データとして、少なくとも動作確認装置1100であることの識別データが記録されている。   Further, the operation check apparatus 1100 also has an RFID chip 1130 mounted at a predetermined position, similar to the above-described chemical syringe 800. In this RFID chip 1130, at least identification data indicating that it is the operation confirmation device 1100 is recorded as confirmation condition data indicating the operation confirmation condition of the chemical liquid injector 400.

上述のような薬液シリンジ800や動作確認装置1100が装填される薬液注入装置400は、実装されているコンピュータプログラムに対応してコンピュータユニット405で各部を統合制御する。   The chemical solution injection device 400 loaded with the chemical solution syringe 800 and the operation confirmation device 1100 as described above performs integrated control of each unit by the computer unit 405 corresponding to the computer program installed.

このため、薬液注入装置400は、図1に示すように、動作制御の開始以前にRIS100から撮像オーダデータの少なくとも一部を取得するデータ入力部422、取得された撮像オーダデータの少なくとも一部を注入制御データの少なくとも一部として設定する制御設定部426、設定される注入制御データによりシリンジ駆動機構412を動作制御する注入制御部421、注入制御データによるシリンジ駆動機構412の動作履歴からなる注入履歴データを生成する履歴生成部427、生成された注入履歴データをPACS300に送信して透視画像データとともに保存させるデータ出力部428、等の各部を各種機能として論理的に有する。   Therefore, as shown in FIG. 1, the chemical injection device 400 includes a data input unit 422 that acquires at least a part of imaging order data from the RIS 100 before the start of operation control, and at least a part of the acquired imaging order data. A control setting unit 426 that is set as at least a part of the injection control data, an injection control unit 421 that controls the operation of the syringe drive mechanism 412 based on the set injection control data, and an injection history that includes an operation history of the syringe drive mechanism 412 based on the injection control data Each unit logically has various functions, such as a data generation unit 427 that generates data and a data output unit 428 that transmits the generated injection history data to the PACS 300 and stores it together with the fluoroscopic image data.

より具体的には、図12に示すように、注入制御ユニット401のタッチパネル403には、例えば、注入制御データの入力操作の初期画面の左上に、人体の正面画像と「i」との模式図からなる取得要求の操作アイコンが表示出力される。   More specifically, as shown in FIG. 12, on the touch panel 403 of the injection control unit 401, for example, in the upper left of the initial screen of the input operation of injection control data, a schematic diagram of the front image of the human body and “i” The operation icon for the acquisition request consisting of is displayed and output.

そこで、この取得要求の操作アイコンが入力操作されると、制御ボックス500を経由して撮像オーダデータの一部が取得される。そして、その撮像オーダデータから、被験者ID、撮像部位、等が注入制御データの少なくとも一部として注入制御部421に設定される。   Therefore, when the operation icon for the acquisition request is input, a part of the imaging order data is acquired via the control box 500. Then, from the imaging order data, the subject ID, the imaging site, and the like are set in the injection control unit 421 as at least part of the injection control data.

このような注入制御データは、例えば、シリンジ駆動機構412の作動ストロークや作動圧力が経過時間ごとに所定コマンドなどで設定された、プロトコルデータなどからなる。   Such injection control data includes, for example, protocol data in which the operating stroke and operating pressure of the syringe drive mechanism 412 are set by a predetermined command or the like for each elapsed time.

なお、本実施の形態の薬液注入装置400は、上述の各部421〜423等を利用して注入制御データを自動設定することができるが、手動操作により注入制御データの新規設定および設定編集も実行することもできる。   The chemical injection device 400 of the present embodiment can automatically set injection control data using the above-described units 421 to 423, etc., but also performs new settings and setting editing of injection control data by manual operation. You can also

このため、薬液注入装置400は、図8に示すように、条件記憶部441、画像記憶部442、区分表示部445、区分入力部446、部位表示部447、部位入力部448、動作読出部449、身体入力部451、等の各部も各種機能として論理的に実現されている。   Therefore, as shown in FIG. 8, the chemical injection device 400 includes a condition storage unit 441, an image storage unit 442, a segment display unit 445, a segment input unit 446, a site display unit 447, a site input unit 448, and an operation reading unit 449. Each unit such as the body input unit 451 is also logically realized as various functions.

薬液注入装置400の画像記憶部442は、人体の複数の身体区分と多数の撮像部位との模式画像を関連させて記憶している。区分表示部445は、画像記憶部442が記憶している複数の身体区分の模式画像を人体に対応した配列で表示する。   The image storage unit 442 of the chemical liquid injector 400 stores schematic images of a plurality of body sections of the human body and a large number of imaging regions in association with each other. The category display unit 445 displays a schematic image of a plurality of body categories stored in the image storage unit 442 in an array corresponding to the human body.

区分入力部446は、区分表示部445で画像表示出力された複数の身体区分から一つを選択する入力操作を受け付ける。部位表示部447は、区分入力部446で選択された身体区分に対応して少なくとも一つの撮像部位の模式画像を表示出力する。部位入力部448は、部位表示部447で画像表示出力された撮像部位を選定する入力操作を受け付ける。   The classification input unit 446 receives an input operation for selecting one of the plurality of body classifications displayed and output by the classification display unit 445. The region display unit 447 displays and outputs a schematic image of at least one imaging region corresponding to the body segment selected by the segment input unit 446. Part input unit 448 accepts an input operation for selecting an imaging part that is displayed and output by part display unit 447.

より具体的には、薬液注入装置400では、複数の身体区分として「頭部,胸部,腹部,脚部」が規定されており、これらの各々に対応した模式画像がコンピュータユニット405に登録されている。   More specifically, in the liquid injector 400, “head, chest, abdomen, legs” are defined as a plurality of body sections, and schematic images corresponding to each of these are registered in the computer unit 405. Yes.

そこで、薬液注入装置400に所定操作を実行すると、図12に示すように、「頭部,胸部,腹部,脚部」の模式画像が人体形状に対応してタッチパネル403の画面上部に表示出力される。   Therefore, when a predetermined operation is performed on the chemical liquid injector 400, as shown in FIG. 12, a schematic image of “head, chest, abdomen, leg” is displayed and output on the upper part of the screen of the touch panel 403 corresponding to the human body shape. The

また、上述の身体区分である「頭部」の模式画像には、複数の撮像部位として「脳部,顎部,首部」等の模式画像が関連されて登録されている。同様に、「胸部」の模式画像には「心臓部,肺部」、「腹部」の模式画像には「胃部,肝臓部,…」、「脚部」の模式画像には「上部,下部」、などの模式画像が関連されて登録されている。   In addition, in the schematic image of the “head” that is the above-described body classification, schematic images such as “brain part, jaw part, and neck part” are registered in association with each other as a plurality of imaging parts. Similarly, the “chest” image is “heart, lung”, the “abdomen” image is “stomach, liver,…”, and the “leg” image is “upper, lower”. ”And the like are registered in association with each other.

そこで、タッチパネル403に人体形状で表示出力された複数の身体範囲の模式画像の一つが手動操作されると、その一つの模式画像のみ上方にスキャナ機構の模式画像が表示出力され、手動操作された一つの模式画像のみが明転するとともに他の模式画像は暗転する(図示せず)。   Therefore, when one of the schematic images of the plurality of body ranges displayed and output on the touch panel 403 in the form of a human body is manually operated, the schematic image of the scanner mechanism is displayed and output only above the one schematic image, and is manually operated. Only one schematic image turns bright and the other schematic image turns dark (not shown).

同時に、その下部には関連する複数の撮像部位の模式画像が表示出力される。そこで、その表示出力された複数の撮像部位の模式画像の一つが手動操作されると、図13に示すように、その一つの模式画像のみが明転するとともに他の模式画像は暗転する。   At the same time, a schematic image of a plurality of related imaging parts is displayed and output at the lower part. Therefore, when one of the schematic images of the plurality of imaged parts that are displayed and output is manually operated, only the one schematic image is brightened and the other schematic images are darkened as shown in FIG.

条件記憶部441は、人体の多数の撮像部位ごとにシリンジ駆動機構412の動作条件データを記憶している。この動作条件データは、例えば、人体の撮像部位ごとの造影剤の注入総量などとして設定されている。   The condition storage unit 441 stores operation condition data of the syringe drive mechanism 412 for each of a large number of imaging parts of the human body. This operating condition data is set, for example, as the total amount of contrast medium injected for each imaging region of the human body.

動作読出部449は、部位入力部448で選定された撮像部位に対応する動作条件データを条件記憶部441から読み出し、注入制御データの一部として注入制御部421に設定する。   The operation reading unit 449 reads the operation condition data corresponding to the imaging region selected by the region input unit 448 from the condition storage unit 441 and sets it in the injection control unit 421 as a part of the injection control data.

身体入力部451は、透視画像データの撮像に関連する人体の身体事項として体重の入力操作を受け付け、その体重を注入制御データの一部として注入制御部421に設定する。   The body input unit 451 receives an input operation of body weight as a human body matter related to imaging of fluoroscopic image data, and sets the body weight in the injection control unit 421 as part of the injection control data.

より具体的には、前述のように撮像部位が模式画像の手動操作により選定された状態で、「条件」なる操作アイコンが手動操作されると、体重や注入容量や注入時間などを入力操作できる状態となる。そこで、このような状態で体重の数値などが入力操作される。すると、図14に示すように、これらが注入制御データの一部として表示出力されるとともに設定される。   More specifically, as described above, when the imaging region is selected by manual operation of the schematic image, when the “condition” operation icon is manually operated, the body weight, the injection volume, the injection time, and the like can be input. It becomes a state. Therefore, in such a state, a numerical value of weight is input. Then, as shown in FIG. 14, these are displayed and set as part of the injection control data.

また、薬液注入装置400は、注入制御データによるシリンジ駆動機構412の動作履歴からなる注入履歴データを生成する履歴生成部427と、生成された注入履歴データをPACS300に送信して透視画像データとともに保存させるデータ出力部428とを、さらに有する。なお、履歴生成部427は、注入確認要否の判定結果も注入履歴データに登録する。   In addition, the chemical injection device 400 generates a history generation unit 427 that generates injection history data including an operation history of the syringe drive mechanism 412 based on injection control data, and transmits the generated injection history data to the PACS 300 and stores it together with fluoroscopic image data. And a data output unit 428 to be operated. The history generation unit 427 also registers the determination result of whether or not injection confirmation is necessary in the injection history data.

このような注入履歴データは、例えば、横軸と縦軸との一方が経過時間で他方が注入速度の経時グラフの画像データからなり、注入制御データや被験者IDや注入作業ID等がテキストデータで付与される。   Such injection history data includes, for example, image data of a time-dependent graph in which one of the horizontal axis and the vertical axis is the elapsed time and the other is the injection speed, and the injection control data, the subject ID, the injection work ID, etc. are text data. Is granted.

なお、本実施の形態の薬液注入装置400では、前述のように注入実行ヘッド410に薬液シリンジ800が適切に装填されると、そのRFIDチップ830からRFIDリーダ416により薬液条件データが取得される。この場合、制御設定部426は、薬液条件データの少なくとも一部を注入制御データの少なくとも一部として設定する。   In the liquid injector 400 of the present embodiment, when the liquid syringe 800 is appropriately loaded in the injection execution head 410 as described above, the liquid condition data is acquired from the RFID chip 830 by the RFID reader 416. In this case, the control setting unit 426 sets at least part of the chemical condition data as at least part of the injection control data.

ただし、本実施の形態の薬液注入装置400では、注入実行ヘッド410に動作確認装置1100が適切に装填されると、そのRFIDチップ1130からRFIDリーダ416により確認条件データが取得される。この場合、制御設定部426は、確認条件データの少なくとも一部を注入制御データの少なくとも一部として設定する。   However, in the chemical injection device 400 of the present embodiment, when the operation confirmation device 1100 is appropriately loaded in the injection execution head 410, confirmation condition data is acquired from the RFID chip 1130 by the RFID reader 416. In this case, the control setting unit 426 sets at least part of the confirmation condition data as at least part of the injection control data.

そして、履歴生成部427は、確認条件データで設定された注入制御データによる動作履歴からなる確認履歴データを生成し、データ出力部428は、生成された確認履歴データをPACS300に送信して保存させる。   Then, the history generation unit 427 generates confirmation history data including an operation history based on the injection control data set in the confirmation condition data, and the data output unit 428 transmits the generated confirmation history data to the PACS 300 for storage. .

上述のような薬液注入装置400の注入制御部421は、コンピュータユニット405がコンピュータプログラムに対応してシリンジ駆動機構412を動作制御する機能などに相当する。   The injection control unit 421 of the chemical injection device 400 as described above corresponds to a function of the computer unit 405 controlling the operation of the syringe drive mechanism 412 in response to a computer program.

データ入力部422およびデータ出力部428は、コンピュータユニット405がコンピュータプログラムに対応して通信I/F406によりRIS100やPACS300とデータ通信する機能などに相当する。   The data input unit 422 and the data output unit 428 correspond to a function in which the computer unit 405 performs data communication with the RIS 100 and the PACS 300 through the communication I / F 406 corresponding to the computer program.

制御設定部426および履歴生成部427は、コンピュータユニット405がコンピュータプログラムに対応して所定のデータ処理を実行する機能などに相当する。注入制御部421は、コンピュータユニット405がコンピュータプログラムに対応してシリンジ駆動機構412を動作制御する機能などに相当する。   The control setting unit 426 and the history generation unit 427 correspond to a function of the computer unit 405 executing predetermined data processing corresponding to a computer program. The injection control unit 421 corresponds to a function that the computer unit 405 controls the operation of the syringe drive mechanism 412 in accordance with the computer program.

本実施の形態の制御ボックス500は、図3に示すように、やはり専用のコンピュータプログラムが実装されているコンピュータユニット501、通信I/F502、等を有する。   As shown in FIG. 3, the control box 500 according to the present embodiment includes a computer unit 501, a communication I / F 502, and the like on which a dedicated computer program is mounted.

制御ボックス500も、コンピュータユニット501がコンピュータプログラムに対応して各種処理を実行する。このため、制御ボックス500には、図2に示すように、取得仲介部511、履歴転送部514、等の各部が各種機能として論理的に実現されている。   Also in the control box 500, the computer unit 501 executes various processes corresponding to the computer program. Therefore, in the control box 500, as shown in FIG. 2, each unit such as the acquisition mediation unit 511 and the history transfer unit 514 is logically realized as various functions.

取得仲介部511は、薬液注入装置400から受信した取得要求に対応して、撮像オーダデータをRIS100から取得し、取得した撮像オーダデータの少なくとも一部を薬液注入装置400に転送する。履歴転送部514は、注入履歴データを薬液注入装置400から受信してPACS300に転送する。   In response to the acquisition request received from the chemical liquid injector 400, the acquisition mediation unit 511 acquires the imaging order data from the RIS 100, and transfers at least a part of the acquired imaging order data to the chemical liquid injector 400. The history transfer unit 514 receives the injection history data from the chemical solution injection device 400 and transfers it to the PACS 300.

このため、本実施の形態のPACS300は、前述のようにCTスキャナ200から受信する透視画像データを保存するだけではなく、上述のように制御ボックス500から受信する注入履歴データも保存する。   Therefore, the PACS 300 according to the present embodiment not only stores the fluoroscopic image data received from the CT scanner 200 as described above, but also stores the injection history data received from the control box 500 as described above.

そして、前述のように透視画像データには撮像オーダデータが付与されており、この撮像オーダデータの撮像作業IDが注入履歴データに付与されている。このため、撮像オーダデータと注入履歴データとは撮像作業IDにより関連付けられた状態でPACS300に保存される。   As described above, the imaging order data is assigned to the fluoroscopic image data, and the imaging work ID of the imaging order data is assigned to the injection history data. Therefore, the imaging order data and the injection history data are stored in the PACS 300 in a state where they are associated with each other by the imaging work ID.

本実施の形態の画像閲覧装置600も、専用のコンピュータプログラムが実装されているコンピュータ装置からなる。画像閲覧装置600は、図3に示すように、コンピュータユニット601、ディスプレイユニット602、コントローラユニット603、通信I/F604、等を有する。   The image browsing apparatus 600 according to the present embodiment is also a computer apparatus in which a dedicated computer program is installed. As shown in FIG. 3, the image browsing apparatus 600 includes a computer unit 601, a display unit 602, a controller unit 603, a communication I / F 604, and the like.

画像閲覧装置600は、コンピュータユニット601がコンピュータプログラムに対応して各種処理を実行することにより、図2に示すように、データ読出部611、データ表示部612、を有する。   The image browsing apparatus 600 includes a data reading unit 611 and a data display unit 612 as shown in FIG. 2 when the computer unit 601 executes various processes corresponding to the computer program.

データ読出部611は、例えば、コンピュータユニット601がコンピュータプログラムとコントローラユニット603への入力データとに対応して通信I/F604からPACS300にアクセスする機能などに相当し、撮像作業IDで関連付けられている透視画像データと注入履歴データとをPACS300から読み出す。   The data reading unit 611 corresponds to, for example, a function in which the computer unit 601 accesses the PACS 300 from the communication I / F 604 corresponding to the computer program and input data to the controller unit 603, and is associated with the imaging work ID. The fluoroscopic image data and the injection history data are read from the PACS 300.

データ表示部612は、コンピュータユニット601が通信I/F604の受信データをディスプレイユニット602に表示させる機能などに相当し、読み出された透視画像データと注入履歴データとを表示する。   The data display unit 612 corresponds to a function of causing the display unit 602 to display the received data of the communication I / F 604 on the computer unit 601 and displays the read fluoroscopic image data and injection history data.

なお、上述のようなRIS100のコンピュータプログラムは、例えば、撮像作業IDや被験者IDや個人条件データなどが設定されている撮像オーダデータを記憶すること、作業者の入力操作に対応して複数の撮像オーダデータから一つを選定すること、選定されている一つの撮像オーダデータをCTスキャナ200や制御ボックス500から受信する取得要求に対応して返信すること、制御ボックス500から受信する薬液条件データをHIS900に転送すること、等をRIS100に実行させるためのソフトウェアとして記述されている。   Note that the computer program of the RIS 100 as described above stores, for example, imaging order data in which an imaging work ID, a subject ID, personal condition data, and the like are set, and a plurality of imagings corresponding to the operator's input operation. Selecting one of the order data, returning one selected imaging order data in response to an acquisition request received from the CT scanner 200 or the control box 500, and chemical condition data received from the control box 500 It is described as software for causing the RIS 100 to execute transfer to the HIS 900 and the like.

また、CTスキャナ200のコンピュータプログラムは、例えば、作業者の入力操作に対応してRIS100に撮像オーダデータの取得要求を送信すること、RIS100から返信される撮像オーダデータを受信すること、受信した撮像オーダデータに対応して透視撮像ユニット201を動作制御すること、透視撮像ユニット201で撮像された透視画像データに撮像オーダデータを付与すること、撮像オーダデータが付与された透視画像データをPACS300に送信すること、等を撮像制御ユニット210に実行させるためのソフトウェアとして記述されている。   Further, the computer program of the CT scanner 200 transmits, for example, an imaging order data acquisition request to the RIS 100 in response to an input operation by the operator, receives imaging order data returned from the RIS 100, and receives the received imaging. The operation of the fluoroscopic imaging unit 201 is controlled according to the order data, the imaging order data is added to the fluoroscopic image data captured by the fluoroscopic imaging unit 201, and the fluoroscopic image data with the imaging order data is transmitted to the PACS 300. The software is described as software for causing the imaging control unit 210 to execute.

また、薬液注入装置400のコンピュータプログラムは、例えば、設定される注入制御データによりシリンジ駆動機構412を動作制御すること、動作制御の開始以前にRIS100から撮像オーダデータの少なくとも一部を取得すること、装填された薬液シリンジ800のRFIDチップ830からRFIDリーダ416により薬液条件データを取得すること、取得された撮像オーダデータの少なくとも一部を、取得された薬液条件データの少なくとも一部とともに、注入制御データの少なくとも一部として注入制御部421に設定すること、注入制御データによるシリンジ駆動機構412の動作履歴からなる注入履歴データを生成すること、生成された注入履歴データをPACS300に送信して透視画像データとともに保存させること、装填された動作確認装置1100のRFIDチップ1130からRFIDリーダ416により確認条件データを取得すること、取得された確認条件データの少なくとも一部を注入制御データの少なくとも一部として設定すること、確認条件データで設定された注入制御データによる動作履歴からなる確認履歴データを生成すること、生成された確認履歴データをPACS300に送信して保存させること、等をコンピュータユニット405に実行させるためのソフトウェアとして記述されている。   Further, the computer program of the liquid injector 400, for example, controls the operation of the syringe drive mechanism 412 according to the set injection control data, acquires at least part of the imaging order data from the RIS 100 before the start of the operation control, Acquisition of chemical condition data from the RFID chip 830 of the loaded chemical syringe 800 by the RFID reader 416, and at least part of the acquired imaging order data together with at least part of the acquired chemical condition data, injection control data Is set in the injection control unit 421 as at least a part of the above, generation of injection history data including the operation history of the syringe drive mechanism 412 based on the injection control data, transmission of the generated injection history data to the PACS 300, and fluoroscopic image data To save with Acquiring the confirmation condition data by the RFID reader 416 from the RFID chip 1130 of the loaded operation confirmation apparatus 1100, setting at least a part of the obtained confirmation condition data as at least a part of the injection control data, confirmation condition data It is described as software for causing the computer unit 405 to execute generation of confirmation history data including operation history based on the injection control data set in step S1, transmission of the generated confirmation history data to the PACS 300, storage, and the like. ing.

また、制御ボックス500のコンピュータプログラムは、例えば、薬液注入装置400の取得要求に対応してRIS100から撮像オーダデータを取得すること、取得された撮像オーダデータの被験者ID等を薬液注入装置400に返信すること、薬液注入装置400から注入履歴データと薬液条件データを受信すること、受信された注入履歴データをPACS300に転送するとともに薬液条件データをRIS100に転送すること、等をコンピュータユニット501に実行させるためのソフトウェアとして記述されている。   In addition, the computer program of the control box 500 acquires, for example, imaging order data from the RIS 100 in response to an acquisition request of the chemical injection device 400, and returns a subject ID of the acquired imaging order data to the chemical injection device 400. , Receiving the injection history data and the liquid condition data from the liquid injector 400, transferring the received injection history data to the PACS 300, transferring the liquid condition data to the RIS 100, and the like. It is described as software for.

また、PACS300のコンピュータプログラムは、例えば、撮像オーダデータが付与された透視画像データをCTスキャナ200から受信して保存すること、撮像オーダデータの撮像作業IDが付与された注入履歴データを制御ボックス500から受信して保存すること、等をPACS300に実行させるためのソフトウェアとして記述されている。   The computer program of the PACS 300 receives, for example, the fluoroscopic image data to which the imaging order data is assigned from the CT scanner 200 and stores it, and the injection history data to which the imaging work ID of the imaging order data is assigned to the control box 500. The software is described as software for causing the PACS 300 to execute reception and storage from the PACS 300.

そして、画像閲覧装置600のコンピュータプログラムは、例えば、撮像作業IDで関連付けられている透視画像データと注入履歴データをPACS300から読み出すこと、読み出された透視画像データと注入履歴データを表示すること、等をコンピュータユニット601に実行させるためのソフトウェアとして記述されている。   The computer program of the image browsing apparatus 600 reads, for example, the fluoroscopic image data and the injection history data associated with the imaging work ID from the PACS 300, displays the read fluoroscopic image data and the injection history data, Are described as software for causing the computer unit 601 to execute the above.

上述のような構成において、本実施の形態の透視撮像システム1000では、CTスキャナ200により透視画像データを撮像する被験者に薬液注入装置400で薬液シリンジ800から造影剤などの薬液を注入し、その注入履歴データを透視画像データとともにPACS300に保存することができる。   With the above-described configuration, in the fluoroscopic imaging system 1000 according to the present embodiment, a chemical liquid such as a contrast medium is injected from the chemical liquid syringe 800 to the subject who is imaging fluoroscopic image data by the CT scanner 200 from the chemical liquid syringe 800, and the injection is performed. The history data can be stored in the PACS 300 together with the fluoroscopic image data.

一方、上述のような注入作業を実行する以前に、動作確認装置1100で薬液注入装置400の動作を確認し、その確認履歴データをPACS300に保存することもできる。   On the other hand, before performing the injection operation as described above, the operation check device 1100 can check the operation of the chemical solution injection device 400 and save the check history data in the PACS 300.

このような薬液注入装置400の動作確認は、例えば、一日の始業点検などとして定期的に実行される。その場合、作業者は動作確認装置1100の抵抗操作部1141を手動操作することにより、その移動抵抗を使用する薬液シリンジ800に対応させる。   Such an operation check of the chemical injection device 400 is periodically performed as, for example, a daily start-up check. In this case, the operator manually operates the resistance operation unit 1141 of the operation confirmation device 1100 to correspond to the chemical syringe 800 that uses the movement resistance.

そして、このように移動抵抗を調整した動作確認装置1100を薬液注入装置400の注入実行ヘッド410に装填する。すると、図24に示すように、薬液注入装置400は、RFIDリーダ416でRFIDチップ1130から確認条件データを取得することにより、動作確認装置1100の装填を検出する(ステップT1)。   Then, the operation check device 1100 with the movement resistance adjusted in this way is loaded into the injection execution head 410 of the chemical solution injection device 400. Then, as shown in FIG. 24, the chemical injection device 400 detects the loading of the operation check device 1100 by acquiring the check condition data from the RFID chip 1130 with the RFID reader 416 (step T1).

この場合、薬液注入装置400では、図9に示すように、注入制御ユニット401のタッチパネル403に「動作確認装置が装填されました シリンジ駆動機構の動作確認を開始します」などのガイダンスメッセージが表示出力される(ステップT2)。   In this case, as shown in FIG. 9, the chemical injection device 400 displays a guidance message such as “Operation check device is loaded and operation check of the syringe drive mechanism is started” on the touch panel 403 of the injection control unit 401. Is output (step T2).

そこで、このガイダンスメッセージを確認した作業者は、注入制御ユニット401のメイン操作部402やタッチパネル403の所定操作などで確認開始を入力操作することになる。   Therefore, the worker who confirms the guidance message inputs a confirmation start by a predetermined operation of the main operation unit 402 or the touch panel 403 of the injection control unit 401.

この入力操作を検出した薬液注入装置400では(ステップT3)、動作確認装置1100のダミーフランジ1113がシリンジ保持機構411により保持された状態で、シリンジ駆動機構412によりダミースライド部材1120がダミー本体部材1110に圧入される(ステップT4)。   In the chemical injection device 400 that has detected this input operation (step T3), the dummy slide member 1120 is moved to the dummy main body member 1110 by the syringe drive mechanism 412 while the dummy flange 1113 of the operation check device 1100 is held by the syringe holding mechanism 411. (Step T4).

このとき、動作確認装置1100はダミー抵抗機構1140により、実際に使用される薬液シリンジ800と同様な移動抵抗をダミースライド部材1120に発生させる。このため、シリンジ駆動機構412は圧入するダミースライド部材1120の移動抵抗をリアルタイムに検出する。   At this time, the operation check apparatus 1100 causes the dummy slide member 1120 to generate a movement resistance similar to that of the actually used chemical syringe 800 by the dummy resistance mechanism 1140. For this reason, the syringe drive mechanism 412 detects the movement resistance of the dummy slide member 1120 to be press-fitted in real time.

図10に示すように、この移動抵抗は注入制御ユニット401でリアルタイムにグラフ表示される(ステップT5,T6)。この動作確認装置1100による薬液注入装置400の動作確認が完了すると(ステップT7)、確認条件データ、移動抵抗の経時グラフ、確認動作の開始日時および終了日時、等で確認履歴データが生成される(ステップT8)。   As shown in FIG. 10, this movement resistance is graphically displayed in real time by the injection control unit 401 (steps T5 and T6). When the operation check of the chemical injection device 400 by the operation check device 1100 is completed (step T7), check history data is generated with the check condition data, the movement resistance graph, the check operation start date and end date, and the like ( Step T8).

さらに、薬液注入装置400は、上述のように確認動作が完了すると、少なくとも確認条件データが付与されていて確認動作の完了を通知する確認通知データも生成する(ステップT9)。   Furthermore, when the confirmation operation is completed as described above, the chemical injection device 400 also generates confirmation notification data to which at least confirmation condition data is attached and notifies the completion of the confirmation operation (step T9).

そして、確認動作を完了した薬液注入装置400は、確認通知データと確認履歴データとを制御ボックス500に送信する(ステップT10)。すると、制御ボックス500は、上述のように薬液注入装置400から受信した確認通知データをRIS100に転送するので、このRIS100は、受信した確認通知データを保存する。また、制御ボックス500は、薬液注入装置400から受信した確認履歴データをPACS300に転送するので、このPACS300は、受信した確認履歴データを保存する。   Then, the chemical injection device 400 that has completed the confirmation operation transmits confirmation notification data and confirmation history data to the control box 500 (step T10). Then, since the control box 500 transfers the confirmation notification data received from the chemical solution injector 400 to the RIS 100 as described above, the RIS 100 stores the received confirmation notification data. Further, since the control box 500 transfers the confirmation history data received from the drug solution injector 400 to the PACS 300, the PACS 300 stores the received confirmation history data.

なお、上述のように薬液注入装置400が確認通知データと確認履歴データとを送信しているとき、図11に示すように、注入制御ユニット401のタッチパネル403には「動作確認が完了しました 結果グラフを転送中です」などのガイダンスメッセージが確認履歴データの概要などとともに表示出力される。   As described above, when the chemical injection device 400 is transmitting the confirmation notification data and the confirmation history data, the touch panel 403 of the injection control unit 401 indicates that “operation confirmation is completed” as shown in FIG. A guidance message such as “The graph is being transferred” is displayed and output together with an overview of the confirmation history data.

そして、このガイダンスメッセージを確認した作業者は、注入実行ヘッド410から動作確認装置1100を取り外し、そのシリンジ駆動機構412を初期位置まで復帰させる。   Then, the operator who confirms the guidance message removes the operation confirmation device 1100 from the injection execution head 410 and returns the syringe drive mechanism 412 to the initial position.

上述のように始業点検などとして動作確認が完了した薬液注入装置400は、安心して薬液注入を実際に実行できることになる。なお、透視撮像システム1000を使用して被験者から透視画像データを撮像する場合、作業者は事前にRIS100に撮像オーダデータを登録しておく。   As described above, the chemical injection device 400 that has been checked for operation as a start-up check or the like can actually execute the chemical injection with peace of mind. When imaging fluoroscopic image data from a subject using the fluoroscopic imaging system 1000, the operator registers imaging order data in the RIS 100 in advance.

この撮像オーダデータは、例えば、撮像作業ID、CTスキャナ200の識別情報、撮像開始および終了の日時、撮像部位、等のテキストデータからなる。この撮像オーダデータは、通常は被験者ごとの電子カルテに基づいて作成される。   The imaging order data includes, for example, text data such as an imaging work ID, identification information of the CT scanner 200, imaging start and end dates and times, an imaging part, and the like. This imaging order data is usually created based on an electronic medical record for each subject.

そこで、撮像オーダデータを作成する作業者は、RIS100を手動操作してHIS900から電子カルテを取得する。このため、撮像オーダデータには、被験者IDや氏名や体重なども登録される。   Therefore, an operator who creates imaging order data manually operates the RIS 100 and obtains an electronic medical record from the HIS 900. For this reason, the subject ID, name, weight, and the like are also registered in the imaging order data.

ただし、上述の電子カルテには、前述のように被験者がアレルギ体質かに起因した警告要否の二値フラグ、被験者ごとに注入に不適な造影剤などの薬液IDからなる不適ID、被験者ごとに注入に不適な造影剤などの含有成分からなる不適成分、被験者ごとに注入に不適な化学分類からなる不適分類、等が個人条件データとして登録されている。   However, in the above-described electronic medical record, as described above, a binary flag indicating whether a subject is allergic or not, an inappropriate ID including a medical solution ID such as a contrast medium that is inappropriate for injection for each subject, Inadequate components composed of components such as contrast media unsuitable for injection, unsuitable classification composed of chemical classification unsuitable for injection for each subject, and the like are registered as personal condition data.

このため、この個人条件データも撮像オーダデータに登録される。さらに、撮像オーダデータには、CT撮像やMR撮像などの作業種別、撮像作業に対応した造影剤などの薬液種別からなる適正種別、撮像作業に適合した薬液IDからなる適正ID、等も登録される。   For this reason, this personal condition data is also registered in the imaging order data. Furthermore, in the imaging order data, a work type such as CT imaging and MR imaging, an appropriate type including a chemical type such as a contrast medium corresponding to the imaging operation, an appropriate ID including a chemical ID suitable for the imaging operation, and the like are also registered. The

ただし、撮像オーダデータは、CTスキャナ200での撮像作業に必要な各種データからなる。このため、薬液注入装置400の注入作業を特定できるデータは内包されていない。   However, the imaging order data is composed of various data necessary for the imaging operation with the CT scanner 200. For this reason, the data which can specify the injection | pouring operation | work of the chemical | medical solution injection apparatus 400 are not included.

このような撮像オーダデータがRIS100に登録された状態で、撮像作業が実行されるときには、作業者がRIS100を手動操作することにより、その撮像作業に対応した一つの撮像オーダデータが選定される。   When an imaging operation is executed in a state where such imaging order data is registered in the RIS 100, one imaging order data corresponding to the imaging operation is selected by the operator manually operating the RIS 100.

一方、撮像作業の現場では、図4に示すように、CTスキャナ200の透視撮像ユニット201の近傍に薬液注入装置400が配置される。そして、透視撮像ユニット201に位置する被験者(図示せず)に延長チューブで薬液シリンジ800が連結され、この薬液シリンジ800が薬液注入装置400の注入実行ヘッド410に装填される。   On the other hand, in the field of imaging work, as shown in FIG. 4, a chemical solution injector 400 is disposed in the vicinity of the fluoroscopic imaging unit 201 of the CT scanner 200. A chemical syringe 800 is connected to a subject (not shown) located in the fluoroscopic imaging unit 201 with an extension tube, and the chemical syringe 800 is loaded into the injection execution head 410 of the chemical injection device 400.

つぎに、図25に示すように、作業者が注入制御ユニット401のメイン操作部402の所定操作などで注入開始を入力すると(ステップS1)、図12に示すように、タッチパネル403に複数の身体区分の模式画像が人体形状に対応して表示出力される(ステップS2)。   Next, as shown in FIG. 25, when an operator inputs injection start by a predetermined operation of the main operation unit 402 of the injection control unit 401 (step S1), a plurality of bodies are displayed on the touch panel 403 as shown in FIG. A schematic image of the section is displayed and output corresponding to the human body shape (step S2).

本実施の形態の薬液注入装置400では、注入制御データが設定されていない初期状態では、注入制御データによるシリンジ駆動機構412の動作制御は禁止されている。そして、薬液注入装置400は、上述のように初期画面が表示出力された状態で、注入制御データの全部を手動設定することもでき、その一部を撮像オーダデータから自動設定することもできる。   In the liquid injector 400 of the present embodiment, operation control of the syringe drive mechanism 412 based on the injection control data is prohibited in the initial state where the injection control data is not set. And the chemical | medical solution injection apparatus 400 can also set all injection control data manually in the state by which the initial screen was displayed and output as mentioned above, and can also set the one part automatically from imaging order data.

手動設定する場合、タッチパネル403に表示出力された複数の身体区分の模式画像の一つを作業者が手指で押圧する。すると、その選択された身体区分の模式画像のみ明転するとともに他の模式画像は暗転し、その選択された身体区分の模式画像の上方にスキャナ機構の模式画像が表示出力される。   In the case of manual setting, the operator presses one of the schematic images of the plurality of body sections displayed and output on the touch panel 403 with a finger. Then, only the schematic image of the selected body section is highlighted and the other schematic images are darkened, and a schematic image of the scanner mechanism is displayed and output above the schematic image of the selected body section.

同時に、その下部には選択された身体区分に関連する複数の撮像部位の模式画像が読み出されて選択画面に表示出力される。そこで、その一つを作業者が手指などで入力操作すると、図13に示すように、その選択された一つの模式画像のみが明転するとともに他の模式画像は暗転する。   At the same time, schematic images of a plurality of imaging regions related to the selected body segment are read out below and displayed on the selection screen. Therefore, when the operator performs an input operation on one of them with a finger or the like, as shown in FIG. 13, only the selected one schematic image is highlighted and the other schematic images are darkened.

上述のように撮像部位が選択されると、薬液注入装置400では、その撮像部位に対応した動作条件データが読み出されて注入制御データに設定される。さらに、図14に示すように、作業者によりメイン操作部402に被験者の体重、注入速度、注入総量、注入時間、等が入力操作されると、それが注入制御データに設定される(ステップS4)。   When an imaging region is selected as described above, in the chemical injection device 400, operation condition data corresponding to the imaging region is read and set as injection control data. Furthermore, as shown in FIG. 14, when the operator inputs the subject's weight, injection speed, total injection amount, injection time, etc. to the main operation unit 402, it is set as injection control data (step S4). ).

このとき、本実施の形態の薬液注入装置400では、RFIDリーダ416により薬液シリンジ800にRFIDチップ830が搭載されているかも確認される(ステップS5)。   At this time, in the chemical injection device 400 of the present embodiment, it is also confirmed by the RFID reader 416 whether the RFID chip 830 is mounted on the chemical syringe 800 (step S5).

そこで、薬液シリンジ800にRFIDチップ830が搭載されていた場合は、RFIDリーダ416により薬液条件データが取得される(ステップS6)。この薬液条件データは、前述のように、充填されている薬液に関連する製品名称や消費期限などの各種データと、その薬液シリンジ800に関連する容量やロット番号などの各種データからなる。   Therefore, when the RFID chip 830 is mounted on the chemical syringe 800, the chemical condition data is acquired by the RFID reader 416 (step S6). As described above, the chemical condition data includes various data such as the product name and expiration date related to the filled chemical, and various data such as the volume and lot number related to the chemical syringe 800.

そこで、このように取得された薬液条件データの一部が、図19に示すように、注入制御ユニット401のタッチパネル403に表示出力される(ステップS7)。このとき、タッチパネル403には、表示出力されている薬液条件データが薬液シリンジ800のRFIDチップ830から取得されたことが、「RFID」なる所定のロゴマークにより表示出力される。   Therefore, a part of the chemical condition data acquired in this way is displayed and output on the touch panel 403 of the injection control unit 401 as shown in FIG. 19 (step S7). At this time, on the touch panel 403, the fact that the displayed chemical solution condition data is acquired from the RFID chip 830 of the chemical syringe 800 is displayed and output by a predetermined logo mark “RFID”.

従って、上述のように表示処理される薬液条件データを確認した作業者は、所望により所定の入力操作で薬液条件データも注入制御データに設定する(ステップS8)。このように注入制御データの設定が完了すると(ステップS9,S10)、注入開始を入力操作できる状態となる。   Accordingly, the operator who has confirmed the chemical condition data to be displayed as described above sets the chemical condition data as injection control data by a predetermined input operation as desired (step S8). When the setting of the injection control data is completed in this way (steps S9 and S10), it becomes possible to input the start of injection.

そこで、この注入開始がタッチパネル403などで入力操作されると(ステップS11)、設定された注入制御データによりシリンジ駆動機構412が動作制御されるので、これで被験者に造影剤と生理食塩水とが適切に注入される。   Therefore, when this injection start is input on the touch panel 403 or the like (step S11), the syringe drive mechanism 412 is controlled by the set injection control data, so that the subject is supplied with a contrast medium and physiological saline. Infused appropriately.

なお、本実施の形態の透視撮像システム1000では、上述のように注入制御データを薬液注入装置400に手動操作で設定することの他、自動設定することもできる。より具体的には、本実施の形態の薬液注入装置400では、図12に示すように、注入作業の初期画面の左上に取得要求の操作アイコンも表示出力される。   In the fluoroscopic imaging system 1000 of the present embodiment, the injection control data can be automatically set in addition to being manually set in the chemical injection device 400 as described above. More specifically, as shown in FIG. 12, the chemical injection device 400 of the present embodiment also displays and outputs an operation icon for an acquisition request at the upper left of the initial screen of the injection operation.

そこで、この取得要求の操作アイコンが手動操作されると(ステップS3)、図27に示すように、取得要求が制御ボックス500に送信される。この制御ボックス500は、薬液注入装置400から受信した取得要求をRIS100に転送する。   Therefore, when the operation icon for the acquisition request is manually operated (step S3), the acquisition request is transmitted to the control box 500 as shown in FIG. The control box 500 transfers the acquisition request received from the chemical liquid injector 400 to the RIS 100.

すると、このRIS100は、前述のように選定されている一つの撮像オーダデータを制御ボックス500に返信する。この制御ボックス500は、RIS100から撮像オーダデータを受信すると、その撮像オーダデータの一部を薬液注入装置400に返信する。   Then, the RIS 100 returns one imaging order data selected as described above to the control box 500. When receiving the imaging order data from the RIS 100, the control box 500 returns a part of the imaging order data to the chemical injection device 400.

より具体的には、撮像オーダデータは、前述のように、撮像作業ID、CTスキャナ200の識別情報、撮像開始および終了の日時、被験者IDと氏名と体重、身体区分または撮像部位、等からなる。   More specifically, as described above, the imaging order data includes an imaging work ID, identification information of the CT scanner 200, date and time of imaging start and end, subject ID, name and weight, body classification or imaging site, and the like. .

そこで、制御ボックス500は、取得した撮像オーダデータから、撮像作業ID、被験者IDと氏名と体重、身体区分または撮像部位、等を抽出し、これを薬液注入装置400に返信する。   Therefore, the control box 500 extracts the imaging work ID, the subject ID, the name and the weight, the body classification or the imaging part, and the like from the acquired imaging order data, and returns this to the chemical injection device 400.

上述のような通信中には、図15に示すように、薬液注入装置400では通信中を示すガイダンスデータがタッチパネル403に表示出力される。このため、利用者は薬液注入装置400が通信中であることをリアルタイムに確認できる。   During communication as described above, as shown in FIG. 15, guidance data indicating that communication is being performed is displayed on the touch panel 403 in the chemical liquid injector 400. For this reason, the user can confirm in real time that the chemical injection device 400 is communicating.

さらに、通信エラーなどのために撮像オーダデータが取得できないと、図16に示すように、データ取得の失敗を示すガイダンスデータがタッチパネル403に表示出力される。このため、利用者はデータ取得の失敗を迅速に認識して再試行などを実行することができる。   Further, when imaging order data cannot be acquired due to a communication error or the like, guidance data indicating a failure in data acquisition is displayed and output on the touch panel 403 as shown in FIG. For this reason, the user can quickly recognize the failure of data acquisition and execute a retry or the like.

薬液注入装置400では、取得要求に対応して制御ボックス500から取得された撮像オーダデータの一部が(ステップS12)、図17および図18に示すように、注入制御データの一部としてタッチパネル403に表示出力される(ステップS13)。   In the chemical injection device 400, part of the imaging order data acquired from the control box 500 in response to the acquisition request (step S12), as shown in FIGS. 17 and 18, the touch panel 403 as a part of the injection control data. Is displayed and output (step S13).

このとき、被験者の氏名や性別なども注入制御データとして表示出力されるので、これで作業者は注入制御データと実際の被験者との整合を確認する。また、タッチパネル403には、上述のように表示出力される注入制御データとともに、その注入制御データを使用するか使用しないかの設定指示の操作アイコンも表示出力される。   At this time, the name and sex of the subject are also displayed and output as injection control data, so that the operator confirms the match between the injection control data and the actual subject. In addition to the injection control data displayed and output as described above, the touch panel 403 also displays and outputs an operation icon for setting instructions for using or not using the injection control data.

そこで、作業者が確認した注入制御データを設定する場合には、「使用する」の操作アイコンを入力操作する。すると、これを検知した薬液注入装置400では(ステップS14)、RFIDリーダ416により薬液シリンジ800にRFIDチップ830が搭載されているかも確認される(ステップS15)。   Therefore, when setting the injection control data confirmed by the operator, the operation icon “use” is input. Then, in the chemical injection device 400 that has detected this (step S14), it is also confirmed by the RFID reader 416 whether the RFID chip 830 is mounted on the chemical syringe 800 (step S15).

そこで、薬液シリンジ800にRFIDチップ830が搭載されていた場合は、RFIDリーダ416により薬液条件データが取得される(ステップS16)。この薬液条件データは、前述のように、充填されている薬液に関連する各種データと、その薬液シリンジ800に関連する各種データからなる。   Therefore, when the RFID chip 830 is mounted on the chemical syringe 800, chemical condition data is acquired by the RFID reader 416 (step S16). As described above, the chemical condition data includes various data related to the filled chemical liquid and various data related to the chemical syringe 800.

ただし、その薬液関連データとしては、CT用かMR用かなどの作業種別からなる適正種別、造影剤かなどの薬液種別、プレフィルドシリンジの製品IDからなる薬液ID、造影剤などの含有成分、造影剤などの化学分類、等が内包されている。   However, the chemical solution-related data includes the appropriate type consisting of the work type such as CT or MR, the chemical type such as the contrast agent, the chemical ID consisting of the product ID of the prefilled syringe, the contained components such as the contrast agent, and the contrast Chemical classifications such as agents are included.

そこで、このように取得された薬液条件データの一部が、図19に示すように、注入制御ユニット401のタッチパネル403に表示出力される(ステップS17)。このとき、タッチパネル403には、表示出力されている薬液条件データが薬液シリンジ800のRFIDチップ830から取得されたことが、「RFID」なる所定のロゴマークにより表示出力される。   Therefore, a part of the chemical condition data acquired in this way is displayed and output on the touch panel 403 of the injection control unit 401 as shown in FIG. 19 (step S17). At this time, on the touch panel 403, the fact that the displayed chemical solution condition data is acquired from the RFID chip 830 of the chemical syringe 800 is displayed and output by a predetermined logo mark “RFID”.

さらに、上述のようにタッチパネル403に薬液条件データが表示出力されるとき、この薬液条件データを注入制御データに設定するか使用しないかの設定指示の操作アイコンも表示出力される。   Furthermore, when the chemical condition data is displayed and output on the touch panel 403 as described above, an operation icon for setting an instruction to set or not use the chemical condition data as injection control data is also displayed and output.

そこで、作業者が確認した薬液条件データを注入制御データに設定する場合には、「使用する」の操作アイコンを入力操作する。すると、これを検知した薬液注入装置400では(ステップS18)、前述のように撮像オーダデータから取得した注入制御データで確認要否処理が実行される(ステップS19)。   Therefore, when the chemical condition data confirmed by the operator is set in the injection control data, the operation icon “use” is input. Then, in the chemical injection device 400 that has detected this (step S18), the confirmation necessity process is executed with the injection control data acquired from the imaging order data as described above (step S19).

この確認要否処理では、最初に撮像オーダデータに内包されている個人条件データの複数条件で注入確認必要が判定される。その場合、最初に個人条件データに設定されている警告要否が警告必要か警告無用かが二値フラグにより判定される。   In this confirmation necessity process, it is first determined whether or not the injection confirmation is necessary based on a plurality of conditions of the personal condition data included in the imaging order data. In that case, it is first determined by the binary flag whether the warning necessity set in the personal condition data is warning necessity or not.

さらに、確認要否処理では、撮像オーダデータの個人条件データに不適IDが設定されていると、これが薬液シリンジ800から取得された薬液条件データの薬液IDと照合され、整合すると注入確認必要が判定される。   Further, in the confirmation necessity process, if an inappropriate ID is set in the personal condition data of the imaging order data, it is checked against the chemical ID of the chemical condition data acquired from the chemical syringe 800, and if it matches, it is determined that the injection confirmation is necessary. Is done.

また、撮像オーダデータの個人条件データに不適成分が設定されていると、これが薬液条件データの含有成分と照合され、これが整合しても注入確認必要が判定される。さらに、撮像オーダデータの個人条件データに不適分類が設定されていると、これが薬液条件データの化学分類と照合され、これが整合しても注入確認必要が判定される。   Further, if an inappropriate component is set in the personal condition data of the imaging order data, this is checked against the component contained in the chemical condition data, and even if this matches, it is determined that injection confirmation is necessary. Furthermore, if the inappropriate classification is set in the personal condition data of the imaging order data, this is checked against the chemical classification of the chemical condition data, and even if this matches, it is determined that the injection confirmation is necessary.

また、撮像オーダデータに設定されている作業種別と薬液条件データの適正種別とが照合され、これが整合しないと注入確認必要が判定される。さらに、撮像オーダデータに設定されている適正種別と薬液条件データの薬液種別とが照合され、これが整合しなくとも注入確認必要が判定される。また、撮像オーダデータに適正IDが設定されていると、これが薬液条件データの薬液IDと照合され、これが整合しないと注入確認必要が判定される。   In addition, the work type set in the imaging order data and the appropriate type of the liquid condition data are collated, and if they do not match, it is determined that the injection check is necessary. Further, the appropriate type set in the imaging order data and the chemical type of the chemical condition data are collated, and it is determined whether or not the injection check is necessary even if they do not match. If an appropriate ID is set in the imaging order data, it is checked against the chemical ID of the chemical condition data, and if it does not match, it is determined that injection confirmation is necessary.

上述のような各種条件で警告必要と判定されると(ステップS20−Y)、その判定結果に対応したガイダンスデータが報知出力され(ステップS21)、シリンジ駆動機構412が作動しないようにロックされる(ステップS22)。   If it is determined that a warning is necessary under the various conditions as described above (step S20-Y), guidance data corresponding to the determination result is output (step S21), and the syringe drive mechanism 412 is locked so as not to operate. (Step S22).

例えば、前述のように個人条件データに警告必要が設定されていると、「この患者はアレルギ体質です、使用する造影剤を確認してください」などのガイダンスデータが確認警告としてタッチパネル403に表示出力される(図示せず)。   For example, if warning is set in the personal condition data as described above, guidance data such as “This patient is allergic, please check the contrast medium to be used” is displayed on the touch panel 403 as a confirmation warning. (Not shown).

さらに、個人条件データの不適IDと薬液条件データの薬液IDとが整合すると、「この患者に、この造影剤は注入できません。造影剤を変更してください」などのガイダンスデータが確認警告として報知出力される。   In addition, when the inappropriate ID in the personal condition data matches the chemical ID in the chemical condition data, guidance data such as "This contrast medium cannot be injected into this patient. Please change the contrast medium" is output as a confirmation warning. Is done.

また、個人条件データの不適成分と薬液条件データの薬液成分とが整合すると、「この患者には、××(薬液成分)が含有されている造影剤は注入できません。造影剤を変更してください」などのガイダンスデータが確認警告として報知出力される。   In addition, if the inappropriate component of the personal condition data matches the chemical component of the chemical condition data, “This patient cannot be injected with a contrast medium containing xx (chemical component). Please change the contrast medium. ”Or the like is notified and output as a confirmation warning.

さらに、個人条件データの不適分類と薬液条件データの化学分類とが整合すると、「この患者には、××(化学分類)の造影剤は注入できません。造影剤を変更してください」などのガイダンスデータが確認警告として報知出力される。   Furthermore, if the inappropriate classification of personal condition data matches the chemical classification of chemical condition data, guidance such as “This patient cannot be injected with XX (chemical classification) contrast media. Please change the contrast media.” Data is notified and output as a confirmation warning.

一方、撮像オーダデータの作業種別と薬液条件データの適正種別とが整合しないと、または、撮像オーダデータの適正種別と薬液条件データの薬液種別とが整合しないと、または、撮像オーダデータの適正IDと薬液条件データの薬液IDとが整合しないと、「撮像オーダはCT検査ですが造影剤はMR用です。オーダと造影剤を確認してください」などのガイダンスデータが確認警告として報知出力される。   On the other hand, if the work type of the imaging order data does not match the appropriate type of the chemical condition data, or if the appropriate type of the imaging order data does not match the chemical type of the chemical condition data, or the appropriate ID of the imaging order data If the chemical ID in the chemical condition data does not match, the guidance data such as “The imaging order is a CT examination but the contrast medium is for MR. Please check the order and contrast medium” is output as a confirmation warning. .

なお、上述のような複数種類の確認要否処理は並列に実行されるので、その確認警告のガイダンスデータも複数が並列にタッチパネル403に表示出力される(図示せず)。   Since a plurality of types of confirmation necessity processing as described above are executed in parallel, a plurality of confirmation warning guidance data are also displayed and output on the touch panel 403 in parallel (not shown).

上述のような確認警告に対応して作業者が薬液シリンジ800を変更すると、そのRFIDチップ830から薬液条件データが再度取得されて確認要否処理が再度実行される(ステップS15〜S20)。   When the operator changes the chemical syringe 800 in response to the confirmation warning as described above, the chemical condition data is acquired again from the RFID chip 830, and the confirmation necessity process is executed again (steps S15 to S20).

これで注入確認必要が判定されなければ(ステップS20−N)、図26に示すように、撮像オーダデータから取得された一部と薬液シリンジ800から取得された薬液条件データの一部とが注入制御データの一部として設定される(ステップS25)。   If it is not determined that the injection confirmation is necessary (step S20-N), a part acquired from the imaging order data and a part of the chemical condition data acquired from the chemical syringe 800 are injected as shown in FIG. It is set as part of the control data (step S25).

なお、作業者が薬液シリンジ800を確認して変更の必要がないと判断された場合には、メイン操作部402やタッチパネル403で所定の入力操作を実行すれば(ステップS23−Y)、注入確認必要が解除される(ステップS24)。   If the operator confirms the chemical syringe 800 and determines that there is no need to change it, if a predetermined input operation is executed on the main operation unit 402 or the touch panel 403 (step S23-Y), the injection confirmation The necessity is released (step S24).

ただし、前述のように複数種類の注入確認必要が判定されて複数種類の確認警告が報知出力されている場合には、それを所定操作で個々に解除する必要がある。このように手動操作で注入確認必要が解除されても(ステップS23−Y)、撮像オーダデータと薬液条件データとが注入制御データとして設定される(ステップS25)。   However, as described above, when it is determined that a plurality of types of injection confirmations are necessary and a plurality of types of confirmation warnings are output, it is necessary to cancel them individually by a predetermined operation. Thus, even if the need for injection check is canceled manually (step S23-Y), the imaging order data and the liquid condition data are set as injection control data (step S25).

すると、図20に示すように、薬液条件データの一部である製品名称やロット番号などが、薬液条件データから設定された注入制御データである注入容量などとともに、タッチパネル403に表示出力される。   Then, as shown in FIG. 20, the product name, lot number, etc., which are a part of the chemical condition data, are displayed and output on the touch panel 403 together with the injection volume, which is the injection control data set from the chemical condition data.

なお、薬液シリンジ800にRFIDチップ830が搭載されていない場合は、当然ながらRFIDリーダ416により検知されないので(ステップS15−N)、前述のように撮像オーダデータから設定された注入制御データが利用される(ステップS25)。   Note that when the RFID chip 830 is not mounted on the chemical syringe 800, it is naturally not detected by the RFID reader 416 (step S15-N), so that the injection control data set from the imaging order data as described above is used. (Step S25).

また、本実施の形態の薬液注入装置400では、前述のように撮像オーダデータから注入制御データを設定することなく手動設定するときにも(ステップS4〜S11)、上述のように薬液シリンジ800のRFIDチップ830から薬液条件データを取得して注入制御データとして設定することは有効となっている(ステップS5〜S8)。   Further, in the liquid injector 400 of the present embodiment, when manually setting the injection control data without setting the injection control data from the imaging order data as described above (steps S4 to S11), as described above, It is effective to acquire chemical condition data from the RFID chip 830 and set it as injection control data (steps S5 to S8).

上述のように薬液条件データの表示出力される一部は、作業者が目視により確認することが有用な製品名称や消費期限などからなる。また、薬液条件データの注入制御データとして設定される一部は、当然ながら、注入制御データとして有用な容量や耐圧などからなる。   As described above, a part of the display of the chemical condition data includes a product name and a expiration date that are useful for the operator to visually confirm. Further, as a matter of course, a part set as the injection control data of the chemical solution condition data includes a capacity and a withstand voltage that are useful as the injection control data.

なお、図17に示すように、撮像オーダに撮像部位は登録されているが体重などが登録されてない場合、撮像オーダデータから設定される注入制御データは撮像部位のみとなる。この場合、その他の撮像オーダデータから設定される注入制御データは手動設定されることになる(ステップS26〜S28)。   As shown in FIG. 17, when the imaging part is registered in the imaging order but the weight or the like is not registered, the injection control data set from the imaging order data is only the imaging part. In this case, injection control data set from other imaging order data is manually set (steps S26 to S28).

また、上述のように撮像オーダデータや薬液条件データにより設定された注入制御データも(ステップS25〜S28)、作業者の入力操作により修正することができる(ステップS26,S27)。   Further, the injection control data set by the imaging order data and the chemical condition data as described above (steps S25 to S28) can be corrected by the operator's input operation (steps S26 and S27).

本実施の形態の薬液注入装置400は、上述のように撮像オーダデータが取得されて注入制御データの設定が完了した場合(ステップS12〜S28)、この状態では薬液注入を開始できる状態とならない。   When the imaging order data is acquired as described above and the setting of the injection control data is completed (steps S12 to S28), the chemical injection device 400 of the present embodiment does not enter a state where the chemical injection can be started in this state.

そこで、作業者は、上述のように注入制御データの設定が完了すると(ステップS28)、延長チューブに気泡が混入していないかなどの最終確認を実行し、この最終確認が完了すると注入実行ヘッド410の最終確認スイッチ414を入力操作する。   Therefore, when the setting of the injection control data is completed as described above (step S28), the operator performs a final confirmation such as whether or not bubbles are mixed in the extension tube, and when this final confirmation is completed, the injection execution head is completed. The final confirmation switch 414 of 410 is input.

すると、これを検知した薬液注入装置400は(ステップS29)、最終確認が実行されたものとして薬液注入の動作ロックを解除する(ステップS30)。ただし、本実施の形態の薬液注入装置400では、このように最終確認が実行されて動作ロックが解除されても、それだけでは薬液注入は実行できない。   Then, the chemical injection device 400 that has detected this (step S29) releases the operation lock of the chemical injection, assuming that the final confirmation has been executed (step S30). However, in the chemical injection device 400 according to the present embodiment, even when the final confirmation is executed in this way and the operation lock is released, the chemical injection cannot be executed by itself.

つまり、薬液注入装置400は、図27に示すように、上述のように最終確認スイッチ414が入力操作されると(ステップS29)、最初のときと同様に制御ボックス500にRIS100から撮像オーダデータを再度取得させ、その一部を制御ボックス500から再度取得する(ステップS31)。   That is, as shown in FIG. 27, when the final confirmation switch 414 is input as described above (step S29), the chemical injection device 400 receives the imaging order data from the RIS 100 in the control box 500 as in the first time. It is acquired again, and a part thereof is acquired again from the control box 500 (step S31).

そして、注入制御データとして設定されている撮像オーダデータと、再度取得された撮像オーダデータと、が比較される(ステップS32)。これで撮像オーダデータが一致しないと、図21に示すように、「注意 前回取得した、患者情報と異なっています」などの確認警告のエラーガイダンスがタッチパネル403に表示出力される(ステップS33)。   Then, the imaging order data set as injection control data is compared with the imaging order data acquired again (step S32). If the imaging order data does not match with each other, as shown in FIG. 21, an error guidance of a confirmation warning such as “Caution is different from patient information acquired last time” is displayed on the touch panel 403 (step S33).

この場合、例えば、確認完了がタッチパネル403に入力操作されると初期状態に復帰する(ステップS3)。このため、撮像オーダデータが変更されている状態で注入動作が開始されることがない。   In this case, for example, when confirmation completion is input to the touch panel 403, the initial state is restored (step S3). For this reason, the injection operation is not started in a state where the imaging order data is changed.

一方、注入制御データとして設定されている撮像オーダデータと、再度取得された撮像オーダデータとの一致が確認されると(ステップS32)、タッチパネル403により注入開始を入力操作できる状態となる。   On the other hand, when the matching between the imaging order data set as the injection control data and the acquired imaging order data is confirmed again (step S32), the touch panel 403 can input the start of injection.

そこで、この注入開始が入力操作されると(ステップS34)、設定された注入制御データによりシリンジ駆動機構412が動作制御されるので、これで被験者に薬液として造影剤と生理食塩水とが適切に注入される(ステップS35)。   Therefore, when this injection start is input (step S34), the syringe drive mechanism 412 is controlled by the set injection control data, so that the subject is appropriately supplied with a contrast medium and physiological saline as a drug solution. Injected (step S35).

このとき、リアルタイムに経過時間が計測されるとともに、実際の注入速度も検出されるので、その注入速度が注入制御データに適合するようにシリンジ駆動機構412の動作がフィードバック制御される。   At this time, the elapsed time is measured in real time and the actual injection speed is also detected, so that the operation of the syringe drive mechanism 412 is feedback controlled so that the injection speed matches the injection control data.

さらに、実際の注入速度からなる経時グラフがリアルタイムに生成され(ステップS36)、例えば、注入制御データとともにタッチパネル403に表示出力される(ステップS37)。   Further, a time-lapse graph including the actual injection speed is generated in real time (step S36), and is displayed and output on the touch panel 403 together with the injection control data (step S37).

前述のように、撮像オーダデータが取得されることなく注入制御データが手動設定された場合は、図22に示すように、経時グラフは手動設定された注入制御データとともに表示出力される。   As described above, when the injection control data is manually set without acquiring the imaging order data, the time-lapse graph is displayed and output together with the manually set injection control data as shown in FIG.

一方、撮像オーダデータや薬液条件データが取得されて注入制御データが自動設定された場合は、図23に示すように、経時グラフは自動設定された注入制御データおよび撮像オーダデータや薬液条件データなどとともに表示出力される。さらに、この場合は、撮像オーダデータから取得された撮像開始時刻も、経時グラフに所定のシンボルマークで表示出力される。   On the other hand, when the imaging order data and the chemical condition data are acquired and the injection control data is automatically set, as shown in FIG. 23, the time-dependent graph shows the automatically set injection control data, the imaging order data, the chemical condition data, etc. Is displayed and output. Further, in this case, the imaging start time acquired from the imaging order data is also displayed and output with a predetermined symbol mark on the time-lapse graph.

前述のように、動作確認装置1100が発生する移動抵抗は薬液シリンジ800と同等なので、上述の薬液注入装置400の表示グラフも、問題なければ薬液シリンジ800と動作確認装置1100とで同等となる。   As described above, since the movement resistance generated by the operation check device 1100 is equivalent to that of the drug syringe 800, the display graph of the drug solution injection device 400 described above is also equivalent between the drug syringe 800 and the operation check device 1100 if there is no problem.

そして、注入作業が完了すると(ステップS38)、実際の注入速度の経時グラフを内包する注入履歴データが生成される(ステップS39)。このように生成される注入履歴データは、撮像オーダデータが取得されることなく注入制御データが手動設定された場合は、経時グラフの画像データと手動設定された注入制御データのテキストデータからなる。   When the injection operation is completed (step S38), injection history data including a time-dependent graph of the actual injection speed is generated (step S39). When the injection control data is manually set without acquiring the imaging order data, the injection history data generated in this way includes image data of a time-dependent graph and text data of the injection control data set manually.

撮像オーダデータや薬液条件データが取得されて注入制御データが自動設定された場合は、注入履歴データは、経時グラフの画像データと、撮像オーダデータおよび注入制御データのテキストデータからなる。   When the imaging order data and the chemical condition data are acquired and the injection control data is automatically set, the injection history data includes image data of a time-lapse graph and text data of the imaging order data and the injection control data.

このテキストデータは、例えば、注入作業ごとに固有の識別情報である注入作業ID、実際の注入開始および終了の日時、薬液注入装置400の識別情報、注入制御データ、その注入制御データの全部が手動入力されたか一部が撮像オーダデータから取得されたか一部が薬液条件データから取得されたかの情報、撮像オーダデータから取得された場合は最初と確認との取得日時、取得された撮像オーダデータや薬液条件データ、等からなる。   The text data includes, for example, an injection operation ID that is unique identification information for each injection operation, actual injection start and end dates, identification information of the chemical injection device 400, injection control data, and the injection control data all manually Information on whether it was input or partly acquired from imaging order data or partly acquired from chemical condition data, acquisition date and time of the first and confirmation if acquired from imaging order data, acquired imaging order data and chemicals Consists of condition data, etc.

さらに、薬液シリンジ800のRFIDチップ830から薬液条件データが取得された場合には、その薬液条件データの一部も注入履歴データにテキストデータなどで設定される。   Furthermore, when chemical condition data is acquired from the RFID chip 830 of the chemical syringe 800, a part of the chemical condition data is also set as text data in the injection history data.

このようなテキストデータは、例えば、薬液条件データがRFIDチップ830から取得されたか手動入力されたかの情報、薬液の製品名称、薬液ID、化学分類、含有成分、消費期限、シリンダ耐圧、ロット番号、販売価格、などからなる。   Such text data includes, for example, information on whether the chemical condition data is acquired from the RFID chip 830 or manually input, the product name of the chemical, chemical ID, chemical classification, component content, expiration date, cylinder pressure resistance, lot number, sales Price, etc.

ただし、本実施の形態の薬液注入装置400では、上述の注入履歴データに、前述の注入確認要否の判定結果なども登録される。つまり、取得された撮像オーダデータの個人条件データに登録されていた警告要否や不適IDや不適成分や不適分類や作業種別や適正種別や適正ID、取得された薬液条件データに登録されていた薬液IDや含有成分や化学分類や適正種別や薬液種別や薬液ID、これらの各々の照合による注入確認要否の判定結果、注入確認必要が判定されたときに薬液シリンジ800が交換されたのか手動操作で解除されたのか、等も注入履歴データにテキストデータなどで登録される。   However, in the chemical injection device 400 of the present embodiment, the determination result of whether or not the above-mentioned injection confirmation is necessary is also registered in the above-described injection history data. That is, the warning necessity, improper ID, improper component, improper classification, work type, appropriate type or appropriate ID registered in the personal condition data of the acquired imaging order data, the chemical liquid registered in the acquired chemical liquid condition data Manual operation of whether or not the chemical syringe 800 has been replaced when it is determined whether or not the injection confirmation is necessary based on the ID, the contained component, the chemical classification, the appropriate type, the chemical type, the chemical ID, the determination result of whether or not the injection confirmation is required It is also registered as text data or the like in the injection history data.

そして、薬液注入装置400は、注入作業が完了すると、少なくとも注入作業IDが付与されていて完了を通知する完了通知データも生成する(ステップS40)。そこで、注入作業を完了した薬液注入装置400は、完了通知データと注入履歴データとを制御ボックス500に送信する(ステップS41)。   Then, when the injection operation is completed, the medicinal solution injection device 400 also generates completion notification data to which at least an injection operation ID is assigned and notifies completion (step S40). Therefore, the chemical injection device 400 that has completed the injection operation transmits completion notification data and injection history data to the control box 500 (step S41).

すると、この制御ボックス500は、薬液注入装置400から受信した完了通知データをRIS100に転送する。このRIS100は、受信した完了通知データを注入作業IDにより撮像オーダデータに関連させた状態で保存する。   Then, the control box 500 transfers the completion notification data received from the chemical solution injector 400 to the RIS 100. The RIS 100 stores the received completion notification data in a state associated with the imaging order data by the injection work ID.

また、制御ボックス500は、薬液注入装置400から受信した注入履歴データをPACS300に転送する。このPACS300は、受信した注入履歴データを撮像作業IDで管理する状態で保存する。   In addition, the control box 500 transfers the injection history data received from the chemical solution injector 400 to the PACS 300. The PACS 300 stores the received injection history data in a state managed by the imaging work ID.

通常の作業では、前述のように薬液注入装置400による注入作業が完了する前後に、CTスキャナ200による撮像作業が開始される。その場合、作業者によりCTスキャナ200の撮像制御ユニット210に撮像開始が入力操作される。   In a normal operation, the imaging operation by the CT scanner 200 is started before and after the injection operation by the chemical injection device 400 is completed as described above. In this case, the operator inputs an operation to start imaging to the imaging control unit 210 of the CT scanner 200.

すると、CTスキャナ200の撮像制御ユニット210は、RIS100に撮像オーダデータの取得要求を送信する。すると、このRIS100は、前述のように選定されている一つの撮像オーダデータがCTスキャナ200に返信される。   Then, the imaging control unit 210 of the CT scanner 200 transmits an imaging order data acquisition request to the RIS 100. Then, the RIS 100 returns one imaging order data selected as described above to the CT scanner 200.

そこで、このCTスキャナ200では、撮像制御ユニット210が受信した撮像オーダデータに対応して透視撮像ユニット201が動作制御されることにより、透視画像データの撮像作業が実行される。   Therefore, in the CT scanner 200, the fluoroscopic imaging unit 201 is controlled in accordance with the imaging order data received by the imaging control unit 210, whereby the imaging operation of the fluoroscopic image data is executed.

これで透視撮像ユニット201により被験者から透視画像データが撮像されると、撮像制御ユニット210では、透視画像データに撮像オーダデータが付与される。つぎに、撮像制御ユニット210では、撮像オーダデータが付与された透視画像データがPACS300に送信される。   When the fluoroscopic image data is captured from the subject by the fluoroscopic imaging unit 201, the imaging control unit 210 adds imaging order data to the fluoroscopic image data. Next, in the imaging control unit 210, the fluoroscopic image data to which the imaging order data is added is transmitted to the PACS 300.

このPACS300は、受信した透視画像データを撮像オーダデータの撮像作業IDで管理する状態で保存する。そして、作業者が透視画像データを閲覧するときは、例えば、画像閲覧装置600の手動操作によりPACS300から透視画像データを読み出す。   The PACS 300 stores the received fluoroscopic image data in a state managed by the imaging work ID of the imaging order data. When the operator browses the fluoroscopic image data, for example, the fluoroscopic image data is read from the PACS 300 by a manual operation of the image browsing device 600.

その場合、例えば、撮像作業IDが検索キーとして入力操作されることにより、その撮像作業IDの透視画像データがPACS300から読み出されて画像閲覧装置600のディスプレイユニット602に表示出力される。   In this case, for example, when an imaging operation ID is input as a search key, the fluoroscopic image data of the imaging operation ID is read from the PACS 300 and displayed on the display unit 602 of the image browsing apparatus 600.

このとき、その撮像作業IDにより注入履歴データもPACS300から読み出されるので、必要により画像閲覧装置600のディスプレイユニット602に表示出力される。   At this time, since the injection history data is also read from the PACS 300 by the imaging work ID, it is displayed and output on the display unit 602 of the image browsing apparatus 600 as necessary.

このように表示出力される注入履歴データにより、その注入作業の注入制御データの全部が手動入力されたか一部が撮像オーダデータから取得されたか一部が薬液条件データから取得されたか、撮像オーダデータから取得された場合は最初と確認との日時、取得された撮像オーダデータ、も確認される。   Depending on the injection history data displayed and output in this way, whether all of the injection control data of the injection operation is manually input, partly acquired from the imaging order data, partly acquired from the chemical condition data, or imaging order data If the date and time are acquired, the date and time of the first and confirmation and the acquired imaging order data are also confirmed.

本実施の形態の透視撮像システム1000では、上述のように薬液注入装置400で薬液シリンジ800を駆動して被験者に薬液を注入する以前に、動作確認装置1100で薬液注入装置400の動作を確認することができる。   In the fluoroscopic imaging system 1000 according to the present embodiment, the operation check device 1100 confirms the operation of the chemical solution injector 400 before the drug solution syringe 800 is driven by the chemical solution injector 400 to inject the chemical solution into the subject as described above. be able to.

なお、本発明の透視撮像システム1000では、透視画像データが撮像される被験者に、薬液注入装置400により駆動される薬液シリンジ800から薬液が注入され、撮像された透視画像データはPACS300で保存される。   In the fluoroscopic imaging system 1000 of the present invention, a chemical solution is injected from a chemical solution syringe 800 driven by the chemical solution injection device 400 to a subject whose fluoroscopic image data is imaged, and the captured fluoroscopic image data is stored in the PACS 300. .

その薬液注入装置400では、注入制御部421が設定された注入制御データによりシリンジ駆動機構412を動作制御することで、このシリンジ駆動機構412が装填された薬液シリンジ800を駆動して薬液の注入を実行する。   In the chemical injection device 400, the syringe control mechanism 421 controls the operation of the syringe drive mechanism 412 based on the set injection control data, thereby driving the chemical solution syringe 800 loaded with the syringe drive mechanism 412 to inject the chemical solution. Run.

すると、この注入制御データによるシリンジ駆動機構412の動作履歴からなる注入履歴データを履歴生成部427が生成するので、この生成された注入履歴データをデータ出力部428がPACS300に送信して透視画像データとともに保存させる。このため、被験者に実際に薬液を注入したときの注入履歴データを透視画像データとともに保存することができる。   Then, since the history generation unit 427 generates injection history data including the operation history of the syringe drive mechanism 412 based on the injection control data, the data output unit 428 transmits the generated injection history data to the PACS 300 to transmit the fluoroscopic image data. Save with. For this reason, the injection history data when the chemical solution is actually injected into the subject can be stored together with the fluoroscopic image data.

ただし、薬液注入装置400に薬液シリンジ800ではなく動作確認装置1100が装填されて駆動された場合は、薬液注入装置400は、注入実行ヘッド410に装填された動作確認装置1100からRFIDリーダ416で確認条件データを取得する。   However, when the liquid injector 400 is loaded with the operation confirmation device 1100 instead of the liquid syringe 800 and driven, the liquid injector 400 confirms with the RFID reader 416 from the operation confirmation device 1100 loaded in the injection execution head 410. Get condition data.

そして、取得された確認条件データの少なくとも一部を注入制御データの少なくとも一部として制御設定部426が設定する。すると、その確認条件データで設定された注入制御データによる動作履歴からなる確認履歴データを履歴生成部427が生成し、この生成された確認履歴データをデータ出力部428がPACS300に送信して保存させる。   Then, the control setting unit 426 sets at least a part of the acquired confirmation condition data as at least a part of the injection control data. Then, the history generation unit 427 generates confirmation history data including an operation history based on the injection control data set in the confirmation condition data, and the data output unit 428 transmits the generated confirmation history data to the PACS 300 for storage. .

このため、被験者に実際に薬液を注入することなく薬液注入装置400の動作を確認することができ、この動作確認の確認履歴データも保存することができる。従って、被験者に実際に薬液を注入する以前に薬液注入装置400の動作を確認したことを証拠としてデータ保存することができる。このため、例えば、その確認後に被験者に薬液を注入したときに障害が発生したような場合でも、原因の調査や責任の究明が容易となる。   For this reason, it is possible to confirm the operation of the chemical liquid injector 400 without actually injecting the chemical liquid into the subject, and it is also possible to save the confirmation history data of this operation confirmation. Therefore, data can be stored as evidence that the operation of the drug solution injection device 400 has been confirmed before the drug solution is actually injected into the subject. For this reason, for example, even when a failure occurs when a medical solution is injected into a subject after the confirmation, it becomes easy to investigate the cause and investigate the responsibility.

特に、動作確認装置1100と薬液シリンジ800とは同等な位置にRFIDチップ1130,830が装着されており、各々に確認条件データと薬液条件データとが記録されている。   In particular, the operation check device 1100 and the chemical syringe 800 are equipped with RFID chips 1130 and 830 at the same positions, and check condition data and chemical condition data are recorded in each of them.

このため、薬液注入装置400は、一個のRFIDリーダ416で薬液シリンジ800と動作確認装置1100から確認条件データと薬液条件データとを取得して注入制御データを設定することができる。   For this reason, the chemical injection device 400 can acquire the check condition data and the chemical solution condition data from the chemical syringe 800 and the operation check device 1100 with one RFID reader 416 and set injection control data.

また、本実施の形態の動作確認装置1100は、既存のダンパ機構を利用して製作されている。このため、構造が簡単で一定の移動抵抗を発生することができる。しかも、シリンダ部材810とピストン部材820との相対位置に関係なく略一定の移動抵抗を発生する薬液シリンジ800を、動作確認装置1100で簡単に再現することができる。   Moreover, the operation check apparatus 1100 of this embodiment is manufactured using an existing damper mechanism. For this reason, the structure is simple and a constant movement resistance can be generated. In addition, the drug syringe 800 that generates a substantially constant movement resistance regardless of the relative position between the cylinder member 810 and the piston member 820 can be easily reproduced by the operation check device 1100.

さらに、本実施の形態の動作確認装置1100のダミー抵抗機構1140は、複数種類の薬液シリンジ800と同等な複数段階に移動抵抗を可変する。このため、薬液シリンジ800に移動抵抗が相違する複数種類があっても、その移動抵抗を簡単に再現することができる。   Furthermore, the dummy resistance mechanism 1140 of the operation check apparatus 1100 according to the present embodiment varies the movement resistance in a plurality of stages equivalent to a plurality of types of drug solution syringes 800. For this reason, even if there are multiple types of drug syringes 800 having different movement resistances, the movement resistance can be easily reproduced.

なお、上述のように抵抗可変の既存のダンパ機構を使用した動作確認装置1100では、例えば、その抵抗操作部1141を手動操作して移動抵抗を最小とすることにより、ダミー本体部材1110に圧入されたダミースライド部材1120を手動で簡単に引き出すことができる。   As described above, in the operation check device 1100 using the existing variable resistance damper mechanism, for example, the resistance operation unit 1141 is manually operated to minimize the movement resistance, so that the dummy body member 1110 is press-fitted. The dummy slide member 1120 can be easily pulled out manually.

さらに、本実施の形態の薬液注入装置400では、上述のように薬液シリンジ800の薬液条件データで設定される注入制御データにより注入制御部421によりシリンジ駆動機構412が動作制御されることで、薬液シリンジ800が駆動されて被験者に薬液の注入が実行される。   Furthermore, in the liquid injector 400 of the present embodiment, the operation of the syringe drive mechanism 412 is controlled by the injection controller 421 based on the injection control data set in the liquid condition data of the liquid syringe 800 as described above, so that the liquid chemical The syringe 800 is driven to inject the medical solution into the subject.

ただし、この薬液注入の動作制御の開始以前にRIS100から撮像オーダデータがデータ入力部422により取得される。この取得された撮像オーダデータの個人条件データに対応して注入確認要否が判定される。   However, the imaging order data is acquired from the RIS 100 by the data input unit 422 before the start of the operation control of the chemical solution injection. Whether or not injection confirmation is necessary is determined corresponding to the personal condition data of the acquired imaging order data.

これで注入確認必要が判定されると確認警告が報知出力される。このため、例えば、被験者が造影剤などの薬液にアレルギ体質の場合に、薬液注入の開始以前に確認警告が自動的に報知される。従って、アレルギ体質の被験者に不適な薬液が注入されることなどを、簡単かつ確実に防止することができる。   When it is determined that injection confirmation is necessary, a confirmation warning is output. For this reason, for example, when the subject is allergic to a medical solution such as a contrast medium, a confirmation warning is automatically notified before the start of the medical solution injection. Accordingly, it is possible to easily and reliably prevent an unsuitable chemical solution from being injected into a subject with an allergic constitution.

特に、薬液注入装置400は、装填された薬液シリンジ800のRFIDチップ830から薬液条件データを自動的に取得し、これと撮像オーダデータの個人条件データとを自動的に照合して注入確認要否を判定する。このため、煩雑な作業などを必要とすることなく、アレルギ体質の被験者に不適な薬液が注入されることを、的確に自動的に防止することができる。   In particular, the liquid injector 400 automatically acquires the liquid condition data from the RFID chip 830 of the loaded liquid syringe 800 and automatically collates this with the personal condition data of the imaging order data to determine whether or not to check the injection. Determine. For this reason, it is possible to accurately and automatically prevent an unsuitable chemical solution from being injected into a subject with an allergic constitution without requiring a complicated operation.

しかも、上述の薬液条件データと個人条件データとの照合は、薬液IDと含有成分と化学分類とで並列に実行される。このため、被験者に不適な薬液が注入されることを、様々な観点から的確に防止することができる。特に、含有成分と化学分類とで薬液の適否が判定されるので、その被験者に初めて注入される薬液でも適否を的確に予想することができる。   And collation with the above-mentioned chemical | medical solution condition data and personal condition data is performed in parallel by chemical | medical solution ID, a containing component, and chemical classification. For this reason, it can prevent exactly that a chemical | medical solution unsuitable for a test subject is injected from various viewpoints. In particular, since the suitability of the chemical solution is determined based on the contained components and the chemical classification, it is possible to accurately predict the suitability of the chemical solution injected into the subject for the first time.

さらに、上述のように各種条件で注入確認必要が判定されると各々に対応したガイダンスデータが確認警告として報知出力される。このため、作業者は不具合の原因を簡単に確認することができ、適正な薬液シリンジ800との交換などを簡単かつ迅速に実行することができる。   Further, when it is determined that the injection confirmation is necessary under various conditions as described above, guidance data corresponding to each is notified and output as a confirmation warning. For this reason, the operator can easily confirm the cause of the malfunction, and can easily and quickly execute replacement with an appropriate chemical solution syringe 800 or the like.

また、撮像オーダデータの作業種別などと薬液条件データの適正種別なども照合され、注入確認必要が判定されると各々に対応したガイダンスデータが確認警告として報知出力される。このため、被験者には不適でなくとも撮像作業に不適な薬液が注入されることなども、簡単かつ確実に防止することができる。   Further, the work type of the imaging order data and the appropriate type of the chemical condition data are collated, and when it is determined that the injection check is necessary, corresponding guidance data is output as a confirmation warning. For this reason, even if it is not suitable for the subject, it is possible to easily and surely prevent injection of a chemical solution unsuitable for the imaging operation.

しかも、上述のように注入確認必要が判定されると薬液注入が不能にロックされる。このため、注入確認必要が判定されたまま薬液注入が実行されることを確実に防止することができる。   Moreover, when it is determined that the injection confirmation is necessary as described above, the chemical liquid injection is locked. For this reason, it can prevent reliably that chemical | medical solution injection | pouring is performed with the injection confirmation necessity determined.

なお、上述のように判定された注入確認必要は所定の入力操作で解除することもできる。このため、作業者が薬液シリンジ800などを確認した結果、問題なければ薬液注入を実行することもできる。   It should be noted that the need for injection check determined as described above can also be canceled by a predetermined input operation. For this reason, as a result of the operator confirming the chemical syringe 800 and the like, if there is no problem, the chemical injection can be executed.

しかも、本実施の形態の薬液注入装置400では、上述のようにRIS100から取得した撮像オーダデータと、薬液シリンジ800から取得した薬液条件データとを、注入制御データとして自動設定する。つまり、取得した撮像オーダデータと薬液条件データとで、注入確認要否の自動判定と注入制御データの自動設定とを実行することができる。   Moreover, in the liquid injector 400 of the present embodiment, the imaging order data acquired from the RIS 100 and the liquid condition data acquired from the liquid syringe 800 as described above are automatically set as injection control data. That is, automatic determination of whether or not injection confirmation is necessary and automatic setting of injection control data can be executed using the acquired imaging order data and chemical condition data.

しかも、上述のように自動的に取得される撮像オーダデータや薬液条件データも表示出力される。このため、作業者は撮像オーダデータや薬液条件データが適正かを簡単かつ確実に確認することができる。   In addition, imaging order data and chemical condition data that are automatically acquired as described above are also displayed and output. For this reason, the operator can easily and reliably confirm whether the imaging order data and the chemical condition data are appropriate.

特に、注入制御データとして被験者の氏名や性別、薬液条件データである製品名称、等も表示出力される。このため、これで作業者は注入制御データと実際の被験者との整合や、使用する薬液が適正かなどを、簡単かつ確実に確認することができる。   In particular, the name and sex of the subject, the product name as the chemical condition data, etc. are displayed and output as the injection control data. For this reason, the operator can easily and surely confirm the matching between the injection control data and the actual subject, and whether the chemical solution to be used is appropriate.

なお、被験者ID等からなる注入制御データの取得は、「i」なるロゴと人体の模式画像による専用のアイコンにより入力操作される。このため、作業者は注入制御データの取得操作を直感的に実行することができる。   Note that the injection control data including the subject ID and the like is input using a dedicated icon based on a logo “i” and a schematic image of the human body. For this reason, the operator can intuitively execute the injection control data acquisition operation.

また、RFIDチップ830から取得された薬液条件データは、「RFID」なる所定のロゴマークとともに表示出力される。このため、表示出力された薬液条件データがRFIDチップ830から取得されたことを、作業者は直感的に確認することができる。   The chemical condition data acquired from the RFID chip 830 is displayed and output together with a predetermined logo mark “RFID”. For this reason, the operator can intuitively confirm that the displayed chemical solution condition data is acquired from the RFID chip 830.

さらに、本実施の形態の透視撮像システム1000では、薬液シリンジ800のRFIDチップ830に薬液条件データが記録されており、薬液注入装置400は、RFIDリーダ416でRFIDチップ830から薬液条件データを取得する。このため、薬液注入装置400は、薬液シリンジ800から大容量の薬液条件データを簡単かつ確実に取得することができる。   Further, in the fluoroscopic imaging system 1000 of the present embodiment, the chemical condition data is recorded on the RFID chip 830 of the chemical syringe 800, and the chemical injection device 400 acquires the chemical condition data from the RFID chip 830 with the RFID reader 416. . For this reason, the chemical injection device 400 can easily and reliably acquire large-volume chemical solution condition data from the chemical syringe 800.

特に、薬液注入装置400は、薬液シリンジ800が適正に装填されないと薬液条件データを取得しない。このため、薬液シリンジ800が適正に装填されていない状態で薬液注入が実行されることを防止できる。   In particular, the chemical liquid injector 400 does not acquire chemical condition data unless the chemical syringe 800 is properly loaded. For this reason, it is possible to prevent the chemical liquid injection from being executed in a state where the chemical liquid syringe 800 is not properly loaded.

さらに、本実施の形態の薬液注入装置400は、注入直前の最終確認が入力操作されるとRIS100から撮像オーダデータを再度取得し、事前取得された撮像オーダデータと再度取得された撮像オーダデータとの一致を確認する。   Furthermore, when the final confirmation immediately before the injection is input, the chemical injection device 400 according to the present embodiment acquires the imaging order data from the RIS 100 again, the imaging order data acquired in advance, the imaging order data acquired again, Check for a match.

その一致が確認されるまで注入制御データによる薬液注入を実行しないので、適正でない注入制御データで注入動作が実行されることを簡単かつ確実に防止することができる。   Since the chemical solution injection by the injection control data is not executed until the coincidence is confirmed, it is possible to easily and reliably prevent the injection operation from being executed with the inappropriate injection control data.

例えば、撮像スケジュールが急遽変更となって撮像オーダデータが修正されたり消去されたような場合、最初の撮像オーダデータに対応して注入動作が開始されることがない。   For example, when the imaging schedule is suddenly changed and the imaging order data is corrected or deleted, the injection operation is not started corresponding to the first imaging order data.

さらに、撮像オーダデータが一致しないことが薬液注入装置400により作業者に報知されるので、作業者は撮像オーダデータの変更を確実に認識して確認することができる。   Furthermore, since the chemical solution injection device 400 notifies the operator that the imaging order data does not match, the operator can surely recognize and confirm the change of the imaging order data.

しかし、注入制御データの全部が手動入力されたときは、注入制御データの設定が完了すれば注入動作を開始することができる。このため、注入動作の禁止と解禁とを簡単な条件で適切に制御することができる。   However, when all of the injection control data is manually input, the injection operation can be started when the setting of the injection control data is completed. For this reason, it is possible to appropriately control the prohibition and banning of the injection operation under simple conditions.

また、薬液注入装置400を利用した一般的な注入作業では、上述のように注入実行ヘッド410から離間した注入制御ユニット401で注入制御データを設定するが、この設定が完了すると注入実行ヘッド410の位置で薬液シリンジ800や被験者の状態などを最終確認することになる。   Further, in a general injection operation using the chemical solution injection device 400, the injection control data is set by the injection control unit 401 separated from the injection execution head 410 as described above. The liquid syringe 800 and the condition of the subject are finally confirmed at the position.

そして、本実施の形態の薬液注入装置400では、上述のように注入直前に撮像オーダデータを再度取得して一致を確認するための最終確認スイッチ414が注入実行ヘッド410に配置されている。   And in the chemical | medical solution injection device 400 of this Embodiment, as mentioned above, the final confirmation switch 414 for acquiring imaging order data again immediately before injection | pouring and confirming a match is arrange | positioned at the injection | pouring execution head 410. FIG.

このため、従来から必須の注入実行ヘッド410の位置での最終確認のときに、撮像オーダデータの再度取得と一致確認とを入力操作できる。特に、この薬液注入装置400は、最終確認が実行されて最終確認スイッチ414が入力操作されないと薬液注入の動作ロックが解除されない。   Therefore, at the time of final confirmation at the position of the injection execution head 410 which has been conventionally required, it is possible to input the acquisition of imaging order data again and the confirmation of coincidence. Particularly, in this chemical solution injection device 400, the operation lock of the chemical solution injection is not released unless the final confirmation is executed and the final confirmation switch 414 is input.

このため、一個の最終確認スイッチ414を入力操作するだけで、最終確認の完了入力による注入動作のロック解除と、撮像オーダデータの再確認とを、ともに実行することができる。   For this reason, both the unlocking of the injection operation and the reconfirmation of the imaging order data by the input of the completion of the final confirmation can be executed only by inputting one final confirmation switch 414.

さらに、薬液注入装置400では、注入制御データに基づいて注入動作が実行されるとき、経時グラフがリアルタイムに表示出力される。このため、作業者は注入状態をリアルタイムに確認することができる。   Furthermore, in the chemical solution injection device 400, when an injection operation is executed based on the injection control data, a time-dependent graph is displayed and output in real time. For this reason, the operator can confirm the injection state in real time.

特に、撮像オーダデータがRIS100から取得されて薬液注入装置400に注入制御データとして設定された場合、その各種の設定内容が経時グラフとともに表示出力される。このため、作業者は撮像オーダデータの設定内容を常時確認することができる。   In particular, when imaging order data is acquired from the RIS 100 and set as injection control data in the chemical injection device 400, the various setting contents are displayed and output together with a time-dependent graph. For this reason, the operator can always confirm the setting contents of the imaging order data.

さらに、本実施の形態の薬液注入装置400では、RIS100から撮像オーダデータが取得された場合は、その撮像オーダデータに基づいて経時グラフに撮像開始時刻が表示出力される。   Furthermore, in the chemical injection device 400 of the present embodiment, when imaging order data is acquired from the RIS 100, the imaging start time is displayed and output on a time-dependent graph based on the imaging order data.

このため、作業者は注入状況と撮像開始時刻との関係をリアルタイムに確認することができる。特に、その撮像開始時刻は専用のロゴマークにより表示出力されるので、作業者は直感的に確認することができる。   For this reason, the operator can confirm the relationship between the injection state and the imaging start time in real time. In particular, since the imaging start time is displayed and output by a dedicated logo mark, the operator can confirm it intuitively.

しかも、本実施の形態の透視撮像システム1000では、上述のようにPACS300で保存される透視画像データに関連付けられて注入履歴データも保存される。特に、この注入履歴データに前述の注入確認要否の判定結果も内包される。   Moreover, in the fluoroscopic imaging system 1000 of the present embodiment, the injection history data is also stored in association with the fluoroscopic image data stored in the PACS 300 as described above. In particular, this injection history data includes the above-described determination result of whether or not the injection confirmation is necessary.

このため、透視画像データを閲覧するときに注入確認必要が発生したか、発生した注入確認必要に、どのように対処したか、なども確認することができる。従って、透視画像データを閲覧する作業者が、被験者に不適な薬液が注入されなかったなどを、作業者の対処方法とともに確認することができる。   For this reason, it is possible to confirm whether or not the need for injection check has occurred when viewing the fluoroscopic image data, how to deal with the need for injection check that has occurred, and the like. Therefore, the worker who browses the fluoroscopic image data can confirm with the worker's coping method that the unsuitable chemical solution has not been injected into the subject.

さらに、上述の注入履歴データには注入制御データと薬液条件データとの一部も内包される。このため、例えば、透視画像データを閲覧するときに注入履歴データと注入制御データと薬液条件データも確認することができる。従って、透視画像データを閲覧する作業者が、その透視画像データの撮像時に被験者に薬液が如何に注入されたかまで確認することができる。   Furthermore, a part of the injection control data and the chemical condition data is included in the above-described injection history data. For this reason, for example, when browsing fluoroscopic image data, injection history data, injection control data, and chemical condition data can also be confirmed. Therefore, an operator viewing the fluoroscopic image data can check how the chemical solution is injected into the subject when the fluoroscopic image data is captured.

しかも、上述のように透視画像データと注入履歴データとは撮像作業IDで関連されるが、その撮像作業IDは、注入制御データを自動設定するときに撮像オーダデータとして薬液注入装置400に取得される。   In addition, as described above, the fluoroscopic image data and the injection history data are related by the imaging work ID, and the imaging work ID is acquired by the liquid injector 400 as imaging order data when the injection control data is automatically set. The

つまり、RIS100から制御ボックス500を経由して薬液注入装置400に取得される撮像オーダデータを、注入制御データの設定と注入履歴データの生成との両方に利用することができる。   That is, the imaging order data acquired from the RIS 100 via the control box 500 to the drug solution injector 400 can be used for both setting of injection control data and generation of injection history data.

また、もしも造影剤の注入作業に疑義が発生したような場合でも、透視画像データとともに注入履歴データを、注入確認要否の判定結果、注入制御データ、薬液条件データ、とともに確認することができる。このため、その注入履歴データと注入確認要否の判定結果と注入制御データと薬液条件データとを証拠とすることができる。   In addition, even if there is a doubt about the contrast agent injection operation, it is possible to check the injection history data together with the fluoroscopic image data, together with the determination result of the injection confirmation necessity, the injection control data, and the liquid condition data. For this reason, the injection history data, the determination result of whether or not injection confirmation is necessary, the injection control data, and the chemical condition data can be used as evidence.

しかも、本実施の形態の透視撮像システム1000の各種装置100〜600,900はDICOMの規約で各種データを相互通信する。DICOMの通信データは改竄が困難なので、注入履歴データと注入制御データと薬液条件データとの証拠能力が高い。   In addition, the various apparatuses 100 to 600 and 900 of the fluoroscopic imaging system 1000 of the present embodiment mutually communicate various data according to the DICOM protocol. Since DICOM communication data is difficult to falsify, the evidence capacity of injection history data, injection control data, and chemical condition data is high.

しかも、注入作業の完了通知データが薬液注入装置400から制御ボックス500を経由してRIS100に保存される。このRIS100では、完了通知データが撮像オーダデータと関連されて管理されるので、例えば、RIS100からCTスキャナ200に撮像オーダデータとともに薬液注入の開始時刻や終了時刻などを通知することもできる。   In addition, the completion notification data of the injection operation is stored in the RIS 100 from the chemical injection device 400 via the control box 500. In the RIS 100, since the completion notification data is managed in association with the imaging order data, for example, the start time and end time of the chemical solution injection can be notified from the RIS 100 to the CT scanner 200 together with the imaging order data.

この場合、CTスキャナ200を操作する作業者が薬液注入の開始時刻や終了時刻を参照することができるので、その時刻に対応して画像撮像の開始時刻を調整するようなことができる。   In this case, since the operator who operates the CT scanner 200 can refer to the start time and end time of the chemical injection, the start time of image capturing can be adjusted according to the time.

なお、本発明は上記形態に限定されるものではなく、その要旨を逸脱しない範囲で各種の変形を許容する。例えば、上記形態では動作確認装置1100と薬液シリンジ800とにRFIDチップ1130,830で確認条件データと薬液条件データとが各々記録されており、その確認条件データと薬液条件データとを薬液注入装置400がRFIDリーダ416で取得することを例示した。   In addition, this invention is not limited to the said form, A various deformation | transformation is accept | permitted in the range which does not deviate from the summary. For example, in the above embodiment, the confirmation condition data and the chemical condition data are recorded in the operation check apparatus 1100 and the chemical syringe 800 by the RFID chips 1130 and 830, respectively, and the confirmation condition data and the chemical condition data are stored in the chemical injection apparatus 400. Exemplifies acquisition by the RFID reader 416.

しかし、確認条件データと薬液条件データとが磁気ストライプや二次元コードやバーコードで動作確認装置と薬液シリンジとに各々記録されており、このような確認条件データと薬液条件データとを薬液注入装置が磁気ヘッドや二次元スキャナやラインスキャナで取得してもよい(図示せず)。   However, the confirmation condition data and the chemical solution condition data are respectively recorded on the operation confirmation device and the chemical syringe by a magnetic stripe, a two-dimensional code, and a barcode, and the confirmation condition data and the chemical solution condition data are stored in the chemical injection device. May be obtained by a magnetic head, a two-dimensional scanner, or a line scanner (not shown).

さらに、例えば、上記形態では動作確認装置1100のダミー抵抗機構1140としてダンパ機構を利用することを例示した。しかし、図28に例示する動作確認装置1500のように、ダミー抵抗機構1501として弾性機構であるテンションスプリングを利用することもできる。この動作確認装置1500では、薬液注入装置400によりダミー本体部材1502に圧入されたダミースライド部材1503が自動的に初期位置に復帰する。   Further, for example, in the above embodiment, the use of a damper mechanism as the dummy resistance mechanism 1140 of the operation check device 1100 is exemplified. However, a tension spring, which is an elastic mechanism, can be used as the dummy resistance mechanism 1501 as in the operation confirmation apparatus 1500 illustrated in FIG. In this operation check device 1500, the dummy slide member 1503 press-fitted into the dummy main body member 1502 by the chemical solution injector 400 automatically returns to the initial position.

このため、前述した動作確認装置1100のように、ダミー本体部材1110に圧入されたダミースライド部材1120を手動で初期位置まで復帰させる必要がない。なお、上述のテンションスプリングではなく、弾性機構であるコンプレッションスプリング(図示せず)をダミー抵抗機構として利用することもできる(図示せず)。   Therefore, unlike the operation check device 1100 described above, it is not necessary to manually return the dummy slide member 1120 press-fitted into the dummy main body member 1110 to the initial position. Note that a compression spring (not shown), which is an elastic mechanism, can be used as a dummy resistance mechanism (not shown) instead of the tension spring described above.

なお、上述の動作確認装置1500では、ダミー本体部材1502にダミースライド部材1503が圧入されることにより移動抵抗も略線形に増大する。換言すると、略一定の移動抵抗が必要な場合には、前述の動作確認装置1100が適切であり、より簡易な操作性が必要な場合には、上述の動作確認装置1500が適切である。   In the above-described operation checking device 1500, the movement resistance increases substantially linearly when the dummy slide member 1503 is press-fitted into the dummy main body member 1502. In other words, the operation confirmation device 1100 described above is appropriate when a substantially constant movement resistance is required, and the operation confirmation device 1500 described above is appropriate when simpler operability is required.

なお、ダンパ機構とスプリングとを組み合わせることにより、ダミースライド部材の圧入時に略一定の移動抵抗を発生させながら、その移動抵抗を手動操作で解除してダミースライド部材を初期位置まで自動復帰させることも不可能ではない(図示せず)。   In addition, by combining the damper mechanism and the spring, it is possible to release the movement resistance manually and automatically return the dummy slide member to the initial position while generating a substantially constant movement resistance when the dummy slide member is press-fitted. Not impossible (not shown).

また、上記形態の動作確認装置1100では、ダミー本体部材1110に略一定の移動抵抗で圧入したダミースライド部材1120を手動操作により初期位置まで復帰させることを例示した。   In the operation check device 1100 of the above embodiment, the dummy slide member 1120 press-fitted into the dummy main body member 1110 with a substantially constant movement resistance is returned to the initial position by manual operation.

しかし、図29および図30に例示する動作確認装置1510のように、ダミー本体部材1511は、ダミーフランジ1512が前端と後端とに形成された前後対称の形状に形成されており、ダミースライド部材1513は、ダミー本体部材1511を前後方向に貫通した前後対称の形状に形成されていてもよい。   However, like the operation checking device 1510 illustrated in FIGS. 29 and 30, the dummy main body member 1511 is formed in a symmetrical shape in which the dummy flange 1512 is formed at the front end and the rear end, and the dummy slide member 1513 may be formed in a longitudinally symmetrical shape penetrating the dummy main body member 1511 in the front-rear direction.

この動作確認装置1510では、ダミー抵抗機構1514は一対のロータリダンパーからなる。このダミー抵抗機構1514は、ピニオンギヤ1515を回転自在に軸支している。ダミースライド部材1513は両側面にラック1516が形成されており、このラック1516にピニオンギヤ1515が両側から係合している。   In this operation check device 1510, the dummy resistance mechanism 1514 includes a pair of rotary dampers. The dummy resistance mechanism 1514 rotatably supports the pinion gear 1515. The dummy slide member 1513 has racks 1516 formed on both side surfaces, and a pinion gear 1515 is engaged with the rack 1516 from both sides.

なお、ダミー本体部材1511の内部両端にはガイドローラ1517も装着されており、このガイドローラ1517によりダミースライド部材1513が前後方向にスライド自在に支持されている。   Guide rollers 1517 are also attached to both ends of the dummy main body member 1511, and the dummy slide members 1513 are supported by the guide rollers 1517 so as to be slidable in the front-rear direction.

この動作確認装置1510では、薬液注入装置400に装填してダミー本体部材1511にダミースライド部材1513が圧入されても、その前後を反転させて薬液注入装置400に再度装填するだけで、ダミー本体部材1511にダミースライド部材1513を再度圧入させることができる。   In this operation check device 1510, even if the dummy slide member 1513 is press-fitted into the dummy body member 1511 after being loaded into the drug solution injection device 400, the dummy body member can be simply reversed and then loaded into the drug solution injection device 400 again. The dummy slide member 1513 can be pressed into 1511 again.

このため、ダミー抵抗機構1514により一定の移動抵抗を発生させる構造でも、ダミー本体部材1511に圧入されたダミースライド部材1513を初期位置まで復帰させる操作などが必要ない。   For this reason, even with a structure in which the fixed resistance is generated by the dummy resistance mechanism 1514, there is no need for an operation for returning the dummy slide member 1513 press-fitted into the dummy main body member 1511 to the initial position.

また、図31に例示する動作確認装置1520も、ダミー本体部材1521は、ダミーフランジ1522が前端と後端とに形成された前後対称の形状に形成されており、ダミースライド部材1523は、ダミー本体部材1521を前後方向に貫通した前後対称の形状に形成されている。   In addition, in the operation check device 1520 illustrated in FIG. 31, the dummy main body member 1521 is formed in a symmetrical shape in which the dummy flange 1522 is formed at the front end and the rear end, and the dummy slide member 1523 is the dummy main body. The member 1521 is formed into a symmetrical shape penetrating in the front-rear direction.

ただし、この動作確認装置1520では、ダミースライド部材1523とダミー本体部材1521との接合部が密閉されている。さらに、ダミースライド部材1523には、円盤状部1524が一体に形成されている。   However, in this operation check device 1520, the joint between the dummy slide member 1523 and the dummy main body member 1521 is sealed. Further, the dummy slide member 1523 is integrally formed with a disk-shaped portion 1524.

このダミースライド部材1523の円盤状部1524の外周部には、ダミー本体部材1521の円筒形の内部空間に密着する弾性パッキン1526が装着されている。そして、この円盤状部1524にダミー抵抗機構1525として小径の流路が貫通されている。   An elastic packing 1526 that is in close contact with the cylindrical inner space of the dummy main body member 1521 is attached to the outer peripheral portion of the disk-like portion 1524 of the dummy slide member 1523. A small-diameter channel is penetrated as a dummy resistance mechanism 1525 through the disk-shaped portion 1524.

この動作確認装置1520では、ダミースライド部材1523がダミー本体部材1521に圧入されるとき、そこに密閉されている流体が小径の流路からなるダミー抵抗機構1525を流動する。   In this operation check device 1520, when the dummy slide member 1523 is press-fitted into the dummy main body member 1521, the fluid sealed therein flows through the dummy resistance mechanism 1525 including a small-diameter channel.

この動作確認装置1520では、ダミースライド部材1523の移動抵抗を流体の流動抵抗により発生させる。このため、実際の薬液シリンジ800に非常に類似した移動抵抗を発生させることができる。   In this operation check device 1520, the movement resistance of the dummy slide member 1523 is generated by the flow resistance of the fluid. For this reason, the movement resistance very similar to the actual chemical | medical solution syringe 800 can be generated.

なお、上述のような動作確認装置1520の流体としては、例えば、実際の薬液シリンジ800と同一の造影剤、一般的な水道水、空気、等を利用することができる。流体として造影剤を利用すれば、さらに良好に薬液シリンジ800の移動抵抗を再現することができる。一方、流体として空気を利用すれば、その漏出を問題とする必要がなくなる。   In addition, as the fluid of the above-described operation confirmation device 1520, for example, the same contrast agent as that of the actual chemical syringe 800, general tap water, air, or the like can be used. If a contrast agent is used as the fluid, the movement resistance of the chemical syringe 800 can be reproduced more satisfactorily. On the other hand, if air is used as the fluid, the leakage need not be a problem.

さらに、図32に例示する動作確認装置1530では、このダミースライド部材1531の円盤状部1532の外周面が、ダミー本体部材1521の内部空間の内周面に、微少な間隙を介して対向している。   Further, in the operation check device 1530 illustrated in FIG. 32, the outer peripheral surface of the disk-shaped portion 1532 of the dummy slide member 1531 is opposed to the inner peripheral surface of the internal space of the dummy main body member 1521 with a minute gap. Yes.

この動作確認装置1530では、ダミースライド部材1531の円盤状部1532の外周面とダミー本体部材1521の内部空間の内周面との間隙が、微少な流路であるダミー抵抗機構1533として機能する。このため、より簡単な構造で流体抵抗により移動抵抗を発生させることができる。   In this operation check device 1530, the gap between the outer peripheral surface of the disk-shaped portion 1532 of the dummy slide member 1531 and the inner peripheral surface of the internal space of the dummy main body member 1521 functions as a dummy resistance mechanism 1533 that is a minute flow path. For this reason, movement resistance can be generated by fluid resistance with a simpler structure.

また、上記形態の動作確認装置1100などは、専用の部品により形成されていることを例示した。しかし、図33に例示する動作確認装置1540のように、既存の薬液シリンジ800を利用することもできる。   Moreover, the operation confirmation apparatus 1100 of the said form illustrated that it was formed with the components for exclusive use. However, an existing chemical syringe 800 can be used as in the operation confirmation device 1540 illustrated in FIG.

この動作確認装置1540では、一対の薬液シリンジ800が前後逆様の状態で線形に配置されており、そのダミー本体部材であるシリンダ部材810の導管部812が連結管1541で連結されている。   In this operation check device 1540, a pair of chemical syringes 800 are linearly arranged in a reverse state, and a conduit portion 812 of a cylinder member 810 that is a dummy main body member is connected by a connecting pipe 1541.

この連結管1541には、流体の流動抵抗を可変する可変弁もダミー抵抗機構1543として内蔵されており、この可変弁の流体抵抗を可変する操作部1542が連結管1541から突出している。この動作確認装置1540では、一対の薬液シリンジ800のピストン部材820がダミースライド部材として機能する。   A variable valve that changes the flow resistance of the fluid is also built in the connecting pipe 1541 as a dummy resistance mechanism 1543, and an operation portion 1542 that changes the fluid resistance of the variable valve protrudes from the connecting pipe 1541. In this operation check device 1540, the piston member 820 of the pair of chemical syringes 800 functions as a dummy slide member.

この動作確認装置1540では、一対の薬液シリンジ800の一方が薬液注入装置400に装填されてピストン部材820が圧入されると、他方の薬液シリンジ800のピストン部材820が初期位置まで復帰する。   In this operation check device 1540, when one of the pair of chemical solution syringes 800 is loaded into the chemical solution injection device 400 and the piston member 820 is press-fitted, the piston member 820 of the other chemical solution syringe 800 returns to the initial position.

このため、この動作確認装置1540でも、やはり流体抵抗で移動抵抗を発生させることができ、ダミースライド部材として圧入されたピストン部材820を初期位置まで復帰させる操作が必要ない。   For this reason, this operation check device 1540 can also generate movement resistance by fluid resistance, and does not require an operation of returning the piston member 820 press-fitted as a dummy slide member to the initial position.

なお、上述の動作確認装置1540は、一方の薬液シリンジ800が薬液注入装置400の注入実行ヘッド410に装填されたとき、他方の薬液シリンジ800は注入実行ヘッド410から前方に大幅に突出することになる。このため、注入実行ヘッド410の前方に充分なスペースが必要であるとともに、連結管1541には充分な機械強度が必要となる。   Note that the above-described operation confirmation device 1540 is configured such that when one chemical syringe 800 is loaded on the injection execution head 410 of the chemical injection device 400, the other chemical syringe 800 protrudes significantly forward from the injection execution head 410. Become. For this reason, a sufficient space is required in front of the injection execution head 410, and the connecting pipe 1541 needs a sufficient mechanical strength.

そこで、このような課題を解決するため、図34に例示する動作確認装置1550では、同一方向に配置された一対の薬液シリンジ800が上下方向で連結されている。より具体的には、一対のシリンダ部材810のシリンダ本体811とシリンダフランジ813が連結部材1551,1552で連結されている。   Therefore, in order to solve such a problem, in the operation check apparatus 1550 illustrated in FIG. 34, a pair of drug syringes 800 arranged in the same direction are connected in the vertical direction. More specifically, a cylinder body 811 and a cylinder flange 813 of a pair of cylinder members 810 are connected by connecting members 1551 and 1552.

この動作確認装置1550では、やはり流体抵抗で移動抵抗を発生させることができ、ダミースライド部材として圧入されたピストン部材820を初期位置まで復帰させる操作が必要ない。   In this operation check device 1550, the movement resistance can be generated by the fluid resistance, and the operation of returning the piston member 820 press-fitted as a dummy slide member to the initial position is not necessary.

しかも、一方の薬液シリンジ800が薬液注入装置400の注入実行ヘッド410に装填されたとき、他方の薬液シリンジ800が注入実行ヘッド410から前方に大幅に突出することもない。このため、注入実行ヘッド410の前方に無用なスペースが必要なく、連結管1541に無用な機械強度も要求されない。   Moreover, when one chemical syringe 800 is loaded into the injection execution head 410 of the chemical injection device 400, the other chemical syringe 800 does not protrude significantly forward from the injection execution head 410. For this reason, useless space is unnecessary in front of the injection execution head 410, and useless mechanical strength is not required for the connecting pipe 1541.

また、上記形態では注入実行ヘッド410の一つの凹部1417に薬液シリンジ800が一個のみ装着される薬液注入装置400を例示した。しかし、図35に示すように、注入実行ヘッド1410の複数の凹部1417に複数の薬液シリンジ800が個々に装着される薬液注入装置1400もある。   Further, in the above embodiment, the chemical liquid injector 400 in which only one chemical syringe 800 is mounted in one concave portion 1417 of the injection execution head 410 is illustrated. However, as shown in FIG. 35, there is also a chemical liquid injector 1400 in which a plurality of chemical syringes 800 are individually attached to a plurality of recesses 1417 of the injection execution head 1410.

このような薬液注入装置1400では、例えば、造影剤と生理食塩水との薬液シリンジ800が一度に装填される。このような薬液注入装置1400でも、例えば、一対の凹部1417の各々に前述の動作確認装置1100を個々に装填することができる。   In such a chemical solution injection device 1400, for example, a chemical solution syringe 800 of contrast medium and physiological saline is loaded at a time. In such a chemical liquid injector 1400, for example, the above-described operation check device 1100 can be individually loaded in each of the pair of recesses 1417.

しかし、図35に例示する動作確認装置1560では、一対の薬液シリンジ800が連結部材1561により左右方向に並列に連結されている。このため、一個の動作確認装置1560で、薬液注入装置1400の一対のシリンジ駆動機構1412の動作を順番に確認することができる。   However, in the operation check device 1560 illustrated in FIG. 35, the pair of chemical syringes 800 are connected in parallel in the left-right direction by the connecting member 1561. For this reason, the operation | movement of a pair of syringe drive mechanism 1412 of the chemical | medical solution injection device 1400 can be confirmed in order with one operation check device 1560.

さらに、図36および図37に例示する動作確認装置1570では、ダミー抵抗機構1571がコンストン(定荷重バネ)機構からなる。このコンストン機構からなるダミー抵抗機構1571は、薬液注入装置400によりダミー本体部材1572にダミースライド部材1573が圧入されるときに一定の移動抵抗を発生する。   Furthermore, in the operation check device 1570 illustrated in FIGS. 36 and 37, the dummy resistance mechanism 1571 is a conston (constant load spring) mechanism. The dummy resistance mechanism 1571 including this Conston mechanism generates a certain movement resistance when the dummy slide member 1573 is press-fitted into the dummy main body member 1572 by the chemical solution injection device 400.

それでいて、薬液注入装置400による圧入が解除されると、コンストン機構からなるダミー抵抗機構1571は、ダミースライド部材1573を自動的に初期位置に復帰させることができる。このため、一定の移動抵抗を発生させながらも操作性を向上させることができる。   Nevertheless, when the press-fitting by the chemical solution injector 400 is released, the dummy resistance mechanism 1571 formed of the Conston mechanism can automatically return the dummy slide member 1573 to the initial position. For this reason, it is possible to improve the operability while generating a certain movement resistance.

また、上記形態では動作確認装置1100が基礎のダンパ機構などのダミー抵抗機構1140により、薬液シリンジ800と同様な移動抵抗を発生することを例示した。なお、理想的な薬液シリンジ800の移動抵抗を仮想すると、図38に示すように、ピストン部材820の移動の圧力と薬液の注入速度とは正比例することになる。   Moreover, in the said form, it illustrated that the operation confirmation apparatus 1100 generate | occur | produces the movement resistance similar to the chemical | medical solution syringe 800 by dummy resistance mechanisms 1140, such as a basic damper mechanism. If the movement resistance of the ideal drug solution syringe 800 is assumed, as shown in FIG. 38, the movement pressure of the piston member 820 and the injection rate of the drug solution are directly proportional.

また、薬液注入装置400が理想的に薬液シリンジ800のシリンダ部材810にピストン部材820を一定速度で圧入した場合、図39に示すように、その移動抵抗の圧力は常時一定となる。しかし、実際の薬液注入装置400および薬液シリンジ800では、図40に示すように、複数の要因のために上述のような理想的な移動抵抗が発生することはない。   Further, when the liquid injector 400 ideally press-fits the piston member 820 into the cylinder member 810 of the liquid syringe 800 at a constant speed, the pressure of the movement resistance is always constant as shown in FIG. However, in the actual liquid injector 400 and liquid syringe 800, the ideal movement resistance as described above does not occur due to a plurality of factors, as shown in FIG.

そこで、図示するように、実際の薬液注入装置400および薬液シリンジ800を利用した場合の移動抵抗の圧力に対応して、圧力の許容範囲を確認条件データとして動作確認装置1100のRFIDリーダ416に設定しておいてもよい。   Therefore, as shown in the figure, an allowable range of pressure is set in the RFID reader 416 of the operation check apparatus 1100 as check condition data corresponding to the pressure of the movement resistance when the actual liquid injector 400 and the liquid syringe 800 are used. You may keep it.

この場合、薬液注入装置400は、動作確認装置1100のRFIDリーダ416から圧力許容範囲を取得し、実際の移動抵抗圧力が圧力許容範囲を逸脱しないか確認する。そして、逸脱しなかった場合は、そのまま確認履歴データをPACS300に登録して薬液注入を開始できる状態に移行する。   In this case, the chemical injection device 400 acquires the allowable pressure range from the RFID reader 416 of the operation confirmation device 1100 and checks whether the actual movement resistance pressure does not deviate from the allowable pressure range. And when it does not deviate, it shifts to the state where registration history data is registered into PACS300 as it is, and medicine injection can be started.

しかし、動作確認装置1100のRFIDリーダ416から取得した圧力許容範囲を実際の移動抵抗圧力が逸脱した場合は、その確認履歴データをPACS300に登録するとともに警告ガイダンスを報知出力し、薬液注入を開始できない状態に移行すればよい(図示せず)。   However, when the actual movement resistance pressure deviates from the allowable pressure range acquired from the RFID reader 416 of the operation confirmation apparatus 1100, the confirmation history data is registered in the PACS 300, and a warning guidance is output and notification cannot be started. What is necessary is just to transfer to a state (not shown).

さらに、上記形態では説明を簡単にするため、薬液注入装置400に装着される薬液シリンジ800のサイズが一つであることを想定した。しかし、既存の薬液注入システムなどでは、薬液シリンジ800に複数種類のサイズがある。   Furthermore, in order to simplify the description in the above embodiment, it is assumed that the size of the chemical solution syringe 800 attached to the chemical solution injection device 400 is one. However, in an existing chemical solution injection system or the like, the chemical solution syringe 800 has a plurality of sizes.

そこで、薬液注入装置400は、最大サイズの薬液シリンジ800が直接に装填され、例えば、最大以外のサイズの薬液シリンジはシリンダアダプタを介して装填される(図示せず)。   Therefore, the chemical liquid injection device 400 is directly loaded with a chemical liquid syringe 800 having a maximum size, and for example, a chemical liquid syringe having a size other than the maximum is loaded via a cylinder adapter (not shown).

この場合、前述の動作確認装置1100は、例えば、最小サイズの薬液シリンジ800と同一サイズに形成しておき、これを最大サイズに模式するシリンダアダプタ(図示せず)を用意しておけばよい。   In this case, for example, the above-described operation check device 1100 may be formed in the same size as the chemical syringe 800 having the minimum size, and a cylinder adapter (not shown) schematically representing the maximum size may be prepared.

また、上記形態では動作確認装置1100の抵抗操作部1141の手動操作により移動抵抗を可変させ、複数種類の薬液シリンジ800に対応できることを例示した。しかし、動作確認装置として、複数種類の薬液シリンジ800と同等な移動抵抗を発生する複数種類があってもよい(図示せず)。その場合、動作確認装置は、自身の種類と対応する薬液シリンジ800の種類と移動抵抗との少なくとも一つが確認条件データに記録されていればよい。   Further, in the above embodiment, the movement resistance is varied by manual operation of the resistance operation unit 1141 of the operation confirmation device 1100, and it is possible to deal with a plurality of types of drug solution syringes 800. However, as an operation check device, there may be a plurality of types (not shown) that generate movement resistance equivalent to a plurality of types of chemical syringes 800. In that case, at least one of the kind of chemical | medical solution syringe 800 and movement resistance corresponding to an own kind should just be recorded on operation | movement confirmation apparatus in confirmation condition data.

さらに、上記形態では薬液注入装置400が注入実行ヘッド410とは別体の注入制御ユニット401のタッチパネル403に各種データを表示出力することを例示した。しかし、このような各種データを表示出力するサブディスプレイが注入実行ヘッドに併設されていてもよい(図示せず)。   Further, in the above embodiment, the chemical injection device 400 has exemplified that various data are displayed and output on the touch panel 403 of the injection control unit 401 separate from the injection execution head 410. However, a sub-display for displaying and outputting such various data may be provided in the injection execution head (not shown).

また、上記形態では薬液注入装置400は、注入制御データの設定時に撮像オーダデータを取得し、注入動作の開始直前にも撮像オーダデータを取得し、これらが一致しないと注入動作を実行しないことのみ例示した。   Further, in the above embodiment, the chemical injection device 400 acquires the imaging order data at the time of setting the injection control data, acquires the imaging order data immediately before the start of the injection operation, and does not execute the injection operation unless they match. Illustrated.

しかし、薬液注入装置が、さらに注入制御データに撮像オーダデータと薬液条件データとの一方が設定されている場合は、他方も設定されていないと動作制御を実行しないような制御を実行してもよい(図示せず)。   However, even when the chemical injection device further sets one of the imaging order data and the chemical condition data in the injection control data, the control does not execute the operation control unless the other is also set. Good (not shown).

ただし、このような薬液注入装置でも、確認動作は注入動作とは無関係に実行できることがよい。このため、注入制御データが確認条件データで設定されている場合は、撮像オーダデータの設定に関係なく動作制御を実行すればよい。   However, even in such a chemical solution injection device, it is preferable that the confirmation operation can be executed regardless of the injection operation. For this reason, when the injection control data is set as the confirmation condition data, the operation control may be executed regardless of the setting of the imaging order data.

さらに、上記形態では薬液シリンジ800に記録されている薬液条件データに各種データが内包されていることを例示した。しかし、薬液シリンジに記録されている薬液条件データが薬液IDのみでもよい。   Furthermore, in the said form, it illustrated that the various data were included in the chemical | medical solution condition data currently recorded on the chemical | medical solution syringe 800. FIG. However, the chemical condition data recorded in the chemical syringe may be only the chemical ID.

この場合、例えば、前述のような薬液条件データの各種データが薬液IDとともにHIS900やRIS100やPACS300などのデータベースに記録されており、その薬液条件データの各種データが薬液IDで検索されて薬液注入装置に取得されればよい(図示せず)。   In this case, for example, various data of the chemical solution condition data as described above are recorded in a database such as HIS900, RIS100, and PACS300 together with the chemical solution ID. (Not shown).

また、上記形態では薬液シリンジ800がプレフィルドシリンジからなり、その薬液条件データがシリンジメーカで記録されていることを想定した。しかし、薬液シリンジがリフィルシリンジからなり、充填される薬液に対応して医療現場で薬液条件データが記録されてもよい。   In the above embodiment, it is assumed that the chemical syringe 800 is a prefilled syringe and the chemical solution condition data is recorded by the syringe manufacturer. However, the chemical solution syringe may be a refill syringe, and the chemical solution condition data may be recorded at the medical site corresponding to the chemical solution to be filled.

さらに、上記形態では撮像オーダデータの個人条件データと薬液シリンジ800の薬液条件データとの照合により注入確認必要が判定されると確認警告が報知出力され、これに対応して作業者が適正な薬液シリンジ800と交換することを例示した。   Further, in the above embodiment, when it is determined that the injection confirmation is necessary by comparing the personal condition data of the imaging order data with the chemical condition data of the chemical syringe 800, a confirmation warning is output and an appropriate chemical solution is given to the operator. Exchanging with syringe 800 was illustrated.

しかし、上述のように注入確認必要が判定されたときに、薬液注入装置400が確認警告とともに推奨する薬液シリンジ800を報知出力してもよい。より具体的には、薬液注入装置400が各種の薬液シリンジ800の薬液条件データのデータベースを具備しておき、装填された薬液シリンジ800の薬液条件データで注入確認必要が判定されたときに、データベースから注入確認無用が判定される薬液条件データを検索して報知出力する。   However, when it is determined that the injection confirmation is necessary as described above, the chemical liquid injector 400 may notify and output the recommended chemical liquid syringe 800 together with the confirmation warning. More specifically, the chemical solution injection device 400 includes a database of chemical solution condition data of various chemical syringes 800, and the database is used when it is determined that injection confirmation is necessary based on the chemical solution condition data of the loaded chemical syringe 800. The chemical condition data for which it is determined that the injection check is unnecessary is retrieved and notified.

この場合、作業者は推奨される薬液シリンジ800を確認して薬液注入装置400に装填すればよいので、適正な薬液シリンジ800との交換を簡単かつ迅速に実行することができる。   In this case, since the operator only needs to confirm the recommended chemical solution syringe 800 and load it into the chemical solution injection device 400, the operator can easily and quickly replace the appropriate chemical solution syringe 800.

また、上記形態では薬液注入装置400がRIS100から取得する撮像オーダデータと薬液シリンジ800から取得する薬液条件データとに基づいて注入制御データを自動的に設定することを例示した。   In the above embodiment, the chemical injection device 400 automatically sets the injection control data based on the imaging order data acquired from the RIS 100 and the chemical condition data acquired from the chemical syringe 800.

しかし、このような注入制御データが注入履歴データや被験者IDなどとともにPACS300等に登録され、その注入制御データがPACS300等から薬液注入装置400に被験者ID等により取得されて注入作業に利用されてもよい。   However, such injection control data is registered in the PACS 300 and the like together with the injection history data and the subject ID, and the injection control data is acquired from the PACS 300 and the like by the subject ID and used for the injection work. Good.

この場合、同一の被験者で過去に撮像作業を実行していた場合は、その過去の注入制御データを再度利用することができる。このため、複雑な注入動作を注入制御データで設定した場合でも、その注入動作を簡単に再現することができる。   In this case, when imaging work has been executed in the past by the same subject, the past injection control data can be used again. For this reason, even when a complicated injection operation is set by injection control data, the injection operation can be easily reproduced.

さらに、薬液注入装置400で注入作業とともに生成された注入履歴データが被験者ID等とともにPACS300に登録され、その注入履歴データがPACS300から薬液注入装置400に被験者ID等により取得され、注入制御データとして注入作業に利用されてもよい。   Further, the injection history data generated together with the injection work in the chemical injection device 400 is registered in the PACS 300 together with the subject ID and the injection history data is acquired from the PACS 300 to the chemical injection device 400 by the subject ID and injected as injection control data. It may be used for work.

この場合、薬液注入装置400で注入履歴データから注入制御データを生成する作業が必要となるが、PACS300に注入履歴データを登録しておけば注入制御データの登録を無用とすることができる。   In this case, it is necessary to generate injection control data from the injection history data in the chemical solution injection device 400. However, if the injection history data is registered in the PACS 300, registration of the injection control data can be made unnecessary.

また、このようにPACS300から薬液注入装置400に取得された過去の注入制御データが新規の注入制御データにより自動調整されてもよい。このような注入制御データとしては、被験者の体重、薬液の成分濃度、薬液の含有成分、等を利用することができる。   Moreover, the past injection control data acquired from the PACS 300 to the chemical injection device 400 in this way may be automatically adjusted with new injection control data. As such injection control data, it is possible to use the body weight of the subject, the component concentration of the chemical solution, the components contained in the chemical solution, and the like.

例えば、PACS300から薬液注入装置400に取得された過去の注入制御データに付与されている被験者の体重が50kgで、薬液注入装置400に入力されている現在の体重が60kgならば、その注入制御データの注入速度や注入総量を1.2(=60/50)倍にする、等の処理動作が好適である。   For example, if the weight of the subject given to the past injection control data acquired from the PACS 300 to the drug injection device 400 is 50 kg and the current weight input to the drug injection device 400 is 60 kg, the injection control data A processing operation such as increasing the injection speed and the total injection amount by 1.2 (= 60/50) times is preferable.

同様に過去の注入制御データに付与されている薬液の成分濃度が10%で、薬液注入装置400に薬液条件データとして取得されている現在の成分濃度が20%ならば、その注入制御データの注入速度や注入総量を0.5(=10/20)倍にする、等の処理動作が好適である。   Similarly, if the component concentration of the chemical liquid given to the past injection control data is 10% and the current component concentration acquired as chemical liquid condition data in the chemical liquid injection device 400 is 20%, injection of the injection control data is performed. Processing operations such as increasing the speed and total injection amount by 0.5 (= 10/20) times are preferable.

さらに、上記形態ではRIS100に登録されている撮像オーダデータから被験者IDや撮像部位などが薬液注入装置400に取得されることにより、作業者が薬液注入装置400に被験者ID等を入力操作する必要がなく、その誤入力にも防止できることを例示した。   Further, in the above embodiment, the subject ID, the imaging region, and the like are acquired from the imaging order data registered in the RIS 100 by the chemical injection device 400, so that the operator needs to input the subject ID and the like to the chemical injection device 400. In addition, it is illustrated that it is possible to prevent the erroneous input.

しかし、上述の被験者IDや撮像部位などの一部ないし全部が薬液注入装置400に入力操作されてもよい。また、透視撮像システム1000が、少なくとも被験者IDが記録されているRFIDチップが搭載されている被験者ごとの被験者管理媒体(図示せず)を有し、薬液注入装置400が、被験者管理媒体のRFIDチップから被験者IDを取得してもよい。   However, some or all of the above-described subject ID, imaging region, and the like may be input to the chemical injection device 400. Further, the fluoroscopic imaging system 1000 has a subject management medium (not shown) for each subject on which at least an RFID chip in which a subject ID is recorded is mounted, and the liquid injector 400 is an RFID chip as the subject management medium. Subject ID may be acquired from.

上述のような被験者管理媒体は、例えば、RFIDチップが搭載されているカルテファイル、被験者の腕部に装着される管理腕章、等として実現することができる(図示せず)。   The subject management medium as described above can be realized, for example, as a medical record file in which an RFID chip is mounted, a management armband attached to the subject's arm, or the like (not shown).

この場合、やはり作業者による被験者IDの入力操作を無用とすることができ、その誤入力も防止することができる。さらに、このような被験者管理媒体のRFIDチップに撮像部位や体重などの注入制御データも登録しておき、これを薬液注入装置400に取得させて注入制御データの自動調整に利用させてもよい。   In this case, the operator's input operation of the subject ID can be made unnecessary, and erroneous input can be prevented. Furthermore, injection control data such as an imaging region and a body weight may be registered in the RFID chip of such a subject management medium, and this may be acquired by the drug solution injector 400 and used for automatic adjustment of the injection control data.

また、上記形態ではRIS100の撮像オーダデータの注入制御データを薬液注入装置400が注入直前にも取得して確認することにより、撮像オーダデータの変更などに対処できることを例示した。   Further, in the above-described embodiment, it is exemplified that the change in the imaging order data can be dealt with by the chemical injection device 400 acquiring and checking the injection control data of the imaging order data of the RIS 100 immediately before the injection.

しかし、薬液注入装置400が、RIS100の撮像オーダデータから取得した被験者IDと、被験者管理媒体のRFIDチップから取得した被験者IDと、の一致も確認し、その一致が確認されるまでシリンジ駆動機構412の動作制御を禁止してもよく、一致が確認されないと所定の確認警告を報知出力してもよい。   However, the drug injection device 400 also confirms a match between the subject ID acquired from the imaging order data of the RIS 100 and the subject ID acquired from the RFID chip of the subject management medium, and the syringe drive mechanism 412 until the match is confirmed. The operation control may be prohibited, and if a match is not confirmed, a predetermined confirmation warning may be output.

さらに、上記形態では薬液注入装置400が薬液シリンジ800から取得した薬液条件データを、注入確認要否の判定と注入制御データの設定とに利用することのみ例示した。   Furthermore, in the said form, only the chemical | medical solution condition data which the chemical | medical solution injection device 400 acquired from the chemical | medical solution syringe 800 was utilized for determination of the necessity of injection | pouring confirmation, and the setting of injection control data.

しかし、上述のように薬液注入装置400が薬液シリンジ800から取得した薬液条件データをHIS900に送信してもよい。このHIS900は、一般的に撮像作業ごとに会計処理を実行する。そこで、HIS900は、実際に被験者に注入された薬液の薬液条件データを取得できれば、上述の会計処理を簡単かつ迅速に実行することができる。   However, the chemical solution condition data acquired from the chemical syringe 800 by the chemical injection device 400 as described above may be transmitted to the HIS 900. The HIS 900 generally performs accounting processing for each imaging operation. Thus, if the HIS 900 can acquire the chemical condition data of the chemical actually injected into the subject, the above-described accounting process can be executed easily and quickly.

さらに、上記形態では薬液注入装置400が提供する被験者ID等に該当する複数の注入制御データがPACS300に登録されていた場合、その複数の注入制御データがPACS300から薬液注入装置400に送信され、この薬液注入装置400で最新の一つの注入制御データが選択されることを例示した。   Further, in the above embodiment, when a plurality of injection control data corresponding to the subject ID provided by the drug solution injection device 400 is registered in the PACS 300, the plurality of injection control data is transmitted from the PACS 300 to the drug solution injection device 400. An example in which the latest one injection control data is selected by the chemical injection device 400 is illustrated.

しかし、PACS300で最新の一つの注入制御データが選択されて薬液注入装置400に送信されてもよい。この場合、PACS300に専用の処理動作が必要となるが、送信データの容量を削減して輻輳を防止することができる。   However, the latest one injection control data may be selected by the PACS 300 and transmitted to the drug solution injector 400. In this case, a dedicated processing operation is required for the PACS 300, but congestion can be prevented by reducing the transmission data capacity.

また、PACS300から送信された複数の注入制御データが薬液注入装置400で一覧表示され、その一覧表示された注入制御データの一つが選択操作されてもよい。この場合、作業者が所望により最適な注入制御データを選択することができる。さらに、PACS300から送信された複数の注入制御データから、例えば、体重が最も近いなどの所定条件に対応して薬液注入装置400が一つを選択してもよい。   Further, a plurality of injection control data transmitted from the PACS 300 may be displayed in a list by the chemical solution injection device 400, and one of the injection control data displayed in the list may be selected. In this case, the operator can select optimal injection control data as desired. Furthermore, from a plurality of injection control data transmitted from the PACS 300, the chemical solution injection device 400 may select one corresponding to a predetermined condition such as the closest weight.

また、上記形態ではRIS100で管理されている撮像オーダデータの全部が制御ボックス500に取得され、この制御ボックス500から薬液注入装置400に撮像オーダデータの一部が注入制御データとして取得されることを例示した。しかし、撮像オーダデータの全部が注入制御データとして薬液注入装置400に取得されてもよい。   In the above embodiment, all of the imaging order data managed by the RIS 100 is acquired in the control box 500, and a part of the imaging order data is acquired as injection control data from the control box 500 to the liquid injector 400. Illustrated. However, all of the imaging order data may be acquired by the chemical liquid injector 400 as injection control data.

さらに、上記形態ではRIS100がプッシュ型であり、制御ボックス500が適正な撮像オーダデータをタイミングにより取得することを例示した。しかし、RIS100がプル型であってもよい。   Furthermore, in the said form, RIS100 was a push type | mold and it illustrated that the control box 500 acquires appropriate imaging order data by a timing. However, the RIS 100 may be a pull type.

その場合、CTスキャナ200は、撮像オーダデータの取得要求を少なくとも一つのオーダ検索キーとともにRIS100に送信する。すると、RIS100は、CTスキャナ200から受信した取得要求とオーダ検索キーとに対応して複数の撮像オーダデータから一つを選定して返信する。   In that case, the CT scanner 200 transmits an imaging order data acquisition request to the RIS 100 together with at least one order search key. Then, the RIS 100 selects and returns one of the plurality of imaging order data corresponding to the acquisition request and the order search key received from the CT scanner 200.

そして、制御ボックス500は、薬液注入装置400から受信する撮像オーダデータの取得要求をRIS100に送信する。すると、RIS100は、制御ボックス500から受信した取得要求に対応して選定されている一つの撮像オーダデータを返信する。   And the control box 500 transmits the acquisition request of the imaging order data received from the chemical injection device 400 to the RIS 100. Then, the RIS 100 returns one imaging order data selected corresponding to the acquisition request received from the control box 500.

または、RIS100は、CTスキャナ200から受信した取得要求に対応して複数の撮像オーダデータを返信する。この場合、CTスキャナ200は、返信された複数の撮像オーダデータから一つが選定される操作を受け付け、選定された撮像オーダデータをRIS100に通知する。   Alternatively, the RIS 100 returns a plurality of imaging order data in response to the acquisition request received from the CT scanner 200. In this case, the CT scanner 200 receives an operation for selecting one of the returned plurality of imaging order data, and notifies the RIS 100 of the selected imaging order data.

または、RIS100は、CTスキャナ200から受信した取得要求とオーダ検索キーとに対応して複数の撮像オーダデータから一部を検索して返信する。CTスキャナ200は、返信された撮像オーダデータから一つが選定される操作を受け付け、選定された撮像オーダデータをRIS100に通知する。   Alternatively, the RIS 100 searches for a part from a plurality of imaging order data in response to the acquisition request received from the CT scanner 200 and the order search key, and sends back a part. The CT scanner 200 accepts an operation for selecting one of the returned imaging order data, and notifies the RIS 100 of the selected imaging order data.

そこで、制御ボックス500が、撮像オーダデータの取得要求をRIS100に転送すると、RIS100は、制御ボックス500から受信した取得要求に対応してCTスキャナ200から通知されている一つの撮像オーダデータを返信する。   Therefore, when the control box 500 transfers the acquisition request for the imaging order data to the RIS 100, the RIS 100 returns one imaging order data notified from the CT scanner 200 in response to the acquisition request received from the control box 500. .

上述のようにすることで、RIS100がプル型であっても、制御ボックス500が適正な撮像オーダデータを取得して撮像作業IDなどを注入履歴データに付与することができる。   By doing as described above, even when the RIS 100 is a pull type, the control box 500 can acquire appropriate imaging order data, and can give imaging work ID and the like to the injection history data.

さらに、上記形態では制御ボックス500がRIS100から撮像オーダデータを取得することを例示した。しかし、RIS100とCTスキャナ200とが制御ボックス500を経由して接続されており、RIS100からCTスキャナ200まで送信される撮像オーダデータを制御ボックス500が取得してもよい。   Furthermore, in the said form, it illustrated that the control box 500 acquires imaging order data from RIS100. However, the RIS 100 and the CT scanner 200 may be connected via the control box 500, and the control box 500 may acquire imaging order data transmitted from the RIS 100 to the CT scanner 200.

また、制御ボックス500がRIS100に接続されることなくCTスキャナ200に接続されており、このCTスキャナ200から制御ボックス500が撮像オーダデータを取得してもよい。   Further, the control box 500 may be connected to the CT scanner 200 without being connected to the RIS 100, and the control box 500 may acquire imaging order data from the CT scanner 200.

その場合、例えば、制御ボックス500が、薬液注入装置400から受信する取得要求をCTスキャナ200に転送し、CTスキャナ200が、制御ボックス500から受信した取得要求に対応して撮像オーダデータを返信すればよい。   In this case, for example, the control box 500 transfers an acquisition request received from the chemical solution injector 400 to the CT scanner 200, and the CT scanner 200 returns imaging order data in response to the acquisition request received from the control box 500. That's fine.

または、CTスキャナ200が、プル型のRIS100から返信された複数の撮像オーダデータから一つが選定される操作を受け付け、その選定された撮像オーダデータを制御ボックス500に転送してもよい。   Alternatively, the CT scanner 200 may accept an operation for selecting one of a plurality of imaging order data returned from the pull-type RIS 100 and transfer the selected imaging order data to the control box 500.

さらに、制御ボックス500がRIS100とCTスキャナ200とに接続されており、最初の撮像オーダデータはRIS100から取得され、確認の撮像オーダデータはCTスキャナ200から取得されてもよい。   Further, the control box 500 may be connected to the RIS 100 and the CT scanner 200, the first imaging order data may be acquired from the RIS 100, and the confirmation imaging order data may be acquired from the CT scanner 200.

さらに、上記形態では薬液注入装置400で生成された注入履歴データや注入制御データがCTスキャナ200で生成された透視画像データとともにPACS300に保存されることを例示した。   Further, in the above embodiment, the injection history data and injection control data generated by the chemical solution injection device 400 are stored in the PACS 300 together with the fluoroscopic image data generated by the CT scanner 200.

しかし、薬液注入装置400から制御ボックス500を経由してRIS100に注入履歴データや注入制御データを送信し、この注入履歴データや注入制御データをRIS100に保存させてもよい。   However, the injection history data and the injection control data may be transmitted from the chemical injection device 400 to the RIS 100 via the control box 500, and the injection history data and the injection control data may be stored in the RIS 100.

この場合、RIS100では、撮像オーダデータと注入履歴データや注入制御データを作業IDなどで関連させて管理することができる。この場合でも、PACS300に登録されている透視画像データにも撮像オーダデータの作業IDが付与されているので、やはり透視画像データと注入履歴データや注入制御データを関連させることができる。なお、薬液注入装置400から確認履歴データが制御ボックス500を経由してRIS100に送信され、この確認履歴データをRIS100に保存させてもよい。   In this case, the RIS 100 can manage the imaging order data, the injection history data, and the injection control data in association with the work ID. Even in this case, the fluoroscopic image data registered in the PACS 300 is also given the work ID of the imaging order data, so that the fluoroscopic image data can be associated with the injection history data and the injection control data. Note that confirmation history data may be transmitted from the chemical solution injector 400 to the RIS 100 via the control box 500, and the confirmation history data may be stored in the RIS 100.

さらに、上記形態では撮像オーダデータの全部が透視画像データに付与されてPACS300に保存されることを例示した。しかし、撮像オーダデータの撮像作業IDのみが透視画像データに付与されてもよい。   Further, in the above embodiment, the entire imaging order data is given to the fluoroscopic image data and stored in the PACS 300. However, only the imaging work ID of the imaging order data may be assigned to the fluoroscopic image data.

この場合でも、撮像作業IDにより透視画像データと注入履歴データや注入制御データを関連付けることができ、撮像オーダデータは撮像作業IDによりRIS100から読み出すことができる。   Even in this case, the fluoroscopic image data can be associated with the injection history data and the injection control data by the imaging work ID, and the imaging order data can be read from the RIS 100 by the imaging work ID.

また、撮像オーダデータの撮像作業IDのみ透視画像データに付与し、撮像オーダデータの全部を注入履歴データや注入制御データに付与してもよく、撮像オーダデータを透視画像データと注入履歴データや注入制御データとに振り分けて付与してもよい。さらに、薬液注入装置400のタッチパネル403の表示画像の全体を注入履歴データに内包させてもよい。   Further, only the imaging work ID of the imaging order data may be attached to the fluoroscopic image data, and the entire imaging order data may be added to the injection history data or the injection control data. The imaging order data is transmitted to the fluoroscopic image data, the injection history data, or the injection. It may be assigned to control data. Furthermore, the entire display image on the touch panel 403 of the chemical liquid injector 400 may be included in the injection history data.

また、上記形態では薬液注入装置400に注入制御データが設定されることのみ例示した。しかし、その注入制御データが薬液注入装置400から制御ボックス500に通知されてもよく、その注入制御データが制御ボックス500からRIS100に通知されてもよい。この場合、注入制御データをRIS100からCTスキャナ200に撮像オーダデータなどとともに通知することができる。   Moreover, in the said form, it illustrated only that injection | pouring control data was set to the chemical | medical solution injection apparatus 400. FIG. However, the injection control data may be notified from the chemical injection device 400 to the control box 500, and the injection control data may be notified from the control box 500 to the RIS 100. In this case, the injection control data can be notified from the RIS 100 to the CT scanner 200 together with the imaging order data.

従って、CTスキャナ200を操作する作業者が注入制御データを参照することができるので、注入制御データにより撮像動作を調整するようなことができる。また、CTスキャナ200の撮像制御ユニット210が取得した注入制御データに基づいて撮像動作を自動調整することも不可能ではない。   Therefore, since the operator who operates the CT scanner 200 can refer to the injection control data, the imaging operation can be adjusted based on the injection control data. It is not impossible to automatically adjust the imaging operation based on the injection control data acquired by the imaging control unit 210 of the CT scanner 200.

また、上記形態では薬液注入装置400で注入履歴データを完成してから制御ボックス500に送信することを例示した。しかし、薬液注入装置400が注入履歴データを制御ボックス500に分散して送信し、制御ボックス500で注入履歴データを完成してもよい。   Moreover, in the said form, after completing injection | pouring log | history data with the chemical | medical solution injection apparatus 400, transmitting to the control box 500 was illustrated. However, the chemical injection device 400 may distribute the injection history data to the control box 500 and transmit it, and the control box 500 may complete the injection history data.

より具体的には、薬液注入装置400が注入開始とともに注入制御データや開始日時などを制御ボックス500に送信し、注入過程で注入速度などを逐次送信し、注入終了とともに終了日時などを送信する。この場合、制御ボックス500が注入開始から注入終了まで蓄積した各種データから注入履歴データを完成して出力することができる。   More specifically, the chemical solution injection device 400 transmits injection control data, start date and time, etc. to the control box 500 at the start of injection, sequentially transmits the injection speed and the like in the injection process, and transmits end date, etc. at the end of injection. In this case, the injection history data can be completed and output from various data accumulated by the control box 500 from the start of injection to the end of injection.

さらに、上記形態では薬液注入装置400が注入確認要否の判定結果を注入履歴データとともにPACS300に送信して保存させることのみ例示した。しかし、薬液注入装置400が注入確認要否の判定結果をRIS100に返信して撮像オーダデータとともに保存させることや、HIS900まで送信させて電子カルテに記録させることもできる(図示せず)。   Furthermore, in the said form, only the chemical | medical solution injection | pouring apparatus 400 transmitted to the PACS300 with the injection | pouring log | history data and the determination result of injection | pouring confirmation necessity was illustrated. However, the medicinal solution injection device 400 can return the determination result of whether or not the injection confirmation is necessary to the RIS 100 and store it together with the imaging order data, or transmit it to the HIS 900 and record it in the electronic medical chart (not shown).

また、上記形態では薬液注入装置400が撮像オーダデータの個人条件データに基づいて警告必要を判定すると確認警告を報知出力することを例示した。しかし、薬液注入装置が、薬液注入による被験者の異常発生の入力操作を受け付ける異常入力部と、少なくとも入力操作された異常発生をHIS900に送信して電子カルテに反映させるデータ出力部とを、さらに有してもよい(図示せず)。その場合、データ出力部は、HIS900に注入確認要否の判定条件となる所定データを個人条件データに記録させてもよい。   Moreover, in the said form, when the chemical | medical solution injection device 400 determined the warning necessity based on the personal condition data of imaging order data, it illustrated outputting a confirmation warning. However, the chemical injection device further includes an abnormality input unit that accepts an input operation of an abnormality occurrence of the subject due to the chemical injection, and a data output unit that transmits at least the abnormality occurrence that has been input to the HIS 900 and reflects it in the electronic medical record. It may be done (not shown). In this case, the data output unit may cause the HIS 900 to record predetermined data that is a condition for determining whether or not injection confirmation is necessary, in the personal condition data.

例えば、当然ながら初診の被験者の場合には個人条件データにアレルギ体質などが記録されていないので、アレルギ体質でも警告必要が判定されないことになる。このような状態で薬液注入により被験者に副作用などの異常が発生した場合には、薬液注入装置に異常発生が入力操作される。   For example, of course, in the case of a subject who has first visited, since the allergic constitution is not recorded in the personal condition data, the necessity of warning is not determined even in the allergic constitution. In such a state, when an abnormality such as a side effect occurs in the subject due to the injection of the chemical solution, the occurrence of the abnormality is input to the chemical injection device.

すると、これに対応して電子カルテの個人条件データに警告必要などが記録される。従って、次回の透視撮像のときには、その撮像オーダデータには警告必要が設定されるので、薬液注入装置400が確認警告を報知出力することになる。   Then, in response to this, a warning need is recorded in the personal condition data of the electronic medical record. Therefore, when the next fluoroscopic imaging is performed, a warning need is set for the imaging order data, so that the liquid injector 400 outputs a confirmation warning.

なお、上述のような注入確認要否の判定条件となる所定データとしては、前述のように、薬液IDからなる不適ID、薬液成分からなる不適成分、化学分類からなる不適分類、等も利用できる。   Note that, as described above, as the predetermined data serving as the determination condition of whether or not the injection confirmation is necessary, as described above, the inappropriate ID composed of the chemical solution ID, the inappropriate component composed of the chemical component, the inappropriate classification composed of the chemical classification, and the like can be used. .

また、上記形態では各種装置100〜600,900が改竄困難なDICOM形式で各種データを相互通信することにより、確認履歴データや注入履歴データなどの証拠能力が高いことを例示した。しかし、薬液注入装置400が確認履歴データや注入履歴データをPDF(Portable Document Format)などの改竄困難なデータフォーマットで生成してもよい。   Moreover, in the said form, various apparatuses 100-600,900 illustrated that the evidence capability, such as confirmation log | history data and injection | pouring log | history data, is high by mutually communicating various data in the DICOM format which is hard to falsify. However, the chemical injection device 400 may generate the confirmation history data and the injection history data in a data format that is difficult to falsify, such as PDF (Portable Document Format).

同様に、制御ボックス500が薬液注入装置400からJPEG(Joint Photographic Coding Experts Group)形式で受信した確認履歴データや注入履歴データをPDF形式に変換してもよい。さらに、薬液注入装置400や制御ボックス500が、いわゆるインターネットに接続されており、電子署名を取得して確認履歴データや注入履歴データに付与してもよい。   Similarly, the confirmation history data and the injection history data received by the control box 500 from the chemical injection device 400 in the JPEG (Joint Photographic Coding Experts Group) format may be converted into the PDF format. Furthermore, the chemical solution injection device 400 and the control box 500 are connected to a so-called Internet, and an electronic signature may be acquired and added to the confirmation history data and the injection history data.

また、上記形態では透視撮像装置としてCTスキャナ200を使用し、薬液注入装置400が薬液としてCT用の造影剤を注入することを例示した。しかし、透視撮像装置がMRIやPET装置や超音波診断装置などからなり、それ用の造影剤などを薬液注入装置が注入してもよい。   Moreover, in the said form, CT scanner 200 was used as a fluoroscopic imaging device, and it illustrated that the chemical | medical solution injection device 400 inject | poured the contrast agent for CT as a chemical | medical solution. However, the fluoroscopic imaging apparatus may be composed of an MRI, PET apparatus, ultrasonic diagnostic apparatus, or the like, and the chemical solution injection apparatus may inject a contrast agent for the apparatus.

さらに、上記形態ではCTスキャナ200と薬液注入装置400とが個々にスタンドアロンで動作することを例示した。しかし、CTスキャナ200と薬液注入装置400とがデータ通信により各種の動作を連動させてもよい。   Furthermore, in the said form, it illustrated that CT scanner 200 and the chemical | medical solution injection device 400 operate | move stand-alone individually. However, the CT scanner 200 and the chemical solution injector 400 may link various operations through data communication.

また、上記形態では説明を簡単とするため、透視撮像システム1000の各部が各々一個であることを例示した。しかし、大規模な病院などでは、複数の透視撮像システム1000の各々がRIS100とCTスキャナ200と薬液注入装置400と制御ボックス500とを一個ずつ有し、その複数の透視撮像システム1000がPACS300と画像閲覧装置600とを共有する構造でよい(図示せず)。ただし、このような場合でも、RIS100やPACS300や画像閲覧装置600などのハードウェアは並列に接続された複数であってよい(図示せず)。   Moreover, in order to simplify description in the said form, it illustrated that each part of the fluoroscopic imaging system 1000 was one each. However, in a large-scale hospital or the like, each of the plurality of fluoroscopic imaging systems 1000 includes the RIS 100, the CT scanner 200, the chemical injection device 400, and the control box 500, and the plurality of fluoroscopic imaging systems 1000 includes the PACS 300 and the image. A structure sharing the browsing device 600 may be used (not shown). However, even in such a case, a plurality of hardware such as the RIS 100, the PACS 300, and the image browsing apparatus 600 may be connected in parallel (not shown).

さらに、上記形態では一個のPACS300で透視画像データと注入履歴データや注入制御データや確認履歴データが保存されることを例示した。しかし、透視画像データと注入履歴データと注入制御データと確認履歴データとを保存するハードウェアが別個に形成されていて通信ネットワークで接続されていてもよい。   Further, in the above embodiment, the fluoroscopic image data, the injection history data, the injection control data, and the confirmation history data are stored in one PACS 300. However, hardware for storing the fluoroscopic image data, the injection history data, the injection control data, and the confirmation history data may be separately formed and connected via a communication network.

また、上記形態では、RIS100、CTスキャナ200、PACS300、薬液注入装置400、制御ボックス500、画像閲覧装置600、HIS900、が別体に形成されていて通信ネットワーク700〜706により接続されていることを例示した。   Moreover, in the said form, RIS100, CT scanner 200, PACS300, the chemical | medical solution injection apparatus 400, the control box 500, the image browsing apparatus 600, HIS900 are formed separately, and it is connected by the communication networks 700-706. Illustrated.

しかし、上述のような各種装置100〜600,900が各種の組み合わせで一体に形成されていてもよい。例えば、薬液注入装置400の注入制御ユニット401と制御ボックス500が一体に形成されていること、これにRIS100やPACS300が一体に形成されていること、PACS300と画像閲覧装置600とが一体に形成されていること、等も可能である。   However, the various devices 100 to 600, 900 as described above may be integrally formed by various combinations. For example, the injection control unit 401 and the control box 500 of the chemical liquid injector 400 are integrally formed, the RIS 100 and the PACS 300 are integrally formed thereon, and the PACS 300 and the image browsing device 600 are integrally formed. It is also possible.

また、制御ボックス500に、RIS100やPACS300が一体に形成されていること、制御ボックス500とPACS300と画像閲覧装置600とが一体に形成されていること、等も可能である。   It is also possible that the RIS 100 and the PACS 300 are integrally formed in the control box 500, the control box 500, the PACS 300, and the image browsing apparatus 600 are integrally formed.

さらに、CTスキャナ200の撮像制御ユニット210とRIS100と制御ボックス500とが一体に形成されていること、CTスキャナ200の撮像制御ユニット210とPACS300と制御ボックス500とが一体に形成されていること、これに画像閲覧装置600が一体に形成されていること、等も可能である。   Furthermore, the imaging control unit 210, the RIS 100, and the control box 500 of the CT scanner 200 are integrally formed, and the imaging control unit 210, the PACS 300, and the control box 500 of the CT scanner 200 are integrally formed. It is also possible for the image browsing apparatus 600 to be formed integrally therewith.

また、画像閲覧装置600とPACS300とが一体に形成されていること、これに制御ボックス500やCTスキャナ200の撮像制御ユニット210が一体に形成されていること、等も可能である。   In addition, the image browsing apparatus 600 and the PACS 300 can be integrally formed, and the control box 500 and the imaging control unit 210 of the CT scanner 200 can be integrally formed.

さらに、上記形態ではコンピュータプログラムに対応してコンピュータ装置が動作することにより、各種装置100〜600,900の各部が各種機能として論理的に実現されることを例示した。   Furthermore, in the above-described embodiment, it is exemplified that each unit of the various apparatuses 100 to 600 and 900 is logically realized as various functions by the operation of the computer apparatus corresponding to the computer program.

しかし、その各部の各々を固有のハードウェアとして形成することも可能であり、一部をソフトウェアとして形成するとともに一部をハードウェアとして形成することも可能である。   However, each of the units can be formed as unique hardware, and a part can be formed as software and a part can be formed as hardware.

なお、当然ながら、上述した実施の形態および複数の変形例は、その内容が相反しない範囲で組み合わせることができる。また、上述した実施の形態および変形例では、各部の構造などを具体的に説明したが、その構造などは本願発明の機能を満足する範囲で各種に変更することができる。
<付記>
<発明1>
透視画像データが撮像される被験者に注入される薬液が充填されている薬液シリンジと、前記薬液シリンジを駆動して前記被験者に前記薬液を注入する薬液注入装置と、撮像された前記透視画像データを保存するデータ保存装置と、を有する透視撮像システムであって、
前記薬液注入装置は、装填された前記薬液シリンジを駆動して前記薬液の注入を実行するシリンジ駆動機構と、設定される注入制御データにより前記シリンジ駆動機構を動作制御する注入制御部と、前記注入制御データによる前記シリンジ駆動機構の動作履歴からなる注入履歴データを生成する履歴生成部と、生成された前記注入履歴データを前記データ保存装置に送信して前記透視画像データとともに保存させるデータ出力部と、を有し、
前記薬液シリンジと同様に前記薬液注入装置に装填されて駆動される動作確認装置を有し、前記動作確認装置は前記薬液注入装置の動作確認条件を示す確認条件データが記録されており、
前記薬液注入装置は、前記シリンジ駆動機構に装填された前記動作確認装置から前記確認条件データを取得するデータ取得部と、取得された前記確認条件データの少なくとも一部を前記注入制御データの少なくとも一部として設定する制御設定部とを、さらに有し、前記履歴生成部は、前記確認条件データで設定された前記注入制御データによる前記動作履歴からなる確認履歴データを生成し、前記データ出力部は、生成された前記確認履歴データを前記データ保存装置に送信して保存させる透視撮像システム。
<発明2>
前記薬液シリンジは、収容されている前記薬液に関連した薬液条件データが記録されており、
前記データ取得部は、前記薬液シリンジから前記薬液条件データを取得し、
前記制御設定部は、取得された前記薬液条件データの少なくとも一部を前記注入制御データの少なくとも一部として設定する発明1に記載の透視撮像システム。
<発明3>
前記動作確認装置は、前記確認条件データが記録されているRFID(Radio Frequency Identification)チップが搭載されており、
前記薬液シリンジは、前記薬液条件データが記録されているRFIDチップが搭載されており、
前記データ取得部は、前記動作確認装置の前記RFIDチップから前記確認条件データを取得するとともに前記薬液シリンジの前記RFIDチップから前記薬液条件データを取得するRFIDリーダを有する発明2に記載の透視撮像システム。
<発明4>
前記薬液シリンジは、シリンダ部材にピストン部材がスライド自在に挿入されており、
前記シリンジ駆動機構は、前記シリンダ部材を保持して前記ピストン部材をスライド移動させ、
前記動作確認装置は、前記シリンダ部材と同様に前記薬液注入装置に保持されるダミー本体部材と、前記ピストン部材と同様に前記薬液注入装置にスライド移動されるダミースライド部材と、前記ダミー本体部材を保持した前記薬液注入装置が前記ダミースライド部材をスライド移動させるときに前記薬液シリンジで前記薬液が注入されるときと同等な移動抵抗を発生させるダミー抵抗機構と、を有する発明1ないし3の何れかに記載の透視撮像システム。
<発明5>
前記薬液シリンジは、前記移動抵抗が相違する複数種類があり、
前記動作確認装置は、複数種類の前記薬液シリンジと同等な前記移動抵抗を発生する複数種類があり、自身の種類と対応する前記薬液シリンジの種類と前記移動抵抗との少なくとも一つが前記確認条件データに記録されている発明1ないし4の何れかに記載の透視撮像システム。
<発明6>
前記被験者から前記透視画像データを撮像する撮像作業ごとの撮像オーダデータを保持する撮像管理装置を、さらに有し、
前記薬液注入装置は、前記動作制御の開始以前に前記撮像管理装置から前記撮像オーダデータの少なくとも一部を取得するデータ入力部を、さらに有し、前記制御設定部は、取得された前記撮像オーダデータの少なくとも一部を前記注入制御データの少なくとも一部として設定する発明1ないし5の何れかに記載の透視撮像システム。
<発明7>
前記被験者から前記透視画像データを撮像する撮像作業ごとの撮像オーダデータを保持する撮像管理装置を、さらに有し、
前記薬液注入装置は、前記動作制御の開始以前に前記撮像管理装置から前記撮像オーダデータの少なくとも一部を取得するデータ入力部を、さらに有し、前記制御設定部は、取得された前記撮像オーダデータの少なくとも一部を前記注入制御データの少なくとも一部として設定し、
前記制御設定部は、前記注入制御データに前記撮像オーダデータと前記薬液条件データとの一方が設定されている場合は他方も設定されていないと前記動作制御を実行せず、前記注入制御データが前記確認条件データで設定されている場合は前記撮像オーダデータの設定に関係なく前記動作制御を実行する発明2に記載の透視撮像システム。
<発明8>
少なくとも前記薬液注入装置と前記データ保存装置とのデータ通信を仲介するデータ制御装置を、さらに有し、
前記データ制御装置は、前記薬液注入装置から前記注入履歴データと前記確認履歴データとを受信して前記データ保存装置に送信する発明1ないし7の何れかに記載の透視撮像システム。
<発明9>
少なくとも前記撮像管理装置と前記薬液注入装置とのデータ通信を仲介するデータ制御装置を、さらに有し、
前記データ制御装置は、前記撮像管理装置から前記撮像オーダデータを受信して前記薬液注入装置に送信する発明6または7に記載の透視撮像システム。
<発明10>
前記薬液注入装置は、前記注入制御データの取得要求の入力操作を受け付け、入力操作された前記取得要求を前記データ制御装置に送信し、
前記データ制御装置は、受信した前記取得要求に対応して前記撮像オーダデータの少なくとも一部を前記撮像管理装置から取得し、取得した前記撮像オーダデータの少なくとも一部を前記薬液注入装置に返信し、
前記注入設定部は、前記取得要求に対応して前記データ制御装置から返信された前記撮像オーダデータの少なくとも一部を前記注入制御データの少なくとも一部として前記注入制御部に設定する発明9に記載の透視撮像システム。
<発明11>
発明1に記載の透視撮像システムの動作確認装置であって、
前記薬液注入装置の動作確認条件を示す確認条件データが記録されており、
前記薬液シリンジと同様に前記薬液注入装置に装填されて駆動される動作確認装置。
<発明12>
前記確認条件データが記録されているRFIDチップが搭載されている発明11に記載の動作確認装置。
<発明13>
前記薬液シリンジは、シリンダ部材にピストン部材がスライド自在に挿入されており、
前記シリンジ駆動機構は、前記シリンダ部材を保持して前記ピストン部材をスライド移動させ、
前記シリンダ部材と同様に前記薬液注入装置に保持されるダミー本体部材と、
前記ピストン部材と同様に前記薬液注入装置にスライド移動されるダミースライド部材と、
前記ダミー本体部材を保持した前記薬液注入装置が前記ダミースライド部材をスライド移動させるときに前記薬液シリンジで前記薬液が注入されるときと同等な移動抵抗を発生させるダミー抵抗機構と、
を有する発明11または12に記載の動作確認装置。
<発明14>
発明1に記載の透視撮像システムの薬液注入装置であって、
設定される注入制御データにより前記シリンジ駆動機構を動作制御する注入制御部と、
前記注入制御データによる前記シリンジ駆動機構の動作履歴からなる注入履歴データを生成する履歴生成部と、
生成された前記注入履歴データを前記データ保存装置に送信して前記透視画像データとともに保存させるデータ出力部と、
前記シリンジ駆動機構に装填された前記動作確認装置から前記確認条件データを取得するデータ取得部と、
取得された前記確認条件データの少なくとも一部を前記注入制御データの少なくとも一部として設定する制御設定部と、を有し、
前記履歴生成部は、前記確認条件データで設定された前記注入制御データによる前記動作履歴からなる確認履歴データを生成し、
前記データ出力部は、生成された前記確認履歴データを前記データ保存装置に送信して保存させる薬液注入装置。
<発明15>
発明14に記載の薬液注入装置のためのコンピュータプログラムであって、
設定される注入制御データにより前記シリンジ駆動機構を動作制御する注入制御処理と、
前記注入制御データによる前記シリンジ駆動機構の動作履歴からなる注入履歴データを生成する履歴生成処理と、
生成された前記注入履歴データを前記データ保存装置に送信して前記透視画像データとともに保存させるデータ出力処理と、
前記シリンジ駆動機構に装填された前記動作確認装置から前記確認条件データを取得するデータ取得処理と、
取得された前記確認条件データの少なくとも一部を前記注入制御データの少なくとも一部として設定する制御設定処理と、を有し、
前記履歴生成処理では、前記確認条件データで設定された前記注入制御データによる前記動作履歴からなる確認履歴データも生成され、
前記データ出力処理では、生成された前記確認履歴データも前記データ保存装置に送信して保存させるコンピュータプログラム。
<発明16>
発明14に記載の薬液注入装置のデータ処理方法であって、
設定される注入制御データにより前記シリンジ駆動機構を動作制御する注入制御工程と、
前記注入制御データによる前記シリンジ駆動機構の動作履歴からなる注入履歴データを生成する履歴生成工程と、
生成された前記注入履歴データを前記データ保存装置に送信して前記透視画像データとともに保存させるデータ出力工程と、
前記シリンジ駆動機構に装填された前記動作確認装置から前記確認条件データを取得するデータ取得工程と、
取得された前記確認条件データの少なくとも一部を前記注入制御データの少なくとも一部として設定する制御設定工程と、を有し、
前記履歴生成工程では、前記確認条件データで設定された前記注入制御データによる前記動作履歴からなる確認履歴データも生成され、
前記データ出力工程では、生成された前記確認履歴データも前記データ保存装置に送信して保存させるデータ処理方法。
Needless to say, the above-described embodiment and a plurality of modifications can be combined within a range in which the contents do not conflict with each other. In the above-described embodiments and modifications, the structure of each part has been specifically described. However, the structure and the like can be variously changed within a range that satisfies the functions of the present invention.
<Appendix>
<Invention 1>
A liquid syringe filled with a liquid medicine to be injected into a subject whose fluoroscopic image data is imaged, a liquid injector for driving the liquid syringe and injecting the liquid medicine into the subject, and the imaged fluoroscopic image data A fluoroscopic imaging system having a data storage device to store,
The chemical injection device includes a syringe drive mechanism that drives the loaded chemical syringe to execute injection of the chemical solution, an injection control unit that controls the operation of the syringe drive mechanism based on set injection control data, and the injection A history generation unit that generates injection history data including an operation history of the syringe drive mechanism based on control data; a data output unit that transmits the generated injection history data to the data storage device and stores the injection history data together with the fluoroscopic image data; Have
Like the chemical syringe, it has an operation confirmation device that is loaded and driven in the chemical injection device, and the operation confirmation device is recorded with confirmation condition data indicating an operation confirmation condition of the chemical injection device,
The chemical solution injection device includes a data acquisition unit that acquires the confirmation condition data from the operation confirmation device loaded in the syringe drive mechanism, and at least a part of the acquired confirmation condition data as at least one of the injection control data. A control setting unit configured as a unit, the history generation unit generates confirmation history data including the operation history based on the injection control data set in the confirmation condition data, and the data output unit A fluoroscopic imaging system that transmits the generated confirmation history data to the data storage device and stores the data.
<Invention 2>
The chemical syringe is recorded with chemical solution condition data related to the contained chemical solution,
The data acquisition unit acquires the chemical condition data from the chemical syringe,
The fluoroscopic imaging system according to claim 1, wherein the control setting unit sets at least a part of the acquired chemical solution condition data as at least a part of the injection control data.
<Invention 3>
The operation check device is equipped with an RFID (Radio Frequency Identification) chip in which the check condition data is recorded,
The chemical syringe is equipped with an RFID chip in which the chemical condition data is recorded,
The fluoroscopic imaging system according to claim 2, wherein the data acquisition unit includes an RFID reader that acquires the confirmation condition data from the RFID chip of the operation confirmation device and acquires the chemical condition data from the RFID chip of the chemical syringe. .
<Invention 4>
In the chemical syringe, a piston member is slidably inserted in a cylinder member,
The syringe drive mechanism holds the cylinder member and slides the piston member,
The operation check device includes a dummy main body member held by the chemical liquid injector as in the cylinder member, a dummy slide member slidably moved by the chemical liquid injector as in the piston member, and the dummy main body member. Any one of inventions 1 to 3, further comprising: a dummy resistance mechanism that generates a movement resistance equivalent to that when the chemical solution is injected by the chemical solution syringe when the held chemical solution injection device slides the dummy slide member. The fluoroscopic imaging system described in 1.
<Invention 5>
The chemical syringe has a plurality of types with different movement resistances,
The operation check device has a plurality of types that generate the movement resistance equivalent to a plurality of types of the drug solution syringes, and at least one of the type of the drug solution syringe and the transfer resistance corresponding to its type is the check condition data. The fluoroscopic imaging system according to any one of inventions 1 to 4 recorded in the above.
<Invention 6>
An imaging management device that holds imaging order data for each imaging operation that images the fluoroscopic image data from the subject,
The chemical injection device further includes a data input unit that acquires at least part of the imaging order data from the imaging management device before the start of the operation control, and the control setting unit acquires the acquired imaging order. The fluoroscopic imaging system according to any one of inventions 1 to 5, wherein at least part of the data is set as at least part of the injection control data.
<Invention 7>
An imaging management device that holds imaging order data for each imaging operation that images the fluoroscopic image data from the subject,
The chemical injection device further includes a data input unit that acquires at least part of the imaging order data from the imaging management device before the start of the operation control, and the control setting unit acquires the acquired imaging order. Setting at least part of the data as at least part of the injection control data;
When one of the imaging order data and the chemical solution condition data is set in the injection control data, the control setting unit does not execute the operation control unless the other is set, and the injection control data The fluoroscopic imaging system according to aspect 2, wherein the operation control is executed regardless of the setting of the imaging order data when the confirmation condition data is set.
<Invention 8>
A data control device that mediates at least data communication between the drug solution injector and the data storage device;
The fluoroscopic imaging system according to any one of inventions 1 to 7, wherein the data control device receives the injection history data and the confirmation history data from the chemical solution injection device and transmits them to the data storage device.
<Invention 9>
A data control device that mediates at least data communication between the imaging management device and the chemical injection device;
The fluoroscopic imaging system according to claim 6 or 7, wherein the data control device receives the imaging order data from the imaging management device and transmits the imaging order data to the chemical solution injector.
<Invention 10>
The chemical injection device accepts an input operation of an acquisition request for the injection control data, transmits the acquisition request that has been input to the data control device,
The data control device acquires at least a part of the imaging order data from the imaging management device in response to the received acquisition request, and returns at least a part of the acquired imaging order data to the chemical injection device. ,
The injection setting unit may set at least a part of the imaging order data returned from the data control device in response to the acquisition request to the injection control unit as at least a part of the injection control data. Fluoroscopic imaging system.
<Invention 11>
An operation confirmation apparatus for the fluoroscopic imaging system according to the first aspect,
Confirmation condition data indicating the operation confirmation condition of the chemical liquid injector is recorded,
An operation check device loaded and driven in the chemical liquid injector as in the case of the chemical syringe.
<Invention 12>
The operation check device according to the eleventh aspect, wherein an RFID chip in which the check condition data is recorded is mounted.
<Invention 13>
In the chemical syringe, a piston member is slidably inserted in a cylinder member,
The syringe drive mechanism holds the cylinder member and slides the piston member,
A dummy main body member held by the chemical liquid injector as in the cylinder member;
A dummy slide member that is slid and moved to the chemical injection device in the same manner as the piston member;
A dummy resistance mechanism for generating a movement resistance equivalent to that when the chemical liquid is injected with the chemical liquid syringe when the chemical liquid injection device holding the dummy main body member slides the dummy slide member;
The operation check apparatus according to claim 11 or 12, having the following.
<Invention 14>
A chemical liquid injector for the fluoroscopic imaging system according to the invention 1,
An injection control unit for controlling the operation of the syringe drive mechanism according to set injection control data;
A history generation unit that generates injection history data including an operation history of the syringe drive mechanism according to the injection control data;
A data output unit for transmitting the generated injection history data to the data storage device and storing it together with the fluoroscopic image data;
A data acquisition unit for acquiring the confirmation condition data from the operation confirmation device loaded in the syringe drive mechanism;
A control setting unit that sets at least a part of the acquired confirmation condition data as at least a part of the injection control data,
The history generation unit generates confirmation history data including the operation history based on the injection control data set in the confirmation condition data,
The said data output part is a chemical | medical solution injection | pouring apparatus which transmits the said confirmation log | history data produced | generated to the said data storage device, and preserve | saves it.
<Invention 15>
A computer program for the chemical injection device according to the invention 14,
An injection control process for controlling the operation of the syringe drive mechanism according to set injection control data;
History generation processing for generating injection history data consisting of operation history of the syringe drive mechanism by the injection control data;
A data output process for transmitting the generated injection history data to the data storage device and storing it together with the fluoroscopic image data;
A data acquisition process for acquiring the confirmation condition data from the operation confirmation device loaded in the syringe drive mechanism;
A control setting process for setting at least a part of the acquired confirmation condition data as at least a part of the injection control data,
In the history generation process, confirmation history data including the operation history by the injection control data set in the confirmation condition data is also generated,
In the data output process, a computer program for transmitting and storing the generated confirmation history data to the data storage device.
<Invention 16>
A data processing method for a chemical liquid injector according to invention 14,
An injection control step for controlling the operation of the syringe drive mechanism according to the set injection control data;
A history generation step of generating injection history data consisting of an operation history of the syringe drive mechanism according to the injection control data;
A data output step of transmitting the generated injection history data to the data storage device and storing it together with the fluoroscopic image data;
A data acquisition step of acquiring the confirmation condition data from the operation confirmation device loaded in the syringe drive mechanism;
A control setting step of setting at least a part of the acquired confirmation condition data as at least a part of the injection control data,
In the history generation step, confirmation history data consisting of the operation history by the injection control data set in the confirmation condition data is also generated,
In the data output step, a data processing method for transmitting the generated confirmation history data to the data storage device and storing it.

本発明の実施の形態の薬液注入装置の論理構造を示す模式的なブロック図である。It is a typical block diagram which shows the logic structure of the chemical injection device of embodiment of this invention. 透視撮像システムの論理構造を示す模式的なブロック図である。It is a typical block diagram which shows the logical structure of a fluoroscopic imaging system. 透視撮像システムの物理構造を示すブロック図である。It is a block diagram which shows the physical structure of a fluoroscopic imaging system. 透視撮像装置であるCTスキャナの透視撮像ユニットと薬液注入装置の注入実行ヘッドとの外観を示す斜視図である。It is a perspective view which shows the external appearance of the fluoroscopic imaging unit of CT scanner which is a fluoroscopic imaging apparatus, and the injection execution head of a chemical | medical solution injection apparatus. 薬液注入装置の外観を示す斜視図である。It is a perspective view which shows the external appearance of a chemical injection device. 薬液注入装置の注入実行ヘッドを薬液シリンジとともに示す分解斜視図である。It is a disassembled perspective view which shows the injection execution head of a chemical injection device with a chemical syringe. 薬液注入装置の注入実行ヘッドを動作確認装置とともに示す分解斜視図である。It is a disassembled perspective view which shows the injection execution head of a chemical | medical solution injection apparatus with an operation confirmation apparatus. 薬液注入装置の他の論理構造を示す模式的なブロック図である。It is a typical block diagram which shows the other logical structure of a chemical injection device. 薬液注入装置の表示画面に確認動作の開始メッセージが表示出力された状態を示す模式的な正面図である。It is a typical front view which shows the state by which the confirmation operation start message was displayed on the display screen of the chemical injection device. 確認動作が実行された場合の経時グラフが表示出力された状態を示す模式的な正面図である。It is a typical front view which shows the state by which the time-dependent graph at the time of confirmation operation being displayed and output. 薬液注入装置の表示画面に確認動作の終了メッセージが表示出力された状態を示す模式的な正面図である。It is a typical front view which shows the state by which the completion message of confirmation operation was displayed on the display screen of the chemical injection device. 薬液注入装置の表示画面に身体区分の模式画像が表示出力された初期状態を示す模式的な正面図である。It is a typical front view which shows the initial state by which the schematic image of the body division was displayed and output on the display screen of the chemical injection device. 身体区分と撮像部位とが選定された表示状態を示す模式的な正面図である。It is a typical front view which shows the display state from which the body division and the imaging region were selected. 注入制御データが表示出力された状態を示す模式的な正面図である。It is a typical front view which shows the state by which injection control data was displayed and output. 被験者IDの取得中のガイダンスメッセージが表示出力された状態を示す模式的な正面図である。It is a typical front view which shows the state by which the guidance message during acquisition of test subject ID was displayed and output. 被験者IDの取得エラーのガイダンスメッセージが表示出力された状態を示す模式的な正面図である。It is a typical front view which shows the state by which the guidance message of the subject ID acquisition error was displayed and output. 一の注入制御データが表示出力された状態を示す模式的な正面図である。It is a typical front view showing the state where one injection control data was displayed and outputted. 他の注入制御データが表示出力された状態を示す模式的な正面図である。It is a typical front view which shows the state by which other injection | pouring control data was displayed and output. 薬液条件データが表示出力された状態を示す模式的な正面図である。It is a typical front view which shows the state by which the chemical | medical solution condition data was displayed and output. 注入制御データが設定された表示状態を示す模式的な正面図である。It is a typical front view which shows the display state to which injection | pouring control data was set. 被験者IDの照合エラーのガイダンスメッセージが表示出力された状態を示す模式的な正面図である。It is a typical front view which shows the state by which the guidance message of the collation error of test subject ID was displayed and output. 手動設定された注入制御データにより薬液注入動作が実行された場合の経時グラフが表示出力された状態を示す模式的な正面図である。It is a typical front view which shows the state where the time-dependent graph was displayed and output when the chemical | medical solution injection | pouring operation | movement was performed by the injection control data set manually. 薬液条件データおよび注入制御データに基づいて自動設定された注入制御データにより薬液注入動作が実行された場合の経時グラフが表示出力された状態を示す模式的な正面図である。FIG. 10 is a schematic front view showing a state in which a time-lapse graph is displayed and output when a chemical solution injection operation is executed by injection control data automatically set based on chemical solution condition data and injection control data. 薬液注入装置の確認動作の処理内容を示すフローチャートである。It is a flowchart which shows the processing content of the confirmation operation | movement of a chemical injection device. 薬液注入装置の薬液注入の処理内容の前半部分を示すフローチャートである。It is a flowchart which shows the first half part of the processing content of the chemical injection of a chemical injection device. 薬液注入装置の薬液注入の処理内容の後半部分を示すフローチャートである。It is a flowchart which shows the second half part of the processing content of the chemical injection of a chemical injection device. 透視撮像システムの処理動作を示す模式的なタイムチャートである。It is a typical time chart which shows the processing operation of a fluoroscopic imaging system. 一の変形例の動作確認装置の内部構造を示す模式的な縦断側面図である。It is a typical vertical side view which shows the internal structure of the operation confirmation apparatus of one modification. 他の変形例の動作確認装置の内部構造を示す縦断側面図である。It is a vertical side view which shows the internal structure of the operation confirmation apparatus of another modification. 動作確認装置の内部構造を示す横断平面図である。It is a cross-sectional top view which shows the internal structure of an operation confirmation apparatus. さらに他の変形例の動作確認装置の内部構造を示す縦断側面図である。It is a vertical side view which shows the internal structure of the operation confirmation apparatus of another modification. さらに他の変形例の動作確認装置の内部構造を示す縦断側面図である。It is a vertical side view which shows the internal structure of the operation confirmation apparatus of another modification. さらに他の変形例の動作確認装置の外観を示す側面図である。It is a side view which shows the external appearance of the operation confirmation apparatus of another modification. さらに他の変形例の動作確認装置の外観を示す斜視図である。It is a perspective view which shows the external appearance of the operation confirmation apparatus of another modification. さらに他の変形例の動作確認装置および薬液シリンジが薬液注入装置に装填される状態を示す斜視図である。Furthermore, it is a perspective view which shows the state by which the operation | movement confirmation apparatus and chemical | medical solution syringe of another modification are loaded into a chemical | medical solution injection apparatus. さらに他の変形例の動作確認装置の内部構造を示す縦断側面図である。It is a vertical side view which shows the internal structure of the operation confirmation apparatus of another modification. 動作確認装置の内部構造を示す横断平面図である。It is a cross-sectional top view which shows the internal structure of an operation confirmation apparatus. 理想的な薬液シリンジの移動抵抗を仮想したピストン部材の移動圧力と薬液の注入速度との関係を示す特性図である。It is a characteristic view showing the relationship between the moving pressure of the piston member and the injection speed of the chemical liquid imagining the ideal movement resistance of the chemical liquid syringe. 薬液注入装置が理想的に薬液シリンジのシリンダ部材にピストン部材を圧入した場合を仮想した移動抵抗圧力とピストン移動速度との関係を示す特性図である。It is a characteristic view which shows the relationship between the movement resistance pressure and the piston moving speed which imagined the case where a chemical | medical solution injection device ideally press-fits the piston member to the cylinder member of a chemical | medical solution syringe. 実際の薬液注入装置が薬液シリンジを駆動した場合の移動抵抗圧力と動作確認装置に確認条件データとして設定された圧力許容範囲との関係を示す特性図である。It is a characteristic view which shows the relationship between the movement resistance pressure when an actual chemical | medical solution injection device drives a chemical | medical solution syringe, and the pressure allowable range set as confirmation condition data in the operation confirmation apparatus.

符号の説明Explanation of symbols

100 RIS
101 オーダ管理部
102 オーダ選定部
103 統合制御部
200 CTスキャナ
201 透視撮像ユニット
210 撮像制御ユニット
211 要求送信部
212 オーダ受信部
213 撮像制御部
214 データ付与部
215 画像送信部
400 薬液注入装置
401 注入制御ユニット
402 メイン操作部
403 タッチパネル
404 コントローラユニット
405 コンピュータユニット
410 注入実行ヘッド
411 シリンジ保持機構
412 シリンジ駆動機構
413 サブ操作部
414 最終確認スイッチ
416 RFIDリーダ
421 注入制御部
422 データ入力部
426 制御設定部
427 履歴生成部
428 データ出力部
441 条件記憶部
442 画像記憶部
445 区分表示部
446 区分入力部
447 部位表示部
448 部位入力部
449 動作読出部
451 身体入力部
500 制御ボックス
501 コンピュータユニット
511 取得仲介部
514 履歴転送部
600 画像閲覧装置
601 コンピュータユニット
602 ディスプレイユニット
603 コントローラユニット
611 データ読出部
612 データ表示部
700 通信ネットワーク
701,702 通信ネットワーク
706 通信ネットワーク
800 薬液シリンジ
810 シリンダ部材
811 シリンダ本体
812 導管部
813 シリンダフランジ
820 ピストン部材
821 ピストン本体
822 ピストンフランジ
830 RFIDチップ
901 カルテ管理部
1000 透視撮像システム
1100 動作確認装置
1110 ダミー本体部材
1111 ダミー本体
1113 ダミーフランジ
1120 ダミースライド部材
1121 ダミー本体
1122 ダミーフランジ
1130 RFIDチップ
1140 ダミー抵抗機構
1141 抵抗操作部
1142 抵抗目盛
1400 薬液注入装置
1410 注入実行ヘッド
1412 シリンジ駆動機構
1417 凹部
1500 動作確認装置
1501 ダミー抵抗機構
1502 ダミー本体部材
1503 ダミースライド部材
1510 動作確認装置
1511 ダミー本体部材
1512 ダミーフランジ
1513 ダミースライド部材
1514 ダミー抵抗機構
1515 ピニオンギヤ
1516 ラック
1517 ガイドローラ
1520 動作確認装置
1521 ダミー本体部材
1522 ダミーフランジ
1523 ダミースライド部材
1524 円盤状部
1525 ダミー抵抗機構
1526 弾性パッキン
1530 動作確認装置
1531 ダミースライド部材
1532 円盤状部
1533 ダミー抵抗機構
1540 動作確認装置
1541 連結管
1542 操作部
1543 ダミー抵抗機構
1550 動作確認装置
1551,1552 連結部材
1560 動作確認装置
1561 連結部材
1570 動作確認装置
1571 ダミー抵抗機構
1572 ダミー本体部材
1573 ダミースライド部材
100 RIS
DESCRIPTION OF SYMBOLS 101 Order management part 102 Order selection part 103 Integrated control part 200 CT scanner 201 Fluoroscopic imaging unit 210 Imaging control unit 211 Request transmission part 212 Order receiving part 213 Imaging control part 214 Data provision part 215 Image transmission part 400 Chemical solution injection apparatus 401 Injection control Unit 402 Main operation unit 403 Touch panel 404 Controller unit 405 Computer unit 410 Injection execution head 411 Syringe holding mechanism 412 Syringe drive mechanism 413 Sub operation unit 414 Final confirmation switch 416 RFID reader 421 Injection control unit 422 Data input unit 426 Control setting unit 427 History Generation unit 428 Data output unit 441 Condition storage unit 442 Image storage unit 445 Division display unit 446 Division input unit 447 Site display unit 448 Site input unit 449 Operation reading 451 Body input unit 500 Control box 501 Computer unit 511 Acquisition mediation unit 514 History transfer unit 600 Image browsing device 601 Computer unit 602 Display unit 603 Controller unit 611 Data reading unit 612 Data display unit 700 Communication network 701, 702 Communication network 706 Communication network 800 Chemical syringe 810 Cylinder member 811 Cylinder main body 812 Conduit portion 813 Cylinder flange 820 Piston member 821 Piston main body 822 Piston flange 830 RFID chip 901 Chart management unit 1000 Perspective imaging system 1100 Operation check device 1110 Dummy main body member 1111 Dummy main body 1113 Dummy flange 1120 Dummy slide member 1121 Dummy body 1122 Dami Flange 1130 RFID chip 1140 Dummy resistance mechanism 1141 Resistance operation unit 1142 Resistance scale 1400 Chemical solution injection device 1410 Injection execution head 1412 Syringe drive mechanism 1417 Recess 1500 Operation confirmation device 1501 Dummy resistance mechanism 1502 Dummy main body member 1503 Dummy slide member 1510 Operation confirmation device 1511 Dummy body member 1512 Dummy flange 1513 Dummy slide member 1514 Dummy resistance mechanism 1515 Pinion gear 1516 Rack 1517 Guide roller 1520 Operation check device 1521 Dummy body member 1522 Dummy flange 1523 Dummy slide member 1524 Disk-like portion 1525 Dummy resistance mechanism 1526 Elastic packing 1530 Operation check Device 1531 Dummy slide member 1532 Disc-shaped part 1533 Dummy Anti mechanism 1540 operation check device 1541 connecting pipe 1542 operation unit 1543 dummy resistor mechanism 1550 operation check device 1551,1552 connecting member 1560 operation check device 1561 connecting member 1570 operation check device 1571 dummy resistor mechanism 1572 dummy body member 1573 dummy slide member

Claims (15)

透視画像データが撮像される被験者に注入される薬液が充填されている薬液シリンジと、前記薬液シリンジを駆動して前記被験者に前記薬液を注入する薬液注入装置と、撮像された前記透視画像データを保存するデータ保存装置と、を有する透視撮像システムであって、
前記薬液注入装置は、装填された前記薬液シリンジを駆動して前記薬液の注入を実行するシリンジ駆動機構と、設定される注入制御データにより前記シリンジ駆動機構を動作制御する注入制御部と、前記注入制御データによる前記シリンジ駆動機構の動作履歴からなる注入履歴データを生成する履歴生成部と、生成された前記注入履歴データを前記データ保存装置に送信して前記透視画像データとともに保存させるデータ出力部と、を有し、
前記薬液注入装置は、前記薬液シリンジと同様の手段で動作確認装置を装填し、駆動することができ、前記動作確認装置は前記薬液注入装置の動作確認条件を示す確認条件データが記録されており、
前記薬液注入装置は、前記シリンジ駆動機構に装填された前記動作確認装置から前記確認条件データを取得するデータ取得部と、取得された前記確認条件データの少なくとも一部を前記注入制御データの少なくとも一部として設定する制御設定部とを、さらに有し、
前記シリンジ駆動機構は、前記制御設定部により設定された前記注入制御データに基づいた前記注入制御部の動作制御に従い前記動作確認装置を駆動し、前記履歴生成部は、前記動作確認装置の駆動に関する前記シリンジ駆動機構の動作履歴を含む確認履歴データを生成し、前記データ出力部は、生成された前記確認履歴データを前記データ保存装置に送信して保存させる透視撮像システム。
A liquid syringe filled with a liquid medicine to be injected into a subject whose fluoroscopic image data is imaged, a liquid injector for driving the liquid syringe and injecting the liquid medicine into the subject, and the imaged fluoroscopic image data A fluoroscopic imaging system having a data storage device to store,
The chemical injection device includes a syringe drive mechanism that drives the loaded chemical syringe to execute injection of the chemical solution, an injection control unit that controls the operation of the syringe drive mechanism based on set injection control data, and the injection A history generation unit that generates injection history data including an operation history of the syringe drive mechanism based on control data; a data output unit that transmits the generated injection history data to the data storage device and stores the injection history data together with the fluoroscopic image data; Have
The chemical injection device can be loaded and driven with an operation check device by means similar to the chemical syringe, and the operation check device has recorded confirmation condition data indicating the operation check conditions of the chemical injection device. ,
The chemical solution injection device includes a data acquisition unit that acquires the confirmation condition data from the operation confirmation device loaded in the syringe drive mechanism, and at least a part of the acquired confirmation condition data as at least one of the injection control data. A control setting unit to set as a unit,
The syringe drive mechanism drives the operation confirmation device according to operation control of the injection control unit based on the injection control data set by the control setting unit, and the history generation unit relates to driving of the operation confirmation device. A fluoroscopic imaging system that generates confirmation history data including an operation history of the syringe drive mechanism, and the data output unit transmits the generated confirmation history data to the data storage device for storage.
前記薬液シリンジは、収容されている前記薬液に関連した薬液条件データが記録されており、
前記データ取得部は、前記薬液シリンジから前記薬液条件データを取得し、
前記制御設定部は、取得された前記薬液条件データの少なくとも一部を前記注入制御データの少なくとも一部として設定する請求項1に記載の透視撮像システム。
The chemical syringe is recorded with chemical solution condition data related to the contained chemical solution,
The data acquisition unit acquires the chemical condition data from the chemical syringe,
The fluoroscopic imaging system according to claim 1, wherein the control setting unit sets at least a part of the acquired liquid condition data as at least a part of the injection control data.
前記動作確認装置は、前記確認条件データが記録されているRFID(Radio FrequencyIdentification)チップが搭載されており、
前記薬液シリンジは、前記薬液条件データが記録されているRFIDチップが搭載されており、
前記データ取得部は、前記動作確認装置の前記RFIDチップから前記確認条件データを取得するとともに前記薬液シリンジの前記RFIDチップから前記薬液条件データを取得するRFIDリーダを有する請求項2に記載の透視撮像システム。
The operation check device is equipped with an RFID (Radio Frequency Identification) chip in which the check condition data is recorded,
The chemical syringe is equipped with an RFID chip in which the chemical condition data is recorded,
The fluoroscopic imaging according to claim 2, wherein the data acquisition unit includes an RFID reader that acquires the confirmation condition data from the RFID chip of the operation confirmation device and acquires the chemical condition data from the RFID chip of the chemical syringe. system.
前記薬液シリンジは、シリンダ部材にピストン部材がスライド自在に挿入されており、
前記シリンジ駆動機構は、前記シリンダ部材を保持して前記ピストン部材をスライド移動させ、
前記動作確認装置は、前記シリンダ部材と同様に前記薬液注入装置に保持されるダミー本体部材と、前記ピストン部材と同様に前記薬液注入装置にスライド移動されるダミースライド部材と、前記ダミー本体部材を保持した前記薬液注入装置が前記ダミースライド部材をスライド移動させるときに前記薬液シリンジで前記薬液が注入されるときと同等な移動抵抗を発生させるダミー抵抗機構と、を有する請求項1ないし3の何れか一項に記載の透視撮像システム。
In the chemical syringe, a piston member is slidably inserted in a cylinder member,
The syringe drive mechanism holds the cylinder member and slides the piston member,
The operation check device includes a dummy main body member held by the chemical liquid injector as in the cylinder member, a dummy slide member slidably moved by the chemical liquid injector as in the piston member, and the dummy main body member. 4. A dummy resistance mechanism that generates a movement resistance equivalent to that when the chemical solution is injected by the chemical solution syringe when the held chemical solution injection device slides the dummy slide member. The fluoroscopic imaging system according to claim 1.
前記薬液シリンジは、前記移動抵抗が相違する複数種類があり、
前記動作確認装置は、複数種類の前記薬液シリンジと同等な前記移動抵抗を発生する複数種類があり、自身の種類と対応する前記薬液シリンジの種類と前記移動抵抗との少なくとも一つが前記確認条件データに記録されている請求項4に記載の透視撮像システム。
The chemical syringe has a plurality of types with different movement resistances,
The operation check device has a plurality of types that generate the movement resistance equivalent to a plurality of types of the drug solution syringes, and at least one of the type of the drug solution syringe and the transfer resistance corresponding to its type is the check condition data. The fluoroscopic imaging system according to claim 4, recorded in
前記被験者から前記透視画像データを撮像する撮像作業ごとの撮像オーダデータを保持する撮像管理装置を、さらに有し、
前記薬液注入装置は、前記動作制御の開始以前に前記撮像管理装置から前記撮像オーダデータの少なくとも一部を取得するデータ入力部を、さらに有し、前記制御設定部は、取得された前記撮像オーダデータの少なくとも一部を前記注入制御データの少なくとも一部として設定する請求項1ないし5の何れか一項に記載の透視撮像システム。
An imaging management device that holds imaging order data for each imaging operation that images the fluoroscopic image data from the subject,
The chemical injection device further includes a data input unit that acquires at least part of the imaging order data from the imaging management device before the start of the operation control, and the control setting unit acquires the acquired imaging order. The fluoroscopic imaging system according to claim 1, wherein at least a part of the data is set as at least a part of the injection control data.
前記被験者から前記透視画像データを撮像する撮像作業ごとの撮像オーダデータを保持する撮像管理装置を、さらに有し、
前記薬液注入装置は、前記動作制御の開始以前に前記撮像管理装置から前記撮像オーダデータの少なくとも一部を取得するデータ入力部を、さらに有し、前記制御設定部は、取得された前記撮像オーダデータの少なくとも一部を前記注入制御データの少なくとも一部として設定し、
前記制御設定部は、前記注入制御データに前記撮像オーダデータと前記薬液条件データとの一方が設定されている場合は他方も設定されていないと前記動作制御を実行せず、前記注入制御データが前記確認条件データで設定されている場合は前記撮像オーダデータの設定に関係なく前記動作制御を実行する請求項2に記載の透視撮像システム。
An imaging management device that holds imaging order data for each imaging operation that images the fluoroscopic image data from the subject,
The chemical injection device further includes a data input unit that acquires at least part of the imaging order data from the imaging management device before the start of the operation control, and the control setting unit acquires the acquired imaging order. Setting at least part of the data as at least part of the injection control data;
When one of the imaging order data and the chemical solution condition data is set in the injection control data, the control setting unit does not execute the operation control unless the other is set, and the injection control data The fluoroscopic imaging system according to claim 2, wherein when the confirmation condition data is set, the operation control is executed regardless of the setting of the imaging order data.
少なくとも前記薬液注入装置と前記データ保存装置とのデータ通信を仲介するデータ制御装置を、さらに有し、
前記データ制御装置は、前記薬液注入装置から前記注入履歴データと前記確認履歴データとを受信して前記データ保存装置に送信する請求項1ないし7の何れか一項に記載の透視撮像システム。
A data control device that mediates at least data communication between the drug solution injector and the data storage device;
The fluoroscopic imaging system according to any one of claims 1 to 7, wherein the data control device receives the injection history data and the confirmation history data from the chemical solution injector and transmits them to the data storage device.
少なくとも前記撮像管理装置と前記薬液注入装置とのデータ通信を仲介するデータ制御装置を、さらに有し、
前記データ制御装置は、前記撮像管理装置から前記撮像オーダデータを受信して前記薬液注入装置に送信する請求項6または7に記載の透視撮像システム。
A data control device that mediates at least data communication between the imaging management device and the chemical injection device;
The fluoroscopic imaging system according to claim 6 or 7, wherein the data control device receives the imaging order data from the imaging management device and transmits the imaging order data to the chemical liquid injector.
前記薬液注入装置は、前記注入制御データの取得要求の入力操作を受け付け、入力操作された前記取得要求を前記データ制御装置に送信し、
前記データ制御装置は、受信した前記取得要求に対応して前記撮像オーダデータの少なくとも一部を前記撮像管理装置から取得し、取得した前記撮像オーダデータの少なくとも一部を前記薬液注入装置に返信し、
前記注入設定部は、前記取得要求に対応して前記データ制御装置から返信された前記撮像オーダデータの少なくとも一部を前記注入制御データの少なくとも一部として前記注入制御部に設定する請求項9に記載の透視撮像システム。
The chemical injection device accepts an input operation of an acquisition request for the injection control data, transmits the acquisition request that has been input to the data control device,
The data control device acquires at least a part of the imaging order data from the imaging management device in response to the received acquisition request, and returns at least a part of the acquired imaging order data to the chemical injection device. ,
The injection setting unit sets at least a part of the imaging order data returned from the data control device in response to the acquisition request to the injection control unit as at least a part of the injection control data. The fluoroscopic imaging system described.
請求項1に記載の透視撮像システムの動作確認装置であって、
前記薬液注入装置の動作確認条件を示す確認条件データが記録されており、
前記薬液シリンジと同様に前記薬液注入装置に装填されて駆動される動作確認装置。
An operation confirmation apparatus for the fluoroscopic imaging system according to claim 1,
Confirmation condition data indicating the operation confirmation condition of the chemical liquid injector is recorded,
An operation check device loaded and driven in the chemical liquid injector as in the case of the chemical syringe.
前記確認条件データが記録されているRFIDチップが搭載されている請求項11に記載の動作確認装置。   The operation check apparatus according to claim 11, wherein an RFID chip in which the check condition data is recorded is mounted. 前記薬液シリンジは、シリンダ部材にピストン部材がスライド自在に挿入されており、
前記シリンジ駆動機構は、前記シリンダ部材を保持して前記ピストン部材をスライド移動させ、
前記シリンダ部材と同様に前記薬液注入装置に保持されるダミー本体部材と、
前記ピストン部材と同様に前記薬液注入装置にスライド移動されるダミースライド部材と、
前記ダミー本体部材を保持した前記薬液注入装置が前記ダミースライド部材をスライド移動させるときに前記薬液シリンジで前記薬液が注入されるときと同等な移動抵抗を発生させるダミー抵抗機構と、
を有する請求項11または12に記載の動作確認装置。
In the chemical syringe, a piston member is slidably inserted in a cylinder member,
The syringe drive mechanism holds the cylinder member and slides the piston member,
A dummy main body member held by the chemical liquid injector as in the cylinder member;
A dummy slide member that is slid and moved to the chemical injection device in the same manner as the piston member;
A dummy resistance mechanism for generating a movement resistance equivalent to that when the chemical liquid is injected with the chemical liquid syringe when the chemical liquid injection device holding the dummy main body member slides the dummy slide member;
The operation check device according to claim 11 or 12, comprising:
透視画像データが撮像される被験者に注入される薬液が充填されている薬液シリンジと、前記薬液シリンジを駆動して前記被験者に前記薬液を注入する薬液注入装置と、撮像された前記透視画像データを保存するデータ保存装置と、を有する透視撮像システムの前記薬液注入装置であって、
前記薬液注入装置は、
装填された前記薬液シリンジを駆動して前記薬液の注入を実行するシリンジ駆動機構と、設定される注入制御データにより前記シリンジ駆動機構を動作制御する注入制御部と、前記注入制御データによる前記シリンジ駆動機構の動作履歴からなる注入履歴データを生成する履歴生成部と、生成された前記注入履歴データを前記データ保存装置に送信して前記透視画像データとともに保存させるデータ出力部と、を有し、
前記薬液シリンジと同様の手段で、前記薬液注入装置の動作確認条件を示す確認条件データが記録されている動作確認装置を装填し、駆動することができ、
前記シリンジ駆動機構に装填された前記動作確認装置から前記確認条件データを取得するデータ取得部と、取得された前記確認条件データの少なくとも一部を前記注入制御データの少なくとも一部として設定する制御設定部とを、さらに有し、
前記シリンジ駆動機構は、前記制御設定部により設定された前記注入制御データに基づいた前記注入制御部の動作制御に従い前記動作確認装置を駆動し、前記履歴生成部は、前記動作確認装置の駆動に関する前記シリンジ駆動機構の動作履歴を含む確認履歴データを生成し、前記データ出力部は、生成された前記確認履歴データを前記データ保存装置に送信して保存させる薬液注入装置。
A liquid syringe filled with a liquid medicine to be injected into a subject whose fluoroscopic image data is imaged, a liquid injector for driving the liquid syringe and injecting the liquid medicine into the subject, and the imaged fluoroscopic image data A data storage device for storing, the chemical injection device of the fluoroscopic imaging system,
The chemical injection device is
A syringe drive mechanism that drives the loaded chemical solution syringe to inject the chemical solution, an injection control unit that controls the operation of the syringe drive mechanism according to set injection control data, and the syringe drive based on the injection control data A history generation unit that generates injection history data including an operation history of the mechanism, and a data output unit that transmits the generated injection history data to the data storage device and stores the data together with the fluoroscopic image data,
With the same means as the chemical syringe, it is possible to load and drive an operation confirmation device in which confirmation condition data indicating an operation confirmation condition of the chemical injection device is recorded,
A data acquisition unit that acquires the confirmation condition data from the operation confirmation device loaded in the syringe drive mechanism, and a control setting that sets at least a part of the acquired confirmation condition data as at least a part of the injection control data And further comprising
The syringe drive mechanism drives the operation confirmation device according to operation control of the injection control unit based on the injection control data set by the control setting unit, and the history generation unit relates to driving of the operation confirmation device. A chemical injection device that generates confirmation history data including an operation history of the syringe drive mechanism, and the data output unit transmits the generated confirmation history data to the data storage device to be stored.
透視画像データが撮像される被験者に注入される薬液が充填されている薬液シリンジと、前記薬液シリンジを駆動して前記被験者に前記薬液を注入する薬液注入装置と、撮像された前記透視画像データを保存するデータ保存装置と、を有し、前記薬液注入装置は、前記薬液シリンジと同様の手段で、前記薬液注入装置の動作確認条件を示す確認条件データが記録されている動作確認装置を装填することができる透視撮像システムの前記薬液注入装置のためのプログラムであり、
コンピュータを、
装填された前記薬液シリンジを駆動して前記薬液の注入を実行するシリンジ駆動機構を、設定される注入制御データにより動作制御する注入制御手段、前記注入制御データによる前記シリンジ駆動機構の動作履歴からなる注入履歴データを生成する履歴生成手段、生成された前記注入履歴データを前記データ保存装置に送信して前記透視画像データとともに保存させるデータ出力手段として機能させるともに、さらに、
前記シリンジ駆動機構に装填された前記動作確認装置から前記確認条件データを取得するデータ取得手段、取得された前記確認条件データの少なくとも一部を前記注入制御データの少なくとも一部として設定する制御設定手段として機能させ、
前記シリンジ駆動機構が、前記制御設定手段により設定された前記注入制御データに基づいた前記注入制御手段の動作制御に従い前記動作確認装置を駆動すると、
前記履歴生成手段に、前記動作確認装置の駆動に関する前記シリンジ駆動機構の動作履歴を含む確認履歴データを生成させ、前記データ出力手段に、生成された前記確認履歴データを前記データ保存装置に送信させるコンピュータプログラム。
A liquid syringe filled with a liquid medicine to be injected into a subject whose fluoroscopic image data is imaged, a liquid injector for driving the liquid syringe and injecting the liquid medicine into the subject, and the imaged fluoroscopic image data A storage device for storing data, and the chemical injection device is loaded with an operation check device in which confirmation condition data indicating operation check conditions of the chemical solution injection device is recorded by means similar to the chemical solution syringe. A program for the chemical injection device of the fluoroscopic imaging system capable of
Computer
An injection control means for controlling the operation of a syringe drive mechanism for driving the loaded chemical liquid syringe to execute the injection of the chemical liquid according to set injection control data, and an operation history of the syringe drive mechanism based on the injection control data A history generating means for generating injection history data, functioning as a data output means for transmitting the generated injection history data to the data storage device and storing it together with the fluoroscopic image data,
Data acquisition means for acquiring the confirmation condition data from the operation confirmation device loaded in the syringe drive mechanism, and control setting means for setting at least part of the acquired confirmation condition data as at least part of the injection control data Function as
When the syringe drive mechanism drives the operation confirmation device according to the operation control of the injection control means based on the injection control data set by the control setting means,
Causing the history generation means to generate confirmation history data including an operation history of the syringe drive mechanism related to driving of the operation confirmation device, and causing the data output means to transmit the generated confirmation history data to the data storage device. Computer program.
JP2008076522A 2008-03-24 2008-03-24 Fluoroscopy system, operation confirmation device, chemical injection device, computer program Expired - Fee Related JP5225722B2 (en)

Priority Applications (1)

Application Number Priority Date Filing Date Title
JP2008076522A JP5225722B2 (en) 2008-03-24 2008-03-24 Fluoroscopy system, operation confirmation device, chemical injection device, computer program

Applications Claiming Priority (1)

Application Number Priority Date Filing Date Title
JP2008076522A JP5225722B2 (en) 2008-03-24 2008-03-24 Fluoroscopy system, operation confirmation device, chemical injection device, computer program

Publications (2)

Publication Number Publication Date
JP2009226077A JP2009226077A (en) 2009-10-08
JP5225722B2 true JP5225722B2 (en) 2013-07-03

Family

ID=41242186

Family Applications (1)

Application Number Title Priority Date Filing Date
JP2008076522A Expired - Fee Related JP5225722B2 (en) 2008-03-24 2008-03-24 Fluoroscopy system, operation confirmation device, chemical injection device, computer program

Country Status (1)

Country Link
JP (1) JP5225722B2 (en)

Families Citing this family (4)

* Cited by examiner, † Cited by third party
Publication number Priority date Publication date Assignee Title
JP2011092228A (en) * 2009-10-27 2011-05-12 Ge Medical Systems Global Technology Co Llc Medical imaging apparatus
WO2011096421A1 (en) * 2010-02-05 2011-08-11 株式会社根本杏林堂 Medical fluid administration device, and radiographic imaging system
JP6124873B2 (en) * 2011-05-12 2017-05-10 バイエル・ヘルスケア・エルエルシーBayer HealthCare LLC Fluid injection system having various systems for controlling the injection procedure
JP5547846B1 (en) * 2013-11-28 2014-07-16 株式会社リソースワン Operation check device for chemical injection device, jig for operation check of chemical injection device, and package with operation check jig

Family Cites Families (2)

* Cited by examiner, † Cited by third party
Publication number Priority date Publication date Assignee Title
EP1782853A4 (en) * 2004-07-14 2009-09-16 Nemoto Kyorindo Co Ltd Medical liquid injection system
JP5135212B2 (en) * 2006-04-05 2013-02-06 株式会社リソースワン Perspective imaging system and data control apparatus

Also Published As

Publication number Publication date
JP2009226077A (en) 2009-10-08

Similar Documents

Publication Publication Date Title
JP5249210B2 (en) Chemical injection device, fluoroscopic imaging system, computer program
JP5453094B2 (en) Chemical injection device, fluoroscopic imaging system, computer program
JP5485885B2 (en) Chemical injection device, fluoroscopic imaging system having this chemical injection device, computer program of chemical injection device, and data processing method
JP4982359B2 (en) Chemical injection system
JP5135211B2 (en) Perspective imaging system and data control apparatus
JP5135212B2 (en) Perspective imaging system and data control apparatus
JP5074112B2 (en) Chemical injection device, fluoroscopic imaging system, computer program
JP5225722B2 (en) Fluoroscopy system, operation confirmation device, chemical injection device, computer program
JP5296683B2 (en) Chemical injection device, fluoroscopic imaging system, computer program
JP4892564B2 (en) Chemical injection device
JP5215084B2 (en) Chemical injection device, fluoroscopic imaging system having this chemical injection device, computer program of chemical injection device, and data processing method
JP5550901B2 (en) Chemical injection device, fluoroscopic imaging system, computer program
JP5931777B2 (en) Chemical injection device, fluoroscopic imaging system, data processing method, control device, control method, and program
JP5575394B2 (en) Fluoroscopic imaging system
JP6467074B2 (en) Chemical injection device, fluoroscopic imaging system, computer program
JP6810759B2 (en) Chemical injection device and fluoroscopic imaging system
JP2009240539A (en) Fluoroscopic imaging system
JP2012125602A (en) Injector and medical image system
JP2016122466A (en) Chemical injection device, system, control device, program, and processing method
JP2012248216A (en) Liquid medicine injection device, fluoroscopic imaging system, and computer program
JP2014225272A (en) Liquid medicine injection device, system, control device, processing method, and program

Legal Events

Date Code Title Description
A621 Written request for application examination

Free format text: JAPANESE INTERMEDIATE CODE: A621

Effective date: 20110318

A131 Notification of reasons for refusal

Free format text: JAPANESE INTERMEDIATE CODE: A131

Effective date: 20120724

A521 Request for written amendment filed

Free format text: JAPANESE INTERMEDIATE CODE: A523

Effective date: 20120910

A131 Notification of reasons for refusal

Free format text: JAPANESE INTERMEDIATE CODE: A131

Effective date: 20121113

A521 Request for written amendment filed

Free format text: JAPANESE INTERMEDIATE CODE: A523

Effective date: 20121221

TRDD Decision of grant or rejection written
A01 Written decision to grant a patent or to grant a registration (utility model)

Free format text: JAPANESE INTERMEDIATE CODE: A01

Effective date: 20130212

A61 First payment of annual fees (during grant procedure)

Free format text: JAPANESE INTERMEDIATE CODE: A61

Effective date: 20130313

R150 Certificate of patent or registration of utility model

Ref document number: 5225722

Country of ref document: JP

Free format text: JAPANESE INTERMEDIATE CODE: R150

Free format text: JAPANESE INTERMEDIATE CODE: R150

FPAY Renewal fee payment (event date is renewal date of database)

Free format text: PAYMENT UNTIL: 20160322

Year of fee payment: 3

S531 Written request for registration of change of domicile

Free format text: JAPANESE INTERMEDIATE CODE: R313531

R350 Written notification of registration of transfer

Free format text: JAPANESE INTERMEDIATE CODE: R350

R250 Receipt of annual fees

Free format text: JAPANESE INTERMEDIATE CODE: R250

S111 Request for change of ownership or part of ownership

Free format text: JAPANESE INTERMEDIATE CODE: R313117

R350 Written notification of registration of transfer

Free format text: JAPANESE INTERMEDIATE CODE: R350

R250 Receipt of annual fees

Free format text: JAPANESE INTERMEDIATE CODE: R250

LAPS Cancellation because of no payment of annual fees