JP5018317B2 - 有機エレクトロルミネッセンス素子の製造方法 - Google Patents

有機エレクトロルミネッセンス素子の製造方法 Download PDF

Info

Publication number
JP5018317B2
JP5018317B2 JP2007198686A JP2007198686A JP5018317B2 JP 5018317 B2 JP5018317 B2 JP 5018317B2 JP 2007198686 A JP2007198686 A JP 2007198686A JP 2007198686 A JP2007198686 A JP 2007198686A JP 5018317 B2 JP5018317 B2 JP 5018317B2
Authority
JP
Japan
Prior art keywords
electrode
cathode
layer
anode
base material
Prior art date
Legal status (The legal status is an assumption and is not a legal conclusion. Google has not performed a legal analysis and makes no representation as to the accuracy of the status listed.)
Expired - Fee Related
Application number
JP2007198686A
Other languages
English (en)
Other versions
JP2009037751A (ja
Inventor
浩 大谷
敦夫 野崎
喜芳 遠藤
Current Assignee (The listed assignees may be inaccurate. Google has not performed a legal analysis and makes no representation or warranty as to the accuracy of the list.)
Konica Minolta Inc
Original Assignee
Konica Minolta Inc
Priority date (The priority date is an assumption and is not a legal conclusion. Google has not performed a legal analysis and makes no representation as to the accuracy of the date listed.)
Filing date
Publication date
Application filed by Konica Minolta Inc filed Critical Konica Minolta Inc
Priority to JP2007198686A priority Critical patent/JP5018317B2/ja
Publication of JP2009037751A publication Critical patent/JP2009037751A/ja
Application granted granted Critical
Publication of JP5018317B2 publication Critical patent/JP5018317B2/ja
Expired - Fee Related legal-status Critical Current
Anticipated expiration legal-status Critical

Links

Images

Landscapes

  • Electroluminescent Light Sources (AREA)

Description

本発明は、有機エレクトロルミネッセンス素子(以下、有機EL素子とも言う)の製造方法に関する。
近年、有機物質を使用した有機EL素子は、固体発光型の安価な大面積フルカラー表示素子や書き込み光源アレイとしての用途が有望視されており、活発な研究開発が進められている。有機EL素子は、一対の支持体上に形成された陽極と陰極との間に、厚さわずか0.1μm程度の有機発光物質を含有する有機化合物層(単層部又は多層部)で構成する薄膜型の全固体素子である。この様な有機EL素子に2〜20V程度の比較的低い電圧を印加すると、有機化合物層に陰極から電子が注入され陽極から正孔が注入される。この電子と正孔が発光層において再結合し、エネルギー準位が伝導帯から価電子帯に戻る際にエネルギーを光として放出することにより発光が得られることが知られており、次世代の平面ディスプレイや照明として期待されている技術である。更に、最近発見されたリン光発光を利用する有機ELでは、以前の蛍光発光を利用するそれに比べ原理的に約4倍の発光効率が実現可能であることから、その材料開発を初めとし、発光素子の層構成や電極の研究開発が世界中で行われている。
この様に、有機EL素子は薄膜型の素子であるため、1個又は複数個の有機EL素子を支持体上に形成した有機ELパネルをバックライト等の面光源として利用した場合には、面光源を備えた装置を容易に薄型にすることが出来る。又、画素としての有機EL素子を支持体上に所定個数形成した有機ELパネルをディスプレイパネルとして用いて表示装置を構成した場合には視認性が高い、視野角依存性がないなど、液晶表示装置では得られない利点がある。
有機EL素子の製造方法としては、基板の上に順次陽極、有機機能層、陰極を逐次形成して行く方法(逐次成膜法)と、陽極と有機機能層とを積層した第1基板と、陰極を形成した第2基板とを準備し、第1基板と第2基板との間に陽極と陰極とが対向するように貼合する方法(貼合法)とが知られており、貼合法が最近では以下に示す利点を有することから検討されている。
(1)支持体の上に陽極(第1電極)と発光層を順次形成した第1部材と、支持体の上に陰極(第2電極)を形成した第2部材とを別々に逐次成膜法により予め準備しておける。(2)高温が掛かる蒸着法で形成する陰極(第2電極)を別に作製するため、第1部材側に設けたガスバリア層が高温による損傷を受けなくなるため、製造した有機EL素子の保存性の向上と安定化が可能となる。
(3)支持体に可撓性部材を用いることでロールトゥーロール方式での連続生産が可能になる。
(4)逐次成膜法でのロールトゥーロール方式では出来なかった生産効率の向上、コストダウンの可能性がある。
(5)互いの貼合面を有機層にすることで有機層の積層が容易に出来る。
この様に、貼合法は多くの利点を有する技術手段ではあるが、1)貼合した時の接合面が必ずしも分子レベルで密着しておらず結果としてキャリア移動がスムーズに行えなくなる、2)接合面が剥離等に起因すると考えられる発光素子として機能不良等の性能上の問題を抱えている。
特に接合面の剥離は、基板をフィルムやプラスチック基材などの可撓性基材にした際には使用時に素子が破壊されてしまうという致命的な欠陥になってしまう恐れがある。これらの問題に対してこれまでに多くの検討がなされてきた。
例えば、非透湿性透明基板の表面に、透明第一電極層を介して、少なくとも有機発光材料層を含む有機材料層を有する第一積層体と、一方の面に弾性樹脂材料層を備えた金属基板の弾性樹脂材料層の表面に、第二電極層を介して有機材料層が付設された第二積層体とを重ね合わせ、有機材料層を加熱して軟化させ、加圧し、各々の積層体の有機材料層を互いに接合する方法が知られている(例えば、特許文献1参照。)。
又、基板上に電極層と有機発光材料層とを積層した電極基板、樹脂フィルムの上に電極層とを積層した電極フィルムとを、有機発光材料層と樹脂フィルムの上の電極層とが向かい合うようにして重ね合わせ、80〜160℃の加熱状態で加圧することにより互いに接合する方法が知られている(例えば、特許文献2を参照。)。
しかしながら、特許文献1及び特許文献2に記載の方法は確かに接合面の安定化には効果はあるが、材料のTg近傍の温度と高い圧力を加えることにより密着性を上げるものであり、その圧力は電極端部(エッジ部)に集中しやすい。この電極端部(エッジ部)に集中した荷重は有機層にクラックなどを発生させ、リークを引き起こす場合がある。リークが発生した場合は正常な場合よりも多くの電流が流れ、発光不良や有機EL素子の寿命低下、破損を引き起こす。ひどい場合は対向する電極とのショートを引き起こす恐れがあり、有機EL素子を破壊する危険がある。このため、貼合する時の圧力をリークの発生を抑え、接合面の接合性を剥離が発生し難い限界にして製造しているため未だ接合面の接合性が十分な状態となっていないのが現状である。
この様な状況から貼合法で有機EL素子を製造する際、接合面の密着性を向上し、且つ、リークの発生が生じない有機EL素子及び有機EL素子の製造方法の開発が望まれている。
特開2004−296148号公報 特開2005−251704号公報
本発明は、上記状況に鑑みなされたものであり、その目的は貼合法で有機EL素子を製造する際、接合面の密着性を向上し、且つ、リークの発生が生じない有機EL素子の製造方法を提供することである。
本発明の上記目的は次の構成により達成された。
.第1基材の上に少なくとも陽極及び少なくとも1層の有機機能層が形成された第1部材と、第2基材の上に少なくとも陰極が形成された第2部材とを使用し、前記第1基材と前記第2基材との間に前記陽極と前記陰極とが挟まれた構成となるように貼合し、前記第1基材と前記第2基材との間を封止部材で封止した有機エレクトロルミネッセンス素子の製造方法において、前記第1基材の前記陽極が形成される面又は前記第2基材の前記陰極の形成される面のどちらか一方に、前記陽極又は前記陰極の周辺形状に合わせた溝部を有し、前記第1部材を供給する第1供給工程と、前記第2部材を供給する第2供給工程と、前記第1基材と前記第2基材との間を封止部材で封止する封止剤塗設工程と、前記第1部材と、前記第2部材とを貼合する貼合工程とを有し、前記第1供給工程は、前記第1基材の供給工程と、前記第1基材の上に前記陽極を形成する陽極形成工程と、前記陽極の上に前記有機機能層を形成する有機機能層形成工程とを有し、前記第2供給工程は、前記第2基材の供給工程と、前記第2基材の上に前記陰極を形成する陰極形成工程とを有し、前記陽極形成工程と、前記陰極形成工程とのどちらか一方は前記陽極の周辺の端部又は前記陰極の周辺の端部を前記溝部に形成することを特徴とする有機エレクトロルミネッセンス素子の製造方法。
.前記溝部は予め第1基材の前記陽極が形成される面又は前記第2基材の前記陰極形成される面のどちらか一方に形成されていることを特徴とする前記に記載の有機エレクトロルミネッセンス素子の製造方法。
.前記第1供給工程の陽極形成工程の前、又は前記第2供給工程の陰極形成工程の前のどちらか一方に、前記溝部を形成する溝部形成工程を有することを特徴とする前記1又は2に記載の有機エレクトロルミネッセンス素子の製造方法。
.前記溝部は、深さが20μm〜150μm、幅が50μm〜2000μm、陽極又は陰極と接触する側の縁が10μm以上のRを有し、且つ側壁が30°〜60°の角度を有することを特徴とする前記の何れか1項に記載の有機エレクトロルミネッセンス素子の製造方法。
貼合法で有機EL素子を製造する際、接合面の密着性を向上し、且つ、リークの発生が生じない有機EL素子の製造方法を提供することが出来、有機EL素子の生産効率の向上、製造コストの低減が可能となった。
本発明の実施の形態を図1〜図11を参照しながら説明するが本発明はこれに限定されるものではない。
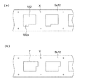
図1は本発明の貼合法により製造された有機EL素子の一例を示す概略図である。図1(a)は本発明の貼合法により製造された有機EL素子の一例を示す概略斜視図を示す。図1(b)は図1(a)のA−A′に沿った概略断面図である。図1(c)は図1(a)のB−B′に沿った概略断面図である。
図中、1は有機EL素子を示す。有機EL素子1は、第1基材101上に順次、陽極(第1電極)102と、正孔輸送層103と、発光層104と、陰極バッファ層(電子注入層)105と、陰極(第2電極)106と、第2基材107と、封止部材108とを有している。有機EL素子1は第1基材101と第2基材107との間に陽極(第1電極)102と陰極(第2電極)106とが対向し挟まれた構成となっており、陽極(第1電極)102の取り出し電極102aと、陰極(第2電極)106の取り出し電極106aの端部を除いて封止部材108により封止された密着封止構造となっている。
107bは第2基材107の陰極(第2電極)106が形成される面107aに陰極(第2電極)106の周辺の形状に合わせ配設された溝部を示す。106bは陰極(第2電極)106の端部を示し、溝部107bに形成されている。
尚、本図は第2基材107に溝部107bが形成されている場合を示したが、第1基材101の陽極(第1電極)102が形成される面101aに陽極(第1電極)102の周辺の形状に合わせ溝部を配設してもよく、第2基材107又は第1基材101のどちらか一方に形成されていればよい。陽極(第1電極)102と第1基材101との間、第2基材107と陰極(第2電極)層106との間にガスバリア膜(不図示)を設けても構わない。第1基材101、第2基材107は両方が可撓性支持体であっても、どちらか一方が可撓性支持体であってもよく必要に応じて適宜選択することが可能である。
本発明は、本図に示される有機EL素子1の製造方法に関するものである。
本図に示す有機EL素子の層構成は一例を示したものであるが、陽極(第1電極)と陰極(第2電極)との間の他の代表的な有機EL素子の層構成としては次の構成が挙げられる。
(1)陽極(第1電極)/有機層(発光層)/陰極(第2電極)
(2)陽極(第1電極)/有機層(発光層)/電子輸送層/陰極(第2電極)
(3)陽極(第1電極)/正孔輸送層/有機層(発光層)/正孔阻止層/電子輸送層/陰極(第2電極)
(4)陽極(第1電極)/正孔輸送層(正孔注入層)/有機層(発光層)/正孔阻止層/電子輸送層/陰極バッファ層(電子注入層)/陰極(第2電極)
(5)陽極(第1電極)/陽極バッファ層(正孔注入層)/正孔輸送層/有機層(発光層)/正孔阻止層/電子輸送層/陰極バッファ層(電子注入層)/陰極(第2電極) 有機EL素子を構成している各層については後に説明する。
図2は図1に示される有機EL素子の第2基材の陰極(第2電極)が形成される面の拡大概略図である。図2(a)は図1に示される有機EL素子の第2基材の陰極(第2電極)が形成される面の拡大概略平面図である。図2(b)は図2(a)のC−C′に沿った拡大概略断面図である。
図中、107a1は溝部107bの内側の縁を示し、側壁107b3と陰極(第2電極)106(図1参照)が形成される面107aとの交点に沿って形成されている。107a2は溝部107bの外側の縁を示す。溝部107bは、第2基材107に形成される陰極(第2電極)106(図1参照)の周辺形状に合わせ形成されており、陰極(第2電極)106(図1参照)の周辺の端部106b(図4参照)が溝部107bの中に形成される様に設けられている。
溝部107bは、底部107b1と側壁107b2と側壁107b3とを有している。
本図に示される第2基材107に陰極(第2電極)106(図1参照)を形成すると、陰極(第2電極)106(図1参照)の周辺の端部106b(図4参照)は側壁107b3に接した状態で溝部107bの内部に形成される。
底部107b1の形状は特に限定はなく、例えば陰極(第2電極)106(図1参照)が形成される面107aと対向する面107cと平行な平面、湾曲面、凹凸面等が挙げられる。本図は平面の場合を示している。
Sは溝部107bの開口部の幅を示す。幅Sは、50μm〜2000μmが好ましい。50μm未満の場合は、高いアライメント精度が必要になり、実施が困難となる場合がある。2000μmを超える場合は、隣の製膜面への影響や、全体の平面性への影響がある場合がある。
Tは溝部107bの深さを示す。深さTは、20μm〜500μmが好ましい。20μm未満の場合は、効果が不十分な場合がある。500μmを超える場合は、加工性が困難となることにより、全体の平面性への影響がある場合がある。
図3は図2に示す溝部の形状の一例を示す拡大概略断面図である。
溝部107bの形状としては、縁107a1の上に形成される陰極(第2電極)106(図1参照)と側壁107b3の上に形成される陰極(第2電極)106(図1参照)迄の形状が湾曲(図4参照)するような形状であれば特に限定はない。
(a)に示される形状に付き説明する。(a)に示される形状は、溝部107bを構成している側壁107b3と側壁107b2とが傾斜して形成されている。107cは陰極(第2電極)が形成される面107aと対向する面を示す。107a1は溝部107bの内側の縁を示し、107a2は溝部107bの外側の縁を示す。θ1は側壁107b3の表面と第2基材107の陰極(第2電極)が形成される面107aと対向する面107cとのなす角度(側壁107b3の傾斜角度)を示す。縁107a1の側壁107b3と面107aとの成す角度と、縁107a2の側壁107b2と面107aとの成す角度とは同じであることが好ましい。
角度θ1は、30°〜60°が好ましい。角度θ1が30°未満の場合は、十分な深さTがとれなくなり、本発明の効果が得られ難くなる場合がある。角度θ1が60°を超える場合は、側壁107b3に陰極が形成されづらくなり、縁107a1に陰極のエッジが生じて、本発明の効果が出なくなる場合がある。
(b)に示される形状に付き説明する。(b)に示される形状は、溝部107bを構成している側壁107b3が(a)と同じ様に傾斜して形成されており、側壁107b2は垂直(縁107a2の角度は90°)で形成されている場合を示している。
(c)に示される形状に付き説明する。(c)に示される形状は、縁107a1がRを有する形状で形成され、縁107a1から続く側壁107b3が(a)と同じ様に傾斜して形成されており、側壁107b2は垂直(縁107a2の角度は90°)で形成されている場合を示している。Rは10μm以上が好ましい。Rは使用する基材の厚さにより、設定する範囲が異なってくるため規定することは困難であるが、最低10μmのRを設ける事が好ましい。例えば、厚さ200μmの基材の場合は、10μm〜120μmのRを設ける事が好ましい。側壁107b3の傾斜角度θ1は、図3(a)と同じである。
(d)に示される形状に付き説明する。(d)に示される形状は、溝部107bを構成している側壁107b3と側壁107b2とが傾斜して形成されており、且つ、縁107a1及び縁107a2がRを有する形状で形成されている。側壁107b3は角度θ1を有する傾斜した面で形成されており、側壁107b2も側壁107b3と同じ角度で傾斜している。角度θ1は(c)の場合と同じ値である。又、Rも(c)の場合と同じ値である。第1基材101(図1参照)の陽極(第1電極)102(図1参照)が形成される面に溝部を形成する場合も、図2、図3に示される溝部と同じ形状となる。
図4は図3に示される各形状の溝部を有する第2基材の上に陰極(第2電極)を形成した場合の拡大概略断面図である。
図中、106bは陰極(第2電極)106の端部を示す。他の符号は図3と同義である。図3に示す形状の溝部(a)〜(d)を有する第2基材107の上に陰極(第2電極)106を形成することで、本図の(a′)〜(d′)に示す様に、何れの場合も端部106aは溝部107bの内部に形成される。又、溝部107bの縁107a1の上に形成される陰極(第2電極)は何れもRを有する形状となる。尚、本図の(a′)〜(d′)に使用した第2基材107の溝部は、図3に示す形状の溝部(a)〜(d)に該当する。陽極(第1電極)の場合も本図と同じ形状となる。
本図に示す如く、縁107a1の上に形成される陰極(第2電極)106(図1参照)と側壁107b3の上に形成される陰極(第2電極)106(図1参照)迄の形状が湾曲(図4参照)するような形状となっている。
図5は第1基材の上に陽極と有機機能層が形成された第1部材と、第2基材の上に少なくとも陰極が形成された第2部材とを貼合法による張り合わせる状態を示す模式図である。図5(a)は、従来の第1基材の上に陽極と発光層が形成された第1部材と、第2基材の上に陰極が形成された第2部材とを貼合法による張り合わせる状態を示す模式図である。図5(b)は、第1基材の上に陽極と有機機能層が形成された第1部材と、図3(a)に示される状態の第2基材の上に、図4(a)に示される状態に陰極が形成された第2部材とを貼合法による張り合わせる状態を示す模式図である。
図5(a)に付き説明する。図中、3′は第1部材を示す。第1部材3′は、通常第1基材の上に少なくとも陽極(第1電極)302′及び少なくとも1層の有機機能層が形成された構成を有している。本図の場合は、第1基材301′の上に陽極(第1電極)302′と、陽極(第1電極)302′の上に積層された発光層303′とを有する構成を有している。
4′は第2部材を示す。第2部材4′は、通常第2基材の上に少なくとも陰極(第2電極)402′が形成された構成を有している。本図の場合は、第2基材401′の上に形成された陰極(第2電極)402′を有する構成となっている。本図に示す第2部材4′の陰極(第2電極)402′が形成される面401′aは凸部及び凹部がない、平坦な面となっている。このため、面401′aの上に形成される陰極(第2電極)402′は同一平面上に端部402′aを有する形状となっている。
この様な第1部材3′と、第2部材4′とを本図に示す様な状態で貼合することで、第1基材301′と、第2基材401′との間に陽極(第1電極)302′と陰極(第2電極)402′とが挟持された状態の有機EL素子2aが製造される。
第1部材3′と、第2部材4′とを貼合する時、接合面の密着性を上げるため通常圧力を掛けた状態で行われる。本図の場合は第2基材401′側から圧力を掛けた場合を示している。掛けた圧力は陰極(第2電極)402′の端部402′aに集中しやすい。このため、端部402′aに集中した圧力は接合面である発光層303′にクラックなどを発生させ、リークを引き起こす場合がある。リークが発生した場合は正常な場合よりも多くの電流が流れ、発光不良や有機EL素子の寿命低下、破損を引き起こす。ひどい場合は対向する電極とのショートを引き起こす恐れがあり、有機EL素子を破壊する危険がある。
図5(b)に付き説明する。図中、3は第1部材を示す。第1部材3は、通常第1基材の上に少なくとも陽極(第1電極)及び少なくとも1層の有機機能層が形成された構成を有している。本図の場合は、第1基材301の上に陽極(第1電極)302と、陽極(第1電極)302の上に積層された発光層303とを有する構成を有している。
4は第2部材を示す。第2部材4は、通常第2基材の上に少なくとも陰極が形成された構成を有している。本図の場合は、第2基材401の上に形成された陰極(第2電極)401を有する構成となっている。本図に示す第2部材4の陰極(第2電極)402が形成される面401aは形成される陰極402の周囲の形状に合わせ、溝部401bが陰極(第2電極)402の端部が溝部401bに形成される様に配設されている。このため、面401aの上に形成される陰極(第2電極)402の端部402aは陰極402よりも低くなった形状となっている。
この様な第1部材3と、第2部材4とを本図に示す様な状態で貼合することで、第1基材301と、第2基材401との間に陽極(第1電極)302と陰極(第2電極)402とが挟持された状態の有機EL素子2bが製造される。
第1部材3と、第2部材4とを貼合する時、接合面の密着性を上げるため通常圧力を掛けた状態で行われる。本図の場合は第2基材401側から圧力を掛けた場合を示している。掛けた圧力は陰極の端部に集中しやすいが、本図に示す様に陰極402の端部402aは溝部401bに形成されているため、掛けた圧力は分散してしまい、接合面である発光層303にクラックなどを発生させることを防止している。
図1〜図5は、第2基材側に形成される陰極の端部を溝部の中に形成する場合について示しているが、これは第1基材側に形成される陽極の端部を溝部の中に形成しても勿論よく、陰極又は陽極のどちらか一方の端部が接合面と接触しない状態となっていればよい。溝部の中に陰極の端部又は陽極の端部を形成する方法は次の2通りの方法が挙げられる。
1)第1基材に予め形成される陽極の形状、又は第2基材側予め形成される陰極の形状に合わせ図3に示される様な溝部を形成し、後に陽極又は陰極を形成する。溝部を形成する方法としては、例えば、レーザーエッチング、熱成形、圧空成形、真空成形、等が挙げられる。
2)第1基材に陽極を形成した後、又は第2基材に陰極を形成した後に、陽極又は陰極の周辺の端部が溝部の中になるように成形する。成形する方法としては、例えば、熱成形、圧空成形、真空成形等が挙げられる。
図1〜図5に示す本発明に係わる第1基材又は第2基材を使用した貼合法により有機EL素子を製造することで次の効果が挙げられる。
1)第1基材の上に少なくとも陽極と、少なくとも1層の有機機能層が形成された第1部材と、第2基材の上に少なくとも陰極が形成された第2部材とを貼合法による張り合わせをする際、圧力を掛けても陽極又は陰極の端部への圧力集中を防止することが可能となり、発光不良や有機EL素子の寿命低下を抑えた有機EL素子の製造が可能となった。
2)貼合時の圧力に伴う性能への影響がなく、接合面の密着性を向上した有機EL素子の製造が可能となった。
3)貼合法によるこれまでの欠点であった、1)圧力による影響、2)接合面の密着性に対する対策が採れたことで、貼合法による製造が可能となった。
4)貼合法による製造が可能となったことに伴い、有機EL素子の生産効率の向上が可能となった。
次に、図1〜図5に示した様な第1基材と、第2基材とを使用し、ロールトゥーロール方式、バッチ方式で有機EL素子を製造する方法を説明する。
図6は、図1〜図5に示した様な第1基材と、第2基材とを使用し、図1に示す構成の有機EL素子をロールトゥーロール方式の貼合法により製造する製造工程の模式図である。
図中、5は製造工程を示す。製造工程5は第1供給工程5aと、第2供給工程5bと、封止剤塗設工程5cと、貼合工程5dと、打ち抜き工程5eとを有している。
第1供給工程5aは、ロール状の第1基材5a12の供給工程5a1と、正孔輸送層を形成する正孔輸送層形成工程5a2と、発光層を形成する発光層形成工程5a3とを有している。本図で示される第1供給工程5aは、供給工程5a1〜発光層形成工程5a3迄を連続して大気圧条件下で行う工程となっている。
第1供給工程5aは第1基材5a12に少なくとも陽極(第1電極)と少なくとも1層の有機機能層が成膜された第1部材5a4が供給される場合を示している。本図の場合は第1基材5a12の上に陽極(第1電極)(不図示、図1の陽極(第1電極)102に相当する)、正孔輸送層(不図示、図1の正孔輸送層103に相当する)、発光層(不図示、図1の発光層104に相当する)が形成された場合を示しており、正孔輸送層、発光層が有機機能層に相当する。
本図では、第1基材5a1の上に陽極(第1電極)(不図示、図1の陽極(第1電極)102に相当する)が既に形成されたものを使用するため、陽極(第1電極)形成工程は省略してある。尚、第1基材5a12と陽極(第1電極)(不図示、図1の陽極(第1電極)102に相当する)との間にガスバリア層を設けても構わない。又、各陽極(第1電極)の前後には各陽極(第1電極)の位置を示すアライメントマークX(図7参照)が付けられている。
供給工程5a1は、繰り出し部5a13と表面処理部5a14とを有している。繰り出し部5a13では、陽極(第1電極)(不図示、図1の陽極(第1電極)102に相当する)が既に形成され、巻き芯に巻き取られたロール状に巻かれた第1基材5a12が供給される様になっている。表面処理部5a14は洗浄表面改質処理装置5a15と、第1帯電防止手段5a16とを有している。洗浄表面改質処理装置5a15は、正孔輸送層形成用塗布液を塗布する前に繰り出し部5a13から送られてきた第1基材5a12の陽極(第1電極)(不図示、図1の陽極(第1電極)102に相当する)の表面を洗浄改質を行うため、例えば、低圧水銀ランプ、エキシマランプ、プラズマ洗浄装置等を使用することが好ましい。低圧水銀ランプによる洗浄表面改質処理の条件としては、例えば、波長184.2nmの低圧水銀ランプを、照射強度5〜20mW/cm2で、距離5〜15mmで照射し洗浄表面改質処理を行う条件が挙げられる。プラズマ洗浄装置による洗浄表面改質処理の条件としては、例えば、大気圧プラズマが好適に使用される。洗浄条件としてはアルゴンガスに酸素1〜5体積%含有ガスを用い、周波数100kHz〜150MHz、電圧10V〜10kV、照射距離5〜20mmで洗浄表面改質処理を行う条件が挙げられる。
第1帯電防止手段5a16は、非接触式帯電防止装置5a161と接触式帯電防止装置5a162とを有している。非接触式帯電防止装置5a161としては例えば、非接触式のイオナイザーが挙げられる。イオナイザーの種類については特に制限はなく、イオン発生方式はAC方式、DC方式どちらでも構わない。ACタイプ、ダブルDCタイプ、パルスACタイプ、軟X線タイプが用いることが出来るが、特に精密除電の観点から、ACタイプが好ましい。ACタイプの使用の際に必要となる噴射気体については、空気かN2が用いられるが、十分に純度が高められたN2で行うことが好ましい。又、インラインで行う観点より、ブロワータイプもしくはガンタイプより選ばれる。
接触式帯電防止装置5a162としては、除電ロール又はアース接続した導電性ブラシを用いて行われる。除電器としての除電ロールは、接地されており、除電された表面に回転自在に接触して表面電荷を除去する。この様な除電ロールとしては、アルミニウム、銅、ニッケル、ステンレス等の金属製ロールの他に、カーボンブラック、金属粉、金属繊維等の導電性材料を混合した弾性のあるプラスチックやゴム製のロールが使用される。特に、第1基材201aとの接触をよくするため、弾性のあるものが好ましい。アース接続した導電性ブラシとは、一般には、線状に配列した導電性繊維からなるブラシ部材や線状金属製のブラシを有する除電バー又は除電糸構造のものを挙げることが出来る。除電バーについては、特に限定はないが、コロナ放電式のものが好ましく用いられ、例えば、キーエンス社製のSJ−Bが用いられる。除電糸についても、特に限定はないが、通常フレキシブルな糸状のものが好ましく用いられ、例えば、ナスロン社製の12/300×3をその一例として挙げることが出来る。
非接触式帯電防止装置5a161は第1基材5a12の上に形成されている陽極(第1電極)面側に使用し、接触式帯電防止装置5a162は第1基材5a12の裏面側に使用することが好ましい。第1帯電防止手段5a16により第1基材5a12の帯電除去が図られ、ゴミの付着や絶縁破壊が防止されるため、有機EL素子の歩留まりの向上が図られる。
正孔輸送層形成工程5a2は、第1基材5a12を保持するバックアップロール5a21と、バックアップロール5a21に保持された第1基材5a12に正孔輸送層形成用塗布液を塗布する第1湿式塗布機5a22と、第1基材5a12上の陽極(第1電極)(不図示、図1の陽極(第1電極)102に相当する)の上に形成された正孔輸送層(不図示、図1の正孔輸送層103に相当する)の溶媒を除去する第1乾燥装置5a23と、溶媒が除去された正孔輸送層(不図示、図1の正孔輸送層103に相当する)を加熱する第1加熱処理装置5a24と、第2帯電防止手段5a25とを有している。
第1湿式塗布機5a22による正孔輸送層形成用塗布液は、第1基材5a12に付けられたアライメントマークX(図7参照)をアライメントマーク検出機(不図示)で検出し、既に形成されている陽極(第1電極)(不図示、図1の陽極(第1電極)102に相当する)の取り出し電極(不図示、図1の取り出し電極102aに相当する)を除いて陽極(第1電極)の上に塗布される。
第1湿式塗布機5a22に使用可能な湿式塗布機としては、例えば、ダイコート方式、スクリーン印刷方式、フレキソ印刷方式、インクジェット方式、メイヤーバー方式、キャップコート法、スプレー塗布法、キャスト法、ロールコート法、バーコート法、グラビアコート法等の塗布機の使用が可能である。これらの湿式塗布機の使用は有機化合物層の材料に応じて適宜選択することが可能となっている。
第1乾燥装置5a23における正孔輸送層の溶媒を除去する乾燥条件としては、乾燥ムラ、塗膜表面の吹き荒れ等を考慮し、吐出口からの乾燥風の吐出風速0.1〜5m/s、幅手方向の風速分布が0.1〜10%の気流乾燥が挙げられる。
第1加熱処理部5a24における正孔輸送層の加熱処理条件として、正孔輸送層の平滑性向上、残留溶媒の除去、正孔輸送層の硬化等を考慮し、正孔輸送層のガラス転移温度に対して−30〜+30℃、且つ、正孔輸送層を構成している有機化合物の分解温度を超えない温度で裏面伝熱方式の熱処理を行うことが好ましい。
形成される正孔輸送層(不図示、図1の正孔輸送層103に相当する)の膜厚については特に制限はないが、通常は5nm〜5μm程度、好ましくは5〜200nmである。この正孔輸送層は一層構造であってもよい。又、不純物をドープしたp性の高い正孔輸送層を用いることも出来る。その例としては、特開平4−297076号、特開2000−196140号、特開2001−102175号、J.Appl.Phys.,95,5773(2004)などに記載されたものが挙げられる。この様なp性の高い正孔輸送層を用いることが、より低消費電力の有機EL素子を作製することが出来るため好ましい。
第2帯電防止手段5a25は、非接触式帯電防止装置5a251と接触式帯電防止装置5a252とを有している。非接触式帯電防止装置5a251は正孔輸送層側に使用し、接触式帯電防止装置5a252は第1基材5a12の裏面側に使用することが好ましい。第2帯電防止手段5a25により、正孔輸送層面及び第1基材5a12の裏面の帯電除去が図られ、ゴミの付着や絶縁破壊が防止されるため、有機EL素子の歩留まりの向上が図られる。第2帯電防止手段5a25に使用される非接触式帯電防止装置5a251と接触式帯電防止装置5a252は第1帯電防止手段5a16に使用した非接触式帯電防止装置5a161、接触式帯電防止装置5a162と同じものが好ましい。
発光層形成工程5a3は、バックアップロール5a31に保持された正孔輸送層(不図示、図1の正孔輸送層103に相当する)迄が形成された第1基材5a12の上の正孔輸送層に発光層形成用塗布液を塗布する第2湿式塗布機5a32と、発光層(不図示、図1の発光層104に相当する)の溶媒を除去する第2乾燥装置5a33と、溶媒が除去された発光層(不図示、図1の発光層104に相当する)を加熱する第2加熱処理装置5a34と、第3帯電防止手段5a35とを有している。
第2湿式塗布機5a32による発光層形成用塗布液は、アライメントマークX(図7参照)をアライメントマーク検出機(不図示)で検出し、陽極(第1電極)の取り出し電極(不図示、図1の取り出し電極102aに相当する)を除いて既に形成されている正孔輸送層(不図示、図1の正孔輸送層103に相当する)の上に塗布される。
第2湿式塗布機5a32は第1湿式塗布機5a22と同じ型式のものが好ましい。尚、本図は照明用に使用する有機EL素子を1例にしているため第2湿式塗布機5a32は全面塗工タイプとなっているが、有機EL素子がフルカラー方式の場合は、パターン化されて形成されている陽極(第1電極)のパターンに合わせて陽極(第1電極)上に発光層をパターン塗布するため、例えば、インクジェット方式、フレキソ印刷方式、オフセット印刷方式、グラビア印刷方式、スクリーン印刷方式、マスクを用いたスプレー塗布方式等に使用する各種塗布装置を使用することが可能である。
第2乾燥装置5a33は第1乾燥装置5a23と同じ構造をしている。第2加熱処理装置5a34は第1加熱処理装置5a24と同じ構造をしており、正孔輸送層(不図示、図1の正孔輸送層103に相当する)上に形成された発光層(不図示、図1の発光層104に相当する)を第1基材5a12の裏面側から裏面伝熱方式で加熱する様になっている。第2加熱処理装置5a34における発光層(不図示、図1の発光層104に相当する)の加熱処理条件として、発光層の平滑性向上、残留溶媒の除去、発光層の硬化等を考慮し、発光層のガラス転移温度に対して−30〜+30℃、且つ、発光層を構成している有機化合物の分解温度を超えない温度で裏面伝熱方式の熱処理を行うことが好ましい。
発光層(不図示、図1の発光層104に相当する)が多層の場合は、積層する数に合わせて塗布・乾燥部のユニットを配設する必要がある。例えば、発光層を多層にすることで白色素子の作製が可能である。本発明において、発光層とは青色発光層、緑色発光層、赤色発光層を指す。発光層を積層する場合の積層順としては、特に制限はなく、又各発光層間に非発光性の中間層を有していてもよい。本発明においては、少なくとも一つの青発光層が、全発光層中最も陽極に近い位置に設けられていることが好ましい。又、発光層を4層以上設ける場合には、陽極に近い順から、例えば青色発光層/緑色発光層/赤色発光層/青色発光層、青色発光層/緑色発光層/赤色発光層/青色発光層/緑色発光層、青色発光層/緑色発光層/赤色発光層/青色発光層/緑色発光層/赤色発光層のように青色発光層、緑色発光層、赤色発光層を順に積層することが、輝度安定性を高める上で好ましい。
発光層の膜厚の総和は特に制限はないが、膜の均質性、発光に必要な電圧等を考慮し、通常2nm〜5μm、好ましくは2〜200nmの範囲で選ばれる。更に10〜20nmの範囲にあるのが好ましい。膜厚を20nm以下にすると電圧面のみならず、駆動電流に対する発光色の安定性が向上する効果があり好ましい。個々の発光層の膜厚は、好ましくは2〜100nmの範囲で選ばれ、2〜20nmの範囲にあるのが更に好ましい。青、緑、赤の各発光層の膜厚の関係については、特に制限はないが、3発光層中、青発光層(複数層ある場合はその総和)が最も厚いことが好ましい。
第3帯電防止手段5a35は、非接触式帯電防止装置5a351と接触式帯電防止装置5a352とを有している。非接触式帯電防止装置5a351は発光層(不図示、図1の発光層104に相当する)側に使用し、接触式帯電防止装置5a352は第1基材5a12の裏面側に使用することが好ましい。第3帯電防止手段により、発光層面及び第1基材5a12の裏面の帯電除去が図られ、貼合工程5dでのゴミの付着等による故障が防止されるため素子の歩留まりの向上が図られる。第3帯電防止手段5a35に使用される非接触式帯電防止装置5a351と接触式帯電防止装置5a352は第1帯電防止手段5a16に使用した非接触式帯電防止装置5a161、接触式帯電防止装置5a162と同じものが好ましい。
この様に、発光層形成工程5a3を終了することで、第1基材5a12の上に、陽極(第1電極)(不図示、図1の陽極(第1電極)102に相当する)と、正孔輸送層(不図示、図1の正孔輸送層103に相当する)、発光層(不図示、図1の発光層104に相当する)の順番に形成された第1部材5a4が準備される。第1部材5a4は引き続き封止剤塗設工程5cへ送られる。正孔輸送層形成工程5a2と発光層形成工程5a3との間には速度調整のためにアキュームレータを配設することが好ましい。
尚、本図は連続して封止剤塗設工程5cへ送る場合を示しているが、一旦、第1部材5a4をロール状に巻き取り回収しても構わない。
本図に示される、正孔輸送層形成工程5a2、及び発光層形成工程5a3は湿式塗布装置、乾燥装置、加熱処理装置がそれぞれ1台の場合を示しているが、必要に応じて増加することが可能となっている。
第1湿式塗布機5a22で正孔輸送層形成用塗布液を塗布する時の第1基材5a12の搬送速度のバラツキと、第2湿式塗布機5a32で発光層形成用塗布液を塗布する時の第1基材5a12の搬送速度のバラツキは、長手方向の塗膜厚みムラに伴う発光輝度ムラ、等を考慮し、平均搬送速度に対して0.2〜10%であることが好ましい。
第1湿式塗布機5a22で使用する正孔輸送層形成用塗布液、及び第2湿式塗布機5a32で使用する発光層形成用塗布液は、少なくとも1種の有機化合物材料と少なくとも1種の溶媒とを有し、塗布時のハジキ、塗布ムラ等を考慮し、表面張力が15×10-3〜55×10-3N/mであることが好ましい。
本図で示される有機EL素子の構成層である正孔輸送層及び発光層を形成する工程は、正孔輸送層及び発光層の性能維持、異物付着に伴う故障欠陥の防止等を考慮し、露点温度−20℃以下、且つJISB 9920に準拠し、測定した清浄度がクラス5以下で、且つ、第1乾燥部、第2乾燥部を除き10〜45℃の大気圧条件下で形成されることが好ましい。本発明において清浄度がクラス5以下とは、クラス3〜クラス5を示す。
第2供給工程5bでは、第2基体5b12の上に少なくとも陰極(第2電極)(不図示、図1の陰極(第2電極)106に相当する)が形成された第2部材5b4が供給される。本図の場合は第2基材5b12の上に、陰極(第2電極)(不図示、図1の陰極(第2電極)106に相当する)、陰極バッファ層(電子注入層)(不図示、図1の陰極バッファ層(電子注入層)105に相当する)が形成された第2部材5b4の場合を示している。尚、第2基材5b12と陰極(第2電極)(不図示、図1の陰極(第2電極)106に相当する)との間にガスバリア層を設けても構わない。
第2供給工程5bは、ロール状の第2基材5b12の供給工程5b1と、陰極(第2電極)(不図示、図1の陰極(第2電極)106に相当する)を形成する陰極形成工程5b2と、陰極バッファ層(電子注入層)(不図示、図1の陰極バッファ層(電子注入層)105に相当する)を形成する陰極バッファ層(電子注入層)形成工程5b3とを有している。本図で示される第2供給工程は、陰極形成工程5b2と、陰極バッファ層(電子注入層)形成工程5b3とが減圧条件下で行う工程(ドライプロセス工程)となっている。供給工程5b1は、ロール状に巻かれた第2基材5b12が供給される様になっている。第2基材5b1の陰極(第2電極)が形成される面には、予め陰極(第2電極)の周辺形状に合わせた図2に示す様な溝部7(図7参照)が配設されており、溝部7(図7参照)の前後には溝部の位置を示すアライメントマークY(図7参照)が付けられている。
陰極(第2電極)形成工程5b2は、第2基材5b12に付けられた溝部7(図7参照)の位置を示すアライメントマークY(図7参照)を検出するアライメントマーク検出装置5b21と、陰極(第2電極)形成部5b22とアキュームレータ5b23とを有している。陰極(第2電極)形成部5b22ではアライメントマーク検出装置5b21の情報に従って第2基材5b12の上に配設された溝部7(図7参照)に陰極(第2電極)の周辺の端部が形成(図4参照)される様に位置決めがなされ、陰極(第2電極)(不図示、図1の陰極(第2電極)106に相当する)が形成される。5b221は蒸着装置を示し、5b222は蒸発源容器を示す。
陰極バッファ層(電子注入層)形成工程5b3は、アキュームレータ5b31と、溝部の位置を示すアライメントマークY(図7参照)を検出するアライメントマーク検出装置5b32と、陰極バッファ層(電子注入層)形成部5b33とを有している。陰極バッファ層(電子注入層)形成部5b33で陰極(第2電極)(不図示、図1の陰極(第2電極)106に相当する)の上に取り出し電極(第2電極)(不図示、図1の取り出し電極106aに相当する)を除いて陰極バッファ層(電子注入層)(不図示、図1の陰極バッファ層(電子注入層)105に相当する)が形成される。5b331は蒸着装置を示し、5b332は蒸発源容器を示す。
陰極バッファ層(電子注入層)形成工程5b3を終了することで、第2基材5b12の上に陰極(第2電極)(不図示、図1の陰極(第2電極)106に相当する)、陰極バッファ層(電子注入層)(不図示、図1の陰極バッファ層(電子注入層)105に相当する)の順番に形成された第2部材5b4が準備される。第2部材5b4は、引き続き貼合工程2dへ送られる。尚、本図は連続して第2部材5b4を貼合工程5dへ送る場合を示しているが、一旦、第2部材5b4をロール状に巻き取り回収しても構わない。
本図では、陰極(第2電極)形成工程5b2、陰極バッファ層(電子注入層)形成工程5b3が蒸着装置の場合を示したが、陰極(第2電極)及び陰極バッファ層(電子注入層)の形成方法については、特に限定はなく、例えばスパッタリング法、反応性スパッタリング法、分子線エピタキシー法、クラスタ−イオンビーム法、イオンプレーティング法、プラズマ重合法、大気圧プラズマ重合法、プラズマCVD法、レーザーCVD法、熱CVD法、コーティング法などを用いることが出来る。
陰極バッファ層(電子注入層)はごく薄い膜であることが望ましく、素材にもよるがその膜厚は0.1nm〜5μmの範囲が好ましい。陰極としてのシート抵抗は数百Ω/□以下が好ましく、膜厚は通常10nm〜5μm、好ましくは50〜200nmの範囲で選ばれる。
封止剤塗設工程5cは封止剤塗設装置5c1と第1供給工程5aから送られてくる第1部材5a4を載置する載置台5c2と、第1部材5a4に付けられているアライメントマークX(図7参照)の検出装置5c3とを有している。封止剤塗設装置5c1により、第1基材5a12の上に積層(陽極(第1電極)/正孔輸送層/発光層)された機能層の周囲に封止剤である接着剤が陽極(第1電極)(不図示、図1の陽極(第1電極)102に相当する)の取り出し電極(不図示、図1の取り出し電極102aに相当する)を除いて塗設される。
貼合工程5dでは、第1供給工程5aから送られてくる第1部材5a4と、第2供給工程5bから送られてくる第2部材5b4とを、互いに付けられているアライメントマークX(図7参照)とアライメントマークY(図7参照)をアライメントマーク検出機で検出し、アライメントマークX(図7参照)とアライメントマークY(図7参照)とを対向した位置で貼合することで、第1基材5a12と第2基材5b12との間が接着剤で封止され、第1基材5a12と第2基材5b12との間に陽極(第1電極)(不図示、図1の陽極(第1電極)102に相当する)と陰極(第2電極)(不図示、図1の陰極(第2電極)106に相当する)とが対向した構成を有する帯状に繋がった有機EL素子6が作製される。貼合工程5dに関しては図9、図10で説明する。
打ち抜き工程5eは、打ち抜き装置5e1とアキュームレータ5e2とを有している。打ち抜き装置5e1で、貼合工程5dから送られてくる帯状に繋がった有機EL素子6を個別に分離するための打ち抜きが行われる。打ち抜き工程5eが終了することで図1に示す構成の有機EL素子6aが作製される。5e3は有機EL素子Tを打ち抜いたスケルトンを巻き取り回収したロール状スケルトンを示す。
本図に示される、第1供給工程5a、第2供給工程5b、封止剤塗設工程5cと、貼合工程5dと、打ち抜き工程5eまでの第1部材5a4、第2部材5b4及び帯状に繋がった有機EL素子6の搬送は各工程の搬送経路に配設されたEPC(不図示)により制御されている。
図7は図6に示す製造工程の各供給工程で供給される第1基材と、第2基材との概略平面図である。図7(a)は図6に示す製造工程の第1供給工程で供給される第1基材の概略平面図である。図7(b)は図6に示す製造工程の第2供給工程で供給される第2基材の概略平面図である。
図7(a)に付き説明する。図中、5a12は第1基材を示し、102は第1基材5a12に形成された陽極(第1電極)を示し、102aは取り出し電極を示す。Xは陽極(第1電極)102の前後に付けられたアライメントマークを示す。尚、反対の面にも同じ位置にアライメントマークを付けることが好ましい。
図7(b)に付き説明する。図中、5b12は第2基材を示し、7は第2基材5b12に形成された図2、図3に示される形状を有する溝部を示し、溝部7は陰極(第2電極)の周辺形状に合わせ形成されている。Yは溝部7の前後に付けられたアライメントマークを示す。尚、反対の面にも同じ位置にアライメントマークを付けることが好ましい。
図8は図6のUで示される部分の拡大概略図である。図8(a)は図6のUで示される部分の拡大概略斜視図である。図8(b)は図8(a)のVで示される部分の拡大概略平面図である。図8(c)は図8(b)のD−D′に沿った概略断面図である。
図中、5cは封止剤塗設工程を示す。5c31はアライメントマークXの検出装置5c3の筐体を示す。封止剤塗設装置5c1は検出装置5c3の情報に従って第1基材5a12の上に積層(陽極(第1電極)102/正孔輸送層103/発光層104)された機能層の周囲に封止剤を塗設する様に制御されている。載置台5c2は載置台5c2の上の第1部材5a4を固定するために、例えば吸引固定が出来る様にすることが好ましい。正孔輸送層103は陽極(第1電極)102の取り出し電極102aを除いて、陽極(第1電極)102の周囲を含め陽極(第1電極)102の上に積層されている。発光層104は正孔輸送層103の上に積層されている。8は第1基材201aの上に積層(陽極(第1電極)102/正孔輸送層103/発光層104)された機能層の周囲に塗設された封止剤の接着剤を示す。接着剤8は貼合工程で第2部材5b4を貼合する時、第2基材5b4の陰極(第2電極)を形成してある面と接触する高さを有していればよい。封止剤塗設装置5c1としては特に限定はなく例えば、スクリーン印刷方式、インクジェット方式、ディスペンサ方式等が封止剤の液物性に応じて好適に用いることが出来る。
図9は図6のWで示される貼合工程の拡大概略図である。図9(a)は図6のWで示される貼合工程の概略拡大斜視図である。図9(b)は図9(a)のE−E′に沿った概略拡大断面図である。
図中、5dは貼合工程を示す。貼合工程5dは外箱5d11と、上下一対の加熱圧着ロール5d12とを有する貼合装置5d1と第1アライメントマーク検出装置5d2と、第2アライメントマーク検出装置5d3とを有している。5d21は第1アライメントマーク検出装置5d1の筐体を示す。5d31は第2アライメントマーク検出装置5d3筐体を示す。5d13は吸引管を示し真空ポンプ(不図示)に繋がっている。第1部材5a4と第2部材5b4とを貼合する時は真空ポンプ(不図示)を稼動し外箱5d11の内部を減圧環境にして行うことが可能となっている。
第1アライメントマーク検出装置5d2は封止剤塗設工程5c(図6、図8参照)から送られてくる第1部材5a4に付けられているアライメントマークXを検出する。アライメントマーク検出装置5d2により検出された情報は制御部(不図示)に入力され、第1部材5a4の搬送速度を、第2供給工程5b(図6参照)から送られてくる第2部材5b4に付けられているアライメントマークYと一致する様に制御が可能となっている。
第2アライメントマーク検出装置5d3は、第2供給工程5b(図6参照)から送られてくる第2部材5b4に付けられているアライメントマークYを検出する。第2アライメントマーク検出装置5d3により検出された情報は制御部(不図示)に入力され、封止剤塗設工程5c(図6、図8参照)から送られてくる第1部材5a4に付けられているアライメントマークXと一致する様に制御が可能となっている。
貼合工程5dでは、封止剤塗設工程5c(図6、図8参照)から送られてくる第1部材5a4の発光層104と、第2部材5b4の陰極バッファ層(電子注入層)105とを合わせ減圧環境下で熱圧着することで陰極バッファ層(電子注入層)105と発光層104とが貼合される。貼合した後は、第1基材5a12と第2基材5b12との間に陽極(第1電極)102と陰極(第2電極)106とが対向した状態の個別の有機EL素子が連続的に繋がった帯状の有機EL素子6が製造される。この後、帯状の有機EL素子6は打ち抜き工程5eで打ち抜かれ、図1に示す構成の有機EL素子6aが作製される。
貼合する時に合わせ、第1部材5a4の第1基材5a12の上に積層(陽極(第1電極)102/正孔輸送層103/発光層104)された機能層の周囲に塗設された封止剤の接着剤8と第2部材5b4の第2基材5b12とが接着し、第1基材5a12と第2基材5b12との間が接着剤で封止された個別の有機EL素子が出来上がる。
本図に示される貼合装置を使用しての貼合は減圧環境で加熱圧着ロールによる場合を示しているが、加熱方法は特に限定はなく、例えば内部全体を加熱、加熱ロールを使用等が挙げられる。これらの中で、直接熱が伝わる加熱ロールを使用することが貼合安定性、接着安定性の転から好ましい。本図は加熱ロールを使用した場合を示している。
本図に示される貼合装置5d1の圧着時の温度、減圧度は、使用する接着剤の種類、発光層の種類、陰極バッファ層(電子注入層)の種類により変わるため、一義的に決めることは困難であるが、有機EL素子を構成する各層に影響を与えない範囲で先行実験で決める必要がある。圧着時の圧力は0.1MPa〜5MPaが好ましい。
尚、本図に示される製造工程5では、陰極(第2電極)106が形成される第2基材5b12の面に予め陰極(第2電極)106の周辺の形状に合わせ溝部を形成した第2基材5b12を供給工程5b1から供給し使用した場合を示したが、別の方法としては次の方法が可能である。
1)供給工程5b1からアライメントマークのみが付けられた第2基材5b12を供給し、陰極形成工程5b2の前に溝部形成工程を配設し、陰極(第2電極)106が形成される第2基材5b12の面に陰極(第2電極)106の周辺の形状に合わせ溝部を形成する方法。
2)陽極(第1電極)102が形成される第1基材5a12の面に予め陽極(第1電極)102の周辺の形状に合わせ溝部を形成した第1基材5a12を使用する方法。
3)供給工程5a1からアライメントマークのみが付けられた第1基材5a12を供給し、陽極形成工程の前に溝部形成工程を配設し、陽極(第1電極)102が形成される第1基材5a12の面に陽極(第1電極)102の周辺の形状に合わせ溝部を形成する方法。
4)第2基材5b12の面に陰極(第2電極)106を形成した後、成形工程を貼合工程の前に配設し、陰極(第2電極)106の端部が溝部の中になるように成形する方法。
5)第1基材5a12の面に陽極(第1電極)102を形成した後、成形工程を貼合工程の前に配設し、陽極(第1電極)102の端部が溝部の中になるように成形する方法。
図10は図6に示される貼合工程に使用する他の貼合装置の概略拡大断面図である。
図中、5d′1は貼合装置を示す。貼合装置5d′1は、固定台5d′13と、第1圧着部材5d′14と、第2圧着部材5d′15とを有する本体5d′12を有している。5d′17は本体5d′12に配設された吸引管を示し真空ポンプ(不図示)に繋がっている。5d′18は固定台5d′13に配設された吸引管を示し真空ポンプ(不図示)に繋がっており、第1部材5a4と第2部材5b4とを貼合する時は真空ポンプ(不図示)を稼動し、位置ズレ、接合面の密着度を上げる様にしている。又、外箱5d11の内部を減圧環境にして行うことも可能となっている。
5d′16は本体5d′12に配設されたアライメントマーク検出装置を示す。アライメントマーク検出装置5d′16で第2部材201b1に付けられたアライメントマークY(図9参照)を検出可能となっている。
固定台5d′13の表面5d′131には複数の吸引用の孔(不図示)が開けられている。孔(不図示)の数は貼合する第1部材5a4と第2部材5b4の大きさにより適宜交換が可能となっている。又、孔(不図示)の大きさも、吸引した時、第1部材5a4と第2部材5b4との平面性が変化しないことが重要であることから、固定に必要とする吸引圧とから選択することが可能となっている。
第1圧着部材5d′14は接着剤8(図8参照)の部分を一度に圧着するため、矩形形状をしていることが好ましい。又、使用する接着剤の種類によっては加熱が出来る様にすることが好ましい。5d′141は第1圧着部材5d′14を上下方(図中の矢印方向)向に移動させるシリンダーを示す。
第2圧着部材5d′15は第1部材5a4の陽極(第1電極)/正孔輸送層/発光層に該当する部分、又は第2部材5b4の陰極(第2電極)/陰極バッファ層(電子注入層)に該当する部分の何れかを圧着する。5d′151は第2圧着部材5d′15を上下方(図中の矢印方向)向に移動させるシリンダーを示す。第2圧着部材5d′15は熱圧着が出来るように加熱手段を有している。
本図に示される貼合装置5d′1の圧着時の温度、減圧度は、使用する接着剤の種類、発光層の種類、陰極バッファ層(電子注入層)の種類により変わるため、一義的に決めることは困難であるが、有機EL素子を構成する各層に影響を与えない範囲で先行実験で決める必要がある。
本図に示される貼合装置5d′1を使用し、第1部材5a4と、第2部材5b4とを貼合する段階を次に説明する。
S1では、第1部材5a4と、第2部材5b4とを貼合する貼合装置5d′1が準備される。
S2では、接着剤の種類に合わせ第1圧着部材5d′14の温度と圧着する圧力が決められ、第1圧着部材5d′14の加熱及びシリンダー5d′14の調整が行われる。又、発光層と陰極バッファ層(電子注入層)の種類に合わせ第2圧着部材5d′15の温度と圧着する圧力が決められ、第2圧着部材5d′15の加熱及びシリンダー5d′151の調整が行われる。圧着時の圧力は0.1MPa〜5MPaが好ましい。
S3では、第1部材5a4に付けられたアライメントマークX(図9参照)と、第2部材5b4に付けられたアライメントマークY(図9参照)とが合わされた状態で固定台5d′13の上に真空ポンプ(不図示)を稼動させることで固定させる。又、必要に応じて、本体2d′12の内部も真空ポンプ(不図示)を稼動させることで減圧とする。
S4では、第1圧着部材5d′14と第2圧着部材5d′14とが下がり熱圧着が行われる。圧着は第2圧着部材5d′14による圧着を先に行うことが、発光層と陰極バッファ層(電子注入層)との間の密着度を上げるため好ましい。
S5では、圧着が終了した後、第1圧着部材5d′14と第2圧着部材5d′14とが上がり、固定が解除され貼合した部分は貼合装置5d′1の外に送り出され、次の貼合する部分が固定台2d′13に送られて来る。この後、S3からの操作が行われることで、順次、第1基材5a12(図9参照)と第2基材5b12(図9参照)との間に陽極(第1電極)102(図1参照)と陰極(第2電極)107(図1参照)とが対向し、第1基材5a12(図9参照)と第2基材5b12(図9参照)との空間部を接着剤8により封止した個別の有機EL素子が連続的に繋がった有機EL素子6が製造される。
図9、図10に示す貼合装置により貼合する時、第2基材5b12の上に形成されている陰極の端部は溝部7(図7参照)に形成されているため、加熱圧着ロール5d12による圧力は端部に集中することなく分散するため、発光層104及び陰極バッファ層(電子注入層)105に対してクラックなどを発生させることを防止している。又、図11に示す第1基材、第2基材に枚葉基材を使用した貼合装置の場合もこれらと同じ効果が得られる。
図11は、図1〜図5に示した様な第1基材と、第2基材とを使用し、図1に示す構成の有機EL素子をバッチ方式の貼合法により製造する製造工程の模式図である。尚、第1基材としてガラス板、第2基材として可撓性支持体の枚葉基材を使用した場合を示している。
図中、5′は製造工程を示す。製造工程5′は第1供給工程5′aと、第2供給工程5′bと、封止剤塗設工程5′cと、貼合工程5′dと、回収工程5′eとを有している。
第1供給工程5′aは第1基材501に少なくとも陽極(第1電極)と少なくとも1層の有機機能層が成膜された第1部材501aが供給される場合を示している。本図の場合は第1基材501の上に陽極(第1電極)102(図1参照)、正孔輸送層103(図1参照)、発光層104(図1参照)が形成された場合を示しており、正孔輸送層、発光層が有機機能層に該当する。本図では、第1基材501の上に陽極(第1電極)102(図1参照)が既に形成されたものを使用するため、陽極(第1電極)形成工程は省略してある。尚、陽極(第1電極)の前後には陽極(第1電極)の位置を示すアライメントマーク(不図示、図7(a)参照)が付けられている。尚、反対の面にも同じ位置にアライメントマークを付けることが好ましい。
第1供給工程5′aは、枚葉の第1基材501の供給工程5′a1と、正孔輸送層103(図1参照)を形成する正孔輸送層形成工程5′a2と、発光層104(図1参照)を形成する発光層形成工程5′a3とを有している。本図で示される第1供給工程5′aは、供給工程5′a1〜発光層形成工程5′a3迄を連続して大気圧条件下で行う工程となっている。供給工程5′a1は、供給部5′a11を有している。供給部5′a11では、陽極(第1電極)102(図1参照)が既に形成された枚葉の第1基材501が供給される様になっている。尚、必要に応じて図6に示される表面処理部5a14を配設することが可能である。
正孔輸送層形成工程5′a2は、第1基材501を保持する保持台5′a21と、保持台5′a21に保持された第1基材501に正孔輸送層形成用塗布液を塗布する第1湿式塗布機5′a22と、第1基材501上の陽極(第1電極)102(図1参照)の上に形成された正孔輸送層103(図1参照)の溶媒を除去する第1乾燥装置5′a23と、溶媒が除去された正孔輸送層103(図1参照)を加熱する第1加熱処理装置5′a24とを有している。必要に応じて図6に示される第2帯電防止手段5a25を配設することが可能である。
第1湿式塗布機5′a22による正孔輸送層形成用塗布液は、既に形成されている陽極(第1電極)102(図1参照)の取り出し電極102a(図1参照)を除いて陽極(第1電極)102(図15参照)の上に塗布される。
第1湿式塗布機5′a22に使用可能な湿式塗布機としては、例えば、スリットコート法、インクジェット法、スプレー法等に使用する塗布機の使用が可能である。これらの湿式塗布機の使用は有機化合物層の材料に応じて適宜選択することが可能となっている。
第1乾燥装置5′a23における正孔輸送層の溶媒を除去する乾燥条件としては、乾燥ムラ、塗膜表面の吹き荒れ等を考慮し、吐出口からの乾燥風の吐出風速0.1〜5m/s、幅手方向の風速分布が0.1〜10%の気流乾燥が挙げられる。
第1加熱処理部5′a24における正孔輸送層の加熱処理条件として、正孔輸送層の平滑性向上、残留溶媒の除去、正孔輸送層の硬化等を考慮し、正孔輸送層のガラス転移温度に対して−30〜+30℃、且つ、正孔輸送層を構成している有機化合物の分解温度を超えない温度で裏面伝熱方式の熱処理を行うことが好ましい。
形成される正孔輸送層103(図1参照)の膜厚は図6に示される正孔輸送層と同じであり、使用する材料も同じである。
発光層形成工程5′a3は、保持台5′a31に保持された第1基材501aの上に形成された正孔輸送層103(図1参照)の上に発光層形成用塗布液を塗布する第2湿式塗布機5′a32と、形成された発光層104(図1参照)の溶媒を除去する第2乾燥装置5′a33と、溶媒が除去された発光層104(図1参照)を加熱する第2加熱処理装置5′a34とを有している。必要に応じて図6示される第3帯電防止手段5a35を配設することが可能である。
第2湿式塗布機5′a32による発光層形成用塗布液は、陽極(第1電極)102(図1参照)の取り出し電極102a(図1参照)を除いて既に形成されている正孔輸送層103(図1参照)の上に塗布される。
第2湿式塗布機5′a32は第1湿式塗布機5′a22と同じ型式のものが好ましい。
第1湿式塗布機5′a22で使用する正孔輸送層形成用塗布液、及び第2湿式塗布機5′a32で使用する発光層形成用塗布液は、少なくとも1種の有機化合物材料と少なくとも1種の溶媒とを有し、塗布時のハジキ、塗布ムラ等を考慮し、表面張力が15×10-3〜55×10-3N/mであることが好ましい。
第2乾燥装置5′a33は第1乾燥装置5′a23と同じ構造をしている。第2加熱処理装置5′a34は第1加熱処理装置5′a24と同じ構造をしており、正孔輸送層103(図1参照)上に形成された発光層104を第1基材501の裏面側から裏面伝熱方式で加熱する様になっている。第2加熱処理装置5′a34における発光層104(図1参照)の加熱処理条件として、発光層104(図1参照)の平滑性向上、残留溶媒の除去、硬化等を考慮し、発光層104(図1参照)のガラス転移温度に対して−30〜+30℃、且つ、発光層104(図1参照)を構成している有機化合物の分解温度を超えない温度で裏面伝熱方式の熱処理を行うことが好ましい。
発光層104(図1参照)が多層の場合は、積層する数に合わせて塗布・乾燥部のユニットを配設する必要がある。例えば、発光層を多層にすることで白色素子の作製が可能である。又、発光層を多層にする場合の膜厚の総和は図6に示した場合と同じである。
この様に、発光層形成工程5′a3を終了することで、第1基材501の上に、陽極(第1電極)102(図1参照)と、正孔輸送層103(図1参照)、発光層104(図1参照)の順番に形成された第1部材501aが準備される。第1部材501aは引き続き封止剤塗設工程5′cへ送られる。尚、本図は連続して封止剤塗設工程5′cへ送る場合を示しているが、一旦、第1部材501aを回収しても構わない。
本図に示される、正孔輸送層形成工程5′a2、及び発光層形成工程5′a3は湿式塗布装置、乾燥装置、加熱処理装置がそれぞれ1台の場合を示しているが、必要に応じて増加することが可能となっている。
本図で示される有機EL素子の構成層である正孔輸送層及び発光層を形成する工程は、正孔輸送層及び発光層の性能維持、異物付着に伴う故障欠陥の防止等を考慮し、露点温度−20℃以下、且つJISB 9920に準拠し、測定した清浄度がクラス5以下で、且つ、第1乾燥部、第2乾燥部を除き10〜45℃の大気圧条件下で形成されることが好ましい。本発明において清浄度がクラス5以下とは、クラス3〜クラス5を示す。
第2供給工程5′bでは、第2基体502の上に少なくとも陰極(第2電極)106(図1参照)が形成された第2部材502aが供給される。本図の場合は第2基材502の上に、陰極(第2電極)106(図1参照)、陰極バッファ層(電子注入層)105(図1参照)が形成された第2部材502aの場合を示している。
尚、本図で示す第2供給工程5′bは、照明用に使用する有機EL素子を製造するための第2基材502に陰極(第2電極)106(図1参照)、陰極バッファ層(電子注入層)105(図1参照)の順番に形成された第2部材502aを供給する工程を示している。尚、第2基材502と陰極(第2電極)106(図1参照)との間にガスバリア層を設けても構わない。
第2供給工程5′bは、枚葉状の第2基材502の供給工程5′b1と、陰極(第2電極)106(図1参照)を形成する陰極形成工程5′b2と、陰極バッファ層(電子注入層)105を形成する陰極バッファ層(電子注入層)形成工程5′b3とを有している。本図で示される第2供給工程5′bは、減圧条件下で行う工程(ドライプロセス工程)となっている。
供給工程5′b1は、枚葉の第2基材502を次工程に供給する供給部5′b11を有している。
第2基材502の陰極(第2電極)が形成される面には、予め陰極(第2電極)の周辺形状に合わせた図2に示す様な溝部(不図示、図7(b)参照)が配設されており、溝部(図7(b)参照)の前後には溝部の位置を示すアライメントマーク(不図示、図7(b)参照)が付けられている。尚、反対の面にも同じ位置にアライメントマークを付けることが好ましい。
陰極(第2電極)形成工程5′b2は、第2基材502に付けられた溝部(不図示、図7(b)参照)の位置を示すアライメントマーク(不図示、図7(b)参照)を検出するアライメントマーク検出装置(不図示)を有しており、アライメントマーク検出装置(不図示)からの情報により、陰極(第2電極)形成部5′b21で第2基材502の上に配設された溝部(不図示、図7(b)参照)に陰極(第2電極)106(図1参照)の周辺の端部106a(図1参照)が形成(図4参照)される様に位置決めがなされ、陰極(第2電極)106(図1参照)が形成される。5′b22は蒸着装置を示し、5′b23は蒸発源容器を示す。
陰極バッファ層(電子注入層)形成工程5′b3は、陰極バッファ層(電子注入層)形成部5′b31を有している。陰極バッファ層(電子注入層)形成部5′b31では、陰極(第2電極)106(図1参照)の上に取り出し電極106a(図1参照)を除いて陰極バッファ層(電子注入層)105(図1参照)が形成される。5′b32は蒸着装置を示し、5′b33は蒸発源容器を示す。陰極バッファ層(電子注入層)形成工程5′b3を終了することで、第2基材502の上に陰極(第2電極)106(図1参照)、陰極バッファ層(電子注入層)105(図1参照)の順番に形成された第2部材502aが準備される。
第2部材502aは、引き続き貼合工程5′dへ送られる。尚、本図は連続して第2部材502aを貼合工程5′dへ送る場合を示しているが、一旦、第2部材201′b1を回収しても構わない。
本図では、陰極(第2電極)形成工程7′、陰極バッファ層(電子注入層)形成工程9′が蒸着装置の場合を示したが、陰極(第2電極)及び陰極バッファ層(電子注入層)の形成方法については、特に限定はなく、図2に示した各種の方法の使用が可能である。
陰極バッファ層(電子注入層)はごく薄い膜であることが望ましく、素材にもよるがその膜厚は0.1nm〜5μmの範囲が好ましい。陰極としてのシート抵抗は数百Ω/□以下が好ましく、膜厚は通常10nm〜5μm、好ましくは50〜200nmの範囲で選ばれる。
封止剤塗設工程5′cは封止剤塗設装置5′c1と第1供給工程5′aから送られてくる第1部材501aを載置する載置台5′c2と、第1部材501aに付けられているアライメントマーク検出装置(不図示)とを有している。封止剤塗設装置5′c1により、第1基材501aの上に積層(陽極(第1電極)/正孔輸送層/発光層)された機能層の周囲に封止剤である接着剤が陽極(第1電極)102(図1参照)の取り出し電極102a(図1参照)を除いて塗設される。接着剤が塗設された状態は図8に示される状態と同じである。又、封止剤塗設装置5′c1も図8に示す封止剤塗設装置5c1と同じである。
貼合工程5′dでは、第1供給工程5′aから送られてくる第1部材501aと、第2供給工程5′bから送られてくる第2部材502aとを、互いに付けられているアライメントマークをアライメントマーク検出装置(不図示)で検出し、互いのアライメントマークを対向した位置で貼合することで、第1基材501aと第2基材502aとの間に陽極(第1電極)102(図1参照)と陰極(第2電極)106(図1参照)とが対向した構成となるように貼合され有機EL素子6′が作製される。貼合工程5′dでは、図9、図10に示す貼合装置の使用が可能であり、同じ条件、段階で枚葉支持体を使用した第1基材と第2基材との貼合が可能となっている。
打ち抜き工程5′eは、アライメントマーク検出装置(不図示)を有している打ち抜き装置5′e1と回収装置5′e2を有している。打ち抜き装置5′e1で、アライメントマーク検出装置(不図示)による情報に従って貼合工程5′dから送られてくる有機EL素子6′の余剰部分の打ち抜きが行われ、図1に示す構成の有機EL素子6′が回収装置5′e2に回収される。
尚、本図に示される製造工程5′では、陰極(第2電極)106が形成される第2基材502の面に予め陰極(第2電極)106の周辺の形状に合わせ溝部を形成した第2基材502を供給工程5′b1から供給し使用した場合を示したが、別の方法としては次の方法が可能である。
1)供給工程5′b1からアライメントマークのみが付けられた第2基材502を供給し、陰極形成工程5′b2の前に溝部形成工程を配設し、陰極(第2電極)106が形成される第2基材502の面に陰極(第2電極)106の周辺の形状に合わせ溝部を形成する方法。
2)陽極(第1電極)102が形成される第1基材501の面に予め陽極(第1電極)102の周辺の形状に合わせ溝部を形成した第1基材501を使用する方法。
3)供給工程5′a1からアライメントマークのみが付けられた第1基材501を供給し、陽極形成工程の前に溝部形成工程を配設し、陽極(第1電極)102が形成される第1基材501の面に陽極(第1電極)102の周辺の形状に合わせ溝部を形成する方法。
4)第2基材502の面に陰極(第2電極)106を形成した後、成形工程を貼合工程の前に配設し、陰極(第2電極)106の端部が溝部の中になるように成形する方法。
5)第1基材501の面に陽極(第1電極)102を形成した後、成形工程を貼合工程の前に配設し、陽極(第1電極)102の端部が溝部の中になるように成形する方法。但し、この方法は、第1基材501が可撓性基材で且つ陽極(第1電極)102も弾性がある場合に可能である。
以下、本発明の有機EL素子を構成している第1基材、ガスバリア層、第1電極、正孔輸送層、発光層、陰極バッファ層(電子注入層)、第2電極、第2基材、封止部材等に付き説明する。
(第1基材)
第1基材として帯状基材を使用する場合は透明な樹脂フィルムが挙げられる。樹脂フィルムとしては、例えば、ポリエチレンテレフタレート(PET)、ポリエチレンナフタレート(PEN)等のポリエステル、ポリエチレン、ポリプロピレン、セロファン、セルロースジアセテート、セルローストリアセテート、セルロースアセテートブチレート、セルロースアセテートプロピオネート(CAP)、セルロースアセテートフタレート(TAC)、セルロースナイトレート等のセルロースエステル類又はそれらの誘導体、ポリ塩化ビニリデン、ポリビニルアルコール、ポリエチレンビニルアルコール、シンジオタクティックポリスチレン、ポリカーボネート、ノルボルネン樹脂、ポリメチルペンテン、ポリエーテルケトン、ポリイミド、ポリエーテルスルホン(PES)、ポリフェニレンスルフィド、ポリスルホン類、ポリエーテルイミド、ポリエーテルケトンイミド、ポリアミド、フッ素樹脂、ナイロン、ポリメチルメタクリレート、アクリル或いはポリアリレート類、アートン(商品名JSR社製)或いはアペル(商品名三井化学社製)といったシクロオレフィン系樹脂等が挙げられる。又、枚葉基材を使用する場合は、これらの樹脂フィルムに加えて透明ガラス板が挙げられる。
(ガスバリア層)
樹脂フィルムの表面に必要に応じて設けるガスバリア層としては、無機物、有機物のガスバリア層又はその両者のハイブリッドガスバリア層が挙げられる。
ガスバリア層を形成する材料としては、水分や酸素など素子の劣化をもたらすものの浸入を抑制する機能を有する材料であればよく、例えば、酸化珪素、二酸化珪素、窒化珪素などを用いることが出来る。更に該膜の脆弱性を改良するためにこれら無機層と有機材料からなる層の積層構造を持たせることがより好ましい。無機層と有機層の積層順については特に制限はないが、両者を交互に複数回積層させることが好ましい。バリア層の形成方法については、特に限定はなく、例えば真空蒸着法、スパッタリング法、反応性スパッタリング法、分子線エピタキシー法、クラスタ−イオンビーム法、イオンプレーティング法、プラズマ重合法、大気圧プラズマ重合法、プラズマCVD法、レーザーCVD法、熱CVD法、コーティング法などを用いることが出来るが、特開2004−68143号に記載されているような大気圧プラズマ重合法によるものが特に好ましい。これらのガスバリア層に使用した材料は第2基材への使用も可能である。
ガスバリア層の特性としては、水蒸気透過度が0.01g/m2/day以下であることが好ましい。更には、酸素透過度10-3ml/m2/day/atm以下、水蒸気透過度10-5g/m2/day以下の高バリア性フィルムであることが好ましい。
(第1電極)
第1電極としては、仕事関数の大きい(4eV以上)金属、合金、電気伝導性化合物及びこれらの混合物を電極物質とするものが好ましく用いられる。この様な電極物質の具体例としてはAu等の金属、CuI、インジウムチンオキシド(ITO)、SnO2、ZnO等の導電性透明材料が挙げられる。又、IDIXO(In23・ZnO)等非晶質で透明導電膜を作製可能な材料を用いてもよい。陽極はこれらの電極物質を蒸着やスパッタリング等の方法により、薄膜を形成させ、フォトリソグラフィー法で所望の形状のパターンを形成してもよく、或いはパターン精度をあまり必要としない場合は(100μm以上程度)、上記電極物質の蒸着やスパッタリング時に所望の形状のマスクを介してパターンを形成してもよい。或いは、有機導電性化合物のように塗布可能な物質を用いる場合には、印刷方式、コーティング方式など湿式成膜法を用いることも出来る。この陽極より発光を取り出す場合には、透過率を10%より大きくすることが望ましく、又陽極としてのシート抵抗は数百Ω/□以下が好ましい。更に膜厚は材料にもよるが、通常10〜1000nm、好ましくは10〜200nmの範囲で選ばれる。
(正孔注入層(陽極バッファ層))
第1電極と発光層又は正孔輸送層の間に、正孔注入層(陽極バッファ層)を存在させてもよい。正孔注入層とは、駆動電圧低下や発光輝度向上のために電極と有機層間に設けられる層のことで、「有機EL素子とその工業化最前線(1998年11月30日エヌ・ティー・エス社発行)」の第2編第2章「電極材料」(123−166頁)に詳細に記載されている。陽極バッファ層(正孔注入層)は、特開平9−45479号公報、同9−260062号公報、同8−288069号公報等にもその詳細が記載されており、具体例として、銅フタロシアニンに代表されるフタロシアニンバッファ層、酸化バナジウムに代表される酸化物バッファ層、アモルファスカーボンバッファ層、ポリアニリン(エメラルディン)やポリチオフェン等の導電性高分子を用いた高分子バッファ層等が挙げられる。
(正孔輸送層)
正孔輸送層とは、正孔を輸送する機能を有する正孔輸送材料からなり、広い意味で正孔注入層、電子阻止層も正孔輸送層に含まれる。正孔輸送層は単層又は複数層設けることが出来る。正孔輸送材料としては、正孔の注入又は輸送、電子の障壁性の何れかを有するものであり、有機物、無機物の何れであってもよい。例えば、トリアゾール誘導体、オキサジアゾール誘導体、イミダゾール誘導体、ポリアリールアルカン誘導体、ピラゾリン誘導体及びピラゾロン誘導体、フェニレンジアミン誘導体、アリールアミン誘導体、アミノ置換カルコン誘導体、オキサゾール誘導体、スチリルアントラセン誘導体、フルオレノン誘導体、ヒドラゾン誘導体、スチルベン誘導体、シラザン誘導体、アニリン系共重合体、又導電性高分子オリゴマー、特にチオフェンオリゴマー等が挙げられる。
正孔輸送材料としては上記のものを使用することが出来るが、ポルフィリン化合物、芳香族第3級アミン化合物及びスチリルアミン化合物、特に芳香族第3級アミン化合物を用いることが好ましい。芳香族第3級アミン化合物及びスチリルアミン化合物の代表例としては、N,N,N′,N′−テトラフェニル−4,4′−ジアミノフェニル;N,N′−ジフェニル−N,N′−ビス(3−メチルフェニル)−〔1,1′−ビフェニル〕−4,4′−ジアミン(TPD);2,2−ビス(4−ジ−p−トリルアミノフェニル)プロパン;1,1−ビス(4−ジ−p−トリルアミノフェニル)シクロヘキサン;N,N,N′,N′−テトラ−p−トリル−4,4′−ジアミノビフェニル;1,1−ビス(4−ジ−p−トリルアミノフェニル)−4−フェニルシクロヘキサン;ビス(4−ジメチルアミノ−2−メチルフェニル)フェニルメタン;ビス(4−ジ−p−トリルアミノフェニル)フェニルメタン;N,N′−ジフェニル−N,N′−ジ(4−メトキシフェニル)−4,4′−ジアミノビフェニル;N,N,N′,N′−テトラフェニル−4,4′−ジアミノジフェニルエーテル;4,4′−ビス(ジフェニルアミノ)クオードリフェニル;N,N,N−トリ(p−トリル)アミン;4−(ジ−p−トリルアミノ)−4′−〔4−(ジ−p−トリルアミノ)スチリル〕スチルベン;4−N,N−ジフェニルアミノ−(2−ジフェニルビニル)ベンゼン;3−メトキシ−4′−N,N−ジフェニルアミノスチルベンゼン;N−フェニルカルバゾール、更には米国特許第5,061,569号明細書に記載されている2個の縮合芳香族環を分子内に有するもの、例えば、4,4′−ビス〔N−(1−ナフチル)−N−フェニルアミノ〕ビフェニル(NPD)、特開平4−308688号公報に記載されているトリフェニルアミンユニットが3つスターバースト型に連結された4,4′,4″−トリス〔N−(3−メチルフェニル)−N−フェニルアミノ〕トリフェニルアミン(MTDATA)等が挙げられる。
更にこれらの材料を高分子鎖に導入した、又はこれらの材料を高分子の主鎖とした高分子材料を用いることも出来る。又、p型−Si、p型−SiC等の無機化合物も正孔注入材料、正孔輸送材料として使用することが出来る。
又、特開平11−251067号公報、J.Huang et.al.著文献(Applied Physics Letters 80(2002),p.139)に記載されているような所謂p型正孔輸送材料を用いることも出来る。本発明においては、より高効率の発光素子が得られることから、これらの材料を用いることが好ましい。
(発光層)
本発明に係わる発光層に使用する材料は特に限定はなく、例えば、株式会社 東レリサーチセンター フラットパネルディスプレイの最新動向 ELディスプレイの現状と最新技術動向 228〜332頁に記載されている如き各種材料が挙げられる。
本発明に係わる発光層には、発光層の発光効率を高くするために公知のホスト化合物と、公知のリン光性化合物(リン光発光性化合物とも言う)を含有することが好ましい。ホスト化合物とは、発光層に含有される化合物の内で、その層中での質量比が20%以上であり、且つ室温(25℃)においてリン光発光のリン光量子収率が、0.1未満の化合物と定義される。好ましくはリン光量子収率が0.01未満である。ホスト化合物を複数種併用して用いてもよい。ホスト化合物を複数種用いることで、電荷の移動を調整することが可能であり、有機EL素子を高効率化することが出来る。又、リン光性化合物を複数種用いることで、異なる発光を混ぜることが可能となり、これにより任意の発光色を得ることが出来る。リン光性化合物の種類、ドープ量を調整することで白色発光が可能であり、照明、バックライトへの応用も出来る。
これらのホスト化合物としては、正孔輸送能、電子輸送能を有しつつ、且つ発光の長波長化を防ぎ、尚且つ高Tg(ガラス転移温度)である化合物が好ましい。公知のホスト化合物としては、例えば、特開2001−257076号公報、同2002−308855号公報、同2001−313179号公報、同2002−319491号公報、同2001−357977号公報、同2002−334786号公報、同2002−8860号公報、同2002−334787号公報、同2002−15871号公報、同2002−334788号公報、同2002−43056号公報、同2002−334789号公報、同2002−75645号公報、同2002−338579号公報、同2002−105445号公報、同2002−343568号公報、同2002−141173号公報、同2002−352957号公報、同2002−203683号公報、同2002−363227号公報、同2002−231453号公報、同2003−3165号公報、同2002−234888号公報、同2003−27048号公報、同2002−255934号公報、同2002−260861号公報、同2002−280183号公報、同2002−299060号公報、同2002−302516号公報、同2002−305083号公報、同2002−305084号公報、同2002−308837号公報等に記載の化合物が挙げられる。
複数の発光層を有する場合、これら各層のホスト化合物の50質量%以上が同一の化合物であることが、有機層全体に渡って均質な膜性状を得やすいことから好ましく、更にはホスト化合物のリン光発光エネルギーが2.9eV以上であることが、ドーパントからのエネルギー移動を効率的に抑制し、高輝度を得る上で有利となることからより好ましい。リン光発光エネルギーとは、ホスト化合物を基材上に100nmの蒸着膜のフォトルミネッセンスを測定し、そのリン光発光の0−0バンドのピークエネルギーを言う。
ホスト化合物は、有機EL素子の経時での劣化(輝度低下、膜性状の劣化)、光源としての市場ニーズ等を考慮し、リン光発光エネルギーが2.9eV以上且つTgが90℃以上のものであることが好ましい。すなわち、輝度と耐久性の両方を満足するためには、リン光発光エネルギーが2.9eV以上且つTgが90℃以上のものであることが好ましい。Tgは、更に好ましくは100℃以上である。
リン光性化合物(リン光発光性化合物)とは、励起三重項からの発光が観測される化合物であり、室温(25℃)にてリン光発光する化合物であり、リン光量子収率が、25℃において0.01以上の化合物である。先に説明したホスト化合物と合わせ使用することで、より発光効率の高い有機EL素子とすることが出来る。
本発明に係るリン光性化合物は、リン光量子収率は好ましくは0.1以上である。上記リン光量子収率は、第4版実験化学講座7の分光IIの398頁(1992年版、丸善)に記載の方法により測定出来る。溶液中でのリン光量子収率は種々の溶媒を用いて測定出来るが、本発明に用いられるリン光性化合物は、任意の溶媒の何れかにおいて上記リン光量子収率が達成されればよい。
リン光性化合物の発光は原理としては2種挙げられ、一つはキャリアが輸送されるホスト化合物上でキャリアの再結合が起こってホスト化合物の励起状態が生成し、このエネルギーをリン光性化合物に移動させることでリン光性化合物からの発光を得るというエネルギー移動型、もう一つはリン光性化合物がキャリアトラップとなり、リン光性化合物上でキャリアの再結合が起こりリン光性化合物からの発光が得られるというキャリアトラップ型であるが、何れの場合においても、リン光性化合物の励起状態のエネルギーはホスト化合物の励起状態のエネルギーよりも低いことが条件である。
リン光性化合物は、有機EL素子の発光層に使用される公知のものの中から適宜選択して用いることが出来る。リン光性化合物としては、好ましくは元素の周期表で8族−10族の金属を含有する錯体系化合物であり、更に好ましくはイリジウム化合物、オスミウム化合物、又は白金化合物(白金錯体系化合物)、希土類錯体であり、中でも最も好ましいのはイリジウム化合物である。
本発明においては、リン光性化合物のリン光発光極大波長としては特に制限されるものではなく、原理的には中心金属、配位子、配位子の置換基等を選択することで得られる発光波長を変化させることが出来る。
本発明に係わる有機EL素子や、化合物の発光する色は、「新編色彩科学ハンドブック」(日本色彩学会編、東京大学出版会、1985)の108頁の図4.16において、分光放射輝度計CS−1000(コニカミノルタセンシング社製)で測定した結果をCIE色度座標に当て嵌めた時の色で決定される。
(電子輸送層)
他に発光層側に隣接する電子輸送層に用いられる電子輸送材料(正孔阻止材料を兼ねる)としては、陰極より注入された電子を発光層に伝達する機能を有していればよく、その材料としては従来公知の化合物の中から任意のものを選択して用いることが出来、例えば、ニトロ置換フルオレン誘導体、ジフェニルキノン誘導体、チオピランジオキシド誘導体、カルボジイミド、フレオレニリデンメタン誘導体、アントラキノジメタン及びアントロン誘導体、オキサジアゾール誘導体等が挙げられる。更に、上記オキサジアゾール誘導体において、オキサジアゾール環の酸素原子を硫黄原子に置換したチアジアゾール誘導体、電子吸引基として知られているキノキサリン環を有するキノキサリン誘導体も、電子輸送材料として用いることが出来る。更にこれらの材料を高分子鎖に導入した、又はこれらの材料を高分子の主鎖とした高分子材料を用いることも出来る。
又、8−キノリノール誘導体の金属錯体、例えば、トリス(8−キノリノール)アルミニウム(Alq)、トリス(5,7−ジクロロ−8−キノリノール)アルミニウム、トリス(5,7−ジブロモ−8−キノリノール)アルミニウム、トリス(2−メチル−8−キノリノール)アルミニウム、トリス(5−メチル−8−キノリノール)アルミニウム、ビス(8−キノリノール)亜鉛(Znq)等、及びこれらの金属錯体の中心金属がIn、Mg、Cu、Ca、Sn、Ga又はPbに置き替わった金属錯体も、電子輸送材料として用いることが出来る。その他、メタルフリーもしくはメタルフタロシアニン、又はそれらの末端がアルキル基やスルホン酸基等で置換されているものも、電子輸送材料として好ましく用いることが出来る。又、ジスチリルピラジン誘導体も、電子輸送材料として用いることが出来るし、正孔注入層、正孔輸送層と同様に、n型−Si、n型−SiC等の無機半導体も電子輸送材料として用いることが出来る。電子輸送層の膜厚については特に制限はないが、通常は5nm〜5μm程度、好ましくは5〜200nmである。電子輸送層は上記材料の1種又は2種以上からなる一層構造であってもよい。
又、不純物をドープしたn性の高い電子輸送層を用いることも出来る。その例としては、特開平4−297076号公報、特開平10−270172号公報、特開2000−196140号公報、特開2001−102175号公報、J.Appl.Phys.,95,5773(2004)などに記載されたものが挙げられる。この様なn性の高い電子輸送層を用いることがより低消費電力の素子を作製することが出来るため好ましい。電子輸送層は上記電子輸送材料を、例えば、湿式塗布、真空蒸着法等の公知の方法により、薄膜化することにより形成することも出来る。
(電子注入層(陰極バッファ層))
電子注入層形成工程で形成される電子注入層(陰極バッファ層)とは、電子を輸送する機能を有する材料からなり広い意味で電子輸送層に含まれる。電子注入層とは、駆動電圧低下や発光輝度向上のために電極と有機層間に設けられる層のことで、「有機EL素子とその工業化最前線(1998年11月30日エヌ・ティー・エス社発行)」の第2編第2章「電極材料」(123〜166頁)に詳細に記載されている。電子注入層(陰極バッファ層)は、特開平6−325871号公報、同9−17574号公報、同10−74586号公報等にもその詳細が記載されており、具体的にはストロンチウムやアルミニウム等に代表される金属バッファ層、フッ化リチウムに代表されるアルカリ金属化合物バッファ層、フッ化マグネシウムに代表されるアルカリ土類金属化合物バッファ層、酸化アルミニウムに代表される酸化物バッファ層等が挙げられる。
(第2電極)
第2電極としては、仕事関数の小さい(4eV以下)金属(電子注入性金属と称する)、合金、電気伝導性化合物及びこれらの混合物を電極物質とするものが用いられる。この様な電極物質の具体例としては、ナトリウム、ナトリウム−カリウム合金、マグネシウム、リチウム、マグネシウム/銅混合物、マグネシウム/銀混合物、マグネシウム/アルミニウム混合物、マグネシウム/インジウム混合物、アルミニウム/酸化アルミニウム(Al23)混合物、インジウム、リチウム/アルミニウム混合物、希土類金属等が挙げられる。これらの中で、電子注入性及び酸化等に対する耐久性の点から、電子注入性金属とこれより仕事関数の値が大きく安定な金属である第二金属との混合物、例えば、マグネシウム/銀混合物、マグネシウム/アルミニウム混合物、マグネシウム/インジウム混合物、アルミニウム/酸化アルミニウム(Al23)混合物、リチウム/アルミニウム混合物、アルミニウム等が好適である。陰極はこれらの電極物質を蒸着やスパッタリング等の方法により薄膜を形成させることにより、作製することが出来る。
尚、発光した光を透過させるため、有機EL素子の第1電極(陽極)又は第2電極(陰極)の何れか一方が、透明又は半透明であれば発光輝度が向上し好都合である。
又、第2電極に上記金属を1〜20nmの膜厚で作製した後に、第1電極の説明で挙げた導電性透明材料をその上に作製することで、透明又は半透明の第2電極(陰極)を作製することが出来、これを応用することで第1電極(陽極)と第2電極(陰極)の両方が透過性を有する素子を作製することが出来る。
(第2基材)
枚葉シート状基板としては、透明ガラス板、及び第1基材と同じものが使用可能である。又、帯状基材としては第1基材と同じものが使用可能である。
(封止部材(接着剤))
封止部材(接着剤)としては、アクリル酸系オリゴマー、メタクリル酸系オリゴマーの反応性ビニル基を有する光硬化及び熱硬化型接着剤、2−シアノアクリル酸エステルなどの湿気硬化型等の接着剤、エポキシ系などの熱及び化学硬化型(二液混合)等の接着剤、又、ポリアミド系、ポリエステル系、ポリオレフィン系のホットメルト型接着剤、カチオン硬化タイプの紫外線硬化型エポキシ樹脂接着剤を挙げることが出来る。尚、素子を構成する有機層が熱処理により劣化する場合があるので、室温から80℃までに接着硬化出来るものが好ましい。又、帯状可撓性接着部材の接着剤層の裏面側には前述のガスバリア層が必要に応じて形成されることが好ましい。
本発明の有機EL素子は、発光層で発生した光を効率よく取り出すために以下に示す方法を併用することが好ましい。有機EL素子は、空気よりも屈折率の高い(屈折率が1.7〜2.1程度)層の内部で発光し、発光層で発生した光の内15%から20%程度の光しか取り出せないことが一般的に言われている。これは、臨界角以上の角度θで界面(透明基板と空気との界面)に入射する光は、全反射を起こし素子外部に取り出すことが出来ないことや、透明電極ないし発光層と透明基板との間で光が全反射を起こし、光が透明電極ないし発光層を導波し、結果として、光が素子側面方向に逃げるためである。
この光の取り出しの効率を向上させる手法としては、例えば、透明基板表面に凹凸を形成し、透明基板と空気界面での全反射を防ぐ方法(米国特許第4,774,435号)。基板に集光性を持たせることにより効率を向上させる方法(特開昭63−314795号公報)。素子の側面等に反射面を形成する方法(特開平1−220394号公報)。基板と発光体の間に中間の屈折率を持つ平坦層を導入し、反射防止膜を形成する方法(特開昭62−172691号公報)。基板と発光体の間に基板よりも低屈折率を持つ平坦層を導入する方法(特開2001−202827号公報)。基板、透明電極層や発光層の何れかの層間(含む、基板と外界間)に回折格子を形成する方法(特開平11−283751号公報)などがある。
本発明においては、これらの方法を有機EL素子と組み合わせて用いることが出来るが、基板と発光体の間に基板よりも低屈折率を持つ平坦層を導入する方法、或いは基板、透明電極層や発光層の何れかの層間(含む、基板と外界間)に回折格子を形成する方法を好適に用いることが出来る。本発明においては、これらの手段を組み合わせることにより、更に高輝度或いは耐久性に優れた素子を得ることが出来る。
透明電極と透明基板の間に低屈折率の媒質を光の波長よりも長い厚みで形成すると、透明電極から出てきた光は、媒質の屈折率が低いほど、外部への取り出し効率が高くなる。低屈折率層としては、例えば、エアロゲル、多孔質シリカ、フッ化マグネシウム、フッ素系ポリマーなどが挙げられる。透明基板の屈折率は一般に1.5〜1.7程度であるので、低屈折率層は、屈折率がおよそ1.5以下であることが好ましい。又、更に1.35以下であることが好ましい。低屈折率媒質の厚みは、媒質中の波長の2倍以上となるのが望ましい。これは、低屈折率媒質の厚みが、光の波長程度になってエバネッセントで染み出した電磁波が基板内に入り込む膜厚になると、低屈折率層の効果が薄れるからである。全反射を起こす界面もしくは何れかの媒質中に回折格子を導入する方法は、光取り出し効率の向上効果が高いという特徴がある。この方法は、回折格子が1次の回折や、2次の回折といった所謂ブラッグ回折により、光の向きを屈折とは異なる特定の向きに変えることが出来る性質を利用して、発光層から発生した光の内、層間での全反射等により外に出ることが出来ない光を、何れかの層間もしくは、媒質中(透明基板内や透明電極内)に回折格子を導入することで光を回折させ、光を外に取り出そうとするものである。導入する回折格子は、二次元的な周期屈折率を持っていることが望ましい。これは、発光層で発光する光はあらゆる方向にランダムに発生するので、ある方向にのみ周期的な屈折率分布を持っている一般的な1次元回折格子では、特定の方向に進む光しか回折されず、光の取り出し効率がさほど上がらない。しかしながら、屈折率分布を二次元的な分布にすることにより、あらゆる方向に進む光が回折され、光の取り出し効率が上がる。
回折格子を導入する位置としては前述の通り、何れかの層間もしくは、媒質中(透明基板内や透明電極内)でもよいが、光が発生する場所である有機発光層の近傍が望ましい。この時、回折格子の周期は、媒質中の光の波長の約1/2〜3倍程度が好ましい。回折格子の配列は、正方形のラチス状、三角形のラチス状、ハニカムラチス状など、2次元的に配列が繰り返されることが好ましい。
更に、本発明の有機EL素子は、発光層で発生した光を効率よく取り出すために、基板の光取り出し側に、例えばマイクロレンズアレイ上の構造を設けるように加工したり、或いは、所謂集光シートと組み合わせることにより、特定方向、例えば素子発光面に対し正面方向に集光することにより、特定方向上の輝度を高めることが出来る。マイクロレンズアレイの例としては、基板の光取り出し側に一辺が30μmでその頂角が90度となるような四角錐を2次元に配列する。一辺は10μm〜100μmが好ましい。これより小さくなると回折の効果が発生して色付く、大き過ぎると厚みが厚くなり好ましくない。
集光シートとしては、例えば液晶表示装置のLEDバックライトで実用化されているものを用いることが可能である。この様なシートとして例えば、住友スリーエム社製輝度上昇フィルム(BEF)などを用いることが出来る。プリズムシートの形状としては、例えば基材に頂角90度、ピッチ50μmの△状のストライプが形成されたものであってもよいし、頂角が丸みを帯びた形状、ピッチをランダムに変化させた形状、その他の形状であってもよい。又、発光素子からの光放射角を制御するために光拡散板・フィルムを、集光シートと併用してもよい。例えば、(株)きもと製拡散フィルム(ライトアップ)などを用いることが出来る。
以下、実施例を挙げて本発明の具体的な効果を示すが、本発明の態様はこれに限定されるものではない。
実施例1
図6に示す製造工程を使用し、図1に示す第一部材側は、第1基材/陽極(第1電極)/正孔輸送層/発光層、第2部材側は陰極バッファ層(電子注入層)/陰極(第2電極)/第2基材の層構成でそれぞれ作成し、発光層と陰極バッファ層を貼合して面発光方式の有機EL素子を作製した。
第1部材の準備
〈第1基材上にガスバリア層と陽極(第1電極)層とをこの順番で有する第1基材の準備〉
第1基材として、厚さ200μm、幅200mm、長さ200mのポリエーテルサルフォンフィルム(住友ベークライト製、以下、PESと略記する)を用い、以下に示す方法でガスバリア層と第1電極とを形成し、ガスバリア層と陽極(第1電極)とをこの順番で有する第1基材を準備した。尚、第1基材には、予め陽極(第1電極)を形成する位置を示すため図7に示す様にアライメントマークを陽極(第1電極)を形成する面と反対の面の同じ位置に設けた。
(透明性ガスバリア層の形成)
準備したPES上に、大気圧プラズマ放電処理法で、厚さ約90nmの透明ガスバリア層を形成した。JISk−7129Bに準拠した方法により水蒸気透過率を測定した結果、10-3g/m2/day以下であった。JISk−7126Bに準拠した方法により酸素透過率を測定した結果、10-3g/m2/day/atm以下であった。
(陽極(第1電極)の形成)
形成したバリア層の上に厚さ120nmのITO(インジウムチンオキシド)を蒸着法によりパターニングを行い、図7(a)に示す様な40mm×20mmの取り出し電極を有する陽極(第1電極)を一定間隔で連続的に形成した。尚、陽極(第1電極)の有効画素領域は100mm角である。
(正孔輸送層形成用塗布液の準備)
ポリエチレンジオキシチオフェン・ポリスチレンスルホネート(PEDOT/PSS、Bayer社製 Bytron P AI 4083)を純水で65%、メタノール5%で希釈した溶液を正孔輸送層形成用塗布液として準備した。正孔輸送層形成用塗布液の表面張力は40×10-3N/m(協和界面化学社製:表面張力計CBVP−A3)であった。
(正孔輸送層の形成)
図6に示す工程を使用し、準備した第1基材を使用し、取り出し電極の部分を除き、連続的に形成されている陽極(第1電極)の上全面に、準備した正孔輸送層形成用塗布液をエクストルージョン塗布機を使用した湿式塗布方式により塗布・乾燥し厚さが50nmの正孔輸送層を形成した。
正孔輸送層形成用塗布液を塗布する前に、第1基材の洗浄表面改質処理を、波長184.9nmの低圧水銀ランプを使用し、照射強度15mW/cm2、距離10mmで実施した。帯電除去処理は、微弱X線による除電器を使用し行った。
尚、搬送速度は2m/minで実施した。搬送速度は、三菱電機(株)製 レーザドップラ速度計LV203で測定した。
塗布条件
正孔輸送層形成用塗布液の塗布時の温度は25℃、環境の大気環境下で行った。尚、湿式塗布工程は露点温度−20℃以下且つ清浄度クラス5以下(JIS B 9920)とした。
乾燥及び加熱処理条件
正孔輸送層形成用塗布液を塗布した後、図6に示す第1乾燥装置及び第1加熱処理装置を使用し、第1乾燥装置ではスリットノズル形式の吐出口から成膜面に向け高さ100mm、吐出風速1m/s、幅手の風速分布5%、温度100℃で溶媒を除去した後、引き続き、第1加熱処理装置で温度200℃で裏面伝熱方式の熱処理を行い正孔輸送層を形成した。
(発光層形成用塗布液の準備)
ホスト材のポリビニルカルバゾール(PVK)に対してドーパント材Ir(ppy)3を5質量%となる様に混合し、1,2−ジクロロエタン中に溶解し1質量%溶液とし発光層形成用塗布液として準備した。発光層形成用塗布液の表面張力は32×10-3N/m(協和界面化学社製:表面張力計CBVP−A3)であった。発光層のガラス転移温度は225℃であった。
(発光層の形成)
図6に示す工程を使用し、引き続き帯電処理を行い、形成された正孔輸送層の上全面に、陽極(第1電極)の取り出し電極部分を除き、準備した発光層形成用塗布液をエクストルージョン塗布機を使用した湿式塗布方式により塗布・乾燥し厚さが100nmの発光層を形成した。尚、搬送速度は、2m/分とした。搬送速度は、三菱電機(株)製 レーザドップラ速度計LV203で測定した。
塗布条件
発光層形成用塗布液の塗布時の温度は、25℃の環境の大気環境下で行った。尚、湿式塗布工程は露点温度−20℃以下且つ清浄度クラス5以下(JIS B 9920)とした。
乾燥及び加熱処理条件
発光層形成用塗布液を塗布した後、第2乾燥装置及び第2加熱処理装置を使用し、第2乾燥装置ではスリットノズル形式の吐出口から成膜面に向け高さ100mm、吐出風速1m/s、幅手の風速分布5%、温度60℃で溶媒を除去した後、引き続き、第2加熱処理装置で温度200℃で加熱処理を行い発光層を形成した。
(封止剤の塗設)
封止剤として接着剤(ナガセケムテクス(株)製、UVレジンXNR5570−B1)を準備した。第1基材上に形成した陽極(第1電極)/正孔輸送層/発光層の積層体の周囲に図8に示す様に、陽極(第1電極)の取り出し電極となる部分を除き準備した接着剤を塗設し第1部材とした。
第2部材の作製
〈第2基材上に陰極(第2電極)層と、陰極バッファ層(電子注入層)をこの順番で有する第2基材の準備〉
第2基材の準備
第2基材として、第1基材と同じものを準備した。予め陰極(第2電極)の周辺形状に合わせ図7(b)に示す様に一定間隔で図3(d)に示す形状の溝部と、陰極(第2電極)の位置を示すアライメントマークを陽極(第1電極)用に設けたアライメントマークの位置に合わせ、図7(b)に示す様にアライメントマークを設けた。
尚、設けた溝部の深さは平均70μm、底部の幅は平均400μm、陰極(第2電極)の端部と接触する側の側壁の角度θは45°、縁のRは平均20μmであった。
溝部は(株)山岡製作所製 サーボプレスSLP−S3000を使用し、エッチング刃を基板に押し当てることで形成した。
(陰極(第2電極)の形成)
図6に示す陰極(第2電極)形成工程で準備した第2基材の上に、5×10-4Paの真空条件下にて、陽極(第1電極)の大きさと、位置と、図4(d′)に示す如く周辺の端部が溝部の中に形成する様に合わせたマスクを使用して蒸着し、厚さ100nm、40mm×20mmの大きさの取り出し電極を有する陰極(第2電極)を形成した。尚、第2電極の有効画素領域は100mm角である。
(陰極バッファ層(電子注入層)の形成)
引き続き、第2基材の上に形成した陰極(第2電極)の上に図6に示す陰極バッファ層(電子注入層)形成工程で、5×10-4Pa真空下にて取り出し電極を除き、厚さ0.5nmのLiF層(電子注入層)を全面蒸着し、陰極バッファ層(電子注入層)を形成し第2部材とした。
〈貼合〉
準備した第1部材と、準備した第2部材とを図9に示す貼合装置により減圧環境下で熱圧着ロールにより陰極バッファ層(電子注入層)と発光層とを図5に示す様に合わせ(第1基材と第2基材の間に陽極(第1電極)と陰極(第2電極)とが対向するように挟まれた構成となる)貼合した。この段階では、第1基材と第2基材の間に陽極(第1電極)と陰極(第2電極)とが対向するように挟まれた構成の個別の有機EL素子が連続的に繋がった状態となっている。この後、単一の有機EL素子とするため打ち抜き工程に搬送され、個別の有機EL素子を打ち抜き試料No.101とした。尚、比較試料として、第2基材に溝部を設けなかった他は全て同じ条件で、同じ方法で有機EL素子を作製し試料No.102とした。
尚、陰極バッファ層(電子注入層)と発光層との位置合わせは双方に付けられているアライメントマークをアライメントマーク検出装置で検出し、第1部材及び第1部材の搬送速度を調整しながら行った。貼合する時の減圧度としては、150Paとし、貼合する時の温度は200℃、圧力は3MPaとした。
(評価)
作製した各試料No.101、102に付き、リーク電流特性、外部取り出し量子効率接合面の密着性を以下に示す試験方法により試験し、以下に示す評価ランクに従って評価した結果を表1に示す。
リーク電流特性の試験方法
定電圧電源を用いて、逆方向の電圧(逆バイアス)を5Vを5秒間印加し、その時有機EL素子に流れる電流を測定した。サンプル10枚の発光領域について測定を行い、最大電流値をリーク電流とした。
リーク電流の評価ランク
○:最大電流値が1×10-6A未満
△:最大電流値が1×10-6A以上、1×10-4A未満
×:最大電流値が1×10-4A以上
《外部取り出し量子効率》
作製した有機EL素子について、23℃、乾燥窒素ガス雰囲気下で2.5mA/cm2定電流を印加した時の外部取り出し量子効率(%)を測定した。尚、測定には分光放射輝度計CS−1000(ミノルタ製)を用いた。
外部取り出し量子効率の評価ランク
○:4%以上
△:1%以上、4%未満
×:1%未満
Figure 0005018317
本発明の有効性が確認された。
実施例2
図6に示す製造工程を使用し、図1に示す第一部材側は、第1基材/陽極(第1電極)/正孔輸送層/発光層、第2部材側は陰極バッファ層(電子注入層)/陰極(第2電極)/第2基材の層構成でそれぞれ作成し、発光層と陰極バッファ層を貼合して面発光方式の有機EL素子を作製した。
第1部材の準備
〈第1基材上にガスバリア層と陽極(第1電極)層とをこの順番で有する第1基材の準備〉
第1基材の準備
第1基材として、厚さ200μm、幅200mm、長さ200mmのポリエーテルサルフォンフィルム(住友ベークライト製、以下、PESと略記する)を用い、予め陽極(第1電極)の周辺形状に合わせ図7(b)に示す様に一定間隔で図3(d)に示す形状の溝部と、陽極(第2電極)の位置を示すアライメントマークを陰極(第1電極)用に設けたアライメントマークの位置に合わせ、図7(b)に示す様にアライメントマークを設けた。尚、設けた溝部の深さは平均70μm、底部の幅は平均400μm、陰極(第2電極)の端部と接触する側の側壁の角度θは45°、縁のRは平均20μmであった。
溝部は(株)山岡製作所製 サーボプレスSLP−S00を使用し、エッチング刃を基板に押し当てることで形成した。
〈透明性ガスバリア層の形成〉
準備した基材を使用し、実施例1と同じ方法で、実施例1と同じ透明ガスバリア層を形成した。
(陽極(第1電極)の形成)
準備した第1基材の透明性ガスバリア層上に、陰極(第1電極)の位置と、図4(d′)に示す如く周辺の端部が溝部の中に形成する様に合わせたマスクを使用し、実施例1と同じ方法で、実施例1と同じ陽極(第1電極)を形成した。
(正孔輸送層形成用塗布液の準備)
実施例1と同じ正孔輸送層形成用塗布液を準備した。
(正孔輸送層の形成)
図6に示す工程を使用し、陽極(第1電極)迄が形成された第1基材を使用し、陽極(第1電極)の取り出し電極の部分を除き、連続的に形成されている陽極(第1電極)の上全面に、実施例1と同じ方法で、準備した正孔輸送層形成用塗布液にて塗布・乾燥し厚さが50nmの正孔輸送層を形成した。
(発光層形成用塗布液の準備)
実施例1と同じ発光層形成用塗布液を準備した。
(発光層の形成)
図6に示す工程を使用し、正孔輸送層迄が形成された第1基材を使用し、陽極(第1電極)の取り出し電極の部分を除き、実施例1と同じ方法で準備した発光層形成用塗布液を塗布・乾燥し厚さが100nmの発光層を形成した。
(封止剤の塗設)
実施例1と同じ接着剤を、第1基材上に形成した陽極(第1電極)/正孔輸送層/発光層の積層体の周囲に図8に示す様に、陽極(第1電極)の取り出し電極となる部分を除き塗設し第1部材とした。
第2部材の作製
実施例1と同じ基材を使用し、溝部を設けない他は全て同じ条件で実施例1と同じ構成の第2部材を作製した。
〈貼合〉
準備した第1部材と、準備した第2部材を図9に示す貼合装置を使用し、実施例1と同じ条件、同じ方法で貼合した。この後、単一の有機EL素子とするため打ち抜き工程に搬送され、個別の有機EL素子を打ち抜き試料No.201とした。尚、比較試料として、第1基材に溝部を設けなかった他は全て同じ条件で、同じ方法で有機EL素子を作製し試料No.202とした。
(評価)
作製した各試料No.201、202に付き、リーク電流特性、外部取り出し量子効率を実施例1と同じ試験方法により試験し、実施例1と同じ評価ランクに従って評価した結果を表2に示す。
Figure 0005018317
本発明の有効性が確認された。
実施例3
図6に示す製造工程を使用し、図1に示す第一部材側は、第1基材/陽極(第1電極)/正孔輸送層/発光層、第2部材側は陰極バッファ層(電子注入層)/陰極(第2電極)/第2基材の層構成でそれぞれ作成し、発光層と陰極バッファ層を貼合して面発光方式の有機EL素子を作製した。
(第1部材の準備)
実施例1と同じ第1部材を準備した。
(第2部材の準備)
第2基材の準備
実施例1と同じ基材を準備し、予め、図2に示す様に陰極(第2電極)の周辺形状に合わせ、表3に示すように形状を変えた図3(d)に示す形状の溝部を設けた第2基材を準備しNo.a〜vとした。尚、陰極(第2電極)の位置を示すアライメントマークを陽極(第1電極)用に設けたアライメントマークの位置に合わせ、アライメントマークを設けた。溝部は実施例1と同じ方法で形成した。
縁のRは陰極(第2電極)と接触する側の縁のRを示す。側壁の角度θは陰極(第2電極)の端部と接触する側の側壁と第2基材の陰極(第2電極)が形成される面との交わる角度を示す。
Figure 0005018317
(陰極(第2電極)の形成)
図6に示す陰極(第2電極)形成工程で準備した第2基材No.a〜vの上に、図6に示す陰極(第2電極)形成工程で、5×10-4Paの真空条件下にて、陽極(第1電極)の大きさと、位置と、図4(b′)に示す如く周辺の端部が溝部の中に形成する様に合わせたマスクを使用してアルミニウムを蒸着し、厚さ120nm、40mm×20mmの大きさの取り出し電極を有する陰極(第2電極)を形成し第2部材としNo.3−a〜3−vとした。尚、第2電極の有効画素領域は100mm角である。
〈貼合〉
準備した第1部材と、準備した各第2部材No.3−a〜3−vを図10に示す貼合装置により減圧環境下で熱圧着により陰極(第2電極)と発光層とを図5に示す様に合わせ(第1基材と第2基材の間に陽極(第1電極)と陰極(第2電極)とが対向するように挟まれた構成となる)貼合した後、打ち抜き工程で第1基材と第2基材との余剰部分打ち抜き、第1基材と第2基材の間に陽極(第1電極)と陰極(第2電極)とが対向するように挟まれた構成の有機EL素子が作製され試料No.301〜322とした。
尚、陰極バッファ層(電子注入層)と発光層との位置合わせは双方に付けられているアライメントマークをアライメントマーク検出装置で検出し行った。貼合する時の減圧度としては、150Paとし、貼合する時の温度は200℃、圧力は3MPaとした。
評価
作製した各試料No.301〜322に付き、リーク電流特性、外部取り出し量子効率を実施例1と同じ試験方法により試験し、実施例1と同じ評価ランクに従って評価した結果を表4に示す。
Figure 0005018317
本発明の有効性が確認された。
本発明の貼合法により製造された有機EL素子の一例を示す概略図である。 図1に示される有機EL素子の第2基材の陰極(第2電極)が形成される面の拡大概略図である。 図2に示す溝部の形状の一例を示す拡大概略断面図である。 図3に示される各形状の溝部を有する第2基材の上に陰極(第2電極)を形成した場合の拡大概略断面図である。 第1基材の上に陽極と有機機能層が形成された第1部材と、第2基材の上に少なくとも陰極が形成された第2部材とを貼合法による張り合わせる状態を示す模式図である。 図1〜図5に示した様な第1基材と、第2基材とを使用し、図1に示す構成の有機EL素子をロールトゥーロール方式の貼合法により製造する製造工程の模式図である。 図6に示す製造工程の各供給工程で供給される第1基材と、第2基材との概略平面図である。 図6のUで示される部分の拡大概略図である。図8(a)は図6のUで示される部分の拡大概略斜視図である。 図6のWで示される貼合工程の拡大概略図である。図9(a)は図6のWで示される貼合工程の概略拡大斜視図である。 図6に示される貼合工程に使用する他の貼合装置の概略拡大断面図である。 図1〜図5に示した様な第1基材と、第2基材とを使用し、図1に示す構成の有機EL素子をバッチ方式の貼合法により製造する製造工程の模式図である。
符号の説明
1、2a、2b 有機EL素子
101、5a12、501 第1基材
102、302′、302 陽極(第1電極)
103 正孔輸送層
104、303′、303 発光層
105 陰極バッファ層(電子注入層)
106、402′、402 陰極(第2電極)
106a、402′a 端部
107、5b12、502 第2基材
107b、401b 溝部
107a1 縁
107b1 底部
107b2、107b3 側壁
108 封止部材
3、3′、5a4、501a 第1部材
4、4′、5b4、502a 第2部材
5、5′ 製造工程
5a、5′a 第1供給工程
5b、5′b 第2供給工程
5c、5′c 封止剤塗設工程
5d、5′d 貼合工程
5e、5′e 打ち抜き工程

Claims (4)

  1. 第1基材の上に少なくとも陽極及び少なくとも1層の有機機能層が形成された第1部材と、第2基材の上に少なくとも陰極が形成された第2部材とを使用し、前記第1基材と前記第2基材との間に前記陽極と前記陰極とが挟まれた構成となるように貼合し、前記第1基材と前記第2基材との間を封止部材で封止した有機エレクトロルミネッセンス素子の製造方法において、
    前記第1基材の前記陽極が形成される面又は前記第2基材の前記陰極の形成される面のどちらか一方に、前記陽極又は前記陰極の周辺形状に合わせた溝部を有し、
    前記第1部材を供給する第1供給工程と、
    前記第2部材を供給する第2供給工程と、
    前記第1基材と前記第2基材との間を封止部材で封止する封止剤塗設工程と、
    前記第1部材と、前記第2部材とを貼合する貼合工程とを有し、
    前記第1供給工程は、前記第1基材の供給工程と、前記第1基材の上に前記陽極を形成する陽極形成工程と、前記陽極の上に前記有機機能層を形成する有機機能層形成工程とを有し、
    前記第2供給工程は、前記第2基材の供給工程と、前記第2基材の上に前記陰極を形成する陰極形成工程とを有し、
    前記陽極形成工程と、前記陰極形成工程とのどちらか一方は前記陽極の周辺の端部又は前記陰極の周辺の端部を前記溝部に形成することを特徴とする有機エレクトロルミネッセンス素子の製造方法。
  2. 前記溝部は予め第1基材の前記陽極が形成される面又は前記第2基材の前記陰極形成される面のどちらか一方に形成されていることを特徴とする請求項に記載の有機エレクトロルミネッセンス素子の製造方法。
  3. 前記第1供給工程の陽極形成工程の前、又は前記第2供給工程の陰極形成工程の前のどちらか一方に、前記溝部を形成する溝部形成工程を有することを特徴とする請求項又はに記載の有機エレクトロルミネッセンス素子の製造方法。
  4. 前記溝部は、深さが20μm〜150μm、幅が50μm〜2000μm、陽極又は陰極と接触する側の縁が10μm以上のRを有し、且つ側壁が30°〜60°の角度を有することを特徴とする請求項の何れか1項に記載の有機エレクトロルミネッセンス素子の製造方法。
JP2007198686A 2007-07-31 2007-07-31 有機エレクトロルミネッセンス素子の製造方法 Expired - Fee Related JP5018317B2 (ja)

Priority Applications (1)

Application Number Priority Date Filing Date Title
JP2007198686A JP5018317B2 (ja) 2007-07-31 2007-07-31 有機エレクトロルミネッセンス素子の製造方法

Applications Claiming Priority (1)

Application Number Priority Date Filing Date Title
JP2007198686A JP5018317B2 (ja) 2007-07-31 2007-07-31 有機エレクトロルミネッセンス素子の製造方法

Publications (2)

Publication Number Publication Date
JP2009037751A JP2009037751A (ja) 2009-02-19
JP5018317B2 true JP5018317B2 (ja) 2012-09-05

Family

ID=40439498

Family Applications (1)

Application Number Title Priority Date Filing Date
JP2007198686A Expired - Fee Related JP5018317B2 (ja) 2007-07-31 2007-07-31 有機エレクトロルミネッセンス素子の製造方法

Country Status (1)

Country Link
JP (1) JP5018317B2 (ja)

Families Citing this family (5)

* Cited by examiner, † Cited by third party
Publication number Priority date Publication date Assignee Title
JPWO2010137452A1 (ja) * 2009-05-28 2012-11-12 コニカミノルタホールディングス株式会社 有機elパネル検査方法、有機elパネル検査装置及び有機elパネル
US9159922B2 (en) * 2010-07-21 2015-10-13 Sumitomo Chemical Company, Limited Method for manufacturing organic electroluminescent element
US10468279B2 (en) * 2013-12-26 2019-11-05 Kateeva, Inc. Apparatus and techniques for thermal treatment of electronic devices
JP6744130B2 (ja) * 2016-05-26 2020-08-19 住友化学株式会社 有機デバイスの製造方法
KR102064224B1 (ko) 2019-10-02 2020-01-09 주식회사 지투지컴 휴대전자기기용 백커버 소재와 필름의 결합장치

Family Cites Families (1)

* Cited by examiner, † Cited by third party
Publication number Priority date Publication date Assignee Title
JP4599685B2 (ja) * 2000-08-04 2010-12-15 ソニー株式会社 平面表示素子

Also Published As

Publication number Publication date
JP2009037751A (ja) 2009-02-19

Similar Documents

Publication Publication Date Title
JP5157440B2 (ja) 有機el素子の製造方法
JPWO2007034647A1 (ja) 有機エレクトロルミネッセンス素子の製造方法、有機エレクトロルミネッセンス表示装置
JP5125503B2 (ja) 有機el素子の製造方法
JP5055711B2 (ja) 有機el素子の製造方法、有機el素子
JP5652405B2 (ja) 有機el素子の製造方法
JP5104849B2 (ja) 有機エレクトロルミネッセンス素子の製造方法、有機エレクトロルミネッセンス素子
JP5447244B2 (ja) 有機エレクトロルミネッセンスパネルの製造方法
JP5104301B2 (ja) 有機エレクトロルミネッセンスパネルの製造方法
JP2008226471A (ja) 有機エレクトロルミネッセンスパネルの製造方法、有機エレクトロルミネッセンスパネル
JP5018317B2 (ja) 有機エレクトロルミネッセンス素子の製造方法
JPWO2008102867A1 (ja) 有機エレクトロルミネッセンス素子、有機エレクトロルミネッセンス素子の製造方法
JP5575353B2 (ja) 有機エレクトロルミネッセンス素子の製造方法
JPWO2009025186A1 (ja) 有機エレクトロルミネッセンスパネルの製造方法、有機エレクトロルミネッセンスパネル
JP5092756B2 (ja) 有機エレクトロルミネッセンスパネルの製造方法、有機エレクトロルミネッセンス照明装置および有機エレクトロルミネッセンスパネルの製造装置
JP2007073332A (ja) 有機エレクトロルミネッセンスパネル、有機エレクトロルミネッセンスパネルの製造方法
JP4957643B2 (ja) 有機化合物層形成用塗布液の塗布方法
JP2007207469A (ja) 積層体の製造方法、積層体、有機エレクトロルミネッセンス素子の製造方法、有機エレクトロルミネッセンス素子、有機エレクトロルミネッセンス表示装置
JP5472107B2 (ja) 有機エレクトロルミネセンス素子の製造方法
JPWO2014104102A1 (ja) 有機エレクトロルミネッセンス素子製造方法及び有機エレクトロルミネッセンス素子
JP5862439B2 (ja) 有機半導体素子及びその製造方法
JP5282786B2 (ja) 有機エレクトロルミネッセンス素子の製造方法、有機エレクトロルミネッセンス素子
JP2007012357A (ja) 有機エレクトロルミネッセンスパネルの製造方法及び有機エレクトロルミネッセンスパネル
JP5170102B2 (ja) 有機エレクトロニクス素子の製造方法
JP2010092710A (ja) 有機エレクトロニクス素子の製造方法、有機エレクトロニクス素子及び有機エレクトロルミネッセンス素子
JP2006302814A (ja) 有機エレクトロルミネッセンス層の形成方法及び有機エレクトロルミネッセンス素子

Legal Events

Date Code Title Description
A621 Written request for application examination

Free format text: JAPANESE INTERMEDIATE CODE: A621

Effective date: 20100621

RD03 Notification of appointment of power of attorney

Free format text: JAPANESE INTERMEDIATE CODE: A7423

Effective date: 20110825

A977 Report on retrieval

Free format text: JAPANESE INTERMEDIATE CODE: A971007

Effective date: 20111007

A131 Notification of reasons for refusal

Free format text: JAPANESE INTERMEDIATE CODE: A131

Effective date: 20111018

A521 Request for written amendment filed

Free format text: JAPANESE INTERMEDIATE CODE: A523

Effective date: 20111213

TRDD Decision of grant or rejection written
A01 Written decision to grant a patent or to grant a registration (utility model)

Free format text: JAPANESE INTERMEDIATE CODE: A01

Effective date: 20120515

A01 Written decision to grant a patent or to grant a registration (utility model)

Free format text: JAPANESE INTERMEDIATE CODE: A01

A61 First payment of annual fees (during grant procedure)

Free format text: JAPANESE INTERMEDIATE CODE: A61

Effective date: 20120528

R150 Certificate of patent or registration of utility model

Free format text: JAPANESE INTERMEDIATE CODE: R150

FPAY Renewal fee payment (event date is renewal date of database)

Free format text: PAYMENT UNTIL: 20150622

Year of fee payment: 3

S531 Written request for registration of change of domicile

Free format text: JAPANESE INTERMEDIATE CODE: R313531

S533 Written request for registration of change of name

Free format text: JAPANESE INTERMEDIATE CODE: R313533

R350 Written notification of registration of transfer

Free format text: JAPANESE INTERMEDIATE CODE: R350

LAPS Cancellation because of no payment of annual fees