JP4792309B2 - Electro-optic element - Google Patents

Electro-optic element Download PDF

Info

Publication number
JP4792309B2
JP4792309B2 JP2006081595A JP2006081595A JP4792309B2 JP 4792309 B2 JP4792309 B2 JP 4792309B2 JP 2006081595 A JP2006081595 A JP 2006081595A JP 2006081595 A JP2006081595 A JP 2006081595A JP 4792309 B2 JP4792309 B2 JP 4792309B2
Authority
JP
Japan
Prior art keywords
electro
cathode
crystal
anode
optic
Prior art date
Legal status (The legal status is an assumption and is not a legal conclusion. Google has not performed a legal analysis and makes no representation as to the accuracy of the status listed.)
Expired - Fee Related
Application number
JP2006081595A
Other languages
Japanese (ja)
Other versions
JP2007256675A (en
Inventor
敏洋 伊藤
和夫 藤浦
Current Assignee (The listed assignees may be inaccurate. Google has not performed a legal analysis and makes no representation or warranty as to the accuracy of the list.)
NTT Inc
NTT Inc USA
Original Assignee
Nippon Telegraph and Telephone Corp
NTT Inc USA
Priority date (The priority date is an assumption and is not a legal conclusion. Google has not performed a legal analysis and makes no representation as to the accuracy of the date listed.)
Filing date
Publication date
Application filed by Nippon Telegraph and Telephone Corp, NTT Inc USA filed Critical Nippon Telegraph and Telephone Corp
Priority to JP2006081595A priority Critical patent/JP4792309B2/en
Publication of JP2007256675A publication Critical patent/JP2007256675A/en
Application granted granted Critical
Publication of JP4792309B2 publication Critical patent/JP4792309B2/en
Anticipated expiration legal-status Critical
Expired - Fee Related legal-status Critical Current

Links

Images

Landscapes

  • Optical Modulation, Optical Deflection, Nonlinear Optics, Optical Demodulation, Optical Logic Elements (AREA)

Description

本発明は、電気光学素子に関し、より詳細には、電気光学結晶を用いて電気信号により光の位相を変える電気光学素子に関する。   The present invention relates to an electro-optical element, and more particularly to an electro-optical element that changes the phase of light by an electric signal using an electro-optical crystal.

従来、電気光学結晶を用いた様々な光機能部品が実用化されている。これら光機能部品は、電気光学結晶に電圧を印加すると、電気光学効果により結晶の屈折率が変化することを利用している。例えば、電気光学結晶を用いた光位相変調器は、結晶の屈折率の変化により、結晶を通過する光の速度を変化させて、光の位相を変化させる。また、この光位相変調器を利用して、光スイッチ、光強度変調器を構成することもできる。   Conventionally, various optical functional parts using electro-optic crystals have been put into practical use. These optical functional parts utilize the fact that when a voltage is applied to the electro-optic crystal, the refractive index of the crystal changes due to the electro-optic effect. For example, an optical phase modulator using an electro-optic crystal changes the phase of light by changing the speed of light passing through the crystal by changing the refractive index of the crystal. In addition, an optical switch and an optical intensity modulator can be configured using this optical phase modulator.

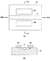
図1に、従来の光位相変調器の構成を示す(例えば、特許文献1)。LiNbO基板10に形成された導波路11の両側に、2つの電極、陽極12aおよび陰極12bが形成されている(図1(a))。陽極12aおよび陰極12b間に、電圧を印加し、導波路11にかかる電界を変化させる(図1(b))。これにより、電気光学材料の屈折率を変化させて、導波路11を通過する光信号の位相を変調する。 FIG. 1 shows a configuration of a conventional optical phase modulator (for example, Patent Document 1). Two electrodes, an anode 12a and a cathode 12b are formed on both sides of the waveguide 11 formed on the LiNbO 3 substrate 10 (FIG. 1A). A voltage is applied between the anode 12a and the cathode 12b to change the electric field applied to the waveguide 11 (FIG. 1B). Thereby, the phase of the optical signal passing through the waveguide 11 is modulated by changing the refractive index of the electro-optic material.

図1に示した光位相変調器において、変調される光の位相ΔΦは、光の伝搬方向において電界の印加される部分の長さをLとし、光の波長をλとし、変化する屈折率をΔnとすると、
ΔΦ=2π×Δn×L/λ
と表される。さらに、Δnは、
Δn=−0.5nrE
と表される。ここで、Eは導波路に印加された電界、rは一次の電気光学係数、nは屈折率である。
In the optical phase modulator shown in FIG. 1, the phase ΔΦ of light to be modulated is defined by the length of the portion to which the electric field is applied in the light propagation direction as L, the wavelength of the light as λ, and the changing refractive index. If Δn,
ΔΦ = 2π × Δn × L / λ
It is expressed. Furthermore, Δn is
Δn = −0.5n 3 rE
It is expressed. Here, E is the electric field applied to the waveguide, r is the primary electro-optic coefficient, and n is the refractive index.

近年、電気光学係数の大きなKTa1−xNb(KTN)結晶が着目されている。KTN結晶は、電気光学係数が大きいために、小さなサイズ、小さな駆動電圧で光スイッチを構成することができる。図2に、従来のKTN結晶を用いた光位相変調器の構成を示す。光位相変調器は、方形のKTN結晶20の対向する面に、陽極22aおよび陰極22bが形成されている。陽極22aおよび陰極22b間に、バイアス電界を印加し、さらにそのバイアス電界の下で、2つの電極間に信号電界を重畳する。これにより、KTN結晶20の電界が信号によって変化し、2つの電極間の屈折率が変化するので、KTN結晶20を通過する入射光の位相を信号に応じて変化させることができる。この光位相変調器を利用して、光強度変調器、光スイッチ、Qスイッチなどの光機能素子を構成することができる。 In recent years, KTa 1-x Nb x O 3 (KTN) crystals having a large electro-optic coefficient have attracted attention. Since the KTN crystal has a large electro-optic coefficient, an optical switch can be configured with a small size and a small driving voltage. FIG. 2 shows a configuration of an optical phase modulator using a conventional KTN crystal. In the optical phase modulator, an anode 22 a and a cathode 22 b are formed on opposite surfaces of the square KTN crystal 20. A bias electric field is applied between the anode 22a and the cathode 22b, and a signal electric field is superimposed between the two electrodes under the bias electric field. As a result, the electric field of the KTN crystal 20 changes according to the signal and the refractive index between the two electrodes changes, so that the phase of the incident light passing through the KTN crystal 20 can be changed according to the signal. Using this optical phase modulator, optical functional elements such as a light intensity modulator, an optical switch, and a Q switch can be configured.

バイアス電界は、初期位相を適切な位相に保持するために使用される。加えて、常誘電相のKTN結晶など、主に2次の電気光学効果を有する材料の場合は、バイアス電界が強いほど電気光学効果が大きくなるという特徴がある。図3に、2次の電気光学効果を有する材料における印加電圧と屈折率の関係を示す。バイアス電圧Vbiasが大きいほど、信号電圧Vによって変調される屈折率の変化Δnは大きくなる。 The bias field is used to keep the initial phase in the proper phase. In addition, a material having a secondary electro-optic effect such as a paraelectric KTN crystal has a feature that the stronger the bias electric field, the greater the electro-optic effect. FIG. 3 shows the relationship between applied voltage and refractive index in a material having a secondary electro-optic effect. The larger the bias voltage V bias , the larger the refractive index change Δn modulated by the signal voltage V s .

特開平05−346560号公報JP 05-346560 A

しかしながら、KTN結晶は、電界を印加するとバルク結晶内の電気光学特性が一様でなくなり、偏向などの現象が起こるという問題があった。これは、図2に実線の矢印で示した電界の向きと逆方向に、陰極22bから電荷(図2に破線の矢印で示す)が結晶内部に入り込むためである。電界分布が一様でなくなると、入射光の一部が偏向し、光位相変調器として一様な変調特性が得られない。偏向の影響を抑えるために、印加するバイアス電圧を低く設定すると、良好な電気光学特性が得られないという問題があった。   However, the KTN crystal has a problem that when an electric field is applied, the electro-optical characteristics in the bulk crystal are not uniform, and a phenomenon such as deflection occurs. This is because electric charges (indicated by broken line arrows in FIG. 2) enter the inside of the crystal in the direction opposite to the direction of the electric field indicated by solid line arrows in FIG. If the electric field distribution is not uniform, a part of incident light is deflected, and uniform modulation characteristics cannot be obtained as an optical phase modulator. If the bias voltage to be applied is set low in order to suppress the influence of deflection, there is a problem that good electro-optical characteristics cannot be obtained.

本発明は、このような問題に鑑みてなされたもので、その目的とするところは、結晶内部の電界分布が一様となるようにして、良好な電気光学特性が得られる電気光学素子を提供することにある。   The present invention has been made in view of such problems, and an object of the present invention is to provide an electro-optic element capable of obtaining good electro-optic characteristics by making the electric field distribution inside the crystal uniform. There is to do.

本発明は、このような目的を達成するために、請求項1に記載の発明は、電気光学結晶を用いた電気光学素子において、前記電気光学結晶に電界を印加するための陽極および陰極を備え、前記陽極の前記電気光学結晶との接触面積は、前記陰極の前記電気光学結晶との接触面積より狭く、前記電気光学結晶はKTa 1−x Nb (0<x<1)またはK 1−y Li Ta 1−x Nb (0<x<1,0<y<0.1)のいずれかであり、該電気光学結晶を常誘電相で用いることを特徴とする。 In order to achieve the above object, the present invention provides an electro-optic element using an electro-optic crystal, comprising an anode and a cathode for applying an electric field to the electro-optic crystal. , the contact area between the electro-optic crystal of the anode, the rather narrow than the contact area between the electro-optic crystal of the cathode, the electro-optical crystal KTa 1-x Nb x O 3 (0 <x <1) or Any of K 1-y Li y Ta 1-x Nb x O 3 (0 <x <1, 0 <y <0.1), wherein the electro-optic crystal is used in a paraelectric phase .

請求項2に記載の発明は、請求項1に記載の電気光学素子において、前記陽極の、前記電気光学結晶を通過する光の進行方向に垂直な方向の幅は、前記陰極の幅より狭いことを特徴とする。   According to a second aspect of the present invention, in the electro-optic element according to the first aspect, a width of the anode in a direction perpendicular to a traveling direction of light passing through the electro-optic crystal is narrower than a width of the cathode. It is characterized by.

請求項3に記載の発明は、請求項2に記載の電気光学素子において、前記陽極の幅は、前記陽極および陰極間の間隔より狭く、前記陰極の幅は、前記陽極および陰極間の間隔より広いことを特徴とする。   According to a third aspect of the present invention, in the electro-optical element according to the second aspect, the width of the anode is narrower than the distance between the anode and the cathode, and the width of the cathode is smaller than the distance between the anode and the cathode. It is wide.

請求項1、2または3に記載の前記陽極を、光の進行方向に平行に、複数に分割することができる。また、前記陰極を、光の進行方向に平行に、複数に分割することもできる。   The anode according to claim 1, 2, or 3 can be divided into a plurality of pieces in parallel with the traveling direction of light. Further, the cathode can be divided into a plurality of pieces in parallel with the light traveling direction.

以上説明したように、本発明によれば、一方の電極の電気光学結晶との接触面積と、他方の電極の電気光学結晶との接触面積とに差があるので、結晶内部の電界分布が一様となり、良好な電気光学特性を得ることが可能となる。   As described above, according to the present invention, since there is a difference between the contact area of one electrode with the electro-optic crystal and the contact area of the other electrode with the electro-optic crystal, the electric field distribution inside the crystal is uniform. Thus, good electro-optical characteristics can be obtained.

以下、図面を参照しながら本発明の実施形態について詳細に説明する。本実施形態においては、陽極と陰極のサイズを変えることにより、バルク結晶内に生ずる電界の大きさを制御する。2つの電極のうち、面積の小さい陽極に近接した部分の電界は上がり、面積の大きい陰極に近接した部分の電界は下がる。これにより、陰極から結晶内部に入り込む電荷の影響が緩和され、結晶内部の電界分布を一様にすることができる。   Hereinafter, embodiments of the present invention will be described in detail with reference to the drawings. In this embodiment, the magnitude of the electric field generated in the bulk crystal is controlled by changing the sizes of the anode and the cathode. Of the two electrodes, the electric field in the portion close to the anode with a small area increases, and the electric field in the portion close to the cathode with a large area decreases. Thereby, the influence of the electric charge entering the inside of the crystal from the cathode can be relaxed, and the electric field distribution inside the crystal can be made uniform.

図4に、本発明の実施例1にかかる電気光学素子の構成を示す。電気光学素子は、方形のKTN結晶40の対向する面に、陽極42aおよび陰極42bが形成されている。KTN結晶40の結晶軸x,y,zを図4に示したように規定する。KTN結晶40は、光の進行方向の長さ(z軸方向)5mm、幅(x軸方向)1.5mmであり、2つの電極間の厚さ(y軸方向)1.0mmの結晶である。陰極42bは、KTN結晶40の下面、全面に蒸着されている。従って、幅(x軸方向)1.5mmであり、2つの電極間の間隔1.0mmよりも広くなっている。一方、陽極42aは、幅(x軸方向)0.5mmであり、2つの電極間の間隔1.0mmよりも狭くなっている(電極セットAという)。KTN結晶40の相転移温度は0度であり、20度で動作するように温度保持されている。   FIG. 4 shows the configuration of the electro-optic element according to Example 1 of the invention. In the electro-optic element, an anode 42 a and a cathode 42 b are formed on the opposing surfaces of the square KTN crystal 40. The crystal axes x, y, and z of the KTN crystal 40 are defined as shown in FIG. The KTN crystal 40 is a crystal having a length (z-axis direction) of 5 mm and a width (x-axis direction) of 1.5 mm in the light traveling direction and a thickness (y-axis direction) of 1.0 mm between two electrodes. . The cathode 42b is deposited on the entire lower surface of the KTN crystal 40. Therefore, the width (x-axis direction) is 1.5 mm, which is wider than the distance between the two electrodes of 1.0 mm. On the other hand, the anode 42a has a width (x-axis direction) of 0.5 mm and is narrower than an interval between two electrodes of 1.0 mm (referred to as electrode set A). The phase transition temperature of the KTN crystal 40 is 0 degree, and the temperature is maintained so as to operate at 20 degrees.

一方、比較のために、陽極42aおよび陰極42bともに幅(x軸方向)1.0mmであり、2つの電極を間隔1.0mmで対向させた電気光学素子を用意しておく(電極セットBという)。   On the other hand, for comparison, an electro-optic element in which both the anode 42a and the cathode 42b have a width (x-axis direction) of 1.0 mm and two electrodes face each other with an interval of 1.0 mm is prepared (referred to as electrode set B). ).

電極セットAは、陰極の面積が、陽極よりも3倍大きくなっている。また、電極セットBと比較すると、陽極の面積はより小さく、陰極の面積はより大きくなっている。陽極42aおよび陰極42b間に、100Vのバイアス電圧を印加すると、電極セットAは、電極セットBよりも陰極に発生する電界が緩和されている。従って、入射光が通過する部分の電界分布が一様となり、より一様な電気光学特性を得ることができる。   In the electrode set A, the area of the cathode is three times larger than that of the anode. Moreover, compared with the electrode set B, the area of the anode is smaller and the area of the cathode is larger. When a bias voltage of 100 V is applied between the anode 42a and the cathode 42b, the electric field generated in the cathode of the electrode set A is more relaxed than that of the electrode set B. Accordingly, the electric field distribution in the portion through which the incident light passes becomes uniform, and more uniform electro-optical characteristics can be obtained.

また、陰極42bと比較して電気光学結晶との接触面積が狭い陽極42aの幅が、陽極42aおよび陰極42b間の間隔よりも狭い場合に、陰極に発生する電界の緩和は、特に有効に働く。   Further, when the width of the anode 42a having a narrow contact area with the electro-optic crystal as compared with the cathode 42b is narrower than the distance between the anode 42a and the cathode 42b, the relaxation of the electric field generated at the cathode works particularly effectively. .

図5に、本発明の実施例2にかかる電気光学素子の構成を示す。電気光学素子は、方形のKTN結晶50の対向する面に、陽極52a1,52a2および陰極52bが形成されている。KTN結晶50は、光の進行方向の長さ(z軸方向)5mm、幅(x軸方向)1.5mmであり、2つの電極間の厚さ(y軸方向)1.0mmの結晶である。陰極52bは、KTN結晶50の下面、全面に蒸着されている。従って、幅(x軸方向)1.5mmであり、2つの電極間の間隔1.0mmよりも広くなっている。一方、陽極は2つに分割されている。陽極52a1,52a2は、それぞれ幅(x軸方向)0.2mmであり、間隔0.2mmをおいて形成されている。   FIG. 5 shows the configuration of an electro-optic element according to Example 2 of the present invention. In the electro-optic element, anodes 52a1 and 52a2 and a cathode 52b are formed on opposing surfaces of the square KTN crystal 50. The KTN crystal 50 is a crystal having a length (z-axis direction) of 5 mm and a width (x-axis direction) of 1.5 mm in the light traveling direction and a thickness (y-axis direction) of 1.0 mm between two electrodes. . The cathode 52b is deposited on the lower surface and the entire surface of the KTN crystal 50. Therefore, the width (x-axis direction) is 1.5 mm, which is wider than the distance between the two electrodes of 1.0 mm. On the other hand, the anode is divided into two. The anodes 52a1 and 52a2 each have a width (x-axis direction) of 0.2 mm and are formed with an interval of 0.2 mm.

陽極を2つに分割することにより、入射光が通過する部分の電界分布が、実施例1と比較してより一様となる。図4を参照すると、入射光が通過する部分43の中心、すなわち光軸を、陽極42aのz軸方向に延びる中心線と一致させると、入射光が通過する部分43の中心に電界が集中する。従って、陰極43に発生する電界の影響も大きい。そこで、図5に示したように、陽極52a1,52a2を分割することにより、入射光が通過する部分53の中心の電界を緩和し、この中心付近に集中していた陰極に発生する電界も緩和する。   By dividing the anode into two, the electric field distribution in the portion through which the incident light passes becomes more uniform as compared with the first embodiment. Referring to FIG. 4, when the center of the portion 43 through which the incident light passes, that is, the optical axis coincides with the center line extending in the z-axis direction of the anode 42a, the electric field concentrates at the center of the portion 43 through which the incident light passes. . Therefore, the influence of the electric field generated at the cathode 43 is also great. Therefore, as shown in FIG. 5, by dividing the anodes 52a1 and 52a2, the electric field at the center of the portion 53 through which the incident light passes is relaxed, and the electric field generated at the cathode concentrated near the center is also relaxed. To do.

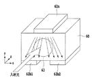
図6に、本発明の実施例3にかかる電気光学素子の構成を示す。電気光学素子は、方形のKTN結晶60の対向する面に、陽極62aおよび陰極62b1,62b2が形成されている。KTN結晶60は、光の進行方向の長さ(z軸方向)5mm、幅(x軸方向)1.5mmであり、2つの電極間の厚さ(y軸方向)1.0mmの結晶である。陽極62aは、幅(x軸方向)0.5mmであり、2つの電極間の間隔1mmよりも狭くなっている。一方、陰極は2つに分割されている。陰極62b1,62b2は、それぞれ幅(x軸方向)0.5mmであり、間隔0.5mmをおいて形成されている。   FIG. 6 shows a configuration of an electro-optic element according to Example 3 of the present invention. In the electro-optic element, an anode 62a and cathodes 62b1 and 62b2 are formed on opposing surfaces of a square KTN crystal 60. The KTN crystal 60 is a crystal having a length (z-axis direction) of 5 mm and a width (x-axis direction) of 1.5 mm in the light traveling direction and a thickness (y-axis direction) of 1.0 mm between two electrodes. . The anode 62a has a width (x-axis direction) of 0.5 mm and is narrower than a distance of 1 mm between the two electrodes. On the other hand, the cathode is divided into two. The cathodes 62b1 and 62b2 each have a width (x-axis direction) of 0.5 mm and are formed with an interval of 0.5 mm.

陰極62b1,62b2と2つに分割することにより、実施例2と同様に、入射光が通過する部分63の中心の電界を緩和し、この中心付近に集中していた陰極に発生する電界も緩和する。   By dividing the cathodes 62b1 and 62b2 into two, the electric field at the center of the portion 63 through which the incident light passes is reduced as in the second embodiment, and the electric field generated at the cathode concentrated near the center is also reduced. To do.

図7に、本発明の実施例4にかかる電気光学素子の構成を示す。電気光学素子は、方形のKTN結晶70の上面に、陽極72aおよび陰極72bが、間隔をおいて対向して形成されている。KTN結晶70は、光の進行方向の長さ(z軸方向)5mm、幅(x軸方向)10.0mmである。2つの電極間の間隔(x軸方向)1.0mmであり、陽極72aは、幅(x軸方向)0.5mmであり、2つの電極間の間隔1.0mmよりも狭くなっている。陰極72bは、幅(x軸方向)1.5mmであり、2つの電極間の間隔1.0mmよりも広くなっている。   FIG. 7 shows a configuration of an electro-optic element according to Example 4 of the present invention. In the electro-optic element, an anode 72a and a cathode 72b are formed on the upper surface of a square KTN crystal 70 so as to face each other with a gap therebetween. The KTN crystal 70 has a length in the light traveling direction (z-axis direction) of 5 mm and a width (x-axis direction) of 10.0 mm. The distance between the two electrodes (x-axis direction) is 1.0 mm, and the anode 72a has a width (x-axis direction) of 0.5 mm, which is narrower than the distance between the two electrodes of 1.0 mm. The cathode 72b has a width (x-axis direction) of 1.5 mm and is wider than 1.0 mm between the two electrodes.

実施例1〜3と同様に、面積の小さい陽極に近接した部分の電界は上がり、面積の大きい陰極に近接した部分の電界は下がる。これにより、陰極から結晶内部に入り込む電荷の影響が緩和され、結晶内部の電界分布を一様にすることができる。   As in Examples 1 to 3, the electric field in the portion close to the anode having a small area increases, and the electric field in the portion close to the cathode having a large area decreases. Thereby, the influence of the electric charge entering the inside of the crystal from the cathode can be relaxed, and the electric field distribution inside the crystal can be made uniform.

また、電気光学結晶は、KTN結晶に限らず、K1−yLiTa1−xNb(0<x<1,0<y<0.1)結晶とすることができ、それぞれ常誘電相で適用する。 The electro-optic crystal is not limited to a KTN crystal but can be a K 1-y Li y Ta 1-x Nb x O 3 (0 <x <1, 0 <y <0.1) crystal, Applies in the paraelectric phase.

従来の光位相変調器の構成を示す図である。It is a figure which shows the structure of the conventional optical phase modulator. 従来のKTN結晶を用いた光位相変調器の構成を示す図である。It is a figure which shows the structure of the optical phase modulator using the conventional KTN crystal | crystallization. 2次の電気光学効果を有する材料における印加電圧と屈折率の関係を示す図である。It is a figure which shows the relationship between the applied voltage and refractive index in the material which has a secondary electro-optic effect. 本発明の実施例1にかかる電気光学素子の構成を示す図である。1 is a diagram illustrating a configuration of an electro-optic element according to Example 1 of the invention. FIG. 本発明の実施例2にかかる電気光学素子の構成を示す図である。FIG. 6 is a diagram illustrating a configuration of an electro-optic element according to Example 2 of the invention. 本発明の実施例3にかかる電気光学素子の構成を示す図である。FIG. 6 is a diagram illustrating a configuration of an electro-optic element according to Example 3 of the invention. 本発明の実施例4にかかる電気光学素子の構成を示す図である。FIG. 6 is a diagram illustrating a configuration of an electro-optic element according to Example 4 of the invention.

符号の説明Explanation of symbols

10 LiNbO基板
11 導波路
12a,22a,42a,52a,62a,72a 陽極
12b,22b,42b,52b,62b,72b 陰極
20,40,50,60,70 KTN結晶
10 LiNbO 3 substrate 11 Waveguide 12a, 22a, 42a, 52a, 62a, 72a Anode 12b, 22b, 42b, 52b, 62b, 72b Cathode 20, 40, 50, 60, 70 KTN crystal

Claims (5)

電気光学結晶を用いた電気光学素子において、
前記電気光学結晶に電界を印加するための陽極および陰極を備え、
前記陽極の前記電気光学結晶との接触面積は、前記陰極の前記電気光学結晶との接触面積より狭く、
前記電気光学結晶はKTa 1−x Nb (0<x<1)またはK 1−y Li Ta 1−x Nb (0<x<1,0<y<0.1)のいずれかであり、該電気光学結晶を常誘電相で用いることを特徴とする電気光学素子。
In an electro-optic element using an electro-optic crystal,
An anode and a cathode for applying an electric field to the electro-optic crystal;
The contact area between the electro-optic crystal of the anode is rather narrow than the contact area between the electro-optic crystal of the cathode,
The electro-optic crystal is KTa 1-x Nb x O 3 (0 <x <1) or K 1-y Li y Ta 1-x Nb x O 3 (0 <x <1, 0 <y <0.1). And an electro-optic element using the electro-optic crystal in a paraelectric phase .
前記陽極の、前記電気光学結晶を通過する光の進行方向に垂直な方向の幅は、前記陰極の幅より狭いことを特徴とする請求項1に記載の電気光学素子。   2. The electro-optic element according to claim 1, wherein a width of the anode in a direction perpendicular to a traveling direction of light passing through the electro-optic crystal is narrower than a width of the cathode. 前記陽極の幅は、前記陽極および陰極間の間隔より狭く、前記陰極の幅は、前記陽極および陰極間の間隔より広いことを特徴とする請求項2に記載の電気光学素子。   The electro-optic element according to claim 2, wherein the width of the anode is narrower than the distance between the anode and the cathode, and the width of the cathode is wider than the distance between the anode and the cathode. 前記陽極は、光の進行方向に平行に、複数に分割されていることを特徴とする請求項1、2または3に記載の電気光学素子。   4. The electro-optical element according to claim 1, wherein the anode is divided into a plurality of pieces in parallel with the light traveling direction. 前記陰極は、光の進行方向に平行に、複数に分割されていることを特徴とする請求項1、2または3に記載の電気光学素子。   4. The electro-optical element according to claim 1, wherein the cathode is divided into a plurality of pieces in parallel with a light traveling direction.
JP2006081595A 2006-03-23 2006-03-23 Electro-optic element Expired - Fee Related JP4792309B2 (en)

Priority Applications (1)

Application Number Priority Date Filing Date Title
JP2006081595A JP4792309B2 (en) 2006-03-23 2006-03-23 Electro-optic element

Applications Claiming Priority (1)

Application Number Priority Date Filing Date Title
JP2006081595A JP4792309B2 (en) 2006-03-23 2006-03-23 Electro-optic element

Publications (2)

Publication Number Publication Date
JP2007256675A JP2007256675A (en) 2007-10-04
JP4792309B2 true JP4792309B2 (en) 2011-10-12

Family

ID=38630968

Family Applications (1)

Application Number Title Priority Date Filing Date
JP2006081595A Expired - Fee Related JP4792309B2 (en) 2006-03-23 2006-03-23 Electro-optic element

Country Status (1)

Country Link
JP (1) JP4792309B2 (en)

Families Citing this family (1)

* Cited by examiner, † Cited by third party
Publication number Priority date Publication date Assignee Title
JP4908387B2 (en) * 2007-12-04 2012-04-04 日本電信電話株式会社 Light modulator

Family Cites Families (1)

* Cited by examiner, † Cited by third party
Publication number Priority date Publication date Assignee Title
JP2805027B2 (en) * 1992-08-05 1998-09-30 日本電信電話株式会社 Waveguide type optical modulator

Also Published As

Publication number Publication date
JP2007256675A (en) 2007-10-04

Similar Documents

Publication Publication Date Title
US8391651B2 (en) Optical waveguide device
JP2015014715A (en) Electro-optic device
JP2010026079A (en) Optical device
JP6300209B2 (en) Optical deflection element and optical deflection apparatus
JPWO2008117449A1 (en) Optical device
JP3272064B2 (en) 4-section optical coupler
JP5411089B2 (en) Variable focus lens
JP4792309B2 (en) Electro-optic element
US20140177997A1 (en) Waveguide lens including planar waveguide and media grating
JP4792310B2 (en) Electro-optic element
JP5573855B2 (en) Optical device
JP2002006353A (en) Polarization reversal crystal
US7583428B2 (en) Transmissive active grating device
JPH037910A (en) Waveguide type optical circuit element
JP5173153B2 (en) Electro-optic element
JP5161156B2 (en) Variable focus lens
JP4663604B2 (en) Electro-optic element
JP4557894B2 (en) Deflector
JP5069267B2 (en) Variable focus lens
WO2024184881A1 (en) Artificial waveguide, phase shifter, coupler, switcher, delay line and resonator
JPH04113326A (en) Optical switch
JP6346572B2 (en) Variable focus lens
JP6335111B2 (en) Variable focus lens
JP2003207811A (en) Polarization inverted crystal and its manufacturing method
Kawaguchi et al. Design for high speed operation of double microring resonator-loaded Mach-Zehnder 2× 2 quantum well optical switch

Legal Events

Date Code Title Description
A621 Written request for application examination

Free format text: JAPANESE INTERMEDIATE CODE: A621

Effective date: 20080130

RD02 Notification of acceptance of power of attorney

Free format text: JAPANESE INTERMEDIATE CODE: A7422

Effective date: 20100513

RD04 Notification of resignation of power of attorney

Free format text: JAPANESE INTERMEDIATE CODE: A7424

Effective date: 20100513

RD02 Notification of acceptance of power of attorney

Free format text: JAPANESE INTERMEDIATE CODE: A7422

Effective date: 20100906

A977 Report on retrieval

Free format text: JAPANESE INTERMEDIATE CODE: A971007

Effective date: 20100927

A131 Notification of reasons for refusal

Free format text: JAPANESE INTERMEDIATE CODE: A131

Effective date: 20101001

A521 Written amendment

Free format text: JAPANESE INTERMEDIATE CODE: A523

Effective date: 20101119

TRDD Decision of grant or rejection written
A01 Written decision to grant a patent or to grant a registration (utility model)

Free format text: JAPANESE INTERMEDIATE CODE: A01

Effective date: 20110715

A01 Written decision to grant a patent or to grant a registration (utility model)

Free format text: JAPANESE INTERMEDIATE CODE: A01

A61 First payment of annual fees (during grant procedure)

Free format text: JAPANESE INTERMEDIATE CODE: A61

Effective date: 20110725

FPAY Renewal fee payment (event date is renewal date of database)

Free format text: PAYMENT UNTIL: 20140729

Year of fee payment: 3

R150 Certificate of patent or registration of utility model

Free format text: JAPANESE INTERMEDIATE CODE: R150

S531 Written request for registration of change of domicile

Free format text: JAPANESE INTERMEDIATE CODE: R313531

R350 Written notification of registration of transfer

Free format text: JAPANESE INTERMEDIATE CODE: R350

LAPS Cancellation because of no payment of annual fees