JP4608136B2 - 動きベクトル及び視差ベクトル検出装置 - Google Patents

動きベクトル及び視差ベクトル検出装置 Download PDF

Info

Publication number
JP4608136B2
JP4608136B2 JP2001189035A JP2001189035A JP4608136B2 JP 4608136 B2 JP4608136 B2 JP 4608136B2 JP 2001189035 A JP2001189035 A JP 2001189035A JP 2001189035 A JP2001189035 A JP 2001189035A JP 4608136 B2 JP4608136 B2 JP 4608136B2
Authority
JP
Japan
Prior art keywords
mode
power consumption
motion vector
low power
vector
Prior art date
Legal status (The legal status is an assumption and is not a legal conclusion. Google has not performed a legal analysis and makes no representation as to the accuracy of the status listed.)
Expired - Fee Related
Application number
JP2001189035A
Other languages
English (en)
Other versions
JP2003009179A (ja
Inventor
義信 田中
Current Assignee (The listed assignees may be inaccurate. Google has not performed a legal analysis and makes no representation or warranty as to the accuracy of the list.)
Olympus Corp
Original Assignee
Olympus Corp
Priority date (The priority date is an assumption and is not a legal conclusion. Google has not performed a legal analysis and makes no representation as to the accuracy of the date listed.)
Filing date
Publication date
Application filed by Olympus Corp filed Critical Olympus Corp
Priority to JP2001189035A priority Critical patent/JP4608136B2/ja
Publication of JP2003009179A publication Critical patent/JP2003009179A/ja
Application granted granted Critical
Publication of JP4608136B2 publication Critical patent/JP4608136B2/ja
Anticipated expiration legal-status Critical
Expired - Fee Related legal-status Critical Current

Links

Images

Landscapes

  • Testing, Inspecting, Measuring Of Stereoscopic Televisions And Televisions (AREA)
  • Compression Or Coding Systems Of Tv Signals (AREA)
  • Image Analysis (AREA)

Description

【0001】
この発明は、ブロックマッチング法を用いて、動画像における動きベクトル又はステレオ画像における左右画像の視差ベクトルを検出する装置に関するものである。
【発明の属する技術分野】
【0002】
【従来の技術】
動画像圧縮やビデオカメラの手振れ補正のための動きベクトルの検出には、ブロックマッチング法が一般的によく採用されている。また、ステレオ画像における左右画像の視差ベクトルの検出に関しても、同様の手法が用いられている。以下、動きベクトル検出に代表して説明を行うが、視差ベクトル検出に関しても同じことがいえる。
【0003】
一般的に、ブロックマッチング法による動きベクトル検出は、演算量が多く、消費電力も大きくなりやすい。ブロックマッチング法を用いた動きベクトル検出において、演算量を削減して消費電力を低減させるためには、探索範囲を狭くする方法、間引きする方法、ブロックサイズを小さくする方法等が考えられている。
【0004】
しかし、単純に演算量を削減させただけでは、一般的に検出精度も下がるという問題点がある。次に、この問題点について説明する。例えば、単純に探索範囲を狭くして演算量を削減しようとした場合は、真の動きベクトルが探索範囲外に存在するときに、誤った動きベクトルを検出してしまう。また間引きする場合は、原画像の細部の特徴が残らない可能性がある。同様にブロックサイズを小さくする場合も、ノイズ等の影響をうけやすくなってしまう恐れがある。
【0005】
このような問題点を解決するためには、入力映像の特性に応じて処理を変えればよい。例えば、探索範囲に関しては、動きが大きい映像の場合は探索範囲を広く、動きが小さい映像の場合は探索範囲を狭くすればよい。また、間引きに関しても、周波数成分の高い映像の場合は間引きを小さく、周波数成分の低い映像の場合は間引きを大きくすればよい。また、ブロックサイズの場合も、ノイズの多い映像の場合はブロックサイズを大きく、ノイズの少ない映像の場合はブロックサイズを小さくすればよい。
【0006】
具体的な先行技術としては、例えば探索範囲に関する先行技術としては、特開2000−78580号公報「動きベクトル検出装置および方法、並びに提供媒体」においては、探索範囲内で最小となったときの相関演算値の大きさに応じて探索範囲の大きさを決定する手法について開示がなされている。
【0007】
また、間引きに関する先行技術としては、特開平11−136682号公報「動きベクトル検出装置および動きベクトル検出方法、並びに画像符号化装置」においては、符号化対象ブロックの周波数成分等に応じて、間引きの設定を制御する手法について開示がなされている。
【0008】
また、ブロックサイズに関する先行技術としては、特開平5−130588号公報「画像の動きベクトル検出装置」においては、輪郭部の割合が多いほどブロックサイズを大きくする手法について開示がなされている。
【0009】
様々な映像信号が入力されるような装置の場合、低消費電力のための手法は、映像信号の特性や装置の用途に応じて適切な手法の組み合わせを選択することが望ましい。上述した先行技術を組み合わせて用いれば、例えば、動きの少ない映像の場合は探索範囲を狭く、周波数成分の低い映像の場合は間引き量を大きくすることができ、それぞれの技術を単独で用いる場合よりも、消費電力削減効果の向上が期待できる。
【0010】
【発明が解決しようとする課題】
しかしながら、前記特開2000−78580号公報開示の手法を用いるためには、最小相関演算値の大きさを調べる必要があり、また特開平11−136682号公報開示の手法を用いるためには周波数成分を調べる必要があり、また特開平5−130588号公報開示の手法を用いるためには輪郭部の割合を調べる必要があるというように、個々の消費電力削減手段によって映像の特性を調べる手法は異なる。すなわち、複数の消費電力削減手段を組み合わせて用いれば高い消費電力削減効果が期待できるものの、上述した先行技術を組み合わせて用いる場合は、個々の消費電力削減手段によって映像の特性を調べる手法が異なるために、装置は複雑になってしまうという問題点がある。
【0011】
本発明は、上記事情に鑑みてなされたもので、装置を複雑化することなく、精度よく消費電力を抑えることができるようにした動きベクトル又は視差ベクトル検出装置を提供することを目的とする。
【0012】
【課題を解決するための手段】
上記問題点を解決するため、請求項1に係る発明は、入力映像信号の動きベクトル又は視差ベクトルの検出装置において、入力映像信号のうち基準画像のデータを格納する基準画像格納メモリと、前記入力映像信号のうち参照画像のデータを格納する参照画像格納メモリと、前記基準画像格納メモリと前記参照画像格納メモリとを制御するメモリコントローラと、前記基準画像格納メモリから読み出される基準ブロックデータと前記参照画像格納メモリから読み出される参照ブロックデータとを用いて相関演算を行い、動きベクトル又は視差ベクトルを検出するブロックマッチング演算器と、通常モードと低消費電力モードとを設定し、前記各モードに応じたパラメータを出力する動作モード設定器と、通常モード時の測定結果と低消費電力モード時の測定結果とを比較するモード結果比較器とを有し、前記動作モード設定器は、前記モード結果比較器による通常モード時の測定結果と低消費電力モード時の測定結果の比較結果に基づいて、動作モードを設定するように構成されていることを特徴とするものである。
【0013】
この発明に関する実施の形態は、第1,第2,第3,第4,第5の実施の形態が対応する。このように構成した動きベクトル又は視差ベクトルの検出装置においては、モード結果比較器が通常モード時の測定結果と低消費電力モード時の測定結果とを比較し、動作モード設定器は、通常モード時の測定結果と低消費電力モード時の測定結果との比較結果に基づいて動作モードを設定し、通常モード時の測定結果と低消費電力モード時の測定結果を比較した後に動作モードを決定するようになっているため、検出精度を低下させずに且つ装置を複雑化することなく、消費電力削減効果を得ることができる。
【0014】
請求項2に係る発明は、請求項1に係る動きベクトル又は視差ベクトルの検出装置において、前記モード結果比較器は、モード決定用フレームにおける通常モード時の動きベクトル又は視差ベクトルの統計値と低消費電力モード時の動きベクトル又は視差ベクトルの統計値との差分が閾値以内であるか否かを判定し、前記動作モード設定器は、前記モード結果比較器による前記差分が閾値以内であった場合は、前記モード決定用フレームより後に入力されるフレームに対して、低消費電力モードを設定するように構成されていることを特徴とするものである。
【0015】
この発明に関する実施の形態は、第1,第5の実施の形態が対応する。このように構成した動きベクトル又は視差ベクトルの検出装置においては、モード結果比較器は、モード決定用フレームにおける通常モード時の動きベクトル又は視差ベクトルの統計値と低消費電力モード時の動きベクトル又は視差ベクトルの統計値との差分が閾値以内であるか否かを判定し、動作モード設定器は、前記差分が閾値以内であった場合は、モード決定用フレームより後に入力されるフレームに対して、低消費電力モードを設定し、通常モード時の測定結果と低消費電力モード時の測定結果を比較した後に動作モードを決定するようになっているため、検出精度を低下させずに且つ装置を複雑化することなく、消費電力削減効果を得ることができる。特に、フレーム間の相関が高い映像に関して有効である。
【0016】
請求項3に係る発明は、請求項2に係る動きベクトル又は視差ベクトルの検出装置において、入力映像信号のシーン変化を検出するシーン変化検出器を有し、前記モード決定用フレームは、前記シーン変化検出器でシーン変化が検出された場合に指定されることを特徴とするものである。
【0017】
この発明に関する実施の形態は、第2,第5の実施の形態が対応する。このように構成した動きベクトル又は視差ベクトルの検出装置においては、更にシーン変化検出器を備え、シーン変化を検出し、モード決定用フレームは、検出されたシーン変化に対応して指定されるようにしているので、シーン変化が多い映像に関して検出精度を向上させることができる。
【0018】
請求項4に係る発明は、請求項1に係る動きベクトル又は視差ベクトルの検出装置において、前記モード結果比較器は、モード決定用基準ブロックの通常モード時の動きベクトル又は視差ベクトルの統計値と低消費電力モード時の動きベクトル又は視差ベクトルの統計値との差分が閾値以内であるか否かを判定し、前記動作モード設定器は、前記モード結果比較器による前記差分が閾値以内であった場合は、前記モード決定用基準ブロックが存在する基準画像内の全ての基準ブロックに対して、低消費電力モードを設定することを特徴とするものである。
【0019】
この発明に関する実施の形態は、第3,第5の実施の形態が対応する。このように構成した動きベクトル又は視差ベクトルの検出装置においては、モード結果比較器は、モード決定用基準ブロックの通常モード時の動きベクトル又は視差ベクトルの統計値と低消費電力モード時の動きベクトル又は視差ベクトルの統計値との差分が閾値以内であるか否かを判定し、動作モード設定器は、前記差分が閾値以内であった場合は、モード決定用基準ブロックが存在する基準画像内の全ての基準ブロックに対して、低消費電力モードを設定し、通常モード時の測定結果と低消費電力モード時の測定結果を比較した後に動作モードを決定するようになっているため、特にフレーム間の相関が低い場合に、検出精度を低下させずに消費電力削減効果を得ることができる。
【0020】
請求項5に係る発明は、請求項1に係る動きベクトル又は視差ベクトルの検出装置において、前記モード結果比較器は、モード決定用基準ブロックの通常モード時の動きベクトル又は視差ベクトルの統計値と低消費電力モード時の動きベクトル又は視差ベクトルの統計値との差分が閾値以内であるか否かを判定し、前記動作モード設定器は、前記モード結果比較器による前記差分が閾値以内であった場合は、前記モード決定用基準ブロックの周辺の基準ブロックに対して、低消費電力モードを設定することを特徴とするものである。
【0021】
この発明に関する実施の形態は、第4,第5の実施の形態が対応する。このように構成した動きベクトル又は視差ベクトルの検出装置においては、モード結果比較器は、モード決定用基準ブロックの通常モード時の動きベクトル又は視差ベクトルの統計値と低消費電力モード時の動きベクトル又は視差ベクトルの統計値との差分が閾値以内であるかを判定し、動作モード設定器は、前記差分が閾値以内であった場合は、モード決定用基準ブロックの周辺の基準ブロックに対して、低消費電力モードを設定し、通常モード時の測定結果と低消費電力モード時の測定結果を比較した後に動作モードを決定するようにしているので、特に1枚の画像中に特性の異なる物体が混在する場合に、検出精度を低下させずに消費電力削減効果を得ることができる。
【0022】
請求項6に係る発明は、請求項1に係る動きベクトル又は視差ベクトルの検出装置において、前記動作モード設定器は、前記通常モードを設定した後、消費電力削減効果の大きい順に複数の低消費電力モードを順次設定することを特徴とするものである。
【0023】
この発明に関する実施の形態は、第5の実施の形態が対応する。このように構成した動きベクトル又は視差ベクトルの検出装置においては、低消費電力モードを複数存在させているため、消費電力を細かく制御することができ、また複数の低消費電力モードのうち、消費電力削減効果の大きいものから優先的に選択させることにより、可能な限り高い消費電力削減効果を得ることができる。
【0024】
【発明の実施の形態】
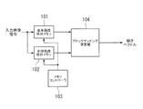
本発明の実施の形態について説明する前に、従来の動きベクトル検出装置について説明を行う。まず、図17を用いて従来の動きベクトル検出装置の構成について説明する。図17において、101 は入力される映像信号のうち基準画像データを格納する基準画像格納メモリ、102 は入力される映像信号のうち参照画像データを格納する参照画像格納メモリ、103 は前記基準画像格納メモリ101 と前記参照画像格納メモリ102 とを制御するメモリコントローラ、104 は前記基準画像格納メモリ101 から基準ブロック単位で出力される基準ブロックデータと、前記参照画像格納メモリ102 から参照ブロック単位で出力される参照ブロックデータとを用いて差分絶対値和演算もしくは差分二乗和演算を行い、前記基準ブロックの位置から、演算結果が最小となるときの前記参照ブロックの位置までを、動きベクトルとして出力するブロックマッチング演算器を示している。
【0025】
次に、このように構成されている従来の動きベクトル検出装置の動作について説明する。入力映像信号のうち基準画像データは基準画像格納メモリ101 に、参照画像データは参照画像格納メモリ102 にそれぞれ格納される。ブロックマッチング演算器104 は、基準画像格納メモリ101 からブロック単位で読み出される基準ブロックデータと、参照画像格納メモリ102 からブロック単位で読み出される参照ブロックデータとを用いて、参照画像内の探索範囲内で参照ブロックをサーチしながら相関演算を行う。このとき、基準ブロックと最も相関が高いと判定された参照ブロックの位置と基準ブロックの位置との差分が、動きベクトルとして出力されるようになっている。
【0026】
(第1の実施の形態)
次に、本発明の第1の実施の形態について説明する。図1は、第1の実施の形態の全体構成を示すブロック構成図である。図1において、1は入力される映像信号のうち基準画像のデータを格納する基準画像格納メモリ、2は入力される映像信号のうち参照画像のデータを格納する参照画像格納メモリ、3は前記基準画像格納メモリ1と前記参照画像格納メモリ2とを制御するメモリコントローラ、4は前記基準画像格納メモリ1から基準ブロック単位で出力される基準ブロックデータと、前記参照画像格納メモリ2から参照ブロック単位で出力される参照ブロックデータとを用いて、差分絶対値和演算もしくは差分二乗和演算を行い、前記基準ブロックの位置から、演算結果が最小となるときの前記参照ブロックの位置までを、動きベクトルとして出力するブロックマッチング演算器、5はブロックマッチング演算器4から出力される、複数のモードにおける動きベクトルを比較するモード結果比較器、6はモード結果比較器5から出力される比較結果に基づいて、パラメータを設定する動作モード設定器を示している。
【0027】
次に、図2を用いて本実施の形態における通常モードと低消費電力モードに関して説明する。図2において、フレーム1からフレーム10は、それぞれブロックマッチング演算を行う2枚の画像の組を示し、例えば立体映像における視差測定では、右画像1と左画像1の組をフレーム1,右画像2と左画像2の組をフレーム2とする。また、フレーム1とフレーム8は、モード決定用フレームであり、例えば図2の例では7フレームおきに周期的に発生するものとする。
【0028】
次に、図1及び図2を用いて、本実施の形態における動作について説明する。まず、モード決定用フレームであるフレーム1において、動作モード設定器6は通常モードを設定し、通常モードに応じたパラメータを出力する。メモリコントローラ3は、動作モード設定器6にて設定された通常モード時のパラメータを受け取り、通常モード時のパラメータに従った制御方法で、基準画像格納メモリ1と参照画像格納メモリ2を制御する。ブロックマッチング演算器4は、基準画像格納メモリ1から読み出された基準ブロックデータと、参照画像格納メモリ2から読み出された参照ブロックデータとを用いて、参照画像内の探索範囲内で参照ブロックをサーチしながら相関演算を行う。このとき、基準ブロックの位置と、基準ブロックと最も相関が高いと判定された参照ブロックの位置との差分が、動きベクトルとして出力される。なお、ブロックマッチング演算器4は、動作モード設定器6にて設定された通常モード時のパラメータを受け取り、パラメータ従った検出方法で動きベクトルを検出する。
【0029】
通常モードにて設定された基準ブロック数の動きベクトルが検出された後、動作モード設定器6は、低消費電力モードを設定する。このとき、低消費電力モードにおける動きベクトルの検出も、通常モードの場合と同様にして行われる。なお、低消費電力モード時に動作モード設定器6で設定されるパラメータは、通常モード時に設定されるパラメータよりも消費電力が少なくなるように設定される。
【0030】
モード結果比較器5は、通常モードで検出された動きベクトルの統計値と低消費電力モードで検出された動きベクトルの統計値との差分が、閾値以内であるか否かを判定する。ここで、統計値とは、例えば平均値、最大値、最小値、最頻値等を指す。また、前記複数の統計値を併用してもよい。また、動きベクトルの分布に関するヒストグラムを作成し、それぞれの範囲に関する頻度であってもよい。
【0031】
また、通常モード時の全ての動きベクトルと低消費電力時の全ての動きベクトルとを用いて、各々一致するか判定し、フレーム全体における一致率が閾値以内であるかを判定してもよい。
【0032】
次に、動作モード設定器6は、モード結果比較器5にて判定された結果を受け取り、フレーム2からフレーム7までの動作モードを設定する。ここで、例えばフレーム1における通常モードの統計値と低消費電力モードの統計値との差分が閾値以内だった場合は、図2に示すようにフレーム2からフレーム7までは、低消費電力モードを設定する。
【0033】
同様に、次のモード決定用フレームであるフレーム8に関しても、動作モード設定器6が通常モードと低消費電力モードとを設定し、モード結果比較器5が通常モード時の統計値と低消費電力モード時の統計値とを比較する。ここで、例えばフレーム8における通常モードの統計値と低消費電力モードの統計値との差分が、閾値を超えていた場合は、図2に示すようにフレーム9からフレーム14までは、通常モードが設定される。
【0034】
以上説明した手法によれば、通常モード時の測定結果と低消費電力モード時の測定結果とを比較した後に、動作モードを決定するため、検出精度を低下させずに消費電力削減効果を得ることができる。
【0035】
なお、動作モード設定器6にて動作モードに応じて設定されるパラメータは、例えば、探索範囲、相関演算時におけるビット長、基準ブロック数、ブロックサイズ、間引き等に対応するものが考えられる。以下にこれらのパラメータが設定されたときの動作について説明する。
【0036】
図3は、第1の実施の形態における、探索範囲に関して示す説明図である。図3において、10はブロックサイズがM画素×N画素の基準ブロック、11は基準ブロック位置を中心に水平方向に±A画素、垂直方向に±B画素の範囲を持つ探索範囲、12は基準ブロック10の左上位置、13は探索範囲11内の探索開始位置、14は探索範囲11内の探索終了位置を示す。ここで、基準ブロックの左上位置12の座標を(X0 ,Y0 )、探索開始位置13の座標を(X1 ,Y1 )、探索終了位置14の座標を(X2 ,Y2 )とすれば、式1(X1 =X0 −A,Y1 =Y0 −B,X2=X0 +M+A−1,Y2 =Y0 +N+B−1)によって、探索開始位置13と探索終了位置14を求めることができる。
【0037】
次に、動作モード設定器6にて探索範囲とブロックサイズに関するパラメータが与えられたときの、メモリコントローラ3の動作に関して説明を行う。メモリコントローラ3は、探索範囲とブロックサイズに関するパラメータが与えられると、上記式1の演算式により探索開始位置13と探索終了位置14を演算する。メモリコントローラ3は、参照画像格納メモリ2を制御して、探索開始位置13から探索終了位置14までの参照画像データを読み出す。
【0038】
以上の方法により、メモリコントローラ3は、動作モード設定器6から設定されたパラメータに応じて、探索範囲を任意に設定することができる。例えば、低消費電力モード時に、通常モード時よりも狭い探索範囲を設定すれば、短時間で演算を終了することができる。演算終了後、回路を停止等することにより、通常モードよりも消費電力を削減することができる。
【0039】
図4は、基準ブロックの間隔に関して示す説明図である。図4において、基準ブロック10は、水平方向にDX,垂直方向にDYの間隔で配置されている。隣合った3つの基準ブロックの左上位置を示す20,21及び22の座標を、それぞれ(XA,YA),(XB,YB),(XC,YC)とすれば、式2(XB=XA+DX,YB=YA,XC=XA,YC=YA+DY)が成り立つ。つまり、水平方向のブロック間隔DX及び垂直方向のブロック間隔DYが与えられていれば、隣の基準ブロックの座標を求めることができる。
【0040】
次に、動作モード設定器6にて基準ブロック数と水平方向及び垂直方向のブロック間隔に関するパラメータが与えられたときの、メモリコントローラ3の動作に関して説明を行う。メモリコントローラ3は、ブロック間隔に関するパラメータが与えられると、上記式2の演算式により個々の基準ブロックの座標を演算し、基準ブロックに対する基準画像データと参照画像データとを読み出す。その後、設定された基準ブロック数のデータを読み出し終えたら、動作を終了する。
【0041】
以上の方法により、メモリコントローラ3は、動作モード設定器6から設定されたパラメータに応じて、基準ブロック数とその配置方法を任意に設定することができ、例えば、図5の(A),(B)に示すように、低消費電力モード時は、通常モード時と比較して基準ブロック数が少なくなるように配置することが可能である。このように、低消費電力モード時に、通常モード時よりも基準ブロック数を少なく設定すれば、短時間で演算を終了することができ、通常モードよりも消費電力を削減することができる。
【0042】
図6は、第1の実施の形態において、ブロックサイズが4画素×4画素時のブロックマッチング演算器4の回路構成を示す図である。説明を簡単にするために、4画素×4画素にて説明するが、8画素×8画素、16画素×16画素やその他のブロックサイズの場合も同様な構成である。基準画像メモリ1から読み出された基準ブロックデータと参照画像メモリ2から読み出された参照ブロックデータは、直並列変換器30で直並列変換され、差分絶対値演算器群31に入力される。差分絶対値演算器群31は、基準ブロックデータと参照ブロックデータとの差分絶対値演算を行う。なお、差分絶対値演算器群31における個々の差分絶対値演算器の括弧内の数字は、図7に示す基準ブロック内の画素位置及び参照ブロック内の画素位置に対応し、例えば差分絶対値演算器(1.1) は、基準ブロックデータのうち画素位置(1.1) のデータと、参照ブロックデータのうち画素位置(1.1) のデータとの差分絶対値演算を行う。
【0043】
差分絶対値演算器群31から出力された差分絶対値演算結果は、加算器群32で加算される。加算器群32から出力される加算結果、すなわち基準ブロックと参照ブロックとの間の差分絶対値和は、最小値検出器33に入力され、最小値検出器33は、探索範囲内で差分絶対値和が最小となるときの値を検出し、動きベクトルを出力する。以上の方法により、ブロックマッチング演算器4は、4画素×4画素の差分絶対値和演算を行い、動きベクトルを検出することができる。
【0044】
次に、動作モード設定器6にて、例えばブロックサイズが3画素×3画素と設定されたときのブロックマッチング演算器4の動作に関して、図6を用いて説明する。動作モード設定器6にてブロックサイズが3画素×3画素と設定されると、差分絶対値演算器群31は、差分絶対値演算器(1.4) 及び(2.4) 及び(3.4) 及び(4.1) 及び(4.2) 及び(4.3) 及び(4.4) を停止させる。また、直並列変換器30及び加算器群32も、差分絶対値演算器(1.4) ,(2.4) ,(3.4) ,(4.1) ,(4.2) ,(4.3) 及び(4.4) に対応する部分を、停止させることができる。以上により、ブロックマッチング演算器4は、設定されたブロックサイズに応じて回路の一部を停止させることができる。例えば、低消費電力モード時に、通常モード時よりも小さいブロックサイズを設定することにより、消費電力削減効果が得られる。
【0045】
また、動作モード設定器6にて、例えば図8において、間引きによって計算されない画素をハッチングを付した画素で示すように、垂直方向の間引きが設定された場合も同様に、直並列変換器30及び差分絶対値演算器群31及び加算器群32は、差分絶対値演算器(2.1) 及び(2.2) 及び(2.3) 及び(2.4) 及び(4.1) 及び(4.2) 及び(4.3) 及び(4.4) に該当する部分をを停止させることができる。また、垂直方向の間引きだけでなく、水平方向の間引き、又は垂直方向と水平方向の間引きの併用が設定された場合も同様である。例えば、低消費電力モード時に、通常モード時よりも大きい間引き量を設定することにより、消費電力削減効果が得られる。
【0046】
また、動作モード設定器6にて、相関演算時におけるビット長が短く設定された場合は、直並列変換器30及び差分絶対値演算器群31及び加算器群32及び最小値検出器33の下位数ビットの動作を停止させることができる。例えば、低消費電力モード時に、通常モード時よりも短いビット長を設定することにより、消費電力削減効果が得られる。
【0047】
本実施の形態によると、通常モード時の測定結果と低消費電力モード時の測定結果を比較した後に、動作モードを決定するため、検出精度を低下させずに消費電力削減効果を得ることができる。また、通常モードと低消費電力モードとで探索範囲、相関演算時におけるビット長、基準ブロック数、ブロックサイズ、間引き等のパラメータ設定を変えることができ、且つ複数のパラメータを併用することにより、高い消費電力削減効果を得ることができる。
【0048】
また、従来の手法では、例えば探索範囲の設定と間引きの設定等、個々の消費電力削減手段によって映像の特性を調べる手法が異なっていたが、本発明では、前記探索範囲や間引き等の複数のパラメータを併用しても、通常モード時の結果と低消費電力モード時の結果とを比べる手法は一定であるので、装置を複雑化することなく、様々な消費電力削減手段を併用することができる。
【0049】
(第2の実施の形態)
次に、本発明の第2の実施の形態について説明する。図9は、本実施の形態の全体構成を示すブロック構成図であり、符号1〜6で示す構成要素は、図1で示した第1の実施の形態と同様であるので、その説明を省略する。この実施の形態の特徴は、ブロックマッチング演算器4から出力される動きベクトルを用いて、シーン変化を検出するシーン変化検出器7を備えている点である。
【0050】
このシーン変化検出器7においては、ブロックマッチング演算器4から出力された現フレームにおける動きベクトルの統計値と、前フレームにおける動きベクトルの統計値とを比較する。比較した結果、現フレームの統計値と前フレームの統計値とで大きな変化が見られた場合は、シーン変化と判断する。シーン変化検出器7でシーン変化と判断された場合、動作モード設定器6は現在のフレームをモード決定用フレームとする。
【0051】
第1の実施の形態においては、複数のフレームおきに周期的に動作モードが決定されていたが、本実施の形態では、シーン変化に対応して動作モードが決定される。したがって、本実施の形態では、低消費電力モードで動作中にシーン変化が起こった場合は、再度動作モードが決定されるため、信頼性の高い動きベクトル検出を行うことができる。このように、本実施の形態においても、第1の実施の形態と同様に消費電力削減効果を得ることができ、特にシーン変化が発生する映像に有効である。
【0052】
(第3の実施の形態)
次に、本発明の第3の実施の形態について説明する。本実施の形態における装置全体の構成は、第1の実施の形態と同様であるので、その図示説明は省略する。図10は、基準画像におけるモード決定用基準ブロックの配置例に関して示す説明図である。本実施の形態においては、動作モード設定器6は、モード決定用基準ブロックに対して通常モードと低消費電力モードとを設定する。図10に示す配置例では、モード決定用基準ブロック35は基準画像36中に複数個存在し、モード結果比較器5は、モード決定用基準ブロックの通常モード時の動きベクトルの統計値と、低消費電力モード時の動きベクトルの統計値との差分が閾値以内であるかを判定する。動作モード設定器6は、通常モード時の動きベクトルの統計値と低消費電力モード時の動きベクトルの統計値との差分が、閾値以内であった場合には、基準画像36内の全ての基準ブロック37に対して低消費電力モードを設定する。
【0053】
第1の実施の形態では、数フレームに1回動作モードを決定していたが、本実施の形態では毎フレームで動作モードを決定する。本実施の形態においても、第1の実施の形態と同様に消費電力削減効果を得ることができ、特にフレーム間の相関が低い場合に有効である。
【0054】
(第4の実施の形態)
次に、本発明の第4の実施の形態について説明する。本実施の形態における装置全体の構成は、第1の実施の形態と同様であるので、その図示説明は省略する。図11は、本実施の形態のモード決定用基準ブロックと、同一モードで動作する基準ブロックの集合に関して示す説明図である。基準画像40は、太線で示す複数の基準ブロックの集合42に分割され、該基準ブロックの集合42内にモード決定用基準ブロック43は一つ配置される。なお、基準ブロックの集合42は、図示例では5×5の基準ブロック41で示している。
【0055】
本実施の形態において、動作モード設定器6は、モード決定用基準ブロック43に対して、通常モードと低消費電力モードとを設定する。モード結果比較器5は、モード決定用基準ブロック43の通常モード時の動きベクトルと、低消費電力モード時の動きベクトルとの差分が、閾値以内であるかを判定する。動作モード設定器6は、通常モード時の動きベクトルと低消費電力モード時の動きベクトルとの差分が閾値以内であった場合には、モード決定用基準ブロック43の周辺の基準ブロック41に対して、低消費電力モードを設定する。
【0056】
第3の実施の形態では、基準画像内の全ての基準ブロックに対して同じ動作モードを設定していたが、本実施の形態では、基準画像内を分割した領域毎に異なる動作モードを設定することが可能である。本実施の形態においても、第1の実施の形態と同様に消費電力削減効果を得ることができ、特に1枚の画像中に特性の異なる物体が混在している場合に有効である。
【0057】
(第5の実施の形態)
次に、本発明の第5の実施の形態について説明する。本実施の形態における装置全体の構成は、第1の実施の形態と同様であるので、その図示説明は省略する。図12は、本実施の形態における動作モードの設定の一例について示す図である。本実施の形態において、動作モードには1つの通常モードと3つの低消費電力モードがあり、3つの低消費電力モードには、低消費電力モード1及び2及び3がある。なお、3つの低消費電力モードは、低消費電力モード1→低消費電力モード2→低消費電力モード3の順に設定されることが予め決められているものとする。また、図12の図示例では、3つの低消費電力モードのうち、低消費電力モード1が最も消費電力削減効果が大きく、低消費電力モード3が最も消費電力削減効果が小さくなるように、探索範囲及びブロックサイズ及び間引きが設定されている。
【0058】
図13は、モード決定用フレームにおける動作モード決定フローを示す図である。次に、図13のフローチャートを用いて、本実施の形態における動作について説明を行う。動作モード設定器6は、モード決定用フレームに対して、通常モードにて動きベクトル検出を行った後(ステップS1)、低消費電力モード1で動きベクトル検出を行う(ステップS2)。その後、通常モード時の動きベクトルの統計値と低消費電力モード1時の動きベクトルの統計値との差分が閾値以内であるか否かの判定を行い(ステップS3)、閾値以内であった場合は、動作モード設定器6は、その後のフレームに対して低消費電力モード1を設定する(ステップS4)。前記差分の判定ステップS3において差分が閾値を超えていた場合は、低消費電力モード2で動きベクトル検出を行い(ステップS5)、通常モード時と低消費電力モード2時の結果の差分を演算する。そして、前記差分が閾値以内であるか否かの判定を行い(ステップS6)、前記差分が閾値以内であれば、その後のフレームに対して低消費電力モード2を設定する(ステップS7)。前記差分の判定ステップS5において差分が閾値を超えていた場合は、低消費電力モード3で動きベクトル検出を行い(ステップS8)、通常モード時と低消費電力モード3時の結果の差分を演算する。そして、前記差分が閾値以内であるか否かの判定を行い(ステップS9)、前記差分が閾値以内であれば、その後のフレームに対して低消費電力モード3を設定し(ステップS10)、前記差分の判定ステップS9において差分が閾値を超えていた場合は、その後のフレームに対して通常モードを設定する(ステップS11)。
【0059】
図14及び図15は、それぞれ上記手法を用いた場合における動作モードの決定態様を時間軸上で示した図である。通常モードと低消費電力モード1の結果が異なる場合、図14に示した例の場合は、同一のフレームで再度低消費電力モード2の測定を行い、図15に示した例の場合は、次のフレームで通常モードと低消費電力モード2の測定及び比較を行う。本実施の形態は、図14及び図15に示す手法の両方に適用可能であり、図14に示した例の場合には、全体として通常モードでの動作回数が少なくなるという利点があり、図15に示した例の場合には、1フレーム内での最大演算時間が短くなるという利点がある。
【0060】
上記手法によれば、低消費電力モードが複数ある場合、消費電力削減効果の大きいものから優先的に選択されるという利点がある。また、第1から第4の実施の形態においては、低消費電力モードの数に関しては特に考慮していないが、本実施の形態のように複数の低消費電力モードを設定しておくと、消費電力を細かく制御することができるという利点も得られる。
【0061】
また、動作モードの設定は、例えば図16に示す態様で行うこともできる。この場合、動きの少ない画像の場合は低消費電力モード1が、動きは大きいが周波数成分の低い映像の場合は低消費電力モード2が選択されることが期待できる。
【0062】
また、本実施の形態においては、第1及び第2の実施の形態のように、モード決定用フレームに対して結果を比較する場合に関して説明を行ったが、第3及び第4の実施の形態のように、モード決定用基準ブロックに対して結果を比較する場合に関しても、同様に適用可能である。
【0063】
また、上記第1から第5の実施の形態においては、動きベクトルを検出する場合に関して説明を行ったが、これらの実施の形態は、ステレオ画像における左右画像の視差ベクトルを検出する場合に関しても、同様に適用可能である。
【0064】
【発明の効果】
以上実施の形態に基づいて説明したように、請求項1及び請求項2に係る発明によれば、通常モード時の測定結果と低消費電力モード時の測定結果を比較した後に動作モードを決定するように構成しているので、検出精度を低下させず且つ装置を複雑化することなく、消費電力削減効果を得ることができる。特に請求項2に係る発明は、フレーム間の相関が高い映像に関して有効である。また請求項3に係る発明によれば、モード決定用フレームを検出されたシーン変化に対応して指定するように構成されているので、シーン変化が多い映像に関して検出精度を向上させることができる。また請求項4に係る発明によれば、通常モード時と低消費電力モード時の測定結果の差分が閾値以内の場合には、モード決定用基準ブロックが存在する基準画像内の全ての基準ブロックに対して低消費電力モードを設定するように構成しているので、特にフレーム間の相関が低い場合に、検出精度を低下させずに消費電力削減効果を得ることができる。また請求項5に係る発明によれば、通常モード時と低消費電力モード時の測定結果の差分が閾値以内の場合には、モード決定用基準ブロックの周辺の基準ブロックに対して、低消費電力モードを設定するように構成しているので、特に1枚の画像中に特性の異なる物体が混在する場合に、検出精度を低下させずに消費電力削減効果が得られる。また請求項6に係る発明によれば、複数の低消費電力モードを設けているので、消費電力を細かく制御することができ、また複数の低消費電力モードのうち、消費電力削減効果の大きいものから優先的に選択させることにより、可能な限り高い消費電力削減効果を得ることができる。
【図面の簡単な説明】
【図1】本発明の第1の実施の形態を示すブロック構成図である。
【図2】図1に示した第1の実施の形態における通常モードと低消費電力モードの切替え態様を示す説明図である。
【図3】第1の実施の形態における参照画像内の探索範囲を示す説明図である。
【図4】第1の実施の形態における基準ブロック間隔に関する説明図である。
【図5】第1の実施の形態において動作モード設定器から設定されたパラメータに応じた基準ブロックの配置態様を示す図である。
【図6】第1の実施の形態におけるブロックマッチング演算器の構成例を示す図である。
【図7】基準ブロック又は参照ブロック内の画素位置を示す図である。
【図8】間引き設定された基準ブロック又は参照ブロック内の画素位置を示す図である。
【図9】本発明の第2の実施の形態を示すブロック構成図である。
【図10】第3の実施の形態において、基準画像におけるモード決定用基準ブロックの配置例を示す図である。
【図11】第4の実施の形態において、基準画像におけるモード決定用基準ブロックと、同一モードで動作する基準ブロックの集合の配置態様を示す図である。
【図12】第5の実施の形態において、動作モードの設定例を示す図である。
【図13】第5の実施の形態において、モード決定用フレームにおける動作モード決定動作を説明するためのフローチャートである。
【図14】第5の実施の形態において、動作モード決定態様の一例を時間軸上で示す図である。
【図15】第5の実施の形態において、動作モード決定態様の他の例を時間軸上で示す図である。
【図16】第5の実施の形態において、動作モードの他の設定例を示す図である。
【図17】従来の動きベクトル検出装置の構成例を示すブロック図である。
【符号の説明】
1 基準画像格納メモリ
2 参照画像格納メモリ
3 メモリコントローラ
4 ブロックマッチング演算器
5 モード結果比較器
6 動作モード設定器
7 シーン変化検出器
10 基準ブロック
11 参照画像探索範囲
12 基準ブロック左上位置
13 探索開始位置
14 探索終了位置
20,21,22 基準ブロック左上位置
30 直並列変換器
31 差分絶対値演算器群
32 加算器群
33 最小値検出器
35 モード決定用基準ブロック
36 基準画像
37 基準ブロック
40 基準画像
41 基準ブロック
42 基準ブロックの集合
43 モード決定用基準ブロック

Claims (6)

  1. 入力映像信号の動きベクトル又は視差ベクトルの検出装置において、入力映像信号のうち基準画像のデータを格納する基準画像格納メモリと、前記入力映像信号のうち参照画像のデータを格納する参照画像格納メモリと、前記基準画像格納メモリと前記参照画像格納メモリとを制御するメモリコントローラと、前記基準画像格納メモリから読み出される基準ブロックデータと前記参照画像格納メモリから読み出される参照ブロックデータとを用いて相関演算を行い、動きベクトル又は視差ベクトルを検出するブロックマッチング演算器と、通常モードと低消費電力モードとを設定し、前記各モードに応じたパラメータを出力する動作モード設定器と、通常モード時の測定結果と低消費電力モード時の測定結果とを比較するモード結果比較器とを有し、前記動作モード設定器は、前記モード結果比較器による通常モード時の測定結果と低消費電力モード時の測定結果の比較結果に基づいて、低消費電力モード又は通常モードを設定するように構成されていることを特徴とする動きベクトル又は視差ベクトル検出装置。
  2. 前記モード結果比較器は、モード決定用フレームにおける通常モード時の動きベクトル又は視差ベクトルの統計値と低消費電力モード時の動きベクトル又は視差ベクトルの統計値との差分が閾値以内であるか否かを判定し、前記動作モード設定器は、前記モード結果比較器による前記差分が閾値以内であった場合は、前記モード決定用フレームより後に入力されるフレームに対して、低消費電力モードを設定するように構成されていることを特徴とする請求項1に係る動きベクトル又は視差ベクトル検出装置。
  3. 入力映像信号のシーン変化を検出するシーン変化検出器を有し、前記モード決定用フレームは、前記シーン変化検出器でシーン変化が検出された場合に指定されることを特徴とする請求項2に係る動きベクトル又は視差ベクトル検出装置。
  4. 前記モード結果比較器は、モード決定用基準ブロックの通常モード時の動きベクトル又は視差ベクトルの統計値と低消費電力モード時の動きベクトル又は視差ベクトルの統計値との差分が閾値以内であるか否かを判定し、前記動作モード設定器は、前記モード結果比較器による前記差分が閾値以内であった場合は、前記モード決定用基準ブロックが存在する基準画像内の全ての基準ブロックに対して、低消費電力モードを設定することを特徴とする請求項1に係る動きベクトル又は視差ベクトル検出装置。
  5. 前記モード結果比較器は、モード決定用基準ブロックの通常モード時の動きベクトル又は視差ベクトルの統計値と低消費電力モード時の動きベクトル又は視差ベクトルの統計値との差分が閾値以内であるか否かを判定し、前記動作モード設定器は、前記モード結果比較器による前記差分が閾値以内であった場合は、前記モード決定用基準ブロックの周辺の基準ブロックに対して、低消費電力モードを設定することを特徴とする請求項1に係る動きベクトル又は視差ベクトル検出装置。
  6. 前記動作モード設定器は、前記通常モードを設定した後、消費電力削減効果の大きい順に複数の低消費電力モードを順次設定することを特徴とする請求項1に係る動きベクトル又は視差ベクトル検出装置。
JP2001189035A 2001-06-22 2001-06-22 動きベクトル及び視差ベクトル検出装置 Expired - Fee Related JP4608136B2 (ja)

Priority Applications (1)

Application Number Priority Date Filing Date Title
JP2001189035A JP4608136B2 (ja) 2001-06-22 2001-06-22 動きベクトル及び視差ベクトル検出装置

Applications Claiming Priority (1)

Application Number Priority Date Filing Date Title
JP2001189035A JP4608136B2 (ja) 2001-06-22 2001-06-22 動きベクトル及び視差ベクトル検出装置

Publications (2)

Publication Number Publication Date
JP2003009179A JP2003009179A (ja) 2003-01-10
JP4608136B2 true JP4608136B2 (ja) 2011-01-05

Family

ID=19028021

Family Applications (1)

Application Number Title Priority Date Filing Date
JP2001189035A Expired - Fee Related JP4608136B2 (ja) 2001-06-22 2001-06-22 動きベクトル及び視差ベクトル検出装置

Country Status (1)

Country Link
JP (1) JP4608136B2 (ja)

Families Citing this family (8)

* Cited by examiner, † Cited by third party
Publication number Priority date Publication date Assignee Title
CN101346998B (zh) * 2006-01-05 2012-01-11 日本电信电话株式会社 视频编码方法及解码方法、其装置
ZA200805337B (en) 2006-01-09 2009-11-25 Thomson Licensing Method and apparatus for providing reduced resolution update mode for multiview video coding
EP2066133A4 (en) 2006-09-20 2015-11-18 Nippon Telegraph & Telephone BILDCODE PROCEDURE, DECODING METHOD, DEVICE FOR IT, IMAGE DECODING DEVICE, PROGRAM THEREFOR AND THE PROGRAM CONTAINING STORAGE MEDIUM
WO2008035654A1 (fr) 2006-09-20 2008-03-27 Nippon Telegraph And Telephone Corporation Procédés et dispositifs de codage et de décodage d'image, dispositif et programmes de décodage d'image, et support de stockage desdits programmes
EP2079242A4 (en) 2006-10-30 2010-11-03 Nippon Telegraph & Telephone METHOD FOR GENERATING PREDICTIVE REFERENCE INFORMATION, METHOD FOR DYNAMIC IMAGE CODING AND DECODING, DEVICE THEREFOR, APPARATUS THEREFOR AND STORAGE MEDIUM WITH THE PROGRAM
JP2008158682A (ja) * 2006-12-21 2008-07-10 Mitsubishi Electric Corp 画像処理装置
ES2535314T3 (es) * 2006-12-28 2015-05-08 Nippon Telegraph And Telephone Corporation Método de codificación de vídeo, método de decodificación, dispositivo de los mismos, programa de los mismos, y medio de almacenamiento que contiene el programa
CN115190305B (zh) * 2021-04-01 2025-03-21 Oppo广东移动通信有限公司 在视频编码装置中进行图像处理的方法、装置、介质及系统

Family Cites Families (11)

* Cited by examiner, † Cited by third party
Publication number Priority date Publication date Assignee Title
JPH05236452A (ja) * 1991-04-08 1993-09-10 Olympus Optical Co Ltd 動ベクトル検出方法及び検出装置
JPH05130588A (ja) * 1991-10-31 1993-05-25 Toshiba Corp 画像の動きベクトル検出装置
JP3458473B2 (ja) * 1994-08-05 2003-10-20 ソニー株式会社 動きベクトル検出装置及び方法
JP3711572B2 (ja) * 1994-09-30 2005-11-02 ソニー株式会社 画像符号化装置及び方法
JPH09224249A (ja) * 1996-02-15 1997-08-26 Nippon Hoso Kyokai <Nhk> 動きベクトル検出装置
JP3269031B2 (ja) * 1997-08-26 2002-03-25 松下電器産業株式会社 動きベクトル検出装置および動きベクトル検出方法、並びに画像符号化装置
JPH11239354A (ja) * 1998-02-23 1999-08-31 Mitsubishi Electric Corp 動きベクトル検出器
JPH11308617A (ja) * 1998-04-23 1999-11-05 Hitachi Ltd ディジタル画像符号化装置とこれに用いる動きベクトル検出装置
JP2000078580A (ja) * 1998-08-28 2000-03-14 Sony Corp 動きベクトル検出装置および方法、並びに提供媒体
JP4223169B2 (ja) * 1999-03-17 2009-02-12 パナソニック株式会社 動きベクトル検出方法,動きベクトル検出装置,及びデータ記録媒体
JP2000308064A (ja) * 1999-04-22 2000-11-02 Mitsubishi Electric Corp 動きベクトル検出装置

Also Published As

Publication number Publication date
JP2003009179A (ja) 2003-01-10

Similar Documents

Publication Publication Date Title
US7187803B2 (en) Motion detecting device and search region variable-shaped motion detector
TWI462052B (zh) Information processing system, information processing device, image capturing device and information processing method
TWI479318B (zh) Information processing apparatus, information processing method and location information
KR100670003B1 (ko) 적응형 문턱치를 이용한 영상의 평탄 영역 검출장치 및 그방법
US9055217B2 (en) Image compositing apparatus, image compositing method and program recording device
US20110141372A1 (en) Video evaluation device, frame rate determination device, video process device, video evaluation method, and video evaluation program
US7362379B2 (en) Image processing apparatus and method, recording medium, and program
US20080002774A1 (en) Motion vector search method and motion vector search apparatus
US20120093231A1 (en) Image processing apparatus and image processing method
JP2006512029A (ja) セグメントベース動き推定
JP2005528708A (ja) 現動きベクトルを推定するユニット及び方法
JP4608136B2 (ja) 動きベクトル及び視差ベクトル検出装置
US20210076017A1 (en) Image processing apparatus, imaging apparatus, image processing method, and program
US8503531B2 (en) Image processing apparatus and method, recording medium, and program
CA2720698C (en) Video encoding method, video encoding apparatus, video encoding program and storage medium of the same
JP2007124408A (ja) 動きベクトル検出装置および動きベクトル検出方法
US20120274845A1 (en) Image processing device and method, and program
JP6673333B2 (ja) 画像処理装置と画像処理方法および撮像装置
CN113642442B (zh) 人脸检测方法及装置、计算机可读存储介质、终端
CN101453559A (zh) 视频信号的噪声检测方法及装置
JPH05236452A (ja) 動ベクトル検出方法及び検出装置
JP2005229166A (ja) 映像信号のノイズ量測定装置および測定方法
JP4671696B2 (ja) 動きベクトル検出装置
JP4222221B2 (ja) 画像処理装置
JP2007158855A (ja) 動きベクトル検出装置および動きベクトル検出方法

Legal Events

Date Code Title Description
A621 Written request for application examination

Free format text: JAPANESE INTERMEDIATE CODE: A621

Effective date: 20080611

A977 Report on retrieval

Free format text: JAPANESE INTERMEDIATE CODE: A971007

Effective date: 20100825

TRDD Decision of grant or rejection written
A01 Written decision to grant a patent or to grant a registration (utility model)

Free format text: JAPANESE INTERMEDIATE CODE: A01

Effective date: 20100914

A01 Written decision to grant a patent or to grant a registration (utility model)

Free format text: JAPANESE INTERMEDIATE CODE: A01

A61 First payment of annual fees (during grant procedure)

Free format text: JAPANESE INTERMEDIATE CODE: A61

Effective date: 20101008

FPAY Renewal fee payment (event date is renewal date of database)

Free format text: PAYMENT UNTIL: 20131015

Year of fee payment: 3

LAPS Cancellation because of no payment of annual fees