JP4600928B2 - マイクロ波方向性結合器、プラズマ発生装置及びプラズマ処理装置 - Google Patents

マイクロ波方向性結合器、プラズマ発生装置及びプラズマ処理装置 Download PDF

Info

Publication number
JP4600928B2
JP4600928B2 JP2005209963A JP2005209963A JP4600928B2 JP 4600928 B2 JP4600928 B2 JP 4600928B2 JP 2005209963 A JP2005209963 A JP 2005209963A JP 2005209963 A JP2005209963 A JP 2005209963A JP 4600928 B2 JP4600928 B2 JP 4600928B2
Authority
JP
Japan
Prior art keywords
microwave
space
holes
directional coupler
plasma
Prior art date
Legal status (The legal status is an assumption and is not a legal conclusion. Google has not performed a legal analysis and makes no representation as to the accuracy of the status listed.)
Expired - Fee Related
Application number
JP2005209963A
Other languages
English (en)
Other versions
JP2007028387A (ja
Inventor
芳三 津上
ペトロフ ガナシェフ イヴァン
Current Assignee (The listed assignees may be inaccurate. Google has not performed a legal analysis and makes no representation or warranty as to the accuracy of the list.)
Shibaura Mechatronics Corp
Original Assignee
Shibaura Mechatronics Corp
Priority date (The priority date is an assumption and is not a legal conclusion. Google has not performed a legal analysis and makes no representation as to the accuracy of the date listed.)
Filing date
Publication date
Application filed by Shibaura Mechatronics Corp filed Critical Shibaura Mechatronics Corp
Priority to JP2005209963A priority Critical patent/JP4600928B2/ja
Publication of JP2007028387A publication Critical patent/JP2007028387A/ja
Application granted granted Critical
Publication of JP4600928B2 publication Critical patent/JP4600928B2/ja
Anticipated expiration legal-status Critical
Expired - Fee Related legal-status Critical Current

Links

Images

Landscapes

  • Plasma Technology (AREA)
  • Drying Of Semiconductors (AREA)

Description

本発明は、マイクロ波方向性結合器、プラズマ発生装置及びプラズマ処理装置に関し、特に、一定の強度のマイクロ波の進行波による波動場が形成されるよう方向性結合器の結合度が調整でき、また、結合度が大きい時も方向性を最大にできるマイクロ波方向性結合器及びこれを備えたプラズマ発生装置、プラズマ処理装置に関する。
プラズマを利用したドライプロセスは、半導体製造装置、金属部品の表面硬化、プラスチック部品の表面活性化、無薬剤殺菌など、幅広い技術分野において活用されている。例えば、半導体や液晶ディスプレイなどの製造に際しては、アッシング、ドライエッチング、薄膜堆積あるいは表面改質などの各種のプラズマ処理が用いられている。プラズマを利用したドライプロセスは、低コストで、高速であり、薬剤を用いないために環境汚染を低減できる点でも有利である。
このようなプラズマ処理を行う装置の代表的なものとして、波長数100MHz〜数10GHzのマイクロ波によりプラズマを励起する「マイクロ波励起型」のプラズマ処理装置がある。マイクロ波励起型のプラズマ源は、高周波プラズマ源などに比べてプラズマ電位が低いので、ダメージ無しのレジスト・アッシング(resist ashing)や、バイアス電圧を印加した異方性エッチングなどに広く使われる。
処理すべき半導体ウェーハや液晶ディスプレイ用ガラス基板は、年々大面積化が進められているため、これらをプラズマ処理するために大面積にわたって密度が高く且つ均一なプラズマ発生装置が必要とされている。
このような要求に対して、プラズマ発生室の周囲に環状の導波管を配置した構成が開示されている(特許文献1、特許文献2)。
図21は、特許文献1に開示された環状導波管を表す模式図である。同図の構成において、図示しないプラズマ発生室は、環状導波管503の中央に配置される。マイクロ波電源から導入されたマイクロ波523は、分配ブロック521で左右に2分配され、自由空間よりも長い管内波長をもって伝搬する。このように伝搬するマイクロ波は、管内波長の1/2または1/4毎に設置されたスロット522から漏れ波525として放出される。そして、この環状導波管の内側に配置されたプラズマ発生室内に、誘電体透過窓などを介して導入される。
図21に例示したような環状導波管を用いると、従来のアンテナ式のプラズマ発生装置などと比較して、より大面積に亘ってプラズマを生成できる可能性がある。しかし、図21に例示したプラズマ発生装置の環状導波管の中に形成されるマイクロ波は定在的な波動場を形成し、この定在的な波動場からの漏れ波を取り出すという発想に基づいている。これは、例えば、管内波長の1/4の間隔で設けられた複数の狭いスロット522からマイクロ波を取り出すという構成からも明らかである。そのため、この定在波による波動場においてマイクロ波のモードが突発的に変化する「定在波モードジャンプ」が生ずるという問題が生じていた。
また、複数のスロットを介してマイクロ波をチャンバ内に導入する場合、これらスロットのインピーダンスがプラズマの電子密度に依存して変動するという問題が生じ、マイクロ波を平分できず、その結果として、チャンバ内に均一にマイクロ波を導入することができないため、均一なプラズマを形成することが困難となる問題も生じていた。
このような定在波を形成するシステムとは別に、特許文献2に示す技術が開示されている。これは、環状導波管内にマイクロ波の無端環状の進行波を形成する技術である。
特開平9−306900号公報 特開2002−203844号公報
本発明は、マイクロ波の結合度が調整でき、また、結合度が小さい時も大きい時も高い方向性が得られるマイクロ波方向性結合器、及びこれを備えたプラズマ発生装置、プラズマ処理装置を提供するものである。
本発明の一態様によれば、
第1の空間と第2の空間との間に設けられ、前記第1の空間から前記第2の空間にマイクロ波を導入する方向性結合器であって、
前記第1の空間と前記第2の空間とをそれぞれ連通する第1及び第2の孔を備え、
前記第1及び第2の孔の開口の中心間距離を維持したまま、
前記第1及び第2の孔の開口の面積が可変とされてなることを特徴とするマイクロ波方向性結合器が提供される。
また、本発明の他の一態様によれば、
第1の空間と第2の空間との間に設けられ、前記第1の空間から前記第2の空間にマイクロ波を導入する方向性結合器であって、
前記第1の空間と前記第2の空間とをそれぞれ連通する第1及び第2の孔を備え、
前記第1及び第2の孔の開口の面積を維持したまま、
前記第1及び第2の孔の開口の中心間距離が可変とされてなることを特徴とするマイクロ波方向性結合器が提供される。
また、本発明の他の一態様によれば、
第1の空間と第2の空間との間に設けられ、前記第1の空間から前記第2の空間にマイクロ波を導入する方向性結合器であって、
前記第1の空間と前記第2の空間とをそれぞれ連通する第1及び第2の孔を備え、
前記第1及び第2の孔の開口の面積と、前記第1及び第2の孔の開口の中心間距離と、が個別的に可変とされてなることを特徴とするマイクロ波方向性結合器が提供される。
また、本発明の他の一態様によれば、
上記のマイクロ波方向性結合器と、
前記第1の空間を形成する導入導波管と、
前記第2の空間を形成する環状進行波共振器と、
プラズマ発生室と、
前記環状進行波共振器からマイクロ波を分配する複数の結合器と、
前記複数の結合器のそれぞれに結合され、前記プラズマ発生室にマイクロ波を導入する複数のアプリケータと、
を備え、
前記複数のアプリケータから前記プラズマ発生室に導入されたマイクロ波によりプラズマを生成可能としたことを特徴とするプラズマ発生装置が提供される。
また、本発明のさらに他の一態様によれば、
上記のプラズマ発生装置を備え、
前記アプリケータを介して導入されたマイクロ波により生成された前記プラズマによって被処理物のプラズマ処理を実施可能としたことを特徴とするプラズマ処理装置が提供される。
以上詳述したように、本発明によれば、一定の強度のマイクロ波の進行波による波動場が形成されるよう方向性結合器の結合度が調整でき、また、結合度が大きい方向性結合器であっても方向性を最大とできるマイクロ波方向性結合器及びこれを備えたプラズマ発生装置、プラズマ処理装置を提供することができ、産業上のメリットは多大である。
以下、本発明の実施の形態について、具体例を参照しつつ詳細に説明する。
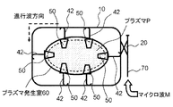
図1は、本発明の実施の形態にかかるプラズマ発生装置の基本構成を説明するための概念図である。
このプラズマ発生装置は、導入導波管70と、方向性結合器20と、環状進行波共振器10と、複数の結合器42と、これら結合器42のそれぞれに結合されたアプリケータ50と、アプリケータ50に接続されたプラズマ発生室60と、を有する。図示しないマイクロ波電源から出力されたマイクロ波Mは、導入導波管70から方向性結合器20を介して環状進行波共振器10に導入され、進行波共振が励起される。
方向性結合器20は、環状進行波共振器10を循環して伝搬しうる相反する2方向のうちのいずれかの方向の伝搬成分のみが励起されるように、導入導波管70と環状進行波共振器10とを結合する。つまり、マイクロ波パワーは、導入導波管70から方向性結合器20を介して環状進行波共振器10に供給され、環状進行波共振器10を一方向に循環する進行波の伝搬成分を励起する。
このような環状進行波共振器10には複数の結合器42が結合され、この結合器42からアプリケータ50を介してプラズマ発生室60にマイクロ波が導入される。すなわち、環状進行波共振器10の内部には導波空間が形成され、ここをマイクロ波の進行波が共振条件で伝搬する。そして、このマイクロ波の一部が、結合器42を介して取り出され、アプリケータ50を介してプラズマ発生室60に導入され、プラズマPが生成され維持される。つまり、環状進行波共振器10において形成される進行波のパワーを複数の結合器42に分配して取り出すことができる。
このシステムにおいては、形成された進行波が環状進行波共振器10において共振するための条件が満たされることが望ましい。具体的には、環状進行波共振器10の管路と内部部品は、その内部を伝搬する前記進行波の一周位相差が360度の整数倍と実質的に等しくなるように形成されている。環状進行波共振器10の中を伝搬するマイクロ波進行波の管内波長は、プラズマ発生室60のサイズや、放電空間において生成されるプラズマなどの条件に応じて適宜決定することができる。すなわち、環状進行波共振器10は、プラズマ発生室60に付設された状態でマイクロ波が共振する際の管内波長の整数倍の経路長を有し、マイクロ波が環状進行波共振器10内を一周してその波の位相が変わらないようにすればよい。
そして、このような経路長を有する環状進行波共振器10の内をマイクロ波が進行波として伝搬すると、共振が生じてその強度が高くなる。このような共振状態の進行波からプラズマ発生室60内にマイクロ波を導入することにより、均一で高い強度のプラズマを形成することが可能となる。また、機械的な精度などの要因により、環状進行波共振器10の共振周波数がずれる場合には、図示しない位相調節器と強度モニタとを設けて、位相差調整により共振周波数を調節することもできる。
図2は、方向性結合器20の作用を説明するための概念図である。
すなわち、方向性結合器20は、例えば、入力ポート21と出力ポート22とを有する。入力ポート21から環状進行波共振器10にマイクロ波成分M2が入力され、環状進行波共振器10から出力ポート22にマイクロ波成分M3が出力される。そして、方向性結合器20の出力ポート22からの出力は、整合(マッチング)されたダミーロード(dummy load)72により吸収される。
方向性結合器20と環状進行波共振器10においては、導入導波管70を伝搬するマイクロ波成分M1と環状進行波共振器10から導波管70に出力されたマイクロ波成分M3との振幅が同じで位相が反転しており、同時に、導入導波管70から環状進行波共振器10に入力されるマイクロ波成分M2と環状進行波共振器10を伝搬するマイクロ波成分M4の位相が同一となるように位相条件が調節されている。このようなマッチングが形成されている場合、マイクロ波成分M1とM3とは逆相となり打ち消し合うため、ダミーロード72におけるマイクロ波のパワーは最低となり、導入導波管70における反射波は実質的に存在しない。
以上説明したように、方向性結合器20を介して環状進行波共振器10を励起することにより、環状進行波共振器10に一方向のマイクロ波成分のみが供給されて、進行波による波動場が形成される。換言すると、環状進行波共振器10において、反射波の導入による定在波の形成を防ぐことができる。
このように形成された進行波の共振励起は、図21に関して前述したような環状導波管を用いたプラズマ発生装置では得られないものである。すなわち、図21に表した環状導波管503の場合、導波管に導入されたマイクロ波523は、入り口に設けられた分配ブロック521により左右に2分配され、互いに反対方向に進行する。従って、これら分配された波どうしが干渉して定在波が形成される。このような定在波を取り出すために、環状導波管503に設けられるスロット522の間隔は、定在波の波長の1/2または1/4としなければならない。そして、このような定在波が形成されるとその振幅の強弱に対応して、プラズマの強度にも不均一が生じてしまう。
これに対して、本実施形態によれば、環状進行波共振器10に対して整合がとれた方向性結合器20を介してマイクロ波を供給することにより、反射波の影響を排除して、環状進行波共振器10中に進行波によるマイクロ波の波動場を形成することができる。さらに、このようにして形成されるマイクロ波の進行波が共振するように、環状進行波共振器10を構成することにより、均一で高い強度のプラズマを発生させることができる。
次に方向性結合器20の結合度について説明する。
マイクロ波の進行波が環状進行波共振器10を一周すると、マイクロ波のパワーの一部は、全ての結合器42からアプリケータ50を介してプラズマ発生室60内に導入されて、プラズマPに吸収される。そのため、マイクロ波パワーはプラズマPに吸収された分だけ減衰する。この時、環状進行波共振器10を一周する間にプラズマPに吸収されたマイクロ波のパワーは、方向性結合器20を介して導入導波管70から補充されなければならない。もし、この補充量に過不足があると、環状進行波共振器10において、常に一定の強度のマイクロ波の進行波による波動場が形成されなくなるからである。
従って、方向性結合器20の結合度を、導入導波管70から環状進行波共振器10に導入されるマイクロ波のパワーと、環状進行波共振器10における減衰量と、がバランスするような値に設定する。
いいかえれば、方向性結合器20の結合度を適正値に設定すれば、環状進行波共振器10におけるマイクロ波のパワーの出入りがバランスし、常に一定の強度のマイクロ波の進行波による波動場が形成される。
この場合、環状進行波共振器10におけるマイクロ波パワーの出入りがバランスするように、方向性結合器20の結合度の適正値をあらかじめ実験などで求めても、マイクロ波電源の周波数変動、導入導波管70や環状進行波共振器10などの形状寸法誤差、環境温度の変化などの要因により適正値がずれてしまうという問題があった。
この問題に対して、本実施形態によれば、方向性結合器20の孔の開口面積を適宜変えることにより適正値を得ることができる。
図3は、方向性結合器20の孔の開口面積を適宜変える第一の具体例を例示するための概念図である。
導入導波管70と環状進行波共振器10との接合部には方向性結合器20が設けられている。そして、方向性結合器20は、所定の距離を置いた二つの孔20aを有する。なお、図3に示す孔20aの形状は矩形であるが、本発明はこれに限定されるものではなく、その他、円形、楕円形、多角形、十字型など種々の形状を採用できる。また、孔20aの数も二つに限定されるものではなく、一つあるいは三つ以上でも良い。ただし、後に詳述するように、方向性を高くするためには、複数の孔を設けることが望ましい。
本具体例においては、二つの孔20aを覆うような位置に、板状体23が取り付けられている。板状体23は図示しない板状体移動手段により、導入導波管70内のマイクロ波Mの進行方向に対して略直角な方向に移動可能とされている。板状体は、通常、導入導波管70と同じ材質とされるが(一般的にはアルミニウムなどの金属である)、これに限定されるものではなく、マイクロ波Mが透過しにくい材料であれば良い。
なお、板状体23の取り付け位置は導入導波管70の内面側、環状進行波共振器10の内面側、導入導波管70と環状進行波共振器10の間に設けても良い。
本具体例によれば、板状体23をスライドさせることにより孔20aの開口面積を変化させ、導入導波管70から環状進行波共振器10に供給されるマイクロ波Mの結合度を調整できる。つまり、孔20aの開口を大きくすれば結合度は高く、開口を小さくすれば結合度は低くなる。このようにして、結合度を最適な値に調節できる。
図4は、方向性結合器20の孔の開口面積を適宜変える第二の具体例を例示するための概念図である。同図については、図3に関して前述したものと同様な要素には同一の符号を付して詳細な説明は省略する。
本具体例は、図3の具体例と比較すると、板状体24が孔20a毎にそれぞれ設けられている点と、板状体24の移動方向がマイクロ波Mの進行方向に対して略平行な方向である点が異なる。このように、板状体24を孔20a毎に付ければ、孔20aの面積を個別に調整できるので、より精密な調整をすることができる。なお、孔20aの形状、個数や板状体24の取り付け位置などについては図3の場合と同様に各種の変形が可能である。
図5は、図4における板状体24を孔20a同士の間に設けた具体例を表す模式図である。
また、図6は、孔20bの形状を略V字型にした具体例を表す模式図である。
このように板状体24を孔20a、20b同士の間に設ければ、後述するように孔20a、20bの開口面積を調整すると同時に、孔20a、20b同士の中心間距離をも調整することができる。
図7は、孔20a、20bの開口面積と中心間距離を同時に調整する具体例を表す模式図である。すなわち、一対の板状体24を互いに反対方向にスライドさせることにより、孔20a、20bの開口面積が小さい時はこれらの中心間距離が大きく(図7(a))、また、孔20a、20bの開口面積が大きい時はこれらの中心間距離を小さくする(図7(b))ことができる。
なお、本願明細書において孔あるいは開口の「中心間距離」とは、これら孔または開口の面積についての重心点同士の距離であるものとする。
なお、孔の向きは図5乃至図7に例示したものに限定されるわけではなく適宜変更が可能である。ただし、例えば、矩形のように縦横比が異なるものは、その向きによって結合度の大きさが異なる。例をあげて説明すると、矩形の孔の寸法を10mm×50mmとし、図8(a)に示すようにマイクロ波Mの進行方向と長辺側(50mm)を略平行にした場合は、結合度はマイナス19dBとなり、図8(b)に示すようにマイクロ波Mの進行方向と長辺側(50mm)を略垂直にした場合は、結合度はマイナス10dBとなる。すなわち、同じ孔の形状で高い結合度が必要な場合はマイクロ波Mの進行方向と長辺側を略垂直にした向きの方が良い。
図9は、方向性結合器20の孔の開口面積を適宜変える第三の具体例を例示するための概念図である。同図についても、図1乃至図8に関して前述したものと同様の要素には同一の符号を付して詳細な説明は省略する。
本具体例においては、孔20c1、20c2は略V字形であり、V字の対称中心線がマイクロ波Mの進行方向に対して略垂直となるように配置されている。また、板状体23の移動方向は、同図に矢印で表したように導入導波管70内のマイクロ波進行方向に対して略直角な方向でも良く、または、図4に表したように導入導波管70内のマイクロ波進行方向に略平行方向にすることもできる。あるいは、V字の各辺の孔(20c1、20c2)毎に、それぞれ板状体を設けても良い。
本具体例によれば、後述するように孔20c1、20c2の開口面積を調整すると同時に、孔20c1、20c2同士の中心間距離をも調整することができる。つまり、孔20c1、20c2の開口面積が大きい時には中心間距離を小さくし、孔20c1、20c2の開口面積が小さい時には中心間距離を大きくすることができる。なお、孔20c1、20c2の形状、個数や板状体23の取り付け位置などについては図3に関して前述したように各種の変型例が可能である。
ここで、方向性結合器20の孔の開口面積の調整手順について説明する。前述したように孔の開口面積の調整は、図示しない板状体移動手段により板状体を移動させることにより行う。この場合、作業者がプラズマ発生室60内の様子を観察し、手動で図示しない板状体移動手段を操作しても良いが、例えば、導入導波管70における反射波を検出手段で検出したり、環状進行波共振器10におけるマイクロ波パワーの出入りを検出手段で検出することにより、板状体移動手段を制御するようにすることができる。
次に、方向性結合器20の方向性について説明する。
方向性結合器20の方向性は、高い方が望ましい。ここで、例えば、二つの孔が設けられた方向性結合器20の方向性を最大にするには、方向性結合器20に設けられた二つの孔同士の距離をマイクロ波導波管内波長の1/4の奇数倍にすれば良いことが知られていた。
しかし、本発明者の検討の結果、孔同士の中心間距離をマイクロ波導波管内波長の1/4にすれば方向性が最大になることは、結合度の小さい方向性結合器20には当てはまるが、結合度がある程度大きくなると当てはまらなくなることが判明した。すなわち、図1に関して前述したようなプラズマ発生装置において、環状進行波共振器10におけるマイクロ波パワーの出入りがバランスするような結合度を選んだ場合、必ずしも高い方向性が得られなくなる事態が生ずることがある。
本発明者は、この現象を定量的に解明した。
図10(a)は、方向性結合器の方向性が最大となる孔同士の中心間距離と結合度の大きさとの関係を示したグラフ図である。ここで、孔Xは孔寸法5mm×5mm、結合器の結合度はマイナス80dB、孔Yは孔寸法46mm×10mm、結合器の結合度はマイナス7.6dB、孔Zは孔寸法47mm×10mm、結合器の結合度はマイナス7dBである。また、孔の向きは、図10(b)に表したように、マイクロ波Mの進行方向に対して、長辺が略垂直となるようにした。ここで、マイクロ波Mの管内波長の1/4は、39.4mmである。
図10(a)から分かるように、孔同士の中心間距離をマイクロ波Mの管内波長の1/4(39.4mm)とすれば、結合器の結合度が小さい孔X(結合度マイナス80dB)では十分な方向性(プラス49dB)が得られるが、結合器の結合度が大きい孔Y(結合度マイナス7.6dB)、孔Z(結合度マイナス7dB)では方向性がかなり低くなる(プラス7dB)。
この場合、孔同士の中心間距離をマイクロ波Mの管内波長の1/4(39.4mm)より10mm程度短くすれば、結合器の結合度の大きなときでも十分な方向性が得られる。図10(a)から明らかなように、孔同士の中心間距離を、孔Y(結合度マイナス7.6dB)で29mm、孔Z(結合度マイナス7dB)で28mmとすれば、プラス41dBという高い方向性が得られることがわかる。このように、結合器の結合度がマイナス5〜マイナス10dB程度の場合には、孔同士の中心間距離を26〜30mm程度に選べばよい。
図11は、孔同士の中心間距離Lの調整を可能とした方向性結合器20の概念図である。方向性結合器20は前述したとおり、導入導波管70と環状進行波共振器10の接合面に設けられる。そのため、孔26bは導入導波管70と環状進行波共振器10の接合面に直接設けられる。孔26aは板状体28に設けられ、これに対向する導入導波管70と環状進行波共振器10の接合面には孔26bより大きな孔27が設けられている。なお、孔26a、26bの長辺がマイクロ波Mの進行方向に略垂直になるよう孔26a、26bを設けている。
本具体例における孔同士の中心間距離Lの調整手順について説明する。前述のように結合度に合わせて最適な孔同士の中心間距離を選んだとしても、製作上の誤差などにより結合度が変わりそれに伴い孔同士の中心間距離Lを調整した方がよい場合がある。このような場合、板状体28をマイクロ波Mの進行方向に略平行に移動させることにより孔同士の中心間距離Lを調整する。孔26aは板状体28に設けられているので、板状体28が移動した分だけ孔26aも移動し、孔26aと孔26bの中心間距離Lの調整をすることができる。孔26aに対向する導入導波管70と環状進行波共振器10の接合面には孔26bより大きな孔27が設けられているので、この範囲を超えない限りは、孔26aの開口面積が変わることはない。板状体28の移動は図示しない板状体移動手段で行われる。この場合、作業者がプラズマ発生室60内の様子を観察し、手動で図示しない板状体移動手段を操作しても良いが、例えば、導入導波管70における反射波を図示しない検出手段で検出したり、環状進行波共振器10におけるマイクロ波を図示しない検出手段で検出することにより、板状体移動手段を制御するようにすることができる。なお、図中の孔の形状、大きさ、数、位置などはこれに限定されるものではなく、前述のように各種の形状、大きさ、数、位置などを適宜選択できる。また、板状体28が孔26a側にある場合を説明したが、板状体28は孔26b側にあっても、孔26a、26b両側にあっても良い。
図12は、方向性結合器20の孔の開口面積の調整と、孔同士の中心間距離Lの調整の双方を行う場合を例示した概念図である。図1乃至図11に関して前述したものと同様の要素には同一の符号を付して、詳細な説明は省略する。
ここで、板状体25a、25bは、孔26a、26bの孔の開口面積の調整を行うためのものである。孔同士の中心間距離Lの調整については、図11に表した具体例と同様である。孔26b側の孔の開口面積の調整は、板状体25bを図示しない板状体移動手段で移動させることにより行う。孔26a側の孔の開口面積の調整も基本的には同じであるが、図12に例示したものでは、板状体25aを板状体28上に設け、板状体28が図示しない板状体移動手段で移動すれば、その上に設けられた板状体25aも同時に移動できるようになっている。このような構成により、方向性結合器20の孔の開口面積の調整と、孔同士の中心間距離の調整の双方を行うことができるので、例えば、処理条件の変更などで方向性結合器20の結合度を変える必要が生じ、それに伴い孔同士の中心間距離の調整が必要になった場合でも適応ができる。なお、図中の孔の形状、大きさ、数、位置などはこれに限定されるものではなく、前述のように各種の形状、大きさ、数、位置などを適宜選択できる。また、板状体28が孔26a側にある場合を説明したが、板状体28は孔26b側にあっても、孔26a、26b両側にあっても良い。
図5、図6、図7、図9に戻り、方向性結合器20の孔の開口面積の調整と同時に、孔同士の中心間距離Lの調整を簡略的に行う場合を説明する。図5に表した具体例の場合、方向性結合器20の孔の開口面積を板状体24を移動させることにより変えているが、結合度を大きく(開口面積を大きく)するように板状体24を孔20a同士の内側に寄せれば、孔の中心間距離Lがそれに伴い短くなる。これは図7に関して前述した通りである。すなわち、板状体を移動させることにより方向性結合器の結合度を大きくした場合、それに伴い簡略的ではあるが孔の中心間距離Lも同時に方向性を高める方向に調整できることとなる。図6、図9についても同様であり、板状体を移動させることにより方向性結合器の結合度を大きくした場合、それに伴い簡略的ではあるが孔の中心間距離Lを小さくして、同時に方向性を高める方向に調整できる。
次に、方向性結合器20の具体例のいくつかを紹介する。
図13は、単一孔により結合された方向性結合器を表す模式図である。すなわち、同図に例示したように、導波管1と導波管5とがH面で重なって比較的小さい単一孔Aにより結合されている構造を挙げることができる。このような場合、この単一孔Aを介して導波管5から導波管1に漏れ出る電界によって導波管1が励振され、単一孔Aの中心点に電気双極子が存在するのと同様の分布が形成される。一方、導波管5から導波管1に漏れ出る磁界によっても、単一孔Aの中心点に磁気双極子が存在するのと同様の磁力線分布が形成される。これら電気双極子と磁気双極子とを重畳させた効果として、導波管1において一方向のみに伝搬するマイクロ波が励起される。
図14は、ベーテ孔により結合された方向性結合器を表す模式図である。同図に例示したように、導波管5と導波管1とがベーテ孔Aを介して結合されている場合、導波管5のTE10モードの電界に比例し孔に垂直な電気双極子と、導波管5の磁界に比例し逆方向の磁気双極子が導波管1に形成される。これら電気双極子による波と磁気双極子による波とは、導波管1の一方向においては同位相であり相加わるが、逆方向においては逆位相となり差し引かれる。従って、孔の位置を調節することにより逆方向の波を零とすることができる。
図15は、2つの孔により結合された方向性結合器を表す模式図である。すなわち、側壁またはH面において中心間距離Lだけ離れた2つの小孔A、Bによって、導波管5と導波管1とが結合されている。ここで、中心間距離Lは、結合度の大きさにより、前述したような値に選ばれる。導波管5を進行する波が、これら2つの小孔を介して導波管1を励振する。このときに、2つの小孔A、Bを介してそれぞれ励振された波は、導波管5における波の進行方向と同方向においては同振幅、同位相で進むが、反対方向においては同振幅、逆位相となり、打ち消し合う。従って、導波管1には、一方向の波だけが励振される。
図16は、十字形スリットにより結合された方向性結合器を表す模式図である。すなわち、導波管5と導波管1とを直交させ、その重なり合う面の対角線上に1つあるいは複数の十字形のスリットSが形成されている。このようにスリットSを設けると、電界による結合は無視できるほど小さく、磁界による結合が支配的となる。すると、導波管5のHt、Hzによりスリットの長軸上に磁気双極子が形成され、これにより導波管1が励振されて方向性が生ずる。
以上図13〜図16を参照しつつ、本発明において用いることができる方向性結合器の具体例を挙げた。しかし、本発明は、これら具体例を用いたものに限定されるものではない。例えば、これらの他にも導入導波管70と環状進行波共振器10とを結合させてその共通壁に孔を設け、さらにその孔にモード調整用の導体棒(ポスト)を設けたもの、あるいはその他の各種の方向性結合器を用いても良く、環状進行波共振器10の励振に方向性が得られるいずれのものを利用しても本発明の範囲に包含される。
図17は、本発明の実施例のプラズマ発生装置を表す模式平面図である。
また、図18は、そのA−A線断面図である。
また、図19は、そのB−B線断面図である。
すなわち、本実施例のプラズマ発生装置は、導入導波管70から方向性結合器20を介して環状進行波共振器10にマイクロ波Mが導入される。なお、図17においては、環状進行波共振器10を六角形状に表したが、本発明はこれに限定されず、円環状、楕円状、多角形状などの各種の環状の形状としてもよい。方向性結合器20には、マイクロ波を導入するための2つの孔33、34が設けられ、その中心間距離Lは、結合度の大きさにより、前述したような値に選ばれる。
このようにすると、進行方向のマイクロ波成分のみを導入導波管70から環状進行波共振器10に導入することができる。環状進行波共振器10に導入されたマイクロ波は、進行波の共振波動場を形成し、結合度が低い結合器44により取り出される。本実施例の場合、これら結合器44も、それぞれ2つの孔を有し、進行方向成分のマイクロ波を取り出すことができる。
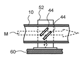
これら結合器44は、方向性結合器としてもよく、例えば図18及び図19に表したように、マイクロ波Mの進行方向に対して傾斜したスリット状の2つの孔を有するものとすることもできる。これら2つの孔を介して、環状進行波共振器10からマイクロ波Mを取り出すことができる。結合器44を介して取り出されたマイクロ波Mは、アプリケータの導入導波管52を伝搬し、アプリケータの導波体54を介してプラズマ発生室60の中に導入される。
導波体54の材料としては、マイクロ波を低損失に透過し、かつ、導入導波管52とプラズマ発生室60とを区画して気密を維持できるものとする必要がある。このような材料としては、例えば、石英やアルミナあるいはサファイアなどの誘電体を挙げることができる。これらの誘電体は、マイクロ波に対する力率が低く、真空と大気圧との圧力差にも耐えうる機械的強度を有し、耐熱性も良好で、さらに、プラズマによりスパッタやエッチングされても、チャンバ内の被処理物を汚染するおそれも低い。
このとき、 結合器44の結合度を低く抑えることより、プラズマのインピーダンスの変化による環状進行波共振器10の共振条件の変動や、複数の結合器44の間の分配バランスの変動を抑制することができる。一方、このようにして環状進行波共振器10からアプリケータの導入導波管52に取り出されたマイクロ波Mが導波体54を介してプラズマ発生室60に導入される際の結合度は、十分に高いことが望ましい。すなわち、アプリケータの結合度を高くすることにより、損失を抑制してプラズマの発生効率を高くすることができる。このようにして、導波体54を介してプラズマ発生室60に導入されたマイクロ波Mによって所定のガスのプラズマを発生させることができる。
また、図17〜図19においては、環状進行波共振器10の導波空間として、断面形状が略矩形状のものを例示したが、本発明はこれには限定されない。すなわち、環状進行波共振器10の導波空間の断面形状は、プラズマ発生室との配置関係や、導入導波管70との接続関係あるいは、プラズマの分布などを考慮して円形、楕円形、半円形、多角形、その他対称あるいは非対称な不定形などとすることができる。
また、本発明は、必ずしも減圧条件においてプラズマを発生するものには限定されない。すなわち、大気圧あるいはそれよりも高い圧力においてプラズマを発生させるプラズマ発生装置についても、本発明を適用して同様の作用効果が得られ、これらも本発明の範囲に包含される。
次に、本発明のプラズマ処理装置の具体例について説明する。
図20は、本発明のプラズマ処理装置の構造を例示する模式断面図である。この装置は、処理チャンバ60と、この処理チャンバ60の上面に設けられた平板状の誘電体板からなる導波体(透過窓)54と、導波体54の外側に設けられた導入導波管52と、結合器40を介して結合された環状進行波共振器10と、を有する。処理チャンバ60は、導波体54の下方の処理空間において半導体ウェーハなどの被処理物Wを載置して保持するためのステージ16と、を有する。
処理チャンバ60は、真空排気系Eにより形成される減圧雰囲気を維持可能であり、処理空間に処理ガスを導入するためのガス導入管(図示せず)が適宜設けられている。
例えば、このプラズマ処理装置を用いて被処理物Wの表面にエッチング処理を施す際には、まず、被処理物Wが、その表面を上方に向けた状態でステージ16の上に載置される。次いで、真空排気系Eによって処理空間が減圧状態にされた後、この処理空間に、処理ガスとしてのエッチングガスが導入される。その後、処理空間に処理ガスの雰囲気が形成された状態で、図示しない導入導波管から方向性結合器を介して、例えば、2.45GHzのマイクロ波Mが環状進行波共振器10に導入され、環状進行波共振器10に一方向の進行波が励振され、且つこの進行波が共振される。その結果として、環状進行波共振器10には、均一且つ連続的な進行波によるマイクロ波Mの波動場が形成される。
このマイクロ波の波動場は、結合器40により導入導波管52に分配され、導波体54に向けて放射される。導波体54は、石英やアルミナなどの誘電体からなり、マイクロ波Mは、導波体54の表面を伝搬して、チャンバ60内の処理空間に放射される。このようにして処理空間に放射されたマイクロ波Mのエネルギーにより、処理ガスのプラズマPが形成される。こうして発生したプラズマ中の電子密度が導波体54を透過して供給されるマイクロ波Mを遮蔽できる密度(カットオフ密度)以上になると、マイクロ波は導波体54の下面からチャンバ内の処理空間に向けて一定距離(スキンデプス)dだけ入るまでの間に反射され、マイクロ波の定在波が形成される。
すると、マイクロ波の反射面がプラズマ励起面となって、このプラズマ励起面で安定なプラズマPが励起されるようになる。このプラズマ励起面で励起された安定なプラズマP中においては、イオンや電子が処理ガスの分子と衝突することにより、励起された原子や分子、遊離原子(ラジカル)などの励起活性種(プラズマ生成物)が生成される。これらプラズマ生成物は、矢印Aで表したように処理空間内を拡散して被処理物Wの表面に飛来し、エッチング、アッシング、薄膜堆積、表面改質、プラズマドーピングなどのプラズマ処理を行うことができる。
本発明によれば、環状進行波共振器10内に形成された共振進行波による連続的かつ高い強度のマイクロ波を結合器40により分配し、チャンバ60内に導入することにより、チャンバ60内において大面積で均一且つ密度の高いプラズマを形成することができる。その結果として、大面積の被処理物を均一で高速にプラズマ処理することが可能となる。
またさらに、結合器40の結合度を低く抑えることにより、プラズマのインピーダンスが変化しても、環状進行波共振器10の共振条件の変動や、複数の結合器40の間の分配バランスの変動を抑制することができる。その結果として、常に安定して大面積のプラズマ処理を実施することができる。
また、本発明は、必ずしも減圧条件においてプラズマを発生するものには限定されない。すなわち、大気圧あるいはそれよりも高い圧力においてプラズマを発生させてプラズマ処理を実施するプラズマ処理装置についても、本発明を適用して同様の作用効果が得られ、これらも本発明の範囲に包含される。
以上具体例を参照しつつ本発明の実施の形態について説明した。しかし、本発明は、これらの具体例に限定されるものではない。
例えば、本発明において用いる導入導波管や環状進行波共振器、アプリケータ、あるいは方向性結合器などの要素は、図示した形状、サイズのものには限定されず、その断面形状、壁面厚、開口の形状やサイズなどは適宜変更して同様の作用効果が得られ、本発明の範囲に包含される。
導入導波管は直管状である必要はなく、また環状進行波共振器も完全な円環状である必要はない。
また、プラズマ発生室の形状やサイズ、あるいは環状進行波共振器やアプリケータとの配置関係についても、図示したものには限定されず、プラズマ処理の内容や条件などを考慮して適宜決定することができる。また、環状進行波共振器はプラズマ発生室の上面や側面でなく、下面に付設してもよく、または、これらを組み合わせてもよい。つまり、プラズマ発生室に複数の環状進行波共振器を付設してもよい。このようにすれば、被処理物の形状やサイズに合わせて均一あるいは所定の密度分布を有する大面積のプラズマを形成することが可能となる。
さらにまた、上述した具体例においては、プラズマ生成部の要部構成のみ説明したが、本発明は、このようなプラズマ生成部を有する全てのプラズマ処理装置も包含し、例えば、エッチング装置、アッシング装置、薄膜堆積装置、表面処理装置、プラズマドーピング装置などとして実現したプラズマ処理装置のいずれもが本発明の範囲に包含される。
本発明の実施の形態にかかるプラズマ発生装置の要部基本構成を説明するための概念図である。 方向性結合器20の作用を説明するための概念図である。 方向性結合器20の孔の開口面積を変える場合の第一の具体例を例示するための概念図である。 方向性結合器20の孔の開口面積を変える場合の第二の具体例を例示するための概念図である。 図4における板状体24を孔同士の間に設けた場合の図である。 図5における孔の形状を略V字型にした場合の図である。 孔20a、20bの開口面積と中心間距離を同時に調整する具体例を表す模式図である。 マイクロ波Mの進行方向と方向性結合器20の孔の位置を説明するための概念図である。 方向性結合器20の孔の開口面積を変える場合の第三の具体例を例示するための概念図である。 方向性結合器20の方向性が最大となる孔同士の中心間距離と結合度の大きさとの関係を示したグラフ図である。 孔同士の中心間距離Lの調整を行う場合を例示した方向性結合器20の概念図である。 方向性結合器20の孔の開口面積の調整と、孔同士の中心間距離Lの調整の双方を行う場合を例示した概念図である。 単一孔により結合された方向性結合器を表す模式図である。 ベーテ孔により結合された方向性結合器を表す模式図である。 2つの孔により結合された方向性結合器を表す模式図である。 十字形スリットにより結合された方向性結合器を表す模式図である。 本発明の実施例のプラズマ発生装置を表す模式平面図である。 図17のA−A線断面図である。 図17のB−B線断面図である。 本発明のプラズマ処理装置の構造を例示する模式断面図である。 特許文献1に開示された環状導波管を表す模式図である。
符号の説明
1 導波管(同軸線路)
5 導波管
10 環状進行波共振器
16 ステージ
20 方向性結合器
20a、20b 方向性結合器の孔
20c1、20c2 方向性結合器の孔
26a、26b 方向性結合器の孔
21 入力ポート
22 出力ポート
23 板状体
24 板状体
25a、25b 板状体
28 板状体
40 方向性結合器
42、44 結合器
50 アプリケータ
52 導入導波管
54 導波体
60 プラズマ発生室(処理チャンバ)
70 導入導波管
72 ダミーロード
503 導波管
521 分配ブロック
522 スロット
523 マイクロ波
525 波
L 方向性結合器の孔同士の中心間距離
M マイクロ波
P プラズマ
W 被処理物

Claims (12)

  1. 第1の空間と第2の空間との間に設けられ、前記第1の空間から前記第2の空間にマイクロ波を導入する方向性結合器であって、
    前記第1の空間と前記第2の空間とをそれぞれ連通する第1及び第2の孔を備え、
    前記第1及び第2の孔の開口の中心間距離を維持したまま、
    前記第1及び第2の孔の開口の面積が可変とされてなることを特徴とするマイクロ波方向性結合器。
  2. 第1の空間と第2の空間との間に設けられ、前記第1の空間から前記第2の空間にマイクロ波を導入する方向性結合器であって、
    前記第1の空間と前記第2の空間とをそれぞれ連通する第1及び第2の孔を備え、
    前記第1及び第2の孔の開口の面積を維持したまま、
    前記第1及び第2の孔の開口の中心間距離が可変とされてなることを特徴とするマイクロ波方向性結合器。
  3. 第1の空間と第2の空間との間に設けられ、前記第1の空間から前記第2の空間にマイクロ波を導入する方向性結合器であって、
    前記第1の空間と前記第2の空間とをそれぞれ連通する第1及び第2の孔を備え、
    前記第1及び第2の孔の開口の面積と、前記第1及び第2の孔の開口の中心間距離と、が個別的に可変とされてなることを特徴とするマイクロ波方向性結合器
  4. 前記第1及び第2の孔の開口の面積と、前記第1及び第2の孔の開口の中心間距離と、を個別的に調整し、結合度を任意の値とするとともに、前記結合度の任意の値に応じて方向性を変化させてなることを特徴とする請求項3記載のマイクロ波方向性結合器。
  5. 前記第1及び第2の孔の開口の面積と、前記第1及び第2の孔の開口の中心間距離と、を個別的に調整し、方向性を任意の値とするとともに、前記方向性の任意の値に応じて結合度を変化させてなることを特徴とする請求項3記載のマイクロ波方向性結合器。
  6. 前記第1及び第2の孔に対して相対的に移動可能とされた少なくともひとつの板状体を備え、
    前記板状体を移動させることにより、前記開口の面積を可変としてなることを特徴とする請求項1〜5のいずれか1つに記載のマイクロ波方向性結合器。
  7. 前記第1の空間を伝搬するマイクロ波の管内波長をλgとした時に前記第1及び第2の開口の中心間距離がλg/4の奇数倍となることを特徴とする請求項1〜6のいずれか1つに記載のマイクロ波方向性結合器。
  8. 前記第1及び第2の孔は、前記第1の空間におけるマイクロ波の伝搬方向に対して略平行な方向に沿って配置されてなることを特徴とする請求項1〜のいずれか1つに記載のマイクロ波方向性結合器。
  9. 前記第1及び第2の孔は、前記第1の空間におけるマイクロ波の伝搬方向に対して略垂直な方向に延伸してなることを特徴とする請求項1〜のいずれか1つに記載のマイクロ波方向性結合器。
  10. 請求項1〜のいずれか1つに記載のマイクロ波方向性結合器と、
    前記第1の空間を形成する導入導波管と、
    前記第2の空間を形成する環状進行波共振器と、
    プラズマ発生室と、
    前記環状進行波共振器からマイクロ波を分配する複数の結合器と、
    前記複数の結合器のそれぞれに結合され、前記プラズマ発生室にマイクロ波を導入する複数のアプリケータと、
    を備え、
    前記複数のアプリケータから前記プラズマ発生室に導入されたマイクロ波によりプラズマを生成可能としたことを特徴とするプラズマ発生装置。
  11. 前記環状進行波共振器から前記プラズマ発生室に向けて放出され損失したマイクロ波のパワー分と前記導入導波管から前記マイクロ波方向性結合器を介して前記環状進行波共振器に導入されるマイクロ波のパワー分とが略等しくなるように前記第1及び第2の孔の開口の面積を調整可能としたことを特徴とする請求項10記載のプラズマ発生装置。
  12. 請求項10または11に記載のプラズマ発生装置を備え、
    前記アプリケータを介して導入されたマイクロ波により生成された前記プラズマによって被処理物のプラズマ処理を実施可能としたことを特徴とするプラズマ処理装置。
JP2005209963A 2005-07-20 2005-07-20 マイクロ波方向性結合器、プラズマ発生装置及びプラズマ処理装置 Expired - Fee Related JP4600928B2 (ja)

Priority Applications (1)

Application Number Priority Date Filing Date Title
JP2005209963A JP4600928B2 (ja) 2005-07-20 2005-07-20 マイクロ波方向性結合器、プラズマ発生装置及びプラズマ処理装置

Applications Claiming Priority (1)

Application Number Priority Date Filing Date Title
JP2005209963A JP4600928B2 (ja) 2005-07-20 2005-07-20 マイクロ波方向性結合器、プラズマ発生装置及びプラズマ処理装置

Publications (2)

Publication Number Publication Date
JP2007028387A JP2007028387A (ja) 2007-02-01
JP4600928B2 true JP4600928B2 (ja) 2010-12-22

Family

ID=37788524

Family Applications (1)

Application Number Title Priority Date Filing Date
JP2005209963A Expired - Fee Related JP4600928B2 (ja) 2005-07-20 2005-07-20 マイクロ波方向性結合器、プラズマ発生装置及びプラズマ処理装置

Country Status (1)

Country Link
JP (1) JP4600928B2 (ja)

Families Citing this family (5)

* Cited by examiner, † Cited by third party
Publication number Priority date Publication date Assignee Title
JP4820829B2 (ja) * 2008-01-15 2011-11-24 株式会社サイアン 方向性結合器及びそれを用いたプラズマ発生装置
JP4820828B2 (ja) * 2008-01-15 2011-11-24 株式会社サイアン 方向性結合器及びそれを用いたプラズマ発生装置
JP6643034B2 (ja) * 2015-10-09 2020-02-12 東京エレクトロン株式会社 プラズマ処理装置
JP2025009374A (ja) * 2023-07-07 2025-01-20 東京エレクトロン株式会社 プラズマ処理装置
CN117477198B (zh) * 2023-12-27 2024-03-26 中天通信技术有限公司 耦合器

Family Cites Families (1)

* Cited by examiner, † Cited by third party
Publication number Priority date Publication date Assignee Title
JP4017098B2 (ja) * 2001-07-27 2007-12-05 芝浦メカトロニクス株式会社 プラズマ発生装置及びプラズマ処理装置

Also Published As

Publication number Publication date
JP2007028387A (ja) 2007-02-01

Similar Documents

Publication Publication Date Title
KR102300529B1 (ko) 국부적인 로렌츠 힘을 갖는 모듈형 마이크로파 공급원
TWI871413B (zh) 電漿處理腔室和用於電漿處理腔室的微波放大模組之陣列
KR101560122B1 (ko) 표면파 플라즈마 처리 장치
KR102749255B1 (ko) 플라스마 처리 장치
KR100687057B1 (ko) 플라즈마 생성장치 및 플라즈마 처리장치
US20120090782A1 (en) Microwave plasma source and plasma processing apparatus
US20110018651A1 (en) Power combiner and microwave introduction mechanism
KR102164479B1 (ko) 2개의 독립적인 마이크로파 제너레이터를 이용한 선형 ecr 플라즈마 발생 장치
JP2012190899A (ja) プラズマ処理装置
CN110391127A (zh) 模块化高频源
JP4600928B2 (ja) マイクロ波方向性結合器、プラズマ発生装置及びプラズマ処理装置
JP6991934B2 (ja) プラズマ処理装置
JP4017098B2 (ja) プラズマ発生装置及びプラズマ処理装置
US20230326716A1 (en) Plasma processing apparatus, plasma processing method, and dielectric window
JP2010277971A (ja) プラズマ処理装置及びプラズマ処理装置の給電方法
JP4900768B2 (ja) プラズマ発生装置及びプラズマ処理装置
JP5382958B2 (ja) プラズマ発生装置及びプラズマ処理装置
KR101722307B1 (ko) 마이크로파 방사 안테나, 마이크로파 플라즈마원 및 플라즈마 처리 장치
JP3736054B2 (ja) プラズマ処理装置
JP7760389B2 (ja) プラズマ処理装置
JP2007018819A (ja) 処理装置および処理方法
JP5667368B2 (ja) プラズマ処理装置
JP2001244244A (ja) プラズマ処理装置
KR102489748B1 (ko) 플라즈마 처리 장치
JP2016100312A (ja) プラズマ処理装置及びプラズマ処理方法

Legal Events

Date Code Title Description
A621 Written request for application examination

Free format text: JAPANESE INTERMEDIATE CODE: A621

Effective date: 20080715

A977 Report on retrieval

Free format text: JAPANESE INTERMEDIATE CODE: A971007

Effective date: 20091007

A131 Notification of reasons for refusal

Free format text: JAPANESE INTERMEDIATE CODE: A131

Effective date: 20091014

A521 Request for written amendment filed

Free format text: JAPANESE INTERMEDIATE CODE: A523

Effective date: 20091211

TRDD Decision of grant or rejection written
A01 Written decision to grant a patent or to grant a registration (utility model)

Free format text: JAPANESE INTERMEDIATE CODE: A01

Effective date: 20100922

A01 Written decision to grant a patent or to grant a registration (utility model)

Free format text: JAPANESE INTERMEDIATE CODE: A01

A61 First payment of annual fees (during grant procedure)

Free format text: JAPANESE INTERMEDIATE CODE: A61

Effective date: 20100922

FPAY Renewal fee payment (event date is renewal date of database)

Free format text: PAYMENT UNTIL: 20131008

Year of fee payment: 3

R150 Certificate of patent or registration of utility model

Ref document number: 4600928

Country of ref document: JP

Free format text: JAPANESE INTERMEDIATE CODE: R150

Free format text: JAPANESE INTERMEDIATE CODE: R150

LAPS Cancellation because of no payment of annual fees