JP4571971B2 - クライアント−サーバーベースのワイヤレス侵入検出システム及び方法 - Google Patents

クライアント−サーバーベースのワイヤレス侵入検出システム及び方法 Download PDF

Info

Publication number
JP4571971B2
JP4571971B2 JP2007503983A JP2007503983A JP4571971B2 JP 4571971 B2 JP4571971 B2 JP 4571971B2 JP 2007503983 A JP2007503983 A JP 2007503983A JP 2007503983 A JP2007503983 A JP 2007503983A JP 4571971 B2 JP4571971 B2 JP 4571971B2
Authority
JP
Japan
Prior art keywords
traffic data
network traffic
mobile unit
access point
data includes
Prior art date
Legal status (The legal status is an assumption and is not a legal conclusion. Google has not performed a legal analysis and makes no representation as to the accuracy of the status listed.)
Expired - Lifetime
Application number
JP2007503983A
Other languages
English (en)
Other versions
JP2007529957A (ja
Inventor
ファイアン エイミー ワン
Original Assignee
シンボル テクノロジーズ インコーポレイテッド
Priority date (The priority date is an assumption and is not a legal conclusion. Google has not performed a legal analysis and makes no representation as to the accuracy of the date listed.)
Filing date
Publication date
Application filed by シンボル テクノロジーズ インコーポレイテッド filed Critical シンボル テクノロジーズ インコーポレイテッド
Publication of JP2007529957A publication Critical patent/JP2007529957A/ja
Application granted granted Critical
Publication of JP4571971B2 publication Critical patent/JP4571971B2/ja
Anticipated expiration legal-status Critical
Expired - Lifetime legal-status Critical Current

Links

Images

Classifications

    • HELECTRICITY
    • H04ELECTRIC COMMUNICATION TECHNIQUE
    • H04LTRANSMISSION OF DIGITAL INFORMATION, e.g. TELEGRAPHIC COMMUNICATION
    • H04L63/00Network architectures or network communication protocols for network security
    • H04L63/14Network architectures or network communication protocols for network security for detecting or protecting against malicious traffic
    • H04L63/1408Network architectures or network communication protocols for network security for detecting or protecting against malicious traffic by monitoring network traffic
    • HELECTRICITY
    • H04ELECTRIC COMMUNICATION TECHNIQUE
    • H04WWIRELESS COMMUNICATION NETWORKS
    • H04W12/00Security arrangements; Authentication; Protecting privacy or anonymity
    • H04W12/12Detection or prevention of fraud
    • H04W12/121Wireless intrusion detection systems [WIDS]; Wireless intrusion prevention systems [WIPS]
    • HELECTRICITY
    • H04ELECTRIC COMMUNICATION TECHNIQUE
    • H04WWIRELESS COMMUNICATION NETWORKS
    • H04W12/00Security arrangements; Authentication; Protecting privacy or anonymity
    • H04W12/12Detection or prevention of fraud
    • H04W12/121Wireless intrusion detection systems [WIDS]; Wireless intrusion prevention systems [WIPS]
    • H04W12/122Counter-measures against attacks; Protection against rogue devices
    • HELECTRICITY
    • H04ELECTRIC COMMUNICATION TECHNIQUE
    • H04WWIRELESS COMMUNICATION NETWORKS
    • H04W12/00Security arrangements; Authentication; Protecting privacy or anonymity
    • H04W12/12Detection or prevention of fraud
    • H04W12/126Anti-theft arrangements, e.g. protection against subscriber identity module [SIM] cloning
    • HELECTRICITY
    • H04ELECTRIC COMMUNICATION TECHNIQUE
    • H04WWIRELESS COMMUNICATION NETWORKS
    • H04W84/00Network topologies
    • H04W84/02Hierarchically pre-organised networks, e.g. paging networks, cellular networks, WLAN [Wireless Local Area Network] or WLL [Wireless Local Loop]
    • H04W84/10Small scale networks; Flat hierarchical networks
    • H04W84/12WLAN [Wireless Local Area Networks]

Landscapes

  • Engineering & Computer Science (AREA)
  • Computer Security & Cryptography (AREA)
  • Computer Networks & Wireless Communication (AREA)
  • Signal Processing (AREA)
  • Computer Hardware Design (AREA)
  • Computing Systems (AREA)
  • General Engineering & Computer Science (AREA)
  • Mobile Radio Communication Systems (AREA)
  • Small-Scale Networks (AREA)
  • Data Exchanges In Wide-Area Networks (AREA)

Description

本発明は、ワイヤレスローカルエリアネットワーク(WLAN)に係る。より詳細には、本発明は、ワイヤレスローカルエリアネットワークへの無断アクセス又はアクセス試みを検出するための方法に係る。
WLANの大成功で、WLANは、これに攻撃し侵入するための新規な方法を積極的に開発しているハッカー(「ウオッカー(whacker)」として知られている)の格好の標的になっている。新規なWLANハッキングツールが、不安を煽る頻度でインターネットに発表されている。多くの産業調査では、WLANの展開を考えているほとんどの会社の最高情報幹部にとってWLANのセキュリティが最大の問題であることが示されている。不幸なことに、現代のWLANセキュリティ解決策は、欠点があるか又は証明されていないかのいずれかである。
本発明の譲受人が所有する、参考としてここに援用する2000年3月17日に出願された出願中の米国特許出願第09/528,697号には、IEEE規格802.11のプロトコルに従うシステムが説明されているが、これは、RFポート(「アクセスポート」とも称される)と、セルコントローラとの組合せを使用して、古典的な802.11データ通信システムのアクセスポイントの機能を遂行するものである。下位レベルのMAC機能は、RFポートにより遂行され、そして関連付け及びローミング機能を含む上位レベルのMAC機能は、セルコントローラにより遂行される。ここで使用する「アクセスポイント」という語は、前記出願中の特許出願に述べられたように、従来のアクセスポイント、例えば、IEEE規格802.11のプロトコルに従いそして全てのMAC機能を遂行するもの、並びにセルコントローラで動作するRFポートを包含することが意図される。
本発明の譲受人が所有する、参考としてここに援用する2003年10月6日に出願された出願中の米国特許出願第10/679,524号には、ワイヤレスローカルエリアデータ通信ネットワークに使用するためのシステムであって、移動ユニットがアクセスポイントと通信し、そして送信器により送信された信号を使用して送信器を探索するように構成されたシステムが説明されている。許可された送信器を位置に関連付けるデータベースが維持される。選択された信号がアクセスポイントにおいて検出され、そして信号のソースを探索するのに使用するためにその選択された信号に対応する位置データが記録される。この位置データを使用してソースが探索され、そしてソースの位置がデータベースにおける対応位置と比較される。ソースの位置がデータベースにおける対応位置に一致しない場合にはアラーム信号が発せられる。
本発明の目的は、WLANへの無断アクセス又はアクセス試みを検出するための改良されたシステム及び方法を提供することである。
本発明によれば、少なくとも1つのアクセスポイントと通信する少なくとも1つの移動ユニットを有するワイヤレスローカルエリアネットワークの無断使用を検出するための方法を提供することである。第1ネットワークトラフィックデータが移動ユニットに累積される。第2ネットワークトラフィックデータがアクセスポイントに対して累積される。第1及び第2のトラフィックデータは、コンピュータへ通信され、そしてコンピュータにおいて相関されて、非相関トラフィックデータを識別する。非相関トラフィックデータがトラフィックデータのスレッシュホールド部分を越えたときにアラーム状態が信号される。
本発明の別の実施形態において、ワイヤレスローカルエリアネットワークの無断使用を検出するためのシステムは、移動ユニットと、アクセスポイントと、サーバーコンピュータとを備え、第1ネットワークトラフィックデータが移動ユニットにより累積され、第2ネットワークトラフィックデータがアクセスポイントにより累積され、そして第1及び第2のトラフィックデータがサーバーコンピュータへ通信される。サーバーコンピュータは、トラフィックデータを相関して、非相関トラフィックデータを識別し、そして前記非相関トラフィックデータがあるスレッシュホールド部分を越えたときにアラーム状態が信号されるようにする。
第1トラフィックデータは、移動ユニットのための送信メッセージの数、送信メッセージの行先アドレス、移動ユニットのための受信メッセージの数、受信メッセージのソースアドレス、移動ユニットとアクセスポイントとの関連付け要求の記録、関連付け解除トランザクションの記録、移動ユニットにより受信されるブロードキャスト及びマルチキャストフレームの数、又は認証要求の記録を含むことができる。第2トラフィックデータは、アクセスポイントに対する送信メッセージの数、送信メッセージの行先アドレス、アクセスポイントに対する受信メッセージの数、受信メッセージのソースアドレス、移動ユニットとアクセスポイントとの関連付け要求の記録、関連付け解除トランザクションの記録、アクセスポイントにより送信されるブロードキャスト及びマルチキャストフレームの数、又は認証要求の記録を含むことができる。トラフィックデータは、周期的な間隔で、或いはコンピュータから送信されたコマンド信号に応答して、コンピュータへ送信することができる。
本発明によれば、プロセッサ及び無線装置を有し、コンピュータと通信するように構成された移動ユニットの改良が提供される。移動ユニットのプロセッサは、コンピュータに接続されたアクセスポイントとの通信を表わすトラフィックデータを累積し、そしてその累積されたトラフィックデータをコンピュータへ通信するように構成される。
本発明は、更に別の目的と共にこれを良く理解するために、添付図面を参照して以下に詳細に説明し、そしてその範囲は、特許請求の範囲に指摘する。
図1には、サーバー12がワイヤードネットワーク14を経て複数のアクセスポイント16に接続されたワイヤレスローカルエリアネットワーク10が示されている。このネットワーク10は、IEEE規格802.11のような規格プロトコルに基づいて動作して、移動ユニット18とサーバー12との間にワイヤレスネットワークデータ通信を与えることができる。
本発明は、侵入者20がシステムを使用し又は使用しようと試みるのを検出するための方法を提供する。この方法によれば、トラフィックデータが移動ユニット18及びアクセスポイント16に累積され、アクセスポイントは、ここに援用する前記特許出願に述べられたように、セルコントローラ及びRFポートを含むことができる。理想的には、データは、特定のメッセージ及びマネージメント信号に関連し、そして相関することができる。例えば、理想的な状態では、アクセスポイント16により送信されるメッセージの数は、移動ユニット18により受信されるメッセージの数に等しくなければならず、又、その逆のことも言える。
本発明の方法による1つの構成では、アクセスポイント16は、各移動ユニット18へ送信されて移動ユニット18により確認されたメッセージの数を表わすトラフィックデータを累積することができる。移動ユニット18において、受信されて確認されたメッセージの数は、トラフィックデータとして累積される。アクセスポイント16により累積されたトラフィックデータ及び移動ユニット18により累積されたトラフィックデータは、周期的に、ワイヤレス及びワイヤードネットワーク10、14を経てのデータ通信により、コンピュータ12へ分析のために送信される。任意の構成では、侵入サーバー22がコンピュータ12からトラフィックデータを受信して、その分析を実行する。データを分析するために、アクセスポイント16により送信されたメッセージを、そのメッセージがアドレスされる移動ユニット18により受信されて確認されたメッセージと相関させるための試みがなされる。
同様に、移動ユニット18は、移動ユニット18によりアクセスポイント16へ送信されたメッセージを表わすトラフィックデータを累積することができ、そしてアクセスポイント16は、アクセスポイント16が受信して確認した各移動ユニット18からのメッセージを表わすトラフィックデータを累積することができる。このトラフィックデータは、コンピュータ12又は侵入サーバー22へ分析のために送信される。
ネットワークを経て送信されそしてネットワークの許可されたエレメントにより受信されるメッセージ間に著しい差があり、例えば、メッセージの10%以上を相関できない場合には、コンピュータ12又は侵入サーバー22が、システムへの侵入が生じたかもしれないことを信号する。これは、侵入者20が、システムの許可されたユーザとしてそれ自身をマスクする信号を送信し又は確認したことを意味する。この10%スレッシュホールドは、例示のために与えられたに過ぎず、最も有効なスレッシュホールドは、主として、ワイヤレスネットワークの構成に依存することに注意されたい。本発明のシステム及び方法の別の実施形態では、スレッシュホールドは、固定値でなくてもよく、ノイズ、パケット衝突、等によるトラフィックロスを考慮するように動的に調整されてもよい。
相関は、システム全体として又は個々のトランシーバとして評価することができる。個々のトランシーバに基づいて評価を行うべき場合には、トラフィックデータは、受信した各メッセージのソースアドレスと、送信した各メッセージの行先アドレスとを含んでもよい。更に、トラフィックデータは、802.11システムのBSS IDのように、データが収集されたトランシーバを識別するパケットにおいてコンピュータ12又は侵入サーバー22へ送信される。この情報で、コンピュータ12又は侵入サーバー22は、各々の完了したパケット、例えば、確認されたパケットのソース及び行先を相関させることができる。
本発明の方法の変形例において、侵入の試みに使用できるある形式のメッセージに集中して分析を行うことができる。例えば、移動ユニット18は、その移動ユニット18により送信される各々の関連付け要求をトラフィックデータとして記録することができる。更に、移動ユニット18は、認証又は関連付けが各関連付け要求に対して承諾されたかどうかの情報をトラフィックデータに記録することができる。平均的な人間(man-in-the middle type)の侵入を検出するために特に重要なことは、移動ユニット18が関連付け解除トランザクションを記録できることである。
トラフィックデータを相関させる目的で、各アクセスポイント16は、移動ユニット18から受信した関連付け要求に対応するトラフィックデータと、アクセスポイントにより遂行される関連付け又は認証の承諾、及び関連付け解除トランザクションを表わす事象とを記憶しそして送信することができる。本発明によるシステム及び方法の実施形態で収集できる他の事象は、ログインの試み、ログインの失敗、再試み、プローブ要求送信、プローブ要求受信、送信/受信されたマルチキャストフレームの数、送信/受信されたブロードキャストフレームの数、送信/受信されたデータトラフィックの数、等を含むことができる。当業者に明らかなように、本発明の範囲は、これらのデータカテゴリーしか収集しないシステム及び方法に制限されないことに注意されたい。
本発明による方法の更に別の構成では、移動ユニット18は、侵入者20がシステムに入るよう試みていることを指示する事象を記録することができる。1つのこのような事象は、侵入者20がアクセスポイントとして見えるよう試みているブロードキャスト又はマルチキャストメッセージである。これらのメッセージは、トラフィックデータとして記録できる一方、アクセスポイント16は、認証ブロードキャスト及びマルチキャストメッセージに対応するトラフィックデータを記録する。記録されたデータトラフィックは、相関のためにコンピュータ12又は侵入サーバー22へ送信される。
トラフィックデータは、プリセットされた周期的間隔、例えば、1時間ごとに、コンピュータ12又は侵入サーバー22へ送信することができる。移動ユニット18の場合には、移動ユニットがアクセスポイントに関連付けされる間にトラフィックデータを送信することしかできない。この場合には、移動ユニット18は、関連付けの終りに、トラフィックデータを、関連付け解除機能の一部分として送信することができる。
別の構成では、コンピュータ12又は侵入サーバー22からコマンドメッセージを受信した際にトラフィックデータを送信することができる。
別の構成では、侵入サーバー22は、どの統計学的データを収集すべきかについて移動ユニット18及び/又はアクセスポイント16に動的に命令することができる。
更に別の構成では、セキュリティプロトコルを使用して、トラフィックデータをコンピュータ12又は侵入サーバー22に送信することができる。好ましい実施形態では、使用するプロトコルは、セキュア・ソケット・レイヤ・プロトコル(SSL)でよいが、本発明は、このプロトコルの使用に限定されない。
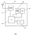
図2は、本発明の方法を実施するのに使用できる移動ユニット18のブロック図である。移動ユニットは、データパケットを送信及び受信するための無線装置24と、IEEE規格802.11のようなデータ通信プロトコルに基づいて無線装置を制御するためのプロセッサ30とを備えている。移動ユニットは、リードオンリメモリ34及びランダムアクセスメモリ32を備え、これは、プロセッサ30を含むマイクロコンピュータの一部分でもよいし、デジタル信号プロセッサの一部分でもよい。リードオンリメモリ34は、プロセッサ30を操作するためのプログラム命令を含み、これらの命令は、ランダムアクセスメモリ32にトラフィックデータを累積するための命令を含む。又、プロセッサ30は、ポータブルコンピュータ、電話、又はパーソナルデジタルアシスタントのようなホストシステム28にもインターフェイスされる。
以上、本発明の好ましい実施形態を説明したが、当業者であれば、本発明の精神から逸脱せずに更に別の変更や修正がなされ得ることが明らかであり、そしてこのような変更や修正は、全て、本発明のシンの範囲内に包含されるものとする。
本発明の方法を実施するワイヤレスローカルエリアネットワークを示すブロック図である。 本発明による改良された移動ユニットの実施形態を示すブロック図である。

Claims (19)

  1. 少なくとも1つのアクセスポイントと通信する少なくとも1つの移動ユニットを有するワイヤレスローカルエリアネットワークの無断使用を検出するための方法であって
    前記移動ユニットに対する受信メッセージの数を含む第1ネットワークトラフィックデータを移動ユニットで累積するステップと、
    前記アクセスポイントに対する受信メッセージの数を含む第2ネットワークトラフィックデータをアクセスポイントで累積するステップと、
    前記第1及び第2のネットワークトラフィックデータをコンピュータへ通信するステップと、
    前記第1及び第2のネットワークトラフィックデータを前記コンピュータにおいて相関させ相関していない第1及び第2のネットワークトラフィックデータを識別すると共に、前記相関していない第1及び第2のネットワークトラフィックデータがしきい値を越えたときにアラーム状態をシグナリングするステップと、を含むことを特徴とする方法。
  2. 前記第1ネットワークトラフィックデータは、前記移動ユニットに対する送信メッセージの数を含む、請求項1に記載の方法。
  3. 前記第1ネットワークトラフィックデータは、前記送信メッセージの行先アドレスを含む、請求項2に記載の方法。
  4. 前記第1ネットワークトラフィックデータは、前記受信メッセージのソースアドレスを含む、請求項に記載の方法。
  5. 前記第1ネットワークトラフィックデータは、前記移動ユニットと前記アクセスポイントとの関連付け要求の記録を含む、請求項1に記載の方法。
  6. 前記第1ネットワークトラフィックデータは、関連付け解除トランザクションの記録を含む、請求項1に記載の方法。
  7. 前記第1ネットワークトラフィックデータは、前記移動ユニットにより受信されるブロードキャスト及びマルチキャストフレームの数を含む、請求項1に記載の方法。
  8. 前記第1ネットワークトラフィックデータは、認証要求の記録を含む、請求項1に記載の方法。
  9. 前記第2ネットワークトラフィックデータは、前記アクセスポイントに対する送信メッセージの数を含む、請求項1に記載の方法。
  10. 前記第2ネットワークトラフィックデータは、前記送信メッセージの行先アドレスを含む、請求項に記載の方法。
  11. 前記第2ネットワークトラフィックデータは、前記受信メッセージのソースアドレスを含む、請求項に記載の方法。
  12. 前記第2ネットワークトラフィックデータは、前記移動ユニットと前記アクセスポイントとの関連付け要求の記録を含む、請求項1に記載の方法。
  13. 前記第2ネットワークトラフィックデータは、関連付け解除トランザクションの記録を含む、請求項1に記載の方法。
  14. 前記第2ネットワークトラフィックデータは、前記アクセスポイントにより送信されたブロードキャスト及びマルチキャストフレームの数を含む、請求項1に記載の方法。
  15. 前記第2ネットワークトラフィックデータは、認証要求の記録を含む、請求項1に記載の方法。
  16. 前記コンピュータへの前記第1及び第2のネットワークトラフィックデータの前記通信は、周期的なベースで繰り返される、請求項1に記載の方法。
  17. 前記コンピュータへの前記第1及び第2のネットワークトラフィックデータの前記通信は、前記コンピュータからのコマンド信号に応答して行われる、請求項1に記載の方法。
  18. 少なくとも1つのアクセスポイントと通信する少なくとも2つの移動ユニットを有するワイヤレスローカルエリアネットワークの無断使用を検出する方法であって
    第1移動ユニットにおいて、該第1移動ユニットに対する受信メッセージの数を含む第1ネットワークトラフィックデータ累積するステップと、
    第2移動ユニットにおいて、該第2移動ユニットに対する受信メッセージの数を含む第2ネットワークトラフィックデータ累積するステップと、
    前記第1及び第2のネットワークトラフィックデータをコンピュータへ通信するステップと、
    前記第1及び第2のネットワークトラフィックデータを前記コンピュータにおいて相関させ相関していない第1及び第2のネットワークトラフィックデータを識別すると共に、前記相関していない第1及び第2のネットワークトラフィックデータがしきい値を越えたときにアラーム状態をシグナリングするステップと、を含むことを特徴とする方法。
  19. ワイヤレスローカルエリアネットワークの無断使用を検出するシステムであって
    少なくとも1つの移動ユニットと、
    少なくとも1つのアクセスポイントと、
    少なくとも1つのサーバーコンピュータと、
    具備し
    第1ネットワークトラフィックデータが前記少なくとも1つの移動ユニットにより累積され、前記第1ネットワークトラフィックデータが前記少なくとも1つの移動ユニットに対する受信メッセージの数を含み、
    第2ネットワークトラフィックデータが前記少なくとも1つのアクセスポイントにより累積され、前記第2ネットワークトラフィックデータが前記少なくとも1つのアクセスポイントに対する受信メッセージの数を含み、
    前記第1及び第2のネットワークトラフィックデータが前記少なくとも1つのサーバーコンピュータへ通信され、前記第1及び第2のネットワークトラフィックデータは、前記少なくとも1つのサーバーコンピュータにより相関させられ相関していない第1及び第2のネットワークトラフィックデータを識別し前記相関していない第1及び第2のネットワークトラフィックデータがしきい値を越えたときにアラーム状態がシグナリングされるようにした、ことを特徴とするシステム。
JP2007503983A 2004-03-15 2005-03-11 クライアント−サーバーベースのワイヤレス侵入検出システム及び方法 Expired - Lifetime JP4571971B2 (ja)

Applications Claiming Priority (2)

Application Number Priority Date Filing Date Title
US10/800,556 US7248856B2 (en) 2004-03-15 2004-03-15 System and method for client-server-based wireless intrusion detection
PCT/US2005/008292 WO2005089242A2 (en) 2004-03-15 2005-03-11 System and method for client-server-based wireless intrusion detection

Publications (2)

Publication Number Publication Date
JP2007529957A JP2007529957A (ja) 2007-10-25
JP4571971B2 true JP4571971B2 (ja) 2010-10-27

Family

ID=34920752

Family Applications (1)

Application Number Title Priority Date Filing Date
JP2007503983A Expired - Lifetime JP4571971B2 (ja) 2004-03-15 2005-03-11 クライアント−サーバーベースのワイヤレス侵入検出システム及び方法

Country Status (5)

Country Link
US (1) US7248856B2 (ja)
EP (1) EP1726151B1 (ja)
JP (1) JP4571971B2 (ja)
CN (1) CN1930860B (ja)
WO (1) WO2005089242A2 (ja)

Families Citing this family (12)

* Cited by examiner, † Cited by third party
Publication number Priority date Publication date Assignee Title
EP1536592B1 (fr) * 2003-11-26 2006-08-09 France Telecom Authentification entre un terminal mobile de réseau cellulaire et un point d'accès de réseau de faible portée
US8249028B2 (en) * 2005-07-22 2012-08-21 Sri International Method and apparatus for identifying wireless transmitters
US7724717B2 (en) * 2005-07-22 2010-05-25 Sri International Method and apparatus for wireless network security
US7971251B2 (en) * 2006-03-17 2011-06-28 Airdefense, Inc. Systems and methods for wireless security using distributed collaboration of wireless clients
WO2007122990A1 (ja) * 2006-04-19 2007-11-01 Advantest Corporation 信号出力装置、信号検出装置、試験装置、電子デバイスおよびプログラム
US8457594B2 (en) * 2006-08-25 2013-06-04 Qwest Communications International Inc. Protection against unauthorized wireless access points
US8782745B2 (en) * 2006-08-25 2014-07-15 Qwest Communications International Inc. Detection of unauthorized wireless access points
US8069483B1 (en) 2006-10-19 2011-11-29 The United States States of America as represented by the Director of the National Security Agency Device for and method of wireless intrusion detection
US8694624B2 (en) * 2009-05-19 2014-04-08 Symbol Technologies, Inc. Systems and methods for concurrent wireless local area network access and sensing
US9380462B1 (en) * 2013-03-15 2016-06-28 Sprint Spectrum L.P. Detecting unauthorized tethering
IT201700013903A1 (it) * 2017-02-08 2018-08-08 Fpt Ind Spa Metodo e sistema per contrastare un attacco informatico ad una rete dati veicolare
JP7284066B2 (ja) * 2019-10-23 2023-05-30 日立Geニュークリア・エナジー株式会社 不正機器検出装置、無線通信システム、および、不正機器検出方法

Family Cites Families (13)

* Cited by examiner, † Cited by third party
Publication number Priority date Publication date Assignee Title
US6873617B1 (en) * 1999-02-03 2005-03-29 Tekno Industries, Inc. Means for and methods of “in-progress” fraud, billing and maintenance in a SS#7 network of high speed data links
EP1209935B1 (en) * 2000-11-24 2005-10-12 Telefonaktiebolaget LM Ericsson (publ) Fraud detection method for mobile telecommunication networks
US7508799B2 (en) * 2002-01-29 2009-03-24 Arch Wireless Operating Company, Inc. Managing wireless network data
WO2003083601A2 (en) * 2002-03-27 2003-10-09 International Business Machines Corporation Methods apparatus and program products for wireless access points
WO2003093951A2 (en) * 2002-05-04 2003-11-13 Instant802 Networks Inc. Improved access point and wireless network controller
JP2004015368A (ja) * 2002-06-06 2004-01-15 Tokyo Gas Co Ltd 無線通信システム、無線親機、無線子機、通信環境監視方法、不正アクセス監視方法
US8539580B2 (en) * 2002-06-19 2013-09-17 International Business Machines Corporation Method, system and program product for detecting intrusion of a wireless network
US7965842B2 (en) * 2002-06-28 2011-06-21 Wavelink Corporation System and method for detecting unauthorized wireless access points
CN100409613C (zh) * 2002-08-08 2008-08-06 中兴通讯股份有限公司 基于无线局域网与码分多址系统相结合的鉴权计费方法
US7327690B2 (en) 2002-08-12 2008-02-05 Harris Corporation Wireless local or metropolitan area network with intrusion detection features and related methods
AU2003258184A1 (en) * 2002-08-14 2004-03-03 Thomson Licensing S.A. Session key management for public wireless lan supporitng multiple virtual operators
US7313403B2 (en) * 2003-08-06 2007-12-25 Hong Kong Applied Science And Technology Research Institute Co., Ltd. Location positioning in wireless networks
US7426383B2 (en) * 2003-12-22 2008-09-16 Symbol Technologies, Inc. Wireless LAN intrusion detection based on location

Also Published As

Publication number Publication date
EP1726151A4 (en) 2012-02-22
EP1726151B1 (en) 2019-09-04
JP2007529957A (ja) 2007-10-25
CN1930860B (zh) 2010-10-06
EP1726151A2 (en) 2006-11-29
WO2005089242A2 (en) 2005-09-29
US7248856B2 (en) 2007-07-24
CN1930860A (zh) 2007-03-14
WO2005089242A3 (en) 2006-01-26
US20050202800A1 (en) 2005-09-15

Similar Documents

Publication Publication Date Title
US8789191B2 (en) Automated sniffer apparatus and method for monitoring computer systems for unauthorized access
US7764648B2 (en) Method and system for allowing and preventing wireless devices to transmit wireless signals
CN1783810B (zh) 用于确定无线设备位置的方法
US7856656B1 (en) Method and system for detecting masquerading wireless devices in local area computer networks
JP4639195B2 (ja) コンピュータ機器のローカルエリアネットワークに付随する選択空域をモニターする方法とシステム
JP3464573B2 (ja) セルラ/pcs通信におけるクローン詐欺を検出するシステム及び方法
CA2495142C (en) Wireless local or metropolitan area network with intrusion detection features and related methods
US20060165073A1 (en) Method and a system for regulating, disrupting and preventing access to the wireless medium
JP4571971B2 (ja) クライアント−サーバーベースのワイヤレス侵入検出システム及び方法
JP2008536340A (ja) 送信レンジ変化を用いた安定無線ユーザ局在化方式
KR102323712B1 (ko) Wips 센서 및 wips 센서를 이용한 불법 무선 단말의 침입 차단 방법
US20070186276A1 (en) Auto-detection and notification of access point identity theft
EP1554837A2 (en) System and method for remotely monitoring wirless networks
US7409715B2 (en) Mechanism for detection of attacks based on impersonation in a wireless network
JP7574930B2 (ja) データを収集するシステム、方法、装置及びプログラム
WO2017000683A1 (zh) 无线终端管理的方法及装置
CN116647940B (zh) 一种基于无人机集群通信中同频组网方法
JP2002164899A (ja) ネットワーク監視方法および装置
CN104412634A (zh) 使用云传感器网络的智能无线入侵阻挡系统和传感器
Panos et al. Securing the 802.11 MAC in MANETs: A specification-based intrusion detection engine
WO2015138971A1 (en) Determining the precise geolocation of a wireless internet target
KR100678390B1 (ko) 침입 탐지 특징을 갖는 무선 근거리 또는 도시권 네트워크및 이와 관한 방법
CN113630782B (zh) 无线共享检测方法、装置、系统及计算机可读存储介质
JP2007134748A (ja) 隣接デバイスの共同作業による無線ネットワークにおけるパフォーマンスの問題の検出および診断
EP1906594A1 (en) Security monitoring device and method for security monitoring for wireless transmissions

Legal Events

Date Code Title Description
A621 Written request for application examination

Free format text: JAPANESE INTERMEDIATE CODE: A621

Effective date: 20080306

A131 Notification of reasons for refusal

Free format text: JAPANESE INTERMEDIATE CODE: A131

Effective date: 20100323

A521 Request for written amendment filed

Free format text: JAPANESE INTERMEDIATE CODE: A523

Effective date: 20100604

TRDD Decision of grant or rejection written
A01 Written decision to grant a patent or to grant a registration (utility model)

Free format text: JAPANESE INTERMEDIATE CODE: A01

Effective date: 20100802

A01 Written decision to grant a patent or to grant a registration (utility model)

Free format text: JAPANESE INTERMEDIATE CODE: A01

A61 First payment of annual fees (during grant procedure)

Free format text: JAPANESE INTERMEDIATE CODE: A61

Effective date: 20100813

FPAY Renewal fee payment (event date is renewal date of database)

Free format text: PAYMENT UNTIL: 20130820

Year of fee payment: 3

R150 Certificate of patent or registration of utility model

Ref document number: 4571971

Country of ref document: JP

Free format text: JAPANESE INTERMEDIATE CODE: R150

Free format text: JAPANESE INTERMEDIATE CODE: R150

R250 Receipt of annual fees

Free format text: JAPANESE INTERMEDIATE CODE: R250

R250 Receipt of annual fees

Free format text: JAPANESE INTERMEDIATE CODE: R250

R250 Receipt of annual fees

Free format text: JAPANESE INTERMEDIATE CODE: R250

R250 Receipt of annual fees

Free format text: JAPANESE INTERMEDIATE CODE: R250

R250 Receipt of annual fees

Free format text: JAPANESE INTERMEDIATE CODE: R250

R250 Receipt of annual fees

Free format text: JAPANESE INTERMEDIATE CODE: R250

R250 Receipt of annual fees

Free format text: JAPANESE INTERMEDIATE CODE: R250

R250 Receipt of annual fees

Free format text: JAPANESE INTERMEDIATE CODE: R250

R250 Receipt of annual fees

Free format text: JAPANESE INTERMEDIATE CODE: R250

R250 Receipt of annual fees

Free format text: JAPANESE INTERMEDIATE CODE: R250

R250 Receipt of annual fees

Free format text: JAPANESE INTERMEDIATE CODE: R250

R250 Receipt of annual fees

Free format text: JAPANESE INTERMEDIATE CODE: R250

EXPY Cancellation because of completion of term